JP7225230B2 - デジタル印刷システム - Google Patents
デジタル印刷システム Download PDFInfo
- Publication number
- JP7225230B2 JP7225230B2 JP2020526455A JP2020526455A JP7225230B2 JP 7225230 B2 JP7225230 B2 JP 7225230B2 JP 2020526455 A JP2020526455 A JP 2020526455A JP 2020526455 A JP2020526455 A JP 2020526455A JP 7225230 B2 JP7225230 B2 JP 7225230B2
- Authority
- JP
- Japan
- Prior art keywords
- blade
- itm
- blade change
- printing system
- ink image
- Prior art date
- Legal status (The legal status is an assumption and is not a legal conclusion. Google has not performed a legal analysis and makes no representation as to the accuracy of the status listed.)
- Active
Links
Images
Classifications
-
- B—PERFORMING OPERATIONS; TRANSPORTING
- B41—PRINTING; LINING MACHINES; TYPEWRITERS; STAMPS
- B41J—TYPEWRITERS; SELECTIVE PRINTING MECHANISMS, i.e. MECHANISMS PRINTING OTHERWISE THAN FROM A FORME; CORRECTION OF TYPOGRAPHICAL ERRORS
- B41J2/00—Typewriters or selective printing mechanisms characterised by the printing or marking process for which they are designed
- B41J2/005—Typewriters or selective printing mechanisms characterised by the printing or marking process for which they are designed characterised by bringing liquid or particles selectively into contact with a printing material
- B41J2/01—Ink jet
-
- B—PERFORMING OPERATIONS; TRANSPORTING
- B41—PRINTING; LINING MACHINES; TYPEWRITERS; STAMPS
- B41J—TYPEWRITERS; SELECTIVE PRINTING MECHANISMS, i.e. MECHANISMS PRINTING OTHERWISE THAN FROM A FORME; CORRECTION OF TYPOGRAPHICAL ERRORS
- B41J2/00—Typewriters or selective printing mechanisms characterised by the printing or marking process for which they are designed
- B41J2/005—Typewriters or selective printing mechanisms characterised by the printing or marking process for which they are designed characterised by bringing liquid or particles selectively into contact with a printing material
- B41J2/0057—Typewriters or selective printing mechanisms characterised by the printing or marking process for which they are designed characterised by bringing liquid or particles selectively into contact with a printing material where an intermediate transfer member receives the ink before transferring it on the printing material
-
- B—PERFORMING OPERATIONS; TRANSPORTING
- B41—PRINTING; LINING MACHINES; TYPEWRITERS; STAMPS
- B41J—TYPEWRITERS; SELECTIVE PRINTING MECHANISMS, i.e. MECHANISMS PRINTING OTHERWISE THAN FROM A FORME; CORRECTION OF TYPOGRAPHICAL ERRORS
- B41J11/00—Devices or arrangements of selective printing mechanisms, e.g. ink-jet printers or thermal printers, for supporting or handling copy material in sheet or web form
- B41J11/0015—Devices or arrangements of selective printing mechanisms, e.g. ink-jet printers or thermal printers, for supporting or handling copy material in sheet or web form for treating before, during or after printing or for uniform coating or laminating the copy material before or after printing
-
- B—PERFORMING OPERATIONS; TRANSPORTING
- B41—PRINTING; LINING MACHINES; TYPEWRITERS; STAMPS
- B41J—TYPEWRITERS; SELECTIVE PRINTING MECHANISMS, i.e. MECHANISMS PRINTING OTHERWISE THAN FROM A FORME; CORRECTION OF TYPOGRAPHICAL ERRORS
- B41J2/00—Typewriters or selective printing mechanisms characterised by the printing or marking process for which they are designed
- B41J2/005—Typewriters or selective printing mechanisms characterised by the printing or marking process for which they are designed characterised by bringing liquid or particles selectively into contact with a printing material
- B41J2/01—Ink jet
- B41J2002/012—Ink jet with intermediate transfer member
Landscapes
- Ink Jet (AREA)
- Application Of Or Painting With Fluid Materials (AREA)
Priority Applications (2)
| Application Number | Priority Date | Filing Date | Title |
|---|---|---|---|
| JP2023017303A JP7463579B2 (ja) | 2017-11-19 | 2023-02-08 | デジタル印刷システム |
| JP2024051125A JP2024079796A (ja) | 2017-11-19 | 2024-03-27 | デジタル印刷システム |
Applications Claiming Priority (5)
| Application Number | Priority Date | Filing Date | Title |
|---|---|---|---|
| US201762588405P | 2017-11-19 | 2017-11-19 | |
| US62/588,405 | 2017-11-19 | ||
| US201762595536P | 2017-12-06 | 2017-12-06 | |
| US62/595,536 | 2017-12-06 | ||
| PCT/IB2018/059032 WO2019097464A1 (en) | 2017-11-19 | 2018-11-16 | Digital printing system |
Related Child Applications (1)
| Application Number | Title | Priority Date | Filing Date |
|---|---|---|---|
| JP2023017303A Division JP7463579B2 (ja) | 2017-11-19 | 2023-02-08 | デジタル印刷システム |
Publications (3)
| Publication Number | Publication Date |
|---|---|
| JP2021503391A JP2021503391A (ja) | 2021-02-12 |
| JP2021503391A5 JP2021503391A5 (enExample) | 2021-12-23 |
| JP7225230B2 true JP7225230B2 (ja) | 2023-02-20 |
Family
ID=66540118
Family Applications (3)
| Application Number | Title | Priority Date | Filing Date |
|---|---|---|---|
| JP2020526455A Active JP7225230B2 (ja) | 2017-11-19 | 2018-11-16 | デジタル印刷システム |
| JP2023017303A Active JP7463579B2 (ja) | 2017-11-19 | 2023-02-08 | デジタル印刷システム |
| JP2024051125A Pending JP2024079796A (ja) | 2017-11-19 | 2024-03-27 | デジタル印刷システム |
Family Applications After (2)
| Application Number | Title | Priority Date | Filing Date |
|---|---|---|---|
| JP2023017303A Active JP7463579B2 (ja) | 2017-11-19 | 2023-02-08 | デジタル印刷システム |
| JP2024051125A Pending JP2024079796A (ja) | 2017-11-19 | 2024-03-27 | デジタル印刷システム |
Country Status (3)
| Country | Link |
|---|---|
| US (5) | US11267239B2 (enExample) |
| JP (3) | JP7225230B2 (enExample) |
| WO (1) | WO2019097464A1 (enExample) |
Families Citing this family (15)
| Publication number | Priority date | Publication date | Assignee | Title |
|---|---|---|---|---|
| US11809100B2 (en) | 2012-03-05 | 2023-11-07 | Landa Corporation Ltd. | Intermediate transfer members for use with indirect printing systems and protonatable intermediate transfer members for use with indirect printing systems |
| GB201401173D0 (en) | 2013-09-11 | 2014-03-12 | Landa Corp Ltd | Ink formulations and film constructions thereof |
| GB2536489B (en) | 2015-03-20 | 2018-08-29 | Landa Corporation Ltd | Indirect printing system |
| US11806997B2 (en) | 2015-04-14 | 2023-11-07 | Landa Corporation Ltd. | Indirect printing system and related apparatus |
| CN114148099B (zh) | 2016-05-30 | 2025-03-14 | 兰达公司 | 数字印刷方法 |
| US11267239B2 (en) | 2017-11-19 | 2022-03-08 | Landa Corporation Ltd. | Digital printing system |
| US11679615B2 (en) | 2017-12-07 | 2023-06-20 | Landa Corporation Ltd. | Digital printing process and method |
| JP7305748B2 (ja) | 2018-08-13 | 2023-07-10 | ランダ コーポレイション リミテッド | デジタル画像にダミー画素を埋め込むことによるデジタル印刷における歪み補正 |
| WO2020075012A1 (en) * | 2018-10-08 | 2020-04-16 | Landa Corporation Ltd. | Friction reduction means for printing systems and method |
| EP3902680B1 (en) | 2018-12-24 | 2025-09-10 | Landa Corporation Ltd. | A digital printing system |
| WO2020202145A1 (en) | 2019-03-31 | 2020-10-08 | Landa Corporation Ltd | Systems and methods for preventing or minimizing printing defects in printing processes |
| WO2021105806A1 (en) | 2019-11-25 | 2021-06-03 | Landa Corporation Ltd. | Drying ink in digital printing using infrared radiation absorbed by particles embedded inside itm |
| JP7657229B2 (ja) | 2019-12-29 | 2025-04-04 | ランダ コーポレイション リミテッド | 印刷方法およびシステム |
| US12430453B2 (en) | 2021-02-02 | 2025-09-30 | Landa Corporation Ltd. | Mitigating distortions in printed images |
| US12397563B2 (en) * | 2023-08-24 | 2025-08-26 | Stolle Machinery Company, Llc | Automatic label creator and method for can decorating |
Citations (5)
| Publication number | Priority date | Publication date | Assignee | Title |
|---|---|---|---|---|
| JP2005224737A (ja) | 2004-02-16 | 2005-08-25 | Mitsubishi Paper Mills Ltd | 塗布液除去方法 |
| JP2009143102A (ja) | 2007-12-13 | 2009-07-02 | Fujifilm Corp | 画像形成装置及びクリーニングブレードの清掃方法 |
| JP2009154377A (ja) | 2007-12-26 | 2009-07-16 | Fujifilm Corp | 液体塗布装置、液体塗布方法、インクジェット記録装置、及びインクジェット記録方法 |
| JP2009226805A (ja) | 2008-03-24 | 2009-10-08 | Fuji Xerox Co Ltd | 記録装置 |
| US20100053293A1 (en) | 2008-08-29 | 2010-03-04 | Xerox Corporation | System and method of adjusting blade loads for blades engaging image forming machine moving surfaces |
Family Cites Families (834)
| Publication number | Priority date | Publication date | Assignee | Title |
|---|---|---|---|---|
| GB748821A (en) | 1950-09-29 | 1956-05-09 | British Broadcasting Corp | Improvements in and relating to television cameras |
| US2839181A (en) | 1954-12-31 | 1958-06-17 | Adamson Stephens Mfg Co | Movable tubular conveyor belt |
| NL235287A (enExample) | 1958-01-20 | |||
| US3053319A (en) | 1960-12-14 | 1962-09-11 | Beloit Iron Works | Web dewatering apparatus |
| US3697551A (en) | 1968-12-31 | 1972-10-10 | Hercules Inc | Silane sulfonyl azides |
| BE758713A (fr) | 1969-11-12 | 1971-05-10 | Rhone Poulenc Sa | Iminoxyorganoxysilanes |
| NL175512C (nl) | 1970-04-17 | 1984-11-16 | Jonkers Cornelius Otto | Werkwijze voor het bedrijven van een bandtransporteur voor stortgoed en bandtransporteur, geschikt voor het uitvoeren van deze werkwijze. |
| JPS4843941A (enExample) | 1971-10-07 | 1973-06-25 | ||
| CA977818A (en) | 1972-06-30 | 1975-11-11 | Carl H. Hertz | Liquid jet recorder with contact image transfer to plural continuous paper webs |
| US3902798A (en) | 1974-03-15 | 1975-09-02 | Magicam Inc | Composite photography system |
| JPS50137744A (enExample) | 1974-04-20 | 1975-11-01 | ||
| US3935055A (en) | 1974-08-30 | 1976-01-27 | Nupla Corporation | Assembly tool for use in attaching fiberglass tool handles |
| US3914540A (en) | 1974-10-03 | 1975-10-21 | Magicam Inc | Optical node correcting circuit |
| US3947113A (en) | 1975-01-20 | 1976-03-30 | Itek Corporation | Electrophotographic toner transfer apparatus |
| DE2632243C3 (de) | 1976-07-17 | 1979-08-30 | Heidelberger Druckmaschinen Ag, 6900 Heidelberg | Auf variable Bogenlängen einstellbare Umführtrommel für Druckmaschinen |
| US4093764A (en) | 1976-10-13 | 1978-06-06 | Dayco Corporation | Compressible printing blanket |
| JPS5578904A (en) | 1978-12-11 | 1980-06-14 | Haruo Yokoyama | Teeth of slide fastner |
| JPS5581163A (en) | 1978-12-13 | 1980-06-18 | Ricoh Co Ltd | Recorder |
| JPS57121446U (enExample) | 1981-01-24 | 1982-07-28 | ||
| JPS57159865A (en) | 1981-03-27 | 1982-10-02 | Toray Silicone Co Ltd | Primer composition for bonding |
| JPS58174950A (ja) | 1982-04-08 | 1983-10-14 | Manabu Fukuda | 輪転印刷用帯状凸版 |
| GB2129333B (en) | 1982-08-23 | 1986-11-19 | Canon Kk | Recording medium |
| US4520048A (en) | 1983-01-17 | 1985-05-28 | International Octrooi Maatschappij "Octropa" B.V. | Method and apparatus for coating paper and the like |
| JPS59171975A (ja) | 1983-03-19 | 1984-09-28 | Ricoh Co Ltd | 転写型静電記録方法 |
| US4538156A (en) | 1983-05-23 | 1985-08-27 | At&T Teletype Corporation | Ink jet printer |
| JPS6076343A (ja) | 1983-10-03 | 1985-04-30 | Toray Ind Inc | インクジエツト染色方法 |
| JPS60199692A (ja) | 1984-03-23 | 1985-10-09 | Seiko Epson Corp | 印写装置 |
| AU4406785A (en) | 1984-06-18 | 1986-01-24 | Gillette Company, The | Pigmented aqueous ink compositions and method |
| US4555437A (en) | 1984-07-16 | 1985-11-26 | Xidex Corporation | Transparent ink jet recording medium |
| US4575465A (en) | 1984-12-13 | 1986-03-11 | Polaroid Corporation | Ink jet transparency |
| JPS6223783A (ja) | 1985-07-25 | 1987-01-31 | Canon Inc | 感熱転写記録方法 |
| US4792473A (en) | 1986-10-31 | 1988-12-20 | Endura Tape, Inc. | Self adhesive wallboard tape |
| JPS63274572A (ja) | 1987-05-01 | 1988-11-11 | Canon Inc | 画像形成装置 |
| JP2529651B2 (ja) | 1987-06-22 | 1996-08-28 | 大阪シ−リング印刷株式会社 | 熱転写性インクおよびそれを使用した熱転写用シ−ト |
| US4867830A (en) | 1988-05-26 | 1989-09-19 | Chung Nan Y | Method of tabbing pressure sensitive tape |
| US4853737A (en) | 1988-05-31 | 1989-08-01 | Eastman Kodak Company | Roll useful in electrostatography |
| US4976197A (en) | 1988-07-27 | 1990-12-11 | Ryobi, Ltd. | Reverse side printing device employing sheet feed cylinder in sheet-fed printer |
| US5039339A (en) | 1988-07-28 | 1991-08-13 | Eastman Kodak Company | Ink composition containing a blend of a polyester and an acrylic polymer |
| US5062364A (en) | 1989-03-29 | 1991-11-05 | Presstek, Inc. | Plasma-jet imaging method |
| EP0425439B1 (de) | 1989-10-26 | 1995-08-02 | Ciba-Geigy Ag | Wässerige Drucktinten für den Tintenstrahldruck |
| WO1991007470A1 (fr) | 1989-11-21 | 1991-05-30 | Seiko Epson Corporation | Encre pour impression a jet d'encre |
| US6009284A (en) | 1989-12-13 | 1999-12-28 | The Weinberger Group, L.L.C. | System and method for controlling image processing devices from a remote location |
| JPH03248170A (ja) | 1990-02-27 | 1991-11-06 | Fujitsu Ltd | 両面印刷機構 |
| JPH0698814B2 (ja) | 1990-03-13 | 1994-12-07 | 富士ゼロックス株式会社 | インク記録媒体の再生方法 |
| US5075731A (en) | 1990-03-13 | 1991-12-24 | Sharp Kabushiki Kaisha | Transfer roller device |
| US5012072A (en) | 1990-05-14 | 1991-04-30 | Xerox Corporation | Conformable fusing system |
| US5365324A (en) | 1990-10-12 | 1994-11-15 | Canon Kabushiki Kaisha | Multi-image forming apparatus |
| US5099256A (en) | 1990-11-23 | 1992-03-24 | Xerox Corporation | Ink jet printer with intermediate drum |
| CA2059867A1 (en) | 1991-02-13 | 1992-08-14 | Miles Inc. | Binder and vehicle for inks and other color formulations |
| US5128091A (en) | 1991-02-25 | 1992-07-07 | Xerox Corporation | Processes for forming polymeric seamless belts and imaging members |
| US5246100A (en) | 1991-03-13 | 1993-09-21 | Illinois Tool Works, Inc. | Conveyor belt zipper |
| US5352507A (en) | 1991-04-08 | 1994-10-04 | W. R. Grace & Co.-Conn. | Seamless multilayer printing blanket |
| US5777576A (en) | 1991-05-08 | 1998-07-07 | Imagine Ltd. | Apparatus and methods for non impact imaging and digital printing |
| US5575873A (en) | 1991-08-06 | 1996-11-19 | Minnesota Mining And Manufacturing Company | Endless coated abrasive article |
| JP3356279B2 (ja) | 1991-08-14 | 2002-12-16 | インデイゴ ナムローゼ フェンノートシャップ | 両面印刷機 |
| JP3223927B2 (ja) | 1991-08-23 | 2001-10-29 | セイコーエプソン株式会社 | 転写式記録装置 |
| WO1993007000A1 (en) | 1991-10-04 | 1993-04-15 | Indigo N.V. | Ink-jet printer |
| JPH05147208A (ja) | 1991-11-30 | 1993-06-15 | Mita Ind Co Ltd | インクジエツトプリンタ |
| JP2778331B2 (ja) | 1992-01-29 | 1998-07-23 | 富士ゼロックス株式会社 | インクジェット記録装置 |
| JPH06171076A (ja) | 1992-12-07 | 1994-06-21 | Seiko Epson Corp | 転写型インクジェットプリンタ |
| US5349905A (en) | 1992-03-24 | 1994-09-27 | Xerox Corporation | Method and apparatus for controlling peak power requirements of a printer |
| JP3036226B2 (ja) | 1992-04-20 | 2000-04-24 | 富士ゼロックス株式会社 | 画像形成装置の転写材搬送装置 |
| TW219419B (en) | 1992-05-21 | 1994-01-21 | Ibm | Mobile data terminal with external antenna |
| JPH06954A (ja) | 1992-06-17 | 1994-01-11 | Seiko Epson Corp | インクジェット記録方法 |
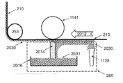
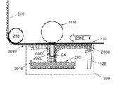
| US5208639A (en) * | 1992-06-25 | 1993-05-04 | Xerox Corporation | Multiple cleaning blade indexing apparatus |
| DE69318815T2 (de) | 1992-07-02 | 1998-12-03 | Seiko Epson Corp., Tokio/Tokyo | Tintenstrahlaufzeichnungsverfahren durch zwischenübertragung |
| US5264904A (en) | 1992-07-17 | 1993-11-23 | Xerox Corporation | High reliability blade cleaner system |
| EP0583168B1 (en) | 1992-08-12 | 1998-10-28 | Seiko Epson Corporation | Method and device for ink jet recording |
| JPH06100807A (ja) | 1992-09-17 | 1994-04-12 | Seiko Instr Inc | 記録用インク |
| US5502476A (en) | 1992-11-25 | 1996-03-26 | Tektronix, Inc. | Method and apparatus for controlling phase-change ink temperature during a transfer printing process |
| US5902841A (en) | 1992-11-25 | 1999-05-11 | Tektronix, Inc. | Use of hydroxy-functional fatty amides in hot melt ink jet inks |
| US5305099A (en) | 1992-12-02 | 1994-04-19 | Joseph A. Morcos | Web alignment monitoring system |
| JP3314971B2 (ja) | 1993-01-28 | 2002-08-19 | 理想科学工業株式会社 | 孔版印刷用エマルジョンインク |
| JP3074105B2 (ja) | 1993-05-13 | 2000-08-07 | 株式会社桜井グラフィックシステムズ | 枚葉印刷機の枚葉紙反転機構 |
| JPH06345284A (ja) | 1993-06-08 | 1994-12-20 | Seiko Epson Corp | ベルト搬送装置及びこれを用いた中間転写型インクジェット記録装置 |
| US5333771A (en) | 1993-07-19 | 1994-08-02 | Advance Systems, Inc. | Web threader having an endless belt formed from a thin metal strip |
| US5677719A (en) | 1993-09-27 | 1997-10-14 | Compaq Computer Corporation | Multiple print head ink jet printer |
| JPH07112841A (ja) | 1993-10-18 | 1995-05-02 | Canon Inc | シート搬送装置及び画像形成装置 |
| JPH07186453A (ja) | 1993-12-27 | 1995-07-25 | Toshiba Corp | カラー画像形成装置 |
| CN1071264C (zh) | 1994-02-14 | 2001-09-19 | 曼弗雷德·R·屈恩勒 | 有静电保持基层的精确定位对准的印刷设备等的输送系统 |
| JPH07238243A (ja) | 1994-03-01 | 1995-09-12 | Seiko Instr Inc | 記録用インク |
| US5642141A (en) | 1994-03-08 | 1997-06-24 | Sawgrass Systems, Inc. | Low energy heat activated transfer printing process |
| JPH07278490A (ja) | 1994-04-06 | 1995-10-24 | Dainippon Toryo Co Ltd | 水性被覆組成物 |
| DE59503051D1 (de) | 1994-06-03 | 1998-09-10 | Ferag Ag | Kontrollverfahren zur Anwendung bei der Herstellung von Druckprodukten und Anordnung zur Durchführung des Verfahrens |
| US5614933A (en) | 1994-06-08 | 1997-03-25 | Tektronix, Inc. | Method and apparatus for controlling phase-change ink-jet print quality factors |
| JP3353300B2 (ja) | 1994-08-02 | 2002-12-03 | ロード コーポレーション | 水性シラン接着剤組成物 |
| NL9401352A (nl) | 1994-08-22 | 1996-04-01 | Oce Nederland Bv | Inrichting voor het overdragen van tonerbeelden. |
| JPH0862999A (ja) | 1994-08-26 | 1996-03-08 | Toray Ind Inc | 中間転写体およびこれを用いた画像形成方法 |
| US5932659A (en) | 1994-09-19 | 1999-08-03 | Sentinel Products Corp. | Polymer blend |
| JP4057657B2 (ja) | 1994-09-19 | 2008-03-05 | センチネル・プロダクツ・コープ | 線状ポリオレフィンの架橋フォーム構造及びその製造方法 |
| US5883144A (en) | 1994-09-19 | 1999-03-16 | Sentinel Products Corp. | Silane-grafted materials for solid and foam applications |
| US5929129A (en) | 1994-09-19 | 1999-07-27 | Sentinel Products Corp. | Crosslinked foamable compositions of silane-grafted, essentially linear polyolefins blended with polypropylene |
| JP3720396B2 (ja) | 1994-10-17 | 2005-11-24 | 富士写真フイルム株式会社 | 感熱転写記録材料 |
| IL111845A (en) | 1994-12-01 | 2004-06-01 | Hewlett Packard Indigo Bv | Imaging apparatus and method and liquid toner therefor |
| US6108513A (en) | 1995-04-03 | 2000-08-22 | Indigo N.V. | Double sided imaging |
| IL113235A (en) | 1995-04-03 | 2006-07-17 | Hewlett Packard Indigo Bv | Double sided imaging |
| US5532314A (en) | 1995-05-03 | 1996-07-02 | Lord Corporation | Aqueous silane-phenolic adhesive compositions, their preparation and use |
| JPH08333531A (ja) | 1995-06-07 | 1996-12-17 | Xerox Corp | 水性インクジェットインク組成物 |
| US5679463A (en) | 1995-07-31 | 1997-10-21 | Eastman Kodak Company | Condensation-cured PDMS filled with zinc oxide and tin oxide mixed fillers for improved fusing member materials |
| US5780412A (en) | 1995-08-09 | 1998-07-14 | The Sherwin-Williams Company | Alkaline-stable hard surface cleaning compounds combined with alkali-metal organosiliconates |
| TW300204B (enExample) | 1995-08-25 | 1997-03-11 | Avery Dennison Corp | |
| JPH09123432A (ja) | 1995-11-02 | 1997-05-13 | Mita Ind Co Ltd | 転写型インクジェット記録装置 |
| US5683841A (en) | 1995-11-17 | 1997-11-04 | Fuji Photo Film Co., Ltd. | Method for preparation of waterless lithographic printing plate by electrophotographic process |
| JP3301295B2 (ja) | 1995-12-01 | 2002-07-15 | 東洋インキ製造株式会社 | 微細化した顔料の製造方法 |
| US6554189B1 (en) | 1996-10-07 | 2003-04-29 | Metrologic Instruments, Inc. | Automated system and method for identifying and measuring packages transported through a laser scanning tunnel |
| JP3597289B2 (ja) | 1995-12-28 | 2004-12-02 | 花王株式会社 | 伸縮性素材及びその製造方法並びにそれを用いた製品 |
| EP0784244B1 (en) | 1996-01-10 | 2003-03-12 | Canon Kabushiki Kaisha | Intermediate transfer member and electrophotographic apparatus including same |
| US6811840B1 (en) | 1996-02-23 | 2004-11-02 | Stahls' Inc. | Decorative transfer process |
| EP0890138A1 (en) | 1996-03-28 | 1999-01-13 | Minnesota Mining And Manufacturing Company | Perfluoroether release coatings for organic photoreceptors |
| JPH09268266A (ja) | 1996-04-01 | 1997-10-14 | Toyo Ink Mfg Co Ltd | インクジェット記録液 |
| JP3758232B2 (ja) | 1996-04-15 | 2006-03-22 | セイコーエプソン株式会社 | 像担持体ベルトの駆動機構 |
| US5660108A (en) | 1996-04-26 | 1997-08-26 | Presstek, Inc. | Modular digital printing press with linking perfecting assembly |
| JPH09300678A (ja) | 1996-05-20 | 1997-11-25 | Mitsubishi Electric Corp | 記録装置 |
| JP3737562B2 (ja) | 1996-05-31 | 2006-01-18 | 富士写真フイルム株式会社 | 画像形成装置 |
| JP3225889B2 (ja) | 1996-06-27 | 2001-11-05 | 富士ゼロックス株式会社 | 静電潜像現像剤用トナー、その製造方法、静電潜像現像剤及び画像形成方法 |
| EP0876914B1 (en) | 1996-08-01 | 2001-01-17 | Seiko Epson Corporation | Ink jet recording method using two liquids |
| US5736250A (en) | 1996-08-08 | 1998-04-07 | Xerox Corporation | Crosslinked latex polymer surfaces and methods thereof |
| JP3802616B2 (ja) | 1996-08-19 | 2006-07-26 | シャープ株式会社 | インクジェット記録方法 |
| DE69712279D1 (de) | 1996-08-22 | 2002-06-06 | Sony Corp | Drucker und Druckverfahren |
| US5889534A (en) | 1996-09-10 | 1999-03-30 | Colorspan Corporation | Calibration and registration method for manufacturing a drum-based printing system |
| US5733698A (en) | 1996-09-30 | 1998-03-31 | Minnesota Mining And Manufacturing Company | Release layer for photoreceptors |
| JPH10119429A (ja) | 1996-10-11 | 1998-05-12 | Arkwright Inc | インクジェットインク吸収被膜合成物 |
| US5978638A (en) | 1996-10-31 | 1999-11-02 | Canon Kabushiki Kaisha | Intermediate transfer belt and image forming apparatus adopting the belt |
| JPH10130597A (ja) | 1996-11-01 | 1998-05-19 | Sekisui Chem Co Ltd | 硬化型粘接着シート及びその製造方法 |
| US5777650A (en) | 1996-11-06 | 1998-07-07 | Tektronix, Inc. | Pressure roller |
| JP3216799B2 (ja) | 1996-11-13 | 2001-10-09 | 松下電工株式会社 | 加熱定着ロール |
| US6221928B1 (en) | 1996-11-15 | 2001-04-24 | Sentinel Products Corp. | Polymer articles including maleic anhydride |
| JP2938403B2 (ja) | 1996-12-13 | 1999-08-23 | 住友ゴム工業株式会社 | 印刷用ブランケット |
| US6072976A (en) | 1996-12-17 | 2000-06-06 | Bridgestone Corporation | Intermediate transfer member for electrostatic recording |
| US5761595A (en) | 1997-01-21 | 1998-06-02 | Xerox Corporation | Intermediate transfer members |
| US6071368A (en) | 1997-01-24 | 2000-06-06 | Hewlett-Packard Co. | Method and apparatus for applying a stable printed image onto a fabric substrate |
| GB2321616B (en) | 1997-01-29 | 1999-11-17 | Bond A Band Transmissions Ltd | Band joining system |
| US5698018A (en) | 1997-01-29 | 1997-12-16 | Eastman Kodak Company | Heat transferring inkjet ink images |
| US6354700B1 (en) | 1997-02-21 | 2002-03-12 | Ncr Corporation | Two-stage printing process and apparatus for radiant energy cured ink |
| US5891934A (en) | 1997-03-24 | 1999-04-06 | Hewlett-Packard Company | Waterfast macromolecular chromophores using amphiphiles |
| US6720367B2 (en) | 1997-03-25 | 2004-04-13 | Seiko Epson Corporation | Ink composition comprising cationic, water-soluble resin |
| US6024018A (en) | 1997-04-03 | 2000-02-15 | Intex Israel Technologies Corp., Ltd | On press color control system |
| US6590012B2 (en) | 1997-04-28 | 2003-07-08 | Seiko Epson Corporation | Ink composition capable of realizing light fast image |
| AU2975397A (en) | 1997-06-03 | 1998-12-21 | Indigo N.V. | Intermediate transfer blanket and method of producing the same |
| KR200147792Y1 (ko) | 1997-06-30 | 1999-06-15 | 윤종용 | 습식 전자사진방식 프린터 |
| DE59805715D1 (de) | 1997-06-30 | 2002-10-31 | Basf Ag | Pigmentzubereitungen für das ink-jet-verfahren |
| JPH1184893A (ja) | 1997-07-07 | 1999-03-30 | Fuji Xerox Co Ltd | 中間転写体及び中間転写体を用いた画像形成装置 |
| KR200151066Y1 (ko) | 1997-07-18 | 1999-07-15 | 윤종용 | 칼라 레이저 프린터 |
| JPH1191147A (ja) | 1997-07-22 | 1999-04-06 | Ricoh Co Ltd | 画像形成方法及びその装置 |
| US5865299A (en) | 1997-08-15 | 1999-02-02 | Williams; Keith | Air cushioned belt conveyor |
| US6397034B1 (en) | 1997-08-29 | 2002-05-28 | Xerox Corporation | Fluorinated carbon filled polyimide intermediate transfer components |
| AU3749297A (en) | 1997-09-11 | 1999-03-25 | Scapa Group Plc | Filter belt guide |
| US6053307A (en) | 1997-09-19 | 2000-04-25 | Honda Sangyo Kabushiki Kaisha | Apparatus for changing and guiding running direction of conveyor belt |
| US6045817A (en) | 1997-09-26 | 2000-04-04 | Diversey Lever, Inc. | Ultramild antibacterial cleaning composition for frequent use |
| US6827018B1 (en) | 1997-09-26 | 2004-12-07 | Heidelberger Druckmaschinen Ag | Device and method for driving a printing machine with multiple uncoupled motors |
| JPH11106081A (ja) | 1997-10-01 | 1999-04-20 | Ricoh Co Ltd | 電子写真装置の感光ベルト寄止め機構 |
| US6471803B1 (en) | 1997-10-24 | 2002-10-29 | Ray Pelland | Rotary hot air welder and stitchless seaming |
| US6024786A (en) | 1997-10-30 | 2000-02-15 | Hewlett-Packard Company | Stable compositions of nano-particulate unmodified pigments and insoluble colorants in aqueous microemulsions, and principle of stability and methods of formation thereof |
| JPH11138740A (ja) | 1997-11-05 | 1999-05-25 | Nikka Kk | ドクターブレードの製造方法 |
| JP3634952B2 (ja) | 1997-11-18 | 2005-03-30 | 株式会社金陽社 | 電子機器用転写ベルトの製造方法 |
| JP4033363B2 (ja) | 1997-11-28 | 2008-01-16 | リコープリンティングシステムズ株式会社 | 転写ベルトおよびそれを用いた電子写真装置 |
| KR100252101B1 (ko) | 1997-12-12 | 2000-04-15 | 윤종용 | 습식 현상기의 현상액 공급방법 |
| DE69818411T2 (de) | 1997-12-26 | 2004-06-24 | Ricoh Co., Ltd. | Tintenstrahldrucken unter Verwendung von Viskositätsverbessernde Schicht |
| US6155669A (en) | 1998-01-08 | 2000-12-05 | Xerox Corporation | Pagewidth ink jet printer including a printbar mounted encoding system |
| US6126777A (en) | 1998-02-20 | 2000-10-03 | Lord Corporation | Aqueous silane adhesive compositions |
| US6199971B1 (en) | 1998-02-24 | 2001-03-13 | Arrray Printers Ab | Direct electrostatic printing method and apparatus with increased print speed |
| US6213580B1 (en) | 1998-02-25 | 2001-04-10 | Xerox Corporation | Apparatus and method for automatically aligning print heads |
| US6499822B1 (en) | 1998-04-27 | 2002-12-31 | Canon Kabushiki Kaisha | Method and apparatus for forming an image on a recording medium with contraction and expansion properties |
| JPH11327315A (ja) | 1998-05-12 | 1999-11-26 | Brother Ind Ltd | 転写装置及び画像形成装置 |
| EP1098230B1 (en) | 1998-05-24 | 2006-12-13 | Hewlett-Packard Indigo B.V. | Printing system |
| US6912952B1 (en) | 1998-05-24 | 2005-07-05 | Hewlett-Packard Indigo B.V. | Duplex printing system |
| US6109746A (en) | 1998-05-26 | 2000-08-29 | Eastman Kodak Company | Delivering mixed inks to an intermediate transfer roller |
| US6234625B1 (en) | 1998-06-26 | 2001-05-22 | Eastman Kodak Company | Printing apparatus with receiver treatment |
| US6625331B1 (en) | 1998-07-03 | 2003-09-23 | Minolta Co., Ltd. | Image forming apparatus |
| US6195112B1 (en) | 1998-07-16 | 2001-02-27 | Eastman Kodak Company | Steering apparatus for re-inkable belt |
| EP0985715B1 (en) | 1998-09-01 | 2011-10-12 | Mitsubishi Chemical Corporation | Recording liquid, printed product and ink jet recording method |
| JP2000094660A (ja) | 1998-09-22 | 2000-04-04 | Brother Ind Ltd | 画像形成装置 |
| JP2000103052A (ja) | 1998-09-29 | 2000-04-11 | Brother Ind Ltd | 画像形成装置 |
| JP2000108334A (ja) | 1998-09-30 | 2000-04-18 | Brother Ind Ltd | 画像形成装置 |
| JP2000108337A (ja) | 1998-09-30 | 2000-04-18 | Brother Ind Ltd | 画像形成装置 |
| JP2000108320A (ja) | 1998-09-30 | 2000-04-18 | Brother Ind Ltd | 画像形成装置 |
| US6166105A (en) | 1998-10-13 | 2000-12-26 | Eastman Kodak Company | Process for making an ink jet ink |
| US6053438A (en) | 1998-10-13 | 2000-04-25 | Eastman Kodak Company | Process for making an ink jet ink |
| JP2000141710A (ja) | 1998-11-10 | 2000-05-23 | Brother Ind Ltd | 画像形成装置 |
| JP2000141883A (ja) | 1998-11-18 | 2000-05-23 | Ricoh Co Ltd | インクジェット記録方法と被記録材の再生方法および被記録材並びにインク |
| JP2000169772A (ja) | 1998-12-07 | 2000-06-20 | Toyo Ink Mfg Co Ltd | インクジェット用記録液およびそれを用いたインクジェット記録方法 |
| JP2000168062A (ja) | 1998-12-09 | 2000-06-20 | Brother Ind Ltd | インクジェットプリンタ |
| US7239407B1 (en) | 1998-12-16 | 2007-07-03 | Silverbrook Research Pty Ltd | Controller for controlling printing on both surfaces of a sheet of print media |
| US6586100B1 (en) | 1998-12-16 | 2003-07-01 | Nexpress Solutions Llc | Fluorocarbon-silicone interpenetrating network useful as fuser member coating |
| US6262207B1 (en) | 1998-12-18 | 2001-07-17 | 3M Innovative Properties Company | ABN dispersants for hydrophobic particles in water-based systems |
| US5991590A (en) | 1998-12-21 | 1999-11-23 | Xerox Corporation | Transfer/transfuse member release agent |
| EP1013466A3 (en) | 1998-12-22 | 2001-05-02 | E.I. Du Pont De Nemours And Company | Intermediate ink-receiver sheet for transfer printing |
| JP2000190468A (ja) | 1998-12-25 | 2000-07-11 | Brother Ind Ltd | 画像形成装置 |
| JP3943742B2 (ja) | 1999-01-11 | 2007-07-11 | キヤノン株式会社 | 画像形成装置及び中間転写ベルト |
| US6455132B1 (en) | 1999-02-04 | 2002-09-24 | Kodak Polychrome Graphics Llc | Lithographic printing printable media and process for the production thereof |
| US6678068B1 (en) | 1999-03-11 | 2004-01-13 | Electronics For Imaging, Inc. | Client print server link for output peripheral device |
| US7304753B1 (en) | 1999-03-11 | 2007-12-04 | Electronics For Imaging, Inc. | Systems for print job monitoring |
| JP2000343025A (ja) | 1999-03-31 | 2000-12-12 | Kyocera Corp | 印刷用掻き取りブレード及びその加工方法 |
| US6270074B1 (en) | 1999-04-14 | 2001-08-07 | Hewlett-Packard Company | Print media vacuum holddown |
| AUPP996099A0 (en) | 1999-04-23 | 1999-05-20 | Silverbrook Research Pty Ltd | A method and apparatus(sprint01) |
| DE60017117D1 (de) | 1999-04-23 | 2005-02-03 | Foto Wear Inc | Beschichtetes übertragungsblatt mit wärme- und/oder uv-härtbarem material |
| JP2000337464A (ja) | 1999-05-27 | 2000-12-05 | Fuji Xerox Co Ltd | 無端ベルトおよび画像形成装置 |
| US6917437B1 (en) | 1999-06-29 | 2005-07-12 | Xerox Corporation | Resource management for a printing system via job ticket |
| DE19934282A1 (de) | 1999-07-21 | 2001-01-25 | Degussa | Wäßrige Rußdispersionen |
| US6335046B1 (en) | 1999-07-29 | 2002-01-01 | Sara Lee Bakery Group, Inc. | Method and apparatus for molding dough |
| US6136081A (en) | 1999-08-10 | 2000-10-24 | Eastman Kodak Company | Ink jet printing method |
| ATE253620T1 (de) | 1999-08-13 | 2003-11-15 | Basf Ag | Farbmittelzubereitungen |
| US6261688B1 (en) | 1999-08-20 | 2001-07-17 | Xerox Corporation | Tertiary amine functionalized fuser fluids |
| JP2001088430A (ja) | 1999-09-22 | 2001-04-03 | Kimoto & Co Ltd | インクジェット記録材料 |
| CN1182442C (zh) | 1999-10-15 | 2004-12-29 | 株式会社理光 | 感光体组件及图像形成装置 |
| JP3631129B2 (ja) | 1999-11-12 | 2005-03-23 | キヤノン株式会社 | インクセット及び被記録媒体への着色部の形成方法 |
| JP2001139865A (ja) | 1999-11-18 | 2001-05-22 | Sharp Corp | 水性インク組成物 |
| FR2801836B1 (fr) | 1999-12-03 | 2002-02-01 | Imaje Sa | Imprimante a fabrication simplifiee et procede de realisation |
| JP4196241B2 (ja) | 1999-12-07 | 2008-12-17 | Dic株式会社 | 水性インク組成物及び水性インク製造方法 |
| JP2001347747A (ja) | 1999-12-24 | 2001-12-18 | Ricoh Co Ltd | 画像粘度設定方法及び装置、粘度画像の転写方法及び装置、該粘度画像の分離方法及び装置及びその粘度画像設定装置、転写装置及び分離装置を用いた画像形成方法及び装置 |
| US6461422B1 (en) | 2000-01-27 | 2002-10-08 | Chartpak, Inc. | Pressure sensitive ink jet media for digital printing |
| JP2001206522A (ja) | 2000-01-28 | 2001-07-31 | Nitto Denko Corp | 蛇行防止ガイド付エンドレスベルト |
| US6741738B2 (en) | 2000-03-13 | 2004-05-25 | Tms, Inc. | Method of optical mark recognition |
| JP3681685B2 (ja) | 2000-03-21 | 2005-08-10 | デイ インターナショナル インコーポレーテッド | 非伸長性裏打ち体を備えた可撓性を有する画像転写ブランケット |
| JP3782920B2 (ja) | 2000-03-28 | 2006-06-07 | セイコーインスツル株式会社 | インク噴射式印刷装置 |
| JP2002020673A (ja) | 2000-04-10 | 2002-01-23 | Seiko Epson Corp | 顔料分散液の製造方法、その方法により得られた顔料分散液、その顔料分散液を用いたインクジェット記録用インク、並びに、そのインクを用いた記録方法および記録物 |
| RU2180675C2 (ru) | 2000-05-11 | 2002-03-20 | ЗАО "Резинотехника" | Адгезивный состав |
| EP1158029A1 (en) | 2000-05-22 | 2001-11-28 | Illinois Tool Works Inc. | Novel ink jet inks and method of printing |
| JP5121099B2 (ja) | 2000-06-21 | 2013-01-16 | キヤノン株式会社 | インクジェット用インク、及びインクジェット記録方法 |
| JP2002103598A (ja) | 2000-07-26 | 2002-04-09 | Olympus Optical Co Ltd | プリンタ |
| US6648468B2 (en) | 2000-08-03 | 2003-11-18 | Creo Srl | Self-registering fluid droplet transfer methods |
| JP2002049211A (ja) | 2000-08-03 | 2002-02-15 | Pfu Ltd | 液体現像フルカラー電子写真装置 |
| US6755519B2 (en) | 2000-08-30 | 2004-06-29 | Creo Inc. | Method for imaging with UV curable inks |
| US6409331B1 (en) | 2000-08-30 | 2002-06-25 | Creo Srl | Methods for transferring fluid droplet patterns to substrates via transferring surfaces |
| JP4756293B2 (ja) | 2000-08-31 | 2011-08-24 | Dic株式会社 | 高級印刷方法 |
| EP1316431A4 (en) | 2000-09-04 | 2005-04-20 | Matsushita Electric Industrial Co Ltd | Image forming device and recording intermediate belt mounting jig |
| DE60128306T2 (de) | 2000-09-14 | 2008-01-10 | Dai Nippon Printing Co., Ltd. | Zwischentransferaufzeichnungsmedium und Verfahren zur Bildabbildung |
| US6377772B1 (en) | 2000-10-04 | 2002-04-23 | Nexpress Solutions Llc | Double-sleeved electrostatographic roller and method of using |
| US6357870B1 (en) | 2000-10-10 | 2002-03-19 | Lexmark International, Inc. | Intermediate transfer medium coating solution and method of ink jet printing using coating solution |
| DE60134105D1 (de) | 2000-10-13 | 2008-07-03 | Dainippon Screen Mfg | Druckpresse ausgerüstet mit Messapparat zur Messung der Farbfelder |
| JP4246367B2 (ja) | 2000-10-16 | 2009-04-02 | 株式会社リコー | 印刷装置 |
| DE10056703C2 (de) | 2000-11-15 | 2002-11-21 | Technoplot Cad Vertriebs Gmbh | Tintenstrahldrucker mit einem Piezo-Druckkopf zum Ausstoßen von Lactat-Tinte auf ein unbeschichtetes Druckmedium |
| US6363234B2 (en) | 2000-11-21 | 2002-03-26 | Indigo N.V. | Printing system |
| US6633735B2 (en) | 2000-11-29 | 2003-10-14 | Samsung Electronics Co., Ltd. | Reduction of seam mark from an endless seamed organophotoreceptor belt |
| US6841206B2 (en) | 2000-11-30 | 2005-01-11 | Agfa-Gevaert | Ink jet recording element |
| JP2002229276A (ja) | 2000-11-30 | 2002-08-14 | Ricoh Co Ltd | 画像形成装置および方法ならびに画像形成システム |
| US7265819B2 (en) | 2000-11-30 | 2007-09-04 | Hewlett-Packard Development Company, L.P. | System and method for print system monitoring |
| JP2002169383A (ja) | 2000-12-05 | 2002-06-14 | Ricoh Co Ltd | 画像形成装置及び画像形成装置の中間転写体停止位置制御方法 |
| US6400913B1 (en) | 2000-12-14 | 2002-06-04 | Xerox Corporation | Control registration and motion quality of a tandem xerographic machine using transfuse |
| US6475271B2 (en) | 2000-12-28 | 2002-11-05 | Xerox Corporation | Ink jet ink compositions and printing processes |
| US6595615B2 (en) | 2001-01-02 | 2003-07-22 | 3M Innovative Properties Company | Method and apparatus for selection of inkjet printing parameters |
| US6680095B2 (en) | 2001-01-30 | 2004-01-20 | Xerox Corporation | Crosslinking of fluoropolymers with polyfunctional siloxanes for release enhancement |
| JP2002234243A (ja) | 2001-02-09 | 2002-08-20 | Hitachi Koki Co Ltd | インクジェット記録方法 |
| US6623817B1 (en) | 2001-02-22 | 2003-09-23 | Ghartpak, Inc. | Inkjet printable waterslide transferable media |
| US6843976B2 (en) | 2001-02-27 | 2005-01-18 | Noranda Inc. | Reduction of zinc oxide from complex sulfide concentrates using chloride processing |
| DE10113558B4 (de) | 2001-03-20 | 2005-09-22 | Avery Dennison Corp., Pasadena | Kombi-Drucker |
| JP4545336B2 (ja) | 2001-03-21 | 2010-09-15 | 株式会社リコー | ベルト駆動装置及びこれを備えた画像形成装置 |
| US20030018119A1 (en) | 2001-03-28 | 2003-01-23 | Moshe Frenkel | Method and compositions for preventing the agglomeration of aqueous pigment dispersions |
| JP3802362B2 (ja) | 2001-04-03 | 2006-07-26 | 株式会社Pfu | カラー電子写真装置の中間転写体 |
| EP1247821A3 (en) | 2001-04-05 | 2003-10-15 | Kansai Paint Co., Ltd. | Pigment dispersing resin |
| DE10117504A1 (de) | 2001-04-07 | 2002-10-17 | Degussa | Injekt-Tinte |
| US7244485B2 (en) | 2001-04-11 | 2007-07-17 | Xerox Corporation | Imageable seamed belts having polyamide adhesive between interlocking seaming members |
| JP3676693B2 (ja) | 2001-04-27 | 2005-07-27 | 京セラミタ株式会社 | ベルト搬送装置及び画像形成装置 |
| JP3994375B2 (ja) | 2001-05-11 | 2007-10-17 | ニッタ株式会社 | ビード付きコンベアベルト |
| US6753087B2 (en) | 2001-05-21 | 2004-06-22 | 3M Innovative Properties Company | Fluoropolymer bonding |
| US6630047B2 (en) | 2001-05-21 | 2003-10-07 | 3M Innovative Properties Company | Fluoropolymer bonding composition and method |
| US6551757B1 (en) | 2001-05-24 | 2003-04-22 | Eastman Kodak Company | Negative-working thermal imaging member and methods of imaging and printing |
| JP2002371208A (ja) | 2001-06-14 | 2002-12-26 | Canon Inc | 中間転写型記録用インクジェットインクおよびインクジェット記録方法 |
| US6558767B2 (en) | 2001-06-20 | 2003-05-06 | Xerox Corporation | Imageable seamed belts having polyvinylbutyral and isocyanate outer layer |
| JP3558056B2 (ja) | 2001-06-27 | 2004-08-25 | セイコーエプソン株式会社 | 画像形成装置 |
| JP3496830B2 (ja) | 2001-06-28 | 2004-02-16 | バンドー化学株式会社 | 高負荷伝動用vベルト |
| US6896944B2 (en) | 2001-06-29 | 2005-05-24 | 3M Innovative Properties Company | Imaged articles comprising a substrate having a primed surface |
| US6806013B2 (en) | 2001-08-10 | 2004-10-19 | Samsung Electronics Co. Ltd. | Liquid inks comprising stabilizing plastisols |
| US6945631B2 (en) | 2001-08-17 | 2005-09-20 | Fuji Photo Film Co., Ltd. | Image forming method and apparatus |
| JP4045759B2 (ja) | 2001-08-20 | 2008-02-13 | 富士ゼロックス株式会社 | 画像形成方法 |
| US6714232B2 (en) | 2001-08-30 | 2004-03-30 | Eastman Kodak Company | Image producing process and apparatus with magnetic load roller |
| JP2003076159A (ja) | 2001-09-07 | 2003-03-14 | Ricoh Co Ltd | 画像形成装置 |
| US20030055129A1 (en) | 2001-09-17 | 2003-03-20 | Westvaco Corporation | In Jet Inks |
| JP2003094795A (ja) | 2001-09-20 | 2003-04-03 | Ricoh Co Ltd | 画像記録用被記録材及びその記録方法 |
| JP2003114558A (ja) | 2001-10-03 | 2003-04-18 | Yuka Denshi Co Ltd | エンドレスベルト及び画像形成装置 |
| US6682189B2 (en) | 2001-10-09 | 2004-01-27 | Nexpress Solutions Llc | Ink jet imaging via coagulation on an intermediate member |
| US6719423B2 (en) | 2001-10-09 | 2004-04-13 | Nexpress Solutions Llc | Ink jet process including removal of excess liquid from an intermediate member |
| US6557992B1 (en) | 2001-10-26 | 2003-05-06 | Hewlett-Packard Development Company, L.P. | Method and apparatus for decorating an imaging device |
| JP2003202761A (ja) | 2001-11-01 | 2003-07-18 | Canon Inc | 画像形成装置及びそれに着脱可能な中間転写ユニット |
| JP2003145914A (ja) | 2001-11-07 | 2003-05-21 | Konica Corp | インクジェット記録方法およびインクジェット記録装置 |
| US6639527B2 (en) | 2001-11-19 | 2003-10-28 | Hewlett-Packard Development Company, L.P. | Inkjet printing system with an intermediate transfer member between the print engine and print medium |
| US6779885B2 (en) | 2001-12-04 | 2004-08-24 | Eastman Kodak Company | Ink jet printing method |
| JP2003170645A (ja) | 2001-12-06 | 2003-06-17 | Olympus Optical Co Ltd | 記録用紙及び画像記録装置 |
| US6606476B2 (en) | 2001-12-19 | 2003-08-12 | Xerox Corporation | Transfix component having haloelastomer and silicone hybrid material |
| AU2002317533A1 (en) | 2002-01-07 | 2003-07-24 | Rohm And Haas Company | Process for preparing emulsion polymers and polymers formed therefrom |
| JP2003211770A (ja) | 2002-01-18 | 2003-07-29 | Hitachi Printing Solutions Ltd | カラー画像記録装置 |
| JP2003219271A (ja) | 2002-01-24 | 2003-07-31 | Nippon Hoso Kyokai <Nhk> | 多地点仮想スタジオ合成システム |
| US6789887B2 (en) | 2002-02-20 | 2004-09-14 | Eastman Kodak Company | Inkjet printing method |
| JP2003246135A (ja) | 2002-02-26 | 2003-09-02 | Ricoh Co Ltd | 画像形成用処理液及び該処理液を用いる画像形成方法 |
| JP2003246484A (ja) | 2002-02-27 | 2003-09-02 | Kyocera Corp | ベルト搬送装置 |
| US7771040B2 (en) | 2002-03-08 | 2010-08-10 | Brother Kogyo Kabushiki Kaisha | Image forming apparatus and transfer belt used therein |
| JP2003267580A (ja) | 2002-03-15 | 2003-09-25 | Fuji Xerox Co Ltd | ベルト搬送装置及びこれを用いた画像形成装置 |
| US6743560B2 (en) | 2002-03-28 | 2004-06-01 | Heidelberger Druckmaschinen Ag | Treating composition and process for toner fusing in electrostatographic reproduction |
| JP2003292855A (ja) | 2002-04-08 | 2003-10-15 | Konica Corp | インクジェット記録用インクおよび画像形成方法 |
| JP4393748B2 (ja) | 2002-04-19 | 2010-01-06 | 株式会社リコー | インクジェット用インク |
| US6911993B2 (en) | 2002-05-15 | 2005-06-28 | Konica Corporation | Color image forming apparatus using registration marks |
| US6881458B2 (en) | 2002-06-03 | 2005-04-19 | 3M Innovative Properties Company | Ink jet receptive coating |
| US7084202B2 (en) | 2002-06-05 | 2006-08-01 | Eastman Kodak Company | Molecular complexes and release agents |
| JP2004011263A (ja) | 2002-06-06 | 2004-01-15 | Sumitomo Denko Steel Wire Kk | Pc鋼材の定着金具 |
| JP2004009632A (ja) | 2002-06-10 | 2004-01-15 | Konica Minolta Holdings Inc | インクジェット記録方法 |
| JP4250748B2 (ja) | 2002-06-14 | 2009-04-08 | フジコピアン株式会社 | 転写シート及び画像転写方法 |
| US6843559B2 (en) | 2002-06-20 | 2005-01-18 | Xerox Corporation | Phase change ink imaging component with MICA-type silicate layer |
| JP2004025708A (ja) | 2002-06-27 | 2004-01-29 | Konica Minolta Holdings Inc | インクジェット記録方法 |
| JP2004034441A (ja) | 2002-07-02 | 2004-02-05 | Konica Minolta Holdings Inc | 画像形成方法 |
| AT411605B (de) | 2002-07-05 | 2004-03-25 | Huyck Austria | Gewebeband-einrichtung |
| WO2004008215A1 (ja) | 2002-07-15 | 2004-01-22 | Tomoegawa Paper Co., Ltd. | 光ファイバテープ心線およびその製造方法 |
| DE10235872A1 (de) | 2002-07-30 | 2004-02-19 | Ebe Hesterman | Satellitendruckmaschine zum Bedrucken von bogenförmigen Substraten |
| DE10235027A1 (de) | 2002-07-31 | 2004-02-12 | Degussa Ag | Wäßrige, kolloidale, gefrier- und lagerstabile Gasrußsuspension |
| US7066088B2 (en) | 2002-07-31 | 2006-06-27 | Day International, Inc. | Variable cut-off offset press system and method of operation |
| ITBO20020531A1 (it) | 2002-08-08 | 2004-02-09 | Gd Spa | Dispositivo e metodo di giunzione di nastri. |
| JP2004077669A (ja) | 2002-08-13 | 2004-03-11 | Fuji Xerox Co Ltd | 画像形成装置 |
| CA2497536C (en) | 2002-09-03 | 2011-05-10 | Bloomberg Lp | Bezel-less electronic display |
| JP4006374B2 (ja) | 2002-09-04 | 2007-11-14 | キヤノン株式会社 | 画像形成方法、画像形成装置および記録物の製造方法 |
| WO2004022353A1 (en) | 2002-09-04 | 2004-03-18 | Canon Kabushiki Kaisha | Image forming process and image forming apparatus |
| US6898403B2 (en) | 2002-09-13 | 2005-05-24 | Samsung Electronics Co. Ltd. | Apparatus and method for removing carrier liquid from an intermediate transfer member surface or from a toned imaged on an intermediate transfer member |
| JP2004114377A (ja) | 2002-09-24 | 2004-04-15 | Konica Minolta Holdings Inc | インクジェット記録装置及びこの装置に用いるインク |
| CN100537216C (zh) | 2002-10-07 | 2009-09-09 | 日本写真印刷株式会社 | 转印材料 |
| JP2004148687A (ja) | 2002-10-30 | 2004-05-27 | Mitsubishi Heavy Ind Ltd | バリアブルカットオフ印刷機 |
| US6709096B1 (en) | 2002-11-15 | 2004-03-23 | Lexmark International, Inc. | Method of printing and layered intermediate used in inkjet printing |
| DE10253447A1 (de) | 2002-11-16 | 2004-06-03 | Degussa Ag | Wäßrige, kolloidale Gasrußsuspension |
| JP4375652B2 (ja) | 2002-11-21 | 2009-12-02 | 日本ニュークローム株式会社 | ドクターブレード |
| US6783228B2 (en) | 2002-12-31 | 2004-08-31 | Eastman Kodak Company | Digital offset lithographic printing |
| US6758140B1 (en) | 2002-12-31 | 2004-07-06 | Eastman Kodak Company | Inkjet lithographic printing plates |
| US7407899B2 (en) | 2003-01-10 | 2008-08-05 | Milliken & Company | Textile substrates having layered finish structure for improving liquid repellency and stain release |
| JP2004223956A (ja) | 2003-01-24 | 2004-08-12 | Fuji Photo Film Co Ltd | インクジェット記録用転写媒体及び画像形成方法 |
| JP4264969B2 (ja) | 2003-01-29 | 2009-05-20 | セイコーエプソン株式会社 | 水性顔料インク組成物、並びにこれを用いた記録方法、記録システム及び記録物 |
| EP2343306B1 (en) | 2003-02-14 | 2018-04-04 | Japan as represented by President of National Center of Neurology and Psychiatry Ministry of Health | Glycolipid derivatives, process for production of the same, intermediates for synthesis thereof, and process for production of the intermediates |
| JP4239152B2 (ja) | 2003-02-17 | 2009-03-18 | セイコーエプソン株式会社 | 液体組成物 |
| EP1454968B1 (en) | 2003-03-04 | 2010-04-28 | Seiko Epson Corporation | Pigment-dispersed aqueous recording liquid and printed material |
| DE10311219A1 (de) | 2003-03-14 | 2004-09-30 | Werner Kammann Maschinenfabrik Gmbh | Verfahren und Vorrichtung zum Bedrucken einer Bahn |
| JP4275455B2 (ja) | 2003-03-20 | 2009-06-10 | 株式会社リコー | 中間転写体、画像形成装置、画像形成方法、及び画像形成用乾式トナー |
| US7162167B2 (en) | 2003-03-28 | 2007-01-09 | Canon Kabushiki Kaisha | Image forming apparatus, method of adjusting developing unit of the apparatus, developing unit, and storage medium |
| US20040200369A1 (en) | 2003-04-11 | 2004-10-14 | Brady Thomas P. | Method and system for printing press image distortion compensation |
| JP4266693B2 (ja) | 2003-04-24 | 2009-05-20 | キヤノン株式会社 | 画像形成装置 |
| US20040221943A1 (en) | 2003-05-09 | 2004-11-11 | Xerox Corporation | Process for interlocking seam belt fabrication using adhesive tape with release substrate |
| US6984216B2 (en) | 2003-05-09 | 2006-01-10 | Troy Polymers, Inc. | Orthopedic casting articles |
| US7055946B2 (en) | 2003-06-12 | 2006-06-06 | Lexmark International, Inc. | Apparatus and method for printing with an inkjet drum |
| ATE466904T1 (de) | 2003-06-20 | 2010-05-15 | Kaneka Corp | Härtende zusammensetzung |
| JP4054722B2 (ja) | 2003-06-23 | 2008-03-05 | キヤノン株式会社 | 画像形成方法、画像形成装置および記録物の製造方法 |
| DE602004028370D1 (de) | 2003-06-23 | 2010-09-09 | Canon Kk | Verfahren zur bilderzeugung, bilderzeugungsgerät, zwischenelement, und verfahren zur modifizierung der oberfläche des zwischenelementes |
| JP4054721B2 (ja) | 2003-06-23 | 2008-03-05 | キヤノン株式会社 | 画像形成方法および画像形成装置 |
| JP4674786B2 (ja) | 2003-06-24 | 2011-04-20 | コニカミノルタビジネステクノロジーズ株式会社 | 画像形成装置及び画像形成方法 |
| EP1503326A1 (en) | 2003-07-28 | 2005-02-02 | Hewlett-Packard Development Company, L.P. | Multicolor-printer and method of printing images |
| JP4216153B2 (ja) | 2003-09-17 | 2009-01-28 | 株式会社リコー | ベルト搬送装置及びこれを用いた画像形成装置 |
| JP3970826B2 (ja) | 2003-10-02 | 2007-09-05 | 株式会社リコー | 画像形成装置 |
| US7128412B2 (en) | 2003-10-03 | 2006-10-31 | Xerox Corporation | Printing processes employing intermediate transfer with molten intermediate transfer materials |
| DE10347034B4 (de) | 2003-10-09 | 2006-11-09 | J. S. Staedtler Gmbh & Co. Kg | Verwendung einer Tinte |
| US7129858B2 (en) | 2003-10-10 | 2006-10-31 | Hewlett-Packard Development Company, L.P. | Encoding system |
| DE10349049B3 (de) | 2003-10-17 | 2005-06-09 | Interroll Schweiz Ag | Gurtbandförderer mit separaten Führungsschuhen |
| EP1676175B1 (en) | 2003-10-23 | 2009-03-25 | Hewlett-Packard Development Company, L.P. | Combination of contact heating device for heating toner image on an intermediate transfer member and internal heating device in said member |
| US6983692B2 (en) | 2003-10-31 | 2006-01-10 | Hewlett-Packard Development Company, L.P. | Printing apparatus with a drum and screen |
| US20050103437A1 (en) | 2003-11-19 | 2005-05-19 | Carroll James M. | Seaming iron with automatic traction |
| JP4006386B2 (ja) | 2003-11-20 | 2007-11-14 | キヤノン株式会社 | 画像形成方法および画像形成装置 |
| US7065308B2 (en) | 2003-11-24 | 2006-06-20 | Xerox Corporation | Transfer roll engagement method for minimizing media induced motion quality disturbances |
| US7257358B2 (en) | 2003-12-19 | 2007-08-14 | Lexmark International, Inc. | Method and apparatus for detecting registration errors in an image forming device |
| JP4562388B2 (ja) | 2003-12-26 | 2010-10-13 | エスケー化研株式会社 | 水性塗料組成物 |
| JP4091005B2 (ja) | 2004-01-29 | 2008-05-28 | 株式会社東芝 | 電子写真装置 |
| US6966712B2 (en) | 2004-02-20 | 2005-11-22 | International Business Machines Corporation | Method and system for minimizing the appearance of image distortion in a high speed inkjet paper printing system |
| JP2005234366A (ja) | 2004-02-20 | 2005-09-02 | Ricoh Co Ltd | 位置ずれ量検出方法及び画像形成装置 |
| JP4587069B2 (ja) | 2004-03-22 | 2010-11-24 | セイコーエプソン株式会社 | 水性インク組成物 |
| JP4010009B2 (ja) | 2004-03-25 | 2007-11-21 | 富士フイルム株式会社 | 画像記録装置及びメンテナンス方法 |
| JP2005297234A (ja) | 2004-04-07 | 2005-10-27 | Shin Etsu Chem Co Ltd | 熱圧着用シリコーンゴムシート及びその製造方法 |
| DE102004021600A1 (de) | 2004-05-03 | 2005-12-08 | Gretag-Macbeth Ag | Vorrichtung zur Inline-Überwachung der Druckqualität bei Bogenoffsetdruckmaschinen |
| JP2005319593A (ja) | 2004-05-06 | 2005-11-17 | Nippon Paper Industries Co Ltd | インクジェット記録用媒体 |
| US20050266332A1 (en) | 2004-05-28 | 2005-12-01 | Pavlisko Joseph A | Oil-free process for full color digital printing |
| JP2006001688A (ja) | 2004-06-16 | 2006-01-05 | Ricoh Co Ltd | 駆動制御装置と制御方法及び画像形成装置 |
| CN100540584C (zh) | 2004-06-29 | 2009-09-16 | 大日本油墨化学工业株式会社 | 阳离子性聚氨酯树脂水分散体、含有其的喷墨接受剂以及使用其制成的喷墨记录介质 |
| WO2006001421A1 (ja) | 2004-06-29 | 2006-01-05 | Dainippon Ink And Chemicals, Inc. | カチオン性ポリウレタン樹脂水分散体、それを含有してなるインクジェット受理剤、及びそれを用いてなるインクジェット記録媒体 |
| US6989052B1 (en) | 2004-06-30 | 2006-01-24 | Xerox Corporation | Phase change ink printing process |
| JP4391898B2 (ja) | 2004-07-06 | 2009-12-24 | 株式会社リコー | ベルト駆動制御装置、ベルト装置及び画像形成装置 |
| AU2005277284A1 (en) | 2004-08-20 | 2006-03-02 | Hunter Douglas Inc. | Apparatus and method for making a window covering having operable vanes |
| MX2007002722A (es) | 2004-09-09 | 2007-05-16 | Wella Ag | Composicion acondiciondora para el cuidado del cabello. |
| US20060066704A1 (en) | 2004-09-28 | 2006-03-30 | Fuji Photo Film Co., Ltd. | Image forming apparatus |
| JP2006095870A (ja) | 2004-09-29 | 2006-04-13 | Fuji Photo Film Co Ltd | インクジェットプリンタ及びその記録方法並びにこのプリンタで用いるインクと記録媒体 |
| DE602005013992D1 (de) | 2004-09-30 | 2009-05-28 | Dainippon Printing Co Ltd | Wärmeübertragungsschutzsschichtfilm |
| JP2006102975A (ja) | 2004-09-30 | 2006-04-20 | Fuji Photo Film Co Ltd | 吐出装置及び画像記録装置 |
| US7264328B2 (en) | 2004-09-30 | 2007-09-04 | Xerox Corporation | Systems and methods for print head defect detection and print head maintenance |
| US7204584B2 (en) | 2004-10-01 | 2007-04-17 | Xerox Corporation | Conductive bi-layer intermediate transfer belt for zero image blooming in field assisted ink jet printing |
| US7459491B2 (en) | 2004-10-19 | 2008-12-02 | Hewlett-Packard Development Company, L.P. | Pigment dispersions that exhibit variable particle size or variable vicosity |
| US8556400B2 (en) | 2004-10-22 | 2013-10-15 | Seiko Epson Corporation | Inkjet recording ink |
| JP2006139029A (ja) | 2004-11-11 | 2006-06-01 | Ricoh Co Ltd | 移動体へのマーク形成方法およびマーク付き移動体 |
| JP2006137127A (ja) | 2004-11-15 | 2006-06-01 | Konica Minolta Medical & Graphic Inc | インクジェットプリンタ |
| JP4553690B2 (ja) | 2004-11-16 | 2010-09-29 | サン美術印刷株式会社 | 情報担持シート及びそのための印刷インキ |
| JP2006152133A (ja) | 2004-11-30 | 2006-06-15 | Seiko Epson Corp | インクジェットインクおよびインクジェット記録装置 |
| US7575314B2 (en) | 2004-12-16 | 2009-08-18 | Agfa Graphics, N.V. | Dotsize control fluid for radiation curable ink-jet printing process |
| KR20070087670A (ko) | 2004-12-21 | 2007-08-28 | 다우 글로벌 테크놀로지스 인크. | 폴리프로필렌-기재의 접착제 조성물 |
| US7134953B2 (en) | 2004-12-27 | 2006-11-14 | 3M Innovative Properties Company | Endless abrasive belt and method of making the same |
| RU2282643C1 (ru) | 2004-12-30 | 2006-08-27 | Открытое акционерное общество "Балаковорезинотехника" | Способ крепления резин на основе акрилатных каучуков к металлическим поверхностям |
| JP5090182B2 (ja) | 2005-01-04 | 2012-12-05 | ダウ・コーニング・コーポレイション | オルガノボランアミン錯体によって硬化されたシロキサンおよびシラン |
| CN103965689B (zh) | 2005-01-18 | 2017-04-12 | 佳能株式会社 | 墨、成套墨、喷墨记录方法、墨盒和喷墨记录设备 |
| DE112006000664A5 (de) | 2005-01-18 | 2007-12-27 | Siegling Gmbh | Mehrschichtiges Band |
| US7677716B2 (en) | 2005-01-26 | 2010-03-16 | Hewlett-Packard Development Company, L.P. | Latent inkjet printing, to avoid drying and liquid-loading problems, and provide sharper imaging |
| CN101115809B (zh) | 2005-02-04 | 2012-06-27 | 株式会社理光 | 记录墨水、墨水组件、墨水盒、墨水记录物、喷墨记录装置和喷墨记录方法 |
| ATE433381T1 (de) | 2005-02-18 | 2009-06-15 | Taiyo Yuden Kk | Optisches informationsaufzeichnungsmaterial und verfahren zu dessen herstellung |
| JP2006224583A (ja) | 2005-02-21 | 2006-08-31 | Konica Minolta Holdings Inc | 搬送部材の粘着力回復方法、搬送装置及び画像記録装置 |
| JP2006234212A (ja) | 2005-02-23 | 2006-09-07 | Matsushita Electric Ind Co Ltd | 冷蔵庫 |
| EP1851059A2 (en) | 2005-02-24 | 2007-11-07 | E.I. Dupont De Nemours And Company | Selected textile medium for transfer printing |
| JP2006231666A (ja) | 2005-02-24 | 2006-09-07 | Seiko Epson Corp | インクジェット記録装置 |
| JP2006243212A (ja) | 2005-03-02 | 2006-09-14 | Fuji Xerox Co Ltd | 画像形成装置 |
| JP2006263984A (ja) | 2005-03-22 | 2006-10-05 | Fuji Photo Film Co Ltd | インクジェット記録方法及び装置 |
| US7322689B2 (en) | 2005-04-25 | 2008-01-29 | Xerox Corporation | Phase change ink transfix pressure component with dual-layer configuration |
| US7296882B2 (en) | 2005-06-09 | 2007-11-20 | Xerox Corporation | Ink jet printer performance adjustment |
| US7592117B2 (en) | 2005-06-16 | 2009-09-22 | Hewlett-Packard Development Company, L.P. | System and method for transferring features to a substrate |
| JP4449831B2 (ja) | 2005-06-17 | 2010-04-14 | 富士ゼロックス株式会社 | インク受容性粒子、マーキング材料、インク受容方法、記録方法、及び記録装置 |
| JP2006347081A (ja) | 2005-06-17 | 2006-12-28 | Fuji Xerox Co Ltd | パターン形成方法およびパターン形成装置 |
| JP2007041530A (ja) | 2005-06-27 | 2007-02-15 | Fuji Xerox Co Ltd | エンドレスベルトおよびそれを用いた画像形成装置 |
| US7506975B2 (en) | 2005-06-28 | 2009-03-24 | Xerox Corporation | Sticky baffle |
| US7233761B2 (en) | 2005-07-13 | 2007-06-19 | Ricoh Company, Ltd. | Method and apparatus for transferring multiple toner images and image forming apparatus |
| JP2007025246A (ja) | 2005-07-15 | 2007-02-01 | Seiko Epson Corp | 画像形成装置 |
| GB0515052D0 (en) | 2005-07-22 | 2005-08-31 | Dow Corning | Organosiloxane compositions |
| JP2007058154A (ja) | 2005-07-26 | 2007-03-08 | Fuji Xerox Co Ltd | 中間転写ベルト、その製造方法、及び画像形成装置 |
| US7907872B2 (en) | 2005-07-29 | 2011-03-15 | Ricoh Company, Ltd. | Imprinting apparatus and an image formation apparatus |
| US7673741B2 (en) | 2005-08-08 | 2010-03-09 | Inter-Source Recovery Systems | Apparatus and method for conveying materials |
| JP4803356B2 (ja) | 2005-08-15 | 2011-10-26 | セイコーエプソン株式会社 | インクセット及びこれを用いた記録方法、記録物 |
| US7655708B2 (en) | 2005-08-18 | 2010-02-02 | Eastman Kodak Company | Polymeric black pigment dispersions and ink jet ink compositions |
| US8044114B2 (en) | 2005-08-23 | 2011-10-25 | Ricoh Company, Ltd. | Ink for recording, and ink cartridge, ink recorded matter, inkjet recording apparatus and inkjet recording method using the same |
| JP4509891B2 (ja) | 2005-08-24 | 2010-07-21 | 株式会社東芝 | ベルト駆動装置 |
| US20070054981A1 (en) | 2005-09-07 | 2007-03-08 | Fuji Photo Film Co., Ltd | Ink set and method and apparatus for recording image |
| JP2007069584A (ja) | 2005-09-09 | 2007-03-22 | Fujifilm Corp | 中間転写回転ドラム及びその製造方法 |
| JP2009507692A (ja) | 2005-09-12 | 2009-02-26 | エレクトロニクス、フォー、イメージング、インコーポレーテッド | グラフィック用途用金属インクジェット印刷システム |
| JP4725262B2 (ja) | 2005-09-14 | 2011-07-13 | 富士フイルム株式会社 | 画像形成装置 |
| JP4783102B2 (ja) | 2005-09-14 | 2011-09-28 | 株式会社リコー | 画像形成装置、および画像形成制御プログラム |
| US7845786B2 (en) | 2005-09-16 | 2010-12-07 | Fujifilm Corporation | Image forming apparatus and ejection state determination method |
| JP4743502B2 (ja) | 2005-09-20 | 2011-08-10 | 富士フイルム株式会社 | 画像形成装置 |
| EP1769911B1 (en) | 2005-09-30 | 2010-11-03 | FUJIFILM Corporation | Recording medium, planographic printing plate using the same and method for producing the planographic printing plate |
| US8122846B2 (en) | 2005-10-26 | 2012-02-28 | Micronic Mydata AB | Platforms, apparatuses, systems and methods for processing and analyzing substrates |
| US8779027B2 (en) | 2005-10-31 | 2014-07-15 | Dic Corporation | Aqueous pigment dispersion liquid and ink-jet recording ink |
| JP4413854B2 (ja) | 2005-11-29 | 2010-02-10 | 株式会社東芝 | 画像形成装置 |
| US7541406B2 (en) | 2005-11-30 | 2009-06-02 | Xerox Corporation | Phase change inks containing curable isocyanate-derived compounds |
| US7658486B2 (en) | 2005-11-30 | 2010-02-09 | Xerox Corporation | Phase change inks |
| US7655707B2 (en) | 2005-12-02 | 2010-02-02 | Hewlett-Packard Development Company, L.P. | Pigmented ink-jet inks with improved image quality on glossy media |
| WO2007072951A1 (en) | 2005-12-22 | 2007-06-28 | Ricoh Company, Ltd. | Pigment dispersion, recording ink, ink cartridge, ink-jet recording method and ink-jet recording apparatus |
| US7926933B2 (en) | 2005-12-27 | 2011-04-19 | Canon Kabushiki Kaisha | Ink jet printing method and ink jet printing apparatus |
| US7543815B2 (en) | 2005-12-28 | 2009-06-09 | Hewlett-Packard Development Company, L.P. | Grippers malfunction monitoring |
| US7527359B2 (en) | 2005-12-29 | 2009-05-05 | Xerox Corporation | Circuitry for printer |
| JP2007190745A (ja) | 2006-01-18 | 2007-08-02 | Fuji Xerox Co Ltd | パターン形成方法およびパターン形成装置 |
| JP2007193005A (ja) | 2006-01-18 | 2007-08-02 | Toshiba Corp | 画像形成装置およびベルト駆動機構ならびにベルト体駆動方法 |
| JP2007216673A (ja) | 2006-01-19 | 2007-08-30 | Brother Ind Ltd | プリント装置及び転写体 |
| US8025388B2 (en) | 2006-02-01 | 2011-09-27 | Fujifilm Corporation | Image forming apparatus and image forming method with decreased image transfer disturbance |
| JP4951990B2 (ja) | 2006-02-13 | 2012-06-13 | 富士ゼロックス株式会社 | 弾性体ロール及び定着装置 |
| EP1986863B1 (en) | 2006-02-21 | 2009-12-30 | Moore Wallace North America, Inc. | Systems and methods for high speed variable printing |
| JP2007253347A (ja) | 2006-03-20 | 2007-10-04 | Ricoh Co Ltd | 接合部材製造方法、無端状接合ベルト、定着ユニット、中間転写ユニット、画像形成装置、及び、シート接合装置 |
| JP2007268802A (ja) | 2006-03-30 | 2007-10-18 | Fujifilm Corp | 画像形成装置及び画像形成方法 |
| JP2009532240A (ja) | 2006-04-06 | 2009-09-10 | エイサパック ホールディング ソシエテ アノニム | 埋め込まれた帯材を有する熱可塑性材料の管状パッケージング本体 |
| JP4387374B2 (ja) | 2006-04-28 | 2009-12-16 | シャープ株式会社 | 画像形成装置、画像形成装置の制御方法、プログラムおよびその記録媒体 |
| JP4752599B2 (ja) | 2006-05-08 | 2011-08-17 | 富士ゼロックス株式会社 | 液滴吐出装置 |
| JP4752600B2 (ja) | 2006-05-08 | 2011-08-17 | 富士ゼロックス株式会社 | 液滴吐出装置 |
| DE102006023111A1 (de) | 2006-05-16 | 2007-11-22 | Werner Kammann Maschinenfabrik Gmbh & Co. Kg | Vorrichtung zum Beschichten von Objekten |
| JP2008006816A (ja) | 2006-06-02 | 2008-01-17 | Fujifilm Corp | 画像形成装置および画像形成方法 |
| US7712890B2 (en) | 2006-06-02 | 2010-05-11 | Fujifilm Corporation | Image forming apparatus and image forming method |
| US20070285486A1 (en) | 2006-06-08 | 2007-12-13 | Xerox Corporation | Low viscosity intermediate transfer coating |
| US7699922B2 (en) | 2006-06-13 | 2010-04-20 | Xerox Corporation | Organic phase change carriers containing nanoparticles, phase change inks including same and methods for making same |
| US8011781B2 (en) | 2006-06-15 | 2011-09-06 | Canon Kabushiki Kaisha | Method of producing recorded product (printed product) and image forming apparatus |
| JP4829843B2 (ja) | 2006-06-15 | 2011-12-07 | キヤノン株式会社 | 記録物(印刷物)の製造方法および画像形成装置 |
| JP4668853B2 (ja) | 2006-06-16 | 2011-04-13 | 株式会社リコー | 電子写真感光体、並びにこれを用いた画像形成装置及びプロセスカートリッジ |
| WO2007145378A1 (en) | 2006-06-16 | 2007-12-21 | Canon Kabushiki Kaisha | Method for producing record product, and intermediate transfer body and image recording apparatus used therefor |
| JP2008007652A (ja) | 2006-06-29 | 2008-01-17 | Fujifilm Corp | アゾ色素、感熱転写記録用インクシート、感熱転写記録方法、カラートナー、インクジェット用インクおよびカラーフィルタ |
| JP5085893B2 (ja) | 2006-07-10 | 2012-11-28 | 富士フイルム株式会社 | 画像形成装置及びインクセット |
| JP2008036968A (ja) | 2006-08-07 | 2008-02-21 | Fujifilm Corp | 画像記録装置及び画像記録方法 |
| JP2008044235A (ja) | 2006-08-16 | 2008-02-28 | Fujifilm Corp | インクジェット記録方法及び装置 |
| JP2008049671A (ja) | 2006-08-28 | 2008-03-06 | Fujifilm Corp | 画像形成装置および画像形成方法 |
| US8273273B2 (en) | 2006-08-31 | 2012-09-25 | Konica Minolta Opto, Inc. | Manufacturing method for optical film |
| US7887177B2 (en) | 2006-09-01 | 2011-02-15 | Fuji Xerox Co., Ltd. | Ink-recipient particle, material for recording, recording apparatus and storage member for ink-recipient particle |
| JP4895729B2 (ja) | 2006-09-01 | 2012-03-14 | 富士フイルム株式会社 | インクジェット記録装置 |
| JP4908117B2 (ja) | 2006-09-04 | 2012-04-04 | 富士フイルム株式会社 | インクセット及び画像形成装置並びにその方法 |
| JP2008074018A (ja) | 2006-09-22 | 2008-04-03 | Fujifilm Corp | 画像形成装置 |
| JP4884151B2 (ja) | 2006-09-27 | 2012-02-29 | 株式会社リコー | 位置検知装置、速度検出装置、移動制御装置、ベルト搬送装置、回転体駆動装置、および画像形成装置 |
| US8460450B2 (en) | 2006-11-20 | 2013-06-11 | Hewlett-Packard Development Company, L.P. | Rapid drying, water-based ink-jet ink |
| US7665817B2 (en) | 2006-11-29 | 2010-02-23 | Xerox Corporation | Double reflex printing |
| JP2008137239A (ja) | 2006-11-30 | 2008-06-19 | Kyocera Mita Corp | インクジェット記録方法およびインクジェット記録装置 |
| DE602006002039D1 (de) | 2006-12-04 | 2008-09-11 | C B G Acciai S R L | Vorgehonte Rakel mit bogenförmigem Lamellenprofil und Herstellungsverfahren für die Rakel |
| JP2008142962A (ja) | 2006-12-07 | 2008-06-26 | Fuji Xerox Co Ltd | インク受容性粒子、記録用の材料、記録装置、及びインク受容性粒子収納カートリッジ |
| US7754298B2 (en) | 2006-12-11 | 2010-07-13 | Hewlett-Packard Development Company, L.P. | Intermediate transfer member and method for making same |
| GB0625530D0 (en) | 2006-12-21 | 2007-01-31 | Eastman Kodak Co | Aqueous inkjet fluid |
| US7919544B2 (en) | 2006-12-27 | 2011-04-05 | Ricoh Company, Ltd. | Ink-media set, ink composition, ink cartridge, inkjet recording method, inkjet recording apparatus, and ink recorded matter |
| JP5144243B2 (ja) | 2006-12-28 | 2013-02-13 | 富士フイルム株式会社 | 画像形成方法及び画像形成装置 |
| US20080175612A1 (en) | 2007-01-18 | 2008-07-24 | Ricoh Company, Ltd. | Motor control device and image forming apparatus |
| JP4367490B2 (ja) | 2007-01-26 | 2009-11-18 | セイコーエプソン株式会社 | インクジェット記録用インク組成物、記録方法、および記録物 |
| JP5135809B2 (ja) | 2007-01-26 | 2013-02-06 | 富士ゼロックス株式会社 | ポリイミド膜及びポリイミド無端ベルトの製造装置並びにポリイミド膜及びポリイミド無端ベルトの製造方法 |
| JP2008194997A (ja) | 2007-02-15 | 2008-08-28 | Fuji Xerox Co Ltd | ベルト回転装置及び画像形成装置 |
| JP2008200899A (ja) | 2007-02-16 | 2008-09-04 | Fuji Xerox Co Ltd | インク受容性粒子、記録用の材料、記録装置、及びインク受容性粒子収納カートリッジ |
| US8733249B2 (en) | 2007-02-20 | 2014-05-27 | Goss International Americas, Inc. | Real-time print product status |
| JP2008201564A (ja) | 2007-02-22 | 2008-09-04 | Fuji Xerox Co Ltd | ベルト回転装置及び画像形成装置 |
| JP5170508B2 (ja) | 2007-03-16 | 2013-03-27 | 株式会社リコー | インクメディアセット、及びインクジェット記録方法、記録物、記録装置 |
| JP4442627B2 (ja) | 2007-03-28 | 2010-03-31 | ブラザー工業株式会社 | 画像記録装置 |
| JP2008246787A (ja) | 2007-03-29 | 2008-10-16 | Fujifilm Corp | 溶媒吸収装置及び画像形成装置 |
| JP2008254203A (ja) | 2007-03-30 | 2008-10-23 | Fujifilm Corp | インクジェット記録装置、インクジェット記録方法 |
| JP2008246990A (ja) | 2007-03-30 | 2008-10-16 | Nippon Paper Industries Co Ltd | インクジェット記録媒体 |
| JP2008255135A (ja) | 2007-03-30 | 2008-10-23 | Fujifilm Corp | インク及び画像形成方法並びにその装置 |
| JP2008257118A (ja) | 2007-04-09 | 2008-10-23 | Fuji Xerox Co Ltd | 画像形成装置用の無端状ベルト、画像形成装置用のベルト張架装置および画像形成装置 |
| US7706733B2 (en) | 2007-04-10 | 2010-04-27 | Xerox Corporation | Mechanism for transfix member with idle movement |
| JP5386796B2 (ja) | 2007-05-24 | 2014-01-15 | セイコーエプソン株式会社 | インクジェット記録用インクセットおよびインクジェット記録方法 |
| JP5017684B2 (ja) | 2007-07-13 | 2012-09-05 | 株式会社リコー | ベルト装置および画像形成装置 |
| JP2009025570A (ja) | 2007-07-19 | 2009-02-05 | Ricoh Co Ltd | 画像形成装置、像担持体およびプロセスカートリッジ |
| JP2009036914A (ja) | 2007-07-31 | 2009-02-19 | Canon Inc | 画像形成装置及び画像形成方法 |
| JP2009037311A (ja) | 2007-07-31 | 2009-02-19 | Dainippon Printing Co Ltd | 偏光板用表面フィルム及びこれを用いた偏光板 |
| KR101154896B1 (ko) | 2007-08-06 | 2012-06-18 | 삼성전자주식회사 | 정착유닛 및 이를 포함하는 화상형성장치 |
| JP5213382B2 (ja) | 2007-08-09 | 2013-06-19 | 富士フイルム株式会社 | 水性インク組成物、インクセット、及び画像記録方法 |
| JP2009045794A (ja) | 2007-08-17 | 2009-03-05 | Fujifilm Corp | 画像形成方法及び画像形成装置 |
| CN101835611B (zh) | 2007-08-20 | 2013-03-27 | 摩尔·华莱士北美公司 | 用于控制一种物质向一个基底涂敷的设备和方法 |
| JP2009045851A (ja) | 2007-08-21 | 2009-03-05 | Fujifilm Corp | 画像形成方法及び装置 |
| JP2009045885A (ja) | 2007-08-22 | 2009-03-05 | Fuji Xerox Co Ltd | 冷却装置、画像形成装置、及び定着装置 |
| JP5051887B2 (ja) | 2007-09-05 | 2012-10-17 | 富士フイルム株式会社 | 液体塗布装置及び方法並びに画像形成装置 |
| EP2037329B1 (en) | 2007-09-13 | 2014-07-02 | Ricoh Company, Ltd. | Image forming apparatus belt unit, and belt driving control method |
| JP4960814B2 (ja) | 2007-09-18 | 2012-06-27 | 富士フイルム株式会社 | 画像形成装置および画像形成装置の制御方法 |
| JP2009069753A (ja) | 2007-09-18 | 2009-04-02 | Oki Data Corp | ベルト回転装置及び画像形成装置 |
| US8042906B2 (en) | 2007-09-25 | 2011-10-25 | Fujifilm Corporation | Image forming method and apparatus |
| JP4931751B2 (ja) | 2007-09-25 | 2012-05-16 | 富士フイルム株式会社 | 画像形成装置及び画像形成方法 |
| JP5330763B2 (ja) | 2007-09-25 | 2013-10-30 | 富士フイルム株式会社 | 画像形成方法及び画像形成装置 |
| JP5247102B2 (ja) | 2007-09-26 | 2013-07-24 | 富士フイルム株式会社 | インクジェット用インク及びその製造方法、並びにインクセット |
| JP5020015B2 (ja) * | 2007-09-28 | 2012-09-05 | 富士フイルム株式会社 | 液体塗布装置及びインクジェット記録装置 |
| JP2009083324A (ja) | 2007-09-28 | 2009-04-23 | Fujifilm Corp | インクジェット記録方法 |
| JP2009083314A (ja) | 2007-09-28 | 2009-04-23 | Fujifilm Corp | 画像形成方法及びインクジェット記録装置 |
| JP2009083317A (ja) | 2007-09-28 | 2009-04-23 | Fujifilm Corp | 画像形成方法及び画像形成装置 |
| JP2009083325A (ja) | 2007-09-28 | 2009-04-23 | Fujifilm Corp | 画像形成方法及びインクジェット記録装置 |
| US7703601B2 (en) | 2007-10-31 | 2010-04-27 | Habasit Ag | Hybrid mesh belt |
| JP2009116128A (ja) | 2007-11-07 | 2009-05-28 | Fuji Xerox Co Ltd | 定着装置及び画像形成装置 |
| ITMO20070354A1 (it) | 2007-11-23 | 2009-05-24 | Tecno Europa Srl | Apparato e metodo per decorare oggetti |
| CN101177057A (zh) | 2007-11-26 | 2008-05-14 | 杭州远洋实业有限公司 | 一种气垫印刷橡皮布生产工艺 |
| US7873311B2 (en) | 2007-12-05 | 2011-01-18 | Kabushiki Kaisha Toshiba | Belt transfer device for image forming apparatus |
| JP2009148908A (ja) | 2007-12-18 | 2009-07-09 | Fuji Xerox Co Ltd | インクジェット記録用中間転写無端ベルト及び記録装置 |
| JP2009154330A (ja) | 2007-12-25 | 2009-07-16 | Seiko Epson Corp | インクジェット記録方法及びインクジェット記録装置 |
| US7526229B1 (en) | 2007-12-27 | 2009-04-28 | Aetas Technology Incorporated | Belt tension mechanism of an image forming device |
| WO2009087789A1 (ja) | 2008-01-04 | 2009-07-16 | Sakura Color Products Corporation | 水変色性布帛シート |
| US7965414B2 (en) | 2008-01-23 | 2011-06-21 | Xerox Corporation | Systems and methods for detecting image quality defects |
| JP5235432B2 (ja) | 2008-01-30 | 2013-07-10 | キヤノン株式会社 | 画像形成装置 |
| JP4513868B2 (ja) | 2008-02-12 | 2010-07-28 | 富士ゼロックス株式会社 | ベルト回転装置及び記録装置 |
| JP2009190375A (ja) | 2008-02-18 | 2009-08-27 | Fuji Xerox Co Ltd | インク受容性粒子、及び記録装置 |
| US8029123B2 (en) | 2008-02-25 | 2011-10-04 | Fuji Xerox Co., Ltd. | Material set for recording and recording apparatus |
| JP5018547B2 (ja) | 2008-02-26 | 2012-09-05 | 富士ゼロックス株式会社 | 記録装置 |
| JP2009203035A (ja) | 2008-02-28 | 2009-09-10 | Seiko Epson Corp | ベルト斜行補正制御方法、ベルト搬送装置、記録装置 |
| JP2009208349A (ja) | 2008-03-04 | 2009-09-17 | Fujifilm Corp | ノズルプレートの凸部製造方法、ノズルプレート、インクジェットヘッド及び画像形成装置 |
| JP4525778B2 (ja) | 2008-03-07 | 2010-08-18 | 富士ゼロックス株式会社 | 記録用の材料 |
| JP2009214318A (ja) | 2008-03-07 | 2009-09-24 | Fuji Xerox Co Ltd | 記録装置、及び記録用の材料 |
| JP2009214439A (ja) | 2008-03-11 | 2009-09-24 | Fujifilm Corp | インクジェット記録装置及び画像形成方法 |
| CN101249768B (zh) | 2008-03-17 | 2011-02-16 | 汕头市新协特种纸科技有限公司 | 一种可喷墨打印的热转印纸及其制备方法 |
| US8342672B2 (en) * | 2008-03-24 | 2013-01-01 | Fuji Xerox Co., Ltd. | Recording apparatus |
| JP5040766B2 (ja) | 2008-03-25 | 2012-10-03 | 富士ゼロックス株式会社 | 記録装置 |
| JP2009227909A (ja) | 2008-03-25 | 2009-10-08 | Fujifilm Corp | インクジェット用インクセット、画像記録方法、及び画像記録装置 |
| JP2009226852A (ja) | 2008-03-25 | 2009-10-08 | Fujifilm Corp | インクジェット記録装置および記録方法 |
| JP5106199B2 (ja) | 2008-03-25 | 2012-12-26 | 富士フイルム株式会社 | 画像形成方法および画像形成装置 |
| JP2009233977A (ja) | 2008-03-26 | 2009-10-15 | Fuji Xerox Co Ltd | 記録用の材料、および記録装置 |
| JP2009234219A (ja) | 2008-03-28 | 2009-10-15 | Fujifilm Corp | 画像形成方法、画像形成装置 |
| JP2009240925A (ja) | 2008-03-31 | 2009-10-22 | Fujifilm Corp | 液体塗布装置、液体塗布方法、インクジェット記録装置、及びインクジェット記録方法 |
| US8038280B2 (en) | 2008-04-09 | 2011-10-18 | Xerox Corporation | Ink-jet printer and method for decurling cut sheet media prior to ink-jet printing |
| JP5625182B2 (ja) | 2008-04-22 | 2014-11-19 | 東亞合成株式会社 | 硬化性組成物及び有機ケイ素化合物の製造方法 |
| EP2313279B1 (en) | 2008-05-02 | 2019-03-13 | Hewlett-Packard Development Company, L.P. | Inkjet imaging methods, imaging methods, and hard imaging devices |
| JP2009271422A (ja) | 2008-05-09 | 2009-11-19 | Ricoh Co Ltd | 無端ベルト、ベルト装置、中間転写ユニット、及び、画像形成装置 |
| JP4591544B2 (ja) | 2008-05-21 | 2010-12-01 | 富士ゼロックス株式会社 | 補正情報作成装置、画像形成装置及びプログラム |
| JP5353059B2 (ja) | 2008-05-26 | 2013-11-27 | 株式会社リコー | 画像形成方法 |
| JP5137894B2 (ja) | 2008-05-27 | 2013-02-06 | キヤノン株式会社 | カラー画像形成装置 |
| WO2009148102A1 (ja) | 2008-06-03 | 2009-12-10 | キヤノン株式会社 | 画像形成方法および画像形成装置 |
| JP2010000712A (ja) | 2008-06-20 | 2010-01-07 | Fuji Xerox Co Ltd | 画像記録用組成物、画像記録用インクセット、および記録装置 |
| JP5203065B2 (ja) * | 2008-06-24 | 2013-06-05 | 富士フイルム株式会社 | 液体塗布方法及び画像形成装置 |
| JP5253013B2 (ja) | 2008-06-24 | 2013-07-31 | 富士フイルム株式会社 | 画像形成方法及び装置 |
| US8136476B2 (en) | 2008-07-18 | 2012-03-20 | Xerox Corporation | Liquid layer applicator assembly |
| US7810922B2 (en) | 2008-07-23 | 2010-10-12 | Xerox Corporation | Phase change ink imaging component having conductive coating |
| US8096650B2 (en) | 2008-07-28 | 2012-01-17 | Xerox Corporation | Duplex printing with integrated image marking engines |
| CN102105617A (zh) | 2008-08-08 | 2011-06-22 | 美国圣戈班性能塑料公司 | 热喷涂遮蔽胶带 |
| JP2010054855A (ja) | 2008-08-28 | 2010-03-11 | Fuji Xerox Co Ltd | 画像形成装置 |
| US8087771B2 (en) * | 2008-08-29 | 2012-01-03 | Xerox Corporation | Dual blade release agent application apparatus |
| JP5317598B2 (ja) | 2008-09-12 | 2013-10-16 | キヤノン株式会社 | プリンタ |
| JP5453750B2 (ja) | 2008-09-17 | 2014-03-26 | 株式会社リコー | インクジェット記録用インクセット及びインクジェット記録方法 |
| JP2010076215A (ja) | 2008-09-25 | 2010-04-08 | Fuji Xerox Co Ltd | インク受容性粒子、記録用の材料および記録装置 |
| JP4803233B2 (ja) | 2008-09-26 | 2011-10-26 | 富士ゼロックス株式会社 | 記録装置 |
| JP5435194B2 (ja) | 2008-10-08 | 2014-03-05 | セイコーエプソン株式会社 | インクジェット記録方式の印刷方法および水性インク組成物 |
| JP4780347B2 (ja) | 2008-10-10 | 2011-09-28 | 富士ゼロックス株式会社 | 画像形成装置及び画像形成方法 |
| US9422409B2 (en) | 2008-10-10 | 2016-08-23 | Massachusetts Institute Of Technology | Method of hydrolytically stable bonding of elastomers to substrates |
| US8041275B2 (en) | 2008-10-30 | 2011-10-18 | Hewlett-Packard Development Company, L.P. | Release layer |
| JP2010105365A (ja) | 2008-10-31 | 2010-05-13 | Fuji Xerox Co Ltd | インク受容性粒子、インク記録用材料、記録方法、記録装置、及びインク受容性粒子収納カートリッジ |
| US7857414B2 (en) | 2008-11-20 | 2010-12-28 | Xerox Corporation | Printhead registration correction system and method for use with direct marking continuous web printers |
| WO2010073916A1 (ja) | 2008-12-26 | 2010-07-01 | 日本パーカライジング株式会社 | 金属の電解セラミックスコーティング方法、金属の電解セラミックスコーティング用電解液および金属材料 |
| JP5370815B2 (ja) | 2009-01-30 | 2013-12-18 | 株式会社リコー | 画像形成装置 |
| JP5568240B2 (ja) | 2009-02-02 | 2014-08-06 | 東レ・ダウコーニング株式会社 | 硬化性シリコーンゴム組成物 |
| JP2010184376A (ja) | 2009-02-10 | 2010-08-26 | Fujifilm Corp | インクジェット記録装置およびインクジェット記録方法 |
| JP5089629B2 (ja) | 2009-02-19 | 2012-12-05 | 株式会社リコー | 画像形成装置及び画像形成方法 |
| JP5517474B2 (ja) | 2009-02-25 | 2014-06-11 | 三菱重工印刷紙工機械株式会社 | 印刷装置及び印刷方法並びに枚葉印刷機と輪転印刷機 |
| US8310178B2 (en) | 2009-02-27 | 2012-11-13 | Canon Kabushiki Kaisha | Motor control apparatus and image forming apparatus |
| US8318271B2 (en) | 2009-03-02 | 2012-11-27 | Eastman Kodak Company | Heat transferable material for improved image stability |
| JP5230490B2 (ja) | 2009-03-09 | 2013-07-10 | 富士フイルム株式会社 | 画像形成装置 |
| JP2010214652A (ja) | 2009-03-13 | 2010-09-30 | Fujifilm Corp | 画像形成装置及びミスト回収方法 |
| JP2010214885A (ja) | 2009-03-18 | 2010-09-30 | Mitsubishi Heavy Ind Ltd | ブランケット張力調節装置及び印刷機 |
| US8229336B2 (en) | 2009-03-24 | 2012-07-24 | Fuji Xerox Co., Ltd. | Endless belt, cartridge, and image forming apparatus |
| JP2010247528A (ja) | 2009-03-25 | 2010-11-04 | Konica Minolta Holdings Inc | 画像形成方法 |
| JP4849147B2 (ja) | 2009-03-26 | 2012-01-11 | 富士ゼロックス株式会社 | 記録装置及び記録材料 |
| JP2010228192A (ja) | 2009-03-26 | 2010-10-14 | Fuji Xerox Co Ltd | インクジェット記録用中間転写体及びインクジェット記録装置 |
| JP5391772B2 (ja) | 2009-03-26 | 2014-01-15 | 富士ゼロックス株式会社 | 記録装置 |
| JP2010228392A (ja) | 2009-03-27 | 2010-10-14 | Nippon Paper Industries Co Ltd | インクジェット記録媒体 |
| US7910183B2 (en) | 2009-03-30 | 2011-03-22 | Xerox Corporation | Layered intermediate transfer members |
| JP5627189B2 (ja) | 2009-03-31 | 2014-11-19 | デュプロ精工株式会社 | 液体吐出装置 |
| JP5303337B2 (ja) | 2009-03-31 | 2013-10-02 | 理想科学工業株式会社 | 画像制御装置 |
| JP5463713B2 (ja) | 2009-04-02 | 2014-04-09 | 凸版印刷株式会社 | グラビアコーティング用ドクター |
| JP5679637B2 (ja) | 2009-04-09 | 2015-03-04 | キヤノン株式会社 | 転写型インクジェット記録用中間転写体、及び、係る中間転写体を用いた転写型インクジェット記録方法 |
| JP2010247381A (ja) | 2009-04-13 | 2010-11-04 | Ricoh Co Ltd | 画像形成方法、画像形成装置、処理液及び記録液 |
| JP5487702B2 (ja) | 2009-04-24 | 2014-05-07 | セイコーエプソン株式会社 | 光電変換装置の製造方法 |
| JP2010260204A (ja) | 2009-04-30 | 2010-11-18 | Canon Inc | インクジェット記録装置 |
| JP2010260956A (ja) | 2009-05-07 | 2010-11-18 | Seiko Epson Corp | インクジェット記録用インク組成物 |
| JP2010260287A (ja) | 2009-05-08 | 2010-11-18 | Canon Inc | 記録物の製造方法および画像記録装置 |
| JP5507883B2 (ja) | 2009-05-11 | 2014-05-28 | 理想科学工業株式会社 | 画像形成装置 |
| US20100300604A1 (en) | 2009-05-29 | 2010-12-02 | William Krebs Goss | Image transfer belt with controlled surface topography to improve toner release |
| JP5445328B2 (ja) | 2009-06-02 | 2014-03-19 | 株式会社リコー | 画像形成装置 |
| JP2010281943A (ja) | 2009-06-03 | 2010-12-16 | Ricoh Co Ltd | 画像形成装置 |
| JP5179441B2 (ja) | 2009-06-10 | 2013-04-10 | シャープ株式会社 | 転写装置及びこれを用いる画像形成装置 |
| CN201410787Y (zh) | 2009-06-11 | 2010-02-24 | 浙江创鑫木业有限公司 | 一种木地板用的喷码装置 |
| US8456586B2 (en) | 2009-06-11 | 2013-06-04 | Apple Inc. | Portable computer display structures |
| JP2011002532A (ja) | 2009-06-17 | 2011-01-06 | Seiko Epson Corp | 画像形成装置および画像形成方法 |
| JP2011025431A (ja) | 2009-07-22 | 2011-02-10 | Fuji Xerox Co Ltd | 画像記録装置 |
| WO2011014185A1 (en) | 2009-07-31 | 2011-02-03 | Hewlett-Packard Development Company, L.P. | Inkjet ink and intermediate transfer medium for inkjet printing |
| US8177352B2 (en) | 2009-08-04 | 2012-05-15 | Xerox Corporation | Drum maintenance system for reducing duplex dropout |
| JP2011037070A (ja) | 2009-08-07 | 2011-02-24 | Riso Kagaku Corp | 印刷装置の吐出制御機構及び吐出制御方法 |
| JP5472791B2 (ja) | 2009-08-24 | 2014-04-16 | 株式会社リコー | 画像形成装置 |
| JP5493608B2 (ja) | 2009-09-07 | 2014-05-14 | 株式会社リコー | 転写装置及び画像形成装置 |
| JP2011064850A (ja) | 2009-09-16 | 2011-03-31 | Seiko Epson Corp | 転写装置及び画像形成装置 |
| US8162428B2 (en) | 2009-09-17 | 2012-04-24 | Xerox Corporation | System and method for compensating runout errors in a moving web printing system |
| JP4897023B2 (ja) | 2009-09-18 | 2012-03-14 | 富士フイルム株式会社 | インク組成物、インクセットおよびインクジェット画像形成方法 |
| JP5430315B2 (ja) | 2009-09-18 | 2014-02-26 | 富士フイルム株式会社 | 画像形成方法及びインク組成物 |
| JP5490474B2 (ja) | 2009-09-18 | 2014-05-14 | 富士フイルム株式会社 | 画像形成方法及びインク組成物 |
| JP5444993B2 (ja) | 2009-09-24 | 2014-03-19 | ブラザー工業株式会社 | 記録装置 |
| JP2011067956A (ja) | 2009-09-24 | 2011-04-07 | Fuji Xerox Co Ltd | 粒子散布装置及び画像形成装置 |
| JP2011073190A (ja) | 2009-09-29 | 2011-04-14 | Fujifilm Corp | 液体供給装置及び画像形成装置 |
| JP5304584B2 (ja) | 2009-10-14 | 2013-10-02 | 株式会社リコー | 画像形成装置、画像形成方法、およびプログラム |
| JP2011107357A (ja) * | 2009-11-17 | 2011-06-02 | Konica Minolta Business Technologies Inc | 像担持体のクリーニング装置およびクリーニング方法 |
| JP5633807B2 (ja) | 2009-11-30 | 2014-12-03 | 株式会社リコー | 画像形成装置、並びに、像担持体の駆動制御方法及びこの方法を実行するためのプログラム |
| US8817078B2 (en) | 2009-11-30 | 2014-08-26 | Disney Enterprises, Inc. | Augmented reality videogame broadcast programming |
| US8371216B2 (en) | 2009-12-03 | 2013-02-12 | Mars, Incorporated | Conveying and marking apparatus and method |
| JP5426351B2 (ja) | 2009-12-15 | 2014-02-26 | 花王株式会社 | インクジェット記録用インクセット |
| JP5743398B2 (ja) | 2009-12-16 | 2015-07-01 | キヤノン株式会社 | 画像形成方法および画像形成装置 |
| US8256857B2 (en) | 2009-12-16 | 2012-09-04 | Xerox Corporation | System and method for compensating for small ink drop size in an indirect printing system |
| JP5093218B2 (ja) | 2009-12-17 | 2012-12-12 | コニカミノルタビジネステクノロジーズ株式会社 | ベルト駆動装置および画像形成装置 |
| WO2011074110A1 (ja) | 2009-12-18 | 2011-06-23 | キヤノン株式会社 | 画像形成装置 |
| US8282201B2 (en) | 2009-12-21 | 2012-10-09 | Xerox Corporation | Low force drum maintenance filter |
| JP2011144271A (ja) | 2010-01-15 | 2011-07-28 | Toyo Ink Sc Holdings Co Ltd | インクジェット用水性顔料分散組成物 |
| US8231196B2 (en) | 2010-02-12 | 2012-07-31 | Xerox Corporation | Continuous feed duplex printer |
| JP5343890B2 (ja) | 2010-02-22 | 2013-11-13 | 株式会社リコー | 画像形成装置及び画像形成方法 |
| JP2011173326A (ja) | 2010-02-24 | 2011-09-08 | Canon Inc | 画像形成装置 |
| JP2011173325A (ja) | 2010-02-24 | 2011-09-08 | Canon Inc | 転写型インクジェット印刷用中間転写体 |
| JP5209652B2 (ja) | 2010-02-24 | 2013-06-12 | 三菱重工印刷紙工機械株式会社 | 枚葉両面印刷機 |
| BR112012022743A2 (pt) | 2010-03-09 | 2016-07-05 | Avery Dennison Corp | laminados de várias camadas reconfiguráveis e métodos |
| JP2011186346A (ja) | 2010-03-11 | 2011-09-22 | Seiko Epson Corp | 転写装置及び画像形成装置 |
| JP5424945B2 (ja) | 2010-03-15 | 2014-02-26 | キヤノン株式会社 | 転写型インクジェット記録方法及び転写型インクジェット記録装置 |
| JP5581764B2 (ja) | 2010-03-24 | 2014-09-03 | 信越化学工業株式会社 | シリコーンゴム組成物及び帯電防止性シリコーンゴム硬化物の耐圧縮永久歪性を向上する方法 |
| JP5552856B2 (ja) | 2010-03-24 | 2014-07-16 | セイコーエプソン株式会社 | インクジェット記録方法および記録物 |
| JP5579475B2 (ja) | 2010-03-26 | 2014-08-27 | 富士フイルム株式会社 | インクジェット用インクセット、及び画像形成方法 |
| JP5187338B2 (ja) | 2010-03-29 | 2013-04-24 | ブラザー工業株式会社 | 画像形成装置 |
| JP5062282B2 (ja) | 2010-03-31 | 2012-10-31 | ブラザー工業株式会社 | 記録装置 |
| US9160938B2 (en) | 2010-04-12 | 2015-10-13 | Wsi Corporation | System and method for generating three dimensional presentations |
| JP5276041B2 (ja) | 2010-04-15 | 2013-08-28 | 株式会社まめいた | 摺洗具 |
| US10632740B2 (en) | 2010-04-23 | 2020-04-28 | Landa Corporation Ltd. | Digital printing process |
| US8362108B2 (en) | 2010-04-28 | 2013-01-29 | Canon Kabushiki Kaisha | Transfer ink jet recording aqueous ink |
| CN102893613B (zh) | 2010-04-28 | 2016-06-22 | 富士胶片株式会社 | 立体图像再生装置及方法、立体摄像装置、立体显示器装置 |
| US8303071B2 (en) | 2010-05-11 | 2012-11-06 | Xerox Corporation | System and method for controlling registration in a continuous feed tandem printer |
| JP5488190B2 (ja) | 2010-05-12 | 2014-05-14 | 株式会社リコー | 画像形成装置及び記録液 |
| US9434201B2 (en) | 2010-05-17 | 2016-09-06 | Eastman Kodak Company | Inkjet recording medium and methods therefor |
| JP5804773B2 (ja) | 2010-06-03 | 2015-11-04 | キヤノン株式会社 | 画像形成装置 |
| US8382270B2 (en) | 2010-06-14 | 2013-02-26 | Xerox Corporation | Contact leveling using low surface tension aqueous solutions |
| JP2012020441A (ja) | 2010-07-13 | 2012-02-02 | Canon Inc | 転写型インクジェット記録装置 |
| JP5822559B2 (ja) | 2010-07-15 | 2015-11-24 | キヤノン株式会社 | 加圧ローラ、その加圧ローラを用いた像加熱装置、及びその加圧ローラの製造方法 |
| JP2012022188A (ja) | 2010-07-15 | 2012-02-02 | Sharp Corp | 画像形成装置 |
| JP5959805B2 (ja) | 2010-07-30 | 2016-08-02 | キヤノン株式会社 | 中間転写体及び転写型インクジェット記録方法 |
| US8496324B2 (en) | 2010-07-30 | 2013-07-30 | Hewlett-Packard Development Company, L.P. | Ink composition, digital printing system and methods |
| US8119315B1 (en) | 2010-08-12 | 2012-02-21 | Xerox Corporation | Imaging members for ink-based digital printing comprising structured organic films |
| US20120039647A1 (en) | 2010-08-12 | 2012-02-16 | Xerox Corporation | Fixing devices including extended-life components and methods of fixing marking material to substrates |
| US8693032B2 (en) | 2010-08-18 | 2014-04-08 | Ricoh Company, Ltd. | Methods and structure for improved presentation of job status in a print server |
| EP2444547B1 (en) | 2010-10-19 | 2015-08-12 | N.R. Spuntech Industries Ltd. | In-line printing process on wet non-woven fabric and products thereof |
| JP5822450B2 (ja) | 2010-10-21 | 2015-11-24 | キヤノン株式会社 | インクジェット記録方法及びインクジェット記録装置 |
| US8469476B2 (en) | 2010-10-25 | 2013-06-25 | Xerox Corporation | Substrate media registration system and method in a printing system |
| US8573768B2 (en) | 2010-10-25 | 2013-11-05 | Canon Kabushiki Kaisha | Recording apparatus |
| JP2012091454A (ja) | 2010-10-28 | 2012-05-17 | Canon Inc | 転写型インクジェット記録方法 |
| JP2012096441A (ja) | 2010-11-01 | 2012-05-24 | Canon Inc | 画像形成方法および画像形成装置 |
| JP5699552B2 (ja) | 2010-11-09 | 2015-04-15 | 株式会社リコー | 画像形成装置 |
| JP2012101433A (ja) | 2010-11-10 | 2012-05-31 | Canon Inc | 転写型インクジェット記録方法および転写型インクジェット記録装置 |
| JP5725808B2 (ja) | 2010-11-18 | 2015-05-27 | キヤノン株式会社 | 転写型インクジェット記録方法 |
| JP5800663B2 (ja) | 2010-11-24 | 2015-10-28 | キヤノン株式会社 | 転写型インクジェット記録方法 |
| JP2012111194A (ja) | 2010-11-26 | 2012-06-14 | Konica Minolta Business Technologies Inc | インクジェット記録装置 |
| DE102010060999A1 (de) | 2010-12-03 | 2012-06-06 | OCé PRINTING SYSTEMS GMBH | Tintendruckgerät zum Bedrucken eines Aufzeichnungsträgers |
| JP5669545B2 (ja) | 2010-12-03 | 2015-02-12 | キヤノン株式会社 | 転写型インクジェット記録方法 |
| JP2012126008A (ja) | 2010-12-15 | 2012-07-05 | Fuji Xerox Co Ltd | 被覆装置および画像形成装置 |
| US9605150B2 (en) | 2010-12-16 | 2017-03-28 | Presstek, Llc. | Recording media and related methods |
| JP5283685B2 (ja) | 2010-12-17 | 2013-09-04 | 富士フイルム株式会社 | 不良記録素子の検出装置及び方法、並びに画像形成装置及び方法 |
| US20120156375A1 (en) | 2010-12-20 | 2012-06-21 | Brust Thomas B | Inkjet ink composition with jetting aid |
| TW201228831A (en) | 2010-12-22 | 2012-07-16 | Nippon Synthetic Chem Ind | Transfer-printing laminated material |
| JP5459202B2 (ja) | 2010-12-28 | 2014-04-02 | ブラザー工業株式会社 | インクジェット記録装置 |
| JP2012150391A (ja) * | 2011-01-21 | 2012-08-09 | Konica Minolta Business Technologies Inc | 画像形成装置 |
| JP2012150390A (ja) * | 2011-01-21 | 2012-08-09 | Konica Minolta Business Technologies Inc | 画像形成装置 |
| US8824003B2 (en) | 2011-01-27 | 2014-09-02 | Ricoh Company, Ltd. | Print job status identification using graphical objects |
| CN107678263A (zh) | 2011-03-07 | 2018-02-09 | 惠普发展公司,有限责任合伙企业 | 中间转移膜 |
| JP5717134B2 (ja) | 2011-03-15 | 2015-05-13 | 大日精化工業株式会社 | エマルジョンバインダー及びそれを含有するインクジェット用水性顔料インク、並びにエマルジョンバインダーの製造方法 |
| TWI404638B (zh) | 2011-03-16 | 2013-08-11 | Wistron Corp | 利用超臨界流體轉印薄膜至工件之方法與轉印系統 |
| US9063472B2 (en) | 2011-03-17 | 2015-06-23 | Ricoh Company, Limited | Image forming apparatus and belt tensioning unit |
| JP5720345B2 (ja) | 2011-03-18 | 2015-05-20 | セイコーエプソン株式会社 | 記録装置 |
| JP2012196787A (ja) | 2011-03-18 | 2012-10-18 | Seiko Epson Corp | 液体噴射装置及び液体噴射方法 |
| JP5772121B2 (ja) | 2011-03-23 | 2015-09-02 | セイコーエプソン株式会社 | 画像形成装置及び画像形成方法 |
| CA2830592A1 (en) | 2011-03-25 | 2012-10-04 | Toray Industries, Inc. | Black resin composition, resin black matrix substrate, and touch panel |
| US8398223B2 (en) | 2011-03-31 | 2013-03-19 | Eastman Kodak Company | Inkjet printing process |
| EP2702110B1 (en) | 2011-04-29 | 2020-02-19 | Hewlett-Packard Development Company, L.P. | Thermal inkjet latex inks |
| CN102229294A (zh) | 2011-05-07 | 2011-11-02 | 广州市昌成陶瓷有限公司 | 一种复合转印方法 |
| CN102183854B (zh) | 2011-05-09 | 2012-11-21 | 深圳市华星光电技术有限公司 | 面板对位装置及面板对位方法 |
| US8538306B2 (en) | 2011-05-23 | 2013-09-17 | Xerox Corporation | Web feed system having compensation roll |
| WO2012163614A1 (de) | 2011-06-01 | 2012-12-06 | Koenig & Bauer Aktiengesellschaft | Druckmaschine und ein verfahren zur regelung einer bahnspannung |
| US8970704B2 (en) | 2011-06-07 | 2015-03-03 | Verizon Patent And Licensing Inc. | Network synchronized camera settings |
| JP2013001081A (ja) | 2011-06-21 | 2013-01-07 | Kao Corp | 熱転写受像シート |
| JP2013019950A (ja) | 2011-07-07 | 2013-01-31 | Ricoh Co Ltd | ベルト装置及び画像形成装置 |
| JP5836675B2 (ja) | 2011-07-13 | 2015-12-24 | キヤノン株式会社 | 画像形成装置 |
| US8434847B2 (en) | 2011-08-02 | 2013-05-07 | Xerox Corporation | System and method for dynamic stretch reflex printing |
| JP2013060299A (ja) | 2011-08-22 | 2013-04-04 | Ricoh Co Ltd | 画像形成装置 |
| DE102011112116A1 (de) | 2011-09-02 | 2013-03-07 | Robert Bosch Gmbh | Verfahren zum Einstellen der Bearbeitungslage wenigstens einer eine zu bearbeitende Warenbahn nicht einklemmenden Bearbeitungseinrichtung |
| US8573721B2 (en) | 2011-09-07 | 2013-11-05 | Xerox Corporation | Method of increasing the life of a drum maintenance unit in a printer |
| US20130063558A1 (en) | 2011-09-14 | 2013-03-14 | Motion Analysis Corporation | Systems and Methods for Incorporating Two Dimensional Images Captured by a Moving Studio Camera with Actively Controlled Optics into a Virtual Three Dimensional Coordinate System |
| US9573361B2 (en) | 2011-10-06 | 2017-02-21 | Canon Kabushiki Kaisha | Image-forming method |
| JP6004626B2 (ja) | 2011-10-12 | 2016-10-12 | キヤノン株式会社 | エンコーダシステム、位置検出機能付き装置、および、複写機 |
| JP5879905B2 (ja) | 2011-10-14 | 2016-03-08 | 富士ゼロックス株式会社 | 画像記録用組成物、画像記録装置、および画像記録方法 |
| EP2771391B1 (en) | 2011-10-27 | 2017-01-11 | Hewlett-Packard Indigo B.V. | Method of forming a release layer |
| US8714725B2 (en) | 2011-11-10 | 2014-05-06 | Xerox Corporation | Image receiving member with internal support for inkjet printer |
| JP2013103474A (ja) | 2011-11-16 | 2013-05-30 | Ricoh Co Ltd | 転写装置及び画像形成装置 |
| JP6067967B2 (ja) | 2011-11-16 | 2017-01-25 | スリーエム イノベイティブ プロパティズ カンパニー | 熱膨張性接着シートおよびその製造方法 |
| JP2013121671A (ja) | 2011-12-09 | 2013-06-20 | Fuji Xerox Co Ltd | 画像記録装置 |
| JP2013125206A (ja) | 2011-12-15 | 2013-06-24 | Canon Inc | 画像処理装置、および画像処理方法、プログラム。 |
| EP2734375B1 (de) | 2011-12-16 | 2015-06-03 | Koenig & Bauer Aktiengesellschaft | Rollen-druckmaschine |
| JP5129883B1 (ja) | 2011-12-21 | 2013-01-30 | アイセロ化学株式会社 | 水圧転写用フィルム |
| JP2013129158A (ja) | 2011-12-22 | 2013-07-04 | Fuji Xerox Co Ltd | 画像形成装置 |
| US8794727B2 (en) | 2012-02-07 | 2014-08-05 | Delphax Technologies Inc. | Multiple print head printing apparatus and method of operation |
| CA2866204C (en) | 2012-03-05 | 2020-04-14 | Landa Corporation Ltd. | Ink film constructions |
| CN104220935B (zh) | 2012-03-05 | 2019-03-15 | 兰达公司 | 数字打印系统的控制设备和方法 |
| GB2518169B (en) | 2013-09-11 | 2015-12-30 | Landa Corp Ltd | Digital printing system |
| US10434761B2 (en) | 2012-03-05 | 2019-10-08 | Landa Corporation Ltd. | Digital printing process |
| US20150072090A1 (en) | 2012-03-05 | 2015-03-12 | Landa Corporation Ltd. | Ink film constructions |
| WO2015036960A1 (en) | 2013-09-11 | 2015-03-19 | Landa Corporation Ltd. | Release layer treatment formulations |
| US10190012B2 (en) | 2012-03-05 | 2019-01-29 | Landa Corporation Ltd. | Treatment of release layer and inkjet ink formulations |
| JP6437312B2 (ja) | 2012-03-05 | 2018-12-12 | ランダ コーポレイション リミテッド | デジタル印刷プロセス |
| GB2513816B (en) | 2012-03-05 | 2018-11-14 | Landa Corporation Ltd | Digital printing system |
| WO2013132438A2 (en) | 2012-03-05 | 2013-09-12 | Landa Corporation Ltd. | Protonatable intermediate transfer members for use with indirect printing systems |
| US9643400B2 (en) | 2012-03-05 | 2017-05-09 | Landa Corporation Ltd. | Treatment of release layer |
| US11104123B2 (en) | 2012-03-05 | 2021-08-31 | Landa Corporation Ltd. | Digital printing system |
| US11106161B2 (en) | 2012-03-05 | 2021-08-31 | Landa Corporation Ltd. | Intermediate transfer members for use with indirect printing systems and protonatable intermediate transfer members for use with indirect printing systems |
| JP6564571B2 (ja) | 2012-03-05 | 2019-08-21 | ランダ コーポレイション リミテッド | 印刷システム |
| EP4019596A1 (en) | 2012-03-05 | 2022-06-29 | Landa Corporation Ltd. | Method for manufacturing an ink film construction |
| US9229664B2 (en) | 2012-03-05 | 2016-01-05 | Landa Corporation Ltd. | Apparatus and methods for monitoring operation of a printing system |
| US9498946B2 (en) | 2012-03-05 | 2016-11-22 | Landa Corporation Ltd. | Apparatus and method for control or monitoring of a printing system |
| US11809100B2 (en) | 2012-03-05 | 2023-11-07 | Landa Corporation Ltd. | Intermediate transfer members for use with indirect printing systems and protonatable intermediate transfer members for use with indirect printing systems |
| US10569534B2 (en) | 2012-03-05 | 2020-02-25 | Landa Corporation Ltd. | Digital printing system |
| US9643403B2 (en) | 2012-03-05 | 2017-05-09 | Landa Corporation Ltd. | Printing system |
| EP2822780B1 (en) | 2012-03-05 | 2021-02-17 | Landa Corporation Ltd. | Intermediate transfer members for use with indirect printing systems |
| AU2013229050A1 (en) | 2012-03-05 | 2014-09-11 | Landa Corporation Ltd. | Inkjet ink formulations |
| US20190152218A1 (en) | 2012-03-05 | 2019-05-23 | Landa Corporation Ltd. | Correcting Distortions in Digital Printing |
| GB2514977A (en) | 2012-03-05 | 2014-12-10 | Landa Corp Ltd | Apparatus and methods for monitoring operation of a printing system |
| US10642198B2 (en) | 2012-03-05 | 2020-05-05 | Landa Corporation Ltd. | Intermediate transfer members for use with indirect printing systems and protonatable intermediate transfer members for use with indirect printing systems |
| US9902147B2 (en) | 2012-03-05 | 2018-02-27 | Landa Corporation Ltd. | Digital printing system |
| JP2013186361A (ja) | 2012-03-09 | 2013-09-19 | Fuji Xerox Co Ltd | 転写部材、プロセスカートリッジおよび画像形成装置 |
| CN104284850B (zh) | 2012-03-15 | 2018-09-11 | 兰达公司 | 打印系统的环形柔性皮带 |
| JP6108694B2 (ja) | 2012-06-14 | 2017-04-05 | キヤノン株式会社 | 画像処理装置、画像処理方法、コンピュータプログラム |
| JP2014008609A (ja) | 2012-06-27 | 2014-01-20 | Seiko Epson Corp | 記録物の製造方法 |
| JP6035899B2 (ja) | 2012-06-27 | 2016-11-30 | ブラザー工業株式会社 | ベルト装置及び画像形成装置 |
| JP2014047005A (ja) | 2012-08-30 | 2014-03-17 | Ricoh Co Ltd | シート分離搬送装置、及び画像形成装置 |
| JP6268766B2 (ja) | 2012-09-12 | 2018-01-31 | 株式会社リコー | 画像形成装置および画像形成方法 |
| JP2014094827A (ja) | 2012-11-12 | 2014-05-22 | Panasonic Corp | 基材の搬送装置及び基材の搬送方法 |
| EP2736247A1 (en) | 2012-11-26 | 2014-05-28 | Brainstorm Multimedia, S.L. | A method for obtaining a virtual object within a virtual studio from a real object |
| CN102925002B (zh) | 2012-11-27 | 2014-07-16 | 江南大学 | 一种纺织品喷墨印花用白色涂料墨水的制备方法 |
| JP5750423B2 (ja) | 2012-11-30 | 2015-07-22 | 京セラドキュメントソリューションズ株式会社 | クリーニング装置及びそれを備えたベルト搬送装置並びに画像形成装置 |
| EP2741144A2 (en) | 2012-12-07 | 2014-06-11 | Canon Kabushiki Kaisha | Endless belt, belt driving device and image forming apparatus |
| US9004629B2 (en) | 2012-12-17 | 2015-04-14 | Xerox Corporation | Image quality by printing frequency adjustment using belt surface velocity measurement |
| US9174432B2 (en) | 2012-12-17 | 2015-11-03 | Xerox Corporation | Wetting enhancement coating on intermediate transfer member (ITM) for aqueous inkjet intermediate transfer architecture |
| US20140175707A1 (en) | 2012-12-21 | 2014-06-26 | 3M Innovative Properties Company | Methods of using nanostructured transfer tape and articles made therefrom |
| JP2014131843A (ja) | 2013-01-07 | 2014-07-17 | Ricoh Co Ltd | 画像形成装置 |
| US8801171B2 (en) | 2013-01-16 | 2014-08-12 | Xerox Corporation | System and method for image surface preparation in an aqueous inkjet printer |
| JP6186645B2 (ja) | 2013-02-14 | 2017-08-30 | 株式会社ミヤコシ | 転写型インクジェットプリンタ装置 |
| JP2014162812A (ja) | 2013-02-21 | 2014-09-08 | Seiko Epson Corp | インク組成物及びインクジェット記録方法 |
| EP2778819A1 (en) | 2013-03-12 | 2014-09-17 | Thomson Licensing | Method for shooting a film performance using an unmanned aerial vehicle |
| JP5862605B2 (ja) | 2013-05-09 | 2016-02-16 | コニカミノルタ株式会社 | 画像形成装置 |
| US9400456B2 (en) | 2013-05-14 | 2016-07-26 | Canon Kabushiki Kaisha | Belt conveyor unit and image forming apparatus |
| CN103627337B (zh) | 2013-05-14 | 2016-08-17 | 苏州邦立达新材料有限公司 | 一种热固化型无印痕有机硅压敏胶带及其制作方法 |
| US9392526B2 (en) | 2013-05-28 | 2016-07-12 | Cisco Technology, Inc. | Protection against fading in a network ring |
| US9242455B2 (en) | 2013-07-16 | 2016-01-26 | Xerox Corporation | System and method for transfixing an aqueous ink in an image transfer system |
| US9446586B2 (en) | 2013-08-09 | 2016-09-20 | The Procter & Gamble Company | Systems and methods for image distortion reduction in web printing |
| US8917329B1 (en) | 2013-08-22 | 2014-12-23 | Gopro, Inc. | Conversion between aspect ratios in camera |
| GB201401173D0 (en) | 2013-09-11 | 2014-03-12 | Landa Corp Ltd | Ink formulations and film constructions thereof |
| US9566780B2 (en) | 2013-09-11 | 2017-02-14 | Landa Corporation Ltd. | Treatment of release layer |
| US9273218B2 (en) | 2013-09-20 | 2016-03-01 | Xerox Corporation | Coating for aqueous inkjet transfer |
| US9157001B2 (en) | 2013-09-20 | 2015-10-13 | Xerox Corporation | Coating for aqueous inkjet transfer |
| US9126430B2 (en) | 2013-09-20 | 2015-09-08 | Xerox Corporation | System and method for image receiving surface treatment in an indirect inkjet printer |
| CN103568483A (zh) | 2013-10-14 | 2014-02-12 | 安徽华印机电股份有限公司 | 一种印刷装置 |
| US9033445B1 (en) | 2013-10-25 | 2015-05-19 | Eastman Kodak Company | Color-to-color correction in a printing system |
| US9303185B2 (en) | 2013-12-13 | 2016-04-05 | Xerox Corporation | Indirect printing apparatus employing sacrificial coating on intermediate transfer member |
| JP5967070B2 (ja) | 2013-12-25 | 2016-08-10 | カシオ計算機株式会社 | 印刷方法、印刷装置、および、その制御プログラム |
| US9193149B2 (en) | 2014-01-28 | 2015-11-24 | Xerox Corporation | Aqueous ink jet blanket |
| JP6296870B2 (ja) | 2014-04-14 | 2018-03-20 | キヤノン株式会社 | 画像記録方法 |
| US20150315403A1 (en) | 2014-04-30 | 2015-11-05 | Xerox Corporation | Sacrificial coating and indirect printing apparatus employing sacrificial coating on intermediate transfer member |
| US9284469B2 (en) | 2014-04-30 | 2016-03-15 | Xerox Corporation | Film-forming hydrophilic polymers for transfix printing process |
| US9227392B2 (en) | 2014-05-21 | 2016-01-05 | Eastman Kodak Company | Slip sheet removal |
| US9428663B2 (en) | 2014-05-28 | 2016-08-30 | Xerox Corporation | Indirect printing apparatus employing sacrificial coating on intermediate transfer member |
| US20150361288A1 (en) | 2014-06-17 | 2015-12-17 | Xerox Corporation | Sacrificial coating compositions for indirect printing processes |
| US9346301B2 (en) | 2014-07-31 | 2016-05-24 | Eastman Kodak Company | Controlling a web-fed printer using an image region database |
| US9593255B2 (en) | 2014-09-23 | 2017-03-14 | Xerox Corporation | Sacrificial coating for intermediate transfer member of an indirect printing apparatus |
| US9428664B2 (en) | 2014-10-02 | 2016-08-30 | Xerox Corporation | Undercoat layer with low release force for aqueous printing transfix system |
| WO2016066233A1 (en) | 2014-10-31 | 2016-05-06 | Hewlett-Packard Indigo B.V. | Electrostatic printing apparatus and intermediate transfer members |
| EP3017949B1 (en) | 2014-11-06 | 2017-12-13 | Canon Kabushiki Kaisha | Intermediate transfer member and image forming method |
| CN104618642A (zh) | 2015-01-19 | 2015-05-13 | 宇龙计算机通信科技(深圳)有限公司 | 拍照终端及终端拍照控制方法 |
| US9616697B2 (en) | 2015-02-26 | 2017-04-11 | LCY Chemical Corp. | Blanket for transferring a paste image from an engraved plate to a substrate |
| GB2536489B (en) | 2015-03-20 | 2018-08-29 | Landa Corporation Ltd | Indirect printing system |
| US9816000B2 (en) | 2015-03-23 | 2017-11-14 | Xerox Corporation | Sacrificial coating and indirect printing apparatus employing sacrificial coating on intermediate transfer member |
| JP2016185688A (ja) | 2015-03-27 | 2016-10-27 | 株式会社日立産機システム | 印字検査装置、インクジェット記録システム、及びそれらに用いる印字歪補正方法 |
| GB2537813A (en) | 2015-04-14 | 2016-11-02 | Landa Corp Ltd | Apparatus for threading an intermediate transfer member of a printing system |
| US11806997B2 (en) | 2015-04-14 | 2023-11-07 | Landa Corporation Ltd. | Indirect printing system and related apparatus |
| US9227429B1 (en) | 2015-05-06 | 2016-01-05 | Xerox Corporation | Indirect aqueous inkjet printer with media conveyor that facilitates media stripping in a transfer nip |
| US9707751B2 (en) | 2015-06-23 | 2017-07-18 | Canon Kabushiki Kaisha | Transfer-type ink jet recording apparatus |
| EP3115848B1 (en) | 2015-06-26 | 2023-05-24 | Oki Electric Industry Co., Ltd. | Belt, transfer belt unit, and image forming apparatus |
| US9573349B1 (en) | 2015-07-30 | 2017-02-21 | Eastman Kodak Company | Multilayered structure with water-impermeable substrate |
| CN105058999A (zh) | 2015-08-12 | 2015-11-18 | 河南卓立膜材料股份有限公司 | 一种具备夜间发光功能的热转印条幅碳带及其制备方法 |
| US9327519B1 (en) | 2015-09-28 | 2016-05-03 | Xerox Corporation | Sacrificial coating and indirect printing apparatus employing sacrificial coating on intermediate transfer member |
| JP6237742B2 (ja) | 2015-10-13 | 2017-11-29 | コニカミノルタ株式会社 | 画像処理装置及び画像処理方法 |
| JP2017093178A (ja) | 2015-11-11 | 2017-05-25 | 三星電子株式会社Samsung Electronics Co.,Ltd. | モータ制御用電源装置 |
| GB201602877D0 (en) | 2016-02-18 | 2016-04-06 | Landa Corp Ltd | System and method for generating videos |
| CN112428691B (zh) | 2016-05-30 | 2022-09-27 | 兰达公司 | 数字印刷方法和系统 |
| IL262529B2 (en) | 2016-05-30 | 2023-06-01 | Landa Labs 2012 Ltd | A method for creating a multi-layered product |
| DE112017002714T5 (de) | 2016-05-30 | 2019-02-28 | Landa Corporation Ltd. | Digitales Druckverfahren |
| EP3875270B1 (en) | 2016-05-30 | 2025-11-12 | Landa Corporation Ltd. | Digital printing system and method |
| GB201609463D0 (en) | 2016-05-30 | 2016-07-13 | Landa Labs 2012 Ltd | Method of manufacturing a multi-layer article |
| WO2017208246A1 (en) | 2016-05-30 | 2017-12-07 | Landa Corporation Ltd. | Digital printing process |
| US9649834B1 (en) | 2016-06-25 | 2017-05-16 | Xerox Corporation | Stabilizers against toxic emissions in imaging plate or intermediate blanket materials |
| JP6811050B2 (ja) | 2016-07-26 | 2021-01-13 | リンナイ株式会社 | 熱機器 |
| JP6112253B1 (ja) | 2016-09-28 | 2017-04-12 | 富士ゼロックス株式会社 | 画像形成装置 |
| JP6784126B2 (ja) | 2016-09-30 | 2020-11-11 | ブラザー工業株式会社 | シート搬送装置及び画像記録装置 |
| US10353321B2 (en) | 2016-11-28 | 2019-07-16 | Oki Data Corporation | Belt unit with recesses having auxiliary recesses formed therein, transfer unit, and image forming unit including the belt unit |
| CN110023092B (zh) | 2016-11-30 | 2021-08-20 | 兰达实验室(2012)有限公司 | 热转印打印的改进 |
| JP2018146850A (ja) | 2017-03-07 | 2018-09-20 | 富士ゼロックス株式会社 | ベルト状部材の潤滑装置、定着装置及び画像形成装置 |
| US10372067B2 (en) | 2017-05-30 | 2019-08-06 | Canon Kabushiki Kaisha | Electrophotographic belt and electrophotographic image forming apparatus |
| JP6784228B2 (ja) | 2017-05-30 | 2020-11-11 | 京セラドキュメントソリューションズ株式会社 | 中間転写ユニット、及び、中間転写ユニットを備えた画像形成装置 |
| JP2019018388A (ja) | 2017-07-12 | 2019-02-07 | キヤノン株式会社 | 記録装置 |
| CN110997331B (zh) | 2017-07-14 | 2022-05-17 | 兰达公司 | 中间转印构件 |
| CN111212736B (zh) | 2017-10-19 | 2021-11-23 | 兰达公司 | 用于打印系统的环形柔性带 |
| US11267239B2 (en) | 2017-11-19 | 2022-03-08 | Landa Corporation Ltd. | Digital printing system |
| WO2019102297A1 (en) | 2017-11-27 | 2019-05-31 | Landa Corporation Ltd. | Digital printing system |
| US11679615B2 (en) | 2017-12-07 | 2023-06-20 | Landa Corporation Ltd. | Digital printing process and method |
| JP7013342B2 (ja) | 2018-07-19 | 2022-01-31 | 東芝三菱電機産業システム株式会社 | 多相電動機駆動装置 |
| US10994528B1 (en) | 2018-08-02 | 2021-05-04 | Landa Corporation Ltd. | Digital printing system with flexible intermediate transfer member |
| JP7305748B2 (ja) | 2018-08-13 | 2023-07-10 | ランダ コーポレイション リミテッド | デジタル画像にダミー画素を埋め込むことによるデジタル印刷における歪み補正 |
| WO2020075012A1 (en) | 2018-10-08 | 2020-04-16 | Landa Corporation Ltd. | Friction reduction means for printing systems and method |
| EP3902680B1 (en) | 2018-12-24 | 2025-09-10 | Landa Corporation Ltd. | A digital printing system |
| JP7716981B2 (ja) | 2019-01-03 | 2025-08-01 | ランダ コーポレイション リミテッド | 間接印刷システムの中間転写部材と共に使用するための配合物およびそれを使用した印刷プロセス |
| US11321028B2 (en) | 2019-12-11 | 2022-05-03 | Landa Corporation Ltd. | Correcting registration errors in digital printing |
-
2018
- 2018-11-16 US US16/764,330 patent/US11267239B2/en active Active
- 2018-11-16 WO PCT/IB2018/059032 patent/WO2019097464A1/en not_active Ceased
- 2018-11-16 JP JP2020526455A patent/JP7225230B2/ja active Active
-
2022
- 2022-01-25 US US17/583,372 patent/US11660856B2/en active Active
-
2023
- 2023-02-08 JP JP2023017303A patent/JP7463579B2/ja active Active
- 2023-04-21 US US18/137,488 patent/US11958288B2/en active Active
-
2024
- 2024-03-11 US US18/601,448 patent/US20240294005A1/en active Pending
- 2024-03-27 JP JP2024051125A patent/JP2024079796A/ja active Pending
-
2025
- 2025-01-14 US US19/020,806 patent/US20250153482A1/en active Pending
Patent Citations (5)
| Publication number | Priority date | Publication date | Assignee | Title |
|---|---|---|---|---|
| JP2005224737A (ja) | 2004-02-16 | 2005-08-25 | Mitsubishi Paper Mills Ltd | 塗布液除去方法 |
| JP2009143102A (ja) | 2007-12-13 | 2009-07-02 | Fujifilm Corp | 画像形成装置及びクリーニングブレードの清掃方法 |
| JP2009154377A (ja) | 2007-12-26 | 2009-07-16 | Fujifilm Corp | 液体塗布装置、液体塗布方法、インクジェット記録装置、及びインクジェット記録方法 |
| JP2009226805A (ja) | 2008-03-24 | 2009-10-08 | Fuji Xerox Co Ltd | 記録装置 |
| US20100053293A1 (en) | 2008-08-29 | 2010-03-04 | Xerox Corporation | System and method of adjusting blade loads for blades engaging image forming machine moving surfaces |
Also Published As
| Publication number | Publication date |
|---|---|
| US20220250376A1 (en) | 2022-08-11 |
| US11267239B2 (en) | 2022-03-08 |
| US20250153482A1 (en) | 2025-05-15 |
| JP2024079796A (ja) | 2024-06-11 |
| US20210070038A1 (en) | 2021-03-11 |
| US11958288B2 (en) | 2024-04-16 |
| US11660856B2 (en) | 2023-05-30 |
| US20230364904A1 (en) | 2023-11-16 |
| JP7463579B2 (ja) | 2024-04-08 |
| JP2023053000A (ja) | 2023-04-12 |
| WO2019097464A1 (en) | 2019-05-23 |
| US20240294005A1 (en) | 2024-09-05 |
| JP2021503391A (ja) | 2021-02-12 |
Similar Documents
| Publication | Publication Date | Title |
|---|---|---|
| JP7225230B2 (ja) | デジタル印刷システム | |
| JP2010217842A (ja) | 定着装置及びこれを用いた画像形成装置 | |
| US11573507B2 (en) | Service system utilizing an endless cleaning surface | |
| JP2011170204A (ja) | ベルト加圧装置および画像形成装置 | |
| US8827410B2 (en) | Method and apparatus for cleaning a heated drum within a continuous web printer | |
| KR20190074216A (ko) | 가변 데이터 리소그래피 시스템용 잉크 분할 멀티-롤 클리너 | |
| US20210129522A1 (en) | Cleaning elements for print apparatus | |
| EP3240690B1 (en) | Application of coating fluid | |
| JP6117076B2 (ja) | 印刷システムの画像形成面をクリーニングする装置および方法 | |
| JP7571380B2 (ja) | 移動体支持装置及び画像形成装置 | |
| JP7577941B2 (ja) | 塗布装置および画像形成装置 | |
| WO2019031491A1 (ja) | 印刷装置 | |
| EP3676669B1 (en) | Cleaning a liquid electrophotographic printer | |
| JP2015063027A (ja) | 印刷装置および印刷方法 | |
| JP6157324B2 (ja) | 印刷において有用な装置 | |
| JP2002162858A (ja) | 画像形成装置のための離型剤供給装置 | |
| JP2025017872A (ja) | インクジェットプリンタ、インクジェットプリンタのクリーニング方法および制御プログラム | |
| JP2016126262A (ja) | 定着装置、および画像形成装置 | |
| CN120460237A (zh) | 涂布设备的运动元件的清洁系统、相关的涂布机、涂布设备和方法 | |
| JP2021066086A (ja) | 画像形成システム | |
| JP2008303016A (ja) | シート搬送ガイド | |
| JP2007034138A (ja) | 定着装置及びこれを備えた画像形成装置 | |
| JP2017213835A (ja) | 印刷装置及びカバー部材 | |
| JP2008221055A (ja) | リング塗布装置 | |
| JP2007199399A (ja) | 湿式定着装置およびそれを備えた画像形成装置 |
Legal Events
| Date | Code | Title | Description |
|---|---|---|---|
| A521 | Request for written amendment filed |
Free format text: JAPANESE INTERMEDIATE CODE: A523 Effective date: 20211115 |
|
| A621 | Written request for application examination |
Free format text: JAPANESE INTERMEDIATE CODE: A621 Effective date: 20211115 |
|
| A131 | Notification of reasons for refusal |
Free format text: JAPANESE INTERMEDIATE CODE: A131 Effective date: 20220830 |
|
| A521 | Request for written amendment filed |
Free format text: JAPANESE INTERMEDIATE CODE: A523 Effective date: 20221125 |
|
| TRDD | Decision of grant or rejection written | ||
| A01 | Written decision to grant a patent or to grant a registration (utility model) |
Free format text: JAPANESE INTERMEDIATE CODE: A01 Effective date: 20230110 |
|
| A61 | First payment of annual fees (during grant procedure) |
Free format text: JAPANESE INTERMEDIATE CODE: A61 Effective date: 20230208 |
|
| R150 | Certificate of patent or registration of utility model |
Ref document number: 7225230 Country of ref document: JP Free format text: JAPANESE INTERMEDIATE CODE: R150 |