JP6074488B2 - 半導体装置 - Google Patents
半導体装置 Download PDFInfo
- Publication number
- JP6074488B2 JP6074488B2 JP2015243829A JP2015243829A JP6074488B2 JP 6074488 B2 JP6074488 B2 JP 6074488B2 JP 2015243829 A JP2015243829 A JP 2015243829A JP 2015243829 A JP2015243829 A JP 2015243829A JP 6074488 B2 JP6074488 B2 JP 6074488B2
- Authority
- JP
- Japan
- Prior art keywords
- transistor
- node
- potential
- electrically connected
- nand
- Prior art date
- Legal status (The legal status is an assumption and is not a legal conclusion. Google has not performed a legal analysis and makes no representation as to the accuracy of the status listed.)
- Expired - Fee Related
Links
- 239000004065 semiconductor Substances 0.000 title claims description 179
- 230000015654 memory Effects 0.000 claims description 115
- 239000003990 capacitor Substances 0.000 claims description 48
- 230000015572 biosynthetic process Effects 0.000 claims description 27
- 230000006870 function Effects 0.000 claims description 19
- 239000010408 film Substances 0.000 description 256
- 229910044991 metal oxide Inorganic materials 0.000 description 59
- 150000004706 metal oxides Chemical class 0.000 description 59
- 239000011701 zinc Substances 0.000 description 44
- 239000013078 crystal Substances 0.000 description 42
- 239000010410 layer Substances 0.000 description 30
- 239000000758 substrate Substances 0.000 description 28
- 239000012535 impurity Substances 0.000 description 26
- 238000000034 method Methods 0.000 description 22
- QVGXLLKOCUKJST-UHFFFAOYSA-N atomic oxygen Chemical compound [O] QVGXLLKOCUKJST-UHFFFAOYSA-N 0.000 description 19
- 238000010586 diagram Methods 0.000 description 19
- 229910052760 oxygen Inorganic materials 0.000 description 19
- 239000001301 oxygen Substances 0.000 description 19
- 229910052751 metal Inorganic materials 0.000 description 16
- XUIMIQQOPSSXEZ-UHFFFAOYSA-N Silicon Chemical compound [Si] XUIMIQQOPSSXEZ-UHFFFAOYSA-N 0.000 description 14
- 229910052710 silicon Inorganic materials 0.000 description 14
- 239000010703 silicon Substances 0.000 description 14
- 238000003860 storage Methods 0.000 description 14
- 239000007789 gas Substances 0.000 description 12
- 239000002184 metal Substances 0.000 description 12
- 230000008859 change Effects 0.000 description 9
- 229910052738 indium Inorganic materials 0.000 description 9
- 230000008569 process Effects 0.000 description 9
- XKRFYHLGVUSROY-UHFFFAOYSA-N Argon Chemical compound [Ar] XKRFYHLGVUSROY-UHFFFAOYSA-N 0.000 description 8
- 238000004544 sputter deposition Methods 0.000 description 8
- 238000004364 calculation method Methods 0.000 description 7
- 239000000843 powder Substances 0.000 description 7
- XLOMVQKBTHCTTD-UHFFFAOYSA-N Zinc monoxide Chemical compound [Zn]=O XLOMVQKBTHCTTD-UHFFFAOYSA-N 0.000 description 6
- 238000004458 analytical method Methods 0.000 description 6
- 230000007547 defect Effects 0.000 description 6
- 238000010438 heat treatment Methods 0.000 description 6
- APFVFJFRJDLVQX-UHFFFAOYSA-N indium atom Chemical compound [In] APFVFJFRJDLVQX-UHFFFAOYSA-N 0.000 description 6
- 239000003381 stabilizer Substances 0.000 description 6
- 229910020994 Sn-Zn Inorganic materials 0.000 description 5
- 229910009069 Sn—Zn Inorganic materials 0.000 description 5
- 125000004429 atom Chemical group 0.000 description 5
- 229910052733 gallium Inorganic materials 0.000 description 5
- 239000001257 hydrogen Substances 0.000 description 5
- 229910052739 hydrogen Inorganic materials 0.000 description 5
- 230000005012 migration Effects 0.000 description 5
- 238000013508 migration Methods 0.000 description 5
- 239000002245 particle Substances 0.000 description 5
- OKTJSMMVPCPJKN-UHFFFAOYSA-N Carbon Chemical compound [C] OKTJSMMVPCPJKN-UHFFFAOYSA-N 0.000 description 4
- CURLTUGMZLYLDI-UHFFFAOYSA-N Carbon dioxide Chemical compound O=C=O CURLTUGMZLYLDI-UHFFFAOYSA-N 0.000 description 4
- 229910052786 argon Inorganic materials 0.000 description 4
- 229910052799 carbon Inorganic materials 0.000 description 4
- 238000010894 electron beam technology Methods 0.000 description 4
- 238000002955 isolation Methods 0.000 description 4
- 229910021421 monocrystalline silicon Inorganic materials 0.000 description 4
- 238000012545 processing Methods 0.000 description 4
- 229910018137 Al-Zn Inorganic materials 0.000 description 3
- 229910018573 Al—Zn Inorganic materials 0.000 description 3
- 229910052684 Cerium Inorganic materials 0.000 description 3
- MYMOFIZGZYHOMD-UHFFFAOYSA-N Dioxygen Chemical compound O=O MYMOFIZGZYHOMD-UHFFFAOYSA-N 0.000 description 3
- JMASRVWKEDWRBT-UHFFFAOYSA-N Gallium nitride Chemical compound [Ga]#N JMASRVWKEDWRBT-UHFFFAOYSA-N 0.000 description 3
- 229910052783 alkali metal Inorganic materials 0.000 description 3
- 150000001340 alkali metals Chemical class 0.000 description 3
- 229910052782 aluminium Inorganic materials 0.000 description 3
- 239000000969 carrier Substances 0.000 description 3
- 239000004020 conductor Substances 0.000 description 3
- 230000007423 decrease Effects 0.000 description 3
- AJNVQOSZGJRYEI-UHFFFAOYSA-N digallium;oxygen(2-) Chemical compound [O-2].[O-2].[O-2].[Ga+3].[Ga+3] AJNVQOSZGJRYEI-UHFFFAOYSA-N 0.000 description 3
- 229910001882 dioxygen Inorganic materials 0.000 description 3
- 229910001195 gallium oxide Inorganic materials 0.000 description 3
- 229910052732 germanium Inorganic materials 0.000 description 3
- GNPVGFCGXDBREM-UHFFFAOYSA-N germanium atom Chemical compound [Ge] GNPVGFCGXDBREM-UHFFFAOYSA-N 0.000 description 3
- 229910052746 lanthanum Inorganic materials 0.000 description 3
- HBMJWWWQQXIZIP-UHFFFAOYSA-N silicon carbide Chemical compound [Si+]#[C-] HBMJWWWQQXIZIP-UHFFFAOYSA-N 0.000 description 3
- 229910010271 silicon carbide Inorganic materials 0.000 description 3
- 229910052718 tin Inorganic materials 0.000 description 3
- 229910052719 titanium Inorganic materials 0.000 description 3
- 239000010936 titanium Substances 0.000 description 3
- 230000007704 transition Effects 0.000 description 3
- 229910052725 zinc Inorganic materials 0.000 description 3
- 239000011787 zinc oxide Substances 0.000 description 3
- 229910018120 Al-Ga-Zn Inorganic materials 0.000 description 2
- IJGRMHOSHXDMSA-UHFFFAOYSA-N Atomic nitrogen Chemical compound N#N IJGRMHOSHXDMSA-UHFFFAOYSA-N 0.000 description 2
- 229910002601 GaN Inorganic materials 0.000 description 2
- GYHNNYVSQQEPJS-UHFFFAOYSA-N Gallium Chemical compound [Ga] GYHNNYVSQQEPJS-UHFFFAOYSA-N 0.000 description 2
- UFHFLCQGNIYNRP-UHFFFAOYSA-N Hydrogen Chemical compound [H][H] UFHFLCQGNIYNRP-UHFFFAOYSA-N 0.000 description 2
- XEEYBQQBJWHFJM-UHFFFAOYSA-N Iron Chemical compound [Fe] XEEYBQQBJWHFJM-UHFFFAOYSA-N 0.000 description 2
- 229910052779 Neodymium Inorganic materials 0.000 description 2
- PXHVJJICTQNCMI-UHFFFAOYSA-N Nickel Chemical compound [Ni] PXHVJJICTQNCMI-UHFFFAOYSA-N 0.000 description 2
- 229910020868 Sn-Ga-Zn Inorganic materials 0.000 description 2
- ATJFFYVFTNAWJD-UHFFFAOYSA-N Tin Chemical compound [Sn] ATJFFYVFTNAWJD-UHFFFAOYSA-N 0.000 description 2
- 238000002441 X-ray diffraction Methods 0.000 description 2
- 229910052784 alkaline earth metal Inorganic materials 0.000 description 2
- 150000001342 alkaline earth metals Chemical class 0.000 description 2
- XAGFODPZIPBFFR-UHFFFAOYSA-N aluminium Chemical compound [Al] XAGFODPZIPBFFR-UHFFFAOYSA-N 0.000 description 2
- 229910021417 amorphous silicon Inorganic materials 0.000 description 2
- 229910002092 carbon dioxide Inorganic materials 0.000 description 2
- 239000001569 carbon dioxide Substances 0.000 description 2
- GWXLDORMOJMVQZ-UHFFFAOYSA-N cerium Chemical compound [Ce] GWXLDORMOJMVQZ-UHFFFAOYSA-N 0.000 description 2
- 239000013256 coordination polymer Substances 0.000 description 2
- 238000000151 deposition Methods 0.000 description 2
- 230000008021 deposition Effects 0.000 description 2
- 230000005684 electric field Effects 0.000 description 2
- 230000005669 field effect Effects 0.000 description 2
- 229910052735 hafnium Inorganic materials 0.000 description 2
- VBJZVLUMGGDVMO-UHFFFAOYSA-N hafnium atom Chemical compound [Hf] VBJZVLUMGGDVMO-UHFFFAOYSA-N 0.000 description 2
- 150000002431 hydrogen Chemical class 0.000 description 2
- -1 lanthanum (La) Chemical class 0.000 description 2
- FZLIPJUXYLNCLC-UHFFFAOYSA-N lanthanum atom Chemical compound [La] FZLIPJUXYLNCLC-UHFFFAOYSA-N 0.000 description 2
- 238000004519 manufacturing process Methods 0.000 description 2
- 239000000463 material Substances 0.000 description 2
- 238000005259 measurement Methods 0.000 description 2
- 238000002156 mixing Methods 0.000 description 2
- 239000000203 mixture Substances 0.000 description 2
- 239000002159 nanocrystal Substances 0.000 description 2
- 230000003647 oxidation Effects 0.000 description 2
- 238000007254 oxidation reaction Methods 0.000 description 2
- 238000001004 secondary ion mass spectrometry Methods 0.000 description 2
- 238000012916 structural analysis Methods 0.000 description 2
- XLYOFNOQVPJJNP-UHFFFAOYSA-N water Substances O XLYOFNOQVPJJNP-UHFFFAOYSA-N 0.000 description 2
- 229910001868 water Inorganic materials 0.000 description 2
- 229910052726 zirconium Inorganic materials 0.000 description 2
- 229910052692 Dysprosium Inorganic materials 0.000 description 1
- 229910052691 Erbium Inorganic materials 0.000 description 1
- 229910052693 Europium Inorganic materials 0.000 description 1
- 229910052688 Gadolinium Inorganic materials 0.000 description 1
- 229910001218 Gallium arsenide Inorganic materials 0.000 description 1
- 229910052689 Holmium Inorganic materials 0.000 description 1
- 229910052765 Lutetium Inorganic materials 0.000 description 1
- 229910052777 Praseodymium Inorganic materials 0.000 description 1
- 229910052772 Samarium Inorganic materials 0.000 description 1
- 229910000577 Silicon-germanium Inorganic materials 0.000 description 1
- 229910020833 Sn-Al-Zn Inorganic materials 0.000 description 1
- 229910020944 Sn-Mg Inorganic materials 0.000 description 1
- 229910052771 Terbium Inorganic materials 0.000 description 1
- 229910052775 Thulium Inorganic materials 0.000 description 1
- RTAQQCXQSZGOHL-UHFFFAOYSA-N Titanium Chemical compound [Ti] RTAQQCXQSZGOHL-UHFFFAOYSA-N 0.000 description 1
- 229910052769 Ytterbium Inorganic materials 0.000 description 1
- QCWXUUIWCKQGHC-UHFFFAOYSA-N Zirconium Chemical compound [Zr] QCWXUUIWCKQGHC-UHFFFAOYSA-N 0.000 description 1
- 229910009369 Zn Mg Inorganic materials 0.000 description 1
- 229910007573 Zn-Mg Inorganic materials 0.000 description 1
- LEVVHYCKPQWKOP-UHFFFAOYSA-N [Si].[Ge] Chemical compound [Si].[Ge] LEVVHYCKPQWKOP-UHFFFAOYSA-N 0.000 description 1
- 230000005540 biological transmission Effects 0.000 description 1
- 238000006243 chemical reaction Methods 0.000 description 1
- 229910052804 chromium Inorganic materials 0.000 description 1
- 150000001875 compounds Chemical class 0.000 description 1
- 239000000470 constituent Substances 0.000 description 1
- 229910052802 copper Inorganic materials 0.000 description 1
- 229910021419 crystalline silicon Inorganic materials 0.000 description 1
- 238000002425 crystallisation Methods 0.000 description 1
- 230000008025 crystallization Effects 0.000 description 1
- 230000003247 decreasing effect Effects 0.000 description 1
- 238000013461 design Methods 0.000 description 1
- 230000006866 deterioration Effects 0.000 description 1
- KBQHZAAAGSGFKK-UHFFFAOYSA-N dysprosium atom Chemical compound [Dy] KBQHZAAAGSGFKK-UHFFFAOYSA-N 0.000 description 1
- UYAHIZSMUZPPFV-UHFFFAOYSA-N erbium Chemical compound [Er] UYAHIZSMUZPPFV-UHFFFAOYSA-N 0.000 description 1
- 238000005530 etching Methods 0.000 description 1
- OGPBJKLSAFTDLK-UHFFFAOYSA-N europium atom Chemical compound [Eu] OGPBJKLSAFTDLK-UHFFFAOYSA-N 0.000 description 1
- 238000002474 experimental method Methods 0.000 description 1
- 238000000605 extraction Methods 0.000 description 1
- UIWYJDYFSGRHKR-UHFFFAOYSA-N gadolinium atom Chemical compound [Gd] UIWYJDYFSGRHKR-UHFFFAOYSA-N 0.000 description 1
- 239000011521 glass Substances 0.000 description 1
- 125000005843 halogen group Chemical group 0.000 description 1
- 229910001385 heavy metal Inorganic materials 0.000 description 1
- KJZYNXUDTRRSPN-UHFFFAOYSA-N holmium atom Chemical compound [Ho] KJZYNXUDTRRSPN-UHFFFAOYSA-N 0.000 description 1
- 229910003437 indium oxide Inorganic materials 0.000 description 1
- PJXISJQVUVHSOJ-UHFFFAOYSA-N indium(iii) oxide Chemical compound [O-2].[O-2].[O-2].[In+3].[In+3] PJXISJQVUVHSOJ-UHFFFAOYSA-N 0.000 description 1
- 150000002500 ions Chemical class 0.000 description 1
- 229910052742 iron Inorganic materials 0.000 description 1
- 230000001788 irregular Effects 0.000 description 1
- 229910052747 lanthanoid Inorganic materials 0.000 description 1
- 150000002602 lanthanoids Chemical class 0.000 description 1
- OHSVLFRHMCKCQY-UHFFFAOYSA-N lutetium atom Chemical compound [Lu] OHSVLFRHMCKCQY-UHFFFAOYSA-N 0.000 description 1
- 239000011159 matrix material Substances 0.000 description 1
- 239000013081 microcrystal Substances 0.000 description 1
- 229910052750 molybdenum Inorganic materials 0.000 description 1
- QEFYFXOXNSNQGX-UHFFFAOYSA-N neodymium atom Chemical compound [Nd] QEFYFXOXNSNQGX-UHFFFAOYSA-N 0.000 description 1
- 229910052759 nickel Inorganic materials 0.000 description 1
- 229910052757 nitrogen Inorganic materials 0.000 description 1
- 238000005268 plasma chemical vapour deposition Methods 0.000 description 1
- PUDIUYLPXJFUGB-UHFFFAOYSA-N praseodymium atom Chemical compound [Pr] PUDIUYLPXJFUGB-UHFFFAOYSA-N 0.000 description 1
- 230000000644 propagated effect Effects 0.000 description 1
- 230000009467 reduction Effects 0.000 description 1
- 230000004044 response Effects 0.000 description 1
- 230000000717 retained effect Effects 0.000 description 1
- 230000000630 rising effect Effects 0.000 description 1
- KZUNJOHGWZRPMI-UHFFFAOYSA-N samarium atom Chemical compound [Sm] KZUNJOHGWZRPMI-UHFFFAOYSA-N 0.000 description 1
- VSZWPYCFIRKVQL-UHFFFAOYSA-N selanylidenegallium;selenium Chemical compound [Se].[Se]=[Ga].[Se]=[Ga] VSZWPYCFIRKVQL-UHFFFAOYSA-N 0.000 description 1
- SBIBMFFZSBJNJF-UHFFFAOYSA-N selenium;zinc Chemical compound [Se]=[Zn] SBIBMFFZSBJNJF-UHFFFAOYSA-N 0.000 description 1
- 230000003068 static effect Effects 0.000 description 1
- 239000002344 surface layer Substances 0.000 description 1
- 229910052715 tantalum Inorganic materials 0.000 description 1
- JBQYATWDVHIOAR-UHFFFAOYSA-N tellanylidenegermanium Chemical compound [Te]=[Ge] JBQYATWDVHIOAR-UHFFFAOYSA-N 0.000 description 1
- GZCRRIHWUXGPOV-UHFFFAOYSA-N terbium atom Chemical compound [Tb] GZCRRIHWUXGPOV-UHFFFAOYSA-N 0.000 description 1
- 239000010409 thin film Substances 0.000 description 1
- FRNOGLGSGLTDKL-UHFFFAOYSA-N thulium atom Chemical compound [Tm] FRNOGLGSGLTDKL-UHFFFAOYSA-N 0.000 description 1
- XOLBLPGZBRYERU-UHFFFAOYSA-N tin dioxide Chemical compound O=[Sn]=O XOLBLPGZBRYERU-UHFFFAOYSA-N 0.000 description 1
- 229910001887 tin oxide Inorganic materials 0.000 description 1
- 229910052723 transition metal Inorganic materials 0.000 description 1
- 229910052721 tungsten Inorganic materials 0.000 description 1
- 238000007740 vapor deposition Methods 0.000 description 1
- NAWDYIZEMPQZHO-UHFFFAOYSA-N ytterbium Chemical compound [Yb] NAWDYIZEMPQZHO-UHFFFAOYSA-N 0.000 description 1
- 229910052727 yttrium Inorganic materials 0.000 description 1
- VWQVUPCCIRVNHF-UHFFFAOYSA-N yttrium atom Chemical compound [Y] VWQVUPCCIRVNHF-UHFFFAOYSA-N 0.000 description 1
Images
Classifications
-
- G—PHYSICS
- G11—INFORMATION STORAGE
- G11C—STATIC STORES
- G11C5/00—Details of stores covered by group G11C11/00
- G11C5/06—Arrangements for interconnecting storage elements electrically, e.g. by wiring
-
- G—PHYSICS
- G11—INFORMATION STORAGE
- G11C—STATIC STORES
- G11C11/00—Digital stores characterised by the use of particular electric or magnetic storage elements; Storage elements therefor
- G11C11/21—Digital stores characterised by the use of particular electric or magnetic storage elements; Storage elements therefor using electric elements
- G11C11/24—Digital stores characterised by the use of particular electric or magnetic storage elements; Storage elements therefor using electric elements using capacitors
-
- G—PHYSICS
- G11—INFORMATION STORAGE
- G11C—STATIC STORES
- G11C14/00—Digital stores characterised by arrangements of cells having volatile and non-volatile storage properties for back-up when the power is down
- G11C14/0054—Digital stores characterised by arrangements of cells having volatile and non-volatile storage properties for back-up when the power is down in which the volatile element is a SRAM cell
-
- G—PHYSICS
- G11—INFORMATION STORAGE
- G11C—STATIC STORES
- G11C7/00—Arrangements for writing information into, or reading information out from, a digital store
- G11C7/10—Input/output [I/O] data interface arrangements, e.g. I/O data control circuits, I/O data buffers
- G11C7/1051—Data output circuits, e.g. read-out amplifiers, data output buffers, data output registers, data output level conversion circuits
-
- G—PHYSICS
- G11—INFORMATION STORAGE
- G11C—STATIC STORES
- G11C7/00—Arrangements for writing information into, or reading information out from, a digital store
- G11C7/10—Input/output [I/O] data interface arrangements, e.g. I/O data control circuits, I/O data buffers
- G11C7/1051—Data output circuits, e.g. read-out amplifiers, data output buffers, data output registers, data output level conversion circuits
- G11C7/1057—Data output buffers, e.g. comprising level conversion circuits, circuits for adapting load
Landscapes
- Engineering & Computer Science (AREA)
- Power Engineering (AREA)
- Computer Hardware Design (AREA)
- Semiconductor Memories (AREA)
- Thin Film Transistor (AREA)
- Semiconductor Integrated Circuits (AREA)
- Metal-Oxide And Bipolar Metal-Oxide Semiconductor Integrated Circuits (AREA)
- Logic Circuits (AREA)
- Static Random-Access Memory (AREA)
- Design And Manufacture Of Integrated Circuits (AREA)
Description
関する。
ral Processing Unit)などの半導体装置は、その用途によって多種
多様な構成を有している。PLDにはレジスタ及びコンフィギュレーションメモリ、CP
Uにはレジスタ及びキャッシュメモリなど、記憶装置が設けられていることが多い。
込み及び読み出しなどの動作が高速であることが求められる。よって、レジスタとしては
フリップフロップが、コンフィギュレーションメモリ及びキャッシュメモリとしてはSR
AM(Static Random Access Memory)が用いられることが
多い。
微細化に伴いリーク電流の増大が顕在化し、消費電力が増大するといった問題がある。そ
こで消費電力を抑えるため、例えばデータの入出力が行われない期間において、半導体装
置への電源電圧の供給を停止することが試みられている。
いられるSRAMは、揮発性である。よって、半導体装置への電源電圧の供給を停止する
場合には、電源電圧の供給を再開後にレジスタ及びキャッシュメモリ等の揮発性の記憶装
置において消失したデータを復元することが必要となる。
れている。例えば、特許文献1では、電源電圧の供給を停止する前にフリップフロップな
どに保持されているデータを強誘電体メモリへと退避させ、電源電圧の供給を再開した後
に強誘電体メモリに退避されているデータをフリップフロップなどに復元する技術が開示
されている。
源電圧を低くする方法がある。消費電力は電源電圧に比例するため、電源電圧が低いほど
、消費電力を抑えることができる。
る。その結果、論理回路は出力電圧が安定せず、トランジスタのリーク電流が増加してし
まう。
例えば、非特許文献1では、シュミットトリガ回路を用いた低電圧動作可能なフリップフ
ロップが開示されている。フリップフロップにシュミットトリガ型回路を用いることで、
電源電圧が低くても安定した出力電圧が得られ、さらに貫通電流を抑えて消費電力を低減
させることができる。
ことを課題の一とする。または、本発明の一態様は、低電圧駆動可能で、且つ、プロセス
ばらつき耐性の強い不揮発性を有する半導体装置を提供することを課題の一とする。また
は、本発明の一態様は、低消費電力で、且つ、不揮発性を有する半導体装置を提供するこ
とを課題の一とする。
有し、電源電圧の供給が継続する期間においてデータが保持され、電源電圧の供給が停止
された期間より前に、容量素子が電気的に接続されたノードにデータに対応する電位を退
避させる。そして、該ノードにゲートが接続されたトランジスタのチャネル抵抗が変化す
ることを利用して、電源電圧の供給の再開に応じて、データの復元を行う構成を有する半
導体装置である。
部は、シュミットトリガ型NAND回路と、第1の電位または第2の電位の一方を保持す
る第1のノードと、第1の電位または第2の電位の他方を保持する第2のノードと、を有
し、第2の記憶回路部は、第1及び第2のシュミットトリガ型インバータと、第1乃至第
6のトランジスタと、第1及び第2の容量素子とを有し、第1のシュミットトリガ型イン
バータの入力端子は、第1のノードに電気的に接続され、第1のシュミットトリガ型イン
バータの出力端子は、第1のトランジスタのソースまたはドレインの一方に電気的に接続
され、第1のトランジスタのゲートは、第1の制御信号が与えられる配線に電気的に接続
され、第1のトランジスタのソースまたはドレインの他方は、第3のノードに電気的に接
続され、第1の容量素子の第1の電極は、第3のノードに電気的に接続され、第1の容量
素子の第2の電極は、第1の電位が与えられる配線に電気的に接続され、第2のトランジ
スタのソースまたはドレインの一方は、第1のノードに電気的に接続され、第2のトラン
ジスタのゲートは、第2の制御信号が与えられる配線に電気的に接続され、第2のトラン
ジスタのソースまたはドレインの他方は、第3のトランジスタのソースまたはドレインの
一方に電気的に接続され、第3のトランジスタのゲートは、第3のノードに電気的に接続
され、第3のトランジスタのソースまたはドレインの他方は、第1の電位が与えられる配
線に電気的に接続され、第2のシュミットトリガ型インバータの入力端子は、第2のノー
ドに電気的に接続され、第2のシュミットトリガ型インバータの出力端子は、第4のトラ
ンジスタのソースまたはドレインの一方に電気的に接続され、第4のトランジスタのゲー
トは、第1の制御信号が与えられる配線に電気的に接続され、第4のトランジスタのソー
スまたはドレインの他方は、第4のノードに電気的に接続され、第2の容量素子の第1の
電極は、第4のノードに電気的に接続され、第2の容量素子の第2の電極は、第1の電位
が与えられる配線に電気的に接続され、第5のトランジスタのソースまたはドレインの一
方は、第2のノードに電気的に接続され、第5のトランジスタのゲートは、第2の制御信
号が与えられる配線に電気的に接続され、第5のトランジスタのソースまたはドレインの
他方は、第6のトランジスタのソースまたはドレインの一方に電気的に接続され、第6の
トランジスタのゲートは、第4のノードに電気的に接続され、第6のトランジスタのソー
スまたはドレインの他方は、第1の電位が与えられる配線に電気的に接続され、第1のト
ランジスタ及び第4のトランジスタは、酸化物半導体を有する半導体膜を有することを特
徴とする半導体装置である。
において、第1のノードに、第1の電位または第2の電位の一方を保持し、第2のノード
に、第1の電位または第2の電位の他方を保持し、第2の記憶回路部は、電源電圧の供給
が停止する期間において、第3のノードに、第1の電位または第2の電位の他方を保持し
、第4のノードに、第1の電位または第2の電位の一方を保持する半導体装置が好ましい
。
することができる。または、本発明の一態様により、低電圧駆動可能で、且つ、プロセス
ばらつき耐性の強い不揮発性を有する半導体装置を提供することができる。または、本発
明の一態様により、低消費電力で、且つ、不揮発性を有する半導体装置を提供することが
できる。
の説明に限定されず、本発明の趣旨およびその範囲から逸脱することなく、その態様およ
び詳細をさまざまに変更し得ることは当業者であれば容易に理解される。したがって、本
発明は以下に示す実施の形態の記載内容に限定して解釈されるものではない。なお、説明
中に図面を参照するにあたり、同じものを指す符号は異なる図面間でも共通して用いる場
合がある。また、同様のものを指す際には同じハッチパターンを使用し、特に符号を付さ
ない場合がある。
本実施の形態では、不揮発性部及び揮発性部を有する半導体装置の一例について説明す
る。
0と、第2の記憶回路部150とを有する。第1の記憶回路部100は、電源電圧の供給
が継続されている期間において、データに対応する電位を保持する機能を有する回路部で
ある。第2の記憶回路部150は、電源電圧の供給が停止されている期間において、デー
タに対応する電位を保持する機能を有する回路部である。
)110及びST−NAND111を有する。
接続されている。ST−NAND110の第2の入力端子は、クロック信号Cが与えられ
る配線に電気的に接続されている。ST−NAND110の出力端子は、ST−NAND
111の第1の入力端子及びラッチ部102のST−NAND112の第1の入力端子に
電気的に接続されている。
に接続されている。ST−NAND111の出力端子は、ラッチ部102のST−NAN
D113の第2の入力端子に電気的に接続されている。
に接続されている。ST−NAND112の第2の入力端子は、ST−NAND113の
出力端子に電気的に接続されている。ST−NAND112の出力端子は、ST−NAN
D113の第1の入力端子に電気的に接続されている。
に接続されている。
る。
う)160、nチャネル型のトランジスタ161、nチャネル型のトランジスタ162、
nチャネル型のトランジスタ163、及び容量素子164を有する。
に電気的に接続されている。ST−INV160の出力端子は、トランジスタ161のソ
ースまたはドレインの一方に電気的に接続されている。
えられる配線に電気的に接続されている。トランジスタ161のソースまたはドレインの
他方は、トランジスタ163のゲート及び容量素子164の第1の電極に電気的に接続さ
れている。
D113の出力端子に電気的に接続されている。トランジスタ162のソースまたはドレ
インの他方は、トランジスタ163のソースまたはドレインの一方に電気的に接続されて
いる。トランジスタ162のゲートは、制御信号Load(以下、制御信号Lともいう)
が与えられる配線に電気的に接続されている。
、電位V1が与えられる配線に電気的に接続されている。
nチャネル型のトランジスタ172、nチャネル型のトランジスタ173、及び容量素子
174を有する。
に電気的に接続されている。ST−INV170の出力端子は、トランジスタ171のソ
ースまたはドレインの一方に電気的に接続されている。
る。トランジスタ171のソースまたはドレインの他方は、トランジスタ173のゲート
及び容量素子174の第1の電極に電気的に接続されている。
D112の出力端子に電気的に接続されている。トランジスタ172のソースまたはドレ
インの他方は、トランジスタ173のソースまたはドレインの一方に電気的に接続されて
いる。トランジスタ172のゲートは、制御信号Lが与えられる配線に電気的に接続され
ている。
、電位V1が与えられる配線に電気的に接続されている。
に接続された点をノード116といい、ST−NAND113の出力端子と、ST−IN
V160の入力端子とが電気的に接続された点をノード117という。
理ゲート(ST−NAND及びST−INV)は、それぞれの論理ゲートに対する入力数
を2以下とすることが好ましい。上記構成にすることで、トランジスタのしきい値ばらつ
きの影響を受けにくくすることができる。
さいトランジスタであることが好ましい。「オフ電流が小さい」とは、室温においてチャ
ネル幅1μmあたりの規格化されたオフ電流が10zA/μm以下であることをいう。オ
フ電流は小さいほど好ましいため、この規格化されたオフ電流値が1zA/μm以下、更
に10yA/μm以下とし、更に1yA/μm以下であることが好ましい。なお、その場
合のソースとドレイン間の電圧は、例えば、0.1V、5V、または10V程度である。
このように、オフ電流が小さいトランジスタとしては、チャネルが酸化物半導体で形成さ
れているトランジスタが挙げられる。
線201に電気的に接続され、出力端子が配線202に電気的に接続されたST−NAN
D203を示す。図2(B)は、図2(A)に示したST−NAND203の具体的構成
の一例を示したものである。
1、216、217、218と、nチャネル型のトランジスタ212、213、214、
215、219とを有する。
気的に接続されている。トランジスタ210のゲートは、配線200に電気的に接続され
ている。トランジスタ210のソースまたはドレインの他方は、トランジスタ211のソ
ースまたはドレインの一方に電気的に接続されている。
211のソースまたはドレインの他方は、トランジスタ212のソースまたはドレインの
一方及び配線202に電気的に接続されている。
212のソースまたはドレインの他方は、トランジスタ213のソースまたはドレインの
一方に電気的に接続されている。
213のソースまたはドレインの他方は、トランジスタ214のソースまたはドレインの
一方及びトランジスタ219のソースまたはドレインの一方に電気的に接続されている。
214のソースまたはドレインの他方は、トランジスタ215のソースまたはドレインの
一方に電気的に接続されている。
215のソースまたはドレインの他方は、電位V1が与えられる配線に電気的に接続され
ている。
気的に接続されている。トランジスタ216のソースまたはドレインの他方は、トランジ
スタ210のソースまたはドレインの他方、トランジスタ211のソースまたはドレイン
の一方、トランジスタ217のソースまたはドレインの一方、及びトランジスタ218の
ソースまたはドレインの一方に電気的に接続されている。トランジスタ216のゲートは
、配線201に電気的に接続されている。
217のソースまたはドレインの他方は、トランジスタ211のソースまたはドレインの
他方、トランジスタ212のソースまたはドレインの一方、及び配線202に電気的に接
続されている。
トランジスタ212のソースまたはドレインの一方、トランジスタ217のソースまたは
ドレインの他方、トランジスタ219のゲート、及び配線202に電気的に接続されてい
る。トランジスタ218のソースまたはドレインの他方は、電位V1が与えられる配線に
電気的に接続されている。
気的に接続されている。
スタ211のソースまたはドレインの一方、トランジスタ216のソースまたはドレイン
の他方、及びトランジスタ217のソースまたはドレインの一方が電気的に接続されたノ
ードと、電位V1が与えられる配線との電気的な接続を、配線202の電位に従って制御
する機能を有する。
ンジスタ214のソースまたはドレインの一方が電気的に接続されたノードと、電位V2
が与えられる配線との電気的な接続を、配線202の電位に従って制御する機能を有する
。
電位VDDである。なお、電位V1は、グラウンド電位GNDでもよい。
保持される電位を「Hレベル」の電位ということがある。
2の電位がHレベルとなるべきときに配線202の電位が低下する、あるいは、配線20
2の電位がLレベルとなるべきときに配線202の電位が上昇することを防ぐことができ
る。
気的に接続されたST−INV302を示す。図3(B)は、図3(A)に示したST−
INV302の具体的構成の一例を示したものである。
、314と、nチャネル型のトランジスタ312、313、315とを有する。
気的に接続されている。トランジスタ310のソースまたはドレインの他方は、トランジ
スタ311のソースまたはドレインの一方及びトランジスタ314のソースまたはドレイ
ンの一方に電気的に接続されている。トランジスタ310のゲートは配線300に電気的
に接続されている。
11のソースまたはドレインの他方は、トランジスタ312のソースまたはドレインの一
方及び配線301に電気的に接続されている。
12のソースまたはドレインの他方は、トランジスタ313のソースまたはドレインの一
方及びトランジスタ315のソースまたはドレインの一方に電気的に接続されている。
13のソースまたはドレインの他方は、電位V1が与えられる配線に電気的に接続されて
いる。
気的に接続されている。トランジスタ314のゲートは、トランジスタ315のゲート及
び配線301に電気的に接続されている。
気的に接続されている。
ジスタ311のソースまたはドレインの一方が電気的に接続されたノードと、電位V1が
与えられる配線との電気的な接続を、配線301の電位に従って制御する機能を有する。
ジスタ313のソースまたはドレインの一方が電気的に接続されたノードと、電位V2が
与えられる配線との電気的な接続を、配線301の電位に従って制御する機能を有する。
の電位がHレベルとなるべきときに配線301の電位が低下する、あるいは、配線301
の電位がLレベルとなるべきときに配線301の電位が上昇することを防ぐことができる
。
説明する。
号が与えられる配線の電位を表す。また、Sは制御信号Saveが与えられる配線の電位
を表す。また、Lは制御信号Loadが与えられる配線の電位を表す。また、114はS
T−NAND110の出力電位を表す。また、115はST−NAND111の出力電位
を表す。また、116はノード116の電位を表す。また、117はノード117の電位
を表す。また、165は、トランジスタ161のソースまたはドレインの他方、トランジ
スタ163のゲート、及び容量素子164の第1の電極が電気的に接続されたノード16
5の電位を表す。また、175は、トランジスタ171のソースまたはドレインの他方、
トランジスタ173のゲート、及び容量素子174の第1の電極が電気的に接続されたノ
ード175の電位を表す。
」のように表記する。また、「data0」の反転値には、データ値の名称にスラッシュ
を付し、「/data0」のように表記する。
す。期間P1は通常動作期間である。期間P2はデータ移行期間である。期間P3は動作
停止期間である。期間P4は動作再開移行期間である。
各動作のタイミングを説明するために付したものである。
Hレベルになる。このとき、ST−NAND110の出力電位114は/data1、S
T−NAND111の出力電位115はdata1、ノード116の電位はdata1、
ノード117の電位は/data1となり、ラッチ部102にデータが取り込まれる。
力電位114及びST−NAND111の出力電位115はHレベルとなり、ノード11
6の電位はdata1、ノード117の電位は/data1のままであり、ラッチ部10
2にデータが保持される。
。このとき、ラッチ部102はデータ保持状態を維持するので、ノード116の電位はd
ata1、ノード117の電位は/data1のままである。また、ノード116の電位
がST−INV170を介してノード175に伝播し、ノード175の電位は/data
1となる。また、ノード117の電位がST−INV160を介してノード165に伝播
し、ノード165の電位はdata1となる。このように、第1の記憶回路部100から
第2の記憶回路部150へデータを移行することができる。
、ノード165及びノード175は浮遊状態となり、データを保持する。このように、第
2の記憶回路部150にデータが保持され、第1の記憶回路部100のデータは消失する
。
、ノード116の電位及びノード117の電位は、トランジスタ173及びトランジスタ
163のチャネル抵抗の差で決定される。例えば、data1がHレベルの場合、ノード
175はLレベル、ノード165はHレベルである。このとき、トランジスタ173はオ
フであり、Lレベルの電位V1を供給する配線とノード116とは非導通状態である。一
方、トランジスタ163はオンであり、Lレベルの電位V1を供給する配線とノード11
7とは導通状態となるため、ノード117の電位はLレベルとなる。ノード116とノー
ド117のデータ値は常に反転関係にあるため、ノード116またはノード117のどち
らか一方が必ずLレベルの電位V1を供給する配線と導通状態となる。
戻り、クロック信号が与えられる配線にはLレベルの電位が供給される。このとき、ST
−NAND110の出力電位114及びST−NAND111の出力電位115はHレベ
ルとなる。また、第2の記憶回路部150により、ノード116またはノード117のど
ちらか一方がLレベルとなり、他方がHレベルとなる。したがって、ノード116の電位
はdata1、ノード117の電位は/data1となり、第1の記憶回路部100にデ
ータを復元することができる。
記憶回路部100への電圧供給が停止する。これ以降、通常動作期間になり、データ演算
が行われる。
することを容易に実現することができる半導体装置を提供することができる。第1の記憶
回路部100と第2の記憶回路部150とでデータの退避及び復元を行うことで、電源電
圧の供給を適宜停止することができ、消費電力の低減を図ることができる。
大きい場合、トランジスタ173は、ノード175に保持される電圧値に対して、十分に
オン電流とオフ電流の比率が取れない場合がある。同様に、トランジスタ163は、ノー
ド165に保持される電圧値に対して、十分にオン電流とオフ電流の比率が取れない場合
がある。
及びトランジスタ163のチャネル抵抗の差により、ノード116とノード117との間
に電位差を生じさせることができるため、データを復元することができる。
いることが好ましい。当該回路は、ST−NAND及びST−INVを用いることで、電
源電圧が低くても安定した出力電圧を得ることができ、さらに貫通電流を抑えて消費電力
を低減させることができる。また、当該回路は、ST−NAND及びST−INVを用い
ることで、トランジスタの閾値や移動度のばらつきに対しても耐性を持つことができる。
することができる、低電圧動作可能で、且つ、プロセスばらつき耐性の強い半導体装置を
提供することができる。
本実施の形態では、不揮発性部及び揮発性部を有する半導体装置の一例について説明す
る。
第1の記憶回路部500と、第2の記憶回路部550とを有する。第1の記憶回路部50
0は、電源電圧の供給が継続されている期間において、データに対応する電位を保持する
機能を有する回路部である。第2の記憶回路部550は、電源電圧の供給が停止されてい
る期間において、データに対応する電位を保持する機能を有する回路部である。
、及びスレーブ・ラッチ504を有する。
接続されている。ST−NAND510の第2の入力端子は、第1のクロック信号C1が
与えられる配線に電気的に接続されている。ST−NAND510の出力端子は、ST−
NAND511の第1の入力端子及びマスタ・ラッチ502のST−NAND512の第
1の入力端子に電気的に接続されている。
に電気的に接続されている。ST−NAND511の出力端子は、マスタ・ラッチ502
のST−NAND513の第2の入力端子に電気的に接続されている。
に接続されている。ST−NAND512の第2の入力端子は、ST−NAND513の
出力端子に電気的に接続されている。ST−NAND512の出力端子は、ST−NAN
D513の第1の入力端子に電気的に接続されている。
に接続されている。
12の出力端子に電気的に接続されている。ST−NAND530の第2の入力端子は、
第2のクロック信号C2が与えられる配線に電気的に接続されている。ST−NAND5
30の出力端子は、ST−NAND531の第1の入力端子及びスレーブ・ラッチ504
のST−NAND532の第1の入力端子に電気的に接続されている。
に電気的に接続されている。ST−NAND531の出力端子は、スレーブ・ラッチ50
4のST−NAND533の第2の入力端子に電気的に接続されている。
。
に接続されている。ST−NAND532の第2の入力端子は、ST−NAND533の
出力端子に電気的に接続されている。ST−NAND532の出力端子は、ST−NAN
D533の第1の入力端子に電気的に接続されている。
に接続されている。
ロック553、及び第4のブロック554を有する。
nチャネル型のトランジスタ562、nチャネル型のトランジスタ563、及び容量素子
564を有する。
力端子に電気的に接続されている。ST−INV560の出力端子は、トランジスタ56
1のソースまたはドレインの一方に電気的に接続されている。
る。トランジスタ561のソースまたはドレインの他方は、トランジスタ563のゲート
及び容量素子564の第1の電極に電気的に接続されている。
NAND513の出力端子に電気的に接続されている。トランジスタ562のソースまた
はドレインの他方は、トランジスタ563のソースまたはドレインの一方に電気的に接続
されている。トランジスタ562のゲートは、制御信号Lが与えられる配線に電気的に接
続されている。
、電位V1が与えられる配線に電気的に接続されている。
nチャネル型のトランジスタ572、nチャネル型のトランジスタ573、及び容量素子
574を有する。
力端子に電気的に接続されている。ST−INV570の出力端子は、トランジスタ57
1のソースまたはドレインの一方に電気的に接続されている。
る。トランジスタ571のソースまたはドレインの他方は、トランジスタ573のゲート
及び容量素子574の第1の電極に電気的に接続されている。
NAND512の出力端子に電気的に接続されている。トランジスタ572のソースまた
はドレインの他方は、トランジスタ573のソースまたはドレインの一方に電気的に接続
されている。トランジスタ572のゲートは、制御信号Lが与えられる配線に電気的に接
続されている。
、電位V1が与えられる配線に電気的に接続されている。
nチャネル型のトランジスタ582、nチャネル型のトランジスタ583、及び容量素子
584を有する。
出力端子に電気的に接続されている。ST−INV580の出力端子は、トランジスタ5
81のソースまたはドレインの一方に電気的に接続されている。
る。トランジスタ581のソースまたはドレインの他方は、トランジスタ583のゲート
及び容量素子584の第1の電極に電気的に接続されている。
−NAND533の出力端子に電気的に接続されている。トランジスタ582のソースま
たはドレインの他方は、トランジスタ583のソースまたはドレインの一方に電気的に接
続されている。トランジスタ582のゲートは、制御信号Lが与えられる配線に電気的に
接続されている。
、電位V1が与えられる配線に電気的に接続されている。
nチャネル型のトランジスタ592、nチャネル型のトランジスタ593、及び容量素子
594を有する。
出力端子に電気的に接続されている。ST−INV590の出力端子は、トランジスタ5
91のソースまたはドレインの一方に電気的に接続されている。
る。トランジスタ591のソースまたはドレインの他方は、トランジスタ593のゲート
及び容量素子594の第1の電極に電気的に接続されている。
−NAND532の出力端子に電気的に接続されている。トランジスタ592のソースま
たはドレインの他方は、トランジスタ593のソースまたはドレインの一方に電気的に接
続されている。トランジスタ592のゲートは、制御信号Lが与えられる配線に電気的に
接続されている。
、電位V1が与えられる配線に電気的に接続されている。
に接続された点をノード516といい、ST−NAND513の出力端子と、ST−IN
V560の入力端子とが電気的に接続された点をノード517という。また、ST−NA
ND532の出力端子と、ST−INV590の入力端子とが電気的に接続された点をノ
ード536といい、ST−NAND533の出力端子と、ST−INV580の入力端子
とが電気的に接続された点をノード537という。
理ゲート(ST−NAND及びST−INV)は、それぞれの論理ゲートに対する入力数
を2以下とすることが好ましい。上記構成にすることで、トランジスタのしきい値ばらつ
きの影響を受けにくくすることができる。
スタ591は、非導通状態でのリーク電流(オフ電流)が小さいトランジスタであること
が好ましい。
いることが好ましい。当該回路は、ST−NAND及びST−INVを用いることで、電
源電圧が低くても安定した出力電圧を得ることができ、さらに貫通電流を抑えて消費電力
を低減させることができる。また、当該回路は、ST−NAND及びST−INVを用い
ることで、トランジスタの閾値や移動度のばらつきに対しても耐性を持つことができる。
トを用いて説明する。
クロック信号C1が与えられる配線の電位を表す。また、C2は第2のクロック信号C2
が与えられる配線の電位を表す。また、Sは制御信号Saveが与えられる配線の電位を
表す。また、Lは制御信号Loadが与えられる配線の電位を表す。また、514はST
−NAND510の出力電位を表す。また、515はST−NAND511の出力電位を
表す。また、516はノード516の電位を表す。また、517はノード517の電位を
表す。また、534はST−NAND530の出力電位を表す。また、535はST−N
AND531の出力電位を表す。また、536はノード536の電位を表す。また、53
7はノード537の電位を表す。また、565は、トランジスタ561のソースまたはド
レインの他方、トランジスタ563のゲート、及び容量素子564の第1の電極が電気的
に接続されたノード565の電位を表す。また、575は、トランジスタ571のソース
またはドレインの他方、トランジスタ573のゲート、及び容量素子574の第1の電極
が電気的に接続されたノード575の電位を表す。また、585は、トランジスタ581
のソースまたはドレインの他方、トランジスタ583のゲート、及び容量素子584の第
1の電極が電気的に接続されたノード585の電位を表す。また、595は、トランジス
タ591のソースまたはドレインの他方、トランジスタ593のゲート、及び容量素子5
94の第1の電極が電気的に接続されたノード595の電位を表す。
」のように表記する。また、「data0」の反転値には、データ値の名称にスラッシュ
を付し、「/data0」のように表記する。
の状態を表す。期間P1は通常動作期間である。期間P2はデータ移行期間である。期間
P3は動作停止期間である。期間P4は動作再開移行期間である。
各動作のタイミングを説明するために付したものである。
信号C1がHレベルになる。このとき、ST−NAND510の出力電位514は/da
ta1、ST−NAND511の出力電位515はdata1、ノード516の電位はd
ata1、ノード517の電位は/data1となり、マスタ・ラッチ502にデータが
取り込まれる。
510の出力電位514及びST−NAND511の出力電位515はHレベルとなり、
ノード516の電位はdata1、ノード517の電位は/data1のままであり、マ
スタ・ラッチ502にデータが保持される。
530の出力電位534は/data1、ST−NAND531の出力電位535はda
ta1、ノード536の電位はdata1、ノード537の電位は/data1となり、
スレーブ・ラッチ504にデータが取り込まれる。
530の出力電位534及びST−NAND531の出力電位535はHレベルとなり、
ノード536の電位はdata1、ノード537の電位は/data1のままであり、ス
レーブ・ラッチ504にデータが保持される。
れ、制御信号SaveがHレベルになる。このとき、マスタ・ラッチ502及びスレーブ
・ラッチ504はデータ保持状態を維持するので、ノード516の電位はdata1、ノ
ード517の電位は/data1、ノード536の電位はdata1、ノード537の電
位は/data1のままである。また、ノード516の電位がST−INV570を介し
てノード575に伝播し、ノード575の電位は/data1となる。また、ノード51
7の電位がST−INV560を介してノード565に伝播し、ノード565の電位はd
ata1となる。また、ノード536の電位がST−INV590を介してノード595
に伝播し、ノード595の電位は/data1となる。また、ノード537の電位がST
−INV580を介してノード585に伝播し、ノード585の電位はdata1となる
。このように、第1の記憶回路部500から第2の記憶回路部550へデータを移行する
ことができる。
、ノード565、ノード575、ノード585、及びノード595は浮遊状態となり、デ
ータを保持する。このように、第2の記憶回路部550にデータが保持され、第1の記憶
回路部500のデータは消失する。
、ノード516の電位及びノード517の電位は、トランジスタ573及びトランジスタ
563のチャネル抵抗の差で決定され、ノード536の電位及びノード537の電位は、
トランジスタ593及びトランジスタ583のチャネル抵抗の差で決定される。例えば、
data1がHレベルの場合、ノード575はLレベル、ノード565はHレベルである
。このとき、トランジスタ573はオフであり、Lレベルの電位V1を供給する配線とノ
ード516とは非導通状態である。一方、トランジスタ563はオンであり、Lレベルの
電位V1を供給する配線とノード517とは導通状態となるため、ノード517の電位は
Lレベルとなる。ノード516とノード517のデータ値は常に反転関係にあるため、ノ
ード516またはノード517のどちらか一方が必ずLレベルの電位V1を供給する配線
と導通状態となる。同様に、data1がHレベルの場合、ノード595はLレベル、ノ
ード585はHレベルである。このとき、トランジスタ593はオフであり、Lレベルの
電位V1を供給する配線とノード536とは非導通状態である。一方、トランジスタ58
3はオンであり、Lレベルの電位V1を供給する配線とノード537とは導通状態となる
ため、ノード537の電位はLレベルとなる。ノード536とノード537のデータ値は
常に反転関係にあるため、ノード536またはノード537のどちらか一方が必ずLレベ
ルの電位V1を供給する配線と導通状態となる。
戻り、第1のクロック信号C1が与えられる配線にはLレベルの電位が供給される。この
とき、ST−NAND510の出力電位514及びST−NAND511の出力電位51
5はHレベルとなる。また、第2の記憶回路部550により、ノード516またはノード
517のどちらか一方がLレベルとなり、他方がHレベルとなる。したがって、ノード5
16の電位はdata1、ノード517の電位は/data1となり、第1の記憶回路部
500にデータを復元することができる。
このとき、ST−NAND530の出力電位534及びST−NAND531の出力電位
535はHレベルとなる。また、第2の記憶回路部550により、ノード536またはノ
ード537のどちらか一方がLレベルとなり、他方がHレベルとなる。したがって、ノー
ド536の電位はdata1、ノード537の電位は/data1となり、第1の記憶回
路部500にデータを復元することができる。
記憶回路部500への電圧供給が停止する。これ以降、通常動作期間になり、データ演算
が行われる。
することができる半導体装置を提供することができる。第1の記憶回路部500と第2の
記憶回路部550とでデータの退避及び復元を行うことで、電源電圧の供給を適宜停止す
ることができ、消費電力の低減を図ることができる。
大きい場合、トランジスタ563は、ノード565に保持される電圧値に対して、十分に
オン電流とオフ電流の比率が取れない場合がある。同様に、トランジスタ573は、ノー
ド575に保持される電圧値に対して、トランジスタ583は、ノード585に保持され
る電圧値に対して、トランジスタ593は、ノード595に保持される電圧値に対して、
十分にオン電流とオフ電流の比率が取れない場合がある。
563のチャネル抵抗の差により、ノード516とノード517との間に電位差を生じさ
せることができるため、データを復元することができる。同様に、トランジスタ593及
びトランジスタ583のチャネル抵抗の差により、ノード536とノード537との間に
電位差を生じさせることができるため、データを復元することができる。
することができる、低電圧動作可能で、且つ、プロセスばらつき耐性の強い半導体装置を
提供することができる。
本実施の形態では、不揮発性部及び揮発性部を有する半導体装置の一例について説明す
る。
図5に示すフリップフロップ回路とは異なる構成を有している。図7に示すフリップフロ
ップ回路は、第1の記憶回路部400と、第2の記憶回路部450とを有する。第1の記
憶回路部400は、電源電圧の供給が継続されている期間において、データに対応する電
位を保持する機能を有する回路部である。第2の記憶回路部450は、電源電圧の供給が
停止されている期間において、データに対応する電位を保持する機能を有する回路部であ
る。
12、シュミットトリガ型AND回路(以下、ST−ANDともいう)413、及びST
−NAND414を有する。
接続されている。ST−NAND410の第2の入力端子は、ST−NAND414の出
力端子に電気的に接続されている。ST−NAND410の出力端子は、ST−AND4
13の第1の入力端子及びST−NAND411の第1の入力端子に電気的に接続されて
いる。
に接続されている。ST−NAND411の出力端子は、ST−NAND412の第1の
入力端子に電気的に接続されている。
に接続されている。ST−NAND412の出力端子は、ST−AND413の第2の入
力端子に電気的に接続されている。
に接続されている。ST−NAND414の第2の入力端子は、ST−AND413の出
力端子に電気的に接続されている。
出力端子に電気的に接続されている。ST−NAND415の第2の入力端子は、ST−
NAND416の出力端子に電気的に接続されている。ST−NAND415の出力端子
は、ST−NAND416の第1の入力端子に電気的に接続されている。
出力端子に電気的に接続されている。
る。
nチャネル型のトランジスタ462、nチャネル型のトランジスタ463、及び容量素子
464を有する。
に電気的に接続されている。ST−INV460の出力端子は、トランジスタ461のソ
ースまたはドレインの一方に電気的に接続されている。
えられる配線に電気的に接続されている。トランジスタ461のソースまたはドレインの
他方は、トランジスタ463のゲート及び容量素子464の第1の電極に電気的に接続さ
れている。
D416の出力端子に電気的に接続されている。トランジスタ462のソースまたはドレ
インの他方は、トランジスタ463のソースまたはドレインの一方に電気的に接続されて
いる。トランジスタ462のゲートは、制御信号Load(以下、制御信号Lともいう)
が与えられる配線に電気的に接続されている。
、電位V1が与えられる配線に電気的に接続されている。
nチャネル型のトランジスタ472、nチャネル型のトランジスタ473、及び容量素子
474を有する。
に電気的に接続されている。ST−INV470の出力端子は、トランジスタ471のソ
ースまたはドレインの一方に電気的に接続されている。
る。トランジスタ471のソースまたはドレインの他方は、トランジスタ473のゲート
及び容量素子474の第1の電極に電気的に接続されている。
D415の出力端子に電気的に接続されている。トランジスタ472のソースまたはドレ
インの他方は、トランジスタ473のソースまたはドレインの一方に電気的に接続されて
いる。トランジスタ472のゲートは、制御信号Lが与えられる配線に電気的に接続され
ている。
、電位V1が与えられる配線に電気的に接続されている。
、ST−AND413の第1の入力端子とが電気的に接続された点をノード421という
。また、ST−NAND412の出力端子と、ST−NAND411の第2の入力端子と
、ST−AND413の第2の入力端子と、ST−NAND415の第1の入力端子とが
電気的に接続された点をノード423という。また、ST−NAND414の出力端子と
、ST−NAND410の第2の入力端子と、ST−NAND416の第2の入力端子と
が電気的に接続された点をノード424という。また、ST−NAND415の出力端子
と、ST−INV470の入力端子とが電気的に接続された点をノード426という。ま
た、ST−NAND416の出力端子と、ST−INV460の入力端子とが電気的に接
続された点をノード427という。
理ゲート(ST−NAND、ST−INV、及びST−AND)は、それぞれの論理ゲー
トに対する入力数を2以下とすることが好ましい。上記構成にすることで、トランジスタ
のしきい値ばらつきの影響を受けにくくすることができる。
さいトランジスタであることが好ましい。
T−ANDを用いることが好ましい。当該回路は、ST−NAND及びST−INVを用
いることで、電源電圧が低くても安定した出力電圧を得ることができ、さらに貫通電流を
抑えて消費電力を低減させることができる。また、当該回路は、ST−NAND、ST−
INV及びST−ANDを用いることで、トランジスタの閾値や移動度のばらつきに対し
ても耐性を持つことができる。
線251に電気的に接続され、出力端子が配線252に電気的に接続されたST−AND
253を示す。図8(B)に示すように、ST−AND253は、ST−NANDとST
−INVとを有し、ST−NANDの出力端子がST−INVの入力端子に電気的に接続
されている。ST−NANDとしては、図2(B)に示した構成を用いることができる。
ST−INVとしては、図3(B)に示した構成を用いることができる。
トを用いて説明する。
信号Cが与えられる配線の電位を表す。また、Sは制御信号Saveが与えられる配線の
電位を表す。また、Lは制御信号Loadが与えられる配線の電位を表す。また、422
はST−NAND411の出力電位を表す。また、423はノード423の電位を表す。
また、424はノード424の電位を表す。また、425はST−AND413の出力電
位を表す。また、426はノード426の電位を表す。また、427はノード427の電
位を表す。また、465は、トランジスタ461のソースまたはドレインの他方、トラン
ジスタ463のゲート、及び容量素子464の第1の電極が電気的に接続されたノード4
65の電位を表す。また、475は、トランジスタ471のソースまたはドレインの他方
、トランジスタ473のゲート、及び容量素子474の第1の電極が電気的に接続された
ノード475の電位を表す。
1」のように表記する。また「data1」の反転値には、データ値の名称にスラッシュ
を付し、「/data1」のように表記する。
の状態を表す。期間P1は通常動作期間である。期間P2はデータ移行期間である。期間
P3は動作停止期間である。期間P4は動作再開移行期間である。
各動作のタイミングを説明するために付したものである。
このとき、ノード423及びノード424の電位はHレベルとなり、ノード421の電位
は/data1、ST−NAND411の出力電位422はdata1、ST−AND4
13の出力電位425は/data1となる。また、ノード426の電位は時刻T0以前
から保持しているdata0であり、ノード427の電位は時刻T0以前から保持してい
る/data0である。
ta1、ノード424の電位はdata1となる。また、ノード426の電位はdata
1、ノード427の電位は/data1となる。
はdata1及びdata2の値によって変化する場合があるが、ST−NAND411
の出力電位422、ノード423の電位、ノード424の電位、ST−AND413の出
力電位425は変化しない。したがって、ノード426の電位及びノード427の電位も
変化しない。
24の電位はHレベルとなり、ノード426及びノード427の電位は保持される。また
、ノード421の電位は/data2、ST−NAND411の出力電位422はdat
a2、ST−AND413の出力電位425は/data2となる。
ata2、ノード424の電位はdata2となる。また、ノード426の電位はdat
a2、ノード427の電位は/data2となる。
はdata2及びdata3の値によって変化する場合もあるが、ST−NAND411
の出力電位422、ノード423の電位、ノード424の電位、ST−AND413の出
力電位425は変化しない。したがって、ノード426の電位及びノード427の電位も
変化しない。このように、第1の記憶回路部400は、クロック信号がLレベルからHレ
ベルに変わるときのデータ信号の値を保持することができる。
24の電位はHレベルとなり、ノード426及びノード427の電位は保持される。また
、ノード421の電位は/data3、ST−NAND411の出力電位422はdat
a3、ST−AND413の出力電位425は/data3となる。
。このとき、ラッチ部402はデータ保持状態を維持するので、ノード426の電位はd
ata2、ノード427の電位は/data2のままである。また、ノード426の電位
がST−INV470を介してノード475に伝播し、ノード475の電位は/data
2となる。また、ノード427の電位がST−INV460を介してノード465に伝播
し、ノード465の電位はdata2となる。このように、第1の記憶回路部400から
第2の記憶回路部450へデータを移行することができる。
、ノード465及びノード475は浮遊状態となり、データを保持する。このように、第
2の記憶回路部450にデータが保持され、第1の記憶回路部400のデータが消失する
。
、ノード426の電位及びノード427の電位は、トランジスタ473及びトランジスタ
463のチャネル抵抗の差で決定される。例えば、data2がHレベルの場合、ノード
475はLレベル、ノード465はHレベルである。このとき、トランジスタ473はオ
フであり、Lレベルの電位V1を供給する配線とノード426とは非導通状態である。一
方、トランジスタ463はオンであり、Lレベルの電位V1を供給する配線とノード42
7とは導通状態となるため、ノード427の電位はLレベルとなる。ノード426とノー
ド427のデータ値は常に反転関係にあるため、ノード426またはノード427のどち
らか一方が必ずLレベルの電位V1を供給する配線と導通状態となる。
戻り、クロック信号が与えられる配線にはLレベルの電位が供給される。このとき、ノー
ド423及びノード424の電位がHレベルとなる。また、第2の記憶回路部450によ
り、ノード426またはノード427のどちらか一方がLレベルとなり、他方がHレベル
となる。したがって、ノード426の電位はdata2、ノード427の電位は/dat
a2となり、第1の記憶回路部400にデータを復元することができる。また、ノード4
21の電位は/data3、ST−NAND411の出力電位422はdata3、ST
−AND413の出力電位425は/data3となる。
記憶回路部400への電圧供給が停止する。これ以降、通常動作期間になり、データ演算
が行われる。
することができる半導体装置を提供することができる。第1の記憶回路部400と第2の
記憶回路部450とでデータの退避及び復元を行うことで、電源電圧の供給を適宜停止す
ることができ、消費電力の低減を図ることができる。
大きい場合、トランジスタ463は、ノード465に保持される電圧値に対して、十分に
オン電流とオフ電流の比率が取れない場合がある。同様に、トランジスタ473は、ノー
ド475に保持される電圧値に対して、十分にオン電流とオフ電流の比率が取れない場合
がある。
及びトランジスタ463のチャネル抵抗の差により、ノード426とノード427との間
に電位差を生じさせることができるため、データを復元することができる。
することができる、低電圧動作可能で、且つ、プロセスばらつき耐性の強い半導体装置を
提供することができる。
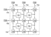
本実施の形態では、半導体装置の応用例について具体例を挙げて説明する。
。ロジックアレイ700は、アレイ状の複数のロジックエレメント(Logic Ele
ment:以下、LEという)701を有する。ここで、アレイ状とは、行列状にロジッ
クエレメントが周期的に配列していることを指し、配列は図10の配列に限られない。
れらの配線は複数の水平な配線群703と複数の垂直な配線群704とにより構成される
。配線群とは、複数の配線からなる配線の束である。水平な配線群703と垂直な配線群
704とが交わる部分にはスイッチ部702が設けられる。また、水平な配線群703及
び垂直な配線群704は入出力端子705に電気的に接続され、ロジックアレイ700の
外部回路と信号の授受を行う。
直な配線群704に電気的に接続している。例えば、LE701の入出力端子は図10に
おいてそれぞれ上下左右の側で水平な配線群703や垂直な配線群704と電気的に接続
している。この入出力端子を用いることで、LE701は他のLE701に電気的に接続
することができる。任意のLE701と、これと異なるLE701との接続経路は、スイ
ッチ部702内に設けられた配線間の接続を切り替えるためのスイッチによって決定され
る。
、コンフィギュレーションデータを記憶するコンフィギュレーションメモリに応じて決定
される。スイッチ部702に設けられるコンフィギュレーションメモリは、書き換え可能
な構成とする場合、記憶するコンフィギュレーションデータが電源電圧の供給の停止によ
り消失しないよう、不揮発性の記憶素子を有する構成とすることが好ましい。
一例として、ルックアップテーブル(以下、LUTという)711、フリップフロップ7
12及びマルチプレクサ713を有する。また図11では、ルックアップテーブル711
及びマルチプレクサ713に電気的に接続された、コンフィギュレーションメモリ714
、715が設けられている。
ルチプレクサ713の入力信号の選択情報、スイッチ部702の導通又は非導通のデータ
をいう。また、コンフィギュレーションメモリとは、コンフィギュレーションデータを記
憶する記憶素子をいう。
ションデータの内容によって、定められる論理回路が異なる。そして、コンフィギュレー
ションデータが確定すると、LUT711は、入力端子716に与えられた複数の入力信
号の入力値に対する、一の出力値が定まる。そして、LUT711からは、上記出力値を
含む信号が出力される。
Cに同期して当該信号に対応した出力信号が、マルチプレクサ713に出力される。
らの出力信号とが入力されている。そして、マルチプレクサ713は、コンフィギュレー
ションメモリ715に格納されているコンフィギュレーションデータに従って、上記2つ
の出力信号のいずれか一方を出力する。マルチプレクサ713からの出力信号は、出力端
子717から出力される。
上記実施の形態で示した半導体装置を用いることで、電源電圧の供給の停止によるフリッ
プフロップ内のデータの消失を防ぐことができる。また、電源電圧の供給を停止する前に
保持していたデータの退避を短時間で行うことができ、さらに、電源電圧の供給を再開し
た後、短時間で上記データを復元することができる。よって、PLDを構成する複数のロ
ジックエレメントにおいて、電源電圧の供給の停止を行うことができる。したがって、P
LDの消費電力を小さく抑えることができる。
とのできる不揮発性の記憶素子の一例について、図12(A)に示す。図12(A)に示
す不揮発性の記憶素子は、酸化物半導体を用いたトランジスタでコンフィギュレーション
メモリを形成する構成例である。コンフィギュレーションメモリに用いる不揮発性の記憶
素子に、酸化物半導体を用いたトランジスタのオフ電流が小さいという特性を利用してデ
ータの保持を行う構成を採用することで、トランジスタの作製工程によりコンフィギュレ
ーションメモリを作製することができ、且つ、トランジスタ同士を積層して作製すること
ができる等、低コスト化の点でメリットが大きい。
メモリ900を示す。コンフィギュレーションメモリ900は、ノードmemに保持され
るコンフィギュレーションデータに従って、端子S1と端子S2との接続を制御する。
ランジスタ912及びトランジスタ913並びに容量素子914を有する。
能なコンフィギュレーションメモリ920を示す。コンフィギュレーションメモリ920
は、ノードmem1、mem2に保持されるコンフィギュレーションデータに従って、出
力端子OUTの信号を制御する。電位VH及び電位VLは、それぞれLUT711又はマ
ルチプレクサ713を制御するための信号である。
ランジスタ932、トランジスタ933、容量素子934、トランジスタ935、トラン
ジスタ936、トランジスタ937及び容量素子938を有する。
バンドギャップが広く、真性キャリア密度がシリコンよりも低い半導体材料を用いる。例
えば、酸化物半導体をチャネル形成領域に含むトランジスタを用いる。一方、トランジス
タ912、トランジスタ913、トランジスタ932、トランジスタ933、トランジス
タ936及びトランジスタ937は、例えばシリコンなどの半導体材料をチャネル形成領
域に用いて、トランジスタ911、トランジスタ931及びトランジスタ935よりも高
速にスイッチングが可能なトランジスタを用いるとよい。
5は、酸化物半導体をチャネル形成領域に具備するトランジスタであることを示すために
、OSの符号を付している。
る。図12(A)に示すように、トランジスタ911のゲートは、第1のワード線902
に電気的に接続されている。また、トランジスタ911のソースまたはドレインの一方は
データ線901に電気的に接続されている。また、トランジスタ911のソースまたはド
レインの他方は、トランジスタ912のゲート及び容量素子914に電気的に接続されて
いる。トランジスタ912のソースまたはドレインの一方は、端子S1に電気的に接続さ
れている。トランジスタ912のソースまたはドレインの他方は、トランジスタ913の
ソースまたはドレインの一方に電気的に接続されている。トランジスタ913のゲートは
、第2のワード線903に電気的に接続されている。トランジスタ913のソースまたは
ドレインの他方は、端子S2に電気的に接続されている。
ルまたはLレベルに対応する電位をコンフィギュレーションデータとして保持する。トラ
ンジスタ911は、オフ電流が極めて小さいトランジスタを用いることで、ノードmem
にコンフィギュレーションデータを記憶することができる。コンフィギュレーションデー
タの電位に応じてコンフィギュレーションメモリ900では、トランジスタ912の導通
状態が制御される。そしてトランジスタ913を導通状態とするタイミングで、端子S1
及び端子S2間のオンまたはオフの制御を実現することができる。
て説明する。図12(B)に示すように、トランジスタ931のゲートは、第1のワード
線942に電気的に接続されている。また、トランジスタ931のソースまたはドレイン
の一方はデータ線941に電気的に接続されている。また、トランジスタ931のソース
またはドレインの他方は、トランジスタ932のゲート及び容量素子934に電気的に接
続されている。トランジスタ932のソースまたはドレインの一方は、電位VHが与えら
れる配線に電気的に接続されている。トランジスタ932のソースまたはドレインの他方
は、トランジスタ933のソースまたはドレインの一方に電気的に接続されている。トラ
ンジスタ933のゲートは、第2のワード線943に電気的に接続されている。トランジ
スタ933のソースまたはドレインの他方は、出力端子OUTに電気的に接続されている
。トランジスタ935のゲートは、第1のワード線942に電気的に接続されている。ま
た、トランジスタ935のソースまたはドレインの一方は、インバータ回路940を介し
て、データ線941に電気的に接続されている。また、トランジスタ935のソースまた
はドレインの他方は、トランジスタ936のゲート及び容量素子938に電気的に接続さ
れている。トランジスタ936のソースまたはドレインの一方は、電位VLが与えられる
配線に電気的に接続されている。トランジスタ936のソースまたはドレインの他方は、
トランジスタ937のソースまたはドレインの一方に電気的に接続されている。トランジ
スタ937のゲートは、第2のワード線943に電気的に接続されている。トランジスタ
937のソースまたはドレインの他方は、出力端子OUTに電気的に接続されている。
m2にHレベル、Lレベルの組み合わせ、又はLレベル、Hレベルの組み合わせに対応す
る電位をコンフィギュレーションデータとして保持する。トランジスタ931、935は
、オフ電流が極めて小さいトランジスタを用いることで、ノードmem1、mem2にコ
ンフィギュレーションデータを記憶することができる。コンフィギュレーションメモリ9
20では、コンフィギュレーションデータの電位に応じて、トランジスタ932、936
の導通状態が制御される。そしてトランジスタ933、937を導通状態とするタイミン
グで、出力端子OUTより出力される信号を電位VH又は電位VLに切り替える制御を実
現することができる。
、命令デコーダ1013、汎用レジスタ1014、及びALU1015(Arithme
tic logic unit)を有する。CPU1000の外部には、CPU1000
とのデータの入出力を行うための主記憶装置1001が設けられる。
スを記憶するレジスタである。命令レジスタ1012は、主記憶装置1001から命令デ
コーダ1013に送られるデータを一時的に記憶しておくレジスタである。命令デコーダ
1013は、入力されたデータをデコードし、汎用レジスタ1014でのレジスタ指定、
及びALU1015での演算方法指定等の信号を生成する回路である。汎用レジスタ10
14は、主記憶装置1001から読み出されたデータ、ALU1015の演算処理の途中
で得られたデータ、或いはALU1015の演算処理の結果得られたデータ、などを記憶
することができる。ALU1015は、四則演算、論理演算などの各種演算処理を行う機
能を有する。なお、CPU1000には、別途データキャッシュ等を設け、演算結果など
を一時的に記憶する回路があってもよい。
スを主記憶装置1001に出力するよう、指示を行う。次いで主記憶装置1001に記憶
された、実行する命令のアドレスからデータを読み出し、命令レジスタ1012に記憶さ
せる。
令を実行する。具体的には、汎用レジスタ1014でのレジスタ指定、及びALU101
5での演算方法指定等の信号を生成する。
をALU1015又は主記憶装置1001に出力する。ALUでは、命令デコーダ101
3で指定された演算方法に基づいて、演算処理を実行し、演算結果を汎用レジスタ101
4に記憶する。
1012から読み出したデータをデコード、実行するという動作を繰り返す。
ジスタ1014といった回路内における一時的なデータの記憶を行うレジスタに、上記実
施の形態で示した半導体装置を用いることで、電源電圧の供給の停止によるレジスタ内の
データの消失を防ぐことができる。また、電源電圧の供給を停止する前に保持していたデ
ータの退避を短時間で行うことができ、さらに、電源電圧の供給を再開した後、短時間で
上記データを復元することができる。よって、CPU1000全体、又はCPU1000
を構成する各種回路において、電源電圧の供給の停止を行うことができる。従って、CP
U1000の消費電力を小さく抑えることができる。
例として図14に示す。図14には、CPU1000と、パワースイッチ1021と、電
源制御回路1022とを有する。
圧の供給の停止又は再開を制御することができる。具体的には、電源制御回路1022が
、パワースイッチ1021のオン又はオフするためのパワー制御信号Power_ENを
出力し、CPU1000への電源電圧の供給の停止又は再開を制御する。パワースイッチ
1021をオンにすることで、電源電位V1、V2が与えられる配線より、CPU100
0への電源電圧の供給が行われる。またパワースイッチ1021をオフにすることで、電
源電位V1、V2が与えられる配線間の電流のパスが切断されるため、CPU1000へ
の電源電圧の供給が停止する。
1021及びCPU1000の動作を統轄的に制御する機能を有する。具体的には、電源
制御回路1022は、パワースイッチ1021のオン又はオフするためのパワー制御信号
Power_EN、並びにレジスタで退避及び復元されるデータを制御する制御信号Sa
ve及び制御信号Loadを出力する。制御信号Save及び制御信号Loadは、上述
したように、レジスタ内の電位の保持を揮発性の記憶回路部、又は不揮発性の記憶部との
間で退避及び復元するための信号である。
022の動作の一例について説明する。
れるデータDataの頻度をもとに判断する。具体的には、データDataがCPU10
00に継続して入力される場合、電源制御回路1022は電源電圧の供給を継続するよう
制御する。またデータDataがCPU1000に間欠的に入力される場合、データDa
taが入力されるタイミングに従って、電源制御回路1022は電源電圧の供給を停止又
は再開するよう制御する。
も継続して電源電圧の供給が行われる構成とすることが好ましい。当該構成とすることで
、CPU1000への電源電圧の供給を停止又は再開を、所望のタイミングで行うことが
できる。
本実施の形態では、トランジスタのチャネルに適用できる酸化物半導体について説明す
る。
されている状態をいう。従って、−5°以上5°以下の場合も含まれる。また、「垂直」
とは、二つの直線が80°以上100°以下の角度で配置されている状態をいう。従って
、85°以上95°以下の場合も含まれる。
す。
損が低減されることにより高純度化された酸化物半導体(purified OS)は、
i型(真性半導体)又はi型に限りなく近い。そのため、高純度化された酸化物半導体を
チャネルに有するトランジスタは、オフ電流が著しく小さく、信頼性が高い。
小さいことは、いろいろな実験により証明できる。例えば、チャネル幅が1×106μm
でチャネル長が10μmの素子であっても、ソース電極とドレイン電極間の電圧(ドレイ
ン電圧)が1Vから10Vの範囲において、オフ電流が、半導体パラメータアナライザの
測定限界以下、すなわち1×10−13A以下という特性を得ることができる。この場合
、トランジスタのチャネル幅で規格化したオフ電流は、100zA/μm以下であること
が分かる。また、容量素子とトランジスタとを接続して、容量素子に流入または容量素子
から流出する電荷を当該トランジスタで制御する回路を用いて、オフ電流の測定を行った
。当該測定では、高純度化された酸化物半導体を上記トランジスタのチャネル形成領域に
用い、容量素子の単位時間あたりの電荷量の推移から当該トランジスタのオフ電流を測定
した。その結果、トランジスタのソース電極とドレイン電極間の電圧が3Vの場合に、数
十yA/μmという、さらに小さいオフ電流が得られることが分かった。従って、高純度
化された酸化物半導体をチャネル形成領域に用いたトランジスタは、オフ電流が、結晶性
を有するシリコンを用いたトランジスタに比べて著しく小さい。
いては、ドレインをソースとゲートよりも高い電位とした状態において、ソースの電位を
基準としたときのゲートの電位が0以下であるときに、ソースとドレインの間に流れる電
流のことを意味する。或いは、本明細書でオフ電流とは、pチャネル型トランジスタにお
いては、ドレインをソースとゲートよりも低い電位とした状態において、ソースの電位を
基準としたときのゲートの電位が0以上であるときに、ソースとドレインの間に流れる電
流のことを意味する。
とが好ましい。また、該酸化物半導体を用いたトランジスタの電気的特性のばらつきを減
らすためのスタビライザーとして、それらに加えてガリウム(Ga)を有することが好ま
しい。また、スタビライザーとしてスズ(Sn)を有することが好ましい。また、スタビ
ライザーとしてハフニウム(Hf)を有することが好ましい。また、スタビライザーとし
てアルミニウム(Al)を有することが好ましい。また、スタビライザーとしてジルコニ
ウム(Zr)を含むことが好ましい。
炭化シリコン、窒化ガリウム、または酸化ガリウムとは異なり、スパッタリング法や湿式
法により電気的特性の優れたトランジスタを作製することが可能であり、量産性に優れる
といった利点がある。また、炭化シリコン、窒化ガリウム、または酸化ガリウムとは異な
り、上記In−Ga−Zn系酸化物は、ガラス基板上に、電気的特性の優れたトランジス
タを作製することが可能である。また、基板の大型化にも対応が可能である。
(Ce)、プラセオジム(Pr)、ネオジム(Nd)、サマリウム(Sm)、ユウロピウ
ム(Eu)、ガドリニウム(Gd)、テルビウム(Tb)、ジスプロシウム(Dy)、ホ
ルミウム(Ho)、エルビウム(Er)、ツリウム(Tm)、イッテルビウム(Yb)、
ルテチウム(Lu)のいずれか一種または複数種を含んでいてもよい。
In−Zn系酸化物、Sn−Zn系酸化物、Al−Zn系酸化物、Zn−Mg系酸化物、
Sn−Mg系酸化物、In−Mg系酸化物、In−Ga系酸化物、In−Ga−Zn系酸
化物(IGZOとも表記する)、In−Al−Zn系酸化物、In−Sn−Zn系酸化物
、Sn−Ga−Zn系酸化物、Al−Ga−Zn系酸化物、Sn−Al−Zn系酸化物、
In−Hf−Zn系酸化物、In−La−Zn系酸化物、In−Pr−Zn系酸化物、I
n−Nd−Zn系酸化物、In−Sm−Zn系酸化物、In−Eu−Zn系酸化物、In
−Gd−Zn系酸化物、In−Tb−Zn系酸化物、In−Dy−Zn系酸化物、In−
Ho−Zn系酸化物、In−Er−Zn系酸化物、In−Tm−Zn系酸化物、In−Y
b−Zn系酸化物、In−Lu−Zn系酸化物、In−Sn−Ga−Zn系酸化物、In
−Hf−Ga−Zn系酸化物、In−Al−Ga−Zn系酸化物、In−Sn−Al−Z
n系酸化物、In−Sn−Hf−Zn系酸化物、In−Hf−Al−Zn系酸化物を用い
ることができる。
意味であり、InとGaとZnの比率は問わない。また、InとGaとZn以外の金属元
素を含んでいてもよい。In−Ga−Zn系酸化物は、無電界時の抵抗が十分に高くオフ
電流を十分に小さくすることが可能であり、また、移動度も高い。
Ga:Zn=2:2:1(=2/5:2/5:1/5)の原子数比のIn−Ga−Zn系
酸化物やその組成の近傍の酸化物を用いることができる。あるいは、In:Sn:Zn=
1:1:1(=1/3:1/3:1/3)、In:Sn:Zn=2:1:3(=1/3:
1/6:1/2)あるいはIn:Sn:Zn=2:1:5(=1/4:1/8:5/8)
の原子数比のIn−Sn−Zn系酸化物やその組成の近傍の酸化物を用いるとよい。
がら、In−Ga−Zn系酸化物でも、バルク内欠陥密度を低減することにより移動度を
上げることができる。
非単結晶酸化物半導体膜とは、CAAC−OS(C Axis Aligned Cry
stalline Oxide Semiconductor)膜、多結晶酸化物半導体
膜、微結晶酸化物半導体膜、非晶質酸化物半導体膜などをいう。
結晶部は、一辺が100nm未満の立方体内に収まる大きさである。従って、CAAC−
OS膜に含まれる結晶部は、一辺が10nm未満、5nm未満または3nm未満の立方体
内に収まる大きさの場合も含まれる。
tron Microscope)によって観察すると、結晶部同士の明確な境界、即ち
結晶粒界(グレインバウンダリーともいう。)を確認することができない。そのため、C
AAC−OS膜は、結晶粒界に起因する電子移動度の低下が起こりにくいといえる。
察)すると、結晶部において、金属原子が層状に配列していることを確認できる。金属原
子の各層は、CAAC−OS膜の膜を形成する面(被形成面ともいう。)または上面の凹
凸を反映した形状であり、CAAC−OS膜の被形成面または上面と平行に配列する。
EM観察)すると、結晶部において、金属原子が三角形状または六角形状に配列している
ことを確認できる。しかしながら、異なる結晶部間で、金属原子の配列に規則性は見られ
ない。
ていることがわかる。
装置を用いて構造解析を行うと、例えばInGaZnO4の結晶を有するCAAC−OS
膜のout−of−plane法による解析では、回折角(2θ)が31°近傍にピーク
が現れる場合がある。このピークは、InGaZnO4の結晶の(009)面に帰属され
ることから、CAAC−OS膜の結晶がc軸配向性を有し、c軸が被形成面または上面に
概略垂直な方向を向いていることが確認できる。
lane法による解析では、2θが56°近傍にピークが現れる場合がある。このピーク
は、InGaZnO4の結晶の(110)面に帰属される。InGaZnO4の単結晶酸
化物半導体膜であれば、2θを56°近傍に固定し、試料面の法線ベクトルを軸(φ軸)
として試料を回転させながら分析(φスキャン)を行うと、(110)面と等価な結晶面
に帰属されるピークが6本観察される。これに対し、CAAC−OS膜の場合は、2θを
56°近傍に固定してφスキャンした場合でも、明瞭なピークが現れない。
不規則であるが、c軸配向性を有し、かつc軸が被形成面または上面の法線ベクトルに平
行な方向を向いていることがわかる。従って、前述の断面TEM観察で確認された層状に
配列した金属原子の各層は、結晶のab面に平行な面である。
行った際に形成される。上述したように、結晶のc軸は、CAAC−OS膜の被形成面ま
たは上面の法線ベクトルに平行な方向に配向する。従って、例えば、CAAC−OS膜の
形状をエッチングなどによって変化させた場合、結晶のc軸がCAAC−OS膜の被形成
面または上面の法線ベクトルと平行にならないこともある。
膜の結晶部が、CAAC−OS膜の上面近傍からの結晶成長によって形成される場合、上
面近傍の領域は、被形成面近傍の領域よりも結晶化度が高くなることがある。また、CA
AC−OS膜に不純物を添加する場合、不純物が添加された領域の結晶化度が変化し、部
分的に結晶化度の異なる領域が形成されることもある。
法による解析では、2θが31°近傍のピークの他に、2θが36°近傍にもピークが現
れる場合がある。2θが36°近傍のピークは、CAAC−OS膜中の一部に、c軸配向
性を有さない結晶が含まれることを示している。CAAC−OS膜は、2θが31°近傍
にピークを示し、2θが36°近傍にピークを示さないことが好ましい。
、シリコン、遷移金属元素などの酸化物半導体膜の主成分以外の元素である。特に、シリ
コンなどの、酸化物半導体膜を構成する金属元素よりも酸素との結合力の強い元素は、酸
化物半導体膜から酸素を奪うことで酸化物半導体膜の原子配列を乱し、結晶性を低下させ
る要因となる。また、鉄やニッケルなどの重金属、アルゴン、二酸化炭素などは、原子半
径(または分子半径)が大きいため、酸化物半導体膜内部に含まれると、酸化物半導体膜
の原子配列を乱し、結晶性を低下させる要因となる。なお、酸化物半導体膜に含まれる不
純物は、キャリアトラップやキャリア発生源となる場合がある。
物半導体膜中の酸素欠損は、キャリアトラップとなることや、水素を捕獲することによっ
てキャリア発生源となることがある。
は実質的に高純度真性と呼ぶ。高純度真性または実質的に高純度真性である酸化物半導体
膜は、キャリア発生源が少ないため、キャリア密度を低くすることができる。従って、当
該酸化物半導体膜を用いたトランジスタは、しきい値電圧がマイナスとなる電気特性(ノ
ーマリオンともいう。)になることが少ない。また、高純度真性または実質的に高純度真
性である酸化物半導体膜は、キャリアトラップが少ない。そのため、当該酸化物半導体膜
を用いたトランジスタは、電気特性の変動が小さく、信頼性の高いトランジスタとなる。
なお、酸化物半導体膜のキャリアトラップに捕獲された電荷は、放出するまでに要する時
間が長く、あたかも固定電荷のように振る舞うことがある。そのため、不純物濃度が高く
、欠陥準位密度が高い酸化物半導体膜を用いたトランジスタは、電気特性が不安定となる
場合がある。
性の変動が小さい。
きない場合がある。微結晶酸化物半導体膜に含まれる結晶部は、1nm以上100nm以
下、または1nm以上10nm以下の大きさであることが多い。特に、1nm以上10n
m以下、または1nm以上3nm以下の微結晶であるナノ結晶(nc:nanocrys
tal)を有する酸化物半導体膜を、nc−OS(nanocrystalline O
xide Semiconductor)膜と呼ぶ。また、nc−OS膜は、例えば、T
EMによる観察像では、結晶部と結晶部との境界を明確に確認できない場合がある。
上3nm以下の領域)において原子配列に周期性を有する場合がある。また、nc−OS
膜は、異なる結晶部間で原子配列に規則性が見られない。そのため、膜全体でも原子配列
に周期性が見られない。従って、nc−OS膜は、分析方法によっては、非晶質酸化物半
導体膜と区別が付かない場合がある。例えば、nc−OS膜に対し、結晶部よりも大きい
ビーム径のX線を用いるXRD装置を用いて構造解析を行うと、out−of−plan
e法による解析では、結晶面を示すピークが検出されない場合がある。また、nc−OS
膜は、結晶部よりも大きいビーム径(例えば、20nmφ以上、または50nmφ以上)
の電子線を用いる電子線回折を行うと、ハローパターンが観測される場合がある。また、
nc−OS膜は、結晶部と同じか結晶部より小さいビーム径(例えば、10nmφ以下、
または3nmφ以下)の電子線を用いる電子線回折(極微電子線回折と呼ぶ。)を行うと
、スポットが観測される場合がある。また、nc−OS膜の極微電子線回折は、例えば、
円を描くように(リング状に)輝度の高い領域が観測される場合がある。また、nc−O
S膜の極微電子線回折像は、例えば、リング状の領域内に複数のスポットが観測される場
合がある。
のため、nc−OS膜は、非晶質酸化物半導体膜よりも欠陥準位密度が低くなる。ただし
、nc−OS膜は、異なる結晶部間で原子配列に規則性が見られない。そのため、nc−
OS膜は、CAAC−OS膜と比べて欠陥準位密度が高くなる。
AAC−OS膜のうち、二種以上を有する積層膜であってもよい。
ング法によって成膜する。当該ターゲットにイオンが衝突すると、ターゲットに含まれる
結晶領域がa−b面から劈開し、a−b面に平行な面を有する平板状またはペレット状の
スパッタリング粒子として剥離することがある。この場合、当該平板状またはペレット状
のスパッタリング粒子が、結晶状態を維持したまま基板に到達することで、CAAC−O
S膜を成膜することができる。
きる。例えば、処理室内に存在する不純物濃度(水素、水、二酸化炭素、及び窒素など)
を低減すればよい。また、成膜ガス中の不純物濃度を低減すればよい。具体的には、露点
が−80℃以下、好ましくは−100℃以下である成膜ガスを用いる。
グレーションが起こる。具体的には、基板加熱温度を100℃以上740℃以下、好まし
くは200℃以上500℃以下として成膜する。成膜時の基板加熱温度を高めることで、
平板状またはペレット状のスパッタリング粒子が基板に到達した場合、基板上でマイグレ
ーションが起こり、スパッタリング粒子の平らな面が基板に付着する。
ジを軽減すると好ましい。成膜ガス中の酸素割合は、30体積%以上、好ましくは100
体積%とする。
後、1000℃以上1500℃以下の温度で加熱処理をすることで多結晶であるIn−G
a−Zn系酸化物ターゲットとする。なお、X、Y及びZは任意の正数である。ここで、
所定のmol数比は、例えば、InOX粉末、GaOY粉末及びZnOZ粉末が、2:2
:1、8:4:3、3:1:1、1:1:1、4:2:3または3:1:2である。なお
、粉末の種類、及びその混合するmol数比は、作製するターゲットによって適宜変更す
ればよい。
カリ土類金属も、酸化物半導体を構成する元素ではない場合において、不純物となる。特
に、アルカリ金属のうちNaは、酸化物半導体層に接する絶縁膜が酸化物である場合、当
該絶縁膜中に拡散してNa+となる。また、Naは、酸化物半導体層内において、酸化物
半導体を構成する金属と酸素の結合を分断する、或いは、その結合中に割り込む。その結
果、例えば、閾値電圧がマイナス方向にシフトすることによるノーマリオン化、移動度の
低下等の、トランジスタの電気的特性の劣化が起こり、加えて、特性のばらつきも生じる
。具体的に、二次イオン質量分析法によるNa濃度の測定値は、5×1016/cm3以
下、好ましくは1×1016/cm3以下、更に好ましくは1×1015/cm3以下と
するとよい。同様に、Li濃度の測定値は、5×1015/cm3以下、好ましくは1×
1015/cm3以下とするとよい。同様に、K濃度の測定値は、5×1015/cm3
以下、好ましくは1×1015/cm3以下とするとよい。
がインジウムよりも大きいシリコンや炭素が、インジウムと酸素の結合を切断し、酸素欠
損を形成することがある。そのため、シリコンや炭素が酸化物半導体層に混入していると
、アルカリ金属やアルカリ土類金属の場合と同様に、トランジスタの電気的特性の劣化が
起こりやすい。よって、酸化物半導体層中におけるシリコンや炭素の濃度は低いことが望
ましい。具体的に、二次イオン質量分析法によるC濃度の測定値、またはSi濃度の測定
値は、1×1018/cm3以下とするとよい。上記構成により、トランジスタの電気的
特性の劣化を防ぐことができ、半導体装置の信頼性を高めることができる。
びドレイン電極中の金属が、酸化物半導体層から酸素を引き抜くことがある。この場合、
酸化物半導体層のうち、ソース電極及びドレイン電極に接する領域が、酸素欠損の形成に
よりn型化される。
体膜とソース電極及びドレイン電極との間におけるコンタクト抵抗を下げることができる
。よって、n型化された領域が形成されることで、トランジスタの移動度及びオン電流を
高めることができ、それにより、トランジスタを用いたスイッチ回路の高速動作を実現す
ることができる。
ドレイン電極をスパッタリング法などにより形成する際に起こりうるし、ソース電極及び
ドレイン電極を形成した後に行われる加熱処理によっても起こりうる。
極に用いることで、より形成されやすくなる。上記導電性材料としては、例えば、Al、
Cr、Cu、Ta、Ti、Mo、Wなどが挙げられる。
た複数の金属酸化物膜で構成されていても良い。例えば、第1乃至第3の金属酸化物膜が
順に積層されている半導体膜の場合、第1の金属酸化物膜及び第3の金属酸化物膜は、第
2の金属酸化物膜を構成する金属元素の少なくとも1つを、その構成要素に含み、伝導帯
下端のエネルギーが第2の金属酸化物膜よりも0.05eV以上、0.07eV以上、0
.1eV以上または0.15eV以上、かつ2eV以下、1eV以下、0.5eV以下ま
たは0.4eV以下、真空準位に近い酸化物膜である。さらに、第2の金属酸化物膜は、
少なくともインジウムを含むと、キャリア移動度が高くなるため好ましい。
、半導体膜に電界が加わると、半導体膜のうち、伝導帯下端のエネルギーが小さい第2の
金属酸化物膜にチャネル領域が形成される。即ち、第2の金属酸化物膜とゲート絶縁膜と
の間に第3の金属酸化物膜が設けられていることによって、ゲート絶縁膜と離隔している
第2の金属酸化物膜に、チャネル領域を形成することができる。
つをその構成要素に含むため、第2の金属酸化物膜と第3の金属酸化物膜の界面では、界
面散乱が起こりにくい。従って、当該界面においてキャリアの動きが阻害されにくいため
、トランジスタの電界効果移動度が高くなる。
面近傍の領域にもチャネル領域が形成されるために、トランジスタの閾値電圧が変動して
しまう。しかし、第1の金属酸化物膜は、第2の金属酸化物膜を構成する金属元素の少な
くとも1つをその構成要素に含むため、第2の金属酸化物膜と第1の金属酸化物膜の界面
には、界面準位が形成されにくい。よって、上記構成により、トランジスタの閾値電圧等
の電気的特性のばらつきを、低減することができる。
を阻害する界面準位が形成されることがないよう、複数の酸化物半導体膜を積層させるこ
とが望ましい。積層された金属酸化物膜の膜間に不純物が存在していると、金属酸化物膜
間における伝導帯下端のエネルギーの連続性が失われ、界面近傍において、キャリアがト
ラップされるか、あるいは再結合により消滅してしまうからである。膜間における不純物
を低減させることで、主成分である一の金属を少なくとも共に有する複数の金属酸化物膜
を、単に積層させるよりも、連続接合(ここでは特に伝導帯下端のエネルギーが各膜の間
で連続的に変化するU字型の井戸構造を有している状態)が形成されやすくなる。
置(スパッタリング装置)を用いて各膜を大気に触れさせることなく連続して積層するこ
とが必要となる。スパッタリング装置における各チャンバーは、酸化物半導体にとって不
純物となる水等を可能な限り除去すべくクライオポンプのような吸着式の真空排気ポンプ
を用いて高真空排気(1×10−4Pa以下5×10−7Pa以上)にすることが好まし
い。または、ターボ分子ポンプとコールドトラップを組み合わせて排気系からチャンバー
内に気体が逆流しないようにしておくことが好ましい。
らず、スパッタリングに用いるガスの高純度化も重要である。上記ガスとして用いる酸素
ガスやアルゴンガスの露点を、−40℃以下、好ましくは−80℃以下、より好ましくは
−100℃以下とし、使用するガスの高純度化を図ることで、酸化物半導体膜に水分等が
取り込まれることを可能な限り防ぐことができる。
チタン、ガリウム、ゲルマニウム、イットリウム、ジルコニウム、スズ、ランタン、セリ
ウムまたはハフニウムを、第2の金属酸化物膜よりも高い原子数比で含む酸化物膜であれ
ばよい。具体的に、第1の金属酸化物膜または第3の金属酸化物膜として、第2の金属酸
化物膜よりも上述の元素を1.5倍以上、好ましくは2倍以上、さらに好ましくは3倍以
上高い原子数比で含む酸化物膜を用いると良い。前述の元素は酸素と強く結合するため、
酸素欠損が酸化物膜に生じることを抑制する機能を有する。よって、上記構成により、第
1の金属酸化物膜または第3の金属酸化物膜を、第2の金属酸化物膜よりも酸素欠損が生
じにくい酸化物膜にすることができる。
、共にIn−M−Zn系酸化物である場合、第1の金属酸化物膜または第3の金属酸化物
膜の原子数比をIn:M:Zn=x1:y1:z1、第2の金属酸化物膜の原子数比をI
n:M:Zn=x2:y2:z2とすると、y1/x1がy2/x2よりも大きくなるよ
うに、その原子数比を設定すれば良い。なお、元素MはInよりも酸素との結合力が強い
金属元素であり、例えばAl、Ti、Ga、Y、Zr、Sn、La、Ce、NdまたはH
f等が挙げられる。好ましくは、y1/x1がy2/x2よりも1.5倍以上大きくなる
ように、その原子数比を設定すれば良い。さらに好ましくは、y1/x1がy2/x2よ
りも2倍以上大きくなるように、その原子数比を設定すれば良い。より好ましくは、y1
/x1がy2/x2よりも3倍以上大きくなるように、その原子数比を設定すれば良い。
さらに、第2の金属酸化物膜において、y2がx2以上であると、トランジスタに安定し
た電気的特性を付与できるため好ましい。ただし、y2がx2の3倍以上になると、トラ
ンジスタの電界効果移動度が低下してしまうため、y2はx2の3倍未満であると好まし
い。
下、好ましくは3nm以上50nm以下とする。また、第2の金属酸化物膜の厚さは、3
nm以上200nm以下、好ましくは3nm以上100nm以下であり、さらに好ましく
は3nm以上50nm以下である。
または結晶質の両方の形態を取りうる。ただし、チャネル領域が形成される第2の金属酸
化物膜が結晶質であることにより、トランジスタに安定した電気的特性を付与することが
できるため、第2の金属酸化物膜は結晶質であることが好ましい。
かつソース電極とドレイン電極に挟まれる領域を意味する。また、チャネル領域とは、チ
ャネル形成領域において、電流が主として流れる領域をいう。
形成したIn−Ga−Zn系酸化物膜を用いる場合、第1の金属酸化物膜及び第3の金属
酸化物膜の成膜には、In−Ga−Zn系酸化物(In:Ga:Zn=1:3:2[原子
数比])であるターゲットを用いることができる。成膜条件は、例えば、成膜ガスとして
アルゴンガスを30sccm、酸素ガスを15sccm用い、圧力0.4Paとし、基板
温度を200℃とし、DC電力0.5kWとすればよい。
には、In−Ga−Zn系酸化物(In:Ga:Zn=1:1:1[原子数比])であり
、多結晶のIn−Ga−Zn系酸化物を含むターゲットを用いることが好ましい。成膜条
件は、例えば、成膜ガスとしてアルゴンガスを30sccm、酸素ガスを15sccm用
い、圧力を0.4Paとし、基板の温度300℃とし、DC電力0.5kWとすることが
できる。
導体膜の端部が丸みを帯びる構造を有していても良い。
おいても、ソース電極及びドレイン電極に接する領域が、n型化されていても良い。上記
構成により、トランジスタの移動度及びオン電流を高め、半導体装置の高速動作を実現す
ることができる。さらに、複数の積層された金属酸化物膜を有する半導体膜をトランジス
タに用いる場合、n型化される領域は、チャネル領域となる第2の金属酸化物膜にまで達
していることが、トランジスタの移動度及びオン電流を高め、半導体装置のさらなる高速
動作を実現する上で、より好ましい。
本実施の形態では、半導体装置の一例について説明する。図15に、図1、図5及び図
7に示した半導体装置が有する、トランジスタ610、トランジスタ611の断面構造を
、一例として示す。
、単結晶のシリコン基板にチャネル形成領域を有するトランジスタ611上に形成されて
いる場合を例示している。
又はゲルマニウムなどの半導体膜を活性層に用いることもできる。或いは、トランジスタ
611は、酸化物半導体を活性層に用いていても良い。全てのトランジスタが酸化物半導
体を活性層に用いている場合、トランジスタ610はトランジスタ611上に積層されて
いなくとも良く、トランジスタ610とトランジスタ611とは、同一の層に形成されて
いても良い。
気相成長法若しくはスパッタリング法で作製された非晶質シリコン、非晶質シリコンにレ
ーザー光を照射して結晶化させた多結晶シリコン、単結晶シリコンウェハに水素イオン等
を注入して表層部を剥離した単結晶シリコンなどを用いることができる。
電型を有するシリコン基板、ゲルマニウム基板、シリコンゲルマニウム基板、化合物半導
体基板(GaAs基板、InP基板、GaN基板、SiC基板、GaP基板、GaInA
sP基板、ZnSe基板等)等を用いることができる。図15では、n型の導電型を有す
る単結晶シリコン基板を用いた場合を例示している。
、電気的に分離されている。素子分離用絶縁膜1401の形成には、選択酸化法(LOC
OS(Local Oxidation of Silicon)法)またはトレンチ分
離法等を用いることができる。
はドレイン領域として機能する不純物領域1402及び不純物領域1403と、ゲート電
極1404と、半導体基板1400とゲート電極1404の間に設けられたゲート絶縁膜
1405とを有する。ゲート電極1404は、ゲート絶縁膜1405を間に挟んで、不純
物領域1402と不純物領域1403の間に形成されるチャネル形成領域と重なる。
口部が形成されている。そして、上記開口部には、不純物領域1402、不純物領域14
03にそれぞれ接する配線1410、配線1411と、ゲート電極1404に電気的に接
続されている配線1412とが、形成されている。
されており、配線1411は、絶縁膜1409上に形成された配線1416に電気的に接
続されており、配線1412は、絶縁膜1409上に形成された配線1417に電気的に
接続されている。
するように形成されている。絶縁膜1420及び絶縁膜1440には開口部が形成されて
おり、上記開口部に、配線1417に電気的に接続された配線1421が形成されている
。
、半導体膜1430上の、ソース電極またはドレイン電極として機能する導電膜1432
及び導電膜1433と、半導体膜1430、導電膜1432及び導電膜1433上のゲー
ト絶縁膜1431と、ゲート絶縁膜1431上に位置し、導電膜1432と導電膜143
3の間において半導体膜1430と重なっているゲート電極1434と、を有する。なお
、導電膜1433は、配線1421に電気的に接続されている。
ように設けられている。絶縁膜1441及び絶縁膜1442には開口部が設けられており
、上記開口部においてゲート電極1434に接する導電膜1443が、絶縁膜1441上
に設けられている。
0の片側において少なくとも有していれば良いが、半導体膜1430を間に挟んで存在す
る一対のゲート電極を有していても良い。
している場合、一方のゲート電極には導通状態または非導通状態を制御するための信号が
与えられ、他方のゲート電極は、電位が他から与えられている状態であっても良い。この
場合、一対の電極に、同じ高さの電位が与えられていても良いし、他方のゲート電極にの
み接地電位などの固定の電位が与えられていても良い。他方のゲート電極に与える電位の
高さを制御することで、トランジスタの閾値電圧を制御することができる。
ャネル形成領域を有する、シングルゲート構造である場合を例示している。しかし、トラ
ンジスタ610は、電気的に接続された複数のゲート電極を有することで、一の活性層に
チャネル形成領域を複数有する、マルチゲート構造であっても良い。
れた複数の酸化物半導体で構成されていても良い。例えば半導体膜1430が、3層に積
層されて構成されている場合のトランジスタ1110Aの構成例を、図16(A)に示す
。
導体膜830と、半導体膜830と電気的に接続されている導電膜832、及び導電膜8
33と、ゲート絶縁膜831と、ゲート絶縁膜831上に半導体膜830と重畳するよう
に設けられたゲート電極834と、を有する。
a乃至酸化物半導体層830cが、絶縁膜820側から順に積層されている。
0bを構成する金属元素の少なくとも1つを、その構成要素に含み、伝導帯下端のエネル
ギーが酸化物半導体層830bよりも0.05eV以上、0.07eV以上、0.1eV
以上又は0.15eV以上、かつ2eV以下、1eV以下、0.5eV以下又は0.4e
V以下、真空準位に近い酸化物膜である。さらに、酸化物半導体層830bは、少なくと
もインジウムを含むと、キャリア移動度が高くなるため好ましい。
膜833の上層でゲート絶縁膜831と重畳させて設ける構成としてもよい。
本発明の一態様に係る半導体装置は、表示機器、パーソナルコンピュータ、記録媒体を
備えた画像再生装置(代表的にはDVD:Digital Versatile Dis
c等の記録媒体を再生し、その画像を表示しうるディスプレイを有する装置)に用いるこ
とができる。その他に、本発明の一態様に係る半導体装置を用いることができる電子機器
として、携帯電話、携帯型を含むゲーム機、携帯情報端末、電子書籍、ビデオカメラ、デ
ジタルスチルカメラ、ゴーグル型ディスプレイ(ヘッドマウントディスプレイ)、ナビゲ
ーションシステム、音響再生装置(カーオーディオ、デジタルオーディオプレイヤー等)
、複写機、ファクシミリ、プリンター、プリンター複合機、現金自動預け入れ払い機(A
TM)、自動販売機などが挙げられる。これら電子機器の具体例を図17に示す。
3、表示部5004、マイクロホン5005、スピーカ5006、操作キー5007、ス
タイラス5008等を有する。なお、図17(A)に示した携帯型ゲーム機は、2つの表
示部5003と表示部5004とを有しているが、携帯型ゲーム機が有する表示部の数は
、これに限定されない。
、表示部5604、接続部5605、操作キー5606等を有する。表示部5603は筐
体5601に設けられており、表示部5604は筐体5602に設けられている。そして
、筐体5601と筐体5602とは、接続部5605により接続されており、筐体560
1と筐体5602の間の角度は、接続部5605により可動となっている。表示部560
3における映像の切り替えを、接続部5605における筐体5601と筐体5602との
間の角度に従って、切り替える構成としてもよい。また、表示部5603及び表示部56
04の少なくとも一方に、位置入力装置としての機能が付加された表示装置を用いるよう
にしてもよい。なお、位置入力装置としての機能は、表示装置にタッチパネルを設けるこ
とで付加することができる。あるいは、位置入力装置としての機能は、フォトセンサとも
呼ばれる光電変換素子を表示装置の画素部に設けることでも、付加することができる。
02、キーボード5403、ポインティングデバイス5404等を有する。
用扉5303等を有する。
、操作キー5804、レンズ5805、接続部5806等を有する。操作キー5804及
びレンズ5805は筐体5801に設けられており、表示部5803は筐体5802に設
けられている。そして、筐体5801と筐体5802とは、接続部5806により接続さ
れており、筐体5801と筐体5802の間の角度は、接続部5806により可動となっ
ている。表示部5803における映像の切り替えを、接続部5806における筐体580
1と筐体5802との間の角度に従って行う構成としてもよい。
103、ライト5104等を有する。
101 ゲート部
102 ラッチ部
110 ST−NAND
111 ST−NAND
112 ST−NAND
113 ST−NAND
116 ノード
117 ノード
150 第2の記憶回路部
151 第1のブロック
152 第2のブロック
160 ST−INV
161 トランジスタ
162 トランジスタ
163 トランジスタ
164 容量素子
165 ノード
170 ST−INV
171 トランジスタ
172 トランジスタ
173 トランジスタ
174 容量素子
175 ノード
200 配線
201 配線
202 配線
203 ST−NAND
210 トランジスタ
211 トランジスタ
212 トランジスタ
213 トランジスタ
214 トランジスタ
215 トランジスタ
216 トランジスタ
217 トランジスタ
218 トランジスタ
219 トランジスタ
250 配線
251 配線
252 配線
253 ST−AND
300 配線
301 配線
302 ST−INV
310 トランジスタ
311 トランジスタ
312 トランジスタ
313 トランジスタ
314 トランジスタ
315 トランジスタ
400 第1の記憶回路部
401 ゲート部
402 ラッチ部
410 ST−NAND
411 ST−NAND
412 ST−NAND
413 ST−AND
414 ST−NAND
415 ST−NAND
416 ST−NAND
421 ノード
423 ノード
424 ノード
426 ノード
427 ノード
450 第2の記憶回路部
451 第1のブロック
452 第2のブロック
460 ST−INV
461 トランジスタ
462 トランジスタ
463 トランジスタ
464 容量素子
465 ノード
470 ST−INV
471 トランジスタ
472 トランジスタ
473 トランジスタ
474 容量素子
475 ノード
500 第1の記憶回路部
501 ゲート部
502 マスタ・ラッチ
503 ゲート部
504 スレーブ・ラッチ
510 ST−NAND
511 ST−NAND
512 ST−NAND
513 ST−NAND
516 ノード
517 ノード
530 ST−NAND
531 ST−NAND
532 ST−NAND
533 ST−NAND
536 ノード
537 ノード
550 第2の記憶回路部
551 第1のブロック
552 第2のブロック
553 第3のブロック
554 第4のブロック
560 ST−INV
561 トランジスタ
562 トランジスタ
563 トランジスタ
564 容量素子
565 ノード
570 ST−INV
571 トランジスタ
572 トランジスタ
573 トランジスタ
574 容量素子
575 ノード
580 ST−INV
581 トランジスタ
582 トランジスタ
583 トランジスタ
584 容量素子
585 ノード
590 ST−INV
591 トランジスタ
592 トランジスタ
593 トランジスタ
594 容量素子
595 ノード
610 トランジスタ
611 トランジスタ
700 ロジックアレイ
701 LE
702 スイッチ部
703 配線群
704 配線群
705 入出力端子
711 LUT
712 フリップフロップ
713 マルチプレクサ
714 コンフィギュレーションメモリ
715 コンフィギュレーションメモリ
716 入力端子
717 出力端子
820 絶縁膜
830 半導体膜
830a 酸化物半導体層
830b 酸化物半導体層
830c 酸化物半導体層
831 ゲート絶縁膜
832 導電膜
833 導電膜
834 ゲート電極
900 コンフィギュレーションメモリ
901 データ線
902 ワード線
903 ワード線
911 トランジスタ
912 トランジスタ
913 トランジスタ
914 容量素子
920 コンフィギュレーションメモリ
931 トランジスタ
932 トランジスタ
933 トランジスタ
934 容量素子
935 トランジスタ
936 トランジスタ
937 トランジスタ
938 容量素子
940 インバータ回路
941 データ線
942 ワード線
943 ワード線
1000 CPU
1001 主記憶装置
1011 プログラムカウンタ
1012 命令レジスタ
1013 命令デコーダ
1014 汎用レジスタ
1015 ALU
1021 パワースイッチ
1022 電源制御回路
1110A トランジスタ
1400 半導体基板
1401 素子分離用絶縁膜
1402 不純物領域
1403 不純物領域
1404 ゲート電極
1405 ゲート絶縁膜
1409 絶縁膜
1410 配線
1411 配線
1412 配線
1415 配線
1416 配線
1417 配線
1420 絶縁膜
1421 配線
1430 半導体膜
1431 ゲート絶縁膜
1432 導電膜
1433 導電膜
1434 ゲート電極
1440 絶縁膜
1441 絶縁膜
1442 絶縁膜
1443 導電膜
5001 筐体
5002 筐体
5003 表示部
5004 表示部
5005 マイクロホン
5006 スピーカ
5007 操作キー
5008 スタイラス
5101 車体
5102 車輪
5103 ダッシュボード
5104 ライト
5301 筐体
5302 冷蔵室用扉
5303 冷凍室用扉
5401 筐体
5402 表示部
5403 キーボード
5404 ポインティングデバイス
5601 筐体
5602 筐体
5603 表示部
5604 表示部
5605 接続部
5606 操作キー
5801 筐体
5802 筐体
5803 表示部
5804 操作キー
5805 レンズ
5806 接続部
Claims (3)
- 第1のノード及び第2のノードを有する第1の記憶回路部と、
第3のノード及び第4のノードを有する第2の記憶回路部と、を有し、
前記第1の記憶回路部は、前記第1のノード及び前記第2のノードに電位を保持する機能を有し、
前記第2の記憶回路部は、第1及び第2のインバータと、第1乃至第6のトランジスタと、を有し、
前記第1のノードは、前記第1のインバータの入力端子と電気的に接続され、
前記第1のインバータの出力端子は、前記第1のトランジスタを介して前記第3のノードと電気的に接続され、
前記第3のトランジスタのオン又はオフは、前記第3のノードの電位に応じて制御され、
前記第3のトランジスタのソース又はドレインの一方は、第1の配線と電気的に接続され、
前記第3のトランジスタのソース又はドレインの他方は、前記第2のトランジスタを介して前記第1のノードと電気的に接続され、
前記第2のノードは、前記第2のインバータの入力端子と電気的に接続され、
前記第2のインバータの出力端子は、前記第4のトランジスタを介して前記第4のノードと電気的に接続され、
前記第5のトランジスタのオン又はオフは、前記第4のノードの電位に応じて制御され、
前記第5のトランジスタのソース又はドレインの一方は、前記第1の配線と電気的に接続され、
前記第5のトランジスタのソース又はドレインの他方は、前記第6のトランジスタを介して前記第2のノードと電気的に接続されることを特徴とする半導体装置。 - 請求項1において、
前記第2の記憶回路部は、第1及び第2の容量素子を有し、
前記第1の容量素子は、前記第3のノードと電気的に接続され、
前記第2の容量素子は、前記第4のノードと電気的に接続されることを特徴とする半導体装置。 - 請求項1又は請求項2において、
前記第1のトランジスタのチャネル形成領域は、酸化物半導体を有し、
前記第4のトランジスタのチャネル形成領域は、酸化物半導体を有することを特徴とする半導体装置。
Applications Claiming Priority (2)
| Application Number | Priority Date | Filing Date | Title |
|---|---|---|---|
| JP2013061969 | 2013-03-25 | ||
| JP2013061969 | 2013-03-25 |
Related Parent Applications (1)
| Application Number | Title | Priority Date | Filing Date |
|---|---|---|---|
| JP2014057698A Division JP6445243B2 (ja) | 2013-03-25 | 2014-03-20 | 半導体装置 |
Publications (2)
| Publication Number | Publication Date |
|---|---|
| JP2016122839A JP2016122839A (ja) | 2016-07-07 |
| JP6074488B2 true JP6074488B2 (ja) | 2017-02-01 |
Family
ID=51569027
Family Applications (3)
| Application Number | Title | Priority Date | Filing Date |
|---|---|---|---|
| JP2014057698A Expired - Fee Related JP6445243B2 (ja) | 2013-03-25 | 2014-03-20 | 半導体装置 |
| JP2015243829A Expired - Fee Related JP6074488B2 (ja) | 2013-03-25 | 2015-12-15 | 半導体装置 |
| JP2018222965A Expired - Fee Related JP6890572B2 (ja) | 2013-03-25 | 2018-11-29 | 半導体装置 |
Family Applications Before (1)
| Application Number | Title | Priority Date | Filing Date |
|---|---|---|---|
| JP2014057698A Expired - Fee Related JP6445243B2 (ja) | 2013-03-25 | 2014-03-20 | 半導体装置 |
Family Applications After (1)
| Application Number | Title | Priority Date | Filing Date |
|---|---|---|---|
| JP2018222965A Expired - Fee Related JP6890572B2 (ja) | 2013-03-25 | 2018-11-29 | 半導体装置 |
Country Status (4)
| Country | Link |
|---|---|
| US (1) | US9245589B2 (ja) |
| JP (3) | JP6445243B2 (ja) |
| TW (1) | TWI618079B (ja) |
| WO (1) | WO2014157019A1 (ja) |
Families Citing this family (169)
| Publication number | Priority date | Publication date | Assignee | Title |
|---|---|---|---|---|
| CN104238380B (zh) * | 2013-06-06 | 2018-04-27 | 泰科电子(上海)有限公司 | 一种用于电器的智能连接器模块 |
| JP6368155B2 (ja) * | 2013-06-18 | 2018-08-01 | 株式会社半導体エネルギー研究所 | プログラマブルロジックデバイス |
| JP6521643B2 (ja) * | 2014-01-24 | 2019-05-29 | 株式会社半導体エネルギー研究所 | 半導体装置 |
| JP6542542B2 (ja) * | 2014-02-28 | 2019-07-10 | 株式会社半導体エネルギー研究所 | 半導体装置 |
| US9971193B2 (en) | 2014-09-05 | 2018-05-15 | Sharp Kabushiki Kaisha | Liquid crystal display panel |
| CN107004718B (zh) | 2014-11-28 | 2021-02-19 | 夏普株式会社 | 半导体装置及其制造方法 |
| WO2016084688A1 (ja) | 2014-11-28 | 2016-06-02 | シャープ株式会社 | 半導体装置およびその製造方法 |
| US10164118B2 (en) | 2014-11-28 | 2018-12-25 | Sharp Kabushiki Kaisha | Semiconductor device and method for producing same |
| US20170323907A1 (en) | 2014-11-28 | 2017-11-09 | Sharp Kabushiki Kaisha | Semiconductor device and method for manufacturing same |
| US10141453B2 (en) | 2014-12-25 | 2018-11-27 | Sharp Kabushiki Kaisha | Semiconductor device |
| WO2016104185A1 (ja) | 2014-12-26 | 2016-06-30 | シャープ株式会社 | 表示装置 |
| US10394079B2 (en) | 2015-03-19 | 2019-08-27 | Sharp Kabushiki Kaisha | Liquid crystal display panel |
| WO2016195039A1 (ja) | 2015-06-05 | 2016-12-08 | シャープ株式会社 | アクティブマトリクス基板およびその製造方法、ならびにアクティブマトリクス基板を用いた表示装置 |
| US10262616B2 (en) | 2015-07-24 | 2019-04-16 | Sharp Kabushiki Kaisha | Display device and drive method therefor |
| CN107851668B (zh) | 2015-07-27 | 2021-08-06 | 夏普株式会社 | 半导体装置及其制造方法 |
| WO2017051791A1 (ja) | 2015-09-24 | 2017-03-30 | シャープ株式会社 | 半導体装置およびその製造方法 |
| US10720701B2 (en) | 2015-10-09 | 2020-07-21 | Sharp Kabushiki Kaisha | Scanning antenna and method for driving same |
| CN107210534B (zh) | 2015-10-09 | 2018-10-09 | 夏普株式会社 | Tft基板、使用该tft基板的扫描天线以及tft基板的制造方法 |
| US10297694B2 (en) | 2015-10-14 | 2019-05-21 | Sharp Kabushiki Kaisha | Semiconductor device and method for manufacturing same |
| JP6139044B1 (ja) | 2015-10-15 | 2017-05-31 | シャープ株式会社 | 走査アンテナおよびその製造方法 |
| JP6500120B2 (ja) | 2015-10-15 | 2019-04-10 | シャープ株式会社 | 走査アンテナおよびその製造方法 |
| US10777887B2 (en) | 2015-10-15 | 2020-09-15 | Sharp Kabushiki Kaisha | Scanning antenna and method for manufacturing same |
| US10657917B2 (en) | 2015-10-19 | 2020-05-19 | Sharp Kabushiki Kaisha | Shift register and display device including same |
| WO2017069213A1 (ja) | 2015-10-22 | 2017-04-27 | シャープ株式会社 | 液晶表示パネルおよびその駆動方法 |
| CN108140354B (zh) | 2015-10-22 | 2020-09-11 | 夏普株式会社 | 液晶显示面板及其修正方法 |
| JP2017102904A (ja) * | 2015-10-23 | 2017-06-08 | 株式会社半導体エネルギー研究所 | 半導体装置および電子機器 |
| US10243083B2 (en) | 2015-11-24 | 2019-03-26 | Sharp Kabushiki Kaisha | Semiconductor device and method for manufacturing semiconductor device |
| WO2017094548A1 (ja) | 2015-12-01 | 2017-06-08 | シャープ株式会社 | アクティブマトリクス基板およびそれを備える液晶表示パネル |
| WO2017094605A1 (ja) | 2015-12-02 | 2017-06-08 | シャープ株式会社 | 表示装置およびその駆動方法 |
| US9559671B1 (en) * | 2015-12-17 | 2017-01-31 | Nxp Usa, Inc. | Devices and methods with capacitive storage for latch redundancy |
| US10903247B2 (en) | 2015-12-28 | 2021-01-26 | Sharp Kabushiki Kaisha | Scanning antenna and method for manufacturing same |
| US10705395B2 (en) | 2016-01-04 | 2020-07-07 | Sharp Kabushiki Kaisha | Display device |
| JP6568957B2 (ja) | 2016-01-20 | 2019-08-28 | シャープ株式会社 | 液晶表示パネルおよびその製造方法 |
| CN108496244B (zh) | 2016-01-27 | 2021-04-13 | 夏普株式会社 | 半导体装置及其制造方法 |
| US10177444B2 (en) | 2016-01-29 | 2019-01-08 | Sharp Kabushiki Kaisha | Scanning antenna |
| US10498019B2 (en) | 2016-01-29 | 2019-12-03 | Sharp Kabushiki Kaisha | Scanning antenna |
| CN108604735B (zh) | 2016-02-16 | 2020-02-07 | 夏普株式会社 | 扫描天线 |
| US10985469B2 (en) | 2016-02-19 | 2021-04-20 | Sharp Kabushiki Kaisha | Scanning antenna and method for manufacturing same |
| WO2017146058A1 (ja) | 2016-02-22 | 2017-08-31 | シャープ株式会社 | 半導体装置および半導体装置の製造方法 |
| CN108713225B (zh) | 2016-03-02 | 2021-04-13 | 夏普株式会社 | 有源矩阵基板以及具备有源矩阵基板的液晶显示装置 |
| WO2017155084A1 (ja) | 2016-03-11 | 2017-09-14 | シャープ株式会社 | 走査アンテナならびに走査アンテナの検査方法 |
| CN108780758A (zh) | 2016-03-14 | 2018-11-09 | 夏普株式会社 | 半导体装置和半导体装置的制造方法 |
| WO2017159625A1 (ja) | 2016-03-15 | 2017-09-21 | シャープ株式会社 | アクティブマトリクス基板 |
| US10637141B2 (en) | 2016-03-29 | 2020-04-28 | Sharp Kabushiki Kaisha | Scanning antenna, method for inspecting scanning antenna, and method for manufacturing scanning antenna |
| US10690975B2 (en) | 2016-03-31 | 2020-06-23 | Sharp Kabushiki Kaisha | Active matrix substrate, manufacturing method therefor and display device |
| CN109155339B (zh) | 2016-05-16 | 2021-05-28 | 夏普株式会社 | Tft基板、具备tft基板的扫描天线及tft基板的制造方法 |
| US9998119B2 (en) | 2016-05-20 | 2018-06-12 | Semiconductor Energy Laboratory Co., Ltd. | Semiconductor device, electronic component, and electronic device |
| CN109196716B (zh) * | 2016-05-27 | 2021-01-01 | 夏普株式会社 | 扫描天线及扫描天线的制造方法 |
| US10957990B2 (en) | 2016-05-30 | 2021-03-23 | Sharp Kabushiki Kaisha | Scanning antenna |
| US10663823B2 (en) | 2016-06-09 | 2020-05-26 | Sharp Kabushiki Kaisha | TFT substrate, scanning antenna provided with TFT substrate, and method for producing TFT substrate |
| CN109314317B (zh) | 2016-06-10 | 2020-10-23 | 夏普株式会社 | 扫描天线 |
| US10847875B2 (en) | 2016-07-19 | 2020-11-24 | Sharp Kabushiki Kaisha | TFT substrate, scanning antenna provided with TFT substrate and method for producing TFT substrate |
| WO2018021093A1 (ja) | 2016-07-26 | 2018-02-01 | シャープ株式会社 | 走査アンテナおよび走査アンテナの製造方法 |
| WO2018021154A1 (ja) * | 2016-07-27 | 2018-02-01 | シャープ株式会社 | 走査アンテナおよび走査アンテナの駆動方法ならびに液晶デバイス |
| WO2018021310A1 (ja) | 2016-07-28 | 2018-02-01 | シャープ株式会社 | 走査アンテナ |
| CN109478515B (zh) | 2016-07-29 | 2021-12-28 | 夏普株式会社 | Tft基板、具备tft基板的扫描天线、及tft基板的制造方法 |
| US10998629B2 (en) | 2016-08-08 | 2021-05-04 | Sharp Kabushiki Kaisha | Scanned antenna |
| US11367965B2 (en) | 2016-08-12 | 2022-06-21 | Sharp Kabushiki Kaisha | Scanned antenna |
| WO2018030298A1 (ja) | 2016-08-12 | 2018-02-15 | シャープ株式会社 | アクティブマトリクス基板および表示装置 |
| CN109643849B (zh) | 2016-08-26 | 2021-03-09 | 夏普株式会社 | 扫描天线 |
| CN109690661B (zh) | 2016-09-02 | 2021-01-01 | 夏普株式会社 | 有源矩阵基板和具备有源矩阵基板的显示装置 |
| DE112017004423T5 (de) | 2016-09-02 | 2019-06-19 | Sharp Kabushiki Kaisha | Aktivmatrixsubstrat und Verfahren zu dessen Herstellung |
| WO2018043426A1 (ja) | 2016-09-05 | 2018-03-08 | シャープ株式会社 | アクティブマトリクス基板およびその製造方法 |
| JP6581057B2 (ja) * | 2016-09-14 | 2019-09-25 | 株式会社東芝 | 半導体装置、半導体記憶装置及び固体撮像装置 |
| CN109791949B (zh) | 2016-09-27 | 2022-02-25 | 夏普株式会社 | 半导体装置及其制造方法 |
| US10833197B2 (en) | 2016-10-19 | 2020-11-10 | Sharp Kabushiki Kaisha | TFT substrate having compensation capacitance unit for change in capacitance formed between gate electrode and drain electrode |
| WO2018074324A1 (ja) | 2016-10-19 | 2018-04-26 | シャープ株式会社 | アクティブマトリクス基板およびその製造方法 |
| WO2018079350A1 (ja) | 2016-10-27 | 2018-05-03 | シャープ株式会社 | Tft基板、tft基板を備えた走査アンテナ、およびtft基板の製造方法 |
| CN109891560B (zh) | 2016-11-09 | 2021-09-21 | 夏普株式会社 | Tft基板、具备tft基板的扫描天线以及tft基板的制造方法 |
| US11041891B2 (en) | 2016-11-29 | 2021-06-22 | Sharp Kabushiki Kaisha | Liquid crystal device, method for measuring residual DC voltage in liquid crystal device, method for driving liquid crystal device, and method for manufacturing liquid crystal device |
| CN110050350B (zh) | 2016-12-08 | 2021-12-07 | 夏普株式会社 | Tft基板、具备tft基板的扫描天线以及tft基板的制造方法 |
| WO2018105589A1 (ja) | 2016-12-09 | 2018-06-14 | シャープ株式会社 | Tft基板、tft基板を備えた走査アンテナ、およびtft基板の製造方法 |
| CN110121765B (zh) | 2016-12-27 | 2023-04-28 | 夏普株式会社 | 半导体装置的制造方法和成膜装置 |
| CN110121785A (zh) | 2016-12-27 | 2019-08-13 | 夏普株式会社 | 具备氧化物半导体tft的半导体装置 |
| US10992040B2 (en) | 2016-12-28 | 2021-04-27 | Sharp Kabushiki Kaisha | TFT substrate, scanning antenna comprising TFT substrate, and method for producing TFT substrate |
| WO2018131635A1 (ja) | 2017-01-13 | 2018-07-19 | シャープ株式会社 | 走査アンテナおよび走査アンテナの製造方法 |
| DE112018000567T5 (de) | 2017-01-27 | 2019-10-17 | Sharp Kabushiki Kaisha | Aktivmatrixsubstrat und anzeigevorrichtung, die dieses verwendet |
| CN110268316B (zh) | 2017-02-06 | 2022-02-18 | 夏普株式会社 | 有源矩阵基板和液晶显示装置 |
| CN110291644B (zh) | 2017-02-15 | 2022-11-01 | 夏普株式会社 | 有源矩阵基板 |
| WO2018151085A1 (ja) | 2017-02-20 | 2018-08-23 | シャープ株式会社 | アクティブマトリクス基板および液晶表示装置 |
| WO2018159389A1 (ja) | 2017-02-28 | 2018-09-07 | シャープ株式会社 | Tft基板、tft基板を備えた走査アンテナ、およびtft基板の製造方法 |
| US10833422B2 (en) | 2017-03-03 | 2020-11-10 | Sharp Kabushiki Kaisha | TFT substrate and scanning antenna provided with TFT substrate |
| CN110383493B (zh) | 2017-03-09 | 2023-06-02 | 夏普株式会社 | 有源矩阵基板及其制造方法 |
| US11043599B2 (en) | 2017-03-14 | 2021-06-22 | Sharp Kabushiki Kaisha | Semiconductor device and method for producing same |
| US11107429B2 (en) | 2017-03-27 | 2021-08-31 | Sharp Kabushiki Kaisha | Active matrix substrate, liquid crystal display device, and organic EL display device |
| US11038001B2 (en) | 2017-03-27 | 2021-06-15 | Sharp Kabushiki Kaisha | Active matrix substrate and method for producing same |
| WO2018180968A1 (ja) | 2017-03-30 | 2018-10-04 | シャープ株式会社 | アクティブマトリクス基板および液晶表示パネル |
| WO2018186281A1 (ja) | 2017-04-06 | 2018-10-11 | シャープ株式会社 | Tft基板およびtft基板を備えた走査アンテナ |
| WO2018186311A1 (ja) | 2017-04-07 | 2018-10-11 | シャープ株式会社 | Tft基板、tft基板を備えた走査アンテナ、およびtft基板の製造方法 |
| US10937812B2 (en) | 2017-04-07 | 2021-03-02 | Sharp Kabushiki Kaisha | TFT substrate, scanning antenna provided with TFT substrate, and method for producing TFT substrate |
| US11145268B2 (en) | 2017-04-10 | 2021-10-12 | Sharp Kabushiki Kaisha | Active matrix substrate including setting thin film transistor and resetting thin film transistor and display device including same |
| WO2018212100A1 (ja) | 2017-05-18 | 2018-11-22 | シャープ株式会社 | アクティブマトリクス基板およびその製造方法 |
| US11069722B2 (en) | 2017-05-31 | 2021-07-20 | Sharp Kabushiki Kaisha | Active matrix substrate and method of manufacturing same |
| CN110709999A (zh) | 2017-05-31 | 2020-01-17 | 夏普株式会社 | Tft基板和具备tft基板的扫描天线 |
| US11145766B2 (en) | 2017-06-08 | 2021-10-12 | Sharp Kabushiki Kaisha | Active-matrix substrate and display device |
| US11112628B2 (en) | 2017-06-16 | 2021-09-07 | Sharp Kabushiki Kaisha | Liquid crystal display device including common electrode control circuit |
| US11749222B2 (en) | 2017-08-29 | 2023-09-05 | Sharp Kabushiki Kaisha | Active matrix substrate and display device |
| JP2019049590A (ja) | 2017-09-08 | 2019-03-28 | シャープ株式会社 | アクティブマトリクス基板およびデマルチプレクサ回路 |
| JP2019050323A (ja) | 2017-09-12 | 2019-03-28 | シャープ株式会社 | アクティブマトリクス基板およびデマルチプレクサ回路 |
| JP2019062090A (ja) | 2017-09-27 | 2019-04-18 | シャープ株式会社 | Tft基板、tft基板を備えた走査アンテナ、およびtft基板の製造方法 |
| JP6578334B2 (ja) | 2017-09-27 | 2019-09-18 | シャープ株式会社 | Tft基板およびtft基板を備えた走査アンテナ |
| JP6684769B2 (ja) | 2017-09-28 | 2020-04-22 | シャープ株式会社 | アクティブマトリクス基板、液晶表示装置、有機el表示装置およびアクティブマトリクス基板の製造方法 |
| JP2019066505A (ja) | 2017-09-28 | 2019-04-25 | シャープ株式会社 | 液晶表示装置 |
| JP2019091794A (ja) | 2017-11-14 | 2019-06-13 | シャープ株式会社 | 半導体装置 |
| JP2019091835A (ja) | 2017-11-16 | 2019-06-13 | シャープ株式会社 | Tft基板、tft基板を備えた走査アンテナ、およびtft基板の製造方法 |
| JP2019134032A (ja) | 2018-01-30 | 2019-08-08 | シャープ株式会社 | Tft基板、tft基板を備えた走査アンテナ、およびtft基板の製造方法 |
| JP2019153656A (ja) | 2018-03-02 | 2019-09-12 | シャープ株式会社 | アクティブマトリクス基板およびデマルチプレクサ回路 |
| JP6706638B2 (ja) | 2018-03-07 | 2020-06-10 | シャープ株式会社 | 半導体装置およびその製造方法 |
| US10756116B2 (en) | 2018-03-20 | 2020-08-25 | Sharp Kabushiki Kaisha | Active matrix substrate having thin film transistors that each include copper gate electrode and oxide semiconductor layer |
| JP6757353B2 (ja) | 2018-03-28 | 2020-09-16 | シャープ株式会社 | アクティブマトリクス基板および表示装置 |
| JP6757352B2 (ja) | 2018-03-28 | 2020-09-16 | シャープ株式会社 | アクティブマトリクス基板および表示装置 |
| JP6753885B2 (ja) | 2018-04-16 | 2020-09-09 | シャープ株式会社 | アクティブマトリクス基板、表示装置およびアクティブマトリクス基板の欠陥修正方法 |
| DE102019004521B4 (de) | 2018-07-02 | 2025-02-06 | Sharp Kabushiki Kaisha | Aktivmatrixsubstrat und verfahren zur herstellung eines aktivmatrixsubstrats |
| JP6799123B2 (ja) | 2018-09-19 | 2020-12-09 | シャープ株式会社 | アクティブマトリクス基板およびその製造方法 |
| JP6868069B2 (ja) | 2018-09-19 | 2021-05-12 | シャープ株式会社 | アクティブマトリクス基板およびアクティブマトリクス基板を用いたタッチセンサ付き液晶表示装置 |
| JP6804603B2 (ja) | 2018-09-19 | 2020-12-23 | シャープ株式会社 | アクティブマトリクス基板の製造方法、およびアクティブマトリクス基板を用いたタッチセンサ付き液晶表示装置の製造方法 |
| JP2020053759A (ja) | 2018-09-25 | 2020-04-02 | シャープ株式会社 | 走査アンテナおよびtft基板 |
| US11637370B2 (en) | 2018-12-12 | 2023-04-25 | Sharp Kabushiki Kaisha | Scanning antenna and method for manufacturing scanning antenna |
| US11848503B2 (en) | 2018-12-12 | 2023-12-19 | Sharp Kabushiki Kaisha | Scanning antenna and method for manufacturing scanning antenna |
| WO2020121877A1 (ja) | 2018-12-12 | 2020-06-18 | シャープ株式会社 | 走査アンテナおよび走査アンテナの製造方法 |
| US10921669B2 (en) | 2019-01-18 | 2021-02-16 | Sharp Kabushiki Kaisha | Display device and active matrix substrate |
| JP7284613B2 (ja) | 2019-03-29 | 2023-05-31 | シャープ株式会社 | アクティブマトリクス基板およびその製造方法 |
| US11431106B2 (en) | 2019-06-04 | 2022-08-30 | Sharp Kabushiki Kaisha | TFT substrate, method for manufacturing TFT substrate, and scanned antenna |
| US10976626B2 (en) | 2019-06-14 | 2021-04-13 | Sharp Kabushiki Kaisha | Display device |
| US11314136B2 (en) | 2019-06-28 | 2022-04-26 | Sharp Kabushiki Kaisha | Active matrix substrate and display device |
| CN112305819B (zh) | 2019-07-26 | 2024-04-02 | 夏普株式会社 | 液晶显示装置 |
| US11476282B2 (en) | 2019-08-09 | 2022-10-18 | Sharp Kabushiki Kaisha | Active matrix substrate and method for manufacturing same |
| US20210099128A1 (en) * | 2019-10-01 | 2021-04-01 | Macronix International Co., Ltd. | Relaxation oscillator circuit with process variation compensation |
| US11682681B2 (en) | 2019-10-17 | 2023-06-20 | Sharp Kabushiki Kaisha | Active matrix substrate and method for manufacturing same |
| US11079636B2 (en) | 2019-10-25 | 2021-08-03 | Sharp Kabushiki Kaisha | Active matrix substrate, liquid crystal display device with touch sensor using active matrix substrate, and method for manufacturing active matrix substrate |
| JP7471075B2 (ja) | 2019-12-17 | 2024-04-19 | シャープ株式会社 | アクティブマトリクス基板およびその製造方法 |
| JP7299834B2 (ja) | 2019-12-26 | 2023-06-28 | シャープ株式会社 | アクティブマトリクス基板、アクティブマトリクス基板を備えたインセルタッチパネル型液晶表示装置、およびアクティブマトリクス基板の製造方法 |
| JP7372832B2 (ja) | 2019-12-26 | 2023-11-01 | シャープ株式会社 | 液晶表示装置およびその製造方法 |
| CN113257835B (zh) | 2020-02-07 | 2024-11-26 | 夏普株式会社 | 有源矩阵基板及其制造方法 |
| US11557679B2 (en) | 2020-03-02 | 2023-01-17 | Sharp Kabushiki Kaisha | Active matrix substrate and display device |
| US11043936B1 (en) | 2020-03-27 | 2021-06-22 | Macronix International Co., Ltd. | Tuning method for current mode relaxation oscillator |
| JP2021163917A (ja) * | 2020-04-02 | 2021-10-11 | ルネサスエレクトロニクス株式会社 | 半導体装置 |
| US11631704B2 (en) | 2020-04-21 | 2023-04-18 | Sharp Kabushiki Kaisha | Active matrix substrate and display device |
| US11502115B2 (en) | 2020-04-21 | 2022-11-15 | Sharp Kabushiki Kaisha | Active matrix substrate and method for manufacturing same |
| JP2021192406A (ja) | 2020-06-05 | 2021-12-16 | シャープ株式会社 | アクティブマトリクス基板およびその製造方法 |
| JP2022014107A (ja) | 2020-07-06 | 2022-01-19 | シャープ株式会社 | アクティブマトリクス基板およびその製造方法 |
| JP2022014108A (ja) | 2020-07-06 | 2022-01-19 | シャープ株式会社 | アクティブマトリクス基板およびその製造方法 |
| WO2022018560A1 (ja) * | 2020-07-24 | 2022-01-27 | 株式会社半導体エネルギー研究所 | 半導体装置 |
| US12100711B2 (en) | 2020-12-04 | 2024-09-24 | Sharp Kabushiki Kaisha | Active matrix substrate and method for manufacturing same |
| US11581340B2 (en) | 2020-12-15 | 2023-02-14 | Sharp Kabushiki Kaisha | Active matrix substrate |
| JP2022100714A (ja) | 2020-12-24 | 2022-07-06 | シャープ株式会社 | アクティブマトリクス基板およびその製造方法 |
| CN114883340A (zh) | 2021-02-05 | 2022-08-09 | 夏普株式会社 | 有源矩阵基板 |
| JP2022158302A (ja) | 2021-04-01 | 2022-10-17 | シャープ株式会社 | 液晶表示装置およびその製造方法 |
| JP2022167632A (ja) | 2021-04-23 | 2022-11-04 | シャープディスプレイテクノロジー株式会社 | アクティブマトリクス基板、アクティブマトリクス基板の製造方法、およびアクティブマトリクス基板を用いたタッチセンサ付き液晶表示装置 |
| JP2022178523A (ja) | 2021-05-20 | 2022-12-02 | シャープディスプレイテクノロジー株式会社 | アクティブマトリクス基板および液晶表示装置 |
| JP2022191755A (ja) | 2021-06-16 | 2022-12-28 | シャープディスプレイテクノロジー株式会社 | 半導体装置 |
| JP2023007092A (ja) | 2021-07-01 | 2023-01-18 | シャープディスプレイテクノロジー株式会社 | アクティブマトリクス基板およびその製造方法 |
| JP7437359B2 (ja) | 2021-08-30 | 2024-02-22 | シャープディスプレイテクノロジー株式会社 | アクティブマトリクス基板およびその製造方法 |
| JP2023038651A (ja) | 2021-09-07 | 2023-03-17 | シャープディスプレイテクノロジー株式会社 | アクティブマトリクス基板および液晶表示装置 |
| JP2023076275A (ja) | 2021-11-22 | 2023-06-01 | シャープディスプレイテクノロジー株式会社 | アクティブマトリクス基板および液晶表示装置 |
| US12332529B2 (en) | 2021-11-22 | 2025-06-17 | Sharp Display Technology Corporation | Active matrix substrate and liquid crystal display apparatus |
| JP7488807B2 (ja) | 2021-11-30 | 2024-05-22 | シャープディスプレイテクノロジー株式会社 | アクティブマトリクス基板、液晶表示装置およびアクティブマトリクス基板の製造方法 |
| US11830454B2 (en) | 2022-02-07 | 2023-11-28 | Sharp Display Technology Corporation | Active matrix substrate and display device |
| JP2023153641A (ja) | 2022-04-05 | 2023-10-18 | シャープディスプレイテクノロジー株式会社 | アクティブマトリクス基板およびその製造方法 |
| JP2023163682A (ja) | 2022-04-28 | 2023-11-10 | シャープディスプレイテクノロジー株式会社 | アクティブマトリクス基板および液晶表示装置 |
| JP7461988B2 (ja) | 2022-06-22 | 2024-04-04 | シャープディスプレイテクノロジー株式会社 | アクティブマトリクス基板および表示装置 |
| US12078903B2 (en) | 2022-09-09 | 2024-09-03 | Sharp Display Technology Corporation | Active matrix substrate and liquid crystal display device |
| JP2024074483A (ja) | 2022-11-21 | 2024-05-31 | シャープディスプレイテクノロジー株式会社 | 液晶表示装置 |
| JP2024074484A (ja) | 2022-11-21 | 2024-05-31 | シャープディスプレイテクノロジー株式会社 | 液晶表示装置 |
| JP2025015136A (ja) | 2023-07-20 | 2025-01-30 | シャープディスプレイテクノロジー株式会社 | 液晶表示装置 |
| JP2025025396A (ja) | 2023-08-09 | 2025-02-21 | シャープディスプレイテクノロジー株式会社 | 半透過型液晶表示装置 |
| JP2025039124A (ja) | 2023-09-08 | 2025-03-21 | シャープディスプレイテクノロジー株式会社 | 液晶表示装置 |
| KR20250076824A (ko) | 2023-11-23 | 2025-05-30 | 삼성전자주식회사 | 입력 버퍼 회로 및 이를 포함하는 전력관리 집적회로 |
| WO2025163435A1 (ja) * | 2024-01-30 | 2025-08-07 | 株式会社半導体エネルギー研究所 | 演算回路、演算装置及び電子機器 |
Family Cites Families (192)
| Publication number | Priority date | Publication date | Assignee | Title |
|---|---|---|---|---|
| US3775693A (en) | 1971-11-29 | 1973-11-27 | Moskek Co | Mosfet logic inverter for integrated circuits |
| JPS5277656A (en) * | 1975-12-24 | 1977-06-30 | Fujitsu Ltd | Latch circuit |
| JPS60198861A (ja) | 1984-03-23 | 1985-10-08 | Fujitsu Ltd | 薄膜トランジスタ |
| JP2689416B2 (ja) | 1986-08-18 | 1997-12-10 | 日本電気株式会社 | フリツプフロツプ |
| JPH0244256B2 (ja) | 1987-01-28 | 1990-10-03 | Kagaku Gijutsucho Mukizaishitsu Kenkyushocho | Ingazn2o5deshimesarerurotsuhoshokeinosojokozoojusurukagobutsuoyobisonoseizoho |
| JPH0244260B2 (ja) | 1987-02-24 | 1990-10-03 | Kagaku Gijutsucho Mukizaishitsu Kenkyushocho | Ingazn5o8deshimesarerurotsuhoshokeinosojokozoojusurukagobutsuoyobisonoseizoho |
| JPH0244258B2 (ja) | 1987-02-24 | 1990-10-03 | Kagaku Gijutsucho Mukizaishitsu Kenkyushocho | Ingazn3o6deshimesarerurotsuhoshokeinosojokozoojusurukagobutsuoyobisonoseizoho |
| JPS63210023A (ja) | 1987-02-24 | 1988-08-31 | Natl Inst For Res In Inorg Mater | InGaZn↓4O↓7で示される六方晶系の層状構造を有する化合物およびその製造法 |
| JPH0244262B2 (ja) | 1987-02-27 | 1990-10-03 | Kagaku Gijutsucho Mukizaishitsu Kenkyushocho | Ingazn6o9deshimesarerurotsuhoshokeinosojokozoojusurukagobutsuoyobisonoseizoho |
| JPH0244263B2 (ja) | 1987-04-22 | 1990-10-03 | Kagaku Gijutsucho Mukizaishitsu Kenkyushocho | Ingazn7o10deshimesarerurotsuhoshokeinosojokozoojusurukagobutsuoyobisonoseizoho |
| US4800303A (en) | 1987-05-19 | 1989-01-24 | Gazelle Microcircuits, Inc. | TTL compatible output buffer |
| US4809225A (en) | 1987-07-02 | 1989-02-28 | Ramtron Corporation | Memory cell with volatile and non-volatile portions having ferroelectric capacitors |
| JPH01220514A (ja) * | 1988-02-26 | 1989-09-04 | Sharp Corp | 信号検出回路 |
| JPH03198518A (ja) * | 1989-12-27 | 1991-08-29 | Mitsubishi Electric Corp | ラツチ回路 |
| US5039883A (en) | 1990-02-21 | 1991-08-13 | Nec Electronics Inc. | Dual input universal logic structure |
| JPH05110392A (ja) | 1991-10-16 | 1993-04-30 | Hitachi Ltd | 状態保持回路を具備する集積回路 |
| JPH05251705A (ja) | 1992-03-04 | 1993-09-28 | Fuji Xerox Co Ltd | 薄膜トランジスタ |
| JPH06259959A (ja) * | 1993-03-04 | 1994-09-16 | Mitsubishi Electric Corp | 半導体記憶装置 |
| US5473571A (en) | 1993-09-30 | 1995-12-05 | Nippon Telegraph And Telephone Corporation | Data hold circuit |
| JP3479375B2 (ja) | 1995-03-27 | 2003-12-15 | 科学技術振興事業団 | 亜酸化銅等の金属酸化物半導体による薄膜トランジスタとpn接合を形成した金属酸化物半導体装置およびそれらの製造方法 |
| KR100394896B1 (ko) | 1995-08-03 | 2003-11-28 | 코닌클리케 필립스 일렉트로닉스 엔.브이. | 투명스위칭소자를포함하는반도체장치 |
| US6078194A (en) | 1995-11-13 | 2000-06-20 | Vitesse Semiconductor Corporation | Logic gates for reducing power consumption of gallium arsenide integrated circuits |
| JPH09167488A (ja) * | 1995-12-18 | 1997-06-24 | Mitsubishi Electric Corp | 半導体記憶装置 |
| JP3625598B2 (ja) | 1995-12-30 | 2005-03-02 | 三星電子株式会社 | 液晶表示装置の製造方法 |
| GB9614800D0 (en) | 1996-07-13 | 1996-09-04 | Plessey Semiconductors Ltd | Programmable logic arrays |
| JPH1078836A (ja) | 1996-09-05 | 1998-03-24 | Hitachi Ltd | データ処理装置 |
| US5980092A (en) | 1996-11-19 | 1999-11-09 | Unisys Corporation | Method and apparatus for optimizing a gated clock structure using a standard optimization tool |
| US6049883A (en) | 1998-04-01 | 2000-04-11 | Tjandrasuwita; Ignatius B. | Data path clock skew management in a dynamic power management environment |
| JP4170454B2 (ja) | 1998-07-24 | 2008-10-22 | Hoya株式会社 | 透明導電性酸化物薄膜を有する物品及びその製造方法 |
| JP2000077982A (ja) | 1998-08-27 | 2000-03-14 | Kobe Steel Ltd | 半導体集積回路 |
| JP2000150861A (ja) | 1998-11-16 | 2000-05-30 | Tdk Corp | 酸化物薄膜 |
| JP3276930B2 (ja) | 1998-11-17 | 2002-04-22 | 科学技術振興事業団 | トランジスタ及び半導体装置 |
| US6204695B1 (en) | 1999-06-18 | 2001-03-20 | Xilinx, Inc. | Clock-gating circuit for reducing power consumption |
| US6909411B1 (en) | 1999-07-23 | 2005-06-21 | Semiconductor Energy Laboratory Co., Ltd. | Display device and method for operating the same |
| TW460731B (en) | 1999-09-03 | 2001-10-21 | Ind Tech Res Inst | Electrode structure and production method of wide viewing angle LCD |
| US6281710B1 (en) | 1999-12-17 | 2001-08-28 | Hewlett-Packard Company | Selective latch for a domino logic gate |
| US6693616B2 (en) | 2000-02-18 | 2004-02-17 | Semiconductor Energy Laboratory Co., Ltd. | Image display device, method of driving thereof, and electronic equipment |
| JP3921331B2 (ja) * | 2000-05-26 | 2007-05-30 | 富士通株式会社 | 半導体装置 |
| TW522374B (en) | 2000-08-08 | 2003-03-01 | Semiconductor Energy Lab | Electro-optical device and driving method of the same |
| TW518552B (en) | 2000-08-18 | 2003-01-21 | Semiconductor Energy Lab | Liquid crystal display device, method of driving the same, and method of driving a portable information device having the liquid crystal display device |
| JP4089858B2 (ja) | 2000-09-01 | 2008-05-28 | 国立大学法人東北大学 | 半導体デバイス |
| JP3727838B2 (ja) | 2000-09-27 | 2005-12-21 | 株式会社東芝 | 半導体集積回路 |
| JP4663094B2 (ja) | 2000-10-13 | 2011-03-30 | 株式会社半導体エネルギー研究所 | 半導体装置 |
| US6570801B2 (en) | 2000-10-27 | 2003-05-27 | Kabushiki Kaisha Toshiba | Semiconductor memory having refresh function |
| KR20020038482A (ko) | 2000-11-15 | 2002-05-23 | 모리시타 요이찌 | 박막 트랜지스터 어레이, 그 제조방법 및 그것을 이용한표시패널 |
| JP4164241B2 (ja) * | 2001-02-15 | 2008-10-15 | 株式会社ルネサステクノロジ | 半導体装置 |
| JP3997731B2 (ja) | 2001-03-19 | 2007-10-24 | 富士ゼロックス株式会社 | 基材上に結晶性半導体薄膜を形成する方法 |
| JP2002289859A (ja) | 2001-03-23 | 2002-10-04 | Minolta Co Ltd | 薄膜トランジスタ |
| DE10119051B4 (de) | 2001-04-18 | 2006-12-28 | Infineon Technologies Ag | Schaltungsanordnung zur Freigabe eines Taktsignals in Abhängigkeit von einem Freigabesignal |
| JP2003017591A (ja) * | 2001-07-03 | 2003-01-17 | Hitachi Ltd | 半導体記憶装置 |
| JP4090716B2 (ja) | 2001-09-10 | 2008-05-28 | 雅司 川崎 | 薄膜トランジスタおよびマトリクス表示装置 |
| JP3925839B2 (ja) | 2001-09-10 | 2007-06-06 | シャープ株式会社 | 半導体記憶装置およびその試験方法 |
| SG120888A1 (en) | 2001-09-28 | 2006-04-26 | Semiconductor Energy Lab | A light emitting device and electronic apparatus using the same |
| US20030076282A1 (en) | 2001-10-19 | 2003-04-24 | Semiconductor Energy Laboratory Co., Ltd. | Display device and method for driving the same |
| JP4164562B2 (ja) | 2002-09-11 | 2008-10-15 | 独立行政法人科学技術振興機構 | ホモロガス薄膜を活性層として用いる透明薄膜電界効果型トランジスタ |
| WO2003040441A1 (fr) | 2001-11-05 | 2003-05-15 | Japan Science And Technology Agency | Film mince monocristallin homologue a super-reseau naturel, procede de preparation et dispositif dans lequel est utilise ledit film mince monocristallin |
| JP3868293B2 (ja) | 2001-12-28 | 2007-01-17 | 松下電器産業株式会社 | 半導体集積回路 |
| JP4091301B2 (ja) | 2001-12-28 | 2008-05-28 | 富士通株式会社 | 半導体集積回路および半導体メモリ |
| US6510073B1 (en) * | 2002-01-31 | 2003-01-21 | Sharp Laboratories Of America, Inc. | Two transistor ferroelectric non-volatile memory |
| JP4083486B2 (ja) | 2002-02-21 | 2008-04-30 | 独立行政法人科学技術振興機構 | LnCuO(S,Se,Te)単結晶薄膜の製造方法 |
| US7049190B2 (en) | 2002-03-15 | 2006-05-23 | Sanyo Electric Co., Ltd. | Method for forming ZnO film, method for forming ZnO semiconductor layer, method for fabricating semiconductor device, and semiconductor device |
| JP3933591B2 (ja) | 2002-03-26 | 2007-06-20 | 淳二 城戸 | 有機エレクトロルミネッセント素子 |
| ITMI20020984A1 (it) | 2002-05-10 | 2003-11-10 | Simicroelectronics S R L | Circuito latch non-volatile |
| US7339187B2 (en) | 2002-05-21 | 2008-03-04 | State Of Oregon Acting By And Through The Oregon State Board Of Higher Education On Behalf Of Oregon State University | Transistor structures |
| JP2004022625A (ja) | 2002-06-13 | 2004-01-22 | Murata Mfg Co Ltd | 半導体デバイス及び該半導体デバイスの製造方法 |
| DE60325860D1 (de) | 2002-06-21 | 2009-03-05 | Koninkl Philips Electronics Nv | Schaltung mit asynchron arbeitenden komponenten |
| US7105868B2 (en) | 2002-06-24 | 2006-09-12 | Cermet, Inc. | High-electron mobility transistor with zinc oxide |
| EP1388842B1 (en) | 2002-08-09 | 2013-10-02 | Semiconductor Energy Laboratory Co., Ltd. | Multi-window display device and method of driving the same |
| US7067843B2 (en) | 2002-10-11 | 2006-06-27 | E. I. Du Pont De Nemours And Company | Transparent oxide semiconductor thin film transistors |
| US6788567B2 (en) | 2002-12-02 | 2004-09-07 | Rohm Co., Ltd. | Data holding device and data holding method |
| JP4166105B2 (ja) | 2003-03-06 | 2008-10-15 | シャープ株式会社 | 半導体装置およびその製造方法 |
| JP2004273732A (ja) | 2003-03-07 | 2004-09-30 | Sharp Corp | アクティブマトリクス基板およびその製造方法 |
| JP4560275B2 (ja) | 2003-04-04 | 2010-10-13 | 株式会社半導体エネルギー研究所 | アクティブマトリクス型表示装置とその駆動方法 |
| US7557801B2 (en) | 2003-05-16 | 2009-07-07 | Semiconductor Energy Laboratory Co., Ltd. | Display device and driving method thereof |
| JP4108633B2 (ja) | 2003-06-20 | 2008-06-25 | シャープ株式会社 | 薄膜トランジスタおよびその製造方法ならびに電子デバイス |
| US7262463B2 (en) | 2003-07-25 | 2007-08-28 | Hewlett-Packard Development Company, L.P. | Transistor including a deposited channel region having a doped portion |
| US7076748B2 (en) | 2003-08-01 | 2006-07-11 | Atrenta Inc. | Identification and implementation of clock gating in the design of integrated circuits |
| US7019999B1 (en) | 2003-10-08 | 2006-03-28 | Netlogic Microsystems, Inc | Content addressable memory with latching sense amplifier |
| US7282782B2 (en) | 2004-03-12 | 2007-10-16 | Hewlett-Packard Development Company, L.P. | Combined binary oxide semiconductor device |
| US7297977B2 (en) | 2004-03-12 | 2007-11-20 | Hewlett-Packard Development Company, L.P. | Semiconductor device |
| US7145174B2 (en) | 2004-03-12 | 2006-12-05 | Hewlett-Packard Development Company, Lp. | Semiconductor device |
| CN1998087B (zh) | 2004-03-12 | 2014-12-31 | 独立行政法人科学技术振兴机构 | 非晶形氧化物和薄膜晶体管 |
| US7211825B2 (en) | 2004-06-14 | 2007-05-01 | Yi-Chi Shih | Indium oxide-based thin film transistors and circuits |
| JP2006050208A (ja) | 2004-08-04 | 2006-02-16 | Denso Corp | 電源瞬断対応論理回路 |
| DE602005020457D1 (de) * | 2004-08-10 | 2010-05-20 | Nippon Telegraph & Telephone | Master-slave-flip-flop, trigger-flip-flop und zähler |
| JP2006100760A (ja) | 2004-09-02 | 2006-04-13 | Casio Comput Co Ltd | 薄膜トランジスタおよびその製造方法 |
| US20060095975A1 (en) | 2004-09-03 | 2006-05-04 | Takayoshi Yamada | Semiconductor device |
| US7285501B2 (en) | 2004-09-17 | 2007-10-23 | Hewlett-Packard Development Company, L.P. | Method of forming a solution processed device |
| US7374984B2 (en) | 2004-10-29 | 2008-05-20 | Randy Hoffman | Method of forming a thin film component |
| US7298084B2 (en) | 2004-11-02 | 2007-11-20 | 3M Innovative Properties Company | Methods and displays utilizing integrated zinc oxide row and column drivers in conjunction with organic light emitting diodes |
| KR100953596B1 (ko) | 2004-11-10 | 2010-04-21 | 캐논 가부시끼가이샤 | 발광장치 |
| JP5118812B2 (ja) | 2004-11-10 | 2013-01-16 | キヤノン株式会社 | 電界効果型トランジスタ |
| US7863611B2 (en) | 2004-11-10 | 2011-01-04 | Canon Kabushiki Kaisha | Integrated circuits utilizing amorphous oxides |
| US7829444B2 (en) | 2004-11-10 | 2010-11-09 | Canon Kabushiki Kaisha | Field effect transistor manufacturing method |
| US7453065B2 (en) | 2004-11-10 | 2008-11-18 | Canon Kabushiki Kaisha | Sensor and image pickup device |
| RU2402106C2 (ru) | 2004-11-10 | 2010-10-20 | Кэнон Кабусики Кайся | Аморфный оксид и полевой транзистор с его использованием |
| US7791072B2 (en) | 2004-11-10 | 2010-09-07 | Canon Kabushiki Kaisha | Display |
| DE102004055006B4 (de) | 2004-11-15 | 2012-09-13 | Infineon Technologies Ag | Flipflop mit zusätzlicher Zustandsspeicherung bei Abschaltung |
| US7256622B2 (en) | 2004-12-08 | 2007-08-14 | Naveen Dronavalli | AND, OR, NAND, and NOR logical gates |
| US7579224B2 (en) | 2005-01-21 | 2009-08-25 | Semiconductor Energy Laboratory Co., Ltd. | Method for manufacturing a thin film semiconductor device |
| US7608531B2 (en) | 2005-01-28 | 2009-10-27 | Semiconductor Energy Laboratory Co., Ltd. | Semiconductor device, electronic device, and method of manufacturing semiconductor device |
| TWI472037B (zh) | 2005-01-28 | 2015-02-01 | 半導體能源研究所股份有限公司 | 半導體裝置,電子裝置,和半導體裝置的製造方法 |
| US7858451B2 (en) | 2005-02-03 | 2010-12-28 | Semiconductor Energy Laboratory Co., Ltd. | Electronic device, semiconductor device and manufacturing method thereof |
| US7948171B2 (en) | 2005-02-18 | 2011-05-24 | Semiconductor Energy Laboratory Co., Ltd. | Light emitting device |
| US20060197092A1 (en) | 2005-03-03 | 2006-09-07 | Randy Hoffman | System and method for forming conductive material on a substrate |
| US8681077B2 (en) | 2005-03-18 | 2014-03-25 | Semiconductor Energy Laboratory Co., Ltd. | Semiconductor device, and display device, driving method and electronic apparatus thereof |
| US7544967B2 (en) | 2005-03-28 | 2009-06-09 | Massachusetts Institute Of Technology | Low voltage flexible organic/transparent transistor for selective gas sensing, photodetecting and CMOS device applications |
| US7645478B2 (en) | 2005-03-31 | 2010-01-12 | 3M Innovative Properties Company | Methods of making displays |
| US8300031B2 (en) | 2005-04-20 | 2012-10-30 | Semiconductor Energy Laboratory Co., Ltd. | Semiconductor device comprising transistor having gate and drain connected through a current-voltage conversion element |
| JP2006344849A (ja) | 2005-06-10 | 2006-12-21 | Casio Comput Co Ltd | 薄膜トランジスタ |
| US7691666B2 (en) | 2005-06-16 | 2010-04-06 | Eastman Kodak Company | Methods of making thin film transistors comprising zinc-oxide-based semiconductor materials and transistors made thereby |
| US7402506B2 (en) | 2005-06-16 | 2008-07-22 | Eastman Kodak Company | Methods of making thin film transistors comprising zinc-oxide-based semiconductor materials and transistors made thereby |
| US7507618B2 (en) | 2005-06-27 | 2009-03-24 | 3M Innovative Properties Company | Method for making electronic devices using metal oxide nanoparticles |
| KR100702310B1 (ko) | 2005-07-21 | 2007-03-30 | 주식회사 하이닉스반도체 | 비휘발성 래치 회로 및 이를 포함하는 시스템 온 칩 |
| KR100711890B1 (ko) | 2005-07-28 | 2007-04-25 | 삼성에스디아이 주식회사 | 유기 발광표시장치 및 그의 제조방법 |
| US7323909B2 (en) | 2005-07-29 | 2008-01-29 | Sequence Design, Inc. | Automatic extension of clock gating technique to fine-grained power gating |
| JP2007059128A (ja) * | 2005-08-23 | 2007-03-08 | Canon Inc | 有機el表示装置およびその製造方法 |
| JP2007073705A (ja) | 2005-09-06 | 2007-03-22 | Canon Inc | 酸化物半導体チャネル薄膜トランジスタおよびその製造方法 |
| JP4850457B2 (ja) | 2005-09-06 | 2012-01-11 | キヤノン株式会社 | 薄膜トランジスタ及び薄膜ダイオード |
| JP4280736B2 (ja) | 2005-09-06 | 2009-06-17 | キヤノン株式会社 | 半導体素子 |
| JP4560502B2 (ja) | 2005-09-06 | 2010-10-13 | キヤノン株式会社 | 電界効果型トランジスタ |
| JP5116225B2 (ja) | 2005-09-06 | 2013-01-09 | キヤノン株式会社 | 酸化物半導体デバイスの製造方法 |
| EP1770788A3 (en) | 2005-09-29 | 2011-09-21 | Semiconductor Energy Laboratory Co., Ltd. | Semiconductor device having oxide semiconductor layer and manufacturing method thereof |
| JP5037808B2 (ja) | 2005-10-20 | 2012-10-03 | キヤノン株式会社 | アモルファス酸化物を用いた電界効果型トランジスタ、及び該トランジスタを用いた表示装置 |
| KR101112652B1 (ko) | 2005-11-15 | 2012-02-16 | 가부시키가이샤 한도오따이 에네루기 켄큐쇼 | 액티브 매트릭스 디스플레이 장치 및 텔레비전 수신기 |
| US8004481B2 (en) | 2005-12-02 | 2011-08-23 | Semiconductor Energy Laboratory Co., Ltd. | Display device and electronic device |
| TWI292281B (en) | 2005-12-29 | 2008-01-01 | Ind Tech Res Inst | Pixel structure of active organic light emitting diode and method of fabricating the same |
| US7867636B2 (en) | 2006-01-11 | 2011-01-11 | Murata Manufacturing Co., Ltd. | Transparent conductive film and method for manufacturing the same |
| JP4977478B2 (ja) | 2006-01-21 | 2012-07-18 | 三星電子株式会社 | ZnOフィルム及びこれを用いたTFTの製造方法 |
| US7576394B2 (en) | 2006-02-02 | 2009-08-18 | Kochi Industrial Promotion Center | Thin film transistor including low resistance conductive thin films and manufacturing method thereof |
| US7977169B2 (en) | 2006-02-15 | 2011-07-12 | Kochi Industrial Promotion Center | Semiconductor device including active layer made of zinc oxide with controlled orientations and manufacturing method thereof |
| KR20070101595A (ko) | 2006-04-11 | 2007-10-17 | 삼성전자주식회사 | ZnO TFT |
| US20070252928A1 (en) | 2006-04-28 | 2007-11-01 | Toppan Printing Co., Ltd. | Structure, transmission type liquid crystal display, reflection type display and manufacturing method thereof |
| JP5028033B2 (ja) | 2006-06-13 | 2012-09-19 | キヤノン株式会社 | 酸化物半導体膜のドライエッチング方法 |
| JP4609797B2 (ja) | 2006-08-09 | 2011-01-12 | Nec液晶テクノロジー株式会社 | 薄膜デバイス及びその製造方法 |
| JP4999400B2 (ja) | 2006-08-09 | 2012-08-15 | キヤノン株式会社 | 酸化物半導体膜のドライエッチング方法 |
| JP4954639B2 (ja) | 2006-08-25 | 2012-06-20 | パナソニック株式会社 | ラッチ回路及びこれを備えた半導体集積回路 |
| JP4332545B2 (ja) | 2006-09-15 | 2009-09-16 | キヤノン株式会社 | 電界効果型トランジスタ及びその製造方法 |
| JP4274219B2 (ja) | 2006-09-27 | 2009-06-03 | セイコーエプソン株式会社 | 電子デバイス、有機エレクトロルミネッセンス装置、有機薄膜半導体装置 |
| JP5164357B2 (ja) | 2006-09-27 | 2013-03-21 | キヤノン株式会社 | 半導体装置及び半導体装置の製造方法 |
| US7622371B2 (en) | 2006-10-10 | 2009-11-24 | Hewlett-Packard Development Company, L.P. | Fused nanocrystal thin film semiconductor and method |
| US7772021B2 (en) | 2006-11-29 | 2010-08-10 | Samsung Electronics Co., Ltd. | Flat panel displays comprising a thin-film transistor having a semiconductive oxide in its channel and methods of fabricating the same for use in flat panel displays |
| JP2008140684A (ja) | 2006-12-04 | 2008-06-19 | Toppan Printing Co Ltd | カラーelディスプレイおよびその製造方法 |
| US7576582B2 (en) | 2006-12-05 | 2009-08-18 | Electronics And Telecommunications Research Institute | Low-power clock gating circuit |
| KR101303578B1 (ko) | 2007-01-05 | 2013-09-09 | 삼성전자주식회사 | 박막 식각 방법 |
| JP5508662B2 (ja) | 2007-01-12 | 2014-06-04 | 株式会社半導体エネルギー研究所 | 表示装置 |
| US8207063B2 (en) | 2007-01-26 | 2012-06-26 | Eastman Kodak Company | Process for atomic layer deposition |
| KR100851215B1 (ko) | 2007-03-14 | 2008-08-07 | 삼성에스디아이 주식회사 | 박막 트랜지스터 및 이를 이용한 유기 전계 발광표시장치 |
| US8817536B2 (en) | 2007-03-22 | 2014-08-26 | Cypress Semiconductor Corporation | Current controlled recall schema |
| US7795613B2 (en) | 2007-04-17 | 2010-09-14 | Toppan Printing Co., Ltd. | Structure with transistor |
| KR101325053B1 (ko) | 2007-04-18 | 2013-11-05 | 삼성디스플레이 주식회사 | 박막 트랜지스터 기판 및 이의 제조 방법 |
| KR20080094300A (ko) | 2007-04-19 | 2008-10-23 | 삼성전자주식회사 | 박막 트랜지스터 및 그 제조 방법과 박막 트랜지스터를포함하는 평판 디스플레이 |
| KR101334181B1 (ko) | 2007-04-20 | 2013-11-28 | 삼성전자주식회사 | 선택적으로 결정화된 채널층을 갖는 박막 트랜지스터 및 그제조 방법 |
| US8274078B2 (en) | 2007-04-25 | 2012-09-25 | Canon Kabushiki Kaisha | Metal oxynitride semiconductor containing zinc |
| KR101345376B1 (ko) | 2007-05-29 | 2013-12-24 | 삼성전자주식회사 | ZnO 계 박막 트랜지스터 및 그 제조방법 |
| US20090002044A1 (en) | 2007-06-29 | 2009-01-01 | Seiko Epson Corporation | Master-slave type flip-flop circuit |
| JP5215158B2 (ja) | 2007-12-17 | 2013-06-19 | 富士フイルム株式会社 | 無機結晶性配向膜及びその製造方法、半導体デバイス |
| JP5178492B2 (ja) | 2007-12-27 | 2013-04-10 | 株式会社半導体エネルギー研究所 | 表示装置および当該表示装置を具備する電子機器 |
| JP5213458B2 (ja) | 2008-01-08 | 2013-06-19 | キヤノン株式会社 | アモルファス酸化物及び電界効果型トランジスタ |
| JP5140459B2 (ja) * | 2008-02-28 | 2013-02-06 | ローム株式会社 | 不揮発性記憶ゲートおよびその動作方法、および不揮発性記憶ゲート組込み型論理回路およびその動作方法 |
| JP5261031B2 (ja) * | 2008-06-03 | 2013-08-14 | ローム株式会社 | バッファ回路及びこれを用いた信号伝達装置 |
| JP2010034710A (ja) | 2008-07-25 | 2010-02-12 | Nec Electronics Corp | 半導体集積回路及びその誤動作防止方法 |
| JP4623179B2 (ja) | 2008-09-18 | 2011-02-02 | ソニー株式会社 | 薄膜トランジスタおよびその製造方法 |
| EP2172804B1 (en) | 2008-10-03 | 2016-05-11 | Semiconductor Energy Laboratory Co, Ltd. | Display device |
| JP5451280B2 (ja) | 2008-10-09 | 2014-03-26 | キヤノン株式会社 | ウルツ鉱型結晶成長用基板およびその製造方法ならびに半導体装置 |
| US8018768B2 (en) | 2009-08-18 | 2011-09-13 | United Microelectronics Corp. | Non-volatile static random access memory (NVSRAM) device |
| US8208312B1 (en) * | 2009-09-22 | 2012-06-26 | Novocell Semiconductor, Inc. | Non-volatile memory element integratable with standard CMOS circuitry |
| US8134859B1 (en) * | 2009-09-25 | 2012-03-13 | Novocell Semiconductor, Inc. | Method of sensing a programmable non-volatile memory element |
| US8605490B2 (en) | 2009-10-12 | 2013-12-10 | Micron Technology, Inc. | Non-volatile SRAM cell that incorporates phase-change memory into a CMOS process |
| SG188112A1 (en) | 2009-10-30 | 2013-03-28 | Semiconductor Energy Lab | Logic circuit and semiconductor device |
| WO2011062075A1 (en) | 2009-11-20 | 2011-05-26 | Semiconductor Energy Laboratory Co., Ltd. | Nonvolatile latch circuit and logic circuit, and semiconductor device using the same |
| US8638594B1 (en) | 2009-12-02 | 2014-01-28 | Altera Corporation | Integrated circuits with asymmetric transistors |
| CN102714180B (zh) | 2009-12-11 | 2015-03-25 | 株式会社半导体能源研究所 | 非易失性锁存电路和逻辑电路以及使用它们的半导体器件 |
| KR101729933B1 (ko) | 2009-12-18 | 2017-04-25 | 가부시키가이샤 한도오따이 에네루기 켄큐쇼 | 불휘발성 래치 회로와 논리 회로, 및 이를 사용한 반도체 장치 |
| KR102712211B1 (ko) | 2009-12-25 | 2024-10-04 | 가부시키가이샤 한도오따이 에네루기 켄큐쇼 | 메모리 장치, 반도체 장치, 및 전자 장치 |
| US8780629B2 (en) * | 2010-01-15 | 2014-07-15 | Semiconductor Energy Laboratory Co., Ltd. | Semiconductor device and driving method thereof |
| EP2526619B1 (en) * | 2010-01-20 | 2016-03-23 | Semiconductor Energy Laboratory Co. Ltd. | Signal processing circuit and method for driving the same |
| WO2011105310A1 (en) * | 2010-02-26 | 2011-09-01 | Semiconductor Energy Laboratory Co., Ltd. | Semiconductor device |
| WO2011125455A1 (en) | 2010-04-09 | 2011-10-13 | Semiconductor Energy Laboratory Co., Ltd. | Oxide semiconductor memory device |
| KR101904445B1 (ko) * | 2010-04-16 | 2018-10-04 | 가부시키가이샤 한도오따이 에네루기 켄큐쇼 | 반도체 장치 |
| WO2011145468A1 (en) * | 2010-05-21 | 2011-11-24 | Semiconductor Energy Laboratory Co., Ltd. | Memory device and semiconductor device |
| KR102006586B1 (ko) | 2010-08-06 | 2019-08-01 | 가부시키가이샤 한도오따이 에네루기 켄큐쇼 | 반도체 장치 |
| TWI450385B (zh) * | 2010-09-30 | 2014-08-21 | Ememory Technology Inc | 邏輯多次寫入記憶體單元 |
| JP5879165B2 (ja) | 2011-03-30 | 2016-03-08 | 株式会社半導体エネルギー研究所 | 半導体装置 |
| TWI567735B (zh) * | 2011-03-31 | 2017-01-21 | 半導體能源研究所股份有限公司 | 記憶體電路,記憶體單元,及訊號處理電路 |
| JP6001900B2 (ja) | 2011-04-21 | 2016-10-05 | 株式会社半導体エネルギー研究所 | 信号処理回路 |
| US8446171B2 (en) | 2011-04-29 | 2013-05-21 | Semiconductor Energy Laboratory Co., Ltd. | Signal processing unit |
| TWI570719B (zh) | 2011-05-20 | 2017-02-11 | 半導體能源研究所股份有限公司 | 儲存裝置及信號處理電路 |
| US8804405B2 (en) * | 2011-06-16 | 2014-08-12 | Semiconductor Energy Laboratory Co., Ltd. | Memory device and semiconductor device |
| US8619464B1 (en) | 2011-08-26 | 2013-12-31 | Altera Corporation | Static random-access memory having read circuitry with capacitive storage |
| JP6099368B2 (ja) | 2011-11-25 | 2017-03-22 | 株式会社半導体エネルギー研究所 | 記憶装置 |
| TWI618075B (zh) | 2012-11-06 | 2018-03-11 | 半導體能源研究所股份有限公司 | 半導體裝置及其驅動方法 |
-
2014
- 2014-03-14 WO PCT/JP2014/057948 patent/WO2014157019A1/en not_active Ceased
- 2014-03-18 US US14/217,793 patent/US9245589B2/en not_active Expired - Fee Related
- 2014-03-19 TW TW103110291A patent/TWI618079B/zh not_active IP Right Cessation
- 2014-03-20 JP JP2014057698A patent/JP6445243B2/ja not_active Expired - Fee Related
-
2015
- 2015-12-15 JP JP2015243829A patent/JP6074488B2/ja not_active Expired - Fee Related
-
2018
- 2018-11-29 JP JP2018222965A patent/JP6890572B2/ja not_active Expired - Fee Related
Also Published As
| Publication number | Publication date |
|---|---|
| JP2014209727A (ja) | 2014-11-06 |
| TW201501130A (zh) | 2015-01-01 |
| JP6890572B2 (ja) | 2021-06-18 |
| JP6445243B2 (ja) | 2018-12-26 |
| JP2016122839A (ja) | 2016-07-07 |
| WO2014157019A1 (en) | 2014-10-02 |
| JP2019047519A (ja) | 2019-03-22 |
| US9245589B2 (en) | 2016-01-26 |
| US20140286076A1 (en) | 2014-09-25 |
| TWI618079B (zh) | 2018-03-11 |
Similar Documents
| Publication | Publication Date | Title |
|---|---|---|
| JP6074488B2 (ja) | 半導体装置 | |
| US9761736B2 (en) | Semiconductor device and method for manufacturing semiconductor device | |
| JP6587656B2 (ja) | 記憶装置 | |
| JP6563530B2 (ja) | 半導体装置 | |
| US9741794B2 (en) | Semiconductor device and method for manufacturing semiconductor device | |
| JP6272713B2 (ja) | プログラマブルロジックデバイス及び半導体装置 | |
| US10133140B2 (en) | Semiconductor device | |
| JP7555468B2 (ja) | 半導体装置 | |
| JP6541376B2 (ja) | プログラマブルロジックデバイスの動作方法 | |
| JP6333589B2 (ja) | 半導体装置 | |
| US9842860B2 (en) | Semiconductor device |
Legal Events
| Date | Code | Title | Description |
|---|---|---|---|
| A977 | Report on retrieval |
Free format text: JAPANESE INTERMEDIATE CODE: A971007 Effective date: 20161005 |
|
| A131 | Notification of reasons for refusal |
Free format text: JAPANESE INTERMEDIATE CODE: A131 Effective date: 20161018 |
|
| A521 | Request for written amendment filed |
Free format text: JAPANESE INTERMEDIATE CODE: A523 Effective date: 20161021 |
|
| TRDD | Decision of grant or rejection written | ||
| A01 | Written decision to grant a patent or to grant a registration (utility model) |
Free format text: JAPANESE INTERMEDIATE CODE: A01 Effective date: 20161227 |
|
| A61 | First payment of annual fees (during grant procedure) |
Free format text: JAPANESE INTERMEDIATE CODE: A61 Effective date: 20170106 |
|
| R150 | Certificate of patent or registration of utility model |
Ref document number: 6074488 Country of ref document: JP Free format text: JAPANESE INTERMEDIATE CODE: R150 |
|
| R250 | Receipt of annual fees |
Free format text: JAPANESE INTERMEDIATE CODE: R250 |
|
| LAPS | Cancellation because of no payment of annual fees |