CN1291503C - 发光装置 - Google Patents

发光装置 Download PDF

Info

Publication number
CN1291503C
CN1291503C CNB018207685A CN01820768A CN1291503C CN 1291503 C CN1291503 C CN 1291503C CN B018207685 A CNB018207685 A CN B018207685A CN 01820768 A CN01820768 A CN 01820768A CN 1291503 C CN1291503 C CN 1291503C
Authority
CN
China
Prior art keywords
light
emitting device
phosphor
emitting
layer
Prior art date
Legal status (The legal status is an assumption and is not a legal conclusion. Google has not performed a legal analysis and makes no representation as to the accuracy of the status listed.)
Expired - Lifetime
Application number
CNB018207685A
Other languages
English (en)
Other versions
CN1502137A (zh
Inventor
太田光一
平野敦雄
太田昭人
斯特凡·塔施
彼得·帕克勒
贡杜拉·罗特
瓦尔特·特夫斯
沃尔夫冈·肯普费尔特
德特勒夫·斯塔里克
Current Assignee (The listed assignees may be inaccurate. Google has not performed a legal analysis and makes no representation or warranty as to the accuracy of the list.)
Chudanike Optoelectronics
Rochester Frick Brettgen
Toyoda Gosei Co Ltd
Tektronix Inc
Original Assignee
Chudanike Optoelectronics
Rochester Frick Brettgen
Toyoda Gosei Co Ltd
Tektronix Inc
Priority date (The priority date is an assumption and is not a legal conclusion. Google has not performed a legal analysis and makes no representation as to the accuracy of the date listed.)
Filing date
Publication date
Family has litigation
First worldwide family litigation filed litigation Critical https://patents.darts-ip.com/?family=3689983&utm_source=google_patent&utm_medium=platform_link&utm_campaign=public_patent_search&patent=CN1291503(C) "Global patent litigation dataset” by Darts-ip is licensed under a Creative Commons Attribution 4.0 International License.
Application filed by Chudanike Optoelectronics, Rochester Frick Brettgen, Toyoda Gosei Co Ltd, Tektronix Inc filed Critical Chudanike Optoelectronics
Publication of CN1502137A publication Critical patent/CN1502137A/zh
Application granted granted Critical
Publication of CN1291503C publication Critical patent/CN1291503C/zh
Anticipated expiration legal-status Critical
Expired - Lifetime legal-status Critical Current

Links

Images

Classifications

    • CCHEMISTRY; METALLURGY
    • C09DYES; PAINTS; POLISHES; NATURAL RESINS; ADHESIVES; COMPOSITIONS NOT OTHERWISE PROVIDED FOR; APPLICATIONS OF MATERIALS NOT OTHERWISE PROVIDED FOR
    • C09KMATERIALS FOR MISCELLANEOUS APPLICATIONS, NOT PROVIDED FOR ELSEWHERE
    • C09K11/00Luminescent, e.g. electroluminescent, chemiluminescent materials
    • C09K11/08Luminescent, e.g. electroluminescent, chemiluminescent materials containing inorganic luminescent materials
    • C09K11/77Luminescent, e.g. electroluminescent, chemiluminescent materials containing inorganic luminescent materials containing rare earth metals
    • CCHEMISTRY; METALLURGY
    • C09DYES; PAINTS; POLISHES; NATURAL RESINS; ADHESIVES; COMPOSITIONS NOT OTHERWISE PROVIDED FOR; APPLICATIONS OF MATERIALS NOT OTHERWISE PROVIDED FOR
    • C09KMATERIALS FOR MISCELLANEOUS APPLICATIONS, NOT PROVIDED FOR ELSEWHERE
    • C09K11/00Luminescent, e.g. electroluminescent, chemiluminescent materials
    • C09K11/08Luminescent, e.g. electroluminescent, chemiluminescent materials containing inorganic luminescent materials
    • C09K11/77Luminescent, e.g. electroluminescent, chemiluminescent materials containing inorganic luminescent materials containing rare earth metals
    • C09K11/7783Luminescent, e.g. electroluminescent, chemiluminescent materials containing inorganic luminescent materials containing rare earth metals containing two or more rare earth metals one of which being europium
    • C09K11/7795Phosphates
    • BPERFORMING OPERATIONS; TRANSPORTING
    • B82NANOTECHNOLOGY
    • B82YSPECIFIC USES OR APPLICATIONS OF NANOSTRUCTURES; MEASUREMENT OR ANALYSIS OF NANOSTRUCTURES; MANUFACTURE OR TREATMENT OF NANOSTRUCTURES
    • B82Y20/00Nanooptics, e.g. quantum optics or photonic crystals
    • CCHEMISTRY; METALLURGY
    • C09DYES; PAINTS; POLISHES; NATURAL RESINS; ADHESIVES; COMPOSITIONS NOT OTHERWISE PROVIDED FOR; APPLICATIONS OF MATERIALS NOT OTHERWISE PROVIDED FOR
    • C09KMATERIALS FOR MISCELLANEOUS APPLICATIONS, NOT PROVIDED FOR ELSEWHERE
    • C09K11/00Luminescent, e.g. electroluminescent, chemiluminescent materials
    • C09K11/08Luminescent, e.g. electroluminescent, chemiluminescent materials containing inorganic luminescent materials
    • C09K11/77Luminescent, e.g. electroluminescent, chemiluminescent materials containing inorganic luminescent materials containing rare earth metals
    • C09K11/7728Luminescent, e.g. electroluminescent, chemiluminescent materials containing inorganic luminescent materials containing rare earth metals containing europium
    • C09K11/7734Aluminates
    • CCHEMISTRY; METALLURGY
    • C09DYES; PAINTS; POLISHES; NATURAL RESINS; ADHESIVES; COMPOSITIONS NOT OTHERWISE PROVIDED FOR; APPLICATIONS OF MATERIALS NOT OTHERWISE PROVIDED FOR
    • C09KMATERIALS FOR MISCELLANEOUS APPLICATIONS, NOT PROVIDED FOR ELSEWHERE
    • C09K11/00Luminescent, e.g. electroluminescent, chemiluminescent materials
    • C09K11/08Luminescent, e.g. electroluminescent, chemiluminescent materials containing inorganic luminescent materials
    • C09K11/77Luminescent, e.g. electroluminescent, chemiluminescent materials containing inorganic luminescent materials containing rare earth metals
    • C09K11/7728Luminescent, e.g. electroluminescent, chemiluminescent materials containing inorganic luminescent materials containing rare earth metals containing europium
    • C09K11/77344Aluminosilicates
    • CCHEMISTRY; METALLURGY
    • C09DYES; PAINTS; POLISHES; NATURAL RESINS; ADHESIVES; COMPOSITIONS NOT OTHERWISE PROVIDED FOR; APPLICATIONS OF MATERIALS NOT OTHERWISE PROVIDED FOR
    • C09KMATERIALS FOR MISCELLANEOUS APPLICATIONS, NOT PROVIDED FOR ELSEWHERE
    • C09K11/00Luminescent, e.g. electroluminescent, chemiluminescent materials
    • C09K11/08Luminescent, e.g. electroluminescent, chemiluminescent materials containing inorganic luminescent materials
    • C09K11/77Luminescent, e.g. electroluminescent, chemiluminescent materials containing inorganic luminescent materials containing rare earth metals
    • C09K11/7728Luminescent, e.g. electroluminescent, chemiluminescent materials containing inorganic luminescent materials containing rare earth metals containing europium
    • C09K11/774Borates
    • GPHYSICS
    • G02OPTICS
    • G02BOPTICAL ELEMENTS, SYSTEMS OR APPARATUS
    • G02B6/00Light guides; Structural details of arrangements comprising light guides and other optical elements, e.g. couplings
    • G02B6/0001Light guides; Structural details of arrangements comprising light guides and other optical elements, e.g. couplings specially adapted for lighting devices or systems
    • G02B6/0011Light guides; Structural details of arrangements comprising light guides and other optical elements, e.g. couplings specially adapted for lighting devices or systems the light guides being planar or of plate-like form
    • G02B6/0033Means for improving the coupling-out of light from the light guide
    • G02B6/0035Means for improving the coupling-out of light from the light guide provided on the surface of the light guide or in the bulk of it
    • G02B6/00362-D arrangement of prisms, protrusions, indentations or roughened surfaces
    • GPHYSICS
    • G02OPTICS
    • G02BOPTICAL ELEMENTS, SYSTEMS OR APPARATUS
    • G02B6/00Light guides; Structural details of arrangements comprising light guides and other optical elements, e.g. couplings
    • G02B6/0001Light guides; Structural details of arrangements comprising light guides and other optical elements, e.g. couplings specially adapted for lighting devices or systems
    • G02B6/0011Light guides; Structural details of arrangements comprising light guides and other optical elements, e.g. couplings specially adapted for lighting devices or systems the light guides being planar or of plate-like form
    • G02B6/0066Light guides; Structural details of arrangements comprising light guides and other optical elements, e.g. couplings specially adapted for lighting devices or systems the light guides being planar or of plate-like form characterised by the light source being coupled to the light guide
    • G02B6/0073Light emitting diode [LED]
    • HELECTRICITY
    • H10SEMICONDUCTOR DEVICES; ELECTRIC SOLID-STATE DEVICES NOT OTHERWISE PROVIDED FOR
    • H10HINORGANIC LIGHT-EMITTING SEMICONDUCTOR DEVICES HAVING POTENTIAL BARRIERS
    • H10H20/00Individual inorganic light-emitting semiconductor devices having potential barriers, e.g. light-emitting diodes [LED]
    • H10H20/80Constructional details
    • H10H20/85Packages
    • H10H20/851Wavelength conversion means
    • H10H20/8511Wavelength conversion means characterised by their material, e.g. binder
    • H10H20/8512Wavelength conversion materials
    • FMECHANICAL ENGINEERING; LIGHTING; HEATING; WEAPONS; BLASTING
    • F21LIGHTING
    • F21YINDEXING SCHEME ASSOCIATED WITH SUBCLASSES F21K, F21L, F21S and F21V, RELATING TO THE FORM OR THE KIND OF THE LIGHT SOURCES OR OF THE COLOUR OF THE LIGHT EMITTED
    • F21Y2105/00Planar light sources
    • F21Y2105/10Planar light sources comprising a two-dimensional array of point-like light-generating elements
    • FMECHANICAL ENGINEERING; LIGHTING; HEATING; WEAPONS; BLASTING
    • F21LIGHTING
    • F21YINDEXING SCHEME ASSOCIATED WITH SUBCLASSES F21K, F21L, F21S and F21V, RELATING TO THE FORM OR THE KIND OF THE LIGHT SOURCES OR OF THE COLOUR OF THE LIGHT EMITTED
    • F21Y2115/00Light-generating elements of semiconductor light sources
    • F21Y2115/10Light-emitting diodes [LED]
    • HELECTRICITY
    • H01ELECTRIC ELEMENTS
    • H01LSEMICONDUCTOR DEVICES NOT COVERED BY CLASS H10
    • H01L2224/00Indexing scheme for arrangements for connecting or disconnecting semiconductor or solid-state bodies and methods related thereto as covered by H01L24/00
    • H01L2224/01Means for bonding being attached to, or being formed on, the surface to be connected, e.g. chip-to-package, die-attach, "first-level" interconnects; Manufacturing methods related thereto
    • H01L2224/10Bump connectors; Manufacturing methods related thereto
    • H01L2224/15Structure, shape, material or disposition of the bump connectors after the connecting process
    • H01L2224/16Structure, shape, material or disposition of the bump connectors after the connecting process of an individual bump connector
    • H01L2224/161Disposition
    • H01L2224/16135Disposition the bump connector connecting between different semiconductor or solid-state bodies, i.e. chip-to-chip
    • H01L2224/16145Disposition the bump connector connecting between different semiconductor or solid-state bodies, i.e. chip-to-chip the bodies being stacked
    • HELECTRICITY
    • H01ELECTRIC ELEMENTS
    • H01LSEMICONDUCTOR DEVICES NOT COVERED BY CLASS H10
    • H01L2224/00Indexing scheme for arrangements for connecting or disconnecting semiconductor or solid-state bodies and methods related thereto as covered by H01L24/00
    • H01L2224/01Means for bonding being attached to, or being formed on, the surface to be connected, e.g. chip-to-package, die-attach, "first-level" interconnects; Manufacturing methods related thereto
    • H01L2224/26Layer connectors, e.g. plate connectors, solder or adhesive layers; Manufacturing methods related thereto
    • H01L2224/31Structure, shape, material or disposition of the layer connectors after the connecting process
    • H01L2224/32Structure, shape, material or disposition of the layer connectors after the connecting process of an individual layer connector
    • H01L2224/321Disposition
    • H01L2224/32151Disposition the layer connector connecting between a semiconductor or solid-state body and an item not being a semiconductor or solid-state body, e.g. chip-to-substrate, chip-to-passive
    • H01L2224/32221Disposition the layer connector connecting between a semiconductor or solid-state body and an item not being a semiconductor or solid-state body, e.g. chip-to-substrate, chip-to-passive the body and the item being stacked
    • H01L2224/32245Disposition the layer connector connecting between a semiconductor or solid-state body and an item not being a semiconductor or solid-state body, e.g. chip-to-substrate, chip-to-passive the body and the item being stacked the item being metallic
    • HELECTRICITY
    • H01ELECTRIC ELEMENTS
    • H01LSEMICONDUCTOR DEVICES NOT COVERED BY CLASS H10
    • H01L2224/00Indexing scheme for arrangements for connecting or disconnecting semiconductor or solid-state bodies and methods related thereto as covered by H01L24/00
    • H01L2224/01Means for bonding being attached to, or being formed on, the surface to be connected, e.g. chip-to-package, die-attach, "first-level" interconnects; Manufacturing methods related thereto
    • H01L2224/26Layer connectors, e.g. plate connectors, solder or adhesive layers; Manufacturing methods related thereto
    • H01L2224/31Structure, shape, material or disposition of the layer connectors after the connecting process
    • H01L2224/32Structure, shape, material or disposition of the layer connectors after the connecting process of an individual layer connector
    • H01L2224/321Disposition
    • H01L2224/32151Disposition the layer connector connecting between a semiconductor or solid-state body and an item not being a semiconductor or solid-state body, e.g. chip-to-substrate, chip-to-passive
    • H01L2224/32221Disposition the layer connector connecting between a semiconductor or solid-state body and an item not being a semiconductor or solid-state body, e.g. chip-to-substrate, chip-to-passive the body and the item being stacked
    • H01L2224/32245Disposition the layer connector connecting between a semiconductor or solid-state body and an item not being a semiconductor or solid-state body, e.g. chip-to-substrate, chip-to-passive the body and the item being stacked the item being metallic
    • H01L2224/32257Disposition the layer connector connecting between a semiconductor or solid-state body and an item not being a semiconductor or solid-state body, e.g. chip-to-substrate, chip-to-passive the body and the item being stacked the item being metallic the layer connector connecting to a bonding area disposed in a recess of the surface of the item
    • HELECTRICITY
    • H01ELECTRIC ELEMENTS
    • H01LSEMICONDUCTOR DEVICES NOT COVERED BY CLASS H10
    • H01L2224/00Indexing scheme for arrangements for connecting or disconnecting semiconductor or solid-state bodies and methods related thereto as covered by H01L24/00
    • H01L2224/01Means for bonding being attached to, or being formed on, the surface to be connected, e.g. chip-to-package, die-attach, "first-level" interconnects; Manufacturing methods related thereto
    • H01L2224/42Wire connectors; Manufacturing methods related thereto
    • H01L2224/44Structure, shape, material or disposition of the wire connectors prior to the connecting process
    • H01L2224/45Structure, shape, material or disposition of the wire connectors prior to the connecting process of an individual wire connector
    • H01L2224/45001Core members of the connector
    • H01L2224/45099Material
    • H01L2224/451Material with a principal constituent of the material being a metal or a metalloid, e.g. boron (B), silicon (Si), germanium (Ge), arsenic (As), antimony (Sb), tellurium (Te) and polonium (Po), and alloys thereof
    • H01L2224/45138Material with a principal constituent of the material being a metal or a metalloid, e.g. boron (B), silicon (Si), germanium (Ge), arsenic (As), antimony (Sb), tellurium (Te) and polonium (Po), and alloys thereof the principal constituent melting at a temperature of greater than or equal to 950°C and less than 1550°C
    • H01L2224/45139Silver (Ag) as principal constituent
    • HELECTRICITY
    • H01ELECTRIC ELEMENTS
    • H01LSEMICONDUCTOR DEVICES NOT COVERED BY CLASS H10
    • H01L2224/00Indexing scheme for arrangements for connecting or disconnecting semiconductor or solid-state bodies and methods related thereto as covered by H01L24/00
    • H01L2224/01Means for bonding being attached to, or being formed on, the surface to be connected, e.g. chip-to-package, die-attach, "first-level" interconnects; Manufacturing methods related thereto
    • H01L2224/42Wire connectors; Manufacturing methods related thereto
    • H01L2224/44Structure, shape, material or disposition of the wire connectors prior to the connecting process
    • H01L2224/45Structure, shape, material or disposition of the wire connectors prior to the connecting process of an individual wire connector
    • H01L2224/45001Core members of the connector
    • H01L2224/45099Material
    • H01L2224/451Material with a principal constituent of the material being a metal or a metalloid, e.g. boron (B), silicon (Si), germanium (Ge), arsenic (As), antimony (Sb), tellurium (Te) and polonium (Po), and alloys thereof
    • H01L2224/45138Material with a principal constituent of the material being a metal or a metalloid, e.g. boron (B), silicon (Si), germanium (Ge), arsenic (As), antimony (Sb), tellurium (Te) and polonium (Po), and alloys thereof the principal constituent melting at a temperature of greater than or equal to 950°C and less than 1550°C
    • H01L2224/45144Gold (Au) as principal constituent
    • HELECTRICITY
    • H01ELECTRIC ELEMENTS
    • H01LSEMICONDUCTOR DEVICES NOT COVERED BY CLASS H10
    • H01L2224/00Indexing scheme for arrangements for connecting or disconnecting semiconductor or solid-state bodies and methods related thereto as covered by H01L24/00
    • H01L2224/01Means for bonding being attached to, or being formed on, the surface to be connected, e.g. chip-to-package, die-attach, "first-level" interconnects; Manufacturing methods related thereto
    • H01L2224/42Wire connectors; Manufacturing methods related thereto
    • H01L2224/47Structure, shape, material or disposition of the wire connectors after the connecting process
    • H01L2224/48Structure, shape, material or disposition of the wire connectors after the connecting process of an individual wire connector
    • H01L2224/4805Shape
    • H01L2224/4809Loop shape
    • H01L2224/48091Arched
    • HELECTRICITY
    • H01ELECTRIC ELEMENTS
    • H01LSEMICONDUCTOR DEVICES NOT COVERED BY CLASS H10
    • H01L2224/00Indexing scheme for arrangements for connecting or disconnecting semiconductor or solid-state bodies and methods related thereto as covered by H01L24/00
    • H01L2224/01Means for bonding being attached to, or being formed on, the surface to be connected, e.g. chip-to-package, die-attach, "first-level" interconnects; Manufacturing methods related thereto
    • H01L2224/42Wire connectors; Manufacturing methods related thereto
    • H01L2224/47Structure, shape, material or disposition of the wire connectors after the connecting process
    • H01L2224/48Structure, shape, material or disposition of the wire connectors after the connecting process of an individual wire connector
    • H01L2224/481Disposition
    • H01L2224/48151Connecting between a semiconductor or solid-state body and an item not being a semiconductor or solid-state body, e.g. chip-to-substrate, chip-to-passive
    • H01L2224/48221Connecting between a semiconductor or solid-state body and an item not being a semiconductor or solid-state body, e.g. chip-to-substrate, chip-to-passive the body and the item being stacked
    • H01L2224/48245Connecting between a semiconductor or solid-state body and an item not being a semiconductor or solid-state body, e.g. chip-to-substrate, chip-to-passive the body and the item being stacked the item being metallic
    • H01L2224/48247Connecting between a semiconductor or solid-state body and an item not being a semiconductor or solid-state body, e.g. chip-to-substrate, chip-to-passive the body and the item being stacked the item being metallic connecting the wire to a bond pad of the item
    • HELECTRICITY
    • H01ELECTRIC ELEMENTS
    • H01LSEMICONDUCTOR DEVICES NOT COVERED BY CLASS H10
    • H01L2224/00Indexing scheme for arrangements for connecting or disconnecting semiconductor or solid-state bodies and methods related thereto as covered by H01L24/00
    • H01L2224/01Means for bonding being attached to, or being formed on, the surface to be connected, e.g. chip-to-package, die-attach, "first-level" interconnects; Manufacturing methods related thereto
    • H01L2224/42Wire connectors; Manufacturing methods related thereto
    • H01L2224/47Structure, shape, material or disposition of the wire connectors after the connecting process
    • H01L2224/48Structure, shape, material or disposition of the wire connectors after the connecting process of an individual wire connector
    • H01L2224/481Disposition
    • H01L2224/48151Connecting between a semiconductor or solid-state body and an item not being a semiconductor or solid-state body, e.g. chip-to-substrate, chip-to-passive
    • H01L2224/48221Connecting between a semiconductor or solid-state body and an item not being a semiconductor or solid-state body, e.g. chip-to-substrate, chip-to-passive the body and the item being stacked
    • H01L2224/48245Connecting between a semiconductor or solid-state body and an item not being a semiconductor or solid-state body, e.g. chip-to-substrate, chip-to-passive the body and the item being stacked the item being metallic
    • H01L2224/48257Connecting between a semiconductor or solid-state body and an item not being a semiconductor or solid-state body, e.g. chip-to-substrate, chip-to-passive the body and the item being stacked the item being metallic connecting the wire to a die pad of the item
    • HELECTRICITY
    • H01ELECTRIC ELEMENTS
    • H01LSEMICONDUCTOR DEVICES NOT COVERED BY CLASS H10
    • H01L2224/00Indexing scheme for arrangements for connecting or disconnecting semiconductor or solid-state bodies and methods related thereto as covered by H01L24/00
    • H01L2224/01Means for bonding being attached to, or being formed on, the surface to be connected, e.g. chip-to-package, die-attach, "first-level" interconnects; Manufacturing methods related thereto
    • H01L2224/42Wire connectors; Manufacturing methods related thereto
    • H01L2224/47Structure, shape, material or disposition of the wire connectors after the connecting process
    • H01L2224/49Structure, shape, material or disposition of the wire connectors after the connecting process of a plurality of wire connectors
    • H01L2224/491Disposition
    • H01L2224/49105Connecting at different heights
    • H01L2224/49107Connecting at different heights on the semiconductor or solid-state body
    • HELECTRICITY
    • H01ELECTRIC ELEMENTS
    • H01LSEMICONDUCTOR DEVICES NOT COVERED BY CLASS H10
    • H01L2224/00Indexing scheme for arrangements for connecting or disconnecting semiconductor or solid-state bodies and methods related thereto as covered by H01L24/00
    • H01L2224/73Means for bonding being of different types provided for in two or more of groups H01L2224/10, H01L2224/18, H01L2224/26, H01L2224/34, H01L2224/42, H01L2224/50, H01L2224/63, H01L2224/71
    • H01L2224/732Location after the connecting process
    • H01L2224/73251Location after the connecting process on different surfaces
    • H01L2224/73265Layer and wire connectors
    • HELECTRICITY
    • H01ELECTRIC ELEMENTS
    • H01LSEMICONDUCTOR DEVICES NOT COVERED BY CLASS H10
    • H01L25/00Assemblies consisting of a plurality of semiconductor or other solid state devices
    • H01L25/03Assemblies consisting of a plurality of semiconductor or other solid state devices all the devices being of a type provided for in a single subclass of subclasses H10B, H10D, H10F, H10H, H10K or H10N, e.g. assemblies of rectifier diodes
    • H01L25/04Assemblies consisting of a plurality of semiconductor or other solid state devices all the devices being of a type provided for in a single subclass of subclasses H10B, H10D, H10F, H10H, H10K or H10N, e.g. assemblies of rectifier diodes the devices not having separate containers
    • H01L25/075Assemblies consisting of a plurality of semiconductor or other solid state devices all the devices being of a type provided for in a single subclass of subclasses H10B, H10D, H10F, H10H, H10K or H10N, e.g. assemblies of rectifier diodes the devices not having separate containers the devices being of a type provided for in group H10H20/00
    • H01L25/0753Assemblies consisting of a plurality of semiconductor or other solid state devices all the devices being of a type provided for in a single subclass of subclasses H10B, H10D, H10F, H10H, H10K or H10N, e.g. assemblies of rectifier diodes the devices not having separate containers the devices being of a type provided for in group H10H20/00 the devices being arranged next to each other
    • HELECTRICITY
    • H01ELECTRIC ELEMENTS
    • H01LSEMICONDUCTOR DEVICES NOT COVERED BY CLASS H10
    • H01L2924/00Indexing scheme for arrangements or methods for connecting or disconnecting semiconductor or solid-state bodies as covered by H01L24/00
    • H01L2924/0001Technical content checked by a classifier
    • H01L2924/00011Not relevant to the scope of the group, the symbol of which is combined with the symbol of this group
    • HELECTRICITY
    • H01ELECTRIC ELEMENTS
    • H01LSEMICONDUCTOR DEVICES NOT COVERED BY CLASS H10
    • H01L2924/00Indexing scheme for arrangements or methods for connecting or disconnecting semiconductor or solid-state bodies as covered by H01L24/00
    • H01L2924/15Details of package parts other than the semiconductor or other solid state devices to be connected
    • H01L2924/181Encapsulation
    • HELECTRICITY
    • H10SEMICONDUCTOR DEVICES; ELECTRIC SOLID-STATE DEVICES NOT OTHERWISE PROVIDED FOR
    • H10HINORGANIC LIGHT-EMITTING SEMICONDUCTOR DEVICES HAVING POTENTIAL BARRIERS
    • H10H20/00Individual inorganic light-emitting semiconductor devices having potential barriers, e.g. light-emitting diodes [LED]
    • H10H20/80Constructional details
    • H10H20/81Bodies
    • H10H20/811Bodies having quantum effect structures or superlattices, e.g. tunnel junctions
    • H10H20/812Bodies having quantum effect structures or superlattices, e.g. tunnel junctions within the light-emitting regions, e.g. having quantum confinement structures
    • HELECTRICITY
    • H10SEMICONDUCTOR DEVICES; ELECTRIC SOLID-STATE DEVICES NOT OTHERWISE PROVIDED FOR
    • H10HINORGANIC LIGHT-EMITTING SEMICONDUCTOR DEVICES HAVING POTENTIAL BARRIERS
    • H10H20/00Individual inorganic light-emitting semiconductor devices having potential barriers, e.g. light-emitting diodes [LED]
    • H10H20/80Constructional details
    • H10H20/81Bodies
    • H10H20/822Materials of the light-emitting regions
    • H10H20/824Materials of the light-emitting regions comprising only Group III-V materials, e.g. GaP
    • H10H20/825Materials of the light-emitting regions comprising only Group III-V materials, e.g. GaP containing nitrogen, e.g. GaN
    • HELECTRICITY
    • H10SEMICONDUCTOR DEVICES; ELECTRIC SOLID-STATE DEVICES NOT OTHERWISE PROVIDED FOR
    • H10HINORGANIC LIGHT-EMITTING SEMICONDUCTOR DEVICES HAVING POTENTIAL BARRIERS
    • H10H20/00Individual inorganic light-emitting semiconductor devices having potential barriers, e.g. light-emitting diodes [LED]
    • H10H20/80Constructional details
    • H10H20/85Packages
    • H10H20/851Wavelength conversion means
    • H10H20/8515Wavelength conversion means not being in contact with the bodies
    • HELECTRICITY
    • H10SEMICONDUCTOR DEVICES; ELECTRIC SOLID-STATE DEVICES NOT OTHERWISE PROVIDED FOR
    • H10HINORGANIC LIGHT-EMITTING SEMICONDUCTOR DEVICES HAVING POTENTIAL BARRIERS
    • H10H20/00Individual inorganic light-emitting semiconductor devices having potential barriers, e.g. light-emitting diodes [LED]
    • H10H20/80Constructional details
    • H10H20/882Scattering means
    • YGENERAL TAGGING OF NEW TECHNOLOGICAL DEVELOPMENTS; GENERAL TAGGING OF CROSS-SECTIONAL TECHNOLOGIES SPANNING OVER SEVERAL SECTIONS OF THE IPC; TECHNICAL SUBJECTS COVERED BY FORMER USPC CROSS-REFERENCE ART COLLECTIONS [XRACs] AND DIGESTS
    • Y02TECHNOLOGIES OR APPLICATIONS FOR MITIGATION OR ADAPTATION AGAINST CLIMATE CHANGE
    • Y02BCLIMATE CHANGE MITIGATION TECHNOLOGIES RELATED TO BUILDINGS, e.g. HOUSING, HOUSE APPLIANCES OR RELATED END-USER APPLICATIONS
    • Y02B20/00Energy efficient lighting technologies, e.g. halogen lamps or gas discharge lamps

Landscapes

  • Chemical & Material Sciences (AREA)
  • Engineering & Computer Science (AREA)
  • Organic Chemistry (AREA)
  • Inorganic Chemistry (AREA)
  • Materials Engineering (AREA)
  • Physics & Mathematics (AREA)
  • Optics & Photonics (AREA)
  • Nanotechnology (AREA)
  • General Physics & Mathematics (AREA)
  • Crystallography & Structural Chemistry (AREA)
  • Microelectronics & Electronic Packaging (AREA)
  • Life Sciences & Earth Sciences (AREA)
  • Biophysics (AREA)
  • Luminescent Compositions (AREA)
  • Led Device Packages (AREA)
  • Led Devices (AREA)

Abstract

一种发光装置,具有发光元件,所述发光元件由氮化物半导体和磷光体制成,所述磷光体吸收部分由发光元件发出的光并发出与所吸收的光具有不同波长的光,磷光体由通过铕活化的碱土金属硅酸盐荧光材料制成。

Description

发光装置
技术领域
本发明涉及一种包括发光元件的发光装置,尤其涉及一种发光装置,所述发光装置包括:可在第一光谱区发光的发光元件;磷光体,其来源于碱土金属正硅酸盐族并至少包含磷族碱土金属正硅酸盐,并吸收从发光元件所发出的部分光并在另一光谱区发光。
背景技术
发光装置为如无机LED、有机LED、激光二极管、无机厚膜电致发光片、或无机薄膜电致发光单元。
特别地,LED的显著特征为具有较长的寿命、不必有较大的空间、具有较强的抗冲击性,以及在窄光谱带发光的特性。
活性半导体材料LED固有的光发射不能充足地提供许多发光颜色,尤其是许多具有宽光谱带的发光颜色。当目标是白色光发射时尤其是如此。
从现有技术来看,最初由半导体得不到的发光颜色可通过颜色转换技术得到。
颜色转换技术基本上是基于下述原理:也就是说,至少一种磷光体设置在LED模上;磷光体吸收从模上发射的光;接着磷光体以另一光发射颜色发射光致发光光。
为了组成磷光体,基本上,可以利用有机材料也可利用无机材料。无机颜料的基本优点为比有机衬底磷光体有更高的环境阻力。考虑到基于无机LED的长寿命的颜色稳定性,无机材料更加有利。
考虑到加工的容易性,很明显,使用无机荧光颜料替代有机荧光涂层衬底磷光体是有利的,所述有机荧光涂层衬底磷光体需要过长生长周期,以便得到必要的膜厚。颜料被添加到基体中,并接着放置在LED模上。
由于满足上述要求的无机材料的数量很少,在绝大多数情况下,YAG族材料目前被用作颜色转换的颜料。然而,YAG族材料的缺点为:他们仅在光发射最大值小于560nm时具有较高的效率。出于这个原因,当结合蓝色二极管(450nm和490nm)使用YAG颜料时,仅可实现带有冷感的白色发射光颜色。特别地,在照明设备中,关于颜色温度和颜色复制的要求很高。这种要求现在不可能由现有的白色LED所的产品所满足。
国际公开No.WO00/33389公开了:Ba2SiO4:Eu2+可用作磷光体以便在使用蓝色LED时得到接近白色的光。Ba2SiO4:Eu2+所发射的光具有505nm的相对较短的波长,因此,光明显为冷色。
S.H.M.Poort et al.,“Optical properties of Eu2+-activated”,page 297中报道了Ba2SiO4和一种由Eu2+活化的磷酸盐如KbaPO4和KSrPO4的特性。在这篇报道中,证明了Ba2SiO4的光发射为505nm。而且,报道了两种磷酸盐的光发射基本上为更短的波长(420nm和430nm)。
发明内容
本发明的目的是提供一种光发射装置,通过磷光体对第一光源发出的紫外线或蓝色射线的极好吸收性,所述发光装置通过高光致发光作用可提供不同的发光颜色或较高的颜色复制性。在这种情况下,特别有利的是,在通常用作普通照明设备光源的CIE偏斜椭圆中的颜色的色位极其接近2600K和7000K之间的色温范围。
根据本发明,发光装置包括:发光二极管,其由氮化物半导体制成;磷光体,其吸收由所述发光二极管发出的一部分光并发射与所吸收的光具有不同波长的光。磷光体由用铕活化的碱土金属硅酸盐荧火材料制成。
磷光体可以是由二价铕活化的碱土金属正硅酸盐,可用公式表示如下:
(2-x-y)SrOx(Ba,Ca)O·(1-a-b-c-d)SiO2·aP2O5bAl2O3cB2O3dGeO2:yEu2+
(其中,0<x<1.6,0.005<y<0.5,和0<a,b,c,d<0.5)和/或
碱土金属正硅酸盐可由下式表示:
(2-x-y)BaO·x(Sr,Ca)O·(1-a-b-c-d)SiO2·aP2O5bAl2O3cB2O3dGeO2:yEu2+
(其中,0.01<x<1.6,0.005<y<0.5,和0<a,b,c,d<0.5)
其中,有利的是,a,b,c,和d其中至少有一个大于0.01。
即,在硅酸锶或硅酸钡和正硅酸锶的混合物来替代硅酸钡的情况下,意外地发现辐射光的波长被延长了。由锗及附加存在的的P2O3、Al2O3、和/或B2O3替代硅可影响光发射光谱。结果,在每一种使用情况中光发射光谱可被调节到最佳。
有利的是,发光装置具有由二价铕和/或锰、和/或Y(V,P,Si)O4:Eu活化的碱土金属铝酸盐族中的磷光体,或者来自碱土金属二矽酸镁Eu2+,Mn2+的用于发射红色光的不同磷光体,可由下式表示:
Me(3-x-y)MgSi2O3:xEu,yMn
(其中0.005<x<0.5,0.005<x<0.5,及Me表示Ba和/或Sr和/或Ca)。
而且,还发现,在磷光体基体中包含少量的单价离子,尤其是卤化物有利于提高结晶度和辐射率。
有利的是,第一光谱区为300至500nm。在这个波长区,本发明的磷光体可被很好地活化。
而且,有利的是,第二光谱区为430至650nm。在这种情况下,还可得到相对纯的白色光。
有利的是,发光装置发射Ra值>72的白色光。
附图简述
图1示出了根据本发明第二优选实施例的LED灯的剖面图;
图2示出了图1的蓝色LED的层状结构的剖面图;
图3示出了根据本发明第三优选实施例的平面光源装置的结构,其中,图3(a)为平面图和图3(b)为沿图3(a)的线A-A的剖面图;
图4示出了根据本发明第四优选实施例的SMD(表面安装二极管)型LED灯的剖面图;
图5示出了根据本发明第五优选实施例的LED灯的剖面图;
图6示出了齐纳二极管用作过压保护元件的连接电路图;
图7示出了电容器用作过压保护元件的连接电路图;和
图8示出了根据本发明第六优选实施例的半导体发光装置的剖面图。
具体实施方式
在根据本发明的第一实施例中,光发射装置包括两种不同的磷光体,并且在这种情况下,磷光体中至少其中之一为碱土金属正硅酸盐磷光体。因此,白色调可被特别精确地调整。
在根据本发明的光发射装置的结构变化中,存在许多可能性。根据优选的实施例,一个或多个LED芯片设置在反射镜中的衬底上,磷光体分散在设置在反射镜上的透镜中。
然而,还有可能一个或多个LED芯片设置在反射镜中的衬底上,磷光体涂在反射镜上。
LED芯片可方便地用透明的类似圆屋顶形的密封剂填充。密封剂一方面提供了机械保护,另一方面密封剂还改善了光学性能(改善了LED模模的光发射)。
磷光体可分散在密封剂中。利用密封剂,设置在衬底上的LED芯片和聚合体透镜可被粘合而尽可能少地包含气体。在这种情况下,聚合体透镜和密封剂的折射率之差最大为0.1。可直接利用密封剂密封LED模。然而,也可利用透明密封剂密封LED模(即,在这种情况下,利用透明密封剂和包含磷光体的密封剂)。由于折射率彼此接近,在界面上的折射损耗很小。
有利的是,聚合体透镜具有球形和椭圆形凹陷。凹陷可用密封剂填充。结果,LED阵列可固定在与聚合体透镜较短距离处。因此,可减小机械结构尺寸。
为了实现磷光体的均匀分布,有利的是,磷光体被方便地悬浮在无机基体中。
在使用两种磷光体的情况下,有利的是,两种磷光体被悬浮在任一基体中,并且,在这种情况下,这些基体设置在光传播方向的前面和后面。因此,与不同磷光体混合在一起分散的情况相比,可减小基体浓度。
接着,下面将说明在根据本发明第一优选实施例制造磷光体的过程中的重要步骤。
在生产硅酸盐磷光体的过程中,根据所选择的成份比率,将碱土金属碳酸盐、二氧化硅及氧化铕以每一化学计量进行充分混合作为初始物质,并利用用于产生磷光体的常规固态反应,在1100℃和1400℃下在还原空气中可转换成所需要的磷光体。在这方面,有利的是,将少量氯化铵或另一种卤化物(优选小于0.2摩尔)添加到反应混合物中,以便提高结晶程度。如果需要,部分硅可由锗、硼、铝或磷来替代,或者部分铕可由锰来替代。这可通过添加上述各种元素的相应量的化合物来实现,所述化合物通过加热进行分解。在这种情况下,保持反应条件范围。
所得到的硅酸盐发射出波长为510nm至600nm的光,其半带宽达110nm。
通过利用从上述磷光体族中选择的一种磷光体或从上述磷光体族中所选择的磷光体的混合物,或由二价铕和/或锰所活化的碱土金属铝酸盐磷光体的混合物,还有用于从Y(V,P,Si)O4:Eu2+中选择的发射红光的不同磷光体,以及从Y2O2S:Eu3+族中所选择的常规磷光体,可得到具有确定的色温和较高颜色复制性的发射光颜色。下面示出了这些例子。
T=2778K(464nm+Sr1.4Ba0.6SiO4:Eu2+);x=0.4619,y=0.4247,Ra=72,
T=2950K(464nm+Sr1.4Ba0.6SiO4:Eu2+);x=0.4380,y=0.4004,Ra=73,
T=3497K(464nm+Sr1.6Ba0.4SiO4:Eu2+);x=0.4086,y=0.3996,Ra=74,
T=4183K(464nm+Sr1.9Ba0.08Ca0.2SiO4:Eu2+);x=0.3762,y=0.3873,Ra=75,
T=6624K(464nm+Sr1.9Ba0.02Ca0.08SiO4:Eu2+);x=0.3101,y=0.3306,Ra=76,
T=6385K(464nm+Sr1.6Ba0.4SiO4:Eu2++Sr0.4Ba1.6SiO4:Eu2+);x=0.3135,y=0.3397,Ra=82,
T=4216K(464nm+Sr1.9Ba0.08Ca0.02SiO4:Eu2+);x=0.3710,y=0.3696,Ra=82,
3954K(464nm+Sr1.6Ba0.4SiO4:Eu2++Sr0.4Ba1.6SiO4:Eu2++YVO4:Eu3+);x=0.3756,y=0.3816,Ra=84,
T=6489K(464nm+Sr1.6Ba0.4SiO4:Eu2++Sr0.4Ba1.6SiO4:Eu2++铝酸镁钡:Eu2-);x=0.3115,y=0.3390,Ra=66,
T=5097K(464nm+Sr1.6Ba0.4(Si0.08B0.02)O4:Eu2++Sr0.6Ba1.4SiO4:Eu2+);x=0.3423,y=0.3485,Ra=82,
T=5084K(464nm+Sr1.6Ba0.4(Si0.08Ba0.02)O4:Eu2++Sr0.6Ba1.4SiO4:Eu2++铝酸镁锶:Eu2+);x=0.3430,y=0.3531,Ra=83,
T=3369K(464nm+Sr1.4Ba0.6Si0.95Ge0.05O4:Eu2+);x=0.4134,y=0.3959,Ra=74,
T=2787K(466nm+Sr1.4Ba0.6Si0.98P0.02O4.01:Eu2+);x=0.4630,y=0.4280,Ra=72,
T=2913K(464nm+Sr1.4Ba0.6Si0.98Al0.02O4:Eu2+);x=0.4425,y=0.4050,Ra=73,
在根据本发明的一个有利的实施例中,可按如下方法进行颜色转换。
将一个或多个LED芯片组装在衬底上。直接在衬底上设置密封材料,形成半球形或半椭圆形(一方面是为了保护LED芯片保护装置,另一方面是为了发射优选的在LED芯片中所产生的发射光)。密封材料可分别密封每一膜,或者可形成所有的LED膜共用的密封材料。因此,所制造的衬底设置在反射镜中或反射镜设置在LED芯片上。
反射镜上安装有透镜。一方面,透镜用于保护装置,另一方面,荧光颜料混合在透镜中。因此,透镜给人以不透明和黄颜色的印象。当穿过光学部件时,穿过透镜的蓝光(包括紫外线)就会被转换成较长波长的光(黄色光)。结果,还可通过混合蓝光和转换光(黄光)得到白色印象。例如,在平行的平板之间所产生的波导效应损失可由于透镜的不透明性和分散特性而减小。而且,利用反射镜,只有初调的光被控制进入透镜。结果,在一开始就减小了总的反射效应。
或者,反射镜可设置在每一LED芯片上,反射镜被填充为圆屋顶形状,而且,透镜设置在每一反射镜的上方或整个装置的上方。
在用于照明的光发射装置的生产中,有利的是,利用LED阵列来替代单个LED。在本发明的另一优选实施例中,通过将LED芯片直接组装在衬底上形成的LED阵列(如下所述)来执行颜色转换。
利用密封剂(如环氧树脂),可将LED阵列与由另一种材料(如PMMA)制成的透明聚合体透镜粘合在一起。选择聚合体和密封剂的材料以便具有尽可能接近的折射系数,即,具有相位匹配。密封剂存在于聚合体透镜的最大球形或椭圆形凹陷中。凹陷形状的重要性在于若颜色转换物质分散在密封剂中。因此,根据凹陷形状,可保证得到光发射颜色而不考虑角度。此外,上述阵列可填充透明密封剂,而且,上述阵列可用包含颜色转换物质的密封剂与用上述聚合体透镜粘合在一起。
对于使用至少两种不同磷光体并具有特别优选的颜色复制性的LED,有利的是,将磷光体分别分散并添加,而不是将磷光体一起分散在一种基体中。这种方法特别应用于通过多个颜色转换过程而得到最后光发射颜色的化合物。即,具有最长波长的光发射颜色由一个光发射过程产生。在这种情况下,光发射过程如下进行:即,第一磷光体吸收LED的光发射,第一磷光体进行光发射;第二磷光体吸收第一磷光体的光发射,第二磷光体进行光发射。特别地,对于这种过程,有利的是,在光传播方向的前面和后面分散磷光体,因为与简单分散各种磷光体的情况相比,磷光体的浓度可因此被减小。
本发明并不限于上述实施例。磷光体可被组合在聚合体透镜中(或其它光学元件上)。磷光体可直接设置在LED模上,或者可被设置在透明密封剂的表面上。而且,磷光体可与分散的粒子一起组合在基体中。因此,可防止从基体中析出并确保发射单色光。
上述在发光二极管(LED)灯中使用具有光致效应的磷光体的例子将在下面详细说明。
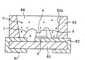
图1为根据本发明的发光装置的第二实施例的LED灯的典型剖面图。图1所示的LED灯也即所谓的“透镜型LED灯”。由GaN半导体所形成的蓝色LED 4通过底座5安装在金属架3(metal stem 3)上,所述金属架3(metal stem 3)形成杯10,杯10用作反射镜,用于在LED灯上方反射从蓝色LED4发射出的光。蓝色LED 4的一个电极通过金连接线7连接到引线框2上,另一电极通过金连接线6连接到引线框1上。杯10的内部填充有内部树脂8,其作为涂敷部件用于固定蓝色LED 4。而且,设置有金属架3(metal stem 3)的引线框2和引线框1被作为注模部件的外部树脂9覆盖。因此,蓝色LED4被用内部树脂8和外部树脂9双层覆盖。金属架3(metal stem 3)和引线框1还称作座架引线(mount lead)。下面将详细说明蓝色LED 4。
包含磷光体11的内部树脂8填充在杯10中到达杯10上部边缘水平面以下的水平。当多个LEDs以这种方式彼此靠近设置时,这种结构可防止LEDs之间的颜色混合,并能利用LEDs实现平面显示,以便产生具有高清晰度的图像。
关于内部树脂8,使用固化时变成透明的硅树脂或环氧树脂。内部树脂8包含主要由二价铕活化的碱土金属正硅酸盐和/或碱土金属正硅酸盐组成的磷光体11。如上所述,磷光体11具有光致发光效应。特别是,磷光体11吸收从蓝色LED 4发出的光并发射出与所吸收的光具有不同波长的光。
作为硅树脂或环氧树脂的替代物,低熔点玻璃可用作内部树脂8。低熔点玻璃具有极好的防潮性,同时,还可防止有害离子进入蓝色LED4。而且,由蓝色LED 4发出的光同样可通过低熔点玻璃,而不被玻璃吸收。因此,不必要预期光吸收而发射具有较高强度的光。
而且,散射物质可掺入作为内部树脂8的包含磷光体11的硅树脂或环氧树脂中,或掺入其中包含磷光体11的低熔点玻璃中。散射物质不规则地反射从蓝色LED 4发出的光,以便产生散射光。因此,从蓝色LED 4发出的光可能更适用于磷光体11,从而可增加从磷光体11发出的光量。对散射物质没有特别的限制,可使用任何熟知的材料。
至于外部树脂9,可使用固化时变为透明的环氧树脂。
从良好的操作性能的观点来看,各种树脂如环氧树脂可用于底座5。优选的是,用于底座5的树脂具有粘结性能,此外,从即使当底座5被朝着很小的蓝色LED 4的侧面推出时仍可避免在侧面处的各层之间短路的观点来看,优选的是,用于底座5的树脂还具有绝缘性能。
底座5由透明树脂形成,从而从蓝色LED 4无向性地发射出的光可通过透明树脂,并从杯10表面上的反射镜上反射,进而发射到LED灯的上方。特别是,当LED灯用作白色光源时,底座5的颜色可以是不妨碍白色光的白色。
底座5可包含磷光体11。在使用磷光体11的LED灯的情况下,光密度远高于不使用磷光体11的LED灯的情况。特别是,由于从蓝色LED4发出的光不能穿过磷光体11,从蓝色LED 4发出的光由设置在LED 4附近的磷光体11所反射,并重新作为由磷光体11激发的光无向发射,并且同样被杯10表面上的反射镜所反射,进而由于LED灯的各个不同部分之间的折射率不同而被进一步反射。因此,光线被局部密集地限制在蓝色LED 4附近的部分,致使蓝色LED 4附近的光密度非常高,从而有助于从LED灯发射出高亮度的光。
蓝色LED 4无向发光,所发出的光同样被从杯10的表面反射出来。这些光透过底座5,因此,在底座5内的光密度很高。因此,将磷光体11掺入到底座5中可允许这些从蓝色LED发射出的光被底座5中包含的磷光体11反射,并重新作为由包含在底座5中的磷光体11激发的光被无向发射。因此,同时向底座5中掺加磷光体11还可增强由LED灯发射的光的亮度。
而且,底座5也可由含无机材料如银的树脂制成。由于树脂如环氧树脂被用于底座5并且用作内部树脂8,当高亮度LED灯使用较长时间后,内部树脂8或底座5在非常靠近蓝色LED 4的部分形成合成树脂,呈现褐色或黑色并退化,导致发光效率降低。特别是,底座5靠近蓝色LED 4的部分的着色明显降低了发光效率。底座5不仅要求具有对蓝色LED 4发出的光的抗光性(抗老化性),还要求具有粘性、紧密接触性等特性。由光所引起的树脂的退化问题可通过将包含无机材料(如银)的树脂用于底座5来解决。满足这些性能要求的底座5可通过将银膏和磷光体11与底座粘合剂(mount paste)混合,利用安装设备将混合物涂敷在金属架3(metal stem 3)上,并接着将蓝色LED 4粘合到涂层上。
底座5除了可由包含银的环氧树脂制成外,还可由包含无机材料的有机树脂,如硅树脂制成。包含在底座5中的无机材料应能与树脂密切接触,即,应对树脂具有很好的粘结性,与此同时,还应不会被蓝色LED4所发出的光所退化。为了满足这些要求,从银、金、铝、铜、氧化铝、硅、氧化钛、氮化硼、氧化锡、氧化锌及ITO中选择至少一种无机材料,并将其掺入到树脂中。特别是,银、金、铝、铜及其类似物可提高热辐射并可导电,因此,可应用于期望具有电导性的半导体装置。氧化铝、硅、氧化钛、氮化硼及其类似物具有很高的抗老化性并且可使底座5保持高反射性。无机材料可以有各种形式,如球状、针状、薄片状,具体可结合考虑例如分散性和电导性来确定。在底座5中,热辐射、电导性及其类似特性可通过改变树脂中无机材料的含量被调节到各种不同的水平。然而,由于在树脂中增加无机材料不会引起树脂的明显退化,但会降低粘性,退化,所以就重而言,无机材料的含量不小于5%并且不大于80%。无机材料的重量含量不小于60%并且不大于80%退化能更好地适合防止树脂的退化。
这样,将无机材料如银(其暴露在发出的光中不易退化)掺入到蓝色LED 4中可抑制由光引起的底座5中的树脂的退化退化退化。因此,掺入无机材料可减小由退化而引起的变色区域,可防止降低发光效率,并可提供良好的粘结性(密切接触)。同时将磷光体11掺入底座5中可进一步提高LED灯的亮度。
这样即可实现提供一种LED灯,所述LED灯可发出具有高亮度的光,并且,即使在高亮度下使用很长时间后,发光效率只有很小的降低。而且,使用具有高热导性的材料可稳定蓝色LED 4的特性并可减小不规则的颜色。
图2示出了图1所示的LED灯的蓝色LED 4的层状结构。蓝色LED4包括透明衬底,如蓝宝石衬底41。例如,缓冲层42、n-型接触层43、n-型覆层44、MQW(多量子阱)活化层45、p-型覆层46及p-型接触层47以此顺序例如通过MOCVD在蓝宝石衬底41上形成了氮化物半导体层。因此,光透明电极50形成于p-型接触层47的整个表面,p电极48形成于光透明电极50的一部分上,及n-电极49形成于n-型接触层43的一部分上。这些层可通过如溅射或真空沉淀形成。
缓冲层42可由如AlN形成,及n-型接触层43可由如GaN形成。
n-型覆层44可由如AlyGa1-yN形成,其中0≤y<1,p-型覆层46可由如AlxGa1-xN形成,其中0<x<1,及p-型接触层47可由如AlzGa1-zN形成,其中0≤z<1并且z<x。P-型覆层46的带隙大于n-型覆层44的带隙。n-型覆层44和p-型覆层46每层可具有单成份结构,或具有这样的结构,即上述的厚度不大于100埃的氮化物半导体层,各层彼此成份不同,互相堆叠在另一层顶部,以便提供超晶格结构。当层厚度不大于100埃时,可防止发生层的破裂或晶体缺陷。
MQW活化层45由多个InGaN势阱层和多个GaN势垒层组成。势阱层和势垒层的厚度不大于100埃,优选为60至70埃,以便构成超晶格结构。由于InGaN晶体比其它包含铝的氮化物半导体如AlGaN软,在构成活化层45的层中使用InGaN可提供如下优点:即所有堆叠的氮化物半导体层不易破裂。MQW活化层45还可由多个InGaN势阱层和多个AlGaN势垒层组成。或者,MQW活化层45可由多个AlInGaN势阱层和多个AlInGaN势垒层组成。在这种情况下,使势垒层的带隙能量大于势阱层的带隙能量。
反射层可设置在从MQW活化层45开始的蓝宝石衬底41的一侧,例如,设置在n-型接触层43的靠缓冲层42的一侧。反射层还可设置在蓝宝石衬底41的表面上,所述蓝宝石衬底41远离堆叠在蓝宝石衬底41上的MQW活化层45。反射层优选相对于活化层45发出的光具有最大的反射系数,所述反射层可由例如铝形成,或具有由薄GaN层形成的多层结构。反射层的设置允许从活化层45发出的光由反射层反射,可减小由活化层45发出的光的内部吸收,增加向上的光输出量,及减少光入射到底座5上,从而防止由光引起的底座5的退化。
具有上述结构的蓝色LED 4的光发射波长的半值宽度不大于50nm,优选不大于40nm。蓝色LED 4的峰值光发射波长在380nm至500nm的范围内,如为450nm。
在具有上述结构的LED灯中,当在引线框1、2之间施加电压时,蓝色LED 4发出波长为450nm的蓝光。蓝光激发包含在内部树脂8中的磷光体11,被激发的磷光体11发出波长为560和570nm的黄光,在内部树脂8中由蓝光和黄光组成的混合光透过外部树脂9被泄露到外部。在这种情况下,人的裸眼所见的混合光为白色,结果,LED灯看起来似乎为发出白色光的LED灯。特别地,磷光体11由蓝色LED 4发出的蓝色光激发并发射黄色光,所述黄色与蓝色具有补色关系并较蓝色有较长的波长。根据本发明,通过多种磷光体的组合可产生更接近纯白色的光。
图3示出了涉及根据本发明第三优选实施例的发光装置的平面光源装置的结构,其中图3(a)为其平面图及图3(b)为沿图3(a)线A-A的剖面图。
图3所示的平面光源装置可用于如液晶面板的背景光装置。通过从背面照亮液晶面板,使得液晶面板上的不具有发光性的字符或图像产生亮度或对比度,可提高字符或图像的可见度。所述平面光源装置配备并由下列元件组成。
即,所述平面光源装置包括:透明且大体为矩形的光导板70;多个LEDs 4,其被排成阵列并埋在光导板70的一侧,与光导板70光学连接;用于反射光的光反射壳体71,其包围光导板70的除发光面70a以外的其它面,并被固定到光导板70上;光散射图案73,其包括对称的和细小的凹凸图案,所述凹凸图案形成于与光导板70的发光面70a相对的光反射面72上;透明膜74,其被固定到光导板70上,以便覆盖发光面70a,并且其内包含有磷光体11。
而且,蓝色LED 4其中每一个被固定到光反射壳体71上,以便通过供电装置如连接导线和引线框从电源施加预定电压的驱动电压。提供光散射图案73用于在光导板70内部散射从蓝色LEDs 4发出的光。
在这种组成的平面光源装置中,当驱动电压施加到每一个蓝色LED 4时,被驱动的每一个蓝色LED 4就会发光。所发射的光向预定的方向在光导板70的内部传播并与光反射面72上形成的光散射图案73碰撞,从而被反射和散射。光通过膜74从发光面70a以平面光发出。当部分从蓝色LEDs 4发出的光通过膜74时,其被磷光体11吸收,并同时进行光的波长转换,以便重新发射。根据上面提到的原理,这将导致:从膜74的前面看,发出的光的颜色变为这些光混合后的合成色,例如白色。类似地,根据第三优选实施例的平面光源装置,从蓝色LEDs 4发出的光被输入光导板70,接着,当输入的光被反射并被在光导板70的反射面72上形成的光散射图案73散射时,输入的光从反射面70a发射到膜74,在膜74中,所述光部分地被磷光体11吸收,与此同时,进行波长转换以便重新发射。因此,仅使用蓝色LEDs 4,而不使用如常规情况中的具有红、绿和蓝中的每一种颜色的LEDs,就有可能使所发射的光的颜色为白色。而且,在这种结构中,由于磷光体11和蓝色LED 4互相不直接接触,就磷光体11的退化可被抑制很长时间,因而,平面光源的预定色调可保持较长的时间。
此外,通过改变包含在膜74中的磷光体11的种类,有可能实现发射出的光的颜色不仅为白色,还可为其它颜色。若膜74的安装结构被制成易于除去的结构,并准备出多种膜74,所述多种膜中的每一种膜包含种类互不相同的磷光体11,则仅通过改变膜74,就可方便地改变平面光源的色调。
而且,除了将磷光体11包含在膜74中的方法之外,还可将磷光体11涂敷在膜74上,在这种情况下,可得到与磷光体包含在膜74中的情况类似的效果。
而且,尽管蓝色LED 4通过埋入光导板70中与光导板70光学连接,除此之外,还可通过将蓝色LED 4粘结到光导板70的端面,或利用光传导装置如光纤将由蓝色LED 4发射出的光引导到光导板70的端面,从而实现蓝色LED 4与光导板70的光学连接。而且,所使用的蓝色LED4的数量可以是一个。
图4示出了根据本发明的发光装置的第四优选实施例的SMD(表面安装装置)型LED灯。
所述SMD-型LED灯具有如下所述的结构。金属架由两个金箔81和82的接线结构(wiring pattern)形成,所述金箔81和82覆盖在具有绝缘性质的玻璃环氧树脂衬底80的两个表面上,并彼此形成电隔离。在接线结构(wiring pattern)81和82上面,设置有具有塑料制的杯83a的框架83。杯83a的表面构成反射镜,其反射从蓝色LED 4发射的光。接线结构(wiring pattern)81和82不对称。接线结构(wiring pattern)82的上表面延及由框架83形成的空间的底部中心,而另一结线结构81只有少部分暴露到由框架83所形成的空间的底部。
蓝色LED 4用包含银丝的环氧树脂粘结剂牢固地粘结到接线结构82的上表面上。蓝色LED 4的P-电极和接线结构(wiring pattern)82用金连接线6连接,及蓝色LED 4的n-电极和接线结构(wiring pattern)81用金连接线7连接。
由框架83的杯83a所形成的空间内部被填充密封材料88,所述密封材料88粘结后变为透明。蓝色LED 4由密封材料88固定。密封材料88包含主要由由二价铕活化的碱土金属正硅酸盐和/或碱土金属正硅酸盐组成的磷光体11。密封材料88包括环氧树脂或硅树脂。包含磷光体11的密封材料88可填充到由框架83的杯83a所形成的整个空间,或填充到框架83的上边缘以下的位置。
与此同时,包含磷光体11的密封材料88还可包含散射物质。这些散射物质可引起由蓝色LED发出的光的不规则反射,并将所述光改变为散射光。结果,从蓝色LED 4发射的光很容易碰撞磷光体11,因此,可增加从磷光体11发射的光量。对散射物质没有特别的限制,可使用熟知的散射物质。
在具有类似组成的SMD-型LED灯中,当电压施加在接线结构(wiringpattern)81和82之间时,蓝色LED 4发出波长为450nm的蓝光。蓝光激发包含在密封材料88中的磷光体11,被激发的磷光体11发射波长为560至570nm的黄光。由密封材料中的蓝光和黄光构成的混合光通过密封材料88到达其外部,人眼看起来是白光。结果,LED灯看上去似乎在发射白光。即,磷光体11被蓝色LED 4发射的光激发,并发射出黄光,所述黄光与蓝光为补色关系并具有比蓝光更长的波长。根据本发明,通过结合多种磷光体,可得到接近纯白的白色光。
图5示出了根据本发明第五优选实施例的发光装置的LED灯的示意图。在本实施例中,蓝色LED 4设置为:其可免于静电过压及类似现象,其构成为在图1所示的光源上添加过压保护元件91。
如图5所示,过压保护元件91在尺寸基本与蓝色LED 4相等的芯片上制成,及保护元件位于蓝色LED 4和底座5之间。在本实施例中,蓝色LED 4以不同于图1所示情况的倒置芯片形式进行安装,其原因将在后面描述。过压保护元件91设置有用于连接蓝色LED 4和引线框1的电极92和93。电极92位于与图2所示的p-电极48相对的位置,而电极93位于与n-电极49相对的位置。而且,所形成的电极93延伸到过压保护元件91的侧面,以便易于与连接线6连接。过压保护元件91上的电极92和93通过Au凸起94a和94b分别与蓝色LED4的p-电极48和n-电极49相连接。过压保护元件91可以是齐纳二极管或者为电容器及类似的元件,所述齐纳二极管在所施加的电压大于规定的电压时开始工作,所述电容器吸收脉冲电压。
图6示出了齐纳二极管用作过压保护元件91的连接电路图。用作过压保护元件91的齐纳二极管95与蓝色LED 4电并连,其中,蓝色LED 4的阳极与齐纳二极管95的阴极相连。当过电压施加在引线框1和引线框2之间时并且若电压大于齐纳二极管95的齐纳电压时,蓝色LED 4的端电压由齐纳电压保持,从而前者的电压不会超过齐纳电压。因此,可防止对蓝色LED 4施加过电压,从而使蓝色LED 4不受过压影响,从而避免了LED 4发生设备故障或性能下降。
图7示出了电容器用作过压保护元件91的连接电路图。用于过压保护元件91的电容器96可为用于表面安装的芯片形元件。具有如上述结构的电容器96在其相对侧上设置有带状电极,并且这些电极并连到蓝色LED 4的阳极和阴极。当过电压施加在引线框1和引线框2之间时,充电电流因过电压流经电容器96,以便快速降低其端电压,因此,施加到蓝色LED 4上的电压不会升高。因此,可防止蓝色LED 4受到过电压影响。
而且,即使当施加包含高频成份的噪声时,电容器96用作旁路电容,因此可排除额外的噪声。
如上所述,蓝色LED 4以倒置芯片形式安装,其相对于图1所示形势被颠侄过来。其原因在于:因为设置了过压保护元件91,过压保护元件91和蓝色LED都需要电连接。若蓝色LED 4和过压保护元件91中的每一个都使用连接线连接,就增加了连接线的数目,从而降低了生产率,此外,由于增加了连接线本身的接触、断开等等情况,从而就存在着可靠性降低的隐患。因此,蓝色LED以倒置芯片形式安装。更具体而言,图2所示的蓝宝石衬底41位于最上面,其中,p-电极48通过Au凸起94a连接到过压保护元件91的电极92上,而n-电极49通过Au凸起94b连接到过压保护元件91的电极93上。因此,就不必要使连接线6和7与蓝色LED 4相连接。若蓝色LED 4以倒置芯片形式安装,图2所示的透光电极50可由不透光电极来替代。而且,可以这样设置,即:n-电极49被加厚,以便与p-电极48的表面具有相同的高度,或用新的导体连接n-电极49,以便其可被用作电极。
如上所述,根据图5所示的构造,除了具有图1所示的光源构造的标准优点外,还具有以下优点,即:即使因静电等原因而施加了过电压,也不会发生LED 4被损坏或性能变坏的情况。而且,由于过压保护元件91用作次级底座,即使蓝色LED 4以倒置芯片形式安装,也不会降低连接线6和7在芯片侧面上的连接位置的高度。因此,在与图1的构造大体相同的位置上进行连接。
若半导体器件用作图5和6的过压保护元件91,可使用普通的硅二极管来替代齐纳二极管。在这种情况下,硅二极管的数量这样确定,即将多个硅二极管的极性制造为彼此相同,它们彼此串连连接,从而相对于过压而言,前向总压降的值(约0.7V×硅二极管的数量)等于操作电压。
而且,可变电阻器也可用于过压保护元件91。可变电阻器的特性为其电阻值随所施加电压的增加而减小,因此,同齐纳二极管95一样,可变电阻器可抑制过电压。
图8示出了根据本发明第六优选实施例的半导体发光装置。
图8所示的半导体发光装置包括:引线框1、2,金属架3(metal stem3),蓝色LED 4,底座5,连接线6、7,不包含磷光体11的内部树脂8,外部树脂9,杯10,及透明的磷光体罩100;其中,从光发射元件发出的光经波长转换并辐射到透镜形树脂密封剂的外面。
再者,磷光体罩100由如包含磷光体i1的树脂敷层材料制成,当磷光体11由从蓝色LED 4发射出的光激发时会产生磷光。树脂敷层材料为如透明聚酯树脂、丙烯酸树脂、氨基甲酸乙酯、尼龙、硅树脂、氯乙烯、聚乙烯、酚醛塑料、CR39(丙烯乙二醇碳酸树脂)等等。由于氨基甲酸乙酯、尼龙、硅树脂可增加磷光体罩100的弹性,所以,很容易将其安装在外部树脂9上。
而且,磷光体罩100被成形以便粘贴到外部树脂9的外表面上,即,成形为半球形罩与圆柱形罩的上部结合为一体的固体结构,并可拆卸地安装到外部树脂9上。而且,磷光体罩100优选为薄膜,以便减少因磷光体11而引起的光散射。而且,当将包含磷光体11的树脂通过注模形成预定的形状,然后粘贴到外部树脂9上时,磷光体罩100可相对容易地制造。然而,可通过将包含有磷光体11的树脂材料直接喷溅到外部树脂9上并固化树脂材料来制造磷光体罩100,从而使在外部树脂9和磷光体罩100之间不会出现气隙。
在带有上述结构的半导体发光装置中,从蓝色LED 4发射的光经由内部树脂8和外部树脂9入射到磷光体罩100中。部分入射光被磷光体11吸收,并同时经波长转换后发射到外部。因此,从磷光体罩100外部所观察到的发射光的颜色为合成光的颜色,如根据前述原理形成白色。
因此,根据半导体发光装置的第六实施例,由于作为蓝色LED 4的树脂密封剂的内部树脂8和外部树脂9不包含磷光体11,同时用于覆盖外部树脂9的磷光体罩100包含磷光体11,所以在内部树脂8和外部树脂9中不会产生因磷光体11而发生的光散射。而且,由于磷光体罩100成形为薄膜,因磷光体11而产生的光散射量相对较少。因此,通过将外部树脂9的透镜部分成形为任意形状(在本优选实施例中为半球形),可得到所希望的光的方向性,从而伴随波长转换的亮度减小可被减至最小。
此外,通过改变包含在磷光体罩100的覆层材料中的磷光体11的种类,可得到除白光以外的其它颜色的发射光。当磷光体罩100具有易于拆卸的结构,并准备出包含不同种类的磷光体11的若干种磷光体罩100时,通过改变磷光体罩100可容易改变发射光的色调。
而且,当磷光体11施加到磷光体罩100的表面上而不是包含在磷光体罩100中时,可得到类似的效果。而且,由于磷光体罩100可安装在从市场上可得到的半导体发光装置上,所以,可以以低成本制造半导体发光装置。
如上所述,根据本发明的包括发光元件和磷光体的发光装置适合于LED显示器、背景光装置、信号灯、照明开关、各种传感器和各种指示器。

Claims (35)

1.一种发光装置,包括:包括氮化物半导体的发光元件;和
磷光体,所述磷光体可吸收部分由所述发光元件发出的光并可发射与所述吸收的光具有不同波长的光,
其特征在于,所述磷光体包括:
二价铕活化的碱土金属硅酸盐,可由下式表示:(2-x-y)SrO·x(Ba,Ca)O·(1-a-b-c-d)SiO2·aP2O5bAl2O3cB2O3dGeO2:yEu2+
其中,0<x<1.6,
0.005<y<0.5,和
0≤a,b,c,和d<0.5,和/或
二价铕活化的碱土金属硅酸盐,可由下式表示:(2-x-y)BaO·x(Sr,Ca)O·(1-a-b-c-d)SiO2·aP2O5bAl2O3cB2O3dGeO2:yEu2+
其中,0.01<x<1.6,
0.005<y<0.5,和
0≤a,b,c,和d<0.5。2.根据权利要求1所述的发光装置,其特征在于,所述磷光体包括正硅酸盐,其中,a,b,c,和d值其中至少之一大于0.01。
3.根据权利要求1所述的发光装置,其特征在于,所述磷光体被掺入覆盖所述发光元件的覆盖部件中。
4.根据权利要求3所述的发光装置,其特征在于,所述覆盖部件包括硅酸盐树脂。
5.根据权利要求3所述的发光装置,其特征在于,所述覆盖部件包括环氧树脂。
6.根据权利要求3所述的发光装置,其特征在于,所述覆盖部件包括低熔点玻璃。
7.根据权利要求3至6中任意一项所述的发光装置,其特征在于,所述磷光体与覆盖所述发光元件的覆盖部件相混合,并且散射剂也与覆盖部件相混合。
8.根据权利要求3至6中任意一项所述的发光装置,其特征在于,所述覆盖部件还由第二透明覆盖部件覆盖。
9.根据权利要求1所述的发光装置,其特征在于,所述发光元件包括包含铟的发光层。
10.根据权利要求1或9所述的发光装置,其特征在于,所述发光元件包括双异质结构,所述双异质结构包括夹在p-型覆层和n-型覆层之间的发光层。
11.根据权利要求10所述的发光装置,其特征在于,所述p-型覆层包括AlxGa1-xN,其中0<x<1,和
所述n-型覆层包括AlyGa1-yN,其中0≤y<1。
12.根据权利要求11所述的发光装置,其特征在于,
所述p-型覆层的带隙大于所述n-型覆层的带隙。
13.根据权利要求11所述的发光装置,其特征在于,
所述p-型覆层和n-型覆层中的至少之一包括超晶格结构,所述超晶格结构由氮化物半导体层堆积形成,所述氮化物半导体层成份互相不同或彼此不同。
14.根据权利要求9所述的发光装置,其特征在于,
所述发光元件的所述发光层包括量子势阱结构。
15.根据权利要求14所述的发光装置,其特征在于,
所述量子势阱结构包括InGaN的势阱层和GaN的势垒层。
16.根据权利要求14所述的发光装置,其特征在于,
所述量子势阱结构包括InGaN的势阱层和AlGaN的势垒层。
17.根据权利要求14所述的发光装置,其特征在于,
所述量子势阱结构包括AlInGaN的势阱层和AlInGaN的势垒层,和
所述势垒层的带隙能量大于所述势阱层的带隙能量。
18.根据权利要求14所述的发光装置,其特征在于,
所述势阱层的厚度不大于100埃。
19.根据权利要求1所述的发光装置,其特征在于,所述发光元件借助绝缘粘合剂固定在框架上。
20.根据权利要求19所述的发光装置,其特征在于,所述粘合剂是无色透明的。
21.根据权利要求19或20所述的发光装置,其特征在于,
所述粘合剂含有所述磷光体,所述磷光体包括碱土金属硅酸盐。
22.根据权利要求19所述的发光装置,其特征在于,
所述粘合剂为白色。
23.根据权利要求1所述的发光装置,其特征在于,
所述发光元件包括透明衬底和氮化物半导体,所述氮化物半导体通过汽相外延在所述透明衬底上生成。
24.根据权利要求23所述的发光装置,其特征在于,所述衬底为蓝宝石。
25.根据权利要求23所述的发光装置,其特征在于,所述发光元件包括光反射层。
26.根据权利要求23所述的发光装置,其特征在于,所述光反射层设置在与堆叠激发层的衬底表面相对的衬底表面上。
27.根据权利要求26所述的发光装置,其特征在于,所述光反射层包括铝。
28.根据权利要求25或26所述的发光装置,其特征在于,所述光反射层包括基于GaN薄层的多层结构。
29.根据权利要求1所述的发光装置,其特征在于,从所述发光元件发射出的波长的半值宽度不大于50nm。
30.根据权利要求1所述的发光装置,其特征在于,从所述发光元件发射出的波长的半值宽度不大于40nm。
31.根据权利要求1所述的发光装置,其特征在于,所述发光元件具有380nm至500nm的峰值发射波长。
32.根据权利要求1所述的发光装置,其特征在于,所述磷光体具有主发射波长,所述主发射波长大于所述发光元件的主峰值发射波长。
33.根据权利要求1所述的发光装置,其特征在于,所述发光元件包括大体为矩形的光导板,从而从发光元件发出的光被引导至光导板中并从其光输出面上输出,和
所述磷光体以片状形式设置在所述光导板的光输出面上。
34.根据权利要求1所述的发光装置,还包括:
保护元件,其用来防止所述发光元件受到静电的损坏。
35.根据权利要求34所述的发光装置,其特征在于:所述保护元件包括齐纳二极管或电容器。
36.根据权利要求34所述的发光装置,其特征在于,所述保护元件包括由齐纳二极管形成的次级底座,和
所述发光元件设置在所述次级底座上,所述磷光体覆盖所述发光元件的外周。
CNB018207685A 2000-12-28 2001-12-28 发光装置 Expired - Lifetime CN1291503C (zh)

Applications Claiming Priority (2)

Application Number Priority Date Filing Date Title
AT2154/2000 2000-12-28
AT0215400A AT410266B (de) 2000-12-28 2000-12-28 Lichtquelle mit einem lichtemittierenden element

Related Child Applications (1)

Application Number Title Priority Date Filing Date
CN2006101424764A Division CN1941441B (zh) 2000-12-28 2001-12-28 发光装置

Publications (2)

Publication Number Publication Date
CN1502137A CN1502137A (zh) 2004-06-02
CN1291503C true CN1291503C (zh) 2006-12-20

Family

ID=3689983

Family Applications (4)

Application Number Title Priority Date Filing Date
CN2005100860066A Expired - Lifetime CN1763982B (zh) 2000-12-28 2001-11-19 含发光元件的光源
CNB018214673A Expired - Lifetime CN1268009C (zh) 2000-12-28 2001-11-19 含光辐射元素的光源
CNB018207685A Expired - Lifetime CN1291503C (zh) 2000-12-28 2001-12-28 发光装置
CN2006101424764A Expired - Lifetime CN1941441B (zh) 2000-12-28 2001-12-28 发光装置

Family Applications Before (2)

Application Number Title Priority Date Filing Date
CN2005100860066A Expired - Lifetime CN1763982B (zh) 2000-12-28 2001-11-19 含发光元件的光源
CNB018214673A Expired - Lifetime CN1268009C (zh) 2000-12-28 2001-11-19 含光辐射元素的光源

Family Applications After (1)

Application Number Title Priority Date Filing Date
CN2006101424764A Expired - Lifetime CN1941441B (zh) 2000-12-28 2001-12-28 发光装置

Country Status (11)

Country Link
US (8) US6809347B2 (zh)
EP (6) EP2357678B1 (zh)
JP (5) JP4048116B2 (zh)
KR (6) KR100715580B1 (zh)
CN (4) CN1763982B (zh)
AT (2) AT410266B (zh)
DE (4) DE20122946U1 (zh)
ES (2) ES2437131T3 (zh)
RU (1) RU2251761C2 (zh)
TW (2) TWI297723B (zh)
WO (2) WO2002054502A1 (zh)

Families Citing this family (544)

* Cited by examiner, † Cited by third party
Publication number Priority date Publication date Assignee Title
CN1534803B (zh) 1996-06-26 2010-05-26 奥斯兰姆奥普托半导体股份有限两合公司 具有发光变换元件的发光半导体器件
AT410266B (de) * 2000-12-28 2003-03-25 Tridonic Optoelectronics Gmbh Lichtquelle mit einem lichtemittierenden element
JP2002232013A (ja) * 2001-02-02 2002-08-16 Rohm Co Ltd 半導体発光素子
JP4161603B2 (ja) * 2001-03-28 2008-10-08 日亜化学工業株式会社 窒化物半導体素子
US7091656B2 (en) * 2001-04-20 2006-08-15 Nichia Corporation Light emitting device
TW541722B (en) * 2001-04-20 2003-07-11 Nichia Corp Light emitting device
DE10131698A1 (de) * 2001-06-29 2003-01-30 Osram Opto Semiconductors Gmbh Oberflächenmontierbares strahlungsemittierendes Bauelement und Verfahren zu dessen Herstellung
US20030015708A1 (en) 2001-07-23 2003-01-23 Primit Parikh Gallium nitride based diodes with low forward voltage and low reverse current operation
CN101335322B (zh) * 2001-09-03 2010-12-08 松下电器产业株式会社 荧光体层、半导体发光装置及半导体发光元件的制造方法
US7224000B2 (en) 2002-08-30 2007-05-29 Lumination, Llc Light emitting diode component
US7800121B2 (en) * 2002-08-30 2010-09-21 Lumination Llc Light emitting diode component
US10340424B2 (en) 2002-08-30 2019-07-02 GE Lighting Solutions, LLC Light emitting diode component
US7775685B2 (en) 2003-05-27 2010-08-17 Cree, Inc. Power surface mount light emitting die package
US7244965B2 (en) 2002-09-04 2007-07-17 Cree Inc, Power surface mount light emitting die package
JP4263453B2 (ja) 2002-09-25 2009-05-13 パナソニック株式会社 無機酸化物及びこれを用いた発光装置
JP2004127988A (ja) * 2002-09-30 2004-04-22 Toyoda Gosei Co Ltd 白色発光装置
EP1567894A2 (en) 2002-12-02 2005-08-31 3M Innovative Properties Company Illumination system using a plurality of light sources
DE10259946A1 (de) * 2002-12-20 2004-07-15 Tews, Walter, Dipl.-Chem. Dr.rer.nat.habil. Leuchtstoffe zur Konversion der ultravioletten oder blauen Emission eines lichtemittierenden Elementes in sichtbare weiße Strahlung mit sehr hoher Farbwiedergabe
TW577184B (en) * 2002-12-26 2004-02-21 Epistar Corp Light emitting layer having voltage/resistance interdependent layer
DE10261908B4 (de) * 2002-12-27 2010-12-30 Osa Opto Light Gmbh Verfahren zur Herstellung eines konversionslichtemittierenden Elementes auf der Basis von Halbleiterlichtquellen
TWI351566B (en) * 2003-01-15 2011-11-01 Semiconductor Energy Lab Liquid crystal display device
JP2004273798A (ja) * 2003-03-10 2004-09-30 Toyoda Gosei Co Ltd 発光デバイス
US7465961B2 (en) 2003-03-25 2008-12-16 Sharp Kabushiki Kaisha Electronic equipment, backlight structure and keypad for electronic equipment
EP2264798B1 (en) 2003-04-30 2020-10-14 Cree, Inc. High powered light emitter packages with compact optics
US7777235B2 (en) 2003-05-05 2010-08-17 Lighting Science Group Corporation Light emitting diodes with improved light collimation
US7633093B2 (en) * 2003-05-05 2009-12-15 Lighting Science Group Corporation Method of making optical light engines with elevated LEDs and resulting product
US7528421B2 (en) * 2003-05-05 2009-05-05 Lamina Lighting, Inc. Surface mountable light emitting diode assemblies packaged for high temperature operation
US7157745B2 (en) * 2004-04-09 2007-01-02 Blonder Greg E Illumination devices comprising white light emitting diodes and diode arrays and method and apparatus for making them
US6982045B2 (en) * 2003-05-17 2006-01-03 Phosphortech Corporation Light emitting device having silicate fluorescent phosphor
CN100511732C (zh) * 2003-06-18 2009-07-08 丰田合成株式会社 发光器件
AT412928B (de) * 2003-06-18 2005-08-25 Guenther Dipl Ing Dr Leising Verfahren zur herstellung einer weissen led sowie weisse led-lichtquelle
US7521667B2 (en) 2003-06-23 2009-04-21 Advanced Optical Technologies, Llc Intelligent solid state lighting
US7145125B2 (en) 2003-06-23 2006-12-05 Advanced Optical Technologies, Llc Integrating chamber cone light using LED sources
DE10331076B4 (de) * 2003-07-09 2011-04-07 Airbus Operations Gmbh Leuchtelement mit einer Leuchtdiode
KR101034055B1 (ko) * 2003-07-18 2011-05-12 엘지이노텍 주식회사 발광 다이오드 및 그 제조방법
JP2005073227A (ja) * 2003-08-04 2005-03-17 Sharp Corp 撮像装置
JP2005064047A (ja) * 2003-08-13 2005-03-10 Citizen Electronics Co Ltd 発光ダイオード
US7502392B2 (en) * 2003-09-12 2009-03-10 Semiconductor Energy Laboratory Co., Ltd. Laser oscillator
DE602004024216D1 (de) * 2003-09-15 2009-12-31 Koninkl Philips Electronics Nv Weisses licht emittierendes beleuchtungssystem
US7723740B2 (en) 2003-09-18 2010-05-25 Nichia Corporation Light emitting device
DE10354936B4 (de) * 2003-09-30 2012-02-16 Osram Opto Semiconductors Gmbh Strahlungemittierendes Halbleiterbauelement
US6995402B2 (en) * 2003-10-03 2006-02-07 Lumileds Lighting, U.S., Llc Integrated reflector cup for a light emitting device mount
JP2005142311A (ja) * 2003-11-06 2005-06-02 Tzu-Chi Cheng 発光装置
US20050110401A1 (en) * 2003-11-25 2005-05-26 Lin Jung K. Light emitting diode package structure
US7403680B2 (en) * 2003-12-02 2008-07-22 3M Innovative Properties Company Reflective light coupler
US7329887B2 (en) * 2003-12-02 2008-02-12 3M Innovative Properties Company Solid state light device
US20050116235A1 (en) * 2003-12-02 2005-06-02 Schultz John C. Illumination assembly
US20050116635A1 (en) * 2003-12-02 2005-06-02 Walson James E. Multiple LED source and method for assembling same
US7456805B2 (en) 2003-12-18 2008-11-25 3M Innovative Properties Company Display including a solid state light device and method using same
US7573072B2 (en) * 2004-03-10 2009-08-11 Lumination Llc Phosphor and blends thereof for use in LEDs
US7009285B2 (en) * 2004-03-19 2006-03-07 Lite-On Technology Corporation Optoelectronic semiconductor component
JP4516337B2 (ja) * 2004-03-25 2010-08-04 シチズン電子株式会社 半導体発光装置
US7868343B2 (en) * 2004-04-06 2011-01-11 Cree, Inc. Light-emitting devices having multiple encapsulation layers with at least one of the encapsulation layers including nanoparticles and methods of forming the same
KR100605211B1 (ko) 2004-04-07 2006-07-31 엘지이노텍 주식회사 형광체 및 이를 이용한 백색 발광다이오드
KR100605212B1 (ko) * 2004-04-07 2006-07-31 엘지이노텍 주식회사 형광체 및 이를 이용한 백색 발광다이오드
WO2005101445A1 (en) * 2004-04-15 2005-10-27 Koninklijke Philips Electronics N.V. Electrically controllable color conversion cell
FR2869159B1 (fr) * 2004-04-16 2006-06-16 Rhodia Chimie Sa Diode electroluminescente emettant une lumiere blanche
EP2113549B1 (en) * 2004-04-27 2011-12-28 Panasonic Corporation Phosphor composition and light-emitting device using the same
DE102005020695B4 (de) * 2004-04-30 2006-06-22 Optotransmitter-Umweltschutz-Technologie E.V. Vorrichtung zur Emission von Strahlung mit einstellbarer Spektraleigenschaft
KR100655894B1 (ko) 2004-05-06 2006-12-08 서울옵토디바이스주식회사 색온도 및 연색성이 우수한 파장변환 발광장치
KR100658700B1 (ko) 2004-05-13 2006-12-15 서울옵토디바이스주식회사 Rgb 발광소자와 형광체를 조합한 발광장치
KR100665298B1 (ko) 2004-06-10 2007-01-04 서울반도체 주식회사 발광장치
US8318044B2 (en) 2004-06-10 2012-11-27 Seoul Semiconductor Co., Ltd. Light emitting device
KR100665299B1 (ko) 2004-06-10 2007-01-04 서울반도체 주식회사 발광물질
TWI308397B (en) * 2004-06-28 2009-04-01 Epistar Corp Flip-chip light emitting diode and fabricating method thereof
ATE524839T1 (de) * 2004-06-30 2011-09-15 Cree Inc Verfahren zum kapseln eines lichtemittierenden bauelements und gekapselte lichtemittierende bauelemente im chip-massstab
US7534633B2 (en) * 2004-07-02 2009-05-19 Cree, Inc. LED with substrate modifications for enhanced light extraction and method of making same
KR101209488B1 (ko) * 2004-07-06 2012-12-07 라이트스케이프 머티어리얼스, 인코포레이티드 효율적인, 녹색 발광 인광체 및 적색 발광 인광체와의 조합
TW200614548A (en) * 2004-07-09 2006-05-01 Matsushita Electric Industrial Co Ltd Light-emitting device
US7575697B2 (en) * 2004-08-04 2009-08-18 Intematix Corporation Silicate-based green phosphors
EP1776722B1 (en) 2004-08-06 2008-01-09 Philips Intellectual Property & Standards GmbH High performance led lamp system
US20060044782A1 (en) * 2004-08-31 2006-03-02 Robin Hsu Light-storing safety device
JP4747726B2 (ja) * 2004-09-09 2011-08-17 豊田合成株式会社 発光装置
JP2006086300A (ja) * 2004-09-15 2006-03-30 Sanken Electric Co Ltd 保護素子を有する半導体発光装置及びその製造方法
KR100668609B1 (ko) * 2004-09-24 2007-01-16 엘지전자 주식회사 백색광원소자
US7745832B2 (en) * 2004-09-24 2010-06-29 Epistar Corporation Semiconductor light-emitting element assembly with a composite substrate
JP2006114637A (ja) * 2004-10-13 2006-04-27 Toshiba Corp 半導体発光装置
JP4880892B2 (ja) 2004-10-18 2012-02-22 株式会社東芝 蛍光体,蛍光体の製造方法およびこれを用いた発光装置
US8816369B2 (en) * 2004-10-29 2014-08-26 Led Engin, Inc. LED packages with mushroom shaped lenses and methods of manufacturing LED light-emitting devices
US8134292B2 (en) * 2004-10-29 2012-03-13 Ledengin, Inc. Light emitting device with a thermal insulating and refractive index matching material
US9929326B2 (en) 2004-10-29 2018-03-27 Ledengin, Inc. LED package having mushroom-shaped lens with volume diffuser
US8324641B2 (en) * 2007-06-29 2012-12-04 Ledengin, Inc. Matrix material including an embedded dispersion of beads for a light-emitting device
JP4534717B2 (ja) * 2004-10-29 2010-09-01 豊田合成株式会社 発光装置
US7772609B2 (en) 2004-10-29 2010-08-10 Ledengin, Inc. (Cayman) LED package with structure and materials for high heat dissipation
US7670872B2 (en) 2004-10-29 2010-03-02 LED Engin, Inc. (Cayman) Method of manufacturing ceramic LED packages
US7462502B2 (en) 2004-11-12 2008-12-09 Philips Lumileds Lighting Company, Llc Color control by alteration of wavelength converting element
US7419839B2 (en) 2004-11-12 2008-09-02 Philips Lumileds Lighting Company, Llc Bonding an optical element to a light emitting device
WO2006061747A2 (en) * 2004-12-07 2006-06-15 Philips Intellectual Property & Standards Gmbh Illumination system comprising a radiation source and a luminescent material
JP2008523637A (ja) * 2004-12-14 2008-07-03 ソウル オプト−デバイス カンパニー リミテッド 複数の発光セルを有する発光素子及びそれを搭載したパッケージ
CA2592096C (en) * 2004-12-22 2013-08-06 Seoul Semiconductor Co., Ltd. Light emitting device
US20060138443A1 (en) * 2004-12-23 2006-06-29 Iii-N Technology, Inc. Encapsulation and packaging of ultraviolet and deep-ultraviolet light emitting diodes
US20060139335A1 (en) * 2004-12-23 2006-06-29 International Business Machines Corporation Assembly and device for a display having a perimeter touch guard seal
BRPI0519478A2 (pt) 2004-12-27 2009-02-03 Quantum Paper Inc display emissivo endereÇÁvel e imprimÍvel
US9070850B2 (en) * 2007-10-31 2015-06-30 Cree, Inc. Light emitting diode package and method for fabricating same
US9793247B2 (en) 2005-01-10 2017-10-17 Cree, Inc. Solid state lighting component
US7821023B2 (en) * 2005-01-10 2010-10-26 Cree, Inc. Solid state lighting component
TWI303111B (en) * 2005-01-19 2008-11-11 Advanced Optoelectronic Tech Light emitting diode device and manufacturing method thereof
TWM286903U (en) * 2005-01-25 2006-02-01 Shu-Shiung Guo Jewelry lamp
US7525248B1 (en) 2005-01-26 2009-04-28 Ac Led Lighting, L.L.C. Light emitting diode lamp
EP1694047B1 (de) * 2005-02-16 2020-03-18 X-Rite Switzerland GmbH Beleuchtungseinrichtung für ein Farbmessgerät
US20060189013A1 (en) * 2005-02-24 2006-08-24 3M Innovative Properties Company Method of making LED encapsulant with undulating surface
JP5059739B2 (ja) * 2005-03-11 2012-10-31 ソウル セミコンダクター カンパニー リミテッド 直列接続された発光セルのアレイを有する発光ダイオードパッケージ
US7274045B2 (en) * 2005-03-17 2007-09-25 Lumination Llc Borate phosphor materials for use in lighting applications
JP2006261540A (ja) * 2005-03-18 2006-09-28 Stanley Electric Co Ltd 発光デバイス
US7276183B2 (en) * 2005-03-25 2007-10-02 Sarnoff Corporation Metal silicate-silica-based polymorphous phosphors and lighting devices
KR100799839B1 (ko) * 2005-03-30 2008-01-31 삼성전기주식회사 파장변환용 형광체 혼합물과 이를 이용한 백색 발광장치
KR101142519B1 (ko) * 2005-03-31 2012-05-08 서울반도체 주식회사 적색 형광체 및 녹색 형광체를 갖는 백색 발광다이오드를채택한 백라이트 패널
US7733310B2 (en) 2005-04-01 2010-06-08 Prysm, Inc. Display screens having optical fluorescent materials
US7474286B2 (en) 2005-04-01 2009-01-06 Spudnik, Inc. Laser displays using UV-excitable phosphors emitting visible colored light
WO2006107032A1 (ja) * 2005-04-01 2006-10-12 Sony Corporation 情報処理システムおよび方法、並びにプログラム
US7791561B2 (en) 2005-04-01 2010-09-07 Prysm, Inc. Display systems having screens with optical fluorescent materials
US7994702B2 (en) 2005-04-27 2011-08-09 Prysm, Inc. Scanning beams displays based on light-emitting screens having phosphors
US8089425B2 (en) 2006-03-03 2012-01-03 Prysm, Inc. Optical designs for scanning beam display systems using fluorescent screens
US8000005B2 (en) 2006-03-31 2011-08-16 Prysm, Inc. Multilayered fluorescent screens for scanning beam display systems
US7690167B2 (en) * 2005-04-28 2010-04-06 Antonic James P Structural support framing assembly
KR100704492B1 (ko) * 2005-05-02 2007-04-09 한국화학연구원 형광체를 이용한 백색 발광 다이오드의 제조 방법
KR100666189B1 (ko) 2005-06-30 2007-01-09 서울반도체 주식회사 발광 소자
TWI323947B (en) * 2005-05-24 2010-04-21 Seoul Semiconductor Co Ltd Light emitting device and phosphor of alkaline earth sulfide therefor
US8128272B2 (en) 2005-06-07 2012-03-06 Oree, Inc. Illumination apparatus
US8215815B2 (en) 2005-06-07 2012-07-10 Oree, Inc. Illumination apparatus and methods of forming the same
US8272758B2 (en) 2005-06-07 2012-09-25 Oree, Inc. Illumination apparatus and methods of forming the same
US7980743B2 (en) 2005-06-14 2011-07-19 Cree, Inc. LED backlighting for displays
TWI422044B (zh) * 2005-06-30 2014-01-01 克立公司 封裝發光裝置之晶片尺度方法及經晶片尺度封裝之發光裝置
KR101161383B1 (ko) * 2005-07-04 2012-07-02 서울반도체 주식회사 발광 다이오드 및 이를 제조하기 위한 방법
DE102005038698A1 (de) 2005-07-08 2007-01-18 Tridonic Optoelectronics Gmbh Optoelektronische Bauelemente mit Haftvermittler
KR100670478B1 (ko) * 2005-07-26 2007-01-16 엘지이노텍 주식회사 발광소자
JP4907121B2 (ja) 2005-07-28 2012-03-28 昭和電工株式会社 発光ダイオード及び発光ダイオードランプ
EP1750309A3 (en) * 2005-08-03 2009-07-29 Samsung Electro-mechanics Co., Ltd Light emitting device having protection element
EP1911826B1 (en) * 2005-08-04 2009-12-16 Nichia Corporation Phosphor and light-emitting device
EP1911389A4 (en) * 2005-08-05 2009-12-16 Olympus Medical Systems Corp LIGHT EMISSION UNIT
US7329907B2 (en) * 2005-08-12 2008-02-12 Avago Technologies, Ecbu Ip Pte Ltd Phosphor-converted LED devices having improved light distribution uniformity
US7501753B2 (en) * 2005-08-31 2009-03-10 Lumination Llc Phosphor and blends thereof for use in LEDs
KR100724591B1 (ko) * 2005-09-30 2007-06-04 서울반도체 주식회사 발광 소자 및 이를 포함한 led 백라이트
US7765792B2 (en) 2005-10-21 2010-08-03 Honeywell International Inc. System for particulate matter sensor signal processing
KR101258397B1 (ko) 2005-11-11 2013-04-30 서울반도체 주식회사 구리 알칼리토 실리케이트 혼성 결정 형광체
JP4899433B2 (ja) * 2005-11-15 2012-03-21 三菱化学株式会社 蛍光体、並びにそれを用いた発光装置、画像表示装置及び照明装置
CN101310142B (zh) * 2005-11-17 2013-01-02 皇家飞利浦电子股份有限公司 灯组件
KR101361883B1 (ko) * 2005-11-18 2014-02-12 크리 인코포레이티드 고상 발광 타일들
US7926300B2 (en) 2005-11-18 2011-04-19 Cree, Inc. Adaptive adjustment of light output of solid state lighting panels
EP1949765B1 (en) * 2005-11-18 2017-07-12 Cree, Inc. Solid state lighting panels with variable voltage boost current sources
US8514210B2 (en) 2005-11-18 2013-08-20 Cree, Inc. Systems and methods for calibrating solid state lighting panels using combined light output measurements
US7943946B2 (en) * 2005-11-21 2011-05-17 Sharp Kabushiki Kaisha Light emitting device
US20070125984A1 (en) * 2005-12-01 2007-06-07 Sarnoff Corporation Phosphors protected against moisture and LED lighting devices
US8906262B2 (en) * 2005-12-02 2014-12-09 Lightscape Materials, Inc. Metal silicate halide phosphors and LED lighting devices using the same
WO2007070821A2 (en) * 2005-12-13 2007-06-21 Ilight Technologies, Inc. Illumination device with hue transformation
KR101055772B1 (ko) 2005-12-15 2011-08-11 서울반도체 주식회사 발광장치
US8337071B2 (en) 2005-12-21 2012-12-25 Cree, Inc. Lighting device
US7614759B2 (en) * 2005-12-22 2009-11-10 Cree Led Lighting Solutions, Inc. Lighting device
US20070145879A1 (en) * 2005-12-22 2007-06-28 Abramov Vladimir S Light emitting halogen-silicate photophosphor compositions and systems
CN101385145B (zh) 2006-01-05 2011-06-08 伊鲁米特克斯公司 用于引导来自led的光的分立光学装置
DE102006001195A1 (de) 2006-01-10 2007-07-12 Sms Demag Ag Verfahren zum Gieß-Walzen mit erhöhter Gießgeschwindigkeit und daran anschließendem Warmwalzen von relativ dünnen Metall-,insbesondere Stahlwerkstoff-Strängen,und Gieß-Walz-Einrichtung
US8441179B2 (en) 2006-01-20 2013-05-14 Cree, Inc. Lighting devices having remote lumiphors that are excited by lumiphor-converted semiconductor excitation sources
EP2002488A4 (en) * 2006-01-20 2012-05-30 Cree Inc DISTRIBUTION OF SPECTRAL CONTENT IN SOLID PHYSICIANS BY SPATIAL SEPARATION OF LUMIPHORIDE FILMS
US8044412B2 (en) 2006-01-20 2011-10-25 Taiwan Semiconductor Manufacturing Company, Ltd Package for a light emitting element
KR101283182B1 (ko) * 2006-01-26 2013-07-05 엘지이노텍 주식회사 발광 다이오드 패키지 및 그 제조 방법
JP2007231250A (ja) * 2006-02-02 2007-09-13 Nichia Chem Ind Ltd 蛍光体及びそれを用いた発光装置
DE102006005042A1 (de) * 2006-02-03 2007-08-09 Tridonic Optoelectronics Gmbh Licht emittierende Vorrichtung mit nicht-aktiviertem Leuchtstoff
TWI317756B (en) * 2006-02-07 2009-12-01 Coretronic Corp Phosphor, fluorescent gel, and light emitting diode device
TWI435927B (zh) * 2006-02-10 2014-05-01 三菱化學股份有限公司 螢光體及其製造方法,含螢光體之組成物,發光裝置,暨影像顯示裝置及照明裝置
US8451195B2 (en) 2006-02-15 2013-05-28 Prysm, Inc. Servo-assisted scanning beam display systems using fluorescent screens
US7884816B2 (en) 2006-02-15 2011-02-08 Prysm, Inc. Correcting pyramidal error of polygon scanner in scanning beam display systems
US7928462B2 (en) 2006-02-16 2011-04-19 Lg Electronics Inc. Light emitting device having vertical structure, package thereof and method for manufacturing the same
CN100481543C (zh) * 2006-02-17 2009-04-22 亿光电子工业股份有限公司 发光二极管封装结构
KR100746338B1 (ko) * 2006-02-20 2007-08-03 한국과학기술원 백색 발광장치용 형광체, 이의 제조방법 및 형광체를이용한 백색 발광장치
US20070210282A1 (en) * 2006-03-13 2007-09-13 Association Suisse Pour La Recherche Horlogere (Asrh) Phosphorescent compounds
EP1999232B1 (en) * 2006-03-16 2017-06-14 Seoul Semiconductor Co., Ltd Fluorescent material and light emitting diode using the same
CN100590173C (zh) 2006-03-24 2010-02-17 北京有色金属研究总院 一种荧光粉及其制造方法和所制成的电光源
US7285791B2 (en) * 2006-03-24 2007-10-23 Goldeneye, Inc. Wavelength conversion chip for use in solid-state lighting and method for making same
JP5032043B2 (ja) 2006-03-27 2012-09-26 豊田合成株式会社 フェラスメタルアルカリ土類金属ケイ酸塩混合結晶蛍光体およびこれを用いた発光装置
WO2007111355A1 (ja) 2006-03-28 2007-10-04 Kyocera Corporation 発光装置
US7675145B2 (en) 2006-03-28 2010-03-09 Cree Hong Kong Limited Apparatus, system and method for use in mounting electronic elements
KR100875443B1 (ko) * 2006-03-31 2008-12-23 서울반도체 주식회사 발광 장치
JP5091421B2 (ja) * 2006-04-07 2012-12-05 株式会社東芝 半導体発光装置
US8373195B2 (en) 2006-04-12 2013-02-12 SemiLEDs Optoelectronics Co., Ltd. Light-emitting diode lamp with low thermal resistance
US7863639B2 (en) * 2006-04-12 2011-01-04 Semileds Optoelectronics Co. Ltd. Light-emitting diode lamp with low thermal resistance
US9335006B2 (en) 2006-04-18 2016-05-10 Cree, Inc. Saturated yellow phosphor converted LED and blue converted red LED
TW200807104A (en) 2006-04-19 2008-02-01 Mitsubishi Chem Corp Color image display device
CN102800786B (zh) * 2006-04-24 2015-09-16 克利公司 发光二极管和显示元件
WO2007125453A2 (en) * 2006-04-27 2007-11-08 Philips Intellectual Property & Standards Gmbh Illumination system comprising a radiation source and a luminescent material
WO2007130536A2 (en) 2006-05-05 2007-11-15 Cree Led Lighting Solutions, Inc. Lighting device
US7755282B2 (en) * 2006-05-12 2010-07-13 Edison Opto Corporation LED structure and fabricating method for the same
WO2007139894A2 (en) 2006-05-26 2007-12-06 Cree Led Lighting Solutions, Inc. Solid state light emitting device and method of making same
CN101077973B (zh) * 2006-05-26 2010-09-29 大连路明发光科技股份有限公司 硅酸盐荧光材料及其制造方法以及使用其的发光装置
US7969097B2 (en) * 2006-05-31 2011-06-28 Cree, Inc. Lighting device with color control, and method of lighting
JP4973011B2 (ja) * 2006-05-31 2012-07-11 豊田合成株式会社 Led装置
WO2007141688A1 (en) * 2006-06-02 2007-12-13 Philips Intellectual Property & Standards Gmbh Colored and white light generating lighting device
RU2313157C1 (ru) * 2006-06-09 2007-12-20 Институт проблем технологии микроэлектроники и особочистых материалов Российской Академии Наук (ИПТМ РАН) Способ получения видимого света и люминесцентные источники на его основе (варианты)
KR100939936B1 (ko) * 2006-06-21 2010-02-04 대주전자재료 주식회사 툴리움을 포함하는 백색 발광다이오드용 형광체 및 그제조방법
US7661840B1 (en) 2006-06-21 2010-02-16 Ilight Technologies, Inc. Lighting device with illuminated front panel
KR101258229B1 (ko) * 2006-06-30 2013-04-25 서울반도체 주식회사 발광 소자
TWI321857B (en) * 2006-07-21 2010-03-11 Epistar Corp A light emitting device
CN100590172C (zh) 2006-07-26 2010-02-17 北京有色金属研究总院 一种含硅的led荧光粉及其制造方法和所制成的发光器件
US7804147B2 (en) 2006-07-31 2010-09-28 Cree, Inc. Light emitting diode package element with internal meniscus for bubble free lens placement
KR100887068B1 (ko) * 2006-08-04 2009-03-04 삼성전기주식회사 발광 다이오드 모듈 및 이의 제조 방법
JP5205724B2 (ja) * 2006-08-04 2013-06-05 日亜化学工業株式会社 発光装置
JP5331981B2 (ja) * 2006-08-15 2013-10-30 ダリアン ルーミングライト カンパニー リミテッド 複数の発光ピークを有するケイ酸塩ベースの発光材料、当該発光材料を調製するための方法、及び当該発光材料を用いた発光デバイス
WO2008024385A2 (en) * 2006-08-23 2008-02-28 Cree Led Lighting Solutions, Inc. Lighting device and lighting method
KR20080018620A (ko) * 2006-08-25 2008-02-28 서울반도체 주식회사 발광 소자
KR101258227B1 (ko) 2006-08-29 2013-04-25 서울반도체 주식회사 발광 소자
US20080123023A1 (en) * 2006-08-30 2008-05-29 Trung Doan White light unit, backlight unit and liquid crystal display device using the same
JP2008060344A (ja) * 2006-08-31 2008-03-13 Toshiba Corp 半導体発光装置
US7910938B2 (en) * 2006-09-01 2011-03-22 Cree, Inc. Encapsulant profile for light emitting diodes
US8425271B2 (en) * 2006-09-01 2013-04-23 Cree, Inc. Phosphor position in light emitting diodes
US7842960B2 (en) * 2006-09-06 2010-11-30 Lumination Llc Light emitting packages and methods of making same
DE102007020782A1 (de) * 2006-09-27 2008-04-03 Osram Opto Semiconductors Gmbh Strahlungsemittierende Vorrichtung
JP2010506402A (ja) 2006-10-02 2010-02-25 イルミテックス, インコーポレイテッド Ledのシステムおよび方法
TW200833814A (en) * 2006-10-03 2008-08-16 Sarnoff Corp Metal silicate halide phosphors and LED lighting devices using the same
JP4837045B2 (ja) * 2006-10-12 2011-12-14 パナソニック株式会社 発光装置及びその製造方法
BRPI0718085A2 (pt) * 2006-10-31 2013-11-05 Tir Technology Lp Fonte de luz
US10295147B2 (en) 2006-11-09 2019-05-21 Cree, Inc. LED array and method for fabricating same
US7648650B2 (en) * 2006-11-10 2010-01-19 Intematix Corporation Aluminum-silicate based orange-red phosphors with mixed divalent and trivalent cations
US7769066B2 (en) 2006-11-15 2010-08-03 Cree, Inc. Laser diode and method for fabricating same
US7813400B2 (en) 2006-11-15 2010-10-12 Cree, Inc. Group-III nitride based laser diode and method for fabricating same
TW200830593A (en) * 2006-11-15 2008-07-16 Univ California Transparent mirrorless light emitting diode
US8045595B2 (en) * 2006-11-15 2011-10-25 Cree, Inc. Self aligned diode fabrication method and self aligned laser diode
JP2010510659A (ja) 2006-11-15 2010-04-02 ザ リージェンツ オブ ザ ユニバーシティ オブ カリフォルニア テクスチャ化された蛍光体変換層を有する発光ダイオード
KR20090082923A (ko) * 2006-11-15 2009-07-31 더 리전츠 오브 더 유니버시티 오브 캘리포니아 다중 추출기를 통하여 광을 고효율로 추출하는 발광 다이오드
EP2095437A4 (en) * 2006-11-15 2013-11-20 Univ California SPHERE LED WITH HIGH LIGHT EXTRACTION EFFICIENCY
US20090121250A1 (en) * 2006-11-15 2009-05-14 Denbaars Steven P High light extraction efficiency light emitting diode (led) using glass packaging
KR100687417B1 (ko) * 2006-11-17 2007-02-27 엘지이노텍 주식회사 형광체의 제조방법
US7692263B2 (en) 2006-11-21 2010-04-06 Cree, Inc. High voltage GaN transistors
WO2008070604A1 (en) 2006-12-04 2008-06-12 Cree Led Lighting Solutions, Inc. Lighting device and lighting method
US9310026B2 (en) 2006-12-04 2016-04-12 Cree, Inc. Lighting assembly and lighting method
TWI460881B (zh) 2006-12-11 2014-11-11 美國加利福尼亞大學董事會 透明發光二極體
US8013506B2 (en) 2006-12-12 2011-09-06 Prysm, Inc. Organic compounds for adjusting phosphor chromaticity
US7686478B1 (en) 2007-01-12 2010-03-30 Ilight Technologies, Inc. Bulb for light-emitting diode with color-converting insert
US8109656B1 (en) 2007-01-12 2012-02-07 Ilight Technologies, Inc. Bulb for light-emitting diode with modified inner cavity
US20080169746A1 (en) * 2007-01-12 2008-07-17 Ilight Technologies, Inc. Bulb for light-emitting diode
US7968900B2 (en) * 2007-01-19 2011-06-28 Cree, Inc. High performance LED package
US7834367B2 (en) 2007-01-19 2010-11-16 Cree, Inc. Low voltage diode with reduced parasitic resistance and method for fabricating
US9711703B2 (en) 2007-02-12 2017-07-18 Cree Huizhou Opto Limited Apparatus, system and method for use in mounting electronic elements
US8456388B2 (en) * 2007-02-14 2013-06-04 Cree, Inc. Systems and methods for split processor control in a solid state lighting panel
CN101247043B (zh) * 2007-02-15 2010-05-26 葳天科技股份有限公司 发光二极管电路组件
US20080198572A1 (en) 2007-02-21 2008-08-21 Medendorp Nicholas W LED lighting systems including luminescent layers on remote reflectors
US7864381B2 (en) * 2007-03-20 2011-01-04 Xerox Corporation Document illuminator with LED-driven phosphor
WO2008116123A1 (en) 2007-03-20 2008-09-25 Spudnik, Inc. Delivering and displaying advertisement or other application data to display systems
DE102007016229A1 (de) 2007-04-04 2008-10-09 Litec Lll Gmbh Verfahren zur Herstellung von Leuchtstoffen basierend auf Orthosilikaten für pcLEDs
DE102007016228A1 (de) 2007-04-04 2008-10-09 Litec Lll Gmbh Verfahren zur Herstellung von Leuchtstoffen basierend auf Orthosilikaten für pcLEDs
JP5222600B2 (ja) 2007-04-05 2013-06-26 株式会社小糸製作所 蛍光体
US8169454B1 (en) 2007-04-06 2012-05-01 Prysm, Inc. Patterning a surface using pre-objective and post-objective raster scanning systems
US7697183B2 (en) 2007-04-06 2010-04-13 Prysm, Inc. Post-objective scanning beam systems
JP4903179B2 (ja) * 2007-04-23 2012-03-28 サムソン エルイーディー カンパニーリミテッド. 発光装置及びその製造方法
EP1987762A1 (de) 2007-05-03 2008-11-05 F.Hoffmann-La Roche Ag Oximeter
US7781779B2 (en) * 2007-05-08 2010-08-24 Luminus Devices, Inc. Light emitting devices including wavelength converting material
US8038822B2 (en) 2007-05-17 2011-10-18 Prysm, Inc. Multilayered screens with light-emitting stripes for scanning beam display systems
US7712917B2 (en) 2007-05-21 2010-05-11 Cree, Inc. Solid state lighting panels with limited color gamut and methods of limiting color gamut in solid state lighting panels
US8133768B2 (en) 2007-05-31 2012-03-13 Nthdegree Technologies Worldwide Inc Method of manufacturing a light emitting, photovoltaic or other electronic apparatus and system
US8415879B2 (en) 2007-05-31 2013-04-09 Nthdegree Technologies Worldwide Inc Diode for a printable composition
US8852467B2 (en) 2007-05-31 2014-10-07 Nthdegree Technologies Worldwide Inc Method of manufacturing a printable composition of a liquid or gel suspension of diodes
US8674593B2 (en) 2007-05-31 2014-03-18 Nthdegree Technologies Worldwide Inc Diode for a printable composition
US8877101B2 (en) 2007-05-31 2014-11-04 Nthdegree Technologies Worldwide Inc Method of manufacturing a light emitting, power generating or other electronic apparatus
US9425357B2 (en) 2007-05-31 2016-08-23 Nthdegree Technologies Worldwide Inc. Diode for a printable composition
US8846457B2 (en) 2007-05-31 2014-09-30 Nthdegree Technologies Worldwide Inc Printable composition of a liquid or gel suspension of diodes
US9018833B2 (en) 2007-05-31 2015-04-28 Nthdegree Technologies Worldwide Inc Apparatus with light emitting or absorbing diodes
US9343593B2 (en) 2007-05-31 2016-05-17 Nthdegree Technologies Worldwide Inc Printable composition of a liquid or gel suspension of diodes
US9534772B2 (en) 2007-05-31 2017-01-03 Nthdegree Technologies Worldwide Inc Apparatus with light emitting diodes
US8809126B2 (en) 2007-05-31 2014-08-19 Nthdegree Technologies Worldwide Inc Printable composition of a liquid or gel suspension of diodes
US8889216B2 (en) 2007-05-31 2014-11-18 Nthdegree Technologies Worldwide Inc Method of manufacturing addressable and static electronic displays
US8456393B2 (en) * 2007-05-31 2013-06-04 Nthdegree Technologies Worldwide Inc Method of manufacturing a light emitting, photovoltaic or other electronic apparatus and system
US9419179B2 (en) 2007-05-31 2016-08-16 Nthdegree Technologies Worldwide Inc Diode for a printable composition
US7999283B2 (en) 2007-06-14 2011-08-16 Cree, Inc. Encapsulant with scatterer to tailor spatial emission pattern and color uniformity in light emitting diodes
US8556430B2 (en) 2007-06-27 2013-10-15 Prysm, Inc. Servo feedback control based on designated scanning servo beam in scanning beam display systems with light-emitting screens
US7878657B2 (en) 2007-06-27 2011-02-01 Prysm, Inc. Servo feedback control based on invisible scanning servo beam in scanning beam display systems with light-emitting screens
US7682524B2 (en) * 2007-06-27 2010-03-23 National Central University Phosphor for producing white light under excitation of UV light and method for making the same
US7682525B2 (en) * 2007-06-27 2010-03-23 National Central University Material composition for producing blue phosphor by excitation of UV light and method for making the same
KR100919461B1 (ko) * 2007-07-09 2009-09-28 심현섭 색온도가 변환되는 조명기기용 광원장치
WO2009012287A1 (en) * 2007-07-17 2009-01-22 Cree Led Lighting Solutions, Inc. Optical elements with internal optical features and methods of fabricating same
US20100181580A1 (en) * 2007-07-19 2010-07-22 Masatsugu Masuda Light emitting apparatus
US8791631B2 (en) 2007-07-19 2014-07-29 Quarkstar Llc Light emitting device
RU2331951C1 (ru) * 2007-07-24 2008-08-20 Закрытое акционерное общество "Светлана-Оптоэлектроника" Светодиод с двухслойной компаундной областью
US7663315B1 (en) 2007-07-24 2010-02-16 Ilight Technologies, Inc. Spherical bulb for light-emitting diode with spherical inner cavity
WO2009016913A1 (ja) * 2007-07-27 2009-02-05 Sharp Kabushiki Kaisha 照明装置および液晶表示装置
US20090033612A1 (en) * 2007-07-31 2009-02-05 Roberts John K Correction of temperature induced color drift in solid state lighting displays
TWI342628B (en) * 2007-08-02 2011-05-21 Lextar Electronics Corp Light emitting diode package, direct type back light module and side type backlight module
US7863635B2 (en) * 2007-08-07 2011-01-04 Cree, Inc. Semiconductor light emitting devices with applied wavelength conversion materials
US8829820B2 (en) * 2007-08-10 2014-09-09 Cree, Inc. Systems and methods for protecting display components from adverse operating conditions
CN101784636B (zh) 2007-08-22 2013-06-12 首尔半导体株式会社 非化学计量四方铜碱土硅酸盐磷光体及其制备方法
US20090050912A1 (en) * 2007-08-24 2009-02-26 Foxsemicon Integrated Technology, Inc. Light emitting diode and outdoor illumination device having the same
US11114594B2 (en) 2007-08-24 2021-09-07 Creeled, Inc. Light emitting device packages using light scattering particles of different size
US7968899B2 (en) * 2007-08-27 2011-06-28 Avago Technologies Ecbu Ip (Singapore) Pte. Ltd. LED light source having improved resistance to thermal cycling
KR101055769B1 (ko) 2007-08-28 2011-08-11 서울반도체 주식회사 비화학양론적 정방정계 알칼리 토류 실리케이트 형광체를채택한 발광 장치
WO2009028818A2 (en) 2007-08-28 2009-03-05 Seoul Semiconductor Co., Ltd. Light emitting device employing non-stoichiometric tetragonal alkaline earth silicate phosphors
DE102007043355A1 (de) * 2007-09-12 2009-03-19 Lumitech Produktion Und Entwicklung Gmbh LED-Modul, LED-Leuchtmittel und LED Leuchte für die energie-effiziente Wiedergabe von weißem Licht
DE102007043904A1 (de) * 2007-09-14 2009-03-19 Osram Gesellschaft mit beschränkter Haftung Leucht-Vorrichtung
US8519437B2 (en) * 2007-09-14 2013-08-27 Cree, Inc. Polarization doping in nitride based diodes
DE102007043903A1 (de) * 2007-09-14 2009-03-26 Osram Gesellschaft mit beschränkter Haftung Leucht-Vorrichtung
CN101388161A (zh) * 2007-09-14 2009-03-18 科锐香港有限公司 Led表面安装装置和并入有此装置的led显示器
CN102232249B (zh) 2007-09-26 2013-11-06 日亚化学工业株式会社 发光元件及使用其的发光装置
DE102007049799A1 (de) 2007-09-28 2009-04-02 Osram Opto Semiconductors Gmbh Optoelektronisches Bauelement
US9012937B2 (en) * 2007-10-10 2015-04-21 Cree, Inc. Multiple conversion material light emitting diode package and method of fabricating same
WO2009055079A1 (en) * 2007-10-26 2009-04-30 Cree Led Lighting Solutions, Inc. Illumination device having one or more lumiphors, and methods of fabricating same
US8866169B2 (en) 2007-10-31 2014-10-21 Cree, Inc. LED package with increased feature sizes
US10256385B2 (en) 2007-10-31 2019-04-09 Cree, Inc. Light emitting die (LED) packages and related methods
US8018139B2 (en) * 2007-11-05 2011-09-13 Enertron, Inc. Light source and method of controlling light spectrum of an LED light engine
US20120037886A1 (en) 2007-11-13 2012-02-16 Epistar Corporation Light-emitting diode device
US9634191B2 (en) 2007-11-14 2017-04-25 Cree, Inc. Wire bond free wafer level LED
US8119028B2 (en) 2007-11-14 2012-02-21 Cree, Inc. Cerium and europium doped single crystal phosphors
US7923925B2 (en) * 2007-11-20 2011-04-12 Group Iv Semiconductor, Inc. Light emitting device with a stopper layer structure
US8866410B2 (en) * 2007-11-28 2014-10-21 Cree, Inc. Solid state lighting devices and methods of manufacturing the same
JP2010074117A (ja) * 2007-12-07 2010-04-02 Panasonic Electric Works Co Ltd 発光装置
US9431589B2 (en) * 2007-12-14 2016-08-30 Cree, Inc. Textured encapsulant surface in LED packages
US8823630B2 (en) * 2007-12-18 2014-09-02 Cree, Inc. Systems and methods for providing color management control in a lighting panel
US7907804B2 (en) 2007-12-19 2011-03-15 Oree, Inc. Elimination of stitch artifacts in a planar illumination area
US8182128B2 (en) 2007-12-19 2012-05-22 Oree, Inc. Planar white illumination apparatus
CN101482247A (zh) * 2008-01-11 2009-07-15 富士迈半导体精密工业(上海)有限公司 照明装置
US20090309114A1 (en) 2008-01-16 2009-12-17 Luminus Devices, Inc. Wavelength converting light-emitting devices and methods of making the same
US8337029B2 (en) * 2008-01-17 2012-12-25 Intematix Corporation Light emitting device with phosphor wavelength conversion
US8040070B2 (en) 2008-01-23 2011-10-18 Cree, Inc. Frequency converted dimming signal generation
US10008637B2 (en) 2011-12-06 2018-06-26 Cree, Inc. Light emitter devices and methods with reduced dimensions and improved light output
CN101939849A (zh) 2008-02-08 2011-01-05 伊鲁米特克有限公司 用于发射器层成形的系统和方法
TWI362413B (en) * 2008-02-25 2012-04-21 Ind Tech Res Inst Borate phosphor and white light illumination device utilizing the same
JP5227613B2 (ja) * 2008-02-27 2013-07-03 スタンレー電気株式会社 半導体発光装置
CN101978297A (zh) 2008-03-05 2011-02-16 奥利高级照明解决公司 照明装置及其形成方法
KR100986359B1 (ko) * 2008-03-14 2010-10-08 엘지이노텍 주식회사 발광 장치 및 이를 구비한 표시 장치
TWI361829B (en) 2008-03-20 2012-04-11 Ind Tech Res Inst White light illumination device
JP5665160B2 (ja) * 2008-03-26 2015-02-04 パナソニックIpマネジメント株式会社 発光装置および照明器具
DE102009018603B9 (de) 2008-04-25 2021-01-14 Samsung Electronics Co., Ltd. Leuchtvorrichtung und Herstellungsverfahren derselben
US7888688B2 (en) * 2008-04-29 2011-02-15 Bridgelux, Inc. Thermal management for LED
DE102008021662A1 (de) 2008-04-30 2009-11-05 Ledon Lighting Jennersdorf Gmbh LED mit Mehrband-Leuchtstoffsystem
US9287469B2 (en) 2008-05-02 2016-03-15 Cree, Inc. Encapsulation for phosphor-converted white light emitting diode
TW201007091A (en) * 2008-05-08 2010-02-16 Lok F Gmbh Lamp device
US7992332B2 (en) 2008-05-13 2011-08-09 Nthdegree Technologies Worldwide Inc. Apparatuses for providing power for illumination of a display object
US8127477B2 (en) 2008-05-13 2012-03-06 Nthdegree Technologies Worldwide Inc Illuminating display systems
US8242525B2 (en) * 2008-05-20 2012-08-14 Lightscape Materials, Inc. Silicate-based phosphors and LED lighting devices using the same
DE102008025864A1 (de) 2008-05-29 2009-12-03 Lumitech Produktion Und Entwicklung Gmbh LED Modul für die Allgemeinbeleuchtung
DE202008018269U1 (de) 2008-05-29 2012-06-26 Lumitech Produktion Und Entwicklung Gmbh LED Modul für die Allgemeinbeleuchtung
US7766509B1 (en) * 2008-06-13 2010-08-03 Lumec Inc. Orientable lens for an LED fixture
KR101438826B1 (ko) 2008-06-23 2014-09-05 엘지이노텍 주식회사 발광장치
AU2009262174A1 (en) * 2008-06-25 2009-12-30 Mario W. Cardullo UV generated visible light source
US8240875B2 (en) 2008-06-25 2012-08-14 Cree, Inc. Solid state linear array modules for general illumination
DE102008031029B4 (de) * 2008-06-30 2012-10-31 Texas Instruments Deutschland Gmbh Elektronisches Bauelement mit einer Schutzschaltung für eine lichtemittierende Vorrichtung
TWI499076B (zh) 2008-07-03 2015-09-01 三星電子股份有限公司 波長轉換之發光二極體晶片及包含該發光二極體晶片之發光裝置
US8297786B2 (en) 2008-07-10 2012-10-30 Oree, Inc. Slim waveguide coupling apparatus and method
US8301002B2 (en) 2008-07-10 2012-10-30 Oree, Inc. Slim waveguide coupling apparatus and method
US7869112B2 (en) * 2008-07-25 2011-01-11 Prysm, Inc. Beam scanning based on two-dimensional polygon scanner for display and other applications
US8698193B2 (en) * 2008-07-29 2014-04-15 Sharp Kabushiki Kaisha Light emitting device and method for manufacturing the same
US8080827B2 (en) * 2008-07-31 2011-12-20 Bridgelux, Inc. Top contact LED thermal management
JP5284006B2 (ja) * 2008-08-25 2013-09-11 シチズン電子株式会社 発光装置
US20120181919A1 (en) * 2008-08-27 2012-07-19 Osram Sylvania Inc. Luminescent Ceramic Composite Converter and Method of Making the Same
RU2475671C2 (ru) * 2008-08-29 2013-02-20 Шарп Кабусики Кайся Устройство задней подсветки и дисплейное устройство, снабженное таким устройством
US7859190B2 (en) * 2008-09-10 2010-12-28 Bridgelux, Inc. Phosphor layer arrangement for use with light emitting diodes
JP2010067903A (ja) * 2008-09-12 2010-03-25 Toshiba Corp 発光素子
US8174100B2 (en) * 2008-09-22 2012-05-08 Avago Technologies Ecbu Ip (Singapore) Pte. Ltd. Light source using a light-emitting diode
WO2010034159A1 (zh) * 2008-09-26 2010-04-01 Hsu Chen 具有光调变功能之半导体发光组件及其制造方法
EP2342763B1 (en) * 2008-10-01 2018-09-19 Lumileds Holding B.V. Led with particles in encapsulant for increased light extraction and non-yellow off-state color
US8075165B2 (en) 2008-10-14 2011-12-13 Ledengin, Inc. Total internal reflection lens and mechanical retention and locating device
US9425172B2 (en) 2008-10-24 2016-08-23 Cree, Inc. Light emitter array
RU2402100C2 (ru) * 2008-11-01 2010-10-20 Общество с ограниченной ответственностью "Дисплейные системы" Способ создания свечения светового узла
US8791471B2 (en) 2008-11-07 2014-07-29 Cree Hong Kong Limited Multi-chip light emitting diode modules
US20100117106A1 (en) * 2008-11-07 2010-05-13 Ledengin, Inc. Led with light-conversion layer
JP4868427B2 (ja) * 2008-11-13 2012-02-01 国立大学法人名古屋大学 半導体発光装置
JP2010129583A (ja) * 2008-11-25 2010-06-10 Citizen Electronics Co Ltd 照明装置
TW201034256A (en) 2008-12-11 2010-09-16 Illumitex Inc Systems and methods for packaging light-emitting diode devices
DE102008062413A1 (de) 2008-12-17 2010-07-01 Poly-Tech Service Gmbh LED-basiertes Beleuchtungssystem
US8507300B2 (en) * 2008-12-24 2013-08-13 Ledengin, Inc. Light-emitting diode with light-conversion layer
TWI380483B (en) * 2008-12-29 2012-12-21 Everlight Electronics Co Ltd Led device and method of packaging the same
RU2396302C1 (ru) * 2009-01-11 2010-08-10 Государственное Научное Учреждение "Институт Физики Имени Б.И. Степанова Национальной Академии Наук Беларуси" Люминофор для световых источников
US20110037083A1 (en) * 2009-01-14 2011-02-17 Alex Chi Keung Chan Led package with contrasting face
US8368112B2 (en) 2009-01-14 2013-02-05 Cree Huizhou Opto Limited Aligned multiple emitter package
TWI376043B (en) * 2009-01-23 2012-11-01 Everlight Electronics Co Ltd Light emitting device package structure and manufacturing method thereof
US8183575B2 (en) * 2009-01-26 2012-05-22 Bridgelux, Inc. Method and apparatus for providing a patterned electrically conductive and optically transparent or semi-transparent layer over a lighting semiconductor device
KR20100093981A (ko) * 2009-02-17 2010-08-26 엘지이노텍 주식회사 라이트 유닛
WO2010095809A2 (ko) * 2009-02-20 2010-08-26 (주)큐엠씨 엘이디 칩 테스트장치
US8624527B1 (en) 2009-03-27 2014-01-07 Oree, Inc. Independently controllable illumination device
US8384097B2 (en) 2009-04-08 2013-02-26 Ledengin, Inc. Package for multiple light emitting diodes
US8598793B2 (en) 2011-05-12 2013-12-03 Ledengin, Inc. Tuning of emitter with multiple LEDs to a single color bin
US7985000B2 (en) * 2009-04-08 2011-07-26 Ledengin, Inc. Lighting apparatus having multiple light-emitting diodes with individual light-conversion layers
KR101004713B1 (ko) * 2009-04-22 2011-01-04 주식회사 에피밸리 디스플레이의 디밍 제어방법
US8337030B2 (en) 2009-05-13 2012-12-25 Cree, Inc. Solid state lighting devices having remote luminescent material-containing element, and lighting methods
US8328406B2 (en) 2009-05-13 2012-12-11 Oree, Inc. Low-profile illumination device
US8921876B2 (en) 2009-06-02 2014-12-30 Cree, Inc. Lighting devices with discrete lumiphor-bearing regions within or on a surface of remote elements
US20100315325A1 (en) * 2009-06-16 2010-12-16 Samsung Electronics Co., Ltd. Light source unit and display apparatus including the same
KR101055762B1 (ko) 2009-09-01 2011-08-11 서울반도체 주식회사 옥시오소실리케이트 발광체를 갖는 발광 물질을 채택한 발광 장치
JP5624616B2 (ja) * 2009-06-24 2014-11-12 ソウル セミコンダクター カンパニー リミテッド オキシオルトシリケート発光体を有する発光物質を用いる発光装置
DE102009030205A1 (de) 2009-06-24 2010-12-30 Litec-Lp Gmbh Leuchtstoffe mit Eu(II)-dotierten silikatischen Luminophore
US8727597B2 (en) 2009-06-24 2014-05-20 Oree, Inc. Illumination apparatus with high conversion efficiency and methods of forming the same
US8415692B2 (en) 2009-07-06 2013-04-09 Cree, Inc. LED packages with scattering particle regions
CN102472439A (zh) * 2009-07-06 2012-05-23 夏普株式会社 照明装置、显示装置以及电视接收机
DE102009036462B4 (de) * 2009-08-06 2016-10-27 Trw Automotive Electronics & Components Gmbh Abgleichen des Farbortes von Leuchten und beleuchteten Bedien- oder Anzeigeeinheiten in einer gemeinsamen Umgebung
JP2011040494A (ja) * 2009-08-07 2011-02-24 Koito Mfg Co Ltd 発光モジュール
US8084780B2 (en) * 2009-08-13 2011-12-27 Semileds Optoelectronics Co. Smart integrated semiconductor light emitting system including light emitting diodes and application specific integrated circuits (ASIC)
US8598809B2 (en) 2009-08-19 2013-12-03 Cree, Inc. White light color changing solid state lighting and methods
US8449128B2 (en) 2009-08-20 2013-05-28 Illumitex, Inc. System and method for a lens and phosphor layer
US8585253B2 (en) 2009-08-20 2013-11-19 Illumitex, Inc. System and method for color mixing lens array
TWI361216B (en) * 2009-09-01 2012-04-01 Ind Tech Res Inst Phosphors, fabricating method thereof, and light emitting device employing the same
TWI528604B (zh) * 2009-09-15 2016-04-01 無限科技全球公司 發光、光伏或其它電子裝置及系統
EP2480816A1 (en) 2009-09-25 2012-08-01 Cree, Inc. Lighting device with low glare and high light level uniformity
US8678618B2 (en) * 2009-09-25 2014-03-25 Toshiba Lighting & Technology Corporation Self-ballasted lamp having a light-transmissive member in contact with light emitting elements and lighting equipment incorporating the same
TWI403003B (zh) * 2009-10-02 2013-07-21 Chi Mei Lighting Tech Corp 發光二極體及其製造方法
US8593040B2 (en) 2009-10-02 2013-11-26 Ge Lighting Solutions Llc LED lamp with surface area enhancing fins
DE202009016962U1 (de) 2009-10-13 2010-05-12 Merck Patent Gmbh Leuchtstoffmischungen
US9157025B2 (en) 2009-10-13 2015-10-13 Merck Patent Gmbh Phosphor mixtures comprising europium-doped ortho-silicates
US9435493B2 (en) 2009-10-27 2016-09-06 Cree, Inc. Hybrid reflector system for lighting device
RU2511030C2 (ru) * 2009-12-04 2014-04-10 Анатолий Васильевич Вишняков Композиционный люминесцирующий материал для твердотельных источников белого света
US8466611B2 (en) 2009-12-14 2013-06-18 Cree, Inc. Lighting device with shaped remote phosphor
US8536615B1 (en) 2009-12-16 2013-09-17 Cree, Inc. Semiconductor device structures with modulated and delta doping and related methods
US8604461B2 (en) * 2009-12-16 2013-12-10 Cree, Inc. Semiconductor device structures with modulated doping and related methods
US8303141B2 (en) * 2009-12-17 2012-11-06 Ledengin, Inc. Total internal reflection lens with integrated lamp cover
US8511851B2 (en) 2009-12-21 2013-08-20 Cree, Inc. High CRI adjustable color temperature lighting devices
TWI461626B (zh) * 2009-12-28 2014-11-21 Chi Mei Comm Systems Inc 光源裝置及具有該光源裝置之可攜式電子裝置
EP2532946A4 (en) * 2010-02-05 2013-10-02 With Ltd Liability Dis Plus Soc METHOD FOR FORMING A LIGHT EMITTING SURFACE AND LIGHTING DEVICE IMPLEMENTING SAID METHOD
JP5257622B2 (ja) * 2010-02-26 2013-08-07 東芝ライテック株式会社 電球形ランプおよび照明器具
US9275979B2 (en) 2010-03-03 2016-03-01 Cree, Inc. Enhanced color rendering index emitter through phosphor separation
CN102934242B (zh) 2010-03-16 2016-01-20 迪斯普拉斯有限责任公司 用以控制白色发光二极管(led)的光通量的色度的方法及用以执行该方法的装置
WO2011123538A2 (en) 2010-03-31 2011-10-06 Osram Sylvania Inc. Phosphor and leds containing same
US8858022B2 (en) 2011-05-05 2014-10-14 Ledengin, Inc. Spot TIR lens system for small high-power emitter
US9345095B2 (en) 2010-04-08 2016-05-17 Ledengin, Inc. Tunable multi-LED emitter module
US9080729B2 (en) 2010-04-08 2015-07-14 Ledengin, Inc. Multiple-LED emitter for A-19 lamps
US8329482B2 (en) 2010-04-30 2012-12-11 Cree, Inc. White-emitting LED chips and method for making same
KR101298406B1 (ko) * 2010-05-17 2013-08-20 엘지이노텍 주식회사 발광소자
TWI422073B (zh) * 2010-05-26 2014-01-01 英特明光能股份有限公司 發光二極體封裝結構
US8684559B2 (en) 2010-06-04 2014-04-01 Cree, Inc. Solid state light source emitting warm light with high CRI
DE102010030473A1 (de) * 2010-06-24 2011-12-29 Osram Gesellschaft mit beschränkter Haftung Leuchtstoff und Lichtquelle mit derartigem Leuchtstoff
CN103189683B (zh) * 2010-06-25 2015-11-25 迪斯普拉斯有限责任公司 Led灯
EP2402648A1 (en) * 2010-07-01 2012-01-04 Koninklijke Philips Electronics N.V. TL retrofit LED module outside sealed glass tube
DE102010026344A1 (de) * 2010-07-07 2012-01-12 Osram Opto Semiconductors Gmbh Leuchtdiode
US8835199B2 (en) * 2010-07-28 2014-09-16 GE Lighting Solutions, LLC Phosphor suspended in silicone, molded/formed and used in a remote phosphor configuration
EP2602545A4 (en) * 2010-08-04 2014-03-26 With Ltd Liability Dis Plus Soc LIGHTING DEVICE
DE102010034322A1 (de) * 2010-08-14 2012-02-16 Litec-Lp Gmbh Oberflächenmodifizierter Silikatleuchtstoffe
RU2444676C1 (ru) * 2010-08-16 2012-03-10 Владимир Семенович Абрамов Светодиодный источник излучения
US8523385B2 (en) 2010-08-20 2013-09-03 DiCon Fibêroptics Inc. Compact high brightness LED grow light apparatus, using an extended point source LED array with light emitting diodes
US8568009B2 (en) * 2010-08-20 2013-10-29 Dicon Fiberoptics Inc. Compact high brightness LED aquarium light apparatus, using an extended point source LED array with light emitting diodes
JP5127965B2 (ja) 2010-09-02 2013-01-23 株式会社東芝 蛍光体およびそれを用いた発光装置
KR20120024104A (ko) * 2010-09-06 2012-03-14 서울옵토디바이스주식회사 발광 소자
DE102010041236A1 (de) * 2010-09-23 2012-03-29 Osram Ag Optoelektronisches Halbleiterbauelement
US9070851B2 (en) 2010-09-24 2015-06-30 Seoul Semiconductor Co., Ltd. Wafer-level light emitting diode package and method of fabricating the same
CN102130254B (zh) * 2010-09-29 2015-03-11 映瑞光电科技(上海)有限公司 发光装置及其制造方法
US8357553B2 (en) * 2010-10-08 2013-01-22 Guardian Industries Corp. Light source with hybrid coating, device including light source with hybrid coating, and/or methods of making the same
EP2447338B1 (en) * 2010-10-26 2012-09-26 Leuchtstoffwerk Breitungen GmbH Borophosphate phosphor and light source
US9024341B2 (en) * 2010-10-27 2015-05-05 Taiwan Semiconductor Manufacturing Company, Ltd. Refractive index tuning of wafer level package LEDs
US9648673B2 (en) 2010-11-05 2017-05-09 Cree, Inc. Lighting device with spatially segregated primary and secondary emitters
WO2012064227A1 (ru) * 2010-11-08 2012-05-18 Krasnov Avgust Светодиод-лампа (далее по тексту сдл), светодиод с нормированной яркостью, мощный чип для свето диода.
WO2012070565A1 (ja) * 2010-11-22 2012-05-31 宇部マテリアルズ株式会社 高い発光特性と耐湿性とを示すケイ酸塩蛍光体及び発光装置
DE102010055265A1 (de) 2010-12-20 2012-06-21 Osram Opto Semiconductors Gmbh Optoelektronisches Halbleiterbauteil
JP2014503117A (ja) * 2010-12-29 2014-02-06 スリーエム イノベイティブ プロパティズ カンパニー 広帯域出力及び制御可能な色を有する遠隔蛍光体ledデバイス
KR101719636B1 (ko) 2011-01-28 2017-04-05 삼성전자 주식회사 반도체 장치 및 그 제조 방법
US9786811B2 (en) 2011-02-04 2017-10-10 Cree, Inc. Tilted emission LED array
CN102130282A (zh) * 2011-02-12 2011-07-20 西安神光安瑞光电科技有限公司 白光led封装结构及封装方法
US11251164B2 (en) 2011-02-16 2022-02-15 Creeled, Inc. Multi-layer conversion material for down conversion in solid state lighting
WO2012125585A1 (en) 2011-03-11 2012-09-20 Intematix Corporation Millisecond decay phosphors for ac led lighting applications
CN102683543B (zh) * 2011-03-15 2015-08-12 展晶科技(深圳)有限公司 Led封装结构
CN103221510B (zh) 2011-03-18 2014-12-10 默克专利有限公司 硅酸盐无机发光材料
DE102011016567B4 (de) 2011-04-08 2023-05-11 OSRAM Opto Semiconductors Gesellschaft mit beschränkter Haftung Verfahren zum Herstellen eines optoelektronischen Bauelements und derart hergestelltes Bauelement
US8596815B2 (en) 2011-04-15 2013-12-03 Dicon Fiberoptics Inc. Multiple wavelength LED array illuminator for fluorescence microscopy
US8979316B2 (en) 2011-05-11 2015-03-17 Dicon Fiberoptics Inc. Zoom spotlight using LED array
US8513900B2 (en) 2011-05-12 2013-08-20 Ledengin, Inc. Apparatus for tuning of emitter with multiple LEDs to a single color bin
KR101793518B1 (ko) * 2011-05-19 2017-11-03 삼성전자주식회사 적색 형광체 및 이를 포함하는 발광장치
US8986842B2 (en) 2011-05-24 2015-03-24 Ecole Polytechnique Federale De Lausanne (Epfl) Color conversion films comprising polymer-substituted organic fluorescent dyes
JP5863291B2 (ja) * 2011-06-28 2016-02-16 株式会社小糸製作所 平面発光モジュール
JP5772292B2 (ja) * 2011-06-28 2015-09-02 セイコーエプソン株式会社 生体センサーおよび生体情報検出装置
TWM418399U (en) * 2011-07-04 2011-12-11 Azurewave Technologies Inc Upright Stacked Light-emitting 2 LED structure
USD700584S1 (en) 2011-07-06 2014-03-04 Cree, Inc. LED component
US10842016B2 (en) 2011-07-06 2020-11-17 Cree, Inc. Compact optically efficient solid state light source with integrated thermal management
DE102011107893A1 (de) * 2011-07-18 2013-01-24 Heraeus Noblelight Gmbh Optoelektronisches Modul mit verbesserter Optik
US10490712B2 (en) 2011-07-21 2019-11-26 Cree, Inc. Light emitter device packages, components, and methods for improved chemical resistance and related methods
US10686107B2 (en) 2011-07-21 2020-06-16 Cree, Inc. Light emitter devices and components with improved chemical resistance and related methods
US10211380B2 (en) 2011-07-21 2019-02-19 Cree, Inc. Light emitting devices and components having improved chemical resistance and related methods
KR101772588B1 (ko) * 2011-08-22 2017-09-13 한국전자통신연구원 클리어 컴파운드 에폭시로 몰딩한 mit 소자 및 그것을 포함하는 화재 감지 장치
JP5634352B2 (ja) 2011-08-24 2014-12-03 株式会社東芝 蛍光体、発光装置および蛍光体の製造方法
US8410508B1 (en) * 2011-09-12 2013-04-02 SemiLEDs Optoelectronics Co., Ltd. Light emitting diode (LED) package having wavelength conversion member and wafer level fabrication method
CN103000794B (zh) * 2011-09-14 2015-06-10 展晶科技(深圳)有限公司 Led封装结构
JP5533827B2 (ja) * 2011-09-20 2014-06-25 豊田合成株式会社 線状光源装置
CN103797593B (zh) 2011-10-11 2015-11-25 松下知识产权经营株式会社 发光装置及使用它的照明装置
US20140347601A1 (en) * 2011-10-28 2014-11-27 Gary Gibson Luminescent layer with up-converting luminophores
US8591072B2 (en) 2011-11-16 2013-11-26 Oree, Inc. Illumination apparatus confining light by total internal reflection and methods of forming the same
JP2013110154A (ja) * 2011-11-17 2013-06-06 Sanken Electric Co Ltd 発光装置
KR101323246B1 (ko) * 2011-11-21 2013-10-30 헤레우스 머티어리얼즈 테크놀로지 게엠베하 운트 코 카게 반도체 소자용 본딩 와이어, 그 제조방법, 반도체 소자용 본딩 와이어를 포함하는 발광다이오드 패키지
CN106931333B (zh) 2011-11-23 2020-11-27 夸克星有限责任公司 发光装置
KR101894040B1 (ko) * 2011-12-06 2018-10-05 서울반도체 주식회사 엘이디 조명장치
US9496466B2 (en) 2011-12-06 2016-11-15 Cree, Inc. Light emitter devices and methods, utilizing light emitting diodes (LEDs), for improved light extraction
RU2503884C2 (ru) * 2011-12-15 2014-01-10 Общество с ограниченной ответственностью "ДиС ПЛЮС" Система стационарного освещения и светоизлучающее устройство для этой системы
RU2502917C2 (ru) * 2011-12-30 2013-12-27 Закрытое Акционерное Общество "Научно-Производственная Коммерческая Фирма "Элтан Лтд" Светодиодный источник белого света с комбинированным удаленным фотолюминесцентным конвертером
US20130178001A1 (en) * 2012-01-06 2013-07-11 Wen-Lung Chin Method for Making LED LAMP
WO2013112542A1 (en) * 2012-01-25 2013-08-01 Intematix Corporation Long decay phosphors for lighting applications
EP2620691B1 (en) * 2012-01-26 2015-07-08 Panasonic Corporation Lighting device
CN103242839B (zh) * 2012-02-08 2015-06-10 威士玻尔光电(苏州)有限公司 蓝光激发黄绿色铝酸盐荧光粉生产方法
US9240530B2 (en) * 2012-02-13 2016-01-19 Cree, Inc. Light emitter devices having improved chemical and physical resistance and related methods
US9343441B2 (en) 2012-02-13 2016-05-17 Cree, Inc. Light emitter devices having improved light output and related methods
US11032884B2 (en) 2012-03-02 2021-06-08 Ledengin, Inc. Method for making tunable multi-led emitter module
EP2823017B1 (en) 2012-03-06 2017-04-19 Nitto Denko Corporation Ceramic body for light emitting devices
US9897284B2 (en) 2012-03-28 2018-02-20 Ledengin, Inc. LED-based MR16 replacement lamp
US10043952B2 (en) 2012-03-30 2018-08-07 Lumileds Llc Light emitting device with wavelength converting side coat
US9500355B2 (en) 2012-05-04 2016-11-22 GE Lighting Solutions, LLC Lamp with light emitting elements surrounding active cooling device
CN104781369B (zh) * 2012-05-22 2017-07-07 皇家飞利浦有限公司 用于固态照明的诸如新窄带红色发射磷光体的新磷光体
CN102664230A (zh) * 2012-05-29 2012-09-12 邓崛 Led发光装置及其制造方法
CN103453333A (zh) * 2012-05-30 2013-12-18 致茂电子(苏州)有限公司 具有连续光谱的发光二极管光源
CN103511871A (zh) * 2012-06-29 2014-01-15 展晶科技(深圳)有限公司 发光二极管灯具
WO2014006501A1 (en) 2012-07-03 2014-01-09 Yosi Shani Planar remote phosphor illumination apparatus
CN102757784B (zh) * 2012-07-20 2014-05-07 江苏博睿光电有限公司 一种硅酸盐红色荧光粉及其制备方法
JP5578739B2 (ja) * 2012-07-30 2014-08-27 住友金属鉱山株式会社 アルカリ土類金属シリケート蛍光体及びその製造方法
US9305439B2 (en) * 2012-10-25 2016-04-05 Google Inc. Configurable indicator on computing device
CN103837945A (zh) * 2012-11-28 2014-06-04 浜松光子学株式会社 单芯光收发器
RU2628014C2 (ru) * 2012-12-06 2017-08-17 Евгений Михайлович Силкин Световой прибор
TWI578573B (zh) * 2013-01-28 2017-04-11 宏齊科技股份有限公司 A plurality of blue light emitting diodes in white light
US9133990B2 (en) 2013-01-31 2015-09-15 Dicon Fiberoptics Inc. LED illuminator apparatus, using multiple luminescent materials dispensed onto an array of LEDs, for improved color rendering, color mixing, and color temperature control
US9235039B2 (en) 2013-02-15 2016-01-12 Dicon Fiberoptics Inc. Broad-spectrum illuminator for microscopy applications, using the emissions of luminescent materials
JP2014160772A (ja) * 2013-02-20 2014-09-04 Toshiba Lighting & Technology Corp 発光装置および照明装置
US9234801B2 (en) 2013-03-15 2016-01-12 Ledengin, Inc. Manufacturing method for LED emitter with high color consistency
CN103203470B (zh) * 2013-05-13 2015-04-01 兰州理工大学 镍基荧光粒子功能指示复合涂层及其制备方法
WO2014184992A1 (ja) * 2013-05-14 2014-11-20 パナソニックIpマネジメント株式会社 蛍光体および当該蛍光体を用いた発光装置、ならびに当該発光装置を備える投影装置および車両
KR102096053B1 (ko) * 2013-07-25 2020-04-02 삼성디스플레이 주식회사 유기발광표시장치의 제조방법
JP6368357B2 (ja) * 2013-09-26 2018-08-01 コーニンクレッカ フィリップス エヌ ヴェKoninklijke Philips N.V. 固体照明用のニトリドアルモシリケート蛍光体
JP6323020B2 (ja) * 2014-01-20 2018-05-16 セイコーエプソン株式会社 光源装置およびプロジェクター
US9406654B2 (en) 2014-01-27 2016-08-02 Ledengin, Inc. Package for high-power LED devices
KR20150122360A (ko) * 2014-04-23 2015-11-02 (주)라이타이저코리아 발광 소자 패키지 및 그의 제조 방법
US9601670B2 (en) 2014-07-11 2017-03-21 Cree, Inc. Method to form primary optic with variable shapes and/or geometries without a substrate
US10622522B2 (en) 2014-09-05 2020-04-14 Theodore Lowes LED packages with chips having insulated surfaces
WO2016037773A2 (en) * 2014-09-11 2016-03-17 Philips Lighting Holding B.V. Pc-led module with enhanced white rendering and conversion efficiency.
WO2016086180A1 (en) 2014-11-26 2016-06-02 Ledengin, Inc. Compact emitter for warm dimming and color tunable lamp
US9530943B2 (en) 2015-02-27 2016-12-27 Ledengin, Inc. LED emitter packages with high CRI
US10658552B2 (en) 2015-03-24 2020-05-19 Koninklijke Philips N.V. Blue emitting phosphor converted LED with blue pigment
DE202015103126U1 (de) * 2015-06-15 2016-09-19 Tridonic Jennersdorf Gmbh LED-Modul
US9735323B2 (en) * 2015-06-30 2017-08-15 Nichia Corporation Light emitting device having a triple phosphor fluorescent member
CN105087003B (zh) * 2015-09-02 2017-05-17 中国科学院长春应用化学研究所 一种橙黄光led荧光粉、其制备方法及其应用
US9478587B1 (en) 2015-12-22 2016-10-25 Dicon Fiberoptics Inc. Multi-layer circuit board for mounting multi-color LED chips into a uniform light emitter
CN108495898B (zh) 2016-01-14 2020-10-27 巴斯夫欧洲公司 具有刚性2,2’-联苯氧基桥接的苝双酰亚胺
RU2639554C2 (ru) * 2016-03-01 2017-12-21 Николай Евгеньевич Староверов Герметичный светодиодный кластер повышенной эффективности (варианты)
CN205944139U (zh) 2016-03-30 2017-02-08 首尔伟傲世有限公司 紫外线发光二极管封装件以及包含此的发光二极管模块
FR3053757B1 (fr) * 2016-07-05 2020-07-17 Valeo Vision Dispositif d'eclairage et/ou de signalisation pour vehicule automobile
DE102016116439A1 (de) * 2016-09-02 2018-03-08 Osram Opto Semiconductors Gmbh Anordnung mit einem Gehäuse mit einem strahlungsemittierenden optoelektronischen Bauelement
CN109803969B (zh) 2016-10-06 2022-08-05 巴斯夫欧洲公司 2-苯基苯氧基取代的苝双酰亚胺化合物及其用途
JP6932910B2 (ja) 2016-10-27 2021-09-08 船井電機株式会社 表示装置
KR101831899B1 (ko) * 2016-11-02 2018-02-26 에스케이씨 주식회사 다층 광학 필름 및 이를 포함하는 표시장치
US10219345B2 (en) 2016-11-10 2019-02-26 Ledengin, Inc. Tunable LED emitter with continuous spectrum
JP6940764B2 (ja) 2017-09-28 2021-09-29 日亜化学工業株式会社 発光装置
CN108063176A (zh) * 2017-10-30 2018-05-22 东莞市豪顺精密科技有限公司 一种蓝光led灯及其制造工艺和应用
JP6645488B2 (ja) * 2017-11-09 2020-02-14 信越半導体株式会社 半導体型蛍光体
KR102428755B1 (ko) * 2017-11-24 2022-08-02 엘지디스플레이 주식회사 파장 변환이 가능한 광섬유 및 이를 사용하는 백라이트 유닛
KR102718070B1 (ko) 2017-12-19 2024-10-17 바스프 에스이 시아노아릴 치환된 벤즈(오티)오크산텐 화합물
CN108198809B (zh) * 2018-01-02 2020-01-07 广东纬达斯电器有限公司 一种led照明装置
US10575374B2 (en) 2018-03-09 2020-02-25 Ledengin, Inc. Package for flip-chip LEDs with close spacing of LED chips
EP3768799B1 (en) 2018-03-20 2022-02-09 Basf Se Yellow light emitting device
US11184967B2 (en) 2018-05-07 2021-11-23 Zane Coleman Angularly varying light emitting device with an imager
US10816939B1 (en) 2018-05-07 2020-10-27 Zane Coleman Method of illuminating an environment using an angularly varying light emitting device and an imager
CN112384593A (zh) 2018-06-22 2021-02-19 巴斯夫欧洲公司 作为用于显示器和照明应用的绿色发射体的光稳定氰基取代硼二吡咯亚甲基染料
KR102372498B1 (ko) * 2018-12-17 2022-03-10 박신애 발광장치를 구비하는 조립식 화장실용 패널
US11313671B2 (en) 2019-05-28 2022-04-26 Mitutoyo Corporation Chromatic confocal range sensing system with enhanced spectrum light source configuration
KR102859701B1 (ko) 2019-06-28 2025-09-15 덴카 주식회사 형광체 플레이트 및 그것을 사용한 발광 장치
US11112555B2 (en) 2019-09-30 2021-09-07 Nichia Corporation Light-emitting module with a plurality of light guide plates and a gap therein
US11561338B2 (en) 2019-09-30 2023-01-24 Nichia Corporation Light-emitting module
US11592166B2 (en) 2020-05-12 2023-02-28 Feit Electric Company, Inc. Light emitting device having improved illumination and manufacturing flexibility
US11876042B2 (en) 2020-08-03 2024-01-16 Feit Electric Company, Inc. Omnidirectional flexible light emitting device
KR102599818B1 (ko) 2022-01-20 2023-11-08 미쯔비시 케미컬 주식회사 형광체, 발광 장치, 조명 장치, 화상 표시 장치 및 차량용 표시등
KR102599819B1 (ko) 2022-01-20 2023-11-08 미쯔비시 케미컬 주식회사 형광체, 발광 장치, 조명 장치, 화상 표시 장치 및 차량용 표시등

Family Cites Families (80)

* Cited by examiner, † Cited by third party
Publication number Priority date Publication date Assignee Title
GB544160A (en) * 1940-08-27 1942-03-31 Gen Electric Co Ltd Improvements in luminescent materials
US3505240A (en) 1966-12-30 1970-04-07 Sylvania Electric Prod Phosphors and their preparation
US4088923A (en) * 1974-03-15 1978-05-09 U.S. Philips Corporation Fluorescent lamp with superimposed luminescent layers
JPS5241484A (en) * 1975-09-25 1977-03-31 Gen Electric Fluorescent lamp structure using two kinds of phospher
JPS5944337B2 (ja) 1978-03-08 1984-10-29 三菱電機株式会社 螢光体
JPS57160381A (en) * 1981-03-25 1982-10-02 Matsushita Electric Ind Co Ltd Speed controlling device of direct current motor
JPS59226088A (ja) 1983-06-07 1984-12-19 Toshiba Corp 緑色発光螢光体
JPS6013882A (ja) 1983-07-05 1985-01-24 Matsushita Electronics Corp 螢光体
US4661419A (en) * 1984-07-31 1987-04-28 Fuji Photo Film Co., Ltd. Phosphor and radiation image storage panel containing the same
JPS6244792A (ja) 1985-08-22 1987-02-26 三菱電機株式会社 Crtデイスプレイ装置
JPS62277488A (ja) 1986-05-27 1987-12-02 Toshiba Corp 緑色発光螢光体
RU2012949C1 (ru) * 1991-04-15 1994-05-15 Куприянов Владимир Дмитриевич Способ изготовления электролюминесцентного знакового индикатора с изменяющимся цветом свечения
US5226053A (en) * 1991-12-27 1993-07-06 At&T Bell Laboratories Light emitting diode
DE69218387T2 (de) 1992-01-07 1997-09-18 Philips Electronics Nv Niederdruckquecksilberentladungslampe
JP3215722B2 (ja) * 1992-08-14 2001-10-09 エヌイーシー三菱電機ビジュアルシステムズ株式会社 計測波形判定方法
US6013199A (en) * 1997-03-04 2000-01-11 Symyx Technologies Phosphor materials
US5670798A (en) * 1995-03-29 1997-09-23 North Carolina State University Integrated heterostructures of Group III-V nitride semiconductor materials including epitaxial ohmic contact non-nitride buffer layer and methods of fabricating same
DE19629920B4 (de) * 1995-08-10 2006-02-02 LumiLeds Lighting, U.S., LLC, San Jose Licht-emittierende Diode mit einem nicht-absorbierenden verteilten Braggreflektor
JP3209096B2 (ja) * 1996-05-21 2001-09-17 豊田合成株式会社 3族窒化物化合物半導体発光素子
JP3164016B2 (ja) * 1996-05-31 2001-05-08 住友電気工業株式会社 発光素子および発光素子用ウエハの製造方法
DE19638667C2 (de) * 1996-09-20 2001-05-17 Osram Opto Semiconductors Gmbh Mischfarbiges Licht abstrahlendes Halbleiterbauelement mit Lumineszenzkonversionselement
CN1534803B (zh) 1996-06-26 2010-05-26 奥斯兰姆奥普托半导体股份有限两合公司 具有发光变换元件的发光半导体器件
TW383508B (en) * 1996-07-29 2000-03-01 Nichia Kagaku Kogyo Kk Light emitting device and display
JPH1056236A (ja) * 1996-08-08 1998-02-24 Toyoda Gosei Co Ltd 3族窒化物半導体レーザ素子
JP3065258B2 (ja) 1996-09-30 2000-07-17 日亜化学工業株式会社 発光装置及びそれを用いた表示装置
JP4024892B2 (ja) * 1996-12-24 2007-12-19 化成オプトニクス株式会社 蓄光性発光素子
JP3706452B2 (ja) * 1996-12-24 2005-10-12 ローム株式会社 半導体発光素子
KR100538313B1 (ko) * 1997-01-09 2005-12-21 니치아 카가쿠 고교 가부시키가이샤 질화물반도체소자
CN1297016C (zh) 1997-01-09 2007-01-24 日亚化学工业株式会社 氮化物半导体元器件
US6274890B1 (en) * 1997-01-15 2001-08-14 Kabushiki Kaisha Toshiba Semiconductor light emitting device and its manufacturing method
WO1998039805A1 (de) 1997-03-03 1998-09-11 Koninklijke Philips Electronics N.V. Weisse lumineszenzdiode
JP3246386B2 (ja) 1997-03-05 2002-01-15 日亜化学工業株式会社 発光ダイオード及び発光ダイオード用の色変換モールド部材
JP3378465B2 (ja) * 1997-05-16 2003-02-17 株式会社東芝 発光装置
US5813753A (en) * 1997-05-27 1998-09-29 Philips Electronics North America Corporation UV/blue led-phosphor device with efficient conversion of UV/blues light to visible light
DE19730006A1 (de) * 1997-07-12 1999-01-14 Walter Dipl Chem Dr Rer N Tews Kompakte Energiesparlampe mit verbesserter Farbwiedergabe
US5847507A (en) 1997-07-14 1998-12-08 Hewlett-Packard Company Fluorescent dye added to epoxy of light emitting diode lens
JP3257455B2 (ja) 1997-07-17 2002-02-18 松下電器産業株式会社 発光装置
US5982092A (en) * 1997-10-06 1999-11-09 Chen; Hsing Light Emitting Diode planar light source with blue light or ultraviolet ray-emitting luminescent crystal with optional UV filter
US6267911B1 (en) * 1997-11-07 2001-07-31 University Of Georgia Research Foundation, Inc. Phosphors with long-persistent green phosphorescence
JP3627478B2 (ja) * 1997-11-25 2005-03-09 松下電工株式会社 光源装置
CN1086727C (zh) * 1998-01-14 2002-06-26 中日合资无锡帕克斯装饰制品有限公司 细颗粒蓄光性荧光粉及其制备方法
JP2924961B1 (ja) 1998-01-16 1999-07-26 サンケン電気株式会社 半導体発光装置及びその製法
JP3612985B2 (ja) * 1998-02-02 2005-01-26 豊田合成株式会社 窒化ガリウム系化合物半導体素子及びその製造方法
US6252254B1 (en) * 1998-02-06 2001-06-26 General Electric Company Light emitting device with phosphor composition
US6255670B1 (en) * 1998-02-06 2001-07-03 General Electric Company Phosphors for light generation from light emitting semiconductors
DE19806213B4 (de) 1998-02-16 2005-12-01 Tews, Walter, Dipl.-Chem. Dr.rer.nat.habil. Kompakte Energiesparlampe
JPH11233832A (ja) 1998-02-17 1999-08-27 Nichia Chem Ind Ltd 発光ダイオードの形成方法
US6501091B1 (en) * 1998-04-01 2002-12-31 Massachusetts Institute Of Technology Quantum dot white and colored light emitting diodes
US6046465A (en) * 1998-04-17 2000-04-04 Hewlett-Packard Company Buried reflectors for light emitters in epitaxial material and method for producing same
JPH11354848A (ja) 1998-06-10 1999-12-24 Matsushita Electron Corp 半導体発光装置
JP2907286B1 (ja) * 1998-06-26 1999-06-21 サンケン電気株式会社 蛍光カバーを有する樹脂封止型半導体発光装置
JP2000029696A (ja) 1998-07-08 2000-01-28 Sony Corp プロセッサおよびパイプライン処理制御方法
JP3486345B2 (ja) * 1998-07-14 2004-01-13 東芝電子エンジニアリング株式会社 半導体発光装置
TW473429B (en) 1998-07-22 2002-01-21 Novartis Ag Method for marking a laminated film material
JP3584163B2 (ja) 1998-07-27 2004-11-04 サンケン電気株式会社 半導体発光装置の製造方法
US5959316A (en) * 1998-09-01 1999-09-28 Hewlett-Packard Company Multiple encapsulation of phosphor-LED devices
ES2299260T5 (es) * 1998-09-28 2011-12-20 Koninklijke Philips Electronics N.V. Sistema de iluminación.
US6153894A (en) * 1998-11-12 2000-11-28 Showa Denko Kabushiki Kaisha Group-III nitride semiconductor light-emitting device
JP2000150966A (ja) 1998-11-16 2000-05-30 Matsushita Electronics Industry Corp 半導体発光装置及びその製造方法
US6429583B1 (en) 1998-11-30 2002-08-06 General Electric Company Light emitting device with ba2mgsi2o7:eu2+, ba2sio4:eu2+, or (srxcay ba1-x-y)(a1zga1-z)2sr:eu2+phosphors
JP3708730B2 (ja) * 1998-12-01 2005-10-19 三菱電線工業株式会社 発光装置
US6656608B1 (en) * 1998-12-25 2003-12-02 Konica Corporation Electroluminescent material, electroluminescent element and color conversion filter
JP2000208822A (ja) * 1999-01-11 2000-07-28 Matsushita Electronics Industry Corp 半導体発光装置
JP3641963B2 (ja) * 1999-02-15 2005-04-27 双葉電子工業株式会社 有機el素子とその製造方法
US6351069B1 (en) * 1999-02-18 2002-02-26 Lumileds Lighting, U.S., Llc Red-deficiency-compensating phosphor LED
JP2000248280A (ja) 1999-02-26 2000-09-12 Yoshitaka Tateiwa 粗骨材の製造に関する土壌改良材及び製造する方法
JP3349111B2 (ja) 1999-03-15 2002-11-20 株式会社シチズン電子 表面実装型発光ダイオード及びその製造方法
EP1167872A4 (en) 1999-03-29 2002-07-31 Rohm Co Ltd PLANE LIGHT SOURCE
JP2000284280A (ja) 1999-03-29 2000-10-13 Rohm Co Ltd 面状光源
JP2000349345A (ja) 1999-06-04 2000-12-15 Matsushita Electronics Industry Corp 半導体発光装置
JP2000345152A (ja) * 1999-06-07 2000-12-12 Nichia Chem Ind Ltd 黄色発光残光性フォトルミネッセンス蛍光体
JP3337000B2 (ja) 1999-06-07 2002-10-21 サンケン電気株式会社 半導体発光装置
US6696703B2 (en) * 1999-09-27 2004-02-24 Lumileds Lighting U.S., Llc Thin film phosphor-converted light emitting diode device
EP1104799A1 (en) * 1999-11-30 2001-06-06 Patent-Treuhand-Gesellschaft für elektrische Glühlampen mbH Red emitting luminescent material
JP2001217461A (ja) * 2000-02-04 2001-08-10 Matsushita Electric Ind Co Ltd 複合発光素子
US6621211B1 (en) 2000-05-15 2003-09-16 General Electric Company White light emitting phosphor blends for LED devices
US6577073B2 (en) * 2000-05-31 2003-06-10 Matsushita Electric Industrial Co., Ltd. Led lamp
DE10036940A1 (de) 2000-07-28 2002-02-07 Patent Treuhand Ges Fuer Elektrische Gluehlampen Mbh Lumineszenz-Konversions-LED
AT410266B (de) 2000-12-28 2003-03-25 Tridonic Optoelectronics Gmbh Lichtquelle mit einem lichtemittierenden element
JP2003282744A (ja) * 2002-03-22 2003-10-03 Seiko Epson Corp 不揮発性記憶装置

Also Published As

Publication number Publication date
EP1352431B1 (de) 2010-04-21
EP2357678A1 (de) 2011-08-17
US20050082574A1 (en) 2005-04-21
EP1352431A1 (de) 2003-10-15
US20040051111A1 (en) 2004-03-18
ES2437131T3 (es) 2014-01-09
US7138660B2 (en) 2006-11-21
KR100715579B1 (ko) 2007-05-09
KR20070118196A (ko) 2007-12-13
KR20030091951A (ko) 2003-12-03
US20050077532A1 (en) 2005-04-14
US20060267031A1 (en) 2006-11-30
JPWO2002054503A1 (ja) 2004-05-13
ATA21542000A (de) 2002-07-15
ES2345534T3 (es) 2010-09-27
RU2251761C2 (ru) 2005-05-10
JP4048116B2 (ja) 2008-02-13
CN1502137A (zh) 2004-06-02
EP2211392A1 (de) 2010-07-28
US7259396B2 (en) 2007-08-21
DE20122878U1 (de) 2010-04-08
EP2357678B1 (de) 2013-08-28
CN1763982B (zh) 2011-07-20
JP2004516688A (ja) 2004-06-03
ES2345534T5 (es) 2020-04-08
CN1483224A (zh) 2004-03-17
KR20030074641A (ko) 2003-09-19
US6943380B2 (en) 2005-09-13
JP4583348B2 (ja) 2010-11-17
RU2003123094A (ru) 2005-02-20
EP1352431B2 (de) 2019-08-07
CN1941441A (zh) 2007-04-04
EP2544247A2 (de) 2013-01-09
JP4783306B2 (ja) 2011-09-28
DE20122947U1 (de) 2011-08-05
EP2006924B1 (de) 2014-01-22
JP4045189B2 (ja) 2008-02-13
KR20050093870A (ko) 2005-09-23
CN1763982A (zh) 2006-04-26
KR100849766B1 (ko) 2008-07-31
ATE465518T1 (de) 2010-05-15
JP2007189239A (ja) 2007-07-26
WO2002054503A1 (en) 2002-07-11
US20070090383A1 (en) 2007-04-26
CN1941441B (zh) 2010-11-03
EP2006924A1 (de) 2008-12-24
KR20050093871A (ko) 2005-09-23
DE50115448D1 (de) 2010-06-02
EP1347517A1 (en) 2003-09-24
JP2006319371A (ja) 2006-11-24
US20040090174A1 (en) 2004-05-13
US20050162069A1 (en) 2005-07-28
KR100532638B1 (ko) 2005-12-01
US7187011B2 (en) 2007-03-06
TW533604B (en) 2003-05-21
AT410266B (de) 2003-03-25
KR20070013339A (ko) 2007-01-30
EP2544247B1 (de) 2014-06-25
CN1268009C (zh) 2006-08-02
US7679101B2 (en) 2010-03-16
US6809347B2 (en) 2004-10-26
KR100715580B1 (ko) 2007-05-09
US7157746B2 (en) 2007-01-02
TWI297723B (en) 2008-06-11
DE20122946U1 (de) 2011-08-05
EP2211392B1 (de) 2013-01-09
US20100155761A1 (en) 2010-06-24
EP2544247A3 (de) 2013-02-06
KR100867788B1 (ko) 2008-11-10
JP2011105951A (ja) 2011-06-02
JP5519552B2 (ja) 2014-06-11
EP1347517A4 (en) 2009-01-14
WO2002054502A1 (de) 2002-07-11

Similar Documents

Publication Publication Date Title
CN1291503C (zh) 发光装置
KR100645403B1 (ko) 백색 발광 장치
CN104040739B (zh) 发光装置
CN1675781A (zh) 饱和型磷光体固态发射器
CN1497742A (zh) Led器件
US20160109096A1 (en) Light emitting device package and lighting device having the same
CN1893136A (zh) 发光半导体器件和含有该发光半导体器件的装置
US8017961B2 (en) Light emitting device and phosphor of alkaline earth sulfide therefor
KR20120066972A (ko) 발광 디바이스
KR100707871B1 (ko) 조명용 백색 발광장치
HK1022564A1 (zh) 发光半导体器件、全色发光二极管显示装置及其应用
HK1022564B (zh) 发光半导体器件、全色发光二极管显示装置及其应用

Legal Events

Date Code Title Description
C06 Publication
PB01 Publication
C10 Entry into substantive examination
SE01 Entry into force of request for substantive examination
C14 Grant of patent or utility model
GR01 Patent grant
EE01 Entry into force of recordation of patent licensing contract

Application publication date: 20040602

Assignee: TOYOTA synthetic photoelectric Trading (Shanghai) Co., Ltd.

Assignor: Toyoda Gosei Co., Ltd.

Contract record no.: 2013990000724

Denomination of invention: White light illuminating device

Granted publication date: 20061220

License type: Common License

Record date: 20131029

LICC Enforcement, change and cancellation of record of contracts on the licence for exploitation of a patent or utility model
EE01 Entry into force of recordation of patent licensing contract

Application publication date: 20040602

Assignee: Shenzhen City Jufei Optoelectronic Co., Ltd.

Assignor: TOYOTA synthetic photoelectric Trading (Shanghai) Co., Ltd.

Contract record no.: 2015990000257

Denomination of invention: White light illuminating device

Granted publication date: 20061220

License type: Common License

Record date: 20150429

LICC Enforcement, change and cancellation of record of contracts on the licence for exploitation of a patent or utility model
EE01 Entry into force of recordation of patent licensing contract

Application publication date: 20040602

Assignee: Zhuhai grand optical illumination equipment Co., Ltd

Assignor: TOYOTA synthetic photoelectric Trading (Shanghai) Co., Ltd.

Contract record no.: 2016990000495

Denomination of invention: White light illuminating device

Granted publication date: 20061220

License type: Common License

Record date: 20161202

LICC Enforcement, change and cancellation of record of contracts on the licence for exploitation of a patent or utility model
CX01 Expiry of patent term

Granted publication date: 20061220

CX01 Expiry of patent term