KR20180021839A - 송신 매체상에 비기본파 모드를 유도하기 위한 방법들 및 장치 - Google Patents

송신 매체상에 비기본파 모드를 유도하기 위한 방법들 및 장치 Download PDF

Info

Publication number
KR20180021839A
KR20180021839A KR1020187002314A KR20187002314A KR20180021839A KR 20180021839 A KR20180021839 A KR 20180021839A KR 1020187002314 A KR1020187002314 A KR 1020187002314A KR 20187002314 A KR20187002314 A KR 20187002314A KR 20180021839 A KR20180021839 A KR 20180021839A
Authority
KR
South Korea
Prior art keywords
electromagnetic waves
waveguide
wave
transmission medium
slots
Prior art date
Legal status (The legal status is an assumption and is not a legal conclusion. Google has not performed a legal analysis and makes no representation as to the accuracy of the status listed.)
Withdrawn
Application number
KR1020187002314A
Other languages
English (en)
Korean (ko)
Inventor
폴 살라 헨리
로버트 베넷
파하드 바르제거
어윈 겔즈버그
도날드 제이. 바르니켈
토마스 엠. 3세 윌리스
에드 건틴
Original Assignee
에이티 앤드 티 인텔렉추얼 프라퍼티 아이, 엘.피.
Priority date (The priority date is an assumption and is not a legal conclusion. Google has not performed a legal analysis and makes no representation as to the accuracy of the date listed.)
Filing date
Publication date
Application filed by 에이티 앤드 티 인텔렉추얼 프라퍼티 아이, 엘.피. filed Critical 에이티 앤드 티 인텔렉추얼 프라퍼티 아이, 엘.피.
Publication of KR20180021839A publication Critical patent/KR20180021839A/ko
Withdrawn legal-status Critical Current

Links

Images

Classifications

    • HELECTRICITY
    • H01ELECTRIC ELEMENTS
    • H01QANTENNAS, i.e. RADIO AERIALS
    • H01Q13/00Waveguide horns or mouths; Slot antennas; Leaky-waveguide antennas; Equivalent structures causing radiation along the transmission path of a guided wave
    • H01Q13/20Non-resonant leaky-waveguide or transmission-line antennas; Equivalent structures causing radiation along the transmission path of a guided wave
    • H01Q13/26Surface waveguide constituted by a single conductor, e.g. strip conductor
    • HELECTRICITY
    • H01ELECTRIC ELEMENTS
    • H01PWAVEGUIDES; RESONATORS, LINES, OR OTHER DEVICES OF THE WAVEGUIDE TYPE
    • H01P1/00Auxiliary devices
    • H01P1/16Auxiliary devices for mode selection, e.g. mode suppression or mode promotion; for mode conversion
    • HELECTRICITY
    • H01ELECTRIC ELEMENTS
    • H01PWAVEGUIDES; RESONATORS, LINES, OR OTHER DEVICES OF THE WAVEGUIDE TYPE
    • H01P3/00Waveguides; Transmission lines of the waveguide type
    • H01P3/02Waveguides; Transmission lines of the waveguide type with two longitudinal conductors
    • H01P3/08Microstrips; Strip lines
    • H01P3/085Triplate lines
    • H01P3/087Suspended triplate lines
    • HELECTRICITY
    • H01ELECTRIC ELEMENTS
    • H01PWAVEGUIDES; RESONATORS, LINES, OR OTHER DEVICES OF THE WAVEGUIDE TYPE
    • H01P3/00Waveguides; Transmission lines of the waveguide type
    • H01P3/10Wire waveguides, i.e. with a single solid longitudinal conductor
    • HELECTRICITY
    • H01ELECTRIC ELEMENTS
    • H01PWAVEGUIDES; RESONATORS, LINES, OR OTHER DEVICES OF THE WAVEGUIDE TYPE
    • H01P3/00Waveguides; Transmission lines of the waveguide type
    • H01P3/12Hollow waveguides
    • HELECTRICITY
    • H01ELECTRIC ELEMENTS
    • H01PWAVEGUIDES; RESONATORS, LINES, OR OTHER DEVICES OF THE WAVEGUIDE TYPE
    • H01P3/00Waveguides; Transmission lines of the waveguide type
    • H01P3/12Hollow waveguides
    • H01P3/122Dielectric loaded (not air)
    • HELECTRICITY
    • H01ELECTRIC ELEMENTS
    • H01PWAVEGUIDES; RESONATORS, LINES, OR OTHER DEVICES OF THE WAVEGUIDE TYPE
    • H01P3/00Waveguides; Transmission lines of the waveguide type
    • H01P3/16Dielectric waveguides, i.e. without a longitudinal conductor
    • HELECTRICITY
    • H01ELECTRIC ELEMENTS
    • H01PWAVEGUIDES; RESONATORS, LINES, OR OTHER DEVICES OF THE WAVEGUIDE TYPE
    • H01P5/00Coupling devices of the waveguide type
    • H01P5/02Coupling devices of the waveguide type with invariable factor of coupling
    • HELECTRICITY
    • H01ELECTRIC ELEMENTS
    • H01PWAVEGUIDES; RESONATORS, LINES, OR OTHER DEVICES OF THE WAVEGUIDE TYPE
    • H01P5/00Coupling devices of the waveguide type
    • H01P5/08Coupling devices of the waveguide type for linking dissimilar lines or devices
    • HELECTRICITY
    • H01ELECTRIC ELEMENTS
    • H01PWAVEGUIDES; RESONATORS, LINES, OR OTHER DEVICES OF THE WAVEGUIDE TYPE
    • H01P5/00Coupling devices of the waveguide type
    • H01P5/08Coupling devices of the waveguide type for linking dissimilar lines or devices
    • H01P5/087Transitions to a dielectric waveguide
    • HELECTRICITY
    • H01ELECTRIC ELEMENTS
    • H01QANTENNAS, i.e. RADIO AERIALS
    • H01Q13/00Waveguide horns or mouths; Slot antennas; Leaky-waveguide antennas; Equivalent structures causing radiation along the transmission path of a guided wave
    • H01Q13/08Radiating ends of two-conductor microwave transmission lines, e.g. of coaxial lines, of microstrip lines
    • HELECTRICITY
    • H01ELECTRIC ELEMENTS
    • H01QANTENNAS, i.e. RADIO AERIALS
    • H01Q13/00Waveguide horns or mouths; Slot antennas; Leaky-waveguide antennas; Equivalent structures causing radiation along the transmission path of a guided wave
    • H01Q13/20Non-resonant leaky-waveguide or transmission-line antennas; Equivalent structures causing radiation along the transmission path of a guided wave
    • HELECTRICITY
    • H01ELECTRIC ELEMENTS
    • H01RELECTRICALLY-CONDUCTIVE CONNECTIONS; STRUCTURAL ASSOCIATIONS OF A PLURALITY OF MUTUALLY-INSULATED ELECTRICAL CONNECTING ELEMENTS; COUPLING DEVICES; CURRENT COLLECTORS
    • H01R3/00Electrically-conductive connections not otherwise provided for
    • HELECTRICITY
    • H04ELECTRIC COMMUNICATION TECHNIQUE
    • H04BTRANSMISSION
    • H04B3/00Line transmission systems
    • H04B3/52Systems for transmission between fixed stations via waveguides
    • HELECTRICITY
    • H04ELECTRIC COMMUNICATION TECHNIQUE
    • H04BTRANSMISSION
    • H04B3/00Line transmission systems
    • H04B3/54Systems for transmission via power distribution lines
    • H04B3/56Circuits for coupling, blocking, or by-passing of signals

Landscapes

  • Engineering & Computer Science (AREA)
  • Computer Networks & Wireless Communication (AREA)
  • Signal Processing (AREA)
  • Near-Field Transmission Systems (AREA)
  • Cable Transmission Systems, Equalization Of Radio And Reduction Of Echo (AREA)
  • Electrotherapy Devices (AREA)
KR1020187002314A 2015-06-25 2016-05-05 송신 매체상에 비기본파 모드를 유도하기 위한 방법들 및 장치 Withdrawn KR20180021839A (ko)

Applications Claiming Priority (3)

Application Number Priority Date Filing Date Title
US14/750,902 2015-06-25
US14/750,902 US9865911B2 (en) 2015-06-25 2015-06-25 Waveguide system for slot radiating first electromagnetic waves that are combined into a non-fundamental wave mode second electromagnetic wave on a transmission medium
PCT/US2016/030964 WO2016209375A1 (en) 2015-06-25 2016-05-05 Methods and apparatus for inducing a non-fundamental wave mode on a transmission medium

Publications (1)

Publication Number Publication Date
KR20180021839A true KR20180021839A (ko) 2018-03-05

Family

ID=56084368

Family Applications (1)

Application Number Title Priority Date Filing Date
KR1020187002314A Withdrawn KR20180021839A (ko) 2015-06-25 2016-05-05 송신 매체상에 비기본파 모드를 유도하기 위한 방법들 및 장치

Country Status (9)

Country Link
US (3) US9865911B2 (enExample)
EP (1) EP3314691B1 (enExample)
JP (1) JP2018524912A (enExample)
KR (1) KR20180021839A (enExample)
CN (1) CN107851869A (enExample)
BR (1) BR112017028005A2 (enExample)
CA (1) CA2990167C (enExample)
MX (1) MX2017016927A (enExample)
WO (1) WO2016209375A1 (enExample)

Cited By (1)

* Cited by examiner, † Cited by third party
Publication number Priority date Publication date Assignee Title
KR20250088891A (ko) * 2023-12-11 2025-06-18 주식회사 유니컨 통신 선로

Families Citing this family (316)

* Cited by examiner, † Cited by third party
Publication number Priority date Publication date Assignee Title
US10009065B2 (en) 2012-12-05 2018-06-26 At&T Intellectual Property I, L.P. Backhaul link for distributed antenna system
US9113347B2 (en) 2012-12-05 2015-08-18 At&T Intellectual Property I, Lp Backhaul link for distributed antenna system
US9999038B2 (en) 2013-05-31 2018-06-12 At&T Intellectual Property I, L.P. Remote distributed antenna system
US9525524B2 (en) 2013-05-31 2016-12-20 At&T Intellectual Property I, L.P. Remote distributed antenna system
US8897697B1 (en) 2013-11-06 2014-11-25 At&T Intellectual Property I, Lp Millimeter-wave surface-wave communications
US9209902B2 (en) 2013-12-10 2015-12-08 At&T Intellectual Property I, L.P. Quasi-optical coupler
US9692101B2 (en) 2014-08-26 2017-06-27 At&T Intellectual Property I, L.P. Guided wave couplers for coupling electromagnetic waves between a waveguide surface and a surface of a wire
US9768833B2 (en) 2014-09-15 2017-09-19 At&T Intellectual Property I, L.P. Method and apparatus for sensing a condition in a transmission medium of electromagnetic waves
US10063280B2 (en) 2014-09-17 2018-08-28 At&T Intellectual Property I, L.P. Monitoring and mitigating conditions in a communication network
US9628854B2 (en) 2014-09-29 2017-04-18 At&T Intellectual Property I, L.P. Method and apparatus for distributing content in a communication network
US9615269B2 (en) 2014-10-02 2017-04-04 At&T Intellectual Property I, L.P. Method and apparatus that provides fault tolerance in a communication network
US9685992B2 (en) 2014-10-03 2017-06-20 At&T Intellectual Property I, L.P. Circuit panel network and methods thereof
US9503189B2 (en) 2014-10-10 2016-11-22 At&T Intellectual Property I, L.P. Method and apparatus for arranging communication sessions in a communication system
US9973299B2 (en) 2014-10-14 2018-05-15 At&T Intellectual Property I, L.P. Method and apparatus for adjusting a mode of communication in a communication network
US9762289B2 (en) 2014-10-14 2017-09-12 At&T Intellectual Property I, L.P. Method and apparatus for transmitting or receiving signals in a transportation system
US9577306B2 (en) 2014-10-21 2017-02-21 At&T Intellectual Property I, L.P. Guided-wave transmission device and methods for use therewith
US9769020B2 (en) 2014-10-21 2017-09-19 At&T Intellectual Property I, L.P. Method and apparatus for responding to events affecting communications in a communication network
US9627768B2 (en) 2014-10-21 2017-04-18 At&T Intellectual Property I, L.P. Guided-wave transmission device with non-fundamental mode propagation and methods for use therewith
US9312919B1 (en) 2014-10-21 2016-04-12 At&T Intellectual Property I, Lp Transmission device with impairment compensation and methods for use therewith
US9564947B2 (en) 2014-10-21 2017-02-07 At&T Intellectual Property I, L.P. Guided-wave transmission device with diversity and methods for use therewith
US9520945B2 (en) 2014-10-21 2016-12-13 At&T Intellectual Property I, L.P. Apparatus for providing communication services and methods thereof
US9653770B2 (en) 2014-10-21 2017-05-16 At&T Intellectual Property I, L.P. Guided wave coupler, coupling module and methods for use therewith
US9780834B2 (en) 2014-10-21 2017-10-03 At&T Intellectual Property I, L.P. Method and apparatus for transmitting electromagnetic waves
US9654173B2 (en) 2014-11-20 2017-05-16 At&T Intellectual Property I, L.P. Apparatus for powering a communication device and methods thereof
US9954287B2 (en) 2014-11-20 2018-04-24 At&T Intellectual Property I, L.P. Apparatus for converting wireless signals and electromagnetic waves and methods thereof
US9997819B2 (en) 2015-06-09 2018-06-12 At&T Intellectual Property I, L.P. Transmission medium and method for facilitating propagation of electromagnetic waves via a core
US10243784B2 (en) 2014-11-20 2019-03-26 At&T Intellectual Property I, L.P. System for generating topology information and methods thereof
US9742462B2 (en) 2014-12-04 2017-08-22 At&T Intellectual Property I, L.P. Transmission medium and communication interfaces and methods for use therewith
US9461706B1 (en) 2015-07-31 2016-10-04 At&T Intellectual Property I, Lp Method and apparatus for exchanging communication signals
US10411920B2 (en) 2014-11-20 2019-09-10 At&T Intellectual Property I, L.P. Methods and apparatus for inducing electromagnetic waves within pathways of a cable
US10340573B2 (en) 2016-10-26 2019-07-02 At&T Intellectual Property I, L.P. Launcher with cylindrical coupling device and methods for use therewith
US9800327B2 (en) 2014-11-20 2017-10-24 At&T Intellectual Property I, L.P. Apparatus for controlling operations of a communication device and methods thereof
US11025460B2 (en) 2014-11-20 2021-06-01 At&T Intellectual Property I, L.P. Methods and apparatus for accessing interstitial areas of a cable
US10554454B2 (en) 2014-11-20 2020-02-04 At&T Intellectual Property I, L.P. Methods and apparatus for inducing electromagnetic waves in a cable
US10516555B2 (en) 2014-11-20 2019-12-24 At&T Intellectual Property I, L.P. Methods and apparatus for creating interstitial areas in a cable
US10505249B2 (en) 2014-11-20 2019-12-10 At&T Intellectual Property I, L.P. Communication system having a cable with a plurality of stranded uninsulated conductors forming interstitial areas for guiding electromagnetic waves therein and method of use
US9544006B2 (en) 2014-11-20 2017-01-10 At&T Intellectual Property I, L.P. Transmission device with mode division multiplexing and methods for use therewith
US10505250B2 (en) 2014-11-20 2019-12-10 At&T Intellectual Property I, L.P. Communication system having a cable with a plurality of stranded uninsulated conductors forming interstitial areas for propagating guided wave modes therein and methods of use
US10505252B2 (en) 2014-11-20 2019-12-10 At&T Intellectual Property I, L.P. Communication system having a coupler for guiding electromagnetic waves through interstitial areas formed by a plurality of stranded uninsulated conductors and method of use
US10505248B2 (en) 2014-11-20 2019-12-10 At&T Intellectual Property I, L.P. Communication cable having a plurality of uninsulated conductors forming interstitial areas for propagating electromagnetic waves therein and method of use
US10009067B2 (en) 2014-12-04 2018-06-26 At&T Intellectual Property I, L.P. Method and apparatus for configuring a communication interface
US10144036B2 (en) 2015-01-30 2018-12-04 At&T Intellectual Property I, L.P. Method and apparatus for mitigating interference affecting a propagation of electromagnetic waves guided by a transmission medium
US9876570B2 (en) 2015-02-20 2018-01-23 At&T Intellectual Property I, Lp Guided-wave transmission device with non-fundamental mode propagation and methods for use therewith
US9749013B2 (en) 2015-03-17 2017-08-29 At&T Intellectual Property I, L.P. Method and apparatus for reducing attenuation of electromagnetic waves guided by a transmission medium
US10224981B2 (en) 2015-04-24 2019-03-05 At&T Intellectual Property I, Lp Passive electrical coupling device and methods for use therewith
US9705561B2 (en) 2015-04-24 2017-07-11 At&T Intellectual Property I, L.P. Directional coupling device and methods for use therewith
US9948354B2 (en) 2015-04-28 2018-04-17 At&T Intellectual Property I, L.P. Magnetic coupling device with reflective plate and methods for use therewith
US9793954B2 (en) 2015-04-28 2017-10-17 At&T Intellectual Property I, L.P. Magnetic coupling device and methods for use therewith
US10714803B2 (en) 2015-05-14 2020-07-14 At&T Intellectual Property I, L.P. Transmission medium and methods for use therewith
US10276907B2 (en) 2015-05-14 2019-04-30 At&T Intellectual Property I, L.P. Transmission medium and methods for use therewith
US9490869B1 (en) 2015-05-14 2016-11-08 At&T Intellectual Property I, L.P. Transmission medium having multiple cores and methods for use therewith
US9748626B2 (en) 2015-05-14 2017-08-29 At&T Intellectual Property I, L.P. Plurality of cables having different cross-sectional shapes which are bundled together to form a transmission medium
US9871282B2 (en) 2015-05-14 2018-01-16 At&T Intellectual Property I, L.P. At least one transmission medium having a dielectric surface that is covered at least in part by a second dielectric
US10650940B2 (en) 2015-05-15 2020-05-12 At&T Intellectual Property I, L.P. Transmission medium having a conductive material and methods for use therewith
US10679767B2 (en) 2015-05-15 2020-06-09 At&T Intellectual Property I, L.P. Transmission medium having a conductive material and methods for use therewith
US9917341B2 (en) 2015-05-27 2018-03-13 At&T Intellectual Property I, L.P. Apparatus and method for launching electromagnetic waves and for modifying radial dimensions of the propagating electromagnetic waves
US10812174B2 (en) 2015-06-03 2020-10-20 At&T Intellectual Property I, L.P. Client node device and methods for use therewith
US10154493B2 (en) 2015-06-03 2018-12-11 At&T Intellectual Property I, L.P. Network termination and methods for use therewith
US10756805B2 (en) 2015-06-03 2020-08-25 At&T Intellectual Property I, L.P. Client node device with frequency conversion and methods for use therewith
US9912381B2 (en) 2015-06-03 2018-03-06 At&T Intellectual Property I, Lp Network termination and methods for use therewith
US10348391B2 (en) 2015-06-03 2019-07-09 At&T Intellectual Property I, L.P. Client node device with frequency conversion and methods for use therewith
US9866309B2 (en) 2015-06-03 2018-01-09 At&T Intellectual Property I, Lp Host node device and methods for use therewith
US10103801B2 (en) 2015-06-03 2018-10-16 At&T Intellectual Property I, L.P. Host node device and methods for use therewith
US9913139B2 (en) 2015-06-09 2018-03-06 At&T Intellectual Property I, L.P. Signal fingerprinting for authentication of communicating devices
US9608692B2 (en) 2015-06-11 2017-03-28 At&T Intellectual Property I, L.P. Repeater and methods for use therewith
US10142086B2 (en) 2015-06-11 2018-11-27 At&T Intellectual Property I, L.P. Repeater and methods for use therewith
US9820146B2 (en) 2015-06-12 2017-11-14 At&T Intellectual Property I, L.P. Method and apparatus for authentication and identity management of communicating devices
US9667317B2 (en) 2015-06-15 2017-05-30 At&T Intellectual Property I, L.P. Method and apparatus for providing security using network traffic adjustments
GB2539473B (en) * 2015-06-17 2021-11-03 Roke Manor Res Limited A surface wave launcher
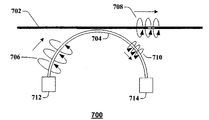
US9640850B2 (en) 2015-06-25 2017-05-02 At&T Intellectual Property I, L.P. Methods and apparatus for inducing a non-fundamental wave mode on a transmission medium
US9509415B1 (en) 2015-06-25 2016-11-29 At&T Intellectual Property I, L.P. Methods and apparatus for inducing a fundamental wave mode on a transmission medium
US9865911B2 (en) 2015-06-25 2018-01-09 At&T Intellectual Property I, L.P. Waveguide system for slot radiating first electromagnetic waves that are combined into a non-fundamental wave mode second electromagnetic wave on a transmission medium
US10742243B2 (en) 2015-07-14 2020-08-11 At&T Intellectual Property I, L.P. Method and apparatus for coupling an antenna to a device
US9628116B2 (en) 2015-07-14 2017-04-18 At&T Intellectual Property I, L.P. Apparatus and methods for transmitting wireless signals
US10148016B2 (en) 2015-07-14 2018-12-04 At&T Intellectual Property I, L.P. Apparatus and methods for communicating utilizing an antenna array
US10170840B2 (en) 2015-07-14 2019-01-01 At&T Intellectual Property I, L.P. Apparatus and methods for sending or receiving electromagnetic signals
US10033108B2 (en) 2015-07-14 2018-07-24 At&T Intellectual Property I, L.P. Apparatus and methods for generating an electromagnetic wave having a wave mode that mitigates interference
US10320586B2 (en) 2015-07-14 2019-06-11 At&T Intellectual Property I, L.P. Apparatus and methods for generating non-interfering electromagnetic waves on an insulated transmission medium
US10033107B2 (en) 2015-07-14 2018-07-24 At&T Intellectual Property I, L.P. Method and apparatus for coupling an antenna to a device
US9722318B2 (en) 2015-07-14 2017-08-01 At&T Intellectual Property I, L.P. Method and apparatus for coupling an antenna to a device
US10205655B2 (en) 2015-07-14 2019-02-12 At&T Intellectual Property I, L.P. Apparatus and methods for communicating utilizing an antenna array and multiple communication paths
US10790593B2 (en) 2015-07-14 2020-09-29 At&T Intellectual Property I, L.P. Method and apparatus including an antenna comprising a lens and a body coupled to a feedline having a structure that reduces reflections of electromagnetic waves
US9847566B2 (en) 2015-07-14 2017-12-19 At&T Intellectual Property I, L.P. Method and apparatus for adjusting a field of a signal to mitigate interference
US10511346B2 (en) 2015-07-14 2019-12-17 At&T Intellectual Property I, L.P. Apparatus and methods for inducing electromagnetic waves on an uninsulated conductor
US9882257B2 (en) 2015-07-14 2018-01-30 At&T Intellectual Property I, L.P. Method and apparatus for launching a wave mode that mitigates interference
US10439290B2 (en) 2015-07-14 2019-10-08 At&T Intellectual Property I, L.P. Apparatus and methods for wireless communications
US10129057B2 (en) 2015-07-14 2018-11-13 At&T Intellectual Property I, L.P. Apparatus and methods for inducing electromagnetic waves on a cable
US10341142B2 (en) 2015-07-14 2019-07-02 At&T Intellectual Property I, L.P. Apparatus and methods for generating non-interfering electromagnetic waves on an uninsulated conductor
US10044409B2 (en) 2015-07-14 2018-08-07 At&T Intellectual Property I, L.P. Transmission medium and methods for use therewith
US9853342B2 (en) 2015-07-14 2017-12-26 At&T Intellectual Property I, L.P. Dielectric transmission medium connector and methods for use therewith
US10090606B2 (en) 2015-07-15 2018-10-02 At&T Intellectual Property I, L.P. Antenna system with dielectric array and methods for use therewith
US9608740B2 (en) 2015-07-15 2017-03-28 At&T Intellectual Property I, L.P. Method and apparatus for launching a wave mode that mitigates interference
US9871283B2 (en) 2015-07-23 2018-01-16 At&T Intellectual Property I, Lp Transmission medium having a dielectric core comprised of plural members connected by a ball and socket configuration
US10784670B2 (en) 2015-07-23 2020-09-22 At&T Intellectual Property I, L.P. Antenna support for aligning an antenna
US9749053B2 (en) 2015-07-23 2017-08-29 At&T Intellectual Property I, L.P. Node device, repeater and methods for use therewith
US9948333B2 (en) 2015-07-23 2018-04-17 At&T Intellectual Property I, L.P. Method and apparatus for wireless communications to mitigate interference
US9912027B2 (en) 2015-07-23 2018-03-06 At&T Intellectual Property I, L.P. Method and apparatus for exchanging communication signals
US9967173B2 (en) 2015-07-31 2018-05-08 At&T Intellectual Property I, L.P. Method and apparatus for authentication and identity management of communicating devices
US9735833B2 (en) 2015-07-31 2017-08-15 At&T Intellectual Property I, L.P. Method and apparatus for communications management in a neighborhood network
US10020587B2 (en) 2015-07-31 2018-07-10 At&T Intellectual Property I, L.P. Radial antenna and methods for use therewith
US9904535B2 (en) 2015-09-14 2018-02-27 At&T Intellectual Property I, L.P. Method and apparatus for distributing software
US10136434B2 (en) 2015-09-16 2018-11-20 At&T Intellectual Property I, L.P. Method and apparatus for use with a radio distributed antenna system having an ultra-wideband control channel
US10051629B2 (en) 2015-09-16 2018-08-14 At&T Intellectual Property I, L.P. Method and apparatus for use with a radio distributed antenna system having an in-band reference signal
US10079661B2 (en) 2015-09-16 2018-09-18 At&T Intellectual Property I, L.P. Method and apparatus for use with a radio distributed antenna system having a clock reference
US10009901B2 (en) 2015-09-16 2018-06-26 At&T Intellectual Property I, L.P. Method, apparatus, and computer-readable storage medium for managing utilization of wireless resources between base stations
US10009063B2 (en) 2015-09-16 2018-06-26 At&T Intellectual Property I, L.P. Method and apparatus for use with a radio distributed antenna system having an out-of-band reference signal
US9769128B2 (en) 2015-09-28 2017-09-19 At&T Intellectual Property I, L.P. Method and apparatus for encryption of communications over a network
US9729197B2 (en) 2015-10-01 2017-08-08 At&T Intellectual Property I, L.P. Method and apparatus for communicating network management traffic over a network
US9882277B2 (en) 2015-10-02 2018-01-30 At&T Intellectual Property I, Lp Communication device and antenna assembly with actuated gimbal mount
US9876264B2 (en) 2015-10-02 2018-01-23 At&T Intellectual Property I, Lp Communication system, guided wave switch and methods for use therewith
US10665942B2 (en) 2015-10-16 2020-05-26 At&T Intellectual Property I, L.P. Method and apparatus for adjusting wireless communications
US10051483B2 (en) 2015-10-16 2018-08-14 At&T Intellectual Property I, L.P. Method and apparatus for directing wireless signals
US10355367B2 (en) 2015-10-16 2019-07-16 At&T Intellectual Property I, L.P. Antenna structure for exchanging wireless signals
CN107003667A (zh) * 2015-11-23 2017-08-01 深圳市大疆创新科技有限公司 数据传输方法及相关装置
US9912419B1 (en) 2016-08-24 2018-03-06 At&T Intellectual Property I, L.P. Method and apparatus for managing a fault in a distributed antenna system
US9860075B1 (en) 2016-08-26 2018-01-02 At&T Intellectual Property I, L.P. Method and communication node for broadband distribution
US10291311B2 (en) 2016-09-09 2019-05-14 At&T Intellectual Property I, L.P. Method and apparatus for mitigating a fault in a distributed antenna system
US11032819B2 (en) 2016-09-15 2021-06-08 At&T Intellectual Property I, L.P. Method and apparatus for use with a radio distributed antenna system having a control channel reference signal
US10135147B2 (en) 2016-10-18 2018-11-20 At&T Intellectual Property I, L.P. Apparatus and methods for launching guided waves via an antenna
US10135146B2 (en) 2016-10-18 2018-11-20 At&T Intellectual Property I, L.P. Apparatus and methods for launching guided waves via circuits
US10340600B2 (en) 2016-10-18 2019-07-02 At&T Intellectual Property I, L.P. Apparatus and methods for launching guided waves via plural waveguide systems
US9876605B1 (en) 2016-10-21 2018-01-23 At&T Intellectual Property I, L.P. Launcher and coupling system to support desired guided wave mode
US9991580B2 (en) 2016-10-21 2018-06-05 At&T Intellectual Property I, L.P. Launcher and coupling system for guided wave mode cancellation
US10811767B2 (en) 2016-10-21 2020-10-20 At&T Intellectual Property I, L.P. System and dielectric antenna with convex dielectric radome
US10374316B2 (en) 2016-10-21 2019-08-06 At&T Intellectual Property I, L.P. System and dielectric antenna with non-uniform dielectric
US10312567B2 (en) 2016-10-26 2019-06-04 At&T Intellectual Property I, L.P. Launcher with planar strip antenna and methods for use therewith
US10225025B2 (en) 2016-11-03 2019-03-05 At&T Intellectual Property I, L.P. Method and apparatus for detecting a fault in a communication system
US10498044B2 (en) 2016-11-03 2019-12-03 At&T Intellectual Property I, L.P. Apparatus for configuring a surface of an antenna
US10224634B2 (en) 2016-11-03 2019-03-05 At&T Intellectual Property I, L.P. Methods and apparatus for adjusting an operational characteristic of an antenna
US10291334B2 (en) 2016-11-03 2019-05-14 At&T Intellectual Property I, L.P. System for detecting a fault in a communication system
US10535928B2 (en) 2016-11-23 2020-01-14 At&T Intellectual Property I, L.P. Antenna system and methods for use therewith
US10090594B2 (en) 2016-11-23 2018-10-02 At&T Intellectual Property I, L.P. Antenna system having structural configurations for assembly
US10340603B2 (en) 2016-11-23 2019-07-02 At&T Intellectual Property I, L.P. Antenna system having shielded structural configurations for assembly
US10340601B2 (en) 2016-11-23 2019-07-02 At&T Intellectual Property I, L.P. Multi-antenna system and methods for use therewith
US10178445B2 (en) 2016-11-23 2019-01-08 At&T Intellectual Property I, L.P. Methods, devices, and systems for load balancing between a plurality of waveguides
US10305190B2 (en) 2016-12-01 2019-05-28 At&T Intellectual Property I, L.P. Reflecting dielectric antenna system and methods for use therewith
US10361489B2 (en) 2016-12-01 2019-07-23 At&T Intellectual Property I, L.P. Dielectric dish antenna system and methods for use therewith
US10326494B2 (en) 2016-12-06 2019-06-18 At&T Intellectual Property I, L.P. Apparatus for measurement de-embedding and methods for use therewith
US10439675B2 (en) 2016-12-06 2019-10-08 At&T Intellectual Property I, L.P. Method and apparatus for repeating guided wave communication signals
US9927517B1 (en) 2016-12-06 2018-03-27 At&T Intellectual Property I, L.P. Apparatus and methods for sensing rainfall
US10637149B2 (en) 2016-12-06 2020-04-28 At&T Intellectual Property I, L.P. Injection molded dielectric antenna and methods for use therewith
US10694379B2 (en) 2016-12-06 2020-06-23 At&T Intellectual Property I, L.P. Waveguide system with device-based authentication and methods for use therewith
US10819035B2 (en) 2016-12-06 2020-10-27 At&T Intellectual Property I, L.P. Launcher with helical antenna and methods for use therewith
US10382976B2 (en) 2016-12-06 2019-08-13 At&T Intellectual Property I, L.P. Method and apparatus for managing wireless communications based on communication paths and network device positions
US10727599B2 (en) 2016-12-06 2020-07-28 At&T Intellectual Property I, L.P. Launcher with slot antenna and methods for use therewith
US10096883B2 (en) 2016-12-06 2018-10-09 At&T Intellectual Property I, L.P. Methods and apparatus for adjusting a wavelength electromagnetic waves
US10205212B2 (en) 2016-12-06 2019-02-12 At&T Intellectual Property I, L.P. Methods and apparatus for adjusting a phase of electromagnetic waves
US10135145B2 (en) 2016-12-06 2018-11-20 At&T Intellectual Property I, L.P. Apparatus and methods for generating an electromagnetic wave along a transmission medium
US10755542B2 (en) 2016-12-06 2020-08-25 At&T Intellectual Property I, L.P. Method and apparatus for surveillance via guided wave communication
US10020844B2 (en) 2016-12-06 2018-07-10 T&T Intellectual Property I, L.P. Method and apparatus for broadcast communication via guided waves
US10243270B2 (en) 2016-12-07 2019-03-26 At&T Intellectual Property I, L.P. Beam adaptive multi-feed dielectric antenna system and methods for use therewith
US10027397B2 (en) 2016-12-07 2018-07-17 At&T Intellectual Property I, L.P. Distributed antenna system and methods for use therewith
US10168695B2 (en) 2016-12-07 2019-01-01 At&T Intellectual Property I, L.P. Method and apparatus for controlling an unmanned aircraft
US9893795B1 (en) 2016-12-07 2018-02-13 At&T Intellectual Property I, Lp Method and repeater for broadband distribution
US10547348B2 (en) 2016-12-07 2020-01-28 At&T Intellectual Property I, L.P. Method and apparatus for switching transmission mediums in a communication system
US10389029B2 (en) 2016-12-07 2019-08-20 At&T Intellectual Property I, L.P. Multi-feed dielectric antenna system with core selection and methods for use therewith
US10139820B2 (en) 2016-12-07 2018-11-27 At&T Intellectual Property I, L.P. Method and apparatus for deploying equipment of a communication system
US10359749B2 (en) 2016-12-07 2019-07-23 At&T Intellectual Property I, L.P. Method and apparatus for utilities management via guided wave communication
US10446936B2 (en) 2016-12-07 2019-10-15 At&T Intellectual Property I, L.P. Multi-feed dielectric antenna system and methods for use therewith
US9911020B1 (en) 2016-12-08 2018-03-06 At&T Intellectual Property I, L.P. Method and apparatus for tracking via a radio frequency identification device
US10264467B2 (en) 2016-12-08 2019-04-16 At&T Intellectual Property I, L.P. Method and apparatus for collecting data associated with wireless communications
US10069535B2 (en) 2016-12-08 2018-09-04 At&T Intellectual Property I, L.P. Apparatus and methods for launching electromagnetic waves having a certain electric field structure
US10326689B2 (en) 2016-12-08 2019-06-18 At&T Intellectual Property I, L.P. Method and system for providing alternative communication paths
US10027427B2 (en) 2016-12-08 2018-07-17 At&T Intellectual Property I, L.P. Apparatus and methods for measuring signals
US10601494B2 (en) 2016-12-08 2020-03-24 At&T Intellectual Property I, L.P. Dual-band communication device and method for use therewith
US10916969B2 (en) 2016-12-08 2021-02-09 At&T Intellectual Property I, L.P. Method and apparatus for providing power using an inductive coupling
US9998870B1 (en) 2016-12-08 2018-06-12 At&T Intellectual Property I, L.P. Method and apparatus for proximity sensing
US10411356B2 (en) 2016-12-08 2019-09-10 At&T Intellectual Property I, L.P. Apparatus and methods for selectively targeting communication devices with an antenna array
US10103422B2 (en) 2016-12-08 2018-10-16 At&T Intellectual Property I, L.P. Method and apparatus for mounting network devices
US10938108B2 (en) 2016-12-08 2021-03-02 At&T Intellectual Property I, L.P. Frequency selective multi-feed dielectric antenna system and methods for use therewith
US10530505B2 (en) 2016-12-08 2020-01-07 At&T Intellectual Property I, L.P. Apparatus and methods for launching electromagnetic waves along a transmission medium
US10777873B2 (en) 2016-12-08 2020-09-15 At&T Intellectual Property I, L.P. Method and apparatus for mounting network devices
US10389037B2 (en) 2016-12-08 2019-08-20 At&T Intellectual Property I, L.P. Apparatus and methods for selecting sections of an antenna array and use therewith
US10136255B2 (en) 2016-12-08 2018-11-20 At&T Intellectual Property I, L.P. Method and apparatus for proximity sensing on a communication device
US10264586B2 (en) 2016-12-09 2019-04-16 At&T Mobility Ii Llc Cloud-based packet controller and methods for use therewith
US10340983B2 (en) 2016-12-09 2019-07-02 At&T Intellectual Property I, L.P. Method and apparatus for surveying remote sites via guided wave communications
US9838896B1 (en) 2016-12-09 2017-12-05 At&T Intellectual Property I, L.P. Method and apparatus for assessing network coverage
US10110274B2 (en) 2017-01-27 2018-10-23 At&T Intellectual Property I, L.P. Method and apparatus of communication utilizing waveguide and wireless devices
US9973940B1 (en) 2017-02-27 2018-05-15 At&T Intellectual Property I, L.P. Apparatus and methods for dynamic impedance matching of a guided wave launcher
US10298293B2 (en) 2017-03-13 2019-05-21 At&T Intellectual Property I, L.P. Apparatus of communication utilizing wireless network devices
US10097241B1 (en) 2017-04-11 2018-10-09 At&T Intellectual Property I, L.P. Machine assisted development of deployment site inventory
US10523388B2 (en) 2017-04-17 2019-12-31 At&T Intellectual Property I, L.P. Method and apparatus for use with a radio distributed antenna having a fiber optic link
US10419072B2 (en) 2017-05-11 2019-09-17 At&T Intellectual Property I, L.P. Method and apparatus for mounting and coupling radio devices
US10468744B2 (en) 2017-05-11 2019-11-05 At&T Intellectual Property I, L.P. Method and apparatus for assembly and installation of a communication device
US10630341B2 (en) 2017-05-11 2020-04-21 At&T Intellectual Property I, L.P. Method and apparatus for installation and alignment of radio devices
US10389403B2 (en) 2017-07-05 2019-08-20 At&T Intellectual Property I, L.P. Method and apparatus for reducing flow of currents on an outer surface of a structure
US10103777B1 (en) 2017-07-05 2018-10-16 At&T Intellectual Property I, L.P. Method and apparatus for reducing radiation from an external surface of a waveguide structure
US10727583B2 (en) 2017-07-05 2020-07-28 At&T Intellectual Property I, L.P. Method and apparatus for steering radiation on an outer surface of a structure
US10244408B1 (en) 2017-10-19 2019-03-26 At&T Intellectual Property I, L.P. Dual mode communications device with null steering and methods for use therewith
US10714831B2 (en) 2017-10-19 2020-07-14 At&T Intellectual Property I, L.P. Dual mode communications device with remote radio head and methods for use therewith
US10374277B2 (en) 2017-09-05 2019-08-06 At&T Intellectual Property I, L.P. Multi-arm dielectric coupling system and methods for use therewith
US10374278B2 (en) 2017-09-05 2019-08-06 At&T Intellectual Property I, L.P. Dielectric coupling system with mode control and methods for use therewith
US10446899B2 (en) 2017-09-05 2019-10-15 At&T Intellectual Property I, L.P. Flared dielectric coupling system and methods for use therewith
US10051488B1 (en) 2017-10-19 2018-08-14 At&T Intellectual Property I, L.P. Dual mode communications device with remote device feedback and methods for use therewith
US10062970B1 (en) 2017-09-05 2018-08-28 At&T Intellectual Property I, L.P. Dual mode communications device and methods for use therewith
US10305197B2 (en) 2017-09-06 2019-05-28 At&T Intellectual Property I, L.P. Multimode antenna system and methods for use therewith
US10673116B2 (en) 2017-09-06 2020-06-02 At&T Intellectual Property I, L.P. Method and apparatus for coupling an electromagnetic wave to a transmission medium
US10608312B2 (en) 2017-09-06 2020-03-31 At&T Intellectual Property I, L.P. Method and apparatus for generating an electromagnetic wave that couples onto a transmission medium
US10291286B2 (en) 2017-09-06 2019-05-14 At&T Intellectual Property I, L.P. Method and apparatus for guiding an electromagnetic wave to a transmission medium
US10205231B1 (en) 2017-09-06 2019-02-12 At&T Intellectual Property I, L.P. Antenna structure with hollow-boresight antenna beam
US10305179B2 (en) 2017-09-06 2019-05-28 At&T Intellectual Property I, L.P. Antenna structure with doped antenna body
US10230426B1 (en) 2017-09-06 2019-03-12 At&T Intellectual Property I, L.P. Antenna structure with circularly polarized antenna beam
US10469228B2 (en) 2017-09-12 2019-11-05 At&T Intellectual Property I, L.P. Apparatus and methods for exchanging communications signals
US10498589B2 (en) 2017-10-04 2019-12-03 At&T Intellectual Property I, L.P. Apparatus and methods for mitigating a fault that adversely affects ultra-wideband transmissions
US10764762B2 (en) 2017-10-04 2020-09-01 At&T Intellectual Property I, L.P. Apparatus and methods for distributing a communication signal obtained from ultra-wideband electromagnetic waves
US10123217B1 (en) 2017-10-04 2018-11-06 At&T Intellectual Property I, L.P. Apparatus and methods for communicating with ultra-wideband electromagnetic waves
US9998172B1 (en) 2017-10-04 2018-06-12 At&T Intellectual Property I, L.P. Apparatus and methods for processing ultra-wideband electromagnetic waves
US10454151B2 (en) 2017-10-17 2019-10-22 At&T Intellectual Property I, L.P. Methods and apparatus for coupling an electromagnetic wave onto a transmission medium
US10763916B2 (en) 2017-10-19 2020-09-01 At&T Intellectual Property I, L.P. Dual mode antenna systems and methods for use therewith
US10553959B2 (en) 2017-10-26 2020-02-04 At&T Intellectual Property I, L.P. Antenna system with planar antenna and directors and methods for use therewith
US10553960B2 (en) 2017-10-26 2020-02-04 At&T Intellectual Property I, L.P. Antenna system with planar antenna and methods for use therewith
US10554235B2 (en) 2017-11-06 2020-02-04 At&T Intellectual Property I, L.P. Multi-input multi-output guided wave system and methods for use therewith
US10555318B2 (en) 2017-11-09 2020-02-04 At&T Intellectual Property I, L.P. Guided wave communication system with resource allocation and methods for use therewith
US10003364B1 (en) 2017-11-09 2018-06-19 At&T Intellectual Property I, L.P. Guided wave communication system with interference cancellation and methods for use therewith
US10355745B2 (en) 2017-11-09 2019-07-16 At&T Intellectual Property I, L.P. Guided wave communication system with interference mitigation and methods for use therewith
US10284261B1 (en) 2017-11-15 2019-05-07 At&T Intellectual Property I, L.P. Access point and methods for communicating with guided electromagnetic waves
US10230428B1 (en) 2017-11-15 2019-03-12 At&T Intellectual Property I, L.P. Access point and methods for use in a radio distributed antenna system
US10555249B2 (en) 2017-11-15 2020-02-04 At&T Intellectual Property I, L.P. Access point and methods for communicating resource blocks with guided electromagnetic waves
US10469192B2 (en) 2017-12-01 2019-11-05 At&T Intellectual Property I, L.P. Methods and apparatus for controllable coupling of an electromagnetic wave
US10374281B2 (en) 2017-12-01 2019-08-06 At&T Intellectual Property I, L.P. Apparatus and method for guided wave communications using an absorber
US10389419B2 (en) 2017-12-01 2019-08-20 At&T Intellectual Property I, L.P. Methods and apparatus for generating and receiving electromagnetic waves
US10820329B2 (en) 2017-12-04 2020-10-27 At&T Intellectual Property I, L.P. Guided wave communication system with interference mitigation and methods for use therewith
US10424845B2 (en) 2017-12-06 2019-09-24 At&T Intellectual Property I, L.P. Method and apparatus for communication using variable permittivity polyrod antenna
US10680308B2 (en) 2017-12-07 2020-06-09 At&T Intellectual Property I, L.P. Methods and apparatus for bidirectional exchange of electromagnetic waves
US11018525B2 (en) 2017-12-07 2021-05-25 At&T Intellectual Property 1, L.P. Methods and apparatus for increasing a transfer of energy in an inductive power supply
US10826146B2 (en) 2018-02-09 2020-11-03 Marvell Asia Pte, Ltd. Networking system comprising a waveguide that connects a transmitter to a receiver, where the waveguide includes a guiding array having a periodic array of conductive elements
US10714824B2 (en) 2018-03-26 2020-07-14 At&T Intellectual Property I, L.P. Planar surface wave launcher and methods for use therewith
US10686493B2 (en) 2018-03-26 2020-06-16 At&T Intellectual Property I, L.P. Switching of data channels provided in electromagnetic waves and methods thereof
US10340979B1 (en) 2018-03-26 2019-07-02 At&T Intellectual Property I, L.P. Surface wave communication system and methods for use therewith
US10171158B1 (en) 2018-03-26 2019-01-01 At&T Intellectual Property I, L.P. Analog surface wave repeater pair and methods for use therewith
US10326495B1 (en) 2018-03-26 2019-06-18 At&T Intellectual Property I, L.P. Coaxial surface wave communication system and methods for use therewith
US10200106B1 (en) 2018-03-26 2019-02-05 At&T Intellectual Property I, L.P. Analog surface wave multipoint repeater and methods for use therewith
US10727577B2 (en) 2018-03-29 2020-07-28 At&T Intellectual Property I, L.P. Exchange of wireless signals guided by a transmission medium and methods thereof
US10547545B2 (en) 2018-03-30 2020-01-28 At&T Intellectual Property I, L.P. Method and apparatus for switching of data channels provided in electromagnetic waves
US10581275B2 (en) 2018-03-30 2020-03-03 At&T Intellectual Property I, L.P. Methods and apparatus for regulating a magnetic flux in an inductive power supply
US10879578B2 (en) 2018-04-04 2020-12-29 Marvell Asia Pte, Ltd. MM-wave waveguide with an electrically-insulating core having an electrically-conductive transmission line disposed inside the core
US10419074B1 (en) 2018-05-16 2019-09-17 At&T Intellectual Property I, L.P. Method and apparatus for communications using electromagnetic waves and an insulator
US10804962B2 (en) 2018-07-09 2020-10-13 At&T Intellectual Property I, L.P. Method and apparatus for communications using electromagnetic waves
US10305192B1 (en) 2018-08-13 2019-05-28 At&T Intellectual Property I, L.P. System and method for launching guided electromagnetic waves with impedance matching
US10629995B2 (en) 2018-08-13 2020-04-21 At&T Intellectual Property I, L.P. Guided wave launcher with aperture control and methods for use therewith
US10749570B2 (en) 2018-09-05 2020-08-18 At&T Intellectual Property I, L.P. Surface wave launcher and methods for use therewith
US10784721B2 (en) 2018-09-11 2020-09-22 At&T Intellectual Property I, L.P. Methods and apparatus for coupling and decoupling portions of a magnetic core
US10405199B1 (en) 2018-09-12 2019-09-03 At&T Intellectual Property I, L.P. Apparatus and methods for transmitting or receiving electromagnetic waves
US10778286B2 (en) 2018-09-12 2020-09-15 At&T Intellectual Property I, L.P. Methods and apparatus for transmitting or receiving electromagnetic waves
US10833727B2 (en) 2018-10-02 2020-11-10 At&T Intellectual Property I, L.P. Methods and apparatus for launching or receiving electromagnetic waves
US10587310B1 (en) 2018-10-10 2020-03-10 At&T Intellectual Property I, L.P. Methods and apparatus for selectively controlling energy consumption of a waveguide system
US10693667B2 (en) 2018-10-12 2020-06-23 At&T Intellectual Property I, L.P. Methods and apparatus for exchanging communication signals via a cable of twisted pair wires
US10516197B1 (en) 2018-10-18 2019-12-24 At&T Intellectual Property I, L.P. System and method for launching scattering electromagnetic waves
US10931012B2 (en) 2018-11-14 2021-02-23 At&T Intellectual Property I, L.P. Device with programmable reflector for transmitting or receiving electromagnetic waves
US10505584B1 (en) 2018-11-14 2019-12-10 At&T Intellectual Property I, L.P. Device with resonant cavity for transmitting or receiving electromagnetic waves
US10523269B1 (en) 2018-11-14 2019-12-31 At&T Intellectual Property I, L.P. Device with configurable reflector for transmitting or receiving electromagnetic waves
US10957977B2 (en) 2018-11-14 2021-03-23 At&T Intellectual Property I, L.P. Device with virtual reflector for transmitting or receiving electromagnetic waves
US10686649B2 (en) 2018-11-16 2020-06-16 At&T Intellectual Property I, L.P. Method and apparatus for managing a local area network
US10938104B2 (en) 2018-11-16 2021-03-02 At&T Intellectual Property I, L.P. Method and apparatus for mitigating a change in an orientation of an antenna
US11381441B2 (en) 2018-11-28 2022-07-05 Nxp Usa, Inc. Dispersion compensation in mm-wave communication over plastic waveguide using OFDM
US11082091B2 (en) 2018-11-29 2021-08-03 At&T Intellectual Property I, L.P. Method and apparatus for communication utilizing electromagnetic waves and a power line
US10727955B2 (en) 2018-11-29 2020-07-28 At&T Intellectual Property I, L.P. Method and apparatus for power delivery to waveguide systems
US10812139B2 (en) 2018-11-29 2020-10-20 At&T Intellectual Property I, L.P. Method and apparatus for communication utilizing electromagnetic waves and a telecommunication line
US10371889B1 (en) 2018-11-29 2019-08-06 At&T Intellectual Property I, L.P. Method and apparatus for providing power to waveguide systems
US10965344B2 (en) 2018-11-29 2021-03-30 At&T Intellectual Property 1, L.P. Methods and apparatus for exchanging wireless signals utilizing electromagnetic waves having differing characteristics
US10623033B1 (en) 2018-11-29 2020-04-14 At&T Intellectual Property I, L.P. Methods and apparatus to reduce distortion between electromagnetic wave transmissions
US11283182B2 (en) 2018-12-03 2022-03-22 At&T Intellectual Property I, L.P. Guided wave launcher with lens and methods for use therewith
US10623056B1 (en) 2018-12-03 2020-04-14 At&T Intellectual Property I, L.P. Guided wave splitter and methods for use therewith
US10785125B2 (en) 2018-12-03 2020-09-22 At&T Intellectual Property I, L.P. Method and procedure for generating reputation scores for IoT devices based on distributed analysis
US10978773B2 (en) 2018-12-03 2021-04-13 At&T Intellectual Property I, L.P. Guided wave dielectric coupler having a dielectric cable with an exposed dielectric core position for enabling electromagnetic coupling between the cable and a transmission medium
US11171960B2 (en) 2018-12-03 2021-11-09 At&T Intellectual Property I, L.P. Network security management based on collection and cataloging of network-accessible device information
US10819391B2 (en) 2018-12-03 2020-10-27 At&T Intellectual Property I, L.P. Guided wave launcher with reflector and methods for use therewith
US10623057B1 (en) 2018-12-03 2020-04-14 At&T Intellectual Property I, L.P. Guided wave directional coupler and methods for use therewith
US11362438B2 (en) 2018-12-04 2022-06-14 At&T Intellectual Property I, L.P. Configurable guided wave launcher and methods for use therewith
US11394122B2 (en) 2018-12-04 2022-07-19 At&T Intellectual Property I, L.P. Conical surface wave launcher and methods for use therewith
US11205857B2 (en) 2018-12-04 2021-12-21 At&T Intellectual Property I, L.P. System and method for launching guided electromagnetic waves with channel feedback
US10977932B2 (en) 2018-12-04 2021-04-13 At&T Intellectual Property I, L.P. Method and apparatus for electromagnetic wave communications associated with vehicular traffic
US11121466B2 (en) 2018-12-04 2021-09-14 At&T Intellectual Property I, L.P. Antenna system with dielectric antenna and methods for use therewith
US10581522B1 (en) 2018-12-06 2020-03-03 At&T Intellectual Property I, L.P. Free-space, twisted light optical communication system
US10637535B1 (en) 2018-12-10 2020-04-28 At&T Intellectual Property I, L.P. Methods and apparatus to receive electromagnetic wave transmissions
US10790569B2 (en) 2018-12-12 2020-09-29 At&T Intellectual Property I, L.P. Method and apparatus for mitigating interference in a waveguide communication system
US10666323B1 (en) 2018-12-13 2020-05-26 At&T Intellectual Property I, L.P. Methods and apparatus for monitoring conditions to switch between modes of transmission
US10469156B1 (en) 2018-12-13 2019-11-05 At&T Intellectual Property I, L.P. Methods and apparatus for measuring a signal to switch between modes of transmission
US10812142B2 (en) 2018-12-13 2020-10-20 At&T Intellectual Property I, L.P. Method and apparatus for mitigating thermal stress in a waveguide communication system
US10812143B2 (en) 2018-12-13 2020-10-20 At&T Intellectual Property I, L.P. Surface wave repeater with temperature control and methods for use therewith
EP3935581A4 (en) 2019-03-04 2022-11-30 Iocurrents, Inc. DATA COMPRESSION AND COMMUNICATION USING MACHINE LEARNING
CN111816979B (zh) * 2019-04-10 2021-08-03 华为技术有限公司 表面波激励器和通信系统
US11025299B2 (en) 2019-05-15 2021-06-01 At&T Intellectual Property I, L.P. Methods and apparatus for launching and receiving electromagnetic waves
US10951265B1 (en) 2019-12-02 2021-03-16 At&T Intellectual Property I, L.P. Surface wave repeater with cancellation and methods for use therewith
US10886589B1 (en) 2019-12-02 2021-01-05 At&T Intellectual Property I, L.P. Guided wave coupling system for telephony cable messenger wire and methods for use therewith
US10812136B1 (en) 2019-12-02 2020-10-20 At&T Intellectual Property I, L.P. Surface wave repeater with controllable isolator and methods for use therewith
US11283177B2 (en) 2019-12-02 2022-03-22 At&T Intellectual Property I, L.P. Surface wave transmission device with RF housing and methods for use therewith
US10833730B1 (en) 2019-12-03 2020-11-10 At&T Intellectual Property I, L.P. Method and apparatus for providing power to a waveguide system
US10812144B1 (en) 2019-12-03 2020-10-20 At&T Intellectual Property I, L.P. Surface wave repeater and methods for use therewith
US10930992B1 (en) 2019-12-03 2021-02-23 At&T Intellectual Property I, L.P. Method and apparatus for communicating between waveguide systems
US11387560B2 (en) 2019-12-03 2022-07-12 At&T Intellectual Property I, L.P. Impedance matched launcher with cylindrical coupling device and methods for use therewith
US11502724B2 (en) 2019-12-03 2022-11-15 At&T Intellectual Property I, L.P. Method and apparatus for transitioning between electromagnetic wave modes
US11277159B2 (en) 2019-12-03 2022-03-15 At&T Intellectual Property I, L.P. Method and apparatus for managing propagation delays of electromagnetic waves
US10951266B1 (en) 2019-12-03 2021-03-16 At&T Intellectual Property I, L.P. Guided wave coupling system for telephony cable wrap wire and methods for use therewith
US11070250B2 (en) 2019-12-03 2021-07-20 At&T Intellectual Property I, L.P. Method and apparatus for calibrating waveguide systems to manage propagation delays of electromagnetic waves
US10812291B1 (en) 2019-12-03 2020-10-20 At&T Intellectual Property I, L.P. Method and apparatus for communicating between a waveguide system and a base station device
US11356208B2 (en) 2019-12-04 2022-06-07 At&T Intellectual Property I, L.P. Transmission device with hybrid ARQ and methods for use therewith
US10804959B1 (en) 2019-12-04 2020-10-13 At&T Intellectual Property I, L.P. Transmission device with corona discharge mitigation and methods for use therewith
US11223098B2 (en) 2019-12-04 2022-01-11 At&T Intellectual Property I, L.P. Waveguide system comprising a scattering device for generating a second non-fundamental wave mode from a first non-fundamental wave mode
US10951267B1 (en) 2019-12-04 2021-03-16 At&T Intellectual Property I, L.P. Method and apparatus for adapting a waveguide to properties of a physical transmission medium
US10992343B1 (en) 2019-12-04 2021-04-27 At&T Intellectual Property I, L.P. Guided electromagnetic wave communications via an underground cable
US11031667B1 (en) 2019-12-05 2021-06-08 At&T Intellectual Property I, L.P. Method and apparatus having an adjustable structure positioned along a transmission medium for launching or receiving electromagnetic waves having a desired wavemode
US11063334B2 (en) 2019-12-05 2021-07-13 At&T Intellectual Property I, L.P. Method and apparatus having one or more adjustable structures for launching or receiving electromagnetic waves having a desired wavemode
US11581917B2 (en) 2019-12-05 2023-02-14 At&T Intellectual Property I, L.P. Method and apparatus adapted to a characteristic of an outer surface of a transmission medium for launching or receiving electromagnetic waves
US10812123B1 (en) 2019-12-05 2020-10-20 At&T Intellectual Property I, L.P. Magnetic coupler for launching and receiving electromagnetic waves and methods thereof
US11356143B2 (en) 2019-12-10 2022-06-07 At&T Intellectual Property I, L.P. Waveguide system with power stabilization and methods for use therewith
US11201753B1 (en) 2020-06-12 2021-12-14 At&T Intellectual Property I, L.P. Method and apparatus for managing power being provided to a waveguide system
CN112002965B (zh) * 2020-07-28 2022-02-01 北京邮电大学 一种表面波传输装置
US11171764B1 (en) 2020-08-21 2021-11-09 At&T Intellectual Property I, L.P. Method and apparatus for automatically retransmitting corrupted data
PL3985348T3 (pl) * 2020-10-15 2023-02-27 Instytut Wysokich Ciśnień Polskiej Akademii Nauk Urządzenie i sposób badania grubości ścianki dielektrycznego obiektu rurowego
CN114498041B (zh) * 2020-10-27 2023-09-22 华为技术有限公司 一种传输线组件、天线组件和移动终端
US11569868B2 (en) 2021-03-17 2023-01-31 At&T Intellectual Property I, L.P. Apparatuses and methods for enhancing a reliability of power available to communicaton devices via an insulator
US11671926B2 (en) 2021-03-17 2023-06-06 At&T Intellectual Property I, L.P. Methods and apparatuses for facilitating signaling and power in a communication system
US11456771B1 (en) 2021-03-17 2022-09-27 At&T Intellectual Property I, L.P. Apparatuses and methods for facilitating a conveyance of status in communication systems and networks
US11533079B2 (en) 2021-03-17 2022-12-20 At&T Intellectual Property I, L.P. Methods and apparatuses for facilitating guided wave communications with an enhanced flexibility in parameters
US11664883B2 (en) 2021-04-06 2023-05-30 At&T Intellectual Property I, L.P. Time domain duplexing repeater using envelope detection

Family Cites Families (3124)

* Cited by examiner, † Cited by third party
Publication number Priority date Publication date Assignee Title
US395814A (en) 1889-01-08 Support for aerial electric conductors
US2106770A (en) 1938-02-01 Apparatus and method fob receiving
US529290A (en) 1894-11-13 Sealing-cap for air-brake couplings
GB175489A (en) 1920-12-21 1922-02-23 Alfred Mills Taylor Means for and methods of superposing electric currents of different frequencies uponexisting alternating current systems
US1721785A (en) 1924-11-22 1929-07-23 Meyer Ulfilas Electric conductor with artificially increased self-inductance
US1860123A (en) 1925-12-29 1932-05-24 Rca Corp Variable directional electric wave generating device
US1798613A (en) 1929-05-29 1931-03-31 Hubbard & Company Pole bracket
US2129711A (en) 1933-03-16 1938-09-13 American Telephone & Telegraph Guided transmission of ultra high frequency waves
US2058611A (en) 1934-07-25 1936-10-27 Moloney Electric Company Supporting means for pole type transformers and accessories
BE417436A (enExample) 1935-10-03
US2129714A (en) 1935-10-05 1938-09-13 American Telephone & Telegraph Wave type converter for use with dielectric guides
US2147717A (en) 1935-12-31 1939-02-21 Bell Telephone Labor Inc Guided wave transmission
US2410113A (en) 1936-03-23 1946-10-29 Submarine Signal Co Oscillator
US2187908A (en) 1936-06-15 1940-01-23 Harold J Mccreary Electromagnetic wave transmission
US2199083A (en) 1937-09-04 1940-04-30 Bell Telephone Labor Inc Transmission of guided waves
US2232179A (en) 1938-02-05 1941-02-18 Bell Telephone Labor Inc Transmission of guided waves
US2283935A (en) 1938-04-29 1942-05-26 Bell Telephone Labor Inc Transmission, radiation, and reception of electromagnetic waves
US2207845A (en) 1938-05-28 1940-07-16 Rca Corp Propagation of waves in a wave guide
US2461005A (en) 1940-04-05 1949-02-08 Bell Telephone Labor Inc Ultra high frequency transmission
US2540839A (en) 1940-07-18 1951-02-06 Bell Telephone Labor Inc Wave guide system
US2398095A (en) 1940-08-31 1946-04-09 Rca Corp Electromagnetic horn radiator
US2402622A (en) 1940-11-26 1946-06-25 Univ Leland Stanford Junior Radiating electromagnetic wave guide
NL73349C (enExample) 1941-11-28
US2415807A (en) 1942-01-29 1947-02-18 Sperry Gyroscope Co Inc Directive electromagnetic radiator
US2415089A (en) 1942-05-28 1947-02-04 Bell Telephone Labor Inc Microwave antennas
US2407069A (en) 1942-09-15 1946-09-03 Gen Electric Dielectric wave guide system
US2407068A (en) 1942-09-15 1946-09-03 Gen Electric Wave transmitting system
US2419205A (en) 1942-11-04 1947-04-22 Bell Telephone Labor Inc Directive antenna system
US2594409A (en) 1943-07-27 1952-04-29 Bell Telephone Labor Inc Directive antenna
FR961961A (enExample) 1943-08-16 1950-05-26
US2513205A (en) 1943-11-19 1950-06-27 Us Navy Rotatable joint for radio wave guide systems
GB588159A (en) 1944-01-15 1947-05-15 Western Electric Co Improvements in directive antennas
GB603119A (en) 1944-04-28 1948-06-09 Philco Radio & Television Corp Improvements in or relating to electrically resonant cavities
US2562281A (en) 1944-06-14 1951-07-31 Bell Telephone Labor Inc Directive pickup for transmission lines
US2514679A (en) 1944-06-16 1950-07-11 Bell Telephone Labor Inc Wave transmission
US2432134A (en) 1944-06-28 1947-12-09 American Telephone & Telegraph Directional radio system
US2411338A (en) 1944-07-24 1946-11-19 Roberts Shepard Wave guide
US2471021A (en) 1944-08-15 1949-05-24 Philco Corp Radio wave guide
US2420007A (en) 1944-09-30 1947-05-06 Rca Corp Flexible joint for waveguides
US2557110A (en) 1945-02-17 1951-06-19 Sperry Corp Wave guide attenuator apparatus
US2519603A (en) 1945-03-17 1950-08-22 Reber Grote Navigational instrument
US2599864A (en) 1945-06-20 1952-06-10 Robertson-Shersby-Ha Rob Bruce Wave front modifying wave guide system
US2671855A (en) 1945-09-19 1954-03-09 Lester C Van Atta Antenna
US2761137A (en) 1946-01-05 1956-08-28 Lester C Van Atta Solid dielectric waveguide with metal plating
US2691766A (en) 1946-01-29 1954-10-12 Roger E Clapp Waveguide mode transformer
US2706279A (en) 1946-02-01 1955-04-12 Walter A Aron Flexible joint for wave guides
US2542980A (en) 1946-02-19 1951-02-27 Sperry Corportation Electromagnetic horn
US2556094A (en) 1946-09-24 1951-06-05 Rca Corp High-frequency apparatus
FR951092A (fr) 1947-06-05 1949-10-14 Materiel Telephonique Tube électronique pour hyperfréquences
US2541843A (en) 1947-07-18 1951-02-13 Philco Corp Electronic tube of the traveling wave type
US2596190A (en) 1947-09-05 1952-05-13 Wiley Carl Atwood Dielectric horn
US2711514A (en) 1948-10-27 1955-06-21 Rines Robert Harvey Wave guide modulation system
US2488400A (en) 1948-12-17 1949-11-15 Westinghouse Electric Corp Toroidal coil-terminal bushing coupling power line and telephone circuit
US2659817A (en) 1948-12-31 1953-11-17 Bell Telephone Labor Inc Translation of electromagnetic waves
US2912695A (en) 1948-12-31 1959-11-10 Bell Telephone Labor Inc Corrugated wave guide devices
GB667290A (en) 1949-03-04 1952-02-27 Nat Res Dev Improvements in microwave circuits
US2688732A (en) 1949-05-05 1954-09-07 Bell Telephone Labor Inc Wave guide
FR60492E (enExample) 1949-08-19 1954-11-03
US2677055A (en) 1949-10-06 1954-04-27 Philip J Allen Multiple-lobe antenna assembly
US2667578A (en) 1950-01-31 1954-01-26 Hughes Tool Co Swivel joint for coaxial transmission lines
BE554252A (enExample) 1950-03-21
BE502150A (enExample) 1950-03-27 1900-01-01
US2737632A (en) 1950-04-01 1956-03-06 Int Standard Electric Corp Supports for transmission line
BE503409A (enExample) 1950-05-23
GB682817A (en) 1950-08-17 1952-11-19 Standard Telephones Cables Ltd Improvements in or relating to electric signalling lines
US2810111A (en) 1950-11-25 1957-10-15 Sperry Rand Corp Wave guide corner
US2769148A (en) 1951-03-07 1956-10-30 Bell Telephone Labor Inc Electrical conductors
US2769147A (en) 1951-05-05 1956-10-30 Bell Telephone Labor Inc Wave propagation in composite conductors
GB705192A (en) 1951-05-18 1954-03-10 Gen Electric Co Ltd Improvements in or relating to couplings for electromagnetic waves between coaxial transmission lines and wire waveguides
US2819451A (en) 1951-07-12 1958-01-07 Gen Electric Co Ltd Electromagnetic-wave generating system
NL171400B (nl) 1951-07-26 Western Electric Co Automatische voorspanningsbesturingsketen voor een injectielaser.
US2749545A (en) 1951-08-01 1956-06-05 Itt Electromagnetic horn
US2748350A (en) 1951-09-05 1956-05-29 Bell Telephone Labor Inc Ultra-high frequency selective mode directional coupler
US2754513A (en) 1951-12-04 1956-07-10 Georg J E Goubau Antenna
NL175381B (nl) 1952-03-01 Lind Gertrud Agnes Matilda Strekbank voor het behandelen van pijn, vermoeidheid, en dergelijke in de rug van een patient.
US2740826A (en) 1952-07-09 1956-04-03 Product Dev Company Low capacity high temperature coaxial cables
US2727232A (en) 1952-07-19 1955-12-13 North American Aviation Inc Antenna for radiating elliptically polarized electromagnetic waves
US2805415A (en) 1952-08-02 1957-09-03 Sperry Rand Corp Microwave antenna system
GB725187A (en) 1953-03-20 1955-03-02 Standard Telephones Cables Ltd Improvements in or relating to high frequency transmission line systems
BE528384A (enExample) 1953-04-29
US2806177A (en) 1953-05-05 1957-09-10 Hughes Aircraft Co Signal delay tube
US2835871A (en) 1953-08-07 1958-05-20 Herbert P Raabe Two-channel rotary wave guide joint
GB767506A (en) 1953-08-17 1957-02-06 Standard Telephones Cables Ltd Improvements in or relating to travelling wave tubes
FR1096456A (fr) 1953-12-14 1955-06-21 Antenne et dispositif d'alimentation diélectrique
GB746111A (en) 1954-02-01 1956-03-07 Lewis August Bonden Low capacity coaxial electric cable
US2915270A (en) 1954-03-01 1959-12-01 Gladsden David Adjustable support for post-mounted lamps
US2825060A (en) 1954-10-18 1958-02-25 Gabriel Co Dual-polarization antenna
US2806972A (en) 1954-12-08 1957-09-17 Hughes Aircraft Co Traveling-wave tube
US2867776A (en) 1954-12-31 1959-01-06 Rca Corp Surface waveguide transition section
US2883135A (en) 1955-01-13 1959-04-21 Joslyn Mfg & Supply Co Support for electrical devices
US2735092A (en) 1955-04-04 1956-02-14 Guide space
US2949589A (en) 1955-05-20 1960-08-16 Surface Conduction Inc Microwave communication lines
US2820083A (en) 1955-06-02 1958-01-14 William L Hendrix Aerial cable
US2993205A (en) 1955-08-19 1961-07-18 Litton Ind Of Maryland Inc Surface wave antenna array with radiators for coupling surface wave to free space wave
LU35086A1 (enExample) 1956-04-11
DE1075149B (de) 1956-06-25 1960-02-11 International Computers and Tabulators, Limited, London Vorrichtung zur Verzögerung und Speicherung elektrischer Signale
US2851686A (en) 1956-06-28 1958-09-09 Dev Engineering Corp Electromagnetic horn antennas
US2921277A (en) 1956-07-13 1960-01-12 Surface Conduction Inc Launching and receiving of surface waves
GB859951A (en) 1956-07-13 1961-01-25 Surface Conduction Inc Improvements in or relating to launching and receiving of surface waves of electro-magnetic energy
US2981949A (en) * 1956-09-04 1961-04-25 Hughes Aircraft Co Flush-mounted plural waveguide slot antenna
US2883136A (en) 1957-01-30 1959-04-21 Joslyn Mfg & Supply Co Support for electrical devices
FR1168564A (fr) 1957-02-08 1958-12-10 Lignes Telegraph Telephon Perfectionnements aux lignes de transmission d'ondes de surface
US2925458A (en) 1957-04-01 1960-02-16 Crouse Hinds Co Traffic signal disconnecting hanger
US2933701A (en) 1957-04-08 1960-04-19 Electronic Specialty Co Transmission line r.-f. lobing unit
US3219954A (en) 1957-05-31 1965-11-23 Giovanni P Rutelli Surface wave transmission system for telecommunication and power transmission
NL229229A (enExample) 1957-07-18
DE1071168B (enExample) 1957-08-29
US2970800A (en) 1957-10-14 1961-02-07 Joslyn Mfg & Supply Co Support for electrical devices
GB926958A (en) 1957-12-10 1963-05-22 Miwag Mikrowellen A G Improvements in apparatus for heating substances and objects by means of micro-waves
US3047822A (en) 1957-12-23 1962-07-31 Thompson Ramo Wooldridge Inc Wave communicating device
US2910261A (en) 1958-02-28 1959-10-27 Samuel J Ward Transformer mounting bracket
US2960670A (en) 1958-03-28 1960-11-15 Bell Telephone Labor Inc Microwave devices for wave guides of circular cross section
US2972148A (en) 1958-06-11 1961-02-14 Bendix Corp Multi-channel horn antenna
US3040278A (en) 1958-06-30 1962-06-19 Polytechnic Inst Brooklyn Broad-band single-wire transmission line
US3028565A (en) 1958-09-05 1962-04-03 Atomic Energy Authority Uk Microwave propagating structures
NL244999A (enExample) 1958-11-21
DE1084787B (de) 1959-04-17 1960-07-07 Telefunken Gmbh Hornstrahler fuer zirkular oder elliptisch polarisierte Wellen
US2974297A (en) 1959-04-28 1961-03-07 Sperry Rand Corp Constant phase shift rotator
US3025478A (en) 1959-05-27 1962-03-13 Bell Telephone Labor Inc Microwave devices for waveguides of circular cross section
US3129356A (en) 1959-05-28 1964-04-14 Gen Electric Fast electromagnetic wave and undulating electron beam interaction structure
US3146453A (en) 1959-08-24 1964-08-25 Deco Electronics Inc Shortened horn antenna with multiple phased feed
US3077569A (en) 1959-11-03 1963-02-12 Ikrath Kurt Surface wave launcher
FR1250667A (fr) 1959-12-04 1961-01-13 Dispositif de couplage pour ondes électromagnétiques guidées
US3128467A (en) 1960-02-19 1964-04-07 Don Lan Electronics Co Inc Dielectric rod radiating antenna
DE1096441B (de) 1960-02-25 1961-01-05 Felten & Guilleaume Carlswerk Konzentrisches, luftraumisoliertes Hochfrequenzkabel mit schraubenlinien-foermig gewelltem Aussenleiter und wendelfoermigem Abstandhalter aus Isoliermaterial zwischen Innen- und Aussenleiter
US3096462A (en) 1960-03-21 1963-07-02 Sfd Lab Inc High power electron discharge device
US3234559A (en) 1960-05-07 1966-02-08 Telefunken Patent Multiple horn feed for parabolic reflector with phase and power adjustments
US3045238A (en) 1960-06-02 1962-07-17 Theodore C Cheston Five aperture direction finding antenna
US3109175A (en) 1960-06-20 1963-10-29 Lockheed Aircraft Corp Rotating beam antenna utilizing rotating reflector which sequentially enables separate groups of directors to become effective
US3072870A (en) 1960-07-21 1963-01-08 Microwave Ass Rectangular waveguide bend
FR1273956A (fr) 1960-09-08 1961-10-20 Thomson Houston Comp Francaise Perfectionnements aux aériens pour ondes ultra-courtes
US2990151A (en) 1960-11-04 1961-06-27 Mc Graw Edison Co Support for electrical devices
NL272285A (enExample) 1960-12-19
US3065945A (en) 1961-03-24 1962-11-27 Southern States Inc Mounting for electrical device
US3392395A (en) 1961-05-22 1968-07-09 Hazeltine Research Inc Monopulse antenna system providing independent control in a plurality of modes of operation
DE1140246B (de) 1961-09-28 1962-11-29 Rohde & Schwarz Kopplungsanordnung fuer eine Oberflaechenwellenleitung
DE1158597B (de) * 1962-02-23 1963-12-05 Telefunken Patent Verlustarmer Hohlleiter zur UEbertragung der H-Welle
US3218384A (en) 1962-03-29 1965-11-16 Int Nickel Co Temperature-responsive transmission line conductor for de-icing
US3296685A (en) 1962-05-31 1967-01-10 Sylvania Electric Prod Method of making dielectric foam antenna
GB1076772A (en) 1963-03-15 1967-07-19 Central Electr Generat Board Improvements in or relating to electrical conductors for alternating current
US3725937A (en) 1963-05-25 1973-04-03 Telefunken Patent Radar system for determining the angular deviation of a target from a reference line
US3427573A (en) 1963-11-26 1969-02-11 Gen Electric Low-pass non-reactive frequency selective filter in which high frequencies are absorbed in dissipative material
US3524192A (en) 1963-12-09 1970-08-11 Motorola Inc Scanning apparatus for antenna arrays
US3310808A (en) 1963-12-30 1967-03-21 Hazeltine Research Inc Electromagnetic wave transmissive metal walls utilizing projecting dielectric rods
US3201724A (en) 1964-01-07 1965-08-17 Hafner Theodore Suspension system for surface wave transmission line
US3255454A (en) 1964-02-06 1966-06-07 Carlton H Walter Surface wave luneberg lens antenna system
FR1419597A (fr) 1964-03-20 1965-12-03 Thomson Houston Comp Francaise Perfectionnements aux antennes pour ondes ultra-courtes
GB1034765A (en) 1964-06-08 1966-07-06 Int Nickel Ltd Electrical conductors and alloys for use therein
US3329958A (en) 1964-06-11 1967-07-04 Sylvania Electric Prod Artificial dielectric lens structure
US3453617A (en) 1964-07-14 1969-07-01 Us Navy Switchable linear-circular polarized monopulse radar feed producing two axis (three-dimensional tracking) information utilizing a two-lobe monopulse design
US3355738A (en) 1964-11-09 1967-11-28 North American Aviation Inc Microwave antenna having a controlled phase distribution
GB1119481A (en) 1964-12-28 1968-07-10 Sumitomo Electric Industries Improved system for combined obstacle detection and communication for track-borne vehicles
US3321763A (en) 1965-01-27 1967-05-23 Ikrath Kurt Inflatable microwave antenna with variable parameters
US3351947A (en) 1965-02-17 1967-11-07 Mark Products Company Shrouded parabolic antenna structure
US3420596A (en) 1965-03-05 1969-01-07 American Optical Corp Apparatus including guide plate means and multiple internal reflective prism means for launching and transmitting surface-guided optical waves
US3414903A (en) 1965-03-10 1968-12-03 Radiation Inc Antenna system with dielectric horn structure interposed between the source and lens
US3316344A (en) 1965-04-26 1967-04-25 Central Electr Generat Board Prevention of icing of electrical conductors
US3316345A (en) 1965-04-26 1967-04-25 Central Electr Generat Board Prevention of icing of electrical conductors
US3318561A (en) 1965-05-12 1967-05-09 Antenna Specialists Co Antenna support bracket
US3389394A (en) 1965-11-26 1968-06-18 Radiation Inc Multiple frequency antenna
US3369788A (en) 1966-01-24 1968-02-20 Albert C. Eisele Utility pole mounting bracket for electrical safety devices
US3536800A (en) 1966-02-25 1970-10-27 Montecatini Edison Ellettronic Method of forming radio frequency devices employing a destructible mold
US3411112A (en) 1966-04-15 1968-11-12 Loral Corp Ferrimagnetic couplers employing a transition from air dielectric waveguide to solid dielectric waveguide
US3531803A (en) 1966-05-02 1970-09-29 Hughes Aircraft Co Switching and power phasing apparatus for automatically forming and despinning an antenna beam for a spinning body
US3413642A (en) 1966-05-05 1968-11-26 Bell Telephone Labor Inc Dual mode antenna
US3858214A (en) 1966-05-18 1974-12-31 Us Army Antenna system
GB1207491A (en) 1966-10-07 1970-10-07 Harold Everard Monteagl Barlow Improvements relating to transmission line systems
US3500422A (en) 1966-11-03 1970-03-10 Us Navy Sub-array horn assembly for phased array application
US3419827A (en) 1966-12-27 1968-12-31 Nasa Indexing microwave switch
US3530481A (en) 1967-01-09 1970-09-22 Hitachi Ltd Electromagnetic horn antenna
US3459873A (en) 1967-02-16 1969-08-05 Gen Electric Shielded connector for movable lines
US3413637A (en) 1967-04-12 1968-11-26 Hughes Aircraft Co Multifunction antenna having selective radiation patterns
US3609247A (en) 1967-04-21 1971-09-28 Carrier Communication Inc Inductive carrier communication systems
GB1141390A (en) 1967-04-24 1969-01-29 Mullard Ltd An improved method of preventing the formation of ice on an overhead power transmission line
US3454951A (en) 1967-05-05 1969-07-08 North American Rockwell Spiral antenna with zigzag arms to reduce size
US3482251A (en) 1967-05-19 1969-12-02 Philco Ford Corp Transceive and tracking antenna horn array
US3474995A (en) 1967-06-23 1969-10-28 Joseph C Amidon Utility pole insulator bracket extension
US3522560A (en) 1967-10-06 1970-08-04 Western Electric Co Solid dielectric waveguide filters
US3588755A (en) 1967-12-03 1971-06-28 Nippon Electric Co Methods and apparatus for making wire type ultrasonic delay lines
US3509463A (en) 1967-12-29 1970-04-28 Sylvania Electric Prod Surface wave transmission system
US3487158A (en) 1968-05-01 1969-12-30 Interpace Corp Power line support system using bushing insulators for narrow right-of-way
US3566317A (en) 1968-05-24 1971-02-23 Theodore Hafner Extensible surface wave transmission line
US3557341A (en) 1968-08-09 1971-01-19 Vero Zap Otdel Vg Proektino Iz Apparatus for protecting ac switches and electrical equipment against low temperatures and icing
US3603951A (en) 1968-09-03 1971-09-07 Montech Inc Storm warning system
US3529205A (en) 1968-10-21 1970-09-15 Bell Telephone Labor Inc Spatially periodic coupling for modes having differing propagation constants and traveling wave tube utilizing same
US3573838A (en) 1968-10-28 1971-04-06 Hughes Aircraft Co Broadband multimode horn antenna
US3624655A (en) 1968-11-05 1971-11-30 Kobusai Denkshin Denwa Kk Horn antenna
US3569979A (en) 1968-12-05 1971-03-09 Univ Ohio State Res Found Helical launcher
US3599219A (en) 1969-01-29 1971-08-10 Andrew Corp Backlobe reduction in reflector-type antennas
US3555553A (en) 1969-01-31 1971-01-12 Us Navy Coaxial-line to waveguide transition for horn antenna
US3495262A (en) 1969-02-10 1970-02-10 T O Paine Horn feed having overlapping apertures
US3588754A (en) 1969-04-21 1971-06-28 Theodore Hafner Attachment of surface wave launcher and surface wave conductor
US3558213A (en) 1969-04-25 1971-01-26 Bell Telephone Labor Inc Optical frequency filters using disc cavity
US3568204A (en) 1969-04-29 1971-03-02 Sylvania Electric Prod Multimode antenna feed system having a plurality of tracking elements mounted symmetrically about the inner walls and at the aperture end of a scalar horn
US3603904A (en) 1969-06-04 1971-09-07 Theodore Hafner Temperature controlled surface wave feeder lines
US3589121A (en) 1969-08-01 1971-06-29 Gen Electric Method of making fluid-blocked stranded conductor
US3623114A (en) 1969-08-11 1971-11-23 Nasa Conical reflector antenna
US3594494A (en) 1969-09-24 1971-07-20 Cp Corp An assemblage for supporting an insulator on a support rod
US3699574A (en) 1969-10-16 1972-10-17 Us Navy Scanned cylindrical array monopulse antenna
GB1338384A (en) 1969-12-17 1973-11-21 Post Office Dielectric waveguides
US3693922A (en) 1970-03-02 1972-09-26 Michel M F Gueguen Support for antenna device
US3660673A (en) 1970-04-16 1972-05-02 North American Rockwell Optical parametric device
US3653622A (en) 1970-04-20 1972-04-04 Aluma Form Inc Nonlineal crossarm for bracketing electrical devices
US3638224A (en) 1970-04-24 1972-01-25 Nasa Stacked array of omnidirectional antennas
BE769687A (fr) 1970-07-30 1971-11-16 Lignes Telegraph Telephon Perfectionnement aux aeriens a angle d'ouverture variable
US3666902A (en) 1970-09-02 1972-05-30 Delta Electronics Inc Switch system
US3668459A (en) 1970-09-08 1972-06-06 Varian Associates Coupled cavity slow wave circuit and tube using same
FR2119804B1 (enExample) 1970-09-15 1974-05-17 Poitevin Jean Pierre
US3672202A (en) 1970-09-15 1972-06-27 Microwave Dev Lab Inc Method of making waveguide bend
JPS5119742B1 (enExample) 1970-10-17 1976-06-19
GB1364264A (en) 1970-11-16 1974-08-21 Sits Soc It Telecom Siemens Transmission system including a monitoring system
US3704001A (en) 1970-11-17 1972-11-28 Clifford E Sloop Mounting bracket
US3753086A (en) 1970-12-09 1973-08-14 W Shoemaker Method and apparatus for locating and measuring wave guide discontinuities
US3686596A (en) 1971-03-08 1972-08-22 Bunker Ramo Double mitered compensated waveguide bend
US3683299A (en) 1971-03-29 1972-08-08 Mo Emergetichesky I Super-high frequency transmission line
GB1392452A (en) 1971-08-02 1975-04-30 Nat Res Dev Waveguides
US3787872A (en) 1971-08-10 1974-01-22 Corning Glass Works Microwave lens antenna and method of producing
US3775769A (en) 1971-10-04 1973-11-27 Raytheon Co Phased array system
US3877032A (en) 1971-10-20 1975-04-08 Harris Intertype Corp Reflector antenna with improved scanning
US3806931A (en) 1971-10-26 1974-04-23 Us Navy Amplitude modulation using phased-array antennas
GB1424351A (en) 1972-01-27 1976-02-11 Emi Ltd Intrusion detector system
GB1389554A (en) 1972-05-26 1975-04-03 Coal Industry Patents Ltd Radiating line transmission system
GB1383549A (en) 1972-07-28 1974-02-12 Post Office Optical communications systems
US5926128A (en) 1972-11-01 1999-07-20 The Marconi Company Limited Radar systems
GB1422956A (en) 1972-11-10 1976-01-28 Bicc Ltd Optical guides
FR2214161A1 (en) 1973-01-13 1974-08-09 Aeg Telefunken Kabelwerke High voltage aerial telecommunications cable - with a polyethylene dielectric and a core formed by coaxial lines
US3952984A (en) 1973-02-12 1976-04-27 Dracos Alexander Dimitry Mid-tower rotary antenna mount
US3796970A (en) 1973-04-04 1974-03-12 Bell Telephone Labor Inc Orthogonal resonant filter for planar transmission lines
US3833909A (en) 1973-05-07 1974-09-03 Sperry Rand Corp Compact wide-angle scanning antenna system
US3835407A (en) 1973-05-21 1974-09-10 California Inst Of Techn Monolithic solid state travelling wave tunable amplifier and oscillator
US3925763A (en) 1973-09-13 1975-12-09 Romesh Tekchand Wadhwani Security system
US3921949A (en) 1973-11-21 1975-11-25 Western Power Products Inc Pole top insulator mounting bracket
US3911415A (en) 1973-12-18 1975-10-07 Westinghouse Electric Corp Distribution network power line carrier communication system
GB1475111A (en) 1974-01-23 1977-06-01 Microwave & Electronic Syst Intrusion sensor
JPS5237941B2 (enExample) 1974-02-04 1977-09-26
US3888446A (en) 1974-04-02 1975-06-10 Valmont Industries Pole mounting bracket attachment
US3899759A (en) 1974-04-08 1975-08-12 Microwave Ass Electric wave resonators
US3936838A (en) 1974-05-16 1976-02-03 Rca Corporation Multimode coupling system including a funnel-shaped multimode coupler
US3983560A (en) 1974-06-06 1976-09-28 Andrew Corporation Cassegrain antenna with improved subreflector for terrestrial communication systems
US3906508A (en) 1974-07-15 1975-09-16 Rca Corp Multimode horn antenna
US3936836A (en) 1974-07-25 1976-02-03 Westinghouse Electric Corporation Z slot antenna
GB1437067A (en) 1974-08-08 1976-05-26 Standard Telephones Cables Ltd Optical waveguide couplers
US3935577A (en) 1974-09-11 1976-01-27 Andrew Corporation Flared microwave horn with dielectric lens
US3973240A (en) 1974-12-05 1976-08-03 General Electric Company Power line access data system
US3973087A (en) 1974-12-05 1976-08-03 General Electric Company Signal repeater for power line access data system
GB1527228A (en) 1974-12-18 1978-10-04 Post Office Apparatus for launching or detecting waves of selected modes in an optical dielectric waveguide
US4125768A (en) 1974-12-18 1978-11-14 Post Office Apparatus for launching or detecting waves of selected modes in an optical dielectric waveguide
US3956751A (en) 1974-12-24 1976-05-11 Julius Herman Miniaturized tunable antenna for general electromagnetic radiation and sensing with particular application to TV and FM
US4191953A (en) 1975-01-23 1980-03-04 Microwave and Electronic System Limited Intrusion sensor and aerial therefor
DE2505375A1 (de) 1975-02-08 1976-08-19 Licentia Gmbh Antennensystem bestehend aus einem parabolspiegel und einem erreger
US4274097A (en) 1975-03-25 1981-06-16 The United States Of America As Represented By The Secretary Of The Navy Embedded dielectric rod antenna
GB1469840A (en) 1975-04-01 1977-04-06 Okikiolu Go System assembly incorporating rotating cylinders and discs for scanning and inducing moving energy fields
US4010799A (en) 1975-09-15 1977-03-08 Petro-Canada Exploration Inc. Method for reducing power loss associated with electrical heating of a subterranean formation
US3959794A (en) 1975-09-26 1976-05-25 The United States Of America As Represented By The Secretary Of The Army Semiconductor waveguide antenna with diode control for scanning
US4031536A (en) 1975-11-03 1977-06-21 Andrew Alford Stacked arrays for broadcasting elliptically polarized waves
US4035054A (en) 1975-12-05 1977-07-12 Kevlin Manufacturing Company Coaxial connector
US4026632A (en) 1976-01-07 1977-05-31 Canadian Patents And Development Limited Frequency selective interwaveguide coupler
US4020431A (en) 1976-01-15 1977-04-26 Rockwell International Corporation Multiaxis rotary joint for guided em waves
GB1555571A (en) 1976-01-16 1979-11-14 Nat Res Dev Apparatus and methods for lauching and screening eletromagnetic waves in the dipole mode
US4030953A (en) 1976-02-11 1977-06-21 Scala Radio Corporation Method of molding fiberglass reflecting antenna
GB1531553A (en) 1976-04-20 1978-11-08 Marconi Co Ltd Mode couplers
US4080600A (en) 1976-05-20 1978-03-21 Tull Aviation Corporation Scanning beam radio navigation method and apparatus
US4047180A (en) 1976-06-01 1977-09-06 Gte Sylvania Incorporated Broadband corrugated horn antenna with radome
US4115782A (en) 1976-06-21 1978-09-19 Ford Motor Company Microwave antenna system
DE2628713C2 (de) 1976-06-25 1987-02-05 Siemens AG, 1000 Berlin und 8000 München Rotationssymmetrische Zweispiegelantenne
DE2629502A1 (de) 1976-06-30 1978-01-05 Siemens Ag Mehrfachrundstrahlantenne
US4030048A (en) 1976-07-06 1977-06-14 Rca Corporation Multimode coupling system including a funnel-shaped multimode coupler
DE2636523A1 (de) 1976-08-13 1978-02-16 Kabel Metallwerke Ghh Abstrahlende hochfrequenz-leitung
US4141015A (en) 1976-09-16 1979-02-20 Hughes Aircraft Company Conical horn antenna having a mode generator
US4129872A (en) 1976-11-04 1978-12-12 Tull Aviation Corporation Microwave radiating element and antenna array including linear phase shift progression angular tilt
US4099184A (en) 1976-11-29 1978-07-04 Motorola, Inc. Directive antenna with reflectors and directors
FR2372442A1 (fr) 1976-11-30 1978-06-23 Thomson Csf Dispositif coupleur pour interconnexion de guides d'ondes optiques et systeme de transmission optique comportant un tel dispositif
US4149170A (en) 1976-12-09 1979-04-10 The United States Of America As Represented By The Secretary Of The Army Multiport cable choke
CH613565A5 (enExample) 1977-02-11 1979-09-28 Patelhold Patentverwertung
US4123759A (en) 1977-03-21 1978-10-31 Microwave Associates, Inc. Phased array antenna
US4156241A (en) 1977-04-01 1979-05-22 Scientific-Atlanta, Inc. Satellite tracking antenna apparatus
US4166669A (en) 1977-05-13 1979-09-04 Massachusetts Institute Of Technology Planar optical waveguide, modulator, variable coupler and switch
US4268804A (en) 1977-08-17 1981-05-19 Spinner Gmbh Transmission line apparatus for dominant TE11 waves
JPS5445040A (en) 1977-09-16 1979-04-10 Nissan Motor Co Ltd Rear warning radar device
US4175257A (en) 1977-10-05 1979-11-20 United Technologies Corporation Modular microwave power combiner
GB2010528B (en) 1977-12-16 1982-05-19 Post Office Underwater cables
US4155108A (en) 1977-12-27 1979-05-15 Telcom, Inc. Pole-mounted equipment housing assembly
FR2416562A1 (fr) 1978-02-03 1979-08-31 Dassault Electronique Dispositif d'antenne radar a faisceau dissymetrique par rapport a son axe
US4190137A (en) 1978-06-22 1980-02-26 Dainichi-Nippon Cables, Ltd. Apparatus for deicing of trolley wires
DE2828662C2 (de) 1978-06-29 1980-02-28 Siemens Ag, 1000 Berlin Und 8000 Muenchen Schaltungsanordnung zum wahlweisen Durchschalten oder Sperren von Signalen hoher Bandbreite
US4463329A (en) 1978-08-15 1984-07-31 Hirosuke Suzuki Dielectric waveguide
US4319074A (en) 1978-08-15 1982-03-09 Trw Inc. Void-free electrical conductor for power cables and process for making same
US4188595A (en) 1978-08-21 1980-02-12 Sperry Corporation Shielded surface wave transmission line
US4250489A (en) 1978-10-31 1981-02-10 Westinghouse Electric Corp. Distribution network communication system having branch connected repeaters
US4329690A (en) 1978-11-13 1982-05-11 International Telephone And Telegraph Corporation Multiple shipboard antenna configuration
US4298877A (en) 1979-01-26 1981-11-03 Solar Energy Technology, Inc. Offset-fed multi-beam tracking antenna system utilizing especially shaped reflector surfaces
JPS55124303U (enExample) 1979-02-24 1980-09-03
US4259103A (en) 1979-03-12 1981-03-31 Dow Corning Corporation Method of reducing the number of microorganisms in a media and a method of preservation
JPS55138902U (enExample) 1979-03-26 1980-10-03
IT1113216B (it) 1979-03-30 1986-01-20 Nava Pier Luigi Struttura in resina armata resistente agli urti e relativo procedimento di realizzazione
US4234753A (en) 1979-05-18 1980-11-18 A. B. Chance Company Electrical insulator and conductor cover
US4247858A (en) 1979-05-21 1981-01-27 Kurt Eichweber Antennas for use with optical and high-frequency radiation
US4220957A (en) 1979-06-01 1980-09-02 General Electric Company Dual frequency horn antenna system
US4307938A (en) 1979-06-19 1981-12-29 Andrew Corporation Dielectric waveguide with elongate cross-section
CA1136267A (en) 1979-07-25 1982-11-23 Bahman Azarbar Array of annular slots excited by radial waveguide modes
US4246584A (en) 1979-08-22 1981-01-20 Bell Telephone Laboratories, Incorporated Hybrid mode waveguide or feedhorn antenna
US4231042A (en) 1979-08-22 1980-10-28 Bell Telephone Laboratories, Incorporated Hybrid mode waveguide and feedhorn antennas
DE2938810A1 (de) 1979-09-25 1981-04-09 Siemens AG, 1000 Berlin und 8000 München Vorrichtung zum einkoppeln von strahlung in einen optischen wellenleiter
FI61249C (fi) 1979-10-10 1982-06-10 Vaisala Oy Anordning foer indikering av nedisning av asfaltsvaeg eller motsvarande
US4293833A (en) 1979-11-01 1981-10-06 Hughes Aircraft Company Millimeter wave transmission line using thallium bromo-iodide fiber
US4238974A (en) 1979-11-09 1980-12-16 Cablecraft, Inc. Universal seal and support guide for push-pull cable terminals
US4316646A (en) 1980-02-04 1982-02-23 Amerace Corporation Laterally flexible electrical connector assembly
US4278955A (en) 1980-02-22 1981-07-14 The United States Of America As Represented By The Secretary Of The Air Force Coupler for feeding extensible transmission line
DE3011868A1 (de) 1980-03-27 1981-10-01 Kabel- und Metallwerke Gutehoffnungshütte AG, 3000 Hannover Feuchtigkeitsgeschuetztes elektrisches energiekabel
US4333082A (en) 1980-03-31 1982-06-01 Sperry Corporation Inhomogeneous dielectric dome antenna
JPS574601A (en) 1980-06-10 1982-01-11 Nippon Telegr & Teleph Corp <Ntt> Simple rock compensating device for antenna mounted on traveling object
US4336719A (en) 1980-07-11 1982-06-29 Panametrics, Inc. Ultrasonic flowmeters using waveguide antennas
US4366565A (en) 1980-07-29 1982-12-28 Herskowitz Gerald J Local area network optical fiber data communication
JPS5744107A (en) 1980-08-29 1982-03-12 Nippon Telegr & Teleph Corp <Ntt> Optical fiber cable and its manufacture
US4345256A (en) 1980-12-15 1982-08-17 Sperry Corporation Steerable directional antenna
US8830112B1 (en) 1981-01-16 2014-09-09 The Boeing Company Airborne radar jamming system
US4384289A (en) 1981-01-23 1983-05-17 General Electric Company Transponder unit for measuring temperature and current on live transmission lines
US4398121A (en) 1981-02-05 1983-08-09 Varian Associates, Inc. Mode suppression means for gyrotron cavities
JPS618251Y2 (enExample) 1981-03-12 1986-03-14
US4565348A (en) 1981-04-30 1986-01-21 Mia-Lens Production A/S Mold for making contact lenses, the male mold member being more flexible than the female mold member
US4458250A (en) 1981-06-05 1984-07-03 The United States Of America As Represented By The Secretary Of The Navy 360-Degree scanning antenna with cylindrical array of slotted waveguides
US4413263A (en) 1981-06-11 1983-11-01 Bell Telephone Laboratories, Incorporated Phased array antenna employing linear scan for wide angle orbital arc coverage
CA1194957A (en) 1981-09-14 1985-10-08 Hitoshi Fukagawa Data transmission system utilizing power line
US4829310A (en) 1981-10-02 1989-05-09 Eyring Research Institute, Inc. Wireless communication system using current formed underground vertical plane polarized antennas
US4447811A (en) 1981-10-26 1984-05-08 The United States Of America As Represented By The Secretary Of The Navy Dielectric loaded horn antennas having improved radiation characteristics
US4482899A (en) 1981-10-28 1984-11-13 At&T Bell Laboratories Wide bandwidth hybrid mode feeds
US4468672A (en) 1981-10-28 1984-08-28 Bell Telephone Laboratories, Incorporated Wide bandwidth hybrid mode feeds
US4495498A (en) 1981-11-02 1985-01-22 Trw Inc. N by M planar configuration switch for radio frequency applications
SE429160B (sv) 1981-11-13 1983-08-15 Philips Svenska Ab Tvaaxlig vridupphengningsanordning for returbar projektil som tal accelerationskrafter
US4488156A (en) 1982-02-10 1984-12-11 Hughes Aircraft Company Geodesic dome-lens antenna
US4516130A (en) 1982-03-09 1985-05-07 At&T Bell Laboratories Antenna arrangements using focal plane filtering for reducing sidelobes
US4475209A (en) 1982-04-23 1984-10-02 Westinghouse Electric Corp. Regenerator for an intrabundle power-line communication system
JPS58191503A (ja) 1982-05-01 1983-11-08 Junkosha Co Ltd 伝送線路
US4567401A (en) 1982-06-12 1986-01-28 The United States Of America As Represented By The Secretary Of The Navy Wide-band distributed rf coupler
US4533875A (en) 1982-06-16 1985-08-06 Lau Yue Ying Wide-band gyrotron traveling-wave amplifier
US4525432A (en) 1982-06-21 1985-06-25 Fujikura Ltd. Magnetic material wire
US4477814A (en) 1982-08-02 1984-10-16 The United States Of America As Represented By The Secretary Of The Air Force Dual mode radio frequency-infrared frequency system
AU1877183A (en) 1982-09-07 1984-03-15 Andrew Corporation Dual reflector microwave antenna
US4604624A (en) 1982-11-16 1986-08-05 At&T Bell Laboratories Phased array antenna employing linear scan for wide-angle arc coverage with polarization matching
GB2133240B (en) 1982-12-01 1986-06-25 Philips Electronic Associated Tunable waveguide oscillator
US4566012A (en) 1982-12-30 1986-01-21 Ford Aerospace & Communications Corporation Wide-band microwave signal coupler
US4660050A (en) 1983-04-06 1987-04-21 Trw Inc. Doppler radar velocity measurement horn
US4788553A (en) 1983-04-06 1988-11-29 Trw Inc. Doppler radar velocity measurement apparatus
US4689752A (en) 1983-04-13 1987-08-25 Niagara Mohawk Power Corporation System and apparatus for monitoring and control of a bulk electric power delivery system
US4746241A (en) 1983-04-13 1988-05-24 Niagara Mohawk Power Corporation Hinge clamp for securing a sensor module on a power transmission line
US5153676A (en) 1983-04-26 1992-10-06 The Board Of Trustees Of The Leland Stanford Junior University Apparatus and method for reducing phase errors in an interferometer
AU565039B2 (en) 1983-05-23 1987-09-03 Hazeltine Corp. Resonant waveguide aperture manifold
US4568943A (en) 1983-05-31 1986-02-04 Rca Corporation Antenna feed with mode conversion and polarization conversion means
US4553112A (en) 1983-05-31 1985-11-12 Andrew Corporation Overmoded tapered waveguide transition having phase shifted higher order mode cancellation
US4598262A (en) 1983-06-08 1986-07-01 Trw Inc. Quasi-optical waveguide filter
JPS59232302A (ja) 1983-06-15 1984-12-27 Sumitomo Electric Ind Ltd 光伝送用フアイバ
CA1209656A (en) 1983-06-16 1986-08-12 R. Keith Harman Shunt transmission line for use in leaky coaxial cable system
US4550271A (en) 1983-06-23 1985-10-29 The United States Of America As Represented By The Secretary Of The Navy Gyromagnetron amplifier
US4604551A (en) 1983-07-27 1986-08-05 Ga Technologies Inc. Cyclotron resonance maser system with microwave output window and coupling apparatus
US4589424A (en) 1983-08-22 1986-05-20 Varian Associates, Inc Microwave hyperthermia applicator with variable radiation pattern
EP0136818A1 (en) 1983-09-06 1985-04-10 Andrew Corporation Dual mode feed horn or horn antenna for two or more frequency bands
US4575847A (en) 1983-09-26 1986-03-11 International Business Machines Corp. Hot carrier detection
US4556271A (en) 1983-10-14 1985-12-03 M/A-Com Omni Spectra, Inc. Hermetically sealed connector
BR8305993A (pt) 1983-10-25 1985-06-04 Brasilia Telecom Aciplador direcional usando guia corrugado para separacao de duas faixas de frequencias mantendo as caracteristicas de polarizacao
BR8307286A (pt) 1983-12-27 1985-08-06 Brasilia Telecom Transicao entre guia liso e corrugado,para operacao em duas faixas de frequencias distintas
DE3400605A1 (de) 1984-01-10 1985-08-29 Siemens AG, 1000 Berlin und 8000 München Optisches uebertragungselement
US4604627A (en) 1984-01-11 1986-08-05 Andrew Corporation Flared microwave feed horns and waveguide transitions
CA1226914A (en) 1984-01-26 1987-09-15 The University Of British Columbia Modem for pseudo noise communication on a.c. lines
US4638322A (en) 1984-02-14 1987-01-20 The Boeing Company Multiple feed antenna
US4573215A (en) 1984-02-21 1986-02-25 Westinghouse Electric Corp. Optical data distribution network with listen-while-talk capabilities
US4636753A (en) 1984-05-15 1987-01-13 Communications Satellite Corporation General technique for the integration of MIC/MMIC'S with waveguides
US4704611A (en) 1984-06-12 1987-11-03 British Telecommunications Public Limited Company Electronic tracking system for microwave antennas
US4618867A (en) 1984-06-14 1986-10-21 At&T Bell Laboratories Scanning beam antenna with linear array feed
US5341088A (en) 1984-06-22 1994-08-23 Davis Murray W System for rating electric power transmission lines and equipment
US4642651A (en) 1984-09-24 1987-02-10 The United States Of America As Represented By The Secretary Of The Army Dual lens antenna with mechanical and electrical beam scanning
US4673943A (en) 1984-09-25 1987-06-16 The United States Of America As Represented By The Secretary Of The Air Force Integrated defense communications system antijamming antenna system
US4647329A (en) 1984-09-27 1987-03-03 Toyo Kasei Kogyo Kabushiki Kaisha Manufacture of parabolic antennas
US4634858A (en) 1984-10-17 1987-01-06 Sperry Corporation Variable coupler fiberoptic sensor
US4672384A (en) 1984-12-31 1987-06-09 Raytheon Company Circularly polarized radio frequency antenna
JPS61163704A (ja) 1985-01-16 1986-07-24 Junkosha Co Ltd 誘電体線路
US4644365A (en) 1985-02-08 1987-02-17 Horning Leonard A Adjustable antenna mount for parabolic antennas
DE3504546A1 (de) 1985-02-11 1986-08-14 Scheele Ing.-Büro GmbH, 2875 Ganderkesee Vorrichtung zum stabilisieren von sensoren und antennen an hochmasten
US4580116A (en) 1985-02-11 1986-04-01 The United States Of America As Represented By The Secretary Of The Army Dielectric resonator
NO157480C (no) 1985-02-28 1988-03-30 Sintef Hybridmodus hornantenne.
DE3509259A1 (de) 1985-03-14 1986-09-18 Siemens AG, 1000 Berlin und 8000 München Doppelbandrillenhorn mit dielektrischem abgleich
JPS61178682U (enExample) 1985-04-27 1986-11-07
NL8501233A (nl) 1985-05-01 1986-12-01 Hollandse Signaalapparaten Bv Alzijdig beweegbare golfpijpverbinding, aandrijfbare golfpijpkoppeling en opstelling voor een rondzoekradarantenne.
JPS61260702A (ja) 1985-05-15 1986-11-18 Hitachi Ltd マイクロ波切替えスイツチ
US4800350A (en) 1985-05-23 1989-01-24 The United States Of America As Represented By The Secretary Of The Navy Dielectric waveguide using powdered material
FR2582864B1 (fr) 1985-06-04 1987-07-31 Labo Electronique Physique Modules unitaires d'antenne hyperfrequences et antenne hyperfrequences comprenant de tels modules
US4818963A (en) 1985-06-05 1989-04-04 Raytheon Company Dielectric waveguide phase shifter
FR2583226B1 (fr) 1985-06-10 1988-03-25 France Etat Antenne omnidirectionnelle cylindrique
US4665660A (en) 1985-06-19 1987-05-19 The United States Of America As Represented By The Secretary Of The Navy Millimeter wavelength dielectric waveguide having increased power output and a method of making same
US4735097A (en) 1985-08-12 1988-04-05 Panametrics, Inc. Method and apparatus for measuring fluid characteristics using surface generated volumetric interrogation signals
DE3533211A1 (de) 1985-09-18 1987-03-19 Standard Elektrik Lorenz Ag Parabolantenne fuer richtfunkanlagen
DE3533204A1 (de) 1985-09-18 1987-03-19 Standard Elektrik Lorenz Ag Antenne mit einem hauptreflektor und einem hilfsreflektor
US4792812A (en) 1985-09-30 1988-12-20 Rinehart Wayne R Microwave earth station with embedded receiver/transmitter and reflector
US4886980A (en) 1985-11-05 1989-12-12 Niagara Mohawk Power Corporation Transmission line sensor apparatus operable with near zero current line conditions
US4755830A (en) 1985-11-15 1988-07-05 Plunk Richard L Universal antenna pole mounting bracket assembly
DE3540900A1 (de) 1985-11-18 1987-05-21 Rudolf Dr Ing Wohlleben Hornstrahler
US4694599A (en) 1985-11-27 1987-09-22 Minelco, Inc. Electromagnetic flip-type visual indicator
US4849611A (en) 1985-12-16 1989-07-18 Raychem Corporation Self-regulating heater employing reactive components
FR2592233B1 (fr) 1985-12-20 1988-02-12 Radiotechnique Compelec Antenne plane hyperfrequences recevant simultanement deux polarisations.
US4743916A (en) 1985-12-24 1988-05-10 The Boeing Company Method and apparatus for proportional RF radiation from surface wave transmission line
US4897663A (en) 1985-12-25 1990-01-30 Nec Corporation Horn antenna with a choke surface-wave structure on the outer surface thereof
USH956H (en) 1986-01-30 1991-08-06 The United States of America as represented by the Secreatry of the Navy Waveguide fed spiral antenna
US4730888A (en) 1986-02-20 1988-03-15 American Telephone And Telegraph Company, At&T Bell Laboratories Optimized guided wave communication system
CA1218122A (en) 1986-02-21 1987-02-17 David Siu Quadruple mode filter
US4731810A (en) 1986-02-25 1988-03-15 Watkins Randy W Neighborhood home security system
JPS63503108A (ja) 1986-03-25 1988-11-10 ザ マーコウニ カンパニー リミテツド 広帯域ホーンアンテナ
US4845508A (en) 1986-05-01 1989-07-04 The United States Of America As Represented By The Secretary Of The Navy Electric wave device and method for efficient excitation of a dielectric rod
US4717974A (en) 1986-05-19 1988-01-05 Eastman Kodak Company Waveguide apparatus for coupling a high data rate signal to and from a rotary head scanner
JPS62190903U (enExample) 1986-05-26 1987-12-04
US4801937A (en) 1986-06-16 1989-01-31 Fernandes Roosevelt A Line mounted apparatus for remote measurement of power system or environmental parameters beyond line-of-site distanc
US4847610A (en) 1986-07-31 1989-07-11 Mitsubishi Denki K.K. Method of restoring transmission line
AU600010B2 (en) 1986-08-04 1990-08-02 George Ralph Hann Transfer printing method
JPH0211443Y2 (enExample) 1986-09-19 1990-03-23
US4730172A (en) 1986-09-30 1988-03-08 The Boeing Company Launcher for surface wave transmission lines
US4808950A (en) 1986-10-06 1989-02-28 Sanders Associates, Inc. Electromagnetic dispersive delay line
US4728910A (en) 1986-10-27 1988-03-01 The United States Of America As Represented By The United States Department Of Energy Folded waveguide coupler
CA1280487C (en) 1986-11-06 1991-02-19 Senstar-Stellar Corporation Intrusion detection system
US4785304A (en) 1986-11-20 1988-11-15 The United States Of America As Represented By The Secretary Of The Army Phase scan antenna array
US5003318A (en) 1986-11-24 1991-03-26 Mcdonnell Douglas Corporation Dual frequency microstrip patch antenna with capacitively coupled feed pins
US4749244A (en) 1986-11-28 1988-06-07 Ford Aerospace & Communications Corporation Frequency independent beam waveguide
DE3641086C1 (de) 1986-12-02 1988-03-31 Spinner Gmbh Elektrotech Hohlleiterabsorber oder -daempfungsglied
FR2607968B1 (fr) 1986-12-09 1989-02-03 Alcatel Thomson Faisceaux Source d'illumination pour antenne de telecommunications
GB8727846D0 (en) 1987-11-27 1987-12-31 British Telecomm Optical communications network
US4821006A (en) 1987-01-17 1989-04-11 Murata Manufacturing Co., Ltd. Dielectric resonator apparatus
US4915468A (en) 1987-02-20 1990-04-10 The Board Of Trustees Of The Leland Stanford Junior University Apparatus using two-mode optical waveguide with non-circular core
EP0280379A3 (en) 1987-02-27 1990-04-25 Yoshihiko Sugio Dielectric or magnetic medium loaded antenna
US4866454A (en) 1987-03-04 1989-09-12 Droessler Justin G Multi-spectral imaging system
US4831346A (en) 1987-03-26 1989-05-16 Andrew Corporation Segmented coaxial transmission line
US4764738A (en) 1987-03-26 1988-08-16 D. L. Fried Associates, Inc. Agile beam control of optical phased array
US4757324A (en) 1987-04-23 1988-07-12 Rca Corporation Antenna array with hexagonal horns
US4745377A (en) 1987-06-08 1988-05-17 The United States Of America As Represented By The Secretary Of The Army Microstrip to dielectric waveguide transition
US4875026A (en) 1987-08-17 1989-10-17 W. L. Gore & Associates, Inc. Dielectric waveguide having higher order mode suppression
GB2208969B (en) 1987-08-18 1992-04-01 Arimura Inst Technology Slot antenna
JP2639531B2 (ja) 1987-08-20 1997-08-13 発紘電機株式会社 送電線用着雪防止装置
US4832148A (en) 1987-09-08 1989-05-23 Exxon Production Research Company Method and system for measuring azimuthal anisotropy effects using acoustic multipole transducers
US4818990A (en) 1987-09-11 1989-04-04 Fernandes Roosevelt A Monitoring system for power lines and right-of-way using remotely piloted drone
US4989011A (en) 1987-10-23 1991-01-29 Hughes Aircraft Company Dual mode phased array antenna system
US4772891A (en) 1987-11-10 1988-09-20 The Boeing Company Broadband dual polarized radiator for surface wave transmission line
US4786911A (en) 1987-11-10 1988-11-22 The Boeing Company Apparatus for circularly polarized radiation from surface wave transmission line
US5006846A (en) 1987-11-12 1991-04-09 Granville J Michael Power transmission line monitoring system
US5166698A (en) 1988-01-11 1992-11-24 Innova, Inc. Electromagnetic antenna collimator
US4904996A (en) 1988-01-19 1990-02-27 Fernandes Roosevelt A Line-mounted, movable, power line monitoring system
GB2214755B (en) 1988-01-29 1992-06-24 Walmore Electronics Limited Distributed antenna system
GB8804242D0 (en) 1988-02-24 1988-07-13 Emi Plc Thorn Improvements relating to aerials
US4855749A (en) 1988-02-26 1989-08-08 The United States Of America As Represented By The Secretary Of The Air Force Opto-electronic vivaldi transceiver
NL8800538A (nl) 1988-03-03 1988-08-01 Hollandse Signaalapparaten Bv Antennesysteem met variabele bundelbreedte en bundelorientatie.
US4977618A (en) 1988-04-21 1990-12-11 Photonics Corporation Infrared data communications
US5082349A (en) 1988-04-25 1992-01-21 The Board Of Trustees Of The Leland Stanford Junior University Bi-domain two-mode single crystal fiber devices
US5018180A (en) 1988-05-03 1991-05-21 Jupiter Toy Company Energy conversion using high charge density
DE3816496A1 (de) 1988-05-10 1989-11-23 Bergmann Kabelwerke Ag Kunststoffisolierter elektrischer leiter
EP0415997A4 (en) 1988-05-18 1992-04-08 Kasevich Associates, Inc. Microwave balloon angioplasty
US5440660A (en) 1988-05-23 1995-08-08 The United States Of America As Represented By The Secretary Of Navy Fiber optic microcable produced with fiber reinforced ultraviolet light cured resin and method for manufacturing same
CA1320634C (en) 1988-05-27 1993-07-27 Hiroshi Kajioka Method of producing elliptic core type polarization-maintaining optical fiber
US4851788A (en) 1988-06-01 1989-07-25 Varian Associates, Inc. Mode suppressors for whispering gallery gyrotron
GB2219439A (en) 1988-06-06 1989-12-06 Gore & Ass Flexible housing
US4881028A (en) 1988-06-13 1989-11-14 Bright James A Fault detector
US5389442A (en) 1988-07-11 1995-02-14 At&T Corp. Water blocking strength members
US4839659A (en) 1988-08-01 1989-06-13 The United States Of America As Represented By The Secretary Of The Army Microstrip phase scan antenna array
GB2222725A (en) 1988-09-07 1990-03-14 Philips Electronic Associated Microwave antenna
US5682256A (en) 1988-11-11 1997-10-28 British Telecommunications Public Limited Company Communications system
US4952012A (en) 1988-11-17 1990-08-28 Stamnitz Timothy C Electro-opto-mechanical cable for fiber optic transmission systems
WO1990006530A1 (de) 1988-12-05 1990-06-14 Kupferdraht-Isolierwerk Ag Wildegg Selbsttragendes optisches kabel
US5592183A (en) 1988-12-06 1997-01-07 Henf; George Gap raidated antenna
US5015914A (en) 1988-12-09 1991-05-14 Varian Associates, Inc. Couplers for extracting RF power from a gyrotron cavity directly into fundamental mode waveguide
JP2595339B2 (ja) 1988-12-23 1997-04-02 松下電工株式会社 平面アンテナ
US4890118A (en) 1988-12-27 1989-12-26 Hughes Aircraft Company Compensated microwave feed horn
US4931808A (en) 1989-01-10 1990-06-05 Ball Corporation Embedded surface wave antenna
JPH02189008A (ja) 1989-01-18 1990-07-25 Hisamatsu Nakano 円偏波アンテナ装置
CA1302527C (en) 1989-01-24 1992-06-02 Thomas Harry Legg Quasi-optical stripline devices
JPH02214307A (ja) 1989-02-15 1990-08-27 Matsushita Electric Works Ltd ホーンアレイアンテナ
NZ233190A (en) 1989-04-05 1992-01-29 Furukawa Electric Co Ltd Heat-generative overhead electric line
US4946202A (en) 1989-04-14 1990-08-07 Vincent Perricone Offset coupling for electrical conduit
US4922180A (en) 1989-05-04 1990-05-01 The Jackson Laboratory Controlled microwave sample irradiation system
US4932620A (en) 1989-05-10 1990-06-12 Foy Russell B Rotating bracket
US4965856A (en) 1989-05-23 1990-10-23 Arbus Inc. Secure optical-fiber communication system
US5107231A (en) 1989-05-25 1992-04-21 Epsilon Lambda Electronics Corp. Dielectric waveguide to TEM transmission line signal launcher
US5086467A (en) 1989-05-30 1992-02-04 Motorola, Inc. Dummy traffic generation
US5065969A (en) 1989-06-09 1991-11-19 Bea-Bar Enterprises Ltd. Apparatus for mounting an antenna for rotation on a mast
GB8913311D0 (en) 1989-06-09 1990-04-25 Marconi Co Ltd Antenna arrangement
US5134965A (en) 1989-06-16 1992-08-04 Hitachi, Ltd. Processing apparatus and method for plasma processing
US5216616A (en) 1989-06-26 1993-06-01 Masters William E System and method for computer automated manufacture with reduced object shape distortion
US5043538A (en) 1989-07-03 1991-08-27 Southwire Company Water resistant cable construction
US6384700B1 (en) * 1989-07-13 2002-05-07 Itt Manufacturing Enterprises, Inc. Towed antenna system right angle feed for towed antenna system rapid deployment cable and towed antenna system
US4956620A (en) 1989-07-17 1990-09-11 The United States Of America As Represented By The United States Department Of Energy Waveguide mode converter and method using same
US5066958A (en) 1989-08-02 1991-11-19 Antenna Down Link, Inc. Dual frequency coaxial feed assembly
DE69018906T2 (de) 1989-09-11 1995-08-24 Nippon Electric Co Phasengesteuerte Gruppenantenne mit Temperaturkompensation.
US5359338A (en) 1989-09-20 1994-10-25 The Boeing Company Linear conformal antenna array for scanning near end-fire in one direction
US5045820A (en) 1989-09-27 1991-09-03 Motorola, Inc. Three-dimensional microwave circuit carrier and integral waveguide coupler
US5402151A (en) 1989-10-02 1995-03-28 U.S. Philips Corporation Data processing system with a touch screen and a digitizing tablet, both integrated in an input device
US5019832A (en) 1989-10-18 1991-05-28 The United States Of America As Represented By The Department Of Energy Nested-cone transformer antenna
US4998095A (en) 1989-10-19 1991-03-05 Specific Cruise Systems, Inc. Emergency transmitter system
DE3935082C1 (enExample) 1989-10-20 1991-01-31 Siemens Ag, 1000 Berlin Und 8000 Muenchen, De
DE3935986A1 (de) 1989-10-28 1991-05-02 Rheydt Kabelwerk Ag Flexibles optisches kabel
US5351272A (en) 1992-05-18 1994-09-27 Abraham Karoly C Communications apparatus and method for transmitting and receiving multiple modulated signals over electrical lines
US5142767A (en) 1989-11-15 1992-09-01 Bf Goodrich Company Method of manufacturing a planar coil construction
JPH03167906A (ja) 1989-11-28 1991-07-19 Nippon Telegr & Teleph Corp <Ntt> 誘電体集束ホーン
US5113197A (en) 1989-12-28 1992-05-12 Space Systems/Loral, Inc. Conformal aperture feed array for a multiple beam antenna
US5109232A (en) 1990-02-20 1992-04-28 Andrew Corporation Dual frequency antenna feed with apertured channel
US5121129A (en) 1990-03-14 1992-06-09 Space Systems/Loral, Inc. EHF omnidirectional antenna
JPH03274802A (ja) 1990-03-26 1991-12-05 Toshiba Corp 導波路およびこれを用いたジャイロトロン装置
US5006859A (en) 1990-03-28 1991-04-09 Hughes Aircraft Company Patch antenna with polarization uniformity control
GB9008359D0 (en) 1990-04-12 1990-06-13 Mcguire Geoff Data communication network system for harsh environments
US5214438A (en) 1990-05-11 1993-05-25 Westinghouse Electric Corp. Millimeter wave and infrared sensor in a common receiving aperture
US5042903A (en) 1990-07-30 1991-08-27 Westinghouse Electric Corp. High voltage tow cable with optical fiber
JPH0787445B2 (ja) 1990-08-01 1995-09-20 三菱電機株式会社 アンテナ選択ダイバーシティ受信装置
GB2247990A (en) 1990-08-09 1992-03-18 British Satellite Broadcasting Antennas and method of manufacturing thereof
US5043629A (en) 1990-08-16 1991-08-27 General Atomics Slotted dielectric-lined waveguide couplers and windows
DE4027367C1 (en) 1990-08-30 1991-07-04 Robert Bosch Gmbh, 7000 Stuttgart, De Deposit detector for outer surface of pane - uses radiation source and receiver at right angles to pane esp. windscreen to detect rain drops
US5298911A (en) 1990-09-18 1994-03-29 Li Ming Chang Serrated-roll edge for microwave antennas
US5182427A (en) 1990-09-20 1993-01-26 Metcal, Inc. Self-regulating heater utilizing ferrite-type body
US5126750A (en) 1990-09-21 1992-06-30 The United States Of America As Represented By The Secretary Of The Air Force Magnetic hybrid-mode horn antenna
JPH04154242A (ja) 1990-10-17 1992-05-27 Nec Corp ネットワーク障害回復方式
US5245404A (en) 1990-10-18 1993-09-14 Physical Optics Corportion Raman sensor
GB9023394D0 (en) 1990-10-26 1990-12-05 Gore W L & Ass Uk Segmented flexible housing
US5134423A (en) 1990-11-26 1992-07-28 The United States Of America As Represented By The Secretary Of The Air Force Low sidelobe resistive reflector antenna
DK285490D0 (da) 1990-11-30 1990-11-30 Nordiske Kabel Traad Fremgangsmaade og apparat til forstaerkning af et optisk signal
US5513176A (en) 1990-12-07 1996-04-30 Qualcomm Incorporated Dual distributed antenna system
US5132968A (en) 1991-01-14 1992-07-21 Robotic Guard Systems, Inc. Environmental sensor data acquisition system
US5809395A (en) 1991-01-15 1998-09-15 Rogers Cable Systems Limited Remote antenna driver for a radio telephony system
US5519408A (en) 1991-01-22 1996-05-21 Us Air Force Tapered notch antenna using coplanar waveguide
AU1346592A (en) 1991-01-24 1992-08-27 Rdi Electronics, Inc. Broadband antenna
EP0501314B1 (en) 1991-02-28 1998-05-20 Hewlett-Packard Company Modular distributed antenna system
GB2476787B (en) 1991-03-01 2011-12-07 Marconi Gec Ltd Microwave antenna
US5175560A (en) 1991-03-25 1992-12-29 Westinghouse Electric Corp. Notch radiator elements
US5148509A (en) 1991-03-25 1992-09-15 Corning Incorporated Composite buffer optical fiber cables
US5265266A (en) 1991-04-02 1993-11-23 Rockwell International Corporation Resistive planar star double-balanced mixer
US5214394A (en) 1991-04-15 1993-05-25 Rockwell International Corporation High efficiency bi-directional spatial power combiner amplifier
JP2978585B2 (ja) 1991-04-17 1999-11-15 本多通信工業株式会社 光ファイバコネクタ用フェルール
US5347287A (en) 1991-04-19 1994-09-13 Hughes Missile Systems Company Conformal phased array antenna
US5276455A (en) 1991-05-24 1994-01-04 The Boeing Company Packaging architecture for phased arrays
US5488380A (en) 1991-05-24 1996-01-30 The Boeing Company Packaging architecture for phased arrays
JP3195923B2 (ja) 1991-06-18 2001-08-06 米山 務 円偏波誘電体アンテナ
GB2257835B (en) 1991-07-13 1995-10-11 Technophone Ltd Retractable antenna
US5329285A (en) 1991-07-18 1994-07-12 The Boeing Company Dually polarized monopulse feed using an orthogonal polarization coupler in a multimode waveguide
US5136671A (en) 1991-08-21 1992-08-04 At&T Bell Laboratories Optical switch, multiplexer, and demultiplexer
JPH0653894A (ja) 1991-08-23 1994-02-25 Nippon Steel Corp 移動通信用無線基地局
US5266961A (en) 1991-08-29 1993-11-30 Hughes Aircraft Company Continuous transverse stub element devices and methods of making same
US5557283A (en) 1991-08-30 1996-09-17 Sheen; David M. Real-time wideband holographic surveillance system
US5174164A (en) 1991-09-16 1992-12-29 Westinghouse Electric Corp. Flexible cable
US5381160A (en) 1991-09-27 1995-01-10 Calcomp Inc. See-through digitizer with clear conductive grid
AU3123793A (en) 1991-11-08 1993-06-07 Calling Communications Corporation Terrestrial antennas for satellite communication system
GEP19991849B (en) 1991-11-11 1999-11-05 Motorola Inc Cellular Communication System and Method for Reducing
US5304999A (en) 1991-11-20 1994-04-19 Electromagnetic Sciences, Inc. Polarization agility in an RF radiator module for use in a phased array
US5198823A (en) 1991-12-23 1993-03-30 Litchstreet Co. Passive secondary surveillance radar using signals of remote SSR and multiple antennas switched in synchronism with rotation of SSR beam
US5235662A (en) 1992-01-02 1993-08-10 Eastman Kodak Company Method to reduce light propagation losses in optical glasses and optical waveguide fabricated by same
CN2116969U (zh) 1992-03-03 1992-09-23 机械电子工业部石家庄第五十四研究所 一种改型背射天线
US6725035B2 (en) 1992-03-06 2004-04-20 Aircell Inc. Signal translating repeater for enabling a terrestrial mobile subscriber station to be operable in a non-terrestrial environment
US5280297A (en) 1992-04-06 1994-01-18 General Electric Co. Active reflectarray antenna for communication satellite frequency re-use
EP0566090A1 (en) 1992-04-14 1993-10-20 Ametek Aerospace Products, Inc. Repairable cable assembly
US5248876A (en) 1992-04-21 1993-09-28 International Business Machines Corporation Tandem linear scanning confocal imaging system with focal volumes at different heights
US5502392A (en) 1992-04-30 1996-03-26 International Business Machines Corporation Methods for the measurement of the frequency dependent complex propagation matrix, impedance matrix and admittance matrix of coupled transmission lines
US5241321A (en) 1992-05-15 1993-08-31 Space Systems/Loral, Inc. Dual frequency circularly polarized microwave antenna
US5327149A (en) 1992-05-18 1994-07-05 Hughes Missile Systems Company R.F. transparent RF/UV-IR detector apparatus
FR2691602B1 (fr) 1992-05-22 2002-12-20 Cgr Mev Accélérateur linéaire de protons à focalisation améliorée et impédance shunt élevée.
US5193774A (en) 1992-05-26 1993-03-16 Rogers J W Mounting bracket apparatus
US5212755A (en) 1992-06-10 1993-05-18 The United States Of America As Represented By The Secretary Of The Navy Armored fiber optic cables
US5371623A (en) 1992-07-01 1994-12-06 Motorola, Inc. High bit rate infrared communication system for overcoming multipath
US5299773A (en) 1992-07-16 1994-04-05 Ruston Bertrand Mounting assembly for a pole
US5404146A (en) 1992-07-20 1995-04-04 Trw Inc. High-gain broadband V-shaped slot antenna
DE4225595C1 (en) 1992-08-03 1993-09-02 Siemens Ag, 80333 Muenchen, De Cable segment test method for locating resistance variations in local area network - supplying measuring pulses and evaluating reflected pulses using analogue=to=digital converter and two separate channels, with memory storing values
US5311596A (en) 1992-08-31 1994-05-10 At&T Bell Laboratories Continuous authentication using an in-band or out-of-band side channel
US5345522A (en) 1992-09-02 1994-09-06 Hughes Aircraft Company Reduced noise fiber optic towed array and method of using same
US6768456B1 (en) 1992-09-11 2004-07-27 Ball Aerospace & Technologies Corp. Electronically agile dual beam antenna system
US5787673A (en) 1992-09-14 1998-08-04 Pirod, Inc. Antenna support with multi-direction adjustability
US5627879A (en) 1992-09-17 1997-05-06 Adc Telecommunications, Inc. Cellular communications system with centralized base stations and distributed antenna units
US5473336A (en) 1992-10-08 1995-12-05 Auratek Security Inc. Cable for use as a distributed antenna
CA2107820A1 (en) 1992-10-16 1994-04-17 Keith Daniel O'neill Low-power wireless system for telephone services
ATE145496T1 (de) 1992-10-19 1996-12-15 Northern Telecom Ltd Antenneneinrichtung für basisstation
US5339058A (en) 1992-10-22 1994-08-16 Trilogy Communications, Inc. Radiating coaxial cable
GB9407934D0 (en) 1994-04-21 1994-06-15 Norweb Plc Transmission network and filter therefor
US5352984A (en) 1992-11-04 1994-10-04 Cable Repair Systems Corporation Fault and splice finding system and method
JPH06326510A (ja) 1992-11-18 1994-11-25 Toshiba Corp ビーム走査アンテナ及びアレーアンテナ
US5291211A (en) 1992-11-20 1994-03-01 Tropper Matthew B A radar antenna system with variable vertical mounting diameter
US5642121A (en) 1993-03-16 1997-06-24 Innova Corporation High-gain, waveguide-fed antenna having controllable higher order mode phasing
US5451969A (en) 1993-03-22 1995-09-19 Raytheon Company Dual polarized dual band antenna
US5576721A (en) 1993-03-31 1996-11-19 Space Systems/Loral, Inc. Composite multi-beam and shaped beam antenna system
US5494301A (en) 1993-04-20 1996-02-27 W. L. Gore & Associates, Inc. Wrapped composite gasket material
US5400040A (en) 1993-04-28 1995-03-21 Raytheon Company Microstrip patch antenna
JP2800636B2 (ja) 1993-05-12 1998-09-21 日本電気株式会社 フレキシブル導波管
US5428364A (en) 1993-05-20 1995-06-27 Hughes Aircraft Company Wide band dipole radiating element with a slot line feed having a Klopfenstein impedance taper
DE69433176T2 (de) 1993-05-27 2004-04-29 Griffith University, Nathan Antennen für tragbare kommunikationsgeräte
IL105990A (en) 1993-06-11 1997-04-15 Uri Segev And Benjamin Machnes Infra-red communication system
FR2706681B1 (fr) 1993-06-15 1995-08-18 Thomson Tubes Electroniques Coupleur quasi-optique à diffraction réduite et tube électronique utilisant un tel coupleur.
JPH077769A (ja) 1993-06-17 1995-01-10 Miharu Tsushin Kk 双方向catvシステムを利用した気象情報入手方法とその気象情報に基づいた気象予報方法
GB9315473D0 (en) 1993-07-27 1993-09-08 Chemring Ltd Treatment apparatus
KR0147035B1 (ko) 1993-07-31 1998-08-17 배순훈 개선된 헤리컬 와이어 배열 평면안테나
US5402140A (en) 1993-08-20 1995-03-28 Winegard Company Horizon-to-horizon TVRO antenna mount
JP3095314B2 (ja) 1993-08-31 2000-10-03 株式会社日立製作所 パス切替方式
EP0651487B1 (en) 1993-10-28 1997-09-03 Daido Tokushuko Kabushiki Kaisha Snow-melting member for power transmission line
DE4337835B4 (de) 1993-11-05 2008-05-15 Valeo Schalter Und Sensoren Gmbh Meßvorrichtung
GB9322920D0 (en) 1993-11-06 1993-12-22 Bicc Plc Device for testing an electrical line
JP3089933B2 (ja) 1993-11-18 2000-09-18 三菱電機株式会社 アンテナ装置
CA2139198C (en) 1993-12-28 1998-08-18 Norihiko Ohmuro Broad conical-mode helical antenna
US5455589A (en) 1994-01-07 1995-10-03 Millitech Corporation Compact microwave and millimeter wave radar
US5412654A (en) 1994-01-10 1995-05-02 International Business Machines Corporation Highly dynamic destination-sequenced destination vector routing for mobile computers
JP2545737B2 (ja) 1994-01-10 1996-10-23 郵政省通信総合研究所長 ガウシアンビーム型アンテナ装置
US5434575A (en) 1994-01-28 1995-07-18 California Microwave, Inc. Phased array antenna system using polarization phase shifting
US5515059A (en) 1994-01-31 1996-05-07 Northeastern University Antenna array having two dimensional beam steering
US5686930A (en) 1994-01-31 1997-11-11 Brydon; Louis B. Ultra lightweight thin membrane antenna reflector
CA2184080A1 (en) 1994-02-26 1995-08-31 John Louis Frederick Charles Collins Microwave antennas
JP3001844U (ja) 1994-03-09 1994-09-06 ダイソー株式会社 不溶性電極板の取付け部
JP3022181B2 (ja) 1994-03-18 2000-03-15 日立電線株式会社 導波路型光合分波器
US5410318A (en) 1994-03-25 1995-04-25 Trw Inc. Simplified wide-band autotrack traveling wave coupler
JP3336733B2 (ja) 1994-04-07 2002-10-21 株式会社村田製作所 移動手段用通信モジュール
US5495546A (en) 1994-04-13 1996-02-27 Bottoms, Jr.; Jack Fiber optic groundwire with coated fiber enclosures
US5677909A (en) 1994-05-11 1997-10-14 Spectrix Corporation Apparatus for exchanging data between a central station and a plurality of wireless remote stations on a time divided commnication channel
US6011524A (en) 1994-05-24 2000-01-04 Trimble Navigation Limited Integrated antenna system
US6208308B1 (en) 1994-06-02 2001-03-27 Raytheon Company Polyrod antenna with flared notch feed
US5786792A (en) 1994-06-13 1998-07-28 Northrop Grumman Corporation Antenna array panel structure
US5586054A (en) 1994-07-08 1996-12-17 Fluke Corporation time-domain reflectometer for testing coaxial cables
JPH0829545A (ja) 1994-07-09 1996-02-02 I Bi Shi:Kk 気象予報掲示システム
US5481268A (en) 1994-07-20 1996-01-02 Rockwell International Corporation Doppler radar system for automotive vehicles
DE4425867C2 (de) 1994-07-21 1999-06-10 Daimler Chrysler Aerospace Komponente eines Schutzschlauchsystems mit einem Endgehäuse
US5794135A (en) 1994-07-27 1998-08-11 Daimler-Benz Aerospace Ag Millimeter wave mixer realized by windowing
US5486839A (en) 1994-07-29 1996-01-23 Winegard Company Conical corrugated microwave feed horn
US5559359A (en) 1994-07-29 1996-09-24 Reyes; Adolfo C. Microwave integrated circuit passive element structure and method for reducing signal propagation losses
US6095820A (en) 1995-10-27 2000-08-01 Rangestar International Corporation Radiation shielding and range extending antenna assembly
GB9417450D0 (en) 1994-08-25 1994-10-19 Symmetricom Inc An antenna
US5512906A (en) 1994-09-12 1996-04-30 Speciale; Ross A. Clustered phased array antenna
US5621421A (en) 1994-10-03 1997-04-15 The United States Of America As Represented By The Secretary Of Agriculture Antenna and mounting device and system
US5724168A (en) 1994-10-11 1998-03-03 Spectrix Corporation Wireless diffuse infrared LAN system
US5479176A (en) 1994-10-21 1995-12-26 Metricom, Inc. Multiple-element driven array antenna and phasing method
US5566196A (en) 1994-10-27 1996-10-15 Sdl, Inc. Multiple core fiber laser and optical amplifier
US5748153A (en) 1994-11-08 1998-05-05 Northrop Grumman Corporation Flared conductor-backed coplanar waveguide traveling wave antenna
GB9424119D0 (en) 1994-11-28 1995-01-18 Northern Telecom Ltd An antenna dow-tilt arrangement
JPH08213833A (ja) 1994-11-29 1996-08-20 Murata Mfg Co Ltd 誘電体ロッドアンテナ
CA2136920C (en) 1994-11-29 2002-02-19 Peter C. Strickland Helical microstrip antenna with impedance taper
US5630223A (en) 1994-12-07 1997-05-13 American Nucleonics Corporation Adaptive method and apparatus for eliminating interference between radio transceivers
US5628050A (en) 1994-12-09 1997-05-06 Scientific And Commercial Systems Corporation Disaster warning communications system
GB2298547B (en) 1994-12-14 1998-12-16 Northern Telecom Ltd Communications System
JP3239030B2 (ja) 1994-12-14 2001-12-17 シャープ株式会社 パラボラアンテナ用一次放射器
JP3007933B2 (ja) 1994-12-15 2000-02-14 富士通株式会社 超音波座標入力装置
US5499311A (en) 1994-12-16 1996-03-12 International Business Machines Corporation Receptacle for connecting parallel fiber optic cables to a multichip module
US5920032A (en) 1994-12-22 1999-07-06 Baker Hughes Incorporated Continuous power/signal conductor and cover for downhole use
US6944555B2 (en) 1994-12-30 2005-09-13 Power Measurement Ltd. Communications architecture for intelligent electronic devices
JPH08196022A (ja) 1995-01-13 1996-07-30 Furukawa Electric Co Ltd:The 融雪電線
DE19501448A1 (de) 1995-01-19 1996-07-25 Media Tech Vertriebs Gmbh Antenneneinrichtung für Satellitenempfang
US5729279A (en) 1995-01-26 1998-03-17 Spectravision, Inc. Video distribution system
JP2782053B2 (ja) 1995-03-23 1998-07-30 本田技研工業株式会社 レーダーモジュール及びアンテナ装置
GB2299494B (en) 1995-03-30 1999-11-03 Northern Telecom Ltd Communications Repeater
US5768689A (en) 1995-04-03 1998-06-16 Telefonaktiebolaget Lm Ericsson Transceiver tester
KR960038686A (ko) 1995-04-13 1996-11-21 김광호 단일 주파수에 의한 신호 송수신회로
JPH08316918A (ja) 1995-05-15 1996-11-29 Tokyo Gas Co Ltd 管内電波の送信方法
US5784683A (en) 1995-05-16 1998-07-21 Bell Atlantic Network Services, Inc. Shared use video processing systems for distributing program signals from multiplexed digitized information signals
IT1275307B (it) 1995-06-05 1997-08-05 Sits Soc It Telecom Siemens Procedimento per la fabbricazione di un sistema di illuminazione di antenna a doppio riflettore con supporto assiale dell'ottica e relativo sistema di illuminazione
JPH11507723A (ja) 1995-06-07 1999-07-06 パナメトリクス インコーポレイテッド 超音波行路バンドル及びシステム
US5769879A (en) 1995-06-07 1998-06-23 Medical Contouring Corporation Microwave applicator and method of operation
US6198450B1 (en) 1995-06-20 2001-03-06 Naoki Adachi Dielectric resonator antenna for a mobile communication
IT1276762B1 (it) 1995-06-21 1997-11-03 Pirelli Cavi S P A Ora Pirelli Composizione polimerica per il rivestimento di cavi elettrici avente una migliorata resistenza al"water treeing"e cavo elettrico
US5646936A (en) 1995-06-22 1997-07-08 Mci Corporation Knowledge based path set up and spare capacity assignment for distributed network restoration
WO1997002496A1 (de) 1995-07-01 1997-01-23 Robert Bosch Gmbh Monostatischer fmcw-radarsensor
ATE217455T1 (de) 1995-07-17 2002-05-15 Dynex Semiconductor Ltd Antennenanordnungen
US5890055A (en) 1995-07-28 1999-03-30 Lucent Technologies Inc. Method and system for connecting cells and microcells in a wireless communications network
US5640168A (en) 1995-08-11 1997-06-17 Zircon Corporation Ultra wide-band radar antenna for concrete penetration
US5590119A (en) 1995-08-28 1996-12-31 Mci Communications Corporation Deterministic selection of an optimal restoration route in a telecommunications network
US5684495A (en) 1995-08-30 1997-11-04 Andrew Corporation Microwave transition using dielectric waveguides
US5663693A (en) 1995-08-31 1997-09-02 Rockwell International Dielectric waveguide power combiner
US7176589B2 (en) 1995-09-22 2007-02-13 Input/Output, Inc. Electrical power distribution and communication system for an underwater cable
JP3411428B2 (ja) 1995-09-26 2003-06-03 日本電信電話株式会社 アンテナ装置
JP2787906B2 (ja) * 1995-10-14 1998-08-20 日本電気株式会社 高次モード結合器
JP3480153B2 (ja) 1995-10-27 2003-12-15 株式会社村田製作所 誘電体レンズおよびその製造方法
US5838866A (en) 1995-11-03 1998-11-17 Corning Incorporated Optical fiber resistant to hydrogen-induced attenuation
US6058307A (en) 1995-11-30 2000-05-02 Amsc Subsidiary Corporation Priority and preemption service system for satellite related communication using central controller
US5889449A (en) 1995-12-07 1999-03-30 Space Systems/Loral, Inc. Electromagnetic transmission line elements having a boundary between materials of high and low dielectric constants
US5905949A (en) 1995-12-21 1999-05-18 Corsair Communications, Inc. Cellular telephone fraud prevention system using RF signature analysis
US5671304A (en) 1995-12-21 1997-09-23 Universite Laval Two-dimensional optoelectronic tune-switch
US6023619A (en) 1995-12-22 2000-02-08 Airtouch Communications, Inc. Method and apparatus for exchanging RF signatures between cellular telephone systems
US6005694A (en) 1995-12-28 1999-12-21 Mci Worldcom, Inc. Method and system for detecting optical faults within the optical domain of a fiber communication network
JP3257383B2 (ja) 1996-01-18 2002-02-18 株式会社村田製作所 誘電体レンズ装置
JPH09214578A (ja) 1996-01-30 1997-08-15 Fujitsu Ltd 搬送波再生回路
US5898830A (en) 1996-10-17 1999-04-27 Network Engineering Software Firewall providing enhanced network security and user transparency
US5848054A (en) 1996-02-07 1998-12-08 Lutron Electronics Co. Inc. Repeater for transmission system for controlling and determining the status of electrical devices from remote locations
US5867763A (en) 1996-02-08 1999-02-02 Qualcomm Incorporated Method and apparatus for integration of a wireless communication system with a cable T.V. system
FI106895B (fi) 1996-02-16 2001-04-30 Filtronic Lk Oy Dielektrisen levyn ja heliksiantennin yhdistetty rakenne
KR970071945A (ko) 1996-02-20 1997-11-07 가나이 쯔도무 플라즈마처리방법 및 장치
US5898133A (en) 1996-02-27 1999-04-27 Lucent Technologies Inc. Coaxial cable for plenum applications
CA2173679A1 (en) 1996-04-09 1997-10-10 Apisak Ittipiboon Broadband nonhomogeneous multi-segmented dielectric resonator antenna
US5867292A (en) 1996-03-22 1999-02-02 Wireless Communications Products, Llc Method and apparatus for cordless infrared communication
US5675673A (en) 1996-03-29 1997-10-07 Crystal Technology, Inc. Integrated optic modulator with segmented electrodes and sloped waveguides
US5786923A (en) 1996-03-29 1998-07-28 Dominion Communications, Llc Point-to-multipoint wide area telecommunications network via atmospheric laser transmission through a remote optical router
EP0804001B1 (en) 1996-04-23 2005-03-09 Hitachi, Ltd. Self-healing network, method for transmission line switching thereof, and transmission equipment thereof
US5870060A (en) 1996-05-01 1999-02-09 Trw Inc. Feeder link antenna
US5948044A (en) 1996-05-20 1999-09-07 Harris Corporation Hybrid GPS/inertially aided platform stabilization system
JP2817714B2 (ja) 1996-05-30 1998-10-30 日本電気株式会社 レンズアンテナ
US5986331A (en) 1996-05-30 1999-11-16 Philips Electronics North America Corp. Microwave monolithic integrated circuit with coplaner waveguide having silicon-on-insulator composite substrate
US5767807A (en) 1996-06-05 1998-06-16 International Business Machines Corporation Communication system and methods utilizing a reactively controlled directive array
US6211703B1 (en) 1996-06-07 2001-04-03 Hitachi, Ltd. Signal transmission system
US5784033A (en) 1996-06-07 1998-07-21 Hughes Electronics Corporation Plural frequency antenna feed
US5637521A (en) 1996-06-14 1997-06-10 The United States Of America As Represented By The Secretary Of The Army Method of fabricating an air-filled waveguide on a semiconductor body
DE19725047A1 (de) 1996-07-03 1998-01-08 Alsthom Cge Alcatel Erregersystem für eine Antenne mit einem parabelförmig gebogenen Reflektor und einem dielektrischen Strahler
US5838472A (en) 1996-07-03 1998-11-17 Spectrix Corporation Method and apparatus for locating a transmitter of a diffuse infrared signal within an enclosed area
DK0907983T3 (da) 1996-07-04 2001-09-24 Skygate Internat Technology Nv En planar dobbeltfrekvens antennegruppe
US6026173A (en) 1997-07-05 2000-02-15 Svenson; Robert H. Electromagnetic imaging and therapeutic (EMIT) systems
ES2120893B1 (es) 1996-07-11 1999-06-16 Univ Navarra Publica Conversor de modos: del modo te11 de guia circular monomodo al modo he11 de guia circular corrugada.
US6075451A (en) 1996-07-15 2000-06-13 Lebowitz; Mayer M. RF cellular technology network transmission system for remote monitoring equipment
US5872547A (en) 1996-07-16 1999-02-16 Metawave Communications Corporation Conical omni-directional coverage multibeam antenna with parasitic elements
US5805983A (en) 1996-07-18 1998-09-08 Ericsson Inc. System and method for equalizing the delay time for transmission paths in a distributed antenna network
US5959590A (en) 1996-08-08 1999-09-28 Endgate Corporation Low sidelobe reflector antenna system employing a corrugated subreflector
US5793334A (en) 1996-08-14 1998-08-11 L-3 Communications Corporation Shrouded horn feed assembly
US5818396A (en) 1996-08-14 1998-10-06 L-3 Communications Corporation Launcher for plural band feed system
US5800494A (en) 1996-08-20 1998-09-01 Fidus Medical Technology Corporation Microwave ablation catheters having antennas with distal fire capabilities
JP2933021B2 (ja) 1996-08-20 1999-08-09 日本電気株式会社 通信網障害回復方式
US6239761B1 (en) 1996-08-29 2001-05-29 Trw Inc. Extended dielectric material tapered slot antenna
US6236365B1 (en) 1996-09-09 2001-05-22 Tracbeam, Llc Location of a mobile station using a plurality of commercial wireless infrastructures
EP0840464A1 (de) 1996-10-29 1998-05-06 Siemens Aktiengesellschaft Basisstation für ein Mobilfunksystem
DE19641036C2 (de) 1996-10-04 1998-07-09 Endress Hauser Gmbh Co Mit Mikrowellen arbeitendes Füllstandsmeßgerät
US6463295B1 (en) 1996-10-11 2002-10-08 Arraycomm, Inc. Power control with signal quality estimation for smart antenna communication systems
US7035661B1 (en) 1996-10-11 2006-04-25 Arraycomm, Llc. Power control with signal quality estimation for smart antenna communication systems
US6842430B1 (en) 1996-10-16 2005-01-11 Koninklijke Philips Electronics N.V. Method for configuring and routing data within a wireless multihop network and a wireless network for implementing the same
US6018659A (en) 1996-10-17 2000-01-25 The Boeing Company Airborne broadband communication network
US5818390A (en) 1996-10-24 1998-10-06 Trimble Navigation Limited Ring shaped antenna
US5878047A (en) 1996-11-15 1999-03-02 International Business Machines Corporation Apparatus for provision of broadband signals over installed telephone wiring
US5873324A (en) 1996-11-27 1999-02-23 Kaddas; John G. Bird guard wire protector
US5859618A (en) 1996-12-20 1999-01-12 At&T Corp Composite rooftop antenna for terrestrial and satellite reception
DE69729317T2 (de) 1996-12-25 2005-06-02 Elo Touchsystems Inc., Fremont Gitterwandler für akustischen berührungsbildschirm
US5905438A (en) 1997-01-10 1999-05-18 Micro Weiss Electronics Remote detecting system and method
US5850199A (en) 1997-01-10 1998-12-15 Bei Sensors & Systems Company, Inc. Mobile tracking antenna made by semiconductor technique
US6222503B1 (en) 1997-01-10 2001-04-24 William Gietema System and method of integrating and concealing antennas, antenna subsystems and communications subsystems
JPH10206183A (ja) 1997-01-22 1998-08-07 Tec Corp 移動体位置検出システム
US5872544A (en) 1997-02-04 1999-02-16 Gec-Marconi Hazeltine Corporation Electronic Systems Division Cellular antennas with improved front-to-back performance
US6567573B1 (en) 1997-02-12 2003-05-20 Digilens, Inc. Switchable optical components
US6151145A (en) 1997-02-13 2000-11-21 Lucent Technologies Inc. Two-wavelength WDM Analog CATV transmission with low crosstalk
US5978738A (en) 1997-02-13 1999-11-02 Anthony Brown Severe weather detector and alarm
GB9703748D0 (en) 1997-02-22 1997-04-09 Fortel International Limited Microwave antennas
JPH10271071A (ja) 1997-03-21 1998-10-09 Oki Electric Ind Co Ltd 光通信システム
DE19714386C1 (de) 1997-03-27 1998-10-08 Berliner Kraft & Licht Verfahren und Anordnung zur Datenübertragung in Niederspannungsnetzen
US6061035A (en) 1997-04-02 2000-05-09 The United States Of America As Represented By The Secretary Of The Army Frequency-scanned end-fire phased-aray antenna
JP3214548B2 (ja) 1997-04-09 2001-10-02 日本電気株式会社 レンズアンテナ
US6122753A (en) 1997-04-09 2000-09-19 Nec Corporation Fault recovery system and transmission path autonomic switching system
US5892480A (en) 1997-04-09 1999-04-06 Harris Corporation Variable pitch angle, axial mode helical antenna
US6014110A (en) 1997-04-11 2000-01-11 Hughes Electronics Corporation Antenna and method for receiving or transmitting radiation through a dielectric material
US6074503A (en) 1997-04-22 2000-06-13 Cable Design Technologies, Inc. Making enhanced data cable with cross-twist cabled core profile
DE19718476A1 (de) 1997-04-30 1998-11-05 Siemens Ag Lichtwellenleiter mit mindestens zwei aus Kunststoffmaterialien bestehenden Beschichtungen
US6204810B1 (en) 1997-05-09 2001-03-20 Smith Technology Development, Llc Communications system
US5994998A (en) 1997-05-29 1999-11-30 3Com Corporation Power transfer apparatus for concurrently transmitting data and power over data wires
US6229327B1 (en) 1997-05-30 2001-05-08 Gregory G. Boll Broadband impedance matching probe
DE19723880A1 (de) 1997-06-06 1998-12-10 Endress Hauser Gmbh Co Vorrichtung zur Befestigung eines Erregerelements in einem metallischen Hohlleiter einer Antenne und zum elektrischen Anschluß desselben an eine außerhalb des Hohlleiters angeordnete Koaxialleitung
US6101300A (en) 1997-06-09 2000-08-08 Massachusetts Institute Of Technology High efficiency channel drop filter with absorption induced on/off switching and modulation
US5948108A (en) 1997-06-12 1999-09-07 Tandem Computers, Incorporated Method and system for providing fault tolerant access between clients and a server
JPH116928A (ja) 1997-06-18 1999-01-12 Nippon Telegr & Teleph Corp <Ntt> アレイ導波路格子型波長合分波器
US6154448A (en) 1997-06-20 2000-11-28 Telefonaktiebolaget Lm Ericsson (Publ) Next hop loopback
US5952964A (en) 1997-06-23 1999-09-14 Research & Development Laboratories, Inc. Planar phased array antenna assembly
AU8055098A (en) 1997-06-24 1999-01-04 Intelogis, Inc. Improved universal lan power line carrier repeater system and method
JPH1114749A (ja) 1997-06-26 1999-01-22 Mitsubishi Electric Corp レーダー装置
JP3356653B2 (ja) 1997-06-26 2002-12-16 日本電気株式会社 フェーズドアレーアンテナ装置
US6057802A (en) 1997-06-30 2000-05-02 Virginia Tech Intellectual Properties, Inc. Trimmed foursquare antenna radiating element
US6142434A (en) 1997-07-01 2000-11-07 Trost; Michael D. Utility pole clamp
JP3269448B2 (ja) 1997-07-11 2002-03-25 株式会社村田製作所 誘電体線路
US6075493A (en) 1997-08-11 2000-06-13 Ricoh Company, Ltd. Tapered slot antenna
US6063234A (en) 1997-09-10 2000-05-16 Lam Research Corporation Temperature sensing system for use in a radio frequency environment
ATE345513T1 (de) 1997-09-12 2006-12-15 Corning Inc Optischer wellenleiter mit niedriger dämpfung
US5917977A (en) 1997-09-16 1999-06-29 Siecor Corporation Composite cable
US6049647A (en) 1997-09-16 2000-04-11 Siecor Operations, Llc Composite fiber optic cable
US6009124A (en) 1997-09-22 1999-12-28 Intel Corporation High data rate communications network employing an adaptive sectored antenna
US6154488A (en) 1997-09-23 2000-11-28 Hunt Technologies, Inc. Low frequency bilateral communication over distributed power lines
SE511911C2 (sv) 1997-10-01 1999-12-13 Ericsson Telefon Ab L M Antennenhet med en flerskiktstruktur
US6111553A (en) 1997-10-07 2000-08-29 Steenbuck; Wendel F. Adjustable antenna bracket
US8060308B2 (en) 1997-10-22 2011-11-15 Intelligent Technologies International, Inc. Weather monitoring techniques
FI974134A7 (fi) 1997-11-04 1999-05-05 Nokia Telecommunications Oy Verkkoelementtien hallinta
US5994984A (en) 1997-11-13 1999-11-30 Carnegie Mellon University Wireless signal distribution in a building HVAC system
US6445774B1 (en) 1997-11-17 2002-09-03 Mci Communications Corporation System for automated workflow in a network management and operations system
US6404775B1 (en) 1997-11-21 2002-06-11 Allen Telecom Inc. Band-changing repeater with protocol or format conversion
SE512166C2 (sv) 1997-11-21 2000-02-07 Ericsson Telefon Ab L M Mikrostripanordning
US6157292A (en) 1997-12-04 2000-12-05 Digital Security Controls Ltd. Power distribution grid communication system
DE69814921T2 (de) 1997-12-22 2004-03-11 Pirelli S.P.A. Elektrisches kabel mit eine halbleitende wasserblockierende expandierte schicht
US5861843A (en) 1997-12-23 1999-01-19 Hughes Electronics Corporation Phase array calibration orthogonal phase sequence
FR2773271B1 (fr) 1997-12-31 2000-02-25 Thomson Multimedia Sa Emetteur/recepteur d'ondes electromagnetiques
US6510152B1 (en) 1997-12-31 2003-01-21 At&T Corp. Coaxial cable/twisted pair fed, integrated residence gateway controlled, set-top box
US6363079B1 (en) 1997-12-31 2002-03-26 At&T Corp. Multifunction interface facility connecting wideband multiple access subscriber loops with various networks
US6107897A (en) 1998-01-08 2000-08-22 E*Star, Inc. Orthogonal mode junction (OMJ) for use in antenna system
JP3828652B2 (ja) 1998-01-09 2006-10-04 株式会社アドバンテスト 差動信号伝送回路
US5959578A (en) 1998-01-09 1999-09-28 Motorola, Inc. Antenna architecture for dynamic beam-forming and beam reconfigurability with space feed
JP3267228B2 (ja) 1998-01-22 2002-03-18 住友電気工業株式会社 発泡電線
US6031455A (en) 1998-02-09 2000-02-29 Motorola, Inc. Method and apparatus for monitoring environmental conditions in a communication system
US7430257B1 (en) 1998-02-12 2008-09-30 Lot 41 Acquisition Foundation, Llc Multicarrier sub-layer for direct sequence channel and multiple-access coding
US5955992A (en) 1998-02-12 1999-09-21 Shattil; Steve J. Frequency-shifted feedback cavity used as a phased array antenna controller and carrier interference multiple access spread-spectrum transmitter
US6011520A (en) 1998-02-18 2000-01-04 Ems Technologies, Inc. Geodesic slotted cylindrical antenna
JPH11239085A (ja) 1998-02-20 1999-08-31 Bosai Engineering Kk 誘導式通信方式及びその装置
KR100306274B1 (ko) 1998-02-20 2001-09-26 윤종용 무선 송수신기를 위한 이중 대역 안테나
JP4259760B2 (ja) 1998-02-23 2009-04-30 クゥアルコム・インコーポレイテッド 一平面デュアル・ストリップ・アンテナ
SE513164C2 (sv) 1998-03-03 2000-07-17 Allgon Ab Monteringsfäste
US6311288B1 (en) 1998-03-13 2001-10-30 Paradyne Corporation System and method for virtual circuit backup in a communication network
GB2335335A (en) 1998-03-13 1999-09-15 Northern Telecom Ltd Carrying speech-band signals over power lines
JP3940490B2 (ja) 1998-03-13 2007-07-04 株式会社東芝 分散アンテナシステム
US6008923A (en) 1998-03-16 1999-12-28 Netschools Corporation Multiple beam communication network with beam selectivity
US6320509B1 (en) 1998-03-16 2001-11-20 Intermec Ip Corp. Radio frequency identification transponder having a high gain antenna configuration
GB2336746A (en) 1998-03-17 1999-10-27 Northern Telecom Ltd Transmitting communications signals over a power line network
DE19861428B4 (de) 1998-03-17 2008-01-10 Robert Bosch Gmbh Optischer Sensor
US6195395B1 (en) 1998-03-18 2001-02-27 Intel Corporation Multi-agent pseudo-differential signaling scheme
US6078297A (en) 1998-03-25 2000-06-20 The Boeing Company Compact dual circularly polarized waveguide radiating element
US6377558B1 (en) 1998-04-06 2002-04-23 Ericsson Inc. Multi-signal transmit array with low intermodulation
JP4116143B2 (ja) 1998-04-10 2008-07-09 株式会社東芝 超音波診断装置
US6121885A (en) 1998-04-10 2000-09-19 Masone; Reagan Combination smoke detector and severe weather warning device
JPH11297532A (ja) 1998-04-15 1999-10-29 Murata Mfg Co Ltd 電子部品及びその製造方法
WO1999061933A2 (en) 1998-04-16 1999-12-02 Raytheon Company Airborne gps guidance system for defeating multiple jammers
US6150612A (en) 1998-04-17 2000-11-21 Prestolite Wire Corporation High performance data cable
US6088495A (en) 1998-04-21 2000-07-11 Technion Research & Development Foundation Ltd. Intermediate-state-assisted optical coupler
US6175917B1 (en) 1998-04-23 2001-01-16 Vpnet Technologies, Inc. Method and apparatus for swapping a computer operating system
JPH11313022A (ja) 1998-04-30 1999-11-09 Hitachi Electronics Service Co Ltd 建屋内無電源電波中継器
US6564379B1 (en) 1998-04-30 2003-05-13 United Video Properties, Inc. Program guide system with flip and browse advertisements
US6301420B1 (en) 1998-05-01 2001-10-09 The Secretary Of State For Defence In Her Britannic Majesty's Government Of The United Kingdom Of Great Britain And Northern Ireland Multicore optical fibre
US6348683B1 (en) 1998-05-04 2002-02-19 Massachusetts Institute Of Technology Quasi-optical transceiver having an antenna with time varying voltage
US5982596A (en) 1998-05-05 1999-11-09 George Authur Spencer Load center monitor and digitally enhanced circuit breaker system for monitoring electrical power lines
US5982276A (en) 1998-05-07 1999-11-09 Media Fusion Corp. Magnetic field based power transmission line communication method and system
US6241045B1 (en) 1998-05-22 2001-06-05 Steven E. Reeve Safety structures for pole climbing applications
GB9811850D0 (en) 1998-06-02 1998-07-29 Cambridge Ind Ltd Antenna feeds
NL1009443C2 (nl) 1998-06-19 1999-12-21 Koninkl Kpn Nv Telecommunicatienetwerk.
US6594238B1 (en) 1998-06-19 2003-07-15 Telefonaktiebolaget Lm Ericsson (Publ) Method and apparatus for dynamically adapting a connection state in a mobile communications system
US6366714B1 (en) 1998-06-19 2002-04-02 Corning Incorporated High reliability fiber coupled optical switch
US6563990B1 (en) 1998-06-22 2003-05-13 Corning Cable Systems, Llc Self-supporting cables and an apparatus and methods for making the same
EP1099276A1 (en) 1998-06-26 2001-05-16 Racal Antennas Limited Signal coupling methods and arrangements
JP3650952B2 (ja) 1998-06-29 2005-05-25 株式会社村田製作所 誘電体レンズおよびそれを用いた誘電体レンズアンテナおよびそれを用いた無線装置
RU2129746C1 (ru) 1998-07-06 1999-04-27 Сестрорецкий Борис Васильевич Плоская двухвходовая складывающаяся антенна
JP3287309B2 (ja) 1998-07-06 2002-06-04 株式会社村田製作所 方向性結合器、アンテナ装置及び送受信装置
JP3617374B2 (ja) 1998-07-07 2005-02-02 株式会社村田製作所 方向性結合器、アンテナ装置および送受信装置
US6166694A (en) 1998-07-09 2000-12-26 Telefonaktiebolaget Lm Ericsson (Publ) Printed twin spiral dual band antenna
JP4108877B2 (ja) 1998-07-10 2008-06-25 松下電器産業株式会社 ネットワークシステム,ネットワーク端末,およびネットワークシステムにおける障害箇所の特定方法
US6862622B2 (en) 1998-07-10 2005-03-01 Van Drebbel Mariner Llc Transmission control protocol/internet protocol (TCP/IP) packet-centric wireless point to multi-point (PTMP) transmission system architecture
US5886666A (en) 1998-07-16 1999-03-23 Rockwell International Airborne pseudolite navigation system
ITMI981658A1 (it) 1998-07-20 2000-01-20 Pirelli Cavi E Sistemi Spa Cavo ibrido elettrico ed ottico per installazioni aeree
US6005476A (en) 1998-07-24 1999-12-21 Valiulis; Carl Electronic identification, control, and security system for consumer electronics and the like
US6480510B1 (en) 1998-07-28 2002-11-12 Serconet Ltd. Local area network of serial intelligent cells
US6239379B1 (en) 1998-07-29 2001-05-29 Khamsin Technologies Llc Electrically optimized hybrid “last mile” telecommunications cable system
US6038425A (en) 1998-08-03 2000-03-14 Jeffrey; Ross A. Audio/video signal redistribution system
JP3751755B2 (ja) 1998-08-06 2006-03-01 富士通株式会社 Atm網のpvcのリルーティング方法および網管理システム
US6532215B1 (en) 1998-08-07 2003-03-11 Cisco Technology, Inc. Device and method for network communications and diagnostics
US6271952B1 (en) 1998-08-18 2001-08-07 Nortel Networks Limited Polarization mode dispersion compensation
JP2000077889A (ja) 1998-08-27 2000-03-14 Nippon Telegr & Teleph Corp <Ntt> 電波吸収材
DE19943887A1 (de) 1998-09-15 2000-03-23 Bosch Gmbh Robert Optischer Sensor
US6933887B2 (en) 1998-09-21 2005-08-23 Ipr Licensing, Inc. Method and apparatus for adapting antenna array using received predetermined signal
US6792290B2 (en) 1998-09-21 2004-09-14 Ipr Licensing, Inc. Method and apparatus for performing directional re-scan of an adaptive antenna
US6600456B2 (en) 1998-09-21 2003-07-29 Tantivy Communications, Inc. Adaptive antenna for use in wireless communication systems
JP2000098276A (ja) 1998-09-25 2000-04-07 Seiko Giken:Kk ロータリスイッチ形光ファイバスイッチ
US6785274B2 (en) 1998-10-07 2004-08-31 Cisco Technology, Inc. Efficient network multicast switching apparatus and methods
US7418504B2 (en) 1998-10-30 2008-08-26 Virnetx, Inc. Agile network protocol for secure communications using secure domain names
JP4451566B2 (ja) 1998-10-30 2010-04-14 バーネットエックス インコーポレーティッド 保証されたシステム可用性を有する安全な通信のためのアジル・ネットワーク・プロトコル
EP1001294A1 (de) 1998-11-13 2000-05-17 Alcatel Lichtwellenleiter mit Schutzrohr
US20020032867A1 (en) 1998-11-24 2002-03-14 Kellum Charles W. Multi-system architecture using general purpose active-backplane and expansion-bus compatible single board computers and their peripherals for secure exchange of information and advanced computing
US20020040439A1 (en) 1998-11-24 2002-04-04 Kellum Charles W. Processes systems and networks for secure exchange of information and quality of service maintenance using computer hardware
US7949565B1 (en) 1998-12-03 2011-05-24 Prime Research Alliance E., Inc. Privacy-protected advertising system
US8151295B1 (en) 2000-08-31 2012-04-03 Prime Research Alliance E., Inc. Queue based advertisement scheduling and sales
US6434140B1 (en) 1998-12-04 2002-08-13 Nortel Networks Limited System and method for implementing XoIP over ANSI-136-A circuit/switched/packet-switched mobile communications networks
DE19858799A1 (de) 1998-12-18 2000-06-21 Philips Corp Intellectual Pty Dielektrische Resonatorantenne
US7106273B1 (en) 1998-12-21 2006-09-12 Samsung Electronics Co., Ltd. Antenna mounting apparatus
GB9828768D0 (en) 1998-12-29 1999-02-17 Symmetricom Inc An antenna
US6452923B1 (en) 1998-12-31 2002-09-17 At&T Corp Cable connected wan interconnectivity services for corporate telecommuters
US6169524B1 (en) 1999-01-15 2001-01-02 Trw Inc. Multi-pattern antenna having frequency selective or polarization sensitive zones
CA2260380C (en) 1999-01-26 2000-12-26 James Stanley Podger The log-periodic staggered-folded-dipole antenna
JP3641961B2 (ja) 1999-02-01 2005-04-27 株式会社日立製作所 アダプティブアレイアンテナを使用した無線通信装置
JP3734975B2 (ja) 1999-02-03 2006-01-11 古河電気工業株式会社 デュアルビームアンテナ装置およびその取り付け構造
AU3221600A (en) 1999-02-04 2000-08-25 Electric Power Research Institute, Inc. Apparatus and method for implementing digital communications on a power line
US6219006B1 (en) 1999-02-17 2001-04-17 Ail Systems, Inc. High efficiency broadband antenna
WO2000051350A1 (en) 1999-02-22 2000-08-31 Terk Technologies Corp. Video transmission system and method utilizing phone lines in multiple unit dwellings
US7133441B1 (en) 1999-02-23 2006-11-07 Actelis Networks Inc. High speed access system over copper cable plant
JP3960701B2 (ja) 1999-02-24 2007-08-15 日本電業工作株式会社 グリッドアレイアンテナ
GB9904316D0 (en) 1999-02-26 1999-04-21 Kashti Amatsia D Customer interface unit
US6584084B1 (en) 1999-03-01 2003-06-24 Nortel Networks Ltd. Expanded carrier capacity in a mobile communications system
DK1166599T3 (da) 1999-03-01 2010-08-30 Dartmouth College Fremgangsmåde og systemer til fjernelse af is fra overflader
US6100846A (en) 1999-03-09 2000-08-08 Epsilon Lambda Electronics Corp. Fixed patch array scanning antenna
US6211837B1 (en) 1999-03-10 2001-04-03 Raytheon Company Dual-window high-power conical horn antenna
US6747557B1 (en) 1999-03-18 2004-06-08 Statsignal Systems, Inc. System and method for signaling a weather alert condition to a residential environment
JP4072280B2 (ja) 1999-03-26 2008-04-09 嘉彦 杉尾 誘電体装荷アンテナ
DE19914989C2 (de) 1999-04-01 2002-04-18 Siemens Ag Magnetresonanz-Antenne
US6452467B1 (en) 1999-04-01 2002-09-17 Mcewan Technologies, Llc Material level sensor having a wire-horn launcher
US6671824B1 (en) 1999-04-19 2003-12-30 Lakefield Technologies Group Cable network repair control system
US6177801B1 (en) 1999-04-21 2001-01-23 Sunrise Telecom, Inc. Detection of bridge tap using frequency domain analysis
JP2002543449A (ja) 1999-04-23 2002-12-17 マサチューセッツ インスティテュート オブ テクノロジー 全誘電性同軸導波管
AU760272B2 (en) 1999-05-03 2003-05-08 Future Fibre Technologies Pty Ltd Intrinsic securing of fibre optic communication links
US6667967B1 (en) 1999-05-14 2003-12-23 Omninet Capital, Llc High-speed network of independently linked nodes
WO2000070891A1 (en) 1999-05-16 2000-11-23 Onepath Networks Ltd. Wireless telephony over cable networks
DE19922606B4 (de) 1999-05-17 2004-07-22 Vega Grieshaber Kg Anordnung aus einem Hohlleiter und einer Antenne
KR20000074034A (ko) 1999-05-17 2000-12-05 구관영 케이블 손실 보상이 가능한 초소형 중계기
US6370398B1 (en) 1999-05-24 2002-04-09 Telaxis Communications Corporation Transreflector antenna for wireless communication system
US20010030789A1 (en) 1999-05-27 2001-10-18 Wenbin Jiang Method and apparatus for fiber optic modules
US7116912B2 (en) 1999-05-27 2006-10-03 Jds Uniphase Corporation Method and apparatus for pluggable fiber optic modules
US7054376B1 (en) 1999-05-27 2006-05-30 Infineon Technologies Ag High data rate ethernet transport facility over digital subscriber lines
ES2287018T3 (es) 1999-05-28 2007-12-16 Telia Ab Procedimiento y dispositivo para la asignacion de recursos de radio.
AU5618600A (en) 1999-06-17 2001-01-09 Penn State Research Foundation, The Tunable dual-band ferroelectric antenna
EP1187743B1 (de) 1999-06-18 2007-05-02 Valeo Wischersysteme GmbH Regensensor zur detektion von feuchtigkeitstropfen
US6357709B1 (en) 1999-06-23 2002-03-19 A. Philip Parduhn Bracket assembly with split clamp member
JP2001007641A (ja) 1999-06-24 2001-01-12 Mitsubishi Electric Corp モノパルスアンテナ装置およびアンテナ構造
FR2795901B1 (fr) 1999-06-29 2001-09-07 Nptv Procede de creation de bandeaux audiovisuels interactifs
US6163296A (en) 1999-07-12 2000-12-19 Lockheed Martin Corp. Calibration and integrated beam control/conditioning system for phased-array antennas
WO2001052447A2 (en) 2000-01-14 2001-07-19 Andrew Corporation Repeaters for wireless communication systems
US6211836B1 (en) 1999-07-30 2001-04-03 Waveband Corporation Scanning antenna including a dielectric waveguide and a rotatable cylinder coupled thereto
US6259337B1 (en) 1999-08-19 2001-07-10 Raytheon Company High efficiency flip-chip monolithic microwave integrated circuit power amplifier
WO2001015261A1 (fr) 1999-08-20 2001-03-01 Kabushiki Kaisha Tokin Resonateur dielectrique et filtre dielectrique
DE19939832A1 (de) 1999-08-21 2001-02-22 Bosch Gmbh Robert Mehrstrahliger Radarsensor mit einer Halterung für ein Polyrod
WO2001014985A1 (en) 1999-08-25 2001-03-01 Web2P, Inc. System and method for registering a data resource in a network
US6292153B1 (en) 1999-08-27 2001-09-18 Fantasma Network, Inc. Antenna comprising two wideband notch regions on one coplanar substrate
US6687746B1 (en) 1999-08-30 2004-02-03 Ideaflood, Inc. System apparatus and method for hosting and assigning domain names on a wide area network
US6785564B1 (en) 1999-08-31 2004-08-31 Broadcom Corporation Method and apparatus for latency reduction in low power two way communications equipment applications in hybrid fiber coax plants
AU7261000A (en) 1999-09-02 2001-04-10 Commonwealth Scientific And Industrial Research Organisation Feed structure for electromagnetic waveguides
US6140976A (en) 1999-09-07 2000-10-31 Motorola, Inc. Method and apparatus for mitigating array antenna performance degradation caused by element failure
US6483470B1 (en) 1999-09-08 2002-11-19 Qwest Communications International, Inc. Power supply for a light pole mounted wireless antenna
US6987769B1 (en) 1999-09-08 2006-01-17 Qwest Communications International Inc. System and method for dynamic distributed communication
KR100376298B1 (ko) 1999-09-13 2003-03-17 가부시끼가이샤 도시바 무선통신시스템
US6246369B1 (en) 1999-09-14 2001-06-12 Navsys Corporation Miniature phased array antenna system
JP3550056B2 (ja) 1999-09-16 2004-08-04 ユニ・チャーム株式会社 使い捨ておむつ
US6243049B1 (en) * 1999-09-27 2001-06-05 Trw Inc. Multi-pattern antenna having independently controllable antenna pattern characteristics
US6819744B1 (en) 1999-09-30 2004-11-16 Telcordia Technologies, Inc. System and circuitry for measuring echoes on subscriber loops
US6657437B1 (en) 1999-10-04 2003-12-02 Vigilant Networks Llc Method and system for performing time domain reflectometry contemporaneously with recurrent transmissions on computer network
US7797367B1 (en) 1999-10-06 2010-09-14 Gelvin David C Apparatus for compact internetworked wireless integrated network sensors (WINS)
DE19948025A1 (de) 1999-10-06 2001-04-12 Bosch Gmbh Robert Asymmetrischer, mehrstrahliger Radarsensor
WO2001028159A2 (en) 1999-10-08 2001-04-19 Vigilant Networks Llc System and method to determine data throughput in a communication network
US6864853B2 (en) 1999-10-15 2005-03-08 Andrew Corporation Combination directional/omnidirectional antenna
US6947376B1 (en) 1999-10-21 2005-09-20 At&T Corp. Local information-based restoration arrangement
US7630986B1 (en) 1999-10-27 2009-12-08 Pinpoint, Incorporated Secure data interchange
US7376191B2 (en) 2000-10-27 2008-05-20 Lightwaves Systems, Inc. High bandwidth data transport system
JP2003513495A (ja) 1999-10-29 2003-04-08 アンテノバ・リミテツド 種々の断面を有するビーム方向の操作可能な多フィード誘電体共振器アンテナ
US6373436B1 (en) 1999-10-29 2002-04-16 Qualcomm Incorporated Dual strip antenna with periodic mesh pattern
US20050177850A1 (en) 1999-10-29 2005-08-11 United Video Properties, Inc. Interactive television system with programming-related links
US6278370B1 (en) 1999-11-04 2001-08-21 Lowell Underwood Child locating and tracking apparatus
US20100185614A1 (en) 1999-11-04 2010-07-22 O'brien Brett Shared Internet storage resource, user interface system, and method
BR0015584A (pt) 1999-11-15 2002-07-09 Interlogix Inc Sistema de comunicações de linha de energia altamente confiável
US6606077B2 (en) 1999-11-18 2003-08-12 Automotive Systems Laboratory, Inc. Multi-beam antenna
US20050219126A1 (en) 2004-03-26 2005-10-06 Automotive Systems Laboratory, Inc. Multi-beam antenna
US7042420B2 (en) 1999-11-18 2006-05-09 Automotive Systems Laboratory, Inc. Multi-beam antenna
US7994996B2 (en) 1999-11-18 2011-08-09 TK Holding Inc., Electronics Multi-beam antenna
US6789119B1 (en) 1999-11-24 2004-09-07 Webex Communication, Inc. Emulating a persistent connection using http
US6751200B1 (en) 1999-12-06 2004-06-15 Telefonaktiebolaget Lm Ericsson (Publ) Route discovery based piconet forming
US6369766B1 (en) 1999-12-14 2002-04-09 Ems Technologies, Inc. Omnidirectional antenna utilizing an asymmetrical bicone as a passive feed for a radiating element
US6320553B1 (en) 1999-12-14 2001-11-20 Harris Corporation Multiple frequency reflector antenna with multiple feeds
US7280803B2 (en) 1999-12-29 2007-10-09 Cingular Wireless Ii, Llc Monitoring network performance using individual cell phone location and performance information
KR100338683B1 (ko) 1999-12-29 2002-05-30 정 데이비드 통합 아이피 콜 라우팅 시스템
US6300906B1 (en) 2000-01-05 2001-10-09 Harris Corporation Wideband phased array antenna employing increased packaging density laminate structure containing feed network, balun and power divider circuitry
US6252553B1 (en) 2000-01-05 2001-06-26 The Mitre Corporation Multi-mode patch antenna system and method of forming and steering a spatial null
US6268835B1 (en) 2000-01-07 2001-07-31 Trw Inc. Deployable phased array of reflectors and method of operation
US6266025B1 (en) 2000-01-12 2001-07-24 Hrl Laboratories, Llc Coaxial dielectric rod antenna with multi-frequency collinear apertures
US6501433B2 (en) 2000-01-12 2002-12-31 Hrl Laboratories, Llc Coaxial dielectric rod antenna with multi-frequency collinear apertures
US6763195B1 (en) 2000-01-13 2004-07-13 Lightpointe Communications, Inc. Hybrid wireless optical and radio frequency communication link
US8151306B2 (en) 2000-01-14 2012-04-03 Terayon Communication Systems, Inc. Remote control for wireless control of system including home gateway and headend, either or both of which have digital video recording functionality
US6445351B1 (en) 2000-01-28 2002-09-03 The Boeing Company Combined optical sensor and communication antenna system
US6317092B1 (en) 2000-01-31 2001-11-13 Focus Antennas, Inc. Artificial dielectric lens antenna
JP3692273B2 (ja) 2000-02-03 2005-09-07 アルプス電気株式会社 一次放射器
US6380822B1 (en) 2000-02-08 2002-04-30 Hughes Electronics Corporation Waveguide switch for routing M-inputs to M of N-outputs
US6271799B1 (en) 2000-02-15 2001-08-07 Harris Corporation Antenna horn and associated methods
US6285325B1 (en) 2000-02-16 2001-09-04 The United States Of America As Represented By The Secretary Of The Army Compact wideband microstrip antenna with leaky-wave excitation
US6741705B1 (en) 2000-02-23 2004-05-25 Cisco Technology, Inc. System and method for securing voice mail messages
US6351247B1 (en) 2000-02-24 2002-02-26 The Boeing Company Low cost polarization twist space-fed E-scan planar phased array antenna
US20010045914A1 (en) 2000-02-25 2001-11-29 Bunker Philip Alan Device and system for providing a wireless high-speed communications network
US6522305B2 (en) 2000-02-25 2003-02-18 Andrew Corporation Microwave antennas
US6642887B2 (en) 2000-02-29 2003-11-04 Hrl Laboratories, Llc Cooperative mobile antenna system
AU2005227368B2 (en) 2000-03-01 2009-02-12 Geir Monsen Vavik Transponder, including transponder system
US6788865B2 (en) 2000-03-03 2004-09-07 Nippon Telegraph And Telephone Corporation Polarization maintaining optical fiber with improved polarization maintaining property
US6593893B2 (en) 2000-03-06 2003-07-15 Hughes Electronics Corporation Multiple-beam antenna employing dielectric filled feeds for multiple and closely spaced satellites
AU4256001A (en) 2000-03-11 2001-09-24 Antenova Limited Dielectric resonator antenna array with steerable elements
JP3760079B2 (ja) 2000-03-15 2006-03-29 株式会社デンソー 無線通信システム、基地局及び端末局
US6920315B1 (en) 2000-03-22 2005-07-19 Ericsson Inc. Multiple antenna impedance optimization
US8572639B2 (en) 2000-03-23 2013-10-29 The Directv Group, Inc. Broadcast advertisement adapting method and apparatus
US6534996B1 (en) 2000-03-27 2003-03-18 Globespanvirata, Inc. System and method for phone line characterization by time domain reflectometry
US6812895B2 (en) 2000-04-05 2004-11-02 Markland Technologies, Inc. Reconfigurable electromagnetic plasma waveguide used as a phase shifter and a horn antenna
US20020024424A1 (en) 2000-04-10 2002-02-28 Burns T. D. Civil defense alert system and method using power line communication
US7103240B2 (en) 2001-02-14 2006-09-05 Current Technologies, Llc Method and apparatus for providing inductive coupling and decoupling of high-frequency, high-bandwidth data signals directly on and off of a high voltage power line
US6998962B2 (en) 2000-04-14 2006-02-14 Current Technologies, Llc Power line communication apparatus and method of using the same
US6965302B2 (en) 2000-04-14 2005-11-15 Current Technologies, Llc Power line communication system and method of using the same
US6778729B1 (en) 2000-04-17 2004-08-17 The Boeing Company Device and method for optical signal switching
AU2001253674A1 (en) 2000-04-19 2001-11-07 Current Technologies, Llc Method and apparatus for interfacing rf signals to medium voltage power lines
DE10120248A1 (de) 2000-04-26 2002-03-28 Kyocera Corp Struktur zur Verbindung eines nicht strahlenden dielektrischen Wellenleiters und eines Metallwellenleiters, Sende-/Empfangsmodul für Millimeterwellen und Sender/Empfänger für Millimeterwellen
US20020111997A1 (en) 2000-04-26 2002-08-15 Maurice Herlihy Methods and systems for securing computer software
US6292143B1 (en) 2000-05-04 2001-09-18 The United States Of America As Represented By The Administrator Of The National Aeronautics And Space Administration Multi-mode broadband patch antenna
DE10021940A1 (de) 2000-05-05 2001-11-15 Instr Systems Optische Messtec Vorrichtung und Verfahren zum Übertragen von Licht über eine Dickkern-Faser
US6611252B1 (en) 2000-05-17 2003-08-26 Dufaux Douglas P. Virtual data input device
US7380272B2 (en) 2000-05-17 2008-05-27 Deep Nines Incorporated System and method for detecting and eliminating IP spoofing in a data transmission network
JP4419274B2 (ja) 2000-05-22 2010-02-24 株式会社デンソー 無線通信システム
US6686832B2 (en) 2000-05-23 2004-02-03 Satius, Inc. High frequency network multiplexed communications over various lines
US6922135B2 (en) 2000-05-23 2005-07-26 Satius, Inc. High frequency network multiplexed communications over various lines using multiple modulated carrier frequencies
EP1158597A1 (en) 2000-05-23 2001-11-28 Newtec cy. Ka/Ku dual band feedhorn and orthomode transducer (OMT)
US20040163135A1 (en) 2000-05-25 2004-08-19 Giaccherini Thomas Nello Method for securely distributing & updating software
GB0013295D0 (en) 2000-05-31 2000-07-26 Walker Nigel J Boarding pass system
US7551921B2 (en) 2000-05-31 2009-06-23 Wahoo Communications Corporation Wireless communications system with parallel computing artificial intelligence-based distributive call routing
FR2810164A1 (fr) 2000-06-09 2001-12-14 Thomson Multimedia Sa Perfectionnement aux antennes source d'emission/reception d'ondes electromagnetiques pour systemes de telecommunications par satellite
JP3835128B2 (ja) 2000-06-09 2006-10-18 松下電器産業株式会社 アンテナ装置
FR2810163A1 (fr) 2000-06-09 2001-12-14 Thomson Multimedia Sa Perfectionnement aux antennes-sources d'emission/reception d'ondes electromagnetiques
JP3570500B2 (ja) 2000-06-14 2004-09-29 日本電気株式会社 アンテナ装置、並びにそれを用いる自動料金収受システムおよび自動料金収受方法
US7050547B1 (en) 2000-06-16 2006-05-23 Bellsouth Intellectual Property Corporation Digital loop carrier module for proactive maintenance application
US6771739B1 (en) 2000-06-16 2004-08-03 Bellsouth Intellectual Property Corporation Pressure alarms and reports system module for proactive maintenance application
FI112706B (fi) 2000-06-28 2003-12-31 Nokia Corp Menetelmä ja järjestely tiedon syöttämiseksi elektroniseen laitteeseen ja elektroninen laite
US6351248B1 (en) 2000-06-28 2002-02-26 Bellsouth Intellectual Property Management Corp. Directional antenna
KR100342500B1 (ko) 2000-07-06 2002-06-28 윤종용 고속 데이터 서비스 및 음성 서비스를 제공하기 위한 방법
MXPA01006905A (es) 2000-07-10 2003-08-20 Scoreboard Inc COLECCION Y ANALISIS DE PROPAGACION DE SEnAL EN UN SISTEMA INALAMBRICO.
JP3641663B2 (ja) 2000-07-19 2005-04-27 小島プレス工業株式会社 車載用機器の通信システム
US6731649B1 (en) 2000-07-26 2004-05-04 Rad Data Communication Ltd. TDM over IP (IP circuit emulation service)
US6798223B2 (en) 2000-07-28 2004-09-28 Hei, Inc. Test methods, systems, and probes for high-frequency wireless-communications devices
US7219124B2 (en) 2000-08-01 2007-05-15 Qwest Communications International Inc. Provisioning system and method for auto-discovering customer premises equipment in activating xDSL
US20040015725A1 (en) 2000-08-07 2004-01-22 Dan Boneh Client-side inspection and processing of secure content
US7248148B2 (en) 2000-08-09 2007-07-24 Current Technologies, Llc Power line coupling device and method of using the same
DE10041996A1 (de) 2000-08-10 2002-03-07 Frank E Woetzel Anordnung zur Beeinflussung und Steuerung elektromagnetischer Wechselfelder und/oder Antennen und Antennendiagrammen
US6907023B2 (en) 2000-08-14 2005-06-14 Vesuvius, Inc. Communique system with dynamic bandwidth allocation in cellular communication networks
ES2296589T3 (es) 2000-08-28 2008-05-01 Norsat International Inc. Filtro de guia de ondas con una superficie selectiva de frecuencia.
EP1346513B1 (en) 2000-08-30 2010-10-20 Tmt Coaxial Networks Inc. A home network system and method
WO2002019572A1 (en) 2000-08-31 2002-03-07 Fujitsu Limited Method for starting up optical communication system, method for extending/reducing channels, and computer readable recorded medium
US6754470B2 (en) 2000-09-01 2004-06-22 Telephia, Inc. System and method for measuring wireless device and network usage and performance metrics
DE10043761C2 (de) 2000-09-05 2002-11-28 Siemens Ag HF-Verteilnetz
US7310335B1 (en) 2000-09-06 2007-12-18 Nokia Networks Multicast routing in ad-hoc networks
US6614237B2 (en) 2000-09-18 2003-09-02 Agilent Technologies, Inc. Multiport automatic calibration device for a multiport test system
US6920407B2 (en) 2000-09-18 2005-07-19 Agilent Technologies, Inc. Method and apparatus for calibrating a multiport test system for measurement of a DUT
US6480168B1 (en) 2000-09-19 2002-11-12 Lockheed Martin Corporation Compact multi-band direction-finding antenna system
US7039048B1 (en) 2000-09-22 2006-05-02 Terayon Communication Systems, Inc. Headend cherrypicker multiplexer with switched front end
US6515635B2 (en) 2000-09-22 2003-02-04 Tantivy Communications, Inc. Adaptive antenna for use in wireless communication systems
US6990660B2 (en) 2000-09-22 2006-01-24 Patchlink Corporation Non-invasive automatic offsite patch fingerprinting and updating system and method
JP3682404B2 (ja) 2000-10-03 2005-08-10 日本無線株式会社 移動通信システム
US6751441B1 (en) 2000-10-03 2004-06-15 At&T Corp. Intra-premises wireless broadband service using lumped and distributed wireless radiation from cable source input
AU762267B2 (en) 2000-10-04 2003-06-19 E-Tenna Corporation Multi-resonant, high-impedance surfaces containing loaded-loop frequency selective surfaces
US6323819B1 (en) 2000-10-05 2001-11-27 Harris Corporation Dual band multimode coaxial tracking feed
GB2367904B (en) 2000-10-09 2004-08-04 Marconi Caswell Ltd Guided wave spatial filter
US6573803B1 (en) 2000-10-12 2003-06-03 Tyco Electronics Corp. Surface-mounted millimeter wave signal source with ridged microstrip to waveguide transition
US6861998B2 (en) 2000-10-12 2005-03-01 Thomson Licensing S.A. Transmission/reception sources of electromagnetic waves for multireflector antenna
US6621972B2 (en) 2000-10-13 2003-09-16 Massachusetts Institute Of Technology Optical waveguides with trench structures
FR2815501B1 (fr) 2000-10-13 2004-07-02 Sagem Perfectionnements aux terminaux mobiles de telecommunication
JP3664094B2 (ja) 2000-10-18 2005-06-22 株式会社村田製作所 複合誘電体成形物、その製造方法、およびそれを用いたレンズアンテナ
IES20000857A2 (en) 2000-10-25 2001-12-12 Eircell 2000 Plc Cellular base station antenna unit
US7054286B2 (en) 2000-10-27 2006-05-30 L-3 Communications Corporation Bandwidth allocation and data multiplexing scheme for direct sequence CDMA systems
KR100657120B1 (ko) 2000-11-04 2006-12-12 주식회사 케이티 패킷 망에서 트래픽부하 분산을 위한 라우팅방법
SE517649C2 (sv) 2000-11-06 2002-07-02 Ericsson Telefon Ab L M Gruppantenn med smala huvudlober i horisontalplanet
US7162273B1 (en) 2000-11-10 2007-01-09 Airgain, Inc. Dynamically optimized smart antenna system
US20020061217A1 (en) 2000-11-17 2002-05-23 Robert Hillman Electronic input device
US6433736B1 (en) 2000-11-22 2002-08-13 L-3 Communications Corp. Method and apparatus for an improved antenna tracking system mounted on an unstable platform
GB0029226D0 (en) 2000-11-30 2001-01-17 Ebbon Dacs Ltd Improvements relating to information systems
US7056063B2 (en) 2000-12-04 2006-06-06 Battelle Energy Alliance, Llc Apparatus for indication of at least one subsurface barrier characteristic
JP3473576B2 (ja) 2000-12-05 2003-12-08 株式会社村田製作所 アンテナ装置および送受信装置
EP1351335A1 (en) 2000-12-07 2003-10-08 Asahi Glass Company Ltd. Antenna device
US7055148B2 (en) 2000-12-07 2006-05-30 Hewlett-Packard Development Company, L.P. System and method for updating firmware
US6587077B2 (en) 2000-12-12 2003-07-01 Harris Corporation Phased array antenna providing enhanced element controller data communication and related methods
US6755312B2 (en) 2000-12-13 2004-06-29 Alum-Form, Inc. Band type cluster mount
US6584252B1 (en) 2000-12-14 2003-06-24 Cisco Technology, Inc. Method and system for providing fiber optic cable to end users
US6492957B2 (en) 2000-12-18 2002-12-10 Juan C. Carillo, Jr. Close-proximity radiation detection device for determining radiation shielding device effectiveness and a method therefor
US6489931B2 (en) 2000-12-21 2002-12-03 Emc Test Systems, Lp Diagonal dual-polarized broadband horn antenna
US6794950B2 (en) 2000-12-21 2004-09-21 Paratek Microwave, Inc. Waveguide to microstrip transition
US6362789B1 (en) 2000-12-22 2002-03-26 Rangestar Wireless, Inc. Dual band wideband adjustable antenna assembly
US7705747B2 (en) 2005-08-18 2010-04-27 Terahop Networks, Inc. Sensor networks for monitoring pipelines and power lines
US6839846B2 (en) 2001-01-03 2005-01-04 Intel Corporation Embedding digital signatures into digital payloads
US6904457B2 (en) 2001-01-05 2005-06-07 International Business Machines Corporation Automatic firmware update of processor nodes
US7685224B2 (en) 2001-01-11 2010-03-23 Truelocal Inc. Method for providing an attribute bounded network of computers
JP3625197B2 (ja) 2001-01-18 2005-03-02 東京エレクトロン株式会社 プラズマ装置およびプラズマ生成方法
US7036023B2 (en) 2001-01-19 2006-04-25 Microsoft Corporation Systems and methods for detecting tampering of a computer system by calculating a boot signature
GB0101567D0 (en) 2001-01-22 2001-03-07 Antenova Ltd Dielectric resonator antenna with mutually orrthogonal feeds
US20040213147A1 (en) 2001-01-25 2004-10-28 John Edward Wiese Environmentally hardened remote DSLAM
US20040213189A1 (en) 2001-01-25 2004-10-28 Matthew David Alspaugh Environmentally-hardened ATM network
US20020101852A1 (en) 2001-01-29 2002-08-01 Sabit Say POTS/xDSL services line sharing for multiple subscribers
WO2002061467A2 (en) 2001-01-31 2002-08-08 Omniguide Communications Electromagnetic mode conversion in photonic crystal multimode waveguides
GB0102639D0 (en) 2001-02-01 2001-03-21 Daly Neil Broadband communications system
US6920289B2 (en) 2001-02-01 2005-07-19 International Business Machines Corporation System and method for remote optical digital networking of computing devices
US7196265B2 (en) 2001-02-02 2007-03-27 Spencer Ronald K Raptor guard system
US7061891B1 (en) 2001-02-02 2006-06-13 Science Applications International Corporation Method and system for a remote downlink transmitter for increasing the capacity and downlink capability of a multiple access interference limited spread-spectrum wireless network
US7490275B2 (en) 2001-02-02 2009-02-10 Rambus Inc. Method and apparatus for evaluating and optimizing a signaling system
US7444404B2 (en) 2001-02-05 2008-10-28 Arbor Networks, Inc. Network traffic regulation including consistency based detection and filtering of packets with spoof source addresses
JP3734712B2 (ja) 2001-02-07 2006-01-11 三菱電機株式会社 霧観測装置及び霧観測方法
WO2002065771A1 (en) 2001-02-09 2002-08-22 Quadriga Technology Limited System for and method of distributing television, video and other signals
US6607308B2 (en) 2001-02-12 2003-08-19 E20 Communications, Inc. Fiber-optic modules with shielded housing/covers having mixed finger types
US6659655B2 (en) 2001-02-12 2003-12-09 E20 Communications, Inc. Fiber-optic modules with housing/shielding
EP1371219A4 (en) 2001-02-14 2006-06-21 Current Tech Llc DATA COMMUNICATION VIA A POWER SUPPLY LINE
EP1235296A1 (en) 2001-02-14 2002-08-28 Era Patents Limited Phase shifter tunable via apertures in the ground plane of the waveguide
US6366238B1 (en) 2001-02-20 2002-04-02 The Boeing Company Phased array beamformer module driving two elements
US7596459B2 (en) 2001-02-28 2009-09-29 Quadlogic Controls Corporation Apparatus and methods for multi-channel electric metering
ITMI20010414A1 (it) 2001-03-01 2002-09-01 Cit Alcatel Sistema ibrido di telecomunicazioni in aria protetto contro i fuori servizio
US6934655B2 (en) 2001-03-16 2005-08-23 Mindspeed Technologies, Inc. Method and apparatus for transmission line analysis
US7289449B1 (en) 2001-03-20 2007-10-30 3Com Corporation Device and method for managing fault detection and fault isolation in voice and data networks
US7161934B2 (en) 2001-03-21 2007-01-09 Intelsat Satellite based content distribution system using IP multicast technology
US6628859B2 (en) 2001-03-22 2003-09-30 Triquint Technology Holding Co. Broadband mode converter
US7346244B2 (en) 2001-03-23 2008-03-18 Draka Comteq B.V. Coated central strength member for fiber optic cables with reduced shrinkage
US6692161B2 (en) 2001-03-29 2004-02-17 Intel Corporation High frequency emitter and detector packaging scheme for 10GB/S transceiver
KR100406352B1 (ko) 2001-03-29 2003-11-28 삼성전기주식회사 안테나 및 그 제조방법
CA2442302A1 (en) 2001-03-29 2002-10-10 Ambient Corporation Coupling circuit for power line communications
US7660328B1 (en) 2001-04-03 2010-02-09 Bigband Networks Inc. Method and system for generating, transmitting and utilizing bit rate conversion information
US6690251B2 (en) 2001-04-11 2004-02-10 Kyocera Wireless Corporation Tunable ferro-electric filter
WO2002084362A1 (en) 2001-04-12 2002-10-24 Omniguide Communications Inc. High index-contrast fiber waveguides and applications
US7068998B2 (en) 2001-04-13 2006-06-27 Northrop Grumman Corp. Methodology for the detection of intrusion into radio frequency (RF) based networks including tactical data links and the tactical internet
US6421021B1 (en) 2001-04-17 2002-07-16 Raytheon Company Active array lens antenna using CTS space feed for reduced antenna depth
US6611231B2 (en) 2001-04-27 2003-08-26 Vivato, Inc. Wireless packet switched communication systems and networks using adaptively steered antenna arrays
US6864852B2 (en) 2001-04-30 2005-03-08 Ipr Licensing, Inc. High gain antenna for wireless applications
US6606057B2 (en) 2001-04-30 2003-08-12 Tantivy Communications, Inc. High gain planar scanned antenna array
US6714800B2 (en) 2001-05-02 2004-03-30 Trex Enterprises Corporation Cellular telephone system with free space millimeter wave trunk line
US7769347B2 (en) 2001-05-02 2010-08-03 Trex Enterprises Corp. Wireless communication system
US8090379B2 (en) 2001-05-02 2012-01-03 Trex Enterprises Corp Cellular systems with distributed antennas
WO2002089080A1 (en) 2001-05-02 2002-11-07 Penn State Research Foundation System and method for detecting, localizing, or classifying a disturbance using a waveguide sensor system
US7680516B2 (en) 2001-05-02 2010-03-16 Trex Enterprises Corp. Mobile millimeter wave communication link
US20030022694A1 (en) 2001-05-02 2003-01-30 Randall Olsen Communication system with multi-beam communication antenna
US20030189974A1 (en) 2001-05-03 2003-10-09 Chester Ferry Wireless full-duplex transmission system
US6456251B1 (en) 2001-05-17 2002-09-24 The Boeing Company Reconfigurable antenna system
US7194528B1 (en) 2001-05-18 2007-03-20 Current Grid, Llc Method and apparatus for processing inbound data within a powerline based communication system
US7173935B2 (en) 2002-06-07 2007-02-06 Current Grid, Llc Last leg utility grid high-speed data communication network having virtual local area network functionality
KR100746457B1 (ko) 2001-05-19 2007-08-03 송요섭 전력선 자기장 통신의 단말기 인터페이스 컨트롤러
US6765479B2 (en) 2001-05-22 2004-07-20 Stewart William L Magnetic field based power transmission line communication method and system
WO2002096151A1 (en) 2001-05-22 2002-11-28 Flarion Technologies, Inc. Authentication system for mobile entities
US6400336B1 (en) 2001-05-23 2002-06-04 Sierra Wireless, Inc. Tunable dual band antenna system
US8249187B2 (en) 2002-05-09 2012-08-21 Google Inc. System, method and apparatus for mobile transmit diversity using symmetric phase difference
KR100734353B1 (ko) 2001-06-01 2007-07-03 엘지전자 주식회사 무선통신 단말기의 안테나 장치 및 무선통신 단말기
EP1404501B1 (en) 2001-06-05 2012-08-01 Mikro Systems Inc. Method and mold system for manufacturing three-dimensional devices
US7266832B2 (en) 2001-06-14 2007-09-04 Digeo, Inc. Advertisement swapping using an aggregator for an interactive television system
WO2003001760A1 (en) 2001-06-22 2003-01-03 Thomson Licensing S.A. Method and system for compensation of a carrier frequency offset in an ofdm receiver
JP3472567B2 (ja) 2001-06-26 2003-12-02 株式会社日立国際電気 パラボラアンテナ用1次放射器及び衛星放送受信用コンバータ
US7027400B2 (en) 2001-06-26 2006-04-11 Flarion Technologies, Inc. Messages and control methods for controlling resource allocation and flow admission control in a mobile communications system
EP1271996A2 (en) 2001-06-28 2003-01-02 Matsushita Electric Industrial Co., Ltd Optical transmission apparatus
AU2002311547B2 (en) 2001-06-30 2006-04-27 Nokia Inc. Apparatus and method for delivery of packets in multi-hop wireless networks
US6727891B2 (en) 2001-07-03 2004-04-27 Netmor, Ltd. Input device for personal digital assistants
US7349691B2 (en) 2001-07-03 2008-03-25 Microsoft Corporation System and apparatus for performing broadcast and localcast communications
US20030010528A1 (en) 2001-07-10 2003-01-16 Niles Martin S. Bird resistant power line insulation
GB0117177D0 (en) 2001-07-13 2001-09-05 Hughes Philip T System and method for mass broadband communications
US6545647B1 (en) 2001-07-13 2003-04-08 Hrl Laboratories, Llc Antenna system for communicating simultaneously with a satellite and a terrestrial system
US6670921B2 (en) 2001-07-13 2003-12-30 Hrl Laboratories, Llc Low-cost HDMI-D packaging technique for integrating an efficient reconfigurable antenna array with RF MEMS switches and a high impedance surface
JP3654854B2 (ja) 2001-07-16 2005-06-02 株式会社シマノ 自転車用ディスクブレーキ装置及びそのディスクロータの製造方法
AU2002355064A1 (en) 2001-07-17 2003-03-03 Main.Net Communications Ltd. Dual purpose power line modem
DK1278266T3 (da) 2001-07-20 2006-02-20 Eutelsat Sa Lavprisantenne med höj ydelse til anvendelse i sende/modtagesatellitterminaler
KR100416997B1 (ko) 2001-07-23 2004-02-05 삼성전자주식회사 와이-분기 광도파로 및 이를 이용한 다단 광파워 분할기
US6842157B2 (en) 2001-07-23 2005-01-11 Harris Corporation Antenna arrays formed of spiral sub-array lattices
JP3654214B2 (ja) 2001-07-25 2005-06-02 株式会社村田製作所 面実装アンテナの製造方法およびそのアンテナを備えた無線通信機
CA2470801C (en) 2001-07-26 2014-01-28 Medrad, Inc. Detection of fluids in tissue
CA2455402C (en) 2001-07-26 2011-10-11 Medrad, Inc. Electromagnetic sensors for biological tissue applications and methods for their use
US7311605B2 (en) 2002-06-12 2007-12-25 Igt Player tracking assembly for complete patron tracking for both gaming and non-gaming casino activity
US7134012B2 (en) 2001-08-15 2006-11-07 International Business Machines Corporation Methods, systems and computer program products for detecting a spoofed source address in IP datagrams
WO2003036932A1 (en) 2001-08-17 2003-05-01 Enikia Llc Coupling between power line and customer in power line communication system
US7136397B2 (en) 2001-08-20 2006-11-14 Slt Logic Llc Network architecture and system for delivering bi-directional xDSL based services
US6686873B2 (en) 2001-08-23 2004-02-03 Paratek Microwave, Inc. Farfield calibration method used for phased array antennas containing tunable phase shifters
WO2003019722A1 (en) 2001-08-23 2003-03-06 Paratek Microwave, Inc. Nearfield calibration method for phased array containing tunable phase shifters
US6697027B2 (en) 2001-08-23 2004-02-24 John P. Mahon High gain, low side lobe dual reflector microwave antenna
IL145103A (en) 2001-08-23 2010-05-17 Rit Techn Ltd High data rate interconnecting device
US6639152B2 (en) 2001-08-25 2003-10-28 Cable Components Group, Llc High performance support-separator for communications cable
EP1422846A4 (en) 2001-08-30 2005-03-16 Anritsu Corp TEST INSTRUMENT FOR PORTABLE WIRELESS EQUIPMENT WITH A SINGLE SELF-COMPLEMENTARY ANTENNA
KR20040032981A (ko) 2001-08-30 2004-04-17 윌리엄 엘. 스튜어트 전력 관리 방법 및 시스템
US6867741B2 (en) 2001-08-30 2005-03-15 Hrl Laboratories, Llc Antenna system and RF signal interference abatement method
US6631229B1 (en) 2001-09-06 2003-10-07 Fitel Usa Corp Water blocking optical fiber cable
US6549106B2 (en) 2001-09-06 2003-04-15 Cascade Microtech, Inc. Waveguide with adjustable backshort
US7120338B2 (en) 2001-09-10 2006-10-10 California Institute Of Technology Tuning the index of a waveguide structure
US6873265B2 (en) 2001-09-14 2005-03-29 Quakefinder Llc Satellite and ground system for detection and forecasting of earthquakes
AU2002337493A1 (en) 2001-09-17 2003-04-01 Roqiya Networks Inc. A method and system for free-space communication
US20030054811A1 (en) 2001-09-18 2003-03-20 Willtech International, Inc. Method and apparatus for automatic call tests in wireless networks
US6639566B2 (en) 2001-09-20 2003-10-28 Andrew Corporation Dual-polarized shaped-reflector antenna
US6642900B2 (en) 2001-09-21 2003-11-04 The Boeing Company High radiation efficient dual band feed horn
EP1296146A1 (en) 2001-09-21 2003-03-26 Alcatel RF signal detector circuit with reduced sensitivity to transmission line impedance mismatches
US6595477B2 (en) 2001-09-25 2003-07-22 Hubbell Incorporated Mounting bracket for an insulator assembly
EP1444844A1 (en) 2001-09-25 2004-08-11 Nokia Corporation Adapting security parameters of services provided for a user terminal in a communication network and correspondingly secured data communication
US7124183B2 (en) 2001-09-26 2006-10-17 Bell Security Solutions Inc. Method and apparatus for secure distributed managed network information services with redundancy
EP1440539A4 (en) 2001-09-27 2009-08-26 Broadcom Corp STRONG INTEGRATED MEDIA ACCESS CONTROL
US20070287541A1 (en) 2001-09-28 2007-12-13 Jeffrey George Tracking display with proximity button activation
WO2003030409A1 (en) 2001-09-28 2003-04-10 Protodel International Limited Monitor for an optical fibre and multi-guide optical fibre circuits and methods of making them
US6886065B2 (en) 2001-09-29 2005-04-26 Hewlett-Packard Development Company, L.P. Improving signal integrity in differential signal systems
US7233781B2 (en) 2001-10-10 2007-06-19 Ochoa Optics Llc System and method for emergency notification content delivery
JP4167852B2 (ja) 2001-10-22 2008-10-22 富士通株式会社 ミキサ回路、受信回路、及び周波数比較回路
WO2003044967A2 (en) 2001-10-27 2003-05-30 Enikia Llc Power line communication system with autonomous network segments
US6606066B1 (en) 2001-10-29 2003-08-12 Northrop Grumman Corporation Tri-mode seeker
TW507396B (en) 2001-11-01 2002-10-21 Univ Nat Chiao Tung Planar mode converter for printed microwave integrated circuit
US7057573B2 (en) 2001-11-07 2006-06-06 Advanced Telecommuications Research Institute International Method for controlling array antenna equipped with a plurality of antenna elements, method for calculating signal to noise ratio of received signal, and method for adaptively controlling radio receiver
US6774859B2 (en) 2001-11-13 2004-08-10 Time Domain Corporation Ultra wideband antenna having frequency selectivity
SE527599C2 (sv) 2001-11-21 2006-04-18 Schneider Electric Powerline C Metod och system för höghastighetskommunikation över en kraftledning
AU2002353711A1 (en) 2001-11-21 2003-06-10 Schneider Electric Powerline Communications Ab Method and system for high-speed communication over power line
DE10158822B4 (de) 2001-11-30 2006-06-08 Siemens Ag Verfahren zum Bereitstellen von Leistungsmerkmalen für Alternativ-Verbindungen von Primär-Verbindungen
AU2002360464A1 (en) 2001-12-03 2003-06-17 Memgen Corporation Miniature rf and microwave components and methods for fabricating such components
US6850128B2 (en) 2001-12-11 2005-02-01 Raytheon Company Electromagnetic coupling
US7171493B2 (en) 2001-12-19 2007-01-30 The Charles Stark Draper Laboratory Camouflage of network traffic to resist attack
EP1322047A1 (en) 2001-12-20 2003-06-25 Agilent Technologies, Inc. (a Delaware corporation) Coupling circuit arrangement for data communication over power lines
KR100605901B1 (ko) 2001-12-29 2006-08-02 타이구엔 테크널러지 (센_젠) 컴퍼니, 리미티드 격막 안테나 어레이 그리드식 전자기 감응층이 내장된터치제어 스크린
US7126711B2 (en) 2001-12-31 2006-10-24 Texas Instruments Incorporated Voice/facsimile/modem call discrimination method for voice over packet networks
US6917974B1 (en) 2002-01-03 2005-07-12 The United States Of America As Represented By The Secretary Of The Air Force Method and apparatus for preventing network traffic analysis
AU2003201515A1 (en) 2002-01-09 2003-07-24 Geir Monsen Vavik Analogue regenerative transponders, including regenerative transponder systems
US6901064B2 (en) 2002-01-10 2005-05-31 Harris Corporation Method and device for establishing communication links and detecting interference between mobile nodes in a communication system
TWI255071B (en) 2002-01-16 2006-05-11 Accton Technology Corp Dual-band monopole antenna
US7006793B2 (en) 2002-01-16 2006-02-28 International Business Machines Corporation Safe use of electronic devices in an automobile
US7591020B2 (en) 2002-01-18 2009-09-15 Palm, Inc. Location based security modification system and method
US6559811B1 (en) 2002-01-22 2003-05-06 Motorola, Inc. Antenna with branching arrangement for multiple frequency bands
EP2259442A1 (en) 2002-01-24 2010-12-08 Panasonic Corporation Method of and system for power line carrier communications
US6856273B1 (en) 2002-01-25 2005-02-15 John A. Bognar Miniature radio-acoustic sounding system for low altitude wind and precipitation measurements
US7684383B1 (en) 2002-01-30 2010-03-23 3Com Corporation Method and system for dynamic call type detection for circuit and packet switched networks
US6727470B2 (en) 2002-02-07 2004-04-27 Fastrax Industries, Inc. Impedance heating for railroad track switch
US7180467B2 (en) 2002-02-12 2007-02-20 Kyocera Wireless Corp. System and method for dual-band antenna matching
US7339897B2 (en) 2002-02-22 2008-03-04 Telefonaktiebolaget Lm Ericsson (Publ) Cross-layer integrated collision free path routing
US7747356B2 (en) 2002-02-25 2010-06-29 General Electric Company Integrated protection, monitoring, and control system
ES2241909T3 (es) 2002-02-25 2005-11-01 Ewo Gmbh Modulo de antena y poste de alumbrado con un modulo de antena de esta clase.
AU2003219944A1 (en) 2002-02-27 2003-09-09 Gemstar Development Corporation Video clipping system and method
CA2789166A1 (en) 2002-03-01 2003-09-12 Enterasys Networks, Inc. Location aware data network
US20030164794A1 (en) 2002-03-04 2003-09-04 Time Domain Corporation Over the horizon communications network and method
JP3938315B2 (ja) 2002-03-04 2007-06-27 三菱電機株式会社 光ネットワークにおける光パス正常性確認方法
US7426554B2 (en) 2002-03-06 2008-09-16 Sun Microsystems, Inc. System and method for determining availability of an arbitrary network configuration
AU2003226890A1 (en) 2002-03-15 2003-09-29 Crystal Fibre A/S Improved nonlinear optical fibre method of its production and use thereof
SE0200792D0 (sv) 2002-03-18 2002-03-18 Saab Marine Electronics Hornantenn
US7183922B2 (en) 2002-03-18 2007-02-27 Paratek Microwave, Inc. Tracking apparatus, system and method
US20050159187A1 (en) 2002-03-18 2005-07-21 Greg Mendolia Antenna system and method
US6986036B2 (en) 2002-03-20 2006-01-10 Microsoft Corporation System and method for protecting privacy and anonymity of parties of network communications
WO2003081555A1 (en) 2002-03-26 2003-10-02 Paul Burns Alarm arrangement
JP2003289521A (ja) 2002-03-27 2003-10-10 Toshiba Corp 広告挿入方法、配信システム、送出装置および受信装置並びにプログラム
KR100419418B1 (ko) 2002-04-03 2004-02-21 삼성전자주식회사 분산 제어 광섬유
AU2003226931A1 (en) 2002-04-10 2003-10-27 Maxon Telecom A/S Dual band antenna
US6717462B2 (en) 2002-04-15 2004-04-06 The Boeing Company QPSK and 16 QAM self-generating synchronous direct downconversion demodulator
WO2003089215A1 (en) 2002-04-17 2003-10-30 Stratasys, Inc. Layered deposition bridge tooling
JP4219278B2 (ja) 2002-04-17 2009-02-04 ストラッタシス, インコーポレイテッド 迅速プロトタイプ射出成型
US7069163B2 (en) 2002-04-23 2006-06-27 Utah State University Digital spread spectrum methods and apparatus for testing aircraft wiring
AU2003228733A1 (en) 2002-04-29 2003-11-17 Ambient Corporation High current inductive coupler and current transformer for power lines
JP3857178B2 (ja) 2002-04-30 2006-12-13 シャープ株式会社 パラボラアンテナ用一次放射器
AU2003243183A1 (en) 2002-05-01 2003-11-17 Index Systems, Inc. Method and system for facilitating advertising and t-commerce transactions in connection with content stored on a storage medium
US20050212626A1 (en) 2002-05-07 2005-09-29 Toshiyuki Takamatsu High frequency reaction processing system
US20030210197A1 (en) 2002-05-08 2003-11-13 Lockheed Martin Corporation Multiple mode broadband ridged horn antenna
US6750827B2 (en) 2002-05-08 2004-06-15 Waveband Corporation Dielectric waveguide antenna with improved input wave coupler
US7266154B2 (en) 2002-05-10 2007-09-04 The Southwestern Bell Telephone Co. Digital subscriber line induction neutralizing transformer network
US20040054425A1 (en) 2002-05-13 2004-03-18 Glenn Elmore Method and apparatus for information conveyance and distribution
US7109939B2 (en) 2002-05-14 2006-09-19 Hrl Laboratories, Llc Wideband antenna array
US7276990B2 (en) 2002-05-15 2007-10-02 Hrl Laboratories, Llc Single-pole multi-throw switch having low parasitic reactance, and an antenna incorporating the same
US6745009B2 (en) 2002-05-15 2004-06-01 Nokia Corporation Apparatus, and associated method, for facilitating antenna weight selection utilizing deterministic perturbation gradient approximation
US20050177463A1 (en) 2004-02-10 2005-08-11 Crutchfield William G.Jr. Virtual showroom for interactive electronic shopping
JP2005526437A (ja) 2002-05-16 2005-09-02 イーエムエス テクノロジーズ インコーポレイテッド レンズと反射器アセンブリを有する走査型指向性アンテナ
US7383577B2 (en) 2002-05-20 2008-06-03 Airdefense, Inc. Method and system for encrypted network management and intrusion detection
US6746618B2 (en) 2002-05-21 2004-06-08 Corning Incorporated Electro-optic ceramic material and device
US6771932B2 (en) 2002-05-24 2004-08-03 Omnilux, Inc. Method and system for automatically determining lines of sight between nodes
US7260424B2 (en) 2002-05-24 2007-08-21 Schmidt Dominik J Dynamically configured antenna for multiple frequencies and bandwidths
CA2487848A1 (en) 2002-05-28 2003-12-04 Amperion Incorporated Broadband communications using a medium-voltage power line
US7509675B2 (en) 2002-05-29 2009-03-24 At&T Intellectual Property I, L.P. Non-invasive monitoring of the effectiveness of electronic security services
JP2003344883A (ja) 2002-05-30 2003-12-03 Nec Corp Sbs反射鏡及びそれを用いた高繰返しパルスレーザシステム
US6703981B2 (en) 2002-06-05 2004-03-09 Motorola, Inc. Antenna(s) and electrochromic surface(s) apparatus and method
IES20020484A2 (en) 2002-06-14 2003-12-31 Pfleiderer Infrastrukturt Gmbh A telecommunications antennae support structure
US20040218688A1 (en) 2002-06-21 2004-11-04 John Santhoff Ultra-wideband communication through a power grid
US6982611B2 (en) 2002-06-24 2006-01-03 Current Technologies, Llc Power line coupling device and method of using the same
FR2841387B1 (fr) 2002-06-25 2006-04-28 Thales Sa Antenne, notamment millimetrique et radar equipe d'une telle antenne
WO2004004068A1 (ja) 2002-06-27 2004-01-08 Matsushita Electric Industrial Co., Ltd. アンテナ装置
US7164667B2 (en) 2002-06-28 2007-01-16 Belair Networks Inc. Integrated wireless distribution and mesh backhaul networks
US7965842B2 (en) 2002-06-28 2011-06-21 Wavelink Corporation System and method for detecting unauthorized wireless access points
AU2002950037A0 (en) 2002-07-08 2002-09-12 Bhp Steel Limited Utility pole cross-arm and associated pole-top hardware
US6785265B2 (en) 2002-07-08 2004-08-31 Sbc Properties, L.P. Ethernet-based digital subscriber line methods and systems
US20040109608A1 (en) 2002-07-12 2004-06-10 Love Patrick B. Systems and methods for analyzing two-dimensional images
US6720935B2 (en) 2002-07-12 2004-04-13 The Mitre Corporation Single and dual-band patch/helix antenna arrays
AU2002368101A1 (en) 2002-07-15 2004-02-09 Fractus, S.A. Undersampled microstrip array using multilevel and space-filling shaped elements
JP2004056204A (ja) 2002-07-16 2004-02-19 Alps Electric Co Ltd パッチアンテナ
US6768471B2 (en) 2002-07-25 2004-07-27 The Boeing Company Comformal phased array antenna and method for repair
GB0217227D0 (en) 2002-07-25 2002-09-04 Qinetiq Ltd Optical waveguide device
US7283541B2 (en) 2002-07-30 2007-10-16 At&T Corp. Method of sizing packets for routing over a communication network for VoIP calls on a per call basis
US7049939B2 (en) 2002-07-31 2006-05-23 Matsushita Electric Industrial Co., Ltd Power line carrier system
US7068999B2 (en) 2002-08-02 2006-06-27 Symbol Technologies, Inc. System and method for detection of a rogue wireless access point in a wireless communication network
WO2004013899A2 (en) 2002-08-02 2004-02-12 Arizona Board Of Regents Semiconductor quantum cryptographic device and method
AU2003265569A1 (en) 2002-08-20 2004-03-11 Aerosat Corporation Communication system with broadband antenna
US6947147B2 (en) 2002-08-21 2005-09-20 Agilent Technologies, Inc. De-embedment of optical component characteristics and calibration of optical receivers using rayleigh backscatter
DE10238824A1 (de) 2002-08-23 2004-03-11 Forschungszentrum Jülich GmbH Verfahren und Vorrichtung zur schnellen tomographischen Messung der elektrischen Leitfähigkeitsverteilung in einer Probe
US6882460B2 (en) 2002-08-23 2005-04-19 Energy Conversion Devices, Inc. Phase angle controlled stationary elements for long wavelength electromagnetic radiation
US20040048596A1 (en) 2002-09-10 2004-03-11 Nortel Networks Limited Method and apparatus for extending high bandwidth communication services to the edge of the network
US6983174B2 (en) 2002-09-18 2006-01-03 Andrew Corporation Distributed active transmit and/or receive antenna
EP1401048A1 (de) 2002-09-18 2004-03-24 Ulrich Carthäuser Antennenanlage einer Feststation für den Mobilfunk
US6928194B2 (en) 2002-09-19 2005-08-09 M7 Visual Intelligence, Lp System for mosaicing digital ortho-images
JP3855898B2 (ja) 2002-09-20 2006-12-13 株式会社村田製作所 アンテナ装置および送受信装置
JP2006507483A (ja) 2002-09-20 2006-03-02 エム7 ビジュアル インテリジェンス,エルピー 移動体によるデータの収集及び処理システム
AU2003279071A1 (en) 2002-09-23 2004-04-08 Wimetrics Corporation System and method for wireless local area network monitoring and intrusion detection
JP2004120187A (ja) 2002-09-25 2004-04-15 Alps Electric Co Ltd 監視用カメラ
US6864851B2 (en) 2002-09-26 2005-03-08 Raytheon Company Low profile wideband antenna array
US6906681B2 (en) 2002-09-27 2005-06-14 Andrew Corporation Multicarrier distributed active antenna
US7307357B2 (en) 2002-09-30 2007-12-11 Amperion, Inc. Method and system to increase the throughput of a communications system that uses an electrical power distribution system as a communications pathway
US20140254896A1 (en) 2011-07-18 2014-09-11 Tiger T G Zhou Unmanned drone, robot system for delivering mail, goods, humanoid security, crisis negotiation, mobile payments, smart humanoid mailbox and wearable personal exoskeleton heavy load flying machine
US7742788B2 (en) 2002-10-01 2010-06-22 Motorola, Inc. Method and apparatus for using switched multibeam antennas in a multiple access communication system
AU2003269170A1 (en) 2002-10-02 2004-04-23 Artimi Ltd Communication methods and apparatus
GB2393370B (en) 2002-10-02 2004-10-20 Artimi Ltd Communication methods & apparatus
US6686875B1 (en) 2002-10-04 2004-02-03 Phase Iv Systems, Inc. Bi-directional amplifier module for insertion between microwave transmission channels
NO318809B1 (no) 2002-10-07 2005-05-09 Protura As Anordning for overvakning av en elektrisk luftstrekk-ledning
US6995666B1 (en) 2002-10-16 2006-02-07 Luttrell Clyde K Cellemetry-operated railroad switch heater
US7058524B2 (en) 2002-10-25 2006-06-06 Hudson Bay Wireless, Llc Electrical power metering system
JP2004153367A (ja) 2002-10-29 2004-05-27 Tdk Corp 高周波モジュール、ならびにモード変換構造および方法
RU2222858C1 (ru) 2002-10-31 2004-01-27 Механошин Борис Иосифович Устройство для дистанционного контроля состояния провода воздушной линии электропередачи (варианты)
EP1418514A1 (en) 2002-11-05 2004-05-12 THOMSON Licensing S.A. Selecting advertisement on a set top box in a television network
US7136772B2 (en) 2002-11-08 2006-11-14 Avago Technologies Fiber Ip (Singapore) Pte. Ltd. Monitoring system for a communications network
US7408923B1 (en) 2002-11-09 2008-08-05 Mehtab Khan IP telephony transport
US7200658B2 (en) 2002-11-12 2007-04-03 Movielink, Llc Network geo-location system
JP2004163262A (ja) 2002-11-13 2004-06-10 Touch Panel Systems Kk 音響波型接触検出装置
US7250772B2 (en) 2002-11-19 2007-07-31 University Of Utah Research Foundation Method and apparatus for characterizing a signal path carrying an operational signal
FR2847723B1 (fr) 2002-11-22 2006-02-03 United Monolithic Semiconduct Composant electronique en boitier pour applications a des frequences millimetriques
SE525090C2 (sv) 2002-12-02 2004-11-30 Telia Ab Adaptivt passivt distribuerat antennsystem
US9015467B2 (en) 2002-12-05 2015-04-21 Broadcom Corporation Tagging mechanism for data path security processing
JP2004187224A (ja) 2002-12-06 2004-07-02 Toko Inc 誘電体導波管共振器の入出力結合構造
US7200391B2 (en) 2002-12-06 2007-04-03 Airvana, Inc. Capacity enhancement schemes for forward and reverse links of distributed cellular base stations
ATE555514T1 (de) 2002-12-09 2012-05-15 Corridor Systems Inc Verfahren und vorrichtung zum einspeisen einer oberflächenwelle auf eine einzelleiter- übertragungsleitung
US6965303B2 (en) 2002-12-10 2005-11-15 Current Technologies, Llc Power line communication system and method
US7224272B2 (en) 2002-12-10 2007-05-29 Current Technologies, Llc Power line repeater system and method
US7436321B2 (en) 2002-12-10 2008-10-14 Current Technologies, Llc Power line communication system with automated meter reading
US7075414B2 (en) 2003-05-13 2006-07-11 Current Technologies, Llc Device and method for communicating data signals through multiple power line conductors
US6980090B2 (en) 2002-12-10 2005-12-27 Current Technologies, Llc Device and method for coupling with electrical distribution network infrastructure to provide communications
US6980091B2 (en) 2002-12-10 2005-12-27 Current Technologies, Llc Power line communication system and method of operating the same
US7479776B2 (en) 2002-12-12 2009-01-20 Ideal Industries, Inc. Hand-held tester and method for local area network cabling
US6924776B2 (en) 2003-07-03 2005-08-02 Andrew Corporation Wideband dual polarized base station antenna offering optimized horizontal beam radiation patterns and variable vertical beam tilt
US8516470B1 (en) 2002-12-16 2013-08-20 Symantec Corporation Version upgrade via viral infection
US6853351B1 (en) 2002-12-19 2005-02-08 Itt Manufacturing Enterprises, Inc. Compact high-power reflective-cavity backed spiral antenna
US6768474B2 (en) 2002-12-20 2004-07-27 Spx Corporation Antenna mounting assembly and method
DE10261027A1 (de) 2002-12-24 2004-07-08 Robert Bosch Gmbh Winkelauflösendes Antennensystem
CA2511944C (en) 2002-12-26 2010-09-28 Nippon Telegraph And Telephone Corporation Wave transmission medium and waveguide circuit
US7019704B2 (en) 2003-01-02 2006-03-28 Phiar Corporation Planar antenna with supplemental antenna current configuration arranged between dominant current paths
FR2849728B1 (fr) 2003-01-06 2005-04-29 Excem Procede et dispositif pour la transmission avec une faible diaphonie
US6992639B1 (en) 2003-01-16 2006-01-31 Lockheed Martin Corporation Hybrid-mode horn antenna with selective gain
US7224985B2 (en) 2003-01-16 2007-05-29 Lockheed Martin, Corp. Antenna segment system
US7272231B2 (en) 2003-01-27 2007-09-18 International Business Machines Corporation Encrypting data for access by multiple users
US6756538B1 (en) 2003-01-29 2004-06-29 Conductores Monterrey S.A. De C.V. Coaxial cable having improved mechanical and electrical properties
KR20040069652A (ko) 2003-01-30 2004-08-06 삼성전자주식회사 다중 섹터 인빌딩 중계 시스템
JP2004297107A (ja) 2003-01-30 2004-10-21 Rcs:Kk 電力線搬送装置
JP3870909B2 (ja) 2003-01-31 2007-01-24 株式会社島津製作所 プラズマ処理装置
AU2003202128A1 (en) 2003-01-31 2004-08-23 Fmc Tech Limited A monitoring device for a medium voltage overhead line
FR2850796A1 (fr) 2003-02-04 2004-08-06 Cit Alcatel Reflecteur secondaire pour antenne hyperfrequence de type cassegrain
US7215928B2 (en) 2003-05-02 2007-05-08 Nortel Networks Limited Path selection in wireless networks
KR100571862B1 (ko) 2003-02-17 2006-04-17 삼성전자주식회사 다중 안테나를 포함하는 이동통신 시스템 및 그 방법
JP2004253853A (ja) 2003-02-18 2004-09-09 Ntn Corp 誘電性樹脂レンズアンテナ
JP2004254155A (ja) 2003-02-21 2004-09-09 Kanji Otsuka 信号伝送装置および配線構造
US6677899B1 (en) 2003-02-25 2004-01-13 Raytheon Company Low cost 2-D electronically scanned array with compact CTS feed and MEMS phase shifters
US6822615B2 (en) 2003-02-25 2004-11-23 Raytheon Company Wideband 2-D electronically scanned array with compact CTS feed and MEMS phase shifters
GB0304216D0 (en) 2003-02-25 2003-03-26 Koninkl Philips Electronics Nv Wireless network
US6888623B2 (en) 2003-02-26 2005-05-03 Dynamic Technology, Inc. Fiber optic sensor for precision 3-D position measurement
US20040172650A1 (en) 2003-02-28 2004-09-02 Hawkins William J. Targeted content delivery system in an interactive television network
WO2004079795A2 (en) 2003-03-04 2004-09-16 Rohm And Haas Electronic Materials, L.L.C. Coaxial waveguide microstructures and methods of formation thereof
JP2004274656A (ja) 2003-03-12 2004-09-30 Japan Radio Co Ltd レンズアンテナ
FR2852467B1 (fr) 2003-03-13 2005-07-15 Excem Procede et dispositif pour la transmission sans diaphonie
JP4125984B2 (ja) 2003-03-31 2008-07-30 アーベル・システムズ株式会社 複数の一次放射器を有するアンテナ
JP4025674B2 (ja) 2003-04-01 2007-12-26 富士通株式会社 迂回通信経路設計方法
CN1799207B (zh) 2003-04-08 2011-12-07 先进通信网络股份有限公司 通过电力线进行数据通信的系统和方法
US7426745B2 (en) 2003-04-24 2008-09-16 International Business Machines Corporation Methods and systems for transparent data encryption and decryption
US6904218B2 (en) 2003-05-12 2005-06-07 Fitel U.S.A. Corporation Super-large-effective-area (SLA) optical fiber and communication system incorporating the same
JP4000359B2 (ja) 2003-05-13 2007-10-31 島田理化工業株式会社 パラボラアンテナ用一次放射器
JP4142992B2 (ja) 2003-05-15 2008-09-03 株式会社フジクラ GHz帯伝送の伝送線路構造およびGHz帯伝送に用いるコネクタ
US7516487B1 (en) 2003-05-21 2009-04-07 Foundry Networks, Inc. System and method for source IP anti-spoofing security
US6985715B2 (en) 2003-05-29 2006-01-10 Amperion, Inc. Method and device for frequency translation in powerline communications
WO2004109952A1 (ja) 2003-06-02 2004-12-16 Fujitsu Limited アレーアンテナ通信装置およびアレーアンテナ通信装置のキャリブレーション方法
JP3867713B2 (ja) 2003-06-05 2007-01-10 住友電気工業株式会社 電波レンズアンテナ装置
US7054513B2 (en) 2003-06-09 2006-05-30 Virginia Tech Intellectual Properties, Inc. Optical fiber with quantum dots
US6859185B2 (en) 2003-06-11 2005-02-22 Harris Corporation Antenna assembly decoupling positioners and associated methods
CN1810047A (zh) 2003-06-17 2006-07-26 联合安全应用Id有限公司 用于监视和记录与机构有关的活动性和数据的电子安全系统及其客户机
US7038636B2 (en) 2003-06-18 2006-05-02 Ems Technologies Cawada, Ltd. Helical antenna
ES2221803B1 (es) 2003-06-18 2006-03-01 Diseño De Sistemas En Silicio, S.A. Procedimiento de acceso al medio de transmision de multiples nodos de comunicaciones sobre red electrica.
CN100505677C (zh) 2003-06-19 2009-06-24 三菱电机株式会社 无线基站装置和移动通信系统
US6972729B2 (en) 2003-06-20 2005-12-06 Wang Electro-Opto Corporation Broadband/multi-band circular array antenna
US7119755B2 (en) 2003-06-20 2006-10-10 Hrl Laboratories, Llc Wave antenna lens system
KR100565487B1 (ko) 2003-06-20 2006-03-30 엘지전자 주식회사 가전기기 네트워크 시스템 및 그 동작방법
US7313087B2 (en) 2003-06-20 2007-12-25 Ericsson Ab Distributed protection switching
CA2470281A1 (en) 2003-06-24 2004-12-24 Her Majesty In Right Of Canada As Represented By The Minister Of Nationa L Defence Multiple phase center feedhorn for reflector antenna
WO2005008902A2 (en) 2003-07-03 2005-01-27 Current Technologies, Llc A power line communication system and method of operating the same
US7026917B2 (en) 2003-07-03 2006-04-11 Current Technologies, Llc Power line communication system and method of operating the same
US7321291B2 (en) 2004-10-26 2008-01-22 Current Technologies, Llc Power line communications system and method of operating the same
WO2005009054A2 (en) 2003-07-03 2005-01-27 Rotani, Inc. Methods and apparatus for high throughput multiple radio wireless cells and networks
US6985118B2 (en) 2003-07-07 2006-01-10 Harris Corporation Multi-band horn antenna using frequency selective surfaces
JP2005033055A (ja) 2003-07-08 2005-02-03 Canon Inc 放射状スロットに円弧状スロットを併設したマルチスロットアンテナを用いた表面波プラズマ処理装置
EP1649660B1 (en) 2003-07-11 2019-09-04 CA, Inc. System and method for securing networks
US7180457B2 (en) 2003-07-11 2007-02-20 Raytheon Company Wideband phased array radiator
US7567740B2 (en) 2003-07-14 2009-07-28 Massachusetts Institute Of Technology Thermal sensing fiber devices
TW200509637A (en) 2003-07-14 2005-03-01 Nagravision Sa Method to create and manage a local network
FR2857804B1 (fr) 2003-07-17 2006-05-26 Atmel Corp Procede et appareil pour lisser la consommation de courant d ans un circuit integre
US7697417B2 (en) 2003-07-18 2010-04-13 Alcatel-Lucent Usa Inc. Methods and devices for re-routing MPLS traffic
US7151497B2 (en) 2003-07-19 2006-12-19 Crystal Bonnie A Coaxial antenna system
US6952143B2 (en) 2003-07-25 2005-10-04 M/A-Com, Inc. Millimeter-wave signal transmission device
US7346359B2 (en) 2003-07-31 2008-03-18 Pango Networks, Inc. Method for RF fingerprinting
JP2005055690A (ja) 2003-08-05 2005-03-03 Showa Electric Wire & Cable Co Ltd 光分岐導波路
SE0302175D0 (sv) 2003-08-07 2003-08-07 Kildal Antenna Consulting Ab Broadband multi-dipole antenna with frequencyindependent radiation characteristics
TWI220817B (en) 2003-08-22 2004-09-01 Benq Corp Antenna matching device and method thereof
US7545818B2 (en) 2003-08-27 2009-06-09 Mindspeed Technologies, Inc. Method and system for detecting facsimile communication during a VoIP session
US20050046511A1 (en) 2003-08-29 2005-03-03 Spx Corporation Switchless combining system and method
JP3721181B2 (ja) 2003-08-29 2005-11-30 独立行政法人科学技術振興機構 電磁波周波数フィルタ
JP2007532038A (ja) 2003-09-03 2007-11-08 モヘビ、ベフザド 近距離用携帯電話中継装置
US7602815B2 (en) 2003-09-04 2009-10-13 Broadcom Corporation Using network time protocol in voice over packet transmission
JP4446272B2 (ja) 2003-09-09 2010-04-07 株式会社国際電気通信基礎技術研究所 アレーアンテナ装置とその制御方法
US20050060299A1 (en) 2003-09-17 2005-03-17 George Filley Location-referenced photograph repository
US20050063422A1 (en) 2003-09-19 2005-03-24 Sashi Lazar Communication protocol over power line communication networks
JP3975445B2 (ja) 2003-09-22 2007-09-12 太洋無線株式会社 ファンビームアンテナ
JP4139758B2 (ja) 2003-09-29 2008-08-27 関西電力株式会社 パス設定方法並びに該パス設定方法を採用するネットワーク、中継局及び親局
DE112004001821T5 (de) 2003-10-03 2006-10-19 Murata Manufacturing Co., Ltd., Nagaokakyo Dielektrische Linse, dielektrische Linsenvorrichtung, Entwurfsverfahren einer dielektrischen Linse, Herstellungsverfahren und Sende-Empfangs-Ausrüstung einer dielektrischen Linse
US20060239501A1 (en) 2005-04-26 2006-10-26 Verance Corporation Security enhancements of digital watermarks for multi-media content
US7280033B2 (en) 2003-10-15 2007-10-09 Current Technologies, Llc Surface wave power line communications system and method
US20050097396A1 (en) 2003-10-20 2005-05-05 International Business Machines Corporation System and method for root cause linking of trouble tickets
US7145552B2 (en) 2003-10-22 2006-12-05 Solectron Corporation Electric field proximity keyboards and detection systems
US20050116814A1 (en) 2003-10-24 2005-06-02 Rodgers Barry N. Intelligent power management control system
US6982679B2 (en) 2003-10-27 2006-01-03 Harris Corporation Coaxial horn antenna system
US7214884B2 (en) 2003-10-31 2007-05-08 Adc Incorporated Cable with offset filler
US7239284B1 (en) 2003-10-31 2007-07-03 Staal Michael B Method and apparatus for stacked waveguide horns using dual polarity feeds oriented in quadrature
US6906676B2 (en) 2003-11-12 2005-06-14 Harris Corporation FSS feeding network for a multi-band compact horn
EP1687929B1 (en) 2003-11-17 2010-11-10 Quellan, Inc. Method and system for antenna interference cancellation
JP4209758B2 (ja) 2003-11-20 2009-01-14 富士通株式会社 迂回通信経路設計方法
WO2005050899A2 (en) 2003-11-24 2005-06-02 Interdigital Technology Corporation Method and apparatus for utilizing a directional beam antenna in a wireless transmit/receive unit
US7075485B2 (en) 2003-11-24 2006-07-11 Hong Kong Applied Science And Technology Research Institute Co., Ltd. Low cost multi-beam, multi-band and multi-diversity antenna systems and methods for wireless communications
EP1536572A1 (en) 2003-11-26 2005-06-01 ADS Enterprises NZ Ltd. Power line communication system
CA2449596A1 (en) 2003-12-05 2005-06-05 Stanislaw Bleszynski Dielectric cable system for millimeter microwave
US20050151659A1 (en) 2003-12-11 2005-07-14 Donovan David L. Transmission/distribution line fault indicator with remote polling and current sensing and reporting capability
US7477285B1 (en) 2003-12-12 2009-01-13 Careview Communication, Inc. Non-intrusive data transmission network for use in an enterprise facility and method for implementing
JP4161054B2 (ja) 2003-12-16 2008-10-08 テクトロニクス・インターナショナル・セールス・ゲーエムベーハー デジタル信号復調装置
DE10359867A1 (de) 2003-12-18 2005-07-14 Endress + Hauser Gmbh + Co. Kg Einkopplung
DE60329869D1 (de) 2003-12-18 2009-12-10 Fujitsu Ltd Antenneneinrichtung, funkempfangseinrichtung und funksendeeinrichtung
JP2005182469A (ja) 2003-12-19 2005-07-07 Nec Corp 児童防犯通報方法/プログラム/記録媒体/サーバ装置/システム
US7426383B2 (en) 2003-12-22 2008-09-16 Symbol Technologies, Inc. Wireless LAN intrusion detection based on location
CA2490603C (en) 2003-12-24 2012-12-11 National Research Council Of Canada Optical off-chip interconnects in multichannel planar waveguide devices
US7852837B1 (en) 2003-12-24 2010-12-14 At&T Intellectual Property Ii, L.P. Wi-Fi/BPL dual mode repeaters for power line networks
KR100574228B1 (ko) 2003-12-27 2006-04-26 한국전자통신연구원 플랫-탑 엘리먼트 패턴을 형성하기 위한 유전체봉의 육각 배열 구조
AU2003294197A1 (en) 2003-12-30 2005-07-21 Telefonaktiebolaget Lm Ericsson (Publ) Antenna device, and array antenna, with planar notch element feed
EP1704648A2 (en) 2003-12-30 2006-09-27 Anthony Whelan Broadband data services over vehicle power lines
NO20040110L (no) 2004-01-09 2005-07-11 Geir Monsen Vavik Signalrepeater system
CA2553370A1 (en) 2004-01-12 2005-07-28 Behzad Barjasteh Mohebbi Short-range cellular booster
EP1555548A1 (en) 2004-01-16 2005-07-20 IDT Technology Limited Weather station
EP1557900A1 (en) 2004-01-22 2005-07-27 Raafat R. Mansour MEMS Based RF Components and a Method of Construction Thereof
US7042403B2 (en) 2004-01-23 2006-05-09 General Motors Corporation Dual band, low profile omnidirectional antenna
US20050164744A1 (en) 2004-01-28 2005-07-28 Du Toit Nicolaas D. Apparatus and method operable in a wireless local area network incorporating tunable dielectric capacitors embodied within an inteligent adaptive antenna
US11152971B2 (en) 2004-02-02 2021-10-19 Charles Abraham Frequency modulated OFDM over various communication media
KR20050078991A (ko) 2004-02-03 2005-08-08 가부시키가이샤 고쿠사이 덴키 츠신 기소 기주츠 겐큐쇼 안테나 특성을 제어 가능한 어레이 안테나
US7308264B2 (en) 2004-02-05 2007-12-11 Interdigital Technology Corporation Method for identifying pre-candidate cells for a mobile unit operating with a switched beam antenna in a wireless communication system, and corresponding system
US7466157B2 (en) 2004-02-05 2008-12-16 Formfactor, Inc. Contactless interfacing of test signals with a device under test
US7274936B2 (en) 2004-02-06 2007-09-25 Interdigital Technology Corporation Method and apparatus for measuring channel quality using a smart antenna in a wireless transmit/receive unit
US7823199B1 (en) 2004-02-06 2010-10-26 Extreme Networks Method and system for detecting and preventing access intrusion in a network
US7324817B2 (en) 2004-02-07 2008-01-29 Interdigital Technology Corporation Wireless communication method and apparatus for selecting and reselecting cells based on measurements performed using directional beams and an omni-directional beam pattern
US8856239B1 (en) 2004-02-10 2014-10-07 Sonicwall, Inc. Message classification based on likelihood of spoofing
EP1622221A1 (en) 2004-02-11 2006-02-01 Sony Deutschland GmbH Circular polarised array antenna
US20050208949A1 (en) 2004-02-12 2005-09-22 Chiueh Tzi-Cker Centralized channel assignment and routing algorithms for multi-channel wireless mesh networks
US7460737B2 (en) 2004-02-12 2008-12-02 Hoshiko Llc Method and apparatus for photograph finding
WO2005082801A2 (en) 2004-02-20 2005-09-09 Corning Incorporated Optical fiber and method for making such fiber
GB2411554B (en) 2004-02-24 2006-01-18 Toshiba Res Europ Ltd Multi-rate security
US7602333B2 (en) 2004-02-26 2009-10-13 Kyocera Corporation Transmitting/receiving antenna, isolator, high-frequency oscillator, and high-frequency transmitter-receiver using the same
US7640581B1 (en) 2004-02-27 2009-12-29 Embarq Holdings Company, Llc Method and system for providing secure, centralized access to remote elements
US7138958B2 (en) 2004-02-27 2006-11-21 Andrew Corporation Reflector antenna radome with backlobe suppressor ring and method of manufacturing
US6958729B1 (en) 2004-03-05 2005-10-25 Lucent Technologies Inc. Phased array metamaterial antenna system
US7113134B1 (en) 2004-03-12 2006-09-26 Current Technologies, Llc Transformer antenna device and method of using the same
US7289828B2 (en) 2004-03-17 2007-10-30 Interdigital Technology Corporation Method for steering a smart antenna for a WLAN using a periodic re-scan
US7057401B2 (en) 2004-03-23 2006-06-06 Pass & Seymour, Inc. Electrical wiring inspection system
GB0406814D0 (en) 2004-03-26 2004-08-04 Bae Systems Plc An antenna
JP4082372B2 (ja) 2004-03-29 2008-04-30 日立電線株式会社 光ファイバケーブル
US7061443B2 (en) 2004-04-01 2006-06-13 Raytheon Company MMW electronically scanned antenna
WO2005096531A1 (en) 2004-04-02 2005-10-13 Nortel Networks Limited Wireless comunication methods, systems, and signal structures
US9312929B2 (en) 2004-04-02 2016-04-12 Rearden, Llc System and methods to compensate for Doppler effects in multi-user (MU) multiple antenna systems (MAS)
US10425134B2 (en) 2004-04-02 2019-09-24 Rearden, Llc System and methods for planned evolution and obsolescence of multiuser spectrum
US7710888B2 (en) 2004-04-05 2010-05-04 Verizon Business Global Llc Apparatus and method for testing and fault isolation in a communication network
US8208634B2 (en) 2004-04-16 2012-06-26 Qualcomm Incorporated Position based enhanced security of wireless communications
US7512090B2 (en) 2004-04-19 2009-03-31 Alcatel-Lucent Usa Inc. System and method for routing calls in a wireless network using a single point of contact
US6965355B1 (en) 2004-04-21 2005-11-15 Harris Corporation Reflector antenna system including a phased array antenna operable in multiple modes and related methods
GB2413407B (en) 2004-04-22 2007-11-07 Ibm Method and system for software or data distribution
CN2730033Y (zh) 2004-04-26 2005-09-28 西安海天天线科技股份有限公司 小灵通phs通信系统全向智能天线
KR100624049B1 (ko) 2004-04-26 2006-09-20 주식회사 필셋 원편파 수신용 정방 격자 혼 배열 안테나
JP2005318280A (ja) 2004-04-28 2005-11-10 Canon Inc 画像処理システム、制御装置およびその制御方法
US7016585B2 (en) 2004-05-04 2006-03-21 Bellsouth Intellectual Property Corporation Compressible layer for fiber optic cable
IL161869A (en) 2004-05-06 2014-05-28 Serconet Ltd A system and method for carrying a signal originating is wired using wires
DE102004024356A1 (de) 2004-05-17 2005-09-08 Siemens Ag Übertragungseinrichtung für Infromationen und/oder Befehle bei Schienenfahrzeuge, Schienenfahrzeug und Zugkupplung hierfür
US7224320B2 (en) 2004-05-18 2007-05-29 Probrand International, Inc. Small wave-guide radiators for closely spaced feeds on multi-beam antennas
US20050258920A1 (en) 2004-05-21 2005-11-24 Elmore Glenn E System and method for launching surface waves over unconditioned lines
US7567154B2 (en) 2004-05-21 2009-07-28 Corridor Systems, Inc. Surface wave transmission system over a single conductor having E-fields terminating along the conductor
CA2467988C (en) 2004-05-21 2010-11-30 Teamon Systems, Inc. System and method for initiating secure network connection from a client to a network host
US7971053B2 (en) 2004-05-26 2011-06-28 At&T Intellectual Property I, L. P. Methods, systems, and products for intrusion detection
US8711732B2 (en) 2004-05-27 2014-04-29 Richard G. Johnson Synthesized interoperable communications
US8073810B2 (en) 2007-10-29 2011-12-06 Oracle International Corporation Shared view of customers across business support systems (BSS) and a service delivery platform (SDP)
US7071879B2 (en) 2004-06-01 2006-07-04 Ems Technologies Canada, Ltd. Dielectric-resonator array antenna system
US7183998B2 (en) 2004-06-02 2007-02-27 Sciperio, Inc. Micro-helix antenna and methods for making same
GB2414862A (en) 2004-06-02 2005-12-07 Andrew John Fox Dielectric antenna with increasing cross-section
US7633442B2 (en) 2004-06-03 2009-12-15 Interdigital Technology Corporation Satellite communication subscriber device with a smart antenna and associated method
GB0412494D0 (en) 2004-06-04 2004-07-07 Nokia Corp Adaptive routing
US8458453B1 (en) 2004-06-11 2013-06-04 Dunti Llc Method and apparatus for securing communication over public network
KR100539267B1 (ko) 2004-06-14 2005-12-27 삼성전자주식회사 한쌍의 전송라인을 통해 전송되는 한쌍의 차동신호를안정적으로 종단시키는 구조를 갖는 메모리 시스템
EP1608110B1 (de) 2004-06-15 2006-10-18 Siemens Aktiengesellschaft Verfahren zur Funkkommunikation und Funkkommunikationssystem mit Relaisfunkstationen in Zick-Zack-Anordnung
US20060113425A1 (en) 2004-06-24 2006-06-01 Hermann Rader Vertical take-off and landing aircraft with adjustable center-of-gravity position
US7102581B1 (en) 2004-07-01 2006-09-05 Rockwell Collins, Inc. Multiband waveguide reflector antenna feed
US7155238B2 (en) 2004-07-06 2006-12-26 Katz Daniel A Wireless location determining device
CA2484957A1 (en) 2004-07-07 2006-01-07 Veris Industries, Llc Split core sensing transformer
JP2006030294A (ja) 2004-07-12 2006-02-02 Nitto Denko Corp フレキシブル光導波路の製法
WO2006005224A1 (en) 2004-07-12 2006-01-19 Zte Corporation A load balancing method for a wireless area network
US7522115B2 (en) 2004-07-13 2009-04-21 Mediaur Technologies, Inc. Satellite ground station antenna with wide field of view and nulling pattern using surface waveguide antennas
WO2006019776A2 (en) 2004-07-14 2006-02-23 William Marsh Rice University A method for coupling terahertz pulses into a coaxial waveguide
US7307596B1 (en) 2004-07-15 2007-12-11 Rockwell Collins, Inc. Low-cost one-dimensional electromagnetic band gap waveguide phase shifter based ESA horn antenna
US20140071818A1 (en) 2004-07-16 2014-03-13 Virginia Innovation Sciences, Inc. Method and system for efficient communication
US7012572B1 (en) 2004-07-16 2006-03-14 Hrl Laboratories, Llc Integrated ultra wideband element card for array antennas
WO2006012610A2 (en) 2004-07-23 2006-02-02 Citrix Systems, Inc. Systems and methods for optimizing communications between network nodes
EP1771919A1 (en) 2004-07-23 2007-04-11 Fractus, S.A. Antenna in package with reduced electromagnetic interaction with on chip elements
US7379791B2 (en) 2004-08-03 2008-05-27 Uscl Corporation Integrated metrology systems and information and control apparatus for interaction with integrated metrology systems
US7218285B2 (en) 2004-08-05 2007-05-15 The Boeing Company Metamaterial scanning lens antenna systems and methods
US7295161B2 (en) 2004-08-06 2007-11-13 International Business Machines Corporation Apparatus and methods for constructing antennas using wire bonds as radiating elements
JP4379804B2 (ja) 2004-08-13 2009-12-09 大同特殊鋼株式会社 高窒素オーステナイト系ステンレス鋼
US7498822B2 (en) 2004-08-16 2009-03-03 Ying Lau Lee Linear capacitance measurement and touchless switch
US7193562B2 (en) 2004-11-22 2007-03-20 Ruckus Wireless, Inc. Circuit board having a peripheral antenna apparatus with selectable antenna elements
US7616762B2 (en) 2004-08-20 2009-11-10 Sony Corporation System and method for authenticating/registering network device in power line communication (PLC)
US7747774B2 (en) 2004-08-23 2010-06-29 At&T Intellectual Property I, L.P. Methods, systems and computer program products for obscuring traffic in a distributed system
US7215220B1 (en) 2004-08-23 2007-05-08 Cap Wireless, Inc. Broadband power combining device using antipodal finline structure
GB2417618B (en) 2004-08-31 2009-03-04 Itt Mfg Enterprises Inc Coaxial connector
US7130516B2 (en) 2004-08-31 2006-10-31 3M Innovative Properties Company Triple-band bend tolerant optical waveguide
JP4241553B2 (ja) 2004-09-02 2009-03-18 株式会社デンソー 雨滴検出装置
CN101057370B (zh) 2004-09-10 2011-03-09 住友电气工业株式会社 Luneberg介电透镜及其制造方法
US7123191B2 (en) 2004-09-23 2006-10-17 Interdigital Technology Corporation Blind signal separation using I and Q components
US7138767B2 (en) 2004-09-30 2006-11-21 Tokyo Electron Limited Surface wave plasma processing system and method of using
US7126557B2 (en) 2004-10-01 2006-10-24 Southwest Research Institute Tapered area small helix antenna
US7398946B1 (en) 2004-10-04 2008-07-15 United States Of America As Represented By The Secretary Of The Air Force Power line sentry charging
US7318564B1 (en) 2004-10-04 2008-01-15 The United States Of America As Represented By The Secretary Of The Air Force Power line sentry charging
US7583233B2 (en) 2004-10-08 2009-09-01 Alliant Techsystems Inc. RF Receiving and transmitting apparatuses having a microstrip-slot log-periodic antenna
US7145440B2 (en) 2004-10-12 2006-12-05 At&T Corp. Broadband coupler technique for electrical connection to power lines
US20060085813A1 (en) 2004-10-14 2006-04-20 Safetzone Technologies Corporation Real time location system and method
US8000737B2 (en) 2004-10-15 2011-08-16 Sky Cross, Inc. Methods and apparatuses for adaptively controlling antenna parameters to enhance efficiency and maintain antenna size compactness
US20060083520A1 (en) 2004-10-15 2006-04-20 Peter Healey Communication by radio waves and optical waveguides
KR100669248B1 (ko) 2004-10-19 2007-01-15 한국전자통신연구원 병렬 처리 구조의 ds-cdma uwb 시스템에서의초기 동기 획득 장치 및 방법과 이를 이용한ds-cdma uwb 시스템에서의 수신기
US7826602B1 (en) 2004-10-22 2010-11-02 Juniper Networks, Inc. Enabling incoming VoIP calls behind a network firewall
US7436641B2 (en) 2004-10-26 2008-10-14 The Boeing Company Device and system for wireless communications with a circuit breaker
EP1807950A4 (en) 2004-10-28 2011-01-26 Corridor Systems Inc DISTRIBUTED ANTENNA SYSTEM WITH HANGING
US7171308B2 (en) 2004-10-29 2007-01-30 Radio Shack Corporation Weather station
DE102004052518A1 (de) 2004-10-29 2006-05-04 Robert Bosch Gmbh Vorrichtung und Verfahren zur winkelaufgelösten Entfernungs- und Geschwindigkeitsbetimmung eines Objekts
EP1807706B1 (en) 2004-11-01 2018-07-11 Underground Systems, Inc. An electrical instrument platform for mounting on and removal from an energized high voltage power conductor
US7714709B1 (en) 2004-11-01 2010-05-11 Sayo Isaac Daniel Modular plug and wear covert alarm locator apparatus
DE602004013332T2 (de) 2004-11-01 2009-08-20 Ascom (Schweiz) Ag Verfahren und Vorrichtung zur Bestimmung einer Abdeckung eines Zellulanetzsystems
US7307579B2 (en) 2004-11-03 2007-12-11 Flight Safety Technologies, Inc. Collision alerting and avoidance system
US7139328B2 (en) 2004-11-04 2006-11-21 Motorola, Inc. Method and apparatus for closed loop data transmission
US8527003B2 (en) 2004-11-10 2013-09-03 Newlans, Inc. System and apparatus for high data rate wireless communications
JP2006166399A (ja) 2004-11-15 2006-06-22 Maspro Denkoh Corp Emc試験用アンテナ装置、試験信号発生装置及び送信装置
US20060106741A1 (en) 2004-11-17 2006-05-18 San Vision Energy Technology Inc. Utility monitoring system and method for relaying personalized real-time utility consumption information to a consumer
US7583762B2 (en) 2004-11-17 2009-09-01 Agere Systems Inc. Reduced-complexity multiple-input, multiple-output detection
US7123801B2 (en) 2004-11-18 2006-10-17 Prysmian Communications Cables And Systems Usa, Llc Optical fiber cable with fiber receiving jacket ducts
US7137605B1 (en) 2004-11-19 2006-11-21 Guertler James J Accessory mounting device for a traffic light assembly
JP4312700B2 (ja) 2004-11-25 2009-08-12 株式会社リコー ネットワーク通信装置
US7095376B1 (en) 2004-11-30 2006-08-22 L3 Communications Corporation System and method for pointing and control of an antenna
US7583593B2 (en) 2004-12-01 2009-09-01 Cisco Technology, Inc. System and methods for detecting network failure
US9172429B2 (en) 2004-12-01 2015-10-27 At&T Intellectual Property Ii, L.P. Interference control in a broadband powerline communication system
US7183991B2 (en) 2004-12-03 2007-02-27 Northrop Grumman Corporation Multiple flared antenna horn with enhanced aperture efficiency
JP2006163886A (ja) 2004-12-08 2006-06-22 Canon Inc 情報入力方法及び情報入力装置
ITRM20040605A1 (it) 2004-12-10 2005-03-10 Space Engineering Spa Antenna piatta ad alta efficienza e relativo procedimento di fabbricazione.
JP2006166277A (ja) 2004-12-10 2006-06-22 Hitachi Media Electoronics Co Ltd 送受信装置およびモジュール
US7315678B2 (en) 2004-12-13 2008-01-01 California Institute Of Technology Method and apparatus for low-loss signal transmission
KR100636388B1 (ko) 2004-12-13 2006-10-19 한국전자통신연구원 평면형 도파관을 이용한 다이폴 안테나
US7716660B2 (en) 2004-12-14 2010-05-11 Microsoft Corporation Method and system for downloading updates
US7106265B2 (en) 2004-12-20 2006-09-12 Raytheon Company Transverse device array radiator ESA
US7224170B2 (en) 2004-12-27 2007-05-29 P. G. Electronics Fault monitoring in a distributed antenna system
US7151445B2 (en) 2005-01-10 2006-12-19 Ildiko Medve Method and system for locating a dependent
CA2592444C (en) 2005-01-11 2015-04-07 Stephen J. Savarino Adhesin as immunogen against escherichia coli
US7554998B2 (en) 2005-01-11 2009-06-30 Telefonaktiebolaget Lm Ericsson (Publ) Interference-based routing in a wireless mesh network
US7453393B2 (en) 2005-01-18 2008-11-18 Siemens Milltronics Process Instruments Inc. Coupler with waveguide transition for an antenna in a radar-based level measurement system
EP1846771B1 (en) 2005-01-19 2013-08-07 Power Measurement Ltd Sensor apparatus
EP1684382A1 (en) 2005-01-19 2006-07-26 Samsung Electronics Co., Ltd. Small ultra wideband antenna having unidirectional radiation pattern
JP4029217B2 (ja) 2005-01-20 2008-01-09 株式会社村田製作所 導波管ホーンアレイアンテナおよびレーダ装置
US7437140B2 (en) 2005-01-21 2008-10-14 Sony Corporation Power line network bridge
US7297869B2 (en) 2005-01-24 2007-11-20 Tyco Electronics Corporation Covers for distribution lines and insulators
US7164354B1 (en) 2005-01-25 2007-01-16 Justin Panzer Child protection system
US20060181394A1 (en) 2005-01-28 2006-08-17 Clarke James B Radio frequency fingerprinting to detect fraudulent radio frequency identification tags
US7282922B2 (en) 2005-01-31 2007-10-16 University Of Utah Research Foundation Wire network mapping method and apparatus using impulse responses
KR20120053058A (ko) 2005-01-31 2012-05-24 조지아 테크 리서치 코오포레이션 쇄도 전류 예측기능을 갖는 능동형 전류 서지 리미터
US7796890B1 (en) 2005-02-01 2010-09-14 Sprint Communications Company L.P. Hybrid PON/surface wave terrestrial access
US20060176124A1 (en) 2005-02-10 2006-08-10 Mansour Raafat R MEMS based RF components and a method of construction thereof
WO2006085804A1 (en) 2005-02-14 2006-08-17 Abb Research Ltd Line inspection
US7479841B2 (en) 2005-02-15 2009-01-20 Northrop Grumman Corporation Transmission line to waveguide interconnect and method of forming same including a heat spreader
KR101041814B1 (ko) 2005-02-15 2011-06-17 엘지전자 주식회사 무선 이동통신 시스템에서 점대다 멀티미디어 서비스 제공방법
US7676679B2 (en) 2005-02-15 2010-03-09 Cisco Technology, Inc. Method for self-synchronizing time between communicating networked systems using timestamps
GB2438347B8 (en) 2005-02-25 2009-04-08 Data Fusion Corp Mitigating interference in a signal
US9515747B2 (en) 2005-03-01 2016-12-06 Alexander Ivan Soto System and method for a subscriber-powered network element
US8183995B2 (en) 2005-03-08 2012-05-22 Jackson Kit Wang Systems and methods for modifying power usage
US8625547B1 (en) 2005-03-11 2014-01-07 At&T Intellectual Property Ii, L.P. Two-tier wireless broadband access network
US7408507B1 (en) 2005-03-15 2008-08-05 The United States Of America As Represented By The Secretary Of The Navy Antenna calibration method and system
US7848517B2 (en) 2005-03-16 2010-12-07 At&T Intellectual Property Ii, L.P. Secure open-air communication system utilizing multi-channel decoyed transmission
US7660252B1 (en) 2005-03-17 2010-02-09 Cisco Technology, Inc. System and method for regulating data traffic in a network device
CN100502181C (zh) 2005-03-18 2009-06-17 山东大学 沿110kV输电线自主行走的机器人及其工作方法
US7729285B2 (en) 2005-03-22 2010-06-01 Itt Manufacturing Enterprises, Inc. Energy-efficient network protocol and node device for sensor networks
US7308370B2 (en) 2005-03-22 2007-12-11 Elster Electricity Llc Using a fixed network wireless data collection system to improve utility responsiveness to power outages
US7509009B2 (en) 2005-03-23 2009-03-24 Tomoegawa Paper Co., Ltd Optical fiber structure and method of manufacturing same
US7324046B1 (en) 2005-03-25 2008-01-29 The Boeing Company Electronic beam steering for keyhole avoidance
US7522794B2 (en) 2005-03-29 2009-04-21 Reynolds Packaging Llc Multi-layered water blocking cable armor laminate containing water swelling fabrics and method of making such
CN100553032C (zh) 2005-03-30 2009-10-21 松下电器产业株式会社 传输线对
US7256740B2 (en) 2005-03-30 2007-08-14 Intel Corporation Antenna system using complementary metal oxide semiconductor techniques
US8259861B2 (en) 2005-03-31 2012-09-04 At&T Intellectual Property I, L.P. Methods and systems for providing bandwidth adjustment
US7856032B2 (en) 2005-04-04 2010-12-21 Current Technologies, Llc Multi-function modem device
US7265664B2 (en) 2005-04-04 2007-09-04 Current Technologies, Llc Power line communications system and method
EP1867160A1 (en) 2005-04-05 2007-12-19 Thomson Licensing Multimedia content distribution system and method for multiple dwelling unit
US20060232493A1 (en) 2005-04-15 2006-10-19 Cirex Technology Corporation Circular-polarization dipole helical antenna
WO2006111809A1 (en) 2005-04-20 2006-10-26 Nokia Siemens Networks Oy Load balancing communications system comprising cellular overlay and ad hoc networks
US20060238347A1 (en) 2005-04-22 2006-10-26 W.R. Parkinson, Co., Inc. Object tracking system
US7465879B2 (en) 2005-04-25 2008-12-16 Cable Components Group Concentric-eccentric high performance, multi-media communications cables and cable support-separators utilizing roll-up designs
US8656458B2 (en) 2005-08-25 2014-02-18 Guy Heffez Method and system for authenticating internet user identity
WO2006116396A2 (en) 2005-04-26 2006-11-02 Anders Joseph C Voice over internet protocol system and method for processing of telephonic voice over a data network
US7151499B2 (en) 2005-04-28 2006-12-19 Aramais Avakian Reconfigurable dielectric waveguide antenna
US7180447B1 (en) 2005-04-29 2007-02-20 Lockhead Martin Corporation Shared phased array beamformer
US20060249622A1 (en) 2005-05-04 2006-11-09 Lockheed Martin Corporation Autonomous Environmental Control System and Method For Post-Capture and Pre-Launch Management of an Unmanned Air Vehicle
WO2006122040A2 (en) 2005-05-05 2006-11-16 Automotive Systems Laboratory, Inc. Antenna
EP1880371A4 (en) 2005-05-06 2009-08-26 Smartwear Technologies DEVICES AND METHODS FOR FOLLOWING, FINDING AND PROTECTING INDIVIDUALS
US7958120B2 (en) 2005-05-10 2011-06-07 Netseer, Inc. Method and apparatus for distributed community finding
US20060255930A1 (en) 2005-05-12 2006-11-16 Berkman William H Power line communications system and method
US7420474B1 (en) 2005-05-13 2008-09-02 Barron Associates, Inc. Idiosyncratic emissions fingerprinting method for identifying electronic devices
US8064142B2 (en) 2005-05-14 2011-11-22 Holochip Corporation Fluidic lens with reduced optical aberration
US7590404B1 (en) 2005-05-18 2009-09-15 Sprint Communications Company L.P. Surface wave communications between a remote antenna and a base station that is co-located with another base station
US7292143B2 (en) 2005-05-20 2007-11-06 Drake David A Remote sensing and communication system
US7787729B2 (en) 2005-05-20 2010-08-31 Imra America, Inc. Single mode propagation in fibers and rods with large leakage channels
WO2006125279A1 (en) 2005-05-27 2006-11-30 At Group International Limited Content presentation
WO2006133225A2 (en) 2005-06-06 2006-12-14 Multigig Inc. True time delay phase array radar using rotary clocks and electronic delay lines
JP4951622B2 (ja) 2005-06-09 2012-06-13 マクドナルド,デットワイラー アンド アソシエイツ リミテッド 軽量の空間給電型能動フェーズドアレイアンテナシステム
EP1734665B1 (en) 2005-06-17 2011-08-10 Fujitsu Limited Multi-hop communication system
US7660244B2 (en) 2005-06-20 2010-02-09 Alcatel-Lucent Usa Inc. Method and apparatus for quality-of-service based admission control using a virtual scheduler
US7259657B2 (en) 2005-06-21 2007-08-21 Current Technologies, Llc Multi-subnet power line communications system and method
CN1885736A (zh) 2005-06-21 2006-12-27 电子科技大学 一种分布式多入多出公用移动通信系统
US7558206B2 (en) 2005-06-21 2009-07-07 Current Technologies, Llc Power line communication rate limiting system and method
US7358808B2 (en) 2005-06-21 2008-04-15 Current Technologies, Llc Method and device for amplification of data signals over power lines
US7508834B2 (en) 2005-06-21 2009-03-24 Current Technologies, Llc Wireless link for power line communications system
US20060286927A1 (en) 2005-06-21 2006-12-21 Berkman William H Hybrid power line communications digital broadcast system
US7459834B2 (en) 2005-06-22 2008-12-02 Qortek, Inc. Solid state gimbal system
US8660526B1 (en) 2005-06-24 2014-02-25 Rockwell Collins, Inc. Location-based intrusion detection system
US7737903B1 (en) 2005-06-27 2010-06-15 Lockheed Martin Corporation Stepped-reflector antenna for satellite communication payloads
US7319717B2 (en) 2005-06-28 2008-01-15 International Broadband Electric Communications, Inc. Device and method for enabling communications signals using a medium voltage power line
WO2007000777A1 (en) 2005-06-29 2007-01-04 Gorur Narayana Srinivasa Prasa Broadband hf/vhf/uhf communication on power lines
US7301424B2 (en) 2005-06-29 2007-11-27 Intel Corporation Flexible waveguide cable with a dielectric core
CH705337B1 (de) 2005-07-14 2013-02-15 Brugg Ag Kabelwerke Elektrooptisches Kommunikations- und Energiekabel.
US7522812B2 (en) 2005-07-15 2009-04-21 International Broadband Electric Communications, Inc. Coupling of communications signals to a power line
JP2007026063A (ja) 2005-07-15 2007-02-01 Funai Electric Co Ltd セキュリティシステムおよび監視方法
FI120072B (fi) 2005-07-19 2009-06-15 Ssh Comm Security Corp Pakettidatan lähettäminen verkon yli tietoturvaprotokollaa käyttäen
US8135050B1 (en) 2005-07-19 2012-03-13 Raydiance, Inc. Automated polarization correction
US7724717B2 (en) 2005-07-22 2010-05-25 Sri International Method and apparatus for wireless network security
US8249028B2 (en) 2005-07-22 2012-08-21 Sri International Method and apparatus for identifying wireless transmitters
US8737420B2 (en) 2005-07-27 2014-05-27 Sigma Designs Israel S.D.I. Ltd. Bandwidth management in a powerline network
GB2428949B (en) 2005-07-28 2007-11-14 Artimi Inc Communications systems and methods
TWI323110B (en) 2005-07-30 2010-04-01 Firetide Inc System and method for a shared access network
US7945678B1 (en) 2005-08-05 2011-05-17 F5 Networks, Inc. Link load balancer that controls a path for a client to connect to a resource
JP2007042009A (ja) 2005-08-05 2007-02-15 Hitachi Ltd 地域防犯システム、無線タグ付名札および監視装置
CA2515560A1 (en) 2005-08-10 2007-02-10 William H. Berkman A surface wave power line communications system and method
US20070041554A1 (en) 2005-08-12 2007-02-22 Sbc Knowledge Ventures L.P. Method and system for comprehensive testing of network connections
US8073068B2 (en) 2005-08-22 2011-12-06 Qualcomm Incorporated Selective virtual antenna transmission
JP4437984B2 (ja) 2005-08-24 2010-03-24 アラクサラネットワークス株式会社 ネットワーク中継装置及びその制御方法
US7292196B2 (en) 2005-08-29 2007-11-06 Pharad, Llc System and apparatus for a wideband omni-directional antenna
US20070054622A1 (en) 2005-09-02 2007-03-08 Berkman William H Hybrid power line wireless communication system
US7286099B1 (en) 2005-09-02 2007-10-23 Lockheed Martin Corporation Rotation-independent helical antenna
US7518952B1 (en) 2005-09-09 2009-04-14 Itt Manufacturing Enterprises, Inc. Sonar sensor array signal distribution system and method
JP2007072945A (ja) 2005-09-09 2007-03-22 Chugoku Electric Power Co Inc:The 被監視者の移動状況監視システム
US8184015B2 (en) 2005-09-16 2012-05-22 Université de Liège Device, system and method for real-time monitoring of overhead power lines
US7606592B2 (en) 2005-09-19 2009-10-20 Becker Charles D Waveguide-based wireless distribution system and method of operation
US8406239B2 (en) 2005-10-03 2013-03-26 Broadcom Corporation Multi-wideband communications over multiple mediums
US8213895B2 (en) 2005-10-03 2012-07-03 Broadcom Europe Limited Multi-wideband communications over multiple mediums within a network
WO2007044445A2 (en) 2005-10-05 2007-04-19 Guardian Networks, Llc A method and system for remotely monitoring and controlling field devices with a street lamp elevated mesh network
US8159955B2 (en) 2005-10-12 2012-04-17 Telefonaktiebolaget Lm Ericsson (Publ) Method and arrangement for link cost determination for routing in wireless networks
US7412337B2 (en) 2005-10-13 2008-08-12 Endress + Hauser Gmbh + Co. Kg Method for determining fill level on the basis of travel time of a high-frequency measuring signal
DE102005049103A1 (de) 2005-10-13 2007-04-19 Siemens Ag Funkkommunikation mit einem Repeater
US8605579B2 (en) 2005-10-17 2013-12-10 Qualcomm Incorporated Method and apparatus for flow control of data in a mesh network
US7856007B2 (en) 2005-10-21 2010-12-21 Current Technologies, Llc Power line communication voice over IP system and method
US20070090185A1 (en) 2005-10-25 2007-04-26 Clean Energy Developments Corp. Device and method for shopping and data collection
US8079049B2 (en) 2005-10-26 2011-12-13 Thomson Licensing System and method for inserting sync bytes into transport packets
CN1863244B (zh) 2005-10-28 2013-10-02 华为技术有限公司 传输线路的时域反射测试方法及装置
KR100725002B1 (ko) 2005-11-08 2007-06-04 포스데이타 주식회사 휴대 인터넷 시스템의 무선 네트워크 서비스 품질 진단 시스템 및 그 진단 방법
US8774019B2 (en) 2005-11-10 2014-07-08 Apple Inc. Zones for wireless networks with relays
US7570137B2 (en) 2005-11-14 2009-08-04 Northrop Grumman Corporation Monolithic microwave integrated circuit (MMIC) waveguide resonators having a tunable ferroelectric layer
US7656167B1 (en) 2005-11-15 2010-02-02 Tdk Corporation Electric field generator incorporating a slow-wave structure
FR2893717A1 (fr) 2005-11-22 2007-05-25 Meteoconsult Soc Par Actions S Station meteorologique capable d'echanger des donnees avec un serveur
DE102005056042B4 (de) 2005-11-24 2015-11-05 Vega Grieshaber Kg Metallisierter Kunststoffantennentrichter für ein Füllstandradar
JP2006153878A (ja) 2005-11-25 2006-06-15 Omron Corp 侵入物検知装置および電波反射器
CN101317350B (zh) 2005-11-29 2012-07-04 Ls电线有限公司 应用混合光纤同轴电缆网的电力线通信系统和应用在上述系统中的通信装置
JP2007145263A (ja) 2005-11-30 2007-06-14 Pacific Ind Co Ltd 車両機器制御システム
US7358921B2 (en) 2005-12-01 2008-04-15 Harris Corporation Dual polarization antenna and associated methods
US8243603B2 (en) 2005-12-07 2012-08-14 Motorola Solutions, Inc. Method and system for improving a wireless communication route
GB0525428D0 (en) 2005-12-14 2006-01-25 Wireless Fibre Systems Ltd Distributed underwater electromagnetic communication system
US7583074B1 (en) 2005-12-16 2009-09-01 Hrl Laboratories, Llc Low cost millimeter wave imager
WO2007071797A1 (es) 2005-12-19 2007-06-28 Uralita Sistemas De Tuberias, S.A. Sistema distribuido de transmisión bidireccional de ondas guiadas y/o radiadas
US20070144779A1 (en) 2005-12-20 2007-06-28 General Electric Company Wireless configurable controls and control panels and enclosures therefor
JP4388014B2 (ja) 2005-12-20 2009-12-24 三星電子株式会社 アンテナ
US8207907B2 (en) 2006-02-16 2012-06-26 The Invention Science Fund I Llc Variable metamaterial apparatus
US7672271B2 (en) 2005-12-22 2010-03-02 Hyun Lee Method of constructing wireless high speed backbone connection that unifies various wired/wireless network clusters by means of employing the smart/adaptive antenna technique and dynamically creating concurrent data pipelines
JP4816078B2 (ja) 2005-12-28 2011-11-16 住友電気工業株式会社 電波レンズアンテナ装置
US8179986B2 (en) 2006-01-10 2012-05-15 Panasonic Corporation Multicarrier modulation scheme as well as transmission apparatus and reception apparatus using the scheme
US8125399B2 (en) 2006-01-14 2012-02-28 Paratek Microwave, Inc. Adaptively tunable antennas incorporating an external probe to monitor radiated power
US7324065B2 (en) 2006-01-17 2008-01-29 The United States Of America As Represented By The Secretary Of The Air Force Antenna radiation collimator structure
US7417587B2 (en) 2006-01-19 2008-08-26 Raytheon Company Ferrite phase shifter and phase array radar system
US7371136B2 (en) 2006-01-20 2008-05-13 Liquid Robotics Inc. Wave power
JP4412288B2 (ja) 2006-01-26 2010-02-10 セイコーエプソン株式会社 電気光学装置及び電子機器
US20080012724A1 (en) 2006-01-30 2008-01-17 Corcoran Kevin F Power line communications module and method
US7468657B2 (en) 2006-01-30 2008-12-23 Current Technologies, Llc System and method for detecting noise source in a power line communications system
US7589470B2 (en) 2006-01-31 2009-09-15 Dublin City University Method and apparatus for producing plasma
US7272281B2 (en) 2006-02-01 2007-09-18 Sbc Knowledge Ventures, L.P. Powered fiber cable
DE602006001728D1 (de) 2006-02-02 2008-08-21 Gore W L & Ass Gmbh Antenne mit abstrahlendem Koaxialkabel
US20070185621A1 (en) 2006-02-07 2007-08-09 Dan Gilmore System and method for controlling injection into an irrigation system
US7525501B2 (en) 2006-02-10 2009-04-28 Ems Technologies, Inc. Bicone pattern shaping device
KR101256687B1 (ko) 2006-02-13 2013-04-19 리서치 파운데이션 오브 더 시티 유니버시티 오브 뉴욕 다중 경로 설정 장치 및 방법
US7486247B2 (en) 2006-02-13 2009-02-03 Optimer Photonics, Inc. Millimeter and sub-millimeter wave detection
WO2007094944A2 (en) 2006-02-13 2007-08-23 Battelle Memorial Institute Millimeter and sub-millimeter wave detection
US7372424B2 (en) 2006-02-13 2008-05-13 Itt Manufacturing Enterprises, Inc. High power, polarization-diverse cloverleaf phased array
US7852207B2 (en) 2006-02-14 2010-12-14 Current Technologies, Llc Method for establishing power line communication link
US20070201540A1 (en) 2006-02-14 2007-08-30 Berkman William H Hybrid power line wireless communication network
US7427927B2 (en) 2006-02-16 2008-09-23 Elster Electricity, Llc In-home display communicates with a fixed network meter reading system
US7345623B2 (en) 2006-02-24 2008-03-18 Mcewan Technologies, Llc Reflection free launcher for electromagnetic guide wire
JP2007235201A (ja) 2006-02-27 2007-09-13 Toshiba Corp 基地局および無線通信方法
GB2435984B (en) 2006-03-06 2008-05-14 Motorola Inc Service characteristic evaluation in a cellular communication system
JP2009529125A (ja) 2006-03-07 2009-08-13 スキャニメトリクス,インコーポレイテッド 電子コンポーネントに問い合わせをする方法および装置
US8373429B2 (en) 2006-03-07 2013-02-12 Steven Slupsky Method and apparatus for interrogating an electronic component
US8497762B2 (en) 2006-03-07 2013-07-30 Tyco Fire & Security Gmbh Network control
US7813842B2 (en) 2006-03-09 2010-10-12 Sony Corporation Systems and methods for use in providing local power line communication
US7532792B2 (en) 2006-08-28 2009-05-12 Crystal Fibre A/S Optical coupler, a method of its fabrication and use
US7634250B1 (en) 2006-03-17 2009-12-15 Sprint Spectrum L.P. Signal conditioner and method for communicating over a shared transport medium a combined digital signal for wireless service
US9037516B2 (en) 2006-03-17 2015-05-19 Fatdoor, Inc. Direct mailing in a geo-spatial environment
US8887212B2 (en) 2006-03-21 2014-11-11 Robin Dua Extended connectivity point-of-deployment apparatus and concomitant method thereof
US20070252998A1 (en) 2006-03-22 2007-11-01 Berthold John W Apparatus for continuous readout of fabry-perot fiber optic sensor
JP2007259001A (ja) 2006-03-23 2007-10-04 Nec Corp アンテナ装置及びその製造方法
JP4946121B2 (ja) 2006-03-24 2012-06-06 パナソニック株式会社 認証中継装置、認証中継システム、及び認証中継方法
US7796025B2 (en) 2006-03-27 2010-09-14 Current Technologies, Llc Power line communication device and method
US7764943B2 (en) 2006-03-27 2010-07-27 Current Technologies, Llc Overhead and underground power line communication system and method using a bypass
CN101047404A (zh) 2006-03-31 2007-10-03 鸿富锦精密工业(深圳)有限公司 高速信号传输架构
KR101068057B1 (ko) 2006-03-31 2011-09-28 퀄컴 인코포레이티드 와이맥스 시스템들에서의 동작을 위한 향상된 물리적 계층 중계기
KR101168608B1 (ko) 2006-03-31 2012-07-30 쿄세라 코포레이션 유전체 도파로 디바이스와, 이것을 구비하는 이상기, 고주파 스위치 및 감쇠기와, 고주파 송신기, 고주파 수신기, 고주파 송수신기, 레이더 장치, 어레이 안테나 장치, 및 유전체 도파로 디바이스의 제조 방법
US8595794B1 (en) 2006-04-13 2013-11-26 Xceedium, Inc. Auditing communications
US8825239B2 (en) 2010-05-19 2014-09-02 General Electric Company Communication system and method for a rail vehicle consist
US8423208B2 (en) 2010-09-28 2013-04-16 General Electric Company Rail communication system and method for communicating with a rail vehicle
US7929940B1 (en) 2006-04-18 2011-04-19 Nextel Communications Inc. System and method for transmitting wireless digital service signals via power transmission lines
US7511662B2 (en) 2006-04-28 2009-03-31 Loctronix Corporation System and method for positioning in configured environments
US7515041B2 (en) 2006-04-29 2009-04-07 Trex Enterprises Corp. Disaster alert device and system
US7567213B2 (en) 2006-05-02 2009-07-28 Accton Technology Corporation Array structure for the application to wireless switch of WLAN and WMAN
US7680478B2 (en) 2006-05-04 2010-03-16 Telefonaktiebolaget Lm Ericsson (Publ) Inactivity monitoring for different traffic or service classifications
US20070258484A1 (en) 2006-05-08 2007-11-08 Sunrise Telecom Incorporated Network profiling system having physical layer test system
WO2007132262A1 (en) 2006-05-11 2007-11-22 Bae Systems Plc Stacked multiband antenna
JP4142062B2 (ja) 2006-05-15 2008-08-27 株式会社Nsj 監視システム及び端末装置
US7844081B2 (en) 2006-05-15 2010-11-30 Battelle Memorial Institute Imaging systems and methods for obtaining and using biometric information
US7656358B2 (en) 2006-05-24 2010-02-02 Wavebender, Inc. Antenna operable at two frequency bands simultaneously
US20080008116A1 (en) 2006-05-25 2008-01-10 Proximetry, Inc. Systems and methods for wireless resource management with multi-protocol management
GB0610503D0 (en) 2006-05-26 2006-07-05 Acbond Ltd Communication apparatus and method
FR2901921B1 (fr) 2006-06-06 2009-01-30 Thales Sa Antenne cylindrique a balayage electronique
EP2037531A1 (en) 2006-06-07 2009-03-18 SEI Hybrid Products, Inc. Radio wave lens antenna device
US7581702B2 (en) 2006-06-09 2009-09-01 Insitu, Inc. Wirelessly controlling unmanned aircraft and accessing associated surveillance data
US7728772B2 (en) 2006-06-09 2010-06-01 The Regents Of The University Of Michigan Phased array systems and phased array front-end devices
US7906973B1 (en) 2006-06-09 2011-03-15 Marvell International Ltd. Cable tester
US7761079B2 (en) 2006-06-09 2010-07-20 Current Technologies, Llc Power line communication device and method
US7671701B2 (en) 2006-06-09 2010-03-02 Current Technologies, Llc Method and device for providing broadband over power line communications
US7786894B2 (en) 2006-06-20 2010-08-31 Battelle Energy Alliance, Llc Methods, apparatus, and systems for monitoring transmission systems
US20090009408A1 (en) 2006-06-21 2009-01-08 Broadcom Corporation Integrated circuit with bonding wire antenna structure and methods for use therewith
US7825793B1 (en) 2006-06-21 2010-11-02 Sunrise Technologies, Inc. Remote monitoring and control system
US20070300280A1 (en) 2006-06-21 2007-12-27 Turner Media Group Interactive method of advertising
GB0612312D0 (en) 2006-06-21 2006-08-02 Univ Heriot Watt Compact antenna
KR200425873Y1 (ko) 2006-06-23 2006-09-19 주식회사 인프니스 유해정보 탐지 및 방지 기능을 구비한 가상사설망 장치
US7420525B2 (en) 2006-06-23 2008-09-02 Gm Global Technology Operations, Inc. Multi-beam antenna with shared dielectric lens
US7765294B2 (en) 2006-06-30 2010-07-27 Embarq Holdings Company, Llc System and method for managing subscriber usage of a communications network
GB0613081D0 (en) 2006-07-03 2006-08-09 Wireless Fibre Systems Ltd Underground data communications system
US8093745B2 (en) 2006-07-07 2012-01-10 Ambient Corporation Sensing current flowing through a power line
US7885542B2 (en) 2006-07-07 2011-02-08 Riggsby Robert R Format converter with smart multitap and upstream signal regulator
US7783195B2 (en) 2006-07-07 2010-08-24 Scientific-Atlanta, Llc Format converter with smart multitap with digital forward and reverse
JP2008017263A (ja) 2006-07-07 2008-01-24 Oki Electric Ind Co Ltd 通信ネットワーク
US7903972B2 (en) 2006-07-07 2011-03-08 Riggsby Robert R Format converter with smart multitap
JP2008021483A (ja) 2006-07-12 2008-01-31 Viscas Corp 落雪被害防止架空送電線及びそれに用いる融雪リング
EP2040102A4 (en) 2006-07-12 2010-02-24 Furukawa Electric Co Ltd POLARIZATION-MAKING GLASS FIBER, METHOD FOR PRODUCING A POLARIZATION-RESERVING GLASS FIBER AND POLARIZATION-SAVING GLASS FIBER PLUG
US7620370B2 (en) 2006-07-13 2009-11-17 Designart Networks Ltd Mobile broadband wireless access point network with wireless backhaul
US7531803B2 (en) 2006-07-14 2009-05-12 William Marsh Rice University Method and system for transmitting terahertz pulses
DE102006033703A1 (de) 2006-07-20 2008-01-24 Kathrein-Werke Kg Hohlleiterkrümmer
US8121624B2 (en) 2006-07-25 2012-02-21 Alcatel Lucent Message spoofing detection via validation of originating switch
US8373597B2 (en) 2006-08-09 2013-02-12 Spx Corporation High-power-capable circularly polarized patch antenna apparatus and method
CN101484867B (zh) 2006-08-10 2013-03-27 Lg化学株式会社 用于非接触型坐标输入系统的导光板、包括该导光板的系统和使用该导光板的非接触型坐标输入方法
WO2008022272A2 (en) 2006-08-18 2008-02-21 Wifi Rail, Inc. System and method of wirelessly communicating with mobile devices
US7843831B2 (en) 2006-08-22 2010-11-30 Embarq Holdings Company Llc System and method for routing data on a packet network
KR101236313B1 (ko) 2006-08-25 2013-02-22 레이스팬 코포레이션 메타물질 구조물에 기초된 안테나
US8238840B2 (en) 2006-08-25 2012-08-07 Kyocera Corporation Communication apparatus
US20080060832A1 (en) 2006-08-28 2008-03-13 Ali Razavi Multi-layer cable design and method of manufacture
JP4893483B2 (ja) 2006-09-11 2012-03-07 ソニー株式会社 通信システム
JP4345850B2 (ja) 2006-09-11 2009-10-14 ソニー株式会社 通信システム及び通信装置
US7397422B2 (en) 2006-09-19 2008-07-08 The Boeing Company Method and system for attitude determination of a platform using global navigation satellite system and a steered antenna
US9306975B2 (en) 2006-09-19 2016-04-05 The Invention Science Fund I, Llc Transmitting aggregated information arising from appnet information
CA2663135C (en) 2006-09-19 2017-01-31 Firetide, Inc. A multi-channel assignment method for multi-radio multi-hop wireless mesh networks
US8532023B2 (en) 2006-09-20 2013-09-10 Alcatel Lucent Interference aware routing in multi-radio wireless mesh networks
US7450813B2 (en) 2006-09-20 2008-11-11 Imra America, Inc. Rare earth doped and large effective area optical fibers for fiber lasers and amplifiers
US7639199B2 (en) 2006-09-22 2009-12-29 Broadcom Corporation Programmable antenna with programmable impedance matching and methods for use therewith
US20080077336A1 (en) 2006-09-25 2008-03-27 Roosevelt Fernandes Power line universal monitor
CA2664573C (en) 2006-09-26 2015-07-07 Extenet Systems, Inc. A method and apparatus for using distributed antennas
ES2736149T3 (es) 2006-09-26 2019-12-26 Qualcomm Inc Redes de sensores basadas en dispositivos inalámbricos
US20080077791A1 (en) 2006-09-27 2008-03-27 Craig Lund System and method for secured network access
KR100849702B1 (ko) 2006-09-27 2008-08-01 이돈신 원편파 유전체 혼 파라볼라 안테나
US7546214B2 (en) 2006-09-28 2009-06-09 General Electric Company System for power sub-metering
US20080080389A1 (en) 2006-10-03 2008-04-03 Hart Richard D Methods and apparatus to develop management rules for qualifying broadband services
US7541981B2 (en) 2006-10-04 2009-06-02 Broadcom Corporation Fractal antenna based on Peano-Gosper curve
US7301508B1 (en) 2006-10-10 2007-11-27 The United States Of America As Represented By The Secretary Of The Air Force Optimization of near field antenna characteristics by aperture modulation
US7791215B2 (en) 2006-10-10 2010-09-07 Barthold Lionel O Intra-bundle power line carrier current system
GB2442796A (en) 2006-10-11 2008-04-16 John Thornton Hemispherical lens with a selective reflective planar surface for a multi-beam antenna
GB2442745B (en) 2006-10-13 2011-04-06 At & T Corp Method and apparatus for acoustic sensing using multiple optical pulses
JP4788562B2 (ja) 2006-10-19 2011-10-05 ソニー株式会社 通信システム
US8069483B1 (en) 2006-10-19 2011-11-29 The United States States of America as represented by the Director of the National Security Agency Device for and method of wireless intrusion detection
US8863245B1 (en) 2006-10-19 2014-10-14 Fatdoor, Inc. Nextdoor neighborhood social network method, apparatus, and system
US7974387B2 (en) 2006-10-23 2011-07-05 At&T Intellectual Property I, L.P. Proactive analysis of communication network problems
US20080094298A1 (en) 2006-10-23 2008-04-24 Harris Corporation Antenna with Shaped Asymmetric Main Reflector and Subreflector with Asymmetric Waveguide Feed
US8022887B1 (en) 2006-10-26 2011-09-20 Sibeam, Inc. Planar antenna
KR100989064B1 (ko) 2006-10-26 2010-10-25 한국전자통신연구원 다중 공진 안테나
US7289704B1 (en) 2006-10-31 2007-10-30 Corning Cable Systems Llc Fiber optic cables that kink with small bend radii
US20100214185A1 (en) 2006-11-01 2010-08-26 The Regents Of The University Of California Plastic waveguide-fed horn antenna
US7804280B2 (en) 2006-11-02 2010-09-28 Current Technologies, Llc Method and system for providing power factor correction in a power distribution system
US7795877B2 (en) 2006-11-02 2010-09-14 Current Technologies, Llc Power line communication and power distribution parameter measurement system and method
US7411132B1 (en) 2006-11-03 2008-08-12 General Cable Technologies Corporation Water blocking electrical cable
TW200830759A (en) 2006-11-06 2008-07-16 Qualcomm Inc Methods and apparatus for power allocation and/or rate selection for ul MIMO/SIMO operations with PAR considerations
JP4892316B2 (ja) 2006-11-06 2012-03-07 株式会社フジクラ マルチコアファイバ
US8584195B2 (en) 2006-11-08 2013-11-12 Mcafee, Inc Identities correlation infrastructure for passive network monitoring
US9201556B2 (en) 2006-11-08 2015-12-01 3M Innovative Properties Company Touch location sensing system and method employing sensor data fitting to a predefined curve
WO2008061107A2 (en) 2006-11-10 2008-05-22 Tk Holdings, Inc. Antenna
US8064744B2 (en) 2006-11-10 2011-11-22 Rpo Pty Limited Planar waveguide lens design
US7920826B2 (en) 2006-11-10 2011-04-05 Electronics And Telecommunications Research Institute Method of forming frame in multi-hop relay system and system for implementing the method
US20080120667A1 (en) 2006-11-17 2008-05-22 Texas Instruments Incorporated Hybrid mpeg/ip digital cable gateway device and architecture associated therewith
KR100846872B1 (ko) 2006-11-17 2008-07-16 한국전자통신연구원 유전체 도파관 대 전송선의 밀리미터파 천이 장치
US7711760B2 (en) 2006-11-30 2010-05-04 Red Hat, Inc. File update availability checking in a hierarchal file store
DK1930753T3 (en) 2006-12-04 2015-03-30 Draka Comteq Bv Optical fiber having a high Brillouin threshold strength and low bending
US7734717B2 (en) 2006-12-05 2010-06-08 Nokia Corporation Software distribution via peer-to-peer networks
WO2008069358A1 (en) 2006-12-08 2008-06-12 Idoit Co., Ltd. Horn array type antenna for dual linear polarization
US7893789B2 (en) 2006-12-12 2011-02-22 Andrew Llc Waveguide transitions and method of forming components
US20080143491A1 (en) 2006-12-13 2008-06-19 Deaver Brian J Power Line Communication Interface Device and Method
US7649881B2 (en) 2006-12-14 2010-01-19 Nortel Networks Limited Pinning the route of IP bearer flows in a next generation network
US7889148B2 (en) 2006-12-22 2011-02-15 Arizona Board Of Regents For And On Behalf Of Arizona State University Compact broad-band admittance tunnel incorporating gaussian beam antennas
EP2120684B1 (en) 2006-12-22 2015-09-09 Washington University High performance imaging system for diffuse optical tomography and associated method of use
US7889149B2 (en) 2006-12-22 2011-02-15 Arizona Board Of Regents For And On Behalf Of Arizona State University Aperture matched polyrod antenna
US7786946B2 (en) 2006-12-22 2010-08-31 Arizona Board Of Regents For And On Behalf Of Arizona State University Hollow dielectric pipe polyrod antenna
EP1939981B1 (en) 2006-12-26 2016-08-03 Samsung Electronics Co., Ltd. Antenna apparatus
US7557758B2 (en) 2007-03-26 2009-07-07 Broadcom Corporation Very high frequency dielectric substrate wave guide
US8468244B2 (en) 2007-01-05 2013-06-18 Digital Doors, Inc. Digital information infrastructure and method for security designated data and with granular data stores
US7843375B1 (en) 2007-01-16 2010-11-30 Bae Systems Information And Electronic Systems Integration Inc. Method and apparatus for monitoring the RF environment to prevent airborne radar false alarms that initiate evasive maneuvers, reactionary displays or actions
GB0701087D0 (en) 2007-01-19 2007-02-28 Plasma Antennas Ltd A displaced feed parallel plate antenna
GB0701090D0 (en) 2007-01-19 2007-02-28 Plasma Antennas Ltd A selectable beam antenna
US20080177678A1 (en) 2007-01-24 2008-07-24 Paul Di Martini Method of communicating between a utility and its customer locations
WO2008092268A1 (en) 2007-02-02 2008-08-07 Aztech Associates Inc. Utility monitoring device, system and method
KR100820498B1 (ko) 2007-02-07 2008-04-08 엘에스전선 주식회사 굽힘 특성이 우수한 미세 동축 케이블
US7437046B2 (en) 2007-02-12 2008-10-14 Furukawa Electric North America, Inc. Optical fiber configuration for dissipating stray light
JP4938488B2 (ja) 2007-02-13 2012-05-23 パナソニック株式会社 電力線通信装置、電力線通信システム、接続状態確認方法、および接続処理方法
WO2008102987A1 (en) 2007-02-21 2008-08-28 Idoit Co., Ltd. Horn array type antenna for dual linear polarization
JP2008209965A (ja) 2007-02-23 2008-09-11 Brother Ind Ltd 移動体の移動経路検出システム及び装身具
DE202007018390U1 (de) 2007-02-23 2008-07-17 KROHNE Meßtechnik GmbH & Co. KG Antenne für ein nach dem Radar-Prinzip arbeitendes Füllstandsmeßgerät
US7786945B2 (en) 2007-02-26 2010-08-31 The Boeing Company Beam waveguide including Mizuguchi condition reflector sets
US8181206B2 (en) 2007-02-28 2012-05-15 Time Warner Cable Inc. Personal content server apparatus and methods
US8316364B2 (en) 2007-02-28 2012-11-20 Red Hat, Inc. Peer-to-peer software update distribution network
US20090015239A1 (en) 2007-03-01 2009-01-15 Georgiou George E Transmission Line Sensor
WO2008108388A1 (ja) 2007-03-05 2008-09-12 Nec Corporation 分割型導波管回路
WO2008109173A1 (en) 2007-03-08 2008-09-12 Powerwave Technologies, Inc. Dual staggered vertically polarized variable azimuth beamwidth antenna for wireless network
JP5163995B2 (ja) 2007-03-08 2013-03-13 ミクロ電子株式会社 マグネトロンの寿命検出装置
US8116714B2 (en) 2007-03-14 2012-02-14 Northern Microdesign, Inc. Use of powerlines for transmission of high frequency signals
WO2008115881A1 (en) 2007-03-16 2008-09-25 Rayspan Corporation Metamaterial antenna arrays with radiation pattern shaping and beam switching
US7724782B2 (en) 2007-03-20 2010-05-25 George Mason Intellectual Properties, Inc. Interval centroid based watermark
KR100877594B1 (ko) 2007-03-23 2009-01-09 주식회사 휴텍이일 마이크로웨이브 중계 시스템
US7496260B2 (en) 2007-03-27 2009-02-24 Imra America, Inc. Ultra high numerical aperture optical fibers
TWI327016B (en) 2007-04-02 2010-07-01 Ind Tech Res Inst Distributed channel allocation method and wireless mesh network therewith
DE102007016312B4 (de) 2007-04-04 2010-06-17 Siemens Ag Birdcage-ähnliche Sendeantenne für Magnetresonanzanwendungen mit verschieden voneinander ausgebildeten Abschlusselementen
US7714536B1 (en) 2007-04-05 2010-05-11 The United States Of America As Represented By The Secretary Of The Navy Battery charging arrangement for unmanned aerial vehicle utilizing the electromagnetic field associated with utility power lines to generate power to inductively charge energy supplies
US8172173B2 (en) 2007-04-09 2012-05-08 Bae Systems Information And Electronic Systems Integration Inc. Covert sensor emplacement using autorotational delivery mechanism
US20080253723A1 (en) 2007-04-11 2008-10-16 Sumitomo Electric Lightwave Corp. Optical fiber ribbon drop cable
US9501803B2 (en) 2007-04-12 2016-11-22 Siemens Industry, Inc. Devices, systems, and methods for monitoring energy systems
US7830307B2 (en) 2007-04-13 2010-11-09 Andrew Llc Array antenna and a method of determining an antenna beam attribute
US8866691B2 (en) 2007-04-20 2014-10-21 Skycross, Inc. Multimode antenna structure
US7930750B1 (en) 2007-04-20 2011-04-19 Symantec Corporation Method to trickle and repair resources scanned using anti-virus technologies on a security gateway
US7962957B2 (en) 2007-04-23 2011-06-14 International Business Machines Corporation Method and apparatus for detecting port scans with fake source address
US7894329B1 (en) 2007-04-24 2011-02-22 At&T Intellectual Property Ii, L.P. Method and system for providing broadband access to a data network via gas pipes
US7825867B2 (en) 2007-04-26 2010-11-02 Round Rock Research, Llc Methods and systems of changing antenna polarization
JP4940010B2 (ja) 2007-04-26 2012-05-30 株式会社日立製作所 送信機及びそれを用いた無線システム
US20080267076A1 (en) 2007-04-30 2008-10-30 At&T Knowledge Ventures, L.P. System and apparatus for maintaining a communication system
EP2143272A4 (en) 2007-04-30 2013-05-01 Thales Avionics Inc REMOTE RECOVERY OF AUDIO DISPLAY OF A VIDEO RECORD OF ENTERTAINMENT ON BOARD
US7899407B2 (en) 2007-05-01 2011-03-01 Broadcom Corporation High frequency signal combining
US7625131B2 (en) 2007-05-02 2009-12-01 Viasat, Inc. Interface for waveguide pin launch
US7855612B2 (en) 2007-10-18 2010-12-21 Viasat, Inc. Direct coaxial interface for circuits
US7693939B2 (en) 2007-05-07 2010-04-06 Microsoft Corporation Context-based routing in multi-hop networks
WO2008136918A2 (en) 2007-05-07 2008-11-13 Corning Incorporated Large effective area fiber
US7997546B1 (en) 2007-05-07 2011-08-16 Pelco Products, Inc. Mounting assembly for traffic cameras and other traffic control devices
JP5217494B2 (ja) 2007-05-08 2013-06-19 旭硝子株式会社 人工媒質、その製造方法およびアンテナ装置
JP2008283288A (ja) 2007-05-08 2008-11-20 Toshiba Corp 無線送信装置及び方法
US20080280574A1 (en) 2007-05-11 2008-11-13 Broadcom Corporation, A California Corporation RF transmitter with adjustable antenna assembly
US7933562B2 (en) 2007-05-11 2011-04-26 Broadcom Corporation RF transceiver with adjustable antenna assembly
US7539381B2 (en) 2007-05-11 2009-05-26 Corning Incorporated Low bend loss coated optical fiber
JP4703605B2 (ja) 2007-05-31 2011-06-15 アイシン・エィ・ダブリュ株式会社 地物抽出方法、並びにそれを用いた画像認識方法及び地物データベース作成方法
DE102007025987A1 (de) 2007-06-04 2009-01-08 Trw Automotive Electronics & Components Gmbh Optische Sensorvorrichtung zur Erfassung einer Benetzung
US7899403B2 (en) 2007-06-07 2011-03-01 At&T Intellectual Property I, Lp Methods, systems, and computer-readable media for measuring service quality via mobile handsets
US8251307B2 (en) 2007-06-11 2012-08-28 Honeywell International Inc. Airborne manipulator system
US11271316B2 (en) 2007-06-12 2022-03-08 Thomson Licensing Omnidirectional volumetric antenna
US7954131B2 (en) 2007-06-13 2011-05-31 Time Warner Cable Inc. Premises gateway apparatus and methods for use in a content-based network
KR20080109617A (ko) 2007-06-13 2008-12-17 한국전자통신연구원 다중 경로 관리 방법, 다중 경로를 이용한 데이터 송수신방법 및 그 장치
US20080310298A1 (en) 2007-06-15 2008-12-18 Geir Andre Motzfeldt Drange Providing Bypass Switches to Bypass Faulty Nodes
US8233905B2 (en) 2007-06-15 2012-07-31 Silver Spring Networks, Inc. Load management in wireless mesh communications networks
CN101075702B (zh) 2007-06-19 2011-02-16 东南大学 基片集成波导馈电的印刷天线
US8264417B2 (en) 2007-06-19 2012-09-11 The United States Of America As Represented By The Secretary Of The Navy Aperture antenna with shaped dielectric loading
WO2008155769A2 (en) 2007-06-20 2008-12-24 Rafael Advanced Defence Systems Ltd. System and method based on waveguides for the protection of sites
US8171146B2 (en) 2007-06-20 2012-05-01 Cisco Technology, Inc. Utilization of media capabilities in a mixed environment
JP2009004986A (ja) 2007-06-20 2009-01-08 Tokyo Fm Broadcasting Co Ltd 送信アンテナおよび地上放送再送信システム
US8132239B2 (en) 2007-06-22 2012-03-06 Informed Control Inc. System and method for validating requests in an identity metasystem
EP2163115A1 (en) 2007-06-22 2010-03-17 Interdigital Technology Corporation Method and apparatus for resource management in handover operation
ES2330178B1 (es) 2007-06-25 2010-08-30 Diseño De Sistemas En Silicio, S.A. Repetidor de señal de un solo puerto.
US8434120B2 (en) 2007-06-26 2013-04-30 Thomson Licensing System and method for grouping program identifiers into multicast groups
US7710346B2 (en) 2007-06-26 2010-05-04 The Aerospace Corporation Heptagonal antenna array system
US7876174B2 (en) 2007-06-26 2011-01-25 Current Technologies, Llc Power line coupling device and method
US7795994B2 (en) 2007-06-26 2010-09-14 Current Technologies, Llc Power line coupling device and method
US8010116B2 (en) 2007-06-26 2011-08-30 Lgc Wireless, Inc. Distributed antenna communications system
JP2009033710A (ja) 2007-06-28 2009-02-12 Panasonic Corp 差動伝送線路用コネクタ
CN101335883B (zh) 2007-06-29 2011-01-12 国际商业机器公司 在数字视频广播系统中对视频流进行处理的方法和设备
CN201048157Y (zh) 2007-06-29 2008-04-16 东南大学 基片集成波导馈电的印刷天线
JP4884532B2 (ja) 2007-07-05 2012-02-29 三菱電機株式会社 伝送線路変換器
FR2918826B1 (fr) 2007-07-09 2009-10-02 Excem Soc Par Actions Simplifi Dispositif d'interface pseudo-differentiel avec circuit de commutation.
US20090068170A1 (en) 2007-07-13 2009-03-12 President And Fellows Of Harvard College Droplet-based selection
US7907097B2 (en) 2007-07-17 2011-03-15 Andrew Llc Self-supporting unitary feed assembly
EP2019531A1 (en) 2007-07-27 2009-01-28 Nokia Siemens Networks S.p.A. Signaling mechanism for allowing asn to become aware of cmipv6 mobility binding status
US8022885B2 (en) 2007-08-02 2011-09-20 Embarq Holdings Company, Llc System and method for re-aligning antennas
KR101421251B1 (ko) 2007-08-14 2014-07-18 한국과학기술원 중계기를 기반으로 하는 다중안테나 무선통신 시스템에서협력 중계를 위한 장치 및 방법
US8926509B2 (en) 2007-08-24 2015-01-06 Hmicro, Inc. Wireless physiological sensor patches and systems
JP2010537329A (ja) 2007-08-27 2010-12-02 エヌイーシー ヨーロッパ リミテッド リソースのデレゲーションを実行する方法およびシステム
US8527107B2 (en) 2007-08-28 2013-09-03 Consert Inc. Method and apparatus for effecting controlled restart of electrical servcie with a utility service area
US7808441B2 (en) 2007-08-30 2010-10-05 Harris Corporation Polyhedral antenna and associated methods
US7937699B2 (en) 2007-08-31 2011-05-03 Red Hat, Inc. Unattended upgrade for a network appliance
US9112547B2 (en) 2007-08-31 2015-08-18 Adc Telecommunications, Inc. System for and method of configuring distributed antenna communications system
US8089952B2 (en) 2007-08-31 2012-01-03 Intelepeer, Inc. Intelligent call routing
WO2009031794A1 (en) 2007-09-03 2009-03-12 Idoit Co., Ltd. Horn array type antenna for dual linear polarization
US7782156B2 (en) 2007-09-11 2010-08-24 Viasat, Inc. Low-loss interface
US7812686B2 (en) 2008-02-28 2010-10-12 Viasat, Inc. Adjustable low-loss interface
US8649386B2 (en) 2007-09-11 2014-02-11 Prodea Systems, Inc Multi-interface wireless adapter and network bridge
KR100991667B1 (ko) 2007-09-12 2010-11-04 에이앤피테크놀로지 주식회사 위성신호 수신장치 및 위성신호 수신방법
CN101802704B (zh) * 2007-09-12 2012-12-26 三菱电机株式会社 波长变换元件以及波长变换激光装置
US8427384B2 (en) 2007-09-13 2013-04-23 Aerosat Corporation Communication system with broadband antenna
DE102007044905A1 (de) 2007-09-19 2009-04-09 InterDigital Patent Holdings, Inc., Wilmington Verfahren und Vorrichtung zur Ermöglichung einer Dienstnutzung und Feststellung der Teilnehmeridentität in Kommunikationsnetzen mittels softwarebasierten Zugangsberechtigungsausweisen (vSIM)
JP5662151B2 (ja) 2007-09-26 2015-01-28 イムラ アメリカ インコーポレイテッド ガラス大コア光ファイバ
US8970947B2 (en) 2007-09-26 2015-03-03 Imra America, Inc. Auto-cladded multi-core optical fibers
US20090085726A1 (en) 2007-09-27 2009-04-02 Radtke William O Power Line Communications Coupling Device and Method
WO2009046132A1 (en) 2007-10-01 2009-04-09 Gridpoint, Inc. Modular electrical grid interface device
CN101536254B (zh) 2007-10-02 2014-12-31 艾尔加因公司 带有相移的小型多元件天线
WO2009043964A1 (en) 2007-10-03 2009-04-09 Optoelectronics Research Centre, Tampere University Of Technology Active optical fiber and method for fabricating an active optical fiber
US7991877B2 (en) 2007-10-05 2011-08-02 International Business Machines Corporation Rogue router hunter
US7899483B2 (en) 2007-10-08 2011-03-01 Honeywell International Inc. Method and system for performing distributed outer loop power control in wireless communication networks
KR100952976B1 (ko) 2007-10-15 2010-04-15 한국전자통신연구원 안테나 소자 및 이를 이용하는 주파수 재구성 배열 안테나
DE102007049914B4 (de) 2007-10-18 2020-06-25 Bayerische Motoren Werke Aktiengesellschaft Antennenvorrichtung für ein Kraftfahrzeug
EP2201676B1 (en) 2007-10-23 2014-06-04 Telefonaktiebolaget LM Ericsson (publ) A dual-band coupled vco
US8094081B1 (en) 2007-10-25 2012-01-10 The Johns Hopkins University Dual band radio frequency (RF) and optical communications antenna and terminal design methodology and implementation
KR100916077B1 (ko) 2007-10-25 2009-09-08 삼성전기주식회사 무지향성 안테나 및 제조방법
WO2009055781A1 (en) 2007-10-25 2009-04-30 Utility.Net Inc. Out-of-band management for broadband over powerline network
JP5064969B2 (ja) 2007-10-26 2012-10-31 オリンパス株式会社 コネクタ
EP2056562B1 (en) 2007-11-02 2016-09-07 Alcatel Lucent Resilient service quality in a managed multimedia delivery network
US9383394B2 (en) 2007-11-02 2016-07-05 Cooper Technologies Company Overhead communicating device
US8594956B2 (en) 2007-11-02 2013-11-26 Cooper Technologies Company Power line energy harvesting power supply
US7916081B2 (en) 2007-12-19 2011-03-29 Qualcomm Incorporated Beamforming in MIMO systems
US20090125351A1 (en) 2007-11-08 2009-05-14 Davis Jr Robert G System and Method for Establishing Communications with an Electronic Meter
JP2009124229A (ja) 2007-11-12 2009-06-04 Mitsubishi Electric Corp 無線伝送システム及びパケット送信端末
US20090129301A1 (en) 2007-11-15 2009-05-21 Nokia Corporation And Recordation Configuring a user device to remotely access a private network
TW200929974A (en) 2007-11-19 2009-07-01 Ibm System and method for performing electronic transactions
US8179917B2 (en) 2007-11-26 2012-05-15 Asoka Usa Corporation System and method for repeater in a power line network
US8115622B2 (en) 2007-11-29 2012-02-14 Stolar, Inc. Underground radio communications and personnel tracking system
US7994999B2 (en) 2007-11-30 2011-08-09 Harada Industry Of America, Inc. Microstrip antenna
US20090201133A1 (en) 2007-12-03 2009-08-13 Skyetek, Inc. Method For Enhancing Anti-Cloning Protection of RFID Tags
KR101081732B1 (ko) 2007-12-05 2011-11-08 한국전자통신연구원 무선통신 시스템에서의 데이터 송수신 장치 및 방법
US8687650B2 (en) 2007-12-07 2014-04-01 Nsgdatacom, Inc. System, method, and computer program product for connecting or coupling analog audio tone based communications systems over a packet data network
US8175649B2 (en) 2008-06-20 2012-05-08 Corning Mobileaccess Ltd Method and system for real time control of an active antenna over a distributed antenna system
KR100921797B1 (ko) 2007-12-18 2009-10-15 한국전자통신연구원 파장분할 다중화 방식의 수동형 광가입자망 시스템
US7992014B2 (en) 2007-12-19 2011-08-02 International Business Machines Corporation Administering power supplies in a data center
CA2647578A1 (en) 2007-12-20 2009-06-20 Tollgrade Communications, Inc. Power distribution monitoring system and method
JP5179513B2 (ja) 2007-12-28 2013-04-10 京セラ株式会社 高周波伝送線路の接続構造、配線基板、高周波モジュールおよびレーダ装置
CN201138685Y (zh) 2007-12-28 2008-10-22 深圳华为通信技术有限公司 一种无线终端天线
US20090171780A1 (en) 2007-12-31 2009-07-02 Verizon Data Services Inc. Methods and system for a targeted advertisement management interface
US20090175195A1 (en) 2008-01-07 2009-07-09 Commscope, Inc. North Carolina Methods, systems and computer program products for using time domain reflectometry signatures to monitor network communication lines
WO2009090602A1 (en) 2008-01-15 2009-07-23 Nxp B.V. Rf device emitting an rf signal and method for operating an rf device
US20090181664A1 (en) 2008-01-15 2009-07-16 Eapen Kuruvilla Method and apparatus for network managed radio frequency coverage and mobile distribution analysis using mobile location information
US8793363B2 (en) 2008-01-15 2014-07-29 At&T Mobility Ii Llc Systems and methods for real-time service assurance
US7639201B2 (en) 2008-01-17 2009-12-29 University Of Massachusetts Ultra wideband loop antenna
US8731358B2 (en) 2008-01-17 2014-05-20 Claude Pare Multi-cladding fiber
FR2926680B1 (fr) 2008-01-18 2010-02-12 Alcatel Lucent Reflecteur-secondaire d'une antenne a double reflecteur
US7965195B2 (en) 2008-01-20 2011-06-21 Current Technologies, Llc System, device and method for providing power outage and restoration notification
CN201146495Y (zh) 2008-01-21 2008-11-05 台扬科技股份有限公司 整合型高频通讯装置
US7502619B1 (en) 2008-01-22 2009-03-10 Katz Daniel A Location determination of low power wireless devices over a wide area
DE102008006117B4 (de) 2008-01-25 2013-12-12 Siemens Aktiengesellschaft Magnetresonanzanlage, Antennensystem, Verfahren zum Aufbau einer Magnetresonanzanlage und Verfahren zur Erzeugung von Magnetresonanzaufnahmen
JP4722950B2 (ja) 2008-01-31 2011-07-13 イビデン株式会社 配線
US8255090B2 (en) 2008-02-01 2012-08-28 Energyhub System and method for home energy monitor and control
GB2458258A (en) 2008-02-04 2009-09-16 Nec Corp Method of controlling base station loading in a mobile communication system
US11159909B2 (en) 2008-02-05 2021-10-26 Victor Thomas Anderson Wireless location establishing device
EP2247153B1 (en) 2008-02-08 2018-06-20 NTT DoCoMo, Inc. Mobile communication method
US8213533B2 (en) 2008-02-11 2012-07-03 Telefonaktiebolaget Lm Ericsson (Publ) Distributed antenna diversity transmission method
DE102008008715A1 (de) 2008-02-11 2009-08-13 Krohne Meßtechnik GmbH & Co KG Dielektrische Antenne
US20090212938A1 (en) 2008-02-22 2009-08-27 Agilent Technologies, Inc. Probe device having a clip-on wireless system for extending probe tip functionality
WO2009108544A1 (en) 2008-02-25 2009-09-03 Abb Technology Ag Insulator integrated power supply
US8072386B2 (en) 2008-02-25 2011-12-06 Lockheed Martin Corporation Horn antenna, waveguide or apparatus including low index dielectric material
NO20080925L (no) 2008-02-25 2009-08-25 Geir Monsen Vavik Signal repeater system innretning for stabil datakommunikajson
WO2009107414A1 (ja) 2008-02-27 2009-09-03 古河電気工業株式会社 光伝送システムおよびマルチコア光ファイバ
CA2623257A1 (en) 2008-02-29 2009-08-29 Scanimetrics Inc. Method and apparatus for interrogating an electronic component
US8175535B2 (en) 2008-02-27 2012-05-08 Telefonaktiebolaget Lm Ericsson (Publ) Active cancellation of transmitter leakage in a wireless transceiver
US7973296B2 (en) 2008-03-05 2011-07-05 Tetraheed Llc Electromagnetic systems with double-resonant spiral coil components
WO2009111619A1 (en) 2008-03-05 2009-09-11 Board Of Governors For Higher Education, State Of Rhode Island & The Providence Plantations Systems and methods for providing directional radiation fields using distributed loaded monopole antennas
US7830312B2 (en) 2008-03-11 2010-11-09 Intel Corporation Wireless antenna array system architecture and methods to achieve 3D beam coverage
US7773664B2 (en) 2008-03-18 2010-08-10 On-Ramp Wireless, Inc. Random phase multiple access system with meshing
DE102008015605A1 (de) 2008-03-26 2009-10-08 CCS Technology, Inc., Wilmington Optisches Kabel und Verfahren zur Herstellung eines optischen Kabels
US8761792B2 (en) 2008-03-27 2014-06-24 At&T Mobility Ii Llc Management of preemptable communications resources
US20090250449A1 (en) 2008-04-02 2009-10-08 The Trustees Of Dartmouth College System And Method For Deicing Of Power Line Cables
JP2009250772A (ja) 2008-04-04 2009-10-29 Sony Corp 位置検出システム、位置検出方法、プログラム、物体判断システム、および物体判断方法
US20100169937A1 (en) 2008-04-04 2010-07-01 Peter Atwal Wireless ad hoc networking for set top boxes
KR20090106241A (ko) 2008-04-04 2009-10-08 주식회사 케이티 전력선 통신을 이용한 옥내 통신 중계 시스템 및 방법
US8063832B1 (en) 2008-04-14 2011-11-22 University Of South Florida Dual-feed series microstrip patch array
US8300640B2 (en) 2008-04-18 2012-10-30 Arris Group, Inc. Multi-service PHY box
CN102015384B (zh) 2008-04-21 2013-05-01 株式会社Fsc 雨水传感器
US8509114B1 (en) 2008-04-22 2013-08-13 Avaya Inc. Circuit emulation service over IP with dynamic bandwidth allocation
WO2009132383A1 (en) 2008-04-28 2009-11-05 Cochlear Limited Magnetic inductive systems and devices
US8212722B2 (en) 2008-04-30 2012-07-03 Samsung Electronics Co., Ltd. System and method for discovering and tracking communication directions with asymmetric antenna systems
US7916083B2 (en) 2008-05-01 2011-03-29 Emag Technologies, Inc. Vertically integrated electronically steered phased array and method for packaging
FR2930997B1 (fr) 2008-05-06 2010-08-13 Draka Comteq France Sa Fibre optique monomode
US9391874B2 (en) 2008-05-12 2016-07-12 Telefonaktiebolaget L M Ericsson (Publ) Re-routing traffic in a communications network
US8140098B2 (en) 2008-05-15 2012-03-20 Qualcomm Incorporated Spatial interference mitigation for wireless communication
US8164531B2 (en) 2008-05-20 2012-04-24 Lockheed Martin Corporation Antenna array with metamaterial lens
CN201207179Y (zh) 2008-05-23 2009-03-11 汉王科技股份有限公司 多模式信息输入装置
US8369667B2 (en) 2008-05-23 2013-02-05 Halliburton Energy Services, Inc. Downhole cable
WO2009154990A2 (en) 2008-05-27 2009-12-23 Adc Telecommunications, Inc. Foamed fiber optic cable
US9193313B2 (en) 2012-03-22 2015-11-24 Nuax, Inc. Methods and apparatuses involving flexible cable/guidewire/interconnects
US8258649B2 (en) 2008-05-30 2012-09-04 Qualcomm Atheros, Inc. Communicating over power distribution media
US8156520B2 (en) 2008-05-30 2012-04-10 EchoStar Technologies, L.L.C. Methods and apparatus for presenting substitute content in an audio/video stream using text data
US8483720B2 (en) 2008-06-11 2013-07-09 Freescale Semiconductor, Inc. Smart/active RFID tag for use in a WPAN
ATE554585T1 (de) 2008-06-12 2012-05-15 Ericsson Telefon Ab L M Wartung von overlay-netzwerken
JP2011524724A (ja) 2008-06-16 2011-09-01 ダブリュ. ヤング、ローレンス 共用媒体上のシグナリングプロトコル間での共存の管理
US8086280B2 (en) 2008-06-16 2011-12-27 Rivada Networks Llc Explosion proof communications relay and communications system
US7835600B1 (en) 2008-07-18 2010-11-16 Hrl Laboratories, Llc Microwave receiver front-end assembly and array
US20090315668A1 (en) 2008-06-19 2009-12-24 Light Corporation Wiring topology for a building with a wireless network
US8705925B2 (en) 2008-06-20 2014-04-22 Sumitomo Bakelite Company Limited Optical waveguide film, laminated type optical waveguide film, optical waveguide, optical waveguide assembly, optical wiring line, optical/electrical combination substrate and electronic device
US20090325479A1 (en) 2008-06-25 2009-12-31 Qualcomm Incorporated Relay antenna indexing for shared antenna communication
CN102057309B (zh) 2008-06-30 2014-04-16 日本电信电话株式会社 光纤缆线以及光纤带
JP4858499B2 (ja) 2008-07-01 2012-01-18 ソニー株式会社 レーザ光源装置及びこれを用いたレーザ照射装置
US7834270B2 (en) 2008-07-07 2010-11-16 Imris Inc. Floating segmented shield cable assembly
FR2933828B1 (fr) 2008-07-08 2011-10-28 Excem Dispositif d'interference multicanal avec circuit de terminaison
US8106749B2 (en) 2008-07-14 2012-01-31 Sony Ericsson Mobile Communications Ab Touchless control of a control device
US8536857B2 (en) 2008-07-18 2013-09-17 Tollgrade Communications, Inc. Power line takeoff clamp assembly
US8665102B2 (en) 2008-07-18 2014-03-04 Schweitzer Engineering Laboratories Inc Transceiver interface for power system monitoring
US7701381B2 (en) 2008-07-18 2010-04-20 Raytheon Company System and method of orbital angular momentum (OAM) diverse signal processing using classical beams
WO2010009579A1 (zh) 2008-07-25 2010-01-28 上海贝尔阿尔卡特股份有限公司 在无线中继通信网络中用于网络拓扑结构重构的方法和装置
FR2934727B1 (fr) 2008-08-04 2010-08-13 Excem Procede de transmission pseudo-differentiel utilisant des variables electriques modales
WO2010016287A1 (ja) 2008-08-04 2010-02-11 株式会社フジクラ イッテルビウム添加光ファイバ、ファイバレーザ及びファイバアンプ
US8451800B2 (en) 2009-08-06 2013-05-28 Movik Networks, Inc. Session handover in mobile-network content-delivery devices
US20120153087A1 (en) 2008-08-06 2012-06-21 Honeywell International Inc. Modular Pods for Use with an Unmanned Aerial Vehicle
US20110143673A1 (en) 2008-08-06 2011-06-16 Direct-Beam Inc. Automatic positioning of diversity antenna array
US8232920B2 (en) 2008-08-07 2012-07-31 International Business Machines Corporation Integrated millimeter wave antenna and transceiver on a substrate
EP2316226A4 (en) 2008-08-08 2012-05-09 Powermax Global Llc HIGH-DISTANCE RELIABLE DATA COMMUNICATIONS OVER POWER LINES FOR COUNTER READING AND OTHER COMMUNICATIONS SERVICES
US8736502B1 (en) 2008-08-08 2014-05-27 Ball Aerospace & Technologies Corp. Conformal wide band surface wave radiating element
JP2010045471A (ja) 2008-08-11 2010-02-25 I Cast:Kk 低インピーダンス損失線路
CN101373238B (zh) 2008-08-20 2010-09-08 富通集团有限公司 弯曲损耗不敏感的单模光纤
EP2159749A1 (en) 2008-08-20 2010-03-03 Alcatel, Lucent Method of controlling a power grid
US8954548B2 (en) 2008-08-27 2015-02-10 At&T Intellectual Property Ii, L.P. Targeted caching to reduce bandwidth consumption
EP2159933B1 (en) 2008-08-28 2013-03-27 Alcatel Lucent Levelling amplifiers in a distributed antenna system
CN101662076B (zh) 2008-08-28 2012-11-28 阮树成 毫米波准光集成介质透镜天线及其阵列
CN201282193Y (zh) 2008-08-28 2009-07-29 阮树成 毫米波准光集成介质透镜天线及其阵列
JP5415728B2 (ja) 2008-08-29 2014-02-12 古河電気工業株式会社 マルチコアホーリーファイバおよび光伝送システム
JP2010062614A (ja) 2008-09-01 2010-03-18 Mitsubishi Electric Corp 電圧制御発振器、mmic、および高周波無線装置
US8095093B2 (en) 2008-09-03 2012-01-10 Panasonic Corporation Multi-mode transmitter having adaptive operating mode control
US9000353B2 (en) 2010-06-22 2015-04-07 President And Fellows Of Harvard College Light absorption and filtering properties of vertically oriented semiconductor nano wires
US8179787B2 (en) 2009-01-27 2012-05-15 Smsc Holding S.A.R.L. Fault tolerant network utilizing bi-directional point-to-point communications links between nodes
FI122203B (fi) 2008-09-11 2011-10-14 Raute Oyj Aaltojohtoelementti
US8089404B2 (en) 2008-09-11 2012-01-03 Raytheon Company Partitioned aperture array antenna
EP2615690A3 (de) 2008-09-15 2014-03-26 VEGA Grieshaber KG Baukasten für ein Füllstandsradar-Antennensystem
US7956818B1 (en) 2008-09-17 2011-06-07 Hrl Laboratories, Llc Leaky coaxial cable with high radiation efficiency
US8090258B2 (en) 2008-09-19 2012-01-03 Tellabs Petaluma, Inc. Method and apparatus for correcting faults in a passive optical network
US8159342B1 (en) 2008-09-22 2012-04-17 United Services Automobile Association (Usaa) Systems and methods for wireless object tracking
WO2010039530A1 (en) 2008-09-23 2010-04-08 Corning Cable Systems Llc Fiber optic cables and assemblies for fiber toward the subscriber applications
JP5253066B2 (ja) 2008-09-24 2013-07-31 キヤノン株式会社 位置姿勢計測装置及び方法
CN101686497B (zh) 2008-09-24 2013-04-17 华为技术有限公司 小区负荷均衡方法、小区负荷评估方法及装置
JP2010103982A (ja) 2008-09-25 2010-05-06 Sony Corp ミリ波伝送装置、ミリ波伝送方法、ミリ波伝送システム
US8289988B2 (en) 2008-09-25 2012-10-16 Skyphy Neworks Limited Wireless communication methods utilizing a single antenna with multiple channels and the devices thereof
US8325691B2 (en) 2008-09-26 2012-12-04 Optical Cable Corporation Method and apparatus for providing wireless communications within a building
US9315663B2 (en) 2008-09-26 2016-04-19 Mikro Systems, Inc. Systems, devices, and/or methods for manufacturing castings
US20120091820A1 (en) 2008-09-27 2012-04-19 Campanella Andrew J Wireless power transfer within a circuit breaker
US8711857B2 (en) 2008-09-30 2014-04-29 At&T Intellectual Property I, L.P. Dynamic facsimile transcoding in a unified messaging platform
US8482545B2 (en) 2008-10-02 2013-07-09 Wacom Co., Ltd. Combination touch and transducer input system and method
JPWO2010038624A1 (ja) 2008-10-03 2012-03-01 日本電気株式会社 通信システム、ノード装置、通信システムの通信方法、およびプログラム
US8528059B1 (en) 2008-10-06 2013-09-03 Goldman, Sachs & Co. Apparatuses, methods and systems for a secure resource access and placement platform
EP2175522A1 (en) 2008-10-13 2010-04-14 Nederlandse Centrale Organisatie Voor Toegepast Natuurwetenschappelijk Onderzoek TNO Substrate lens antenna device
US8286209B2 (en) 2008-10-21 2012-10-09 John Mezzalingua Associates, Inc. Multi-port entry adapter, hub and method for interfacing a CATV network and a MoCA network
WO2010043659A1 (de) 2008-10-15 2010-04-22 Continental Teves Ag & Co. Ohg Datenübertragung an ein fahrzeug und laden des fahrzeuges
US8144052B2 (en) 2008-10-15 2012-03-27 California Institute Of Technology Multi-pixel high-resolution three-dimensional imaging radar
CN102245119B (zh) 2008-10-21 2017-06-06 微立方有限责任公司 将能量应用于身体组织的方法及装置
US8160064B2 (en) 2008-10-22 2012-04-17 Backchannelmedia Inc. Systems and methods for providing a network link between broadcast content and content located on a computer network
US8184059B2 (en) 2008-10-24 2012-05-22 Honeywell International Inc. Systems and methods for powering a gimbal mounted device
US8504135B2 (en) 2008-10-27 2013-08-06 Uti Limited Partnership Traveling-wave antenna
CN101730024B (zh) 2008-10-28 2012-07-04 华为技术有限公司 一种网络切换的方法、系统和装置
WO2010050892A1 (en) 2008-10-30 2010-05-06 Nanyang Polytechnic Compact tunable diversity antenna
KR101552303B1 (ko) 2008-10-30 2015-09-11 삼성전자주식회사 통신 시스템 및 그의 데이터 전송 방법
US8248298B2 (en) 2008-10-31 2012-08-21 First Rf Corporation Orthogonal linear transmit receive array radar
US8102779B2 (en) 2008-10-31 2012-01-24 Howard University System and method of detecting and locating intermittent electrical faults in electrical systems
US8897635B2 (en) 2008-10-31 2014-11-25 Howard University System and method of detecting and locating intermittent and other faults
MX2011004874A (es) 2008-11-06 2011-11-01 Southwire Co Grado de linea de energia en tiempo real.
US8188855B2 (en) 2008-11-06 2012-05-29 Current Technologies International Gmbh System, device and method for communicating over power lines
US9426213B2 (en) 2008-11-11 2016-08-23 At&T Intellectual Property Ii, L.P. Hybrid unicast/anycast content distribution network system
JP4708470B2 (ja) 2008-11-12 2011-06-22 シャープ株式会社 ミリ波送受信システム
WO2010055700A1 (ja) 2008-11-14 2010-05-20 株式会社フジクラ イッテルビウム添加光ファイバ、ファイバレーザ及びファイバアンプ
US8414326B2 (en) 2008-11-17 2013-04-09 Rochester Institute Of Technology Internal coaxial cable connector integrated circuit and method of use thereof
US7970365B2 (en) 2008-11-19 2011-06-28 Harris Corporation Systems and methods for compensating for transmission phasing errors in a communications system using a receive signal
US8561181B1 (en) 2008-11-26 2013-10-15 Symantec Corporation Detecting man-in-the-middle attacks via security transitions
US8324990B2 (en) 2008-11-26 2012-12-04 Apollo Microwaves, Ltd. Multi-component waveguide assembly
US20100127848A1 (en) 2008-11-27 2010-05-27 Smt Research Ltd. System, apparatus, method and sensors for monitoring structures
US8258743B2 (en) 2008-12-05 2012-09-04 Lava Four, Llc Sub-network load management for use in recharging vehicles equipped with electrically powered propulsion systems
US8958980B2 (en) 2008-12-09 2015-02-17 Tomtom Polska Sp. Z O.O. Method of generating a geodetic reference database product
US9204181B2 (en) 2008-12-12 2015-12-01 Genband Us Llc Content overlays in on-demand streaming applications
WO2010068954A1 (en) 2008-12-12 2010-06-17 Wavebender, Inc. Integrated waveguide cavity antenna and reflector dish
US7813344B2 (en) 2008-12-17 2010-10-12 At&T Intellectual Property I, Lp End user circuit diversity auditing methods
US8316228B2 (en) 2008-12-17 2012-11-20 L-3 Communications Corporation Trusted bypass for secure communication
US8131266B2 (en) 2008-12-18 2012-03-06 Alcatel Lucent Short message service communication security
KR101172892B1 (ko) 2008-12-18 2012-08-10 한국전자통신연구원 소형 섹터 안테나의 방사 방향 제어 장치 및 방법
US8081854B2 (en) 2008-12-19 2011-12-20 Sehf-Korea Co., Ltd. Low bend loss optical fiber
US9191263B2 (en) 2008-12-23 2015-11-17 Keyssa, Inc. Contactless replacement for cabled standards-based interfaces
US8111148B2 (en) 2008-12-30 2012-02-07 Parker Kevin L Method and apparatus for bi-directional communication with a miniature circuit breaker
US8129817B2 (en) 2008-12-31 2012-03-06 Taiwan Semiconductor Manufacturing Co., Ltd. Reducing high-frequency signal loss in substrates
US8555089B2 (en) 2009-01-08 2013-10-08 Panasonic Corporation Program execution apparatus, control method, control program, and integrated circuit
JP5590803B2 (ja) 2009-01-13 2014-09-17 キヤノン株式会社 通信装置及び通信方法
US8213401B2 (en) 2009-01-13 2012-07-03 Adc Telecommunications, Inc. Systems and methods for IP communication over a distributed antenna system transport
US9065177B2 (en) 2009-01-15 2015-06-23 Broadcom Corporation Three-dimensional antenna structure
JPWO2010082656A1 (ja) 2009-01-19 2012-07-05 住友電気工業株式会社 マルチコア光ファイバ
JP2012516635A (ja) 2009-01-27 2012-07-19 エーデーシー・テレコミュニケーションズ・インコーポレーテッド 分散アンテナシステムの信号をデジタル的に等化するための方法および装置
US8180917B1 (en) 2009-01-28 2012-05-15 Trend Micro, Inc. Packet threshold-mix batching dispatcher to counter traffic analysis
JP5480916B2 (ja) 2009-02-03 2014-04-23 コーニング ケーブル システムズ リミテッド ライアビリティ カンパニー 光ファイバベースの分散型アンテナシステム、構成要素、及びその較正のための関連の方法
WO2010091341A2 (en) 2009-02-06 2010-08-12 Aware, Inc. Determining communications characteristics of a network
US8427100B2 (en) 2009-02-06 2013-04-23 Broadcom Corporation Increasing efficiency of wireless power transfer
KR101692720B1 (ko) 2009-02-08 2017-01-04 엘지전자 주식회사 핸드오버 방법
WO2010089719A1 (en) 2009-02-08 2010-08-12 Mobileaccess Networks Ltd. Communication system using cables carrying ethernet signals
US8582941B2 (en) 2009-02-16 2013-11-12 Corning Cable Systems Llc Micromodule cables and breakout cables therefor
JP5187222B2 (ja) 2009-02-16 2013-04-24 日本電気株式会社 アンテナ装置、レドーム及び不要放射波防止方法
US8421692B2 (en) 2009-02-25 2013-04-16 The Boeing Company Transmitting power and data
US9134353B2 (en) 2009-02-26 2015-09-15 Distributed Energy Management Inc. Comfort-driven optimization of electric grid utilization
WO2010099371A1 (en) 2009-02-26 2010-09-02 Battelle Memorial Institute Submersible vessel data communications system
US8218929B2 (en) 2009-02-26 2012-07-10 Corning Incorporated Large effective area low attenuation optical fiber
KR200450063Y1 (ko) 2009-03-10 2010-09-02 주식회사 케이엠더블유 이동통신 시스템용 안테나 장치
US8120488B2 (en) 2009-02-27 2012-02-21 Rf Controls, Llc Radio frequency environment object monitoring system and methods of use
US7915980B2 (en) 2009-03-03 2011-03-29 Sony Corporation Coax core insulator waveguide
KR101591393B1 (ko) 2009-03-03 2016-02-03 타이코 일렉트로닉스 서비시스 게엠베하 균형 메타 재료 안테나 장치
US9106617B2 (en) 2009-03-10 2015-08-11 At&T Intellectual Property I, L.P. Methods, systems and computer program products for authenticating computer processing devices and transferring both encrypted and unencrypted data therebetween
WO2010105109A2 (en) 2009-03-11 2010-09-16 Rayspan Corporation High gain metamaterial antenna device
KR101587005B1 (ko) 2009-03-11 2016-02-02 삼성전자주식회사 다중안테나시스템에서 간섭완화를 위한 제어정보를 전송하기 위한 방법 및 장치
US8812154B2 (en) 2009-03-16 2014-08-19 The Boeing Company Autonomous inspection and maintenance
US8112649B2 (en) 2009-03-17 2012-02-07 Empire Technology Development Llc Energy optimization through intentional errors
JP4672780B2 (ja) 2009-03-18 2011-04-20 株式会社東芝 ネットワーク監視装置及びネットワーク監視方法
US8338991B2 (en) 2009-03-20 2012-12-25 Qualcomm Incorporated Adaptive impedance tuning in wireless power transmission
US20100243633A1 (en) 2009-03-24 2010-09-30 Tung Huynh Power Line De-Icing Apparatus
US8373095B2 (en) 2009-03-24 2013-02-12 Tung Minh Huynh Power line de-icing apparatus
US8566058B2 (en) 2009-04-06 2013-10-22 Teledyne Lecroy, Inc. Method for de-embedding device measurements
US8514140B1 (en) 2009-04-10 2013-08-20 Lockheed Martin Corporation Dual-band antenna using high/low efficiency feed horn for optimal radiation patterns
US8086174B2 (en) 2009-04-10 2011-12-27 Nextivity, Inc. Short-range cellular booster
TWI536661B (zh) 2009-04-13 2016-06-01 凡爾賽特公司 用於通訊之系統及用於傳遞rf信號之方法
TWI517499B (zh) 2009-04-13 2016-01-11 凡爾賽特公司 主動式巴特勒矩陣、主動式布拉斯矩陣子單元、主動式布拉斯矩陣以及波束形成網路設備
US8089356B2 (en) 2009-04-13 2012-01-03 Jason Lee Moore Weather alerts
CN102396111B (zh) 2009-04-16 2016-10-05 日本电气株式会社 天线装置和多天线系统
WO2010121216A1 (en) 2009-04-17 2010-10-21 Viasat, Inc. System, method and apparatus for providing end-to-end layer 2 connectivity
WO2010127365A1 (en) 2009-05-01 2010-11-04 Citrix Systems, Inc. Systems and methods for establishing a cloud bridge between virtual storage resources
US8472868B2 (en) 2009-05-06 2013-06-25 Telefonaktiebolaget Lm Ericsson (Publ) Method and apparatus for MIMO repeater chains in a wireless communication network
US9210586B2 (en) 2009-05-08 2015-12-08 Qualcomm Incorporated Method and apparatus for generating and exchanging information for coverage optimization in wireless networks
TWI397275B (zh) 2009-05-18 2013-05-21 Inst Information Industry 用於一多輸入多輸出無線通訊系統之增益調整裝置、方法及其電腦程式產品
US8385978B2 (en) 2009-05-22 2013-02-26 Fimax Technology Limited Multi-function wireless apparatus
DE102009022511B4 (de) 2009-05-25 2015-01-08 KROHNE Meßtechnik GmbH & Co. KG Dielektrische Antenne
FR2946466B1 (fr) 2009-06-04 2012-03-30 Alcatel Lucent Reflecteur secondaire pour une antenne a double reflecteur
US8582502B2 (en) 2009-06-04 2013-11-12 Empire Technology Development Llc Robust multipath routing
KR101745414B1 (ko) 2009-06-09 2017-06-13 엘지전자 주식회사 무선 통신 시스템에서 채널 정보 전송 방법 및 장치
US8457581B2 (en) 2009-06-09 2013-06-04 Broadcom Corporation Method and system for receiving I and Q RF signals without a phase shifter utilizing a leaky wave antenna
US8077113B2 (en) 2009-06-12 2011-12-13 Andrew Llc Radome and shroud enclosure for reflector antenna
US8572661B2 (en) 2009-06-17 2013-10-29 Echostar Technologies L.L.C. Satellite signal distribution
JP5295008B2 (ja) 2009-06-18 2013-09-18 株式会社ワコム 指示体検出装置
GB0910662D0 (en) 2009-06-19 2009-10-28 Mbda Uk Ltd Improvements in or relating to antennas
JP5497348B2 (ja) 2009-06-22 2014-05-21 株式会社 電硝エンジニアリング 塩酸−フッ酸系混酸廃液から塩酸とフッ酸をそれぞれ回収する方法
EP2449693A2 (en) 2009-06-29 2012-05-09 Sigma Designs Israel S.D.I Ltd. Power line communication method and apparatus
US8427176B2 (en) 2009-06-30 2013-04-23 Orthosensor Inc Pulsed waveguide sensing device and method for measuring a parameter
US8780012B2 (en) 2009-06-30 2014-07-15 California Institute Of Technology Dielectric covered planar antennas
US8515609B2 (en) 2009-07-06 2013-08-20 Honeywell International Inc. Flight technical control management for an unmanned aerial vehicle
EP3470963B1 (en) 2009-07-07 2021-03-10 Elliptic Laboratories AS Control using movements
US20150102972A1 (en) 2009-07-13 2015-04-16 Francesca Scire-Scappuzzo Method and apparatus for high-performance compact volumetric antenna with pattern control
WO2011006210A1 (en) 2009-07-17 2011-01-20 Future Fibre Technologies Pty Ltd Intrusion detection
BRPI1004907A2 (pt) 2009-07-22 2016-08-09 Panasonic Coporation unidade principal e unidade subordinada
US20110018704A1 (en) 2009-07-24 2011-01-27 Burrows Zachary M System, Device and Method for Providing Power Line Communications
US8587490B2 (en) 2009-07-27 2013-11-19 New Jersey Institute Of Technology Localized wave generation via model decomposition of a pulse by a wave launcher
US12014410B2 (en) 2009-07-28 2024-06-18 Comcast Cable Communications, Llc Content storage management
US8516474B2 (en) 2009-07-31 2013-08-20 Alcatel Lucent Method and system for distributing an upgrade among nodes in a network
US20110032143A1 (en) 2009-08-05 2011-02-10 Yulan Sun Fixed User Terminal for Inclined Orbit Satellite Operation
US8553646B2 (en) 2009-08-10 2013-10-08 At&T Intellectual Property I, L.P. Employing physical location geo-spatial co-ordinate of communication device as part of internet protocol
DE102009037336B4 (de) 2009-08-14 2024-10-31 Rosenberger Hochfrequenztechnik Gmbh & Co. Kg Antennencharakterisierung in einem Wellenleiter
US8966033B2 (en) 2009-08-17 2015-02-24 At&T Intellectual Property I, L.P. Integrated proximity routing for content distribution
US8106849B2 (en) 2009-08-28 2012-01-31 SVR Inventions, Inc. Planar antenna array and article of manufacture using same
US8054199B2 (en) 2009-08-31 2011-11-08 Honeywell International Inc. Alarm reporting through utility meter reading infrastructure
US8630582B2 (en) 2009-09-02 2014-01-14 Sony Corporation Out-of-band radio link protocol and network architecture for a wireless network composed of wireless terminals with millimetre wave frequency range radio units
US8415884B2 (en) 2009-09-08 2013-04-09 Tokyo Electron Limited Stable surface wave plasma source
EP2476163B1 (en) 2009-09-09 2018-07-25 BAE Systems PLC Antenna failure compensation
FR2953605B1 (fr) 2009-12-03 2011-12-16 Draka Comteq France Fibre optique multimode a large bande passante et a faibles pertes par courbure
FR2957153B1 (fr) 2010-03-02 2012-08-10 Draka Comteq France Fibre optique multimode a large bande passante et a faibles pertes par courbure
US8749449B2 (en) 2009-09-14 2014-06-10 Towerco Staffing, Inc. Methods of modifying erect concealed antenna towers and associated modified towers and devices therefor
US9324003B2 (en) 2009-09-14 2016-04-26 Trimble Navigation Limited Location of image capture device and object features in a captured image
CN102025148A (zh) 2009-09-14 2011-04-20 康舒科技股份有限公司 具有数据中继功能的电力线网络系统
DK2478591T3 (da) 2009-09-16 2020-06-08 Agence Spatiale Europeenne Aperiodisk og ikkeplanar gruppe af elektromagnetiske spredere og refleksionsgruppeantenne omfattende samme
TWI543209B (zh) 2009-09-18 2016-07-21 Bundled soft circuit cable
US9281561B2 (en) 2009-09-21 2016-03-08 Kvh Industries, Inc. Multi-band antenna system for satellite communications
US8237617B1 (en) 2009-09-21 2012-08-07 Sprint Communications Company L.P. Surface wave antenna mountable on existing conductive structures
WO2011032605A1 (en) 2009-09-21 2011-03-24 Nokia Siemens Networks Oy Method and device for processing data in a wireless network
US20110068893A1 (en) 2009-09-22 2011-03-24 International Business Machines Corporation Rfid fingerprint creation and utilization
EP2480862B1 (en) 2009-09-25 2019-09-11 Itron, Inc. Telemetry system
KR101068667B1 (ko) 2009-09-28 2011-09-28 한국과학기술원 히든 노드 및 감지 간섭을 고려한 라우팅 경로 설정 방법, 그 시스템 및 이를 기록한 기록매체
US8343145B2 (en) 2009-09-28 2013-01-01 Vivant Medical, Inc. Microwave surface ablation using conical probe
CN102035649B (zh) 2009-09-29 2013-08-21 国际商业机器公司 认证方法和装置
GB2474037A (en) 2009-10-01 2011-04-06 Graeme David Gilbert Smart Miniature Circuit Breaker
AU2010101079A4 (en) 2009-10-02 2010-11-11 Johnson, Philip Ian Domain Name Identifier and Directory
GB0917705D0 (en) 2009-10-09 2009-11-25 Fastmetrics Ltd Mobile radio antenna arrangement for a base station
IL201360A (en) 2009-10-11 2014-08-31 Moshe Henig Load control system and power grid detection for smart grid
US20110083399A1 (en) 2009-10-13 2011-04-14 Dish Network L.L.C. Structures and methods for mounting an object
JP5084808B2 (ja) 2009-10-14 2012-11-28 三菱電機株式会社 カナッペ構造のレドーム
US8532272B2 (en) 2009-10-21 2013-09-10 Comcast Cable Communications, Llc Service entry device
US8811914B2 (en) 2009-10-22 2014-08-19 At&T Intellectual Property I, L.P. Method and apparatus for dynamically processing an electromagnetic beam
WO2011050272A2 (en) 2009-10-23 2011-04-28 Trustees Of Boston University Nanoantenna arrays for nanospectroscopy, methods of use and methods of high-throughput nanofabrication
US8599150B2 (en) 2009-10-29 2013-12-03 Atmel Corporation Touchscreen electrode configuration
US10264029B2 (en) 2009-10-30 2019-04-16 Time Warner Cable Enterprises Llc Methods and apparatus for packetized content delivery over a content delivery network
US9070962B2 (en) 2009-10-30 2015-06-30 Nec Corporation Surface communication device
US9021251B2 (en) 2009-11-02 2015-04-28 At&T Intellectual Property I, L.P. Methods, systems, and computer program products for providing a virtual private gateway between user devices and various networks
US8359124B2 (en) 2009-11-05 2013-01-22 General Electric Company Energy optimization system
US9094419B2 (en) 2009-11-10 2015-07-28 Netgen Communications, Inc. Real-time facsimile transmission over a packet network
GB0919948D0 (en) 2009-11-13 2009-12-30 Sec Dep For Business Innovatio Smart antenna
US20110268085A1 (en) 2009-11-19 2011-11-03 Qualcomm Incorporated Lte forward handover
US20110130135A1 (en) 2009-12-01 2011-06-02 Hafedh Trigui Coverage hole detector
IT1397290B1 (it) 2009-12-02 2013-01-04 Selex Communications Spa Metodo e sistema di controllo automatico della formazione di volo di veicoli aerei senza pilota.
US8253516B2 (en) 2009-12-08 2012-08-28 At&T Intellectual Property I, L.P. Using an electric power cable as the vehicle for communicating an information-bearing signal through a barrier
US8269583B2 (en) 2009-12-08 2012-09-18 At&T Intellectual Property I, L.P. Using surface wave propagation to communicate an information-bearing signal through a barrier
US8344829B2 (en) 2009-12-08 2013-01-01 At&T Intellectual Property I, L.P. Technique for conveying a wireless-standard signal through a barrier
US8212635B2 (en) 2009-12-08 2012-07-03 At&T Intellectual Property I, L.P. Surface wave coupler
US20110148578A1 (en) 2009-12-09 2011-06-23 Oakland University Automotive direction finding system based on received power levels
US8527758B2 (en) 2009-12-09 2013-09-03 Ebay Inc. Systems and methods for facilitating user identity verification over a network
KR100964990B1 (ko) 2009-12-10 2010-06-21 엘아이지넥스원 주식회사 어퍼쳐 안테나용 빔 컨트롤러와 이를 구비한 어퍼쳐 안테나
US9083083B2 (en) 2009-12-11 2015-07-14 Commscope Technologies Llc Radome attachment band clamp
US8259028B2 (en) 2009-12-11 2012-09-04 Andrew Llc Reflector antenna radome attachment band clamp
JP5323664B2 (ja) 2009-12-17 2013-10-23 古河電気工業株式会社 光ファイバ心線
US8340438B2 (en) 2009-12-17 2012-12-25 Deere & Company Automated tagging for landmark identification
US20110148687A1 (en) 2009-12-18 2011-06-23 L-3 Communications Cyterra Corporation Adjustable antenna
JP2013515242A (ja) 2009-12-18 2013-05-02 エアロバイロメント,インコーポレイテッド 高高度長時間滞空無人機とその動作方法
CN102948081B (zh) 2009-12-21 2016-06-01 大力系统有限公司 具有宽带功率放大器的远程射频头单元及方法
US8537705B2 (en) 2010-01-04 2013-09-17 Qualcomm Incorporated Transmit power control
US8750870B2 (en) 2010-01-08 2014-06-10 Qualcomm Incorporated Method and apparatus for positioning of devices in a wireless network
US8384247B2 (en) 2010-01-13 2013-02-26 Mitsubishi Electric Research Laboratories, Inc. Wireless energy transfer to moving devices
CN102130698B (zh) 2010-01-15 2014-04-16 赵小林 一种电磁波同频放大直放站系统中的回波检测和消除自激的方法
CN201576751U (zh) 2010-01-18 2010-09-08 华为技术有限公司 一种抛物面天线
JP5710209B2 (ja) 2010-01-18 2015-04-30 東京エレクトロン株式会社 電磁波給電機構およびマイクロ波導入機構
US9137485B2 (en) 2010-01-21 2015-09-15 Cadence Design Systems, Inc. Home network architecture for delivering high-speed data services
US8681463B2 (en) 2010-01-25 2014-03-25 Edison Global Circuits, Llc Circuit breaker panel
US8537068B2 (en) 2010-01-26 2013-09-17 Raytheon Company Method and apparatus for tri-band feed with pseudo-monopulse tracking
US10244579B2 (en) 2010-01-28 2019-03-26 Samsung Electronics Co., Ltd. Techniques for millimeter wave mobile communication
US20110286506A1 (en) 2010-01-29 2011-11-24 Lecroy Corporation User Interface for Signal Integrity Network Analyzer
US8706438B2 (en) 2010-02-01 2014-04-22 Teledyne Lecroy, Inc. Time domain network analyzer
JP5492015B2 (ja) 2010-02-03 2014-05-14 株式会社日立製作所 低高周波共用漏洩アンテナ、およびそれを用いた基地局装置並びに近距離検知システム
US8159385B2 (en) 2010-02-04 2012-04-17 Sensis Corporation Conductive line communication apparatus and conductive line radar system and method
KR101611296B1 (ko) 2010-02-09 2016-04-12 엘지전자 주식회사 스마트 디바이스를 이용한 전력 제어 방법 및 장치
US8666553B2 (en) 2010-02-10 2014-03-04 Electric Power Research Institute, Inc. Line inspection robot and system
AU2011202229B2 (en) 2010-02-10 2013-11-07 Electric Power Research Institute, Inc. Line inspection robot and system
TWI425713B (zh) 2010-02-12 2014-02-01 First Int Computer Inc 諧振產生之三頻段天線
CA2789490A1 (en) 2010-02-15 2011-08-18 Bae Systems Plc Antenna system
US8634766B2 (en) 2010-02-16 2014-01-21 Andrew Llc Gain measurement and monitoring for wireless communication systems
WO2011103593A1 (en) 2010-02-22 2011-08-25 Panoramic Power Ltd. Circuit tracer
US7903918B1 (en) 2010-02-22 2011-03-08 Corning Incorporated Large numerical aperture bend resistant multimode optical fiber
CN102170667B (zh) 2010-02-25 2013-02-27 中兴通讯股份有限公司 一种实现基站间切换的方法、系统及基站装置
KR101605326B1 (ko) 2010-02-26 2016-04-01 엘지전자 주식회사 신호 송수신 방법 및, 그를 위한 기지국 및 사용자기기
US8984621B2 (en) 2010-02-27 2015-03-17 Novell, Inc. Techniques for secure access management in virtual environments
EP2363913A1 (en) 2010-03-03 2011-09-07 Astrium Limited Waveguide
US20110219402A1 (en) 2010-03-05 2011-09-08 Sony Corporation Apparatus and method for replacing a broadcasted advertisement based on heuristic information
KR101674958B1 (ko) 2010-03-05 2016-11-10 엘지전자 주식회사 셀 간 간섭을 제어하기 위한 장치 및 방법
WO2011111988A2 (ko) 2010-03-08 2011-09-15 엘지전자 주식회사 상향링크 전송전력을 제어하기 위한 방법 및 장치
US8792933B2 (en) 2010-03-10 2014-07-29 Fujitsu Limited Method and apparatus for deploying a wireless network
EP2618339A3 (en) 2010-03-12 2013-10-30 General Cable Technologies Corporation Cable having insulation with micro oxide particles
US8737793B2 (en) 2010-03-16 2014-05-27 Furukawa Electric Co., Ltd. Multi-core optical fiber and method of manufacturing the same
JP2011199484A (ja) 2010-03-18 2011-10-06 Sony Corp 通信装置
FR2957719B1 (fr) 2010-03-19 2013-05-10 Thales Sa Antenne reseau reflecteur a compensation de polarisation croisee et procede de realisation d'une telle antenne
ES2393890B1 (es) 2010-03-22 2013-10-30 Marvell Hispania, S.L. (Sociedad Unipersonal) Nodo de comunicación en varios medios de transmisión.
WO2011118717A1 (ja) 2010-03-25 2011-09-29 古河電気工業株式会社 発泡電線及びその製造方法
US9092963B2 (en) 2010-03-29 2015-07-28 Qualcomm Incorporated Wireless tracking device
JP2011211435A (ja) 2010-03-29 2011-10-20 Kyocera Corp 通信レピータ
EP2372971A1 (en) 2010-03-30 2011-10-05 British Telecommunications Public Limited Company Method and system for authenticating a point of access
CN102208716A (zh) 2010-03-31 2011-10-05 赵铭 一种具有寄生匹配介质的广角照射馈源装置及微波天线
US8566906B2 (en) 2010-03-31 2013-10-22 International Business Machines Corporation Access control in data processing systems
US9363761B2 (en) 2010-04-05 2016-06-07 Intel Corporation System and method for performance enhancement in heterogeneous wireless access network employing band selective power management
JP5514612B2 (ja) 2010-04-05 2014-06-04 株式会社日立製作所 低ノイズケーブルおよびそれを使用した装置
US9020555B2 (en) 2010-04-05 2015-04-28 Intel Corporation System and method for performance enhancement in heterogeneous wireless access network employing distributed antenna system
US8810404B2 (en) 2010-04-08 2014-08-19 The United States Of America, As Represented By The Secretary Of The Navy System and method for radio-frequency fingerprinting as a security layer in RFID devices
US8615241B2 (en) 2010-04-09 2013-12-24 Qualcomm Incorporated Methods and apparatus for facilitating robust forward handover in long term evolution (LTE) communication systems
JP5678171B2 (ja) 2010-04-12 2015-02-25 クゥアルコム・インコーポレイテッドQualcomm Incorporated ネットワークにおける低オーバーヘッド通信のためのチャネル推定
US8674831B1 (en) 2010-04-16 2014-03-18 Kontek Industries, Inc. Security systems with adaptive subsystems networked through barrier modules and armored building modules
CN101834011A (zh) 2010-04-21 2010-09-15 无锡市长城电线电缆有限公司 一种中高压动力电缆阻水导体及其制造方法
KR101618127B1 (ko) 2010-04-22 2016-05-04 엘지전자 주식회사 분산 안테나 시스템에서의 신호 송수신 방법 및 장치
US8504718B2 (en) 2010-04-28 2013-08-06 Futurewei Technologies, Inc. System and method for a context layer switch
KR101703864B1 (ko) 2010-04-29 2017-02-22 엘지전자 주식회사 제어정보의 전송방법 및 기지국과, 제어정보의 수신방법 및 사용자기기
CN107508724B (zh) 2010-04-29 2022-03-08 克里斯多佛·布赖恩德·谢勒 联网电缆追踪器系统
CN102238573A (zh) 2010-04-30 2011-11-09 中兴通讯股份有限公司 一种m2m业务的架构及实现m2m业务的方法
FR2959611B1 (fr) 2010-04-30 2012-06-08 Thales Sa Element rayonnant compact a cavites resonantes.
US8682389B2 (en) 2010-05-03 2014-03-25 Telefonaktiebolaget Lm Ericsson (Publ) Methods and apparatus for positioning measurement in multi-antenna transmission systems
GB2480080B (en) 2010-05-05 2012-10-24 Vodafone Ip Licensing Ltd Telecommunications networks
CN102238668B (zh) 2010-05-07 2015-08-12 北京三星通信技术研究有限公司 一种通过网关进行x2切换的方法
US9015139B2 (en) 2010-05-14 2015-04-21 Rovi Guides, Inc. Systems and methods for performing a search based on a media content snapshot image
US20140355989A1 (en) 2010-05-17 2014-12-04 Cox Communications, Inc. Systems and methods for providing broadband communication
JP5375738B2 (ja) 2010-05-18 2013-12-25 ソニー株式会社 信号伝送システム
WO2011143712A1 (en) 2010-05-21 2011-11-24 Commonwealth Scientific And Industrial Research Organisation Energy service delivery platform
US8373589B2 (en) 2010-05-26 2013-02-12 Detect, Inc. Rotational parabolic antenna with various feed configurations
US8373612B2 (en) 2010-06-03 2013-02-12 Qwest Communications International Inc. Antenna installation apparatus and method
ES2706057T3 (es) 2010-06-03 2019-03-27 Nokia Solutions & Networks Oy Calibración de estación base
US8639934B2 (en) 2010-06-10 2014-01-28 Empire Technology Development Llc Radio channel metrics for secure wireless network pairing
US8539540B2 (en) 2010-06-15 2013-09-17 Cable Television Laboratories, Inc. Interactive advertising monitoring system
US8578486B2 (en) 2010-06-18 2013-11-05 Microsoft Corporation Encrypted network traffic interception and inspection
US8604999B2 (en) 2010-06-21 2013-12-10 Public Wireless, Inc. Strand mountable antenna enclosure for wireless communication access system
WO2011162917A2 (en) 2010-06-23 2011-12-29 3M Innovative Properties Company Multi-channel cabling for rf signal distribution
DE112011102132T5 (de) 2010-06-25 2013-05-23 Trimble Navigation Ltd. Verfahren und Vorrichtung für eine imagebasierte Positionierung
US8903214B2 (en) 2010-06-25 2014-12-02 Nkt Photonics A/S Large core area single mode optical fiber
JP2012015613A (ja) 2010-06-29 2012-01-19 Advantest Corp ステップ減衰装置およびそれを用いた試験装置および信号発生器
US8484511B2 (en) 2010-07-01 2013-07-09 Time Warner Cable Enterprises Llc Apparatus and methods for data collection, analysis and validation including error correction in a content delivery network
GB201011168D0 (en) 2010-07-02 2010-08-18 Vodafone Plc Buffering in telecommunication networks
ES2430362T3 (es) 2010-07-02 2013-11-20 Vodafone Ip Licensing Limited Gestión de recursos de radio basada en la predicción de la ubicación
US9103864B2 (en) 2010-07-06 2015-08-11 University Of South Carolina Non-intrusive cable fault detection and methods
US20140126914A1 (en) 2010-07-09 2014-05-08 Corning Cable Systems Llc Optical fiber-based distributed radio frequency (rf) antenna systems supporting multiple-input, multiple-output (mimo) configurations, and related components and methods
WO2012007831A2 (en) 2010-07-16 2012-01-19 Levelation Circuit breaker with integral meter and wireless communications
US8335596B2 (en) 2010-07-16 2012-12-18 Verizon Patent And Licensing Inc. Remote energy management using persistent smart grid network context
RU2432647C1 (ru) 2010-07-19 2011-10-27 Федеральное государственное унитарное предприятие "Обнинское научно-производственное предприятие "Технология" Антенный обтекатель
JP2012028869A (ja) 2010-07-20 2012-02-09 Fujitsu Ltd アンテナ装置及び通信装置
US8738318B2 (en) 2010-08-02 2014-05-27 Lindsey Manufacturing Company Dynamic electric power line monitoring system
CN103250060A (zh) 2010-08-10 2013-08-14 库柏技术公司 用于安装悬置装置的设备和方法
US20120038520A1 (en) 2010-08-11 2012-02-16 Kaonetics Technologies, Inc. Omni-directional antenna system for wireless communication
US8880765B2 (en) 2010-08-25 2014-11-04 Itron, Inc. Interface bus for utility-grade network communication devices
US8645772B2 (en) 2010-08-25 2014-02-04 Itron, Inc. System and method for managing uncertain events for communication devices
WO2012025158A1 (en) 2010-08-27 2012-03-01 Nokia Siemens Networks Oy Handover of connection of user equipment
WO2012027595A2 (en) 2010-08-27 2012-03-01 Intel Corporation Techniques for object based operations
CN101958461B (zh) 2010-09-07 2013-11-20 京信通信系统(中国)有限公司 微波天线及其外罩
JP2012058162A (ja) 2010-09-10 2012-03-22 Toshiba Corp 気象レーダ装置及び気象観測方法
JP5606238B2 (ja) 2010-09-17 2014-10-15 東光株式会社 誘電体導波管スロットアンテナ
CN101931468B (zh) 2010-09-23 2013-06-12 武汉虹信通信技术有限责任公司 一种传输以太网信号和移动通信信号的接入系统和方法
WO2012038816A1 (en) 2010-09-25 2012-03-29 Cavera Systems (India) Pvt. Ltd. System and method for providing simultaneous ip and non-ip based communication services using passive optical networks
US8670946B2 (en) 2010-09-28 2014-03-11 Landis+Gyr Innovations, Inc. Utility device management
KR20120032777A (ko) 2010-09-29 2012-04-06 삼성전자주식회사 계층셀 통신 시스템에서 다운링크 빔포밍 벡터 결정 방법 및 장치
US8706026B2 (en) 2010-09-30 2014-04-22 Futurewei Technologies, Inc. System and method for distributed power control in a communications system
US8588840B2 (en) 2010-09-30 2013-11-19 Futurewei Technologies, Inc. System and method for distributed power control in a communications system
JP2012078172A (ja) 2010-09-30 2012-04-19 Panasonic Corp 無線通信装置
US8996728B2 (en) 2010-10-01 2015-03-31 Telcordia Technologies, Inc. Obfuscating network traffic from previously collected network traffic
JP5618072B2 (ja) 2010-10-04 2014-11-05 日本電気株式会社 無線通信システム、無線通信装置、無線通信方法
US20120084807A1 (en) 2010-10-04 2012-04-05 Mark Thompson System and Method for Integrating Interactive Advertising Into Real Time Video Content
US8505057B2 (en) 2010-10-05 2013-08-06 Concurrent Computers Demand-based edge caching video content system and method
US8711538B2 (en) 2010-10-06 2014-04-29 Jonathan Jay Woodworth Externally gapped line arrester
US9252874B2 (en) 2010-10-13 2016-02-02 Ccs Technology, Inc Power management for remote antenna units in distributed antenna systems
WO2012050069A1 (ja) 2010-10-15 2012-04-19 シャープ株式会社 座標入力装置、および該座標入力装置を備えた表示装置ならびに座標入力方法
US20120092161A1 (en) 2010-10-18 2012-04-19 Smartwatch, Inc. Systems and methods for notifying proximal community members of an emergency or event
JP2012089997A (ja) 2010-10-18 2012-05-10 Sony Corp 信号伝送装置、電子機器、及び、信号伝送方法
CN102136934B (zh) 2010-10-21 2015-01-21 华为技术有限公司 实现Zigbee设备远程升级的方法、装置及网络系统
JP2012090242A (ja) 2010-10-22 2012-05-10 Dx Antenna Co Ltd レンズアンテナ
WO2012054921A2 (en) 2010-10-22 2012-04-26 Tollgrade Communications, Inc. Integrated ethernet over coaxial cable, stb, and physical layer test and monitoring
US9213905B2 (en) 2010-10-25 2015-12-15 Trimble Navigation Limited Automatic obstacle location mapping
US8750862B2 (en) 2010-10-26 2014-06-10 At&T Intellectual Property I, L.P. Performance diagnosis of wireless equipment and a wireless network over out-of-band communication
US20120102568A1 (en) 2010-10-26 2012-04-26 Mcafee, Inc. System and method for malware alerting based on analysis of historical network and process activity
EP2633726B1 (en) 2010-10-28 2018-01-03 Telefonaktiebolaget LM Ericsson (publ) Method and apparatus for uplink transmit power adjustment
US20120105246A1 (en) 2010-10-29 2012-05-03 General Electric Company Contactless underwater communication device
US10381869B2 (en) 2010-10-29 2019-08-13 Verizon Patent And Licensing Inc. Remote power outage and restoration notification
US8863165B2 (en) 2010-11-01 2014-10-14 Gracenote, Inc. Method and system for presenting additional content at a media system
US20130179931A1 (en) 2010-11-02 2013-07-11 Daniel Osorio Processing, storing, and delivering digital content
US20120109566A1 (en) 2010-11-02 2012-05-03 Ate Systems, Inc. Method and apparatus for calibrating a test system for measuring a device under test
US20120106653A1 (en) 2010-11-03 2012-05-03 Broadcom Corporation Multimedia processing within a vehicular communication network
US9871293B2 (en) 2010-11-03 2018-01-16 The Boeing Company Two-dimensionally electronically-steerable artificial impedance surface antenna
GB2485355B (en) 2010-11-09 2013-06-05 Motorola Solutions Inc Compatible channel for efficient coexistence of voice and dat traffic
WO2012064333A1 (en) 2010-11-12 2012-05-18 Ccs Technology, Inc. Providing digital data services using electrical power line(s) in optical fiber-based distributed radio frequency (rf) communications systems, and related components and methods
KR101750369B1 (ko) 2010-11-18 2017-06-23 삼성전자 주식회사 분산 안테나를 사용하는 이동 통신 시스템에서 상향 링크 전력 제어 방법 및 장치
JP5839929B2 (ja) 2010-11-19 2016-01-06 キヤノン株式会社 情報処理装置、情報処理システム、情報処理方法及びプログラム
US8918108B2 (en) 2010-11-19 2014-12-23 Taqua Wbh, Llc Methods and systems for frequency reuse in multi-cell deployment model of a wireless backhaul network
US20120137332A1 (en) 2010-11-26 2012-05-31 Pranay Kumar Mobile tv delivery system
US8958356B2 (en) 2010-12-03 2015-02-17 Texas Instruments Incorporated Routing protocols for power line communications (PLC)
US20120144420A1 (en) 2010-12-07 2012-06-07 General Instrument Corporation Targeted advertisement distribution in an sdv environment
US8640737B2 (en) 2010-12-07 2014-02-04 Lmk Technologies, Llc Apparatus and method for sealing pipes and underground structures
CN102544736B (zh) 2010-12-08 2016-08-17 上海保隆汽车科技股份有限公司 具有小反射面的螺旋天线
IL209960A0 (en) 2010-12-13 2011-02-28 Comitari Technologies Ltd Web element spoofing prevention system and method
US20120154239A1 (en) 2010-12-15 2012-06-21 Bridgewave Communications, Inc. Millimeter wave radio assembly with a compact antenna
US9987506B2 (en) 2010-12-15 2018-06-05 Robert Marcus UAV—or personal flying device—delivered deployable descent device
EP2469654B1 (en) 2010-12-21 2014-08-27 Siemens Aktiengesellschaft Horn antenna for a radar device
US8374821B2 (en) 2010-12-22 2013-02-12 Utility Risk Management Corporation, Llc Thermal powerline rating and clearance analysis using thermal imaging technology
EP2656515B1 (en) 2010-12-22 2015-02-18 Telefonaktiebolaget L M Ericsson (PUBL) Otdr trace analysis in pon systems
US9185004B2 (en) 2010-12-29 2015-11-10 Comcast Cable Communications, Llc Quality of service for distribution of content to network devices
US8994473B2 (en) 2010-12-30 2015-03-31 Orbit Communication Ltd. Multi-band feed assembly for linear and circular polarization
US9565030B2 (en) 2011-01-07 2017-02-07 Xirrus, Inc. Testing system for a wireless access device and method
US9229956B2 (en) 2011-01-10 2016-01-05 Microsoft Technology Licensing, Llc Image retrieval using discriminative visual features
GB2487090A (en) 2011-01-10 2012-07-11 Nec Corp Obtaining user consent for provision of location related data in association with measurement of communication conditions
US8786284B2 (en) 2011-01-11 2014-07-22 Bridge12 Technologies, Inc. Integrated high-frequency generator system utilizing the magnetic field of the target application
CN102136634B (zh) 2011-01-12 2014-06-25 电子科技大学 一种Ku/Ka频段线圆极化一体化收发馈源天线
US9282144B2 (en) 2011-01-14 2016-03-08 Bae Systems Plc Unmanned vehicle selective data transfer system and method thereof
US8863256B1 (en) 2011-01-14 2014-10-14 Cisco Technology, Inc. System and method for enabling secure transactions using flexible identity management in a vehicular environment
US8503845B2 (en) 2011-01-17 2013-08-06 Alcatel Lucent Multi-core optical fiber and optical communication systems
KR101060584B1 (ko) 2011-01-17 2011-08-31 주식회사 쏠리테크 중계기 확장 시스템
US20120181258A1 (en) 2011-01-19 2012-07-19 Xuekang Shan Apparatus and methods for transmission line based electric fence insulation
US9289177B2 (en) 2011-01-20 2016-03-22 Nitto Denko Corporation Sensing device, a method of preparing a sensing device and a personal mobile sensing system
US9397380B2 (en) 2011-01-28 2016-07-19 Applied Materials, Inc. Guided wave applicator with non-gaseous dielectric for plasma chamber
US8963424B1 (en) 2011-01-29 2015-02-24 Calabazas Creek Research, Inc. Coupler for coupling gyrotron whispering gallery mode RF into HE11 waveguide
US8743716B2 (en) 2011-02-04 2014-06-03 General Electric Company Systems, methods, and apparatus for identifying invalid nodes within a mesh network
EP2671231B1 (en) 2011-02-04 2016-04-20 INEOS Manufacturing Belgium NV Insulated electric cable
US8612550B2 (en) 2011-02-07 2013-12-17 Microsoft Corporation Proxy-based cache content distribution and affinity
US8970438B2 (en) 2011-02-11 2015-03-03 Telefonaktiebolaget L M Ericsson (Publ) Method of providing an antenna mast and an antenna mast system
US9806425B2 (en) 2011-02-11 2017-10-31 AMI Research & Development, LLC High performance low profile antennas
KR101920934B1 (ko) 2011-02-15 2018-11-22 엘에스전선 주식회사 얇은 코팅경을 갖는 굴곡 강화 광섬유 및 이를 구비한 광케이블
KR20120094239A (ko) 2011-02-16 2012-08-24 삼성전자주식회사 무선 통신 시스템에서 상향링크 전력 제어 방법 및 장치
JP2012186796A (ja) 2011-02-18 2012-09-27 Sony Corp 信号伝送装置及び電子機器
EP2678972B1 (en) 2011-02-21 2018-09-05 Corning Optical Communications LLC Providing digital data services as electrical signals and radio-frequency (rf) communications over optical fiber in distributed communications systems, and related components and methods
US9516611B2 (en) 2011-02-22 2016-12-06 Samsung Electronics Co., Ltd User equipment and power control method for random access
CN102183928B (zh) 2011-02-24 2013-02-13 国家电网公司 控制家用电器运行模式的方法、装置及智能家电控制器
JP2012175680A (ja) 2011-02-24 2012-09-10 Nec Corp ホーンアレイアンテナ
US8767071B1 (en) 2011-03-03 2014-07-01 The United States Of America As Represented By The Secretary Of The Air Force High voltage power line multi-sensor system
US9130629B2 (en) 2011-03-04 2015-09-08 Sharp Kabushiki Kaisha Wireless communication system, base station device, and terminal device
US8958703B2 (en) 2011-03-04 2015-02-17 Alcatel Lucent Multipath channel for optical subcarrier modulation
US8763097B2 (en) 2011-03-11 2014-06-24 Piyush Bhatnagar System, design and process for strong authentication using bidirectional OTP and out-of-band multichannel authentication
US9742077B2 (en) 2011-03-15 2017-08-22 Intel Corporation Mm-wave phased array antenna with beam tilting radiation pattern
US8878726B2 (en) 2011-03-16 2014-11-04 Exelis Inc. System and method for three-dimensional geolocation of emitters based on energy measurements
JP5230766B2 (ja) 2011-03-17 2013-07-10 パナソニック株式会社 到来方向推定装置及び到来方向推定方法
US8952678B2 (en) 2011-03-22 2015-02-10 Kirk S. Giboney Gap-mode waveguide
JP2012205104A (ja) 2011-03-25 2012-10-22 Dx Antenna Co Ltd レンズアンテナ
WO2012134080A2 (ko) 2011-03-30 2012-10-04 주식회사 케이티 사물 통신에서 원격 소프트웨어를 분리 업그레이드하는 방법 및 장치
US9379826B2 (en) 2011-03-30 2016-06-28 Intel Deutschland Gmbh Calibration of a transmitter with internal power measurement
US8693580B2 (en) 2011-03-30 2014-04-08 Landis+Gyr Technologies, Llc Grid event detection
US9046342B2 (en) 2011-04-01 2015-06-02 Habsonic, Llc Coaxial cable Bragg grating sensor
CN201985870U (zh) 2011-04-02 2011-09-21 南京天之谱科技有限公司 单兵背负式无线电监测测向系统
US8797207B2 (en) 2011-04-18 2014-08-05 Vega Grieshaber Kg Filling level measuring device antenna cover
US8847617B2 (en) 2011-04-22 2014-09-30 Apple Inc. Non-contact test system for determining whether electronic device structures contain manufacturing faults
WO2012149027A1 (en) 2011-04-25 2012-11-01 Aviat Networks, Inc. Systems and methods for reduction of triple transit effects in transceiver communications
CN103609146B (zh) 2011-04-29 2017-05-31 康宁光缆系统有限责任公司 用于增加分布式天线系统中的射频(rf)功率的系统、方法和装置
US8599759B2 (en) 2011-04-29 2013-12-03 Cooper Technologies Company Multi-path radio transmission input/output devices, network, systems and methods with on demand, prioritized routing protocol
US9265078B2 (en) 2011-05-02 2016-02-16 Lg Electronics Inc. Method for performing device-to-device communication in wireless access system and apparatus therefor
KR101261320B1 (ko) 2011-05-03 2013-05-07 에쓰이에이치에프코리아 (주) 광전 복합 케이블
US8812050B1 (en) 2011-05-05 2014-08-19 Time Warner Cable Enterprises Llc Handoff management in a multi-layer wireless network
US9544334B2 (en) 2011-05-11 2017-01-10 Alcatel Lucent Policy routing-based lawful interception in communication system with end-to-end encryption
CN102280704B (zh) 2011-05-13 2015-05-20 广东博纬通信科技有限公司 一种宽波束宽度小尺寸的圆极化天线
NO334170B1 (no) 2011-05-16 2013-12-30 Radionor Comm As Fremgangsmåte og system for langdistanse, adaptivt, mobilt, stråleformende adhoc-kommunikasjonssystem med integrert posisjonering
KR20140046419A (ko) 2011-05-16 2014-04-18 베르라세 테크놀러지스 엘엘씨 공진기가 향상된 광전자 장치 및 그 제조 방법
US8742997B2 (en) 2011-05-19 2014-06-03 Apple Inc. Testing system with electrically coupled and wirelessly coupled probes
WO2012161612A1 (en) 2011-05-23 2012-11-29 Autonomous Non-Commercial Organization "Research Institute "Sitronics Labs"" Electronically beam steerable antenna device
CN202093126U (zh) 2011-05-25 2011-12-28 珠海创能科世摩电气科技有限公司 架空电力线故障实时监测系统
US9024831B2 (en) 2011-05-26 2015-05-05 Wang-Electro-Opto Corporation Miniaturized ultra-wideband multifunction antenna via multi-mode traveling-waves (TW)
US9494341B2 (en) 2011-05-27 2016-11-15 Solarcity Corporation Solar tracking system employing multiple mobile robots
JP5832784B2 (ja) 2011-05-27 2015-12-16 シャープ株式会社 タッチパネルシステムおよびそれを用いた電子機器
CN102280709A (zh) 2011-05-27 2011-12-14 京信通信系统(中国)有限公司 宽频带赋形天线外罩及微波天线
US8615190B2 (en) 2011-05-31 2013-12-24 Exelis Inc. System and method for allocating jamming energy based on three-dimensional geolocation of emitters
US8653906B2 (en) 2011-06-01 2014-02-18 Optim Microwave, Inc. Opposed port ortho-mode transducer with ridged branch waveguide
US9157954B2 (en) 2011-06-03 2015-10-13 Apple Inc. Test system with temporary test structures
US9372214B2 (en) 2011-06-03 2016-06-21 Cascade Microtech, Inc. High frequency interconnect structures, electronic assemblies that utilize high frequency interconnect structures, and methods of operating the same
US10176518B2 (en) 2011-06-06 2019-01-08 Versata Development Group, Inc. Virtual salesperson system and method
US20120317181A1 (en) 2011-06-07 2012-12-13 Syed Mohammad Amir Husain Zero Client Device with Integrated Secure KVM Switching Capability
US20120313895A1 (en) 2011-06-10 2012-12-13 Texas Instruments Incorporated Touch screen
EP3661321A1 (en) 2011-06-13 2020-06-03 Commscope Technologies LLC Distributed antenna system architectures
WO2012172565A1 (en) 2011-06-14 2012-12-20 Indian Space Research Organisation Wideband waveguide turnstile junction based microwave coupler and monopulse tracking feed system
US20120319903A1 (en) 2011-06-15 2012-12-20 Honeywell International Inc. System and method for locating mobile devices
WO2012171205A1 (zh) 2011-06-16 2012-12-20 华为技术有限公司 相控阵天线对准方法和装置以及相控阵天线
US20120324018A1 (en) 2011-06-16 2012-12-20 Yahoo! Inc. Systems and methods for location based social network
WO2012172670A1 (ja) 2011-06-16 2012-12-20 株式会社日立製作所 電波伝搬環境計測装置、無線ネットワーク構築システムおよび電波伝搬環計測方法
US20120322380A1 (en) 2011-06-16 2012-12-20 Owen Nannarone Localized tracking of items with electronic labels
US8766657B2 (en) 2011-06-17 2014-07-01 Microsoft Corporation RF proximity sensor
US9194930B2 (en) 2011-06-20 2015-11-24 Teledyne Lecroy, Inc. Method for de-embedding in network analysis
US9019846B2 (en) 2011-06-20 2015-04-28 Cisco Technology, Inc. Reducing the impact of hidden nodes in mesh networks
US9003492B2 (en) 2011-06-21 2015-04-07 Qualcomm Incorporated Secure client authentication and service authorization in a shared communication network
AU2012273701B2 (en) 2011-06-21 2015-09-03 Bae Systems Plc Tracking algorithm
CN102351415A (zh) 2011-06-22 2012-02-15 武汉烽火锐光科技有限公司 一种保偏光纤制造方法及保偏光纤
US10108980B2 (en) 2011-06-24 2018-10-23 At&T Intellectual Property I, L.P. Method and apparatus for targeted advertising
US8810468B2 (en) 2011-06-27 2014-08-19 Raytheon Company Beam shaping of RF feed energy for reflector-based antennas
US8867226B2 (en) 2011-06-27 2014-10-21 Raytheon Company Monolithic microwave integrated circuits (MMICs) having conductor-backed coplanar waveguides and method of designing such MMICs
CN102193142B (zh) 2011-06-28 2013-06-26 长飞光纤光缆有限公司 一种抗弯曲大芯径高数值孔径多模光纤
US8769622B2 (en) 2011-06-30 2014-07-01 International Business Machines Corporation Authentication and authorization methods for cloud computing security
US20130002409A1 (en) 2011-06-30 2013-01-03 Broadcom Corporation Powerline communication device with adaptable interface
US20130003875A1 (en) 2011-06-30 2013-01-03 Broadcom Corporation Powerline communication device with multiple plc interface(s)
JP5695744B2 (ja) 2011-07-11 2015-04-08 株式会社日立製作所 電磁波伝搬装置
US8658897B2 (en) 2011-07-11 2014-02-25 Tangitek, Llc Energy efficient noise dampening cables
CN102882612B (zh) 2011-07-12 2015-10-21 华为技术有限公司 一种小区测量方法、小区资源共享方法和相关设备
US9088074B2 (en) 2011-07-14 2015-07-21 Nuvotronics, Llc Hollow core coaxial cables and methods of making the same
US8917148B2 (en) 2011-07-14 2014-12-23 Yes Way Enterprise Corporation Transmission unit with reduced crosstalk signal
US8819264B2 (en) 2011-07-18 2014-08-26 Verizon Patent And Licensing Inc. Systems and methods for dynamically switching between unicast and multicast delivery of media content in a wireless network
JP5230779B2 (ja) 2011-07-20 2013-07-10 パナソニック株式会社 無線通信装置及び無線通信方法
US8977268B2 (en) 2011-07-21 2015-03-10 Alcatel Lucent Methods and systems for controlling handovers in a co-channel network
US8712711B2 (en) 2011-07-21 2014-04-29 Cisco Technology, Inc. Identification of electrical grid phase information for end-points in a grid network
WO2013013465A1 (zh) 2011-07-26 2013-01-31 深圳光启高等理工研究院 后馈式雷达天线
US8723730B2 (en) 2011-07-27 2014-05-13 Exelis Inc. System and method for direction finding and geolocation of emitters based on line-of-bearing intersections
US8938255B2 (en) 2011-08-01 2015-01-20 Aeroscout, Ltd Devices, methods, and systems for radio map generation
JP5960819B2 (ja) 2011-08-03 2016-08-02 インテント アイキュー エルエルシーIntent Iq,Llc 複数のオンラインデバイスにリンクしたプロファイルに基づくターゲットテレビ広告
GB2496833A (en) 2011-08-04 2013-05-29 Phoenix Photonics Ltd Mode-selective launching and detecting in an optical waveguide
AU2014200748A1 (en) 2011-08-04 2014-03-06 Michael Bank A single-wire electric system
KR101259715B1 (ko) 2011-08-09 2013-05-06 고경학 Rfid를 이용한 위치 추적 시스템
SI2742542T1 (en) 2011-08-11 2018-05-31 Aviat Networks, Inc. Systems and methods of antenna orientation in a point-to-point wireless network
WO2013025051A2 (ko) 2011-08-17 2013-02-21 엘지전자 주식회사 전송 포인트 그룹에 대한 셀간 간섭 조정 방법 및 장치
US8422540B1 (en) 2012-06-21 2013-04-16 CBF Networks, Inc. Intelligent backhaul radio with zero division duplexing
US8467363B2 (en) 2011-08-17 2013-06-18 CBF Networks, Inc. Intelligent backhaul radio and antenna system
US8699461B2 (en) 2011-08-19 2014-04-15 Hitachi, Ltd. Optimized home evolved NodeB (eNB) handover in an LTE network
US8957818B2 (en) 2011-08-22 2015-02-17 Victory Microwave Corporation Circularly polarized waveguide slot array
WO2013028197A1 (en) 2011-08-25 2013-02-28 Corning Cable Systems Llc Systems, components, and methods for providing location services for mobile/wireless client devices in distributed antenna systems using additional signal propagation delay
US9143084B2 (en) 2011-08-25 2015-09-22 California Institute Of Technology On-chip power-combining for high-power schottky diode based frequency multipliers
SG188012A1 (en) 2011-08-26 2013-03-28 Sony Corp An on pcb dielectric waveguide
US8433338B1 (en) 2011-08-30 2013-04-30 Google Inc. Method to efficiently index extracted image features from geographically located images
WO2013029674A1 (en) 2011-08-31 2013-03-07 Metaio Gmbh Method of matching image features with reference features
US8810251B2 (en) 2011-08-31 2014-08-19 General Electric Company Systems, methods, and apparatus for locating faults on an electrical distribution network
EP2749123B1 (en) 2011-09-02 2022-03-30 Dali Systems Co. Ltd. Software configurable distributed antenna system and method for reducing uplink noise
GB2494435B (en) 2011-09-08 2018-10-03 Roke Manor Res Limited Apparatus for the transmission of electromagnetic waves
WO2013035110A2 (en) 2011-09-09 2013-03-14 Enersys Astra Limited System and method for monitoring and restoring a fault occurring in an electric transmission and distribution network
US9019164B2 (en) 2011-09-12 2015-04-28 Andrew Llc Low sidelobe reflector antenna with shield
US20130064178A1 (en) 2011-09-13 2013-03-14 Adishesha CS System For Monitoring Electrical Power Distribution Lines In A Power Grid Using A Wireless Sensor Network
US8629811B2 (en) 2011-09-15 2014-01-14 The Charles Stark Draper Laboratory, Inc. Dual band electrically small tunable antenna
FR2980277B1 (fr) 2011-09-20 2013-10-11 Commissariat Energie Atomique Fibre optique microstructuree a grand coeur et a mode fondamental aplati, et procede de conception de celle ci, application a la microfabrication par laser
US9100085B2 (en) 2011-09-21 2015-08-04 Spatial Digital Systems, Inc. High speed multi-mode fiber transmissions via orthogonal wavefronts
US8948690B2 (en) 2011-09-21 2015-02-03 Empire Technology Development Llc Doppler-nulling traveling-wave antenna relays for high-speed vehicular communications
US8856530B2 (en) 2011-09-21 2014-10-07 Onyx Privacy, Inc. Data storage incorporating cryptographically enhanced data protection
US9893773B2 (en) 2011-09-21 2018-02-13 Provenance Asset Group Llc System and method of wireless communication using large-scale antenna networks
US9590761B2 (en) 2011-09-23 2017-03-07 Commscope Technologies Llc Detective passive RF components using radio frequency identification tags
CN104054278A (zh) 2011-09-27 2014-09-17 天河通信有限公司 点对多点微波通信
FR2980598B1 (fr) 2011-09-27 2014-05-09 Isorg Interface utilisateur sans contact a composants semiconducteurs organiques
KR20130033869A (ko) 2011-09-27 2013-04-04 삼성전기주식회사 홈네트워크 내에서 컨트롤러와 디바이스의 연동 방법 및 시스템
US9965614B2 (en) 2011-09-29 2018-05-08 Oracle International Corporation Mobile application, resource management advice
EP2761695B1 (en) 2011-09-30 2020-10-21 Intel Corporation Method and apparatus for directional proxmity detection
US20130095875A1 (en) 2011-09-30 2013-04-18 Rami Reuven Antenna selection based on orientation, and related apparatuses, antenna units, methods, and distributed antenna systems
JP2013080126A (ja) 2011-10-04 2013-05-02 Sumitomo Electric Ind Ltd 偏波保持マルチコア光ファイバ
WO2013055782A2 (en) 2011-10-10 2013-04-18 Tyco Electronics Corporation Broadband radio frequency data communication system using twisted pair wiring
US9256735B2 (en) 2011-10-10 2016-02-09 Masergy Communications, Inc. Detecting emergent behavior in communications networks
US9319172B2 (en) 2011-10-14 2016-04-19 Qualcomm Incorporated Interference mitigation techniques for air to ground systems
CN202253536U (zh) 2011-10-18 2012-05-30 李扬德 一种带无线路由器的路灯灯杆
WO2013058673A1 (en) 2011-10-20 2013-04-25 Limited Liability Company "Radio Gigabit" System and method of relay communication with electronic beam adjustment
EP2584652B1 (en) 2011-10-21 2013-12-04 Siemens Aktiengesellschaft Horn antenna for a radar device
WO2013062310A1 (ko) 2011-10-24 2013-05-02 엘지전자 주식회사 무선통신 시스템에서 기지국이 d2d(device-to-device) 통신을 지원하는 방법과 d2d 단말이 효율적으로 d2d 통신 요청 신호를 전송하는 방법
US8160825B1 (en) 2011-10-26 2012-04-17 Roe Jr George Samuel Process for remote grounding, transmission sensing, and temperature monitoring device
WO2013066018A1 (ko) 2011-10-31 2013-05-10 엘지전자 주식회사 무선 통신 시스템에서 간섭을 측정하는 방법 및 장치
US9575271B2 (en) 2011-11-01 2017-02-21 Empire Technology Development Llc Cable with optical fiber for prestressed concrete
JPWO2013069755A1 (ja) 2011-11-09 2015-04-02 東京特殊電線株式会社 高速信号伝送ケーブル
US20130124365A1 (en) 2011-11-10 2013-05-16 Anantha Pradeep Dynamic merchandising connection system
US8515383B2 (en) 2011-11-10 2013-08-20 General Electric Company Utility powered communications gateway
US8925079B2 (en) 2011-11-14 2014-12-30 Telcordia Technologies, Inc. Method, apparatus and program for detecting spoofed network traffic
US8595141B2 (en) 2011-11-15 2013-11-26 Verizon Patent And Licensing Inc. Delivering video on demand (VOD) using mobile multicast networks
CN102411478B (zh) 2011-11-16 2013-10-09 鸿富锦精密工业(深圳)有限公司 电子设备及其文本导读方法
KR101318575B1 (ko) 2011-11-16 2013-10-16 주식회사 팬택 공진 주파수 대역을 변경할 수 있는 안테나 장치를 구비하는 이동통신 단말기 및 이동통신 단말기의 안테나 장치 동작 방법
JP2013106322A (ja) 2011-11-16 2013-05-30 Panasonic Corp 無線通信装置及びそれを備えた無線通信システム
CN103117118A (zh) 2011-11-16 2013-05-22 沈阳创达技术交易市场有限公司 碳纤维防腐蚀抗拉移动电缆
JP5789492B2 (ja) 2011-11-18 2015-10-07 新日本無線株式会社 マイクロ波アンテナ
GB201120121D0 (en) 2011-11-22 2012-01-04 Wfs Technologies Ltd Improvements in or relating to wireless data recovery
US9325074B2 (en) 2011-11-23 2016-04-26 Raytheon Company Coaxial waveguide antenna
AU2011382613A1 (en) 2011-12-05 2014-07-17 Adaptive Spectrum And Signal Alignment, Inc. Systems and methods for traffic load balancing on multiple WAN backhauls and multiple distinct LAN networks
KR101807700B1 (ko) 2011-12-09 2017-12-14 한국전자통신연구원 근원지 주소 위/변조 패킷 탐지 및 차단을 위한 인증 방법 및 장치
KR101280910B1 (ko) 2011-12-15 2013-07-02 한국전자통신연구원 고속 패킷 처리를 위한 네트워크 프로세서 기반 2단계 침입탐지장치 및 방법
US20130159153A1 (en) 2011-12-15 2013-06-20 Citygrow Energy Systems Ltd. Apparatus and methods for energy management system
CN104137429A (zh) 2011-12-15 2014-11-05 适应性频谱和信号校正股份有限公司 降低从plc介质向dsl介质电磁耦合的信号功率的方法和装置
US9357263B2 (en) 2011-12-15 2016-05-31 Thomson Licensing Guide acquisition method in absence of guide update information on all transponders
CN103163881A (zh) 2011-12-16 2013-06-19 国家电网公司 基于固定翼无人机的输电线路巡检系统
US9293798B2 (en) 2011-12-19 2016-03-22 Intel Corporation Crosstalk cancellation and/or reduction
US9070964B1 (en) 2011-12-19 2015-06-30 Raytheon Company Methods and apparatus for volumetric coverage with image beam super-elements
US9013361B1 (en) 2011-12-19 2015-04-21 Lockheed Martin Corporation Interlocking subarray configurations
US9166290B2 (en) 2011-12-21 2015-10-20 Sony Corporation Dual-polarized optically controlled microwave antenna
US9099787B2 (en) 2011-12-21 2015-08-04 Sony Corporation Microwave antenna including an antenna array including a plurality of antenna elements
US10038927B2 (en) 2011-12-22 2018-07-31 Cisco Technology, Inc. Out-of-band signaling and device-based content control
US8901916B2 (en) 2011-12-22 2014-12-02 Lenovo Enterprise Solutions (Singapore) Pte. Ltd. Detecting malicious hardware by measuring radio frequency emissions
WO2013100912A1 (en) 2011-12-27 2013-07-04 Intel Corporation Systems and methods for cross-layer secure connection set up
CN202424729U (zh) 2011-12-28 2012-09-05 北京威讯紫晶科技有限公司 一种用于微型化无线通信模块测试的装置
TWI496346B (zh) 2011-12-30 2015-08-11 Ind Tech Res Inst 介質天線以及天線模組
US9229036B2 (en) 2012-01-03 2016-01-05 Sentient Energy, Inc. Energy harvest split core design elements for ease of installation, high performance, and long term reliability
US9182429B2 (en) 2012-01-04 2015-11-10 Sentient Energy, Inc. Distribution line clamp force using DC bias on coil
US20130178998A1 (en) 2012-01-05 2013-07-11 General Electric Company Systems and methods for controlling power systems
US20130185552A1 (en) 2012-01-13 2013-07-18 Research In Motion Limited Device Verification for Dynamic Re-Certificating
JP5778047B2 (ja) 2012-01-18 2015-09-16 ルネサスエレクトロニクス株式会社 半導体集積回路およびその動作方法
JP5916525B2 (ja) 2012-01-19 2016-05-11 株式会社フジクラ マルチコアファイバ
US9207168B2 (en) 2012-01-20 2015-12-08 Norscan Instruments Ltd. Monitoring for disturbance of optical fiber
WO2013112353A1 (en) 2012-01-23 2013-08-01 Loctronix Corporation System and method for positioning using hybrid spectral compression and cross correlation signal processing
US20130191052A1 (en) 2012-01-23 2013-07-25 Steven J. Fernandez Real-time simulation of power grid disruption
US8839350B1 (en) 2012-01-25 2014-09-16 Symantec Corporation Sending out-of-band notifications
FR2986376B1 (fr) 2012-01-31 2014-10-31 Alcatel Lucent Reflecteur secondaire d'antenne a double reflecteur
EP2810112A4 (en) 2012-01-31 2015-10-14 Hewlett Packard Development Co DEVICE FOR USE IN AN OPTOELECTRONICS
WO2013115802A1 (en) 2012-01-31 2013-08-08 Hewlett-Packard Development Company, L.P. Zig zag routing
PT2812457T (pt) 2012-02-06 2021-06-01 Bekaert Sa Nv Método para fazer um fio de aço inoxidável não magnético e um fio de armadura para cabos de alimentação
EP2826202B1 (en) 2012-02-07 2016-10-26 Visa International Service Association Mobile human challenge-response test
US9131163B2 (en) 2012-02-07 2015-09-08 Stmicroelectronics S.R.L. Efficient compact descriptors in visual search systems
CN104115348B (zh) 2012-02-14 2016-10-26 日本电气株式会社 中继器、用于其的激发光供应设备和激发光供应方法
WO2013121682A1 (ja) 2012-02-15 2013-08-22 株式会社村田製作所 複合誘電体材料及びそれを使用した誘導体アンテナ
WO2013123445A1 (en) 2012-02-17 2013-08-22 Interdigital Patent Holdings, Inc. Smart internet of things services
US9594499B2 (en) 2012-02-21 2017-03-14 Nokia Technologies Oy Method and apparatus for hover-based spatial searches on mobile maps
US9379527B2 (en) 2012-02-22 2016-06-28 Marmon Utility, Llc Stringing messenger clamp and methods of using the same
CN102590893A (zh) 2012-02-22 2012-07-18 四川电力科学研究院 智能输电线路微气象监测系统
US8866695B2 (en) 2012-02-23 2014-10-21 Andrew Llc Alignment stable adjustable antenna mount
DE102012003398B4 (de) 2012-02-23 2015-06-25 Krohne Messtechnik Gmbh Nach dem Radar-Prinzip arbeitendes Füllstandsmessgerät
WO2013127254A1 (en) 2012-02-27 2013-09-06 The Hong Kong University Of Science And Technology Interference alignment for partially connected cellular networks
KR20130098098A (ko) 2012-02-27 2013-09-04 한국전자통신연구원 고 이득 광대역 안테나 장치
US9098325B2 (en) 2012-02-28 2015-08-04 Hewlett-Packard Development Company, L.P. Persistent volume at an offset of a virtual block device of a storage server
US8847840B1 (en) 2012-02-28 2014-09-30 General Atomics Pseudo-conductor antennas
US9537572B2 (en) 2012-02-28 2017-01-03 Dali Systems Co. Ltd. Hybrid data transport for a virtualized distributed antenna system
US8847846B1 (en) 2012-02-29 2014-09-30 General Atomics Magnetic pseudo-conductor spiral antennas
US8773312B1 (en) 2012-02-29 2014-07-08 General Atomics Magnetic pseudo-conductor conformal antennas
JP5244990B1 (ja) 2012-03-01 2013-07-24 株式会社東芝 不良検出装置
US9413571B2 (en) 2012-03-06 2016-08-09 University Of Maryland System and method for time reversal data communications on pipes using guided elastic waves
WO2013132486A1 (en) 2012-03-06 2013-09-12 N-Trig Ltd. Digitizer system
US9008093B2 (en) 2012-03-12 2015-04-14 Comcast Cable Communications, Llc Stateless protocol translation
DE102012203816A1 (de) 2012-03-12 2013-09-26 Deutsche Telekom Ag Telekommunikationsanlage mit unterirdischem Bodentank mit temperaturstabilisierender Wirkung
DE102012004998A1 (de) 2012-03-13 2013-07-11 Daimler Ag Verfahren zur Bereitstellung von lokalen Wetterdaten durch Kraftfahrzeuge
IL218625A (en) 2012-03-14 2017-10-31 Israel Aerospace Ind Ltd An antenna array
US8782195B2 (en) 2012-03-14 2014-07-15 Telefonaktiebolaget L M Ericsson (Publ) Group operations in machine-to-machine networks using a shared identifier
EP2640115A1 (en) 2012-03-16 2013-09-18 Alcatel Lucent Radio coverage reporting
US8789164B2 (en) 2012-03-16 2014-07-22 International Business Machines Corporation Scalable virtual appliance cloud (SVAC) and devices usable in an SVAC
US9178564B2 (en) 2012-03-16 2015-11-03 Schneider Electric Industries Sas Communication cable breaker and method using same
EP2829152A2 (en) 2012-03-23 2015-01-28 Corning Optical Communications Wireless Ltd. Radio-frequency integrated circuit (rfic) chip(s) for providing distributed antenna system functionalities, and related components, systems, and methods
TW201340457A (zh) 2012-03-27 2013-10-01 Nat Univ Tsing Hua 操作於te系列模式電磁波之多通道模式轉換器以及旋轉接頭
US8561104B1 (en) 2012-03-30 2013-10-15 United Video Properties, Inc. Systems and methods for adaptively transmitting media and advertising content
US20130262656A1 (en) 2012-03-30 2013-10-03 Jin Cao System and method for root cause analysis of mobile network performance problems
ES2549104T1 (es) 2012-04-01 2015-10-23 Authentify, Inc. Autentificación segura en un sistema multi-parte
US9405064B2 (en) 2012-04-04 2016-08-02 Texas Instruments Incorporated Microstrip line of different widths, ground planes of different distances
US8811912B2 (en) 2012-04-06 2014-08-19 At&T Mobility Ii Llc Remote control of mobile devices to perform testing of wireless communications networks
US8719938B2 (en) 2012-04-09 2014-05-06 Landis+Gyr Innovations, Inc. Detecting network intrusion using a decoy cryptographic key
US20130268414A1 (en) 2012-04-10 2013-10-10 Nokia Corporation Method and apparatus for providing services using connecting user interface elements
US9698490B2 (en) 2012-04-17 2017-07-04 Commscope Technologies Llc Injection moldable cone radiator sub-reflector assembly
US9105981B2 (en) 2012-04-17 2015-08-11 Commscope Technologies Llc Dielectric lens cone radiator sub-reflector assembly
WO2013157978A1 (en) 2012-04-19 2013-10-24 Esaulov Evgeny Igorevich A self-propelled system of cleanup, inspection and repairs of the surface of vessel hulls and underwater objects
US8849122B2 (en) 2012-04-19 2014-09-30 Time Warner Cable Enterprises, LLC Apparatus and methods for dynamic delivery of optical and non-optical content in a network
US8994474B2 (en) 2012-04-23 2015-03-31 Optim Microwave, Inc. Ortho-mode transducer with wide bandwidth branch port
CN104081175A (zh) 2012-04-25 2014-10-01 惠普发展公司,有限责任合伙企业 通过模式干涉来分析光
CA2873019C (en) 2012-05-08 2016-12-20 Nec Corporation Antenna device and method for attaching the same
US20130303089A1 (en) 2012-05-11 2013-11-14 Apple Inc. Uplink and/or Downlink Testing of Wireless Devices in a Reverberation Chamber
US9572038B2 (en) 2012-05-13 2017-02-14 Amir Keyvan Khandani Full duplex wireless transmission with channel phase-based encryption
US9503463B2 (en) 2012-05-14 2016-11-22 Zimperium, Inc. Detection of threats to networks, based on geographic location
KR101281872B1 (ko) 2012-05-15 2013-07-03 황태연 스마트기기를 이용한 개인 위험인식 및 알림 시스템 및 방법
US9185070B2 (en) 2012-05-17 2015-11-10 Harris Corporation MANET with DNS database resource management and related methods
JP5947618B2 (ja) 2012-05-21 2016-07-06 矢崎総業株式会社 導波管及び車載用通信システム
US20130326063A1 (en) 2012-05-31 2013-12-05 Lloyd Leon Burch Techniques for workload discovery and organization
US20130321225A1 (en) 2012-06-01 2013-12-05 Vubiq Incorporated Automatic antenna pointing and stabilization and method thereof
US20130326494A1 (en) 2012-06-01 2013-12-05 Yonesy F. NUNEZ System and method for distributed patch management
US9503170B2 (en) 2012-06-04 2016-11-22 Trustees Of Tufts College System, method and apparatus for multi-input multi-output communications over per-transmitter power-constrained channels
CN102694351B (zh) 2012-06-06 2015-05-13 长春理工大学 高压架空输电线路巡线无人机载光电检测装置
US9119179B1 (en) 2012-06-06 2015-08-25 Bae Systems Information And Electronic Systems Integration Inc. Skypoint for mobile hotspots
US8565689B1 (en) 2012-06-13 2013-10-22 All Purpose Networks LLC Optimized broadband wireless network performance through base station application server
US8917964B2 (en) 2012-06-14 2014-12-23 Commscope, Inc. Of North Carolina Composite communications cables having a fiber optic component located adjacent an outer surface of the central conductor of a coaxial cable component and related methods
DE102012011765B4 (de) 2012-06-15 2016-05-19 Tesat-Spacecom Gmbh & Co. Kg Hohlleitersammelschiene
US9219594B2 (en) 2012-06-18 2015-12-22 Rf Micro Devices, Inc. Dual antenna integrated carrier aggregation front end solution
US8787429B2 (en) 2012-06-19 2014-07-22 Andrew Llc Communication system with channel compensating equalizer
US9699135B2 (en) 2012-06-20 2017-07-04 Openvpn Technologies, Inc. Private tunnel network
US9494033B2 (en) 2012-06-22 2016-11-15 Intelliserv, Llc Apparatus and method for kick detection using acoustic sensors
US9172486B2 (en) 2012-06-22 2015-10-27 Qualcomm Incorporated Apparatus and method for time-division multiplexing of dedicated channel
US10404556B2 (en) 2012-06-22 2019-09-03 Microsoft Technology Licensing, Llc Methods and computer program products for correlation analysis of network traffic in a network device
US9490768B2 (en) 2012-06-25 2016-11-08 Knowles Cazenovia Inc. High frequency band pass filter with coupled surface mount transition
US8891603B2 (en) 2012-06-25 2014-11-18 Tektronix, Inc. Re-sampling S-parameters for serial data link analysis
US20140003775A1 (en) 2012-06-28 2014-01-02 Jamyuen Ko Fiber optic cable
US9312390B2 (en) 2012-07-05 2016-04-12 Semiconductor Energy Laboratory Co., Ltd. Remote control system
EP2870802A1 (en) 2012-07-09 2015-05-13 Nokia Solutions and Networks Oy Millimeter wave access architecture with cluster of access points
RU2494506C1 (ru) 2012-07-10 2013-09-27 Общество с ограниченной ответственностью "Радио Гигабит" Линзовая антенна с электронным сканированием луча
CN106249362B (zh) 2012-07-10 2019-04-23 3M创新有限公司 无线连接器和无线通信系统
US9244190B2 (en) 2012-07-13 2016-01-26 Osaka Electro-Communication University Transmitting electric power using electromagnetic waves
US9055118B2 (en) 2012-07-13 2015-06-09 International Business Machines Corporation Edge caching using HTTP headers
US9202371B2 (en) 2012-07-17 2015-12-01 Robert Bosch Gmbh Method for robust data collection schemes for large grid wireless networks
AU2013284996A1 (en) 2012-07-19 2015-03-12 Gaurav VATS User-controlled 3D simulation for providing realistic and enhanced digital object viewing and interaction experience
US9306682B2 (en) 2012-07-20 2016-04-05 Commscope Technologies Llc Systems and methods for a self-optimizing distributed antenna system
US9155183B2 (en) 2012-07-24 2015-10-06 Tokyo Electron Limited Adjustable slot antenna for control of uniformity in a surface wave plasma source
US9101042B2 (en) 2012-07-24 2015-08-04 Tokyo Electron Limited Control of uniformity in a surface wave plasma source
US9391373B2 (en) 2012-07-24 2016-07-12 The Boeing Company Inflatable antenna
TW201414128A (zh) 2012-07-25 2014-04-01 Edison Global Circuits 電路斷路器面板
US9513648B2 (en) 2012-07-31 2016-12-06 Causam Energy, Inc. System, method, and apparatus for electric power grid and network management of grid elements
CN102780058A (zh) 2012-08-10 2012-11-14 成都赛纳赛德科技有限公司 矩形波导定向耦合器
KR20140021380A (ko) 2012-08-10 2014-02-20 삼성전기주식회사 유전체 공진기 어레이 안테나
US9859038B2 (en) 2012-08-10 2018-01-02 General Cable Technologies Corporation Surface modified overhead conductor
WO2014026573A1 (zh) 2012-08-13 2014-02-20 深圳光启创新技术有限公司 天线单元、天线组件、多天线组件及无线互连设备
US9614629B2 (en) 2012-08-15 2017-04-04 Commscope Technologies Llc Telecommunication system using multiple Nyquist zone operations
US8963790B2 (en) 2012-08-15 2015-02-24 Raytheon Company Universal microwave waveguide joint and mechanically steerable microwave transmitter
US9198209B2 (en) 2012-08-21 2015-11-24 Cisco Technology, Inc. Providing integrated end-to-end architecture that includes quality of service transport for tunneled traffic
WO2014031597A1 (en) 2012-08-24 2014-02-27 Oceus Networks Inc. Mobile cellular networks
JP5931649B2 (ja) 2012-08-24 2016-06-08 株式会社日立製作所 動的暗号変更システム
US9520637B2 (en) 2012-08-27 2016-12-13 Kvh Industries, Inc. Agile diverse polarization multi-frequency band antenna feed with rotatable integrated distributed transceivers
DE112013001872B4 (de) 2012-08-28 2021-08-12 Lg Electronics Inc. Verfahren und Vorrichtung zur CSI-Rückmeldung in einem drahtlosen Kommunikationssystem
JP6048694B2 (ja) 2012-08-29 2016-12-21 日本電気株式会社 通信システム、基地局、及び通信方法
US20140062784A1 (en) 2012-08-29 2014-03-06 Cambridge Silicon Radio Limited Location-assisted beamforming
US9324020B2 (en) 2012-08-30 2016-04-26 Nxp B.V. Antenna structures and methods for omni directional radiation patterns
US8564497B1 (en) 2012-08-31 2013-10-22 Redline Communications Inc. System and method for payload enclosure
WO2014040608A1 (en) 2012-09-14 2014-03-20 Andrew Wireless Systems Gmbh Uplink path integrity detection in distributed antenna systems
US9823415B2 (en) 2012-09-16 2017-11-21 CRTRIX Technologies Energy conversion cells using tapered waveguide spectral splitters
US10332059B2 (en) 2013-03-14 2019-06-25 Google Llc Security scoring in a smart-sensored home
US8982895B2 (en) 2012-09-21 2015-03-17 Blackberry Limited Inter-device communication in wireless communication systems
HK1207727A1 (en) 2012-09-21 2016-02-05 Visa International Service Association A dynamic object tag and systems and methods relating thereto
US9351228B2 (en) 2012-09-26 2016-05-24 Optis Cellular Technology, Llc Metric computation for interference-aware routing
US9066224B2 (en) 2012-10-22 2015-06-23 Centurylink Intellectual Property Llc Multi-antenna distribution of wireless broadband in a building
GB2507269A (en) 2012-10-23 2014-04-30 Wfs Technologies Ltd Determining the spatial relationship between two surfaces
NL2009684C2 (en) 2012-10-23 2014-04-29 Draka Comteq Bv An optical fiber cable.
WO2014065952A1 (en) 2012-10-24 2014-05-01 Solarsort Technologies, Inc Optical fiber source and repeaters using tapered core waveguides
US9246334B2 (en) 2012-10-25 2016-01-26 New Jersey Institute Of Technology Alleviating solar energy congestion in the distribution grid via smart metering communications
US9270013B2 (en) 2012-10-25 2016-02-23 Cambium Networks, Ltd Reflector arrangement for attachment to a wireless communications terminal
US8674630B1 (en) 2012-10-27 2014-03-18 Wayne Douglas Cornelius On-axis RF coupler and HOM damper for superconducting accelerator cavities
CN103795525B (zh) 2012-10-31 2017-03-01 英业达科技有限公司 数据加密的方法
WO2014069941A1 (ko) 2012-11-02 2014-05-08 삼성전자 주식회사 통신 시스템에서 간섭 측정을 위한 방법 및 그 장치
EP2918045A1 (en) 2012-11-06 2015-09-16 Tollgrade Communications, Inc. Agent-based communication service quality monitoring and diagnostics
US9349507B2 (en) 2012-11-06 2016-05-24 Apple Inc. Reducing signal loss in cables
US10014915B2 (en) 2012-11-12 2018-07-03 Aerohive Networks, Inc. Antenna pattern matching and mounting
US10049281B2 (en) 2012-11-12 2018-08-14 Shopperception, Inc. Methods and systems for measuring human interaction
US8958665B2 (en) 2012-11-13 2015-02-17 Infinera Corporation Scattering device on an arrayed waveguide grating
US20150326287A1 (en) 2012-11-14 2015-11-12 Telefonaktiebolaget L M Ericsson (Publ) Systems and Methods for Improving Uplink Transmission Properties in a Communication Network
US9143196B2 (en) 2012-11-14 2015-09-22 Centurylink Intellectual Property Llc Enhanced wireless signal distribution using in-building wiring
US20140143055A1 (en) 2012-11-19 2014-05-22 John R. Johnson In-store merchandise offer system
US9154641B2 (en) 2012-11-21 2015-10-06 At&T Intellectual Property I, L.P. Long term evolution intelligent subscriber profile
US11189917B2 (en) 2014-04-16 2021-11-30 Rearden, Llc Systems and methods for distributing radioheads
US9235763B2 (en) 2012-11-26 2016-01-12 Trimble Navigation Limited Integrated aerial photogrammetry surveys
US9276304B2 (en) 2012-11-26 2016-03-01 Triquint Semiconductor, Inc. Power combiner using tri-plane antennas
US9293801B2 (en) 2012-11-26 2016-03-22 Triquint Cw, Inc. Power combiner
US8917210B2 (en) 2012-11-27 2014-12-23 International Business Machines Corporation Package structures to improve on-chip antenna performance
US9692459B2 (en) 2012-11-28 2017-06-27 Intel Corporation Using multiple frequency bands with beamforming assistance in a wireless network
EP2926470B1 (en) 2012-11-28 2021-09-29 Andrew Wireless Systems GmbH Reconfigurable single and multi-sector cell site system
US10009065B2 (en) 2012-12-05 2018-06-26 At&T Intellectual Property I, L.P. Backhaul link for distributed antenna system
CN103078673B (zh) 2012-12-05 2016-01-20 福建省电力有限公司 一种适用于山区电网巡检的专用无人直升机系统
US9113347B2 (en) 2012-12-05 2015-08-18 At&T Intellectual Property I, Lp Backhaul link for distributed antenna system
US9025527B2 (en) 2012-12-13 2015-05-05 Qualcomm Incorporated Adaptive channel reuse mechanism in communication networks
IL223619A (en) 2012-12-13 2017-08-31 Elta Systems Ltd A system and method for coherent processing of signals from transmission and / or reception systems
WO2014092644A1 (en) 2012-12-14 2014-06-19 Decod Science & Technology Pte Ltd Antenna system for ultra-wideband radar applications
US9287605B2 (en) 2012-12-18 2016-03-15 Triquint Cw, Inc. Passive coaxial power splitter/combiner
US9473187B2 (en) 2012-12-20 2016-10-18 Cellco Partnership Wireless radio extension using up- and down-conversion
CN103076914B (zh) 2012-12-20 2015-10-28 杜朝亮 一种基于能量分布向量比的触击位置和能量测量方法
US9591508B2 (en) 2012-12-20 2017-03-07 Google Technology Holdings LLC Methods and apparatus for transmitting data between different peer-to-peer communication groups
US9198500B2 (en) 2012-12-21 2015-12-01 Murray W. Davis Portable self powered line mountable electric power line and environment parameter monitoring transmitting and receiving system
GB201223250D0 (en) 2012-12-21 2013-02-06 Sec Dep For Business Innovation & Skills The Antenna assembly and system
US9084124B2 (en) 2012-12-21 2015-07-14 Apple Inc. Methods and apparatus for performing passive antenna testing with active antenna tuning device control
TWI530112B (zh) 2012-12-21 2016-04-11 光寶電子(廣州)有限公司 電力線通訊裝置、電力線通訊系統及其監控電力的方法
US8955075B2 (en) 2012-12-23 2015-02-10 Mcafee Inc Hardware-based device authentication
US9459856B2 (en) 2013-01-02 2016-10-04 International Business Machines Corporation Effective migration and upgrade of virtual machines in cloud environments
US20140191913A1 (en) 2013-01-09 2014-07-10 Intermec Ip Corp. Techniques for standardizing antenna architecture
US9094840B2 (en) 2013-01-10 2015-07-28 Apple Inc. Methods for testing receiver sensitivity of wireless electronic devices
WO2014112994A1 (en) 2013-01-16 2014-07-24 Blackberry Limited Electronic device including three-dimensional gesture detecting display
KR102066130B1 (ko) 2013-01-18 2020-02-11 삼성전자주식회사 무선 통신 시스템에서 트래픽 제어 방법 및 장치
US9420065B2 (en) 2013-01-18 2016-08-16 Google Inc. Peer-to-peer software updates
RU2607769C1 (ru) 2013-01-21 2017-01-10 Нек Корпорейшн Антенна
JP2014142255A (ja) 2013-01-24 2014-08-07 Sony Corp 情報処理装置、情報処理方法およびプログラム
US9031725B1 (en) 2013-01-28 2015-05-12 The United States Of America As Represented By The Secretary Of The Navy System and method for time-space-position-information (TSPI)
EP2760081A1 (en) 2013-01-28 2014-07-30 BAE Systems PLC Directional multi-band antenna
US10620431B2 (en) 2013-01-29 2020-04-14 The Trustees Of Columbia University In The City Of New York System, method and computer-accessible medium for depth of field imaging for three-dimensional sensing utilizing a spatial light modulator microscope arrangement
US9001927B2 (en) 2013-01-31 2015-04-07 Hewlett-Packard Development Company, L.P. Transmitting a wireless signal based on detected signal interference
US9685711B2 (en) 2013-02-04 2017-06-20 Ossia Inc. High dielectric antenna array
US20140222997A1 (en) 2013-02-05 2014-08-07 Cisco Technology, Inc. Hidden markov model based architecture to monitor network node activities and predict relevant periods
US9027097B2 (en) 2013-02-06 2015-05-05 Dropbox, Inc. Client application assisted automatic user log in
JP2014155098A (ja) 2013-02-12 2014-08-25 Nitto Denko Corp アンテナモジュールおよびその製造方法
US20140227905A1 (en) 2013-02-13 2014-08-14 Bradley David Knott Device and method for impedance matching microwave coaxial line discontinuities
KR101435538B1 (ko) 2013-02-15 2014-09-02 동서대학교산학협력단 광대역 평면 준-야기 안테나
US9225396B2 (en) 2013-02-15 2015-12-29 Intel Corporation Apparatus, system and method of transmit power control for wireless communication
US9082307B2 (en) 2013-02-19 2015-07-14 King Fahd University Of Petroleum And Minerals Circular antenna array for vehicular direction finding
KR101988472B1 (ko) 2013-02-20 2019-06-13 주식회사 케이티 M2m 시스템에서 디바이스간 연결 방법 및 이를 위한 장치
US9813433B2 (en) 2013-02-22 2017-11-07 Adaptive Mobile Security Limited System and method for embedded mobile (EM)/machine to machine (M2M) security, pattern detection, mitigation
US9473243B2 (en) 2013-02-25 2016-10-18 Jo-Chieh Chiang Optical transceiver device
US9601819B2 (en) 2013-02-27 2017-03-21 Texas Instruments Incorporated Dielectric waveguide with extending connector and affixed deformable material
US9128941B2 (en) 2013-03-06 2015-09-08 Imperva, Inc. On-demand content classification using an out-of-band communications channel for facilitating file activity monitoring and control
US9362629B2 (en) 2013-03-06 2016-06-07 Mimosa Networks, Inc. Enclosure for radio, parabolic dish antenna, and side lobe shields
KR102089437B1 (ko) 2013-03-07 2020-04-16 삼성전자 주식회사 무선 통신 시스템에서 간섭 제어 방법 및 장치
CN105026951A (zh) 2013-03-08 2015-11-04 波音公司 获取信道地理位置
US9478458B2 (en) 2013-03-08 2016-10-25 Northrop Grumman Systems Corporation Waveguide and semiconductor packaging
US9285461B2 (en) 2013-03-12 2016-03-15 Nokia Technologies Oy Steerable transmit, steerable receive frequency modulated continuous wave radar transceiver
US9379556B2 (en) 2013-03-14 2016-06-28 Cooper Technologies Company Systems and methods for energy harvesting and current and voltage measurements
US9184998B2 (en) 2013-03-14 2015-11-10 Qualcomm Incorporated Distributed path update in hybrid networks
US9527392B2 (en) 2013-03-14 2016-12-27 Aurora Flight Sciences Corporation Aerial system and vehicle for continuous operation
US20140269691A1 (en) 2013-03-14 2014-09-18 Qualcomm Incorporated Distributed path selection in hybrid networks
US9244117B2 (en) 2013-03-15 2016-01-26 Livewire Innovation, Inc. Systems and methods for implementing S/SSTDR measurements
US20140266953A1 (en) 2013-03-15 2014-09-18 Sierra Wireless, Inc. Antenna having split directors and antenna array comprising same
EP2972528B1 (en) 2013-03-15 2017-11-22 NLIGHT, Inc. Spun non-circular and non-elliptical fibers and apparatuses utilizing the same
US9319916B2 (en) 2013-03-15 2016-04-19 Isco International, Llc Method and appartus for signal interference processing
US20140349696A1 (en) 2013-03-15 2014-11-27 Elwha LLC, a limited liability corporation of the State of Delaware Supporting antenna assembly configuration network infrastructure
US8907222B2 (en) 2013-03-15 2014-12-09 Preformed Line Products Co. Adjustable cover for conductors and insulators
US9385435B2 (en) 2013-03-15 2016-07-05 The Invention Science Fund I, Llc Surface scattering antenna improvements
US9048943B2 (en) 2013-03-15 2015-06-02 Dockon Ag Low-power, noise insensitive communication channel using logarithmic detector amplifier (LDA) demodulator
US9774406B2 (en) 2013-03-15 2017-09-26 Litepoint Corporation System and method for testing radio frequency wireless signal transceivers using wireless test signals
US9515366B2 (en) 2013-03-19 2016-12-06 Texas Instruments Incorporated Printed circuit board dielectric waveguide core and metallic waveguide end
JP2014182023A (ja) 2013-03-19 2014-09-29 National Univ Corp Shizuoka Univ 車載用のレーダ装置
CN104064844B (zh) 2013-03-19 2019-03-15 德克萨斯仪器股份有限公司 可缩回的介电波导
KR101447809B1 (ko) 2013-03-22 2014-10-08 김명호 그립형 이착륙 장치가 구비된 무인항공기 시스템
DE102013205088B4 (de) 2013-03-22 2024-01-11 Bayerische Motoren Werke Aktiengesellschaft Vorrichtung zur Übertragung von Daten zwischen einer Datenübertragungsvorrichtung eines Fahrzeugs und einer Datenübertragungsvorrichtung eines Kommunikationsnetzwerks im Rahmen eines Ladevorgangs eines elektrischen Energiespeichers des Fahrzeugs
US9257735B2 (en) 2013-03-22 2016-02-09 Peraso Technologies Inc. Reconfigurable waveguide interface assembly for transmit and receive orientations
US9077754B2 (en) 2013-04-06 2015-07-07 Citrix Systems, Inc. Systems and methods for nextproto negotiation extension handling using mixed mode
CN203204743U (zh) 2013-04-08 2013-09-18 西安英诺视通信息技术有限公司 一种移动式输电线路防外破远程纠察装置
US20140317229A1 (en) 2013-04-23 2014-10-23 Robbin Hughes Automatic versioning and updating M2M network applications
US9282086B2 (en) 2013-04-26 2016-03-08 Broadcom Corporation Methods and systems for secured authentication of applications on a network
US20140320364A1 (en) 2013-04-26 2014-10-30 Research In Motion Limited Substrate integrated waveguide horn antenna
WO2014178821A1 (en) 2013-04-29 2014-11-06 Empire Technology Development, Llc Energy-consumption based incentive management through smart meter monitoring
US9021575B2 (en) 2013-05-08 2015-04-28 Iboss, Inc. Selectively performing man in the middle decryption
US9093754B2 (en) 2013-05-10 2015-07-28 Google Inc. Dynamically adjusting width of beam based on altitude
US20140343883A1 (en) 2013-05-15 2014-11-20 Teledyne Lecroy, Inc. User Interface for Signal Integrity Network Analyzer
EP2804259B1 (fr) 2013-05-15 2019-09-18 Alcatel- Lucent Shanghai Bell Co., Ltd Radôme pour une antenne à réflecteur concave
US9537209B2 (en) 2013-05-16 2017-01-03 Space Systems/Loral, Llc Antenna array with reduced mutual coupling between array elements
WO2014190074A1 (en) 2013-05-22 2014-11-27 New York University System and method for estimating direction of arrival of a signal incident on an antenna array
US9065172B2 (en) 2013-05-23 2015-06-23 Commscope Technologies Llc Mounting hub for antenna
US9235710B2 (en) 2013-05-23 2016-01-12 Cisco Technology, Inc. Out of band management of basic input/output system secure boot variables
WO2014193257A1 (en) 2013-05-27 2014-12-04 Limited Liability Company "Radio Gigabit" Lens antenna
US20140359275A1 (en) 2013-05-29 2014-12-04 Certes Networks, Inc. Method And Apparatus Securing Traffic Over MPLS Networks
US9999038B2 (en) 2013-05-31 2018-06-12 At&T Intellectual Property I, L.P. Remote distributed antenna system
US9654960B2 (en) 2013-05-31 2017-05-16 Qualcomm Incorporated Server-assisted device-to-device discovery and connection
US9525524B2 (en) 2013-05-31 2016-12-20 At&T Intellectual Property I, L.P. Remote distributed antenna system
US10008759B2 (en) 2013-06-11 2018-06-26 E M Solutions Pty Ltd Stabilized platform for a wireless communication link
US9472840B2 (en) 2013-06-12 2016-10-18 Texas Instruments Incorporated Dielectric waveguide comprised of a core, a cladding surrounding the core and cylindrical shape conductive rings surrounding the cladding
GB2515771A (en) 2013-07-02 2015-01-07 Roke Manor Research A surface wave launcher
EP3017504B1 (en) 2013-07-03 2018-09-26 HRL Laboratories, LLC Electronically steerable, artificial impedance, surface antenna
KR101487463B1 (ko) 2013-07-03 2015-01-28 주식회사 더한 전자기 유도 방식의 위치감지와 정전용량 방식의 위치감지를 수행할 수 있는 타블렛
US20150009089A1 (en) 2013-07-08 2015-01-08 L-Com, Inc. Antennas
JP2015019137A (ja) 2013-07-09 2015-01-29 ソニー株式会社 受信回路及び送信回路、並びに、通信システム及び通信方法
CA2913186C (en) 2013-07-11 2020-10-27 Andrew Wireless Systems Gmbh Small cell network architecture for servicing multiple network operators
KR20180009395A (ko) 2013-07-12 2018-01-26 콘비다 와이어리스, 엘엘씨 슬리피 노드들을 지원하기 위한 이웃 발견
US10794870B2 (en) 2013-07-16 2020-10-06 Indian Institute Of Technology Madras Waveguide technique for the simultaneous measurement of temperature dependent properties of materials
EP3024151A4 (en) 2013-07-18 2017-03-22 Nec Corporation Point-to-point wireless system, communication apparatus and communication control method
US9460296B2 (en) 2013-07-19 2016-10-04 Appsense Limited Systems, methods and media for selective decryption of files containing sensitive data
CN104488139A (zh) 2013-07-22 2015-04-01 安德鲁有限责任公司 具有屏蔽件的低旁瓣反射器天线
US9246227B2 (en) 2013-07-28 2016-01-26 Finetek Co., Ltd. Horn antenna device and step-shaped signal feed-in apparatus thereof
KR20150014083A (ko) 2013-07-29 2015-02-06 삼성전자주식회사 전자 장치 및 전자 장치의 입력 인식 방법
EP2833661B1 (en) 2013-07-31 2016-07-13 Fujitsu Limited A method for limiting inter-cell interference and load balancing and a wireless communication system and base station
EP3028404A1 (en) 2013-08-02 2016-06-08 Nokia Solutions and Networks Oy Methods and apparatuses for load balancing in a self-organising network
EP2838155A1 (en) 2013-08-12 2015-02-18 Alcatel Lucent Adaptive non-mechanical antenna for microwave links
US20150049998A1 (en) 2013-08-13 2015-02-19 Futurewei Technologies, Inc. Compact Optical Waveguide Arrays and Optical Waveguide Spirals
WO2015022498A1 (en) 2013-08-15 2015-02-19 Elliptic Laboratories As Touchless user interfaces
WO2015024006A1 (en) 2013-08-16 2015-02-19 Ossia, Inc. High dielectric antenna array
US9079349B2 (en) 2013-08-19 2015-07-14 Microcontinuum, Inc. Methods for forming patterns on curved surfaces
CN105874367B (zh) 2013-08-21 2018-05-18 克里斯多佛·B·谢勒 具有远程释放连接器的可追踪联网电缆
US9325067B2 (en) 2013-08-22 2016-04-26 Blackberry Limited Tunable multiband multiport antennas and method
US9346547B2 (en) 2013-08-26 2016-05-24 Google Inc. Mechanisms for lowering a payload to the ground from a UAV
US9282435B2 (en) 2013-08-31 2016-03-08 Location Sentry Corp Location spoofing detection
US9488793B2 (en) 2013-09-10 2016-11-08 Corning Optical Communications LLC Combined optical fiber and power cable
EP2846480B1 (en) 2013-09-10 2017-08-23 Alcatel Lucent Method and device for measuring a link loss of an optical transmission line
KR101454878B1 (ko) 2013-09-12 2014-11-04 한국과학기술원 수평 방사와 수직 방사의 선택적 이용이 가능한 매립형 혼 안테나
EP2849524B1 (en) 2013-09-12 2017-03-01 Alcatel Lucent Scheduling virtualization for mobile RAN cloud and separation of cell and user plane schedulers
WO2015035463A1 (en) 2013-09-13 2015-03-19 Commonwealth Scientific And Industrial Research Organisation Quad ridged feed horn including a dielectric spear
US9054782B2 (en) 2013-09-20 2015-06-09 Cable Television Laboratories, Inc. Methods for canceling interfering wireless signals in cable customer premises equipment devices and outside plant
US20150084660A1 (en) 2013-09-25 2015-03-26 Tektronix, Inc. Time-domain reflectometer de-embed probe
US20150084655A1 (en) 2013-09-25 2015-03-26 Tektronix, Inc. Switched load time-domain reflectometer de-embed probe
US9172326B2 (en) 2013-09-25 2015-10-27 Globalfoundries Inc. Speed of light based oscillator frequency
KR101480905B1 (ko) 2013-09-25 2015-01-13 한국전자통신연구원 네트워크 트래픽의 통신 패턴 보호 장치 및 방법
CN103490842B (zh) 2013-09-26 2016-09-28 深圳市大疆创新科技有限公司 数据传输系统及方法
US9843089B2 (en) 2013-09-27 2017-12-12 BluFlux RF Technologies, LLC Portable antenna
US9276526B2 (en) 2013-09-27 2016-03-01 Peregrine Semiconductor Corporation Amplifier with variable feedback impedance
US9459746B2 (en) 2013-09-27 2016-10-04 Sensel, Inc. Capacitive touch sensor system and method
US8913862B1 (en) 2013-09-27 2014-12-16 Corning Optical Communications LLC Optical communication cable
CA2829368A1 (en) 2013-10-08 2015-04-08 Shelton G. De Silva Combination of unmanned aerial vehicles and the method and system to engage in multiple applications
US10542094B2 (en) 2013-10-08 2020-01-21 Iotic Labs Limited Internet of things
US10420170B2 (en) 2013-10-08 2019-09-17 Parallel Wireless, Inc. Parameter optimization and event prediction based on cell heuristics
US9474069B2 (en) 2013-10-09 2016-10-18 Qualcomm Incorporated Enabling a communication feasibility determination time to complete communication exchanges between an M2M server and one or more M2M devices
JP6248527B2 (ja) 2013-10-10 2017-12-20 富士通株式会社 無線通信装置、無線通信方法および無線通信プログラム
US20150104005A1 (en) 2013-10-10 2015-04-16 Elwha Llc Methods, systems, and devices for handling captured image data that is received by devices
US9992690B2 (en) 2013-10-11 2018-06-05 Textron Innovations, Inc. Placed wireless instruments for predicting quality of service
US10014933B2 (en) 2013-10-15 2018-07-03 Telefonaktiebolaget Lm Ericsson (Publ) Transmitting communications traffic across an optical communication network
CA2935037A1 (en) 2013-10-20 2015-04-23 Arbinder Singh Pabla Wireless system with configurable radio and antenna resources
US9923271B2 (en) 2013-10-21 2018-03-20 Elwha Llc Antenna system having at least two apertures facilitating reduction of interfering signals
CN103543899B (zh) 2013-10-23 2016-08-17 合肥京东方光电科技有限公司 电磁触摸控制显示器及其制作方法
EP3061313A1 (en) 2013-10-24 2016-08-31 Vodafone IP Licensing limited Providing broadband service to trains
US9183424B2 (en) 2013-11-05 2015-11-10 Symbol Technologies, Llc Antenna array with asymmetric elements
US8897697B1 (en) 2013-11-06 2014-11-25 At&T Intellectual Property I, Lp Millimeter-wave surface-wave communications
WO2015069090A1 (ko) 2013-11-11 2015-05-14 인텔롁추얼디스커버리 주식회사 스테이션 및 이의 무선 링크 설정 방법
JP2015095520A (ja) 2013-11-11 2015-05-18 鈴木 文雄 誘電体アンテナ付きパネル型建材
US9577341B2 (en) 2013-11-12 2017-02-21 Harris Corporation Microcellular communications antenna and associated methods
US9394716B2 (en) 2013-11-18 2016-07-19 PLS Technologies, Inc. Utility or meter pole top reinforcement method and apparatus
JP2015099462A (ja) 2013-11-19 2015-05-28 ルネサスエレクトロニクス株式会社 座標入力装置及び携帯端末
US10509101B2 (en) 2013-11-21 2019-12-17 General Electric Company Street lighting communications, control, and special services
US9432478B2 (en) 2013-11-27 2016-08-30 At&T Intellectual Property I, L.P. Client-side location aware network selection
US9363333B2 (en) 2013-11-27 2016-06-07 At&T Intellectual Property I, Lp Server-side scheduling for media transmissions
US20150156266A1 (en) 2013-11-29 2015-06-04 Qualcomm Incorporated Discovering cloud-based services for iot devices in an iot network associated with a user
US9369179B2 (en) 2013-11-30 2016-06-14 Wally Hariz Method for using power lines for wireless communication
CN103700442A (zh) 2013-12-04 2014-04-02 江苏南瑞淮胜电缆有限公司 一种阻水中压铝合金电力电缆
US9209902B2 (en) 2013-12-10 2015-12-08 At&T Intellectual Property I, L.P. Quasi-optical coupler
US9137004B2 (en) 2013-12-12 2015-09-15 Qualcomm Incorporated Neighbor network channel reuse with MIMO capable stations
US9899746B2 (en) 2013-12-14 2018-02-20 The Charles Stark Draper Laboratory, Inc. Electronically steerable single helix/spiral antenna
EP3085183A1 (en) 2013-12-18 2016-10-26 Telefonaktiebolaget LM Ericsson (publ) A network node and method for enabling interference alignment of transmissions to user equipments
US9432865B1 (en) 2013-12-19 2016-08-30 Sprint Communications Company L.P. Wireless cell tower performance analysis system and method
US9401863B2 (en) 2013-12-20 2016-07-26 Cisco Technology, Inc. Dynamic source route computation to avoid self-interference
US20150181449A1 (en) 2013-12-23 2015-06-25 Alcatel-Lucent Usa Inc. Method And Apparatus For Monitoring Mobile Communication Networks
US9362965B2 (en) 2013-12-30 2016-06-07 Maxlinear, Inc. Phase noise suppression
EP2892251B1 (en) 2014-01-06 2017-09-13 2236008 Ontario Inc. System and method for machine-to-machine communication
KR101553710B1 (ko) 2014-01-20 2015-09-17 주식회사 한화 무인항공기 추적 안테나, 이를 이용하는 통신 장치 및 방법
US9130637B2 (en) 2014-01-21 2015-09-08 MagnaCom Ltd. Communication methods and systems for nonlinear multi-user environments
US9001689B1 (en) 2014-01-24 2015-04-07 Mimosa Networks, Inc. Channel optimization in half duplex communications systems
US9233688B2 (en) 2014-01-30 2016-01-12 Mobileye Vision Technologies Ltd. Systems and methods for lane end recognition
US20150223160A1 (en) 2014-01-31 2015-08-06 Qualcomm Incorporated Directing network association of a wireless client
US9391582B2 (en) 2014-02-04 2016-07-12 Ethertronics, Inc. Tunable duplexing circuit
US9217762B2 (en) 2014-02-07 2015-12-22 Smart Wires Inc. Detection of geomagnetically-induced currents with power line-mounted devices
US10440675B2 (en) 2014-02-12 2019-10-08 Empirix Inc. Method and apparatus to determine a wireless network coverage and responsiveness
US9807569B2 (en) 2014-02-17 2017-10-31 Ubiqomm, Inc Location based services provided via unmanned aerial vehicles (UAVs)
US9853712B2 (en) 2014-02-17 2017-12-26 Ubiqomm Llc Broadband access system via drone/UAV platforms
US9859972B2 (en) 2014-02-17 2018-01-02 Ubiqomm Llc Broadband access to mobile platforms using drone/UAV background
CN105493348B (zh) 2014-02-17 2018-03-13 华为技术有限公司 多波段共口径天线
US9853715B2 (en) 2014-02-17 2017-12-26 Ubiqomm Llc Broadband access system via drone/UAV platforms
US9832674B2 (en) 2014-02-18 2017-11-28 Benu Networks, Inc. Cloud controller for self-optimized networks
US9277331B2 (en) 2014-02-24 2016-03-01 PCTEST Engineering Laboratory, Inc. Techniques for testing compatibility of a wireless communication device
US9986563B2 (en) 2014-02-28 2018-05-29 Vicidiem Holdings, Llc Dynamic allocation of network bandwidth
EP3114730A1 (en) 2014-03-05 2017-01-11 Agence Spatiale Européenne Imaging antenna systems with compensated optical aberrations based on unshaped surface reflectors
US20150256355A1 (en) 2014-03-07 2015-09-10 Robert J. Pera Wall-mounted interactive sensing and audio-visual node devices for networked living and work spaces
US9912053B2 (en) 2014-03-17 2018-03-06 Ubiquiti Networks, Inc. Array antennas having a plurality of directional beams
KR102271072B1 (ko) 2014-03-20 2021-06-30 삼성전자 주식회사 무선통신 시스템에서 네트워크 지원 간섭 제거 및 억제 기술을 위한 간섭정보 전송 방법 및 장치
US9158427B1 (en) 2014-03-25 2015-10-13 Netio Technologies Co., Ltd. Electromagnetic sensing touch screen
TW201537432A (zh) 2014-03-25 2015-10-01 Netio Technologies Co Ltd 電磁感應式觸控螢幕
CN103943925B (zh) 2014-03-26 2016-10-05 北京大学 一种全碳同轴线及其制备方法
US9488601B2 (en) 2014-03-26 2016-11-08 Paneratech, Inc. Material erosion monitoring system and method
JP5770876B1 (ja) 2014-03-27 2015-08-26 日本電信電話株式会社 Mmic集積モジュール
US9921657B2 (en) 2014-03-28 2018-03-20 Intel Corporation Radar-based gesture recognition
US9210192B1 (en) 2014-09-08 2015-12-08 Belkin International Inc. Setup of multiple IOT devices
EP3780261B1 (en) 2014-04-01 2022-11-23 Ubiquiti Inc. Antenna assembly
TWI565140B (zh) 2014-04-02 2017-01-01 智邦科技股份有限公司 適應性多重天線選擇方法
US9714087B2 (en) 2014-04-05 2017-07-25 Hari Matsuda Winged multi-rotor flying craft with payload accomodating shifting structure and automatic payload delivery
US9148186B1 (en) 2014-04-08 2015-09-29 Broadcom Corporation Highly linear receiver front-end with thermal and phase noise cancellation
US20150288532A1 (en) 2014-04-08 2015-10-08 SiTune Corporation System and method for multi-standard signal communications
US9413519B2 (en) 2014-04-11 2016-08-09 Thomas & Betts International, Inc. Wireless transmission synchronization using a power line signal
US9681320B2 (en) 2014-04-22 2017-06-13 Pc-Tel, Inc. System, apparatus, and method for the measurement, collection, and analysis of radio signals utilizing unmanned aerial vehicles
US9668146B2 (en) 2014-04-25 2017-05-30 The Hong Kong University Of Science And Technology Autonomous robot-assisted indoor wireless coverage characterization platform
KR102112003B1 (ko) 2014-04-30 2020-05-18 삼성전자주식회사 빔 분할 다중 접속 방식을 지원하는 통신 시스템에서 빔 패턴 조정 장치 및 방법
US9369177B2 (en) 2014-05-01 2016-06-14 Cisco Technology, Inc. Path diversity with poly-phase links in a power line communication network
US20170118796A1 (en) 2014-05-01 2017-04-27 Nokia Solutions And Networks Oy Method and apparatus for radio resource control in a mobile network
US9393683B2 (en) 2014-05-02 2016-07-19 M. W. Bevins Co. Conductive boot for power tool protection
CN203813973U (zh) 2014-05-05 2014-09-03 深圳市海之景科技有限公司 灯柱式wifi接入终端
US10003379B2 (en) 2014-05-06 2018-06-19 Starkey Laboratories, Inc. Wireless communication with probing bandwidth
KR20150128163A (ko) 2014-05-08 2015-11-18 한국전자통신연구원 건물 에너지 소비정보 분석 시스템
US9379423B2 (en) 2014-05-15 2016-06-28 Alcatel Lucent Cavity filter
CN203931626U (zh) 2014-05-15 2014-11-05 安徽国电电缆集团有限公司 一种防水型中压铝合金电力电缆
KR102241827B1 (ko) 2014-05-16 2021-04-19 삼성전자 주식회사 복수의 캐리어들을 지원하는 이동 통신 시스템에서 신호 송/수신 방법 및 장치
US9214987B2 (en) 2014-05-18 2015-12-15 Auden Techno Corp. Near field antenna for object detecting device
US9422139B1 (en) 2014-05-19 2016-08-23 Google Inc. Method of actively controlling winch swing via modulated uptake and release
US9334052B2 (en) 2014-05-20 2016-05-10 Verizon Patent And Licensing Inc. Unmanned aerial vehicle flight path determination, optimization, and management
US9633547B2 (en) 2014-05-20 2017-04-25 Ooma, Inc. Security monitoring and control
US9646283B2 (en) 2014-05-20 2017-05-09 Verizon Patent And Licensing Inc. Secure payload deliveries via unmanned aerial vehicles
US9611038B2 (en) 2014-06-03 2017-04-04 Working Drones, Inc. Mobile computing device-based guidance navigation and control for unmanned aerial vehicles and robotic systems
US9721445B2 (en) 2014-06-06 2017-08-01 Vivint, Inc. Child monitoring bracelet/anklet
US9458974B2 (en) 2014-06-08 2016-10-04 Robert E. Townsend, Jr. Flexible moment connection device for mast arm signal mounting
US10192182B2 (en) 2014-06-10 2019-01-29 Wellaware Holdings, Inc. Aerial drone for well-site and signal survey
CN104052742A (zh) 2014-06-11 2014-09-17 上海康煦智能科技有限公司 一种可动态加密的物联网通讯协议
TWI544829B (zh) 2014-06-16 2016-08-01 智邦科技股份有限公司 無線網路裝置與無線網路控制方法
US9494937B2 (en) 2014-06-20 2016-11-15 Verizon Telematics Inc. Method and system for drone deliveries to vehicles in route
EP2961113B1 (en) 2014-06-24 2017-05-24 Alcatel Lucent Control of protection switching in a communication network
US9351182B2 (en) 2014-06-30 2016-05-24 At&T Intellectual Property I, Lp Method and apparatus for monitoring and adjusting multiple communication services at a venue
US9730085B2 (en) 2014-06-30 2017-08-08 At&T Intellectual Property I, L.P. Method and apparatus for managing wireless probe devices
US9502765B2 (en) 2014-06-30 2016-11-22 Huawei Technologies Co., Ltd. Apparatus and method of a dual polarized broadband agile cylindrical antenna array with reconfigurable radial waveguides
CN104091987B (zh) 2014-07-01 2016-07-06 中国科学院等离子体物理研究所 一种兆瓦级波纹波导衰减器
WO2016003291A1 (en) 2014-07-02 2016-01-07 Tecom As Permittivity measurements of layers
CN106687907A (zh) 2014-07-02 2017-05-17 3M创新有限公司 包括排除无意触摸信号的触摸系统和方法
US9912079B2 (en) 2014-07-03 2018-03-06 Xirrus, Inc. Distributed omni-dual-band antenna system for a Wi-Fi access point
US9722316B2 (en) 2014-07-07 2017-08-01 Google Inc. Horn lens antenna
CN104092028B (zh) 2014-07-08 2016-05-18 东南大学 抑制共模噪声的平衡馈电差分缝隙天线
US20160068277A1 (en) 2014-07-08 2016-03-10 Salvatore Manitta Unmanned Aircraft Systems Ground Support Platform
CN203950607U (zh) 2014-07-09 2014-11-19 安徽华菱电缆集团有限公司 一种铝合金中压耐火电力电缆
US9653816B2 (en) 2014-07-14 2017-05-16 Northrop Grumman Systems Corporation Antenna system
WO2016009402A2 (en) 2014-07-18 2016-01-21 Altec S.P.A. Image and/or radio signals capturing platform
US9363008B2 (en) 2014-07-22 2016-06-07 International Business Machines Corporation Deployment criteria for unmanned aerial vehicles to improve cellular phone communications
CN105282375B (zh) 2014-07-24 2019-12-31 钰立微电子股份有限公司 附着式立体扫描模块
CN104125615B (zh) 2014-08-07 2017-12-15 华为技术有限公司 双频自适应并发的处理方法和装置
US10123731B2 (en) 2014-08-08 2018-11-13 Medtronic Xomed, Inc. Wireless sensors for nerve integrity monitoring systems
EP3167535B1 (en) 2014-08-08 2020-09-23 SZ DJI Technology Co., Ltd. Systems and methods for uav battery exchange
CN104162995B (zh) 2014-08-08 2016-06-22 西安拓飞复合材料有限公司 一种碳纤维天线面的制造方法
US9083425B1 (en) 2014-08-18 2015-07-14 Sunlight Photonics Inc. Distributed airborne wireless networks
US9596020B2 (en) 2014-08-18 2017-03-14 Sunlight Photonics Inc. Methods for providing distributed airborne wireless communications
FI127914B (fi) 2014-08-21 2019-05-15 Stealthcase Oy Sähkömagneettisia aaltoja ohjaava laite ja menetelmä
CN104181552B (zh) 2014-08-21 2017-07-25 武汉大学 一种动态gnss接收机的抗干扰正态零陷加宽的方法
US9761957B2 (en) 2014-08-21 2017-09-12 Verizon Patent And Licensing Inc. Providing wireless service at a venue using horn antennas
US9692101B2 (en) 2014-08-26 2017-06-27 At&T Intellectual Property I, L.P. Guided wave couplers for coupling electromagnetic waves between a waveguide surface and a surface of a wire
US9174733B1 (en) 2014-08-28 2015-11-03 Google Inc. Payload-release device and operation thereof
US10762571B2 (en) 2014-09-02 2020-09-01 Metropolitan Life Insurance Co. Use of drones to assist with insurance, financial and underwriting related activities
WO2016036951A1 (en) 2014-09-04 2016-03-10 Commscope Technologies Llc Azimuth and elevation angle pole mounting system for wireless communications base sites
JP2016058790A (ja) 2014-09-05 2016-04-21 パナソニック株式会社 アレーアンテナおよびそれを用いた装置
CN110174903B (zh) 2014-09-05 2023-05-09 深圳市大疆创新科技有限公司 用于在环境内控制可移动物体的系统和方法
US9731821B2 (en) 2014-09-10 2017-08-15 International Business Machines Corporation Package transport by unmanned aerial vehicles
US10074993B2 (en) 2014-09-11 2018-09-11 Cpg Technologies, Llc Simultaneous transmission and reception of guided surface waves
US9882397B2 (en) 2014-09-11 2018-01-30 Cpg Technologies, Llc Guided surface wave transmission of multiple frequencies in a lossy media
US10033198B2 (en) 2014-09-11 2018-07-24 Cpg Technologies, Llc Frequency division multiplexing for wireless power providers
US9887587B2 (en) 2014-09-11 2018-02-06 Cpg Technologies, Llc Variable frequency receivers for guided surface wave transmissions
US9768833B2 (en) 2014-09-15 2017-09-19 At&T Intellectual Property I, L.P. Method and apparatus for sensing a condition in a transmission medium of electromagnetic waves
US9288844B1 (en) 2014-09-17 2016-03-15 Fortinet, Inc. Wireless radio access point configuration
US10063280B2 (en) 2014-09-17 2018-08-28 At&T Intellectual Property I, L.P. Monitoring and mitigating conditions in a communication network
US20160088498A1 (en) 2014-09-18 2016-03-24 King Fahd University Of Petroleum And Minerals Unmanned aerial vehicle for antenna radiation characterization
US20160181701A1 (en) 2014-09-19 2016-06-23 Pragash Sangaran Antenna having a reflector for improved efficiency, gain, and directivity
US9776200B2 (en) 2014-09-19 2017-10-03 Luryto, Llc Systems and methods for unmanned aerial painting applications
EP3198263B1 (en) 2014-09-24 2020-02-12 Bogazici Universitesi A biosensor with integrated antenna and measurement method for biosensing applications
US9260244B1 (en) 2014-09-25 2016-02-16 Amazon Technologies, Inc. Wireless visualization interface for autonomous ground vehicle signal coverage
EP3198756B1 (en) 2014-09-26 2018-10-10 Telefonaktiebolaget LM Ericsson (PUBL) Signaling for interference reduction
US9628854B2 (en) 2014-09-29 2017-04-18 At&T Intellectual Property I, L.P. Method and apparatus for distributing content in a communication network
US11695657B2 (en) 2014-09-29 2023-07-04 Cisco Technology, Inc. Network embedded framework for distributed network analytics
US9615269B2 (en) 2014-10-02 2017-04-04 At&T Intellectual Property I, L.P. Method and apparatus that provides fault tolerance in a communication network
US9685992B2 (en) 2014-10-03 2017-06-20 At&T Intellectual Property I, L.P. Circuit panel network and methods thereof
US9503189B2 (en) 2014-10-10 2016-11-22 At&T Intellectual Property I, L.P. Method and apparatus for arranging communication sessions in a communication system
ES2868348T3 (es) 2014-10-14 2021-10-21 Ubiquiti Inc Cubiertas de aislamiento de señal y reflectores para antena
US9973299B2 (en) 2014-10-14 2018-05-15 At&T Intellectual Property I, L.P. Method and apparatus for adjusting a mode of communication in a communication network
US9762289B2 (en) 2014-10-14 2017-09-12 At&T Intellectual Property I, L.P. Method and apparatus for transmitting or receiving signals in a transportation system
US11157021B2 (en) 2014-10-17 2021-10-26 Tyco Fire & Security Gmbh Drone tours in security systems
US9564947B2 (en) 2014-10-21 2017-02-07 At&T Intellectual Property I, L.P. Guided-wave transmission device with diversity and methods for use therewith
US9769020B2 (en) 2014-10-21 2017-09-19 At&T Intellectual Property I, L.P. Method and apparatus for responding to events affecting communications in a communication network
US9653770B2 (en) 2014-10-21 2017-05-16 At&T Intellectual Property I, L.P. Guided wave coupler, coupling module and methods for use therewith
US9780834B2 (en) 2014-10-21 2017-10-03 At&T Intellectual Property I, L.P. Method and apparatus for transmitting electromagnetic waves
US9577306B2 (en) 2014-10-21 2017-02-21 At&T Intellectual Property I, L.P. Guided-wave transmission device and methods for use therewith
US9520945B2 (en) 2014-10-21 2016-12-13 At&T Intellectual Property I, L.P. Apparatus for providing communication services and methods thereof
US9312919B1 (en) 2014-10-21 2016-04-12 At&T Intellectual Property I, Lp Transmission device with impairment compensation and methods for use therewith
US9627768B2 (en) 2014-10-21 2017-04-18 At&T Intellectual Property I, L.P. Guided-wave transmission device with non-fundamental mode propagation and methods for use therewith
NZ731348A (en) 2014-10-24 2022-04-29 Mutualink Inc System and method for dynamic wireless aerial mesh network
KR101586236B1 (ko) 2014-10-27 2016-01-19 전남대학교 산학협력단 주파수 재사용을 고려한 분산 안테나 시스템 및 그 시스템에서의 적응적 협력 전송 방법
US10338191B2 (en) 2014-10-30 2019-07-02 Bastille Networks, Inc. Sensor mesh and signal transmission architectures for electromagnetic signature analysis
WO2016073072A1 (en) 2014-11-04 2016-05-12 Board Of Regents, The University Of Texas System Dielectric-core antennas surrounded by patterned metallic metasurfaces to realize radio-transparent antennas
US9967003B2 (en) 2014-11-06 2018-05-08 Commscope Technologies Llc Distributed antenna system with dynamic capacity allocation and power adjustment
GB2532207A (en) 2014-11-06 2016-05-18 Bluwireless Tech Ltd Radio frequency communications devices
WO2016073988A1 (en) 2014-11-07 2016-05-12 Parallel Wireless, Inc. Self-calibrating and self-adjusting network
CA2893727C (en) 2014-11-07 2022-09-13 Traffic Hardware + Design Inc. Traffic signal mounting bracket
US9742462B2 (en) 2014-12-04 2017-08-22 At&T Intellectual Property I, L.P. Transmission medium and communication interfaces and methods for use therewith
US10243784B2 (en) 2014-11-20 2019-03-26 At&T Intellectual Property I, L.P. System for generating topology information and methods thereof
US10505248B2 (en) 2014-11-20 2019-12-10 At&T Intellectual Property I, L.P. Communication cable having a plurality of uninsulated conductors forming interstitial areas for propagating electromagnetic waves therein and method of use
US10009067B2 (en) 2014-12-04 2018-06-26 At&T Intellectual Property I, L.P. Method and apparatus for configuring a communication interface
US9461706B1 (en) 2015-07-31 2016-10-04 At&T Intellectual Property I, Lp Method and apparatus for exchanging communication signals
US10505250B2 (en) 2014-11-20 2019-12-10 At&T Intellectual Property I, L.P. Communication system having a cable with a plurality of stranded uninsulated conductors forming interstitial areas for propagating guided wave modes therein and methods of use
US9800327B2 (en) 2014-11-20 2017-10-24 At&T Intellectual Property I, L.P. Apparatus for controlling operations of a communication device and methods thereof
US10516555B2 (en) 2014-11-20 2019-12-24 At&T Intellectual Property I, L.P. Methods and apparatus for creating interstitial areas in a cable
US9654173B2 (en) 2014-11-20 2017-05-16 At&T Intellectual Property I, L.P. Apparatus for powering a communication device and methods thereof
US9997819B2 (en) 2015-06-09 2018-06-12 At&T Intellectual Property I, L.P. Transmission medium and method for facilitating propagation of electromagnetic waves via a core
US10505252B2 (en) 2014-11-20 2019-12-10 At&T Intellectual Property I, L.P. Communication system having a coupler for guiding electromagnetic waves through interstitial areas formed by a plurality of stranded uninsulated conductors and method of use
US9544006B2 (en) 2014-11-20 2017-01-10 At&T Intellectual Property I, L.P. Transmission device with mode division multiplexing and methods for use therewith
US9813925B2 (en) 2014-11-20 2017-11-07 Ixia Systems, methods, and computer readable media for utilizing a plurality of unmanned aerial vehicles to conduct performance testing in a wireless communications network
US10505249B2 (en) 2014-11-20 2019-12-10 At&T Intellectual Property I, L.P. Communication system having a cable with a plurality of stranded uninsulated conductors forming interstitial areas for guiding electromagnetic waves therein and method of use
US9680670B2 (en) 2014-11-20 2017-06-13 At&T Intellectual Property I, L.P. Transmission device with channel equalization and control and methods for use therewith
US10411920B2 (en) 2014-11-20 2019-09-10 At&T Intellectual Property I, L.P. Methods and apparatus for inducing electromagnetic waves within pathways of a cable
US10554454B2 (en) 2014-11-20 2020-02-04 At&T Intellectual Property I, L.P. Methods and apparatus for inducing electromagnetic waves in a cable
US10340573B2 (en) 2016-10-26 2019-07-02 At&T Intellectual Property I, L.P. Launcher with cylindrical coupling device and methods for use therewith
US11025460B2 (en) 2014-11-20 2021-06-01 At&T Intellectual Property I, L.P. Methods and apparatus for accessing interstitial areas of a cable
US9954287B2 (en) 2014-11-20 2018-04-24 At&T Intellectual Property I, L.P. Apparatus for converting wireless signals and electromagnetic waves and methods thereof
US9094407B1 (en) 2014-11-21 2015-07-28 Citrix Systems, Inc. Security and rights management in a machine-to-machine messaging system
US9497572B2 (en) 2014-11-21 2016-11-15 Afero, Inc. Internet of things platforms, apparatuses, and methods
CN107209279A (zh) 2014-12-03 2017-09-26 不列颠哥伦比亚大学 具有离子导电材料的柔性透明传感器
US20160165472A1 (en) 2014-12-09 2016-06-09 Futurewei Technologies, Inc. Analytics assisted self-organizing-network (SON) for coverage capacity optimization (CCO)
US9716979B2 (en) 2014-12-12 2017-07-25 Calix, Inc. System and method for locating nodes within a wireless network
US9478865B1 (en) 2014-12-18 2016-10-25 L-3 Communications Corp. Configurable horn antenna
DE102014119259A1 (de) 2014-12-19 2016-06-23 Intel Corporation Eine Vorrichtung zum Bereitstellen eines Steuersignals für eine variable Impedanzanpassungsschaltung und ein Verfahren dafür
WO2016096029A1 (en) 2014-12-19 2016-06-23 Here Global B.V. A method, an apparatus and a computer program product for positioning
US9571908B2 (en) 2014-12-23 2017-02-14 Raytheon Company Extendable synchronous low power telemetry system for distributed sensors
GB2533795A (en) 2014-12-30 2016-07-06 Nokia Technologies Oy Method, apparatus and computer program product for input detection
US9479392B2 (en) 2015-01-08 2016-10-25 Intel Corporation Personal communication drone
US10071803B2 (en) 2015-01-16 2018-09-11 International Business Machines Corporation Package transport container and transport operations for an unmanned aerial vehicle
GB2536539B (en) 2015-01-19 2017-07-19 Keysight Technologies Inc System and method for testing multi-user, multi-input/multi-output systems
US10097478B2 (en) 2015-01-20 2018-10-09 Microsoft Technology Licensing, Llc Controlling fair bandwidth allocation efficiently
US10547118B2 (en) 2015-01-27 2020-01-28 Huawei Technologies Co., Ltd. Dielectric resonator antenna arrays
SG10201500769UA (en) 2015-01-30 2016-08-30 Gridcomm Pte Ltd A discovery method for a power line communication network
US10144036B2 (en) 2015-01-30 2018-12-04 At&T Intellectual Property I, L.P. Method and apparatus for mitigating interference affecting a propagation of electromagnetic waves guided by a transmission medium
EP3254164A4 (en) 2015-02-04 2018-10-31 LogiCom & Wireless Ltd. Flight management system for uavs
CN204538183U (zh) 2015-02-06 2015-08-05 摩比天线技术(深圳)有限公司 栅格灯杆型美化天线
EP3259772B1 (en) 2015-02-19 2023-10-04 Calabazas Creek Research, Inc. Gyrotron whispering gallery mode coupler for direct coupling of rf into he11 waveguide
US20160248149A1 (en) 2015-02-20 2016-08-25 Qualcomm Incorporated Three dimensional (3d) antenna structure
US9876570B2 (en) 2015-02-20 2018-01-23 At&T Intellectual Property I, Lp Guided-wave transmission device with non-fundamental mode propagation and methods for use therewith
WO2016137982A1 (en) 2015-02-24 2016-09-01 Airogistic, L.L.C. Methods and apparatus for unmanned aerial vehicle landing and launch
US9414126B1 (en) 2015-03-09 2016-08-09 Arcom Digital, Llc Passive time domain reflectometer for HFC network
EP3268278A4 (en) 2015-03-12 2019-07-31 Nightingale Intelligent Systems AUTOMATED DRONE SYSTEMS
US9749013B2 (en) 2015-03-17 2017-08-29 At&T Intellectual Property I, L.P. Method and apparatus for reducing attenuation of electromagnetic waves guided by a transmission medium
US10341878B2 (en) 2015-03-17 2019-07-02 T-Mobile Usa, Inc. Connection technology-based wireless coverage verification
KR101549622B1 (ko) 2015-03-26 2015-09-03 (주)나이스테크 재난통신 시공시설망 검측단자의 도파관 분배기
EP3076482A1 (en) 2015-04-02 2016-10-05 Progress Rail Inspection & Information Systems S.r.l. Radar obstacle detector for a railway crossing
EP3192308A4 (en) 2015-04-10 2017-10-18 SZ DJI Technology Co., Ltd. Method, apparatus and system of providing communication coverage to an unmanned aerial vehicle
US9705561B2 (en) 2015-04-24 2017-07-11 At&T Intellectual Property I, L.P. Directional coupling device and methods for use therewith
US10224981B2 (en) 2015-04-24 2019-03-05 At&T Intellectual Property I, Lp Passive electrical coupling device and methods for use therewith
CN107251592B (zh) 2015-04-24 2020-11-03 联发科技股份有限公司 按需可重配置的控制面架构的方法以及用户设备
US9793954B2 (en) 2015-04-28 2017-10-17 At&T Intellectual Property I, L.P. Magnetic coupling device and methods for use therewith
US9948354B2 (en) 2015-04-28 2018-04-17 At&T Intellectual Property I, L.P. Magnetic coupling device with reflective plate and methods for use therewith
WO2016178070A1 (en) 2015-05-05 2016-11-10 Andrew Wireless Systems Gmbh Distributed duplexer configuration for blocking and linearity
US10276907B2 (en) 2015-05-14 2019-04-30 At&T Intellectual Property I, L.P. Transmission medium and methods for use therewith
US9490869B1 (en) 2015-05-14 2016-11-08 At&T Intellectual Property I, L.P. Transmission medium having multiple cores and methods for use therewith
US9748626B2 (en) 2015-05-14 2017-08-29 At&T Intellectual Property I, L.P. Plurality of cables having different cross-sectional shapes which are bundled together to form a transmission medium
US9871282B2 (en) 2015-05-14 2018-01-16 At&T Intellectual Property I, L.P. At least one transmission medium having a dielectric surface that is covered at least in part by a second dielectric
US10679767B2 (en) 2015-05-15 2020-06-09 At&T Intellectual Property I, L.P. Transmission medium having a conductive material and methods for use therewith
US10650940B2 (en) 2015-05-15 2020-05-12 At&T Intellectual Property I, L.P. Transmission medium having a conductive material and methods for use therewith
US9917341B2 (en) 2015-05-27 2018-03-13 At&T Intellectual Property I, L.P. Apparatus and method for launching electromagnetic waves and for modifying radial dimensions of the propagating electromagnetic waves
US10812174B2 (en) 2015-06-03 2020-10-20 At&T Intellectual Property I, L.P. Client node device and methods for use therewith
US9912381B2 (en) 2015-06-03 2018-03-06 At&T Intellectual Property I, Lp Network termination and methods for use therewith
US10348391B2 (en) 2015-06-03 2019-07-09 At&T Intellectual Property I, L.P. Client node device with frequency conversion and methods for use therewith
US10103801B2 (en) 2015-06-03 2018-10-16 At&T Intellectual Property I, L.P. Host node device and methods for use therewith
US9866309B2 (en) 2015-06-03 2018-01-09 At&T Intellectual Property I, Lp Host node device and methods for use therewith
US10154493B2 (en) 2015-06-03 2018-12-11 At&T Intellectual Property I, L.P. Network termination and methods for use therewith
US9913139B2 (en) 2015-06-09 2018-03-06 At&T Intellectual Property I, L.P. Signal fingerprinting for authentication of communicating devices
US10142086B2 (en) 2015-06-11 2018-11-27 At&T Intellectual Property I, L.P. Repeater and methods for use therewith
US9608692B2 (en) 2015-06-11 2017-03-28 At&T Intellectual Property I, L.P. Repeater and methods for use therewith
US9820146B2 (en) 2015-06-12 2017-11-14 At&T Intellectual Property I, L.P. Method and apparatus for authentication and identity management of communicating devices
US9667317B2 (en) 2015-06-15 2017-05-30 At&T Intellectual Property I, L.P. Method and apparatus for providing security using network traffic adjustments
US9509415B1 (en) 2015-06-25 2016-11-29 At&T Intellectual Property I, L.P. Methods and apparatus for inducing a fundamental wave mode on a transmission medium
US9865911B2 (en) * 2015-06-25 2018-01-09 At&T Intellectual Property I, L.P. Waveguide system for slot radiating first electromagnetic waves that are combined into a non-fundamental wave mode second electromagnetic wave on a transmission medium
US9640850B2 (en) 2015-06-25 2017-05-02 At&T Intellectual Property I, L.P. Methods and apparatus for inducing a non-fundamental wave mode on a transmission medium
US9363690B1 (en) 2015-07-10 2016-06-07 Cisco Technology, Inc. Closed-loop optimization of a wireless network using an autonomous vehicle
US9628116B2 (en) 2015-07-14 2017-04-18 At&T Intellectual Property I, L.P. Apparatus and methods for transmitting wireless signals
US10170840B2 (en) 2015-07-14 2019-01-01 At&T Intellectual Property I, L.P. Apparatus and methods for sending or receiving electromagnetic signals
US9836957B2 (en) 2015-07-14 2017-12-05 At&T Intellectual Property I, L.P. Method and apparatus for communicating with premises equipment
US9722318B2 (en) 2015-07-14 2017-08-01 At&T Intellectual Property I, L.P. Method and apparatus for coupling an antenna to a device
US10129057B2 (en) 2015-07-14 2018-11-13 At&T Intellectual Property I, L.P. Apparatus and methods for inducing electromagnetic waves on a cable
US10511346B2 (en) 2015-07-14 2019-12-17 At&T Intellectual Property I, L.P. Apparatus and methods for inducing electromagnetic waves on an uninsulated conductor
US10205655B2 (en) 2015-07-14 2019-02-12 At&T Intellectual Property I, L.P. Apparatus and methods for communicating utilizing an antenna array and multiple communication paths
US10033108B2 (en) 2015-07-14 2018-07-24 At&T Intellectual Property I, L.P. Apparatus and methods for generating an electromagnetic wave having a wave mode that mitigates interference
US10341142B2 (en) 2015-07-14 2019-07-02 At&T Intellectual Property I, L.P. Apparatus and methods for generating non-interfering electromagnetic waves on an uninsulated conductor
US10148016B2 (en) 2015-07-14 2018-12-04 At&T Intellectual Property I, L.P. Apparatus and methods for communicating utilizing an antenna array
US10439290B2 (en) 2015-07-14 2019-10-08 At&T Intellectual Property I, L.P. Apparatus and methods for wireless communications
US10320586B2 (en) 2015-07-14 2019-06-11 At&T Intellectual Property I, L.P. Apparatus and methods for generating non-interfering electromagnetic waves on an insulated transmission medium
US10044409B2 (en) 2015-07-14 2018-08-07 At&T Intellectual Property I, L.P. Transmission medium and methods for use therewith
US9853342B2 (en) 2015-07-14 2017-12-26 At&T Intellectual Property I, L.P. Dielectric transmission medium connector and methods for use therewith
US9847566B2 (en) 2015-07-14 2017-12-19 At&T Intellectual Property I, L.P. Method and apparatus for adjusting a field of a signal to mitigate interference
US9882257B2 (en) 2015-07-14 2018-01-30 At&T Intellectual Property I, L.P. Method and apparatus for launching a wave mode that mitigates interference
US10790593B2 (en) 2015-07-14 2020-09-29 At&T Intellectual Property I, L.P. Method and apparatus including an antenna comprising a lens and a body coupled to a feedline having a structure that reduces reflections of electromagnetic waves
US10033107B2 (en) 2015-07-14 2018-07-24 At&T Intellectual Property I, L.P. Method and apparatus for coupling an antenna to a device
US9608740B2 (en) 2015-07-15 2017-03-28 At&T Intellectual Property I, L.P. Method and apparatus for launching a wave mode that mitigates interference
US9793951B2 (en) 2015-07-15 2017-10-17 At&T Intellectual Property I, L.P. Method and apparatus for launching a wave mode that mitigates interference
US10090606B2 (en) 2015-07-15 2018-10-02 At&T Intellectual Property I, L.P. Antenna system with dielectric array and methods for use therewith
US10784670B2 (en) 2015-07-23 2020-09-22 At&T Intellectual Property I, L.P. Antenna support for aligning an antenna
US9948333B2 (en) 2015-07-23 2018-04-17 At&T Intellectual Property I, L.P. Method and apparatus for wireless communications to mitigate interference
US9912027B2 (en) 2015-07-23 2018-03-06 At&T Intellectual Property I, L.P. Method and apparatus for exchanging communication signals
US9871283B2 (en) 2015-07-23 2018-01-16 At&T Intellectual Property I, Lp Transmission medium having a dielectric core comprised of plural members connected by a ball and socket configuration
US9749053B2 (en) 2015-07-23 2017-08-29 At&T Intellectual Property I, L.P. Node device, repeater and methods for use therewith
US9439092B1 (en) 2015-07-27 2016-09-06 Sprint Communications Company L.P. Detection of component fault at cell towers
CN204760545U (zh) 2015-07-30 2015-11-11 中国人民解放军理工大学 一种共面波导馈电宽带圆极化微带天线
US9967173B2 (en) 2015-07-31 2018-05-08 At&T Intellectual Property I, L.P. Method and apparatus for authentication and identity management of communicating devices
KR200479199Y1 (ko) 2015-07-31 2015-12-31 김용국 무인비행체
US10020587B2 (en) 2015-07-31 2018-07-10 At&T Intellectual Property I, L.P. Radial antenna and methods for use therewith
US9735833B2 (en) 2015-07-31 2017-08-15 At&T Intellectual Property I, L.P. Method and apparatus for communications management in a neighborhood network
US9496921B1 (en) 2015-09-09 2016-11-15 Cpg Technologies Hybrid guided surface wave communication
US9904535B2 (en) 2015-09-14 2018-02-27 At&T Intellectual Property I, L.P. Method and apparatus for distributing software
US9705571B2 (en) 2015-09-16 2017-07-11 At&T Intellectual Property I, L.P. Method and apparatus for use with a radio distributed antenna system
US10079661B2 (en) 2015-09-16 2018-09-18 At&T Intellectual Property I, L.P. Method and apparatus for use with a radio distributed antenna system having a clock reference
US10051629B2 (en) 2015-09-16 2018-08-14 At&T Intellectual Property I, L.P. Method and apparatus for use with a radio distributed antenna system having an in-band reference signal
US10136434B2 (en) 2015-09-16 2018-11-20 At&T Intellectual Property I, L.P. Method and apparatus for use with a radio distributed antenna system having an ultra-wideband control channel
US10009063B2 (en) 2015-09-16 2018-06-26 At&T Intellectual Property I, L.P. Method and apparatus for use with a radio distributed antenna system having an out-of-band reference signal
US10009901B2 (en) 2015-09-16 2018-06-26 At&T Intellectual Property I, L.P. Method, apparatus, and computer-readable storage medium for managing utilization of wireless resources between base stations
US9421869B1 (en) 2015-09-25 2016-08-23 Amazon Technologies, Inc. Deployment and adjustment of airborne unmanned aerial vehicles
US9769128B2 (en) 2015-09-28 2017-09-19 At&T Intellectual Property I, L.P. Method and apparatus for encryption of communications over a network
US9729197B2 (en) 2015-10-01 2017-08-08 At&T Intellectual Property I, L.P. Method and apparatus for communicating network management traffic over a network
US9876264B2 (en) 2015-10-02 2018-01-23 At&T Intellectual Property I, Lp Communication system, guided wave switch and methods for use therewith
US10074890B2 (en) 2015-10-02 2018-09-11 At&T Intellectual Property I, L.P. Communication device and antenna with integrated light assembly
US9882277B2 (en) 2015-10-02 2018-01-30 At&T Intellectual Property I, Lp Communication device and antenna assembly with actuated gimbal mount
US10665942B2 (en) 2015-10-16 2020-05-26 At&T Intellectual Property I, L.P. Method and apparatus for adjusting wireless communications
US10355367B2 (en) 2015-10-16 2019-07-16 At&T Intellectual Property I, L.P. Antenna structure for exchanging wireless signals
US10051483B2 (en) 2015-10-16 2018-08-14 At&T Intellectual Property I, L.P. Method and apparatus for directing wireless signals
CN105262551A (zh) 2015-11-25 2016-01-20 上海市计量测试技术研究院 无线信号测试仪的校准装置及方法和自动测试系统及方法
CN205265924U (zh) 2016-01-05 2016-05-25 陈昊 一种无人飞行器
CN105813193A (zh) 2016-04-15 2016-07-27 国网河北省电力公司 一种智能电网无线传感器网络节点定位方法
US9860075B1 (en) 2016-08-26 2018-01-02 At&T Intellectual Property I, L.P. Method and communication node for broadband distribution
US11032819B2 (en) 2016-09-15 2021-06-08 At&T Intellectual Property I, L.P. Method and apparatus for use with a radio distributed antenna system having a control channel reference signal
US10340600B2 (en) 2016-10-18 2019-07-02 At&T Intellectual Property I, L.P. Apparatus and methods for launching guided waves via plural waveguide systems
US10135146B2 (en) 2016-10-18 2018-11-20 At&T Intellectual Property I, L.P. Apparatus and methods for launching guided waves via circuits
US10135147B2 (en) 2016-10-18 2018-11-20 At&T Intellectual Property I, L.P. Apparatus and methods for launching guided waves via an antenna
US9876605B1 (en) 2016-10-21 2018-01-23 At&T Intellectual Property I, L.P. Launcher and coupling system to support desired guided wave mode
US10374316B2 (en) 2016-10-21 2019-08-06 At&T Intellectual Property I, L.P. System and dielectric antenna with non-uniform dielectric
US10811767B2 (en) 2016-10-21 2020-10-20 At&T Intellectual Property I, L.P. System and dielectric antenna with convex dielectric radome
US9991580B2 (en) 2016-10-21 2018-06-05 At&T Intellectual Property I, L.P. Launcher and coupling system for guided wave mode cancellation
US10312567B2 (en) 2016-10-26 2019-06-04 At&T Intellectual Property I, L.P. Launcher with planar strip antenna and methods for use therewith
US10361489B2 (en) 2016-12-01 2019-07-23 At&T Intellectual Property I, L.P. Dielectric dish antenna system and methods for use therewith
US10305190B2 (en) 2016-12-01 2019-05-28 At&T Intellectual Property I, L.P. Reflecting dielectric antenna system and methods for use therewith
US10819035B2 (en) 2016-12-06 2020-10-27 At&T Intellectual Property I, L.P. Launcher with helical antenna and methods for use therewith
US10135145B2 (en) 2016-12-06 2018-11-20 At&T Intellectual Property I, L.P. Apparatus and methods for generating an electromagnetic wave along a transmission medium
US10096883B2 (en) 2016-12-06 2018-10-09 At&T Intellectual Property I, L.P. Methods and apparatus for adjusting a wavelength electromagnetic waves
US10205212B2 (en) 2016-12-06 2019-02-12 At&T Intellectual Property I, L.P. Methods and apparatus for adjusting a phase of electromagnetic waves
US10637149B2 (en) 2016-12-06 2020-04-28 At&T Intellectual Property I, L.P. Injection molded dielectric antenna and methods for use therewith
US10727599B2 (en) 2016-12-06 2020-07-28 At&T Intellectual Property I, L.P. Launcher with slot antenna and methods for use therewith
US9893795B1 (en) 2016-12-07 2018-02-13 At&T Intellectual Property I, Lp Method and repeater for broadband distribution
US10389029B2 (en) 2016-12-07 2019-08-20 At&T Intellectual Property I, L.P. Multi-feed dielectric antenna system with core selection and methods for use therewith
US10243270B2 (en) 2016-12-07 2019-03-26 At&T Intellectual Property I, L.P. Beam adaptive multi-feed dielectric antenna system and methods for use therewith
US10446936B2 (en) 2016-12-07 2019-10-15 At&T Intellectual Property I, L.P. Multi-feed dielectric antenna system and methods for use therewith
US10027397B2 (en) 2016-12-07 2018-07-17 At&T Intellectual Property I, L.P. Distributed antenna system and methods for use therewith
US10601494B2 (en) 2016-12-08 2020-03-24 At&T Intellectual Property I, L.P. Dual-band communication device and method for use therewith
US10938108B2 (en) 2016-12-08 2021-03-02 At&T Intellectual Property I, L.P. Frequency selective multi-feed dielectric antenna system and methods for use therewith
US10069535B2 (en) 2016-12-08 2018-09-04 At&T Intellectual Property I, L.P. Apparatus and methods for launching electromagnetic waves having a certain electric field structure
US10411356B2 (en) 2016-12-08 2019-09-10 At&T Intellectual Property I, L.P. Apparatus and methods for selectively targeting communication devices with an antenna array
US10530505B2 (en) 2016-12-08 2020-01-07 At&T Intellectual Property I, L.P. Apparatus and methods for launching electromagnetic waves along a transmission medium
US10389037B2 (en) 2016-12-08 2019-08-20 At&T Intellectual Property I, L.P. Apparatus and methods for selecting sections of an antenna array and use therewith
US10027427B2 (en) 2016-12-08 2018-07-17 At&T Intellectual Property I, L.P. Apparatus and methods for measuring signals
US9998870B1 (en) 2016-12-08 2018-06-12 At&T Intellectual Property I, L.P. Method and apparatus for proximity sensing
US10264586B2 (en) 2016-12-09 2019-04-16 At&T Mobility Ii Llc Cloud-based packet controller and methods for use therewith
US10523388B2 (en) 2017-04-17 2019-12-31 At&T Intellectual Property I, L.P. Method and apparatus for use with a radio distributed antenna having a fiber optic link
US10727583B2 (en) 2017-07-05 2020-07-28 At&T Intellectual Property I, L.P. Method and apparatus for steering radiation on an outer surface of a structure
US10103777B1 (en) 2017-07-05 2018-10-16 At&T Intellectual Property I, L.P. Method and apparatus for reducing radiation from an external surface of a waveguide structure
US10389403B2 (en) 2017-07-05 2019-08-20 At&T Intellectual Property I, L.P. Method and apparatus for reducing flow of currents on an outer surface of a structure
US10062970B1 (en) 2017-09-05 2018-08-28 At&T Intellectual Property I, L.P. Dual mode communications device and methods for use therewith
US10374278B2 (en) 2017-09-05 2019-08-06 At&T Intellectual Property I, L.P. Dielectric coupling system with mode control and methods for use therewith
US10714831B2 (en) 2017-10-19 2020-07-14 At&T Intellectual Property I, L.P. Dual mode communications device with remote radio head and methods for use therewith
US10374277B2 (en) 2017-09-05 2019-08-06 At&T Intellectual Property I, L.P. Multi-arm dielectric coupling system and methods for use therewith
US10446899B2 (en) 2017-09-05 2019-10-15 At&T Intellectual Property I, L.P. Flared dielectric coupling system and methods for use therewith
US10051488B1 (en) 2017-10-19 2018-08-14 At&T Intellectual Property I, L.P. Dual mode communications device with remote device feedback and methods for use therewith
WO2019050752A1 (en) 2017-09-05 2019-03-14 At&T Intellectual Property I, L.P. REMOTE RADIO HEADING BIMODE COMMUNICATION DEVICE AND METHODS OF USE THEREOF
US10244408B1 (en) 2017-10-19 2019-03-26 At&T Intellectual Property I, L.P. Dual mode communications device with null steering and methods for use therewith
US10305179B2 (en) 2017-09-06 2019-05-28 At&T Intellectual Property I, L.P. Antenna structure with doped antenna body
US10305197B2 (en) 2017-09-06 2019-05-28 At&T Intellectual Property I, L.P. Multimode antenna system and methods for use therewith
US10230426B1 (en) 2017-09-06 2019-03-12 At&T Intellectual Property I, L.P. Antenna structure with circularly polarized antenna beam
US10205231B1 (en) 2017-09-06 2019-02-12 At&T Intellectual Property I, L.P. Antenna structure with hollow-boresight antenna beam
US10291286B2 (en) 2017-09-06 2019-05-14 At&T Intellectual Property I, L.P. Method and apparatus for guiding an electromagnetic wave to a transmission medium
US10673116B2 (en) 2017-09-06 2020-06-02 At&T Intellectual Property I, L.P. Method and apparatus for coupling an electromagnetic wave to a transmission medium
US10608312B2 (en) 2017-09-06 2020-03-31 At&T Intellectual Property I, L.P. Method and apparatus for generating an electromagnetic wave that couples onto a transmission medium
US10469228B2 (en) 2017-09-12 2019-11-05 At&T Intellectual Property I, L.P. Apparatus and methods for exchanging communications signals
US9998172B1 (en) 2017-10-04 2018-06-12 At&T Intellectual Property I, L.P. Apparatus and methods for processing ultra-wideband electromagnetic waves
US10764762B2 (en) 2017-10-04 2020-09-01 At&T Intellectual Property I, L.P. Apparatus and methods for distributing a communication signal obtained from ultra-wideband electromagnetic waves
US10498589B2 (en) 2017-10-04 2019-12-03 At&T Intellectual Property I, L.P. Apparatus and methods for mitigating a fault that adversely affects ultra-wideband transmissions
US10123217B1 (en) 2017-10-04 2018-11-06 At&T Intellectual Property I, L.P. Apparatus and methods for communicating with ultra-wideband electromagnetic waves
US10454151B2 (en) 2017-10-17 2019-10-22 At&T Intellectual Property I, L.P. Methods and apparatus for coupling an electromagnetic wave onto a transmission medium
US10763916B2 (en) 2017-10-19 2020-09-01 At&T Intellectual Property I, L.P. Dual mode antenna systems and methods for use therewith
US10553959B2 (en) 2017-10-26 2020-02-04 At&T Intellectual Property I, L.P. Antenna system with planar antenna and directors and methods for use therewith
US10553960B2 (en) 2017-10-26 2020-02-04 At&T Intellectual Property I, L.P. Antenna system with planar antenna and methods for use therewith
US10554235B2 (en) 2017-11-06 2020-02-04 At&T Intellectual Property I, L.P. Multi-input multi-output guided wave system and methods for use therewith
US10003364B1 (en) 2017-11-09 2018-06-19 At&T Intellectual Property I, L.P. Guided wave communication system with interference cancellation and methods for use therewith
US10555318B2 (en) 2017-11-09 2020-02-04 At&T Intellectual Property I, L.P. Guided wave communication system with resource allocation and methods for use therewith
US10355745B2 (en) 2017-11-09 2019-07-16 At&T Intellectual Property I, L.P. Guided wave communication system with interference mitigation and methods for use therewith
US10284261B1 (en) 2017-11-15 2019-05-07 At&T Intellectual Property I, L.P. Access point and methods for communicating with guided electromagnetic waves
US10230428B1 (en) 2017-11-15 2019-03-12 At&T Intellectual Property I, L.P. Access point and methods for use in a radio distributed antenna system
US10555249B2 (en) 2017-11-15 2020-02-04 At&T Intellectual Property I, L.P. Access point and methods for communicating resource blocks with guided electromagnetic waves
US10374281B2 (en) 2017-12-01 2019-08-06 At&T Intellectual Property I, L.P. Apparatus and method for guided wave communications using an absorber
US10389419B2 (en) 2017-12-01 2019-08-20 At&T Intellectual Property I, L.P. Methods and apparatus for generating and receiving electromagnetic waves
US10469192B2 (en) 2017-12-01 2019-11-05 At&T Intellectual Property I, L.P. Methods and apparatus for controllable coupling of an electromagnetic wave
US10820329B2 (en) 2017-12-04 2020-10-27 At&T Intellectual Property I, L.P. Guided wave communication system with interference mitigation and methods for use therewith
US10424845B2 (en) 2017-12-06 2019-09-24 At&T Intellectual Property I, L.P. Method and apparatus for communication using variable permittivity polyrod antenna
US11018525B2 (en) 2017-12-07 2021-05-25 At&T Intellectual Property 1, L.P. Methods and apparatus for increasing a transfer of energy in an inductive power supply
US10680308B2 (en) 2017-12-07 2020-06-09 At&T Intellectual Property I, L.P. Methods and apparatus for bidirectional exchange of electromagnetic waves
US10171158B1 (en) 2018-03-26 2019-01-01 At&T Intellectual Property I, L.P. Analog surface wave repeater pair and methods for use therewith
US10340979B1 (en) 2018-03-26 2019-07-02 At&T Intellectual Property I, L.P. Surface wave communication system and methods for use therewith
US10714824B2 (en) 2018-03-26 2020-07-14 At&T Intellectual Property I, L.P. Planar surface wave launcher and methods for use therewith
US10200106B1 (en) 2018-03-26 2019-02-05 At&T Intellectual Property I, L.P. Analog surface wave multipoint repeater and methods for use therewith
US10686493B2 (en) 2018-03-26 2020-06-16 At&T Intellectual Property I, L.P. Switching of data channels provided in electromagnetic waves and methods thereof
US10326495B1 (en) 2018-03-26 2019-06-18 At&T Intellectual Property I, L.P. Coaxial surface wave communication system and methods for use therewith
US10727577B2 (en) 2018-03-29 2020-07-28 At&T Intellectual Property I, L.P. Exchange of wireless signals guided by a transmission medium and methods thereof
US10547545B2 (en) 2018-03-30 2020-01-28 At&T Intellectual Property I, L.P. Method and apparatus for switching of data channels provided in electromagnetic waves
US10581275B2 (en) 2018-03-30 2020-03-03 At&T Intellectual Property I, L.P. Methods and apparatus for regulating a magnetic flux in an inductive power supply
US10305192B1 (en) 2018-08-13 2019-05-28 At&T Intellectual Property I, L.P. System and method for launching guided electromagnetic waves with impedance matching
US10405199B1 (en) 2018-09-12 2019-09-03 At&T Intellectual Property I, L.P. Apparatus and methods for transmitting or receiving electromagnetic waves
US10505584B1 (en) 2018-11-14 2019-12-10 At&T Intellectual Property I, L.P. Device with resonant cavity for transmitting or receiving electromagnetic waves
US10523269B1 (en) 2018-11-14 2019-12-31 At&T Intellectual Property I, L.P. Device with configurable reflector for transmitting or receiving electromagnetic waves
US10371889B1 (en) 2018-11-29 2019-08-06 At&T Intellectual Property I, L.P. Method and apparatus for providing power to waveguide systems
US10469156B1 (en) 2018-12-13 2019-11-05 At&T Intellectual Property I, L.P. Methods and apparatus for measuring a signal to switch between modes of transmission

Cited By (1)

* Cited by examiner, † Cited by third party
Publication number Priority date Publication date Assignee Title
KR20250088891A (ko) * 2023-12-11 2025-06-18 주식회사 유니컨 통신 선로

Also Published As

Publication number Publication date
US10770800B2 (en) 2020-09-08
CN107851869A (zh) 2018-03-27
US20180342811A1 (en) 2018-11-29
WO2016209375A1 (en) 2016-12-29
BR112017028005A2 (pt) 2018-11-06
CA2990167A1 (en) 2016-12-29
US10090601B2 (en) 2018-10-02
MX2017016927A (es) 2018-11-09
JP2018524912A (ja) 2018-08-30
US20160380327A1 (en) 2016-12-29
EP3314691A1 (en) 2018-05-02
CA2990167C (en) 2023-02-14
US9865911B2 (en) 2018-01-09
US20160380358A1 (en) 2016-12-29
EP3314691B1 (en) 2020-03-18

Similar Documents

Publication Publication Date Title
KR102044144B1 (ko) 지향성 결합 디바이스 및 그와 함께 사용을 위한 방법들
KR102135023B1 (ko) 전력선상의 표면파들에 대한 수동 전기 결합 및 그와 함께 사용을 위한 방법들
KR102035475B1 (ko) 자기 결합 디바이스 및 그와 함께 사용하기 위한 방법들
US10560201B2 (en) Methods and apparatus for inducing a fundamental wave mode on a transmission medium
KR102407906B1 (ko) 네트워크 종단 및 그와 함께 사용을 위한 방법들
US10297895B2 (en) Methods and apparatus for inducing a non-fundamental wave mode on a transmission medium
KR20180021839A (ko) 송신 매체상에 비기본파 모드를 유도하기 위한 방법들 및 장치
US10199705B2 (en) Method and apparatus for exchanging communication signals
US10141975B2 (en) Method and apparatus for communicating network management traffic over a network
KR20180012805A (ko) 전자기파들을 론칭하기 위한 방법 및 장치
KR20180006946A (ko) 비도전성 재료를 갖는 도파관 및 그와 함께 사용을 위한 방법들
KR20180015213A (ko) 호스트 노드 디바이스 및 그와 함께 사용을 위한 방법들
KR20180014720A (ko) 클라이언트 노드 디바이스 및 표면파 전력선 통신들에서 그와 함께 사용을 위한 방법들
KR20180018674A (ko) 중계기 및 표면파 전력선 통신들에서 그와 함께 사용을 위한 방법들
KR20190064642A (ko) 회로들을 통하여 유도파들을 런칭하기 위한 장치 및 방법들
KR20180008601A (ko) 다수의 코어들을 갖는 송신 매체 및 그와 함께 사용하기 위한 방법들
KR20190060859A (ko) 안테나를 통하여 유도파들을 런칭하기 위한 장치 및 방법들
KR20190115100A (ko) 유도파 런처의 동적 임피던스 일치를 위한 장치 및 방법들
KR20180061262A (ko) 통신 시스템, 유도파 스위치 및 이와의 사용을 위한 방법들
KR20180069844A (ko) 무선 신호들을 교환하는 안테나 구조체
KR20180070637A (ko) 무선 통신을 조정하는 방법 및 장치
KR20180071286A (ko) 무선 신호들을 지향시키는 방법 및 장치

Legal Events

Date Code Title Description
PA0105 International application

Patent event date: 20180124

Patent event code: PA01051R01D

Comment text: International Patent Application

PG1501 Laying open of application
PC1203 Withdrawal of no request for examination