JP2010016886A - 無線icデバイス - Google Patents

無線icデバイス Download PDF

Info

Publication number
JP2010016886A
JP2010016886A JP2009238219A JP2009238219A JP2010016886A JP 2010016886 A JP2010016886 A JP 2010016886A JP 2009238219 A JP2009238219 A JP 2009238219A JP 2009238219 A JP2009238219 A JP 2009238219A JP 2010016886 A JP2010016886 A JP 2010016886A
Authority
JP
Japan
Prior art keywords
wireless
electrode
loop
radiation electrode
loop electrode
Prior art date
Legal status (The legal status is an assumption and is not a legal conclusion. Google has not performed a legal analysis and makes no representation as to the accuracy of the status listed.)
Granted
Application number
JP2009238219A
Other languages
English (en)
Other versions
JP5136538B2 (ja
Inventor
Noboru Kato
登 加藤
Nobuo Ikemoto
伸郎 池本
Current Assignee (The listed assignees may be inaccurate. Google has not performed a legal analysis and makes no representation or warranty as to the accuracy of the list.)
Murata Manufacturing Co Ltd
Original Assignee
Murata Manufacturing Co Ltd
Priority date (The priority date is an assumption and is not a legal conclusion. Google has not performed a legal analysis and makes no representation as to the accuracy of the date listed.)
Filing date
Publication date
Application filed by Murata Manufacturing Co Ltd filed Critical Murata Manufacturing Co Ltd
Priority to JP2009238219A priority Critical patent/JP5136538B2/ja
Publication of JP2010016886A publication Critical patent/JP2010016886A/ja
Application granted granted Critical
Publication of JP5136538B2 publication Critical patent/JP5136538B2/ja
Active legal-status Critical Current
Anticipated expiration legal-status Critical

Links

Images

Classifications

    • HELECTRICITY
    • H01ELECTRIC ELEMENTS
    • H01QANTENNAS, i.e. RADIO AERIALS
    • H01Q1/00Details of, or arrangements associated with, antennas
    • H01Q1/12Supports; Mounting means
    • H01Q1/22Supports; Mounting means by structural association with other equipment or articles
    • H01Q1/2208Supports; Mounting means by structural association with other equipment or articles associated with components used in interrogation type services, i.e. in systems for information exchange between an interrogator/reader and a tag/transponder, e.g. in Radio Frequency Identification [RFID] systems
    • H01Q1/2225Supports; Mounting means by structural association with other equipment or articles associated with components used in interrogation type services, i.e. in systems for information exchange between an interrogator/reader and a tag/transponder, e.g. in Radio Frequency Identification [RFID] systems used in active tags, i.e. provided with its own power source or in passive tags, i.e. deriving power from RF signal
    • GPHYSICS
    • G06COMPUTING OR CALCULATING; COUNTING
    • G06KGRAPHICAL DATA READING; PRESENTATION OF DATA; RECORD CARRIERS; HANDLING RECORD CARRIERS
    • G06K19/00Record carriers for use with machines and with at least a part designed to carry digital markings
    • G06K19/06Record carriers for use with machines and with at least a part designed to carry digital markings characterised by the kind of the digital marking, e.g. shape, nature, code
    • G06K19/067Record carriers with conductive marks, printed circuits or semiconductor circuit elements, e.g. credit or identity cards also with resonating or responding marks without active components
    • G06K19/07Record carriers with conductive marks, printed circuits or semiconductor circuit elements, e.g. credit or identity cards also with resonating or responding marks without active components with integrated circuit chips
    • GPHYSICS
    • G06COMPUTING OR CALCULATING; COUNTING
    • G06KGRAPHICAL DATA READING; PRESENTATION OF DATA; RECORD CARRIERS; HANDLING RECORD CARRIERS
    • G06K19/00Record carriers for use with machines and with at least a part designed to carry digital markings
    • G06K19/04Record carriers for use with machines and with at least a part designed to carry digital markings characterised by the shape
    • G06K19/041Constructional details
    • GPHYSICS
    • G06COMPUTING OR CALCULATING; COUNTING
    • G06KGRAPHICAL DATA READING; PRESENTATION OF DATA; RECORD CARRIERS; HANDLING RECORD CARRIERS
    • G06K19/00Record carriers for use with machines and with at least a part designed to carry digital markings
    • G06K19/06Record carriers for use with machines and with at least a part designed to carry digital markings characterised by the kind of the digital marking, e.g. shape, nature, code
    • G06K19/067Record carriers with conductive marks, printed circuits or semiconductor circuit elements, e.g. credit or identity cards also with resonating or responding marks without active components
    • G06K19/07Record carriers with conductive marks, printed circuits or semiconductor circuit elements, e.g. credit or identity cards also with resonating or responding marks without active components with integrated circuit chips
    • G06K19/077Constructional details, e.g. mounting of circuits in the carrier
    • G06K19/07745Mounting details of integrated circuit chips
    • HELECTRICITY
    • H01ELECTRIC ELEMENTS
    • H01QANTENNAS, i.e. RADIO AERIALS
    • H01Q23/00Antennas with active circuits or circuit elements integrated within them or attached to them
    • HELECTRICITY
    • H01ELECTRIC ELEMENTS
    • H01QANTENNAS, i.e. RADIO AERIALS
    • H01Q7/00Loop antennas with a substantially uniform current distribution around the loop and having a directional radiation pattern in a plane perpendicular to the plane of the loop
    • HELECTRICITY
    • H04ELECTRIC COMMUNICATION TECHNIQUE
    • H04BTRANSMISSION
    • H04B5/00Near-field transmission systems, e.g. inductive or capacitive transmission systems
    • H04B5/40Near-field transmission systems, e.g. inductive or capacitive transmission systems characterised by components specially adapted for near-field transmission
    • H04B5/48Transceivers

Landscapes

  • Engineering & Computer Science (AREA)
  • Computer Hardware Design (AREA)
  • Microelectronics & Electronic Packaging (AREA)
  • Physics & Mathematics (AREA)
  • General Physics & Mathematics (AREA)
  • Theoretical Computer Science (AREA)
  • Computer Networks & Wireless Communication (AREA)
  • Signal Processing (AREA)
  • Near-Field Transmission Systems (AREA)
  • Details Of Aerials (AREA)

Abstract

【課題】金属物品の作製コストを低減し、金属物品を放射体として用いる無線ICデバイスを構成する。
【解決手段】リーダ・ライタからの信号を受ける面とは反対面側に無線ICデバイス主要部6を設ける。無線ICデバイス主要部6は、絶縁性基板にループ状電極7と、それに結合する電磁結合モジュール1とを備えている。リーダ・ライタからの信号(磁界Ho)により、金属物品60の導体主面の全体にうず電流Jが発生し、このうず電流Jにより導体主面に垂直な方向に磁界Hiが発生する。そして、ループ状電極7は磁界Hiと結合する。このことにより、無線ICデバイス主要部6とは反対の主面からの信号に対してもRF−IDとして機能する。これにより、金属物品の作製コストが低減し、金属物品を放射体として用いる無線ICデバイスが構成できる。
【選択図】図24

Description

本発明は、電磁波により非接触でデータ通信を行うRFID(RadioFrequency Identification)システムに適用する無線ICデバイスに関する。
近年、物品の管理システムとして、誘導電磁界を発生するリーダ・ライタと物品に付された所定の情報を記憶した無線ICデバイスとで非接触通信をし、情報を伝達するRFIDシステムが利用されている。
図1はその特許文献1に示されているICタグラベルを装着した金属物品の例を示す外観斜視図である。
ICタグラベル102は四角形の薄いフィルム状をなし、その中央にICチップ102aが配置され、外側周辺にはアンテナ102bが薄膜で形成されている。このICタグ102を金属物品101の頭部101aに設けている凹部105aに浮かせて収納するためにICタグ102は非金属性プレート103の裏面に固定している。この非金属性プレート103を凹部105a内に嵌合して固定する。また、この頭部101aには切欠部106を形成している。
上記構造にすることにより、ICタグ102内のアンテナ102bで発生する磁界を、切欠部106、金属物品101の外部、非金属性プレート103を通ってアンテナ102bに戻るループ状にすることができる。
これによって、ICタグ付き金属物品が構成されている。
特開2003−6599号公報
しかしながら、上記特許文献1のICタグやそれを設けた金属物品では、以下のような問題がある。
(1)凹部や切欠部等、複雑な構造を作る必要があり、工程が長くなること、余分な部材が必要なことにより金属物品の作製コストが高くなる。
(2)凹部を閉鎖するプレートは非金属性であるため、金属物品とは異なる材料を用意する必要があり、工程が長くなることおよび余分な材料が必要なことにより金属製構造物の作製コストが高くなる。また、金属物品との固着部分において、熱膨張係数の差による応用歪みが発生するため、クラックの発生や、破壊の可能性もある。
(3)ICタグとして動作するためのアンテナパターンが必要になる。
そこで、本発明の目的は、上述の問題を解消して、金属物品の作製コストを低減し、金属物品を放射体として用いる無線ICデバイスを提供することにある。
前記課題を解決するために、この発明の無線ICデバイスは次のように構成する。
(1)無線ICと該無線ICに導通あるいは電磁界結合する給電回路基板とからなる電磁結合モジュールまたは無線ICチップである、高周波デバイスと、
放射体として作用する放射電極と、
前記高周波デバイスおよび前記放射電極に結合し、ループ面が前記放射電極の面に対して垂直または傾斜関係にあるループ状電極と、
を備え
前記ループ状電極が、前記放射電極の領域内に近接配置されていることを特徴とする。
(2)前記ループ状電極は、例えば絶縁層を介して前記放射電極と電磁界結合させる。
(3)前記ループ状電極は、例えば前記放射電極に対して電気的に直接導通し、前記放射電極の一部をループ状電極に兼用させる。
(4)前記高周波デバイスの実装部と前記ループ状電極との間には、前記高周波デバイスと前記ループ状電極とを直接導通させる整合回路を備えてもよい。
(5)前記給電回路基板内には共振回路および/または整合回路を備えてもよい。
(6)例えば、前記共振回路の共振周波数は、前記放射電極により送受信される信号の周波数に実質的に相当するものとする。
(7)前記高周波デバイスまたは前記ループ状電極を例えば樹脂により被覆する。
(8)前記高周波デバイスおよび前記ループ状電極を例えば前記放射電極に樹脂でモールドする。
(9)前記放射電極は導電層を含む例えば円柱状の金属物品とする。
(10)前記放射電極は例えば電子機器内の回路基板に形成された電極パターンとする。
(11)前記放射電極は例えば電子機器内のコンポーネントに設けられた金属板とする。
(12)前記ループ状電極は、例えば前記放射電極の外部の電磁波送受信面とは反対面側に配置する。
(13)前記ループ状電極は、例えば前記放射電極または当該放射電極を含む導体面で覆われたものとする。
(1)放射電極と垂直または傾斜関係にあるループ状電極が、放射電極の領域内に設けられているので、磁界Hが放射板の表面に対して平行に発生したときに、放射板の面に対してほぼ垂直に電界Eが誘起され、この電界ループによって磁界ループを誘起し、その連鎖により電磁界分布が広がる。
また、金属物品の全体または一部を放射体として利用できるため、放射特性を向上させることができる。
さらに、電磁結合モジュールを用いることにより、無線ICチップと放射電極とのインピーダンス整合を給電回路基板内で設計できるため、設計自由度が向上する。
この発明に係るループ状電極を放射電極に対して垂直にしたときに放射電極とループ状電極とが最も結合するが、ループ状電極のループ面が放射電極の面に対して斜めに傾斜しても結合量が小さくなるものの両者は結合する。そのため、放射電極に対するループ状電極の配置関係の自由度が高い。
(2)高周波デバイスと結合し、且つ放射電極と絶縁層を介して電磁界結合するループ状電極を備えることによって、高周波デバイスとループ状電極とを容易に整合させることができ、且つループ状電極と放射電極とが直流的に絶縁されているので静電気に対する耐性が高い。
(3)高周波デバイスと結合し、且つ放射電極と電気的に直接導通し、放射電極の一部をループ状電極に兼用したことによって、高周波デバイスとループ状電極とを容易に整合させることができ、且つループ状電極が放射電極と強く結合するので高利得化が図れる。
(4)高周波デバイスを実装する実装部とループ状電極との間に整合回路を備えることにより、整合回路を放射電極と高周波デバイスとのインピーダンス整合用インダクタとして利用することができ、無線ICデバイスとしてのインピーダンス整合設計の設計自由度が高まり、その設計も容易になる。
(5)前記給電回路基板内に共振回路を設けることによって、周波数の選択性が高まり、自己共振周波数により無線ICデバイスの動作周波数をほぼ決定することができる。それに伴い、RFIDシステムで用いる周波数の信号のエネルギーの授受(送受信)を高効率のもとで行うことができる。これにより無線ICデバイスの放射特性を向上させることができる。
また、前記給電回路基板内に整合回路を設けることによって、RFIDシステムで用いる周波数の信号のエネルギーの授受(送受信)を高効率のもとで行うことができる。
(6)前記共振回路の共振周波数を前記放射電極により送受信される信号の周波数に実質的に合わせることにより、RFIDシステムで用いる周波数の信号のエネルギーの授受(送受信)を高効率のもとで行うことができる。また、放射用電極は単に給電回路部と結合して、必要な利得に応じた大きさを備えていればよく、使用する周波数に応じて放射電極の形状や材質を限定する必要がなく、どのような物品にも対応することができる。
(7)高周波デバイスまたはループ状電極を樹脂により被覆したことによって、電磁結合モジュールを金属物品に直接取り付けることができ、設計自由度が向上する。
(8)高周波デバイスおよびループ状電極を放射電極に樹脂でモールドしたことによって、電磁結合モジュールの被覆工程と金属物品への接着を同時に行うことができ、工程の短縮が図れ、低コスト化が可能になる。
(9)導電層を含む円柱状の金属物品に成形した物品を放射電極とすることによって、金属物品をそのまま利用でき、且つ物品のほぼ全体が放射体として作用するので、複数の物品が重なっていても、各物品のIDを読み取ることが可能となる。
(10)電子機器内の回路基板に形成された電極パターンを放射電極とすることによって、電子機器に備える回路基板をそのまま利用でき、且つ高周波デバイスの実装が容易となる。
(11)電子機器内の例えば、液晶表示パネル等のコンポーネントに設けられた金属板を放射電極とすることによって、電子機器内に設けられるコンポーネントをそのまま利用することができ、大型化・コストアップすることもない。
(12)前記ループ状電極を、前記放射電極の外部の電磁波送受信面、すなわち高周波デバイスの設置面とは反対面側に配置することによって、物品の内部に無線ICデバイスを設けることができ、無線ICデバイスが放射電極で保護され、その耐久性が増す。
(13)前記ループ状電極を、前記放射電極または当該放射電極を含む導体面で覆うことにより 無線ICデバイスの耐久性が増し、耐環境性が高まる。
特許文献1に示されている無線ICデバイスの構成を示す図である。 第1の実施形態に係る無線ICデバイスおよびそれを備えた物品の構成を示す図である。 図2に示した無線ICデバイスの主要部の拡大図である。 図2に示した金属物品表面の無線ICデバイス付近の電磁界分布を示す概略図である。 第2の実施形態に係る無線ICデバイスの構成を示す図である。 第3の実施形態に係る無線ICデバイスおよびそれを備えた物品の構成を示す図である。 図6に示した物品の無線ICデバイスの主要部の拡大図である。 第4の実施形態に係る無線ICデバイスおよびそれを備えた物品の構成を示す図である。 図8に示した無線ICデバイスの主要部の拡大図である。 第5の実施形態に係る無線ICデバイスおよびそれを備えた物品の構成を示す図である。 図10に示した無線ICデバイス主要部の拡大図である。 第6の実施形態に係る無線ICデバイスおよびそれを備えた物品の構成を示す図である。 図12に示した物品の無線ICデバイス主要部の拡大図である。 無線ICデバイスの電磁結合モジュールの外観斜視図である。 給電回路基板の内部の構成を示す分解図である。 給電回路基板の等価回路図である。 第7の実施形態に係る無線ICデバイスの電磁結合モジュールの構成を示す図である。 図17に示した電磁結合モジュールの主要部の断面図である。 第8の実施形態に係る無線ICデバイスの電磁結合モジュールの構成を示す図である。 第9の実施形態に係る無線ICデバイスの給電回路基板の分解斜視図である。 図20に示した無線ICデバイスの主要部の等価回路図である。 第10の実施形態に係る無線ICデバイスおよびそれを備えた物品の構成を示す図である。 図22に示した無線ICデバイスを備えたノート型パソコン内部の回路基板の主要部の断面図である。 第11の実施形態に係る無線ICデバイスの主要部の断面図である。 第12の実施形態に係る無線ICデバイスの主要部の断面図である。 第13の実施形態に係る無線ICデバイスの主要部の断面図である。 第14の実施形態に係る無線ICデバイスの主要部の断面図である。 第15の実施形態に係る無線ICデバイスの主要部の断面図である。 第16の実施形態に係る無線ICデバイスの主要部の断面図である。
1…電磁結合モジュール
4…給電回路基板
5…ICチップ
6…無線ICデバイス主要部
7…ループ状電極
8…インピーダンス整合部
9,9a,9b…金属リボン部
10…基材
11…整合回路
15…回路基板
16…電極パターン
17,18…電子部品
20…インダクタ電極
21…モールド樹脂
25…キャパシタ電極
30…ループ状電極
35a〜35d…無線ICチップ実装用ランド
40…給電回路基板
41A〜41H…誘電体層
42a…ビアホール
45a,45b…インダクタ電極
46,47…インダクタ電極
51…キャパシタ電極
53〜57…キャパシタ電極
60〜64,70…金属物品
65…絶縁性シート
66,67,68,69…無線ICデバイス主要部
71,72,73…ループ状電極部
81〜86…金属ケース
87,88…金属トレイ
91,92…パッキン
93…ヒンジ
94…突起部
95…隙間
96…リム
C1,C2…キャパシタ
L1,L1a,L1b,L2…インダクタ
E…電界
H…磁界
《第1の実施形態》
図2は、第1の実施形態に係る無線ICデバイスおよびそれを備えた金属物品の外観斜視図である。金属物品60は、少なくとも表面または表面付近が金属である金属物品である。
この金属物品60の所定の面に対して無線ICデバイス主要部6を設けている。符号6を無線ICデバイスと呼ばないのは、この符号6部分だけで無線ICデバイスを構成しているのではなく、金属物品60の金属面の一部を含めて無線ICデバイスとして作用させているからである。
図3は無線ICデバイス主要部を拡大した図である。無線ICデバイス主要部6は、絶縁性基板にループ状電極7と、それに結合する電磁結合モジュール1とを備えている。この無線ICデバイス主要部6は、ループ状電極7のループ面が金属物品60に対してほぼ垂直に向くように配置している。
なお、ループ状電極7を形成した無線ICデバイス主要部6は、絶縁性接着剤等により金属物品60に貼着している。
図4は、ループ状電極7を送信用補助放射体として作用させた場合の金属物品60に生じる電磁界分布の例を概略的に示すものである。図中破線は、磁界Hのループ、実線は電界Eのループをそれぞれ示している。ループ状電極7は磁界用補助放射体として作用し、ループ状電極7によって磁界Hは金属物品60の表面に対して平行に発生し、金属物品60の面に対してほぼ垂直に電界Eを誘起し、この電界ループによって磁界ループを誘起し、その連鎖により電磁界分布が広がる。
上述の例ではループ状電極7を送信用補助放射体として説明したが、これが受信用補助放射体として作用する場合にも同様に作用して高利得が得られる。
なお、図3に示した電磁結合モジュール1は、後述する無線ICチップと給電回路基板とからなる。無線ICチップと給電回路基板は、電気的に導通するように接続しても、電磁界的に結合するようにしても構わない。電磁界結合させる場合は、両者の接続電極間に誘電体薄膜等で容量を形成する。無線ICチップと、給電回路基板と、を容量で結合させることにより、無線ICチップの静電気による破壊を防ぐことができる。
また、給電回路基板を用いる場合には、給電回路基板の電極をループ状電極7の両端に電磁界結合させる。または電磁結合モジュール1は単体の無線ICチップに置換してもよい。いずれの場合でも、ループ状電極7は金属物品60から直流的には分離されているので、この無線ICデバイスは静電気に対する耐性が高いという効果をもつ。
また、ループ状電極7は、電磁結合モジュール1の入出力端子間を結合するように配置されているものであれば、どのような形状であってもよい。
因みに、金属物品の表面の電界は金属物品の表面に対して垂直に立つので、ループ状電極7のループ面が金属物品60の面に対して垂直から傾くと、ループ状電極7による磁界から誘起される電界の強度が低下するので、アンテナの利得は低下する。そのため、ループ状電極7のループ面は金属物品60に対してほぼ垂直に向ける程高利得が得られるが、ループ状電極7のループ面が金属物品60の面に対して斜めに傾斜していても、金属物品60は放射体として作用するため、必要に応じてループ状電極7のループ面を傾斜させてもよい。
なお、ループ状電極7を金属物品60に対してほぼ垂直に配置するために、金属物品60の表面に給電回路基板の先端部を挿入するような凹部を形成しても構わない。その場合、凹部の内部に絶縁性接着剤等の絶縁材料を配置してもよい。
また、第1の実施形態においては、ループ状電極7を金属物品60の表面に直接貼付しているが、例えば金属箔または金属板等の上にループ状電極7を貼付し、その金属箔または金属板を金属物品60に貼付してもよい。
《第2の実施形態》
図5は第2の実施形態に係る2つの無線ICデバイスの構成を示す図である。この第2の実施形態は、高周波デバイスの実装部とループ状電極との間に、高周波デバイスとループ状電極とを直接導通させる整合回路を備えたものである。
図5(A)において、金属物品70は、少なくとも表面または表面付近が金属である金属物品である。そして、この金属物品70に対して、ループ状電極73のループ面がほぼ垂直に向いて配置されることで、金属物品70が放射体として作用する。
無線ICデバイス主要部69の内部には、ミアンダ状の電極からなる整合回路11および、高周波デバイス(電磁結合モジュールまたは無線ICチップ)の実装部である金属リボン部9a,9bを形成している。
このように、整合回路11による整合回路を設けたことにより、金属リボン部9a,9bに無線ICチップを直接実装することができる。なお、無線ICチップをループ状電極に直接実装した場合は、整合回路11を含むループ状電極により無線ICデバイスの動作周波数を実質的に決定している。
図5(B)は、図5(A)で示した無線ICデバイス主要部69の金属リボン部9a,9bに対して、電磁結合モジュール1を実装した状態を示している。整合回路11および電磁結合モジュールの実装部である金属リボン部9a,9b、ループ状電極73の構成は図5(A)と同様である。
このような構成により、ループ状電極73は磁界用補助放射体として作用し、金属物品70と結合し、図4に示したものと同様の作用により、金属物品70が放射体として作用する。
なお、図5の金属物品70は、例えば、携帯電話端末内部の回路基板上に形成したベタ電極であってもよい。
《第3の実施形態》
図6は第3の実施形態に係る無線ICデバイスおよびそれを備えた金属物品の外観斜視図である。金属物品61は、少なくとも表面または表面付近が金属である金属物品である。
図3に示した例では、無線ICデバイス主要部6の基板にループ状電極の全体を設けたが、この図6に示す例では、無線ICデバイス主要部66の基板にループ状電極の一部であるループ状電極部71を設け、金属物品61の一部をループ状電極の一部に兼用している。
図7は図6に示した無線ICデバイス主要部66の拡大図である。無線ICデバイス主要部66は、基板にループ状電極部71,71と、それに結合する電磁結合モジュール1とを備えている。この電磁結合モジュール1の構成については図3に示したものと同様である。ループ状電極部71,71は、ループ状電極の一部を構成し、金属物品61の表面の一部をループ状電極の一部に兼用している。すなわち、ループ状電極部71,71と金属物品61の表面とによって、図中Lで示すようにループ状電極を構成している。
このような構成であっても、ループ状電極部71,71と金属物品61の表面とによるループ状電極は磁界用補助放射体として作用し、金属物品61と結合して、図4に示したものと同様の作用により、金属物品61の表面が放射体として作用する。
《第4の実施形態》
図8は第4の実施形態に係る無線ICデバイスを備えた金属物品の外観図である。金属物品62は例えば円柱状の金属製の缶である。図2・図6に示した例では金属物品は多面体状であったが、この図8に示す例では、金属物品62は円柱状であり、その側面に無線ICデバイス主要部67を取り付けている。
図9は、図8に示した無線ICデバイス主要部67の実装部分の拡大図である。無線ICデバイス主要部67は、ループ状電極部72,72と、それに結合する電磁結合モジュール1とを備えている。図7に示した例では基板にループ状電極部71,71を形成したが、この図9の例では金属板によりループ状電極部72,72を形成している。電磁結合モジュール1の構成は図3または図7で示したものと同様である。
このような構成であっても、ループ状電極部72,72と金属物品62の表面とによるループ状電極は磁界用補助放射体として作用し、金属物品62と結合して、図4に示したものと同様の作用により、金属物品62の表面が放射体として作用する。
なお、導電部が放射体として作用する物品であれば、それらが多数重なっている場合には、上記電界と磁界の誘起は物品間でも連鎖して拡がっていく。そのため、多数の物品が重なっていても(寧ろ重なっている方が)、高利得な無線ICデバイスとして作用する。例えば、本願発明を適用した缶入り清涼飲料水の山の一部に対して、リーダ・ライタのアンテナを近接させた状態で、その山となっている全ての缶入り清涼飲料水のIDを読み取ることができる。
また、紙製の容器であっても、アルミニウム等の導電層を含むものであれば、その導電層が放射体として作用する。
《第5の実施形態》
図10は、第5の実施形態に係る無線ICデバイスを備えた金属物品の外観図である。金属物品63は例えば円柱状の金属製の缶である。図8に示した例では、金属物品62の側面に電磁結合モジュール1を配置したが、この図10に示した例では、金属物品63の一部に金属リボン部9,9を設け、その金属リボン部9,9に電磁結合モジュール1を配置している。この電磁結合モジュール1および金属リボン部9,9の周囲には樹脂等の絶縁物を被覆またはモールドしてもよい。
図11は図10に示した電磁結合モジュール1の実装部分の拡大図である。金属物品63の一部に設けている金属リボン部9および金属物品63の一部が図中Lで示すようにループ状電極として作用する。
このような構成であっても、金属リボン部9および金属物品63の一部が磁界用補助放射体として作用し、金属物品63と結合して、図4に示したものと同様の作用により、金属物品63が放射体として作用する。
《第6の実施形態》
図12は、第6の実施形態に係る無線ICデバイスを備えた金属物品の外観図である。この金属物品64の表面には無線ICデバイス主要部68を備えている。
図13は、この無線ICデバイス主要部68の拡大図である。無線ICデバイス主要部68は全体の形状が所謂タックインデックス形状をなし、絶縁性シート65の内面には粘着層を備えていて、絶縁性シート65でループ状電極7および電磁結合モジュール1を挟みこんでいる。ループ状電極7および電磁結合モジュール1の構成は図3に示したものと同様である。
そして、ループ状電極7が図12に示した金属物品64の面に対して垂直に向くように丁度タックインデックスを貼り付けるようにして取り付ける。
このような構成であっても、ループ状電極7は磁界用補助放射体として作用し、金属物品64と結合して、図4に示したものと同様の作用により、金属物品64の表面が放射体として作用する。
なお、金属物品に沿ったループをループ状電極7として作用させたが、他の実施例で示した通り、金属物品64をループ状電極の一部として作用させるとともに金属物品64を放射体として作用させてもよい。
《第7の実施形態》
図14は第7の実施形態に係る、無線ICデバイスに用いる電磁結合モジュール1の外観斜視図である。この電磁結合モジュール1は他の実施形態における各無線ICデバイスに適用できるものである。この電磁結合モジュール1は無線ICチップ5と給電回路基板4とで構成している。給電回路基板4は、放射体として作用する金属物品と無線ICチップ5との間のインピーダンス整合をとるとともに共振回路として作用する。
図15は給電回路基板4の内部の構成を示す分解図である。この給電回路基板4は、それぞれに電極パターンを形成した複数の誘電体層を積層してなる多層基板で構成している。最上層の誘電体層41Aには無線ICチップ実装用ランド35a〜35dを形成している。誘電体層41Bには無線ICチップ実装用ランド35bと導通するキャパシタ電極51を形成している。誘電体層41Cにはキャパシタ電極51との間でキャパシタC1を構成するキャパシタ電極53を形成している。誘電体層41D〜41Hにはインダクタ電極45a、45bをそれぞれ形成している。これらの複数層に亘って形成したインダクタ電極45a、45bは全体として2重のスパイラル状をなし、互いに強く誘電結合するインダクタL1、L2を構成している。また、誘電体層41FにはインダクタL1と導通するキャパシタ電極54を形成している。キャパシタ電極54はこの2つのキャパシタ電極53、55の間で挟まれてキャパシタ電極55を形成している。各誘電体層の電極間にはビアホール42a〜42iで導通させている。
図16は図15に示した給電回路基板4およびループ状電極を含めた等価回路図である。図16において、キャパシタC1は図15に示したキャパシタ電極51〜53間に生じる容量、キャパシタC2は図15に示したキャパシタ電極54と53、55との間に生じる容量、インダクタL1,L2は図15に示したインダクタ電極45a、45bによるものである。
キャパシタ電極55はループ状電極(図3に示した例ではループ状電極7)の一方の端部に対して平行に対向していて、その間で容量を構成する。また、インダクタ電極L1,L2はループ状電極7の他方の端部と電磁界結合する。
給電回路基板4においては、インダクタンス素子L1,L2とその浮遊容量とで構成される共振回路にて共振周波数が決定される。放射電極から放射される信号の周波数は、共振回路の自己共振周波数によって実質的に決まる。
給電回路基板4上に前記無線ICチップ5を搭載してなる電磁結合モジュール1は、図示しないリーダ・ライタから放射される高周波信号(例えばUHF周波数帯)を放射電極を介して受信し、給電回路基板4内の共振回路を共振させ、所定の周波数帯の受信信号のみを無線ICチップ5に供給する。一方、この受信信号から所定のエネルギーを取り出し、このエネルギーを駆動源として無線ICチップ5にメモリされている情報を、共振回路にて所定の周波数に整合させた後、放射電極に伝え、この放射電極からリーダ・ライタに送信・転送される。
このように、給電回路基板内に共振回路を設けることによって、周波数の選択性が高まり、自己共振周波数により無線ICデバイスの動作周波数をほぼ決定することができる。それに伴い、RFIDシステムで用いる周波数の信号のエネルギーの授受(送受信)を高効率のもとで行うことができる。また、放射体の形状やサイズを考慮して最適な共振周波数に設定することができ、これにより無線ICデバイスの放射特性を向上させることができる。
《第8の実施形態》
図17は、第8の実施形態に係る無線ICデバイスで用いる電磁結合モジュールの構成を示す図である。図17において基材10の内層には、ループ状電極30を形成している。この開放した2つの端部30a,30bの上部に絶縁層を介してインダクタ電極20およびキャパシタ電極25を形成している。インダクタ電極20はスパイラル状であり、その内側の端部は後述するようにキャパシタ電極25に接続している。
このインダクタ電極20とキャパシタ電極25の端部には図中の拡大図に示す通り、無線ICチップ5を搭載している。すなわちインダクタ電極20の端部に無線ICチップ実装用ランド35a、キャパシタ電極25の端部に無線ICチップ実装用ランド35bをそれぞれ形成し、さらに無線IC実装用ランド35c、35dを形成して無線ICチップ5を搭載している。
図18は図17におけるII−II部分の断面図である。図18において、ワイヤ21はインダクタ電極20とキャパシタ電極25とを接続している。
また、第8の実施形態の変形例として、図19のように、インピーダンス整合部8,8を介して、無線ICチップ5とループ状電極30とを導通させてもよい。
なお、インピーダンス整合部8,8をセラミック等の多層基板やガラスエポキシ基板等を用いて別に作製し、それをループ状電極30に対して導電性接着剤で貼着し導通させてもよい。
《第9の実施形態》
図20は第9の実施形態に係る無線ICデバイスの給電回路基板40の分解斜視図である。また、図21はその等価回路図である。
給電回路基板40は、それぞれに電極パターンを形成した複数の誘電体層を積層してなる多層基板で構成している。最上層の誘電体層41Aには無線ICチップ実装用ランド35a〜35dを形成している。誘電体層41Bには無線ICチップ実装用ランド35bと導通するキャパシタ電極51を形成している。誘電体層41Cにはキャパシタ電極51との間でキャパシタC1を構成するキャパシタ電極53を形成している。誘電体層41D〜41Hにはインダクタ電極45a、45bは全体として2重のスパイラル状をなすインダクタL1を構成している。
また誘電体層41FにはインダクタL1と導通するキャパシタ電極54を形成している。キャパシタ電極54はこの2つのキャパシタ電極53、55(56)の間で挟まれてキャパシタを構成する。また誘電体層41Hにはキャパシタ電極53と導通するキャパシタ電極55を形成している。
誘電体層41J〜41Nにはそれぞれインダクタ電極46、47を形成している。このインダクタ電極46、47によって複数回巻回したループ状電極L2を構成している。各誘電体層の電極間はビアホール42a〜42mで導通させている。
すなわちこの給電回路基板40は丁度図15に示した給電回路基板4にループ状電極を含めて構成したものである。
図21においてキャパシタC1は図20に示したキャパシタ電極51−53間に生じる容量、キャパシタC2は図20に示したキャパシタ電極54と53,55との間に生じる容量、インダクタL1a,L1bはそれぞれ図20に示したインダクタ電極45a,45bによるものであり、インダクタL2は図20に示したインダクタ電極46,47によるものである。
《第10の実施形態》
図22は無線ICデバイスを備えたノート型パソコンの外観斜視図であり、図23はその内部の回路基板の主要部の断面図である。ノート型パソコン内の回路基板15には電子部品17、18と共に無線ICデバイス主要部6を回路基板15に対してほぼ垂直に実装している。回路基板15の上面には電極パターン16を形成している。この電極パターン16は無線ICデバイス主要部6と結合して放射体として作用する。
また、その他の例として、図22に示したノート型パソコンの内部のコンポーネント(例えば液晶パネル)の背面に設けられている金属パネルに無線ICデバイスを構成してもよい、すなわち、第1〜第10の実施形態で示した無線ICデバイスを適用して上記金属パネルを放射体として作用させるようにしてもよい。
なお、以上に示した各実施形態以外にも金属体である物品であれば同様に適用できる。例えば、金庫、コンテナにも適用できる。
《第11の実施形態》
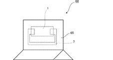
図24は、第11の実施形態に係る無線ICデバイスの主要部の断面図である。
第1の実施形態で図2に示した例では、リーダ・ライタから信号を受ける面(金属物品60の外部の電磁波送受信面)に無線ICデバイス主要部6を設けたが、第11の実施形態は、リーダ・ライタから信号を受ける面とは反対面側に無線ICデバイス主要部6を設けたものである。
無線ICデバイス主要部6は、第1の実施形態の場合と同様に、絶縁性基板にループ状電極7と、それに結合する電磁結合モジュール1とを備えている。
この構成によれば、リーダ・ライタからの信号(磁界Ho)により、金属物品60の導体主面の全体にうず電流Jが発生し、このうず電流Jにより導体主面に垂直な方向に磁界Hiが発生する。そして、ループ状電極7は磁界Hiと結合する。このことにより、無線ICデバイス主要部6とは反対の主面からの信号に対してもRF−IDとして機能させることができる。
なお、無線ICデバイス主要部6を設ける物品は金属物品に限らず、例えばカーボン等の導電性材料による面を備えていれば同様に適用できる。
また、ループ状電極7は導体面に接していてもよいし、離れていてもよい。
《第12の実施形態》
図25は、第12の実施形態に係る無線ICデバイスの主要部の断面図である。
第1の実施形態で図2に示した例では、金属物品60の表面(外面)に無線ICデバイス主要部6を設けたが、第12の実施形態は、金属物品60の内部(内面)に無線ICデバイス主要部6を設けたものである。
図25(A)は金属ケース(ハーフケース)81,82の接合部をケース内部に突出させたもの、図25(B)は金属ケース(ハーフケース)81,82の接合部をケース外部に突出させたものである。図25(C)は金属ケース(ハーフケース)81,82の一端を、導電性を保つヒンジ構造にしたものである。いずれも、接合部をゴムパッキンなどの電気絶縁物や電気抵抗体を介して接合させている。
無線ICデバイス主要部6は、第1の実施形態の場合と同様に、絶縁性基板にループ状電極7と、それに結合する電磁結合モジュール1とを備えている。
この構成によれば、第11の実施形態の場合と同様に、リーダ・ライタからの信号(磁界)により、金属ケース81,82の導体主面の全体にうず電流が発生し、このうず電流により導体主面に垂直な方向に磁界が発生する。この磁界がループ状電極7と結合する。このことにより、RF−IDタグを内蔵した金属物品として用いることができる。
図25(A)(B)の例では、上部の金属ケース82が、無線ICデバイス主要部6を設けた側の金属ケース81から直流的には絶縁されているが、金属ケースによる導体面に沿って電界ループおよび磁界ループの連鎖が広がるので、上部の金属ケース82側も放射体として作用する。
このようにケース内に無線ICデバイス6を設けることによって無線ICデバイスの耐久性・耐環境性が向上する。
また、図25に示した無線ICデバイス主要部6が例えば食品に設けられたRF−IDタグであり、金属ケース81,82が冷蔵庫や冷凍庫の筐体である場合も同様であるので、冷蔵庫や冷凍庫のドアを開けることなく、外部から各食品の情報を読み取ることができる。
また、図25に示した無線ICデバイス主要部6が例えば電子部品や回路基板に設けられたRF−IDタグであり、金属ケース81,82がパソコンや携帯電話端末の筐体であるような場合にも同様であるので、パソコンや携帯電話端末の筐体を開くことなく、外部から各電子部品や回路基板の情報を読み取ることができる。
図25に示した例では、缶状の金属ケースを用いる例について示したが、筒状やカップ状の導体ケースにも同様に適用できる。例えばカーボンシャフトのゴルフクラブのシャフト内に無線ICデバイス主要部6を設けることによって、外部から読み書きできるRF−IDタグ内蔵のゴルフクラブとして用いることができる。
《第13の実施形態》
図26は、第13の実施形態に係る無線ICデバイスの主要部の断面図である。
図26の例では、表面に電気絶縁体または電気抵抗体の被膜を形成した金属ケース83,84を用いている。その他の構成は図25に示したものと同様である。
このようにケース表面の被膜で、上下のケース同士の界面が絶縁状態または略絶縁状態になっていてもよい。
《第14の実施形態》
図27は、第14の実施形態に係る無線ICデバイスの主要部の断面図である。
図27の例では、下部の金属ケース85と上部の金属ケース86との接合部に突起部94が設けられていて、隙間95が生じている。その他の構成は図25に示したものと同様である。
このように金属ケースの一部に隙間があっても同様の作用によって、RF−IDタグを内蔵した金属物品として用いることができる。
《第15の実施形態》
図28は、第15の実施形態に係る無線ICデバイスの主要部の断面図である。
図28の例では、表面に電気絶縁体または電気抵抗体の被膜を形成した金属トレイ87の内部に無線ICデバイス主要部6を設けて、RF−IDタグ付き金属トレイを構成している。また、この図28の例では複数の金属トレイを積み重ねた例を示している。
このように金属トレイ同士を重ねることによって、上記電気絶縁体または電気抵抗体の被膜によって金属トレイ同士が直流的に絶縁され、無線ICデバイス主要部6が金属体で囲まれることになるが、第12〜第14の実施形態の場合と同様に、リーダ・ライタは各金属トレイのRF−IDタグと通信できる。
《第16の実施形態》
図29は、第16の実施形態に係る無線ICデバイスの主要部の断面図である。
図29の例では、縁部分に電気絶縁体または電気抵抗体のリム96を形成した金属トレイ88の内部に無線ICデバイス主要部6を設けて、RF−IDタグ付き金属トレイを構成している。この図29の例では複数の金属トレイを積み重ねた例を示している。
このように金属トレイ同士を重ねることによって、上記電気絶縁体または電気抵抗体によって金属トレイ同士が直流的に絶縁され、無線ICデバイス主要部6が金属体で囲まれることになるが、第12〜第14の実施形態の場合と同様に、リーダ・ライタは各金属トレイのRF−IDタグと個別に通信できる。
なお、図25〜図29に示した例はいずれも電気絶縁体または抵抗体で直流的に絶縁された部分を備えた例を示したが、隙間無く導体で囲まれたケースや筐体の内部に無線ICデバイス主要部6を設けた場合でも、アンテナ利得が多少低下するものの、同様にRD−IDタグとして用いることができる。
なお、以上の各実施形態では矩形を成すループ状電極を用いたが、ループ状電極の形状は、収納する物品にあわせて円、楕円、多角形等、種々の形状をとることができる。また、ケースの底面と側面にまたがるように形成することもできる。このような形状によって信号の送受信面が変わってもRF−IDとして機能する。
また、以上の各実施形態では単層の導体パターンによるループ状電極を形成したが、単層ループではなく、多層コイル構造にしてもよい。
また、以上の各実施形態では開ループを成すループ状電極を形成したが、ループ状電極が給電回路基板内のインダクタと磁界結合するように構成すれば、ループ状電極は閉ループを成していてもよい。すなわち、ループ状電極のループ面に平行なインダクタ用パターンを給電回路基板に形成し、このインダクタ用パターンが閉ループのループ状電極と磁界結合するように構成してもよい。
また、以上の各実施形態ではループ状電極を備えた無線ICデバイス主要部を所定の面に接して配置したが、これを面から離間して配置する構造にしてもよく、ケースの内部でケースの内面から吊す(空中に浮かす)構造にしてもよい。
また、以上の各実施形態ではループ状電極を備えた無線ICデバイス主要部をケースの面積の広い主面に配置したが、これをケースの側面に配置してもよい。

Claims (13)

  1. 無線ICと該無線ICに導通あるいは電磁界結合する給電回路基板とからなる電磁結合モジュールまたは無線ICチップである、高周波デバイスと、
    放射体として作用する放射電極と、
    前記高周波デバイスおよび前記放射電極に結合し、ループ面が前記放射電極の面に対して垂直または傾斜関係にあるループ状電極と、
    を備え
    前記ループ状電極が、前記放射電極の領域内に近接配置されていることを特徴とする無線ICデバイス。
  2. 前記ループ状電極は絶縁層を介して前記放射電極と電磁界結合する請求項1に記載の無線ICデバイス。
  3. 前記ループ状電極は前記放射電極に対して電気的に直接導通し、前記放射電極の一部をループ状電極に兼用した請求項1に記載の無線ICデバイス。
  4. 前記高周波デバイスの実装部と前記ループ状電極との間に、前記高周波デバイスと前記ループ状電極とを直接導通させる整合回路を備えた請求項1〜3の何れかに記載の無線ICデバイス。
  5. 前記給電回路基板内に共振回路および/または整合回路を備えた請求項1〜4の何れかに記載の無線ICデバイス。
  6. 前記共振回路の共振周波数は前記放射電極により送受信される信号の周波数に実質的に相当する請求項5に記載の無線ICデバイス。
  7. 前記高周波デバイスまたは前記ループ状電極を樹脂により被覆した請求項1〜6の何れかに記載の無線ICデバイス。
  8. 前記高周波デバイスおよび前記ループ状電極を前記放射電極に樹脂でモールドした請求項1〜6の何れかに記載の無線ICデバイス。
  9. 前記放射電極は導電層を含む円柱状の金属物品である請求項1〜8の何れかに記載の無線ICデバイス。
  10. 前記放射電極は電子機器内の回路基板に形成された電極パターンである請求項1〜8の何れかに記載の無線ICデバイス。
  11. 前記放射電極は電子機器内のコンポーネントに設けられた金属板である請求項1〜8のいずれかに記載の無線ICデバイス。
  12. 前記ループ状電極は、前記放射電極の外部の電磁波送受信面とは反対面側に配置した、請求項1〜11のいずれかに記載の無線ICデバイス。
  13. 前記ループ状電極は、前記放射電極または当該放射電極を含む導体面で覆われた、請求項12に記載の無線ICデバイス。
JP2009238219A 2007-07-09 2009-10-15 無線icデバイス Active JP5136538B2 (ja)

Priority Applications (1)

Application Number Priority Date Filing Date Title
JP2009238219A JP5136538B2 (ja) 2007-07-09 2009-10-15 無線icデバイス

Applications Claiming Priority (7)

Application Number Priority Date Filing Date Title
JP2007179332 2007-07-09
JP2007179332 2007-07-09
JP2007264603 2007-10-10
JP2007264603 2007-10-10
JP2008105189 2008-04-14
JP2008105189 2008-04-14
JP2009238219A JP5136538B2 (ja) 2007-07-09 2009-10-15 無線icデバイス

Related Parent Applications (1)

Application Number Title Priority Date Filing Date
JP2009522591A Division JP4466795B2 (ja) 2007-07-09 2008-07-02 無線icデバイス

Publications (2)

Publication Number Publication Date
JP2010016886A true JP2010016886A (ja) 2010-01-21
JP5136538B2 JP5136538B2 (ja) 2013-02-06

Family

ID=40228474

Family Applications (2)

Application Number Title Priority Date Filing Date
JP2009522591A Active JP4466795B2 (ja) 2007-07-09 2008-07-02 無線icデバイス
JP2009238219A Active JP5136538B2 (ja) 2007-07-09 2009-10-15 無線icデバイス

Family Applications Before (1)

Application Number Title Priority Date Filing Date
JP2009522591A Active JP4466795B2 (ja) 2007-07-09 2008-07-02 無線icデバイス

Country Status (6)

Country Link
US (2) US8193939B2 (ja)
EP (1) EP2166617B1 (ja)
JP (2) JP4466795B2 (ja)
KR (1) KR101023582B1 (ja)
CN (2) CN101542831B (ja)
WO (1) WO2009008296A1 (ja)

Cited By (2)

* Cited by examiner, † Cited by third party
Publication number Priority date Publication date Assignee Title
JP2013061710A (ja) * 2011-09-12 2013-04-04 Hitachi Chemical Co Ltd Rfidタグ及び自動認識システム
WO2019124196A1 (ja) * 2017-12-20 2019-06-27 愛知製鋼株式会社 磁気マーカ及び磁気マーカシステム

Families Citing this family (65)

* Cited by examiner, † Cited by third party
Publication number Priority date Publication date Assignee Title
US7519328B2 (en) 2006-01-19 2009-04-14 Murata Manufacturing Co., Ltd. Wireless IC device and component for wireless IC device
US9064198B2 (en) 2006-04-26 2015-06-23 Murata Manufacturing Co., Ltd. Electromagnetic-coupling-module-attached article
US8235299B2 (en) 2007-07-04 2012-08-07 Murata Manufacturing Co., Ltd. Wireless IC device and component for wireless IC device
CN101542831B (zh) 2007-07-09 2014-06-25 株式会社村田制作所 无线ic器件
CN104540317B (zh) 2007-07-17 2018-11-02 株式会社村田制作所 印制布线基板
US7830311B2 (en) * 2007-07-18 2010-11-09 Murata Manufacturing Co., Ltd. Wireless IC device and electronic device
EP2166616B1 (en) 2007-07-18 2013-11-27 Murata Manufacturing Co. Ltd. Wireless ic device
EP2251934B1 (en) 2008-03-03 2018-05-02 Murata Manufacturing Co. Ltd. Wireless ic device and wireless communication system
WO2009142114A1 (ja) 2008-05-21 2009-11-26 株式会社村田製作所 無線icデバイス
EP2290586B1 (en) 2008-05-26 2014-06-25 Murata Manufacturing Co., Ltd. Wireless ic device system and method for authenticating wireless ic device
EP2320519B1 (en) 2008-08-19 2017-04-12 Murata Manufacturing Co., Ltd. Wireless ic device and method for manufacturing same
DE112009002384B4 (de) 2008-11-17 2021-05-06 Murata Manufacturing Co., Ltd. Antenne und Drahtlose-IC-Bauelement
JP5041075B2 (ja) 2009-01-09 2012-10-03 株式会社村田製作所 無線icデバイスおよび無線icモジュール
WO2010082413A1 (ja) 2009-01-16 2010-07-22 株式会社村田製作所 高周波デバイス及び無線icデバイス
EP2385580B1 (en) 2009-01-30 2014-04-09 Murata Manufacturing Co., Ltd. Antenna and wireless ic device
JP4796180B2 (ja) * 2009-02-23 2011-10-19 株式会社日立情報システムズ Rfidタグ
JP5510450B2 (ja) 2009-04-14 2014-06-04 株式会社村田製作所 無線icデバイス
CN102916248B (zh) 2009-04-21 2015-12-09 株式会社村田制作所 天线装置及其谐振频率设定方法
WO2010140429A1 (ja) * 2009-06-03 2010-12-09 株式会社村田製作所 無線icデバイス及びその製造方法
JP5201270B2 (ja) 2009-09-30 2013-06-05 株式会社村田製作所 回路基板及びその製造方法
JP5304580B2 (ja) 2009-10-02 2013-10-02 株式会社村田製作所 無線icデバイス
CN102598413A (zh) 2009-10-27 2012-07-18 株式会社村田制作所 收发装置及无线标签读取装置
WO2011055703A1 (ja) 2009-11-04 2011-05-12 株式会社村田製作所 通信端末及び情報処理システム
WO2011055701A1 (ja) 2009-11-04 2011-05-12 株式会社村田製作所 通信端末及び情報処理システム
WO2011062238A1 (ja) 2009-11-20 2011-05-26 株式会社村田製作所 アンテナ装置及び移動体通信端末
TWI446269B (zh) * 2009-12-03 2014-07-21 Ind Tech Res Inst 無線通訊裝置
WO2011077877A1 (ja) 2009-12-24 2011-06-30 株式会社村田製作所 アンテナ及び携帯端末
WO2011108340A1 (ja) 2010-03-03 2011-09-09 株式会社村田製作所 無線通信モジュール及び無線通信デバイス
WO2011108341A1 (ja) 2010-03-03 2011-09-09 株式会社村田製作所 無線通信デバイス及び無線通信端末
JP5477459B2 (ja) * 2010-03-12 2014-04-23 株式会社村田製作所 無線通信デバイス及び金属製物品
GB2491447B (en) * 2010-03-24 2014-10-22 Murata Manufacturing Co RFID system
JP5630499B2 (ja) 2010-03-31 2014-11-26 株式会社村田製作所 アンテナ装置及び無線通信デバイス
JP5376060B2 (ja) 2010-07-08 2013-12-25 株式会社村田製作所 アンテナ及びrfidデバイス
GB2495418B (en) 2010-07-28 2017-05-24 Murata Manufacturing Co Antenna apparatus and communication terminal instrument
JP5423897B2 (ja) 2010-08-10 2014-02-19 株式会社村田製作所 プリント配線板及び無線通信システム
WO2012043432A1 (ja) 2010-09-30 2012-04-05 株式会社村田製作所 無線icデバイス
CN105226382B (zh) 2010-10-12 2019-06-11 株式会社村田制作所 天线装置及终端装置
CN102971909B (zh) 2010-10-21 2014-10-15 株式会社村田制作所 通信终端装置
CN105048058B (zh) 2011-01-05 2017-10-27 株式会社村田制作所 无线通信器件
JP5304956B2 (ja) 2011-01-14 2013-10-02 株式会社村田製作所 Rfidチップパッケージ及びrfidタグ
CN103119786B (zh) 2011-02-28 2015-07-22 株式会社村田制作所 无线通信器件
WO2012121185A1 (ja) 2011-03-08 2012-09-13 株式会社村田製作所 アンテナ装置及び通信端末機器
KR101317226B1 (ko) 2011-04-05 2013-10-15 가부시키가이샤 무라타 세이사쿠쇼 무선 통신 디바이스
JP5482964B2 (ja) 2011-04-13 2014-05-07 株式会社村田製作所 無線icデバイス及び無線通信端末
WO2012157596A1 (ja) 2011-05-16 2012-11-22 株式会社村田製作所 無線icデバイス
EP3041087B1 (en) 2011-07-14 2022-09-07 Murata Manufacturing Co., Ltd. Wireless communication device
JP5333707B2 (ja) 2011-07-15 2013-11-06 株式会社村田製作所 無線通信デバイス
WO2013011865A1 (ja) 2011-07-19 2013-01-24 株式会社村田製作所 アンテナモジュール、アンテナ装置、rfidタグおよび通信端末装置
WO2013035821A1 (ja) 2011-09-09 2013-03-14 株式会社村田製作所 アンテナ装置および無線デバイス
WO2013080991A1 (ja) 2011-12-01 2013-06-06 株式会社村田製作所 無線icデバイス及びその製造方法
KR20130105938A (ko) 2012-01-30 2013-09-26 가부시키가이샤 무라타 세이사쿠쇼 무선 ic 디바이스
JP5464307B2 (ja) 2012-02-24 2014-04-09 株式会社村田製作所 アンテナ装置および無線通信装置
CN104487985B (zh) 2012-04-13 2020-06-26 株式会社村田制作所 Rfid标签的检查方法及检查装置
GB2523015B (en) * 2012-10-26 2017-08-30 Murata Manufacturing Co Interface, communication apparatus, and program
US11354558B2 (en) 2013-01-18 2022-06-07 Amatech Group Limited Contactless smartcards with coupling frames
WO2015058213A1 (en) 2013-10-19 2015-04-23 Williams Armani Phone and tablet case
CN206585073U (zh) * 2014-01-23 2017-10-24 株式会社村田制作所 带无线通信标签的物品以及无线通信标签
CN109888499B (zh) * 2014-04-28 2020-10-09 株式会社村田制作所 无线ic器件
JP2015225579A (ja) * 2014-05-29 2015-12-14 株式会社村田製作所 無線icデバイス、その製造方法、及び、無線icデバイス付き物品
CN105875431B (zh) * 2016-04-19 2019-03-08 福州市佳璞电子商务有限公司 Rfid收发器、基于rfid收发器的小型畜禽扎堆报警系统和报警方法
JP6519716B2 (ja) 2016-11-15 2019-05-29 株式会社村田製作所 Uhf帯rfidタグ及びuhf帯rfidタグ付き物品
US10373045B2 (en) 2016-12-01 2019-08-06 Avery Dennison Retail Information Services, Llc Coupling of RFID straps to antennae using a combination of magnetic and electric fields
JP7075729B2 (ja) * 2017-06-28 2022-05-26 株式会社ユニバーサルエンターテインメント 非接触情報媒体及びその製造方法
JP6912024B1 (ja) * 2019-09-05 2021-07-28 株式会社村田製作所 無線icタグ付き医療用金属製器具
EP4318979A4 (en) * 2021-03-26 2024-09-11 Sony Group Corporation COMMUNICATION SYSTEM AND COMMUNICATION PROCEDURES

Citations (1)

* Cited by examiner, † Cited by third party
Publication number Priority date Publication date Assignee Title
JP2004312112A (ja) * 2003-04-02 2004-11-04 Fuji Photo Film Co Ltd 外部アンテナ

Family Cites Families (409)

* Cited by examiner, † Cited by third party
Publication number Priority date Publication date Assignee Title
US3364564A (en) * 1965-06-28 1968-01-23 Gregory Ind Inc Method of producing welding studs dischargeable in end-to-end relationship
JPS5754964B2 (ja) 1974-05-08 1982-11-20
JPS6193701A (ja) * 1984-10-13 1986-05-12 Toyota Motor Corp 自動車用アンテナ装置
JPS62127140U (ja) 1986-02-03 1987-08-12
US5253969A (en) * 1989-03-10 1993-10-19 Sms Schloemann-Siemag Aktiengesellschaft Feeding system for strip material, particularly in treatment plants for metal strips
JP2763664B2 (ja) * 1990-07-25 1998-06-11 日本碍子株式会社 分布定数回路用配線基板
NL9100176A (nl) 1991-02-01 1992-03-02 Nedap Nv Antenne met transformator voor contactloze informatieoverdracht vanuit integrated circuit-kaart.
NL9100347A (nl) 1991-02-26 1992-03-02 Nedap Nv Geintegreerde transformator voor een contactloze identificatiekaart.
JPH04321190A (ja) * 1991-04-22 1992-11-11 Mitsubishi Electric Corp 非接触型携帯記憶装置のアンテナ回路
DE69215283T2 (de) * 1991-07-08 1997-03-20 Nippon Telegraph & Telephone Ausfahrbares Antennensystem
JPH05327331A (ja) 1992-05-15 1993-12-10 Matsushita Electric Works Ltd プリントアンテナ
JP3186235B2 (ja) 1992-07-30 2001-07-11 株式会社村田製作所 共振器アンテナ
JPH0677729A (ja) 1992-08-25 1994-03-18 Mitsubishi Electric Corp アンテナ一体化マイクロ波回路
JPH06177635A (ja) 1992-12-07 1994-06-24 Mitsubishi Electric Corp クロスダイポールアンテナ装置
JPH07183836A (ja) 1993-12-22 1995-07-21 San'eisha Mfg Co Ltd 配電線搬送通信用結合フィルタ装置
US5491483A (en) * 1994-01-05 1996-02-13 Texas Instruments Incorporated Single loop transponder system and method
US6096431A (en) 1994-07-25 2000-08-01 Toppan Printing Co., Ltd. Biodegradable cards
JP3141692B2 (ja) 1994-08-11 2001-03-05 松下電器産業株式会社 ミリ波用検波器
DE4431754C1 (de) 1994-09-06 1995-11-23 Siemens Ag Trägerelement
US5528222A (en) 1994-09-09 1996-06-18 International Business Machines Corporation Radio frequency circuit and memory in thin flexible package
JPH0887580A (ja) 1994-09-14 1996-04-02 Omron Corp データキャリア及びボールゲーム
JP2837829B2 (ja) 1995-03-31 1998-12-16 松下電器産業株式会社 半導体装置の検査方法
JPH08279027A (ja) 1995-04-04 1996-10-22 Toshiba Corp 無線通信カード
US5955723A (en) * 1995-05-03 1999-09-21 Siemens Aktiengesellschaft Contactless chip card
JPH08307126A (ja) 1995-05-09 1996-11-22 Kyocera Corp アンテナの収納構造
JP3637982B2 (ja) 1995-06-27 2005-04-13 株式会社荏原電産 インバータ駆動ポンプの制御システム
US5629241A (en) * 1995-07-07 1997-05-13 Hughes Aircraft Company Microwave/millimeter wave circuit structure with discrete flip-chip mounted elements, and method of fabricating the same
JP3150575B2 (ja) 1995-07-18 2001-03-26 沖電気工業株式会社 タグ装置及びその製造方法
GB2305075A (en) 1995-09-05 1997-03-26 Ibm Radio Frequency Tag for Electronic Apparatus
DE19534229A1 (de) * 1995-09-15 1997-03-20 Licentia Gmbh Transponderanordnung
US6104611A (en) * 1995-10-05 2000-08-15 Nortel Networks Corporation Packaging system for thermally controlling the temperature of electronic equipment
JP3882218B2 (ja) 1996-03-04 2007-02-14 ソニー株式会社 光ディスク
JP3471160B2 (ja) 1996-03-18 2003-11-25 株式会社東芝 モノリシックアンテナ
JPH09270623A (ja) 1996-03-29 1997-10-14 Murata Mfg Co Ltd アンテナ装置
AUPO055296A0 (en) * 1996-06-19 1996-07-11 Integrated Silicon Design Pty Ltd Enhanced range transponder system
US6104311A (en) 1996-08-26 2000-08-15 Addison Technologies Information storage and identification tag
AU4705097A (en) * 1996-10-09 1998-05-05 Evc Rigid Film Gmbh Method and connection arrangement for producing a smart card
JPH10171954A (ja) 1996-12-05 1998-06-26 Hitachi Maxell Ltd 非接触式icカード
JP3279205B2 (ja) 1996-12-10 2002-04-30 株式会社村田製作所 表面実装型アンテナおよび通信機
JPH10193849A (ja) 1996-12-27 1998-07-28 Rohm Co Ltd 回路チップ搭載カードおよび回路チップモジュール
DE19703029A1 (de) 1997-01-28 1998-07-30 Amatech Gmbh & Co Kg Übertragungsmodul für eine Transpondervorrichtung sowie Transpondervorrichtung und Verfahren zum Betrieb einer Transpondervorrichtung
US6181287B1 (en) * 1997-03-10 2001-01-30 Precision Dynamics Corporation Reactively coupled elements in circuits on flexible substrates
JPH10293828A (ja) 1997-04-18 1998-11-04 Omron Corp データキャリア、コイルモジュール、リーダライタ及び衣服データ取得方法
JP3800765B2 (ja) 1997-11-14 2006-07-26 凸版印刷株式会社 複合icカード
WO1999026195A1 (en) * 1997-11-14 1999-05-27 Toppan Printing Co., Ltd. Composite ic module and composite ic card
JP2001084463A (ja) 1999-09-14 2001-03-30 Miyake:Kk 共振回路
JPH11261325A (ja) * 1998-03-10 1999-09-24 Shiro Sugimura コイル素子と、その製造方法
US6320509B1 (en) * 1998-03-16 2001-11-20 Intermec Ip Corp. Radio frequency identification transponder having a high gain antenna configuration
EP0987789A4 (en) * 1998-03-31 2004-09-22 Matsushita Electric Industrial Co Ltd ANTENNA AND DIGITAL TELEVISION RECEIVER
JP4260917B2 (ja) 1998-03-31 2009-04-30 株式会社東芝 ループアンテナ
US5936150A (en) * 1998-04-13 1999-08-10 Rockwell Science Center, Llc Thin film resonant chemical sensor with resonant acoustic isolator
JP2002505645A (ja) 1998-04-14 2002-02-19 リバティ・カートン・カンパニー−テキサス コンプレッサ及び他の品物のためのコンテナ
US6107920A (en) 1998-06-09 2000-08-22 Motorola, Inc. Radio frequency identification tag having an article integrated antenna
US6018299A (en) 1998-06-09 2000-01-25 Motorola, Inc. Radio frequency identification tag having a printed antenna and method
JP2000021639A (ja) 1998-07-02 2000-01-21 Sharp Corp インダクター、これを用いた共振回路、整合回路、アンテナ回路及び発振回路
JP2000022421A (ja) 1998-07-03 2000-01-21 Murata Mfg Co Ltd チップアンテナ及びそれを搭載した無線機器
AUPP473898A0 (en) 1998-07-20 1998-08-13 Integrated Silicon Design Pty Ltd Metal screened electronic labelling system
EP0977145A3 (en) 1998-07-28 2002-11-06 Kabushiki Kaisha Toshiba Radio IC card
JP2000311226A (ja) 1998-07-28 2000-11-07 Toshiba Corp 無線icカード及びその製造方法並びに無線icカード読取り書込みシステム
JP2000059260A (ja) 1998-08-04 2000-02-25 Sony Corp 記憶装置
ES2198938T3 (es) * 1998-08-14 2004-02-01 3M Innovative Properties Company Aplicacion para un sistema de identificacion de radiofrecuencia.
BR9913043B1 (pt) 1998-08-14 2012-10-02 processos para ordenar um grupo de itens desordenados possuindo elementos de identificação por radiofrequência, para usar um dispositivo de identificação por radiofrequência seguro na mão para ler informação de um elemento de identificação por radiofrequência, e para usar um dispositivo de identificação por radiofrequência para identificar e localizar itens possuindo um elemento de identificação por radiofrequência.
JP4411670B2 (ja) 1998-09-08 2010-02-10 凸版印刷株式会社 非接触icカードの製造方法
JP4508301B2 (ja) 1998-09-16 2010-07-21 大日本印刷株式会社 非接触icカード
JP3513033B2 (ja) * 1998-10-16 2004-03-31 三菱電機株式会社 多周波共用アンテナ装置
JP3632466B2 (ja) 1998-10-23 2005-03-23 凸版印刷株式会社 非接触icカード用の検査装置および検査方法
JP3924962B2 (ja) 1998-10-30 2007-06-06 株式会社デンソー 皿状物品用idタグ
JP2000137779A (ja) 1998-10-30 2000-05-16 Hitachi Maxell Ltd 非接触情報媒体とその製造方法
US6837438B1 (en) 1998-10-30 2005-01-04 Hitachi Maxell, Ltd. Non-contact information medium and communication system utilizing the same
JP2000137785A (ja) 1998-10-30 2000-05-16 Sony Corp 非接触型icカードの製造方法および非接触型icカード
JP2000148948A (ja) 1998-11-05 2000-05-30 Sony Corp 非接触型icラベルおよびその製造方法
JP2000172812A (ja) 1998-12-08 2000-06-23 Hitachi Maxell Ltd 非接触情報媒体
FR2787640B1 (fr) 1998-12-22 2003-02-14 Gemplus Card Int Agencement d'une antenne dans un environnement metallique
JP3088404B2 (ja) 1999-01-14 2000-09-18 埼玉日本電気株式会社 移動無線端末および内蔵アンテナ
JP2000222540A (ja) 1999-02-03 2000-08-11 Hitachi Maxell Ltd 非接触型半導体タグ
JP2000228602A (ja) * 1999-02-08 2000-08-15 Alps Electric Co Ltd 共振線路
JP2000243797A (ja) 1999-02-18 2000-09-08 Sanken Electric Co Ltd 半導体ウエハ及びその切断法並びに半導体ウエハ組立体及びその切断法
JP3967487B2 (ja) 1999-02-23 2007-08-29 株式会社東芝 Icカード
JP2000251049A (ja) 1999-03-03 2000-09-14 Konica Corp カード及びその製造方法
JP4106673B2 (ja) 1999-03-05 2008-06-25 株式会社エフ・イー・シー コイルユニットを使用するアンテナ装置、プリント回路基板
JP4349597B2 (ja) 1999-03-26 2009-10-21 大日本印刷株式会社 Icチップの製造方法及びそれを内蔵したメモリー媒体の製造方法
JP3751178B2 (ja) 1999-03-30 2006-03-01 日本碍子株式会社 送受信機
JP2000286634A (ja) 1999-03-30 2000-10-13 Ngk Insulators Ltd アンテナ装置及びアンテナ装置の製造方法
US6542050B1 (en) * 1999-03-30 2003-04-01 Ngk Insulators, Ltd. Transmitter-receiver
JP3067764B1 (ja) 1999-03-31 2000-07-24 株式会社豊田自動織機製作所 移動体通信用結合器、移動体及び移動体の通信方法
JP2000321984A (ja) 1999-05-12 2000-11-24 Hitachi Ltd Rf−idタグ付きラベル
JP3557130B2 (ja) 1999-07-14 2004-08-25 新光電気工業株式会社 半導体装置の製造方法
JP2001043340A (ja) 1999-07-29 2001-02-16 Toppan Printing Co Ltd 複合icカード
US6259369B1 (en) * 1999-09-30 2001-07-10 Moore North America, Inc. Low cost long distance RFID reading
JP2001101369A (ja) 1999-10-01 2001-04-13 Matsushita Electric Ind Co Ltd Rfタグ
JP3451373B2 (ja) * 1999-11-24 2003-09-29 オムロン株式会社 電磁波読み取り可能なデータキャリアの製造方法
JP4186149B2 (ja) 1999-12-06 2008-11-26 株式会社エフ・イー・シー Icカード用の補助アンテナ
JP2001188890A (ja) 2000-01-05 2001-07-10 Omron Corp 非接触タグ
JP2001240046A (ja) 2000-02-25 2001-09-04 Toppan Forms Co Ltd 容器及びその製造方法
KR20000024634A (ko) * 2000-02-25 2000-05-06 신기영 초박형 광대역 마이크로 스트립 적층 안테나
JP4514880B2 (ja) 2000-02-28 2010-07-28 大日本印刷株式会社 書籍の配送、返品および在庫管理システム
JP2001257292A (ja) 2000-03-10 2001-09-21 Hitachi Maxell Ltd 半導体装置
JP2001256457A (ja) 2000-03-13 2001-09-21 Toshiba Corp 半導体装置及びその製造方法、icカード通信システム
WO2001073685A1 (de) 2000-03-28 2001-10-04 Lucatron Ag Rfid-label mit einem element zur einstellung der resonanzfrequenz
JP4624536B2 (ja) 2000-04-04 2011-02-02 大日本印刷株式会社 非接触式データキャリア装置
JP4624537B2 (ja) * 2000-04-04 2011-02-02 大日本印刷株式会社 非接触式データキャリア装置、収納体
JP2001291181A (ja) 2000-04-07 2001-10-19 Ricoh Elemex Corp センサ装置及びセンサシステム
JP2001319380A (ja) 2000-05-11 2001-11-16 Mitsubishi Materials Corp Rfid付光ディスク
JP2001331976A (ja) 2000-05-17 2001-11-30 Casio Comput Co Ltd 光記録型記録媒体
JP4223174B2 (ja) 2000-05-19 2009-02-12 Dxアンテナ株式会社 フィルムアンテナ
JP2001339226A (ja) 2000-05-26 2001-12-07 Nec Saitama Ltd アンテナ装置
JP2001344574A (ja) 2000-05-30 2001-12-14 Mitsubishi Materials Corp 質問器のアンテナ装置
JP2001352176A (ja) 2000-06-05 2001-12-21 Fuji Xerox Co Ltd 多層プリント配線基板および多層プリント配線基板製造方法
AU2001275117A1 (en) 2000-06-06 2001-12-17 Battelle Memorial Institute Remote communication system and method
JP2001358527A (ja) 2000-06-12 2001-12-26 Matsushita Electric Ind Co Ltd アンテナ装置
JP2002157564A (ja) 2000-11-21 2002-05-31 Toyo Aluminium Kk Icカード用アンテナコイルとその製造方法
EP1172760B1 (en) 2000-06-23 2004-12-01 Toyo Aluminium Kabushiki Kaisha Antenna coil for IC card and manufacturing method thereof
WO2002003560A1 (en) 2000-07-04 2002-01-10 Credipass Co.,Ltd. Passive transponder identification system and credit-card type transponder
JP4138211B2 (ja) 2000-07-06 2008-08-27 株式会社村田製作所 電子部品およびその製造方法、集合電子部品、電子部品の実装構造、ならびに電子装置
JP2002024776A (ja) 2000-07-07 2002-01-25 Nippon Signal Co Ltd:The Icカード用リーダライタ
CN1251131C (zh) * 2000-07-19 2006-04-12 株式会社哈尼克斯 射频识别标签的收容结构,安装结构及使用该标签的通信
RU2163739C1 (ru) 2000-07-20 2001-02-27 Криштопов Александр Владимирович Антенна
JP2002042076A (ja) 2000-07-21 2002-02-08 Dainippon Printing Co Ltd 非接触型データキャリア及び非接触型データキャリアを有する冊子
JP3075400U (ja) 2000-08-03 2001-02-16 昌栄印刷株式会社 非接触型icカード
JP2002063557A (ja) 2000-08-21 2002-02-28 Mitsubishi Materials Corp Rfid用タグ
JP2002076750A (ja) * 2000-08-24 2002-03-15 Murata Mfg Co Ltd アンテナ装置およびそれを備えた無線機
JP3481575B2 (ja) 2000-09-28 2003-12-22 寛児 川上 アンテナ
JP4615695B2 (ja) 2000-10-19 2011-01-19 三星エスディーエス株式会社 Icカード用のicモジュールと、それを使用するicカード
US6634564B2 (en) * 2000-10-24 2003-10-21 Dai Nippon Printing Co., Ltd. Contact/noncontact type data carrier module
JP4628611B2 (ja) 2000-10-27 2011-02-09 三菱マテリアル株式会社 アンテナ
JP4432254B2 (ja) 2000-11-20 2010-03-17 株式会社村田製作所 表面実装型アンテナ構造およびそれを備えた通信機
JP2002185358A (ja) 2000-11-24 2002-06-28 Supersensor Pty Ltd 容器にrfトランスポンダを装着する方法
JP4641096B2 (ja) 2000-12-07 2011-03-02 大日本印刷株式会社 非接触式データキャリア装置とブースターアンテナ部用配線部材
JP2002183676A (ja) 2000-12-08 2002-06-28 Hitachi Ltd 情報読み取り装置
JP2002183690A (ja) 2000-12-11 2002-06-28 Hitachi Maxell Ltd 非接触icタグ装置
AU2002226093A1 (en) * 2000-12-15 2002-06-24 Electrox Corp. Process for the manufacture of novel, inexpensive radio frequency identificationdevices
JP3788325B2 (ja) 2000-12-19 2006-06-21 株式会社村田製作所 積層型コイル部品及びその製造方法
TW531976B (en) * 2001-01-11 2003-05-11 Hanex Co Ltd Communication apparatus and installing structure, manufacturing method and communication method
JP3621655B2 (ja) 2001-04-23 2005-02-16 株式会社ハネックス中央研究所 Rfidタグ構造及びその製造方法
JP2002280821A (ja) 2001-01-12 2002-09-27 Furukawa Electric Co Ltd:The アンテナ装置および端末機器
KR20020061103A (ko) 2001-01-12 2002-07-22 후루까와덴끼고오교 가부시끼가이샤 안테나 장치 및 이 안테나 장치가 부착된 단말기기
JP2002232221A (ja) 2001-01-30 2002-08-16 Alps Electric Co Ltd 送受信ユニット
WO2002061675A1 (en) 2001-01-31 2002-08-08 Hitachi, Ltd. Non-contact identification medium
JP4662400B2 (ja) 2001-02-05 2011-03-30 大日本印刷株式会社 コイルオンチップ型の半導体モジュール付き物品
JP2002246828A (ja) 2001-02-15 2002-08-30 Mitsubishi Materials Corp トランスポンダのアンテナ
ATE499725T1 (de) 2001-03-02 2011-03-15 Nxp Bv Modul und elektronische vorrichtung
JP4712986B2 (ja) 2001-03-06 2011-06-29 大日本印刷株式会社 Rfidタグ付き液体容器
JP2002298109A (ja) 2001-03-30 2002-10-11 Toppan Forms Co Ltd 非接触型icメディアおよびその製造方法
JP3570386B2 (ja) * 2001-03-30 2004-09-29 松下電器産業株式会社 無線機能内蔵携帯用情報端末
JP3772778B2 (ja) 2001-03-30 2006-05-10 三菱マテリアル株式会社 アンテナコイル及びそれを用いた識別タグ、リーダライタ装置、リーダ装置及びライタ装置
JP2002308437A (ja) 2001-04-16 2002-10-23 Dainippon Printing Co Ltd Rfidタグを用いた検査システム
JP2002319812A (ja) 2001-04-20 2002-10-31 Oji Paper Co Ltd データキャリヤ貼着方法
JP4700831B2 (ja) 2001-04-23 2011-06-15 株式会社ハネックス Rfidタグの通信距離拡大方法
JP2005236339A (ja) 2001-07-19 2005-09-02 Oji Paper Co Ltd Icチップ実装体
FI112550B (fi) 2001-05-31 2003-12-15 Rafsec Oy Älytarra ja älytarraraina
JP2002362613A (ja) 2001-06-07 2002-12-18 Toppan Printing Co Ltd 非接触icが積層された積層包装材及びこれを用いた包装容器、並びに包装容器の開封検出方法
JP2002366917A (ja) 2001-06-07 2002-12-20 Hitachi Ltd アンテナを内蔵するicカード
JP4710174B2 (ja) 2001-06-13 2011-06-29 株式会社村田製作所 バランス型lcフィルタ
JP2002373029A (ja) 2001-06-18 2002-12-26 Hitachi Ltd Icタグによるソフトウェアの不正コピーの防止方法
JP4882167B2 (ja) 2001-06-18 2012-02-22 大日本印刷株式会社 非接触icチップ付きカード一体型フォーム
JP4759854B2 (ja) 2001-06-19 2011-08-31 株式会社寺岡精工 Icタグの金属物への装着方法及びicタグ内蔵マーカー
JP2003087008A (ja) * 2001-07-02 2003-03-20 Ngk Insulators Ltd 積層型誘電体フィルタ
JP4058919B2 (ja) 2001-07-03 2008-03-12 日立化成工業株式会社 非接触式icラベル、非接触式icカード、非接触式icラベルまたは非接触式icカード用icモジュール
JP2003026177A (ja) 2001-07-12 2003-01-29 Toppan Printing Co Ltd 非接触方式icチップ付き包装体
JP2003030612A (ja) 2001-07-19 2003-01-31 Oji Paper Co Ltd Icチップ実装体
JP4670195B2 (ja) 2001-07-23 2011-04-13 凸版印刷株式会社 非接触式icカードを備えた携帯電話機用筐体
ATE377908T1 (de) 2001-07-26 2007-11-15 Irdeto Access Bv Zeitvaliderungssystem
JP3629448B2 (ja) * 2001-07-27 2005-03-16 Tdk株式会社 アンテナ装置及びそれを備えた電子機器
US6407920B1 (en) * 2001-07-30 2002-06-18 Delta Electronics, Inc. Heat-dissipating assembly and process for assembling the same
JP2003069335A (ja) * 2001-08-28 2003-03-07 Hitachi Kokusai Electric Inc 補助アンテナ
JP2003067711A (ja) 2001-08-29 2003-03-07 Toppan Forms Co Ltd Icチップ実装体あるいはアンテナ部を備えた物品
JP2003078333A (ja) 2001-08-30 2003-03-14 Murata Mfg Co Ltd 無線通信機
JP2003078336A (ja) 2001-08-30 2003-03-14 Tokai Univ 積層スパイラルアンテナ
JP4514374B2 (ja) 2001-09-05 2010-07-28 トッパン・フォームズ株式会社 Rf−idの検査システム
JP4747467B2 (ja) 2001-09-07 2011-08-17 大日本印刷株式会社 非接触icタグ
JP2003085520A (ja) 2001-09-11 2003-03-20 Oji Paper Co Ltd Icカードの製造方法
JP4698096B2 (ja) 2001-09-25 2011-06-08 トッパン・フォームズ株式会社 Rf−idの検査システム
JP4845306B2 (ja) 2001-09-25 2011-12-28 トッパン・フォームズ株式会社 Rf−idの検査システム
JP2003099184A (ja) 2001-09-25 2003-04-04 Sharp Corp 情報処理システム、それに用いる情報処理装置および入力ペン
JP2003110344A (ja) 2001-09-26 2003-04-11 Hitachi Metals Ltd 表面実装型アンテナおよびそれを搭載したアンテナ装置
JP2003132330A (ja) 2001-10-25 2003-05-09 Sato Corp Rfidラベルプリンタ
JP2003134007A (ja) 2001-10-30 2003-05-09 Auto Network Gijutsu Kenkyusho:Kk 車載機器間における信号送受信システム及び車載機器間における信号送受信方法
JP3984458B2 (ja) 2001-11-20 2007-10-03 大日本印刷株式会社 Icタグ付き包装体の製造方法
JP3908514B2 (ja) 2001-11-20 2007-04-25 大日本印刷株式会社 Icタグ付き包装体とicタグ付き包装体の製造方法
US6812707B2 (en) * 2001-11-27 2004-11-02 Mitsubishi Materials Corporation Detection element for objects and detection device using the same
JP3894540B2 (ja) 2001-11-30 2007-03-22 トッパン・フォームズ株式会社 導電接続部を有するインターポーザ
JP2003188338A (ja) 2001-12-13 2003-07-04 Sony Corp 回路基板装置及びその製造方法
JP3700777B2 (ja) 2001-12-17 2005-09-28 三菱マテリアル株式会社 Rfid用タグの電極構造及び該電極を用いた共振周波数の調整方法
JP2003188620A (ja) 2001-12-19 2003-07-04 Murata Mfg Co Ltd モジュール一体型アンテナ
JP4028224B2 (ja) 2001-12-20 2007-12-26 大日本印刷株式会社 非接触通信機能を有する紙製icカード用基材
JP3895175B2 (ja) 2001-12-28 2007-03-22 Ntn株式会社 誘電性樹脂統合アンテナ
JP2003209421A (ja) 2002-01-17 2003-07-25 Dainippon Printing Co Ltd 透明アンテナを有するrfidタグ、及びその製造方法
JP3915092B2 (ja) 2002-01-21 2007-05-16 株式会社エフ・イー・シー Icカード用のブースタアンテナ
JP2003216919A (ja) * 2002-01-23 2003-07-31 Toppan Forms Co Ltd Rf−idメディア
JP2003233780A (ja) 2002-02-06 2003-08-22 Mitsubishi Electric Corp データ通信装置
JP3998992B2 (ja) 2002-02-14 2007-10-31 大日本印刷株式会社 ウェブに実装されたicチップへのアンテナパターン形成方法とicタグ付き包装体
JP2003243918A (ja) 2002-02-18 2003-08-29 Dainippon Printing Co Ltd 非接触icタグ用アンテナと非接触icタグ
JP2003249813A (ja) * 2002-02-25 2003-09-05 Tecdia Kk ループアンテナ付きrfid用タグ
US7119693B1 (en) * 2002-03-13 2006-10-10 Celis Semiconductor Corp. Integrated circuit with enhanced coupling
JP2003288560A (ja) 2002-03-27 2003-10-10 Toppan Forms Co Ltd 帯電防止機能を有するインターポーザおよびインレットシート
US7129834B2 (en) * 2002-03-28 2006-10-31 Kabushiki Kaisha Toshiba String wireless sensor and its manufacturing method
JP2003309418A (ja) 2002-04-17 2003-10-31 Alps Electric Co Ltd ダイポールアンテナ
JP2003317060A (ja) 2002-04-22 2003-11-07 Dainippon Printing Co Ltd Icカード
JP2003317052A (ja) 2002-04-24 2003-11-07 Smart Card:Kk Icタグシステム
JP3879098B2 (ja) 2002-05-10 2007-02-07 株式会社エフ・イー・シー Icカード用のブースタアンテナ
JP3979178B2 (ja) 2002-05-14 2007-09-19 凸版印刷株式会社 非接触ic媒体用モジュール及び非接触ic媒体
US6753814B2 (en) 2002-06-27 2004-06-22 Harris Corporation Dipole arrangements using dielectric substrates of meta-materials
US7097758B2 (en) * 2002-07-03 2006-08-29 Exxonmobil Chemical Patents Inc. Converting mist flow to annular flow in thermal cracking application
JP3863464B2 (ja) 2002-07-05 2006-12-27 株式会社ヨコオ フィルタ内蔵アンテナ
JP3803085B2 (ja) 2002-08-08 2006-08-02 株式会社日立製作所 無線icタグ
JP4107381B2 (ja) 2002-08-23 2008-06-25 横浜ゴム株式会社 空気入りタイヤ
JP2004096566A (ja) 2002-09-02 2004-03-25 Toenec Corp 誘導通信装置
JP3925364B2 (ja) 2002-09-03 2007-06-06 株式会社豊田中央研究所 アンテナ及びダイバーシチ受信装置
GB2393076A (en) * 2002-09-12 2004-03-17 Rf Tags Ltd Radio frequency identification tag which has a ground plane not substantially larger than the area spanned by the patch antenna
JP4267574B2 (ja) 2002-09-20 2009-05-27 フェアチャイルド セミコンダクター コーポレイション Rfidタグ広帯域幅対数螺旋アンテナの方法及びシステム
JP2004126750A (ja) 2002-09-30 2004-04-22 Toppan Forms Co Ltd 情報書込/読出装置、アンテナ及びrf−idメディア
JP3958667B2 (ja) * 2002-10-16 2007-08-15 株式会社日立国際電気 リーダライタ用ループアンテナ、及びそれを備えた物品管理棚及び図書管理システム
WO2004036601A2 (en) 2002-10-17 2004-04-29 Ambient Corporation Highly insulated inductive data couplers
JP3659956B2 (ja) 2002-11-11 2005-06-15 松下電器産業株式会社 圧力測定装置および圧力測定システム
JP2004213582A (ja) 2003-01-09 2004-07-29 Mitsubishi Materials Corp Rfidタグ及びリーダ/ライタ並びに該タグを備えたrfidシステム
WO2004070879A1 (ja) * 2003-02-03 2004-08-19 Matsushita Electric Industrial Co., Ltd. アンテナ装置とそれを用いた無線通信装置
JP2004234595A (ja) 2003-02-03 2004-08-19 Matsushita Electric Ind Co Ltd 情報記録媒体読取装置
EP1445821A1 (en) * 2003-02-06 2004-08-11 Matsushita Electric Industrial Co., Ltd. Portable radio communication apparatus provided with a boom portion
US7225992B2 (en) 2003-02-13 2007-06-05 Avery Dennison Corporation RFID device tester and method
JP2004253858A (ja) 2003-02-18 2004-09-09 Minerva:Kk Icタグ用のブースタアンテナ装置
JP4010263B2 (ja) 2003-03-14 2007-11-21 富士電機ホールディングス株式会社 アンテナ、及びデータ読取装置
JP2004280390A (ja) 2003-03-14 2004-10-07 Toppan Forms Co Ltd Rf−idメディア及びrf−idメディアの製造方法
JP4034676B2 (ja) 2003-03-20 2008-01-16 日立マクセル株式会社 非接触通信式情報担体
JP2004297249A (ja) 2003-03-26 2004-10-21 Matsushita Electric Ind Co Ltd 異相線間カプラーとその装着方法、及び、異相線間のカップリング方法
JP4097139B2 (ja) 2003-03-26 2008-06-11 Necトーキン株式会社 無線タグ
JP2004304370A (ja) 2003-03-28 2004-10-28 Sony Corp アンテナコイル及び通信機器
JP2004297681A (ja) * 2003-03-28 2004-10-21 Toppan Forms Co Ltd 非接触型情報記録媒体
JP4208631B2 (ja) 2003-04-17 2009-01-14 日本ミクロン株式会社 半導体装置の製造方法
JP2004326380A (ja) 2003-04-24 2004-11-18 Dainippon Printing Co Ltd Rfidタグ
JP2004334268A (ja) 2003-04-30 2004-11-25 Dainippon Printing Co Ltd 紙片icタグと紙片icタグ付き書籍・雑誌、紙片icタグ付き書籍
JP2004336250A (ja) * 2003-05-02 2004-11-25 Taiyo Yuden Co Ltd アンテナ整合回路、アンテナ整合回路を有する移動体通信装置、アンテナ整合回路を有する誘電体アンテナ
JP2004343000A (ja) 2003-05-19 2004-12-02 Fujikura Ltd 半導体モジュールとそれを備えた非接触icタグ及び半導体モジュールの製造方法
JP2004362190A (ja) 2003-06-04 2004-12-24 Hitachi Ltd 半導体装置
JP4828088B2 (ja) 2003-06-05 2011-11-30 凸版印刷株式会社 Icタグ
JP2005005866A (ja) 2003-06-10 2005-01-06 Alps Electric Co Ltd アンテナ一体型モジュール
JP2005033461A (ja) 2003-07-11 2005-02-03 Mitsubishi Materials Corp Rfidシステム及び該システムにおけるアンテナの構造
US7691009B2 (en) * 2003-09-26 2010-04-06 Radar Golf, Inc. Apparatuses and methods relating to findable balls
JP3982476B2 (ja) * 2003-10-01 2007-09-26 ソニー株式会社 通信システム
JP4062233B2 (ja) * 2003-10-20 2008-03-19 トヨタ自動車株式会社 ループアンテナ装置
JP4680489B2 (ja) 2003-10-21 2011-05-11 三菱電機株式会社 情報記録読取システム
JP3570430B1 (ja) * 2003-10-29 2004-09-29 オムロン株式会社 ループコイルアンテナ
JP4402426B2 (ja) 2003-10-30 2010-01-20 大日本印刷株式会社 温度変化感知検出システム
JP4343655B2 (ja) * 2003-11-12 2009-10-14 株式会社日立製作所 アンテナ
EP1689029B1 (en) * 2003-11-27 2016-10-05 Hitachi Metals, Ltd. Antenna and radio timepiece using the same, keyless entry system, and rf id system
JP4451125B2 (ja) 2003-11-28 2010-04-14 シャープ株式会社 小型アンテナ
JP4177241B2 (ja) 2003-12-04 2008-11-05 株式会社日立情報制御ソリューションズ 無線icタグ用アンテナ、無線icタグ及び無線icタグ付き容器
JP2005165839A (ja) 2003-12-04 2005-06-23 Nippon Signal Co Ltd:The リーダライタ、icタグ、物品管理装置、及び光ディスク装置
US6999028B2 (en) 2003-12-23 2006-02-14 3M Innovative Properties Company Ultra high frequency radio frequency identification tag
JP4326936B2 (ja) 2003-12-24 2009-09-09 シャープ株式会社 無線タグ
ATE503287T1 (de) * 2003-12-25 2011-04-15 Mitsubishi Materials Corp Antennenvorrichtung und kommunikationsgerät
EP1548674A1 (en) 2003-12-25 2005-06-29 Hitachi, Ltd. Radio IC tag, method and apparatus for manufacturing the same
JP4089680B2 (ja) 2003-12-25 2008-05-28 三菱マテリアル株式会社 アンテナ装置
JP2005210676A (ja) 2003-12-25 2005-08-04 Hitachi Ltd 無線用icタグ、無線用icタグの製造方法、及び、無線用icタグの製造装置
JP2005190417A (ja) 2003-12-26 2005-07-14 Taketani Shoji:Kk 固定物管理システム及びこのシステムに用いる個体識別子
JP4218519B2 (ja) 2003-12-26 2009-02-04 戸田工業株式会社 磁界アンテナ、それを用いて構成したワイヤレスシステムおよび通信システム
JP4174801B2 (ja) 2004-01-15 2008-11-05 株式会社エフ・イー・シー 識別タグのリーダライタ用アンテナ
JP2005210223A (ja) 2004-01-20 2005-08-04 Tdk Corp アンテナ装置
US20080272885A1 (en) * 2004-01-22 2008-11-06 Mikoh Corporation Modular Radio Frequency Identification Tagging Method
JP4271591B2 (ja) 2004-01-30 2009-06-03 双信電機株式会社 アンテナ装置
KR101270180B1 (ko) * 2004-01-30 2013-05-31 가부시키가이샤 한도오따이 에네루기 켄큐쇼 검사장치 및 검사방법과, 반도체장치 제작방법
JP2005229474A (ja) 2004-02-16 2005-08-25 Olympus Corp 情報端末装置
JP4393228B2 (ja) 2004-02-27 2010-01-06 シャープ株式会社 小型アンテナ及びそれを備えた無線タグ
JP2005252853A (ja) 2004-03-05 2005-09-15 Fec Inc Rf−id用アンテナ
WO2005091434A1 (ja) 2004-03-24 2005-09-29 Uchida Yoko Co.,Ltd. 記録媒体用icタグ貼付シート及び記録媒体
JP2005275870A (ja) 2004-03-25 2005-10-06 Matsushita Electric Ind Co Ltd 挿入型無線通信媒体装置および電子機器
JP2005284352A (ja) 2004-03-26 2005-10-13 Toshiba Corp 携帯可能電子装置
JP2005284455A (ja) 2004-03-29 2005-10-13 Fujita Denki Seisakusho:Kk Rfidシステム
JP4067510B2 (ja) 2004-03-31 2008-03-26 シャープ株式会社 テレビジョン受信装置
JP2005293537A (ja) 2004-04-05 2005-10-20 Fuji Xynetics Kk Icタグ付き段ボ−ル
US8139759B2 (en) * 2004-04-16 2012-03-20 Panasonic Corporation Line state detecting apparatus and transmitting apparatus and receiving apparatus of balanced transmission system
JP2005311205A (ja) * 2004-04-23 2005-11-04 Nec Corp 半導体装置
JP2005340759A (ja) 2004-04-27 2005-12-08 Sony Corp アンテナモジュール用磁芯部材、アンテナモジュールおよびこれを備えた携帯情報端末
JP2005322119A (ja) 2004-05-11 2005-11-17 Ic Brains Co Ltd Icタグ付き物品の不正持ち出し防止装置
JP2005321305A (ja) 2004-05-10 2005-11-17 Murata Mfg Co Ltd 電子部品測定治具
US7317396B2 (en) * 2004-05-26 2008-01-08 Funai Electric Co., Ltd. Optical disc having RFID tag, optical disc apparatus, and system for preventing unauthorized copying
JP4551122B2 (ja) 2004-05-26 2010-09-22 株式会社岩田レーベル Rfidラベルの貼付装置
JP4360276B2 (ja) 2004-06-02 2009-11-11 船井電機株式会社 無線icタグを有する光ディスク及び光ディスク再生装置
JP4367238B2 (ja) * 2004-05-31 2009-11-18 富士ゼロックス株式会社 Icタグ通信中継装置、icタグ通信中継方法
JP2005345802A (ja) 2004-06-03 2005-12-15 Casio Comput Co Ltd 撮像装置、この撮像装置に用いられる交換ユニット、交換ユニット使用制御方法及びプログラム
JP4348282B2 (ja) * 2004-06-11 2009-10-21 株式会社日立製作所 無線用icタグ、及び無線用icタグの製造方法
JP2005352858A (ja) 2004-06-11 2005-12-22 Hitachi Maxell Ltd 通信式記録担体
JP4530140B2 (ja) 2004-06-28 2010-08-25 Tdk株式会社 軟磁性体及びそれを用いたアンテナ装置
JP4359198B2 (ja) * 2004-06-30 2009-11-04 株式会社日立製作所 Icタグ実装基板の製造方法
JP4328682B2 (ja) * 2004-07-13 2009-09-09 富士通株式会社 光記録媒体用の無線タグアンテナ構造および無線タグアンテナ付き光記録媒体の収納ケース
JP2006033312A (ja) 2004-07-15 2006-02-02 Matsushita Electric Ind Co Ltd アンテナ及びアンテナ取り付け方法
JP2004362602A (ja) 2004-07-26 2004-12-24 Hitachi Ltd Rfidタグ
JP2006039947A (ja) 2004-07-27 2006-02-09 Daido Steel Co Ltd 複合磁性シート
JP4653440B2 (ja) 2004-08-13 2011-03-16 富士通株式会社 Rfidタグおよびその製造方法
JP4186895B2 (ja) 2004-09-01 2008-11-26 株式会社デンソーウェーブ 非接触通信装置用コイルアンテナおよびその製造方法
JP2005129019A (ja) 2004-09-03 2005-05-19 Sony Chem Corp Icカード
US20060055531A1 (en) 2004-09-14 2006-03-16 Honeywell International, Inc. Combined RF tag and SAW sensor
JP4600742B2 (ja) 2004-09-30 2010-12-15 ブラザー工業株式会社 印字ヘッド及びタグラベル作成装置
JP2006107296A (ja) 2004-10-08 2006-04-20 Dainippon Printing Co Ltd 非接触icタグおよび非接触icタグ用アンテナ
GB2419779A (en) * 2004-10-29 2006-05-03 Hewlett Packard Development Co Document having conductive tracks for coupling to a memory tag and a reader
EP1807814A1 (en) 2004-11-05 2007-07-18 Qinetiq Limited Detunable rf tags
JP3898206B2 (ja) * 2004-11-10 2007-03-28 東芝テック株式会社 無線タグ読取装置
JP4088797B2 (ja) 2004-11-18 2008-05-21 日本電気株式会社 Rfidタグ
JP2006148518A (ja) 2004-11-19 2006-06-08 Matsushita Electric Works Ltd 非接触icカードの調整装置および調整方法
JP2006151402A (ja) 2004-11-25 2006-06-15 Rengo Co Ltd 無線タグを備えた段ボール箱
US7545328B2 (en) * 2004-12-08 2009-06-09 Electronics And Telecommunications Research Institute Antenna using inductively coupled feeding method, RFID tag using the same and antenna impedance matching method thereof
JP4281683B2 (ja) 2004-12-16 2009-06-17 株式会社デンソー Icタグの取付構造
JP4942998B2 (ja) 2004-12-24 2012-05-30 株式会社半導体エネルギー研究所 半導体装置及び半導体装置の作製方法
JP4541246B2 (ja) 2004-12-24 2010-09-08 トッパン・フォームズ株式会社 非接触icモジュール
US8716834B2 (en) 2004-12-24 2014-05-06 Semiconductor Energy Laboratory Co., Ltd. Semiconductor device including antenna
JP4737505B2 (ja) 2005-01-14 2011-08-03 日立化成工業株式会社 Icタグインレット及びicタグインレットの製造方法
JP4711692B2 (ja) 2005-02-01 2011-06-29 富士通株式会社 メアンダラインアンテナ
JP2006232292A (ja) 2005-02-22 2006-09-07 Nippon Sheet Glass Co Ltd 電子タグ付き容器およびrfidシステム
JP2006237674A (ja) 2005-02-22 2006-09-07 Suncall Corp パッチアンテナ及びrfidインレット
JP4639857B2 (ja) 2005-03-07 2011-02-23 富士ゼロックス株式会社 Rfidタグが取り付けられた物品を収納する収納箱、その配置方法、通信方法、通信確認方法および包装構造。
US7932081B2 (en) 2005-03-10 2011-04-26 Gen-Probe Incorporated Signal measuring system for conducting real-time amplification assays
JP4330575B2 (ja) 2005-03-17 2009-09-16 富士通株式会社 タグアンテナ
JP4437965B2 (ja) 2005-03-22 2010-03-24 Necトーキン株式会社 無線タグ
JP2006270681A (ja) 2005-03-25 2006-10-05 Sony Corp 携帯機器
JP4087859B2 (ja) 2005-03-25 2008-05-21 東芝テック株式会社 無線タグ
JP2006287659A (ja) 2005-03-31 2006-10-19 Tdk Corp アンテナ装置
JP4536775B2 (ja) 2005-04-01 2010-09-01 富士通フロンテック株式会社 金属対応rfidタグ及びそのrfidタグ部
JP4750450B2 (ja) 2005-04-05 2011-08-17 富士通株式会社 Rfidタグ
JP2006302219A (ja) 2005-04-25 2006-11-02 Fujita Denki Seisakusho:Kk Rfidタグ通信範囲設定装置
EP1878089A4 (en) 2005-04-26 2008-07-16 Emw Antenna Co Ltd ULTRA BROADBAND ANTENNA WITH BAND LOCK PROPERTY
JP4771115B2 (ja) 2005-04-27 2011-09-14 日立化成工業株式会社 Icタグ
JP4452865B2 (ja) 2005-04-28 2010-04-21 智三 太田 無線icタグ装置及びrfidシステム
JP4529786B2 (ja) 2005-04-28 2010-08-25 株式会社日立製作所 信号処理回路、及びこれを用いた非接触icカード並びにタグ
US8111143B2 (en) 2005-04-29 2012-02-07 Hewlett-Packard Development Company, L.P. Assembly for monitoring an environment
JP4740645B2 (ja) 2005-05-17 2011-08-03 富士通株式会社 半導体装置の製造方法
US7688272B2 (en) * 2005-05-30 2010-03-30 Semiconductor Energy Laboratory Co., Ltd. Semiconductor device
JP4255931B2 (ja) 2005-06-01 2009-04-22 日本電信電話株式会社 非接触ic媒体及び制御装置
JP2007007888A (ja) 2005-06-28 2007-01-18 Oji Paper Co Ltd 非接触icチップ実装体装着ダンボールおよびその製造方法
JP4286813B2 (ja) 2005-07-08 2009-07-01 富士通株式会社 アンテナ及びこれを搭載するrfid用タグ
JP2007040702A (ja) 2005-07-29 2007-02-15 Oki Electric Ind Co Ltd 半導体集積回路、無線タグ及びセンサ
JP4720348B2 (ja) 2005-08-04 2011-07-13 パナソニック株式会社 Rf−idリーダーライター装置用アンテナ及びそれを用いたrf−idリーダーライター装置並びにrf−idシステム
JP4737716B2 (ja) 2005-08-11 2011-08-03 ブラザー工業株式会社 無線タグic回路保持体、タグテープロール、無線タグカートリッジ
JP4801951B2 (ja) * 2005-08-18 2011-10-26 富士通フロンテック株式会社 Rfidタグ
US8164460B2 (en) * 2005-08-25 2012-04-24 Bae Systems Information And Electronic Systems Integration Inc. Method and apparatus for coupling multiple microradios to an RFID tag antenna
DE102005042444B4 (de) * 2005-09-06 2007-10-11 Ksw Microtec Ag Anordnung für eine RFID - Transponder - Antenne
JP4384102B2 (ja) 2005-09-13 2009-12-16 株式会社東芝 携帯無線機およびアンテナ装置
JP4075919B2 (ja) 2005-09-29 2008-04-16 オムロン株式会社 アンテナユニットおよび非接触icタグ
JP4826195B2 (ja) 2005-09-30 2011-11-30 大日本印刷株式会社 Rfidタグ
JP2007116347A (ja) 2005-10-19 2007-05-10 Mitsubishi Materials Corp タグアンテナ及び携帯無線機
JP4774273B2 (ja) 2005-10-31 2011-09-14 株式会社サトー Rfidラベルおよびrfidラベルの貼付方法
JP2007159083A (ja) 2005-11-09 2007-06-21 Alps Electric Co Ltd アンテナ整合回路
JP2007150642A (ja) 2005-11-28 2007-06-14 Hitachi Ulsi Systems Co Ltd 無線タグ用質問器、無線タグ用アンテナ、無線タグシステムおよび無線タグ選別装置
JP2007150868A (ja) 2005-11-29 2007-06-14 Renesas Technology Corp 電子装置およびその製造方法
US7573388B2 (en) 2005-12-08 2009-08-11 The Kennedy Group, Inc. RFID device with augmented grain
JP4560480B2 (ja) 2005-12-13 2010-10-13 Necトーキン株式会社 無線タグ
JP4815211B2 (ja) 2005-12-22 2011-11-16 株式会社サトー Rfidラベルおよびrfidラベルの貼付方法
JP4848764B2 (ja) 2005-12-26 2011-12-28 大日本印刷株式会社 非接触式データキャリア装置
US7519328B2 (en) 2006-01-19 2009-04-14 Murata Manufacturing Co., Ltd. Wireless IC device and component for wireless IC device
EP3367500B1 (en) 2006-01-19 2021-08-11 Murata Manufacturing Co., Ltd. Wireless ic device
WO2007083575A1 (ja) 2006-01-19 2007-07-26 Murata Manufacturing Co., Ltd. 無線icデバイス
US20090231106A1 (en) 2006-01-27 2009-09-17 Totoku Electric Co., Ltd. Tag Apparatus,Transceiver Apparatus, and Tag System
JP5055261B2 (ja) 2006-02-19 2012-10-24 日本写真印刷株式会社 アンテナ付き筐体の給電構造
EP1988491B1 (en) 2006-02-22 2014-05-07 Toyo Seikan Group Holdings, Ltd. Base material for rfid tag adapted to metallic material
JP4026080B2 (ja) 2006-02-24 2007-12-26 オムロン株式会社 アンテナ、およびrfidタグ
JP5055478B2 (ja) 2006-02-28 2012-10-24 凸版印刷株式会社 Icタグ
WO2007102360A1 (ja) 2006-03-06 2007-09-13 Mitsubishi Electric Corporation Rfidタグ、rfidタグの製造方法及びrfidタグの設置方法
JP3933191B1 (ja) 2006-03-13 2007-06-20 株式会社村田製作所 携帯電子機器
JP2007287128A (ja) 2006-03-22 2007-11-01 Orient Sokki Computer Kk 非接触ic媒体
JP4735368B2 (ja) 2006-03-28 2011-07-27 富士通株式会社 平面アンテナ
JP4854362B2 (ja) 2006-03-30 2012-01-18 富士通株式会社 Rfidタグ及びその製造方法
JP4927625B2 (ja) 2006-03-31 2012-05-09 ニッタ株式会社 磁気シールドシート、非接触icカード通信改善方法および非接触icカード収容容器
JP4998463B2 (ja) * 2006-04-10 2012-08-15 株式会社村田製作所 無線icデバイス
CN102780085A (zh) 2006-04-14 2012-11-14 株式会社村田制作所 天线
CN101346852B (zh) 2006-04-14 2012-12-26 株式会社村田制作所 无线ic器件
US9064198B2 (en) 2006-04-26 2015-06-23 Murata Manufacturing Co., Ltd. Electromagnetic-coupling-module-attached article
CN101416350B (zh) 2006-04-26 2013-09-04 株式会社村田制作所 带馈电电路板的物件
WO2007125683A1 (ja) 2006-04-26 2007-11-08 Murata Manufacturing Co., Ltd. 電磁結合モジュール付き物品
US7589675B2 (en) 2006-05-19 2009-09-15 Industrial Technology Research Institute Broadband antenna
JP2007324865A (ja) 2006-05-31 2007-12-13 Sony Chemical & Information Device Corp アンテナ回路及びトランスポンダ
CN101460964B (zh) 2006-06-01 2011-09-21 株式会社村田制作所 无线ic器件和无线ic器件用复合元件
US20080100454A1 (en) * 2006-06-27 2008-05-01 Visible Assets, Inc. Cart-based visibility system
US7659857B2 (en) * 2006-07-05 2010-02-09 King Patrick F System and method for providing a low and narrow-profile radio frequency identification (RFID) tag
JP4957724B2 (ja) 2006-07-11 2012-06-20 株式会社村田製作所 アンテナ及び無線icデバイス
JP2008033716A (ja) 2006-07-31 2008-02-14 Sankyo Kk コイン型rfidタグ
KR100797172B1 (ko) 2006-08-08 2008-01-23 삼성전자주식회사 정합회로가 일체로 형성된 루프 안테나
US7981528B2 (en) 2006-09-05 2011-07-19 Panasonic Corporation Magnetic sheet with stripe-arranged magnetic grains, RFID magnetic sheet, magnetic shielding sheet and method of manufacturing the same
JP4836899B2 (ja) 2006-09-05 2011-12-14 パナソニック株式会社 磁性体ストライプ状配列シート、rfid磁性シート、電磁遮蔽シートおよびそれらの製造方法
JP2008083867A (ja) 2006-09-26 2008-04-10 Matsushita Electric Works Ltd メモリカード用ソケット
JP4913529B2 (ja) 2006-10-13 2012-04-11 トッパン・フォームズ株式会社 Rfidメディア
JP2008107947A (ja) 2006-10-24 2008-05-08 Toppan Printing Co Ltd Rfidタグ
DE102006057369A1 (de) 2006-12-04 2008-06-05 Airbus Deutschland Gmbh RFID-Etikett, sowie dessen Verwendung und ein damit gekennzeichnetes Objekt
JP2008167190A (ja) 2006-12-28 2008-07-17 Philtech Inc 基体シート
US8237622B2 (en) 2006-12-28 2012-08-07 Philtech Inc. Base sheet
JP2008207875A (ja) 2007-01-30 2008-09-11 Sony Corp 光ディスクケース、光ディスクトレイ、カード部材、および製造方法
US7886315B2 (en) 2007-01-30 2011-02-08 Sony Corporation Optical disc case, optical disc tray, card member, and manufacturing method
JP2008197714A (ja) 2007-02-08 2008-08-28 Dainippon Printing Co Ltd 非接触データキャリア装置及び非接触データキャリア用補助アンテナ
JP5061657B2 (ja) 2007-03-05 2012-10-31 大日本印刷株式会社 非接触式データキャリア装置
EP2133827B1 (en) 2007-04-06 2012-04-25 Murata Manufacturing Co. Ltd. Radio ic device
JP5170087B2 (ja) 2007-04-13 2013-03-27 株式会社村田製作所 携帯電子機器
WO2008142957A1 (ja) 2007-05-10 2008-11-27 Murata Manufacturing Co., Ltd. 無線icデバイス
WO2008140037A1 (ja) 2007-05-11 2008-11-20 Murata Manufacturing Co., Ltd. 無線icデバイス
JP4770792B2 (ja) 2007-05-18 2011-09-14 パナソニック電工株式会社 アンテナ装置
JP2009017284A (ja) 2007-07-05 2009-01-22 Panasonic Corp アンテナ装置
CN101542831B (zh) 2007-07-09 2014-06-25 株式会社村田制作所 无线ic器件
CN104540317B (zh) 2007-07-17 2018-11-02 株式会社村田制作所 印制布线基板
US20090021352A1 (en) 2007-07-18 2009-01-22 Murata Manufacturing Co., Ltd. Radio frequency ic device and electronic apparatus
US7830311B2 (en) 2007-07-18 2010-11-09 Murata Manufacturing Co., Ltd. Wireless IC device and electronic device
WO2009011376A1 (ja) 2007-07-18 2009-01-22 Murata Manufacturing Co., Ltd. 無線icデバイス
EP2166616B1 (en) 2007-07-18 2013-11-27 Murata Manufacturing Co. Ltd. Wireless ic device
JP2009110144A (ja) 2007-10-29 2009-05-21 Oji Paper Co Ltd コイン型rfidタグ
KR101047189B1 (ko) 2007-12-20 2011-07-06 가부시키가이샤 무라타 세이사쿠쇼 무선 ic 디바이스
JP2009182630A (ja) 2008-01-30 2009-08-13 Dainippon Printing Co Ltd ブースタアンテナ基板、ブースタアンテナ基板シート及び非接触式データキャリア装置
EP2251934B1 (en) 2008-03-03 2018-05-02 Murata Manufacturing Co. Ltd. Wireless ic device and wireless communication system
CN101953025A (zh) 2008-04-14 2011-01-19 株式会社村田制作所 无线ic器件、电子设备以及无线ic器件的谐振频率调整方法
WO2009142114A1 (ja) 2008-05-21 2009-11-26 株式会社村田製作所 無線icデバイス
JP4557186B2 (ja) 2008-06-25 2010-10-06 株式会社村田製作所 無線icデバイスとその製造方法
JP2010050844A (ja) 2008-08-22 2010-03-04 Sony Corp ループアンテナ及び通信装置
JP5319313B2 (ja) 2008-08-29 2013-10-16 峰光電子株式会社 ループアンテナ
JP4618459B2 (ja) 2008-09-05 2011-01-26 オムロン株式会社 Rfidタグ、rfidタグセット及びrfidシステム
JP3148168U (ja) 2008-10-21 2009-02-05 株式会社村田製作所 無線icデバイス

Patent Citations (1)

* Cited by examiner, † Cited by third party
Publication number Priority date Publication date Assignee Title
JP2004312112A (ja) * 2003-04-02 2004-11-04 Fuji Photo Film Co Ltd 外部アンテナ

Cited By (5)

* Cited by examiner, † Cited by third party
Publication number Priority date Publication date Assignee Title
JP2013061710A (ja) * 2011-09-12 2013-04-04 Hitachi Chemical Co Ltd Rfidタグ及び自動認識システム
WO2019124196A1 (ja) * 2017-12-20 2019-06-27 愛知製鋼株式会社 磁気マーカ及び磁気マーカシステム
JPWO2019124196A1 (ja) * 2017-12-20 2021-02-12 愛知製鋼株式会社 磁気マーカ及び磁気マーカシステム
US11238328B2 (en) 2017-12-20 2022-02-01 Aichi Steel Corporation Magnetic marker and magnetic marker system
JP7205494B2 (ja) 2017-12-20 2023-01-17 愛知製鋼株式会社 磁気マーカ及び磁気マーカシステム

Also Published As

Publication number Publication date
JP5136538B2 (ja) 2013-02-06
US8193939B2 (en) 2012-06-05
EP2166617A1 (en) 2010-03-24
US8552870B2 (en) 2013-10-08
EP2166617B1 (en) 2015-09-30
KR101023582B1 (ko) 2011-03-21
US20090146821A1 (en) 2009-06-11
CN104078767B (zh) 2015-12-09
WO2009008296A1 (ja) 2009-01-15
JPWO2009008296A1 (ja) 2010-09-09
US20120223148A1 (en) 2012-09-06
CN104078767A (zh) 2014-10-01
CN101542831B (zh) 2014-06-25
JP4466795B2 (ja) 2010-05-26
EP2166617A4 (en) 2010-03-24
CN101542831A (zh) 2009-09-23
KR20090058515A (ko) 2009-06-09

Similar Documents

Publication Publication Date Title
JP5136538B2 (ja) 無線icデバイス
US8006910B2 (en) Wireless IC device
JP5099134B2 (ja) 無線icデバイス及び無線icデバイス用部品
JP4867830B2 (ja) 無線icデバイス
CN103503234B (zh) 天线装置及通信终端装置
US7830311B2 (en) Wireless IC device and electronic device
JP4653440B2 (ja) Rfidタグおよびその製造方法
JP4666102B2 (ja) 無線icデバイス
US8424762B2 (en) Wireless IC device and component for wireless IC device
CN101568933A (zh) 无线ic器件
WO2013011856A1 (ja) 無線通信デバイス
JP5630166B2 (ja) 無線icタグ及びrfidシステム
JP5896594B2 (ja) 無線icデバイス
JP5092600B2 (ja) 無線icデバイス

Legal Events

Date Code Title Description
A621 Written request for application examination

Free format text: JAPANESE INTERMEDIATE CODE: A621

Effective date: 20091015

A131 Notification of reasons for refusal

Free format text: JAPANESE INTERMEDIATE CODE: A131

Effective date: 20120612

A521 Request for written amendment filed

Free format text: JAPANESE INTERMEDIATE CODE: A523

Effective date: 20120809

TRDD Decision of grant or rejection written
A01 Written decision to grant a patent or to grant a registration (utility model)

Free format text: JAPANESE INTERMEDIATE CODE: A01

Effective date: 20121016

A01 Written decision to grant a patent or to grant a registration (utility model)

Free format text: JAPANESE INTERMEDIATE CODE: A01

A61 First payment of annual fees (during grant procedure)

Free format text: JAPANESE INTERMEDIATE CODE: A61

Effective date: 20121029

R150 Certificate of patent or registration of utility model

Ref document number: 5136538

Country of ref document: JP

Free format text: JAPANESE INTERMEDIATE CODE: R150

Free format text: JAPANESE INTERMEDIATE CODE: R150

FPAY Renewal fee payment (event date is renewal date of database)

Free format text: PAYMENT UNTIL: 20151122

Year of fee payment: 3