JP2004362190A - 半導体装置 - Google Patents
半導体装置 Download PDFInfo
- Publication number
- JP2004362190A JP2004362190A JP2003158794A JP2003158794A JP2004362190A JP 2004362190 A JP2004362190 A JP 2004362190A JP 2003158794 A JP2003158794 A JP 2003158794A JP 2003158794 A JP2003158794 A JP 2003158794A JP 2004362190 A JP2004362190 A JP 2004362190A
- Authority
- JP
- Japan
- Prior art keywords
- antenna
- semiconductor element
- chip
- antennas
- semiconductor device
- Prior art date
- Legal status (The legal status is an assumption and is not a legal conclusion. Google has not performed a legal analysis and makes no representation as to the accuracy of the status listed.)
- Pending
Links
Images
Landscapes
- Details Of Aerials (AREA)
Abstract
【課題】ICチップを,ダイポール型のアンテナ基板に接続した場合に,実装における高精度な位置あわせが必要である,また,アンテナ基板をエッチング等で形成しているため,実装コストが上がり,タグの価格が高くなってしまう。
【解決手段】ICチップの2つの入出力端子を,表面と裏面からそれぞれ取り出すことを可能としたICチップを用いることにより,位置あわせが簡単で,上下2枚の長方形アンテナを用い,半導体素子上のみで重ね合わせ,その面積を,半導体素子面積と同等,もしくはそれ以下にすることにより,通信特性の劣化をさせることなく,薄型,低コスト,高信頼性,通信特性の良好なダイポール型の非接触ICタグが得られる。
【選択図】 図3
【解決手段】ICチップの2つの入出力端子を,表面と裏面からそれぞれ取り出すことを可能としたICチップを用いることにより,位置あわせが簡単で,上下2枚の長方形アンテナを用い,半導体素子上のみで重ね合わせ,その面積を,半導体素子面積と同等,もしくはそれ以下にすることにより,通信特性の劣化をさせることなく,薄型,低コスト,高信頼性,通信特性の良好なダイポール型の非接触ICタグが得られる。
【選択図】 図3
Description
【0001】
【発明の属する技術分野】
本発明は,少なくとも,半導体素子を搭載した非接触ICタグに係り,特に低価格で高信頼性を必要とする非接触ICタグに関する。
【0002】
【従来の技術】
従来の,ICチップ表面に接続端子を持つICチップを用いた,ダイポールアンテナの接続方法については,特許文献1を用いて説明する。
【0003】
従来のチップ表面および裏面に接続端子を持つICチップを用いた,ダイポールアンテナの接続方法については,特許文献2を用いて説明する。
【0004】
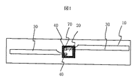
図1に従来の特許文献1構造のダイポールアンテナ接続方法の平面図を示した。
【0005】
基材10上に,アンテナ金属パターン30を形成し,アンテナ金属パターンのICチップ20の接続部分に,異方導電フィルム70を形成する。ICチップ20上のバンプ40を,アンテナ金属パターン30と位置あわせを行い,フェースダウンで異方導電フィルム70を仮圧着,その後本圧着して電気的な接続をした後,カバーシートをラミネートして,非接触ICタグを完成させる。
【0006】
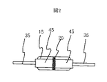
図2に,特許文献2構造の,表面および裏面に接続端子を持つICチップを用いた,ダイポールアンテナの接続方法を示しており,ガラス封止のシリコンダイオード技術を応用したものである。ここで,用いたICチップは,チップ表面に入力用バンプを持ち,接地端子に対して信号を入力する方式を用いているため,接地端子は基板と同電位で有り,チップ表面及び裏面を接続する構造が可能である。
【0007】
図2は,表面および裏面に接続端子を持つICチップ20を,ガラス管15内に,リード線35およびそれにつけられているジュメット45で挟み込み,ガラス管15を加熱して封止を行って,リード線35をアンテナとした,非接触ICタグが完成する。
【特許文献1】特開2000−200328号公報
【特許文献2】特開2002−269520号公報
【発明が解決しようとする課題】
上記特許文献1構造では,アンテナパターンに,フェースダウンで接続しているため,高い位置合わせ精度が必要となり,位置検出のためのコストが高くなる。また,アンテナパターンをエッチッグ等で形成するため,アンテナのコストが高くなる。
【0008】
また,特許文献2構造の表面および裏面に接続端子を持つICチップを用いた場合では,ガラス封止型のSiダイオード技術を用いているため,タグが厚くなってしまうため,薄い物に貼り付けるまたは,薄い物の中に入れ込む用途には,不向きである。
【0009】
【課題を解決するための手段】
IC回路の一方の端子が接地端子となる回路を用い,その取り出し電極をシリコン基板の裏面に設け,ICチップの2つの入出力端子を,ICチップの表面と裏面からそれぞれ取り出すことを可能としたICチップを用いる。
【0010】
上記のICチップは,上下反転及び平面上で回転しても通信特性が変化しないため,ICチップの表面,裏面の判定がいらない,さらに,ICチップの領域すべてが,接続端子であるため,位置あわせによるコストを,大幅に低減できる実装方法を実現できる。
【0011】
上記ICチップの入出力端子を,金属板アンテナ2枚で端部を挟み込んで接続することにより,薄いダイポール型の非接触ICタグを得ることができる。
【0012】
前記ダイポール型の非接触ICタグにおいて,上下の2枚のアンテナのオーバーラップ量は,半導体素子上のみで重ね合わせ,その面積を半導体素子面積と同等,もしくはそれ以下にすることで,通信特性を劣化しないダイポール型の非接触ICタグを得ることができる。
【0013】
前記ダイポール型の非接触ICタグにおいて,2枚のアンテナが簡単な長方形をしているため,アンテナの成形が簡単であり,量産プロセスに最適であり,低コストのダイポール型非接触ICタグを得ることができる。
【0014】
上記の方法により,課題は解決できる
【0015】
【発明の実施の形態】
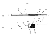
図3には,本発明のICチップの2つの入出力端子を,表面と裏面からそれぞれ取り出すことを可能としたものを用いた,ダイポール型アンテナの実装方法を,平面図及び断面図で示す構成概念図を示した。図4には,本発明の通信特性を決定する要因について説明するグラフおよび平面図を示した。
【0016】
図3(a)の,アンテナ金属パターンa50上の右上端に,異方導電フィルム70を形成し,ICチップ20をアンテナ金属パターンa50上の右上端に仮圧着(80度程度の温度で,加熱圧着)する,つぎに,アンテナ金属パターンb60の左上端に異方導電フィルム70を形成し,アンテナ金属パターンb60の異方導電フィルム70を下にして,ICチップ20上に重ねて仮圧着し,その後本圧着(120度程度の温度で,加熱圧着)を行って電気的な接続をすることにより,ダイポール型アンテナに実装した非接触ICタグが得られる。図3(b)は,A−A’断面を示したもので,ICチップ20は,アンテナ金属パターンa50とアンテナ金属パターンb60で挟み込み,異方導電フィルム70で接続し,ダイポール型アンテナを実装した非接触ICタグが得られる。また、ICチップ20の上面、下面にはそれぞれ上部電極、下部電極が設けられる。
【0017】
上記で用いたICチップ20は,上下反転及び平面上で回転しても動作するため,ICチップ20の表面,裏面及び平面上の方向の判定がいらない,さらに,ICチップ20の領域すべてが,接続端子であるため,位置あわせによるコストを,大幅に低減できる実装方法を実現できる。
【0018】
図4(a)を用いて後述するように、図3に示す構成によりアンテナのオーバーラップを半導体素子上のみで重ね合わせ,その面積を,半導体素子面積と同等,もしくはそれ以下にすることにより,実装装置の低コスト化,アンテナの低コスト化を実現した,薄型,低コスト,高信頼性,通信特性の良好なダイポール型アンテナを実装した非接触ICタグが得られる。
【0019】
図4(a)は,非接触ICタグの通信特性の一つである,最大通信距離とアンテナのオーバーラップ量の依存性を示したグラフである,ICチップが接続されている部分以外のアンテナ領域のオーバーラップ量が増加するにしたがって,横方向,縦方向共に最大通信距離が低下する傾向があることがわかった。オーバーラップ量について,図4(b),(c)を用いて説明する,図4(b)は横方法のオーバーラップ量を示したもので,アンテナ金属パターンb60を矢印の方向にずらして接続したもので,オーバーラップ量は,オーバーラップ部分a100にICチップ20を加えた値となる,この場合は,縦方向は,ICチップ20の幅を超えないように接続した。図4(c)は縦方法のオーバーラップ量を示したもので,アンテナ金属パターンb60を矢印の方向にずらして接続したもので,オーバーラップ量は,オーバーラップ部分b110にICチップ20を加えた値となる,この場合は,横方向は,ICチップ20の幅を超えないように接続した。
【0020】
上記に用いたアンテナは,金属板を長方形に,打ち抜き,もしくは,カットしただけで形成できるため,アンテナの低コスト化が実現できる。
【0021】
上記より,アンテナのオーバーラップを半導体素子上のみで重ね合わせ,その面積を,半導体素子面積と同等,もしくはそれ以下にすることにより,実装装置の低コスト化,アンテナの低コスト化を実現した,薄型,低コスト,高信頼性,通信特性の良好なダイポール型アンテナを実装した非接触ICタグが得られる。
【0022】
図5,図6に,アンテナの接続部分の形状およびアンテナ形状を変えた場合の平面図で示す構成概念図を示した。
【0023】
図5(a)は,ICチップ20を長方形のアンテナ金属パターンa50の右上端に異方導電フィルム70で仮圧着し,アンテナbは,ICチップ20を接合するアンテナb接合部120を設けてオーバータップ量がICチップ20の面積を超えないようにしたダイポール型アンテナ構造である。
【0024】
図5(b)は,ICチップ20を長方形のアンテナ金属パターンa50の右中心部に異方導電フィルム70で仮圧着し,アンテナbの形状は,ICチップ20を接合するアンテナb接合部120をアンテナ金属パターンb60の中心部に設けてオーバータップ量がICチップ20の面積を超えないようにしたダイポール型アンテナ構造である。
【0025】
図5(c)は,上記同様であるが,アンテナb接合部120の形状の先端を丸くしたダイポール型アンテナ構造である。
【0026】
図5(d)は,図5(b)と同様であるが,アンテナ金属パターンb60の幅とアンテナb接合部120の幅を同じ幅にしたダイポール型アンテナ構造である。
【0027】
図5(e)は,上記と同様であるが,アンテナ金属パターンb60の幅よりアンテナb接合部120の幅を狭くした,ダイポール型アンテナ構造である。
【0028】
図6の(a)〜(e)は,図5の(a)〜(e)のアンテナ金属パターンa50をアンテナ金属パターンb60の形状と同じにした場合のダイポール型アンテナ構造である。
【0029】
上記により,アンテナのオーバーラップを半導体素子上のみで重ね合わせ,その面積を,半導体素子面積と同等,もしくはそれ以下にした薄型,低コスト,高信頼性,通信特性の良好な,ダイポール型アンテナを実装した非接触ICタグが得られる。
上記では,アンテナの材料は金属板を用いたが,基材の上に金属,銀ペースト,カーボン等の導電材料で形成したアンテナを用いても良い。
【0030】
図7,図8に量産をする場合のアンテナ形状を平面図で示す構成概念図を示した。
【0031】
図7(a)の,アンテナ金属パターンa50は縦に連続的につながる形状で,アンテナ金属パターンa50の右端にチップ位置に異方導電フィルム70を形成し,異方導電フィルム70上に等間隔に連続してICチップ20を並べて,仮圧着(80度程度の温度で,加熱圧着)する,次に左端に異方導電フィルム70を形成したアンテナ金属パターンb60を,異方導電フィルム70がICチップ20に接続するように合わせ,仮圧着,本圧着(120度程度の温度で,加熱圧着)をして,電気的な接続を行う,次に図7(b)のように,タグ切り取り部130で切り取って一つ一つに分離し,ダイポール型アンテナを実装した非接触ICタグが得られる。
【0032】
図8は,前期同様のプロセスで形成するが,アンテナ金属パターンb60のICチップ20を接続するアンテナb接続部120を形成したものを用いて実装した,ダイポール型アンテナを実装した非接触ICタグが得られる。
【0033】
前期のアンテナb接続部120の形状は,図6(a)で示した形状を用いて示した。
【0034】
しかし,アンテナの先端形状は,図5(b)〜(e),図6(a)〜(e)で示した形状を用いても良い。
【0035】
上記では,異方導電フィルム70で電気的な接続を行った段階で,実装を終了したが,
非接触ICタグの片面または両面にカバーシートを設けたダイポール型アンテナ構造としても良い。
【0036】
図9に,ダイポール型アンテナの一方のアンテナを,オーバーラップを積極的に形成して,最終端をもう一方のアンテナに接続した,スリット付きのアンテナ構造の平面図および一部断面図で示す構成概念図を示した。
【0037】
図9(a)で示すように,ICチップ20をアンテナ金属パターンb60に接続し,図9(b)のアンテナ金属パターンa50をアンテナ金属パターンb60とオーバーラップするようにICチップ20を電気的接続し,アンテナ金属パターンa50の先端をアンテナ金属パターンb60に,間隙を開けて,スリット接続部140で接続して,オーバーラップ部分に空隙を設けて,縦方向にスリットを形成する。
【0038】
図9(b)では,異方導電フィルム70を厚くして,空隙を形成したが,空隙のためのスペーサーを設けても良い。オーバーラップ部分の空隙は,0.1〜数mm開けることにより,厚さ方向にスリットを設けたアンテナ構造となり,ダイポールアンテナの最大通信距離の2〜3倍を得る構造となる。
【0039】
このスペーサーを形成する空隙および長さは,非接触ICタグの通信に使用する周波数により,調整して使用する。
上記により,薄型,低コスト,高信頼性,通信特性の良好な,スリット付きアンテナに実装した非接触ICタグが得られる。
【0040】
【発明の効果】
ICチップの上下を反転しても通信特性が変化しないため,ICチップ20の表面,裏面の判定がいらない,さらに,ICチップ20の領域すべてが,接続端子であるため,位置あわせによるコストを,大幅に低減できる実装方法を実現できる。
【0041】
上記ICチップの入出力端子を,金属板アンテナ2枚で端部を挟み込んで接続することにより,薄いダイポール型の非接触ICタグを得ることができる。
前期ダイポール型の非接触ICタグにおいて,上下の2枚のアンテナのオーバーラップ量を,半導体素子上のみで重ね合わせ,その面積を,半導体素子面積と同等,もしくはそれ以下にすることにより,通信特性を劣化しないダイポール型の非接触ICタグ得ることができる。
【0042】
前期ダイポール型の非接触ICタグにおいて,2枚のアンテナが簡単な長方形をしているため,アンテナの成形が簡単なため,量産に適しており,薄型,低コスト,高信頼性,通信特性の良好なダイポール型非接触ICタグを得ることができる。
【図面の簡単な説明】
【図1】従来技術を説明する図。
【図2】従来技術を説明する図。
【図3】発明の実施の形態1を説明する別の構成概念図。
【図4】発明の実施の形態1を説明する別の構成概念図。
【図5】発明の実施の形態2を説明する構成概念図。
【図6】発明の実施の形態2を説明する構成概念図。
【図7】発明の実施の形態3を説明する構成概念図。
【図8】発明の実施の形態3を説明する構成概念図。
【図9】発明の実施の形態4を説明する構成概念図。
【符号の説明】
10 :基材
15 :ガラス管
20 :ICチップ
30 :アンテナ金属パターン
35 :リード線
40 :バンプ
45 :ジュメット
50 :アンテナ金属パターンa
60 :アンテナ金属パターンb
70 :異方導電フィルム
80 :上部電極
90 :下部電極
100:オーバーラップ部a
110:オーバーラップ部b
120:アンテナb接続部
130:タグ切り取り部
140:スリット接続部。
【発明の属する技術分野】
本発明は,少なくとも,半導体素子を搭載した非接触ICタグに係り,特に低価格で高信頼性を必要とする非接触ICタグに関する。
【0002】
【従来の技術】
従来の,ICチップ表面に接続端子を持つICチップを用いた,ダイポールアンテナの接続方法については,特許文献1を用いて説明する。
【0003】
従来のチップ表面および裏面に接続端子を持つICチップを用いた,ダイポールアンテナの接続方法については,特許文献2を用いて説明する。
【0004】
図1に従来の特許文献1構造のダイポールアンテナ接続方法の平面図を示した。
【0005】
基材10上に,アンテナ金属パターン30を形成し,アンテナ金属パターンのICチップ20の接続部分に,異方導電フィルム70を形成する。ICチップ20上のバンプ40を,アンテナ金属パターン30と位置あわせを行い,フェースダウンで異方導電フィルム70を仮圧着,その後本圧着して電気的な接続をした後,カバーシートをラミネートして,非接触ICタグを完成させる。
【0006】
図2に,特許文献2構造の,表面および裏面に接続端子を持つICチップを用いた,ダイポールアンテナの接続方法を示しており,ガラス封止のシリコンダイオード技術を応用したものである。ここで,用いたICチップは,チップ表面に入力用バンプを持ち,接地端子に対して信号を入力する方式を用いているため,接地端子は基板と同電位で有り,チップ表面及び裏面を接続する構造が可能である。
【0007】
図2は,表面および裏面に接続端子を持つICチップ20を,ガラス管15内に,リード線35およびそれにつけられているジュメット45で挟み込み,ガラス管15を加熱して封止を行って,リード線35をアンテナとした,非接触ICタグが完成する。
【特許文献1】特開2000−200328号公報
【特許文献2】特開2002−269520号公報
【発明が解決しようとする課題】
上記特許文献1構造では,アンテナパターンに,フェースダウンで接続しているため,高い位置合わせ精度が必要となり,位置検出のためのコストが高くなる。また,アンテナパターンをエッチッグ等で形成するため,アンテナのコストが高くなる。
【0008】
また,特許文献2構造の表面および裏面に接続端子を持つICチップを用いた場合では,ガラス封止型のSiダイオード技術を用いているため,タグが厚くなってしまうため,薄い物に貼り付けるまたは,薄い物の中に入れ込む用途には,不向きである。
【0009】
【課題を解決するための手段】
IC回路の一方の端子が接地端子となる回路を用い,その取り出し電極をシリコン基板の裏面に設け,ICチップの2つの入出力端子を,ICチップの表面と裏面からそれぞれ取り出すことを可能としたICチップを用いる。
【0010】
上記のICチップは,上下反転及び平面上で回転しても通信特性が変化しないため,ICチップの表面,裏面の判定がいらない,さらに,ICチップの領域すべてが,接続端子であるため,位置あわせによるコストを,大幅に低減できる実装方法を実現できる。
【0011】
上記ICチップの入出力端子を,金属板アンテナ2枚で端部を挟み込んで接続することにより,薄いダイポール型の非接触ICタグを得ることができる。
【0012】
前記ダイポール型の非接触ICタグにおいて,上下の2枚のアンテナのオーバーラップ量は,半導体素子上のみで重ね合わせ,その面積を半導体素子面積と同等,もしくはそれ以下にすることで,通信特性を劣化しないダイポール型の非接触ICタグを得ることができる。
【0013】
前記ダイポール型の非接触ICタグにおいて,2枚のアンテナが簡単な長方形をしているため,アンテナの成形が簡単であり,量産プロセスに最適であり,低コストのダイポール型非接触ICタグを得ることができる。
【0014】
上記の方法により,課題は解決できる
【0015】
【発明の実施の形態】
図3には,本発明のICチップの2つの入出力端子を,表面と裏面からそれぞれ取り出すことを可能としたものを用いた,ダイポール型アンテナの実装方法を,平面図及び断面図で示す構成概念図を示した。図4には,本発明の通信特性を決定する要因について説明するグラフおよび平面図を示した。
【0016】
図3(a)の,アンテナ金属パターンa50上の右上端に,異方導電フィルム70を形成し,ICチップ20をアンテナ金属パターンa50上の右上端に仮圧着(80度程度の温度で,加熱圧着)する,つぎに,アンテナ金属パターンb60の左上端に異方導電フィルム70を形成し,アンテナ金属パターンb60の異方導電フィルム70を下にして,ICチップ20上に重ねて仮圧着し,その後本圧着(120度程度の温度で,加熱圧着)を行って電気的な接続をすることにより,ダイポール型アンテナに実装した非接触ICタグが得られる。図3(b)は,A−A’断面を示したもので,ICチップ20は,アンテナ金属パターンa50とアンテナ金属パターンb60で挟み込み,異方導電フィルム70で接続し,ダイポール型アンテナを実装した非接触ICタグが得られる。また、ICチップ20の上面、下面にはそれぞれ上部電極、下部電極が設けられる。
【0017】
上記で用いたICチップ20は,上下反転及び平面上で回転しても動作するため,ICチップ20の表面,裏面及び平面上の方向の判定がいらない,さらに,ICチップ20の領域すべてが,接続端子であるため,位置あわせによるコストを,大幅に低減できる実装方法を実現できる。
【0018】
図4(a)を用いて後述するように、図3に示す構成によりアンテナのオーバーラップを半導体素子上のみで重ね合わせ,その面積を,半導体素子面積と同等,もしくはそれ以下にすることにより,実装装置の低コスト化,アンテナの低コスト化を実現した,薄型,低コスト,高信頼性,通信特性の良好なダイポール型アンテナを実装した非接触ICタグが得られる。
【0019】
図4(a)は,非接触ICタグの通信特性の一つである,最大通信距離とアンテナのオーバーラップ量の依存性を示したグラフである,ICチップが接続されている部分以外のアンテナ領域のオーバーラップ量が増加するにしたがって,横方向,縦方向共に最大通信距離が低下する傾向があることがわかった。オーバーラップ量について,図4(b),(c)を用いて説明する,図4(b)は横方法のオーバーラップ量を示したもので,アンテナ金属パターンb60を矢印の方向にずらして接続したもので,オーバーラップ量は,オーバーラップ部分a100にICチップ20を加えた値となる,この場合は,縦方向は,ICチップ20の幅を超えないように接続した。図4(c)は縦方法のオーバーラップ量を示したもので,アンテナ金属パターンb60を矢印の方向にずらして接続したもので,オーバーラップ量は,オーバーラップ部分b110にICチップ20を加えた値となる,この場合は,横方向は,ICチップ20の幅を超えないように接続した。
【0020】
上記に用いたアンテナは,金属板を長方形に,打ち抜き,もしくは,カットしただけで形成できるため,アンテナの低コスト化が実現できる。
【0021】
上記より,アンテナのオーバーラップを半導体素子上のみで重ね合わせ,その面積を,半導体素子面積と同等,もしくはそれ以下にすることにより,実装装置の低コスト化,アンテナの低コスト化を実現した,薄型,低コスト,高信頼性,通信特性の良好なダイポール型アンテナを実装した非接触ICタグが得られる。
【0022】
図5,図6に,アンテナの接続部分の形状およびアンテナ形状を変えた場合の平面図で示す構成概念図を示した。
【0023】
図5(a)は,ICチップ20を長方形のアンテナ金属パターンa50の右上端に異方導電フィルム70で仮圧着し,アンテナbは,ICチップ20を接合するアンテナb接合部120を設けてオーバータップ量がICチップ20の面積を超えないようにしたダイポール型アンテナ構造である。
【0024】
図5(b)は,ICチップ20を長方形のアンテナ金属パターンa50の右中心部に異方導電フィルム70で仮圧着し,アンテナbの形状は,ICチップ20を接合するアンテナb接合部120をアンテナ金属パターンb60の中心部に設けてオーバータップ量がICチップ20の面積を超えないようにしたダイポール型アンテナ構造である。
【0025】
図5(c)は,上記同様であるが,アンテナb接合部120の形状の先端を丸くしたダイポール型アンテナ構造である。
【0026】
図5(d)は,図5(b)と同様であるが,アンテナ金属パターンb60の幅とアンテナb接合部120の幅を同じ幅にしたダイポール型アンテナ構造である。
【0027】
図5(e)は,上記と同様であるが,アンテナ金属パターンb60の幅よりアンテナb接合部120の幅を狭くした,ダイポール型アンテナ構造である。
【0028】
図6の(a)〜(e)は,図5の(a)〜(e)のアンテナ金属パターンa50をアンテナ金属パターンb60の形状と同じにした場合のダイポール型アンテナ構造である。
【0029】
上記により,アンテナのオーバーラップを半導体素子上のみで重ね合わせ,その面積を,半導体素子面積と同等,もしくはそれ以下にした薄型,低コスト,高信頼性,通信特性の良好な,ダイポール型アンテナを実装した非接触ICタグが得られる。
上記では,アンテナの材料は金属板を用いたが,基材の上に金属,銀ペースト,カーボン等の導電材料で形成したアンテナを用いても良い。
【0030】
図7,図8に量産をする場合のアンテナ形状を平面図で示す構成概念図を示した。
【0031】
図7(a)の,アンテナ金属パターンa50は縦に連続的につながる形状で,アンテナ金属パターンa50の右端にチップ位置に異方導電フィルム70を形成し,異方導電フィルム70上に等間隔に連続してICチップ20を並べて,仮圧着(80度程度の温度で,加熱圧着)する,次に左端に異方導電フィルム70を形成したアンテナ金属パターンb60を,異方導電フィルム70がICチップ20に接続するように合わせ,仮圧着,本圧着(120度程度の温度で,加熱圧着)をして,電気的な接続を行う,次に図7(b)のように,タグ切り取り部130で切り取って一つ一つに分離し,ダイポール型アンテナを実装した非接触ICタグが得られる。
【0032】
図8は,前期同様のプロセスで形成するが,アンテナ金属パターンb60のICチップ20を接続するアンテナb接続部120を形成したものを用いて実装した,ダイポール型アンテナを実装した非接触ICタグが得られる。
【0033】
前期のアンテナb接続部120の形状は,図6(a)で示した形状を用いて示した。
【0034】
しかし,アンテナの先端形状は,図5(b)〜(e),図6(a)〜(e)で示した形状を用いても良い。
【0035】
上記では,異方導電フィルム70で電気的な接続を行った段階で,実装を終了したが,
非接触ICタグの片面または両面にカバーシートを設けたダイポール型アンテナ構造としても良い。
【0036】
図9に,ダイポール型アンテナの一方のアンテナを,オーバーラップを積極的に形成して,最終端をもう一方のアンテナに接続した,スリット付きのアンテナ構造の平面図および一部断面図で示す構成概念図を示した。
【0037】
図9(a)で示すように,ICチップ20をアンテナ金属パターンb60に接続し,図9(b)のアンテナ金属パターンa50をアンテナ金属パターンb60とオーバーラップするようにICチップ20を電気的接続し,アンテナ金属パターンa50の先端をアンテナ金属パターンb60に,間隙を開けて,スリット接続部140で接続して,オーバーラップ部分に空隙を設けて,縦方向にスリットを形成する。
【0038】
図9(b)では,異方導電フィルム70を厚くして,空隙を形成したが,空隙のためのスペーサーを設けても良い。オーバーラップ部分の空隙は,0.1〜数mm開けることにより,厚さ方向にスリットを設けたアンテナ構造となり,ダイポールアンテナの最大通信距離の2〜3倍を得る構造となる。
【0039】
このスペーサーを形成する空隙および長さは,非接触ICタグの通信に使用する周波数により,調整して使用する。
上記により,薄型,低コスト,高信頼性,通信特性の良好な,スリット付きアンテナに実装した非接触ICタグが得られる。
【0040】
【発明の効果】
ICチップの上下を反転しても通信特性が変化しないため,ICチップ20の表面,裏面の判定がいらない,さらに,ICチップ20の領域すべてが,接続端子であるため,位置あわせによるコストを,大幅に低減できる実装方法を実現できる。
【0041】
上記ICチップの入出力端子を,金属板アンテナ2枚で端部を挟み込んで接続することにより,薄いダイポール型の非接触ICタグを得ることができる。
前期ダイポール型の非接触ICタグにおいて,上下の2枚のアンテナのオーバーラップ量を,半導体素子上のみで重ね合わせ,その面積を,半導体素子面積と同等,もしくはそれ以下にすることにより,通信特性を劣化しないダイポール型の非接触ICタグ得ることができる。
【0042】
前期ダイポール型の非接触ICタグにおいて,2枚のアンテナが簡単な長方形をしているため,アンテナの成形が簡単なため,量産に適しており,薄型,低コスト,高信頼性,通信特性の良好なダイポール型非接触ICタグを得ることができる。
【図面の簡単な説明】
【図1】従来技術を説明する図。
【図2】従来技術を説明する図。
【図3】発明の実施の形態1を説明する別の構成概念図。
【図4】発明の実施の形態1を説明する別の構成概念図。
【図5】発明の実施の形態2を説明する構成概念図。
【図6】発明の実施の形態2を説明する構成概念図。
【図7】発明の実施の形態3を説明する構成概念図。
【図8】発明の実施の形態3を説明する構成概念図。
【図9】発明の実施の形態4を説明する構成概念図。
【符号の説明】
10 :基材
15 :ガラス管
20 :ICチップ
30 :アンテナ金属パターン
35 :リード線
40 :バンプ
45 :ジュメット
50 :アンテナ金属パターンa
60 :アンテナ金属パターンb
70 :異方導電フィルム
80 :上部電極
90 :下部電極
100:オーバーラップ部a
110:オーバーラップ部b
120:アンテナb接続部
130:タグ切り取り部
140:スリット接続部。
Claims (7)
- 半導体素子の表面及び裏面に外部に取り出す入出力電極を持つ半導体素子を用い,2枚の長方形のアンテナで実装を行い,アンテナの一方に表面出力電極を接続し,もう一方を裏面出力電極に電気的接続したアンテナ構造で,アンテナ同士間の重ね合わせを,半導体素子上のみで重ね合わせ,その面積を,半導体素子面積と同等,もしくはそれ以下にすることを特徴とする半導体装置。
- 請求項1記載のアンテナの,半導体素子を接続する部分の一方のアンテナ形状を,アンテナの先端,もしくは,アンテナ全体の幅を半導体素子上のみで重ね合わせ,その面積を,半導体素子面積と同等,もしくはそれ以下にすることを特徴とする半導体装置。
- 請求項1,2記載のいずれかのアンテナの,半導体素子を接続する部分の両方のアンテナ形状を,アンテナの先端,もしくは,アンテナ全体の幅を半導体素子上のみで重ね合わせ,その面積を,半導体素子面積と同等,もしくはそれ以下にすることを特徴とする半導体装置。
- 請求項1記載の一方のアンテナを連続的につなげた基板を形成し,前記基板端部に半導体素子を連続的に並べて接続し,もう一方のアンテナも連続的につなげた基板を形成し,ICチップ接続位置に接続し,半導体素子の表面および裏面の接続端子とアンテナの電気的接続をした後,一つ一つに分離することを特徴とする半導体装置。
- 請求項2記載の一方のアンテナを連続的につなげた基板を形成し,前記基板端部に半導体素子を連続的に並べて接続し,もう一方のアンテナも連続的につなげた基板を形成し,半導体素子接続位置に接続し,半導体素子の表面および裏面の接続端子とアンテナの電気的接続をした後,一つ一つに分離することを特徴とする半導体装置。
- 請求項3記載の一方のアンテナを連続的につなげた基板を形成し,前記基板端部に半導体素子を連続的に並べて接続し,もう一方のアンテナも連続的につなげた基板を形成し,半導体素子接続位置に接続し,半導体素子の表面および裏面の接続端子とアンテナの電気的接続をした後,一つ一つに分離することを特徴とする半導体装置。
- 2枚の長方形のアンテナを用いて実装を行い,アンテナの一方に表面出力電極を接続し,もう一方の裏面出力電極を,アンテナ先端をもう一方のアンテナとオーバーラップするように電気的接続し,アンテナ先端をもう一方のアンテナに,0.1から数mmの間隙を開けて電気的接続し,厚さ方向にスリットを有することを特徴とする半導体装置。
Priority Applications (1)
| Application Number | Priority Date | Filing Date | Title |
|---|---|---|---|
| JP2003158794A JP2004362190A (ja) | 2003-06-04 | 2003-06-04 | 半導体装置 |
Applications Claiming Priority (1)
| Application Number | Priority Date | Filing Date | Title |
|---|---|---|---|
| JP2003158794A JP2004362190A (ja) | 2003-06-04 | 2003-06-04 | 半導体装置 |
Publications (1)
| Publication Number | Publication Date |
|---|---|
| JP2004362190A true JP2004362190A (ja) | 2004-12-24 |
Family
ID=34052031
Family Applications (1)
| Application Number | Title | Priority Date | Filing Date |
|---|---|---|---|
| JP2003158794A Pending JP2004362190A (ja) | 2003-06-04 | 2003-06-04 | 半導体装置 |
Country Status (1)
| Country | Link |
|---|---|
| JP (1) | JP2004362190A (ja) |
Cited By (102)
| Publication number | Priority date | Publication date | Assignee | Title |
|---|---|---|---|---|
| WO2007063786A1 (en) * | 2005-11-29 | 2007-06-07 | Semiconductor Energy Laboratory Co., Ltd. | Antenna and manufacturing method thereof, semiconductor device including antenna and manufacturing method thereof, and radio communication system |
| WO2007083574A1 (ja) * | 2006-01-19 | 2007-07-26 | Murata Manufacturing Co., Ltd. | 無線icデバイス及び無線icデバイス用部品 |
| WO2009011375A1 (ja) * | 2007-07-18 | 2009-01-22 | Murata Manufacturing Co., Ltd. | 無線icデバイスおよびその製造方法 |
| US7518558B2 (en) | 2006-04-14 | 2009-04-14 | Murata Manufacturing Co., Ltd. | Wireless IC device |
| US7519328B2 (en) | 2006-01-19 | 2009-04-14 | Murata Manufacturing Co., Ltd. | Wireless IC device and component for wireless IC device |
| US7629942B2 (en) | 2006-04-14 | 2009-12-08 | Murata Manufacturing Co., Ltd. | Antenna |
| CN100568487C (zh) * | 2005-02-16 | 2009-12-09 | 株式会社日立制作所 | 电子标签芯片 |
| US7762472B2 (en) | 2007-07-04 | 2010-07-27 | Murata Manufacturing Co., Ltd | Wireless IC device |
| US7830311B2 (en) | 2007-07-18 | 2010-11-09 | Murata Manufacturing Co., Ltd. | Wireless IC device and electronic device |
| US7868437B2 (en) | 2005-05-24 | 2011-01-11 | Fujitsu Limited | Mounting structure for IC tag and IC chip for mounting |
| US7871008B2 (en) | 2008-06-25 | 2011-01-18 | Murata Manufacturing Co., Ltd. | Wireless IC device and manufacturing method thereof |
| US7932730B2 (en) | 2006-06-12 | 2011-04-26 | Murata Manufacturing Co., Ltd. | System for inspecting electromagnetic coupling modules and radio IC devices and method for manufacturing electromagnetic coupling modules and radio IC devices using the system |
| US7931206B2 (en) | 2007-05-10 | 2011-04-26 | Murata Manufacturing Co., Ltd. | Wireless IC device |
| US7967216B2 (en) | 2008-05-22 | 2011-06-28 | Murata Manufacturing Co., Ltd. | Wireless IC device |
| KR101050317B1 (ko) * | 2006-01-19 | 2011-07-19 | 가부시키가이샤 무라타 세이사쿠쇼 | 무선ic디바이스 및 무선ic디바이스용 부품 |
| US7990337B2 (en) | 2007-12-20 | 2011-08-02 | Murata Manufacturing Co., Ltd. | Radio frequency IC device |
| US7997501B2 (en) | 2007-07-17 | 2011-08-16 | Murata Manufacturing Co., Ltd. | Wireless IC device and electronic apparatus |
| US8009101B2 (en) | 2007-04-06 | 2011-08-30 | Murata Manufacturing Co., Ltd. | Wireless IC device |
| US8031124B2 (en) | 2007-01-26 | 2011-10-04 | Murata Manufacturing Co., Ltd. | Container with electromagnetic coupling module |
| US8070070B2 (en) | 2007-12-26 | 2011-12-06 | Murata Manufacturing Co., Ltd. | Antenna device and radio frequency IC device |
| US8081541B2 (en) | 2006-06-30 | 2011-12-20 | Murata Manufacturing Co., Ltd. | Optical disc |
| US8081125B2 (en) | 2006-07-11 | 2011-12-20 | Murata Manufacturing Co., Ltd. | Antenna and radio IC device |
| US8081121B2 (en) | 2006-10-27 | 2011-12-20 | Murata Manufacturing Co., Ltd. | Article having electromagnetic coupling module attached thereto |
| US8081119B2 (en) | 2006-04-26 | 2011-12-20 | Murata Manufacturing Co., Ltd. | Product including power supply circuit board |
| US8179329B2 (en) | 2008-03-03 | 2012-05-15 | Murata Manufacturing Co., Ltd. | Composite antenna |
| US8177138B2 (en) | 2008-10-29 | 2012-05-15 | Murata Manufacturing Co., Ltd. | Radio IC device |
| US8193939B2 (en) | 2007-07-09 | 2012-06-05 | Murata Manufacturing Co., Ltd. | Wireless IC device |
| US8228075B2 (en) | 2006-08-24 | 2012-07-24 | Murata Manufacturing Co., Ltd. | Test system for radio frequency IC devices and method of manufacturing radio frequency IC devices using the same |
| US8228252B2 (en) | 2006-05-26 | 2012-07-24 | Murata Manufacturing Co., Ltd. | Data coupler |
| US8235299B2 (en) | 2007-07-04 | 2012-08-07 | Murata Manufacturing Co., Ltd. | Wireless IC device and component for wireless IC device |
| US8264357B2 (en) | 2007-06-27 | 2012-09-11 | Murata Manufacturing Co., Ltd. | Wireless IC device |
| US8299929B2 (en) | 2006-09-26 | 2012-10-30 | Murata Manufacturing Co., Ltd. | Inductively coupled module and item with inductively coupled module |
| US8299968B2 (en) | 2007-02-06 | 2012-10-30 | Murata Manufacturing Co., Ltd. | Packaging material with electromagnetic coupling module |
| US8336786B2 (en) | 2010-03-12 | 2012-12-25 | Murata Manufacturing Co., Ltd. | Wireless communication device and metal article |
| US8342416B2 (en) | 2009-01-09 | 2013-01-01 | Murata Manufacturing Co., Ltd. | Wireless IC device, wireless IC module and method of manufacturing wireless IC module |
| US8360325B2 (en) | 2008-04-14 | 2013-01-29 | Murata Manufacturing Co., Ltd. | Wireless IC device, electronic apparatus, and method for adjusting resonant frequency of wireless IC device |
| US8360324B2 (en) | 2007-04-09 | 2013-01-29 | Murata Manufacturing Co., Ltd. | Wireless IC device |
| US8384547B2 (en) | 2006-04-10 | 2013-02-26 | Murata Manufacturing Co., Ltd. | Wireless IC device |
| US8381997B2 (en) | 2009-06-03 | 2013-02-26 | Murata Manufacturing Co., Ltd. | Radio frequency IC device and method of manufacturing the same |
| US8390459B2 (en) | 2007-04-06 | 2013-03-05 | Murata Manufacturing Co., Ltd. | Wireless IC device |
| US8400307B2 (en) | 2007-07-18 | 2013-03-19 | Murata Manufacturing Co., Ltd. | Radio frequency IC device and electronic apparatus |
| US8400365B2 (en) | 2009-11-20 | 2013-03-19 | Murata Manufacturing Co., Ltd. | Antenna device and mobile communication terminal |
| US8418928B2 (en) | 2009-04-14 | 2013-04-16 | Murata Manufacturing Co., Ltd. | Wireless IC device component and wireless IC device |
| US8424769B2 (en) | 2010-07-08 | 2013-04-23 | Murata Manufacturing Co., Ltd. | Antenna and RFID device |
| US8474725B2 (en) | 2007-04-27 | 2013-07-02 | Murata Manufacturing Co., Ltd. | Wireless IC device |
| US8531346B2 (en) | 2007-04-26 | 2013-09-10 | Murata Manufacturing Co., Ltd. | Wireless IC device |
| US8544754B2 (en) | 2006-06-01 | 2013-10-01 | Murata Manufacturing Co., Ltd. | Wireless IC device and wireless IC device composite component |
| US8546927B2 (en) | 2010-09-03 | 2013-10-01 | Murata Manufacturing Co., Ltd. | RFIC chip mounting structure |
| US8583043B2 (en) | 2009-01-16 | 2013-11-12 | Murata Manufacturing Co., Ltd. | High-frequency device and wireless IC device |
| US8590797B2 (en) | 2008-05-21 | 2013-11-26 | Murata Manufacturing Co., Ltd. | Wireless IC device |
| US8596545B2 (en) | 2008-05-28 | 2013-12-03 | Murata Manufacturing Co., Ltd. | Component of wireless IC device and wireless IC device |
| US8602310B2 (en) | 2010-03-03 | 2013-12-10 | Murata Manufacturing Co., Ltd. | Radio communication device and radio communication terminal |
| US8613395B2 (en) | 2011-02-28 | 2013-12-24 | Murata Manufacturing Co., Ltd. | Wireless communication device |
| US8632014B2 (en) | 2007-04-27 | 2014-01-21 | Murata Manufacturing Co., Ltd. | Wireless IC device |
| US8668151B2 (en) | 2008-03-26 | 2014-03-11 | Murata Manufacturing Co., Ltd. | Wireless IC device |
| US8680971B2 (en) | 2009-09-28 | 2014-03-25 | Murata Manufacturing Co., Ltd. | Wireless IC device and method of detecting environmental state using the device |
| US8692718B2 (en) | 2008-11-17 | 2014-04-08 | Murata Manufacturing Co., Ltd. | Antenna and wireless IC device |
| US8718727B2 (en) | 2009-12-24 | 2014-05-06 | Murata Manufacturing Co., Ltd. | Antenna having structure for multi-angled reception and mobile terminal including the antenna |
| US8720789B2 (en) | 2012-01-30 | 2014-05-13 | Murata Manufacturing Co., Ltd. | Wireless IC device |
| US8740093B2 (en) | 2011-04-13 | 2014-06-03 | Murata Manufacturing Co., Ltd. | Radio IC device and radio communication terminal |
| US8757500B2 (en) | 2007-05-11 | 2014-06-24 | Murata Manufacturing Co., Ltd. | Wireless IC device |
| US8770489B2 (en) | 2011-07-15 | 2014-07-08 | Murata Manufacturing Co., Ltd. | Radio communication device |
| US8797225B2 (en) | 2011-03-08 | 2014-08-05 | Murata Manufacturing Co., Ltd. | Antenna device and communication terminal apparatus |
| US8797148B2 (en) | 2008-03-03 | 2014-08-05 | Murata Manufacturing Co., Ltd. | Radio frequency IC device and radio communication system |
| US8810456B2 (en) | 2009-06-19 | 2014-08-19 | Murata Manufacturing Co., Ltd. | Wireless IC device and coupling method for power feeding circuit and radiation plate |
| US8814056B2 (en) | 2011-07-19 | 2014-08-26 | Murata Manufacturing Co., Ltd. | Antenna device, RFID tag, and communication terminal apparatus |
| US8847831B2 (en) | 2009-07-03 | 2014-09-30 | Murata Manufacturing Co., Ltd. | Antenna and antenna module |
| US8853549B2 (en) | 2009-09-30 | 2014-10-07 | Murata Manufacturing Co., Ltd. | Circuit substrate and method of manufacturing same |
| US8870077B2 (en) | 2008-08-19 | 2014-10-28 | Murata Manufacturing Co., Ltd. | Wireless IC device and method for manufacturing same |
| US8878739B2 (en) | 2011-07-14 | 2014-11-04 | Murata Manufacturing Co., Ltd. | Wireless communication device |
| US8905296B2 (en) | 2011-12-01 | 2014-12-09 | Murata Manufacturing Co., Ltd. | Wireless integrated circuit device and method of manufacturing the same |
| US8905316B2 (en) | 2010-05-14 | 2014-12-09 | Murata Manufacturing Co., Ltd. | Wireless IC device |
| US8937576B2 (en) | 2011-04-05 | 2015-01-20 | Murata Manufacturing Co., Ltd. | Wireless communication device |
| US8944335B2 (en) | 2010-09-30 | 2015-02-03 | Murata Manufacturing Co., Ltd. | Wireless IC device |
| US8976075B2 (en) | 2009-04-21 | 2015-03-10 | Murata Manufacturing Co., Ltd. | Antenna device and method of setting resonant frequency of antenna device |
| US8981906B2 (en) | 2010-08-10 | 2015-03-17 | Murata Manufacturing Co., Ltd. | Printed wiring board and wireless communication system |
| US8991713B2 (en) | 2011-01-14 | 2015-03-31 | Murata Manufacturing Co., Ltd. | RFID chip package and RFID tag |
| US8994605B2 (en) | 2009-10-02 | 2015-03-31 | Murata Manufacturing Co., Ltd. | Wireless IC device and electromagnetic coupling module |
| US9024725B2 (en) | 2009-11-04 | 2015-05-05 | Murata Manufacturing Co., Ltd. | Communication terminal and information processing system |
| US9024837B2 (en) | 2010-03-31 | 2015-05-05 | Murata Manufacturing Co., Ltd. | Antenna and wireless communication device |
| US9064198B2 (en) | 2006-04-26 | 2015-06-23 | Murata Manufacturing Co., Ltd. | Electromagnetic-coupling-module-attached article |
| US9077067B2 (en) | 2008-07-04 | 2015-07-07 | Murata Manufacturing Co., Ltd. | Radio IC device |
| US9104950B2 (en) | 2009-01-30 | 2015-08-11 | Murata Manufacturing Co., Ltd. | Antenna and wireless IC device |
| US9123996B2 (en) | 2010-05-14 | 2015-09-01 | Murata Manufacturing Co., Ltd. | Wireless IC device |
| EP2654001A3 (en) * | 2012-04-17 | 2015-09-30 | Nxp B.V. | RFID circuit and method |
| US9166291B2 (en) | 2010-10-12 | 2015-10-20 | Murata Manufacturing Co., Ltd. | Antenna device and communication terminal apparatus |
| US9178279B2 (en) | 2009-11-04 | 2015-11-03 | Murata Manufacturing Co., Ltd. | Wireless IC tag, reader-writer, and information processing system |
| US9231305B2 (en) | 2008-10-24 | 2016-01-05 | Murata Manufacturing Co., Ltd. | Wireless IC device |
| US9236651B2 (en) | 2010-10-21 | 2016-01-12 | Murata Manufacturing Co., Ltd. | Communication terminal device |
| US9281873B2 (en) | 2008-05-26 | 2016-03-08 | Murata Manufacturing Co., Ltd. | Wireless IC device system and method of determining authenticity of wireless IC device |
| US9378452B2 (en) | 2011-05-16 | 2016-06-28 | Murata Manufacturing Co., Ltd. | Radio IC device |
| US9444143B2 (en) | 2009-10-16 | 2016-09-13 | Murata Manufacturing Co., Ltd. | Antenna and wireless IC device |
| US9460376B2 (en) | 2007-07-18 | 2016-10-04 | Murata Manufacturing Co., Ltd. | Radio IC device |
| US9460320B2 (en) | 2009-10-27 | 2016-10-04 | Murata Manufacturing Co., Ltd. | Transceiver and radio frequency identification tag reader |
| US9461363B2 (en) | 2009-11-04 | 2016-10-04 | Murata Manufacturing Co., Ltd. | Communication terminal and information processing system |
| US9543642B2 (en) | 2011-09-09 | 2017-01-10 | Murata Manufacturing Co., Ltd. | Antenna device and wireless device |
| US9558384B2 (en) | 2010-07-28 | 2017-01-31 | Murata Manufacturing Co., Ltd. | Antenna apparatus and communication terminal instrument |
| US9692128B2 (en) | 2012-02-24 | 2017-06-27 | Murata Manufacturing Co., Ltd. | Antenna device and wireless communication device |
| US9727765B2 (en) | 2010-03-24 | 2017-08-08 | Murata Manufacturing Co., Ltd. | RFID system including a reader/writer and RFID tag |
| US9761923B2 (en) | 2011-01-05 | 2017-09-12 | Murata Manufacturing Co., Ltd. | Wireless communication device |
| US10013650B2 (en) | 2010-03-03 | 2018-07-03 | Murata Manufacturing Co., Ltd. | Wireless communication module and wireless communication device |
| US10235544B2 (en) | 2012-04-13 | 2019-03-19 | Murata Manufacturing Co., Ltd. | Inspection method and inspection device for RFID tag |
-
2003
- 2003-06-04 JP JP2003158794A patent/JP2004362190A/ja active Pending
Cited By (144)
| Publication number | Priority date | Publication date | Assignee | Title |
|---|---|---|---|---|
| CN100568487C (zh) * | 2005-02-16 | 2009-12-09 | 株式会社日立制作所 | 电子标签芯片 |
| US7863718B2 (en) | 2005-02-16 | 2011-01-04 | Hitachi, Ltd. | Electronic tag chip |
| US7868437B2 (en) | 2005-05-24 | 2011-01-11 | Fujitsu Limited | Mounting structure for IC tag and IC chip for mounting |
| WO2007063786A1 (en) * | 2005-11-29 | 2007-06-07 | Semiconductor Energy Laboratory Co., Ltd. | Antenna and manufacturing method thereof, semiconductor device including antenna and manufacturing method thereof, and radio communication system |
| US8354962B2 (en) | 2005-11-29 | 2013-01-15 | Semiconductor Energy Laboratory Co., Ltd. | Antenna and manufacturing method thereof, semiconductor device including antenna and manufacturing method thereof, and radio communication system |
| US7764928B2 (en) | 2006-01-19 | 2010-07-27 | Murata Manufacturing Co., Ltd. | Wireless IC device and component for wireless IC device |
| KR101050317B1 (ko) * | 2006-01-19 | 2011-07-19 | 가부시키가이샤 무라타 세이사쿠쇼 | 무선ic디바이스 및 무선ic디바이스용 부품 |
| US7630685B2 (en) | 2006-01-19 | 2009-12-08 | Murata Manufacturing Co., Ltd. | Wireless IC device and component for wireless IC device |
| US8078106B2 (en) | 2006-01-19 | 2011-12-13 | Murata Manufacturing Co., Ltd. | Wireless IC device and component for wireless IC device |
| US8676117B2 (en) | 2006-01-19 | 2014-03-18 | Murata Manufacturing Co., Ltd. | Wireless IC device and component for wireless IC device |
| US7519328B2 (en) | 2006-01-19 | 2009-04-14 | Murata Manufacturing Co., Ltd. | Wireless IC device and component for wireless IC device |
| US8725071B2 (en) | 2006-01-19 | 2014-05-13 | Murata Manufacturing Co., Ltd. | Wireless IC device and component for wireless IC device |
| EP2385579A1 (en) * | 2006-01-19 | 2011-11-09 | Murata Manufacturing Co., Ltd. | Wireless IC device |
| EP2226893A1 (en) * | 2006-01-19 | 2010-09-08 | Murata Manufacturing Co., Ltd. | Wireless IC device and component for wireless IC device |
| WO2007083574A1 (ja) * | 2006-01-19 | 2007-07-26 | Murata Manufacturing Co., Ltd. | 無線icデバイス及び無線icデバイス用部品 |
| JPWO2007083574A1 (ja) * | 2006-01-19 | 2009-06-11 | 株式会社村田製作所 | 無線icデバイス |
| US8326223B2 (en) | 2006-01-19 | 2012-12-04 | Murata Manufacturing Co., Ltd. | Wireless IC device and component for wireless IC device |
| US8384547B2 (en) | 2006-04-10 | 2013-02-26 | Murata Manufacturing Co., Ltd. | Wireless IC device |
| US7786949B2 (en) | 2006-04-14 | 2010-08-31 | Murata Manufacturing Co., Ltd. | Antenna |
| US7629942B2 (en) | 2006-04-14 | 2009-12-08 | Murata Manufacturing Co., Ltd. | Antenna |
| US7518558B2 (en) | 2006-04-14 | 2009-04-14 | Murata Manufacturing Co., Ltd. | Wireless IC device |
| US9064198B2 (en) | 2006-04-26 | 2015-06-23 | Murata Manufacturing Co., Ltd. | Electromagnetic-coupling-module-attached article |
| US8081119B2 (en) | 2006-04-26 | 2011-12-20 | Murata Manufacturing Co., Ltd. | Product including power supply circuit board |
| US9165239B2 (en) | 2006-04-26 | 2015-10-20 | Murata Manufacturing Co., Ltd. | Electromagnetic-coupling-module-attached article |
| US8228252B2 (en) | 2006-05-26 | 2012-07-24 | Murata Manufacturing Co., Ltd. | Data coupler |
| US8544754B2 (en) | 2006-06-01 | 2013-10-01 | Murata Manufacturing Co., Ltd. | Wireless IC device and wireless IC device composite component |
| US7932730B2 (en) | 2006-06-12 | 2011-04-26 | Murata Manufacturing Co., Ltd. | System for inspecting electromagnetic coupling modules and radio IC devices and method for manufacturing electromagnetic coupling modules and radio IC devices using the system |
| US8228765B2 (en) | 2006-06-30 | 2012-07-24 | Murata Manufacturing Co., Ltd. | Optical disc |
| US8081541B2 (en) | 2006-06-30 | 2011-12-20 | Murata Manufacturing Co., Ltd. | Optical disc |
| US8081125B2 (en) | 2006-07-11 | 2011-12-20 | Murata Manufacturing Co., Ltd. | Antenna and radio IC device |
| US8228075B2 (en) | 2006-08-24 | 2012-07-24 | Murata Manufacturing Co., Ltd. | Test system for radio frequency IC devices and method of manufacturing radio frequency IC devices using the same |
| US8299929B2 (en) | 2006-09-26 | 2012-10-30 | Murata Manufacturing Co., Ltd. | Inductively coupled module and item with inductively coupled module |
| US8081121B2 (en) | 2006-10-27 | 2011-12-20 | Murata Manufacturing Co., Ltd. | Article having electromagnetic coupling module attached thereto |
| US8031124B2 (en) | 2007-01-26 | 2011-10-04 | Murata Manufacturing Co., Ltd. | Container with electromagnetic coupling module |
| US8299968B2 (en) | 2007-02-06 | 2012-10-30 | Murata Manufacturing Co., Ltd. | Packaging material with electromagnetic coupling module |
| US8390459B2 (en) | 2007-04-06 | 2013-03-05 | Murata Manufacturing Co., Ltd. | Wireless IC device |
| US8009101B2 (en) | 2007-04-06 | 2011-08-30 | Murata Manufacturing Co., Ltd. | Wireless IC device |
| US8360324B2 (en) | 2007-04-09 | 2013-01-29 | Murata Manufacturing Co., Ltd. | Wireless IC device |
| US8424762B2 (en) | 2007-04-14 | 2013-04-23 | Murata Manufacturing Co., Ltd. | Wireless IC device and component for wireless IC device |
| US8531346B2 (en) | 2007-04-26 | 2013-09-10 | Murata Manufacturing Co., Ltd. | Wireless IC device |
| US8632014B2 (en) | 2007-04-27 | 2014-01-21 | Murata Manufacturing Co., Ltd. | Wireless IC device |
| US8474725B2 (en) | 2007-04-27 | 2013-07-02 | Murata Manufacturing Co., Ltd. | Wireless IC device |
| US7931206B2 (en) | 2007-05-10 | 2011-04-26 | Murata Manufacturing Co., Ltd. | Wireless IC device |
| US8757500B2 (en) | 2007-05-11 | 2014-06-24 | Murata Manufacturing Co., Ltd. | Wireless IC device |
| US8264357B2 (en) | 2007-06-27 | 2012-09-11 | Murata Manufacturing Co., Ltd. | Wireless IC device |
| US7762472B2 (en) | 2007-07-04 | 2010-07-27 | Murata Manufacturing Co., Ltd | Wireless IC device |
| US8235299B2 (en) | 2007-07-04 | 2012-08-07 | Murata Manufacturing Co., Ltd. | Wireless IC device and component for wireless IC device |
| US8662403B2 (en) | 2007-07-04 | 2014-03-04 | Murata Manufacturing Co., Ltd. | Wireless IC device and component for wireless IC device |
| US8193939B2 (en) | 2007-07-09 | 2012-06-05 | Murata Manufacturing Co., Ltd. | Wireless IC device |
| US8552870B2 (en) | 2007-07-09 | 2013-10-08 | Murata Manufacturing Co., Ltd. | Wireless IC device |
| US8413907B2 (en) | 2007-07-17 | 2013-04-09 | Murata Manufacturing Co., Ltd. | Wireless IC device and electronic apparatus |
| US8191791B2 (en) | 2007-07-17 | 2012-06-05 | Murata Manufacturing Co., Ltd. | Wireless IC device and electronic apparatus |
| US7997501B2 (en) | 2007-07-17 | 2011-08-16 | Murata Manufacturing Co., Ltd. | Wireless IC device and electronic apparatus |
| US9830552B2 (en) | 2007-07-18 | 2017-11-28 | Murata Manufacturing Co., Ltd. | Radio IC device |
| US9460376B2 (en) | 2007-07-18 | 2016-10-04 | Murata Manufacturing Co., Ltd. | Radio IC device |
| JPWO2009011375A1 (ja) * | 2007-07-18 | 2010-09-24 | 株式会社村田製作所 | 無線icデバイスおよびその製造方法 |
| US7857230B2 (en) | 2007-07-18 | 2010-12-28 | Murata Manufacturing Co., Ltd. | Wireless IC device and manufacturing method thereof |
| US8400307B2 (en) | 2007-07-18 | 2013-03-19 | Murata Manufacturing Co., Ltd. | Radio frequency IC device and electronic apparatus |
| US7830311B2 (en) | 2007-07-18 | 2010-11-09 | Murata Manufacturing Co., Ltd. | Wireless IC device and electronic device |
| WO2009011375A1 (ja) * | 2007-07-18 | 2009-01-22 | Murata Manufacturing Co., Ltd. | 無線icデバイスおよびその製造方法 |
| JP4434311B2 (ja) * | 2007-07-18 | 2010-03-17 | 株式会社村田製作所 | 無線icデバイスおよびその製造方法 |
| US8610636B2 (en) | 2007-12-20 | 2013-12-17 | Murata Manufacturing Co., Ltd. | Radio frequency IC device |
| US7990337B2 (en) | 2007-12-20 | 2011-08-02 | Murata Manufacturing Co., Ltd. | Radio frequency IC device |
| US8360330B2 (en) | 2007-12-26 | 2013-01-29 | Murata Manufacturing Co., Ltd. | Antenna device and radio frequency IC device |
| US8070070B2 (en) | 2007-12-26 | 2011-12-06 | Murata Manufacturing Co., Ltd. | Antenna device and radio frequency IC device |
| US8915448B2 (en) | 2007-12-26 | 2014-12-23 | Murata Manufacturing Co., Ltd. | Antenna device and radio frequency IC device |
| US8179329B2 (en) | 2008-03-03 | 2012-05-15 | Murata Manufacturing Co., Ltd. | Composite antenna |
| US8797148B2 (en) | 2008-03-03 | 2014-08-05 | Murata Manufacturing Co., Ltd. | Radio frequency IC device and radio communication system |
| US8668151B2 (en) | 2008-03-26 | 2014-03-11 | Murata Manufacturing Co., Ltd. | Wireless IC device |
| US8360325B2 (en) | 2008-04-14 | 2013-01-29 | Murata Manufacturing Co., Ltd. | Wireless IC device, electronic apparatus, and method for adjusting resonant frequency of wireless IC device |
| US8973841B2 (en) | 2008-05-21 | 2015-03-10 | Murata Manufacturing Co., Ltd. | Wireless IC device |
| US8590797B2 (en) | 2008-05-21 | 2013-11-26 | Murata Manufacturing Co., Ltd. | Wireless IC device |
| US8960557B2 (en) | 2008-05-21 | 2015-02-24 | Murata Manufacturing Co., Ltd. | Wireless IC device |
| US9022295B2 (en) | 2008-05-21 | 2015-05-05 | Murata Manufacturing Co., Ltd. | Wireless IC device |
| US7967216B2 (en) | 2008-05-22 | 2011-06-28 | Murata Manufacturing Co., Ltd. | Wireless IC device |
| US8047445B2 (en) | 2008-05-22 | 2011-11-01 | Murata Manufacturing Co., Ltd. | Wireless IC device and method of manufacturing the same |
| US9281873B2 (en) | 2008-05-26 | 2016-03-08 | Murata Manufacturing Co., Ltd. | Wireless IC device system and method of determining authenticity of wireless IC device |
| US8596545B2 (en) | 2008-05-28 | 2013-12-03 | Murata Manufacturing Co., Ltd. | Component of wireless IC device and wireless IC device |
| US8011589B2 (en) | 2008-06-25 | 2011-09-06 | Murata Manufacturing Co., Ltd. | Wireless IC device and manufacturing method thereof |
| US7871008B2 (en) | 2008-06-25 | 2011-01-18 | Murata Manufacturing Co., Ltd. | Wireless IC device and manufacturing method thereof |
| US9077067B2 (en) | 2008-07-04 | 2015-07-07 | Murata Manufacturing Co., Ltd. | Radio IC device |
| US8870077B2 (en) | 2008-08-19 | 2014-10-28 | Murata Manufacturing Co., Ltd. | Wireless IC device and method for manufacturing same |
| US9231305B2 (en) | 2008-10-24 | 2016-01-05 | Murata Manufacturing Co., Ltd. | Wireless IC device |
| US8177138B2 (en) | 2008-10-29 | 2012-05-15 | Murata Manufacturing Co., Ltd. | Radio IC device |
| US8917211B2 (en) | 2008-11-17 | 2014-12-23 | Murata Manufacturing Co., Ltd. | Antenna and wireless IC device |
| US8692718B2 (en) | 2008-11-17 | 2014-04-08 | Murata Manufacturing Co., Ltd. | Antenna and wireless IC device |
| US8544759B2 (en) | 2009-01-09 | 2013-10-01 | Murata Manufacturing., Ltd. | Wireless IC device, wireless IC module and method of manufacturing wireless IC module |
| US8342416B2 (en) | 2009-01-09 | 2013-01-01 | Murata Manufacturing Co., Ltd. | Wireless IC device, wireless IC module and method of manufacturing wireless IC module |
| US8583043B2 (en) | 2009-01-16 | 2013-11-12 | Murata Manufacturing Co., Ltd. | High-frequency device and wireless IC device |
| US9104950B2 (en) | 2009-01-30 | 2015-08-11 | Murata Manufacturing Co., Ltd. | Antenna and wireless IC device |
| US8690070B2 (en) | 2009-04-14 | 2014-04-08 | Murata Manufacturing Co., Ltd. | Wireless IC device component and wireless IC device |
| US8418928B2 (en) | 2009-04-14 | 2013-04-16 | Murata Manufacturing Co., Ltd. | Wireless IC device component and wireless IC device |
| US8876010B2 (en) | 2009-04-14 | 2014-11-04 | Murata Manufacturing Co., Ltd | Wireless IC device component and wireless IC device |
| US9564678B2 (en) | 2009-04-21 | 2017-02-07 | Murata Manufacturing Co., Ltd. | Antenna device and method of setting resonant frequency of antenna device |
| US8976075B2 (en) | 2009-04-21 | 2015-03-10 | Murata Manufacturing Co., Ltd. | Antenna device and method of setting resonant frequency of antenna device |
| US9203157B2 (en) | 2009-04-21 | 2015-12-01 | Murata Manufacturing Co., Ltd. | Antenna device and method of setting resonant frequency of antenna device |
| US8381997B2 (en) | 2009-06-03 | 2013-02-26 | Murata Manufacturing Co., Ltd. | Radio frequency IC device and method of manufacturing the same |
| US8810456B2 (en) | 2009-06-19 | 2014-08-19 | Murata Manufacturing Co., Ltd. | Wireless IC device and coupling method for power feeding circuit and radiation plate |
| US8847831B2 (en) | 2009-07-03 | 2014-09-30 | Murata Manufacturing Co., Ltd. | Antenna and antenna module |
| US8680971B2 (en) | 2009-09-28 | 2014-03-25 | Murata Manufacturing Co., Ltd. | Wireless IC device and method of detecting environmental state using the device |
| US8853549B2 (en) | 2009-09-30 | 2014-10-07 | Murata Manufacturing Co., Ltd. | Circuit substrate and method of manufacturing same |
| US9117157B2 (en) | 2009-10-02 | 2015-08-25 | Murata Manufacturing Co., Ltd. | Wireless IC device and electromagnetic coupling module |
| US8994605B2 (en) | 2009-10-02 | 2015-03-31 | Murata Manufacturing Co., Ltd. | Wireless IC device and electromagnetic coupling module |
| US9444143B2 (en) | 2009-10-16 | 2016-09-13 | Murata Manufacturing Co., Ltd. | Antenna and wireless IC device |
| US9460320B2 (en) | 2009-10-27 | 2016-10-04 | Murata Manufacturing Co., Ltd. | Transceiver and radio frequency identification tag reader |
| US9024725B2 (en) | 2009-11-04 | 2015-05-05 | Murata Manufacturing Co., Ltd. | Communication terminal and information processing system |
| US9461363B2 (en) | 2009-11-04 | 2016-10-04 | Murata Manufacturing Co., Ltd. | Communication terminal and information processing system |
| US9178279B2 (en) | 2009-11-04 | 2015-11-03 | Murata Manufacturing Co., Ltd. | Wireless IC tag, reader-writer, and information processing system |
| US8704716B2 (en) | 2009-11-20 | 2014-04-22 | Murata Manufacturing Co., Ltd. | Antenna device and mobile communication terminal |
| US8400365B2 (en) | 2009-11-20 | 2013-03-19 | Murata Manufacturing Co., Ltd. | Antenna device and mobile communication terminal |
| US8718727B2 (en) | 2009-12-24 | 2014-05-06 | Murata Manufacturing Co., Ltd. | Antenna having structure for multi-angled reception and mobile terminal including the antenna |
| US10013650B2 (en) | 2010-03-03 | 2018-07-03 | Murata Manufacturing Co., Ltd. | Wireless communication module and wireless communication device |
| US8602310B2 (en) | 2010-03-03 | 2013-12-10 | Murata Manufacturing Co., Ltd. | Radio communication device and radio communication terminal |
| US8336786B2 (en) | 2010-03-12 | 2012-12-25 | Murata Manufacturing Co., Ltd. | Wireless communication device and metal article |
| US8528829B2 (en) | 2010-03-12 | 2013-09-10 | Murata Manufacturing Co., Ltd. | Wireless communication device and metal article |
| US9727765B2 (en) | 2010-03-24 | 2017-08-08 | Murata Manufacturing Co., Ltd. | RFID system including a reader/writer and RFID tag |
| US9024837B2 (en) | 2010-03-31 | 2015-05-05 | Murata Manufacturing Co., Ltd. | Antenna and wireless communication device |
| US8905316B2 (en) | 2010-05-14 | 2014-12-09 | Murata Manufacturing Co., Ltd. | Wireless IC device |
| US9123996B2 (en) | 2010-05-14 | 2015-09-01 | Murata Manufacturing Co., Ltd. | Wireless IC device |
| US8424769B2 (en) | 2010-07-08 | 2013-04-23 | Murata Manufacturing Co., Ltd. | Antenna and RFID device |
| US9558384B2 (en) | 2010-07-28 | 2017-01-31 | Murata Manufacturing Co., Ltd. | Antenna apparatus and communication terminal instrument |
| US8981906B2 (en) | 2010-08-10 | 2015-03-17 | Murata Manufacturing Co., Ltd. | Printed wiring board and wireless communication system |
| US8546927B2 (en) | 2010-09-03 | 2013-10-01 | Murata Manufacturing Co., Ltd. | RFIC chip mounting structure |
| US8944335B2 (en) | 2010-09-30 | 2015-02-03 | Murata Manufacturing Co., Ltd. | Wireless IC device |
| US9166291B2 (en) | 2010-10-12 | 2015-10-20 | Murata Manufacturing Co., Ltd. | Antenna device and communication terminal apparatus |
| US9236651B2 (en) | 2010-10-21 | 2016-01-12 | Murata Manufacturing Co., Ltd. | Communication terminal device |
| US9761923B2 (en) | 2011-01-05 | 2017-09-12 | Murata Manufacturing Co., Ltd. | Wireless communication device |
| US8991713B2 (en) | 2011-01-14 | 2015-03-31 | Murata Manufacturing Co., Ltd. | RFID chip package and RFID tag |
| US8613395B2 (en) | 2011-02-28 | 2013-12-24 | Murata Manufacturing Co., Ltd. | Wireless communication device |
| US8960561B2 (en) | 2011-02-28 | 2015-02-24 | Murata Manufacturing Co., Ltd. | Wireless communication device |
| US8757502B2 (en) | 2011-02-28 | 2014-06-24 | Murata Manufacturing Co., Ltd. | Wireless communication device |
| US8797225B2 (en) | 2011-03-08 | 2014-08-05 | Murata Manufacturing Co., Ltd. | Antenna device and communication terminal apparatus |
| US8937576B2 (en) | 2011-04-05 | 2015-01-20 | Murata Manufacturing Co., Ltd. | Wireless communication device |
| US8740093B2 (en) | 2011-04-13 | 2014-06-03 | Murata Manufacturing Co., Ltd. | Radio IC device and radio communication terminal |
| US9378452B2 (en) | 2011-05-16 | 2016-06-28 | Murata Manufacturing Co., Ltd. | Radio IC device |
| US8878739B2 (en) | 2011-07-14 | 2014-11-04 | Murata Manufacturing Co., Ltd. | Wireless communication device |
| US8770489B2 (en) | 2011-07-15 | 2014-07-08 | Murata Manufacturing Co., Ltd. | Radio communication device |
| US8814056B2 (en) | 2011-07-19 | 2014-08-26 | Murata Manufacturing Co., Ltd. | Antenna device, RFID tag, and communication terminal apparatus |
| US9543642B2 (en) | 2011-09-09 | 2017-01-10 | Murata Manufacturing Co., Ltd. | Antenna device and wireless device |
| US8905296B2 (en) | 2011-12-01 | 2014-12-09 | Murata Manufacturing Co., Ltd. | Wireless integrated circuit device and method of manufacturing the same |
| US8720789B2 (en) | 2012-01-30 | 2014-05-13 | Murata Manufacturing Co., Ltd. | Wireless IC device |
| US9692128B2 (en) | 2012-02-24 | 2017-06-27 | Murata Manufacturing Co., Ltd. | Antenna device and wireless communication device |
| US10235544B2 (en) | 2012-04-13 | 2019-03-19 | Murata Manufacturing Co., Ltd. | Inspection method and inspection device for RFID tag |
| EP2654001A3 (en) * | 2012-04-17 | 2015-09-30 | Nxp B.V. | RFID circuit and method |
Similar Documents
| Publication | Publication Date | Title |
|---|---|---|
| JP2004362190A (ja) | 半導体装置 | |
| US20160087588A1 (en) | Packaged rf amplifier devices with grounded isolation structures and methods of manufacture thereof | |
| JP2002366917A (ja) | アンテナを内蔵するicカード | |
| US20070290329A1 (en) | Semiconductor device and method of manufacturing semiconductor device | |
| US6552694B1 (en) | Semiconductor device and fabrication method thereof | |
| US20160087586A1 (en) | Packaged rf amplifier devices and methods of manufacture thereof | |
| US20130082387A1 (en) | Power semiconductor arrangement and method for producing a power semiconductor arrangement | |
| CN110233144B (zh) | 半导体封装装置 | |
| US11153967B2 (en) | High-frequency module | |
| JP2002319658A (ja) | 半導体装置 | |
| TW200910556A (en) | Method for connecting an electronic chip to a radiofrequency identification device | |
| CN101136396B (zh) | 包括两片带有多个半导体芯片和电子元件的衬底的功率电子封装件 | |
| JP6978509B2 (ja) | 接合構造体、半導体パッケージおよび半導体装置 | |
| JP2003007910A (ja) | 半導体装置 | |
| US20220368003A1 (en) | Antenna module and manufacturing method thereof | |
| US20050110165A1 (en) | Semiconductor chip, semiconductor device, circuit board, and electronic instrument | |
| CN214675098U (zh) | 射频滤波器 | |
| JP2008294219A (ja) | 半導体装置及びその製造方法 | |
| US6794724B2 (en) | Module for optical communications for converting light and differential signals | |
| JP3398705B2 (ja) | 半導体装置 | |
| US20180233642A1 (en) | Light-emitting device and manufacturing method of light-emitting device | |
| US6706967B2 (en) | Lead-less semiconductor device with improved electrode pattern structure | |
| WO2013051599A1 (ja) | 半導体装置およびその製造方法 | |
| CN112054013A (zh) | 功率电子开关装置及其生产方法 | |
| JP2004355442A (ja) | 非接触データキャリア |