JP6214694B2 - 半導体装置 - Google Patents

半導体装置 Download PDF

Info

Publication number
JP6214694B2
JP6214694B2 JP2016029477A JP2016029477A JP6214694B2 JP 6214694 B2 JP6214694 B2 JP 6214694B2 JP 2016029477 A JP2016029477 A JP 2016029477A JP 2016029477 A JP2016029477 A JP 2016029477A JP 6214694 B2 JP6214694 B2 JP 6214694B2
Authority
JP
Japan
Prior art keywords
layer
thin film
film transistor
semiconductor
film
Prior art date
Legal status (The legal status is an assumption and is not a legal conclusion. Google has not performed a legal analysis and makes no representation as to the accuracy of the status listed.)
Active
Application number
JP2016029477A
Other languages
English (en)
Other versions
JP2016131250A (ja
Inventor
山崎 舜平
舜平 山崎
宮入 秀和
秀和 宮入
宮永 昭治
昭治 宮永
秋元 健吾
健吾 秋元
康次郎 白石
康次郎 白石
Current Assignee (The listed assignees may be inaccurate. Google has not performed a legal analysis and makes no representation or warranty as to the accuracy of the list.)
Semiconductor Energy Laboratory Co Ltd
Original Assignee
Semiconductor Energy Laboratory Co Ltd
Priority date (The priority date is an assumption and is not a legal conclusion. Google has not performed a legal analysis and makes no representation as to the accuracy of the date listed.)
Filing date
Publication date
Application filed by Semiconductor Energy Laboratory Co Ltd filed Critical Semiconductor Energy Laboratory Co Ltd
Publication of JP2016131250A publication Critical patent/JP2016131250A/ja
Application granted granted Critical
Publication of JP6214694B2 publication Critical patent/JP6214694B2/ja
Active legal-status Critical Current
Anticipated expiration legal-status Critical

Links

Images

Classifications

    • HELECTRICITY
    • H10SEMICONDUCTOR DEVICES; ELECTRIC SOLID-STATE DEVICES NOT OTHERWISE PROVIDED FOR
    • H10DINORGANIC ELECTRIC SEMICONDUCTOR DEVICES
    • H10D30/00Field-effect transistors [FET]
    • H10D30/60Insulated-gate field-effect transistors [IGFET]
    • H10D30/67Thin-film transistors [TFT]
    • H10D30/674Thin-film transistors [TFT] characterised by the active materials
    • H10D30/6755Oxide semiconductors, e.g. zinc oxide, copper aluminium oxide or cadmium stannate
    • HELECTRICITY
    • H10SEMICONDUCTOR DEVICES; ELECTRIC SOLID-STATE DEVICES NOT OTHERWISE PROVIDED FOR
    • H10DINORGANIC ELECTRIC SEMICONDUCTOR DEVICES
    • H10D30/00Field-effect transistors [FET]
    • H10D30/60Insulated-gate field-effect transistors [IGFET]
    • H10D30/67Thin-film transistors [TFT]
    • H10D30/6704Thin-film transistors [TFT] having supplementary regions or layers in the thin films or in the insulated bulk substrates for controlling properties of the device
    • H10D30/6713Thin-film transistors [TFT] having supplementary regions or layers in the thin films or in the insulated bulk substrates for controlling properties of the device characterised by the properties of the source or drain regions, e.g. compositions or sectional shapes
    • HELECTRICITY
    • H10SEMICONDUCTOR DEVICES; ELECTRIC SOLID-STATE DEVICES NOT OTHERWISE PROVIDED FOR
    • H10DINORGANIC ELECTRIC SEMICONDUCTOR DEVICES
    • H10D30/00Field-effect transistors [FET]
    • H10D30/60Insulated-gate field-effect transistors [IGFET]
    • H10D30/67Thin-film transistors [TFT]
    • H10D30/6729Thin-film transistors [TFT] characterised by the electrodes
    • H10D30/673Thin-film transistors [TFT] characterised by the electrodes characterised by the shapes, relative sizes or dispositions of the gate electrodes
    • H10D30/6733Multi-gate TFTs
    • HELECTRICITY
    • H10SEMICONDUCTOR DEVICES; ELECTRIC SOLID-STATE DEVICES NOT OTHERWISE PROVIDED FOR
    • H10DINORGANIC ELECTRIC SEMICONDUCTOR DEVICES
    • H10D30/00Field-effect transistors [FET]
    • H10D30/60Insulated-gate field-effect transistors [IGFET]
    • H10D30/67Thin-film transistors [TFT]
    • H10D30/6729Thin-film transistors [TFT] characterised by the electrodes
    • H10D30/673Thin-film transistors [TFT] characterised by the electrodes characterised by the shapes, relative sizes or dispositions of the gate electrodes
    • H10D30/6733Multi-gate TFTs
    • H10D30/6734Multi-gate TFTs having gate electrodes arranged on both top and bottom sides of the channel, e.g. dual-gate TFTs
    • HELECTRICITY
    • H10SEMICONDUCTOR DEVICES; ELECTRIC SOLID-STATE DEVICES NOT OTHERWISE PROVIDED FOR
    • H10DINORGANIC ELECTRIC SEMICONDUCTOR DEVICES
    • H10D30/00Field-effect transistors [FET]
    • H10D30/60Insulated-gate field-effect transistors [IGFET]
    • H10D30/67Thin-film transistors [TFT]
    • H10D30/674Thin-film transistors [TFT] characterised by the active materials
    • H10D30/6755Oxide semiconductors, e.g. zinc oxide, copper aluminium oxide or cadmium stannate
    • H10D30/6756Amorphous oxide semiconductors
    • HELECTRICITY
    • H10SEMICONDUCTOR DEVICES; ELECTRIC SOLID-STATE DEVICES NOT OTHERWISE PROVIDED FOR
    • H10DINORGANIC ELECTRIC SEMICONDUCTOR DEVICES
    • H10D30/00Field-effect transistors [FET]
    • H10D30/60Insulated-gate field-effect transistors [IGFET]
    • H10D30/67Thin-film transistors [TFT]
    • H10D30/6757Thin-film transistors [TFT] characterised by the structure of the channel, e.g. transverse or longitudinal shape or doping profile
    • HELECTRICITY
    • H10SEMICONDUCTOR DEVICES; ELECTRIC SOLID-STATE DEVICES NOT OTHERWISE PROVIDED FOR
    • H10DINORGANIC ELECTRIC SEMICONDUCTOR DEVICES
    • H10D62/00Semiconductor bodies, or regions thereof, of devices having potential barriers
    • H10D62/40Crystalline structures
    • H10D62/402Amorphous materials
    • HELECTRICITY
    • H10SEMICONDUCTOR DEVICES; ELECTRIC SOLID-STATE DEVICES NOT OTHERWISE PROVIDED FOR
    • H10DINORGANIC ELECTRIC SEMICONDUCTOR DEVICES
    • H10D62/00Semiconductor bodies, or regions thereof, of devices having potential barriers
    • H10D62/80Semiconductor bodies, or regions thereof, of devices having potential barriers characterised by the materials
    • HELECTRICITY
    • H10SEMICONDUCTOR DEVICES; ELECTRIC SOLID-STATE DEVICES NOT OTHERWISE PROVIDED FOR
    • H10DINORGANIC ELECTRIC SEMICONDUCTOR DEVICES
    • H10D64/00Electrodes of devices having potential barriers
    • H10D64/60Electrodes characterised by their materials
    • H10D64/62Electrodes ohmically coupled to a semiconductor
    • HELECTRICITY
    • H10SEMICONDUCTOR DEVICES; ELECTRIC SOLID-STATE DEVICES NOT OTHERWISE PROVIDED FOR
    • H10DINORGANIC ELECTRIC SEMICONDUCTOR DEVICES
    • H10D86/00Integrated devices formed in or on insulating or conducting substrates, e.g. formed in silicon-on-insulator [SOI] substrates or on stainless steel or glass substrates
    • H10D86/40Integrated devices formed in or on insulating or conducting substrates, e.g. formed in silicon-on-insulator [SOI] substrates or on stainless steel or glass substrates characterised by multiple TFTs
    • H10D86/421Integrated devices formed in or on insulating or conducting substrates, e.g. formed in silicon-on-insulator [SOI] substrates or on stainless steel or glass substrates characterised by multiple TFTs having a particular composition, shape or crystalline structure of the active layer
    • H10D86/423Integrated devices formed in or on insulating or conducting substrates, e.g. formed in silicon-on-insulator [SOI] substrates or on stainless steel or glass substrates characterised by multiple TFTs having a particular composition, shape or crystalline structure of the active layer comprising semiconductor materials not belonging to the Group IV, e.g. InGaZnO
    • HELECTRICITY
    • H10SEMICONDUCTOR DEVICES; ELECTRIC SOLID-STATE DEVICES NOT OTHERWISE PROVIDED FOR
    • H10DINORGANIC ELECTRIC SEMICONDUCTOR DEVICES
    • H10D86/00Integrated devices formed in or on insulating or conducting substrates, e.g. formed in silicon-on-insulator [SOI] substrates or on stainless steel or glass substrates
    • H10D86/40Integrated devices formed in or on insulating or conducting substrates, e.g. formed in silicon-on-insulator [SOI] substrates or on stainless steel or glass substrates characterised by multiple TFTs
    • H10D86/60Integrated devices formed in or on insulating or conducting substrates, e.g. formed in silicon-on-insulator [SOI] substrates or on stainless steel or glass substrates characterised by multiple TFTs wherein the TFTs are in active matrices
    • HELECTRICITY
    • H10SEMICONDUCTOR DEVICES; ELECTRIC SOLID-STATE DEVICES NOT OTHERWISE PROVIDED FOR
    • H10DINORGANIC ELECTRIC SEMICONDUCTOR DEVICES
    • H10D99/00Subject matter not provided for in other groups of this subclass
    • GPHYSICS
    • G02OPTICS
    • G02FOPTICAL DEVICES OR ARRANGEMENTS FOR THE CONTROL OF LIGHT BY MODIFICATION OF THE OPTICAL PROPERTIES OF THE MEDIA OF THE ELEMENTS INVOLVED THEREIN; NON-LINEAR OPTICS; FREQUENCY-CHANGING OF LIGHT; OPTICAL LOGIC ELEMENTS; OPTICAL ANALOGUE/DIGITAL CONVERTERS
    • G02F1/00Devices or arrangements for the control of the intensity, colour, phase, polarisation or direction of light arriving from an independent light source, e.g. switching, gating or modulating; Non-linear optics
    • G02F1/01Devices or arrangements for the control of the intensity, colour, phase, polarisation or direction of light arriving from an independent light source, e.g. switching, gating or modulating; Non-linear optics for the control of the intensity, phase, polarisation or colour 
    • G02F1/13Devices or arrangements for the control of the intensity, colour, phase, polarisation or direction of light arriving from an independent light source, e.g. switching, gating or modulating; Non-linear optics for the control of the intensity, phase, polarisation or colour  based on liquid crystals, e.g. single liquid crystal display cells
    • G02F1/133Constructional arrangements; Operation of liquid crystal cells; Circuit arrangements
    • G02F1/1333Constructional arrangements; Manufacturing methods
    • G02F1/133345Insulating layers
    • GPHYSICS
    • G02OPTICS
    • G02FOPTICAL DEVICES OR ARRANGEMENTS FOR THE CONTROL OF LIGHT BY MODIFICATION OF THE OPTICAL PROPERTIES OF THE MEDIA OF THE ELEMENTS INVOLVED THEREIN; NON-LINEAR OPTICS; FREQUENCY-CHANGING OF LIGHT; OPTICAL LOGIC ELEMENTS; OPTICAL ANALOGUE/DIGITAL CONVERTERS
    • G02F1/00Devices or arrangements for the control of the intensity, colour, phase, polarisation or direction of light arriving from an independent light source, e.g. switching, gating or modulating; Non-linear optics
    • G02F1/01Devices or arrangements for the control of the intensity, colour, phase, polarisation or direction of light arriving from an independent light source, e.g. switching, gating or modulating; Non-linear optics for the control of the intensity, phase, polarisation or colour 
    • G02F1/13Devices or arrangements for the control of the intensity, colour, phase, polarisation or direction of light arriving from an independent light source, e.g. switching, gating or modulating; Non-linear optics for the control of the intensity, phase, polarisation or colour  based on liquid crystals, e.g. single liquid crystal display cells
    • G02F1/133Constructional arrangements; Operation of liquid crystal cells; Circuit arrangements
    • G02F1/1333Constructional arrangements; Manufacturing methods
    • G02F1/1335Structural association of cells with optical devices, e.g. polarisers or reflectors
    • G02F1/133528Polarisers
    • GPHYSICS
    • G02OPTICS
    • G02FOPTICAL DEVICES OR ARRANGEMENTS FOR THE CONTROL OF LIGHT BY MODIFICATION OF THE OPTICAL PROPERTIES OF THE MEDIA OF THE ELEMENTS INVOLVED THEREIN; NON-LINEAR OPTICS; FREQUENCY-CHANGING OF LIGHT; OPTICAL LOGIC ELEMENTS; OPTICAL ANALOGUE/DIGITAL CONVERTERS
    • G02F1/00Devices or arrangements for the control of the intensity, colour, phase, polarisation or direction of light arriving from an independent light source, e.g. switching, gating or modulating; Non-linear optics
    • G02F1/01Devices or arrangements for the control of the intensity, colour, phase, polarisation or direction of light arriving from an independent light source, e.g. switching, gating or modulating; Non-linear optics for the control of the intensity, phase, polarisation or colour 
    • G02F1/13Devices or arrangements for the control of the intensity, colour, phase, polarisation or direction of light arriving from an independent light source, e.g. switching, gating or modulating; Non-linear optics for the control of the intensity, phase, polarisation or colour  based on liquid crystals, e.g. single liquid crystal display cells
    • G02F1/133Constructional arrangements; Operation of liquid crystal cells; Circuit arrangements
    • G02F1/1333Constructional arrangements; Manufacturing methods
    • G02F1/1343Electrodes
    • G02F1/134309Electrodes characterised by their geometrical arrangement
    • G02F1/134336Matrix
    • GPHYSICS
    • G02OPTICS
    • G02FOPTICAL DEVICES OR ARRANGEMENTS FOR THE CONTROL OF LIGHT BY MODIFICATION OF THE OPTICAL PROPERTIES OF THE MEDIA OF THE ELEMENTS INVOLVED THEREIN; NON-LINEAR OPTICS; FREQUENCY-CHANGING OF LIGHT; OPTICAL LOGIC ELEMENTS; OPTICAL ANALOGUE/DIGITAL CONVERTERS
    • G02F1/00Devices or arrangements for the control of the intensity, colour, phase, polarisation or direction of light arriving from an independent light source, e.g. switching, gating or modulating; Non-linear optics
    • G02F1/01Devices or arrangements for the control of the intensity, colour, phase, polarisation or direction of light arriving from an independent light source, e.g. switching, gating or modulating; Non-linear optics for the control of the intensity, phase, polarisation or colour 
    • G02F1/13Devices or arrangements for the control of the intensity, colour, phase, polarisation or direction of light arriving from an independent light source, e.g. switching, gating or modulating; Non-linear optics for the control of the intensity, phase, polarisation or colour  based on liquid crystals, e.g. single liquid crystal display cells
    • G02F1/133Constructional arrangements; Operation of liquid crystal cells; Circuit arrangements
    • G02F1/1333Constructional arrangements; Manufacturing methods
    • G02F1/1343Electrodes
    • G02F1/13439Electrodes characterised by their electrical, optical, physical properties; materials therefor; method of making
    • GPHYSICS
    • G02OPTICS
    • G02FOPTICAL DEVICES OR ARRANGEMENTS FOR THE CONTROL OF LIGHT BY MODIFICATION OF THE OPTICAL PROPERTIES OF THE MEDIA OF THE ELEMENTS INVOLVED THEREIN; NON-LINEAR OPTICS; FREQUENCY-CHANGING OF LIGHT; OPTICAL LOGIC ELEMENTS; OPTICAL ANALOGUE/DIGITAL CONVERTERS
    • G02F1/00Devices or arrangements for the control of the intensity, colour, phase, polarisation or direction of light arriving from an independent light source, e.g. switching, gating or modulating; Non-linear optics
    • G02F1/01Devices or arrangements for the control of the intensity, colour, phase, polarisation or direction of light arriving from an independent light source, e.g. switching, gating or modulating; Non-linear optics for the control of the intensity, phase, polarisation or colour 
    • G02F1/13Devices or arrangements for the control of the intensity, colour, phase, polarisation or direction of light arriving from an independent light source, e.g. switching, gating or modulating; Non-linear optics for the control of the intensity, phase, polarisation or colour  based on liquid crystals, e.g. single liquid crystal display cells
    • G02F1/133Constructional arrangements; Operation of liquid crystal cells; Circuit arrangements
    • G02F1/136Liquid crystal cells structurally associated with a semi-conducting layer or substrate, e.g. cells forming part of an integrated circuit
    • G02F1/1362Active matrix addressed cells
    • G02F1/136286Wiring, e.g. gate line, drain line
    • GPHYSICS
    • G02OPTICS
    • G02FOPTICAL DEVICES OR ARRANGEMENTS FOR THE CONTROL OF LIGHT BY MODIFICATION OF THE OPTICAL PROPERTIES OF THE MEDIA OF THE ELEMENTS INVOLVED THEREIN; NON-LINEAR OPTICS; FREQUENCY-CHANGING OF LIGHT; OPTICAL LOGIC ELEMENTS; OPTICAL ANALOGUE/DIGITAL CONVERTERS
    • G02F1/00Devices or arrangements for the control of the intensity, colour, phase, polarisation or direction of light arriving from an independent light source, e.g. switching, gating or modulating; Non-linear optics
    • G02F1/01Devices or arrangements for the control of the intensity, colour, phase, polarisation or direction of light arriving from an independent light source, e.g. switching, gating or modulating; Non-linear optics for the control of the intensity, phase, polarisation or colour 
    • G02F1/13Devices or arrangements for the control of the intensity, colour, phase, polarisation or direction of light arriving from an independent light source, e.g. switching, gating or modulating; Non-linear optics for the control of the intensity, phase, polarisation or colour  based on liquid crystals, e.g. single liquid crystal display cells
    • G02F1/133Constructional arrangements; Operation of liquid crystal cells; Circuit arrangements
    • G02F1/136Liquid crystal cells structurally associated with a semi-conducting layer or substrate, e.g. cells forming part of an integrated circuit
    • G02F1/1362Active matrix addressed cells
    • G02F1/1368Active matrix addressed cells in which the switching element is a three-electrode device
    • GPHYSICS
    • G02OPTICS
    • G02FOPTICAL DEVICES OR ARRANGEMENTS FOR THE CONTROL OF LIGHT BY MODIFICATION OF THE OPTICAL PROPERTIES OF THE MEDIA OF THE ELEMENTS INVOLVED THEREIN; NON-LINEAR OPTICS; FREQUENCY-CHANGING OF LIGHT; OPTICAL LOGIC ELEMENTS; OPTICAL ANALOGUE/DIGITAL CONVERTERS
    • G02F2201/00Constructional arrangements not provided for in groups G02F1/00 - G02F7/00
    • G02F2201/12Constructional arrangements not provided for in groups G02F1/00 - G02F7/00 electrode
    • G02F2201/123Constructional arrangements not provided for in groups G02F1/00 - G02F7/00 electrode pixel
    • GPHYSICS
    • G09EDUCATION; CRYPTOGRAPHY; DISPLAY; ADVERTISING; SEALS
    • G09GARRANGEMENTS OR CIRCUITS FOR CONTROL OF INDICATING DEVICES USING STATIC MEANS TO PRESENT VARIABLE INFORMATION
    • G09G2310/00Command of the display device
    • G09G2310/02Addressing, scanning or driving the display screen or processing steps related thereto
    • G09G2310/0264Details of driving circuits
    • G09G2310/0286Details of a shift registers arranged for use in a driving circuit
    • GPHYSICS
    • G09EDUCATION; CRYPTOGRAPHY; DISPLAY; ADVERTISING; SEALS
    • G09GARRANGEMENTS OR CIRCUITS FOR CONTROL OF INDICATING DEVICES USING STATIC MEANS TO PRESENT VARIABLE INFORMATION
    • G09G3/00Control arrangements or circuits, of interest only in connection with visual indicators other than cathode-ray tubes
    • G09G3/20Control arrangements or circuits, of interest only in connection with visual indicators other than cathode-ray tubes for presentation of an assembly of a number of characters, e.g. a page, by composing the assembly by combination of individual elements arranged in a matrix no fixed position being assigned to or needed to be assigned to the individual characters or partial characters
    • G09G3/34Control arrangements or circuits, of interest only in connection with visual indicators other than cathode-ray tubes for presentation of an assembly of a number of characters, e.g. a page, by composing the assembly by combination of individual elements arranged in a matrix no fixed position being assigned to or needed to be assigned to the individual characters or partial characters by control of light from an independent source
    • G09G3/36Control arrangements or circuits, of interest only in connection with visual indicators other than cathode-ray tubes for presentation of an assembly of a number of characters, e.g. a page, by composing the assembly by combination of individual elements arranged in a matrix no fixed position being assigned to or needed to be assigned to the individual characters or partial characters by control of light from an independent source using liquid crystals
    • G09G3/3611Control of matrices with row and column drivers
    • G09G3/3674Details of drivers for scan electrodes
    • HELECTRICITY
    • H10SEMICONDUCTOR DEVICES; ELECTRIC SOLID-STATE DEVICES NOT OTHERWISE PROVIDED FOR
    • H10KORGANIC ELECTRIC SOLID-STATE DEVICES
    • H10K59/00Integrated devices, or assemblies of multiple devices, comprising at least one organic light-emitting element covered by group H10K50/00
    • H10K59/10OLED displays
    • H10K59/12Active-matrix OLED [AMOLED] displays
    • H10K59/121Active-matrix OLED [AMOLED] displays characterised by the geometry or disposition of pixel elements
    • H10K59/1213Active-matrix OLED [AMOLED] displays characterised by the geometry or disposition of pixel elements the pixel elements being TFTs

Landscapes

  • Thin Film Transistor (AREA)
  • Liquid Crystal (AREA)
  • Physics & Mathematics (AREA)
  • Electroluminescent Light Sources (AREA)
  • Electrodes Of Semiconductors (AREA)
  • Nonlinear Science (AREA)
  • Devices For Indicating Variable Information By Combining Individual Elements (AREA)
  • Crystallography & Structural Chemistry (AREA)
  • Optics & Photonics (AREA)
  • General Physics & Mathematics (AREA)
  • Chemical & Material Sciences (AREA)
  • Mathematical Physics (AREA)
  • Microelectronics & Electronic Packaging (AREA)
  • Engineering & Computer Science (AREA)
  • Shift Register Type Memory (AREA)

Description

チャネル形成領域に酸化物半導体膜を用いた薄膜トランジスタ(以下、TFTという)で
構成された回路を有する半導体装置およびその作製方法に関する。例えば、液晶表示パネ
ルに代表される電気光学装置や有機発光素子を有する発光表示装置を部品として搭載した
電子機器に関する。
なお、本明細書中において半導体装置とは、半導体特性を利用することで機能しうる装置
全般を指し、電気光学装置、半導体回路および電子機器は全て半導体装置である。
近年、マトリクス状に配置された表示画素毎にTFTからなるスイッチング素子を設けた
アクティブマトリクス型の表示装置(液晶表示装置や発光表示装置や電気泳動式表示装置
)が盛んに開発されている。アクティブマトリクス型の表示装置は、画素(又は1ドット
)毎にスイッチング素子が設けられており、単純マトリクス方式に比べて画素密度が増え
た場合に低電圧駆動できるので有利である。
また、チャネル形成領域に酸化物半導体膜を用いて薄膜トランジスタ(TFT)などを作
製し、電子デバイスや光デバイスに応用する技術が注目されている。例えば、酸化物半導
体膜として酸化亜鉛(ZnO)を用いるTFTや、InGaO(ZnO)を用いるT
FTが挙げられる。これらの酸化物半導体膜を用いたTFTを、透光性を有する基板上に
形成し、画像表示装置のスイッチング素子などに用いる技術が特許文献1及び特許文献2
で開示されている。
特開2007−123861号公報 特開2007−96055号公報
チャネル形成領域に酸化物半導体膜を用いる薄膜トランジスタには、動作速度が速く、製
造工程が比較的簡単であり、十分な信頼性が求められている。
薄膜トランジスタを形成するにあたり、ソース電極及びドレイン電極は、低抵抗な金属材
料を用いる。特に、大面積の表示を行う表示装置を製造する際、配線の抵抗による信号の
遅延問題が顕著になってくる。従って、配線や電極の材料としては、電気抵抗値の低い金
属材料を用いることが望ましい。電気抵抗値の低い金属材料からなるソース電極及びドレ
イン電極と、酸化物半導体膜とが直接接する薄膜トランジスタ構造とすると、コンタクト
抵抗が高くなる恐れがある。コンタクト抵抗が高くなる原因は、ソース電極及びドレイン
電極と、酸化物半導体膜との接触面でショットキー接合が形成されることが要因の一つと
考えられる。
加えて、ソース電極及びドレイン電極と、酸化物半導体膜とが直接接する部分には容量が
形成され、周波数特性(f特性と呼ばれる)が低くなり、薄膜トランジスタの高速動作を
妨げる恐れがある。
インジウム(In)、ガリウム(Ga)、及び亜鉛(Zn)を含む酸化物半導体膜を用い
る薄膜トランジスタにおいて、ソース電極またはドレイン電極のコンタクト抵抗を低減し
た薄膜トランジスタ及びその作製方法を提供することを課題の一つとする。
また、In、Ga、及びZnを含む酸化物半導体膜を用いる薄膜トランジスタの動作特性
や信頼性を向上させることも課題の一つとする。
また、In、Ga、及びZnを含む酸化物半導体膜を用いる薄膜トランジスタの電気特性
のバラツキを低減することも課題の一つとする。特に、液晶表示装置においては、個々の
素子間でのバラツキが大きい場合、そのTFT特性のバラツキに起因する表示むらが発生
する恐れがある。
また、発光素子を有する表示装置においても、画素電極に一定の電流が流れるように配置
されたTFT(駆動回路または画素に配置される発光素子に電流を供給するTFT)のオ
ン電流(Ion)のバラツキが大きい場合、表示画面において輝度のバラツキが生じる恐
れがある。
以上、本発明は、上記課題の少なくとも一つを解決することを目的とする。
本発明の一形態は、半導体層としてIn、Ga、及びZnを含む酸化物半導体膜を用い、
半導体層とソース電極層及びドレイン電極層との間にバッファ層が設けられた逆スタガ型
(ボトムゲート構造)の薄膜トランジスタを含むことを要旨とする。
本明細書において、In、Ga、及びZnを含む酸化物半導体膜を用いて形成された半導
体層を「IGZO半導体層」とも記す。
ソース電極層とIGZO半導体層とはオーミック性のコンタクトが必要であり、さらに、
そのコンタクト抵抗は極力低減することが望まれる。同様に、ドレイン電極層とIGZO
半導体層とはオーミック性のコンタクトが必要であり、さらに、そのコンタクト抵抗は極
力低減することが望まれる。
そこで、ソース電極層及びドレイン電極層とIGZO半導体層との間に、IGZO半導体
層よりもキャリア濃度の高いバッファ層を意図的に設けることによってオーミック性のコ
ンタクトを形成する。
バッファ層としては、n型の導電型を有するIn、Ga、及びZnを含む酸化物半導体膜
を用いる。バッファ層にn型を付与する不純物元素を含ませてもよい。不純物元素として
、例えば、マグネシウム、アルミニウム、チタン、鉄、錫、カルシウム、ゲルマニウム、
スカンジウム、イットリウム、ジルコニウム、ハフニウム、ボロン、タリウム、鉛などを
用いることができる。マグネシウム、アルミニウム、チタンなどをバッファ層に含ませる
と、酸素のブロッキング効果などがあり、成膜後の加熱処理などによって半導体層の酸素
濃度を最適な範囲内に保持できる。
バッファ層は、n+層として機能し、ドレイン領域またはソース領域とも呼ぶことができ
る。
薄膜トランジスタの電気特性のバラツキを低減するためには、IGZO半導体層はアモル
ファス状態であることが好ましい。
本発明の半導体装置の一形態は、ゲート電極層と、ゲート電極層上にゲート絶縁層と、ゲ
ート絶縁層上に半導体層と、半導体層上にn型の導電型を有するバッファ層と、バッファ
層上にソース電極層及びドレイン電極層とを含む薄膜トランジスタを有し、半導体層及び
バッファ層はインジウム、ガリウム、及び亜鉛を含む酸化物半導体層であり、バッファ層
のキャリア濃度は、半導体層のキャリア濃度より高く、半導体層とソース電極層及びドレ
イン電極層とはバッファ層を介して電気的に接続する。
本発明の半導体装置の一形態は、ゲート電極層と、ゲート電極層上にゲート絶縁層と、ゲ
ート絶縁層上に半導体層と、半導体層上にn型の導電型を有するバッファ層と、バッファ
層上にソース電極層及びドレイン電極層とを含む薄膜トランジスタを有し、半導体層及び
バッファ層はインジウム、ガリウム、及び亜鉛を含む酸化物半導体層であり、半導体層は
ソース電極層とドレイン電極層との間に膜厚の薄い領域を含み、バッファ層のキャリア濃
度は、半導体層のキャリア濃度より高く、半導体層とソース電極層及びドレイン電極層と
はバッファ層を介して電気的に接続する。
上記構成において、半導体層とバッファ層との間にキャリア濃度が半導体層より高く、バ
ッファ層より低い第2のバッファ層を設けてもよい。第2のバッファ層はn層として機
能する。
In、Ga、及びZnを含む酸化物半導体膜(IGZO膜)はキャリア濃度が高くなるに
つれ、ホール移動度も高くなる特性を有している。よって、In、Ga、及びZnを含む
酸化物半導体膜のキャリア濃度とホール移動度の関係は図27に示すようになる。半導体
層のチャネルとして適するIGZO膜のキャリア濃度範囲(チャネル用濃度範囲1)は1
×1017atoms/cm未満(より好ましくは1×1011atoms/cm
上)、バッファ層として適するIGZO膜のキャリア濃度範囲(バッファ層濃度範囲2)
は、1×1018atoms/cm以上(1×1022atoms/cm以下)が好
ましい。上記IGZO膜のキャリア濃度は、半導体層として用いた場合、室温で、ソース
、ドレイン、及びゲート電圧を印加しない状態での値である。
チャネル用のIGZO膜のキャリア濃度範囲が上記範囲を越えると、薄膜トランジスタと
してノーマリーオンになる恐れがある。よって本明細書に開示するキャリア濃度範囲のI
GZO膜を半導体層のチャネルとして用いることで信頼性の高い薄膜トランジスタとする
ことができる。
また、ソース電極層及びドレイン電極層にチタン膜を用いることが好ましい。例えば、チ
タン膜、アルミニウム膜、チタン膜の積層を用いると低抵抗であり、かつアルミニウム膜
にヒロックが発生しにくい。
本発明の半導体装置の作製方法の一形態は、基板上にゲート電極層を形成し、ゲート電極
層上にゲート絶縁層を形成し、ゲート絶縁層上に半導体層を形成し、半導体層上にn型の
導電型を有するバッファ層を形成し、バッファ層上にソース電極層及びドレイン電極層を
形成し、半導体層及びバッファ層はインジウム、ガリウム、及び亜鉛を含む酸化物半導体
層を用いて形成し、バッファ層のキャリア濃度は、半導体層のキャリア濃度より高く、半
導体層とソース電極層及びドレイン電極層とはバッファ層を介して電気的に接続する。
ゲート絶縁層、半導体層、n型の導電型を有するバッファ層、ソース電極層及びドレイン
電極層は大気に曝さずに連続的に形成することができる。連続して成膜すると、ごみとな
る大気中の不純物が界面に混入することによる不良を軽減することができる。
ゲート絶縁層、半導体層、n型の導電型を有するバッファ層、ソース電極層及びドレイン
電極層はスパッタ法(スパッタリング法)で形成すればよい。ゲート絶縁層及び半導体層
は酸素雰囲気下(又は酸素90%以上、希ガス(アルゴン)10%以下)で、n型の導電
型を有するバッファ層は希ガス(アルゴン)雰囲気下で成膜することが好ましい。
このようにスパッタ法を用いて連続的に成膜すると、生産性が高く、薄膜界面の信頼性が
安定する。また、ゲート絶縁層と半導体層を酸素雰囲気下で成膜し、酸素を多く含ませる
ようにすると、劣化による信頼性の低下や、薄膜トランジスタ特性のノーマリーオン側へ
のシフトなどを軽減することができる。
本発明の半導体装置の作製方法の一形態は、基板上にゲート電極層を形成し、ゲート電極
層上にゲート絶縁層を形成し、ゲート絶縁層上に半導体層を形成し、半導体層上にn型の
導電型を有するバッファ層を形成し、バッファ層上にソース電極層及びドレイン電極層を
形成し、半導体層及びバッファ層はインジウム、ガリウム、及び亜鉛を含む酸化物半導体
層を用いて形成し、バッファ層のキャリア濃度は、半導体層のキャリア濃度より高く、半
導体層とソース電極層及びドレイン電極層とはバッファ層を介して電気的に接続し、ゲー
ト絶縁層、半導体層、バッファ層、ソース電極層、及びドレイン電極層は大気に曝さずに
連続的に形成する。
本発明の一形態によって、光電流が少なく、寄生容量が小さく、オンオフ比の高い薄膜ト
ランジスタを得ることができ、良好な動特性を有する薄膜トランジスタを作製できる。よ
って、電気特性が高く信頼性のよい薄膜トランジスタを有する半導体装置を提供すること
ができる。
半導体装置を説明する図。 半導体装置を説明する図。 半導体装置の作製方法を説明する図。 半導体装置の作製方法を説明する図。 半導体装置を説明する図。 半導体装置を説明する図。 半導体装置を説明する図。 半導体装置を説明する図。 半導体装置を説明する図。 半導体装置の作製方法を説明する図。 半導体装置を説明する図。 半導体装置のブロック図を説明する図。 信号線駆動回路の構成を説明する図。 信号線駆動回路の動作を説明するタイミングチャート。 信号線駆動回路の動作を説明するタイミングチャート。 シフトレジスタの構成を説明する図。 図16に示すフリップフロップの接続構成を説明する図。 マルチチャンバー型の製造装置の上面模式図。 半導体装置を説明する図。 半導体装置を説明する図。 半導体装置を説明する図。 半導体装置を説明する図。 半導体装置を説明する図。 半導体装置を説明する図。 半導体装置を説明する図。 半導体装置を説明する図。 ホール移動度とキャリア濃度の関係を説明する図。 電子ペーパーの使用形態の例を説明する図。 電子書籍の一例を示す外観図。 テレビジョン装置およびデジタルフォトフレームの例を示す外観図。 遊技機の例を示す外観図。 携帯電話機の一例を示す外観図。
実施の形態について、図面を用いて詳細に説明する。但し、本発明は以下の説明に限定さ
れず、本発明の趣旨及びその範囲から逸脱することなくその形態及び詳細を様々に変更し
得ることは当業者であれば容易に理解される。従って、本発明は以下に示す実施の形態の
記載内容に限定して解釈されるものではない。なお、以下に説明する本発明の構成におい
て、同一部分又は同様な機能を有する部分には同一の符号を異なる図面間で共通して用い
、その繰り返しの説明は省略する。
(実施の形態1)
本実施の形態では、薄膜トランジスタ及びその作製工程について、図1乃至図4を用いて
説明する。
本実施の形態のボトムゲート構造の薄膜トランジスタ170a、170b、170cを図
1及び図2に示す。図1(A1)は平面図であり、図1(A2)は図1(A1)における
線A1−A2の断面図である。図1(B1)は平面図であり、図1(B2)は図1(B1
)における線B1−B2の断面図である。図2(A1)は平面図であり、図2(A2)は
図2(A1)における線C1−C2の断面図である。
図1において、基板100上に、ゲート電極層101、ゲート絶縁層102、半導体層1
03、n型の導電型を有するバッファ層104a、104b、ソース電極層又はドレイン
電極層105a、105bを含む薄膜トランジスタ170aが設けられている。
半導体層103としてIn、Ga、及びZnを含む酸化物半導体膜を用い、ソース電極層
又はドレイン電極層105a、105bとIGZO半導体層である半導体層103との間
に、半導体層103よりもキャリア濃度の高いバッファ層104a、104bを意図的に
設けることによってオーミック性のコンタクトを形成する。
バッファ層104a、104bとしては、n型の導電型を有するIn、Ga、及びZnを
含む酸化物半導体膜を用いる。バッファ層104a、104bにn型を付与する不純物元
素を含ませてもよい。不純物元素として、例えばマグネシウム、アルミニウム、チタン、
鉄、錫、カルシウム、ゲルマニウム、スカンジウム、イットリウム、ジルコニウム、ハフ
ニウム、ボロン、タリウム、鉛などを用いることができる。マグネシウム、アルミニウム
、チタンなどをバッファ層に含ませると、酸素のブロッキング効果などがあり、成膜後の
加熱処理などによって半導体層の酸素濃度を最適な範囲内に保持できる。
本実施の形態において、半導体層のキャリア濃度範囲は1×1017atoms/cm
未満(より好ましくは1×1011atoms/cm以上)、バッファ層のキャリア濃
度範囲は、1×1018atoms/cm以上(1×1022atoms/cm以下
)が好ましい。
チャネル用のIGZO膜のキャリア濃度範囲が上記範囲を越えると、薄膜トランジスタと
してノーマリーオンになる恐れがある。よって本実施の形態のキャリア濃度範囲のIGZ
O膜を半導体層のチャネルとして用いることで信頼性の高い薄膜トランジスタとすること
ができる。
また半導体層とバッファ層との間に、n−層として機能するバッファ層よりキャリア濃度
が低く半導体層よりキャリア濃度が高い第2のバッファ層を設ける場合は、第2のバッフ
ァ層のキャリア濃度を、半導体層とバッファ層のキャリア濃度の間の濃度範囲とすればよ
い。
バッファ層104a、104bは、n+層として機能し、ドレイン領域またはソース領域
とも呼ぶことができる。なお、バッファ層104a、104bは端部にテーパーを有して
おり、図1(A1)及び図1(B1)の平面図では、バッファ層104a、104bはテ
ーパーの上端部を示している。よって、図1(A1)及び図1(B1)の平面図において
は、ゲート電極層101の端部とバッファ層104a、104bの端部とは一致するよう
に記載されているが、図1(A2)及び図1(B2)に示すようにゲート電極層101と
バッファ層104a、104bとは一部重なっている。これは本明細書の他の図面におい
ても同様である。
図1(A1)(A2)の薄膜トランジスタ170aは、バッファ層104a、104bと
ソース電極層又はドレイン電極層105a、105bとを別のマスクを用いてエッチング
加工した例であり、バッファ層104a、104bとソース電極層又はドレイン電極層1
05a、105bとは形状が異なる。
図1(B1)(B2)の薄膜トランジスタ170bは、バッファ層104a、104bと
ソース電極層又はドレイン電極層105a、105bとを同じマスクを用いてエッチング
加工した例であり、バッファ層104a、104bとソース電極層又はドレイン電極層1
05a、105bとは同様な形状を反映している。
また、図1(A1)(A2)(B1)(B2)の薄膜トランジスタ170a、170bは
、半導体層103上において、ソース電極層又はドレイン電極層105a、105bの端
部とバッファ層104a、104bの端部が一致せず、バッファ層104a、104bが
一部露出している例である。
一方、図2(A1)(A2)の薄膜トランジスタ170cは、半導体層103とバッファ
層104a、104bとを同じマスクを用いてエッチング加工する例であり半導体層10
3とバッファ層104a、104bの端部は一致している。なお、図2(A1)(A2)
の薄膜トランジスタ170cは、半導体層103上において、ソース電極層又はドレイン
電極層105a、105bの端部とバッファ層104a、104bの端部も一致する例で
ある。
さらに、ソース電極層又はドレイン電極層が積層構造である薄膜トランジスタ170dを
図11に示す。薄膜トランジスタ170dはソース電極層又はドレイン電極層105a1
、105a2、105a3の積層、ソース電極層又はドレイン電極層105b1、105
b2、105b3の積層を有している。例えば、ソース電極層又はドレイン電極層105
a1、105b1としてチタン膜、105a2、105b2としてアルミニウム膜、10
5a3、105b3としてチタン膜を用いることができる。
薄膜トランジスタ170dでは、ソース電極層又はドレイン電極層105a1、105b
1をエッチングストッパーとして用いて、ソース電極層又はドレイン電極層105a2、
105a3、105b2、105b3をウエットエッチングによってエッチングして形成
する。上記ウエットエッチングと同じマスクを用いて、ソース電極層又はドレイン電極層
105a1、105b1、バッファ層104a、104b、半導体層103をドライエッ
チングによってエッチングして形成する。
従って、ソース電極層又はドレイン電極層105a1はバッファ層104aの端部と、ソ
ース電極層又はドレイン電極層105b1はバッファ層104bの端部とそれぞれ一致し
ており、ソース電極層又はドレイン電極層105a2、105a3、ソース電極層又はド
レイン電極層105b2、105b3は、ソース電極層又はドレイン電極層105a1、
105b1より端部が後退している。
このように、ソース電極層及びドレイン電極層に用いる導電膜と、バッファ層及び半導体
層とがエッチング工程において選択比が低い場合は、エッチングストッパーとして機能す
る導電膜を積層して別のエッチング条件で複数回エッチング工程を行えばよい。
図1(A1)(A2)の薄膜トランジスタ170aの作製方法を図3(A)乃至(G)を
用いて説明する。
基板100上にゲート電極層101、ゲート絶縁層102、半導体膜111を形成する(
図3(A)参照。)。基板100は、バリウムホウケイ酸ガラス、アルミノホウケイ酸ガ
ラス、若しくはアルミノシリケートガラスなど、フュージョン法やフロート法で作製され
る無アルカリガラス基板、セラミック基板の他、本作製工程の処理温度に耐えうる耐熱性
を有するプラスチック基板等を用いることができる。また、ステンレス合金などの金属基
板の表面に絶縁膜を設けた基板を適用しても良い。基板100の大きさは、320mm×
400mm、370mm×470mm、550mm×650mm、600mm×720m
m、680mm×880mm、730mm×920mm、1000mm×1200mm、
1100mm×1250mm、1150mm×1300mm、1500mm×1800m
m、1900mm×2200mm、2160mm×2460mm、2400mm×280
0mm、又は2850mm×3050mm等を用いることができる。
また基板100上に下地膜として絶縁膜を形成してもよい。下地膜としては、CVD法や
スパッタ法等を用いて、酸化珪素膜、窒化珪素膜、酸化窒化珪素膜、または窒化酸化珪素
膜の単層、又は積層で形成すればよい。
ゲート電極層101は、チタン、モリブデン、クロム、タンタル、タングステン、アルミ
ニウムなどの金属材料またはその合金材料を用いて形成する。ゲート電極層101は、ス
パッタ法や真空蒸着法で基板100上に導電膜を形成し、当該導電膜上にフォトリソグラ
フィ技術またはインクジェット法によりマスクを形成し、当該マスクを用いて導電膜をエ
ッチングすることで、形成することができる。また、銀、金、銅などの導電性ナノペース
トを用いてインクジェット法により吐出し焼成して、ゲート電極層101を形成すること
ができる。なお、ゲート電極層101の密着性向上と基板や下地膜へのゲート電極層10
1の形成材料の拡散を防ぐバリアメタルとして、上記金属材料の窒化物膜を、基板100
及びゲート電極層101の間に設けてもよい。また、ゲート電極層101は単層構造とし
ても積層構造としてもよく、例えば基板100側からモリブデン膜とアルミニウム膜との
積層、モリブデン膜とアルミニウムとネオジムとの合金膜との積層、チタン膜とアルミニ
ウム膜との積層、チタン膜、アルミニウム膜及びチタン膜との積層などを用いることがで
きる。
なお、ゲート電極層101上には半導体膜や配線を形成するので、段切れ防止のため端部
がテーパー状になるように加工することが望ましい。
ゲート絶縁層102、及び半導体膜111は大気に曝さずに連続的に形成することができ
る。連続して成膜すると、大気成分や大気中に浮遊する汚染不純物元素に汚染されること
なく各積層界面を形成することができる。
アクティブマトリクス型の表示装置においては、回路を構成する薄膜トランジスタの電気
特性が重要であり、この電気特性が表示装置の性能を左右する。特に、薄膜トランジスタ
の電気特性のうち、しきい値電圧(Vth)が重要である。電界効果移動度が高くともし
きい値電圧値が高い、或いはしきい値電圧値がマイナスであると、回路として制御するこ
とが困難である。しきい値電圧値が高く、しきい値電圧の絶対値が大きい薄膜トランジス
タの場合には、駆動電圧が低い状態では薄膜トランジスタとしてのスイッチング機能を果
たすことができず、負荷となる恐れがある。また、しきい値電圧値がマイナスであると、
ゲート電圧が0Vでもソース電極とドレイン電極の間に電流が流れる、所謂ノーマリーオ
ンとなりやすい。
nチャネル型の薄膜トランジスタの場合、ゲート電圧として正の電圧を印加してはじめて
チャネルが形成されて、ドレイン電流が流れ出すトランジスタが望ましい。駆動電圧を高
くしないとチャネルが形成されないトランジスタや、負の電圧状態でもチャネルが形成さ
れてドレイン電流が流れるトランジスタは、回路に用いる薄膜トランジスタとしては不向
きである。
よって、In、Ga、及びZnを含む酸化物半導体膜を用いる薄膜トランジスタのゲート
電圧が0Vにできるだけ近い正のしきい値電圧でチャネルが形成されることが望ましい。
薄膜トランジスタのしきい値電圧は、酸化物半導体層の界面、即ち、酸化物半導体層とゲ
ート絶縁層の界面に大きく影響すると考えられる。
そこで、これらの界面を清浄な状態で形成することによって、薄膜トランジスタの電気特
性を向上させるとともに、製造工程の複雑化を防ぐことができ、量産性と高性能の両方を
備えた薄膜トランジスタを実現する。
特に酸化物半導体層とゲート絶縁層との界面に大気中の水分が存在すると、薄膜トランジ
スタの電気的特性の劣化、しきい値電圧のばらつき、ノーマリーオンになりやすいといっ
た問題を招く。酸化物半導体層とゲート絶縁層とを連続成膜することで、このような水素
化合物を排除することができる。
よって、大気に曝すことなくゲート絶縁層102と、半導体膜111をスパッタ法により
、減圧下で連続成膜することで良好な界面を有し、リーク電流が低く、且つ、電流駆動能
力の高い薄膜トランジスタを実現することができる。
また、ゲート絶縁層102及びIn、Ga、及びZnを含む酸化物半導体膜である半導体
膜111は酸素雰囲気下(又は酸素90%以上、希ガス(アルゴン、又はヘリウムなど)
10%以下)で成膜することが好ましい。
このようにスパッタ法を用いて連続的に成膜すると、生産性が高く、薄膜界面の信頼性が
安定する。また、ゲート絶縁層と半導体層を酸素雰囲気下で成膜し、酸素を多く含ませる
ようにすると、劣化による信頼性の低下や、薄膜トランジスタがノーマリーオンとなるこ
とを軽減することができる。
ゲート絶縁層102は、CVD法やスパッタ法等を用いて、酸化珪素膜、窒化珪素膜、酸
化窒化珪素膜、または窒化酸化珪素膜で形成することができる。図2(A1)(A2)に
示す薄膜トランジスタ170cはゲート絶縁層102を積層する例である。
ゲート絶縁層102として、窒化珪素膜または窒化酸化珪素膜と、酸化珪素膜または酸化
窒化珪素膜との順に積層して形成することができる。なお、ゲート絶縁層102を2層と
せず、基板側から窒化珪素膜または窒化酸化珪素膜と、酸化珪素膜または酸化窒化珪素膜
と、窒化珪素膜または窒化酸化珪素膜との順に3層積層して形成することができる。また
、ゲート絶縁層102を、酸化珪素膜、窒化珪素膜、酸化窒化珪素膜、または窒化酸化珪
素膜の単層で形成することができる。
また、ゲート絶縁層102として、プラズマCVD法によりゲート電極層101上に窒化
珪素膜を形成し、窒化珪素膜上にスパッタ法により酸化珪素膜を積層してもよい。プラズ
マCVD法によりゲート電極層101上に窒化珪素膜と酸化珪素膜を順に積層し、酸化珪
素膜上にさらにスパッタ法により酸化珪素膜を積層してもよい。
ここでは、酸化窒化珪素膜とは、その組成として、窒素よりも酸素の含有量が多いもので
あって、濃度範囲として酸素が55〜65原子%、窒素が1〜20原子%、Siが25〜
35原子%、水素が0.1〜10原子%の範囲で含まれるものをいう。また、窒化酸化珪
素膜とは、その組成として、酸素よりも窒素の含有量が多いものであって、濃度範囲とし
て酸素が15〜30原子%、窒素が20〜35原子%、Siが25〜35原子%、水素が
15〜25原子%の範囲で含まれるものをいう。
また、ゲート絶縁層102として、アルミニウム、イットリウム、又はハフニウムの酸化
物、窒化物、酸化窒化物、又は窒化酸化物の一種又はそれらの化合物を少なくとも2種以
上含む化合物を用いることもできる。
また、ゲート絶縁層102に、塩素、フッ素などのハロゲン元素を含ませてもよい。ゲー
ト絶縁層102中のハロゲン元素の濃度は、濃度ピークにおいて1×1015atoms
/cm以上1×1020atoms/cm以下とすればよい。
半導体膜111としては、In、Ga、及びZnを含む酸化物半導体膜を形成する。例え
ば、半導体膜111として、スパッタ法を用いて、In、Ga、及びZnを含む酸化物半
導体膜を膜厚50nmで形成すればよい。具体的な条件例としては、直径8インチのIn
、Ga、及びZnを含む酸化物半導体ターゲットを用いて、基板とターゲットの間との距
離を170mm、圧力0.4Pa、直流(DC)電源0.5kW、アルゴン又は酸素雰囲
気下で成膜することができる。また、パルス直流(DC)電源を用いると、ごみが軽減で
き、膜厚分布も均一となるために好ましい。
次に半導体膜111をマスク113を用いてエッチングにより加工し、半導体層112を
形成する(図3(B)参照。)。半導体層112は、フォトリソグラフィ技術または液滴
吐出法によりマスク113を形成し、当該マスク113を用いて半導体膜111をエッチ
ングすることで、形成することができる。
半導体層112の端部をテーパーを有する形状にエッチングすることで、段差形状による
配線の段切れを防ぐことができる。
次に、ゲート絶縁層102、半導体層112上にn型の導電型を有するIn、Ga、及び
Znを含む酸化物半導体膜であるn型の導電型を有する半導体膜114を形成する(図3
(C)参照。)。n型の導電型を有する半導体膜114上にマスク116を形成する。マ
スク116は、フォトリソグラフィ技術またはインクジェット法により形成する。n型の
導電型を有する半導体膜114をマスク116を用いてエッチングにより加工し、n型の
導電型を有する半導体膜115を形成する(図3(D)参照。)。n型の導電型を有する
半導体膜115は膜厚2〜100nm(好ましくは20〜50nm)とすればよい。n型
の導電型を有する半導体膜114は希ガス(好ましくはアルゴン)雰囲気下で成膜するこ
とが好ましい。
半導体膜111やn型の導電型を有する半導体膜115などの酸化物半導体膜のスパッタ
法以外の他の成膜方法としては、パルスレーザー蒸着法(PLD法)及び電子ビーム蒸着
法などの気相法を用いることができる。気相法の中でも、材料系の組成を制御しやすい点
では、PLD法が、量産性の点からは、上述したようにスパッタ法が適している。
また、半導体膜111やn型の導電型を有する半導体膜115などのIGZO半導体膜の
エッチングには、クエン酸やシュウ酸などの有機酸をエッチャントに用いることができる
。例えば、50nmの半導体膜111はITO07N(関東化学社製)を使い150秒で
エッチング加工できる。
n型の導電型を有する半導体膜115上に導電膜117を形成する(図3(E)参照。)
導電膜117は、アルミニウム、若しくは銅、シリコン、チタン、ネオジム、スカンジウ
ム、モリブデンなどの耐熱性向上元素若しくはヒロック防止元素が添加されたアルミニウ
ム合金の単層または積層で形成することが好ましい。また、n型の導電型を有する半導体
膜と接する側の膜を、チタン、タンタル、モリブデン、タングステン、またはこれらの元
素の窒化物で形成し、その上にアルミニウムまたはアルミニウム合金を形成した積層構造
としても良い。更には、アルミニウムまたはアルミニウム合金の上面及び下面を、チタン
、タンタル、モリブデン、タングステン、またはこれらの元素の窒化物で挟んだ積層構造
としてもよい。ここでは、導電膜117として、チタン膜、アルミニウム膜、及びチタン
膜の積層導電膜を用いる。
チタン膜、アルミニウム膜、チタン膜の積層を用いると低抵抗であり、かつアルミニウム
膜にヒロックが発生しにくい。
導電膜117は、スパッタ法や真空蒸着法で形成する。また、導電膜117は、銀、金、
銅などの導電性ナノペーストを用いてスクリーン印刷法、インクジェット法等を用いて吐
出し焼成して形成しても良い。
次に、導電膜117上にマスク118を形成する。マスク118を用いて導電膜117を
エッチングし分離して、ソース電極層又はドレイン電極層105a、105bを形成する
(図3(F)参照。)。本実施の形態の図3のように導電膜117をウエットエッチング
すると、導電膜117は等方的にエッチングされるため、マスク118の端部と、ソース
電極層又はドレイン電極層105a、105bの端部はより一致せずより後退している。
次に、マスク118を用いてn型の導電型を有する半導体膜115をエッチングして、バ
ッファ層104a、104bを形成する(図3(G)参照。)。なお、エッチング条件に
もよるがn型の導電型を有する半導体膜115のエッチング工程において、半導体層11
2の露出領域も一部エッチングされ、半導体層103となる。よってバッファ層104a
、104bの間の半導体層103のチャネル領域は図3(G)に示すように膜厚の薄い領
域となる。IGZO半導体層である半導体層103において、薄い膜厚の領域が、2nm
以上200nm以下、好ましくは20nm以上150nm以下とする。
さらに、半導体層103にプラズマ処理を行ってもよい。プラズマ処理を行うことにより
、半導体層103のエッチングによるダメージを回復することができる。プラズマ処理は
、NO、好ましくは酸素を含むN、He、Ar雰囲気下で行うことが好ましい。
また、上記雰囲気にCl、CFを加えた雰囲気下で行ってもよい。なお、プラズマ処
理は、無バイアスで行うことが好ましい。
ソース電極層又はドレイン電極層105a、105bの端部と、バッファ層104a、1
04bの端部は一致せずずれており、ソース電極層又はドレイン電極層105a、105
bの端部の外側に、バッファ層104a、104bの端部が形成される。
この後、マスク118を除去する。以上の工程により、薄膜トランジスタ170aを形成
することができる。
次に図1(B1)(B2)に示す薄膜トランジスタ170bの作製工程を図4に示す。
図4(A)は図3(B)の工程においてマスク113を除去した状態である。半導体層1
12上にn型の導電型を有する半導体膜114と導電膜121とを順に積層する(図4(
B)参照。)。この場合導電型を有する半導体膜114と導電膜121とを大気に曝さな
いでスパッタ法で連続的に成膜することができる。
n型の導電型を有する半導体膜114と導電膜121上にマスク122を形成し、マスク
122を用いて導電膜121をウエットエッチング加工してソース電極層又はドレイン電
極層105a、105bを形成する(図4(C)参照。)。
次に、n型の導電型を有する半導体膜114をドライエッチング加工してバッファ層10
4a、104bを形成する(図4(D)参照。)。同工程で半導体層112の一部もエッ
チングされ、半導体層103となる。図4のように、バッファ層104a、104bとソ
ース電極層又はドレイン電極層105a、105bとを形成するエッチングに同じマスク
を用いると、マスク数を減らすことができるため、工程簡略化、低コスト化が計れる。
薄膜トランジスタ170a、170b、170c上に保護膜として絶縁膜を形成してもよ
い。保護膜としてはゲート絶縁層と同様に形成することができる。なお、保護膜は、大気
中に浮遊する有機物や金属物、水蒸気などの汚染不純物の侵入を防ぐためのものであり、
緻密な膜が好ましい。例えば、薄膜トランジスタ170a、170b、170c上に保護
膜として酸化珪素膜と窒化珪素膜との積層を形成すればよい。
また、半導体層103、及びバッファ層104a、104bなどの酸化物半導体膜は成膜
後に加熱処理を行うことが好ましい。加熱処理は成膜後であればどの工程で行ってもよい
が、成膜直後、導電膜117の形成後、保護膜の形成後などで行うことができる。また、
他の加熱処理と兼ねて行ってもよい。また加熱温度は300℃以上400℃以下、好まし
くは350℃とすればよい。図2のように半導体層103及びバッファ層104a、10
4bを連続成膜する場合、積層した後に加熱処理を行ってもよい。加熱処理は半導体層1
03とバッファ層104a、104bと別工程で複数回行ってもよい。
ソース電極層又はドレイン電極層105a、105bの端部と、バッファ層104a、1
04bの端部は一致せずずれた形状となることで、ソース電極層又はドレイン電極層10
5a、105bの端部の距離が離れるため、ソース電極層又はドレイン電極層105a、
105b間のリーク電流やショートを防止することができる。このため、信頼性が高く、
且つ耐圧の高い薄膜トランジスタを作製することができる。
また、図2(A1)(A2)の薄膜トランジスタ170cのようにバッファ層104a、
104bの端部とソース電極及びドレイン電極の端部を一致する形状としてもよい。ソー
ス電極層又はドレイン電極層105a、105bを形成するためのエッチング及びバッフ
ァ層104a、104bを形成するためのエッチングをドライエッチングで行うと図2(
A1)(A2)の薄膜トランジスタ170cのような形状にすることができる。また、n
型の導電型を有する半導体膜115をソース電極及びドレイン電極105a、105bを
マスクとしてエッチングし、バッファ層104a、104bを形成しても図2(A1)(
A2)の薄膜トランジスタ170cのような形状にすることができる。
バッファ層(In、Ga、及びZnを含みn型の導電型を有する酸化物半導体層)を設け
ない、ゲート電極層、ゲート絶縁層、半導体層(In、Ga、及びZnを含む酸化物半導
体層)、ソース電極層及びドレイン電極層という積層構造であると、ゲート電極層とソー
ス電極層又はドレイン電極層との距離が近くなり、間に生じる寄生容量が増加してしまう
。さらに、この寄生容量の増加は、半導体層の薄膜化によってより顕著になる。本実施の
形態では、In、Ga、及びZnを含むn型の導電型を有する酸化物半導体層というよう
なキャリア濃度が高いバッファ層を設ける、ゲート電極層、ゲート絶縁層、半導体層、バ
ッファ層、ソース電極層及びドレイン電極層という積層構造を有する薄膜トランジスタと
しているため、半導体層の膜厚が薄膜であっても寄生容量を抑制することができる。
本実施の形態によって、光電流が少なく、寄生容量が小さく、オンオフ比の高い薄膜トラ
ンジスタを得ることができ、良好な動特性を有する薄膜トランジスタを作製できる。よっ
て、電気特性が高く信頼性のよい薄膜トランジスタを有する半導体装置を提供することが
できる。
(実施の形態2)
本実施の形態は、マルチゲート構造の薄膜トランジスタの例である。従って、他は実施の
形態1と同様に行うことができ、実施の形態1と同一部分又は同様な機能を有する部分、
及び工程の繰り返しの説明は省略する。
本実施の形態では、半導体装置に用いられる薄膜トランジスタについて、図5(A)(B
)乃至図7(A)(B)を用いて説明する。
図5(A)は、薄膜トランジスタを示す平面図であり、図5(B)は、図5(A)におけ
る線E1−E2の薄膜トランジスタ171aを示す断面図に相当する。
図5(A)(B)に示すように、基板150上に、ゲート電極層151a、151b、半
導体層153a、153b、バッファ層154a、154b、154c、ソース電極層又
はドレイン電極層155a、155bを含むマルチゲート構造の薄膜トランジスタ171
aが設けられている。
半導体層153a、153bは、In、Ga、及びZnを含む酸化物半導体層であり、バ
ッファ層154a、154b、154cはn型の導電型を有するIn、Ga、及びZnを
含む酸化物半導体層である。ソース領域又はドレイン領域(n+層)として機能するバッ
ファ層154a、154b、154cは、半導体層153a、153bよりキャリア濃度
が高い。
半導体層153aと半導体層153bとは、一方をバッファ層154cを介して電気的に
接続しており、他方でそれぞれ半導体層153aはバッファ層154aを介してソース電
極層又はドレイン電極層155aと、半導体層153bはバッファ層154bを介してソ
ース電極層又はドレイン電極層155bと電気的に接続している。
図6に他の構成のマルチゲート構造の薄膜トランジスタ171bを示す。図6(A)は、
薄膜トランジスタ171bを示す平面図であり、図6(B)は、図6(A)における線F
1−F2の薄膜トランジスタ171bを示す断面図に相当する。図6の薄膜トランジスタ
171bにおいてはバッファ層154c上にソース電極層又はドレイン電極層155a、
155bと同工程で形成される配線層156が設けられ、半導体層153aと半導体層1
53bとはバッファ層154cと配線層156によって電気的に接続されている。
図7に他の構成のマルチゲート構造の薄膜トランジスタ171cを示す。図7(A)は、
薄膜トランジスタ171cを示す平面図であり、図7(B)は、図7(A)における線G
1−G2の薄膜トランジスタ171cを示す断面図に相当する。図7の薄膜トランジスタ
171cにおいては、半導体層153aと半導体層153bとが連続した一層の半導体層
153として形成されている例である。半導体層153はゲート絶縁層152を介して、
ゲート電極層151a、151bを跨るように設けられる。
このように、マルチゲート構造の薄膜トランジスタにおいては、各ゲート電極層上に形成
される半導体層は連続して設けられてもよいし、バッファ層及び配線層などを介して複数
の半導体層が電気的に接続して設けられてもよい。
本実施の形態のマルチゲート構造の薄膜トランジスタは、オフ電流が少なく、そのような
薄膜トランジスタを含む半導体装置は高い電気特性及び高信頼性を付与することができる
本実施の形態では、マルチゲート構造としてゲート電極層が2つのダブルゲート構造の例
を示すが、より多くのゲート電極層を有するトリプルゲート構造などにも適用することが
できる。
本実施の形態は他の実施の形態と適宜組み合わせて実施することができる。
(実施の形態3)
本実施の形態は、薄膜トランジスタにおいてバッファ層を積層する例である。従って、他
は実施の形態1又は実施の形態2と同様に行うことができ、実施の形態1又は実施の形態
2と同一部分又は同様な機能を有する部分、及び工程の繰り返しの説明は省略する。
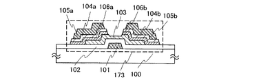
本実施の形態では、半導体装置に用いられる薄膜トランジスタ173について、図8を用
いて説明する。
図8に示すように、基板100上に、ゲート電極層101、半導体層103、バッファ層
106a、106b、バッファ層104a、104b、ソース電極層又はドレイン電極層
105a、105bを含む薄膜トランジスタ173が設けられている。
本実施の形態の薄膜トランジスタ173は、半導体層103とバッファ層104a、10
4bとの間にそれぞれ第2のバッファ層としてバッファ層106a、106bが設けられ
ている。
半導体層103は、In、Ga、及びZnを含む酸化物半導体層であり、バッファ層10
4a、104b、バッファ層106a、106bはn型の導電型を有するIn、Ga、及
びZnを含む酸化物半導体層である。
半導体層103とバッファ層104a、104bとの間に設けられる第2のバッファ層(
バッファ層106a、106b)は、キャリア濃度が半導体層103より高く、バッファ
層104a、104bより低い。バッファ層104a、104bがn+層として機能する
のに対して、第2のバッファ層(バッファ層106a、106b)はn−層として機能す
る。
本実施の形態において、半導体層103として適するキャリア濃度範囲は1×1017
toms/cm未満(より好ましくは1×1011atoms/cm以上)、バッフ
ァ層として適するキャリア濃度範囲は、1×1018atoms/cm以上(1×10
22atoms/cm以下)が好ましい。
チャネル用の半導体層103キャリア濃度範囲が上記範囲を越えると、薄膜トランジスタ
としてノーマリーオンになる恐れがある。よって本実施の形態のキャリア濃度範囲のIG
ZO膜を半導体層103のチャネルとして用いることで信頼性の高い薄膜トランジスタと
することができる。
n−層として機能するバッファ層106a、106bとして適する濃度範囲は、n+層と
して機能するバッファ層104a、104bよりキャリア濃度が低く半導体層103より
キャリア濃度が高い濃度範囲とすればよい。
このように、半導体層とソース電極層又はドレイン電極層との間に設けられるバッファ層
は積層構造としてもよく、そのキャリア濃度は半導体層からソース電極層又はドレイン電
極層へ向かって高くなるように制御する。
本実施の形態の積層バッファ層を有する薄膜トランジスタは、オフ電流が少なく、そのよ
うな薄膜トランジスタを含む半導体装置は高い電気特性及び高信頼性を付与することがで
きる。
本実施の形態は他の実施の形態と適宜組み合わせて実施することができる。
(実施の形態4)
本実施の形態は、実施の形態1において、薄膜トランジスタの形状及び作製方法が一部異
なる例である。従って、他は実施の形態1と同様に行うことができ、実施の形態1と同一
部分又は同様な機能を有する部分、及び工程の繰り返しの説明は省略する。
本実施の形態では、表示装置に用いられる薄膜トランジスタ174及びその作製工程につ
いて、図9及び図10を用いて説明する。図9(A1)は薄膜トランジスタ174の平面
図、図9(A2)及び図10は図9(A1)における線D1−D2の薄膜トランジスタ及
びその作製工程を示す断面図に相当する。
図9(A)(B)に示すように、基板100上に、ゲート電極層101、半導体層103
、バッファ層104a、104b、ソース電極層又はドレイン電極層105a、105b
を含む薄膜トランジスタ174が設けられている。
半導体層103は、In、Ga、及びZnを含む酸化物半導体層であり、バッファ層10
4a、104bはn型の導電型を有するIn、Ga、及びZnを含む酸化物半導体層であ
る。ソース領域又はドレイン領域(n+層)として機能するバッファ層104a、104
bは、半導体層103よりキャリア濃度が高い。
半導体層103はバッファ層104aを介してソース電極層又はドレイン電極層105a
と、バッファ層104bを介してソース電極層又はドレイン電極層105bと電気的に接
続している。
図10を用いて薄膜トランジスタ174の作製工程を説明する。基板100上にゲート電
極層101を形成する。次に、ゲート電極層101上に、ゲート絶縁層102、In、G
a、及びZnを含む酸化物半導体膜である半導体膜である半導体膜131、n型の導電型
を有するIn、Ga、及びZnを含む酸化物半導体膜であるn型の導電型を有する半導体
膜132、導電膜133を順に形成する(図10(A)参照。)。
ゲート絶縁層102、In、Ga、及びZnを含む酸化物半導体膜である半導体膜131
、n型の導電型を有するIn、Ga、及びZnを含む酸化物半導体膜であるn型の導電型
を有する半導体膜132、導電膜133を大気に触れさせることなく連続的に形成するこ
とができる。大気に触れさせることなく連続成膜することで、大気成分や大気中に浮遊す
る汚染不純物元素に汚染されることなく各積層界面を形成することができるので、薄膜ト
ランジスタ特性のばらつきを低減することができる。
本実施の形態では、マスク135を形成するために高階調マスクを用いた露光を行う例を
示す。マスク135を形成するためレジストを形成する。レジストは、ポジ型レジストま
たはネガ型レジストを用いることができる。ここでは、ポジ型レジストを用いて示す。
次に、フォトマスクとして多階調マスクを用いて、レジストに光を照射して、レジストを
露光する。
多階調マスクとは、露光部分、中間露光部分、及び未露光部分に3つの露光レベルを行う
ことが可能なマスクであり、一度の露光及び現像工程により、複数(代表的には二種類)
の厚さの領域を有するレジストマスクを形成することが可能である。このため、多階調マ
スクを用いることで、フォトマスクの枚数を削減することが可能である。
多階調マスクの代表例としては、グレートーンマスク、ハーフトーンマスクがある。
グレートーンマスクは、透光性を有する基板及びその上に形成される遮光部並びに回折格
子で構成される。遮光部においては、光の透過量が0%である。一方、回折格子はスリッ
ト、ドット、メッシュ等の光透過部の間隔を、露光に用いる光の解像度限界以下の間隔と
することにより、光の透過量を制御することができる。なお、回折格子は、周期的なスリ
ット、ドット、メッシュ、または非周期的なスリット、ドット、メッシュどちらも用いる
ことができる。
透光性を有する基板は、石英等の透光性を有する基板を用いることができる。遮光部及び
回折格子は、クロムや酸化クロム等の光を吸収する遮光材料を用いて形成することができ
る。
グレートーンマスクに露光光を照射した場合、遮光部においては、光の透過量は0%であ
り、遮光部及び回折格子が設けられていない領域では光の透過量は100%である。また
、回折格子においては、10〜70%の範囲で調整可能である。回折格子における光の透
過量の調整は、回折格子のスリット、ドット、またはメッシュの間隔及びピッチの調整に
より可能である。
ハーフトーンマスクは、透光性を有する基板及びその上に形成される半透過部並びに遮光
部で構成される。半透過部は、MoSiN、MoSi、MoSiO、MoSiON、Cr
Siなどを用いることができる。遮光部は、クロムや酸化クロム等の光を吸収する遮光材
料を用いて形成することができる。
ハーフトーンマスクに露光光を照射した場合、遮光部においては、光の透過量は0%であ
り、遮光部及び半透過部が設けられていない領域では光の透過量は100%である。また
、半透過部においては、10〜70%の範囲で調整可能である。半透過部に於ける光の透
過量の調整は、半透過部の材料により調整により可能である。
多階調マスクを用いて露光した後、現像することで、図10(B)に示すように、膜厚の
異なる領域を有するマスク135を形成することができる。
次に、マスク135により、半導体膜131、n型の導電型を有する半導体膜132、導
電膜133をエッチングし分離する。この結果、半導体膜136、n型の導電型を有する
半導体膜137、及び導電膜138を形成することができる(図10(B)参照。)。
次に、マスク135をアッシングする。この結果、マスクの面積が縮小し、厚さが薄くな
る。このとき、膜厚の薄い領域のマスクのレジスト(ゲート電極層101の一部と重畳す
る領域)は除去され、分離されたマスク139を形成することができる(図10(C)参
照。)。
マスク139を用いて導電膜138をエッチングし、ソース電極層又はドレイン電極層1
05a、105bを形成する。本実施の形態のように導電膜138をウエットエッチング
すると、導電膜138は等方的にエッチングされるため、マスク139の端部と、ソース
電極層又はドレイン電極層105a、105bの端部は一致せずより後退し、ソース電極
層又はドレイン電極層105a、105bの外側にn型の導電型を有する半導体膜137
及び半導体膜136が突出した形状となる。次に、マスク139を用いてn型の導電型を
有する半導体膜137及び半導体膜136をエッチングして、バッファ層104a、10
4b、半導体層103を形成する(図10(D)参照。)。なお、半導体層103は一部
のみがエッチングされ、溝部を有する半導体層となる。
バッファ層104a、104bの形成工程と、半導体層103の溝部とを同一工程で形成
することができ、同様に、半導体層103の端部が、一部エッチングされ露出した形状と
なる。この後、マスク139を除去する。
以上の工程で、図9(A)(B)に示す薄膜トランジスタ174を作製することができる
本実施の形態のように、多階調マスクにより形成した複数(代表的には二種類)の厚さの
領域を有するレジストマスクを用いると、レジストマスクの数を減らすことができるため
、工程簡略化、低コスト化が計れる。
本実施の形態は他の実施の形態と適宜組み合わせて実施することができる。
(実施の形態5)
本実施の形態では、本明細書で開示する発明の半導体装置の一例である表示装置において
、同一基板上に少なくとも駆動回路の一部と、画素部に配置する薄膜トランジスタを作製
する例について以下に説明する。
画素部に配置する薄膜トランジスタは、実施の形態1乃至実施の形態4のいずれか一に従
って形成する。また、実施の形態1乃至実施の形態4のいずれか一に示す薄膜トランジス
タはnチャネル型TFTであるため、駆動回路のうち、nチャネル型TFTで構成するこ
とができる駆動回路の一部を画素部の薄膜トランジスタと同一基板上に形成する。
本明細書で開示する発明の半導体装置の一例であるアクティブマトリクス型液晶表示装置
のブロック図の一例を図12(A)に示す。図12(A)に示す表示装置は、基板530
0上に表示素子を備えた画素を複数有する画素部5301と、各画素を選択する走査線駆
動回路5302と、選択された画素へのビデオ信号の入力を制御する信号線駆動回路53
03とを有する。
また、実施の形態1乃至実施の形態4のいずれか一に示す薄膜トランジスタは、nチャネ
ル型TFTであり、nチャネル型TFTで構成する信号線駆動回路について図13を用い
て説明する。
図13に示す信号線駆動回路は、ドライバIC5601、スイッチ群5602_1〜56
02_M、第1の配線5611、第2の配線5612、第3の配線5613及び配線56
21_1〜5621_Mを有する。スイッチ群5602_1〜5602_Mそれぞれは、
第1の薄膜トランジスタ5603a、第2の薄膜トランジスタ5603b及び第3の薄膜
トランジスタ5603cを有する。
画素部5301は、信号線駆動回路5303から列方向に伸張して配置された複数の信号
線S1〜Sm(図示せず。)により信号線駆動回路5303と接続され、走査線駆動回路
5302から行方向に伸張して配置された複数の走査線G1〜Gn(図示せず。)により
走査線駆動回路5302と接続され、信号線S1〜Sm並びに走査線G1〜Gnに対応し
てマトリクス状に配置された複数の画素(図示せず。)を有する。そして、各画素は、信
号線Sj(信号線S1〜Smのうちいずれか一)、走査線Gi(走査線G1〜Gnのうち
いずれか一)と接続される。
ドライバIC5601は第1の配線5611、第2の配線5612、第3の配線5613
及び配線5621_1〜5621_Mに接続される。そして、スイッチ群5602_1〜
5602_Mにそれぞれは、第1の配線5611、第2の配線5612、第3の配線56
13及びスイッチ群5602_1〜5602_Mそれぞれに対応した配線5621_1〜
5621_Mに接続される。そして、配線5621_1〜5621_Mそれぞれは、第1
の薄膜トランジスタ5603a、第2の薄膜トランジスタ5603b及び第3の薄膜トラ
ンジスタ5603cを介して、3つの信号線に接続される。例えば、J列目の配線562
1_J(配線5621_1〜配線5621_Mのうちいずれか一)は、スイッチ群560
2_Jが有する第1の薄膜トランジスタ5603a、第2の薄膜トランジスタ5603b
及び第3の薄膜トランジスタ5603cを介して、信号線Sj−1、信号線Sj、信号線
Sj+1に接続される。
なお、第1の配線5611、第2の配線5612、第3の配線5613には、それぞれ信
号が入力される。
なお、ドライバIC5601は、単結晶基板上に形成されていることが望ましい。さらに
、スイッチ群5602_1〜5602_Mは、画素部と同一基板上に形成されていること
が望ましい。したがって、ドライバIC5601とスイッチ群5602_1〜5602_
MとはFPCなどを介して接続するとよい。
次に、図13に示した信号線駆動回路の動作について、図14のタイミングチャートを参
照して説明する。なお、図14のタイミングチャートは、i行目の走査線Giが選択され
ている場合のタイミングチャートを示している。さらに、i行目の走査線Giの選択期間
は、第1のサブ選択期間T1、第2のサブ選択期間T2及び第3のサブ選択期間T3に分
割されている。さらに、図13の信号線駆動回路は、他の行の走査線が選択されている場
合でも図14と同様の動作をする。
なお、図14のタイミングチャートは、J列目の配線5621_Jが第1の薄膜トランジ
スタ5603a、第2の薄膜トランジスタ5603b及び第3の薄膜トランジスタ560
3cを介して、信号線Sj−1、信号線Sj、信号線Sj+1に接続される場合について
示している。
なお、図14のタイミングチャートは、i行目の走査線Giが選択されるタイミング、第
1の薄膜トランジスタ5603aのオン・オフのタイミング5703a、第2の薄膜トラ
ンジスタ5603bのオン・オフのタイミング5703b、第3の薄膜トランジスタ56
03cのオン・オフのタイミング5703c及びJ列目の配線5621_Jに入力される
信号5721_Jを示している。
なお、配線5621_1〜配線5621_Mには第1のサブ選択期間T1、第2のサブ選
択期間T2及び第3のサブ選択期間T3において、それぞれ別のビデオ信号が入力される
。例えば、第1のサブ選択期間T1において配線5621_Jに入力されるビデオ信号は
信号線Sj−1に入力され、第2のサブ選択期間T2において配線5621_Jに入力さ
れるビデオ信号は信号線Sjに入力され、第3のサブ選択期間T3において配線5621
_Jに入力されるビデオ信号は信号線Sj+1に入力される。さらに、第1のサブ選択期
間T1、第2のサブ選択期間T2及び第3のサブ選択期間T3において、配線5621_
Jに入力されるビデオ信号をそれぞれData_j−1、Data_j、Data_j+
1とする。
図14に示すように、第1のサブ選択期間T1において第1の薄膜トランジスタ5603
aがオンし、第2の薄膜トランジスタ5603b及び第3の薄膜トランジスタ5603c
がオフする。このとき、配線5621_Jに入力されるData_j−1が、第1の薄膜
トランジスタ5603aを介して信号線Sj−1に入力される。第2のサブ選択期間T2
では、第2の薄膜トランジスタ5603bがオンし、第1の薄膜トランジスタ5603a
及び第3の薄膜トランジスタ5603cがオフする。このとき、配線5621_Jに入力
されるData_jが、第2の薄膜トランジスタ5603bを介して信号線Sjに入力さ
れる。第3のサブ選択期間T3では、第3の薄膜トランジスタ5603cがオンし、第1
の薄膜トランジスタ5603a及び第2の薄膜トランジスタ5603bがオフする。この
とき、配線5621_Jに入力されるData_j+1が、第3の薄膜トランジスタ56
03cを介して信号線Sj+1に入力される。
以上のことから、図13の信号線駆動回路は、1ゲート選択期間を3つに分割することで
、1ゲート選択期間中に1つの配線5621から3つの信号線にビデオ信号を入力するこ
とができる。したがって、図13の信号線駆動回路は、ドライバIC5601が形成され
る基板と、画素部が形成されている基板との接続数を信号線の数に比べて約1/3にする
ことができる。接続数が約1/3になることによって、図13の信号線駆動回路は、信頼
性、歩留まりなどを向上できる。
なお、図13のように、1ゲート選択期間を複数のサブ選択期間に分割し、複数のサブ選
択期間それぞれにおいて、ある1つの配線から複数の信号線それぞれにビデオ信号を入力
することができれば、薄膜トランジスタの配置や数、駆動方法などは限定されない。
例えば、3つ以上のサブ選択期間それぞれにおいて1つの配線から3つ以上の信号線それ
ぞれにビデオ信号を入力する場合は、薄膜トランジスタ及び薄膜トランジスタを制御する
ための配線を追加すればよい。ただし、1ゲート選択期間を4つ以上のサブ選択期間に分
割すると、1つのサブ選択期間が短くなる。したがって、1ゲート選択期間は、2つ又は
3つのサブ選択期間に分割されることが望ましい。
別の例として、図15のタイミングチャートに示すように、1つの選択期間をプリチャー
ジ期間Tp、第1のサブ選択期間T1、第2のサブ選択期間T2、第3の選択期間T3に
分割してもよい。さらに、図15のタイミングチャートは、i行目の走査線Giが選択さ
れるタイミング、第1の薄膜トランジスタ5603aのオン・オフのタイミング5803
a、第2の薄膜トランジスタ5603bのオン・オフのタイミング5803b、第3の薄
膜トランジスタ5603cのオン・オフのタイミング5803c及びJ列目の配線562
1_Jに入力される信号5821_Jを示している。図15に示すように、プリチャージ
期間Tpにおいて第1の薄膜トランジスタ5603a、第2の薄膜トランジスタ5603
b及び第3の薄膜トランジスタ5603cがオンする。このとき、配線5621_Jに入
力されるプリチャージ電圧Vpが第1の薄膜トランジスタ5603a、第2の薄膜トラン
ジスタ5603b及び第3の薄膜トランジスタ5603cを介してそれぞれ信号線Sj−
1、信号線Sj、信号線Sj+1に入力される。第1のサブ選択期間T1において第1の
薄膜トランジスタ5603aがオンし、第2の薄膜トランジスタ5603b及び第3の薄
膜トランジスタ5603cがオフする。このとき、配線5621_Jに入力されるDat
a_j−1が、第1の薄膜トランジスタ5603aを介して信号線Sj−1に入力される
。第2のサブ選択期間T2では、第2の薄膜トランジスタ5603bがオンし、第1の薄
膜トランジスタ5603a及び第3の薄膜トランジスタ5603cがオフする。このとき
、配線5621_Jに入力されるData_jが、第2の薄膜トランジスタ5603bを
介して信号線Sjに入力される。第3のサブ選択期間T3では、第3の薄膜トランジスタ
5603cがオンし、第1の薄膜トランジスタ5603a及び第2の薄膜トランジスタ5
603bがオフする。このとき、配線5621_Jに入力されるData_j+1が、第
3の薄膜トランジスタ5603cを介して信号線Sj+1に入力される。
以上のことから、図15のタイミングチャートを適用した図13の信号線駆動回路は、サ
ブ選択期間の前にプリチャージ選択期間を設けることによって、信号線をプリチャージで
きるため、画素へのビデオ信号の書き込みを高速に行うことができる。なお、図15にお
いて、図14と同様なものに関しては共通の符号を用いて示し、同一部分又は同様な機能
を有する部分の詳細な説明は省略する。
また、走査線駆動回路の構成について説明する。走査線駆動回路は、シフトレジスタ、バ
ッファを有している。また場合によってはレベルシフタを有していても良い。走査線駆動
回路において、シフトレジスタにクロック信号(CLK)及びスタートパルス信号(SP
)が入力されることによって、選択信号が生成される。生成された選択信号はバッファに
おいて緩衝増幅され、対応する走査線に供給される。走査線には、1ライン分の画素のト
ランジスタのゲート電極が接続されている。そして、1ライン分の画素のトランジスタを
一斉にONにしなくてはならないので、バッファは大きな電流を流すことが可能なものが
用いられる。
走査線駆動回路の一部に用いるシフトレジスタの一形態について図16及び図17を用い
て説明する。
図16にシフトレジスタの回路構成を示す。図16に示すシフトレジスタは、複数のフリ
ップフロップ5701_i(フリップフロップ5701_1〜5701_n)で構成され
る。また、第1のクロック信号、第2のクロック信号、スタートパルス信号、リセット信
号が入力されて動作する。
図16のシフトレジスタの接続関係について説明する。図16のシフトレジスタは、i段
目のフリップフロップ5701_i(フリップフロップ5701_1〜5701_nのう
ちいずれか一)は、図17に示した第1の配線5501が第7の配線5717_i−1に
接続され、図17に示した第2の配線5502が第7の配線5717_i+1に接続され
、図17に示した第3の配線5503が第7の配線5717_iに接続され、図17に示
した第6の配線5506が第5の配線5715に接続される。
また、図17に示した第4の配線5504が奇数段目のフリップフロップでは第2の配線
5712に接続され、偶数段目のフリップフロップでは第3の配線5713に接続され、
図17に示した第5の配線5505が第4の配線5714に接続される。
ただし、1段目のフリップフロップ5701_1の図17に示す第1の配線5501は第
1の配線5711に接続され、n段目のフリップフロップ5701_nの図17に示す第
2の配線5502は第6の配線5716に接続される。
なお、第1の配線5711、第2の配線5712、第3の配線5713、第6の配線57
16を、それぞれ第1の信号線、第2の信号線、第3の信号線、第4の信号線と呼んでも
よい。さらに、第4の配線5714、第5の配線5715を、それぞれ第1の電源線、第
2の電源線と呼んでもよい。
次に、図16に示すフリップフロップの詳細について、図17に示す。図17に示すフリ
ップフロップは、第1の薄膜トランジスタ5571、第2の薄膜トランジスタ5572、
第3の薄膜トランジスタ5573、第4の薄膜トランジスタ5574、第5の薄膜トラン
ジスタ5575、第6の薄膜トランジスタ5576、第7の薄膜トランジスタ5577及
び第8の薄膜トランジスタ5578を有する。なお、第1の薄膜トランジスタ5571、
第2の薄膜トランジスタ5572、第3の薄膜トランジスタ5573、第4の薄膜トラン
ジスタ5574、第5の薄膜トランジスタ5575、第6の薄膜トランジスタ5576、
第7の薄膜トランジスタ5577及び第8の薄膜トランジスタ5578は、nチャネル型
トランジスタであり、ゲート・ソース間電圧(Vgs)がしきい値電圧(Vth)を上回
ったとき導通状態になるものとする。
次に、図16に示すフリップフロップの接続構成について、以下に示す。
第1の薄膜トランジスタ5571の第1の電極(ソース電極またはドレイン電極の一方)
が第4の配線5504に接続され、第1の薄膜トランジスタ5571の第2の電極(ソー
ス電極またはドレイン電極の他方)が第3の配線5503に接続される。
第2の薄膜トランジスタ5572の第1の電極が第6の配線5506に接続され、第2の
薄膜トランジスタ5572第2の電極が第3の配線5503に接続される。
第3の薄膜トランジスタ5573の第1の電極が第5の配線5505に接続され、第3の
薄膜トランジスタ5573の第2の電極が第2の薄膜トランジスタ5572のゲート電極
に接続され、第3の薄膜トランジスタ5573のゲート電極が第5の配線5505に接続
される。
第4の薄膜トランジスタ5574の第1の電極が第6の配線5506に接続され、第4の
薄膜トランジスタ5574の第2の電極が第2の薄膜トランジスタ5572のゲート電極
に接続され、第4の薄膜トランジスタ5574のゲート電極が第1の薄膜トランジスタ5
571のゲート電極に接続される。
第5の薄膜トランジスタ5575の第1の電極が第5の配線5505に接続され、第5の
薄膜トランジスタ5575の第2の電極が第1の薄膜トランジスタ5571のゲート電極
に接続され、第5の薄膜トランジスタ5575のゲート電極が第1の配線5501に接続
される。
第6の薄膜トランジスタ5576の第1の電極が第6の配線5506に接続され、第6の
薄膜トランジスタ5576の第2の電極が第1の薄膜トランジスタ5571のゲート電極
に接続され、第6の薄膜トランジスタ5576のゲート電極が第2の薄膜トランジスタ5
572のゲート電極に接続される。
第7の薄膜トランジスタ5577の第1の電極が第6の配線5506に接続され、第7の
薄膜トランジスタ5577の第2の電極が第1の薄膜トランジスタ5571のゲート電極
に接続され、第7の薄膜トランジスタ5577のゲート電極が第2の配線5502に接続
される。第8の薄膜トランジスタ5578の第1の電極が第6の配線5506に接続され
、第8の薄膜トランジスタ5578の第2の電極が第2の薄膜トランジスタ5572のゲ
ート電極に接続され、第8の薄膜トランジスタ5578のゲート電極が第1の配線550
1に接続される。
なお、第1の薄膜トランジスタ5571のゲート電極、第4の薄膜トランジスタ5574
のゲート電極、第5の薄膜トランジスタ5575の第2の電極、第6の薄膜トランジスタ
5576の第2の電極及び第7の薄膜トランジスタ5577の第2の電極の接続箇所をノ
ード5543とする。さらに、第2の薄膜トランジスタ5572のゲート電極、第3の薄
膜トランジスタ5573の第2の電極、第4の薄膜トランジスタ5574の第2の電極、
第6の薄膜トランジスタ5576のゲート電極及び第8の薄膜トランジスタ5578の第
2の電極の接続箇所をノード5544とする。
なお、第1の配線5501、第2の配線5502、第3の配線5503及び第4の配線5
504を、それぞれ第1の信号線、第2の信号線、第3の信号線、第4の信号線と呼んで
もよい。さらに、第5の配線5505を第1の電源線、第6の配線5506を第2の電源
線と呼んでもよい。
また、信号線駆動回路及び走査線駆動回路を実施の形態1乃至実施の形態4のいずれか一
に示すnチャネル型TFTのみで作製することも可能である。実施の形態1乃至実施の形
態4のいずれか一に示すnチャネル型TFTはトランジスタの移動度が大きいため、駆動
回路の駆動周波数を高くすることが可能となる。また、実施の形態1乃至実施の形態4の
いずれか一に示すnチャネル型TFTはn型を有するインジウム、ガリウム、及び亜鉛を
含む酸化物半導体層であるバッファ層により寄生容量が低減されるため、周波数特性(f
特性と呼ばれる)が高い。例えば、実施の形態1乃至実施の形態4のいずれか一に示すn
チャネル型TFTを用いた走査線駆動回路は、高速に動作させることが出来るため、フレ
ーム周波数を高くすること、または、黒画面挿入を実現することなども実現することが出
来る。
さらに、走査線駆動回路のトランジスタのチャネル幅を大きくすることや、複数の走査線
駆動回路を配置することなどによって、さらに高いフレーム周波数を実現することが出来
る。複数の走査線駆動回路を配置する場合は、偶数行の走査線を駆動する為の走査線駆動
回路を片側に配置し、奇数行の走査線を駆動するための走査線駆動回路をその反対側に配
置することにより、フレーム周波数を高くすることを実現することが出来る。
また、本明細書で開示する発明の半導体装置の一例であるアクティブマトリクス型発光表
示装置を作製する場合、少なくとも一つの画素に複数の薄膜トランジスタを配置するため
、走査線駆動回路を複数配置することが好ましい。アクティブマトリクス型発光表示装置
のブロック図の一例を図12(B)に示す。
図12(B)に示す発光表示装置は、基板5400上に表示素子を備えた画素を複数有す
る画素部5401と、各画素を選択する第1の走査線駆動回路5402及び第2の走査線
駆動回路5404と、選択された画素へのビデオ信号の入力を制御する信号線駆動回路5
403とを有する。
図12(B)に示す発光表示装置の画素に入力されるビデオ信号をデジタル形式とする場
合、画素はトランジスタのオンとオフの切り替えによって、発光もしくは非発光の状態と
なる。よって、面積階調法または時間階調法を用いて階調の表示を行うことができる。面
積階調法は、1画素を複数の副画素に分割し、各副画素を独立にビデオ信号に基づいて駆
動させることによって、階調表示を行う駆動法である。また時間階調法は、画素が発光す
る期間を制御することによって、階調表示を行う駆動法である。
発光素子は、液晶素子などに比べて応答速度が高いので、液晶素子よりも時間階調法に適
している。具体的に時間階調法で表示を行なう場合、1フレーム期間を複数のサブフレー
ム期間に分割する。そしてビデオ信号に従い、各サブフレーム期間において画素の発光素
子を発光または非発光の状態にする。複数のサブフレーム期間に分割することによって、
1フレーム期間中に画素が実際に発光する期間のトータルの長さを、ビデオ信号により制
御することができ、階調を表示することができる。
なお、図12(B)に示す発光表示装置では、一つの画素にスイッチング用TFTと、電
流制御用TFTとの2つを配置する場合、スイッチング用TFTのゲート配線である第1
の走査線に入力される信号を第1走査線駆動回路5402で生成し、電流制御用TFTの
ゲート配線である第2の走査線に入力される信号を第2の走査線駆動回路5404で生成
している例を示しているが、第1の走査線に入力される信号と、第2の走査線に入力され
る信号とを、共に1つの走査線駆動回路で生成するようにしても良い。また、例えば、ス
イッチング素子が有する各トランジスタの数によって、スイッチング素子の動作を制御す
るのに用いられる第1の走査線が、各画素に複数設けられることもあり得る。この場合、
複数の第1の走査線に入力される信号を、全て1つの走査線駆動回路で生成しても良いし
、複数の各走査線駆動回路で生成しても良い。
また、発光表示装置においても、駆動回路のうち、nチャネル型TFTで構成することが
できる駆動回路の一部を画素部の薄膜トランジスタと同一基板上に形成することができる
。また、信号線駆動回路及び走査線駆動回路を実施の形態1乃至実施の形態4のいずれか
一に示すnチャネル型TFTのみで作製することも可能である。
また、上述した駆動回路は、液晶表示装置や発光表示装置に限らず、スイッチング素子と
電気的に接続する素子を利用して電子インクを駆動させる電子ペーパーに用いてもよい。
電子ペーパーは、電気泳動表示装置(電気泳動ディスプレイ)も呼ばれており、紙と同じ
読みやすさ、他の表示装置に比べ低消費電力、薄くて軽い形状とすることが可能という利
点を有している。
電気泳動ディスプレイは、様々な形態が考えられ得るが、プラスの電荷を有する第1の粒
子と、マイナスの電荷を有する第2の粒子とを含むマイクロカプセルが溶媒または溶質に
複数分散されたものであり、マイクロカプセルに電界を印加することによって、マイクロ
カプセル中の粒子を互いに反対方向に移動させて一方側に集合した粒子の色のみを表示す
るものである。なお、第1の粒子または第2の粒子は染料を含み、電界がない場合におい
て移動しないものである。また、第1の粒子の色と第2の粒子の色は異なるもの(無色を
含む)とする。
このように、電気泳動ディスプレイは、誘電定数の高い物質が高い電界領域に移動する、
いわゆる誘電泳動的効果を利用したディスプレイである。電気泳動ディスプレイは、液晶
表示装置には必要な偏光板、対向基板も電気泳動表示装置には必要なく、厚さや重さが半
減する。
上記マイクロカプセルを溶媒中に分散させたものが電子インクと呼ばれるものであり、こ
の電子インクはガラス、プラスチック、布、紙などの表面に印刷することができる。また
、カラーフィルタや色素を有する粒子を用いることによってカラー表示も可能である。
また、アクティブマトリクス基板上に適宜、二つの電極の間に挟まれるように上記マイク
ロカプセルを複数配置すればアクティブマトリクス型の表示装置が完成し、マイクロカプ
セルに電界を印加すれば表示を行うことができる。例えば、実施の形態1乃至実施の形態
4のいずれか一の薄膜トランジスタによって得られるアクティブマトリクス基板を用いる
ことができる。
なお、マイクロカプセル中の第1の粒子および第2の粒子は、導電体材料、絶縁体材料、
半導体材料、磁性材料、液晶材料、強誘電性材料、エレクトロルミネセント材料、エレク
トロクロミック材料、磁気泳動材料から選ばれた一種の材料、またはこれらの複合材料を
用いればよい。
以上の工程により、半導体装置として信頼性の高い表示装置を作製することができる。
本実施の形態は、他の実施の形態に記載した構成と適宜組み合わせて実施することが可能
である。
(実施の形態6)
ここでは、少なくともゲート絶縁層と酸化物半導体層の積層を大気に触れることなく、連
続成膜を行う逆スタガ型の薄膜トランジスタの作製例を以下に示す。ここでは、連続成膜
を行う工程までの工程を示し、その後の工程は、実施の形態1乃至実施の形態4のいずれ
か一に従って薄膜トランジスタを作製すればよい。
本明細書中で連続成膜とは、スパッタ法で行う第1の成膜工程からスパッタ法で行う第2
の成膜工程までの一連のプロセス中、被処理基板の置かれている雰囲気が大気等の汚染雰
囲気に触れることなく、常に真空中または不活性ガス雰囲気(窒素雰囲気または希ガス雰
囲気)で制御されていることを言う。連続成膜を行うことにより、清浄化された被処理基
板の水分等の再付着を回避して成膜を行うことができる。
同一チャンバー内で第1の成膜工程から第2の成膜工程までの一連のプロセスを行うこと
は本明細書における連続成膜の範囲にあるとする。
また、異なるチャンバーで第1の成膜工程から第2の成膜工程までの一連のプロセスを行
う場合、第1の成膜工程を終えた後、大気にふれることなくチャンバー間を基板搬送して
第2の成膜を施すことも本明細書における連続成膜の範囲にあるとする。
なお、第1の成膜工程と第2の成膜工程の間に、基板搬送工程、アライメント工程、徐冷
工程、または第2の工程に必要な温度とするため基板を加熱または冷却する工程等を有し
ても、本明細書における連続成膜の範囲にあるとする。
ただし、洗浄工程、ウエットエッチング、レジスト形成といった液体を用いる工程が第1
の成膜工程と第2の成膜工程の間にある場合、本明細書でいう連続成膜の範囲には当ては
まらないとする。
大気に触れることなく連続成膜を行う場合、図18に示すようなマルチチャンバー型の製
造装置を用いることが好ましい。
製造装置の中央部には、基板を搬送する搬送機構(代表的には搬送ロボット81)を備え
た搬送室80が設けられ、搬送室80には、搬送室内へ搬入および搬出する基板を複数枚
収納するカセットケースをセットするカセット室82が連結されている。
また、搬送室80には、それぞれゲートバルブ84〜88を介して複数の処理室が連結さ
れる。ここでは、上面形状が六角形の搬送室80に5つの処理室を連結する例を示す。な
お、搬送室の上面形状を変更することで、連結できる処理室の数を変えることができ、例
えば、四角形とすれば3つの処理室が連結でき、八角形とすれば7つの処理室が連結でき
る。
5つの処理室のうち、少なくとも1つの処理室はスパッタリングを行うスパッタチャンバ
ーとする。スパッタチャンバーは、少なくともチャンバー内部に、スパッタターゲット、
ターゲットをスパッタするための電力印加機構やガス導入手段、所定位置に基板を保持す
る基板ホルダー等が設けられている。また、スパッタチャンバー内を減圧状態とするため
、チャンバー内の圧力を制御する圧力制御手段がスパッタチャンバーに設けられている。
スパッタ法にはスパッタ用電源に高周波電源を用いるRFスパッタ法と、DCスパッタ法
があり、さらにパルス的にバイアスを与えるパルスDCスパッタ法もある。RFスパッタ
法は主に絶縁膜を成膜する場合に用いられ、DCスパッタ法は主に金属膜を成膜する場合
に用いられる。
また、材料の異なるターゲットを複数設置できる多元スパッタ装置もある。多元スパッタ
装置は、同一チャンバーで異なる材料膜を積層成膜することも、同一チャンバーで複数種
類の材料を同時に放電させて成膜することもできる。
また、チャンバー内部に磁石機構を備えたマグネトロンスパッタ法を用いるスパッタ装置
や、グロー放電を使わずマイクロ波を用いて発生させたプラズマを用いるECRスパッタ
法を用いるスパッタ装置がある。
スパッタチャンバーとしては、上述した様々なスパッタ法を適宜用いる。
また、成膜方法として、成膜中にターゲット物質とスパッタガス成分とを化学反応させて
それらの化合物薄膜を形成するリアクティブスパッタ法や、成膜中に基板にも電圧をかけ
るバイアススパッタ法もある。
また、5つの処理室のうち、他の処理室の一つはスパッタリングの前に基板の予備加熱な
どを行う加熱チャンバー、スパッタリング後に基板を冷却する冷却チャンバー、或いはプ
ラズマ処理を行うチャンバーとする。
次に製造装置の動作の一例について説明する。
被成膜面を下向きとした基板94を収納した基板カセットをカセット室82にセットして
、カセット室82に設けられた真空排気手段によりカセット室を減圧状態とする。なお、
予め、各処理室および搬送室80内部をそれぞれに設けられた真空排気手段により減圧し
ておく。こうしておくことで、各処理室間を基板が搬送されている間、大気に触れること
なく清浄な状態を維持することができる。
なお、被成膜面を下向きとした基板94は、少なくともゲート電極が予め設けられている
。例えば、基板とゲート電極の間にプラズマCVD法で得られる窒化シリコン膜、窒化酸
化シリコン膜などの下地絶縁膜を設けてもよい。基板94としてアルカリ金属を含むガラ
ス基板を用いる場合、下地絶縁膜は、基板からナトリウム等の可動イオンがその上の半導
体領域中に侵入して、TFTの電気特性が変化することを抑制する作用を有する。
ここでは、ゲート電極を覆う窒化シリコン膜をプラズマCVD法で形成し、1層目のゲー
ト絶縁膜を形成した基板を用いる。プラズマCVD法で成膜された窒化シリコン膜は緻密
であり、1層目のゲート絶縁膜とすることでピンホールなどの発生を抑えることができる
。なお、ここではゲート絶縁膜を積層とする例を示すが特に限定されず、単層または3層
以上の積層を用いてもよい。
次いで、ゲートバルブ83を開いて搬送ロボット81により1枚目の基板94をカセット
から抜き取り、ゲートバルブ84を開いて第1の処理室89内に搬送し、ゲートバルブ8
4を閉める。第1の処理室89では、加熱ヒータやランプ加熱で基板を加熱して基板94
に付着している水分などを除去する。特に、ゲート絶縁膜に水分が含まれるとTFTの電
気特性が変化する恐れがあるため、スパッタ成膜前の加熱は有効である。なお、カセット
室82に基板をセットした段階で十分に水分が除去されている場合には、この加熱処理は
不要である。
また、第1の処理室89にプラズマ処理手段を設け、1層目のゲート絶縁膜の表面にプラ
ズマ処理を行ってもよい。また、カセット室82に加熱手段を設けてカセット室82で水
分を除去する加熱を行ってもよい。
次いで、ゲートバルブ84を開いて搬送ロボット81により基板を搬送室80に搬送し、
ゲートバルブ85を開いて第2の処理室90内に搬送し、ゲートバルブ85を閉める。
ここでは、第2の処理室90は、RFマグネトロンスパッタ法を用いたスパッタチャンバ
ーとする。第2の処理室90では、2層目のゲート絶縁膜として酸化シリコン膜(SiO
x膜)の成膜を行う。2層目のゲート絶縁膜として、酸化シリコン膜の他に、酸化アルミ
ニウム膜(Al膜)、酸化マグネシウム膜(MgOx膜)、窒化アルミニウム膜(
AlNx膜)、酸化イットリウム膜(YOx膜)などを用いることができる。
また、2層目のゲート絶縁膜にハロゲン元素、例えばフッ素、塩素などを膜中に少量添加
し、ナトリウム等の可動イオンの固定化をさせてもよい。その方法としては、チャンバー
内にハロゲン元素を含むガスを導入してスパッタリングを行う。ただし、ハロゲン元素を
含むガスを導入する場合にはチャンバーの排気手段に除害設備を設ける必要がある。ゲー
ト絶縁膜に含ませるハロゲン元素の濃度は、SIMS(二次イオン質量分析計)を用いた
分析により得られる濃度ピークが1×1015cm−3以上1×1020cm−3以下の
範囲内とすることが好ましい。
SiOx膜を得る場合、ターゲットとして人工石英を用い、希ガス、代表的にはアルゴン
を用いるスパッタ方法や、ターゲットとして単結晶シリコンを用い、酸素ガスと化学反応
させてSiOx膜を得るリアクティブスパッタ法を用いることができる。ここでは酸素を
限りなく多くSiOx膜中に含ませるために、ターゲットとして人工石英を用い、酸素の
みの雰囲気下、または酸素が90%以上、且つ、Arが10%以下の雰囲気下でスパッタ
リングを行い、酸素過剰のSiOx膜を形成する。
SiOx膜の成膜後、大気に触れることなく、ゲートバルブ85を開いて搬送ロボット8
1により基板を搬送室80に搬送し、ゲートバルブ86を開いて第3の処理室91内に搬
送し、ゲートバルブ86を閉める。
ここでは、第3の処理室91は、DCマグネトロンスパッタ法を用いたスパッタチャンバ
ーとする。第3の処理室91では、半導体層として酸化金属層(IGZO膜)の成膜を行
う。In、Ga、及びZnを含む酸化物半導体ターゲットを用いて、希ガス雰囲気下、ま
たは酸素雰囲気下で成膜することができる。ここでは酸素を限りなく多くIGZO膜中に
含ませるために、ターゲットとしてIn、Ga、及びZnを含む酸化物半導体を用い、酸
素のみの雰囲気下、または酸素が90%以上、且つ、Arが10%以下の雰囲気下でパル
スDCスパッタ法のスパッタリングを行い、酸素過剰のIGZO膜を形成する。
このように、大気に触れることなく、酸素過剰のSiOx膜と酸素過剰のIGZO膜とを
連続成膜することにより、酸素過剰の膜同士のため界面状態を安定させ、TFTの信頼性
を向上させることができる。IGZO膜の成膜前に基板が大気に触れた場合、水分などが
付着し、界面状態に悪影響を与え、しきい値のバラツキや、電気特性の劣化、ノーマリー
オンのTFTになってしまう症状などを引き起こす恐れがある。水分は水素化合物であり
、大気に触れることなく、連続成膜することによって、水素化合物が界面に存在すること
を排除することができる。従って、連続成膜することにより、しきい値のバラツキの低減
や、電気特性の劣化の防止や、TFTがノーマリーオン側にシフトすることを低減、望ま
しくはシフトをなくすことができる。
また、第2の処理室90のスパッタチャンバーに人工石英のターゲットと、In、Ga、
及びZnを含む酸化物半導体ターゲットとの両方を設置し、シャッターを用いて順次積層
して連続成膜することによって同一チャンバー内で積層を行うこともできる。シャッター
は、ターゲットと基板の間に設け、成膜を行うターゲットはシャッターを開け、成膜を行
わないターゲットはシャッターにより閉じる。同一チャンバー内で積層する利点としては
、使用するチャンバーの数を減らせる点と、異なるチャンバー間を基板搬送する間にパー
ティクル等が基板に付着することを防止できる点である。
次いで、大気に触れることなく、ゲートバルブ86を開いて搬送ロボット81により基板
を搬送室80に搬送する。
グレートーンマスクを用いる工程でなければ、この段階で製造装置からカセット室を介し
て基板を搬出し、フォトリソグラフィ技術を用いて酸素過剰のIGZO膜のパターニング
を行うが、グレートーンマスクを用いる工程であれば引き続き、以下に示す連続成膜を行
う。
次いで、大気に触れることなく、ゲートバルブ87を開いて第4の処理室92内に搬送し
、ゲートバルブ87を閉める。
ここでは、第4の処理室92は、DCマグネトロンスパッタ法を用いたスパッタチャンバ
ーとする。第4の処理室92では、希ガスのみの雰囲気下でパルスDCスパッタ法のスパ
ッタリングを行い、酸素過剰のIGZO膜上に接してバッファ層となる第2のIGZO膜
を形成する。この第2のIGZO膜は酸素過剰のIGZO膜よりも膜中の酸素濃度が低い
。また、第2のIGZO膜としては、酸素過剰のIGZO膜よりも高いキャリア濃度とす
ることが好ましく、ターゲットとしてIn、Ga、及びZnを含む酸化物半導体にさらに
MgやAlやTiを含むターゲットを用いてもよい。MgやAlやTiは、酸化反応しや
すい材料であり、これらの材料を第2のIGZO膜に含ませると酸素のブロッキング効果
などがあり、成膜後の加熱処理などを行ったとしても半導体層の酸素濃度を最適な範囲内
に保持できる。この第2のIGZO膜はソース領域またはドレイン領域として機能する。
次いで、大気に触れることなく、ゲートバルブ87を開いて搬送ロボット81により基板
を搬送室80に搬送し、ゲートバルブ88を開いて第5の処理室93内に搬送し、ゲート
バルブ88を閉める。
ここでは、第5の処理室93は、DCマグネトロンスパッタ法を用いたスパッタチャンバ
ーとする。第5の処理室93では、ソース電極層またはドレイン電極層となる金属多層膜
(導電膜)の成膜を行う。第5の処理室93のスパッタチャンバーにチタンのターゲット
と、アルミニウムのターゲットとの両方を設置し、シャッターを用いて順次積層して連続
成膜することによって同一チャンバー内で積層を行う。ここでは、チタン膜上にアルミニ
ウム膜を積層し、さらにアルミニウム膜上にチタン膜を積層する。
このように、グレートーンマスクを用いる場合、大気に触れることなく、酸素過剰のSi
Ox膜と酸素過剰のIGZO膜と第2のIGZO膜と金属多層膜とを連続成膜することが
できる。特に、酸素過剰のIGZO膜の界面状態がより安定し、TFTの信頼性を向上さ
せることができる。IGZO膜の成膜前後に基板が大気に触れた場合、水分などが付着し
、界面状態に悪影響を与え、しきい値のバラツキや、電気特性の劣化、ノーマリーオンの
TFTになってしまう症状などを引き起こす恐れがある。水分は水素化合物であり、大気
に触れることなく、連続成膜することによって、水素化合物がIGZO膜の界面に存在す
ることを排除することができる。従って、4層を連続成膜することにより、しきい値のバ
ラツキの低減や、電気特性の劣化の防止や、TFTがノーマリーオン側にシフトすること
を低減、望ましくはシフトをなくすことができる。
また、大気に触れることなく、バッファ層となる第2のIGZO膜とソース電極層及びド
レイン電極層となる金属多層膜の成膜とを連続成膜することにより、第2のIGZO膜と
金属多層膜との間で良好な界面状態を実現でき、接触抵抗を低減できる。
また、第2の処理室90のスパッタチャンバーに人工石英のターゲットと、In、Ga、
及びZnを含む酸化物半導体ターゲットとの両方を設置し、シャッターを用いて順次導入
するガスを切り替えて3層を連続成膜することによって同一チャンバー内で積層を行うこ
ともできる。同一チャンバー内で積層する利点としては、使用するチャンバーの数を減ら
せる点と、異なるチャンバー間を基板搬送する間にパーティクル等が基板に付着すること
を防止できる点である。
以上の工程を繰り返してカセットケース内の基板に成膜処理を行って複数の基板の処理を
終えた後、カセット室の真空を大気に開放して、基板およびカセットを取り出す。
また、第1の処理室89で、酸素過剰のIGZO膜の成膜後の加熱処理、具体的には30
0℃〜400℃の加熱処理、好ましくは350℃以上の加熱処理を行うことができる。こ
の加熱処理を行うことにより逆スタガ型の薄膜トランジスタの電気特性を向上させること
ができる。この加熱処理は、酸素過剰のIGZO膜の成膜後であれば特に限定されず、例
えば、酸素過剰のIGZO膜の成膜直後や、金属多層膜成膜直後に行うことができる。
次いで、グレートーンマスクを用いて各積層膜をパターニングする。ドライエッチングや
ウェットエッチングを用いて形成してもよいし、複数回のエッチングに分けてそれぞれ選
択的にエッチングしてもよい。
以降の工程は、上述した実施の形態1乃至実施の形態4のいずれか一に従えば、逆スタガ
型の薄膜トランジスタが作製できる。
ここではマルチチャンバー方式の製造装置を例に説明を行ったが、スパッタチャンバーを
直列に連結するインライン方式の製造装置を用いて大気に触れることなく連続成膜を行っ
てもよい。
また、図18に示す装置は被成膜面を下向きに基板をセットする、所謂フェイスダウン方
式の処理室としたが、基板を垂直に立て、縦置き方式の処理室としてもよい。縦置き方式
の処理室は、フェイスダウン方式の処理室よりもフットプリントが小さいメリットがあり
、さらに基板の自重により撓む恐れのある大面積の基板を用いる場合に有効である。
(実施の形態7)
本明細書で開示する発明の薄膜トランジスタを作製し、該薄膜トランジスタを画素部、さ
らには駆動回路に用いて表示機能を有する半導体装置(表示装置ともいう)を作製するこ
とができる。また、本明細書で開示する発明の薄膜トランジスタを駆動回路の一部または
全体を、画素部と同じ基板上に一体形成し、システムオンパネルを形成することができる
表示装置は表示素子を含む。表示素子としては液晶素子(液晶表示素子ともいう)、発光
素子(発光表示素子ともいう)を用いることができる。発光素子は、電流または電圧によ
って輝度が制御される素子をその範疇に含んでおり、具体的には無機EL(Electr
o Luminescence)、有機EL等が含まれる。また、電子インクなど、電気
的作用によりコントラストが変化する表示媒体も適用することができる。
また、表示装置は、表示素子が封止された状態にあるパネルと、該パネルにコントローラ
を含むIC等を実装した状態にあるモジュールとを含む。さらに本発明の一形態は、該表
示装置を作製する過程における、表示素子が完成する前の一形態に相当する素子基板に関
し、該素子基板は、電流を表示素子に供給するための手段を複数の各画素に備える。素子
基板は、具体的には、表示素子の画素電極のみが形成された状態であっても良いし、画素
電極となる導電膜を成膜した後であって、エッチングして画素電極を形成する前の状態で
あっても良いし、あらゆる形態があてはまる。
なお、本明細書中における表示装置とは、画像表示デバイス、表示デバイス、もしくは光
源(照明装置含む)を指す。また、コネクター、例えばFPC(Flexible pr
inted circuit)もしくはTAB(Tape Automated Bon
ding)テープもしくはTCP(Tape Carrier Package)が取り
付けられたモジュール、TABテープやTCPの先にプリント配線板が設けられたモジュ
ール、または表示素子にCOG(Chip On Glass)方式によりIC(集積回
路)が直接実装されたモジュールも全て表示装置に含むものとする。
本実施の形態では、本明細書で開示する発明の半導体装置として液晶表示装置の例を示す
図19(A)(B)に、本明細書で開示する発明を適用したアクティブマトリクス型の液
晶表示装置を示す。図19(A)は液晶表示装置の平面図であり、図19(B)は図19
(A)における線V−Xの断面図である。半導体装置に用いられる薄膜トランジスタ20
1としては、実施の形態2で示す薄膜トランジスタと同様に作製でき、IGZO半導体層
及びn型の導電型を有するIGZO半導体層を含む信頼性の高い薄膜トランジスタである
。また、実施の形態1、実施の形態3、又は実施の形態4で示す薄膜トランジスタも本実
施の薄膜トランジスタ201として適用することもできる。
図19(A)の本実施の形態の液晶表示装置は、ソース配線層202、マルチゲート構造
の逆スタガ型の薄膜トランジスタ201、ゲート配線層203、容量配線層204を含む
また、図19(B)において、本実施の形態の液晶表示装置は、マルチゲート構造の薄膜
トランジスタ201、絶縁層211、絶縁層212、絶縁層213、及び表示素子に用い
る電極層255、配向膜として機能する絶縁層261、偏光板268が設けられた基板2
00と、配向膜として機能する絶縁層263、表示素子に用いる電極層265、カラーフ
ィルタとして機能する着色層264、偏光板267が設けられた基板266とが液晶層2
62を挟持して対向しており、液晶表示素子260を有している。
また、配向膜を用いないブルー相を示す液晶を用いてもよい。ブルー相は液晶相の一つで
あり、コレステリック液晶を昇温していくと、コレステリック相から等方相へ転移する直
前に発現する相である。ブルー相は狭い温度範囲でしか発現しないため、温度範囲を改善
するために5重量%以上のカイラル剤を混合させた液晶組成物を用いて液晶層262に用
いる。ブルー相を示す液晶とカイラル剤とを含む液晶組成物は、応答速度が10μs〜1
00μsと短く、光学的等方性であるため配向処理が不要であり、視野角依存性が小さい
なお図19は透過型液晶表示装置の例であるが、反射型液晶表示装置でも半透過型液晶表
示装置でも適用できる。
また、図19の液晶表示装置では、基板266の外側(視認側)に偏光板267を設け、
内側に着色層264、表示素子に用いる電極層265という順に設ける例を示すが、偏光
板267は基板266の内側に設けてもよい。また、偏光板と着色層の積層構造も図19
に限定されず、偏光板及び着色層の材料や作製工程条件によって適宜設定すればよい。ま
た、ブラックマトリクスとして機能する遮光膜を設けてもよい。
また、本実施の形態では、薄膜トランジスタの表面凹凸を低減するため、及び薄膜トラン
ジスタの信頼性を向上させるため、実施の形態1で得られた薄膜トランジスタを保護膜や
平坦化絶縁膜として機能する絶縁層(絶縁層211、絶縁層212、絶縁層213)で覆
う構成となっている。なお、保護膜は、大気中に浮遊する有機物や金属物、水蒸気などの
汚染不純物の侵入を防ぐためのものであり、緻密な膜が好ましい。保護膜は、CVD法等
を用いて、酸化珪素膜、窒化珪素膜、酸化窒化珪素膜、または窒化酸化珪素膜の単層、又
は積層で形成すればよい。また、保護膜として、プロセスガスに有機シランガスと酸素を
用いて、プラズマCVD法で酸化珪素膜を形成してもよい。
有機シランとは、珪酸エチル(TEOS:化学式Si(OC)、テトラメチル
シラン(TMS:化学式Si(CH)、テトラメチルシクロテトラシロキサン(T
MCTS)、オクタメチルシクロテトラシロキサン(OMCTS)、ヘキサメチルジシラ
ザン(HMDS)、トリエトキシシラン(SiH(OC)、またはトリスジメ
チルアミノシラン(SiH(N(CH)などの化合物である。
保護膜の一層目として絶縁層211を形成する。絶縁層211は、アルミニウム膜のヒロ
ック防止に効果がある。ここでは、絶縁層211として、プラズマCVD法を用いて酸化
珪素膜を形成する。酸化珪素膜の成膜用プロセスガスには、TEOS、およびOを用い
、その流量比は、TEOS\O=15\750(sccm)である。成膜工程の基板温
度は300℃である。
また、保護膜の二層目として絶縁層212を形成する。ここでは、絶縁層212として、
プラズマCVD法を用いて窒化珪素膜を形成する。窒化珪素膜の成膜用プロセスガスには
、SiH、N、NHおよびHを用いる。保護膜の一層として窒化珪素膜を用いる
と、ナトリウム等の可動イオンが半導体領域中に侵入して、TFTの電気特性を変化させ
ることを抑制することができる。
また、保護膜を形成した後に、IGZO半導体層のアニール(300℃〜400℃)を行
ってもよい。
また、平坦化絶縁膜として絶縁層213を形成する。絶縁層213としては、ポリイミド
、アクリル、ベンゾシクロブテン、ポリアミド、エポキシ等の、耐熱性を有する有機材料
を用いることができる。また上記有機材料の他に、低誘電率材料(low−k材料)、シ
ロキサン系樹脂、PSG(リンガラス)、BPSG(リンボロンガラス)等を用いること
ができる。シロキサン系樹脂は、置換基に水素の他、フッ素、アルキル基、またはアリー
ル基のうち少なくとも1種を有していてもよい。なお、これらの材料で形成される絶縁膜
を複数積層させることで、絶縁層213を形成してもよい。
なおシロキサン系樹脂とは、シロキサン系材料を出発材料として形成されたSi−O−S
i結合を含む樹脂に相当する。シロキサン系樹脂は、置換基に水素の他、フッ素、アルキ
ル基、または芳香族炭化水素のうち、少なくとも1種を有していてもよい。
絶縁層213の形成には、その材料に応じて、CVD法、スパッタ法、SOG法、スピン
コート、ディップ、スプレー塗布、液滴吐出法(インクジェット法、スクリーン印刷、オ
フセット印刷等)、ドクターナイフ、ロールコーター、カーテンコーター、ナイフコータ
ー等を用いることができる。絶縁層213を材料液を用いて形成する場合、ベークする工
程で同時に、IGZO半導体層のアニール(300℃〜400℃)を行ってもよい。絶縁
層213の焼成工程とIGZO半導体層のアニールを兼ねることで効率よく半導体装置を
作製することが可能となる。
画素電極層として機能する電極層255、265は、酸化タングステンを含むインジウム
酸化物、酸化タングステンを含むインジウム亜鉛酸化物、酸化チタンを含むインジウム酸
化物、酸化チタンを含むインジウム錫酸化物、インジウム錫酸化物(以下、ITOと示す
。)、インジウム亜鉛酸化物、酸化ケイ素を添加したインジウム錫酸化物などの透光性を
有する導電性材料を用いることができる。
また、電極層255、265として、導電性高分子(導電性ポリマーともいう)を含む導
電性組成物を用いて形成することができる。導電性組成物を用いて形成した画素電極は、
シート抵抗が10000Ω/□以下、波長550nmにおける透光率が70%以上である
ことが好ましい。また、導電性組成物に含まれる導電性高分子の抵抗率が0.1Ω・cm
以下であることが好ましい。
導電性高分子としては、いわゆるπ電子共役系導電性高分子が用いることができる。例え
ば、ポリアニリンまたはその誘導体、ポリピロールまたはその誘導体、ポリチオフェンま
たはその誘導体、若しくはこれらの2種以上の共重合体などがあげられる。
以上の工程により、半導体装置として信頼性の高い液晶表示装置を作製することができる
本実施の形態は、他の実施の形態に記載した構成と適宜組み合わせて実施することが可能
である。
(実施の形態8)
本実施の形態では、本明細書で開示する発明の半導体装置として電子ペーパーの例を示す
図26は、本明細書で開示する発明を適用した半導体装置の例としてアクティブマトリク
ス型の電子ペーパーを示す。半導体装置に用いられる薄膜トランジスタ581としては、
実施の形態2で示す薄膜トランジスタと同様に作製でき、IGZO半導体層及びn型の導
電型を有するIGZO半導体層を含む信頼性の高い薄膜トランジスタである。また、実施
の形態1、実施の形態3、又は実施の形態4で示す薄膜トランジスタも本実施の薄膜トラ
ンジスタ581として適用することもできる。
図26の電子ペーパーは、ツイストボール表示方式を用いた表示装置の例である。ツイス
トボール表示方式とは、白と黒に塗り分けられた球形粒子を表示素子に用いる電極層であ
る第1の電極層及び第2の電極層の間に配置し、第1の電極層及び第2の電極層に電位差
を生じさせての球形粒子の向きを制御することにより、表示を行う方法である。
基板580上の薄膜トランジスタ581はマルチゲート構造の逆スタガ型の薄膜トランジ
スタであり、ソース電極層又はドレイン電極層によって第1の電極層587と、絶縁層5
83、584、及び585に形成する開口で接しており電気的に接続している。第1の電
極層587と、基板596に設けられた第2の電極層588との間には黒色領域590a
及び白色領域590bを有し、周りに液体で満たされているキャビティ594を含む球形
粒子589が設けられており、球形粒子589の周囲は樹脂等の充填材595で充填され
ている(図26参照。)。
また、ツイストボールの代わりに、電気泳動素子を用いることも可能である。透明な液体
と、正に帯電した白い微粒子と負に帯電した黒い微粒子とを封入した直径10μm〜20
0μm程度のマイクロカプセルを用いる。第1の電極層と第2の電極層との間に設けられ
るマイクロカプセルは、第1の電極層と第2の電極層によって、電場が与えられると、白
い微粒子と、黒い微粒子が逆の方向に移動し、白または黒を表示することができる。この
原理を応用した表示素子が電気泳動表示素子であり、一般的に電子ペーパーとよばれてい
る。電気泳動表示素子は、液晶表示素子に比べて反射率が高いため、補助ライトは不要で
あり、また消費電力が小さく、薄暗い場所でも表示部を認識することが可能である。また
、表示部に電源が供給されない場合であっても、一度表示した像を保持することが可能で
あるため、電波発信源から表示機能付き半導体装置(単に表示装置、又は表示装置を具備
する半導体装置ともいう)を遠ざけた場合であっても、表示された像を保存しておくこと
が可能となる。
以上の工程により、半導体装置として信頼性の高い電子ペーパーを作製することができる
本実施の形態は、他の実施の形態に記載した構成と適宜組み合わせて実施することが可能
である。
(実施の形態9)
本実施の形態では、本明細書で開示する発明の半導体装置として発光表示装置の例を示す
。表示装置の有する表示素子としては、ここではエレクトロルミネッセンスを利用する発
光素子を用いて示す。エレクトロルミネッセンスを利用する発光素子は、発光材料が有機
化合物であるか、無機化合物であるかによって区別され、一般的に、前者は有機EL素子
、後者は無機EL素子と呼ばれている。
有機EL素子は、発光素子に電圧を印加することにより、一対の電極から電子および正孔
がそれぞれ発光性の有機化合物を含む層に注入され、電流が流れる。そして、それらキャ
リア(電子および正孔)が再結合することにより、発光性の有機化合物が励起状態を形成
し、その励起状態が基底状態に戻る際に発光する。このようなメカニズムから、このよう
な発光素子は、電流励起型の発光素子と呼ばれる。
無機EL素子は、その素子構成により、分散型無機EL素子と薄膜型無機EL素子とに分
類される。分散型無機EL素子は、発光材料の粒子をバインダ中に分散させた発光層を有
するものであり、発光メカニズムはドナー準位とアクセプター準位を利用するドナー−ア
クセプター再結合型発光である。薄膜型無機EL素子は、発光層を誘電体層で挟み込み、
さらにそれを電極で挟んだ構造であり、発光メカニズムは金属イオンの内殻電子遷移を利
用する局在型発光である。なお、ここでは、発光素子として有機EL素子を用いて説明す
る。
図22(A)(B)は、本明細書で開示する発明を適用した半導体装置の例としてアクテ
ィブマトリクス型の発光表示装置を示す。図22(A)は発光表示装置の平面図であり、
図22(B)は図22(A)における線Y−Zの断面図である。なお、図23に、図22
に示す発光表示装置の等価回路を示す。
半導体装置に用いられる薄膜トランジスタ301、302としては、実施の形態1及び実
施の形態2で示す薄膜トランジスタと同様に作製でき、IGZO半導体層及びn型の導電
型を有するIGZO半導体層を含む信頼性の高い薄膜トランジスタである。また、実施の
形態3、又は実施の形態4で示す薄膜トランジスタも本実施の薄膜トランジスタ301、
302として適用することもできる。
図22(A)及び図23に示す本実施の形態の発光表示装置は、マルチゲート構造の薄膜
トランジスタ301、薄膜トランジスタ302、発光素子303、容量素子304、ソー
ス配線層305、ゲート配線層306、電源線307を含む。薄膜トランジスタ301、
302はnチャネル型薄膜トランジスタである。
また、図22(B)において、本実施の形態の発光表示装置は、基板300上に、薄膜ト
ランジスタ302、絶縁層311、絶縁層312、絶縁層313、隔壁321、及び発光
素子303に用いる第1の電極層320、電界発光層322、第2の電極層323を有し
ている。
絶縁層313は、アクリル、ポリイミド、ポリアミドなどの有機樹脂、またはシロキサン
を用いて形成することが好ましい。
本実施の形態では画素の薄膜トランジスタ302がn型であるので、画素電極層である第
1の電極層320として、陰極を用いるのが望ましい。具体的には、陰極としては、仕事
関数が小さい材料、例えば、Ca、Al、CaF、MgAg、AlLi等を用いることが
できる。
隔壁321は、有機樹脂膜、無機絶縁膜または有機ポリシロキサンを用いて形成する。特
に感光性の材料を用い、第1の電極層320上に開口部を形成し、その開口部の側壁が連
続した曲率を持って形成される傾斜面となるように形成することが好ましい。
電界発光層322は、単数の層で構成されていても、複数の層が積層されるように構成さ
れていてもどちらでも良い。
電界発光層322を覆うように、陽極を用いた第2の電極層323を形成する。第2の電
極層323は、実施の形態7に画素電極層として列挙した透光性を有する導電性材料を用
いた透光性導電膜で形成することができる。上記透光性導電膜の他に、窒化チタン膜また
はチタン膜を用いても良い。第1の電極層320と電界発光層322と第2の電極層32
3とが重なり合うことで、発光素子303が形成されている。この後、発光素子303に
酸素、水素、水分、二酸化炭素等が侵入しないように、第2の電極層323及び隔壁32
1上に保護膜を形成してもよい。保護膜としては、窒化珪素膜、窒化酸化珪素膜、DLC
膜等を形成することができる。
さらに、実際には、図22(B)まで完成したら、さらに外気に曝されないように気密性
が高く、脱ガスの少ない保護フィルム(貼り合わせフィルム、紫外線硬化樹脂フィルム等
)やカバー材でパッケージング(封入)することが好ましい。
次に、発光素子の構成について、図24を用いて説明する。ここでは、駆動用TFTがn
型の場合を例に挙げて、画素の断面構造について説明する。図24(A)(B)(C)の
半導体装置に用いられる駆動用TFTであるTFT7001、7011、7021は、実
施の形態1で示す薄膜トランジスタと同様に作製でき、IGZO半導体層及びn型の導電
型を有するIGZO半導体層を含む信頼性の高い薄膜トランジスタである。また、実施の
形態2、実施の形態3、又は実施の形態4で示す薄膜トランジスタをTFT7001、7
011、7021として適用することもできる。
発光素子は発光を取り出すために少なくとも陽極又は陰極の一方が透明であればよい。そ
して、基板上に薄膜トランジスタ及び発光素子を形成し、基板とは逆側の面から発光を取
り出す上面射出や、基板側の面から発光を取り出す下面射出や、基板側及び基板とは反対
側の面から発光を取り出す両面射出構造の発光素子があり、本実施の形態の画素構成はど
の射出構造の発光素子にも適用することができる。
上面射出構造の発光素子について図24(A)を用いて説明する。
図24(A)に、駆動用TFTであるTFT7001がn型で、発光素子7002から発
せられる光が陽極7005側に抜ける場合の、画素の断面図を示す。図24(A)では、
発光素子7002の陰極7003と駆動用TFTであるTFT7001が電気的に接続さ
れており、陰極7003上に発光層7004、陽極7005が順に積層されている。陰極
7003は仕事関数が小さく、なおかつ光を反射する導電膜であれば様々の材料を用いる
ことができる。例えば、Ca、Al、CaF、MgAg、AlLi等が望ましい。そして
発光層7004は、単数の層で構成されていても、複数の層が積層されるように構成され
ていてもどちらでも良い。複数の層で構成されている場合、陰極7003上に電子注入層
、電子輸送層、発光層、ホール輸送層、ホール注入層の順に積層する。なおこれらの層を
全て設ける必要はない。陽極7005は光を透過する透光性を有する導電性材料を用いて
形成し、例えば酸化タングステンを含むインジウム酸化物、酸化タングステンを含むイン
ジウム亜鉛酸化物、酸化チタンを含むインジウム酸化物、酸化チタンを含むインジウム錫
酸化物、インジウム錫酸化物(以下、ITOと示す。)、インジウム亜鉛酸化物、酸化ケ
イ素を添加したインジウム錫酸化物などの透光性を有する導電性導電膜を用いても良い。
陰極7003及び陽極7005で発光層7004を挟んでいる領域が発光素子7002に
相当する。図24(A)に示した画素の場合、発光素子7002から発せられる光は、矢
印で示すように陽極7005側に射出する。
次に、下面射出構造の発光素子について図24(B)を用いて説明する。駆動用TFT7
011がn型で、発光素子7012から発せられる光が陰極7013側に射出する場合の
、画素の断面図を示す。図24(B)では、駆動用TFT7011と電気的に接続された
透光性を有する導電膜7017上に、発光素子7012の陰極7013が成膜されており
、陰極7013上に発光層7014、陽極7015が順に積層されている。なお、陽極7
015が透光性を有する場合、陽極上を覆うように、光を反射または遮蔽するための遮蔽
膜7016が成膜されていてもよい。陰極7013は、図24(A)の場合と同様に、仕
事関数が小さい導電性材料であれば様々な材料を用いることができる。ただしその膜厚は
、光を透過する程度(好ましくは、5nm〜30nm程度)とする。例えば20nmの膜
厚を有するアルミニウム膜を、陰極7013として用いることができる。そして発光層7
014は、図24(A)と同様に、単数の層で構成されていても、複数の層が積層される
ように構成されていてもどちらでも良い。陽極7015は光を透過する必要はないが、図
24(A)と同様に、透光性を有する導電性材料を用いて形成することができる。そして
遮蔽膜7016は、例えば光を反射する金属等を用いることができるが、金属膜に限定さ
れない。例えば黒の顔料添加した樹脂等を用いることもできる。
陰極7013及び陽極7015で、発光層7014を挟んでいる領域が発光素子7012
に相当する。図24(B)に示した画素の場合、発光素子7012から発せられる光は、
矢印で示すように陰極7013側に射出する。
次に、両面射出構造の発光素子について、図24(C)を用いて説明する。図24(C)
では、駆動用TFT7021と電気的に接続された透光性を有する導電膜7027上に、
発光素子7022の陰極7023が成膜されており、陰極7023上に発光層7024、
陽極7025が順に積層されている。陰極7023は、図24(A)の場合と同様に、仕
事関数が小さい導電性材料であれば様々な材料を用いることができる。ただしその膜厚は
、光を透過する程度とする。例えば20nmの膜厚を有するAlを、陰極7023として
用いることができる。そして発光層7024は、図24(A)と同様に、単数の層で構成
されていても、複数の層が積層されるように構成されていてもどちらでも良い。陽極70
25は、図24(A)と同様に、光を透過する透光性を有する導電性材料を用いて形成す
ることができる。
陰極7023と、発光層7024と、陽極7025とが重なっている部分が発光素子70
22に相当する。図24(C)に示した画素の場合、発光素子7022から発せられる光
は、矢印で示すように陽極7025側と陰極7023側の両方に射出する。
なお、ここでは、発光素子として有機EL素子について述べたが、発光素子として無機E
L素子を設けることも可能である。
なお本実施の形態では、発光素子の駆動を制御する薄膜トランジスタ(駆動用TFT)と
発光素子が電気的に接続されている例を示したが、駆動用TFTと発光素子との間に電流
制御用TFTが接続されている構成であってもよい。
なお本実施の形態で示す半導体装置は、図24に示した構成に限定されるものではなく、
本明細書で開示する発明の技術的思想に基づく各種の変形が可能である。
以上の工程により、半導体装置として信頼性の高い発光表示装置を作製することができる
本実施の形態は、他の実施の形態に記載した構成と適宜組み合わせて実施することが可能
である。
(実施の形態10)
次に、半導体装置の一形態である表示パネルの構成について、以下に示す。本実施の形態
では、表示素子として液晶素子を有する液晶表示装置の一形態である液晶表示パネル(液
晶パネルともいう)、表示素子として発光素子を有する半導体装置の一形態である発光表
示パネル(発光パネルともいう)について説明する。
次に、本明細書で開示する発明の半導体装置の一形態に相当する発光表示パネルの外観及
び断面について、図25を用いて説明する。図25は、第1の基板上に形成されたIGZ
O半導体層及びn型の導電型を有するIGZO半導体層を含む信頼性の高い薄膜トランジ
スタ及び発光素子を、第2の基板との間にシール材によって封止した、パネルの上面図で
あり、図25(B)は、図25(A)のH−Iにおける断面図に相当する。
第1の基板4501上に設けられた画素部4502、信号線駆動回路4503a、450
3b、及び走査線駆動回路4504a、4504bを囲むようにして、シール材4505
が設けられている。また画素部4502、信号線駆動回路4503a、4503b、及び
走査線駆動回路4504a、4504bの上に第2の基板4506が設けられている。よ
って画素部4502、信号線駆動回路4503a、4503b、及び走査線駆動回路45
04a、4504bは、第1の基板4501とシール材4505と第2の基板4506と
によって、充填材4507と共に密封されている。
また第1の基板4501上に設けられた画素部4502、信号線駆動回路4503a、4
503b、及び走査線駆動回路4504a、4504bは、薄膜トランジスタを複数有し
ており、図25(B)では、画素部4502に含まれる薄膜トランジスタ4510と、信
号線駆動回路4503aに含まれる薄膜トランジスタ4509とを例示している。
薄膜トランジスタ4509、4510は、IGZO半導体層及びn型の導電型を有するI
GZO半導体層を含む薄膜トランジスタに相当し、実施の形態1、実施の形態2、実施の
形態3、又は実施の形態4に示す薄膜トランジスタを適用することができる。本実施の形
態において、薄膜トランジスタ4509、4510はnチャネル型薄膜トランジスタであ
る。
また4511は発光素子に相当し、発光素子4511が有する画素電極である第1の電極
層4517は、薄膜トランジスタ4510のソース電極層またはドレイン電極層と電気的
に接続されている。なお発光素子4511の構成は、本実施の形態に示した構成に限定さ
れない。発光素子4511から取り出す光の方向などに合わせて、発光素子4511の構
成は適宜変えることができる。
また、信号線駆動回路4503a、4503b、走査線駆動回路4504a、4504b
、または画素部4502に与えられる各種信号及び電位は、FPC4518a、4518
bから供給されている。
本実施の形態では、接続端子4515が、第2の電極層4512と同じ導電膜から形成さ
れ、配線4516は、発光素子4511が有する第1の電極層4517と同じ導電膜から
形成されている。
接続端子4515は、FPC4518aが有する端子と、異方性導電膜4519を介して
電気的に接続されている。
発光素子4511からの光の取り出し方向に位置する基板には、透光性でなければならな
い。その場合には、ガラス板、プラスチック板、ポリエステルフィルムまたはアクリルフ
ィルムのような透光性を有する材料を用いる。
また、充填材4507としては窒素やアルゴンなどの不活性な気体の他に、紫外線硬化樹
脂または熱硬化樹脂を用いることができ、PVC(ポリビニルクロライド)、アクリル、
ポリイミド、エポキシ樹脂、シリコン樹脂、PVB(ポリビニルブチラル)またはEVA
(エチレンビニルアセテート)を用いることができる。本実施の形態は充填材として窒素
を用いた。
また、必要であれば、発光素子の射出面に偏光板、又は円偏光板(楕円偏光板を含む)、
位相差板(λ/4板、λ/2板)、カラーフィルタなどの光学フィルムを適宜設けてもよ
い。また、偏光板又は円偏光板に反射防止膜を設けてもよい。例えば、表面の凹凸により
反射光を拡散し、映り込みを低減できるアンチグレア処理を施すことができる。
信号線駆動回路4503a、4503b、及び走査線駆動回路4504a、4504bは
、別途用意された基板上に単結晶半導体膜又は多結晶半導体膜によって形成された駆動回
路で実装されていてもよい。また、信号線駆動回路のみ、或いは一部、又は走査線駆動回
路のみ、或いは一部のみを別途形成して実装しても良く、本実施の形態は図25の構成に
限定されない。
次に、本明細書で開示する発明の半導体装置の一形態に相当する液晶表示パネルの外観及
び断面について、図20を用いて説明する。図20は、第1の基板4001上に形成され
たIGZO半導体層及びn型の導電型を有するIGZO半導体層を含む信頼性の高い薄膜
トランジスタ4010、4011、及び液晶素子4013を、第2の基板4006との間
にシール材4005によって封止した、パネルの上面図であり、図20(B)は、図20
(A1)(A2)のM−Nにおける断面図に相当する。
第1の基板4001上に設けられた画素部4002と、走査線駆動回路4004とを囲む
ようにして、シール材4005が設けられている。また画素部4002と、走査線駆動回
路4004の上に第2の基板4006が設けられている。よって画素部4002と、走査
線駆動回路4004とは、第1の基板4001とシール材4005と第2の基板4006
とによって、液晶層4008と共に封止されている。また第1の基板4001上のシール
材4005によって囲まれている領域とは異なる領域に、別途用意された基板上に単結晶
半導体膜又は多結晶半導体膜で形成された信号線駆動回路4003が実装されている。
なお、別途形成した駆動回路の接続方法は、特に限定されるものではなく、COG方法、
ワイヤボンディング方法、或いはTAB方法などを用いることができる。図20(A1)
は、COG方法により信号線駆動回路4003を実装する例であり、図20(A2)は、
TAB方法により信号線駆動回路4003を実装する例である。
また第1の基板4001上に設けられた画素部4002と、走査線駆動回路4004は、
薄膜トランジスタを複数有しており、図20(B)では、画素部4002に含まれる薄膜
トランジスタ4010と、走査線駆動回路4004に含まれる薄膜トランジスタ4011
とを例示している。
薄膜トランジスタ4010、4011は、IGZO半導体層及びn型の導電型を有するI
GZO半導体層を含む薄膜トランジスタに相当し、実施の形態1、実施の形態2、実施の
形態3、又は実施の形態4に示す薄膜トランジスタを適用することができる。本実施の形
態において、薄膜トランジスタ4010、4011はnチャネル型薄膜トランジスタであ
る。
また、液晶素子4013が有する画素電極層4030は、薄膜トランジスタ4010と電
気的に接続されている。そして液晶素子4013の対向電極層4031は第2の基板40
06上に形成されている。画素電極層4030と対向電極層4031と液晶層4008と
が重なっている部分が、液晶素子4013に相当する。なお、画素電極層4030、対向
電極層4031はそれぞれ配向膜として機能する絶縁層4032、4033が設けられ、
絶縁層4032、4033を介して液晶層4008を挟持している。
なお、第1の基板4001、第2の基板4006としては、ガラス、金属(代表的にはス
テンレス)、セラミックス、プラスチックを用いることができる。プラスチックとしては
、FRP(Fiberglass−Reinforced Plastics)板、PV
F(ポリビニルフルオライド)フィルム、ポリエステルフィルム、ポリエステルフィルム
またはアクリル樹脂フィルムを用いることができる。また、アルミニウムホイルをPVF
フィルムやポリエステルフィルムで挟んだ構造のシートを用いることもできる。
また4035は絶縁膜を選択的にエッチングすることで得られる柱状のスペーサであり、
画素電極層4030と対向電極層4031との間の距離(セルギャップ)を制御するため
に設けられている。なお球状のスペーサを用いていても良い。
また別途形成された信号線駆動回路4003と、走査線駆動回路4004または画素部4
002に与えられる各種信号及び電位は、FPC4018から供給されている。
本実施の形態では、接続端子4015が、液晶素子4013が有する画素電極層4030
と同じ導電膜から形成され、配線4016は、薄膜トランジスタ4010、4011のゲ
ート電極層と同じ導電膜で形成されている。
接続端子4015は、FPC4018が有する端子と、異方性導電膜4019を介して電
気的に接続されている。
また図20においては、信号線駆動回路4003を別途形成し、第1の基板4001に実
装している例を示しているが、本実施の形態はこの構成に限定されない。走査線駆動回路
を別途形成して実装しても良いし、信号線駆動回路の一部または走査線駆動回路の一部の
みを別途形成して実装しても良い。
図21は、本明細書で開示する発明を適用して作製されるTFT基板2600を用いて半
導体装置として液晶表示モジュールを構成する一例を示している。
図21は液晶表示モジュールの一例であり、TFT基板2600と対向基板2601がシ
ール材2602により固着され、その間にTFT等を含む画素部2603、液晶層を含む
表示素子2604、着色層2605、偏光板2606が設けられ表示領域を形成している
。着色層2605はカラー表示を行う場合に必要であり、RGB方式の場合は、赤、緑、
青の各色に対応した着色層が各画素に対応して設けられている。TFT基板2600と対
向基板2601の外側には偏光板2606、偏光板2607、拡散板2613が配設され
ている。光源は冷陰極管2610と反射板2611により構成され、回路基板2612は
、フレキシブル配線基板2609によりTFT基板2600の配線回路部2608と接続
され、コントロール回路や電源回路などの外部回路が組みこまれている。また偏光板と、
液晶層との間に位相差板を有した状態で積層してもよい。
液晶表示モジュールには、TN(Twisted Nematic)モード、IPS(I
n−Plane−Switching)モード、FFS(Fringe Field S
witching)モード、MVA(Multi−domain Vertical A
lignment)モード、PVA(Patterned Vertical Alig
nment)、ASM(Axially Symmetric aligned Mic
ro−cell)モード、OCB(Optical Compensated Bire
fringence)モード、FLC(Ferroelectric Liquid C
rystal)モード、AFLC(AntiFerroelectric Liquid
Crystal)などを用いることができる。
以上の工程により、半導体装置として信頼性の高い表示パネルを作製することができる。
本実施の形態は、他の実施の形態に記載した構成と適宜組み合わせて実施することが可能
である。
(実施の形態11)
本明細書で開示する発明の半導体装置は、電子ペーパーとして適用することができる。電
子ペーパーは、情報を表示するものであればあらゆる分野の電子機器に用いることが可能
である。例えば、電子ペーパーを用いて、電子書籍(電子ブック)、ポスター、電車など
の乗り物の車内広告、クレジットカード等の各種カードにおける表示等に適用することが
できる。電子機器の一例を図28、図29に示す。
図28(A)は、電子ペーパーで作られたポスター2631を示している。広告媒体が紙
の印刷物である場合には、広告の交換は人手によって行われるが、本明細書で開示する発
明を適用した電子ペーパーを用いれば短時間で広告の表示を変えることができる。また、
表示も崩れることなく安定した画像が得られる。なお、ポスターは無線で情報を送受信で
きる構成としてもよい。
また、図28(B)は、電車などの乗り物の車内広告2632を示している。広告媒体が
紙の印刷物である場合には、広告の交換は人手によって行われるが、本明細書で開示する
発明を適用した電子ペーパーを用いれば人手を多くかけることなく短時間で広告の表示を
変えることができる。また表示も崩れることなく安定した画像が得られる。なお、広告は
無線で情報を送受信できる構成としてもよい。
また、図29は、電子書籍2700の一例を示している。例えば、電子書籍2700は、
筐体2701および筐体2703の2つの筐体で構成されている。筐体2701および筐
体2703は、軸部2711により一体とされており、該軸部2711を軸として開閉動
作を行うことができる。このような構成により、紙の書籍のような動作を行うことが可能
となる。
筐体2701には表示部2705が組み込まれ、筐体2703には表示部2707が組み
込まれている。表示部2705および表示部2707は、続き画面を表示する構成として
もよいし、異なる画面を表示する構成としてもよい。異なる画面を表示する構成とするこ
とで、例えば右側の表示部(図29では表示部2705)に文章を表示し、左側の表示部
(図29では表示部2707)に画像を表示することができる。
また、図29では、筐体2701に操作部などを備えた例を示している。例えば、筐体2
701において、電源2721、操作キー2723、スピーカ2725などを備えている
。操作キー2723により、頁を送ることができる。なお、筐体の表示部と同一面にキー
ボードやポインティングディバイスなどを備える構成としてもよい。また、筐体の裏面や
側面に、外部接続用端子(イヤホン端子、USB端子、またはACアダプタおよびUSB
ケーブルなどの各種ケーブルと接続可能な端子など)、記録媒体挿入部などを備える構成
としてもよい。さらに、電子書籍2700は、電子辞書としての機能を持たせた構成とし
てもよい。
また、電子書籍2700は、無線で情報を送受信できる構成としてもよい。無線により、
電子書籍サーバから、所望の書籍データなどを購入し、ダウンロードする構成とすること
も可能である。
(実施の形態12)
本明細書で開示する発明に係る半導体装置は、さまざまな電子機器(遊技機も含む)に適
用することができる。電子機器としては、例えば、テレビジョン装置(テレビ、またはテ
レビジョン受信機ともいう)、コンピュータ用などのモニタ、デジタルカメラ、デジタル
ビデオカメラ、デジタルフォトフレーム、携帯電話機(携帯電話、携帯電話装置ともいう
)、携帯型ゲーム機、携帯情報端末、音響再生装置、パチンコ機などの大型ゲーム機など
が挙げられる。
図30(A)は、テレビジョン装置9600の一例を示している。テレビジョン装置96
00は、筐体9601に表示部9603が組み込まれている。表示部9703により、映
像を表示することが可能である。また、ここでは、スタンド9605により筐体9601
を支持した構成を示している。
テレビジョン装置9600の操作は、筐体9601が備える操作スイッチや、別体のリモ
コン操作機9610により行うことができる。リモコン操作機9610が備える操作キー
9609により、チャンネルや音量の操作を行うことができ、表示部9603に表示され
る映像を操作することができる。また、リモコン操作機9610に、当該リモコン操作機
9610から出力する情報を表示する表示部9607を設ける構成としてもよい。
なお、テレビジョン装置9600は、受信機やモデムなどを備えた構成とする。受信機に
より一般のテレビ放送の受信を行うことができ、さらにモデムを介して有線または無線に
よる通信ネットワークに接続することにより、一方向(送信者から受信者)または双方向
(送信者と受信者間、あるいは受信者間同士など)の情報通信を行うことも可能である。
図30(B)は、デジタルフォトフレーム9700の一例を示している。例えば、デジタ
ルフォトフレーム9700は、筐体9701に表示部9703が組み込まれている。表示
部9703は、各種画像を表示することが可能であり、例えばデジタルカメラなどで撮影
した画像データを表示させることで、通常の写真立てと同様に機能させることができる。
なお、デジタルフォトフレーム9700は、操作部、外部接続用端子(USB端子、US
Bケーブルなどの各種ケーブルと接続可能な端子など)、記録媒体挿入部などを備える構
成とする。これらの構成は、表示部と同一面に組み込まれていてもよいが、側面や裏面に
備えるとデザイン性が向上するため好ましい。例えば、デジタルフォトフレームの記録媒
体挿入部に、デジタルカメラで撮影した画像データを記憶したメモリを挿入して画像デー
タを取り込み、取り込んだ画像データを表示部9703に表示させることができる。
また、デジタルフォトフレーム9700は、無線で情報を送受信出来る構成としてもよい
。無線により、所望の画像データを取り込み、表示させる構成とすることもできる。
図31(A)は携帯型遊技機であり、筐体9881と筐体9891の2つの筐体で構成さ
れており、連結部9893により、開閉可能に連結されている。筐体9881には表示部
9882が組み込まれ、筐体9891には表示部9883が組み込まれている。また、図
31(A)に示す携帯型遊技機は、その他、スピーカ部9884、記録媒体挿入部988
6、LEDランプ9890、入力手段(操作キー9885、接続端子9887、センサ9
888(力、変位、位置、速度、加速度、角速度、回転数、距離、光、液、磁気、温度、
化学物質、音声、時間、硬度、電場、電流、電圧、電力、放射線、流量、湿度、傾度、振
動、におい又は赤外線を測定する機能を含むもの)、マイクロフォン9889)等を備え
ている。もちろん、携帯型遊技機の構成は上述のものに限定されず、少なくとも本発明に
係る半導体装置の一形態を備えた構成であればよく、その他付属設備が適宜設けられた構
成とすることができる。図31(A)に示す携帯型遊技機は、記録媒体に記録されている
プログラム又はデータを読み出して表示部に表示する機能や、他の携帯型遊技機と無線通
信を行って情報を共有する機能を有する。なお、図31(A)に示す携帯型遊技機が有す
る機能はこれに限定されず、様々な機能を有することができる。
図31(B)は大型遊技機であるスロットマシン9900の一例を示している。スロット
マシン9900は、筐体9901に表示部9903が組み込まれている。また、スロット
マシン9900は、その他、スタートレバーやストップスイッチなどの操作手段、コイン
投入口、スピーカなどを備えている。もちろん、スロットマシン9900の構成は上述の
ものに限定されず、少なくとも本発明に係る半導体装置の一形態を備えた構成であればよ
く、その他付属設備が適宜設けられた構成とすることができる。
図32は、携帯電話機1000の一例を示している。携帯電話機1000は、筐体100
1に組み込まれた表示部1002の他、操作ボタン1003、外部接続ポート1004、
スピーカ1005、マイク1006などを備えている。
図32に示す携帯電話機1000は、表示部1002を指などで触れることで、情報を入
力ことができる。また、電話を掛ける、或いはメールを打つなどの操作は、表示部100
2を指などで触れることにより行うことができる。
表示部1002の画面は主として3つのモードがある。第1は、画像の表示を主とする表
示モードであり、第2は、文字等の情報の入力を主とする入力モードである。第3は表示
モードと入力モードの2つのモードが混合した表示+入力モードである。
例えば、電話を掛ける、或いはメールを作成する場合は、表示部1002を文字の入力を
主とする文字入力モードとし、画面に表示させた文字の入力操作を行えばよい。この場合
、表示部1002の画面のほとんどにキーボードまたは番号ボタンを表示させることが好
ましい。
また、携帯電話機1000内部に、ジャイロ、加速度センサ等の傾きを検出するセンサを
有する検出装置を設けることで、携帯電話機1000の向き(縦か横か)を判断して、表
示部1002の画面表示を自動的に切り替えるようにすることができる。
また、画面モードの切り替えは、表示部1002を触れること、又は筐体1001の操作
ボタン1003の操作により行われる。また、表示部1002に表示される画像の種類に
よって切り替えるようにすることもできる。例えば、表示部に表示する画像信号が動画の
データであれば表示モード、テキストデータであれば入力モードに切り替える。
また、入力モードにおいて、表示部1002の光センサで検出される信号を検知し、表示
部1002のタッチ操作による入力が一定期間ない場合には、画面のモードを入力モード
から表示モードに切り替えるように制御してもよい。
表示部1002は、イメージセンサとして機能させることもできる。例えば、表示部10
02に掌や指を触れることで、掌紋、指紋等を撮像することで、本人認証を行うことがで
きる。また、表示部に近赤外光を発光するバックライトまたは近赤外光を発光するセンシ
ング用光源を用いれば、指静脈、掌静脈などを撮像することもできる。

Claims (3)

  1. ゲート電極層と、
    前記ゲート電極層上の、第1のゲート絶縁層と、
    前記第1のゲート絶縁層上の、第2のゲート絶縁層と、
    前記第2のゲート絶縁層上の、酸化物半導体層と、
    前記酸化物半導体層上の、第1の層と、
    前記酸化物半導体層上の、第2の層と、
    前記第1の層を介して、前記酸化物半導体層と電気的に接続された第1の金属層と、
    前記第2の層を介して、前記酸化物半導体層と電気的に接続された第2の金属層と、を有し、
    前記第2のゲート絶縁層は、酸素過剰な酸化珪素を有し、
    前記酸化物半導体層は、前記第1の層及び前記第2の層より酸素濃度が高い領域を有し、
    前記酸化物半導体層は、インジウム、ガリウム、及び亜鉛を有し、
    前記第1の層及び前記第2の層は、インジウム、ガリウム、及び亜鉛を有することを特徴とする半導体装置。
  2. ゲート電極層と、
    前記ゲート電極層上の、第1のゲート絶縁層と、
    前記第1のゲート絶縁層上の、第2のゲート絶縁層と、
    前記第2のゲート絶縁層上の、第1の酸化物半導体層と、
    前記第1の酸化物半導体層と電気的に接続された、ソース電極と、
    前記第1の酸化物半導体層と電気的に接続された、ドレイン電極と、
    前記ソース電極と前記第1の酸化物半導体層との間、及び前記ドレイン電極と前記第1の酸化物半導体層との間の、第2の酸化物半導体層と、を有し、
    前記第2のゲート絶縁層は、酸素過剰な酸化珪素を有し、
    前記第1の酸化物半導体層は、前記第2の酸化物半導体層より酸素濃度が高い領域を有し、
    前記第1の酸化物半導体層は、インジウム、ガリウム、及び亜鉛を有し、
    前記第2の酸化物半導体層は、インジウム、ガリウム、及び亜鉛を有することを特徴とする半導体装置。
  3. 請求項2において、
    前記第2の酸化物半導体層は、マグネシウム、アルミニウム、又はチタンを有することを特徴とする半導体装置。
JP2016029477A 2008-07-31 2016-02-19 半導体装置 Active JP6214694B2 (ja)

Applications Claiming Priority (2)

Application Number Priority Date Filing Date Title
JP2008197147 2008-07-31
JP2008197147 2008-07-31

Related Parent Applications (1)

Application Number Title Priority Date Filing Date
JP2014150423A Division JP5890870B2 (ja) 2008-07-31 2014-07-24 半導体装置

Related Child Applications (1)

Application Number Title Priority Date Filing Date
JP2017179270A Division JP6453405B2 (ja) 2008-07-31 2017-09-19 半導体装置

Publications (2)

Publication Number Publication Date
JP2016131250A JP2016131250A (ja) 2016-07-21
JP6214694B2 true JP6214694B2 (ja) 2017-10-18

Family

ID=41607405

Family Applications (11)

Application Number Title Priority Date Filing Date
JP2009176611A Active JP5588637B2 (ja) 2008-07-31 2009-07-29 半導体装置及び半導体装置の作製方法
JP2012160168A Withdrawn JP2012212933A (ja) 2008-07-31 2012-07-19 半導体装置
JP2014150423A Active JP5890870B2 (ja) 2008-07-31 2014-07-24 半導体装置
JP2016029477A Active JP6214694B2 (ja) 2008-07-31 2016-02-19 半導体装置
JP2017179270A Active JP6453405B2 (ja) 2008-07-31 2017-09-19 半導体装置
JP2018232426A Active JP6564516B2 (ja) 2008-07-31 2018-12-12 半導体装置
JP2019137625A Active JP6659900B2 (ja) 2008-07-31 2019-07-26 半導体装置
JP2019227379A Withdrawn JP2020057806A (ja) 2008-07-31 2019-12-17 半導体装置
JP2022001000A Withdrawn JP2022048178A (ja) 2008-07-31 2022-01-06 液晶表示装置
JP2024036699A Active JP7640768B2 (ja) 2008-07-31 2024-03-11 表示装置
JP2025025775A Pending JP2025090609A (ja) 2008-07-31 2025-02-20 半導体装置

Family Applications Before (3)

Application Number Title Priority Date Filing Date
JP2009176611A Active JP5588637B2 (ja) 2008-07-31 2009-07-29 半導体装置及び半導体装置の作製方法
JP2012160168A Withdrawn JP2012212933A (ja) 2008-07-31 2012-07-19 半導体装置
JP2014150423A Active JP5890870B2 (ja) 2008-07-31 2014-07-24 半導体装置

Family Applications After (7)

Application Number Title Priority Date Filing Date
JP2017179270A Active JP6453405B2 (ja) 2008-07-31 2017-09-19 半導体装置
JP2018232426A Active JP6564516B2 (ja) 2008-07-31 2018-12-12 半導体装置
JP2019137625A Active JP6659900B2 (ja) 2008-07-31 2019-07-26 半導体装置
JP2019227379A Withdrawn JP2020057806A (ja) 2008-07-31 2019-12-17 半導体装置
JP2022001000A Withdrawn JP2022048178A (ja) 2008-07-31 2022-01-06 液晶表示装置
JP2024036699A Active JP7640768B2 (ja) 2008-07-31 2024-03-11 表示装置
JP2025025775A Pending JP2025090609A (ja) 2008-07-31 2025-02-20 半導体装置

Country Status (5)

Country Link
US (6) US8624237B2 (ja)
JP (11) JP5588637B2 (ja)
KR (9) KR101670691B1 (ja)
CN (2) CN101640221B (ja)
TW (2) TWI500159B (ja)

Families Citing this family (129)

* Cited by examiner, † Cited by third party
Publication number Priority date Publication date Assignee Title
US6825488B2 (en) * 2000-01-26 2004-11-30 Semiconductor Energy Laboratory Co., Ltd. Semiconductor device and manufacturing method thereof
US7847904B2 (en) * 2006-06-02 2010-12-07 Semiconductor Energy Laboratory Co., Ltd. Liquid crystal display device and electronic appliance
TWI500159B (zh) * 2008-07-31 2015-09-11 Semiconductor Energy Lab 半導體裝置和其製造方法
US9666719B2 (en) 2008-07-31 2017-05-30 Semiconductor Energy Laboratory Co., Ltd. Semiconductor device and manufacturing method thereof
TWI875442B (zh) 2008-07-31 2025-03-01 日商半導體能源研究所股份有限公司 半導體裝置及半導體裝置的製造方法
US8945981B2 (en) * 2008-07-31 2015-02-03 Semiconductor Energy Laboratory Co., Ltd. Semiconductor device and manufacturing method thereof
JP5480554B2 (ja) * 2008-08-08 2014-04-23 株式会社半導体エネルギー研究所 半導体装置
JP5608347B2 (ja) * 2008-08-08 2014-10-15 株式会社半導体エネルギー研究所 半導体装置及び半導体装置の作製方法
JP5442234B2 (ja) 2008-10-24 2014-03-12 株式会社半導体エネルギー研究所 半導体装置及び表示装置
TWI487104B (zh) 2008-11-07 2015-06-01 半導體能源研究所股份有限公司 半導體裝置和其製造方法
TW202025500A (zh) 2008-11-07 2020-07-01 日商半導體能源研究所股份有限公司 半導體裝置和其製造方法
EP2184783B1 (en) 2008-11-07 2012-10-03 Semiconductor Energy Laboratory Co, Ltd. Semiconductor device and method for manufacturing the same
US8441007B2 (en) * 2008-12-25 2013-05-14 Semiconductor Energy Laboratory Co., Ltd. Display device and manufacturing method thereof
US8247276B2 (en) 2009-02-20 2012-08-21 Semiconductor Energy Laboratory Co., Ltd. Thin film transistor, method for manufacturing the same, and semiconductor device
KR101743164B1 (ko) * 2009-03-12 2017-06-02 가부시키가이샤 한도오따이 에네루기 켄큐쇼 반도체 장치의 제작 방법
TWI556323B (zh) * 2009-03-13 2016-11-01 半導體能源研究所股份有限公司 半導體裝置及該半導體裝置的製造方法
EP2256814B1 (en) 2009-05-29 2019-01-16 Semiconductor Energy Laboratory Co, Ltd. Oxide semiconductor device and method for manufacturing the same
KR102458127B1 (ko) * 2009-06-30 2022-10-24 가부시키가이샤 한도오따이 에네루기 켄큐쇼 반도체 장치 제조 방법
US8441016B2 (en) * 2009-07-14 2013-05-14 Sharp Kabushiki Kaisha Thin-film transistor, display device, and manufacturing method for thin-film transistors
KR102097932B1 (ko) 2009-07-31 2020-04-06 가부시키가이샤 한도오따이 에네루기 켄큐쇼 반도체 디바이스 및 그 형성 방법
KR20190141791A (ko) 2009-07-31 2019-12-24 가부시키가이샤 한도오따이 에네루기 켄큐쇼 반도체 장치 및 그 제작 방법
CN104733540B (zh) 2009-10-09 2019-11-12 株式会社半导体能源研究所 半导体器件
WO2011043194A1 (en) 2009-10-09 2011-04-14 Semiconductor Energy Laboratory Co., Ltd. Semiconductor device and method for manufacturing the same
SG178057A1 (en) 2009-10-16 2012-03-29 Semiconductor Energy Lab Logic circuit and semiconductor device
KR101812683B1 (ko) 2009-10-21 2017-12-27 가부시키가이샤 한도오따이 에네루기 켄큐쇼 반도체 장치 제작방법
KR102007134B1 (ko) 2009-11-27 2019-08-02 가부시키가이샤 한도오따이 에네루기 켄큐쇼 반도체 장치 및 반도체 장치의 제작방법
WO2011070929A1 (en) 2009-12-11 2011-06-16 Semiconductor Energy Laboratory Co., Ltd. Semiconductor device and electronic device
KR20120130763A (ko) * 2010-02-05 2012-12-03 가부시키가이샤 한도오따이 에네루기 켄큐쇼 반도체 장치 및 반도체 장치의 제조 방법
WO2011096263A1 (en) 2010-02-05 2011-08-11 Semiconductor Energy Laboratory Co., Ltd. Semiconductor device and method for manufacturing the same
KR20130009978A (ko) * 2010-02-26 2013-01-24 가부시키가이샤 한도오따이 에네루기 켄큐쇼 반도체 소자의 제조 방법 및 성막 장치
KR102204162B1 (ko) 2010-02-26 2021-01-15 가부시키가이샤 한도오따이 에네루기 켄큐쇼 액정 표시 장치
CN106340542A (zh) * 2010-02-26 2017-01-18 株式会社半导体能源研究所 制造半导体装置的方法
KR101798260B1 (ko) * 2010-03-12 2017-11-15 가부시키가이샤 한도오따이 에네루기 켄큐쇼 표시 장치
US8653517B2 (en) * 2010-04-06 2014-02-18 Hitachi, Ltd. Thin-film transistor and method for manufacturing the same
KR101881729B1 (ko) * 2010-04-16 2018-07-27 가부시키가이샤 한도오따이 에네루기 켄큐쇼 성막 방법 및 반도체 장치를 제작하기 위한 방법
KR101879570B1 (ko) * 2010-04-28 2018-07-20 가부시키가이샤 한도오따이 에네루기 켄큐쇼 액정 표시 장치 및 그 제작 방법
KR20130044124A (ko) * 2010-05-10 2013-05-02 파나소닉 액정 디스플레이 주식회사 결정성 반도체막의 제조 방법, 결정성 반도체막을 갖는 기판, 박막 트랜지스터
WO2011155174A1 (ja) * 2010-06-07 2011-12-15 シャープ株式会社 薄膜トランジスタ基板及びその製造方法
JP2012015200A (ja) * 2010-06-29 2012-01-19 Kobe Steel Ltd 薄膜トランジスタ基板、および薄膜トランジスタ基板を備えた表示デバイス
US8441010B2 (en) * 2010-07-01 2013-05-14 Semiconductor Energy Laboratory Co., Ltd. Semiconductor device
KR102765169B1 (ko) 2010-07-02 2025-02-06 가부시키가이샤 한도오따이 에네루기 켄큐쇼 반도체 장치 및 그 제작 방법
JP5403527B2 (ja) * 2010-07-02 2014-01-29 合同会社先端配線材料研究所 半導体装置
US8785241B2 (en) * 2010-07-16 2014-07-22 Semiconductor Energy Laboratory Co., Ltd. Semiconductor device and manufacturing method thereof
KR101885691B1 (ko) * 2010-07-27 2018-08-06 가부시키가이샤 한도오따이 에네루기 켄큐쇼 반도체 장치 및 그 제작 방법
US8664097B2 (en) * 2010-09-13 2014-03-04 Semiconductor Energy Laboratory Co., Ltd. Manufacturing method of semiconductor device
US8871565B2 (en) 2010-09-13 2014-10-28 Semiconductor Energy Laboratory Co., Ltd. Method for manufacturing semiconductor device
US8835917B2 (en) * 2010-09-13 2014-09-16 Semiconductor Energy Laboratory Co., Ltd. Semiconductor device, power diode, and rectifier
WO2012035984A1 (en) * 2010-09-15 2012-03-22 Semiconductor Energy Laboratory Co., Ltd. Semiconductor device and display device
US8803143B2 (en) * 2010-10-20 2014-08-12 Semiconductor Energy Laboratory Co., Ltd. Thin film transistor including buffer layers with high resistivity
US8569754B2 (en) 2010-11-05 2013-10-29 Semiconductor Energy Laboratory Co., Ltd. Semiconductor device and manufacturing method thereof
US8894825B2 (en) 2010-12-17 2014-11-25 Semiconductor Energy Laboratory Co., Ltd. Sputtering target, method for manufacturing the same, manufacturing semiconductor device
US8536571B2 (en) * 2011-01-12 2013-09-17 Semiconductor Energy Laboratory Co., Ltd. Manufacturing method of semiconductor device
US8541266B2 (en) 2011-04-01 2013-09-24 Semiconductor Energy Laboratory Co., Ltd. Method for manufacturing semiconductor device
KR20120138074A (ko) * 2011-06-14 2012-12-24 삼성디스플레이 주식회사 박막 트랜지스터, 및 박막 트랜지스터 표시판과 이들을 제조하는 방법
CN102832252A (zh) * 2011-06-15 2012-12-19 广东中显科技有限公司 一种柔性igzo薄膜晶体管
US9553195B2 (en) * 2011-06-30 2017-01-24 Applied Materials, Inc. Method of IGZO and ZNO TFT fabrication with PECVD SiO2 passivation
JP6004308B2 (ja) 2011-08-12 2016-10-05 Nltテクノロジー株式会社 薄膜デバイス
JP6023994B2 (ja) 2011-08-15 2016-11-09 Nltテクノロジー株式会社 薄膜デバイス及びその製造方法
US9660092B2 (en) 2011-08-31 2017-05-23 Semiconductor Energy Laboratory Co., Ltd. Oxide semiconductor thin film transistor including oxygen release layer
KR20130043063A (ko) * 2011-10-19 2013-04-29 가부시키가이샤 한도오따이 에네루기 켄큐쇼 반도체 장치 및 반도체 장치의 제작 방법
JP6076038B2 (ja) 2011-11-11 2017-02-08 株式会社半導体エネルギー研究所 表示装置の作製方法
JP6122275B2 (ja) 2011-11-11 2017-04-26 株式会社半導体エネルギー研究所 表示装置
TWI584383B (zh) 2011-12-27 2017-05-21 半導體能源研究所股份有限公司 半導體裝置及其製造方法
TWI605597B (zh) * 2012-01-26 2017-11-11 半導體能源研究所股份有限公司 半導體裝置及半導體裝置的製造方法
US8941106B2 (en) * 2012-04-12 2015-01-27 E Ink Holdings Inc. Display device, array substrate, and thin film transistor thereof
JP6059566B2 (ja) 2012-04-13 2017-01-11 株式会社半導体エネルギー研究所 半導体装置の作製方法
JP6199583B2 (ja) 2012-04-27 2017-09-20 株式会社半導体エネルギー研究所 半導体装置
US8995607B2 (en) 2012-05-31 2015-03-31 Semiconductor Energy Laboratory Co., Ltd. Pulse signal output circuit and shift register
CN104335353B (zh) * 2012-06-06 2017-04-05 株式会社神户制钢所 薄膜晶体管
WO2014003086A1 (en) * 2012-06-29 2014-01-03 Semiconductor Energy Laboratory Co., Ltd. Semiconductor device
KR20250175003A (ko) 2012-07-20 2025-12-15 가부시키가이샤 한도오따이 에네루기 켄큐쇼 표시 장치
DE112013007566B3 (de) 2012-08-03 2018-02-22 Semiconductor Energy Laboratory Co., Ltd. Halbleitervorrichtung
DE102013216824B4 (de) 2012-08-28 2024-10-17 Semiconductor Energy Laboratory Co., Ltd. Halbleitervorrichtung
TWI611511B (zh) 2012-08-31 2018-01-11 半導體能源研究所股份有限公司 半導體裝置
KR102250010B1 (ko) 2012-09-13 2021-05-11 가부시키가이샤 한도오따이 에네루기 켄큐쇼 반도체 장치
KR102046996B1 (ko) 2012-10-16 2019-11-21 삼성디스플레이 주식회사 박막 트랜지스터 표시판
KR102006585B1 (ko) 2012-11-08 2019-08-01 가부시키가이샤 한도오따이 에네루기 켄큐쇼 금속 산화물 막 및 금속 산화물 막의 형성 방법
US9246011B2 (en) 2012-11-30 2016-01-26 Semiconductor Energy Laboratory Co., Ltd. Semiconductor device
KR102039102B1 (ko) * 2012-12-24 2019-11-01 삼성디스플레이 주식회사 박막 트랜지스터 표시판 및 그 제조 방법
US9905585B2 (en) 2012-12-25 2018-02-27 Semiconductor Energy Laboratory Co., Ltd. Semiconductor device comprising capacitor
KR20250054132A (ko) 2012-12-25 2025-04-22 가부시키가이샤 한도오따이 에네루기 켄큐쇼 반도체 장치
CN103094353B (zh) * 2013-01-23 2016-06-29 深圳市华星光电技术有限公司 一种薄膜晶体管结构、液晶显示装置及一种制造方法
KR102022396B1 (ko) * 2013-02-20 2019-09-19 삼성디스플레이 주식회사 유기 발광 표시 장치 및 그 제조 방법
US9893192B2 (en) 2013-04-24 2018-02-13 Semiconductor Energy Laboratory Co., Ltd. Semiconductor device
TWI631711B (zh) 2013-05-01 2018-08-01 半導體能源研究所股份有限公司 半導體裝置
US9231002B2 (en) 2013-05-03 2016-01-05 Semiconductor Energy Laboratory Co., Ltd. Display device and electronic device
TW202414844A (zh) 2013-05-16 2024-04-01 日商半導體能源研究所股份有限公司 半導體裝置
US9035301B2 (en) 2013-06-19 2015-05-19 Semiconductor Energy Laboratory Co., Ltd. Imaging device
KR20150010065A (ko) * 2013-07-18 2015-01-28 삼성디스플레이 주식회사 산화물 반도체 소자의 제조 방법 및 산화물 반도체 소자를 포함하는 표시 장치의 제조 방법
TWI635750B (zh) 2013-08-02 2018-09-11 半導體能源研究所股份有限公司 攝像裝置以及其工作方法
US9443987B2 (en) * 2013-08-23 2016-09-13 Semiconductor Energy Laboratory Co., Ltd. Semiconductor device
KR102294507B1 (ko) * 2013-09-06 2021-08-30 가부시키가이샤 한도오따이 에네루기 켄큐쇼 반도체 장치
KR102281300B1 (ko) 2013-09-11 2021-07-26 삼성디스플레이 주식회사 박막 트랜지스터, 박막 트랜지스터의 제조 방법 및 박막 트랜지스터를 포함하는 표시장치
DE102013111501B4 (de) * 2013-10-18 2024-02-08 Universität Stuttgart Dünnschichttransistor und Verfahren zu seiner Herstellung
KR102283814B1 (ko) 2013-12-25 2021-07-29 가부시키가이샤 한도오따이 에네루기 켄큐쇼 반도체 장치
CN104201111A (zh) * 2014-09-18 2014-12-10 六安市华海电子器材科技有限公司 一种氧化物半导体薄膜晶体管的制备方法
JP2016076541A (ja) * 2014-10-03 2016-05-12 ソニー株式会社 薄膜トランジスタ、薄膜トランジスタの製造方法および表示装置
KR101624695B1 (ko) 2014-10-14 2016-05-26 서종현 박막 트랜지스터 제조 방법 및 박막 트랜지스터
US20160155803A1 (en) * 2014-11-28 2016-06-02 Semiconductor Energy Laboratory Co., Ltd. Semiconductor Device, Method for Manufacturing the Semiconductor Device, and Display Device Including the Semiconductor Device
CN104698524B (zh) * 2015-02-13 2018-04-03 上海天马微电子有限公司 一种偏振片及其制备方法和图像显示面板、图像显示装置
KR102871323B1 (ko) * 2015-03-03 2025-10-15 가부시키가이샤 한도오따이 에네루기 켄큐쇼 반도체 장치, 그 제작 방법, 또는 그를 포함하는 표시 장치
KR102293486B1 (ko) * 2015-03-12 2021-08-26 주성엔지니어링(주) 박막 트랜지스터 기판 및 그 제조방법
KR102293488B1 (ko) * 2015-03-12 2021-08-26 주성엔지니어링(주) 박막 트랜지스터 기판 및 그 제조방법
WO2016168151A1 (en) * 2015-04-13 2016-10-20 Carestream Health, Inc. Reduction of tft instabiltity in digital x-ray detectors
CN104752343B (zh) * 2015-04-14 2017-07-28 深圳市华星光电技术有限公司 双栅极氧化物半导体tft基板的制作方法及其结构
US9941324B2 (en) * 2015-04-28 2018-04-10 Nlt Technologies, Ltd. Semiconductor device, method of manufacturing semiconductor device, photodiode array, and imaging apparatus
CN105140232A (zh) * 2015-07-24 2015-12-09 深圳市华星光电技术有限公司 一种阵列基板的制作方法
TWI585954B (zh) 2016-03-02 2017-06-01 群創光電股份有限公司 電晶體陣列基板及應用之顯示面板
KR102557140B1 (ko) * 2016-06-16 2023-07-20 삼성디스플레이 주식회사 표시장치
CN107689391B (zh) * 2016-08-04 2020-09-08 鸿富锦精密工业(深圳)有限公司 薄膜晶体管基板及其制备方法
KR102867884B1 (ko) * 2016-12-19 2025-10-02 삼성디스플레이 주식회사 트랜지스터 표시판 및 그 제조 방법
TWI778959B (zh) 2017-03-03 2022-10-01 日商半導體能源硏究所股份有限公司 半導體裝置及半導體裝置的製造方法
CN107247349B (zh) * 2017-05-25 2023-09-19 菏泽学院 一种多功能连续视角可控显示器
KR102343573B1 (ko) * 2017-05-26 2021-12-28 삼성디스플레이 주식회사 플렉서블 디스플레이 장치
CN107507838A (zh) * 2017-08-24 2017-12-22 惠科股份有限公司 显示面板和显示面板的制备方法
US11069724B2 (en) * 2018-01-12 2021-07-20 Wuhan China Star Optoelectronics Semiconductor Display Technology Co., Ltd. Array substrate, manufacturing method thereof and display device using the same
CN108376695B (zh) * 2018-02-05 2021-01-08 惠科股份有限公司 一种显示面板和显示装置
CN110098126A (zh) * 2019-05-22 2019-08-06 成都中电熊猫显示科技有限公司 一种薄膜晶体管的制作方法及薄膜晶体管和显示装置
US11226530B2 (en) * 2019-12-23 2022-01-18 Sharp Kabushiki Kaisha Active matrix substrate and method for manufacturing active matrix substrate
CN111081788B (zh) * 2019-12-31 2021-06-29 山东大学 一种底部为肖特基接触的铟铝锌氧化物二极管及其制备方法
CN111081765B (zh) * 2019-12-31 2021-06-29 山东大学 一种基于铟铝锌氧化物的肖特基二极管及其制备方法
US11764308B2 (en) * 2020-02-18 2023-09-19 Sakai Display Products Corporation Thin-film transistor and manufacturing method thereof
CN111477686B (zh) * 2020-03-16 2022-12-09 福建华佳彩有限公司 一种多开口式面板结构
JP2022038209A (ja) 2020-08-26 2022-03-10 キオクシア株式会社 半導体装置
TWI755946B (zh) 2020-11-24 2022-02-21 財團法人工業技術研究院 電子裝置及具有其之透明顯示器
JP7696076B2 (ja) * 2020-12-18 2025-06-20 日新電機株式会社 薄膜トランジスタの製造方法
KR20230025585A (ko) 2021-08-13 2023-02-22 삼성전자주식회사 반도체 소자
EP4270478A4 (en) 2022-03-15 2023-11-22 Changxin Memory Technologies, Inc. MEMORY AND ASSOCIATED PREPARATION METHOD
KR102839333B1 (ko) * 2022-10-11 2025-07-25 한양대학교 산학협력단 동종접합 중간층이 삽입된 igzo 트랜지스터 및 그 제조 방법

Family Cites Families (194)

* Cited by examiner, † Cited by third party
Publication number Priority date Publication date Assignee Title
JPS60198861A (ja) 1984-03-23 1985-10-08 Fujitsu Ltd 薄膜トランジスタ
JPH0244256B2 (ja) 1987-01-28 1990-10-03 Kagaku Gijutsucho Mukizaishitsu Kenkyushocho Ingazn2o5deshimesarerurotsuhoshokeinosojokozoojusurukagobutsuoyobisonoseizoho
JPH0244258B2 (ja) 1987-02-24 1990-10-03 Kagaku Gijutsucho Mukizaishitsu Kenkyushocho Ingazn3o6deshimesarerurotsuhoshokeinosojokozoojusurukagobutsuoyobisonoseizoho
JPH0244260B2 (ja) 1987-02-24 1990-10-03 Kagaku Gijutsucho Mukizaishitsu Kenkyushocho Ingazn5o8deshimesarerurotsuhoshokeinosojokozoojusurukagobutsuoyobisonoseizoho
JPS63210023A (ja) 1987-02-24 1988-08-31 Natl Inst For Res In Inorg Mater InGaZn↓4O↓7で示される六方晶系の層状構造を有する化合物およびその製造法
JPH0244262B2 (ja) 1987-02-27 1990-10-03 Kagaku Gijutsucho Mukizaishitsu Kenkyushocho Ingazn6o9deshimesarerurotsuhoshokeinosojokozoojusurukagobutsuoyobisonoseizoho
JPH0244263B2 (ja) 1987-04-22 1990-10-03 Kagaku Gijutsucho Mukizaishitsu Kenkyushocho Ingazn7o10deshimesarerurotsuhoshokeinosojokozoojusurukagobutsuoyobisonoseizoho
JPH01309378A (ja) * 1988-06-07 1989-12-13 Sumitomo Metal Ind Ltd 薄膜半導体素子
JP2585118B2 (ja) 1990-02-06 1997-02-26 株式会社半導体エネルギー研究所 薄膜トランジスタの作製方法
EP0445535B1 (en) 1990-02-06 1995-02-01 Sel Semiconductor Energy Laboratory Co., Ltd. Method of forming an oxide film
JP3071851B2 (ja) * 1991-03-25 2000-07-31 株式会社半導体エネルギー研究所 電気光学装置
JP3187086B2 (ja) 1991-08-26 2001-07-11 株式会社半導体エネルギー研究所 半導体装置および半導体装置の作製方法
US6849872B1 (en) 1991-08-26 2005-02-01 Semiconductor Energy Laboratory Co., Ltd. Thin film transistor
JPH05251705A (ja) 1992-03-04 1993-09-28 Fuji Xerox Co Ltd 薄膜トランジスタ
KR0143873B1 (ko) 1993-02-19 1998-08-17 순페이 야마자끼 절연막 및 반도체장치 및 반도체 장치 제조방법
US7465679B1 (en) 1993-02-19 2008-12-16 Semiconductor Energy Laboratory Co., Ltd. Insulating film and method of producing semiconductor device
JP2001203203A (ja) 1993-02-19 2001-07-27 Semiconductor Energy Lab Co Ltd 半導体装置の作製方法
JPH08148690A (ja) 1994-11-25 1996-06-07 Sharp Corp 薄膜トランジスタおよび半導体膜の製造方法
JP3479375B2 (ja) 1995-03-27 2003-12-15 科学技術振興事業団 亜酸化銅等の金属酸化物半導体による薄膜トランジスタとpn接合を形成した金属酸化物半導体装置およびそれらの製造方法
JP2661594B2 (ja) 1995-05-25 1997-10-08 日本電気株式会社 薄膜トランジスタおよびその製造方法
JPH11505377A (ja) * 1995-08-03 1999-05-18 フィリップス エレクトロニクス ネムローゼ フェンノートシャップ 半導体装置
KR0175410B1 (ko) 1995-11-21 1999-02-01 김광호 액정 표시 장치용 박막 트랜지스터 기판 및 그 제조 방법
US5847410A (en) 1995-11-24 1998-12-08 Semiconductor Energy Laboratory Co. Semiconductor electro-optical device
JP3625598B2 (ja) * 1995-12-30 2005-03-02 三星電子株式会社 液晶表示装置の製造方法
JP3416472B2 (ja) * 1997-07-15 2003-06-16 シャープ株式会社 半導体素子
JP3798133B2 (ja) 1997-11-21 2006-07-19 株式会社アドバンスト・ディスプレイ 薄膜トランジスタおよびこれを用いた液晶表示装置並びにtftアレイ基板の製造方法
KR100301803B1 (ko) 1998-06-05 2001-09-22 김영환 박막트랜지스터 및 그의 제조방법
JP4170454B2 (ja) 1998-07-24 2008-10-22 Hoya株式会社 透明導電性酸化物薄膜を有する物品及びその製造方法
JP2000150861A (ja) * 1998-11-16 2000-05-30 Tdk Corp 酸化物薄膜
JP3276930B2 (ja) * 1998-11-17 2002-04-22 科学技術振興事業団 トランジスタ及び半導体装置
JP3916334B2 (ja) 1999-01-13 2007-05-16 シャープ株式会社 薄膜トランジスタ
TW460731B (en) 1999-09-03 2001-10-21 Ind Tech Res Inst Electrode structure and production method of wide viewing angle LCD
JP2008083731A (ja) * 2000-01-26 2008-04-10 Semiconductor Energy Lab Co Ltd 半導体装置
US6825488B2 (en) 2000-01-26 2004-11-30 Semiconductor Energy Laboratory Co., Ltd. Semiconductor device and manufacturing method thereof
JP4393662B2 (ja) * 2000-03-17 2010-01-06 株式会社半導体エネルギー研究所 液晶表示装置の作製方法
JP2001324725A (ja) 2000-05-12 2001-11-22 Hitachi Ltd 液晶表示装置およびその製造方法
JP4089858B2 (ja) 2000-09-01 2008-05-28 国立大学法人東北大学 半導体デバイス
KR20020038482A (ko) * 2000-11-15 2002-05-23 모리시타 요이찌 박막 트랜지스터 어레이, 그 제조방법 및 그것을 이용한표시패널
JP3771456B2 (ja) * 2001-03-06 2006-04-26 株式会社日立製作所 液晶表示装置及び薄膜トランジスタの製造方法
US7071037B2 (en) * 2001-03-06 2006-07-04 Semiconductor Energy Laboratory Co., Ltd. Semiconductor device and manufacturing method thereof
JP4267242B2 (ja) 2001-03-06 2009-05-27 株式会社半導体エネルギー研究所 半導体装置及びその作製方法
JP3997731B2 (ja) * 2001-03-19 2007-10-24 富士ゼロックス株式会社 基材上に結晶性半導体薄膜を形成する方法
JP2002289859A (ja) 2001-03-23 2002-10-04 Minolta Co Ltd 薄膜トランジスタ
JP2003037268A (ja) 2001-07-24 2003-02-07 Minolta Co Ltd 半導体素子及びその製造方法
JP2003086803A (ja) 2001-09-07 2003-03-20 Casio Comput Co Ltd 薄膜半導体素子の製造方法
JP4090716B2 (ja) * 2001-09-10 2008-05-28 雅司 川崎 薄膜トランジスタおよびマトリクス表示装置
JP3925839B2 (ja) 2001-09-10 2007-06-06 シャープ株式会社 半導体記憶装置およびその試験方法
JP4164562B2 (ja) 2002-09-11 2008-10-15 独立行政法人科学技術振興機構 ホモロガス薄膜を活性層として用いる透明薄膜電界効果型トランジスタ
EP1443130B1 (en) * 2001-11-05 2011-09-28 Japan Science and Technology Agency Natural superlattice homologous single crystal thin film, method for preparation thereof, and device using said single crystal thin film
US6635948B2 (en) * 2001-12-05 2003-10-21 Micron Technology, Inc. Semiconductor device with electrically coupled spiral inductors
JP4083486B2 (ja) * 2002-02-21 2008-04-30 独立行政法人科学技術振興機構 LnCuO(S,Se,Te)単結晶薄膜の製造方法
US7049190B2 (en) * 2002-03-15 2006-05-23 Sanyo Electric Co., Ltd. Method for forming ZnO film, method for forming ZnO semiconductor layer, method for fabricating semiconductor device, and semiconductor device
JP3933591B2 (ja) 2002-03-26 2007-06-20 淳二 城戸 有機エレクトロルミネッセント素子
US7339187B2 (en) 2002-05-21 2008-03-04 State Of Oregon Acting By And Through The Oregon State Board Of Higher Education On Behalf Of Oregon State University Transistor structures
JP2004022625A (ja) * 2002-06-13 2004-01-22 Murata Mfg Co Ltd 半導体デバイス及び該半導体デバイスの製造方法
US7105868B2 (en) * 2002-06-24 2006-09-12 Cermet, Inc. High-electron mobility transistor with zinc oxide
DE60336441D1 (de) 2002-09-02 2011-05-05 Samsung Electronics Co Ltd Kontaktstruktur für eine Halbleitervorrichtung, dünnschichtige Transistoranordnung mit einer solchen Kontaktstruktur und dessen Herstellungsmethode
DE10244362B4 (de) * 2002-09-24 2004-10-14 Daimlerchrysler Ag Hydraulische Stabilisierungseinrichtung für Fahrzeuge
US7067843B2 (en) * 2002-10-11 2006-06-27 E. I. Du Pont De Nemours And Company Transparent oxide semiconductor thin film transistors
KR100892087B1 (ko) * 2002-10-28 2009-04-06 엘지디스플레이 주식회사 횡전계방식 액정표시장치용 어레이기판과 그 제조방법
JP4166105B2 (ja) 2003-03-06 2008-10-15 シャープ株式会社 半導体装置およびその製造方法
JP2004273732A (ja) 2003-03-07 2004-09-30 Sharp Corp アクティブマトリクス基板およびその製造方法
KR100683149B1 (ko) 2003-03-31 2007-02-15 비오이 하이디스 테크놀로지 주식회사 액정표시소자용 어레이기판의 스트레스 제거방법
US7230266B2 (en) * 2003-05-15 2007-06-12 D-Wave Systems Inc. Conditional Rabi oscillation readout for quantum computing
JP4108633B2 (ja) 2003-06-20 2008-06-25 シャープ株式会社 薄膜トランジスタおよびその製造方法ならびに電子デバイス
US8319219B2 (en) * 2003-07-14 2012-11-27 Semiconductor Energy Laboratory Co., Ltd. Light-emitting device
US7262463B2 (en) * 2003-07-25 2007-08-28 Hewlett-Packard Development Company, L.P. Transistor including a deposited channel region having a doped portion
JP4593094B2 (ja) 2003-08-21 2010-12-08 日本電気株式会社 液晶表示装置及びその製造方法
CN100464429C (zh) * 2003-10-28 2009-02-25 株式会社半导体能源研究所 液晶显示设备及其制造方法,以及液晶电视接收机
JP4573091B2 (ja) 2003-10-31 2010-11-04 ソニー株式会社 薄膜トランジスタおよびその製造方法、ならびに表示装置およびその製造方法
JP2005167019A (ja) 2003-12-03 2005-06-23 Sharp Corp トランジスタおよびそのゲート絶縁膜の成膜に用いるcvd装置
US7273773B2 (en) * 2004-01-26 2007-09-25 Semiconductor Energy Laboratory Co., Ltd. Display device, method for manufacturing thereof, and television device
KR20070116889A (ko) 2004-03-12 2007-12-11 도꾸리쯔교세이호징 가가꾸 기쥬쯔 신꼬 기꼬 아몰퍼스 산화물 박막의 기상성막방법
US7297977B2 (en) 2004-03-12 2007-11-20 Hewlett-Packard Development Company, L.P. Semiconductor device
US7282782B2 (en) * 2004-03-12 2007-10-16 Hewlett-Packard Development Company, L.P. Combined binary oxide semiconductor device
US7145174B2 (en) * 2004-03-12 2006-12-05 Hewlett-Packard Development Company, Lp. Semiconductor device
JP4628004B2 (ja) 2004-03-26 2011-02-09 株式会社半導体エネルギー研究所 薄膜トランジスタの作製方法
JP4461873B2 (ja) 2004-03-29 2010-05-12 カシオ計算機株式会社 亜鉛酸化物の加工方法および薄膜トランジスタの製造方法
JP2005302808A (ja) 2004-04-07 2005-10-27 Sharp Corp 薄膜トランジスタアレイ基板の製造方法
JP4299717B2 (ja) * 2004-04-14 2009-07-22 Nec液晶テクノロジー株式会社 薄膜トランジスタとその製造方法
US7211825B2 (en) * 2004-06-14 2007-05-01 Yi-Chi Shih Indium oxide-based thin film transistors and circuits
CN101032027B (zh) 2004-09-02 2010-10-13 卡西欧计算机株式会社 薄膜晶体管及其制造方法
JP2006100760A (ja) 2004-09-02 2006-04-13 Casio Comput Co Ltd 薄膜トランジスタおよびその製造方法
US7285501B2 (en) * 2004-09-17 2007-10-23 Hewlett-Packard Development Company, L.P. Method of forming a solution processed device
US7298084B2 (en) * 2004-11-02 2007-11-20 3M Innovative Properties Company Methods and displays utilizing integrated zinc oxide row and column drivers in conjunction with organic light emitting diodes
US7791072B2 (en) * 2004-11-10 2010-09-07 Canon Kabushiki Kaisha Display
EP1810335B1 (en) * 2004-11-10 2020-05-27 Canon Kabushiki Kaisha Light-emitting device
JP5126730B2 (ja) * 2004-11-10 2013-01-23 キヤノン株式会社 電界効果型トランジスタの製造方法
US7863611B2 (en) 2004-11-10 2011-01-04 Canon Kabushiki Kaisha Integrated circuits utilizing amorphous oxides
AU2005302964B2 (en) * 2004-11-10 2010-11-04 Canon Kabushiki Kaisha Field effect transistor employing an amorphous oxide
US7453065B2 (en) * 2004-11-10 2008-11-18 Canon Kabushiki Kaisha Sensor and image pickup device
US7829444B2 (en) * 2004-11-10 2010-11-09 Canon Kabushiki Kaisha Field effect transistor manufacturing method
JP5118810B2 (ja) 2004-11-10 2013-01-16 キヤノン株式会社 電界効果型トランジスタ
KR100939998B1 (ko) * 2004-11-10 2010-02-03 캐논 가부시끼가이샤 비정질 산화물 및 전계 효과 트랜지스터
US7582904B2 (en) * 2004-11-26 2009-09-01 Semiconductor Energy Laboratory Co., Ltd. Semiconductor device, display device and method for manufacturing thereof, and television device
TWI273329B (en) * 2004-12-29 2007-02-11 Au Optronics Corp Copper gate electrode of liquid crystal display device and method of fabricating the same
KR101167304B1 (ko) 2004-12-31 2012-07-19 엘지디스플레이 주식회사 프린지 필드 스위칭 타입의 박막 트랜지스터 기판 및 그제조 방법
US7579224B2 (en) * 2005-01-21 2009-08-25 Semiconductor Energy Laboratory Co., Ltd. Method for manufacturing a thin film semiconductor device
TWI562380B (en) * 2005-01-28 2016-12-11 Semiconductor Energy Lab Co Ltd Semiconductor device, electronic device, and method of manufacturing semiconductor device
TWI481024B (zh) * 2005-01-28 2015-04-11 半導體能源研究所股份有限公司 半導體裝置,電子裝置,和半導體裝置的製造方法
US7858451B2 (en) * 2005-02-03 2010-12-28 Semiconductor Energy Laboratory Co., Ltd. Electronic device, semiconductor device and manufacturing method thereof
US7948171B2 (en) * 2005-02-18 2011-05-24 Semiconductor Energy Laboratory Co., Ltd. Light emitting device
US20060197092A1 (en) * 2005-03-03 2006-09-07 Randy Hoffman System and method for forming conductive material on a substrate
US8681077B2 (en) * 2005-03-18 2014-03-25 Semiconductor Energy Laboratory Co., Ltd. Semiconductor device, and display device, driving method and electronic apparatus thereof
JP4780986B2 (ja) * 2005-03-23 2011-09-28 シャープ株式会社 回路基板の製造方法
WO2006105077A2 (en) 2005-03-28 2006-10-05 Massachusetts Institute Of Technology Low voltage thin film transistor with high-k dielectric material
US7645478B2 (en) 2005-03-31 2010-01-12 3M Innovative Properties Company Methods of making displays
US8300031B2 (en) 2005-04-20 2012-10-30 Semiconductor Energy Laboratory Co., Ltd. Semiconductor device comprising transistor having gate and drain connected through a current-voltage conversion element
JP2006344849A (ja) 2005-06-10 2006-12-21 Casio Comput Co Ltd 薄膜トランジスタ
US7402506B2 (en) * 2005-06-16 2008-07-22 Eastman Kodak Company Methods of making thin film transistors comprising zinc-oxide-based semiconductor materials and transistors made thereby
US7691666B2 (en) 2005-06-16 2010-04-06 Eastman Kodak Company Methods of making thin film transistors comprising zinc-oxide-based semiconductor materials and transistors made thereby
KR101199533B1 (ko) * 2005-06-22 2012-11-09 삼성디스플레이 주식회사 식각액, 이를 이용하는 배선 형성 방법 및 박막 트랜지스터기판의 제조 방법
US7507618B2 (en) 2005-06-27 2009-03-24 3M Innovative Properties Company Method for making electronic devices using metal oxide nanoparticles
TWI295816B (en) * 2005-07-19 2008-04-11 Applied Materials Inc Hybrid pvd-cvd system
US20070017445A1 (en) * 2005-07-19 2007-01-25 Takako Takehara Hybrid PVD-CVD system
US7432201B2 (en) 2005-07-19 2008-10-07 Applied Materials, Inc. Hybrid PVD-CVD system
KR100711890B1 (ko) * 2005-07-28 2007-04-25 삼성에스디아이 주식회사 유기 발광표시장치 및 그의 제조방법
US7683370B2 (en) 2005-08-17 2010-03-23 Kobe Steel, Ltd. Source/drain electrodes, transistor substrates and manufacture methods, thereof, and display devices
JP2007081385A (ja) 2005-08-17 2007-03-29 Kobe Steel Ltd ソース−ドレイン電極、トランジスタ基板およびその製造方法、並びに表示デバイス
JP2007059128A (ja) * 2005-08-23 2007-03-08 Canon Inc 有機el表示装置およびその製造方法
KR101298940B1 (ko) 2005-08-23 2013-08-22 주식회사 동진쎄미켐 포토레지스트 조성물 및 이를 이용한 박막 트랜지스터기판의 제조방법
JP2007065405A (ja) 2005-08-31 2007-03-15 Sharp Corp 液晶表示装置
JP4958253B2 (ja) 2005-09-02 2012-06-20 財団法人高知県産業振興センター 薄膜トランジスタ
JP4280736B2 (ja) * 2005-09-06 2009-06-17 キヤノン株式会社 半導体素子
JP5116225B2 (ja) * 2005-09-06 2013-01-09 キヤノン株式会社 酸化物半導体デバイスの製造方法
JP4732080B2 (ja) 2005-09-06 2011-07-27 キヤノン株式会社 発光素子
JP4850457B2 (ja) 2005-09-06 2012-01-11 キヤノン株式会社 薄膜トランジスタ及び薄膜ダイオード
JP2007073705A (ja) * 2005-09-06 2007-03-22 Canon Inc 酸化物半導体チャネル薄膜トランジスタおよびその製造方法
US20070052910A1 (en) * 2005-09-08 2007-03-08 De-Jiun Li Liquid crystal display panel
JP5078246B2 (ja) 2005-09-29 2012-11-21 株式会社半導体エネルギー研究所 半導体装置、及び半導体装置の作製方法
EP1998374A3 (en) 2005-09-29 2012-01-18 Semiconductor Energy Laboratory Co, Ltd. Semiconductor device having oxide semiconductor layer and manufacturing method thereof
JP5064747B2 (ja) 2005-09-29 2012-10-31 株式会社半導体エネルギー研究所 半導体装置、電気泳動表示装置、表示モジュール、電子機器、及び半導体装置の作製方法
JP5037808B2 (ja) * 2005-10-20 2012-10-03 キヤノン株式会社 アモルファス酸化物を用いた電界効果型トランジスタ、及び該トランジスタを用いた表示装置
KR101397571B1 (ko) * 2005-11-15 2014-05-22 가부시키가이샤 한도오따이 에네루기 켄큐쇼 반도체장치 및 그의 제조방법
JP5395994B2 (ja) * 2005-11-18 2014-01-22 出光興産株式会社 半導体薄膜、及びその製造方法、並びに薄膜トランジスタ
JP2007142324A (ja) * 2005-11-22 2007-06-07 Kyocera Corp 薄膜トランジスタおよび画像表示装置
JP5250929B2 (ja) * 2005-11-30 2013-07-31 凸版印刷株式会社 トランジスタおよびその製造方法
JP2007157916A (ja) * 2005-12-02 2007-06-21 Idemitsu Kosan Co Ltd Tft基板及びtft基板の製造方法
KR101235135B1 (ko) 2005-12-19 2013-02-20 삼성디스플레이 주식회사 금속 배선, 이의 제조 방법, 이를 구비한 표시 기판 및표시 기판의 제조 방법
TWI292281B (en) * 2005-12-29 2008-01-01 Ind Tech Res Inst Pixel structure of active organic light emitting diode and method of fabricating the same
US7867636B2 (en) * 2006-01-11 2011-01-11 Murata Manufacturing Co., Ltd. Transparent conductive film and method for manufacturing the same
KR20070076149A (ko) 2006-01-18 2007-07-24 삼성전자주식회사 박막트랜지스터 기판 및 그 제조 방법
JP4977478B2 (ja) * 2006-01-21 2012-07-18 三星電子株式会社 ZnOフィルム及びこれを用いたTFTの製造方法
US7576394B2 (en) * 2006-02-02 2009-08-18 Kochi Industrial Promotion Center Thin film transistor including low resistance conductive thin films and manufacturing method thereof
US7977169B2 (en) * 2006-02-15 2011-07-12 Kochi Industrial Promotion Center Semiconductor device including active layer made of zinc oxide with controlled orientations and manufacturing method thereof
JP4169073B2 (ja) 2006-03-13 2008-10-22 ソニー株式会社 薄膜半導体装置および薄膜半導体装置の製造方法
JP2007250982A (ja) 2006-03-17 2007-09-27 Canon Inc 酸化物半導体を用いた薄膜トランジスタ及び表示装置
JP5110803B2 (ja) 2006-03-17 2012-12-26 キヤノン株式会社 酸化物膜をチャネルに用いた電界効果型トランジスタ及びその製造方法
KR20070101595A (ko) 2006-04-11 2007-10-17 삼성전자주식회사 ZnO TFT
JP2007286150A (ja) * 2006-04-13 2007-11-01 Idemitsu Kosan Co Ltd 電気光学装置、並びに、電流制御用tft基板及びその製造方法
KR100785038B1 (ko) 2006-04-17 2007-12-12 삼성전자주식회사 비정질 ZnO계 TFT
JP2007293073A (ja) 2006-04-26 2007-11-08 Epson Imaging Devices Corp 電気光学装置の製造方法、電気光学装置および電子機器
JP5278637B2 (ja) 2006-04-28 2013-09-04 凸版印刷株式会社 構造体、透過型液晶表示装置、半導体回路の製造方法および透過型液晶表示装置の製造方法
US8900970B2 (en) 2006-04-28 2014-12-02 Semiconductor Energy Laboratory Co., Ltd. Method for manufacturing a semiconductor device using a flexible substrate
US20070252928A1 (en) 2006-04-28 2007-11-01 Toppan Printing Co., Ltd. Structure, transmission type liquid crystal display, reflection type display and manufacturing method thereof
JP5364242B2 (ja) * 2006-04-28 2013-12-11 株式会社半導体エネルギー研究所 半導体装置の作製方法
JP5028033B2 (ja) 2006-06-13 2012-09-19 キヤノン株式会社 酸化物半導体膜のドライエッチング方法
JP5000937B2 (ja) 2006-06-30 2012-08-15 三菱電機株式会社 半導体デバイスの製造方法
US7823822B2 (en) * 2006-07-28 2010-11-02 Andritz Inc. System and method to align refiner plates during installation on a disc
JP4999400B2 (ja) * 2006-08-09 2012-08-15 キヤノン株式会社 酸化物半導体膜のドライエッチング方法
JP4404881B2 (ja) 2006-08-09 2010-01-27 日本電気株式会社 薄膜トランジスタアレイ、その製造方法及び液晶表示装置
JP4609797B2 (ja) * 2006-08-09 2011-01-12 Nec液晶テクノロジー株式会社 薄膜デバイス及びその製造方法
JP4332545B2 (ja) * 2006-09-15 2009-09-16 キヤノン株式会社 電界効果型トランジスタ及びその製造方法
JP4274219B2 (ja) * 2006-09-27 2009-06-03 セイコーエプソン株式会社 電子デバイス、有機エレクトロルミネッセンス装置、有機薄膜半導体装置
JP5164357B2 (ja) * 2006-09-27 2013-03-21 キヤノン株式会社 半導体装置及び半導体装置の製造方法
US7622371B2 (en) * 2006-10-10 2009-11-24 Hewlett-Packard Development Company, L.P. Fused nanocrystal thin film semiconductor and method
US7772021B2 (en) * 2006-11-29 2010-08-10 Samsung Electronics Co., Ltd. Flat panel displays comprising a thin-film transistor having a semiconductive oxide in its channel and methods of fabricating the same for use in flat panel displays
KR101425635B1 (ko) 2006-11-29 2014-08-06 삼성디스플레이 주식회사 산화물 박막 트랜지스터 기판의 제조 방법 및 산화물 박막트랜지스터 기판
JP2008140684A (ja) * 2006-12-04 2008-06-19 Toppan Printing Co Ltd カラーelディスプレイおよびその製造方法
WO2008069255A1 (en) 2006-12-05 2008-06-12 Canon Kabushiki Kaisha Method for manufacturing thin film transistor using oxide semiconductor and display apparatus
JP5305630B2 (ja) 2006-12-05 2013-10-02 キヤノン株式会社 ボトムゲート型薄膜トランジスタの製造方法及び表示装置の製造方法
US8143115B2 (en) 2006-12-05 2012-03-27 Canon Kabushiki Kaisha Method for manufacturing thin film transistor using oxide semiconductor and display apparatus
KR20080052107A (ko) 2006-12-07 2008-06-11 엘지전자 주식회사 산화물 반도체층을 구비한 박막 트랜지스터
KR101363555B1 (ko) * 2006-12-14 2014-02-19 삼성디스플레이 주식회사 박막 트랜지스터 기판 및 그 제조 방법
KR101303578B1 (ko) * 2007-01-05 2013-09-09 삼성전자주식회사 박막 식각 방법
US8207063B2 (en) * 2007-01-26 2012-06-26 Eastman Kodak Company Process for atomic layer deposition
KR101312259B1 (ko) * 2007-02-09 2013-09-25 삼성전자주식회사 박막 트랜지스터 및 그 제조방법
KR100858088B1 (ko) * 2007-02-28 2008-09-10 삼성전자주식회사 박막 트랜지스터 및 그 제조 방법
KR100851215B1 (ko) * 2007-03-14 2008-08-07 삼성에스디아이 주식회사 박막 트랜지스터 및 이를 이용한 유기 전계 발광표시장치
US7795613B2 (en) 2007-04-17 2010-09-14 Toppan Printing Co., Ltd. Structure with transistor
KR101325053B1 (ko) 2007-04-18 2013-11-05 삼성디스플레이 주식회사 박막 트랜지스터 기판 및 이의 제조 방법
KR20080094300A (ko) * 2007-04-19 2008-10-23 삼성전자주식회사 박막 트랜지스터 및 그 제조 방법과 박막 트랜지스터를포함하는 평판 디스플레이
KR101334181B1 (ko) 2007-04-20 2013-11-28 삼성전자주식회사 선택적으로 결정화된 채널층을 갖는 박막 트랜지스터 및 그제조 방법
US8274078B2 (en) * 2007-04-25 2012-09-25 Canon Kabushiki Kaisha Metal oxynitride semiconductor containing zinc
KR101345376B1 (ko) 2007-05-29 2013-12-24 삼성전자주식회사 ZnO 계 박막 트랜지스터 및 그 제조방법
KR101399608B1 (ko) * 2007-07-27 2014-05-26 가부시키가이샤 한도오따이 에네루기 켄큐쇼 반도체 장치의 제작방법
KR101413655B1 (ko) * 2007-11-30 2014-08-07 삼성전자주식회사 산화물 반도체 박막 트랜지스터의 제조 방법
KR101270174B1 (ko) * 2007-12-03 2013-05-31 삼성전자주식회사 산화물 반도체 박막 트랜지스터의 제조방법
CN101897031B (zh) * 2007-12-13 2013-04-17 出光兴产株式会社 使用了氧化物半导体的场效应晶体管及其制造方法
JP5215158B2 (ja) * 2007-12-17 2013-06-19 富士フイルム株式会社 無機結晶性配向膜及びその製造方法、半導体デバイス
TWI500159B (zh) * 2008-07-31 2015-09-11 Semiconductor Energy Lab 半導體裝置和其製造方法
TWI875442B (zh) * 2008-07-31 2025-03-01 日商半導體能源研究所股份有限公司 半導體裝置及半導體裝置的製造方法
JP5451280B2 (ja) * 2008-10-09 2014-03-26 キヤノン株式会社 ウルツ鉱型結晶成長用基板およびその製造方法ならびに半導体装置
CN104733540B (zh) 2009-10-09 2019-11-12 株式会社半导体能源研究所 半导体器件

Also Published As

Publication number Publication date
TWI491048B (zh) 2015-07-01
JP2010056542A (ja) 2010-03-11
KR20220137581A (ko) 2022-10-12
JP2019071436A (ja) 2019-05-09
KR102229737B1 (ko) 2021-03-22
JP2025090609A (ja) 2025-06-17
KR20180026681A (ko) 2018-03-13
KR20190009816A (ko) 2019-01-29
KR20100014141A (ko) 2010-02-10
JP2018022907A (ja) 2018-02-08
US9496406B2 (en) 2016-11-15
KR20210122737A (ko) 2021-10-12
JP6453405B2 (ja) 2019-01-16
CN101640221A (zh) 2010-02-03
KR20170104972A (ko) 2017-09-18
US11296121B2 (en) 2022-04-05
TWI500159B (zh) 2015-09-11
JP6564516B2 (ja) 2019-08-21
TW201023365A (en) 2010-06-16
KR101670691B1 (ko) 2016-10-31
JP5890870B2 (ja) 2016-03-22
CN102842585A (zh) 2012-12-26
KR101835304B1 (ko) 2018-03-08
KR20160124716A (ko) 2016-10-28
JP7640768B2 (ja) 2025-03-05
JP2014241423A (ja) 2014-12-25
US20120273780A1 (en) 2012-11-01
CN102842585B (zh) 2016-01-27
TW201244114A (en) 2012-11-01
US20240413167A1 (en) 2024-12-12
JP2022048178A (ja) 2022-03-25
KR20120089224A (ko) 2012-08-09
JP2019216251A (ja) 2019-12-19
JP2012212933A (ja) 2012-11-01
JP2016131250A (ja) 2016-07-21
US12068329B2 (en) 2024-08-20
US20190157461A1 (en) 2019-05-23
US20100025679A1 (en) 2010-02-04
KR20190001594A (ko) 2019-01-04
JP2024072846A (ja) 2024-05-28
CN101640221B (zh) 2015-10-14
US20160380111A1 (en) 2016-12-29
KR101467962B1 (ko) 2014-12-02
KR102451215B1 (ko) 2022-10-06
JP5588637B2 (ja) 2014-09-10
US20220115412A1 (en) 2022-04-14
JP6659900B2 (ja) 2020-03-04
KR101782813B1 (ko) 2017-09-28
US8624237B2 (en) 2014-01-07
JP2020057806A (ja) 2020-04-09

Similar Documents

Publication Publication Date Title
JP6564516B2 (ja) 半導体装置
JP7066783B2 (ja) 半導体装置
JP6433520B2 (ja) 半導体装置
JP5933656B2 (ja) 半導体装置

Legal Events

Date Code Title Description
A977 Report on retrieval

Free format text: JAPANESE INTERMEDIATE CODE: A971007

Effective date: 20170120

A131 Notification of reasons for refusal

Free format text: JAPANESE INTERMEDIATE CODE: A131

Effective date: 20170214

A521 Request for written amendment filed

Free format text: JAPANESE INTERMEDIATE CODE: A523

Effective date: 20170314

TRDD Decision of grant or rejection written
A01 Written decision to grant a patent or to grant a registration (utility model)

Free format text: JAPANESE INTERMEDIATE CODE: A01

Effective date: 20170829

A61 First payment of annual fees (during grant procedure)

Free format text: JAPANESE INTERMEDIATE CODE: A61

Effective date: 20170919

R150 Certificate of patent or registration of utility model

Ref document number: 6214694

Country of ref document: JP

Free format text: JAPANESE INTERMEDIATE CODE: R150

R250 Receipt of annual fees

Free format text: JAPANESE INTERMEDIATE CODE: R250

R250 Receipt of annual fees

Free format text: JAPANESE INTERMEDIATE CODE: R250

R250 Receipt of annual fees

Free format text: JAPANESE INTERMEDIATE CODE: R250

R250 Receipt of annual fees

Free format text: JAPANESE INTERMEDIATE CODE: R250

R250 Receipt of annual fees

Free format text: JAPANESE INTERMEDIATE CODE: R250

R250 Receipt of annual fees

Free format text: JAPANESE INTERMEDIATE CODE: R250