JP6086938B2 - 半導体装置の作製方法 - Google Patents
半導体装置の作製方法 Download PDFInfo
- Publication number
- JP6086938B2 JP6086938B2 JP2015100896A JP2015100896A JP6086938B2 JP 6086938 B2 JP6086938 B2 JP 6086938B2 JP 2015100896 A JP2015100896 A JP 2015100896A JP 2015100896 A JP2015100896 A JP 2015100896A JP 6086938 B2 JP6086938 B2 JP 6086938B2
- Authority
- JP
- Japan
- Prior art keywords
- transistor
- oxide semiconductor
- film
- gate electrode
- potential
- Prior art date
- Legal status (The legal status is an assumption and is not a legal conclusion. Google has not performed a legal analysis and makes no representation as to the accuracy of the status listed.)
- Active
Links
Images
Classifications
-
- H—ELECTRICITY
- H10—SEMICONDUCTOR DEVICES; ELECTRIC SOLID-STATE DEVICES NOT OTHERWISE PROVIDED FOR
- H10B—ELECTRONIC MEMORY DEVICES
- H10B41/00—Electrically erasable-and-programmable ROM [EEPROM] devices comprising floating gates
- H10B41/70—Electrically erasable-and-programmable ROM [EEPROM] devices comprising floating gates the floating gate being an electrode shared by two or more components
-
- H—ELECTRICITY
- H10—SEMICONDUCTOR DEVICES; ELECTRIC SOLID-STATE DEVICES NOT OTHERWISE PROVIDED FOR
- H10B—ELECTRONIC MEMORY DEVICES
- H10B69/00—Erasable-and-programmable ROM [EPROM] devices not provided for in groups H10B41/00 - H10B63/00, e.g. ultraviolet erasable-and-programmable ROM [UVEPROM] devices
-
- H—ELECTRICITY
- H10—SEMICONDUCTOR DEVICES; ELECTRIC SOLID-STATE DEVICES NOT OTHERWISE PROVIDED FOR
- H10B—ELECTRONIC MEMORY DEVICES
- H10B99/00—Subject matter not provided for in other groups of this subclass
-
- H—ELECTRICITY
- H10—SEMICONDUCTOR DEVICES; ELECTRIC SOLID-STATE DEVICES NOT OTHERWISE PROVIDED FOR
- H10D—INORGANIC ELECTRIC SEMICONDUCTOR DEVICES
- H10D30/00—Field-effect transistors [FET]
- H10D30/60—Insulated-gate field-effect transistors [IGFET]
- H10D30/67—Thin-film transistors [TFT]
- H10D30/674—Thin-film transistors [TFT] characterised by the active materials
- H10D30/6755—Oxide semiconductors, e.g. zinc oxide, copper aluminium oxide or cadmium stannate
-
- H—ELECTRICITY
- H10—SEMICONDUCTOR DEVICES; ELECTRIC SOLID-STATE DEVICES NOT OTHERWISE PROVIDED FOR
- H10D—INORGANIC ELECTRIC SEMICONDUCTOR DEVICES
- H10D86/00—Integrated devices formed in or on insulating or conducting substrates, e.g. formed in silicon-on-insulator [SOI] substrates or on stainless steel or glass substrates
- H10D86/40—Integrated devices formed in or on insulating or conducting substrates, e.g. formed in silicon-on-insulator [SOI] substrates or on stainless steel or glass substrates characterised by multiple TFTs
- H10D86/421—Integrated devices formed in or on insulating or conducting substrates, e.g. formed in silicon-on-insulator [SOI] substrates or on stainless steel or glass substrates characterised by multiple TFTs having a particular composition, shape or crystalline structure of the active layer
- H10D86/423—Integrated devices formed in or on insulating or conducting substrates, e.g. formed in silicon-on-insulator [SOI] substrates or on stainless steel or glass substrates characterised by multiple TFTs having a particular composition, shape or crystalline structure of the active layer comprising semiconductor materials not belonging to the Group IV, e.g. InGaZnO
-
- H—ELECTRICITY
- H10—SEMICONDUCTOR DEVICES; ELECTRIC SOLID-STATE DEVICES NOT OTHERWISE PROVIDED FOR
- H10D—INORGANIC ELECTRIC SEMICONDUCTOR DEVICES
- H10D86/00—Integrated devices formed in or on insulating or conducting substrates, e.g. formed in silicon-on-insulator [SOI] substrates or on stainless steel or glass substrates
- H10D86/40—Integrated devices formed in or on insulating or conducting substrates, e.g. formed in silicon-on-insulator [SOI] substrates or on stainless steel or glass substrates characterised by multiple TFTs
- H10D86/441—Interconnections, e.g. scanning lines
-
- H—ELECTRICITY
- H10—SEMICONDUCTOR DEVICES; ELECTRIC SOLID-STATE DEVICES NOT OTHERWISE PROVIDED FOR
- H10D—INORGANIC ELECTRIC SEMICONDUCTOR DEVICES
- H10D86/00—Integrated devices formed in or on insulating or conducting substrates, e.g. formed in silicon-on-insulator [SOI] substrates or on stainless steel or glass substrates
- H10D86/40—Integrated devices formed in or on insulating or conducting substrates, e.g. formed in silicon-on-insulator [SOI] substrates or on stainless steel or glass substrates characterised by multiple TFTs
- H10D86/471—Integrated devices formed in or on insulating or conducting substrates, e.g. formed in silicon-on-insulator [SOI] substrates or on stainless steel or glass substrates characterised by multiple TFTs having different architectures, e.g. having both top-gate and bottom-gate TFTs
-
- H—ELECTRICITY
- H10—SEMICONDUCTOR DEVICES; ELECTRIC SOLID-STATE DEVICES NOT OTHERWISE PROVIDED FOR
- H10D—INORGANIC ELECTRIC SEMICONDUCTOR DEVICES
- H10D86/00—Integrated devices formed in or on insulating or conducting substrates, e.g. formed in silicon-on-insulator [SOI] substrates or on stainless steel or glass substrates
- H10D86/40—Integrated devices formed in or on insulating or conducting substrates, e.g. formed in silicon-on-insulator [SOI] substrates or on stainless steel or glass substrates characterised by multiple TFTs
- H10D86/481—Integrated devices formed in or on insulating or conducting substrates, e.g. formed in silicon-on-insulator [SOI] substrates or on stainless steel or glass substrates characterised by multiple TFTs integrated with passive devices, e.g. auxiliary capacitors
-
- H—ELECTRICITY
- H10—SEMICONDUCTOR DEVICES; ELECTRIC SOLID-STATE DEVICES NOT OTHERWISE PROVIDED FOR
- H10D—INORGANIC ELECTRIC SEMICONDUCTOR DEVICES
- H10D86/00—Integrated devices formed in or on insulating or conducting substrates, e.g. formed in silicon-on-insulator [SOI] substrates or on stainless steel or glass substrates
- H10D86/40—Integrated devices formed in or on insulating or conducting substrates, e.g. formed in silicon-on-insulator [SOI] substrates or on stainless steel or glass substrates characterised by multiple TFTs
- H10D86/60—Integrated devices formed in or on insulating or conducting substrates, e.g. formed in silicon-on-insulator [SOI] substrates or on stainless steel or glass substrates characterised by multiple TFTs wherein the TFTs are in active matrices
-
- H—ELECTRICITY
- H10—SEMICONDUCTOR DEVICES; ELECTRIC SOLID-STATE DEVICES NOT OTHERWISE PROVIDED FOR
- H10D—INORGANIC ELECTRIC SEMICONDUCTOR DEVICES
- H10D86/00—Integrated devices formed in or on insulating or conducting substrates, e.g. formed in silicon-on-insulator [SOI] substrates or on stainless steel or glass substrates
- H10D86/80—Integrated devices formed in or on insulating or conducting substrates, e.g. formed in silicon-on-insulator [SOI] substrates or on stainless steel or glass substrates characterised by multiple passive components, e.g. resistors, capacitors or inductors
-
- G—PHYSICS
- G11—INFORMATION STORAGE
- G11C—STATIC STORES
- G11C16/00—Erasable programmable read-only memories
- G11C16/02—Erasable programmable read-only memories electrically programmable
- G11C16/04—Erasable programmable read-only memories electrically programmable using variable threshold transistors, e.g. FAMOS
- G11C16/0408—Erasable programmable read-only memories electrically programmable using variable threshold transistors, e.g. FAMOS comprising cells containing floating gate transistors
- G11C16/0433—Erasable programmable read-only memories electrically programmable using variable threshold transistors, e.g. FAMOS comprising cells containing floating gate transistors comprising cells containing a single floating gate transistor and one or more separate select transistors
-
- H—ELECTRICITY
- H10—SEMICONDUCTOR DEVICES; ELECTRIC SOLID-STATE DEVICES NOT OTHERWISE PROVIDED FOR
- H10D—INORGANIC ELECTRIC SEMICONDUCTOR DEVICES
- H10D30/00—Field-effect transistors [FET]
- H10D30/60—Insulated-gate field-effect transistors [IGFET]
- H10D30/67—Thin-film transistors [TFT]
- H10D30/6729—Thin-film transistors [TFT] characterised by the electrodes
- H10D30/673—Thin-film transistors [TFT] characterised by the electrodes characterised by the shapes, relative sizes or dispositions of the gate electrodes
- H10D30/6733—Multi-gate TFTs
- H10D30/6734—Multi-gate TFTs having gate electrodes arranged on both top and bottom sides of the channel, e.g. dual-gate TFTs
-
- H—ELECTRICITY
- H10—SEMICONDUCTOR DEVICES; ELECTRIC SOLID-STATE DEVICES NOT OTHERWISE PROVIDED FOR
- H10D—INORGANIC ELECTRIC SEMICONDUCTOR DEVICES
- H10D30/00—Field-effect transistors [FET]
- H10D30/60—Insulated-gate field-effect transistors [IGFET]
- H10D30/67—Thin-film transistors [TFT]
- H10D30/674—Thin-film transistors [TFT] characterised by the active materials
-
- Y—GENERAL TAGGING OF NEW TECHNOLOGICAL DEVELOPMENTS; GENERAL TAGGING OF CROSS-SECTIONAL TECHNOLOGIES SPANNING OVER SEVERAL SECTIONS OF THE IPC; TECHNICAL SUBJECTS COVERED BY FORMER USPC CROSS-REFERENCE ART COLLECTIONS [XRACs] AND DIGESTS
- Y02—TECHNOLOGIES OR APPLICATIONS FOR MITIGATION OR ADAPTATION AGAINST CLIMATE CHANGE
- Y02D—CLIMATE CHANGE MITIGATION TECHNOLOGIES IN INFORMATION AND COMMUNICATION TECHNOLOGIES [ICT], I.E. INFORMATION AND COMMUNICATION TECHNOLOGIES AIMING AT THE REDUCTION OF THEIR OWN ENERGY USE
- Y02D10/00—Energy efficient computing, e.g. low power processors, power management or thermal management
Landscapes
- Thin Film Transistor (AREA)
- Semiconductor Memories (AREA)
- Engineering & Computer Science (AREA)
- Microelectronics & Electronic Packaging (AREA)
- Non-Volatile Memory (AREA)
- Dram (AREA)
- Read Only Memory (AREA)
- Electrodes Of Semiconductors (AREA)
Description
る。
、SRAM、不揮発性メモリに分類されるマスクROM、EPROM、EEPROM、フ
ラッシュメモリ、強誘電体メモリなどがあり、単結晶の半導体基板を用いて形成されたこ
れらのメモリの多くは既に実用化されている。上記の半導体メモリの中でも、フラッシュ
メモリは、データの書き込みと消去を繰り返し行うことができ、電源の供給がなくてもデ
ータの保持が可能な不揮発性メモリであるために、利便性が高く、また、物理的な衝撃に
強いため、主にUSBメモリ、メモリーカードなどの携帯型の記憶媒体に用いられ、市場
に広く出回っている。
、複数のメモリセルがマトリクス状に接続された構造を有するNOR型とがあるが、いず
れのフラッシュメモリも、記憶素子として機能するトランジスタを各メモリセルに有する
。そして、この記憶素子として機能するトランジスタは、フローティングゲートと呼ばれ
る電荷を蓄積するための電極を、ゲート電極と、活性層である半導体膜との間に有してお
り、フローティングゲートにおける電荷の蓄積によりデータの記憶を行うことができる。
を有する薄膜トランジスタについて記載されている。
が、20V前後と、揮発性メモリに比べて一般的に大きい傾向にある。データの書き換え
を繰り返し行うことができるフラッシュメモリの場合は、データの書き込み時のみならず
、データの消去時にも、記憶素子として用いるトランジスタに大きい電圧を印加する必要
がある。よって、データの書き込み、消去などの、フラッシュメモリの動作時において消
費される電力は高く、そのことが、フラッシュメモリを記憶装置として用いる電子機器の
、低消費電力化を阻む一因となっている。特に、カメラや携帯電話などの携帯型の電子機
器にフラッシュメモリを用いる場合、消費電力の高さは、連続使用時間の短縮化というデ
メリットに繋がる。
が消失してしまう。そのため、データの保持期間は現状5年から10年程度であると言わ
れており、より長い保持期間の確保が可能なフラッシュメモリの実現が望まれている。
るが、フローティングゲートに電荷を蓄積する際に、トンネル電流によりゲート絶縁膜が
劣化しやすい。そのため、1つの記憶素子におけるデータの書き換え回数は数万から数十
万回程度が限度であり、より多くの書き換え回数に耐えうるようなフラッシュメモリの実
現が望まれている。
用いた半導体装置の提供を目的の一つとする。また、本発明は、さらに長い期間において
データの保持が可能な記憶装置、当該記憶装置を用いた半導体装置の提供を目的の一つと
する。また、本発明は、データの書き換え回数を増やすことができる記憶装置、当該記憶
装置を用いた半導体装置の提供を目的の一つとする。
電極が備えられたトランジスタを記憶素子として用い、不揮発性の記憶装置を構成する。
そして、上記記憶装置では、絶縁膜に囲まれたフローティングゲートに高電圧で電荷を注
入するのではなく、記憶素子として用いるトランジスタの閾値電圧を制御するための第2
のゲート電極の電位を、オフ電流が極めて小さいトランジスタによって制御することで、
データの書き込みを行う。すなわち、本発明の一態様に係る記憶装置は、少なくとも、第
2のゲート電極によって閾値電圧が制御されるトランジスタと、該第2のゲート電極の電
位を保持するための容量素子と、当該容量素子の充放電を制御するためのスイッチング素
子として用いるトランジスタとで、構成されることを特徴としている。
高さ、より具体的には、ソース電極と第2のゲート電極の電位差により制御される。そし
て、閾値電圧の高さの違い、或いは、閾値電圧の高さの違いによるソース電極とドレイン
電極間の抵抗値の違いが、記憶素子が記憶しているデータの違いとなる。
、具体的には、第1のゲート電極と、第2のゲート電極と、第1のゲート電極と第2のゲ
ート電極の間に位置する半導体膜と、第1のゲート電極と半導体膜の間に位置する第1の
絶縁膜と、第2のゲート電極と半導体膜の間に位置する第2の絶縁膜と、半導体膜に接す
るソース電極及びドレイン電極と、を有する。
が広く、真性キャリア密度がシリコンよりも低い半導体材料を、チャネル形成領域に含む
ことを特徴とするものである。上述したような特性を有する半導体材料をチャネル形成領
域に含むことで、オフ電流が極めて低いトランジスタを実現することができる。このよう
な半導体材料としては、例えば、シリコンの約3倍程度の大きなバンドギャップを有する
、酸化物半導体、炭化シリコン、窒化ガリウムなどが挙げられる。
度と、非晶質シリコンによって得られる均一な素子特性とを兼ね備えた、半導体特性を示
す金属酸化物である。そして、電子供与体(ドナー)となる水分または水素などの不純物
が低減されて高純度化された酸化物半導体(purified OS)は、i型(真性半
導体)又はi型に限りなく近く、上記酸化物半導体を用いたトランジスタは、オフ電流が
著しく低いという特性を有する。具体的に、酸化物半導体に含まれる水分または水素など
の不純物を除去し、二次イオン質量分析法(SIMS:Secondary Ion M
ass Spectrometry)による、酸化物半導体に含まれる水素濃度の測定値
が、5×1019/cm3以下、好ましくは5×1018/cm3以下、より好ましくは
5×1017/cm3以下、さらに好ましくは1×1016/cm3以下とする。また、
ホール効果測定により測定できる酸化物半導体膜のキャリア密度は、1×1014cm−
3未満、好ましくは1×1012cm−3未満、さらに好ましくは測定限界以下の1×1
011cm−3未満とする。即ち、酸化物半導体膜のキャリア密度は、限りなくゼロに近
い。また、バンドギャップは2eV以上、好ましくは2.5eV以上、より好ましくは3
eV以上である。水分または水素などの不純物濃度が十分に低減されて高純度化された酸
化物半導体膜を用いることにより、トランジスタのオフ電流を下げることができる。
半導体膜中及び導電膜中の水素濃度測定は、SIMSで行う。SIMSは、その原理上、
試料表面近傍や、材質が異なる膜との積層界面近傍のデータを正確に得ることが困難であ
ることが知られている。そこで、膜中における水素濃度の厚さ方向の分布をSIMSで分
析する場合、対象となる膜が存在する範囲において、値に極端な変動が無く、ほぼ一定の
値が得られる領域における平均値を、水素濃度として採用する。また、測定の対象となる
膜の厚さが小さい場合、隣接する膜内の水素濃度の影響を受けて、ほぼ一定の値が得られ
る領域を見いだせない場合がある。この場合、当該膜が存在する領域における、水素濃度
の極大値または極小値を、当該膜中の水素濃度として採用する。さらに、当該膜の存在す
る領域において、極大値を有する山型のピーク、極小値を有する谷型のピークが存在しな
い場合、変曲点の値を水素濃度として採用する。
多量に含まれていることが判明している。水分または水素はドナー準位を形成しやすいた
め、酸化物半導体自体にとっては不純物である。そこで、本発明の一態様では、酸化物半
導体膜中の水分または水素などの不純物を低減するために、酸化物半導体膜に対して、窒
素、酸素、超乾燥空気(水の含有量が20ppm以下、好ましくは1ppm以下、好まし
くは10ppb以下の空気)、または希ガス(アルゴン、ヘリウムなど)の雰囲気下で加
熱処理を行う。上記加熱処理は、500℃以上850℃以下(若しくはガラス基板の歪点
以下)、好ましくは550℃以上750℃以下の温度範囲で行うのが望ましい。なお、こ
の加熱処理は、用いる基板の耐熱温度を超えないものとする。水分または水素の加熱処理
による脱離の効果については、TDS(Thermal Desorption Spe
ctroscopy;昇温脱離ガス分析)により確認済みである。
TA法は、ランプ光源を用いる方法と、加熱されたガス中に基板を移動させて短時間の熱
処理を行う方法がある。RTA法を用いると熱処理に要する時間を0.1時間よりも短く
することもできる。
トランジスタは、例えば、チャネル幅Wが1×106μmでチャネル長Lが10μmの素
子であっても、ソース電極とドレイン電極間の電圧(ドレイン電圧)が1Vから10Vの
範囲において、オフ電流(ゲート電極とソース電極間の電圧を0Vとしたときのドレイン
電流)が、半導体パラメータアナライザの測定限界以下、すなわち1×10−13A以下
という特性を得ることができる。よって、オフ電流をトランジスタのチャネル幅で除した
数値に相当するオフ電流密度は、100zA/μm以下であることが分かる。また、保持
容量の電荷を保持するためのスイッチング素子として、高純度化された酸化物半導体膜を
有するゲート絶縁膜の厚さが100nmのトランジスタを用いて、保持容量の単位時間あ
たりの電荷量の推移から当該トランジスタのオフ電流を測定したところ、トランジスタの
ソース電極とドレイン電極間の電圧が3Vの場合に、10zA/μm乃至100zA/μ
mという、さらに低いオフ電流が得られることが分かった。したがって、本発明の一態様
に係る記憶装置では、高純度化された酸化物半導体膜を活性層として用いたトランジスタ
のオフ電流密度を、100zA/μm以下、好ましくは10zA/μm以下、更に好まし
くは1zA/μm以下にすることができる。従って、高純度化された酸化物半導体膜を活
性層として用いたトランジスタは、ゲート電極とソース電極間の電圧が0以下におけるオ
フ電流が、結晶性を有するシリコンを用いたトランジスタに比べて著しく低い。
とんど現れない。これは、酸化物半導体中で電子供与体(ドナー)となる不純物を除去し
て、酸化物半導体が高純度化することによって、導電型が限りなく真性型に近づき、フェ
ルミ準位が禁制帯の中央に位置するためと言える。また、これは、酸化物半導体のエネル
ギーギャップが3eV以上であり、熱励起キャリアが極めて少ないことにも起因する。ま
た、ソース電極及びドレイン電極が縮退した状態にあることも、温度依存性が現れない要
因となっている。トランジスタの動作は、縮退したソース電極から酸化物半導体に注入さ
れたキャリアによるものがほとんどであり、キャリア密度には温度依存性がないことから
、オフ電流の温度依存性がみられないことを説明することができる。
導体や、三元系金属酸化物であるIn−Ga−Zn−O系酸化物半導体、In−Sn−Z
n−O系酸化物半導体、In−Al−Zn−O系酸化物半導体、Sn−Ga−Zn−O系
酸化物半導体、Al−Ga−Zn−O系酸化物半導体、Sn−Al−Zn−O系酸化物半
導体や、二元系金属酸化物であるIn−Zn−O系酸化物半導体、Sn−Zn−O系酸化
物半導体、Al−Zn−O系酸化物半導体、Zn−Mg−O系酸化物半導体、Sn−Mg
−O系酸化物半導体、In−Mg−O系酸化物半導体、In−Ga−O系酸化物半導体や
、In−O系酸化物半導体、Sn−O系酸化物半導体、Zn−O系酸化物半導体などを用
いることができる。なお、本明細書においては、例えば、In−Sn−Ga−Zn−O系
酸化物半導体とは、インジウム(In)、錫(Sn)、ガリウム(Ga)、亜鉛(Zn)
を有する金属酸化物、という意味であり、その化学量論的組成比は特に問わない。また、
上記酸化物半導体は、珪素を含んでいてもよい。
きる。ここで、Mは、Ga、Al、Mn及びCoから選ばれた一又は複数の金属元素を示
す。
チング素子として用いることで、記憶素子からの電荷のリークを防ぐことができる。よっ
て、長期間に渡るデータの保持が可能な記憶装置、当該記憶装置を用いた半導体装置を提
供することができる。
して機能するトランジスタの動作電圧によりほぼ決まる。よって、従来のフラッシュに比
べて動作電圧を格段に低くすることができ、消費電力を抑えられる記憶装置、当該記憶装
置を用いた半導体装置を提供することができる。
ができるので、データの書き換え回数を増やすことができる記憶装置、当該記憶装置を用
いた半導体装置を提供することができる。
以下の説明に限定されず、本発明の趣旨及びその範囲から逸脱することなくその形態及び
詳細を様々に変更し得ることは、当業者であれば容易に理解される。したがって、本発明
は、以下に示す実施の形態の記載内容に限定して解釈されるものではない。
体表示装置など、記憶装置を用いることができるありとあらゆる半導体装置が、本発明の
範疇に含まれる。また、半導体表示装置には、液晶表示装置、有機発光素子(OLED)
に代表される発光素子を各画素に備えた発光装置、電子ペーパー、DMD(Digita
l Micromirror Device)、PDP(Plasma Display
Panel)、FED(Field Emission Display)など、半導
体膜を用いた回路素子を画素部または駆動回路に有している半導体表示装置が、その範疇
に含まれる。
図1(A)に、本発明の記憶装置の最小単位に当たるメモリセルの、回路図の一例を示す
。図1(A)に示すメモリセル100は、記憶素子として機能するトランジスタ101と
、トランジスタ101の第2のゲート電極への電位の供給を制御することができる、スイ
ッチング素子として機能するトランジスタ102とを有する。また、メモリセル100は
、トランジスタ101の第2のゲート電極の電位を保持するための容量素子103が設け
られていても良い。
の他の回路素子を、さらに有していても良い。
と、第1のゲート電極と第2のゲート電極の間に位置する半導体膜と、第1のゲート電極
と半導体膜の間に位置する第1の絶縁膜と、第2のゲート電極と半導体膜の間に位置する
第2の絶縁膜と、半導体膜に接するソース電極及びドレイン電極と、を有する。トランジ
スタ101の第1のゲート電極、第2のゲート電極、ソース電極、ドレイン電極に与える
電位により、記憶装置の各種動作を制御することができる。
が広く、真性キャリア密度がシリコンよりも低い半導体材料を、チャネル形成領域に含む
ものである。このような半導体材料をトランジスタ102のチャネル形成領域に用いるこ
とで、オフ電流を十分低減することができるからである。
導体材料の一例として、炭化珪素(SiC)、窒化ガリウム(GaN)などの化合物半導
体、酸化亜鉛(ZnO)などの金属酸化物でなる酸化物半導体などを適用することができ
る。この中でも酸化物半導体は、スパッタリング法や湿式法(印刷法など)により作製可
能であり、量産性に優れるといった利点がある。また、炭化シリコンのプロセス温度は約
1500℃、窒化ガリウムのプロセス温度は約1100℃であるが、酸化物半導体の成膜
温度は、300〜500℃(ガラス転移温度以下、最大でも700℃程度)と低く、安価
で入手しやすいガラス基板上への成膜が可能であり、また、1500℃〜2000℃もの
高温での熱処理に対する耐性を有さない半導体材料を用いた集積回路上に、酸化物半導体
による半導体素子を積層させることも可能である。また、基板の大型化にも対応が可能で
ある。よって、上述したワイドギャップ半導体の中でも、特に酸化物半導体は量産性が高
いというメリットを有する。また、トランジスタの性能(例えば電界効果移動度)を向上
させるために結晶性の酸化物半導体を得ようとする場合でも、450℃から800℃の熱
処理によって容易に結晶性の酸化物半導体を得ることができる。
酸化物半導体を用いる場合を例に挙げている。
タ102を一つだけ有する構成を示しているが、本発明はこの構成に限定されない。本発
明の一態様では、スイッチング素子として機能するトランジスタが各メモリセルに最低限
1つ設けられていれば良く、上記トランジスタの数は複数であっても良い。メモリセル1
00がスイッチング素子として機能するトランジスタを複数有している場合、上記複数の
トランジスタは並列に接続されていても良いし、直列に接続されていても良いし、直列と
並列が組み合わされて接続されていても良い。
とドレイン電極のいずれか一方のみが、第2のトランジスタのソース電極とドレイン電極
のいずれか一方のみに接続されている状態を意味する。また、トランジスタが並列に接続
されている状態とは、第1のトランジスタのソース電極が第2のトランジスタのソース電
極に接続され、第1のトランジスタのドレイン電極が第2のトランジスタのドレイン電極
に接続されている状態を意味する。
トランジスタ101とは異なり、活性層の片側にだけ存在するゲート電極を有していれば
良い。ただし、本発明はこの構成に限定されず、スイッチング素子として機能するトラン
ジスタも、記憶素子として機能するトランジスタと同様に、活性層を間に挟んで存在する
一対のゲート電極を有していても良い。
102が、上述したワイドギャップ半導体材料を活性層に有していれば良い。よって、記
憶素子として機能するトランジスタ101の活性層に、酸化物半導体膜が用いられていて
も良い。或いは、記憶素子として機能するトランジスタ101の活性層に、酸化物半導体
以外の、非晶質、微結晶、多結晶、または単結晶の、シリコン、またはゲルマニウムなど
の半導体が用いられていても良い。ただし、メモリセル100内の全てのトランジスタの
活性層に、酸化物半導体膜を用いることで、プロセスを簡略化することができる。
スタ102、容量素子103の接続関係について説明する。
、トランジスタ102は、ソース電極とドレイン電極のうち、いずれか一方が入力用デー
タ線Dinに接続され、他方が、トランジスタ101の第2のゲート電極に接続されてい
る。また、トランジスタ101の第1のゲート電極は、読み出し用ワード線RLに接続さ
れている。そして、トランジスタ101は、ソース電極とドレイン電極のうち、いずれか
一方が出力用データ線Doutに接続され、他方がグラウンドなどの固定電位が与えられ
ている電源線に接続されている。
電極に接続されており、他方がグラウンドなどの固定電位が与えられている電源線に接続
されている。
、供給可能、或いは伝送可能な状態に相当する。従って、接続している状態とは、直接接
続している状態を必ずしも指すわけではなく、電流、電圧または電位が、供給可能、或い
は伝送可能であるように、配線、抵抗、ダイオード、トランジスタなどの回路素子を介し
て間接的に接続している状態も、その範疇に含む。
は、例えば配線の一部が電極としても機能する場合など、一の導電膜が、複数の構成要素
の機能を併せ持っているだけの場合もある。本明細書において接続とは、このような、一
の導電膜が、複数の構成要素の機能を併せ持っている場合も、その範疇に含める。
極に与えられる電位の高低差によって、その呼び方が入れ替わる。一般的に、nチャネル
型トランジスタでは、低い電位が与えられる電極がソース電極と呼ばれ、高い電位が与え
られる電極がドレイン電極と呼ばれる。また、pチャネル型トランジスタでは、低い電位
が与えられる電極がドレイン電極と呼ばれ、高い電位が与えられる電極がソース電極と呼
ばれる。本明細書では、便宜上、ソース電極とドレイン電極とが固定されているものと仮
定して、トランジスタの接続関係を説明する場合があるが、実際には上記電位の関係に従
ってソース電極とドレイン電極の呼び方が入れ替わる。
る場合を示している。トランジスタ102が、活性層を間に挟んで存在する一対のゲート
電極を有している場合は、一方のゲート電極が書き込み用ワード線WLに接続され、他方
のゲート電極は、電気的に絶縁しているフローティングの状態であっても良いし、電位が
他から与えられている状態であっても良い。後者の場合、一対の電極に、同じ高さの電位
が与えられていても良いし、他方のゲート電極にのみグラウンドなどの固定電位が与えら
れていても良い。他方のゲート電極に与える電位の高さを制御することで、トランジスタ
102の閾値電圧を制御することができる。
図の一例を示す。図1(B)に示すメモリセルは、記憶素子として機能するトランジスタ
101と、スイッチング素子として機能するトランジスタ102とが、絶縁表面を有する
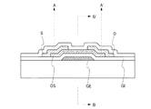
基板110上に形成されている。
121と、第1のゲート電極121上の絶縁膜112と、絶縁膜112を間に挟んで第1
のゲート電極121と重なる、活性層として機能する酸化物半導体膜123と、酸化物半
導体膜123上のソース電極124、ドレイン電極125と、酸化物半導体膜123、ソ
ース電極124及びドレイン電極125上の絶縁膜116と、絶縁膜116上において酸
化物半導体膜123と重なっている第2のゲート電極126とを有している。また、第2
のゲート電極126上には絶縁膜117が形成されており、トランジスタ101は絶縁膜
117を構成要素に含んでいても良い。
ゲート電極111上の絶縁膜112と、絶縁膜112を間に挟んでゲート電極111と重
なる、活性層として機能する酸化物半導体膜113と、酸化物半導体膜113上のソース
電極114、ドレイン電極115とを有している。酸化物半導体膜113、ソース電極1
14及びドレイン電極115上には絶縁膜116が形成されており、トランジスタ102
は絶縁膜116を構成要素に含んでいても良い。
126とが、絶縁膜116を間に挟んで重なり合っている領域に形成されている。
スタ101がnチャネル型であり、なおかつ2値のデータを扱う場合を例に挙げて説明す
る。なお、図2(A)には、トランジスタ101の回路図を示しており、第1のゲート電
極の電位をVcg、第2のゲート電極の電位をVbg、ソース電極の電位をVs、ドレイ
ン電極の電位をVdとして、トランジスタ101が有する各電極の電位を表記している。
み時において、トランジスタ101は、第1のゲート電極とソース電極間に、閾値電圧V
th0と同じか、それよりも低い電圧が印加される。なお、閾値電圧Vth0は、第2の
ゲート電極の電位Vbgがグラウンドの電位Vgndに等しいときの、トランジスタ10
1の閾値電圧に相当する。具体的に、書き込み時における第1のゲート電極とソース電極
の電位の関係は、Vcg−Vs≦Vth0となる。よって、トランジスタ101は書き込
み時においてオフであり、ドレイン電極はハイインピーダンスの状態にある。
タの値に従ってその高さが制御される。2値のデータを扱う場合、第2のゲート電極には
、高電位Vddか、もしくは低電位Vssの、いずれかが与えられる。各電位の関係は、
Vdd>Vss≧Vgndで表される。例えば、第2のゲート電極の電位Vbgが低電位
Vss=Vgndに設定された場合、トランジスタ101の閾値電圧はVth0のままで
ある。一方、第2のゲート電極の電位Vbgが高電位Vddに設定された場合、トランジ
スタ101の閾値電圧はマイナス側にシフトし、Vth1となる。
挙げて説明したが、低電位Vssは必ずしもグラウンドの電位Vgndと等しくある必要
はない。例えば、Vdd>Vss>Vgndとしてもよい。ただし、この場合、閾値電圧
のシフト量は、第2のゲート電極の電位Vbgが高電位Vddに設定された場合における
閾値電圧のシフト量よりも、小さいものとする。
おいて、スイッチング素子として機能するトランジスタ102はオフである。上述したよ
うにトランジスタ102はオフ電流が著しく低いので、第2のゲート電極の電位Vbgは
、書き込み時において設定された高さを保持する。
出し時において、トランジスタ101は、第1のゲート電極とソース電極間に、閾値電圧
Vth1よりも高くVth0よりも低い電圧が印加される。
Vth1に設定されている場合は、第1のゲート電極とソース電極間の電圧が閾値電圧V
th1よりも高くなることで、トランジスタ101がオンになり、ソース電極とドレイン
電極間の抵抗値が下がる。よって、ソース電極の電位Vsは、ドレイン電極に与えられる
。一方、直前に行われたデータの書き込み時において、トランジスタ101の閾値電圧が
Vth0に設定されている場合、第1のゲート電極とソース電極間の電圧が、閾値電圧V
th1よりも高くなっても、閾値電圧Vth0よりも低いと、トランジスタ101はオフ
のままである。よって、ソース電極とドレイン電極間の抵抗値が高く、ドレイン電極の電
位Vdはハイインピーダンスの状態のままである。
のゲート電極に与えられた電位の高さに連動している。図2(B)に、読み出し時におけ
る、第1のゲート電極の電位Vcgと、トランジスタ101のドレイン電流Idの関係を
示す。線130は、閾値電圧がVth1に設定されている場合の、電位Vcgとドレイン
電流Idの関係を示しており、線131は、閾値電圧がVth0に設定されている場合の
、電位Vcgとドレイン電流Idの関係を示している。図2(B)に示すように、第1の
ゲート電極とソース電極間の電圧が、閾値電圧Vth1よりも高く、閾値電圧Vth0よ
りも低い電位Vreadに設定されると、線130と線131から、閾値電圧がVth1
の場合に得られるドレイン電流Id1が、閾値電圧がVth0の場合に得られるドレイン
電流Id0よりも高くなる。よって、ドレイン電流Idもしくはドレイン電極の電位Vd
の値を読み取ることで、書き込まれたデータの値を把握することができる。
、閾値電圧Vth1よりも高く、閾値電圧Vth0よりも低い場合について説明したが、
本発明はこの構成に限定されない。読み出し時における第1のゲート電極とソース電極間
の電圧は、必ずしも閾値電圧Vth0以下である必要はない。例えば、直前に行われたデ
ータの書き込み時において、トランジスタ101の閾値電圧がVth1に設定されている
場合、読み出し時において、第1のゲート電極とソース電極間の電圧が閾値電圧Vth0
より高いと、トランジスタ101がオンになり、ソース電極とドレイン電極間の抵抗値が
下がる。このときの、ソース電極とドレイン電極間の抵抗値をRds0とする。一方、直
前に行われたデータの書き込み時において、トランジスタ101の閾値電圧がVth0に
設定されている場合、読み出し時において、第1のゲート電極とソース電極間の電圧が閾
値電圧Vth0より高いと、トランジスタ101はオンになり、ソース電極とドレイン電
極間の抵抗値が下がる。このときの、ソース電極とドレイン電極間の抵抗値をRds1と
する。そして、少なくとも、閾値電圧がVth1に設定されている場合に、トランジスタ
101を飽和領域で動作させることで、読み出し時におけるトランジスタ101が、Vt
h1及びVth0のいずれの閾値電圧設定時においてオンの状態であっても、ソース電極
とドレイン電極間の抵抗値をRds0<Rds1として差を持たせることができる。具体
的には、第1のゲート電極とソース電極間の電圧をVgs、ソース電極とドレイン電極間
の電圧Vdsとすると、|Vds|>|Vgs−Vth0|を満たす範囲において、トラ
ンジスタ101を動作させればよい。ソース電極とドレイン電極間の抵抗値をRds0<
Rds1として差を持たせることで、読み出し時における第1のゲート電極とソース電極
間の電圧が、閾値電圧Vth0より高くあっても、ドレイン電極の電位Vdを、直前に行
われたデータの書き込み時において第2のゲート電極に与えられた電位の高さに連動させ
ることが可能である。例えば、図2(B)に示すように、第1のゲート電極とソース電極
間の電圧が、閾値電圧Vth0よりも高い電位Vread’に設定されると、線130と
線131から、閾値電圧がVth1の場合に得られるドレイン電流Id1’が、閾値電圧
がVth0の場合に得られるドレイン電流Id0’よりも高くなる。よって、ドレイン電
流Idもしくはドレイン電極の電位Vdの値を読み取ることで、書き込まれたデータの値
を把握することができる。
おいて、トランジスタ101は、データの書き込み時と同様に、第1のゲート電極とソー
ス電極間に、閾値電圧Vth1と同じか、それよりも低い電圧が印加される。具体的に、
消去時における第1のゲート電極とソース電極の電位の関係は、Vcg−Vs≦Vth1
となる。よって、トランジスタ101は消去時においてオフであり、ドレイン電極はハイ
インピーダンスの状態にある。そして、データの消去時において、第2のゲート電極の電
位Vbgは、グラウンドなどの固定電位に設定され、トランジスタ101の閾値電圧はV
th0に設定される。
したが、本発明はこの構成に限定されない。本発明の一態様に係る記憶装置は、従来のフ
ラッシュメモリとは異なり、消去動作を必要としない点が、利点の一つでもある。よって
、例えば、先に書き込んだデータに上書きするように、別のデータを書き込むことも可能
である。
フローティングゲートが、絶縁膜で覆われた絶縁状態にある。よって、フローティングゲ
ートに、トンネル効果を利用して電荷を蓄積させるためには、20V程度の高い電圧を記
憶素子に印加する必要がある。しかし、本発明の一態様では、高純度化された酸化物半導
体膜をトランジスタの活性層として用いたトランジスタにより、データの書き込み及び読
み出しを行うことができる。よって、記憶装置の動作時に必要な電圧は数V程度であり、
消費電力を格段に小さく抑えることができる。なお、フラッシュメモリの記憶素子として
用いられているトランジスタと、本発明の一態様に係る記憶装置の記憶素子として用いら
れているトランジスタとは、構造や駆動方法が異なるため、記憶素子の各電極に与えられ
る電位から、動作時の消費電力の違いを正確に把握することは難しい。しかし、例えば、
データの書き込み時についてのみに着目して消費電力を比較してみると、本発明の一態様
に係る記憶装置では、第2のゲート電極とソース電極間に印加される電圧が5Vあれば十
分データの書き込みが可能である。一方、通常のフラッシュメモリでは、フローティング
ゲートに電荷を蓄積させてデータの書き込みを行うために、ゲート電極とソース電極間に
、少なくとも16V程度の電圧が必要となる。トランジスタにおいて消費される電力は、
トランジスタのゲート電圧の二乗を、トランジスタの負荷抵抗で割ったものに相当するこ
とから、本発明の一態様に係る記憶装置の消費電力は、通常のフラッシュメモリの消費電
力の約10%程度であることがわかる。したがって、書き込み時における消費電力の比較
から、動作時の消費電力が大幅に削減できることがわかる。
必要な電圧(動作電圧)が大きいので、通常、昇圧回路などを用いてフラッシュメモリに
与える電圧を昇圧している。しかし、本発明の一態様に係る記憶装置では、記憶装置の動
作電圧を小さく抑えられるので、消費電力を小さくすることができる。よって、半導体装
置内の、記憶装置の動作に係わる昇圧回路などの外部回路の負担を軽減することができ、
その分、外部回路の機能拡張などを行い、半導体装置の高機能化を実現することができる
。また、記憶装置の動作電圧を小さく抑えられることで、動作電圧の大きさをカバーする
ための冗長な回路設計が不要となるため、半導体装置に用いられている集積回路の集積度
を高めることができ、半導体装置を高機能化させることが出来る。
が、本発明の記憶装置では、3値以上の多値のデータを扱うことも可能である。3値以上
の多値のデータを扱う場合は、データの書き込み時において、第2のゲート電極の電位V
bgの高さを、3つ以上選択できるようにする。閾値電圧の値は、第2のゲート電極の電
位Vbgにより制御されるので、上記構成により、設定された第2のゲート電極の電位V
bgの高さに従って、閾値電圧の高さを3段階以上に設定できる。そして、閾値電圧の高
さの違いによりドレイン電流に生じる差、或いは、閾値電圧の高さの違いによりソース電
極とドレイン電極間の抵抗値に生じる差を用いて、多値のデータの読み出しを行なうこと
ができる。さらに別の方法として、閾値電圧の高さの各段階に応じて、予め各段階よりも
やや高めの電圧を準備しておき、その準備した電圧を第1のゲート電極に印加し、閾値電
圧の高さの段階分だけ読み出しを行う。例えば、4値のデータを読み出す場合、4段階の
閾値電圧(Vth0、Vth1、Vth2、Vth3)の各段階よりやや高めの4つの電
圧(Vread0、Vread1、Vread2、Vread3)を予め準備しておき、
4つの電圧を用いて4回の読み出しを行うことで、4値のデータを読み出すことができる
。上記構成によって、面積を抑えつつ、記憶装置の記憶容量を増やすことができる。
の閾値電圧の差が小さくなるため、微少なオフ電流が存在すると、第2のゲート電極の電
位が変化し、データの正確さを維持するのが難しく、保持期間がさらに短くなる傾向にあ
る。しかし、本発明の一態様では、高純度化された酸化物半導体膜を用いることでオフ電
流が著しく低減されたトランジスタをスイッチング素子として用いるので、シリコンを用
いたトランジスタよりも、オフ電流を防ぐ効果がより高い。従って、多値化に伴う保持期
間の短縮化を抑えることができる。
電極111上に酸化物半導体膜113を有するボトムゲート型である場合を例示している
が、トランジスタ102はボトムゲート型に限定されない。トランジスタ102は、酸化
物半導体膜を活性層として用いていれば良く、例えば、酸化物半導体膜上にゲート電極を
有するトップゲート型であっても良い。また、トランジスタ102は、ソース電極114
とドレイン電極115が酸化物半導体膜113上に形成されているトップコンタクト型に
限定されず、ソース電極114とドレイン電極115上に酸化物半導体膜113が形成さ
れているボトムコンタクト型であっても良い。また、トランジスタ102は、ソース電極
114とドレイン電極115間において絶縁膜116に重なる酸化物半導体膜113の膜
厚が、他の部分よりも薄くなっているチャネルエッチ型であるが、本発明はこの構成に限
定されない。ソース電極114とドレイン電極115の形成のためのエッチング時のプラ
ズマによるダメージやエッチングによる膜減りなどを防ぐために、ソース電極114とド
レイン電極115間において酸化物半導体膜113上にチャネル保護膜を有する、チャネ
ル保護型であっても良い。
を示す。図3(A)に示すメモリセルは、記憶素子として機能するチャネル保護型のトラ
ンジスタ101と、スイッチング素子として機能するチャネル保護型のトランジスタ10
2とが、絶縁表面を有する基板140上に形成されている。
151と、第1のゲート電極151上の絶縁膜142と、絶縁膜142を間に挟んで第1
のゲート電極151と重なる、活性層として機能する酸化物半導体膜153と、酸化物半
導体膜153上においてゲート電極151と重なるチャネル保護膜157と、酸化物半導
体膜153上のソース電極154、ドレイン電極155と、酸化物半導体膜153、チャ
ネル保護膜157、ソース電極154及びドレイン電極155上の絶縁膜146と、絶縁
膜146上において酸化物半導体膜153と重なっている第2のゲート電極156とを有
している。また、第2のゲート電極156上には絶縁膜147が形成されており、トラン
ジスタ101は絶縁膜147を構成要素に含んでいても良い。
ゲート電極141上の絶縁膜142と、絶縁膜142を間に挟んでゲート電極141と重
なる、活性層として機能する酸化物半導体膜143と、酸化物半導体膜143上のチャネ
ル保護膜148と、酸化物半導体膜143上のソース電極144及びドレイン電極145
とを有している。酸化物半導体膜143、チャネル保護膜148、ソース電極144及び
ドレイン電極145上には絶縁膜146が形成されており、トランジスタ102は絶縁膜
146を構成要素に含んでいても良い。
156とが、絶縁膜146を間に挟んで重なりあっている領域に形成されている。
化学気相成長法やスパッタリング法を用いて形成することができる。また、チャネル保護
膜157、チャネル保護膜148には、酸素を含む無機材料(酸化珪素、酸化窒化珪素、
窒化酸化珪素など)を用いることが望ましい。酸素を含む無機材料をチャネル保護膜15
7、チャネル保護膜148に用いることで、酸化物半導体膜153、酸化物半導体膜14
3中の水分または水素を低減させるための加熱処理により酸素欠損が発生していたとして
も、酸化物半導体膜153、酸化物半導体膜143の少なくともチャネル保護膜157、
チャネル保護膜148とそれぞれ接する領域に酸素を供給し、ドナーとなる酸素欠損を低
減して化学量論的組成比を満たす構成とすることが可能である。よって、チャネル形成領
域を、i型化または実質的にi型化させることができ、酸素欠損によるトランジスタの電
気特性のばらつきを軽減し、電気特性の向上を実現することができる。
重なる領域に相当する。記憶素子として用いるトランジスタの場合は、半導体膜のうち、
ソース電極とドレイン電極の間において、ゲート絶縁膜を間に挟んで、第1のゲート電極
または第2のゲート電極と重なる領域に相当する。
図の一例を示す。図3(B)に示すメモリセルは、記憶素子として機能するボトムコンタ
クト型のトランジスタ101と、スイッチング素子として機能するボトムコンタクト型の
トランジスタ102とが、絶縁表面を有する基板160上に形成されている。
171と、第1のゲート電極171上の絶縁膜162と、絶縁膜162上のソース電極1
74及びドレイン電極175と、絶縁膜162を間に挟んで第1のゲート電極171と重
なっており、ソース電極174及びドレイン電極175と接している、活性層として機能
する酸化物半導体膜173と、酸化物半導体膜173、ソース電極174及びドレイン電
極175上の絶縁膜166と、絶縁膜166上において酸化物半導体膜173と重なって
いる第2のゲート電極176とを有している。また、第2のゲート電極176上には絶縁
膜167が形成されており、トランジスタ101は絶縁膜167を構成要素に含んでいて
も良い。
ゲート電極161上の絶縁膜162と、絶縁膜162上のソース電極164及びドレイン
電極165と、絶縁膜162を間に挟んでゲート電極161と重なっており、ソース電極
164及びドレイン電極165と接している、活性層として機能する酸化物半導体膜16
3と、を有している。酸化物半導体膜163、ソース電極164及びドレイン電極165
上には絶縁膜166が形成されており、トランジスタ102は絶縁膜166を構成要素に
含んでいても良い。
176とが、絶縁膜166を間に挟んで重なりあっている領域に形成されている。
101の活性層に、酸化物半導体膜が用いられている場合を例示しているが、上述したよ
うに、トランジスタ101の活性層に、酸化物半導体以外の、非晶質、微結晶、多結晶、
または単結晶の、シリコン、またはゲルマニウムなどの半導体が用いられていても良い。
半導体膜を用いた場合の、メモリセル100の断面図を、一例として示す。図4(A)に
示すメモリセルは、記憶素子として機能するトランジスタ101と、スイッチング素子と
して機能するトランジスタ102とが、絶縁表面を有する基板200上に形成されている
。
と、ゲート電極211上の絶縁膜230と、絶縁膜230を間に挟んでゲート電極211
と重なる、活性層として機能する酸化物半導体膜213と、酸化物半導体膜213上のソ
ース電極214及びドレイン電極215とを有している。酸化物半導体膜213、ソース
電極214及びドレイン電極215上には絶縁膜231が形成されており、トランジスタ
102は絶縁膜231を構成要素に含んでいても良い。
上に、第1のゲート電極221と、第1のゲート電極221上の絶縁膜212と、絶縁膜
212を間に挟んで第1のゲート電極221と重なる、シリコンを用いた活性層として機
能する半導体膜223と、半導体膜223上のソース電極224、ドレイン電極225と
、半導体膜223、ソース電極224及びドレイン電極225上の絶縁膜216と、絶縁
膜216上において半導体膜223と重なっている第2のゲート電極226とを有してい
る。また、第2のゲート電極226上には絶縁膜217が形成されており、トランジスタ
101は絶縁膜217を構成要素に含んでいても良い。
極226とが、絶縁膜216を間に挟んで重なりあっている領域に形成されている。
ンを含む半導体膜を用いた場合の、メモリセル100の断面図を、一例として示す。図4
(B)に示すメモリセルは、記憶素子として機能するトランジスタ101と、スイッチン
グ素子として機能するトランジスタ102とが、絶縁表面を有する基板270上に形成さ
れている。
電極241と、ゲート電極241上の絶縁膜260と、絶縁膜260を間に挟んでゲート
電極241と重なる、活性層として機能する酸化物半導体膜243と、酸化物半導体膜2
43上のソース電極244またはドレイン電極245とを有している。酸化物半導体膜2
43、ソース電極244及びドレイン電極245上には絶縁膜261が形成されており、
トランジスタ102は絶縁膜261を構成要素に含んでいても良い。
ト電極251上の絶縁膜242と、絶縁膜242を間に挟んで第1のゲート電極251と
重なる、シリコンを用いた活性層として機能する半導体膜253と、半導体膜253上の
ソース電極254、ドレイン電極255と、半導体膜253、ソース電極254及びドレ
イン電極255上の絶縁膜246と、絶縁膜246上において半導体膜253と重なって
いる第2のゲート電極256とを有している。また、第2のゲート電極256上には絶縁
膜247が形成されており、トランジスタ101は絶縁膜247を構成要素に含んでいて
も良い。
極256とが、絶縁膜246を間に挟んで重なりあっている領域に形成されている。
ある場合を例示しているが、トップゲート型であっても良いし、ボトムコンタクト型であ
っても良い。そして、トランジスタ101は、チャネルエッチ型であるが、チャネル保護
型であっても良い。また、図4(A)と図4(B)に示したトランジスタ102は、とも
にボトムゲート型である場合を例示しているが、トップゲート型であっても良いし、ボト
ムコンタクト型であっても良い。そして、トランジスタ102は、チャネルエッチ型であ
るが、チャネル保護型であっても良い。
本実施の形態では、複数のメモリセルを有する記憶装置の構成と、その駆動方法の一例に
ついて説明する。
ルアレイの回路図を、一例として示す。図5に示す記憶装置が有する各メモリセル300
の構成については、実施の形態1において、メモリセル100の構成について説明した内
容を参酌することができる。
ジスタ301の第2のゲート電極への電位の供給を制御することができる、スイッチング
素子として機能するトランジスタ302とを有する。また、メモリセル300は、トラン
ジスタ301の第2のゲート電極の電位を保持するための容量素子303が設けられてい
ても良い。メモリセル300は、必要に応じて、ダイオード、抵抗素子、インダクタなど
のその他の回路素子を、さらに有していても良い。
t、複数の書き込み用ワード線WL、複数の読み出し用ワード線RLなどの各種配線が設
けられており、セルアレイの駆動回路からの信号または電源電位が、これら配線を介して
各メモリセル300に供給される。よって、上記配線の数は、メモリセル300の数及び
配置によって決めることができる。
されており、少なくとも、入力用データ線Din1〜Din3、出力用データ線Dout
1〜Dout3、書き込み用ワード線WL1〜WL3、読み出し用ワード線RL1〜RL
3が、セルアレイ内に配置されている場合を例示している。
タ線Din1、出力用データ線Dout1、書き込み用ワード線WL1、読み出し用ワー
ド線RL1に接続されているメモリセル300のひとつを例に挙げ、説明する。トランジ
スタ302のゲート電極は、書き込み用ワード線WL1に接続されている。そして、トラ
ンジスタ302は、ソース電極とドレイン電極のうち、いずれか一方が入力用データ線D
in1に接続され、他方が、トランジスタ301の第2のゲート電極に接続されている。
また、トランジスタ301の第1のゲート電極は、読み出し用ワード線RL1に接続され
ている。そして、トランジスタ301は、ソース電極とドレイン電極のうち、いずれか一
方が出力用データ線Dout1に接続され、他方がグラウンドなどの固定電位が与えられ
ている電源線304に接続されている。
電極に接続されており、他方がグラウンドなどの固定電位が与えられている電源線304
に接続されている。
ルアレイの回路図を、一例として示す。図6に示す記憶装置が有する各メモリセルの構成
は、図5と同じであり、実施の形態1において、メモリセル100の構成について説明し
た内容を参酌することができる。
配置した場合を例示している。具体的には、3×3のメモリセルを備えるセルアレイで、
入力用データ線Din1〜Din3、出力用データ線Dout1〜Dout3、書き込み
用ワード線WL1〜WL3、読み出し用ワード線RL1〜RL3、選択信号線SEL1〜
SEL2、電源線304が、セルアレイ内に配置されている場合を例示している。セルア
レイの駆動回路からの信号または電源電位が、これら配線を介して各メモリセルに供給さ
れる。よって、上記配線の数は、メモリセル300の数によって決めることができる。
えば、入力用データ線Din1、出力用データ線Dout1、書き込み用ワード線WL1
、読み出し用ワード線RL1に接続されているメモリセル300に着目すると、トランジ
スタ302のゲート電極は、書き込み用ワード線WL1に接続されている。そして、トラ
ンジスタ302は、ソース電極とドレイン電極のうち、いずれか一方が入力用データ線D
in1に接続され、他方が、トランジスタ301の第2のゲート電極に接続されている。
また、トランジスタ301の第1のゲート電極は、読み出し用ワード線RL1に接続され
ている。そして、トランジスタ301は、出力用データ線Dout1とグラウンドなどの
固定電位が与えられている電源線304の間において、隣接するメモリセルどうしで直列
に接続されている。
電極に接続されており、他方がグラウンドなどの固定電位が与えられている電源線304
に接続されている。
て、図21を用いて説明する。図21は、各配線に入力される信号の電位の時間変化を示
すタイミングチャートであり、トランジスタ301及びトランジスタ302がnチャネル
型であり、なおかつ2値のデータを扱う場合を例示している。
て、書き込み用ワード線WL1にパルスを有する信号が入力されると、当該パルスの電位
、具体的にはハイレベルの電位が、トランジスタ302のゲート電極に与えられる。そし
て、書き込み用ワード線WL1にゲート電極が接続されているトランジスタ302は、全
てオンになる。一方、読み出し用ワード線RL1にはローレベルの電位が入力されること
で、トランジスタ301の第1のゲート電極にはローレベルの電位が与えられる。そして
、読み出し用ワード線RL1に第1のゲート電極が接続されているトランジスタ301は
、全てオフになる。
力される。図21では、入力用データ線Din1と入力用データ線Din3にはハイレベ
ルの電位を有する信号を入力し、入力用データ線Din2にはローレベルの電位を有する
信号が入力されている場合を例示している。入力用データ線Din1〜Din3に入力さ
れる信号の電位のレベルは、データの内容によって当然異なる。
を介して、トランジスタ301が有する第2のゲート電極に与えられる。そして、第2の
ゲート電極の電位に従って、トランジスタ301の閾値電圧のシフト量が決まる。具体的
には、入力用データ線Din1と入力用データ線Din3にはハイレベルの電位を有する
信号が入力されているので、入力用データ線Din1に接続されているメモリセル300
と、入力用データ線Din3に接続されているメモリセル300において、トランジスタ
301の第2のゲート電極の電位は、ハイレベルとなっている。つまり、当該メモリセル
300において、記憶素子として機能するトランジスタ301は、図2における線130
に従って動作する。一方、入力用データ線Din2にはローレベルの電位を有する信号が
入力されているので、入力用データ線Din2に接続されているメモリセル300におい
て、トランジスタ301の第2のゲート電極の電位は、ローレベルとなっている。つまり
、当該メモリセル300において、記憶素子として機能するトランジスタ301は、図2
における線131に従って動作する。
ード線WL1にゲート電極が接続されているトランジスタ302が、全てオフになる。そ
して、書き込み用ワード線WL2、書き込み用ワード線WL3に、パルスを有する信号が
順に入力され、書き込み用ワード線WL2を有するメモリセル、書き込み用ワード線WL
3を有するメモリセルにおいて、上述した動作が同様に繰り返される。
ての書き込み用ワード線WL1〜WL3には、トランジスタ302がオフとなるレベルの
電位、具体的にはローレベルの電位が与えられる。トランジスタ302は、上述したよう
にオフ電流が著しく低いので、第2のゲート電極の電位は、書き込み時において設定され
たレベルを保持する。また、全ての読み出し用ワード線RL1〜RL3には、ローレベル
の電位が与えられている。
ている。しかし、実際のメモリの動作においては保持期間を設けなくとも良い。
いて、全ての書き込み用ワード線WL1〜WL3には、保持時と同様に、トランジスタ3
02がオフとなるレベルの電位、具体的にはローレベルの電位が与えられる。
電源線の間において、隣接するメモリセルどうしが直列に接続されている。とあるメモリ
セルのデータを読み出したい場合、当該メモリセルと同一の出力用データ線に接続されて
いるメモリセルを制御することで、当該メモリセルが接続された出力用データ線が、グラ
ウンドなどの固定電位が与えられている電源線と導通するか否かで、記憶されている2値
を区別することができる。
WL1、読み出し用ワード線RL1に接続されているメモリセル300に着目し、当該メ
モリセル300に記憶されたハイレベルのデータを読み出す場合について考える。当該メ
モリセル300が接続されている出力用データ線Dout1を選択するために、SEL1
およびSEL2をハイレベルの電位にし、SEL1に接続されたトランジスタ320およ
びSEL2に接続されたトランジスタ321をオンする。そして、当該メモリセル300
内のトランジスタ301の第1のゲート電極に接続された読み出し用ワード線RL1はロ
ーレベルにする。さらに、読み出し用ワード線RL2〜RL3にハイレベルの電位を与え
て、読み出し用ワード線RL2〜RL3に接続された各トランジスタ301をオンする。
当該メモリセル300のトランジスタ301は、第2のゲート電極にハイレベルのデータ
が書き込まれている。つまり、図2において示した、記憶素子として機能するトランジス
タ301の動作に従い、閾値電圧はマイナス側にシフトし、Vth1となっている。よっ
て、トランジスタ301はオンとなっている。したがって、出力用データ線Dout1に
接続されたトランジスタは全てオンとなり、出力用データ線Dout1はグラウンドが与
えられている電源線と導通し、グラウンドとおおよそ同じ電位になる。
1、読み出し用ワード線RL1に接続されているメモリセル300に着目し、当該メモリ
セル300に記憶されたローレベルのデータを読み出す場合を考える。出力用データ線D
out2を選択するために、SEL1およびSEL2をハイレベルの電位にし、SEL1
に接続されたトランジスタ320およびSEL2に接続されたトランジスタ321をオン
する。そして、当該メモリセル300内のトランジスタ301の第1のゲート電極に接続
された読み出し用ワード線RL1はローレベルにする。さらに、読み出し用ワード線RL
2〜RL3にハイレベルの電位を与えて、読み出し用ワード線RL2〜RL3に接続され
た各トランジスタ301をオンする。当該メモリセル300のトランジスタ301は、第
2のゲート電極にローレベルのデータが書き込まれている。つまり、図2において示した
、記憶素子として機能するトランジスタ301の動作に従い、閾値電圧はシフトせず、V
th0となっている。よって、トランジスタ301はオフとなっている。したがって、出
力用データ線Dout2はグラウンドが与えられている電源線とは導通せずに、ハイイン
ピーダンス状態となる。
の出力信号がメモリの実際の出力となる。
に当たり、SEL1およびSEL2の二つの選択信号線とそれぞれの信号線にゲート電極
が接続されたトランジスタを用いた場合を例示している。データの読み出し時における出
力用データ線の選択は、出力用データ線とそれにつながる読み出し回路との導通、非導通
を選択出来ればよいので、少なくとも一つの選択信号線とその選択信号線に接続されたト
ランジスタがあればよい。
順に行う駆動方法について説明したが、本発明はこの構成に限定されない。指定されたア
ドレスのメモリセルにおいてのみ、上記動作を行うようにしても良い。
データ線Dout、書き込み用ワード線WL、読み出し用ワード線RLの4つの配線が接
続されている場合を例示しているが、本発明の記憶装置において、各メモリセルに接続さ
れている配線の数はこれに限定されない。トランジスタ301のスイッチングを制御する
ための信号、トランジスタ302のスイッチングを制御するための信号、トランジスタ3
01が有する第2のゲート電極に電位を供給するための信号を、メモリセル300に供給
することができ、なおかつ、トランジスタ301のドレイン電流、またはソース電極とド
レイン電極間の抵抗値が、情報として含まれる電位を、駆動回路に送ることができるよう
に、配線の数及び接続構造を、適宜決めれば良い。
t2およびDout3の斜線部はデータが不確定な状態を表している。また、各信号の立
ち上がりは垂直に立ち上げ、各信号の立ち下がりは垂直に立ち下げているが、実際の各信
号は信号線の負荷やノイズ等の影響を受けるため各信号の波形が鈍ることは当業者であれ
ば容易に理解される。
て、図7を用いて説明する。図7は、各配線に入力される信号の電位の時間変化を示すタ
イミングチャートであり、トランジスタ301及びトランジスタ302がnチャネル型で
あり、なおかつ2値のデータを扱う場合を例示している。
て、書き込み用ワード線WL1に、パルスを有する信号が入力されると、当該パルスの電
位、具体的にはハイレベルの電位が、ゲート電極に与えられることで、書き込み用ワード
線WL1にゲート電極が接続されているトランジスタ302が、全てオンになる。一方、
読み出し用ワード線RL1には、記憶素子として機能するトランジスタの動作について示
した図2のVth1よりも低い電位を有する信号が入力されており、読み出し用ワード線
RL1に第1のゲート電極が接続されているトランジスタ301は、全てオフを維持する
。
力される。図7では、入力用データ線Din1〜Din3の全てに、ハイレベルの電位を
有する信号が入力されている場合を例示しているが、入力用データ線Din1〜Din3
に入力される信号の電位のレベルは、データの内容によって当然異なる。また、2値のデ
ータを扱う場合は、入力用データ線Din1〜Din3に入力される信号の電位が電源電
圧に相当する電位(例えばVddとVss)の2値であれば良いが、3値以上の多値のデ
ータを扱う場合は、その扱うデータに用いられている基数に合わせて、電位のレベルの数
を決めればよい。
を介して、トランジスタ301が有する第2のゲート電極に与えられる。そして、第2の
ゲート電極の電位に従って、トランジスタ301の閾値電圧のシフト量が決まる。
ード線WL1にゲート電極が接続されているトランジスタ302が、全てオフになる。そ
して、書き込み用ワード線WL2、書き込み用ワード線WL3に、パルスを有する信号が
順に入力され、書き込み用ワード線WL2を有するメモリセル、書き込み用ワード線WL
3を有するメモリセルにおいて、上述した動作が同様に繰り返される。
ての書き込み用ワード線WL1〜WL3には、トランジスタ302がオフとなるレベルの
電位、具体的にはローレベルの電位が与えられる。トランジスタ302は、上述したよう
にオフ電流が著しく低いので、第2のゲート電極の電位は、書き込み時において設定され
たレベルを保持する。また、全ての読み出し用ワード線RL1〜RL3には、トランジス
タ301がオフとなるレベルの電位、具体的には記憶素子として機能するトランジスタの
動作について示した図2のVth1よりも低い電位が与えられる。
いる。しかし、実際のメモリの動作においては保持期間を設けなくとも良い。
いて、全ての書き込み用ワード線WL1〜WL3には、保持時と同様に、トランジスタ3
02がオフとなるレベルの電位、具体的にはローレベルの電位が与えられる。
号が順に入力される。具体的には、まず、読み出し用ワード線RL1に、パルスを有する
信号が入力されると、当該パルスの電位、具体的には、記憶素子として機能するトランジ
スタの動作について示した図2のVth1よりも高くVth0よりも低い電位、あるいは
、Vth0よりも高い電位が、トランジスタ301の第1のゲート電極に与えられる。ト
ランジスタ301では、第1のゲート電極に記憶素子として機能するトランジスタの動作
について示した図2のVth1よりも高くVth0よりも低い電位、あるいは、Vth0
よりも高い電位が与えられると、直前の書き込み時において設定された閾値電圧に従って
、そのドレイン電流、またはソース電極とドレイン電極間の抵抗値が定まる。
値が、情報として含まれる電位、すなわちトランジスタ301が有するソース電極とドレ
イン電極のうち、出力用データ線Dout1〜Dout3に接続されている方の電極の電
位が、出力用データ線Dout1〜Dout3を介して駆動回路に供給される。
まれているデータに従って、そのレベルが決まる。よって、理想的には、複数のメモリセ
ルに同じ値のデータが記憶されているならば、当該メモリセルに接続された全ての出力用
データ線には、同じレベルの電位が供給されているはずである。しかし、実際には、トラ
ンジスタ301またはトランジスタ302の特性が、メモリセル間においてばらついてい
る場合があるため、読み出されるはずのデータが全て同じ値であっても、出力用データ線
に供給される電位にばらつきが生じ、その分布に幅を有することがある。よって、出力用
データ線Dout1〜Dout3に供給される電位に多少のばらつきが生じていても、上
記電位から、読み出されたデータを情報として含み、なおかつ、所望の仕様に合わせて振
幅、波形が処理された信号を形成することができる読み出し回路を、駆動回路として記憶
装置に設ける。
線Dout1〜Dout3の電位の、読み出し回路への入力を制御するためのスイッチン
グ素子として機能するトランジスタ310_1〜310_3と、抵抗として機能するトラ
ンジスタ311_1〜311_3とを有する。また、図9に示す読み出し回路は、オペア
ンプ312_1〜312_3を有している。
ン電極が接続されており、なおかつ、ゲート電極及びドレイン電極にハイレベルの電源電
位Vddが与えられている。また、トランジスタ311_1〜311_3は、ソース電極
が、オペアンプ312_1〜312_3の非反転入力端子(+)に接続されている。よっ
て、トランジスタ311_1〜311_3は、電源電位Vddが与えられているノードと
、オペアンプ312_1〜312_3の非反転入力端子(+)との間に接続された、抵抗
として機能する。なお、図9では、ゲート電極とドレイン電極が接続されたトランジスタ
を抵抗として用いたが、本発明はこれに限定されず、抵抗として機能する素子であれば代
替が可能である。
電極がビット線BL1〜BL3にそれぞれ接続されている。そして、ビット線BL1〜B
L3の電位に従って、出力用データ線Dout1〜Dout3と、トランジスタ311_
1〜311_3のソース電極との間の接続が制御される。
01と、読み出し回路内のトランジスタ311_1とが、直列に接続されるので、当該接
続のノードにおける電位Vdataが、オペアンプ312_1〜312_3の非反転入力
端子(+)に与えられることになる。そして、電位Vdataの高さは、トランジスタ3
01のソース電極とドレイン電極間の抵抗値と、トランジスタ311_1のソース電極と
ドレイン電極間の抵抗値の比に従って決まるので、電位Vdataのレベルには、読み出
されたデータの値が反映されている。
が与えられている。そして、非反転入力端子(+)に与えられる電位Vdataが、基準
電位Vrefに対して高いか低いかにより、出力端子の電位Voutのレベルを異ならせ
ることができ、それにより、間接的にデータを情報として含む信号を得ることができる。
らつきにより、読み出された電位Vdataのレベルにもばらつきが生じ、その分布に幅
を有する場合がある。よって、基準電位Vrefのレベルは、データの値を正確に読み取
るために、ノードの電位Vdataのばらつきを考慮して定める。
ているが、オペアンプの数はこれに限定されない。n値(nは2以上の自然数)のデータ
を扱う場合は、各出力用データ線に用いるオペアンプの数を、(n−1)とする。
の書き込み時と同様に、書き込み用ワード線WL1に、パルスを有する信号が入力される
と、当該パルスの電位、具体的にはハイレベルの電位が、ゲート電極に与えられることで
、書き込み用ワード線WL1にゲート電極が接続されているトランジスタ302は、全て
オンになる。一方、読み出し用ワード線RL1には、記憶素子として機能するトランジス
タの動作について示した図2のVth1よりも低い電位を有する信号が入力されており、
読み出し用ワード線RL1に第1のゲート電極が接続されているトランジスタ301は、
全てオフを維持する。
。図7では、入力用データ線Din1〜Din3の全てに、ローレベルの電位を有する信
号が入力されている場合を例示している。入力用データ線Din1〜Din3に入力され
ているローレベルの固定電位は、オンのトランジスタ302を介して、トランジスタ30
1が有する第2のゲート電極に与えられる。そして、第2のゲート電極の電位に従って、
トランジスタ301の閾値電圧の値はリセットされる。
ード線WL1にゲート電極が接続されているトランジスタ302が、全てオフになる。そ
して、書き込み用ワード線WL2、書き込み用ワード線WL3に、パルスを有する信号が
順に入力され、書き込み用ワード線WL2を有するメモリセル、書き込み用ワード線WL
3を有するメモリセルにおいて、上述した動作が同様に繰り返される。
いる。しかし、実際のメモリの動作においては消去期間を設けなくとも良く、この場合、
先に書き込んだデータに上書きするように、別のデータを書き込むようにすれば良い。消
去期間を設けなくても良いことが、本発明の一態様に係る記憶装置の利点の一つである。
において順に行う駆動方法について説明したが、本発明はこの構成に限定されない。指定
されたアドレスのメモリセルにおいてのみ、上記動作を行うようにしても良い。
データ線Dout、書き込み用ワード線WL、読み出し用ワード線RLの4つの配線が接
続されている場合を例示しているが、本発明の記憶装置において、各メモリセルに接続さ
れている配線の数はこれに限定されない。トランジスタ301のスイッチングを制御する
ための信号、トランジスタ302のスイッチングを制御するための信号、トランジスタ3
01が有する第2のゲート電極に電位を供給するための信号を、メモリセル300に供給
することができ、なおかつ、トランジスタ301のドレイン電流、またはソース電極とド
レイン電極間の抵抗値が、情報として含まれる電位を、駆動回路に送ることができるよう
に、配線の数及び接続構造を、適宜決めれば良い。
装置の、駆動回路の構成について説明する。
図8に示すブロック図では、記憶装置内の回路を機能ごとに分類し、互いに独立したブロ
ックとして示しているが、実際の回路は機能ごとに完全に切り分けることが難しく、一つ
の回路が複数の機能に係わることもあり得る。
と、セルアレイ500の駆動を制御する駆動回路501とを有している。そして、駆動回
路501は、セルアレイ500から読み出されたデータを情報として含む信号を生成する
読み出し回路502と、セルアレイ500が有するメモリセルを、行ごとに選択するワー
ド線駆動回路503と、選択されたメモリセルにおけるデータの書き込みまたは消去を制
御するデータ線駆動回路504と、読み出し回路502、ワード線駆動回路503、デー
タ線駆動回路504の動作を選択する制御回路505とを有している。また、ワード線駆
動回路503は、ワード線用デコーダ506を有する。また、データ線駆動回路504は
、データ線用デコーダ508と、データ線用セレクタ509とを有する。
でいればよい。本発明の一態様に係る記憶装置は、セルアレイと、セルアレイに駆動回路
の一部または全てが接続された状態にあるメモリモジュールとを、その範疇に含む。メモ
リモジュールは、プリント配線基板等に実装することが可能な接続端子が設けられ、なお
かつ樹脂等で保護された、所謂パッケージングされた状態であっても良い。
形成されていても良いし、セルアレイ500とは異なる基板に形成されていても良い。駆
動回路501の全てまたは一部と、セルアレイ500とが異なる基板に形成されている場
合、FPC(Flexible Printed Circuit)などを介してセルア
レイ500と駆動回路501の全てまたは一部とを接続することができる。この場合、駆
動回路501の一部がFPCにCOF(Chip On Film)法を用いて接続され
ていても良い。また、COG(Chip On Glass)法を用いて、駆動回路50
1の全てまたは一部がセルアレイ500に接続されていても良い。
置に接続する外部回路の部品点数が減るので、組立工程や検査工程の削減によるコストダ
ウンを図ることができる。また、記憶装置と外部回路の接続部における、接点の数を減ら
すことができるので、接続不良に起因する歩留まり低下を防ぎ、接続箇所における機械的
強度の低さによる信頼性の低下を防ぐことができる。また、ワード線駆動回路503、デ
ータ線用セレクタ509などの、駆動周波数が他の回路よりも比較的低い回路だけを、セ
ルアレイ500と共に一つの基板上に形成することも可能である。このように、部分的に
駆動回路501をセルアレイ500と共に一つの基板上に形成することで、上述した接続
不良に起因する歩留まりの低下や、接続箇所における機械的強度の低さなどの回避、組立
工程や検査工程の削減によるコストダウン、といったメリットをある程度享受できる。さ
らに、セルアレイ500、駆動回路501を全て一基板上に形成する場合に比べて、駆動
周波数が高い回路の性能をより高めることができる。
505は、アドレスの列方向に関する情報であるアドレスAxをデータ線駆動回路504
に送り、アドレスの行方向に関する情報であるアドレスAyをワード線駆動回路503に
送る。また、制御回路505は、記憶装置に入力されたデータを情報として含む信号DA
TAを、データ線駆動回路504に送る。
御回路505に供給されるRE(Read enable)、WE(Write ena
ble)、EE(Erase enable)などの信号によって選択される。なお、記
憶装置に複数のセルアレイ500が設けられている場合、制御回路505に、セルアレイ
を選択するための信号CE(Chip enable)が入力されていても良い。
ワード線駆動回路503が有するワード線用デコーダ506により、アドレスAyに対応
する書き込み用ワード線WLに、パルスを有する信号が入力される。一方、信号WEによ
って書き込みの動作が選択されると、制御回路505からの指示に従って、データ線駆動
回路504では、データ線用デコーダ508からデータ線用セレクタ509の動作を制御
する信号が、データ線用セレクタ509に与えられる。データ線用セレクタ509では、
データ線用デコーダ508からの信号に従って、データを情報として含む信号DATAを
サンプリングし、アドレスAxに対応する入力用データ線Dinにサンプリングした信号
を入力する。
ワード線駆動回路503が有するワード線用デコーダ506により、アドレスAyに対応
する読み出し用ワード線RLに、パルスを有する信号が入力される。一方、信号REによ
って読み出しの動作が選択されると、制御回路505からの指示に従って、読み出し回路
502では、アドレスAxに対応するビット線BLの電位を制御することで、トランジス
タ310_1〜310_3のうちアドレスAxに対応するトランジスタを、オンにする。
そして、該当するアドレスAxに対応する出力用データ線Doutの電位から、アドレス
のメモリセルに記憶されているデータを読み出し、該データを情報として含む信号を生成
する。
ド線駆動回路503が有するワード線用デコーダ506により、該当するアドレスAyの
書き込み用ワード線WLに、パルスを有する信号が入力される。一方、信号EEによって
消去の動作が選択されると、制御回路505からの指示に従って、データ線駆動回路50
4では、データ線用デコーダ508からデータ線用セレクタ509の動作を制御する信号
が、データ線用セレクタ509に与えられる。データ線用セレクタ509では、データ線
用デコーダ508からの信号に従って、データを消去するための信号を、該当するアドレ
スAxの入力用データ線Dinに入力する。
Lへの信号の入力と、読み出し用ワード線RLへの信号の入力とを、両方制御しているが
、本発明はこの構成に限定されない。書き込み用ワード線WLへの信号の入力を制御する
駆動回路と、読み出し用ワード線RLへの信号の入力を制御する駆動回路とを、それぞれ
記憶装置に設けるようにしても良い。
チャネルエッチ構造のボトムゲート型のトランジスタを例に挙げ、本発明の一態様に係る
記憶装置の作製方法について説明する。なお、本実施の形態では、記憶素子として機能す
るトランジスタと、スイッチング素子として機能するトランジスタとが、共に酸化物半導
体膜を活性層として用いる場合を例に挙げて、説明する。
する。
なくとも、後の加熱処理に耐えうる程度の耐熱性を有していることが必要となる。例えば
、フュージョン法やフロート法で作製されるガラス基板を用いることができる。ガラス基
板としては、後の加熱処理の温度が高い場合には、歪み点が730℃以上のものを用いる
と良い。また、ガラス基板には、例えば、アルミノシリケートガラス、アルミノホウケイ
酸ガラス、バリウムホウケイ酸ガラスなどのガラス材料が用いられている。なお、一般に
、酸化ホウ素と比較して酸化バリウム(BaO)を多く含ませることで、より実用的な耐
熱ガラスが得られる。このため、B2O3よりBaOを多く含むガラス基板を用いること
が好ましい。
縁体でなる基板を用いても良い。他にも、結晶化ガラスなどを用いることができる。ステ
ンレス合金などの金属基板の表面に絶縁膜を設けた基板を用いても良い。
い傾向にあるが、後の作製工程における処理温度に耐え得るのであれば、基板400とし
て用いることが可能である。プラスチック基板として、ポリエチレンテレフタレート(P
ET)に代表されるポリエステル、ポリエーテルスルホン(PES)、ポリエチレンナフ
タレート(PEN)、ポリカーボネート(PC)、ポリエーテルエーテルケトン(PEE
K)、ポリスルホン(PSF)、ポリエーテルイミド(PEI)、ポリアリレート(PA
R)、ポリブチレンテレフタレート(PBT)、ポリイミド、アクリロニトリルブタジエ
ンスチレン樹脂、ポリ塩化ビニル、ポリプロピレン、ポリ酢酸ビニル、アクリル樹脂など
が挙げられる。
形成しておいても良い。下地膜として、例えば、酸化珪素膜、酸化窒化珪素膜、窒化珪素
膜、窒化酸化珪素膜、窒化アルミニウム膜、または窒化酸化アルミニウム膜のいずれか1
つを単層で、或いは複数を積層させて用いることができる。特に、下地膜に、バリア性の
高い絶縁膜、例えば窒化珪素膜、窒化酸化珪素膜、窒化アルミニウム膜、または窒化酸化
アルミニウム膜などを用いることで、水分または水素などの雰囲気中の不純物、或いは基
板400内に含まれるアルカリ金属、重金属などの不純物が、酸化物半導体膜内、ゲート
絶縁膜内、或いは、酸化物半導体膜と他の絶縁膜の界面とその近傍に入り込むのを防ぐこ
とができる。
い物質であり、また、窒化酸化物とは、その組成として、酸素よりも窒素の含有量が多い
物質をいう。
、タングステン、ネオジム、スカンジウム等の金属材料、これら金属材料を主成分とする
合金材料を用いた導電膜、或いはこれら金属の窒化物を、単層で又は積層で用いることが
できる。なお、後の工程において行われる加熱処理の温度に耐えうるのであれば、上記金
属材料としてアルミニウム、銅を用いることも出来る。アルミニウムまたは銅は、耐熱性
や腐食性の問題を回避するために、高融点金属材料と組み合わせて用いると良い。高融点
金属材料としては、モリブデン、チタン、クロム、タンタル、タングステン、ネオジム、
スカンジウム等を用いることができる。
ウム膜上にモリブデン膜が積層された二層の積層構造、銅膜上にモリブデン膜を積層した
二層構造、銅膜上に窒化チタン膜若しくは窒化タンタル膜を積層した二層構造、または、
窒化チタン膜とモリブデン膜とを積層した二層構造とすることが好ましい。3層の積層構
造を有するゲート電極401、ゲート電極402としては、アルミニウム膜、アルミニウ
ムとシリコンの合金膜、アルミニウムとチタンの合金膜またはアルミニウムとネオジムの
合金膜を中間層とし、タングステン膜、窒化タングステン膜、窒化チタン膜またはチタン
膜を上下層として積層した構造とすることが好ましい。
ズ合金膜、酸化インジウム酸化亜鉛合金膜、酸化亜鉛膜、酸化亜鉛アルミニウム膜、酸窒
化亜鉛アルミニウム膜、または酸化亜鉛ガリウム膜等の透光性を有する酸化物導電膜を用
いることで、画素部の開口率を向上させることができる。
0nm〜200nmとする。本実施の形態では、タングステンターゲットを用いたスパッ
タ法により150nmのゲート電極用の導電膜を形成した後、該導電膜をエッチングによ
り所望の形状に加工(パターニング)することで、ゲート電極401、ゲート電極402
を形成する。なお、形成されたゲート電極の端部がテーパ形状であると、上に積層するゲ
ート絶縁膜の被覆性が向上するため好ましい。なお、レジストマスクをインクジェット法
で形成してもよい。レジストマスクをインクジェット法で形成するとフォトマスクを使用
しないため、製造コストを低減できる。
ート絶縁膜403は、プラズマCVD法又はスパッタリング法等を用いて、酸化珪素膜、
窒化珪素膜、酸化窒化珪素膜、窒化酸化珪素膜、酸化アルミニウム膜、窒化アルミニウム
膜、酸化窒化アルミニウム膜、窒化酸化アルミニウム膜、酸化ハフニウム膜または酸化タ
ンタル膜を単層で又は積層させて形成することができる。ゲート絶縁膜403は、水分や
、水素などの不純物を極力含まないことが望ましい。スパッタリング法により酸化珪素膜
を成膜する場合には、ターゲットとしてシリコンターゲット又は石英ターゲットを用い、
スパッタガスとして酸素又は、酸素及びアルゴンの混合ガスを用いる。
れた酸化物半導体)は界面準位、界面電荷に対して極めて敏感であるため、高純度化され
た酸化物半導体とゲート絶縁膜403との界面は重要である。そのため高純度化された酸
化物半導体に接するゲート絶縁膜(GI)は、高品質化が要求される。
い高品質な絶縁膜を形成できるので好ましい。高純度化された酸化物半導体と高品質ゲー
ト絶縁膜とが密接することにより、界面準位を低減して界面特性を良好なものとすること
ができるからである。
法やプラズマCVD法など他の成膜方法を適用することができる。また、成膜後の熱処理
によってゲート絶縁膜の膜質、ゲート絶縁膜と酸化物半導体との界面特性が改善される絶
縁膜であっても良い。いずれにしても、ゲート絶縁膜としての膜質が良好であることは勿
論のこと、ゲート絶縁膜と酸化物半導体との界面準位密度を低減し、良好な界面を形成で
きるものであれば良い。
膜などの絶縁膜とを積層させた構造を有するゲート絶縁膜403を形成しても良い。この
場合、酸化珪素膜、酸化窒化珪素膜などの絶縁膜は、バリア性の高い絶縁膜と酸化物半導
体膜の間に形成する。バリア性の高い絶縁膜として、例えば窒化珪素膜、窒化酸化珪素膜
、窒化アルミニウム膜、または窒化酸化アルミニウム膜などが挙げられる。バリア性の高
い絶縁膜を用いることで、水分または水素などの雰囲気中の不純物、或いは基板内に含ま
れるアルカリ金属、重金属などの不純物が、酸化物半導体膜内、ゲート絶縁膜403内、
或いは、酸化物半導体膜と他の絶縁膜の界面とその近傍に入り込むのを防ぐことができる
。また、酸化物半導体膜に接するように窒素の含有比率が低い酸化珪素膜、酸化窒化珪素
膜などの絶縁膜を形成することで、バリア性の高い絶縁膜が直接酸化物半導体膜に接する
のを防ぐことができる。
以下の窒化珪素膜(SiNy(y>0))を形成し、第1のゲート絶縁膜上に第2のゲー
ト絶縁膜として膜厚5nm以上300nm以下の酸化珪素膜(SiOx(x>0))を積
層して、膜厚100nmのゲート絶縁膜403としても良い。ゲート絶縁膜403の膜厚
は、トランジスタに要求される特性によって適宜設定すればよく、350nm乃至400
nm程度でもよい。
で形成された膜厚100nmの酸化珪素膜を積層させた構造を有する、ゲート絶縁膜40
3を形成する。
には、成膜の前処理として、スパッタリング装置の予備加熱室でゲート電極401、ゲー
ト電極402が形成された基板400を予備加熱し、基板400に吸着した水分または水
素などの不純物を脱離し排気することが好ましい。なお、予備加熱の温度としては、10
0℃以上400℃以下、好ましくは150℃以上300℃以下である。なお、予備加熱室
に設ける排気手段はクライオポンプが好ましい。なお、この予備加熱の処理は省略するこ
ともできる。
以上50nm以下、さらに好ましくは膜厚3nm以上20nm以下の酸化物半導体膜40
4を形成する。酸化物半導体膜404は、酸化物半導体をターゲットとして用い、スパッ
タ法により成膜する。また、酸化物半導体膜404は、希ガス(例えばアルゴン)雰囲気
下、酸素雰囲気下、又は希ガス(例えばアルゴン)及び酸素混合雰囲気下においてスパッ
タ法により形成することができる。
プラズマを発生させる逆スパッタを行い、ゲート絶縁膜403の表面に付着している塵埃
を除去することが好ましい。逆スパッタとは、ターゲット側に電圧を印加せずに、アルゴ
ン雰囲気下で基板側にRF電源を用いて電圧を印加して基板にプラズマを形成して表面を
改質する方法である。なお、アルゴン雰囲気に代えて窒素、ヘリウムなどを用いてもよい
。また、アルゴン雰囲気に酸素、水素、亜酸化窒素などを加えた雰囲気で行ってもよい。
また、アルゴン雰囲気に塩素、四フッ化炭素などを加えた雰囲気で行ってもよい。
化物半導体ターゲットを用いたスパッタ法により得られる膜厚30nmのIn−Ga−Z
n−O系非単結晶膜を、酸化物半導体膜404として用いる。上記ターゲットとして、例
えば、各金属の原子比がIn:Ga:Zn=1:1:0.5、In:Ga:Zn=1:1
:1、またはIn:Ga:Zn=1:1:2の組成比を有する酸化物半導体ターゲットを
用いることができる。また、スパッタリング法を用いる場合、SiO2を2重量%以上1
0重量%以下含むターゲットを用いて成膜を行ってもよい。また、In、Ga、及びZn
を含む酸化物半導体ターゲットの充填率は90%以上100%以下、好ましくは95%以
上99.9%以下である。充填率の高い酸化物半導体ターゲットを用いることにより、成
膜した酸化物半導体膜は緻密な膜となる。
び水分が除去されたスパッタガスを導入し、金属酸化物をターゲットとして基板400上
に酸化物半導体膜404を成膜する。成膜時に、基板温度を100℃以上600℃以下、
好ましくは200℃以上400℃以下としても良い。基板を加熱しながら成膜することに
より、成膜した酸化物半導体膜に含まれる不純物濃度を低減することができる。また、ス
パッタリングによる損傷が軽減される。処理室内の残留水分を除去するためには、吸着型
の真空ポンプを用いることが好ましい。例えば、クライオポンプ、イオンポンプ、チタン
サブリメーションポンプを用いることが好ましい。また、排気手段としては、ターボポン
プにコールドトラップを加えたものであってもよい。クライオポンプを用いて排気した成
膜室は、例えば、水素原子、水(H2O)など水素原子を含む化合物(より好ましくは炭
素原子を含む化合物も)等が排気されるため、当該成膜室で成膜した酸化物半導体膜に含
まれる不純物の濃度を低減できる。
、直流(DC)電源0.5kW、酸素(酸素流量比率100%)雰囲気下の条件が適用さ
れる。なお、パルス直流(DC)電源を用いると、成膜時に発生するパーティクルと呼ば
れる塵埃が軽減でき、膜厚分布も均一となるために好ましい。酸化物半導体膜は好ましく
は5nm以上30nm以下とする。なお、適用する酸化物半導体材料により適切な厚みは
異なり、材料に応じて適宜厚みを選択すればよい。
めに、成膜の前処理として、スパッタリング装置の予備加熱室でゲート絶縁膜403まで
が形成された基板400を予備加熱し、基板400に吸着した水分または水素などの不純
物を脱離し排気することが好ましい。なお、予備加熱の温度としては、100℃以上40
0℃以下、好ましくは150℃以上300℃以下である。なお、予備加熱室に設ける排気
手段はクライオポンプが好ましい。なお、この予備加熱の処理は省略することもできる。
またこの予備加熱は、絶縁膜411の成膜前に、ソース電極407及びドレイン電極40
8、ソース電極409及びドレイン電極410まで形成した基板400にも同様に行って
もよい。
Cスパッタリング法があり、さらにパルス的にバイアスを与えるパルスDCスパッタリン
グ法もある。RFスパッタリング法は主に絶縁膜を成膜する場合に用いられ、DCスパッ
タリング法は主に金属膜を成膜する場合に用いられる。
装置は、同一チャンバーで異なる材料膜を積層成膜することも、同一チャンバーで複数種
類の材料を同時に放電させて成膜することもできる。
タ装置や、グロー放電を使わずマイクロ波を用いて発生させたプラズマを用いるECRス
パッタリング法を用いるスパッタ装置がある。
ス成分とを化学反応させてそれらの化合物薄膜を形成するリアクティブスパッタリング法
や、成膜中に基板にも電圧をかけるバイアススパッタリング法もある。
してもよい。大気に触れさせることなく連続成膜することで、界面が、水やハイドロカー
ボンなどの、大気成分や大気中に浮遊する不純物元素に汚染されることなく各積層界面を
形成することができるので、トランジスタ特性のばらつきを低減することができる。
の形状に加工(パターニング)し、ゲート電極401、ゲート電極402と重なる位置に
おいて、ゲート絶縁膜403上に島状の酸化物半導体膜405、酸化物半導体膜406を
、それぞれ形成する。
インクジェット法で形成してもよい。レジストマスクをインクジェット法で形成するとフ
ォトマスクを使用しないため、製造コストを低減できる。
半導体膜405、酸化物半導体膜406の形成時に行うことができる。
は、ドライエッチングでもウェットエッチングでもよく、両方を用いてもよい。ドライエ
ッチングに用いるエッチングガスとしては、塩素を含むガス(塩素系ガス、例えば塩素(
Cl2)、塩化硼素(BCl3)、塩化珪素(SiCl4)、四塩化炭素(CCl4)な
ど)が好ましい。また、フッ素を含むガス(フッ素系ガス、例えば四弗化炭素(CF4)
、六弗化硫黄(SF6)、三弗化窒素(NF3)、トリフルオロメタン(CHF3)など
)、臭化水素(HBr)、酸素(O2)、これらのガスにヘリウム(He)やアルゴン(
Ar)などの希ガスを添加したガス、などを用いることができる。
ing)法や、ICP(Inductively Coupled Plasma:誘導
結合型プラズマ)エッチング法を用いることができる。所望の加工形状にエッチングでき
るように、エッチング条件(コイル型の電極に印加される電力量、基板側の電極に印加さ
れる電力量、基板側の電極温度等)を適宜調節する。
を用いることができる。また、ITO−07N(関東化学社製)を用いてもよい。また、
ウェットエッチング後のエッチング液はエッチングされた材料とともに洗浄によって除去
される。その除去された材料を含むエッチング液の廃液を精製し、含まれる材料を再利用
してもよい。当該エッチング後の廃液から酸化物半導体膜に含まれるインジウム等の材料
を回収して再利用することにより、資源を有効活用し低コスト化を図ることができる。
酸化物半導体膜406及びゲート絶縁膜403の表面に付着しているレジスト残渣などを
除去することが好ましい。
下、好ましくは10ppb以下の空気)、または希ガス(アルゴン、ヘリウムなど)の雰
囲気下において、酸化物半導体膜405、酸化物半導体膜406に加熱処理を施す。酸化
物半導体膜405、酸化物半導体膜406に加熱処理を施すことで、酸化物半導体膜40
5、酸化物半導体膜406中の水分または水素を脱離させることができる。具体的には、
300℃以上850℃以下(若しくはガラス基板の歪点以下の温度)、好ましくは550
℃以上750℃以下で加熱処理を行えば良い。例えば、600℃、3分間以上6分間以下
程度で行えばよい。RTA法を用いれば、短時間に脱水化または脱水素化が行えるため、
ガラス基板の歪点を超える温度でも処理することができる。或いは、基板温度が450℃
に達した状態で、1時間程度、加熱処理を行うようにしても良い。
化物半導体膜406に対して、窒素雰囲気下において、基板温度が600℃に達した状態
で6分間、加熱処理を行う。上記加熱処理の後は、水分または水素の再混入を防ぐために
、酸化物半導体膜405、酸化物半導体膜406を大気に触れさせないようにする。
輻射によって、被処理物を加熱する装置を備えていてもよい。例えば、GRTA(Gas
Rapid Thermal Anneal)装置、LRTA(Lamp Rapid
Thermal Anneal)装置等のRTA(Rapid Thermal An
neal)装置を用いることができる。LRTA装置は、ハロゲンランプ、メタルハライ
ドランプ、キセノンアークランプ、カーボンアークランプ、高圧ナトリウムランプ、高圧
水銀ランプなどのランプから発する光(電磁波)の輻射により、被処理物を加熱する装置
である。GRTA装置は、高温のガスを用いて加熱処理を行う装置である。気体には、ア
ルゴンなどの希ガス、または窒素のような、加熱処理によって被処理物と反応しない不活
性気体が用いられる。
動させて入れ、数分間加熱した後、基板を移動させて高温に加熱した不活性ガス中から出
すGRTAを行ってもよい。GRTAを用いると短時間での高温加熱処理が可能となる。
分または水素などが含まれないことが好ましい。または、加熱処理装置に導入する窒素、
またはヘリウム、ネオン、アルゴン等の希ガスの純度を、6N(99.9999%)以上
、好ましくは7N(99.99999%)以上、(即ち不純物濃度を1ppm以下、好ま
しくは0.1ppm以下)とすることが好ましい。
/cm、12時間のゲートバイアス・熱ストレス試験(BT試験)において、不純物と酸
化物半導体の主成分との結合手が、強電界(B:バイアス)と高温(T:温度)により切
断され、生成された不対結合手が閾値電圧(Vth)のドリフトを誘発することとなる。
しかし、上述したように、ゲート絶縁膜と酸化物半導体膜との界面特性を良好にし、なお
かつ、酸化物半導体膜中の不純物、特に水分または水素等を極力除去することにより、B
T試験に対しても安定なトランジスタが得られる。
それにより酸化物半導体膜の安定化を図ることができる。また、ガラス転移温度以下の加
熱処理で、キャリア密度が極端に少なく、バンドギャップの広い酸化物半導体膜を形成す
ることができる。このため、大面積基板を用いてトランジスタを作製することができるた
め、量産性を高めることができる。また、当該水素濃度が低減され高純度化された酸化物
半導体膜を用いることで、耐圧性が高く、ショートチャネル効果が低く、オンオフ比の高
いトランジスタを作製することができる。
の上表面に板状結晶が形成されることがある。板状結晶は、酸化物半導体膜の表面に対し
て略垂直にc軸配向した単結晶体であることが好ましい。また、単結晶体でなくともチャ
ネル形成領域で各結晶のab面が一致するか、a軸、或いは、b軸が全てにおいて一致し
、かつ、酸化物半導体膜の表面に対して略垂直にc軸配向した多結晶体であることが好ま
しい。なお、酸化物半導体膜の下地表面に凹凸がある場合、板状結晶は多結晶体となる。
物半導体膜406上に、ソース電極及びドレイン電極(これと同じ層で形成される配線を
含む)となる導電膜を形成した後、該導電膜をパターニングすることで、酸化物半導体膜
405上にソース電極407及びドレイン電極408、酸化物半導体膜406上にソース
電極409及びドレイン電極410を、それぞれ形成する。導電膜をスパッタ法や真空蒸
着法で形成すればよい。ソース電極及びドレイン電極(これと同じ層で形成される配線を
含む)となる導電膜の材料としては、Al、Cr、Cu、Ta、Ti、Mo、Wから選ば
れた元素、または上述した元素を成分とする合金か、上述した元素を組み合わせた合金膜
等が挙げられる。また、Al、Cuなどの金属膜の下側もしくは上側にCr、Ta、Ti
、Mo、Wなどの高融点金属膜を積層させた構成としても良い。また、Si、Ti、Ta
、W、Mo、Cr、Nd、Sc、YなどAl膜に生ずるヒロックやウィスカーの発生を防
止する元素が添加されているAl材料を用いることで耐熱性を向上させることが可能とな
る。
含むアルミニウム膜の単層構造、アルミニウム膜上にチタン膜を積層する2層構造、Ti
膜と、そのTi膜上に重ねてアルミニウム膜を積層し、さらにその上にTi膜を成膜する
3層構造などが挙げられる。
膜としては導電性の金属酸化物で形成しても良い。導電性の金属酸化物としては酸化イン
ジウム(In2O3)、酸化スズ(SnO2)、酸化亜鉛(ZnO)、酸化インジウム酸
化スズ合金(In2O3―SnO2、ITOと略記する)、酸化インジウム酸化亜鉛合金
(In2O3―ZnO)または前記金属酸化物材料にシリコン若しくは酸化シリコンを含
ませたものを用いることができる。
とが好ましい。
07及びドレイン電極408と、ソース電極409及びドレイン電極410とを形成した
後、レジストマスクを除去する。
やArFレーザ光を用いる。酸化物半導体膜405、酸化物半導体膜406上で隣り合う
ソース電極の下端部とドレイン電極の下端部との間隔幅によって後に形成されるトランジ
スタのチャネル長Lが決定される。なお、チャネル長L=25nm未満の露光を行う場合
には、フォトリソグラフィ工程でのレジストマスク形成時に、数nm〜数10nmと極め
て波長が短い超紫外線(Extreme Ultraviolet)を用いて露光を行う
。超紫外線による露光は、解像度が高く焦点深度も大きい。従って、後に形成されるトラ
ンジスタのチャネル長Lを10nm以上1000nm以下とすることも可能であり、回路
の動作速度を高速化でき、さらにオフ電流値が極めて小さいため、低消費電力化も図るこ
とができる。
べく除去されないようにそれぞれの材料及びエッチング条件を適宜調節する。
ンモニア過水)を用いて、導電膜をウェットエッチングすることで、ソース電極407及
びドレイン電極408と、ソース電極409及びドレイン電極410とを形成する。アン
モニア過水を含む溶液は、具体的には、31重量%の過酸化水素水と、28重量%のアン
モニア水と水とを、体積比5:2:2で混合した水溶液を用いる。或いは、塩素(Cl2
)、塩化硼素(BCl3)などを含むガスを用いて、導電膜をドライエッチングしても良
い。
及びドレイン電極410とを形成する際に、島状の酸化物半導体膜405、酸化物半導体
膜406の露出した部分が一部エッチングされることで、溝部(凹部)が形成されること
もある。また、ソース電極407及びドレイン電極408と、ソース電極409及びドレ
イン電極410とを形成するためのレジストマスクを、インクジェット法で形成してもよ
い。レジストマスクをインクジェット法で形成するとフォトマスクを使用しないため、製
造コストを低減できる。
した光に多段階の強度をもたせる多階調マスクによって形成されたレジストマスクを用い
てエッチング工程を行ってもよい。多階調マスクを用いて形成したレジストマスクは複数
の膜厚を有する形状となり、エッチングを行うことでさらに形状を変形することができる
ため、異なるパターンに加工する複数のエッチング工程に用いることができる。よって、
一枚の多階調マスクによって、少なくとも二種類以上の異なるパターンに対応するレジス
トマスクを形成することができる。よって露光マスク数を削減することができ、対応する
フォトリソグラフィ工程も削減できるため、工程の簡略化が可能となる。
マ処理によって露出している酸化物半導体膜の表面に付着した吸着水などを除去する。ま
た、酸素とアルゴンの混合ガスを用いてプラズマ処理を行ってもよい。
イン電極408と、ソース電極409及びドレイン電極410と、酸化物半導体膜405
と、酸化物半導体膜406とを覆うように、絶縁膜411を形成する。絶縁膜411は、
水分や、水素などの不純物を極力含まないことが望ましく、単層の絶縁膜であっても良い
し、積層された複数の絶縁膜で構成されていても良い。絶縁膜411に水素が含まれると
、その水素が酸化物半導体膜へ侵入し、又は水素が酸化物半導体膜中の酸素を引き抜き、
酸化物半導体膜のバックチャネル部が低抵抗化(n型化)してしまい、寄生チャネルが形
成されるおそれがある。よって、絶縁膜411はできるだけ水素を含まない膜になるよう
に、成膜方法に水素を用いないことが重要である。上記絶縁膜411には、バリア性の高
い材料を用いるのが望ましい。例えば、バリア性の高い絶縁膜として、窒化珪素膜、窒化
酸化珪素膜、窒化アルミニウム膜、または窒化酸化アルミニウム膜などを用いることがで
きる。複数の積層された絶縁膜を用いる場合、上記バリア性の高い絶縁膜よりも、窒素の
含有比率が低い酸化珪素膜、酸化窒化珪素膜などの絶縁膜を、酸化物半導体膜405、酸
化物半導体膜406に近い側に形成する。そして、窒素の含有比率が低い絶縁膜を間に挟
んで、ソース電極407及びドレイン電極408、ソース電極409及びドレイン電極4
10、及び酸化物半導体膜405、酸化物半導体膜406と重なるように、バリア性の高
い絶縁膜を形成する。バリア性の高い絶縁膜を用いることで、酸化物半導体膜405及び
酸化物半導体膜406内、ゲート絶縁膜403内、或いは、酸化物半導体膜405及び酸
化物半導体膜406と他の絶縁膜の界面とその近傍に、水分または水素などの不純物が入
り込むのを防ぐことができる。また、酸化物半導体膜405、酸化物半導体膜406に接
するように窒素の比率が低い酸化珪素膜、酸化窒化珪素膜などの絶縁膜を形成することで
、バリア性の高い材料を用いた絶縁膜が直接酸化物半導体膜405、酸化物半導体膜40
6に接するのを防ぐことができる。
法で形成された膜厚100nmの窒化珪素膜を積層させた構造を有する、絶縁膜411を
形成する。成膜時の基板温度は、室温以上300℃以下とすればよく、本実施の形態では
100℃とする。
、超乾燥空気(水の含有量が20ppm以下、好ましくは1ppm以下、好ましくは10
ppb以下の空気)、または希ガス(アルゴン、ヘリウムなど)の雰囲気下において、好
ましくは200℃以上400℃以下、例えば250℃以上350℃以下で行う。本実施の
形態では、例えば、窒素雰囲気下で250℃、1時間の加熱処理を行う。或いは、ソース
電極407及びドレイン電極408と、ソース電極409及びドレイン電極410とを形
成する前に、酸化物半導体膜に対して行った先の加熱処理と同様に、高温短時間のRTA
処理を行っても良い。酸化物半導体膜に対して行った先の加熱処理により、酸化物半導体
膜405及び酸化物半導体膜406に酸素欠損が発生していたとしても、ソース電極40
7とドレイン電極408の間に設けられた酸化物半導体膜405の露出領域と、酸素を含
む絶縁膜411とが接して設けられた後、または、ソース電極409とドレイン電極41
0の間に設けられた酸化物半導体膜406の露出領域と、酸素を含む絶縁膜411とが接
して設けられた後に、加熱処理が施されることによって、酸化物半導体膜405、酸化物
半導体膜406に酸素が供与される。そのため、酸化物半導体膜405、酸化物半導体膜
406の絶縁膜411と接する領域に酸素が供与されることで、ドナーとなる酸素欠損を
低減し、化学量論的組成比を満たす構成とすることが可能である。その結果、酸化物半導
体膜405及び酸化物半導体膜406をi型化または実質的にi型化にすることができ、
トランジスタの電気特性の向上および、電気特性のばらつきを軽減することができる。こ
の加熱処理を行うタイミングは、絶縁膜411の形成後であれば特に限定されない。他の
工程における加熱処理、例えば樹脂膜形成時の加熱処理や、透明導電膜を低抵抗化させる
ための加熱処理が、上記加熱処理を兼ねるようにすることで、工程数を増やすことなく、
酸化物半導体膜405及び酸化物半導体膜406をi型化または実質的にi型化にするこ
とができる。
なお、図11(A)の破線A1−A2における断面図が、図10(D)に相当する。
ン電極408の一部を露出させる。そして、図10(E)に示すように、絶縁膜411上
に導電膜を形成した後、該導電膜をパターニングすることで、酸化物半導体膜406と重
なる位置にバックゲート電極413を形成した後、バックゲート電極413を覆うように
絶縁膜414を形成する。バックゲート電極413は、コンタクトホール412において
ドレイン電極408に接続されている。バックゲート電極413は、ゲート電極401、
ゲート電極402、或いはソース電極407及びドレイン電極408、ソース電極409
及びドレイン電極410と同様の材料、構造を用いて形成することが可能である。
0nmとする。本実施の形態では、チタン膜、アルミニウム膜、チタン膜が積層された構
造を有する導電膜を形成した後、フォトリソグラフィ法などによりレジストマスクを形成
し、エッチングにより不要な部分を除去して、該導電膜を所望の形状に加工(パターニン
グ)することで、バックゲート電極413を形成する。
ぐことができる、バリア性の高い材料を用いるのが望ましい。例えば、バリア性の高い絶
縁膜として、窒化珪素膜、窒化酸化珪素膜、窒化アルミニウム膜、または窒化酸化アルミ
ニウム膜などを、プラズマCVD法又はスパッタリング法等により単層で又は積層させて
形成することができる。バリア性の効果を得るには、絶縁膜414は、例えば厚さ15n
m〜400nmの膜厚で形成することが好ましい。
、シランガスの流量を4sccmとし、一酸化二窒素(N2O)の流量を800sccm
とし、基板温度を400℃とする。
して機能するトランジスタ421と、容量素子430が形成される。図11(B)に、図
10(E)に示すメモリセルの上面図を示す。図10(E)は、図11(B)の破線A1
−A2における断面図に相当する。
、ゲート電極401上のゲート絶縁膜403と、ゲート絶縁膜403上においてゲート電
極401と重なっている酸化物半導体膜405と、酸化物半導体膜405上に形成された
一対のソース電極407またはドレイン電極408とを有する。さらに、トランジスタ4
20は、酸化物半導体膜405上に形成された絶縁膜411を、その構成要素に含めても
良い。図10(E)に示すトランジスタ420は、ソース電極407とドレイン電極40
8の間において、酸化物半導体膜405の一部がエッチングされたチャネルエッチ構造で
ある。
要に応じて、電気的に接続された複数のゲート電極401を有することで、チャネル形成
領域を複数有する、マルチゲート構造のトランジスタも形成することができる。
02と、ゲート電極402上のゲート絶縁膜403と、ゲート絶縁膜403上においてゲ
ート電極402と重なっている酸化物半導体膜406と、酸化物半導体膜406上に形成
された一対のソース電極409またはドレイン電極410と、酸化物半導体膜406、ソ
ース電極409、ドレイン電極410上に形成された絶縁膜411と、絶縁膜411上に
おいて、酸化物半導体膜406及びゲート電極402と重なっているバックゲート電極4
13と、を有する。さらに、トランジスタ421は、バックゲート電極413上に形成さ
れた絶縁膜414を、その構成要素に含めても良い。図10(E)に示すトランジスタ4
21は、ソース電極409とドレイン電極410の間において、酸化物半導体膜406の
一部がエッチングされたチャネルエッチ構造である。
要に応じて、電気的に接続された複数のゲート電極402を有することで、チャネル形成
領域を複数有する、マルチゲート構造のトランジスタも形成することができる。
413とが、絶縁膜411を間に挟んで重なりあっている領域に形成されている。
書き込み、読み出し、保持、消去などの、記憶素子としての動作を選択することができる
、第1の電極として機能する。また、バックゲート電極413は、その電位を制御するこ
とで、記憶素子として用いるトランジスタ421の閾値電圧の値を制御することができる
、第2のゲート電極として機能する。なお、本実施の形態では、記憶素子として用いるト
ランジスタ421において、酸化物半導体膜406の前に形成されるゲート電極402を
第1の電極、酸化物半導体膜406の後に形成されるバックゲート電極413を第2の電
極として用いるメモリセルについて例示しているが、本発明はこの構成に限定されない。
例えば、記憶素子として用いるトランジスタ421において、酸化物半導体膜406の前
に形成されるゲート電極402を第2の電極、酸化物半導体膜406の後に形成されるバ
ックゲート電極413を第1の電極として、動作させることも可能である。ただし、この
場合、バックゲート電極413の代わりに、ゲート電極402を、トランジスタ420の
ドレイン電極408に接続させるようにする。
ている場合を例示しているが、本発明はこの構成に限定されない。バックゲート電極41
3は、酸化物半導体膜406が有するチャネル形成領域の一部と少なくとも重なっていれ
ば良い。
のバンドギャップは3.26eV、窒化ガリウムのバンドギャップは3.39eVと、と
もにシリコンの約3倍程度の大きなバンドギャップを有している。よって、これら炭化シ
リコンや窒化ガリウムなどの化合物半導体は、ワイドギャップ半導体という点において、
酸化物半導体と共通であり、バンドギャップが大きいという特性が、トランジスタの耐圧
向上、電力損失の低減などに有利である。
を極力除去し、酸化物半導体膜を高純度化することが、トランジスタの特性にどのように
影響を与えるかを以下に説明する。
極(GE)上にゲート絶縁膜(GI)を介して酸化物半導体膜(OS)が設けられ、その
上にソース電極(S)及びドレイン電極(D)が設けられ、ソース電極(S)およびドレ
イン電極(D)を覆うように絶縁膜が設けられている。
、図13において、黒丸(●)は電子を示し、白丸(○)は正孔を示し、それぞれは電荷
−qと+qを有している。ドレイン電極(D)に正の電圧(VD>0)を印加した上で、
破線はゲート電極(GE)に電圧を印加しない場合(VG=0)、実線はゲート電極(G
E)に正の電圧(VG>0)を印加する場合を示す。ゲート電極(GE)に電圧を印加し
ない場合は高いポテンシャル障壁のためにソース電極(S)から酸化物半導体膜(OS)
側へキャリア(電子)が注入されず、電流を流さないオフ状態を示す。一方、ゲート電極
(GE)に正の電圧を印加するとポテンシャル障壁が低下し、電流を流すオン状態を示す
。
14(A)はゲート電極(GE)に正の電位(VG>0)が印加された状態であり、ソー
ス電極(S)とドレイン電極(D)間にキャリア(電子)が流れるオン状態を示している
。また、図14(B)は、ゲート電極(GE)に負の電位(VG<0)が印加された状態
であり、オフ状態(少数キャリアは流れない)である場合を示す。
を示す。
従来の酸化物半導体は一般にn型であり、その場合のフェルミ準位(Ef)は、バンドギ
ャップ中央に位置する真性フェルミ準位(Ei)から離れて、伝導帯(Ec)寄りに位置
している。なお、酸化物半導体において水素の一部はドナーとなり、酸化物半導体がn型
化する一つの要因であることが知られている。また、酸素欠損もn型化する一つの要因で
あることが知られている。
化物半導体の主成分以外の不純物が極力含まれないように高純度化し、かつ、酸素欠損を
除去することにより、酸化物半導体を限りなく真性に近づけたものである。すなわち、不
純物を添加して酸化物半導体をi型化するのでなく、水分または水素等の不純物や酸素欠
損を極力除去して高純度化することにより、i型(真性半導体)又はi型(真性半導体)
に限りなく近い酸化物半導体を得ることを特徴としている。上記構成により、矢印で示す
ように、フェルミ準位(Ef)は真性フェルミ準位(Ei)と同じレベルに限りなく近づ
けることができる。
と言われている。ソース電極及びドレイン電極を構成するチタン(Ti)の仕事関数は、
酸化物半導体の電子親和力(χ)とほぼ等しい。この場合、金属−酸化物半導体界面にお
いて、電子に対してショットキー型の障壁は形成されない。
との界面における、酸化物半導体側のエネルギー的に安定な最低部を移動する。
リアであるホールは実質的にゼロであるため、電流は限りなくゼロに近い値となる。
半導体のバンドギャップは、3.05eVであり、この値を元に真性キャリア密度を計算
する。固体中の電子のエネルギー分布f(E)は次の式で示されるフェルミ・ディラック
統計に従うことが知られている。
する。
近似される。
、Nv)、バンドギャップ(Eg)の値を代入し、真性キャリア密度を計算した。その結
果を表1に示す。
ことがわかる。In−Ga−Zn−O系酸化物半導体のバンドギャップとして3.05e
Vを選んだ場合、SiとIn−Ga−Zn−O系酸化物半導体とでは、真性キャリア密度
におよそフェルミ・ディラックの分布則が正しいと仮定して、前者は後者よりキャリア密
度が約1017倍大きいと言える。
その結果について説明する。
保持容量の電荷を保持するためのスイッチング素子として、高純度化された酸化物半導体
膜を有するトランジスタを用い、上記保持容量の単位時間あたりの電荷量の推移から、上
記トランジスタのオフ電流を測定するものである。
1〜測定系801−3が、並列に接続された構成を有している。そして、測定系801−
1〜測定系801−3は、容量素子802と、測定の対象となるトランジスタ803とを
、それぞれ有している。さらに、測定系801−1〜測定系801−3は、トランジスタ
804〜トランジスタ806を、それぞれ有している。
に接続されている。また、トランジスタ803は、ソース電極が電位Vbの与えられるノ
ードに接続されており、ドレイン電極がノードAに接続されている。また、トランジスタ
804のゲート電極は、電位Vgaが与えられるノードに接続されている。また、トラン
ジスタ804は、ソース電極がノードAに接続されており、ドレイン電極が電位Vaの与
えられるノードに接続されている。また、トランジスタ805のゲート電極とドレイン電
極は、電位Vaが与えられるノードに接続されている。また、トランジスタ806のゲー
ト電極は、ノードAに接続されており、トランジスタ806は、ソース電極が電位Vbの
与えられるノードに接続されている。そして、トランジスタ805のソース電極とトラン
ジスタ806のドレイン電極とが接続されており、これら2つの電極の電位が、電位Vo
ut1〜電位Vout3として、各測定系からそれぞれ出力される。容量素子802が有
する一対の電極は、一方がノードAに接続され、他方が電位Vbの与えられるノードに接
続されている。
30nmの酸化物半導体膜と、膜厚が100nmのゲート絶縁膜を用いた。そして、トラ
ンジスタ803のチャネル形成領域は、チャネル長L=10μm、チャネル幅W=50μ
mとした。また、各測定系が有する容量素子802の容量値は、それぞれ、100fF、
1pF、3pFとした。
高さに設定する。これによって、トランジスタ803がオンとなり、ノードAには電位V
b、すなわちローレベルの電位VSSが与えられる。その後、電位Vgbを、トランジス
タ803がオフとなるような高さに設定することで、トランジスタ803をオフとする。
次に、電位Vgaを、トランジスタ804がオンとなるような高さに設定する。これによ
って、ノードAには電位Va、すなわちハイレベルの電位VDDが与えられ、容量素子8
02の一対の電極間には、ローレベルの電位VSSとハイレベルの電位VDDの電位差が
印加された状態となる。その後、電位Vgaの高さを、トランジスタ804がオフとなる
ような高さに設定することで、トランジスタ804がオフとなり、ノードAがフローティ
ング状態となる。
電荷が流れ込む、またはノードAから電荷が流れ出すような高さに設定する。本実施の形
態では、電位Vaおよび電位Vbをローレベルの電位VSSとした。なお、電位Vout
を測定するタイミングにおいて、一時的に電位Vaをハイレベルの電位VDDに設定した
が、それ以外は電位Vaおよび電位Vbをローレベルの電位VSSに維持した。
される電荷量は変動する。そして、ノードAに保持される電荷量の変動に伴って、ノード
Aの電位が変動するため、電位Vout1〜Vout3は、トランジスタ803のオフ電
流の値に従って、その高さが変化する。
には、電位Vaを原則として電位VSSとし、10〜300secごとに、100mse
cの期間だけ電位Vaを電位VDDにして、電位Vout1〜電位Vout3を測定した
。
時間程度から、電位変化の様子が確認できる。
utからノードAの電位VAを求めることが可能である。一般に、ノードAの電位VAは
、電位Voutの関数として次式のように表すことができる。
数(const)を用いて、次式のように表される。ここで、ノードAに接続される容量
CAは、容量素子802の容量値と他の容量(トランジスタ805及びトランジスタ80
6で構成される回路の入力容量など)の和である。
間微分であるから、ノードAの電流Iは次式のように表現される。
ドAの電流Iを求めることができる。
電流Iの算出に用いられるΔtは、約30000secとした。なお、図20は、ソース
電極ドレイン電極間電圧Vと、オフ電流Iとの関係を表すものである。図20から、ソー
ス電極ドレイン電極間電圧が4Vの条件において、オフ電流は約40zA/μmであるこ
とが分かる。
ように、酸化物半導体膜を高純度化することにより、トランジスタの動作を良好なものと
することができる。
本実施の形態では、本発明の一態様に係る記憶装置を用いた半導体装置の一つである、携
帯型の記憶媒体の一例について説明する。
A)に示す記憶媒体は、本発明の一態様に係る記憶装置701と、駆動装置と記憶媒体の
電気的な接続を行うコネクタ702と、コネクタ702を介して入出力される各種信号に
、仕様に合わせて信号処理を施すインターフェース703と、記憶媒体の動作状態などに
従って点灯する発光ダイオード704と、記憶装置701、インターフェース703、発
光ダイオード704などの、記憶媒体内の各種回路や半導体素子の動作を制御するコント
ローラ705とが、プリント配線基板706に実装されている。その他に、コントローラ
705の動作を制御するためのクロック信号を生成するのに用いられる水晶振動子、記憶
媒体内における電源電圧の高さを制御するためのレギュレータなどが設けられていても良
い。
02と発光ダイオード704が一部露出するように、樹脂等を用いたカバー材707で覆
って、保護するようにしても良い。
とができるので、記憶装置701を用いる記憶媒体の低消費電力化、延いては記憶媒体に
接続される駆動装置の低消費電力化を実現することができる。また、本発明の一態様にか
かる記憶装置701は、長期間に渡るデータの保持が可能であり、なおかつデータの書き
換え回数を増やすことができるので、記憶媒体の信頼性を高めることができる。また、長
期間に渡るデータの保持が可能であり、なおかつデータの書き換え回数を増やすことがで
きるので、記憶媒体の動作条件の制約が緩くなり、記憶媒体の汎用性を高めることができ
る。
い電子機器、高速駆動の電子機器を提供することが可能である。特に電力の供給を常時受
けることが困難な携帯用の電子機器の場合、本発明の一態様に係る消費電力の低い半導体
装置をその構成要素に追加することにより、連続使用時間が長くなるといったメリットが
得られる。
ので、ガラスよりも耐熱性の劣る、プラスチック等の可撓性を有する合成樹脂からなる基
板上においても、特性が優れており、信頼性が高いトランジスタを作製することが可能で
ある。従って、本発明の一態様に係る作製方法を用いることで、信頼性が高く、軽量かつ
フレキシブルな半導体装置を提供することが可能である。プラスチック基板として、ポリ
エチレンテレフタレート(PET)に代表されるポリエステル、ポリエーテルスルホン(
PES)、ポリエチレンナフタレート(PEN)、ポリカーボネート(PC)、ポリエー
テルエーテルケトン(PEEK)、ポリスルホン(PSF)、ポリエーテルイミド(PE
I)、ポリアリレート(PAR)、ポリブチレンテレフタレート(PBT)、ポリイミド
、アクリロニトリルブタジエンスチレン樹脂、ポリ塩化ビニル、ポリプロピレン、ポリ酢
酸ビニル、アクリル樹脂などが挙げられる。
媒体を備えた画像再生装置(代表的にはDVD:Digital Versatile
Disc等の記録媒体を再生し、その画像を表示しうるディスプレイを有する装置)に用
いることができる。その他に、本発明の一態様に係る半導体装置を用いることができる電
子機器として、携帯電話、携帯型ゲーム機、携帯情報端末、電子書籍、ビデオカメラ、デ
ジタルスチルカメラ、ゴーグル型ディスプレイ(ヘッドマウントディスプレイ)、ナビゲ
ーションシステム、音響再生装置(カーオーディオ、デジタルオーディオプレイヤー等)
、複写機、ファクシミリ、プリンター、プリンター複合機、現金自動預け入れ払い機(A
TM)、自動販売機などが挙げられる。これら電子機器の具体例を図17に示す。
表示部7034、マイクロホン7035、スピーカー7036、操作キー7037、スタ
イラス7038等を有する。本発明の一態様に係る半導体装置は、携帯型ゲーム機の駆動
を制御するための集積回路に用いることができる。携帯型ゲーム機の駆動を制御するため
の集積回路に本発明の一態様に係る半導体装置を用いることで、信頼性が高い携帯型ゲー
ム機、消費電力の低い携帯型ゲーム機、高速駆動の携帯型ゲーム機、高機能の携帯型ゲー
ム機を提供することができる。なお、図17(A)に示した携帯型ゲーム機は、2つの表
示部7033と表示部7034とを有しているが、携帯型ゲーム機が有する表示部の数は
、これに限定されない。
音声出力部7044、操作キー7045、受光部7046等を有する。受光部7046に
おいて受信した光を電気信号に変換することで、外部の画像を取り込むことができる。本
発明の一態様に係る半導体装置は、携帯電話の駆動を制御するための集積回路に用いるこ
とができる。携帯電話の駆動を制御するための集積回路に本発明の一態様に係る半導体装
置を用いることで、信頼性が高い携帯電話、消費電力の低い携帯電話、高速駆動の携帯電
話、高機能の携帯電話を提供することができる。
等を有する。図17(C)に示す携帯情報端末は、モデムが筐体7051に内蔵されてい
ても良い。本発明の一態様に係る半導体装置は、携帯情報端末の駆動を制御するための集
積回路に用いることができる。携帯情報端末の駆動を制御するための集積回路に本発明の
一態様に係る半導体装置を用いることで、信頼性が高い携帯情報端末、消費電力の低い携
帯情報端末、高速駆動の携帯情報端末、高機能の携帯情報端末を提供することができる。
101 トランジスタ
102 トランジスタ
103 容量素子
110 基板
111 ゲート電極
112 絶縁膜
113 酸化物半導体膜
114 ソース電極
115 ドレイン電極
116 絶縁膜
117 絶縁膜
121 ゲート電極
123 酸化物半導体膜
124 ソース電極
125 ドレイン電極
126 ゲート電極
130 線
131 線
140 基板
141 ゲート電極
142 絶縁膜
143 酸化物半導体膜
144 ソース電極
145 ドレイン電極
146 絶縁膜
147 絶縁膜
148 チャネル保護膜
151 ゲート電極
153 酸化物半導体膜
154 ソース電極
155 ドレイン電極
156 ゲート電極
157 チャネル保護膜
160 基板
161 ゲート電極
162 絶縁膜
163 酸化物半導体膜
164 ソース電極
165 ドレイン電極
166 絶縁膜
167 絶縁膜
171 ゲート電極
173 酸化物半導体膜
174 ソース電極
175 ドレイン電極
176 ゲート電極
200 基板
208 酸化物半導体膜
211 ゲート電極
212 絶縁膜
213 酸化物半導体膜
214 ソース電極
215 ドレイン電極
216 絶縁膜
217 絶縁膜
221 ゲート電極
223 半導体膜
224 ソース電極
225 ドレイン電極
226 ゲート電極
230 絶縁膜
231 絶縁膜
241 ゲート電極
242 絶縁膜
243 酸化物半導体膜
244 ソース電極
245 ドレイン電極
246 絶縁膜
247 絶縁膜
251 ゲート電極
253 半導体膜
254 ソース電極
255 ドレイン電極
256 ゲート電極
260 絶縁膜
261 絶縁膜
270 基板
300 メモリセル
301 トランジスタ
302 トランジスタ
303 容量素子
304 電源線
310_1 トランジスタ
310_2 トランジスタ
310_3 トランジスタ
311_1 トランジスタ
311_2 トランジスタ
311_3 トランジスタ
312_1 オペアンプ
312_2 オペアンプ
312_3 オペアンプ
320 トランジスタ
321 トランジスタ
400 基板
401 ゲート電極
402 ゲート電極
403 ゲート絶縁膜
404 酸化物半導体膜
405 酸化物半導体膜
406 酸化物半導体膜
407 ソース電極
408 ドレイン電極
409 ソース電極
410 ドレイン電極
411 絶縁膜
412 コンタクトホール
413 バックゲート電極
414 絶縁膜
420 トランジスタ
421 トランジスタ
430 容量素子
500 セルアレイ
501 駆動回路
502 読み出し回路
503 ワード線駆動回路
504 データ線駆動回路
505 制御回路
506 ワード線用デコーダ
508 データ線用デコーダ
509 データ線用セレクタ
701 記憶装置
702 コネクタ
703 インターフェース
704 発光ダイオード
705 コントローラ
706 プリント配線基板
707 カバー材
801−1 測定系
801−2 測定系
801−3 測定系
802 容量素子
803 トランジスタ
804 トランジスタ
805 トランジスタ
806 トランジスタ
7031 筐体
7032 筐体
7033 表示部
7034 表示部
7035 マイクロホン
7036 スピーカー
7037 操作キー
7038 スタイラス
7041 筐体
7042 表示部
7043 音声入力部
7044 音声出力部
7045 操作キー
7046 受光部
7051 筐体
7052 表示部
7053 操作キー
Claims (1)
- 第1の導電層と、第2の導電層と、第3の導電層と、第4の導電層と、第5の導電層と、第6の導電層と、第7の導電層と、第1の酸化物半導体層と、第2の酸化物半導体層と、を有し、
前記第1の酸化物半導体層は、第1のトランジスタのチャネル形成領域を含み、
前記第1の導電層は、前記第1のトランジスタの第1のゲートとなることができる機能を有し、
前記第2の導電層は、前記第1のトランジスタの第2のゲートとなることができる機能を有し、
前記第3の導電層は、前記第1の酸化物半導体層の上面の第1の領域に接して設けられ、前記第1のトランジスタのソース電極又はドレイン電極の一方となることができる機能を有し、
前記第4の導電層は、前記第1の酸化物半導体層の上面の第2の領域に接して設けられ、前記第1のトランジスタのソース電極又はドレイン電極の他方となることができる機能を有し、
前記第2の酸化物半導体層は、第2のトランジスタのチャネル形成領域を含み、
前記第5の導電層は、前記第2のトランジスタのゲートとなることができる機能を有し、
前記第6の導電層は、前記第2の酸化物半導体層の上面の第3の領域に接して設けられ、前記第2のトランジスタのソース電極又はドレイン電極の一方となることができる機能を有し、
前記第7の導電層は、前記第2の酸化物半導体層の上面の第4の領域に接して設けられ、前記第2のトランジスタのソース電極又はドレイン電極の他方となることができる機能を有し、
前記第7の導電層は、前記第2の導電層と電気的に接続され、
前記第2の導電層は、前記第4の導電層と重なる領域を有し、
前記第1の導電層と前記第5の導電層には異なる電位が与えられる半導体装置の作製方法であって、
前記第1の導電層と、前記第5の導電層とは、第1の導電膜をエッチング加工する工程を経て形成され、
前記第3の導電層と、前記第4の導電層と、前記第6の導電層と、前記第7の導電層とは、第2の導電膜をエッチング加工する工程を経て形成され、
前記第3の導電層と前記第4の導電層との間において前記第1の酸化物半導体層と接し、且つ、前記第6の導電層と前記第7の導電層の間において前記第2の酸化物半導体層と接する絶縁層から、前記第1の酸化物半導体層及び前記第2の酸化物半導体層に酸素を導入することを特徴とする半導体装置の作製方法。
Priority Applications (1)
| Application Number | Priority Date | Filing Date | Title |
|---|---|---|---|
| JP2015100896A JP6086938B2 (ja) | 2009-12-28 | 2015-05-18 | 半導体装置の作製方法 |
Applications Claiming Priority (3)
| Application Number | Priority Date | Filing Date | Title |
|---|---|---|---|
| JP2009297140 | 2009-12-28 | ||
| JP2009297140 | 2009-12-28 | ||
| JP2015100896A JP6086938B2 (ja) | 2009-12-28 | 2015-05-18 | 半導体装置の作製方法 |
Related Parent Applications (1)
| Application Number | Title | Priority Date | Filing Date |
|---|---|---|---|
| JP2015034097A Division JP5933777B2 (ja) | 2009-12-28 | 2015-02-24 | 半導体装置の作製方法 |
Related Child Applications (1)
| Application Number | Title | Priority Date | Filing Date |
|---|---|---|---|
| JP2017015609A Division JP6275892B2 (ja) | 2009-12-28 | 2017-01-31 | 半導体装置の作製方法 |
Publications (3)
| Publication Number | Publication Date |
|---|---|
| JP2015156515A JP2015156515A (ja) | 2015-08-27 |
| JP2015156515A5 JP2015156515A5 (ja) | 2015-12-24 |
| JP6086938B2 true JP6086938B2 (ja) | 2017-03-01 |
Family
ID=44186322
Family Applications (13)
| Application Number | Title | Priority Date | Filing Date |
|---|---|---|---|
| JP2010289073A Active JP5580190B2 (ja) | 2009-12-28 | 2010-12-27 | 半導体装置 |
| JP2012196754A Active JP5190555B2 (ja) | 2009-12-28 | 2012-09-07 | 半導体装置 |
| JP2013012883A Active JP5376737B2 (ja) | 2009-12-28 | 2013-01-28 | 半導体装置 |
| JP2014141874A Active JP5706565B2 (ja) | 2009-12-28 | 2014-07-10 | 半導体装置 |
| JP2015034097A Active JP5933777B2 (ja) | 2009-12-28 | 2015-02-24 | 半導体装置の作製方法 |
| JP2015100896A Active JP6086938B2 (ja) | 2009-12-28 | 2015-05-18 | 半導体装置の作製方法 |
| JP2017015609A Active JP6275892B2 (ja) | 2009-12-28 | 2017-01-31 | 半導体装置の作製方法 |
| JP2018001718A Active JP6449492B2 (ja) | 2009-12-28 | 2018-01-10 | 半導体装置の作製方法 |
| JP2018227875A Active JP6705883B2 (ja) | 2009-12-28 | 2018-12-05 | 半導体装置 |
| JP2020084961A Active JP6987176B2 (ja) | 2009-12-28 | 2020-05-14 | 半導体装置の作製方法 |
| JP2021194192A Withdrawn JP2022024155A (ja) | 2009-12-28 | 2021-11-30 | 半導体装置 |
| JP2023198717A Active JP7710020B2 (ja) | 2009-12-28 | 2023-11-23 | 半導体装置 |
| JP2025114598A Pending JP2025129394A (ja) | 2009-12-28 | 2025-07-07 | 半導体装置 |
Family Applications Before (5)
| Application Number | Title | Priority Date | Filing Date |
|---|---|---|---|
| JP2010289073A Active JP5580190B2 (ja) | 2009-12-28 | 2010-12-27 | 半導体装置 |
| JP2012196754A Active JP5190555B2 (ja) | 2009-12-28 | 2012-09-07 | 半導体装置 |
| JP2013012883A Active JP5376737B2 (ja) | 2009-12-28 | 2013-01-28 | 半導体装置 |
| JP2014141874A Active JP5706565B2 (ja) | 2009-12-28 | 2014-07-10 | 半導体装置 |
| JP2015034097A Active JP5933777B2 (ja) | 2009-12-28 | 2015-02-24 | 半導体装置の作製方法 |
Family Applications After (7)
| Application Number | Title | Priority Date | Filing Date |
|---|---|---|---|
| JP2017015609A Active JP6275892B2 (ja) | 2009-12-28 | 2017-01-31 | 半導体装置の作製方法 |
| JP2018001718A Active JP6449492B2 (ja) | 2009-12-28 | 2018-01-10 | 半導体装置の作製方法 |
| JP2018227875A Active JP6705883B2 (ja) | 2009-12-28 | 2018-12-05 | 半導体装置 |
| JP2020084961A Active JP6987176B2 (ja) | 2009-12-28 | 2020-05-14 | 半導体装置の作製方法 |
| JP2021194192A Withdrawn JP2022024155A (ja) | 2009-12-28 | 2021-11-30 | 半導体装置 |
| JP2023198717A Active JP7710020B2 (ja) | 2009-12-28 | 2023-11-23 | 半導体装置 |
| JP2025114598A Pending JP2025129394A (ja) | 2009-12-28 | 2025-07-07 | 半導体装置 |
Country Status (8)
| Country | Link |
|---|---|
| US (5) | US9472559B2 (ja) |
| EP (1) | EP2519972B1 (ja) |
| JP (13) | JP5580190B2 (ja) |
| KR (10) | KR102006729B1 (ja) |
| CN (2) | CN102656691B (ja) |
| IN (1) | IN2012DN05057A (ja) |
| TW (2) | TWI608570B (ja) |
| WO (1) | WO2011081000A1 (ja) |
Families Citing this family (90)
| Publication number | Priority date | Publication date | Assignee | Title |
|---|---|---|---|---|
| KR101996773B1 (ko) * | 2009-10-21 | 2019-07-04 | 가부시키가이샤 한도오따이 에네루기 켄큐쇼 | 반도체 장치 |
| KR102008754B1 (ko) | 2010-01-24 | 2019-08-09 | 가부시키가이샤 한도오따이 에네루기 켄큐쇼 | 표시 장치와 이의 제조 방법 |
| CN106847816A (zh) | 2010-02-05 | 2017-06-13 | 株式会社半导体能源研究所 | 半导体装置 |
| KR101862823B1 (ko) | 2010-02-05 | 2018-05-30 | 가부시키가이샤 한도오따이 에네루기 켄큐쇼 | 반도체 장치 및 반도체 장치의 구동 방법 |
| CN102725842B (zh) | 2010-02-05 | 2014-12-03 | 株式会社半导体能源研究所 | 半导体器件 |
| WO2011096264A1 (en) * | 2010-02-05 | 2011-08-11 | Semiconductor Energy Laboratory Co., Ltd. | Semiconductor device and method of driving semiconductor device |
| KR101820776B1 (ko) | 2010-02-19 | 2018-01-22 | 가부시키가이샤 한도오따이 에네루기 켄큐쇼 | 반도체 장치 |
| US8416622B2 (en) | 2010-05-20 | 2013-04-09 | Semiconductor Energy Laboratory Co., Ltd. | Driving method of a semiconductor device with an inverted period having a negative potential applied to a gate of an oxide semiconductor transistor |
| TWI524347B (zh) | 2010-08-06 | 2016-03-01 | 半導體能源研究所股份有限公司 | 半導體裝置及其驅動方法 |
| US8422272B2 (en) | 2010-08-06 | 2013-04-16 | Semiconductor Energy Laboratory Co., Ltd. | Semiconductor device and driving method thereof |
| JP5727892B2 (ja) | 2010-08-26 | 2015-06-03 | 株式会社半導体エネルギー研究所 | 半導体装置 |
| US8339837B2 (en) | 2010-08-26 | 2012-12-25 | Semiconductor Energy Laboratory Co., Ltd. | Driving method of semiconductor device |
| KR101979758B1 (ko) | 2010-08-27 | 2019-05-17 | 가부시키가이샤 한도오따이 에네루기 켄큐쇼 | 기억 장치, 반도체 장치 |
| TWI543166B (zh) | 2010-09-13 | 2016-07-21 | 半導體能源研究所股份有限公司 | 半導體裝置 |
| KR101952733B1 (ko) | 2010-11-05 | 2019-02-27 | 가부시키가이샤 한도오따이 에네루기 켄큐쇼 | 반도체 장치 |
| US9024317B2 (en) | 2010-12-24 | 2015-05-05 | Semiconductor Energy Laboratory Co., Ltd. | Semiconductor circuit, method for driving the same, storage device, register circuit, display device, and electronic device |
| JP5993141B2 (ja) | 2010-12-28 | 2016-09-14 | 株式会社半導体エネルギー研究所 | 記憶装置 |
| US9048142B2 (en) | 2010-12-28 | 2015-06-02 | Semiconductor Energy Laboratory Co., Ltd. | Semiconductor device |
| US8421071B2 (en) | 2011-01-13 | 2013-04-16 | Semiconductor Energy Laboratory Co., Ltd. | Memory device |
| TWI572009B (zh) | 2011-01-14 | 2017-02-21 | 半導體能源研究所股份有限公司 | 半導體記憶裝置 |
| TWI520273B (zh) | 2011-02-02 | 2016-02-01 | 半導體能源研究所股份有限公司 | 半導體儲存裝置 |
| JP5933897B2 (ja) * | 2011-03-18 | 2016-06-15 | 株式会社半導体エネルギー研究所 | 半導体装置 |
| JP6013682B2 (ja) | 2011-05-20 | 2016-10-25 | 株式会社半導体エネルギー研究所 | 半導体装置の駆動方法 |
| JP6012263B2 (ja) | 2011-06-09 | 2016-10-25 | 株式会社半導体エネルギー研究所 | 半導体記憶装置 |
| WO2012169142A1 (en) | 2011-06-09 | 2012-12-13 | Semiconductor Energy Laboratory Co., Ltd. | Cache memory and method for driving the same |
| US8994019B2 (en) * | 2011-08-05 | 2015-03-31 | Semiconductor Energy Laboratory Co., Ltd. | Semiconductor device |
| JP6116149B2 (ja) * | 2011-08-24 | 2017-04-19 | 株式会社半導体エネルギー研究所 | 半導体装置 |
| US8698137B2 (en) | 2011-09-14 | 2014-04-15 | Semiconductor Energy Laboratory Co., Ltd. | Semiconductor device |
| US9177872B2 (en) | 2011-09-16 | 2015-11-03 | Micron Technology, Inc. | Memory cells, semiconductor devices, systems including such cells, and methods of fabrication |
| US8569822B2 (en) * | 2011-11-02 | 2013-10-29 | Macronix International Co., Ltd. | Memory structure |
| TWI467577B (zh) * | 2011-11-02 | 2015-01-01 | Macronix Int Co Ltd | 記憶體結構及其製造方法 |
| US8907392B2 (en) | 2011-12-22 | 2014-12-09 | Semiconductor Energy Laboratory Co., Ltd. | Semiconductor memory device including stacked sub memory cells |
| CN102646699B (zh) * | 2012-01-13 | 2014-12-10 | 京东方科技集团股份有限公司 | 一种氧化物薄膜晶体管及其制备方法 |
| JP6250955B2 (ja) | 2012-05-25 | 2017-12-20 | 株式会社半導体エネルギー研究所 | 半導体装置の駆動方法 |
| US9135182B2 (en) | 2012-06-01 | 2015-09-15 | Semiconductor Energy Laboratory Co., Ltd. | Central processing unit and driving method thereof |
| WO2014003086A1 (en) * | 2012-06-29 | 2014-01-03 | Semiconductor Energy Laboratory Co., Ltd. | Semiconductor device |
| JP2014045175A (ja) | 2012-08-02 | 2014-03-13 | Semiconductor Energy Lab Co Ltd | 半導体装置 |
| TWI582993B (zh) | 2012-11-30 | 2017-05-11 | 半導體能源研究所股份有限公司 | 半導體裝置 |
| US9318484B2 (en) * | 2013-02-20 | 2016-04-19 | Semiconductor Energy Laboratory Co., Ltd. | Semiconductor device |
| CN103178021B (zh) * | 2013-02-28 | 2015-02-11 | 京东方科技集团股份有限公司 | 一种氧化物薄膜晶体管阵列基板及制作方法、显示面板 |
| JP2014195243A (ja) | 2013-02-28 | 2014-10-09 | Semiconductor Energy Lab Co Ltd | 半導体装置 |
| US9612795B2 (en) | 2013-03-14 | 2017-04-04 | Semiconductor Energy Laboratory Co., Ltd. | Data processing device, data processing method, and computer program |
| US9112460B2 (en) * | 2013-04-05 | 2015-08-18 | Semiconductor Energy Laboratory Co., Ltd. | Signal processing device |
| TW202414844A (zh) * | 2013-05-16 | 2024-04-01 | 日商半導體能源研究所股份有限公司 | 半導體裝置 |
| JP6504551B2 (ja) | 2013-06-10 | 2019-04-24 | 太陽誘電株式会社 | 共振器、フィルタおよび分波器 |
| US20140374744A1 (en) * | 2013-06-19 | 2014-12-25 | Semiconductor Energy Laboratory Co., Ltd. | Semiconductor device |
| JP6400961B2 (ja) | 2013-07-12 | 2018-10-03 | 株式会社半導体エネルギー研究所 | 表示装置 |
| JP6345544B2 (ja) * | 2013-09-05 | 2018-06-20 | 株式会社半導体エネルギー研究所 | 半導体装置の作製方法 |
| CN103646960B (zh) * | 2013-11-13 | 2016-05-25 | 复旦大学 | 基于薄膜晶体管的动态随机存储器及其制备方法 |
| US9349418B2 (en) | 2013-12-27 | 2016-05-24 | Semiconductor Energy Laboratory Co., Ltd. | Semiconductor device and method for driving the same |
| US9299848B2 (en) | 2014-03-14 | 2016-03-29 | Semiconductor Energy Laboratory Co., Ltd. | Semiconductor device, RF tag, and electronic device |
| KR102414469B1 (ko) * | 2014-03-14 | 2022-06-30 | 가부시키가이샤 한도오따이 에네루기 켄큐쇼 | 회로 시스템 |
| KR20170068511A (ko) * | 2014-10-06 | 2017-06-19 | 가부시키가이샤 한도오따이 에네루기 켄큐쇼 | 반도체 장치 및 전자 기기 |
| JP6689062B2 (ja) | 2014-12-10 | 2020-04-28 | 株式会社半導体エネルギー研究所 | 半導体装置 |
| KR102269054B1 (ko) * | 2015-01-09 | 2021-06-25 | 삼성디스플레이 주식회사 | 트랜지스터 및 이를 구비하는 액정 표시 장치 |
| US10249644B2 (en) * | 2015-02-13 | 2019-04-02 | Semiconductor Energy Laboratory Co., Ltd. | Semiconductor device and manufacturing method of the same |
| JP6198769B2 (ja) * | 2015-04-30 | 2017-09-20 | 株式会社ユニバーサルエンターテインメント | 遊技機 |
| KR102430573B1 (ko) * | 2015-05-14 | 2022-08-08 | 엘지디스플레이 주식회사 | 박막 트랜지스터 및 이를 포함한 백플레인 기판 |
| KR102356986B1 (ko) * | 2015-07-16 | 2022-02-03 | 삼성디스플레이 주식회사 | 표시 패널, 이를 포함하는 표시 장치 및 이의 구동 방법 |
| US9847406B2 (en) | 2015-08-27 | 2017-12-19 | Semiconductor Energy Laboratory Co., Ltd. | Semiconductor device, storage device, resistor circuit, display device, and electronic device |
| JP6811084B2 (ja) | 2015-12-18 | 2021-01-13 | 株式会社半導体エネルギー研究所 | 半導体装置 |
| JP2017162852A (ja) * | 2016-03-07 | 2017-09-14 | 株式会社ジャパンディスプレイ | 半導体装置および表示装置 |
| SG10201701689UA (en) | 2016-03-18 | 2017-10-30 | Semiconductor Energy Lab | Semiconductor device, semiconductor wafer, and electronic device |
| US10008502B2 (en) | 2016-05-04 | 2018-06-26 | Semiconductor Energy Laboratory Co., Ltd. | Memory device |
| US9806197B1 (en) | 2016-07-13 | 2017-10-31 | Innolux Corporation | Display device having back gate electrodes |
| KR102583770B1 (ko) * | 2016-09-12 | 2023-10-06 | 삼성디스플레이 주식회사 | 메모리 트랜지스터 및 이를 갖는 표시장치 |
| JP6832656B2 (ja) * | 2016-09-14 | 2021-02-24 | 株式会社ジャパンディスプレイ | 半導体装置の製造方法 |
| US10685983B2 (en) * | 2016-11-11 | 2020-06-16 | Semiconductor Energy Laboratory Co., Ltd. | Transistor, semiconductor device, and electronic device |
| JP6298144B2 (ja) * | 2016-12-23 | 2018-03-20 | 株式会社半導体エネルギー研究所 | 半導体装置 |
| JP6411556B2 (ja) * | 2017-02-03 | 2018-10-24 | 株式会社半導体エネルギー研究所 | 半導体メモリ装置 |
| JP6691067B2 (ja) * | 2017-02-03 | 2020-04-28 | 日本電信電話株式会社 | 半導体メモリおよびその駆動方法 |
| CN106952928B (zh) * | 2017-03-30 | 2018-10-23 | 深圳市华星光电技术有限公司 | 一种tft背板的制作方法及tft背板 |
| WO2018211398A1 (ja) * | 2017-05-19 | 2018-11-22 | 株式会社半導体エネルギー研究所 | 半導体装置及び電子機器 |
| WO2019046629A1 (en) | 2017-08-31 | 2019-03-07 | Micron Technology, Inc. | SEMICONDUCTOR DEVICES, HYBRID TRANSISTORS, AND ASSOCIATED METHODS |
| EP3676877A4 (en) | 2017-08-31 | 2021-09-01 | Micron Technology, Inc. | SEMICONDUCTOR DEVICES, TRANSISTORS AND RELATED PROCESSES FOR CONTACTING METAL OXIDE SEMICONDUCTOR DEVICES |
| TWI829663B (zh) | 2018-01-19 | 2024-01-21 | 日商半導體能源研究所股份有限公司 | 半導體裝置以及其工作方法 |
| US11342364B2 (en) * | 2019-07-11 | 2022-05-24 | Tianma Japan. Ltd. | Thin-film transistor substrate |
| KR20220044546A (ko) | 2019-08-09 | 2022-04-08 | 가부시키가이샤 한도오따이 에네루기 켄큐쇼 | 기억 장치 |
| US11916121B2 (en) * | 2020-06-29 | 2024-02-27 | Taiwan Semiconductor Manufacturing Company Limited | Tri-gate orthogonal channel transistor and methods of forming the same |
| CN112271217A (zh) * | 2020-11-02 | 2021-01-26 | 中国工程物理研究院电子工程研究所 | 一种抗冲击场效应晶体管及抗冲击低噪声放大器 |
| JP7650739B2 (ja) * | 2021-07-08 | 2025-03-25 | 株式会社ジャパンディスプレイ | 半導体装置 |
| TWI775635B (zh) * | 2021-10-07 | 2022-08-21 | 世界先進積體電路股份有限公司 | 電子裝置 |
| JP2023068975A (ja) * | 2021-11-04 | 2023-05-18 | キオクシア株式会社 | 半導体記憶装置 |
| US11728644B2 (en) | 2021-11-16 | 2023-08-15 | Vanguard International Semiconductor Corporation | Electronic device and electrostatic discharge protection circuit |
| KR20240172004A (ko) | 2022-04-02 | 2024-12-09 | 베이징 수퍼스트링 아카데미 오브 메모리 테크놀로지 | 반도체 메모리 소자 및 이의 제조, 판독-기입 방법, 전자 기기와 메모리 회로 |
| CN114709211B (zh) * | 2022-04-02 | 2022-11-15 | 北京超弦存储器研究院 | 动态存储器及其制作、读写方法、电子设备、存储电路 |
| CN115312098B (zh) * | 2022-07-07 | 2023-04-25 | 北京超弦存储器研究院 | 存储单元、nand串、存储单元阵列、数据读取和写入方法 |
| CN116209269B (zh) * | 2022-09-16 | 2024-02-20 | 北京超弦存储器研究院 | 存储器及其制备方法、电子设备 |
| CN116525577B (zh) * | 2023-07-03 | 2023-11-28 | 合肥晶合集成电路股份有限公司 | 一种半导体结构及其制作方法 |
| CN121368120A (zh) * | 2025-12-22 | 2026-01-20 | 华中科技大学 | 一种存储时间动态可调的动态随机存储器及其制备方法 |
Family Cites Families (186)
| Publication number | Priority date | Publication date | Assignee | Title |
|---|---|---|---|---|
| EP0053878B1 (en) * | 1980-12-08 | 1985-08-14 | Kabushiki Kaisha Toshiba | Semiconductor memory device |
| JPS60198861A (ja) | 1984-03-23 | 1985-10-08 | Fujitsu Ltd | 薄膜トランジスタ |
| JPS61264762A (ja) * | 1985-05-20 | 1986-11-22 | Ise Electronics Corp | 薄膜トランジスタおよびその製造方法 |
| JPS62254462A (ja) | 1986-04-28 | 1987-11-06 | Sony Corp | メモリ装置 |
| JPH0244256B2 (ja) | 1987-01-28 | 1990-10-03 | Kagaku Gijutsucho Mukizaishitsu Kenkyushocho | Ingazn2o5deshimesarerurotsuhoshokeinosojokozoojusurukagobutsuoyobisonoseizoho |
| JPH0244260B2 (ja) | 1987-02-24 | 1990-10-03 | Kagaku Gijutsucho Mukizaishitsu Kenkyushocho | Ingazn5o8deshimesarerurotsuhoshokeinosojokozoojusurukagobutsuoyobisonoseizoho |
| JPS63210023A (ja) | 1987-02-24 | 1988-08-31 | Natl Inst For Res In Inorg Mater | InGaZn↓4O↓7で示される六方晶系の層状構造を有する化合物およびその製造法 |
| JPH0244258B2 (ja) | 1987-02-24 | 1990-10-03 | Kagaku Gijutsucho Mukizaishitsu Kenkyushocho | Ingazn3o6deshimesarerurotsuhoshokeinosojokozoojusurukagobutsuoyobisonoseizoho |
| JPH0244262B2 (ja) | 1987-02-27 | 1990-10-03 | Kagaku Gijutsucho Mukizaishitsu Kenkyushocho | Ingazn6o9deshimesarerurotsuhoshokeinosojokozoojusurukagobutsuoyobisonoseizoho |
| JPH0244263B2 (ja) | 1987-04-22 | 1990-10-03 | Kagaku Gijutsucho Mukizaishitsu Kenkyushocho | Ingazn7o10deshimesarerurotsuhoshokeinosojokozoojusurukagobutsuoyobisonoseizoho |
| JP2918307B2 (ja) | 1990-08-07 | 1999-07-12 | 沖電気工業株式会社 | 半導体記憶素子 |
| JP2775040B2 (ja) | 1991-10-29 | 1998-07-09 | 株式会社 半導体エネルギー研究所 | 電気光学表示装置およびその駆動方法 |
| JPH05251705A (ja) | 1992-03-04 | 1993-09-28 | Fuji Xerox Co Ltd | 薄膜トランジスタ |
| JPH0763077B2 (ja) | 1992-07-06 | 1995-07-05 | カシオ計算機株式会社 | 薄膜半導体素子 |
| JPH0799251A (ja) | 1992-12-10 | 1995-04-11 | Sony Corp | 半導体メモリセル |
| JPH07176184A (ja) | 1993-12-20 | 1995-07-14 | Mitsubishi Electric Corp | 半導体記憶装置と、その半導体記憶装置におけるデータの書込および読出方法 |
| JP3479375B2 (ja) | 1995-03-27 | 2003-12-15 | 科学技術振興事業団 | 亜酸化銅等の金属酸化物半導体による薄膜トランジスタとpn接合を形成した金属酸化物半導体装置およびそれらの製造方法 |
| US6169286B1 (en) * | 1995-07-31 | 2001-01-02 | 1294339 Ontario, Inc. | Method and apparatus for operating a dual gate TFT electromagnetic radiation imaging device |
| JPH11505377A (ja) * | 1995-08-03 | 1999-05-18 | フィリップス エレクトロニクス ネムローゼ フェンノートシャップ | 半導体装置 |
| JP3625598B2 (ja) * | 1995-12-30 | 2005-03-02 | 三星電子株式会社 | 液晶表示装置の製造方法 |
| JP3584607B2 (ja) * | 1996-05-10 | 2004-11-04 | ソニー株式会社 | 不揮発性記憶装置 |
| JPH1084047A (ja) * | 1996-09-06 | 1998-03-31 | Mitsubishi Electric Corp | 半導体装置およびその製造方法 |
| JP4103968B2 (ja) * | 1996-09-18 | 2008-06-18 | 株式会社半導体エネルギー研究所 | 絶縁ゲイト型半導体装置 |
| US6310683B1 (en) * | 1997-08-05 | 2001-10-30 | Casio Computer Co., Ltd. | Apparatus for reading fingerprint |
| JP2000026119A (ja) | 1998-07-09 | 2000-01-25 | Hoya Corp | 透明導電性酸化物薄膜を有する物品及びその製造方法 |
| JP4170454B2 (ja) | 1998-07-24 | 2008-10-22 | Hoya株式会社 | 透明導電性酸化物薄膜を有する物品及びその製造方法 |
| JP2000150861A (ja) * | 1998-11-16 | 2000-05-30 | Tdk Corp | 酸化物薄膜 |
| JP3276930B2 (ja) * | 1998-11-17 | 2002-04-22 | 科学技術振興事業団 | トランジスタ及び半導体装置 |
| JP2001093988A (ja) | 1999-07-22 | 2001-04-06 | Sony Corp | 半導体記憶装置 |
| TW460731B (en) | 1999-09-03 | 2001-10-21 | Ind Tech Res Inst | Electrode structure and production method of wide viewing angle LCD |
| JP2001230329A (ja) * | 2000-02-16 | 2001-08-24 | Sony Corp | 半導体記憶装置 |
| JP4089858B2 (ja) | 2000-09-01 | 2008-05-28 | 国立大学法人東北大学 | 半導体デバイス |
| KR20020038482A (ko) * | 2000-11-15 | 2002-05-23 | 모리시타 요이찌 | 박막 트랜지스터 어레이, 그 제조방법 및 그것을 이용한표시패널 |
| JP3884266B2 (ja) | 2001-02-19 | 2007-02-21 | 株式会社東芝 | 半導体メモリ装置及びその製造方法 |
| JP3997731B2 (ja) | 2001-03-19 | 2007-10-24 | 富士ゼロックス株式会社 | 基材上に結晶性半導体薄膜を形成する方法 |
| JP2002289859A (ja) | 2001-03-23 | 2002-10-04 | Minolta Co Ltd | 薄膜トランジスタ |
| JP4599746B2 (ja) | 2001-04-04 | 2010-12-15 | ソニー株式会社 | 多結晶性半導体薄膜の形成方法及び半導体装置の製造方法 |
| US6740938B2 (en) * | 2001-04-16 | 2004-05-25 | Semiconductor Energy Laboratory Co., Ltd. | Transistor provided with first and second gate electrodes with channel region therebetween |
| JP4731718B2 (ja) * | 2001-04-27 | 2011-07-27 | 株式会社半導体エネルギー研究所 | 表示装置 |
| JP2002368226A (ja) * | 2001-06-11 | 2002-12-20 | Sharp Corp | 半導体装置、半導体記憶装置及びその製造方法、並びに携帯情報機器 |
| JP4090716B2 (ja) * | 2001-09-10 | 2008-05-28 | 雅司 川崎 | 薄膜トランジスタおよびマトリクス表示装置 |
| US7317205B2 (en) * | 2001-09-10 | 2008-01-08 | Semiconductor Energy Laboratory Co., Ltd. | Light emitting device and method of manufacturing a semiconductor device |
| JP3925839B2 (ja) | 2001-09-10 | 2007-06-06 | シャープ株式会社 | 半導体記憶装置およびその試験方法 |
| EP1443130B1 (en) | 2001-11-05 | 2011-09-28 | Japan Science and Technology Agency | Natural superlattice homologous single crystal thin film, method for preparation thereof, and device using said single crystal thin film |
| JP4164562B2 (ja) | 2002-09-11 | 2008-10-15 | 独立行政法人科学技術振興機構 | ホモロガス薄膜を活性層として用いる透明薄膜電界効果型トランジスタ |
| JP3887570B2 (ja) | 2002-02-18 | 2007-02-28 | 協和化工株式会社 | 高速乾燥装置 |
| JP4083486B2 (ja) * | 2002-02-21 | 2008-04-30 | 独立行政法人科学技術振興機構 | LnCuO(S,Se,Te)単結晶薄膜の製造方法 |
| US7049190B2 (en) * | 2002-03-15 | 2006-05-23 | Sanyo Electric Co., Ltd. | Method for forming ZnO film, method for forming ZnO semiconductor layer, method for fabricating semiconductor device, and semiconductor device |
| JP3933591B2 (ja) * | 2002-03-26 | 2007-06-20 | 淳二 城戸 | 有機エレクトロルミネッセント素子 |
| JP4880867B2 (ja) | 2002-04-10 | 2012-02-22 | セイコーインスツル株式会社 | 薄膜メモリ、アレイとその動作方法および製造方法 |
| US7339187B2 (en) * | 2002-05-21 | 2008-03-04 | State Of Oregon Acting By And Through The Oregon State Board Of Higher Education On Behalf Of Oregon State University | Transistor structures |
| JP2004022625A (ja) | 2002-06-13 | 2004-01-22 | Murata Mfg Co Ltd | 半導体デバイス及び該半導体デバイスの製造方法 |
| US7105868B2 (en) | 2002-06-24 | 2006-09-12 | Cermet, Inc. | High-electron mobility transistor with zinc oxide |
| US7067843B2 (en) | 2002-10-11 | 2006-06-27 | E. I. Du Pont De Nemours And Company | Transparent oxide semiconductor thin film transistors |
| DE10248722A1 (de) | 2002-10-18 | 2004-05-06 | Infineon Technologies Ag | Integrierte Schaltungsanordnung mit Kondensator und Herstellungsverfahren |
| JP4166105B2 (ja) | 2003-03-06 | 2008-10-15 | シャープ株式会社 | 半導体装置およびその製造方法 |
| JP2004273732A (ja) | 2003-03-07 | 2004-09-30 | Sharp Corp | アクティブマトリクス基板およびその製造方法 |
| US7200050B2 (en) * | 2003-05-26 | 2007-04-03 | Semiconductor Energy Laboratory Co., Ltd. | Memory unit and semiconductor device |
| JP4408057B2 (ja) | 2003-05-26 | 2010-02-03 | 株式会社半導体エネルギー研究所 | 記憶装置及び半導体装置 |
| JP4108633B2 (ja) | 2003-06-20 | 2008-06-25 | シャープ株式会社 | 薄膜トランジスタおよびその製造方法ならびに電子デバイス |
| US7262463B2 (en) * | 2003-07-25 | 2007-08-28 | Hewlett-Packard Development Company, L.P. | Transistor including a deposited channel region having a doped portion |
| US7642573B2 (en) * | 2004-03-12 | 2010-01-05 | Hewlett-Packard Development Company, L.P. | Semiconductor device |
| US7282782B2 (en) * | 2004-03-12 | 2007-10-16 | Hewlett-Packard Development Company, L.P. | Combined binary oxide semiconductor device |
| US7145174B2 (en) * | 2004-03-12 | 2006-12-05 | Hewlett-Packard Development Company, Lp. | Semiconductor device |
| US7297977B2 (en) * | 2004-03-12 | 2007-11-20 | Hewlett-Packard Development Company, L.P. | Semiconductor device |
| KR20070116889A (ko) * | 2004-03-12 | 2007-12-11 | 도꾸리쯔교세이호징 가가꾸 기쥬쯔 신꼬 기꼬 | 아몰퍼스 산화물 박막의 기상성막방법 |
| EP1733429A4 (en) * | 2004-04-09 | 2008-09-24 | Semiconductor Energy Lab | BEGRENZER AND SEMICONDUCTOR WITH THIS |
| JP5041672B2 (ja) | 2004-04-09 | 2012-10-03 | 株式会社半導体エネルギー研究所 | 半導体装置 |
| US7211825B2 (en) * | 2004-06-14 | 2007-05-01 | Yi-Chi Shih | Indium oxide-based thin film transistors and circuits |
| JP2006100760A (ja) * | 2004-09-02 | 2006-04-13 | Casio Comput Co Ltd | 薄膜トランジスタおよびその製造方法 |
| US7285501B2 (en) | 2004-09-17 | 2007-10-23 | Hewlett-Packard Development Company, L.P. | Method of forming a solution processed device |
| JP2006120382A (ja) | 2004-10-20 | 2006-05-11 | Seiko Epson Corp | 有機el装置の製造装置及び方法、並びに電気光学装置及び電子機器 |
| US7298084B2 (en) | 2004-11-02 | 2007-11-20 | 3M Innovative Properties Company | Methods and displays utilizing integrated zinc oxide row and column drivers in conjunction with organic light emitting diodes |
| US7791072B2 (en) * | 2004-11-10 | 2010-09-07 | Canon Kabushiki Kaisha | Display |
| US7453065B2 (en) * | 2004-11-10 | 2008-11-18 | Canon Kabushiki Kaisha | Sensor and image pickup device |
| US7829444B2 (en) * | 2004-11-10 | 2010-11-09 | Canon Kabushiki Kaisha | Field effect transistor manufacturing method |
| US7863611B2 (en) * | 2004-11-10 | 2011-01-04 | Canon Kabushiki Kaisha | Integrated circuits utilizing amorphous oxides |
| KR100939998B1 (ko) * | 2004-11-10 | 2010-02-03 | 캐논 가부시끼가이샤 | 비정질 산화물 및 전계 효과 트랜지스터 |
| EP1810335B1 (en) * | 2004-11-10 | 2020-05-27 | Canon Kabushiki Kaisha | Light-emitting device |
| AU2005302964B2 (en) * | 2004-11-10 | 2010-11-04 | Canon Kabushiki Kaisha | Field effect transistor employing an amorphous oxide |
| JP5053537B2 (ja) | 2004-11-10 | 2012-10-17 | キヤノン株式会社 | 非晶質酸化物を利用した半導体デバイス |
| US7317434B2 (en) | 2004-12-03 | 2008-01-08 | Dupont Displays, Inc. | Circuits including switches for electronic devices and methods of using the electronic devices |
| US20060118869A1 (en) | 2004-12-03 | 2006-06-08 | Je-Hsiung Lan | Thin-film transistors and processes for forming the same |
| US7579224B2 (en) * | 2005-01-21 | 2009-08-25 | Semiconductor Energy Laboratory Co., Ltd. | Method for manufacturing a thin film semiconductor device |
| TWI562380B (en) * | 2005-01-28 | 2016-12-11 | Semiconductor Energy Lab Co Ltd | Semiconductor device, electronic device, and method of manufacturing semiconductor device |
| TWI481024B (zh) * | 2005-01-28 | 2015-04-11 | 半導體能源研究所股份有限公司 | 半導體裝置,電子裝置,和半導體裝置的製造方法 |
| US7858451B2 (en) | 2005-02-03 | 2010-12-28 | Semiconductor Energy Laboratory Co., Ltd. | Electronic device, semiconductor device and manufacturing method thereof |
| US7948171B2 (en) * | 2005-02-18 | 2011-05-24 | Semiconductor Energy Laboratory Co., Ltd. | Light emitting device |
| US20060197092A1 (en) | 2005-03-03 | 2006-09-07 | Randy Hoffman | System and method for forming conductive material on a substrate |
| US8681077B2 (en) * | 2005-03-18 | 2014-03-25 | Semiconductor Energy Laboratory Co., Ltd. | Semiconductor device, and display device, driving method and electronic apparatus thereof |
| WO2006105077A2 (en) * | 2005-03-28 | 2006-10-05 | Massachusetts Institute Of Technology | Low voltage thin film transistor with high-k dielectric material |
| US7645478B2 (en) | 2005-03-31 | 2010-01-12 | 3M Innovative Properties Company | Methods of making displays |
| US8300031B2 (en) * | 2005-04-20 | 2012-10-30 | Semiconductor Energy Laboratory Co., Ltd. | Semiconductor device comprising transistor having gate and drain connected through a current-voltage conversion element |
| JP2006344849A (ja) | 2005-06-10 | 2006-12-21 | Casio Comput Co Ltd | 薄膜トランジスタ |
| US7691666B2 (en) | 2005-06-16 | 2010-04-06 | Eastman Kodak Company | Methods of making thin film transistors comprising zinc-oxide-based semiconductor materials and transistors made thereby |
| US7402506B2 (en) | 2005-06-16 | 2008-07-22 | Eastman Kodak Company | Methods of making thin film transistors comprising zinc-oxide-based semiconductor materials and transistors made thereby |
| US7507618B2 (en) | 2005-06-27 | 2009-03-24 | 3M Innovative Properties Company | Method for making electronic devices using metal oxide nanoparticles |
| JP4967264B2 (ja) * | 2005-07-11 | 2012-07-04 | 株式会社日立製作所 | 半導体装置 |
| KR100711890B1 (ko) * | 2005-07-28 | 2007-04-25 | 삼성에스디아이 주식회사 | 유기 발광표시장치 및 그의 제조방법 |
| JP2007059128A (ja) * | 2005-08-23 | 2007-03-08 | Canon Inc | 有機el表示装置およびその製造方法 |
| US7459743B2 (en) * | 2005-08-24 | 2008-12-02 | International Business Machines Corporation | Dual port gain cell with side and top gated read transistor |
| JP2007073558A (ja) * | 2005-09-02 | 2007-03-22 | Kochi Prefecture Sangyo Shinko Center | 薄膜トランジスタの製法 |
| JP2007073705A (ja) * | 2005-09-06 | 2007-03-22 | Canon Inc | 酸化物半導体チャネル薄膜トランジスタおよびその製造方法 |
| JP4850457B2 (ja) | 2005-09-06 | 2012-01-11 | キヤノン株式会社 | 薄膜トランジスタ及び薄膜ダイオード |
| JP4560502B2 (ja) | 2005-09-06 | 2010-10-13 | キヤノン株式会社 | 電界効果型トランジスタ |
| JP4280736B2 (ja) | 2005-09-06 | 2009-06-17 | キヤノン株式会社 | 半導体素子 |
| JP5116225B2 (ja) * | 2005-09-06 | 2013-01-09 | キヤノン株式会社 | 酸化物半導体デバイスの製造方法 |
| JP5064747B2 (ja) | 2005-09-29 | 2012-10-31 | 株式会社半導体エネルギー研究所 | 半導体装置、電気泳動表示装置、表示モジュール、電子機器、及び半導体装置の作製方法 |
| EP1998374A3 (en) | 2005-09-29 | 2012-01-18 | Semiconductor Energy Laboratory Co, Ltd. | Semiconductor device having oxide semiconductor layer and manufacturing method thereof |
| JP5037808B2 (ja) * | 2005-10-20 | 2012-10-03 | キヤノン株式会社 | アモルファス酸化物を用いた電界効果型トランジスタ、及び該トランジスタを用いた表示装置 |
| US7524713B2 (en) | 2005-11-09 | 2009-04-28 | Semiconductor Energy Laboratory Co., Ltd. | Manufacturing method of semiconductor device |
| JP2007158311A (ja) | 2005-11-09 | 2007-06-21 | Semiconductor Energy Lab Co Ltd | 半導体装置の作製方法 |
| KR101397571B1 (ko) | 2005-11-15 | 2014-05-22 | 가부시키가이샤 한도오따이 에네루기 켄큐쇼 | 반도체장치 및 그의 제조방법 |
| TW200723537A (en) | 2005-12-12 | 2007-06-16 | Wintek Corp | Pixel structure of thin film transistor liquid crystal display and the method of manufacturing the same |
| TWI292281B (en) * | 2005-12-29 | 2008-01-01 | Ind Tech Res Inst | Pixel structure of active organic light emitting diode and method of fabricating the same |
| US7867636B2 (en) * | 2006-01-11 | 2011-01-11 | Murata Manufacturing Co., Ltd. | Transparent conductive film and method for manufacturing the same |
| JP4977478B2 (ja) * | 2006-01-21 | 2012-07-18 | 三星電子株式会社 | ZnOフィルム及びこれを用いたTFTの製造方法 |
| US7576394B2 (en) * | 2006-02-02 | 2009-08-18 | Kochi Industrial Promotion Center | Thin film transistor including low resistance conductive thin films and manufacturing method thereof |
| US7977169B2 (en) | 2006-02-15 | 2011-07-12 | Kochi Industrial Promotion Center | Semiconductor device including active layer made of zinc oxide with controlled orientations and manufacturing method thereof |
| KR20070101595A (ko) * | 2006-04-11 | 2007-10-17 | 삼성전자주식회사 | ZnO TFT |
| US20070252928A1 (en) * | 2006-04-28 | 2007-11-01 | Toppan Printing Co., Ltd. | Structure, transmission type liquid crystal display, reflection type display and manufacturing method thereof |
| KR100801961B1 (ko) | 2006-05-26 | 2008-02-12 | 한국전자통신연구원 | 듀얼 게이트 유기트랜지스터를 이용한 인버터 |
| JP5028033B2 (ja) | 2006-06-13 | 2012-09-19 | キヤノン株式会社 | 酸化物半導体膜のドライエッチング方法 |
| JP4999400B2 (ja) * | 2006-08-09 | 2012-08-15 | キヤノン株式会社 | 酸化物半導体膜のドライエッチング方法 |
| JP4609797B2 (ja) * | 2006-08-09 | 2011-01-12 | Nec液晶テクノロジー株式会社 | 薄膜デバイス及びその製造方法 |
| JP5128792B2 (ja) | 2006-08-31 | 2013-01-23 | 財団法人高知県産業振興センター | 薄膜トランジスタの製法 |
| EP1895545B1 (en) | 2006-08-31 | 2014-04-23 | Semiconductor Energy Laboratory Co., Ltd. | Liquid crystal display device |
| JP4332545B2 (ja) | 2006-09-15 | 2009-09-16 | キヤノン株式会社 | 電界効果型トランジスタ及びその製造方法 |
| JP4274219B2 (ja) * | 2006-09-27 | 2009-06-03 | セイコーエプソン株式会社 | 電子デバイス、有機エレクトロルミネッセンス装置、有機薄膜半導体装置 |
| JP5164357B2 (ja) | 2006-09-27 | 2013-03-21 | キヤノン株式会社 | 半導体装置及び半導体装置の製造方法 |
| KR100790761B1 (ko) | 2006-09-29 | 2008-01-03 | 한국전자통신연구원 | 인버터 |
| US7622371B2 (en) * | 2006-10-10 | 2009-11-24 | Hewlett-Packard Development Company, L.P. | Fused nanocrystal thin film semiconductor and method |
| JP2008108985A (ja) | 2006-10-26 | 2008-05-08 | Kochi Prefecture Sangyo Shinko Center | 半導体素子の製法 |
| US7772021B2 (en) * | 2006-11-29 | 2010-08-10 | Samsung Electronics Co., Ltd. | Flat panel displays comprising a thin-film transistor having a semiconductive oxide in its channel and methods of fabricating the same for use in flat panel displays |
| JP2008140684A (ja) * | 2006-12-04 | 2008-06-19 | Toppan Printing Co Ltd | カラーelディスプレイおよびその製造方法 |
| US8143115B2 (en) | 2006-12-05 | 2012-03-27 | Canon Kabushiki Kaisha | Method for manufacturing thin film transistor using oxide semiconductor and display apparatus |
| JP5305630B2 (ja) | 2006-12-05 | 2013-10-02 | キヤノン株式会社 | ボトムゲート型薄膜トランジスタの製造方法及び表示装置の製造方法 |
| WO2008069255A1 (en) | 2006-12-05 | 2008-06-12 | Canon Kabushiki Kaisha | Method for manufacturing thin film transistor using oxide semiconductor and display apparatus |
| KR101303578B1 (ko) * | 2007-01-05 | 2013-09-09 | 삼성전자주식회사 | 박막 식각 방법 |
| US8207063B2 (en) * | 2007-01-26 | 2012-06-26 | Eastman Kodak Company | Process for atomic layer deposition |
| JP5196870B2 (ja) * | 2007-05-23 | 2013-05-15 | キヤノン株式会社 | 酸化物半導体を用いた電子素子及びその製造方法 |
| US8581260B2 (en) * | 2007-02-22 | 2013-11-12 | Semiconductor Energy Laboratory Co., Ltd. | Semiconductor device including a memory |
| KR100851215B1 (ko) * | 2007-03-14 | 2008-08-07 | 삼성에스디아이 주식회사 | 박막 트랜지스터 및 이를 이용한 유기 전계 발광표시장치 |
| JP5197058B2 (ja) | 2007-04-09 | 2013-05-15 | キヤノン株式会社 | 発光装置とその作製方法 |
| WO2008126879A1 (en) | 2007-04-09 | 2008-10-23 | Canon Kabushiki Kaisha | Light-emitting apparatus and production method thereof |
| JP2008263136A (ja) | 2007-04-13 | 2008-10-30 | Denso Corp | 半導体装置 |
| US7795613B2 (en) * | 2007-04-17 | 2010-09-14 | Toppan Printing Co., Ltd. | Structure with transistor |
| KR101325053B1 (ko) | 2007-04-18 | 2013-11-05 | 삼성디스플레이 주식회사 | 박막 트랜지스터 기판 및 이의 제조 방법 |
| KR20080094300A (ko) | 2007-04-19 | 2008-10-23 | 삼성전자주식회사 | 박막 트랜지스터 및 그 제조 방법과 박막 트랜지스터를포함하는 평판 디스플레이 |
| KR101334181B1 (ko) | 2007-04-20 | 2013-11-28 | 삼성전자주식회사 | 선택적으로 결정화된 채널층을 갖는 박막 트랜지스터 및 그제조 방법 |
| US8274078B2 (en) * | 2007-04-25 | 2012-09-25 | Canon Kabushiki Kaisha | Metal oxynitride semiconductor containing zinc |
| JP5215589B2 (ja) | 2007-05-11 | 2013-06-19 | キヤノン株式会社 | 絶縁ゲート型トランジスタ及び表示装置 |
| KR101334182B1 (ko) * | 2007-05-28 | 2013-11-28 | 삼성전자주식회사 | ZnO 계 박막 트랜지스터의 제조방법 |
| KR101345376B1 (ko) | 2007-05-29 | 2013-12-24 | 삼성전자주식회사 | ZnO 계 박막 트랜지스터 및 그 제조방법 |
| KR101376073B1 (ko) | 2007-06-14 | 2014-03-21 | 삼성디스플레이 주식회사 | 박막 트랜지스터, 이를 포함하는 어레이 기판 및 이의 제조방법 |
| US8354674B2 (en) * | 2007-06-29 | 2013-01-15 | Semiconductor Energy Laboratory Co., Ltd. | Semiconductor device wherein a property of a first semiconductor layer is different from a property of a second semiconductor layer |
| JP2009016368A (ja) | 2007-06-29 | 2009-01-22 | Ricoh Co Ltd | メモリーデバイス |
| JP5395384B2 (ja) * | 2007-09-07 | 2014-01-22 | 株式会社半導体エネルギー研究所 | 薄膜トランジスタの作製方法 |
| JP2009076707A (ja) | 2007-09-21 | 2009-04-09 | Hitachi Displays Ltd | 表示装置の製造方法 |
| JP5354999B2 (ja) | 2007-09-26 | 2013-11-27 | キヤノン株式会社 | 電界効果型トランジスタの製造方法 |
| JP4759598B2 (ja) | 2007-09-28 | 2011-08-31 | キヤノン株式会社 | 薄膜トランジスタ、その製造方法及びそれを用いた表示装置 |
| US8101501B2 (en) * | 2007-10-10 | 2012-01-24 | Semiconductor Energy Laboratory Co., Ltd. | Method of manufacturing semiconductor device |
| JP4524699B2 (ja) * | 2007-10-17 | 2010-08-18 | ソニー株式会社 | 表示装置 |
| JP2009130180A (ja) | 2007-11-26 | 2009-06-11 | Sony Corp | 電子機器の製造方法および電子機器 |
| JP5213422B2 (ja) | 2007-12-04 | 2013-06-19 | キヤノン株式会社 | 絶縁層を有する酸化物半導体素子およびそれを用いた表示装置 |
| JP5215158B2 (ja) | 2007-12-17 | 2013-06-19 | 富士フイルム株式会社 | 無機結晶性配向膜及びその製造方法、半導体デバイス |
| KR100936874B1 (ko) * | 2007-12-18 | 2010-01-14 | 삼성모바일디스플레이주식회사 | 박막 트랜지스터의 제조 방법 및 박막 트랜지스터를구비하는 유기전계발광 표시 장치의 제조 방법 |
| JP2009152235A (ja) | 2007-12-18 | 2009-07-09 | Panasonic Corp | 強誘電体積層構造及びその製造方法、電界効果トランジスタ及びその製造方法、並びに強誘電体キャパシタ及びその製造方法 |
| JP5121478B2 (ja) | 2008-01-31 | 2013-01-16 | 株式会社ジャパンディスプレイウェスト | 光センサー素子、撮像装置、電子機器、およびメモリー素子 |
| JP2009206508A (ja) | 2008-01-31 | 2009-09-10 | Canon Inc | 薄膜トランジスタ及び表示装置 |
| US8586979B2 (en) * | 2008-02-01 | 2013-11-19 | Samsung Electronics Co., Ltd. | Oxide semiconductor transistor and method of manufacturing the same |
| JP5305696B2 (ja) | 2008-03-06 | 2013-10-02 | キヤノン株式会社 | 半導体素子の処理方法 |
| KR100941850B1 (ko) * | 2008-04-03 | 2010-02-11 | 삼성모바일디스플레이주식회사 | 박막 트랜지스터, 그의 제조 방법 및 박막 트랜지스터를구비하는 평판 표시 장치 |
| JP5305731B2 (ja) | 2008-05-12 | 2013-10-02 | キヤノン株式会社 | 半導体素子の閾値電圧の制御方法 |
| KR101496148B1 (ko) | 2008-05-15 | 2015-02-27 | 삼성전자주식회사 | 반도체소자 및 그 제조방법 |
| US9041202B2 (en) | 2008-05-16 | 2015-05-26 | Semiconductor Energy Laboratory Co., Ltd. | Semiconductor device and manufacturing method of the same |
| JP5319961B2 (ja) | 2008-05-30 | 2013-10-16 | 富士フイルム株式会社 | 半導体素子の製造方法 |
| JP4623179B2 (ja) * | 2008-09-18 | 2011-02-02 | ソニー株式会社 | 薄膜トランジスタおよびその製造方法 |
| KR101623958B1 (ko) | 2008-10-01 | 2016-05-25 | 삼성전자주식회사 | 인버터 및 그의 동작방법과 인버터를 포함하는 논리회로 |
| JP5451280B2 (ja) * | 2008-10-09 | 2014-03-26 | キヤノン株式会社 | ウルツ鉱型結晶成長用基板およびその製造方法ならびに半導体装置 |
| KR101515468B1 (ko) | 2008-12-12 | 2015-05-06 | 삼성전자주식회사 | 표시장치 및 그 동작방법 |
| JP5781720B2 (ja) * | 2008-12-15 | 2015-09-24 | ルネサスエレクトロニクス株式会社 | 半導体装置及び半導体装置の製造方法 |
| KR101711236B1 (ko) | 2009-10-09 | 2017-02-28 | 가부시키가이샤 한도오따이 에네루기 켄큐쇼 | 반도체 장치 |
| WO2011052367A1 (en) | 2009-10-30 | 2011-05-05 | Semiconductor Energy Laboratory Co., Ltd. | Semiconductor device |
| MY163862A (en) | 2009-10-30 | 2017-10-31 | Semiconductor Energy Lab | Logic circuit and semiconductor device |
| JP2011138934A (ja) * | 2009-12-28 | 2011-07-14 | Sony Corp | 薄膜トランジスタ、表示装置および電子機器 |
-
2010
- 2010-12-02 KR KR1020187024485A patent/KR102006729B1/ko active Active
- 2010-12-02 KR KR1020207037644A patent/KR102356530B1/ko active Active
- 2010-12-02 KR KR1020247036116A patent/KR102878874B1/ko active Active
- 2010-12-02 IN IN5057DEN2012 patent/IN2012DN05057A/en unknown
- 2010-12-02 EP EP10840858.4A patent/EP2519972B1/en active Active
- 2010-12-02 CN CN201080059846.2A patent/CN102656691B/zh not_active Expired - Fee Related
- 2010-12-02 KR KR1020257035888A patent/KR20250156859A/ko active Pending
- 2010-12-02 KR KR1020177023305A patent/KR101894400B1/ko not_active Expired - Fee Related
- 2010-12-02 KR KR1020227002333A patent/KR102480794B1/ko active Active
- 2010-12-02 KR KR1020127019609A patent/KR101772150B1/ko not_active Expired - Fee Related
- 2010-12-02 KR KR1020197038570A patent/KR102198144B1/ko active Active
- 2010-12-02 KR KR1020227044707A patent/KR102725198B1/ko active Active
- 2010-12-02 KR KR1020197022080A patent/KR102063214B1/ko active Active
- 2010-12-02 CN CN201510354385.6A patent/CN105047669B/zh not_active Expired - Fee Related
- 2010-12-02 WO PCT/JP2010/072068 patent/WO2011081000A1/en not_active Ceased
- 2010-12-22 US US12/976,340 patent/US9472559B2/en active Active
- 2010-12-24 TW TW105101854A patent/TWI608570B/zh active
- 2010-12-24 TW TW099145814A patent/TWI557848B/zh not_active IP Right Cessation
- 2010-12-27 JP JP2010289073A patent/JP5580190B2/ja active Active
-
2012
- 2012-09-07 JP JP2012196754A patent/JP5190555B2/ja active Active
-
2013
- 2013-01-28 JP JP2013012883A patent/JP5376737B2/ja active Active
-
2014
- 2014-07-10 JP JP2014141874A patent/JP5706565B2/ja active Active
-
2015
- 2015-02-24 JP JP2015034097A patent/JP5933777B2/ja active Active
- 2015-05-18 JP JP2015100896A patent/JP6086938B2/ja active Active
-
2016
- 2016-10-13 US US15/292,362 patent/US10797054B2/en active Active
-
2017
- 2017-01-31 JP JP2017015609A patent/JP6275892B2/ja active Active
-
2018
- 2018-01-10 JP JP2018001718A patent/JP6449492B2/ja active Active
- 2018-12-05 JP JP2018227875A patent/JP6705883B2/ja active Active
-
2020
- 2020-05-14 JP JP2020084961A patent/JP6987176B2/ja active Active
- 2020-10-02 US US17/061,920 patent/US11424246B2/en active Active
-
2021
- 2021-11-30 JP JP2021194192A patent/JP2022024155A/ja not_active Withdrawn
-
2022
- 2022-08-19 US US17/891,248 patent/US12193244B2/en active Active
-
2023
- 2023-11-23 JP JP2023198717A patent/JP7710020B2/ja active Active
-
2024
- 2024-12-16 US US18/982,263 patent/US20250120181A1/en active Pending
-
2025
- 2025-07-07 JP JP2025114598A patent/JP2025129394A/ja active Pending
Also Published As
Similar Documents
| Publication | Publication Date | Title |
|---|---|---|
| JP6449492B2 (ja) | 半導体装置の作製方法 |
Legal Events
| Date | Code | Title | Description |
|---|---|---|---|
| A521 | Request for written amendment filed |
Free format text: JAPANESE INTERMEDIATE CODE: A523 Effective date: 20151030 |
|
| A131 | Notification of reasons for refusal |
Free format text: JAPANESE INTERMEDIATE CODE: A131 Effective date: 20160322 |
|
| A977 | Report on retrieval |
Free format text: JAPANESE INTERMEDIATE CODE: A971007 Effective date: 20160324 |
|
| A521 | Request for written amendment filed |
Free format text: JAPANESE INTERMEDIATE CODE: A523 Effective date: 20160330 |
|
| A131 | Notification of reasons for refusal |
Free format text: JAPANESE INTERMEDIATE CODE: A131 Effective date: 20160823 |
|
| A521 | Request for written amendment filed |
Free format text: JAPANESE INTERMEDIATE CODE: A523 Effective date: 20160929 |
|
| TRDD | Decision of grant or rejection written | ||
| A01 | Written decision to grant a patent or to grant a registration (utility model) |
Free format text: JAPANESE INTERMEDIATE CODE: A01 Effective date: 20170110 |
|
| A61 | First payment of annual fees (during grant procedure) |
Free format text: JAPANESE INTERMEDIATE CODE: A61 Effective date: 20170131 |
|
| R150 | Certificate of patent or registration of utility model |
Ref document number: 6086938 Country of ref document: JP Free format text: JAPANESE INTERMEDIATE CODE: R150 |
|
| R250 | Receipt of annual fees |
Free format text: JAPANESE INTERMEDIATE CODE: R250 |
|
| R250 | Receipt of annual fees |
Free format text: JAPANESE INTERMEDIATE CODE: R250 |
|
| R250 | Receipt of annual fees |
Free format text: JAPANESE INTERMEDIATE CODE: R250 |
|
| R250 | Receipt of annual fees |
Free format text: JAPANESE INTERMEDIATE CODE: R250 |
|
| R250 | Receipt of annual fees |
Free format text: JAPANESE INTERMEDIATE CODE: R250 |
|
| R250 | Receipt of annual fees |
Free format text: JAPANESE INTERMEDIATE CODE: R250 |
|
| R250 | Receipt of annual fees |
Free format text: JAPANESE INTERMEDIATE CODE: R250 |
