JP6158848B2 - 液晶表示装置 - Google Patents
液晶表示装置 Download PDFInfo
- Publication number
- JP6158848B2 JP6158848B2 JP2015054184A JP2015054184A JP6158848B2 JP 6158848 B2 JP6158848 B2 JP 6158848B2 JP 2015054184 A JP2015054184 A JP 2015054184A JP 2015054184 A JP2015054184 A JP 2015054184A JP 6158848 B2 JP6158848 B2 JP 6158848B2
- Authority
- JP
- Japan
- Prior art keywords
- film
- insulating film
- region
- wiring
- pixel
- Prior art date
- Legal status (The legal status is an assumption and is not a legal conclusion. Google has not performed a legal analysis and makes no representation as to the accuracy of the status listed.)
- Expired - Fee Related
Links
- 239000004973 liquid crystal related substance Substances 0.000 title claims description 34
- 239000004065 semiconductor Substances 0.000 claims description 86
- 239000000758 substrate Substances 0.000 claims description 38
- 230000015572 biosynthetic process Effects 0.000 claims description 17
- 229910021419 crystalline silicon Inorganic materials 0.000 claims description 6
- 230000000903 blocking effect Effects 0.000 claims 1
- 239000010408 film Substances 0.000 description 292
- 239000003990 capacitor Substances 0.000 description 71
- 238000003860 storage Methods 0.000 description 39
- 239000010410 layer Substances 0.000 description 36
- 238000000034 method Methods 0.000 description 20
- 239000012535 impurity Substances 0.000 description 14
- 239000011159 matrix material Substances 0.000 description 13
- 230000003287 optical effect Effects 0.000 description 13
- VYPSYNLAJGMNEJ-UHFFFAOYSA-N silicon dioxide Inorganic materials O=[Si]=O VYPSYNLAJGMNEJ-UHFFFAOYSA-N 0.000 description 13
- XUIMIQQOPSSXEZ-UHFFFAOYSA-N Silicon Chemical compound [Si] XUIMIQQOPSSXEZ-UHFFFAOYSA-N 0.000 description 12
- 238000004519 manufacturing process Methods 0.000 description 12
- 229910052710 silicon Inorganic materials 0.000 description 12
- 239000010703 silicon Substances 0.000 description 12
- 229910052814 silicon oxide Inorganic materials 0.000 description 11
- OAICVXFJPJFONN-UHFFFAOYSA-N Phosphorus Chemical compound [P] OAICVXFJPJFONN-UHFFFAOYSA-N 0.000 description 9
- 229910052698 phosphorus Inorganic materials 0.000 description 9
- 239000011574 phosphorus Substances 0.000 description 9
- 230000001976 improved effect Effects 0.000 description 8
- 238000010438 heat treatment Methods 0.000 description 7
- 229910021420 polycrystalline silicon Inorganic materials 0.000 description 7
- 239000010936 titanium Substances 0.000 description 7
- 229910052581 Si3N4 Inorganic materials 0.000 description 6
- 229910052782 aluminium Inorganic materials 0.000 description 6
- 239000011651 chromium Substances 0.000 description 6
- 239000000463 material Substances 0.000 description 6
- 238000000059 patterning Methods 0.000 description 6
- 239000011347 resin Substances 0.000 description 6
- 229920005989 resin Polymers 0.000 description 6
- HQVNEWCFYHHQES-UHFFFAOYSA-N silicon nitride Chemical compound N12[Si]34N5[Si]62N3[Si]51N64 HQVNEWCFYHHQES-UHFFFAOYSA-N 0.000 description 6
- 239000010409 thin film Substances 0.000 description 6
- 229910052721 tungsten Inorganic materials 0.000 description 6
- 229910021417 amorphous silicon Inorganic materials 0.000 description 5
- 229910052804 chromium Inorganic materials 0.000 description 5
- 238000013461 design Methods 0.000 description 5
- ZOXJGFHDIHLPTG-UHFFFAOYSA-N Boron Chemical compound [B] ZOXJGFHDIHLPTG-UHFFFAOYSA-N 0.000 description 4
- 229910052796 boron Inorganic materials 0.000 description 4
- 239000004020 conductor Substances 0.000 description 4
- 238000002425 crystallisation Methods 0.000 description 4
- 230000008025 crystallization Effects 0.000 description 4
- 238000010586 diagram Methods 0.000 description 4
- 239000011810 insulating material Substances 0.000 description 4
- 239000011229 interlayer Substances 0.000 description 4
- 230000003071 parasitic effect Effects 0.000 description 4
- 230000002093 peripheral effect Effects 0.000 description 4
- 238000005268 plasma chemical vapour deposition Methods 0.000 description 4
- 238000000926 separation method Methods 0.000 description 4
- 238000004544 sputter deposition Methods 0.000 description 4
- 229910052715 tantalum Inorganic materials 0.000 description 4
- WQJQOUPTWCFRMM-UHFFFAOYSA-N tungsten disilicide Chemical compound [Si]#[W]#[Si] WQJQOUPTWCFRMM-UHFFFAOYSA-N 0.000 description 4
- PXHVJJICTQNCMI-UHFFFAOYSA-N Nickel Chemical compound [Ni] PXHVJJICTQNCMI-UHFFFAOYSA-N 0.000 description 3
- 230000009977 dual effect Effects 0.000 description 3
- 239000011521 glass Substances 0.000 description 3
- 230000003647 oxidation Effects 0.000 description 3
- 238000007254 oxidation reaction Methods 0.000 description 3
- 230000010287 polarization Effects 0.000 description 3
- 229910052719 titanium Inorganic materials 0.000 description 3
- 229910021342 tungsten silicide Inorganic materials 0.000 description 3
- 239000004642 Polyimide Substances 0.000 description 2
- NIXOWILDQLNWCW-UHFFFAOYSA-N acrylic acid group Chemical group C(C=C)(=O)O NIXOWILDQLNWCW-UHFFFAOYSA-N 0.000 description 2
- 230000006866 deterioration Effects 0.000 description 2
- 238000005530 etching Methods 0.000 description 2
- 238000004518 low pressure chemical vapour deposition Methods 0.000 description 2
- 230000014759 maintenance of location Effects 0.000 description 2
- 229910052751 metal Inorganic materials 0.000 description 2
- 239000002184 metal Substances 0.000 description 2
- 229910052750 molybdenum Inorganic materials 0.000 description 2
- 229920001721 polyimide Polymers 0.000 description 2
- 229920005591 polysilicon Polymers 0.000 description 2
- 239000010453 quartz Substances 0.000 description 2
- 239000004925 Acrylic resin Substances 0.000 description 1
- 229920000178 Acrylic resin Polymers 0.000 description 1
- VYZAMTAEIAYCRO-UHFFFAOYSA-N Chromium Chemical compound [Cr] VYZAMTAEIAYCRO-UHFFFAOYSA-N 0.000 description 1
- ZOKXTWBITQBERF-UHFFFAOYSA-N Molybdenum Chemical compound [Mo] ZOKXTWBITQBERF-UHFFFAOYSA-N 0.000 description 1
- 239000004952 Polyamide Substances 0.000 description 1
- 229910000577 Silicon-germanium Inorganic materials 0.000 description 1
- 229910001362 Ta alloys Inorganic materials 0.000 description 1
- ATJFFYVFTNAWJD-UHFFFAOYSA-N Tin Chemical compound [Sn] ATJFFYVFTNAWJD-UHFFFAOYSA-N 0.000 description 1
- RTAQQCXQSZGOHL-UHFFFAOYSA-N Titanium Chemical compound [Ti] RTAQQCXQSZGOHL-UHFFFAOYSA-N 0.000 description 1
- 229910001080 W alloy Inorganic materials 0.000 description 1
- 229910008812 WSi Inorganic materials 0.000 description 1
- 229910008938 W—Si Inorganic materials 0.000 description 1
- LEVVHYCKPQWKOP-UHFFFAOYSA-N [Si].[Ge] Chemical compound [Si].[Ge] LEVVHYCKPQWKOP-UHFFFAOYSA-N 0.000 description 1
- 230000003213 activating effect Effects 0.000 description 1
- 229910045601 alloy Inorganic materials 0.000 description 1
- 239000000956 alloy Substances 0.000 description 1
- XAGFODPZIPBFFR-UHFFFAOYSA-N aluminium Chemical compound [Al] XAGFODPZIPBFFR-UHFFFAOYSA-N 0.000 description 1
- 150000001408 amides Chemical class 0.000 description 1
- 238000003491 array Methods 0.000 description 1
- UMIVXZPTRXBADB-UHFFFAOYSA-N benzocyclobutene Chemical compound C1=CC=C2CCC2=C1 UMIVXZPTRXBADB-UHFFFAOYSA-N 0.000 description 1
- 230000015556 catabolic process Effects 0.000 description 1
- 210000004027 cell Anatomy 0.000 description 1
- 238000006243 chemical reaction Methods 0.000 description 1
- 238000005229 chemical vapour deposition Methods 0.000 description 1
- 150000001875 compounds Chemical class 0.000 description 1
- 238000011109 contamination Methods 0.000 description 1
- 239000013078 crystal Substances 0.000 description 1
- 210000002858 crystal cell Anatomy 0.000 description 1
- 238000006731 degradation reaction Methods 0.000 description 1
- 238000006356 dehydrogenation reaction Methods 0.000 description 1
- 238000011161 development Methods 0.000 description 1
- ZOCHARZZJNPSEU-UHFFFAOYSA-N diboron Chemical compound B#B ZOCHARZZJNPSEU-UHFFFAOYSA-N 0.000 description 1
- 238000009792 diffusion process Methods 0.000 description 1
- 230000000694 effects Effects 0.000 description 1
- 238000005984 hydrogenation reaction Methods 0.000 description 1
- AMGQUBHHOARCQH-UHFFFAOYSA-N indium;oxotin Chemical compound [In].[Sn]=O AMGQUBHHOARCQH-UHFFFAOYSA-N 0.000 description 1
- 238000005468 ion implantation Methods 0.000 description 1
- 150000002500 ions Chemical class 0.000 description 1
- 239000011733 molybdenum Substances 0.000 description 1
- 229910052759 nickel Inorganic materials 0.000 description 1
- 239000012299 nitrogen atmosphere Substances 0.000 description 1
- 238000002161 passivation Methods 0.000 description 1
- 239000011295 pitch Substances 0.000 description 1
- 238000002294 plasma sputter deposition Methods 0.000 description 1
- 239000004033 plastic Substances 0.000 description 1
- 229920002647 polyamide Polymers 0.000 description 1
- 238000012545 processing Methods 0.000 description 1
- 230000001737 promoting effect Effects 0.000 description 1
- 230000001681 protective effect Effects 0.000 description 1
- 230000003014 reinforcing effect Effects 0.000 description 1
- 230000000630 rising effect Effects 0.000 description 1
- 239000003566 sealing material Substances 0.000 description 1
- 239000002356 single layer Substances 0.000 description 1
- 125000006850 spacer group Chemical group 0.000 description 1
- GUVRBAGPIYLISA-UHFFFAOYSA-N tantalum atom Chemical compound [Ta] GUVRBAGPIYLISA-UHFFFAOYSA-N 0.000 description 1
- 229910052718 tin Inorganic materials 0.000 description 1
- WFKWXMTUELFFGS-UHFFFAOYSA-N tungsten Chemical compound [W] WFKWXMTUELFFGS-UHFFFAOYSA-N 0.000 description 1
- 239000010937 tungsten Substances 0.000 description 1
Images
Classifications
-
- H—ELECTRICITY
- H10—SEMICONDUCTOR DEVICES; ELECTRIC SOLID-STATE DEVICES NOT OTHERWISE PROVIDED FOR
- H10D—INORGANIC ELECTRIC SEMICONDUCTOR DEVICES
- H10D86/00—Integrated devices formed in or on insulating or conducting substrates, e.g. formed in silicon-on-insulator [SOI] substrates or on stainless steel or glass substrates
- H10D86/40—Integrated devices formed in or on insulating or conducting substrates, e.g. formed in silicon-on-insulator [SOI] substrates or on stainless steel or glass substrates characterised by multiple TFTs
- H10D86/481—Integrated devices formed in or on insulating or conducting substrates, e.g. formed in silicon-on-insulator [SOI] substrates or on stainless steel or glass substrates characterised by multiple TFTs integrated with passive devices, e.g. auxiliary capacitors
-
- G—PHYSICS
- G02—OPTICS
- G02F—OPTICAL DEVICES OR ARRANGEMENTS FOR THE CONTROL OF LIGHT BY MODIFICATION OF THE OPTICAL PROPERTIES OF THE MEDIA OF THE ELEMENTS INVOLVED THEREIN; NON-LINEAR OPTICS; FREQUENCY-CHANGING OF LIGHT; OPTICAL LOGIC ELEMENTS; OPTICAL ANALOGUE/DIGITAL CONVERTERS
- G02F1/00—Devices or arrangements for the control of the intensity, colour, phase, polarisation or direction of light arriving from an independent light source, e.g. switching, gating or modulating; Non-linear optics
- G02F1/01—Devices or arrangements for the control of the intensity, colour, phase, polarisation or direction of light arriving from an independent light source, e.g. switching, gating or modulating; Non-linear optics for the control of the intensity, phase, polarisation or colour
- G02F1/13—Devices or arrangements for the control of the intensity, colour, phase, polarisation or direction of light arriving from an independent light source, e.g. switching, gating or modulating; Non-linear optics for the control of the intensity, phase, polarisation or colour based on liquid crystals, e.g. single liquid crystal display cells
- G02F1/133—Constructional arrangements; Operation of liquid crystal cells; Circuit arrangements
- G02F1/1333—Constructional arrangements; Manufacturing methods
- G02F1/1345—Conductors connecting electrodes to cell terminals
- G02F1/13454—Drivers integrated on the active matrix substrate
-
- G—PHYSICS
- G02—OPTICS
- G02F—OPTICAL DEVICES OR ARRANGEMENTS FOR THE CONTROL OF LIGHT BY MODIFICATION OF THE OPTICAL PROPERTIES OF THE MEDIA OF THE ELEMENTS INVOLVED THEREIN; NON-LINEAR OPTICS; FREQUENCY-CHANGING OF LIGHT; OPTICAL LOGIC ELEMENTS; OPTICAL ANALOGUE/DIGITAL CONVERTERS
- G02F1/00—Devices or arrangements for the control of the intensity, colour, phase, polarisation or direction of light arriving from an independent light source, e.g. switching, gating or modulating; Non-linear optics
- G02F1/01—Devices or arrangements for the control of the intensity, colour, phase, polarisation or direction of light arriving from an independent light source, e.g. switching, gating or modulating; Non-linear optics for the control of the intensity, phase, polarisation or colour
- G02F1/13—Devices or arrangements for the control of the intensity, colour, phase, polarisation or direction of light arriving from an independent light source, e.g. switching, gating or modulating; Non-linear optics for the control of the intensity, phase, polarisation or colour based on liquid crystals, e.g. single liquid crystal display cells
- G02F1/133—Constructional arrangements; Operation of liquid crystal cells; Circuit arrangements
- G02F1/1333—Constructional arrangements; Manufacturing methods
- G02F1/133345—Insulating layers
-
- G—PHYSICS
- G02—OPTICS
- G02F—OPTICAL DEVICES OR ARRANGEMENTS FOR THE CONTROL OF LIGHT BY MODIFICATION OF THE OPTICAL PROPERTIES OF THE MEDIA OF THE ELEMENTS INVOLVED THEREIN; NON-LINEAR OPTICS; FREQUENCY-CHANGING OF LIGHT; OPTICAL LOGIC ELEMENTS; OPTICAL ANALOGUE/DIGITAL CONVERTERS
- G02F1/00—Devices or arrangements for the control of the intensity, colour, phase, polarisation or direction of light arriving from an independent light source, e.g. switching, gating or modulating; Non-linear optics
- G02F1/01—Devices or arrangements for the control of the intensity, colour, phase, polarisation or direction of light arriving from an independent light source, e.g. switching, gating or modulating; Non-linear optics for the control of the intensity, phase, polarisation or colour
- G02F1/13—Devices or arrangements for the control of the intensity, colour, phase, polarisation or direction of light arriving from an independent light source, e.g. switching, gating or modulating; Non-linear optics for the control of the intensity, phase, polarisation or colour based on liquid crystals, e.g. single liquid crystal display cells
- G02F1/133—Constructional arrangements; Operation of liquid crystal cells; Circuit arrangements
- G02F1/136—Liquid crystal cells structurally associated with a semi-conducting layer or substrate, e.g. cells forming part of an integrated circuit
- G02F1/1362—Active matrix addressed cells
- G02F1/136209—Light shielding layers, e.g. black matrix, incorporated in the active matrix substrate, e.g. structurally associated with the switching element
-
- G—PHYSICS
- G02—OPTICS
- G02F—OPTICAL DEVICES OR ARRANGEMENTS FOR THE CONTROL OF LIGHT BY MODIFICATION OF THE OPTICAL PROPERTIES OF THE MEDIA OF THE ELEMENTS INVOLVED THEREIN; NON-LINEAR OPTICS; FREQUENCY-CHANGING OF LIGHT; OPTICAL LOGIC ELEMENTS; OPTICAL ANALOGUE/DIGITAL CONVERTERS
- G02F1/00—Devices or arrangements for the control of the intensity, colour, phase, polarisation or direction of light arriving from an independent light source, e.g. switching, gating or modulating; Non-linear optics
- G02F1/01—Devices or arrangements for the control of the intensity, colour, phase, polarisation or direction of light arriving from an independent light source, e.g. switching, gating or modulating; Non-linear optics for the control of the intensity, phase, polarisation or colour
- G02F1/13—Devices or arrangements for the control of the intensity, colour, phase, polarisation or direction of light arriving from an independent light source, e.g. switching, gating or modulating; Non-linear optics for the control of the intensity, phase, polarisation or colour based on liquid crystals, e.g. single liquid crystal display cells
- G02F1/133—Constructional arrangements; Operation of liquid crystal cells; Circuit arrangements
- G02F1/136—Liquid crystal cells structurally associated with a semi-conducting layer or substrate, e.g. cells forming part of an integrated circuit
- G02F1/1362—Active matrix addressed cells
- G02F1/136213—Storage capacitors associated with the pixel electrode
-
- G—PHYSICS
- G02—OPTICS
- G02F—OPTICAL DEVICES OR ARRANGEMENTS FOR THE CONTROL OF LIGHT BY MODIFICATION OF THE OPTICAL PROPERTIES OF THE MEDIA OF THE ELEMENTS INVOLVED THEREIN; NON-LINEAR OPTICS; FREQUENCY-CHANGING OF LIGHT; OPTICAL LOGIC ELEMENTS; OPTICAL ANALOGUE/DIGITAL CONVERTERS
- G02F1/00—Devices or arrangements for the control of the intensity, colour, phase, polarisation or direction of light arriving from an independent light source, e.g. switching, gating or modulating; Non-linear optics
- G02F1/01—Devices or arrangements for the control of the intensity, colour, phase, polarisation or direction of light arriving from an independent light source, e.g. switching, gating or modulating; Non-linear optics for the control of the intensity, phase, polarisation or colour
- G02F1/13—Devices or arrangements for the control of the intensity, colour, phase, polarisation or direction of light arriving from an independent light source, e.g. switching, gating or modulating; Non-linear optics for the control of the intensity, phase, polarisation or colour based on liquid crystals, e.g. single liquid crystal display cells
- G02F1/133—Constructional arrangements; Operation of liquid crystal cells; Circuit arrangements
- G02F1/136—Liquid crystal cells structurally associated with a semi-conducting layer or substrate, e.g. cells forming part of an integrated circuit
- G02F1/1362—Active matrix addressed cells
- G02F1/136227—Through-hole connection of the pixel electrode to the active element through an insulation layer
-
- G—PHYSICS
- G02—OPTICS
- G02F—OPTICAL DEVICES OR ARRANGEMENTS FOR THE CONTROL OF LIGHT BY MODIFICATION OF THE OPTICAL PROPERTIES OF THE MEDIA OF THE ELEMENTS INVOLVED THEREIN; NON-LINEAR OPTICS; FREQUENCY-CHANGING OF LIGHT; OPTICAL LOGIC ELEMENTS; OPTICAL ANALOGUE/DIGITAL CONVERTERS
- G02F1/00—Devices or arrangements for the control of the intensity, colour, phase, polarisation or direction of light arriving from an independent light source, e.g. switching, gating or modulating; Non-linear optics
- G02F1/01—Devices or arrangements for the control of the intensity, colour, phase, polarisation or direction of light arriving from an independent light source, e.g. switching, gating or modulating; Non-linear optics for the control of the intensity, phase, polarisation or colour
- G02F1/13—Devices or arrangements for the control of the intensity, colour, phase, polarisation or direction of light arriving from an independent light source, e.g. switching, gating or modulating; Non-linear optics for the control of the intensity, phase, polarisation or colour based on liquid crystals, e.g. single liquid crystal display cells
- G02F1/133—Constructional arrangements; Operation of liquid crystal cells; Circuit arrangements
- G02F1/136—Liquid crystal cells structurally associated with a semi-conducting layer or substrate, e.g. cells forming part of an integrated circuit
- G02F1/1362—Active matrix addressed cells
- G02F1/136277—Active matrix addressed cells formed on a semiconductor substrate, e.g. of silicon
-
- G—PHYSICS
- G02—OPTICS
- G02F—OPTICAL DEVICES OR ARRANGEMENTS FOR THE CONTROL OF LIGHT BY MODIFICATION OF THE OPTICAL PROPERTIES OF THE MEDIA OF THE ELEMENTS INVOLVED THEREIN; NON-LINEAR OPTICS; FREQUENCY-CHANGING OF LIGHT; OPTICAL LOGIC ELEMENTS; OPTICAL ANALOGUE/DIGITAL CONVERTERS
- G02F1/00—Devices or arrangements for the control of the intensity, colour, phase, polarisation or direction of light arriving from an independent light source, e.g. switching, gating or modulating; Non-linear optics
- G02F1/01—Devices or arrangements for the control of the intensity, colour, phase, polarisation or direction of light arriving from an independent light source, e.g. switching, gating or modulating; Non-linear optics for the control of the intensity, phase, polarisation or colour
- G02F1/13—Devices or arrangements for the control of the intensity, colour, phase, polarisation or direction of light arriving from an independent light source, e.g. switching, gating or modulating; Non-linear optics for the control of the intensity, phase, polarisation or colour based on liquid crystals, e.g. single liquid crystal display cells
- G02F1/133—Constructional arrangements; Operation of liquid crystal cells; Circuit arrangements
- G02F1/136—Liquid crystal cells structurally associated with a semi-conducting layer or substrate, e.g. cells forming part of an integrated circuit
- G02F1/1362—Active matrix addressed cells
- G02F1/136286—Wiring, e.g. gate line, drain line
-
- G—PHYSICS
- G02—OPTICS
- G02F—OPTICAL DEVICES OR ARRANGEMENTS FOR THE CONTROL OF LIGHT BY MODIFICATION OF THE OPTICAL PROPERTIES OF THE MEDIA OF THE ELEMENTS INVOLVED THEREIN; NON-LINEAR OPTICS; FREQUENCY-CHANGING OF LIGHT; OPTICAL LOGIC ELEMENTS; OPTICAL ANALOGUE/DIGITAL CONVERTERS
- G02F1/00—Devices or arrangements for the control of the intensity, colour, phase, polarisation or direction of light arriving from an independent light source, e.g. switching, gating or modulating; Non-linear optics
- G02F1/01—Devices or arrangements for the control of the intensity, colour, phase, polarisation or direction of light arriving from an independent light source, e.g. switching, gating or modulating; Non-linear optics for the control of the intensity, phase, polarisation or colour
- G02F1/13—Devices or arrangements for the control of the intensity, colour, phase, polarisation or direction of light arriving from an independent light source, e.g. switching, gating or modulating; Non-linear optics for the control of the intensity, phase, polarisation or colour based on liquid crystals, e.g. single liquid crystal display cells
- G02F1/133—Constructional arrangements; Operation of liquid crystal cells; Circuit arrangements
- G02F1/136—Liquid crystal cells structurally associated with a semi-conducting layer or substrate, e.g. cells forming part of an integrated circuit
- G02F1/1362—Active matrix addressed cells
- G02F1/1368—Active matrix addressed cells in which the switching element is a three-electrode device
-
- H—ELECTRICITY
- H10—SEMICONDUCTOR DEVICES; ELECTRIC SOLID-STATE DEVICES NOT OTHERWISE PROVIDED FOR
- H10D—INORGANIC ELECTRIC SEMICONDUCTOR DEVICES
- H10D30/00—Field-effect transistors [FET]
- H10D30/60—Insulated-gate field-effect transistors [IGFET]
- H10D30/67—Thin-film transistors [TFT]
-
- H—ELECTRICITY
- H10—SEMICONDUCTOR DEVICES; ELECTRIC SOLID-STATE DEVICES NOT OTHERWISE PROVIDED FOR
- H10D—INORGANIC ELECTRIC SEMICONDUCTOR DEVICES
- H10D30/00—Field-effect transistors [FET]
- H10D30/60—Insulated-gate field-effect transistors [IGFET]
- H10D30/67—Thin-film transistors [TFT]
- H10D30/6704—Thin-film transistors [TFT] having supplementary regions or layers in the thin films or in the insulated bulk substrates for controlling properties of the device
- H10D30/6723—Thin-film transistors [TFT] having supplementary regions or layers in the thin films or in the insulated bulk substrates for controlling properties of the device having light shields
-
- H—ELECTRICITY
- H10—SEMICONDUCTOR DEVICES; ELECTRIC SOLID-STATE DEVICES NOT OTHERWISE PROVIDED FOR
- H10D—INORGANIC ELECTRIC SEMICONDUCTOR DEVICES
- H10D30/00—Field-effect transistors [FET]
- H10D30/60—Insulated-gate field-effect transistors [IGFET]
- H10D30/67—Thin-film transistors [TFT]
- H10D30/6729—Thin-film transistors [TFT] characterised by the electrodes
- H10D30/6737—Thin-film transistors [TFT] characterised by the electrodes characterised by the electrode materials
- H10D30/6739—Conductor-insulator-semiconductor electrodes
-
- H—ELECTRICITY
- H10—SEMICONDUCTOR DEVICES; ELECTRIC SOLID-STATE DEVICES NOT OTHERWISE PROVIDED FOR
- H10D—INORGANIC ELECTRIC SEMICONDUCTOR DEVICES
- H10D86/00—Integrated devices formed in or on insulating or conducting substrates, e.g. formed in silicon-on-insulator [SOI] substrates or on stainless steel or glass substrates
-
- H—ELECTRICITY
- H10—SEMICONDUCTOR DEVICES; ELECTRIC SOLID-STATE DEVICES NOT OTHERWISE PROVIDED FOR
- H10D—INORGANIC ELECTRIC SEMICONDUCTOR DEVICES
- H10D86/00—Integrated devices formed in or on insulating or conducting substrates, e.g. formed in silicon-on-insulator [SOI] substrates or on stainless steel or glass substrates
- H10D86/40—Integrated devices formed in or on insulating or conducting substrates, e.g. formed in silicon-on-insulator [SOI] substrates or on stainless steel or glass substrates characterised by multiple TFTs
-
- H—ELECTRICITY
- H10—SEMICONDUCTOR DEVICES; ELECTRIC SOLID-STATE DEVICES NOT OTHERWISE PROVIDED FOR
- H10D—INORGANIC ELECTRIC SEMICONDUCTOR DEVICES
- H10D86/00—Integrated devices formed in or on insulating or conducting substrates, e.g. formed in silicon-on-insulator [SOI] substrates or on stainless steel or glass substrates
- H10D86/40—Integrated devices formed in or on insulating or conducting substrates, e.g. formed in silicon-on-insulator [SOI] substrates or on stainless steel or glass substrates characterised by multiple TFTs
- H10D86/441—Interconnections, e.g. scanning lines
-
- H—ELECTRICITY
- H10—SEMICONDUCTOR DEVICES; ELECTRIC SOLID-STATE DEVICES NOT OTHERWISE PROVIDED FOR
- H10D—INORGANIC ELECTRIC SEMICONDUCTOR DEVICES
- H10D86/00—Integrated devices formed in or on insulating or conducting substrates, e.g. formed in silicon-on-insulator [SOI] substrates or on stainless steel or glass substrates
- H10D86/40—Integrated devices formed in or on insulating or conducting substrates, e.g. formed in silicon-on-insulator [SOI] substrates or on stainless steel or glass substrates characterised by multiple TFTs
- H10D86/60—Integrated devices formed in or on insulating or conducting substrates, e.g. formed in silicon-on-insulator [SOI] substrates or on stainless steel or glass substrates characterised by multiple TFTs wherein the TFTs are in active matrices
-
- H—ELECTRICITY
- H10—SEMICONDUCTOR DEVICES; ELECTRIC SOLID-STATE DEVICES NOT OTHERWISE PROVIDED FOR
- H10K—ORGANIC ELECTRIC SOLID-STATE DEVICES
- H10K59/00—Integrated devices, or assemblies of multiple devices, comprising at least one organic light-emitting element covered by group H10K50/00
- H10K59/10—OLED displays
- H10K59/12—Active-matrix OLED [AMOLED] displays
-
- H—ELECTRICITY
- H10—SEMICONDUCTOR DEVICES; ELECTRIC SOLID-STATE DEVICES NOT OTHERWISE PROVIDED FOR
- H10K—ORGANIC ELECTRIC SOLID-STATE DEVICES
- H10K59/00—Integrated devices, or assemblies of multiple devices, comprising at least one organic light-emitting element covered by group H10K50/00
- H10K59/10—OLED displays
- H10K59/12—Active-matrix OLED [AMOLED] displays
- H10K59/121—Active-matrix OLED [AMOLED] displays characterised by the geometry or disposition of pixel elements
- H10K59/1213—Active-matrix OLED [AMOLED] displays characterised by the geometry or disposition of pixel elements the pixel elements being TFTs
-
- H—ELECTRICITY
- H10—SEMICONDUCTOR DEVICES; ELECTRIC SOLID-STATE DEVICES NOT OTHERWISE PROVIDED FOR
- H10K—ORGANIC ELECTRIC SOLID-STATE DEVICES
- H10K59/00—Integrated devices, or assemblies of multiple devices, comprising at least one organic light-emitting element covered by group H10K50/00
- H10K59/10—OLED displays
- H10K59/12—Active-matrix OLED [AMOLED] displays
- H10K59/121—Active-matrix OLED [AMOLED] displays characterised by the geometry or disposition of pixel elements
- H10K59/1216—Active-matrix OLED [AMOLED] displays characterised by the geometry or disposition of pixel elements the pixel elements being capacitors
-
- H—ELECTRICITY
- H10—SEMICONDUCTOR DEVICES; ELECTRIC SOLID-STATE DEVICES NOT OTHERWISE PROVIDED FOR
- H10K—ORGANIC ELECTRIC SOLID-STATE DEVICES
- H10K59/00—Integrated devices, or assemblies of multiple devices, comprising at least one organic light-emitting element covered by group H10K50/00
- H10K59/10—OLED displays
- H10K59/12—Active-matrix OLED [AMOLED] displays
- H10K59/123—Connection of the pixel electrodes to the thin film transistors [TFT]
-
- H—ELECTRICITY
- H10—SEMICONDUCTOR DEVICES; ELECTRIC SOLID-STATE DEVICES NOT OTHERWISE PROVIDED FOR
- H10K—ORGANIC ELECTRIC SOLID-STATE DEVICES
- H10K59/00—Integrated devices, or assemblies of multiple devices, comprising at least one organic light-emitting element covered by group H10K50/00
- H10K59/10—OLED displays
- H10K59/12—Active-matrix OLED [AMOLED] displays
- H10K59/131—Interconnections, e.g. wiring lines or terminals
Landscapes
- Physics & Mathematics (AREA)
- Nonlinear Science (AREA)
- Engineering & Computer Science (AREA)
- Microelectronics & Electronic Packaging (AREA)
- Crystallography & Structural Chemistry (AREA)
- General Physics & Mathematics (AREA)
- Optics & Photonics (AREA)
- Chemical & Material Sciences (AREA)
- Mathematical Physics (AREA)
- Geometry (AREA)
- Power Engineering (AREA)
- Liquid Crystal (AREA)
- Thin Film Transistor (AREA)
- Devices For Indicating Variable Information By Combining Individual Elements (AREA)
- Projection Apparatus (AREA)
- Electrodes Of Semiconductors (AREA)
- Transforming Electric Information Into Light Information (AREA)
- Internal Circuitry In Semiconductor Integrated Circuit Devices (AREA)
- Semiconductor Integrated Circuits (AREA)
Description
装置およびその作製方法に関する。例えば、液晶表示パネルに代表される電気光学装置お
よびその様な電気光学装置を部品として搭載した電子機器に関する。
置全般を指し、電気光学装置、半導体回路および電子機器は全て半導体装置である。
いて薄膜トランジスタ(TFT)を構成する技術が注目されている。薄膜トランジスタは
ICや電気光学装置のような電子デバイスに広く応用され、特に液晶表示装置のスイッチ
ング素子として開発が急がれている。
、画素電極の各々に接続するスイッチング素子としてTFTを用いたアクティブマトリク
ス型液晶表示装置が注目を集めている。
、TFTに接続された各画素電極に映像信号の電位を次回の書き込み時まで保持できるよ
うにする必要がある。一般的には、画素内に保持容量(Cs)を備えることで映像信号の
電位を保持している。
程の簡素さ、また信頼性の観点から、画素を構成する絶縁膜のうち、最も質の高い絶縁膜
であるTFTのゲート絶縁膜を保持容量(Cs)の誘電体として利用することが望ましい
。従来では、図18に示したように走査線と同じ配線層を用いて上部電極となる容量配線
を設け、上部電極(容量配線)/誘電体層(ゲート絶縁膜)/下部電極(半導体膜)によ
り保持容量(Cs)を構成することが行われていた。
められている。各画素が高い開口率を持つことによりバックライトの光利用効率が向上し
、所定の表示輝度を得るためのバックライト容量が抑制できる結果、表示装置の省電力化
および小型化が達成できる。また、各画素が大きな保持容量を備えることにより、各画素
の表示データ保持特性が向上して表示品質が向上する。
ッチの微細化を進める上で大きな課題となっている。
題がある。
線)平行に配置していることが従来の特徴である。図18において、10は半導体膜、1
1は走査線、12は信号線、13は電極、14は容量配線である。なお、図18は、画素
の上面図を簡略化したものであり、電極13に接続する画素電極及び電極13に達するコ
ンタクトホールは図示していない。
よる保持容量構成とした場合、画素の回路構成に必要な回路要素(画素TFT, 保持容量,
コンタクトホール等)は全てゲート絶縁膜関連のものとなり、回路要素を構成するこれら
の素子は各画素中にほぼ平面的に配置される。
ためには、画素の回路構成に必要な回路要素を効率よくレイアウトすることが不可欠であ
る。このことは、回路要素が全てゲート絶縁膜関連のものであることからゲート絶縁膜の
利用効率を向上することが不可欠と言い換えることができる。
したものが図19である。図19中、21は単体画素領域、22は画素開口領域、23は
保持容量領域、24はA領域、25はTFTの一部及びコンタクト領域を示している。
容量領域23の面積64.2μm2、TFTの一部及びコンタクト領域25の面積42.
2μm2、A領域24の面積34.1μm2で構成されている。
び走査線と容量配線とを平行に配置していることに起因する走査線及び容量配線の分離領
域であり、A領域のゲート絶縁膜は本来の機能を与えられておらず、レイアウト効率を低
下させる原因となっている。
続的に(点順次駆動の場合)、または同時に(線順次駆動の場合)映像信号の電位の書き込
みが行われる。
に接続されている複数の画素が共通の容量配線に接続されているため、該当する容量配線
には画素書き込み電流に対応する対向電流が複数画素分、連続的にまたは同時に流れるこ
とになり、容量配線の電位変動による表示品質の低下を避けるためには容量配線抵抗を十
分に下げておく必要がある。
大する一方、画素の開口率を損なってしまっていた。
な保持容量(Cs)を確保し、また同時に容量配線の負荷(画素書き込み電流)を時間的に
分散させて実効的に低減する事により、高い表示品質をもつ液晶表示装置を提供するもの
である。
絶縁表面上に第1配線と、
前記第1配線上に第1絶縁膜と、
前記第1絶縁膜上に半導体膜と、
前記半導体膜上に第2絶縁膜と、
前記第2絶縁膜上に第2配線と、前記第1配線と接続するゲート電極と、
前記第2配線及び前記ゲート電極上に第3絶縁膜と、
前記第3絶縁膜上に前記半導体膜と接続する第3の配線とを有することを特徴とする半
導体装置である。
なることを特徴としている。
なる領域には、前記第2絶縁膜を誘電体とする保持容量が形成されることを特徴としてい
る。
線と重なる領域には、半導体に導電型(p型またはn型)を付与する不純物元素が添加さ
れていることを特徴としている。
と接続する画素電極とを有することを特徴としている。
れていることを特徴としている。
ていることを特徴としている。即ち、画素部において、前記第2配線と前記第3配線は平
行な方向(Y方向)に配置され、これらの配線に直交する方向(X方向)に第1配線が配
置されている。
いることを特徴としている。
特徴としている。
絶縁膜を介して前記半導体膜の一部と重なっており、半導体膜への光を遮る遮光膜の役目
を果たす。
されたpoly−Si、W、WSiX、Al、Ta、Cr、またはMoから選ばれた元素
を主成分とする膜またはそれらの積層膜からなることを特徴としている。
信号線駆動回路に接続され互いに平行に所定の間隔を隔てて配置される複数の信号線と
、
走査線駆動回路に接続され互いに平行に所定の間隔を隔てて配置される複数の走査線と
、
前記信号線と平行に配置される容量配線とを有することを特徴とする半導体装置。
。
る薄膜トランジスタと、前記トランジスタと接続された画素電極とを有することを特徴と
している。
ることを特徴としている。
特徴としている。
絶縁表面を有する基板上に第1配線を形成する第1工程と、
前記第1配線上に第1絶縁膜を形成する第2工程と、
前記第1配線上に半導体膜を形成する第3工程と、
前記半導体膜上に第2絶縁膜を形成する第4工程と、
前記第1絶縁膜及び第2絶縁膜に選択的なエッチングを施して、前記第1配線に達する
第1コンタクトホールを形成する第5工程と、
前記第1コンタクトホールを通じて前記第1配線と接続し、且つ、前記第2絶縁膜上に
前記半導体膜の一部と重なるゲート電極を形成する第6工程と、
前記ゲート電極上に第3絶縁膜を形成する第7工程と、
前記第2絶縁膜及び第3絶縁膜に選択的なエッチングを施して、前記半導体膜に達する
第2コンタクトホールを形成する第8工程と、
前記第2コンタクトホールを通じて前記半導体膜と接続した第3配線を前記第3絶縁膜
上に形成する第9工程と、を有することを特徴とする半導体装置の作製方法である。
る第2配線を前記第2絶縁膜上に形成することを特徴としている。
配線と重なる前記第2絶縁膜を部分的に薄くする工程を有することを特徴としている。
第2配線は容量配線、前記第3配線は信号線である。
ていた領域(図19中のA領域に相当する)を保持容量として使うことができること、また
各走査線に接続されている複数の画素が各々独立した容量配線を持つ構成になることによ
り各画素は隣接する画素と連続的、又は同時に信号書き込みが行われる場合にも隣接画素
の書き込み電流の影響を受けず、さらに各容量配線は電流負荷が時間的に分散される事か
ら実効負荷が低減、容量配線抵抗への要求が緩和される。
電位を保持する保持容量を併せ持つ液晶表示素子が得られ、装置の小型化、省電力化を達
成しながら良好な表示画像を得る事ができる。
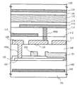
る層に走査線を形成することを特徴としている。本発明の画素構成の一例を図1に示した
。
れたコンタクトホール100cを通じて走査線102と接続している。また、半導体膜1
04は、コンタクトホール100aを通じて信号線109と接続している。また、半導体
膜104は、コンタクトホール100bを通じて電極110と接続している。また、信号
線109または電極110と接する半導体膜の領域をソース領域あるいはドレイン領域と
呼んでいる。また、ソース領域とドレイン領域との間にはチャネル形成領域が形成されて
おり、チャネル形成領域上にはゲート絶縁膜を介してゲート電極106が存在している。
なお、簡略化のため、ソース領域、ドレイン領域、及びチャネル形成領域は図示していな
い。
形成した場合、半導体膜104の下層に走査線102が設けられるので遮光膜として機能
させることも可能である。また、保持容量は、下部電極を半導体膜とし、半導体膜を覆う
絶縁膜を誘電体とし、上部電極を容量配線107として形成する。なお、半導体膜を覆う
絶縁膜を部分的に薄膜化することで保持容量の増大を図ってもよい。
を介してゲート電極を備えたデュアルゲート構造とすることができ、第1絶縁膜を適切な
膜厚に設定することにより、走査線と他の配線とで形成される寄生容量を抑制しながらT
FTの特性を向上することができる。
なるよう配置されていることを特徴としている。従って、駆動方式から各走査線に対応す
る画素には連続的に映像信号の書き込みが行われるが、この際該当する各画素はそれぞれ
独立した容量配線で形成された保持容量と接続されているため隣接画素の書き込み電流に
よる容量配線電位の変動を回避でき、良好な表示画像を得る事ができる。
に各信号線にはサンプルホールド容量が設けられていたが、本発明においては容量配線が
信号線と平行で、且つ重なるよう配置されているため、信号線の寄生容量が増大して信号
線電位の保持特性が向上することから周辺回路部にサンプルホールド容量を設ける必要が
なくなり、従来と比べ周辺回路を小型化することができる。
イズ、膜厚の設計自由度が増し、また容量配線材料の選択の幅が広がることにより設計上
の難度及び製造上の難度が下がり、より高い製造歩留まりを得ることにも繋がる。
うこととする。
電極がマトリクス状に配置された基板(TFT基板)と、対向電極が形成された対向基板
とを液晶層を介して対向配置した構造となっている。両基板間はスペーサ等を介して所定
の間隔に制御され、画素部の外周部にシール材を用いることで液晶層を封入している。
1は基板(TFT基板)、102は走査線、103は第1絶縁膜、104は半導体膜、1
05はゲート絶縁膜(第2絶縁膜)、106はゲート電極、107は容量配線、108は
第3絶縁膜、109及び111は信号線、または信号線から分岐された電極、110は第
3絶縁膜に形成されたコンタクトホール(図示しない)を通じて半導体膜に接続され、T
FTと画素電極とを接続するための電極である。
接続を行う箇所、または半導体層と交差する箇所を指す。従って、説明の便宜上、「配線
」と「電極」とを使い分けるが、「電極」という文言に「配線」は常に含められているも
のとする。
、109及び110においては、配線から分岐された電極であっても、配線であってもよ
い。
4は第5絶縁膜、115は、コンタクトホール100dを通じて電極110と接続された
画素電極、116は液晶層117を配向させる配向膜である。
たが、必要に応じて遮光膜やカラーフィルタを設けてもよい。
成される走査線駆動回路202、信号線駆動回路203を備えている。
れている。また、信号線駆動回路203は、シフトレジスタとシフトレジスタ出力に基づ
いて入力される映像信号をサンプリングした後、保持し信号線を駆動するサンプルホール
ド回路により主に構成されている。
た複数の走査線(ゲート配線)207と、信号線駆動回路203に接続され互いに平行に
所定の間隔で配置された複数の信号線208とが交差して配置されており、その交差する
それぞれの位置にTFT(図示しない)を配置するとともに、走査線と信号線とで区画さ
れる各領域に画素電極(図示しない)が配置されている。この構成から各画素電極はマト
リクス状の配置となる。また、GND(接地)または固定電位206に接続された複数の
容量配線209が、信号線208と平行に設けられている。なお、図2においては、簡略
化のため信号線、走査線、及び容量配線を数本しか図示していない。
も用いる。
できる。ガラス基板を用いる場合には、ガラス歪み点よりも10〜20℃程度低い温度で
あらかじめ熱処理しておいても良い。また、基板101のTFTを形成する表面に、基板
101からの不純物拡散を防ぐために、酸化シリコン膜、窒化シリコン膜または酸化窒化
シリコン膜などの絶縁膜から成る下地膜を形成するとよい。
る。走査線102としては、導電型を付与する不純物元素がドープされたpoly−Si
やWSiX(X=2.0〜2.8)、Al、Ta、W、Cr、Mo等の導電性材料及びそ
の積層構造を用いることができる。本実施例では、WSiX(膜厚:100nm)/po
ly−Si(膜厚:50nm)の積層構造の高い遮光性を持つ導電性材料により所定の間
隔で走査線102を形成した。
る。この第1絶縁膜103は、プラズマCVD法、またはスパッタ法等で形成されるシリ
コンを含む絶縁膜を用いる。また、この第1絶縁膜は、有機絶縁物材料膜、酸化シリコン
膜、酸化窒化シリコン膜、窒化シリコン膜、またはこれらを組み合わせた積層膜で形成す
れば良い。
VD法やスパッタ法等の公知の方法で形成し、所望の形状にパターニングする。本実施例
では、プラズマCVD法で非晶質シリコン膜を50nm程度の厚さに成膜し、公知の方法
により結晶化の工程を行って結晶質シリコン膜(poly−Si)を形成した後、島状に
パターニングを施した。本実施例では、結晶質シリコン膜(poly−Si)を用いたが
、半導体膜であれば特に限定されない。
ly−Si等)、非晶質半導体膜(a−Si等)、または微結晶半導体膜を指しており、
さらにシリコンゲルマニウム膜などの化合物半導体膜をも含められている。
又は半導体膜(Si膜等)の熱酸化で形成される酸化膜を用いて第2絶縁膜(ゲート絶縁
膜)105を形成する。この第2絶縁膜105は、必要に応じて二層あるいは三層といっ
た複数の層から成る積層構造としても良い。
成するため、半導体膜に選択的にn型またはp型を付与する不純物元素(リンまたはボロ
ン等)を公知の技術を用いて添加し、低抵抗のソース領域及びドレイン領域と、さらに低
抵抗領域を形成する。この低抵抗領域はドレイン領域と同様に不純物元素(代表的にはリ
ンまたはボロン)を添加して低抵抗化されている半導体膜の一部である。なお、選択的に
不純物元素を添加する工程順序は特に限定されず、例えば、第1絶縁膜形成前、ゲート電
極形成前、またはゲート電極形成後であればよい。加えて、LDD領域やオフセット領域
を回路に応じて形成する構成としてもよい。なお、簡略化のために、各領域の図示は行っ
ていない。
が形成される。
102に達する第1コンタクトホール100c(図3(b)中に示した)を形成する。
電極106及び容量配線107を形成する。ゲート電極106及び容量配線107は、導
電型を付与する不純物元素がドープされたpoly−SiやWSiX(X=2.0〜2.
8)、Al、Ta、W、Cr、Mo等の導電性材料及びその積層構造により300nm程
度の膜厚で形成する。また、ゲート電極106及び容量配線107は単層で形成しても良
いが、必要に応じて二層あるいは三層といった複数の層から成る積層構造としても良い。
この際、島状に配置される各ゲート電極は第1絶縁膜103及び第2絶縁膜105に形成
された第1コンタクトホール100cを介して走査線102に電気的に接続する。
06が配置される。また、低抵抗領域上には第2絶縁膜105を介して容量配線107が
配置される。なお、容量配線107と重なる第2絶縁膜105の領域を部分的に薄膜化す
る工程を加えて保持容量の増大を図ってもよい。また、容量配線107は信号線方向に各
画素連続的に配置し、画素部外で電気的に接地、または固定電位に接続する。
第3絶縁膜108は、プラズマCVD法、またはスパッタ法等で形成されるシリコンを含
む絶縁膜を用いる。また、この第3絶縁膜108は、酸化シリコン膜、酸化窒化シリコン
膜、窒化シリコン膜、またはこれらを組み合わせた積層膜で形成すれば良い。
膜(ソース領域、またはドレイン領域)に達する第2コンタクトホール100a(図3(
a)中)、100b(図3(b)中)を形成する。
の積層構造を有する導電膜(膜厚:500μm)を形成し、パターニングを施すことによ
り信号線109、111と、後に形成される画素電極と接続するための島状の電極110
を形成する。この信号線109、111は、半導体膜に達する第2コンタクトホール10
0a、100bを通じてソース領域あるいはドレイン領域と接続する。同様に島状の電極
110は、半導体膜に達する第2コンタクトホール100aを通じてソース領域あるいは
ドレイン領域と接続する。また、信号線109、111は容量線107と平行な方向に配
置する。
9と島状の電極110とが両方、ソース領域に接続されることはない。同様に、信号線1
09と島状の電極110とが両方、ドレイン領域に接続されることはない。
断面構造図が図3(a)に相当し、B−B’点線に沿って切断した概略断面構造図が図3
(b)に相当する。
第4絶縁膜112は、有機絶縁物材料膜、酸化シリコン膜、酸化窒化シリコン膜、窒化シ
リコン膜、またはこれらを組み合わせた積層膜で形成すれば良い。
持つ膜を所望の形状にパターニングして遮光膜113を形成する。この遮光膜113は画
素の開口部以外を遮光するように網目状に配置する。
膜を選んだ場合、表示部の外側で遮光膜を任意の電位に制御する事も可能である。
絶縁物材料膜で形成すれば良い。なお、第5絶縁膜114を有機絶縁物材料で形成するこ
とにより、表面を良好に平坦化させることができる。また、有機樹脂材料は一般に誘電率
が低いので、寄生容量を低減するできる。しかし、吸湿性があり保護膜としては適さない
ので、酸化シリコン膜、酸化窒化シリコン膜、窒化シリコン膜などと組み合わせた積層構
造としても良い。
電極に達する第3コンタクトホール100dを形成する。図4では便宜上、第3コンタク
トホール100dを点線で図示した。
15を形成する。画素電極115は、第3コンタクトホール100dを通じて島状の電極
110と接続する。各画素電極はそれぞれ独立に且つ画素開口部を覆うように配置される
。
のセル組み技術を用いて、対向電極119と配向膜118とが設けられた対向基板120
と貼り合わせた後、液晶材料を注入、封止して両基板間に液晶層が保持された液晶セルを
完成させた。
等を配置することによって、236.9μm2の画素開口領域の面積(開口率64.3%)
と保持容量領域の面積62.8μm2が得られた。
クトホール100cのための領域を設ける必要がある。また、本実施例では島状Si膜の
チャネル形成領域周辺部を遮光する膜は上部遮光膜のみとなるため、上部遮光膜を備えた
構造とすることが望ましい。
膜として機能するため液晶層117から入射した光がTFT基板の下部界面で反射し、チ
ャネル形成領域及びその周辺部に入射してTFTの光リークを発生することを防ぐことが
でき、より良好な表示品質を得る事が可能である。
斜視図を用いて説明する。なお、実施例1と対応する部分は、同じ符号を用いている。
線駆動回路802と、信号線駆動回路803とその他の信号処理回路とで構成される。画
素部には画素TFT800と保持容量200が設けられ、画素部の周辺に設けられる駆動
回路はCMOS回路を基本として構成されている。
極として機能している。また、容量配線107は接地または固定電位に接続する。
109が画素部に延在し、画素TFT800に接続している。また、フレキシブルプリン
ト配線板(Flexible Printed Circuit:FPC)804が外部入力端子805に接続して
いて画像信号などを入力するのに用いる。FPC804は補強樹脂によって強固に接着さ
れている。そして接続配線806、807でそれぞれの駆動回路に接続している。また、
対向基板808には図示していないが、遮光膜や透明電極が設けられている。
マトリクス型液晶ディスプレイ、アクティブマトリクス型ELディスプレイ、アクティブ
マトリクス型ECディスプレイ)に用いることができる。即ち、それら電気光学装置を表
示部として組み込んだ電子機器全てに本願発明を実施できる。
またはフロント型)、ヘッドマウントディスプレイ(ゴーグル型ディスプレイ)、カーナ
ビゲーション、パーソナルコンピュータ、携帯情報端末(モバイルコンピュータ、携帯電
話または電子書籍等)などが挙げられる。それらの一例を図6及び図7に示す。
示部2003、キーボード2004で構成される。本願発明を表示部2003に適用する
ことができる。
3、操作スイッチ2104、バッテリー2105、受像部2106で構成される。本願発
明を表示部2102に適用することができる。
カメラ部2202、受像部2203、操作スイッチ2204、表示装置2205で構成さ
れる。本願発明は表示部2205に適用できる。
部2303で構成される。本発明は表示部2302に適用することができる。
ヤーであり、本体2401、表示部2402、スピーカ部2403、記録媒体2404、
操作スイッチ2405で構成される。なお、この装置は記録媒体としてDVD(Digt
ial Versatile Disc)、CD等を用い、音楽鑑賞や映画鑑賞やゲーム
やインターネットを行うことができる。本発明は表示部2402に適用することができる
。
2503、操作スイッチ2504、受像部(図示しない)で構成される。本願発明を表示
部2502に適用することができる。
2等を含む。本発明は投射装置2601の一部を構成する液晶表示装置2808に適用す
ることができる。
2703、スクリーン2704等を含む。本発明は投射装置2702の一部を構成する液
晶表示装置2808に適用することができる。
2の構造の一例を示した図である。投射装置2601、2702は、光源光学系2801
、ミラー2802、2804〜2806、ダイクロイックミラー2803、プリズム28
07、液晶表示装置2808、位相差板2809、投射光学系2810で構成される。投
射光学系2810は、投射レンズを含む光学系で構成される。本実施例は三板式の例を示
したが、特に限定されず、例えば単板式であってもよい。また、図7(C)中において矢
印で示した光路に実施者が適宜、光学レンズや、偏光機能を有するフィルムや、位相差を
調節するためのフィルム、IRフィルム等の光学系を設けてもよい。
図である。本実施例では、光源光学系2801は、リフレクター2811、光源2812
、レンズアレイ2813、2814、偏光変換素子2815、集光レンズ2816で構成
される。なお、図7(D)に示した光源光学系は一例であって特に限定されない。例えば
、光源光学系に実施者が適宜、光学レンズや、偏光機能を有するフィルムや、位相差を調
節するフィルム、IRフィルム等の光学系を設けてもよい。
とが可能である。また、本実施例の電子機器は実施例1または実施例2のどのような組み
合わせからなる構成を用いても実現することができる。
を用いた例を示す。ただし、基本的な構造は同一である。
り走査線402を形成する。(図8(A))この走査線402は後に形成される活性層を
光から保護する遮光層としても機能する。ここでは基板401として石英基板を用い、走
査線402としてポリシリコン膜(膜厚50nm)とタングステンシリサイド(W−Si
)膜(膜厚100nm)の積層構造を用いた。また、ポリシリコン膜はタングステンシリ
サイドから基板への汚染を保護するものである。
代表的には300〜500nm)で形成する。(図8(B))ここではCVD法を用いた
膜厚100nmの酸化シリコン膜とLPCVD法を用いた膜厚280nmの酸化シリコン
膜を積層させた。
非晶質シリコン膜(アモルファスシリコン膜)をLPCVD法を用いて形成した。次いで
、この非晶質半導体膜を結晶化させる技術として特開平8-78329号公報記載の技術を用い
て結晶化させた。同公報記載の技術は、非晶質シリコン膜に対して結晶化を助長する金属
元素を選択的に添加し、加熱処理を行うことで添加領域を起点として広がる結晶質シリコ
ン膜を形成するものである。ここでは結晶化を助長する金属元素としてニッケルを用い、
脱水素化のための熱処理(450℃、1時間)の後、結晶化のための熱処理(600℃、
12時間)を行った。
る領域をマスク(酸化シリコン膜)で覆い、結晶質シリコン膜の一部に燐(P)を添加し
、熱処理(窒素雰囲気下で600℃、12時間)を行った。
去して、半導体層404を形成する。(図8(C1))なお、半導体層404を形成した
後の画素上面図を図8(C2)に示す。図8(C2)において、点線A−A’で切断した
断面図が図8(C1)に相当する。
とする領域)406にリンをドーピングする。(図9(A))
形成して保持容量とする領域406上の絶縁膜を除去する。(図9(B))
成する。この熱酸化によって最終的なゲート絶縁膜の膜厚は80nmとなった。なお、保
持容量とする領域上に他の領域より薄い絶縁膜408bを形成した。(図9(C1))こ
こでの画素上面図を図9(C2)に示す。図9(C2)において、点線B−B’で切断し
た断面図が図9(C1)に相当する。また、図9中の鎖線内で示した領域は、薄い絶縁膜
408bが形成されている部分である。
加するチャネルドープ工程を全面または選択的に行った。このチャネルドープ工程は、T
FTしきい値電圧を制御するための工程である。なお、ここではジボラン(B2H6)を質
量分離しないでプラズマ励起したイオンドープ法でボロンを添加した。もちろん、質量分
離を行うイオンインプランテーション法を用いてもよい。
走査線402に達するコンタクトホールを形成する。(図10(A))そして、コンタク
トホールの形成後、マスクを除去する。
1を形成する。(図10(B))ここでは、リンがドープされたシリコン膜(膜厚150
nm)とタングステンシリサイド(膜厚150nm)との積層構造を用いた。なお、保持
容量は、絶縁膜408bを誘電体とし、容量配線411と半導体層の一部406とで構成
されている。
濃度に添加する。(図10(C1))ここでの画素上面図を図10(C2)に示す。図1
0(C2)において、点線C−C’で切断した断面図が図10(C1)に相当する。この
低濃度に添加された領域のリンの濃度が、1×1016〜5×1018atoms/cm3、
代表的には3×1017〜3×1018atoms/cm3となるように調整する。
域となる高濃度不純物領域413を形成する。(図11(A))この高濃度不純物領域の
リンの濃度が1×1020〜1×1021atoms/cm3(代表的には2×1020〜5×
1020atoms/cm3)となるように調整する。なお、半導体層404のうち、ゲー
ト電極410と重なる領域はチャネル形成領域414となり、マスク412で覆われた領
域は低濃度不純物領域415となりLDD領域として機能する。そして、不純物元素の添
加後、マスク412を除去する。
ャネル型TFTを形成するために、マスクでnチャネル型TFTとなる領域を覆い、ボロ
ンを添加してソース領域またはドレイン領域を形成する。
ッシベーション膜416を形成する。ここでは、酸化シリコン膜を70nmの膜厚で形成
した。次いで、半導体層にそれぞれの濃度で添加されたn型またはp型不純物元素を活性
化するための熱処理工程を行う。ここでは850℃、30分の加熱処理を行った。
のアクリル樹脂膜を用いた。次いで、半導体層に達するコンタクトホールを形成した後、
電極418及びソース配線419を形成する。本実施例では電極418及びソース配線4
19を、Ti膜を100nm、Tiを含むアルミニウム膜を300nm、Ti膜150n
mをスパッタ法で連続して形成した3層構造の積層膜とした。(図11(B1))なお、
図11(B2)において点線D−D’で切断した断面図が図11(B1)に相当する。
(図12(A1))次いで、層間絶縁膜420上に遮光性を有する導電膜100nmを成
膜し、遮光層421を形成する。次いで、層間絶縁膜422を形成する。次いで、電極4
18に達するコンタクトホール形成する。次いで、100nmの透明導電膜(ここでは酸
化インジウム・スズ(ITO)膜)を形成した後、パターニングして画素電極423、4
24を形成する。図12(A2)において、点線E−E’で切断した断面図が図12(A
1)に相当する。
.5%)を確保しつつ、nチャネル型TFTでなる画素TFTが形成され、十分な保持容
量(51.5fF)を得ることができる。
例えば、各導電膜としては、タンタル(Ta)、チタン(Ti)、モリブデン(Mo)、
タングステン(W)、クロム(Cr)、シリコン(Si)から選ばれた元素、または前記
元素を組み合わせた合金膜(代表的には、Mo―W合金、Mo―Ta合金)を用いること
ができる。また、各絶縁膜としては、酸化シリコン膜や窒化シリコン膜や酸化窒化シリコ
ン膜や有機樹脂材料(ポリイミド、アクリル、ポリアミド、ポリイミドアミド、BCB(
ベンゾシクロブテン)等)膜を用いることができる。
(V−I特性)を示す。特に本発明の構造はデュアルゲート構造となっているため、S値
は105.8(mV/dec)と優れた値を示している。また、本発明の構造とすること
によって、V−I特性グラフにおける立ち上がり点での電圧値を示すしきい値(Vth)
は、Vd=0.1Vである場合に0.946V、Vd=5Vである場合に0.886Vと
なっており、その差は0.06と非常に小さい。この差が小さければ小さいほど短チャネ
ル効果が抑えられていると言える。また、移動度(μFE)は220(cm2/Vs)と優
れたものとなっている。
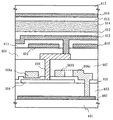
なる層に走査線502aを形成し、さらに走査線502aと同じ層に容量電極502bを
形成することを特徴としている。本発明の画素構成の一例を図14、図15に示した。
し、B−B’点線に沿って切断した概略断面構造図が図15(b)に相当する。
されたコンタクトホール500cを通じて走査線502aと接続している。また、半導体
膜504は、コンタクトホール500aを通じて信号線509と接続している。また、半
導体膜504は、コンタクトホール500bを通じて電極510と接続している。また、
信号線509または電極510と接する半導体膜の領域をソース領域あるいはドレイン領
域と呼んでいる。また、ソース領域とドレイン領域との間にはチャネル形成領域が形成さ
れており、チャネル形成領域上にはゲート絶縁膜を介してゲート電極506が存在してい
る。なお、簡略化のため、ソース領域、ドレイン領域、及びチャネル形成領域は図示して
いない。
2aを形成した場合、半導体膜504の下層に走査線502aが設けられるので遮光膜と
して機能させることも可能である。また、保持容量は、下部電極を半導体膜とし、半導体
膜を覆う絶縁膜を誘電体とし、上部電極を容量配線507として形成する。なお、半導体
膜を覆う絶縁膜を部分的に薄膜化することで保持容量の増大を図ってもよい。
る容量電極502bも、絶縁膜503を誘電体として保持容量を形成することができる。
そのため、保持容量を効率よく確保することができ、この画素構造を用いた液晶表示装置
のコントラストが向上する。
に絶縁膜を介してゲート電極を備えたデュアルゲート構造とすることができ、第1絶縁膜
を適切な膜厚に設定することにより、走査線と他の配線とで形成される寄生容量を抑制し
ながらTFTの特性を向上することができる。
あり、ここではその説明を省略する。
図る。本実施例は、遮光膜と画素電極とで保持容量を形成することを特徴としている。
601は基板(TFT基板)、602は走査線、603は第1絶縁膜、604は半導体膜
、605はゲート絶縁膜(第2絶縁膜)、606bはゲート電極、606cはゲート配線
、606aは容量配線、607は第3絶縁膜、608は第3絶縁膜に形成されたコンタク
トホールを通じて半導体膜604に接続され、TFTと画素電極612とを接続するため
の電極である。
1は第5絶縁膜、612は、コンタクトホールを通じて電極608と接続された画素電極
、613は液晶層614を配向させる配向膜である。
けたが、必要に応じて遮光膜やカラーフィルタを設けてもよい。
06aと半導体膜604とで形成した第1の保持容量と、さらに絶縁膜611を誘電体と
し、遮光膜610と画素電極612とで形成した第2の保持容量とで構成される。なお、
絶縁膜611としては有機樹脂膜を用いてもよいし、酸化窒化シリコン膜や酸化シリコン
膜等の無機絶縁膜を用いてもよく、その膜厚は実施者が適宜設計すればよい。
造とし、図17(B)に示すような上面図に設計することで十分な保持容量(100fF
程度)を確保することができ、かつ開口率を48.7%とすることができた。
、さらに遮光膜610と画素電極612とを形成した段階での上面図であり、図16に対
応する箇所には同じ符号を用いた。
Claims (3)
- 基板と、
前記基板上の第1の絶縁膜と、
前記第1の絶縁膜上の半導体膜と、
前記半導体膜上のゲート絶縁膜と、
前記ゲート絶縁膜上のゲート電極と、
前記ゲート電極上の第2の絶縁膜と、
前記第2の絶縁膜上の信号線と、
前記第2の絶縁膜上の島状の電極と、
前記信号線上及び前記島状の電極上の第3の絶縁膜と、
前記第3の絶縁膜上の画素電極と、を有し、
前記半導体膜は、ソース領域と、ドレイン領域と、チャネル形成領域とを有し、
前記ゲート電極は、前記チャネル形成領域と重なる第1の領域を有し、
前記信号線は、前記ソース領域又は前記ドレイン領域の一方と電気的に接続され、
前記島状の電極は、前記ソース領域又は前記ドレイン領域の他方と電気的に接続され、
前記画素電極は、前記島状の電極と電気的に接続され、
前記基板と前記第1の絶縁膜との間に、前記半導体膜への光を遮る機能を有する第1の膜を有し、
前記第1の膜は、前記半導体膜と重なる第2の領域を有し、
前記信号線は、第1の方向にのびており、
前記第1の方向と交わる第2の方向において、前記第1の膜の前記第2の領域の長さは、前記ゲート電極の前記第1の領域の長さよりも長く、
前記第1の膜は、走査線であることを特徴とする液晶表示装置。 - 請求項1において、
前記半導体膜は、前記第1の方向にのびる第1の部分と、前記第2の方向にのびる第2の部分とを有することを特徴とする液晶表示装置。 - 請求項1又は請求項2において、
前記半導体膜は、結晶質シリコン膜であることを特徴とする液晶表示装置。
Priority Applications (1)
| Application Number | Priority Date | Filing Date | Title |
|---|---|---|---|
| JP2015054184A JP6158848B2 (ja) | 1999-08-31 | 2015-03-18 | 液晶表示装置 |
Applications Claiming Priority (3)
| Application Number | Priority Date | Filing Date | Title |
|---|---|---|---|
| JP24679899 | 1999-08-31 | ||
| JP1999246798 | 1999-08-31 | ||
| JP2015054184A JP6158848B2 (ja) | 1999-08-31 | 2015-03-18 | 液晶表示装置 |
Related Parent Applications (1)
| Application Number | Title | Priority Date | Filing Date |
|---|---|---|---|
| JP2014204835A Division JP5913514B2 (ja) | 1999-08-31 | 2014-10-03 | 液晶表示装置 |
Related Child Applications (1)
| Application Number | Title | Priority Date | Filing Date |
|---|---|---|---|
| JP2016092848A Division JP2016153917A (ja) | 1999-08-31 | 2016-05-03 | 半導体装置 |
Publications (2)
| Publication Number | Publication Date |
|---|---|
| JP2015129968A JP2015129968A (ja) | 2015-07-16 |
| JP6158848B2 true JP6158848B2 (ja) | 2017-07-05 |
Family
ID=17153845
Family Applications (12)
| Application Number | Title | Priority Date | Filing Date |
|---|---|---|---|
| JP2000253571A Withdrawn JP2001144301A (ja) | 1999-08-31 | 2000-08-24 | 半導体装置およびその作製方法 |
| JP2010166966A Expired - Fee Related JP5277212B2 (ja) | 1999-08-31 | 2010-07-26 | 半導体装置およびその作製方法 |
| JP2012163348A Expired - Lifetime JP5478678B2 (ja) | 1999-08-31 | 2012-07-24 | 表示装置、液晶表示装置及びプロジェクター |
| JP2013075650A Expired - Fee Related JP5531136B2 (ja) | 1999-08-31 | 2013-04-01 | 半導体装置 |
| JP2013208783A Withdrawn JP2014032415A (ja) | 1999-08-31 | 2013-10-04 | 半導体装置 |
| JP2014088402A Withdrawn JP2014170952A (ja) | 1999-08-31 | 2014-04-22 | 半導体装置 |
| JP2014204835A Expired - Lifetime JP5913514B2 (ja) | 1999-08-31 | 2014-10-03 | 液晶表示装置 |
| JP2015054184A Expired - Fee Related JP6158848B2 (ja) | 1999-08-31 | 2015-03-18 | 液晶表示装置 |
| JP2016092848A Withdrawn JP2016153917A (ja) | 1999-08-31 | 2016-05-03 | 半導体装置 |
| JP2017240891A Expired - Lifetime JP6546258B2 (ja) | 1999-08-31 | 2017-12-15 | 液晶表示装置、プロジェクター |
| JP2018107759A Withdrawn JP2018197859A (ja) | 1999-08-31 | 2018-06-05 | 液晶表示装置 |
| JP2019026386A Withdrawn JP2019083341A (ja) | 1999-08-31 | 2019-02-18 | 半導体装置 |
Family Applications Before (7)
| Application Number | Title | Priority Date | Filing Date |
|---|---|---|---|
| JP2000253571A Withdrawn JP2001144301A (ja) | 1999-08-31 | 2000-08-24 | 半導体装置およびその作製方法 |
| JP2010166966A Expired - Fee Related JP5277212B2 (ja) | 1999-08-31 | 2010-07-26 | 半導体装置およびその作製方法 |
| JP2012163348A Expired - Lifetime JP5478678B2 (ja) | 1999-08-31 | 2012-07-24 | 表示装置、液晶表示装置及びプロジェクター |
| JP2013075650A Expired - Fee Related JP5531136B2 (ja) | 1999-08-31 | 2013-04-01 | 半導体装置 |
| JP2013208783A Withdrawn JP2014032415A (ja) | 1999-08-31 | 2013-10-04 | 半導体装置 |
| JP2014088402A Withdrawn JP2014170952A (ja) | 1999-08-31 | 2014-04-22 | 半導体装置 |
| JP2014204835A Expired - Lifetime JP5913514B2 (ja) | 1999-08-31 | 2014-10-03 | 液晶表示装置 |
Family Applications After (4)
| Application Number | Title | Priority Date | Filing Date |
|---|---|---|---|
| JP2016092848A Withdrawn JP2016153917A (ja) | 1999-08-31 | 2016-05-03 | 半導体装置 |
| JP2017240891A Expired - Lifetime JP6546258B2 (ja) | 1999-08-31 | 2017-12-15 | 液晶表示装置、プロジェクター |
| JP2018107759A Withdrawn JP2018197859A (ja) | 1999-08-31 | 2018-06-05 | 液晶表示装置 |
| JP2019026386A Withdrawn JP2019083341A (ja) | 1999-08-31 | 2019-02-18 | 半導体装置 |
Country Status (6)
| Country | Link |
|---|---|
| US (9) | US6583472B1 (ja) |
| EP (3) | EP1564713A3 (ja) |
| JP (12) | JP2001144301A (ja) |
| KR (2) | KR100788870B1 (ja) |
| CN (4) | CN101150135B (ja) |
| TW (1) | TW478014B (ja) |
Families Citing this family (115)
| Publication number | Priority date | Publication date | Assignee | Title |
|---|---|---|---|---|
| JP3784491B2 (ja) * | 1997-03-28 | 2006-06-14 | 株式会社半導体エネルギー研究所 | アクティブマトリクス型の表示装置 |
| TW478014B (en) * | 1999-08-31 | 2002-03-01 | Semiconductor Energy Lab | Semiconductor device and method of manufacturing thereof |
| JP4700156B2 (ja) * | 1999-09-27 | 2011-06-15 | 株式会社半導体エネルギー研究所 | 半導体装置 |
| US6646692B2 (en) * | 2000-01-26 | 2003-11-11 | Semiconductor Energy Laboratory Co., Ltd. | Liquid-crystal display device and method of fabricating the same |
| US6825488B2 (en) | 2000-01-26 | 2004-11-30 | Semiconductor Energy Laboratory Co., Ltd. | Semiconductor device and manufacturing method thereof |
| TW513753B (en) | 2000-03-27 | 2002-12-11 | Semiconductor Energy Lab | Semiconductor display device and manufacturing method thereof |
| US6580475B2 (en) | 2000-04-27 | 2003-06-17 | Semiconductor Energy Laboratory Co., Ltd. | Semiconductor device and method of fabricating the same |
| US6583576B2 (en) * | 2000-05-08 | 2003-06-24 | Semiconductor Energy Laboratory Co., Ltd. | Light-emitting device, and electric device using the same |
| US7804552B2 (en) * | 2000-05-12 | 2010-09-28 | Semiconductor Energy Laboratory Co., Ltd. | Electro-optical device with light shielding portion comprising laminated colored layers, electrical equipment having the same, portable telephone having the same |
| TW504846B (en) | 2000-06-28 | 2002-10-01 | Semiconductor Energy Lab | Semiconductor device and manufacturing method thereof |
| JP3918412B2 (ja) * | 2000-08-10 | 2007-05-23 | ソニー株式会社 | 薄膜半導体装置及び液晶表示装置とこれらの製造方法 |
| US6509616B2 (en) | 2000-09-29 | 2003-01-21 | Semiconductor Energy Laboratory Co., Ltd. | Semiconductor device and its manufacturing method |
| JP2002299632A (ja) * | 2001-03-30 | 2002-10-11 | Sanyo Electric Co Ltd | 半導体装置及びアクティブマトリクス型表示装置 |
| US6642986B2 (en) * | 2001-04-13 | 2003-11-04 | Koninklijke Philips Electronics N.V. | Liquid crystal display device having uniform integrated spacers |
| JP4831885B2 (ja) | 2001-04-27 | 2011-12-07 | 株式会社半導体エネルギー研究所 | 半導体装置の作製方法 |
| US6906344B2 (en) * | 2001-05-24 | 2005-06-14 | Semiconductor Energy Laboratory Co., Ltd. | Thin film transistor with plural channels and corresponding plural overlapping electrodes |
| US6897477B2 (en) | 2001-06-01 | 2005-05-24 | Semiconductor Energy Laboratory Co., Ltd. | Semiconductor device, manufacturing method thereof, and display device |
| JP2003229578A (ja) * | 2001-06-01 | 2003-08-15 | Semiconductor Energy Lab Co Ltd | 半導体装置、表示装置およびその作製方法 |
| JP2003045874A (ja) | 2001-07-27 | 2003-02-14 | Semiconductor Energy Lab Co Ltd | 金属配線およびその作製方法、並びに金属配線基板およびその作製方法 |
| JP5046445B2 (ja) * | 2001-07-31 | 2012-10-10 | 株式会社半導体エネルギー研究所 | 半導体装置の作製方法 |
| JP2003177682A (ja) * | 2001-09-05 | 2003-06-27 | Konica Corp | ディスプレイパネルおよびその製造方法 |
| WO2003036374A1 (en) | 2001-09-26 | 2003-05-01 | Samsung Electronics Co., Ltd. | Thin film transistor array panel for liquid crystal display and method for manufacturing the same |
| KR100840318B1 (ko) | 2001-12-10 | 2008-06-20 | 삼성전자주식회사 | 박막 트랜지스터 기판 및 그의 제조 방법과 액정 표시 장치 |
| KR100635042B1 (ko) * | 2001-12-14 | 2006-10-17 | 삼성에스디아이 주식회사 | 전면전극을 구비한 평판표시장치 및 그의 제조방법 |
| KR100484591B1 (ko) * | 2001-12-29 | 2005-04-20 | 엘지.필립스 엘시디 주식회사 | 능동행렬 유기전기발광소자 및 그의 제조 방법 |
| TW594336B (en) * | 2002-01-30 | 2004-06-21 | Sanyo Electric Co | Semiconductor display device, method for making the same, and active matrix type display device |
| TWI244571B (en) * | 2002-01-30 | 2005-12-01 | Sanyo Electric Co | Semiconductor display device |
| JP4216092B2 (ja) * | 2002-03-08 | 2009-01-28 | 株式会社半導体エネルギー研究所 | 液晶表示装置 |
| JP2004004722A (ja) * | 2002-04-25 | 2004-01-08 | Seiko Epson Corp | 電気光学装置及び電子機器 |
| JP3925555B2 (ja) * | 2002-04-25 | 2007-06-06 | セイコーエプソン株式会社 | 電気光学装置及び電子機器 |
| US7256421B2 (en) | 2002-05-17 | 2007-08-14 | Semiconductor Energy Laboratory, Co., Ltd. | Display device having a structure for preventing the deterioration of a light emitting device |
| JP4214741B2 (ja) * | 2002-08-27 | 2009-01-28 | セイコーエプソン株式会社 | 電気光学装置及び電子機器 |
| JP3850364B2 (ja) | 2002-10-25 | 2006-11-29 | 株式会社ミツトヨ | 変位測定器の測定子駆動機構 |
| JP3925549B2 (ja) * | 2002-11-26 | 2007-06-06 | セイコーエプソン株式会社 | 電気光学装置及び電子機器 |
| JP3767590B2 (ja) * | 2002-11-26 | 2006-04-19 | セイコーエプソン株式会社 | 電気光学装置及びその製造方法並びに電子機器 |
| JP4168836B2 (ja) | 2003-06-03 | 2008-10-22 | ソニー株式会社 | 表示装置 |
| CN1307479C (zh) * | 2003-07-10 | 2007-03-28 | 友达光电股份有限公司 | 电容器装置 |
| JP2005045017A (ja) * | 2003-07-22 | 2005-02-17 | Sharp Corp | アクティブマトリクス基板およびそれを備えた表示装置 |
| JP4069906B2 (ja) * | 2003-08-04 | 2008-04-02 | セイコーエプソン株式会社 | 電気光学装置及びその製造方法並びに電子機器 |
| JP2005084104A (ja) * | 2003-09-04 | 2005-03-31 | Seiko Epson Corp | 半導体装置及び電気光学装置 |
| JP4529450B2 (ja) * | 2004-01-19 | 2010-08-25 | セイコーエプソン株式会社 | 電気光学装置及び電子機器 |
| EP1788425B1 (en) * | 2004-08-24 | 2018-09-26 | Merck Patent GmbH | Active matrix substrate and display unit provided with it |
| JP2006098641A (ja) * | 2004-09-29 | 2006-04-13 | Seiko Epson Corp | 薄膜半導体装置、電気光学装置、および電子機器 |
| JP4063266B2 (ja) * | 2004-09-30 | 2008-03-19 | セイコーエプソン株式会社 | 薄膜半導体装置の製造方法、薄膜半導体装置、電気光学装置、および電子機器 |
| US7379718B2 (en) * | 2004-12-20 | 2008-05-27 | Marvell World Trade Ltd. | Method and apparatus to manage power consumption of a semiconductor device |
| JP4349375B2 (ja) * | 2005-04-11 | 2009-10-21 | セイコーエプソン株式会社 | 電気光学装置及び電子機器 |
| CN102360142B (zh) | 2005-12-05 | 2016-03-30 | 株式会社半导体能源研究所 | 液晶显示器 |
| JP5178018B2 (ja) * | 2006-01-31 | 2013-04-10 | 株式会社半導体エネルギー研究所 | 表示装置 |
| JP5222477B2 (ja) * | 2006-01-31 | 2013-06-26 | 株式会社半導体エネルギー研究所 | 表示装置 |
| EP1832915B1 (en) | 2006-01-31 | 2012-04-18 | Semiconductor Energy Laboratory Co., Ltd. | Display device with improved contrast |
| EP1816508A1 (en) | 2006-02-02 | 2007-08-08 | Semiconductor Energy Laboratory Co., Ltd. | Display device |
| JP2007233361A (ja) * | 2006-02-02 | 2007-09-13 | Semiconductor Energy Lab Co Ltd | 表示装置 |
| JP5346441B2 (ja) * | 2006-02-24 | 2013-11-20 | 株式会社半導体エネルギー研究所 | 液晶表示装置 |
| EP1826605A1 (en) | 2006-02-24 | 2007-08-29 | Semiconductor Energy Laboratory Co., Ltd. | Display device |
| WO2007111044A1 (ja) * | 2006-03-24 | 2007-10-04 | Sharp Kabushiki Kaisha | 液晶表示装置 |
| EP1843194A1 (en) | 2006-04-06 | 2007-10-10 | Semiconductor Energy Laboratory Co., Ltd. | Liquid crystal display device, semiconductor device, and electronic appliance |
| JP5028906B2 (ja) * | 2006-08-11 | 2012-09-19 | セイコーエプソン株式会社 | 電気光学装置用基板及び電気光学装置、並びに電子機器 |
| US7952100B2 (en) | 2006-09-22 | 2011-05-31 | Semiconductor Energy Laboratory Co., Ltd. | Semiconductor device |
| US7507998B2 (en) * | 2006-09-29 | 2009-03-24 | Tpo Displays Corp. | System for displaying images and method for fabricating the same |
| US8021518B2 (en) * | 2006-11-30 | 2011-09-20 | Nalco Company | Method of applying a super-absorbent composition to tissue or towel substrates |
| JP5280671B2 (ja) * | 2006-12-20 | 2013-09-04 | 富士フイルム株式会社 | 画像検出器および放射線検出システム |
| JP4007412B2 (ja) * | 2007-01-12 | 2007-11-14 | ソニー株式会社 | 薄膜半導体装置及び液晶表示装置とこれらの製造方法 |
| KR101366162B1 (ko) * | 2007-03-20 | 2014-02-25 | 삼성디스플레이 주식회사 | 유기 발광 표시 패널 및 이의 제조방법 |
| JP4730407B2 (ja) * | 2008-07-17 | 2011-07-20 | セイコーエプソン株式会社 | 電気光学装置及び電子機器 |
| JP2010134395A (ja) * | 2008-11-06 | 2010-06-17 | Seiko Epson Corp | 電気光学装置及び電子機器 |
| TWI401494B (zh) | 2009-03-06 | 2013-07-11 | Hannstar Display Corp | 接地結構 |
| CN101840899B (zh) * | 2009-03-19 | 2012-05-02 | 瀚宇彩晶股份有限公司 | 接地结构 |
| TWI511288B (zh) * | 2009-03-27 | 2015-12-01 | Semiconductor Energy Lab | 半導體裝置 |
| KR101073174B1 (ko) * | 2009-07-31 | 2011-10-12 | 삼성모바일디스플레이주식회사 | 화소 및 이를 구비한 유기전계발광 표시장치 |
| JP4530105B2 (ja) * | 2009-10-13 | 2010-08-25 | セイコーエプソン株式会社 | 電気光学装置及び電子機器 |
| JP5874804B2 (ja) * | 2010-02-15 | 2016-03-02 | Nltテクノロジー株式会社 | 薄膜トランジスタ、その製造方法、及び表示装置並びに電子機器 |
| CN202404339U (zh) * | 2012-01-12 | 2012-08-29 | 京东方科技集团股份有限公司 | 阵列基板及包括该阵列基板的显示装置 |
| KR101335527B1 (ko) * | 2012-02-23 | 2013-12-02 | 엘지디스플레이 주식회사 | 유기전계발광표시장치 및 그 제조 방법 |
| JP2013222124A (ja) * | 2012-04-18 | 2013-10-28 | Sony Corp | 信号伝達装置、表示装置および電子機器 |
| JP5386626B2 (ja) * | 2012-11-06 | 2014-01-15 | 株式会社半導体エネルギー研究所 | 表示装置 |
| CN103926760B (zh) * | 2013-01-14 | 2017-08-25 | 瀚宇彩晶股份有限公司 | 像素结构及像素阵列基板 |
| JP6098309B2 (ja) * | 2013-04-09 | 2017-03-22 | セイコーエプソン株式会社 | 電気光学装置、電子機器、及び電気光学装置の製造方法 |
| JP2013200574A (ja) * | 2013-06-05 | 2013-10-03 | Semiconductor Energy Lab Co Ltd | 半導体装置 |
| JP6367655B2 (ja) * | 2013-09-13 | 2018-08-01 | 株式会社半導体エネルギー研究所 | 半導体装置の作製方法 |
| JP5685633B2 (ja) * | 2013-10-08 | 2015-03-18 | 株式会社半導体エネルギー研究所 | 表示装置 |
| US9590111B2 (en) * | 2013-11-06 | 2017-03-07 | Semiconductor Energy Laboratory Co., Ltd. | Semiconductor device and display device including the semiconductor device |
| JP6486660B2 (ja) * | 2013-11-27 | 2019-03-20 | 株式会社半導体エネルギー研究所 | 表示装置 |
| KR102132697B1 (ko) | 2013-12-05 | 2020-07-10 | 엘지디스플레이 주식회사 | 휘어진 디스플레이 장치 |
| US9704888B2 (en) | 2014-01-08 | 2017-07-11 | Apple Inc. | Display circuitry with reduced metal routing resistance |
| KR102206377B1 (ko) * | 2014-01-24 | 2021-01-22 | 삼성디스플레이 주식회사 | 액정 표시 장치 |
| CN103985671B (zh) * | 2014-04-30 | 2016-06-15 | 京东方科技集团股份有限公司 | 阵列基板制备方法和阵列基板、显示装置 |
| JP5799132B2 (ja) * | 2014-05-02 | 2015-10-21 | 株式会社半導体エネルギー研究所 | 表示装置、表示モジュール、及び電子機器 |
| CN114185216B (zh) | 2015-02-12 | 2025-03-28 | 株式会社半导体能源研究所 | 显示装置 |
| JP6087970B2 (ja) * | 2015-03-26 | 2017-03-01 | 株式会社半導体エネルギー研究所 | 表示装置、表示モジュール及び電子機器 |
| CN106158879B (zh) * | 2015-04-15 | 2019-10-01 | 群创光电股份有限公司 | 显示面板 |
| US9899445B2 (en) * | 2015-05-19 | 2018-02-20 | Canon Kabushiki Kaisha | Method for manufacturing solid-state image pickup apparatus, solid-state image pickup apparatus, and image pickup system including the same |
| JP2017022377A (ja) * | 2015-07-14 | 2017-01-26 | 株式会社半導体エネルギー研究所 | 半導体装置 |
| CN105096871B (zh) * | 2015-08-11 | 2017-08-08 | 京东方科技集团股份有限公司 | 阵列基板驱动电路、阵列基板、显示面板、显示装置 |
| CN105226055B (zh) * | 2015-11-03 | 2018-06-01 | 京东方科技集团股份有限公司 | 阵列基板及制作方法、显示面板及显示装置 |
| WO2017094644A1 (ja) * | 2015-11-30 | 2017-06-08 | シャープ株式会社 | 半導体基板及び表示装置 |
| KR102611499B1 (ko) | 2015-12-15 | 2023-12-06 | 엘지디스플레이 주식회사 | 플렉서블 표시장치 |
| JP6749591B2 (ja) * | 2015-12-29 | 2020-09-02 | 天馬微電子有限公司 | 表示装置および表示装置の製造方法 |
| WO2017125828A1 (en) | 2016-01-20 | 2017-07-27 | Semiconductor Energy Laboratory Co., Ltd. | Input device, input/output device, and data processing device |
| JP2018017981A (ja) * | 2016-07-29 | 2018-02-01 | 株式会社ジャパンディスプレイ | 電子機器 |
| KR102833463B1 (ko) * | 2016-10-11 | 2025-07-11 | 삼성디스플레이 주식회사 | 표시 장치 |
| CN107946337B (zh) | 2016-10-12 | 2020-07-10 | 群创光电股份有限公司 | 显示设备 |
| JP6999272B2 (ja) | 2017-01-20 | 2022-01-18 | 株式会社ジャパンディスプレイ | 表示装置 |
| CN106876429B (zh) * | 2017-02-16 | 2019-09-17 | 信利(惠州)智能显示有限公司 | 有机发光显示设备 |
| JP6412181B2 (ja) * | 2017-02-22 | 2018-10-24 | 株式会社半導体エネルギー研究所 | 半導体装置 |
| JP6673386B2 (ja) * | 2018-02-26 | 2020-03-25 | セイコーエプソン株式会社 | 電気光学装置および電子機器 |
| JP6566079B1 (ja) * | 2018-04-25 | 2019-08-28 | セイコーエプソン株式会社 | 電気光学装置、電子機器 |
| CN108899339B (zh) * | 2018-05-07 | 2021-04-30 | 武汉天马微电子有限公司 | 显示面板和显示装置 |
| CN108767016B (zh) * | 2018-05-21 | 2021-09-21 | 京东方科技集团股份有限公司 | 一种薄膜晶体管及其制作方法、阵列基板、显示装置 |
| JP6466614B2 (ja) * | 2018-06-04 | 2019-02-06 | 株式会社半導体エネルギー研究所 | 液晶表示装置 |
| CN109064908B (zh) * | 2018-10-31 | 2021-04-02 | 厦门天马微电子有限公司 | 阵列基板和显示面板 |
| KR102819878B1 (ko) | 2019-03-15 | 2025-06-12 | 삼성디스플레이 주식회사 | 표시 장치 |
| JP7352826B2 (ja) * | 2019-10-21 | 2023-09-29 | セイコーエプソン株式会社 | 電気光学装置および電子機器 |
| JP2020080414A (ja) * | 2020-02-04 | 2020-05-28 | 株式会社半導体エネルギー研究所 | 半導体装置 |
| CN112397562B (zh) * | 2020-11-13 | 2023-09-22 | 合肥鑫晟光电科技有限公司 | 一种显示基板及其制备方法、显示装置 |
| JP7540362B2 (ja) | 2021-02-22 | 2024-08-27 | セイコーエプソン株式会社 | 電気光学装置、及び電子機器 |
Family Cites Families (97)
| Publication number | Priority date | Publication date | Assignee | Title |
|---|---|---|---|---|
| US36836A (en) * | 1862-11-04 | Improvement in revolving battery-guns | ||
| US523211A (en) * | 1894-07-17 | Car-door | ||
| DE3015936A1 (de) * | 1980-04-25 | 1981-10-29 | Albrecht G. Prof. Dr. 4600 Dortmund Fischer | Herstellungsverfahren fuer duennfilmtransistor-grossmatrizen fuer flache bildschirme |
| US4337989A (en) * | 1980-05-28 | 1982-07-06 | Amp Incorporated | Electromagnetic shielded connector |
| JPS586127A (ja) * | 1981-07-03 | 1983-01-13 | Hitachi Ltd | フオトマスク欠陥修正方法とその装置 |
| US5650637A (en) * | 1982-04-30 | 1997-07-22 | Seiko Epson Corporation | Active matrix assembly |
| JPS59121876A (ja) | 1982-12-28 | 1984-07-14 | Toshiba Corp | 薄膜デバイス用ガラス基板 |
| JP2727562B2 (ja) | 1988-04-27 | 1998-03-11 | ソニー株式会社 | 表示装置 |
| JPH02234128A (ja) | 1989-03-08 | 1990-09-17 | Hitachi Ltd | 液晶表示装置の製造方法 |
| JPH0728093Y2 (ja) | 1989-05-16 | 1995-06-28 | トーイン株式会社 | 容器類の多段収納パッケージ |
| JP2906470B2 (ja) | 1989-08-23 | 1999-06-21 | セイコーエプソン株式会社 | アクティブマトリックス基板 |
| JP3070062B2 (ja) * | 1990-03-29 | 2000-07-24 | ソニー株式会社 | 液晶表示装置及びその製造方法 |
| JP2622183B2 (ja) | 1990-04-05 | 1997-06-18 | シャープ株式会社 | アクティブマトリクス表示装置 |
| DE69133169D1 (de) * | 1990-05-09 | 2003-01-16 | Canon Kk | Verfahren zur Erzeugung einer Struktur und Verfahren zum Vorbereiten einer halbleitenden Anordnung mit Hilfe dieses Verfahrens |
| JPH0451120A (ja) * | 1990-06-19 | 1992-02-19 | Nec Corp | 薄膜電界効果型トランジスタ駆動液晶表示素子アレイ |
| JPH0472769A (ja) | 1990-07-13 | 1992-03-06 | Seiko Epson Corp | 薄膜トランジスタ |
| JPH0824193B2 (ja) * | 1990-10-16 | 1996-03-06 | 工業技術院長 | 平板型光弁駆動用半導体装置の製造方法 |
| JP3024661B2 (ja) * | 1990-11-09 | 2000-03-21 | セイコーエプソン株式会社 | アクティブマトリクス基板及びその製造方法 |
| JPH04217230A (ja) * | 1990-12-19 | 1992-08-07 | Nec Corp | 液晶表示素子およびその製造方法 |
| JPH04283729A (ja) | 1991-03-13 | 1992-10-08 | Sharp Corp | アクティブマトリクス表示装置 |
| JP2998255B2 (ja) | 1991-04-04 | 2000-01-11 | セイコーエプソン株式会社 | 薄膜トランジスタ装置及びその製造方法 |
| JP2776083B2 (ja) * | 1991-08-23 | 1998-07-16 | 日本電気株式会社 | 液晶表示装置およびその製造方法 |
| TW226044B (ja) | 1992-04-15 | 1994-07-01 | Toshiba Co Ltd | |
| JPH0621455A (ja) * | 1992-06-30 | 1994-01-28 | Sanyo Electric Co Ltd | 薄膜トランジスタ |
| JP3357687B2 (ja) * | 1992-07-15 | 2002-12-16 | 株式会社東芝 | 薄膜トランジスタおよび液晶表示装置の製造方法 |
| JP2859784B2 (ja) * | 1992-09-03 | 1999-02-24 | シャープ株式会社 | アクティブマトリクス基板 |
| JP3287806B2 (ja) | 1992-09-03 | 2002-06-04 | シャープ株式会社 | アクティブマトリクス基板 |
| JP2950061B2 (ja) | 1992-11-13 | 1999-09-20 | 日本電気株式会社 | 液晶表示素子 |
| JPH06175154A (ja) * | 1992-12-03 | 1994-06-24 | Seiko Epson Corp | 液晶表示装置の製造方法 |
| JPH06202155A (ja) | 1992-12-28 | 1994-07-22 | Toshiba Corp | 液晶表示装置の製造方法 |
| JP2556252B2 (ja) * | 1993-05-14 | 1996-11-20 | 日本電気株式会社 | 薄膜電界効果型トランジスタアレイ |
| JPH0728093A (ja) | 1993-07-13 | 1995-01-31 | Sony Corp | 表示用アクティブマトリクス基板 |
| JP3267011B2 (ja) * | 1993-11-04 | 2002-03-18 | セイコーエプソン株式会社 | 液晶表示装置 |
| JPH07147411A (ja) | 1993-11-24 | 1995-06-06 | Sony Corp | 表示素子基板用半導体装置 |
| KR100350333B1 (ko) | 1994-02-17 | 2003-06-09 | 세이코 엡슨 가부시키가이샤 | 액티브매트릭스기판및컬러액정표시장치 |
| US5822026A (en) | 1994-02-17 | 1998-10-13 | Seiko Epson Corporation | Active matrix substrate and color liquid crystal display |
| JPH07302912A (ja) * | 1994-04-29 | 1995-11-14 | Semiconductor Energy Lab Co Ltd | 半導体装置 |
| US5650636A (en) | 1994-06-02 | 1997-07-22 | Semiconductor Energy Laboratory Co., Ltd. | Active matrix display and electrooptical device |
| JP3253808B2 (ja) * | 1994-07-07 | 2002-02-04 | 株式会社半導体エネルギー研究所 | 半導体装置およびその作製方法 |
| JPH0869009A (ja) | 1994-08-30 | 1996-03-12 | Rohm Co Ltd | Tft型液晶表示装置 |
| JP3464287B2 (ja) | 1994-09-05 | 2003-11-05 | 株式会社半導体エネルギー研究所 | 半導体装置の作製方法 |
| JPH08122821A (ja) * | 1994-10-28 | 1996-05-17 | Hitachi Ltd | 液晶表示装置およびその製造方法 |
| JP2643098B2 (ja) * | 1994-12-07 | 1997-08-20 | インターナショナル・ビジネス・マシーンズ・コーポレイション | 液晶表示装置及びその製造方法並びに画像形成方法 |
| JP3307144B2 (ja) | 1995-02-28 | 2002-07-24 | ソニー株式会社 | 表示装置 |
| JP3617857B2 (ja) | 1995-04-17 | 2005-02-09 | 株式会社東芝 | カラー撮像装置 |
| JPH0926603A (ja) * | 1995-05-08 | 1997-01-28 | Semiconductor Energy Lab Co Ltd | 表示装置 |
| JP3307181B2 (ja) | 1995-07-31 | 2002-07-24 | ソニー株式会社 | 透過型表示装置 |
| JP3642876B2 (ja) * | 1995-08-04 | 2005-04-27 | 株式会社半導体エネルギー研究所 | プラズマを用いる半導体装置の作製方法及びプラズマを用いて作製された半導体装置 |
| JPH0990405A (ja) | 1995-09-21 | 1997-04-04 | Sharp Corp | 薄膜トランジスタ |
| US5917563A (en) * | 1995-10-16 | 1999-06-29 | Sharp Kabushiki Kaisha | Liquid crystal display device having an insulation film made of organic material between an additional capacity and a bus line |
| JP3245527B2 (ja) * | 1995-12-13 | 2002-01-15 | シャープ株式会社 | 液晶表示装置 |
| JP3490216B2 (ja) * | 1996-04-24 | 2004-01-26 | シャープ株式会社 | スイッチング素子基板の製造方法 |
| JP3468986B2 (ja) * | 1996-04-16 | 2003-11-25 | 株式会社半導体エネルギー研究所 | アクティブマトリクス回路および表示装置 |
| JP3433779B2 (ja) | 1996-06-19 | 2003-08-04 | シャープ株式会社 | アクティブマトリクス基板およびその製造方法 |
| JP3126661B2 (ja) * | 1996-06-25 | 2001-01-22 | 株式会社半導体エネルギー研究所 | 液晶表示装置 |
| JPH1010580A (ja) | 1996-06-25 | 1998-01-16 | Semiconductor Energy Lab Co Ltd | 表示装置 |
| US6005648A (en) | 1996-06-25 | 1999-12-21 | Semiconductor Energy Laboratory Co., Ltd. | Display device |
| JPH1010581A (ja) | 1996-06-25 | 1998-01-16 | Semiconductor Energy Lab Co Ltd | 表示装置 |
| JP3708637B2 (ja) | 1996-07-15 | 2005-10-19 | 株式会社半導体エネルギー研究所 | 液晶表示装置 |
| JPH1048667A (ja) | 1996-08-01 | 1998-02-20 | Seiko Epson Corp | 液晶パネル用基板およびその製造方法並びに投射型表示装置 |
| JP3634089B2 (ja) | 1996-09-04 | 2005-03-30 | 株式会社半導体エネルギー研究所 | 表示装置 |
| JP3830213B2 (ja) | 1996-10-04 | 2006-10-04 | セイコーエプソン株式会社 | スイッチング素子を備えた基板及び液晶表示パネル並びにそれを用いた電子機器 |
| TWI236556B (en) | 1996-10-16 | 2005-07-21 | Seiko Epson Corp | Substrate for a liquid crystal equipment, liquid crystal equipment and projection type display equipment |
| US6831623B2 (en) * | 1996-10-22 | 2004-12-14 | Seiko Epson Corporation | Liquid crystal panel substrate, liquid crystal panel, and electronic equipment and projection type display device both using the same |
| JP3087841B2 (ja) * | 1996-10-29 | 2000-09-11 | 日本電気株式会社 | 広視野角液晶表示装置 |
| JPH10133217A (ja) * | 1996-11-05 | 1998-05-22 | Hosiden Corp | 液晶表示素子 |
| JP3588945B2 (ja) * | 1996-11-25 | 2004-11-17 | セイコーエプソン株式会社 | アクティブマトリクス基板の製造方法 |
| US6532053B2 (en) * | 1996-12-18 | 2003-03-11 | Hitachi, Ltd. | Transverse electric field system liquid crystal display device suitable for improving aperture ratio |
| JP3468003B2 (ja) | 1996-12-20 | 2003-11-17 | ソニー株式会社 | 表示用薄膜半導体装置 |
| JP4201862B2 (ja) * | 1997-02-27 | 2008-12-24 | シャープ株式会社 | 液晶表示装置 |
| JP3784491B2 (ja) | 1997-03-28 | 2006-06-14 | 株式会社半導体エネルギー研究所 | アクティブマトリクス型の表示装置 |
| JPH10282527A (ja) | 1997-04-11 | 1998-10-23 | Casio Comput Co Ltd | 液晶表示装置 |
| US5889302A (en) * | 1997-04-21 | 1999-03-30 | Advanced Micro Devices, Inc. | Multilayer floating gate field effect transistor structure for use in integrated circuit devices |
| JPH112844A (ja) * | 1997-06-13 | 1999-01-06 | Nec Corp | 液晶表示パネル及びその製造方法 |
| JP3767154B2 (ja) * | 1997-06-17 | 2006-04-19 | セイコーエプソン株式会社 | 電気光学装置用基板、電気光学装置、電子機器及び投写型表示装置 |
| JP3892115B2 (ja) | 1997-07-07 | 2007-03-14 | 株式会社半導体エネルギー研究所 | ディスプレイ及びディスプレイを備えた装置 |
| JP3929119B2 (ja) | 1997-08-04 | 2007-06-13 | 株式会社アドバンスト・ディスプレイ | 液晶表示装置 |
| JP3919900B2 (ja) | 1997-09-19 | 2007-05-30 | 株式会社半導体エネルギー研究所 | 液晶表示装置およびその作製方法 |
| JP4050377B2 (ja) * | 1997-10-31 | 2008-02-20 | セイコーエプソン株式会社 | 液晶装置及び電子機器並びに投射型表示装置 |
| JP4312851B2 (ja) * | 1998-04-27 | 2009-08-12 | 株式会社半導体エネルギー研究所 | 半導体装置およびその作製方法 |
| JP3702096B2 (ja) | 1998-06-08 | 2005-10-05 | 三洋電機株式会社 | 薄膜トランジスタ及び表示装置 |
| KR100357213B1 (ko) * | 1998-07-23 | 2002-10-18 | 엘지.필립스 엘시디 주식회사 | 멀티도메인 액정표시소자 |
| JP2000058847A (ja) | 1998-07-31 | 2000-02-25 | Semiconductor Energy Lab Co Ltd | 半導体素子からなる半導体回路を備えた半導体装置およびその作製方法 |
| JP3141860B2 (ja) | 1998-10-28 | 2001-03-07 | ソニー株式会社 | 液晶表示装置の製造方法 |
| TW413844B (en) * | 1998-11-26 | 2000-12-01 | Samsung Electronics Co Ltd | Manufacturing methods of thin film transistor array panels for liquid crystal displays and photolithography method of thin films |
| DE69942442D1 (de) * | 1999-01-11 | 2010-07-15 | Semiconductor Energy Lab | Halbleiteranordnung mit Treiber-TFT und Pixel-TFT auf einem Substrat |
| EP1031873A3 (en) * | 1999-02-23 | 2005-02-23 | Sel Semiconductor Energy Laboratory Co., Ltd. | Semiconductor device and fabrication method thereof |
| US7821065B2 (en) * | 1999-03-02 | 2010-10-26 | Semiconductor Energy Laboratory Co., Ltd. | Semiconductor device comprising a thin film transistor comprising a semiconductor thin film and method of manufacturing the same |
| US6531993B1 (en) * | 1999-03-05 | 2003-03-11 | Semiconductor Energy Laboratory Co., Ltd. | Active matrix type display device |
| JP2000284723A (ja) * | 1999-03-30 | 2000-10-13 | Sanyo Electric Co Ltd | 表示装置 |
| US7122835B1 (en) * | 1999-04-07 | 2006-10-17 | Semiconductor Energy Laboratory Co., Ltd. | Electrooptical device and a method of manufacturing the same |
| TW478014B (en) * | 1999-08-31 | 2002-03-01 | Semiconductor Energy Lab | Semiconductor device and method of manufacturing thereof |
| JP4700156B2 (ja) * | 1999-09-27 | 2011-06-15 | 株式会社半導体エネルギー研究所 | 半導体装置 |
| JP4118484B2 (ja) * | 2000-03-06 | 2008-07-16 | 株式会社半導体エネルギー研究所 | 半導体装置の作製方法 |
| JP2001257350A (ja) * | 2000-03-08 | 2001-09-21 | Semiconductor Energy Lab Co Ltd | 半導体装置およびその作製方法 |
| JP2002319679A (ja) * | 2001-04-20 | 2002-10-31 | Semiconductor Energy Lab Co Ltd | 半導体装置 |
| JP2003149681A (ja) * | 2002-07-18 | 2003-05-21 | Seiko Epson Corp | 液晶パネル用基板、液晶パネル及び投射型表示装置 |
-
2000
- 2000-08-10 TW TW089116126A patent/TW478014B/zh not_active IP Right Cessation
- 2000-08-24 JP JP2000253571A patent/JP2001144301A/ja not_active Withdrawn
- 2000-08-30 CN CN2007101822889A patent/CN101150135B/zh not_active Expired - Fee Related
- 2000-08-30 CN CN2006100959019A patent/CN1979877B/zh not_active Expired - Fee Related
- 2000-08-30 CN CNB2005100673892A patent/CN100492640C/zh not_active Expired - Fee Related
- 2000-08-30 EP EP05008809A patent/EP1564713A3/en not_active Withdrawn
- 2000-08-30 EP EP10177431.3A patent/EP2299435B1/en not_active Expired - Lifetime
- 2000-08-30 EP EP00118783A patent/EP1081676A1/en not_active Ceased
- 2000-08-30 CN CNB001263196A patent/CN100355013C/zh not_active Expired - Lifetime
- 2000-08-31 US US09/653,535 patent/US6583472B1/en not_active Expired - Lifetime
- 2000-08-31 KR KR1020000051005A patent/KR100788870B1/ko not_active Expired - Fee Related
-
2003
- 2003-06-09 US US10/456,503 patent/US7098086B2/en not_active Expired - Fee Related
-
2005
- 2005-03-29 US US11/091,583 patent/US7501685B2/en not_active Expired - Fee Related
- 2005-07-26 KR KR1020050067730A patent/KR100666150B1/ko not_active Expired - Lifetime
-
2009
- 2009-01-22 US US12/357,785 patent/US7982267B2/en not_active Expired - Fee Related
-
2010
- 2010-07-26 JP JP2010166966A patent/JP5277212B2/ja not_active Expired - Fee Related
-
2011
- 2011-01-24 US US13/012,448 patent/US8253140B2/en not_active Expired - Fee Related
-
2012
- 2012-07-24 JP JP2012163348A patent/JP5478678B2/ja not_active Expired - Lifetime
- 2012-08-08 US US13/569,445 patent/US8552431B2/en not_active Expired - Fee Related
-
2013
- 2013-04-01 JP JP2013075650A patent/JP5531136B2/ja not_active Expired - Fee Related
- 2013-09-05 US US14/018,463 patent/US8933455B2/en not_active Expired - Fee Related
- 2013-10-04 JP JP2013208783A patent/JP2014032415A/ja not_active Withdrawn
-
2014
- 2014-04-22 JP JP2014088402A patent/JP2014170952A/ja not_active Withdrawn
- 2014-10-03 JP JP2014204835A patent/JP5913514B2/ja not_active Expired - Lifetime
- 2014-10-29 US US14/527,020 patent/US9250490B2/en not_active Expired - Fee Related
-
2015
- 2015-03-18 JP JP2015054184A patent/JP6158848B2/ja not_active Expired - Fee Related
-
2016
- 2016-01-14 US US14/995,442 patent/US9466622B2/en not_active Expired - Fee Related
- 2016-05-03 JP JP2016092848A patent/JP2016153917A/ja not_active Withdrawn
-
2017
- 2017-12-15 JP JP2017240891A patent/JP6546258B2/ja not_active Expired - Lifetime
-
2018
- 2018-06-05 JP JP2018107759A patent/JP2018197859A/ja not_active Withdrawn
-
2019
- 2019-02-18 JP JP2019026386A patent/JP2019083341A/ja not_active Withdrawn
Also Published As
Similar Documents
| Publication | Publication Date | Title |
|---|---|---|
| JP6158848B2 (ja) | 液晶表示装置 | |
| JP4700156B2 (ja) | 半導体装置 | |
| JP5084114B2 (ja) | プロジェクター | |
| JP4994491B2 (ja) | プロジェクタ | |
| JP3950906B2 (ja) | 半導体装置及びプロジェクター | |
| JP2015007806A (ja) | 液晶表示装置 | |
| JP5685613B2 (ja) | 表示装置 | |
| JP5298156B2 (ja) | フロント型プロジェクタ、及び半導体装置 | |
| JP6488328B2 (ja) | 表示装置 | |
| KR100720069B1 (ko) | 반도체장치 | |
| JP5593435B2 (ja) | 液晶表示装置 | |
| JP5526187B2 (ja) | 表示装置 | |
| JP2019168695A (ja) | 表示装置 | |
| JP2016012152A (ja) | 表示装置 | |
| JP2014078033A (ja) | 表示装置 |
Legal Events
| Date | Code | Title | Description |
|---|---|---|---|
| A131 | Notification of reasons for refusal |
Free format text: JAPANESE INTERMEDIATE CODE: A131 Effective date: 20160329 |
|
| A521 | Request for written amendment filed |
Free format text: JAPANESE INTERMEDIATE CODE: A523 Effective date: 20160503 |
|
| A131 | Notification of reasons for refusal |
Free format text: JAPANESE INTERMEDIATE CODE: A131 Effective date: 20161101 |
|
| A521 | Request for written amendment filed |
Free format text: JAPANESE INTERMEDIATE CODE: A523 Effective date: 20161220 |
|
| TRDD | Decision of grant or rejection written | ||
| A01 | Written decision to grant a patent or to grant a registration (utility model) |
Free format text: JAPANESE INTERMEDIATE CODE: A01 Effective date: 20170606 |
|
| A61 | First payment of annual fees (during grant procedure) |
Free format text: JAPANESE INTERMEDIATE CODE: A61 Effective date: 20170608 |
|
| R150 | Certificate of patent or registration of utility model |
Ref document number: 6158848 Country of ref document: JP Free format text: JAPANESE INTERMEDIATE CODE: R150 |
|
| LAPS | Cancellation because of no payment of annual fees |
