JP5589891B2 - セラミック電子部品及びその製造方法 - Google Patents

セラミック電子部品及びその製造方法 Download PDF

Info

Publication number
JP5589891B2
JP5589891B2 JP2011036860A JP2011036860A JP5589891B2 JP 5589891 B2 JP5589891 B2 JP 5589891B2 JP 2011036860 A JP2011036860 A JP 2011036860A JP 2011036860 A JP2011036860 A JP 2011036860A JP 5589891 B2 JP5589891 B2 JP 5589891B2
Authority
JP
Japan
Prior art keywords
plating film
electronic component
ceramic
electrode layer
base electrode
Prior art date
Legal status (The legal status is an assumption and is not a legal conclusion. Google has not performed a legal analysis and makes no representation as to the accuracy of the status listed.)
Active
Application number
JP2011036860A
Other languages
English (en)
Other versions
JP2012009813A (ja
Inventor
康弘 西坂
幸雄 眞田
浩司 佐藤
誠一 松本
Current Assignee (The listed assignees may be inaccurate. Google has not performed a legal analysis and makes no representation or warranty as to the accuracy of the list.)
Murata Manufacturing Co Ltd
Original Assignee
Murata Manufacturing Co Ltd
Priority date (The priority date is an assumption and is not a legal conclusion. Google has not performed a legal analysis and makes no representation as to the accuracy of the date listed.)
Filing date
Publication date
Application filed by Murata Manufacturing Co Ltd filed Critical Murata Manufacturing Co Ltd
Priority to JP2011036860A priority Critical patent/JP5589891B2/ja
Priority to TW103112652A priority patent/TWI559346B/zh
Priority to TW100111500A priority patent/TWI437593B/zh
Priority to CN201110114220.3A priority patent/CN102290235B/zh
Priority to CN201310005688.8A priority patent/CN103077823B/zh
Priority to CN201310743848.9A priority patent/CN103762075A/zh
Priority to KR1020110046214A priority patent/KR101140455B1/ko
Priority to US13/115,243 priority patent/US8564931B2/en
Publication of JP2012009813A publication Critical patent/JP2012009813A/ja
Priority to US13/923,396 priority patent/US8587925B2/en
Priority to US14/071,684 priority patent/US8891225B2/en
Priority to US14/154,204 priority patent/US9363896B2/en
Application granted granted Critical
Publication of JP5589891B2 publication Critical patent/JP5589891B2/ja
Priority to US15/151,649 priority patent/US20160255725A1/en
Active legal-status Critical Current
Anticipated expiration legal-status Critical

Links

Images

Classifications

    • HELECTRICITY
    • H05ELECTRIC TECHNIQUES NOT OTHERWISE PROVIDED FOR
    • H05KPRINTED CIRCUITS; CASINGS OR CONSTRUCTIONAL DETAILS OF ELECTRIC APPARATUS; MANUFACTURE OF ASSEMBLAGES OF ELECTRICAL COMPONENTS
    • H05K1/00Printed circuits
    • H05K1/18Printed circuits structurally associated with non-printed electric components
    • H05K1/182Printed circuits structurally associated with non-printed electric components associated with components mounted in the printed circuit board, e.g. insert mounted components [IMC]
    • HELECTRICITY
    • H01ELECTRIC ELEMENTS
    • H01GCAPACITORS; CAPACITORS, RECTIFIERS, DETECTORS, SWITCHING DEVICES, LIGHT-SENSITIVE OR TEMPERATURE-SENSITIVE DEVICES OF THE ELECTROLYTIC TYPE
    • H01G4/00Fixed capacitors; Processes of their manufacture
    • H01G4/002Details
    • H01G4/228Terminals
    • H01G4/232Terminals electrically connecting two or more layers of a stacked or rolled capacitor
    • HELECTRICITY
    • H01ELECTRIC ELEMENTS
    • H01GCAPACITORS; CAPACITORS, RECTIFIERS, DETECTORS, SWITCHING DEVICES, LIGHT-SENSITIVE OR TEMPERATURE-SENSITIVE DEVICES OF THE ELECTROLYTIC TYPE
    • H01G4/00Fixed capacitors; Processes of their manufacture
    • H01G4/002Details
    • H01G4/018Dielectrics
    • H01G4/06Solid dielectrics
    • H01G4/08Inorganic dielectrics
    • H01G4/12Ceramic dielectrics
    • HELECTRICITY
    • H01ELECTRIC ELEMENTS
    • H01CRESISTORS
    • H01C7/00Non-adjustable resistors formed as one or more layers or coatings; Non-adjustable resistors made from powdered conducting material or powdered semi-conducting material with or without insulating material
    • H01C7/008Thermistors
    • HELECTRICITY
    • H01ELECTRIC ELEMENTS
    • H01FMAGNETS; INDUCTANCES; TRANSFORMERS; SELECTION OF MATERIALS FOR THEIR MAGNETIC PROPERTIES
    • H01F27/00Details of transformers or inductances, in general
    • H01F27/28Coils; Windings; Conductive connections
    • HELECTRICITY
    • H01ELECTRIC ELEMENTS
    • H01FMAGNETS; INDUCTANCES; TRANSFORMERS; SELECTION OF MATERIALS FOR THEIR MAGNETIC PROPERTIES
    • H01F27/00Details of transformers or inductances, in general
    • H01F27/28Coils; Windings; Conductive connections
    • H01F27/2804Printed windings
    • HELECTRICITY
    • H01ELECTRIC ELEMENTS
    • H01GCAPACITORS; CAPACITORS, RECTIFIERS, DETECTORS, SWITCHING DEVICES, LIGHT-SENSITIVE OR TEMPERATURE-SENSITIVE DEVICES OF THE ELECTROLYTIC TYPE
    • H01G4/00Fixed capacitors; Processes of their manufacture
    • H01G4/002Details
    • H01G4/005Electrodes
    • H01G4/008Selection of materials
    • HELECTRICITY
    • H01ELECTRIC ELEMENTS
    • H01GCAPACITORS; CAPACITORS, RECTIFIERS, DETECTORS, SWITCHING DEVICES, LIGHT-SENSITIVE OR TEMPERATURE-SENSITIVE DEVICES OF THE ELECTROLYTIC TYPE
    • H01G4/00Fixed capacitors; Processes of their manufacture
    • H01G4/30Stacked capacitors
    • HELECTRICITY
    • H10SEMICONDUCTOR DEVICES; ELECTRIC SOLID-STATE DEVICES NOT OTHERWISE PROVIDED FOR
    • H10NELECTRIC SOLID-STATE DEVICES NOT OTHERWISE PROVIDED FOR
    • H10N30/00Piezoelectric or electrostrictive devices
    • H10N30/50Piezoelectric or electrostrictive devices having a stacked or multilayer structure
    • HELECTRICITY
    • H10SEMICONDUCTOR DEVICES; ELECTRIC SOLID-STATE DEVICES NOT OTHERWISE PROVIDED FOR
    • H10NELECTRIC SOLID-STATE DEVICES NOT OTHERWISE PROVIDED FOR
    • H10N30/00Piezoelectric or electrostrictive devices
    • H10N30/80Constructional details
    • H10N30/85Piezoelectric or electrostrictive active materials
    • H10N30/853Ceramic compositions
    • H10N30/8548Lead-based oxides
    • H10N30/8554Lead-zirconium titanate [PZT] based

Landscapes

  • Engineering & Computer Science (AREA)
  • Power Engineering (AREA)
  • Microelectronics & Electronic Packaging (AREA)
  • Manufacturing & Machinery (AREA)
  • Chemical & Material Sciences (AREA)
  • Ceramic Engineering (AREA)
  • Inorganic Chemistry (AREA)
  • Physics & Mathematics (AREA)
  • Electromagnetism (AREA)
  • Materials Engineering (AREA)
  • Fixed Capacitors And Capacitor Manufacturing Machines (AREA)
  • Ceramic Capacitors (AREA)

Description

本発明は、セラミック電子部品及びその製造方法に関する。特に、本発明は、配線基板に埋め込まれて使用される埋め込み型セラミック電子部品として好適に使用できるセラミック電子部品及びその製造方法に関する。
近年、携帯電話機や携帯音楽プレイヤーなどの電子機器の小型化や薄型化に伴い、電子機器に搭載される配線基板の小型化が進んでいる。
配線基板を小型化する方法としては、例えば、下記の特許文献1において、セラミック電子部品を配線基板の内部に埋め込み、かつ、セラミック電子部品の上に形成されたビアホール導体により、セラミック電子部品への配線を構成する方法が提案されている。この方法によれば、配線基板の表面にセラミック電子部品を配置する領域を確保する必要がないばかりか、セラミック電子部品への配線を設ける領域を、セラミック電子部品が設けられる領域とは別個に確保する必要がない。従って、部品内蔵配線基板を小型化することができる。
セラミック電子部品接続用のビアホールは、例えば、COレーザーなどのレーザーを用いて形成される。レーザーを用いてビアホールを形成する場合、レーザーがセラミック電子部品の外部電極に直接照射されることとなる。このため、外部電極は、レーザーを高い反射率で反射するCuめっき膜を有するものであることが好ましい。外部電極のレーザーに対する反射率が低いと、レーザーがセラミック電子部品の内部にまで至り、セラミック電子部品が損傷してしまう場合があるためである。
特開2002−100875号公報
ところで、配線基板の内部に埋め込まれるセラミック電子部品に対しては、配線基板の厚みを薄くする観点から、低背化が強く求められている。
セラミック電子部品を低背化する方法としては、外部電極のうち、セラミック素体の直上に位置する下地電極層を、内部電極を含むセラミック素体と同時焼成する、すなわちコファイアにより形成することが好ましい。このようにすることにより、例えば、ディップにより塗布した導電性ペーストを焼き付けることによって下地電極層を形成した場合よりも、下地電極層の最大厚みを小さくできるためである。
しかしながら、下地電極層をコファイアにより形成する場合、セラミック素体と下地電極層との高い密着性を確保するために、セラミック材料などのセラミック接合材の下地電極層における含有量を多くする必要がある。ところが、下地電極層におけるセラミック接合材の含有量を多くすると、下地電極層における金属成分の含有量が少なくなる。このため、下地電極層と、下地電極層の上に形成されためっき層との密着性が低下してしまう。従って、電子部品の信頼性が低下してしまうという問題がある。
本発明は、かかる点に鑑みてなされたものであり、その目的は、セラミック素体の上に形成された下地電極層と、下地電極層の上に形成されたCuめっき膜とを有する外部電極を備えるセラミック電子部品であって、高い信頼性を有するセラミック電子部品を提供することにある。
本発明に係るセラミック電子部品は、セラミック素体と、外部電極とを備えている。外部電極は、セラミック素体の上に形成されている。外部電極は、下地電極層と、第1のCuめっき膜とを有する。下地電極層は、セラミック素体の上に形成されている。第1のCuめっき膜は、下地電極層の上に形成されている。下地電極層は、Cuに拡散し得る金属と、セラミック結合材とを含む。第1のCuめっき膜の少なくとも下地電極層側の表層には、Cuに拡散し得る金属が拡散している。
本発明に係るセラミック電子部品のある特定の局面では、前記下地電極層は、前記セラミック素体の上に導電性ペーストを塗布し、焼成することにより形成されている。
また、本発明に係るセラミック電子部品の他の特定の局面では、第1のCuめっき膜には、粒界が存在している。Cuに拡散し得る金属は、第1のCuめっき膜の粒界に沿って拡散している。
本発明に係るセラミック電子部品の他の特定の局面では、Cuに拡散し得る金属は、第1のCuめっき膜の下地電極層とは反対側の表面にまで拡散している。この構成によれば、第1のCuめっき膜と下地電極層との密着性をより高めることができる。
本発明に係るセラミック電子部品の別の特定の局面では、Cuに拡散し得る金属は、Ni,Ag,Pd及びAuからなる群から選ばれた一種以上の金属である。
本発明に係るセラミック電子部品のさらに別の特定の局面では、外部電極は、第1のCuめっき膜の上に形成されている第2のCuめっき膜をさらに有し、第2のCuめっき膜には、Cuに拡散し得る金属は拡散していない。この構成では、Cuに拡散し得る金属が拡散していない第2のCuめっき膜が設けられているため、外部電極に入射するレーザー光の外部電極における反射率をより高くすることができる。このため、レーザー光を外部電極に照射した場合であっても、セラミック素体が損傷しにくい。従って、埋め込み型セラミック電子部品として好適に使用することができる。
本発明に係るセラミック電子部品のまた他の特定の局面では、下地電極層には、第1のCuめっき膜からCuが拡散している。この場合、下地電極層と第1のCuめっき膜との密着性をより高めることができる。
本発明に係るセラミック電子部品の製造方法は、セラミック素体と、セラミック素体の上に形成されている外部電極とを備えるセラミック電子部品の製造方法に関する。本発明に係るセラミック電子部品の製造方法では、セラミック素体の上に、Cuに拡散し得る金属と、セラミック結合材とを含む下地電極層を形成し、さらに下地電極層の上に第1のCuめっき膜を形成する。その後に、下地電極層と第1のCuめっき膜とを加熱することにより、第1のCuめっき膜の少なくとも下地電極層側の表層にCuに拡散し得る金属を拡散させることにより外部電極を形成する。
本発明に係るセラミック電子部品の製造方法のある特定の局面では、下地電極層と第1のCuめっき層とを加熱することにより、第1のCuめっき膜の少なくとも下地電極層側の表層にCuに拡散し得る金属を拡散させた後に、第1のCuめっき膜の上に、第2のCuめっき膜をさらに形成することにより外部電極を形成する。この場合、Cuに拡散し得る金属が拡散していない第2のCuめっき膜が設けられているため、外部電極に入射するレーザー光の外部電極における反射率がより高く、埋め込み型セラミック電子部品として好適に使用することができるセラミック電子部品を製造することができる。
本発明に係るセラミック電子部品の製造方法の他の特定の局面では、下地電極層と第1のCuめっき膜とを、350℃〜800℃まで加熱することにより、第1のCuめっき膜の少なくとも下地電極層側の表層にCuに拡散し得る金属を拡散させることにより外部電極を形成する。この場合、Cuに拡散し得る金属がより好適に拡散する。
本発明では、第1のCuめっき膜の少なくとも下地電極層側の表層には、下地電極層に含まれているCuに拡散し得る金属が拡散している。このため、下地電極層と第1のCuめっき膜との密着性を高めることができる。従って、セラミック電子部品の信頼性を高めることができる。
第1の実施形態に係るセラミック電子部品の略図的斜視図である。 第1の実施形態に係るセラミック電子部品の略図的側面図である。 図1の線III−IIIにおける略図的断面図である。 図3の線IVで囲まれた部分を拡大した略図的断面図である。 第1の外部電極の一部分を拡大した模式的断面図である。 図3の線VI−VIにおける略図的断面図である。 導電パターンが形成されたセラミックグリーンシートの略図的平面図である。 マザー積層体の略図的平面図である。 第2の実施形態に係るセラミック電子部品の一部を拡大した略図的断面図である。 第3の実施形態に係るセラミック電子部品の略図的断面図である。 第4の実施形態に係るセラミック電子部品の略図的断面図である。 第5の実施形態に係るセラミック電子部品の略図的側面図である。 第6の実施形態に係るセラミック電子部品の略図的断面図である。 第7の実施形態に係るセラミック電子部品の高さ方向H及び長さ方向Lに沿った略図的断面図である。 第7の実施形態に係るセラミック電子部品の高さ方向H及び長さ方向Lに沿った略図的断面図である。 変形例における第1の外部電極の一部分を拡大した模式的断面図である。
(第1の実施形態)
以下、本発明の好ましい実施形態について、図1に示すセラミック電子部品1を例に挙げて説明する。但し、セラミック電子部品1は、単なる例示である。本発明は、以下に示すセラミック電子部品1及びその製造方法に何ら限定されない。
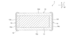
図1は、第1の実施形態に係るセラミック電子部品の略図的斜視図である。図2は、第
1の実施形態に係るセラミック電子部品の略図的側面図である。図3は、図1の線III−IIIにおける略図的断面図である。図4は、図3の線IVで囲まれた部分を拡大した略図的断面図である。図5は、第1の外部電極の一部分を拡大した模式的断面図である。図6は、図3の線VI−VIにおける略図的断面図である。
まず、図1〜図6を参照しながら、セラミック電子部品1の構成について説明する。
図1〜図3及び図6に示すように、セラミック電子部品1は、セラミック素体10を備えている。セラミック素体10は、セラミック電子部品1の機能に応じた適宜のセラミック材料からなる。具体的には、セラミック電子部品1がコンデンサである場合は、セラミック素体10を誘電体セラミック材料により形成することができる。誘電体セラミック材料の具体例としては、例えば、BaTiO、CaTiO、SrTiO、CaZrOなどが挙げられる。なお、セラミック素体10には、所望するセラミック電子部品1の特性に応じて、上記セラミック材料を主成分として、例えば、Mn化合物、Mg化合物、Si化合物、Fe化合物、Cr化合物、Co化合物、Ni化合物、希土類化合物などの副成分を適宜添加してもよい。
セラミック電子部品1がセラミック圧電素子である場合は、セラミック素体10を圧電セラミック材料により形成することができる。圧電セラミック材料の具体例としては、例えば、PZT(チタン酸ジルコン酸鉛)系セラミック材料などが挙げられる。
セラミック電子部品1がサーミスタ素子である場合は、セラミック素体10を半導体セラミック材料により形成することができる。半導体セラミック材料の具体例としては、例えば、スピネル系セラミック材料などが挙げられる。
セラミック電子部品1が、インダクタ素子である場合は、セラミック素体10を磁性体セラミック材料により形成することができる。磁性体セラミック材料の具体例としては、例えば、フェライトセラミック材料などが挙げられる。
セラミック素体10の形状は特に限定されない。本実施形態では、セラミック素体10は、直方体状に形成されている。図1〜図3に示すように、セラミック素体10は、長さ方向L及び幅方向Wに沿って延びる第1及び第2の主面10a、10bを有する。セラミック素体10は、図1、図2及び図6に示すように、高さ方向H及び長さ方向Lに沿って延びる第1及び第2の側面10c、10dを有する。また、図2、図3及び図6に示すように、高さ方向H及び幅方向Wに沿って延びる第1及び第2の端面10e、10fを備えている。
なお、本明細書において、「直方体状」には、角部や稜線部が面取り状またはR面取り状である直方体が含まれるものとする。すなわち、「直方体状」の部材とは、第1及び第2の主面、第1及び第2の側面並びに第1及び第2の端面とを有する部材全般を意味する。また、主面、側面、端面の一部または全部に凹凸などが形成されていてもよい。
セラミック素体10の寸法は、特に限定されないが、セラミック素体10は、セラミック素体10の厚み寸法をT、長さ寸法をL、幅寸法をWとしたときに、T≦W<L、(1/5)W≦T≦(1/2)W、T≦0.3mmが満たされるような薄型のものであることが好ましい。具体的には、0.1mm≦T≦0.3mm、0.4mm≦L≦1mm、0.2mm≦W≦0.5mmであることが好ましい。
図3及び図6に示すように、セラミック素体10の内部には、略矩形状の複数の第1及び第2の内部電極11,12が高さ方向Hに沿って等間隔に交互に配置されている。第1及び第2の内部電極11,12のそれぞれは、第1及び第2の主面10a、10bと平行である。第1及び第2の内部電極11,12は、高さ方向Hにおいて、セラミック層10
gを介して、互いに対向している。
なお、セラミック層10gの厚さは、特に限定されない。セラミック層10gの厚さは、例えば、0.5μm〜10μm程度とすることができる。第1及び第2の内部電極11,12のそれぞれの厚さも、特に限定されない。第1及び第2の内部電極11,12のそれぞれの厚さは、例えば、0.2μm〜2μm程度とすることができる。
第1及び第2の内部電極11,12は、適宜の導電材料により形成することができる。第1及び第2の内部電極11,12は、例えば、Ni、Cu,Ag,Pd,Auなどの金属や、Ag−Pd合金などの、これらの金属の一種以上を含む合金により形成することができる。
図1〜図3に示すように、セラミック素体10の表面の上には、第1及び第2の外部電極13,14が形成されている。第1の外部電極13は、第1の内部電極11に電気的に接続されている。第1の外部電極13は、第1の主面10aの上に形成されている第1の部分13aと、第2の主面10bの上に形成されている第2の部分13bと、第1の端面10eの上に形成されている第3の部分13cとを備えている。本実施形態では、第1の外部電極13は、第1及び第2の側面10c、10dの上には実質的に形成されていない。
一方、第2の外部電極14は、第2の内部電極12に電気的に接続されている。第2の外部電極14は、第1の主面10aの上に形成されている第1の部分14aと、第2の主面10bの上に形成されている第2の部分14bと、第2の端面10fの上に形成されている第3の部分14cとを備えている。本実施形態では、第2の外部電極14は、第1及び第2の側面10c、10dの上には実質的に形成されていない。
次に、第1及び第2の外部電極13,14の構成について説明する。なお、本実施形態では、第1及び第2の外部電極13,14は、実質的に同じ膜構成を有する。このため、ここでは、第1及び第2の外部電極13,14の構成について、第1の外部電極13の一部分が描画されている図4を主として参照しながら説明する。
図4に示すように、第1及び第2の外部電極13,14のそれぞれは、下地電極層15と、第1及び第2のCuめっき膜16,17との積層体により構成されている。下地電極層15は、セラミック素体10の上に形成されている。第1のCuめっき膜16は、下地電極層15の上に形成されている。第2のCuめっき膜17は、第1のCuめっき膜16の上に形成されている。
下地電極層15は、第1及び第2の外部電極13,14と、セラミック素体10との密着強度を高めるための層である。このため、下地電極層15は、下地電極層15とセラミック素体10との密着強度が高くなると共に、下地電極層15と第1のCuめっき膜16との密着性も高くなるような組成を有する。具体的には、下地電極層15は、Cuに拡散し得る金属と、セラミック結合材とを含んでいる。
下地電極層15における、Cuに拡散し得る金属の含有量は、例えば、50体積%〜70体積%の範囲内であることが好ましい。下地電極層15におけるセラミック結合材の含有量は、例えば、30体積%〜50体積%の範囲内であることが好ましい。
セラミック結合材は、セラミック素体10に対する密着強度を高めるための成分である。セラミック結合材は、例えば、セラミック素体が下地電極層と同時に焼成される際に、セラミック素体の収縮の挙動と下地電極層の収縮の挙動を近づけるようにして、その種類が選択される。セラミック結合材は、セラミック素体10に含まれるセラミック材料の主成分を構成する元素を含むことが好ましく、中でも、セラミック素体10に含まれるセラミック材料と主成分が同じセラミック材料であることが望ましい。
一方、Cuに拡散し得る金属(以下、「拡散可能金属」とすることがある。)は、第1のCuめっき膜16に対する密着強度を向上するための成分である。本実施形態では、この拡散可能金属が第1のCuめっき膜16の少なくとも下地電極層15側の表層に拡散している。また、下地電極層15には、第1のCuめっき膜16からCuが拡散している。本実施形態では、この相互拡散により、下地電極層15と第1のCuめっき膜16との高い密着性が実現されている。
より具体的には、本実施形態では、第1のCuめっき膜16には、粒界が存在しており、この粒界に沿って拡散可能金属が拡散している。そして、図5に示すように、第1のCuめっき膜16のうち、拡散可能金属が拡散している拡散部分16aは、第1のCuめっき膜16の下地電極層15とは反対側の表面にまで至っている。一方、下地電極層15の第1のCuめっき膜16側の表層には、Cuが拡散している拡散部分15aが存在している。
なお、拡散可能金属が拡散していることは、セラミック電子部品1の側面をW方向の中心付近まで研磨し、反対側の側面と平行な断面を露出させ、その断面を集束イオンビーム(FIB)を用いて処理し、WDX(波長分散型)の元素マッピングすることにより検出することができる。
拡散可能金属の種類は特に限定されない。拡散可能金属は、例えば、Ni,Ag,Auからなる群から選ばれた一種以上の金属により構成することができる。なかでも、拡散可能金属としては、Niを用いることが好ましい。
但し、本実施形態では、第2のCuめっき膜17には、拡散可能金属は拡散していない。このため、第2のCuめっき膜17は、Cuにより実質的に形成されている。
なお、下地電極層15の最大厚みは、例えば、1μm〜20μm程度とすることができる。第1のCuめっき膜16の最大厚みは、例えば、2μm〜6μm程度であることが好ましい。第2のCuめっき膜17の最大厚みは、例えば、3μm〜6μm程度であることが好ましい。
次に、本実施形態のセラミック電子部品1の製造方法の一例について説明する。
まず、セラミック素体10を構成するためのセラミック材料を含むセラミックグリーンシート20(図7を参照)を用意する。次に、図7に示すように、そのセラミックグリーンシート20の上に、導電性ペーストを塗布することにより、導電パターン21を形成する。なお、導電パターンの塗布は、例えば、スクリーン印刷法などの各種印刷法により行うことができる。導電性ペーストは、導電性微粒子の他に、公知のバインダーや溶剤を含んでいてもよい。
次に、導電パターン21が形成されていない複数枚のセラミックグリーンシート20、第1または第2の内部電極11,12に対応した形状の導電パターン21が形成されているセラミックグリーンシート20、及び導電パターン21が形成されていない複数枚のセラミックグリーンシート20をこの順番で積層し、積層方向に静水圧プレスすることにより、図8に示すマザー積層体22を作製する。
次に、マザー積層体22の上に、第1及び第2の外部電極13,14の下地電極層15
の第1及び第2の部分13a、13bを構成している部分に対応した形状の導電パターン23を、スクリーン印刷法などの適宜の印刷法により形成する。なお、この導電パターン23の形成に用いる導電性ペーストは、拡散可能金属と、セラミック結合材とを含んでいる。
次に、仮想のカットラインLに沿ってマザー積層体22をカッティングすることにより、マザー積層体22から複数の生のセラミック積層体を作製する。なお、マザー積層体22のカッティングは、ダイシングや押切により行うことができる。
生のセラミック積層体作成後、バレル研磨などにより、生のセラミック積層体の稜線部及び稜線部の面取りまたはR面取り及び表層の研磨を行うようにしてもよい。
次に、生のセラミック積層体の両端面に導電性ペーストを塗布することにより第1及び第2の外部電極13,14の下地電極層15の第3の部分13cを構成している部分に対応した形状の導電パターンを形成する。この導電性ペーストの塗布は、例えば、ディップやスクリーン印刷などにより行うことができる。なお、この導電パターンの形成に用いる導電性ペーストは、拡散可能金属と、セラミック結合材とを含んでいる。
次に、生のセラミック積層体の焼成を行う。この焼成工程において、下地電極層15並びに第1及び第2の内部電極11,12が同時焼成される(コファイア)。焼成温度は、使用するセラミック材料や導電性ペーストの種類により適宜設定することができる。焼成温度は、例えば、900℃〜1300℃程度とすることができる。
次に、下地電極層15の上にCuめっきを施すことにより、第1のCuめっき膜16を形成する。本実施形態では、その後、セラミック積層体に熱処理を施すことにより、第1のCuめっき膜16と下地電極層15とを加熱する。この加熱工程により、第1のCuめっき膜16の少なくとも下地電極層15側の表層に、下地電極層15に含まれていた拡散可能金属が拡散する。それと共に、第1のCuめっき膜16のCuが下地電極層15の少なくとも第1のCuめっき膜16側の表層に拡散する。すなわち、下地電極層15と第1のCuめっき膜16との間で、相互拡散が進行する。
第1のCuめっき膜16と下地電極層15との熱処理工程において、第1のCuめっき膜16と下地電極層15とを350℃〜800℃まで加熱することが好ましく、550℃〜650℃まで加熱することがより好ましい。第1のCuめっき膜16と下地電極層15との加熱温度が低すぎると、十分に拡散が進行しない場合がある。一方、第1のCuめっき膜16と下地電極層15との加熱温度が高すぎると、第1のCuめっき膜16に含まれるCuが融解してしまう場合がある。
上記熱処理工程は、窒素やアルゴンなどの不活性ガス雰囲気中で行うことが好ましい。これにより、第1のCuめっき膜16等の酸化を抑制することができる。
その後、第1のCuめっき膜16の上に、Cuめっきにより、第2のCuめっき膜17を形成することにより、図1に示すセラミック電子部品1を完成させる。このように、本実施形態では、第1のCuめっき膜16及び下地電極層15の熱処理後に第2のCuめっき膜17を形成する。このため、第1のCuめっき膜16には拡散可能金属が拡散するものの、第2のCuめっき膜17には拡散可能金属が実質的に拡散しない。従って、第2のCuめっき膜17は、実質的にCuからなるものとなる。
以上説明したように、本実施形態では、コファイアにより下地電極層15を形成する。このため、第1及び第2の外部電極13,14の第1及び第2の部分13a、14a、13b、14bを薄く形成することができる。従って、セラミック電子部品1の厚みを薄く
することができる。
また、下地電極層15は、セラミック結合材を含んでいる。このため、下地電極層15をコファイアにより形成した場合であっても、下地電極層15とセラミック素体10との密着性を高めることができる。
さらに、下地電極層15は、Cuに拡散し得る金属を含んでおり、そのCuに拡散し得る金属が、第1のCuめっき膜16の少なくとも下地電極層15側の表層に拡散している。このため、下地電極層15と第1のCuめっき膜16との密着性を高めることができる。特に、Cuに拡散し得る金属が、第1のCuめっき膜16の下地電極層15とは反対側の表面にまで拡散している場合は、下地電極層15と第1のCuめっき膜16との密着性をさらに高めることができる。
また、本実施形態では、第1のCuめっき膜16の上に、実質的にCuからなる第2のCuめっき膜17が形成されている。このため、第1及び第2の外部電極13,14にレーザー光を照射した場合であっても、レーザー光が高い反射率で第1及び第2の外部電極13,14において反射される。従って、第1及び第2の外部電極13,14にレーザー光を照射した場合であっても、セラミック素体10が損傷しにくい。すなわち、本実施形態のセラミック電子部品1は、レーザー光に対する耐性が高い。
このように、本実施形態では、セラミック電子部品1の厚みを薄くでき、セラミック素体10、下地電極層15及び第1のCuめっき膜16間の密着性を高めることができ、かつ、第1及び第2の外部電極13,14におけるレーザー光の反射率を高くすることができる。従って、本実施形態の高い信頼性を有するセラミック電子部品1は、埋め込み型のセラミック電子部品として好適に使用される。本実施形態のセラミック電子部品1を埋め込み型のセラミック電子部品として用いた場合、レーザー光を用いて、セラミック電子部品1の第1及び第2の外部電極13,14の上部にビアホールを、セラミック電子部品1を損傷させることなく、好適に形成することができる。
また、本実施形態では、セラミック電子部品が、少なくとも一対の内部電極と、第1及び第2の外部電極を備えている例について説明した。但し、本発明は、この構成に限定されない。本発明において、セラミック電子部品は、少なくとも一つの外部電極を有していればよく、例えば、内部電極を有していなくてもよい。
以下、本発明の好ましい実施形態の他の例について説明する。但し、以下の説明において、上記第1の実施形態と実質的に共通の機能を有する部材を共通の機能で参照し、説明を省略する。
(第2の実施形態)
図9は、第2の実施形態に係るセラミック電子部品の一部を拡大した略図的断面図である。
上記第1の実施形態では、第1及び第2の外部電極13,14が、下地電極層15並びに第1及び第2のCuめっき膜16,17の積層体により形成されている例について説明した。但し、本発明は、この構成に限定されない。外部電極は、下地電極層と、下地電極層の上に積層された少なくとも一つのCuめっき膜を有する限りにおいて特に限定されな
い。
例えば、図9に示すように、第1及び第2の外部電極13,14のそれぞれは、下地電極層15と、下地電極層15の上に形成されている第1のCuめっき膜16との積層体により形成されていてもよい。この場合、下地電極層15に含まれている拡散可能金属は、第1のCuめっき膜16の下地電極層15とは反対側の表面にまで拡散していないことが好ましい。すなわち、第1のCuめっき膜16の下地電極層15とは反対側の表層は、Cuからなることが好ましい。
但し、第1のCuめっき膜16の下地電極層15とは反対側の表面にまで拡散可能金属が拡散しないように制御するのは困難である。このため、第1及び第2の外部電極13,14のセラミック素体10とは反対側の表層を、確実にCuからなるものとするためには、第2のCuめっき膜16を形成することが好ましい。
(第3の実施形態)
図10は、第3の実施形態に係るセラミック電子部品の略図的断面図である。
上記第1の実施形態では、第1及び第2の主面10a、10bのうち、第1または第2の外部電極13,14が形成されている部分と、第1または第2の外部電極13,14が形成されていない部分とが面一に形成されている例について説明した。但し、本発明はこの構成に限定されない。第1及び第2の主面10a、10bのうち、第1または第2の外部電極13,14が形成されている部分と、第1または第2の外部電極13,14が形成されていない部分とは、面一でなくてもよい。
例えば、図10に示すように、第1及び第2の主面10a、10bのうち、第1または第2の外部電極13,14が形成されている部分は、第1または第2の外部電極13,14が形成されていない部分よりも高さ方向Hにおける内側に位置していてもよい。この場合は、セラミック電子部品1をより低背化することができる。
(第4の実施形態)
図11は、第4の実施形態に係るセラミック電子部品の略図的断面図である。
上記第1の実施形態では、第1及び第2の外部電極13,14のそれぞれが、第1及び第2の主面10a、10bの両方の上に形成されている例について説明した。但し、本発明は、この構成に限定されない。第1及び第2の外部電極13,14のそれぞれは、セラミック素体10の表面のいずれかの部分の上に形成されていればよい。
例えば、図11に示すように、第1及び第2の外部電極13,14のそれぞれを、第1及び第2の主面10a、10bのうちの第2の主面10bの上にのみ形成してもよい。このように、第1及び第2の外部電極13,14のそれぞれを、第1及び第2の主面10a、10bのうちの少なくとも一方の上に形成することにより、セラミック電子部品1の実装容易性を高めることができる。
(第5の実施形態)
図12は、第5の実施形態に係るセラミック電子部品の略図的側面図である。
上記第1の実施形態では、第1及び第2の側面10c、10d上には、第1及び第2の外部電極13,14が実質的に形成されない例について説明した。但し、図12に示すように、第1及び第2の外部電極13,14を、第1及び第2の側面10c、10d上にも形成してもよい。
(第6の実施形態)
図13は、第6の実施形態に係るセラミック電子部品の略図的断面図である。
上記第1の実施形態では、第1及び第2の内部電極11,12を第1または第2の端面10e、10fに引き出すと共に、第1及び第2の端面10e、10fの上に、第1または第2の外部電極13,14を形成することにより、第1及び第2の内部電極11,12を第1または第2の外部電極13,14と電気的に接続する例について説明した。但し、本発明は、この構成に限定されない。
例えば、図13に示すように、ビアホール電極31,32を形成し、第1及び第2の内部電極11,12を第1及び第2の主面10a、10bに引き出し、第1及び第2の主面10a、10bにおいて、第1及び第2の外部電極13,14と電気的に接続させてもよい。この場合は、第1及び第2の外部電極13,14は、第1及び第2の主面10a、10bの少なくとも一方に形成されていればよく、第1及び第2の側面10c、10dや第1及び第2の端面10e、10fの上には、第1及び第2の外部電極13,14は、必ずしも形成されていなくてもよい。
(第7の実施形態)
図14及び図15は、第7の実施形態に係るセラミック電子部品の高さ方向H及び長さ方向Lに沿った略図的断面図である。
上記第1の実施形態では、第1及び第2の内部電極11,12が、第1及び第2の主面10a、10bと平行に形成されており、かつ、第1または第2の端面10e、10fに引き出されている例について説明した。但し、本発明は、この構成に限定されない。
例えば、図14及び図15に示すように、第1及び第2の内部電極11,12を高さ方向H及び長さ方向Lに沿って平行に形成し、第1及び第2の内部電極11,12を幅方向Wに沿って積層するようにしてもよい。この場合は、第1及び第2の内部電極11,12を第1及び第2の主面10a、10bの少なくとも一方に直接引き出して、第1及び第2の主面10a、10bの少なくとも一方の上に形成されている第1または第2の外部電極13,14に直接接続するようにしてもよい。
(変形例)
図16は、変形例における第1の外部電極の一部分を拡大した模式的断面図である。
上記第1の実施形態では、図5に示すように、拡散部分16aが第1のCuめっき膜16の下地電極層15とは反対側の表面にまで至っている例について説明した。但し、本発明は、この構成に限定されない。例えば、図16に示すように、拡散部分16aが第1のCuめっき膜16の下地電極層15とは反対側の表面にまで至っていなくてもよい。
(実施例1)
本実施例では、上記第1の実施形態に係るセラミック電子部品1と同様の構成を有する、セラミックコンデンサとしてのセラミック電子部品を、上記第1の実施形態で説明した製造方法で、以下の条件に基づいて作製した。
セラミック電子部品の寸法:1.0mm×0.5mm×0.15mm
セラミック電子部品の容量:10nF
セラミック電子部品の定格電圧:6.3V
セラミック素体を構成するセラミック材料の主成分:BaTiO
下地電極層:Cuに拡散し得る金属として、Niを50体積%含む。また、セラミック結合材を50体積%含む。
下地電極層の形成条件:1200℃で2時間焼成
下地電極層の厚み:5μm
第1のCuめっき膜の厚み:4μm
第2のCuめっき膜の厚み:4μm
第1のCuめっき膜にNiを拡散させる熱処理の条件:600℃(最高温度)で10分保持、総熱処理時間:1時間、雰囲気は、酸素濃度10ppm以下の不活性ガス雰囲気
上記作製のセラミック電子部品の側面をW方向の中心付近まで研磨し、反対側の側面と平行な断面を露出させ、その断面を収束イオンビーム(FIB)を用いて処理し、WDX(波長分散型)の元素マッピングを行うことにより、第1のCuめっき膜にNiが拡散していることを確認した。
(比較例1)
第1のCuめっき膜にNiを拡散させる熱処理を行わなかったこと以外は、上記実施例1と同様にしてセラミック電子部品を作製した。
上記作製のセラミック電子部品を切断することにより、外部電極の断面を露出させ、電子顕微鏡を用いて観察した結果、第1のCuめっき膜にNiが拡散していないことを確認した。
(テープ剥離試験)
上記実施例1及び比較例1のそれぞれで作製したセラミック電子部品の第2の主面側を導電性接着剤を用いてガラスエポキシ基板に接着した。その後、セラミック電子部品の第1の主面側に粘着テープ(積水化学社製セロテープ(登録商標)No.252)を貼り付け、セラミック電子部品の長さ方向に沿って、一定の張力で引っ張ることにより剥離させた(180°剥離試験)。その後、電子顕微鏡を用いてめっき膜に剥がれが生じているか否かを観察した。この試験を、実施例1及び比較例1につき、各100サンプル行い、めっき膜に剥離が観察されたサンプルの割合を測定した。その結果、実施例1では、いずれのサンプルにおいても剥離は観察されなかった。それに対して、比較例1では、75%のサンプルで剥離が観察された。
この結果から、第1のCuめっき膜に下地電極層に含まれていた金属を拡散させることにより、第1のCuめっき膜の密着強度を高めることができることが分かる。
(剪断試験)
上記実施例1及び比較例1のそれぞれで作製したセラミック電子部品の第2の主面側を導電性接着剤を用いてガラスエポキシ基板に接着した。その後、荷重治具を用いてセラミック電子部品の長さ方向両側から0.5mm/秒で外部電極が剥離するまで荷重を加えた。
その結果、比較例1では、Cuめっき膜の剥離が観察されたが、実施例1では、セラミック素体が破壊されるまで試験を継続してもCuめっき膜の剥離は観察されなかった。
この結果からも、第1のCuめっき膜に下地電極層に含まれていた金属を拡散させることにより、第1のCuめっき膜の密着強度を高めることができることが分かる。
(耐湿負荷試験)
実施例1及び比較例1のそれぞれにおいて作製したセラミック電子部品のサンプル各72個を、共晶半田を用いてガラスエポキシ基板に実装した。その後、サンプルを、85℃、相対湿度83%RHの高温高湿槽内にて、6.3Vの電圧を1000時間印加した。この耐湿負荷試験後のサンプルの絶縁抵抗値が、10GΩ以下となったものを不良としてカウントした。その結果、実施例1では、72個のサンプルのうち、不良と判定されたサンプルは、0個であった。一方、比較例1では、72個のサンプルのうち、30個のサンプルが不良と判定された。
この結果から、第1のCuめっき膜に下地電極層に含まれていた金属を拡散させることにより、セラミック電子部品の耐湿性を改善できることが分かる。
1…セラミック電子部品
10…セラミック素体
10a…セラミック素体の第1の主面
10b…セラミック素体の第2の主面
10c…セラミック素体の第1の側面
10d…セラミック素体の第2の側面
10e…セラミック素体の第1の端面
10f…セラミック素体の第2の端面
10g…セラミック層
11…第1の内部電極
12…第2の内部電極
13…第1の外部電極
13a…第1の外部電極の第1の部分
13b…第1の外部電極の第2の部分
13c…第1の外部電極の第3の部分
14…第2の外部電極
14a…第2の外部電極の第1の部分
14b…第2の外部電極の第2の部分
14c…第2の外部電極の第3の部分
15…下地電極層
15a…粒界
16…第1のCuめっき膜
17…第2のCuめっき膜
20…セラミックグリーンシート
21…導電パターン
22…マザー積層体
23…導電パターン
31,32…ビアホール電極

Claims (10)

  1. セラミック素体と、前記セラミック素体の上に形成されている外部電極とを備えるセラミック電子部品であって、
    前記外部電極は、前記セラミック素体の上に形成されている下地電極層と、前記下地電極層の上に形成されている第1のCuめっき膜とを有し、
    前記下地電極層は、Cuに拡散し得る金属と、セラミック結合材とを含み、
    前記第1のCuめっき膜の少なくとも前記下地電極層側の表層には、前記Cuに拡散し得る金属が拡散している、セラミック電子部品。
  2. 前記下地電極層は、前記セラミック素体の上に導電性ペーストを塗布し、焼成することにより形成されている、請求項1に記載のセラミック電子部品。
  3. 前記第1のCuめっき膜には、粒界が存在しており、前記Cuに拡散し得る金属は、前記第1のCuめっき膜の粒界に沿って拡散している、請求項1または2に記載のセラミック電子部品。
  4. 前記Cuに拡散し得る金属は、前記第1のCuめっき膜の前記下地電極層とは反対側の表面にまで拡散している、請求項1〜3のいずれか一項に記載のセラミック電子部品。
  5. 前記Cuに拡散し得る金属は、Ni,Ag,Pd及びAuからなる群から選ばれた一種以上の金属である、請求項1〜のいずれか一項に記載のセラミック電子部品。
  6. 前記外部電極は、前記第1のCuめっき膜の上に形成されている第2のCuめっき膜をさらに有し、前記第2のCuめっき膜には、前記Cuに拡散し得る金属は拡散していない、請求項1〜のいずれか一項に記載のセラミック電子部品。
  7. 前記下地電極層には、前記第1のCuめっき膜からCuが拡散している、請求項1〜のいずれか一項に記載のセラミック電子部品。
  8. セラミック素体と、前記セラミック素体の上に形成されている外部電極とを備えるセラミック電子部品の製造方法であって、
    セラミック素体の上に、Cuに拡散し得る金属と、セラミック結合材とを含む下地電極層を形成し、さらに前記下地電極層の上に第1のCuめっき膜を形成した後に、前記下地電極層と前記第1のCuめっき膜とを加熱することにより、前記第1のCuめっき膜の少なくとも前記下地電極層側の表層に前記Cuに拡散し得る金属を拡散させることにより前記外部電極を形成する、セラミック電子部品の製造方法。
  9. 前記下地電極層と前記第1のCuめっき層とを加熱することにより、前記第1のCuめっき膜の少なくとも前記下地電極層側の表層に前記Cuに拡散し得る金属を拡散させた後に、前記第1のCuめっき膜の上に、第2のCuめっき膜をさらに形成することにより前記外部電極を形成する、請求項に記載のセラミック電子部品の製造方法。
  10. 前記下地電極層と前記第1のCuめっき膜とを、350℃〜800℃まで加熱することにより、前記第1のCuめっき膜の少なくとも前記下地電極層側の表層に前記Cuに拡散し得る金属を拡散させることにより前記外部電極を形成する、請求項またはに記載のセラミック電子部品の製造方法。
JP2011036860A 2010-05-27 2011-02-23 セラミック電子部品及びその製造方法 Active JP5589891B2 (ja)

Priority Applications (12)

Application Number Priority Date Filing Date Title
JP2011036860A JP5589891B2 (ja) 2010-05-27 2011-02-23 セラミック電子部品及びその製造方法
TW103112652A TWI559346B (zh) 2010-05-27 2011-04-01 陶瓷電子零件及其製造方法
TW100111500A TWI437593B (zh) 2010-05-27 2011-04-01 陶瓷電子零件及其製造方法
CN201310005688.8A CN103077823B (zh) 2010-05-27 2011-04-29 陶瓷电子部件及其制造方法
CN201310743848.9A CN103762075A (zh) 2010-05-27 2011-04-29 陶瓷电子部件及其制造方法
CN201110114220.3A CN102290235B (zh) 2010-05-27 2011-04-29 陶瓷电子部件及其制造方法
KR1020110046214A KR101140455B1 (ko) 2010-05-27 2011-05-17 세라믹 전자부품 및 그 제조방법
US13/115,243 US8564931B2 (en) 2010-05-27 2011-05-25 Ceramic electronic component and method for manufacturing the same
US13/923,396 US8587925B2 (en) 2010-05-27 2013-06-21 Ceramic electronic component and method for manufacturing the same
US14/071,684 US8891225B2 (en) 2010-05-27 2013-11-05 Ceramic electronic component and method for manufacturing the same
US14/154,204 US9363896B2 (en) 2010-05-27 2014-01-14 Ceramic electronic component and method for manufacturing the same
US15/151,649 US20160255725A1 (en) 2010-05-27 2016-05-11 Ceramic electronic component and method for manufacturing the same

Applications Claiming Priority (3)

Application Number Priority Date Filing Date Title
JP2010121867 2010-05-27
JP2010121867 2010-05-27
JP2011036860A JP5589891B2 (ja) 2010-05-27 2011-02-23 セラミック電子部品及びその製造方法

Publications (2)

Publication Number Publication Date
JP2012009813A JP2012009813A (ja) 2012-01-12
JP5589891B2 true JP5589891B2 (ja) 2014-09-17

Family

ID=45021143

Family Applications (1)

Application Number Title Priority Date Filing Date
JP2011036860A Active JP5589891B2 (ja) 2010-05-27 2011-02-23 セラミック電子部品及びその製造方法

Country Status (5)

Country Link
US (5) US8564931B2 (ja)
JP (1) JP5589891B2 (ja)
KR (1) KR101140455B1 (ja)
CN (3) CN103762075A (ja)
TW (2) TWI559346B (ja)

Cited By (1)

* Cited by examiner, † Cited by third party
Publication number Priority date Publication date Assignee Title
KR20210033904A (ko) * 2019-09-19 2021-03-29 가부시키가이샤 무라타 세이사쿠쇼 적층 세라믹 전자부품, 및 그의 제조 방법

Families Citing this family (53)

* Cited by examiner, † Cited by third party
Publication number Priority date Publication date Assignee Title
JP5589891B2 (ja) 2010-05-27 2014-09-17 株式会社村田製作所 セラミック電子部品及びその製造方法
JP5794222B2 (ja) * 2012-02-03 2015-10-14 株式会社村田製作所 セラミック電子部品
JP5796568B2 (ja) * 2012-02-03 2015-10-21 株式会社村田製作所 セラミック電子部品
KR101309326B1 (ko) 2012-05-30 2013-09-16 삼성전기주식회사 적층 칩 전자부품, 그 실장 기판 및 포장체
JP6079040B2 (ja) * 2012-08-10 2017-02-15 Tdk株式会社 積層コンデンサ
JP5765318B2 (ja) 2012-11-07 2015-08-19 株式会社村田製作所 セラミック電子部品
JP5971236B2 (ja) * 2013-03-26 2016-08-17 株式会社村田製作所 セラミック電子部品及びガラスペースト
JP6112027B2 (ja) 2013-03-26 2017-04-12 株式会社村田製作所 セラミック電子部品及びセラミック電子部品内蔵配線基板
JP6201474B2 (ja) * 2013-07-18 2017-09-27 Tdk株式会社 積層コンデンサ
KR101548804B1 (ko) * 2013-09-16 2015-08-31 삼성전기주식회사 기판 내장용 적층 세라믹 전자부품 및 적층 세라믹 전자부품 내장형 인쇄회로기판
KR102037264B1 (ko) * 2014-12-15 2019-10-29 삼성전기주식회사 기판 내장용 소자, 그 제조 방법 및 소자 내장 인쇄회로기판
JP6547762B2 (ja) 2015-01-30 2019-07-24 株式会社村田製作所 電子部品の製造方法および電子部品
JP2016181597A (ja) 2015-03-24 2016-10-13 太陽誘電株式会社 積層セラミックコンデンサ
KR101884392B1 (ko) * 2015-03-30 2018-08-02 다이요 유덴 가부시키가이샤 적층 세라믹 콘덴서
JP6632808B2 (ja) 2015-03-30 2020-01-22 太陽誘電株式会社 積層セラミックコンデンサ
JP6291452B2 (ja) * 2015-04-14 2018-03-14 太陽誘電株式会社 積層セラミック電子部品の製造方法
KR102222611B1 (ko) * 2015-07-10 2021-03-05 삼성전기주식회사 수동소자 외부전극 형성방법 및 외부전극을 갖는 수동소자
JP6854593B2 (ja) * 2015-07-14 2021-04-07 株式会社村田製作所 積層セラミックコンデンサ
JP2017103377A (ja) 2015-12-03 2017-06-08 株式会社村田製作所 積層セラミック電子部品
JP6405329B2 (ja) * 2016-02-26 2018-10-17 太陽誘電株式会社 積層セラミックコンデンサ
JP2017216329A (ja) * 2016-05-31 2017-12-07 株式会社村田製作所 セラミックコンデンサ
KR101867982B1 (ko) 2016-07-20 2018-06-18 삼성전기주식회사 커패시터 및 그 실장 기판
TWI665691B (zh) * 2017-01-25 2019-07-11 禾伸堂企業股份有限公司 積層陶瓷電容器及其製造方法
JP6677228B2 (ja) * 2017-08-31 2020-04-08 株式会社村田製作所 コイル部品
CN107799247B (zh) * 2017-09-25 2020-03-10 江苏时恒电子科技有限公司 一种负温度系数热敏电阻及其制备方法
JP6962282B2 (ja) * 2018-06-27 2021-11-05 株式会社村田製作所 積層セラミック電子部品
KR102101933B1 (ko) * 2018-09-06 2020-04-20 삼성전기주식회사 적층 세라믹 전자부품
KR102121579B1 (ko) 2018-10-02 2020-06-10 삼성전기주식회사 적층 세라믹 전자부품
KR102148446B1 (ko) 2018-10-02 2020-08-26 삼성전기주식회사 적층 세라믹 전자부품
KR102101932B1 (ko) * 2018-10-02 2020-04-20 삼성전기주식회사 적층 세라믹 전자부품
JP7211004B2 (ja) * 2018-10-29 2023-01-24 株式会社村田製作所 セラミックコンデンサ
CN109688699A (zh) * 2018-12-31 2019-04-26 深圳硅基仿生科技有限公司 陶瓷电路板及其制造方法
JP7151543B2 (ja) * 2019-02-22 2022-10-12 株式会社村田製作所 積層セラミックコンデンサ
JP7081550B2 (ja) * 2019-03-27 2022-06-07 株式会社村田製作所 積層セラミック電子部品
JP7196732B2 (ja) * 2019-03-28 2022-12-27 株式会社村田製作所 積層セラミックコンデンサおよび積層セラミックコンデンサの製造方法
CN115472431A (zh) * 2019-07-04 2022-12-13 三星电机株式会社 多层陶瓷电容器
KR102620521B1 (ko) 2019-07-05 2024-01-03 삼성전기주식회사 적층 세라믹 커패시터
CN115527773A (zh) * 2019-07-04 2022-12-27 三星电机株式会社 多层陶瓷电容器
KR102724903B1 (ko) * 2019-07-04 2024-11-01 삼성전기주식회사 적층 세라믹 커패시터
KR102776267B1 (ko) * 2019-07-05 2025-03-07 삼성전기주식회사 적층 세라믹 커패시터
KR102333095B1 (ko) * 2019-08-19 2021-12-01 삼성전기주식회사 적층 세라믹 커패시터
KR102694709B1 (ko) * 2019-12-13 2024-08-13 삼성전기주식회사 적층형 커패시터 및 그 실장 기판
KR102724890B1 (ko) * 2019-12-13 2024-11-01 삼성전기주식회사 적층형 커패시터 및 그 실장 기판
JP7688961B2 (ja) * 2019-12-27 2025-06-05 太陽誘電株式会社 電子部品及び電子部品の製造方法
JP7363654B2 (ja) * 2020-04-20 2023-10-18 株式会社村田製作所 積層セラミック電子部品
JP7522585B2 (ja) * 2020-06-01 2024-07-25 太陽誘電株式会社 電子部品、回路基板および電子部品の製造方法
JP2022100741A (ja) 2020-12-24 2022-07-06 株式会社村田製作所 積層セラミック電子部品
JP2023033089A (ja) * 2021-08-27 2023-03-09 サムソン エレクトロ-メカニックス カンパニーリミテッド. キャパシタ部品及びキャパシタ部品の製造方法
KR20230068020A (ko) 2021-11-10 2023-05-17 삼성전기주식회사 적층형 커패시터
KR20230068021A (ko) 2021-11-10 2023-05-17 삼성전기주식회사 적층형 커패시터
KR20230075086A (ko) * 2021-11-22 2023-05-31 삼성전기주식회사 세라믹 전자부품
JP2023167525A (ja) * 2022-05-12 2023-11-24 株式会社村田製作所 積層セラミック電子部品
WO2025115525A1 (ja) * 2023-12-01 2025-06-05 京セラ株式会社 積層型電子部品

Family Cites Families (62)

* Cited by examiner, † Cited by third party
Publication number Priority date Publication date Assignee Title
US3612963A (en) * 1970-03-11 1971-10-12 Union Carbide Corp Multilayer ceramic capacitor and process
US4811162A (en) * 1987-04-27 1989-03-07 Engelhard Corporation Capacitor end termination composition and method of terminating
JPH02150007A (ja) 1988-11-30 1990-06-08 Taiyo Yuden Co Ltd 積層磁器コンデンサ
JP2852372B2 (ja) * 1989-07-07 1999-02-03 株式会社村田製作所 積層セラミックコンデンサ
US5155656A (en) * 1991-12-12 1992-10-13 Micron Technology, Inc. Integrated series capacitors for high reliability electronic applications including decoupling circuits
JPH05343259A (ja) * 1992-06-11 1993-12-24 Tdk Corp セラミック電子部品及びその製造方法
JP3135754B2 (ja) * 1993-08-09 2001-02-19 太陽誘電株式会社 積層コンデンサとその製造方法
JPH08264371A (ja) * 1995-03-17 1996-10-11 Taiyo Yuden Co Ltd 無電解メッキ膜付電子部品の製造方法
JPH08264372A (ja) * 1995-03-17 1996-10-11 Taiyo Yuden Co Ltd 無電解メッキ膜付電子部品の製造方法
JPH097878A (ja) * 1995-06-23 1997-01-10 Matsushita Electric Ind Co Ltd セラミック電子部品とその製造方法
JPH1187167A (ja) * 1997-09-16 1999-03-30 Matsushita Electric Ind Co Ltd 端子電極用ペーストおよびそれを用いたセラミック電子部品とその製造方法
US5963416A (en) * 1997-10-07 1999-10-05 Taiyo Yuden Co., Ltd. Electronic device with outer electrodes and a circuit module having the electronic device
JP2000100647A (ja) * 1998-09-24 2000-04-07 Kyocera Corp 積層セラミックコンデンサおよびその製造方法
JP3477692B2 (ja) * 1998-12-18 2003-12-10 株式会社村田製作所 電子部品
JP4953499B2 (ja) 1999-09-02 2012-06-13 イビデン株式会社 プリント配線板
EP2081419B1 (en) * 1999-09-02 2013-08-07 Ibiden Co., Ltd. Printed circuit board and method of manufacturing printed circuit board
JP2001307947A (ja) 2000-04-25 2001-11-02 Tdk Corp 積層チップ部品及びその製造方法
JP3475910B2 (ja) * 2000-05-24 2003-12-10 株式会社村田製作所 電子部品、電子部品の製造方法および回路基板
JP2002008938A (ja) * 2000-06-23 2002-01-11 Kyocera Corp 積層型電子部品およびその製法
JP2002184645A (ja) 2000-12-12 2002-06-28 Fdk Corp 表面実装方式のチップ部品
JP4859270B2 (ja) * 2000-12-27 2012-01-25 イビデン株式会社 コンデンサ、多層プリント配線板および多層プリント配線板の製造方法
JP4544387B2 (ja) * 2001-02-06 2010-09-15 Tdk株式会社 セラミックコンデンサ及びその製造方法
JP3743406B2 (ja) * 2001-10-05 2006-02-08 株式会社村田製作所 導電性ペースト、積層セラミック電子部品の製造方法および積層セラミック電子部品
JP3855792B2 (ja) * 2002-02-15 2006-12-13 株式会社村田製作所 積層セラミック電子部品
JP3744439B2 (ja) * 2002-02-27 2006-02-08 株式会社村田製作所 導電性ペーストおよび積層セラミック電子部品
US6704189B2 (en) * 2002-04-09 2004-03-09 Tdk Corporation Electronic device with external terminals and method of production of the same
TWI260657B (en) 2002-04-15 2006-08-21 Avx Corp Plated terminations
US7177137B2 (en) 2002-04-15 2007-02-13 Avx Corporation Plated terminations
US6960366B2 (en) 2002-04-15 2005-11-01 Avx Corporation Plated terminations
US7463474B2 (en) 2002-04-15 2008-12-09 Avx Corporation System and method of plating ball grid array and isolation features for electronic components
US7152291B2 (en) 2002-04-15 2006-12-26 Avx Corporation Method for forming plated terminations
US6982863B2 (en) 2002-04-15 2006-01-03 Avx Corporation Component formation via plating technology
US7576968B2 (en) 2002-04-15 2009-08-18 Avx Corporation Plated terminations and method of forming using electrolytic plating
US7345868B2 (en) 2002-10-07 2008-03-18 Presidio Components, Inc. Multilayer ceramic capacitor with terminal formed by electroless plating
JP2005109125A (ja) * 2003-09-30 2005-04-21 Tdk Corp チップ型電子部品
JP2006216781A (ja) * 2005-02-03 2006-08-17 Murata Mfg Co Ltd 電子部品
JP3918851B2 (ja) * 2005-06-03 2007-05-23 株式会社村田製作所 積層型電子部品および積層型電子部品の製造方法
CN101180690B (zh) * 2005-05-23 2011-06-15 株式会社村田制作所 陶瓷电子元件及其制造方法
JP3861927B1 (ja) * 2005-07-07 2006-12-27 株式会社村田製作所 電子部品、電子部品の実装構造および電子部品の製造方法
US7414857B2 (en) 2005-10-31 2008-08-19 Avx Corporation Multilayer ceramic capacitor with internal current cancellation and bottom terminals
US7697262B2 (en) 2005-10-31 2010-04-13 Avx Corporation Multilayer ceramic capacitor with internal current cancellation and bottom terminals
US7580240B2 (en) * 2005-11-24 2009-08-25 Ngk Spark Plug Co., Ltd. Via array capacitor, wiring board incorporating a via array capacitor, and method of manufacturing the same
KR101358977B1 (ko) * 2005-12-22 2014-02-06 나믹스 코포레이션 열경화성 도전 페이스트 및 그것을 사용하여 형성한 외부전극을 가진 적층 세라믹 부품
JP2007281400A (ja) * 2006-04-04 2007-10-25 Taiyo Yuden Co Ltd 表面実装型セラミック電子部品
JP4936850B2 (ja) * 2006-09-15 2012-05-23 太陽誘電株式会社 積層セラミックコンデンサ
JP5127703B2 (ja) * 2006-11-15 2013-01-23 株式会社村田製作所 積層型電子部品およびその製造方法
WO2009001842A1 (ja) * 2007-06-27 2008-12-31 Murata Manufacturing Co., Ltd. 積層セラミック電子部品及びその実装構造
JP5056485B2 (ja) * 2008-03-04 2012-10-24 株式会社村田製作所 積層型電子部品およびその製造方法
JP2008227515A (ja) * 2008-03-31 2008-09-25 Tdk Corp 電子部品及びその製造方法
JP5217584B2 (ja) 2008-04-07 2013-06-19 株式会社村田製作所 積層セラミック電子部品
JP5176775B2 (ja) 2008-06-02 2013-04-03 株式会社村田製作所 セラミック電子部品及びその製造方法
JP5078759B2 (ja) * 2008-06-03 2012-11-21 日本特殊陶業株式会社 配線基板内蔵用電子部品及び配線基板
JP5115349B2 (ja) * 2008-06-13 2013-01-09 株式会社村田製作所 積層セラミック電子部品およびその製造方法
JP5282634B2 (ja) 2008-06-25 2013-09-04 株式会社村田製作所 積層セラミック電子部品およびその製造方法
JP2010016306A (ja) * 2008-07-07 2010-01-21 Murata Mfg Co Ltd 積層コンデンサ及びその実装構造
JP5245611B2 (ja) 2008-07-28 2013-07-24 株式会社村田製作所 積層セラミック電子部品およびその製造方法
JP5287658B2 (ja) * 2008-11-14 2013-09-11 株式会社村田製作所 セラミック電子部品
JP4752901B2 (ja) * 2008-11-27 2011-08-17 株式会社村田製作所 電子部品及び電子部品内蔵基板
JP5282653B2 (ja) * 2009-05-13 2013-09-04 株式会社村田製作所 積層型電子部品およびその製造方法
JP5589891B2 (ja) 2010-05-27 2014-09-17 株式会社村田製作所 セラミック電子部品及びその製造方法
JP2012164966A (ja) * 2011-01-21 2012-08-30 Murata Mfg Co Ltd セラミック電子部品
JP5276137B2 (ja) * 2011-04-13 2013-08-28 太陽誘電株式会社 積層型コンデンサ

Cited By (5)

* Cited by examiner, † Cited by third party
Publication number Priority date Publication date Assignee Title
KR20210033904A (ko) * 2019-09-19 2021-03-29 가부시키가이샤 무라타 세이사쿠쇼 적층 세라믹 전자부품, 및 그의 제조 방법
US11600445B2 (en) 2019-09-19 2023-03-07 Murata Manufacturing Co., Ltd. Method for manufacturing a multilayer ceramic electronic component
KR102551485B1 (ko) * 2019-09-19 2023-07-06 가부시키가이샤 무라타 세이사쿠쇼 적층 세라믹 전자부품, 및 그의 제조 방법
KR20230106552A (ko) * 2019-09-19 2023-07-13 가부시키가이샤 무라타 세이사쿠쇼 적층 세라믹 전자부품
KR102665983B1 (ko) * 2019-09-19 2024-05-16 가부시키가이샤 무라타 세이사쿠쇼 적층 세라믹 전자부품

Also Published As

Publication number Publication date
CN103077823A (zh) 2013-05-01
US20160255725A1 (en) 2016-09-01
TWI559346B (zh) 2016-11-21
US9363896B2 (en) 2016-06-07
US8587925B2 (en) 2013-11-19
US20110290542A1 (en) 2011-12-01
TW201205614A (en) 2012-02-01
US20130279073A1 (en) 2013-10-24
JP2012009813A (ja) 2012-01-12
KR20110130342A (ko) 2011-12-05
US20140049873A1 (en) 2014-02-20
KR101140455B1 (ko) 2012-04-30
CN102290235B (zh) 2014-01-29
US8891225B2 (en) 2014-11-18
TWI437593B (zh) 2014-05-11
CN103762075A (zh) 2014-04-30
US8564931B2 (en) 2013-10-22
CN103077823B (zh) 2016-08-03
TW201428793A (zh) 2014-07-16
US20140127493A1 (en) 2014-05-08
CN102290235A (zh) 2011-12-21

Similar Documents

Publication Publication Date Title
JP5589891B2 (ja) セラミック電子部品及びその製造方法
JP5533387B2 (ja) セラミック電子部品
JP5206440B2 (ja) セラミック電子部品
TWI406309B (zh) 積層陶瓷電子零件
TWI501272B (zh) 陶瓷電子零件
JP5799948B2 (ja) セラミック電子部品及びその製造方法
JP6020503B2 (ja) 積層セラミック電子部品
JP5796568B2 (ja) セラミック電子部品
JP2016040816A (ja) 積層セラミックコンデンサ、これを含む積層セラミックコンデンサ連、および、積層セラミックコンデンサの実装体
KR101886332B1 (ko) 전자부품 및 전자부품 내장형 기판
JP2017216330A (ja) セラミックコンデンサ
CN114678219B (zh) 层叠陶瓷电子部件
KR20130090335A (ko) 세라믹 전자부품 및 그 제조방법
JP2014207254A (ja) セラミック電子部品
JP6301629B2 (ja) 積層型電子部品
JP2016072485A (ja) 積層セラミックコンデンサ
JP2019117901A (ja) 電子部品および積層セラミックコンデンサ
JP2016072487A (ja) 積層セラミックコンデンサ
JP2023098821A (ja) 積層型電子部品
JP2024095936A (ja) 積層型電子部品

Legal Events

Date Code Title Description
A621 Written request for application examination

Free format text: JAPANESE INTERMEDIATE CODE: A621

Effective date: 20121024

A977 Report on retrieval

Free format text: JAPANESE INTERMEDIATE CODE: A971007

Effective date: 20130726

A131 Notification of reasons for refusal

Free format text: JAPANESE INTERMEDIATE CODE: A131

Effective date: 20130806

A131 Notification of reasons for refusal

Free format text: JAPANESE INTERMEDIATE CODE: A131

Effective date: 20131217

A521 Request for written amendment filed

Free format text: JAPANESE INTERMEDIATE CODE: A523

Effective date: 20140214

TRDD Decision of grant or rejection written
A01 Written decision to grant a patent or to grant a registration (utility model)

Free format text: JAPANESE INTERMEDIATE CODE: A01

Effective date: 20140701

A61 First payment of annual fees (during grant procedure)

Free format text: JAPANESE INTERMEDIATE CODE: A61

Effective date: 20140714

R150 Certificate of patent or registration of utility model

Ref document number: 5589891

Country of ref document: JP

Free format text: JAPANESE INTERMEDIATE CODE: R150