JP2010010703A - 基板ステージ、露光装置、及びデバイス製造方法 - Google Patents

基板ステージ、露光装置、及びデバイス製造方法 Download PDF

Info

Publication number
JP2010010703A
JP2010010703A JP2009231860A JP2009231860A JP2010010703A JP 2010010703 A JP2010010703 A JP 2010010703A JP 2009231860 A JP2009231860 A JP 2009231860A JP 2009231860 A JP2009231860 A JP 2009231860A JP 2010010703 A JP2010010703 A JP 2010010703A
Authority
JP
Japan
Prior art keywords
substrate
peripheral wall
liquid
substrate stage
space
Prior art date
Legal status (The legal status is an assumption and is not a legal conclusion. Google has not performed a legal analysis and makes no representation as to the accuracy of the status listed.)
Granted
Application number
JP2009231860A
Other languages
English (en)
Other versions
JP5152143B2 (ja
Inventor
Soichi Yamato
壮一 大和
Nobutaka Umagome
伸貴 馬込
Current Assignee (The listed assignees may be inaccurate. Google has not performed a legal analysis and makes no representation or warranty as to the accuracy of the list.)
Nikon Corp
Original Assignee
Nikon Corp
Priority date (The priority date is an assumption and is not a legal conclusion. Google has not performed a legal analysis and makes no representation as to the accuracy of the date listed.)
Filing date
Publication date
Application filed by Nikon Corp filed Critical Nikon Corp
Priority to JP2009231860A priority Critical patent/JP5152143B2/ja
Publication of JP2010010703A publication Critical patent/JP2010010703A/ja
Application granted granted Critical
Publication of JP5152143B2 publication Critical patent/JP5152143B2/ja
Anticipated expiration legal-status Critical
Expired - Fee Related legal-status Critical Current

Links

Images

Classifications

    • GPHYSICS
    • G03PHOTOGRAPHY; CINEMATOGRAPHY; ANALOGOUS TECHNIQUES USING WAVES OTHER THAN OPTICAL WAVES; ELECTROGRAPHY; HOLOGRAPHY
    • G03FPHOTOMECHANICAL PRODUCTION OF TEXTURED OR PATTERNED SURFACES, e.g. FOR PRINTING, FOR PROCESSING OF SEMICONDUCTOR DEVICES; MATERIALS THEREFOR; ORIGINALS THEREFOR; APPARATUS SPECIALLY ADAPTED THEREFOR
    • G03F7/00Photomechanical, e.g. photolithographic, production of textured or patterned surfaces, e.g. printing surfaces; Materials therefor, e.g. comprising photoresists; Apparatus specially adapted therefor
    • G03F7/70Microphotolithographic exposure; Apparatus therefor
    • G03F7/70216Mask projection systems
    • G03F7/70341Details of immersion lithography aspects, e.g. exposure media or control of immersion liquid supply
    • GPHYSICS
    • G03PHOTOGRAPHY; CINEMATOGRAPHY; ANALOGOUS TECHNIQUES USING WAVES OTHER THAN OPTICAL WAVES; ELECTROGRAPHY; HOLOGRAPHY
    • G03BAPPARATUS OR ARRANGEMENTS FOR TAKING PHOTOGRAPHS OR FOR PROJECTING OR VIEWING THEM; APPARATUS OR ARRANGEMENTS EMPLOYING ANALOGOUS TECHNIQUES USING WAVES OTHER THAN OPTICAL WAVES; ACCESSORIES THEREFOR
    • G03B27/00Photographic printing apparatus
    • G03B27/32Projection printing apparatus, e.g. enlarger, copying camera
    • G03B27/52Details
    • G03B27/58Baseboards, masking frames, or other holders for the sensitive material
    • GPHYSICS
    • G03PHOTOGRAPHY; CINEMATOGRAPHY; ANALOGOUS TECHNIQUES USING WAVES OTHER THAN OPTICAL WAVES; ELECTROGRAPHY; HOLOGRAPHY
    • G03FPHOTOMECHANICAL PRODUCTION OF TEXTURED OR PATTERNED SURFACES, e.g. FOR PRINTING, FOR PROCESSING OF SEMICONDUCTOR DEVICES; MATERIALS THEREFOR; ORIGINALS THEREFOR; APPARATUS SPECIALLY ADAPTED THEREFOR
    • G03F7/00Photomechanical, e.g. photolithographic, production of textured or patterned surfaces, e.g. printing surfaces; Materials therefor, e.g. comprising photoresists; Apparatus specially adapted therefor
    • G03F7/20Exposure; Apparatus therefor
    • G03F7/2041Exposure; Apparatus therefor in the presence of a fluid, e.g. immersion; using fluid cooling means
    • GPHYSICS
    • G03PHOTOGRAPHY; CINEMATOGRAPHY; ANALOGOUS TECHNIQUES USING WAVES OTHER THAN OPTICAL WAVES; ELECTROGRAPHY; HOLOGRAPHY
    • G03FPHOTOMECHANICAL PRODUCTION OF TEXTURED OR PATTERNED SURFACES, e.g. FOR PRINTING, FOR PROCESSING OF SEMICONDUCTOR DEVICES; MATERIALS THEREFOR; ORIGINALS THEREFOR; APPARATUS SPECIALLY ADAPTED THEREFOR
    • G03F7/00Photomechanical, e.g. photolithographic, production of textured or patterned surfaces, e.g. printing surfaces; Materials therefor, e.g. comprising photoresists; Apparatus specially adapted therefor
    • G03F7/70Microphotolithographic exposure; Apparatus therefor
    • G03F7/70691Handling of masks or workpieces
    • G03F7/707Chucks, e.g. chucking or un-chucking operations or structural details
    • GPHYSICS
    • G03PHOTOGRAPHY; CINEMATOGRAPHY; ANALOGOUS TECHNIQUES USING WAVES OTHER THAN OPTICAL WAVES; ELECTROGRAPHY; HOLOGRAPHY
    • G03FPHOTOMECHANICAL PRODUCTION OF TEXTURED OR PATTERNED SURFACES, e.g. FOR PRINTING, FOR PROCESSING OF SEMICONDUCTOR DEVICES; MATERIALS THEREFOR; ORIGINALS THEREFOR; APPARATUS SPECIALLY ADAPTED THEREFOR
    • G03F7/00Photomechanical, e.g. photolithographic, production of textured or patterned surfaces, e.g. printing surfaces; Materials therefor, e.g. comprising photoresists; Apparatus specially adapted therefor
    • G03F7/70Microphotolithographic exposure; Apparatus therefor
    • G03F7/70691Handling of masks or workpieces
    • G03F7/70716Stages

Landscapes

  • Physics & Mathematics (AREA)
  • General Physics & Mathematics (AREA)
  • Exposure And Positioning Against Photoresist Photosensitive Materials (AREA)
  • Exposure Of Semiconductors, Excluding Electron Or Ion Beam Exposure (AREA)
  • Container, Conveyance, Adherence, Positioning, Of Wafer (AREA)
  • Engineering & Computer Science (AREA)
  • Condensed Matter Physics & Semiconductors (AREA)
  • Manufacturing & Machinery (AREA)
  • Computer Hardware Design (AREA)
  • Microelectronics & Electronic Packaging (AREA)
  • Power Engineering (AREA)

Abstract

【課題】基板のエッジ領域を液浸露光する場合に良好に液浸領域を形成した状態で露光できる基板ステージを提供する。
【解決手段】基板ステージは、被露光対象としての基板を保持して移動可能である。基板ステージは、第1周壁と、第1周壁の内側に形成された第2周壁と、第2周壁の内側に形成された支持部とを備え、第2周壁に囲まれた空間を負圧にすることによって、支持部に基板を保持する。
【選択図】図4

Description

本出願は特願2003−169904号(2003年6月13日出願)、特願2003−383887号(2003年11月13日出願)、および特願2004−039654号(2004年2月17日出願)を基礎出願とし、その内容を取り込むものとする。
本発明は、投影光学系と液体とを介してパターンの像を基板に露光する露光方法、基板を支持する基板ステージ、露光装置、及びデバイス製造方法に関するものである。
半導体デバイスや液晶表示デバイスは、マスク上に形成されたパターンを感光性の基板上に転写する、いわゆるフォトリソグラフィの手法により製造される。このフォトリソグラフィ工程で使用される露光装置は、マスクを支持するマスクステージと基板を支持する基板ステージとを有し、マスクステージ及び基板ステージを逐次移動しながらマスクのパターンを投影光学系を介して基板に転写するものである。近年、デバイスパターンのより一層の高集積化に対応するために投影光学系の更なる高解像度化が望まれている。投影光学系の解像度は、使用する露光波長が短いほど、また投影光学系の開口数が大きいほど高くなる。そのため、露光装置で使用される露光波長は年々短波長化しており、投影光学系の開口数も増大している。そして、現在主流の露光波長はKrFエキシマレーザの248nmであるが、更に短波長のArFエキシマレーザの193nmも実用化されつつある。
また、露光を行う際には、解像度と同様に焦点深度(DOF)も重要となる。解像度R、及び焦点深度δはそれぞれ以下の式で表される。
R=k・λ/NA … (1)
δ=±k・λ/NA … (2)
ここで、λは露光波長、NAは投影光学系の開口数、k、kはプロセス係数である。(1)式、(2)式より、解像度Rを高めるために、露光波長λを短くして、開口数NAを大きくすると、焦点深度δが狭くなることが分かる。
焦点深度δが狭くなり過ぎると、投影光学系の像面に対して基板表面を合致させることが困難となり、露光動作時のフォーカスマージンが不足するおそれがある。そこで、実質的に露光波長を短くして、且つ焦点深度を広くする方法として、例えば国際公開第99/49504号パンフレットに開示されている液浸法が提案されている。この液浸法は、投影光学系の下面と基板表面との間を水や有機溶媒等の液体で満たして液浸領域を形成し、液体中での露光光の波長が空気中の1/n(nは液体の屈折率で通常1.2〜1.6程度)になることを利用して解像度を向上するとともに、焦点深度を約n倍に拡大するというものである。
国際公開第99/49504号パンフレット
ところで、上記従来技術には以下に述べる問題が存在する。上記従来技術は、投影光学系の像面側の端面と基板(ウエハ)との間を局所的に液体で満たす構成であり、基板の中央付近のショット領域を露光する場合には液体の基板外側への流出は生じない。しかしながら、図27に示す模式図のように、基板Pの周辺領域(エッジ領域)Eに投影光学系の投影領域100をあててこの基板Pのエッジ領域Eを露光しようとすると、液体は基板Pの外側へ流出し、液浸領域が良好に形成されずに投影されるパターン像を劣化させるという不都合が生じる。また、流出した液体により、基板Pを支持する基板ステージ周辺の機械部品等に錆びを生じさせたり、あるいはステージ駆動系等の漏電を引き起こすといった不都合も生じる。更に、流出した液体が基板の裏面に回り込んで、基板と基板ステージ(基板ホルダ)との間に浸入すると、基板ステージは基板を良好に保持できないという不都合も生じる。また、基板Pと基板ステージとの間の段差や隙間等に起因して液体中に気泡が混入する場合もあり、この場合、気泡の影響により露光光が散乱したり、気泡により基板P上にパターンが結像しない等の不都合が生じる。また、前記隙間に液体が浸入した場合にも、錆びや漏電を引き起こす可能性がある。
本発明はこのような事情に鑑みてなされたものであって、投影光学系と基板との間を液体で満たして露光処理する場合において、基板のエッジ領域を露光する場合にも良好に液浸領域を形成した状態で露光できる基板ステージ、露光装置、及びデバイス製造方法を提供することを目的とする。
上記の課題を解決するため、本発明は実施の形態に示す図1〜図26に対応付けした以下の構成を採用している。
本発明の基板ステージ(PST)は、被露光対象としての基板(P)を保持して移動可能な基板ステージにおいて、第1周壁(33)と、第1周壁(33)の内側に形成された第2周壁(46)と、第2周壁(46)の内側に形成された支持部(34)とを備え、第2周壁(46)に囲まれた空間(38)を負圧にすることによって、支持部(34)に基板(P)を保持することを特徴とする。
本発明によれば、基板を支持する支持部の周囲に少なくとも二重の周壁を設けたので、基板を囲むように配置された部材と基板の側面との間に液体が浸入しても、基板の裏面側や、空間を負圧にするための真空系への液体の浸入を防止することができる。
本発明の基板ステージ(PST)は、被露光対象としての基板(P)を保持して移動可能な基板ステージにおいて、基板(P)を支持する支持部(34)と、支持部(34)に支持された基板(P)の周囲に配置され、基板(P)の表面とほぼ面一の平坦部(31)と、支持部(34)に支持された基板(P)の切欠部(NT、OF)と平坦部(31)とのギャップを小さくするためのギャップ調整部(150、151、152、153)とを備えたことを特徴とする。
本発明によれば、基板の切欠部とその周囲の平坦部とのギャップをギャップ調整部によって小さくすることで、基板の切欠部と平坦部との間への液体の浸入を抑えることができる。したがって、基板の裏面側などへの液体の浸入を防止することができる。
本発明の基板ステージ(PST)は、被露光対象としての基板(P)を保持して移動可能な基板ステージにおいて、周壁(33、33N、33F)と該周壁(33、33N、33F)の内側に形成された支持部(34)とを備え、周壁(33、33N、33F)は、基板(P)の切欠部(NT、OF)の形状に合わせて形成されており、周壁(33、33N、33F)に囲まれた空間(38)を負圧にすることによって、支持部(34)に基板(P)を保持することを特徴とする。
本発明によれば、基板の切欠部の形状に合わせて周壁を形成することで、基板と周壁との間に大きなギャップが形成される不都合を抑え、周壁に囲まれた空間を円滑に負圧にすることができる。したがって、基板を支持部で良好に保持することができるとともに、基板の裏面側や空間への液体の浸入を抑えることができる。
本発明の基板ステージ(PST)は、被露光対象としての基板(P)を保持して移動可能な基板ステージにおいて、基板(P)を支持するための支持部(34)と、支持部(34)に基板(P)を吸着するための複数の吸気口(41、41’)とを備え、基板(P)の切欠部(NT、OF)近傍の吸気力を、その周りの吸気力よりも小さくしたことを特徴とする。
本発明によれば、基板と基板ステージとの間に大きなギャップが形成されやすい切欠部近傍の吸気口を介した吸気力を、その周りの吸気口を介した吸気力よりも小さくする(弱くする)ことで、基板の切欠部と基板ステージとの間に液体が浸入する不都合を抑えることができる。したがって、基板の裏面側や吸気口に液体が浸入することを防止できる。
本発明の露光装置(EX)は、上記記載の基板ステージ(PST)に保持された基板(P)上に投影光学系(PL)と液体(LQ)とを介して露光光(EL)を照射して、その基板(P)を液浸露光することを特徴とする。本発明のデバイス製造方法は、上記記載の露光装置(EX)を用いることを特徴とする。
本発明によれば、基板の裏面側や基板ステージ内部、あるいは真空系への液体の浸入を抑えつつ基板を液浸露光することができ、所望の性能を有するデバイスを製造することができる。
本発明の露光装置の一実施形態を示す概略構成図である。 液体供給機構及び液体回収機構を示す概略構成図である。 基板ステージの平面図である。 本発明の基板ステージの一実施形態を示す要部断面図である。 基板ステージに対して着脱される基板ホルダを示す模式図である。 本発明の基板ステージの他の実施形態を示す要部断面図である。 空間に液体を配置する手順の一例を示す模式図である。 本発明の基板ステージの他の実施形態を示す要部断面図である。 本発明の別の実施形態に係る基板ステージの平面図である。 本発明の別の実施形態に係る基板ステージの平面図である。 本発明の別の実施形態に係る基板ステージの平面図である。 本発明の別の実施形態に係る基板ステージの平面図である。 本発明の露光方法に係る基板の一実施形態を示す図である。 本発明の別の実施形態に係る基板ステージの平面図である。 本発明の別の実施形態に係る基板ステージの平面図である。 本発明の露光方法に係る基板の一実施形態を示す図である。 本発明の露光方法に係る基板の一実施形態を示す図である。 本発明の別の実施形態に係る基板ステージの平面図である。 本発明の別の実施形態に係る基板ステージの要部断面図である。 本発明の別の実施形態に係る基板ステージの要部断面図である。 本発明に係るギャップ調整部の別の実施形態を示す図である。 本発明に係るギャップ調整部の別の実施形態を示す図である。 本発明に係るギャップ調整部の別の実施形態を示す図である。 本発明の別の実施形態に係る基板ステージの要部断面図である。 本発明の別の実施形態に係る基板ステージの図である。 半導体デバイスの製造工程の一例を示すフローチャート図である。 従来の露光方法の課題を説明するための模式図である。
以下、本発明の基板ステージを備えた露光装置について図面を参照しながら説明する。
図1は本発明の露光装置の一実施形態を示す概略構成図である。
図1において、露光装置EXは、マスクMを支持するマスクステージMSTと、基板Pを支持する基板ステージPSTと、マスクステージMSTに支持されているマスクMを露光光ELで照明する照明光学系ILと、露光光ELで照明されたマスクMのパターン像を基板ステージPSTに支持されている基板Pに投影露光する投影光学系PLと、露光装置EX全体の動作を統括制御する制御装置CONTとを備えている。
本実施形態の露光装置EXは、露光波長を実質的に短くして解像度を向上するとともに焦点深度を実質的に広くするために液浸法を適用した液浸露光装置であって、基板P上に液体1を供給する液体供給機構10と、基板P上の液体1を回収する液体回収機構20とを備えている。本実施形態において、液体1には純水が用いられる。露光装置EXは、少なくともマスクMのパターン像を基板P上に転写している間、液体供給機構10から供給した液体1により投影光学系PLの投影領域AR1を含む基板P上の少なくとも一部に液浸領域AR2を形成する。具体的には、露光装置EXは、投影光学系PLの先端部の光学素子2と基板Pの表面(露光面)との間に液体1を満たし、この投影光学系PLと基板Pとの間の液体1及び投影光学系PLを介してマスクMのパターン像を基板P上に投影し、基板Pを露光する。
ここで、本実施形態では、露光装置EXとしてマスクMと基板Pとを走査方向における互いに異なる向き(逆方向)に同期移動しつつマスクMに形成されたパターンを基板Pに露光する走査型露光装置(所謂スキャニングステッパ)を使用する場合を例にして説明する。以下の説明において、投影光学系PLの光軸AXと一致する方向をZ軸方向、Z軸方向に垂直な平面内でマスクMと基板Pとの同期移動方向(走査方向)をX軸方向、Z軸方向及びY軸方向に垂直な方向(非走査方向)をY軸方向とする。また、X軸、Y軸、及びZ軸まわり方向をそれぞれ、θX、θY、及びθZ方向とする。なお、ここでいう「基板」は半導体ウエハ上に感光性材料であるフォトレジストを塗布したものを含み、「マスク」は基板上に縮小投影されるデバイスパターンを形成されたレチクルを含む。
照明光学系ILはマスクステージMSTに支持されているマスクMを露光光ELで照明するものであり、露光用光源、露光用光源から射出された光束の照度を均一化するオプティカルインテグレータ、オプティカルインテグレータからの露光光ELを集光するコンデンサレンズ、リレーレンズ系、露光光ELによるマスクM上の照明領域をスリット状に設定する可変視野絞り等を有している。マスクM上の所定の照明領域は照明光学系ILにより均一な照度分布の露光光ELで照明される。照明光学系ILから射出される露光光ELとしては、例えば水銀ランプから射出される紫外域の輝線(g線、h線、i線)及びKrFエキシマレーザ光(波長248nm)等の遠紫外光(DUV光)や、ArFエキシマレーザ光(波長193nm)及びFレーザ光(波長157nm)等の真空紫外光(VUV光)などが用いられる。本実施形態においてはArFエキシマレーザ光が用いられる。上述したように、本実施形態における液体1は純水であって、露光光ELがArFエキシマレーザ光であっても透過可能である。また、純水は紫外域の輝線(g線、h線、i線)及びKrFエキシマレーザ光(波長248nm)等の遠紫外光(DUV光)も透過可能である。
マスクステージMSTはマスクMを支持するものであって、投影光学系PLの光軸AXに垂直な平面内、すなわちXY平面内で2次元移動可能及びθZ方向に微小回転可能である。マスクステージMSTはリニアモータ等のマスクステージ駆動装置MSTDにより駆動される。マスクステージ駆動装置MSTDは制御装置CONTにより制御される。マスクステージMST上には移動鏡50が設けられている。また、移動鏡50に対向する位置にはレーザ干渉計51が設けられている。マスクステージMST上のマスクMの2次元方向の位置、及び回転角はレーザ干渉計51によりリアルタイムで計測され、計測結果は制御装置CONTに出力される。制御装置CONTはレーザ干渉計51の計測結果に基づいてマスクステージ駆動装置MSTDを駆動することでマスクステージMSTに支持されているマスクMの位置決めを行う。
投影光学系PLはマスクMのパターンを所定の投影倍率βで基板Pに投影露光するものであって、基板P側の先端部に設けられた光学素子(レンズ)2を含む複数の光学素子で構成されており、これら光学素子は鏡筒PKで支持されている。本実施形態において、投影光学系PLは、投影倍率βが例えば1/4あるいは1/5の縮小系である。なお、投影光学系PLは等倍系及び拡大系のいずれでもよい。また、本実施形態の投影光学系PLの先端部の光学素子2は鏡筒PKに対して着脱(交換)可能に設けられており、光学素子2には液浸領域AR2の液体1が接触する。
光学素子2は螢石で形成されている。螢石は水との親和性が高いので、光学素子2の液体接触面2aのほぼ全面に液体1を密着させることができる。すなわち、本実施形態においては光学素子2の液体接触面2aとの親和性が高い液体(水)1を供給するようにしているので、光学素子2の液体接触面2aと液体1との密着性が高く、光学素子2と基板Pとの間の光路を液体1で確実に満たすことができる。なお、光学素子2は水との親和性が高い石英であってもよい。また光学素子2の液体接触面2aに親水化(親液化)処理を施して、液体1との親和性をより高めるようにしてもよい。また、鏡筒PKは、その先端付近が液体(水)1に接することになるので、少なくとも先端付近はTi(チタン)等の錆びに対して耐性のある金属で形成される。
基板ステージPSTは、被露光対象としての基板Pを支持(保持)して移動可能なものであって、基板Pを基板ホルダPHを介して保持するZステージ52と、Zステージ52を支持するXYステージ53と、XYステージ53を支持するベース54とを備えている。基板ステージPSTはリニアモータ等の基板ステージ駆動装置PSTDにより駆動される。基板ステージ駆動装置PSTDは制御装置CONTにより制御される。Zステージ52を駆動することにより、Zステージ52に保持されている基板PのZ軸方向における位置(フォーカス位置)、及びθX、θY方向における位置が制御される。また、XYステージ53を駆動することにより、基板PのXY方向における位置(投影光学系PLの像面と実質的に平行な方向の位置)が制御される。すなわち、Zステージ52は、基板Pのフォーカス位置及び傾斜角を制御して基板Pの表面をオートフォーカス方式、及びオートレベリング方式で投影光学系PLの像面に合わせ込み、XYステージ53は基板PのX軸方向及びY軸方向における位置決めを行う。なお、ZステージとXYステージとを一体的に設けてよいことは言うまでもない。
基板ステージPST(Zステージ52)上には移動鏡55が設けられている。また、移動鏡55に対向する位置にはレーザ干渉計56が設けられている。基板ステージPST上の基板Pの2次元方向の位置、及び回転角はレーザ干渉計56によりリアルタイムで計測され、計測結果は制御装置CONTに出力される。制御装置CONTはレーザ干渉計56の計測結果に基づいて基板ステージ駆動装置PSTDを駆動することで基板ステージPSTに支持されている基板Pの位置決めを行う。
また、基板ステージPST(Zステージ52)上には基板Pを囲むプレート30が設けられている。プレート部30はZステージ52と一体で設けられており、プレート部30の内側には凹部32が形成されている。なお、プレート部30とZステージ52とは別々に設けられていてもよい。基板Pを保持する基板ホルダPHは凹部32に配置されている。プレート部30は、凹部32に配置された基板ホルダPHに保持されている基板Pの表面とほぼ同じ高さの平坦面(平坦部)31を有している。
液体供給機構10は所定の液体1を基板P上に供給するものであって、液体1を供給可能な第1液体供給部11及び第2液体供給部12と、第1液体供給部11に流路を有する供給管11Aを介して接続され、この第1液体供給部11から送出された液体1を基板P上に供給する供給口13Aを有する第1供給部材13と、第2液体供給部12に流路を有する供給管12Aを介して接続され、この第2液体供給部12から送出された液体1を基板P上に供給する供給口14Aを有する第2供給部材14とを備えている。第1、第2供給部材13、14は基板Pの表面に近接して配置されており、基板Pの面方向において互いに異なる位置に設けられている。具体的には、液体供給機構10の第1供給部材13は投影領域AR1に対して走査方向一方側(−X側)に設けられ、第2供給部材14は他方側(+X側)に設けられている。
第1、第2液体供給部11、12のそれぞれは、液体1を収容するタンク、及び加圧ポンプ等を備えており、供給管11A、12A及び供給部材13、14のそれぞれを介して基板P上に液体1を供給する。また、第1、第2液体供給部11、12の液体供給動作は制御装置CONTにより制御され、制御装置CONTは第1、第2液体供給部11、12による基板P上に対する単位時間あたりの液体供給量をそれぞれ独立して制御可能である。また、第1、第2液体供給部11、12のそれぞれは液体の温度調整機構を有しており、装置が収容されるチャンバ内の温度とほぼ同じ温度(例えば23℃)の液体1を基板P上に供給するようになっている。
液体回収機構20は基板P上の液体1を回収するものであって、基板Pの表面に近接して配置された回収口23A、24Aを有する第1、第2回収部材23、24と、この第1、第2回収部材23、24に流路を有する回収管21A、22Aを介してそれぞれ接続された第1、第2液体回収部21、22とを備えている。第1、第2液体回収部21、22は例えば真空ポンプ等の吸引装置、及び回収した液体1を収容するタンク等を備えており、基板P上の液体1を第1、第2回収部材23、24、及び回収管21A、22Aを介して回収する。第1、第2液体回収部21、22の液体回収動作は制御装置CONTにより制御され、制御装置CONTは第1、第2液体回収部21、22による単位時間あたりの液体回収量を制御可能である。
上記第1、第2供給部材13、14、及び第1、第2回収部材23、24のうち少なくとも液体に接触する部分は、ステンレス鋼を含む材料によって形成されている。本実施形態においては、第1、第2供給部材13、14、及び第1、第2回収部材23、24は、ステンレス鋼のうちSUS316によって形成されている。また、ステンレス鋼(SUS316)によって形成された第1、第2供給部材13、14、及び第1、第2回収部材23、24のうち少なくとも液体に接触する液体接触面は表面処理を施されている。そのような表面処理として、例えば神鋼パンテック社の「GOLDEP」処理あるいは「GOLDEP WHITE」処理が挙げられる。
図2は液体供給機構10及び液体回収機構20の概略構成を示す平面図である。図2に示すように、投影光学系PLの投影領域AR1はY軸方向(非走査方向)を長手方向とするスリット状(矩形状)に設定されており、液体1が満たされた液浸領域AR2は投影領域AR1を含むように基板P上の一部に形成される。そして、投影領域AR1の液浸領域AR2を形成するための液体供給機構10の第1供給部材13は投影領域AR1に対して走査方向一方側(−X側)に設けられ、第2供給部材14は他方側(+X側)に設けられている。
第1、第2供給部材13、14のそれぞれは平面視略円弧状に形成されており、その供給口13A、14AのY軸方向におけるサイズは、少なくとも投影領域AR1のY軸方向におけるサイズより大きくなるように設定されている。そして、平面視略円弧状に形成されている供給口13A、14Aは、走査方向(X軸方向)に関して投影領域AR1を挟むように配置されている。液体供給機構10は、第1、第2供給部材13、14の供給口13A、14Aを介して投影領域AR1の両側で液体1を同時に供給する。
液体回収機構20の第1、第2回収部材23、24のそれぞれは基板Pの表面に向くように円弧状に連続的に形成された回収口23A、24Aを有している。そして、互いに向き合うように配置された第1、第2回収部材23、24により略円環状の回収口が形成されている。第1、第2回収部材23、24それぞれの回収口23A、24Aは液体供給機構10の第1、第2供給部材13、14、及び投影領域AR1を取り囲むように配置されている。また、投影領域AR1を取り囲むように連続的に形成された回収口の内部に複数の仕切部材25が設けられている。
第1、第2供給部材13、14の供給口13A、14Aから基板P上に供給された液体1は、投影光学系PLの先端部(光学素子2)の下端面と基板Pとの間に濡れ拡がるように供給される。また、投影領域AR1に対して第1、第2供給部材13、14の外側に流出した液体1は、この第1、第2供給部材13、14より投影領域AR1に対して外側に配置されている第1、第2回収部材23、24の回収口23A、24Aより回収される。
本実施形態において、基板Pを走査露光する際、走査方向に関して投影領域AR1の手前から供給する単位時間あたりの液体供給量が、その反対側で供給する液体供給量よりも多く設定される。例えば、基板Pを+X方向に移動しつつ露光処理する場合、制御装置CONTは、投影領域AR1に対して−X側(すなわち供給口13A)からの液体量を+X側(すなわち供給口14A)からの液体量より多くし、一方、基板Pを−X方向に移動しつつ露光処理する場合、投影領域AR1に対して+X側からの液体量を−X側からの液体量より多くする。また、走査方向に関して、投影領域AR1の手前での単位時間あたりの液体回収量が、その反対側での液体回収量よりも少なく設定される。例えば、基板Pが+X方向に移動しているときには、投影領域AR1に対して+X側(すなわち回収口24A)からの回収量を−X側(すなわち回収口23A)からの回収量より多くする。
図3は基板ステージPSTのZステージ52を上方から見た平面図である。平面視矩形状のZステージ52の互いに垂直な2つの縁部に移動鏡55が配置されている。また、Zステージ52のほぼ中央部に凹部32が形成されており、この凹部32に基板Pを保持する基板ホルダPHが配置されている。基板Pの周囲には、基板Pの表面とほぼ同じ高さの平坦面(平坦部)31を有するプレート部30がZステージ52と一体で設けられている。
基板ホルダPHは、略円環状の周壁部33と、この周壁部33の内側に配置され、基板Pを保持(支持)する複数の支持部34とを備えている。周壁部33は支持部34の周囲に配置されており、支持部34は周壁部33の内側において一様に配置されている。プレート部30の平坦面31は、支持部34に支持された基板Pの周囲に配置され、支持部34に支持された基板Pの表面とほぼ面一になるように設けられている。また、基板ホルダPHに保持されている基板Pの側面PBとプレート部30との間には所定のギャップAが形成されている。なお、図においては、周壁部33の上端面は比較的広い幅を有しているが、実際には1〜2mm程度の幅しか有していない。
プレート部30の平坦面31の2つのコーナーは幅広になっており、その幅広部の1つに、マスクM及び基板Pを所定位置に対してアライメントする際に使う基準マークFMが設けられている。また、基板ステージPST上の基板Pの周囲には、照度センサ等の各種センサも設けられている。なお、本実施形態では、基準マークFMはプレート部30に設けられているが、プレート部30とは別に基準マークFMを配置するための基準マーク部材を基板ステージPST上に設けてもよい。
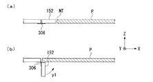
図4は基板Pを保持した基板ステージPSTの要部拡大断面図である。図4において、Zステージ52(プレート部30)の凹部32内部に、基板Pを保持する基板ホルダPHが配置されている。凹部32は平坦面31の内側に形成されており、凹部32の内側面36は平坦面31に隣接している。周壁部33及びその周壁部33の内側に形成された支持部34は、基板ホルダPHの一部を構成する略円板状のベース部35上に設けられている。支持部34のそれぞれは断面視台形状であり、基板Pはその裏面PCを複数の支持部34の上端面34Aに保持される。なお、図において支持部34は比較的大きく示されているが、実際には非常に小さなピン状の支持部が周壁部33の内側に多数形成されている。
また、周壁部33の上面33Aは平坦面となっている。周壁部33の高さは支持部34の高さよりも低くなっており、支持部34に支持された基板Pと周壁部33との間にはギャップBが形成されている。ギャップBは、凹部32の内側面36と基板Pの側面PBとの間のギャップAより小さい。例えば、ギャップAは、基板Pの外形の製造誤差や基板Pの載置精度等を考慮すると、0.1〜1.0mm程度が好ましく、ギャップBは2.0〜5.0μm程度である。また、凹部32の内側面36と、この内側面36に対向する基板ホルダPHの側面37との間にギャップCが形成されている。ここで、基板ホルダPHの径は基板Pの径より小さく形成されており、ギャップAはギャップCより小さい。なお、本実施形態においては、基板Pには位置合わせのための切り欠き(オリフラ、ノッチ等)は形成されておらず、基板Pはほぼ円形であり、その全周にわたってギャップAは0.1mm〜1.0mmになっているため、液体の流入を防止できる。
基板Pの露光面である表面PAにはフォトレジスト(感光材)90が塗布されている。
本実施形態において、感光材90はArFエキシマレーザ用の感光材(例えば、東京応化工業株式会社製TARF-P6100)であって撥液性(撥水性)を有しており、その接触角は70〜80°程度である。
また、本実施形態において、基板Pの側面PBは撥液処理(撥水処理)されている。具体的には、基板Pの側面PBにも、撥液性を有する上記感光材90が塗布されている。更に、基板Pの裏面PCにも上記感光材90が塗布されて撥液処理されている。
Zステージ52(基板ステージPST)の一部の表面は撥液処理されて撥液性となっている。本実施形態において、Zステージ52のうち、平坦面31、及び内側面36が撥液性を有している。更に、基板ホルダPHの一部の表面も撥液処理されて撥液性となっている。本実施形態において、基板ホルダPHのうち、周壁部33の上面33A、及び側面37が撥液性を有している。Zステージ52及び基板ホルダPHの撥液処理としては、例えば、フッ素系樹脂材料あるいはアクリル系樹脂材料等の撥液性材料を塗布、あるいは前記撥液性材料からなる薄膜を貼付する。撥液性にするための撥液性材料としては液体1に対して非溶解性の材料が用いられる。なお、Zステージ52や基板ホルダPH全体を撥液性を有する材料(フッ素系樹脂など)で形成してもよい。
基板ステージPSTは、基板ホルダPHの周壁部33に囲まれた第1空間38を負圧にする吸引装置40を備えている。吸引装置40は、基板ホルダPHのベース部35上面に設けられた複数の吸引口41と、基板ステージPST外部に設けられた真空ポンプを含むバキューム部42と、ベース部35内部に形成され、複数の吸引口41のそれぞれとバキューム部42とを接続する流路43とを備えている。吸引口41はベース部35上面のうち支持部34以外の複数の所定位置にそれぞれ設けられている。吸引装置40は、周壁部33と、ベース部35と、支持部34に支持された基板Pとの間に形成された第1空間38内部のガス(空気)を吸引してこの第1空間38を負圧にすることで、支持部34に基板Pを吸着保持する。なお、基板Pの裏面PCと周壁部33の上面33AとのギャップBは僅かであるので、第1空間38の負圧は維持される。
基板ステージPSTは、凹部32の内側面36と基板ホルダPHの側面37との間の第2空間39に流入した液体1を回収する回収部(回収手段)60を備えている。本実施形態において、回収部60は、液体1を収容可能なタンク61と、Zステージ52内部に設けられ、空間39とタンク61とを接続する流路62とを有している。そして、この流路62の内壁面にも撥液処理が施されている。
Zステージ52には、凹部32の内側面36と基板ホルダPHの側面37との間の第2空間39と、Zステージ52外部の空間(大気空間)とを接続する流路45が形成されている。ガス(空気)は流路45を介して第2空間39とZステージ52外部とを流通可能となっており、第2空間39はほぼ大気圧に設定される。
図5に示すように、本実施形態において、基板ホルダPHはZステージ52に対して着脱可能に設けられている。そして、Zステージ52のうち基板ホルダPHとの接触面57が撥液処理されて撥液性であるとともに、Zステージ52に対する接触面である基板ホルダPHの裏面58も撥液処理されて撥液性を有している。接触面57や裏面58に対する撥液処理としては、上述したように、フッ素系樹脂材料やアクリル系樹脂材料等の撥液性材料を塗布する等して行うことができる。
次に、上述した構成を有する露光装置EXにより基板Pのエッジ領域Eを液浸露光する方法について説明する。
図4に示すように、基板Pのエッジ領域Eを液浸露光する際、液体1の液浸領域AR2が、基板Pの表面PAの一部及びプレート部30の平坦面31の一部を覆うように形成される。このとき、基板Pの側面PB及びこの側面PBに対向する内側面36は撥液処理されているので、液浸領域AR2の液体1はギャップAに浸入し難く、その表面張力によりギャップAに流れ込むことがほとんどない。したがって、基板Pのエッジ領域Eを露光する場合にも、投影光学系PLの下に液体1を良好に保持しつつ液浸露光できる。このとき、プレート部30の平坦面31も撥液処理されているので、液浸領域AR2を形成する液体1のプレート部30外側への過剰な濡れ拡がりが防止され、液浸領域AR2を良好に形成可能であるとともに、液体1の流出や飛散等の不都合を防止することができる。また、基板Pには、ノッチ等の切り欠きが無いので、その切り欠きから液体1が流れ込むこともない。
また、液浸領域AR2の液体1がギャップAを介して第2空間39に僅かに流入した場合でも、基板Pの裏面PC及び周壁部33の上面33Aのそれぞれには撥液処理が施され、ギャップBは十分小さいので、基板Pを支持部34に対して吸着保持するために負圧に設定されている第1空間38に液体1は流入しない。これにより、吸引口41に液体1が流入して基板Pを吸着保持できなくなるといった不都合を防止することができる。
そして、第2空間39に流入した液体1は、流路62を介して回収部60のタンク61に回収され、周辺装置への液体1の流出(漏洩)や飛散等を抑えることができる。このとき、第2空間39を形成する凹部32の内側面36や基板ホルダPHの側面37、あるいは流路62は撥液性となっているので、第2空間39に流入した液体1はこの第2空間39に留まることなく、流路62を円滑に流れてタンク61に回収される。
ところで、吸引装置40の吸引動作により、第2空間39のガス(空気)がギャップBを介して第1空間38に流入し、これに伴って液浸領域AR2の液体1がギャップAを介して第2空間39に浸入して液浸領域AR2の形成が不安定になる可能性が考えられる。
しかしながら、凹部32の内側面36と基板ホルダPHの側面37との間のギャップCが、基板Pの側面PBと凹部32の内側面36との間のギャップAより大きく設定されており第2空間39は流路45を介して大気開放されているので、ギャップBを通過する空気は、流路45を介して外部から流入しギャップCを通過した空気が大部分であり、ギャップAを通過した空気(液体1)は僅かである。したがってギャップAを介して液体にかかる吸引力を液体1の表面張力より小さくすることができ、ギャップAを介して液浸領域AR2の液体1が第2空間39に流入する不都合を抑制することができる。
なお、流路45の第2空間39に接続する一端部とは反対の他端部にガス(空気)供給装置45’を接続し、凹部32の内側面36と基板ホルダPHの側面37との間の第2空間39を陽圧化、具体的には大気圧より僅かに高く設定するようにしてもよい。これにより、液浸領域AR2の液体1がギャップAを介して空間39に流入する不都合を抑えることができる。なおこの場合、第2空間39を過剰に陽圧化すると、第2空間39内部のガス(空気)がギャップAを介して液浸領域AR2の液体1に流入し、液体1に気泡が混入する不都合が生じるため、第2空間39はほぼ大気圧(大気圧より僅かに高い程度)に設定されることが好ましい。
以上説明したように、基板Pの側面PB及びこれに対向する凹部32の内側面36を撥液性にしたことにより、ギャップAを介してZステージ52と基板ホルダPHとの間の第2空間39に液体1が浸入する不都合を防止することができる。したがって、基板Pのエッジ領域Eを露光する際、液体1への気泡の混入等を抑えつつ液浸領域AR2を良好に形成した状態で露光することができる。また、基板ステージPST内部の第2空間39に対する液体1の流入を防止できるので、装置の錆びや漏電の発生を防止することができる。
また、基板Pの裏面PC及びこれに対向する周壁部33の上面33Aを撥液性にしたことにより、ギャップBを介して第1空間38に液体1が浸入する不都合を防止することができる。したがって、吸引口41に液体1が流入する不都合の発生を回避し、基板Pを良好に吸着保持した状態で露光処理できる。
また、本実施形態では、Zステージ52に対して着脱可能な基板ホルダPHの裏面58や、Zステージ52のうち基板ホルダPHとの接触面57に撥液処理を施したことにより、第2空間39に液体1が流入した場合でも、基板ホルダPHの裏面58とZステージ52の接触面57との間に対する液体1の流入を抑えることができる。したがって、基板ホルダPHの裏面58やZステージ52の接触面57における錆びの発生等を防止することができる。また、基板ホルダPHの裏面58とZステージ52の接触面57との間に液体1が浸入すると、基板ホルダPHとZステージ52とが接着して分離し難くなる状況が生じるが、撥液性にすることで分離し易くなる。
なお、本実施形態では、基板ホルダPHと基板ステージPST(Zステージ52)とは着脱可能であるが、基板ホルダPHを基板ステージPSTと一体で設けてもよい。
なお、本実施形態では、基板Pの表面PA、側面PB、及び裏面PCの全面に撥液処理のために感光材90が塗布されているが、ギャップAを形成する領域、すなわち基板Pの側面PBと、ギャップBを形成する領域、すなわち基板Pの裏面PCのうち周壁部33の上面33Aに対向する領域のみを撥液処理する構成であってもよい。更に、ギャップAが十分に小さく、また撥液処理するために塗布する材料の撥液性(接触角)が十分に大きければ、ギャップAを介して第2空間39に液体1が流入する可能性が更に低くなるため、ギャップBを形成する基板Pの裏面PCには撥液処理を施さず、基板Pの側面PBのみを撥液処理する構成であってもよい。
同様に、基板ステージPSTの凹部32の内側面36の全面を撥液処理する構成の他に、内側面36のうち、基板Pの側面PBと対向する一部の領域のみを撥液処理するようにしてもよい。また、周壁部33の上面33Aの全面を撥液処理する構成の他に、上面33Aのうち例えば内側の一部の領域を環状に撥液処理するようにしてもよい。また、基板ホルダPHの側面37の全面を撥液処理する構成の他に、一部の領域のみを撥液処理するようにしてもよい。
また上述の実施形態においては、基板Pの側面とそれに対向する基板ステージPSTの内側面36、基板ホルダPHの側面37とそれに対向する基板ステージPSTの内側面36、及び基板Pの裏面とそれに対向する周壁部33の上面33Aとを撥液処理しているが、対向する面のうちのどちらか一方だけを撥液処理するようにしてもよい。
また本実施形態において、プレート部30の平坦面31は撥液処理されているが、例えばプレート部30の平坦面31が十分大きい場合や、基板Pの液体1に対する走査速度が十分に小さい場合には、液浸領域AR2の液体1がプレート部30外部に流出する可能性は低いので、平坦面31を撥液処理しなくても、液体1の流出や飛散等を防止することができる。また、撥液処理を平坦面31の全面に施す構成の他に、例えば基板P直近の一部の領域を環状に撥液処理するようにしてもよい。
また、基板ステージPSTの平坦面31の撥液性と内側面36の撥液性とが異なっていてもよい。すなわち、平坦面31における液体1の接触角と内側面36における液体1の接触角とが異なっていてもよい。
なお、本実施形態では、周壁部33の高さは支持部34の高さより低く、基板Pの裏面PCと周壁部33の上面33Aとの間にギャップBが形成されているが、基板Pの裏面PCと周壁部33の上面33Aとが接触してもよい。
本実施形態において、基板Pの側面PB及び裏面PCの撥液処理として、撥液性を有する感光材90を塗布しているが、側面PBや裏面PCには感光材90以外の撥液性(撥水性)を有する所定の材料を塗布するようにしてもよい。例えば、基板Pの露光面である表面PAに塗布された感光材90の上層にトップコート層と呼ばれる保護層(液体から感光材90を保護する膜)を塗布する場合があるが、このトップコート層の形成材料(例えばフッ素系樹脂材料)は、例えば接触角110°程度で撥液性(撥水性)を有する。したがって、基板Pの側面PBや裏面PCにこのトップコート層形成材料を塗布するようにしてもよい。もちろん、感光材90やトップコート層形成用材料以外の撥液性を有する材料を塗布するようにしてもよい。
また、本実施形態では、基板ステージPSTや基板ホルダPHの撥液処理として、フッ素系樹脂材料やアクリル系樹脂材料を塗布する等しているが、上記感光材やトップコート層形成材料を基板ステージPSTや基板ホルダPHに塗布するようにしてもよいし、逆に、基板Pの側面PBや裏面PCに、基板ステージPSTや基板ホルダPHの撥液処理に用いた材料を塗布するようにしてもよい。
上記トップコート層は、液浸領域AR2の液体1が感光材90に浸透するのを防止するために設けられる場合が多いが、例えばトップコート層上に液体1の付着跡(所謂ウォーターマーク)が形成されても、液浸露光後にこのトップコート層を除去することにより、ウォーターマークをトップコート層とともに除去した後に現像処理等の所定のプロセス処理を行うことができる。ここで、トップコート層が例えばフッ素系樹脂材料から形成されている場合、フッ素系溶剤を使って除去することができる。これにより、ウォーターマークを除去するための装置(例えばウォーターマーク除去用基板洗浄装置)等が不要となり、トップコート層を溶剤で除去するといった簡易な構成で、ウォーターマークを除去した後に所定のプロセス処理を良好に行うことができる。
次に、本発明の基板ステージを備えた露光装置の他の実施形態について図6を参照しながら説明する。ここで、以下の説明において、上述した実施形態と同一又は同等の構成部分については同一の符号を付し、その説明を簡略若しくは省略する。
図6に示す基板ステージPSTにおいて、凹部32の内側面36と基板ホルダPHの側面37との間の第2空間39には液体1が保持可能となっている。ここで、本実施形態おける基板Pの側面PBには撥液処理が施されていない。また、基板Pの裏面PCに対しては、基板ホルダPHの周壁部33の上面33Aに対向する一部の領域にのみ撥液処理が施されている。なお、基板Pの露光面である表面PAには感光材90が塗布されている。また、本実施形態において、基板ステージPSTのうち内側面36及び基板ホルダPHの側面37に撥液処理は施されておらず、基板ホルダPHの周壁部33の上面33Aにのみ撥液処理が施されている。
基板ホルダPHにおいて、周壁部33の内側には、第2周壁部46が形成されている。
基板Pを支持する支持部34は第2周壁部46の内側に形成されている。周壁部33の高さと第2周壁部46の高さとはほぼ同じ高さに形成されている。周壁部33の高さ及び第2周壁部46の高さは、支持部34よりも低くなっている。なお、第2周壁部46の上面46Aの幅は、周壁部33の上面33Aの幅より小さくなっているが、同一でもよいし、第2周壁部46の上面46Aの幅を周壁部33の上面33Aの幅より大きくしてもよい。
また周壁部46の上面46Aの高さは、周壁部33の上面33Aの高さと異ならせてもよく、第2周壁部46の上面46Aは基板Pの裏面に接触していてもよい。そして、周壁部33と第2周壁部46との間には、環状のバッファ空間47が形成されている。バッファ空間47には流路48が接続されている。この流路48は一端部をバッファ空間47に接続し、他端部を基板ステージPST外部の空間(大気空間)に接続している。これにより、周壁部33と第2周壁部46との間のバッファ空間47は大気開放され、このバッファ空間47の圧力はほぼ大気圧に設定される。
また、基板ステージPSTは、第2空間39に液体を供給可能な液体供給装置70を備えている。液体供給装置70は、液体を送出可能な供給部71と、Zステージ52内部に形成され、一端部を第2空間39に接続し他端部を供給部71に接続する流路72とを備えている。ここで、液体供給装置70は、第2空間39の液体1を回収する機能も有している。
図7A〜7Cは第2空間39に液体1を満たす手順を示す図である。図7Aに示すように、基板Pが基板ステージPSTにロード(載置)される前に、第2空間39における液体1の水位(高さ)が周壁部33の高さより低く設定される。なお、この状態において第2空間39から液体1を除去しておいてもよい。次いで、図7Bに示すように、基板Pが不図示のローダ装置により基板ホルダPHにロードされた後、吸引装置40が、第2周壁部46で囲まれた第1空間38のガス(空気)を吸引し、その第1空間38を負圧にすることによって、基板Pは基板ホルダPHの支持部34に吸着保持される。次いで、図7Cに示すように、液体供給装置70により第2空間39に液体1が供給され、これにより第2空間39に液体1が満たされる。ここで、液体供給装置70は、プレート部30の平坦面31及び基板ホルダPHに保持された基板Pの表面とほぼ同じ高さ(水位)になるまで液体1を第2空間39に供給する。
なお、液浸露光終了後は、図7A〜7Cを参照して説明した動作と反対の動作を行えばよい。すなわち、液浸露光終了後、液体回収機能を兼ね備えた液体供給装置70が第2空間39の液体1を回収する。次いで、吸引装置40が基板ホルダPHによる基板Pに対する吸着保持を解除する。次いで、不図示のアンローダ装置が基板ホルダPH上の基板Pをアンロード(搬出)する。
空間39に液体1を満たすことにより、プレート部30の平坦面31と基板Pの表面PAとは空間39の液体1を介してほぼ面一となる。すなわち、平坦部31と基板Pとの隙間が液体1で満たされることになる。これにより、基板Pのエッジ領域Eを液浸露光するために、ギャップA上に液体1を配置しても、液浸領域AR2の液体1に気泡が混入する等の不都合を防止し、良好に液浸領域AR2を形成した状態で露光することができる。
このとき、ギャップBは十分に小さく、周壁部33の上面33Aとこれに対向する基板Pの裏面PCの一部の領域とが撥液処理されているので、第2空間39の液体1がギャップBを介してバッファ空間47に流入することがない。更に、バッファ空間47は流路48を介して大気開放され、ほぼ大気圧に設定されているので、吸引装置40が第1空間38を負圧にした状態でも、第2空間39に満たされている液体1のバッファ空間47側への流入を防止することができる。仮にギャップBを液体が僅かに通過したとしても、バッファ空間47でその浸入した液体を捕らえることができる。
本実施形態に係る基板ステージPSTは、第2空間39に液体1を供給可能であるとともに第2空間39の液体1を回収可能な液体供給装置70を備えた構成である。これにより、基板Pが基板ホルダPHに載置されているかどうかに応じて液体1を自在に供給あるいは回収できるので、液体1の周辺装置への流出を防止することができる。すなわち、第2空間39に液体1を満たす場合、例えばギャップA上に液浸領域AR2の液体1を配置し、流路48を介してバッファ空間47を負圧にすることで、ギャップA上の液体1を第2空間39に満たすことも考えられるが、この場合、液浸露光処理終了後、基板Pをアンロードするときに、第2空間39の液体1の水位は周壁部33の高さより高いので、液体1が例えば周壁部33の上面33Aやバッファ空間47側に流れ込んでしまう不都合が生じる。しかしながら、第2空間39に対する液体1の供給及び回収可能な液体供給装置70を設けたことにより、基板Pをアンロードする前に、第2空間39の液体1を回収すればよいので、液体1の流出を防止することができる。
なお、流路48のうちバッファ空間47に接続する一端部とは反対の他端部にガス供給装置48’を接続し、バッファ空間47を陽圧化、具体的には大気圧より僅かに高く設定するようにしてもよい。これにより、第2空間39の液体1がギャップBを介してバッファ空間47、ひいては第1空間38に流入する不都合を防止することができる。なおこの場合、バッファ空間47を過剰に陽圧化すると、第2空間39内部の液体1がバッファ空間47内部のガス(空気)とともにギャップAを介して液浸領域AR2の液体1に流入し、液体1に気泡が混入する不都合が生じるため、バッファ空間47はほぼ大気圧(大気圧より僅かに高い程度)に設定されることが好ましい。また、ガス供給装置48’に吸引機能を持たせ、ガス供給装置48’によって、周壁部33と第2周壁部46との間のバッファ空間47の圧力を、例えば大気圧よりも僅かに低く(低負圧)、且つ第1空間38の圧力よりも高く設定するなど、バッファ空間47の圧力を任意に調整可能にしてもよい。
なお、本実施形態において、基板Pは裏面PCの一部を撥液処理されている構成であるが、裏面PC全面が撥液処理されてもよいし、側面PBが撥液処理されてもよい。更に、基板ホルダPHの側面37や凹部32の内側面36が撥液処理されてもよい。また、基板Pの裏面PCとそれに対向する周壁部33の上面33Aのどちらか一方のみを撥液性にしてもよい。また、第2周壁部46の上面46Aに撥液処理を施すなどして、第2周壁部46の上面を撥液性にしてもよい。当然のことながら、上述の第1の実施形態やその変形例と同様に基板P、基板ホルダPH、基板ステージPSTに撥液性を持たせてもよい。
図8は本発明の基板ステージPSTの他の実施形態を示す図である。図8において、基板ステージPSTは、凹部32の内側面36と基板ホルダPHの側面37との間の第2空間39の圧力を、周壁部33に囲まれた第1空間38の圧力よりも低く設定する第2吸引装置80を備えている。第2吸引装置80は、第2空間39に流路62を介して接続され、液体1を収容可能なタンク61と、タンク61にバルブ63を介して接続されたポンプ64とを備えている。第2吸引装置80及び吸引装置40の動作は制御装置CONTに制御される。
本実施形態において、基板Pの側面PB及び裏面PCに撥液処理は施されていない。また、凹部32の内側面36や、基板ホルダPHの側面37及び周壁部33の上面33Aにも撥液処理は施されていない。
基板Pのエッジ領域Eを露光する際、制御装置CONTは吸引装置40及び第2吸引装置80の動作を制御し、第2空間39の圧力を第1空間38の圧力より低くする。これにより、ギャップA上の液浸領域AR2の液体1は、ギャップAを介して第2空間39に流入した後、ギャップBを介して第1空間38側に流入せずに、第2吸引装置80のタンク61に回収される。タンク61には排出流路61Aが設けられており、液体1が所定量溜まったら排出流路61Aより排出されるようになっている。
このように、第2空間39の圧力を第1空間38の圧力より低くすることで、ギャップAを通過した液体1は、第1空間38側に浸入せずに、第2吸引装置80のタンク61に回収される。したがって、吸引口41に対する液体1の流入を防止しつつ基板Pを良好に吸着保持した状態で液浸露光することができる。そして、ギャップAを通過した液体1はタンク61で回収されるので、装置外部への液体1の流出や飛散等の不都合の発生を回避することができる。
図8の実施形態においても、上述の実施形態やその変形例で説明したように、基板P(側面など)、基板ホルダPH(周壁部33の上面33Aなど)、基板ステージPST(平坦面31、内側面36など)の各面の少なくとも一部を撥液性とすることができる。
また、上述の図1〜8の実施形態においては、基板ステージPSTの一部や基板ホルダPHの一部表面に撥液処理を施しているが、それらの全ての表面を撥液処理するようにしてもよい。
例えば、基板ホルダPHの支持部34の上面34Aを撥液処理してもよい。これにより、支持部34の上面34Aでの液体の付着痕(ウォーターマーク)の形成が抑制され、複数の支持部34で規定される支持面の平坦性を維持することができる。
要は液体(水)との接触や付着が考えられる表面を撥液処理することにより、液体の浸入、流出、飛散が抑制される。また、液体が付着しても容易に除去することが可能となる。
ところで、上記各実施形態においては基板Pはほぼ円形であり、その周りに略円環状のプレート部30を配置することでプレート部30(凹部32の内側面36)と基板Pの側面PBとの間に所定値以下のギャップAを形成しているが、基板Pにノッチ部やオリエンテーションフラット部(オリフラ部)などの切欠部がある場合、プレート部30(凹部32の内側面36)の形状を基板Pの切欠部に応じて設定することで、その切欠部においてもギャップAを所定値以下に保つことができる。
図9は、ノッチ部NTを有する基板Pを支持している基板ステージPSTを上方から見た平面図である。図9に示すように、プレート部30には、基板Pのノッチ部NTの形状に対応した突起部150が設けられており、Zステージ51の凹部32の内側面36には、突起部150を形成するように凸部36Nが形成されている。突起部150は、支持部34に支持された基板Pのノッチ部NTとプレート部30の平坦面31とのギャップを小さくするためのギャップ調整部としての機能を有しており、平坦面31(プレート部30)と一体的に形成されている。そして、ノッチ部NTと突起部150との間にはギャップAが形成されている。突起部150のうち、基板P(ノッチ部NT)と対向する面や上面には、先の実施形態と同様に撥液処理が施されており、基板Pのノッチ部NTの側面にも撥液処理が施されている。なお突起部150の撥液処理としては、上述したようにフッ素系樹脂材料などを塗布することによって行われ、ノッチ部NTの撥液処理としては感光材を塗布することによって行われる。もちろん、ノッチ部NTにも上述したようなトップコート層形成材料(フッ素系樹脂材料など)を塗布するようにしてもよい。
また、基板ホルダPHの側面37には、凹部32の内側面36の凸部36Nと所定のギャップで対向するように、ノッチ部NTの形状に合わせて凹部37Nが形成されている。
更に、基板Pを保持する基板ホルダPHの上面には、ノッチ部NTの形状に合わせて形成された周壁部33Nが設けられており、この周壁部33Nの内側には、図3と同様に、複数の支持部34や吸引口41が設けられている(図9では省略)。また、上述した実施形態同様、周壁部33Nの上面は撥液性となっている。支持部34に基板Pを保持する際には、吸引口41を介してガスを吸引し、周壁部33Nに囲まれた第1空間38(図9では省略)を負圧にする。このように、基板ホルダPHの周壁部33Nの形状もノッチ部NTに合わせることで、仮にノッチ部NTのギャップAから液体が浸入したとしても、浸入した液体が周壁部33Nの内側に流れ込むことを防止することができる。なお、図9においては、ノッチ部NTを誇張して示しているが、実際には2〜3mm程度であり、ノッチ部NTの形状も図9の形状に限るものではない。
図10は、オリフラ部OFを有する基板Pを支持している基板ステージPSTを上方から見た平面図である。図10に示すように、プレート部30には、基板Pのオリフラ部OFの形状に対応したフラット部151が設けられており、Zステージ51の凹部32の内側面36には、フラット部151を形成するように平坦部36Fが形成されている。フラット部151は、支持部34に支持された基板Pのオリフラ部OFとプレート部30の平坦面31とのギャップを小さくするためのギャップ調整部としての機能を有しており、平坦面31(プレート部30)と一体的に形成されている。そして、オリフラ部OFとフラット部151との間にはギャップAが形成されている。フラット部151のうち、基板P(オリフラ部OF)と対向する面や上面には撥液処理が施されており、オリフラ部OFにも撥液処理が施されている。なおフラット部151の撥液処理としては、上述したようにフッ素系樹脂材料などを塗布することによって行われ、オリフラ部OFの撥液処理としては感光材を塗布することによって行われる。
また、基板ホルダPHの側面37には、凹部32の内側面36の平坦部と所定のギャップで対向するように、オリフラ部OFの形状に合わせてフラット部37Fが形成されている。更に、基板Pを保持する基板ホルダPHの上面には、オリフラ部OFの形状に合わせた周壁部33Fが設けられており、この周壁部33Fの内側には、図3と同様に、複数の支持部34や吸引口41が設けられている(図10では省略)。このように、基板ホルダPHの周壁部33Fの形状もオリフラ部OFに合わせることで、仮にオリフラ部OFのギャップAから液体が浸入したとしても、浸入した液体が周壁部33Fの内側に流れ込むことを防止することができる。
以上説明したように、基板Pの切欠部(ノッチ部、オリフラ部)の形状に応じてプレート部30の形状を設定することによりギャップAを所定値以下に保つことができ、基板Pと基板ステージPST(プレート部30)との間への液体1の浸入を防止することができる。
ところで、複数の基板Pを露光するに際し、切欠部(ノッチ部、オリフラ部)の大きさや形状などが基板Pによって変化する場合があり、その場合、基板Pの切欠部とプレート部30との間のギャップAを所定値以下に保つことができない可能性がある。また、基板Pの外形の製造誤差や基板Pの基板ステージPSTに対する載置精度などによって、基板Pの切欠部とプレート部30との間のギャップAを所定値以下に保つことができない可能性もある。
そこで、図11に示すように、基板Pのノッチ部NTの形状に応じた突起部152Aを有する突起部材152を移動可能に設け、基板Pに対して接近及び離間方向に移動することで、ノッチ部NTの大きさなどが変化しても、ノッチ部NTと突起部材152との間のギャップAを所定値以下に保つことができる。図11に示す例では、突起部材152はプレート部30の一部に設けられた凹部30Dに配置されており、不図示の駆動機構によってXY平面に沿って移動するようになっている。制御装置CONTは前記駆動機構を介して突起部材152を移動することで、突起部材152とノッチ部NTとの間に所定のギャップAを形成する。そして、上述同様、突起部材152のうち、基板P(ノッチ部NT)と対向する面や上面、及びプレート部30の凹部30Dに対向する側面には撥液処理が施されており、ノッチ部NTにも撥液処理が施されている。ここで、突起部材152とプレート部30(凹部30D)との間にはギャップDが形成されているが、このギャップDはギャップAよりも小さく、プレート部30の凹部30Dや突起部材152のうちプレート部30の凹部30Dに対向する側面は撥液性であるので、ギャップDに対する液体1の浸入が防止されている。なお、図9と共通する部分については説明を省略する。
図12は、基板Pのオリフラ部OFの形状に応じたフラット面153Aを有する移動可能に設けられたフラット部材153を示す図である。フラット部材153を基板Pに対して接近及び離間方向に移動することで、オリフラ部OFの大きさなどが変化しても、オリフラ部OFとフラット部材153との間のギャップAを所定値以下に保つことができる。
図12に示す例では、フラット部材153はプレート部30の一部に設けられた凹部30Dに配置されており、不図示の駆動機構によってXY平面に沿って移動するようになっている。制御装置CONTは前記駆動機構を介してフラット部材153を移動することで、フラット部材153とオリフラ部OFとの間に所定のギャップAを形成する。そして、上述同様、フラット部材153のうち、基板P(オリフラ部OF)と対向する面や上面、及びプレート部30の凹部30Dに対向する側面には撥液処理が施されており、オリフラ部OFにも撥液処理が施されている。ここで、フラット部材153とプレート部30(凹部30D)との間にはギャップDが形成されているが、このギャップDはギャップAよりも小さく、プレート部30の凹部30Dやフラット部材153のうちプレート部30の凹部30Dに対向する側面は撥液性であるので、ギャップDに対する液体1の浸入が防止されている。なお、図10と共通する部分については説明を省略する。
なお、突起部材152(フラット部材153)を基板ステージPSTに対して交換可能に設けるとともに、互いに異なる形状あるいは大きさを有する突起部材152(フラット部材153)を予め複数用意しておくことにより、基板ステージPSTに載置される基板Pの切欠部の形状や大きさなどに応じて突起部材152(フラット部材153)を交換することで、ギャップAを所定値以下に保つことができる。
また、突起部材152(フラット部材153)の大きさや形状のみならず、移動方向などの動き方も、上述の実施形態に限られず、基板Pの切欠部付近のギャップAが所定値以下になればよい。
なお本実施形態においては、基板Pの切欠部(ノッチ部、オリフラ部)との間でギャップAを形成するように突起部材152(フラット部材153)を移動する構成であるが、基板Pの周囲に設けられたプレート部30をXY平面に沿って移動可能に設け、基板Pとプレート部30との間のギャップAを所定値以下に調整することもできる。この場合、例えばプレート部30を複数に分割し、その分割された分割部材のそれぞれを基板Pに対してXY平面に沿って接近及び離間方向に移動する構成を採用することができる。このとき、各分割部材どうしの間のギャップを、液体が浸入しない程度に設定しておくことにより、基板ステージPST内部に液体が浸入する不都合を回避することができる。
更に基板Pを基板ステージPST上に搬入(ロード)する前に基板Pの大きさや形状(歪み)、あるいは基板Pの切欠部の大きさや形状を計測しておき、その計測結果に基づいてギャップAが所定値以下となるように各部材を動かすようにしてもよい。これによりギャップAからの液体の浸入をより確実に防止できるばかりでなく、基板Pのエッジの破損を防止することもできる。
また上述の図6の実施形態においては、周壁部33(46)の上面33Aを液体が越えてしまう可能性もあるが、周壁部33の上面33Aを越えた液体はバッファ空間47で捕らえることができるので、第1空間38への液体の浸入を防止することができる。なお、そのような場合に備えて、バッファ空間47に浸入した液体を回収する構造にしてもよい。
以下、本発明の別の実施形態について説明する。図9〜図12を参照して説明した上記実施形態においては、支持部34に支持された基板Pの切欠部(ノッチ部、オリフラ部)とプレート部30の平坦面31との間への液体1の浸入を防止するために、ギャップ調整部としての突起部150、フラット部151、可動な突起部材152、フラット部材153を設けた構成である。一方で、図13の符号NT’で示すように、液体1が浸入しない程度に、基板Pのノッチ部NT’をできるだけ小さくすることによっても、基板Pのノッチ部と基板ステージPST(プレート部30)との間への液体1の浸入を防止することができる。なお、図13に示すノッチ部は、鋭角部を有しない丸みを帯びた形状となっている。
ところで、基板ステージPSTに基板Pを載置するとき、基板P上に形成する回路のプロセス条件やマスクMのパターンに応じて、切欠部の位置を異ならせて基板ステージPSTに載置する場合がある。例えば第1の基板を基板ステージPSTに載置するときは、切欠部を−Y側に向けた状態で載置し、第2の基板を基板ステージPSTに載置するときは、切欠部を+X側に向けた状態で載置する場合がある。そこで、突起部150を有するプレート部30を回転可能に設けておき、支持部34に支持される基板Pの切欠部の位置に応じて、プレート部30を回転させるようにしてもよい。例えば、図14Aに示すように、ノッチ部NTを−Y側を向けて支持部34に基板Pを保持させるときは、ノッチ部NTの位置に合わせて突起部150を−Y側に配置させるようにプレート部30を回転し、図14Bに示すように、ノッチ部NTを+X側に向けて支持部34に基板Pを保持させるときは、ノッチ部NTの位置に合わせて突起部150を+X側に配置させるようにプレート部30を回転する。この場合、図14A〜14Bには示されていないが、凹部37Nを有する周壁部33Nが形成された基板ホルダPHも、ノッチ部NTの位置に合わせて回転する。このように、ギャップ調整部である突起部150(及び凸部36N)を回転方向(θZ方向)に可動に設けるようにしてもよい。同様に、フラット部151を有するプレート部30及びフラット部37Fを有する周壁部33Fが形成された基板ホルダPHも、オリフラ部OFの位置に合わせて回転可能に設けることができる。こうすることによっても、基板Pの切欠部の位置に関係なく、プレート部30と基板P(切欠部)との間への液体1の浸入を防止することができる。
あるいは、支持部34に支持された基板Pのノッチ部NTの位置にプレート部30の突起部150を合わせるように、基板ステージPST全体を回転させるようにしてもよい。
図15Aには、ノッチ部NTが−Y側に向けられた状態が示されており、図15Bには、ノッチ部NTが+X側に向けられた状態が示されている。ここで、図15A〜15Bに示すように、基板ステージPSTの例えば+X側に離れた位置にレーザ干渉計56Xが配置され、+Y側に離れた位置にレーザ干渉計56Yが配置されている場合、平面視矩形状に形成された基板ステージPSTの少なくとも3つの縁部のそれぞれに移動鏡55を配置することで、基板ステージPSTが回転した際にも、レーザ干渉計56X、56Yのそれぞれに対していずれかの移動鏡55を対向させることができる。
ところで、基板Pの切欠部は、基板Pを基板ステージPSTに載置するときの大まかな位置合わせ処理であるプリアライメント処理時に主に使用される。具体的には、切欠部の位置を光学的に検出し、その検出結果に基づいてプリアライメント処理が行われる。そこで、図16Aに示すように、基板Pに形成されたノッチ部(切欠部)NTに光透過性を有する被覆部材300を被せることにより、ノッチ部NTを被覆部材300を介して光学的に検出可能であるとともに、基板Pを基板ステージPSTに載置した際にも、プレート部30とノッチ部NT(被覆部材300)との間に大きなギャップが形成される不都合を防止できる。同様に、オリフラ部OFにも被覆部材を被せることが可能である。
なお、図16Bに示すように、ノッチ部(切欠部)NTが基板Pの複数位置のそれぞれに形成されている場合には、その複数のノッチ部NTのそれぞれに被覆部材300を被せることができる。また、ノッチ部NTが基板Pの複数位置のそれぞれに形成されている場合には、被覆部材300を被せる代わりに、複数のノッチ部NTに応じて、プレート部30(基板ステージPST)に複数の突起部150を設けるようにしてもよい。こうすることによっても、プレート部30と基板P(切欠部)との間への液体1の浸入を防止することができる。
また、基板Pに切欠部を形成する代わりに、基板Pの所定位置に穴部を設けることによっても、その穴部を光学的に検出して基板Pをプリアライメントすることができる。この場合の穴部は、液体LQを通過させない程度の小径の貫通穴であってもよいし、基板Pを貫通しないディンプル状の穴(凹部)であってもよい。図17には、基板Pの所定位置に形成された、例えば直径0.5mm程度の複数の小さな貫通穴部301が形成されている例が示されている。
図18は本発明の別の実施形態を示す平面図である。なお、図4と同一の部材については同一の符号を付して詳細説明は省略する。図18において、ギャップ調整部としての突起部材152が、支持部34に支持された基板Pの縁部近傍の複数位置のそれぞれに設けられている。図18に示す例では、基板Pの−Y側縁部の近傍に第1の突起部材152Yが設けられ、+X側縁部の近傍に第2の突起部材152Xが設けられている。これら突起部材152Y、152Xのそれぞれは、Z軸方向に(上下方向に)移動可能に設けられている。また、基板Pには、−Y側の縁部近傍に一箇所切欠部(ノッチ部NT)が形成されている。
図19Aは第1の突起部材152Y近傍の断面図、図19Bは第2の突起部材152X近傍の断面図である。図19A〜19Bに示すように、突起部材152(152Y、152X)は弾性部材302によって支持されている。図19A〜19Bに示す例では、弾性部材はコイルバネ部材によって構成されており、突起部材152はコイルバネ部材を介してZステージ52の上面(接触面)57に支持されている。−Y側に向けられた基板Pのノッチ部NTと突起部材152Yとが位置合わせされた状態においては、図19Aに示すように、突起部材152Yは基板Pに押さえ付けられずに、コイルバネ部材302の上方への付勢力によって、ノッチ部NTの内側に配置される。この突起部材152Yによって、支持部34に支持された基板Pのノッチ部NTとプレート部30の平坦面31とのギャップを小さくすることができる。一方、図19Bに示すように、ノッチ部NTが無い位置に配置されている突起部材152Xは基板Pによって上から押さえ付けられ、コイルバネ部材302が縮む。これにより、突起部材152Xは基板Pの下側に配置される。一方、ノッチ部NTを+X側に向けた状態で基板Pを支持部34に支持したときには、突起部材152Xがノッチ部NTの内側に配置され、突起部材152Yが基板Pの下側に配置される。
こうすることによっても、支持部34に支持された基板Pのノッチ部NTとプレート部30の平坦面31とのギャップを小さくすることができる。更に、プレート部30の平坦面31と内側面36と同様に、突起部材152の上面や側面を撥液処理するなどして撥液性にすることで、液体1の浸入をより効果的に防止することができる。
図20A〜20Bは本発明の別の実施形態を示す断面図である。図20A〜20Bの実施形態は、図19A〜19Bの実施形態の変形例であって、同一部材には同一の符号を付してある。図20において、突起部材152の下面は棒状の支持部材303の上端部に接続されている。Zステージ52の一部には貫通穴52Kが設けられており、支持部材303は貫通穴52Kの内側にZ軸方向に移動可能に配置されている。支持部材303の下端部はZステージ52の下側に露出しており、その支持部材303の下端部は鍔部材304と接続している。また、鍔部材304の下面には、Zステージ52の下面に取り付けられた板バネ部材305が当接している。図19A〜19Bの実施形態と同様に、図20Aに示すように、基板Pのノッチ部NTと突起部材152とが位置合わせされている状態においては、板バネ部材305の付勢力によって突起部材152が上方に持ち上げられ、ノッチ部NTの内側に配置される。一方、図20Bに示すように、基板Pのノッチ部NTと突起部材152とが位置合わせされていない状態においては、突起部材152は基板Pによって押さえ付けられて、基板Pの下側に配置される。この場合においても、突起部材152の上面や側面を撥液性にすることで、液体1の浸入を効果的に防止することができる。
図21A〜21Bは本発明の別の実施形態を示す断面図である。図21A〜21Bにおいて、突起部材152は、ヒンジ部306を介してプレート部30(あるいは基板ステージPSTの所定位置)に接続されている。図21A〜21Bにおいて、ヒンジ部306は、突起部材152をθY方向に回動可能に支持している。また、ヒンジ部306はバネ部材を内蔵しており、突起部材152を図21B中、矢印y1方向に付勢するように支持している。つまり、ヒンジ部306は、突起部材152の上面と基板P表面とがほぼ面一になる方向に、突起部材152に対する付勢力を有している。なお、ヒンジ部306にはストッパーが設けられており、突起部152の上面と基板P表面とがほぼ面一になった状態で、突起部材152の回動が停止される。そして、図21Aに示すように、基板Pのノッチ部NTと突起部材152とが位置合わせされている状態においては、突起部材152がノッチ部NTの内側に配置される。一方、図21Bに示すように、基板Pのノッチ部NTと突起部材152とが位置合わせされていない状態においては、突起部材152は基板Pによって押さえ付けられて、基板Pの下側に配置される。この場合においても、突起部材152の上面や側面を撥液性にすることで、液体1の浸入を効果的に防止することができる。
なお、上述した実施形態においては、突起部材152はバネ部材(弾性部材)によって移動する構成であるが、所定のアクチュエータを使って突起部材152を移動するようにしてもよい。この場合、例えば基板ステージPSTに基板Pを載置する前に、ノッチ部NTの位置情報を求めておく。そして、基板Pを基板ステージPSTに載置した後、前記求めた位置情報に基づいて、基板ステージPSTに設けられた複数の突起部材152のうち所定の突起部材152をアクチュエータを使って駆動し、ノッチ部NTの内側に突起部材152を配置するようにしてもよい。あるいは、突起部材152を基板ステージPSTに対して脱着可能に設けておき、アクチュエータを使わずに、例えば作業者などが手動で基板ステージPST上の基板Pのノッチ部NTの内側に突起部材152を配置するようにしてもよい。あるいは、基板ステージPSTに対して脱着可能な突起部材152を保持可能なロボットアームが、基板ステージPST上の基板Pのノッチ部NTの内側に突起部材152を配置するようにしてもよい。
図22は、アクチュエータを使って突起部材152をノッチ部NTの内側に配置する一例を示す図である。図22において、突起部材152は棒状の支持部材307の一端部(先端部)に取り付けられており、支持部材307の他端部(基端部)はアクチュエータ308に接続されている。アクチュエータ308は支持部材307の基端部を回動中心として、突起部材152を取り付けられた支持部材307を回動可能である。図22において、アクチュエータ308は支持部材307をθY方向に回動する。アクチュエータ308は、支持部材307を回動することで、支持部材307の先端部に取り付けられた突起部材152をノッチ部NTの内側に配置可能である。この場合においても、突起部材152の上面や側面を撥液性にすることで、液体1の浸入を効果的に防止することができる。また、基板Pの液浸露光終了後には、アクチュエータ308は、支持部材307を反対方向に回動することで、突起部材152を基板Pのノッチ部NTより外すことができる。
図23に示すように、ノッチ部NTにシート状部材309を被せることで、ノッチ部NTとプレート部30(平坦面31)との間への液体1の浸入を抑制することも可能である。シート状部材309としては撥液性であることが好ましく、例えばポリ四フッ化エチレン(テフロン(登録商標))からなるシート状部材(テフロンシート)を用いることができる。
なお、シート状部材309を輪帯状に形成し、基板Pと平坦面31との隙間全体をシート状部材309で覆うようにしてもよい。
なお、上述した各実施形態において、突起部材152は交換可能であることが好ましい。突起部材152は撥液性であることが好ましいが、その撥液性は経時的に劣化する可能性がある。そこで、撥液性の劣化に応じて突起部材152を交換することで、所望の撥液性を有する突起部材152を用いて液体1の浸入を効果的に防止することができる。
なお、上述した各実施形態においては、ノッチ部NTに突起部材152を配置する場合を例にして説明したが、もちろん、基板Pに形成されたオリフラ部OFに対応するフラット部材についても適用可能である。そして、弾性部材(バネ部材)やアクチュエータを使って、フラット部材を所定の位置に配置し、支持部34に支持された基板Pのオリフラ部OFとプレート部30の平坦面31とのギャップを小さくすることで、液体1の浸入を防止することができる。
なお、図1〜図8を用いて説明した実施形態やその変形例と、図9〜図23を用いて説明した実施形態やその変形例とを適宜組み合わせてよいことは言うまでもない。
図24は本発明の別の実施形態を示す断面図である。なお、図4、図6、図8と同一部材については同一の符号を付して、詳細説明は省略する。図24において、基板ステージPSTは、周壁部33と、周壁部33の内側に形成された第2周壁部46と、第2周壁部46の内側に形成された支持部34とを備えている。吸引装置40が吸引口41を介して吸引動作を行い、第2周壁部46に囲まれた第1空間38を負圧にすることによって、基板Pが支持部34に吸着保持される。
また、周壁部33と第2周壁部46との間のバッファ空間47の圧力は、第2周壁部46に囲まれた第1空間38の圧力よりも高く設定されている。具体的には、図6を参照して説明した実施形態同様、バッファ空間47は流路48を介して大気開放されており、バッファ空間47の圧力はほぼ大気圧に設定されている。あるいは、バッファ空間47は、圧力調整機能を有するガス供給装置48’によって、大気圧よりも僅かに高く設定されてもよいし、大気圧よりも低く、且つ第1空間38の圧力よりも高い程度の圧力(低負圧)に設定されていてもよい。
周壁部33の高さは、支持部34よりも低く設けられている。第2周壁部46の高さも、支持部34よりも低く設けられている。また、周壁部33の上面33Aは、撥液処理されて撥液性を有している。第2周壁部46の表面46Aも、撥液処理されて撥液性を有している。
なお、第1周壁部33の上面33Aと第2周壁部36の上面36Aのどちらか一方のみを撥液性とすることもできる。
本実施形態において、図6と異なり、凹部32の内側面36と基板ホルダPHの側面37との間の第2空間39には、液体LQは満たされていない。また、第2空間39には、第2空間39の圧力調整を行うとともに、ギャップAを介して第2空間39に流入した液体LQを回収するための第2吸引装置80が接続されている。第2吸引装置80は、図8を参照して説明したものと同等の構成を有し、第2空間39の圧力をバッファ空間47の圧力よりも低くすることができる。これにより、ギャップAから液体1が僅かに浸入しても、その液体1が第1周壁部33の上面33Aと基板Pとの間のギャップBからバッファ空間47へ浸入するのを抑制することができる。さらに第2空間39に浸入した液体を回収することもできる。
なお、ポンプ64やバルブ63を設けずに、図4のようにタンク61を設けるだけでもよい。更に、図4のように第2空間39を大気開放するような構成にしてもよい。
この場合、バッファ空間47の圧力はガス供給装置48’を使って大気圧よりも僅かに高く設定しておくのが望ましい。これにより、ギャップAから液体1が僅かに浸入しても、その液体1が第1周壁部33の上面33Aと基板Pとの間のギャップBからバッファ空間47へ浸入するのを抑制することができる。さらに第2空間39に浸入した液体を回収することもできる。
基板Pを支持部34に保持する際には、第1空間38を負圧にするとともに、バッファ空間47の圧力を第1空間38よりも高くする。好ましくは、バッファ空間47の圧力をほぼ大気圧、又は大気圧よりも高くする。これにより、ギャップAから第2空間39に液体1が浸入しても、バッファ空間47の圧力が高く設定されているので、液体1がバッファ空間47を介して第1空間38、ひいては基板Pの裏面側や吸引口41に浸入する不都合が防止される。また、本実施形態においては、周壁部33の上面33Aに基板Pの切欠部が配置された場合であっても、切欠部と平坦面31との間から浸入した液体1がバッファ空間47や第1空間38側に浸入する不都合を低減することができる。
また、基板Pの切欠部の大きさによっては、周壁部33の上面33Aを液体が越えてしまう可能性もあるが、周壁部33の上面33Aを越えた液体はバッファ空間47で捕らえることができるので、第1空間38への液体の浸入を防止することができる。なお、そのような場合に備えて、バッファ空間47に浸入した液体を回収する構造にしてもよい。
また、詳細な説明は省略したが、図4に示した実施形態のように、基板Pの側面PBや裏面PCや、プレート部30の平坦面31や内側面36を撥液性にしてもよい。
すなわち、図4の実施形態やその変形例で説明した基板P、基板ホルダPH、基板ステージPSTの各面の少なくとも一部の撥液処理は、図24で説明した実施形態と適宜組み合わせることができる。
なお、図24の実施形態においては、第1空間38の負圧は第2周壁部46で維持することが可能なので、第1周壁部33の一部にバッファ空間47と第2空間39とを連通させる切欠部を設けてもよい。
図25A〜25Bは本発明の別の実施形態を示す図であって、図25Aは平面図、図25Bは図25AのA−A断面矢視図である。なお、図3に示した実施形態と同一の部材については同一の符号を付して詳細説明は省略する。図25A〜25Bにおいて、基板ステージPSTは、支持部34に基板Pを吸着保持するための複数の吸引口(吸気口)41を備えている。また、周壁部33の内側の一部には、第2周壁部46’が局所的に形成されている。
図25Aに示すように、第2周壁部46’は、支持部34に支持された基板Pのノッチ部NT(又はオリフラ部)に対応する位置に設けられている。第2周壁部46’は平面視略円弧状の上面46A’を有しており、両端部を周壁部33に接続している。そして、周壁部33と第2周壁部46’との間には、バッファ空間47’が形成されている。バッファ空間47’は、支持部34に支持された基板Pのノッチ部NTの近傍に形成されている。なお本実施形態においても、周壁部33及び第2周壁部46’のそれぞれの高さは、支持部34よりも低く設けられており、それらの上面は撥液性を有している。
第1空間38に設けられた複数の吸引口41は、流路43を介してバキューム部(真空系)42に接続されている。一方、基板Pのノッチ部NTの近傍であるバッファ空間47’に設けられた吸引口41’は、第2流路43’を介して、バキューム部42とは独立した第2バキューム部(第2真空系)42’に接続されている。第2バキューム部42’の吸引力(単位時間当たりの気体吸引量)は、バキューム部42の吸引力よりも弱くなるように設定されている。すなわち、基板ステージPSTに設けられた複数の吸引口のうち、基板Pのノッチ部NT近傍の吸引口41’を介した吸気力は、その周りの吸引口41を介した吸気力よりも小さくなっている。
このように、基板Pのノッチ部NT近傍の吸引口41’を介した吸気力を、他の吸引口41を介した吸気力よりも小さくしたので、基板Pのノッチ部NTと平坦面31(プレート部30)との間のギャップが、ノッチ部NT以外の基板Pの側面PBと平坦面31との間のギャップよりも大きく、液体1が浸入しやすい構成であっても、ノッチ部NTと平坦面31との間に液体1が浸入する不都合を抑制できる。
また、仮に基板Pの切欠部NTから周壁部33の上面33Aを越えて液体が基板Pの裏面側へ浸入したとしても、その液体をバッファ空間47’で捕らえることができるので、第1空間38への液体の浸入を阻止することができる。なお、そのような場合に備えて、バッファ空間47’に浸入した液体を回収する構造にしてもよい。
なお、吸引口41’に接続されている真空系を、他の吸引口41に接続された真空系と別々にせずに、基板Pのノッチ部NT近傍の吸引力を小さくするようにしてもよい。例えば、基板Pのノッチ部NT近傍の吸引口41’の口径を、他の吸引口41よりも小さくするようにしてもよい。あるいは、複数の吸引口のうち、ノッチ部NT近傍の吸引口の配置の密度を、その周りの吸引口の配置の密度よりも小さくしてもよい。あるいは、基板Pのノッチ部NTの近傍には吸引口を設けない構成としてもよい。更には、例えば吸引口41’に接続する流路43’をバルブなどを使って閉じることで、基板Pのノッチ部NTの近傍に設けられた吸引口からは吸気を行わないようにしてもよい。
また、基板Pの切欠部(ノッチ部)NT近傍での吸引力を小さくすることによって、基板Pの裏面側への液体の浸入が防止できる場合には、第2周壁部46’を形成しなくてもよい。
また、図25A〜25Bの実施形態においても、図4に示した実施形態のように、基板Pの側面PBや裏面PCや、プレート部30の平坦面31や内側面36をt撥液性にしてもよいことは言うまでもない。
なお、上述の実施形態において、液浸領域AR2を形成する液体の圧力が大きい場合には、基板ステージPST上に存在する隙間(基板P周囲の隙間など)から液体が浸入しやすくなるので、液浸領域AR2が基板ステージPST上の隙間上に形成されているときには、液体の圧力を下げるようにしてもよい。特に液体供給機構10の供給口13A、14Aの直下は液体の圧力が大きくなる可能性があるので、液体供給機構10の供給口13A、14Aが基板ステージPST上の隙間と対向しているときは、液体の圧力を小さくするようにすると、その隙間からの液体の浸入を抑制することができる。
なお、図24及び図25を使って説明した実施形態と、図9〜図23を用いて説明した実施形態とを適宜組み合わせてよいことは言うまでもない。
上記各実施形態において、液体1は純水により構成されている。純水は、半導体製造工場等で容易に大量に入手できるとともに、基板P上のフォトレジストや光学素子(レンズ)等に対する悪影響がない利点がある。また、純水は環境に対する悪影響がないとともに、不純物の含有量が極めて低いため、基板Pの表面、及び投影光学系PLの先端面に設けられている光学素子の表面を洗浄する作用も期待できる。なお工場等から供給される純水の純度が低い場合には、露光装置が超純水製造器を持つようにしてもよい。
そして、波長が193nm程度の露光光ELに対する純水(水)の屈折率nはほぼ1.44と言われており、露光光ELの光源としてArFエキシマレーザ光(波長193nm)を用いた場合、基板P上では1/n、すなわち約134nmに短波長化されて高い解像度が得られる。更に、焦点深度は空気中に比べて約n倍、すなわち約1.44倍に拡大されるため、空気中で使用する場合と同程度の焦点深度が確保できればよい場合には、投影光学系PLの開口数をより増加させることができ、この点でも解像度が向上する。
なお、上述したように液浸法を用いた場合には、投影光学系の開口数NAが0.9〜1.3になることもある。このように投影光学系の開口数NAが大きくなる場合には、従来から露光光として用いられているランダム偏光光では偏光効果によって結像性能が悪化することもあるので、偏光照明を用いるのが望ましい。その場合、マスク(レチクル)のライン・アンド・スペースパターンのラインパターンの長手方向に合わせた直線偏光照明を行い、マスク(レチクル)のパターンからは、S偏光成分(TE偏光成分)、すなわちラインパターンの長手方向に沿った偏光方向成分の回折光が多く射出されるようにするとよい。投影光学系PLと基板P表面に塗布されたレジストとの間が液体で満たされている場合、投影光学系PLと基板P表面に塗布されたレジストとの間が空気(気体)で満たされている場合に比べて、コントラストの向上に寄与するS偏光成分(TE偏光成分)の回折光のレジスト表面での透過率が高くなるため、投影光学系の開口数NAが1.0を越えるような場合でも高い結像性能を得ることができる。また、位相シフトマスクや特開平6−188169号公報に開示されているようなラインパターンの長手方向に合わせた斜入射照明法(特にダイボール照明法)等を適宜組み合わせると更に効果的である。
また、例えばArFエキシマレーザを露光光とし、1/4程度の縮小倍率の投影光学系PLを使って、微細なライン・アンド・スペースパターン(例えば25〜50nm程度のライン・アンド・スペース)を基板P上に露光するような場合、マスクMの構造(例えばパターンの微細度やクロムの厚み)によっては、Wave guide効果によりマスクMが偏光板として作用し、コントラストを低下させるP偏光成分(TM偏光成分)の回折光よりS偏光成分(TE偏光成分)の回折光が多くマスクMから射出されるようになるので、上述の直線偏光照明を用いることが望ましいが、ランダム偏光光でマスクMを照明しても、投影光学系PLの開口数NAが0.9〜1.3のように大きい場合でも高い解像性能を得ることができる。また、マスクM上の極微細なライン・アンド・スペースパターンを基板P上に露光するような場合、Wire Grid効果によりP偏光成分(TM偏光成分)がS偏光成分(TE偏光成分)よりも大きくなる可能性もあるが、例えばArFエキシマレーザを露光光とし、1/4程度の縮小倍率の投影光学系PLを使って、25nmより大きいライン・アンド・スペースパターンを基板P上に露光するような場合には、S偏光成分(TE偏光成分)の回折光がP偏光成分(TM偏光成分)の回折光よりも多くマスクMから射出されるので、投影光学系PLの開口数NAが0.9〜1.3のように大きい場合でも高い解像性能を得ることができる。
更に、マスク(レチクル)のラインパターンの長手方向に合わせた直線偏光照明(S偏光照明)だけでなく、特開平6−53120号公報に開示されているように、光軸を中心とした円の接線(周)方向に直線偏光する偏光照明法と斜入射照明法との組み合わせも効果的である。特に、マスク(レチクル)のパターンが所定の一方向に延びるラインパターンだけでなく、複数の異なる方向に延びるラインパターンが混在する場合には、同じく特開平6−53120号公報に開示されているように、光軸を中心とした円の接線方向に直線偏光する偏光照明法と輪帯照明法とを併用することによって、投影光学系の開口数NAが大きい場合でも高い結像性能を得ることができる。
本実施形態では、投影光学系PLの先端に光学素子2が取り付けられており、このレンズにより投影光学系PLの光学特性、例えば収差(球面収差、コマ収差等)の調整を行うことができる。なお、投影光学系PLの先端に取り付ける光学素子としては、投影光学系PLの光学特性の調整に用いる光学プレートであってもよい。あるいは露光光ELを透過可能な平行平面板であってもよい。
なお、液体1の流れによって生じる投影光学系PLの先端の光学素子と基板Pとの間の圧力が大きい場合には、その光学素子を交換可能とするのではなく、その圧力によって光学素子が動かないように堅固に固定してもよい。
なお、本実施形態では、投影光学系PLと基板P表面との間は液体1で満たされている構成であるが、例えば基板Pの表面に平行平面板からなるカバーガラスを取り付けた状態で液体1を満たす構成であってもよい。
なお、本実施形態の液体1は水であるが水以外の液体であってもよい。例えば露光光ELの光源がFレーザである場合、このFレーザ光は水を透過しないので、液体1としてはFレーザ光を透過可能な例えば過フッ化ポリエーテル(PFPE)やフッ素系オイル等のフッ素系流体であってもよい。また、液体1としては、その他にも、露光光ELに対する透過性があってできるだけ屈折率が高く、投影光学系PLや基板P表面に塗布されているフォトレジストに対して安定なもの(例えばセダー油)を用いることも可能である。この場合も表面処理は用いる液体1の極性に応じて行われる。
なお、上記各実施形態の基板Pとしては、半導体デバイス製造用の半導体ウエハのみならず、ディスプレイデバイス用のガラス基板や、薄膜磁気ヘッド用のセラミックウエハ、あるいは露光装置で用いられるマスクまたはレチクルの原版(合成石英、シリコンウエハ)等が適用される。
露光装置EXとしては、マスクMと基板Pとを同期移動してマスクMのパターンを走査露光するステップ・アンド・スキャン方式の走査型露光装置(スキャニングステッパ)の他に、マスクMと基板Pとを静止した状態でマスクMのパターンを一括露光し、基板Pを順次ステップ移動させるステップ・アンド・リピート方式の投影露光装置(ステッパ)にも適用することができる。また、本発明は基板P上で少なくとも2つのパターンを部分的に重ねて転写するステップ・アンド・スティッチ方式の露光装置にも適用できる。
また、第1パターンと基板Pとをほぼ静止した状態で第1パターンの縮小像を投影光学系(例えば1/8縮小倍率で反射素子を含まない屈折型投影光学系)を用いて基板P上に一括露光し、その後に、第2パターンと基板Pとをほぼ静止した状態で第2パターンの縮小像をその投影光学系を用いて、第1パターンと部分的に重ねて基板P上に一括露光するスティッチ方式の一括露光装置にも適用できる。
また、本発明は、特開平10−163099号公報、特開平10−214783号公報、特表2000−505958号公報などに開示されているツインステージ型の露光装置にも適用できる。
露光装置EXの種類としては、基板Pに半導体素子パターンを露光する半導体素子製造用の露光装置に限られず、液晶表示素子製造用又はディスプレイ製造用の露光装置や、薄膜磁気ヘッド、撮像素子(CCD)あるいはレチクル又はマスクなどを製造するための露光装置などにも広く適用できる。
基板ステージPSTやマスクステージMSTにリニアモータ(USP5,623,853またはUSP5,528,118参照)を用いる場合は、エアベアリングを用いたエア浮上型およびローレンツ力またはリアクタンス力を用いた磁気浮上型のどちらを用いてもよい。また、各ステージPST、MSTは、ガイドに沿って移動するタイプでもよく、ガイドを設けないガイドレスタイプであってもよい。
各ステージPST、MSTの駆動機構としては、二次元に磁石を配置した磁石ユニットと、二次元にコイルを配置した電機子ユニットとを対向させ電磁力により各ステージPST、MSTを駆動する平面モータを用いてもよい。この場合、磁石ユニットと電機子ユニットとのいずれか一方をステージPST、MSTに接続し、磁石ユニットと電機子ユニットとの他方をステージPST、MSTの移動面側に設ければよい。
基板ステージPSTの移動により発生する反力は、投影光学系PLに伝わらないように、特開平8−166475号公報(USP5,528,118)に記載されているように、フレーム部材を用いて機械的に床(大地)に逃がしてもよい。
マスクステージMSTの移動により発生する反力は、投影光学系PLに伝わらないように、特開平8−330224号公報(US S/N 08/416,558)に記載されているように、フレーム部材を用いて機械的に床(大地)に逃がしてもよい。
本願実施形態の露光装置EXは、本願特許請求の範囲に挙げられた各構成要素を含む各種サブシステムを、所定の機械的精度、電気的精度、光学的精度を保つように、組み立てることで製造される。これら各種精度を確保するために、この組み立ての前後には、各種光学系については光学的精度を達成するための調整、各種機械系については機械的精度を達成するための調整、各種電気系については電気的精度を達成するための調整が行われる。各種サブシステムから露光装置への組み立て工程は、各種サブシステム相互の、機械的接続、電気回路の配線接続、気圧回路の配管接続等が含まれる。この各種サブシステムから露光装置への組み立て工程の前に、各サブシステム個々の組み立て工程があることはいうまでもない。各種サブシステムの露光装置への組み立て工程が終了したら、総合調整が行われ、露光装置全体としての各種精度が確保される。なお、露光装置の製造は温度およびクリーン度等が管理されたクリーンルームで行うことが望ましい。
半導体デバイス等のマイクロデバイスは、図26に示すように、マイクロデバイスの機能・性能設計を行うステップ201、この設計ステップに基づいたマスク(レチクル)を製作するステップ202、デバイスの基材である基板を製造するステップ203、前述した実施形態の露光装置EXによりマスクのパターンを基板に露光する露光処理ステップ204、デバイス組み立てステップ(ダイシング工程、ボンディング工程、パッケージ工程を含む)205、検査ステップ206等を経て製造される。
本発明によれば、基板のエッジ領域を露光する場合にも良好に液浸領域を形成し、液体の浸入や液体の基板ステージ外部への流出を抑えた状態で露光でき、所望の性能を有するデバイスを製造できる。
1…液体、30…プレート部(Zステージ)、31…平坦面(平坦部)、32…凹部、33…周壁部(周壁)、33A…上面、34…支持部、36…内側面、38…第1空間、39…第2空間、41、41’…吸引口(吸気口)、42…バキューム部(真空系)、42’…第2バキューム部(第2真空系)、46…第2周壁部(第2周壁)、46A…上面、47…バッファ空間、52…Zステージ(基板ステージ)、57…接触面、58…裏面、60…回収部(回収手段)、61…タンク(回収手段)、150…突起部(ギャップ調整部)、151…フラット部(ギャップ調整部)、152…突起部材(ギャップ調整部)、153…フラット部材(ギャップ調整部)、EX…露光装置、NT…ノッチ部(切欠部)、OF…オリフラ部(切欠部)、P…基板、PA…基板表面、PB…基板側面、PC…基板裏面、PH…基板ホルダ、PL…投影光学系、PST…基板ステージ

Claims (23)

  1. 被露光対象としての基板を保持して移動可能な基板ステージにおいて、
    第1周壁と、
    前記第1周壁の内側に形成された第2周壁と、
    前記第2周壁の内側に形成された支持部とを備え、
    前記第2周壁に囲まれた空間を負圧にすることによって、前記支持部に前記基板を保持することを特徴とする基板ステージ。
  2. 前記第1周壁と前記第2周壁との間の空間の圧力は、前記第2周壁に囲まれた空間の圧力よりも高く設定されていることを特徴とする請求項1記載の基板ステージ。
  3. 前記第1周壁と前記第2周壁との間の空間も負圧にすることを特徴とする請求項2記載の基板ステージ。
  4. 前記第1周壁と前記第2周壁との間の空間の圧力はほぼ大気圧、又は大気圧よりも高く設定されていることを特徴とする請求項2記載の基板ステージ。
  5. 前記第1周壁と前記第2周壁との間の空間の圧力を調整可能であることを特徴とする請求項2に記載の基板ステージ。
  6. 前記第1周壁と前期第2周壁との間の空間の圧力は、前記第1周壁の外側の空間の圧力よりも高く設定されていることを特徴とする請求項2に記載の基板ステージ。
  7. 前記第2周壁の高さは、前記支持部よりも低いことを特徴とする請求項1に記載の基板ステージ。
  8. 前記第1周壁の高さは、前記支持部よりも低いことを特徴とする請求項7記載の基板ステージ。
  9. 前記第2周壁の上部は撥液性であることを特徴とする請求項1に記載の基板ステージ。
  10. 前記第1周壁の上部は撥液性であることを特徴とする請求項9記載の基板ステージ。
  11. 前記支持部に支持された基板の表面とほぼ面一の平坦部を備えたことを特徴とする請求項1に記載の基板ステージ。
  12. 前記支持部に支持された基板の切欠部と前記平坦部とのギャップを小さくするためのギャップ調整部を備えたことを特徴とする請求項11記載の基板ステージ。
  13. 被露光対象としての基板を保持して移動可能な基板ステージにおいて、
    前記基板を支持する支持部と、
    前記支持部に支持された前記基板の周囲に配置され、前記基板の表面とほぼ面一の平坦部と、
    前記支持部に支持された前記基板の切欠部と前記平坦部とのギャップを小さくするためのギャップ調整部とを備えたことを特徴とする基板ステージ。
  14. 前記ギャップ調整部は、前記平坦部と一体的に形成されていることを特徴とする請求項13に記載の基板ステージ。
  15. 前記ギャップ調整部は可動であることを特徴とする請求項13に記載の基板ステージ。
  16. 前記支持部の周囲に配置された周壁を備え、
    前記周壁で囲まれた空間を負圧にすることによって、前記基板が前記支持部に支持されることを特徴とする請求項13に記載の基板ステージ。
  17. 被露光対象としての基板を保持して移動可能な基板ステージにおいて、
    周壁と該周壁の内側に形成された支持部とを備え、
    前記周壁は、前記基板の切欠部の形状に合わせて形成されており、
    前記周壁に囲まれた空間を負圧にすることによって、前記支持部に前記基板を保持することを特徴とする基板ステージ。
  18. 前記周壁の上部は撥液性であることを特徴とする請求項17に記載の基板ステージ。
  19. 被露光対象としての基板を保持して移動可能な基板ステージにおいて、
    前記基板を支持するための支持部と、
    前記支持部に前記基板を吸着するための複数の吸気口とを備え、
    前記基板の切欠部近傍の吸気力を、その周りの吸気力よりも小さくしたことを特徴とする基板ステージ。
  20. 前記複数の吸気口のうち、前記基板の前記切欠部近傍の吸気口は、他の吸気口とは独立した真空系に接続されていることを特徴とする請求項19記載の基板ステージ。
  21. 前記複数の吸気口のうち、前記基板の切欠部近傍の吸気口の口径を、他の吸気口の口径よりも小さくしたことを特徴とする請求項19に記載の基板ステージ。
  22. 請求項1〜請求項21のいずれか一項記載の基板ステージに保持された基板上に投影光学系と液体とを介して露光光を照射して、その基板を液浸露光することを特徴とする露光装置。
  23. 請求項22記載の露光装置を用いることを特徴とするデバイス製造方法。
JP2009231860A 2003-06-13 2009-10-05 基板ステージ、露光装置、及びデバイス製造方法 Expired - Fee Related JP5152143B2 (ja)

Priority Applications (1)

Application Number Priority Date Filing Date Title
JP2009231860A JP5152143B2 (ja) 2003-06-13 2009-10-05 基板ステージ、露光装置、及びデバイス製造方法

Applications Claiming Priority (7)

Application Number Priority Date Filing Date Title
JP2003169904 2003-06-13
JP2003169904 2003-06-13
JP2003383887 2003-11-13
JP2003383887 2003-11-13
JP2004039654 2004-02-17
JP2004039654 2004-02-17
JP2009231860A JP5152143B2 (ja) 2003-06-13 2009-10-05 基板ステージ、露光装置、及びデバイス製造方法

Related Parent Applications (1)

Application Number Title Priority Date Filing Date
JP2005507005A Division JP4415939B2 (ja) 2003-06-13 2004-06-11 露光方法、基板ステージ、露光装置、及びデバイス製造方法

Related Child Applications (3)

Application Number Title Priority Date Filing Date
JP2010022454A Division JP5152215B2 (ja) 2003-06-13 2010-02-03 露光装置、及びデバイス製造方法
JP2012193620A Division JP5692189B2 (ja) 2003-06-13 2012-09-03 基板ステージ、露光装置、及びデバイス製造方法
JP2012193619A Division JP5692188B2 (ja) 2003-06-13 2012-09-03 基板ステージ、露光装置、及びデバイス製造方法

Publications (2)

Publication Number Publication Date
JP2010010703A true JP2010010703A (ja) 2010-01-14
JP5152143B2 JP5152143B2 (ja) 2013-02-27

Family

ID=33556144

Family Applications (11)

Application Number Title Priority Date Filing Date
JP2005507005A Expired - Fee Related JP4415939B2 (ja) 2003-06-13 2004-06-11 露光方法、基板ステージ、露光装置、及びデバイス製造方法
JP2009231860A Expired - Fee Related JP5152143B2 (ja) 2003-06-13 2009-10-05 基板ステージ、露光装置、及びデバイス製造方法
JP2010022454A Expired - Fee Related JP5152215B2 (ja) 2003-06-13 2010-02-03 露光装置、及びデバイス製造方法
JP2012083220A Expired - Fee Related JP5699979B2 (ja) 2003-06-13 2012-03-30 露光装置、デバイス製造方法、及び露光方法
JP2012193620A Expired - Fee Related JP5692189B2 (ja) 2003-06-13 2012-09-03 基板ステージ、露光装置、及びデバイス製造方法
JP2012193619A Expired - Fee Related JP5692188B2 (ja) 2003-06-13 2012-09-03 基板ステージ、露光装置、及びデバイス製造方法
JP2014044468A Expired - Fee Related JP5817869B2 (ja) 2003-06-13 2014-03-07 露光装置、露光方法、及びデバイス製造方法
JP2015070170A Expired - Fee Related JP6172196B2 (ja) 2003-06-13 2015-03-30 基板ステージ
JP2016043921A Expired - Fee Related JP6256498B2 (ja) 2003-06-13 2016-03-07 基板ステージ
JP2017107690A Expired - Fee Related JP6477785B2 (ja) 2003-06-13 2017-05-31 露光装置、及びデバイス製造方法
JP2018183797A Withdrawn JP2019003218A (ja) 2003-06-13 2018-09-28 基板ステージ

Family Applications Before (1)

Application Number Title Priority Date Filing Date
JP2005507005A Expired - Fee Related JP4415939B2 (ja) 2003-06-13 2004-06-11 露光方法、基板ステージ、露光装置、及びデバイス製造方法

Family Applications After (9)

Application Number Title Priority Date Filing Date
JP2010022454A Expired - Fee Related JP5152215B2 (ja) 2003-06-13 2010-02-03 露光装置、及びデバイス製造方法
JP2012083220A Expired - Fee Related JP5699979B2 (ja) 2003-06-13 2012-03-30 露光装置、デバイス製造方法、及び露光方法
JP2012193620A Expired - Fee Related JP5692189B2 (ja) 2003-06-13 2012-09-03 基板ステージ、露光装置、及びデバイス製造方法
JP2012193619A Expired - Fee Related JP5692188B2 (ja) 2003-06-13 2012-09-03 基板ステージ、露光装置、及びデバイス製造方法
JP2014044468A Expired - Fee Related JP5817869B2 (ja) 2003-06-13 2014-03-07 露光装置、露光方法、及びデバイス製造方法
JP2015070170A Expired - Fee Related JP6172196B2 (ja) 2003-06-13 2015-03-30 基板ステージ
JP2016043921A Expired - Fee Related JP6256498B2 (ja) 2003-06-13 2016-03-07 基板ステージ
JP2017107690A Expired - Fee Related JP6477785B2 (ja) 2003-06-13 2017-05-31 露光装置、及びデバイス製造方法
JP2018183797A Withdrawn JP2019003218A (ja) 2003-06-13 2018-09-28 基板ステージ

Country Status (7)

Country Link
US (9) US7483119B2 (ja)
EP (5) EP1641028B1 (ja)
JP (11) JP4415939B2 (ja)
KR (9) KR20180112884A (ja)
HK (1) HK1258606A1 (ja)
TW (7) TWI409853B (ja)
WO (1) WO2004112108A1 (ja)

Cited By (2)

* Cited by examiner, † Cited by third party
Publication number Priority date Publication date Assignee Title
WO2013057997A1 (ja) 2011-10-18 2013-04-25 東亞合成株式会社 クロロポリシランの製造方法および流動床反応装置
JP2016149533A (ja) * 2015-02-12 2016-08-18 漢民科技股▲分▼有限公司 ウェハーホルダー

Families Citing this family (139)

* Cited by examiner, † Cited by third party
Publication number Priority date Publication date Assignee Title
US10503084B2 (en) 2002-11-12 2019-12-10 Asml Netherlands B.V. Lithographic apparatus and device manufacturing method
KR100588124B1 (ko) 2002-11-12 2006-06-09 에이에스엠엘 네델란즈 비.브이. 리소그래피장치 및 디바이스제조방법
US9482966B2 (en) 2002-11-12 2016-11-01 Asml Netherlands B.V. Lithographic apparatus and device manufacturing method
EP2921905B1 (en) * 2003-04-10 2017-12-27 Nikon Corporation Run-off path to collect liquid for an immersion lithography apparatus
US7213963B2 (en) 2003-06-09 2007-05-08 Asml Netherlands B.V. Lithographic apparatus and device manufacturing method
JP4415939B2 (ja) 2003-06-13 2010-02-17 株式会社ニコン 露光方法、基板ステージ、露光装置、及びデバイス製造方法
US6867844B2 (en) 2003-06-19 2005-03-15 Asml Holding N.V. Immersion photolithography system and method using microchannel nozzles
EP1491956B1 (en) 2003-06-27 2006-09-06 ASML Netherlands B.V. Lithographic apparatus and device manufacturing method
US6809794B1 (en) 2003-06-27 2004-10-26 Asml Holding N.V. Immersion photolithography system and method using inverted wafer-projection optics interface
ATE513309T1 (de) 2003-07-09 2011-07-15 Nikon Corp Belichtungsvorrichtung und verfahren zur bauelementeherstellung
US7175968B2 (en) * 2003-07-28 2007-02-13 Asml Netherlands B.V. Lithographic apparatus, device manufacturing method and a substrate
JP4524670B2 (ja) * 2003-08-21 2010-08-18 株式会社ニコン 露光装置、及びデバイス製造方法
WO2005022616A1 (ja) 2003-08-29 2005-03-10 Nikon Corporation 露光装置及びデバイス製造方法
EP1679738A4 (en) * 2003-10-28 2008-08-06 Nikon Corp EXPOSURE DEVICE, EXPOSURE METHOD AND COMPONENT MANUFACTURING METHOD
JP2005159322A (ja) * 2003-10-31 2005-06-16 Nikon Corp 定盤、ステージ装置及び露光装置並びに露光方法
US7528929B2 (en) 2003-11-14 2009-05-05 Asml Netherlands B.V. Lithographic apparatus and device manufacturing method
TWI440981B (zh) 2003-12-03 2014-06-11 尼康股份有限公司 Exposure apparatus, exposure method, and device manufacturing method
CN100487860C (zh) 2003-12-15 2009-05-13 株式会社尼康 台装置、曝光装置和曝光方法
US7394521B2 (en) * 2003-12-23 2008-07-01 Asml Netherlands B.V. Lithographic apparatus and device manufacturing method
KR101561727B1 (ko) * 2004-01-05 2015-10-20 가부시키가이샤 니콘 노광 장치, 노광 방법 및 디바이스 제조 방법
JP4572539B2 (ja) * 2004-01-19 2010-11-04 株式会社ニコン 露光装置及び露光方法、デバイス製造方法
JP4622340B2 (ja) * 2004-03-04 2011-02-02 株式会社ニコン 露光装置、デバイス製造方法
JP4973754B2 (ja) * 2004-03-04 2012-07-11 株式会社ニコン 露光方法及び露光装置、デバイス製造方法
JP2005302880A (ja) * 2004-04-08 2005-10-27 Canon Inc 液浸式露光装置
US7898642B2 (en) * 2004-04-14 2011-03-01 Asml Netherlands B.V. Lithographic apparatus and device manufacturing method
KR20190006080A (ko) * 2004-06-09 2019-01-16 가부시키가이샤 니콘 기판 유지 장치 및 그것을 구비하는 노광 장치, 노광 방법, 디바이스 제조 방법, 그리고 발액 플레이트
JP4543767B2 (ja) * 2004-06-10 2010-09-15 株式会社ニコン 露光装置及びデバイス製造方法
WO2005124835A1 (ja) 2004-06-21 2005-12-29 Nikon Corporation 露光装置及びデバイス製造方法
JP4677987B2 (ja) * 2004-07-21 2011-04-27 株式会社ニコン 露光方法及びデバイス製造方法
US7701550B2 (en) 2004-08-19 2010-04-20 Asml Netherlands B.V. Lithographic apparatus and device manufacturing method
CN101015039B (zh) * 2004-09-17 2010-09-01 尼康股份有限公司 曝光用基板、曝光方法及元件制造方法
EP1801850B1 (en) 2004-09-17 2014-11-26 Nikon Corporation Substrate holding apparatus, exposure apparatus and device manufacturing method
TW200632576A (en) * 2004-12-02 2006-09-16 Nikon Corp Exposure apparatus, exposure method and manufacturing method of device
KR101411123B1 (ko) 2004-12-15 2014-06-25 가부시키가이샤 니콘 기판 유지 장치, 노광 장치 및 디바이스 제조방법
JP4488890B2 (ja) * 2004-12-27 2010-06-23 株式会社東芝 レジストパターン形成方法及び半導体装置の製造方法
JP4551758B2 (ja) 2004-12-27 2010-09-29 株式会社東芝 液浸露光方法および半導体装置の製造方法
US7491661B2 (en) 2004-12-28 2009-02-17 Asml Netherlands B.V. Device manufacturing method, top coat material and substrate
EP1681597B1 (en) 2005-01-14 2010-03-10 ASML Netherlands B.V. Lithographic apparatus and device manufacturing method
JP2006202825A (ja) * 2005-01-18 2006-08-03 Jsr Corp 液浸型露光装置
EP1843386A1 (en) * 2005-01-18 2007-10-10 Nikon Corporation Liquid removing apparatus, exposure apparatus and device manufacturing method
WO2006101120A1 (ja) * 2005-03-23 2006-09-28 Nikon Corporation 露光装置及び露光方法、並びにデバイス製造方法
US20060232753A1 (en) 2005-04-19 2006-10-19 Asml Holding N.V. Liquid immersion lithography system with tilted liquid flow
JP5125505B2 (ja) 2005-04-25 2013-01-23 株式会社ニコン 露光方法及び露光装置、並びにデバイス製造方法
JP4752320B2 (ja) * 2005-04-28 2011-08-17 株式会社ニコン 基板保持装置及び露光装置、基板保持方法、露光方法、並びにデバイス製造方法
US7433016B2 (en) 2005-05-03 2008-10-07 Asml Netherlands B.V. Lithographic apparatus and device manufacturing method
JP2006313766A (ja) * 2005-05-06 2006-11-16 Nikon Corp 基板保持装置及びステージ装置並びに露光装置
JP4761055B2 (ja) * 2005-06-10 2011-08-31 信越化学工業株式会社 パターン形成方法
US7417707B2 (en) * 2005-06-29 2008-08-26 Corbett Blaise L Introduction of an intermediary refractive layer for immersion lithography
JP3997245B2 (ja) * 2005-10-04 2007-10-24 キヤノン株式会社 露光装置及びデバイス製造方法
US7878791B2 (en) 2005-11-04 2011-02-01 Asml Netherlands B.V. Imprint lithography
US8011915B2 (en) 2005-11-04 2011-09-06 Asml Netherlands B.V. Imprint lithography
US7633073B2 (en) 2005-11-23 2009-12-15 Asml Netherlands B.V. Lithographic apparatus and device manufacturing method
US7773195B2 (en) 2005-11-29 2010-08-10 Asml Holding N.V. System and method to increase surface tension and contact angle in immersion lithography
EP2768016B1 (en) * 2005-12-08 2017-10-25 Nikon Corporation Exposure apparatus and method
US7420194B2 (en) 2005-12-27 2008-09-02 Asml Netherlands B.V. Lithographic apparatus and substrate edge seal
US7649611B2 (en) 2005-12-30 2010-01-19 Asml Netherlands B.V. Lithographic apparatus and device manufacturing method
US7446859B2 (en) * 2006-01-27 2008-11-04 International Business Machines Corporation Apparatus and method for reducing contamination in immersion lithography
US7310132B2 (en) * 2006-03-17 2007-12-18 Asml Netherlands B.V. Lithographic apparatus and device manufacturing method
JP4889331B2 (ja) * 2006-03-22 2012-03-07 大日本スクリーン製造株式会社 基板処理装置および基板処理方法
CN100590173C (zh) * 2006-03-24 2010-02-17 北京有色金属研究总院 一种荧光粉及其制造方法和所制成的电光源
US8027019B2 (en) * 2006-03-28 2011-09-27 Asml Netherlands B.V. Lithographic apparatus and device manufacturing method
EP2005222A4 (en) * 2006-04-03 2010-07-28 COMPARED TO IMMERSION LIQUIDS SOLVOPHOBE INSERTION SURFACES AND OPTICAL WINDOWS
US7978308B2 (en) * 2006-05-15 2011-07-12 Asml Netherlands B.V. Lithographic apparatus and device manufacturing method
TW200805000A (en) * 2006-05-18 2008-01-16 Nikon Corp Exposure method and apparatus, maintenance method and device manufacturing method
US20070273856A1 (en) * 2006-05-25 2007-11-29 Nikon Corporation Apparatus and methods for inhibiting immersion liquid from flowing below a substrate
JP2007335476A (ja) * 2006-06-12 2007-12-27 Canon Inc 露光装置及びデバイス製造方法
US20080043211A1 (en) * 2006-08-21 2008-02-21 Nikon Corporation Apparatus and methods for recovering fluid in immersion lithography
US7826030B2 (en) * 2006-09-07 2010-11-02 Asml Netherlands B.V. Lithographic apparatus and device manufacturing method
JP2008108766A (ja) * 2006-10-23 2008-05-08 Toppan Printing Co Ltd チャックおよびスピンコータ装置
US20080100812A1 (en) * 2006-10-26 2008-05-01 Nikon Corporation Immersion lithography system and method having a wafer chuck made of a porous material
US8253922B2 (en) * 2006-11-03 2012-08-28 Taiwan Semiconductor Manufacturing Company, Ltd. Immersion lithography system using a sealed wafer bath
US8208116B2 (en) * 2006-11-03 2012-06-26 Taiwan Semiconductor Manufacturing Company, Ltd. Immersion lithography system using a sealed wafer bath
US20080137055A1 (en) * 2006-12-08 2008-06-12 Asml Netherlands B.V. Lithographic apparatus and device manufacturing method
US8416383B2 (en) * 2006-12-13 2013-04-09 Asml Netherlands B.V. Lithographic apparatus and method
US20080241489A1 (en) * 2007-03-30 2008-10-02 Renesas Technology Corp. Method of forming resist pattern and semiconductor device manufactured with the same
US8514365B2 (en) * 2007-06-01 2013-08-20 Asml Netherlands B.V. Lithographic apparatus and device manufacturing method
US20080304025A1 (en) * 2007-06-08 2008-12-11 Taiwan Semiconductor Manufacturing Company, Ltd. Apparatus and method for immersion lithography
US7561250B2 (en) * 2007-06-19 2009-07-14 Asml Netherlands B.V. Lithographic apparatus having parts with a coated film adhered thereto
TWI450047B (zh) * 2007-07-13 2014-08-21 瑪波微影Ip公司 微影系統、夾緊方法及晶圓台
US8705010B2 (en) 2007-07-13 2014-04-22 Mapper Lithography Ip B.V. Lithography system, method of clamping and wafer table
JP4961299B2 (ja) * 2007-08-08 2012-06-27 キヤノン株式会社 露光装置およびデバイス製造方法
JP4533416B2 (ja) * 2007-09-25 2010-09-01 キヤノン株式会社 露光装置およびデバイス製造方法
JP5369443B2 (ja) * 2008-02-05 2013-12-18 株式会社ニコン ステージ装置、露光装置、露光方法、及びデバイス製造方法
US20090218743A1 (en) * 2008-02-29 2009-09-03 Nikon Corporation Substrate holding apparatus, exposure apparatus, exposing method, device fabricating method, plate member, and wall
JP2009260264A (ja) * 2008-03-24 2009-11-05 Canon Inc 露光装置およびデバイス製造方法
US9176393B2 (en) 2008-05-28 2015-11-03 Asml Netherlands B.V. Lithographic apparatus and a method of operating the apparatus
NL1036924A1 (nl) * 2008-06-02 2009-12-03 Asml Netherlands Bv Substrate table, lithographic apparatus and device manufacturing method.
NL2002983A1 (nl) * 2008-06-26 2009-12-29 Asml Netherlands Bv A lithographic apparatus and a method of operating the lithographic apparatus.
JP2010021370A (ja) * 2008-07-10 2010-01-28 Canon Inc 液浸露光装置およびデバイス製造方法
JP2010140958A (ja) * 2008-12-09 2010-06-24 Canon Inc 露光装置及びデバイス製造方法
EP2196857A3 (en) * 2008-12-09 2010-07-21 ASML Netherlands BV Lithographic apparatus and device manufacturing method
JP5001343B2 (ja) 2008-12-11 2012-08-15 エーエスエムエル ネザーランズ ビー.ブイ. 流体抽出システム、液浸リソグラフィ装置、及び液浸リソグラフィ装置で使用される液浸液の圧力変動を低減する方法
JP4853530B2 (ja) * 2009-02-27 2012-01-11 株式会社豊田中央研究所 可動部を有するマイクロデバイス
JP5398307B2 (ja) * 2009-03-06 2014-01-29 株式会社東芝 半導体装置の製造方法
NL2004305A (en) * 2009-03-13 2010-09-14 Asml Netherlands Bv Substrate table, immersion lithographic apparatus and device manufacturing method.
NL2004807A (en) * 2009-06-30 2011-01-04 Asml Netherlands Bv Substrate table for a lithographic apparatus, litographic apparatus, method of using a substrate table and device manufacturing method.
US8913230B2 (en) * 2009-07-02 2014-12-16 Canon Nanotechnologies, Inc. Chucking system with recessed support feature
NL2005126A (en) * 2009-09-21 2011-03-22 Asml Netherlands Bv Lithographic apparatus, coverplate and device manufacturing method.
NL2005120A (en) * 2009-09-21 2011-03-22 Asml Netherlands Bv Lithographic apparatus, coverplate and device manufacturing method.
NL2005666A (en) * 2009-12-18 2011-06-21 Asml Netherlands Bv A lithographic apparatus and a device manufacturing method.
NL2005874A (en) * 2010-01-22 2011-07-25 Asml Netherlands Bv A lithographic apparatus and a device manufacturing method.
US8298729B2 (en) 2010-03-18 2012-10-30 Micron Technology, Inc. Microlithography masks including image reversal assist features, microlithography systems including such masks, and methods of forming such masks
JP5131312B2 (ja) * 2010-04-26 2013-01-30 株式会社ニコン 露光装置、露光方法、及びデバイス製造方法
US8598538B2 (en) * 2010-09-07 2013-12-03 Nikon Corporation Movable body apparatus, object processing device, exposure apparatus, flat-panel display manufacturing method, and device manufacturing method
NL2007802A (en) 2010-12-21 2012-06-25 Asml Netherlands Bv A substrate table, a lithographic apparatus and a device manufacturing method.
US9329496B2 (en) * 2011-07-21 2016-05-03 Nikon Corporation Exposure apparatus, exposure method, method of manufacturing device, program, and storage medium
CN109375474A (zh) 2012-02-03 2019-02-22 Asml荷兰有限公司 衬底支架、光刻装置、器件制造方法和制造衬底保持器的方法
KR102003416B1 (ko) * 2012-05-29 2019-07-24 에이에스엠엘 네델란즈 비.브이. 지지 장치, 리소그래피 장치 및 디바이스 제조 방법
JP2014045090A (ja) * 2012-08-27 2014-03-13 Toshiba Corp 液浸露光装置
JP6155581B2 (ja) * 2012-09-14 2017-07-05 株式会社ニコン 露光装置、露光方法、デバイス製造方法
CN105934715B (zh) * 2014-01-20 2019-01-01 Asml荷兰有限公司 衬底保持件、用于光刻设备的支撑台、光刻设备和器件制造方法
CN107004574B (zh) * 2014-12-12 2020-06-30 佳能株式会社 基板保持装置、光刻设备以及物品制造方法
JP6727554B2 (ja) * 2015-03-31 2020-07-22 株式会社ニコン 露光装置、フラットパネルディスプレイの製造方法、デバイス製造方法、及び露光方法
CN112255893A (zh) * 2015-06-11 2021-01-22 Asml荷兰有限公司 光刻设备及用于加载衬底的方法
EP3314332B1 (en) 2015-06-23 2019-08-07 ASML Netherlands B.V. Support apparatus, lithographic apparatus and device manufacturing method
US10254256B2 (en) 2015-10-01 2019-04-09 Thermo Hypersil-Keystone Llc Method of packing chromatographic columns, packed chromatographic columns for use at high pressures and uses thereof
WO2017097502A1 (en) 2015-12-08 2017-06-15 Asml Netherlands B.V. Substrate table, lithographic apparatus and method of operating a lithographic apparatus
EP3391149B1 (en) * 2015-12-15 2020-01-01 ASML Netherlands B.V. A substrate holder, a lithographic apparatus and method of manufacturing devices
JP6756850B2 (ja) 2016-05-12 2020-09-16 エーエスエムエル ネザーランズ ビー.ブイ. リソグラフィ装置用の抽出体
US10185226B2 (en) * 2016-07-14 2019-01-22 Canon Kabushiki Kaisha Stage apparatus, lithography apparatus, and method of manufacturing article
KR20180064605A (ko) * 2016-12-05 2018-06-15 삼성디스플레이 주식회사 레이저 가공용 워크 테이블 및 이의 동작 방법
JP6978840B2 (ja) * 2017-02-28 2021-12-08 株式会社Screenホールディングス 基板処理装置および基板保持装置
CN118330997A (zh) * 2017-06-06 2024-07-12 Asml荷兰有限公司 真空系统、支撑台、定位装置、光刻设备及计算机程序产品
JP6418281B2 (ja) * 2017-06-07 2018-11-07 株式会社ニコン 露光装置
WO2018233825A1 (en) * 2017-06-21 2018-12-27 Hp Indigo B.V. VACUUM TABLES
JP7015910B2 (ja) * 2017-10-12 2022-02-03 エーエスエムエル ネザーランズ ビー.ブイ. リソグラフィ装置において使用される基板ホルダ
WO2019094421A1 (en) 2017-11-10 2019-05-16 Applied Materials, Inc. Patterned chuck for double-sided processing
JP7164605B2 (ja) 2017-12-13 2022-11-01 エーエスエムエル ネザーランズ ビー.ブイ. リソグラフィ装置で使用するための基板ホルダ
JP2019193995A (ja) * 2018-05-02 2019-11-07 カンタツ株式会社 積層造形装置および積層造形装置の制御方法
WO2019226525A1 (en) * 2018-05-23 2019-11-28 Ii-Vi Delaware, Inc. Apparatus for supporting thinned semiconductor wafers
GB2575623B (en) 2018-06-04 2022-10-26 Tdeltas Ltd 3-hydroxybutyrate esters for treating cancer cachexia
JP2019032552A (ja) * 2018-10-10 2019-02-28 株式会社ニコン 露光装置、露光方法、デバイス製造方法
US11482417B2 (en) * 2019-08-23 2022-10-25 Taiwan Semiconductor Manufacturing Company Ltd. Method of manufacturing semiconductor structure
US11638882B2 (en) * 2020-04-26 2023-05-02 Shantou Chenghai Lichengfeng Plastic Products Factory Wall-climbing vehicle and bottom cover of such vehicle
KR102381348B1 (ko) * 2020-10-29 2022-03-30 한국전기연구원 탄화규소 웨이퍼의 tsd와 ted 결함 비파괴 분석법
JP7532234B2 (ja) * 2020-12-10 2024-08-13 キヤノン株式会社 平坦化装置、平坦化方法及び物品の製造方法
KR20220090909A (ko) 2020-12-23 2022-06-30 정주은 수분 감지센서를 이용한 화분 관리
CN113411937B (zh) * 2021-05-07 2022-12-27 深圳市声光行科技发展有限公司 一种舞台灯光控制平台
KR20250022695A (ko) * 2022-06-15 2025-02-17 에이에스엠엘 네델란즈 비.브이. 기판 지지체 및 리소그래피 장치

Citations (10)

* Cited by examiner, † Cited by third party
Publication number Priority date Publication date Assignee Title
JPH06124873A (ja) * 1992-10-09 1994-05-06 Canon Inc 液浸式投影露光装置
JPH06326174A (ja) * 1993-05-12 1994-11-25 Hitachi Ltd ウェハ真空吸着装置
JPH07220990A (ja) * 1994-01-28 1995-08-18 Hitachi Ltd パターン形成方法及びその露光装置
JPH08279549A (ja) * 1995-04-07 1996-10-22 Nippon Telegr & Teleph Corp <Ntt> 真空吸着装置
JPH10255319A (ja) * 1997-03-12 1998-09-25 Hitachi Maxell Ltd 原盤露光装置及び方法
JPH10303114A (ja) * 1997-04-23 1998-11-13 Nikon Corp 液浸型露光装置
JPH10340846A (ja) * 1997-06-10 1998-12-22 Nikon Corp 露光装置及びその製造方法並びに露光方法及びデバイス製造方法
JPH11163103A (ja) * 1997-11-25 1999-06-18 Hitachi Ltd 半導体装置の製造方法および製造装置
JPH11176727A (ja) * 1997-12-11 1999-07-02 Nikon Corp 投影露光装置
JP2000058436A (ja) * 1998-08-11 2000-02-25 Nikon Corp 投影露光装置及び露光方法

Family Cites Families (248)

* Cited by examiner, † Cited by third party
Publication number Priority date Publication date Assignee Title
DE221563C (ja)
US221563A (en) * 1879-11-11 Arthur l
US4346164A (en) * 1980-10-06 1982-08-24 Werner Tabarelli Photolithographic method for the manufacture of integrated circuits
JPS57117238A (en) * 1981-01-14 1982-07-21 Nippon Kogaku Kk <Nikon> Exposing and baking device for manufacturing integrated circuit with illuminometer
JPS57153433A (en) * 1981-03-18 1982-09-22 Hitachi Ltd Manufacturing device for semiconductor
JPS58202448A (ja) 1982-05-21 1983-11-25 Hitachi Ltd 露光装置
JPS5919912A (ja) 1982-07-26 1984-02-01 Hitachi Ltd 液浸距離保持装置
DD221563A1 (de) * 1983-09-14 1985-04-24 Mikroelektronik Zt Forsch Tech Immersionsobjektiv fuer die schrittweise projektionsabbildung einer maskenstruktur
DD224448A1 (de) 1984-03-01 1985-07-03 Zeiss Jena Veb Carl Einrichtung zur fotolithografischen strukturuebertragung
JPS6265326A (ja) 1985-09-18 1987-03-24 Hitachi Ltd 露光装置
JPS62221130A (ja) * 1986-03-24 1987-09-29 Toshiba Corp 真空チヤツク装置
JPS6394627A (ja) * 1986-10-09 1988-04-25 Nec Corp 半導体の製造装置
JPS63157419A (ja) 1986-12-22 1988-06-30 Toshiba Corp 微細パタ−ン転写装置
JPH0793254B2 (ja) * 1987-07-22 1995-10-09 松下電子工業株式会社 レジスト膜形成用基板の処理方法
JPH0831515B2 (ja) * 1988-06-21 1996-03-27 株式会社ニコン 基板の吸着装置
JP2978192B2 (ja) * 1990-02-19 1999-11-15 株式会社ピュアレックス 半導体ウエハー試料作成法
JP2897355B2 (ja) * 1990-07-05 1999-05-31 株式会社ニコン アライメント方法,露光装置,並びに位置検出方法及び装置
JPH04305917A (ja) 1991-04-02 1992-10-28 Nikon Corp 密着型露光装置
JPH04305915A (ja) 1991-04-02 1992-10-28 Nikon Corp 密着型露光装置
JPH0562877A (ja) 1991-09-02 1993-03-12 Yasuko Shinohara 光によるlsi製造縮小投影露光装置の光学系
JPH05235151A (ja) * 1992-02-20 1993-09-10 Canon Inc 基板保持盤
JP3246615B2 (ja) 1992-07-27 2002-01-15 株式会社ニコン 照明光学装置、露光装置、及び露光方法
JPH06188169A (ja) 1992-08-24 1994-07-08 Canon Inc 結像方法及び該方法を用いる露光装置及び該方法を用いるデバイス製造方法
JP2753930B2 (ja) * 1992-11-27 1998-05-20 キヤノン株式会社 液浸式投影露光装置
US5591958A (en) * 1993-06-14 1997-01-07 Nikon Corporation Scanning exposure method and apparatus
JP3412704B2 (ja) * 1993-02-26 2003-06-03 株式会社ニコン 投影露光方法及び装置、並びに露光装置
JPH0781978A (ja) 1993-06-18 1995-03-28 Olympus Optical Co Ltd ガラス製光学部品における撥水性を有する反射防止膜
JP2890089B2 (ja) * 1993-09-06 1999-05-10 東京エレクトロン株式会社 処理装置
US5874820A (en) 1995-04-04 1999-02-23 Nikon Corporation Window frame-guided stage mechanism
US5528118A (en) 1994-04-01 1996-06-18 Nikon Precision, Inc. Guideless stage with isolated reaction stage
JP3555230B2 (ja) 1994-05-18 2004-08-18 株式会社ニコン 投影露光装置
US5623853A (en) 1994-10-19 1997-04-29 Nikon Precision Inc. Precision motion stage with single guide beam and follower stage
JP3387075B2 (ja) * 1994-12-12 2003-03-17 株式会社ニコン 走査露光方法、露光装置、及び走査型露光装置
JPH08250402A (ja) * 1995-03-15 1996-09-27 Nikon Corp 走査型露光方法及び装置
JPH0936212A (ja) * 1995-05-16 1997-02-07 Shinko Electric Co Ltd 静電チャック
JPH08316124A (ja) * 1995-05-19 1996-11-29 Hitachi Ltd 投影露光方法及び露光装置
JPH08316125A (ja) 1995-05-19 1996-11-29 Hitachi Ltd 投影露光方法及び露光装置
US5923408A (en) * 1996-01-31 1999-07-13 Canon Kabushiki Kaisha Substrate holding system and exposure apparatus using the same
JPH1049504A (ja) * 1996-08-02 1998-02-20 Mitsubishi Electric Corp 負荷分散バッチシステム
US5825043A (en) 1996-10-07 1998-10-20 Nikon Precision Inc. Focusing and tilting adjustment system for lithography aligner, manufacturing apparatus or inspection apparatus
AU5067898A (en) * 1996-11-28 1998-06-22 Nikon Corporation Aligner and method for exposure
JP4029182B2 (ja) 1996-11-28 2008-01-09 株式会社ニコン 露光方法
JP4029183B2 (ja) 1996-11-28 2008-01-09 株式会社ニコン 投影露光装置及び投影露光方法
KR100512450B1 (ko) 1996-12-24 2006-01-27 에이에스엠엘 네델란즈 비.브이. 두개의물체홀더를가진이차원적으로안정화된위치설정장치와이런위치설정장치를구비한리소그래픽장치
JPH1116816A (ja) 1997-06-25 1999-01-22 Nikon Corp 投影露光装置、該装置を用いた露光方法、及び該装置を用いた回路デバイスの製造方法
US6381013B1 (en) * 1997-06-25 2002-04-30 Northern Edge Associates Test slide for microscopes and method for the production of such a slide
JP4001661B2 (ja) * 1997-07-08 2007-10-31 沖電気工業株式会社 ウェハ載置台、ウェハ裏面の処理方法、露光装置、および回転塗布装置
JPH11111819A (ja) * 1997-09-30 1999-04-23 Asahi Kasei Micro Syst Co Ltd ウェハーの固定方法及び露光装置
JP4210871B2 (ja) 1997-10-31 2009-01-21 株式会社ニコン 露光装置
US6208407B1 (en) * 1997-12-22 2001-03-27 Asm Lithography B.V. Method and apparatus for repetitively projecting a mask pattern on a substrate, using a time-saving height measurement
JP4296587B2 (ja) * 1998-02-09 2009-07-15 株式会社ニコン 基板支持装置、基板搬送装置及びその方法、基板保持方法、並びに露光装置及びその製造方法
JPH11239758A (ja) * 1998-02-26 1999-09-07 Dainippon Screen Mfg Co Ltd 基板処理装置
AU2747999A (en) 1998-03-26 1999-10-18 Nikon Corporation Projection exposure method and system
EP1079223A4 (en) 1998-05-19 2002-11-27 Nikon Corp INSTRUMENT AND METHOD FOR MEASURING ABERATIONS, PROJECTION DEVICE INCLUDING THIS INSTRUMENT AND ITS MANUFACTURING METHOD
US6819414B1 (en) 1998-05-19 2004-11-16 Nikon Corporation Aberration measuring apparatus, aberration measuring method, projection exposure apparatus having the same measuring apparatus, device manufacturing method using the same measuring method, and exposure method
US6036586A (en) * 1998-07-29 2000-03-14 Micron Technology, Inc. Apparatus and method for reducing removal forces for CMP pads
WO2000072375A1 (en) * 1999-05-20 2000-11-30 Nikon Corporation Container for holder exposure apparatus, device manufacturing method, and device manufacturing apparatus
KR100699241B1 (ko) 1999-09-20 2007-03-27 가부시키가이샤 니콘 패럴렐 링크기구, 노광장치 및 그의 제조방법, 그리고디바이스 제조방법
US7187503B2 (en) * 1999-12-29 2007-03-06 Carl Zeiss Smt Ag Refractive projection objective for immersion lithography
US6995930B2 (en) * 1999-12-29 2006-02-07 Carl Zeiss Smt Ag Catadioptric projection objective with geometric beam splitting
US6664549B2 (en) * 2000-01-28 2003-12-16 Hitachi Tokyo Electronics Co., Ltd. Wafer chuck, exposure system, and method of manufacturing semiconductor device
JP2001332609A (ja) * 2000-03-13 2001-11-30 Nikon Corp 基板保持装置及び露光装置
TW522460B (en) 2000-03-30 2003-03-01 Nikon Corp Exposure apparatus, exposure method, and device manufacturing method
US20020041377A1 (en) * 2000-04-25 2002-04-11 Nikon Corporation Aerial image measurement method and unit, optical properties measurement method and unit, adjustment method of projection optical system, exposure method and apparatus, making method of exposure apparatus, and device manufacturing method
JP2002014005A (ja) 2000-04-25 2002-01-18 Nikon Corp 空間像計測方法、結像特性計測方法、空間像計測装置及び露光装置
KR100866818B1 (ko) * 2000-12-11 2008-11-04 가부시키가이샤 니콘 투영광학계 및 이 투영광학계를 구비한 노광장치
JP2002229215A (ja) * 2001-01-30 2002-08-14 Nikon Corp 露光方法及び露光装置
EP1231514A1 (en) 2001-02-13 2002-08-14 Asm Lithography B.V. Measurement of wavefront aberrations in a lithographic projection apparatus
JP2002248344A (ja) * 2001-02-26 2002-09-03 Nikon Corp 極端紫外光発生装置並びにそれを用いた露光装置及び半導体製造方法
US20020163629A1 (en) * 2001-05-07 2002-11-07 Michael Switkes Methods and apparatus employing an index matching medium
TWI302549B (en) * 2001-10-05 2008-11-01 Shinetsu Chemical Co Perfluoropolyether-modified silane, surface treating agent, and antireflection filter
JP4412450B2 (ja) 2001-10-05 2010-02-10 信越化学工業株式会社 反射防止フィルター
JP2003124089A (ja) * 2001-10-09 2003-04-25 Nikon Corp 荷電粒子線露光装置及び露光方法
TW521320B (en) 2001-12-10 2003-02-21 Via Tech Inc Device and method for substrate exposure
JP2003240906A (ja) 2002-02-20 2003-08-27 Dainippon Printing Co Ltd 反射防止体およびその製造方法
DE10210899A1 (de) * 2002-03-08 2003-09-18 Zeiss Carl Smt Ag Refraktives Projektionsobjektiv für Immersions-Lithographie
DE10229818A1 (de) * 2002-06-28 2004-01-15 Carl Zeiss Smt Ag Verfahren zur Fokusdetektion und Abbildungssystem mit Fokusdetektionssystem
US7092069B2 (en) * 2002-03-08 2006-08-15 Carl Zeiss Smt Ag Projection exposure method and projection exposure system
US6828542B2 (en) 2002-06-07 2004-12-07 Brion Technologies, Inc. System and method for lithography process monitoring and control
US6882406B2 (en) * 2002-06-14 2005-04-19 Asml Netherlands B.V. Euv lithographic projection apparatus comprising an optical element with a self-assembled monolayer, optical element with a self-assembled monolayer, method of applying a self-assembled monolayer, device manufacturing method and device manufactured thereby
KR20050035890A (ko) 2002-08-23 2005-04-19 가부시키가이샤 니콘 투영 광학계, 포토리소그래피 방법, 노광 장치 및 그 이용방법
US6988327B2 (en) 2002-09-30 2006-01-24 Lam Research Corporation Methods and systems for processing a substrate using a dynamic liquid meniscus
US7367345B1 (en) 2002-09-30 2008-05-06 Lam Research Corporation Apparatus and method for providing a confined liquid for immersion lithography
US7093375B2 (en) * 2002-09-30 2006-08-22 Lam Research Corporation Apparatus and method for utilizing a meniscus in substrate processing
US6988326B2 (en) * 2002-09-30 2006-01-24 Lam Research Corporation Phobic barrier meniscus separation and containment
US7383843B2 (en) * 2002-09-30 2008-06-10 Lam Research Corporation Method and apparatus for processing wafer surfaces using thin, high velocity fluid layer
US6954993B1 (en) * 2002-09-30 2005-10-18 Lam Research Corporation Concentric proximity processing head
US6788477B2 (en) * 2002-10-22 2004-09-07 Taiwan Semiconductor Manufacturing Co., Ltd. Apparatus for method for immersion lithography
SG121822A1 (en) * 2002-11-12 2006-05-26 Asml Netherlands Bv Lithographic apparatus and device manufacturing method
EP1429188B1 (en) * 2002-11-12 2013-06-19 ASML Netherlands B.V. Lithographic projection apparatus
KR100588124B1 (ko) 2002-11-12 2006-06-09 에이에스엠엘 네델란즈 비.브이. 리소그래피장치 및 디바이스제조방법
US7110081B2 (en) * 2002-11-12 2006-09-19 Asml Netherlands B.V. Lithographic apparatus and device manufacturing method
CN101470360B (zh) * 2002-11-12 2013-07-24 Asml荷兰有限公司 光刻装置和器件制造方法
DE60335595D1 (de) * 2002-11-12 2011-02-17 Asml Netherlands Bv Lithographischer Apparat mit Immersion und Verfahren zur Herstellung einer Vorrichtung
JP3977324B2 (ja) * 2002-11-12 2007-09-19 エーエスエムエル ネザーランズ ビー.ブイ. リソグラフィ装置
DE10253679A1 (de) * 2002-11-18 2004-06-03 Infineon Technologies Ag Optische Einrichtung zur Verwendung bei einem Lithographie-Verfahren, insbesondere zur Herstellung eines Halbleiter-Bauelements, sowie optisches Lithographieverfahren
SG131766A1 (en) * 2002-11-18 2007-05-28 Asml Netherlands Bv Lithographic apparatus and device manufacturing method
DE10258718A1 (de) * 2002-12-09 2004-06-24 Carl Zeiss Smt Ag Projektionsobjektiv, insbesondere für die Mikrolithographie, sowie Verfahren zur Abstimmung eines Projektionsobjektives
EP1429190B1 (en) * 2002-12-10 2012-05-09 Canon Kabushiki Kaisha Exposure apparatus and method
AU2003289271A1 (en) 2002-12-10 2004-06-30 Nikon Corporation Exposure apparatus, exposure method and method for manufacturing device
JP4595320B2 (ja) 2002-12-10 2010-12-08 株式会社ニコン 露光装置、及びデバイス製造方法
KR20050085235A (ko) 2002-12-10 2005-08-29 가부시키가이샤 니콘 노광 장치 및 디바이스 제조 방법
SG158745A1 (en) * 2002-12-10 2010-02-26 Nikon Corp Exposure apparatus and method for producing device
DE60326384D1 (de) 2002-12-13 2009-04-09 Koninkl Philips Electronics Nv Flüssigkeitsentfernung in einem verfahren und einer einrichtung zum bestrahlen von flecken auf einer schicht
US7010958B2 (en) * 2002-12-19 2006-03-14 Asml Holding N.V. High-resolution gas gauge proximity sensor
USRE46433E1 (en) 2002-12-19 2017-06-13 Asml Netherlands B.V. Method and device for irradiating spots on a layer
EP1584089B1 (en) 2002-12-19 2006-08-02 Koninklijke Philips Electronics N.V. Method and device for irradiating spots on a layer
US6781670B2 (en) * 2002-12-30 2004-08-24 Intel Corporation Immersion lithography
JP2005250511A (ja) * 2003-02-20 2005-09-15 Tokyo Ohka Kogyo Co Ltd 液浸露光プロセス用レジスト保護膜形成用材料、該保護膜形成材料による保護膜を有するレジスト膜、および該保護膜を用いたレジストパターン形成方法
TW200424767A (en) * 2003-02-20 2004-11-16 Tokyo Ohka Kogyo Co Ltd Immersion exposure process-use resist protection film forming material, composite film, and resist pattern forming method
TWI247339B (en) * 2003-02-21 2006-01-11 Asml Holding Nv Lithographic printing with polarized light
US6943941B2 (en) * 2003-02-27 2005-09-13 Asml Netherlands B.V. Stationary and dynamic radial transverse electric polarizer for high numerical aperture systems
US7206059B2 (en) * 2003-02-27 2007-04-17 Asml Netherlands B.V. Stationary and dynamic radial transverse electric polarizer for high numerical aperture systems
US7029832B2 (en) * 2003-03-11 2006-04-18 Samsung Electronics Co., Ltd. Immersion lithography methods using carbon dioxide
US20050164522A1 (en) 2003-03-24 2005-07-28 Kunz Roderick R. Optical fluids, and systems and methods of making and using the same
KR101177331B1 (ko) 2003-04-09 2012-08-30 가부시키가이샤 니콘 액침 리소그래피 유체 제어 시스템
KR20180089562A (ko) 2003-04-10 2018-08-08 가부시키가이샤 니콘 액침 리소그래피 장치용 진공 배출을 포함하는 환경 시스템
KR101409565B1 (ko) 2003-04-10 2014-06-19 가부시키가이샤 니콘 액침 리소그래피 장치용 운반 영역을 포함하는 환경 시스템
EP2921905B1 (en) 2003-04-10 2017-12-27 Nikon Corporation Run-off path to collect liquid for an immersion lithography apparatus
JP4656057B2 (ja) 2003-04-10 2011-03-23 株式会社ニコン 液浸リソグラフィ装置用電気浸透素子
WO2004092830A2 (en) 2003-04-11 2004-10-28 Nikon Corporation Liquid jet and recovery system for immersion lithography
SG10201803122UA (en) 2003-04-11 2018-06-28 Nikon Corp Immersion lithography apparatus and device manufacturing method
SG139733A1 (en) 2003-04-11 2008-02-29 Nikon Corp Apparatus having an immersion fluid system configured to maintain immersion fluid in a gap adjacent an optical assembly
SG152078A1 (en) 2003-04-17 2009-05-29 Nikon Corp Optical arrangement of autofocus elements for use with immersion lithography
TW200424730A (en) 2003-05-03 2004-11-16 Jiahn-Chang Wu Projector with UV light source.
JP4146755B2 (ja) 2003-05-09 2008-09-10 松下電器産業株式会社 パターン形成方法
JP4025683B2 (ja) 2003-05-09 2007-12-26 松下電器産業株式会社 パターン形成方法及び露光装置
TWI295414B (en) * 2003-05-13 2008-04-01 Asml Netherlands Bv Lithographic apparatus and device manufacturing method
CN1307456C (zh) * 2003-05-23 2007-03-28 佳能株式会社 投影光学系统、曝光装置及器件的制造方法
TWI424470B (zh) * 2003-05-23 2014-01-21 尼康股份有限公司 A method of manufacturing an exposure apparatus and an element
TWI347741B (en) * 2003-05-30 2011-08-21 Asml Netherlands Bv Lithographic apparatus and device manufacturing method
US7213963B2 (en) 2003-06-09 2007-05-08 Asml Netherlands B.V. Lithographic apparatus and device manufacturing method
EP1486827B1 (en) * 2003-06-11 2011-11-02 ASML Netherlands B.V. Lithographic apparatus and device manufacturing method
JP4084710B2 (ja) 2003-06-12 2008-04-30 松下電器産業株式会社 パターン形成方法
JP4054285B2 (ja) 2003-06-12 2008-02-27 松下電器産業株式会社 パターン形成方法
JP4415939B2 (ja) * 2003-06-13 2010-02-17 株式会社ニコン 露光方法、基板ステージ、露光装置、及びデバイス製造方法
US6867844B2 (en) * 2003-06-19 2005-03-15 Asml Holding N.V. Immersion photolithography system and method using microchannel nozzles
JP4084712B2 (ja) * 2003-06-23 2008-04-30 松下電器産業株式会社 パターン形成方法
JP4029064B2 (ja) * 2003-06-23 2008-01-09 松下電器産業株式会社 パターン形成方法
JP2005019616A (ja) * 2003-06-25 2005-01-20 Canon Inc 液浸式露光装置
JP4343597B2 (ja) * 2003-06-25 2009-10-14 キヤノン株式会社 露光装置及びデバイス製造方法
EP1498778A1 (en) * 2003-06-27 2005-01-19 ASML Netherlands B.V. Lithographic apparatus and device manufacturing method
EP1491956B1 (en) * 2003-06-27 2006-09-06 ASML Netherlands B.V. Lithographic apparatus and device manufacturing method
JP3862678B2 (ja) 2003-06-27 2006-12-27 キヤノン株式会社 露光装置及びデバイス製造方法
US6809794B1 (en) * 2003-06-27 2004-10-26 Asml Holding N.V. Immersion photolithography system and method using inverted wafer-projection optics interface
EP1494074A1 (en) * 2003-06-30 2005-01-05 ASML Netherlands B.V. Lithographic apparatus and device manufacturing method
JP2007527615A (ja) 2003-07-01 2007-09-27 株式会社ニコン 同位体特定流体の光学素子としての使用方法
WO2005010611A2 (en) 2003-07-08 2005-02-03 Nikon Corporation Wafer table for immersion lithography
SG109000A1 (en) * 2003-07-16 2005-02-28 Asml Netherlands Bv Lithographic apparatus and device manufacturing method
US7384149B2 (en) 2003-07-21 2008-06-10 Asml Netherlands B.V. Lithographic projection apparatus, gas purging method and device manufacturing method and purge gas supply system
EP1500982A1 (en) * 2003-07-24 2005-01-26 ASML Netherlands B.V. Lithographic apparatus and device manufacturing method
US7006209B2 (en) 2003-07-25 2006-02-28 Advanced Micro Devices, Inc. Method and apparatus for monitoring and controlling imaging in immersion lithography systems
US7326522B2 (en) * 2004-02-11 2008-02-05 Asml Netherlands B.V. Device manufacturing method and a substrate
EP1503244A1 (en) * 2003-07-28 2005-02-02 ASML Netherlands B.V. Lithographic projection apparatus and device manufacturing method
US7175968B2 (en) * 2003-07-28 2007-02-13 Asml Netherlands B.V. Lithographic apparatus, device manufacturing method and a substrate
US7779781B2 (en) * 2003-07-31 2010-08-24 Asml Netherlands B.V. Lithographic apparatus and device manufacturing method
JP2005057294A (ja) * 2003-08-07 2005-03-03 Asml Netherlands Bv インタフェースユニット、該インタフェースユニットを含むリソグラフィ投影装置、及びデバイス製造方法
US7579135B2 (en) * 2003-08-11 2009-08-25 Taiwan Semiconductor Manufacturing Company, Ltd. Lithography apparatus for manufacture of integrated circuits
US7061578B2 (en) 2003-08-11 2006-06-13 Advanced Micro Devices, Inc. Method and apparatus for monitoring and controlling imaging in immersion lithography systems
US7700267B2 (en) * 2003-08-11 2010-04-20 Taiwan Semiconductor Manufacturing Company, Ltd. Immersion fluid for immersion lithography, and method of performing immersion lithography
US7085075B2 (en) 2003-08-12 2006-08-01 Carl Zeiss Smt Ag Projection objectives including a plurality of mirrors with lenses ahead of mirror M3
US6844206B1 (en) 2003-08-21 2005-01-18 Advanced Micro Devices, Llp Refractive index system monitor and control for immersion lithography
TWI263859B (en) * 2003-08-29 2006-10-11 Asml Netherlands Bv Lithographic apparatus and device manufacturing method
US6954256B2 (en) 2003-08-29 2005-10-11 Asml Netherlands B.V. Gradient immersion lithography
TWI245163B (en) * 2003-08-29 2005-12-11 Asml Netherlands Bv Lithographic apparatus and device manufacturing method
US7070915B2 (en) 2003-08-29 2006-07-04 Tokyo Electron Limited Method and system for drying a substrate
US7014966B2 (en) 2003-09-02 2006-03-21 Advanced Micro Devices, Inc. Method and apparatus for elimination of bubbles in immersion medium in immersion lithography systems
KR101308826B1 (ko) 2003-09-03 2013-09-13 가부시키가이샤 니콘 액침 리소그래피용 유체를 제공하기 위한 장치 및 방법
JP4378136B2 (ja) 2003-09-04 2009-12-02 キヤノン株式会社 露光装置及びデバイス製造方法
JP3870182B2 (ja) * 2003-09-09 2007-01-17 キヤノン株式会社 露光装置及びデバイス製造方法
US6961186B2 (en) 2003-09-26 2005-11-01 Takumi Technology Corp. Contact printing using a magnified mask image
EP1519230A1 (en) * 2003-09-29 2005-03-30 ASML Netherlands B.V. Lithographic apparatus and device manufacturing method
US7158211B2 (en) 2003-09-29 2007-01-02 Asml Netherlands B.V. Lithographic apparatus and device manufacturing method
TWI574302B (zh) 2003-09-29 2017-03-11 尼康股份有限公司 An exposure apparatus and an exposure method, and an element manufacturing method
DE60302897T2 (de) * 2003-09-29 2006-08-03 Asml Netherlands B.V. Lithographischer Apparat und Verfahren zur Herstellung einer Vorrichtung
US7369217B2 (en) 2003-10-03 2008-05-06 Micronic Laser Systems Ab Method and device for immersion lithography
JP2005136374A (ja) * 2003-10-06 2005-05-26 Matsushita Electric Ind Co Ltd 半導体製造装置及びそれを用いたパターン形成方法
EP1524558A1 (en) 2003-10-15 2005-04-20 ASML Netherlands B.V. Lithographic apparatus and device manufacturing method
EP1524557A1 (en) 2003-10-15 2005-04-20 ASML Netherlands B.V. Lithographic apparatus and device manufacturing method
US7678527B2 (en) 2003-10-16 2010-03-16 Intel Corporation Methods and compositions for providing photoresist with improved properties for contacting liquids
US7411653B2 (en) 2003-10-28 2008-08-12 Asml Netherlands B.V. Lithographic apparatus
US7352433B2 (en) * 2003-10-28 2008-04-01 Asml Netherlands B.V. Lithographic apparatus and device manufacturing method
EP1685446A2 (en) 2003-11-05 2006-08-02 DSM IP Assets B.V. A method and apparatus for producing microchips
US7924397B2 (en) 2003-11-06 2011-04-12 Taiwan Semiconductor Manufacturing Company, Ltd. Anti-corrosion layer on objective lens for liquid immersion lithography applications
JP2005150290A (ja) 2003-11-13 2005-06-09 Canon Inc 露光装置およびデバイスの製造方法
EP1531362A3 (en) * 2003-11-13 2007-07-25 Matsushita Electric Industrial Co., Ltd. Semiconductor manufacturing apparatus and pattern formation method
US7528929B2 (en) * 2003-11-14 2009-05-05 Asml Netherlands B.V. Lithographic apparatus and device manufacturing method
US7545481B2 (en) * 2003-11-24 2009-06-09 Asml Netherlands B.V. Lithographic apparatus and device manufacturing method
JP4747263B2 (ja) 2003-11-24 2011-08-17 カール・ツァイス・エスエムティー・ゲーエムベーハー オブジェクティブにおける光学素子のための保持装置
DE10355301B3 (de) * 2003-11-27 2005-06-23 Infineon Technologies Ag Verfahren zur Abbildung einer Struktur auf einen Halbleiter-Wafer mittels Immersionslithographie
US7125652B2 (en) * 2003-12-03 2006-10-24 Advanced Micro Devices, Inc. Immersion lithographic process using a conforming immersion medium
JP2005175016A (ja) * 2003-12-08 2005-06-30 Canon Inc 基板保持装置およびそれを用いた露光装置ならびにデバイス製造方法
JP2005175034A (ja) * 2003-12-09 2005-06-30 Canon Inc 露光装置
CN100487860C (zh) * 2003-12-15 2009-05-13 株式会社尼康 台装置、曝光装置和曝光方法
EP1697798A2 (en) 2003-12-15 2006-09-06 Carl Zeiss SMT AG Projection objective having a high aperture and a planar end surface
JP2007516613A (ja) 2003-12-15 2007-06-21 カール・ツアイス・エスエムテイ・アーゲー 少なくとも1つの液体レンズを備えるマイクロリソグラフィー投影対物レンズとしての対物レンズ
WO2005106589A1 (en) 2004-05-04 2005-11-10 Carl Zeiss Smt Ag Microlithographic projection exposure apparatus and immersion liquid therefore
JP4308638B2 (ja) * 2003-12-17 2009-08-05 パナソニック株式会社 パターン形成方法
JP4323946B2 (ja) 2003-12-19 2009-09-02 キヤノン株式会社 露光装置
US7460206B2 (en) * 2003-12-19 2008-12-02 Carl Zeiss Smt Ag Projection objective for immersion lithography
US20050185269A1 (en) * 2003-12-19 2005-08-25 Carl Zeiss Smt Ag Catadioptric projection objective with geometric beam splitting
WO2005059645A2 (en) 2003-12-19 2005-06-30 Carl Zeiss Smt Ag Microlithography projection objective with crystal elements
JP2005183744A (ja) 2003-12-22 2005-07-07 Nikon Corp 露光装置及びデバイス製造方法
US7589818B2 (en) * 2003-12-23 2009-09-15 Asml Netherlands B.V. Lithographic apparatus, alignment apparatus, device manufacturing method, and a method of converting an apparatus
US7394521B2 (en) * 2003-12-23 2008-07-01 Asml Netherlands B.V. Lithographic apparatus and device manufacturing method
US7119884B2 (en) 2003-12-24 2006-10-10 Asml Netherlands B.V. Lithographic apparatus and device manufacturing method
US20050147920A1 (en) * 2003-12-30 2005-07-07 Chia-Hui Lin Method and system for immersion lithography
US7088422B2 (en) * 2003-12-31 2006-08-08 International Business Machines Corporation Moving lens for immersion optical lithography
JP4371822B2 (ja) * 2004-01-06 2009-11-25 キヤノン株式会社 露光装置
JP4429023B2 (ja) * 2004-01-07 2010-03-10 キヤノン株式会社 露光装置及びデバイス製造方法
US20050153424A1 (en) * 2004-01-08 2005-07-14 Derek Coon Fluid barrier with transparent areas for immersion lithography
EP2006739A3 (en) 2004-01-14 2013-06-26 Carl Zeiss SMT GmbH Catadioptric projection objective
KR101233879B1 (ko) 2004-01-16 2013-02-15 칼 짜이스 에스엠티 게엠베하 편광변조 광학소자
WO2005069078A1 (en) 2004-01-19 2005-07-28 Carl Zeiss Smt Ag Microlithographic projection exposure apparatus with immersion projection lens
DE602005019689D1 (de) 2004-01-20 2010-04-15 Zeiss Carl Smt Ag Belichtungsvorrichtung und messeinrichtung für eine projektionslinse
US7026259B2 (en) * 2004-01-21 2006-04-11 International Business Machines Corporation Liquid-filled balloons for immersion lithography
US7391501B2 (en) * 2004-01-22 2008-06-24 Intel Corporation Immersion liquids with siloxane polymer for immersion lithography
US8852850B2 (en) * 2004-02-03 2014-10-07 Rochester Institute Of Technology Method of photolithography using a fluid and a system thereof
US7050146B2 (en) * 2004-02-09 2006-05-23 Asml Netherlands B.V. Lithographic apparatus and device manufacturing method
WO2005076084A1 (en) 2004-02-09 2005-08-18 Carl Zeiss Smt Ag Projection objective for a microlithographic projection exposure apparatus
US20070165198A1 (en) 2004-02-13 2007-07-19 Carl Zeiss Smt Ag Projection objective for a microlithographic projection exposure apparatus
WO2005081030A1 (en) 2004-02-18 2005-09-01 Corning Incorporated Catadioptric imaging system for high numerical aperture imaging with deep ultraviolet light
US20050205108A1 (en) * 2004-03-16 2005-09-22 Taiwan Semiconductor Manufacturing Co., Ltd. Method and system for immersion lithography lens cleaning
US7027125B2 (en) * 2004-03-25 2006-04-11 International Business Machines Corporation System and apparatus for photolithography
US7084960B2 (en) * 2004-03-29 2006-08-01 Intel Corporation Lithography using controlled polarization
US7227619B2 (en) * 2004-04-01 2007-06-05 Asml Netherlands B.V. Lithographic apparatus and device manufacturing method
US7034917B2 (en) * 2004-04-01 2006-04-25 Asml Netherlands B.V. Lithographic apparatus, device manufacturing method and device manufactured thereby
US7295283B2 (en) * 2004-04-02 2007-11-13 Asml Netherlands B.V. Lithographic apparatus and device manufacturing method
US7712905B2 (en) 2004-04-08 2010-05-11 Carl Zeiss Smt Ag Imaging system with mirror group
US7898642B2 (en) * 2004-04-14 2011-03-01 Asml Netherlands B.V. Lithographic apparatus and device manufacturing method
US7271878B2 (en) * 2004-04-22 2007-09-18 International Business Machines Corporation Wafer cell for immersion lithography
US7244665B2 (en) * 2004-04-29 2007-07-17 Micron Technology, Inc. Wafer edge ring structures and methods of formation
US7379159B2 (en) * 2004-05-03 2008-05-27 Asml Netherlands B.V. Lithographic apparatus and device manufacturing method
EP1747499A2 (en) 2004-05-04 2007-01-31 Nikon Corporation Apparatus and method for providing fluid for immersion lithography
US7091502B2 (en) * 2004-05-12 2006-08-15 Taiwan Semiconductor Manufacturing, Co., Ltd. Apparatus and method for immersion lithography
WO2005111689A2 (en) 2004-05-17 2005-11-24 Carl Zeiss Smt Ag Catadioptric projection objective with intermediate images
US7616383B2 (en) * 2004-05-18 2009-11-10 Asml Netherlands B.V. Lithographic apparatus and device manufacturing method
US7486381B2 (en) * 2004-05-21 2009-02-03 Asml Netherlands B.V. Lithographic apparatus and device manufacturing method
US8605257B2 (en) 2004-06-04 2013-12-10 Carl Zeiss Smt Gmbh Projection system with compensation of intensity variations and compensation element therefor
US7796274B2 (en) * 2004-06-04 2010-09-14 Carl Zeiss Smt Ag System for measuring the image quality of an optical imaging system
KR20190006080A (ko) * 2004-06-09 2019-01-16 가부시키가이샤 니콘 기판 유지 장치 및 그것을 구비하는 노광 장치, 노광 방법, 디바이스 제조 방법, 그리고 발액 플레이트
WO2005124835A1 (ja) 2004-06-21 2005-12-29 Nikon Corporation 露光装置及びデバイス製造方法
EP1801850B1 (en) * 2004-09-17 2014-11-26 Nikon Corporation Substrate holding apparatus, exposure apparatus and device manufacturing method
US8040489B2 (en) * 2004-10-26 2011-10-18 Nikon Corporation Substrate processing method, exposure apparatus, and method for producing device by immersing substrate in second liquid before immersion exposure through first liquid
US7230681B2 (en) * 2004-11-18 2007-06-12 International Business Machines Corporation Method and apparatus for immersion lithography
JP2006270057A (ja) 2005-02-28 2006-10-05 Canon Inc 露光装置
JP5125505B2 (ja) * 2005-04-25 2013-01-23 株式会社ニコン 露光方法及び露光装置、並びにデバイス製造方法
US20070177119A1 (en) * 2006-02-02 2007-08-02 Keiko Chiba Exposure apparatus and device manufacturing method

Patent Citations (10)

* Cited by examiner, † Cited by third party
Publication number Priority date Publication date Assignee Title
JPH06124873A (ja) * 1992-10-09 1994-05-06 Canon Inc 液浸式投影露光装置
JPH06326174A (ja) * 1993-05-12 1994-11-25 Hitachi Ltd ウェハ真空吸着装置
JPH07220990A (ja) * 1994-01-28 1995-08-18 Hitachi Ltd パターン形成方法及びその露光装置
JPH08279549A (ja) * 1995-04-07 1996-10-22 Nippon Telegr & Teleph Corp <Ntt> 真空吸着装置
JPH10255319A (ja) * 1997-03-12 1998-09-25 Hitachi Maxell Ltd 原盤露光装置及び方法
JPH10303114A (ja) * 1997-04-23 1998-11-13 Nikon Corp 液浸型露光装置
JPH10340846A (ja) * 1997-06-10 1998-12-22 Nikon Corp 露光装置及びその製造方法並びに露光方法及びデバイス製造方法
JPH11163103A (ja) * 1997-11-25 1999-06-18 Hitachi Ltd 半導体装置の製造方法および製造装置
JPH11176727A (ja) * 1997-12-11 1999-07-02 Nikon Corp 投影露光装置
JP2000058436A (ja) * 1998-08-11 2000-02-25 Nikon Corp 投影露光装置及び露光方法

Cited By (3)

* Cited by examiner, † Cited by third party
Publication number Priority date Publication date Assignee Title
WO2013057997A1 (ja) 2011-10-18 2013-04-25 東亞合成株式会社 クロロポリシランの製造方法および流動床反応装置
US9139442B2 (en) 2011-10-18 2015-09-22 Toagosei Co. Ltd. Method for producing chloropolysilane and fluidized-bed reactor
JP2016149533A (ja) * 2015-02-12 2016-08-18 漢民科技股▲分▼有限公司 ウェハーホルダー

Also Published As

Publication number Publication date
WO2004112108A1 (ja) 2004-12-23
JP6172196B2 (ja) 2017-08-02
JP5692189B2 (ja) 2015-04-01
KR101242815B1 (ko) 2013-03-12
EP2738792A3 (en) 2014-08-06
JP2012129566A (ja) 2012-07-05
EP3104396B1 (en) 2018-03-21
US9268237B2 (en) 2016-02-23
JP2019003218A (ja) 2019-01-10
JPWO2004112108A1 (ja) 2006-07-27
HK1214680A1 (en) 2016-07-29
EP2937893A1 (en) 2015-10-28
KR20160113745A (ko) 2016-09-30
KR101421866B1 (ko) 2014-07-22
TW200952044A (en) 2009-12-16
KR20140052043A (ko) 2014-05-02
US20150301457A1 (en) 2015-10-22
EP1641028A4 (en) 2008-10-15
TWI352375B (ja) 2011-11-11
TW201214518A (en) 2012-04-01
KR20120125564A (ko) 2012-11-15
US20090015816A1 (en) 2009-01-15
EP2937893B1 (en) 2016-09-28
TWI467634B (zh) 2015-01-01
US20090015808A1 (en) 2009-01-15
US20060227312A1 (en) 2006-10-12
TWI607292B (zh) 2017-12-01
TW201445617A (zh) 2014-12-01
US20080117394A1 (en) 2008-05-22
KR20150023924A (ko) 2015-03-05
TWI409853B (zh) 2013-09-21
JP5817869B2 (ja) 2015-11-18
JP5692188B2 (ja) 2015-04-01
HK1196900A1 (en) 2014-12-24
US7483119B2 (en) 2009-01-27
EP3104396A1 (en) 2016-12-14
KR101528016B1 (ko) 2015-06-12
TW201818451A (zh) 2018-05-16
US8208117B2 (en) 2012-06-26
KR101940892B1 (ko) 2019-01-21
JP2016106274A (ja) 2016-06-16
JP2012248892A (ja) 2012-12-13
KR20130102645A (ko) 2013-09-17
EP3401946A1 (en) 2018-11-14
TW200511388A (en) 2005-03-16
US20130141703A1 (en) 2013-06-06
KR101528089B1 (ko) 2015-06-11
JP2014140059A (ja) 2014-07-31
KR101729866B1 (ko) 2017-04-24
EP2738792A2 (en) 2014-06-04
EP2738792B1 (en) 2015-08-05
JP2013016839A (ja) 2013-01-24
KR20180112884A (ko) 2018-10-12
US8040491B2 (en) 2011-10-18
US20170329234A1 (en) 2017-11-16
TWI619148B (zh) 2018-03-21
KR20060016812A (ko) 2006-02-22
TW201701324A (zh) 2017-01-01
EP1641028A1 (en) 2006-03-29
JP6256498B2 (ja) 2018-01-10
JP5152215B2 (ja) 2013-02-27
TW201619719A (zh) 2016-06-01
JP5699979B2 (ja) 2015-04-15
TWI560749B (ja) 2016-12-01
JP6477785B2 (ja) 2019-03-06
JP2015163970A (ja) 2015-09-10
JP2017187786A (ja) 2017-10-12
US8384880B2 (en) 2013-02-26
JP5152143B2 (ja) 2013-02-27
KR20120115599A (ko) 2012-10-18
KR101290021B1 (ko) 2013-07-30
JP4415939B2 (ja) 2010-02-17
KR20110117209A (ko) 2011-10-26
US20060139614A1 (en) 2006-06-29
US20130141701A1 (en) 2013-06-06
KR101520591B1 (ko) 2015-05-14
HK1258606A1 (en) 2019-11-15
US9846371B2 (en) 2017-12-19
US9019467B2 (en) 2015-04-28
EP1641028B1 (en) 2015-08-05
JP2010161381A (ja) 2010-07-22

Similar Documents

Publication Publication Date Title
JP6477785B2 (ja) 露光装置、及びデバイス製造方法
JP4513534B2 (ja) 露光装置及び露光方法、デバイス製造方法
JP5445612B2 (ja) 露光装置及び露光方法、デバイス製造方法
HK1228582A (en) Exposure method, substrate stage, exposure apparatus, and device manufacturing method
HK1228582A1 (en) Exposure method, substrate stage, exposure apparatus, and device manufacturing method

Legal Events

Date Code Title Description
A621 Written request for application examination

Free format text: JAPANESE INTERMEDIATE CODE: A621

Effective date: 20091102

A521 Request for written amendment filed

Free format text: JAPANESE INTERMEDIATE CODE: A523

Effective date: 20100305

A521 Request for written amendment filed

Free format text: JAPANESE INTERMEDIATE CODE: A523

Effective date: 20100409

A131 Notification of reasons for refusal

Free format text: JAPANESE INTERMEDIATE CODE: A131

Effective date: 20120703

A521 Request for written amendment filed

Free format text: JAPANESE INTERMEDIATE CODE: A523

Effective date: 20120903

TRDD Decision of grant or rejection written
A01 Written decision to grant a patent or to grant a registration (utility model)

Free format text: JAPANESE INTERMEDIATE CODE: A01

Effective date: 20121106

A61 First payment of annual fees (during grant procedure)

Free format text: JAPANESE INTERMEDIATE CODE: A61

Effective date: 20121119

FPAY Renewal fee payment (event date is renewal date of database)

Free format text: PAYMENT UNTIL: 20151214

Year of fee payment: 3

R150 Certificate of patent or registration of utility model

Ref document number: 5152143

Country of ref document: JP

Free format text: JAPANESE INTERMEDIATE CODE: R150

Free format text: JAPANESE INTERMEDIATE CODE: R150

FPAY Renewal fee payment (event date is renewal date of database)

Free format text: PAYMENT UNTIL: 20151214

Year of fee payment: 3

R250 Receipt of annual fees

Free format text: JAPANESE INTERMEDIATE CODE: R250

R250 Receipt of annual fees

Free format text: JAPANESE INTERMEDIATE CODE: R250

R250 Receipt of annual fees

Free format text: JAPANESE INTERMEDIATE CODE: R250

R250 Receipt of annual fees

Free format text: JAPANESE INTERMEDIATE CODE: R250

LAPS Cancellation because of no payment of annual fees