JP6097809B2 - 半導体装置の作製方法 - Google Patents

半導体装置の作製方法 Download PDF

Info

Publication number
JP6097809B2
JP6097809B2 JP2015211448A JP2015211448A JP6097809B2 JP 6097809 B2 JP6097809 B2 JP 6097809B2 JP 2015211448 A JP2015211448 A JP 2015211448A JP 2015211448 A JP2015211448 A JP 2015211448A JP 6097809 B2 JP6097809 B2 JP 6097809B2
Authority
JP
Japan
Prior art keywords
film
insulating film
oxide semiconductor
conductive film
electrode
Prior art date
Legal status (The legal status is an assumption and is not a legal conclusion. Google has not performed a legal analysis and makes no representation as to the accuracy of the status listed.)
Active
Application number
JP2015211448A
Other languages
English (en)
Other versions
JP2016042586A (ja
Inventor
秋元 健吾
健吾 秋元
坂田 淳一郎
淳一郎 坂田
山崎 舜平
舜平 山崎
Current Assignee (The listed assignees may be inaccurate. Google has not performed a legal analysis and makes no representation or warranty as to the accuracy of the list.)
Semiconductor Energy Laboratory Co Ltd
Original Assignee
Semiconductor Energy Laboratory Co Ltd
Priority date (The priority date is an assumption and is not a legal conclusion. Google has not performed a legal analysis and makes no representation as to the accuracy of the date listed.)
Filing date
Publication date
Application filed by Semiconductor Energy Laboratory Co Ltd filed Critical Semiconductor Energy Laboratory Co Ltd
Priority to JP2015211448A priority Critical patent/JP6097809B2/ja
Publication of JP2016042586A publication Critical patent/JP2016042586A/ja
Application granted granted Critical
Publication of JP6097809B2 publication Critical patent/JP6097809B2/ja
Active legal-status Critical Current
Anticipated expiration legal-status Critical

Links

Images

Classifications

    • HELECTRICITY
    • H10SEMICONDUCTOR DEVICES; ELECTRIC SOLID-STATE DEVICES NOT OTHERWISE PROVIDED FOR
    • H10DINORGANIC ELECTRIC SEMICONDUCTOR DEVICES
    • H10D30/00Field-effect transistors [FET]
    • H10D30/60Insulated-gate field-effect transistors [IGFET]
    • H10D30/67Thin-film transistors [TFT]
    • H10D30/6704Thin-film transistors [TFT] having supplementary regions or layers in the thin films or in the insulated bulk substrates for controlling properties of the device
    • H10D30/6713Thin-film transistors [TFT] having supplementary regions or layers in the thin films or in the insulated bulk substrates for controlling properties of the device characterised by the properties of the source or drain regions, e.g. compositions or sectional shapes
    • HELECTRICITY
    • H10SEMICONDUCTOR DEVICES; ELECTRIC SOLID-STATE DEVICES NOT OTHERWISE PROVIDED FOR
    • H10DINORGANIC ELECTRIC SEMICONDUCTOR DEVICES
    • H10D30/00Field-effect transistors [FET]
    • H10D30/60Insulated-gate field-effect transistors [IGFET]
    • H10D30/67Thin-film transistors [TFT]
    • H10D30/674Thin-film transistors [TFT] characterised by the active materials
    • H10D30/6755Oxide semiconductors, e.g. zinc oxide, copper aluminium oxide or cadmium stannate
    • HELECTRICITY
    • H10SEMICONDUCTOR DEVICES; ELECTRIC SOLID-STATE DEVICES NOT OTHERWISE PROVIDED FOR
    • H10DINORGANIC ELECTRIC SEMICONDUCTOR DEVICES
    • H10D30/00Field-effect transistors [FET]
    • H10D30/60Insulated-gate field-effect transistors [IGFET]
    • H10D30/67Thin-film transistors [TFT]
    • H10D30/6704Thin-film transistors [TFT] having supplementary regions or layers in the thin films or in the insulated bulk substrates for controlling properties of the device
    • HELECTRICITY
    • H10SEMICONDUCTOR DEVICES; ELECTRIC SOLID-STATE DEVICES NOT OTHERWISE PROVIDED FOR
    • H10DINORGANIC ELECTRIC SEMICONDUCTOR DEVICES
    • H10D86/00Integrated devices formed in or on insulating or conducting substrates, e.g. formed in silicon-on-insulator [SOI] substrates or on stainless steel or glass substrates
    • H10D86/40Integrated devices formed in or on insulating or conducting substrates, e.g. formed in silicon-on-insulator [SOI] substrates or on stainless steel or glass substrates characterised by multiple TFTs
    • H10D86/421Integrated devices formed in or on insulating or conducting substrates, e.g. formed in silicon-on-insulator [SOI] substrates or on stainless steel or glass substrates characterised by multiple TFTs having a particular composition, shape or crystalline structure of the active layer
    • H10D86/423Integrated devices formed in or on insulating or conducting substrates, e.g. formed in silicon-on-insulator [SOI] substrates or on stainless steel or glass substrates characterised by multiple TFTs having a particular composition, shape or crystalline structure of the active layer comprising semiconductor materials not belonging to the Group IV, e.g. InGaZnO
    • HELECTRICITY
    • H10SEMICONDUCTOR DEVICES; ELECTRIC SOLID-STATE DEVICES NOT OTHERWISE PROVIDED FOR
    • H10DINORGANIC ELECTRIC SEMICONDUCTOR DEVICES
    • H10D86/00Integrated devices formed in or on insulating or conducting substrates, e.g. formed in silicon-on-insulator [SOI] substrates or on stainless steel or glass substrates
    • H10D86/40Integrated devices formed in or on insulating or conducting substrates, e.g. formed in silicon-on-insulator [SOI] substrates or on stainless steel or glass substrates characterised by multiple TFTs
    • H10D86/60Integrated devices formed in or on insulating or conducting substrates, e.g. formed in silicon-on-insulator [SOI] substrates or on stainless steel or glass substrates characterised by multiple TFTs wherein the TFTs are in active matrices

Landscapes

  • Thin Film Transistor (AREA)
  • Electrodes Of Semiconductors (AREA)
  • Liquid Crystal (AREA)
  • Electroluminescent Light Sources (AREA)
  • Devices For Indicating Variable Information By Combining Individual Elements (AREA)

Description

酸化物半導体を用いる半導体装置及びその作製方法に関する。
絶縁表面上に形成される半導体膜を用いた薄膜トランジスタは、半導体装置にとって必要
不可欠な半導体素子である。薄膜トランジスタの製造には基板の耐熱温度という制約があ
るため、比較的低温での成膜が可能なアモルファスシリコン、レーザ光または触媒元素を
用いた結晶化により得られるポリシリコンなどを活性層に有する薄膜トランジスタが、半
導体表示装置に用いられるトランジスタの主流となっている。
近年では、ポリシリコンによって得られる高い移動度と、アモルファスシリコンによって
得られる均一な素子特性とを兼ね備えた新たな半導体材料として、酸化物半導体と呼ばれ
る、半導体特性を示す金属酸化物に注目が集まっている。金属酸化物は様々な用途に用い
られており、例えば、よく知られた金属酸化物である酸化インジウムは、液晶表示装置な
どで透明電極材料として用いられている。半導体特性を示す金属酸化物としては、例えば
、酸化タングステン、酸化錫、酸化インジウム、酸化亜鉛などがあり、このような半導体
特性を示す金属酸化物をチャネル形成領域に用いる薄膜トランジスタが、既に知られてい
る(特許文献1及び特許文献2)。
特開2007−123861号公報 特開2007−96055号公報
半導体装置に用いられるトランジスタは、経時劣化による閾値電圧のばらつきが小さいこ
と、また、オン電流などの特性が良好であることが望まれる。経時劣化による閾値電圧の
ばらつきが小さいトランジスタを用いることで、半導体装置の信頼性を高めることができ
、また、オン電流などの特性が良好なトランジスタを用いることで、半導体装置をより高
い周波数で駆動させることが可能になる。
本発明は、信頼性の高い半導体装置の作製方法の提供を目的の一とする。或いは、本発明
は、高速駆動が可能な半導体装置の作製方法の提供を目的の一とする。或いは、本発明は
、信頼性の高い半導体装置の提供を目的の一とする。或いは、本発明は、高速駆動が可能
な半導体装置の提供を目的の一とする。
本発明者らは、酸化物半導体膜中に存在する水素、水などの不純物が、閾値電圧のシフト
などの経時劣化をトランジスタにもたらす要因であることに着目した。そして、電気陰性
度の低い金属、具体的には水素よりも電気陰性度の低い金属を用いた導電膜を、ソース電
極、ドレイン電極用の導電膜として用い、酸化物半導体膜の上或いは下に形成することで
、酸化物半導体膜中に存在する水素、水などの不純物が上記導電膜に引き抜かれて、酸化
物半導体膜の純度が高まり、その結果、水素、水などの不純物に起因するトランジスタの
経時劣化が抑えられるのではないかと考えた。上記導電膜をエッチングなどで所望の形状
に加工することで、ソース電極、ドレイン電極が形成できる。
具体的に本発明の一態様では、酸化物半導体膜を活性層に用いたトランジスタを有する半
導体装置の作製において、酸化物半導体膜との接触抵抗が低いチタン、タングステンまた
はモリブデンなどの金属材料を用いた第1の導電膜を、酸化物半導体膜に接するように形
成する。また、上記第1の導電膜を間に挟んで、前記酸化物半導体膜と重なるように、電
気陰性度が低い金属、金属化合物または合金を用いた第2の導電膜を形成する。そして、
上記第1の導電膜及び第2の導電膜をエッチングなどにより所望の形状に加工することで
、ソース電極とドレイン電極を形成する。
或いは、上記第1の導電膜を、酸化物半導体膜に接するように形成し、上記第1の導電膜
を間に挟んで、前記酸化物半導体膜と重なるように上記第2の導電膜を形成した後、第2
の導電膜をエッチングにより除去する。この場合、第2の導電膜を除去した後、電気陰性
度が低い金属、金属化合物または合金を用いた第3の導電膜を、第1の導電膜を間に挟ん
で酸化物半導体膜と重なるように、新たに形成する。そして、上記第1の導電膜及び第3
の導電膜をエッチングなどにより所望の形状に加工することで、ソース電極とドレイン電
極を形成する。
或いは、上記第1の導電膜を、酸化物半導体膜に接するように形成し、上記第1の導電膜
を間に挟んで、前記酸化物半導体膜と重なるように上記第2の導電膜を形成した後、第2
の導電膜をエッチングにより除去する。次いで、第2の導電膜を除去した後、電気陰性度
が低い金属、金属化合物または合金を用いた第3の導電膜を、第1の導電膜を間に挟んで
酸化物半導体膜と重なるように形成する。さらに、第3の導電膜上に、酸化物半導体膜と
の接触抵抗が低いチタン、タングステンまたはモリブデンなどの金属材料を用いた第4の
導電膜を、酸化物半導体膜と重なるように形成する。なお、この場合、酸化物半導体膜と
の接触抵抗が低いチタン、タングステンまたはモリブデンなどの金属材料を用いた第5の
導電膜を、第1の導電膜と第3の導電膜の間に形成しておいても良い。そして、上記第1
の導電膜、第3の導電膜及び第4の導電膜を、或いは第1の導電膜、第3の導電膜、第4
の導電膜及び第5の導電膜を、エッチングなどにより所望の形状に加工することで、ソー
ス電極とドレイン電極を形成する。
本発明の一態様では、ソース電極とドレイン電極を構成している第1の導電膜に、酸化物
半導体膜との接触抵抗が低い金属材料を用いており、なおかつ酸化物半導体膜と接してい
るので、ソース電極またはドレイン電極と、酸化物半導体膜との間における接触抵抗が低
減される。そのため、TFTのオン電流及び電界効果移動度を高めることができる。また
、第2の導電膜、第3の導電膜は電気陰性度が低い金属、金属化合物または合金を用いて
いるので、酸化物半導体膜内、ゲート絶縁膜内、或いは、酸化物半導体膜と他の絶縁膜の
界面とその近傍に存在する、水分、または水素などの不純物が、第2の導電膜、第3の導
電膜に吸蔵或いは吸着される。そのため、水分、水素などの不純物の脱離により、i型(
真性半導体)又はi型に限りなく近い酸化物半導体を得ることができ、上記不純物により
閾値電圧がシフトするなどのトランジスタの特性の劣化が促進されるのを防ぎ、オフ電流
を低減させることができる。
電気陰性度が低い金属として、アルミニウム、マグネシウムなどが挙げられる。上記金属
のいずれか一つまたは複数を含む混合物、金属化合物または合金を、第2の導電膜、第3
の導電膜として用いることができる。また、チタン、タンタル、タングステン、モリブデ
ン、クロム、ネオジム、スカンジウムから選ばれた元素、または上記元素を1つまたは複
数成分として含む合金、または上記元素を成分として含む窒化物などの耐熱性導電性材料
を、アルミニウムに組み合わせて、第2の導電膜、第3の導電膜として用いても良い。
なお、酸化物半導体膜との接触抵抗が低い上記金属のうち、チタンは電気陰性度が水素よ
り低いため、水分、または水素などの不純物を酸化物半導体膜から引き抜きやすい。よっ
て、チタンを上記第1の導電膜、第4の導電膜、第5の導電膜に用いることで、より酸化
物半導体膜中の不純物を低減することができ、なおかつ酸化物半導体膜との接触抵抗が低
いソース電極またはドレイン電極を形成することが可能となる。
また、上記構成に加えて、第2の導電膜、第3の導電膜或いは第4の導電膜が露出した状
態で、減圧雰囲気下、不活性ガス雰囲気下において加熱処理を行い、第2の導電膜、第3
の導電膜或いは第4の導電膜の表面や内部に吸着されている水分や酸素などを取り除くよ
うにしても良い。加熱処理の温度範囲は、200℃乃至450℃とする。上記加熱処理を
行うことで、酸化物半導体膜内、ゲート絶縁膜内、或いは、酸化物半導体膜と他の絶縁膜
の界面とその近傍に存在する、水分、または水素などの不純物が、第2の導電膜、第3の
導電膜或いは第4の導電膜により、吸蔵或いは吸着されやすくすることができる。
ソース電極とドレイン電極を形成した後は、ソース電極、ドレイン電極及び酸化物半導体
膜を覆うように、単層の絶縁膜を、或いは複数の積層された絶縁膜を形成しても良い。上
記絶縁膜には、バリア性の高い材料を用いるのが望ましい。例えば、バリア性の高い絶縁
膜として、窒化珪素膜、窒化酸化珪素膜、窒化アルミニウム膜、または窒化酸化アルミニ
ウム膜などを用いることができる。複数の積層された絶縁膜を用いる場合、上記バリア性
の高い絶縁膜よりも、含まれる窒素の比率が低い酸化珪素膜、酸化窒化珪素膜などの絶縁
膜を、酸化物半導体膜に近い側に形成する。そして、窒素の比率が低い絶縁膜を間に挟ん
で、ソース電極、ドレイン電極及び酸化物半導体膜と重なるように、バリア性を有する絶
縁膜を形成する。バリア性を有する絶縁膜を用いることで、導電膜の表面や内部に水分や
酸素が吸着するのを防ぐことができる。また、酸化物半導体膜内、ゲート絶縁膜内、或い
は、酸化物半導体膜と他の絶縁膜の界面とその近傍に、水分、または水素などの不純物が
入り込むのを防ぐことができる。
また、ゲート電極と酸化物半導体膜の間に、バリア性の高い材料を用いた絶縁膜と、含ま
れる窒素の比率が低い酸化珪素膜、酸化窒化珪素膜などの絶縁膜とを積層させた構造を有
するゲート絶縁膜を、形成しておいても良い。酸化珪素膜、酸化窒化珪素膜などの絶縁膜
は、バリア性を有する絶縁膜と酸化物半導体膜の間に形成する。バリア性を有する絶縁膜
を用いることで、水分、または水素などの雰囲気中不純物、或いは基板内に含まれるアル
カリ金属、重金属などの不純物が、酸化物半導体膜内、ゲート絶縁膜内、或いは、酸化物
半導体膜と他の絶縁膜の界面とその近傍に入り込むのを防ぐことができる。
さらに、酸化物半導体膜中の水分、または水素などの不純物を低減するため、酸化物半導
体膜を形成した後、酸化物半導体膜が露出した状態で窒素、または希ガス(アルゴン、ヘ
リウムなど)の不活性気体雰囲気下で加熱処理を行う。上記加熱処理の温度範囲は、50
0℃以上750℃以下(若しくはガラス基板の歪点以下の温度)で行うのが望ましい。な
お、この加熱処理は、用いる基板の耐熱温度を超えないものとする。
なお、酸化物半導体は、四元系金属酸化物であるIn−Sn−Ga−Zn−O系酸化物半
導体や、三元系金属酸化物であるIn−Ga−Zn−O系酸化物半導体、In−Sn−Z
n−O系酸化物半導体、In−Al−Zn−O系酸化物半導体、Sn−Ga−Zn−O系
酸化物半導体、Al−Ga−Zn−O系酸化物半導体、Sn−Al−Zn−O系酸化物半
導体や、二元系金属酸化物であるIn−Zn−O系酸化物半導体、Sn−Zn−O系酸化
物半導体、Al−Zn−O系酸化物半導体、Zn−Mg−O系酸化物半導体、Sn−Mg
−O系酸化物半導体、In−Mg−O系酸化物半導体、In−Ga−O系酸化物半導体や
、In−O系酸化物半導体、Sn−O系酸化物半導体、Zn−O系酸化物半導体などを用
いることができる。なお、本明細書においては、例えば、In−Sn−Ga−Zn−O系
酸化物半導体とは、インジウム(In)、錫(Sn)、ガリウム(Ga)、亜鉛(Zn)
を有する金属酸化物、という意味であり、その組成比は特に問わない。また、上記酸化物
半導体は、珪素を含んでいてもよい。
或いは、酸化物半導体は、化学式InMO(ZnO)(m>0)で表記することがで
きる。ここで、Mは、Ga、Al、MnおよびCoから選ばれた一または複数の金属元素
を示す。
なお、酸化物半導体膜は加熱処理により水分などの不純物が脱離することで、キャリア濃
度が高くなり低抵抗化する。その後、低抵抗化した酸化物半導体膜に接するように酸化珪
素、酸化窒化珪素などの絶縁膜を形成すると、低抵抗化した酸化物半導体膜の少なくとも
上記絶縁膜と接する領域に酸素が供与されるため、キャリア濃度が低くなり(好ましくは
1×1018/cm未満、さらに好ましくは1×1014/cm以下)、高抵抗化す
る。このように、半導体装置のプロセス中、酸化珪素、酸化窒化珪素などの絶縁膜の形成
などによって、酸化物半導体膜のキャリア濃度と抵抗を制御することができるため、電気
特性が良好で信頼性の良い薄膜トランジスタを有する半導体装置を作製し、提供すること
が可能となる。
また、トランジスタは、ボトムゲート型であっても良いし、トップゲート型であっても良
いし、ボトムコンタクト型であっても良い。ボトムゲート型トランジスタは、絶縁表面上
のゲート電極と、ゲート電極上のゲート絶縁膜と、ゲート絶縁膜上においてゲート電極と
重なる酸化物半導体膜と、酸化物半導体膜上のソース電極、ドレイン電極と、ソース電極
、ドレイン電極及び酸化物半導体膜上の絶縁膜とを有する。トップゲート型トランジスタ
は、絶縁表面上の酸化物半導体膜と、酸化物半導体膜上のゲート絶縁膜と、ゲート絶縁膜
上において酸化物半導体膜と重なり、なおかつ導電膜として機能するゲート電極と、ドレ
イン電極と、ソース電極、ドレイン電極及び酸化物半導体膜上の絶縁膜とを有する。ボト
ムコンタクト型トランジスタは、絶縁表面上のゲート電極と、ゲート電極上のゲート絶縁
膜と、ゲート絶縁膜上のソース電極、ドレイン電極と、ソース電極、ドレイン電極上にあ
り、なおかつゲート絶縁膜上においてゲート電極と重なる酸化物半導体膜と、ソース電極
、ドレイン電極及び酸化物半導体膜上の絶縁膜とを有する。
加熱処理は、炉での熱処理、またはラピッドサーマルアニール法(RTA法)を用いる。
RTA法は、ランプ光源を用いる方法と、加熱されたガス中に基板を移動させて短時間の
熱処理を行う方法がある。RTA法を用いると熱処理に要する時間を0.1時間よりも短
時間とすることもできる。ただし、基板としてガラス基板を用いる場合は、300℃以上
、且つ、ガラス基板の歪み点以下の温度の加熱処理とする。
信頼性の高い半導体装置の作製方法を提供することができる。また、高速駆動が可能な半
導体装置の作製方法を提供することができる。また、信頼性の高い半導体装置を提供する
ことができる。また、高速駆動が可能な半導体装置を提供することができる。
半導体装置の作製方法を示す図。 薄膜トランジスタの上面図。 薄膜トランジスタの断面図及び上面図。 半導体装置の作製方法を示す図。 半導体装置の作製方法を示す図。 半導体装置の作製方法を示す図。 薄膜トランジスタの断面図。 薄膜トランジスタの上面図。 薄膜トランジスタの断面図及び上面図。 薄膜トランジスタの断面図。 薄膜トランジスタの上面図。 半導体装置の作製方法を示す断面図。 半導体装置の作製方法を示す断面図。 半導体装置の作製方法を示す断面図。 半導体装置の作製方法を示す上面図。 半導体装置の作製方法を示す上面図。 半導体装置の作製方法を示す上面図。 電子ペーパーの上面図及び断面図。 半導体表示装置のブロック図。 信号線駆動回路の構成を説明する図。 シフトレジスタの構成を示す回路図。 シフトレジスタの動作を説明するタイミングチャート。 液晶表示装置の断面図。 液晶表示装置のモジュールの構成を示す図。 発光装置の断面図。 半導体装置を用いた電子機器の図。 酸化物半導体を用いた逆スタガ型の薄膜トランジスタの縦断面図。 図27に示すA−A’断面におけるエネルギーバンド図(模式図)。 (A)ゲート(G1)に正の電位(+VG)が印加された状態を示し、(B)ゲート(G1)に負の電位(−VG)が印加された状態を示す図。 真空準位と金属の仕事関数(φM)、酸化物半導体の電子親和力(χ)の関係を示す図。
以下では、本発明の実施の形態について図面を用いて詳細に説明する。ただし、本発明は
以下の説明に限定されず、本発明の趣旨及びその範囲から逸脱することなくその形態及び
詳細を様々に変更し得ることは、当業者であれば容易に理解される。したがって、本発明
は、以下に示す実施の形態の記載内容に限定して解釈されるものではない。
なお本発明は、マイクロプロセッサ、画像処理回路などの集積回路や、RFタグ、半導体
表示装置等、ありとあらゆる半導体装置の作製に用いることができる。半導体装置とは、
半導体特性を利用することで機能しうる装置全般を意味し、半導体表示装置、半導体回路
および電子機器は全て半導体装置である。半導体表示装置は、液晶表示装置、有機発光素
子(OLED)に代表される発光素子を各画素に備えた発光装置、電子ペーパー、DMD
(Digital Micromirror Device)、PDP(Plasma
Display Panel)、FED(Field Emission Displa
y)等や、半導体膜を用いた回路素子を駆動回路に有しているその他の半導体表示装置が
その範疇に含まれる。
(実施の形態1)
チャネルエッチ構造のボトムゲート型の薄膜トランジスタを例に挙げ、半導体装置の作製
方法について図1乃至図3を用いて説明する。
図1(A)に示すように、基板100上にゲート電極101を形成する。
基板100とゲート電極101の間に、下地膜となる絶縁膜を形成しておいても良い。下
地膜として、例えば、酸化珪素膜、酸化窒化珪素膜、窒化珪素膜、窒化酸化珪素膜、窒化
アルミニウム膜、または窒化酸化アルミニウム膜のいずれか1つを単層で、或いは複数を
積層させて用いることができる。特に、下地膜に、バリア性の高い絶縁膜、例えば窒化珪
素膜、窒化酸化珪素膜、窒化アルミニウム膜、または窒化酸化アルミニウム膜などを用い
ることで、水分、または水素などの雰囲気中の不純物、或いは基板100内に含まれるア
ルカリ金属、重金属などの不純物が、酸化物半導体膜内、ゲート絶縁膜内、或いは、酸化
物半導体膜と他の絶縁膜の界面とその近傍に入り込むのを防ぐことができる。
なお、本明細書において酸化窒化物とは、その組成として、窒素よりも酸素の含有量が多
い物質であり、また、窒化酸化物とは、その組成として、酸素よりも窒素の含有量が多い
物質をいう。
ゲート電極101の材料は、モリブデン、チタン、クロム、タンタル、タングステン、ネ
オジム、スカンジウム等の金属材料、これら金属材料を主成分とする合金材料を用いた導
電膜、或いはこれら金属の窒化物を、単層で又は積層で用いることができる。なお、後の
工程において行われる加熱処理の温度に耐えうるのであれば、上記金属材料としてアルミ
ニウム、銅を用いることも出来る。アルミニウムまたは銅は、耐熱性や腐食性の問題を回
避するために、高融点金属材料と組み合わせて用いると良い。高融点金属材料としては、
モリブデン、チタン、クロム、タンタル、タングステン、ネオジム、スカンジウム等を用
いることができる。
例えば、二層の積層構造を有するゲート電極101として、アルミニウム膜上にモリブデ
ン膜が積層された二層の積層構造、または銅膜上にモリブデン膜を積層した二層構造、ま
たは銅膜上に窒化チタン膜若しくは窒化タンタル膜を積層した二層構造、窒化チタン膜と
モリブデン膜とを積層した二層構造とすることが好ましい。3層の積層構造を有するゲー
ト電極101としては、アルミニウム膜、アルミニウムとシリコンの合金膜、アルミニウ
ムとチタンの合金膜またはアルミニウムとネオジムの合金膜を中間層とし、タングステン
膜、窒化タングステン膜、窒化チタン膜またはチタン膜を上下層として積層した構造とす
ることが好ましい。
また、ゲート電極101に酸化インジウム、酸化インジウム酸化スズ合金、酸化インジウ
ム酸化亜鉛合金、酸化亜鉛、酸化亜鉛アルミニウム、酸窒化亜鉛アルミニウム、または酸
化亜鉛ガリウム等の透光性を有する酸化物導電膜をゲート電極101に用いることで、画
素部の開口率を向上させることができる。
ゲート電極101の膜厚は、10nm〜400nm、好ましくは100nm〜200nm
とする。本実施の形態では、タングステンターゲットを用いたスパッタ法により150n
mのゲート電極用の導電膜を形成した後、該導電膜をエッチングにより所望の形状に加工
(パターニング)することで、ゲート電極101を形成する。
次いで、ゲート電極101上に、ゲート絶縁膜102を形成する。ゲート絶縁膜102は
、プラズマCVD法又はスパッタリング法等を用いて、酸化珪素膜、窒化珪素膜、酸化窒
化珪素膜、窒化酸化珪素膜、酸化アルミニウムまたは酸化タンタルを単層で又は積層させ
て形成することができる。ゲート絶縁膜102は、水分や、水素などの不純物を極力含ま
ないことが望ましい。バリア性の高い材料を用いた絶縁膜と、含まれる窒素の比率が低い
酸化珪素膜、酸化窒化珪素膜などの絶縁膜とを積層させた構造を有するゲート絶縁膜10
2を形成しても良い。この場合、酸化珪素膜、酸化窒化珪素膜などの絶縁膜は、バリア性
を有する絶縁膜と酸化物半導体膜の間に形成する。バリア性の高い絶縁膜として、例えば
窒化珪素膜、窒化酸化珪素膜、窒化アルミニウム膜、または窒化酸化アルミニウム膜など
が挙げられる。バリア性を有する絶縁膜を用いることで、水分または水素などの雰囲気中
不純物、或いは基板内に含まれるアルカリ金属、重金属などの不純物が、酸化物半導体膜
内、ゲート絶縁膜102内、或いは、酸化物半導体膜と他の絶縁膜の界面とその近傍に入
り込むのを防ぐことができる。また、酸化物半導体膜に接するように窒素の比率が低い酸
化珪素膜、酸化窒化珪素膜などの絶縁膜を形成することで、バリア性の高い材料を用いた
絶縁膜が直接酸化物半導体膜に接するのを防ぐことができる。
本実施の形態では、スパッタ法で形成された膜厚50nmの窒化珪素膜上に、スパッタ法
で形成された膜厚100nmの酸化珪素膜を積層させた構造を有する、ゲート絶縁膜10
2を形成する。
次いで、ゲート絶縁膜102上に酸化物半導体膜を形成する。酸化物半導体膜は、酸化物
半導体をターゲットとして用い、スパッタ法により成膜する。また、酸化物半導体膜は、
希ガス(例えばアルゴン)雰囲気下、酸素雰囲気下、又は希ガス(例えばアルゴン)及び
酸素雰囲気下においてスパッタ法により形成することができる。
なお、酸化物半導体膜をスパッタ法により成膜する前に、アルゴンガスを導入してプラズ
マを発生させる逆スパッタを行い、ゲート絶縁膜102の表面に付着しているゴミを除去
することが好ましい。逆スパッタとは、ターゲット側に電圧を印加せずに、アルゴン雰囲
気下で基板側にRF電源を用いて電圧を印加して基板にプラズマを形成して表面を改質す
る方法である。なお、アルゴン雰囲気に代えて窒素、ヘリウムなどを用いてもよい。また
、アルゴン雰囲気に酸素、水素、亜酸化窒素などを加えた雰囲気で行ってもよい。また、
アルゴン雰囲気に塩素、四フッ化炭素などを加えた雰囲気で行ってもよい。
酸化物半導体膜には、上述した酸化物半導体を用いることができる。
酸化物半導体膜の膜厚は、10nm〜300nm、好ましくは20nm〜100nmとす
る。本実施の形態では、酸化物半導体膜としてIn(インジウム)、Ga(ガリウム)、
及びZn(亜鉛)を含む酸化物半導体ターゲット(モル数比がIn:Ga
ZnO=1:1:1、In:Ga:ZnO=1:1:2)を用いたスパッタ
法により得られる、膜厚30nmのIn−Ga−Zn−O系酸化物半導体を用いる。本実
施の形態では、DCスパッタ法を用い、アルゴンの流量30sccmとし、酸素の流量1
5sccmとし、基板温度は室温とする。
ゲート絶縁膜102、及び酸化物半導体膜を大気に触れさせることなく連続的に形成して
もよい。大気に触れさせることなく連続成膜することで、界面が、水やハイドロカーボン
などの、大気成分や大気中に浮遊する不純物元素に汚染されることなく各積層界面を形成
することができるので、薄膜トランジスタ特性のばらつきを低減することができる。
次いで、図1(A)に示すように、酸化物半導体膜をエッチングなどにより所望の形状に
加工(パターニング)し、ゲート電極101と重なる位置において、ゲート絶縁膜102
上に島状の酸化物半導体膜103を形成する。
次いで、不活性ガス雰囲気(窒素、またはヘリウム、ネオン、アルゴン等)下において、
酸化物半導体膜103に加熱処理を施しても良い。酸化物半導体膜103に加熱処理を施
すことで、水分、水素が脱離した酸化物半導体膜104が形成される。具体的には、減圧
雰囲気下、窒素や希ガスなどの不活性ガス雰囲気下、酸素ガス雰囲気下、または超乾燥エ
ア(CRDS(キャビティリングダウンレーザー分光法)方式の露点計を用いて測定した
場合の水分量が20ppm(露点換算で−55℃)以下、好ましくは1ppm以下、好ま
しくは10ppb以下の空気)雰囲気下で、において、500℃以上750℃以下(若し
くはガラス基板の歪点以下の温度)で1分間以上10分間以下程度、好ましくは600℃
、3分間以上6分間以下程度のRTA(Rapid Thermal Anneal)処
理で行うことができる。RTA法を用いれば、短時間に脱水化または脱水素化が行えるた
め、ガラス基板の歪点を超える温度でも処理することができる。なお、上記加熱処理は、
島状の酸化物半導体膜103形成後のタイミングに限らず、島状の酸化物半導体膜103
形成前の酸化物半導体膜に対して行っても良い。また、上記加熱処理を、酸化物半導体膜
104形成後に複数回行っても良い。島状の酸化物半導体膜104は、上記加熱処理によ
って水分、水素などの不純物が脱離し、i型(真性半導体)又はi型に限りなく近くなる
ため、上記不純物により閾値電圧がシフトするなどのトランジスタの特性の劣化が促進さ
れるのを防ぎ、オフ電流を低減させることができる。
本実施の形態では、窒素雰囲気下において、600℃、基板温度が上記設定温度に達した
状態で6分間、加熱処理を行う。加熱処理は、電気炉を用いた加熱方法、加熱した気体を
用いるGRTA(Gas Rapid Thermal Anneal)法またはランプ
光を用いるLRTA(Lamp Rapid Thermal Anneal)法などの
瞬間加熱方法などを用いることができる。例えば、電気炉を用いて加熱処理を行う場合、
昇温特性を0.1℃/min以上20℃/min以下、降温特性を0.1℃/min以上
15℃/min以下とすることが好ましい。
なお、加熱処理においては、窒素、またはヘリウム、ネオン、アルゴン等の希ガスに、水
分、水素などが含まれないことが好ましい。または、加熱処理装置に導入する窒素、また
はヘリウム、ネオン、アルゴン等の希ガスの純度を、6N(99.9999%)以上、好
ましくは7N(99.99999%)以上、(即ち不純物濃度を1ppm以下、好ましく
は0.1ppm以下)とすることが好ましい。
次いで、図1(C)に示すように、島状の酸化物半導体膜104上に、ソース電極ドレイ
ン電極用の導電膜を形成する。本実施の形態では、酸化物半導体膜104との接触抵抗が
低いチタン、タングステンまたはモリブデンなどの金属材料を用いた導電膜105a上に
、電気陰性度が低い金属、金属化合物または合金を用いた導電膜105bを形成する。
電気陰性度が低い金属として、アルミニウム、マグネシウムを用いることもできる。上記
金属のいずれか一つまたは複数を含む混合物、金属化合物または合金を、導電膜105b
として用いることができる。また、アルミニウムなどの耐熱性の低い材料を用いる場合、
アルミニウムに、チタン、タンタル、タングステン、モリブデン、クロム、ネオジム、ス
カンジウムから選ばれた元素、または上記元素を1つまたは複数成分として含む合金、ま
たは上記元素を成分として含む窒化物などの耐熱性導電性材料を組み合わせることで、導
電膜105bの耐熱性を高めるようにしても良い。
導電膜105aの膜厚は、10nm〜200nm、好ましくは50nm〜150nmとす
るのが望ましい。また、導電膜105bの膜厚は、100nm〜300nm、好ましくは
150nm〜250nmとするのが望ましい。本実施の形態では、導電膜105aとして
、スパッタ法で形成された膜厚100nmのチタン膜を用い、導電膜105bとして、ス
パッタ法で形成された膜厚200nmのアルミニウム膜を用いる。
本発明の一態様では、導電膜105bとして電気陰性度が低い金属、金属化合物または合
金を用いているので、酸化物半導体膜104内、ゲート絶縁膜102内、或いは、酸化物
半導体膜104と他の絶縁膜の界面とその近傍に存在する、水分または水素などの不純物
が、導電膜105bに吸蔵或いは吸着される。そのため、水分、水素などの不純物の脱離
により、i型(真性半導体)又はi型に限りなく近い酸化物半導体膜104を得ることが
でき、上記不純物により閾値電圧がシフトするなどのトランジスタの特性の劣化が促進さ
れるのを防ぎ、オフ電流を低減させることができる。
なお、上記構成に加えて、導電膜105bが露出した状態で、減圧雰囲気下、窒素、また
は希ガス(アルゴン、ヘリウムなど)の不活性ガス雰囲気下において加熱処理を行い、導
電膜105bの表面や内部に吸着されている水分や酸素などを取り除くようにしても良い
。加熱処理の温度範囲は、200℃乃至450℃とする。上記加熱処理を行うことで、酸
化物半導体膜104内、ゲート絶縁膜102内、或いは、酸化物半導体膜104と他の絶
縁膜の界面とその近傍に存在する、水分、水素などの不純物が、導電膜105bに、より
吸蔵或いは吸着されやすくすることができる。
次いで、図1(D)に示すように、エッチング等により導電膜105a及び導電膜105
bを所望の形状に加工(パターニング)することで、ソース電極106、ドレイン電極1
07を形成する。例えば、導電膜105aにチタン膜、導電膜105bにアルミニウム膜
を用いている場合、燐酸を含む溶液を用いて導電膜105bをウェットエッチングした後
、アンモニアと過酸化水素水を含む溶液(アンモニア過水)を用いて、導電膜105aを
ウェットエッチングすれば良い。具体的に、本実施の形態では、燐酸を含む溶液として、
和光純薬工業株式会社製の混酸アルミ液(2.0重量%の硝酸と、9.8重量%の酢酸と
、72.3重量%のリン酸と、を含有する水溶液)を用いる。また、アンモニア過水は、
具体的には、31重量%の過酸化水素水と28重量%のアンモニア水と水とを体積比5:
2:2で混合した水溶液を用いる。或いは、塩素(Cl)、塩化硼素(BCl)など
を含むガスを用いて、導電膜105aと導電膜105bをドライエッチングしても良い。
上記パターニングによりソース電極106とドレイン電極107を形成する際に、島状の
酸化物半導体膜104の露出した部分が一部エッチングされることで、溝部(凹部)が形
成される場合もある。本実施の形態では、上記エッチングにより溝部(凹部)を有する島
状の酸化物半導体膜108が形成される場合を例示する。ソース電極106、ドレイン電
極107の一部に用いられている導電膜105aは、酸化物半導体膜108と接している
。そして、なおかつ導電膜105aには、上述したとおり酸化物半導体膜108との接触
抵抗が低い金属材料が用いられているので、ソース電極106、ドレイン電極107と、
酸化物半導体膜108との間における接触抵抗が低減される。そのため、TFTのオン電
流及び電界効果移動度を高めることができる。
なお、図1(E)に示すように、ソース電極106、ドレイン電極107を形成した後は
、ソース電極106、ドレイン電極107及び酸化物半導体膜108を覆うように絶縁膜
109を形成する。絶縁膜109は、水分や、水素などの不純物を極力含まないことが望
ましく、単層の絶縁膜であっても良いし、積層された複数の絶縁膜で構成されていても良
い。上記絶縁膜109には、バリア性の高い材料を用いるのが望ましい。例えば、バリア
性の高い絶縁膜として、窒化珪素膜、窒化酸化珪素膜、窒化アルミニウム膜、または窒化
酸化アルミニウム膜などを用いることができる。複数の積層された絶縁膜を用いる場合、
上記バリア性の高い絶縁膜よりも、窒素の比率が低い酸化珪素膜、酸化窒化珪素膜などの
絶縁膜を、酸化物半導体膜108に近い側に形成する。そして、窒素の比率が低い絶縁膜
を間に挟んで、ソース電極106、ドレイン電極107及び酸化物半導体膜108と重な
るように、バリア性を有する絶縁膜を形成する。バリア性を有する絶縁膜を用いることで
、ソース電極106、ドレイン電極107の表面や内部に水分や酸素が吸着するのを防ぐ
ことができる。また、酸化物半導体膜108内、ゲート絶縁膜102内、或いは、酸化物
半導体膜108と他の絶縁膜の界面とその近傍に、水分または水素などの不純物が入り込
むのを防ぐことができる。また、酸化物半導体膜108に接するように窒素の比率が低い
酸化珪素膜、酸化窒化珪素膜などの絶縁膜を形成することで、バリア性の高い材料を用い
た絶縁膜が直接酸化物半導体膜108に接するのを防ぐことができる。
本実施の形態では、スパッタ法で形成された膜厚200nmの酸化珪素膜上に、スパッタ
法で形成された膜厚100nmの窒化珪素膜を積層させた構造を有する、絶縁膜109を
形成する。成膜時の基板温度は、室温以上300℃以下とすればよく、本実施の形態では
100℃とする。
ソース電極106又はドレイン電極107の間に設けられた酸化物半導体膜108の露出
領域と、絶縁膜109を構成する酸化珪素とが接して設けられることによって、酸化物半
導体膜108の絶縁膜109と接する領域に酸素が供与されて高抵抗化(キャリア濃度が
低まる、好ましくは1×1018/cm未満)し、高抵抗化したチャネル形成領域を有
する酸化物半導体膜108を形成することができる。
なお、絶縁膜109を形成した後に、加熱処理を施しても良い。加熱処理は大気雰囲気下
、減圧雰囲気下、窒素や希ガスなどの不活性ガス雰囲気下、酸素ガス雰囲気下、または超
乾燥エア(CRDS(キャビティリングダウンレーザー分光法)方式の露点計を用いて測
定した場合の水分量が20ppm(露点換算で−55℃)以下、好ましくは1ppm以下
、好ましくは10ppb以下の空気)雰囲気下において、好ましくは200℃以上400
℃以下、例えば250℃以上350℃以下)を行う。本実施の形態では、例えば、窒素雰
囲気下で250℃、1時間の加熱処理を行う。または、導電膜105a及び導電膜105
bを形成する前に、酸化物半導体膜に対して行った先の加熱処理と同様に、高温短時間の
RTA処理を行っても良い。該加熱処理を行うと、酸化物半導体膜108が絶縁膜109
を構成する酸化珪素と接した状態で加熱されることになり、さらに酸化物半導体膜108
を高抵抗化させてトランジスタの電気特性の向上および、電気特性のばらつきを軽減する
ことができる。この加熱処理を行うタイミングは、絶縁膜109の形成後であれば特に限
定されず、他の工程、例えば樹脂膜形成時の加熱処理や、透明導電膜を低抵抗化させるた
めの加熱処理と兼ねることで、工程数を増やすことなく行うことができる。
図2に、図1(E)に示す半導体装置の上面図を示す。図1(E)は、図2の破線A1−
A2における断面図に相当する。
トランジスタ110は、ゲート電極101と、ゲート電極101上のゲート絶縁膜102
と、ゲート絶縁膜102上の酸化物半導体膜108と、酸化物半導体膜108上のソース
電極106及びドレイン電極107と、ソース電極106、ドレイン電極107及び酸化
物半導体膜108上の絶縁膜109とを有する。
次いで、絶縁膜109上に導電膜を形成した後、該導電膜をパターニングすることで、図
3(A)に示すように、酸化物半導体膜108と重なる位置にバックゲート電極111を
形成しても良い。バックゲート電極111は、ゲート電極101、或いはソース電極10
6及びドレイン電極107と同様の材料、構造を用いて形成することが可能である。
バックゲート電極111の膜厚は、10nm〜400nm、好ましくは100nm〜20
0nmとする。本実施の形態では、チタン膜、アルミニウム膜、チタン膜が積層された構
造を有する導電膜を形成する。そして、フォトリソグラフィ法によりレジストマスクを形
成し、エッチングにより不要な部分を除去して、該導電膜を所望の形状に加工(パターニ
ング)することで、バックゲート電極111を形成する。
次いで、図3(B)に示すように、バックゲート電極111を覆うように絶縁膜112を
形成する。絶縁膜112は、雰囲気中の水分、水素などがトランジスタ110の特性に影
響を与えるのを防ぐことができる、バリア性の高い材料を用いるのが望ましい。例えば、
バリア性の高い絶縁膜として、窒化珪素膜、窒化酸化珪素膜、窒化アルミニウム膜、また
は窒化酸化アルミニウム膜などを、プラズマCVD法又はスパッタリング法等により単層
で又は積層させて形成することができる。バリア性の効果を得るには、絶縁膜112は、
例えば厚さ15nm〜400nmの膜厚で形成することが好ましい。
本実施の形態では、プラズマCVD法により300nmの絶縁膜を形成する。成膜条件は
、シランガスの流量4sccmとし、一酸化二窒素(NO)の流量800sccmとし
、基板温度400℃とする。
図3(C)に、図3(B)に示す半導体装置の上面図を示す。図3(B)は、図3(C)
の破線A1−A2における断面図に相当する。
なお、図3(B)では、バックゲート電極111が酸化物半導体膜108全体を覆ってい
る場合を例示しているが、本発明はこの構成に限定されない。バックゲート電極111は
、酸化物半導体膜108が有するチャネル形成領域の一部と少なくとも重なっていれば良
い。
バックゲート電極111は、電気的に絶縁しているフローティングの状態であっても良い
し、電位が与えられる状態であっても良い。後者の場合、バックゲート電極111には、
ゲート電極101と同じ高さの電位が与えられていても良いし、グラウンドなどの固定電
位が与えられていても良い。バックゲート電極111に与える電位の高さを制御すること
で、トランジスタ110の閾値電圧を制御することができる。
本実施の形態のように酸化物半導体膜中に含まれる水素、水などの不純物を極力除去し、
酸化物半導体膜を高純度化することが、トランジスタの特性にどのように影響を与えるか
を以下に説明する。
図27は、酸化物半導体を用いた逆スタガ型の薄膜トランジスタの縦断面図を示す。ゲー
ト電極(GE)上にゲート絶縁膜(GI)を介して酸化物半導体膜(OS)が設けられ、
その上にソース電極(S)及びドレイン電極(D)が設けられている。
図28は、図27に示すA−A’断面におけるエネルギーバンド図(模式図)を示す。図
28(A)はソース電極とドレイン電極の間の電圧を等電位(VD=0V)とした場合を
示し、図28(B)はソース電極に対しドレイン電極に正の電位(VD>0)を加えた場
合を示す。
図29は、図27におけるB−B’の断面におけるエネルギーバンド図(模式図)である
。図29(A)はゲート(GE)に正の電位(+VG)が印加された状態であり、ソース
電極とドレイン電極間にキャリア(電子)が流れるオン状態を示している。また、図29
(B)は、ゲート(G1)に負の電位(−VG)が印加された状態であり、オフ状態(少
数キャリアは流れない)である場合を示す。
図30は、真空準位と金属の仕事関数(φM)、酸化物半導体の電子親和力(χ)の関係
を示す。
金属は縮退しているため、伝導帯とフェルミ準位とは一致する。一方、従来の酸化物半導
体は一般にn型であり、その場合のフェルミ準位(Ef)は、バンドギャップ中央に位置
する真性フェルミ準位(Ei)から離れて、伝導帯(Ec)寄りに位置している。なお、
酸化物半導体において水素はドナーであり、酸化物半導体がn型化する一つの要因である
ことが知られている。
これに対して、本発明に係る酸化物半導体は、電気陰性度が水素よりも低い金属をソース
電極またはドレイン電極用の導電膜に用いることで、n型不純物である水素を酸化物半導
体から除去して酸化物半導体の主成分以外の不純物が極力含まれないように高純度化する
ことにより、酸化物半導体を真性(i型)又は真性型とせんとしたものである。すなわち
、不純物を添加して酸化物半導体をi型化するのでなく、水素や水等の不純物を極力除去
して高純度化することにより、i型(真性半導体)又はi型(真性半導体)に限りなく近
い酸化物半導体を得ることを特徴としている。上記構成により、矢印で示すように、フェ
ルミ準位(Ef)は真性フェルミ準位(Ei)と同じレベルに限りなく近づけることがで
きる。
酸化物半導体のバンドギャップ(Eg)が3.15eVである場合、電子親和力(χ)は
4.3eVと言われている。ソース電極及びドレイン電極を構成するチタン(Ti)の仕
事関数は、酸化物半導体の電子親和力(χ)とほぼ等しい。この場合、金属−酸化物半導
体界面において、電子に対してショットキー型の障壁は形成されない。
すなわち、金属の仕事関数(φM)と酸化物半導体の電子親和力(χ)が等しい場合、両
者が接触すると図28(A)で示すようなエネルギーバンド図(模式図)が示される。
図28(B)において黒丸(●)は電子を示し、ドレイン電極に正の電位が印加されると
、電子はバリア(h)をこえて酸化物半導体に注入され、ドレイン電極に向かって流れる
。この場合、バリア(h)の高さは、ゲート電圧とドレイン電圧に依存して変化するが、
正のドレイン電圧が印加された場合には、電圧印加のない図28(A)のバリアの高さ、
すなわちバンドギャップ(Eg)の1/2よりもバリアの高さ(h)は小さい値となる。
このとき電子は、図29(A)で示すようにゲート絶縁膜と高純度化された酸化物半導体
との界面における、酸化物半導体側のエネルギー的に安定な最低部を移動する。
また、図29(B)において、ゲート電極(G1)に負の電位(逆バイアス)が印加され
ると、少数キャリアであるホールは実質的にゼロであるため、電流は限りなくゼロに近い
値となる。
例えば、薄膜トランジスタのチャネル幅Wが1×10μmでチャネル長が3μmの素子
であっても、オフ電流が10−13A以下であり、サブスレッショルドスイング値(S値
)が0.1V/dec.(ゲート絶縁膜厚100nm)が得られる。
このように、酸化物半導体の主成分以外の水、水素などの不純物が極力含まれないように
、酸化物半導体膜を高純度化することにより、薄膜トランジスタの動作を良好なものとす
ることができる。
(実施の形態2)
チャネルエッチ構造のボトムゲート型の薄膜トランジスタを例に挙げ、半導体装置の作製
方法について図4を用いて説明する。
まず、実施の形態1において示した作製方法に従って、図4(A)に示すように、島状の
酸化物半導体膜104上に、酸化物半導体膜104との接触抵抗が低いチタン、タングス
テンまたはモリブデンなどの金属材料を用いた導電膜105a上に、電気陰性度が低い金
属、金属化合物または合金を用いた導電膜105bを形成する。導電膜105aと導電膜
105bに用いられる材料の種類、構造、その膜厚の範囲については、実施の形態1に既
に記載してあるので、ここでは説明を省略する。本実施の形態では、導電膜105aとし
て、スパッタ法で形成された膜厚100nmのチタン膜を用い、導電膜105bとして、
スパッタ法で形成された膜厚200nmのアルミニウム膜を用いる。
導電膜105aと導電膜105bを形成した後、導電膜105bが露出した状態で、減圧
雰囲気下、窒素、または希ガス(アルゴン、ヘリウムなど)の不活性ガス雰囲気下におい
て加熱処理を行っても良い。加熱処理の温度範囲は、実施の形態1と同様に、200℃乃
至450℃とする。
次いで、図4(B)に示すように、導電膜105bをエッチングなどにより除去する。上
記エッチングには、導電膜105aがエッチングされるのを防ぐために、ウェットエッチ
ングを用いるのが望ましい。具体的に本実施の形態では、導電膜105bにアルミニウム
膜を用いているので、燐酸を含む溶液、例えば和光純薬工業株式会社製の混酸アルミ液(
2.0重量%の硝酸と、9.8重量%の酢酸と、72.3重量%のリン酸と、を含有する
水溶液)を用いたウェットエッチングにより、導電膜105bを除去する。なお、ドライ
エッチングを用いて導電膜105bを除去する場合、塩素(Cl)、塩化硼素(BCl
)などを含むガスを用いると良い。ただし、ドライエッチングの場合、チタン膜である
導電膜105aと、アルミニウム膜である導電膜105bの選択比に差が出ないため、エ
ッチングの際に導電膜105aが残存するようにドライエッチングの時間を制御すれば良
い。
導電膜105bには、酸化物半導体膜104内、ゲート絶縁膜102内、或いは、酸化物
半導体膜104と他の絶縁膜の界面とその近傍に存在する、水分または水素などの不純物
が、吸蔵或いは吸着されている。よって、導電膜105bを除去することで、導電膜10
5bに吸蔵或いは吸着されている水分、または水素などの不純物も共に除去することがで
きる。
次いで、図4(C)に示すように、導電膜105a上に、電気陰性度が低い金属、金属化
合物または合金を用いた導電膜105cを新たに形成する。導電膜105cに用いられる
材料の種類と、その膜厚の範囲は、導電膜105bと同じとする。本実施の形態では、導
電膜105cとして、スパッタ法で形成された膜厚200nmのアルミニウム膜を用いる
本発明の一態様では、導電膜105bを除去した後に、電気陰性度が低い金属、金属化合
物または合金を用いて、導電膜105cを新たに形成している。導電膜105cは、すで
に不純物が吸蔵或いは吸着している導電膜105bよりも、水分、または水素などの不純
物を吸蔵或いは吸着しやすい。よって、酸化物半導体膜104内、ゲート絶縁膜102内
、或いは、酸化物半導体膜104と他の絶縁膜の界面とその近傍に存在する上記不純物を
、実施の形態1の場合よりも低減させることができる。そのため、水分、水素などの不純
物の脱離により、i型(真性半導体)又はi型に限りなく近い酸化物半導体膜104を得
ることができ、上記不純物により閾値電圧がシフトするなどのトランジスタの特性の劣化
が促進されるのを防ぎ、オフ電流を低減させることができる。
導電膜105cを形成した後、導電膜105cが露出した状態で、減圧雰囲気下、窒素、
または希ガス(アルゴン、ヘリウムなど)の不活性ガス雰囲気下において、再び加熱処理
を行っても良い。加熱処理の温度範囲は、実施の形態1と同様に、200℃乃至450℃
とする。上記加熱処理を行うことで、酸化物半導体膜104内、ゲート絶縁膜102内、
或いは、酸化物半導体膜104と他の絶縁膜の界面とその近傍に存在する、水分、または
水素などの不純物が、導電膜105cにより吸蔵或いは吸着されやすくすることができる
次いで、図4(D)に示すように、エッチング等により導電膜105a及び導電膜105
cを所望の形状に加工(パターニング)することで、ソース電極126、ドレイン電極1
27を形成する。例えば、導電膜105aにチタン膜、導電膜105cにアルミニウム膜
を用いている場合、燐酸を含む溶液を用いて導電膜105cをウェットエッチングした後
、アンモニアと過酸化水素水を含む溶液(アンモニア過水)を用いて、導電膜105aを
ウェットエッチングすれば良い。具体的に、本実施の形態では、燐酸を含む溶液として、
和光純薬工業株式会社製の混酸アルミ液(2.0重量%の硝酸と、9.8重量%の酢酸と
、72.3重量%のリン酸と、を含有する水溶液)を用いる。また、アンモニア過水は、
具体的には、31重量%の過酸化水素水と28重量%のアンモニア水と水とを体積比5:
2:2で混合した水溶液を用いる。或いは、塩素(Cl)、塩化硼素(BCl)など
を含むガスを用いて、導電膜105aと導電膜105cをドライエッチングしても良い。
上記パターニングによりソース電極126とドレイン電極127を形成する際に、島状の
酸化物半導体膜104の露出した部分が一部エッチングされることで、溝部(凹部)が形
成される場合もある。本実施の形態では、上記エッチングにより溝部(凹部)を有する島
状の酸化物半導体膜128が形成される場合を例示する。ソース電極126、ドレイン電
極127の一部に用いられている導電膜105aは、酸化物半導体膜128と接している
。そして、なおかつ導電膜105aには、上述したとおり酸化物半導体膜128との接触
抵抗が低い金属材料が用いられているので、ソース電極126、ドレイン電極127と、
酸化物半導体膜128との間における接触抵抗が低減される。そのため、TFTのオン電
流及び電界効果移動度を高めることができる。
そして、ソース電極126、ドレイン電極127を形成した後は、ソース電極126、ド
レイン電極127及び酸化物半導体膜128を覆うように絶縁膜129を形成する。絶縁
膜129に用いられる材料の種類、構造、その膜厚の範囲については、実施の形態1に記
載した絶縁膜109と同じとする。本実施の形態では、スパッタ法で形成された膜厚20
0nmの酸化珪素膜上に、スパッタ法で形成された膜厚100nmの窒化珪素膜を積層さ
せた構造を有する、絶縁膜129を形成する。成膜時の基板温度は、室温以上300℃以
下とすればよく、本実施の形態では100℃とする。
ソース電極126又はドレイン電極127の間に設けられた酸化物半導体膜128の露出
領域と、絶縁膜129を構成する酸化珪素とが接して設けられることによって、絶縁膜1
29と接する酸化物半導体膜128の領域が高抵抗化(キャリア濃度が低まる、好ましく
は1×1018/cm未満)し、高抵抗化したチャネル形成領域を有する酸化物半導体
膜128を形成することができる。
絶縁膜129を形成した後に、加熱処理を施しても良い。上記加熱処理の条件については
、実施の形態1において絶縁膜109を形成した後に行われる加熱処理の条件を参照すれ
ば良い。
上記作製方法に従って形成された薄膜トランジスタ120は、ゲート電極101と、ゲー
ト電極101上のゲート絶縁膜102と、ゲート絶縁膜102上の酸化物半導体膜128
と、酸化物半導体膜128上のソース電極126及びドレイン電極127と、ソース電極
126、ドレイン電極127及び酸化物半導体膜128上の絶縁膜129とを有する。
次いで、絶縁膜129上に導電膜を形成した後、該導電膜をパターニングすることで、酸
化物半導体膜128と重なる位置にバックゲート電極を形成しても良い。バックゲート電
極に用いられる材料の種類、構造、その膜厚の範囲については、実施の形態1に記載のバ
ックゲート電極111と同様であるので、ここでは説明を省略する。
バックゲート電極を形成した場合、バックゲート電極を覆うように絶縁膜を形成する。バ
ックゲート電極を覆う絶縁膜に用いられる材料の種類、構造、その膜厚の範囲については
、実施の形態1に記載の絶縁膜112と同様であるので、ここでは説明を省略する。
本実施の形態は、上記実施の形態と適宜組み合わせて実施することが可能である。
(実施の形態3)
チャネルエッチ構造のボトムゲート型の薄膜トランジスタを例に挙げ、半導体装置の作製
方法について図5を用いて説明する。
まず、実施の形態1において示した作製方法に従って、図5(A)に示すように、島状の
酸化物半導体膜104上に、酸化物半導体膜104との接触抵抗が低いチタン、タングス
テンまたはモリブデンなどの金属材料を用いた導電膜105a上に、電気陰性度が低い金
属、金属化合物または合金を用いた導電膜105bを形成する。導電膜105aと導電膜
105bに用いられる材料の種類、構造、その膜厚の範囲については、実施の形態1に既
に記載してあるので、ここでは説明を省略する。本実施の形態では、導電膜105aとし
て、スパッタ法で形成された膜厚100nmのチタン膜を用い、導電膜105bとして、
スパッタ法で形成された膜厚200nmのアルミニウム膜を用いる。
導電膜105aと導電膜105bを形成した後、導電膜105bが露出した状態で、減圧
雰囲気下、窒素、または希ガス(アルゴン、ヘリウムなど)の不活性ガス雰囲気下におい
て加熱処理を行っても良い。加熱処理の温度範囲は、実施の形態1と同様に、200℃乃
至450℃とする。
次いで、図5(B)に示すように、導電膜105bをエッチングなどにより除去する。上
記エッチングには、導電膜105aがエッチングされるのを防ぐために、ウェットエッチ
ングを用いるのが望ましい。具体的に本実施の形態では、導電膜105bにアルミニウム
膜を用いているので、燐酸を含む溶液、例えば和光純薬工業株式会社製の混酸アルミ液(
2.0重量%の硝酸と、9.8重量%の酢酸と、72.3重量%のリン酸と、を含有する
水溶液)を用いたウェットエッチングにより、導電膜105bを除去する。なお、ドライ
エッチングを用いて導電膜105bを除去する場合、塩素(Cl)、塩化硼素(BCl
)などを含むガスを用いると良い。ただし、ドライエッチングの場合、チタン膜である
導電膜105aと、アルミニウム膜である導電膜105bの選択比に差が出ないため、エ
ッチングの際に導電膜105aが残存するようにドライエッチングの時間を制御すれば良
い。
導電膜105bには、酸化物半導体膜104内、ゲート絶縁膜102内、或いは、酸化物
半導体膜104と他の絶縁膜の界面とその近傍に存在する、水分、または水素などの不純
物が、吸蔵或いは吸着されている。よって、導電膜105bを除去することで、導電膜1
05bに吸蔵或いは吸着されている水分、または水素などの不純物も共に除去することが
できる。
次いで、図5(C)に示すように、導電膜105a上に、電気陰性度が低い金属、金属化
合物または合金を用いた導電膜105cと、導電膜105cの酸化を防ぐことができるチ
タン、タングステンまたはモリブデンなどの金属材料を用いた導電膜105dを、新たに
形成する。導電膜105cに用いられる材料の種類と、その膜厚の範囲は、導電膜105
bと同じとする。また、導電膜105dの膜厚は、10nm〜200nm、好ましくは5
0nm〜150nmとするのが望ましい。本実施の形態では、導電膜105cとして、ス
パッタ法で形成された膜厚200nmのアルミニウム膜を用い、導電膜105dとして、
スパッタ法で形成された膜厚100nmのチタン膜を用いる。
本発明の一態様では、導電膜105bを除去した後に、電気陰性度が低い金属、金属化合
物または合金を用いて、導電膜105cを新たに形成している。導電膜105cは、すで
に不純物が吸蔵或いは吸着している導電膜105bよりも、水分、または水素などの不純
物を吸蔵或いは吸着しやすい。よって、酸化物半導体膜104内、ゲート絶縁膜102内
、或いは、酸化物半導体膜104と他の絶縁膜の界面とその近傍に存在する上記不純物を
、実施の形態1の場合よりも低減させることができる。そのため、水分、水素などの不純
物の脱離により、i型(真性半導体)又はi型に限りなく近い酸化物半導体膜104を得
ることができ、上記不純物により閾値電圧がシフトするなどのトランジスタの特性の劣化
が促進されるのを防ぎ、オフ電流を低減させることができる。
導電膜105dを形成した後、導電膜105dが露出した状態で、減圧雰囲気下、窒素、
または希ガス(アルゴン、ヘリウムなど)の不活性ガス雰囲気下において、再び加熱処理
を行っても良い。加熱処理の温度範囲は、実施の形態1と同様に、200℃乃至450℃
とする。上記加熱処理を行うことで、酸化物半導体膜104内、ゲート絶縁膜102内、
或いは、酸化物半導体膜104と他の絶縁膜の界面とその近傍に存在する、水分、または
水素などの不純物が、導電膜105cにより吸蔵或いは吸着されやすくすることができる
次いで、図5(D)に示すように、エッチング等により導電膜105a、導電膜105c
及び導電膜105dを所望の形状に加工(パターニング)することで、ソース電極136
、ドレイン電極137を形成する。例えば、導電膜105aにチタン膜、導電膜105c
にアルミニウム膜、導電膜105dにチタン膜を用いている場合、アンモニアと過酸化水
素水を含む溶液(アンモニア過水)を用いて、導電膜105dをウェットエッチングした
後、燐酸を含む溶液を用いて導電膜105cをウェットエッチングし、次いで、アンモニ
アと過酸化水素水を含む溶液(アンモニア過水)を用いて、導電膜105aをウェットエ
ッチングすれば良い。具体的に、本実施の形態では、燐酸を含む溶液として、和光純薬工
業株式会社製の混酸アルミ液(2.0重量%の硝酸と、9.8重量%の酢酸と、72.3
重量%のリン酸と、を含有する水溶液)を用いる。また、アンモニア過水は、具体的には
、31重量%の過酸化水素水と28重量%のアンモニア水と水とを体積比5:2:2で混
合した水溶液を用いる。或いは、塩素(Cl)、塩化硼素(BCl)などを含むガス
を用いて、導電膜105a、導電膜105c及び導電膜105dをドライエッチングして
も良い。
上記パターニングによりソース電極136とドレイン電極137を形成する際に、島状の
酸化物半導体膜104の露出した部分が一部エッチングされることで、溝部(凹部)が形
成される場合もある。本実施の形態では、上記エッチングにより溝部(凹部)を有する島
状の酸化物半導体膜138が形成される場合を例示する。ソース電極136、ドレイン電
極137の一部に用いられている導電膜105aは、酸化物半導体膜138と接している
。そして、なおかつ導電膜105aには、上述したとおり酸化物半導体膜との接触抵抗が
低い金属材料が用いられているので、ソース電極136、ドレイン電極137と、酸化物
半導体膜138との間における接触抵抗が低減される。そのため、TFTのオン電流及び
電界効果移動度を高めることができる。
そして、ソース電極136、ドレイン電極137を形成した後は、ソース電極136、ド
レイン電極137及び酸化物半導体膜138を覆うように絶縁膜139を形成する。絶縁
膜139に用いられる材料の種類、構造、その膜厚の範囲については、実施の形態1に記
載した絶縁膜109と同じとする。本実施の形態では、スパッタ法で形成された膜厚20
0nmの酸化珪素膜上に、スパッタ法で形成された膜厚100nmの窒化珪素膜を積層さ
せた構造を有する、絶縁膜139を形成する。成膜時の基板温度は、室温以上300℃以
下とすればよく、本実施の形態では100℃とする。
ソース電極136又はドレイン電極137の間に設けられた酸化物半導体膜138の露出
領域と、絶縁膜139を構成する酸化珪素とが接して設けられることによって、絶縁膜1
39と接する酸化物半導体膜138の領域に酸素が供与され、高抵抗化(キャリア濃度が
低まる、好ましくは1×1018/cm未満)し、高抵抗化したチャネル形成領域を有
する酸化物半導体膜138を形成することができる。
絶縁膜139を形成した後に、加熱処理を施しても良い。上記加熱処理の条件については
、実施の形態1において絶縁膜109を形成した後に行われる加熱処理の条件を参照すれ
ば良い。
上記作製方法に従って形成された薄膜トランジスタ130は、ゲート電極101と、ゲー
ト電極101上のゲート絶縁膜102と、ゲート絶縁膜102上の酸化物半導体膜138
と、酸化物半導体膜138上のソース電極136及びドレイン電極137と、ソース電極
136、ドレイン電極137及び酸化物半導体膜138上の絶縁膜139とを有する。
次いで、絶縁膜139上に導電膜を形成した後、該導電膜をパターニングすることで、酸
化物半導体膜138と重なる位置にバックゲート電極を形成しても良い。バックゲート電
極に用いられる材料の種類、構造、その膜厚の範囲については、実施の形態1に記載のバ
ックゲート電極111と同様であるので、ここでは説明を省略する。
バックゲート電極を形成した場合、バックゲート電極を覆うように絶縁膜を形成する。バ
ックゲート電極を覆う絶縁膜に用いられる材料の種類、構造、その膜厚の範囲については
、実施の形態1に記載の絶縁膜112と同様であるので、ここでは説明を省略する。
本実施の形態は、上記実施の形態と適宜組み合わせて実施することが可能である。
(実施の形態4)
チャネルエッチ構造のボトムゲート型の薄膜トランジスタを例に挙げ、半導体装置の作製
方法について図6を用いて説明する。
まず、実施の形態1において示した作製方法に従って、図6(A)に示すように、島状の
酸化物半導体膜104上に、酸化物半導体膜104との接触抵抗が低いチタン、タングス
テンまたはモリブデンなどの金属材料を用いた導電膜105a上に、電気陰性度が低い金
属、金属化合物または合金を用いた導電膜105bを形成する。導電膜105aと導電膜
105bに用いられる材料の種類、構造、その膜厚の範囲については、実施の形態1に既
に記載してあるので、ここでは説明を省略する。本実施の形態では、導電膜105aとし
て、スパッタ法で形成された膜厚100nmのチタン膜を用い、導電膜105bとして、
スパッタ法で形成された膜厚200nmのアルミニウム膜を用いる。
導電膜105aと導電膜105bを形成した後、導電膜105bが露出した状態で、減圧
雰囲気下、窒素、または希ガス(アルゴン、ヘリウムなど)の不活性ガス雰囲気下におい
て加熱処理を行っても良い。加熱処理の温度範囲は、実施の形態1と同様に、200℃乃
至450℃とする。
次いで、図6(B)に示すように、導電膜105bをエッチングなどにより除去する。上
記エッチングには、導電膜105aがエッチングされるのを防ぐために、ウェットエッチ
ングを用いるのが望ましい。具体的に本実施の形態では、導電膜105bにアルミニウム
膜を用いているので、燐酸を含む溶液、例えば和光純薬工業株式会社製の混酸アルミ液(
2.0重量%の硝酸と、9.8重量%の酢酸と、72.3重量%のリン酸と、を含有する
水溶液)を用いたウェットエッチングにより、導電膜105bを除去する。なお、ドライ
エッチングを用いて導電膜105bを除去する場合、塩素(Cl)、塩化硼素(BCl
)などを含むガスを用いると良い。ただし、ドライエッチングの場合、チタン膜である
導電膜105aと、アルミニウム膜である導電膜105bの選択比に差が出ないため、エ
ッチングの際に導電膜105aが残存するようにドライエッチングの時間を制御すれば良
い。
導電膜105bには、酸化物半導体膜104内、ゲート絶縁膜102内、或いは、酸化物
半導体膜104と他の絶縁膜の界面とその近傍に存在する、水分、または水素などの不純
物が、吸蔵或いは吸着されている。よって、導電膜105bを除去することで、導電膜1
05bに吸蔵或いは吸着されている水分、または水素などの不純物も共に除去することが
できる。
次いで、図6(C)に示すように、導電膜105a上に、酸化物半導体膜104との接触
抵抗が低いチタン、タングステンまたはモリブデンなどの金属材料を用いた導電膜105
eと、電気陰性度が低い金属、金属化合物または合金を用いた導電膜105cと、導電膜
105cの酸化を防ぐことができるチタン、タングステンまたはモリブデンなどの金属材
料を用いた導電膜105dを、新たに形成する。導電膜105eまたは導電膜105dの
膜厚の範囲は、導電膜105aと同じとする。導電膜105cに用いられる材料の種類と
、その膜厚の範囲は、導電膜105bと同じとする。本実施の形態では、導電膜105c
として、スパッタ法で形成された膜厚200nmのアルミニウム膜を用い、導電膜105
dとして、スパッタ法で形成された膜厚100nmのチタン膜を用い、導電膜105eと
して、スパッタ法で形成された膜厚100nmのチタン膜を用いる。
本発明の一態様では、導電膜105bを除去した後に、電気陰性度が低い金属、金属化合
物または合金を用いて、導電膜105cを新たに形成している。導電膜105cは、すで
に不純物が吸蔵或いは吸着している導電膜105bよりも、水分、または水素などの不純
物を吸蔵或いは吸着しやすい。よって、酸化物半導体膜104内、ゲート絶縁膜102内
、或いは、酸化物半導体膜104と他の絶縁膜の界面とその近傍に存在する上記不純物を
、実施の形態1の場合よりも低減させることができる。そのため、水分、水素などの不純
物の脱離により、i型(真性半導体)又はi型に限りなく近い酸化物半導体膜104を得
ることができ、上記不純物により閾値電圧がシフトするなどのトランジスタの特性の劣化
が促進されるのを防ぎ、オフ電流を低減させることができる。
導電膜105dを形成した後、導電膜105dが露出した状態で、減圧雰囲気下、窒素、
または希ガス(アルゴン、ヘリウムなど)の不活性ガス雰囲気下において、再び加熱処理
を行っても良い。加熱処理の温度範囲は、実施の形態1と同様に、200℃乃至450℃
とする。上記加熱処理を行うことで、酸化物半導体膜104内、ゲート絶縁膜102内、
或いは、酸化物半導体膜104と他の絶縁膜の界面とその近傍に存在する、水分、または
水素などの不純物が、導電膜105cにより吸蔵或いは吸着されやすくすることができる
次いで、図6(D)に示すように、エッチング等により導電膜105a、導電膜105c
、導電膜105d及び導電膜105eを所望の形状に加工(パターニング)することで、
ソース電極146、ドレイン電極147を形成する。例えば、導電膜105aにチタン膜
、導電膜105cにアルミニウム膜、導電膜105dにチタン膜、導電膜105eにチタ
ン膜を用いている場合、アンモニアと過酸化水素水を含む溶液(アンモニア過水)を用い
て、導電膜105dをウェットエッチングした後、燐酸を含む溶液を用いて導電膜105
cをウェットエッチングし、次いで、アンモニアと過酸化水素水を含む溶液(アンモニア
過水)を用いて、導電膜105e及び導電膜105aをウェットエッチングすれば良い。
具体的に、本実施の形態では、燐酸を含む溶液として、和光純薬工業株式会社製の混酸ア
ルミ液(2.0重量%の硝酸と、9.8重量%の酢酸と、72.3重量%のリン酸と、を
含有する水溶液)を用いる。また、アンモニア過水は、具体的には、31重量%の過酸化
水素水と28重量%のアンモニア水と水とを体積比5:2:2で混合した水溶液を用いる
。或いは、塩素(Cl)、塩化硼素(BCl)などを含むガスを用いて、導電膜10
5a、導電膜105c、導電膜105d及び導電膜105eをドライエッチングしても良
い。
上記パターニングによりソース電極146とドレイン電極147を形成する際に、島状の
酸化物半導体膜104の露出した部分が一部エッチングされることで、溝部(凹部)が形
成される場合もある。本実施の形態では、上記エッチングにより溝部(凹部)を有する島
状の酸化物半導体膜148が形成される場合を例示する。ソース電極146、ドレイン電
極147の一部に用いられている導電膜105aは、酸化物半導体膜148と接している
。そして、なおかつ導電膜105aには、上述したとおり酸化物半導体膜148との接触
抵抗が低い金属材料が用いられているので、ソース電極146、ドレイン電極147と、
酸化物半導体膜148との間における接触抵抗が低減される。そのため、TFTのオン電
流及び電界効果移動度を高めることができる。
そして、ソース電極146、ドレイン電極147を形成した後は、ソース電極146、ド
レイン電極147及び酸化物半導体膜148を覆うように絶縁膜149を形成する。絶縁
膜149に用いられる材料の種類、構造、その膜厚の範囲については、実施の形態1に記
載した絶縁膜109と同じとする。本実施の形態では、スパッタ法で形成された膜厚20
0nmの酸化珪素膜上に、スパッタ法で形成された膜厚100nmの窒化珪素膜を積層さ
せた構造を有する、絶縁膜149を形成する。成膜時の基板温度は、室温以上300℃以
下とすればよく、本実施の形態では100℃とする。
ソース電極146又はドレイン電極147の間に設けられた酸化物半導体膜148の露出
領域と、絶縁膜149を構成する酸化珪素とが接して設けられることによって、絶縁膜1
49と接する酸化物半導体膜148の領域に酸素が供与され、高抵抗化(キャリア濃度が
低まる、好ましくは1×1018/cm未満)し、高抵抗化したチャネル形成領域を有
する酸化物半導体膜148を形成することができる。
絶縁膜149を形成した後に、加熱処理を施しても良い。上記加熱処理の条件については
、実施の形態1において絶縁膜109を形成した後に行われる加熱処理の条件を参照すれ
ば良い。
上記作製方法に従って形成された薄膜トランジスタ140は、ゲート電極101と、ゲー
ト電極101上のゲート絶縁膜102と、ゲート絶縁膜102上の酸化物半導体膜148
と、酸化物半導体膜148上のソース電極146及びドレイン電極147と、ソース電極
146、ドレイン電極147及び酸化物半導体膜148上の絶縁膜149とを有する。
次いで、絶縁膜149上に導電膜を形成した後、該導電膜をパターニングすることで、酸
化物半導体膜148と重なる位置にバックゲート電極を形成しても良い。バックゲート電
極に用いられる材料の種類、構造、その膜厚の範囲については、実施の形態1に記載のバ
ックゲート電極111と同様であるので、ここでは説明を省略する。
バックゲート電極を形成した場合、バックゲート電極を覆うように絶縁膜を形成する。バ
ックゲート電極を覆う絶縁膜に用いられる材料の種類、構造、その膜厚の範囲については
、実施の形態1に記載の絶縁膜112と同様であるので、ここでは説明を省略する。
本実施の形態は、上記実施の形態と適宜組み合わせて実施することが可能である。
(実施の形態5)
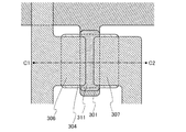
本実施の形態では、チャネル保護構造のボトムゲート型の薄膜トランジスタを例に挙げ、
半導体装置の作製方法について図7、図8及び図9を用いて説明する。なお、実施の形態
1と同一部分又は同様な機能を有する部分、及び工程は、実施の形態1と同様に行うこと
ができるため、繰り返しの説明は省略する。
図7(A)に示すように、絶縁表面を有する基板300上にゲート電極301を形成する
。下地膜となる絶縁膜を基板300とゲート電極301の間に設けても良い。ゲート電極
301の材料、構造及び膜厚については、実施の形態1に示したゲート電極301につい
ての記載を参照すれば良い。下地膜の材料、構造及び膜厚については、実施の形態1に示
した下地膜についての記載を参照すれば良い。
次いで、ゲート電極301上にゲート絶縁膜302を形成する。ゲート絶縁膜302の材
料、膜厚及び構造と、作製方法については、実施の形態1に示したゲート絶縁膜302に
ついての記載を参照すれば良い。
次いで、ゲート絶縁膜302上に島状の酸化物半導体膜303を形成する。島状の酸化物
半導体膜303の材料、膜厚及び構造と、作製方法については、実施の形態1に示した酸
化物半導体膜103についての記載を参照すれば良い。
次いで、減圧雰囲気下、窒素や希ガスなどの不活性ガス雰囲気下、酸素ガス雰囲気下、ま
たは超乾燥エア(CRDS(キャビティリングダウンレーザー分光法)方式の露点計を用
いて測定した場合の水分量が20ppm(露点換算で−55℃)以下、好ましくは1pp
m以下、好ましくは10ppb以下の空気)雰囲気下において、島状の酸化物半導体膜3
03に加熱処理を施す。酸化物半導体膜303への加熱処理については、実施の形態1に
おいて示した、酸化物半導体膜103への加熱処理についての説明を参照すれば良い。酸
化物半導体膜303を上記雰囲気下で加熱処理することで、図7(B)に示すように、酸
化物半導体膜303に含まれる水分、水素が脱離した島状の酸化物半導体膜304が形成
される。島状の酸化物半導体膜304は、上記加熱処理によって水分、水素などの不純物
が脱離し、i型(真性半導体)又はi型に限りなく近くなるため、上記不純物により閾値
電圧がシフトするなどのトランジスタの特性の劣化が促進されるのを防ぎ、オフ電流を低
減させることができる。
次に、図7(C)に示すように、酸化物半導体膜304のチャネル形成領域となる部分と
重なるように、酸化物半導体膜304上にチャネル保護膜311を形成する。チャネル保
護膜311を設けることによって、酸化物半導体膜304のチャネル形成領域となる部分
に対する、後の工程時におけるダメージ(エッチング時のプラズマやエッチング剤による
膜減りなど)を防ぐことができる。従って薄膜トランジスタの信頼性を向上させることが
できる。
チャネル保護膜311には、酸素を含む無機材料(酸化珪素、酸化窒化珪素、窒化酸化珪
素など)を用いることができる。チャネル保護膜311は、プラズマCVD法や熱CVD
法などの気相成長法やスパッタリング法を用いて形成することができる。チャネル保護膜
311は成膜後にエッチングにより形状を加工する。ここでは、スパッタ法により酸化珪
素膜を形成し、フォトリソグラフィによるマスクを用いてエッチング加工することでチャ
ネル保護膜311を形成する。
また、島状の酸化物半導体膜304に接してスパッタ法またはPCVD法などにより酸化
珪素、酸化窒化珪素などの絶縁膜であるチャネル保護膜311を形成すると、島状の酸化
物半導体膜304において少なくともチャネル保護膜311と接する領域に酸素が供与さ
れ、キャリア濃度が好ましくは1×1018/cm未満、さらに好ましくは1×10
/cm以下まで低くなることにより高抵抗化し、高抵抗化酸化物半導体領域となる。
チャネル保護膜311の形成により、酸化物半導体膜304は、チャネル保護膜311と
の界面近傍に高抵抗化酸化物半導体領域を有することができる。
次いで、島状の酸化物半導体膜304上に、酸化物半導体膜304との接触抵抗が低いチ
タン、タングステンまたはモリブデンなどの金属材料を用いた導電膜305aと、電気陰
性度が低い金属、金属化合物または合金を用いた導電膜305bとを、順に形成する。導
電膜305aと導電膜305bに用いられる材料の種類、構造、膜厚の範囲及びその作製
方法については、実施の形態1に示した導電膜105a、導電膜105bについての記載
を参照すれば良い。本実施の形態では、導電膜305aとして、スパッタ法で形成された
膜厚100nmのチタン膜を用い、導電膜305bとして、スパッタ法で形成された膜厚
200nmのアルミニウム膜を用いる。
本発明の一態様では、導電膜305bとして電気陰性度が低い金属、金属化合物または合
金を用いているので、酸化物半導体膜304内、ゲート絶縁膜302内、或いは、酸化物
半導体膜304と他の絶縁膜の界面とその近傍に存在する、水分、または水素などの不純
物が、導電膜305bに吸蔵或いは吸着される。そのため、水分、水素などの不純物の脱
離により、i型(真性半導体)又はi型に限りなく近い酸化物半導体膜304を得ること
ができ、上記不純物により閾値電圧がシフトするなどのトランジスタの特性の劣化が促進
されるのを防ぎ、オフ電流を低減させることができる。
導電膜305aと導電膜305bを形成した後、導電膜305bが露出した状態で、減圧
雰囲気下、窒素、または希ガス(アルゴン、ヘリウムなど)の不活性ガス雰囲気下におい
て加熱処理を行っても良い。加熱処理の温度範囲は、実施の形態1と同様に、200℃乃
至450℃とする。
次いで、図7(D)に示すように、エッチング等により導電膜305a及び導電膜305
bを所望の形状に加工(パターニング)することで、ソース電極306、ドレイン電極3
07を形成する。例えば、導電膜305aにチタン膜、導電膜305bにアルミニウム膜
を用いている場合、燐酸を含む溶液を用いて導電膜305bをウェットエッチングした後
、アンモニアと過酸化水素水を含む溶液(アンモニア過水)を用いて、導電膜305aを
ウェットエッチングすれば良い。具体的に、本実施の形態では、燐酸を含む溶液として、
和光純薬工業株式会社製の混酸アルミ液(2.0重量%の硝酸と、9.8重量%の酢酸と
、72.3重量%のリン酸と、を含有する水溶液)を用いる。また、アンモニア過水は、
具体的には、31重量%の過酸化水素水と28重量%のアンモニア水と水とを体積比5:
2:2で混合した水溶液を用いる。或いは、塩素(Cl)、塩化硼素(BCl)など
を含むガスを用いて、導電膜305aと導電膜305bをドライエッチングしても良い。
ソース電極306、ドレイン電極307の一部に用いられている導電膜305aは、酸化
物半導体膜304と接している。そして、なおかつ導電膜305aには、上述したとおり
酸化物半導体膜との接触抵抗が低い金属材料が用いられているので、ソース電極306、
ドレイン電極307と、酸化物半導体膜304との間における接触抵抗が低減される。そ
のため、TFTのオン電流及び電界効果移動度を高めることができる。
そして、図7(E)に示すように、ソース電極306、ドレイン電極307を形成した後
は、酸化物半導体膜304、ソース電極306、ドレイン電極307及びチャネル保護膜
311を覆うように絶縁膜309を形成する。絶縁膜309に用いられる材料の種類、構
造、その膜厚の範囲については、実施の形態1に記載した絶縁膜109と同じとする。本
実施の形態では、スパッタ法で形成された膜厚200nmの酸化珪素膜上に、スパッタ法
で形成された膜厚100nmの窒化珪素膜を積層させた構造を有する、絶縁膜309を形
成する。成膜時の基板温度は、室温以上300℃以下とすればよく、本実施の形態では1
00℃とする。
絶縁膜309を形成した後に、加熱処理を施しても良い。上記加熱処理の条件については
、実施の形態1において絶縁膜109を形成した後に行われる加熱処理の条件を参照すれ
ば良い。
図8に、図7(E)に示す半導体装置の上面図を示す。図7(E)は、図8の破線C1−
C2における断面図に相当する。
上記作製方法に従って形成された薄膜トランジスタ310は、ゲート電極301と、ゲー
ト電極301上のゲート絶縁膜302と、ゲート絶縁膜302上の酸化物半導体膜304
と、酸化物半導体膜304上のチャネル保護膜311と、酸化物半導体膜304上のソー
ス電極306及びドレイン電極307と、酸化物半導体膜304、ソース電極306、ド
レイン電極307及びチャネル保護膜311上の絶縁膜309とを有する。
次いで、図9(A)に示すように、絶縁膜309上に導電膜を形成した後、該導電膜をパ
ターニングすることで、酸化物半導体膜304と重なる位置にバックゲート電極312を
形成しても良い。バックゲート電極312に用いられる材料の種類、構造、その膜厚の範
囲については、実施の形態1に記載のバックゲート電極111と同様であるので、ここで
は説明を省略する。
バックゲート電極312を形成した場合、図9(B)に示すように、バックゲート電極3
12を覆うように絶縁膜313を形成する。絶縁膜313に用いられる材料の種類、構造
、その膜厚の範囲については、実施の形態1に記載の絶縁膜112と同様であるので、こ
こでは説明を省略する。
図9(C)に、図9(B)に示す半導体装置の上面図を示す。図9(B)は、図9(C)
の破線C1−C2における断面図に相当する。
なお、本実施の形態では、ソース電極とドレイン電極を、実施の形態1に示す作製方法に
従って形成している例を示しているが、本発明はこの構成に限定されない。ソース電極と
ドレイン電極を、実施の形態2乃至実施の形態4に示す作製方法に従って形成しても良い
本実施の形態は、上記実施の形態と適宜組み合わせて実施することが可能である。
(実施の形態6)
本実施の形態では、ボトムコンタクト型の薄膜トランジスタを例に挙げ、半導体装置の作
製方法について図10及び図11を用いて説明する。なお、実施の形態1と同一部分又は
同様な機能を有する部分、及び工程は、実施の形態1と同様に行うことができるため、繰
り返しの説明は省略する。
図10(A)に示すように、絶縁表面を有する基板400上にゲート電極401を形成す
る。下地膜となる絶縁膜を基板400とゲート電極401の間に設けても良い。ゲート電
極401の材料、構造及び膜厚については、実施の形態1に示したゲート電極401につ
いての記載を参照すれば良い。下地膜の材料、構造及び膜厚については、実施の形態1に
示した下地膜についての記載を参照すれば良い。
次いで、ゲート電極401上にゲート絶縁膜402を形成する。ゲート絶縁膜402の材
料、膜厚及び構造と、作製方法については、実施の形態1に示したゲート絶縁膜402に
ついての記載を参照すれば良い。
次いで、ゲート絶縁膜402上に、電気陰性度が低い金属、金属化合物または合金を用い
た導電膜405aと、酸化物半導体膜404との接触抵抗が低いチタン、タングステンま
たはモリブデンなどの金属材料を用いた導電膜405bとを、順に形成する。導電膜40
5bと導電膜405aに用いられる材料の種類、構造、膜厚の範囲及びその作製方法につ
いては、実施の形態1に示した導電膜105a、導電膜105bについての記載を参照す
れば良い。本実施の形態では、導電膜405aとして、スパッタ法で形成された膜厚20
0nmのアルミニウム膜を用い、導電膜405bとして、スパッタ法で形成された膜厚1
00nmのチタン膜を用いる。
導電膜405aと導電膜405bを形成した後、導電膜405bが露出した状態で、減圧
雰囲気下、窒素、または希ガス(アルゴン、ヘリウムなど)の不活性ガス雰囲気下におい
て加熱処理を行っても良い。加熱処理の温度範囲は、実施の形態1と同様に、200℃乃
至450℃とする。例えば、導電膜405aにアルミニウム膜、導電膜405bにチタン
膜を用いている場合、アンモニアと過酸化水素水を含む溶液(アンモニア過水)を用いて
導電膜405bをウェットエッチングした後、燐酸を含む溶液を用いて、導電膜405a
をウェットエッチングすれば良い。具体的に、本実施の形態では、燐酸を含む溶液として
、和光純薬工業株式会社製の混酸アルミ液(2.0重量%の硝酸と、9.8重量%の酢酸
と、72.3重量%のリン酸と、を含有する水溶液)を用いる。また、アンモニア過水は
、具体的には、31重量%の過酸化水素水と28重量%のアンモニア水と水とを体積比5
:2:2で混合した水溶液を用いる。或いは、塩素(Cl)、塩化硼素(BCl)な
どを含むガスを用いて、導電膜405aと導電膜405bをドライエッチングしても良い
次いで、図10(B)に示すように、エッチング等により導電膜405a及び導電膜40
5bを所望の形状に加工(パターニング)することで、ソース電極406、ドレイン電極
407を形成する。
次いで、図10(C)に示すように、ゲート絶縁膜402、ソース電極406、ドレイン
電極407上に島状の酸化物半導体膜403を形成する。島状の酸化物半導体膜403の
材料、膜厚及び構造と、作製方法については、実施の形態1に示した酸化物半導体膜10
3についての記載を参照すれば良い。
次いで、減圧雰囲気下、窒素や希ガスなどの不活性ガス雰囲気下、酸素ガス雰囲気下、ま
たは超乾燥エア(CRDS(キャビティリングダウンレーザー分光法)方式の露点計を用
いて測定した場合の水分量が20ppm(露点換算で−55℃)以下、好ましくは1pp
m以下、好ましくは10ppb以下の空気)雰囲気下において、島状の酸化物半導体膜4
03に加熱処理を施す。酸化物半導体膜403への加熱処理については、実施の形態1に
おいて示した、酸化物半導体膜103への加熱処理についての説明を参照すれば良い。酸
化物半導体膜403を上記雰囲気下で加熱処理することで、図10(D)に示すように、
酸化物半導体膜403に含まれる水分、水素が脱離した島状の酸化物半導体膜404が形
成される。島状の酸化物半導体膜404は、上記加熱処理によって水分、水素などの不純
物が脱離し、i型(真性半導体)又はi型に限りなく近くなるため、上記不純物により閾
値電圧がシフトするなどのトランジスタの特性の劣化が促進されるのを防ぎ、オフ電流を
低減させることができる。
本発明の一態様では、導電膜405aとして電気陰性度が低い金属、金属化合物または合
金を用いているので、酸化物半導体膜404内、ゲート絶縁膜402内、或いは、酸化物
半導体膜404と他の絶縁膜の界面とその近傍に存在する、水分、または水素などの不純
物が、導電膜405aに吸蔵或いは吸着される。そのため、水分、水素などの不純物の脱
離により、i型(真性半導体)又はi型に限りなく近い酸化物半導体膜404を得ること
ができ、上記不純物により閾値電圧がシフトするなどのトランジスタの特性の劣化が促進
されるのを防ぎ、オフ電流を低減させることができる。
また、ソース電極406、ドレイン電極407の一部に用いられている導電膜405bは
、酸化物半導体膜404と接している。そして、なおかつ導電膜405bには、上述した
とおり酸化物半導体膜との接触抵抗が低い金属材料が用いられているので、ソース電極4
06、ドレイン電極407と、酸化物半導体膜404との間における接触抵抗が低減され
る。そのため、TFTのオン電流及び電界効果移動度を高めることができる。
次いで、図10(E)に示すように、ソース電極406、ドレイン電極407を形成した
後は、酸化物半導体膜404、ソース電極406、ドレイン電極407を覆うように絶縁
膜409を形成する。絶縁膜409に用いられる材料の種類、構造、その膜厚の範囲につ
いては、実施の形態1に記載した絶縁膜109と同じとする。本実施の形態では、スパッ
タ法で形成された膜厚200nmの酸化珪素膜上に、スパッタ法で形成された膜厚100
nmの窒化珪素膜を積層させた構造を有する、絶縁膜409を形成する。成膜時の基板温
度は、室温以上300℃以下とすればよく、本実施の形態では100℃とする。
絶縁膜409を形成した後に、加熱処理を施しても良い。上記加熱処理の条件については
、実施の形態1において絶縁膜109を形成した後に行われる加熱処理の条件を参照すれ
ば良い。
図11に、図10(E)に示す半導体装置の上面図を示す。図10(E)は、図11の破
線B1−B2における断面図に相当する。
上記作製方法に従って形成された薄膜トランジスタ410は、ゲート電極401と、ゲー
ト電極401上のゲート絶縁膜402と、ゲート絶縁膜402上のソース電極406及び
ドレイン電極407と、ゲート絶縁膜402、ソース電極406及びドレイン電極407
上の酸化物半導体膜404と、酸化物半導体膜404、ソース電極406及びドレイン電
極407上の絶縁膜409とを有する。
次いで、絶縁膜409上に導電膜を形成した後、該導電膜をパターニングすることで、酸
化物半導体膜404と重なる位置にバックゲート電極を形成しても良い。バックゲート電
極に用いられる材料の種類、構造、その膜厚の範囲については、実施の形態1に記載のバ
ックゲート電極111と同様であるので、ここでは説明を省略する。
バックゲート電極を形成した場合、バックゲート電極を覆うように絶縁膜を形成する。上
記絶縁膜に用いられる材料の種類、構造、その膜厚の範囲については、実施の形態1に記
載の絶縁膜112と同様であるので、ここでは説明を省略する。
本実施の形態は、上記実施の形態と適宜組み合わせて実施することが可能である。
(実施の形態7)
本実施の形態では、本発明の一態様に係る半導体表示装置の作製方法について、図12乃
至図17を用いて説明する。
なお、本明細書中で連続成膜とは、スパッタ法で行う第1の成膜工程からスパッタ法で行
う第2の成膜工程までの一連のプロセス中、被処理基板の置かれている雰囲気が大気等の
汚染雰囲気に触れることなく、常に真空中または不活性ガス雰囲気(窒素雰囲気または希
ガス雰囲気)で制御されていることを言う。連続成膜を行うことにより、清浄化された被
処理基板の水分等の再付着を回避して成膜を行うことができる。
同一チャンバー内で第1の成膜工程から第2の成膜工程までの一連のプロセスを行うこと
は本明細書における連続成膜の範囲にあるとする。
また、異なるチャンバーで第1の成膜工程から第2の成膜工程までの一連のプロセスを行
う場合、第1の成膜工程を終えた後、大気にふれることなくチャンバー間を基板搬送して
第2の成膜を施すことも本明細書における連続成膜の範囲にあるとする。
なお、第1の成膜工程と第2の成膜工程の間に、基板搬送工程、アライメント工程、徐冷
工程、または第2の工程に必要な温度とするため基板を加熱または冷却する工程等を有し
ても、本明細書における連続成膜の範囲にあるとする。
ただし、洗浄工程、ウェットエッチング、レジスト形成といった液体を用いる工程が第1
の成膜工程と第2の成膜工程の間にある場合、本明細書でいう連続成膜の範囲には当ては
まらないとする。
図12(A)において、透光性を有する基板800には、フュージョン法やフロート法で
作製されるガラス基板の他、ステンレス合金などの金属基板の表面に絶縁膜を設けた基板
を適用しても良い。また、プラスチック等の可撓性を有する合成樹脂からなる基板は、耐
熱温度が一般的に低い傾向にあるが、後の作製工程における処理温度に耐え得るのであれ
ば、基板800として用いることが可能である。プラスチック基板として、ポリエチレン
テレフタレート(PET)に代表されるポリエステル、ポリエーテルスルホン(PES)
、ポリエチレンナフタレート(PEN)、ポリカーボネート(PC)、ポリエーテルエー
テルケトン(PEEK)、ポリスルホン(PSF)、ポリエーテルイミド(PEI)、ポ
リアリレート(PAR)、ポリブチレンテレフタレート(PBT)、ポリイミド、アクリ
ロニトリルブタジエンスチレン樹脂、ポリ塩化ビニル、ポリプロピレン、ポリ酢酸ビニル
、アクリル樹脂などが挙げられる。
なお、ガラス基板としては、後の加熱処理の温度が高い場合には、歪み点が730℃以上
のものを用いると良い。また、ガラス基板には、例えば、アルミノシリケートガラス、ア
ルミノホウケイ酸ガラス、バリウムホウケイ酸ガラスなどのガラス材料が用いられている
。ホウ酸と比較して酸化バリウム(BaO)を多く含ませることで、より実用的な耐熱ガ
ラスが得られる。
なお、上記のガラス基板に代えて、セラミック基板、石英基板、サファイア基板などの絶
縁体でなる基板を用いても良い。他にも、結晶化ガラスなどを用いることができる。
次いで、導電膜を基板800全面に形成した後、第1のフォトリソグラフィ工程を行い、
レジストマスクを形成し、エッチングにより不要な部分を除去して配線及び電極(ゲート
電極801を含むゲート配線、容量配線822、及び第1の端子821)を形成する。こ
のとき少なくともゲート電極801の端部にテーパー形状が形成されるようにエッチング
する。
上記導電膜の材料として、モリブデン、チタン、クロム、タンタル、タングステン、ネオ
ジム、スカンジウム等の金属材料、これら金属材料を主成分とする合金材料、或いはこれ
ら金属の窒化物を、単層で又は積層で用いることができる。なお、後の工程において行わ
れる加熱処理の温度に耐えうるのであれば、上記金属材料としてアルミニウム、銅を用い
ることも出来る。
例えば、二層の積層構造を有する導電膜として、アルミニウム上にモリブデンが積層され
た二層の積層構造、または銅層上にモリブデンを積層した二層構造、または銅上に窒化チ
タン若しくは窒化タンタルを積層した二層構造、窒化チタンとモリブデンとを積層した二
層構造とすることが好ましい。3層の積層構造としては、アルミニウム、アルミニウムと
シリコンの合金、アルミニウムとチタンの合金またはアルミニウムとネオジムの合金を中
間層とし、タングステン、窒化タングステン、窒化チタンまたはチタンを上下層として積
層した構造とすることが好ましい。
また、一部の電極や配線に透光性を有する酸化物導電膜を用いて開口率を向上させること
もできる。例えば、酸化物導電膜には酸化インジウム、酸化インジウム酸化スズ合金、酸
化インジウム酸化亜鉛合金、酸化亜鉛、酸化亜鉛アルミニウム、酸窒化亜鉛アルミニウム
、または酸化亜鉛ガリウム等を用いることができる。
ゲート電極801、容量配線822及び第1の端子821の膜厚は、10nm〜400n
m、好ましくは100nm〜200nmとする。本実施の形態では、タングステンターゲ
ットを用いたスパッタ法により100nmのゲート電極用の導電膜を形成した後、該導電
膜をエッチングにより所望の形状に加工(パターニング)することで、ゲート電極801
、容量配線822及び第1の端子821を形成する。
なお、下地膜となる絶縁膜を基板800と、ゲート電極801、容量配線822及び第1
の端子821の間に設けても良い。下地膜として、例えば、酸化珪素膜、酸化窒化珪素膜
、窒化珪素膜、窒化酸化珪素膜、窒化アルミニウム膜、または窒化酸化アルミニウム膜の
いずれか1つを単層で、或いは複数を積層させて用いることができる。特に、下地膜に、
バリア性の高い絶縁膜、例えば窒化珪素膜、窒化酸化珪素膜、窒化アルミニウム膜、また
は窒化酸化アルミニウム膜などを用いることで、水分、または水素などの雰囲気中の不純
物、或いは基板800内に含まれるアルカリ金属、重金属などの不純物が、酸化物半導体
膜内、ゲート絶縁膜内、或いは、酸化物半導体膜と他の絶縁膜の界面とその近傍に入り込
むのを防ぐことができる。
次いで、図12(B)に示すように、ゲート電極801、容量配線822、第1の端子8
21上にゲート絶縁膜802を形成する。ゲート絶縁膜802は、プラズマCVD法又は
スパッタリング法等を用いて、酸化珪素膜、窒化珪素膜、酸化窒化珪素膜、窒化酸化珪素
膜、酸化アルミニウムまたは酸化タンタルを単層で又は積層させて形成することができる
。ゲート絶縁膜802は、水分や、水素などの不純物を極力含まないことが望ましい。バ
リア性の高い材料を用いた絶縁膜と、含まれる窒素の比率が低い酸化珪素膜、酸化窒化珪
素膜などの絶縁膜とを積層させた構造を有するゲート絶縁膜802を形成しても良い。こ
の場合、酸化珪素膜、酸化窒化珪素膜などの絶縁膜は、バリア性を有する絶縁膜と酸化物
半導体膜の間に形成する。バリア性の高い絶縁膜として、例えば窒化珪素膜、窒化酸化珪
素膜、窒化アルミニウム膜、または窒化酸化アルミニウム膜などが挙げられる。バリア性
を有する絶縁膜を用いることで、水分、または水素などの雰囲気中不純物、或いは基板内
に含まれるアルカリ金属、重金属などの不純物が、酸化物半導体膜内、ゲート絶縁膜80
2内、或いは、酸化物半導体膜と他の絶縁膜の界面とその近傍に入り込むのを防ぐことが
できる。また、酸化物半導体膜に接するように窒素の比率が低い酸化珪素膜、酸化窒化珪
素膜などの絶縁膜を形成することで、バリア性の高い材料を用いた絶縁膜が直接酸化物半
導体膜に接するのを防ぐことができる。
本実施の形態では、スパッタ法で形成された膜厚50nmの窒化珪素膜上に、スパッタ法
で形成された膜厚100nmの酸化珪素膜を積層させた構造を有する、ゲート絶縁膜80
2を形成する。
次に、ゲート絶縁膜802上に、酸化物半導体膜を形成した後、エッチング等により所望
の形状に上記酸化物半導体膜を加工することで、島状の酸化物半導体膜803を形成する
。酸化物半導体膜は、酸化物半導体をターゲットとして用い、スパッタ法により成膜する
。また、酸化物半導体膜は、希ガス(例えばアルゴン)雰囲気下、酸素雰囲気下、又は希
ガス(例えばアルゴン)及び酸素雰囲気下においてスパッタ法により形成することができ
る。
なお、酸化物半導体膜をスパッタ法により成膜する前に、アルゴンガスを導入してプラズ
マを発生させる逆スパッタを行い、ゲート絶縁膜802の表面に付着しているゴミを除去
することが好ましい。逆スパッタとは、ターゲット側に電圧を印加せずに、アルゴン雰囲
気下で基板側にRF電源を用いて電圧を印加して基板にプラズマを形成して表面を改質す
る方法である。なお、アルゴン雰囲気に代えて窒素、ヘリウムなどを用いてもよい。また
、アルゴン雰囲気に酸素、水素、亜酸化窒素などを加えた雰囲気で行ってもよい。また、
アルゴン雰囲気に塩素、四フッ化炭素などを加えた雰囲気で行ってもよい。
チャネル形成領域を形成するための酸化物半導体膜には、上述したような、半導体特性を
有する酸化物材料を用いればよい。
酸化物半導体膜の膜厚は、10nm〜300nm、好ましくは20nm〜100nmとす
る。本実施の形態では、ここでは、In、Ga、及びZnを含む酸化物半導体ターゲット
(モル数比がIn:Ga:ZnO=1:1:1、In:Ga
ZnO=1:1:2)を用いて、基板とターゲットの間との距離を100mm、圧力0.
6Pa、直流(DC)電源0.5kW、酸素(酸素流量比率100%)雰囲気下で成膜す
る。なお、パルス直流(DC)電源を用いると、ごみが軽減でき、膜厚分布も均一となる
ために好ましい。本実施の形態では、酸化物半導体膜として、In−Ga−Zn−O系酸
化物半導体ターゲットを用い、スパッタ装置により膜厚30nmのIn−Ga−Zn−O
系非単結晶膜を成膜する。
なお、プラズマ処理後、大気に曝すことなく酸化物半導体膜を形成することで、ゲート絶
縁膜802と酸化物半導体膜の界面にゴミや水分が付着するのを防ぐことが出来る。また
、パルス直流(DC)電源を用いると、ごみが軽減でき、膜厚分布も均一となるために好
ましい。
また、酸化物半導体ターゲットの相対密度は80%以上、好ましくは95%以上、さらに
好ましくは99.9%以上とするのが好ましい。相対密度の高いターゲットを用いると、
形成される酸化物半導体膜中の不純物濃度を低減することができ、電気特性または信頼性
の高い薄膜トランジスタを得ることができる。
また、材料の異なるターゲットを複数設置できる多元スパッタ装置もある。多元スパッタ
装置は、同一チャンバーで異なる材料膜を積層成膜することも、同一チャンバーで複数種
類の材料を同時に放電させて成膜することもできる。
また、チャンバー内部に磁石機構を備えたマグネトロンスパッタ法を用いるスパッタ装置
や、グロー放電を使わずマイクロ波を用いて発生させたプラズマを用いるECRスパッタ
法を用いるスパッタ装置がある。
また、スパッタ法を用いる成膜方法として、成膜中にターゲット物質とスパッタガス成分
とを化学反応させてそれらの化合物薄膜を形成するリアクティブスパッタ法や、成膜中に
基板にも電圧をかけるバイアススパッタ法もある。
また、スパッタ法による成膜中に光やヒータによって基板を400℃以上700以下に加
熱してもよい。成膜中に加熱することで、成膜と同時にスパッタによる損傷を修復させる
また、酸化物半導体膜の成膜を行う前に、スパッタ装置内壁や、ターゲット表面やターゲ
ット材料中に残存している水分または水素を除去するためにプレヒート処理を行うと良い
。プレヒート処理としては成膜チャンバー内を減圧下で200℃〜600℃に加熱する方
法や、加熱しながら窒素や不活性ガスの導入と排気を繰り返す方法等がある。プレヒート
処理を終えたら、基板またはスパッタ装置を冷却した後大気にふれることなく酸化物半導
体膜の成膜を行う。この場合のターゲット冷却液は、水ではなく油脂等を用いるとよい。
加熱せずに窒素の導入と排気を繰り返しても一定の効果が得られるが、加熱しながら行う
となお良い。
また、酸化物半導体膜の成膜を行う前、または成膜中、または成膜後に、スパッタ装置内
を、クライオポンプを用いて中に残存している水分などを除去することが好ましい。
第2のフォトリソグラフィ工程において、例えば燐酸と酢酸と硝酸を混ぜた溶液を用いた
ウェットエッチングにより、酸化物半導体膜を所望の形状に加工して、島状の酸化物半導
体膜803を形成することができる。島状の酸化物半導体膜803は、ゲート電極801
と重なるように形成する。また、酸化物半導体膜のエッチングには、クエン酸やシュウ酸
などの有機酸をエッチングとして用いることができる。本実施の形態では、ITO07N
(関東化学社製)を用いたウェットエッチングにより、不要な部分を除去して島状の酸化
物半導体膜803を形成する。また、ここでのエッチングは、ウェットエッチングに限定
されずドライエッチングを用いてもよい。
ドライエッチングに用いるエッチングガスとしては、塩素を含むガス(塩素系ガス、例え
ば塩素(Cl)、塩化硼素(BCl)、塩化珪素(SiCl)、四塩化炭素(CC
)など)が好ましい。
また、フッ素を含むガス(フッ素系ガス、例えば四弗化炭素(CF)、弗化硫黄(SF
)、弗化窒素(NF)、トリフルオロメタン(CHF)など)、臭化水素(HBr
)、酸素(O)、これらのガスにヘリウム(He)やアルゴン(Ar)などの希ガスを
添加したガス、などを用いることができる。
ドライエッチング法としては、平行平板型RIE(Reactive Ion Etch
ing)法や、ICP(Inductively Coupled Plasma:誘導
結合型プラズマ)エッチング法を用いることができる。所望の加工形状にエッチングでき
るように、エッチング条件(コイル型の電極に印加される電力量、基板側の電極に印加さ
れる電力量、基板側の電極温度等)を適宜調節する。
また、ウェットエッチング後のエッチング液はエッチングされた材料とともに洗浄によっ
て除去される。その除去された材料を含むエッチング液の廃液を精製し、含まれる材料を
再利用してもよい。当該エッチング後の廃液から酸化物半導体膜に含まれるインジウム等
の材料を回収して再利用することにより、資源を有効活用し低コスト化することができる
所望の形状に加工できるように、材料に合わせてエッチング条件(エッチング液、エッチ
ング時間、温度等)を適宜調節する。
次に、図12(C)に示すように、減圧雰囲気下、窒素や希ガスなどの不活性ガス雰囲気
下、酸素ガス雰囲気下、または超乾燥エア(CRDS(キャビティリングダウンレーザー
分光法)方式の露点計を用いて測定した場合の水分量が20ppm(露点換算で−55℃
)以下、好ましくは1ppm以下、好ましくは10ppb以下の空気)雰囲気下において
、酸化物半導体膜803に加熱処理を施しても良い。酸化物半導体膜803に加熱処理を
施すことで、酸化物半導体膜804が形成される。具体的には、不活性ガス雰囲気(窒素
、またはヘリウム、ネオン、アルゴン等)下において、500℃以上750℃以下(若し
くはガラス基板の歪点以下の温度)で1分間以上10分間以下程度、好ましくは650℃
、3分間以上6分間以下程度のRTA(Rapid Thermal Anneal)処
理で行うことができる。RTA法を用いれば、短時間に脱水化または脱水素化が行えるた
め、ガラス基板の歪点を超える温度でも処理することができる。なお、上記加熱処理は、
島状の酸化物半導体膜803形成後のタイミングに限らず、エッチングを行う前の酸化物
半導体膜に対して行っても良い。また、上記加熱処理を、島状の酸化物半導体膜803形
成後に複数回行っても良い。
本実施の形態では、窒素雰囲気下において、600℃、基板温度が上記設定温度に達した
状態で6分間、加熱処理を行う。加熱処理は、電気炉を用いた加熱方法、加熱した気体を
用いるGRTA(Gas Rapid Thermal Anneal)法またはランプ
光を用いるLRTA(Lamp Rapid Thermal Anneal)法などの
瞬間加熱方法などを用いることができる。例えば、電気炉を用いて加熱処理を行う場合、
昇温特性を0.1℃/min以上20℃/min以下、降温特性を0.1℃/min以上
15℃/min以下とすることが好ましい。
なお、加熱処理においては、窒素、またはヘリウム、ネオン、アルゴン等の希ガスに、水
分、水素などが含まれないことが好ましい。または、加熱処理装置に導入する窒素、また
はヘリウム、ネオン、アルゴン等の希ガスの純度を、6N(99.9999%)以上、好
ましくは7N(99.99999%)以上、(即ち不純物濃度を1ppm以下、好ましく
は0.1ppm以下)とすることが好ましい。
なお、図12(C)の破線D1−D2の範囲内の断面図と、破線E1−E2の範囲内の断
面図は、図15に示す平面図の、破線D1−D2における断面図と、破線E1−E2にお
ける断面図に相当する。
次に、図13(A)に示すように、酸化物半導体膜804上に、ソース電極またはドレイ
ン電極として用いる導電膜806を、スパッタ法や真空蒸着法で形成する。本実施の形態
では、酸化物半導体膜804との接触抵抗が低いチタン、タングステンまたはモリブデン
などの金属材料を用いた導電膜806a上に、電気陰性度が低い金属、金属化合物または
合金を用いた導電膜806bが積層された、導電膜806を用いる。
電気陰性度が低い金属として、アルミニウム、マグネシウムを用いることもできる。上記
金属のいずれか一つまたは複数を含む混合物、金属化合物または合金を、導電膜806b
として用いることができる。また、アルミニウムなどの耐熱性の低い材料を用いる場合、
アルミニウムに、チタン、タンタル、タングステン、モリブデン、クロム、ネオジム、ス
カンジウムから選ばれた元素、または上記元素を1つまたは複数成分として含む合金、ま
たは上記元素を成分として含む窒化物などの耐熱性導電性材料を組み合わせることで、導
電膜806bの耐熱性を高めるようにしても良い。
導電膜806aの膜厚は、10nm〜200nm、好ましくは50nm〜150nmとす
るのが望ましい。また、導電膜806bの膜厚は、100nm〜300nm、好ましくは
150nm〜250nmとするのが望ましい。本実施の形態では、導電膜806aとして
、スパッタ法で形成された膜厚100nmのチタン膜を用い、導電膜806bとして、ス
パッタ法で形成された膜厚200nmのアルミニウム膜を用いる。
本発明の一態様では、導電膜806bとして電気陰性度が低い金属、金属化合物または合
金を用いているので、酸化物半導体膜804内、ゲート絶縁膜802内、或いは、酸化物
半導体膜804と他の絶縁膜の界面とその近傍に存在する、水分、または水素などの不純
物が、導電膜806bに吸蔵或いは吸着される。そのため、水分、水素などの不純物の脱
離により、i型(真性半導体)又はi型に限りなく近い酸化物半導体膜804を得ること
ができ、上記不純物により閾値電圧がシフトするなどのトランジスタの特性の劣化が促進
されるのを防ぎ、オフ電流を低減させることができる。
なお、上記構成に加えて、導電膜806bが露出した状態で、減圧雰囲気下、窒素、また
は希ガス(アルゴン、ヘリウムなど)の不活性ガス雰囲気下において加熱処理を行い、導
電膜806bの表面や内部に吸着されている水分や酸素などを取り除くようにしても良い
。加熱処理の温度範囲は、200℃乃至450℃とする。上記加熱処理を行うことで、酸
化物半導体膜804内、ゲート絶縁膜802内、或いは、酸化物半導体膜804と他の絶
縁膜の界面とその近傍に存在する、水分、または水素などの不純物が、導電膜806bに
、より吸蔵或いは吸着されやすくすることができる。
次いで、図13(B)に示すように、第3のフォトリソグラフィ工程を行い、エッチング
等により導電膜806a及び導電膜806bを所望の形状に加工(パターニング)するこ
とで、ソース電極807、ドレイン電極808を形成する。例えば、導電膜806aにチ
タン膜、導電膜806bにアルミニウム膜を用いている場合、燐酸を含む溶液を用いて導
電膜806bをウェットエッチングした後、アンモニアと過酸化水素水を含む溶液(アン
モニア過水)を用いて、導電膜806aをウェットエッチングすれば良い。具体的に、本
実施の形態では、燐酸を含む溶液として、和光純薬工業株式会社製の混酸アルミ液(2.
0重量%の硝酸と、9.8重量%の酢酸と、72.3重量%のリン酸と、を含有する水溶
液)を用いる。また、アンモニア過水は、具体的には、31重量%の過酸化水素水と28
重量%のアンモニア水と水とを体積比5:2:2で混合した水溶液を用いる。或いは、塩
素(Cl)、塩化硼素(BCl)などを含むガスを用いて、導電膜806aと導電膜
806bをドライエッチングしても良い。
上記パターニングによりソース電極807とドレイン電極808を形成する際に、島状の
酸化物半導体膜804の露出した部分が一部エッチングされることで、溝部(凹部)が形
成される場合もある。本実施の形態では、上記エッチングにより溝部(凹部)を有する島
状の酸化物半導体膜805が形成される場合を例示する。ソース電極807、ドレイン電
極808の一部に用いられている導電膜806aは、酸化物半導体膜805と接している
。そして、なおかつ導電膜806aには、上述したとおり酸化物半導体膜との接触抵抗が
低い金属材料が用いられているので、ソース電極807、ドレイン電極808と、酸化物
半導体膜805との間における接触抵抗が低減される。そのため、TFTのオン電流及び
電界効果移動度を高めることができる。
また、この第3のフォトリソグラフィ工程において、ソース電極807又はドレイン電極
808と同じ材料である第2の端子820を端子部に残す。なお、第2の端子820はソ
ース配線(ソース電極807又はドレイン電極808を含むソース配線)と電気的に接続
されている。
また、多階調マスクにより形成した複数(例えば二種類)の厚さの領域を有するレジスト
マスクを用いると、レジストマスクの数を減らすことができるため、工程簡略化、低コス
ト化が図れる。
なお、図13(B)の破線D1−D2の範囲内の断面図と、破線E1−E2の範囲内の断
面図は、図16に示す平面図の、破線D1−D2における断面図と、破線E1−E2にお
ける断面図に相当する。
なお、本実施の形態では、ソース電極とドレイン電極を、実施の形態1に示す作製方法に
従って形成している例を示しているが、実施の形態2乃至実施の形態4に示す作製方法に
従って形成しても良い。
図14(A)に示すように、ソース電極807、ドレイン電極808を形成した後は、ソ
ース電極807、ドレイン電極808及び酸化物半導体膜805を覆うように絶縁膜80
9を形成する。絶縁膜809は、水分や、水素などの不純物を極力含まないことが望まし
く、単層の絶縁膜であっても良いし、積層された複数の絶縁膜で構成されていても良い。
上記絶縁膜809には、バリア性の高い材料を用いるのが望ましい。例えば、バリア性の
高い絶縁膜として、窒化珪素膜、窒化酸化珪素膜、窒化アルミニウム膜、または窒化酸化
アルミニウム膜などを用いることができる。複数の積層された絶縁膜を用いる場合、上記
バリア性の高い絶縁膜よりも、窒素の比率が低い酸化珪素膜、酸化窒化珪素膜などの絶縁
膜を、酸化物半導体膜805に近い側に形成する。そして、窒素の比率が低い絶縁膜を間
に挟んで、ソース電極807、ドレイン電極808及び酸化物半導体膜805と重なるよ
うに、バリア性を有する絶縁膜を形成する。バリア性を有する絶縁膜を用いることで、ソ
ース電極807、ドレイン電極808の表面や内部に水分や酸素が吸着するのを防ぐこと
ができる。また、酸化物半導体膜805内、ゲート絶縁膜802内、或いは、酸化物半導
体膜805と他の絶縁膜の界面とその近傍に、水分、または水素などの不純物が入り込む
のを防ぐことができる。また、酸化物半導体膜805に接するように窒素の比率が低い酸
化珪素膜、酸化窒化珪素膜などの絶縁膜を形成することで、バリア性の高い材料を用いた
絶縁膜が直接酸化物半導体膜805に接するのを防ぐことができる。
本実施の形態では、スパッタ法で形成された膜厚200nmの酸化珪素膜上に、スパッタ
法で形成された膜厚100nmの窒化珪素膜を積層させた構造を有する、絶縁膜809を
形成する。成膜時の基板温度は、室温以上300℃以下とすればよく、本実施の形態では
100℃とする。
ソース電極807又はドレイン電極808の間に設けられた酸化物半導体膜805の露出
領域と、絶縁膜809を構成する酸化珪素とが接して設けられることによって、絶縁膜8
09と接する酸化物半導体膜805の領域に酸素が供与され、高抵抗化(キャリア濃度が
低まる、好ましくは1×1018/cm未満)し、高抵抗化したチャネル形成領域を有
する酸化物半導体膜805を形成することができる。
次いで、絶縁膜809を形成した後、加熱処理を行ってもよい。加熱処理は減圧雰囲気下
、大気雰囲気下、又は不活性ガス雰囲気(窒素、またはヘリウム、ネオン、アルゴン等)
下において、好ましくは200℃以上400℃以下、例えば250℃以上350℃以下)
を行う。例えば、窒素雰囲気下で250℃、1時間の第2の加熱処理を行う。または、先
の加熱処理と同様に高温短時間のRTA処理を行っても良い。該加熱処理を行うと、酸化
物半導体膜805が絶縁膜809を構成する酸化珪素に接した状態で加熱されることにな
り、さらに酸化物半導体膜805を高抵抗化させてトランジスタの電気特性の向上および
、電気特性のばらつきを軽減することができる。この加熱処理は、絶縁膜809の形成後
であれば特に限定されず、他の工程、例えば樹脂膜形成時の加熱処理や、透明導電膜を低
抵抗化させるための加熱処理と兼ねることで、工程数を増やすことなく行うことができる
以上の工程で薄膜トランジスタ813が作製できる。
次に、第4のフォトリソグラフィ工程を行い、レジストマスクを形成し、絶縁膜809及
びゲート絶縁膜802のエッチングによりコンタクトホールを形成し、ドレイン電極80
8の一部、第1の端子821の一部、第2の端子820の一部を露出させる。次いで、レ
ジストマスクを除去した後、透明導電膜を成膜する。透明導電膜の材料としては、酸化イ
ンジウム(In)や酸化インジウム酸化スズ合金(In―SnO、ITO
と略記する)などをスパッタ法や真空蒸着法などを用いて形成する。このような材料のエ
ッチング処理は塩酸系の溶液により行う。しかし、特にITOのエッチングは残渣が発生
しやすいので、エッチング加工性を改善するために酸化インジウム酸化亜鉛合金(In
―ZnO)を用いても良い。また、透明導電膜を低抵抗化させるための加熱処理を行
う場合、酸化物半導体膜805を高抵抗化させてトランジスタの電気特性の向上および、
電気特性のばらつきを軽減する熱処理と兼ねることができる。
次に、第5のフォトリソグラフィ工程を行い、レジストマスクを形成し、エッチングによ
り不要な部分を除去してドレイン電極808に接続された画素電極814と、第1の端子
821に接続された透明導電膜815と、第2の端子820に接続された透明導電膜81
6とを形成する。
透明導電膜815、透明導電膜816はFPCとの接続に用いられる電極または配線とな
る。第1の端子821上に形成された透明導電膜815は、ゲート配線の入力端子として
機能する接続用の端子電極となる。第2の端子820上に形成された透明導電膜816は
、ソース配線の入力端子として機能する接続用の端子電極である。
この第6のフォトリソグラフィ工程において、ゲート絶縁膜802及び絶縁膜809を誘
電体として、容量配線822と画素電極814とで保持容量819が形成される。
レジストマスクを除去した段階での断面図を図14(B)に示す。なお、図14(B)の
破線D1−D2の範囲内の断面図と、破線E1−E2の範囲内の断面図は、図17に示す
平面図の、破線D1−D2における断面図と、破線E1−E2における断面図に相当する
こうして6回のフォトリソグラフィ工程により、6枚のフォトマスクを使用して、ボトム
ゲート型の逆スタガ構造の薄膜トランジスタである薄膜トランジスタ813を有する画素
薄膜トランジスタ部、保持容量819を完成させることができる。そして、これらを個々
の画素に対応してマトリクス状に配置して画素部を構成することによりアクティブマトリ
クス型の表示装置を作製するための一方の基板とすることができる。本明細書では便宜上
このような基板をアクティブマトリクス基板と呼ぶ。
アクティブマトリクス型の液晶表示装置を作製する場合には、アクティブマトリクス基板
と、対向電極が設けられた対向基板との間に液晶層を設け、アクティブマトリクス基板と
対向基板とを固定する。
また、容量配線を設けず、画素電極を隣り合う画素のゲート配線と絶縁膜及びゲート絶縁
膜を介して重ねて保持容量を形成してもよい。
アクティブマトリクス型の液晶表示装置においては、マトリクス状に配置された画素電極
を駆動することによって、画面上に表示パターンが形成される。詳しくは選択された画素
電極と該画素電極に対応する対向電極との間に電圧が印加されることによって、画素電極
と対向電極との間に配置された液晶層の光学変調が行われ、この光学変調が表示パターン
として観察者に認識される。
発光表示装置を作製する場合は、各有機発光素子の間に有機樹脂膜を用いた隔壁を設ける
場合がある。その場合には、有機樹脂膜を加熱処理するため、酸化物半導体膜805を高
抵抗化させてトランジスタの電気特性の向上および、電気特性のばらつきを軽減する熱処
理と兼ねることができる。
酸化物半導体を用いた薄膜トランジスタで形成することにより、製造コストを低減するこ
とができる。特に、加熱処理による水分、水素、OHなどの不純物の低減によって酸化物
半導体膜の純度を高めるため、成膜チャンバー内の露点を下げた特殊なスパッタ装置や超
高純度の酸化物半導体ターゲットを用いなくとも、電気特性が良好で信頼性のよい薄膜ト
ランジスタを有する半導体表示装置を作製することができる。
チャネル形成領域の半導体膜は高抵抗化領域であるので、薄膜トランジスタの電気特性は
安定化し、オフ電流の増加などを防止することができる。よって、電気特性が良好で信頼
性のよい薄膜トランジスタを有する半導体表示装置とすることが可能となる。
本実施の形態は、上記実施の形態と組み合わせて実施することが可能である。
(実施の形態8)
本実施の形態では、本発明の作製方法を用いて形成される半導体表示装置の一つである、
電子ペーパー或いはデジタルペーパーと呼ばれる半導体表示装置の構成について説明する
電子ペーパーは、電圧の印加により階調を制御することができ、なおかつメモリ性を有す
る表示素子を用いる。具体的に、電子ペーパーに用いられる表示素子には、非水系電気泳
動型の表示素子、2つの電極間の高分子材料中に液晶のドロップレットを分散させたPD
LC(polymer dispersed liquid crystal)方式の表
示素子、2つの電極間にカイラルネマチック液晶またはコレステリック液晶を有する表示
素子、2つの電極間に帯電した微粒子を有し、該微粒子を電界により粉体中で移動させる
粉体移動方式の表示素子などを用いることができる。また非水系電気泳動型の表示素子に
は、2つの電極間に帯電した微粒子を分散させた分散液を挟み込んだ表示素子、帯電した
微粒子を分散させた分散液を、絶縁膜を間に挟んだ2つの電極上に有する表示素子、それ
ぞれ異なる電荷に帯電する二色の半球を有するツイスティングボールを、2つの電極間に
おいて溶媒中に分散させた表示素子、溶液中に帯電した微粒子が複数分散されているマイ
クロカプセルを2つの電極間に有する表示素子などが含まれる。
図18(A)に、電子ペーパーの画素部700と、信号線駆動回路701と、走査線駆動
回路702の上面図を示す。
画素部700は複数の画素703を有している。また、信号線駆動回路701から複数の
信号線707が、画素部700内まで引き回されている。走査線駆動回路702から複数
の走査線708が、画素部700内まで引き回されている。
各画素703はトランジスタ704と、表示素子705と、保持容量706とを有してい
る。トランジスタ704のゲート電極は、走査線708の一つに接続されている。またト
ランジスタ704のソース電極とドレイン電極は、一方が信号線707の一つに、他方が
表示素子705の画素電極に接続されている。
なお図18(A)では、表示素子705の画素電極と対向電極の間に印加された電圧を保
持するために、表示素子705と並列に保持容量706が接続されているが、表示素子7
05のメモリ性の高さが表示を維持するのに十分な程度に高いのであれば、保持容量70
6を必ずしも設ける必要はない。
なお、図18(A)では、各画素にスイッチング素子として機能するトランジスタを一つ
設けたアクティブマトリクス型の画素部の構成について説明したが、本発明の一態様に係
る電子ペーパーは、この構成に限定されない。画素に設けるトランジスタの数は複数であ
っても良いし、トランジスタ以外に容量、抵抗、コイルなどの素子が接続されていても良
い。
図18(B)に、マイクロカプセルを有する電気泳動型の電子ペーパーを例に挙げ、各画
素703に設けられた表示素子705の断面図を示す。
表示素子705は、画素電極710と、対向電極711と、画素電極710及び対向電極
711によって電圧が印加されるマイクロカプセル712とを有する。トランジスタ70
4のソース電極またはドレイン電極713の一方は、画素電極710に接続されている。
マイクロカプセル712内には、酸化チタンなどのプラスに帯電した白色顔料と、カーボ
ンブラックなどのマイナスに帯電した黒色顔料とが、オイルなどの分散媒と共に封入され
ている。画素電極710に印加されるビデオ信号の電圧に従って、画素電極と対向電極の
間に電圧を印加し、正の電極側に黒色顔料を、負の電極側に白色顔料を引き寄せることで
、階調の表示を行うことができる。
また、図18(B)では、マイクロカプセル712が、画素電極710と対向電極711
の間において透光性を有する樹脂714により固定されている。しかし、本発明はこの構
成に限定されず、マイクロカプセル712、画素電極710、対向電極711によって形
成される空間には、空気、不活性ガスなどの気体が充填されていても良い。ただし、この
場合、マイクロカプセル712は、接着剤などにより画素電極710と対向電極711の
両方、或いはいずれか一方に、固定しておくことが望ましい。
また、表示素子705が有するマイクロカプセル712の数は、図18(B)に示すよう
に複数であるとは限らない。1つの表示素子705が複数のマイクロカプセル712を有
していても良いし、複数の表示素子705が1つのマイクロカプセル712を有していて
も良い。例えば2つの表示素子705が1つのマイクロカプセル712を共有し、一方の
表示素子705が有する画素電極710にプラスの電圧が、他方の表示素子705が有す
る画素電極710にマイナスの電圧が印加されていたとする。この場合、プラスの電圧が
印加された画素電極710と重なる領域において、マイクロカプセル712内では黒色顔
料が画素電極710側に引き寄せられ、白色顔料が対向電極711側に引き寄せられる。
逆に、マイナスの電圧が印加された画素電極710と重なる領域において、マイクロカプ
セル712内では白色顔料が画素電極710側に引き寄せられ、黒色顔料が対向電極71
1側に引き寄せられる。
次に、電子ペーパーの具体的な駆動方法について、上述した電気泳動型の電子ペーパーを
例に挙げて説明する。
電子ペーパーの動作は、初期化期間と、書込期間と、保持期間とに分けて説明することが
出来る。
表示する画像を切り替える前に、まず初期化期間において画素部内の各画素の階調を一旦
統一することで、表示素子を初期化する。表示素子を初期化することで、残像が残るのを
防ぐことが出来る。具体的に、電気泳動型では、各画素の表示が白または黒となるように
、表示素子705が有するマイクロカプセル712によって表示される階調を調整する。
本実施の形態では、黒を表示するような初期化用ビデオ信号を画素に入力した後、白を表
示するような初期化用ビデオ信号を画素に入力する場合の、初期化の動作について説明す
る。例えば、画像の表示を対向電極711側に向かって行う電気泳動型の電子ペーパーの
場合、まず、マイクロカプセル712内の黒色顔料が対向電極711側に、白色顔料が画
素電極710側に向くように、表示素子705に電圧を印加する。次いで、マイクロカプ
セル712内の白色顔料が対向電極711側に、黒色顔料が画素電極710側に向くよう
に、表示素子705に電圧を印加する。
また、画素への初期化用ビデオ信号の入力が1回のみだと、初期化期間の前に表示されて
いた階調によっては、マイクロカプセル712内の白色顔料と黒色顔料の移動が中途半端
に終わってしまい、初期化期間が終了した後においても画素間において表示される階調に
差が生じてしまう可能性もある。そのため、共通電圧Vcomに対してマイナスの電圧−
Vpを、複数回、画素電極710に印加することで黒を表示し、共通電圧Vcomに対し
てプラスの電圧Vpを、複数回、画素電極710に印加することで白を表示することが望
ましい。
なお、初期化期間前に各画素の表示素子によって表示されていた階調が異なると、初期化
用ビデオ信号を入力する必要最低限の回数も異なってくる。よって、初期化期間前に表示
されていた階調に合わせて、画素間で、初期化用ビデオ信号を入力する回数を変えるよう
にしても良い。この場合、初期化用ビデオ信号を入力する必要がなくなった画素には、共
通電圧Vcomを入力しておくと良い。
なお、画素電極710に初期化用ビデオ信号の電圧Vpまたは電圧−Vpを複数回印加す
るためには、選択信号のパルスが各走査線に与えられている期間において、当該走査線を
有するラインの画素に、初期化用ビデオ信号を入力するという一連の動作を、複数回行う
。初期化用ビデオ信号の電圧Vpまたは電圧−Vpを画素電極710に複数回印加するこ
とで、マイクロカプセル712内における白色顔料と黒色顔料の移動を収束させて画素間
に階調の差が生じるのを防ぎ、画素部の画素を初期化することができる。
なお、初期化期間では、各画素において黒を表示した後に白を表示するのではなく、白を
表示した後に黒を表示するようにしても良い。或いは、初期化期間では、各画素において
白を表示した後に黒を表示し、更にその後、白を表示しするようにしても良い。
また、初期化期間の開始されるタイミングは、画素部内の全ての画素において同じである
必要はない。例えば、画素ごと、或いは同じラインに属する画素ごと、といったように、
初期化期間の開始されるタイミングを異ならせるようにしても良い。
次に、書込期間では、画素に画像情報を有するビデオ信号を入力する。
画素部全体で画像の表示を行う場合は、1フレーム期間において、全ての走査線に順に電
圧のパルスがシフトしている選択信号が入力される。そして、選択信号にパルスが出現し
ている1ライン期間内において、全ての信号線に画像情報を有するビデオ信号が入力され
る。
画素電極710に印加されるビデオ信号の電圧に従って、マイクロカプセル712内の白
色顔料と黒色顔料が画素電極710側または対向電極711側に移動することで、表示素
子705は階調を表示する。
なお、書込期間でも、初期化期間と同様に、画素電極710にビデオ信号の電圧を複数回
印加することが望ましい。よって、選択信号のパルスが各走査線に与えられている期間に
おいて、当該走査線を有するラインの画素にビデオ信号を入力するという一連の動作を、
複数回行う。
次に、保持期間では、全ての画素に信号線を介して共通電圧Vcomを入力した後、走査
線への選択信号の入力または信号線へのビデオ信号の入力は行わない。よって、表示素子
705が有するマイクロカプセル712内の白色顔料と黒色顔料は、画素電極710と対
向電極711の間にプラスまたはマイナスの電圧が印加されない限りその配置は保持され
るので、表示素子705の表示する階調は保たれる。よって、書込期間において書き込ま
れた画像は、保持期間においても表示が維持される。
なお、電子ペーパーに用いられる表示素子は、階調を変化させるのに必要な電圧が、液晶
表示装置に用いられる液晶素子や、発光装置に用いられる有機発光素子などの発光素子に
比べて高い傾向にある。そのため、スイッチング素子として用いられる画素のトランジス
タ704は、書込期間において、そのソース電極とドレイン電極間の電位差が大きくなる
ため、オフ電流が高くなり、そのために画素電極710の電位が変動して表示に乱れが生
じやすい。トランジスタ704のオフ電流により画素電極710の電位が変動するのを防
ぐためには、保持容量706の容量を大きくすることが有効である。また、画素電極71
0と対向電極711の間の電圧だけではなく、信号線707と対向電極711の間に生じ
る電圧が、マイクロカプセル712に印加されることで、表示素子705の表示にノイズ
が生じることがある。このノイズの発生を防ぐためには、画素電極710の面積を広く確
保し、信号線707と対向電極711の間に生じる電圧がマイクロカプセル712に印加
されるのを防ぐことが有効である。しかし、上述したように、画素電極710の電位が変
動するのを防ぐために保持容量706の容量を大きくする、または表示にノイズが生じる
のを防ぐために画素電極710の面積を広くすると、書込期間において画素に供給するべ
き電流値が高くなってしまい、ビデオ信号の入力に時間がかかってしまう。本発明の一態
様に係る電子ペーパーでは、スイッチング素子として画素に用いられているトランジスタ
704が、高い電界効果移動度を有しているため、高いオン電流を得ることができる。よ
って、保持容量706の容量を大きくしても、または画素電極710の面積を広くとって
も、画素へのビデオ信号の入力を迅速に行うことができる。したがって、書込期間の長さ
を抑えることができ、表示する画像に切り替えをスムーズに行うことができる。また、ス
イッチング素子として用いられる画素のトランジスタ704は、書込期間において、その
ソース電極とドレイン電極間の電位差が大きくなるため、劣化しやすい。しかし、本発明
の一態様では、トランジスタ704の経時劣化による閾値電圧のばらつきを小さく抑える
ことができるので、電子ペーパーの信頼性を高めることができる。
本実施の形態は、上記実施の形態と組み合わせて実施することが可能である。
(実施の形態9)
アクティブマトリクス型の半導体表示装置のブロック図の一例を図19(A)に示す。表
示装置の基板5300上には、画素部5301、第1の走査線駆動回路5302、第2の
走査線駆動回路5303、信号線駆動回路5304を有する。画素部5301には、複数
の信号線が信号線駆動回路5304から延伸して配置され、複数の走査線が第1の走査線
駆動回路5302、及び第2の走査線駆動回路5303から延伸して配置されている。な
お走査線と信号線との交差領域には、各々、表示素子を有する画素がマトリクス状に配置
されている。また、表示装置の基板5300はFPC(Flexible Printe
d Circuit)等の接続部を介して、タイミング制御回路5305(コントローラ
、制御ICともいう)に接続されている。
図19(A)では、第1の走査線駆動回路5302、第2の走査線駆動回路5303、信
号線駆動回路5304は、画素部5301と共に一つの基板5300上に形成される。そ
のため、外部に設ける駆動回路等の部品の数が減るので、表示装置の小型化のみならず、
組立工程や検査工程の削減によるコストダウンを図ることができる。また、基板5300
外部に駆動回路を設けた場合の配線を延伸させることによる接続部での接続数を減らすこ
とができる。よって、駆動回路と画素部の接続不良に起因する歩留まり低下を防ぎ、接続
箇所における機械的強度の低さにより信頼性が低下するのを防ぐことができる。
なお、タイミング制御回路5305は、第1の走査線駆動回路5302に対し、一例とし
て、第1の走査線駆動回路用スタート信号(GSP1)、走査線駆動回路用クロック信号
(GCK1)を供給する。また、タイミング制御回路5305は、第2の走査線駆動回路
5303に対し、一例として、第2の走査線駆動回路用スタート信号(GSP2)(スタ
ートパルスともいう)、走査線駆動回路用クロック信号(GCK2)を供給する。信号線
駆動回路5304に、信号線駆動回路用スタート信号(SSP)、信号線駆動回路用クロ
ック信号(SCK)、ビデオ信号用データ(DATA)(単にビデオ信号ともいう)、ラ
ッチ信号(LAT)を供給するものとする。なお、第1の走査線駆動回路5302と第2
の走査線駆動回路5303のいずれか一方を省略することが可能である。
図19(B)では、駆動周波数が低い回路(例えば、第1の走査線駆動回路5302、第
2の走査線駆動回路5303)を、画素部5301と共に一つの基板5300上に形成し
、信号線駆動回路5304を画素部5301とは別の基板上に形成する構成について示し
ている。また、信号線駆動回路5304のうち、サンプリング回路に用いられているアナ
ログスイッチなどの駆動周波数の低い回路を、部分的に、画素部5301と共に一つの基
板5300上に形成することも可能である。このように、部分的にシステムオンパネルを
採用することで、上述した接続不良に起因する歩留まり低下、接続箇所における機械的強
度の低さなどを回避する、組立工程や検査工程の削減によるコストダウン、といったシス
テムオンパネルのメリットをある程度享受できる。さらに、画素部5301、走査線駆動
回路5302、走査線駆動回路5303及び信号線駆動回路5304を全て一基板上に形
成するシステムオンパネルに比べて、駆動周波数が高い回路の性能をより高めることがで
き、なおかつ、単結晶半導体を用いた場合は実現することが難しい、面積の広い画素部を
形成することができる。
次に、nチャネル型トランジスタを用いた信号線駆動回路の構成について説明する。
図20(A)に示す信号線駆動回路は、シフトレジスタ5601、及びサンプリング回路
5602を有する。サンプリング回路5602は、複数のスイッチング回路5602_1
〜5602_N(Nは自然数)を有する。スイッチング回路5602_1〜5602_N
は、各々、複数のnチャネル型トランジスタ5603_1〜5603_k(kは自然数)
を有する。
信号線駆動回路の接続関係について、スイッチング回路5602_1を例に挙げて説明す
る。なお、トランジスタが有するソース電極とドレイン電極のうち、いずれか一方を第1
端子、他方を第2端子として、以下、記述する。
トランジスタ5603_1〜5603_kの第1端子は、各々、配線5604_1〜56
04_kと接続されている。配線5604_1〜5604_kには、各々、ビデオ信号が
入力される。トランジスタ5603_1〜5603_kの第2端子は、各々、信号線S1
〜Skと接続されている。トランジスタ5603_1〜5603_kのゲート電極は、シ
フトレジスタ5601と接続される。
シフトレジスタ5601は、配線5605_1〜5605_Nの順番に高いレベルの電圧
(Hレベル)を有するタイミング信号を出力し、スイッチング回路5602_1〜560
2_Nを順番に選択する機能を有する。
スイッチング回路5602_1は、トランジスタ5603_1〜5603_kのスイッチ
ングにより、配線5604_1〜5604_kと信号線S1〜Skとの導通状態(第1端
子と第2端子との間の導通)を制御する機能、即ち配線5604_1〜5604_kの電
位を信号線S1〜Skに供給するか否かを制御する機能を有する。
次に、図20(A)の信号線駆動回路の動作について、図20(B)のタイミングチャー
トを参照して説明する。図20(B)には、シフトレジスタ5601から配線5605_
1〜5605_Nにそれぞれ入力されるタイミング信号Sout_1〜Sout_Nと、
配線5604_1〜5604_kにそれぞれ入力されるビデオ信号Vdata_1〜Vd
ata_kのタイミングチャートを一例として示す。
なお、信号線駆動回路の1動作期間は、表示装置における1ライン期間に相当する。図2
0(B)では、1ライン期間を期間T1〜期間TNに分割する場合を例示している。期間
T1〜TNは、各々、選択された行に属する一画素に、ビデオ信号を書き込むための期間
である。
期間T1〜期間TNにおいて、シフトレジスタ5601は、Hレベルのタイミング信号を
配線5605_1〜5605_Nに順番に出力する。例えば、期間T1において、シフト
レジスタ5601は、Hレベルの信号を配線5605_1に出力する。すると、スイッチ
ング回路5602_1が有するトランジスタ5603_1〜5603_kはオンになるの
で、配線5604_1〜5604_kと、信号線S1〜Skとが導通状態になる。このと
き、配線5604_1〜5604_kには、Data(S1)〜Data(Sk)が入力
される。Data(S1)〜Data(Sk)は、各々、トランジスタ5603_1〜5
603_kを介して、選択される行に属する画素のうち、1列目〜k列目の画素に書き込
まれる。こうして、期間T1〜TNにおいて、選択された行に属する画素に、k列ずつ順
番にビデオ信号が書き込まれる。
以上のように、ビデオ信号が複数の列ずつ画素に書き込まれることによって、ビデオ信号
の数、又は配線の数を減らすことができる。よって、コントローラなどの外部回路との接
続数を減らすことができる。また、ビデオ信号が複数の列ずつ画素に書き込まれることに
よって、書き込み時間を長くすることができ、ビデオ信号の書き込み不足を防止すること
ができる。
次に、信号線駆動回路または走査線駆動回路に用いるシフトレジスタの一形態について図
21及び図22を用いて説明する。
シフトレジスタは、第1のパルス出力回路10_1乃至第Nのパルス出力回路10_N(
Nは3以上の自然数)を有している(図21(A)参照)。第1のパルス出力回路10_
1乃至第Nのパルス出力回路10_Nには、第1の配線11より第1のクロック信号CK
1、第2の配線12より第2のクロック信号CK2、第3の配線13より第3のクロック
信号CK3、第4の配線14より第4のクロック信号CK4が供給される。また第1のパ
ルス出力回路10_1では、第5の配線15からのスタートパルスSP1(第1のスター
トパルス)が入力される。また2段目以降の第nのパルス出力回路10_n(nは、2以
上N以下の自然数)では、一段前段のパルス出力回路10_n−1からの信号(前段信号
OUT(n−1)という)が入力される。また第1のパルス出力回路10_1では、2段
後段の第3のパルス出力回路10_3からの信号が入力される。同様に、2段目以降の第
nのパルス出力回路10_nでは、2段後段の第(n+2)のパルス出力回路10_(n
+2)からの信号(後段信号OUT(n+2)という)が入力される。従って、各段のパ
ルス出力回路からは、後段及び二つ前段のパルス出力回路に入力するための第1の出力信
号OUT(1)(SR)〜OUT(N)(SR))、及び別の回路等に入力される第2の
出力信号(OUT(1)〜OUT(N))が出力される。なお、図21(A)に示すよう
に、シフトレジスタの最終段の2つの段には、後段信号OUT(n+2)が入力されない
ため、一例としては、別途第2のスタートパルスSP2、第3のスタートパルスSP3を
それぞれ入力する構成とすればよい。
なお、クロック信号(CK)は、一定の間隔でHレベルとLレベル(低いレベルの電圧)
を繰り返す信号である。ここで、第1のクロック信号(CK1)〜第4のクロック信号(
CK4)は、順に1/4周期分遅延している。本実施の形態では、第1のクロック信号(
CK1)〜第4のクロック信号(CK4)を利用して、パルス出力回路の駆動の制御等を
行う。なお、クロック信号は、入力される駆動回路に応じて、GCK、SCKということ
もあるが、ここではCKとして説明を行う。
第1の入力端子21、第2の入力端子22及び第3の入力端子23は、第1の配線11〜
第4の配線14のいずれかと電気的に接続されている。例えば、図21(A)において、
第1のパルス出力回路10_1は、第1の入力端子21が第1の配線11と電気的に接続
され、第2の入力端子22が第2の配線12と電気的に接続され、第3の入力端子23が
第3の配線13と電気的に接続されている。また、第2のパルス出力回路10_2は、第
1の入力端子21が第2の配線12と電気的に接続され、第2の入力端子22が第3の配
線13と電気的に接続され、第3の入力端子23が第4の配線14と電気的に接続されて
いる。
第1のパルス出力回路10_1〜第Nのパルス出力回路10_Nの各々は、第1の入力端
子21、第2の入力端子22、第3の入力端子23、第4の入力端子24、第5の入力端
子25、第1の出力端子26、第2の出力端子27を有しているとする(図21(B)参
照)。第1のパルス出力回路10_1において、第1の入力端子21に第1のクロック信
号CK1が入力され、第2の入力端子22に第2のクロック信号CK2が入力され、第3
の入力端子23に第3のクロック信号CK3が入力され、第4の入力端子24にスタート
パルスが入力され、第5の入力端子25に後段信号OUT(3)が入力され、第1の出力
端子26より第1の出力信号OUT(1)(SR)が出力され、第2の出力端子27より
第2の出力信号OUT(1)が出力されていることとなる。
次に、パルス出力回路の具体的な回路構成の一例を、図22(A)に示す。
各パルス出力回路は、第1のトランジスタ31〜第13のトランジスタ43を有している
(図22(A)参照)。また、上述した第1の入力端子21〜第5の入力端子25、及び
第1の出力端子26、第2の出力端子27に加え、第1の高電源電位VDDが供給される
電源線51、第2の高電源電位VCCが供給される電源線52、低電源電位VSSが供給
される電源線53から、第1のトランジスタ31〜第13のトランジスタ43に信号、ま
たは電源電位が供給される。ここで図22(A)の各電源線の電源電位の高さの関係は、
第1の電源電位VDDは第2の電源電位VCC以上の電位とし、第2の電源電位VCCは
第3の電源電位VSSより高い電位とする。なお、第1のクロック信号(CK1)〜第4
のクロック信号(CK4)は、一定の間隔でHレベルとLレベルを繰り返す信号であるが
、HレベルのときVDD、LレベルのときVSSであるとする。なお電源線51の電位V
DDを、電源線52の電位VCCより高くすることにより、動作に影響を与えることなく
、トランジスタのゲート電極に印加される電位を低く抑えることができ、トランジスタの
しきい値電圧のシフトを低減し、劣化を抑制することができる。
図22(A)において第1のトランジスタ31は、第1端子が電源線51に電気的に接続
され、第2端子が第9のトランジスタ39の第1端子に電気的に接続され、ゲート電極が
第4の入力端子24に電気的に接続されている。第2のトランジスタ32は、第1端子が
電源線53に電気的に接続され、第2端子が第9のトランジスタ39の第1端子に電気的
に接続され、ゲート電極が第4のトランジスタ34のゲート電極に電気的に接続されてい
る。第3のトランジスタ33は、第1端子が第1の入力端子21に電気的に接続され、第
2端子が第1の出力端子26に電気的に接続されている。第4のトランジスタ34は、第
1端子が電源線53に電気的に接続され、第2端子が第1の出力端子26に電気的に接続
されている。第5のトランジスタ35は、第1端子が電源線53に電気的に接続され、第
2端子が第2のトランジスタ32のゲート電極及び第4のトランジスタ34のゲート電極
に電気的に接続され、ゲート電極が第4の入力端子24に電気的に接続されている。第6
のトランジスタ36は、第1端子が電源線52に電気的に接続され、第2端子が第2のト
ランジスタ32のゲート電極及び第4のトランジスタ34のゲート電極に電気的に接続さ
れ、ゲート電極が第5の入力端子25に電気的に接続されている。第7のトランジスタ3
7は、第1端子が電源線52に電気的に接続され、第2端子が第8のトランジスタ38の
第2端子に電気的に接続され、ゲート電極が第3の入力端子23に電気的に接続されてい
る。第8のトランジスタ38は、第1端子が第2のトランジスタ32のゲート電極及び第
4のトランジスタ34のゲート電極に電気的に接続され、ゲート電極が第2の入力端子2
2に電気的に接続されている。第9のトランジスタ39は、第1端子が第1のトランジス
タ31の第2端子及び第2のトランジスタ32の第2端子に電気的に接続され、第2端子
が第3のトランジスタ33のゲート電極及び第10のトランジスタ40のゲート電極に電
気的に接続され、ゲート電極が電源線52に電気的に接続されている。第10のトランジ
スタ40は、第1端子が第1の入力端子21に電気的に接続され、第2端子が第2の出力
端子27に電気的に接続され、ゲート電極が第9のトランジスタ39の第2端子に電気的
に接続されている。第11のトランジスタ41は、第1端子が電源線53に電気的に接続
され、第2端子が第2の出力端子27に電気的に接続され、ゲート電極が第2のトランジ
スタ32のゲート電極及び第4のトランジスタ34のゲート電極に電気的に接続されてい
る。第12のトランジスタ42は、第1端子が電源線53に電気的に接続され、第2端子
が第2の出力端子27に電気的に接続され、ゲート電極が第7のトランジスタ37のゲー
ト電極に電気的に接続されている。第13のトランジスタ43は、第1端子が電源線53
に電気的に接続され、第2端子が第1の出力端子26に電気的に接続され、ゲート電極が
第7のトランジスタ37のゲート電極に電気的に接続されている。
図22(A)において、第3のトランジスタ33のゲート電極、第10のトランジスタ4
0のゲート電極、及び第9のトランジスタ39の第2端子の接続箇所をノードAとする。
また、第2のトランジスタ32のゲート電極、第4のトランジスタ34のゲート電極、第
5のトランジスタ35の第2端子、第6のトランジスタ36の第2端子、第8のトランジ
スタ38の第1端子、及び第11のトランジスタ41の接続箇所をノードBとする(図2
2(A)参照)。
図22(A)に示したパルス出力回路を複数具備するシフトレジスタのタイミングチャー
トについて、図22(B)に示す。
なお、図22(A)に示すように、ゲート電極に第2の電源電位VCCが印加される第9
のトランジスタ39を設けておくことにより、ブートストラップ動作の前後において、以
下のような利点がある。
ゲート電極に第2の電位VCCが印加される第9のトランジスタ39がない場合、ブート
ストラップ動作によりノードAの電位が上昇すると、第1のトランジスタ31の第2端子
であるソース電極の電位が上昇していき、第1の電源電位VDDより高くなる。そして、
第1のトランジスタ31のソース電極が第1端子側、即ち電源線51側に切り替わる。そ
のため、第1のトランジスタ31においては、ゲート電極とソース電極の間、ゲート電極
とドレイン電極の間ともに、大きなバイアス電圧が印加されるために大きなストレスがか
かり、トランジスタの劣化の要因となりうる。そこで、ゲート電極に第2の電源電位VC
Cが印加される第9のトランジスタ39を設けておくことにより、ブートストラップ動作
によりノードAの電位は上昇するものの、第1のトランジスタ31の第2端子の電位の上
昇を生じないようにすることができる。つまり、第9のトランジスタ39を設けることに
より、第1のトランジスタ31のゲート電極とソース電極の間に印加される負のバイアス
電圧の値を小さくすることができる。よって、本実施の形態の回路構成とすることにより
、第1のトランジスタ31のゲート電極とソース電極の間に印加される負のバイアス電圧
も小さくできるため、ストレスによる第1のトランジスタ31の劣化を抑制することがで
きる。
なお、第9のトランジスタ39を設ける箇所については、第1のトランジスタ31の第2
端子と第3のトランジスタ33のゲート電極との間に第1端子と第2端子を介して接続さ
れるように設ける構成であればよい。なお、本実施形態でのパルス出力回路を複数具備す
るシフトレジスタの場合、走査線駆動回路より段数の多い信号線駆動回路では、第9のト
ランジスタ39を省略してもよく、トランジスタ数を削減できるという利点がある。
なお第1のトランジスタ31乃至第13のトランジスタ43の活性層として、酸化物半導
体を用いることにより、トランジスタのオフ電流を低減すると共に、オン電流及び電界効
果移動度を高めることができ、さらに劣化の度合いを低減することが出来るため、回路内
の誤動作を低減することができる。また酸化物半導体を用いたトランジスタは、アモルフ
ァスシリコンを用いたトランジスタに比べ、ゲート電極に高電位が印加されることによる
トランジスタの劣化の程度が小さい。そのため、第2の電源電位VCCを供給する電源線
に、第1の電源電位VDDを供給しても同様の動作が得られ、且つ回路間を引き回す電源
線の数を低減することができるため、回路の小型化を図ることが出来る。
なお、第7のトランジスタ37のゲート電極に第3の入力端子23によって供給されるク
ロック信号、第8のトランジスタ38のゲート電極に第2の入力端子22によって供給さ
れるクロック信号は、第7のトランジスタのゲート電極に第2の入力端子22によって供
給されるクロック信号、第8のゲート電極に第3の入力端子23によって供給されるクロ
ック信号となるように、結線関係を入れ替えても同様の作用を奏する。このとき、図22
(A)に示すシフトレジスタにおいて、第7のトランジスタ37及び第8のトランジスタ
38が共にオンの状態から、第7のトランジスタ37がオフ、第8のトランジスタ38が
オンの状態、次いで第7のトランジスタ37がオフ、第8のトランジスタ38がオフの状
態とすることによって、第2の入力端子22及び第3の入力端子23の電位が低下するこ
とで生じる、ノードBの電位の低下が第7のトランジスタ37のゲート電極の電位の低下
、及び第8のトランジスタ38のゲート電極の電位の低下に起因して2回生じることとな
る。一方、図22(A)に示すシフトレジスタを図22(B)の期間のように、第7のト
ランジスタ37及び第8のトランジスタ38が共にオンの状態から、第7のトランジスタ
37がオン、第8のトランジスタ38がオフの状態、次いで、第7のトランジスタ37が
オフ、第8のトランジスタ38がオフの状態とすることによって、第2の入力端子22及
び第3の入力端子23の電位が低下することで生じるノードBの電位の低下を、第8のト
ランジスタ38のゲート電極の電位の低下による一回に低減することができる。そのため
、第7のトランジスタ37のゲート電極(下方のゲート電極及び上方のゲート電極)に第
3の入力端子23からクロック信号が供給され、第8のトランジスタ38のゲート電極(
下方のゲート電極及び上方のゲート電極)に第2の入力端子22からクロック信号が供給
される結線関係とすることが好適である。なぜなら、ノードBの電位の変動回数が低減さ
れ、またノイズを低減することが出来るからである。
このように、第1の出力端子26及び第2の出力端子27の電位をLレベルに保持する期
間に、ノードBに定期的にHレベルの信号が供給される構成とすることにより、パルス出
力回路の誤動作を抑制することができる。
本実施の形態は、上記実施の形態と組み合わせて実施することが可能である。
(実施の形態10)
本発明の一態様に係る液晶表示装置は、移動度及びオン電流が高く、なおかつ信頼性の高
い薄膜トランジスタを用いているため、コントラスト及び視認性が高い。本実施の形態で
は、本発明の一態様に係る液晶表示装置の構成について説明する。
図23に、本発明の一態様に係る液晶表示装置の、画素の断面図を一例として示す。図2
3に示す薄膜トランジスタ1401は、絶縁表面上に形成されたゲート電極1402と、
ゲート電極上のゲート絶縁膜1403と、ゲート絶縁膜1403上においてゲート電極1
402と重なっている酸化物半導体膜1404と、酸化物半導体膜1404上に順に積層
するように形成され、ソース電極またはドレイン電極として機能する一対の導電膜140
6a及び導電膜1406bとを有する。さらに、薄膜トランジスタ1401は、酸化物半
導体膜1404上に形成された絶縁膜1407を、その構成要素に含めても良い。絶縁膜
1407は、ゲート電極1402と、ゲート絶縁膜1403と、酸化物半導体膜1404
と、導電膜1406a及び導電膜1406bとを覆うように形成されている。
なお、本実施の形態では、実施の形態1に示す作製方法に従って形成されたソース電極と
ドレイン電極を例に挙げているが、実施の形態2乃至実施の形態4に示す作製方法に従っ
て形成されたソース電極とドレイン電極を用いていても良い。
絶縁膜1407上には絶縁膜1408が形成されている。絶縁膜1407、絶縁膜140
8の一部には開口部が設けられており、該開口部において導電膜1406bの一つと接す
るように、画素電極1410が形成されている。
また、絶縁膜1408上には、液晶素子のセルギャップを制御するためのスペーサ141
7が形成されている。スペーサ1417は絶縁膜を所望の形状にエッチングすることで形
成することが可能であるが、フィラーを絶縁膜1408上に分散させることでセルギャッ
プを制御するようにしても良い。
そして、画素電極1410上には、配向膜1411が形成されている。また画素電極14
10と対峙する位置には、対向電極1413が設けられており、対向電極1413の画素
電極1410に近い側には配向膜1414が形成されている。配向膜1411、配向膜1
414は、ポリイミド、ポリビニルアルコールなどの有機樹脂を用いて形成することがで
き、その表面には、ラビングなどの、液晶分子を一定方向に配列させるための配向処理が
施されている。ラビングは、配向膜に圧力をかけながら、ナイロンなどの布を巻いたロー
ラーを回転させて、上記配向膜の表面を一定方向に擦ることで、行うことが出来る。なお
、酸化珪素などの無機材料を用い、配向処理を施すことなく、蒸着法で配向特性を有する
配向膜1411、配向膜1414を直接形成することも可能である。
そして、画素電極1410と、対向電極1413の間においてシール材1416に囲まれ
た領域には、液晶1415が設けられている。液晶1415の注入は、ディスペンサ式(
滴下式)を用いても良いし、ディップ式(汲み上げ式)を用いていても良い。なお、シー
ル材1416にはフィラーが混入されていても良い。
また、画素電極1410と、対向電極1413と、液晶1415とで形成される液晶素子
は、特定の波長領域の光を通すことができるカラーフィルタと重なっていても良い。カラ
ーフィルタは、対向電極1413が形成されている基板(対向基板)1420上に形成す
れば良い。カラーフィルタは、顔料を分散させたアクリル系樹脂などの有機樹脂を基板1
420上に塗布した後、フォトリソグラフィを用いて選択的に形成することができる。ま
た、顔料を分散させたポリイミド系樹脂を基板1420上に塗布した後、エッチングを用
いて選択的に形成することもできる。或いは、インクジェットなどの液滴吐出法を用いる
ことで、選択的にカラーフィルタを形成することもできる。
また、画素間における液晶1415の配向の乱れに起因するディスクリネーションが視認
されるのを防ぐために、画素間に、光を遮蔽することが出来る遮蔽膜を形成しても良い。
遮蔽膜には、カーボンブラック、低次酸化チタンなどの黒色顔料を含む有機樹脂を用いる
ことができる。または、クロムを用いた膜で、遮蔽膜を形成することも可能である。
画素電極1410と対向電極1413は、例えば酸化インジウムスズ(ITSO)、酸化
インジウムスズ(ITO)、酸化亜鉛(ZnO)、酸化インジウム亜鉛(IZO)、ガリ
ウムを添加した酸化亜鉛(GZO)などの透明導電材料を用いることができる。なお、本
実施の形態では、画素電極1410及び対向電極1413に光を透過する導電膜を用い、
透過型の液晶素子を作製する例を示すが、本発明はこの構成に限定されない。本発明の一
態様に係る液晶表示装置は、半透過型または反射型であっても良い。
なお、本実施の形態では、液晶表示装置として、TN(Twisted Nematic
)型を示したが、VA(Virtical Alignment)型、OCB(opti
cally compensated Birefringence)型、IPS(In
−Plane Switching)型等の、その他の液晶表示装置にも、本発明の薄膜
トランジスタを用いることができる。
また、配向膜を用いないブルー相を示す液晶を用いてもよい。ブルー相は液晶相の一つで
あり、コレステリック液晶を昇温していくと、コレステリック相から等方相へ転移する直
前に発現する相である。ブルー相は狭い温度範囲でしか発現しないため、温度範囲を改善
するために5重量%以上のカイラル剤を混合させた液晶組成物を用いて液晶1415に用
いる。ブルー相を示す液晶とカイラル剤とを含む液晶組成物は、応答速度が10μsec
.以上100μsec.以下と短く、光学的等方性であるため配向処理が不要であり、視
野角依存性が小さい。
図24は、本発明の液晶表示装置の構造を示す斜視図の一例である。図24に示す液晶表
示装置は、一対の基板間に液晶素子が形成された液晶パネル1601と、第1の拡散板1
602と、プリズムシート1603と、第2の拡散板1604と、導光板1605と、反
射板1606と、光源1607と、回路基板1608とを有している。
液晶パネル1601と、第1の拡散板1602と、プリズムシート1603と、第2の拡
散板1604と、導光板1605と、反射板1606とは、順に積層されている。光源1
607は導光板1605の端部に設けられており、導光板1605内部に拡散された光源
1607からの光は、第1の拡散板1602、プリズムシート1603及び第2の拡散板
1604によって、均一に液晶パネル1601に照射される。
なお、本実施の形態では、第1の拡散板1602と第2の拡散板1604とを用いている
が、拡散板の数はこれに限定されず、単数であっても3以上であっても良い。そして、拡
散板は導光板1605と液晶パネル1601の間に設けられていれば良い。よって、プリ
ズムシート1603よりも液晶パネル1601に近い側にのみ拡散板が設けられていても
良いし、プリズムシート1603よりも導光板1605に近い側にのみ拡散板が設けられ
ていても良い。
またプリズムシート1603は、図24に示した断面が鋸歯状の形状に限定されず、導光
板1605からの光を液晶パネル1601側に集光できる形状を有していれば良い。
回路基板1608には、液晶パネル1601に入力される各種信号を生成する回路、また
はこれら信号に処理を施す回路などが設けられている。そして図24では、回路基板16
08と液晶パネル1601とが、FPC(Flexible Printed Circ
uit)1609を介して接続されている。なお、上記回路は、COG(Chip ON
Glass)法を用いて液晶パネル1601に接続されていても良いし、上記回路の一
部がFPC1609にCOF(Chip On Film)法を用いて接続されていても
良い。
図24では、光源1607の駆動を制御する制御系の回路が回路基板1608に設けられ
ており、該制御系の回路と光源1607とがFPC1610を介して接続されている例を
示している。ただし、上記制御系の回路は液晶パネル1601に形成されていても良く、
この場合は液晶パネル1601と光源1607とがFPCなどにより接続されるようにす
る。
なお、図24は、液晶パネル1601の端に光源1607を配置するエッジライト型の光
源を例示しているが、本発明の液晶表示装置は光源1607が液晶パネル1601の直下
に配置される直下型であっても良い。
本実施の形態は、上記実施の形態と適宜組み合わせて実施することができる。
(実施の形態11)
本実施の形態では、本発明の一態様に係る薄膜トランジスタを画素に用いた、発光装置の
構成について説明する。本実施の形態では、発光素子を駆動させるためのトランジスタが
n型の場合における、画素の断面構造について、図25を用いて説明する。なお図25で
は、第1の電極が陰極、第2の電極が陽極の場合について説明するが、第1の電極が陽極
、第2の電極が陰極であっても良い。
図25(A)に、トランジスタ6031がn型で、発光素子6033から発せられる光を
第1の電極6034側から取り出す場合の、画素の断面図を示す。トランジスタ6031
は絶縁膜6037で覆われており、絶縁膜6037上には開口部を有する隔壁6038が
形成されている。隔壁6038の開口部において第1の電極6034が一部露出しており
、該開口部において第1の電極6034、電界発光層6035、第2の電極6036が順
に積層されている。
第1の電極6034は、光を透過する材料または膜厚で形成し、なおかつ仕事関数の小さ
い金属、合金、電気伝導性化合物、およびこれらの混合物などで形成することができる。
具体的には、LiやCs等のアルカリ金属、およびMg、Ca、Sr等のアルカリ土類金
属、これらを含む合金(Mg:Ag、Al:Li、Mg:Inなど)、およびこれらの化
合物(フッ化カルシウム、窒化カルシウム)の他、YbやEr等の希土類金属を用いるこ
とができる。また電子注入層を設ける場合、アルミニウムなどの他の導電層を用いること
も可能である。そして第1の電極6034を、光が透過する程度の膜厚(好ましくは、5
nm〜30nm程度)で形成する。さらに、光が透過する程度の膜厚を有する上記導電層
の上または下に接するように、透光性酸化物導電材料を用いて透光性を有する導電層を形
成し、第1の電極6034のシート抵抗を抑えるようにしても良い。なお、インジウム錫
酸化物(ITO)、酸化亜鉛(ZnO)、酸化インジウム亜鉛(IZO)、ガリウムを添
加した酸化亜鉛(GZO)などその他の透光性酸化物導電材料を用いた導電層だけを用い
ることも可能である。またITO及び酸化珪素を含むインジウム錫酸化物(以下、ITS
Oとする)や、酸化珪素を含んだ酸化インジウムに、さらに2〜20%の酸化亜鉛(Zn
O)を混合したものを用いても良い。透光性酸化物導電材料を用いる場合、電界発光層6
035に電子注入層を設けるのが望ましい。
また第2の電極6036は、光を反射もしくは遮蔽する材料及び膜厚で形成し、なおかつ
陽極として用いるのに適する材料で形成する。例えば、窒化チタン、窒化ジルコニウム、
チタン、タングステン、ニッケル、白金、クロム、銀、アルミニウム等の1つまたは複数
からなる単層膜の他、窒化チタンとアルミニウムを主成分とする膜との積層、窒化チタン
膜とアルミニウムを主成分とする膜と窒化チタン膜との三層構造等を第2の電極6036
に用いることができる。
電界発光層6035は、単数または複数の層で構成されている。複数の層で構成されてい
る場合、これらの層は、キャリア輸送特性の観点から正孔注入層、正孔輸送層、発光層、
電子輸送層、電子注入層などに分類することができる。電界発光層6035が発光層の他
に、正孔注入層、正孔輸送層、電子輸送層、電子注入層のいずれかを有している場合、第
1の電極6034から、電子注入層、電子輸送層、発光層、正孔輸送層、正孔注入層の順
に積層する。なお各層の境目は必ずしも明確である必要はなく、互いの層を構成している
材料が一部混合し、界面が不明瞭になっている場合もある。各層には、有機系の材料、無
機系の材料を用いることが可能である。有機系の材料として、高分子系、中分子系、低分
子系のいずれの材料も用いることが可能である。なお中分子系の材料とは、構造単位の繰
返しの数(重合度)が2から20程度の低重合体に相当する。正孔注入層と正孔輸送層と
の区別は必ずしも厳密なものではなく、これらは正孔輸送性(正孔移動度)が特に重要な
特性である意味において同じである。便宜上正孔注入層は陽極に接する側の層であり、正
孔注入層に接する層を正孔輸送層と呼んで区別する。電子輸送層、電子注入層についても
同様であり、陰極に接する層を電子注入層と呼び、電子注入層に接する層を電子輸送層と
呼んでいる。発光層は電子輸送層を兼ねる場合もあり、発光性電子輸送層とも呼ばれる。
図25(A)に示した画素の場合、発光素子6033から発せられる光を、白抜きの矢印
で示すように第1の電極6034側から取り出すことができる。
次に図25(B)に、トランジスタ6041がn型で、発光素子6043から発せられる
光を第2の電極6046側から取り出す場合の、画素の断面図を示す。トランジスタ60
41は絶縁膜6047で覆われており、絶縁膜6047上には開口部を有する隔壁604
8が形成されている。隔壁6048の開口部において第1の電極6044が一部露出して
おり、該開口部において第1の電極6044、電界発光層6045、第2の電極6046
が順に積層されている。
第1の電極6044は、光を反射もしくは遮蔽する材料及び膜厚で形成し、なおかつ仕事
関数の小さい金属、合金、電気伝導性化合物、およびこれらの混合物などで形成すること
ができる。具体的には、LiやCs等のアルカリ金属、およびMg、Ca、Sr等のアル
カリ土類金属、これらを含む合金(Mg:Ag、Al:Li、Mg:Inなど)、および
これらの化合物(フッ化カルシウム、窒化カルシウム)の他、YbやEr等の希土類金属
を用いることができる。また電子注入層を設ける場合、アルミニウムなどの他の導電層を
用いることも可能である。
また第2の電極6046は、光を透過する材料または膜厚で形成し、なおかつ陽極として
用いるのに適する材料で形成する。例えば、インジウム錫酸化物(ITO)、酸化亜鉛(
ZnO)、酸化インジウム亜鉛(IZO)、ガリウムを添加した酸化亜鉛(GZO)など
その他の透光性酸化物導電材料を第2の電極6046に用いることが可能である。またI
TO及び酸化珪素を含むインジウム錫酸化物(以下、ITSOとする)や、酸化珪素を含
んだ酸化インジウムに、さらに2〜20%の酸化亜鉛(ZnO)を混合したものを第2の
電極6046に用いても良い。また上記透光性酸化物導電材料の他に、例えば窒化チタン
、窒化ジルコニウム、チタン、タングステン、ニッケル、白金、クロム、銀、アルミニウ
ム等の1つまたは複数からなる単層膜の他、窒化チタンとアルミニウムを主成分とする膜
との積層、窒化チタン膜とアルミニウムを主成分とする膜と窒化チタン膜との三層構造等
を第2の電極6046に用いることもできる。ただし透光性酸化物導電材料以外の材料を
用いる場合、光が透過する程度の膜厚(好ましくは、5nm〜30nm程度)で第2の電
極6046を形成する。
電界発光層6045は、図25(A)の電界発光層6035と同様に形成することができ
る。
図25(B)に示した画素の場合、発光素子6043から発せられる光を、白抜きの矢印
で示すように第2の電極6046側から取り出すことができる。
次に図25(C)に、トランジスタ6051がn型で、発光素子6053から発せられる
光を第1の電極6054側及び第2の電極6056側から取り出す場合の、画素の断面図
を示す。トランジスタ6051は絶縁膜6057で覆われており、絶縁膜6057上には
開口部を有する隔壁6058が形成されている。隔壁6058の開口部において第1の電
極6054が一部露出しており、該開口部において第1の電極6054、電界発光層60
55、第2の電極6056が順に積層されている。
第1の電極6054は、図25(A)の第1の電極6034と同様に形成することができ
る。また第2の電極6056は、図25(B)の第2の電極6046と同様に形成するこ
とができる。電界発光層6055は、図25(A)の電界発光層6035と同様に形成す
ることができる。
図25(C)に示した画素の場合、発光素子6053から発せられる光を、白抜きの矢印
で示すように第1の電極6054側及び第2の電極6056側から取り出すことができる
本実施の形態は、他の実施の形態と適宜組み合わせて実施することが出来る。
本発明の一態様に係る半導体装置を用いることで、信頼性が高く、高速駆動の電子機器を
提供することが可能である。また、本発明の一態様に係る半導体表示装置を用いることで
、信頼性が高く、コントラスト及び視認性が高い表示が可能な電子機器を提供することが
可能である。
また、本発明の半導体装置では、作製工程における加熱処理の温度を抑えることができる
ので、ガラスよりも耐熱性の劣る、プラスチック等の可撓性を有する合成樹脂からなる基
板上においても、特性が優れており、信頼性が高い薄膜トランジスタを作製することが可
能である。従って、本発明の一態様に係る作製方法を用いることで、信頼性が高く、軽量
かつフレキシブルな半導体装置を提供することが可能である。プラスチック基板として、
ポリエチレンテレフタレート(PET)に代表されるポリエステル、ポリエーテルスルホ
ン(PES)、ポリエチレンナフタレート(PEN)、ポリカーボネート(PC)、ポリ
エーテルエーテルケトン(PEEK)、ポリスルホン(PSF)、ポリエーテルイミド(
PEI)、ポリアリレート(PAR)、ポリブチレンテレフタレート(PBT)、ポリイ
ミド、アクリロニトリルブタジエンスチレン樹脂、ポリ塩化ビニル、ポリプロピレン、ポ
リ酢酸ビニル、アクリル樹脂などが挙げられる。
本発明の一態様に係る半導体装置は、表示装置、ノート型パーソナルコンピュータ、記録
媒体を備えた画像再生装置(代表的にはDVD:Digital Versatile
Disc等の記録媒体を再生し、その画像を表示しうるディスプレイを有する装置)に用
いることができる。その他に、本発明の一態様に係る半導体装置を用いることができる電
子機器として、携帯電話、携帯型ゲーム機、携帯情報端末、電子書籍、ビデオカメラ、デ
ジタルスチルカメラ、ゴーグル型ディスプレイ(ヘッドマウントディスプレイ)、ナビゲ
ーションシステム、音響再生装置(カーオーディオ、デジタルオーディオプレイヤー等)
、複写機、ファクシミリ、プリンター、プリンター複合機、現金自動預け入れ払い機(A
TM)、自動販売機などが挙げられる。これら電子機器の具体例を図26に示す。
図26(A)は電子書籍であり、筐体7001、表示部7002等を有する。本発明の一
態様に係る半導体表示装置は、表示部7002に用いることができる。表示部7002に
本発明の一態様に係る半導体表示装置を用いることで、信頼性が高く、コントラスト及び
視認性が高い表示が可能な電子書籍を提供することができる。また、本発明の一態様に係
る半導体装置は、電子書籍の駆動を制御するための集積回路に用いることができる。電子
書籍の駆動を制御するための集積回路に本発明の一態様に係る半導体装置を用いることで
、信頼性が高く、高速駆動が可能な電子書籍を提供することができる。また、可撓性を有
する基板を用いることで、半導体装置、半導体表示装置に可撓性を持たせることができる
ので、フレキシブルかつ軽くて使い勝手の良い電子書籍を提供することができる。
図26(B)は表示装置であり、筐体7011、表示部7012、支持台7013等を有
する。本発明の一態様に係る半導体表示装置は、表示部7012に用いることができる。
表示部7012に本発明の一態様に係る半導体表示装置を用いることで、信頼性が高く、
コントラスト及び視認性が高い表示が可能な表示装置を提供することができる。また、本
発明の一態様に係る半導体装置は、表示装置の駆動を制御するための集積回路に用いるこ
とができる。表示装置の駆動を制御するための集積回路に本発明の一態様に係る半導体装
置を用いることで、信頼性が高く、高速駆動が可能な表示装置を提供することができる。
なお、表示装置には、パーソナルコンピュータ用、TV放送受信用、広告表示用などの全
ての情報表示用表示装置が含まれる。
図26(C)は表示装置であり、筐体7021、表示部7022等を有する。本発明の一
態様に係る半導体表示装置は、表示部7022に用いることができる。表示部7022に
本発明の一態様に係る半導体表示装置を用いることで、信頼性が高く、コントラスト及び
視認性が高い表示が可能な表示装置を提供することができる。また、本発明の一態様に係
る半導体装置は、表示装置の駆動を制御するための集積回路に用いることができる。表示
装置の駆動を制御するための集積回路に本発明の一態様に係る半導体装置を用いることで
、信頼性が高く、高速駆動が可能な表示装置を提供することができる。また、可撓性を有
する基板を用いることで、半導体装置、半導体表示装置に可撓性を持たせることができる
ので、フレキシブルかつ軽くて使い勝手の良い表示装置を提供することができる。よって
、図26(C)に示すように、布地などに固定させて表示装置を使用することができ、表
示装置の応用の幅が格段に広がる。
図26(D)は携帯型ゲーム機であり、筐体7031、筐体7032、表示部7033、
表示部7034、マイクロホン7035、スピーカー7036、操作キー7037、スタ
イラス7038等を有する。本発明の一態様に係る半導体表示装置は、表示部7033、
表示部7034に用いることができる。表示部7033、表示部7034に本発明の一態
様に係る半導体表示装置を用いることで、信頼性が高く、コントラスト及び視認性が高い
表示が可能な携帯型ゲーム機を提供することができる。また、本発明の一態様に係る半導
体装置は、携帯型ゲーム機の駆動を制御するための集積回路に用いることができる。携帯
型ゲーム機の駆動を制御するための集積回路に本発明の一態様に係る半導体装置を用いる
ことで、信頼性が高く、高速駆動が可能な携帯型ゲーム機を提供することができる。なお
、図26(D)に示した携帯型ゲーム機は、2つの表示部7033と表示部7034とを
有しているが、携帯型ゲーム機が有する表示部の数は、これに限定されない。
図26(E)は携帯電話であり、筐体7041、表示部7042、音声入力部7043、
音声出力部7044、操作キー7045、受光部7046等を有する。受光部7046に
おいて受信した光を電気信号に変換することで、外部の画像を取り込むことができる。本
発明の一態様に係る半導体表示装置は、表示部7042に用いることができる。表示部7
042に本発明の一態様に係る半導体表示装置を用いることで、信頼性が高く、コントラ
スト及び視認性が高い表示が可能な携帯電話を提供することができる。また、本発明の一
態様に係る半導体装置は、携帯電話の駆動を制御するための集積回路に用いることができ
る。携帯電話の駆動を制御するための集積回路に本発明の一態様に係る半導体装置を用い
ることで、信頼性が高く、高速駆動が可能な携帯電話を提供することができる。
本実施例は、上記実施の形態と適宜組み合わせて実施することが可能である。
10 パルス出力回路
11 配線
12 配線
13 配線
14 配線
15 配線
21 入力端子
22 入力端子
23 入力端子
24 入力端子
25 入力端子
26 出力端子
27 出力端子
31 トランジスタ
32 トランジスタ
33 トランジスタ
34 トランジスタ
35 トランジスタ
36 トランジスタ
37 トランジスタ
38 トランジスタ
39 トランジスタ
40 トランジスタ
41 トランジスタ
42 トランジスタ
43 トランジスタ
51 電源線
52 電源線
53 電源線
100 基板
101 ゲート電極
102 ゲート絶縁膜
103 酸化物半導体膜
104 酸化物半導体膜
105a 導電膜
105b 導電膜
105c 導電膜
105d 導電膜
105e 導電膜
106 ソース電極
107 ドレイン電極
108 酸化物半導体膜
109 絶縁膜
110 トランジスタ
111 バックゲート電極
112 絶縁膜
120 薄膜トランジスタ
126 ソース電極
127 ドレイン電極
128 酸化物半導体膜
129 絶縁膜
130 薄膜トランジスタ
136 ソース電極
137 ドレイン電極
138 酸化物半導体膜
139 絶縁膜
140 薄膜トランジスタ
146 ソース電極
147 ドレイン電極
148 酸化物半導体膜
149 絶縁膜
300 基板
301 ゲート電極
302 ゲート絶縁膜
303 酸化物半導体膜
304 酸化物半導体膜
305a 導電膜
305b 導電膜
306 ソース電極
307 ドレイン電極
309 絶縁膜
310 薄膜トランジスタ
311 チャネル保護膜
312 バックゲート電極
313 絶縁膜
400 基板
401 ゲート電極
402 ゲート絶縁膜
403 酸化物半導体膜
404 酸化物半導体膜
405a 導電膜
405b 導電膜
406 ソース電極
407 ドレイン電極
409 絶縁膜
410 薄膜トランジスタ
700 画素部
701 信号線駆動回路
702 走査線駆動回路
703 画素
704 トランジスタ
705 表示素子
706 保持容量
707 信号線
708 走査線
710 画素電極
711 対向電極
712 マイクロカプセル
713 ドレイン電極
714 樹脂
800 基板
801 ゲート電極
802 ゲート絶縁膜
803 酸化物半導体膜
804 酸化物半導体膜
805 酸化物半導体膜
806 導電膜
806a 導電膜
806b 導電膜
807 ソース電極
808 ドレイン電極
809 絶縁膜
813 薄膜トランジスタ
814 画素電極
815 透明導電膜
816 透明導電膜
819 保持容量
820 端子
821 端子
822 容量配線
1401 薄膜トランジスタ
1402 ゲート電極
1403 ゲート絶縁膜
1404 酸化物半導体膜
1406a 導電膜
1406b 導電膜
1407 絶縁膜
1408 絶縁膜
1410 画素電極
1411 配向膜
1413 対向電極
1414 配向膜
1415 液晶
1416 シール材
1417 スペーサ
1420 基板
1601 液晶パネル
1602 拡散板
1603 プリズムシート
1604 拡散板
1605 導光板
1606 反射板
1607 光源
1608 回路基板
1609 FPC
1610 FPC
5300 基板
5301 画素部
5302 走査線駆動回路
5303 走査線駆動回路
5304 信号線駆動回路
5305 タイミング制御回路
5601 シフトレジスタ
5602 サンプリング回路
5603 トランジスタ
5604 配線
5605 配線
6031 トランジスタ
6033 発光素子
6034 電極
6035 電界発光層
6036 電極
6037 絶縁膜
6038 隔壁
6041 トランジスタ
6043 発光素子
6044 電極
6045 電界発光層
6046 電極
6047 絶縁膜
6048 隔壁
6051 トランジスタ
6053 発光素子
6054 電極
6055 電界発光層
6056 電極
6057 絶縁膜
6058 隔壁
7001 筐体
7002 表示部
7011 筐体
7012 表示部
7013 支持台
7021 筐体
7022 表示部
7031 筐体
7032 筐体
7033 表示部
7034 表示部
7035 マイクロホン
7036 スピーカー
7037 操作キー
7038 スタイラス
7041 筐体
7042 表示部
7043 音声入力部
7044 音声出力部
7045 操作キー
7046 受光部

Claims (5)

  1. 基板上のゲート電極と、
    前記ゲート電極上の第1の絶縁膜と、
    前記第1の絶縁膜上の第2の絶縁膜と、
    前記第2の絶縁膜上の酸化物半導体層と、
    前記酸化物半導体層上のソース電極及びドレイン電極と、
    前記ソース電極及び前記ドレイン電極上の第3の絶縁膜と、
    前記第3の絶縁膜上の第4の絶縁膜と、を有し、
    前記第1の絶縁膜と前記第4の絶縁膜は、窒化珪素を含み、
    前記第2の絶縁膜と前記第3の絶縁膜は、酸化珪素を含み、
    前記第2の絶縁膜は、前記第1の絶縁膜よりも膜厚が大きく、
    前記第1の絶縁膜及び前記第2の絶縁膜は、プラズマCVD法により形成し、
    前記第4の絶縁膜を形成した後に、250℃以上400℃以下(ただし250℃を除く)の加熱処理を行うことを特徴とする半導体装置の作製方法
  2. 基板上のゲート電極と、
    前記ゲート電極上の第1の絶縁膜と、
    前記第1の絶縁膜上の第2の絶縁膜と、
    前記第2の絶縁膜上の酸化物半導体層と、
    前記酸化物半導体層上のソース電極及びドレイン電極と、
    前記ソース電極及び前記ドレイン電極上の第3の絶縁膜と、
    前記第3の絶縁膜上の第4の絶縁膜と、を有し、
    前記第1の絶縁膜と前記第4の絶縁膜は、窒化珪素を含み、
    前記第2の絶縁膜と前記第3の絶縁膜は、酸化珪素を含み、
    前記第2の絶縁膜は、前記第1の絶縁膜よりも膜厚が大きく、
    前記第3の絶縁膜は、前記第4の絶縁膜よりも膜厚が大きく、
    前記第1の絶縁膜及び前記第2の絶縁膜は、プラズマCVD法により形成し、
    前記第4の絶縁膜を形成した後に、250℃以上400℃以下(ただし250℃を除く)の加熱処理を行うことを特徴とする半導体装置の作製方法
  3. 請求項1又は2において、
    前記第2の絶縁膜及び前記第3の絶縁膜は、前記酸化物半導体層と重ならない領域で接することを特徴とする半導体装置の作製方法
  4. 請求項1乃至3のいずれか一において、
    前記酸化物半導体層は、In、Ga、及びZnを含むことを特徴とする半導体装置の作製方法
  5. 請求項1乃至4のいずれか一において、
    前記ソース電極及び前記ドレイン電極は、第1の導電膜と、前記第1の導電膜上の第2の導電膜とを有し、
    前記第1の導電膜は、チタン、モリブデン、またはタングステンを含み、
    前記第2の導電膜は、電気陰性度が水素より低い金属を含むことを特徴とする半導体装置の作製方法
JP2015211448A 2009-10-21 2015-10-28 半導体装置の作製方法 Active JP6097809B2 (ja)

Priority Applications (1)

Application Number Priority Date Filing Date Title
JP2015211448A JP6097809B2 (ja) 2009-10-21 2015-10-28 半導体装置の作製方法

Applications Claiming Priority (3)

Application Number Priority Date Filing Date Title
JP2009242256 2009-10-21
JP2009242256 2009-10-21
JP2015211448A JP6097809B2 (ja) 2009-10-21 2015-10-28 半導体装置の作製方法

Related Parent Applications (1)

Application Number Title Priority Date Filing Date
JP2014139341A Division JP5833194B2 (ja) 2009-10-21 2014-07-07 半導体装置の作製方法

Related Child Applications (1)

Application Number Title Priority Date Filing Date
JP2017029032A Division JP2017092501A (ja) 2009-10-21 2017-02-20 半導体装置及びその作製方法

Publications (2)

Publication Number Publication Date
JP2016042586A JP2016042586A (ja) 2016-03-31
JP6097809B2 true JP6097809B2 (ja) 2017-03-15

Family

ID=43879615

Family Applications (10)

Application Number Title Priority Date Filing Date
JP2010235083A Active JP5600549B2 (ja) 2009-10-21 2010-10-20 半導体装置の作製方法
JP2012205513A Active JP5132836B2 (ja) 2009-10-21 2012-09-19 半導体装置の作製方法
JP2014139341A Active JP5833194B2 (ja) 2009-10-21 2014-07-07 半導体装置の作製方法
JP2015211448A Active JP6097809B2 (ja) 2009-10-21 2015-10-28 半導体装置の作製方法
JP2017029032A Withdrawn JP2017092501A (ja) 2009-10-21 2017-02-20 半導体装置及びその作製方法
JP2018130147A Expired - Fee Related JP6640287B2 (ja) 2009-10-21 2018-07-09 半導体装置
JP2019233796A Active JP7027394B2 (ja) 2009-10-21 2019-12-25 半導体装置
JP2022021822A Active JP7411701B2 (ja) 2009-10-21 2022-02-16 半導体装置
JP2023218328A Active JP7686056B2 (ja) 2009-10-21 2023-12-25 半導体装置
JP2025084379A Pending JP2025113374A (ja) 2009-10-21 2025-05-20 半導体装置

Family Applications Before (3)

Application Number Title Priority Date Filing Date
JP2010235083A Active JP5600549B2 (ja) 2009-10-21 2010-10-20 半導体装置の作製方法
JP2012205513A Active JP5132836B2 (ja) 2009-10-21 2012-09-19 半導体装置の作製方法
JP2014139341A Active JP5833194B2 (ja) 2009-10-21 2014-07-07 半導体装置の作製方法

Family Applications After (6)

Application Number Title Priority Date Filing Date
JP2017029032A Withdrawn JP2017092501A (ja) 2009-10-21 2017-02-20 半導体装置及びその作製方法
JP2018130147A Expired - Fee Related JP6640287B2 (ja) 2009-10-21 2018-07-09 半導体装置
JP2019233796A Active JP7027394B2 (ja) 2009-10-21 2019-12-25 半導体装置
JP2022021822A Active JP7411701B2 (ja) 2009-10-21 2022-02-16 半導体装置
JP2023218328A Active JP7686056B2 (ja) 2009-10-21 2023-12-25 半導体装置
JP2025084379A Pending JP2025113374A (ja) 2009-10-21 2025-05-20 半導体装置

Country Status (5)

Country Link
US (4) US8470650B2 (ja)
JP (10) JP5600549B2 (ja)
KR (5) KR101402294B1 (ja)
TW (3) TWI512978B (ja)
WO (1) WO2011048925A1 (ja)

Families Citing this family (66)

* Cited by examiner, † Cited by third party
Publication number Priority date Publication date Assignee Title
JP5442234B2 (ja) 2008-10-24 2014-03-12 株式会社半導体エネルギー研究所 半導体装置及び表示装置
EP2256814B1 (en) 2009-05-29 2019-01-16 Semiconductor Energy Laboratory Co, Ltd. Oxide semiconductor device and method for manufacturing the same
WO2011013522A1 (en) 2009-07-31 2011-02-03 Semiconductor Energy Laboratory Co., Ltd. Semiconductor device and manufacturing method thereof
CN103489871B (zh) 2009-07-31 2016-03-23 株式会社半导体能源研究所 半导体装置及其制造方法
WO2011043194A1 (en) 2009-10-09 2011-04-14 Semiconductor Energy Laboratory Co., Ltd. Semiconductor device and method for manufacturing the same
KR102070268B1 (ko) 2009-10-09 2020-01-29 가부시키가이샤 한도오따이 에네루기 켄큐쇼 반도체 장치
KR101402294B1 (ko) * 2009-10-21 2014-06-02 가부시키가이샤 한도오따이 에네루기 켄큐쇼 반도체 장치 제작방법
KR20170076818A (ko) * 2009-11-13 2017-07-04 가부시키가이샤 한도오따이 에네루기 켄큐쇼 스퍼터링 타겟 및 그 제작 방법 및 트랜지스터
KR102138547B1 (ko) * 2009-11-13 2020-07-28 가부시키가이샤 한도오따이 에네루기 켄큐쇼 반도체 장치 및 그 제작 방법
WO2011058882A1 (en) 2009-11-13 2011-05-19 Semiconductor Energy Laboratory Co., Ltd. Sputtering target and manufacturing method thereof, and transistor
WO2011058865A1 (en) * 2009-11-13 2011-05-19 Semiconductor Energy Laboratory Co., Ltd. Semiconductor devi ce
KR102446585B1 (ko) 2009-11-27 2022-09-22 가부시키가이샤 한도오따이 에네루기 켄큐쇼 반도체 장치 및 반도체 장치의 제작방법
WO2011070929A1 (en) 2009-12-11 2011-06-16 Semiconductor Energy Laboratory Co., Ltd. Semiconductor device and electronic device
CN105405747B (zh) 2010-02-05 2020-03-13 株式会社半导体能源研究所 半导体装置和制造半导体装置的方法
WO2011145468A1 (en) * 2010-05-21 2011-11-24 Semiconductor Energy Laboratory Co., Ltd. Memory device and semiconductor device
US8664097B2 (en) 2010-09-13 2014-03-04 Semiconductor Energy Laboratory Co., Ltd. Manufacturing method of semiconductor device
JP5636867B2 (ja) * 2010-10-19 2014-12-10 富士通株式会社 半導体装置及び半導体装置の製造方法
US8894825B2 (en) 2010-12-17 2014-11-25 Semiconductor Energy Laboratory Co., Ltd. Sputtering target, method for manufacturing the same, manufacturing semiconductor device
US9412623B2 (en) * 2011-06-08 2016-08-09 Cbrite Inc. Metal oxide TFT with improved source/drain contacts and reliability
US8679905B2 (en) * 2011-06-08 2014-03-25 Cbrite Inc. Metal oxide TFT with improved source/drain contacts
US9660092B2 (en) 2011-08-31 2017-05-23 Semiconductor Energy Laboratory Co., Ltd. Oxide semiconductor thin film transistor including oxygen release layer
JP6076038B2 (ja) 2011-11-11 2017-02-08 株式会社半導体エネルギー研究所 表示装置の作製方法
JP6122275B2 (ja) 2011-11-11 2017-04-26 株式会社半導体エネルギー研究所 表示装置
WO2013080900A1 (en) 2011-12-02 2013-06-06 Semiconductor Energy Laboratory Co., Ltd. Semiconductor device and method for manufacturing the same
JP6053490B2 (ja) 2011-12-23 2016-12-27 株式会社半導体エネルギー研究所 半導体装置の作製方法
WO2013094547A1 (en) 2011-12-23 2013-06-27 Semiconductor Energy Laboratory Co., Ltd. Semiconductor device and method for manufacturing the same
TWI584383B (zh) 2011-12-27 2017-05-21 半導體能源研究所股份有限公司 半導體裝置及其製造方法
WO2013111756A1 (en) 2012-01-25 2013-08-01 Semiconductor Energy Laboratory Co., Ltd. Semiconductor device and method for manufacturing semiconductor device
JP2013183001A (ja) * 2012-03-01 2013-09-12 Semiconductor Energy Lab Co Ltd 半導体装置
JP6059566B2 (ja) 2012-04-13 2017-01-11 株式会社半導体エネルギー研究所 半導体装置の作製方法
US9219164B2 (en) * 2012-04-20 2015-12-22 Semiconductor Energy Laboratory Co., Ltd. Semiconductor device with oxide semiconductor channel
US9048323B2 (en) 2012-04-30 2015-06-02 Semiconductor Energy Laboratory Co., Ltd. Semiconductor device
US8995607B2 (en) 2012-05-31 2015-03-31 Semiconductor Energy Laboratory Co., Ltd. Pulse signal output circuit and shift register
KR20250175003A (ko) 2012-07-20 2025-12-15 가부시키가이샤 한도오따이 에네루기 켄큐쇼 표시 장치
KR102354212B1 (ko) 2012-08-03 2022-01-20 가부시키가이샤 한도오따이 에네루기 켄큐쇼 반도체 장치
DE102013216824B4 (de) 2012-08-28 2024-10-17 Semiconductor Energy Laboratory Co., Ltd. Halbleitervorrichtung
TWI657539B (zh) 2012-08-31 2019-04-21 日商半導體能源研究所股份有限公司 半導體裝置
WO2014042102A1 (en) 2012-09-13 2014-03-20 Semiconductor Energy Laboratory Co., Ltd. Semiconductor device
US9905585B2 (en) 2012-12-25 2018-02-27 Semiconductor Energy Laboratory Co., Ltd. Semiconductor device comprising capacitor
KR102370069B1 (ko) 2012-12-25 2022-03-04 가부시키가이샤 한도오따이 에네루기 켄큐쇼 반도체 장치
CN103904126B (zh) * 2012-12-26 2016-08-24 深圳市金誉半导体有限公司 薄膜晶体管
JP6329762B2 (ja) 2012-12-28 2018-05-23 株式会社半導体エネルギー研究所 半導体装置
TWI614813B (zh) 2013-01-21 2018-02-11 半導體能源研究所股份有限公司 半導體裝置的製造方法
US9231002B2 (en) 2013-05-03 2016-01-05 Semiconductor Energy Laboratory Co., Ltd. Display device and electronic device
TWI809474B (zh) 2013-05-16 2023-07-21 日商半導體能源研究所股份有限公司 半導體裝置
SG10201601511RA (en) * 2013-05-20 2016-03-30 Semiconductor Energy Lab Semiconductor device
US9035301B2 (en) * 2013-06-19 2015-05-19 Semiconductor Energy Laboratory Co., Ltd. Imaging device
TWI635750B (zh) 2013-08-02 2018-09-11 半導體能源研究所股份有限公司 攝像裝置以及其工作方法
TWI633668B (zh) * 2013-09-23 2018-08-21 半導體能源研究所股份有限公司 半導體裝置
JP6537264B2 (ja) * 2013-12-12 2019-07-03 株式会社半導体エネルギー研究所 半導体装置
JP6204209B2 (ja) * 2014-01-27 2017-09-27 株式会社ジャパンディスプレイ 有機el表示装置
US9964799B2 (en) * 2015-03-17 2018-05-08 Semiconductor Energy Laboratory Co., Ltd. Display device, display module, and electronic device
DE102015220346A1 (de) 2015-10-19 2017-04-20 Hella Kgaa Hueck & Co. Radom
DE102015223327A1 (de) * 2015-11-25 2017-06-01 Hella Kgaa Hueck & Co. Radom
KR102568632B1 (ko) * 2016-04-07 2023-08-21 삼성디스플레이 주식회사 트랜지스터 표시판, 그 제조 방법 및 이를 포함하는 표시 장치
CN106057909B (zh) * 2016-07-22 2019-03-05 京东方科技集团股份有限公司 一种薄膜晶体管、阵列基板及显示装置
CN108172627B (zh) 2016-12-07 2020-11-06 清华大学 一种薄膜晶体管及其制备方法
KR102044244B1 (ko) * 2016-12-13 2019-12-02 (주)웨이비스 질화물계 전자소자 및 그 제조방법
CN106876476B (zh) * 2017-02-16 2020-04-17 京东方科技集团股份有限公司 薄膜晶体管及其制备方法、阵列基板及电子设备
TWI778959B (zh) 2017-03-03 2022-10-01 日商半導體能源硏究所股份有限公司 半導體裝置及半導體裝置的製造方法
CN106847932B (zh) * 2017-04-13 2019-10-22 上海天马微电子有限公司 一种薄膜晶体管、阵列基板、显示装置及薄膜晶体管制造方法
US11069722B2 (en) * 2017-05-31 2021-07-20 Sharp Kabushiki Kaisha Active matrix substrate and method of manufacturing same
CN109166801A (zh) * 2018-07-27 2019-01-08 深圳市华星光电半导体显示技术有限公司 薄膜晶体管及其制作方法、阵列基板
KR102840468B1 (ko) 2019-07-16 2025-07-29 삼성전자주식회사 반도체 장치
JP2021034591A (ja) * 2019-08-26 2021-03-01 キオクシア株式会社 半導体装置およびその製造方法
CN114823730A (zh) * 2022-04-20 2022-07-29 广州华星光电半导体显示技术有限公司 显示面板和显示装置

Family Cites Families (254)

* Cited by examiner, † Cited by third party
Publication number Priority date Publication date Assignee Title
JPS6017962Y2 (ja) 1980-10-08 1985-05-31 十条エンジニアリング株式会社 フアクシミリ装置における原稿検出装置
JPS6017962A (ja) 1983-07-11 1985-01-29 Canon Inc 薄膜トランジスタ
JPS60198861A (ja) 1984-03-23 1985-10-08 Fujitsu Ltd 薄膜トランジスタ
JPS61143243A (ja) 1984-12-15 1986-06-30 Yanmar Diesel Engine Co Ltd 農用トラクタ−の安全フレ−ム取付装置
JPH0244256B2 (ja) 1987-01-28 1990-10-03 Kagaku Gijutsucho Mukizaishitsu Kenkyushocho Ingazn2o5deshimesarerurotsuhoshokeinosojokozoojusurukagobutsuoyobisonoseizoho
JPH0244258B2 (ja) 1987-02-24 1990-10-03 Kagaku Gijutsucho Mukizaishitsu Kenkyushocho Ingazn3o6deshimesarerurotsuhoshokeinosojokozoojusurukagobutsuoyobisonoseizoho
JPH0244260B2 (ja) 1987-02-24 1990-10-03 Kagaku Gijutsucho Mukizaishitsu Kenkyushocho Ingazn5o8deshimesarerurotsuhoshokeinosojokozoojusurukagobutsuoyobisonoseizoho
JPS63210023A (ja) 1987-02-24 1988-08-31 Natl Inst For Res In Inorg Mater InGaZn↓4O↓7で示される六方晶系の層状構造を有する化合物およびその製造法
JPH0244262B2 (ja) 1987-02-27 1990-10-03 Kagaku Gijutsucho Mukizaishitsu Kenkyushocho Ingazn6o9deshimesarerurotsuhoshokeinosojokozoojusurukagobutsuoyobisonoseizoho
JPH0244263B2 (ja) 1987-04-22 1990-10-03 Kagaku Gijutsucho Mukizaishitsu Kenkyushocho Ingazn7o10deshimesarerurotsuhoshokeinosojokozoojusurukagobutsuoyobisonoseizoho
JPH03290973A (ja) * 1990-04-09 1991-12-20 Casio Comput Co Ltd 薄膜トランジスタメモリ
US5198379A (en) * 1990-04-27 1993-03-30 Sharp Kabushiki Kaisha Method of making a MOS thin film transistor with self-aligned asymmetrical structure
JP2934874B2 (ja) * 1990-05-21 1999-08-16 カシオ計算機株式会社 薄膜トランジスタの製造方法
JPH0548096A (ja) * 1991-08-07 1993-02-26 Hitachi Ltd 薄膜トランジスタ
JPH05251705A (ja) 1992-03-04 1993-09-28 Fuji Xerox Co Ltd 薄膜トランジスタ
JPH0792491A (ja) 1993-09-21 1995-04-07 Matsushita Electric Ind Co Ltd アクティブマトリクス表示装置用薄膜トランジスタ基板
US5475246A (en) * 1993-12-20 1995-12-12 General Electric Company Repair line structure for thin film electronic devices
JP3253808B2 (ja) * 1994-07-07 2002-02-04 株式会社半導体エネルギー研究所 半導体装置およびその作製方法
JP3479375B2 (ja) 1995-03-27 2003-12-15 科学技術振興事業団 亜酸化銅等の金属酸化物半導体による薄膜トランジスタとpn接合を形成した金属酸化物半導体装置およびそれらの製造方法
US5539219A (en) * 1995-05-19 1996-07-23 Ois Optical Imaging Systems, Inc. Thin film transistor with reduced channel length for liquid crystal displays
KR100394896B1 (ko) 1995-08-03 2003-11-28 코닌클리케 필립스 일렉트로닉스 엔.브이. 투명스위칭소자를포함하는반도체장치
US5650358A (en) * 1995-08-28 1997-07-22 Ois Optical Imaging Systems, Inc. Method of making a TFT having a reduced channel length
JP3409542B2 (ja) * 1995-11-21 2003-05-26 ソニー株式会社 半導体装置の製造方法
JP3625598B2 (ja) 1995-12-30 2005-03-02 三星電子株式会社 液晶表示装置の製造方法
KR100192370B1 (ko) * 1996-01-10 1999-06-15 구자홍 액정표시장치의 제조방법
JPH1140814A (ja) 1997-07-18 1999-02-12 Furontetsuku:Kk 薄膜トランジスタ基板と液晶表示装置および薄膜トランジスタ基板の製造方法
JP3599972B2 (ja) * 1997-09-30 2004-12-08 三洋電機株式会社 薄膜トランジスタの製造方法
JP4170454B2 (ja) 1998-07-24 2008-10-22 Hoya株式会社 透明導電性酸化物薄膜を有する物品及びその製造方法
JP2000150861A (ja) 1998-11-16 2000-05-30 Tdk Corp 酸化物薄膜
JP3276930B2 (ja) 1998-11-17 2002-04-22 科学技術振興事業団 トランジスタ及び半導体装置
JP4545260B2 (ja) 1998-12-03 2010-09-15 株式会社半導体エネルギー研究所 半導体装置の作製方法
JP3362008B2 (ja) * 1999-02-23 2003-01-07 シャープ株式会社 液晶表示装置およびその製造方法
US6207472B1 (en) * 1999-03-09 2001-03-27 International Business Machines Corporation Low temperature thin film transistor fabrication
US6346730B1 (en) * 1999-04-06 2002-02-12 Semiconductor Energy Laboratory Co., Ltd. Liquid crystal display device having a pixel TFT formed in a display region and a drive circuit formed in the periphery of the display region on the same substrate
TW460731B (en) 1999-09-03 2001-10-21 Ind Tech Res Inst Electrode structure and production method of wide viewing angle LCD
CA2322714A1 (en) * 1999-10-25 2001-04-25 Ainissa G. Ramirez Article comprising improved noble metal-based alloys and method for making the same
JP3581073B2 (ja) * 2000-03-07 2004-10-27 シャープ株式会社 イメージセンサおよびその製造方法
JP4089858B2 (ja) 2000-09-01 2008-05-28 国立大学法人東北大学 半導体デバイス
KR20020038482A (ko) 2000-11-15 2002-05-23 모리시타 요이찌 박막 트랜지스터 어레이, 그 제조방법 및 그것을 이용한표시패널
JP3997731B2 (ja) 2001-03-19 2007-10-24 富士ゼロックス株式会社 基材上に結晶性半導体薄膜を形成する方法
JP2002289859A (ja) 2001-03-23 2002-10-04 Minolta Co Ltd 薄膜トランジスタ
US6982194B2 (en) * 2001-03-27 2006-01-03 Semiconductor Energy Laboratory Co., Ltd. Semiconductor device and method for manufacturing the same
JP4090716B2 (ja) 2001-09-10 2008-05-28 雅司 川崎 薄膜トランジスタおよびマトリクス表示装置
JP3925839B2 (ja) 2001-09-10 2007-06-06 シャープ株式会社 半導体記憶装置およびその試験方法
JP4395612B2 (ja) 2001-09-26 2010-01-13 カシオ計算機株式会社 液晶表示素子
JP4164562B2 (ja) 2002-09-11 2008-10-15 独立行政法人科学技術振興機構 ホモロガス薄膜を活性層として用いる透明薄膜電界効果型トランジスタ
WO2003040441A1 (fr) 2001-11-05 2003-05-15 Japan Science And Technology Agency Film mince monocristallin homologue a super-reseau naturel, procede de preparation et dispositif dans lequel est utilise ledit film mince monocristallin
JP4083486B2 (ja) 2002-02-21 2008-04-30 独立行政法人科学技術振興機構 LnCuO(S,Se,Te)単結晶薄膜の製造方法
JP2003249658A (ja) * 2002-02-26 2003-09-05 Seiko Epson Corp 有機半導体装置
US7049190B2 (en) 2002-03-15 2006-05-23 Sanyo Electric Co., Ltd. Method for forming ZnO film, method for forming ZnO semiconductor layer, method for fabricating semiconductor device, and semiconductor device
JP3933591B2 (ja) 2002-03-26 2007-06-20 淳二 城戸 有機エレクトロルミネッセント素子
EP1367659B1 (en) 2002-05-21 2012-09-05 Semiconductor Energy Laboratory Co., Ltd. Organic field effect transistor
US7339187B2 (en) 2002-05-21 2008-03-04 State Of Oregon Acting By And Through The Oregon State Board Of Higher Education On Behalf Of Oregon State University Transistor structures
JP2004022625A (ja) 2002-06-13 2004-01-22 Murata Mfg Co Ltd 半導体デバイス及び該半導体デバイスの製造方法
US7105868B2 (en) 2002-06-24 2006-09-12 Cermet, Inc. High-electron mobility transistor with zinc oxide
US7067843B2 (en) 2002-10-11 2006-06-27 E. I. Du Pont De Nemours And Company Transparent oxide semiconductor thin film transistors
JP4166105B2 (ja) 2003-03-06 2008-10-15 シャープ株式会社 半導体装置およびその製造方法
JP2004273732A (ja) 2003-03-07 2004-09-30 Sharp Corp アクティブマトリクス基板およびその製造方法
KR100602062B1 (ko) * 2003-04-03 2006-07-14 엘지.필립스 엘시디 주식회사 수평 전계 인가형 액정 표시 장치 및 그 제조 방법
JP4108633B2 (ja) 2003-06-20 2008-06-25 シャープ株式会社 薄膜トランジスタおよびその製造方法ならびに電子デバイス
US7262463B2 (en) 2003-07-25 2007-08-28 Hewlett-Packard Development Company, L.P. Transistor including a deposited channel region having a doped portion
KR101012491B1 (ko) * 2003-12-04 2011-02-08 엘지디스플레이 주식회사 액정표시장치용 어레이기판과 제조방법
US7145174B2 (en) 2004-03-12 2006-12-05 Hewlett-Packard Development Company, Lp. Semiconductor device
US7282782B2 (en) 2004-03-12 2007-10-16 Hewlett-Packard Development Company, L.P. Combined binary oxide semiconductor device
US7297977B2 (en) 2004-03-12 2007-11-20 Hewlett-Packard Development Company, L.P. Semiconductor device
CN1998087B (zh) 2004-03-12 2014-12-31 独立行政法人科学技术振兴机构 非晶形氧化物和薄膜晶体管
US7504663B2 (en) * 2004-05-28 2009-03-17 Semiconductor Energy Laboratory Co., Ltd. Semiconductor device with a floating gate electrode that includes a plurality of particles
US7211825B2 (en) * 2004-06-14 2007-05-01 Yi-Chi Shih Indium oxide-based thin film transistors and circuits
CN100444405C (zh) * 2004-07-02 2008-12-17 中华映管股份有限公司 双栅级薄膜电晶体与像素结构及其制造方法
EP1624333B1 (en) 2004-08-03 2017-05-03 Semiconductor Energy Laboratory Co., Ltd. Display device, manufacturing method thereof, and television set
JP4877873B2 (ja) 2004-08-03 2012-02-15 株式会社半導体エネルギー研究所 表示装置及びその作製方法
JP2006100760A (ja) 2004-09-02 2006-04-13 Casio Comput Co Ltd 薄膜トランジスタおよびその製造方法
US7285501B2 (en) 2004-09-17 2007-10-23 Hewlett-Packard Development Company, L.P. Method of forming a solution processed device
US7298084B2 (en) 2004-11-02 2007-11-20 3M Innovative Properties Company Methods and displays utilizing integrated zinc oxide row and column drivers in conjunction with organic light emitting diodes
JP4576982B2 (ja) 2004-11-09 2010-11-10 日本精工株式会社 ボールねじ装置
US7829444B2 (en) 2004-11-10 2010-11-09 Canon Kabushiki Kaisha Field effect transistor manufacturing method
US7453065B2 (en) 2004-11-10 2008-11-18 Canon Kabushiki Kaisha Sensor and image pickup device
RU2402106C2 (ru) 2004-11-10 2010-10-20 Кэнон Кабусики Кайся Аморфный оксид и полевой транзистор с его использованием
KR100953596B1 (ko) 2004-11-10 2010-04-21 캐논 가부시끼가이샤 발광장치
US7863611B2 (en) 2004-11-10 2011-01-04 Canon Kabushiki Kaisha Integrated circuits utilizing amorphous oxides
JP5118812B2 (ja) 2004-11-10 2013-01-16 キヤノン株式会社 電界効果型トランジスタ
US7791072B2 (en) 2004-11-10 2010-09-07 Canon Kabushiki Kaisha Display
US7579224B2 (en) 2005-01-21 2009-08-25 Semiconductor Energy Laboratory Co., Ltd. Method for manufacturing a thin film semiconductor device
TWI472037B (zh) 2005-01-28 2015-02-01 半導體能源研究所股份有限公司 半導體裝置,電子裝置,和半導體裝置的製造方法
US7608531B2 (en) 2005-01-28 2009-10-27 Semiconductor Energy Laboratory Co., Ltd. Semiconductor device, electronic device, and method of manufacturing semiconductor device
US7858451B2 (en) 2005-02-03 2010-12-28 Semiconductor Energy Laboratory Co., Ltd. Electronic device, semiconductor device and manufacturing method thereof
US7948171B2 (en) 2005-02-18 2011-05-24 Semiconductor Energy Laboratory Co., Ltd. Light emitting device
US20060197092A1 (en) 2005-03-03 2006-09-07 Randy Hoffman System and method for forming conductive material on a substrate
US8681077B2 (en) 2005-03-18 2014-03-25 Semiconductor Energy Laboratory Co., Ltd. Semiconductor device, and display device, driving method and electronic apparatus thereof
US7580276B2 (en) 2005-03-23 2009-08-25 National Institute Of Advanced Industrial Science And Technology Nonvolatile memory element
US7544967B2 (en) 2005-03-28 2009-06-09 Massachusetts Institute Of Technology Low voltage flexible organic/transparent transistor for selective gas sensing, photodetecting and CMOS device applications
US7645478B2 (en) 2005-03-31 2010-01-12 3M Innovative Properties Company Methods of making displays
US8300031B2 (en) 2005-04-20 2012-10-30 Semiconductor Energy Laboratory Co., Ltd. Semiconductor device comprising transistor having gate and drain connected through a current-voltage conversion element
JP4675680B2 (ja) * 2005-05-30 2011-04-27 シャープ株式会社 薄膜トランジスタ基板の製造方法
JP2006344849A (ja) 2005-06-10 2006-12-21 Casio Comput Co Ltd 薄膜トランジスタ
US7691666B2 (en) 2005-06-16 2010-04-06 Eastman Kodak Company Methods of making thin film transistors comprising zinc-oxide-based semiconductor materials and transistors made thereby
US7402506B2 (en) 2005-06-16 2008-07-22 Eastman Kodak Company Methods of making thin film transistors comprising zinc-oxide-based semiconductor materials and transistors made thereby
US7507618B2 (en) 2005-06-27 2009-03-24 3M Innovative Properties Company Method for making electronic devices using metal oxide nanoparticles
KR100711890B1 (ko) 2005-07-28 2007-04-25 삼성에스디아이 주식회사 유기 발광표시장치 및 그의 제조방법
JP2007059128A (ja) 2005-08-23 2007-03-08 Canon Inc 有機el表示装置およびその製造方法
JP4850457B2 (ja) 2005-09-06 2012-01-11 キヤノン株式会社 薄膜トランジスタ及び薄膜ダイオード
JP5116225B2 (ja) 2005-09-06 2013-01-09 キヤノン株式会社 酸化物半導体デバイスの製造方法
JP2007073705A (ja) 2005-09-06 2007-03-22 Canon Inc 酸化物半導体チャネル薄膜トランジスタおよびその製造方法
JP4280736B2 (ja) 2005-09-06 2009-06-17 キヤノン株式会社 半導体素子
EP1770788A3 (en) 2005-09-29 2011-09-21 Semiconductor Energy Laboratory Co., Ltd. Semiconductor device having oxide semiconductor layer and manufacturing method thereof
JP5078246B2 (ja) 2005-09-29 2012-11-21 株式会社半導体エネルギー研究所 半導体装置、及び半導体装置の作製方法
JP5064747B2 (ja) 2005-09-29 2012-10-31 株式会社半導体エネルギー研究所 半導体装置、電気泳動表示装置、表示モジュール、電子機器、及び半導体装置の作製方法
EP1933293A4 (en) * 2005-10-05 2009-12-23 Idemitsu Kosan Co SUBSTRATE FOR TFT AND METHOD FOR MANUFACTURING SUBSTRATE FOR TFT
JP5037808B2 (ja) 2005-10-20 2012-10-03 キヤノン株式会社 アモルファス酸化物を用いた電界効果型トランジスタ、及び該トランジスタを用いた表示装置
KR101112652B1 (ko) 2005-11-15 2012-02-16 가부시키가이샤 한도오따이 에네루기 켄큐쇼 액티브 매트릭스 디스플레이 장치 및 텔레비전 수신기
US8212953B2 (en) 2005-12-26 2012-07-03 Semiconductor Energy Laboratory Co., Ltd. Semiconductor device and method for manufacturing the same
TWI292281B (en) 2005-12-29 2008-01-01 Ind Tech Res Inst Pixel structure of active organic light emitting diode and method of fabricating the same
US7867636B2 (en) 2006-01-11 2011-01-11 Murata Manufacturing Co., Ltd. Transparent conductive film and method for manufacturing the same
JP4977478B2 (ja) 2006-01-21 2012-07-18 三星電子株式会社 ZnOフィルム及びこれを用いたTFTの製造方法
KR20080108223A (ko) * 2006-01-31 2008-12-12 이데미쓰 고산 가부시키가이샤 Tft 기판, 반사형 tft 기판 및 이들의 제조 방법
US7576394B2 (en) 2006-02-02 2009-08-18 Kochi Industrial Promotion Center Thin film transistor including low resistance conductive thin films and manufacturing method thereof
US7977169B2 (en) 2006-02-15 2011-07-12 Kochi Industrial Promotion Center Semiconductor device including active layer made of zinc oxide with controlled orientations and manufacturing method thereof
TW200736786A (en) * 2006-03-31 2007-10-01 Prime View Int Co Ltd Thin film transistor array substrate and electronic ink display device
KR20070101595A (ko) 2006-04-11 2007-10-17 삼성전자주식회사 ZnO TFT
JP5060738B2 (ja) 2006-04-28 2012-10-31 株式会社ジャパンディスプレイイースト 画像表示装置
US20070252928A1 (en) 2006-04-28 2007-11-01 Toppan Printing Co., Ltd. Structure, transmission type liquid crystal display, reflection type display and manufacturing method thereof
JP5028033B2 (ja) 2006-06-13 2012-09-19 キヤノン株式会社 酸化物半導体膜のドライエッチング方法
JP5128091B2 (ja) * 2006-08-04 2013-01-23 三菱電機株式会社 表示装置及びその製造方法
JP4999400B2 (ja) 2006-08-09 2012-08-15 キヤノン株式会社 酸化物半導体膜のドライエッチング方法
JP4609797B2 (ja) 2006-08-09 2011-01-12 Nec液晶テクノロジー株式会社 薄膜デバイス及びその製造方法
JP4332545B2 (ja) 2006-09-15 2009-09-16 キヤノン株式会社 電界効果型トランジスタ及びその製造方法
JP4748456B2 (ja) * 2006-09-26 2011-08-17 カシオ計算機株式会社 画素駆動回路及び画像表示装置
JP4274219B2 (ja) 2006-09-27 2009-06-03 セイコーエプソン株式会社 電子デバイス、有機エレクトロルミネッセンス装置、有機薄膜半導体装置
JP5164357B2 (ja) 2006-09-27 2013-03-21 キヤノン株式会社 半導体装置及び半導体装置の製造方法
US7622371B2 (en) 2006-10-10 2009-11-24 Hewlett-Packard Development Company, L.P. Fused nanocrystal thin film semiconductor and method
KR100829570B1 (ko) 2006-10-20 2008-05-14 삼성전자주식회사 크로스 포인트 메모리용 박막 트랜지스터 및 그 제조 방법
JP5216204B2 (ja) 2006-10-31 2013-06-19 株式会社半導体エネルギー研究所 液晶表示装置及びその作製方法
US7772021B2 (en) 2006-11-29 2010-08-10 Samsung Electronics Co., Ltd. Flat panel displays comprising a thin-film transistor having a semiconductive oxide in its channel and methods of fabricating the same for use in flat panel displays
JP2008140684A (ja) 2006-12-04 2008-06-19 Toppan Printing Co Ltd カラーelディスプレイおよびその製造方法
JP5305630B2 (ja) * 2006-12-05 2013-10-02 キヤノン株式会社 ボトムゲート型薄膜トランジスタの製造方法及び表示装置の製造方法
KR101363555B1 (ko) * 2006-12-14 2014-02-19 삼성디스플레이 주식회사 박막 트랜지스터 기판 및 그 제조 방법
KR101303578B1 (ko) 2007-01-05 2013-09-09 삼성전자주식회사 박막 식각 방법
US8207063B2 (en) 2007-01-26 2012-06-26 Eastman Kodak Company Process for atomic layer deposition
TWI325180B (en) * 2007-01-30 2010-05-21 Au Optronics Corp Manufacturing method of thin film transistor and manufacturing method of semiconductor device
JP4420032B2 (ja) * 2007-01-31 2010-02-24 ソニー株式会社 薄膜半導体装置の製造方法
KR101326134B1 (ko) 2007-02-07 2013-11-06 삼성디스플레이 주식회사 박막 트랜지스터 표시판 및 그 제조 방법
JP2008198643A (ja) 2007-02-08 2008-08-28 Sharp Corp 結晶質半導体膜の製造方法およびアクティブマトリクス基板の製造方法
TWI478347B (zh) * 2007-02-09 2015-03-21 出光興產股份有限公司 A thin film transistor, a thin film transistor substrate, and an image display device, and an image display device, and a semiconductor device
KR101410926B1 (ko) * 2007-02-16 2014-06-24 삼성전자주식회사 박막 트랜지스터 및 그 제조방법
JP2008235871A (ja) 2007-02-20 2008-10-02 Canon Inc 薄膜トランジスタの形成方法及び表示装置
WO2008105347A1 (en) 2007-02-20 2008-09-04 Canon Kabushiki Kaisha Thin-film transistor fabrication process and display device
JP5196870B2 (ja) 2007-05-23 2013-05-15 キヤノン株式会社 酸化物半導体を用いた電子素子及びその製造方法
US8436349B2 (en) 2007-02-20 2013-05-07 Canon Kabushiki Kaisha Thin-film transistor fabrication process and display device
KR100858088B1 (ko) 2007-02-28 2008-09-10 삼성전자주식회사 박막 트랜지스터 및 그 제조 방법
JP5121254B2 (ja) 2007-02-28 2013-01-16 キヤノン株式会社 薄膜トランジスタおよび表示装置
KR100851215B1 (ko) 2007-03-14 2008-08-07 삼성에스디아이 주식회사 박막 트랜지스터 및 이를 이용한 유기 전계 발광표시장치
JP5197058B2 (ja) 2007-04-09 2013-05-15 キヤノン株式会社 発光装置とその作製方法
WO2008126879A1 (en) 2007-04-09 2008-10-23 Canon Kabushiki Kaisha Light-emitting apparatus and production method thereof
US7795613B2 (en) 2007-04-17 2010-09-14 Toppan Printing Co., Ltd. Structure with transistor
KR101325053B1 (ko) 2007-04-18 2013-11-05 삼성디스플레이 주식회사 박막 트랜지스터 기판 및 이의 제조 방법
KR20080094300A (ko) 2007-04-19 2008-10-23 삼성전자주식회사 박막 트랜지스터 및 그 제조 방법과 박막 트랜지스터를포함하는 평판 디스플레이
KR101334181B1 (ko) 2007-04-20 2013-11-28 삼성전자주식회사 선택적으로 결정화된 채널층을 갖는 박막 트랜지스터 및 그제조 방법
US8274078B2 (en) 2007-04-25 2012-09-25 Canon Kabushiki Kaisha Metal oxynitride semiconductor containing zinc
KR20080099084A (ko) 2007-05-08 2008-11-12 삼성전자주식회사 박막 트랜지스터 및 그 제조 방법
KR100858617B1 (ko) * 2007-05-10 2008-09-17 삼성에스디아이 주식회사 박막 트랜지스터 및 이를 이용한 유기 전계 발광표시장치
JP5294651B2 (ja) * 2007-05-18 2013-09-18 キヤノン株式会社 インバータの作製方法及びインバータ
KR101334182B1 (ko) 2007-05-28 2013-11-28 삼성전자주식회사 ZnO 계 박막 트랜지스터의 제조방법
KR101345376B1 (ko) 2007-05-29 2013-12-24 삼성전자주식회사 ZnO 계 박막 트랜지스터 및 그 제조방법
JP5406449B2 (ja) * 2007-05-30 2014-02-05 キヤノン株式会社 酸化物半導体を用いた薄膜トランジスタの製造方法および表示装置
US7763502B2 (en) 2007-06-22 2010-07-27 Semiconductor Energy Laboratory Co., Ltd Semiconductor substrate, method for manufacturing semiconductor substrate, semiconductor device, and electronic device
US9176353B2 (en) 2007-06-29 2015-11-03 Semiconductor Energy Laboratory Co., Ltd. Liquid crystal display device
US8921858B2 (en) 2007-06-29 2014-12-30 Semiconductor Energy Laboratory Co., Ltd. Light-emitting device
JP2009049384A (ja) 2007-07-20 2009-03-05 Semiconductor Energy Lab Co Ltd 発光装置
TWI464510B (zh) 2007-07-20 2014-12-11 Semiconductor Energy Lab 液晶顯示裝置
JP2009043748A (ja) * 2007-08-06 2009-02-26 Seiko Epson Corp 半導体装置および電気光学装置
US7611930B2 (en) 2007-08-17 2009-11-03 Semiconductor Energy Laboratory Co., Ltd. Method of manufacturing display device
JP2009047967A (ja) * 2007-08-21 2009-03-05 Seiko Epson Corp 電気光学装置及び電子機器
KR101484297B1 (ko) 2007-08-31 2015-01-19 가부시키가이샤 한도오따이 에네루기 켄큐쇼 표시장치 및 표시장치의 제작방법
JP2009060009A (ja) * 2007-09-03 2009-03-19 Sharp Corp 結晶質半導体膜の製造方法およびアクティブマトリクス基板の製造方法
JP5395384B2 (ja) 2007-09-07 2014-01-22 株式会社半導体エネルギー研究所 薄膜トランジスタの作製方法
JP4524699B2 (ja) * 2007-10-17 2010-08-18 ソニー株式会社 表示装置
JP2009099847A (ja) * 2007-10-18 2009-05-07 Canon Inc 薄膜トランジスタとその製造方法及び表示装置
KR20090041506A (ko) * 2007-10-24 2009-04-29 엘지전자 주식회사 박막 트랜지스터 및 이를 포함하는 표시장치
JP5262069B2 (ja) * 2007-11-01 2013-08-14 カシオ計算機株式会社 電気素子デバイス及び電気素子デバイスの製造方法
US8692251B2 (en) * 2007-11-02 2014-04-08 Sharp Kabushiki Kaisha Circuit board and display device
JP5377940B2 (ja) 2007-12-03 2013-12-25 株式会社半導体エネルギー研究所 半導体装置
US8030655B2 (en) 2007-12-03 2011-10-04 Semiconductor Energy Laboratory Co., Ltd. Thin film transistor, display device having thin film transistor
JP5213422B2 (ja) * 2007-12-04 2013-06-19 キヤノン株式会社 絶縁層を有する酸化物半導体素子およびそれを用いた表示装置
JP5292066B2 (ja) * 2007-12-05 2013-09-18 株式会社半導体エネルギー研究所 表示装置
WO2009075281A1 (ja) * 2007-12-13 2009-06-18 Idemitsu Kosan Co., Ltd. 酸化物半導体を用いた電界効果型トランジスタ及びその製造方法
JP5215158B2 (ja) 2007-12-17 2013-06-19 富士フイルム株式会社 無機結晶性配向膜及びその製造方法、半導体デバイス
KR101412761B1 (ko) * 2008-01-18 2014-07-02 삼성디스플레이 주식회사 박막 트랜지스터 기판 및 이의 제조 방법
JP5264197B2 (ja) * 2008-01-23 2013-08-14 キヤノン株式会社 薄膜トランジスタ
US8586979B2 (en) 2008-02-01 2013-11-19 Samsung Electronics Co., Ltd. Oxide semiconductor transistor and method of manufacturing the same
EP2086013B1 (en) 2008-02-01 2018-05-23 Samsung Electronics Co., Ltd. Oxide semiconductor transistor
KR101512818B1 (ko) 2008-02-01 2015-05-20 삼성전자주식회사 산화물 반도체 트랜지스터 및 그 제조방법
JP5467728B2 (ja) * 2008-03-14 2014-04-09 富士フイルム株式会社 薄膜電界効果型トランジスタおよびその製造方法
JP2009231664A (ja) * 2008-03-25 2009-10-08 Idemitsu Kosan Co Ltd 電界効果トランジスタ及びその製造方法
TWI491048B (zh) * 2008-07-31 2015-07-01 Semiconductor Energy Lab 半導體裝置
TWI518800B (zh) * 2008-08-08 2016-01-21 半導體能源研究所股份有限公司 半導體裝置的製造方法
KR101499239B1 (ko) * 2008-08-26 2015-03-06 삼성디스플레이 주식회사 박막 트랜지스터 표시판 및 그 제조 방법
KR101497425B1 (ko) * 2008-08-28 2015-03-03 삼성디스플레이 주식회사 액정 표시 장치 및 그 제조 방법
KR101489652B1 (ko) * 2008-09-02 2015-02-06 삼성디스플레이 주식회사 박막 트랜지스터 기판 및 이의 제조 방법
KR101783193B1 (ko) * 2008-09-12 2017-09-29 가부시키가이샤 한도오따이 에네루기 켄큐쇼 표시 장치
KR101772377B1 (ko) * 2008-09-12 2017-08-29 가부시키가이샤 한도오따이 에네루기 켄큐쇼 표시 장치
KR20160063402A (ko) * 2008-09-12 2016-06-03 가부시키가이샤 한도오따이 에네루기 켄큐쇼 디스플레이 장치
KR101681483B1 (ko) * 2008-09-12 2016-12-02 삼성디스플레이 주식회사 박막 트랜지스터 기판 및 그 제조 방법
KR101767864B1 (ko) * 2008-09-12 2017-08-11 가부시키가이샤 한도오따이 에네루기 켄큐쇼 반도체 장치 및 그 생산 방법
JP4623179B2 (ja) 2008-09-18 2011-02-02 ソニー株式会社 薄膜トランジスタおよびその製造方法
KR101609557B1 (ko) * 2008-09-19 2016-04-06 가부시키가이샤 한도오따이 에네루기 켄큐쇼 반도체장치
KR101803720B1 (ko) * 2008-10-03 2017-12-01 가부시키가이샤 한도오따이 에네루기 켄큐쇼 표시 장치
CN103928476A (zh) * 2008-10-03 2014-07-16 株式会社半导体能源研究所 显示装置及其制造方法
US8187919B2 (en) * 2008-10-08 2012-05-29 Lg Display Co. Ltd. Oxide thin film transistor and method of fabricating the same
JP5451280B2 (ja) 2008-10-09 2014-03-26 キヤノン株式会社 ウルツ鉱型結晶成長用基板およびその製造方法ならびに半導体装置
JP5484853B2 (ja) 2008-10-10 2014-05-07 株式会社半導体エネルギー研究所 半導体装置の作製方法
US8106400B2 (en) * 2008-10-24 2012-01-31 Semiconductor Energy Laboratory Co., Ltd. Semiconductor device and method for manufacturing the same
JP5616012B2 (ja) * 2008-10-24 2014-10-29 株式会社半導体エネルギー研究所 半導体装置の作製方法
KR101310473B1 (ko) * 2008-10-24 2013-09-24 가부시키가이샤 한도오따이 에네루기 켄큐쇼 반도체 장치
JP5442234B2 (ja) * 2008-10-24 2014-03-12 株式会社半導体エネルギー研究所 半導体装置及び表示装置
WO2010050419A1 (en) * 2008-10-31 2010-05-06 Semiconductor Energy Laboratory Co., Ltd. Driver circuit and display device
CN101740631B (zh) * 2008-11-07 2014-07-16 株式会社半导体能源研究所 半导体装置及该半导体装置的制造方法
JP2010123758A (ja) * 2008-11-19 2010-06-03 Nec Corp 薄膜デバイス及びその製造方法
JP5123141B2 (ja) * 2008-11-19 2013-01-16 株式会社東芝 表示装置
WO2010058746A1 (en) * 2008-11-21 2010-05-27 Semiconductor Energy Laboratory Co., Ltd. Semiconductor device and manufacturing method thereof
EP2515337B1 (en) * 2008-12-24 2016-02-24 Semiconductor Energy Laboratory Co., Ltd. Driver circuit and semiconductor device
US8492756B2 (en) * 2009-01-23 2013-07-23 Semiconductor Energy Laboratory Co., Ltd. Semiconductor device and method for manufacturing the same
US8174021B2 (en) * 2009-02-06 2012-05-08 Semiconductor Energy Laboratory Co., Ltd. Semiconductor device and method of manufacturing the semiconductor device
US8405121B2 (en) 2009-02-12 2013-03-26 Infineon Technologies Ag Semiconductor devices
US8704216B2 (en) * 2009-02-27 2014-04-22 Semiconductor Energy Laboratory Co., Ltd. Semiconductor device and manufacturing method thereof
JP5760298B2 (ja) * 2009-05-21 2015-08-05 ソニー株式会社 薄膜トランジスタ、表示装置、および電子機器
KR101287478B1 (ko) * 2009-06-02 2013-07-19 엘지디스플레이 주식회사 산화물 박막트랜지스터를 구비한 표시소자 및 그 제조방법
KR101213708B1 (ko) * 2009-06-03 2012-12-18 엘지디스플레이 주식회사 어레이 기판 및 이의 제조방법
JPWO2011001715A1 (ja) * 2009-06-29 2012-12-13 シャープ株式会社 酸化物半導体、薄膜トランジスタアレイ基板及びその製造方法、並びに、表示装置
JP5663214B2 (ja) * 2009-07-03 2015-02-04 株式会社半導体エネルギー研究所 半導体装置の作製方法
KR101476817B1 (ko) * 2009-07-03 2014-12-26 가부시키가이샤 한도오따이 에네루기 켄큐쇼 트랜지스터를 갖는 표시 장치 및 그 제작 방법
KR101493662B1 (ko) * 2009-07-10 2015-02-13 가부시키가이샤 한도오따이 에네루기 켄큐쇼 반도체 장치, 전자 기기 및 표시 패널
WO2011007675A1 (en) * 2009-07-17 2011-01-20 Semiconductor Energy Laboratory Co., Ltd. Semiconductor device and manufacturing method thereof
WO2011007677A1 (en) * 2009-07-17 2011-01-20 Semiconductor Energy Laboratory Co., Ltd. Semiconductor device and method for manufacturing the same
KR101870460B1 (ko) * 2009-07-18 2018-06-22 가부시키가이샤 한도오따이 에네루기 켄큐쇼 반도체 장치 및 반도체 장치의 제조 방법
WO2011013683A1 (ja) * 2009-07-27 2011-02-03 株式会社神戸製鋼所 配線構造および配線構造を備えた表示装置
CN103489871B (zh) * 2009-07-31 2016-03-23 株式会社半导体能源研究所 半导体装置及其制造方法
WO2011013502A1 (en) * 2009-07-31 2011-02-03 Semiconductor Energy Laboratory Co., Ltd. Semiconductor device and manufacturing method thereof
TWI626731B (zh) * 2009-08-07 2018-06-11 半導體能源研究所股份有限公司 半導體裝置和其製造方法
CN104681447A (zh) * 2009-09-04 2015-06-03 株式会社半导体能源研究所 半导体器件的制造方法
KR101746198B1 (ko) * 2009-09-04 2017-06-12 가부시키가이샤 한도오따이 에네루기 켄큐쇼 표시장치 및 전자기기
KR20210104938A (ko) * 2009-09-16 2021-08-25 가부시키가이샤 한도오따이 에네루기 켄큐쇼 반도체 장치 및 그 제조 방법
KR20230165355A (ko) * 2009-09-16 2023-12-05 가부시키가이샤 한도오따이 에네루기 켄큐쇼 표시 장치
EP2481089A4 (en) * 2009-09-24 2015-09-23 Semiconductor Energy Lab SEMICONDUCTOR COMPONENT AND MANUFACTURING METHOD THEREFOR
WO2011040213A1 (en) 2009-10-01 2011-04-07 Semiconductor Energy Laboratory Co., Ltd. Semiconductor device and method for manufacturing the same
WO2011043182A1 (en) * 2009-10-05 2011-04-14 Semiconductor Energy Laboratory Co., Ltd. Method for removing electricity and method for manufacturing semiconductor device
KR20110037220A (ko) * 2009-10-06 2011-04-13 삼성모바일디스플레이주식회사 박막 트랜지스터, 그의 제조 방법 및 박막 트랜지스터를 구비하는 유기전계발광 표시 장치
KR102329380B1 (ko) * 2009-10-09 2021-11-22 가부시키가이샤 한도오따이 에네루기 켄큐쇼 반도체 장치
WO2011043194A1 (en) * 2009-10-09 2011-04-14 Semiconductor Energy Laboratory Co., Ltd. Semiconductor device and method for manufacturing the same
KR102070268B1 (ko) * 2009-10-09 2020-01-29 가부시키가이샤 한도오따이 에네루기 켄큐쇼 반도체 장치
US20120199891A1 (en) * 2009-10-09 2012-08-09 Sharp Kabushiki Kaisha Semiconductor device and method for manufacturing same
MY158956A (en) * 2009-10-16 2016-11-30 Semiconductor Energy Lab Logic circuit and semiconductor device
KR102005736B1 (ko) * 2009-10-16 2019-07-31 가부시키가이샤 한도오따이 에네루기 켄큐쇼 반도체 장치의 제작 방법
KR101402294B1 (ko) 2009-10-21 2014-06-02 가부시키가이샤 한도오따이 에네루기 켄큐쇼 반도체 장치 제작방법
KR101597312B1 (ko) * 2009-11-16 2016-02-25 삼성디스플레이 주식회사 박막 트랜지스터 표시판 및 그 제조 방법

Also Published As

Publication number Publication date
JP5833194B2 (ja) 2015-12-16
TWI512978B (zh) 2015-12-11
TWI635543B (zh) 2018-09-11
JP7027394B2 (ja) 2022-03-01
TW201133851A (en) 2011-10-01
WO2011048925A1 (en) 2011-04-28
JP2011109080A (ja) 2011-06-02
JP2016042586A (ja) 2016-03-31
US20120280230A1 (en) 2012-11-08
US20150108478A1 (en) 2015-04-23
US10079307B2 (en) 2018-09-18
JP6640287B2 (ja) 2020-02-05
JP2024036329A (ja) 2024-03-15
JP2018166219A (ja) 2018-10-25
JP2014220513A (ja) 2014-11-20
JP7411701B2 (ja) 2024-01-11
JP2022081493A (ja) 2022-05-31
US8470650B2 (en) 2013-06-25
TWI538022B (zh) 2016-06-11
JP5600549B2 (ja) 2014-10-01
KR101812683B1 (ko) 2017-12-27
KR20120074309A (ko) 2012-07-05
KR101803554B1 (ko) 2017-11-30
US8946700B2 (en) 2015-02-03
US20110092017A1 (en) 2011-04-21
KR101402294B1 (ko) 2014-06-02
JP7686056B2 (ja) 2025-05-30
TW201246317A (en) 2012-11-16
KR20130130879A (ko) 2013-12-02
TW201637101A (zh) 2016-10-16
KR20150143888A (ko) 2015-12-23
JP2013012774A (ja) 2013-01-17
KR20170143023A (ko) 2017-12-28
US20180076335A1 (en) 2018-03-15
JP2017092501A (ja) 2017-05-25
JP5132836B2 (ja) 2013-01-30
KR20120088883A (ko) 2012-08-08
JP2020057814A (ja) 2020-04-09
JP2025113374A (ja) 2025-08-01

Similar Documents

Publication Publication Date Title
JP7411701B2 (ja) 半導体装置
JP6143320B2 (ja) 半導体装置
JP2024133505A (ja) 半導体装置
JP6113877B2 (ja) 半導体装置

Legal Events

Date Code Title Description
A977 Report on retrieval

Free format text: JAPANESE INTERMEDIATE CODE: A971007

Effective date: 20160913

A131 Notification of reasons for refusal

Free format text: JAPANESE INTERMEDIATE CODE: A131

Effective date: 20161101

A521 Request for written amendment filed

Free format text: JAPANESE INTERMEDIATE CODE: A523

Effective date: 20161219

TRDD Decision of grant or rejection written
A01 Written decision to grant a patent or to grant a registration (utility model)

Free format text: JAPANESE INTERMEDIATE CODE: A01

Effective date: 20170124

A61 First payment of annual fees (during grant procedure)

Free format text: JAPANESE INTERMEDIATE CODE: A61

Effective date: 20170220

R150 Certificate of patent or registration of utility model

Ref document number: 6097809

Country of ref document: JP

Free format text: JAPANESE INTERMEDIATE CODE: R150

R250 Receipt of annual fees

Free format text: JAPANESE INTERMEDIATE CODE: R250

R250 Receipt of annual fees

Free format text: JAPANESE INTERMEDIATE CODE: R250

R250 Receipt of annual fees

Free format text: JAPANESE INTERMEDIATE CODE: R250

R250 Receipt of annual fees

Free format text: JAPANESE INTERMEDIATE CODE: R250

R250 Receipt of annual fees

Free format text: JAPANESE INTERMEDIATE CODE: R250

R250 Receipt of annual fees

Free format text: JAPANESE INTERMEDIATE CODE: R250