JP6022016B2 - El表示装置 - Google Patents
El表示装置 Download PDFInfo
- Publication number
- JP6022016B2 JP6022016B2 JP2015211686A JP2015211686A JP6022016B2 JP 6022016 B2 JP6022016 B2 JP 6022016B2 JP 2015211686 A JP2015211686 A JP 2015211686A JP 2015211686 A JP2015211686 A JP 2015211686A JP 6022016 B2 JP6022016 B2 JP 6022016B2
- Authority
- JP
- Japan
- Prior art keywords
- tft
- film
- gate
- wiring
- circuit
- Prior art date
- Legal status (The legal status is an assumption and is not a legal conclusion. Google has not performed a legal analysis and makes no representation as to the accuracy of the status listed.)
- Expired - Lifetime
Links
Images
Classifications
-
- G—PHYSICS
- G02—OPTICS
- G02F—OPTICAL DEVICES OR ARRANGEMENTS FOR THE CONTROL OF LIGHT BY MODIFICATION OF THE OPTICAL PROPERTIES OF THE MEDIA OF THE ELEMENTS INVOLVED THEREIN; NON-LINEAR OPTICS; FREQUENCY-CHANGING OF LIGHT; OPTICAL LOGIC ELEMENTS; OPTICAL ANALOGUE/DIGITAL CONVERTERS
- G02F1/00—Devices or arrangements for the control of the intensity, colour, phase, polarisation or direction of light arriving from an independent light source, e.g. switching, gating or modulating; Non-linear optics
- G02F1/01—Devices or arrangements for the control of the intensity, colour, phase, polarisation or direction of light arriving from an independent light source, e.g. switching, gating or modulating; Non-linear optics for the control of the intensity, phase, polarisation or colour
- G02F1/13—Devices or arrangements for the control of the intensity, colour, phase, polarisation or direction of light arriving from an independent light source, e.g. switching, gating or modulating; Non-linear optics for the control of the intensity, phase, polarisation or colour based on liquid crystals, e.g. single liquid crystal display cells
- G02F1/133—Constructional arrangements; Operation of liquid crystal cells; Circuit arrangements
- G02F1/1333—Constructional arrangements; Manufacturing methods
- G02F1/1345—Conductors connecting electrodes to cell terminals
- G02F1/13454—Drivers integrated on the active matrix substrate
-
- H—ELECTRICITY
- H10—SEMICONDUCTOR DEVICES; ELECTRIC SOLID-STATE DEVICES NOT OTHERWISE PROVIDED FOR
- H10D—INORGANIC ELECTRIC SEMICONDUCTOR DEVICES
- H10D30/00—Field-effect transistors [FET]
- H10D30/60—Insulated-gate field-effect transistors [IGFET]
- H10D30/67—Thin-film transistors [TFT]
-
- G—PHYSICS
- G02—OPTICS
- G02F—OPTICAL DEVICES OR ARRANGEMENTS FOR THE CONTROL OF LIGHT BY MODIFICATION OF THE OPTICAL PROPERTIES OF THE MEDIA OF THE ELEMENTS INVOLVED THEREIN; NON-LINEAR OPTICS; FREQUENCY-CHANGING OF LIGHT; OPTICAL LOGIC ELEMENTS; OPTICAL ANALOGUE/DIGITAL CONVERTERS
- G02F1/00—Devices or arrangements for the control of the intensity, colour, phase, polarisation or direction of light arriving from an independent light source, e.g. switching, gating or modulating; Non-linear optics
- G02F1/01—Devices or arrangements for the control of the intensity, colour, phase, polarisation or direction of light arriving from an independent light source, e.g. switching, gating or modulating; Non-linear optics for the control of the intensity, phase, polarisation or colour
- G02F1/13—Devices or arrangements for the control of the intensity, colour, phase, polarisation or direction of light arriving from an independent light source, e.g. switching, gating or modulating; Non-linear optics for the control of the intensity, phase, polarisation or colour based on liquid crystals, e.g. single liquid crystal display cells
- G02F1/133—Constructional arrangements; Operation of liquid crystal cells; Circuit arrangements
- G02F1/136—Liquid crystal cells structurally associated with a semi-conducting layer or substrate, e.g. cells forming part of an integrated circuit
- G02F1/1362—Active matrix addressed cells
- G02F1/136286—Wiring, e.g. gate line, drain line
-
- G—PHYSICS
- G02—OPTICS
- G02F—OPTICAL DEVICES OR ARRANGEMENTS FOR THE CONTROL OF LIGHT BY MODIFICATION OF THE OPTICAL PROPERTIES OF THE MEDIA OF THE ELEMENTS INVOLVED THEREIN; NON-LINEAR OPTICS; FREQUENCY-CHANGING OF LIGHT; OPTICAL LOGIC ELEMENTS; OPTICAL ANALOGUE/DIGITAL CONVERTERS
- G02F1/00—Devices or arrangements for the control of the intensity, colour, phase, polarisation or direction of light arriving from an independent light source, e.g. switching, gating or modulating; Non-linear optics
- G02F1/01—Devices or arrangements for the control of the intensity, colour, phase, polarisation or direction of light arriving from an independent light source, e.g. switching, gating or modulating; Non-linear optics for the control of the intensity, phase, polarisation or colour
- G02F1/13—Devices or arrangements for the control of the intensity, colour, phase, polarisation or direction of light arriving from an independent light source, e.g. switching, gating or modulating; Non-linear optics for the control of the intensity, phase, polarisation or colour based on liquid crystals, e.g. single liquid crystal display cells
- G02F1/133—Constructional arrangements; Operation of liquid crystal cells; Circuit arrangements
- G02F1/136—Liquid crystal cells structurally associated with a semi-conducting layer or substrate, e.g. cells forming part of an integrated circuit
- G02F1/1362—Active matrix addressed cells
- G02F1/1368—Active matrix addressed cells in which the switching element is a three-electrode device
-
- H—ELECTRICITY
- H10—SEMICONDUCTOR DEVICES; ELECTRIC SOLID-STATE DEVICES NOT OTHERWISE PROVIDED FOR
- H10D—INORGANIC ELECTRIC SEMICONDUCTOR DEVICES
- H10D30/00—Field-effect transistors [FET]
- H10D30/01—Manufacture or treatment
- H10D30/021—Manufacture or treatment of FETs having insulated gates [IGFET]
- H10D30/031—Manufacture or treatment of FETs having insulated gates [IGFET] of thin-film transistors [TFT]
- H10D30/0312—Manufacture or treatment of FETs having insulated gates [IGFET] of thin-film transistors [TFT] characterised by the gate electrodes
- H10D30/0314—Manufacture or treatment of FETs having insulated gates [IGFET] of thin-film transistors [TFT] characterised by the gate electrodes of lateral top-gate TFTs comprising only a single gate
-
- H—ELECTRICITY
- H10—SEMICONDUCTOR DEVICES; ELECTRIC SOLID-STATE DEVICES NOT OTHERWISE PROVIDED FOR
- H10D—INORGANIC ELECTRIC SEMICONDUCTOR DEVICES
- H10D30/00—Field-effect transistors [FET]
- H10D30/01—Manufacture or treatment
- H10D30/021—Manufacture or treatment of FETs having insulated gates [IGFET]
- H10D30/031—Manufacture or treatment of FETs having insulated gates [IGFET] of thin-film transistors [TFT]
- H10D30/0321—Manufacture or treatment of FETs having insulated gates [IGFET] of thin-film transistors [TFT] comprising silicon, e.g. amorphous silicon or polysilicon
-
- H—ELECTRICITY
- H10—SEMICONDUCTOR DEVICES; ELECTRIC SOLID-STATE DEVICES NOT OTHERWISE PROVIDED FOR
- H10D—INORGANIC ELECTRIC SEMICONDUCTOR DEVICES
- H10D30/00—Field-effect transistors [FET]
- H10D30/60—Insulated-gate field-effect transistors [IGFET]
- H10D30/67—Thin-film transistors [TFT]
- H10D30/6729—Thin-film transistors [TFT] characterised by the electrodes
- H10D30/673—Thin-film transistors [TFT] characterised by the electrodes characterised by the shapes, relative sizes or dispositions of the gate electrodes
-
- H—ELECTRICITY
- H10—SEMICONDUCTOR DEVICES; ELECTRIC SOLID-STATE DEVICES NOT OTHERWISE PROVIDED FOR
- H10D—INORGANIC ELECTRIC SEMICONDUCTOR DEVICES
- H10D30/00—Field-effect transistors [FET]
- H10D30/60—Insulated-gate field-effect transistors [IGFET]
- H10D30/67—Thin-film transistors [TFT]
- H10D30/6729—Thin-film transistors [TFT] characterised by the electrodes
- H10D30/6737—Thin-film transistors [TFT] characterised by the electrodes characterised by the electrode materials
- H10D30/6739—Conductor-insulator-semiconductor electrodes
-
- H—ELECTRICITY
- H10—SEMICONDUCTOR DEVICES; ELECTRIC SOLID-STATE DEVICES NOT OTHERWISE PROVIDED FOR
- H10D—INORGANIC ELECTRIC SEMICONDUCTOR DEVICES
- H10D86/00—Integrated devices formed in or on insulating or conducting substrates, e.g. formed in silicon-on-insulator [SOI] substrates or on stainless steel or glass substrates
-
- H—ELECTRICITY
- H10—SEMICONDUCTOR DEVICES; ELECTRIC SOLID-STATE DEVICES NOT OTHERWISE PROVIDED FOR
- H10D—INORGANIC ELECTRIC SEMICONDUCTOR DEVICES
- H10D86/00—Integrated devices formed in or on insulating or conducting substrates, e.g. formed in silicon-on-insulator [SOI] substrates or on stainless steel or glass substrates
- H10D86/40—Integrated devices formed in or on insulating or conducting substrates, e.g. formed in silicon-on-insulator [SOI] substrates or on stainless steel or glass substrates characterised by multiple TFTs
-
- H—ELECTRICITY
- H10—SEMICONDUCTOR DEVICES; ELECTRIC SOLID-STATE DEVICES NOT OTHERWISE PROVIDED FOR
- H10D—INORGANIC ELECTRIC SEMICONDUCTOR DEVICES
- H10D86/00—Integrated devices formed in or on insulating or conducting substrates, e.g. formed in silicon-on-insulator [SOI] substrates or on stainless steel or glass substrates
- H10D86/40—Integrated devices formed in or on insulating or conducting substrates, e.g. formed in silicon-on-insulator [SOI] substrates or on stainless steel or glass substrates characterised by multiple TFTs
- H10D86/441—Interconnections, e.g. scanning lines
-
- H—ELECTRICITY
- H10—SEMICONDUCTOR DEVICES; ELECTRIC SOLID-STATE DEVICES NOT OTHERWISE PROVIDED FOR
- H10D—INORGANIC ELECTRIC SEMICONDUCTOR DEVICES
- H10D86/00—Integrated devices formed in or on insulating or conducting substrates, e.g. formed in silicon-on-insulator [SOI] substrates or on stainless steel or glass substrates
- H10D86/40—Integrated devices formed in or on insulating or conducting substrates, e.g. formed in silicon-on-insulator [SOI] substrates or on stainless steel or glass substrates characterised by multiple TFTs
- H10D86/60—Integrated devices formed in or on insulating or conducting substrates, e.g. formed in silicon-on-insulator [SOI] substrates or on stainless steel or glass substrates characterised by multiple TFTs wherein the TFTs are in active matrices
-
- H—ELECTRICITY
- H10—SEMICONDUCTOR DEVICES; ELECTRIC SOLID-STATE DEVICES NOT OTHERWISE PROVIDED FOR
- H10D—INORGANIC ELECTRIC SEMICONDUCTOR DEVICES
- H10D30/00—Field-effect transistors [FET]
- H10D30/60—Insulated-gate field-effect transistors [IGFET]
- H10D30/67—Thin-film transistors [TFT]
- H10D30/6704—Thin-film transistors [TFT] having supplementary regions or layers in the thin films or in the insulated bulk substrates for controlling properties of the device
- H10D30/6713—Thin-film transistors [TFT] having supplementary regions or layers in the thin films or in the insulated bulk substrates for controlling properties of the device characterised by the properties of the source or drain regions, e.g. compositions or sectional shapes
- H10D30/6715—Thin-film transistors [TFT] having supplementary regions or layers in the thin films or in the insulated bulk substrates for controlling properties of the device characterised by the properties of the source or drain regions, e.g. compositions or sectional shapes characterised by the doping profiles, e.g. having lightly-doped source or drain extensions
-
- H—ELECTRICITY
- H10—SEMICONDUCTOR DEVICES; ELECTRIC SOLID-STATE DEVICES NOT OTHERWISE PROVIDED FOR
- H10D—INORGANIC ELECTRIC SEMICONDUCTOR DEVICES
- H10D30/00—Field-effect transistors [FET]
- H10D30/60—Insulated-gate field-effect transistors [IGFET]
- H10D30/67—Thin-film transistors [TFT]
- H10D30/6704—Thin-film transistors [TFT] having supplementary regions or layers in the thin films or in the insulated bulk substrates for controlling properties of the device
- H10D30/6713—Thin-film transistors [TFT] having supplementary regions or layers in the thin films or in the insulated bulk substrates for controlling properties of the device characterised by the properties of the source or drain regions, e.g. compositions or sectional shapes
- H10D30/6715—Thin-film transistors [TFT] having supplementary regions or layers in the thin films or in the insulated bulk substrates for controlling properties of the device characterised by the properties of the source or drain regions, e.g. compositions or sectional shapes characterised by the doping profiles, e.g. having lightly-doped source or drain extensions
- H10D30/6719—Thin-film transistors [TFT] having supplementary regions or layers in the thin films or in the insulated bulk substrates for controlling properties of the device characterised by the properties of the source or drain regions, e.g. compositions or sectional shapes characterised by the doping profiles, e.g. having lightly-doped source or drain extensions having significant overlap between the lightly-doped drains and the gate electrodes, e.g. gate-overlapped LDD [GOLDD] TFTs
-
- H—ELECTRICITY
- H10—SEMICONDUCTOR DEVICES; ELECTRIC SOLID-STATE DEVICES NOT OTHERWISE PROVIDED FOR
- H10D—INORGANIC ELECTRIC SEMICONDUCTOR DEVICES
- H10D30/00—Field-effect transistors [FET]
- H10D30/60—Insulated-gate field-effect transistors [IGFET]
- H10D30/67—Thin-film transistors [TFT]
- H10D30/6729—Thin-film transistors [TFT] characterised by the electrodes
- H10D30/673—Thin-film transistors [TFT] characterised by the electrodes characterised by the shapes, relative sizes or dispositions of the gate electrodes
- H10D30/6733—Multi-gate TFTs
-
- H—ELECTRICITY
- H10—SEMICONDUCTOR DEVICES; ELECTRIC SOLID-STATE DEVICES NOT OTHERWISE PROVIDED FOR
- H10D—INORGANIC ELECTRIC SEMICONDUCTOR DEVICES
- H10D30/00—Field-effect transistors [FET]
- H10D30/60—Insulated-gate field-effect transistors [IGFET]
- H10D30/67—Thin-film transistors [TFT]
- H10D30/674—Thin-film transistors [TFT] characterised by the active materials
- H10D30/6741—Group IV materials, e.g. germanium or silicon carbide
Landscapes
- Physics & Mathematics (AREA)
- Nonlinear Science (AREA)
- Mathematical Physics (AREA)
- Chemical & Material Sciences (AREA)
- Crystallography & Structural Chemistry (AREA)
- General Physics & Mathematics (AREA)
- Optics & Photonics (AREA)
- Engineering & Computer Science (AREA)
- Microelectronics & Electronic Packaging (AREA)
- Thin Film Transistor (AREA)
- Liquid Crystal (AREA)
- Devices For Indicating Variable Information By Combining Individual Elements (AREA)
- Electroluminescent Light Sources (AREA)
- Metal-Oxide And Bipolar Metal-Oxide Semiconductor Integrated Circuits (AREA)
- Electrodes Of Semiconductors (AREA)
- Internal Circuitry In Semiconductor Integrated Circuit Devices (AREA)
- Liquid Crystal Display Device Control (AREA)
- Control Of Indicators Other Than Cathode Ray Tubes (AREA)
- Control Of El Displays (AREA)
- Semiconductor Memories (AREA)
Description
本発明は、絶縁表面を有する基板上に薄膜トランジスタ(以下、TFTと記す)による
能動回路を設けた半導体装置およびその作製方法に関する。特に本発明は、画像表示領域
とその駆動回路とを同一基板上に設けた液晶表示装置に代表される電気光学装置、および
電気光学装置を搭載した電子機器に好適に利用できる。尚、本明細書における半導体装置
とは、半導体特性を利用することで機能する装置全般を指し、上記電気光学装置およびそ
の電気光学装置を搭載した電子機器をその範疇に含んでいる。
能動回路を設けた半導体装置およびその作製方法に関する。特に本発明は、画像表示領域
とその駆動回路とを同一基板上に設けた液晶表示装置に代表される電気光学装置、および
電気光学装置を搭載した電子機器に好適に利用できる。尚、本明細書における半導体装置
とは、半導体特性を利用することで機能する装置全般を指し、上記電気光学装置およびそ
の電気光学装置を搭載した電子機器をその範疇に含んでいる。
結晶質シリコン膜で半導体層を形成したTFT(以下、結晶質シリコンTFTと記す)
は電界効果移動度が高く、いろいろな機能回路を形成することが可能である。結晶質シリ
コンTFTを用いたアクティブマトリクス型液晶表示装置は、画像表示領域と画像表示を
行うための駆動回路が同一の基板上に形成されている。画像表示領域にはnチャネル型T
FTで形成した画素TFTと保持容量が設けられおり、駆動回路にはCMOS回路を基本
として形成されるシフトレジスタ回路、レベルシフタ回路、バッファ回路、サンプリング
回路などから構成されている。
は電界効果移動度が高く、いろいろな機能回路を形成することが可能である。結晶質シリ
コンTFTを用いたアクティブマトリクス型液晶表示装置は、画像表示領域と画像表示を
行うための駆動回路が同一の基板上に形成されている。画像表示領域にはnチャネル型T
FTで形成した画素TFTと保持容量が設けられおり、駆動回路にはCMOS回路を基本
として形成されるシフトレジスタ回路、レベルシフタ回路、バッファ回路、サンプリング
回路などから構成されている。
しかし、画素TFTと駆動回路のTFTとでは動作条件が同一でなく、従ってTFTに
要求される特性は少なからず異なっている。例えば、画素TFTはスイッチ素子として機
能するものであり、液晶に電圧を印加して駆動させるものである。液晶は交流で駆動させ
るので、フレーム反転駆動と呼ばれる方式が多く採用されている。この方式では消費電力
を低く抑えるために、画素TFTに要求される特性はオフ電流値(TFTがオフ動作時に
流れるドレイン電流)を十分低くすることである。一方、制御回路のバッファ回路は高い
駆動電圧が印加されるため、高電圧が印加されても壊れないように耐圧を高めておく必要
がある。また電流駆動能力を高めるために、オン電流値(TFTがオン動作時に流れるド
レイン電流)を十分確保する必要がある。
要求される特性は少なからず異なっている。例えば、画素TFTはスイッチ素子として機
能するものであり、液晶に電圧を印加して駆動させるものである。液晶は交流で駆動させ
るので、フレーム反転駆動と呼ばれる方式が多く採用されている。この方式では消費電力
を低く抑えるために、画素TFTに要求される特性はオフ電流値(TFTがオフ動作時に
流れるドレイン電流)を十分低くすることである。一方、制御回路のバッファ回路は高い
駆動電圧が印加されるため、高電圧が印加されても壊れないように耐圧を高めておく必要
がある。また電流駆動能力を高めるために、オン電流値(TFTがオン動作時に流れるド
レイン電流)を十分確保する必要がある。
オフ電流値を低減するためのTFTの構造として、低濃度ドレイン(LDD:Lightly
Doped Drain)構造が知られている。この構造はチャネル形成領域と、高濃度に不純物
元素を添加して形成するソース領域またはドレイン領域との間に低濃度に不純物元素を添
加した領域を設けたものであり、この領域をLDD領域と呼んでいる。また、ホットキャ
リアによるオン電流値の劣化を防ぐための手段として、LDD領域をゲート絶縁膜を介し
てゲート電極と重ねて配置させた、いわゆるGOLD(Gate-drain Overlapped LDD)
構造が知られている。このような構造とすることで、ドレイン近傍の高電界が緩和されて
ホットキャリア注入を防ぎ、劣化現象の防止に有効であることが知られている。
Doped Drain)構造が知られている。この構造はチャネル形成領域と、高濃度に不純物
元素を添加して形成するソース領域またはドレイン領域との間に低濃度に不純物元素を添
加した領域を設けたものであり、この領域をLDD領域と呼んでいる。また、ホットキャ
リアによるオン電流値の劣化を防ぐための手段として、LDD領域をゲート絶縁膜を介し
てゲート電極と重ねて配置させた、いわゆるGOLD(Gate-drain Overlapped LDD)
構造が知られている。このような構造とすることで、ドレイン近傍の高電界が緩和されて
ホットキャリア注入を防ぎ、劣化現象の防止に有効であることが知られている。
一方、アクティブマトリクス型液晶表示装置の商品としての価値を高めるために、画面
の大型化および高精細化が要求がなされている。しかし、画面の大型化および高精細化に
より走査線(ゲート配線)の数が増えその長さも増大するので、ゲート配線の低抵抗化が
より必要となる。すなわち走査線が増えるに従って液晶への充電時間が短くなり、ゲート
配線の時定数(抵抗×容量)を小さくして高速で応答させる必要がある。例えば、ゲート
配線を形成する材料の比抵抗が100μΩcmの場合には画面サイズが6インチクラスが
ほぼ限界となるが、3μΩcmの場合には27インチクラス相当まで表示が可能とされて
いる。
の大型化および高精細化が要求がなされている。しかし、画面の大型化および高精細化に
より走査線(ゲート配線)の数が増えその長さも増大するので、ゲート配線の低抵抗化が
より必要となる。すなわち走査線が増えるに従って液晶への充電時間が短くなり、ゲート
配線の時定数(抵抗×容量)を小さくして高速で応答させる必要がある。例えば、ゲート
配線を形成する材料の比抵抗が100μΩcmの場合には画面サイズが6インチクラスが
ほぼ限界となるが、3μΩcmの場合には27インチクラス相当まで表示が可能とされて
いる。
しかしながら、画素マトリクス回路の画素TFTと、シフトレジスタ回路やバッファ回
路などの制御回路のTFTとでは、その要求される特性は必ずしも同じではない。例えば
、画素TFTにおいてはゲートに大きな逆バイアス(nチャネル型TFTでは負の電圧)
が印加されるが、制御回路のTFTは基本的に逆バイアス状態で動作することはない。ま
た、動作速度に関しても、画素TFTは制御回路のTFTの1/100以下で良い。
路などの制御回路のTFTとでは、その要求される特性は必ずしも同じではない。例えば
、画素TFTにおいてはゲートに大きな逆バイアス(nチャネル型TFTでは負の電圧)
が印加されるが、制御回路のTFTは基本的に逆バイアス状態で動作することはない。ま
た、動作速度に関しても、画素TFTは制御回路のTFTの1/100以下で良い。
また、GOLD構造はオン電流値の劣化を防ぐ効果は高いが、その反面、通常のLDD
構造と比べてオフ電流値が大きくなってしまう問題があった。従って、画素TFTに適用
するには好ましい構造ではなかった。逆に通常のLDD構造はオフ電流値を抑える効果は
高いが、ドレイン近傍の電界を緩和してホットキャリア注入による劣化を防ぐ効果は低か
った。このように、アクティブマトリクス型液晶表示装置のような動作条件の異なる複数
の集積回路を有する半導体装置において、全てのTFTを同じ構造で形成することは必ず
しも好ましくなかった。このような問題点は、特に結晶質シリコンTFTにおいて、その
特性が高まり、またアクティブマトリクス型液晶表示装置に要求される性能が高まるほど
顕在化してきた。
構造と比べてオフ電流値が大きくなってしまう問題があった。従って、画素TFTに適用
するには好ましい構造ではなかった。逆に通常のLDD構造はオフ電流値を抑える効果は
高いが、ドレイン近傍の電界を緩和してホットキャリア注入による劣化を防ぐ効果は低か
った。このように、アクティブマトリクス型液晶表示装置のような動作条件の異なる複数
の集積回路を有する半導体装置において、全てのTFTを同じ構造で形成することは必ず
しも好ましくなかった。このような問題点は、特に結晶質シリコンTFTにおいて、その
特性が高まり、またアクティブマトリクス型液晶表示装置に要求される性能が高まるほど
顕在化してきた。
大画面のアクティブマトリクス型の液晶表示装置を実現するために、配線材料としてア
ルミニウム(Al)や銅(Cu)を使用することも考えられるが、耐食性や耐熱性が悪い
といった欠点があった。従って、TFTのゲート電極をこのような材料で形成することは
必ずしも好ましくなく、そのような材料をTFTの製造工程に導入することは容易ではな
かった。勿論、配線を他の導電性材料で形成することも可能であるが、アルミニウム(A
l)や銅(Cu)ほど低抵抗な材料はなく、大画面の表示装置を作製することはできなか
った。
ルミニウム(Al)や銅(Cu)を使用することも考えられるが、耐食性や耐熱性が悪い
といった欠点があった。従って、TFTのゲート電極をこのような材料で形成することは
必ずしも好ましくなく、そのような材料をTFTの製造工程に導入することは容易ではな
かった。勿論、配線を他の導電性材料で形成することも可能であるが、アルミニウム(A
l)や銅(Cu)ほど低抵抗な材料はなく、大画面の表示装置を作製することはできなか
った。
上記問題点を解決するために、本発明の構成は、表示領域に設けた画素TFTと、該表
示領域の周辺に設けた駆動回路のTFTとを同一の基板上に有する半導体装置において、
前記画素TFTと前記駆動回路のTFTとは、第1の導電層で形成されるゲート電極を有
し、前記ゲート電極は、第2の導電層で形成されるゲート配線と接続部で電気的に接触し
、前記接続部は、前記画素TFTと前記駆動回路のTFTとが有するチャネル形成領域の
外側に設けられていることを特徴としている。
示領域の周辺に設けた駆動回路のTFTとを同一の基板上に有する半導体装置において、
前記画素TFTと前記駆動回路のTFTとは、第1の導電層で形成されるゲート電極を有
し、前記ゲート電極は、第2の導電層で形成されるゲート配線と接続部で電気的に接触し
、前記接続部は、前記画素TFTと前記駆動回路のTFTとが有するチャネル形成領域の
外側に設けられていることを特徴としている。
また、他の発明の構成は、表示領域に設けた画素TFTと、該表示領域の周辺に設けた
駆動回路のTFTとを同一の基板上に有する半導体装置において、前記画素TFTと前記
駆動回路のTFTとは、第1の導電層で形成されるゲート電極を有し、前記ゲート電極は
、第2の導電層で形成されるゲート配線と、前記画素TFTと前記駆動回路のTFTとが
有するチャネル形成領域の外側に設けられた接続部で電気的に接触し、前記画素TFTの
LDD領域は、該画素TFTのゲート電極と重ならないように配置され、前記駆動回路の
第1のnチャネル型TFTのLDD領域は、該第1のnチャネル型TFTのゲート電極と
重なるように配置され、前記駆動回路の第2のnチャネル型TFTのLDD領域は、該第
1のnチャネル型TFTのゲート電極と少なくとも一部が重なるように配置されているこ
とを特徴としている。
駆動回路のTFTとを同一の基板上に有する半導体装置において、前記画素TFTと前記
駆動回路のTFTとは、第1の導電層で形成されるゲート電極を有し、前記ゲート電極は
、第2の導電層で形成されるゲート配線と、前記画素TFTと前記駆動回路のTFTとが
有するチャネル形成領域の外側に設けられた接続部で電気的に接触し、前記画素TFTの
LDD領域は、該画素TFTのゲート電極と重ならないように配置され、前記駆動回路の
第1のnチャネル型TFTのLDD領域は、該第1のnチャネル型TFTのゲート電極と
重なるように配置され、前記駆動回路の第2のnチャネル型TFTのLDD領域は、該第
1のnチャネル型TFTのゲート電極と少なくとも一部が重なるように配置されているこ
とを特徴としている。
上記本発明の構成において、前記第1の導電層は、タンタル、タングステン、チタン、
モリブデンから選ばれた少なくとも1種と窒素とを含む導電層(A)と、該導電層(A)
上に形成され、タンタル、タングステン、チタン、モリブデンから選ばれた少なくとも1
種を主成分とする導電層(B)と、該導電層(B)が該導電層(A)に接しない領域に形
成され、タンタル、タングステン、チタン、モリブデンから選ばれた少なくとも1種と窒
素とを含む導電層(C)とを有し、前記第2の導電層は、少なくとも、アルミニウムまた
は銅を主成分とする導電層(D)と、タンタル、タングステン、チタン、モリブデンから
選ばれた少なくとも1種を主成分とする導電層(E)とを有し、前記接続部で導電層(C
)と導電層(D)が接触していることを特徴としている。前記導電層(B)は、添加元素
としてアルゴンを含み、かつ、該導電層(B)中の酸素濃度が30ppm以下であること
をが望ましい。
モリブデンから選ばれた少なくとも1種と窒素とを含む導電層(A)と、該導電層(A)
上に形成され、タンタル、タングステン、チタン、モリブデンから選ばれた少なくとも1
種を主成分とする導電層(B)と、該導電層(B)が該導電層(A)に接しない領域に形
成され、タンタル、タングステン、チタン、モリブデンから選ばれた少なくとも1種と窒
素とを含む導電層(C)とを有し、前記第2の導電層は、少なくとも、アルミニウムまた
は銅を主成分とする導電層(D)と、タンタル、タングステン、チタン、モリブデンから
選ばれた少なくとも1種を主成分とする導電層(E)とを有し、前記接続部で導電層(C
)と導電層(D)が接触していることを特徴としている。前記導電層(B)は、添加元素
としてアルゴンを含み、かつ、該導電層(B)中の酸素濃度が30ppm以下であること
をが望ましい。
上記問題点を解決するために、本発明の半導体装置の作製方法は、表示領域に設けた画
素TFTと、該表示領域の周辺に設けた駆動回路のTFTとを同一の基板上に有する半導
体装置の作製方法において、前記画素TFTと前記駆動回路のTFTとのゲート電極を、
第1の導電層で形成する工程と、前記ゲート電極に接続するゲート配線を、第2の導電層
で形成する工程とを有し、前記ゲート電極と前記ゲート配線とは、前記画素TFTと前記
駆動回路のTFTとのチャネル形成領域の外側に設けられた接続部で接続することを特徴
としている。
素TFTと、該表示領域の周辺に設けた駆動回路のTFTとを同一の基板上に有する半導
体装置の作製方法において、前記画素TFTと前記駆動回路のTFTとのゲート電極を、
第1の導電層で形成する工程と、前記ゲート電極に接続するゲート配線を、第2の導電層
で形成する工程とを有し、前記ゲート電極と前記ゲート配線とは、前記画素TFTと前記
駆動回路のTFTとのチャネル形成領域の外側に設けられた接続部で接続することを特徴
としている。
また、本発明の半導体装置の作製方法は、表示領域に設けた画素TFTと、該表示領域
の周辺に設けた駆動回路のTFTとを同一の基板上に有する半導体装置において、前記駆
動回路を形成する第1および第2のnチャネル型TFTの半導体層に、2×1016〜5×
1019atoms/cm3の濃度範囲でn型を付与する不純物元素を選択的に添加する第1の工程
と、前記画素TFTと前記駆動回路のTFTとのゲート電極を第1の導電層で形成する第
2の工程と、前記駆動回路を形成するpチャネル型TFTの半導体層に、3×1020〜3
×1021atoms/cm3の濃度範囲でp型を付与する不純物元素を選択的に添加する第3の工
程と、前記駆動回路を形成する第1および第2のnチャネル型TFTの半導体層と、前記
画素TFTの半導体層とに、1×1020〜1×1021atoms/cm3の濃度範囲でn型を付与
する不純物元素を選択的に添加する第4の工程と、前記画素TFTの半導体層に、ゲート
電極をマスクとして、1×1016〜5×1018atoms/cm3の濃度範囲でn型を付与する不
純物元素を選択的に添加する第5の工程と、前記画素TFTと前記駆動回路のTFTとの
ゲート配線を第2の導電層で形成する第6の工程とを有し、前記ゲート電極と前記ゲート
配線とは、前記画素TFTと前記駆動回路のTFTとのチャネル形成領域の外側に設けら
れた接続部で接続することを特徴としている。
の周辺に設けた駆動回路のTFTとを同一の基板上に有する半導体装置において、前記駆
動回路を形成する第1および第2のnチャネル型TFTの半導体層に、2×1016〜5×
1019atoms/cm3の濃度範囲でn型を付与する不純物元素を選択的に添加する第1の工程
と、前記画素TFTと前記駆動回路のTFTとのゲート電極を第1の導電層で形成する第
2の工程と、前記駆動回路を形成するpチャネル型TFTの半導体層に、3×1020〜3
×1021atoms/cm3の濃度範囲でp型を付与する不純物元素を選択的に添加する第3の工
程と、前記駆動回路を形成する第1および第2のnチャネル型TFTの半導体層と、前記
画素TFTの半導体層とに、1×1020〜1×1021atoms/cm3の濃度範囲でn型を付与
する不純物元素を選択的に添加する第4の工程と、前記画素TFTの半導体層に、ゲート
電極をマスクとして、1×1016〜5×1018atoms/cm3の濃度範囲でn型を付与する不
純物元素を選択的に添加する第5の工程と、前記画素TFTと前記駆動回路のTFTとの
ゲート配線を第2の導電層で形成する第6の工程とを有し、前記ゲート電極と前記ゲート
配線とは、前記画素TFTと前記駆動回路のTFTとのチャネル形成領域の外側に設けら
れた接続部で接続することを特徴としている。
上記本発明の半導体装置の作製方法において、前記第1の導電層は、タンタル、タング
ステン、チタン、モリブデンから選ばれた少なくとも1種と窒素とを含む導電層(A)を
形成する工程と、該導電層(A)上に形成されタンタル、タングステン、チタン、モリブ
デンから選ばれた少なくとも1種を主成分とする導電層(B)を形成する工程と、該導電
層(B)が該導電層(A)に接しない領域に形成されタンタル、タングステン、チタン、
モリブデンから選ばれた少なくとも1種と窒素とを含む導電層(C)を形成する工程とか
ら形成され、前記第2の導電層は、少なくとも、アルミニウムまたは銅を主成分とする導
電層(D)を形成する工程と、タンタル、タングステン、チタン、モリブデンから選ばれ
た少なくとも1種を主成分とする導電層(E)を形成する工程とから形成され、前記接続
部で導電層(C)と導電層(D)が接続していることを特徴としている。導電層(A)は
、アルゴンと窒素またはアンモニアとの混合雰囲気中で、タンタル、タングステン、チタ
ン、モリブデンから選ばれた少なくとも1種を主成分とするターゲットを用いたスパッタ
法で形成することが可能であり、導電層(C)は、酸素濃度が1ppm以下の窒素雰囲気
中で導電層(B)を熱処理して形成することが望ましい。また、導電層(C)は、酸素濃
度が1ppm以下の窒素プラズマ雰囲気中で導電層(B)を熱処理して形成しても良い。
ステン、チタン、モリブデンから選ばれた少なくとも1種と窒素とを含む導電層(A)を
形成する工程と、該導電層(A)上に形成されタンタル、タングステン、チタン、モリブ
デンから選ばれた少なくとも1種を主成分とする導電層(B)を形成する工程と、該導電
層(B)が該導電層(A)に接しない領域に形成されタンタル、タングステン、チタン、
モリブデンから選ばれた少なくとも1種と窒素とを含む導電層(C)を形成する工程とか
ら形成され、前記第2の導電層は、少なくとも、アルミニウムまたは銅を主成分とする導
電層(D)を形成する工程と、タンタル、タングステン、チタン、モリブデンから選ばれ
た少なくとも1種を主成分とする導電層(E)を形成する工程とから形成され、前記接続
部で導電層(C)と導電層(D)が接続していることを特徴としている。導電層(A)は
、アルゴンと窒素またはアンモニアとの混合雰囲気中で、タンタル、タングステン、チタ
ン、モリブデンから選ばれた少なくとも1種を主成分とするターゲットを用いたスパッタ
法で形成することが可能であり、導電層(C)は、酸素濃度が1ppm以下の窒素雰囲気
中で導電層(B)を熱処理して形成することが望ましい。また、導電層(C)は、酸素濃
度が1ppm以下の窒素プラズマ雰囲気中で導電層(B)を熱処理して形成しても良い。
本発明を用いることで、同一の基板上に複数の機能回路が形成された半導体装置(ここ
では具体的には電気光学装置)において、その機能回路が要求する仕様に応じて適切な性
能のTFTを配置することが可能となり、その動作特性や信頼性を大幅に向上させること
ができる。特に、画素マトリクス回路のnチャネル型TFTのLDD領域をn--の濃度で
かつLoffのみとして形成することにより、大幅にオフ電流値を低減でき、画素マトリク
ス回路の低消費電力化に寄与することができる。また、制御回路のnチャネル型TFTの
LDD領域をn-の濃度でかつLovのみとして形成することにより、電流駆動能力を高め
、かつ、ホットキャリアによる劣化を防ぎ、オン電流値の劣化を低減することができる。
また、そのような電気光学装置を表示媒体として有する半導体装置(ここでは具体的に電
子機器)の動作性能と信頼性も向上させることができる。
では具体的には電気光学装置)において、その機能回路が要求する仕様に応じて適切な性
能のTFTを配置することが可能となり、その動作特性や信頼性を大幅に向上させること
ができる。特に、画素マトリクス回路のnチャネル型TFTのLDD領域をn--の濃度で
かつLoffのみとして形成することにより、大幅にオフ電流値を低減でき、画素マトリク
ス回路の低消費電力化に寄与することができる。また、制御回路のnチャネル型TFTの
LDD領域をn-の濃度でかつLovのみとして形成することにより、電流駆動能力を高め
、かつ、ホットキャリアによる劣化を防ぎ、オン電流値の劣化を低減することができる。
また、そのような電気光学装置を表示媒体として有する半導体装置(ここでは具体的に電
子機器)の動作性能と信頼性も向上させることができる。
さらに画素TFTおよび駆動回路のTFTのゲート電極を耐熱性の高い導電性材料で形
成し、ゲート電極に接続するゲート配線をアルミニウム(Al)などの低抵抗材料で形成
することで、上記のような良好なTFT特性を実現し、そのようなTFTを用いて4イン
チクラス以上の大画面の表示装置を実現することができる。
成し、ゲート電極に接続するゲート配線をアルミニウム(Al)などの低抵抗材料で形成
することで、上記のような良好なTFT特性を実現し、そのようなTFTを用いて4イン
チクラス以上の大画面の表示装置を実現することができる。
[実施形態1]
本発明の実施形態を図1〜図5を用いて説明する。ここでは表示領域の画素TFTと、
表示領域の周辺に設けられる駆動回路のTFTを同一基板上に作製する方法について工程
に従って詳細に説明する。但し、説明を簡単にするために、制御回路ではシフトレジスタ
回路、バッファ回路などの基本回路であるCMOS回路と、サンプリング回路を形成する
nチャネル型TFTとを図示することにする。
本発明の実施形態を図1〜図5を用いて説明する。ここでは表示領域の画素TFTと、
表示領域の周辺に設けられる駆動回路のTFTを同一基板上に作製する方法について工程
に従って詳細に説明する。但し、説明を簡単にするために、制御回路ではシフトレジスタ
回路、バッファ回路などの基本回路であるCMOS回路と、サンプリング回路を形成する
nチャネル型TFTとを図示することにする。
図1(A)において、基板101には低アルカリガラス基板や石英基板を用いることが
できる。本実施例では低アルカリガラス基板を用いた。この場合、ガラス歪み点よりも1
0〜20℃程度低い温度であらかじめ熱処理しておいても良い。この基板101のTFT
を形成する表面には、基板101からの不純物拡散を防ぐために、酸化シリコン膜、窒化
シリコン膜または酸化窒化シリコン膜などの下地膜102を形成する。例えば、プラズマ
CVD法でSiH4、NH3、N2Oから作製される酸化窒化シリコン膜を100nm、同
様にSiH4、N2Oから作製される酸化窒化シリコン膜を200nmの厚さに積層形成す
る。
できる。本実施例では低アルカリガラス基板を用いた。この場合、ガラス歪み点よりも1
0〜20℃程度低い温度であらかじめ熱処理しておいても良い。この基板101のTFT
を形成する表面には、基板101からの不純物拡散を防ぐために、酸化シリコン膜、窒化
シリコン膜または酸化窒化シリコン膜などの下地膜102を形成する。例えば、プラズマ
CVD法でSiH4、NH3、N2Oから作製される酸化窒化シリコン膜を100nm、同
様にSiH4、N2Oから作製される酸化窒化シリコン膜を200nmの厚さに積層形成す
る。
次に、20〜150nm(好ましくは30〜80nm)の厚さで非晶質構造を有する半
導体膜103aを、プラズマCVD法やスパッタ法などの公知の方法で形成する。本実施
例では、プラズマCVD法で非晶質シリコン膜を55nmの厚さに形成した。非晶質構造
を有する半導体膜としては、非晶質半導体膜や微結晶半導体膜があり、非晶質シリコンゲ
ルマニウム膜などの非晶質構造を有する化合物半導体膜を適用しても良い。また、下地膜
102と非晶質シリコン膜103aとは同じ成膜法で形成することが可能であるので、両
者を連続形成しても良い。
下地膜を形成した後、一旦大気雰囲気に晒さないことでその表面の汚染を防ぐことが可能
となり、作製するTFTの特性バラツキやしきい値電圧の変動を低減させることができる
。(図1(A))
導体膜103aを、プラズマCVD法やスパッタ法などの公知の方法で形成する。本実施
例では、プラズマCVD法で非晶質シリコン膜を55nmの厚さに形成した。非晶質構造
を有する半導体膜としては、非晶質半導体膜や微結晶半導体膜があり、非晶質シリコンゲ
ルマニウム膜などの非晶質構造を有する化合物半導体膜を適用しても良い。また、下地膜
102と非晶質シリコン膜103aとは同じ成膜法で形成することが可能であるので、両
者を連続形成しても良い。
下地膜を形成した後、一旦大気雰囲気に晒さないことでその表面の汚染を防ぐことが可能
となり、作製するTFTの特性バラツキやしきい値電圧の変動を低減させることができる
。(図1(A))
そして、公知の結晶化技術を使用して非晶質シリコン膜103aから結晶質シリコン膜
103bを形成する。例えば、レーザー結晶化法や熱結晶化法(固相成長法)を適用すれ
ば良いが、ここでは、特開平7−130652号公報で開示された技術に従って、触媒元
素を用いる結晶化法で結晶質シリコン膜103bを形成した。結晶化の工程に先立って、
非晶質シリコン膜の含有水素量にもよるが、400〜500℃で1時間程度の熱処理を行
い、含有水素量を5atom%以下にしてから結晶化させることが望ましい。非晶質シリコン
膜を結晶化させると原子の再配列が起こり緻密化するので、作製される結晶質シリコン膜
の厚さは当初の非晶質シリコン膜の厚さ(本実施例では55nm)よりも1〜15%程度
減少した。(図1(B))
103bを形成する。例えば、レーザー結晶化法や熱結晶化法(固相成長法)を適用すれ
ば良いが、ここでは、特開平7−130652号公報で開示された技術に従って、触媒元
素を用いる結晶化法で結晶質シリコン膜103bを形成した。結晶化の工程に先立って、
非晶質シリコン膜の含有水素量にもよるが、400〜500℃で1時間程度の熱処理を行
い、含有水素量を5atom%以下にしてから結晶化させることが望ましい。非晶質シリコン
膜を結晶化させると原子の再配列が起こり緻密化するので、作製される結晶質シリコン膜
の厚さは当初の非晶質シリコン膜の厚さ(本実施例では55nm)よりも1〜15%程度
減少した。(図1(B))
そして、結晶質シリコン膜103bを島状に分割して、島状半導体層104〜107を
形成する。その後、プラズマCVD法またはスパッタ法により50〜100nmの厚さの
酸化シリコン膜によるマスク層108を形成する。(図1(C))
形成する。その後、プラズマCVD法またはスパッタ法により50〜100nmの厚さの
酸化シリコン膜によるマスク層108を形成する。(図1(C))
そしてレジストマスク109を設け、nチャネル型TFTを形成する島状半導体層10
5〜107の全面にしきい値電圧を制御する目的で1×1016〜5×1017atoms/cm3程
度の濃度でp型を付与する不純物元素としてボロン(B)を添加した。ボロン(B)の添
加はイオンドープ法で実施しても良いし、非晶質シリコン膜を成膜するときに同時に添加
しておくこともできる。ここでのボロン(B)添加は必ずしも必要でないが、ボロン(B
)を添加した半導体層110〜112はnチャネル型TFTのしきい値電圧を所定の範囲
内に収めるために形成することが好ましかった。(図1(D))
5〜107の全面にしきい値電圧を制御する目的で1×1016〜5×1017atoms/cm3程
度の濃度でp型を付与する不純物元素としてボロン(B)を添加した。ボロン(B)の添
加はイオンドープ法で実施しても良いし、非晶質シリコン膜を成膜するときに同時に添加
しておくこともできる。ここでのボロン(B)添加は必ずしも必要でないが、ボロン(B
)を添加した半導体層110〜112はnチャネル型TFTのしきい値電圧を所定の範囲
内に収めるために形成することが好ましかった。(図1(D))
駆動回路のnチャネル型TFTのLDD領域を形成するために、n型を付与する不純物
元素を島状半導体層110、111に選択的に添加する。そのため、あらかじめレジスト
マスク113〜116を形成した。n型を付与する不純物元素としては、リン(P)や砒
素(As)を用いれば良く、ここではリン(P)を添加すべく、フォスフィン(PH3)
を用いたイオンドープ法を適用した。形成された不純物領域117、118のリン(P)
濃度は2×1016〜5×1019atoms/cm3の範囲とすれば良い。本明細書中では、ここで
形成された不純物領域117〜119に含まれるn型を付与する不純物元素の濃度を(n
-)と表す。また、不純物領域119は、画素マトリクス回路の保持容量を形成するため
の半導体層であり、この領域にも同じ濃度でリン(P)を添加した。(図2(A))
元素を島状半導体層110、111に選択的に添加する。そのため、あらかじめレジスト
マスク113〜116を形成した。n型を付与する不純物元素としては、リン(P)や砒
素(As)を用いれば良く、ここではリン(P)を添加すべく、フォスフィン(PH3)
を用いたイオンドープ法を適用した。形成された不純物領域117、118のリン(P)
濃度は2×1016〜5×1019atoms/cm3の範囲とすれば良い。本明細書中では、ここで
形成された不純物領域117〜119に含まれるn型を付与する不純物元素の濃度を(n
-)と表す。また、不純物領域119は、画素マトリクス回路の保持容量を形成するため
の半導体層であり、この領域にも同じ濃度でリン(P)を添加した。(図2(A))
次に、マスク層108をフッ酸などにより除去して、図1(D)と図2(A)
で添加した不純物元素を活性化させる工程を行う。活性化は、窒素雰囲気中で500〜6
00℃で1〜4時間の熱処理や、レーザー活性化の方法により行うことができる。また、
両者を併用して行っても良い。本実施例では、レーザー活性化の方法を用い、KrFエキ
シマレーザー光(波長248nm)を用い、線状ビームを形成して、発振周波数5〜50
Hz、エネルギー密度100〜500mJ/cm2として線状ビームのオーバーラップ割
合を80〜98%として走査して、島状半導体層が形成された基板全面を処理した。尚、
レーザー光の照射条件には何ら限定される事項はなく、実施者が適宣決定すれば良い。
で添加した不純物元素を活性化させる工程を行う。活性化は、窒素雰囲気中で500〜6
00℃で1〜4時間の熱処理や、レーザー活性化の方法により行うことができる。また、
両者を併用して行っても良い。本実施例では、レーザー活性化の方法を用い、KrFエキ
シマレーザー光(波長248nm)を用い、線状ビームを形成して、発振周波数5〜50
Hz、エネルギー密度100〜500mJ/cm2として線状ビームのオーバーラップ割
合を80〜98%として走査して、島状半導体層が形成された基板全面を処理した。尚、
レーザー光の照射条件には何ら限定される事項はなく、実施者が適宣決定すれば良い。
そして、ゲート絶縁膜120をプラズマCVD法またはスパッタ法を用いて10〜15
0nmの厚さでシリコンを含む絶縁膜で形成する。例えば、120nmの厚さで酸化窒化
シリコン膜を形成する。ゲート絶縁膜には、他のシリコンを含む絶縁膜を単層または積層
構造として用いても良い。(図2(B))
0nmの厚さでシリコンを含む絶縁膜で形成する。例えば、120nmの厚さで酸化窒化
シリコン膜を形成する。ゲート絶縁膜には、他のシリコンを含む絶縁膜を単層または積層
構造として用いても良い。(図2(B))
次に、ゲート電極を形成するために第1の導電層を成膜する。この第1の導電層は単層
で形成しても良いが、必要に応じて二層あるいは三層といった積層構造としても良い。本
実施例では、導電性の窒化物金属膜から成る導電層(A)121と金属膜から成る導電層
(B)122とを積層させた。導電層(B)122はタンタル(Ta)、チタン(Ti)
、モリブデン(Mo)、タングステン(W)
から選ばれた元素、または前記元素を主成分とする合金か、前記元素を組み合わせた合金
膜(代表的にはMo−W合金膜、Mo−Ta合金膜)で形成すれば良く、導電層(A)1
21は窒化タンタル(TaN)、窒化タングステン(WN)、窒化チタン(TiN)膜、
窒化モリブデン(MoN)で形成する。また、導電層(A)121は代替材料として、タ
ングステンシリサイド、チタンシリサイド、モリブデンシリサイドを適用しても良い。導
電層(B)は低抵抗化を図るために含有する不純物濃度を低減させると良く、特に酸素濃
度に関しては30ppm以下とすると良かった。例えば、タングステン(W)は酸素濃度
を30ppm以下とすることで20μΩcm以下の比抵抗値を実現することができた。
で形成しても良いが、必要に応じて二層あるいは三層といった積層構造としても良い。本
実施例では、導電性の窒化物金属膜から成る導電層(A)121と金属膜から成る導電層
(B)122とを積層させた。導電層(B)122はタンタル(Ta)、チタン(Ti)
、モリブデン(Mo)、タングステン(W)
から選ばれた元素、または前記元素を主成分とする合金か、前記元素を組み合わせた合金
膜(代表的にはMo−W合金膜、Mo−Ta合金膜)で形成すれば良く、導電層(A)1
21は窒化タンタル(TaN)、窒化タングステン(WN)、窒化チタン(TiN)膜、
窒化モリブデン(MoN)で形成する。また、導電層(A)121は代替材料として、タ
ングステンシリサイド、チタンシリサイド、モリブデンシリサイドを適用しても良い。導
電層(B)は低抵抗化を図るために含有する不純物濃度を低減させると良く、特に酸素濃
度に関しては30ppm以下とすると良かった。例えば、タングステン(W)は酸素濃度
を30ppm以下とすることで20μΩcm以下の比抵抗値を実現することができた。
導電層(A)121は10〜50nm(好ましくは20〜30nm)とし、導電層(B
)122は200〜400nm(好ましくは250〜350nm)とすれば良い。本実施
例では、導電層(A)121に30nmの厚さの窒化タンタル膜を、導電層(B)122
には350nmのTa膜を用い、いずれもスパッタ法で形成した。このスパッタ法による
成膜では、スパッタ用のガスのArに適量のXeやKrを加えておくと、形成する膜の内
部応力を緩和して膜の剥離を防止することができる。尚、図示しないが、導電層(A)1
21の下に2〜20nm程度の厚さでリン(P)をドープしたシリコン膜を形成しておく
ことは有効である。これにより、その上に形成される導電膜の密着性向上と酸化防止を図
ると同時に、導電層(A)または導電層(B)が微量に含有するアルカリ金属元素がゲー
ト絶縁膜120に拡散するのを防ぐことができる。(図2(C))
)122は200〜400nm(好ましくは250〜350nm)とすれば良い。本実施
例では、導電層(A)121に30nmの厚さの窒化タンタル膜を、導電層(B)122
には350nmのTa膜を用い、いずれもスパッタ法で形成した。このスパッタ法による
成膜では、スパッタ用のガスのArに適量のXeやKrを加えておくと、形成する膜の内
部応力を緩和して膜の剥離を防止することができる。尚、図示しないが、導電層(A)1
21の下に2〜20nm程度の厚さでリン(P)をドープしたシリコン膜を形成しておく
ことは有効である。これにより、その上に形成される導電膜の密着性向上と酸化防止を図
ると同時に、導電層(A)または導電層(B)が微量に含有するアルカリ金属元素がゲー
ト絶縁膜120に拡散するのを防ぐことができる。(図2(C))
次に、レジストマスク123〜127を形成し、導電層(A)121と導電層(B)1
22とを一括でエッチングしてゲート電極128〜131と容量配線132を形成する。
ゲート電極128〜131と容量配線132は、導電層(A)
から成る128a〜132aと、導電層(B)から成る128b〜132bとが一体とし
て形成されている。この時、駆動回路に形成するゲート電極129、130は不純物領域
117、118の一部と、ゲート絶縁膜120を介して重なるように形成する。(図2(
D))
22とを一括でエッチングしてゲート電極128〜131と容量配線132を形成する。
ゲート電極128〜131と容量配線132は、導電層(A)
から成る128a〜132aと、導電層(B)から成る128b〜132bとが一体とし
て形成されている。この時、駆動回路に形成するゲート電極129、130は不純物領域
117、118の一部と、ゲート絶縁膜120を介して重なるように形成する。(図2(
D))
次いで、駆動回路のpチャネル型TFTのソース領域およびドレイン領域を形成するた
めに、p型を付与する不純物元素を添加する工程を行う。ここでは、ゲート電極128を
マスクとして、自己整合的に不純物領域を形成する。このとき、nチャネル型TFTが形
成される領域はレジストマスク133で被覆しておく。そして、ジボラン(B2H6)を用
いたイオンドープ法で不純物領域134を形成した。この領域のボロン(B)濃度は3×
1020〜3×1021atoms/cm3となるようにする。本明細書中では、ここで形成された不
純物領域134に含まれるp型を付与する不純物元素の濃度を(p+)と表す。(図3(
A))
めに、p型を付与する不純物元素を添加する工程を行う。ここでは、ゲート電極128を
マスクとして、自己整合的に不純物領域を形成する。このとき、nチャネル型TFTが形
成される領域はレジストマスク133で被覆しておく。そして、ジボラン(B2H6)を用
いたイオンドープ法で不純物領域134を形成した。この領域のボロン(B)濃度は3×
1020〜3×1021atoms/cm3となるようにする。本明細書中では、ここで形成された不
純物領域134に含まれるp型を付与する不純物元素の濃度を(p+)と表す。(図3(
A))
次に、nチャネル型TFTにおいて、ソース領域またはドレイン領域として機能する不
純物領域の形成を行った。レジストのマスク135〜137を形成し、n型を付与する不
純物元素が添加して不純物領域138〜142を形成した。これは、フォスフィン(PH
3)を用いたイオンドープ法で行い、この領域のリン(P)濃度を1×1020〜1×102
1atoms/cm3とした。本明細書中では、ここで形成された不純物領域138〜142に含
まれるn型を付与する不純物元素の濃度を(n+)と表す。(図3(B))
純物領域の形成を行った。レジストのマスク135〜137を形成し、n型を付与する不
純物元素が添加して不純物領域138〜142を形成した。これは、フォスフィン(PH
3)を用いたイオンドープ法で行い、この領域のリン(P)濃度を1×1020〜1×102
1atoms/cm3とした。本明細書中では、ここで形成された不純物領域138〜142に含
まれるn型を付与する不純物元素の濃度を(n+)と表す。(図3(B))
不純物領域138〜142には、既に前工程で添加されたリン(P)またはボロン(B
)が含まれているが、それに比して十分に高い濃度でリン(P)が添加されるので、前工
程で添加されたリン(P)またはボロン(B)の影響は考えなくても良い。また、不純物
領域138に添加されたリン(P)濃度は図3(A)
で添加されたボロン(B)濃度の1/2〜1/3なのでp型の導電性が確保され、TFT
の特性に何ら影響を与えることはなかった。
)が含まれているが、それに比して十分に高い濃度でリン(P)が添加されるので、前工
程で添加されたリン(P)またはボロン(B)の影響は考えなくても良い。また、不純物
領域138に添加されたリン(P)濃度は図3(A)
で添加されたボロン(B)濃度の1/2〜1/3なのでp型の導電性が確保され、TFT
の特性に何ら影響を与えることはなかった。
そして、画素マトリクス回路のnチャネル型TFTのLDD領域を形成するためのn型
を付与する不純物添加の工程を行った。ここではゲート電極131をマスクとして自己整
合的にn型を付与する不純物元素をイオンドープ法で添加した。添加するリン(P)の濃
度は1×1016〜5×1018atoms/cm3であり、図2(A)および図3(A)と図3(B
)で添加する不純物元素の濃度よりも低濃度で添加することで、実質的には不純物領域1
43、144のみが形成される。本明細書中では、この不純物領域143、144に含ま
れるn型を付与する不純物元素の濃度を(n--)と表す。(図3(C))
を付与する不純物添加の工程を行った。ここではゲート電極131をマスクとして自己整
合的にn型を付与する不純物元素をイオンドープ法で添加した。添加するリン(P)の濃
度は1×1016〜5×1018atoms/cm3であり、図2(A)および図3(A)と図3(B
)で添加する不純物元素の濃度よりも低濃度で添加することで、実質的には不純物領域1
43、144のみが形成される。本明細書中では、この不純物領域143、144に含ま
れるn型を付与する不純物元素の濃度を(n--)と表す。(図3(C))
その後、それぞれの濃度で添加されたn型またはp型を付与する不純物元素を活性化す
るために熱処理工程を行う。この工程はファーネスアニール法、レーザーアニール法、ま
たはラピッドサーマルアニール法(RTA法)で行うことができる。ここではファーネス
アニール法で活性化工程を行った。熱処理は酸素濃度が1ppm以下、好ましくは0.1
ppm以下の窒素雰囲気中で400〜800℃、代表的には500〜600℃で行うもの
であり、本実施例では550℃で4時間の熱処理を行った。また、基板101に石英基板
のような耐熱性を有するものを使用した場合には、800℃で1時間の熱処理としても良
く、不純物元素の活性化と、該不純物元素が添加された不純物領域とチャネル形成領域と
の接合を良好に形成することができた。
るために熱処理工程を行う。この工程はファーネスアニール法、レーザーアニール法、ま
たはラピッドサーマルアニール法(RTA法)で行うことができる。ここではファーネス
アニール法で活性化工程を行った。熱処理は酸素濃度が1ppm以下、好ましくは0.1
ppm以下の窒素雰囲気中で400〜800℃、代表的には500〜600℃で行うもの
であり、本実施例では550℃で4時間の熱処理を行った。また、基板101に石英基板
のような耐熱性を有するものを使用した場合には、800℃で1時間の熱処理としても良
く、不純物元素の活性化と、該不純物元素が添加された不純物領域とチャネル形成領域と
の接合を良好に形成することができた。
この熱処理において、ゲート電極128〜131と容量配線132形成する金属膜12
8b〜132bは、表面から5〜80nmの厚さで導電層(C)128c〜132cが形
成される。例えば、導電層(B)128b〜132bがタングステン(W)の場合には窒
化タングステン(WN)が形成され、タンタル(Ta)の場合には窒化タンタル(TaN
)を形成することができる。また、導電層(C)128c〜132cは、窒素またはアン
モニアなどを用いた窒素を含むプラズマ雰囲気にゲート電極128〜131を晒しても同
様に形成すりことができる。さらに、3〜100%の水素を含む雰囲気中で、300〜4
50℃で1〜12時間の熱処理を行い、島状半導体層を水素化する工程を行った。この工
程は熱的に励起された水素により半導体層のダングリングボンドを終端する工程である。
水素化の他の手段として、プラズマ水素化(プラズマにより励起された水素を用いる)を
行っても良い。
8b〜132bは、表面から5〜80nmの厚さで導電層(C)128c〜132cが形
成される。例えば、導電層(B)128b〜132bがタングステン(W)の場合には窒
化タングステン(WN)が形成され、タンタル(Ta)の場合には窒化タンタル(TaN
)を形成することができる。また、導電層(C)128c〜132cは、窒素またはアン
モニアなどを用いた窒素を含むプラズマ雰囲気にゲート電極128〜131を晒しても同
様に形成すりことができる。さらに、3〜100%の水素を含む雰囲気中で、300〜4
50℃で1〜12時間の熱処理を行い、島状半導体層を水素化する工程を行った。この工
程は熱的に励起された水素により半導体層のダングリングボンドを終端する工程である。
水素化の他の手段として、プラズマ水素化(プラズマにより励起された水素を用いる)を
行っても良い。
島状半導体層が、非晶質シリコン膜から触媒元素を用いる結晶化の方法で作製された場
合、島状半導体層中には微量の触媒元素が残留した。勿論、そのような状態でもTFTを
完成させることが可能であるが、残留する触媒元素を少なくともチャネル形成領域から除
去する方がより好ましかった。この触媒元素を除去する手段の一つにリン(P)によるゲ
ッタリング作用を利用する手段があった。ゲッタリングに必要なリン(P)の濃度は図3
(B)で形成した不純物領域(n+)と同程度であり、ここで実施される活性化工程の熱
処理により、nチャネル型TFTおよびpチャネル型TFTのチャネル形成領域から触媒
元素をゲッタリングをすることができた。(図3(D))
合、島状半導体層中には微量の触媒元素が残留した。勿論、そのような状態でもTFTを
完成させることが可能であるが、残留する触媒元素を少なくともチャネル形成領域から除
去する方がより好ましかった。この触媒元素を除去する手段の一つにリン(P)によるゲ
ッタリング作用を利用する手段があった。ゲッタリングに必要なリン(P)の濃度は図3
(B)で形成した不純物領域(n+)と同程度であり、ここで実施される活性化工程の熱
処理により、nチャネル型TFTおよびpチャネル型TFTのチャネル形成領域から触媒
元素をゲッタリングをすることができた。(図3(D))
図6(A)および図7(A)はここまでの工程におけるTFTの上面図であり、A−A
'断面およびC−C'断面は図3(D)のA−A'およびC−C'に対応している。また、B
−B'断面およびD−D'断面は図8(A)および図9(A)の断面図に対応している。図
6および図7の上面図はゲート絶縁膜を省略しているが、ここまでの工程で少なくとも島
状半導体層104〜107上にゲート電極128〜131と容量配線132が図に示すよ
うに形成されている。
'断面およびC−C'断面は図3(D)のA−A'およびC−C'に対応している。また、B
−B'断面およびD−D'断面は図8(A)および図9(A)の断面図に対応している。図
6および図7の上面図はゲート絶縁膜を省略しているが、ここまでの工程で少なくとも島
状半導体層104〜107上にゲート電極128〜131と容量配線132が図に示すよ
うに形成されている。
活性化および水素化の工程が終了したら、ゲート配線とする第2の導電膜を形成する。
この第2の導電膜は低抵抗材料であるアルミニウム(Al)や銅(Cu)を主成分とする
導電層(D)と、チタン(Ti)やタンタル(Ta)、タングステン(W)、モリブデン
(Mo)から成る導電層(E)とで形成すると良い。
本実施例では、チタン(Ti)を0.1〜2重量%含むアルミニウム(Al)膜を導電層
(D)145とし、チタン(Ti)膜を導電層(E)146として形成した。導電層(D
)145は200〜400nm(好ましくは250〜350nm)とすれば良く、導電層
(E)146は50〜200(好ましくは100〜150nm)で形成すれば良い。(図
4(A))
この第2の導電膜は低抵抗材料であるアルミニウム(Al)や銅(Cu)を主成分とする
導電層(D)と、チタン(Ti)やタンタル(Ta)、タングステン(W)、モリブデン
(Mo)から成る導電層(E)とで形成すると良い。
本実施例では、チタン(Ti)を0.1〜2重量%含むアルミニウム(Al)膜を導電層
(D)145とし、チタン(Ti)膜を導電層(E)146として形成した。導電層(D
)145は200〜400nm(好ましくは250〜350nm)とすれば良く、導電層
(E)146は50〜200(好ましくは100〜150nm)で形成すれば良い。(図
4(A))
そして、ゲート電極に接続するゲート配線を形成するために導電層(E)146と導電
層(D)145とをエッチング処理して、ゲート配線147、148と容量配線149を
形成た。エッチング処理は最初にSiCl4とCl2とBCl3との混合ガスを用いたドラ
イエッチング法で導電層(E)の表面から導電層(D)の途中まで除去し、その後リン酸
系のエッチング溶液によるウエットエッチングで導電層(D)を除去することにより、下
地との選択加工性を保ってゲート配線を形成することができた。
層(D)145とをエッチング処理して、ゲート配線147、148と容量配線149を
形成た。エッチング処理は最初にSiCl4とCl2とBCl3との混合ガスを用いたドラ
イエッチング法で導電層(E)の表面から導電層(D)の途中まで除去し、その後リン酸
系のエッチング溶液によるウエットエッチングで導電層(D)を除去することにより、下
地との選択加工性を保ってゲート配線を形成することができた。
図6(B)および図7(B)はこの状態の上面図を示し、A−A'断面およびC−C'断面
は図4(B)のA−A'およびC−C'に対応している。また、B−B'断面およびD−D'
断面は図8(B)および図9(B)のB−B'およびD−D'に対応している。図6(B)
および図7(B)において、ゲート配線147、148の一部は、ゲート電極128、1
29、131の一部と重なり電気的に接触している。この様子はB−B'断面およびD−
D'断面に対応した図8(B)および図9(B)の断面構造図からも明らかで、第1の導
電層を形成する導電層(C)と第2の導電層を形成する導電層(D)とが電気的に接触し
ている。
は図4(B)のA−A'およびC−C'に対応している。また、B−B'断面およびD−D'
断面は図8(B)および図9(B)のB−B'およびD−D'に対応している。図6(B)
および図7(B)において、ゲート配線147、148の一部は、ゲート電極128、1
29、131の一部と重なり電気的に接触している。この様子はB−B'断面およびD−
D'断面に対応した図8(B)および図9(B)の断面構造図からも明らかで、第1の導
電層を形成する導電層(C)と第2の導電層を形成する導電層(D)とが電気的に接触し
ている。
第1の層間絶縁膜150は500〜1500nmの厚さで酸化シリコン膜または酸化窒
化シリコン膜で形成され、その後、それぞれの島状半導体層に形成されたソース領域また
はドレイン領域に達するコンタクトホールを形成し、ソース配線151〜154と、ドレ
イン配線155〜158を形成する。図示していないが、本実施例ではこの電極を、Ti
膜を100nm、Tiを含むアルミニウム膜300nm、Ti膜150nmをスパッタ法
で連続して形成した3層構造の積層膜とした。
化シリコン膜で形成され、その後、それぞれの島状半導体層に形成されたソース領域また
はドレイン領域に達するコンタクトホールを形成し、ソース配線151〜154と、ドレ
イン配線155〜158を形成する。図示していないが、本実施例ではこの電極を、Ti
膜を100nm、Tiを含むアルミニウム膜300nm、Ti膜150nmをスパッタ法
で連続して形成した3層構造の積層膜とした。
次に、パッシベーション膜159として、窒化シリコン膜、酸化シリコン膜、または窒
化酸化シリコン膜を50〜500nm(代表的には100〜300nm)の厚さで形成す
る。この状態で水素化処理を行うとTFTの特性向上に対して好ましい結果が得られた。
例えば、3〜100%の水素を含む雰囲気中で、300〜450℃で1〜12時間の熱処
理を行うと良く、あるいはプラズマ水素化法を用いても同様の効果が得られた。なお、こ
こで後に画素電極とドレイン配線を接続するためのコンタクトホールを形成する位置にお
いて、パッシベーション膜159に開口部を形成しておいても良い。(図4(C))
化酸化シリコン膜を50〜500nm(代表的には100〜300nm)の厚さで形成す
る。この状態で水素化処理を行うとTFTの特性向上に対して好ましい結果が得られた。
例えば、3〜100%の水素を含む雰囲気中で、300〜450℃で1〜12時間の熱処
理を行うと良く、あるいはプラズマ水素化法を用いても同様の効果が得られた。なお、こ
こで後に画素電極とドレイン配線を接続するためのコンタクトホールを形成する位置にお
いて、パッシベーション膜159に開口部を形成しておいても良い。(図4(C))
図6(C)および図7(C)のはこの状態の上面図を示し、A−A'断面およびC−C'断
面は図4(C)のA−A'およびC−C'に対応している。また、B−B'断面およびD−
D'断面は図8(C)および図9(C)のB−B'およびD−D'に対応している。図6(
C)と図7(C)では第1の層間絶縁膜を省略して示すが、島状半導体層104、105
、107の図示されていないソースおよびドレイン領域にソース配線151、152、1
54とドレイン配線155、156、158が第1の層間絶縁膜に形成されたコンタクト
ホールを介して接続している。
面は図4(C)のA−A'およびC−C'に対応している。また、B−B'断面およびD−
D'断面は図8(C)および図9(C)のB−B'およびD−D'に対応している。図6(
C)と図7(C)では第1の層間絶縁膜を省略して示すが、島状半導体層104、105
、107の図示されていないソースおよびドレイン領域にソース配線151、152、1
54とドレイン配線155、156、158が第1の層間絶縁膜に形成されたコンタクト
ホールを介して接続している。
その後、有機樹脂からなる第2の層間絶縁膜160を1.0〜1.5μmの厚さに形成
する。有機樹脂としては、ポリイミド、アクリル、ポリアミド、ポリイミドアミド、BC
B(ベンゾシクロブテン)等を使用することができる。ここでは、基板に塗布後、熱重合
するタイプのポリイミドを用い、300℃で焼成して形成した。そして、第2の層間絶縁
膜160にドレイン配線158に達するコンタクトホールを形成し、画素電極161、1
62を形成する。画素電極は、透過型液晶表示装置とする場合には透明導電膜を用いれば
良く、反射型の液晶表示装置とする場合には金属膜を用いれば良い。本実施例では透過型
の液晶表示装置とするために、酸化インジウム・スズ(ITO)膜を100nmの厚さに
スパッタ法で形成した。(図5)
する。有機樹脂としては、ポリイミド、アクリル、ポリアミド、ポリイミドアミド、BC
B(ベンゾシクロブテン)等を使用することができる。ここでは、基板に塗布後、熱重合
するタイプのポリイミドを用い、300℃で焼成して形成した。そして、第2の層間絶縁
膜160にドレイン配線158に達するコンタクトホールを形成し、画素電極161、1
62を形成する。画素電極は、透過型液晶表示装置とする場合には透明導電膜を用いれば
良く、反射型の液晶表示装置とする場合には金属膜を用いれば良い。本実施例では透過型
の液晶表示装置とするために、酸化インジウム・スズ(ITO)膜を100nmの厚さに
スパッタ法で形成した。(図5)
こうして同一基板上に、駆動回路のTFTと表示領域の画素TFTとを有した基板を完
成させることができた。駆動回路にはpチャネル型TFT201、第1のnチャネル型T
FT202、第2のnチャネル型TFT203、表示領域には画素TFT204、保持容
量205が形成した。本明細書では便宜上このような基板をアクティブマトリクス基板と
呼ぶ。
成させることができた。駆動回路にはpチャネル型TFT201、第1のnチャネル型T
FT202、第2のnチャネル型TFT203、表示領域には画素TFT204、保持容
量205が形成した。本明細書では便宜上このような基板をアクティブマトリクス基板と
呼ぶ。
駆動回路のpチャネル型TFT201には、島状半導体層104にチャネル形成領域2
06、ソース領域207a、207b、ドレイン領域208a,208bを有している。
第1のnチャネル型TFT202には、島状半導体層105にチャネル形成領域209、
ゲート電極129と重なるLDD領域210(以降、このようなLDD領域をLovと記す
)、ソース領域211、ドレイン領域212を有している。このLov領域のチャネル長方
向の長さは0.5〜3.0μm、好ましくは1.0〜1.5μmとした。第2のnチャネ
ル型TFT203には、島状半導体層106にチャネル形成領域213、LDD領域21
4,215、ソース領域216、ドレイン領域217を有している。このLDD領域はL
ov領域とゲート電極130と重ならないLDD領域(以降、このようなLDD領域をLof
fと記す)とが形成され、このLoff領域のチャネル長方向の長さは0.3〜2.0μm、
好ましくは0.5〜1.5μmである。画素TFT204には、島状半導体層107にチ
ャネル形成領域218、219、Loff領域220〜223、ソースまたはドレイン領域
224〜226を有している。Loff領域のチャネル長方向の長さは0.5〜3.0μm
、好ましくは1.5〜2.5μmである。さらに、容量配線132、149と、ゲート絶
縁膜と同じ材料から成る絶縁膜と、画素TFT204のドレイン領域226に接続し、n
型を付与する不純物元素が添加された半導体層227とから保持容量205が形成されて
いる。図5では画素TFT204をダブルゲート構造としたが、シングルゲート構造でも
良いし、複数のゲート電極を設けたマルチゲート構造としても差し支えない。
06、ソース領域207a、207b、ドレイン領域208a,208bを有している。
第1のnチャネル型TFT202には、島状半導体層105にチャネル形成領域209、
ゲート電極129と重なるLDD領域210(以降、このようなLDD領域をLovと記す
)、ソース領域211、ドレイン領域212を有している。このLov領域のチャネル長方
向の長さは0.5〜3.0μm、好ましくは1.0〜1.5μmとした。第2のnチャネ
ル型TFT203には、島状半導体層106にチャネル形成領域213、LDD領域21
4,215、ソース領域216、ドレイン領域217を有している。このLDD領域はL
ov領域とゲート電極130と重ならないLDD領域(以降、このようなLDD領域をLof
fと記す)とが形成され、このLoff領域のチャネル長方向の長さは0.3〜2.0μm、
好ましくは0.5〜1.5μmである。画素TFT204には、島状半導体層107にチ
ャネル形成領域218、219、Loff領域220〜223、ソースまたはドレイン領域
224〜226を有している。Loff領域のチャネル長方向の長さは0.5〜3.0μm
、好ましくは1.5〜2.5μmである。さらに、容量配線132、149と、ゲート絶
縁膜と同じ材料から成る絶縁膜と、画素TFT204のドレイン領域226に接続し、n
型を付与する不純物元素が添加された半導体層227とから保持容量205が形成されて
いる。図5では画素TFT204をダブルゲート構造としたが、シングルゲート構造でも
良いし、複数のゲート電極を設けたマルチゲート構造としても差し支えない。
以上の様に本発明は、画素TFTおよび駆動回路が要求する仕様に応じて各回路を構成
するTFTの構造を最適化し、半導体装置の動作性能と信頼性を向上させることを可能と
することができる。さらにゲート電極を耐熱性を有する導電性材料で形成することにより
LDD領域やソース領域およびドレイン領域の活性化を容易とし、ゲート配線低抵抗材料
で形成することにより、配線抵抗を十分低減できる。従って、表示領域(画面サイズ)が
4インチクラス以上の表示装置に適用することができる。
するTFTの構造を最適化し、半導体装置の動作性能と信頼性を向上させることを可能と
することができる。さらにゲート電極を耐熱性を有する導電性材料で形成することにより
LDD領域やソース領域およびドレイン領域の活性化を容易とし、ゲート配線低抵抗材料
で形成することにより、配線抵抗を十分低減できる。従って、表示領域(画面サイズ)が
4インチクラス以上の表示装置に適用することができる。
[実施形態2]
図16はゲート電極とゲート配線の他の実施形態を示す図である。図16のゲート電極
とゲート配線は実施形態1で示す工程と同様にして形成されるものであり、島状半導体層
901とゲート絶縁膜902の上方に形成さている。
図16はゲート電極とゲート配線の他の実施形態を示す図である。図16のゲート電極
とゲート配線は実施形態1で示す工程と同様にして形成されるものであり、島状半導体層
901とゲート絶縁膜902の上方に形成さている。
図16(A)において、ゲート電極とする第1の導電層には、導電層(A)903は窒
化タンタル(TaN)、窒化タングステン(WN)、窒化チタン(TiN)膜、窒化モリ
ブデン(MoN)で形成する。導電層(B)904はタンタル(Ta)、チタン(Ti)
、モリブデン(Mo)、タングステン(W)から選ばれた元素、または前記元素を主成分
とする合金か、前記元素を組み合わせた合金膜で形成し、その表面に実施形態1と同様に
して導電層(C)905を形成する。導電層(A)903は10〜50nm(好ましくは
20〜30nm)とし、導電層(B)904は200〜400nm(好ましくは250〜
350nm)とすれば良い。ゲート配線とする第2の導電層は低抵抗材料であるアルミニ
ウム(Al)や銅(Cu)を主成分とする導電層(D)と、その上にチタン(Ti)やタ
ンタル(Ta)などで形成する導電層(E)とを積層形成する。アルミニウム(Al)や
銅(Cu)はストレスマイグレーションやエレクトロマイグレーションで容易に拡散する
ため、第2の導電層を被覆するように窒化シリコン膜908を50〜150nmの厚さで
形成することが必要である。
化タンタル(TaN)、窒化タングステン(WN)、窒化チタン(TiN)膜、窒化モリ
ブデン(MoN)で形成する。導電層(B)904はタンタル(Ta)、チタン(Ti)
、モリブデン(Mo)、タングステン(W)から選ばれた元素、または前記元素を主成分
とする合金か、前記元素を組み合わせた合金膜で形成し、その表面に実施形態1と同様に
して導電層(C)905を形成する。導電層(A)903は10〜50nm(好ましくは
20〜30nm)とし、導電層(B)904は200〜400nm(好ましくは250〜
350nm)とすれば良い。ゲート配線とする第2の導電層は低抵抗材料であるアルミニ
ウム(Al)や銅(Cu)を主成分とする導電層(D)と、その上にチタン(Ti)やタ
ンタル(Ta)などで形成する導電層(E)とを積層形成する。アルミニウム(Al)や
銅(Cu)はストレスマイグレーションやエレクトロマイグレーションで容易に拡散する
ため、第2の導電層を被覆するように窒化シリコン膜908を50〜150nmの厚さで
形成することが必要である。
図16(B)は実施形態1と同様に作製されるゲート電極とゲート配線であり、ゲート
電極の下にリン(P)をドープしたシリコン膜909を形成してある。
リン(P)をドープしたシリコン膜909はゲート電極中に含まれる微量のアルカリ金属
元素がゲート絶縁膜へ拡散することを防ぐ効果があり、TFTの信頼性を確保する目的で
有用である。
電極の下にリン(P)をドープしたシリコン膜909を形成してある。
リン(P)をドープしたシリコン膜909はゲート電極中に含まれる微量のアルカリ金属
元素がゲート絶縁膜へ拡散することを防ぐ効果があり、TFTの信頼性を確保する目的で
有用である。
図16(C)は、ゲート電極を形成する第1の導電層にリン(P)をドープしたシリコ
ン膜910で形成した例である。リン(P)をドープしたシリコン膜は他の導電性金属材
料と比較して高抵抗材料であるが、ゲート配線を形成する第2の導電層をアルミニウム(
Al)や銅(Cu)で形成することにより、大面積の液晶表示装置にも適用することがで
きる。ここでは、ゲート配線を、Ti膜911を100nm、Tiを含むアルミニウム(
Al)膜912を300nm、Ti膜913を150nmで形成した3層構造とし、アル
ミニウム(Al)膜とリン(P)をドープしたシリコン膜とを直接接触しないようにする
ことにより、耐熱性を持たせることができる。
ン膜910で形成した例である。リン(P)をドープしたシリコン膜は他の導電性金属材
料と比較して高抵抗材料であるが、ゲート配線を形成する第2の導電層をアルミニウム(
Al)や銅(Cu)で形成することにより、大面積の液晶表示装置にも適用することがで
きる。ここでは、ゲート配線を、Ti膜911を100nm、Tiを含むアルミニウム(
Al)膜912を300nm、Ti膜913を150nmで形成した3層構造とし、アル
ミニウム(Al)膜とリン(P)をドープしたシリコン膜とを直接接触しないようにする
ことにより、耐熱性を持たせることができる。
[実施形態3]
図15は本発明のTFTの構造を説明するための図であり、半導体層のチャネル形成領
域と、LDD領域と、半導体層上のゲート絶縁膜と、ゲート絶縁膜上のゲート電極とを有
するTFTにおいて、ゲート電極とLDD領域の位置関係を説明している。
図15は本発明のTFTの構造を説明するための図であり、半導体層のチャネル形成領
域と、LDD領域と、半導体層上のゲート絶縁膜と、ゲート絶縁膜上のゲート電極とを有
するTFTにおいて、ゲート電極とLDD領域の位置関係を説明している。
図15(A)において、チャネル形成領域209、LDD領域210、ドレイン領域2
12を有する半導体層と、その上のゲート絶縁膜120とゲート電極129が設けられた
構成を示している。LDD領域210はゲート絶縁膜120を介してゲート電極129と
重なるように設けられてたLovとなっている。Lovはドレイン近傍で発生する高電界を緩
和する作用があり、ホットキャリアによる劣化を防ぐことができ、制御回路のシフトレジ
スタ回路、レベルシフタ回路、バッファ回路などのnチャネル型TFTに用いるのに適し
ている。
12を有する半導体層と、その上のゲート絶縁膜120とゲート電極129が設けられた
構成を示している。LDD領域210はゲート絶縁膜120を介してゲート電極129と
重なるように設けられてたLovとなっている。Lovはドレイン近傍で発生する高電界を緩
和する作用があり、ホットキャリアによる劣化を防ぐことができ、制御回路のシフトレジ
スタ回路、レベルシフタ回路、バッファ回路などのnチャネル型TFTに用いるのに適し
ている。
図15(B)において、チャネル形成領域213、LDD領域215a、215b、ド
レイン領域217を有する半導体層と、半導体層の上にゲート絶縁膜120とゲート電極
130が設けられた構成を示している。LDD領域215aはゲート絶縁膜120を介し
てゲート電極130と重なるように設けられている。
また、LDD領域215bはゲート電極130と重ならないように設けられたLoffとな
っている。Loffはオフ電流値を低減させる作用があり、LovとLoffとを設けた構成にす
ることで、ホットキャリアによる劣化を防ぐと同時にオフ電流値を低減させることができ
、制御回路のサンプリング回路のnチャネル型TFTに用いるのに適している。
レイン領域217を有する半導体層と、半導体層の上にゲート絶縁膜120とゲート電極
130が設けられた構成を示している。LDD領域215aはゲート絶縁膜120を介し
てゲート電極130と重なるように設けられている。
また、LDD領域215bはゲート電極130と重ならないように設けられたLoffとな
っている。Loffはオフ電流値を低減させる作用があり、LovとLoffとを設けた構成にす
ることで、ホットキャリアによる劣化を防ぐと同時にオフ電流値を低減させることができ
、制御回路のサンプリング回路のnチャネル型TFTに用いるのに適している。
図15(C)は、半導体層に、チャネル形成領域219、LDD領域223、ドレイン
領域226が設けられている。LDD領域223は、ゲート電極131と重ならないよう
に設けられたLoffであり、オフ電流値を効果的に低減させることが可能となり、画素T
FTに用いるのに適している。画素TFTのLDD領域223におけるn型を付与する不
純物元素の濃度は、駆動回路のLDD領域210、215の濃度よりも1/2から1/1
0にすることが望ましい。
領域226が設けられている。LDD領域223は、ゲート電極131と重ならないよう
に設けられたLoffであり、オフ電流値を効果的に低減させることが可能となり、画素T
FTに用いるのに適している。画素TFTのLDD領域223におけるn型を付与する不
純物元素の濃度は、駆動回路のLDD領域210、215の濃度よりも1/2から1/1
0にすることが望ましい。
[実施形態4]
本実施形態では、アクティブマトリクス基板から、アクティブマトリクス型液晶表示装
置を作製する工程を説明する。図11に示すように、実施形態1で作製した図5の状態の
アクティブマトリクス基板に対し、配向膜601を形成する。
通常液晶表示素子の配向膜にはポリイミド樹脂が多く用いられている。対向側の対向基板
602には、遮光膜603、透明導電膜604および配向膜605を形成した。配向膜を
形成した後、ラビング処理を施して液晶分子がある一定のプレチルト角を持って配向する
ようにした。そして、画素マトリクス回路と、CMOS回路が形成されたアクティブマト
リクス基板と対向基板とを、公知のセル組み工程によってシール材やスペーサ(共に図示
せず)などを介して貼りあわせる。
その後、両基板の間に液晶材料606を注入し、封止剤(図示せず)によって完全に封止
した。液晶材料には公知の液晶材料を用いれば良い。このようにして図11に示すアクテ
ィブマトリクス型液晶表示装置が完成した。
本実施形態では、アクティブマトリクス基板から、アクティブマトリクス型液晶表示装
置を作製する工程を説明する。図11に示すように、実施形態1で作製した図5の状態の
アクティブマトリクス基板に対し、配向膜601を形成する。
通常液晶表示素子の配向膜にはポリイミド樹脂が多く用いられている。対向側の対向基板
602には、遮光膜603、透明導電膜604および配向膜605を形成した。配向膜を
形成した後、ラビング処理を施して液晶分子がある一定のプレチルト角を持って配向する
ようにした。そして、画素マトリクス回路と、CMOS回路が形成されたアクティブマト
リクス基板と対向基板とを、公知のセル組み工程によってシール材やスペーサ(共に図示
せず)などを介して貼りあわせる。
その後、両基板の間に液晶材料606を注入し、封止剤(図示せず)によって完全に封止
した。液晶材料には公知の液晶材料を用いれば良い。このようにして図11に示すアクテ
ィブマトリクス型液晶表示装置が完成した。
次にこのアクティブマトリクス型液晶表示装置の構成を、図12の斜視図および図13
の上面図を用いて説明する。尚、図12と図13は、図1〜図5と図11の断面構造図と
対応付けるため、共通の符号を用いている。また、図13で示すE―E’に沿った断面構
造は、図5に示す画素マトリクス回路の断面図に対応している。
の上面図を用いて説明する。尚、図12と図13は、図1〜図5と図11の断面構造図と
対応付けるため、共通の符号を用いている。また、図13で示すE―E’に沿った断面構
造は、図5に示す画素マトリクス回路の断面図に対応している。
図12においてアクティブマトリクス基板は、ガラス基板101上に形成された、表示
領域306と、走査信号駆動回路304と、画像信号駆動回路305で構成される。表示
領域には画素TFT204が設けられ、周辺に設けられる駆動回路はCMOS回路を基本
として構成されている。走査信号駆動回路304と、画像信号駆動回路305はそれぞれ
ゲート配線148とソース配線154で画素TFT204に接続している。また、FPC
731が外部入出力端子734に接続され、入力配線302、303でそれぞれの駆動回
路に接続している。
領域306と、走査信号駆動回路304と、画像信号駆動回路305で構成される。表示
領域には画素TFT204が設けられ、周辺に設けられる駆動回路はCMOS回路を基本
として構成されている。走査信号駆動回路304と、画像信号駆動回路305はそれぞれ
ゲート配線148とソース配線154で画素TFT204に接続している。また、FPC
731が外部入出力端子734に接続され、入力配線302、303でそれぞれの駆動回
路に接続している。
図13は表示領域306のほぼ一画素分を示す上面図である。ゲート配線148は、図
示されていないゲート絶縁膜を介してその下の半導体層107と交差している。図示はし
ていないが、半導体層には、ソース領域、ドレイン領域、n--領域でなるLoff領域が形
成されている。また、163はソース配線154とソース領域224とのコンタクト部、
164はドレイン配線158とドレイン領域226とのコンタクト部、165はドレイン
配線158と画素電極161のコンタクト部である。保持容量205は、画素TFT20
4のドレイン領域226から延在する半導体層227とゲート絶縁膜を介して容量配線1
32、149が重なる領域で形成されている。
示されていないゲート絶縁膜を介してその下の半導体層107と交差している。図示はし
ていないが、半導体層には、ソース領域、ドレイン領域、n--領域でなるLoff領域が形
成されている。また、163はソース配線154とソース領域224とのコンタクト部、
164はドレイン配線158とドレイン領域226とのコンタクト部、165はドレイン
配線158と画素電極161のコンタクト部である。保持容量205は、画素TFT20
4のドレイン領域226から延在する半導体層227とゲート絶縁膜を介して容量配線1
32、149が重なる領域で形成されている。
なお、本実施例のアクティブマトリクス型液晶表示装置は、実施形態1で説明した構造
と照らし合わせて説明したが、実施形態2の構成とも自由に組み合わせてアクティブマト
リクス型液晶表示装置を作製することができる。
と照らし合わせて説明したが、実施形態2の構成とも自由に組み合わせてアクティブマト
リクス型液晶表示装置を作製することができる。
[実施形態5]
図10は液晶表示装置の入出力端子、表示領域、駆動回路の配置の一例を示す図である
。表示領域306にはm本のゲート配線とn本のソース配線がマトリクス状に交差してい
る。例えば、画素密度がVGAの場合、480本のゲート配線と640本のソース配線が
形成され、XGAの場合には768本のゲート配線と1024本のソース配線が形成され
る。表示領域の画面サイズは、13インチクラスの場合対角線の長さは340mmとなり
、18インチクラスの場合には460mmとなる。このような液晶表示装置を実現するに
は、ゲート配線を実施形態1および実施形態2で示したような低抵抗材料で形成する必要
がある。
図10は液晶表示装置の入出力端子、表示領域、駆動回路の配置の一例を示す図である
。表示領域306にはm本のゲート配線とn本のソース配線がマトリクス状に交差してい
る。例えば、画素密度がVGAの場合、480本のゲート配線と640本のソース配線が
形成され、XGAの場合には768本のゲート配線と1024本のソース配線が形成され
る。表示領域の画面サイズは、13インチクラスの場合対角線の長さは340mmとなり
、18インチクラスの場合には460mmとなる。このような液晶表示装置を実現するに
は、ゲート配線を実施形態1および実施形態2で示したような低抵抗材料で形成する必要
がある。
表示領域306の周辺には走査信号駆動回路304と画像信号駆動回路305が設けら
れている。これらの駆動回路のゲート配線の長さも表示領域の画面サイズの大型化と共に
必然的に長くなるので、大画面を実現するためには実施形態1および実施形態2で示した
ような低抵抗材料で形成することが好ましい。
れている。これらの駆動回路のゲート配線の長さも表示領域の画面サイズの大型化と共に
必然的に長くなるので、大画面を実現するためには実施形態1および実施形態2で示した
ような低抵抗材料で形成することが好ましい。
また、本発明は入力端子301から各駆動回路までを接続する入力配線302、303
をゲート配線と同じ材料で形成することができ、配線抵抗の低抵抗化に寄与することがで
きる。
をゲート配線と同じ材料で形成することができ、配線抵抗の低抵抗化に寄与することがで
きる。
[実施形態6]
図14は実施形態1または実施形態2で示したアクティブマトリクス基板の回路構成の
一例であり、直視型の表示装置の回路構成を示す図である。本実施例のアクティブマトリ
クス基板は、画像信号駆動回路1001、走査信号駆動回路(A)1007、走査信号駆
動回路(B)1011、プリチャージ回路1012、表示領域1006を有している。尚
、本明細書中において記した駆動回路とは、画像信号駆動回路1001、走査信号駆動回
路(A)1007を含めた総称である。
図14は実施形態1または実施形態2で示したアクティブマトリクス基板の回路構成の
一例であり、直視型の表示装置の回路構成を示す図である。本実施例のアクティブマトリ
クス基板は、画像信号駆動回路1001、走査信号駆動回路(A)1007、走査信号駆
動回路(B)1011、プリチャージ回路1012、表示領域1006を有している。尚
、本明細書中において記した駆動回路とは、画像信号駆動回路1001、走査信号駆動回
路(A)1007を含めた総称である。
画像信号駆動回路1001は、シフトレジスタ回路1002、レベルシフタ回路100
3、バッファ回路1004、サンプリング回路1005を備えている。
また、走査信号駆動回路(A)1007は、シフトレジスタ回路1008、レベルシフタ
回路1009、バッファ回路1010を備えている。走査信号駆動回路(B)1011も
同様な構成である。
3、バッファ回路1004、サンプリング回路1005を備えている。
また、走査信号駆動回路(A)1007は、シフトレジスタ回路1008、レベルシフタ
回路1009、バッファ回路1010を備えている。走査信号駆動回路(B)1011も
同様な構成である。
シフトレジスタ回路1002、1008は駆動電圧が5〜16V(代表的には10V)
であり、この回路を形成するCMOS回路のnチャネル型TFTは図5の202で示され
る構造が適している。また、レベルシフタ回路1003、1009やバッファ回路100
4、1010は駆動電圧が14〜16Vと高くなるが、シフトレジスタ回路と同様に、図
5のnチャネル型TFT202を含むCMOS回路が適している。これらの回路において
、ゲートをマルチゲート構造で形成すると耐圧が高まり、回路の信頼性を向上させる上で
有効である。
であり、この回路を形成するCMOS回路のnチャネル型TFTは図5の202で示され
る構造が適している。また、レベルシフタ回路1003、1009やバッファ回路100
4、1010は駆動電圧が14〜16Vと高くなるが、シフトレジスタ回路と同様に、図
5のnチャネル型TFT202を含むCMOS回路が適している。これらの回路において
、ゲートをマルチゲート構造で形成すると耐圧が高まり、回路の信頼性を向上させる上で
有効である。
サンプリング回路1005は駆動電圧が14〜16Vであるが、極性が交互に反転して
駆動される上、オフ電流値を低減させる必要があるため、図5のnチャネル型TFT20
3を含むCMOS回路が適している。図5では、nチャネル型TFTしか表示はされてい
ないが、実際のサンプリング回路においてはpチャネル型TFTも組み合わせて形成され
る。この時、pチャネル型TFTは同図の201で示される構造で十分である。
駆動される上、オフ電流値を低減させる必要があるため、図5のnチャネル型TFT20
3を含むCMOS回路が適している。図5では、nチャネル型TFTしか表示はされてい
ないが、実際のサンプリング回路においてはpチャネル型TFTも組み合わせて形成され
る。この時、pチャネル型TFTは同図の201で示される構造で十分である。
また、画素TFT204は駆動電圧が14〜16Vであり、低消費電力化の観点からサ
ンプリング回路よりもさらにオフ電流値を低減することが要求され、画素TFT204の
ようにゲート電極に対して重ならないように設けられたLDD(Loff)領域を有した構
造とするのが望ましい。
ンプリング回路よりもさらにオフ電流値を低減することが要求され、画素TFT204の
ようにゲート電極に対して重ならないように設けられたLDD(Loff)領域を有した構
造とするのが望ましい。
尚、本実施形態の構成は、実施形態1に示した工程に従ってTFTを作製することによ
って容易に実現することができる。本実施形態では、表示領域と駆動回路の構成のみを示
しているが、実施形態1の工程に従えば、その他にも信号分割回路、分周波回路、D/A
コンバータ、γ補正回路、オペアンプ回路、さらにメモリ回路や演算処理回路などの信号
処理回路、あるいは論理回路を同一基板上に形成することが可能である。このように、本
発明は同一基板上に表示領域とその駆動回路とを含む半導体装置、例えば信号駆動回路お
よび表示領域を具備した半導体装置を実現することができる。
って容易に実現することができる。本実施形態では、表示領域と駆動回路の構成のみを示
しているが、実施形態1の工程に従えば、その他にも信号分割回路、分周波回路、D/A
コンバータ、γ補正回路、オペアンプ回路、さらにメモリ回路や演算処理回路などの信号
処理回路、あるいは論理回路を同一基板上に形成することが可能である。このように、本
発明は同一基板上に表示領域とその駆動回路とを含む半導体装置、例えば信号駆動回路お
よび表示領域を具備した半導体装置を実現することができる。
[実施形態7]
本発明を実施して作製されたアクティブマトリクス基板および液晶表示装置は様々な電
気光学装置に用いることができる。そして、そのような電気光学装置を表示媒体として組
み込んだ電子機器全てに本発明を適用することがでできる。電子機器としては、パーソナ
ルコンピュータ、デジタルカメラ、ビデオカメラ、携帯情報端末(モバイルコンピュータ
、携帯電話、電子書籍など)、ナビゲーションシステムなどが上げられる。それらの一例
を図17に示す。
本発明を実施して作製されたアクティブマトリクス基板および液晶表示装置は様々な電
気光学装置に用いることができる。そして、そのような電気光学装置を表示媒体として組
み込んだ電子機器全てに本発明を適用することがでできる。電子機器としては、パーソナ
ルコンピュータ、デジタルカメラ、ビデオカメラ、携帯情報端末(モバイルコンピュータ
、携帯電話、電子書籍など)、ナビゲーションシステムなどが上げられる。それらの一例
を図17に示す。
図17(A)はパーソナルコンピュータであり、マイクロプロセッサやメモリーなどを
備えた本体2001、画像入力部2002、表示装置2003、キーボード2004で構
成される。本発明は表示装置2003やその他の信号処理回路を形成することができる。
備えた本体2001、画像入力部2002、表示装置2003、キーボード2004で構
成される。本発明は表示装置2003やその他の信号処理回路を形成することができる。
図17(B)はビデオカメラであり、本体2101、表示装置2102、音声入力部2
103、操作スイッチ2104、バッテリー2105、受像部2106で構成される。本
発明は表示装置2102やその他の信号制御回路に適用することができる。
103、操作スイッチ2104、バッテリー2105、受像部2106で構成される。本
発明は表示装置2102やその他の信号制御回路に適用することができる。
図17(C)は携帯情報端末であり、本体2201、画像入力部2202、受像部22
03、操作スイッチ2204、表示装置2205で構成される。本発明は表示装置220
5やその他の信号制御回路に適用することができる。
03、操作スイッチ2204、表示装置2205で構成される。本発明は表示装置220
5やその他の信号制御回路に適用することができる。
図17(D)はプログラムを記録した記録媒体(以下、記録媒体と呼ぶ)を用いるプレ
ーヤーであり、本体2401、表示装置2402、スピーカー部2403、記録媒体24
04、操作スイッチ2405で構成される。尚、記録媒体にはDVD(Digital Versati
le Disc)やコンパクトディスク(CD)などを用い、音楽プログラムの再生や映像表示
、ビデオゲーム(またはテレビゲーム)やインターネットを介した情報表示などを行うこ
とができる。本発明は表示装置2402やその他の信号制御回路に好適に利用することが
できる。
ーヤーであり、本体2401、表示装置2402、スピーカー部2403、記録媒体24
04、操作スイッチ2405で構成される。尚、記録媒体にはDVD(Digital Versati
le Disc)やコンパクトディスク(CD)などを用い、音楽プログラムの再生や映像表示
、ビデオゲーム(またはテレビゲーム)やインターネットを介した情報表示などを行うこ
とができる。本発明は表示装置2402やその他の信号制御回路に好適に利用することが
できる。
図17(E)はデジタルカメラであり、本体2501、表示装置2502、接眼部25
03、操作スイッチ2504、受像部(図示しない)で構成される。本発明は表示装置2
502やその他の信号制御回路に適用することができる。
03、操作スイッチ2504、受像部(図示しない)で構成される。本発明は表示装置2
502やその他の信号制御回路に適用することができる。
このように、本願発明の適用範囲はきわめて広く、あらゆる分野の電子機器に適用する
ことが可能である。また、本実施例の電子機器は実施例1〜6のどのような組み合わせか
ら成る構成を用いても実現することができる。
ことが可能である。また、本実施例の電子機器は実施例1〜6のどのような組み合わせか
ら成る構成を用いても実現することができる。
[実施形態8]
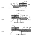
本実施形態では、実施形態1と同様なアクティブマトリクス基板で、エレクトロルミネ
ッセンス(EL:Electro Luminescence)材料を用いた自発光型の表示パネル(以下、E
L表示装置と記す)を作製する例について説明する。図18(A)はそのEL表示パネル
の上面図を示す。図18(A)において、10は基板、11は画素部、12はソース側駆
動回路、13はゲート側駆動回路であり、それぞれの駆動回路は配線14〜16を経てF
PC17に至り、外部機器へと接続される。
本実施形態では、実施形態1と同様なアクティブマトリクス基板で、エレクトロルミネ
ッセンス(EL:Electro Luminescence)材料を用いた自発光型の表示パネル(以下、E
L表示装置と記す)を作製する例について説明する。図18(A)はそのEL表示パネル
の上面図を示す。図18(A)において、10は基板、11は画素部、12はソース側駆
動回路、13はゲート側駆動回路であり、それぞれの駆動回路は配線14〜16を経てF
PC17に至り、外部機器へと接続される。
図18(A)のA−A'線に対応する断面図を図18(B)に示す。このとき少なくと
も画素部の上方、好ましくは駆動回路及び画素部の上方に対向板80を設ける。対向板8
0はシール材19でTFTとEL材料を用いた自発光層が形成されているアクティブマト
リクス基板と貼り合わされている。シール剤19にはフィラー(図示せず)が混入されて
いて、このフィラーによりほぼ均一な間隔を持って2枚の基板が貼り合わせられている。
さらに、シール材19の外側とFPC17の上面及び周辺は封止剤81で密封する構造と
する。封止剤81はシリコーン樹脂、エポキシ樹脂、フェノール樹脂、ブチルゴムなどの
材料を用いる。
も画素部の上方、好ましくは駆動回路及び画素部の上方に対向板80を設ける。対向板8
0はシール材19でTFTとEL材料を用いた自発光層が形成されているアクティブマト
リクス基板と貼り合わされている。シール剤19にはフィラー(図示せず)が混入されて
いて、このフィラーによりほぼ均一な間隔を持って2枚の基板が貼り合わせられている。
さらに、シール材19の外側とFPC17の上面及び周辺は封止剤81で密封する構造と
する。封止剤81はシリコーン樹脂、エポキシ樹脂、フェノール樹脂、ブチルゴムなどの
材料を用いる。
このように、シール剤19によりアクティブマトリクス基板10と対向基板80とが貼
り合わされると、その間には空間が形成される。その空間には充填剤83が充填される。
この充填剤83は対向板80を接着する効果も合わせ持つ。充填剤83はPVC(ポリビ
ニルクロライド)、エポキシ樹脂、シリコーン樹脂、PVB(ポリビニルブチラル)また
はEVA(エチレンビニルアセテート)などを用いることができる。また、自発光層は水
分をはじめ湿気に弱く劣化しやすいので、この充填剤83の内部に酸化バリウムなどの乾
燥剤を混入させておくと吸湿効果を保持できるので望ましい。また、自発光層上に窒化シ
リコン膜や酸化窒化シリコン膜などで形成するパッシベーション膜82を形成し、充填剤
83に含まれるアルカリ元素などによる腐蝕を防ぐ構造としている。
り合わされると、その間には空間が形成される。その空間には充填剤83が充填される。
この充填剤83は対向板80を接着する効果も合わせ持つ。充填剤83はPVC(ポリビ
ニルクロライド)、エポキシ樹脂、シリコーン樹脂、PVB(ポリビニルブチラル)また
はEVA(エチレンビニルアセテート)などを用いることができる。また、自発光層は水
分をはじめ湿気に弱く劣化しやすいので、この充填剤83の内部に酸化バリウムなどの乾
燥剤を混入させておくと吸湿効果を保持できるので望ましい。また、自発光層上に窒化シ
リコン膜や酸化窒化シリコン膜などで形成するパッシベーション膜82を形成し、充填剤
83に含まれるアルカリ元素などによる腐蝕を防ぐ構造としている。
対向板80にはガラス板、アルミニウム板、ステンレス板、FRP(Fiberglass-Reinf
orced Plastics)板、PVF(ポリビニルフルオライド)フィルム、マイラーフィルム(
デュポン社の商品名)、ポリエステルフィルム、アクリルフィルムまたはアクリル板など
を用いることができる。また、数十μmのアルミニウム箔をPVFフィルムやマイラーフ
ィルムで挟んだ構造のシートを用い、耐湿性を高めることもできる。このようにして、E
L素子は密閉された状態となり外気から遮断されている。
orced Plastics)板、PVF(ポリビニルフルオライド)フィルム、マイラーフィルム(
デュポン社の商品名)、ポリエステルフィルム、アクリルフィルムまたはアクリル板など
を用いることができる。また、数十μmのアルミニウム箔をPVFフィルムやマイラーフ
ィルムで挟んだ構造のシートを用い、耐湿性を高めることもできる。このようにして、E
L素子は密閉された状態となり外気から遮断されている。
また、図18(B)において基板10、下地膜21の上に駆動回路用TFT(但し、こ
こではnチャネル型TFTとpチャネル型TFTを組み合わせたCMOS回路を図示して
いる。)22及び画素部用TFT23(但し、ここではEL素子への電流を制御するTF
Tだけ図示している。)が形成されている。これらのTFTの内、特にnチャネル型TF
Tにははホットキャリア効果によるオン電流の低下や、Vthシフトやバイアスストレスに
よる特性低下を防ぐため、本実施形態で示す構成のLDD領域が設けられている。
こではnチャネル型TFTとpチャネル型TFTを組み合わせたCMOS回路を図示して
いる。)22及び画素部用TFT23(但し、ここではEL素子への電流を制御するTF
Tだけ図示している。)が形成されている。これらのTFTの内、特にnチャネル型TF
Tにははホットキャリア効果によるオン電流の低下や、Vthシフトやバイアスストレスに
よる特性低下を防ぐため、本実施形態で示す構成のLDD領域が設けられている。
例えば、駆動回路用TFT22として、図5に示すpチャネル型TFT201とnチャ
ネル型TFT202を用いれば良い。また、画素部のTFTには、駆動電圧にもよるが、
10V以上であれば図5に示す第1のnチャネル型TFT204またはそれと同様な構造
を有するpチャネル型TFTを用いれば良い。第1のnチャネル型TFT202はドレイ
ン側にゲート電極とオーバーラップするLDDが設けられた構造であるが、駆動電圧が1
0V以下であれば、ホットキャリア効果によるTFTの劣化は殆ど無視できるので、あえ
て設ける必要はない。
ネル型TFT202を用いれば良い。また、画素部のTFTには、駆動電圧にもよるが、
10V以上であれば図5に示す第1のnチャネル型TFT204またはそれと同様な構造
を有するpチャネル型TFTを用いれば良い。第1のnチャネル型TFT202はドレイ
ン側にゲート電極とオーバーラップするLDDが設けられた構造であるが、駆動電圧が1
0V以下であれば、ホットキャリア効果によるTFTの劣化は殆ど無視できるので、あえ
て設ける必要はない。
図1の状態のアクティブマトリクス基板からEL表示装置を作製するには、ソース配線
、ドレイン配線上に樹脂材料でなる層間絶縁膜(平坦化膜)26を形成し、その上に画素
部用TFT23のドレインと電気的に接続する透明導電膜でなる画素電極27を形成する
。透明導電膜には酸化インジウムと酸化スズとの化合物(ITOと呼ばれる)または酸化
インジウムと酸化亜鉛との化合物を用いることができる。そして、画素電極27を形成し
たら、絶縁膜28を形成し、画素電極27上に開口部を形成する。
、ドレイン配線上に樹脂材料でなる層間絶縁膜(平坦化膜)26を形成し、その上に画素
部用TFT23のドレインと電気的に接続する透明導電膜でなる画素電極27を形成する
。透明導電膜には酸化インジウムと酸化スズとの化合物(ITOと呼ばれる)または酸化
インジウムと酸化亜鉛との化合物を用いることができる。そして、画素電極27を形成し
たら、絶縁膜28を形成し、画素電極27上に開口部を形成する。
次に、自発光層29を形成する。自発光層29は公知のEL材料(正孔注入層、正孔輸
送層、発光層、電子輸送層または電子注入層)を自由に組み合わせて積層構造または単層
構造とすれば良い。どのような構造とするかは公知の技術を用いれば良い。また、EL材
料には低分子系材料と高分子系(ポリマー系)材料がある。低分子系材料を用いる場合は
蒸着法を用いるが、高分子系材料を用いる場合には、スピンコート法、印刷法またはイン
クジェット法等の簡易な方法を用いることが可能である。
送層、発光層、電子輸送層または電子注入層)を自由に組み合わせて積層構造または単層
構造とすれば良い。どのような構造とするかは公知の技術を用いれば良い。また、EL材
料には低分子系材料と高分子系(ポリマー系)材料がある。低分子系材料を用いる場合は
蒸着法を用いるが、高分子系材料を用いる場合には、スピンコート法、印刷法またはイン
クジェット法等の簡易な方法を用いることが可能である。
自発光層はシャドーマスクを用いて蒸着法、またはインクジェット法、ディスペンサー
法などで形成する。いずれにしても、画素毎に波長の異なる発光が可能な発光層(赤色発
光層、緑色発光層及び青色発光層)を形成することで、カラー表示が可能となる。その他
にも、色変換層(CCM)とカラーフィルターを組み合わせた方式、白色発光層とカラー
フィルターを組み合わせた方式があるがいずれの方法を用いても良い。勿論、単色発光の
EL表示装置とすることもできる。
法などで形成する。いずれにしても、画素毎に波長の異なる発光が可能な発光層(赤色発
光層、緑色発光層及び青色発光層)を形成することで、カラー表示が可能となる。その他
にも、色変換層(CCM)とカラーフィルターを組み合わせた方式、白色発光層とカラー
フィルターを組み合わせた方式があるがいずれの方法を用いても良い。勿論、単色発光の
EL表示装置とすることもできる。
自発光層29を形成したら、その上に陰極30を形成する。陰極30と自発光層29の
界面に存在する水分や酸素は極力排除しておくことが望ましい。従って、真空中で自発光
層29と陰極30を連続して形成するか、自発光層29を不活性雰囲気で形成し、大気解
放しないで真空中で陰極30を形成するといった工夫が必要である。本実施例ではマルチ
チャンバー方式(クラスターツール方式)の成膜装置を用いることで上述のような成膜を
可能とする。
界面に存在する水分や酸素は極力排除しておくことが望ましい。従って、真空中で自発光
層29と陰極30を連続して形成するか、自発光層29を不活性雰囲気で形成し、大気解
放しないで真空中で陰極30を形成するといった工夫が必要である。本実施例ではマルチ
チャンバー方式(クラスターツール方式)の成膜装置を用いることで上述のような成膜を
可能とする。
なお、本実施例では陰極30として、LiF(フッ化リチウム)膜とAl(アルミニウ
ム)膜の積層構造を用いる。具体的には自発光層29上に蒸着法で1nm厚のLiF(フッ
化リチウム)膜を形成し、その上に300nm厚のアルミニウム膜を形成する。勿論、公知
の陰極材料であるMgAg電極を用いても良い。そして陰極30は31で示される領域に
おいて配線16に接続される。配線16は陰極30に所定の電圧を与えるための電源供給
線であり、異方性導電性ペースト材料32を介してFPC17に接続される。FPC17
上にはさらに樹脂層80が形成され、この部分の接着強度を高めている。
ム)膜の積層構造を用いる。具体的には自発光層29上に蒸着法で1nm厚のLiF(フッ
化リチウム)膜を形成し、その上に300nm厚のアルミニウム膜を形成する。勿論、公知
の陰極材料であるMgAg電極を用いても良い。そして陰極30は31で示される領域に
おいて配線16に接続される。配線16は陰極30に所定の電圧を与えるための電源供給
線であり、異方性導電性ペースト材料32を介してFPC17に接続される。FPC17
上にはさらに樹脂層80が形成され、この部分の接着強度を高めている。
31に示された領域において陰極30と配線16とを電気的に接続するために、層間絶
縁膜26及び絶縁膜28にコンタクトホールを形成する必要がある。これらは層間絶縁膜
26のエッチング時(画素電極用コンタクトホールの形成時)
や絶縁膜28のエッチング時(自発光層形成前の開口部の形成時)に形成しておけば良い
。また、絶縁膜28をエッチングする際に、層間絶縁膜26まで一括でエッチングしても
良い。この場合、層間絶縁膜26と絶縁膜28が同じ樹脂材料であれば、コンタクトホー
ルの形状を良好なものとすることができる。
縁膜26及び絶縁膜28にコンタクトホールを形成する必要がある。これらは層間絶縁膜
26のエッチング時(画素電極用コンタクトホールの形成時)
や絶縁膜28のエッチング時(自発光層形成前の開口部の形成時)に形成しておけば良い
。また、絶縁膜28をエッチングする際に、層間絶縁膜26まで一括でエッチングしても
良い。この場合、層間絶縁膜26と絶縁膜28が同じ樹脂材料であれば、コンタクトホー
ルの形状を良好なものとすることができる。
また、配線16はシール材19と基板10との間を隙間(但し封止剤81で塞がれてい
る。)を通ってFPC17に電気的に接続される。なお、ここでは配線16について説明
したが、他の配線14、15も同様にしてシーリング材18の下を通ってFPC17に電
気的に接続される。
る。)を通ってFPC17に電気的に接続される。なお、ここでは配線16について説明
したが、他の配線14、15も同様にしてシーリング材18の下を通ってFPC17に電
気的に接続される。
ここで画素部のさらに詳細な断面構造を図19に、上面構造を図20(A)に、回路図
を図20(B)に示す。図19(A)において、基板2401上に設けられたスイッチン
グ用TFT2402は実施形態1の図5の画素TFT204と同じ構造で形成する。ダブ
ルゲート構造とすることで実質的に二つのTFTが直列された構造となり、ゲート電極と
重ならないオフセット領域が設けられたLDDを形成することでオフ電流値を低減するこ
とができるという利点がある。尚、本実施例ではダブルゲート構造としているがトリプル
ゲート構造やそれ以上のゲート本数を持つマルチゲート構造でも良い。
を図20(B)に示す。図19(A)において、基板2401上に設けられたスイッチン
グ用TFT2402は実施形態1の図5の画素TFT204と同じ構造で形成する。ダブ
ルゲート構造とすることで実質的に二つのTFTが直列された構造となり、ゲート電極と
重ならないオフセット領域が設けられたLDDを形成することでオフ電流値を低減するこ
とができるという利点がある。尚、本実施例ではダブルゲート構造としているがトリプル
ゲート構造やそれ以上のゲート本数を持つマルチゲート構造でも良い。
また、電流制御用TFT2403は図5で示す第1のnチャネル型TFT202を用い
て形成する。このTFT構造は、ドレイン側にのみゲート電極とオーバーラップするLD
Dが設けられた構造であり、ゲートとドレイン間の寄生容量や直列抵抗を低減させて電流
駆動能力を高める構造となっている。別な観点からも、構造であることは非常に重要な意
味を持つ。電流制御用TFTはEL素子を流れる電流量を制御するための素子であるため
、多くの電流が流れ、熱による劣化やホットキャリアによる劣化の危険性が高い素子でも
ある。そのため、電流制御用TFTにゲート電極と一部が重なるLDD領域を設けること
でTFTの劣化を防ぎ、動作の安定性を高めることができる。このとき、スイッチング用
TFT2402のドレイン線35は配線36によって電流制御用TFTのゲート電極37
に電気的に接続されている。また、38で示される配線は、スイッチング用TFT240
2のゲート電極39a、39bを電気的に接続するゲート線である。
て形成する。このTFT構造は、ドレイン側にのみゲート電極とオーバーラップするLD
Dが設けられた構造であり、ゲートとドレイン間の寄生容量や直列抵抗を低減させて電流
駆動能力を高める構造となっている。別な観点からも、構造であることは非常に重要な意
味を持つ。電流制御用TFTはEL素子を流れる電流量を制御するための素子であるため
、多くの電流が流れ、熱による劣化やホットキャリアによる劣化の危険性が高い素子でも
ある。そのため、電流制御用TFTにゲート電極と一部が重なるLDD領域を設けること
でTFTの劣化を防ぎ、動作の安定性を高めることができる。このとき、スイッチング用
TFT2402のドレイン線35は配線36によって電流制御用TFTのゲート電極37
に電気的に接続されている。また、38で示される配線は、スイッチング用TFT240
2のゲート電極39a、39bを電気的に接続するゲート線である。
また、本実施例では電流制御用TFT2403をシングルゲート構造で図示しているが
、複数のTFTを直列につなげたマルチゲート構造としても良い。さらに、複数のTFT
を並列につなげて実質的にチャネル形成領域を複数に分割し、熱の放射を高い効率で行え
るようにした構造としても良い。このような構造は熱による劣化対策として有効である。
、複数のTFTを直列につなげたマルチゲート構造としても良い。さらに、複数のTFT
を並列につなげて実質的にチャネル形成領域を複数に分割し、熱の放射を高い効率で行え
るようにした構造としても良い。このような構造は熱による劣化対策として有効である。
また、図20(A)に示すように、電流制御用TFT2403のゲート電極37となる
配線は2404で示される領域で、電流制御用TFT2403のドレイン線40と絶縁膜
を介して重なる。このとき、2404で示される領域ではコンデンサが形成される。この
コンデンサ2404は電流制御用TFT2403のゲートにかかる電圧を保持するための
コンデンサとして機能する。なお、ドレイン線40は電流供給線(電源線)2501に接
続され、常に一定の電圧が加えられている。
配線は2404で示される領域で、電流制御用TFT2403のドレイン線40と絶縁膜
を介して重なる。このとき、2404で示される領域ではコンデンサが形成される。この
コンデンサ2404は電流制御用TFT2403のゲートにかかる電圧を保持するための
コンデンサとして機能する。なお、ドレイン線40は電流供給線(電源線)2501に接
続され、常に一定の電圧が加えられている。
スイッチング用TFT2402及び電流制御用TFT2403の上には第1パッシベー
ション膜41が設けられ、その上に樹脂絶縁膜でなる平坦化膜42が形成される。平坦化
膜42を用いてTFTによる段差を平坦化することは非常に重要である。後に形成される
自発光層は非常に薄いため、段差が存在することによって発光不良を起こす場合がある。
従って、自発光層をできるだけ平坦面に形成しうるように画素電極を形成する前に平坦化
しておくことが望ましい。
ション膜41が設けられ、その上に樹脂絶縁膜でなる平坦化膜42が形成される。平坦化
膜42を用いてTFTによる段差を平坦化することは非常に重要である。後に形成される
自発光層は非常に薄いため、段差が存在することによって発光不良を起こす場合がある。
従って、自発光層をできるだけ平坦面に形成しうるように画素電極を形成する前に平坦化
しておくことが望ましい。
また、43は反射性の高い導電膜でなる画素電極(EL素子の陰極)であり、電流制御
用TFT2403のドレインに電気的に接続される。画素電極43としてはアルミニウム
合金膜、銅合金膜または銀合金膜など低抵抗な導電膜またはそれらの積層膜を用いること
が好ましい。勿論、他の導電膜との積層構造としても良い。また、絶縁膜(好ましくは樹
脂)で形成されたバンク44a、44bにより形成された溝(画素に相当する)の中に発光
層44が形成される。なお、ここでは一画素しか図示していないが、R(赤)、G(緑)
、B(青)の各色に対応した発光層を作り分けても良い。発光層とする有機EL材料とし
てはπ共役ポリマー系材料を用いる。代表的なポリマー系材料としては、ポリパラフェニ
レンビニレン(PPV)系、ポリビニルカルバゾール(PVK)系、ポリフルオレン系な
どが挙げられる。尚、PPV系有機EL材料としては様々な型のものがあるが、例えば「
H. Shenk,H.Becker,O.Gelsen,E.Kluge,W.Kreuder,and H.Spreitzer,“Polymers for Ligh
t Emitting Diodes”,Euro Display,Proceedings,1999,p.33-37」や特開平10−925
76号公報に記載されたような材料を用いれば良い。
用TFT2403のドレインに電気的に接続される。画素電極43としてはアルミニウム
合金膜、銅合金膜または銀合金膜など低抵抗な導電膜またはそれらの積層膜を用いること
が好ましい。勿論、他の導電膜との積層構造としても良い。また、絶縁膜(好ましくは樹
脂)で形成されたバンク44a、44bにより形成された溝(画素に相当する)の中に発光
層44が形成される。なお、ここでは一画素しか図示していないが、R(赤)、G(緑)
、B(青)の各色に対応した発光層を作り分けても良い。発光層とする有機EL材料とし
てはπ共役ポリマー系材料を用いる。代表的なポリマー系材料としては、ポリパラフェニ
レンビニレン(PPV)系、ポリビニルカルバゾール(PVK)系、ポリフルオレン系な
どが挙げられる。尚、PPV系有機EL材料としては様々な型のものがあるが、例えば「
H. Shenk,H.Becker,O.Gelsen,E.Kluge,W.Kreuder,and H.Spreitzer,“Polymers for Ligh
t Emitting Diodes”,Euro Display,Proceedings,1999,p.33-37」や特開平10−925
76号公報に記載されたような材料を用いれば良い。
具体的な発光層としては、赤色に発光する発光層にはシアノポリフェニレンビニレン、
緑色に発光する発光層にはポリフェニレンビニレン、青色に発光する発光層にはポリフェ
ニレンビニレン若しくはポリアルキルフェニレンを用いれば良い。膜厚は30〜150nm
(好ましくは40〜100nm)とすれば良い。但し、以上の例は発光層として用いること
のできる有機EL材料の一例であって、これに限定する必要はまったくない。発光層、電
荷輸送層または電荷注入層を自由に組み合わせて自発光層(発光及びそのためのキャリア
の移動を行わせるための層)を形成すれば良い。例えば、本実施例ではポリマー系材料を
発光層として用いる例を示したが、低分子系有機EL材料を用いても良い。また、電荷輸
送層や電荷注入層として炭化珪素等の無機材料を用いることも可能である。これらの有機
EL材料や無機材料は公知の材料を用いることができる。
緑色に発光する発光層にはポリフェニレンビニレン、青色に発光する発光層にはポリフェ
ニレンビニレン若しくはポリアルキルフェニレンを用いれば良い。膜厚は30〜150nm
(好ましくは40〜100nm)とすれば良い。但し、以上の例は発光層として用いること
のできる有機EL材料の一例であって、これに限定する必要はまったくない。発光層、電
荷輸送層または電荷注入層を自由に組み合わせて自発光層(発光及びそのためのキャリア
の移動を行わせるための層)を形成すれば良い。例えば、本実施例ではポリマー系材料を
発光層として用いる例を示したが、低分子系有機EL材料を用いても良い。また、電荷輸
送層や電荷注入層として炭化珪素等の無機材料を用いることも可能である。これらの有機
EL材料や無機材料は公知の材料を用いることができる。
本実施例では発光層45の上にPEDOT(ポリチオフェン)またはPAni(ポリア
ニリン)でなる正孔注入層46を設けた積層構造の自発光層としている。そして、正孔注
入層46の上には透明導電膜でなる陽極47が設けられる。本実施例の場合、発光層45
で生成された光は上面側に向かって(TFTの上方に向かって)放射されるため、陽極は
透光性でなければならない。透明導電膜としては酸化インジウムと酸化スズとの化合物や
酸化インジウムと酸化亜鉛との化合物を用いることができるが、耐熱性の低い発光層や正
孔注入層を形成した後で形成するため、可能な限り低温で成膜できるものが好ましい。
ニリン)でなる正孔注入層46を設けた積層構造の自発光層としている。そして、正孔注
入層46の上には透明導電膜でなる陽極47が設けられる。本実施例の場合、発光層45
で生成された光は上面側に向かって(TFTの上方に向かって)放射されるため、陽極は
透光性でなければならない。透明導電膜としては酸化インジウムと酸化スズとの化合物や
酸化インジウムと酸化亜鉛との化合物を用いることができるが、耐熱性の低い発光層や正
孔注入層を形成した後で形成するため、可能な限り低温で成膜できるものが好ましい。
陽極47まで形成された時点で自発光素子2405が完成する。なお、ここでいうEL
素子2405は、画素電極(陰極)43、発光層45、正孔注入層46及び陽極47で形
成されたコンデンサを指す。図20(A)に示すように画素電極43は画素の面積にほぼ
一致するため、画素全体がEL素子として機能する。
従って、発光の利用効率が非常に高く、明るい画像表示が可能となる。
素子2405は、画素電極(陰極)43、発光層45、正孔注入層46及び陽極47で形
成されたコンデンサを指す。図20(A)に示すように画素電極43は画素の面積にほぼ
一致するため、画素全体がEL素子として機能する。
従って、発光の利用効率が非常に高く、明るい画像表示が可能となる。
ところで、本実施例では、陽極47の上にさらに第2パッシベーション膜48を設けて
いる。第2パッシベーション膜48としては窒化珪素膜または窒化酸化珪素膜が好ましい
。この目的は、外部とEL素子とを遮断することであり、有機EL材料の酸化による劣化
を防ぐ意味と、有機EL材料からの脱ガスを抑える意味との両方を併せ持つ。これにより
EL表示装置の信頼性が高められる。
いる。第2パッシベーション膜48としては窒化珪素膜または窒化酸化珪素膜が好ましい
。この目的は、外部とEL素子とを遮断することであり、有機EL材料の酸化による劣化
を防ぐ意味と、有機EL材料からの脱ガスを抑える意味との両方を併せ持つ。これにより
EL表示装置の信頼性が高められる。
以上のように本願発明のEL表示パネルは図20のような構造の画素からなる画素部を
有し、オフ電流値の十分に低いスイッチング用TFTと、ホットキャリア注入に強い電流
制御用TFTとを有する。従って、高い信頼性を有し、且つ、良好な画像表示が可能なE
L表示パネルが得られる。
有し、オフ電流値の十分に低いスイッチング用TFTと、ホットキャリア注入に強い電流
制御用TFTとを有する。従って、高い信頼性を有し、且つ、良好な画像表示が可能なE
L表示パネルが得られる。
図19(B)は自発光層の構造を反転させた例を示す。電流制御用TFT2601は図
5のpチャネル型TFT201と同じ構造て形成する。作製プロセスは実施形態1を参照
すれば良い。本実施例では、画素電極(陽極)50として透明導電膜を用いる。具体的に
は酸化インジウムと酸化亜鉛との化合物でなる導電膜を用いる。勿論、酸化インジウムと
酸化スズとの化合物でなる導電膜を用いても良い。
5のpチャネル型TFT201と同じ構造て形成する。作製プロセスは実施形態1を参照
すれば良い。本実施例では、画素電極(陽極)50として透明導電膜を用いる。具体的に
は酸化インジウムと酸化亜鉛との化合物でなる導電膜を用いる。勿論、酸化インジウムと
酸化スズとの化合物でなる導電膜を用いても良い。
そして、絶縁膜でなるバンク51a、51bが形成された後、溶液塗布によりポリビニル
カルバゾールでなる発光層52が形成される。その上にはカリウムアセチルアセトネート
(acacKと表記される)でなる電子注入層53、アルミニウム合金でなる陰極54が
形成される。この場合、陰極54がパッシベーション膜としても機能する。こうしてEL
素子2602が形成される。本実施例の場合、発光層53で発生した光は、矢印で示され
るようにTFTが形成された基板の方に向かって放射される。本実施例のような構造とす
る場合、電流制御用TFT2601はpチャネル型TFTで形成することが好ましい。
カルバゾールでなる発光層52が形成される。その上にはカリウムアセチルアセトネート
(acacKと表記される)でなる電子注入層53、アルミニウム合金でなる陰極54が
形成される。この場合、陰極54がパッシベーション膜としても機能する。こうしてEL
素子2602が形成される。本実施例の場合、発光層53で発生した光は、矢印で示され
るようにTFTが形成された基板の方に向かって放射される。本実施例のような構造とす
る場合、電流制御用TFT2601はpチャネル型TFTで形成することが好ましい。
以上のような、本実施例で示すEL表示装置は、実施形態7の電子機器の表示部として
用いることができる。
用いることができる。
[実施形態9]
本実施形態では、図20(B)に示した回路図とは異なる構造の画素とした場合の例に
ついて図21に示す。なお、本実施例において、2701はスイッチング用TFT270
2のソース配線、2703はスイッチング用TFT2702のゲート配線、2704は電
流制御用TFT、2705はコンデンサ、2706、2708は電流供給線、2707は
EL素子とする。
本実施形態では、図20(B)に示した回路図とは異なる構造の画素とした場合の例に
ついて図21に示す。なお、本実施例において、2701はスイッチング用TFT270
2のソース配線、2703はスイッチング用TFT2702のゲート配線、2704は電
流制御用TFT、2705はコンデンサ、2706、2708は電流供給線、2707は
EL素子とする。
図21(A)は、二つの画素間で電流供給線2706を共通とした場合の例である。即
ち、二つの画素が電流供給線2706を中心に線対称となるように形成されている点に特
徴がある。この場合、電源供給線の本数を減らすことができるため、画素部をさらに高精
細化することができる。
ち、二つの画素が電流供給線2706を中心に線対称となるように形成されている点に特
徴がある。この場合、電源供給線の本数を減らすことができるため、画素部をさらに高精
細化することができる。
また、図21(B)は、電流供給線2708をゲート配線2703と平行に設けた場合
の例である。尚、図21(B)では電流供給線2708とゲート配線2703とが重なら
ないように設けた構造となっているが、両者が異なる層に形成される配線であれば、絶縁
膜を介して重なるように設けることもできる。この場合、電源供給線2708とゲート配
線2703とで専有面積を共有させることができるため、画素部をさらに高精細化するこ
とができる。
の例である。尚、図21(B)では電流供給線2708とゲート配線2703とが重なら
ないように設けた構造となっているが、両者が異なる層に形成される配線であれば、絶縁
膜を介して重なるように設けることもできる。この場合、電源供給線2708とゲート配
線2703とで専有面積を共有させることができるため、画素部をさらに高精細化するこ
とができる。
また、図21(C)は、図21(B)の構造と同様に電流供給線2708をゲート配線
2703と平行に設け、さらに、二つの画素を電流供給線2708を中心に線対称となる
ように形成する点に特徴がある。また、電流供給線2708をゲート配線2703のいず
れか一方と重なるように設けることも有効である。この場合、電源供給線の本数を減らす
ことができるため、画素部をさらに高精細化することができる。図21(A)、図21(
B)では電流制御用TFT2704のゲートにかかる電圧を保持するためにコンデンサ2
705を設ける構造としているが、コンデンサ2705を省略することも可能である。
2703と平行に設け、さらに、二つの画素を電流供給線2708を中心に線対称となる
ように形成する点に特徴がある。また、電流供給線2708をゲート配線2703のいず
れか一方と重なるように設けることも有効である。この場合、電源供給線の本数を減らす
ことができるため、画素部をさらに高精細化することができる。図21(A)、図21(
B)では電流制御用TFT2704のゲートにかかる電圧を保持するためにコンデンサ2
705を設ける構造としているが、コンデンサ2705を省略することも可能である。
電流制御用TFT2403として図19(A)に示すような本願発明のnチャネル型T
FTを用いているため、ゲート絶縁膜を介してゲート電極(と重なるように設けられたL
DD領域を有している。この重なり合った領域には一般的にゲート容量と呼ばれる寄生容
量が形成されるが、本実施例ではこの寄生容量をコンデンサ2404の代わりとして積極
的に用いる点に特徴がある。この寄生容量のキャパシタンスは上記ゲート電極とLDD領
域とが重なり合った面積で変化するため、その重なり合った領域に含まれるLDD領域の
長さによって決まる。また、図21(A)、(B)、(C)の構造においても同様にコン
デンサ2705を省略することは可能である。
FTを用いているため、ゲート絶縁膜を介してゲート電極(と重なるように設けられたL
DD領域を有している。この重なり合った領域には一般的にゲート容量と呼ばれる寄生容
量が形成されるが、本実施例ではこの寄生容量をコンデンサ2404の代わりとして積極
的に用いる点に特徴がある。この寄生容量のキャパシタンスは上記ゲート電極とLDD領
域とが重なり合った面積で変化するため、その重なり合った領域に含まれるLDD領域の
長さによって決まる。また、図21(A)、(B)、(C)の構造においても同様にコン
デンサ2705を省略することは可能である。
尚、本実施形態で示すEL表示装置の回路構成は、実施形態1で示すTFTの構成から
選択して図21に示す回路を形成すれば良い。また、実施形態7の電子機器の表示部とし
て本実施例のEL表示パネルを用いることが可能である。
選択して図21に示す回路を形成すれば良い。また、実施形態7の電子機器の表示部とし
て本実施例のEL表示パネルを用いることが可能である。
実施形態1で示すように、TFTのゲート電極とゲート配線は、島状半導体層の外側で
コンタクトホールを介することなく重なり合って接触している。このような構造において
、ゲート電極とゲート配線の抵抗を評価した結果を表1と表2に示す。表1はゲート電極
およびゲート配線を形成する材料のシート抵抗値を示している。
コンタクトホールを介することなく重なり合って接触している。このような構造において
、ゲート電極とゲート配線の抵抗を評価した結果を表1と表2に示す。表1はゲート電極
およびゲート配線を形成する材料のシート抵抗値を示している。
表2は、ゲート電極とゲート配線のコンタクト抵抗を評価するためにコンタクトチェー
ン(コンタクト数100〜200)を形成し、その測定値からコンタクト部一つ当たりの
接触抵抗を求めた結果を示す。一つ当たりのコンタクト部の面積は、4μm×10μmまた
は6μm×10μmとした。
ン(コンタクト数100〜200)を形成し、その測定値からコンタクト部一つ当たりの
接触抵抗を求めた結果を示す。一つ当たりのコンタクト部の面積は、4μm×10μmまた
は6μm×10μmとした。
ゲート電極はTaN膜とTa膜を積層した膜とW膜の2種類を作製した。ゲート配線は
Alで形成した。但し、このAlにはNdが1重量%添加されている(以下、Al−Nd
膜と表記する)。表2で示す値より、ゲート電極とゲート配線の重なり部の面積を40μ
m2と仮定すると、TaN膜とTa膜を積層した膜では約200Ω、W膜では約0.1Ωと
なった。
Alで形成した。但し、このAlにはNdが1重量%添加されている(以下、Al−Nd
膜と表記する)。表2で示す値より、ゲート電極とゲート配線の重なり部の面積を40μ
m2と仮定すると、TaN膜とTa膜を積層した膜では約200Ω、W膜では約0.1Ωと
なった。
図22はTaN膜とTa膜を積層して形成したゲート電極と、Al−Nd膜の重ね合わ
せ部を、透過型電子顕微鏡(TEM:Transmission Electron Microscope)で観察した結
果を示す。図23はTa膜とAl−Nd膜の界面を拡大して観察したものであり、図に示
す*1〜*4の点においてエネルギー分散型X線分光分析(EDX:Energy Dispersion X
-ray Spectroscopy)で組成を調べた。その結果、*1ではAlが、*4ではTaである
ことが確認されたものの、*2ではAlと酸素が、*3ではTaと酸素がそれぞれ検出さ
れ、酸化物を含有する層が形成されていることが判明した。この原因は、ゲート電極とし
てTa膜を形成した後に、不純物元素を活性化するための熱処理工程が行われることによ
り、Ta膜の表面が酸化されるためであると考えられる。さらに、Al−Nd膜を形成す
ると、Ta膜の表面の酸素がAl−Nd膜を酸化させるためであると考えられる。このよ
うな、コンタクト抵抗の増加はTaを用いた時に特に顕著に現れる結果であった。
せ部を、透過型電子顕微鏡(TEM:Transmission Electron Microscope)で観察した結
果を示す。図23はTa膜とAl−Nd膜の界面を拡大して観察したものであり、図に示
す*1〜*4の点においてエネルギー分散型X線分光分析(EDX:Energy Dispersion X
-ray Spectroscopy)で組成を調べた。その結果、*1ではAlが、*4ではTaである
ことが確認されたものの、*2ではAlと酸素が、*3ではTaと酸素がそれぞれ検出さ
れ、酸化物を含有する層が形成されていることが判明した。この原因は、ゲート電極とし
てTa膜を形成した後に、不純物元素を活性化するための熱処理工程が行われることによ
り、Ta膜の表面が酸化されるためであると考えられる。さらに、Al−Nd膜を形成す
ると、Ta膜の表面の酸素がAl−Nd膜を酸化させるためであると考えられる。このよ
うな、コンタクト抵抗の増加はTaを用いた時に特に顕著に現れる結果であった。
しかし、シミュレーションによりコンタクト抵抗が信号波形に与える影響を調べると、
200Ω程度ではあまり影響ないことを確認することができた。図26(A)、(B)は
立ち上がり波形および立ち下がり波形の抵抗値による変化を示す。計算に用いた等価回路
を図中に挿入して示す。ここでは、コンタクト抵抗に相当するR2を1Ωから1MΩまで
変化させて計算したが、10kΩ程度まではコンタクト抵抗の影響が殆どないことを確認
することができた。
200Ω程度ではあまり影響ないことを確認することができた。図26(A)、(B)は
立ち上がり波形および立ち下がり波形の抵抗値による変化を示す。計算に用いた等価回路
を図中に挿入して示す。ここでは、コンタクト抵抗に相当するR2を1Ωから1MΩまで
変化させて計算したが、10kΩ程度まではコンタクト抵抗の影響が殆どないことを確認
することができた。
また、コンタクト部の信頼性試験として通電試験を行い、コンタクト抵抗の変化を調べ
た。コンタクト部の面積を40μm2、コンタクト数200のテストサンプルを作製し、1
80℃の雰囲気中で1mAの電流を1時間通電した。上記2種類のゲート電極材料について
調べたが、コンタクト抵抗の変化は殆ど観測されなかった。
た。コンタクト部の面積を40μm2、コンタクト数200のテストサンプルを作製し、1
80℃の雰囲気中で1mAの電流を1時間通電した。上記2種類のゲート電極材料について
調べたが、コンタクト抵抗の変化は殆ど観測されなかった。
作製されるTFTの信頼性はバイアス−熱ストレス試験(以下、BT試験と記す)で調
べた。TFTのサイズはチャネル長8μm、チャネル幅8μmである。試験条件は、nチャ
ネル型TFTに対してゲート電圧+20V、ドレイン電圧0Vとして150℃で1時間保
持した。図24(A)、(B)はそれぞれnチャネル型TFTとpチャネル型TFTの結
果を示すが、いずれにしても殆どバイアスストレスによる劣化は観測されていない。
べた。TFTのサイズはチャネル長8μm、チャネル幅8μmである。試験条件は、nチャ
ネル型TFTに対してゲート電圧+20V、ドレイン電圧0Vとして150℃で1時間保
持した。図24(A)、(B)はそれぞれnチャネル型TFTとpチャネル型TFTの結
果を示すが、いずれにしても殆どバイアスストレスによる劣化は観測されていない。
ゲート配線の材料の違いによる信号遅延の影響を評価した。図25は入力部と末端部に
おける信号波形を示し、図25(A)は立ち上がり波形、図25(B)
は立ち下がり波形を示している。入力部と末端部の間隔は83mmである。図25において
J2と表記された特性はTaN膜とTa膜を積層してゲート配線を形成し、J4と表記さ
れたサンプルはAl−Nd膜でゲート配線を形成したサンプルである。ゲート配線の幅は
10μmである。前者のサンプルでは入力部と末端部の立ち上がりおよび立ち下がり時間
に大きな差があるのに対し、後者のサンプルではその差が非常に小さくなっている。表3
に遅延時間についてまとめた結果を示す。J2サンプルの遅延時間はJ4サンプルの約十
倍であり、表1で示すシート抵抗値から見て明らかなように、配線材料の抵抗が影響して
いると判断することができる。
おける信号波形を示し、図25(A)は立ち上がり波形、図25(B)
は立ち下がり波形を示している。入力部と末端部の間隔は83mmである。図25において
J2と表記された特性はTaN膜とTa膜を積層してゲート配線を形成し、J4と表記さ
れたサンプルはAl−Nd膜でゲート配線を形成したサンプルである。ゲート配線の幅は
10μmである。前者のサンプルでは入力部と末端部の立ち上がりおよび立ち下がり時間
に大きな差があるのに対し、後者のサンプルではその差が非常に小さくなっている。表3
に遅延時間についてまとめた結果を示す。J2サンプルの遅延時間はJ4サンプルの約十
倍であり、表1で示すシート抵抗値から見て明らかなように、配線材料の抵抗が影響して
いると判断することができる。
この結果より、画面サイズが4インチクラス以上の場合には、本発明のようにゲート電
極に接続するゲート配線を低抵抗材料で形成する必要があることが示された。
極に接続するゲート配線を低抵抗材料で形成する必要があることが示された。
101 基板
102 下地膜
103b 結晶質半導体層
104〜107島状半導体層
128〜131 ゲート電極、132 容量配線
128a〜132a 導電層(A)
128b〜132b 導電層(B)
128c〜132c 導電層(C)
147、148 ゲート配線、149容量配線
147a〜149a 導電層(D)
147b〜149b 導電層(E)
150 第1の層間絶縁膜
151〜154 ソース配線
155〜158 ドレイン電極
159 パッシベーション膜
160 第2の層間絶縁膜
161、162 画素電極
102 下地膜
103b 結晶質半導体層
104〜107島状半導体層
128〜131 ゲート電極、132 容量配線
128a〜132a 導電層(A)
128b〜132b 導電層(B)
128c〜132c 導電層(C)
147、148 ゲート配線、149容量配線
147a〜149a 導電層(D)
147b〜149b 導電層(E)
150 第1の層間絶縁膜
151〜154 ソース配線
155〜158 ドレイン電極
159 パッシベーション膜
160 第2の層間絶縁膜
161、162 画素電極
Claims (1)
- 基板上に複数の画素を有し、
前記複数の画素はそれぞれ、
第1のトランジスタと、
第2のトランジスタと、
第1の配線と、
第2の配線と、
第3の配線と、
第4の配線と、
第1の電極と、
前記第1の電極上のEL層と、
前記EL層上の第2の電極と、を有し、
前記第4の配線は、前記第1の電極に電流を供給する機能を有し、
前記第1の配線は、前記第1のトランジスタのソースまたはドレインの一方と電気的に接続され、
前記第2の配線は、前記第1のトランジスタのソースまたはドレインの他方と電気的に接続され、且つ前記第2のトランジスタのゲート電極と電気的に接続され、
前記第3の配線は、前記第2のトランジスタのソースまたはドレインの一方と電気的に接続され、
前記第4の配線は、前記第2のトランジスタのソースまたはドレインの他方と電気的に接続され、
前記第1の電極は、前記第3の配線と電気的に接続され、
前記複数の画素はそれぞれ長方形状を有し、
前記第1のトランジスタのゲート電極は、ゲート信号線に電気的に接続され、
前記ゲート信号線は、前記長方形状の短辺に沿う方向に配置され、
前記第4の配線は、前記ゲート信号線に沿う方向に配置され、
前記第4の配線は、前記ゲート信号線と絶縁膜を介して重なるように配置されていることを特徴とするEL表示装置。
Priority Applications (1)
| Application Number | Priority Date | Filing Date | Title |
|---|---|---|---|
| JP2015211686A JP6022016B2 (ja) | 1999-04-12 | 2015-10-28 | El表示装置 |
Applications Claiming Priority (3)
| Application Number | Priority Date | Filing Date | Title |
|---|---|---|---|
| JP1999104646 | 1999-04-12 | ||
| JP10464699 | 1999-04-12 | ||
| JP2015211686A JP6022016B2 (ja) | 1999-04-12 | 2015-10-28 | El表示装置 |
Related Parent Applications (1)
| Application Number | Title | Priority Date | Filing Date |
|---|---|---|---|
| JP2014176904A Division JP6130339B2 (ja) | 1999-04-12 | 2014-09-01 | El表示装置 |
Publications (2)
| Publication Number | Publication Date |
|---|---|
| JP2016042190A JP2016042190A (ja) | 2016-03-31 |
| JP6022016B2 true JP6022016B2 (ja) | 2016-11-09 |
Family
ID=14386237
Family Applications (8)
| Application Number | Title | Priority Date | Filing Date |
|---|---|---|---|
| JP2010116256A Withdrawn JP2010219549A (ja) | 1999-04-12 | 2010-05-20 | 液晶表示装置 |
| JP2011085976A Expired - Lifetime JP5433618B2 (ja) | 1999-04-12 | 2011-04-08 | 半導体装置 |
| JP2012276399A Expired - Lifetime JP5674754B2 (ja) | 1999-04-12 | 2012-12-19 | 表示装置 |
| JP2013097406A Withdrawn JP2013201441A (ja) | 1999-04-12 | 2013-05-07 | 半導体装置 |
| JP2014176904A Expired - Lifetime JP6130339B2 (ja) | 1999-04-12 | 2014-09-01 | El表示装置 |
| JP2015211686A Expired - Lifetime JP6022016B2 (ja) | 1999-04-12 | 2015-10-28 | El表示装置 |
| JP2016193261A Withdrawn JP2017016154A (ja) | 1999-04-12 | 2016-09-30 | 表示装置 |
| JP2018024697A Expired - Lifetime JP6563051B2 (ja) | 1999-04-12 | 2018-02-15 | 表示装置 |
Family Applications Before (5)
| Application Number | Title | Priority Date | Filing Date |
|---|---|---|---|
| JP2010116256A Withdrawn JP2010219549A (ja) | 1999-04-12 | 2010-05-20 | 液晶表示装置 |
| JP2011085976A Expired - Lifetime JP5433618B2 (ja) | 1999-04-12 | 2011-04-08 | 半導体装置 |
| JP2012276399A Expired - Lifetime JP5674754B2 (ja) | 1999-04-12 | 2012-12-19 | 表示装置 |
| JP2013097406A Withdrawn JP2013201441A (ja) | 1999-04-12 | 2013-05-07 | 半導体装置 |
| JP2014176904A Expired - Lifetime JP6130339B2 (ja) | 1999-04-12 | 2014-09-01 | El表示装置 |
Family Applications After (2)
| Application Number | Title | Priority Date | Filing Date |
|---|---|---|---|
| JP2016193261A Withdrawn JP2017016154A (ja) | 1999-04-12 | 2016-09-30 | 表示装置 |
| JP2018024697A Expired - Lifetime JP6563051B2 (ja) | 1999-04-12 | 2018-02-15 | 表示装置 |
Country Status (6)
| Country | Link |
|---|---|
| US (5) | US7456430B1 (ja) |
| EP (4) | EP2256817A2 (ja) |
| JP (8) | JP2010219549A (ja) |
| KR (1) | KR100733892B1 (ja) |
| CN (4) | CN1655038B (ja) |
| TW (1) | TW444257B (ja) |
Families Citing this family (43)
| Publication number | Priority date | Publication date | Assignee | Title |
|---|---|---|---|---|
| EP2284605A3 (en) | 1999-02-23 | 2017-10-18 | Semiconductor Energy Laboratory Co, Ltd. | Semiconductor device and fabrication method thereof |
| US6531713B1 (en) * | 1999-03-19 | 2003-03-11 | Semiconductor Energy Laboratory Co., Ltd. | Electro-optical device and manufacturing method thereof |
| TW444257B (en) | 1999-04-12 | 2001-07-01 | Semiconductor Energy Lab | Semiconductor device and method for fabricating the same |
| EP2256808A2 (en) | 1999-04-30 | 2010-12-01 | Semiconductor Energy Laboratory Co, Ltd. | Semiconductor device and manufacturing method therof |
| JP4666723B2 (ja) | 1999-07-06 | 2011-04-06 | 株式会社半導体エネルギー研究所 | 半導体装置の作製方法 |
| SG116443A1 (en) | 2001-03-27 | 2005-11-28 | Semiconductor Energy Lab | Wiring and method of manufacturing the same, and wiring board and method of manufacturing the same. |
| KR100507278B1 (ko) * | 2001-05-31 | 2005-08-09 | 비오이 하이디스 테크놀로지 주식회사 | 박막 트랜지스터 액정표시장치 제조방법 |
| TWI338346B (en) | 2002-09-20 | 2011-03-01 | Semiconductor Energy Lab | Display device and manufacturing method thereof |
| KR100493030B1 (ko) * | 2002-11-08 | 2005-06-07 | 삼성전자주식회사 | 하드 디스크 드라이브의 액츄에이터 로킹 장치 |
| CN1729719B (zh) | 2002-12-19 | 2010-09-15 | 株式会社半导体能源研究所 | 显示装置和显示装置的制作方法 |
| EP2326143B1 (en) * | 2003-01-24 | 2013-04-24 | Semiconductor Energy Laboratory Co., Ltd. | Electronic book |
| US7221095B2 (en) | 2003-06-16 | 2007-05-22 | Semiconductor Energy Laboratory Co., Ltd. | Light emitting device and method for fabricating light emitting device |
| US7161184B2 (en) | 2003-06-16 | 2007-01-09 | Semiconductor Energy Laboratory Co., Ltd. | Display device and method for manufacturing the same |
| US7224118B2 (en) | 2003-06-17 | 2007-05-29 | Semiconductor Energy Laboratory Co., Ltd. | Display device and electronic apparatus having a wiring connected to a counter electrode via an opening portion in an insulating layer that surrounds a pixel electrode |
| SG142140A1 (en) | 2003-06-27 | 2008-05-28 | Semiconductor Energy Lab | Display device and method of manufacturing thereof |
| US20070052021A1 (en) * | 2005-08-23 | 2007-03-08 | Semiconductor Energy Laboratory Co., Ltd. | Transistor, and display device, electronic device, and semiconductor device using the same |
| KR101050767B1 (ko) | 2005-11-15 | 2011-07-20 | 가부시키가이샤 한도오따이 에네루기 켄큐쇼 | 반도체장치 제조방법 |
| US7851996B2 (en) * | 2005-11-16 | 2010-12-14 | Canon Kabushiki Kaisha | Display apparatus |
| US8395746B2 (en) * | 2006-01-31 | 2013-03-12 | Semiconductor Energy Laboratory Co., Ltd. | Display device |
| JP4321557B2 (ja) * | 2006-07-06 | 2009-08-26 | エプソンイメージングデバイス株式会社 | 電気光学装置、電気光学装置の製造方法及び電子機器 |
| JP4991634B2 (ja) * | 2008-06-09 | 2012-08-01 | キヤノン株式会社 | 有機el発光装置 |
| WO2010038819A1 (en) * | 2008-10-03 | 2010-04-08 | Semiconductor Energy Laboratory Co., Ltd. | Display device |
| JP5577646B2 (ja) * | 2009-01-09 | 2014-08-27 | セイコーエプソン株式会社 | 電気泳動表示装置、電子機器、電気泳動表示装置の製造方法 |
| US20100224878A1 (en) | 2009-03-05 | 2010-09-09 | Semiconductor Energy Laboratory Co., Ltd. | Semiconductor device |
| US8461582B2 (en) | 2009-03-05 | 2013-06-11 | Semiconductor Energy Laboratory Co., Ltd. | Semiconductor device and method for manufacturing the same |
| KR102614462B1 (ko) | 2009-11-27 | 2023-12-14 | 가부시키가이샤 한도오따이 에네루기 켄큐쇼 | 반도체 장치 및 반도체 장치의 제작방법 |
| US8415677B2 (en) * | 2010-01-20 | 2013-04-09 | International Business Machines Corporation | Field-effect transistor device having a metal gate stack with an oxygen barrier layer |
| US8304840B2 (en) * | 2010-07-29 | 2012-11-06 | Taiwan Semiconductor Manufacturing Company, Ltd. | Spacer structures of a semiconductor device |
| JP5386643B2 (ja) | 2010-09-29 | 2014-01-15 | パナソニック株式会社 | 表示装置用薄膜半導体装置、表示装置用薄膜半導体装置の製造方法、el表示パネル及びel表示装置 |
| WO2012042564A1 (ja) | 2010-09-29 | 2012-04-05 | パナソニック株式会社 | 表示装置用薄膜半導体装置、表示装置用薄膜半導体装置の製造方法、el表示パネル及びel表示装置 |
| US9508904B2 (en) * | 2011-01-31 | 2016-11-29 | Cree, Inc. | Structures and substrates for mounting optical elements and methods and devices for providing the same background |
| JP5626010B2 (ja) | 2011-02-25 | 2014-11-19 | 富士通株式会社 | 半導体装置及びその製造方法、電源装置 |
| TW201322341A (zh) * | 2011-11-21 | 2013-06-01 | Ind Tech Res Inst | 半導體元件以及其製造方法 |
| TWI491050B (zh) * | 2011-11-25 | 2015-07-01 | Sony Corp | 電晶體,顯示器及電子裝置 |
| TWI651839B (zh) * | 2013-02-27 | 2019-02-21 | 半導體能源研究所股份有限公司 | 半導體裝置、驅動電路及顯示裝置 |
| KR102086422B1 (ko) | 2013-03-28 | 2020-03-10 | 삼성디스플레이 주식회사 | 표시패널 및 이의 제조방법 |
| US11211000B2 (en) * | 2016-08-30 | 2021-12-28 | Sony Semiconductor Solutions Corporation | Display device and electronic device with differently layered wirings for pixel transistors |
| CN107134474B (zh) * | 2017-06-12 | 2020-07-24 | 武汉华星光电半导体显示技术有限公司 | 薄膜晶体管及其制作方法、有机电致发光显示器 |
| US11049887B2 (en) | 2017-11-10 | 2021-06-29 | Applied Materials, Inc. | Layer stack for display applications |
| US10692799B2 (en) * | 2018-06-01 | 2020-06-23 | Innolux Corporation | Semiconductor electronic device |
| KR102600041B1 (ko) * | 2018-06-07 | 2023-11-08 | 삼성디스플레이 주식회사 | 유기 발광 표시 장치 |
| CN109686861B (zh) * | 2018-12-26 | 2020-12-11 | 上海晶合光电科技有限公司 | 一种环套式分立控制图案化有机电致发光器件及其制备方法 |
| JP2023144395A (ja) * | 2022-03-28 | 2023-10-11 | セイコーエプソン株式会社 | 電気光学装置および電子機器 |
Family Cites Families (136)
| Publication number | Priority date | Publication date | Assignee | Title |
|---|---|---|---|---|
| US699543A (en) * | 1896-06-03 | 1902-05-06 | Electric Vehicle Company | Motor-vehicle. |
| US679749A (en) * | 1901-03-12 | 1901-08-06 | Louis J Hirt | Coke-oven. |
| US710910A (en) * | 1902-01-09 | 1902-10-07 | John H Wescott | Compound engine. |
| JP3437863B2 (ja) * | 1993-01-18 | 2003-08-18 | 株式会社半導体エネルギー研究所 | Mis型半導体装置の作製方法 |
| JPS5847461A (ja) | 1981-09-16 | 1983-03-19 | Takeda Chem Ind Ltd | 高比容化学調味料顆粒およびその製造法 |
| JPH0613612Y2 (ja) | 1983-07-20 | 1994-04-13 | ヤンマー農機株式会社 | 作業機の角度制御装置 |
| JPS6096921A (ja) | 1983-10-31 | 1985-05-30 | Yamatake Honeywell Co Ltd | 電子スイツチの過電流検出回路 |
| JPH0613605Y2 (ja) | 1986-03-03 | 1994-04-13 | 大介 藤井 | 整畦機 |
| JPH0194664A (ja) * | 1987-10-05 | 1989-04-13 | Nec Corp | 電界効果トランジスタ |
| JPH0827465B2 (ja) * | 1988-04-06 | 1996-03-21 | 株式会社日立製作所 | 平面デイスプレイ |
| JPH01281434A (ja) * | 1988-05-09 | 1989-11-13 | Toshiba Corp | 表示装置の電極形成方法 |
| JP2720470B2 (ja) * | 1988-08-26 | 1998-03-04 | 富士通株式会社 | 薄膜トランジスタマトリクスの製造方法 |
| JPH06104433B2 (ja) | 1988-11-04 | 1994-12-21 | 株式会社小糸製作所 | 車輌用コーナリングランプシステム |
| JPH07113726B2 (ja) * | 1989-01-10 | 1995-12-06 | 富士通株式会社 | 薄膜トランジスタマトリクスの製造方法 |
| JPH065852Y2 (ja) | 1989-02-10 | 1994-02-16 | 駿河精機株式会社 | 発泡プラスチックの減容機 |
| GB8909011D0 (en) | 1989-04-20 | 1989-06-07 | Friend Richard H | Electroluminescent devices |
| US5245207A (en) | 1989-04-21 | 1993-09-14 | Nobuo Mikoshiba | Integrated circuit |
| US5266825A (en) * | 1989-10-18 | 1993-11-30 | Hitachi, Ltd. | Thin-film device |
| US5153690A (en) * | 1989-10-18 | 1992-10-06 | Hitachi, Ltd. | Thin-film device |
| EP0430702B1 (en) * | 1989-11-30 | 1999-01-13 | Kabushiki Kaisha Toshiba | Line material, electronic device using the line material and liquid crystal display |
| JP3024620B2 (ja) | 1990-04-11 | 2000-03-21 | セイコーエプソン株式会社 | 液晶パネルの製造方法 |
| GB2243948B (en) | 1990-04-20 | 1994-06-08 | Nobuo Mikoshiba | Integrated circuit |
| JP2628928B2 (ja) | 1990-05-22 | 1997-07-09 | 株式会社フロンテック | 薄膜トランジスタアレイおよびその製造方法 |
| US5402254B1 (en) * | 1990-10-17 | 1998-09-22 | Hitachi Ltd | Liquid crystal display device with tfts in which pixel electrodes are formed in the same plane as the gate electrodes with anodized oxide films before the deposition of silicon |
| US5343063A (en) * | 1990-12-18 | 1994-08-30 | Sundisk Corporation | Dense vertical programmable read only memory cell structure and processes for making them |
| JPH04364723A (ja) * | 1991-06-12 | 1992-12-17 | Kawasaki Steel Corp | 半導体装置及びその製造方法 |
| JPH07111334B2 (ja) | 1991-07-15 | 1995-11-29 | 協同組合ブライト北九州 | 表面形状測定装置 |
| JPH0613612A (ja) * | 1991-12-03 | 1994-01-21 | Nec Corp | 薄膜トランジスタ |
| JPH05326960A (ja) * | 1992-05-20 | 1993-12-10 | Seiko Epson Corp | 薄膜トランジスタを備えた固体装置およびその製造方法 |
| JPH065852A (ja) * | 1992-06-23 | 1994-01-14 | Oki Electric Ind Co Ltd | Mosfet及びその製造方法 |
| WO1994000882A1 (fr) | 1992-06-24 | 1994-01-06 | Seiko Epson Corporation | Transistor a couches minces, dispositif a semi-conducteurs, dispositif d'affichage et procede de fabrication d'un transistor a couches minces |
| JP3189399B2 (ja) | 1992-06-26 | 2001-07-16 | ソニー株式会社 | 半導体装置の製造方法 |
| EP0582486A2 (en) | 1992-08-07 | 1994-02-09 | Sharp Kabushiki Kaisha | A thin film transistor pair and a process for fabricating the same |
| JP2859784B2 (ja) | 1992-09-03 | 1999-02-24 | シャープ株式会社 | アクティブマトリクス基板 |
| US5576556A (en) * | 1993-08-20 | 1996-11-19 | Semiconductor Energy Laboratory Co., Ltd. | Thin film semiconductor device with gate metal oxide and sidewall spacer |
| TW232751B (en) * | 1992-10-09 | 1994-10-21 | Semiconductor Energy Res Co Ltd | Semiconductor device and method for forming the same |
| US6624477B1 (en) * | 1992-10-09 | 2003-09-23 | Semiconductor Energy Laboratory Co., Ltd. | Semiconductor device and method for manufacturing the same |
| JP3587537B2 (ja) * | 1992-12-09 | 2004-11-10 | 株式会社半導体エネルギー研究所 | 半導体装置 |
| JP3204764B2 (ja) * | 1992-12-28 | 2001-09-04 | 日立金属株式会社 | ロータリシート切断装置およびその製造方法 |
| US5583067A (en) * | 1993-01-22 | 1996-12-10 | Intel Corporation | Inverse T-gate semiconductor device with self-aligned punchthrough stops and method of fabrication |
| JPH06260499A (ja) | 1993-03-02 | 1994-09-16 | Casio Comput Co Ltd | 薄膜トランジスタおよびその製造方法 |
| US6150692A (en) * | 1993-07-13 | 2000-11-21 | Sony Corporation | Thin film semiconductor device for active matrix panel |
| JP2789293B2 (ja) * | 1993-07-14 | 1998-08-20 | 株式会社半導体エネルギー研究所 | 半導体装置作製方法 |
| US5594569A (en) | 1993-07-22 | 1997-01-14 | Semiconductor Energy Laboratory Co., Ltd. | Liquid-crystal electro-optical apparatus and method of manufacturing the same |
| JPH07111334A (ja) | 1993-08-20 | 1995-04-25 | Semiconductor Energy Lab Co Ltd | 半導体装置およびその作製方法 |
| TW297142B (ja) * | 1993-09-20 | 1997-02-01 | Handotai Energy Kenkyusho Kk | |
| JP3212060B2 (ja) | 1993-09-20 | 2001-09-25 | 株式会社半導体エネルギー研究所 | 半導体装置およびその作製方法 |
| US5719065A (en) * | 1993-10-01 | 1998-02-17 | Semiconductor Energy Laboratory Co., Ltd. | Method for manufacturing semiconductor device with removable spacers |
| JP2821347B2 (ja) * | 1993-10-12 | 1998-11-05 | 日本電気株式会社 | 電流制御型発光素子アレイ |
| TW264575B (ja) | 1993-10-29 | 1995-12-01 | Handotai Energy Kenkyusho Kk | |
| US5923962A (en) | 1993-10-29 | 1999-07-13 | Semiconductor Energy Laboratory Co., Ltd. | Method for manufacturing a semiconductor device |
| JP3431033B2 (ja) | 1993-10-29 | 2003-07-28 | 株式会社半導体エネルギー研究所 | 半導体作製方法 |
| WO1995016797A1 (fr) * | 1993-12-14 | 1995-06-22 | Kabushiki Kaisha Toshiba | Materiau en molybdene-tungstene pour cablage, cible en molybdene-tungstene pour cablage, procede de fabrication et couche mince de cablage en molybdene-tungstene |
| JPH07263705A (ja) | 1994-03-24 | 1995-10-13 | Sony Corp | 薄膜トランジスタ |
| DE19500380C2 (de) * | 1994-05-20 | 2001-05-17 | Mitsubishi Electric Corp | Aktivmatrix-Flüssigkristallanzeige und Herstellungsverfahren dafür |
| JPH07318975A (ja) | 1994-05-25 | 1995-12-08 | Sanyo Electric Co Ltd | 液晶表示装置 |
| JP3232343B2 (ja) * | 1994-05-31 | 2001-11-26 | 日本電信電話株式会社 | 横形mos電界効果トランジスタ |
| JP3281756B2 (ja) | 1994-05-31 | 2002-05-13 | 三洋電機株式会社 | 半導体装置及びそれを用いた液晶パネル |
| US5834827A (en) * | 1994-06-15 | 1998-11-10 | Seiko Epson Corporation | Thin film semiconductor device, fabrication method thereof, electronic device and its fabrication method |
| JP3072000B2 (ja) * | 1994-06-23 | 2000-07-31 | 株式会社半導体エネルギー研究所 | 半導体装置の作製方法 |
| JP2692590B2 (ja) * | 1994-06-29 | 1997-12-17 | 日本電気株式会社 | 半導体装置およびその製造方法 |
| KR960009013A (ko) | 1994-08-18 | 1996-03-22 | 김광호 | 타이타늄 나이트라이드(TiN) 게이트전극 형성방법 |
| JPH0864838A (ja) | 1994-08-26 | 1996-03-08 | Casio Comput Co Ltd | 薄膜トランジスタ |
| US5738948A (en) | 1994-09-29 | 1998-04-14 | Kabushiki Kaisha Toshiba | Electrode-wiring material and electrode-wiring substrate using the same |
| JP3488551B2 (ja) | 1994-09-29 | 2004-01-19 | 株式会社東芝 | 電極配線材料およびこれを用いた電極配線基板 |
| JPH08125193A (ja) | 1994-10-20 | 1996-05-17 | Semiconductor Energy Lab Co Ltd | 半導体集積回路とその作製方法 |
| KR100247455B1 (ko) | 1994-11-30 | 2000-04-01 | 로데릭 더블류 루이스 | 질화텅스텐을 침착시키는 방법, 및 이 방법을 사용하여 커패시터 및 게이트 전극을 제조하는 방법 |
| US5550066A (en) * | 1994-12-14 | 1996-08-27 | Eastman Kodak Company | Method of fabricating a TFT-EL pixel |
| JPH08179362A (ja) | 1994-12-22 | 1996-07-12 | Mitsubishi Electric Corp | 薄膜トランジスタアレイ基板 |
| JPH08274336A (ja) * | 1995-03-30 | 1996-10-18 | Toshiba Corp | 多結晶半導体薄膜トランジスタ及びその製造方法 |
| KR960039434A (ko) | 1995-04-21 | 1996-11-25 | 김광호 | 금속 게이트 전극을 갖는 트랜지스터 및 그 제조방법 |
| JP3501874B2 (ja) | 1995-05-24 | 2004-03-02 | 株式会社半導体エネルギー研究所 | 金属配線の作製方法 |
| JPH0926600A (ja) | 1995-07-13 | 1997-01-28 | Sanyo Electric Co Ltd | 液晶表示装置 |
| JPH0945789A (ja) | 1995-07-27 | 1997-02-14 | Hitachi Ltd | 半導体装置およびその製造方法 |
| KR0156202B1 (ko) | 1995-08-22 | 1998-11-16 | 구자홍 | 액정표시장치 및 그 제조방법 |
| WO1997008752A1 (fr) | 1995-08-25 | 1997-03-06 | Hitachi, Ltd. | Dispositif semiconducteur mis |
| JP3369811B2 (ja) | 1995-09-13 | 2003-01-20 | 株式会社東芝 | 半導体装置、およびその製造方法 |
| JPH09153623A (ja) | 1995-11-30 | 1997-06-10 | Sony Corp | 薄膜半導体装置 |
| JP3239202B2 (ja) * | 1995-12-01 | 2001-12-17 | シャープ株式会社 | Mosトランジスタ及びその製造方法 |
| JP2865039B2 (ja) | 1995-12-26 | 1999-03-08 | 日本電気株式会社 | 薄膜トランジスタ基板の製造方法 |
| US5888858A (en) * | 1996-01-20 | 1999-03-30 | Semiconductor Energy Laboratory Co., Ltd. | Semiconductor device and fabrication method thereof |
| JPH09260629A (ja) * | 1996-03-26 | 1997-10-03 | Sony Corp | 増幅型固体撮像素子の製造方法 |
| KR100193987B1 (ko) * | 1996-05-11 | 1999-06-15 | 구자홍 | 구동회로 일체형 액정표시소자 및 제조방법 |
| JPH09325358A (ja) * | 1996-06-04 | 1997-12-16 | Sharp Corp | 液晶表示装置およびその製造方法 |
| KR100207472B1 (ko) | 1996-06-07 | 1999-07-15 | 윤종용 | 티타늄 질화막 적층 구조의 게이트 전극을 갖춘 반도체장치 및 그 제조 방법 |
| US5721163A (en) * | 1996-06-10 | 1998-02-24 | Chartered Semiconductor Manufacturing Pte, Ltd. | Method of manufacture of thin film transistor SRAM device with a titanium nitride or silicide gate |
| KR100209620B1 (ko) | 1996-08-31 | 1999-07-15 | 구자홍 | 액정 표시 장치 및 그 제조방법 |
| DE69734054T8 (de) * | 1996-09-26 | 2006-06-08 | Seiko Epson Corp. | Anzeigevorrichtung |
| JP4032443B2 (ja) | 1996-10-09 | 2008-01-16 | セイコーエプソン株式会社 | 薄膜トランジスタ、回路、アクティブマトリクス基板、液晶表示装置 |
| JPH10135462A (ja) | 1996-10-28 | 1998-05-22 | Matsushita Electric Ind Co Ltd | 薄膜トランジスタ |
| JP3457819B2 (ja) * | 1996-11-28 | 2003-10-20 | カシオ計算機株式会社 | 表示装置 |
| JP2988399B2 (ja) * | 1996-11-28 | 1999-12-13 | 日本電気株式会社 | アクティブマトリクス基板 |
| JP3463971B2 (ja) * | 1996-12-26 | 2003-11-05 | 出光興産株式会社 | 有機アクティブel発光装置 |
| JPH10319872A (ja) * | 1997-01-17 | 1998-12-04 | Xerox Corp | アクティブマトリクス有機発光ダイオード表示装置 |
| JP3864476B2 (ja) * | 1997-01-24 | 2006-12-27 | ソニー株式会社 | 薄膜半導体装置 |
| JPH10319909A (ja) * | 1997-05-22 | 1998-12-04 | Casio Comput Co Ltd | 表示装置及びその駆動方法 |
| JPH10233505A (ja) | 1997-02-21 | 1998-09-02 | Hitachi Ltd | 半導体装置の製造方法 |
| JPH10335334A (ja) * | 1997-03-31 | 1998-12-18 | Seiko Epson Corp | 半導体装置及びその製造方法、並びに液晶装置 |
| JP3346217B2 (ja) * | 1997-04-04 | 2002-11-18 | カシオ計算機株式会社 | 配線の形成方法および表示装置の製造方法 |
| JPH10319431A (ja) | 1997-05-15 | 1998-12-04 | Advanced Display:Kk | 薄膜トランジスタアレイ基板 |
| JPH10326899A (ja) | 1997-05-23 | 1998-12-08 | Semiconductor Energy Lab Co Ltd | 半導体デバイス及びその作製方法及び半導体装置 |
| JPH10325963A (ja) | 1997-05-26 | 1998-12-08 | Sharp Corp | アクティブマトリクス型表示装置の製造方法 |
| JP3541625B2 (ja) * | 1997-07-02 | 2004-07-14 | セイコーエプソン株式会社 | 表示装置及びアクティブマトリクス基板 |
| JP3830238B2 (ja) * | 1997-08-29 | 2006-10-04 | セイコーエプソン株式会社 | アクティブマトリクス型装置 |
| JP4159633B2 (ja) | 1997-09-19 | 2008-10-01 | 株式会社半導体エネルギー研究所 | 半導体装置およびその作製方法並びに電子機器 |
| JPH1197707A (ja) | 1997-09-24 | 1999-04-09 | Semiconductor Energy Lab Co Ltd | 半導体装置の作製方法 |
| US6218219B1 (en) * | 1997-09-29 | 2001-04-17 | Semiconductor Energy Laboratory Co., Ltd. | Semiconductor device and fabrication method thereof |
| JP3523093B2 (ja) | 1997-11-28 | 2004-04-26 | 株式会社東芝 | 半導体装置およびその製造方法 |
| JPH11194366A (ja) | 1998-01-07 | 1999-07-21 | Seiko Epson Corp | アクティブマトリックス基板およびその製造方法、液晶装置および電子機器 |
| US6482684B1 (en) * | 1998-03-27 | 2002-11-19 | Semiconductor Energy Laboratory Co., Ltd. | Method of manufacturing a TFT with Ge seeded amorphous Si layer |
| JP4115586B2 (ja) * | 1998-03-27 | 2008-07-09 | 株式会社半導体エネルギー研究所 | 半導体装置の作製方法 |
| US6225168B1 (en) * | 1998-06-04 | 2001-05-01 | Advanced Micro Devices, Inc. | Semiconductor device having metal gate electrode and titanium or tantalum nitride gate dielectric barrier layer and process of fabrication thereof |
| JP2000082817A (ja) | 1998-09-04 | 2000-03-21 | Sharp Corp | アクティブマトリクス基板及びその製造方法 |
| JP2000111945A (ja) * | 1998-10-01 | 2000-04-21 | Sony Corp | 電気光学装置、電気光学装置用の駆動基板、及びこれらの製造方法 |
| US6420758B1 (en) * | 1998-11-17 | 2002-07-16 | Semiconductor Energy Laboratory Co., Ltd. | Semiconductor device having an impurity region overlapping a gate electrode |
| JP3458382B2 (ja) | 1998-11-26 | 2003-10-20 | セイコーエプソン株式会社 | 電気光学装置及びその製造方法並びに電子機器 |
| US6420988B1 (en) | 1998-12-03 | 2002-07-16 | Semiconductor Energy Laboratory Co., Ltd. | Digital analog converter and electronic device using the same |
| US6259138B1 (en) * | 1998-12-18 | 2001-07-10 | Semiconductor Energy Laboratory Co., Ltd. | Semiconductor device having multilayered gate electrode and impurity regions overlapping therewith |
| US6469317B1 (en) * | 1998-12-18 | 2002-10-22 | Semiconductor Energy Laboratory Co., Ltd. | Semiconductor device and method of fabricating the same |
| US7510841B2 (en) * | 1998-12-28 | 2009-03-31 | Illumina, Inc. | Methods of making and using composite arrays for the detection of a plurality of target analytes |
| US6593592B1 (en) * | 1999-01-29 | 2003-07-15 | Semiconductor Energy Laboratory Co., Ltd. | Semiconductor device having thin film transistors |
| US6777716B1 (en) * | 1999-02-12 | 2004-08-17 | Semiconductor Energy Laboratory Co., Ltd. | Semiconductor display device and method of manufacturing therefor |
| EP2284605A3 (en) * | 1999-02-23 | 2017-10-18 | Semiconductor Energy Laboratory Co, Ltd. | Semiconductor device and fabrication method thereof |
| JP3399432B2 (ja) * | 1999-02-26 | 2003-04-21 | セイコーエプソン株式会社 | 電気光学装置の製造方法及び電気光学装置 |
| US6614083B1 (en) * | 1999-03-17 | 2003-09-02 | Semiconductor Energy Laboratory Co., Ltd. | Wiring material and a semiconductor device having wiring using the material, and the manufacturing method |
| US6531713B1 (en) | 1999-03-19 | 2003-03-11 | Semiconductor Energy Laboratory Co., Ltd. | Electro-optical device and manufacturing method thereof |
| TW469484B (en) | 1999-03-26 | 2001-12-21 | Semiconductor Energy Lab | A method for manufacturing an electrooptical device |
| US6399988B1 (en) | 1999-03-26 | 2002-06-04 | Semiconductor Energy Laboratory Co., Ltd. | Thin film transistor having lightly doped regions |
| TW444257B (en) | 1999-04-12 | 2001-07-01 | Semiconductor Energy Lab | Semiconductor device and method for fabricating the same |
| JP4536202B2 (ja) * | 1999-04-12 | 2010-09-01 | 株式会社半導体エネルギー研究所 | 半導体装置およびその作製方法、並びに電子機器 |
| EP2256808A2 (en) | 1999-04-30 | 2010-12-01 | Semiconductor Energy Laboratory Co, Ltd. | Semiconductor device and manufacturing method therof |
| US6661096B1 (en) | 1999-06-29 | 2003-12-09 | Semiconductor Energy Laboratory Co., Ltd. | Wiring material semiconductor device provided with a wiring using the wiring material and method of manufacturing thereof |
| US6171910B1 (en) | 1999-07-21 | 2001-01-09 | Motorola Inc. | Method for forming a semiconductor device |
| CA2402834A1 (en) | 2000-03-23 | 2001-09-27 | Immusol Incorporated | Brca-1 regulators and methods of use |
| CN1123465C (zh) * | 2000-04-18 | 2003-10-08 | 李博良 | 防追尾的载货车后部防护装置 |
| KR100846762B1 (ko) * | 2001-09-11 | 2008-07-16 | 삼성전자주식회사 | 키보드유닛의 키스위치 |
-
2000
- 2000-04-06 TW TW089106332A patent/TW444257B/zh not_active IP Right Cessation
- 2000-04-07 US US09/544,801 patent/US7456430B1/en not_active Expired - Fee Related
- 2000-04-08 KR KR1020000018404A patent/KR100733892B1/ko not_active Expired - Fee Related
- 2000-04-11 EP EP10009810A patent/EP2256817A2/en not_active Withdrawn
- 2000-04-11 EP EP07002101.9A patent/EP1780589A3/en not_active Withdrawn
- 2000-04-11 EP EP07002100A patent/EP1786037A3/en not_active Withdrawn
- 2000-04-11 EP EP00107789A patent/EP1045451A3/en not_active Withdrawn
- 2000-04-12 CN CN2005100081531A patent/CN1655038B/zh not_active Expired - Fee Related
- 2000-04-12 CN CNB001188097A patent/CN1197157C/zh not_active Expired - Fee Related
- 2000-04-12 CN CN2006100737812A patent/CN1870293B/zh not_active Expired - Fee Related
- 2000-04-12 CN CNB2006101030029A patent/CN100481506C/zh not_active Expired - Fee Related
-
2006
- 2006-04-03 US US11/396,436 patent/US8129721B2/en not_active Expired - Fee Related
- 2006-07-14 US US11/487,010 patent/US7855380B2/en not_active Expired - Fee Related
-
2010
- 2010-05-20 JP JP2010116256A patent/JP2010219549A/ja not_active Withdrawn
- 2010-07-19 US US12/839,113 patent/US8071981B2/en not_active Expired - Fee Related
-
2011
- 2011-04-08 JP JP2011085976A patent/JP5433618B2/ja not_active Expired - Lifetime
-
2012
- 2012-03-05 US US13/411,842 patent/US8866143B2/en not_active Expired - Fee Related
- 2012-12-19 JP JP2012276399A patent/JP5674754B2/ja not_active Expired - Lifetime
-
2013
- 2013-05-07 JP JP2013097406A patent/JP2013201441A/ja not_active Withdrawn
-
2014
- 2014-09-01 JP JP2014176904A patent/JP6130339B2/ja not_active Expired - Lifetime
-
2015
- 2015-10-28 JP JP2015211686A patent/JP6022016B2/ja not_active Expired - Lifetime
-
2016
- 2016-09-30 JP JP2016193261A patent/JP2017016154A/ja not_active Withdrawn
-
2018
- 2018-02-15 JP JP2018024697A patent/JP6563051B2/ja not_active Expired - Lifetime
Also Published As
Similar Documents
| Publication | Publication Date | Title |
|---|---|---|
| JP6563051B2 (ja) | 表示装置 | |
| US6579736B2 (en) | Semiconductor device and method of manufacturing thereof | |
| JP4801238B2 (ja) | 半導体装置の作製方法 | |
| JP4536202B2 (ja) | 半導体装置およびその作製方法、並びに電子機器 | |
| JP4850326B2 (ja) | 半導体装置の作製方法 | |
| JP4463377B2 (ja) | 半導体装置およびその作製方法 | |
| JP4527070B2 (ja) | 半導体装置およびその作製方法、並びに電子機器 | |
| JP4527069B2 (ja) | 表示装置 | |
| JP2001053286A (ja) | 半導体膜およびその作製方法 | |
| KR100775130B1 (ko) | 반도체장치 | |
| KR100775129B1 (ko) | 반도체장치 |
Legal Events
| Date | Code | Title | Description |
|---|---|---|---|
| TRDD | Decision of grant or rejection written | ||
| A01 | Written decision to grant a patent or to grant a registration (utility model) |
Free format text: JAPANESE INTERMEDIATE CODE: A01 Effective date: 20160927 |
|
| A61 | First payment of annual fees (during grant procedure) |
Free format text: JAPANESE INTERMEDIATE CODE: A61 Effective date: 20161004 |
|
| R150 | Certificate of patent or registration of utility model |
Ref document number: 6022016 Country of ref document: JP Free format text: JAPANESE INTERMEDIATE CODE: R150 |
|
| R250 | Receipt of annual fees |
Free format text: JAPANESE INTERMEDIATE CODE: R250 |
|
| EXPY | Cancellation because of completion of term |
