JP6101778B2 - 半導体装置 - Google Patents
半導体装置 Download PDFInfo
- Publication number
- JP6101778B2 JP6101778B2 JP2015244792A JP2015244792A JP6101778B2 JP 6101778 B2 JP6101778 B2 JP 6101778B2 JP 2015244792 A JP2015244792 A JP 2015244792A JP 2015244792 A JP2015244792 A JP 2015244792A JP 6101778 B2 JP6101778 B2 JP 6101778B2
- Authority
- JP
- Japan
- Prior art keywords
- layer
- oxide semiconductor
- insulating layer
- transistor
- semiconductor layer
- Prior art date
- Legal status (The legal status is an assumption and is not a legal conclusion. Google has not performed a legal analysis and makes no representation as to the accuracy of the status listed.)
- Active
Links
- 239000004065 semiconductor Substances 0.000 title claims description 295
- 230000015572 biosynthetic process Effects 0.000 claims description 34
- 239000013078 crystal Substances 0.000 claims description 16
- 229910052733 gallium Inorganic materials 0.000 claims description 7
- 229910052738 indium Inorganic materials 0.000 claims description 5
- 229910052725 zinc Inorganic materials 0.000 claims description 3
- 239000010410 layer Substances 0.000 description 639
- 239000010408 film Substances 0.000 description 159
- 239000000758 substrate Substances 0.000 description 138
- 238000000034 method Methods 0.000 description 74
- 238000004519 manufacturing process Methods 0.000 description 43
- 238000010438 heat treatment Methods 0.000 description 37
- 239000004973 liquid crystal related substance Substances 0.000 description 37
- 239000000463 material Substances 0.000 description 33
- 239000007789 gas Substances 0.000 description 31
- 238000000926 separation method Methods 0.000 description 31
- IJGRMHOSHXDMSA-UHFFFAOYSA-N Atomic nitrogen Chemical compound N#N IJGRMHOSHXDMSA-UHFFFAOYSA-N 0.000 description 28
- 239000001257 hydrogen Substances 0.000 description 23
- 229910052739 hydrogen Inorganic materials 0.000 description 23
- 229910052721 tungsten Inorganic materials 0.000 description 23
- 229920005989 resin Polymers 0.000 description 22
- 239000011347 resin Substances 0.000 description 22
- 238000004544 sputter deposition Methods 0.000 description 22
- 239000012535 impurity Substances 0.000 description 21
- 230000008569 process Effects 0.000 description 21
- 239000010937 tungsten Substances 0.000 description 21
- 229910052760 oxygen Inorganic materials 0.000 description 19
- 229910052581 Si3N4 Inorganic materials 0.000 description 18
- QVGXLLKOCUKJST-UHFFFAOYSA-N atomic oxygen Chemical compound [O] QVGXLLKOCUKJST-UHFFFAOYSA-N 0.000 description 18
- 239000001301 oxygen Substances 0.000 description 18
- HQVNEWCFYHHQES-UHFFFAOYSA-N silicon nitride Chemical compound N12[Si]34N5[Si]62N3[Si]51N64 HQVNEWCFYHHQES-UHFFFAOYSA-N 0.000 description 18
- WFKWXMTUELFFGS-UHFFFAOYSA-N tungsten Chemical compound [W] WFKWXMTUELFFGS-UHFFFAOYSA-N 0.000 description 18
- XUIMIQQOPSSXEZ-UHFFFAOYSA-N Silicon Chemical compound [Si] XUIMIQQOPSSXEZ-UHFFFAOYSA-N 0.000 description 16
- 239000012298 atmosphere Substances 0.000 description 16
- 229910052710 silicon Inorganic materials 0.000 description 16
- 239000010703 silicon Substances 0.000 description 16
- VYPSYNLAJGMNEJ-UHFFFAOYSA-N Silicium dioxide Chemical compound O=[Si]=O VYPSYNLAJGMNEJ-UHFFFAOYSA-N 0.000 description 15
- 229910052757 nitrogen Inorganic materials 0.000 description 15
- XKRFYHLGVUSROY-UHFFFAOYSA-N Argon Chemical compound [Ar] XKRFYHLGVUSROY-UHFFFAOYSA-N 0.000 description 14
- 229910007541 Zn O Inorganic materials 0.000 description 14
- 229910052782 aluminium Inorganic materials 0.000 description 14
- 239000002245 particle Substances 0.000 description 14
- 230000001681 protective effect Effects 0.000 description 14
- 229910052814 silicon oxide Inorganic materials 0.000 description 14
- 229910052751 metal Inorganic materials 0.000 description 13
- 229910052750 molybdenum Inorganic materials 0.000 description 13
- -1 polyethylene terephthalate Polymers 0.000 description 13
- XLYOFNOQVPJJNP-UHFFFAOYSA-N water Substances O XLYOFNOQVPJJNP-UHFFFAOYSA-N 0.000 description 13
- ZOKXTWBITQBERF-UHFFFAOYSA-N Molybdenum Chemical compound [Mo] ZOKXTWBITQBERF-UHFFFAOYSA-N 0.000 description 12
- 238000005530 etching Methods 0.000 description 12
- 239000002184 metal Substances 0.000 description 12
- 229910044991 metal oxide Inorganic materials 0.000 description 12
- 150000004706 metal oxides Chemical class 0.000 description 12
- 239000011733 molybdenum Substances 0.000 description 12
- 229910001868 water Inorganic materials 0.000 description 12
- UFHFLCQGNIYNRP-UHFFFAOYSA-N Hydrogen Chemical compound [H][H] UFHFLCQGNIYNRP-UHFFFAOYSA-N 0.000 description 11
- 239000011521 glass Substances 0.000 description 11
- 150000002431 hydrogen Chemical class 0.000 description 11
- 239000010409 thin film Substances 0.000 description 11
- XAGFODPZIPBFFR-UHFFFAOYSA-N aluminium Chemical compound [Al] XAGFODPZIPBFFR-UHFFFAOYSA-N 0.000 description 10
- 239000000203 mixture Substances 0.000 description 10
- 238000000206 photolithography Methods 0.000 description 9
- PXHVJJICTQNCMI-UHFFFAOYSA-N Nickel Chemical compound [Ni] PXHVJJICTQNCMI-UHFFFAOYSA-N 0.000 description 8
- XLOMVQKBTHCTTD-UHFFFAOYSA-N Zinc monoxide Chemical compound [Zn]=O XLOMVQKBTHCTTD-UHFFFAOYSA-N 0.000 description 8
- 239000000853 adhesive Substances 0.000 description 8
- 230000001070 adhesive effect Effects 0.000 description 8
- 238000005452 bending Methods 0.000 description 8
- 239000000835 fiber Substances 0.000 description 8
- 239000010936 titanium Substances 0.000 description 8
- 239000000956 alloy Substances 0.000 description 7
- 229910052786 argon Inorganic materials 0.000 description 7
- 238000000151 deposition Methods 0.000 description 7
- 150000004767 nitrides Chemical class 0.000 description 7
- 239000000123 paper Substances 0.000 description 7
- QGZKDVFQNNGYKY-UHFFFAOYSA-N Ammonia Chemical compound N QGZKDVFQNNGYKY-UHFFFAOYSA-N 0.000 description 6
- MYMOFIZGZYHOMD-UHFFFAOYSA-N Dioxygen Chemical compound O=O MYMOFIZGZYHOMD-UHFFFAOYSA-N 0.000 description 6
- 239000010949 copper Substances 0.000 description 6
- 230000008021 deposition Effects 0.000 description 6
- 229910001882 dioxygen Inorganic materials 0.000 description 6
- 230000005684 electric field Effects 0.000 description 6
- 229920003023 plastic Polymers 0.000 description 6
- 239000004033 plastic Substances 0.000 description 6
- 239000002356 single layer Substances 0.000 description 6
- 239000000126 substance Substances 0.000 description 6
- 239000012790 adhesive layer Substances 0.000 description 5
- 229910045601 alloy Inorganic materials 0.000 description 5
- 229910052802 copper Inorganic materials 0.000 description 5
- PMHQVHHXPFUNSP-UHFFFAOYSA-M copper(1+);methylsulfanylmethane;bromide Chemical compound Br[Cu].CSC PMHQVHHXPFUNSP-UHFFFAOYSA-M 0.000 description 5
- 125000002887 hydroxy group Chemical group [H]O* 0.000 description 5
- 239000007788 liquid Substances 0.000 description 5
- 239000003094 microcapsule Substances 0.000 description 5
- QGLKJKCYBOYXKC-UHFFFAOYSA-N nonaoxidotritungsten Chemical compound O=[W]1(=O)O[W](=O)(=O)O[W](=O)(=O)O1 QGLKJKCYBOYXKC-UHFFFAOYSA-N 0.000 description 5
- 238000005268 plasma chemical vapour deposition Methods 0.000 description 5
- 229910052719 titanium Inorganic materials 0.000 description 5
- 229910001930 tungsten oxide Inorganic materials 0.000 description 5
- RTAQQCXQSZGOHL-UHFFFAOYSA-N Titanium Chemical compound [Ti] RTAQQCXQSZGOHL-UHFFFAOYSA-N 0.000 description 4
- 230000000694 effects Effects 0.000 description 4
- 230000005611 electricity Effects 0.000 description 4
- 230000001747 exhibiting effect Effects 0.000 description 4
- 239000000945 filler Substances 0.000 description 4
- 150000004678 hydrides Chemical class 0.000 description 4
- 239000011261 inert gas Substances 0.000 description 4
- 150000002894 organic compounds Chemical class 0.000 description 4
- 239000011368 organic material Substances 0.000 description 4
- 230000003647 oxidation Effects 0.000 description 4
- 238000007254 oxidation reaction Methods 0.000 description 4
- TWNQGVIAIRXVLR-UHFFFAOYSA-N oxo(oxoalumanyloxy)alumane Chemical compound O=[Al]O[Al]=O TWNQGVIAIRXVLR-UHFFFAOYSA-N 0.000 description 4
- 238000009832 plasma treatment Methods 0.000 description 4
- 229920001721 polyimide Polymers 0.000 description 4
- 229920000915 polyvinyl chloride Polymers 0.000 description 4
- 239000004800 polyvinyl chloride Substances 0.000 description 4
- 239000000565 sealant Substances 0.000 description 4
- 239000000243 solution Substances 0.000 description 4
- 239000012798 spherical particle Substances 0.000 description 4
- 230000003068 static effect Effects 0.000 description 4
- 229910052715 tantalum Inorganic materials 0.000 description 4
- 238000012546 transfer Methods 0.000 description 4
- 239000011787 zinc oxide Substances 0.000 description 4
- QTBSBXVTEAMEQO-UHFFFAOYSA-N Acetic acid Chemical compound CC(O)=O QTBSBXVTEAMEQO-UHFFFAOYSA-N 0.000 description 3
- RYGMFSIKBFXOCR-UHFFFAOYSA-N Copper Chemical compound [Cu] RYGMFSIKBFXOCR-UHFFFAOYSA-N 0.000 description 3
- KDLHZDBZIXYQEI-UHFFFAOYSA-N Palladium Chemical compound [Pd] KDLHZDBZIXYQEI-UHFFFAOYSA-N 0.000 description 3
- 239000004642 Polyimide Substances 0.000 description 3
- NIXOWILDQLNWCW-UHFFFAOYSA-N acrylic acid group Chemical group C(C=C)(=O)O NIXOWILDQLNWCW-UHFFFAOYSA-N 0.000 description 3
- 229910021529 ammonia Inorganic materials 0.000 description 3
- 239000003990 capacitor Substances 0.000 description 3
- 239000000969 carrier Substances 0.000 description 3
- 239000011651 chromium Substances 0.000 description 3
- 238000000576 coating method Methods 0.000 description 3
- 239000003086 colorant Substances 0.000 description 3
- 150000001875 compounds Chemical class 0.000 description 3
- 229920001940 conductive polymer Polymers 0.000 description 3
- 238000013461 design Methods 0.000 description 3
- 239000000428 dust Substances 0.000 description 3
- 239000003365 glass fiber Substances 0.000 description 3
- 229910052736 halogen Inorganic materials 0.000 description 3
- 229910052734 helium Inorganic materials 0.000 description 3
- 239000001307 helium Substances 0.000 description 3
- SWQJXJOGLNCZEY-UHFFFAOYSA-N helium atom Chemical compound [He] SWQJXJOGLNCZEY-UHFFFAOYSA-N 0.000 description 3
- 229910003437 indium oxide Inorganic materials 0.000 description 3
- PJXISJQVUVHSOJ-UHFFFAOYSA-N indium(iii) oxide Chemical compound [O-2].[O-2].[O-2].[In+3].[In+3] PJXISJQVUVHSOJ-UHFFFAOYSA-N 0.000 description 3
- 230000007246 mechanism Effects 0.000 description 3
- 239000011259 mixed solution Substances 0.000 description 3
- 229910052759 nickel Inorganic materials 0.000 description 3
- 239000010955 niobium Substances 0.000 description 3
- 230000003287 optical effect Effects 0.000 description 3
- BASFCYQUMIYNBI-UHFFFAOYSA-N platinum Chemical compound [Pt] BASFCYQUMIYNBI-UHFFFAOYSA-N 0.000 description 3
- 229920002620 polyvinyl fluoride Polymers 0.000 description 3
- 238000012545 processing Methods 0.000 description 3
- 239000011241 protective layer Substances 0.000 description 3
- 238000003860 storage Methods 0.000 description 3
- GUVRBAGPIYLISA-UHFFFAOYSA-N tantalum atom Chemical compound [Ta] GUVRBAGPIYLISA-UHFFFAOYSA-N 0.000 description 3
- 229920001187 thermosetting polymer Polymers 0.000 description 3
- UWCWUCKPEYNDNV-LBPRGKRZSA-N 2,6-dimethyl-n-[[(2s)-pyrrolidin-2-yl]methyl]aniline Chemical compound CC1=CC=CC(C)=C1NC[C@H]1NCCC1 UWCWUCKPEYNDNV-LBPRGKRZSA-N 0.000 description 2
- 239000004925 Acrylic resin Substances 0.000 description 2
- 229920000178 Acrylic resin Polymers 0.000 description 2
- VHUUQVKOLVNVRT-UHFFFAOYSA-N Ammonium hydroxide Chemical compound [NH4+].[OH-] VHUUQVKOLVNVRT-UHFFFAOYSA-N 0.000 description 2
- PAYRUJLWNCNPSJ-UHFFFAOYSA-N Aniline Chemical compound NC1=CC=CC=C1 PAYRUJLWNCNPSJ-UHFFFAOYSA-N 0.000 description 2
- CURLTUGMZLYLDI-UHFFFAOYSA-N Carbon dioxide Chemical compound O=C=O CURLTUGMZLYLDI-UHFFFAOYSA-N 0.000 description 2
- 229910005191 Ga 2 O 3 Inorganic materials 0.000 description 2
- 229910019092 Mg-O Inorganic materials 0.000 description 2
- 229910019395 Mg—O Inorganic materials 0.000 description 2
- GQPLMRYTRLFLPF-UHFFFAOYSA-N Nitrous Oxide Chemical compound [O-][N+]#N GQPLMRYTRLFLPF-UHFFFAOYSA-N 0.000 description 2
- NBIIXXVUZAFLBC-UHFFFAOYSA-N Phosphoric acid Chemical compound OP(O)(O)=O NBIIXXVUZAFLBC-UHFFFAOYSA-N 0.000 description 2
- 239000004952 Polyamide Substances 0.000 description 2
- 239000004695 Polyether sulfone Substances 0.000 description 2
- KAESVJOAVNADME-UHFFFAOYSA-N Pyrrole Chemical compound C=1C=CNC=1 KAESVJOAVNADME-UHFFFAOYSA-N 0.000 description 2
- 229910006404 SnO 2 Inorganic materials 0.000 description 2
- YTPLMLYBLZKORZ-UHFFFAOYSA-N Thiophene Chemical compound C=1C=CSC=1 YTPLMLYBLZKORZ-UHFFFAOYSA-N 0.000 description 2
- GWEVSGVZZGPLCZ-UHFFFAOYSA-N Titan oxide Chemical compound O=[Ti]=O GWEVSGVZZGPLCZ-UHFFFAOYSA-N 0.000 description 2
- NRTOMJZYCJJWKI-UHFFFAOYSA-N Titanium nitride Chemical compound [Ti]#N NRTOMJZYCJJWKI-UHFFFAOYSA-N 0.000 description 2
- 239000005407 aluminoborosilicate glass Substances 0.000 description 2
- 235000011114 ammonium hydroxide Nutrition 0.000 description 2
- 239000012300 argon atmosphere Substances 0.000 description 2
- GPBUGPUPKAGMDK-UHFFFAOYSA-N azanylidynemolybdenum Chemical compound [Mo]#N GPBUGPUPKAGMDK-UHFFFAOYSA-N 0.000 description 2
- 229910052788 barium Inorganic materials 0.000 description 2
- DSAJWYNOEDNPEQ-UHFFFAOYSA-N barium atom Chemical compound [Ba] DSAJWYNOEDNPEQ-UHFFFAOYSA-N 0.000 description 2
- UMIVXZPTRXBADB-UHFFFAOYSA-N benzocyclobutene Chemical compound C1=CC=C2CCC2=C1 UMIVXZPTRXBADB-UHFFFAOYSA-N 0.000 description 2
- 239000005388 borosilicate glass Substances 0.000 description 2
- DQXBYHZEEUGOBF-UHFFFAOYSA-N but-3-enoic acid;ethene Chemical compound C=C.OC(=O)CC=C DQXBYHZEEUGOBF-UHFFFAOYSA-N 0.000 description 2
- 229910052799 carbon Inorganic materials 0.000 description 2
- 230000003098 cholesteric effect Effects 0.000 description 2
- 229910052804 chromium Inorganic materials 0.000 description 2
- 229910017052 cobalt Inorganic materials 0.000 description 2
- 239000010941 cobalt Substances 0.000 description 2
- GUTLYIVDDKVIGB-UHFFFAOYSA-N cobalt atom Chemical compound [Co] GUTLYIVDDKVIGB-UHFFFAOYSA-N 0.000 description 2
- 239000004020 conductor Substances 0.000 description 2
- 238000002425 crystallisation Methods 0.000 description 2
- 230000008025 crystallization Effects 0.000 description 2
- 230000007547 defect Effects 0.000 description 2
- 230000018044 dehydration Effects 0.000 description 2
- 238000006297 dehydration reaction Methods 0.000 description 2
- 238000006356 dehydrogenation reaction Methods 0.000 description 2
- 230000009977 dual effect Effects 0.000 description 2
- 238000005401 electroluminescence Methods 0.000 description 2
- 239000003822 epoxy resin Substances 0.000 description 2
- 239000005038 ethylene vinyl acetate Substances 0.000 description 2
- 230000005281 excited state Effects 0.000 description 2
- 239000000284 extract Substances 0.000 description 2
- 238000011049 filling Methods 0.000 description 2
- 238000003682 fluorination reaction Methods 0.000 description 2
- 125000004435 hydrogen atom Chemical group [H]* 0.000 description 2
- QOSATHPSBFQAML-UHFFFAOYSA-N hydrogen peroxide;hydrate Chemical compound O.OO QOSATHPSBFQAML-UHFFFAOYSA-N 0.000 description 2
- APFVFJFRJDLVQX-UHFFFAOYSA-N indium atom Chemical compound [In] APFVFJFRJDLVQX-UHFFFAOYSA-N 0.000 description 2
- AMGQUBHHOARCQH-UHFFFAOYSA-N indium;oxotin Chemical compound [In].[Sn]=O AMGQUBHHOARCQH-UHFFFAOYSA-N 0.000 description 2
- 150000002484 inorganic compounds Chemical class 0.000 description 2
- 229910010272 inorganic material Inorganic materials 0.000 description 2
- 239000011810 insulating material Substances 0.000 description 2
- 229910052748 manganese Inorganic materials 0.000 description 2
- 239000011159 matrix material Substances 0.000 description 2
- 229910052754 neon Inorganic materials 0.000 description 2
- GKAOGPIIYCISHV-UHFFFAOYSA-N neon atom Chemical compound [Ne] GKAOGPIIYCISHV-UHFFFAOYSA-N 0.000 description 2
- 229910052758 niobium Inorganic materials 0.000 description 2
- GUCVJGMIXFAOAE-UHFFFAOYSA-N niobium atom Chemical compound [Nb] GUCVJGMIXFAOAE-UHFFFAOYSA-N 0.000 description 2
- 239000012299 nitrogen atmosphere Substances 0.000 description 2
- 230000003071 parasitic effect Effects 0.000 description 2
- 238000005192 partition Methods 0.000 description 2
- 229920001200 poly(ethylene-vinyl acetate) Polymers 0.000 description 2
- 229920002647 polyamide Polymers 0.000 description 2
- 229920005668 polycarbonate resin Polymers 0.000 description 2
- 239000004431 polycarbonate resin Substances 0.000 description 2
- 229920000647 polyepoxide Polymers 0.000 description 2
- 229920006267 polyester film Polymers 0.000 description 2
- 229920006393 polyether sulfone Polymers 0.000 description 2
- 229920000139 polyethylene terephthalate Polymers 0.000 description 2
- 239000005020 polyethylene terephthalate Substances 0.000 description 2
- 238000007639 printing Methods 0.000 description 2
- 230000005855 radiation Effects 0.000 description 2
- 238000001552 radio frequency sputter deposition Methods 0.000 description 2
- 230000002441 reversible effect Effects 0.000 description 2
- 239000010948 rhodium Substances 0.000 description 2
- VSZWPYCFIRKVQL-UHFFFAOYSA-N selanylidenegallium;selenium Chemical compound [Se].[Se]=[Ga].[Se]=[Ga] VSZWPYCFIRKVQL-UHFFFAOYSA-N 0.000 description 2
- 229920002050 silicone resin Polymers 0.000 description 2
- 239000002904 solvent Substances 0.000 description 2
- 125000006850 spacer group Chemical group 0.000 description 2
- 238000004528 spin coating Methods 0.000 description 2
- XOLBLPGZBRYERU-UHFFFAOYSA-N tin dioxide Chemical compound O=[Sn]=O XOLBLPGZBRYERU-UHFFFAOYSA-N 0.000 description 2
- 229910001887 tin oxide Inorganic materials 0.000 description 2
- OGIDPMRJRNCKJF-UHFFFAOYSA-N titanium oxide Inorganic materials [Ti]=O OGIDPMRJRNCKJF-UHFFFAOYSA-N 0.000 description 2
- 230000007704 transition Effects 0.000 description 2
- 238000001039 wet etching Methods 0.000 description 2
- YVTHLONGBIQYBO-UHFFFAOYSA-N zinc indium(3+) oxygen(2-) Chemical compound [O--].[Zn++].[In+3] YVTHLONGBIQYBO-UHFFFAOYSA-N 0.000 description 2
- 229910000838 Al alloy Inorganic materials 0.000 description 1
- 229910018137 Al-Zn Inorganic materials 0.000 description 1
- 229910018573 Al—Zn Inorganic materials 0.000 description 1
- OKTJSMMVPCPJKN-UHFFFAOYSA-N Carbon Chemical compound [C] OKTJSMMVPCPJKN-UHFFFAOYSA-N 0.000 description 1
- 229920000049 Carbon (fiber) Polymers 0.000 description 1
- 239000004986 Cholesteric liquid crystals (ChLC) Substances 0.000 description 1
- VYZAMTAEIAYCRO-UHFFFAOYSA-N Chromium Chemical compound [Cr] VYZAMTAEIAYCRO-UHFFFAOYSA-N 0.000 description 1
- 239000004593 Epoxy Substances 0.000 description 1
- GYHNNYVSQQEPJS-UHFFFAOYSA-N Gallium Chemical compound [Ga] GYHNNYVSQQEPJS-UHFFFAOYSA-N 0.000 description 1
- 206010052128 Glare Diseases 0.000 description 1
- 239000005264 High molar mass liquid crystal Substances 0.000 description 1
- MHAJPDPJQMAIIY-UHFFFAOYSA-N Hydrogen peroxide Chemical compound OO MHAJPDPJQMAIIY-UHFFFAOYSA-N 0.000 description 1
- DGAQECJNVWCQMB-PUAWFVPOSA-M Ilexoside XXIX Chemical compound C[C@@H]1CC[C@@]2(CC[C@@]3(C(=CC[C@H]4[C@]3(CC[C@@H]5[C@@]4(CC[C@@H](C5(C)C)OS(=O)(=O)[O-])C)C)[C@@H]2[C@]1(C)O)C)C(=O)O[C@H]6[C@@H]([C@H]([C@@H]([C@H](O6)CO)O)O)O.[Na+] DGAQECJNVWCQMB-PUAWFVPOSA-M 0.000 description 1
- 108010083687 Ion Pumps Proteins 0.000 description 1
- 229910001182 Mo alloy Inorganic materials 0.000 description 1
- 229910052779 Neodymium Inorganic materials 0.000 description 1
- GRYLNZFGIOXLOG-UHFFFAOYSA-N Nitric acid Chemical compound O[N+]([O-])=O GRYLNZFGIOXLOG-UHFFFAOYSA-N 0.000 description 1
- CBENFWSGALASAD-UHFFFAOYSA-N Ozone Chemical compound [O-][O+]=O CBENFWSGALASAD-UHFFFAOYSA-N 0.000 description 1
- OAICVXFJPJFONN-UHFFFAOYSA-N Phosphorus Chemical compound [P] OAICVXFJPJFONN-UHFFFAOYSA-N 0.000 description 1
- 239000004962 Polyamide-imide Substances 0.000 description 1
- 239000004698 Polyethylene Substances 0.000 description 1
- 239000004983 Polymer Dispersed Liquid Crystal Substances 0.000 description 1
- 239000004793 Polystyrene Substances 0.000 description 1
- 239000004372 Polyvinyl alcohol Substances 0.000 description 1
- 239000004820 Pressure-sensitive adhesive Substances 0.000 description 1
- KJTLSVCANCCWHF-UHFFFAOYSA-N Ruthenium Chemical compound [Ru] KJTLSVCANCCWHF-UHFFFAOYSA-N 0.000 description 1
- 229910004298 SiO 2 Inorganic materials 0.000 description 1
- BQCADISMDOOEFD-UHFFFAOYSA-N Silver Chemical compound [Ag] BQCADISMDOOEFD-UHFFFAOYSA-N 0.000 description 1
- 239000004990 Smectic liquid crystal Substances 0.000 description 1
- 229910020923 Sn-O Inorganic materials 0.000 description 1
- 239000004974 Thermotropic liquid crystal Substances 0.000 description 1
- 229910001080 W alloy Inorganic materials 0.000 description 1
- GDFCWFBWQUEQIJ-UHFFFAOYSA-N [B].[P] Chemical compound [B].[P] GDFCWFBWQUEQIJ-UHFFFAOYSA-N 0.000 description 1
- AZWHFTKIBIQKCA-UHFFFAOYSA-N [Sn+2]=O.[O-2].[In+3] Chemical compound [Sn+2]=O.[O-2].[In+3] AZWHFTKIBIQKCA-UHFFFAOYSA-N 0.000 description 1
- 230000009471 action Effects 0.000 description 1
- 229910000147 aluminium phosphate Inorganic materials 0.000 description 1
- 229910021417 amorphous silicon Inorganic materials 0.000 description 1
- 229920006231 aramid fiber Polymers 0.000 description 1
- 230000008901 benefit Effects 0.000 description 1
- 239000011230 binding agent Substances 0.000 description 1
- 239000005380 borophosphosilicate glass Substances 0.000 description 1
- 125000000484 butyl group Chemical group [H]C([*])([H])C([H])([H])C([H])([H])C([H])([H])[H] 0.000 description 1
- 150000001721 carbon Chemical group 0.000 description 1
- 239000001569 carbon dioxide Substances 0.000 description 1
- 229910002092 carbon dioxide Inorganic materials 0.000 description 1
- 239000004917 carbon fiber Substances 0.000 description 1
- 230000015556 catabolic process Effects 0.000 description 1
- 239000000919 ceramic Substances 0.000 description 1
- 238000006243 chemical reaction Methods 0.000 description 1
- 239000002131 composite material Substances 0.000 description 1
- 239000000356 contaminant Substances 0.000 description 1
- 229920001577 copolymer Polymers 0.000 description 1
- 150000001925 cycloalkenes Chemical class 0.000 description 1
- 238000007872 degassing Methods 0.000 description 1
- 238000011161 development Methods 0.000 description 1
- 238000009792 diffusion process Methods 0.000 description 1
- 238000007598 dipping method Methods 0.000 description 1
- KPUWHANPEXNPJT-UHFFFAOYSA-N disiloxane Chemical class [SiH3]O[SiH3] KPUWHANPEXNPJT-UHFFFAOYSA-N 0.000 description 1
- 238000001312 dry etching Methods 0.000 description 1
- 239000004744 fabric Substances 0.000 description 1
- 230000002349 favourable effect Effects 0.000 description 1
- 239000005262 ferroelectric liquid crystals (FLCs) Substances 0.000 description 1
- 230000005669 field effect Effects 0.000 description 1
- 238000007667 floating Methods 0.000 description 1
- 239000011888 foil Substances 0.000 description 1
- 230000005283 ground state Effects 0.000 description 1
- 229910052735 hafnium Inorganic materials 0.000 description 1
- VBJZVLUMGGDVMO-UHFFFAOYSA-N hafnium atom Chemical compound [Hf] VBJZVLUMGGDVMO-UHFFFAOYSA-N 0.000 description 1
- 229910000449 hafnium oxide Inorganic materials 0.000 description 1
- WIHZLLGSGQNAGK-UHFFFAOYSA-N hafnium(4+);oxygen(2-) Chemical compound [O-2].[O-2].[Hf+4] WIHZLLGSGQNAGK-UHFFFAOYSA-N 0.000 description 1
- 150000002367 halogens Chemical class 0.000 description 1
- LNEPOXFFQSENCJ-UHFFFAOYSA-N haloperidol Chemical compound C1CC(O)(C=2C=CC(Cl)=CC=2)CCN1CCCC(=O)C1=CC=C(F)C=C1 LNEPOXFFQSENCJ-UHFFFAOYSA-N 0.000 description 1
- 150000002483 hydrogen compounds Chemical class 0.000 description 1
- 239000012212 insulator Substances 0.000 description 1
- 229910052741 iridium Inorganic materials 0.000 description 1
- GKOZUEZYRPOHIO-UHFFFAOYSA-N iridium atom Chemical compound [Ir] GKOZUEZYRPOHIO-UHFFFAOYSA-N 0.000 description 1
- 238000003475 lamination Methods 0.000 description 1
- 238000004020 luminiscence type Methods 0.000 description 1
- 239000000696 magnetic material Substances 0.000 description 1
- 238000002844 melting Methods 0.000 description 1
- 230000008018 melting Effects 0.000 description 1
- QSHDDOUJBYECFT-UHFFFAOYSA-N mercury Chemical compound [Hg] QSHDDOUJBYECFT-UHFFFAOYSA-N 0.000 description 1
- 229910052753 mercury Inorganic materials 0.000 description 1
- 229910001092 metal group alloy Inorganic materials 0.000 description 1
- 229910001507 metal halide Inorganic materials 0.000 description 1
- 150000005309 metal halides Chemical class 0.000 description 1
- 229910021645 metal ion Inorganic materials 0.000 description 1
- 239000007769 metal material Substances 0.000 description 1
- 150000002739 metals Chemical class 0.000 description 1
- VNWKTOKETHGBQD-UHFFFAOYSA-N methane Chemical compound C VNWKTOKETHGBQD-UHFFFAOYSA-N 0.000 description 1
- 229910000476 molybdenum oxide Inorganic materials 0.000 description 1
- QEFYFXOXNSNQGX-UHFFFAOYSA-N neodymium atom Chemical compound [Nd] QEFYFXOXNSNQGX-UHFFFAOYSA-N 0.000 description 1
- 229910017604 nitric acid Inorganic materials 0.000 description 1
- 229960001730 nitrous oxide Drugs 0.000 description 1
- 235000013842 nitrous oxide Nutrition 0.000 description 1
- 239000004745 nonwoven fabric Substances 0.000 description 1
- 238000007645 offset printing Methods 0.000 description 1
- 239000012788 optical film Substances 0.000 description 1
- 229910052762 osmium Inorganic materials 0.000 description 1
- SYQBFIAQOQZEGI-UHFFFAOYSA-N osmium atom Chemical compound [Os] SYQBFIAQOQZEGI-UHFFFAOYSA-N 0.000 description 1
- 230000001590 oxidative effect Effects 0.000 description 1
- PQQKPALAQIIWST-UHFFFAOYSA-N oxomolybdenum Chemical compound [Mo]=O PQQKPALAQIIWST-UHFFFAOYSA-N 0.000 description 1
- 229910052763 palladium Inorganic materials 0.000 description 1
- 239000012466 permeate Substances 0.000 description 1
- 239000005011 phenolic resin Substances 0.000 description 1
- 229910052698 phosphorus Inorganic materials 0.000 description 1
- 239000011574 phosphorus Substances 0.000 description 1
- 239000000049 pigment Substances 0.000 description 1
- 229910052697 platinum Inorganic materials 0.000 description 1
- 238000005498 polishing Methods 0.000 description 1
- 229920003229 poly(methyl methacrylate) Polymers 0.000 description 1
- 229920002037 poly(vinyl butyral) polymer Polymers 0.000 description 1
- 229920006350 polyacrylonitrile resin Polymers 0.000 description 1
- 229920006122 polyamide resin Polymers 0.000 description 1
- 229920002312 polyamide-imide Polymers 0.000 description 1
- 229920000767 polyaniline Polymers 0.000 description 1
- 229920000728 polyester Polymers 0.000 description 1
- 229920001225 polyester resin Polymers 0.000 description 1
- 239000004645 polyester resin Substances 0.000 description 1
- 229920000573 polyethylene Polymers 0.000 description 1
- 239000011112 polyethylene naphthalate Substances 0.000 description 1
- 239000009719 polyimide resin Substances 0.000 description 1
- 239000004926 polymethyl methacrylate Substances 0.000 description 1
- 229920000128 polypyrrole Polymers 0.000 description 1
- 229920005990 polystyrene resin Polymers 0.000 description 1
- 229920000123 polythiophene Polymers 0.000 description 1
- 229920002451 polyvinyl alcohol Polymers 0.000 description 1
- 239000000843 powder Substances 0.000 description 1
- 238000003825 pressing Methods 0.000 description 1
- 230000000750 progressive effect Effects 0.000 description 1
- 239000010453 quartz Substances 0.000 description 1
- 230000006798 recombination Effects 0.000 description 1
- 238000005215 recombination Methods 0.000 description 1
- 230000009467 reduction Effects 0.000 description 1
- 238000002310 reflectometry Methods 0.000 description 1
- 230000004044 response Effects 0.000 description 1
- 229910052703 rhodium Inorganic materials 0.000 description 1
- MHOVAHRLVXNVSD-UHFFFAOYSA-N rhodium atom Chemical compound [Rh] MHOVAHRLVXNVSD-UHFFFAOYSA-N 0.000 description 1
- 229910052707 ruthenium Inorganic materials 0.000 description 1
- 229910052594 sapphire Inorganic materials 0.000 description 1
- 239000010980 sapphire Substances 0.000 description 1
- 229910052706 scandium Inorganic materials 0.000 description 1
- SIXSYDAISGFNSX-UHFFFAOYSA-N scandium atom Chemical compound [Sc] SIXSYDAISGFNSX-UHFFFAOYSA-N 0.000 description 1
- 238000007650 screen-printing Methods 0.000 description 1
- 238000007789 sealing Methods 0.000 description 1
- 229910052709 silver Inorganic materials 0.000 description 1
- 239000004332 silver Substances 0.000 description 1
- 238000009751 slip forming Methods 0.000 description 1
- 229910052708 sodium Inorganic materials 0.000 description 1
- 239000011734 sodium Substances 0.000 description 1
- 238000005507 spraying Methods 0.000 description 1
- 239000010935 stainless steel Substances 0.000 description 1
- 229910001220 stainless steel Inorganic materials 0.000 description 1
- 238000000859 sublimation Methods 0.000 description 1
- 230000008022 sublimation Effects 0.000 description 1
- JBQYATWDVHIOAR-UHFFFAOYSA-N tellanylidenegermanium Chemical compound [Te]=[Ge] JBQYATWDVHIOAR-UHFFFAOYSA-N 0.000 description 1
- 229930192474 thiophene Natural products 0.000 description 1
- 230000017105 transposition Effects 0.000 description 1
- LEONUFNNVUYDNQ-UHFFFAOYSA-N vanadium atom Chemical compound [V] LEONUFNNVUYDNQ-UHFFFAOYSA-N 0.000 description 1
- 239000013585 weight reducing agent Substances 0.000 description 1
- 239000002759 woven fabric Substances 0.000 description 1
- 229910052724 xenon Inorganic materials 0.000 description 1
- FHNFHKCVQCLJFQ-UHFFFAOYSA-N xenon atom Chemical compound [Xe] FHNFHKCVQCLJFQ-UHFFFAOYSA-N 0.000 description 1
- 239000011701 zinc Substances 0.000 description 1
- OYQCBJZGELKKPM-UHFFFAOYSA-N zinc indium(3+) oxygen(2-) Chemical compound [O-2].[Zn+2].[O-2].[In+3] OYQCBJZGELKKPM-UHFFFAOYSA-N 0.000 description 1
Images
Classifications
-
- H—ELECTRICITY
- H10—SEMICONDUCTOR DEVICES; ELECTRIC SOLID-STATE DEVICES NOT OTHERWISE PROVIDED FOR
- H10D—INORGANIC ELECTRIC SEMICONDUCTOR DEVICES
- H10D30/00—Field-effect transistors [FET]
- H10D30/60—Insulated-gate field-effect transistors [IGFET]
- H10D30/67—Thin-film transistors [TFT]
- H10D30/674—Thin-film transistors [TFT] characterised by the active materials
- H10D30/6755—Oxide semiconductors, e.g. zinc oxide, copper aluminium oxide or cadmium stannate
-
- H—ELECTRICITY
- H01—ELECTRIC ELEMENTS
- H01L—SEMICONDUCTOR DEVICES NOT COVERED BY CLASS H10
- H01L21/00—Processes or apparatus adapted for the manufacture or treatment of semiconductor or solid state devices or of parts thereof
- H01L21/02—Manufacture or treatment of semiconductor devices or of parts thereof
- H01L21/02104—Forming layers
- H01L21/02365—Forming inorganic semiconducting materials on a substrate
- H01L21/02518—Deposited layers
- H01L21/02521—Materials
- H01L21/02551—Group 12/16 materials
- H01L21/02554—Oxides
-
- H—ELECTRICITY
- H01—ELECTRIC ELEMENTS
- H01L—SEMICONDUCTOR DEVICES NOT COVERED BY CLASS H10
- H01L21/00—Processes or apparatus adapted for the manufacture or treatment of semiconductor or solid state devices or of parts thereof
- H01L21/02—Manufacture or treatment of semiconductor devices or of parts thereof
- H01L21/02104—Forming layers
- H01L21/02365—Forming inorganic semiconducting materials on a substrate
- H01L21/02518—Deposited layers
- H01L21/02521—Materials
- H01L21/02565—Oxide semiconducting materials not being Group 12/16 materials, e.g. ternary compounds
-
- H—ELECTRICITY
- H01—ELECTRIC ELEMENTS
- H01L—SEMICONDUCTOR DEVICES NOT COVERED BY CLASS H10
- H01L21/00—Processes or apparatus adapted for the manufacture or treatment of semiconductor or solid state devices or of parts thereof
- H01L21/02—Manufacture or treatment of semiconductor devices or of parts thereof
- H01L21/02104—Forming layers
- H01L21/02365—Forming inorganic semiconducting materials on a substrate
- H01L21/02612—Formation types
- H01L21/02617—Deposition types
- H01L21/02631—Physical deposition at reduced pressure, e.g. MBE, sputtering, evaporation
-
- H—ELECTRICITY
- H10—SEMICONDUCTOR DEVICES; ELECTRIC SOLID-STATE DEVICES NOT OTHERWISE PROVIDED FOR
- H10D—INORGANIC ELECTRIC SEMICONDUCTOR DEVICES
- H10D30/00—Field-effect transistors [FET]
- H10D30/01—Manufacture or treatment
- H10D30/021—Manufacture or treatment of FETs having insulated gates [IGFET]
- H10D30/031—Manufacture or treatment of FETs having insulated gates [IGFET] of thin-film transistors [TFT]
-
- H—ELECTRICITY
- H10—SEMICONDUCTOR DEVICES; ELECTRIC SOLID-STATE DEVICES NOT OTHERWISE PROVIDED FOR
- H10D—INORGANIC ELECTRIC SEMICONDUCTOR DEVICES
- H10D30/00—Field-effect transistors [FET]
- H10D30/60—Insulated-gate field-effect transistors [IGFET]
- H10D30/67—Thin-film transistors [TFT]
- H10D30/6704—Thin-film transistors [TFT] having supplementary regions or layers in the thin films or in the insulated bulk substrates for controlling properties of the device
-
- H—ELECTRICITY
- H10—SEMICONDUCTOR DEVICES; ELECTRIC SOLID-STATE DEVICES NOT OTHERWISE PROVIDED FOR
- H10D—INORGANIC ELECTRIC SEMICONDUCTOR DEVICES
- H10D30/00—Field-effect transistors [FET]
- H10D30/60—Insulated-gate field-effect transistors [IGFET]
- H10D30/67—Thin-film transistors [TFT]
- H10D30/6729—Thin-film transistors [TFT] characterised by the electrodes
- H10D30/673—Thin-film transistors [TFT] characterised by the electrodes characterised by the shapes, relative sizes or dispositions of the gate electrodes
- H10D30/6733—Multi-gate TFTs
- H10D30/6734—Multi-gate TFTs having gate electrodes arranged on both top and bottom sides of the channel, e.g. dual-gate TFTs
-
- H—ELECTRICITY
- H10—SEMICONDUCTOR DEVICES; ELECTRIC SOLID-STATE DEVICES NOT OTHERWISE PROVIDED FOR
- H10D—INORGANIC ELECTRIC SEMICONDUCTOR DEVICES
- H10D30/00—Field-effect transistors [FET]
- H10D30/60—Insulated-gate field-effect transistors [IGFET]
- H10D30/67—Thin-film transistors [TFT]
- H10D30/6758—Thin-film transistors [TFT] characterised by the insulating substrates
-
- H—ELECTRICITY
- H10—SEMICONDUCTOR DEVICES; ELECTRIC SOLID-STATE DEVICES NOT OTHERWISE PROVIDED FOR
- H10D—INORGANIC ELECTRIC SEMICONDUCTOR DEVICES
- H10D62/00—Semiconductor bodies, or regions thereof, of devices having potential barriers
- H10D62/10—Shapes, relative sizes or dispositions of the regions of the semiconductor bodies; Shapes of the semiconductor bodies
- H10D62/17—Semiconductor regions connected to electrodes not carrying current to be rectified, amplified or switched, e.g. channel regions
- H10D62/213—Channel regions of field-effect devices
- H10D62/221—Channel regions of field-effect devices of FETs
- H10D62/235—Channel regions of field-effect devices of FETs of IGFETs
-
- H—ELECTRICITY
- H10—SEMICONDUCTOR DEVICES; ELECTRIC SOLID-STATE DEVICES NOT OTHERWISE PROVIDED FOR
- H10D—INORGANIC ELECTRIC SEMICONDUCTOR DEVICES
- H10D62/00—Semiconductor bodies, or regions thereof, of devices having potential barriers
- H10D62/80—Semiconductor bodies, or regions thereof, of devices having potential barriers characterised by the materials
-
- H—ELECTRICITY
- H10—SEMICONDUCTOR DEVICES; ELECTRIC SOLID-STATE DEVICES NOT OTHERWISE PROVIDED FOR
- H10D—INORGANIC ELECTRIC SEMICONDUCTOR DEVICES
- H10D86/00—Integrated devices formed in or on insulating or conducting substrates, e.g. formed in silicon-on-insulator [SOI] substrates or on stainless steel or glass substrates
- H10D86/01—Manufacture or treatment
- H10D86/021—Manufacture or treatment of multiple TFTs
- H10D86/0214—Manufacture or treatment of multiple TFTs using temporary substrates
-
- H—ELECTRICITY
- H10—SEMICONDUCTOR DEVICES; ELECTRIC SOLID-STATE DEVICES NOT OTHERWISE PROVIDED FOR
- H10D—INORGANIC ELECTRIC SEMICONDUCTOR DEVICES
- H10D86/00—Integrated devices formed in or on insulating or conducting substrates, e.g. formed in silicon-on-insulator [SOI] substrates or on stainless steel or glass substrates
- H10D86/40—Integrated devices formed in or on insulating or conducting substrates, e.g. formed in silicon-on-insulator [SOI] substrates or on stainless steel or glass substrates characterised by multiple TFTs
- H10D86/421—Integrated devices formed in or on insulating or conducting substrates, e.g. formed in silicon-on-insulator [SOI] substrates or on stainless steel or glass substrates characterised by multiple TFTs having a particular composition, shape or crystalline structure of the active layer
- H10D86/423—Integrated devices formed in or on insulating or conducting substrates, e.g. formed in silicon-on-insulator [SOI] substrates or on stainless steel or glass substrates characterised by multiple TFTs having a particular composition, shape or crystalline structure of the active layer comprising semiconductor materials not belonging to the Group IV, e.g. InGaZnO
-
- H—ELECTRICITY
- H10—SEMICONDUCTOR DEVICES; ELECTRIC SOLID-STATE DEVICES NOT OTHERWISE PROVIDED FOR
- H10D—INORGANIC ELECTRIC SEMICONDUCTOR DEVICES
- H10D86/00—Integrated devices formed in or on insulating or conducting substrates, e.g. formed in silicon-on-insulator [SOI] substrates or on stainless steel or glass substrates
- H10D86/40—Integrated devices formed in or on insulating or conducting substrates, e.g. formed in silicon-on-insulator [SOI] substrates or on stainless steel or glass substrates characterised by multiple TFTs
- H10D86/60—Integrated devices formed in or on insulating or conducting substrates, e.g. formed in silicon-on-insulator [SOI] substrates or on stainless steel or glass substrates characterised by multiple TFTs wherein the TFTs are in active matrices
-
- H—ELECTRICITY
- H10—SEMICONDUCTOR DEVICES; ELECTRIC SOLID-STATE DEVICES NOT OTHERWISE PROVIDED FOR
- H10D—INORGANIC ELECTRIC SEMICONDUCTOR DEVICES
- H10D99/00—Subject matter not provided for in other groups of this subclass
Landscapes
- Engineering & Computer Science (AREA)
- Microelectronics & Electronic Packaging (AREA)
- Condensed Matter Physics & Semiconductors (AREA)
- General Physics & Mathematics (AREA)
- Manufacturing & Machinery (AREA)
- Computer Hardware Design (AREA)
- Physics & Mathematics (AREA)
- Power Engineering (AREA)
- Thin Film Transistor (AREA)
- Electrodes Of Semiconductors (AREA)
- Devices For Indicating Variable Information By Combining Individual Elements (AREA)
- Liquid Crystal (AREA)
- Electroluminescent Light Sources (AREA)
- Bipolar Transistors (AREA)
Description
全般を指し、電気光学装置、半導体回路および電子機器は全て半導体装置である。
構成する技術が注目されている。薄膜トランジスタは集積回路(IC)や画像表示装置(
表示装置)のような電子デバイスに広く応用されている。
、このような半導体特性を示す金属酸化物をチャネル形成領域とする薄膜トランジスタが
知られている(特許文献1及び特許文献2参照。)。
り、それによって軽量化、薄型化、耐衝撃性など要求される特性や形状も多様化している
。よって目的にあった機能性を付与された電子デバイスの開発が進められている。
を曲面状にしたディスプレイが報告されている(例えば、特許文献3参照。)。
に高い耐性を付与することが求められる。
いて、より高い耐衝撃性を付与することを目的の一とする。
い半導体装置を提供することを目的の一とする。
、酸化物半導体層とを含むボトムゲート構造のトランジスタと、トランジスタ上に絶縁層
と、絶縁層上に導電層とを有し、絶縁層は酸化物半導体層を覆い、かつゲート絶縁層と接
して設けられ、酸化物半導体層のチャネル幅方向において、ゲート電極層上でゲート絶縁
層と絶縁層とは端部が一致し、導電層は、酸化物半導体層のチャネル形成領域と、ゲート
絶縁層及び絶縁層の端部とを覆い、かつゲート電極層と接して設けられる半導体装置であ
る。
トランジスタを含む駆動回路部と、画素用トランジスタを含む画素部とを有し、駆動回路
用トランジスタは、ゲート電極層と、ゲート絶縁層と、酸化物半導体層とを含み、酸化物
半導体層上に絶縁層と、絶縁層上に導電層とが設けられ、絶縁層は酸化物半導体層を覆い
、かつゲート絶縁層と接して設けられ、酸化物半導体層のチャネル幅方向において、ゲー
ト電極層上でゲート絶縁層と絶縁層とは端部が一致し、導電層は、酸化物半導体層のチャ
ネル形成領域と、ゲート絶縁層及び絶縁層の端部とを覆い、かつゲート電極層と接して設
けられる半導体装置である。
に設けてもよいし、ゲート絶縁層と酸化物半導体層の間に設けてもよい。
下に積層するゲート絶縁層、及び絶縁層と、さらにゲート電極層及び導電層とによって囲
まれているため耐衝撃性に優れ、基板に可撓性基板を用いて自由に形状を加工することが
できる。
置を作製することができる。
板に酸化物半導体層を含むトランジスタを作製し、その後可撓性基板に剥離、転置しても
よい。なお、作製基板から可撓性基板に剥離、転置するために、作製基板と酸化物半導体
層を含むトランジスタとの間に剥離層を設けるとよい。
ート電極層上にゲート絶縁層を形成し、ゲート絶縁層上に酸化物半導体層を形成し、酸化
物半導体層を覆って絶縁層を形成し、ゲート絶縁層及び絶縁層に開口を形成しゲート電極
層を露出させ、ゲート絶縁層と絶縁層との積層の上部、及び開口においてゲート絶縁層と
絶縁層との積層の端部を覆い、かつゲート電極層に接して導電層を形成する半導体装置の
作製方法である。
ート電極層を形成し、ゲート電極層上にゲート絶縁層を形成し、ゲート絶縁層上に酸化物
半導体層を形成し、酸化物半導体層を覆って絶縁層を形成し、ゲート絶縁層及び絶縁層に
開口を形成しゲート電極層を露出させ、ゲート絶縁層と絶縁層との積層の上部、及び開口
においてゲート絶縁層と絶縁層との積層の端部を覆い、かつゲート電極層に接して導電層
を形成してトランジスタを作製し、トランジスタを剥離層を用いて作製基板から支持基板
へ転置し、支持基板に転置されたトランジスタを可撓性基板上に転置する半導体装置の作
製方法である。
示すものではない。また、本明細書において発明を特定するための事項として固有の名称
を示すものではない。
するゲート絶縁層、及び絶縁層と、さらにゲート電極層及び導電層とによって囲むことに
より、耐衝撃性を付加することができる。
向上した信頼性の高い半導体装置を提供することができる。
以下の説明に限定されず、その形態および詳細を様々に変更し得ることは、当業者であれ
ば容易に理解される。また、本発明は以下に示す実施の形態の記載内容に限定して解釈さ
れるものではない。
本実施の形態では、半導体装置及び半導体装置の作製方法の一形態を、図1及び図3を用
いて説明する。本実施の形態では、半導体装置の一例としてトランジスタを示す。なお、
明細書に開示する半導体装置における半導体層は、酸化物半導体層を好適に用いることが
できる。
ネル形成領域は、チャネル長(L)方向、及びチャネル幅(W)方向を有する。
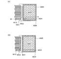
ジスタ410のチャネル長(L)方向における線A1−A2の断面図、図1(C)はチャ
ネル幅(W)方向における線B1−B2の断面図である。
0上に、ゲート電極層401、ゲート絶縁層402、酸化物半導体層403、ソース電極
層405a、ドレイン電極層405bを含む。トランジスタ410上には、絶縁層407
、及び導電層411が順に積層されている。
層402と絶縁層407とで上下及び端部を囲まれており、ゲート絶縁層402及び絶縁
層407は両端部で接している。ゲート絶縁層402の下側にはゲート電極層401が設
けられ、絶縁層407上には、酸化物半導体層403、ゲート絶縁層402、及び絶縁層
407の上部及びゲート絶縁層402、及び絶縁層407の両端部を覆い、かつゲート電
極層401と接して導電層411が設けられている。
07、及びゲート電極層401と導電層411とによって囲まれている。
導電層の積層によって保護する構成とすると、図1(C)の矢印445に示すようなチャ
ネル幅(W)方向における力(外部から与えられる力)が加えられても、膜厚の厚い積層
構造は曲がりにくいため、積層の中心に位置する酸化物半導体層403へかかる力を軽減
することができる。よって外部からの衝撃による酸化物半導体層403の破損を防止する
ことができる。
を形成し、該開口においてゲート電極層401と導電層411とが接する構成としている
。ゲート電極層401と導電層411として密着性のよい導電膜を用いれば、矢印445
に示す力によるゲート電極層401、ゲート絶縁層402、酸化物半導体層403、絶縁
層407、又は導電層411の界面における膜剥がれを防止することができる。
ことが好ましく、図1(A)に示すように、ゲート電極層401と導電層411とが接す
る領域の酸化物半導体層403のチャネル長方向における距離を、酸化物半導体層403
のチャネル長の距離より長くすることが好ましい。
407とが接して封止し、さらにその両端をゲート電極層401と導電層411とが接し
て封止するため、線C1−C2に対して線対称な構造とすることができる。よって矢印4
45に示す力が均等に分散し、酸化物半導体層403において局所的に大きな力がかかる
のを防止することができる。
げ耐性を高め、耐衝撃性を付与することができる。
ることが好ましい。しかしチャネル幅が長いトランジスタであるとチャネル幅方向におけ
る外部からの力の影響も大きくなる。よって、本実施の形態で示したようなチャネル幅方
向への曲げ耐性を有するトランジスタを駆動回路に用いるとより効果的であり、耐衝撃性
に優れ信頼性の高い半導体装置とすることができる。
ての適用にも対応が可能であり、より多様化する用途に対応でき、利便性が向上した信頼
性の高い半導体装置を提供することができる。
曲げ耐性に優れているので、半導体装置を作製する際に曲がりやすい方向(曲げる頻度が
高い方向)にチャネル幅方向をあわせてトランジスタを作製することが好ましい。
す。なお、図3(A1)乃至(E1)は図1(B)に対応しており、図3(A2)乃至(
E2)は図1(C)に対応している。
工程によりゲート電極層401を形成する。なお、レジストマスクをインクジェット法で
形成してもよい。レジストマスクをインクジェット法で形成するとフォトマスクを使用し
ないため、製造コストを低減できる。
レフタレート(PET)、ポリエチレンナフタレート(PEN)等のポリエステル樹脂、
ポリアクリルニトリル樹脂、ポリイミド樹脂、ポリメチルメタクリレート樹脂、ポリカー
ボネート樹脂(PC)、ポリエーテルスルフォン樹脂(PES)、ポリアミド樹脂、シク
ロオレフィン樹脂、ポリスチレン樹脂、ポリアミドイミド樹脂、ポリ塩化ビニル樹脂、な
どを好適に用いることができる。可撓性基板として繊維体に有機樹脂が含浸された構造体
(いわゆるプリプレグ)を用いてもよい。また、基板400には予め窒化シリコンや酸化
窒化シリコン等の窒素とシリコンを含む膜や窒化アルミニウム等の窒素とアルミニウムを
含む膜のような透水性の低い保護膜を成膜しておいても良い。
の高強度繊維を用いる。高強度繊維とは、具体的には引張弾性率またはヤング率の高い繊
維のことを言い、代表例としては、ポリビニルアルコール系繊維、ポリエステル系繊維、
ポリアミド系繊維、ポリエチレン系繊維、アラミド系繊維、ポリパラフェニレンベンゾビ
スオキサゾール繊維、ガラス繊維、または炭素繊維が挙げられる。ガラス繊維としては、
Eガラス、Sガラス、Dガラス、Qガラス等を用いたガラス繊維が挙げられる。これらは
、織布または不織布の状態で用い、この繊維体に有機樹脂を含浸させ有機樹脂を硬化させ
た構造体を基板400として用いても良い。基板400として繊維体と有機樹脂からなる
構造体を用いると、曲げや局所的押圧による破損に対する信頼性が向上するため、好まし
い構成である。
ルミノホウケイ酸ガラス)や、フィルム化した金属基板を用いてもよい。金属基板を構成
する材料としては特に限定はないが、アルミニウム、銅、ニッケルやアルミニウム合金若
しくはステンレスなどの金属の合金などを好適にもちいることができる。
トランジスタ410を直接作製してもよいし、他の作製基板に酸化物半導体層403を含
むトランジスタ410を作製し、その後可撓性基板に剥離、転置してもよい。なお、作製
基板から可撓性基板に剥離、転置するために、作製基板と酸化物半導体層を含むトランジ
スタとの間に剥離層を設けるとよい。
、基板400からの不純物元素の拡散を防止する機能があり、窒化シリコン膜、酸化シリ
コン膜、窒化酸化シリコン膜、又は酸化窒化シリコン膜から選ばれた一又は複数の膜によ
る積層構造により形成することができる。
ルミニウム、銅、ネオジム、スカンジウム等の金属材料又はこれらを主成分とする合金材
料を用いて、単層で又は積層して形成することができる。
、プラズマCVD法又はスパッタリング法等を用いて、酸化シリコン層、窒化シリコン層
、酸化窒化シリコン層、窒化酸化シリコン層、酸化アルミニウム層、窒化アルミニウム層
、酸化窒化アルミニウム層、窒化酸化アルミニウム層、又は酸化ハフニウム層を単層で又
は積層して形成することができる。
ア供与体となる不純物が極力含まれないように高純度化することにより真性(I型)化又
は実質的に真性(I型)型化された酸化物半導体を用いる。
濃度は1×1014/cm3未満、好ましくは1×1012/cm3未満、さらに好まし
くは1×1011/cm3未満である。
することができる。オフ電流は少なければ少ないほど好ましい。
ため、酸化物半導体層とゲート絶縁層との界面は重要である。そのため高純度化された酸
化物半導体に接するゲート絶縁層は、高品質化が要求される。
絶縁耐圧の高い高品質な絶縁層を形成できるので好ましい。高純度化された酸化物半導体
と高品質ゲート絶縁層とが密接することにより、界面準位を低減して界面特性を良好なも
のとすることができるからである。
法やプラズマCVD法など他の成膜方法を適用することができる。また、成膜後の熱処理
によってゲート絶縁層の膜質、酸化物半導体との界面特性が改質される絶縁層であっても
良い。いずれにしても、ゲート絶縁層としての膜質が良好であることは勿論のこと、酸化
物半導体との界面準位密度を低減し、良好な界面を形成できるものであれば良い。
まれないようにするために、酸化物半導体膜440の成膜の前処理として、スパッタリン
グ装置の予備加熱室でゲート電極層401が形成された基板400、又はゲート絶縁層4
02までが形成された基板400を予備加熱し、基板400に吸着した水素、水分などの
不純物を脱離し排気することが好ましい。なお、予備加熱室に設ける排気手段はクライオ
ポンプが好ましい。なお、この予備加熱の処理は省略することもできる。またこの予備加
熱は、絶縁層407の成膜前に、ソース電極層405a及びドレイン電極層405bまで
形成した基板400にも同様に行ってもよい。
上30nm以下の酸化物半導体膜440を形成する(図3(A1)(A2)参照。)。
入してプラズマを発生させる逆スパッタを行い、ゲート絶縁層402の表面に付着してい
る粉状物質(パーティクル、ごみともいう)を除去することが好ましい。逆スパッタとは
、ターゲット側に電圧を印加せずに、アルゴン雰囲気下で基板側にRF電源を用いて電圧
を印加して基板近傍にプラズマを形成して表面を改質する方法である。なお、アルゴン雰
囲気に代えて窒素、ヘリウム、酸素などを用いてもよい。
n−Ga−Zn−O系酸化物半導体や、三元系金属酸化物であるIn−Ga−Zn−O系
酸化物半導体、In−Sn−Zn−O系酸化物半導体、In−Al−Zn−O系酸化物半
導体、Sn−Ga−Zn−O系酸化物半導体、Al−Ga−Zn−O系酸化物半導体、S
n−Al−Zn−O系酸化物半導体や、二元系金属酸化物であるIn−Zn−O系酸化物
半導体、Sn−Zn−O系酸化物半導体、Al−Zn−O系酸化物半導体、Zn−Mg−
O系酸化物半導体、Sn−Mg−O系酸化物半導体、In−Mg−O系酸化物半導体や、
In−O系酸化物半導体、Sn−O系酸化物半導体、Zn−O系酸化物半導体などを用い
ることができる。また、上記酸化物半導体にSiO2を含んでもよい。ここで、例えば、
In−Ga−Zn−O系酸化物半導体とは、インジウム(In)、ガリウム(Ga)、亜
鉛(Zn)を有する酸化物膜、という意味であり、その化学量論比はとくに問わない。ま
た、InとGaとZn以外の元素を含んでもよい。
薄膜を用いることができる。ここで、Mは、Ga、Al、MnおよびCoから選ばれた一
または複数の金属元素を示す。例えばMとして、Ga、Ga及びAl、Ga及びMn、ま
たはGa及びCoなどがある。
トを用いてスパッタリング法により成膜する。また、酸化物半導体膜440は、希ガス(
代表的にはアルゴン)雰囲気下、酸素雰囲気下、又は希ガスと酸素の混合雰囲気下におい
てスパッタ法により形成することができる。
、組成比として、In2O3:Ga2O3:ZnO=1:1:1[mol数比]の酸化物
ターゲットを用い、In−Ga−Zn−O膜を成膜する。また、このターゲットの材料及
び組成に限定されず、例えば、In2O3:Ga2O3:ZnO=1:1:2[mol数
比]の酸化物ターゲットを用いてもよい。
.9%以下である。充填率の高い金属酸化物ターゲットを用いることにより、成膜した酸
化物半導体膜は緻密な膜とすることができる。
化物などの不純物が除去された高純度ガスを用いることが好ましい。
ましくは200℃以上400℃以下とする。基板を加熱しながら成膜することにより、成
膜した酸化物半導体膜に含まれる不純物濃度を低減することができる。また、スパッタリ
ングによる損傷が軽減される。そして、成膜室内の残留水分を除去しつつ水素及び水分が
除去されたスパッタガスを導入し、上記ターゲットを用いて基板400上に酸化物半導体
膜440を成膜する。成膜室内の残留水分を除去するためには、吸着型の真空ポンプ、例
えば、クライオポンプ、イオンポンプ、チタンサブリメーションポンプを用いることが好
ましい。また、排気手段としては、ターボポンプ(ターボ分子ポンプ)にコールドトラッ
プを加えたものであってもよい。クライオポンプを用いて排気した成膜室は、例えば、水
素原子、水(H2O)など水素原子を含む化合物(より好ましくは炭素原子を含む化合物
も)等が排気されるため、当該成膜室で成膜した酸化物半導体膜に含まれる不純物の濃度
を低減できる。
、直流(DC)電源0.5kW、酸素(酸素流量比率100%)雰囲気下の条件が適用さ
れる。なお、パルス直流電源を用いると、成膜時に発生する粉状物質(パーティクル、ご
みともいう)が軽減でき、膜厚分布も均一となるために好ましい。
体層に加工する。また、島状の酸化物半導体層を形成するためのレジストマスクをインク
ジェット法で形成してもよい。レジストマスクをインクジェット法で形成するとフォトマ
スクを使用しないため、製造コストを低減できる。
膜440の加工時に同時に行うことができる。
ッチングでもよく、両方を用いてもよい。例えば、酸化物半導体膜440のウェットエッ
チングに用いるエッチング液としては、燐酸と酢酸と硝酸を混ぜた溶液、アンモニア過水
(31重量%過酸化水素水:28重量%アンモニア水:水=5:2:2)などを用いるこ
とができる。また、ITO07N(関東化学社製)を用いてもよい。
導体層の脱水化または脱水素化を行うことができる。第1の加熱処理の温度は、400℃
以上750℃以下、または400℃以上基板の歪み点未満とする。ここでは、加熱処理装
置の一つである電気炉に基板を導入し、酸化物半導体層に対して窒素雰囲気下450℃に
おいて1時間の加熱処理を行った後、大気に触れることなく、酸化物半導体層への水や水
素の再混入を防ぎ、酸化物半導体層441を得る(図3(B1)(B2)参照。)。
輻射によって、被処理物を加熱する装置を用いてもよい。例えば、GRTA(Gas R
apid Thermal Anneal)装置、LRTA(Lamp Rapid T
hermal Anneal)装置等のRTA(Rapid Thermal Anne
al)装置を用いることができる。LRTA装置は、ハロゲンランプ、メタルハライドラ
ンプ、キセノンアークランプ、カーボンアークランプ、高圧ナトリウムランプ、高圧水銀
ランプなどのランプから発する光(電磁波)の輻射により、被処理物を加熱する装置であ
る。GRTA装置は、高温のガスを用いて加熱処理を行う装置である。高温のガスには、
アルゴンなどの希ガス、または窒素のような、加熱処理によって被処理物と反応しない不
活性気体が用いられる。
板を移動させて入れ、数分間加熱した後、基板を移動させて高温に加熱した不活性ガス中
から出すGRTAを行ってもよい。
に、水、水素などが含まれないことが好ましい。または、加熱処理装置に導入する窒素、
またはヘリウム、ネオン、アルゴン等の希ガスの純度を、6N(99.9999%)以上
好ましくは7N(99.99999%)以上(即ち不純物濃度を1ppm以下、好ましく
は0.1ppm以下)とすることが好ましい。
度のN2Oガス、又は超乾燥エア(露点が−40℃以下、好ましくは−60℃以下)を導
入してもよい。酸素ガスまたはN2Oガスに、水、水素などが含まれないことが好ましい
。または、加熱処理装置に導入する酸素ガスまたはN2Oガスの純度を、6N以上好まし
くは7N以上(即ち、酸素ガスまたはN2Oガス中の不純物濃度を1ppm以下、好まし
くは0.1ppm以下)とすることが好ましい。酸素ガス又はN2Oガスの作用により、
脱水化または脱水素化処理による不純物の排除工程によって同時に減少してしまった酸化
物半導体を構成する主成分材料である酸素を供給することによって、酸化物半導体層を高
純度化及び電気的にI型(真性)化する。
半導体膜440に行うこともできる。その場合には、第1の加熱処理後に、加熱装置から
基板を取り出し、フォトリソグラフィ工程を行う。
層上にソース電極層及びドレイン電極層を積層させた後、あるいは、ソース電極層及びド
レイン電極層上に絶縁層を形成した後、のいずれで行っても良い。
膜440に第1の加熱処理を行う前でも行った後に行ってもよい。
部材の材料が、酸化物、窒化物、金属など材料を問わず、膜厚の厚い結晶領域(単結晶領
域)、即ち、膜表面に垂直にc軸配向した結晶領域を有する酸化物半導体層を形成しても
よい。例えば、3nm以上15nm以下の第1の酸化物半導体膜を成膜し、窒素、酸素、
希ガス、または乾燥空気の雰囲気下で450℃以上850℃以下、好ましくは550℃以
上750℃以下の第1の加熱処理を行い、表面を含む領域に結晶領域(板状結晶を含む)
を有する第1の酸化物半導体膜を形成する。そして、第1の酸化物半導体膜よりも厚い第
2の酸化物半導体膜を形成し、450℃以上850℃以下、好ましくは600℃以上70
0℃以下の第2の加熱処理を行い、第1の酸化物半導体膜を結晶成長の種として、上方に
結晶成長させ、第2の酸化物半導体膜の全体を結晶化させ、結果として膜厚の厚い結晶領
域を有する酸化物半導体層を形成してもよい。
ン電極層(これと同じ層で形成される配線を含む)となる導電膜を形成する。ソース電極
層、及びドレイン電極層に用いる導電膜としては、例えば、Al、Cr、Cu、Ta、T
i、Mo、Wからから選ばれた元素を含む金属膜、または上述した元素を成分とする金属
窒化物膜(窒化チタン膜、窒化モリブデン膜、窒化タングステン膜)等を用いることがで
きる。また、Al、Cuなどの金属膜の下側又は上側の一方または双方にTi、Mo、W
などの高融点金属膜またはそれらの金属窒化物膜(窒化チタン膜、窒化モリブデン膜、窒
化タングステン膜)を積層させた構成としても良い。また、ソース電極層、及びドレイン
電極層に用いる導電膜としては、導電性の金属酸化物で形成しても良い。導電性の金属酸
化物としては酸化インジウム(In2O3)、酸化スズ(SnO2)、酸化亜鉛(ZnO
)、酸化インジウム酸化スズ合金(In2O3―SnO2、ITOと略記する)、酸化イ
ンジウム酸化亜鉛合金(In2O3―ZnO)またはこれらの金属酸化物材料に酸化シリ
コンを含ませたものを用いることができる。
チングを行ってソース電極層405a、ドレイン電極層405bを形成した後、レジスト
マスクを除去する。
ーザ光やArFレーザ光を用いるとよい。酸化物半導体層441上で隣り合うソース電極
層の下端部とドレイン電極層の下端部との間隔幅によって後に形成されるトランジスタの
チャネル長Lが決定される。なお、チャネル長L=25nm未満の露光を行う場合には、
数nm〜数10nmと極めて波長が短い超紫外線(Extreme Ultraviol
et)を用いて第3のフォトリソグラフィ工程でのレジストマスク形成時の露光を行うと
よい。超紫外線による露光は、解像度が高く焦点深度も大きい。従って、後に形成される
トランジスタのチャネル長Lを10nm以上1000nm以下とすることも可能であり、
回路の動作速度を高速化できる。
した光が複数の強度となる露光マスクである多階調マスクによって形成されたレジストマ
スクを用いてエッチング工程を行ってもよい。多階調マスクを用いて形成したレジストマ
スクは複数の膜厚を有する形状となり、エッチングを行うことでさらに形状を変形するこ
とができるため、異なるパターンに加工する複数のエッチング工程に用いることができる
。よって、一枚の多階調マスクによって、少なくとも二種類以上の異なるパターンに対応
するレジストマスクを形成することができる。よって露光マスク数を削減することができ
、対応するフォトリソグラフィ工程も削減できるため、工程の簡略化が可能となる。
とのないようエッチング条件を最適化することが望まれる。しかしながら、導電膜のみを
エッチングし、酸化物半導体層441を全くエッチングしないという条件を得ることは難
しく、導電膜のエッチングの際に酸化物半導体層441は一部のみがエッチングされ、溝
部(凹部)を有する酸化物半導体層となることもある。
Zn−O系酸化物半導体を用いたので、エッチャントとしてアンモニア過水(アンモニア
、水、過酸化水素水の混合液)を用いる。
る酸化物半導体層の表面に付着した吸着水などを除去してもよい。プラズマ処理を行った
場合、大気に触れることなく、酸化物半導体層の一部に接する絶縁層407を形成する。
、水素等の不純物を混入させない方法を適宜用いて形成することができる。絶縁層407
に水素が含まれると、その水素の酸化物半導体層への侵入、又は水素による酸化物半導体
層中の酸素の引き抜き、が生じ酸化物半導体層のバックチャネルが低抵抗化(N型化)し
てしまい、寄生チャネルが形成されるおそれがある。よって、絶縁層407はできるだけ
水素を含まない膜になるように、成膜方法に水素を用いないことが重要である。
ウム膜、または酸化窒化アルミニウム膜などの無機絶縁膜を用いることができる。
ング法を用いて成膜する。成膜時の基板温度は、室温以上300℃以下とすればよく、本
実施の形態では100℃とする。酸化シリコン膜のスパッタ法による成膜は、希ガス(代
表的にはアルゴン)雰囲気下、酸素雰囲気下、または希ガスと酸素の混合雰囲気下におい
て行うことができる。また、ターゲットとして酸化シリコンターゲットまたはシリコンタ
ーゲットを用いることができる。例えば、シリコンターゲットを用いて、酸素を含む雰囲
気下でスパッタ法により酸化シリコン膜を形成することができる。酸化物半導体層に接し
て形成する絶縁層407は、水分や、水素イオンや、OH−などの不純物を含まず、これ
らが外部から侵入することをブロックする無機絶縁膜を用い、代表的には酸化シリコン膜
、酸化窒化シリコン膜、酸化アルミニウム膜、または酸化窒化アルミニウム膜などを用い
る。
ためには、吸着型の真空ポンプ(クライオポンプなど)を用いることが好ましい。クライ
オポンプを用いて排気した成膜室で成膜した絶縁層407に含まれる不純物の濃度を低減
できる。また、絶縁層407の成膜室内の残留水分を除去するための排気手段としては、
ターボポンプ(ターボ分子ポンプ)にコールドトラップを加えたものであってもよい。
の不純物が除去された高純度ガスを用いることが好ましい。
00℃以上400℃以下、例えば250℃以上350℃以下)を行う。例えば、窒素雰囲
気下で250℃、1時間の第2の加熱処理を行う。第2の加熱処理を行うと、酸化物半導
体層の一部(チャネル形成領域)が絶縁層407と接した状態で加熱される。
水分、水酸基又は水素化物(水素化合物ともいう)などの不純物を酸化物半導体層より意
図的に排除し、かつ不純物の排除工程によって同時に減少してしまう酸化物半導体を構成
する主成分材料の一つである酸素を供給することができる。よって、酸化物半導体層は高
純度化及び電気的にI型(真性)化する。
の加熱処理によって酸化物半導体層中に含まれる水素、水分、水酸基又は水素化物などの
不純物を酸化物シリコン層に拡散させ、酸化物半導体層中に含まれる該不純物をより低減
させる効果を奏する。
窒化シリコン膜を形成する。RFスパッタ法は、量産性がよいため、保護絶縁層の成膜方
法として好ましい。保護絶縁層は、水分などの不純物を含まず、これらが外部から侵入す
ることをブロックする無機絶縁膜を用い、窒化シリコン膜、窒化アルミニウム膜などを用
いる。
下での加熱処理を行ってもよい。この加熱処理は一定の加熱温度を保持して加熱してもよ
いし、室温から、100℃以上200℃以下の加熱温度への昇温と、加熱温度から室温ま
での降温を複数回くりかえして行ってもよい。
露出する開口412a、412bを形成する(図3(D1)(D2)参照。)。図3(D
2)に示すように、酸化物半導体層403のチャネル幅方向において、ゲート絶縁層40
2及び絶縁層407が酸化物半導体層403を中央に囲んで封止するように、ゲート絶縁
層402及び絶縁層407に開口412a、412bを形成する。本実施の形態では、ゲ
ート絶縁層402と絶縁層407とを同マスクを用いてエッチングしたので、ゲート絶縁
層402と絶縁層407の端部は概略一致している。
ッチングして導電層411を形成する(図3(E1)(E2)参照。)。導電層411は
、酸化物半導体層403の少なくともチャネル形成領域を覆うように形成される。
囲うゲート絶縁層402、及び絶縁層407の上部及びゲート絶縁層402、及び絶縁層
407の両端部を覆い、かつ開口に露出するゲート電極層401と接して、導電層411
を形成する。導電層411はゲート電極層401と接するため、ゲート電極層401と同
電位となる。
10のバックチャネルにリーク電流による寄生チャネルが形成することを防止することが
できる。
を含む回路部)に作用しないようにする機能(特に静電気に対する静電遮蔽機能)も有す
る。導電層411の遮蔽機能により、静電気などの外部の電場の影響によりトランジスタ
410の電気的な特性が変動することを防止することができる。
スタ410は、オフ状態における電流値(オフ電流値)を、チャネル幅1μm当たり10
zA/μm未満、85℃にて100zA/μm未満レベルにまで低くすることができる。
が得られるため、高速駆動が可能である。よって、液晶表示装置の画素部に上記トランジ
スタを用いることで、高画質な画像を提供することができる。また、高純度化された酸化
物半導体層を含むトランジスタによって、同一基板上に駆動回路部または画素部を作り分
けて作製することができるため、半導体装置の部品点数を削減することができる。
ゲート絶縁層、及び絶縁層と、さらにゲート電極層及び導電層とによって囲むことにより
、耐衝撃性を付加することができる。
性の高い半導体装置を提供することができる。
本実施の形態では、半導体装置の他の一形態を図2を用いて説明する。本実施の形態では
、半導体装置の一例としてトランジスタを示す。なお、上記実施の形態1と同一部分又は
同様な機能を有する部分、及び工程は、上記実施の形態と同様に行うことができ、繰り返
しの説明は省略する。また同じ箇所の詳細な説明は省略する。
。複数のトランジスタ420a、420b、420cは並列に接続することによって、実
質チャネル幅を広くしたことと同じ効果があり、電流量を多く流すことができる。このよ
うにチャネル幅を分割するように複数のトランジスタを並列で設ける構成などを組み合わ
せて用いることで、回路設計の自由度を向上させることができる。トランジスタ420a
、420b、420cのような電流量を多く流すことができる構成は、駆動回路部の駆動
回路用トランジスタとして好適に用いることができる。
3cのチャネル形成領域は、チャネル長(L)方向、及びチャネル幅(W)方向を有する
。
図2(A)に示すトランジスタ420a、420b、420cのチャネル幅(W)方向に
おける線B3−B4の断面図である。
面を有する基板400上に、ゲート電極層421、ゲート絶縁層422(ゲート絶縁層4
22a、422b、422c)、酸化物半導体層423a、423b、423c、ソース
電極層425a、ドレイン電極層425bを含む。トランジスタ420a、420b、4
20c上には、絶縁層427(絶縁層427a、427b、427c)、及び導電層43
1が順に積層されている。
21、ソース電極層425a、及びドレイン電極層425bは共通して設けられている。
、423cは、それぞれゲート絶縁層422a、422b、422cと絶縁層427a、
427b、427cとで上下及び端部を囲まれており、ゲート絶縁層422a、422b
、422c及び絶縁層427a、427b、427cは両端部で接している。ゲート絶縁
層422a、422b、422cの下側にはゲート電極層421が設けられ、絶縁層42
7a、427b、427c上には、酸化物半導体層423a、423b、423c、ゲー
ト絶縁層422a、422b、422c、及び絶縁層427a、427b、427cの上
部及びゲート絶縁層422a、422b、422c、及び絶縁層427a、427b、4
27cの両端部を覆い、かつゲート電極層421と接して導電層431が設けられている
。
ぞれゲート絶縁層422a、422b、422cと絶縁層427a、427b、427c
、及びゲート電極層421と導電層431とによって囲まれている。
ト絶縁層、絶縁層、及び導電層の積層によって保護する構成とすると、チャネル幅方向に
おける力が加えられても、膜厚の厚い積層構造は曲がりにくいため、積層の中心に位置す
る酸化物半導体層423a、423b、423cへかかる力を軽減することができる。よ
って外部からの衝撃による酸化物半導体層423a、423b、423cの破損を防止す
ることができる。
27(絶縁層427a、427b、427c)に、ゲート電極層421が広く露出する開
口を形成し、該開口においてそれぞれゲート電極層421と導電層431とが接する構成
としている。ゲート電極層421と導電層431として密着性のよい導電膜を用いれば、
外部からの力によるゲート電極層421、ゲート絶縁層422a、422b、422c、
酸化物半導体層423a、423b、423c、絶縁層427a、427b、427c、
又は導電層431の界面における膜剥がれを防止することができる。
ことが好ましく、図2(A)に示すように、ゲート電極層421と導電層431とが接す
る領域の酸化物半導体層423a、423b、423cのチャネル長方向における距離を
、酸化物半導体層423a、423b、423cのチャネル長の距離より長くすることが
好ましい。
23a、423b、423cを中央に配置して、その両端をゲート絶縁層422a、42
2b、422cと絶縁層427a、427b、427cとが接して封止し、さらにその両
端をゲート電極層421と導電層431とが接して封止するため、それぞれ線対称な構造
とすることができる。よって外部からかかる力が均等に分散し、酸化物半導体層423a
、423b、423cにおいて局所的に大きな力がかかるのを防止することができる。
423b、423cのチャネル幅方向における曲げ耐性を高め、耐衝撃性を付与すること
ができる。
ての適用にも対応が可能であり、より多様化する用途に対応でき、利便性が向上した信頼
性の高い半導体装置を提供することができる。
ゲート絶縁層、及び絶縁層と、さらにゲート電極層及び導電層とによって囲むことにより
、耐衝撃性を付加することができる。
性の高い半導体装置を提供することができる。
本実施の形態では、半導体装置の他の一形態を図5を用いて説明する。本実施の形態では
、半導体装置の一例としてトランジスタを示す。実施の形態1に示すトランジスタと、ソ
ース電極層及びドレイン電極層の形成工程及び構造が異なる例である。よって、上記実施
の形態と同一部分又は同様な機能を有する部分、及び工程は、上記実施の形態と同様に行
うことができ、繰り返しの説明は省略する。また同じ箇所の詳細な説明は省略する。
を酸化物半導体層403と絶縁層407との間に設ける例を示した。本実施の形態では、
ソース電極層405a及びドレイン電極層405bを、ゲート絶縁層402と酸化物半導
体層403との間に設ける例を示す。
ジスタ430のチャネル長(L)方向における線A5−A6の断面図、図5(C)はチャ
ネル幅(W)方向における線B5−B6の断面図である。
基板400上に、ゲート電極層401、ゲート絶縁層402、ソース電極層405a、ド
レイン電極層405b、及び酸化物半導体層403を含む。また、トランジスタ430を
覆い、酸化物半導体層403に接する絶縁層407が設けられている。
1上に接して設けられ、ゲート絶縁層402上にソース電極層405a、ドレイン電極層
405bが接して設けられている。そして、ゲート絶縁層402、及びソース電極層40
5a、ドレイン電極層405b上に酸化物半導体層403が設けられている。
層402と絶縁層407とで上下及び端部を囲まれており、ゲート絶縁層402及び絶縁
層407は両端部で接している。ゲート絶縁層402の下側にはゲート電極層401が設
けられ、絶縁層407上には、酸化物半導体層403、ゲート絶縁層402、及び絶縁層
407の上部及びゲート絶縁層402、及び絶縁層407の両端部を覆い、かつゲート電
極層401と接して導電層411が設けられている。
07、及びゲート電極層401と導電層411とによって囲まれている。
導電層の積層によって保護する構成とすると、チャネル幅(W)方向における力(外部か
ら与えられる力)が加えられても、膜厚の厚い積層構造は曲がりにくいため、積層の中心
に位置する酸化物半導体層403へかかる力を軽減することができる。よって外部からの
衝撃による酸化物半導体層403の破損を防止することができる。
を形成し、該開口においてゲート電極層401と導電層411とが接する構成としている
。ゲート電極層401と導電層411として密着性のよい導電膜を用いれば、外部から与
えられる力によるゲート電極層401、ゲート絶縁層402、酸化物半導体層403、絶
縁層407、又は導電層411の界面における膜剥がれを防止することができる。
ことが好ましく、図5(A)に示すように、ゲート電極層401と導電層411とが接す
る領域の酸化物半導体層403のチャネル長方向における距離を、酸化物半導体層403
のチャネル長の距離より長くすることが好ましい。
407とが接して封止し、さらにその両端をゲート電極層401と導電層411とが接し
て封止するため、線対称な構造とすることができる。よって外部から与えられる力が均等
に分散し、酸化物半導体層403において局所的に大きな力がかかるのを防止することが
できる。
げ耐性を高め、耐衝撃性を付与することができる。
ての適用にも対応が可能であり、より多様化する用途に対応でき、利便性が向上した信頼
性の高い半導体装置を提供することができる。
本実施の形態では、他の作製基板より剥離、転置工程を行って可撓性基板上にトランジス
タを設ける半導体装置の作製方法の例を示す。本発明の一態様の半導体装置について図4
を用いて説明する。なお、本実施の形態は、実施の形態1と工程が一部異なる点以外は同
じであるため、同じ箇所には同じ符号を用い、同じ箇所の詳細な説明は省略する。
を形成する。好ましくは、形成された剥離層302を大気に曝すことなく、第1の絶縁層
301を連続して形成する。連続して形成することにより、剥離層302と第1の絶縁層
301の間にゴミや、不純物の混入を防ぐことができる。
板、金属基板などを用いることができる。ガラス基板としては、バリウムホウケイ酸ガラ
スやアルミノホウケイ酸ガラスなどを用いることができる。また、本実施の形態の処理温
度に耐えうる耐熱性を有するプラスチック基板を用いてもよい。半導体装置の作製工程に
おいて、その行う工程に合わせて作製基板を適宜選択することができる。
るが、必要に応じて第1の作製基板300の全面に剥離層302を設けた後に当該剥離層
302を選択的に除去し、所望の領域にのみ剥離層を設けてもよい。また、図4では、第
1の作製基板300に接して剥離層302を形成しているが、必要に応じて、第1の作製
基板300と剥離層302の間に酸化シリコン層、酸化窒化シリコン層、窒化シリコン層
、窒化酸化シリコン層等の絶縁層を形成してもよい。
(Ta)、ニオブ(Nb)、ニッケル(Ni)、コバルト(Co)、ジルコニウム(Zr
)、ルテニウム(Ru)、ロジウム(Rh)、パラジウム(Pd)、オスミウム(Os)
、イリジウム(Ir)、シリコン(Si)から選択された元素、又は元素を主成分とする
合金材料、又は前記元素を主成分とする化合物材料からなり、単層又は積層された層であ
る。シリコンを含む層の結晶構造は、非晶質、微結晶、多結晶のいずれの場合でもよい。
きる。なお、塗布法はスピンコーティング法、液滴吐出法、ディスペンス法を含む。
グステンとモリブデンの混合物を含む層を形成する。又は、タングステンの酸化物若しく
は酸化窒化物を含む層、モリブデンの酸化物若しくは酸化窒化物を含む層、又はタングス
テンとモリブデンの混合物の酸化物若しくは酸化窒化物を含む層を形成する。なお、タン
グステンとモリブデンの混合物とは、例えば、タングステンとモリブデンの合金に相当す
る。
層、又はタングステンとモリブデンの混合物を含む層を形成し、2層目として、タングス
テン、モリブデン又はタングステンとモリブデンの混合物の酸化物、窒化物、酸化窒化物
又は窒化酸化物を形成する。
を形成する場合、タングステンを含む層を形成し、その上層に酸化物で形成される絶縁層
を形成することで、タングステンを含む層と絶縁層との界面に、タングステンの酸化物を
含む層が形成されることを活用してもよい。
化、脱水素化の加熱処理によって剥離層も加熱され、後の工程で作製基板より支持基板に
剥離を行う際、剥離層界面での剥離が容易になる。
化力の強い溶液での処理等を行ってタングステンの酸化物を含む層を形成してもよい。ま
たプラズマ処理や加熱処理は、酸素、窒素、一酸化二窒素単体、あるいは前記ガスとその
他のガスとの混合気体雰囲気下で行ってもよい。これは、タングステンの窒化物、酸化窒
化物及び窒化酸化物を含む層を形成する場合も同様であり、タングステンを含む層を形成
後、その上層に窒化シリコン層、酸化窒化シリコン層、窒化酸化シリコン層を形成すると
よい。
第1の絶縁層301と、トランジスタ410を有する。
化シリコンや酸化窒化シリコン、窒化酸化シリコン等、窒素とシリコンを含む絶縁膜を単
層または多層で形成するのが好ましい。
て形成することが可能であり、例えば、プラズマCVD法によって成膜温度を250℃〜
400℃として形成することで、緻密で非常に透水性の低い膜とすることができる。なお
、第1の絶縁層301の厚さは10nm以上1000nm以下、さらには100nm以上
700nm以下が好ましい。
離が容易になる。さらに、後の剥離工程において半導体素子や配線に亀裂やダメージが入
るのを防ぐことができる。また、第1の絶縁層301は半導体装置の保護層として機能す
る。
離層304は、実施の形態1で説明する方法を適用して形成できるためここでは詳細な説
明を省く。
。本実施の形態では、保護絶縁層409として、絶縁層407まで形成された基板400
を100℃〜400℃の温度に加熱し、水素及び水分が除去された高純度窒素を含むスパ
ッタガスを導入しシリコン半導体のターゲットを用いて窒化シリコン膜を成膜する(図4
(A)参照。)。この場合においても、絶縁層407と同様に、処理室内の残留水分を除
去しつつ保護絶縁層409を成膜することが好ましい。
膜を形成してもよい。平坦化絶縁膜としては、ポリイミド、アクリル、ベンゾシクロブテ
ン、等の有機材料を用いることができる。また上記有機材料の他に、低誘電率材料(lo
w−k材料)等を用いることができる。なお、これらの材料で形成される絶縁膜を複数積
層させることで、平坦化絶縁膜を形成してもよい。
4に貼り合わせる。第2の作製基板306を被剥離層304に貼り合わせることにより、
被剥離層304を剥離層302から容易に剥離できる。また、剥離工程を通じて被剥離層
304に加わる応力が緩和され、トランジスタを保護できる。また、除去可能な接着層3
05を用いるため、第2の作製基板306が不要になれば、容易に取り除くことができる
。
布した水溶性樹脂は被剥離層304の凹凸を緩和し、第2の作製基板306との貼り合わ
せを容易にする。また、除去可能な接着層305として、光または熱により剥離可能な粘
着剤を水溶性樹脂に積層したものを用いてもよい。
方法には様々な方法を用いることができる。
には、当該金属酸化膜を結晶化により脆弱化して、被剥離層304を第1の作製基板30
0から剥離することができる。また、当該金属酸化膜を結晶化により脆弱化した後、さら
に剥離層302の一部を溶液やNF3、BrF3、ClF3等のフッ化ハロゲンガスによ
りエッチングして除去し、脆弱化した金属酸化膜において剥離してもよい。
コン膜、水素含有合金膜、酸素含有合金膜など)を用い、第1の作製基板300として透
光性を有する基板を用いた場合には、第1の作製基板300から剥離層302にレーザ光
を照射して、剥離層内に含有する窒素、酸素や水素を気化させて、第1の作製基板300
と剥離層302との間で剥離する方法を用いることができる。
300から剥離しても良い。
NF3、BrF3、ClF3等のフッ化ハロゲンガスまたはHFによるエッチングで除去
する方法等を用いることができる。この場合、剥離層302を用いなくともよい。
を用いて、剥離層302を露出させる溝を形成し、溝をきっかけとして剥離層302と保
護層として機能する第1の絶縁層301の界面において被剥離層304を第1の作製基板
300から剥離することもできる。
理や、ローラーを回転させながら分離する処理等)を用いて行えばよい。また、溝に液体
を滴下し、剥離層302及び第1の絶縁層301の界面に液体を浸透させて剥離層302
から被剥離層304を剥離してもよい。また、溝にNF3、BrF3、ClF3等のフッ
化ガスを導入し、剥離層302をフッ化ガスでエッチングし除去して、絶縁表面を有する
第1の作製基板300から被剥離層304を剥離する方法を用いてもよい。また、剥離を
行う際に水などの液体をかけながら剥離してもよい。
水と過酸化水素水の混合溶液により剥離層をエッチングしながら剥離を行うことができる
。
。)。
きる。
熱硬化型接着剤、または嫌気型接着剤など各種硬化型接着剤を用いることができる。これ
らの接着剤の材質としてはエポキシ樹脂やアクリル樹脂、シリコーン樹脂、フェノール樹
脂などを用いることができる。
4と基板400とを圧着して貼り合わせる。この際、当該構造体の有機樹脂としては、反
応硬化型、熱硬化型、紫外線硬化型など追加処理を施すことによって硬化が進行するもの
を用いると良い。
トランジスタ410を露出させる(図4(D)参照。)。
とができる。
細書中で開示する発明はこれに限らず、他の表示素子まで形成してから(例えば発光素子
など)剥離及び転置を行ってもよい。
軽量な可撓性基板に転置できる。従って、基板の耐熱性に縛られることなく、可撓性を有
する半導体装置を形成できる。
実施の形態1乃至4で一例を示したトランジスタを用いて表示機能を有する半導体装置(
表示装置ともいう)を作製することができる。実施の形態1乃至4で一例を示したトラン
ジスタは駆動回路部に用いるとより効果的である。また、トランジスタを用いて駆動回路
の一部または全体を、画素部と同じ基板上に一体形成し、システムオンパネルを形成する
ことができる。
線駆動回路4004とを囲むようにして、シール材4005が設けられている。また画素
部4002と、走査線駆動回路4004の上に第2の基板4006が設けられている。よ
って画素部4002と、走査線駆動回路4004とは、第1の基板4001とシール材4
005と第2の基板4006とによって、表示素子と共に封止されている。図6(A)(
B)においては、第1の基板4001上のシール材4005によって囲まれている領域と
は異なる領域に、別途用意された基板上に単結晶半導体膜又は多結晶半導体膜で形成され
た信号線駆動回路4003が実装されている。図6(A)(B)においては、別途形成さ
れた信号線駆動回路4003と、走査線駆動回路4004または画素部4002に与えら
れる各種信号及び電位は、FPC4018から供給されている。
001に実装している例を示しているが、この構成に限定されない。走査線駆動回路を別
途形成して実装しても良いし、信号線駆動回路の一部または走査線駆動回路の一部のみを
別途形成して実装しても良い。
ip On Glass)方法、ワイヤボンディング方法、或いはTAB(Tape A
utomated Bonding)方法などを用いることができる。図6(A)は、C
OG方法により信号線駆動回路4003を実装する例であり、図6(B)は、TAB方法
により信号線駆動回路4003を実装する例である。
を含むIC等を実装した状態にあるモジュールとを含む。
源(照明装置含む)を指す。また、コネクター、例えばFPCもしくはTABテープもし
くはTCPが取り付けられたモジュール、TABテープやTCPの先にプリント配線板が
設けられたモジュール、または表示素子にCOG方式によりIC(集積回路)が直接実装
されたモジュールも全て表示装置に含むものとする。
おり、走査線駆動回路4004のトランジスタとして、実施の形態1乃至4で一例を示し
たトランジスタを適用することができる。
発光表示素子ともいう)、を用いることができる。発光素子は、電流または電圧によって
輝度が制御される素子をその範疇に含んでおり、具体的には無機EL(Electro
Luminescence)、有機EL等が含まれる。また、電子インクなど、電気的作
用によりコントラストが変化する表示媒体も適用することができる。
のM−Nにおける断面図に相当する。
しており、接続端子電極4015及び端子電極4016はFPC4018が有する端子と
異方性導電膜4019を介して、電気的に接続されている。
016は、トランジスタ4010、4011のソース電極層及びドレイン電極層と同じ導
電膜で形成されている。
トランジスタを複数有しており、図7乃至9では、画素部4002に含まれるトランジス
タ4010と、走査線駆動回路4004に含まれるトランジスタ4011とを例示してい
る。図7では、トランジスタ4010、4011上には絶縁層4020が設けられ、図8
及び図9ではさらに、絶縁層4021が設けられている。なお、絶縁膜4023は下地膜
として機能する絶縁膜である。
1で一例を示したトランジスタを適用している。トランジスタ4011は酸化物半導体層
のチャネル幅方向においてチャネル形成領域が上下のゲート絶縁層、ゲート電極層、絶縁
層、及び導電層で囲まれた構造である。駆動回路においては、より多くの電流を流すため
にトランジスタのチャネル幅を長く設けることが好ましい。よって、実施の形態1乃至4
で示したようなチャネル幅方向への曲げ耐性を有するトランジスタであると、耐衝撃性に
優れ信頼性の高い半導体装置とすることができる。
ネルを構成する。表示素子は表示を行うことがでれば特に限定されず、様々な表示素子を
用いることができる。
である液晶素子4013は、第1の電極層4030、第2の電極層4031、及び液晶層
4008を含む。なお、液晶層4008を挟持するように配向膜として機能する絶縁膜4
032、4033が設けられている。第2の電極層4031は第2の基板4006側に設
けられ、第1の電極層4030と第2の電極層4031とは液晶層4008を介して積層
する構成となっている。
液晶層4008の膜厚(セルギャップ)を制御するために設けられている。なお球状のス
ペーサを用いていても良い。
晶、高分子分散型液晶、強誘電性液晶、反強誘電性液晶等を用いることができる。これら
の液晶材料は、条件により、コレステリック相、スメクチック相、キュービック相、カイ
ラルネマチック相、等方相等を示す。
あり、コレステリック液晶を昇温していくと、コレステリック相から等方相へ転移する直
前に発現する相である。ブルー相は狭い温度範囲でしか発現しないため、温度範囲を改善
するために5重量%以上のカイラル剤を混合させた液晶組成物を液晶層に用いる。ブルー
相を示す液晶とカイラル剤とを含む液晶組成物は、応答速度が1msec以下と短く、光
学的等方性であるため配向処理が不要であり、視野角依存性が小さい。また配向膜を設け
なくてもよいのでラビング処理も不要となるため、ラビング処理によって引き起こされる
静電破壊を防止することができ、作製工程中の液晶表示装置の不良や破損を軽減すること
ができる。よって液晶表示装置の生産性を向上させることが可能となる。酸化物半導体層
を用いるトランジスタは、静電気の影響によりトランジスタの電気的な特性が著しく変動
して設計範囲を逸脱する恐れがある。よって酸化物半導体層を用いるトランジスタを有す
る液晶表示装置にブルー相の液晶材料を用いることはより効果的である。
Ω・cm以上であり、さらに好ましくは1×1012Ω・cm以上である。なお、本明細
書における固有抵抗の値は、20℃で測定した値とする。
ク電流等を考慮して、所定の期間の間電荷を保持できるように設定される。保持容量の大
きさは、トランジスタのオフ電流等を考慮して設定すればよい。高純度の酸化物半導体層
を有するトランジスタを用いることにより、各画素における液晶容量に対して1/3以下
、好ましくは1/5以下の容量の大きさを有する保持容量を設ければ充分である。
lane−Switching)モード、FFS(Fringe Field Swit
ching)モード、ASM(Axially Symmetric aligned
Micro−cell)モード、OCB(Optical Compensated B
irefringence)モード、FLC(Ferroelectric Liqui
d Crystal)モード、AFLC(AntiFerroelectric Liq
uid Crystal)モードなどを用いることができる。
透過型の液晶表示装置としてもよい。垂直配向モードとしては、いくつか挙げられるが、
例えば、MVA(Multi−Domain Vertical Alignment)
モード、PVA(Patterned Vertical Alignment)モード
、ASVモードなどを用いることができる。また、VA型の液晶表示装置にも適用するこ
とができる。VA型の液晶表示装置とは、液晶表示パネルの液晶分子の配列を制御する方
式の一種である。VA型の液晶表示装置は、電圧が印加されていないときにパネル面に対
して液晶分子が垂直方向を向く方式である。また、画素(ピクセル)をいくつかの領域(
サブピクセル)に分け、それぞれ別の方向に分子を倒すよう工夫されているマルチドメイ
ン化あるいはマルチドメイン設計といわれる方法を用いることができる。
防止部材などの光学部材(光学基板)などは適宜設ける。例えば、偏光基板及び位相差基
板による円偏光を用いてもよい。また、光源としてバックライト、サイドライトなどを用
いてもよい。
ことができる。また、カラー表示する際に画素で制御する色要素としては、RGB(Rは
赤、Gは緑、Bは青を表す)の三色に限定されない。例えば、RGBW(Wは白を表す)
、又はRGBに、イエロー、シアン、マゼンタ等を一色以上追加したものがある。なお、
色要素のドット毎にその表示領域の大きさが異なっていてもよい。ただし、本発明はカラ
ー表示の表示装置に限定されるものではなく、モノクロ表示の表示装置に適用することも
できる。
子を適用することができる。エレクトロルミネッセンスを利用する発光素子は、発光材料
が有機化合物であるか、無機化合物であるかによって区別され、一般的に、前者は有機E
L素子、後者は無機EL素子と呼ばれている。
がそれぞれ発光性の有機化合物を含む層に注入され、電流が流れる。そして、それらキャ
リア(電子および正孔)が再結合することにより、発光性の有機化合物が励起状態を形成
し、その励起状態が基底状態に戻る際に発光する。このようなメカニズムから、このよう
な発光素子は、電流励起型の発光素子と呼ばれる。
類される。分散型無機EL素子は、発光材料の粒子をバインダ中に分散させた発光層を有
するものであり、発光メカニズムはドナー準位とアクセプター準位を利用するドナー−ア
クセプター再結合型発光である。薄膜型無機EL素子は、発光層を誘電体層で挟み込み、
さらにそれを電極で挟んだ構造であり、発光メカニズムは金属イオンの内殻電子遷移を利
用する局在型発光である。なお、ここでは、発光素子として有機EL素子を用いて説明す
る。
て、基板上にトランジスタ及び発光素子を形成し、基板とは逆側の面から発光を取り出す
上面射出や、基板側の面から発光を取り出す下面射出や、基板側及び基板とは反対側の面
から発光を取り出す両面射出構造の発光素子があり、どの射出構造の発光素子も適用する
ことができる。
513は、画素部4002に設けられたトランジスタ4010と電気的に接続している。
なお発光素子4513の構成は、第1の電極層4030、電界発光層4511、第2の電
極層4031の積層構造であるが、示した構成に限定されない。発光素子4513から取
り出す光の方向などに合わせて、発光素子4513の構成は適宜変えることができる。
材料を用い、第1の電極層4030上に開口部を形成し、その開口部の側壁が連続した曲
率を持って形成される傾斜面となるように形成することが好ましい。
されていてもどちらでも良い。
4031及び隔壁4510上に保護膜を形成してもよい。保護膜としては、窒化シリコン
膜、窒化酸化シリコン膜、DLC膜等を形成することができる。また、第1の基板400
1、第2の基板4006、及びシール材4005によって封止された空間には充填材45
14が設けられ密封されている。このように外気に曝されないように気密性が高く、脱ガ
スの少ない保護フィルム(貼り合わせフィルム、紫外線硬化樹脂フィルム等)やカバー材
でパッケージング(封入)することが好ましい。
は熱硬化樹脂を用いることができ、PVC(ポリビニルクロライド)、アクリル、ポリイ
ミド、エポキシ樹脂、シリコーン樹脂、PVB(ポリビニルブチラル)またはEVA(エ
チレンビニルアセテート)を用いることができる。例えば充填材として窒素を用いればよ
い。
位相差板(λ/4板、λ/2板)、カラーフィルタなどの光学フィルムを適宜設けてもよ
い。また、偏光板又は円偏光板に反射防止膜を設けてもよい。例えば、表面の凹凸により
反射光を拡散し、映り込みを低減できるアンチグレア処理を施すことができる。
る。電子ペーパーは、電気泳動表示装置(電気泳動ディスプレイ)とも呼ばれており、紙
と同じ読みやすさ、他の表示装置に比べ低消費電力、薄くて軽い形状とすることが可能と
いう利点を有している。
、マイナスの電荷を有する第2の粒子とを含むマイクロカプセルが溶媒または溶質に複数
分散されたものであり、マイクロカプセルに電界を印加することによって、マイクロカプ
セル中の粒子を互いに反対方向に移動させて一方側に集合した粒子の色のみを表示するも
のである。なお、第1の粒子または第2の粒子は染料を含み、電界がない場合において移
動しないものである。また、第1の粒子の色と第2の粒子の色は異なるもの(無色を含む
)とする。
ゆる誘電泳動的効果を利用したディスプレイである。
の電子インクはガラス、プラスチック、布、紙などの表面に印刷することができる。また
、カラーフィルタや色素を有する粒子を用いることによってカラー表示も可能である。
半導体材料、磁性材料、液晶材料、強誘電性材料、エレクトロルミネセント材料、エレク
トロクロミック材料、磁気泳動材料から選ばれた一種の材料、またはこれらの複合材料を
用いればよい。
できる。ツイストボール表示方式とは、白と黒に塗り分けられた球形粒子を表示素子に用
いる電極層である第1の電極層及び第2の電極層の間に配置し、第1の電極層及び第2の
電極層に電位差を生じさせての球形粒子の向きを制御することにより、表示を行う方法で
ある。
の電子ペーパーは、ツイストボール表示方式を用いた表示装置の例である。
れた第2の電極層4031との間には黒色領域4615a及び白色領域4615bを有し
、周りに液体で満たされているキャビティ4612を含む球形粒子4613が設けられて
おり、球形粒子4613の周囲は樹脂等の充填材4614で充填されている。第2の電極
層4031が共通電極(対向電極)に相当する。第2の電極層4031は、共通電位線と
電気的に接続される。
性を有する基板を用いることができ、例えば透光性を有するプラスチック基板などを用い
ることができる。プラスチックとしては、FRP(Fiberglass−Reinfo
rced Plastics)板、PVF(ポリビニルフルオライド)フィルム、ポリエ
ステルフィルムまたはアクリル樹脂フィルムを用いることができる。また、アルミニウム
ホイルをPVFフィルムやポリエステルフィルムで挟んだ構造のシートを用いることもで
きる。
ぐためのものであり、緻密な膜が好ましい。保護膜は、スパッタ法を用いて、酸化シリコ
ン膜、窒化シリコン膜、酸化窒化シリコン膜、窒化酸化シリコン膜、酸化アルミニウム膜
、窒化アルミニウム膜、酸化窒化アルミニウム膜、又は窒化酸化アルミニウム膜の単層、
又は積層で形成すればよい。
クロブテン、ポリアミド、エポキシ等の、耐熱性を有する有機材料を用いることができる
。また上記有機材料の他に、低誘電率材料(low−k材料)、シロキサン系樹脂、PS
G(リンガラス)、BPSG(リンボロンガラス)等を用いることができる。なお、これ
らの材料で形成される絶縁膜を複数積層させることで、絶縁層を形成してもよい。
ッタ法、SOG法、スピンコート、ディップ、スプレー塗布、液滴吐出法(インクジェッ
ト法、スクリーン印刷、オフセット印刷等)、ドクターナイフ、ロールコーター、カーテ
ンコーター、ナイフコーター等を用いることができる。
部に設けられる基板、絶縁膜、導電膜などの薄膜はすべて可視光の波長領域の光に対して
透光性とする。
向電極層などともいう)においては、取り出す光の方向、電極層が設けられる場所、及び
電極層のパターン構造によって透光性、反射性を選択すればよい。
化物、酸化タングステンを含むインジウム亜鉛酸化物、酸化チタンを含むインジウム酸化
物、酸化チタンを含むインジウム錫酸化物、インジウム錫酸化物(以下、ITOと示す。
)、インジウム亜鉛酸化物、酸化ケイ素を添加したインジウム錫酸化物などの透光性を有
する導電性材料を用いることができる。
(Mo)、ジルコニウム(Zr)、ハフニウム(Hf)、バナジウム(V)、ニオブ(N
b)、タンタル(Ta)、クロム(Cr)、コバルト(Co)、ニッケル(Ni)、チタ
ン(Ti)、白金(Pt)、アルミニウム(Al)、銅(Cu)、銀(Ag)等の金属、
又はその合金、若しくはその金属窒化物から一つ、又は複数種を用いて形成することがで
きる。
マーともいう)を含む導電性組成物を用いて形成することができる。導電性高分子として
は、いわゆるπ電子共役系導電性高分子が用いることができる。例えば、ポリアニリンま
たはその誘導体、ポリピロールまたはその誘導体、ポリチオフェンまたはその誘導体、若
しくはアニリン、ピロールおよびチオフェンの2種以上からなる共重合体またはその誘導
体等が挙げられる。
を設けることが好ましい。保護回路は、非線形素子を用いて構成することが好ましい。
有する表示装置を提供することができる。
本明細書に開示する半導体装置は、さまざまな電子機器(遊技機も含む)に適用すること
ができる。電子機器としては、例えば、テレビジョン装置(テレビ、またはテレビジョン
受信機ともいう)、コンピュータ用などのモニタ、デジタルカメラ、デジタルビデオカメ
ラ等のカメラ、デジタルフォトフレーム、携帯電話機(携帯電話、携帯電話装置ともいう
)、携帯型ゲーム機、携帯情報端末、音響再生装置、パチンコ機などの大型ゲーム機など
が挙げられる。
を電子ブックに適用した例である。図10(A)は、電子ブックを開いた状態であり、図
10(B)は電子ブックを閉じた状態である。第1の表示パネル4311、第2の表示パ
ネル4312、第3の表示パネル4313に上記実施の形態を適用して形成される可撓性
を有する半導体装置を用いることができる。
第2の筐体4306は操作部4304及び第2の表示部4307を有する第2の表示パネ
ル4312を有し、両面表示型パネルである第3の表示パネル4313は、第3の表示部
4302及び第4の表示部4310を有し、第3の表示パネル4313は、第1の表示パ
ネル4311と第2の表示パネル4312の間に挿入されている。第1の筐体4305、
第1の表示パネル4311、第3の表示パネル4313、第2の表示パネル4312、及
び第2の筐体4306は駆動回路が内部に設けられた綴じ部4308によって接続されて
いる。図10の電子ブックは第1の表示部4301、第2の表示部4307、第3の表示
部4302、及び第4の表示部4310の4つの表示画面を有している。
示パネル4312、及び第2の筐体4306は可撓性を有しており、フレキシビリティが
高い。また、第1の筐体4305、第2の筐体4306にプラスチック基板を用い、第3
の表示パネル4313に薄いフィルムを用いると、薄型な電子ブックとすることができる
。
面表示型パネルである。第3の表示パネル4313は、両面射出型の表示パネルを用いて
もよいし、片面射出型の表示パネルを貼り合わせて用いてもよい。
として用いた例である。上記実施の形態で示した半導体装置は大面積化も可能であるため
、大面積の照明装置として用いることができる。また、上記実施の形態で示した半導体装
置は、卓上照明器具3000として用いることも可能である。なお、照明器具には天井固
定型の照明器具、卓上照明器具の他にも、壁掛け型の照明器具、車内用照明、誘導灯など
も含まれる。
に配置することができ、信頼性の高い電子機器を提供することができる。
Claims (4)
- トランジスタを有し、
前記トランジスタは、
ゲート電極と、
前記ゲート電極の上方に位置する第1の絶縁層と、
前記第1の絶縁層を介して、前記ゲート電極の上方に位置する酸化物半導体層と、
前記酸化物半導体層の上方に位置する第2の絶縁層と、
前記第2の絶縁層を介して、前記酸化物半導体層の上方に位置する導電層と、
前記酸化物半導体層と電気的に接続されたソース電極及びドレイン電極と、
を有し、
前記酸化物半導体層は、前記トランジスタのチャネル形成領域を有し、
前記トランジスタのチャネル形成領域は、前記酸化物半導体層の表面に対して垂直にc軸配向した結晶領域を有し、
前記ゲート電極及び前記導電層のそれぞれは、前記トランジスタのチャネル幅方向における前記酸化物半導体層の両端を越えて延びており、
前記トランジスタのチャネル幅方向における断面において、前記酸化物半導体層は、前記ゲート電極、前記第1の絶縁層、前記第2の絶縁層、及び前記導電層に囲まれていることを特徴とする半導体装置。 - トランジスタを有し、
前記トランジスタは、
ゲート電極と、
前記ゲート電極の上方に位置する第1の絶縁層と、
前記第1の絶縁層を介して、前記ゲート電極の上方に位置する酸化物半導体層と、
前記酸化物半導体層の上方に位置する第2の絶縁層と、
前記第2の絶縁層を介して、前記酸化物半導体層の上方に位置する導電層と、
前記酸化物半導体層と電気的に接続されたソース電極及びドレイン電極と、
を有し、
前記酸化物半導体層は、前記トランジスタのチャネル形成領域を有し、
前記トランジスタのチャネル形成領域は、前記酸化物半導体層の表面に対して垂直にc軸配向した結晶領域を有し、
前記ゲート電極及び前記導電層のそれぞれは、前記トランジスタのチャネル幅方向における前記酸化物半導体層の両端を越えて延びており、
前記トランジスタのチャネル幅方向における断面において、前記酸化物半導体層は、前記ゲート電極、前記第1の絶縁層、前記第2の絶縁層、及び前記導電層に囲まれており、
前記トランジスタのチャネル幅方向における断面において、前記導電層は、前記第2の絶縁層を介して、前記酸化物半導体層の両端の側面に面していることを特徴とする半導体装置。 - トランジスタを有し、
前記トランジスタは、
ゲート電極と、
前記ゲート電極の上方に位置する第1の絶縁層と、
前記第1の絶縁層を介して、前記ゲート電極の上方に位置する酸化物半導体層と、
前記酸化物半導体層の上方に位置する第2の絶縁層と、
前記第2の絶縁層を介して、前記酸化物半導体層の上方に位置する導電層と、
前記酸化物半導体層と電気的に接続されたソース電極及びドレイン電極と、
を有し、
前記酸化物半導体層は、InとGaとZnとを含み、
前記酸化物半導体層は、前記トランジスタのチャネル形成領域を有し、
前記トランジスタのチャネル形成領域は、前記酸化物半導体層の表面に対して垂直にc軸配向した結晶領域を有し、
前記ゲート電極及び前記導電層のそれぞれは、前記トランジスタのチャネル幅方向における前記酸化物半導体層の両端を越えて延びており、
前記トランジスタのチャネル幅方向における断面において、前記酸化物半導体層は、前記ゲート電極、前記第1の絶縁層、前記第2の絶縁層、及び前記導電層に囲まれていることを特徴とする半導体装置。 - トランジスタを有し、
前記トランジスタは、
ゲート電極と、
前記ゲート電極の上方に位置する第1の絶縁層と、
前記第1の絶縁層を介して、前記ゲート電極の上方に位置する酸化物半導体層と、
前記酸化物半導体層の上方に位置する第2の絶縁層と、
前記第2の絶縁層を介して、前記酸化物半導体層の上方に位置する導電層と、
前記酸化物半導体層と電気的に接続されたソース電極及びドレイン電極と、
を有し、
前記酸化物半導体層は、InとGaとZnとを含み、
前記酸化物半導体層は、前記トランジスタのチャネル形成領域を有し、
前記トランジスタのチャネル形成領域は、前記酸化物半導体層の表面に対して垂直にc軸配向した結晶領域を有し、
前記ゲート電極及び前記導電層のそれぞれは、前記トランジスタのチャネル幅方向における前記酸化物半導体層の両端を越えて延びており、
前記トランジスタのチャネル幅方向における断面において、前記酸化物半導体層は、前記ゲート電極、前記第1の絶縁層、前記第2の絶縁層、及び前記導電層に囲まれており、
前記トランジスタのチャネル幅方向における断面において、前記導電層は、前記第2の絶縁層を介して、前記酸化物半導体層の両端の側面に面していることを特徴とする半導体装置。
Applications Claiming Priority (2)
| Application Number | Priority Date | Filing Date | Title |
|---|---|---|---|
| JP2010024385 | 2010-02-05 | ||
| JP2010024385 | 2010-02-05 |
Related Parent Applications (1)
| Application Number | Title | Priority Date | Filing Date |
|---|---|---|---|
| JP2011020373A Division JP5859210B2 (ja) | 2010-02-05 | 2011-02-02 | 半導体装置 |
Related Child Applications (1)
| Application Number | Title | Priority Date | Filing Date |
|---|---|---|---|
| JP2017034443A Division JP6415614B2 (ja) | 2010-02-05 | 2017-02-27 | 半導体装置 |
Publications (2)
| Publication Number | Publication Date |
|---|---|
| JP2016054325A JP2016054325A (ja) | 2016-04-14 |
| JP6101778B2 true JP6101778B2 (ja) | 2017-03-22 |
Family
ID=44352969
Family Applications (9)
| Application Number | Title | Priority Date | Filing Date |
|---|---|---|---|
| JP2011020373A Active JP5859210B2 (ja) | 2010-02-05 | 2011-02-02 | 半導体装置 |
| JP2013122551A Expired - Fee Related JP5443640B2 (ja) | 2010-02-05 | 2013-06-11 | 半導体装置 |
| JP2015244792A Active JP6101778B2 (ja) | 2010-02-05 | 2015-12-16 | 半導体装置 |
| JP2017034443A Active JP6415614B2 (ja) | 2010-02-05 | 2017-02-27 | 半導体装置 |
| JP2018187478A Active JP6669832B2 (ja) | 2010-02-05 | 2018-10-02 | 半導体装置 |
| JP2020032069A Active JP6979476B2 (ja) | 2010-02-05 | 2020-02-27 | 表示装置および電子機器 |
| JP2021185453A Active JP7431209B2 (ja) | 2010-02-05 | 2021-11-15 | 半導体装置 |
| JP2024013932A Active JP7710061B2 (ja) | 2010-02-05 | 2024-02-01 | 表示装置 |
| JP2025114599A Pending JP2025129395A (ja) | 2010-02-05 | 2025-07-07 | 表示装置 |
Family Applications Before (2)
| Application Number | Title | Priority Date | Filing Date |
|---|---|---|---|
| JP2011020373A Active JP5859210B2 (ja) | 2010-02-05 | 2011-02-02 | 半導体装置 |
| JP2013122551A Expired - Fee Related JP5443640B2 (ja) | 2010-02-05 | 2013-06-11 | 半導体装置 |
Family Applications After (6)
| Application Number | Title | Priority Date | Filing Date |
|---|---|---|---|
| JP2017034443A Active JP6415614B2 (ja) | 2010-02-05 | 2017-02-27 | 半導体装置 |
| JP2018187478A Active JP6669832B2 (ja) | 2010-02-05 | 2018-10-02 | 半導体装置 |
| JP2020032069A Active JP6979476B2 (ja) | 2010-02-05 | 2020-02-27 | 表示装置および電子機器 |
| JP2021185453A Active JP7431209B2 (ja) | 2010-02-05 | 2021-11-15 | 半導体装置 |
| JP2024013932A Active JP7710061B2 (ja) | 2010-02-05 | 2024-02-01 | 表示装置 |
| JP2025114599A Pending JP2025129395A (ja) | 2010-02-05 | 2025-07-07 | 表示装置 |
Country Status (5)
| Country | Link |
|---|---|
| US (12) | US8274079B2 (ja) |
| JP (9) | JP5859210B2 (ja) |
| KR (11) | KR20150010776A (ja) |
| TW (11) | TWI773027B (ja) |
| WO (1) | WO2011096263A1 (ja) |
Families Citing this family (79)
| Publication number | Priority date | Publication date | Assignee | Title |
|---|---|---|---|---|
| US6753654B2 (en) | 2001-02-21 | 2004-06-22 | Semiconductor Energy Laboratory Co., Ltd. | Light emitting device and electronic appliance |
| WO2011013683A1 (ja) * | 2009-07-27 | 2011-02-03 | 株式会社神戸製鋼所 | 配線構造および配線構造を備えた表示装置 |
| KR101843558B1 (ko) | 2009-10-09 | 2018-03-30 | 가부시키가이샤 한도오따이 에네루기 켄큐쇼 | 시프트 레지스터, 표시 장치, 및 그 구동 방법 |
| KR20150010776A (ko) | 2010-02-05 | 2015-01-28 | 가부시키가이샤 한도오따이 에네루기 켄큐쇼 | 반도체 장치, 및 반도체 장치의 제조 방법 |
| WO2011145634A1 (en) | 2010-05-21 | 2011-11-24 | Semiconductor Energy Laboratory Co., Ltd. | Semiconductor device |
| WO2011145632A1 (en) | 2010-05-21 | 2011-11-24 | Semiconductor Energy Laboratory Co., Ltd. | Semiconductor device and method of manufacturing the same |
| US8835917B2 (en) | 2010-09-13 | 2014-09-16 | Semiconductor Energy Laboratory Co., Ltd. | Semiconductor device, power diode, and rectifier |
| TWI541904B (zh) | 2011-03-11 | 2016-07-11 | 半導體能源研究所股份有限公司 | 半導體裝置的製造方法 |
| TWI455322B (zh) * | 2011-04-22 | 2014-10-01 | Au Optronics Corp | 薄膜電晶體及其製造方法 |
| WO2012155099A1 (en) * | 2011-05-12 | 2012-11-15 | Universal Display Corporation | Flexible lighting devices |
| CN103503153B (zh) | 2011-06-21 | 2016-09-21 | 松下电器产业株式会社 | 薄膜晶体管元件及其制造方法、有机el显示元件和有机el显示装置 |
| WO2012176232A1 (ja) * | 2011-06-21 | 2012-12-27 | パナソニック株式会社 | 薄膜トランジスタ素子とその製造方法、有機el表示素子とその製造方法、および有機el表示装置 |
| KR20130043063A (ko) | 2011-10-19 | 2013-04-29 | 가부시키가이샤 한도오따이 에네루기 켄큐쇼 | 반도체 장치 및 반도체 장치의 제작 방법 |
| US9082861B2 (en) * | 2011-11-11 | 2015-07-14 | Semiconductor Energy Laboratory Co., Ltd. | Transistor with oxide semiconductor channel having protective layer |
| JPWO2013073089A1 (ja) | 2011-11-14 | 2015-04-02 | パナソニック株式会社 | 薄膜トランジスタ装置とその製造方法、有機el表示素子、および有機el表示装置 |
| WO2013073086A1 (ja) | 2011-11-14 | 2013-05-23 | パナソニック株式会社 | 薄膜トランジスタ装置とその製造方法、有機el表示素子、および有機el表示装置 |
| TWI569446B (zh) | 2011-12-23 | 2017-02-01 | 半導體能源研究所股份有限公司 | 半導體元件、半導體元件的製造方法、及包含半導體元件的半導體裝置 |
| US9029863B2 (en) * | 2012-04-20 | 2015-05-12 | Semiconductor Energy Laboratory Co., Ltd. | Semiconductor device and method for manufacturing the same |
| JP5935064B2 (ja) * | 2012-05-31 | 2016-06-15 | イー インク コーポレイション | 画像表示媒体の駆動装置、画像表示装置、及び駆動プログラム |
| KR102091687B1 (ko) * | 2012-07-05 | 2020-03-20 | 가부시키가이샤 한도오따이 에네루기 켄큐쇼 | 발광 장치 및 발광 장치의 제작 방법 |
| CN104488016B (zh) * | 2012-07-20 | 2018-08-10 | 株式会社半导体能源研究所 | 显示装置及具有该显示装置的电子设备 |
| KR20140019699A (ko) * | 2012-08-07 | 2014-02-17 | 삼성디스플레이 주식회사 | 플렉시블 유기 발광 표시 장치 및 그 제조방법 |
| JP6070073B2 (ja) * | 2012-10-31 | 2017-02-01 | 凸版印刷株式会社 | 薄膜トランジスタアレイ |
| KR102526635B1 (ko) * | 2012-11-30 | 2023-04-26 | 가부시키가이샤 한도오따이 에네루기 켄큐쇼 | 반도체 장치 |
| KR20140109261A (ko) * | 2013-03-05 | 2014-09-15 | 가부시키가이샤 한도오따이 에네루기 켄큐쇼 | 표시 장치 및 전자 기기 |
| TWI644433B (zh) | 2013-03-13 | 2018-12-11 | 半導體能源研究所股份有限公司 | 半導體裝置 |
| JP2014239201A (ja) * | 2013-05-08 | 2014-12-18 | ソニー株式会社 | 半導体装置、アンテナスイッチ回路、および無線通信装置 |
| US9312392B2 (en) * | 2013-05-16 | 2016-04-12 | Semiconductor Energy Laboratory Co., Ltd. | Semiconductor device |
| TWI627751B (zh) | 2013-05-16 | 2018-06-21 | 半導體能源研究所股份有限公司 | 半導體裝置 |
| TWI639235B (zh) | 2013-05-16 | 2018-10-21 | 半導體能源研究所股份有限公司 | 半導體裝置 |
| KR102442752B1 (ko) | 2013-05-20 | 2022-09-14 | 가부시키가이샤 한도오따이 에네루기 켄큐쇼 | 반도체 장치 |
| JP2015195327A (ja) * | 2013-06-05 | 2015-11-05 | 株式会社半導体エネルギー研究所 | 半導体装置 |
| TWI624936B (zh) * | 2013-06-05 | 2018-05-21 | 半導體能源研究所股份有限公司 | 顯示裝置 |
| WO2014202678A1 (en) * | 2013-06-20 | 2014-12-24 | Eth Zurich | Method for fabricating a flexible electronic membrane and flexible electronic membrane fabricated by such method |
| US9293480B2 (en) * | 2013-07-10 | 2016-03-22 | Semiconductor Energy Laboratory Co., Ltd. | Semiconductor device and display device including the semiconductor device |
| US10529740B2 (en) | 2013-07-25 | 2020-01-07 | Semiconductor Energy Laboratory Co., Ltd. | Semiconductor device including semiconductor layer and conductive layer |
| KR20150017193A (ko) * | 2013-08-06 | 2015-02-16 | 삼성디스플레이 주식회사 | 유기 발광 표시 장치 |
| US9461126B2 (en) * | 2013-09-13 | 2016-10-04 | Semiconductor Energy Laboratory Co., Ltd. | Transistor, clocked inverter circuit, sequential circuit, and semiconductor device including sequential circuit |
| KR102373901B1 (ko) | 2013-09-13 | 2022-03-15 | 가부시키가이샤 한도오따이 에네루기 켄큐쇼 | 발광 장치 |
| TW202203465A (zh) | 2013-10-10 | 2022-01-16 | 日商半導體能源研究所股份有限公司 | 液晶顯示裝置 |
| CN104576652A (zh) * | 2013-10-23 | 2015-04-29 | 群创光电股份有限公司 | 薄膜晶体管基板、其制备方法、以及包含其的显示面板 |
| US9590111B2 (en) * | 2013-11-06 | 2017-03-07 | Semiconductor Energy Laboratory Co., Ltd. | Semiconductor device and display device including the semiconductor device |
| CN105793995A (zh) * | 2013-11-29 | 2016-07-20 | 株式会社半导体能源研究所 | 半导体装置、半导体装置的制造方法以及显示装置 |
| KR102462742B1 (ko) | 2013-12-02 | 2022-11-03 | 가부시키가이샤 한도오따이 에네루기 켄큐쇼 | 표시 장치 및 그 제조방법 |
| US9991392B2 (en) | 2013-12-03 | 2018-06-05 | Semiconductor Energy Laboratory Co., Ltd. | Semiconductor device and manufacturing method thereof |
| KR102107008B1 (ko) | 2013-12-16 | 2020-05-29 | 삼성디스플레이 주식회사 | 유기 발광 표시장치 및 그의 제조방법 |
| US9397149B2 (en) | 2013-12-27 | 2016-07-19 | Semiconductor Energy Laboratory Co., Ltd. | Semiconductor device |
| US9318618B2 (en) * | 2013-12-27 | 2016-04-19 | Semiconductor Energy Laboratory Co., Ltd. | Semiconductor device |
| KR102166898B1 (ko) * | 2014-01-10 | 2020-10-19 | 삼성디스플레이 주식회사 | 박막 트랜지스터 표시판 및 그 제조 방법 |
| WO2015114476A1 (en) * | 2014-01-28 | 2015-08-06 | Semiconductor Energy Laboratory Co., Ltd. | Semiconductor device |
| TWI685116B (zh) * | 2014-02-07 | 2020-02-11 | 日商半導體能源研究所股份有限公司 | 半導體裝置 |
| KR102400212B1 (ko) * | 2014-03-28 | 2022-05-23 | 가부시키가이샤 한도오따이 에네루기 켄큐쇼 | 트랜지스터 및 반도체 장치 |
| WO2015159183A2 (en) * | 2014-04-18 | 2015-10-22 | Semiconductor Energy Laboratory Co., Ltd. | Semiconductor device and display device having the same |
| KR102373263B1 (ko) * | 2014-05-30 | 2022-03-10 | 가부시키가이샤 한도오따이 에네루기 켄큐쇼 | 반도체 장치 및 이를 제조하기 위한 방법 |
| US9722090B2 (en) * | 2014-06-23 | 2017-08-01 | Semiconductor Energy Laboratory Co., Ltd. | Semiconductor device including first gate oxide semiconductor film, and second gate |
| JP6602585B2 (ja) * | 2014-08-08 | 2019-11-06 | 株式会社半導体エネルギー研究所 | 表示装置および電子機器 |
| TWI566388B (zh) * | 2014-08-12 | 2017-01-11 | 群創光電股份有限公司 | 顯示面板 |
| TWI533055B (zh) * | 2014-09-30 | 2016-05-11 | 群創光電股份有限公司 | 顯示面板 |
| US20160155759A1 (en) * | 2014-11-28 | 2016-06-02 | Semiconductor Energy Laboratory Co., Ltd. | Semiconductor device and display device including the same |
| JP6506973B2 (ja) * | 2015-01-21 | 2019-04-24 | 株式会社ジャパンディスプレイ | 表示装置 |
| JP6705663B2 (ja) * | 2015-03-06 | 2020-06-03 | 株式会社半導体エネルギー研究所 | 半導体装置およびその作製方法 |
| US10186618B2 (en) * | 2015-03-18 | 2019-01-22 | Semiconductor Energy Laboratory Co., Ltd. | Semiconductor device and manufacturing method thereof |
| TWI695513B (zh) * | 2015-03-27 | 2020-06-01 | 日商半導體能源研究所股份有限公司 | 半導體裝置及電子裝置 |
| KR20250135902A (ko) | 2015-11-20 | 2025-09-15 | 가부시키가이샤 한도오따이 에네루기 켄큐쇼 | 반도체 장치, 이 반도체 장치의 제작 방법, 또는 이 반도체 장치를 가지는 표시 장치 |
| US10411013B2 (en) | 2016-01-22 | 2019-09-10 | Semiconductor Energy Laboratory Co., Ltd. | Semiconductor device and memory device |
| US10586817B2 (en) | 2016-03-24 | 2020-03-10 | Semiconductor Energy Laboratory Co., Ltd. | Semiconductor device, manufacturing method thereof, and separation apparatus |
| KR102340066B1 (ko) * | 2016-04-07 | 2021-12-15 | 가부시키가이샤 한도오따이 에네루기 켄큐쇼 | 박리 방법 및 플렉시블 디바이스의 제작 방법 |
| US10185190B2 (en) | 2016-05-11 | 2019-01-22 | Semiconductor Energy Laboratory Co., Ltd. | Display device, module, and electronic device |
| JP2018022879A (ja) | 2016-07-20 | 2018-02-08 | 株式会社リコー | 電界効果型トランジスタ、及びその製造方法、並びに表示素子、画像表示装置、及びシステム |
| KR20230106750A (ko) | 2016-07-29 | 2023-07-13 | 가부시키가이샤 한도오따이 에네루기 켄큐쇼 | 박리 방법, 표시 장치, 표시 모듈, 및 전자 기기 |
| TW201808628A (zh) | 2016-08-09 | 2018-03-16 | Semiconductor Energy Lab | 半導體裝置的製造方法 |
| FR3074960B1 (fr) * | 2017-12-07 | 2019-12-06 | Soitec | Procede de transfert d'une couche utilisant une structure demontable |
| CN108807423B (zh) * | 2018-06-13 | 2020-11-10 | 京东方科技集团股份有限公司 | 柔性电子器件及其制造方法、柔性显示装置 |
| CN113016090A (zh) | 2018-11-02 | 2021-06-22 | 株式会社半导体能源研究所 | 半导体装置 |
| CN109686794B (zh) * | 2019-01-02 | 2021-01-22 | 京东方科技集团股份有限公司 | 薄膜晶体管及其制造方法、显示装置 |
| KR102894383B1 (ko) * | 2020-12-04 | 2025-12-02 | 삼성디스플레이 주식회사 | 디스플레이 장치 및 그 제조방법 |
| CN115172426A (zh) * | 2022-07-19 | 2022-10-11 | 武汉华星光电技术有限公司 | 半导体器件和电子装置 |
| CN116544151B (zh) * | 2023-07-05 | 2023-09-19 | 砺铸智能设备(天津)有限公司 | 一种用于芯片的检测、封装设备 |
| KR102688615B1 (ko) * | 2023-12-26 | 2024-07-24 | 한국세라믹기술원 | 나노로드 구조체를 이용한 산화갈륨 박막 박리 방법 및 그 산화갈륨 박막 |
Family Cites Families (228)
| Publication number | Priority date | Publication date | Assignee | Title |
|---|---|---|---|---|
| JPS60198861A (ja) | 1984-03-23 | 1985-10-08 | Fujitsu Ltd | 薄膜トランジスタ |
| JPH0244256B2 (ja) | 1987-01-28 | 1990-10-03 | Kagaku Gijutsucho Mukizaishitsu Kenkyushocho | Ingazn2o5deshimesarerurotsuhoshokeinosojokozoojusurukagobutsuoyobisonoseizoho |
| JPH0244258B2 (ja) | 1987-02-24 | 1990-10-03 | Kagaku Gijutsucho Mukizaishitsu Kenkyushocho | Ingazn3o6deshimesarerurotsuhoshokeinosojokozoojusurukagobutsuoyobisonoseizoho |
| JPS63210023A (ja) | 1987-02-24 | 1988-08-31 | Natl Inst For Res In Inorg Mater | InGaZn↓4O↓7で示される六方晶系の層状構造を有する化合物およびその製造法 |
| JPH0244260B2 (ja) | 1987-02-24 | 1990-10-03 | Kagaku Gijutsucho Mukizaishitsu Kenkyushocho | Ingazn5o8deshimesarerurotsuhoshokeinosojokozoojusurukagobutsuoyobisonoseizoho |
| JPH0244262B2 (ja) | 1987-02-27 | 1990-10-03 | Kagaku Gijutsucho Mukizaishitsu Kenkyushocho | Ingazn6o9deshimesarerurotsuhoshokeinosojokozoojusurukagobutsuoyobisonoseizoho |
| JPH0244263B2 (ja) | 1987-04-22 | 1990-10-03 | Kagaku Gijutsucho Mukizaishitsu Kenkyushocho | Ingazn7o10deshimesarerurotsuhoshokeinosojokozoojusurukagobutsuoyobisonoseizoho |
| JP2727562B2 (ja) | 1988-04-27 | 1998-03-11 | ソニー株式会社 | 表示装置 |
| JP3008485B2 (ja) | 1990-11-16 | 2000-02-14 | セイコーエプソン株式会社 | 薄膜トランジスタ |
| JPH0548087A (ja) * | 1991-08-19 | 1993-02-26 | Fujitsu Ltd | 半導体装置の製造方法 |
| JPH05251705A (ja) | 1992-03-04 | 1993-09-28 | Fuji Xerox Co Ltd | 薄膜トランジスタ |
| JPH05326956A (ja) | 1992-05-15 | 1993-12-10 | Sony Corp | ボトムゲート型薄膜トランジスタ、半導体装置、及びその製造方法 |
| JPH0621455A (ja) * | 1992-06-30 | 1994-01-28 | Sanyo Electric Co Ltd | 薄膜トランジスタ |
| JPH07114347A (ja) | 1993-10-14 | 1995-05-02 | Alps Electric Co Ltd | ディスプレイ装置およびその製造方法 |
| US7081938B1 (en) * | 1993-12-03 | 2006-07-25 | Semiconductor Energy Laboratory Co., Ltd. | Electro-optical device and method for manufacturing the same |
| JP3479375B2 (ja) | 1995-03-27 | 2003-12-15 | 科学技術振興事業団 | 亜酸化銅等の金属酸化物半導体による薄膜トランジスタとpn接合を形成した金属酸化物半導体装置およびそれらの製造方法 |
| KR100394896B1 (ko) * | 1995-08-03 | 2003-11-28 | 코닌클리케 필립스 일렉트로닉스 엔.브이. | 투명스위칭소자를포함하는반도체장치 |
| JP3625598B2 (ja) * | 1995-12-30 | 2005-03-02 | 三星電子株式会社 | 液晶表示装置の製造方法 |
| FR2756104B1 (fr) | 1996-11-19 | 1999-01-29 | Sgs Thomson Microelectronics | Fabrication de circuits integres bipolaires/cmos |
| JP3425851B2 (ja) * | 1997-06-30 | 2003-07-14 | 日本電気株式会社 | 液晶表示装置用薄膜トランジスタ |
| KR100243297B1 (ko) | 1997-07-28 | 2000-02-01 | 윤종용 | 다결정실리콘 박막 트랜지스터-액정표시장치 및그 제조방법 |
| JP2000026119A (ja) | 1998-07-09 | 2000-01-25 | Hoya Corp | 透明導電性酸化物薄膜を有する物品及びその製造方法 |
| JP4170454B2 (ja) | 1998-07-24 | 2008-10-22 | Hoya株式会社 | 透明導電性酸化物薄膜を有する物品及びその製造方法 |
| JP2000150861A (ja) * | 1998-11-16 | 2000-05-30 | Tdk Corp | 酸化物薄膜 |
| JP3276930B2 (ja) | 1998-11-17 | 2002-04-22 | 科学技術振興事業団 | トランジスタ及び半導体装置 |
| KR100525044B1 (ko) * | 1999-02-10 | 2005-10-31 | 엘지.필립스 엘시디 주식회사 | 박막 트랜지스터형 광 감지소자 제조방법 |
| US7052350B1 (en) * | 1999-08-26 | 2006-05-30 | Micron Technology, Inc. | Field emission device having insulated column lines and method manufacture |
| TW460731B (en) * | 1999-09-03 | 2001-10-21 | Ind Tech Res Inst | Electrode structure and production method of wide viewing angle LCD |
| JP2001284592A (ja) * | 2000-03-29 | 2001-10-12 | Sony Corp | 薄膜半導体装置及びその駆動方法 |
| US20040029310A1 (en) | 2000-08-18 | 2004-02-12 | Adoft Bernds | Organic field-effect transistor (ofet), a production method therefor, an integrated circut constructed from the same and their uses |
| JP4089858B2 (ja) | 2000-09-01 | 2008-05-28 | 国立大学法人東北大学 | 半導体デバイス |
| KR20020038482A (ko) * | 2000-11-15 | 2002-05-23 | 모리시타 요이찌 | 박막 트랜지스터 어레이, 그 제조방법 및 그것을 이용한표시패널 |
| US7569849B2 (en) * | 2001-02-16 | 2009-08-04 | Ignis Innovation Inc. | Pixel driver circuit and pixel circuit having the pixel driver circuit |
| JP3997731B2 (ja) * | 2001-03-19 | 2007-10-24 | 富士ゼロックス株式会社 | 基材上に結晶性半導体薄膜を形成する方法 |
| JP2002289859A (ja) | 2001-03-23 | 2002-10-04 | Minolta Co Ltd | 薄膜トランジスタ |
| US7189997B2 (en) | 2001-03-27 | 2007-03-13 | Semiconductor Energy Laboratory Co., Ltd. | Semiconductor device and method for manufacturing the same |
| JP2002359376A (ja) * | 2001-03-27 | 2002-12-13 | Semiconductor Energy Lab Co Ltd | 半導体装置及びその作製方法 |
| US6982194B2 (en) | 2001-03-27 | 2006-01-03 | Semiconductor Energy Laboratory Co., Ltd. | Semiconductor device and method for manufacturing the same |
| US6794682B2 (en) | 2001-04-04 | 2004-09-21 | Canon Kabushiki Kaisha | Semiconductor device, method for manufacturing the same, and radiation detector |
| JP2002368229A (ja) | 2001-04-04 | 2002-12-20 | Canon Inc | 半導体装置、及びその製造方法、並びに放射線検出装置 |
| US6906344B2 (en) | 2001-05-24 | 2005-06-14 | Semiconductor Energy Laboratory Co., Ltd. | Thin film transistor with plural channels and corresponding plural overlapping electrodes |
| JP2003051599A (ja) | 2001-05-24 | 2003-02-21 | Semiconductor Energy Lab Co Ltd | 半導体装置及び電子機器 |
| JP2003037268A (ja) | 2001-07-24 | 2003-02-07 | Minolta Co Ltd | 半導体素子及びその製造方法 |
| JP5057619B2 (ja) * | 2001-08-01 | 2012-10-24 | 株式会社半導体エネルギー研究所 | 半導体装置の作製方法 |
| TW554398B (en) * | 2001-08-10 | 2003-09-21 | Semiconductor Energy Lab | Method of peeling off and method of manufacturing semiconductor device |
| JP4090716B2 (ja) * | 2001-09-10 | 2008-05-28 | 雅司 川崎 | 薄膜トランジスタおよびマトリクス表示装置 |
| JP3925839B2 (ja) | 2001-09-10 | 2007-06-06 | シャープ株式会社 | 半導体記憶装置およびその試験方法 |
| EP1443130B1 (en) * | 2001-11-05 | 2011-09-28 | Japan Science and Technology Agency | Natural superlattice homologous single crystal thin film, method for preparation thereof, and device using said single crystal thin film |
| JP4164562B2 (ja) | 2002-09-11 | 2008-10-15 | 独立行政法人科学技術振興機構 | ホモロガス薄膜を活性層として用いる透明薄膜電界効果型トランジスタ |
| TWI264121B (en) * | 2001-11-30 | 2006-10-11 | Semiconductor Energy Lab | A display device, a method of manufacturing a semiconductor device, and a method of manufacturing a display device |
| TWI272666B (en) | 2002-01-28 | 2007-02-01 | Semiconductor Energy Lab | Semiconductor device and method of manufacturing the same |
| US7749818B2 (en) | 2002-01-28 | 2010-07-06 | Semiconductor Energy Laboratory Co., Ltd. | Semiconductor device and method of manufacturing the same |
| TWI261358B (en) * | 2002-01-28 | 2006-09-01 | Semiconductor Energy Lab | Semiconductor device and method of manufacturing the same |
| JP4083486B2 (ja) * | 2002-02-21 | 2008-04-30 | 独立行政法人科学技術振興機構 | LnCuO(S,Se,Te)単結晶薄膜の製造方法 |
| CN1445821A (zh) * | 2002-03-15 | 2003-10-01 | 三洋电机株式会社 | ZnO膜和ZnO半导体层的形成方法、半导体元件及其制造方法 |
| JP3933591B2 (ja) * | 2002-03-26 | 2007-06-20 | 淳二 城戸 | 有機エレクトロルミネッセント素子 |
| KR20030086168A (ko) * | 2002-05-03 | 2003-11-07 | 엘지.필립스 엘시디 주식회사 | 유기전계 발광소자와 그 제조방법 |
| US7339187B2 (en) * | 2002-05-21 | 2008-03-04 | State Of Oregon Acting By And Through The Oregon State Board Of Higher Education On Behalf Of Oregon State University | Transistor structures |
| JP2004022625A (ja) * | 2002-06-13 | 2004-01-22 | Murata Mfg Co Ltd | 半導体デバイス及び該半導体デバイスの製造方法 |
| US7105868B2 (en) * | 2002-06-24 | 2006-09-12 | Cermet, Inc. | High-electron mobility transistor with zinc oxide |
| US7358121B2 (en) | 2002-08-23 | 2008-04-15 | Intel Corporation | Tri-gate devices and methods of fabrication |
| US7067843B2 (en) * | 2002-10-11 | 2006-06-27 | E. I. Du Pont De Nemours And Company | Transparent oxide semiconductor thin film transistors |
| US7250930B2 (en) * | 2003-02-07 | 2007-07-31 | Hewlett-Packard Development Company, L.P. | Transparent active-matrix display |
| JP4166105B2 (ja) | 2003-03-06 | 2008-10-15 | シャープ株式会社 | 半導体装置およびその製造方法 |
| JP2004273732A (ja) | 2003-03-07 | 2004-09-30 | Sharp Corp | アクティブマトリクス基板およびその製造方法 |
| JP2004349583A (ja) | 2003-05-23 | 2004-12-09 | Sharp Corp | トランジスタの製造方法 |
| JP4108633B2 (ja) * | 2003-06-20 | 2008-06-25 | シャープ株式会社 | 薄膜トランジスタおよびその製造方法ならびに電子デバイス |
| JP2005045017A (ja) | 2003-07-22 | 2005-02-17 | Sharp Corp | アクティブマトリクス基板およびそれを備えた表示装置 |
| US7262463B2 (en) * | 2003-07-25 | 2007-08-28 | Hewlett-Packard Development Company, L.P. | Transistor including a deposited channel region having a doped portion |
| JP4483235B2 (ja) | 2003-09-01 | 2010-06-16 | カシオ計算機株式会社 | トランジスタアレイ基板の製造方法及びトランジスタアレイ基板 |
| US6931685B2 (en) * | 2003-09-12 | 2005-08-23 | Dreamwell, Ltd. | One-sided mattress |
| JP2005166713A (ja) * | 2003-11-28 | 2005-06-23 | Sharp Corp | 電界効果型トランジスタ |
| US7026713B2 (en) | 2003-12-17 | 2006-04-11 | Hewlett-Packard Development Company, L.P. | Transistor device having a delafossite material |
| KR100615085B1 (ko) | 2004-01-12 | 2006-08-22 | 삼성전자주식회사 | 노드 콘택 구조체들, 이를 채택하는 반도체소자들, 이를채택하는 에스램 셀들 및 이를 제조하는 방법들 |
| US7282782B2 (en) * | 2004-03-12 | 2007-10-16 | Hewlett-Packard Development Company, L.P. | Combined binary oxide semiconductor device |
| US7250627B2 (en) * | 2004-03-12 | 2007-07-31 | Hewlett-Packard Development Company, L.P. | Semiconductor device |
| US7242039B2 (en) * | 2004-03-12 | 2007-07-10 | Hewlett-Packard Development Company, L.P. | Semiconductor device |
| US7297977B2 (en) * | 2004-03-12 | 2007-11-20 | Hewlett-Packard Development Company, L.P. | Semiconductor device |
| US20070194379A1 (en) | 2004-03-12 | 2007-08-23 | Japan Science And Technology Agency | Amorphous Oxide And Thin Film Transistor |
| US7145174B2 (en) * | 2004-03-12 | 2006-12-05 | Hewlett-Packard Development Company, Lp. | Semiconductor device |
| US7211825B2 (en) * | 2004-06-14 | 2007-05-01 | Yi-Chi Shih | Indium oxide-based thin film transistors and circuits |
| US20060022897A1 (en) * | 2004-07-27 | 2006-02-02 | Windover Lisa A | Method and system for transforming a display into a mirror |
| JP2006100760A (ja) * | 2004-09-02 | 2006-04-13 | Casio Comput Co Ltd | 薄膜トランジスタおよびその製造方法 |
| US7285501B2 (en) * | 2004-09-17 | 2007-10-23 | Hewlett-Packard Development Company, L.P. | Method of forming a solution processed device |
| JP4799842B2 (ja) | 2004-10-08 | 2011-10-26 | Juki株式会社 | ミシンの中押え装置 |
| KR101219038B1 (ko) * | 2004-10-26 | 2013-01-07 | 삼성디스플레이 주식회사 | 박막 트랜지스터 표시판 및 그 제조 방법 |
| US7298084B2 (en) * | 2004-11-02 | 2007-11-20 | 3M Innovative Properties Company | Methods and displays utilizing integrated zinc oxide row and column drivers in conjunction with organic light emitting diodes |
| EP2453480A2 (en) * | 2004-11-10 | 2012-05-16 | Canon Kabushiki Kaisha | Amorphous oxide and field effect transistor |
| US7453065B2 (en) * | 2004-11-10 | 2008-11-18 | Canon Kabushiki Kaisha | Sensor and image pickup device |
| AU2005302963B2 (en) * | 2004-11-10 | 2009-07-02 | Cannon Kabushiki Kaisha | Light-emitting device |
| US7791072B2 (en) * | 2004-11-10 | 2010-09-07 | Canon Kabushiki Kaisha | Display |
| US7829444B2 (en) * | 2004-11-10 | 2010-11-09 | Canon Kabushiki Kaisha | Field effect transistor manufacturing method |
| US7863611B2 (en) * | 2004-11-10 | 2011-01-04 | Canon Kabushiki Kaisha | Integrated circuits utilizing amorphous oxides |
| EP1815530B1 (en) * | 2004-11-10 | 2021-02-17 | Canon Kabushiki Kaisha | Field effect transistor employing an amorphous oxide |
| KR101054344B1 (ko) * | 2004-11-17 | 2011-08-04 | 삼성전자주식회사 | 박막 트랜지스터 표시판 및 그 제조 방법 |
| US20060118869A1 (en) | 2004-12-03 | 2006-06-08 | Je-Hsiung Lan | Thin-film transistors and processes for forming the same |
| JP4654675B2 (ja) * | 2004-12-14 | 2011-03-23 | ソニー株式会社 | 液晶パネル |
| US7579224B2 (en) * | 2005-01-21 | 2009-08-25 | Semiconductor Energy Laboratory Co., Ltd. | Method for manufacturing a thin film semiconductor device |
| GB0501733D0 (en) | 2005-01-27 | 2005-03-02 | British American Tobacco Co | Packages |
| TWI412138B (zh) * | 2005-01-28 | 2013-10-11 | 半導體能源研究所股份有限公司 | 半導體裝置,電子裝置,和半導體裝置的製造方法 |
| TWI481024B (zh) * | 2005-01-28 | 2015-04-11 | 半導體能源研究所股份有限公司 | 半導體裝置,電子裝置,和半導體裝置的製造方法 |
| US7858451B2 (en) * | 2005-02-03 | 2010-12-28 | Semiconductor Energy Laboratory Co., Ltd. | Electronic device, semiconductor device and manufacturing method thereof |
| US7948171B2 (en) * | 2005-02-18 | 2011-05-24 | Semiconductor Energy Laboratory Co., Ltd. | Light emitting device |
| US20060197092A1 (en) * | 2005-03-03 | 2006-09-07 | Randy Hoffman | System and method for forming conductive material on a substrate |
| US8681077B2 (en) * | 2005-03-18 | 2014-03-25 | Semiconductor Energy Laboratory Co., Ltd. | Semiconductor device, and display device, driving method and electronic apparatus thereof |
| US7544967B2 (en) * | 2005-03-28 | 2009-06-09 | Massachusetts Institute Of Technology | Low voltage flexible organic/transparent transistor for selective gas sensing, photodetecting and CMOS device applications |
| US7645478B2 (en) * | 2005-03-31 | 2010-01-12 | 3M Innovative Properties Company | Methods of making displays |
| US8300031B2 (en) * | 2005-04-20 | 2012-10-30 | Semiconductor Energy Laboratory Co., Ltd. | Semiconductor device comprising transistor having gate and drain connected through a current-voltage conversion element |
| TWI408734B (zh) | 2005-04-28 | 2013-09-11 | Semiconductor Energy Lab | 半導體裝置及其製造方法 |
| JP5084169B2 (ja) | 2005-04-28 | 2012-11-28 | 株式会社半導体エネルギー研究所 | 半導体装置の作製方法 |
| JP2006344849A (ja) * | 2005-06-10 | 2006-12-21 | Casio Comput Co Ltd | 薄膜トランジスタ |
| US7402506B2 (en) * | 2005-06-16 | 2008-07-22 | Eastman Kodak Company | Methods of making thin film transistors comprising zinc-oxide-based semiconductor materials and transistors made thereby |
| US7691666B2 (en) * | 2005-06-16 | 2010-04-06 | Eastman Kodak Company | Methods of making thin film transistors comprising zinc-oxide-based semiconductor materials and transistors made thereby |
| KR100715228B1 (ko) * | 2005-06-18 | 2007-05-04 | 삼성전자주식회사 | 곡면 구조를 갖는 소노스 메모리 소자 및 그 제조방법 |
| US7507618B2 (en) * | 2005-06-27 | 2009-03-24 | 3M Innovative Properties Company | Method for making electronic devices using metal oxide nanoparticles |
| US7279375B2 (en) | 2005-06-30 | 2007-10-09 | Intel Corporation | Block contact architectures for nanoscale channel transistors |
| US7727859B2 (en) * | 2005-06-30 | 2010-06-01 | Semiconductor Energy Laboratory Co., Ltd | Semiconductor device and manufacturing method thereof |
| KR100711890B1 (ko) | 2005-07-28 | 2007-04-25 | 삼성에스디아이 주식회사 | 유기 발광표시장치 및 그의 제조방법 |
| US8138502B2 (en) * | 2005-08-05 | 2012-03-20 | Semiconductor Energy Laboratory Co., Ltd. | Light-emitting device and manufacturing method thereof |
| WO2007020805A1 (en) * | 2005-08-12 | 2007-02-22 | Semiconductor Energy Laboratory Co., Ltd. | Manufacturing method of semiconductor device |
| JP2007059128A (ja) * | 2005-08-23 | 2007-03-08 | Canon Inc | 有機el表示装置およびその製造方法 |
| EP1760776B1 (en) * | 2005-08-31 | 2019-12-25 | Semiconductor Energy Laboratory Co., Ltd. | Manufacturing method for semiconductor device with flexible substrate |
| US8946674B2 (en) * | 2005-08-31 | 2015-02-03 | University Of Florida Research Foundation, Inc. | Group III-nitrides on Si substrates using a nanostructured interlayer |
| JP4850457B2 (ja) * | 2005-09-06 | 2012-01-11 | キヤノン株式会社 | 薄膜トランジスタ及び薄膜ダイオード |
| JP2007073705A (ja) * | 2005-09-06 | 2007-03-22 | Canon Inc | 酸化物半導体チャネル薄膜トランジスタおよびその製造方法 |
| JP4280736B2 (ja) | 2005-09-06 | 2009-06-17 | キヤノン株式会社 | 半導体素子 |
| JP5116225B2 (ja) * | 2005-09-06 | 2013-01-09 | キヤノン株式会社 | 酸化物半導体デバイスの製造方法 |
| EP3614442A3 (en) * | 2005-09-29 | 2020-03-25 | Semiconductor Energy Laboratory Co., Ltd. | Semiconductor device having oxide semiconductor layer and manufactoring method thereof |
| JP5078246B2 (ja) | 2005-09-29 | 2012-11-21 | 株式会社半導体エネルギー研究所 | 半導体装置、及び半導体装置の作製方法 |
| JP5064747B2 (ja) | 2005-09-29 | 2012-10-31 | 株式会社半導体エネルギー研究所 | 半導体装置、電気泳動表示装置、表示モジュール、電子機器、及び半導体装置の作製方法 |
| TWI411095B (zh) * | 2005-09-29 | 2013-10-01 | Semiconductor Energy Lab | 記憶裝置 |
| JP5037808B2 (ja) * | 2005-10-20 | 2012-10-03 | キヤノン株式会社 | アモルファス酸化物を用いた電界効果型トランジスタ、及び該トランジスタを用いた表示装置 |
| JP2007123377A (ja) | 2005-10-26 | 2007-05-17 | Matsushita Electric Ind Co Ltd | 有機半導体素子モジュール |
| CN101667544B (zh) | 2005-11-15 | 2012-09-05 | 株式会社半导体能源研究所 | 半导体器件及其制造方法 |
| KR100667090B1 (ko) | 2005-11-16 | 2007-01-11 | 삼성에스디아이 주식회사 | 박막트랜지스터의 제조방법 및 그를 포함하는 평판표시장치 |
| TWI292281B (en) * | 2005-12-29 | 2008-01-01 | Ind Tech Res Inst | Pixel structure of active organic light emitting diode and method of fabricating the same |
| US7867636B2 (en) * | 2006-01-11 | 2011-01-11 | Murata Manufacturing Co., Ltd. | Transparent conductive film and method for manufacturing the same |
| JP4977478B2 (ja) * | 2006-01-21 | 2012-07-18 | 三星電子株式会社 | ZnOフィルム及びこれを用いたTFTの製造方法 |
| US7576394B2 (en) * | 2006-02-02 | 2009-08-18 | Kochi Industrial Promotion Center | Thin film transistor including low resistance conductive thin films and manufacturing method thereof |
| JP5015473B2 (ja) | 2006-02-15 | 2012-08-29 | 財団法人高知県産業振興センター | 薄膜トランジスタアレイ及びその製法 |
| US7977169B2 (en) * | 2006-02-15 | 2011-07-12 | Kochi Industrial Promotion Center | Semiconductor device including active layer made of zinc oxide with controlled orientations and manufacturing method thereof |
| JP4458048B2 (ja) | 2006-02-23 | 2010-04-28 | カシオ計算機株式会社 | 薄膜トランジスタの製造方法 |
| JP2007250804A (ja) | 2006-03-15 | 2007-09-27 | Samsung Electronics Co Ltd | 薄膜トランジスタ基板及びその製造方法 |
| WO2007110940A1 (ja) * | 2006-03-29 | 2007-10-04 | Fujitsu Limited | 半導体装置及びその製造方法 |
| TWI429028B (zh) * | 2006-03-31 | 2014-03-01 | Semiconductor Energy Lab | 非揮發性半導體記憶體裝置及其製造方法 |
| KR20070101595A (ko) * | 2006-04-11 | 2007-10-17 | 삼성전자주식회사 | ZnO TFT |
| JP2007288078A (ja) * | 2006-04-20 | 2007-11-01 | Seiko Epson Corp | フレキシブル電子デバイス及びその製造方法 |
| US20070252928A1 (en) * | 2006-04-28 | 2007-11-01 | Toppan Printing Co., Ltd. | Structure, transmission type liquid crystal display, reflection type display and manufacturing method thereof |
| TWI299213B (en) * | 2006-05-05 | 2008-07-21 | Prime View Int Co Ltd | Muti-channel thin film transistor |
| US20070287221A1 (en) * | 2006-06-12 | 2007-12-13 | Xerox Corporation | Fabrication process for crystalline zinc oxide semiconductor layer |
| JP5028033B2 (ja) * | 2006-06-13 | 2012-09-19 | キヤノン株式会社 | 酸化物半導体膜のドライエッチング方法 |
| JP4609797B2 (ja) * | 2006-08-09 | 2011-01-12 | Nec液晶テクノロジー株式会社 | 薄膜デバイス及びその製造方法 |
| JP4999400B2 (ja) * | 2006-08-09 | 2012-08-15 | キヤノン株式会社 | 酸化物半導体膜のドライエッチング方法 |
| JP4404881B2 (ja) | 2006-08-09 | 2010-01-27 | 日本電気株式会社 | 薄膜トランジスタアレイ、その製造方法及び液晶表示装置 |
| JP5332091B2 (ja) | 2006-08-29 | 2013-11-06 | カシオ計算機株式会社 | 薄膜トランジスタの製造方法 |
| JP4332545B2 (ja) * | 2006-09-15 | 2009-09-16 | キヤノン株式会社 | 電界効果型トランジスタ及びその製造方法 |
| JP5164357B2 (ja) * | 2006-09-27 | 2013-03-21 | キヤノン株式会社 | 半導体装置及び半導体装置の製造方法 |
| JP4274219B2 (ja) * | 2006-09-27 | 2009-06-03 | セイコーエプソン株式会社 | 電子デバイス、有機エレクトロルミネッセンス装置、有機薄膜半導体装置 |
| US7622371B2 (en) * | 2006-10-10 | 2009-11-24 | Hewlett-Packard Development Company, L.P. | Fused nanocrystal thin film semiconductor and method |
| JP5216204B2 (ja) * | 2006-10-31 | 2013-06-19 | 株式会社半導体エネルギー研究所 | 液晶表示装置及びその作製方法 |
| US7772021B2 (en) * | 2006-11-29 | 2010-08-10 | Samsung Electronics Co., Ltd. | Flat panel displays comprising a thin-film transistor having a semiconductive oxide in its channel and methods of fabricating the same for use in flat panel displays |
| JP2008140684A (ja) * | 2006-12-04 | 2008-06-19 | Toppan Printing Co Ltd | カラーelディスプレイおよびその製造方法 |
| KR20080052107A (ko) | 2006-12-07 | 2008-06-11 | 엘지전자 주식회사 | 산화물 반도체층을 구비한 박막 트랜지스터 |
| KR20080057415A (ko) | 2006-12-20 | 2008-06-25 | 삼성전자주식회사 | 박막 트랜지스터, 이를 갖는 어레이 기판 및 이를 갖는표시패널 |
| KR101303578B1 (ko) * | 2007-01-05 | 2013-09-09 | 삼성전자주식회사 | 박막 식각 방법 |
| US8207063B2 (en) * | 2007-01-26 | 2012-06-26 | Eastman Kodak Company | Process for atomic layer deposition |
| JP5196870B2 (ja) * | 2007-05-23 | 2013-05-15 | キヤノン株式会社 | 酸化物半導体を用いた電子素子及びその製造方法 |
| KR100851215B1 (ko) * | 2007-03-14 | 2008-08-07 | 삼성에스디아이 주식회사 | 박막 트랜지스터 및 이를 이용한 유기 전계 발광표시장치 |
| JP5197058B2 (ja) * | 2007-04-09 | 2013-05-15 | キヤノン株式会社 | 発光装置とその作製方法 |
| WO2008126879A1 (en) * | 2007-04-09 | 2008-10-23 | Canon Kabushiki Kaisha | Light-emitting apparatus and production method thereof |
| JP5064094B2 (ja) | 2007-04-16 | 2012-10-31 | パナソニック株式会社 | 半導体記憶装置およびその製造方法 |
| US7795613B2 (en) * | 2007-04-17 | 2010-09-14 | Toppan Printing Co., Ltd. | Structure with transistor |
| KR101325053B1 (ko) * | 2007-04-18 | 2013-11-05 | 삼성디스플레이 주식회사 | 박막 트랜지스터 기판 및 이의 제조 방법 |
| KR20080094300A (ko) * | 2007-04-19 | 2008-10-23 | 삼성전자주식회사 | 박막 트랜지스터 및 그 제조 방법과 박막 트랜지스터를포함하는 평판 디스플레이 |
| KR101334181B1 (ko) * | 2007-04-20 | 2013-11-28 | 삼성전자주식회사 | 선택적으로 결정화된 채널층을 갖는 박막 트랜지스터 및 그제조 방법 |
| US8274078B2 (en) * | 2007-04-25 | 2012-09-25 | Canon Kabushiki Kaisha | Metal oxynitride semiconductor containing zinc |
| KR101345376B1 (ko) * | 2007-05-29 | 2013-12-24 | 삼성전자주식회사 | ZnO 계 박막 트랜지스터 및 그 제조방법 |
| US8354674B2 (en) | 2007-06-29 | 2013-01-15 | Semiconductor Energy Laboratory Co., Ltd. | Semiconductor device wherein a property of a first semiconductor layer is different from a property of a second semiconductor layer |
| US9054206B2 (en) * | 2007-08-17 | 2015-06-09 | Semiconductor Energy Laboratory Co., Ltd. | Method for manufacturing semiconductor device |
| JP2009059894A (ja) * | 2007-08-31 | 2009-03-19 | Oki Electric Ind Co Ltd | 半導体装置 |
| JPWO2009034953A1 (ja) * | 2007-09-10 | 2010-12-24 | 出光興産株式会社 | 薄膜トランジスタ |
| JP2009087928A (ja) * | 2007-09-13 | 2009-04-23 | Semiconductor Energy Lab Co Ltd | 半導体装置およびその作製方法 |
| JP2009088239A (ja) * | 2007-09-28 | 2009-04-23 | Sharp Corp | 半導体装置およびその製造方法 |
| JP2009099847A (ja) * | 2007-10-18 | 2009-05-07 | Canon Inc | 薄膜トランジスタとその製造方法及び表示装置 |
| WO2009057665A1 (ja) * | 2007-10-31 | 2009-05-07 | Sumitomo Chemical Company, Limited | 薄膜能動素子群、薄膜能動素子アレイ、有機発光装置、表示装置および薄膜能動素子群の製造方法 |
| CN103258857B (zh) | 2007-12-13 | 2016-05-11 | 出光兴产株式会社 | 使用了氧化物半导体的场效应晶体管及其制造方法 |
| US8202365B2 (en) * | 2007-12-17 | 2012-06-19 | Fujifilm Corporation | Process for producing oriented inorganic crystalline film, and semiconductor device using the oriented inorganic crystalline film |
| KR101425131B1 (ko) * | 2008-01-15 | 2014-07-31 | 삼성디스플레이 주식회사 | 표시 기판 및 이를 포함하는 표시 장치 |
| KR101412761B1 (ko) * | 2008-01-18 | 2014-07-02 | 삼성디스플레이 주식회사 | 박막 트랜지스터 기판 및 이의 제조 방법 |
| JP5264197B2 (ja) * | 2008-01-23 | 2013-08-14 | キヤノン株式会社 | 薄膜トランジスタ |
| EP2086013B1 (en) | 2008-02-01 | 2018-05-23 | Samsung Electronics Co., Ltd. | Oxide semiconductor transistor |
| KR101512818B1 (ko) | 2008-02-01 | 2015-05-20 | 삼성전자주식회사 | 산화물 반도체 트랜지스터 및 그 제조방법 |
| US8586979B2 (en) | 2008-02-01 | 2013-11-19 | Samsung Electronics Co., Ltd. | Oxide semiconductor transistor and method of manufacturing the same |
| US7812348B2 (en) * | 2008-02-29 | 2010-10-12 | Semiconductor Energy Laboratory Co., Ltd. | Thin-film transistor and display device |
| US8054071B2 (en) | 2008-03-06 | 2011-11-08 | Allegro Microsystems, Inc. | Two-terminal linear sensor |
| JP4555358B2 (ja) | 2008-03-24 | 2010-09-29 | 富士フイルム株式会社 | 薄膜電界効果型トランジスタおよび表示装置 |
| KR100941850B1 (ko) | 2008-04-03 | 2010-02-11 | 삼성모바일디스플레이주식회사 | 박막 트랜지스터, 그의 제조 방법 및 박막 트랜지스터를구비하는 평판 표시 장치 |
| KR101496148B1 (ko) | 2008-05-15 | 2015-02-27 | 삼성전자주식회사 | 반도체소자 및 그 제조방법 |
| JP2010003723A (ja) | 2008-06-18 | 2010-01-07 | Toppan Printing Co Ltd | 薄膜トランジスタ及び薄膜トランジスタアレイ並びに画像表示装置 |
| KR100963026B1 (ko) | 2008-06-30 | 2010-06-10 | 삼성모바일디스플레이주식회사 | 박막 트랜지스터, 그의 제조 방법 및 박막 트랜지스터를구비하는 평판 표시 장치 |
| KR100963027B1 (ko) | 2008-06-30 | 2010-06-10 | 삼성모바일디스플레이주식회사 | 박막 트랜지스터, 그의 제조 방법 및 박막 트랜지스터를구비하는 평판 표시 장치 |
| KR101488927B1 (ko) | 2008-07-14 | 2015-02-09 | 삼성디스플레이 주식회사 | 표시기판 |
| JP2010056541A (ja) * | 2008-07-31 | 2010-03-11 | Semiconductor Energy Lab Co Ltd | 半導体装置およびその作製方法 |
| TWI500159B (zh) * | 2008-07-31 | 2015-09-11 | Semiconductor Energy Lab | 半導體裝置和其製造方法 |
| TWI637444B (zh) * | 2008-08-08 | 2018-10-01 | 半導體能源研究所股份有限公司 | 半導體裝置的製造方法 |
| JP5345456B2 (ja) | 2008-08-14 | 2013-11-20 | 富士フイルム株式会社 | 薄膜電界効果型トランジスタ |
| TWI368299B (en) * | 2008-08-15 | 2012-07-11 | Nanya Technology Corp | Vertical transistor and array of vertical transistor |
| KR101497425B1 (ko) | 2008-08-28 | 2015-03-03 | 삼성디스플레이 주식회사 | 액정 표시 장치 및 그 제조 방법 |
| JP4623179B2 (ja) * | 2008-09-18 | 2011-02-02 | ソニー株式会社 | 薄膜トランジスタおよびその製造方法 |
| JP5451280B2 (ja) * | 2008-10-09 | 2014-03-26 | キヤノン株式会社 | ウルツ鉱型結晶成長用基板およびその製造方法ならびに半導体装置 |
| JP4364930B2 (ja) | 2008-10-16 | 2009-11-18 | 株式会社半導体エネルギー研究所 | 半導体装置 |
| KR20100054453A (ko) | 2008-11-14 | 2010-05-25 | 삼성전자주식회사 | 반도체 소자 및 그 형성 방법 |
| KR101547326B1 (ko) | 2008-12-04 | 2015-08-26 | 삼성전자주식회사 | 트랜지스터 및 그 제조방법 |
| JP5615540B2 (ja) * | 2008-12-19 | 2014-10-29 | 株式会社半導体エネルギー研究所 | 半導体装置の作製方法 |
| JP5606682B2 (ja) | 2009-01-29 | 2014-10-15 | 富士フイルム株式会社 | 薄膜トランジスタ、多結晶酸化物半導体薄膜の製造方法、及び薄膜トランジスタの製造方法 |
| KR101593443B1 (ko) * | 2009-02-19 | 2016-02-12 | 엘지디스플레이 주식회사 | 어레이 기판의 제조방법 |
| KR101578694B1 (ko) * | 2009-06-02 | 2015-12-21 | 엘지디스플레이 주식회사 | 산화물 박막 트랜지스터의 제조방법 |
| JP4415062B1 (ja) | 2009-06-22 | 2010-02-17 | 富士フイルム株式会社 | 薄膜トランジスタ及び薄膜トランジスタの製造方法 |
| JP4571221B1 (ja) | 2009-06-22 | 2010-10-27 | 富士フイルム株式会社 | Igzo系酸化物材料及びigzo系酸化物材料の製造方法 |
| JP2011066375A (ja) * | 2009-08-18 | 2011-03-31 | Fujifilm Corp | 非晶質酸化物半導体材料、電界効果型トランジスタ及び表示装置 |
| JP2011071476A (ja) | 2009-08-25 | 2011-04-07 | Canon Inc | 薄膜トランジスタ、薄膜トランジスタを用いた表示装置及び薄膜トランジスタの製造方法 |
| KR101248459B1 (ko) * | 2009-11-10 | 2013-03-28 | 엘지디스플레이 주식회사 | 액정표시장치 및 그 제조방법 |
| KR101597312B1 (ko) * | 2009-11-16 | 2016-02-25 | 삼성디스플레이 주식회사 | 박막 트랜지스터 표시판 및 그 제조 방법 |
| KR20110056127A (ko) * | 2009-11-20 | 2011-05-26 | 삼성전자주식회사 | 트랜지스터용 반도체 제조 방법 및 트랜지스터의 제조 방법 |
| KR101649732B1 (ko) * | 2009-12-10 | 2016-08-22 | 삼성디스플레이 주식회사 | 박막 트랜지스터 표시판 및 그 제조 방법 |
| JP2011138934A (ja) | 2009-12-28 | 2011-07-14 | Sony Corp | 薄膜トランジスタ、表示装置および電子機器 |
| KR101074813B1 (ko) * | 2010-01-07 | 2011-10-19 | 삼성모바일디스플레이주식회사 | 유기 발광 표시 장치 및 그 제조 방법 |
| KR20150010776A (ko) | 2010-02-05 | 2015-01-28 | 가부시키가이샤 한도오따이 에네루기 켄큐쇼 | 반도체 장치, 및 반도체 장치의 제조 방법 |
-
2011
- 2011-01-11 KR KR1020147034600A patent/KR20150010776A/ko not_active Ceased
- 2011-01-11 KR KR1020187000715A patent/KR20180006507A/ko not_active Ceased
- 2011-01-11 KR KR1020127022784A patent/KR101819197B1/ko not_active Expired - Fee Related
- 2011-01-11 KR KR1020137016424A patent/KR101465196B1/ko active Active
- 2011-01-11 KR KR1020207030813A patent/KR102581069B1/ko active Active
- 2011-01-11 KR KR1020137016422A patent/KR101399610B1/ko active Active
- 2011-01-11 KR KR1020137016421A patent/KR101399609B1/ko active Active
- 2011-01-11 KR KR1020137016423A patent/KR101399611B1/ko active Active
- 2011-01-11 KR KR1020237031761A patent/KR20230141883A/ko active Pending
- 2011-01-11 KR KR1020197009351A patent/KR20190038687A/ko not_active Ceased
- 2011-01-11 KR KR1020207008787A patent/KR102172343B1/ko active Active
- 2011-01-11 WO PCT/JP2011/050612 patent/WO2011096263A1/en not_active Ceased
- 2011-01-26 US US13/014,036 patent/US8274079B2/en active Active
- 2011-01-28 TW TW109144704A patent/TWI773027B/zh active
- 2011-01-28 TW TW103143040A patent/TWI559556B/zh active
- 2011-01-28 TW TW100103428A patent/TWI521701B/zh not_active IP Right Cessation
- 2011-01-28 TW TW106137634A patent/TWI644439B/zh active
- 2011-01-28 TW TW108117947A patent/TWI742378B/zh active
- 2011-01-28 TW TW102124905A patent/TWI552346B/zh active
- 2011-01-28 TW TW105119962A patent/TWI612673B/zh active
- 2011-01-28 TW TW107124523A patent/TWI669826B/zh active
- 2011-01-28 TW TW102124907A patent/TWI524526B/zh active
- 2011-01-28 TW TW102124909A patent/TWI517401B/zh not_active IP Right Cessation
- 2011-01-28 TW TW102124906A patent/TWI539601B/zh active
- 2011-02-02 JP JP2011020373A patent/JP5859210B2/ja active Active
-
2012
- 2012-09-13 US US13/613,413 patent/US8674354B2/en active Active
- 2012-11-08 US US13/671,858 patent/US9202923B2/en active Active
-
2013
- 2013-06-11 JP JP2013122551A patent/JP5443640B2/ja not_active Expired - Fee Related
- 2013-07-01 US US13/932,654 patent/US8878180B2/en active Active
-
2015
- 2015-10-29 US US14/926,722 patent/US9728555B2/en active Active
- 2015-12-16 JP JP2015244792A patent/JP6101778B2/ja active Active
-
2017
- 2017-02-27 JP JP2017034443A patent/JP6415614B2/ja active Active
- 2017-06-12 US US15/619,650 patent/US9991288B2/en active Active
-
2018
- 2018-03-19 US US15/925,096 patent/US10615179B2/en active Active
- 2018-10-02 JP JP2018187478A patent/JP6669832B2/ja active Active
-
2020
- 2020-02-25 US US16/800,265 patent/US11101295B2/en active Active
- 2020-02-27 JP JP2020032069A patent/JP6979476B2/ja active Active
-
2021
- 2021-03-25 US US17/212,083 patent/US11469255B2/en active Active
- 2021-11-15 JP JP2021185453A patent/JP7431209B2/ja active Active
-
2022
- 2022-10-04 US US17/959,530 patent/US11749686B2/en active Active
-
2023
- 2023-08-09 US US18/231,830 patent/US12113074B2/en active Active
-
2024
- 2024-02-01 JP JP2024013932A patent/JP7710061B2/ja active Active
- 2024-10-03 US US18/905,330 patent/US20250098316A1/en active Pending
-
2025
- 2025-07-07 JP JP2025114599A patent/JP2025129395A/ja active Pending
Also Published As
Similar Documents
| Publication | Publication Date | Title |
|---|---|---|
| JP7431209B2 (ja) | 半導体装置 |
Legal Events
| Date | Code | Title | Description |
|---|---|---|---|
| A977 | Report on retrieval |
Free format text: JAPANESE INTERMEDIATE CODE: A971007 Effective date: 20161111 |
|
| A131 | Notification of reasons for refusal |
Free format text: JAPANESE INTERMEDIATE CODE: A131 Effective date: 20161122 |
|
| A521 | Request for written amendment filed |
Free format text: JAPANESE INTERMEDIATE CODE: A523 Effective date: 20170119 |
|
| TRDD | Decision of grant or rejection written | ||
| A01 | Written decision to grant a patent or to grant a registration (utility model) |
Free format text: JAPANESE INTERMEDIATE CODE: A01 Effective date: 20170131 |
|
| A61 | First payment of annual fees (during grant procedure) |
Free format text: JAPANESE INTERMEDIATE CODE: A61 Effective date: 20170227 |
|
| R150 | Certificate of patent or registration of utility model |
Ref document number: 6101778 Country of ref document: JP Free format text: JAPANESE INTERMEDIATE CODE: R150 |
|
| R250 | Receipt of annual fees |
Free format text: JAPANESE INTERMEDIATE CODE: R250 |
|
| R250 | Receipt of annual fees |
Free format text: JAPANESE INTERMEDIATE CODE: R250 |
|
| R250 | Receipt of annual fees |
Free format text: JAPANESE INTERMEDIATE CODE: R250 |
|
| R250 | Receipt of annual fees |
Free format text: JAPANESE INTERMEDIATE CODE: R250 |
|
| R250 | Receipt of annual fees |
Free format text: JAPANESE INTERMEDIATE CODE: R250 |
|
| R250 | Receipt of annual fees |
Free format text: JAPANESE INTERMEDIATE CODE: R250 |