JP2016502002A - フロアパネルの機械的固定システム - Google Patents

フロアパネルの機械的固定システム Download PDF

Info

Publication number
JP2016502002A
JP2016502002A JP2015544034A JP2015544034A JP2016502002A JP 2016502002 A JP2016502002 A JP 2016502002A JP 2015544034 A JP2015544034 A JP 2015544034A JP 2015544034 A JP2015544034 A JP 2015544034A JP 2016502002 A JP2016502002 A JP 2016502002A
Authority
JP
Japan
Prior art keywords
floor panel
edge
tongue
set according
panel set
Prior art date
Legal status (The legal status is an assumption and is not a legal conclusion. Google has not performed a legal analysis and makes no representation as to the accuracy of the status listed.)
Granted
Application number
JP2015544034A
Other languages
English (en)
Other versions
JP2016502002A5 (ja
JP6313778B2 (ja
Inventor
ダルコ、ペルバン
Current Assignee (The listed assignees may be inaccurate. Google has not performed a legal analysis and makes no representation or warranty as to the accuracy of the list.)
Valinge Flooring Technology AB
Original Assignee
Valinge Flooring Technology AB
Priority date (The priority date is an assumption and is not a legal conclusion. Google has not performed a legal analysis and makes no representation as to the accuracy of the date listed.)
Filing date
Publication date
Application filed by Valinge Flooring Technology AB filed Critical Valinge Flooring Technology AB
Publication of JP2016502002A publication Critical patent/JP2016502002A/ja
Publication of JP2016502002A5 publication Critical patent/JP2016502002A5/ja
Application granted granted Critical
Publication of JP6313778B2 publication Critical patent/JP6313778B2/ja
Active legal-status Critical Current
Anticipated expiration legal-status Critical

Links

Images

Classifications

    • EFIXED CONSTRUCTIONS
    • E04BUILDING
    • E04FFINISHING WORK ON BUILDINGS, e.g. STAIRS, FLOORS
    • E04F15/00Flooring
    • E04F15/02Flooring or floor layers composed of a number of similar elements
    • E04F15/02038Flooring or floor layers composed of a number of similar elements characterised by tongue and groove connections between neighbouring flooring elements
    • EFIXED CONSTRUCTIONS
    • E04BUILDING
    • E04BGENERAL BUILDING CONSTRUCTIONS; WALLS, e.g. PARTITIONS; ROOFS; FLOORS; CEILINGS; INSULATION OR OTHER PROTECTION OF BUILDINGS
    • E04B5/00Floors; Floor construction with regard to insulation; Connections specially adapted therefor
    • E04B5/02Load-carrying floor structures formed substantially of prefabricated units
    • EFIXED CONSTRUCTIONS
    • E04BUILDING
    • E04FFINISHING WORK ON BUILDINGS, e.g. STAIRS, FLOORS
    • E04F2201/00Joining sheets or plates or panels
    • E04F2201/01Joining sheets, plates or panels with edges in abutting relationship
    • E04F2201/0138Joining sheets, plates or panels with edges in abutting relationship by moving the sheets, plates or panels perpendicular to the main plane
    • E04F2201/0146Joining sheets, plates or panels with edges in abutting relationship by moving the sheets, plates or panels perpendicular to the main plane with snap action of the edge connectors
    • EFIXED CONSTRUCTIONS
    • E04BUILDING
    • E04FFINISHING WORK ON BUILDINGS, e.g. STAIRS, FLOORS
    • E04F2201/00Joining sheets or plates or panels
    • E04F2201/05Separate connectors or inserts, e.g. pegs, pins, keys or strips
    • E04F2201/0523Separate tongues; Interlocking keys, e.g. joining mouldings of circular, square or rectangular shape
    • E04F2201/0535Separate tongues; Interlocking keys, e.g. joining mouldings of circular, square or rectangular shape adapted for snap locking
    • EFIXED CONSTRUCTIONS
    • E04BUILDING
    • E04FFINISHING WORK ON BUILDINGS, e.g. STAIRS, FLOORS
    • E04F2201/00Joining sheets or plates or panels
    • E04F2201/05Separate connectors or inserts, e.g. pegs, pins, keys or strips
    • E04F2201/0523Separate tongues; Interlocking keys, e.g. joining mouldings of circular, square or rectangular shape
    • E04F2201/0552Separate tongues; Interlocking keys, e.g. joining mouldings of circular, square or rectangular shape adapted to be rotated around an axis parallel to the joint edge
    • EFIXED CONSTRUCTIONS
    • E04BUILDING
    • E04FFINISHING WORK ON BUILDINGS, e.g. STAIRS, FLOORS
    • E04F2201/00Joining sheets or plates or panels
    • E04F2201/05Separate connectors or inserts, e.g. pegs, pins, keys or strips
    • E04F2201/0523Separate tongues; Interlocking keys, e.g. joining mouldings of circular, square or rectangular shape
    • E04F2201/0564Separate tongues; Interlocking keys, e.g. joining mouldings of circular, square or rectangular shape depending on the use of specific materials
    • E04F2201/0588Separate tongues; Interlocking keys, e.g. joining mouldings of circular, square or rectangular shape depending on the use of specific materials of organic plastics with or without reinforcements or filling materials

Landscapes

  • Engineering & Computer Science (AREA)
  • Architecture (AREA)
  • Civil Engineering (AREA)
  • Structural Engineering (AREA)
  • Physics & Mathematics (AREA)
  • Electromagnetism (AREA)
  • Floor Finish (AREA)
  • Finishing Walls (AREA)
  • Joining Of Building Structures In Genera (AREA)

Abstract

鉛直方向の移動中のスナップ抵抗を低減するために別個の部材を有する機械的固定システムが設けられたフロアパネル(1b、1c)。

Description

本発明は、概して、フロアパネル及び建築用パネルの機械的固定システムの技術分野に関し、特には、鉛直方向(縦方向)の移動によって固定され得る機械的固定システムを有するフロアパネルに関する。
(発明の適用分野)
本発明の実施の形態は、フロアパネルに一体化された固定システム、すなわち工場で取り付けられた固定システムによって機械的に結合されるフロアパネルで形成される浮床での用途に特に好適である。前記フロアパネルは、ベニア、装飾用積層物、粉末表面(powder based surface)あるいは装飾用プラスチック材料からなる単層または多層の上部層と、木質繊維材料あるいはプラスチック材料からなる中間芯材と、好ましくは前記芯材の背面の下部バランシング層(lower balancing layer)と、から形成されている。
公知の技術、公知のシステムの問題、並びに本発明の目的及び特徴についての以下の説明は、非制限的な例として、この適用分野について意図されるとともに、特に、長縁部及び短縁部の両方で機械的に結合されるように適合されている当該長縁部及び当該短縁部を有する長方形状のフロアパネルとして形成されたペーパーベースまたはペーパーフリーの積層状の床(フローリング)について意図される。長縁部及び短縁部は、本発明の説明を簡単にするために主に用いられている。パネルは、正方形であり得るが、5以上の辺を有していてもよいし、それらは互いに平行や垂直でなくてもよい。
本発明の実施の形態は、好ましくは短縁部において、いかなるフロアパネルにおいても適用され得ること、及び、鉛直及び/または水平方向に長縁部を接続する機械的固定システムを用いて、フロアパネルが結合されることようになっている、長縁部のいかなるタイプの公知の固定システムに対しても組み合わされ得ることが、強調されるべきである。
本発明の実施の形態は、例えば、壁用パネル、天井、家具要素等の板材料を好ましくは含む建築用パネルの結合のためにも用いられ得る。
(本発明の背景)
積層状のフロアパネルのような浮床パネルは、一般的に、いわゆる機械的固定システムによって機械的に接続される。これらのシステムは、すべての縁部において、水平及び鉛直方向にパネルを固定する固定手段を有している。
機械的固定システムを有する浮床の主な利点は、それらは設置することが容易であることである。固定システムの様々の型式が、市場で用いられているが、製造コストと機能に関する改善に対して連続的な要求が存在している。
(用語の定義)
以下の文章において、設置されたフロアパネルの可視面(視認側の面)は「表面」と呼ばれ、一方、サブフロアを指向するフロアパネルの反対の面は、「背面」と呼ばれる。前後面の間の縁部が、「接続縁部」と呼ばれる。表面層の外側部に平行に延びる面は、「水平面(HP)または主要面」の意味とされる。2つの互いに結合されたフロアパネルの2つの隣接する接続縁部の並んだ上部は、水平面に直交する「鉛直面(VP)」を規定する。「水平に」によって、水平面に平行が意味され、「鉛直に」によって、鉛直面に平行が意味される。
表面に向かうことは、「上または上方に」によって意味され、背面に向かうことは、「下または下方に」によって意味され、パネルの内部に本質的に水平に向かうことは、「内側に」によって意味され、パネルの内部から本質的に水平に離れることは、「外側に」によって意味される。「ストリップパネル」によって、ストリップと固定要素とを有するパネルが意味される。「組み込み(fold)パネル」によって、固定中に角度付けられたり鉛直方向に移動されるようになっている水平固定用固定要素と協働するように構成された固定溝を有するパネルが意味される。
(関連技術とその問題)
以下の公知技術の説明は、本発明の実施の形態でも利用される、適用可能部分である。
鉛直方向及び水平方向における長縁部及び短縁部の機械的接続のために、様々な方法ないし固定システムが用いられ得る。最も用いられている方法の1つは、アングル−スナップ法であり、最も用いられている固定システムの1つは、芯部(コア)と一部品に作られたシステムである。長縁部は、組み込まれることによって設置される。そして、パネルが、長尺の側に沿って固定位置に移動される。短縁部は、水平方向のスナッピングによって固定される。
別の方法は、いわゆるアングリング−アングリング法である。そこでは、長縁部及び短縁部が組み込み(アングリング:angling)によって固定される。
最近では、新しくよりシンプルな方法が開発されている。そこでは、すべてのフロアパネルが長縁部の唯一つの組み込みで結合され得る。この設置方法は、一般に、「組み込み押え(fold down)」と呼ばれている。このような公知の「組み込み押え」設置方法の一例が、WO03/016654の図18及び図19に示されている。この方法の問題は、フロントパネルの縁に配置された柔軟なスナップタブが、第2パネルの隣接する縁の鋭利な上縁によって内方に押圧されなければならないことである。
WO2006/043893(ベーリンゲ・イノベーション・アクチボラグ)の図13bは、隣接するストリップパネルの縁に形成された剛性の舌部に対して固定する組み込みパネルの柔軟舌部を有する、組み込み押え固定システムを開示している。この柔軟舌部は、外側下部において、組み込み中に剛性の舌部に対してスライドして摺動溝内に柔軟舌部を押し入れる傾斜スライド面を有している。当該スライド面の大きさは、柔軟舌部の厚みによって制限されている。この厚みは、増大させることが不可能である。なぜなら、増大された厚みは、移動溝の厚みをも増大させることになり、固定システムの強度に負の影響を与えるからである。
(発明の概要)
本発明のある実施の形態の目的は、鉛直方向の組み込みによって固定され得て、組み込みパネルの縁に接続される外側柔軟スナップタブを有する柔軟舌部を有する、改善された機械的固定システムを提供することである。
より具体的には、目的は、固定中により小さなスナップ抵抗を生じさせるような、鉛直方向スナップ固定システムを提供することである。
本発明のある実施の形態の前記の目的は、全体的または部分的に、ここで開示されるような機械的固定システム及びフロアパネルによって達成される。本発明の更なる実施の形態は、特許請求の範囲、発明の詳細な説明及び図面から、明らかである。
本発明の一態様は、第1及び第2のフロアパネルの第1及び第2の縁において互いに対してそれぞれ機械的に接続可能なフロアパネルセットであって、前記第1及び第2の縁の接続状態における上部縁が、鉛直面を規定している、というフロアパネルセットを備えている。前記第1の縁には、前記第1のフロアパネルの芯部と一部品に形成された突出舌部が設けられている。前記突出舌部は、前記鉛直面を超えて延在している。前記第2の縁には、別個の柔軟舌部が設けられており、当該柔軟舌部は、前記第2の縁の保持溝に接続される内側部と、上方に延在して接続状態では前記突出舌部の下方のキャビティ内に延在して第1及び第2のフロアパネルを鉛直方向に互いに対して固定する外側柔軟スナップタブと、を有している。前記第1の縁は、固定要素を有するストリップ部を有している。前記第2の縁は、サブフロアに面する第2のフロアパネルの背面に向かって開放している固定溝を有している。前記固定要素の固定面は、接続状態において、第1及び第2のフロアパネルを前記第1及び第2の縁に対して直角である水平方向に互いに対して固定するために、前記固定溝の固定面と協働するように構成されている。第1及び第2のフロアパネルは、互いに対する鉛直方向の移動によって機械的に接続可能であり、前記柔軟スナップタブと前記突出舌部とが、前記移動中に、前記柔軟スナップタブの少なくとも一部が第1段階では前記突出舌部によって前記第2の縁に向かって弾性的に移動され、前記柔軟スナップタブが第2段階では接続状態を得るために前記第1の縁に向かって移動される、というように協働するように構成されている。
本発明は、柔軟スナップタブが、芯部と同じ材料で作られたかなり柔かい舌部上に設けられた傾斜ガイド面によって移動され得て、そのような移動は堅固な上パネル面との接触無しでなされ得る、という利点を与える。
好ましくは、前記突出舌部は、前記ストリップ部の上方に配置されている。前記突出舌部は、前記鉛直面に配置され得て、当該鉛直面から延び得る。
スナップタブを有する別箇の柔軟舌部は、WO2006/043893(ベーリンゲ・イノベーション・アクチボラグ)の図13dに示された移動溝と比較して、より小さい保持溝を要求する。当該より小さい保持溝が、当該保持溝と固定溝との間の距離が低減され得ることによって、接続をより強固にする。
前記突出舌部は、好ましくは、その上方外側部において傾斜ガイド面または角丸めガイド面を有している。
前記突出舌部と前記スナップタブとは、好ましくは、前記鉛直方向の移動中、それらの最初の接触が前記スナップタブの上部で生じるようになっている。当該上部での最初の接触は、スナップタブまたはスナップタブの一部の移動のために必要とされる力を低減する。この低減された力が、フロアパネル同士の接続を、より容易にする。
前記突出舌部の上方部と前記第2の縁との間には、スペースが設けられ得る。
前記ストリップ部の上方部と前記第2の縁との間には、スペースが設けられ得る。
前記突出舌部は、好ましくは、その下側部において、前記柔軟スナップタブと固定位置で接触する、傾斜された固定面を有している。
前記突出舌部の前記固定面は、好ましくは、前記ストリップ部の上方に配置される。
前記柔軟舌部は、前記保持溝内に接着され得る。
前記保持溝は、上壁と、下壁と、前記上壁と前記下壁との間で延びる内側壁と、を有し得る。好ましくは、接着剤が、前記上壁と前記下壁と前記内側壁とに設けられている。前記柔軟舌部は、前記上壁と前記下壁と前記内側壁とに接着され得る。
固定要素の固定面及び/または固定溝の固定面は、好ましくは、本質的な鉛直方向に延びている、あるいは、鉛直面に対して約0度〜約45度の範囲内の角度に延びている。
本発明は、例示的に、添付の概略図を参照しながら、より詳細に説明される。添付の概略図は、本発明の実施の形態を示している。
公知(従来)のシステムを示している。 本発明の第1の実施の形態を示している。 本発明の第2の実施の形態を示している。 本発明の第3の実施の形態を示している。
理解を容易にするために、図面における幾つかの固定システムは、概略的に示されている。実施の形態の組合せを用いることによって、改良されたまたは異なる機能が達成さ得ることが、強調されるべきである。
公知の「組み込み押え」設置方法が、図1乃至図4に示されている。短縁部1b、1cの固定は、はさみ状の動きによって、なされる。ここでは、ある列におけるパネル1cの長縁部が先行して設置された列の隣接パネル1aに組み込み(angling)によって接続される時、柔軟舌部30が一方の縁から他方の縁へ向かって内方へ徐々に移動される。柔軟スナップタブ33は、多くの場合プラスチック部で作られるが、組み込み中、結合部に沿って水平に曲げられる。スナップタブの一部は、組み込み中、内方に押されて、図1に示すように、他部が隣接する縁と接触する。図2は、完全に固定されていない位置である。図4も同様である。第1のパネル1b、ここではストリップパネルとも言う、のストリップ部6に設けられた固定要素8が隣接する第2のパネル1c、ここでは組み込みパネルとも言う、と協働して固定要素8が固定溝14内に挿入される時、水平方向の固定がなされる。
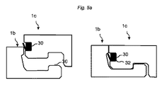
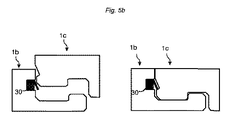
図5a及び図5bは、柔軟舌部30が組み込みパネル1cまたはストリップパネル1bの縁に接続され得る、ということを示している。
製造の観点から、柔軟舌部30が組み込みパネル1cに接続されていることが有利である。なぜなら、そのような柔軟舌部を保持溝32内に挿入することは容易だからである。突出するストリップ部6が存在しないで、柔軟舌部の挿入が、当該舌部を保持溝32内に案内するかなりシンプルなガイド装置を有する挿入装置でなされてもよい。このような柔軟舌部30の問題は、図5aに示すように、スナップタブが鋭利な上縁によって内方に押されなければならないために、固定システムの固定が難しいことである。
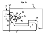
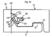
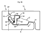
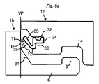
図6a乃至図6cは、本発明の一実施の形態を示している。ストリップパネル1bは、ストリップ部6と、組み込みパネル1c及び当該ストリップパネル1bの2つの隣接する縁の水平固定のために組み込みパネル1cの固定溝14と協働する固定要素8と、を有している。ストリップパネルは、上方に傾斜されたか角丸めされたガイド面11を有し下方に固定面12を有する突出舌部10を有している。組み込みパネル1cは、鉛直面VPに向かって開放している保持溝32内に柔軟舌部30を有している。柔軟舌部30は、保持溝32内に接続された内側部34と、外方及び上方に延びるスライド面35を有する柔軟スナップタブ33と、を有している。スライド面35は、好ましくは柔軟スナップタブの上部に設けられ、組み込みパネル1cの鉛直方向移動中にガイド面11と協働して、図6a乃至図6dに示すように、柔軟スナップタブ33を保持溝32に向かって内方に曲げる押圧力をもたらす。縁1b、1cが水平方向に整列されるとき、スナップタブ33が、その初期位置に向かって戻るようなスナップ動作をして、キャビティ31内に至り、突出舌部10の下方部の下方固定面12が図6cに示されるようにスナップタブ33の上方部に対して固定する。柔軟スナップタブ33と突出舌部10とが、鉛直面VPに平行な鉛直方向に縁を固定する。固定要素8と固定溝14とが、鉛直面VPに垂直な水平方向に縁を固定する。ストリップ部6と突出舌部10とが、キャビティ31を形成しており、接続状態において、当該キャビティ31は柔軟スナップタブ33の外側部を収容する。突出舌部は、好ましくは、ストリップ部の上方の鉛直面に配置され、当該鉛直面から延びている。突出舌部の固定面は、好ましくは、ストリップ部の上方に配置されている。
傾斜されたガイド面11は、固定中において柔軟スナップタブがパネル面の上方の鋭利な縁と接触しないので、容易な固定を促す。ガイド面は、組み込み中において上縁と柔軟スナップタブとの間で接触がある場合においても、容易な固定を促すために採用され得る。
下方の固定面12は、傾斜され得る。固定位置でスナップタブ11が突出舌部10の下方部に対して押されている、というような張力(pre tension)を伴った固定がなされてもよい。
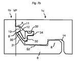
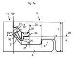
図7aは、舌部10の上部と隣接するパネル縁との間にスペースS1が存在し得ることを示している。鉛直方向の固定は、突出舌部10と柔軟スナップタブ33との間の上方接触点A、及び、ストリップ部6と組み込みパネル1cの下縁との間の下方接触点B、において達成される。スナップタブは、設計や材料成分に依存して、柔軟であってもよいし、剛性であってもよい。ポリマー材料が好適であり、柔軟舌部は、例えば内側部とスナップタブ部とで、いくつかの異なる材料を有し得る。柔軟舌部30は、スナップタブ部の曲げ及び/または移動を促進する、増大された柔軟性を伴う膝関節部36を有していてもよい。固定溝14と保持溝32とは、強固な固定システムを得るために、好ましくは水平方向に、好ましくはフロア厚みTの少なくとも約30%である距離D1ずらされている。固定溝14の上部と保持溝32の内側部は、好ましくは、鉛直方向に距離D2ずらされている。
図7bは、ストリップ部6の上部と隣接する組み込みパネル1cの下縁との間にスペースS2が存在し得ることを示している。本実施の形態では、鉛直方向の固定は、突出舌部10と柔軟スナップタブ33との間の下方接触点B、及び、突出舌部10と当該突出舌部10に重なる組み込みパネル1cの上部との間の上方接触点A、において達成される。
図8aは、パネルの上縁が互いに接触していて、ガイド面11がパネル面から下方に延びている、という実施の形態を示している。膝関節部36が、内側部34及びスナップタブ33よりも柔らかい柔軟材料37を有している。柔軟舌部30は、柔軟スナップタブ33の下方に位置する下方部34aを有する内側部34を有している。
図8bは、保持溝32が接着材38を有し、柔軟舌部30が保持溝内に接着されている、という実施の形態を示している。これは、より強固な固定システムを与え、保持溝32と固定溝14との間で主に延びるクラックCが回避され得る。柔軟舌部30の最下部は、組み込みパネル1cの下方外側部39と本質的に同じ水平面上に位置され得る。保持溝は、上壁と、下壁と、前記上壁と前記下壁との間で延びる内側壁と、を有し得る。接着剤は、好ましくは、前記上壁と前記下壁と前記内側壁とに設けられる。柔軟舌部は、好ましくは、前記上壁と前記下壁と前記内側壁とに接着される。

Claims (14)

  1. 第1及び第2のフロアパネル(1b、1c)の第1及び第2の縁において互いに対してそれぞれ機械的に接続可能なフロアパネルセットであって、
    前記第1及び第2の縁の接続状態における上部縁が、鉛直面(VP)を規定しており、
    前記第1の縁には、前記第1のフロアパネルの芯部と一部品に形成された突出舌部(10)が設けられており、
    前記突出舌部(10)は、前記鉛直面(VP)を超えて延在しており、
    前記第2の縁には、別個の柔軟舌部(30)が設けられており、
    前記柔軟舌部(30)は、前記第2の縁の保持溝(32)に接続される内側部(34)と、上方に延在して接続状態では前記突出舌部の下方のキャビティ(31)内に延在して第1及び第2のフロアパネルを鉛直方向に互いに対して固定する外側柔軟スナップタブ(33)と、を有しており、
    前記第1の縁は、固定要素(8)を有するストリップ部(6)を有しており、
    前記第2の縁は、サブフロアに面する第2のフロアパネルの背面に向かって開放している固定溝(14)を有しており、
    前記固定要素(8)の固定面は、接続状態において、第1及び第2のフロアパネルを前記第1及び第2の縁に対して直角である水平方向に互いに対して固定するために、前記固定溝(14)の固定面と協働するように構成されており、
    第1及び第2のフロアパネルは、互いに対する鉛直方向の移動によって機械的に接続可能であり、
    前記柔軟スナップタブ(33)と前記突出舌部(10)とが、前記移動中に、前記柔軟スナップタブ(33)の少なくとも一部が第1段階では前記突出舌部(10)によって前記第2の縁に向かって弾性的に移動され、前記柔軟スナップタブ(33)が第2段階では接続状態を得るために前記第1の縁に向かって移動される、というように協働するように構成されている
    ことを特徴とするフロアパネルセット。
  2. 前記突出舌部(10)の外側部は、その上方外側部において傾斜ガイド面または角丸めガイド面(11)を有している
    ことを特徴とする請求項1に記載のフロアパネルセット。
  3. 前記突出舌部(10)は、前記ストリップ部(6)の上方に配置されている
    ことを特徴とする請求項1または2に記載のフロアパネルセット。
  4. 前記突出舌部(10)は、前記鉛直面に配置され、当該鉛直面から延びている
    ことを特徴とする請求項1乃至3のいずれか一項に記載のフロアパネルセット。
  5. 前記突出舌部(10)の上方部と前記第2の縁との間にスペース(S1)が設けられている
    ことを特徴とする請求項1乃至4のいずれか一項に記載のフロアパネルセット。
  6. 前記ストリップ部(6)の上方部と前記第2の縁との間にスペース(S2)が設けられている
    ことを特徴とする請求項1乃至5のいずれか一項に記載のフロアパネルセット。
  7. 前記突出舌部(10)は、その下側部において、接続状態において前記柔軟スナップタブ(33)と協働するようになっている固定面(12)を有している
    ことを特徴とする請求項1乃至4のいずれか一項に記載のフロアパネルセット。
  8. 前記突出舌部(10)の下側部の前記固定面(12)は、傾斜している
    ことを特徴とする請求項7に記載のフロアパネルセット。
  9. 前記突出舌部(10)の下側部の前記固定面(12)は、前記ストリップ部(6)の上方に配置されている
    ことを特徴とする請求項7または8に記載のフロアパネルセット。
  10. 前記突出舌部(10)と前記スナップタブ(33)とは、前記鉛直方向の移動中、それらの最初の接触が前記スナップタブ(33)の上部で生じるようになっている
    ことを特徴とする請求項1乃至9のいずれか一項に記載のフロアパネルセット。
  11. 前記柔軟舌部(30)は、前記保持溝(32)内に接着されている
    ことを特徴とする請求項1乃至10のいずれか一項に記載のフロアパネルセット。
  12. 前記保持溝(32)は、上壁と、下壁と、前記上壁と前記下壁との間で延びる内側壁と、を有している
    ことを特徴とする請求項1乃至11のいずれか一項に記載のフロアパネルセット。
  13. 接着剤が、前記上壁と前記下壁と前記内側壁とに設けられている
    ことを特徴とする請求項12に記載のフロアパネルセット。
  14. 前記柔軟舌部(30)は、前記上壁と前記下壁と前記内側壁とに接着されている
    ことを特徴とする請求項12または13に記載のフロアパネルセット。
JP2015544034A 2012-11-22 2013-11-21 フロアパネルの機械的固定システム Active JP6313778B2 (ja)

Applications Claiming Priority (3)

Application Number Priority Date Filing Date Title
SE1251322-2 2012-11-22
SE1251322 2012-11-22
PCT/SE2013/051374 WO2014081382A1 (en) 2012-11-22 2013-11-21 Mechanical locking system for floor panels

Publications (3)

Publication Number Publication Date
JP2016502002A true JP2016502002A (ja) 2016-01-21
JP2016502002A5 JP2016502002A5 (ja) 2016-11-17
JP6313778B2 JP6313778B2 (ja) 2018-04-18

Family

ID=50776416

Family Applications (1)

Application Number Title Priority Date Filing Date
JP2015544034A Active JP6313778B2 (ja) 2012-11-22 2013-11-21 フロアパネルの機械的固定システム

Country Status (16)

Country Link
US (2) US9366036B2 (ja)
EP (3) EP2923012B1 (ja)
JP (1) JP6313778B2 (ja)
KR (1) KR102297443B1 (ja)
CN (1) CN104854286B (ja)
AU (1) AU2013348454C1 (ja)
BR (1) BR112015011235B1 (ja)
CA (1) CA2892212C (ja)
EA (1) EA028287B1 (ja)
HR (1) HRP20192105T1 (ja)
LT (1) LT2923012T (ja)
MX (1) MX360077B (ja)
MY (1) MY170091A (ja)
PL (1) PL2923012T3 (ja)
UA (1) UA117003C2 (ja)
WO (1) WO2014081382A1 (ja)

Families Citing this family (73)

* Cited by examiner, † Cited by third party
Publication number Priority date Publication date Assignee Title
EP2287419A3 (en) 2002-04-03 2011-11-30 Välinge Innovation AB Floorboard
US7454875B2 (en) 2004-10-22 2008-11-25 Valinge Aluminium Ab Mechanical locking system for floor panels
PT1650375E (pt) 2004-10-22 2008-03-17 Vaelinge Innovation Ab Conjunto de painéis de piso
US7841144B2 (en) 2005-03-30 2010-11-30 Valinge Innovation Ab Mechanical locking system for panels and method of installing same
US8061104B2 (en) 2005-05-20 2011-11-22 Valinge Innovation Ab Mechanical locking system for floor panels
SE533410C2 (sv) 2006-07-11 2010-09-14 Vaelinge Innovation Ab Golvpaneler med mekaniska låssystem med en flexibel och förskjutbar tunga samt tunga därför
US11725394B2 (en) 2006-11-15 2023-08-15 Välinge Innovation AB Mechanical locking of floor panels with vertical folding
US8689512B2 (en) 2006-11-15 2014-04-08 Valinge Innovation Ab Mechanical locking of floor panels with vertical folding
SE531111C2 (sv) 2006-12-08 2008-12-23 Vaelinge Innovation Ab Mekanisk låsning av golvpaneler
US8353140B2 (en) 2007-11-07 2013-01-15 Valinge Innovation Ab Mechanical locking of floor panels with vertical snap folding
PL2235286T3 (pl) 2007-11-07 2019-07-31 Välinge Innovation AB Mechaniczne blokowanie paneli podłogowych z pionową zakładką zatrzaskową i sposób montażu dla połączenia takich paneli
RU2485265C2 (ru) 2008-01-31 2013-06-20 Велинге Инновейшн Белджиум Бвба Механический фиксатор панелей пола, способы установки и разборки панелей, способ и оборудование для создания запирающего устройства, способ соединения смещаемого шипа с панелью и заготовка шипа
HUE036375T2 (hu) 2009-01-30 2018-08-28 Vaelinge Innovation Ab Padlópanelok mechanikus reteszelései és horonycsap-nyersdarab
PL2524093T3 (pl) 2010-01-12 2020-07-27 Välinge Innovation AB Mechaniczny układ blokujący dla paneli podłogowych
CN102725464B (zh) 2010-02-04 2015-01-07 瓦林格创新股份有限公司 用于地板镶板的机械锁定系统及其榫舌
US8806832B2 (en) 2011-03-18 2014-08-19 Inotec Global Limited Vertical joint system and associated surface covering system
UA114715C2 (uk) 2011-07-05 2017-07-25 Сералок Інновейшн Аб Механічна фіксація панелей настилу підлоги до язичка з нанесеним шаром клею
US9725912B2 (en) 2011-07-11 2017-08-08 Ceraloc Innovation Ab Mechanical locking system for floor panels
US8650826B2 (en) 2011-07-19 2014-02-18 Valinge Flooring Technology Ab Mechanical locking system for floor panels
US8857126B2 (en) 2011-08-15 2014-10-14 Valinge Flooring Technology Ab Mechanical locking system for floor panels
US9216541B2 (en) 2012-04-04 2015-12-22 Valinge Innovation Ab Method for producing a mechanical locking system for building panels
US8596013B2 (en) 2012-04-04 2013-12-03 Valinge Innovation Ab Building panel with a mechanical locking system
HRP20192105T1 (hr) 2012-11-22 2020-02-21 Ceraloc Innovation Ab Mehanički sustav zaključavanja za podne ploče
US9194134B2 (en) 2013-03-08 2015-11-24 Valinge Innovation Ab Building panels provided with a mechanical locking system
HUE060779T2 (hu) 2013-06-27 2023-04-28 Vaelinge Innovation Ab Mechanikus rögzítõrendszerrel ellátott építõpanel
US10246883B2 (en) 2014-05-14 2019-04-02 Valinge Innovation Ab Building panel with a mechanical locking system
US9458634B2 (en) 2014-05-14 2016-10-04 Valinge Innovation Ab Building panel with a mechanical locking system
EP3868978B1 (en) 2014-11-27 2025-05-21 Välinge Innovation AB Set of essentially identical floor panels provided with a mechanical locking system
EP3237704B1 (en) 2014-12-22 2019-11-20 Ceraloc Innovation AB Set of identical floor panels provided with a mechanical locking system
CN107208426B (zh) 2015-01-16 2019-07-26 塞拉洛克创新股份有限公司 用于地板镶板的机械锁定系统
DE202015101572U1 (de) * 2015-03-27 2015-04-21 Guido Schulte Belag von im Verbund verlegten rechteckigen oder quadratischen Paneelen
CA3001180C (en) * 2015-10-08 2023-10-31 Berryalloc Nv Set of panels for floor, wall or ceiling covering
EP3478903B1 (en) 2016-06-29 2021-09-01 Välinge Innovation AB A method and device for managing and separating a tongue from a tongue blank
EA201990054A1 (ru) 2016-06-29 2019-05-31 Велинге Инновейшн Аб Способ и устройство для вставки язычка
JP6935431B2 (ja) 2016-06-29 2021-09-15 ベーリンゲ、イノベイション、アクチボラグVaelinge Innovation Ab 舌部の挿入方法及び装置
US11045933B2 (en) 2016-06-30 2021-06-29 Valinge Innovation Ab Device for inserting a tongue
JP6999674B2 (ja) 2016-12-22 2022-01-18 ベーリンゲ、イノベイション、アクチボラグ タングをパネルの挿入溝に挿入するための装置
USD945870S1 (en) 2020-11-17 2022-03-15 National Nail Corp. Fastener positioning device
US12234654B2 (en) 2017-08-15 2025-02-25 National Nail Corp. Hidden fastener unit and related method of use
US11261893B2 (en) 2017-08-15 2022-03-01 National Nail Corp. Hidden fastener unit and related method of use
USD924044S1 (en) 2019-11-20 2021-07-06 National Nail Corp. Fastener positioning device
USD850897S1 (en) 2018-05-18 2019-06-11 National Nail Corp. Fastener positioning device
USD853829S1 (en) 2018-06-01 2019-07-16 National Nail Corp. Fastener positioning device
USD1019365S1 (en) 2023-05-31 2024-03-26 National Nail Corp. Fastener positioning device
US11898357B2 (en) 2017-08-15 2024-02-13 National Nail Corp. Hidden fastener unit and related method of use
US11111679B2 (en) 2017-08-15 2021-09-07 National Nail Corp. Hidden fastener unit and related method of use
US11149445B2 (en) 2017-08-15 2021-10-19 National Nail Corp. Hidden fastener unit and related method of use
US10378218B2 (en) 2017-08-15 2019-08-13 National Nail Corp. Hidden fastener unit and related method of use
NO20172047A1 (no) * 2017-12-24 2019-06-25 Humeneq As Oppfinnelsen angår en klikkanordning for benkeplate- og andre plateskjøter.
USD850898S1 (en) 2019-01-07 2019-06-11 National Nail Corp. Fastener positioning device
CA3125895A1 (en) 2019-01-10 2020-07-16 Valinge Innovation Ab Set of panels that can be vertically unlocked, a method and a device therefore
BE1027032B1 (nl) * 2019-02-07 2020-09-07 Flooring Ind Ltd Sarl Paneel en bekleding gevormd met dergelijke panelen
CA186277S (en) * 2019-02-28 2020-06-17 Carter Arch Panels Inc Architectural panel perimeter extrusion
EP3718437A1 (en) 2019-04-05 2020-10-07 Välinge Innovation AB Method for assembling a piece of furniture
EP3798386A1 (en) 2019-09-24 2021-03-31 Välinge Innovation AB Set of panels with mechanically locking edges
US11674318B2 (en) 2019-09-25 2023-06-13 Valinge Innovation Ab Panel with locking device
WO2021059176A1 (en) 2019-09-25 2021-04-01 Välinge Innovation AB A set of panels comprising a flexing groove
EP4034732A4 (en) 2019-09-25 2023-11-08 Välinge Innovation AB A set of panels comprising a flexing groove
EP3892793B1 (de) * 2020-04-08 2023-10-25 Akzenta Paneele + Profile GmbH Paneel mit bruchfesten koppelelementen
WO2021246945A1 (en) * 2020-06-05 2021-12-09 Välinge Innovation AB Building panels comprising a locking device
CN111779220A (zh) * 2020-08-05 2020-10-16 上海兴邺材料科技有限公司 一种地板系统和竖直拆装型地板扣
EP3971364A1 (de) * 2020-09-17 2022-03-23 Surface Technologies GmbH & Co. KG Paneel
US11731252B2 (en) 2021-01-29 2023-08-22 National Nail Corp. Screw guide and related method of use
CA3206480A1 (en) * 2021-02-03 2022-08-11 Valinge Innovation Ab Building panels comprising a locking device
EP4308772A4 (en) 2021-03-19 2025-02-26 Välinge Innovation AB BUILDING PLATE WITH A MECHANICAL LOCKING SYSTEM
WO2022265568A1 (en) * 2021-06-18 2022-12-22 Välinge Innovation AB Building panel with mechanical locking device
DE202021003901U1 (de) * 2021-12-30 2022-02-09 Surface Technologies Gmbh & Co. Kg Set aus zwei Paneelen zur Verkleidung einer Oberfläche und einem Paneelverbindungselement, Paneelverbindungselement und Verwendung eines Paneelverbindungselements
GB2617817B (en) * 2022-03-08 2025-01-01 Jonathan Ardern Fergus Releasable connection means
WO2024063688A1 (en) * 2022-09-21 2024-03-28 Välinge Innovation AB Set of panels comprising a locking device
US12297649B2 (en) 2022-10-27 2025-05-13 Primesource Building Products, Inc. Deck clip
USD1022684S1 (en) 2023-02-23 2024-04-16 National Nail Corp. Fastener positioning device
US20240392583A1 (en) * 2023-05-26 2024-11-28 Zhejiang Kingdom New Material Group Co., Ltd. Floorboard unit and floorboard connecting structure
WO2025101115A1 (en) * 2023-11-10 2025-05-15 Välinge Innovation AB Set of building panels comprising a locking device

Citations (10)

* Cited by examiner, † Cited by third party
Publication number Priority date Publication date Assignee Title
JP2008518130A (ja) * 2004-10-22 2008-05-29 ベーリンゲ、イノベイション、アクチボラグ 可撓性タングによるフロアパネルの機械的係止
US20080236088A1 (en) * 2006-01-13 2008-10-02 Akzenta Paneele + Profile Gmbh Locking Element for a Fixing System for Plate-Shaped Panels, a Fixing System with Said Locking Element, Panels with Said Fixing System, Methods for Locking Panels and a Method of Automatically Mounting a Locking Element to a Panel as Well as an Apparatus Therefore
DE102007035648A1 (de) * 2007-07-27 2009-01-29 Agepan-Tarkett Laminatepark Eiweiler Gmbh & Co. Kg Tafelförmiges Paneel mit separatem Rastelement
US20100043333A1 (en) * 2006-12-06 2010-02-25 Akzenta Paneele + Profile Gmbh Panel and floor covering
JP2011504556A (ja) * 2007-11-23 2011-02-10 フロアリング インダストリーズ リミテッド,エスエーアールエル 床パネル
US20110088346A1 (en) * 2001-08-10 2011-04-21 Akzenta Paneele + Profile Gmbh Panel and fastening system for such panel
US20110167750A1 (en) * 2010-01-12 2011-07-14 Valinge Innovation Ab Mechanical locking system for floor panels
US20120124932A1 (en) * 2009-07-27 2012-05-24 Guido Schulte Covering made from mechanically interconnectable panels
US20120174521A1 (en) * 2009-09-15 2012-07-12 Guido Schulte Covering consisting of elements that can be mechanically interconnected and method for producing elements
WO2013012386A1 (en) * 2011-07-19 2013-01-24 Välinge Flooring Technology AB Mechanical locking system for floor panels

Family Cites Families (368)

* Cited by examiner, † Cited by third party
Publication number Priority date Publication date Assignee Title
US213740A (en) 1879-04-01 Improvement in wooden roofs
US316176A (en) 1885-04-21 Fbank h
US2732706A (en) 1956-01-31 Friedman
US124228A (en) 1872-03-05 Improvement in skate-fastenings
US1194636A (en) 1916-08-15 Silent door latch
US87853A (en) 1869-03-16 Improved mosaic floor
US274354A (en) 1883-03-20 Carthy
US108068A (en) 1870-10-04 Improvement in tiles for roofing
US634581A (en) 1898-11-21 1899-10-10 Robert H Miller Carpenter's square.
US861911A (en) 1905-11-04 1907-07-30 William Stewart Joint for articles of furniture or woodwork.
SE57493C1 (ja) 1923-10-01 1924-09-16
US1723306A (en) 1927-08-02 1929-08-06 Harry E Sipe Resilient attaching strip
US1743492A (en) 1927-08-02 1930-01-14 Harry E Sipe Resilient plug, dowel, and coupling pin
US1809393A (en) 1929-05-09 1931-06-09 Byrd C Rockwell Inlay floor construction
GB376352A (en) 1931-04-10 1932-07-11 Charles Harry Hart Improvements in or relating to wood block floors
US1902716A (en) 1931-09-08 1933-03-21 Midland Creosoting Company Flooring
US2026511A (en) 1934-05-14 1935-12-31 Storm George Freeman Floor and process of laying the same
US2204675A (en) 1937-09-29 1940-06-18 Frank A Grunert Flooring
US2266464A (en) 1939-02-14 1941-12-16 Gen Tire & Rubber Co Yieldingly joined flooring
US2277758A (en) 1941-08-28 1942-03-31 Frank J Hawkins Shield
US2430200A (en) 1944-11-18 1947-11-04 Nina Mae Wilson Lock joint
US2596280A (en) 1947-03-21 1952-05-13 Standard Railway Equipment Mfg Metal covered walls
US2740167A (en) 1952-09-05 1956-04-03 John C Rowley Interlocking parquet block
US2863185A (en) 1954-02-16 1958-12-09 Arnold T Riedi Joint construction including a fastener for securing two structural members together in edge-to-edge closely abutting relation
US2858584A (en) 1954-11-03 1958-11-04 Eugene F Gaines Spline for hanging tile
US2865058A (en) 1955-04-12 1958-12-23 Gustaf Kahr Composite floors
US2889016A (en) 1955-04-13 1959-06-02 Warren Jack Chassis construction strip and a chassis
FR1138595A (fr) 1955-12-15 1957-06-17 Outil pour le travail d'ébauches de talons en bois
US3099110A (en) 1957-09-17 1963-07-30 Dur O Wal National Inc Control joint
US3023681A (en) 1958-04-21 1962-03-06 Edoco Technical Products Combined weakened plane joint former and waterstop
US3077703A (en) 1959-04-17 1963-02-19 Wood Conversion Co Roof deck structure
US3147522A (en) 1960-06-01 1964-09-08 Schumm Erich Flexible tie
CH426190A (de) 1963-12-23 1966-12-15 Vilin Vertrieb Vissing & Linsm Befestigungsvorrichtung für Wand- und Deckenverkleidungen
US3271787A (en) 1964-04-06 1966-09-13 Arthur L Clary Resilient swimming pool coping
US3325585A (en) 1966-03-15 1967-06-13 John H Brenneman Combined panel fastener and electrical conduit
US3396640A (en) 1966-04-25 1968-08-13 Grace W R & Co Joint sealing devices
US3378958A (en) 1966-09-21 1968-04-23 Goodrich Co B F Extrusions having integral portions of different stiffness
GB1171337A (en) 1967-01-28 1969-11-19 Transitoria Trading Company Ab A Latching Means for Cupboard Doors, Locker Doors, Drawers and like Openable Members
US3512324A (en) 1968-04-22 1970-05-19 Lola L Reed Portable sectional floor
US4037377A (en) 1968-05-28 1977-07-26 H. H. Robertson Company Foamed-in-place double-skin building panel
US3517927A (en) 1968-07-24 1970-06-30 William Kennel Helical spring bouncing device
US3572224A (en) 1968-10-14 1971-03-23 Kaiser Aluminium Chem Corp Load supporting plank system
US3579941A (en) 1968-11-19 1971-05-25 Howard C Tibbals Wood parquet block flooring unit
US3526071A (en) 1969-02-17 1970-09-01 Kogyo Gomu Co Ltd Panel for curtain walls and method of jointing corners of the same
SE0001325L (sv) 2000-04-10 2001-06-25 Valinge Aluminium Ab Låssystem för hopfogning av golvskivor samt golvskivor försedda med sådana låssystem och golv bildat av sådana golvskivor
SE515324C2 (sv) 2000-06-22 2001-07-16 Tarkett Sommer Ab Golvbräda med kopplingsorgan
US3760547A (en) 1969-08-13 1973-09-25 J Brenneman Spline and seat connector assemblies
US3535844A (en) 1969-10-30 1970-10-27 Glaros Products Inc Structural panels
DE2108141A1 (de) 1970-02-20 1971-09-30 Bruun & Soerensen A/S, Aarhus (Dänemark) Fußbodenkonstruktion
DE2021503A1 (de) 1970-05-02 1971-11-25 Freudenberg Carl Fa Fussbodenplatten und Verfahren zu deren Verbinden
US3722379A (en) 1970-09-19 1973-03-27 Mauer F Soehne Method of constructing an expansion gap device and lost casing for such expansion gap
DE2111324C3 (de) 1971-03-10 1979-07-05 Migua-Mitteldeutsche Gummi Und Asbestgesellschaft Hammerschmidt & Co, 5628 Heiligenhaus Vorrichtung zum Dichten von Fugen zwischen Bauteilen
GB1398709A (en) 1971-07-12 1975-06-25 Bpb Industries Ltd Building panel
US3760548A (en) 1971-10-14 1973-09-25 Armco Steel Corp Building panel with adjustable telescoping interlocking joints
DE2159042C3 (de) 1971-11-29 1974-04-18 Heinrich 6700 Ludwigshafen Hebgen Dämmplatte, insbesondere aus Kunststoffhartschaum
US3778954A (en) 1972-09-07 1973-12-18 Johns Manville Method of replacing a damaged bulkhead panel
US3919820A (en) 1973-12-13 1975-11-18 Johns Manville Wall structure and device for sealing thereof
FR2256807A1 (en) 1974-01-07 1975-08-01 Merzeau Jean Alain Woodworking tool forming slots - has multiple sets of toothed rotary cutters and spacers altered to vary spacing of slots
CA1012731A (en) 1974-08-30 1977-06-28 Beaconfield Consulting Services Limited Attaching means for members at an angle to one another
AT341738B (de) 1974-12-24 1978-02-27 Hoesch Werke Ag Verbundelement mit nut- und federverbindung
AR207658A1 (es) 1975-07-15 1976-10-22 Gen Tire & Rubber Co Sello elastomerico reforzado y un metodo para fabricarlo
US4080086A (en) 1975-09-24 1978-03-21 Watson-Bowman Associates, Inc. Roadway joint-sealing apparatus
US3994609A (en) 1975-11-06 1976-11-30 Acme Highway Products Corporation Elastomeric expansion seal
GB1572696A (en) 1975-11-22 1980-07-30 Vredestein Nv Injection-sealable water-stop and method of installing same
US4007994A (en) 1975-12-18 1977-02-15 The D. S. Brown Company Expansion joint with elastomer seal
US4169688A (en) 1976-03-15 1979-10-02 Sato Toshio Artificial skating-rink floor
USRE30154E (en) 1976-09-02 1979-11-20 Bose Corporation Joining
US4064571A (en) 1976-09-13 1977-12-27 Timerax Holdings Ltd. Pool liner retainer
US4082129A (en) 1976-10-20 1978-04-04 Morelock Donald L Method and apparatus for shaping and planing boards
US4104840A (en) 1977-01-10 1978-08-08 Inryco, Inc. Metal building panel
US4113399A (en) 1977-03-02 1978-09-12 Hansen Sr Wray C Knob spring
US4107892A (en) 1977-07-27 1978-08-22 Butler Manufacturing Company Wall panel unit
ES230786Y (es) 1977-08-27 1978-03-16 Junta para paneles de tejado.
SE407174B (sv) 1978-06-30 1979-03-19 Bahco Verktyg Ab Vridande handverktyg med skafthalrum for forvaring av verktygselement
DE2828769A1 (de) 1978-06-30 1980-01-03 Oltmanns Heinrich Fa Kastenfoermige bautafel aus extrudiertem kunststoff
EP0013852A1 (fr) 1979-01-25 1980-08-06 Claude Delfolie Porte formée de profilés en résine synthétique légèrement déformables élastiquement
US4426820A (en) 1979-04-24 1984-01-24 Heinz Terbrack Panel for a composite surface and a method of assembling same
GB2051916A (en) 1979-05-02 1981-01-21 Ludford D Structural Panels, Connectors Therefor and a Structure Erected Therefrom
US4304083A (en) 1979-10-23 1981-12-08 H. H. Robertson Company Anchor element for panel joint
US4447172A (en) 1982-03-18 1984-05-08 Structural Accessories, Inc. Roadway expansion joint and seal
DK149498C (da) 1983-04-07 1986-12-01 Inter Ikea As Beklaedning af braedder til f.eks. gulve eller paneler
US4512131A (en) 1983-10-03 1985-04-23 Laramore Larry W Plank-type building system
DE3343601C2 (de) 1983-12-02 1987-02-12 Bütec Gesellschaft für bühnentechnische Einrichtungen mbH, 4010 Hilden Entfernbarer Bodenbelag
US4648165A (en) 1984-11-09 1987-03-10 Whitehorne Gary R Metal frame (spring puller)
US4819932A (en) 1986-02-28 1989-04-11 Trotter Jr Phil Aerobic exercise floor system
US5373674A (en) 1987-04-27 1994-12-20 Winter, Iv; Amos G. Prefabricated building panel
US5135597A (en) 1988-06-23 1992-08-04 Weyerhaeuser Company Process for remanufacturing wood boards
US5007222A (en) 1988-11-14 1991-04-16 Raymond Harry W Foamed building panel including an internally mounted stud
US5071282A (en) 1988-11-17 1991-12-10 The D. S. Brown Company, Inc. Highway expansion joint strip seal
US5247773A (en) 1988-11-23 1993-09-28 Weir Richard L Building structures
US5148850A (en) 1989-06-28 1992-09-22 Paneltech Ltd. Weatherproof continuous hinge connector for articulated vehicular overhead doors
DE3923427A1 (de) 1989-07-15 1991-01-24 Clouth Gummiwerke Ag Koerperschalldaemmende matte
JPH03110258A (ja) 1989-09-25 1991-05-10 Matsushita Electric Works Ltd アクセスフロアー構造
DE3932980A1 (de) 1989-10-03 1991-11-28 Hoelscher & Leuschner Gmbh Kunststoffplatten, -waende und -decken
US5026112A (en) 1990-06-21 1991-06-25 James S. Waldron Truck trailer with removable side panels
US5348778A (en) 1991-04-12 1994-09-20 Bayer Aktiengesellschaft Sandwich elements in the form of slabs, shells and the like
US5272850A (en) 1991-05-06 1993-12-28 Icon, Incorporated Panel connector
JPH0518028A (ja) 1991-07-15 1993-01-26 Inax Corp 壁パネルの連結方法
US5182892A (en) 1991-08-15 1993-02-02 Louisiana-Pacific Corporation Tongue and groove board product
US5344700A (en) 1992-03-27 1994-09-06 Aliquot, Ltd. Structural panels and joint connector arrangement therefor
DE4215273C2 (de) 1992-05-09 1996-01-25 Dietmar Groeger Belag zur Verkleidung von Boden-, Wand- und/oder Deckenflächen, insbesondere in der Art eines Riemenfußbodens
US5634309A (en) 1992-05-14 1997-06-03 Polen; Rodney C. Portable dance floor
US5295341A (en) 1992-07-10 1994-03-22 Nikken Seattle, Inc. Snap-together flooring system
JP2550466B2 (ja) 1992-11-02 1996-11-06 大建工業株式会社 床 材
DE4242530C2 (de) 1992-12-16 1996-09-12 Walter Friedl Bauelement für Wände, Decken oder Dächer von Bauwerken
US5274979A (en) 1992-12-22 1994-01-04 Tsai Jui Hsing Insulating plate unit
JP3060082B2 (ja) 1993-03-31 2000-07-04 西川ゴム工業株式会社 鮮明な色彩の建築用ガスケット
JP2884993B2 (ja) 1993-04-23 1999-04-19 豊田合成株式会社 壁パネル用シール材
US20020178674A1 (en) 1993-05-10 2002-12-05 Tony Pervan System for joining a building board
SE9301595L (sv) 1993-05-10 1994-10-17 Tony Pervan Fog för tunna flytande hårda golv
US7121059B2 (en) 1994-04-29 2006-10-17 Valinge Innovation Ab System for joining building panels
JPH06322848A (ja) 1993-05-11 1994-11-22 Sekisui Chem Co Ltd 外壁縦目地の防水構造
JPH0748879A (ja) 1993-08-05 1995-02-21 Takeshige Shimonohara 部材の接合方法及び接合構造
US5598682A (en) 1994-03-15 1997-02-04 Haughian Sales Ltd. Pipe retaining clip and method for installing radiant heat flooring
US5485702A (en) 1994-03-25 1996-01-23 Glenn Sholton Mortarless glass block assembly
JP3461569B2 (ja) 1994-05-02 2003-10-27 大建工業株式会社 床 材
US5465546A (en) 1994-05-04 1995-11-14 Buse; Dale C. Portable dance floor
US5502939A (en) 1994-07-28 1996-04-02 Elite Panel Products Interlocking panels having flats for increased versatility
SE503917C2 (sv) 1995-01-30 1996-09-30 Golvabia Ab Anordning för sammanfogning medelst not och spånt av angränsande stycken av golvbeläggningsmaterial samt ett golvbeläggningsmaterial sammansatt av ett antal mindre stycken
US6421970B1 (en) 1995-03-07 2002-07-23 Perstorp Flooring Ab Flooring panel or wall panel and use thereof
SE9500810D0 (sv) 1995-03-07 1995-03-07 Perstorp Flooring Ab Golvplatta
US5618602A (en) 1995-03-22 1997-04-08 Wilsonart Int Inc Articles with tongue and groove joint and method of making such a joint
US5577357A (en) 1995-07-10 1996-11-26 Civelli; Ken Half log siding mounting system
JP3331424B2 (ja) 1995-10-31 2002-10-07 ワイケイケイアーキテクチュラルプロダクツ株式会社 縦枠材の補強構造
US5755068A (en) 1995-11-17 1998-05-26 Ormiston; Fred I. Veneer panels and method of making
US5658086A (en) 1995-11-24 1997-08-19 Brokaw; Paul E. Furniture connector
BR7502683U (pt) 1995-11-24 1996-04-09 Jacob Abrahams Disposiçoes construtivas em junçoes de réguas para pisos lambrís ou forros
JP3954673B2 (ja) 1996-11-01 2007-08-08 株式会社ヤマックス コンクリート製接合物の止水用接合部材
BE1010487A6 (nl) 1996-06-11 1998-10-06 Unilin Beheer Bv Vloerbekleding bestaande uit harde vloerpanelen en werkwijze voor het vervaardigen van dergelijke vloerpanelen.
US5950389A (en) 1996-07-02 1999-09-14 Porter; William H. Splines for joining panels
US6203653B1 (en) 1996-09-18 2001-03-20 Marc A. Seidner Method of making engineered mouldings
US5694730A (en) 1996-10-25 1997-12-09 Noranda Inc. Spline for joining boards
SE507737C2 (sv) 1996-11-08 1998-07-06 Golvabia Ab Anordning för sammanfogning av golvbeläggningsmaterial
US6808777B2 (en) 1996-11-08 2004-10-26 Ab Golvabia Flooring
SE508165C2 (sv) 1996-11-18 1998-09-07 Golvabia Ab Anordning för sammanfogning av golvbeläggningsmaterial
US5857304A (en) 1997-04-07 1999-01-12 Abex Display Systems Slidable locking system for disengageable panels
ES2225911T3 (es) 1997-04-22 2005-03-16 Mondo S.P.A. Pisos dispuesto en capas, en particular para instalaciones atleticas.
AT405560B (de) 1997-06-18 1999-09-27 Kaindl M Anordnung mit bauteilen und bauteile
IT237576Y1 (it) 1997-07-11 2000-09-13 Unifor Spa Sistema di collegamento perfezionato tra pannelli componibili
US6345481B1 (en) 1997-11-25 2002-02-12 Premark Rwp Holdings, Inc. Article with interlocking edges and covering product prepared therefrom
US6295779B1 (en) 1997-11-26 2001-10-02 Fred C. Canfield Composite frame member and method of making the same
US5970675A (en) 1997-12-05 1999-10-26 James D. Wright Modular panel assembly
US6314701B1 (en) 1998-02-09 2001-11-13 Steven C. Meyerson Construction panel and method
US6173548B1 (en) 1998-05-20 2001-01-16 Douglas J. Hamar Portable multi-section activity floor and method of manufacture and installation
US7386963B2 (en) 1998-06-03 2008-06-17 Valinge Innovation Ab Locking system and flooring board
SE512313E (sv) 1998-06-03 2004-03-16 Valinge Aluminium Ab Låssystem samt golvskiva
SE512290C2 (sv) 1998-06-03 2000-02-28 Valinge Aluminium Ab Låssystem för mekanisk hopfogning av golvskivor samt golvskiva försedd med låssystemet
BE1012141A6 (nl) 1998-07-24 2000-05-02 Unilin Beheer Bv Vloerbekleding, vloerpaneel daarvoor en werkwijze voor het realiseren van dergelijk vloerpaneel.
SE514645C2 (sv) 1998-10-06 2001-03-26 Perstorp Flooring Ab Golvbeläggningsmaterial innefattande skivformiga golvelement avsedda att sammanfogas av separata sammanfogningsprofiler
SE513189C2 (sv) 1998-10-06 2000-07-24 Perstorp Flooring Ab Vertikalmonterbart golvbeläggningsmaterial innefattande skivformiga golvelement vilka sammanfogas med hjälp av separata sammanfogningsprofiler
SE515789C2 (sv) 1999-02-10 2001-10-08 Perstorp Flooring Ab Golvbeläggningsmaterial innefattande golvelement vilka är avsedda att sammanfogas vertikalt
DE19940837A1 (de) 1998-10-26 2000-11-23 Karl Boeckl Verlegesystem und Verlegeverfahren
AU2845900A (en) 1999-01-07 2000-08-07 Aviation Tectonics, Inc. Fastening, bundling and closure device and dispensing arrangements therefor
US6254301B1 (en) 1999-01-29 2001-07-03 J. Melvon Hatch Thermoset resin-fiber composites, woodworking dowels and other articles of manufacture made therefrom, and methods
DE19911379A1 (de) 1999-03-15 2000-10-12 Hekuma Herbst Maschinenbau Gmb Kabelbinder und Verfahren zur Herstellung von Kabelbindern
IL129834A (en) 1999-05-06 2001-09-13 Ackerstein Ind Ltd Ground surface cover system with flexible interlocking joint for erosion control
US6358352B1 (en) 1999-06-25 2002-03-19 Wyoming Sawmills, Inc. Method for creating higher grade wood products from lower grade lumber
DE29911462U1 (de) 1999-07-02 1999-11-18 Akzenta Paneele & Profile Gmbh Befestigungssystem für Paneele
RU2224070C2 (ru) 1999-06-30 2004-02-20 Акцента Панееле + Профиле Гмбх Плита, а также система крепления для плит
SE517009C2 (sv) 1999-07-05 2002-04-02 Perstorp Flooring Ab Golvelement med styrdon
AT413227B (de) 1999-07-23 2005-12-15 Kaindl M Platten- oder leistenförmige bauteile oder anordnung mit derartigen bauteilen und klammer hiefür
US20020194807A1 (en) 1999-11-08 2002-12-26 Nelson Thomas J. Multipanel floor system with sealing elements
US6449918B1 (en) 1999-11-08 2002-09-17 Premark Rwp Holdings, Inc. Multipanel floor system panel connector with seal
US7614197B2 (en) 1999-11-08 2009-11-10 Premark Rwp Holdings, Inc. Laminate flooring
DE29920656U1 (de) 1999-11-24 2000-02-17 Vincent, Irvin G., Luxemburg, Wis. Universelles Bauelement
DE19958225A1 (de) 1999-12-03 2001-06-07 Lindner Ag Verriegelungseinrichtung für eine plattenförmige Wand-, Decken- oder Bodenverkleidung, insbesondere für Doppelbodenplatten
US6761008B2 (en) 1999-12-14 2004-07-13 Mannington Mills, Inc. Connecting system for surface coverings
US6617009B1 (en) 1999-12-14 2003-09-09 Mannington Mills, Inc. Thermoplastic planks and methods for making the same
US7169460B1 (en) 1999-12-14 2007-01-30 Mannington Mills, Inc. Thermoplastic planks and methods for making the same
GB2372306A (en) 1999-12-22 2002-08-21 Tech Arts And Design Inc Construction element and joining member
US6332733B1 (en) 1999-12-23 2001-12-25 Hamberger Industriewerke Gmbh Joint
AU4743800A (en) 1999-12-23 2001-07-09 Hamberger Industriewerke Gmbh Joint
DE20001788U1 (de) 2000-02-02 2000-06-29 Kronospan Technical Co. Ltd., Nikosai Paneel mit Steckprofil
DE29922649U1 (de) 1999-12-27 2000-03-23 Kronospan Technical Co. Ltd., Nikosia Paneel mit Steckprofil
JP2003518575A (ja) 1999-12-27 2003-06-10 クロノスパン テクニカル カンパニー リミテッド 嵌込み構造を有するパネル
DE10001076C1 (de) 2000-01-13 2001-10-04 Huelsta Werke Huels Kg Paneelelement
EP1120515A1 (en) 2000-01-27 2001-08-01 Triax N.V. A combined set comprising a locking member and at least two building panels
SE522860C2 (sv) 2000-03-10 2004-03-09 Pergo Europ Ab Vertikalt förenade golvelement innefattande en kombination av olika golvelement
SE518184C2 (sv) 2000-03-31 2002-09-03 Perstorp Flooring Ab Golvbeläggningsmaterial innefattande skivformiga golvelement vilka sammanfogas med hjälp av sammankopplingsorgan
US6363677B1 (en) 2000-04-10 2002-04-02 Mannington Mills, Inc. Surface covering system and methods of installing same
US6553724B1 (en) 2000-05-05 2003-04-29 Robert A. Bigler Panel and trade show booth made therefrom
AT411374B (de) 2000-06-06 2003-12-29 Kaindl M Belag, verkleidung od.dgl., paneele für dessen bildung sowie verfahren und gerät zur herstellung der paneele
FR2810060A1 (fr) 2000-06-08 2001-12-14 Ykk France Dispositif d'assemblage de panneaux pour revetement de sol
DE10031639C2 (de) 2000-06-29 2002-08-14 Hw Ind Gmbh & Co Kg Fussbodenplatte
US6339908B1 (en) 2000-07-21 2002-01-22 Fu-Ming Chuang Wood floor board assembly
US6576079B1 (en) 2000-09-28 2003-06-10 Richard H. Kai Wooden tiles and method for making the same
US7806624B2 (en) 2000-09-29 2010-10-05 Tripstop Technologies Pty Ltd Pavement joint
US6455712B1 (en) 2000-12-13 2002-09-24 Shell Oil Company Preparation of oxirane compounds
US6546691B2 (en) 2000-12-13 2003-04-15 Kronospan Technical Company Ltd. Method of laying panels
US6851241B2 (en) 2001-01-12 2005-02-08 Valinge Aluminium Ab Floorboards and methods for production and installation thereof
BR0206564A (pt) 2001-01-12 2004-02-25 Valinge Aluminium Ab Sistema de travamento para junção mecânica de placas de piso, placas de piso e métodos para produção e instalação das mesmas
DE10101912C1 (de) 2001-01-16 2002-03-14 Johannes Schulte Verfahren zum Verlegen von in der Konfiguration rechteckigen Bodenpaneelen
CA2331800A1 (en) 2001-01-22 2002-07-22 Moritz F. Gruber Portable graphic floor system
DE10103505B4 (de) 2001-01-26 2008-06-26 Pergo (Europe) Ab Boden- oder Wandpaneel
SE520084C2 (sv) 2001-01-31 2003-05-20 Pergo Europ Ab Förfarande för framställning av sammanfogningsprofiler
US6854234B2 (en) 2001-02-02 2005-02-15 Skyline Displays, Inc. Panel connector system
US6450235B1 (en) 2001-02-09 2002-09-17 Han-Sen Lee Efficient, natural slat system
AT410815B (de) 2001-04-05 2003-08-25 Kaindl M Verbindung von plattenförmigen bauteilen
US20020170259A1 (en) 2001-05-15 2002-11-21 Ferris Stephen M. Interlocking sidewalk block system
DE20109840U1 (de) 2001-06-17 2001-09-06 Kronospan Technical Co. Ltd., Nikosia Platten mit Einschiebe-Steckprofil
EP1277896A1 (en) 2001-07-16 2003-01-22 Ulf Palmberg Floorboards
US8028486B2 (en) 2001-07-27 2011-10-04 Valinge Innovation Ab Floor panel with sealing means
SE519791C2 (sv) 2001-07-27 2003-04-08 Valinge Aluminium Ab System för bildande av en fog mellan två golvskivor, golvskivor därför försedd med tätningsorgan vid fogkanterna samt sätt att tillverka en kärna som bearbetas till golvskivor
US6684592B2 (en) 2001-08-13 2004-02-03 Ron Martin Interlocking floor panels
SE525558C2 (sv) 2001-09-20 2005-03-08 Vaelinge Innovation Ab System för bildande av en golvbeläggning, sats av golvskivor samt förfarande för tillverkning av två olika typer av golvskivor
US6651400B1 (en) 2001-10-18 2003-11-25 Rapid Displays, Inc. Foam core panel connector
FR2831908B1 (fr) 2001-11-02 2004-10-22 Europ De Laquage Et De Faconna Dispositif d'assemblage des bords de panneaux, lattes ou lambris
FR2832470B1 (fr) 2001-11-21 2006-10-20 Grosfillex Sarl Dispositif de lame profilee
DE10159284B4 (de) 2001-12-04 2005-04-21 Kronotec Ag Gebäudeplatte, insbesondere Bodenpaneel
US7108031B1 (en) 2002-01-31 2006-09-19 David Secrest Method of making patterns in wood and decorative articles of wood made from said method
DE10206877B4 (de) 2002-02-18 2004-02-05 E.F.P. Floor Products Fussböden GmbH Paneel, insbesondere Fussbodenpaneel
WO2003074814A1 (de) 2002-03-07 2003-09-12 Fritz Egger Gmbh & Co. Paneele mit auf reibung basierender fixierung
EP2287419A3 (en) 2002-04-03 2011-11-30 Välinge Innovation AB Floorboard
DE10214972A1 (de) 2002-04-04 2003-10-30 Akzenta Paneele & Profile Gmbh Paneel sowie Verriegelungssystem für Paneele
ES2327502T5 (es) 2002-04-05 2013-03-14 Tilo Gmbh Tablas para suelos
DE20205774U1 (de) 2002-04-13 2002-08-14 Kronospan Technical Co. Ltd., Nikosia Paneele mit gummierter Umrandung
DE50213857D1 (de) 2002-04-13 2009-10-29 Kronoplus Technical Ag Belagsystem, insbesondere für einen Fussboden, umfassend Paneele und ein schnur- oder stabartiges Element
US7051486B2 (en) 2002-04-15 2006-05-30 Valinge Aluminium Ab Mechanical locking system for floating floor
AU2003224559B2 (en) 2002-04-22 2008-10-30 Valinge Innovation Ab Floorboards, flooring systems and methods for manufacturing and installation thereof
US7739849B2 (en) 2002-04-22 2010-06-22 Valinge Innovation Ab Floorboards, flooring systems and methods for manufacturing and installation thereof
DE10233731A1 (de) 2002-07-24 2004-04-08 M. Kaindl Anordnung von Bauteilen mit Verbindungselementen
DE10237397A1 (de) 2002-08-09 2004-02-19 Profilex Ag Vorrichtung zum Verbinden von zwei plattenförmigen Paneelen
AT413228B (de) 2002-08-19 2005-12-15 Kaindl M Verkleidungsplatte
US8375673B2 (en) 2002-08-26 2013-02-19 John M. Evjen Method and apparatus for interconnecting paneling
US6792727B2 (en) 2002-09-12 2004-09-21 Commercial And Architectural Products, Inc. Curved wall panel system
DE10243196B4 (de) 2002-09-18 2007-03-22 Kaindl Flooring Gmbh Paneele mit Verbindungsklammer
US7617651B2 (en) 2002-11-12 2009-11-17 Kronotec Ag Floor panel
DE50309830D1 (de) 2002-11-15 2008-06-26 Flooring Technologies Ltd Einrichtung bestehend aus zwei miteinander verbindbaren Bauplatten und einem Einsatz zum Verriegeln dieser Bauplatten
BE1015223A3 (nl) 2002-11-25 2004-11-09 Flooring Ind Ltd Vloerpaneel, vloerbedekking hieruit gevormd, werkwijze voor het leggen van dergelijke vloerpanelen en werkwijze voor het vervaardigen ervan.
DE10318093A1 (de) 2002-12-02 2004-06-17 Kronospan Ag Verfahren zur Beleimung eines Elements
SE525622C2 (sv) 2002-12-09 2005-03-22 Pergo Europ Ab Förfarande för installation av paneler med foganordningar, inkapslat medel och lim
DE20320022U1 (de) 2003-01-09 2004-04-01 Flooring Industries Ltd. Set von Fußbodenpaneelen zum Formen eines Fußbodenbelags
US7533500B2 (en) 2003-01-27 2009-05-19 Deceuninck North America, Llc Deck plank and method of production
US6948716B2 (en) 2003-03-03 2005-09-27 Drouin Gerard Waterstop having improved water and moisture sealing features
US7677001B2 (en) 2003-03-06 2010-03-16 Valinge Innovation Ab Flooring systems and methods for installation
NZ542035A (en) 2003-03-06 2007-03-30 Valinge Innovation Ab Flooring systems and methods for installation
US7845140B2 (en) 2003-03-06 2010-12-07 Valinge Innovation Ab Flooring and method for installation and manufacturing thereof
AT501440A1 (de) 2003-03-07 2006-09-15 Kaindl Flooring Gmbh Verkleidungsplatte
EP1601845A1 (en) 2003-03-07 2005-12-07 Akzo Nobel Coatings International BV Interlocking unit
SE0300642D0 (sv) 2003-03-11 2003-03-11 Pergo Europ Ab Process for sealing a joint
SE526691C2 (sv) 2003-03-18 2005-10-25 Pergo Europ Ab Panelfog med friktionshöjande medel vid långsidans vridfog
DE20304761U1 (de) 2003-03-24 2004-04-08 Kronotec Ag Einrichtung zum Verbinden von Bauplatten, insbesondere Bodenpaneele
DE10313112B4 (de) 2003-03-24 2007-05-03 Fritz Egger Gmbh & Co. Belag mit einer Mehrzahl von Paneelen, insbesondere Fußbodenbelag, sowie Verfahren zum Verlegen von Paneelen
US7152383B1 (en) 2003-04-10 2006-12-26 Eps Specialties Ltd., Inc. Joining of foam core panels
DK1639215T3 (da) 2003-07-02 2011-08-01 Interglarion Ltd Plader med sammenføjnings-snapprofil
DE10329686B4 (de) 2003-07-02 2008-02-28 Akzenta Paneele + Profile Gmbh Paneel mit Verriegelungssystem
KR100566083B1 (ko) 2003-08-07 2006-03-30 주식회사 한솔홈데코 조립식 바닥재
DE20313661U1 (de) 2003-09-05 2003-11-13 Kronospan Technical Co. Ltd., Nikosia Paneel mit geschützter V-Fuge
SE526688C2 (sv) 2003-11-20 2005-10-25 Pergo Europ Ab Förfarande för hopfogning av paneler där en låsstav förs in i ett låsspår eller en låskavitet
US7886497B2 (en) 2003-12-02 2011-02-15 Valinge Innovation Ab Floorboard, system and method for forming a flooring, and a flooring formed thereof
SE526179C2 (sv) 2003-12-02 2005-07-19 Vaelinge Innovation Ab Golvbeläggning samt förfarande för läggning
DE102004001363A1 (de) 2004-01-07 2005-08-04 Hamberger Industriewerke Gmbh Verbindung für Fußbodenelemente
US7516588B2 (en) 2004-01-13 2009-04-14 Valinge Aluminium Ab Floor covering and locking systems
DE102005002297A1 (de) 2004-01-16 2005-08-04 Hamberger Industriewerke Gmbh Verbindung für plattenförmige Bauelemente, insbesondere für Fußbodenpaneele
DE202004001037U1 (de) 2004-01-24 2004-04-29 Kronotec Ag Paneel, insbesondere Fussbodenpaneel
DE102004005047B3 (de) 2004-01-30 2005-10-20 Kronotec Ag Verfahren und Einrichtung zum Einbringen eines die Feder einer Platte bildenden Streifens
US7556849B2 (en) 2004-03-25 2009-07-07 Johns Manville Low odor faced insulation assembly
US7219392B2 (en) 2004-06-28 2007-05-22 Wayne-Dalton Corp. Breakaway track system for an overhead door
BE1016216A5 (nl) 2004-09-24 2006-05-02 Flooring Ind Ltd Vloerpaneel en vloerbekleding samengesteld uit dergeljke vloerpanelen.
US7841144B2 (en) 2005-03-30 2010-11-30 Valinge Innovation Ab Mechanical locking system for panels and method of installing same
US7454875B2 (en) 2004-10-22 2008-11-25 Valinge Aluminium Ab Mechanical locking system for floor panels
DE102004054368A1 (de) 2004-11-10 2006-05-11 Kaindl Flooring Gmbh Verkleidungspaneel
US20060174577A1 (en) 2005-01-27 2006-08-10 O'neil John P Hidden stiffening panel connector and connecting method
US20060179754A1 (en) 2005-02-02 2006-08-17 Feng-Ling Yang Combinable floor plate
US8061104B2 (en) 2005-05-20 2011-11-22 Valinge Innovation Ab Mechanical locking system for floor panels
DE102005024366A1 (de) 2005-05-27 2006-11-30 Kaindl Flooring Gmbh Verfahren zum Verlegen und mechanischen Verbinden von Paneelen
SE529076C2 (sv) 2005-07-11 2007-04-24 Pergo Europ Ab En fog till paneler
DE102005038975B3 (de) 2005-08-16 2006-12-14 Johannes Schulte Verfahren zur Herstellung von Paneelen
CA2618496C (en) 2005-08-16 2010-02-09 Johannes Schulte Method for production of panels
DE102005054725A1 (de) 2005-11-17 2007-05-24 Agro Federkernproduktions Gmbh Federkern
US20070151189A1 (en) 2006-01-03 2007-07-05 Feng-Ling Yang Securing device for combining floor plates
SE530653C2 (sv) 2006-01-12 2008-07-29 Vaelinge Innovation Ab Fuktsäker golvskiva samt golv med ett elastiskt ytskikt omfattande ett dekorativt spår
US8464489B2 (en) 2006-01-12 2013-06-18 Valinge Innovation Ab Laminate floor panels
SE529506C2 (sv) 2006-02-03 2007-08-28 Pergo Europ Ab Ett fogskydd för paneler
EP1816283A2 (en) 2006-02-06 2007-08-08 Insca Internacional, S.L. Device for joining parquet-type plaques or pieces
DE102006006124A1 (de) 2006-02-10 2007-08-23 Flooring Technologies Ltd. Einrichtung zum Verriegeln zweier Bauplatten
WO2007106352A2 (en) 2006-03-10 2007-09-20 Mannington Mills, Inc. A process and system for sub-dividing a laminated flooring substrate
US8281549B2 (en) 2006-04-14 2012-10-09 Yekalon Industry, Inc. Floor panel, flooring system and method for laying flooring system
DE102006024184A1 (de) 2006-05-23 2007-11-29 Hipper, August, Dipl.-Ing. (FH) Verbindung für Plattenpaneele
BE1017157A3 (nl) 2006-06-02 2008-03-04 Flooring Ind Ltd Vloerbekleding, vloerelement en werkwijze voor het vervaardigen van vloerelementen.
SE530048C2 (sv) 2006-06-09 2008-02-19 Burseryd Innovation Ab Fästelement samt metod att sammanfoga dynamiska kroppar medelst fästelementet
SE533410C2 (sv) 2006-07-11 2010-09-14 Vaelinge Innovation Ab Golvpaneler med mekaniska låssystem med en flexibel och förskjutbar tunga samt tunga därför
US7861482B2 (en) 2006-07-14 2011-01-04 Valinge Innovation Ab Locking system comprising a combination lock for panels
US7654055B2 (en) 2006-08-08 2010-02-02 Ricker Michael B Glueless panel locking system
DE102006037614B3 (de) 2006-08-10 2007-12-20 Guido Schulte Fußbodenbelag und Verlegeverfahren
US7257926B1 (en) 2006-08-24 2007-08-21 Kirby Mark E Tile spacer and leveler
EP2082103B1 (en) 2006-11-15 2012-12-19 Välinge Innovation AB An installation method to connect floor panels in rows by vertical folding
US8689512B2 (en) 2006-11-15 2014-04-08 Valinge Innovation Ab Mechanical locking of floor panels with vertical folding
SE531111C2 (sv) 2006-12-08 2008-12-23 Vaelinge Innovation Ab Mekanisk låsning av golvpaneler
DE202007019298U1 (de) 2007-02-21 2011-10-19 Hamberger Industriewerke Gmbh Verbindung für plattenförmige Bauelemente
SE532207C2 (sv) 2007-03-14 2009-11-17 Kaehr Ab G Golvläggningssystem, profilskena och golvbräda för dylikt golvläggningssystem förfarande för förläggning av ledningselement i golvläggningssystemet jämte användningar av golvläggningssystemet för olika ändamål
DE202007018662U1 (de) 2007-03-26 2009-02-19 Kronotec Ag Paneel, insbesondere Bodenpaneel
DE102007016533A1 (de) 2007-04-05 2008-10-09 Hülsta-Werke Hüls Gmbh & Co. Kg Boden-, Wand- oder Deckenpaneele sowie Verfahren zum Verbinden von Boden-, Wand- oder Deckenpaneelen
DE102007017087B4 (de) 2007-04-10 2009-06-25 Kronotec Ag Paneel, insbesondere Bodenpaneel
DE102007026342B4 (de) 2007-06-06 2013-11-28 Laminatepark Gmbh & Co. Kg Set aus tafelförmigen Paneelen mit bewegbarem Verriegelungselement
DE102007032885B4 (de) 2007-07-14 2016-01-14 Flooring Technologies Ltd. Paneel, insbesondere Bodenpaneel und Einrichtung zum Verriegeln miteinander verbundener Paneele
US7726088B2 (en) 2007-07-20 2010-06-01 Moritz Andre Muehlebach Flooring system
US8220217B2 (en) 2007-07-20 2012-07-17 Innovaris Ag Flooring system
DE102007049792A1 (de) 2007-08-10 2009-02-19 Hamberger Industriewerke Gmbh Verbindung
DE102007042250B4 (de) 2007-09-06 2010-04-22 Flooring Technologies Ltd. Einrichtung zur Verbindung und Verriegelung zweier Bauplatten, insbesondere Fussbodenpaneele
DE102007043308B4 (de) 2007-09-11 2009-12-03 Flooring Technologies Ltd. Einrichtung zur Verbindung und Verriegelung zweier Bauplatten, insbesondere Fussbodenpaneele
PL2235286T3 (pl) 2007-11-07 2019-07-31 Välinge Innovation AB Mechaniczne blokowanie paneli podłogowych z pionową zakładką zatrzaskową i sposób montażu dla połączenia takich paneli
US8353140B2 (en) 2007-11-07 2013-01-15 Valinge Innovation Ab Mechanical locking of floor panels with vertical snap folding
US7805903B2 (en) 2007-12-13 2010-10-05 Liu David C Locking mechanism for flooring boards
DE102008003550B4 (de) 2008-01-09 2009-10-22 Flooring Technologies Ltd. Einrichtung und Verfahren zum Verriegeln zweier Bodenpaneele
US8505257B2 (en) 2008-01-31 2013-08-13 Valinge Innovation Ab Mechanical locking of floor panels
RU2485265C2 (ru) 2008-01-31 2013-06-20 Велинге Инновейшн Белджиум Бвба Механический фиксатор панелей пола, способы установки и разборки панелей, способ и оборудование для создания запирающего устройства, способ соединения смещаемого шипа с панелью и заготовка шипа
CA2659034A1 (en) 2008-03-26 2009-09-26 Charles Beaulieu Fastening device template
EP2304126B1 (en) 2008-05-15 2019-07-03 Välinge Innovation AB Floor panels with a mechanical locking system activated by a magnetic field
DE102008031167B4 (de) 2008-07-03 2015-07-09 Flooring Technologies Ltd. Verfahren zum Verbinden und Verriegeln leimlos zu verlegender Fußbodenpaneele
DE102008047099B4 (de) 2008-09-12 2010-05-12 Guido Schulte Fußbodenbelag
US20100083603A1 (en) 2008-10-08 2010-04-08 Goodwin Milton W Flooring panel with first and second decorative surfaces
BE1018389A3 (nl) 2008-12-17 2010-10-05 Unilin Bvba Samengesteld element, meerlagige plaat en paneelvormig element voor het vormen van zulk samengesteld element.
US7998549B2 (en) 2009-01-08 2011-08-16 Thermwood Corporation Structure and method of assembly thereof
BE1018627A5 (nl) 2009-01-16 2011-05-03 Flooring Ind Ltd Sarl Vloerpaneel.
HUE036375T2 (hu) 2009-01-30 2018-08-28 Vaelinge Innovation Ab Padlópanelok mechanikus reteszelései és horonycsap-nyersdarab
EP2236694A1 (en) 2009-03-25 2010-10-06 Spanolux N.V.- DIV. Balterio A fastening system and a panel
DE102009022483A1 (de) 2009-05-25 2010-12-02 Pergo (Europe) Ab Set von Paneelen, insbesondere von Fußbodenpaneelen
ES2366820T3 (es) 2009-06-08 2011-10-25 Flooring Technologies Ltd. Conjunto de paneles de construcción con un dispositivo para enclavar dos de estos paneles en construcción.
BE1018802A3 (nl) 2009-06-29 2011-09-06 Flooring Ind Ltd Sarl Paneel, meer speciaal vloerpaneel.
TWM373948U (en) 2009-07-22 2010-02-11 Feng-Ling Yang Assembly floor
DE102009034903B3 (de) 2009-07-27 2011-01-20 Guido Schulte Belag aus mechanisch miteinander verbindbaren Paneelen
US8322104B2 (en) 2009-08-31 2012-12-04 Fleming Iii Joseph C Method and system for interconnecting structural panels
CN201588375U (zh) 2009-09-29 2010-09-22 钟玉东 镶嵌式组合实木地板
DE102009048050B3 (de) 2009-10-02 2011-01-20 Guido Schulte Belag aus mechanischen miteinander verbindbaren Elementen
US8429870B2 (en) 2009-12-04 2013-04-30 Mannington Mills, Inc. Connecting system for surface coverings
PL2333195T3 (pl) 2009-12-14 2014-12-31 Barlinek Sa Podłoga wykonana z paneli podłogowych z osobnymi środkami łączącymi
DE102010004717A1 (de) 2010-01-15 2011-07-21 Pergo (Europe) Ab Set aus Paneelen umfassend Halteprofile mit einem separaten Clip sowie Verfahren zum Einbringen des Clips
CN102725464B (zh) 2010-02-04 2015-01-07 瓦林格创新股份有限公司 用于地板镶板的机械锁定系统及其榫舌
US8234830B2 (en) 2010-02-04 2012-08-07 Välinge Innovations AB Mechanical locking system for floor panels
US20110197535A1 (en) 2010-02-13 2011-08-18 Geoffrey Alan Baker Laying and mechanically joining building panels or construction elements
EP2558658B1 (en) 2010-04-15 2018-11-21 Unilin, BVBA Floor panel assembly
BE1019747A3 (nl) 2010-07-15 2012-12-04 Flooring Ind Ltd Sarl Bekleding, alsmede panelen en hulpstukken daarbij aangewend.
CN104775594B (zh) 2010-05-10 2017-09-22 佩尔戈(欧洲)股份公司 地板组件
EP2575542B1 (en) 2010-06-03 2021-03-10 Unilin, BV Composed element and corner connection applied herewith
EP2397623B1 (en) 2010-06-17 2018-01-31 Unilin, BVBA A panel coupling assembly
CA2814218C (en) 2010-10-20 2017-12-12 Kronoplus Technical Ag Surface covering comprising laminate panels and an extraneous locking element
GB2483525B (en) 2011-02-03 2013-05-01 Oliver James Furniture Ltd A panel connection system
US9322421B2 (en) 2011-04-13 2016-04-26 Geoffrey Alan Baker Spring-loaded split-tongue connector system
UA109938C2 (uk) 2011-05-06 2015-10-26 Механічна фіксуюча система для будівельних панелей
UA114715C2 (uk) 2011-07-05 2017-07-25 Сералок Інновейшн Аб Механічна фіксація панелей настилу підлоги до язичка з нанесеним шаром клею
US8631622B2 (en) 2011-07-07 2014-01-21 Chinafloors Holding Limited Non-squeaking wood flooring systems and methods
US9725912B2 (en) 2011-07-11 2017-08-08 Ceraloc Innovation Ab Mechanical locking system for floor panels
US8650826B2 (en) 2011-07-19 2014-02-18 Valinge Flooring Technology Ab Mechanical locking system for floor panels
DE102012105793A1 (de) 2011-07-29 2013-01-31 Hamberger Industriewerke Gmbh Verbindung für elastische oder plattenförmige Bauelemente und Fußbodenbelag
DE102012102339A1 (de) 2011-07-29 2013-01-31 Hamberger Industriewerke Gmbh Verbindung für elastische oder plattenförmige Bauelemente, Profilschieber und Fußbodenbelag
US8857126B2 (en) 2011-08-15 2014-10-14 Valinge Flooring Technology Ab Mechanical locking system for floor panels
JP6184953B2 (ja) 2011-08-15 2017-08-23 セラロック、イノベーション、アクチボラグ フロアパネルの機械的固定システム
US8769905B2 (en) 2011-08-15 2014-07-08 Valinge Flooring Technology Ab Mechanical locking system for floor panels
US8763340B2 (en) 2011-08-15 2014-07-01 Valinge Flooring Technology Ab Mechanical locking system for floor panels
PL2751356T3 (pl) 2011-08-29 2020-03-31 Ceraloc Innovation Ab Mechaniczny układ blokujący dla paneli podłogowych
EP2570564A3 (en) 2011-09-16 2014-08-20 Spanolux N.V. Div. Balterio An apparatus and a method for assembling panels and locking elements
DE202011108752U1 (de) 2011-12-06 2012-01-24 Akzenta Paneele + Profile Gmbh Verriegelungssystem für Paneelen und Paneel mit Verriegelungssystem
DE102011056494A1 (de) 2011-12-15 2013-06-20 Pergo (Europe) Ab Set aus Paneelen mit Clip
BE1020433A3 (nl) 2012-01-05 2013-10-01 Flooring Ind Ltd Sarl Paneel.
US9394698B2 (en) 2012-02-23 2016-07-19 Admiral Composite Technologies, Inc. Deck system and components
WO2013151493A1 (en) 2012-04-04 2013-10-10 Välinge Innovation AB Method for producing a mechanical locking system for building panels
US8596013B2 (en) 2012-04-04 2013-12-03 Valinge Innovation Ab Building panel with a mechanical locking system
US9216541B2 (en) 2012-04-04 2015-12-22 Valinge Innovation Ab Method for producing a mechanical locking system for building panels
HRP20192105T1 (hr) 2012-11-22 2020-02-21 Ceraloc Innovation Ab Mehanički sustav zaključavanja za podne ploče
WO2014108875A1 (en) 2013-01-11 2014-07-17 Flooring Industries Limited, Sarl Floor panel for forming a floor covering, floor covering formed of such floor panels and method for manufacturing such floor panels
US9194134B2 (en) 2013-03-08 2015-11-24 Valinge Innovation Ab Building panels provided with a mechanical locking system
TR201807440T4 (tr) 2013-03-25 2018-06-21 Vaelinge Innovation Ab Bir mekanik kilitleme sistemine sahip döşeme tahtaları ve bu tür bir kilitleme sistemini üretmek için yöntem.
HUE060779T2 (hu) 2013-06-27 2023-04-28 Vaelinge Innovation Ab Mechanikus rögzítõrendszerrel ellátott építõpanel
US9458634B2 (en) 2014-05-14 2016-10-04 Valinge Innovation Ab Building panel with a mechanical locking system
US10246883B2 (en) 2014-05-14 2019-04-02 Valinge Innovation Ab Building panel with a mechanical locking system
EP3868978B1 (en) 2014-11-27 2025-05-21 Välinge Innovation AB Set of essentially identical floor panels provided with a mechanical locking system
EP3237704B1 (en) 2014-12-22 2019-11-20 Ceraloc Innovation AB Set of identical floor panels provided with a mechanical locking system

Patent Citations (10)

* Cited by examiner, † Cited by third party
Publication number Priority date Publication date Assignee Title
US20110088346A1 (en) * 2001-08-10 2011-04-21 Akzenta Paneele + Profile Gmbh Panel and fastening system for such panel
JP2008518130A (ja) * 2004-10-22 2008-05-29 ベーリンゲ、イノベイション、アクチボラグ 可撓性タングによるフロアパネルの機械的係止
US20080236088A1 (en) * 2006-01-13 2008-10-02 Akzenta Paneele + Profile Gmbh Locking Element for a Fixing System for Plate-Shaped Panels, a Fixing System with Said Locking Element, Panels with Said Fixing System, Methods for Locking Panels and a Method of Automatically Mounting a Locking Element to a Panel as Well as an Apparatus Therefore
US20100043333A1 (en) * 2006-12-06 2010-02-25 Akzenta Paneele + Profile Gmbh Panel and floor covering
DE102007035648A1 (de) * 2007-07-27 2009-01-29 Agepan-Tarkett Laminatepark Eiweiler Gmbh & Co. Kg Tafelförmiges Paneel mit separatem Rastelement
JP2011504556A (ja) * 2007-11-23 2011-02-10 フロアリング インダストリーズ リミテッド,エスエーアールエル 床パネル
US20120124932A1 (en) * 2009-07-27 2012-05-24 Guido Schulte Covering made from mechanically interconnectable panels
US20120174521A1 (en) * 2009-09-15 2012-07-12 Guido Schulte Covering consisting of elements that can be mechanically interconnected and method for producing elements
US20110167750A1 (en) * 2010-01-12 2011-07-14 Valinge Innovation Ab Mechanical locking system for floor panels
WO2013012386A1 (en) * 2011-07-19 2013-01-24 Välinge Flooring Technology AB Mechanical locking system for floor panels

Also Published As

Publication number Publication date
EP2923012A4 (en) 2016-08-17
UA117003C2 (uk) 2018-06-11
US20160326751A1 (en) 2016-11-10
EP3613920C0 (en) 2024-01-31
MY170091A (en) 2019-07-04
CN104854286B (zh) 2018-04-13
EP2923012B1 (en) 2019-10-16
JP6313778B2 (ja) 2018-04-18
US9366036B2 (en) 2016-06-14
KR20150086489A (ko) 2015-07-28
AU2013348454C1 (en) 2017-11-09
MX2015006451A (es) 2015-08-14
CN104854286A (zh) 2015-08-19
EA028287B1 (ru) 2017-10-31
CA2892212C (en) 2020-06-30
PL2923012T3 (pl) 2020-04-30
WO2014081382A1 (en) 2014-05-30
EP3613920A1 (en) 2020-02-26
EP3613920B1 (en) 2024-01-31
HRP20192105T1 (hr) 2020-02-21
AU2013348454B2 (en) 2017-07-20
EP4375449A2 (en) 2024-05-29
EA201590940A1 (ru) 2015-09-30
US20150300029A1 (en) 2015-10-22
BR112015011235A2 (pt) 2017-07-11
BR112015011235B1 (pt) 2021-07-20
AU2013348454A1 (en) 2015-06-18
EP2923012A1 (en) 2015-09-30
US9771723B2 (en) 2017-09-26
LT2923012T (lt) 2019-11-11
CA2892212A1 (en) 2014-05-30
EP4375449A3 (en) 2024-08-07
KR102297443B1 (ko) 2021-09-01
MX360077B (es) 2018-10-19

Similar Documents

Publication Publication Date Title
JP6313778B2 (ja) フロアパネルの機械的固定システム
JP6184953B2 (ja) フロアパネルの機械的固定システム
CN102695838B (zh) 地板镶板的机械锁定系统
US9388584B2 (en) Mechanical locking system for floor panels
CA2839681C (en) Mechanical locking of floor panels with a glued tongue
JP6005154B2 (ja) フロアパネル用機械式係止システム
US9538842B2 (en) Mechanical locking system for building panels
JP6301414B2 (ja) フロアパネル用機械式係止システム

Legal Events

Date Code Title Description
A711 Notification of change in applicant

Free format text: JAPANESE INTERMEDIATE CODE: A711

Effective date: 20160530

A521 Request for written amendment filed

Free format text: JAPANESE INTERMEDIATE CODE: A523

Effective date: 20160928

A621 Written request for application examination

Free format text: JAPANESE INTERMEDIATE CODE: A621

Effective date: 20160928

A977 Report on retrieval

Free format text: JAPANESE INTERMEDIATE CODE: A971007

Effective date: 20170726

A131 Notification of reasons for refusal

Free format text: JAPANESE INTERMEDIATE CODE: A131

Effective date: 20170804

A521 Request for written amendment filed

Free format text: JAPANESE INTERMEDIATE CODE: A523

Effective date: 20171016

TRDD Decision of grant or rejection written
A01 Written decision to grant a patent or to grant a registration (utility model)

Free format text: JAPANESE INTERMEDIATE CODE: A01

Effective date: 20180223

A61 First payment of annual fees (during grant procedure)

Free format text: JAPANESE INTERMEDIATE CODE: A61

Effective date: 20180323

R150 Certificate of patent or registration of utility model

Ref document number: 6313778

Country of ref document: JP

Free format text: JAPANESE INTERMEDIATE CODE: R150

R250 Receipt of annual fees

Free format text: JAPANESE INTERMEDIATE CODE: R250

R250 Receipt of annual fees

Free format text: JAPANESE INTERMEDIATE CODE: R250

R250 Receipt of annual fees

Free format text: JAPANESE INTERMEDIATE CODE: R250

R250 Receipt of annual fees

Free format text: JAPANESE INTERMEDIATE CODE: R250

R250 Receipt of annual fees

Free format text: JAPANESE INTERMEDIATE CODE: R250

R250 Receipt of annual fees

Free format text: JAPANESE INTERMEDIATE CODE: R250