JP6181333B2 - 半導体装置 - Google Patents
半導体装置 Download PDFInfo
- Publication number
- JP6181333B2 JP6181333B2 JP2017031776A JP2017031776A JP6181333B2 JP 6181333 B2 JP6181333 B2 JP 6181333B2 JP 2017031776 A JP2017031776 A JP 2017031776A JP 2017031776 A JP2017031776 A JP 2017031776A JP 6181333 B2 JP6181333 B2 JP 6181333B2
- Authority
- JP
- Japan
- Prior art keywords
- layer
- oxide semiconductor
- semiconductor layer
- thin film
- electrode
- Prior art date
- Legal status (The legal status is an assumption and is not a legal conclusion. Google has not performed a legal analysis and makes no representation as to the accuracy of the status listed.)
- Active
Links
Images
Classifications
-
- H—ELECTRICITY
- H10—SEMICONDUCTOR DEVICES; ELECTRIC SOLID-STATE DEVICES NOT OTHERWISE PROVIDED FOR
- H10D—INORGANIC ELECTRIC SEMICONDUCTOR DEVICES
- H10D64/00—Electrodes of devices having potential barriers
- H10D64/60—Electrodes characterised by their materials
- H10D64/62—Electrodes ohmically coupled to a semiconductor
-
- H—ELECTRICITY
- H10—SEMICONDUCTOR DEVICES; ELECTRIC SOLID-STATE DEVICES NOT OTHERWISE PROVIDED FOR
- H10D—INORGANIC ELECTRIC SEMICONDUCTOR DEVICES
- H10D30/00—Field-effect transistors [FET]
- H10D30/60—Insulated-gate field-effect transistors [IGFET]
- H10D30/67—Thin-film transistors [TFT]
- H10D30/674—Thin-film transistors [TFT] characterised by the active materials
- H10D30/6755—Oxide semiconductors, e.g. zinc oxide, copper aluminium oxide or cadmium stannate
-
- H—ELECTRICITY
- H10—SEMICONDUCTOR DEVICES; ELECTRIC SOLID-STATE DEVICES NOT OTHERWISE PROVIDED FOR
- H10D—INORGANIC ELECTRIC SEMICONDUCTOR DEVICES
- H10D30/00—Field-effect transistors [FET]
- H10D30/01—Manufacture or treatment
- H10D30/021—Manufacture or treatment of FETs having insulated gates [IGFET]
- H10D30/031—Manufacture or treatment of FETs having insulated gates [IGFET] of thin-film transistors [TFT]
-
- H—ELECTRICITY
- H10—SEMICONDUCTOR DEVICES; ELECTRIC SOLID-STATE DEVICES NOT OTHERWISE PROVIDED FOR
- H10D—INORGANIC ELECTRIC SEMICONDUCTOR DEVICES
- H10D30/00—Field-effect transistors [FET]
- H10D30/60—Insulated-gate field-effect transistors [IGFET]
- H10D30/67—Thin-film transistors [TFT]
- H10D30/6704—Thin-film transistors [TFT] having supplementary regions or layers in the thin films or in the insulated bulk substrates for controlling properties of the device
- H10D30/6713—Thin-film transistors [TFT] having supplementary regions or layers in the thin films or in the insulated bulk substrates for controlling properties of the device characterised by the properties of the source or drain regions, e.g. compositions or sectional shapes
-
- H—ELECTRICITY
- H10—SEMICONDUCTOR DEVICES; ELECTRIC SOLID-STATE DEVICES NOT OTHERWISE PROVIDED FOR
- H10D—INORGANIC ELECTRIC SEMICONDUCTOR DEVICES
- H10D30/00—Field-effect transistors [FET]
- H10D30/60—Insulated-gate field-effect transistors [IGFET]
- H10D30/67—Thin-film transistors [TFT]
- H10D30/674—Thin-film transistors [TFT] characterised by the active materials
- H10D30/6755—Oxide semiconductors, e.g. zinc oxide, copper aluminium oxide or cadmium stannate
- H10D30/6756—Amorphous oxide semiconductors
-
- H—ELECTRICITY
- H10—SEMICONDUCTOR DEVICES; ELECTRIC SOLID-STATE DEVICES NOT OTHERWISE PROVIDED FOR
- H10D—INORGANIC ELECTRIC SEMICONDUCTOR DEVICES
- H10D30/00—Field-effect transistors [FET]
- H10D30/60—Insulated-gate field-effect transistors [IGFET]
- H10D30/67—Thin-film transistors [TFT]
- H10D30/6757—Thin-film transistors [TFT] characterised by the structure of the channel, e.g. transverse or longitudinal shape or doping profile
-
- H—ELECTRICITY
- H10—SEMICONDUCTOR DEVICES; ELECTRIC SOLID-STATE DEVICES NOT OTHERWISE PROVIDED FOR
- H10D—INORGANIC ELECTRIC SEMICONDUCTOR DEVICES
- H10D62/00—Semiconductor bodies, or regions thereof, of devices having potential barriers
- H10D62/10—Shapes, relative sizes or dispositions of the regions of the semiconductor bodies; Shapes of the semiconductor bodies
-
- H—ELECTRICITY
- H10—SEMICONDUCTOR DEVICES; ELECTRIC SOLID-STATE DEVICES NOT OTHERWISE PROVIDED FOR
- H10D—INORGANIC ELECTRIC SEMICONDUCTOR DEVICES
- H10D62/00—Semiconductor bodies, or regions thereof, of devices having potential barriers
- H10D62/40—Crystalline structures
-
- H—ELECTRICITY
- H10—SEMICONDUCTOR DEVICES; ELECTRIC SOLID-STATE DEVICES NOT OTHERWISE PROVIDED FOR
- H10D—INORGANIC ELECTRIC SEMICONDUCTOR DEVICES
- H10D62/00—Semiconductor bodies, or regions thereof, of devices having potential barriers
- H10D62/80—Semiconductor bodies, or regions thereof, of devices having potential barriers characterised by the materials
-
- H—ELECTRICITY
- H10—SEMICONDUCTOR DEVICES; ELECTRIC SOLID-STATE DEVICES NOT OTHERWISE PROVIDED FOR
- H10D—INORGANIC ELECTRIC SEMICONDUCTOR DEVICES
- H10D64/00—Electrodes of devices having potential barriers
- H10D64/20—Electrodes characterised by their shapes, relative sizes or dispositions
- H10D64/27—Electrodes not carrying the current to be rectified, amplified, oscillated or switched, e.g. gates
- H10D64/311—Gate electrodes for field-effect devices
- H10D64/411—Gate electrodes for field-effect devices for FETs
- H10D64/511—Gate electrodes for field-effect devices for FETs for IGFETs
- H10D64/512—Disposition of the gate electrodes, e.g. buried gates
-
- H—ELECTRICITY
- H10—SEMICONDUCTOR DEVICES; ELECTRIC SOLID-STATE DEVICES NOT OTHERWISE PROVIDED FOR
- H10D—INORGANIC ELECTRIC SEMICONDUCTOR DEVICES
- H10D86/00—Integrated devices formed in or on insulating or conducting substrates, e.g. formed in silicon-on-insulator [SOI] substrates or on stainless steel or glass substrates
- H10D86/01—Manufacture or treatment
- H10D86/021—Manufacture or treatment of multiple TFTs
-
- H—ELECTRICITY
- H10—SEMICONDUCTOR DEVICES; ELECTRIC SOLID-STATE DEVICES NOT OTHERWISE PROVIDED FOR
- H10D—INORGANIC ELECTRIC SEMICONDUCTOR DEVICES
- H10D86/00—Integrated devices formed in or on insulating or conducting substrates, e.g. formed in silicon-on-insulator [SOI] substrates or on stainless steel or glass substrates
- H10D86/01—Manufacture or treatment
- H10D86/021—Manufacture or treatment of multiple TFTs
- H10D86/0221—Manufacture or treatment of multiple TFTs comprising manufacture, treatment or patterning of TFT semiconductor bodies
-
- H—ELECTRICITY
- H10—SEMICONDUCTOR DEVICES; ELECTRIC SOLID-STATE DEVICES NOT OTHERWISE PROVIDED FOR
- H10D—INORGANIC ELECTRIC SEMICONDUCTOR DEVICES
- H10D86/00—Integrated devices formed in or on insulating or conducting substrates, e.g. formed in silicon-on-insulator [SOI] substrates or on stainless steel or glass substrates
- H10D86/40—Integrated devices formed in or on insulating or conducting substrates, e.g. formed in silicon-on-insulator [SOI] substrates or on stainless steel or glass substrates characterised by multiple TFTs
- H10D86/421—Integrated devices formed in or on insulating or conducting substrates, e.g. formed in silicon-on-insulator [SOI] substrates or on stainless steel or glass substrates characterised by multiple TFTs having a particular composition, shape or crystalline structure of the active layer
- H10D86/423—Integrated devices formed in or on insulating or conducting substrates, e.g. formed in silicon-on-insulator [SOI] substrates or on stainless steel or glass substrates characterised by multiple TFTs having a particular composition, shape or crystalline structure of the active layer comprising semiconductor materials not belonging to the Group IV, e.g. InGaZnO
-
- H—ELECTRICITY
- H10—SEMICONDUCTOR DEVICES; ELECTRIC SOLID-STATE DEVICES NOT OTHERWISE PROVIDED FOR
- H10D—INORGANIC ELECTRIC SEMICONDUCTOR DEVICES
- H10D86/00—Integrated devices formed in or on insulating or conducting substrates, e.g. formed in silicon-on-insulator [SOI] substrates or on stainless steel or glass substrates
- H10D86/40—Integrated devices formed in or on insulating or conducting substrates, e.g. formed in silicon-on-insulator [SOI] substrates or on stainless steel or glass substrates characterised by multiple TFTs
- H10D86/451—Integrated devices formed in or on insulating or conducting substrates, e.g. formed in silicon-on-insulator [SOI] substrates or on stainless steel or glass substrates characterised by multiple TFTs characterised by the compositions or shapes of the interlayer dielectrics
-
- H—ELECTRICITY
- H10—SEMICONDUCTOR DEVICES; ELECTRIC SOLID-STATE DEVICES NOT OTHERWISE PROVIDED FOR
- H10D—INORGANIC ELECTRIC SEMICONDUCTOR DEVICES
- H10D86/00—Integrated devices formed in or on insulating or conducting substrates, e.g. formed in silicon-on-insulator [SOI] substrates or on stainless steel or glass substrates
- H10D86/40—Integrated devices formed in or on insulating or conducting substrates, e.g. formed in silicon-on-insulator [SOI] substrates or on stainless steel or glass substrates characterised by multiple TFTs
- H10D86/60—Integrated devices formed in or on insulating or conducting substrates, e.g. formed in silicon-on-insulator [SOI] substrates or on stainless steel or glass substrates characterised by multiple TFTs wherein the TFTs are in active matrices
-
- H—ELECTRICITY
- H10—SEMICONDUCTOR DEVICES; ELECTRIC SOLID-STATE DEVICES NOT OTHERWISE PROVIDED FOR
- H10D—INORGANIC ELECTRIC SEMICONDUCTOR DEVICES
- H10D99/00—Subject matter not provided for in other groups of this subclass
-
- G—PHYSICS
- G02—OPTICS
- G02F—OPTICAL DEVICES OR ARRANGEMENTS FOR THE CONTROL OF LIGHT BY MODIFICATION OF THE OPTICAL PROPERTIES OF THE MEDIA OF THE ELEMENTS INVOLVED THEREIN; NON-LINEAR OPTICS; FREQUENCY-CHANGING OF LIGHT; OPTICAL LOGIC ELEMENTS; OPTICAL ANALOGUE/DIGITAL CONVERTERS
- G02F1/00—Devices or arrangements for the control of the intensity, colour, phase, polarisation or direction of light arriving from an independent light source, e.g. switching, gating or modulating; Non-linear optics
- G02F1/01—Devices or arrangements for the control of the intensity, colour, phase, polarisation or direction of light arriving from an independent light source, e.g. switching, gating or modulating; Non-linear optics for the control of the intensity, phase, polarisation or colour
- G02F1/13—Devices or arrangements for the control of the intensity, colour, phase, polarisation or direction of light arriving from an independent light source, e.g. switching, gating or modulating; Non-linear optics for the control of the intensity, phase, polarisation or colour based on liquid crystals, e.g. single liquid crystal display cells
- G02F1/133—Constructional arrangements; Operation of liquid crystal cells; Circuit arrangements
- G02F1/136—Liquid crystal cells structurally associated with a semi-conducting layer or substrate, e.g. cells forming part of an integrated circuit
- G02F1/1362—Active matrix addressed cells
- G02F1/1368—Active matrix addressed cells in which the switching element is a three-electrode device
-
- H—ELECTRICITY
- H10—SEMICONDUCTOR DEVICES; ELECTRIC SOLID-STATE DEVICES NOT OTHERWISE PROVIDED FOR
- H10D—INORGANIC ELECTRIC SEMICONDUCTOR DEVICES
- H10D30/00—Field-effect transistors [FET]
- H10D30/60—Insulated-gate field-effect transistors [IGFET]
- H10D30/67—Thin-film transistors [TFT]
- H10D30/6729—Thin-film transistors [TFT] characterised by the electrodes
-
- H—ELECTRICITY
- H10—SEMICONDUCTOR DEVICES; ELECTRIC SOLID-STATE DEVICES NOT OTHERWISE PROVIDED FOR
- H10K—ORGANIC ELECTRIC SOLID-STATE DEVICES
- H10K59/00—Integrated devices, or assemblies of multiple devices, comprising at least one organic light-emitting element covered by group H10K50/00
- H10K59/10—OLED displays
- H10K59/12—Active-matrix OLED [AMOLED] displays
- H10K59/121—Active-matrix OLED [AMOLED] displays characterised by the geometry or disposition of pixel elements
- H10K59/1213—Active-matrix OLED [AMOLED] displays characterised by the geometry or disposition of pixel elements the pixel elements being TFTs
Landscapes
- Thin Film Transistor (AREA)
- Liquid Crystal (AREA)
- Electrodes Of Semiconductors (AREA)
- Engineering & Computer Science (AREA)
- Manufacturing & Machinery (AREA)
- Chemical & Material Sciences (AREA)
- Crystallography & Structural Chemistry (AREA)
- Devices For Indicating Variable Information By Combining Individual Elements (AREA)
- Electroluminescent Light Sources (AREA)
- Metal-Oxide And Bipolar Metal-Oxide Semiconductor Integrated Circuits (AREA)
- Semiconductor Integrated Circuits (AREA)
- Electrochromic Elements, Electrophoresis, Or Variable Reflection Or Absorption Elements (AREA)
- Shift Register Type Memory (AREA)
- Internal Circuitry In Semiconductor Integrated Circuit Devices (AREA)
Description
らの作製方法に関する。
スプレイとしては、各画素に薄膜トランジスタ(TFT)が設けられたアクティブマトリ
クス型のものがよく用いられている。アクティブマトリクス型液晶ディスプレイの薄膜ト
ランジスタには、活性層としてアモルファスシリコンや多結晶シリコン用いられる。アモ
ルファスシリコンを用いた薄膜トランジスタは、電界効果移動度が低いが、大型ガラス基
板のような大面積基板にも容易に形成することができる。一方、多結晶シリコンを用いた
薄膜トランジスタは電界効果移動度が高いが、レーザアニール等の結晶化工程が必要なの
で、大型ガラス基板のような大面積基板に形成するには膨大な時間がかかる。
スタを作製し、電子デバイスや光デバイスに応用する技術が注目されている。例えば、酸
化物半導体膜として酸化亜鉛、In−Ga−Zn−O系酸化物半導体を用いて薄膜トラン
ジスタを作製し、画像表示装置のスイッチング素子などに用いる技術が特許文献1及び特
許文献2で開示されている。
用いた薄膜トランジスタの10倍から100倍程度の電界効果移動度が得られている。酸
化物半導体膜はスパッタリング法などによって300℃以下の温度で膜形成が可能であり
、多結晶シリコンを用いた薄膜トランジスタよりも製造工程が簡単である。よって、大型
基板を用いた場合にも、表示装置の画素部とその周辺の駆動回路を同一基板上に容易に形
成することができる。
への電圧の印加及び保持容量の充電を行うため、大きい駆動電流が必要とされる。特に、
画面を大型化又は高精細化した液晶表示装置では、より大きい駆動電流が要求される。そ
のため、スイッチング素子として用いられる薄膜トランジスタは、電界効果移動度が高い
ものが好ましい。
の駆動回路に用いられてきた多結晶シリコンを用いた薄膜トランジスタの電界効果移動度
より低くなっている。
移動度を向上させることを課題の一とする。また、本発明の一態様は、薄膜トランジスタ
の電界効果移動度を向上させても、オフ電流の増大を抑制することを課題の一とする。ま
た、本発明の一態様は、該酸化物半導体を用いた薄膜トランジスタを有する表示装置を提
供することを課題の一とする。
酸化物半導体層とゲート絶縁層の間に、該酸化物半導体層より導電率が高く、膜厚が薄い
半導体層を形成する。
に半導体層と、半導体層上に酸化物半導体層と、酸化物半導体層上にソース電極層及びド
レイン電極層とを有し、酸化物半導体層はインジウム、ガリウム、及び亜鉛を含む酸化物
半導体層であり、半導体層の膜厚は、酸化物半導体層の膜厚より薄く、半導体層の導電率
は、酸化物半導体層の導電率より高く、酸化物半導体層とソース電極層及びドレイン電極
層とは電気的に接続することを特徴とする半導体装置である。
層上に半導体層と、半導体層上に酸化物半導体層と、酸化物半導体層上にn型の導電型を
有するバッファ層と、バッファ層上にソース電極層及びドレイン電極層とを有し、酸化物
半導体層及びバッファ層はインジウム、ガリウム、及び亜鉛を含む酸化物半導体層であり
、バッファ層のキャリア濃度は、酸化物半導体層のキャリア濃度より高く、半導体層の膜
厚は、酸化物半導体層の膜厚より薄く、半導体層の導電率は、酸化物半導体層の導電率よ
り高く、バッファ層の導電率は、半導体層の導電率より高く、酸化物半導体層とソース電
極層及びドレイン電極層とはバッファ層を介して電気的に接続することを特徴とする半導
体装置である。
好ましい。また、半導体層の導電率は、1.0×10−3S/cmより大きいことが好ま
しい。また、酸化物半導体層は、ソース電極層とドレイン電極層の間に、ソース電極層及
びドレイン電極層と重なる領域よりも膜厚の薄い領域を有することが好ましい。また、バ
ッファ層のキャリア濃度は、1×1018/cm3以上であり、酸化物半導体層のキャリ
ア濃度は、1×1017/cm3未満であることが好ましい。
を形成し、ゲート絶縁層上に、インジウム、ガリウム、及び亜鉛を含む第1の酸化物半導
体膜をスパッタ法によって成膜し、第1の酸化物半導体膜上に、インジウム、ガリウム、
及び亜鉛を含む第2の酸化物半導体膜をスパッタ法によって成膜し、第1の酸化物半導体
膜と第2の酸化物半導体膜をエッチングして半導体層と島状の第2の酸化物半導体膜を形
成し、半導体層と島状の第2の酸化物半導体膜の上に導電層を成膜し、島状の第2の酸化
物半導体膜と導電層をエッチングして酸化物半導体層とソース電極層及びドレイン電極層
を形成し、第1の酸化物半導体膜の成膜時の酸素ガス流量の比率を、第2の酸化物半導体
膜の成膜時の酸素ガス流量の比率より少なくすることを特徴とする半導体装置の作製方法
である。
の酸化物半導体膜の成膜時の酸素ガス流量の比率を10体積%以上とすることが好ましい
。また、第1の酸化物半導体膜をアルゴンガス雰囲気下で成膜し、第2の酸化物半導体膜
をアルゴンガスと酸素ガスの雰囲気下で成膜することが好ましい。また、酸化物半導体層
におけるソース電極層とドレイン電極層の間の領域に、ソース電極層及びドレイン電極層
と重なる領域よりも膜厚の薄い領域を設けることが好ましい。
膜を形成し、その薄膜を用いた薄膜トランジスタを作製する。なお、Mは、ガリウム(G
a)、鉄(Fe)、ニッケル(Ni)、マンガン(Mn)及びコバルト(Co)から選ば
れた一の金属元素又は複数の金属元素を示す。例えばMとして、Gaの場合があることの
他、GaとNi又はGaとFeなど、Ga以外の上記金属元素が含まれる場合がある。ま
た、上記酸化物半導体において、Mとして含まれる金属元素の他に、不純物元素としてF
e、Niその他の遷移金属元素、又は該遷移金属の酸化物が含まれているものがある。本
明細書においてはこの薄膜をIn−Ga−Zn−O系非単結晶膜とも呼ぶ。
)の分析では観察される。なお、測定したサンプルのIn−Ga−Zn−O系非単結晶膜
は、スパッタ法で成膜した後、加熱処理を200℃〜500℃、代表的には300〜40
0℃で10分〜100分行っている。また、薄膜トランジスタの電気特性もゲート電圧±
20Vにおいて、オンオフ比が109以上、移動度が10以上のものを作製することがで
きる。
示すものではない。また、本明細書において発明を特定するための事項として固有の名称
を示すものではない。
全般を指し、電気光学装置、半導体回路および電子機器は全て半導体装置である。
とゲート絶縁層の間に、該酸化物半導体層より導電率が高く、膜厚が薄い半導体層を形成
することによって、該薄膜トランジスタの電界効果移動度を向上させることができる。ま
た、薄膜トランジスタの電界効果移動度を向上させながらもオフ電流の増大を抑制するこ
とができる。
ことによって、電気特性が高く信頼性のよい表示装置を提供することができる。
れず、本発明の趣旨及びその範囲から逸脱することなくその形態及び詳細を様々に変更し
得ることは当業者であれば容易に理解される。従って、本発明は以下に示す実施の形態の
記載内容に限定して解釈されるものではない。なお、以下に説明する発明の構成において
、同一部分又は同様な機能を有する部分には同一の符号を異なる図面間で共通して用い、
その繰り返しの説明は省略する。
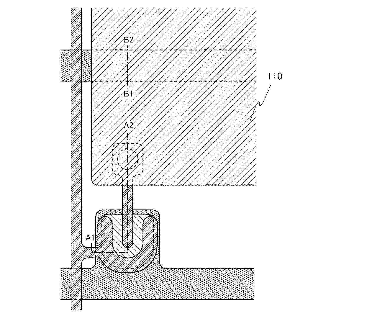
本実施の形態では、薄膜トランジスタの構造について、図1を用いて説明する。
であり、図1(B)は平面図である。図1(A)は、図1(B)における線A1−A2の
断面図となっている。
ト電極層101上にゲート絶縁層102が設けられ、ゲート絶縁層102上に半導体層1
06が設けられ、半導体層106上に酸化物半導体層103が設けられ、酸化物半導体層
103上にソース電極層又はドレイン電極層105a、105bが設けられている。
ングステン、ネオジム、スカンジウムなどの金属材料、またはこれらの金属材料を主成分
とする合金材料、またはこれらの金属材料を成分とする窒化物を用いて、単層又は積層で
形成することができる。アルミニウムや銅などの低抵抗導電性材料で形成するのが望まし
いが、耐熱性が低い、または腐食しやすいという問題点があるので耐熱性導電性材料と組
み合わせて用いるのが好ましい。耐熱性導電性材料としては、モリブデン、チタン、クロ
ム、タンタル、タングステン、ネオジム、スカンジウム等を用いる。
層された二層の積層構造、または銅層上にモリブデン層を積層した二層構造、または銅層
上に窒化チタン層若しくは窒化タンタル層を積層した二層構造、窒化チタン層とモリブデ
ン層とを積層した二層構造とすることが好ましい。3層の積層構造としては、タングステ
ン層または窒化タングステン層と、アルミニウムとシリコンの合金層またはアルミニウム
とチタンの合金層と、窒化チタン層またはチタン層とを積層した構造とすることが好まし
い。
膜を用い、InMO3(ZnO)m(m>0)で表記される構造とする。なお、Mは、ガ
リウム(Ga)、鉄(Fe)、ニッケル(Ni)、マンガン(Mn)及びコバルト(Co
)から選ばれた一の金属元素又は複数の金属元素を示す。例えばMとして、Gaの場合が
あることの他、GaとNi又はGaとFeなど、Ga以外の上記金属元素が含まれる場合
がある。また、上記酸化物半導体において、Mとして含まれる金属元素の他に、不純物元
素としてFe、Niその他の遷移金属元素、又は該遷移金属の酸化物が含まれているもの
がある。
0nmとする。また、酸化物半導体層103は、ソース電極層又はドレイン電極層105
a、105bの間に、ソース電極層又はドレイン電極層105a、105bと重なる領域
よりも膜厚の薄い領域を有する。
また、酸化物半導体層103の導電率は1.0×10−11S/cm以上であることが好
ましい。酸化物半導体層103のキャリア濃度範囲は1×1017/cm3未満(より好
ましくは1×1011/cm3以上)が好ましい。酸化物半導体層103のキャリア濃度
範囲が上記の範囲を超えると、薄膜トランジスタがノーマリーオンとなる恐れがある。
膜厚が薄いものとする。半導体層106の導電率は1.0×10−3S/cmより大きい
ことが好ましい。また、半導体層106の膜厚は1nm以上50nm以下とし、好ましく
は5nm以上10nm以下とする。ここで、半導体層106の膜厚は酸化物半導体層10
3より薄いので、薄膜トランジスタがオフのときに酸化物半導体層103のエッチング処
理を施された部分が主なドレイン電流の流れとなり、導電率の高い半導体層106にオフ
電流が流れず、オフ電流の増大が抑制される。
半導体層106にIn−Ga−Zn−O系非単結晶膜を用いる場合、少なくともアモルフ
ァス成分を含んでいるものとし、非晶質構造の中に結晶粒(ナノクリスタル)を含む場合
もある。この半導体層106中の結晶粒(ナノクリスタル)は直径1nm〜10nm、代
表的には2nm〜4nm程度である。しかし、半導体層106はIn−Ga−Zn−O系
非単結晶膜だけに限られない。上記条件を満たすならば、In−Ga−Zn−O系非単結
晶以外の酸化物半導体、単結晶半導体、多結晶半導体、微結晶半導体、非晶質半導体、化
合物半導体などの半導体を用いてもよい。半導体層106にIn−Ga−Zn−O系非単
結晶膜を用いると、酸化物半導体層103と半導体層106を連続して形成することがで
きるため、薄膜トランジスタ作製の効率化を図り、生産性を向上することができる。
103のスパッタ成膜における成膜ガス全体に対する酸素ガス流量の比率よりも、半導体
層106のスパッタ成膜における成膜ガス全体に対する酸素ガス流量の比率を小さくする
ことによって、酸化物半導体層103より半導体層106の導電率を高くすることができ
る。半導体層106の成膜条件は、成膜ガス全体に対する酸素ガス流量の比率を10体積
%未満とするのが好ましい。また、酸化物半導体層103の成膜条件は、成膜ガス全体に
対する酸素ガスの比率を10体積%以上とするのが好ましい。また、半導体層106の成
膜条件は、成膜ガスに酸素ガスを含まない、アルゴンなどの希ガス雰囲気下としてもよい
。
ことによって、薄膜トランジスタがオンのときには、導電率の高い半導体層106に主な
ドレイン電流の流れを導き、電界効果移動度を増大させることができる。また、薄膜トラ
ンジスタがオフのときには酸化物半導体層103のエッチング処理を施された部分を主な
ドレイン電流の流れとすることによって、導電率の高い半導体層106にオフ電流が流れ
るのを防ぎ、オフ電流の増大を抑制することができる。
b、第2の導電層113a、113b、第3の導電層114a、114bからなる3層構
造となっている。第1の導電層112a、112b〜第3の導電層114a、114bの
材料としては、アルミニウム、銅、モリブデン、チタン、クロム、タンタル、タングステ
ン、ネオジム、スカンジウムなどの金属材料、またはこれらの金属材料を主成分とする合
金材料、またはこれらの金属材料を成分とする窒化物を用いることができる。アルミニウ
ムや銅などの低抵抗導電性材料で形成するのが望ましいが、耐熱性が低い、または腐食し
やすいという問題点があるので耐熱性導電性材料と組み合わせて用いるのが好ましい。耐
熱性導電性材料としては、モリブデン、チタン、クロム、タンタル、タングステン、ネオ
ジム、スカンジウム等を用いる。
導電性材料であるチタンを用い、第2の導電層113a、113bに低抵抗であるネオジ
ムを含むアルミニウム合金を用いるのが好ましい。このような構成にすることで、アルミ
ニウムの低抵抗性を活かしつつ、ヒロックの発生を低減することができる。なお、本実施
の形態では、ソース電極層又はドレイン電極層105a、105bを第1の導電層112
a、112b、第2の導電層113a、113b、第3の導電層114a、114bから
なる3層構造としたが、これに限られることはなく、単層構造としてもよいし、2層構造
としてもよいし、4層以上の構造としてもよい。
、該酸化物半導体層より導電率が高く、膜厚が薄い半導体層を形成し、薄膜トランジスタ
がオンのときに電界効果移動度を向上させることができる。また、薄膜トランジスタの電
界効果移動度を向上させながらもオフ電流の増大を抑制することができる。
ることができることとする。
本実施の形態では、実施の形態1で示した薄膜トランジスタを含む表示装置の作製工程に
ついて、図2乃至図9を用いて説明する。図2と図3は断面図で、図4乃至図7は平面図
となっており、図4乃至図7の線A1−A2及び線B1−B2は、図2及び図3の断面図
に示す線A1−A2、線B1−B2に対応している。
ケイ酸ガラス、若しくはアルミノシリケートガラスなど、フュージョン法やフロート法で
作製される無アルカリガラス基板、セラミック基板の他、本作製工程の処理温度に耐えう
る耐熱性を有するプラスチック基板等を用いることができる。また、ステンレス合金など
の金属基板の表面に絶縁膜を設けた基板を適用しても良い。基板100の大きさは、32
0mm×400mm、370mm×470mm、550mm×650mm、600mm×
720mm、680mm×880mm、730mm×920mm、1000mm×120
0mm、1100mm×1250mm、1150mm×1300mm、1500mm×1
800mm、1900mm×2200mm、2160mm×2460mm、2400mm
×2800mm、又は2850mm×3050mm等を用いることができる。
スパッタ法等を用いて、酸化シリコン膜、窒化シリコン膜、酸化窒化シリコン膜、または
窒化酸化シリコン膜の単層、又は積層で形成すればよい。基板100としてガラス基板の
ような可動イオンを含有する基板を用いる場合、下地膜として窒化シリコン膜、窒化酸化
シリコン膜などの窒素を含有する膜を用いることで、可動イオンが酸化物半導体層や半導
体層に侵入することを防ぐことができる。
形成するための導電膜をスパッタ法や真空蒸着法で基板100全面に成膜する。次いで、
導電膜を基板100全面に形成した後、第1のフォトリソグラフィ工程を行い、レジスト
マスクを形成し、エッチングにより不要な部分を除去して配線及び電極(ゲート電極層1
01を含むゲート配線、容量配線108、及び第1の端子121)を形成する。このとき
段切れ防止のために、少なくともゲート電極層101の端部にテーパー形状が形成される
ようにエッチングするのが好ましい。この段階での断面図を図2(A)に示した。なお、
この段階での平面図が図4に相当する。
アルミニウム、銅、モリブデン、チタン、クロム、タンタル、タングステン、ネオジム、
スカンジウムなどの金属材料、またはこれらの金属材料を主成分とする合金材料、または
これらの金属材料を成分とする窒化物を用いて、単層又は積層で形成することができる。
アルミニウムや銅などの低抵抗導電性材料で形成するのが望ましいが、耐熱性が低い、ま
たは腐食しやすいという問題点があるので耐熱性導電性材料と組み合わせて用いるのが好
ましい。耐熱性導電性材料としては、モリブデン、チタン、クロム、タンタル、タングス
テン、ネオジム、スカンジウム等を用いる。
層された二層の積層構造、または銅層上にモリブデン層を積層した二層構造、または銅層
上に窒化チタン層若しくは窒化タンタルを積層した二層構造、窒化チタン層とモリブデン
層とを積層した二層構造とすることが好ましい。3層の積層構造としては、タングステン
層または窒化タングステンと、アルミニウムとシリコンの合金またはアルミニウムとチタ
ンの合金と、窒化チタンまたはチタン層とを積層した構造とすることが好ましい。
02はCVD法やスパッタ法などを用い、膜厚を50〜250nmとする。
100nmの厚さで形成する。勿論、ゲート絶縁層102はこのような酸化シリコン膜に
限定されるものでなく、酸化窒化シリコン膜、窒化酸化シリコン膜、窒化シリコン膜、酸
化アルミニウム膜、酸化タンタル膜などの他の絶縁膜を用い、これらの材料から成る単層
または積層構造として形成しても良い。
層を形成することも可能である。有機シランガスとしては、珪酸エチル(TEOS:化学
式Si(OC2H5)4)、テトラメチルシラン(TMS:化学式Si(CH3)4)、
テトラメチルシクロテトラシロキサン(TMCTS)、オクタメチルシクロテトラシロキ
サン(OMCTS)、ヘキサメチルジシラザン(HMDS)、トリエトキシシラン(Si
H(OC2H5)3)、トリスジメチルアミノシラン(SiH(N(CH3)2)3)等
のシリコン含有化合物を用いることができる。
物、窒化物、酸化窒化物、又は窒化酸化物の一種又はそれらの化合物を少なくとも2種以
上含む化合物を用いることもできる。
数が多い物質のことを指し、窒化酸化物とは、その組成として、酸素原子より窒素原子の
数が多い物質のことを指す。例えば、酸化窒化シリコン膜とは、その組成として、窒素原
子よりも酸素原子の数が多く、ラザフォード後方散乱法(RBS:Rutherford
Backscattering Spectrometry)及び水素前方散乱法(H
FS:Hydrogen Forward Scattering)を用いて測定した場
合に、濃度範囲として酸素が50〜70原子%、窒素が0.5〜15原子%、シリコンが
25〜35原子%、水素が0.1〜10原子%の範囲で含まれるものをいう。また、窒化
酸化シリコン膜とは、その組成として、酸素原子より窒素原子の数が多く、RBS及びH
FSを用いて測定した場合に、濃度範囲として酸素が5〜30原子%、窒素が20〜55
原子%、シリコンが25〜35原子%、水素が10〜30原子%の範囲で含まれるものを
いう。但し、酸化窒化シリコンまたは窒化酸化シリコンを構成する原子の合計を100原
子%としたとき、窒素、酸素、シリコン及び水素の含有比率が上記の範囲内に含まれるも
のとする。
する前に、アルゴンガスを導入してプラズマを発生させる逆スパッタを行い、ゲート絶縁
層102の表面に付着しているゴミを除去することが好ましい。逆スパッタとは、ターゲ
ット側に電圧を印加せずに、アルゴン雰囲気下で基板側にRF電源を用いて電圧を印加し
て基板にプラズマを形成して表面を改質する方法である。なお、アルゴン雰囲気に代えて
窒素、ヘリウムなどを用いてもよい。また、アルゴン雰囲気に酸素、水素、N2Oなどを
加えた雰囲気で行ってもよい。また、アルゴン雰囲気にCl2、CF4などを加えた雰囲
気で行ってもよい。逆スパッタ処理後、大気に曝すことなく第1の酸化物半導体膜を成膜
することによって、ゲート絶縁層102と半導体層106の界面にゴミや水分が付着する
のを防ぐことができる。
(本実施の形態では第1のIn−Ga−Zn−O系非単結晶膜)を、スパッタ法を用いて
アルゴンなどの希ガスと酸素ガスの雰囲気下で成膜する。ただし、酸素ガスについては必
ずしも必要ではない。具体的な条件例としては、直径8インチのIn、Ga、及びZnを
含む酸化物半導体ターゲット(In2O3:Ga2O3:ZnO=1:1:1)を用いて
、基板とターゲットの間との距離を170mm、圧力0.4Pa、直流(DC)電源0.
5kW、成膜ガスAr:O2=50:1(sccm)、成膜温度を室温としてスパッタ成
膜を行う。また、ターゲットとしては、In2O3を含む直径8インチの円盤上にペレッ
ト状のGa2O3とZnOを配置するようにしてもよい。
も関わらず、成膜直後で大きさ1nm〜10nmの結晶粒を含むIn−Ga−Zn−O系
非単結晶膜が形成されることがある。なお、ターゲットの成分比、成膜圧力(0.1Pa
〜2.0Pa)、電力(250W〜3000W:8インチφ)、温度(室温〜100℃)
、反応性スパッタの成膜条件などを適宜調節することで結晶粒の有無や、結晶粒の密度や
、直径サイズは、1nm〜10nmの範囲で調節されうると言える。第1のIn−Ga−
Zn−O系非単結晶膜の膜厚は、1nm〜50nmとし、好ましくは5nm〜10nmと
する。勿論、膜中に結晶粒が含まれる場合、含まれる結晶粒のサイズが膜厚を超える大き
さとならない。また、パルス直流(DC)電源を用いると、ごみが軽減でき、膜厚分布も
均一となるために好ましい。
酸化物半導体膜と第2の酸化物半導体膜とを連続して成膜することができるので、表示装
置作製の効率化を図り、生産性を向上することができる。なお、本実施の形態では、半導
体層106としてIn−Ga−Zn−O系非単結晶膜を用いているが、それに限られず、
In−Ga−Zn−O系非単結晶以外の酸化物半導体、単結晶半導体、多結晶半導体、微
結晶半導体、非晶質半導体、化合物半導体などの半導体を用いてもよい。
体膜(本実施の形態では第2のIn−Ga−Zn−O系非単結晶膜)を、スパッタ法を用
いてアルゴンなどの希ガスと酸素ガスの雰囲気下で成膜する。具体的な条件例としては、
直径8インチのIn、Ga、及びZnを含む酸化物半導体ターゲット(In2O3:Ga
2O3:ZnO=1:1:1)を用いて、基板とターゲットの間との距離を170mm、
圧力0.4Pa、直流(DC)電源0.5kW、成膜ガスAr:O2=50:5(scc
m)、成膜温度を室温としてスパッタ成膜を行う。また、ターゲットとしては、In2O
3を含む直径8インチの円盤上にペレット状のGa2O3とZnOを配置するようにして
もよい。なお、パルス直流(DC)電源を用いると、ごみが軽減でき、膜厚分布も均一と
なるために好ましい。第2のIn−Ga−Zn−O系非単結晶膜の膜厚は、10nm〜3
00nmとし、好ましくは20nm〜100nmとする。
酸素ガス流量の比率よりも、第1のIn−Ga−Zn−O系非単結晶膜のスパッタ成膜に
おける成膜ガス全体に対する酸素ガス流量の比率を小さくする。これによって、第2のI
n−Ga−Zn−O系非単結晶膜より第1のIn−Ga−Zn−O系非単結晶膜の導電率
を高くすることができる。第1のIn−Ga−Zn−O系非単結晶膜の成膜条件は、成膜
ガス全体に対する酸素ガス流量の比率を10体積%未満とするのが好ましい。また、第2
のIn−Ga−Zn−O系非単結晶膜の成膜条件は、成膜ガス全体に対する酸素ガスの比
率を10体積%以上とするのが好ましい。また、第1のIn−Ga−Zn−O系非単結晶
膜の成膜条件は、成膜ガスに酸素ガスを含まない、アルゴンなどの希ガス雰囲気下として
もよい。
と同一チャンバーを用いてもよいし、先に逆スパッタを行ったチャンバーと異なるチャン
バーで成膜してもよい。
があり、さらにパルス的にバイアスを与えるパルスDCスパッタ法もある。RFスパッタ
法は主に絶縁膜を成膜する場合に用いられ、DCスパッタ法は主に金属膜を成膜する場合
に用いられる。
装置は、同一チャンバーで異なる材料膜を積層成膜することも、同一チャンバーで複数種
類の材料を同時に放電させて成膜することもできる。
や、グロー放電を使わずマイクロ波を用いて発生させたプラズマを用いるECRスパッタ
法を用いるスパッタ装置がある。
とを化学反応させてそれらの化合物薄膜を形成するリアクティブスパッタ法や、成膜中に
基板にも電圧をかけるバイアススパッタ法もある。
a−Zn−O系非単結晶膜及び第2のIn−Ga−Zn−O系非単結晶膜をエッチングす
る。エッチングには、クエン酸やシュウ酸などの有機酸をエッチャントとして用いること
ができる。ここでは、ITO07N(関東化学社製)を用いたウェットエッチングにより
、不要な部分を除去して第1のIn−Ga−Zn−O系非単結晶膜及び第2のIn−Ga
−Zn−O系非単結晶膜を島状にし、第1のIn−Ga−Zn−O系非単結晶膜からなる
半導体層106、第2のIn−Ga−Zn−O系非単結晶膜である酸化物半導体膜111
を形成する。半導体層106及び酸化物半導体膜111の端部をテーパー状にエッチング
することで、段差形状による配線の段切れを防ぐことができる。なお、ここでのエッチン
グは、ウェットエッチングに限定されずドライエッチングを用いてもよい。この段階での
断面図を図2(B)に示した。なお、この段階での平面図が図5に相当する。
より不要な部分を除去してゲート電極層101と同じ材料の配線や電極層に達するコンタ
クトホールを形成する。このコンタクトホールは後に形成する導電膜と直接接続するため
に設ける。例えば、駆動回路において、ゲート電極層とソース電極層或いはドレイン電極
層と直接接する薄膜トランジスタや、端子部のゲート配線と電気的に接続する端子を形成
する場合にコンタクトホールを形成する。
2、第2の導電層113、第3の導電層114をスパッタ法や真空蒸着法で成膜する。こ
の段階での断面図を図2(C)に示した。
ニウム、銅、モリブデン、チタン、クロム、タンタル、タングステン、ネオジム、スカン
ジウムなどの金属材料、またはこれらの金属材料を主成分とする合金材料、またはこれら
の金属材料を成分とする窒化物を用いることができる。アルミニウムや銅などの低抵抗導
電性材料で形成するのが望ましいが、耐熱性が低い、または腐食しやすいという問題点が
あるので耐熱性導電性材料と組み合わせて用いるのが好ましい。耐熱性導電性材料として
は、モリブデン、チタン、クロム、タンタル、タングステン、ネオジム、スカンジウム等
を用いる。
タンを用い、第2の導電層113としてネオジムを含むアルミニウム合金を用いる。この
ような構成にすることで、アルミニウムの低抵抗性を活かしつつ、ヒロックの発生を低減
することができる。なお、本実施の形態では第1の導電層112〜第3の導電層114か
らなる3層構造としたが、これに限られることはなく、単層構造としてもよいし、2層構
造としてもよいし、4層以上の構造としてもよい。例えば、チタン膜の単層構造としても
よいし、シリコンを含むアルミニウム膜の単層構造としてもよい。
グにより不要な部分を除去してソース電極層又はドレイン電極層105a、105b、酸
化物半導体層103及び接続電極120を形成する。この際のエッチング方法としてウェ
ットエッチングまたはドライエッチングを用いる。例えば、第1の導電層112及び第3
の導電層114にチタンを、第2の導電層113にネオジムを含むアルミニウム合金を用
いる場合には、過酸化水素水又は加熱塩酸をエッチャントに用いてウェットエッチングす
ることができる。このエッチング工程において、酸化物半導体膜111の露出領域も一部
エッチングされ、ソース電極層又はドレイン電極層105a、105bの間に、ソース電
極層又はドレイン電極層105a、105bと重なる領域よりも膜厚の薄い領域を有する
酸化物半導体層103となる。よって薄膜トランジスタのチャネル形成領域は酸化物半導
体層103の膜厚の薄い領域と重なることになる。
1のエッチングを過酸化水素水又は加熱塩酸をエッチャントとするエッチングで一度に行
うことができるため、ソース電極層又はドレイン電極層105a、105b及び酸化物半
導体層103の端部は一致し、連続的な構造とすることができる。またウェットエッチン
グを用いるために、エッチングが等方的に行われ、ソース電極層又はドレイン電極層10
5a、105bの端部はレジストマスク131より後退している。以上の工程で酸化物半
導体層103及び半導体層106をチャネル形成領域とする薄膜トランジスタ170が作
製できる。この段階での断面図を図3(A)に示した。なお、この段階での平面図が図6
に相当する。
しい。ここでは炉に入れ、窒素雰囲気下で350℃、1時間の熱処理を行う。この熱処理
によりIn−Ga−Zn−O系非単結晶膜の原子レベルの再配列が行われる。この熱処理
によりキャリアの移動を阻害する歪が解放されるため、ここでの熱処理(光アニールも含
む)は重要である。なお、熱処理を行うタイミングは、第2のIn−Ga−Zn−O系非
単結晶膜の成膜後であれば特に限定されず、例えば画素電極形成後に行ってもよい。
行ってもよい。酸素ラジカル処理を行うことにより薄膜トランジスタをノーマリーオフと
することができる。また、ラジカル処理を行うことにより、酸化物半導体層103のエッ
チングによるダメージを回復することができる。ラジカル処理はO2、N2O、好ましく
は酸素を含むN2、He、Ar雰囲気下で行うことが好ましい。また、上記雰囲気にCl
2、CF4を加えた雰囲気下で行ってもよい。なお、ラジカル処理は、無バイアスで行う
ことが好ましい。
05a、105bと同じ材料である第2の端子122を端子部に残す。なお、第2の端子
122はソース配線(ソース電極層又はドレイン電極層105a、105bを含むソース
配線)と電気的に接続されている。
ホールを介して端子部の第1の端子121と直接接続される。なお、ここでは図示しない
が、上述した工程と同じ工程を経て駆動回路の薄膜トランジスタのソース配線あるいはド
レイン配線とゲート電極が直接接続される。
ストマスクを用いると、レジストマスクの数を減らすことができるため、工程簡略化、低
コスト化が図れる。
7を形成する。保護絶縁層107はスパッタ法などを用いて得られる窒化シリコン膜、酸
化シリコン膜、酸化窒化シリコン膜、酸化アルミニウム膜、酸化タンタル膜などを用いる
ことができる。
7のエッチングによりドレイン電極層105bに達するコンタクトホール125を形成す
る。また、ここでのエッチングにより第2の端子122に達するコンタクトホール127
、接続電極120に達するコンタクトホール126も形成する。この段階での断面図を図
3(B)に示す。
は、酸化インジウム(In2O3)や酸化インジウム酸化スズ合金(In2O3―SnO
2、ITOと略記する)などをスパッタ法や真空蒸着法などを用いて形成する。このよう
な材料のエッチング処理は塩酸系の溶液により行う。しかし、特にITOのエッチングは
残渣が発生しやすいので、エッチング加工性を改善するために酸化インジウム酸化亜鉛合
金(In2O3―ZnO)を用いても良い。
り不要な部分を除去して画素電極層110を形成する。
及び保護絶縁層107を誘電体として、容量配線108と画素電極層110とで保持容量
が形成される。
トマスクで覆い端子部に形成された透明導電膜128、129を残す。透明導電膜128
、129はFPCとの接続に用いられる電極または配線となる。第1の端子121と直接
接続された接続電極120上に形成された透明導電膜128は、ゲート配線の入力端子と
して機能する接続用の端子電極となる。第2の端子122上に形成された透明導電膜12
9は、ソース配線の入力端子として機能する接続用の端子電極である。
段階での平面図が図7に相当する。
図をそれぞれ図示している。図8(A1)は図8(A2)中のC1−C2線に沿った断面
図に相当する。図8(A1)において、保護絶縁膜154上に形成される透明導電膜15
5は、入力端子として機能する接続用の端子電極である。また、図8(A1)において、
端子部では、ゲート配線と同じ材料で形成される第1の端子151と、ソース配線と同じ
材料で形成される接続電極153とがゲート絶縁層152を介して重なり直接接して導通
させている。また、接続電極153と透明導電膜155が保護絶縁膜154に設けられた
コンタクトホールを介して直接接して導通させている。
ぞれ図示している。また、図8(B1)は図8(B2)中のD1−D2線に沿った断面図
に相当する。図8(B1)において、保護絶縁膜154上に形成される透明導電膜155
は、入力端子として機能する接続用の端子電極である。また、図8(B1)において、端
子部では、ゲート配線と同じ材料で形成される電極156が、ソース配線と電気的に接続
される第2の端子150の下方にゲート絶縁層102を介して重なる。電極156は第2
の端子150とは電気的に接続しておらず、電極156を第2の端子150と異なる電位
、例えばフローティング、GND、0Vなどに設定すれば、ノイズ対策のための容量また
は静電気対策のための容量を形成することができる。また、第2の端子150は、保護絶
縁膜154を介して透明導電膜155と電気的に接続している。
。また、端子部においては、ゲート配線と同電位の第1の端子、ソース配線と同電位の第
2の端子、容量配線と同電位の第3の端子などが複数並べられて配置される。それぞれの
端子の数は、それぞれ任意な数で設ければ良いものとし、実施者が適宣決定すれば良い。
ゲート型のnチャネル型薄膜トランジスタである薄膜トランジスタ170を有する画素薄
膜トランジスタ部、保持容量を完成させることができる。そして、これらを個々の画素に
対応してマトリクス状に配置して画素部を構成することによりアクティブマトリクス型の
表示装置を作製するための一方の基板とすることができる。本明細書では便宜上このよう
な基板をアクティブマトリクス基板と呼ぶ。
と、対向電極が設けられた対向基板との間に液晶層を設け、アクティブマトリクス基板と
対向基板とを固定する。なお、対向基板に設けられた対向電極と電気的に接続する共通電
極をアクティブマトリクス基板上に設け、共通電極と電気的に接続する第4の端子を端子
部に設ける。この第4の端子は、共通電極を固定電位、例えばGND、0Vなどに設定す
るための端子である。
に示す。図9では容量配線を設けず、画素電極を隣り合う画素のゲート配線と保護絶縁膜
及びゲート絶縁層を介して重ねて保持容量を形成する例であり、この場合、容量配線及び
容量配線と接続する第3の端子は省略することができる。なお、図9において、図7と同
じ部分には同じ符号を用いて説明する。
を駆動することによって、画面上に表示パターンが形成される。詳しくは選択された画素
電極と該画素電極に対応する対向電極との間に電圧が印加されることによって、画素電極
と対向電極との間に配置された液晶層の光学変調が行われ、この光学変調が表示パターン
として観察者に認識される。
は動画のぼけが生じるという問題がある。液晶表示装置の動画特性を改善するため、全面
黒表示を1フレームおきに行う、所謂、黒挿入と呼ばれる駆動技術がある。
謂、倍速駆動と呼ばれる駆動技術もある。
ダイオード)光源または複数のEL光源などを用いて面光源を構成し、面光源を構成して
いる各光源を独立して1フレーム期間内で間欠点灯駆動する駆動技術もある。面光源とし
て、3種類以上のLEDを用いてもよいし、白色発光のLEDを用いてもよい。独立して
複数のLEDを制御できるため、液晶層の光学変調の切り替えタイミングに合わせてLE
Dの発光タイミングを同期させることもできる。この駆動技術は、LEDを部分的に消灯
することができるため、特に一画面を占める黒い表示領域の割合が多い映像表示の場合に
は、消費電力の低減効果が図れる。
を従来よりも改善することができる。
晶膜をチャネル形成領域に用いており、良好な動特性を有するため、これらの駆動技術を
組み合わせることができる。
、低電源電位、例えばGND、0Vなどに設定するため、端子部に、カソードを低電源電
位、例えばGND、0Vなどに設定するための第4の端子が設けられる。また、発光表示
装置を作製する場合には、ソース配線、及びゲート配線に加えて電源供給線を設ける。従
って、端子部には、電源供給線と電気的に接続する第5の端子を設ける。
ート絶縁層の間に、該酸化物半導体層より導電率が高く、膜厚が薄い半導体層を形成する
ことによって、該薄膜トランジスタの電界効果移動度を向上させることができる。また、
薄膜トランジスタの電界効果移動度を向上させながらもオフ電流の増大を抑制することが
できる。
が高く信頼性のよい表示装置を提供することができる。
ることができることとする。
本実施の形態では、実施の形態1で示した薄膜トランジスタとは異なる形状の薄膜トラン
ジスタについて図10を用いて説明する。
トランジスタには、基板100上にゲート電極層101が設けられ、ゲート電極層101
上にゲート絶縁層102が設けられ、ゲート絶縁層102上に半導体層106が設けられ
、半導体層106上に酸化物半導体層103が設けられ、酸化物半導体層103上にバッ
ファ層301a、301bが設けられ、バッファ層301a、301b上にソース電極層
又はドレイン電極層105a、105bが設けられている。また、ソース電極層又はドレ
イン電極層105a、105bは、第1の導電層112a、112b、第2の導電層11
3a、113b、第3の導電層114a、114bからなる3層構造となっている。つま
り、図10に示す薄膜トランジスタは、実施の形態1において、図1で示した薄膜トラン
ジスタの酸化物半導体層103とソース電極層又はドレイン電極層105a、105bと
の間にバッファ層301a、301bを設けた薄膜トランジスタである。
導体層103と同様に、In、Ga、及びZnを含む酸化物半導体膜であるIn−Ga−
Zn−O系非単結晶膜を用いて形成する。ただし、バッファ層301a、301bはn型
の導電型を有し、その導電率は、酸化物半導体層103の導電率より高くなるようにする
。また、バッファ層301a、301bの導電率は、半導体層106と同程度か、半導体
層106の導電率より高くなるようにする。また、バッファ層301a、301bは、I
n−Ga−Zn−O系非単結晶膜であり、少なくともアモルファス成分を含んでいるもの
とし、非晶質構造の中に結晶粒(ナノクリスタル)を含む場合もある。結晶粒(ナノクリ
スタル)は直径1nm〜10nm、代表的には2nm〜4nm程度である。
法で成膜する。具体的な条件例としては、直径8インチのIn、Ga、及びZnを含む酸
化物半導体ターゲット(In2O3:Ga2O3:ZnO=1:1:1)を用いて、基板
とターゲットの間との距離を170mm、圧力0.4Pa、直流(DC)電源0.5kW
、成膜ガスAr:O2=50:1(sccm)、成膜温度を室温としてスパッタ成膜を行
う。
酸化物半導体層や半導体層に用いるIn−Ga−Zn−O系非単結晶膜の成膜条件と異な
らせる。例えば、酸化物半導体層に用いるIn−Ga−Zn−O系非単結晶膜の成膜条件
における酸素ガス流量の比率よりもバッファ層301a、301bに用いるIn−Ga−
Zn−O系非単結晶膜の成膜条件における酸素ガス流量の比率が少ない条件とする。また
、半導体層に用いるIn−Ga−Zn−O系非単結晶膜の成膜条件における酸素ガス流量
の比率に対して、バッファ層301a、301bに用いるIn−Ga−Zn−O系非単結
晶膜の成膜条件における酸素ガス流量の比率が同程度か、それより少ない条件とする。ま
た、バッファ層301a、301bに用いるIn−Ga−Zn−O系非単結晶膜の成膜条
件は、成膜ガスに酸素ガスを含まない、アルゴンなどの希ガス雰囲気下としてもよい。
nm〜20nmとする。勿論、膜中に結晶粒が含まれる場合、含まれる結晶粒のサイズが
膜厚を超える大きさとならない。本実施の形態では、バッファ層301a、301bに用
いるIn−Ga−Zn−O系非単結晶膜の膜厚は、5nmとする。
純物元素として、例えばマグネシウム、アルミニウム、チタン、鉄、錫、カルシウム、ゲ
ルマニウム、スカンジウム、イットリウム、ジルコニウム、ハフニウム、ボロン、タリウ
ム、鉛などを用いることができる。マグネシウム、アルミニウム、チタンなどをバッファ
層に含ませると、酸素のブロッキング効果などがあり、成膜後の加熱処理などによって酸
化物半導体層の酸素濃度を最適な範囲内に保持できる。
m3以下)が好ましい。
半導体層と、ソース電極層又はドレイン電極層との間で、ショットキー接合よりも熱的安
定性を向上させることができ、薄膜トランジスタの動作特性を安定させることができる。
また、導電性がよいので高いドレイン電圧でも良好な移動度を保持することができる。
料については、実施の形態1を参照されたい。
の作製工程とほぼ同様である。まず、実施の形態2で示した方法で、酸化物半導体層10
3を形成するための第2の酸化物半導体膜まで成膜し、連続してバッファ層301a、3
01bを形成するための酸化物半導体膜を、上記の方法を用いてスパッタ成膜する。次に
、第2のフォトリソグラフィ工程によって、半導体層106、酸化物半導体膜111と同
様に、バッファ層301a、301bを形成するための酸化物半導体膜を島状にエッチン
グし、酸化物半導体膜302を形成する(図11(A)参照)。それから、実施の形態2
で示した方法で、第1の導電層112〜第3の導電層114の成膜まで行う(図11(B
)参照)。次に、第4のフォトリソグラフィ工程によって、ソース電極層又はドレイン電
極層105a、105b、酸化物半導体層103と同様に、酸化物半導体膜302をエッ
チングして、バッファ層301a、301bを形成する(図11(C)参照)。以降の工
程は実施の形態2と同様である。
ることができることとする。
本実施の形態では、半導体装置の一例である表示装置において、同一基板上に少なくとも
駆動回路の一部と、画素部に配置する薄膜トランジスタを作製する例について以下に説明
する。
態2に示す薄膜トランジスタはnチャネル型TFTであるため、駆動回路のうち、nチャ
ネル型TFTで構成することができる駆動回路の一部を画素部の薄膜トランジスタと同一
基板上に形成する。
4(A)に示す。図14(A)に示す表示装置は、基板5300上に表示素子を備えた画
素を複数有する画素部5301と、各画素を選択する走査線駆動回路5302と、選択さ
れた画素へのビデオ信号の入力を制御する信号線駆動回路5303とを有する。
線S1〜Sm(図示せず。)により信号線駆動回路5303と接続され、走査線駆動回路
5302から行方向に伸張して配置された複数の走査線G1〜Gn(図示せず。)により
走査線駆動回路5302と接続され、信号線S1〜Sm並びに走査線G1〜Gnに対応し
てマトリクス状に配置された複数の画素(図示せず。)を有する。そして、各画素は、信
号線Sj(信号線S1〜Smのうちいずれか一)、走査線Gi(走査線G1〜Gnのうち
いずれか一)と接続される。
あり、nチャネル型TFTで構成する信号線駆動回路について図15を用いて説明する。
02_M、第1の配線5611、第2の配線5612、第3の配線5613及び配線56
21_1〜5621_Mを有する。スイッチ群5602_1〜5602_Mそれぞれは、
第1の薄膜トランジスタ5603a、第2の薄膜トランジスタ5603b及び第3の薄膜
トランジスタ5603cを有する。
及び配線5621_1〜5621_Mに接続される。そして、スイッチ群5602_1〜
5602_Mそれぞれは、第1の配線5611、第2の配線5612、第3の配線561
3及びスイッチ群5602_1〜5602_Mそれぞれに対応した配線5621_1〜5
621_Mに接続される。そして、配線5621_1〜5621_Mそれぞれは、第1の
薄膜トランジスタ5603a、第2の薄膜トランジスタ5603b及び第3の薄膜トラン
ジスタ5603cを介して、3つの信号線(信号線Sm−2、信号線Sm−1、信号線S
m(m=3M))に接続される。例えば、J列目の配線5621_J(配線5621_1
〜配線5621_Mのうちいずれか一)は、スイッチ群5602_Jが有する第1の薄膜
トランジスタ5603a、第2の薄膜トランジスタ5603b及び第3の薄膜トランジス
タ5603cを介して、信号線Sj−2、信号線Sj―1、信号線Sj(j=3J)に接
続される。
号が入力される。
さらに、スイッチ群5602_1〜5602_Mは、画素部と同一基板上に形成されてい
ることが望ましい。したがって、ドライバIC5601とスイッチ群5602_1〜56
02_MとはFPCなどを介して接続するとよい。又は画素部と同一の基板上に貼り合わ
せなどによって、単結晶半導体層を設け、ドライバIC5601を形成してもよい。
照して説明する。なお、図16のタイミングチャートは、i行目の走査線Giが選択され
ている場合のタイミングチャートを示している。さらに、i行目の走査線Giの選択期間
は、第1のサブ選択期間T1、第2のサブ選択期間T2及び第3のサブ選択期間T3に分
割されている。さらに、図15の信号線駆動回路は、他の行の走査線が選択されている場
合でも図16と同様の動作をする。
スタ5603a、第2の薄膜トランジスタ5603b及び第3の薄膜トランジスタ560
3cを介して、信号線Sj−2、信号線Sj―1、信号線Sjに接続される場合について
示している。
1の薄膜トランジスタ5603aのオン・オフのタイミング5703a、第2の薄膜トラ
ンジスタ5603bのオン・オフのタイミング5703b、第3の薄膜トランジスタ56
03cのオン・オフのタイミング5703c及びJ列目の配線5621_Jに入力される
信号5721_Jを示している。
択期間T2及び第3のサブ選択期間T3において、それぞれ別のビデオ信号が入力される
。例えば、第1のサブ選択期間T1において配線5621_Jに入力されるビデオ信号は
信号線Sj−2に入力され、第2のサブ選択期間T2において配線5621_Jに入力さ
れるビデオ信号は信号線Sj―1に入力され、第3のサブ選択期間T3において配線56
21_Jに入力されるビデオ信号は信号線Sjに入力される。さらに、第1のサブ選択期
間T1、第2のサブ選択期間T2及び第3のサブ選択期間T3において、配線5621_
Jに入力されるビデオ信号をそれぞれData_j−2、Data_j―1、Data_
jとする。
aがオンし、第2の薄膜トランジスタ5603b及び第3の薄膜トランジスタ5603c
がオフする。このとき、配線5621_Jに入力されるData_j−2が、第1の薄膜
トランジスタ5603aを介して信号線Sj−2に入力される。第2のサブ選択期間T2
では、第2の薄膜トランジスタ5603bがオンし、第1の薄膜トランジスタ5603a
及び第3の薄膜トランジスタ5603cがオフする。このとき、配線5621_Jに入力
されるData_j―1が、第2の薄膜トランジスタ5603bを介して信号線Sj―1
に入力される。第3のサブ選択期間T3では、第3の薄膜トランジスタ5603cがオン
し、第1の薄膜トランジスタ5603a及び第2の薄膜トランジスタ5603bがオフす
る。このとき、配線5621_Jに入力されるData_jが、第3の薄膜トランジスタ
5603cを介して信号線Sjに入力される。
、1ゲート選択期間中に1つの配線5621から3つの信号線にビデオ信号を入力するこ
とができる。したがって、図15の信号線駆動回路は、ドライバIC5601が形成され
る基板と、画素部が形成されている基板との接続数を信号線の数に比べて約1/3にする
ことができる。接続数が約1/3になることによって、図15の信号線駆動回路は、信頼
性、歩留まりなどを向上できる。
択期間それぞれにおいて、ある1つの配線から複数の信号線それぞれにビデオ信号を入力
することができれば、薄膜トランジスタの配置や数、駆動方法などは限定されない。
ぞれにビデオ信号を入力する場合は、薄膜トランジスタ及び薄膜トランジスタを制御する
ための配線を追加すればよい。ただし、1ゲート選択期間を4つ以上のサブ選択期間に分
割すると、1つのサブ選択期間が短くなる。したがって、1ゲート選択期間は、2つ又は
3つのサブ選択期間に分割されることが望ましい。
ジ期間Tp、第1のサブ選択期間T1、第2のサブ選択期間T2、第3の選択期間T3に
分割してもよい。さらに、図17のタイミングチャートは、i行目の走査線Giが選択さ
れるタイミング、第1の薄膜トランジスタ5603aのオン・オフのタイミング5803
a、第2の薄膜トランジスタ5603bのオン・オフのタイミング5803b、第3の薄
膜トランジスタ5603cのオン・オフのタイミング5803c及びJ列目の配線562
1_Jに入力される信号5821_Jを示している。図17に示すように、プリチャージ
期間Tpにおいて第1の薄膜トランジスタ5603a、第2の薄膜トランジスタ5603
b及び第3の薄膜トランジスタ5603cがオンする。このとき、配線5621_Jに入
力されるプリチャージ電圧Vpが第1の薄膜トランジスタ5603a、第2の薄膜トラン
ジスタ5603b及び第3の薄膜トランジスタ5603cを介してそれぞれ信号線Sj−
2、信号線Sj―1、信号線Sjに入力される。第1のサブ選択期間T1において第1の
薄膜トランジスタ5603aがオンし、第2の薄膜トランジスタ5603b及び第3の薄
膜トランジスタ5603cがオフする。このとき、配線5621_Jに入力されるDat
a_j−2が、第1の薄膜トランジスタ5603aを介して信号線Sj−2に入力される
。第2のサブ選択期間T2では、第2の薄膜トランジスタ5603bがオンし、第1の薄
膜トランジスタ5603a及び第3の薄膜トランジスタ5603cがオフする。このとき
、配線5621_Jに入力されるData_j―1が、第2の薄膜トランジスタ5603
bを介して信号線Sj―1に入力される。第3のサブ選択期間T3では、第3の薄膜トラ
ンジスタ5603cがオンし、第1の薄膜トランジスタ5603a及び第2の薄膜トラン
ジスタ5603bがオフする。このとき、配線5621_Jに入力されるData_jが
、第3の薄膜トランジスタ5603cを介して信号線Sjに入力される。
ブ選択期間の前にプリチャージ選択期間を設けることによって、信号線をプリチャージで
きるため、画素へのビデオ信号の書き込みを高速に行うことができる。なお、図17にお
いて、図16と同様なものに関しては共通の符号を用いて示し、同一部分又は同様な機能
を有する部分の詳細な説明は省略する。
ッファを有している。また場合によってはレベルシフタを有していても良い。走査線駆動
回路において、シフトレジスタにクロック信号(CLK)及びスタートパルス信号(SP
)が入力されることによって、選択信号が生成される。生成された選択信号はバッファに
おいて緩衝増幅され、対応する走査線に供給される。走査線には、1ライン分の画素のト
ランジスタのゲート電極が接続されている。そして、1ライン分の画素のトランジスタを
一斉にONにしなくてはならないので、バッファは大きな電流を流すことが可能なものが
用いられる。
て説明する。
ロップ5701_1〜5701_nという複数のフリップフロップで構成される。また、
第1のクロック信号、第2のクロック信号、スタートパルス信号、リセット信号が入力さ
れて動作する。
1_1は、第1の配線5711、第2の配線5712、第4の配線5714、第5の配線
5715、第7の配線5717_1、及び第7の配線5717_2と接続される。また、
2段目のフリップフロップ5701_2は、第3の配線5713、第4の配線5714、
第5の配線5715、第7の配線5717_1、第7の配線5717_2及び第7の配線
5717_3と接続される。
01_nのうちいずれか一)は、第2の配線5712又は第3の配線5713の一方、第
4の配線5714、第5の配線5715、第7の配線5717_i−1、第7の配線57
17_i、及び第7の配線5717_i+1と接続される。ここで、iが奇数の場合には
、i段目のフリップフロップ5701_iは第2の配線5712と接続され、iが偶数で
ある場合には、i段目のフリップフロップ5701_iは第3の配線5713と接続され
ることになる。
713の一方、第4の配線5714、第5の配線5715、第7の配線5717_n−1
、第7の配線5717_n、及び第6の配線5716と接続される。
16を、それぞれ第1の信号線、第2の信号線、第3の信号線、第4の信号線と呼んでも
よい。さらに、第4の配線5714、第5の配線5715を、それぞれ第1の電源線、第
2の電源線と呼んでもよい。
に示すフリップフロップは、第1の薄膜トランジスタ5571、第2の薄膜トランジスタ
5572、第3の薄膜トランジスタ5573、第4の薄膜トランジスタ5574、第5の
薄膜トランジスタ5575、第6の薄膜トランジスタ5576、第7の薄膜トランジスタ
5577及び第8の薄膜トランジスタ5578を有する。なお、第1の薄膜トランジスタ
5571、第2の薄膜トランジスタ5572、第3の薄膜トランジスタ5573、第4の
薄膜トランジスタ5574、第5の薄膜トランジスタ5575、第6の薄膜トランジスタ
5576、第7の薄膜トランジスタ5577及び第8の薄膜トランジスタ5578は、n
チャネル型トランジスタであり、ゲート・ソース間電圧(Vgs)がしきい値電圧(Vt
h)を上回ったとき導通状態になるものとする。
3の配線5503、第4の配線5504、第5の配線5505、及び第6の配線5506
を有する。
する例を示すが、特に限定されず、例えば、デプレッション型のnチャネル型トランジス
タを用いても駆動回路を駆動させることもできる。
が第4の配線5504に接続され、第1の薄膜トランジスタ5571の第2の電極(ソー
ス電極またはドレイン電極の他方)が第3の配線5503に接続される。
薄膜トランジスタ5572の第2の電極が第3の配線5503に接続される。
薄膜トランジスタ5573の第2の電極が第2の薄膜トランジスタ5572のゲート電極
に接続され、第3の薄膜トランジスタ5573のゲート電極が第5の配線5505に接続
される。
薄膜トランジスタ5574の第2の電極が第2の薄膜トランジスタ5572のゲート電極
に接続され、第4の薄膜トランジスタ5574のゲート電極が第1の薄膜トランジスタ5
571のゲート電極に接続される。
薄膜トランジスタ5575の第2の電極が第1の薄膜トランジスタ5571のゲート電極
に接続され、第5の薄膜トランジスタ5575のゲート電極が第1の配線5501に接続
される。
薄膜トランジスタ5576の第2の電極が第1の薄膜トランジスタ5571のゲート電極
に接続され、第6の薄膜トランジスタ5576のゲート電極が第2の薄膜トランジスタ5
572のゲート電極に接続される。
薄膜トランジスタ5577の第2の電極が第1の薄膜トランジスタ5571のゲート電極
に接続され、第7の薄膜トランジスタ5577のゲート電極が第2の配線5502に接続
される。第8の薄膜トランジスタ5578の第1の電極が第6の配線5506に接続され
、第8の薄膜トランジスタ5578の第2の電極が第2の薄膜トランジスタ5572のゲ
ート電極に接続され、第8の薄膜トランジスタ5578のゲート電極が第1の配線550
1に接続される。
のゲート電極、第5の薄膜トランジスタ5575の第2の電極、第6の薄膜トランジスタ
5576の第2の電極及び第7の薄膜トランジスタ5577の第2の電極の接続箇所をノ
ード5543とする。さらに、第2の薄膜トランジスタ5572のゲート電極、第3の薄
膜トランジスタ5573の第2の電極、第4の薄膜トランジスタ5574の第2の電極、
第6の薄膜トランジスタ5576のゲート電極及び第8の薄膜トランジスタ5578の第
2の電極の接続箇所をノード5544とする。
504を、それぞれ第1の信号線、第2の信号線、第3の信号線、第4の信号線と呼んで
もよい。さらに、第5の配線5505を第1の電源線、第6の配線5506を第2の電源
線と呼んでもよい。
18中の第7の配線5717_i−1が接続される。また、図19中の第2の配線550
2と、図18中の第7の配線5717_i+1が接続される。また、図19中の第3の配
線5503と、第7の配線5717_iが接続される。さらに、図19中の第6の配線5
506と、第5の配線5715が接続される。
続され、iが偶数の場合、図18中の第3の配線5713と接続される。また、図19中
の第5の配線5505と、図18中の第4の配線5714が接続される。
1は図18中の第1の配線5711に接続される。また、n段目のフリップフロップ57
01_nにおいて、図19中の第2の配線5502は図18中の第6の配線5716に接
続される。
ネル型TFTのみで作製することも可能である。実施の形態1乃至実施の形態3に示すn
チャネル型TFTはトランジスタの移動度が大きいため、駆動回路の駆動周波数を高くす
ることが可能となる。また、実施の形態1乃至実施の形態3に示すnチャネル型TFTは
In−Ga−Zn−O系非単結晶膜であるソース領域又はドレイン領域により寄生容量が
低減されるため、周波数特性(f特性と呼ばれる)が高い。例えば、実施の形態1乃至実
施の形態3に示すnチャネル型TFTを用いた走査線駆動回路は、高速に動作させること
ができるため、フレーム周波数を高くすること、または、黒画面挿入を実現することなど
も実現することができる。
駆動回路を配置することなどによって、さらに高いフレーム周波数を実現することができ
る。複数の走査線駆動回路を配置する場合は、偶数行の走査線を駆動する為の走査線駆動
回路を片側に配置し、奇数行の走査線を駆動するための走査線駆動回路をその反対側に配
置することにより、フレーム周波数を高くすることを実現することができる。また、複数
の走査線駆動回路により、同じ走査線に信号を出力すると、表示装置の大型化に有利であ
る。
なくとも一つの画素に複数の薄膜トランジスタを配置するため、走査線駆動回路を複数配
置することが好ましい。アクティブマトリクス型発光表示装置のブロック図の一例を図1
4(B)に示す。
る画素部5401と、各画素を選択する第1の走査線駆動回路5402及び第2の走査線
駆動回路5404と、選択された画素へのビデオ信号の入力を制御する信号線駆動回路5
403とを有する。
合、画素はトランジスタのオンとオフの切り替えによって、発光もしくは非発光の状態と
なる。よって、面積階調法または時間階調法を用いて階調の表示を行うことができる。面
積階調法は、1画素を複数の副画素に分割し、各副画素を独立にビデオ信号に基づいて駆
動させることによって、階調表示を行う駆動法である。また時間階調法は、画素が発光す
る期間を制御することによって、階調表示を行う駆動法である。
している。具体的に時間階調法で表示を行なう場合、1フレーム期間を複数のサブフレー
ム期間に分割する。そしてビデオ信号に従い、各サブフレーム期間において画素の発光素
子を発光または非発光の状態にする。複数のサブフレーム期間に分割することによって、
1フレーム期間中に画素が実際に発光する期間のトータルの長さを、ビデオ信号により制
御することができ、階調を表示することができる。
を配置する場合、一方のスイッチング用TFTのゲート配線である第1の走査線に入力さ
れる信号を第1走査線駆動回路5402で生成し、他方のスイッチング用TFTのゲート
配線である第2の走査線に入力される信号を第2の走査線駆動回路5404で生成してい
る例を示しているが、第1の走査線に入力される信号と、第2の走査線に入力される信号
とを、共に1つの走査線駆動回路で生成するようにしても良い。また、例えば、1つの画
素が有するスイッチング用TFTの数によって、スイッチング素子の動作を制御するのに
用いられる走査線が、各画素に複数設けられることもあり得る。この場合、複数の走査線
に入力される信号を、全て1つの走査線駆動回路で生成しても良いし、複数の各走査線駆
動回路で生成しても良い。
できる駆動回路の一部を画素部の薄膜トランジスタと同一基板上に形成することができる
。また、信号線駆動回路及び走査線駆動回路を実施の形態2に示すnチャネル型TFTの
みで作製することも可能である。
電気的に接続する素子を利用して電子インクを駆動させる電子ペーパーに用いてもよい。
電子ペーパーは、電気泳動表示装置(電気泳動ディスプレイ)も呼ばれており、紙と同じ
読みやすさ、他の表示装置に比べ低消費電力、薄くて軽い形状とすることが可能という利
点を有している。
子と、マイナスの電荷を有する第2の粒子とを含むマイクロカプセルが溶媒または溶質に
複数分散されたものであり、マイクロカプセルに電界を印加することによって、マイクロ
カプセル中の粒子を互いに反対方向に移動させて一方側に集合した粒子の色のみを表示す
るものである。なお、第1の粒子または第2の粒子は染料を含み、電界がない場合におい
て移動しないものである。また、第1の粒子の色と第2の粒子の色は異なるもの(無色を
含む)とする。
いわゆる誘電泳動的効果を利用したディスプレイである。
の電子インクはガラス、プラスチック、布、紙などの表面に印刷することができる。また
、カラーフィルタや色素を有する粒子を用いることによってカラー表示も可能である。
ロカプセルを複数配置すればアクティブマトリクス型の表示装置が完成し、マイクロカプ
セルに電界を印加すれば表示を行うことができる。例えば、実施の形態2の薄膜トランジ
スタによって得られるアクティブマトリクス基板を用いることができる。
半導体材料、磁性材料、液晶材料、強誘電性材料、エレクトロルミネセント材料、エレク
トロクロミック材料、磁気泳動材料から選ばれた一種の材料、またはこれらの複合材料を
用いればよい。
ることができることとする。
実施の形態1乃至実施の形態3に示す薄膜トランジスタを作製し、該薄膜トランジスタを
画素部、さらには駆動回路に用いて表示機能を有する半導体装置(表示装置ともいう)を
作製することができる。また、実施の形態1乃至実施の形態3に示す薄膜トランジスタを
用いた駆動回路の一部または全体を、画素部と同じ基板上に一体形成し、システムオンパ
ネルを形成することができる。
素子(発光表示素子ともいう)を用いることができる。発光素子は、電流または電圧によ
って輝度が制御される素子をその範疇に含んでおり、具体的には無機EL(Electr
o Luminescence)、有機EL等が含まれる。また、電子インクなど、電気
的作用によりコントラストが変化する表示媒体も適用することができる。
を含むIC等を実装した状態にあるモジュールとを含む。さらに、該表示装置を作製する
過程における、表示素子が完成する前の一形態に相当する素子基板に関し、該素子基板は
、電流を表示素子に供給するための手段を複数の各画素に備える。素子基板は、具体的に
は、表示素子の画素電極のみが形成された状態であっても良いし、画素電極となる導電膜
を成膜した後であって、エッチングして画素電極を形成する前の状態であっても良いし、
あらゆる形態があてはまる。
源(照明装置含む)を指す。また、コネクター、例えばFPC(Flexible pr
inted circuit)もしくはTAB(Tape Automated Bon
ding)テープもしくはTCP(Tape Carrier Package)が取り
付けられたモジュール、TABテープやTCPの先にプリント配線板が設けられたモジュ
ール、または表示素子にCOG(Chip On Glass)方式によりIC(集積回
路)が直接実装されたモジュールも全て表示装置に含むものとする。
て、図22を用いて説明する。図22は、第1の基板4001上に形成された実施の形態
1乃至実施の形態3で示したIn−Ga−Zn−O系非単結晶膜を酸化物半導体層として
含む信頼性の高い薄膜トランジスタ4010、4011、及び液晶素子4013を、第2
の基板4006との間にシール材4005によって封止した、パネルの上面図であり、図
22(B)は、図22(A1)(A2)のM−Nにおける断面図に相当する。
ようにして、シール材4005が設けられている。また画素部4002と、走査線駆動回
路4004の上に第2の基板4006が設けられている。よって画素部4002と、走査
線駆動回路4004とは、第1の基板4001とシール材4005と第2の基板4006
とによって、液晶層4008と共に封止されている。また第1の基板4001上のシール
材4005によって囲まれている領域とは異なる領域に、別途用意された基板上に単結晶
半導体膜又は多結晶半導体膜で形成された信号線駆動回路4003が実装されている。
ワイヤボンディング方法、或いはTAB方法などを用いることができる。図22(A1)
は、COG方法により信号線駆動回路4003を実装する例であり、図22(A2)は、
TAB方法により信号線駆動回路4003を実装する例である。
薄膜トランジスタを複数有しており、図22(B)では、画素部4002に含まれる薄膜
トランジスタ4010と、走査線駆動回路4004に含まれる薄膜トランジスタ4011
とを例示している。薄膜トランジスタ4010、4011上には絶縁層4020、402
1が設けられている。
Ga−Zn−O系非単結晶膜を酸化物半導体層として含む信頼性の高い薄膜トランジスタ
を適用することができる。本実施の形態において、薄膜トランジスタ4010、4011
はnチャネル型薄膜トランジスタである。
気的に接続されている。そして液晶素子4013の対向電極層4031は第2の基板40
06上に形成されている。画素電極層4030と対向電極層4031と液晶層4008と
が重なっている部分が、液晶素子4013に相当する。なお、画素電極層4030、対向
電極層4031はそれぞれ配向膜として機能する絶縁層4032、4033が設けられ、
絶縁層4032、4033を介して液晶層4008を挟持している。
テンレス)、セラミックス、プラスチックを用いることができる。プラスチックとしては
、FRP(Fiberglass−Reinforced Plastics)板、PV
F(ポリビニルフルオライド)フィルム、ポリエステルフィルムまたはアクリル樹脂フィ
ルムを用いることができる。また、アルミニウムホイルをPVFフィルムやポリエステル
フィルムで挟んだ構造のシートを用いることもできる。
画素電極層4030と対向電極層4031との間の距離(セルギャップ)を制御するため
に設けられている。なお球状のスペーサを用いていても良い。また、対向電極層4031
は、薄膜トランジスタ4010と同一基板上に設けられる共通電位線と電気的に接続され
る。共通接続部を用いて、一対の基板間に配置される導電性粒子を介して対向電極層40
31と共通電位線とを電気的に接続することができる。なお、導電性粒子はシール材40
05に含有させる。
あり、コレステリック液晶を昇温していくと、コレステリック相から等方相へ転移する直
前に発現する相である。ブルー相は狭い温度範囲でしか発現しないため、温度範囲を改善
するために5重量%以上のカイラル剤を混合させた液晶組成物を用いて液晶層4008に
用いる。ブルー相を示す液晶とカイラル剤とを含む液晶組成物は、応答速度が10μs〜
100μsと短く、光学的等方性であるため配向処理が不要であり、視野角依存性が小さ
い。
液晶表示装置でも適用できる。
着色層、表示素子に用いる電極層という順に設ける例を示すが、偏光板は基板の内側に設
けてもよい。また、偏光板と着色層の積層構造も本実施の形態に限定されず、偏光板及び
着色層の材料や作製工程条件によって適宜設定すればよい。また、ブラックマトリクスと
して機能する遮光膜を設けてもよい。
ジスタの信頼性を向上させるため、実施の形態1乃至実施の形態3で得られた薄膜トラン
ジスタを保護膜や平坦化絶縁膜として機能する絶縁層(絶縁層4020、絶縁層4021
)で覆う構成となっている。なお、保護膜は、大気中に浮遊する有機物や金属物、水蒸気
などの汚染不純物の侵入を防ぐためのものであり、緻密な膜が好ましい。保護膜は、スパ
ッタ法を用いて、酸化シリコン膜、窒化シリコン膜、酸化窒化シリコン膜、窒化酸化シリ
コン膜、酸化アルミニウム膜、窒化アルミニウム膜、酸化窒化アルミニウム膜、又は窒化
酸化アルミニウム膜の単層、又は積層で形成すればよい。本実施の形態では保護膜をスパ
ッタ法で形成する例を示すが、特に限定されず種々の方法で形成すればよい。
0の一層目として、スパッタ法を用いて酸化シリコン膜を形成する。保護膜として酸化シ
リコン膜を用いると、ソース電極層及びドレイン電極層として用いるアルミニウム膜のヒ
ロック防止に効果がある。
て、スパッタ法を用いて窒化シリコン膜を形成する。保護膜として窒化シリコン膜を用い
ると、ナトリウム等の可動イオンが半導体領域中に侵入して、TFTの電気特性を変化さ
せることを抑制することができる。
てもよい。
ミド、アクリル、ベンゾシクロブテン、ポリアミド、エポキシ等の、耐熱性を有する有機
材料を用いることができる。また上記有機材料の他に、低誘電率材料(low−k材料)
、シロキサン系樹脂、PSG(リンガラス)、BPSG(リンボロンガラス)等を用いる
ことができる。なお、これらの材料で形成される絶縁膜を複数積層させることで、絶縁層
4021を形成してもよい。
i結合を含む樹脂に相当する。シロキサン系樹脂は置換基としては有機基(例えばアルキ
ル基やアリール基)やフルオロ基を用いても良い。また、有機基はフルオロ基を有してい
ても良い。
、スピンコート、ディップ、スプレー塗布、液滴吐出法(インクジェット法、スクリーン
印刷、オフセット印刷等)、ドクターナイフ、ロールコーター、カーテンコーター、ナイ
フコーター等を用いることができる。絶縁層4021を材料液を用いて形成する場合、ベ
ークする工程で同時に、酸化物半導体層のアニール(300℃〜400℃)を行ってもよ
い。絶縁層4021の焼成工程と酸化物半導体層のアニールを兼ねることで効率よく半導
体装置を作製することが可能となる。
、酸化タングステンを含むインジウム亜鉛酸化物、酸化チタンを含むインジウム酸化物、
酸化チタンを含むインジウム錫酸化物、インジウム錫酸化物(以下、ITOと示す。)、
インジウム亜鉛酸化物、酸化ケイ素を添加したインジウム錫酸化物などの透光性を有する
導電性材料を用いることができる。
ともいう)を含む導電性組成物を用いて形成することができる。導電性組成物を用いて形
成した画素電極は、シート抵抗が10000Ω/□以下、波長550nmにおける透光率
が70%以上であることが好ましい。また、導電性組成物に含まれる導電性高分子の抵抗
率が0.1Ω・cm以下であることが好ましい。
ば、ポリアニリンまたはその誘導体、ポリピロールまたはその誘導体、ポリチオフェンま
たはその誘導体、若しくはこれらの2種以上の共重合体などがあげられる。
002に与えられる各種信号及び電位は、FPC4018から供給されている。
30と同じ導電膜から形成され、端子電極4016は、薄膜トランジスタ4010、40
11のソース電極層及びドレイン電極層と同じ導電膜で形成されている。
て電気的に接続されている。
装している例を示しているが、本実施の形態はこの構成に限定されない。走査線駆動回路
を別途形成して実装しても良いし、信号線駆動回路の一部または走査線駆動回路の一部の
みを別途形成して実装しても良い。
2600を用いて半導体装置として液晶表示モジュールを構成する一例を示している。
ール材2602により固着され、その間にTFT等を含む画素部2603、液晶層を含む
表示素子2604、着色層2605が設けられ表示領域を形成している。着色層2605
はカラー表示を行う場合に必要であり、RGB方式の場合は、赤、緑、青の各色に対応し
た着色層が各画素に対応して設けられている。TFT基板2600と対向基板2601の
外側には偏光板2606、偏光板2607、拡散板2613が配設されている。光源は冷
陰極管2610と反射板2611により構成され、回路基板2612は、フレキシブル配
線基板2609によりTFT基板2600の配線回路部2608と接続され、コントロー
ル回路や電源回路などの外部回路が組みこまれている。また偏光板と、液晶層との間に位
相差板を有した状態で積層してもよい。
n−Plane−Switching)モード、FFS(Fringe Field S
witching)モード、MVA(Multi−domain Vertical A
lignment)モード、PVA(Patterned Vertical Alig
nment)モード、ASM(Axially Symmetric aligned
Micro−cell)モード、OCB(Optical Compensated B
irefringence)モード、FLC(Ferroelectric Liqui
d Crystal)モード、AFLC(AntiFerroelectric Liq
uid Crystal)モードなどを用いることができる。
る。
ることができることとする。
本実施の形態では、実施の形態1乃至実施の形態3に示す薄膜トランジスタを適用した半
導体装置として電子ペーパーの例を示す。
装置に用いられる薄膜トランジスタ581としては、実施の形態1乃至実施の形態3で示
す薄膜トランジスタを適用することができる。
トボール表示方式とは、白と黒に塗り分けられた球形粒子を表示素子に用いる電極層であ
る第1の電極層及び第2の電極層の間に配置し、第1の電極層及び第2の電極層に電位差
を生じさせての球形粒子の向きを制御することにより、表示を行う方法である。
の薄膜トランジスタであり、ソース電極層又はドレイン電極層によって第1の電極層58
7と、絶縁層583、584、585に形成する開口で接しており電気的に接続している
。第1の電極層587と第2の電極層588との間には黒色領域590a及び白色領域5
90bを有し、周りに液体で満たされているキャビティ594を含む球形粒子589が設
けられており、球形粒子589の周囲は樹脂等の充填材595で充填されている(図13
参照。)。本実施の形態においては、第1の電極層587が画素電極に相当し、第2の電
極層588が共通電極に相当する。第2の電極層588は、薄膜トランジスタ581と同
一基板上に設けられる共通電位線と電気的に接続される。共通接続部を用いて、一対の基
板間に配置される導電性粒子を介して第2の電極層588と共通電位線とを電気的に接続
することができる。
と、正に帯電した白い微粒子と負に帯電した黒い微粒子とを封入した直径10μm〜20
0μm程度のマイクロカプセルを用いる。第1の電極層と第2の電極層との間に設けられ
るマイクロカプセルは、第1の電極層と第2の電極層によって、電場が与えられると、白
い微粒子と、黒い微粒子が逆の方向に移動し、白または黒を表示することができる。この
原理を応用した表示素子が電気泳動表示素子であり、一般的に電子ペーパーとよばれてい
る。電気泳動表示素子は、液晶表示素子に比べて反射率が高いため、補助ライトは不要で
あり、また消費電力が小さく、薄暗い場所でも表示部を認識することが可能である。また
、表示部に電源が供給されない場合であっても、一度表示した像を保持することが可能で
あるため、電波発信源から表示機能付き半導体装置(単に表示装置、又は表示装置を具備
する半導体装置ともいう)を遠ざけた場合であっても、表示された像を保存しておくこと
が可能となる。
。
ることができることとする。
本実施の形態では、実施の形態1乃至実施の形態3に示す薄膜トランジスタを適用した半
導体装置として発光表示装置の例を示す。表示装置の有する表示素子としては、ここでは
エレクトロルミネッセンスを利用する発光素子を用いて示す。エレクトロルミネッセンス
を利用する発光素子は、発光材料が有機化合物であるか、無機化合物であるかによって区
別され、一般的に、前者は有機EL素子、後者は無機EL素子と呼ばれている。
がそれぞれ発光性の有機化合物を含む層に注入され、電流が流れる。そして、それらキャ
リア(電子および正孔)が再結合することにより、発光性の有機化合物が励起状態を形成
し、その励起状態が基底状態に戻る際に発光する。このようなメカニズムから、このよう
な発光素子は、電流励起型の発光素子と呼ばれる。
類される。分散型無機EL素子は、発光材料の粒子をバインダ中に分散させた発光層を有
するものであり、発光メカニズムはドナー準位とアクセプター準位を利用するドナー−ア
クセプター再結合型発光である。薄膜型無機EL素子は、発光層を誘電体層で挟み込み、
さらにそれを電極で挟んだ構造であり、発光メカニズムは金属イオンの内殻電子遷移を利
用する局在型発光である。なお、ここでは、発光素子として有機EL素子を用いて説明す
る。
可能な画素構成の一例を示す図である。
は、実施の形態1乃至実施の形態3で示した、酸化物半導体層(In−Ga−Zn−O系
非単結晶膜)をチャネル形成領域に用いるnチャネル型のトランジスタを、1つの画素に
2つ用いる例を示す。
発光素子6404及び容量素子6403を有している。スイッチング用トランジスタ64
01はゲートが走査線6406に接続され、第1電極(ソース電極及びドレイン電極の一
方)が信号線6405に接続され、第2電極(ソース電極及びドレイン電極の他方)が駆
動用トランジスタ6402のゲートに接続されている。駆動用トランジスタ6402は、
ゲートが容量素子6403を介して電源線6407に接続され、第1電極が電源線640
7に接続され、第2電極が発光素子6404の第1電極(画素電極)に接続されている。
発光素子6404の第2電極は共通電極6408に相当する。共通電極6408は、同一
基板上に形成される共通電位線と電気的に接続され、その接続部分を共通接続部として、
図1(A)、図2(A)、或いは図3(A)に示す構造とすればよい。
る。なお、低電源電位とは、電源線6407に設定される高電源電位を基準にして低電源
電位<高電源電位を満たす電位であり、低電源電位としては例えばGND、0Vなどが設
定されていても良い。この高電源電位と低電源電位との電位差を発光素子6404に印加
して、発光素子6404に電流を流して発光素子6404を発光させるため、高電源電位
と低電源電位との電位差が発光素子6404の順方向しきい値電圧以上となるようにそれ
ぞれの電位を設定する。
ことも可能である。駆動用トランジスタ6402のゲート容量については、チャネル領域
とゲート電極との間で容量が形成されていてもよい。
駆動用トランジスタ6402が十分にオンするか、オフするかの二つの状態となるような
ビデオ信号を入力する。つまり、駆動用トランジスタ6402は線形領域で動作させる。
駆動用トランジスタ6402は線形領域で動作させるため、電源線6407の電圧よりも
高い電圧を駆動用トランジスタ6402のゲートにかける。なお、信号線6405には、
(電源線電圧+駆動用トランジスタ6402のVth)以上の電圧をかける。
らせることで、図20と同じ画素構成を用いることができる。
の順方向電圧+駆動用トランジスタ6402のVth以上の電圧をかける。発光素子64
04の順方向電圧とは、所望の輝度とする場合の電圧を指しており、少なくとも順方向し
きい値電圧を含む。なお、駆動用トランジスタ6402が飽和領域で動作するようなビデ
オ信号を入力することで、発光素子6404に電流を流すことができる。駆動用トランジ
スタ6402を飽和領域で動作させるため、電源線6407の電位は、駆動用トランジス
タ6402のゲート電位よりも高くする。ビデオ信号をアナログとすることで、発光素子
6404にビデオ信号に応じた電流を流し、アナログ階調駆動を行うことができる。
にスイッチ、抵抗素子、容量素子、トランジスタ又は論理回路などを追加してもよい。
型の場合を例に挙げて、画素の断面構造について説明する。図21(A)(B)(C)の
半導体装置に用いられる駆動用TFTであるTFT7001、7011、7021は、実
施の形態1乃至実施の形態3で示す薄膜トランジスタと同様に作製でき、In−Ga−Z
n−O系非単結晶膜を酸化物半導体層として含む信頼性の高い薄膜トランジスタである。
して、基板上に薄膜トランジスタ及び発光素子を形成し、基板とは逆側の面から発光を取
り出す上面射出や、基板側の面から発光を取り出す下面射出や、基板側及び基板とは反対
側の面から発光を取り出す両面射出構造の発光素子があり、本発明の一態様に係る画素構
成はどの射出構造の発光素子にも適用することができる。
せられる光が陽極7005側に抜ける場合の、画素の断面図を示す。図21(A)では、
発光素子7002の陰極7003と駆動用TFTであるTFT7001が電気的に接続さ
れており、陰極7003上に発光層7004、陽極7005が順に積層されている。陰極
7003は仕事関数が小さく、なおかつ光を反射する導電膜であれば様々の材料を用いる
ことができる。例えば、Ca、Al、MgAg、AlLi等が望ましい。そして発光層7
004は、単数の層で構成されていても、複数の層が積層されるように構成されていても
どちらでも良い。複数の層で構成されている場合、陰極7003上に電子注入層、電子輸
送層、発光層、ホール輸送層、ホール注入層の順に積層する。なおこれらの層を全て設け
る必要はない。陽極7005は光を透過する透光性を有する導電性材料を用いて形成し、
例えば酸化タングステンを含むインジウム酸化物、酸化タングステンを含むインジウム亜
鉛酸化物、酸化チタンを含むインジウム酸化物、酸化チタンを含むインジウム錫酸化物、
インジウム錫酸化物(以下、ITOと示す。)、インジウム亜鉛酸化物、酸化ケイ素を添
加したインジウム錫酸化物などの透光性を有する導電膜を用いても良い。
相当する。図21(A)に示した画素の場合、発光素子7002から発せられる光は、矢
印で示すように陽極7005側に射出する。
011がn型で、発光素子7012から発せられる光が陰極7013側に射出する場合の
、画素の断面図を示す。図21(B)では、駆動用TFT7011と電気的に接続された
透光性を有する導電膜7017上に、発光素子7012の陰極7013が成膜されており
、陰極7013上に発光層7014、陽極7015が順に積層されている。なお、陽極7
015が透光性を有する場合、陽極上を覆うように、光を反射または遮蔽するための遮蔽
膜7016が成膜されていてもよい。陰極7013は、図21(A)の場合と同様に、仕
事関数が小さい導電性材料であれば様々な材料を用いることができる。ただしその膜厚は
、光を透過する程度(好ましくは、5nm〜30nm程度)とする。例えば20nmの膜
厚を有するアルミニウム膜を、陰極7013として用いることができる。そして発光層7
014は、図21(A)と同様に、単数の層で構成されていても、複数の層が積層される
ように構成されていてもどちらでも良い。陽極7015は光を透過する必要はないが、図
21(A)と同様に、透光性を有する導電性材料を用いて形成することができる。そして
遮蔽膜7016は、例えば光を反射する金属等を用いることができるが、金属膜に限定さ
れない。例えば黒の顔料を添加した樹脂等を用いることもできる。
に相当する。図21(B)に示した画素の場合、発光素子7012から発せられる光は、
矢印で示すように陰極7013側に射出する。
では、駆動用TFT7021と電気的に接続された透光性を有する導電膜7027上に、
発光素子7022の陰極7023が成膜されており、陰極7023上に発光層7024、
陽極7025が順に積層されている。陰極7023は、図21(A)の場合と同様に、仕
事関数が小さい導電性材料であれば様々な材料を用いることができる。ただしその膜厚は
、光を透過する程度とする。例えば20nmの膜厚を有するAlを、陰極7023として
用いることができる。そして発光層7024は、図21(A)と同様に、単数の層で構成
されていても、複数の層が積層されるように構成されていてもどちらでも良い。陽極70
25は、図21(A)と同様に、光を透過する透光性を有する導電性材料を用いて形成す
ることができる。
22に相当する。図21(C)に示した画素の場合、発光素子7022から発せられる光
は、矢印で示すように陽極7025側と陰極7023側の両方に射出する。
L素子を設けることも可能である。
発光素子が電気的に接続されている例を示したが、駆動用TFTと発光素子との間に電流
制御用TFTが接続されている構成であってもよい。
本発明の技術的思想に基づく各種の変形が可能である。
形態に相当する発光表示パネル(発光パネルともいう)の外観及び断面について、図24
を用いて説明する。図24(A)は、第1の基板上に形成された薄膜トランジスタ及び発
光素子を、第2の基板との間にシール材によって封止した、パネルの上面図であり、図2
4(B)は、図24(A)のH−Iにおける断面図に相当する。
3b、及び走査線駆動回路4504a、4504bを囲むようにして、シール材4505
が設けられている。また画素部4502、信号線駆動回路4503a、4503b、及び
走査線駆動回路4504a、4504bの上に第2の基板4506が設けられている。よ
って画素部4502、信号線駆動回路4503a、4503b、及び走査線駆動回路45
04a、4504bは、第1の基板4501とシール材4505と第2の基板4506と
によって、充填材4507と共に密封されている。このように外気に曝されないように気
密性が高く、脱ガスの少ない保護フィルム(貼り合わせフィルム、紫外線硬化樹脂フィル
ム等)やカバー材でパッケージング(封入)することが好ましい。
503b、及び走査線駆動回路4504a、4504bは、薄膜トランジスタを複数有し
ており、図24(B)では、画素部4502に含まれる薄膜トランジスタ4510と、信
号線駆動回路4503aに含まれる薄膜トランジスタ4509とを例示している。
Ga−Zn−O系非単結晶膜を酸化物半導体層として含む信頼性の高い薄膜トランジスタ
を適用することができる。本実施の形態において、薄膜トランジスタ4509、4510
はnチャネル型薄膜トランジスタである。
層4517は、薄膜トランジスタ4510のソース電極層またはドレイン電極層と電気的
に接続されている。なお発光素子4511の構成は、第1の電極層4517、電界発光層
4512、第2の電極層4513の積層構造であるが、本実施の形態に示した構成に限定
されない。発光素子4511から取り出す光の方向などに合わせて、発光素子4511の
構成は適宜変えることができる。
特に感光性の材料を用い、第1の電極層4517上に開口部を形成し、その開口部の側壁
が連続した曲率を持って形成される傾斜面となるように形成することが好ましい。
されていてもどちらでも良い。
4513及び隔壁4520上に保護膜を形成してもよい。保護膜としては、窒化シリコン
膜、窒化酸化シリコン膜、DLC膜等を形成することができる。
、または画素部4502に与えられる各種信号及び電位は、FPC4518a、4518
bから供給されている。
517と同じ導電膜から形成され、端子電極4516は、薄膜トランジスタ4509、4
510が有するソース電極層及びドレイン電極層と同じ導電膜から形成されている。
して電気的に接続されている。
ればならない。その場合には、ガラス板、プラスチック板、ポリエステルフィルムまたは
アクリルフィルムのような透光性を有する材料を用いる。
脂または熱硬化樹脂を用いることができ、PVC(ポリビニルクロライド)、アクリル、
ポリイミド、エポキシ樹脂、シリコーン樹脂、PVB(ポリビニルブチラル)またはEV
A(エチレンビニルアセテート)を用いることができる。本実施の形態は充填材4507
として窒素を用いた。
位相差板(λ/4板、λ/2板)、カラーフィルタなどの光学フィルムを適宜設けてもよ
い。また、偏光板又は円偏光板に反射防止膜を設けてもよい。例えば、表面の凹凸により
反射光を拡散し、映り込みを低減できるアンチグレア処理を施すことができる。
、別途用意された基板上に単結晶半導体膜又は多結晶半導体膜によって形成された駆動回
路で実装されていてもよい。また、信号線駆動回路のみ、或いは一部、又は走査線駆動回
路のみ、或いは一部のみを別途形成して実装しても良く、本実施の形態は図24の構成に
限定されない。
ることができる。
ることができることとする。
実施の形態1乃至実施の形態3に示す薄膜トランジスタを適用した半導体装置は、電子ペ
ーパーとして適用することができる。電子ペーパーは、情報を表示するものであればあら
ゆる分野の電子機器に用いることが可能である。例えば、電子ペーパーを用いて、電子書
籍(電子ブック)、ポスター、電車などの乗り物の車内広告、クレジットカード等の各種
カードにおける表示等に適用することができる。電子機器の一例を図25、図26に示す
。
の印刷物である場合には、広告の交換は人手によって行われるが、電子ペーパーを用いれ
ば短時間で広告の表示を変えることができる。また、表示も崩れることなく安定した画像
が得られる。なお、ポスターは無線で情報を送受信できる構成としてもよい。
紙の印刷物である場合には、広告の交換は人手によって行われるが、電子ペーパーを用い
れば人手を多くかけることなく短時間で広告の表示を変えることができる。また表示も崩
れることなく安定した画像が得られる。なお、車内広告は無線で情報を送受信できる構成
としてもよい。
筐体2701および筐体2703の2つの筐体で構成されている。筐体2701および筐
体2703は、軸部2711により一体とされており、該軸部2711を軸として開閉動
作を行うことができる。このような構成により、紙の書籍のような動作を行うことが可能
となる。
込まれている。表示部2705および表示部2707は、続き画面を表示する構成として
もよいし、異なる画面を表示する構成としてもよい。異なる画面を表示する構成とするこ
とで、例えば右側の表示部(図26では表示部2705)に文章を表示し、左側の表示部
(図26では表示部2707)に画像を表示することができる。
701において、電源2721、操作キー2723、スピーカ2725などを備えている
。操作キー2723により、頁を送ることができる。なお、筐体の表示部と同一面にキー
ボードやポインティングディバイスなどを備える構成としてもよい。また、筐体の裏面や
側面に、外部接続用端子(イヤホン端子、USB端子、またはACアダプタおよびUSB
ケーブルなどの各種ケーブルと接続可能な端子など)、記録媒体挿入部などを備える構成
としてもよい。さらに、電子書籍2700は、電子辞書としての機能を持たせた構成とし
てもよい。
電子書籍サーバから、所望の書籍データなどを購入し、ダウンロードする構成とすること
も可能である。
ることができることとする。
実施の形態1乃至実施の形態3に示す薄膜トランジスタを用いた半導体装置は、さまざま
な電子機器(遊技機も含む)に適用することができる。電子機器としては、例えば、テレ
ビジョン装置(テレビ、またはテレビジョン受信機ともいう)、コンピュータ用などのモ
ニタ、デジタルカメラ、デジタルビデオカメラ、デジタルフォトフレーム、携帯電話機(
携帯電話、携帯電話装置ともいう)、携帯型ゲーム機、携帯情報端末、音響再生装置、パ
チンコ機などの大型ゲーム機などが挙げられる。
00は、筐体9601に表示部9603が組み込まれている。表示部9603により、映
像を表示することが可能である。また、ここでは、スタンド9605により筐体9601
を支持した構成を示している。
コン操作機9610により行うことができる。リモコン操作機9610が備える操作キー
9609により、チャンネルや音量の操作を行うことができ、表示部9603に表示され
る映像を操作することができる。また、リモコン操作機9610に、当該リモコン操作機
9610から出力する情報を表示する表示部9607を設ける構成としてもよい。
より一般のテレビ放送の受信を行うことができ、さらにモデムを介して有線または無線に
よる通信ネットワークに接続することにより、一方向(送信者から受信者)または双方向
(送信者と受信者間、あるいは受信者間同士など)の情報通信を行うことも可能である。
ルフォトフレーム9700は、筐体9701に表示部9703が組み込まれている。表示
部9703は、各種画像を表示することが可能であり、例えばデジタルカメラなどで撮影
した画像データを表示させることで、通常の写真立てと同様に機能させることができる。
Bケーブルなどの各種ケーブルと接続可能な端子など)、記録媒体挿入部などを備える構
成とする。これらの構成は、表示部と同一面に組み込まれていてもよいが、側面や裏面に
備えるとデザイン性が向上するため好ましい。例えば、デジタルフォトフレームの記録媒
体挿入部に、デジタルカメラで撮影した画像データを記憶したメモリを挿入して画像デー
タを取り込み、取り込んだ画像データを表示部9703に表示させることができる。
。無線により、所望の画像データを取り込み、表示させる構成とすることもできる。
れており、連結部9893により、開閉可能に連結されている。筐体9881には表示部
9882が組み込まれ、筐体9891には表示部9883が組み込まれている。また、図
28(A)に示す携帯型遊技機は、その他、スピーカ部9884、記録媒体挿入部988
6、LEDランプ9890、入力手段(操作キー9885、接続端子9887、センサ9
888(力、変位、位置、速度、加速度、角速度、回転数、距離、光、液、磁気、温度、
化学物質、音声、時間、硬度、電場、電流、電圧、電力、放射線、流量、湿度、傾度、振
動、におい又は赤外線を測定する機能を含むもの)、マイクロフォン9889)等を備え
ている。もちろん、携帯型遊技機の構成は上述のものに限定されず、少なくとも本発明の
一態様に係る半導体装置を備えた構成であればよく、その他付属設備が適宜設けられた構
成とすることができる。図28(A)に示す携帯型遊技機は、記録媒体に記録されている
プログラム又はデータを読み出して表示部に表示する機能や、他の携帯型遊技機と無線通
信を行って情報を共有する機能を有する。なお、図28(A)に示す携帯型遊技機が有す
る機能はこれに限定されず、様々な機能を有することができる。
マシン9900は、筐体9901に表示部9903が組み込まれている。また、スロット
マシン9900は、その他、スタートレバーやストップスイッチなどの操作手段、コイン
投入口、スピーカなどを備えている。もちろん、スロットマシン9900の構成は上述の
ものに限定されず、少なくとも本発明の一態様に係る半導体装置を備えた構成であればよ
く、その他付属設備が適宜設けられた構成とすることができる。
1001に組み込まれた表示部1002の他、操作ボタン1003、外部接続ポート10
04、スピーカ1005、マイク1006などを備えている。
報を入力することができる。また、電話を掛ける、或いはメールを打つなどの操作は、表
示部1002を指などで触れることにより行うことができる。
示モードであり、第2は、文字等の情報の入力を主とする入力モードである。第3は表示
モードと入力モードの2つのモードが混合した表示+入力モードである。
主とする文字入力モードとし、画面に表示させた文字の入力操作を行えばよい。この場合
、表示部1002の画面のほとんどにキーボードまたは番号ボタンを表示させることが好
ましい。
有する検出装置を設けることで、携帯電話機1000の向き(縦か横か)を判断して、表
示部1002の画面表示を自動的に切り替えるようにすることができる。
ボタン1003の操作により行われる。また、表示部1002に表示される画像の種類に
よって切り替えるようにすることもできる。例えば、表示部に表示する画像信号が動画の
データであれば表示モード、テキストデータであれば入力モードに切り替える。
部1002のタッチ操作による入力が一定期間ない場合には、画面のモードを入力モード
から表示モードに切り替えるように制御してもよい。
02に掌や指を触れることで、掌紋、指紋等を撮像することで、本人認証を行うことがで
きる。また、表示部に近赤外光を発光するバックライトまたは近赤外光を発光するセンシ
ング用光源を用いれば、指静脈、掌静脈などを撮像することもできる。
、表示部9412、及び操作ボタン9413を含む表示装置9410と、筐体9401に
操作ボタン9402、外部入力端子9403、マイク9404、スピーカ9405、及び
着信時に発光する発光部9406を含む通信装置9400とを有しており、表示機能を有
する表示装置9410は電話機能を有する通信装置9400と矢印の2方向に脱着可能で
ある。よって、表示装置9410と通信装置9400の短軸同士を取り付けることも、表
示装置9410と通信装置9400の長軸同士を取り付けることもできる。また、表示機
能のみを必要とする場合、通信装置9400より表示装置9410を取り外し、表示装置
9410を単独で用いることもできる。通信装置9400と表示装置9410とは無線通
信又は有線通信により画像又は入力情報を授受することができ、それぞれ充電可能なバッ
テリーを有する。
ることができることとする。
調べた結果について説明する。
れたIn−Ga−Zn−O系非単結晶膜の導電率を測定した。成膜時の酸素ガス流量の比
率が0体積%から100体積%までの条件でサンプルを作製し、各酸素ガス流量の比率の
In−Ga−Zn−O系非単結晶膜の導電率を測定した。なお、導電率の測定には、Ag
ilent社製半導体パラメーターアナライザーHP4155Cを用いた。
O3:Ga2O3:ZnO=1:1:1(In:Ga:Zn=1:1:0.5)の比率で
混ぜ合わせた直径8インチの円盤状の酸化物半導体ターゲットを用いた。他の成膜条件は
、基板とターゲットの間との距離を170mm、成膜ガス圧力0.4Pa、直流(DC)
電源0.5kW、成膜温度を室温とした。
酸素ガスの流量比率が0体積%から100体積%までの条件で成膜し、In−Ga−Zn
−O系非単結晶膜の導電率の測定を行った。なお、In−Ga−Zn−O系非単結晶膜の
原子レベルの再配列を行うため、In−Ga−Zn−O系非単結晶膜の成膜後、窒素雰囲
気下で350℃、1時間の熱処理を行った。
うになった。図12において、横軸はアルゴンガス流量と酸素ガス流量に対する酸素ガス
流量の比率(体積%)であり、縦軸はIn−Ga−Zn−O系非単結晶膜の導電率(S/
cm)である。また、図12に対応するアルゴンガスの流量(sccm)、酸素ガスの流
量(sccm)、酸素ガスの流量比率(体積%)及びIn−Ga−Zn−O系非単結晶膜
の導電率(S/cm)を表1に示す。
電率が急峻に低下し、酸素ガス流量の比率が11.1体積%〜40体積%の間では、導電
率は1.0×10−5〜1.0×10−4S/cm程度でとなり、酸素ガス流量の比率が
40体積%以上になると、導電率は緩やかに低下する傾向が見受けられる。ただし、酸素
ガス流量の比率が60体積%〜70体積%の間では、導電率の低下が若干急峻になってい
る。ここで、導電率の最大値は、酸素ガス流量の比率が0体積%、つまり成膜ガスがアル
ゴンガスのみの条件で6.44S/cmであり、導電率の最小値は、酸素ガス流量の比率
が100体積%、つまり成膜ガスが酸素ガスのみの条件で4.19×10−11S/cm
である。
域を境にして、導電率の高い半導体層と、それより導電率が低い酸化物半導体層との酸素
ガス流量の条件をわけることによって、導電率の差を大きくすることができる。よって、
導電率の高い半導体層に用いるIn−Ga−Zn−O系非単結晶膜を成膜する際は、酸素
ガス流量の比率を10体積%未満にして、導電率が1.0×10−3S/cmより大きく
なるようにするのがよい。また、半導体層より導電率の低い酸化物半導体層に用いるIn
−Ga−Zn−O系非単結晶膜を成膜する際は、酸素ガス流量の比率を10体積%以上に
して、導電率が1.0×10−3S/cm以下となるようにするのがよい。
体積%付近の領域を境にしてもよい。この場合、導電率の高い半導体層に用いるIn−G
a−Zn−O系非単結晶膜を成膜する際は、酸素ガス流量の比率を70体積%未満にして
、導電率が1.0×10−8S/cmより大きくなるようにするのがよい。また、半導体
層より導電率の低い酸化物半導体層に用いるIn−Ga−Zn−O系非単結晶膜を成膜す
る際は、酸素ガス流量の比率を70体積%以上にして、導電率が1.0×10−8S/c
m以下となるようにするのがよい。
101 ゲート電極層
102 ゲート絶縁層
103 酸化物半導体層
105a ソース電極層又はドレイン電極層
106 半導体層
107 保護絶縁層
108 容量配線
110 画素電極層
111 酸化物半導体膜
112 第1の導電層
113 第2の導電層
114 第3の導電層
120 接続電極
121 端子
122 端子
125 コンタクトホール
126 コンタクトホール
127 コンタクトホール
128 透明導電膜
129 透明導電膜
131 レジストマスク
150 端子
151 端子
152 ゲート絶縁層
153 接続電極
154 保護絶縁膜
155 透明導電膜
156 電極
170 薄膜トランジスタ
301a バッファ層
302 酸化物半導体膜
580 基板
581 薄膜トランジスタ
583 絶縁層
585 絶縁層
587 電極層
588 電極層
589 球形粒子
590a 黒色領域
590b 白色領域
594 キャビティ
595 充填材
596 基板
1000 携帯電話機
1001 筐体
1002 表示部
1003 操作ボタン
1004 外部接続ポート
1005 スピーカ
1006 マイク
2600 TFT基板
2601 対向基板
2602 シール材
2603 画素部
2604 表示素子
2605 着色層
2606 偏光板
2607 偏光板
2608 配線回路部
2609 フレキシブル配線基板
2610 冷陰極管
2611 反射板
2612 回路基板
2613 拡散板
2631 ポスター
2632 車内広告
2700 電子書籍
2701 筐体
2703 筐体
2705 表示部
2707 表示部
2711 軸部
2721 電源
2723 操作キー
2725 スピーカ
4001 基板
4002 画素部
4003 信号線駆動回路
4004 走査線駆動回路
4005 シール材
4006 基板
4008 液晶層
4010 薄膜トランジスタ
4011 薄膜トランジスタ
4013 液晶素子
4015 接続端子電極
4016 端子電極
4018 FPC
4019 異方性導電膜
4020 絶縁層
4021 絶縁層
4030 画素電極層
4031 対向電極層
4032 絶縁層
4501 基板
4502 画素部
4503a 信号線駆動回路
4504a 走査線駆動回路
4505 シール材
4506 基板
4507 充填材
4509 薄膜トランジスタ
4510 薄膜トランジスタ
4511 発光素子
4512 電界発光層
4513 電極層
4515 接続端子電極
4516 端子電極
4517 電極層
4518a FPC
4519 異方性導電膜
4520 隔壁
5300 基板
5301 画素部
5302 走査線駆動回路
5303 信号線駆動回路
5400 基板
5401 画素部
5402 走査線駆動回路
5403 信号線駆動回路
5404 走査線駆動回路
5501 配線
5502 配線
5503 配線
5504 配線
5505 配線
5506 配線
5543 ノード
5544 ノード
5571 薄膜トランジスタ
5572 薄膜トランジスタ
5573 薄膜トランジスタ
5574 薄膜トランジスタ
5575 薄膜トランジスタ
5576 薄膜トランジスタ
5577 薄膜トランジスタ
5578 薄膜トランジスタ
5601 ドライバIC
5602 スイッチ群
5603a 薄膜トランジスタ
5603b 薄膜トランジスタ
5603c 薄膜トランジスタ
5611 配線
5612 配線
5613 配線
5621 配線
5701 フリップフロップ
5703a タイミング
5703b タイミング
5703c タイミング
5711 配線
5712 配線
5713 配線
5714 配線
5715 配線
5716 配線
5717 配線
5721 信号
5803a タイミング
5803b タイミング
5803c タイミング
5821 信号
6400 画素
6401 スイッチング用トランジスタ
6402 駆動用トランジスタ
6403 容量素子
6404 発光素子
6405 信号線
6406 走査線
6407 電源線
6408 共通電極
7001 TFT
7002 発光素子
7003 陰極
7004 発光層
7005 陽極
7011 駆動用TFT
7012 発光素子
7013 陰極
7014 発光層
7015 陽極
7016 遮蔽膜
7017 導電膜
7021 駆動用TFT
7022 発光素子
7023 陰極
7024 発光層
7025 陽極
7027 導電膜
9400 通信装置
9401 筐体
9402 操作ボタン
9403 外部入力端子
9404 マイク
9405 スピーカ
9406 発光部
9410 表示装置
9411 筐体
9412 表示部
9413 操作ボタン
9600 テレビジョン装置
9601 筐体
9603 表示部
9605 スタンド
9607 表示部
9609 操作キー
9610 リモコン操作機
9700 デジタルフォトフレーム
9701 筐体
9703 表示部
9881 筐体
9882 表示部
9883 表示部
9884 スピーカ部
9885 操作キー
9886 記録媒体挿入部
9887 接続端子
9888 センサ
9889 マイクロフォン
9890 LEDランプ
9891 筐体
9893 連結部
9900 スロットマシン
9901 筐体
9903 表示部
Claims (4)
- 基板上のゲート電極層と、
前記ゲート電極層上のゲート絶縁膜と、
前記ゲート絶縁膜上の第1の酸化物半導体層と、
前記第1の酸化物半導体層上の第2の酸化物半導体層と、
前記第2の酸化物半導体層上のソース電極及びドレイン電極と、を有し、
前記第1の酸化物半導体層は、結晶を有し、
前記ゲート絶縁膜は、酸化シリコンを有し、
前記第1の酸化物半導体層及び前記第2の酸化物半導体層は、In、Ga、及びZnを有し、
前記第2の酸化物半導体層と前記ソース電極との間の領域、及び前記第2の酸化物半導体層と前記ドレイン電極との間の領域は、バッファ層として機能する領域を有し、
前記バッファ層として機能する領域は、チタンを有することを特徴とする液晶表示装置。 - 基板上のゲート電極層と、
前記ゲート電極層上のゲート絶縁膜と、
前記ゲート絶縁膜上の第1の酸化物半導体層と、
前記第1の酸化物半導体層上の第2の酸化物半導体層と、
前記第2の酸化物半導体層上のソース電極及びドレイン電極と、を有し、
前記第1の酸化物半導体層は、結晶を有し、
前記ゲート絶縁膜は、酸化シリコンを有し、
前記第1の酸化物半導体層及び前記第2の酸化物半導体層は、In、Ga、及びZnを有し、
前記第2の酸化物半導体層と前記ソース電極との間に第1の酸化物領域を有し、
前記第2の酸化物半導体層と前記ドレイン電極との間に第2の酸化物領域を有し、
前記第1の酸化物領域及び前記第2の酸化物領域は、チタンを有することを特徴とする液晶表示装置。 - 基板上に、画素部と、端子部と、を有し、
前記画素部は、
前記基板上のゲート電極層と、
基板上のゲート電極層と、
前記ゲート電極層上のゲート絶縁膜と、
前記ゲート絶縁膜上の第1の酸化物半導体層と、
前記第1の酸化物半導体層上の第2の酸化物半導体層と、
前記第2の酸化物半導体層上のソース電極及びドレイン電極と、
前記ドレイン電極上の画素電極と、を有し、
前記第1の酸化物半導体層は、結晶粒を有し、
前記ゲート絶縁膜は、酸化シリコンを有し、
前記第1の酸化物半導体層及び前記第2の酸化物半導体層は、In、Ga、及びZnを有し、
前記第2の酸化物半導体層と前記ソース電極との間の領域、及び前記第2の酸化物半導体層と前記ドレイン電極との間の領域は、バッファ層として機能する領域を有し、
前記バッファ層として機能する領域は、チタンを有し、
前記画素電極は、前記ドレイン電極と電気的に接続され、
前記端子部は、
前記基板上の第1の導電層と、
前記第1の導電層上の第2の導電層と
前記第2の導電層上の第3の導電層と、を有し、
前記第1の導電層は、前記第2の導電層を介して前記第3の導電層と電気的に接続され、
前記第1の導電層は、前記ゲート電極と同一層、且つ、同一材料からなり、
前記第2の導電層は、前記ソース電極及び前記ドレイン電極と同一層、且つ、同一材料からなり、
前記第3の導電層は、前記画素電極と同一層、且つ、同一材料からなることを特徴とする液晶表示装置。 - 基板上に、画素部と、端子部と、を有し、
前記画素部は、
前記基板上のゲート電極層と、
基板上のゲート電極層と、
前記ゲート電極層上のゲート絶縁膜と、
前記ゲート絶縁膜上の第1の酸化物半導体層と、
前記第1の酸化物半導体層上の第2の酸化物半導体層と、
前記第2の酸化物半導体層上のソース電極及びドレイン電極と、
前記ドレイン電極上の画素電極と、を有し、
前記第1の酸化物半導体層は、結晶粒を有し、
前記ゲート絶縁膜は、酸化シリコンを有し、
前記第1の酸化物半導体層及び前記第2の酸化物半導体層は、In、Ga、及びZnを有し、
前記第2の酸化物半導体層と前記ソース電極との間に第1の酸化物領域を有し、
前記第2の酸化物半導体層と前記ドレイン電極との間に第2の酸化物領域を有し、
前記第1の酸化物領域及び前記第2の酸化物領域は、チタンを有し、
前記画素電極は、前記ドレイン電極と電気的に接続され、
前記端子部は、
前記基板上の第1の導電層と、
前記第1の導電層上の第2の導電層と
前記第2の導電層上の第3の導電層と、を有し、
前記第1の導電層は、前記第2の導電層を介して前記第3の導電層と電気的に接続され、
前記第1の導電層は、前記ゲート電極と同一層、且つ、同一材料からなり、
前記第2の導電層は、前記ソース電極及び前記ドレイン電極と同一層、且つ、同一材料からなり、
前記第3の導電層は、前記画素電極と同一層、且つ、同一材料からなることを特徴とする液晶表示装置。
Applications Claiming Priority (2)
| Application Number | Priority Date | Filing Date | Title |
|---|---|---|---|
| JP2008281174 | 2008-10-31 | ||
| JP2008281174 | 2008-10-31 |
Related Parent Applications (1)
| Application Number | Title | Priority Date | Filing Date |
|---|---|---|---|
| JP2016086127A Division JP6227703B2 (ja) | 2008-10-31 | 2016-04-22 | 半導体装置 |
Publications (2)
| Publication Number | Publication Date |
|---|---|
| JP2017135391A JP2017135391A (ja) | 2017-08-03 |
| JP6181333B2 true JP6181333B2 (ja) | 2017-08-16 |
Family
ID=42130300
Family Applications (9)
| Application Number | Title | Priority Date | Filing Date |
|---|---|---|---|
| JP2009249031A Active JP5514511B2 (ja) | 2008-10-31 | 2009-10-29 | 半導体装置 |
| JP2014072374A Withdrawn JP2014168073A (ja) | 2008-10-31 | 2014-03-31 | 半導体装置の作製方法 |
| JP2016086127A Active JP6227703B2 (ja) | 2008-10-31 | 2016-04-22 | 半導体装置 |
| JP2017021229A Active JP6220999B2 (ja) | 2008-10-31 | 2017-02-08 | 半導体装置の作製方法 |
| JP2017031776A Active JP6181333B2 (ja) | 2008-10-31 | 2017-02-23 | 半導体装置 |
| JP2017197426A Expired - Fee Related JP6552573B2 (ja) | 2008-10-31 | 2017-10-11 | 半導体装置 |
| JP2019123894A Active JP6856711B2 (ja) | 2008-10-31 | 2019-07-02 | 半導体装置 |
| JP2021044840A Withdrawn JP2021100144A (ja) | 2008-10-31 | 2021-03-18 | 半導体装置 |
| JP2022153728A Active JP7451640B2 (ja) | 2008-10-31 | 2022-09-27 | 半導体装置 |
Family Applications Before (4)
| Application Number | Title | Priority Date | Filing Date |
|---|---|---|---|
| JP2009249031A Active JP5514511B2 (ja) | 2008-10-31 | 2009-10-29 | 半導体装置 |
| JP2014072374A Withdrawn JP2014168073A (ja) | 2008-10-31 | 2014-03-31 | 半導体装置の作製方法 |
| JP2016086127A Active JP6227703B2 (ja) | 2008-10-31 | 2016-04-22 | 半導体装置 |
| JP2017021229A Active JP6220999B2 (ja) | 2008-10-31 | 2017-02-08 | 半導体装置の作製方法 |
Family Applications After (4)
| Application Number | Title | Priority Date | Filing Date |
|---|---|---|---|
| JP2017197426A Expired - Fee Related JP6552573B2 (ja) | 2008-10-31 | 2017-10-11 | 半導体装置 |
| JP2019123894A Active JP6856711B2 (ja) | 2008-10-31 | 2019-07-02 | 半導体装置 |
| JP2021044840A Withdrawn JP2021100144A (ja) | 2008-10-31 | 2021-03-18 | 半導体装置 |
| JP2022153728A Active JP7451640B2 (ja) | 2008-10-31 | 2022-09-27 | 半導体装置 |
Country Status (5)
| Country | Link |
|---|---|
| US (9) | US8426868B2 (ja) |
| JP (9) | JP5514511B2 (ja) |
| KR (14) | KR101645194B1 (ja) |
| CN (2) | CN101728435B (ja) |
| TW (7) | TWI501401B (ja) |
Families Citing this family (91)
| Publication number | Priority date | Publication date | Assignee | Title |
|---|---|---|---|---|
| JP5627071B2 (ja) * | 2008-09-01 | 2014-11-19 | 株式会社半導体エネルギー研究所 | 半導体装置の作製方法 |
| TWI501401B (zh) * | 2008-10-31 | 2015-09-21 | Semiconductor Energy Lab | 半導體裝置及其製造方法 |
| TWI502739B (zh) | 2008-11-13 | 2015-10-01 | Semiconductor Energy Lab | 半導體裝置及其製造方法 |
| US8344387B2 (en) | 2008-11-28 | 2013-01-01 | Semiconductor Energy Laboratory Co., Ltd. | Semiconductor device and method for manufacturing the same |
| US8441007B2 (en) | 2008-12-25 | 2013-05-14 | Semiconductor Energy Laboratory Co., Ltd. | Display device and manufacturing method thereof |
| TWI501319B (zh) * | 2008-12-26 | 2015-09-21 | 半導體能源研究所股份有限公司 | 半導體裝置及其製造方法 |
| KR101671210B1 (ko) | 2009-03-06 | 2016-11-01 | 가부시키가이샤 한도오따이 에네루기 켄큐쇼 | 반도체 장치 및 반도체 장치의 제작 방법 |
| KR101968855B1 (ko) | 2009-06-30 | 2019-04-12 | 가부시키가이샤 한도오따이 에네루기 켄큐쇼 | 반도체 장치 제조 방법 |
| EP2497115A4 (en) | 2009-11-06 | 2015-09-02 | Semiconductor Energy Lab | SEMICONDUCTOR COMPONENT AND MANUFACTURING METHOD THEREFOR |
| WO2011065210A1 (en) * | 2009-11-28 | 2011-06-03 | Semiconductor Energy Laboratory Co., Ltd. | Stacked oxide material, semiconductor device, and method for manufacturing the semiconductor device |
| CN105206514B (zh) | 2009-11-28 | 2018-04-10 | 株式会社半导体能源研究所 | 层叠的氧化物材料、半导体器件、以及用于制造该半导体器件的方法 |
| WO2011065243A1 (en) * | 2009-11-28 | 2011-06-03 | Semiconductor Energy Laboratory Co., Ltd. | Semiconductor device and manufacturing method thereof |
| CN102640207A (zh) * | 2009-12-18 | 2012-08-15 | 株式会社半导体能源研究所 | 液晶显示装置及其驱动方法 |
| CN104867984B (zh) | 2009-12-28 | 2018-11-06 | 株式会社半导体能源研究所 | 制造半导体装置的方法 |
| KR102008754B1 (ko) * | 2010-01-24 | 2019-08-09 | 가부시키가이샤 한도오따이 에네루기 켄큐쇼 | 표시 장치와 이의 제조 방법 |
| WO2011108346A1 (en) * | 2010-03-05 | 2011-09-09 | Semiconductor Energy Laboratory Co., Ltd. | Manufacturing method of oxide semiconductor film and manufacturing method of transistor |
| DE112011101260T5 (de) | 2010-04-09 | 2013-05-02 | Semiconductor Energy Laboratory Co., Ltd. | Flüssigkristall-Anzeigevorrichtung und Verfahren zum Ansteuern derselben |
| KR101465192B1 (ko) | 2010-04-09 | 2014-11-25 | 가부시키가이샤 한도오따이 에네루기 켄큐쇼 | 반도체 장치 |
| KR102289951B1 (ko) | 2010-05-21 | 2021-08-17 | 가부시키가이샤 한도오따이 에네루기 켄큐쇼 | 펄스 출력 회로, 시프트 레지스터, 및 표시 장치 |
| US8629438B2 (en) | 2010-05-21 | 2014-01-14 | Semiconductor Energy Laboratory Co., Ltd. | Semiconductor device and manufacturing method thereof |
| US9209314B2 (en) | 2010-06-16 | 2015-12-08 | Semiconductor Energy Laboratory Co., Ltd. | Field effect transistor |
| KR20180135118A (ko) | 2010-07-02 | 2018-12-19 | 가부시키가이샤 한도오따이 에네루기 켄큐쇼 | 반도체 장치 및 그 제작 방법 |
| WO2012008080A1 (ja) * | 2010-07-14 | 2012-01-19 | シャープ株式会社 | 薄膜トランジスタ基板 |
| TWI615920B (zh) * | 2010-08-06 | 2018-02-21 | 半導體能源研究所股份有限公司 | 半導體裝置及其製造方法 |
| US8883555B2 (en) | 2010-08-25 | 2014-11-11 | Semiconductor Energy Laboratory Co., Ltd. | Electronic device, manufacturing method of electronic device, and sputtering target |
| US8685787B2 (en) | 2010-08-25 | 2014-04-01 | Semiconductor Energy Laboratory Co., Ltd. | Manufacturing method of semiconductor device |
| JP5969745B2 (ja) * | 2010-09-10 | 2016-08-17 | 株式会社半導体エネルギー研究所 | 半導体装置 |
| KR101932576B1 (ko) | 2010-09-13 | 2018-12-26 | 가부시키가이샤 한도오따이 에네루기 켄큐쇼 | 반도체 장치 및 그 제작 방법 |
| US8592879B2 (en) * | 2010-09-13 | 2013-11-26 | Semiconductor Energy Laboratory Co., Ltd. | Method for manufacturing semiconductor device |
| US8816722B2 (en) * | 2010-09-13 | 2014-08-26 | Semiconductor Energy Laboratory Co., Ltd. | Current detection circuit |
| US8871565B2 (en) | 2010-09-13 | 2014-10-28 | Semiconductor Energy Laboratory Co., Ltd. | Method for manufacturing semiconductor device |
| US8803143B2 (en) * | 2010-10-20 | 2014-08-12 | Semiconductor Energy Laboratory Co., Ltd. | Thin film transistor including buffer layers with high resistivity |
| US8569754B2 (en) | 2010-11-05 | 2013-10-29 | Semiconductor Energy Laboratory Co., Ltd. | Semiconductor device and manufacturing method thereof |
| KR101820372B1 (ko) | 2010-11-09 | 2018-01-22 | 삼성디스플레이 주식회사 | 표시 기판, 표시 장치 및 이의 제조 방법 |
| TWI562379B (en) | 2010-11-30 | 2016-12-11 | Semiconductor Energy Lab Co Ltd | Semiconductor device and method for manufacturing semiconductor device |
| WO2012081591A1 (en) | 2010-12-17 | 2012-06-21 | Semiconductor Energy Laboratory Co., Ltd. | Oxide material and semiconductor device |
| KR102282833B1 (ko) | 2011-06-17 | 2021-07-27 | 가부시키가이샤 한도오따이 에네루기 켄큐쇼 | 트랜지스터 |
| US8796683B2 (en) | 2011-12-23 | 2014-08-05 | Semiconductor Energy Laboratory Co., Ltd. | Semiconductor device |
| US9553201B2 (en) | 2012-04-02 | 2017-01-24 | Samsung Display Co., Ltd. | Thin film transistor, thin film transistor array panel, and manufacturing method of thin film transistor |
| KR102330543B1 (ko) | 2012-04-13 | 2021-11-23 | 가부시키가이샤 한도오따이 에네루기 켄큐쇼 | 반도체 장치 |
| US8860022B2 (en) | 2012-04-27 | 2014-10-14 | Semiconductor Energy Laboratory Co., Ltd. | Oxide semiconductor film and semiconductor device |
| CN102709326B (zh) * | 2012-04-28 | 2018-04-17 | 北京京东方光电科技有限公司 | 薄膜晶体管及其制造方法、阵列基板和显示装置 |
| KR20210109658A (ko) | 2012-05-10 | 2021-09-06 | 가부시키가이샤 한도오따이 에네루기 켄큐쇼 | 반도체 디바이스 |
| KR102113160B1 (ko) * | 2012-06-15 | 2020-05-20 | 가부시키가이샤 한도오따이 에네루기 켄큐쇼 | 반도체 장치 |
| US9059219B2 (en) | 2012-06-27 | 2015-06-16 | Semiconductor Energy Laboratory Co., Ltd. | Semiconductor device and method for manufacturing semiconductor device |
| US20140027762A1 (en) * | 2012-07-27 | 2014-01-30 | Semiconductor Energy Laboratory Co. Ltd. | Semiconductor device |
| JP6134598B2 (ja) | 2012-08-02 | 2017-05-24 | 株式会社半導体エネルギー研究所 | 半導体装置 |
| CN103594521B (zh) * | 2012-08-17 | 2017-03-01 | 瀚宇彩晶股份有限公司 | 半导体元件 |
| KR102227591B1 (ko) * | 2012-10-17 | 2021-03-15 | 가부시키가이샤 한도오따이 에네루기 켄큐쇼 | 반도체 장치 |
| WO2014061567A1 (en) | 2012-10-17 | 2014-04-24 | Semiconductor Energy Laboratory Co., Ltd. | Programmable logic device |
| TWI637517B (zh) | 2012-10-24 | 2018-10-01 | 半導體能源研究所股份有限公司 | 半導體裝置及其製造方法 |
| US9287411B2 (en) * | 2012-10-24 | 2016-03-15 | Semiconductor Energy Laboratory Co., Ltd. | Semiconductor device and method for manufacturing the same |
| CN102891183B (zh) * | 2012-10-25 | 2015-09-30 | 深圳市华星光电技术有限公司 | 薄膜晶体管及主动矩阵式平面显示装置 |
| TWI600157B (zh) | 2012-11-16 | 2017-09-21 | 半導體能源研究所股份有限公司 | 半導體裝置 |
| US9406810B2 (en) | 2012-12-03 | 2016-08-02 | Semiconductor Energy Laboratory Co., Ltd. | Semiconductor device and manufacturing method thereof |
| JP6320009B2 (ja) * | 2012-12-03 | 2018-05-09 | 株式会社半導体エネルギー研究所 | 半導体装置及びその作製方法 |
| TWI614813B (zh) * | 2013-01-21 | 2018-02-11 | 半導體能源研究所股份有限公司 | 半導體裝置的製造方法 |
| JP6236792B2 (ja) * | 2013-02-07 | 2017-11-29 | 凸版印刷株式会社 | 薄膜トランジスタとその製造方法及び画像表示装置 |
| US9231111B2 (en) | 2013-02-13 | 2016-01-05 | Semiconductor Energy Laboratory Co., Ltd. | Semiconductor device |
| US9368636B2 (en) * | 2013-04-01 | 2016-06-14 | Semiconductor Energy Laboratory Co., Ltd. | Method for manufacturing a semiconductor device comprising a plurality of oxide semiconductor layers |
| CN103346089B (zh) * | 2013-06-13 | 2016-10-26 | 北京大学深圳研究生院 | 一种自对准双层沟道金属氧化物薄膜晶体管及其制作方法 |
| JP6426379B2 (ja) * | 2013-06-19 | 2018-11-21 | 株式会社半導体エネルギー研究所 | 半導体装置の作製方法 |
| JP2015035506A (ja) * | 2013-08-09 | 2015-02-19 | 株式会社東芝 | 半導体装置 |
| JP2015109424A (ja) * | 2013-10-22 | 2015-06-11 | 株式会社半導体エネルギー研究所 | 半導体装置、該半導体装置の作製方法、及び該半導体装置に用いるエッチング溶液 |
| TWI663726B (zh) | 2014-05-30 | 2019-06-21 | Semiconductor Energy Laboratory Co., Ltd. | 半導體裝置、模組及電子裝置 |
| DE112015003266T5 (de) * | 2014-07-15 | 2017-04-13 | Semiconductor Energy Laboratory Co., Ltd. | Halbleitervorrichtung, Herstellungsverfahren dafür und Anzeigevorrichtung mit der Halbleitervorrichtung |
| KR20160017795A (ko) | 2014-08-05 | 2016-02-17 | 삼성디스플레이 주식회사 | 박막 트랜지스터 기판, 이의 제조 방법, 및 박막 트랜지스터 기판을 포함하는 표시 장치 |
| JP2016111677A (ja) * | 2014-09-26 | 2016-06-20 | 株式会社半導体エネルギー研究所 | 半導体装置、無線センサ、及び電子機器 |
| US20160155803A1 (en) * | 2014-11-28 | 2016-06-02 | Semiconductor Energy Laboratory Co., Ltd. | Semiconductor Device, Method for Manufacturing the Semiconductor Device, and Display Device Including the Semiconductor Device |
| KR102260886B1 (ko) * | 2014-12-10 | 2021-06-07 | 삼성디스플레이 주식회사 | 박막 트랜지스터 |
| JP2016146422A (ja) * | 2015-02-09 | 2016-08-12 | 株式会社ジャパンディスプレイ | 表示装置 |
| CN107210230B (zh) * | 2015-02-12 | 2022-02-11 | 株式会社半导体能源研究所 | 氧化物半导体膜及半导体装置 |
| US10147823B2 (en) * | 2015-03-19 | 2018-12-04 | Semiconductor Energy Laboratory Co., Ltd. | Semiconductor device |
| KR20160114511A (ko) | 2015-03-24 | 2016-10-05 | 가부시키가이샤 한도오따이 에네루기 켄큐쇼 | 반도체 장치의 제작 방법 |
| US9806200B2 (en) | 2015-03-27 | 2017-10-31 | Semiconductor Energy Laboratory Co., Ltd. | Semiconductor device |
| US10714633B2 (en) | 2015-12-15 | 2020-07-14 | Semiconductor Energy Laboratory Co., Ltd. | Semiconductor device and display device |
| CN105576038A (zh) * | 2016-01-12 | 2016-05-11 | 京东方科技集团股份有限公司 | 薄膜晶体管及其制作方法、显示基板和显示装置 |
| US9806179B2 (en) * | 2016-01-14 | 2017-10-31 | Hon Hai Precision Industry Co., Ltd. | Method for fabricating conducting structure and thin film transistor array panel |
| JP6747247B2 (ja) * | 2016-01-29 | 2020-08-26 | 日立金属株式会社 | 半導体装置および半導体装置の製造方法 |
| WO2017153882A1 (en) | 2016-03-11 | 2017-09-14 | Semiconductor Energy Laboratory Co., Ltd. | Semiconductor device, manufacturing method thereof, and display device including the semiconductor device |
| CN115332356A (zh) | 2016-04-13 | 2022-11-11 | 株式会社半导体能源研究所 | 半导体装置及包括该半导体装置的显示装置 |
| KR20170126398A (ko) | 2016-05-09 | 2017-11-17 | 가부시키가이샤 한도오따이 에네루기 켄큐쇼 | 반도체 장치 및 상기 반도체 장치를 갖는 표시 장치 |
| TWI737665B (zh) | 2016-07-01 | 2021-09-01 | 日商半導體能源硏究所股份有限公司 | 半導體裝置以及半導體裝置的製造方法 |
| TWI737664B (zh) | 2016-07-11 | 2021-09-01 | 日商半導體能源硏究所股份有限公司 | 金屬氧化物及半導體裝置 |
| TWI720097B (zh) | 2016-07-11 | 2021-03-01 | 日商半導體能源硏究所股份有限公司 | 濺射靶材及濺射靶材的製造方法 |
| JP2019075928A (ja) * | 2017-10-18 | 2019-05-16 | シャープ株式会社 | 太陽電池モジュールおよび太陽光発電システム |
| JP2019109429A (ja) * | 2017-12-20 | 2019-07-04 | 株式会社ジャパンディスプレイ | 表示装置 |
| KR102606487B1 (ko) | 2018-02-01 | 2023-11-27 | 가부시키가이샤 한도오따이 에네루기 켄큐쇼 | 표시 장치 및 전자 기기 |
| JP7228564B2 (ja) | 2018-03-12 | 2023-02-24 | 株式会社半導体エネルギー研究所 | 金属酸化物 |
| JP2022038209A (ja) * | 2020-08-26 | 2022-03-10 | キオクシア株式会社 | 半導体装置 |
| TW202335094A (zh) * | 2022-02-22 | 2023-09-01 | 美商應用材料股份有限公司 | 用於可靠低接觸電阻之導電氧矽化物 |
Family Cites Families (179)
| Publication number | Priority date | Publication date | Assignee | Title |
|---|---|---|---|---|
| JPS60160170A (ja) * | 1984-01-31 | 1985-08-21 | Seiko Instr & Electronics Ltd | 薄膜トランジスタ |
| JPS60198861A (ja) | 1984-03-23 | 1985-10-08 | Fujitsu Ltd | 薄膜トランジスタ |
| JPH0244256B2 (ja) | 1987-01-28 | 1990-10-03 | Kagaku Gijutsucho Mukizaishitsu Kenkyushocho | Ingazn2o5deshimesarerurotsuhoshokeinosojokozoojusurukagobutsuoyobisonoseizoho |
| JPS63210023A (ja) | 1987-02-24 | 1988-08-31 | Natl Inst For Res In Inorg Mater | InGaZn↓4O↓7で示される六方晶系の層状構造を有する化合物およびその製造法 |
| JPH0244260B2 (ja) | 1987-02-24 | 1990-10-03 | Kagaku Gijutsucho Mukizaishitsu Kenkyushocho | Ingazn5o8deshimesarerurotsuhoshokeinosojokozoojusurukagobutsuoyobisonoseizoho |
| JPH0244258B2 (ja) | 1987-02-24 | 1990-10-03 | Kagaku Gijutsucho Mukizaishitsu Kenkyushocho | Ingazn3o6deshimesarerurotsuhoshokeinosojokozoojusurukagobutsuoyobisonoseizoho |
| JPH0244262B2 (ja) | 1987-02-27 | 1990-10-03 | Kagaku Gijutsucho Mukizaishitsu Kenkyushocho | Ingazn6o9deshimesarerurotsuhoshokeinosojokozoojusurukagobutsuoyobisonoseizoho |
| JPH0244263B2 (ja) | 1987-04-22 | 1990-10-03 | Kagaku Gijutsucho Mukizaishitsu Kenkyushocho | Ingazn7o10deshimesarerurotsuhoshokeinosojokozoojusurukagobutsuoyobisonoseizoho |
| JP2585118B2 (ja) | 1990-02-06 | 1997-02-26 | 株式会社半導体エネルギー研究所 | 薄膜トランジスタの作製方法 |
| DE69107101T2 (de) | 1990-02-06 | 1995-05-24 | Semiconductor Energy Lab | Verfahren zum Herstellen eines Oxydfilms. |
| JPH05251705A (ja) | 1992-03-04 | 1993-09-28 | Fuji Xerox Co Ltd | 薄膜トランジスタ |
| JP3184853B2 (ja) | 1993-06-24 | 2001-07-09 | 株式会社日立製作所 | 液晶表示装置 |
| JPH0745833A (ja) * | 1993-07-26 | 1995-02-14 | Nec Corp | 電界効果薄膜型トランジスタ素子の製造方法 |
| US5648293A (en) | 1993-07-22 | 1997-07-15 | Nec Corporation | Method of growing an amorphous silicon film |
| JPH08236775A (ja) | 1995-03-01 | 1996-09-13 | Toshiba Corp | 薄膜トランジスタおよびその製造方法 |
| JP3479375B2 (ja) | 1995-03-27 | 2003-12-15 | 科学技術振興事業団 | 亜酸化銅等の金属酸化物半導体による薄膜トランジスタとpn接合を形成した金属酸化物半導体装置およびそれらの製造方法 |
| DE69635107D1 (de) * | 1995-08-03 | 2005-09-29 | Koninkl Philips Electronics Nv | Halbleiteranordnung mit einem transparenten schaltungselement |
| JP2762968B2 (ja) | 1995-09-28 | 1998-06-11 | 日本電気株式会社 | 電界効果型薄膜トランジスタの製造方法 |
| US5847410A (en) | 1995-11-24 | 1998-12-08 | Semiconductor Energy Laboratory Co. | Semiconductor electro-optical device |
| JP3625598B2 (ja) * | 1995-12-30 | 2005-03-02 | 三星電子株式会社 | 液晶表示装置の製造方法 |
| KR100269518B1 (ko) * | 1997-12-29 | 2000-10-16 | 구본준 | 박막트랜지스터 제조방법 |
| JPH11338439A (ja) | 1998-03-27 | 1999-12-10 | Semiconductor Energy Lab Co Ltd | 半導体表示装置の駆動回路および半導体表示装置 |
| KR100320661B1 (ko) | 1998-04-17 | 2002-01-17 | 니시무로 타이죠 | 액정표시장치, 매트릭스 어레이기판 및 그 제조방법 |
| JP2000002892A (ja) | 1998-04-17 | 2000-01-07 | Toshiba Corp | 液晶表示装置、マトリクスアレイ基板およびその製造方法 |
| JP4170454B2 (ja) | 1998-07-24 | 2008-10-22 | Hoya株式会社 | 透明導電性酸化物薄膜を有する物品及びその製造方法 |
| JP2000124456A (ja) | 1998-10-12 | 2000-04-28 | Shoka Kagi Kofun Yugenkoshi | 高エネルギーギャップオフセット層構造を有するtft素子 |
| JP2000150861A (ja) * | 1998-11-16 | 2000-05-30 | Tdk Corp | 酸化物薄膜 |
| JP3276930B2 (ja) * | 1998-11-17 | 2002-04-22 | 科学技術振興事業団 | トランジスタ及び半導体装置 |
| TW460731B (en) | 1999-09-03 | 2001-10-21 | Ind Tech Res Inst | Electrode structure and production method of wide viewing angle LCD |
| JP4118484B2 (ja) | 2000-03-06 | 2008-07-16 | 株式会社半導体エネルギー研究所 | 半導体装置の作製方法 |
| WO2002016679A1 (en) * | 2000-08-18 | 2002-02-28 | Tohoku Techno Arch Co., Ltd. | Polycrystalline semiconductor material and method of manufacture thereof |
| JP4089858B2 (ja) | 2000-09-01 | 2008-05-28 | 国立大学法人東北大学 | 半導体デバイス |
| KR20020038482A (ko) * | 2000-11-15 | 2002-05-23 | 모리시타 요이찌 | 박막 트랜지스터 어레이, 그 제조방법 및 그것을 이용한표시패널 |
| JP3997731B2 (ja) * | 2001-03-19 | 2007-10-24 | 富士ゼロックス株式会社 | 基材上に結晶性半導体薄膜を形成する方法 |
| JP2002289859A (ja) | 2001-03-23 | 2002-10-04 | Minolta Co Ltd | 薄膜トランジスタ |
| JP3925839B2 (ja) | 2001-09-10 | 2007-06-06 | シャープ株式会社 | 半導体記憶装置およびその試験方法 |
| JP4090716B2 (ja) * | 2001-09-10 | 2008-05-28 | 雅司 川崎 | 薄膜トランジスタおよびマトリクス表示装置 |
| US7061014B2 (en) * | 2001-11-05 | 2006-06-13 | Japan Science And Technology Agency | Natural-superlattice homologous single crystal thin film, method for preparation thereof, and device using said single crystal thin film |
| JP4164562B2 (ja) | 2002-09-11 | 2008-10-15 | 独立行政法人科学技術振興機構 | ホモロガス薄膜を活性層として用いる透明薄膜電界効果型トランジスタ |
| JP4083486B2 (ja) * | 2002-02-21 | 2008-04-30 | 独立行政法人科学技術振興機構 | LnCuO(S,Se,Te)単結晶薄膜の製造方法 |
| US7049190B2 (en) * | 2002-03-15 | 2006-05-23 | Sanyo Electric Co., Ltd. | Method for forming ZnO film, method for forming ZnO semiconductor layer, method for fabricating semiconductor device, and semiconductor device |
| JP3933591B2 (ja) * | 2002-03-26 | 2007-06-20 | 淳二 城戸 | 有機エレクトロルミネッセント素子 |
| US7339187B2 (en) | 2002-05-21 | 2008-03-04 | State Of Oregon Acting By And Through The Oregon State Board Of Higher Education On Behalf Of Oregon State University | Transistor structures |
| JP2004022625A (ja) * | 2002-06-13 | 2004-01-22 | Murata Mfg Co Ltd | 半導体デバイス及び該半導体デバイスの製造方法 |
| US7105868B2 (en) * | 2002-06-24 | 2006-09-12 | Cermet, Inc. | High-electron mobility transistor with zinc oxide |
| US7067843B2 (en) * | 2002-10-11 | 2006-06-27 | E. I. Du Pont De Nemours And Company | Transparent oxide semiconductor thin film transistors |
| JP4166105B2 (ja) | 2003-03-06 | 2008-10-15 | シャープ株式会社 | 半導体装置およびその製造方法 |
| JP2004273732A (ja) | 2003-03-07 | 2004-09-30 | Sharp Corp | アクティブマトリクス基板およびその製造方法 |
| TW577176B (en) * | 2003-03-31 | 2004-02-21 | Ind Tech Res Inst | Structure of thin-film transistor, and the manufacturing method thereof |
| JP4108633B2 (ja) | 2003-06-20 | 2008-06-25 | シャープ株式会社 | 薄膜トランジスタおよびその製造方法ならびに電子デバイス |
| TWI395996B (zh) * | 2003-07-14 | 2013-05-11 | 半導體能源研究所股份有限公司 | 半導體裝置及顯示裝置 |
| US7262463B2 (en) * | 2003-07-25 | 2007-08-28 | Hewlett-Packard Development Company, L.P. | Transistor including a deposited channel region having a doped portion |
| JP2005140984A (ja) | 2003-11-06 | 2005-06-02 | Seiko Epson Corp | プロジェクタ |
| JP2005203656A (ja) * | 2004-01-19 | 2005-07-28 | Ulvac Japan Ltd | 薄膜トランジスタ及び薄膜トランジスタの製造方法 |
| EP2413366B1 (en) | 2004-03-12 | 2017-01-11 | Japan Science And Technology Agency | A switching element of LCDs or organic EL displays |
| US7145174B2 (en) * | 2004-03-12 | 2006-12-05 | Hewlett-Packard Development Company, Lp. | Semiconductor device |
| US7282782B2 (en) * | 2004-03-12 | 2007-10-16 | Hewlett-Packard Development Company, L.P. | Combined binary oxide semiconductor device |
| US7297977B2 (en) | 2004-03-12 | 2007-11-20 | Hewlett-Packard Development Company, L.P. | Semiconductor device |
| MY148646A (en) * | 2004-05-10 | 2013-05-15 | Abgenomics Cooperatief Ua | Anti-psgl-1 antibodies |
| CN101640254B (zh) * | 2004-05-21 | 2016-01-20 | 株式会社半导体能源研究所 | 发光元件和发光设备 |
| US7211825B2 (en) * | 2004-06-14 | 2007-05-01 | Yi-Chi Shih | Indium oxide-based thin film transistors and circuits |
| JP2006100760A (ja) * | 2004-09-02 | 2006-04-13 | Casio Comput Co Ltd | 薄膜トランジスタおよびその製造方法 |
| US7285501B2 (en) * | 2004-09-17 | 2007-10-23 | Hewlett-Packard Development Company, L.P. | Method of forming a solution processed device |
| JP4700317B2 (ja) | 2004-09-30 | 2011-06-15 | 株式会社半導体エネルギー研究所 | 表示装置の作製方法 |
| US7298084B2 (en) * | 2004-11-02 | 2007-11-20 | 3M Innovative Properties Company | Methods and displays utilizing integrated zinc oxide row and column drivers in conjunction with organic light emitting diodes |
| US7868326B2 (en) * | 2004-11-10 | 2011-01-11 | Canon Kabushiki Kaisha | Field effect transistor |
| CA2585063C (en) | 2004-11-10 | 2013-01-15 | Canon Kabushiki Kaisha | Light-emitting device |
| US7453065B2 (en) * | 2004-11-10 | 2008-11-18 | Canon Kabushiki Kaisha | Sensor and image pickup device |
| US7791072B2 (en) * | 2004-11-10 | 2010-09-07 | Canon Kabushiki Kaisha | Display |
| US7863611B2 (en) * | 2004-11-10 | 2011-01-04 | Canon Kabushiki Kaisha | Integrated circuits utilizing amorphous oxides |
| US7829444B2 (en) * | 2004-11-10 | 2010-11-09 | Canon Kabushiki Kaisha | Field effect transistor manufacturing method |
| CN101057339B (zh) | 2004-11-10 | 2012-12-26 | 佳能株式会社 | 无定形氧化物和场效应晶体管 |
| JP5118810B2 (ja) * | 2004-11-10 | 2013-01-16 | キヤノン株式会社 | 電界効果型トランジスタ |
| JP5138163B2 (ja) | 2004-11-10 | 2013-02-06 | キヤノン株式会社 | 電界効果型トランジスタ |
| US7579224B2 (en) * | 2005-01-21 | 2009-08-25 | Semiconductor Energy Laboratory Co., Ltd. | Method for manufacturing a thin film semiconductor device |
| TWI562380B (en) * | 2005-01-28 | 2016-12-11 | Semiconductor Energy Lab Co Ltd | Semiconductor device, electronic device, and method of manufacturing semiconductor device |
| TWI445178B (zh) * | 2005-01-28 | 2014-07-11 | 半導體能源研究所股份有限公司 | 半導體裝置,電子裝置,和半導體裝置的製造方法 |
| US7858451B2 (en) * | 2005-02-03 | 2010-12-28 | Semiconductor Energy Laboratory Co., Ltd. | Electronic device, semiconductor device and manufacturing method thereof |
| US7948171B2 (en) * | 2005-02-18 | 2011-05-24 | Semiconductor Energy Laboratory Co., Ltd. | Light emitting device |
| US20060197092A1 (en) * | 2005-03-03 | 2006-09-07 | Randy Hoffman | System and method for forming conductive material on a substrate |
| US8681077B2 (en) * | 2005-03-18 | 2014-03-25 | Semiconductor Energy Laboratory Co., Ltd. | Semiconductor device, and display device, driving method and electronic apparatus thereof |
| WO2006105077A2 (en) * | 2005-03-28 | 2006-10-05 | Massachusetts Institute Of Technology | Low voltage thin film transistor with high-k dielectric material |
| US7645478B2 (en) * | 2005-03-31 | 2010-01-12 | 3M Innovative Properties Company | Methods of making displays |
| US8300031B2 (en) * | 2005-04-20 | 2012-10-30 | Semiconductor Energy Laboratory Co., Ltd. | Semiconductor device comprising transistor having gate and drain connected through a current-voltage conversion element |
| JP2006344849A (ja) | 2005-06-10 | 2006-12-21 | Casio Comput Co Ltd | 薄膜トランジスタ |
| US7402506B2 (en) * | 2005-06-16 | 2008-07-22 | Eastman Kodak Company | Methods of making thin film transistors comprising zinc-oxide-based semiconductor materials and transistors made thereby |
| US7691666B2 (en) | 2005-06-16 | 2010-04-06 | Eastman Kodak Company | Methods of making thin film transistors comprising zinc-oxide-based semiconductor materials and transistors made thereby |
| JP4772395B2 (ja) | 2005-06-24 | 2011-09-14 | 三菱電機株式会社 | 電気光学表示装置およびその製造方法 |
| US7507618B2 (en) | 2005-06-27 | 2009-03-24 | 3M Innovative Properties Company | Method for making electronic devices using metal oxide nanoparticles |
| KR100711890B1 (ko) * | 2005-07-28 | 2007-04-25 | 삼성에스디아이 주식회사 | 유기 발광표시장치 및 그의 제조방법 |
| KR100851131B1 (ko) | 2005-08-17 | 2008-08-08 | 가부시키가이샤 고베 세이코쇼 | 소스/드레인 전극, 박막 트랜지스터 기판, 그의 제조방법,및 표시 디바이스 |
| JP2007059128A (ja) * | 2005-08-23 | 2007-03-08 | Canon Inc | 有機el表示装置およびその製造方法 |
| JP4850457B2 (ja) | 2005-09-06 | 2012-01-11 | キヤノン株式会社 | 薄膜トランジスタ及び薄膜ダイオード |
| JP5116225B2 (ja) * | 2005-09-06 | 2013-01-09 | キヤノン株式会社 | 酸化物半導体デバイスの製造方法 |
| JP4732080B2 (ja) | 2005-09-06 | 2011-07-27 | キヤノン株式会社 | 発光素子 |
| JP4981282B2 (ja) * | 2005-09-06 | 2012-07-18 | キヤノン株式会社 | 薄膜トランジスタの製造方法 |
| JP2007073705A (ja) * | 2005-09-06 | 2007-03-22 | Canon Inc | 酸化物半導体チャネル薄膜トランジスタおよびその製造方法 |
| JP4280736B2 (ja) * | 2005-09-06 | 2009-06-17 | キヤノン株式会社 | 半導体素子 |
| KR100729043B1 (ko) * | 2005-09-14 | 2007-06-14 | 삼성에스디아이 주식회사 | 투명 박막 트랜지스터 및 그의 제조방법 |
| KR100786498B1 (ko) * | 2005-09-27 | 2007-12-17 | 삼성에스디아이 주식회사 | 투명박막 트랜지스터 및 그 제조방법 |
| EP3614442A3 (en) * | 2005-09-29 | 2020-03-25 | Semiconductor Energy Laboratory Co., Ltd. | Semiconductor device having oxide semiconductor layer and manufactoring method thereof |
| JP5078246B2 (ja) | 2005-09-29 | 2012-11-21 | 株式会社半導体エネルギー研究所 | 半導体装置、及び半導体装置の作製方法 |
| JP5064747B2 (ja) | 2005-09-29 | 2012-10-31 | 株式会社半導体エネルギー研究所 | 半導体装置、電気泳動表示装置、表示モジュール、電子機器、及び半導体装置の作製方法 |
| US7982215B2 (en) | 2005-10-05 | 2011-07-19 | Idemitsu Kosan Co., Ltd. | TFT substrate and method for manufacturing TFT substrate |
| JP5037808B2 (ja) * | 2005-10-20 | 2012-10-03 | キヤノン株式会社 | アモルファス酸化物を用いた電界効果型トランジスタ、及び該トランジスタを用いた表示装置 |
| KR101117948B1 (ko) * | 2005-11-15 | 2012-02-15 | 가부시키가이샤 한도오따이 에네루기 켄큐쇼 | 액정 디스플레이 장치 제조 방법 |
| JP5250929B2 (ja) * | 2005-11-30 | 2013-07-31 | 凸版印刷株式会社 | トランジスタおよびその製造方法 |
| JP5244295B2 (ja) * | 2005-12-21 | 2013-07-24 | 出光興産株式会社 | Tft基板及びtft基板の製造方法 |
| TWI292281B (en) * | 2005-12-29 | 2008-01-01 | Ind Tech Res Inst | Pixel structure of active organic light emitting diode and method of fabricating the same |
| US7867636B2 (en) * | 2006-01-11 | 2011-01-11 | Murata Manufacturing Co., Ltd. | Transparent conductive film and method for manufacturing the same |
| JP4977478B2 (ja) * | 2006-01-21 | 2012-07-18 | 三星電子株式会社 | ZnOフィルム及びこれを用いたTFTの製造方法 |
| US7576394B2 (en) * | 2006-02-02 | 2009-08-18 | Kochi Industrial Promotion Center | Thin film transistor including low resistance conductive thin films and manufacturing method thereof |
| US7977169B2 (en) | 2006-02-15 | 2011-07-12 | Kochi Industrial Promotion Center | Semiconductor device including active layer made of zinc oxide with controlled orientations and manufacturing method thereof |
| JP4867630B2 (ja) * | 2006-02-16 | 2012-02-01 | セイコーエプソン株式会社 | 金属粉末製造装置および金属粉末 |
| JP5110803B2 (ja) | 2006-03-17 | 2012-12-26 | キヤノン株式会社 | 酸化物膜をチャネルに用いた電界効果型トランジスタ及びその製造方法 |
| JP5196813B2 (ja) * | 2006-03-20 | 2013-05-15 | キヤノン株式会社 | アモルファス酸化物膜をゲート絶縁層に用いた電界効果型トランジスタ |
| KR20070101595A (ko) | 2006-04-11 | 2007-10-17 | 삼성전자주식회사 | ZnO TFT |
| US20070252928A1 (en) | 2006-04-28 | 2007-11-01 | Toppan Printing Co., Ltd. | Structure, transmission type liquid crystal display, reflection type display and manufacturing method thereof |
| US8900970B2 (en) | 2006-04-28 | 2014-12-02 | Semiconductor Energy Laboratory Co., Ltd. | Method for manufacturing a semiconductor device using a flexible substrate |
| JP5364242B2 (ja) * | 2006-04-28 | 2013-12-11 | 株式会社半導体エネルギー研究所 | 半導体装置の作製方法 |
| JP5105044B2 (ja) | 2006-05-09 | 2012-12-19 | 株式会社ブリヂストン | 酸化物トランジスタ及びその製造方法 |
| JP5028033B2 (ja) | 2006-06-13 | 2012-09-19 | キヤノン株式会社 | 酸化物半導体膜のドライエッチング方法 |
| JP4999400B2 (ja) * | 2006-08-09 | 2012-08-15 | キヤノン株式会社 | 酸化物半導体膜のドライエッチング方法 |
| JP4609797B2 (ja) * | 2006-08-09 | 2011-01-12 | Nec液晶テクノロジー株式会社 | 薄膜デバイス及びその製造方法 |
| JP5127183B2 (ja) | 2006-08-23 | 2013-01-23 | キヤノン株式会社 | アモルファス酸化物半導体膜を用いた薄膜トランジスタの製造方法 |
| JP4332545B2 (ja) * | 2006-09-15 | 2009-09-16 | キヤノン株式会社 | 電界効果型トランジスタ及びその製造方法 |
| JP5164357B2 (ja) * | 2006-09-27 | 2013-03-21 | キヤノン株式会社 | 半導体装置及び半導体装置の製造方法 |
| JP4274219B2 (ja) * | 2006-09-27 | 2009-06-03 | セイコーエプソン株式会社 | 電子デバイス、有機エレクトロルミネッセンス装置、有機薄膜半導体装置 |
| US7622371B2 (en) * | 2006-10-10 | 2009-11-24 | Hewlett-Packard Development Company, L.P. | Fused nanocrystal thin film semiconductor and method |
| KR100829570B1 (ko) * | 2006-10-20 | 2008-05-14 | 삼성전자주식회사 | 크로스 포인트 메모리용 박막 트랜지스터 및 그 제조 방법 |
| TWI442368B (zh) | 2006-10-26 | 2014-06-21 | Semiconductor Energy Lab | 電子裝置,顯示裝置,和半導體裝置,以及其驅動方法 |
| JP2008134625A (ja) | 2006-10-26 | 2008-06-12 | Semiconductor Energy Lab Co Ltd | 半導体装置、表示装置及び電子機器 |
| KR101425635B1 (ko) * | 2006-11-29 | 2014-08-06 | 삼성디스플레이 주식회사 | 산화물 박막 트랜지스터 기판의 제조 방법 및 산화물 박막트랜지스터 기판 |
| US7772021B2 (en) * | 2006-11-29 | 2010-08-10 | Samsung Electronics Co., Ltd. | Flat panel displays comprising a thin-film transistor having a semiconductive oxide in its channel and methods of fabricating the same for use in flat panel displays |
| JP2008140984A (ja) * | 2006-12-01 | 2008-06-19 | Sharp Corp | 半導体素子、半導体素子の製造方法、及び表示装置 |
| JP2008140684A (ja) * | 2006-12-04 | 2008-06-19 | Toppan Printing Co Ltd | カラーelディスプレイおよびその製造方法 |
| KR101303578B1 (ko) * | 2007-01-05 | 2013-09-09 | 삼성전자주식회사 | 박막 식각 방법 |
| KR20080070313A (ko) | 2007-01-26 | 2008-07-30 | 삼성전자주식회사 | 표시 장치와 그 제조방법 |
| US8207063B2 (en) * | 2007-01-26 | 2012-06-26 | Eastman Kodak Company | Process for atomic layer deposition |
| EP1950804A2 (en) | 2007-01-26 | 2008-07-30 | Samsung Electronics Co., Ltd. | Display device and manufacturing method of the same |
| KR101312259B1 (ko) | 2007-02-09 | 2013-09-25 | 삼성전자주식회사 | 박막 트랜지스터 및 그 제조방법 |
| JP5415001B2 (ja) | 2007-02-22 | 2014-02-12 | 株式会社半導体エネルギー研究所 | 半導体装置 |
| JP5121254B2 (ja) | 2007-02-28 | 2013-01-16 | キヤノン株式会社 | 薄膜トランジスタおよび表示装置 |
| KR100858088B1 (ko) * | 2007-02-28 | 2008-09-10 | 삼성전자주식회사 | 박막 트랜지스터 및 그 제조 방법 |
| KR100851215B1 (ko) * | 2007-03-14 | 2008-08-07 | 삼성에스디아이 주식회사 | 박막 트랜지스터 및 이를 이용한 유기 전계 발광표시장치 |
| JP5465825B2 (ja) | 2007-03-26 | 2014-04-09 | 出光興産株式会社 | 半導体装置、半導体装置の製造方法及び表示装置 |
| JP5244331B2 (ja) | 2007-03-26 | 2013-07-24 | 出光興産株式会社 | 非晶質酸化物半導体薄膜、その製造方法、薄膜トランジスタの製造方法、電界効果型トランジスタ、発光装置、表示装置及びスパッタリングターゲット |
| JP4727684B2 (ja) | 2007-03-27 | 2011-07-20 | 富士フイルム株式会社 | 薄膜電界効果型トランジスタおよびそれを用いた表示装置 |
| JP2008276212A (ja) | 2007-04-05 | 2008-11-13 | Fujifilm Corp | 有機電界発光表示装置 |
| JP2008276211A (ja) * | 2007-04-05 | 2008-11-13 | Fujifilm Corp | 有機電界発光表示装置およびパターニング方法 |
| US7795613B2 (en) * | 2007-04-17 | 2010-09-14 | Toppan Printing Co., Ltd. | Structure with transistor |
| KR101325053B1 (ko) | 2007-04-18 | 2013-11-05 | 삼성디스플레이 주식회사 | 박막 트랜지스터 기판 및 이의 제조 방법 |
| KR20080094300A (ko) | 2007-04-19 | 2008-10-23 | 삼성전자주식회사 | 박막 트랜지스터 및 그 제조 방법과 박막 트랜지스터를포함하는 평판 디스플레이 |
| KR101334181B1 (ko) * | 2007-04-20 | 2013-11-28 | 삼성전자주식회사 | 선택적으로 결정화된 채널층을 갖는 박막 트랜지스터 및 그제조 방법 |
| CN101663762B (zh) | 2007-04-25 | 2011-09-21 | 佳能株式会社 | 氧氮化物半导体 |
| KR101345376B1 (ko) | 2007-05-29 | 2013-12-24 | 삼성전자주식회사 | ZnO 계 박막 트랜지스터 및 그 제조방법 |
| JP5339772B2 (ja) * | 2007-06-11 | 2013-11-13 | 富士フイルム株式会社 | 電子ディスプレイ |
| JPWO2009034953A1 (ja) | 2007-09-10 | 2010-12-24 | 出光興産株式会社 | 薄膜トランジスタ |
| CN100530607C (zh) * | 2007-12-11 | 2009-08-19 | 西安交通大学 | 一种ZnO基透明薄膜晶体管阵列的制备方法 |
| JP5215158B2 (ja) * | 2007-12-17 | 2013-06-19 | 富士フイルム株式会社 | 無機結晶性配向膜及びその製造方法、半導体デバイス |
| JP4555358B2 (ja) * | 2008-03-24 | 2010-09-29 | 富士フイルム株式会社 | 薄膜電界効果型トランジスタおよび表示装置 |
| KR100941850B1 (ko) | 2008-04-03 | 2010-02-11 | 삼성모바일디스플레이주식회사 | 박막 트랜지스터, 그의 제조 방법 및 박막 트랜지스터를구비하는 평판 표시 장치 |
| KR20090124527A (ko) | 2008-05-30 | 2009-12-03 | 삼성모바일디스플레이주식회사 | 박막 트랜지스터, 그의 제조 방법 및 박막 트랜지스터를구비하는 평판 표시 장치 |
| KR100963027B1 (ko) * | 2008-06-30 | 2010-06-10 | 삼성모바일디스플레이주식회사 | 박막 트랜지스터, 그의 제조 방법 및 박막 트랜지스터를구비하는 평판 표시 장치 |
| KR100963026B1 (ko) * | 2008-06-30 | 2010-06-10 | 삼성모바일디스플레이주식회사 | 박막 트랜지스터, 그의 제조 방법 및 박막 트랜지스터를구비하는 평판 표시 장치 |
| TWI875442B (zh) * | 2008-07-31 | 2025-03-01 | 日商半導體能源研究所股份有限公司 | 半導體裝置及半導體裝置的製造方法 |
| JP5345456B2 (ja) * | 2008-08-14 | 2013-11-20 | 富士フイルム株式会社 | 薄膜電界効果型トランジスタ |
| KR101827333B1 (ko) * | 2008-09-19 | 2018-02-09 | 가부시키가이샤 한도오따이 에네루기 켄큐쇼 | 반도체장치 |
| TWI501401B (zh) | 2008-10-31 | 2015-09-21 | Semiconductor Energy Lab | 半導體裝置及其製造方法 |
| TWI502739B (zh) * | 2008-11-13 | 2015-10-01 | Semiconductor Energy Lab | 半導體裝置及其製造方法 |
| US8344387B2 (en) * | 2008-11-28 | 2013-01-01 | Semiconductor Energy Laboratory Co., Ltd. | Semiconductor device and method for manufacturing the same |
| KR101343570B1 (ko) * | 2008-12-18 | 2013-12-20 | 한국전자통신연구원 | 보론이 도핑된 산화물 반도체 박막을 적용한 박막 트랜지스터 및 그의 제조방법 |
| KR101648927B1 (ko) * | 2009-01-16 | 2016-08-17 | 가부시키가이샤 한도오따이 에네루기 켄큐쇼 | 반도체 장치 및 그 제작 방법 |
| US8492756B2 (en) * | 2009-01-23 | 2013-07-23 | Semiconductor Energy Laboratory Co., Ltd. | Semiconductor device and method for manufacturing the same |
| US8704216B2 (en) * | 2009-02-27 | 2014-04-22 | Semiconductor Energy Laboratory Co., Ltd. | Semiconductor device and manufacturing method thereof |
| US8450144B2 (en) * | 2009-03-26 | 2013-05-28 | Semiconductor Energy Laboratory Co., Ltd. | Semiconductor device and method for manufacturing the same |
| JP2011054812A (ja) * | 2009-09-03 | 2011-03-17 | Hitachi Ltd | 薄膜トランジスタおよびその製造方法 |
| EP2428994A1 (en) * | 2010-09-10 | 2012-03-14 | Applied Materials, Inc. | Method and system for depositing a thin-film transistor |
| JP2013149953A (ja) * | 2011-12-20 | 2013-08-01 | Semiconductor Energy Lab Co Ltd | 半導体装置及び半導体装置の作製方法 |
-
2009
- 2009-10-20 TW TW098135429A patent/TWI501401B/zh active
- 2009-10-20 TW TW107119023A patent/TWI659474B/zh active
- 2009-10-20 TW TW104121677A patent/TWI567829B/zh active
- 2009-10-20 TW TW101149756A patent/TWI496295B/zh active
- 2009-10-20 TW TW101149755A patent/TWI478356B/zh active
- 2009-10-20 TW TW105133713A patent/TWI606520B/zh active
- 2009-10-20 TW TW106114517A patent/TWI633605B/zh active
- 2009-10-23 US US12/604,622 patent/US8426868B2/en active Active
- 2009-10-29 JP JP2009249031A patent/JP5514511B2/ja active Active
- 2009-10-30 CN CN200910209089.1A patent/CN101728435B/zh active Active
- 2009-10-30 KR KR1020090103983A patent/KR101645194B1/ko not_active Expired - Fee Related
- 2009-10-30 CN CN201210557121.7A patent/CN103107201B/zh active Active
-
2012
- 2012-11-29 US US13/688,598 patent/US8759167B2/en active Active
- 2012-11-29 US US13/688,596 patent/US8633492B2/en active Active
-
2013
- 2013-01-02 KR KR20130000102A patent/KR101425848B1/ko active Active
- 2013-01-02 KR KR20130000107A patent/KR101493304B1/ko active Active
-
2014
- 2014-03-31 JP JP2014072374A patent/JP2014168073A/ja not_active Withdrawn
- 2014-05-15 US US14/278,521 patent/US9349874B2/en active Active
- 2014-10-07 KR KR1020140134912A patent/KR101615877B1/ko not_active Expired - Fee Related
-
2016
- 2016-04-22 JP JP2016086127A patent/JP6227703B2/ja active Active
- 2016-05-05 US US15/146,980 patent/US9911860B2/en active Active
- 2016-07-27 KR KR1020160095418A patent/KR101793000B1/ko active Active
-
2017
- 2017-02-08 JP JP2017021229A patent/JP6220999B2/ja active Active
- 2017-02-23 JP JP2017031776A patent/JP6181333B2/ja active Active
- 2017-04-04 US US15/478,617 patent/US9842942B2/en active Active
- 2017-10-11 JP JP2017197426A patent/JP6552573B2/ja not_active Expired - Fee Related
- 2017-10-26 KR KR1020170140067A patent/KR101852561B1/ko active Active
-
2018
- 2018-03-02 US US15/910,395 patent/US10269978B2/en active Active
- 2018-04-20 KR KR1020180046140A patent/KR101891958B1/ko active Active
- 2018-08-17 KR KR1020180095783A patent/KR102015265B1/ko active Active
-
2019
- 2019-04-19 US US16/388,949 patent/US11107928B2/en not_active Expired - Fee Related
- 2019-07-02 JP JP2019123894A patent/JP6856711B2/ja active Active
- 2019-08-20 KR KR1020190101624A patent/KR102069162B1/ko active Active
-
2020
- 2020-01-13 KR KR1020200004306A patent/KR102171572B1/ko active Active
- 2020-10-22 KR KR1020200137401A patent/KR102293971B1/ko active Active
-
2021
- 2021-03-18 JP JP2021044840A patent/JP2021100144A/ja not_active Withdrawn
- 2021-07-27 US US17/443,541 patent/US11594643B2/en active Active
- 2021-08-19 KR KR1020210109207A patent/KR102367525B1/ko active Active
-
2022
- 2022-02-17 KR KR1020220020701A patent/KR102416662B1/ko active Active
- 2022-06-28 KR KR1020220078852A patent/KR102615835B1/ko active Active
- 2022-09-27 JP JP2022153728A patent/JP7451640B2/ja active Active
Also Published As
Similar Documents
| Publication | Publication Date | Title |
|---|---|---|
| KR102615835B1 (ko) | 반도체 장치 및 그 제작 방법 | |
| JP6616462B2 (ja) | 半導体装置 | |
| JP6130000B2 (ja) | 半導体装置の作製方法 | |
| JP6360874B2 (ja) | 半導体装置 | |
| JP5601811B2 (ja) | 半導体装置 | |
| JP2010109359A (ja) | 表示装置 |
Legal Events
| Date | Code | Title | Description |
|---|---|---|---|
| A521 | Request for written amendment filed |
Free format text: JAPANESE INTERMEDIATE CODE: A523 Effective date: 20170601 |
|
| TRDD | Decision of grant or rejection written | ||
| A01 | Written decision to grant a patent or to grant a registration (utility model) |
Free format text: JAPANESE INTERMEDIATE CODE: A01 Effective date: 20170711 |
|
| A61 | First payment of annual fees (during grant procedure) |
Free format text: JAPANESE INTERMEDIATE CODE: A61 Effective date: 20170719 |
|
| R150 | Certificate of patent or registration of utility model |
Ref document number: 6181333 Country of ref document: JP Free format text: JAPANESE INTERMEDIATE CODE: R150 |
|
| R250 | Receipt of annual fees |
Free format text: JAPANESE INTERMEDIATE CODE: R250 |
|
| R250 | Receipt of annual fees |
Free format text: JAPANESE INTERMEDIATE CODE: R250 |
|
| R250 | Receipt of annual fees |
Free format text: JAPANESE INTERMEDIATE CODE: R250 |
|
| R250 | Receipt of annual fees |
Free format text: JAPANESE INTERMEDIATE CODE: R250 |
|
| R250 | Receipt of annual fees |
Free format text: JAPANESE INTERMEDIATE CODE: R250 |
