JP4935112B2 - 蓄電パックの車載構造 - Google Patents

蓄電パックの車載構造 Download PDF

Info

Publication number
JP4935112B2
JP4935112B2 JP2006053225A JP2006053225A JP4935112B2 JP 4935112 B2 JP4935112 B2 JP 4935112B2 JP 2006053225 A JP2006053225 A JP 2006053225A JP 2006053225 A JP2006053225 A JP 2006053225A JP 4935112 B2 JP4935112 B2 JP 4935112B2
Authority
JP
Japan
Prior art keywords
battery pack
opening
screw
bolt
case
Prior art date
Legal status (The legal status is an assumption and is not a legal conclusion. Google has not performed a legal analysis and makes no representation as to the accuracy of the status listed.)
Expired - Lifetime
Application number
JP2006053225A
Other languages
English (en)
Other versions
JP2007230329A (ja
Inventor
信昭 木谷
Current Assignee (The listed assignees may be inaccurate. Google has not performed a legal analysis and makes no representation or warranty as to the accuracy of the list.)
Toyota Motor Corp
Original Assignee
Toyota Motor Corp
Priority date (The priority date is an assumption and is not a legal conclusion. Google has not performed a legal analysis and makes no representation as to the accuracy of the date listed.)
Filing date
Publication date
Application filed by Toyota Motor Corp filed Critical Toyota Motor Corp
Priority to JP2006053225A priority Critical patent/JP4935112B2/ja
Priority to PCT/JP2007/054120 priority patent/WO2007100118A1/ja
Priority to CN2007800071058A priority patent/CN101395022B/zh
Priority to US12/223,933 priority patent/US8037960B2/en
Priority to DE112007000474.6T priority patent/DE112007000474B4/de
Publication of JP2007230329A publication Critical patent/JP2007230329A/ja
Application granted granted Critical
Publication of JP4935112B2 publication Critical patent/JP4935112B2/ja
Anticipated expiration legal-status Critical
Expired - Lifetime legal-status Critical Current

Links

Images

Classifications

    • BPERFORMING OPERATIONS; TRANSPORTING
    • B60VEHICLES IN GENERAL
    • B60KARRANGEMENT OR MOUNTING OF PROPULSION UNITS OR OF TRANSMISSIONS IN VEHICLES; ARRANGEMENT OR MOUNTING OF PLURAL DIVERSE PRIME-MOVERS IN VEHICLES; AUXILIARY DRIVES FOR VEHICLES; INSTRUMENTATION OR DASHBOARDS FOR VEHICLES; ARRANGEMENTS IN CONNECTION WITH COOLING, AIR INTAKE, GAS EXHAUST OR FUEL SUPPLY OF PROPULSION UNITS IN VEHICLES
    • B60K1/00Arrangement or mounting of electrical propulsion units
    • B60K1/04Arrangement or mounting of electrical propulsion units of the electric storage means for propulsion
    • BPERFORMING OPERATIONS; TRANSPORTING
    • B60VEHICLES IN GENERAL
    • B60RVEHICLES, VEHICLE FITTINGS, OR VEHICLE PARTS, NOT OTHERWISE PROVIDED FOR
    • B60R16/00Electric or fluid circuits specially adapted for vehicles and not otherwise provided for; Arrangement of elements of electric or fluid circuits specially adapted for vehicles and not otherwise provided for
    • B60R16/02Electric or fluid circuits specially adapted for vehicles and not otherwise provided for; Arrangement of elements of electric or fluid circuits specially adapted for vehicles and not otherwise provided for electric constitutive elements
    • B60R16/04Arrangement of batteries
    • BPERFORMING OPERATIONS; TRANSPORTING
    • B62LAND VEHICLES FOR TRAVELLING OTHERWISE THAN ON RAILS
    • B62DMOTOR VEHICLES; TRAILERS
    • B62D21/00Understructures, i.e. chassis frame on which a vehicle body may be mounted
    • B62D21/15Understructures, i.e. chassis frame on which a vehicle body may be mounted having impact absorbing means, e.g. a frame designed to permanently or temporarily change shape or dimension upon impact with another body
    • B62D21/152Front or rear frames
    • HELECTRICITY
    • H01ELECTRIC ELEMENTS
    • H01MPROCESSES OR MEANS, e.g. BATTERIES, FOR THE DIRECT CONVERSION OF CHEMICAL ENERGY INTO ELECTRICAL ENERGY
    • H01M50/00Constructional details or processes of manufacture of the non-active parts of electrochemical cells other than fuel cells, e.g. hybrid cells
    • H01M50/20Mountings; Secondary casings or frames; Racks, modules or packs; Suspension devices; Shock absorbers; Transport or carrying devices; Holders
    • H01M50/244Secondary casings; Racks; Suspension devices; Carrying devices; Holders characterised by their mounting method
    • HELECTRICITY
    • H01ELECTRIC ELEMENTS
    • H01MPROCESSES OR MEANS, e.g. BATTERIES, FOR THE DIRECT CONVERSION OF CHEMICAL ENERGY INTO ELECTRICAL ENERGY
    • H01M50/00Constructional details or processes of manufacture of the non-active parts of electrochemical cells other than fuel cells, e.g. hybrid cells
    • H01M50/20Mountings; Secondary casings or frames; Racks, modules or packs; Suspension devices; Shock absorbers; Transport or carrying devices; Holders
    • H01M50/249Mountings; Secondary casings or frames; Racks, modules or packs; Suspension devices; Shock absorbers; Transport or carrying devices; Holders specially adapted for aircraft or vehicles, e.g. cars or trains
    • HELECTRICITY
    • H01ELECTRIC ELEMENTS
    • H01MPROCESSES OR MEANS, e.g. BATTERIES, FOR THE DIRECT CONVERSION OF CHEMICAL ENERGY INTO ELECTRICAL ENERGY
    • H01M50/00Constructional details or processes of manufacture of the non-active parts of electrochemical cells other than fuel cells, e.g. hybrid cells
    • H01M50/20Mountings; Secondary casings or frames; Racks, modules or packs; Suspension devices; Shock absorbers; Transport or carrying devices; Holders
    • H01M50/262Mountings; Secondary casings or frames; Racks, modules or packs; Suspension devices; Shock absorbers; Transport or carrying devices; Holders with fastening means, e.g. locks
    • HELECTRICITY
    • H01ELECTRIC ELEMENTS
    • H01MPROCESSES OR MEANS, e.g. BATTERIES, FOR THE DIRECT CONVERSION OF CHEMICAL ENERGY INTO ELECTRICAL ENERGY
    • H01M50/00Constructional details or processes of manufacture of the non-active parts of electrochemical cells other than fuel cells, e.g. hybrid cells
    • H01M50/20Mountings; Secondary casings or frames; Racks, modules or packs; Suspension devices; Shock absorbers; Transport or carrying devices; Holders
    • H01M50/271Lids or covers for the racks or secondary casings
    • BPERFORMING OPERATIONS; TRANSPORTING
    • B60VEHICLES IN GENERAL
    • B60KARRANGEMENT OR MOUNTING OF PROPULSION UNITS OR OF TRANSMISSIONS IN VEHICLES; ARRANGEMENT OR MOUNTING OF PLURAL DIVERSE PRIME-MOVERS IN VEHICLES; AUXILIARY DRIVES FOR VEHICLES; INSTRUMENTATION OR DASHBOARDS FOR VEHICLES; ARRANGEMENTS IN CONNECTION WITH COOLING, AIR INTAKE, GAS EXHAUST OR FUEL SUPPLY OF PROPULSION UNITS IN VEHICLES
    • B60K1/00Arrangement or mounting of electrical propulsion units
    • B60K1/04Arrangement or mounting of electrical propulsion units of the electric storage means for propulsion
    • B60K2001/0405Arrangement or mounting of electrical propulsion units of the electric storage means for propulsion characterised by their position
    • B60K2001/0416Arrangement in the rear part of the vehicle
    • HELECTRICITY
    • H01ELECTRIC ELEMENTS
    • H01MPROCESSES OR MEANS, e.g. BATTERIES, FOR THE DIRECT CONVERSION OF CHEMICAL ENERGY INTO ELECTRICAL ENERGY
    • H01M50/00Constructional details or processes of manufacture of the non-active parts of electrochemical cells other than fuel cells, e.g. hybrid cells
    • H01M50/20Mountings; Secondary casings or frames; Racks, modules or packs; Suspension devices; Shock absorbers; Transport or carrying devices; Holders
    • H01M50/204Racks, modules or packs for multiple batteries or multiple cells
    • H01M50/207Racks, modules or packs for multiple batteries or multiple cells characterised by their shape
    • H01M50/211Racks, modules or packs for multiple batteries or multiple cells characterised by their shape adapted for pouch cells
    • YGENERAL TAGGING OF NEW TECHNOLOGICAL DEVELOPMENTS; GENERAL TAGGING OF CROSS-SECTIONAL TECHNOLOGIES SPANNING OVER SEVERAL SECTIONS OF THE IPC; TECHNICAL SUBJECTS COVERED BY FORMER USPC CROSS-REFERENCE ART COLLECTIONS [XRACs] AND DIGESTS
    • Y02TECHNOLOGIES OR APPLICATIONS FOR MITIGATION OR ADAPTATION AGAINST CLIMATE CHANGE
    • Y02EREDUCTION OF GREENHOUSE GAS [GHG] EMISSIONS, RELATED TO ENERGY GENERATION, TRANSMISSION OR DISTRIBUTION
    • Y02E60/00Enabling technologies; Technologies with a potential or indirect contribution to GHG emissions mitigation
    • Y02E60/10Energy storage using batteries

Landscapes

  • Engineering & Computer Science (AREA)
  • Chemical & Material Sciences (AREA)
  • Chemical Kinetics & Catalysis (AREA)
  • Electrochemistry (AREA)
  • General Chemical & Material Sciences (AREA)
  • Mechanical Engineering (AREA)
  • Combustion & Propulsion (AREA)
  • Transportation (AREA)
  • Aviation & Aerospace Engineering (AREA)
  • Arrangement Or Mounting Of Propulsion Units For Vehicles (AREA)
  • Battery Mounting, Suspending (AREA)

Description

本発明は、蓄電パックの車載構造に関する。
近年、電動機を駆動源として用いる電気自動車や、電動機とその他の駆動源とを組み合わせたいわゆるハイブリッド電気自動車が実用化されてきている。このような自動車においては、電動機にエネルギである電気を供給するための蓄電機器が搭載される。蓄電機器としては、たとえば、繰り返し充放電が可能なニッケル−カドミウム電池、ニッケル−水素電池、またはリチウムイオン電池などに代表される二次電池やキャパシタなどが用いられる。蓄電機器は、ケースに収容されて蓄電パックとして車体に搭載される。
特開平6−270694号公報においては、バッテリキャリアのフランジの前部上面に、フロントブラケットがボルトでロッカに固定されており、バッテリキャリアのフランジの後部上面にはリアブラケットがボルトでロッカに固定されている電気自動車のバッテリキャリア支持構造が開示されている。このバッテリキャリア支持構造には、ロッカーインナーの下壁部の車体前後方向中間部に折れビートが形成されている。ロッカの後部は、この折れビートを折曲部として下方へ折れ曲がるようになっている。前側のボルトの滑り荷重は、後側のボルトの滑り荷重よりも小さくなっている。このバッテリキャリア支持構造によれば、車体前方からの衝撃力が作用した場合に、フロントサイドメンバのエネルギ吸収負担量を低減することができると開示されている。
特開2004−262413号公報においては、バッテリが連結され、これらをフロアパネル上に固定するステイに複数の長孔を設けることにより、ステイに上下方向の強度が維持されたまま、前後方向の強度のみが所定に脆弱な脆弱部を形成したバッテリの取付構造が開示されている。このバッテリの取付構造は、衝突時に傾斜部にガイドされて車体前方の跳ね上げられたスペアタイヤが、バッテリの後部に激突した場合には、脆弱部でステイが変形されるように形成されている。このバッテリの取付構造によれば、衝突時に跳ね上げられたスペアタイヤの衝突によるバッテリの破損を防止することができると開示されている。また、ステイに形成される長穴に代えて、後端が開放した長穴をフランジに設けてスライド機構を構成してもよいと開示されている。
特開平7−81431号公報においては、バッテリフレームのサイドフレームがボルトとナットプレートによって固定され、サイドメンバのボルトの挿通孔の前側と後側に前側スリット部と後側スリット部が形成されたバッテリフレーム固定部構造が開示されている。サイドメンバの内部にはサイドフレームの後部に対応する位置からサイドメンバの後端にレインホースが挿通されている。レインホースの前端はボルトを挿通孔に挿通してサイドメンバに固定されている。レインホースの挿通孔の後部にはスリットが形成されている。この電気自動車のバッテリフレームの固定構造によれば、車体重量増加を抑えて、衝突時のバッテリフレームの移動を阻止できると開示されている。
特開平7−117490号公報においては、バッテリキャリアのフランジに取付孔が穿設され、取付孔にボルトが挿通されている電気自動車のバッテリ支持構造が開示されている。バッテリキャリアは、ボルトによって所定の締付け力でロッカに取付けられている。バッテリキャリアのフランジには取付孔に隣接して薄肉部が形成されている。このバッテリ支持構造によれば、車体に支持されるバッテリキャリアの支持部位の剛性を向上するとともにバッテリキャリアの持つ運動エネルギを吸収することができると開示されている。
特開平6−115361号公報においては、バッテリキャリアのフランジに、車体前後方向へ沿って互いに連通しない複数の孔が穿設された電気自動車のバッテリ支持構造が開示されている。この電気自動車のバッテリ支持構造によれば、車体に支持されるバッテリキャリアの支持部位の剛性を向上し、また、バッテリキャリアの持つ運動エネルギをも吸収することができるバッテリ支持構造を得ることができると開示されている。
特開平6−270694号公報 特開2004−262413号公報 特開平7−81431号公報 特開平7−117490号公報 特開平6−115361号公報
蓄電パックは、フロアパネルやサイドメンバなどの蓄電パックを支持するための支持部材に固定される。上記の特許文献には、車体の前後方向から衝撃が加えられた場合に、その衝撃の量を吸収するように形成された蓄電パックの車載構造が開示されている。上記の特許文献においては、蓄電パックを支持する部材が曲がったり、間隔をあけて形成された孔に対してボルトが挿通され、挿通孔同士の間をボルトが破壊したりすることにより、衝突などの衝撃に対してエネルギを吸収するように形成されている。
ここで、たとえば、普通乗用車に対して小型の自動車が追突した場合においては、蓄電パックの支持部材が変形する。蓄電パックには、支持部材を介して衝撃が加わる。すなわち、蓄電パックには支持部材の変形により、二次的に衝撃が加わる。
これに対して、外部の高い位置からの衝撃の場合には、蓄電パックに直接的に衝撃が加わることがあり得る。たとえば、普通乗用車のトランクルームのフロアに蓄電パックが配置され、後側から大型の貨物自動車が追突した場合などにおいては、大型の貨物自動車が、直接的に蓄電パックに衝撃を与える場合がある。この場合には、蓄電パック自体が擦り潰されたり、押し潰されたりするように破壊されることが生じ得る。このように、外部の高い位置からの衝撃が加わった場合に、蓄電パックを十分に保護することができないという問題がある。
本発明は、蓄電パックに対して外部の高い位置からの衝撃が加わった場合に、蓄電パックが損傷することを抑制した蓄電パックの車載構造を提供することを目的とする。
本発明に基づく蓄電パックの車載構造は、蓄電パックを支持するための支持部材を備える。上記蓄電パックは、上記支持部材の上側に第1ビスによって固定されている。上記蓄電パックは、後部座席よりも車両後側に配置されている。上記蓄電パックは、上記第1ビスを挿通するための第1ビス挿通穴を有する。上記第1ビス挿通穴は、閉じた形状を有する。上記第1ビス挿通穴は、第1開口部と、上記第1開口部よりも車両後側に配置された第2開口部と、上記第1開口部と上記第2開口部とを連通するように形成された連通部とを含む。上記第1開口部は、上記第1ビスの頭部よりも小さくなるように形成されている。上記第2開口部は、上記頭部よりも大きくなるように形成されている。上記蓄電パックは、上記蓄電パックに車両後側から衝撃が加わったときに、上記第1ビスの位置が上記第1開口部から上記第2開口部に移行することにより、車両前側に移動するように形成されている。上記蓄電パックは、上記第1ビスが上記第2開口部から抜けることにより、上記第1ビスによる固定が解除されるように形成されている。
記蓄電パックは、階段状になるように形成された段差部を有する。上記第1ビス挿通穴は、上記段差部に形成されている。上記第2開口部は、少なくとも一部が上記第1開口部よりも高い部分に形成されている。
記蓄電パックは、蓄電機器を内部に配置するためのケースを含む。上記ケースは、上記蓄電機器を載置するためのロアケースと、上記ロアケースに固定され、上記蓄電機器を覆うように形成されたアッパーケースとを含む。上記ロアケースおよび上記アッパーケースは、第3ビスによって互いに固定されている。上記第3ビスは、上記蓄電パックと上記支持部材とを固定しないように形成されている。
本発明によれば、蓄電パックに対して外部の高い位置からの衝撃が加わった場合に、蓄電パックが損傷することを抑制した蓄電パックの車載構造を提供することができる。
(実施の形態1)
図1から図12を参照して、本発明に基づく実施の形態1における蓄電パックの車載構造について説明する。本実施の形態における車載構造は、外部の高い位置からの衝撃が蓄電パックに加わったときに、蓄電パックを離脱させるための衝撃緩和手段が蓄電パックに形成されている。
二次電池やキャパシタ等の蓄電機器は、ケースに収容されて自動車に搭載される。本発明においては、ケースと、ケースに収容された蓄電機器とを含む機器を蓄電パックという。蓄電パックには、その他の内部構成部品が含まれていても構わない。その他の内部構成部品としては、たとえば、冷却ダクトや冷却ファンなどの蓄電機器を冷却するための冷却装置や電力を変換する電気機器などが含まれる。
図1は、本実施の形態における電池パックの部分の概略断面図である。図1は、車体の後部を示す。本実施の形態における自動車は、いわゆるセダンタイプの自動車である。自動車は、ボディ61を備える。ボディ61は平面視したときにほぼ四角形になるように形成されている。ボディ61は、後面61aを有する。車体の後部には後輪60が配置されている。矢印99は、車体の前方向を示す。
本実施の形態においては、蓄電パックとしての電池パック1が、車体の後部に配置されている。電池パック1は、ケース20を備える。ケース20の内部には、蓄電機器としての蓄電池が配置されている。本実施の形態におけるケース20は、鉄で形成されている。蓄電機器のケースは、この形態に限られず、任意の材料で形成することができる。
本実施の形態における自動車は、電池パック1を支持するように形成された支持部材を備える。支持部材は、サイドメンバ(サイドフレーム)50を含む。サイドメンバ50は、車体の本体の一部を構成する。サイドメンバ50は、車体の幅方向の両側に配置されている。サイドメンバ50は、車体の前後方向に延びるように形成されている。
サイドメンバ50の上面には、フロア部材52が配置されている。フロア部材52は、板状に形成されている。フロア部材52は、車体の幅方向の両側に配置されたサイドメンバ50同士の間を跨ぐように配置されている。マウント55,56は、フロア部材52の表面に配置されている。
電池パック1は、前側の端部がマウント55およびフロア部材52を介して、サイドメンバ50に支持されている。電池パック1は、後側の端部が、マウント56およびフロア部材52を介して、サイドメンバ50に支持されている。
本実施の形態においては、ビスのうちボルトを用いて各部材を固定している。ボルトの固定構造としてはナットを用いてもよいし、ボルトの頭部と反対側の部材のビス穴にネジを形成してもよい。
電池パック1の前側の端部においては、第1ビスとしてのボルト75,76によって電池パック1がマウント55に固定されている。マウント55は、車体の幅方向に延びるように形成されている。マウント55は、2個のサイドメンバ50を橋渡すように形成されている。マウント55は、ボルト74によってサイドメンバ50に固定されている。
電池パック1の後側の端部においては、電池パック1の脚部27が、ボルト71によってマウント56に固定されている。脚部27は、電池パック1の後側の端部において、幅方向の両側に形成されている。脚部27は、電池パック1の本体からサイドメンバ50の上側まで延びるように形成されている。本実施の形態における脚部27は、長手方向が車体の幅方向とほぼ平行になるように形成されている。
図2に、本実施の形態における電池パックの概略斜視図を示す。図3に、本実施の形態における電池パックの分解斜視図を示す。電池パック1のケース20は、箱型に形成されている。ケース20は、アッパーケース21とロアケース22とを含む。ロアケース22は、脚部27を有する。脚部27は、外側の端部にビス穴31を有する。
ロアケース22の上面には、蓄電機器としての蓄電池25が配置されている。本実施の形態における蓄電池25は、複数の電池セル25aを含む。電池セル25aは、積層するように並べて配置されている。アッパーケース21は、蓄電池25を覆うように形成されている。
図1から図3を参照して、アッパーケース21は、前側の端部にビス穴32,33を有する。ロアケース22は、前側の端部にビス穴34,35を有する。ビス穴32とビス穴34とは対応する位置に配置されている。ビス穴33とビス穴35とは対応する位置に配置されている。本実施の形態においては、ビス穴32とビス穴34とで電池パック1の一の第1ビス挿通穴が形成されている。一の第1ビス挿通穴は、幅方向の両端部に形成されている。また、ビス穴33とビス穴35とで電池パック1の他の第1ビス挿通穴が形成されている。他の第1ビス挿通穴は、幅方向のほぼ中央部分に形成されている。
ビス穴32,34にボルト75が配置されることにより、アッパーケース21とロアケース22とが固定されるとともに、電池パック1がマウント55に固定される。また、ビス穴33,35にボルト76が配置されることにより、アッパーケース21とロアケース22とが固定されるとともに、電池パック1がマウント55に固定される。
アッパーケース21は、後側の端部にビス穴36を有する。ロアケース22は、後側の端部にビス穴36に対応するように形成されたビス穴37を有する。ビス穴36とビス穴37とに、第3ビスとしてのボルト73が配置されることにより、アッパーケース21とロアケース22とが互いに固定される。ボルト73は、電池パック1とサイドメンバ50とを固定していない。
図4に、本実施の形態における電池パックの車載構造の第2の概略断面図を示す。図4は、車体を鉛直方向に延びる面で切断したときの概略断面図である。後部座席62の後側には、パーティションパネル63が配置されている。パーティションパネル63により、居住室とトランクルーム64とが仕切られている。本実施の形態における電池パック1は、トランクルーム64に配置されている。電池パック1は、マウント55,56の上面に配置されている。電池パック1は、後部座席62の後側に配置されている。
サイドメンバ50は、上側に膨らむように形成されたキックアップ部50aを有する。電池パック1は、キックアップ部50aに配置されている。電池パック1は、側方から見たときにほぼ水平になるように支持されている。
本実施の形態における自動車は、電池パック1と電気的に接続された導線26を備える。導線26は、サイドメンバ50に対する電池パック1の固定が解除されたときにおいても撓みが生じる長さを有する。
図5に、本実施の形態における支持部材の概略分解斜視図を示す。本実施の形態における支持部材は、サイドメンバ50、クロスメンバ51およびフロア部材52を含む。クロスメンバ51は、サイドメンバ50同士を互いに固定するように形成されている。フロア部材52は、板状に形成されている。フロア部材52は、サイドメンバ50およびクロスメンバ51の上面に配置されている。
本実施の形態における支持部材は、マウント55,56を含む。マウント55,56は、フロア部材52の上面に固定されている。マウント55は、ビスを固定するように形成されたビス挿通穴55aを有する。マウント56は、ビスを固定するように形成されたビス挿通穴56aを有する。
本実施の形態において、サイドメンバ50は、溶接によってクロスメンバ51に固定されている。フロア部材52は、溶接によってサイドメンバ50に固定されている。マウント55,56は、溶接によってフロア部材52に固定されている。
図6に、本実施の形態における電池パックの脚部の拡大概略平面図を示す。脚部27の先端には、ボルト71を挿通するためのビス穴31を有する。ビス穴31は、開口部31aと、移動部31bとを有する。電池パックが車体に固定される際には、ボルト71の軸(ねじが形成されている棒状の部分)が、開口部31aに配置された状態で固定される。
開口部31aは、平面形状が円形に形成されている。開口部31aは、ボルト71の軸よりも径が大きくなるように形成されている。開口部31aは、ボルト71の頭部(たとえば六角柱の形状の部分)よりも径が小さくなるように形成されている。移動部31bは、車体の後側に向かって延びるように形成されている。移動部31bは、直線状に形成されている。移動部31bは、幅がボルト71の軸の径よりも小さくなるように形成されている。
図7に、本実施の形態における電池パックの前部の第1の拡大概略平面図を示す。アッパーケース21のビス穴32は、開口部32a、連通部32bおよび開口部32cを有する。ビス穴32は、車体の前後方向と平行な長手方向を有する。ビス穴32は、車体の前後方向に延びるように形成されている。開口部32cは、開口部32aよりも衝撃が加わったときに電池パック1が移動する向きと反対側に配置されている。開口部32cは、開口部32aよりも後側に配置されている。
ビス穴32は、閉じた形状を有する。ビス穴32は、いずれの部分も電池パックの外側に連通しないように形成されている。ロアケースのビス穴34は、形状がビス穴32とほぼ同じ形状に形成されている(図3参照)。
開口部32aは、ボルト75の軸よりも径が大きくなるように形成されている。連通部32bは、ボルト75の軸の径よりも幅が小さくなるように形成されている。電池パックが車体に固定されるときには、開口部32aにボルト75の軸が配置される。
図8に、本実施の形態における電池パックの前部の第2の拡大概略平面図を示す。ビス穴32の開口部32cは、ボルト75の頭部よりも径が大きくなるように形成されている。開口部32cは、ボルト75が通り抜けるように形成されている。
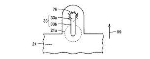
図9に、本実施の形態における電池パックの前部の第3の拡大概略平面図を示す。電池パックのアッパーケース21のビス穴33は、開口部33aおよび移動部33bを有する。ビス穴33は、車体の前後方向と平行な長手方向を有する。
開口部33aは、ボルト76の軸よりも径が大きくなるように形成されている。開口部33aは、ボルト76の頭部よりも径が小さくなるように形成されている。電池パックが車体に固定されるときには、開口部33aにボルト76の軸が配置される。
図10に、本実施の形態における電池パックの前部の第4の拡大概略平面図を示す。移動部33bは、ボルト76の軸の径よりも幅が小さくなるように形成されている。移動部33bは、車体の前後方向に延びるように形成されている。
ビス穴33は、閉じた形状を有する。ビス穴33は、いずれの部分も電池パックの外側に連通しないように形成されている。ロアケースのビス穴35は、ビス穴33とほぼ同じ形状に形成されている(図3参照)。
図1から図3、図9および図10を参照して、本実施の形態におけるアッパーケース21は、薄肉部21aを有する。薄肉部21aは、薄肉部21aの周りの部分よりも厚さが薄くなるように形成されている。本実施の形態においては、薄肉部21aは、ビス穴33の移動部33bの端部を取り囲むように形成されている。
本実施の形態における薄肉部21aは、ボルト76の軸が移動部33bの端部に配置されたときに、ボルト76の頭部よりも径が大きくなるように形成されている。すなわち、薄肉部21aは、平面視したときに、ボルト76の頭部よりも大きくなるように形成されている。薄肉部21aは、電池パックに加わる衝撃により、ボルトの頭部により破壊されるように形成されている。
図3を参照して、アッパーケース21と同様に、ロアケース22は、ビス穴35の周りに薄肉部22aを有する。薄肉部22aは、アッパーケース21の薄肉部21aの形状に対応するように形成されている。薄肉部22aは、アッパーケース21の薄肉部21aとほぼ同じ形状を有する。
図4を参照して、本実施の形態においては、矢印85に示すように電池パック1に対して外部の高い位置からの衝撃が加わった場合を想定する。たとえば、本実施の形態における自動車に、大型の貨物自動車が後側から追突した場合を想定する。大型貨物自動車がフロア部材52の上面よりも高い位置に配置されたバンパを有する場合がある。このような場合には、電池パック1に対して直接的に衝撃が加わる。
図1から図3を参照して、このような外部の高い位置からの衝撃が加わった場合には、矢印99に示す車体の前側に向かって電池パック1が移動する。これに対して、サイドメンバ50に固定されたマウント55,56は移動しない。すなわち、ボルト74は移動しない。また、マウント55,56に固定されたボルト71,75,76は移動しない。
図1、図2および図6を参照して、電池パック1の後側の端部においては、脚部27が矢印99に示す車体の前側に向かって移動する。このとき、脚部27のビス穴31は、移動部31bがボルト71の軸によって押し広げられる。ボルト71は、ビス穴31から抜ける。すなわち、ボルト71による固定が解除される。
図1、図2および図7を参照して、電池パック1の前側のビス穴32においては、電池パック1が矢印99に示す向きに移動する。ビス穴32の連通部32bは、ボルト75の軸により押し広げられる。図8に示すように、ボルト75は開口部32cに移動する。開口部32cは、ボルト75の頭部よりも大きくなるように形成されているため、ボルト75が開口部32cを通り抜ける状態になる。
図1、図2および図9を参照して、電池パック1の前側のビス穴33においては、電池パック1が矢印99に示す向きに移動する。ビス穴33の移動部33bは、ボルト76の軸により押し広げられる。図10に示すように、ボルト76は、移動部33bのほぼ端部まで移動する。ボルト76は、薄肉部21aが形成されている領域の内部に移動する。
図11に、電池パックに対して外部の高い位置からの衝撃が加わったときの概略断面図を示す。図11は、図4に対応する概略断面図である。電池パック1は、矢印89に示すようにほぼ水平方向に移動した後に、矢印90に示す向きにほぼ鉛直方向に移動する。
このときに、図1、図2および図6から図10を参照して、ボルト71は、脚部27から離れる。ボルト75は、ビス穴32の開口部32cから抜ける。ボルト76は、アッパーケース21に形成された薄肉部21aおよびロアケース22に形成された薄肉部22aを破壊しながらケース20から抜ける。
図11を参照して、アッパーケース21およびロアケース22は、ボルト73により互いに固定された状態を維持する。電池パック1は、マウント55,56から離脱することにより、衝撃のエネルギが吸収され、電池パック1の損傷を抑制することができる。また、本実施の形態においては、電池パック1がトランクルーム1に配置されているため、居住室内に電池パック1が侵入することを回避できる。
本実施の形態における導線26は、電池パック1がマウント55,56から離脱しても撓むように十分な長さを有する。この構成により、外部の高い位置からの衝撃が加わったときに、導線26が断線されてしまうことを抑制できる。
本実施の形態における電池パックの車載構造においては、電池パックに対して外部の高い位置からの衝撃が加わったときに、電池パックが支持部材から離脱するように形成されている。このため、電池パックが支持部材に固定されたままの状態で、電池パックが破壊されてしまうことを抑制できる。電池パックが支持部材に固定された状態で、電池ックが擦り切れ状に破壊されたり押し潰されたりすることを抑制できる。また、電池パックが支持部材から離脱することにより、電池パックに対する衝撃エネルギの一部を吸収して、電池パックの破損を抑制することができる。
一方で、電池パックに加わる外部の高い位置からの衝撃が小さなときには、電池パックは移動しないように支持部材に固定されている。たとえば、小型の自動車が追突してサイドメンバが変形する程度の衝撃の場合には、電池パックが離脱しないように固定されている。または、たとえば自動車が建造物に衝突して、トランクルームに載置されている重量物が電池パックに衝突した場合などの衝撃に対しては、電池パックが離脱しないように固定されている。
ボルト75,76,71は、電池パックに対する所定の外部の高い位置からの衝撃の大きさに対して締付けトルクを決定する。また、脚部27に形成されたビス穴31の移動部31bの幅、ケースの前部に形成されたビス穴32の連通部32bの幅、およびケースの前部に形成されたビス穴33の移動部33bの幅は、電池パック1を移動させるべき外部の高い位置からの衝撃の大きさに対応して設定する。移動部31b,33bおよび連通部32bは、それぞれの幅がボルトの軸の径よりも大きくなるように形成されていても構わない。
図1から図3、および図7から図10を参照して、本実施の形態における電池パック1は、一の第1ビス挿通穴として、ケース20にビス穴32,34が形成されている。ビス穴32,34は、前側に形成された第1開口部と、後側に形成された第2開口部と、第1開口部および第2開口部を連通するように形成された連通部とを有する。また、本実施の形態における電池パックは、他の第1ビス挿通穴としてビス穴33,35が形成され、ビス穴33,35の周りに薄肉部21a,22aが形成されている。これらうちいずれかの構成により、外部の高い位置からの衝撃が加わったときに電池パックがサイドメンバから離脱する固定機構を提供することができる。
本実施の形態においては、第1開口部および第2開口部を有する第1ビス挿通穴、または、開口部、移動部および移動部の先端の周りに薄肉部を有する第1ビス挿通穴が形成されているが、この形態に限られず、いずれか一方の構成が採用されていても構わない。
さらに、第1ビス挿通穴は、これらの形態に限られず、電池パックが移動した後に、第1ビスによる固定が解除されるように形成されていればよい。たとえば、第1ビス挿通穴が平面形状が円形の開口部を含み、開口部の周りに薄肉部が形成されていても構わない。
図12に、本実施の形態における他の電池パックの前部の概略平面図を示す。この電池パックは、第1ビス挿通穴の周りに薄肉部が形成されている。電池パックは、アッパーケース23を含む。アッパーケース23は、第1ビス挿通穴としてのビス穴30を含む。ビス穴30は、平面形状が円形に形成されている。アッパーケース23は、薄肉部23aを含む。薄肉部23aは、第1ビスとしてのボルト76が移行するための車両の前後方向に延びる移行領域およびボルト76が電池ケースから抜けるための破壊領域を有する。本実施の形態における破壊領域は、平面形状が円形に形成されている。移行領域の幅は、ボルト76の軸の径よりも小さくなるように形成されている。破壊領域は、ボルト76の頭部よりも大きくなるように形成されている。
本実施の形態における他の電池パックにおいては、電池パックに外部の高い位置からの衝撃が加わったときに、電池パックが車両前側に移動すると共に薄肉部23aの移行領域がボルト76により裂かれる。この後に、薄肉部23aの破壊領域がボルト76により破壊されることにより、ボルト76による電池パックの固定が解除される。
また、本実施の形態においては、蓄電パックの後側の脚部に、一部が外側に連通する、いわゆる開いた形状のビス穴が形成されているが、この形態に限られず、電池パックに外部の高い位置からの衝撃が加わったときに、固定が解除される任意の構成を採用することができる。たとえば、蓄電パックの脚部は、所定の衝撃以上の力が加わったときに、脚部自体が折れるように形成されていても構わない。
さらに、本実施の形態における第1ビス挿通穴は、電池パックの前側に形成されているが、この形態に限られず、任意の方向に形成することができる。たとえば、蓄電パックの側方に第1ビス挿通穴が形成されていても構わない。第1ビス挿通穴などのビス穴の延びる方向は、想定される衝撃が加わる方向とほぼ平行に形成されることが好ましい。
(実施の形態2)
図13および図14を参照して、本発明に基づく実施の形態2における蓄電パックの車載構造について説明する。本実施の形態における蓄電パックの車載構造は、蓄電パックの前側の端部において、ビスにより固定される部分の構造が実施の形態1と異なる。
図13に、本実施の形態における電池パックの前部の概略斜視図を示す。矢印99は、車体の前側を示す。本実施の形態における電池パックは、ケース45を含む。ケース45は、アッパーケース46およびロアケース47を有する。ケース45は、前側の端部において、凹部45aを有する。凹部45aは、それぞれのボルトが配置される部分に形成されている。
凹部45aの底部には、段差部45bが形成されている。段差部45bは、断面形状が階段状になるように形成されている。段差部45bは、後側が高くなるように形成されている。凹部45aの底面には、第1ビス挿通穴としてのビス穴48が形成されている。ビス穴48は、車体の前後方向に長手方向を有するように形成されている。ビス穴48は、想定される衝撃力の方向に延びるように形成されている。
図14(a)に、本実施の形態における電池パックの前部の第1の拡大概略平面図を示す。ビス穴48は、前側に形成された第1開口部としての開口部48aと後側に形成された第2開口部としての開口部48cとを含む。ビス穴48は、開口部48aと開口部48cとが連通するように形成された連通部48bを有する。
開口部48cは、段差部45bに形成されている。開口部48cは、段差部45bを跨ぐように形成されている。開口部48cは、少なくとも一部が、開口部48aよりも高い部分に形成されている。開口部48aは、ボルト72の軸が挿通するように形成されている。開口部48aは、ボルト72の頭部が挿通しないように形成されている。
図14(b)に、本実施の形態における電池パックの前部の第2の拡大概略平面図を示す。開口部48cは、ボルト72の頭部が挿通するように形成されている。さらに、本実施の形態においては、座金79が固定に用いられている。開口部48cの幅は、座金79の径よりも大きくなるように形成されている。すなわち、開口部48cは、座金79が挿通するように形成されている。
図14(a)を参照して、本実施の形態における電池パックの車載構造においては、後側から外部の高い位置からの衝撃が電池パックに加わったときに、矢印99に示す向きに電池パックが移動する。電池パックは、ほぼ水平方向に移動する。
図14(b)を参照して、平面視したときに、開口部48cの内側にボルト72および座金79が配置される。ボルト72および座金79は、開口部48cを通り抜ける。ボルト72および座金79の一部は、ケース45の裏側に配置され、ケース45から離れた状態になる。このように、本実施の形態においては、電池パックが移動したときにボルトの固定をより確実に解除することができる。
本実施の形態における段差部は、階段状になるように形成されているが、この形態に限られず、第2開口部の少なくとも一部が第1開口部よりも高い位置に配置されていれば構わない。たとえば、段差部は、角を有さないように断面形状が山形に形成され、山形の頂部にビスの頭部が挿通する開口部が形成されていても構わない。
その他の構成、作用および効果については、実施の形態1と同様であるのでここでは説明を繰返さない。
(実施の形態3)
図15から図17を参照して、本発明に基づく実施の形態3における蓄電パックの車載構造について説明する。本実施の形態における蓄電パックの車載構造は、電池パックの前部の構造が実施の形態1と異なる。
図15に、本実施の形態における電池パックの部分の概略断面図を示す。電池パック1の前側の端部において、幅方向の両側にはビス穴32が形成されている。ビス穴32にボルト75が配置されることにより、電池パック1の前側の端部がマウント55に固定されることは実施の形態1と同様である。
本実施の形態における電池パック1は、前側の端部において、第3ビスとしてのボルト77を有する。ボルト77は、アッパーケース21およびロアケース22を互いに固定するように形成されている。ボルト77は、電池パック1とマウント55とを固定しないように形成されている。
図16に、本実施の形態における電池パックの概略斜視図を示す。また、図16は、電池パックに衝撃が加わってサイドメンバから離脱したときの状態を示す。本実施の形態におけるケース20は、ボルト77を配置する部分が上側に突出するように形成されている。
アッパーケース21は、前側の端部に上側に突出するように形成された突出部21bを有する。ロアケース22は、前側の端部に上側に突出するように形成された突出部22bを有する。突出部21bと突出部22bとは、互いに対応する位置に配置されている。突出部22bは、ボルト77を固定するためのナットを内側に配置できるように形成されている。
図17に、本実施の形態における電池パックの概略分解斜視図を示す。アッパーケース21の突出部21bには、平面形状が円形のビス穴38が形成されている。ロアケース22の突出部22bには、平面形状が円形のビス穴39が形成されている。ビス穴38およびビス穴39にボルト77が配置されることにより、アッパーケース21とロアケース22とが互いに固定される。
電池パック1の後側の端部において、ボルト73によりアッパーケース21とロアケース22とが互いに固定されていることは、実施の形態1と同様である。
本実施の形態における電池パック1は、サイドメンバに対する固定が解除されたときにおいても、前側の端部および後側の端部が、それぞれボルト73,77に固定されている。このため、アッパーケース21およびロアケース22が互いに固定された状態を維持することができ、電池パックの損傷をより確実に抑制することができる。
本実施の形態においては、電池パックがサイドメンバから離脱したときに、アッパーケースとロアケースとが固定された状態に維持する固定手段として、ケースの前部に凹凸部が形成され、この凹凸部にケースを固定するためのボルトとナットが配置されている。固定手段としてはこの形態に限られず、支持部材から蓄電パックが離脱してもケースが固定されるように形成されていれば構わない。たとえば、アッパーケースとロアケースとが蓄電ケースの両側の側部で固定されていても構わない。
その他の構成、作用および効果については、実施の形態1と同様であるのでここでは説明を繰返さない。
(実施の形態4)
図18から図22を参照して、本発明に基づく実施の形態4における蓄電パックの車載構造について説明する。本実施の形態における車載構造は、外部の高い位置からの衝撃が蓄電パックに加わったときに、蓄電パックを離脱させるための衝撃緩和手段が支持部材に形成されている。
図18に、本実施の形態における電池パックの部分の概略断面図を示す。矢印99は、車体の前側を示す。本実施の形態における蓄電パックとしての電池パック2は、ケース40を含む。ケース40は、アッパーケース41およびロアケース42を有する。ロアケース42は、脚部28を有する。脚部28は、実施の形態1における脚部と同様の構成を有する。
本実施の形態における支持部材は、マウント57を備える。マウント57は、電池パック2の前部に配置されている。電池パック2は、前側の端部が第2ビスとしてのボルト78により、マウント57に固定されている。また、ボルト78によりアッパーケース41とロアケース42とがマウント57に固定されている。電池パック2は、後側の端部において、ボルト73によりアッパーケース41とロアケース42とが互いに固定されている。
図19に、本実施の形態における電池パックの概略分解斜視図を示す。アッパーケース41の前側の端部には、ビス穴41aが形成されている。ビス穴41aは、平面形状が円形になるように形成されている。ロアケース42は、前側の端部にビス穴42aを有する。ビス穴42aは、平面形状が円形になるように形成されている。ビス穴42aは、アッパーケース41のビス穴41aに対応する位置に配置されている。
アッパーケース41は、後側の端部にビス穴41bを有する。ロアケース42は、後側の端部にビス穴42bを有する。ビス穴42bは、ビス穴41bに対応する位置に配置されている。
図18および図19を参照して、ケース40の前側の端部において、ビス穴41a,42aには、ボルト78が配置されている。ケース40の後側の端部において、ビス穴41b,42bには、ボルト73が配置されている。ボルト73は、ロアケース42の下面に配置されたナットと係合することにより固定されている。
図20に、本実施の形態におけるマウントの概略斜視図を示す。マウント57は、前側の端部に第2ビス挿通穴としてのビス穴58を有する。ビス穴58は、前後方向に延びるように形成されている。ビス穴58は、ケース40のビス穴41a,42aに対応する位置に配置されている。
ビス穴58は、開口部58aと移動部58bとを有する。開口部58aの径は、ボルト78の軸の径よりも大きくなるように形成されている。開口部58aの径は、ボルト78の頭部の径よりも小さくなるように形成されている。移動部58bの幅は、ボルト78の軸の径よりも大きくなるように形成されている。移動部58bは、端部が外部に開口している。
本実施の形態における支持部材は、マウント57に固定されたリテーナ43を含む。リテーナ43は、マウント57の電池パックと接する部分の裏側に配置されている。本実施の形態におけるリテーナ43は、板状に形成されている。
図21に、本実施の形態におけるマウントを裏側から見たときのリテーナの部分の拡大概略下面図を示す。本実施の形態におけるリテーナ43は、破壊補助部を有する。破壊補助部は、リテーナ43のボルトの軸を挿通するための挿通穴の両側に配置されている。本実施の形態における破壊補助部は、切欠き部43aを有する。破壊補助部は、孔部43bを有する。切欠き部43aおよび孔部43bは、それぞれが車体の前後方向に並ぶように配置されている。
本実施の形態におけるリテーナ43は、金属で形成されている。破壊補助部としての切欠き部43aおよび孔部43bは、電池パックが支持部材から離脱されるべき外部の高い位置からの衝撃の大きさに対応するように形成されている。
リテーナ43は、中央部43dと周辺部43cとを有する。中央部43dおよび周辺部43cは、切欠き部43aおよび孔部43bに仕切られている。中央部43dには、ボルト78を固定するためのナット44が固定されている。ナット44は、中央部分にボルトを挿通するための挿通穴44aを有する。中央部43dは、ナット44の挿通穴44aに対応するように、ボルト78の軸を通すための挿通穴を有する。
リテーナ43は、周辺部43cがマウント57に固定されている。本実施の形態においては、溶接によってリテーナ43がマウント57に固定されている。また、ナット44は、溶接によってリテーナ43に固定されている。
図18を参照して、矢印85に示すように電池パック2に外部の高い位置からの衝撃が加わった場合においては、電池パック2が車体の前側に向かって移動する。ケース40の脚部28は、マウント56との固定が解除される。
図22に、電池パックに外部の高い位置からの衝撃が加わったときの前側のマウントの拡大概略下面図を示す。電池パックは、矢印99に示す車体の前方向に移動する。リテーナは、破壊補助部の部分で破壊される。リテーナは、切欠き部43aおよび孔部43bが形成された部分が破壊される。リテーナ43においては、中央部43dと周辺部43cとの接続が破壊される。中央部43dは、周辺部43cから離れる。
リテーナの一部が破壊されることにより、電池パックとマウント57との固定が解除される。リテーナの周辺部43cは、マウント57に固定されたままの状態である。リテーナの中央部43dは、電池パックとともに離脱する。
本実施の形態においては、たとえば、トランクルームに電池パックが配置された自動車に大型貨物自動車が追突して、電池パックに外部の高い位置からの衝撃が生じた場合には、リテーナが破壊される。一方で、電池パックに加わる衝撃が小さなときには、リテーナは破壊されずに、電池パックは支持部材に固定されている。たとえば、小型の自動車が追突して支持部材が変形する程度の衝撃の場合には、電池パックが離脱しないように形成されている。または、たとえば自動車が建造物に衝突して、トランクルームに載置されている重量物が電池パックに衝突した場合などの衝撃に対しては、電池パックが離脱しないように固定されている。
このように、支持部材がリテーナを有し、外部の高い位置からの衝撃が加わったときにリテーナが破壊されるように形成されていることにより、衝撃が加わったときに、蓄電パックが支持部材から離脱して蓄電パックの破損を抑制することができる。
本実施の形態におけるリテーナは、破壊補助部として、切欠き部43aおよび孔部43bを有する。破壊補助部として、切欠き部および孔部のうち、少なくとも一方が形成されていることにより、リテーナが破壊される部分を容易に特定することができ、リテーナをスムーズに破壊させることができる。または、リテーナを破壊させるべき衝撃力を容易に調整することができる。
破壊補助部としては、切欠き部または開口部に限られず、リテーナの破壊位置が特定されるように形成されていれば構わない。たとえば、切欠き部や開口部の代わりに厚さが薄くなる部分が形成されていても構わない。
また、本実施の形態における第2ビス挿通穴は、マウントの端部を切り欠いた形状を有するが、この形態に限られず、第2ビス挿通穴は、リテーナが破壊された後にリテーナの一部と蓄電パックとが一体的にマウントから離脱するように形成されていれば構わない。たとえば、第2ビス挿通穴は、マウントの幅方向のほぼ中央部分に形成され、閉じた形状を有する穴であっても構わない。
その他の構成、作用および効果については、実施の形態1と同様であるのでここでは説明を繰返さない。
上述のそれぞれの図において、同一または相当する部分には、同一の符号を付している。
なお、今回開示した上記実施の形態はすべての点で例示であって制限的なものではない。本発明の範囲は上記した説明ではなくて特許請求の範囲によって示され、特許請求の範囲と均等の意味および範囲内でのすべての変更を含むものである。
実施の形態1における電池パックの部分の第1の概略断面図である。 実施の形態1における電池パックの概略斜視図である。 実施の形態1における電池パックの概略分解斜視図である。 実施の形態1における電池パックの部分の第2の概略断面図である。 実施の形態1における支持部材の概略分解斜視図である。 実施の形態1におけるロアケースの脚部の拡大概略平面図である。 実施の形態1における電池パックの前部の第1の拡大概略平面図である。 実施の形態1における電池パックの前部の第2の拡大概略平面図である。 実施の形態1における電池パックの前部の第3の拡大概略平面図である。 実施の形態1における電池パックの前部の第4の拡大概略平面図である。 実施の形態1における電池パックの部分の第3の概略断面図である。 実施の形態1における他の電池パックの前部の拡大概略平面図である。 実施の形態2における電池パックの前部の拡大概略斜視図である。 (a)は実施の形態2における電池パックの前部の第1の拡大概略平面図であり、(b)は第2の拡大概略平面図である。 実施の形態3における電池パックの部分の概略断面図である。 実施の形態3における電池パックの概略斜視図である。 実施の形態3における電池パックの概略分解斜視図である。 実施の形態4における電池パックの部分の概略断面図である。 実施の形態4における電池パックの概略分解斜視図である。 実施の形態4における前側のマウントの概略斜視図である。 実施の形態4における前側のマウントのリテーナの部分の拡大概略下面図である。 実施の形態4においてリテーナが破壊されたときのマウントの拡大概略下面図である。
符号の説明
1,2 電池パック、20 ケース、21,23 アッパーケース、21a 薄肉部、21b 突出部、22 ロアケース、22a,23a 薄肉部、22b 突出部、25 蓄電池、25a 電池セル、26 導線、27,28 脚部、30〜39 ビス穴、31a,32a,33a 開口部、31b,33b 移動部、32b 連通部、32c 開口部、40 ケース、41 アッパーケース、41a,41b ビス穴、42 ロアケース、42a,42b ビス穴、43 リテーナ、43a 切欠き部、43b 孔部、43c 周辺部、43d 中央部、44 ナット、44a 挿通穴、45 ケース、45a 凹部、45b 段差部、46 アッパーケース、47 ロアケース、48 ビス穴、48a 開口部、48b 連通部、48c 開口部、50 サイドメンバ、50a キックアップ部、51 クロスメンバ、52 フロア部材、55〜57 マウント、55a ビス穴、56a ビス穴、58 ビス穴、58a 開口部、58b 移動部、60 後輪、61 ボディ、61a 後面、62 後部座席、63 パーティションパネル、64 トランクルーム、71〜78 ボルト、79 座金、85,89,90,99 矢印。

Claims (2)

  1. 蓄電パックを支持するための支持部材を備え、
    前記蓄電パックは、前記支持部材の上側に第1ビスによって固定され、
    前記蓄電パックは、後部座席よりも車両後側に配置され、
    前記蓄電パックは、前記第1ビスを挿通するための第1ビス挿通穴を有し、
    前記第1ビス挿通穴は、閉じた形状を有し、
    前記第1ビス挿通穴は、第1開口部と、
    前記第1開口部よりも車両後側に配置された第2開口部と、
    前記第1開口部と前記第2開口部とを連通するように形成された連通部と
    を含み、
    前記第1開口部は、前記第1ビスの頭部よりも小さくなるように形成され、
    前記第2開口部は、前記頭部よりも大きくなるように形成され、
    前記蓄電パックは、階段状になるように形成された段差部を有し、
    前記第1ビス挿通穴は、前記段差部に形成され、
    前記第2開口部は、少なくとも一部が前記第1開口部よりも高い部分に形成され、
    前記蓄電パックは、前記蓄電パックに車両後側から衝撃が加わったときに、前記第1ビスの位置が前記第1開口部から前記第2開口部に移行することにより、車両前側に移動するように形成され、
    前記蓄電パックは、前記第1ビスが前記第2開口部から抜けることにより、前記第1ビスによる固定が解除されるように形成された、蓄電パックの車載構造。
  2. 前記蓄電パックは、蓄電機器を内部に配置するためのケースを含み、
    前記ケースは、前記蓄電機器を載置するためのロアケースと、
    前記ロアケースに固定され、前記蓄電機器を覆うように形成されたアッパーケースと
    を含み、
    前記ロアケースおよび前記アッパーケースは、第3ビスによって互いに固定され、
    前記第3ビスは、前記蓄電パックと前記支持部材とを固定しないように形成された、請求項に記載の蓄電パックの車載構造。
JP2006053225A 2006-02-28 2006-02-28 蓄電パックの車載構造 Expired - Lifetime JP4935112B2 (ja)

Priority Applications (5)

Application Number Priority Date Filing Date Title
JP2006053225A JP4935112B2 (ja) 2006-02-28 2006-02-28 蓄電パックの車載構造
PCT/JP2007/054120 WO2007100118A1 (ja) 2006-02-28 2007-02-26 蓄電パックの車載構造
CN2007800071058A CN101395022B (zh) 2006-02-28 2007-02-26 蓄电组的车载构造
US12/223,933 US8037960B2 (en) 2006-02-28 2007-02-26 Structure for mounting electricity storage pack on vehicle
DE112007000474.6T DE112007000474B4 (de) 2006-02-28 2007-02-26 Aufbau zum Montieren einer Elektrizitätsspeichereinheit an einem Fahrzeug

Applications Claiming Priority (1)

Application Number Priority Date Filing Date Title
JP2006053225A JP4935112B2 (ja) 2006-02-28 2006-02-28 蓄電パックの車載構造

Publications (2)

Publication Number Publication Date
JP2007230329A JP2007230329A (ja) 2007-09-13
JP4935112B2 true JP4935112B2 (ja) 2012-05-23

Family

ID=38459210

Family Applications (1)

Application Number Title Priority Date Filing Date
JP2006053225A Expired - Lifetime JP4935112B2 (ja) 2006-02-28 2006-02-28 蓄電パックの車載構造

Country Status (5)

Country Link
US (1) US8037960B2 (ja)
JP (1) JP4935112B2 (ja)
CN (1) CN101395022B (ja)
DE (1) DE112007000474B4 (ja)
WO (1) WO2007100118A1 (ja)

Families Citing this family (141)

* Cited by examiner, † Cited by third party
Publication number Priority date Publication date Assignee Title
JP4649849B2 (ja) * 2004-03-02 2011-03-16 トヨタ自動車株式会社 蓄電機構の取付構造
JP5141026B2 (ja) * 2006-02-27 2013-02-13 トヨタ自動車株式会社 蓄電パックの車載構造
JP4225363B2 (ja) * 2007-07-24 2009-02-18 トヨタ自動車株式会社 内燃機関および回転電機を動力源として備える車両
JP2009090818A (ja) * 2007-10-09 2009-04-30 Toyota Motor Corp 車両搭載機器の固定構造
JP2009150523A (ja) * 2007-12-21 2009-07-09 Toyota Motor Corp 機器の取り付け構造
US20090186672A1 (en) * 2008-01-17 2009-07-23 Research In Motion Limited Systems and methods for maintaining data integrity of storage media of an electronic device
GB0811321D0 (en) * 2008-06-19 2008-07-30 Tennant Scotland Ltd Cleaning machine
US8167262B2 (en) * 2009-01-10 2012-05-01 Ford Global Technologies, Llc Power converter mounting assemblies
EP2426775A4 (en) * 2009-04-28 2013-10-30 Hitachi Ltd ELECTRICITY MEMORY MODULE AND ELECTRICITY STORAGE DEVICE WITH IT
JP5077611B2 (ja) 2009-05-28 2012-11-21 トヨタ自動車株式会社 燃料電池システムおよび車両
US8932769B2 (en) 2009-05-28 2015-01-13 Toyota Jidosha Kabushiki Kaisha Fuel cell assembly and vehicle
US8459399B2 (en) 2009-05-28 2013-06-11 Toyota Jidosha Kabushiki Kaisha Fuel cell system and vehicle
JP5077610B2 (ja) 2009-05-28 2012-11-21 トヨタ自動車株式会社 燃料電池システムおよび車両
JP2010284984A (ja) * 2009-06-09 2010-12-24 Fuji Heavy Ind Ltd 車両用バッテリ搭載構造
DE102009031779A1 (de) * 2009-07-06 2011-01-13 GM Global Technology Operations, Inc., Detroit Bodenstruktur für ein Kraftfahrzeug
JP5531478B2 (ja) 2009-07-16 2014-06-25 日産自動車株式会社 バッテリーパック
WO2011013634A1 (ja) * 2009-07-27 2011-02-03 本田技研工業株式会社 車両の電装部品搭載構造
JP5099526B2 (ja) * 2009-10-08 2012-12-19 トヨタ自動車東日本株式会社 バッテリーの取付構造
JP5417162B2 (ja) * 2009-12-28 2014-02-12 株式会社日立製作所 蓄電装置
US8336657B2 (en) * 2010-02-12 2012-12-25 Ford Global Technologies, Llc Support structure for inverter system controller module
FR2957888B1 (fr) * 2010-03-29 2012-03-23 Renault Sa Vehicule et support de reservoir d'energie associe
JP5423559B2 (ja) * 2010-04-20 2014-02-19 トヨタ自動車株式会社 車体への部材搭載構造
JP5604971B2 (ja) * 2010-05-17 2014-10-15 日産自動車株式会社 車両の衝突安全装置
WO2011145407A1 (ja) * 2010-05-18 2011-11-24 スズキ株式会社 電源装置保護構造
CN102822009B (zh) * 2010-05-26 2014-11-19 铃木株式会社 车体后部结构
JP5156057B2 (ja) * 2010-06-25 2013-03-06 富士重工業株式会社 車両用バッテリボックスの搭載構造
JP5071538B2 (ja) * 2010-09-03 2012-11-14 トヨタ自動車株式会社 車両用電池搭載構造
JP5228076B2 (ja) 2010-09-03 2013-07-03 日立ビークルエナジー株式会社 車載用蓄電装置
JP5434860B2 (ja) * 2010-09-17 2014-03-05 トヨタ車体株式会社 電池パックの車両搭載構造
DE102010048102A1 (de) 2010-10-09 2012-04-12 Audi Ag Fahrzeug mit einer Crashenergie absorbierbaren Traktionsbatterie
JP5528988B2 (ja) * 2010-11-16 2014-06-25 本田技研工業株式会社 車両用バッテリユニットの支持構造
AT510815B1 (de) 2010-11-17 2014-06-15 Avl List Gmbh Befestigungseinrichtung für zumindest ein batteriemodul
AT510801B1 (de) 2010-11-17 2014-06-15 Avl List Gmbh Befestigungseinrichtung für zumindest ein batteriemodul
US20120161472A1 (en) 2010-12-22 2012-06-28 Tesla Motors, Inc. System for Absorbing and Distributing Side Impact Energy Utilizing an Integrated Battery Pack
US8875828B2 (en) * 2010-12-22 2014-11-04 Tesla Motors, Inc. Vehicle battery pack thermal barrier
US8702161B2 (en) 2010-12-22 2014-04-22 Tesla Motors, Inc. System for absorbing and distributing side impact energy utilizing an integrated battery pack and side sill assembly
US8286743B2 (en) 2010-12-22 2012-10-16 Tesla Motors, Inc. Vehicle battery pack ballistic shield
DE102010056261B4 (de) * 2010-12-24 2025-06-26 Audi Ag Vorrichtung zum Halten einer Batterie in einer Fahrzeugkarosserie
DE102011002650B4 (de) * 2011-01-13 2023-12-07 Ford Global Technologies, Llc Kraftfahrzeug
JP5270702B2 (ja) * 2011-02-14 2013-08-21 トヨタ自動車株式会社 車両用機器搭載構造
CN103493244B (zh) * 2011-05-19 2016-04-27 株式会社Lg化学 具有高的结构稳定性的电池组
JP5609804B2 (ja) * 2011-07-25 2014-10-22 トヨタ自動車株式会社 端子の保護構造及び車両
JP5642650B2 (ja) * 2011-10-18 2014-12-17 アイシン軽金属株式会社 電池モジュールの車両搭載用構造体
JP5906689B2 (ja) * 2011-11-22 2016-04-20 トヨタ自動車株式会社 車両用電池搭載構造
JP5741406B2 (ja) * 2011-11-28 2015-07-01 トヨタ自動車株式会社 蓄電装置の車載構造
KR101400090B1 (ko) * 2011-12-14 2014-05-28 주식회사 엘지화학 버스 바 어셈블리가 전면에 장착된 전지모듈 어셈블리 및 이를 포함하는 중대형 전지팩
JP2013199196A (ja) * 2012-03-26 2013-10-03 Suzuki Motor Corp 電気自動車のバッテリパック搭載構造
US8602146B2 (en) 2012-04-10 2013-12-10 Toyota Motor Engineering & Manufacturing North America, Inc. Vehicle construction method to prevent battery damage in rear impact using optimized bracket separation
US8585066B2 (en) 2012-04-12 2013-11-19 Toyota Motor Engineering & Manufacturing North America, Inc. Electric vehicle construction methods for frontal impact
US8646792B2 (en) 2012-04-12 2014-02-11 Toyota Motor Engineering & Manufacturing North America, Inc. Subframe intrusion control by steering gear catcher
US8540259B1 (en) 2012-04-12 2013-09-24 Toyota Motor Engineering & Manufacturing North America, Inc. Construction method to control front engine compartment deformation
US8646790B2 (en) 2012-04-12 2014-02-11 Toyota Motor Engineering & Manufacturing North America, Inc. Sub-frame intrusion control by ramping during frontal impact for electric vehicle battery protection
US8613461B2 (en) 2012-04-12 2013-12-24 Toyota Motor Engineering & Manufacturing North America, Inc. Tether approach to control underbody energy absorption interaction with subframe
US8646791B2 (en) 2012-04-12 2014-02-11 Toyota Motor Engineering & Manufacturing North America, Inc. Electric vehicle construction methods for frontal impact utilizing deformation shape control
JP5983063B2 (ja) * 2012-06-08 2016-08-31 スズキ株式会社 バッテリパックの車載構造
JP5991048B2 (ja) * 2012-07-02 2016-09-14 コベルコ建機株式会社 蓄電装置及びこれを備えた建設機械
JP6232693B2 (ja) * 2012-10-04 2017-11-22 日産自動車株式会社 車両用電気部品の締結構造
JP5924225B2 (ja) * 2012-10-09 2016-05-25 トヨタ自動車株式会社 車両用電池機器搭載構造
WO2014063018A1 (en) 2012-10-19 2014-04-24 Agility Fuel Systems, Inc. Systems and methods for mounting a fuel system
US9174520B2 (en) * 2012-10-31 2015-11-03 Honda Motor Co., Ltd. Electric vehicle
JP6024895B2 (ja) * 2012-11-29 2016-11-16 三菱自動車工業株式会社 車載用電池パック
JP2014120346A (ja) * 2012-12-17 2014-06-30 Denso Corp 組電池
JP6011320B2 (ja) * 2012-12-25 2016-10-19 スズキ株式会社 車両後部構造
JP5928365B2 (ja) * 2013-02-13 2016-06-01 トヨタ自動車株式会社 車両後部搭載物の保持構造
WO2014128855A1 (ja) * 2013-02-20 2014-08-28 トヨタ自動車株式会社 電気自動車
FR3003513B1 (fr) * 2013-03-19 2015-03-13 Renault Sa Dispositif a absorption d'energie pour fixer une batterie de traction d'un vehicule electrique ou hybride
CN104057811B (zh) * 2013-03-20 2017-08-22 比亚迪股份有限公司 汽车及其动力电池的布置结构
JP6021737B2 (ja) * 2013-05-22 2016-11-09 住友重機械工業株式会社 蓄電装置及び作業機械
DE102013106433B4 (de) * 2013-06-20 2024-05-08 Dr. Ing. H.C. F. Porsche Aktiengesellschaft Tragrahmen für ein Kraftfahrzeug
JP5854012B2 (ja) * 2013-09-13 2016-02-09 トヨタ自動車株式会社 サービスホールカバー及び車両用ユニット搭載構造
JP5880509B2 (ja) * 2013-09-25 2016-03-09 トヨタ自動車株式会社 車両後部構造
US9630486B2 (en) * 2013-12-02 2017-04-25 Honda Motor Co., Ltd. Vehicle
US9139074B2 (en) * 2014-01-16 2015-09-22 Ford Global Technologies, Llc Methods and devices for positioning a traction battery on a hybrid or electric vehicle
US9061714B1 (en) * 2014-01-24 2015-06-23 Atieva, Inc. EV battery pack protection system utilizing an undercarriage debris trap
JP6094548B2 (ja) 2014-08-29 2017-03-15 株式会社デンソー 電子装置収容筐体
FR3025572B1 (fr) * 2014-09-05 2017-02-24 Renault Sa Vehicule avec un element incompressible fixe sur un element compressible en cas de collision
JP6350317B2 (ja) * 2015-02-03 2018-07-04 トヨタ自動車株式会社 吸気ダクトの取付構造
DE102015003643B3 (de) * 2015-03-19 2016-06-16 Audi Ag Kraftfahrzeug
DE202016103720U1 (de) * 2015-07-30 2016-08-31 Ford Global Technologies, Llc Gleitender schützender Batteriestützträger
US9643660B2 (en) 2015-08-27 2017-05-09 Atieva, Inc. Bumper assembly for an undercarriage mounted battery pack
US9517686B1 (en) * 2015-09-03 2016-12-13 Ford Global Technologies, Llc Traction battery dual-stage mounting bracket
JP6118381B2 (ja) * 2015-09-30 2017-04-19 富士重工業株式会社 車載用バッテリー
JP6442392B2 (ja) * 2015-10-22 2018-12-19 本田技研工業株式会社 車載用燃料電池システム
JP6414095B2 (ja) * 2016-02-17 2018-10-31 トヨタ自動車株式会社 燃料電池車両
JP6544311B2 (ja) 2016-07-14 2019-07-17 トヨタ自動車株式会社 車載機器固定構造
JP6836125B2 (ja) * 2016-09-15 2021-02-24 三菱自動車工業株式会社 スペアタイヤ脱落防止装置
JP2018056094A (ja) * 2016-09-30 2018-04-05 日立オートモティブシステムズ株式会社 電池パック
EP3326853B1 (de) * 2016-11-23 2020-04-29 MAGNA STEYR Fahrzeugtechnik AG & Co KG Batterie-halteanordnung
US10431785B2 (en) * 2016-11-30 2019-10-01 Ford Global Technologies, Llc Battery pack array frames with integrated fastener housings
US10370035B2 (en) * 2016-12-08 2019-08-06 Inevit Llc Motor guidance component configured to direct movement of a dislodged electric motor of an electric vehicle in response to crash forces
US9937781B1 (en) * 2016-12-19 2018-04-10 GM Global Technology Operations LLC Battery pack mounting architecture with shear plate for electric drive motor vehicles
JP2018113153A (ja) * 2017-01-11 2018-07-19 トヨタ自動車株式会社 電池パック
DE102017100685A1 (de) * 2017-01-16 2018-07-19 Dr. Ing. H.C. F. Porsche Aktiengesellschaft Energieversorgungssystem für ein Kraftfahrzeug
US9963028B1 (en) * 2017-02-21 2018-05-08 Ford Global Technologies, Llc Battery support structure for electrified vehicle
DE102017103668A1 (de) * 2017-02-22 2018-08-23 Benteler Automobiltechnik Gmbh Batterieträger mit Kunststoffunterschale und integrierter Induktionsleitung sowie Verfahren zu dessen Herstellung
JP6589909B2 (ja) * 2017-03-01 2019-10-16 トヨタ自動車株式会社 車両
JP6705404B2 (ja) * 2017-03-16 2020-06-03 トヨタ自動車株式会社 車両後部構造
JP6819439B2 (ja) * 2017-04-21 2021-01-27 トヨタ自動車株式会社 燃料電池車両
JP6851260B2 (ja) * 2017-05-24 2021-03-31 株式会社クボタ 電動作業車
US10549706B2 (en) * 2017-06-22 2020-02-04 Ford Global Technologies, Llc Battery pack mounting assembly
JP6447694B2 (ja) * 2017-09-27 2019-01-09 株式会社豊田自動織機 電池モジュール
JP6900882B2 (ja) 2017-11-20 2021-07-07 トヨタ自動車株式会社 車両下部構造
CN207818678U (zh) * 2017-12-28 2018-09-04 宁德时代新能源科技股份有限公司 壳体、电池模组及电池包
JP7101489B2 (ja) * 2018-02-01 2022-07-15 アイシン軽金属株式会社 電池モジュールの車両搭載構造
JP6962230B2 (ja) * 2018-02-16 2021-11-05 トヨタ自動車株式会社 電池パック
JP6988590B2 (ja) * 2018-03-09 2022-01-05 トヨタ自動車株式会社 車両後部構造
JP7006390B2 (ja) * 2018-03-09 2022-01-24 トヨタ自動車株式会社 車両の下部車体構造
JP7024589B2 (ja) * 2018-05-10 2022-02-24 トヨタ自動車株式会社 電気機器の車載構造
US10710527B2 (en) * 2018-07-10 2020-07-14 Kawasaki Jukogyo Kabushiki Kaisha Utility vehicle
US10780923B2 (en) * 2018-07-13 2020-09-22 Ford Global Technologies, Llc Vehicle platform
DE102018118500A1 (de) * 2018-07-31 2020-02-06 Dr. Ing. H.C. F. Porsche Aktiengesellschaft Elektrofahrzeugkomponente
CN108909840A (zh) * 2018-08-10 2018-11-30 深圳市德塔防爆电动汽车有限公司 适应薄层作业的电动汽车
CA3110459C (en) 2018-08-24 2024-06-18 Hexagon Purus North America Holdings Inc. Battery system for heavy duty vehicles
US11007899B2 (en) * 2018-10-23 2021-05-18 Chongqing Jinkang New Energy Vehicle Co., Ltd Mounting structures for battery packs in electric vehicles
CN111129377B (zh) * 2018-11-01 2024-09-10 宁德时代新能源科技股份有限公司 电池箱
JP7224193B2 (ja) * 2019-01-29 2023-02-17 ダイハツ工業株式会社 電池構造物固定構造
CA3136944A1 (en) 2019-04-19 2020-10-22 Hexagon Purus North America Holdings Inc. Electric powertrain system for heavy duty vehicles
WO2020215023A1 (en) * 2019-04-19 2020-10-22 Hexagon Purus North America Holdings Inc. Electric front end accessory devices assembly
US12059949B2 (en) 2019-06-19 2024-08-13 Nissan Motor Co., Ltd. Installation structure of electrical component module in vehicle
CN118769857A (zh) * 2019-06-27 2024-10-15 奥动新能源汽车科技有限公司 定位座、定位机构、快换支架组件及电动汽车
JP2021024428A (ja) * 2019-08-05 2021-02-22 トヨタ自動車株式会社 車両
CA3161967C (en) 2019-11-26 2025-05-13 Hexagon Purus North America Holdings Inc. POWER DISTRIBUTION FOR ELECTRIC VEHICLES AND MOTOR CONTROL MODULE
CN121406886A (zh) 2020-01-03 2026-01-27 特斯拉公司 从粘土矿物中选择性提取锂
JP2021109593A (ja) * 2020-01-14 2021-08-02 トヨタ自動車株式会社 電気自動車の車両後部構造
KR102693863B1 (ko) * 2020-01-23 2024-08-12 주식회사 엘지에너지솔루션 내진동성이 향상된 배터리 팩
FR3109558B1 (fr) 2020-04-22 2024-03-08 Renault Sas Renfort pour véhicule électrique ou hybride muni d’une batterie de traction fixée sur ledit renfort
US11926207B2 (en) 2020-10-09 2024-03-12 Hexagon Purus North America Holdings Inc. Battery and auxiliary components for vehicle trailer
EP4259495A4 (en) 2020-12-11 2024-11-06 Hexagon Purus North America Holdings Inc. SYSTEMS AND METHODS FOR REDUCING ANY ABBREVIATIONS WHEN TOWING TRAILERS
KR102704227B1 (ko) * 2021-01-08 2024-09-09 주식회사 엘지에너지솔루션 컴팩트한 구조의 멀티 배터리 팩
CN112909416B (zh) * 2021-02-03 2022-09-02 浙江工业职业技术学院 一种便于拆装的新能源汽车蓄电池固定装置
US11919404B2 (en) 2021-07-19 2024-03-05 Fca Us Llc Vehicle high voltage battery case attachment system
JP7769512B2 (ja) * 2021-11-01 2025-11-13 株式会社Subaru 電池モジュールの保護構造
DE102021129120A1 (de) 2021-11-09 2023-05-11 Bayerische Motoren Werke Aktiengesellschaft Energiespeicher-Bodenanlage für einen elektrisch antreibbaren Kraftwagen
JP7643313B2 (ja) * 2021-12-06 2025-03-11 トヨタ自動車株式会社 車両後部構造
FR3137797B1 (fr) * 2022-07-07 2024-05-24 Psa Automobiles Sa Batterie de traction comprenant une plaque de separation fixee par vissage avec un trou oblong securise en cas de choc lateral, vehicule et procede sur la base d’une telle batterie
US12233702B2 (en) * 2022-11-03 2025-02-25 Ford Global Technologies, Llc Structural assembly for battery structure of electric vehicle
DE102023108260A1 (de) 2023-03-31 2024-10-02 Bayerische Motoren Werke Aktiengesellschaft Schraubverbund für ein Fahrzeug sowie Fahrzeug
CN219692714U (zh) * 2023-03-31 2023-09-15 宁德时代新能源科技股份有限公司 储能设备
KR20250025841A (ko) * 2023-08-16 2025-02-25 주식회사 엘지에너지솔루션 배터리 팩
EP4521515B1 (en) * 2023-09-07 2026-03-18 FPT Industrial S.p.A. Fixing system for a vehicular battery system
WO2025203596A1 (ja) * 2024-03-29 2025-10-02 株式会社Subaru バッテリ保護構造

Family Cites Families (25)

* Cited by examiner, † Cited by third party
Publication number Priority date Publication date Assignee Title
DE3423954C1 (de) * 1984-06-29 1986-01-02 Daimler-Benz Ag, 7000 Stuttgart Kraftstofftankanordnung im Heckbereich eines Kraftwagens
JPS62122731A (ja) * 1985-06-19 1987-06-04 Toshiba Mach Co Ltd 押出成形用tダイ
JPH07107475B2 (ja) * 1987-11-09 1995-11-15 三洋電機株式会社 冷温調装置
JP2651185B2 (ja) * 1988-03-22 1997-09-10 マツダ株式会社 自動車用ステアリングの支持構造
JP2932127B2 (ja) 1992-10-02 1999-08-09 トヨタ自動車株式会社 電気自動車のバッテリ支持構造
JPH06270694A (ja) * 1993-03-22 1994-09-27 Toyota Motor Corp 電気自動車のバッテリキャリア支持構造
JP2932134B2 (ja) * 1993-03-22 1999-08-09 トヨタ自動車株式会社 電気自動車のエネルギ吸収コントロール構造
JP3022085B2 (ja) 1993-09-16 2000-03-15 日産自動車株式会社 電気自動車のバッテリフレーム固定部構造
JPH0781432A (ja) * 1993-09-20 1995-03-28 Nissan Motor Co Ltd 電気自動車のバッテリ固定構造
JP2982582B2 (ja) * 1993-10-21 1999-11-22 トヨタ自動車株式会社 電気自動車のバッテリ支持構造
JPH08133096A (ja) * 1994-11-11 1996-05-28 Toyota Motor Corp 電気自動車のバッテリとステアリングギャボックスの取付構造
JP2000203460A (ja) * 1999-01-14 2000-07-25 Hino Motors Ltd トラックの車体構造
JP3379498B2 (ja) * 1999-12-17 2003-02-24 日産自動車株式会社 車両用ペダルブラケット固定構造
US6293059B1 (en) * 2000-01-24 2001-09-25 Robert F. Goodwin Hurricane protective system for windows and doors
JP3900797B2 (ja) * 2000-07-05 2007-04-04 三菱自動車工業株式会社 パワープラントの支持構造
JP3851124B2 (ja) 2001-07-31 2006-11-29 三洋電機株式会社 自動車用の電源装置とこの電源装置を搭載する自動車
JP2003327155A (ja) * 2002-05-09 2003-11-19 Toyota Motor Corp ボルト締結構造及び構造物支持部材
JP4063098B2 (ja) * 2003-02-13 2008-03-19 日産自動車株式会社 バッテリ支持装置
JP4136700B2 (ja) * 2003-02-14 2008-08-20 トヨタ自動車株式会社 ウォームシャフト可動量調整方法及び電動パワーステアリング装置用減速機
JP4274819B2 (ja) 2003-03-04 2009-06-10 富士重工業株式会社 バッテリの取付構造
JP4649849B2 (ja) * 2004-03-02 2011-03-16 トヨタ自動車株式会社 蓄電機構の取付構造
JP2006035915A (ja) * 2004-07-22 2006-02-09 Sanyo Electric Co Ltd 車両用の電源装置
JP2007015600A (ja) * 2005-07-08 2007-01-25 Nissan Motor Co Ltd 組電池車載構造
JP2007203912A (ja) * 2006-02-02 2007-08-16 Toyota Auto Body Co Ltd 車体後部構造
JP5141026B2 (ja) * 2006-02-27 2013-02-13 トヨタ自動車株式会社 蓄電パックの車載構造

Also Published As

Publication number Publication date
JP2007230329A (ja) 2007-09-13
WO2007100118A1 (ja) 2007-09-07
DE112007000474B4 (de) 2018-02-15
DE112007000474T5 (de) 2009-01-15
US20090226806A1 (en) 2009-09-10
US8037960B2 (en) 2011-10-18
CN101395022A (zh) 2009-03-25
CN101395022B (zh) 2012-07-04

Similar Documents

Publication Publication Date Title
JP4935112B2 (ja) 蓄電パックの車載構造
JP5141026B2 (ja) 蓄電パックの車載構造
JP5206110B2 (ja) 蓄電装置の支持構造
JP6363656B2 (ja) 車載用バッテリー
JP4858203B2 (ja) 自動車
CN102569692B (zh) 电池组件保护结构
JP2014522774A (ja) 車両の床構造
JP5741406B2 (ja) 蓄電装置の車載構造
JP5760992B2 (ja) 車両のバッテリ搭載構造
JP6053618B2 (ja) 車両用の支持構造体
JP7697800B2 (ja) 車載用電池の保護構造
US8585128B2 (en) Power supply apparatus protection structure
JP2010188965A (ja) 燃料電池車の車体構造
US11926226B2 (en) Vehicle body
JP2008123846A (ja) 蓄電装置ユニット
CN108305965B (zh) 电池包
JP5375727B2 (ja) 蓄電パックの車両搭載構造
US20220089039A1 (en) Passive structural stopper bracket
JP2008239067A (ja) 自動車
JP2019117688A (ja) 電池パック
JP2013136308A (ja) 車両
JP2004243882A (ja) 車両用電気機器の搭載構造
JP2017193291A (ja) 車両のバッテリ搭載構造
JP7132154B2 (ja) 車両
JP7836651B2 (ja) 車両

Legal Events

Date Code Title Description
A621 Written request for application examination

Free format text: JAPANESE INTERMEDIATE CODE: A621

Effective date: 20080407

A131 Notification of reasons for refusal

Free format text: JAPANESE INTERMEDIATE CODE: A131

Effective date: 20110510

A521 Request for written amendment filed

Free format text: JAPANESE INTERMEDIATE CODE: A523

Effective date: 20110707

TRDD Decision of grant or rejection written
A01 Written decision to grant a patent or to grant a registration (utility model)

Free format text: JAPANESE INTERMEDIATE CODE: A01

Effective date: 20120124

A01 Written decision to grant a patent or to grant a registration (utility model)

Free format text: JAPANESE INTERMEDIATE CODE: A01

A61 First payment of annual fees (during grant procedure)

Free format text: JAPANESE INTERMEDIATE CODE: A61

Effective date: 20120206

FPAY Renewal fee payment (event date is renewal date of database)

Free format text: PAYMENT UNTIL: 20150302

Year of fee payment: 3

R151 Written notification of patent or utility model registration

Ref document number: 4935112

Country of ref document: JP

Free format text: JAPANESE INTERMEDIATE CODE: R151

FPAY Renewal fee payment (event date is renewal date of database)

Free format text: PAYMENT UNTIL: 20150302

Year of fee payment: 3