JP5440228B2 - 露光装置、デバイス製造方法、及び液体回収方法 - Google Patents
露光装置、デバイス製造方法、及び液体回収方法 Download PDFInfo
- Publication number
- JP5440228B2 JP5440228B2 JP2010026918A JP2010026918A JP5440228B2 JP 5440228 B2 JP5440228 B2 JP 5440228B2 JP 2010026918 A JP2010026918 A JP 2010026918A JP 2010026918 A JP2010026918 A JP 2010026918A JP 5440228 B2 JP5440228 B2 JP 5440228B2
- Authority
- JP
- Japan
- Prior art keywords
- liquid
- substrate
- recovery
- substrate stage
- exposure apparatus
- Prior art date
- Legal status (The legal status is an assumption and is not a legal conclusion. Google has not performed a legal analysis and makes no representation as to the accuracy of the status listed.)
- Expired - Fee Related
Links
Images
Classifications
-
- G—PHYSICS
- G03—PHOTOGRAPHY; CINEMATOGRAPHY; ANALOGOUS TECHNIQUES USING WAVES OTHER THAN OPTICAL WAVES; ELECTROGRAPHY; HOLOGRAPHY
- G03F—PHOTOMECHANICAL PRODUCTION OF TEXTURED OR PATTERNED SURFACES, e.g. FOR PRINTING, FOR PROCESSING OF SEMICONDUCTOR DEVICES; MATERIALS THEREFOR; ORIGINALS THEREFOR; APPARATUS SPECIALLY ADAPTED THEREFOR
- G03F7/00—Photomechanical, e.g. photolithographic, production of textured or patterned surfaces, e.g. printing surfaces; Materials therefor, e.g. comprising photoresists; Apparatus specially adapted therefor
- G03F7/70—Microphotolithographic exposure; Apparatus therefor
- G03F7/70216—Mask projection systems
- G03F7/70258—Projection system adjustments, e.g. adjustments during exposure or alignment during assembly of projection system
-
- G—PHYSICS
- G03—PHOTOGRAPHY; CINEMATOGRAPHY; ANALOGOUS TECHNIQUES USING WAVES OTHER THAN OPTICAL WAVES; ELECTROGRAPHY; HOLOGRAPHY
- G03F—PHOTOMECHANICAL PRODUCTION OF TEXTURED OR PATTERNED SURFACES, e.g. FOR PRINTING, FOR PROCESSING OF SEMICONDUCTOR DEVICES; MATERIALS THEREFOR; ORIGINALS THEREFOR; APPARATUS SPECIALLY ADAPTED THEREFOR
- G03F7/00—Photomechanical, e.g. photolithographic, production of textured or patterned surfaces, e.g. printing surfaces; Materials therefor, e.g. comprising photoresists; Apparatus specially adapted therefor
- G03F7/70—Microphotolithographic exposure; Apparatus therefor
- G03F7/708—Construction of apparatus, e.g. environment aspects, hygiene aspects or materials
- G03F7/7085—Detection arrangement, e.g. detectors of apparatus alignment possibly mounted on wafers, exposure dose, photo-cleaning flux, stray light, thermal load
-
- G—PHYSICS
- G03—PHOTOGRAPHY; CINEMATOGRAPHY; ANALOGOUS TECHNIQUES USING WAVES OTHER THAN OPTICAL WAVES; ELECTROGRAPHY; HOLOGRAPHY
- G03B—APPARATUS OR ARRANGEMENTS FOR TAKING PHOTOGRAPHS OR FOR PROJECTING OR VIEWING THEM; APPARATUS OR ARRANGEMENTS EMPLOYING ANALOGOUS TECHNIQUES USING WAVES OTHER THAN OPTICAL WAVES; ACCESSORIES THEREFOR
- G03B27/00—Photographic printing apparatus
- G03B27/32—Projection printing apparatus, e.g. enlarger, copying camera
- G03B27/52—Details
-
- G—PHYSICS
- G03—PHOTOGRAPHY; CINEMATOGRAPHY; ANALOGOUS TECHNIQUES USING WAVES OTHER THAN OPTICAL WAVES; ELECTROGRAPHY; HOLOGRAPHY
- G03F—PHOTOMECHANICAL PRODUCTION OF TEXTURED OR PATTERNED SURFACES, e.g. FOR PRINTING, FOR PROCESSING OF SEMICONDUCTOR DEVICES; MATERIALS THEREFOR; ORIGINALS THEREFOR; APPARATUS SPECIALLY ADAPTED THEREFOR
- G03F7/00—Photomechanical, e.g. photolithographic, production of textured or patterned surfaces, e.g. printing surfaces; Materials therefor, e.g. comprising photoresists; Apparatus specially adapted therefor
-
- G—PHYSICS
- G03—PHOTOGRAPHY; CINEMATOGRAPHY; ANALOGOUS TECHNIQUES USING WAVES OTHER THAN OPTICAL WAVES; ELECTROGRAPHY; HOLOGRAPHY
- G03F—PHOTOMECHANICAL PRODUCTION OF TEXTURED OR PATTERNED SURFACES, e.g. FOR PRINTING, FOR PROCESSING OF SEMICONDUCTOR DEVICES; MATERIALS THEREFOR; ORIGINALS THEREFOR; APPARATUS SPECIALLY ADAPTED THEREFOR
- G03F7/00—Photomechanical, e.g. photolithographic, production of textured or patterned surfaces, e.g. printing surfaces; Materials therefor, e.g. comprising photoresists; Apparatus specially adapted therefor
- G03F7/20—Exposure; Apparatus therefor
-
- G—PHYSICS
- G03—PHOTOGRAPHY; CINEMATOGRAPHY; ANALOGOUS TECHNIQUES USING WAVES OTHER THAN OPTICAL WAVES; ELECTROGRAPHY; HOLOGRAPHY
- G03F—PHOTOMECHANICAL PRODUCTION OF TEXTURED OR PATTERNED SURFACES, e.g. FOR PRINTING, FOR PROCESSING OF SEMICONDUCTOR DEVICES; MATERIALS THEREFOR; ORIGINALS THEREFOR; APPARATUS SPECIALLY ADAPTED THEREFOR
- G03F7/00—Photomechanical, e.g. photolithographic, production of textured or patterned surfaces, e.g. printing surfaces; Materials therefor, e.g. comprising photoresists; Apparatus specially adapted therefor
- G03F7/20—Exposure; Apparatus therefor
- G03F7/2041—Exposure; Apparatus therefor in the presence of a fluid, e.g. immersion; using fluid cooling means
-
- G—PHYSICS
- G03—PHOTOGRAPHY; CINEMATOGRAPHY; ANALOGOUS TECHNIQUES USING WAVES OTHER THAN OPTICAL WAVES; ELECTROGRAPHY; HOLOGRAPHY
- G03F—PHOTOMECHANICAL PRODUCTION OF TEXTURED OR PATTERNED SURFACES, e.g. FOR PRINTING, FOR PROCESSING OF SEMICONDUCTOR DEVICES; MATERIALS THEREFOR; ORIGINALS THEREFOR; APPARATUS SPECIALLY ADAPTED THEREFOR
- G03F7/00—Photomechanical, e.g. photolithographic, production of textured or patterned surfaces, e.g. printing surfaces; Materials therefor, e.g. comprising photoresists; Apparatus specially adapted therefor
- G03F7/26—Processing photosensitive materials; Apparatus therefor
- G03F7/30—Imagewise removal using liquid means
-
- G—PHYSICS
- G03—PHOTOGRAPHY; CINEMATOGRAPHY; ANALOGOUS TECHNIQUES USING WAVES OTHER THAN OPTICAL WAVES; ELECTROGRAPHY; HOLOGRAPHY
- G03F—PHOTOMECHANICAL PRODUCTION OF TEXTURED OR PATTERNED SURFACES, e.g. FOR PRINTING, FOR PROCESSING OF SEMICONDUCTOR DEVICES; MATERIALS THEREFOR; ORIGINALS THEREFOR; APPARATUS SPECIALLY ADAPTED THEREFOR
- G03F7/00—Photomechanical, e.g. photolithographic, production of textured or patterned surfaces, e.g. printing surfaces; Materials therefor, e.g. comprising photoresists; Apparatus specially adapted therefor
- G03F7/70—Microphotolithographic exposure; Apparatus therefor
- G03F7/70216—Mask projection systems
- G03F7/70275—Multiple projection paths, e.g. array of projection systems, microlens projection systems or tandem projection systems
-
- G—PHYSICS
- G03—PHOTOGRAPHY; CINEMATOGRAPHY; ANALOGOUS TECHNIQUES USING WAVES OTHER THAN OPTICAL WAVES; ELECTROGRAPHY; HOLOGRAPHY
- G03F—PHOTOMECHANICAL PRODUCTION OF TEXTURED OR PATTERNED SURFACES, e.g. FOR PRINTING, FOR PROCESSING OF SEMICONDUCTOR DEVICES; MATERIALS THEREFOR; ORIGINALS THEREFOR; APPARATUS SPECIALLY ADAPTED THEREFOR
- G03F7/00—Photomechanical, e.g. photolithographic, production of textured or patterned surfaces, e.g. printing surfaces; Materials therefor, e.g. comprising photoresists; Apparatus specially adapted therefor
- G03F7/70—Microphotolithographic exposure; Apparatus therefor
- G03F7/70216—Mask projection systems
- G03F7/70316—Details of optical elements, e.g. of Bragg reflectors, extreme ultraviolet [EUV] multilayer or bilayer mirrors or diffractive optical elements
-
- G—PHYSICS
- G03—PHOTOGRAPHY; CINEMATOGRAPHY; ANALOGOUS TECHNIQUES USING WAVES OTHER THAN OPTICAL WAVES; ELECTROGRAPHY; HOLOGRAPHY
- G03F—PHOTOMECHANICAL PRODUCTION OF TEXTURED OR PATTERNED SURFACES, e.g. FOR PRINTING, FOR PROCESSING OF SEMICONDUCTOR DEVICES; MATERIALS THEREFOR; ORIGINALS THEREFOR; APPARATUS SPECIALLY ADAPTED THEREFOR
- G03F7/00—Photomechanical, e.g. photolithographic, production of textured or patterned surfaces, e.g. printing surfaces; Materials therefor, e.g. comprising photoresists; Apparatus specially adapted therefor
- G03F7/70—Microphotolithographic exposure; Apparatus therefor
- G03F7/70216—Mask projection systems
- G03F7/70341—Details of immersion lithography aspects, e.g. exposure media or control of immersion liquid supply
-
- G—PHYSICS
- G03—PHOTOGRAPHY; CINEMATOGRAPHY; ANALOGOUS TECHNIQUES USING WAVES OTHER THAN OPTICAL WAVES; ELECTROGRAPHY; HOLOGRAPHY
- G03F—PHOTOMECHANICAL PRODUCTION OF TEXTURED OR PATTERNED SURFACES, e.g. FOR PRINTING, FOR PROCESSING OF SEMICONDUCTOR DEVICES; MATERIALS THEREFOR; ORIGINALS THEREFOR; APPARATUS SPECIALLY ADAPTED THEREFOR
- G03F7/00—Photomechanical, e.g. photolithographic, production of textured or patterned surfaces, e.g. printing surfaces; Materials therefor, e.g. comprising photoresists; Apparatus specially adapted therefor
- G03F7/70—Microphotolithographic exposure; Apparatus therefor
- G03F7/70691—Handling of masks or workpieces
- G03F7/70775—Position control, e.g. interferometers or encoders for determining the stage position
-
- G—PHYSICS
- G03—PHOTOGRAPHY; CINEMATOGRAPHY; ANALOGOUS TECHNIQUES USING WAVES OTHER THAN OPTICAL WAVES; ELECTROGRAPHY; HOLOGRAPHY
- G03F—PHOTOMECHANICAL PRODUCTION OF TEXTURED OR PATTERNED SURFACES, e.g. FOR PRINTING, FOR PROCESSING OF SEMICONDUCTOR DEVICES; MATERIALS THEREFOR; ORIGINALS THEREFOR; APPARATUS SPECIALLY ADAPTED THEREFOR
- G03F7/00—Photomechanical, e.g. photolithographic, production of textured or patterned surfaces, e.g. printing surfaces; Materials therefor, e.g. comprising photoresists; Apparatus specially adapted therefor
- G03F7/70—Microphotolithographic exposure; Apparatus therefor
- G03F7/708—Construction of apparatus, e.g. environment aspects, hygiene aspects or materials
- G03F7/70908—Hygiene, e.g. preventing apparatus pollution, mitigating effect of pollution or removing pollutants from apparatus
- G03F7/70916—Pollution mitigation, i.e. mitigating effect of contamination or debris, e.g. foil traps
-
- G—PHYSICS
- G03—PHOTOGRAPHY; CINEMATOGRAPHY; ANALOGOUS TECHNIQUES USING WAVES OTHER THAN OPTICAL WAVES; ELECTROGRAPHY; HOLOGRAPHY
- G03F—PHOTOMECHANICAL PRODUCTION OF TEXTURED OR PATTERNED SURFACES, e.g. FOR PRINTING, FOR PROCESSING OF SEMICONDUCTOR DEVICES; MATERIALS THEREFOR; ORIGINALS THEREFOR; APPARATUS SPECIALLY ADAPTED THEREFOR
- G03F7/00—Photomechanical, e.g. photolithographic, production of textured or patterned surfaces, e.g. printing surfaces; Materials therefor, e.g. comprising photoresists; Apparatus specially adapted therefor
- G03F7/70—Microphotolithographic exposure; Apparatus therefor
- G03F7/708—Construction of apparatus, e.g. environment aspects, hygiene aspects or materials
- G03F7/70908—Hygiene, e.g. preventing apparatus pollution, mitigating effect of pollution or removing pollutants from apparatus
- G03F7/70925—Cleaning, i.e. actively freeing apparatus from pollutants, e.g. using plasma cleaning
-
- G—PHYSICS
- G03—PHOTOGRAPHY; CINEMATOGRAPHY; ANALOGOUS TECHNIQUES USING WAVES OTHER THAN OPTICAL WAVES; ELECTROGRAPHY; HOLOGRAPHY
- G03F—PHOTOMECHANICAL PRODUCTION OF TEXTURED OR PATTERNED SURFACES, e.g. FOR PRINTING, FOR PROCESSING OF SEMICONDUCTOR DEVICES; MATERIALS THEREFOR; ORIGINALS THEREFOR; APPARATUS SPECIALLY ADAPTED THEREFOR
- G03F7/00—Photomechanical, e.g. photolithographic, production of textured or patterned surfaces, e.g. printing surfaces; Materials therefor, e.g. comprising photoresists; Apparatus specially adapted therefor
- G03F7/70—Microphotolithographic exposure; Apparatus therefor
- G03F7/708—Construction of apparatus, e.g. environment aspects, hygiene aspects or materials
- G03F7/7095—Materials, e.g. materials for housing, stage or other support having particular properties, e.g. weight, strength, conductivity, thermal expansion coefficient
- G03F7/70958—Optical materials or coatings, e.g. with particular transmittance, reflectance or anti-reflection properties
-
- G—PHYSICS
- G03—PHOTOGRAPHY; CINEMATOGRAPHY; ANALOGOUS TECHNIQUES USING WAVES OTHER THAN OPTICAL WAVES; ELECTROGRAPHY; HOLOGRAPHY
- G03F—PHOTOMECHANICAL PRODUCTION OF TEXTURED OR PATTERNED SURFACES, e.g. FOR PRINTING, FOR PROCESSING OF SEMICONDUCTOR DEVICES; MATERIALS THEREFOR; ORIGINALS THEREFOR; APPARATUS SPECIALLY ADAPTED THEREFOR
- G03F9/00—Registration or positioning of originals, masks, frames, photographic sheets or textured or patterned surfaces, e.g. automatically
- G03F9/70—Registration or positioning of originals, masks, frames, photographic sheets or textured or patterned surfaces, e.g. automatically for microlithography
- G03F9/7003—Alignment type or strategy, e.g. leveling, global alignment
- G03F9/7007—Alignment other than original with workpiece
- G03F9/7015—Reference, i.e. alignment of original or workpiece with respect to a reference not on the original or workpiece
-
- G—PHYSICS
- G03—PHOTOGRAPHY; CINEMATOGRAPHY; ANALOGOUS TECHNIQUES USING WAVES OTHER THAN OPTICAL WAVES; ELECTROGRAPHY; HOLOGRAPHY
- G03F—PHOTOMECHANICAL PRODUCTION OF TEXTURED OR PATTERNED SURFACES, e.g. FOR PRINTING, FOR PROCESSING OF SEMICONDUCTOR DEVICES; MATERIALS THEREFOR; ORIGINALS THEREFOR; APPARATUS SPECIALLY ADAPTED THEREFOR
- G03F9/00—Registration or positioning of originals, masks, frames, photographic sheets or textured or patterned surfaces, e.g. automatically
- G03F9/70—Registration or positioning of originals, masks, frames, photographic sheets or textured or patterned surfaces, e.g. automatically for microlithography
- G03F9/7088—Alignment mark detection, e.g. TTR, TTL, off-axis detection, array detector, video detection
-
- G—PHYSICS
- G03—PHOTOGRAPHY; CINEMATOGRAPHY; ANALOGOUS TECHNIQUES USING WAVES OTHER THAN OPTICAL WAVES; ELECTROGRAPHY; HOLOGRAPHY
- G03F—PHOTOMECHANICAL PRODUCTION OF TEXTURED OR PATTERNED SURFACES, e.g. FOR PRINTING, FOR PROCESSING OF SEMICONDUCTOR DEVICES; MATERIALS THEREFOR; ORIGINALS THEREFOR; APPARATUS SPECIALLY ADAPTED THEREFOR
- G03F9/00—Registration or positioning of originals, masks, frames, photographic sheets or textured or patterned surfaces, e.g. automatically
- G03F9/70—Registration or positioning of originals, masks, frames, photographic sheets or textured or patterned surfaces, e.g. automatically for microlithography
- G03F9/7096—Arrangement, mounting, housing, environment, cleaning or maintenance of apparatus
-
- H—ELECTRICITY
- H01—ELECTRIC ELEMENTS
- H01L—SEMICONDUCTOR DEVICES NOT COVERED BY CLASS H10
- H01L21/00—Processes or apparatus adapted for the manufacture or treatment of semiconductor or solid state devices or of parts thereof
- H01L21/02—Manufacture or treatment of semiconductor devices or of parts thereof
- H01L21/027—Making masks on semiconductor bodies for further photolithographic processing not provided for in group H01L21/18 or H01L21/34
- H01L21/0271—Making masks on semiconductor bodies for further photolithographic processing not provided for in group H01L21/18 or H01L21/34 comprising organic layers
- H01L21/0273—Making masks on semiconductor bodies for further photolithographic processing not provided for in group H01L21/18 or H01L21/34 comprising organic layers characterised by the treatment of photoresist layers
- H01L21/0274—Photolithographic processes
Landscapes
- Physics & Mathematics (AREA)
- General Physics & Mathematics (AREA)
- Engineering & Computer Science (AREA)
- Health & Medical Sciences (AREA)
- Epidemiology (AREA)
- Public Health (AREA)
- Environmental & Geological Engineering (AREA)
- Life Sciences & Earth Sciences (AREA)
- Atmospheric Sciences (AREA)
- Plasma & Fusion (AREA)
- Multimedia (AREA)
- Condensed Matter Physics & Semiconductors (AREA)
- Manufacturing & Machinery (AREA)
- Computer Hardware Design (AREA)
- Microelectronics & Electronic Packaging (AREA)
- Power Engineering (AREA)
- Exposure Of Semiconductors, Excluding Electron Or Ion Beam Exposure (AREA)
- Exposure And Positioning Against Photoresist Photosensitive Materials (AREA)
- Investigating Materials By The Use Of Optical Means Adapted For Particular Applications (AREA)
- Microscoopes, Condenser (AREA)
- Container, Conveyance, Adherence, Positioning, Of Wafer (AREA)
Priority Applications (1)
| Application Number | Priority Date | Filing Date | Title |
|---|---|---|---|
| JP2010026918A JP5440228B2 (ja) | 2003-05-23 | 2010-02-09 | 露光装置、デバイス製造方法、及び液体回収方法 |
Applications Claiming Priority (7)
| Application Number | Priority Date | Filing Date | Title |
|---|---|---|---|
| JP2003146423 | 2003-05-23 | ||
| JP2003146423 | 2003-05-23 | ||
| JP2003305280 | 2003-08-28 | ||
| JP2003305280 | 2003-08-28 | ||
| JP2004049231 | 2004-02-25 | ||
| JP2004049231 | 2004-02-25 | ||
| JP2010026918A JP5440228B2 (ja) | 2003-05-23 | 2010-02-09 | 露光装置、デバイス製造方法、及び液体回収方法 |
Related Parent Applications (1)
| Application Number | Title | Priority Date | Filing Date |
|---|---|---|---|
| JP2004151714A Division JP2005277363A (ja) | 2003-05-23 | 2004-05-21 | 露光装置及びデバイス製造方法 |
Related Child Applications (7)
| Application Number | Title | Priority Date | Filing Date |
|---|---|---|---|
| JP2011089258A Division JP2011139105A (ja) | 2003-05-23 | 2011-04-13 | 露光装置及びデバイス製造方法 |
| JP2011089260A Division JP5440542B2 (ja) | 2003-05-23 | 2011-04-13 | 液浸露光装置、デバイス製造方法、及び液体回収方法 |
| JP2011089261A Division JP5252025B2 (ja) | 2003-05-23 | 2011-04-13 | 液浸露光装置、液浸露光方法、及びデバイス製造方法 |
| JP2011089259A Division JP5440541B2 (ja) | 2003-05-23 | 2011-04-13 | 液浸露光装置、液浸露光方法、及びデバイス製造方法 |
| JP2012082522A Division JP5699976B2 (ja) | 2003-05-23 | 2012-03-30 | 露光装置及びデバイス製造方法 |
| JP2012205079A Division JP5590083B2 (ja) | 2003-05-23 | 2012-09-18 | 洗浄方法、液浸露光装置、及びデバイス製造方法 |
| JP2012205080A Division JP5700011B2 (ja) | 2003-05-23 | 2012-09-18 | 露光装置及びデバイス製造方法 |
Publications (3)
| Publication Number | Publication Date |
|---|---|
| JP2010109391A JP2010109391A (ja) | 2010-05-13 |
| JP2010109391A5 JP2010109391A5 (enExample) | 2011-06-02 |
| JP5440228B2 true JP5440228B2 (ja) | 2014-03-12 |
Family
ID=33479649
Family Applications (13)
| Application Number | Title | Priority Date | Filing Date |
|---|---|---|---|
| JP2010026918A Expired - Fee Related JP5440228B2 (ja) | 2003-05-23 | 2010-02-09 | 露光装置、デバイス製造方法、及び液体回収方法 |
| JP2011089259A Expired - Fee Related JP5440541B2 (ja) | 2003-05-23 | 2011-04-13 | 液浸露光装置、液浸露光方法、及びデバイス製造方法 |
| JP2011089260A Expired - Fee Related JP5440542B2 (ja) | 2003-05-23 | 2011-04-13 | 液浸露光装置、デバイス製造方法、及び液体回収方法 |
| JP2011089258A Pending JP2011139105A (ja) | 2003-05-23 | 2011-04-13 | 露光装置及びデバイス製造方法 |
| JP2011089261A Expired - Fee Related JP5252025B2 (ja) | 2003-05-23 | 2011-04-13 | 液浸露光装置、液浸露光方法、及びデバイス製造方法 |
| JP2012082522A Expired - Fee Related JP5699976B2 (ja) | 2003-05-23 | 2012-03-30 | 露光装置及びデバイス製造方法 |
| JP2012205080A Expired - Fee Related JP5700011B2 (ja) | 2003-05-23 | 2012-09-18 | 露光装置及びデバイス製造方法 |
| JP2012205079A Expired - Fee Related JP5590083B2 (ja) | 2003-05-23 | 2012-09-18 | 洗浄方法、液浸露光装置、及びデバイス製造方法 |
| JP2013269607A Expired - Fee Related JP5794291B2 (ja) | 2003-05-23 | 2013-12-26 | 露光装置及びデバイス製造方法 |
| JP2014228266A Expired - Lifetime JP5907238B2 (ja) | 2003-05-23 | 2014-11-10 | 露光装置及びデバイス製造方法 |
| JP2015179702A Expired - Lifetime JP6278015B2 (ja) | 2003-05-23 | 2015-09-11 | 液浸露光装置及びデバイス製造方法 |
| JP2016252527A Expired - Fee Related JP6350643B2 (ja) | 2003-05-23 | 2016-12-27 | 液浸露光装置、露光方法及びデバイス製造方法 |
| JP2018001074A Pending JP2018077518A (ja) | 2003-05-23 | 2018-01-09 | 液浸露光装置、露光装置及びデバイス製造方法 |
Family Applications After (12)
| Application Number | Title | Priority Date | Filing Date |
|---|---|---|---|
| JP2011089259A Expired - Fee Related JP5440541B2 (ja) | 2003-05-23 | 2011-04-13 | 液浸露光装置、液浸露光方法、及びデバイス製造方法 |
| JP2011089260A Expired - Fee Related JP5440542B2 (ja) | 2003-05-23 | 2011-04-13 | 液浸露光装置、デバイス製造方法、及び液体回収方法 |
| JP2011089258A Pending JP2011139105A (ja) | 2003-05-23 | 2011-04-13 | 露光装置及びデバイス製造方法 |
| JP2011089261A Expired - Fee Related JP5252025B2 (ja) | 2003-05-23 | 2011-04-13 | 液浸露光装置、液浸露光方法、及びデバイス製造方法 |
| JP2012082522A Expired - Fee Related JP5699976B2 (ja) | 2003-05-23 | 2012-03-30 | 露光装置及びデバイス製造方法 |
| JP2012205080A Expired - Fee Related JP5700011B2 (ja) | 2003-05-23 | 2012-09-18 | 露光装置及びデバイス製造方法 |
| JP2012205079A Expired - Fee Related JP5590083B2 (ja) | 2003-05-23 | 2012-09-18 | 洗浄方法、液浸露光装置、及びデバイス製造方法 |
| JP2013269607A Expired - Fee Related JP5794291B2 (ja) | 2003-05-23 | 2013-12-26 | 露光装置及びデバイス製造方法 |
| JP2014228266A Expired - Lifetime JP5907238B2 (ja) | 2003-05-23 | 2014-11-10 | 露光装置及びデバイス製造方法 |
| JP2015179702A Expired - Lifetime JP6278015B2 (ja) | 2003-05-23 | 2015-09-11 | 液浸露光装置及びデバイス製造方法 |
| JP2016252527A Expired - Fee Related JP6350643B2 (ja) | 2003-05-23 | 2016-12-27 | 液浸露光装置、露光方法及びデバイス製造方法 |
| JP2018001074A Pending JP2018077518A (ja) | 2003-05-23 | 2018-01-09 | 液浸露光装置、露光装置及びデバイス製造方法 |
Country Status (7)
| Country | Link |
|---|---|
| US (14) | US7388649B2 (enExample) |
| EP (10) | EP2466616A3 (enExample) |
| JP (13) | JP5440228B2 (enExample) |
| KR (10) | KR101677829B1 (enExample) |
| HK (1) | HK1221072A1 (enExample) |
| TW (8) | TW200509205A (enExample) |
| WO (1) | WO2004105107A1 (enExample) |
Cited By (1)
| Publication number | Priority date | Publication date | Assignee | Title |
|---|---|---|---|---|
| JP2015029154A (ja) * | 2003-05-23 | 2015-02-12 | 株式会社ニコン | 露光装置及びデバイス製造方法 |
Families Citing this family (174)
| Publication number | Priority date | Publication date | Assignee | Title |
|---|---|---|---|---|
| KR100585476B1 (ko) | 2002-11-12 | 2006-06-07 | 에이에스엠엘 네델란즈 비.브이. | 리소그래피 장치 및 디바이스 제조방법 |
| US10503084B2 (en) | 2002-11-12 | 2019-12-10 | Asml Netherlands B.V. | Lithographic apparatus and device manufacturing method |
| JP3953460B2 (ja) | 2002-11-12 | 2007-08-08 | エーエスエムエル ネザーランズ ビー.ブイ. | リソグラフィ投影装置 |
| EP1420300B1 (en) * | 2002-11-12 | 2015-07-29 | ASML Netherlands B.V. | Lithographic apparatus and device manufacturing method |
| US7110081B2 (en) | 2002-11-12 | 2006-09-19 | Asml Netherlands B.V. | Lithographic apparatus and device manufacturing method |
| US9482966B2 (en) | 2002-11-12 | 2016-11-01 | Asml Netherlands B.V. | Lithographic apparatus and device manufacturing method |
| SG121822A1 (en) | 2002-11-12 | 2006-05-26 | Asml Netherlands Bv | Lithographic apparatus and device manufacturing method |
| KR101037057B1 (ko) * | 2002-12-10 | 2011-05-26 | 가부시키가이샤 니콘 | 노광 장치 및 디바이스 제조 방법 |
| KR101547077B1 (ko) | 2003-04-09 | 2015-08-25 | 가부시키가이샤 니콘 | 노광 방법 및 장치, 그리고 디바이스 제조 방법 |
| EP3352010A1 (en) * | 2003-04-10 | 2018-07-25 | Nikon Corporation | Run-off path to collect liquid for an immersion lithography apparatus |
| KR101318542B1 (ko) | 2003-04-11 | 2013-10-16 | 가부시키가이샤 니콘 | 액침 리소그래피에 의한 광학기기의 세정방법 |
| KR101178756B1 (ko) | 2003-04-11 | 2012-08-31 | 가부시키가이샤 니콘 | 액침 리소그래피 머신에서 웨이퍼 교환동안 투영 렌즈 아래의 갭에서 액침액체를 유지하는 장치 및 방법 |
| US7213963B2 (en) | 2003-06-09 | 2007-05-08 | Asml Netherlands B.V. | Lithographic apparatus and device manufacturing method |
| EP2261741A3 (en) | 2003-06-11 | 2011-05-25 | ASML Netherlands B.V. | Lithographic apparatus and device manufacturing method |
| KR101421866B1 (ko) | 2003-06-13 | 2014-07-22 | 가부시키가이샤 니콘 | 노광 방법, 기판 스테이지, 노광 장치, 및 디바이스 제조 방법 |
| KR101134957B1 (ko) | 2003-06-19 | 2012-04-10 | 가부시키가이샤 니콘 | 노광 장치 및 디바이스 제조방법 |
| US6867844B2 (en) | 2003-06-19 | 2005-03-15 | Asml Holding N.V. | Immersion photolithography system and method using microchannel nozzles |
| US6809794B1 (en) | 2003-06-27 | 2004-10-26 | Asml Holding N.V. | Immersion photolithography system and method using inverted wafer-projection optics interface |
| EP1491956B1 (en) | 2003-06-27 | 2006-09-06 | ASML Netherlands B.V. | Lithographic apparatus and device manufacturing method |
| JP3862678B2 (ja) * | 2003-06-27 | 2006-12-27 | キヤノン株式会社 | 露光装置及びデバイス製造方法 |
| KR101414896B1 (ko) | 2003-07-28 | 2014-07-03 | 가부시키가이샤 니콘 | 노광 장치 및 디바이스 제조 방법, 그리고 노광 장치의 제어 방법 |
| KR20180120816A (ko) * | 2003-08-21 | 2018-11-06 | 가부시키가이샤 니콘 | 노광 장치, 노광 방법 및 디바이스 제조 방법 |
| CN100407371C (zh) | 2003-08-29 | 2008-07-30 | 株式会社尼康 | 曝光装置和器件加工方法 |
| TWI263859B (en) | 2003-08-29 | 2006-10-11 | Asml Netherlands Bv | Lithographic apparatus and device manufacturing method |
| WO2005031820A1 (ja) | 2003-09-26 | 2005-04-07 | Nikon Corporation | 投影露光装置及び投影露光装置の洗浄方法、メンテナンス方法並びにデバイスの製造方法 |
| KR101111364B1 (ko) | 2003-10-08 | 2012-02-27 | 가부시키가이샤 자오 니콘 | 기판 반송 장치 및 기판 반송 방법, 노광 장치 및 노광방법, 디바이스 제조 방법 |
| TWI511179B (zh) | 2003-10-28 | 2015-12-01 | 尼康股份有限公司 | 照明光學裝置、曝光裝置、曝光方法以及元件製造方法 |
| TWI361450B (en) * | 2003-10-31 | 2012-04-01 | Nikon Corp | Platen, stage device, exposure device and exposure method |
| KR101117429B1 (ko) | 2003-10-31 | 2012-04-16 | 가부시키가이샤 니콘 | 노광 장치 및 디바이스 제조 방법 |
| JP2005159322A (ja) | 2003-10-31 | 2005-06-16 | Nikon Corp | 定盤、ステージ装置及び露光装置並びに露光方法 |
| JP4295712B2 (ja) | 2003-11-14 | 2009-07-15 | エーエスエムエル ネザーランズ ビー.ブイ. | リソグラフィ装置及び装置製造方法 |
| TWI512335B (zh) | 2003-11-20 | 2015-12-11 | 尼康股份有限公司 | 光束變換元件、光學照明裝置、曝光裝置、以及曝光方法 |
| KR101437254B1 (ko) | 2003-12-03 | 2014-09-02 | 가부시키가이샤 니콘 | 노광 장치, 노광 방법 및 디바이스 제조 방법, 그리고 광학 부품 |
| US7589822B2 (en) | 2004-02-02 | 2009-09-15 | Nikon Corporation | Stage drive method and stage unit, exposure apparatus, and device manufacturing method |
| JP4506674B2 (ja) | 2004-02-03 | 2010-07-21 | 株式会社ニコン | 露光装置及びデバイス製造方法 |
| TWI494972B (zh) | 2004-02-06 | 2015-08-01 | 尼康股份有限公司 | 偏光變換元件、光學照明裝置、曝光裝置以及曝光方法 |
| US7050146B2 (en) | 2004-02-09 | 2006-05-23 | Asml Netherlands B.V. | Lithographic apparatus and device manufacturing method |
| WO2005076323A1 (ja) * | 2004-02-10 | 2005-08-18 | Nikon Corporation | 露光装置及びデバイス製造方法、メンテナンス方法及び露光方法 |
| US7616383B2 (en) * | 2004-05-18 | 2009-11-10 | Asml Netherlands B.V. | Lithographic apparatus and device manufacturing method |
| WO2005119368A2 (en) | 2004-06-04 | 2005-12-15 | Carl Zeiss Smt Ag | System for measuring the image quality of an optical imaging system |
| EP1783821B1 (en) * | 2004-06-09 | 2015-08-05 | Nikon Corporation | Exposure system and device production method |
| KR101342303B1 (ko) * | 2004-06-21 | 2013-12-16 | 가부시키가이샤 니콘 | 노광 장치 및 그 부재의 세정 방법, 노광 장치의 메인터넌스 방법, 메인터넌스 기기, 그리고 디바이스 제조 방법 |
| KR101330922B1 (ko) | 2004-06-21 | 2013-11-18 | 가부시키가이샤 니콘 | 노광 장치 및 디바이스 제조 방법 |
| US8698998B2 (en) | 2004-06-21 | 2014-04-15 | Nikon Corporation | Exposure apparatus, method for cleaning member thereof, maintenance method for exposure apparatus, maintenance device, and method for producing device |
| US7463330B2 (en) | 2004-07-07 | 2008-12-09 | Asml Netherlands B.V. | Lithographic apparatus and device manufacturing method |
| KR101202230B1 (ko) | 2004-07-12 | 2012-11-16 | 가부시키가이샤 니콘 | 노광 장치 및 디바이스 제조 방법 |
| JP2006041046A (ja) * | 2004-07-23 | 2006-02-09 | Canon Inc | 光電計測装置及び露光装置 |
| ATE470235T1 (de) | 2004-08-03 | 2010-06-15 | Nikon Corp | Belichtungsgeräte, belichtungsverfahren und bauelemente-herstellungsverfahren |
| US7224427B2 (en) * | 2004-08-03 | 2007-05-29 | Taiwan Semiconductor Manufacturing Company, Ltd. | Megasonic immersion lithography exposure apparatus and method |
| US8305553B2 (en) | 2004-08-18 | 2012-11-06 | Nikon Corporation | Exposure apparatus and device manufacturing method |
| US7701550B2 (en) | 2004-08-19 | 2010-04-20 | Asml Netherlands B.V. | Lithographic apparatus and device manufacturing method |
| EP2325866A1 (en) * | 2004-09-17 | 2011-05-25 | Nikon Corporation | Substrate holding device, exposure apparatus and device manufacturing method |
| US7385670B2 (en) * | 2004-10-05 | 2008-06-10 | Asml Netherlands B.V. | Lithographic apparatus, cleaning system and cleaning method for in situ removing contamination from a component in a lithographic apparatus |
| US8040489B2 (en) | 2004-10-26 | 2011-10-18 | Nikon Corporation | Substrate processing method, exposure apparatus, and method for producing device by immersing substrate in second liquid before immersion exposure through first liquid |
| US7446850B2 (en) | 2004-12-03 | 2008-11-04 | Asml Netherlands B.V. | Lithographic apparatus and device manufacturing method |
| KR101559621B1 (ko) | 2004-12-06 | 2015-10-13 | 가부시키가이샤 니콘 | 메인터넌스 방법, 메인터넌스 기기, 노광 장치, 및 디바이스 제조 방법 |
| JP4752473B2 (ja) | 2004-12-09 | 2011-08-17 | 株式会社ニコン | 露光装置、露光方法及びデバイス製造方法 |
| US7880860B2 (en) | 2004-12-20 | 2011-02-01 | Asml Netherlands B.V. | Lithographic apparatus and device manufacturing method |
| US7528931B2 (en) | 2004-12-20 | 2009-05-05 | Asml Netherlands B.V. | Lithographic apparatus and device manufacturing method |
| US7450217B2 (en) | 2005-01-12 | 2008-11-11 | Asml Netherlands B.V. | Exposure apparatus, coatings for exposure apparatus, lithographic apparatus, device manufacturing method, and device manufactured thereby |
| US7324185B2 (en) | 2005-03-04 | 2008-01-29 | Asml Netherlands B.V. | Lithographic apparatus and device manufacturing method |
| USRE43576E1 (en) | 2005-04-08 | 2012-08-14 | Asml Netherlands B.V. | Dual stage lithographic apparatus and device manufacturing method |
| US20060232753A1 (en) | 2005-04-19 | 2006-10-19 | Asml Holding N.V. | Liquid immersion lithography system with tilted liquid flow |
| US7433016B2 (en) | 2005-05-03 | 2008-10-07 | Asml Netherlands B.V. | Lithographic apparatus and device manufacturing method |
| US8248577B2 (en) | 2005-05-03 | 2012-08-21 | Asml Netherlands B.V. | Lithographic apparatus and device manufacturing method |
| KR101524964B1 (ko) | 2005-05-12 | 2015-06-01 | 가부시키가이샤 니콘 | 투영 광학계, 노광 장치 및 노광 방법 |
| JPWO2006137440A1 (ja) * | 2005-06-22 | 2009-01-22 | 株式会社ニコン | 計測装置及び露光装置、並びにデバイス製造方法 |
| US7924416B2 (en) | 2005-06-22 | 2011-04-12 | Nikon Corporation | Measurement apparatus, exposure apparatus, and device manufacturing method |
| JP2007012375A (ja) * | 2005-06-29 | 2007-01-18 | Toyota Motor Corp | 燃料電池、燃料電池用電極触媒層の製造方法、及び燃料電池の運転方法 |
| EP1909310A4 (en) * | 2005-07-11 | 2010-10-06 | Nikon Corp | EXPOSURE DEVICE AND METHOD FOR MANUFACTURING COMPONENTS |
| JP5011676B2 (ja) * | 2005-08-12 | 2012-08-29 | 株式会社日立製作所 | 表示装置を備える機器 |
| KR101388345B1 (ko) * | 2005-09-09 | 2014-04-22 | 가부시키가이샤 니콘 | 노광 장치 및 노광 방법, 그리고 디바이스 제조 방법 |
| US7929109B2 (en) | 2005-10-20 | 2011-04-19 | Nikon Corporation | Apparatus and method for recovering liquid droplets in immersion lithography |
| JP4735186B2 (ja) | 2005-10-21 | 2011-07-27 | 株式会社ニコン | 液浸顕微鏡装置 |
| US7986395B2 (en) | 2005-10-24 | 2011-07-26 | Taiwan Semiconductor Manufacturing Company, Ltd. | Immersion lithography apparatus and methods |
| US7773195B2 (en) | 2005-11-29 | 2010-08-10 | Asml Holding N.V. | System and method to increase surface tension and contact angle in immersion lithography |
| US8125610B2 (en) * | 2005-12-02 | 2012-02-28 | ASML Metherlands B.V. | Method for preventing or reducing contamination of an immersion type projection apparatus and an immersion type lithographic apparatus |
| US7649611B2 (en) | 2005-12-30 | 2010-01-19 | Asml Netherlands B.V. | Lithographic apparatus and device manufacturing method |
| JP4889331B2 (ja) * | 2006-03-22 | 2012-03-07 | 大日本スクリーン製造株式会社 | 基板処理装置および基板処理方法 |
| CN101907733B (zh) | 2006-04-03 | 2013-06-19 | 株式会社尼康 | 对浸没液体为疏溶的入射表面和光学窗 |
| CN102298274A (zh) | 2006-05-18 | 2011-12-28 | 株式会社尼康 | 曝光方法及装置、维护方法、以及组件制造方法 |
| US7969548B2 (en) * | 2006-05-22 | 2011-06-28 | Asml Netherlands B.V. | Lithographic apparatus and lithographic apparatus cleaning method |
| WO2007136052A1 (ja) * | 2006-05-22 | 2007-11-29 | Nikon Corporation | 露光方法及び装置、メンテナンス方法、並びにデバイス製造方法 |
| JP5019170B2 (ja) * | 2006-05-23 | 2012-09-05 | 株式会社ニコン | メンテナンス方法、露光方法及び装置、並びにデバイス製造方法 |
| US20070273856A1 (en) | 2006-05-25 | 2007-11-29 | Nikon Corporation | Apparatus and methods for inhibiting immersion liquid from flowing below a substrate |
| WO2007139017A1 (ja) * | 2006-05-29 | 2007-12-06 | Nikon Corporation | 液体回収部材、基板保持部材、露光装置、及びデバイス製造方法 |
| US7532309B2 (en) * | 2006-06-06 | 2009-05-12 | Nikon Corporation | Immersion lithography system and method having an immersion fluid containment plate for submerging the substrate to be imaged in immersion fluid |
| US8564759B2 (en) | 2006-06-29 | 2013-10-22 | Taiwan Semiconductor Manufacturing Company, Ltd. | Apparatus and method for immersion lithography |
| EP2043134A4 (en) * | 2006-06-30 | 2012-01-25 | Nikon Corp | MAINTENANCE METHOD, EXPOSURE METHOD, AND DEVICE AND DEVICE MANUFACTURING METHOD |
| ATE431575T1 (de) * | 2006-08-28 | 2009-05-15 | Imec Inter Uni Micro Electr | Verfahren und system zur kontaminationsmessung bei einem lithografischen element |
| WO2008026593A1 (en) | 2006-08-30 | 2008-03-06 | Nikon Corporation | Exposure apparatus, device production method, cleaning method, and cleaning member |
| US7826030B2 (en) * | 2006-09-07 | 2010-11-02 | Asml Netherlands B.V. | Lithographic apparatus and device manufacturing method |
| KR20090060270A (ko) * | 2006-09-08 | 2009-06-11 | 가부시키가이샤 니콘 | 클리닝용 부재, 클리닝 방법, 그리고 디바이스 제조 방법 |
| US20080100812A1 (en) * | 2006-10-26 | 2008-05-01 | Nikon Corporation | Immersion lithography system and method having a wafer chuck made of a porous material |
| JP5055971B2 (ja) * | 2006-11-16 | 2012-10-24 | 株式会社ニコン | 表面処理方法及び表面処理装置、露光方法及び露光装置、並びにデバイス製造方法 |
| US9632425B2 (en) | 2006-12-07 | 2017-04-25 | Asml Holding N.V. | Lithographic apparatus, a dryer and a method of removing liquid from a surface |
| JP2008192854A (ja) * | 2007-02-05 | 2008-08-21 | Canon Inc | 液浸露光装置 |
| US8654305B2 (en) * | 2007-02-15 | 2014-02-18 | Asml Holding N.V. | Systems and methods for insitu lens cleaning in immersion lithography |
| US8817226B2 (en) * | 2007-02-15 | 2014-08-26 | Asml Holding N.V. | Systems and methods for insitu lens cleaning using ozone in immersion lithography |
| US20080198347A1 (en) * | 2007-02-16 | 2008-08-21 | Canon Kabushiki Kaisha | Immersion exposure apparatus and method of manufacturing device |
| JP4366407B2 (ja) * | 2007-02-16 | 2009-11-18 | キヤノン株式会社 | 露光装置及びデバイス製造方法 |
| JP2008218653A (ja) * | 2007-03-02 | 2008-09-18 | Canon Inc | 露光装置及びデバイス製造方法 |
| US8237911B2 (en) | 2007-03-15 | 2012-08-07 | Nikon Corporation | Apparatus and methods for keeping immersion fluid adjacent to an optical assembly during wafer exchange in an immersion lithography machine |
| JP2008258324A (ja) * | 2007-04-03 | 2008-10-23 | Canon Inc | 露光装置及びデバイスの製造方法 |
| US9013672B2 (en) | 2007-05-04 | 2015-04-21 | Asml Netherlands B.V. | Cleaning device, a lithographic apparatus and a lithographic apparatus cleaning method |
| US8947629B2 (en) | 2007-05-04 | 2015-02-03 | Asml Netherlands B.V. | Cleaning device, a lithographic apparatus and a lithographic apparatus cleaning method |
| US7866330B2 (en) | 2007-05-04 | 2011-01-11 | Asml Netherlands B.V. | Cleaning device, a lithographic apparatus and a lithographic apparatus cleaning method |
| US8011377B2 (en) | 2007-05-04 | 2011-09-06 | Asml Netherlands B.V. | Cleaning device and a lithographic apparatus cleaning method |
| JP2008283052A (ja) * | 2007-05-11 | 2008-11-20 | Toshiba Corp | 液浸露光装置および半導体装置の製造方法 |
| KR20100031694A (ko) * | 2007-05-28 | 2010-03-24 | 가부시키가이샤 니콘 | 노광 장치, 디바이스 제조 방법, 세정 장치, 및 클리닝 방법 그리고 노광 방법 |
| US8514365B2 (en) * | 2007-06-01 | 2013-08-20 | Asml Netherlands B.V. | Lithographic apparatus and device manufacturing method |
| US20090014030A1 (en) * | 2007-07-09 | 2009-01-15 | Asml Netherlands B.V. | Substrates and methods of using those substrates |
| US7916269B2 (en) | 2007-07-24 | 2011-03-29 | Asml Netherlands B.V. | Lithographic apparatus and contamination removal or prevention method |
| US9019466B2 (en) | 2007-07-24 | 2015-04-28 | Asml Netherlands B.V. | Lithographic apparatus, reflective member and a method of irradiating the underside of a liquid supply system |
| US8451427B2 (en) | 2007-09-14 | 2013-05-28 | Nikon Corporation | Illumination optical system, exposure apparatus, optical element and manufacturing method thereof, and device manufacturing method |
| SG151198A1 (en) * | 2007-09-27 | 2009-04-30 | Asml Netherlands Bv | Methods relating to immersion lithography and an immersion lithographic apparatus |
| NL1035942A1 (nl) * | 2007-09-27 | 2009-03-30 | Asml Netherlands Bv | Lithographic Apparatus and Method of Cleaning a Lithographic Apparatus. |
| JP2009094145A (ja) * | 2007-10-04 | 2009-04-30 | Canon Inc | 露光装置、露光方法およびデバイス製造方法 |
| JP5267029B2 (ja) | 2007-10-12 | 2013-08-21 | 株式会社ニコン | 照明光学装置、露光装置及びデバイスの製造方法 |
| KR101546987B1 (ko) | 2007-10-16 | 2015-08-24 | 가부시키가이샤 니콘 | 조명 광학 시스템, 노광 장치 및 디바이스 제조 방법 |
| EP2179330A1 (en) | 2007-10-16 | 2010-04-28 | Nikon Corporation | Illumination optical system, exposure apparatus, and device manufacturing method |
| US8379187B2 (en) | 2007-10-24 | 2013-02-19 | Nikon Corporation | Optical unit, illumination optical apparatus, exposure apparatus, and device manufacturing method |
| JP5017232B2 (ja) * | 2007-10-31 | 2012-09-05 | エーエスエムエル ネザーランズ ビー.ブイ. | クリーニング装置および液浸リソグラフィ装置 |
| US9116346B2 (en) | 2007-11-06 | 2015-08-25 | Nikon Corporation | Illumination apparatus, illumination method, exposure apparatus, and device manufacturing method |
| NL1036273A1 (nl) * | 2007-12-18 | 2009-06-19 | Asml Netherlands Bv | Lithographic apparatus and method of cleaning a surface of an immersion lithographic apparatus. |
| NL1036306A1 (nl) | 2007-12-20 | 2009-06-23 | Asml Netherlands Bv | Lithographic apparatus and in-line cleaning apparatus. |
| US8339572B2 (en) | 2008-01-25 | 2012-12-25 | Asml Netherlands B.V. | Lithographic apparatus and device manufacturing method |
| US20100039628A1 (en) * | 2008-03-19 | 2010-02-18 | Nikon Corporation | Cleaning tool, cleaning method, and device fabricating method |
| NL1036631A1 (nl) * | 2008-03-24 | 2009-09-25 | Asml Netherlands Bv | Immersion Lithographic Apparatus and Device Manufacturing Method. |
| NL1036709A1 (nl) | 2008-04-24 | 2009-10-27 | Asml Netherlands Bv | Lithographic apparatus and a method of operating the apparatus. |
| EP2249205B1 (en) * | 2008-05-08 | 2012-03-07 | ASML Netherlands BV | Immersion lithographic apparatus, drying device, immersion metrology apparatus and device manufacturing method |
| US8421993B2 (en) * | 2008-05-08 | 2013-04-16 | Asml Netherlands B.V. | Fluid handling structure, lithographic apparatus and device manufacturing method |
| EP2282188B1 (en) | 2008-05-28 | 2015-03-11 | Nikon Corporation | Illumination optical system and exposure apparatus |
| JP5097166B2 (ja) | 2008-05-28 | 2012-12-12 | エーエスエムエル ネザーランズ ビー.ブイ. | リソグラフィ装置及び装置の動作方法 |
| US20100045949A1 (en) * | 2008-08-11 | 2010-02-25 | Nikon Corporation | Exposure apparatus, maintaining method and device fabricating method |
| NL2003363A (en) | 2008-09-10 | 2010-03-15 | Asml Netherlands Bv | Lithographic apparatus, method of manufacturing an article for a lithographic apparatus and device manufacturing method. |
| NL2003333A (en) * | 2008-10-23 | 2010-04-26 | Asml Netherlands Bv | Fluid handling structure, lithographic apparatus and device manufacturing method. |
| JP5199982B2 (ja) | 2008-12-08 | 2013-05-15 | エーエスエムエル ネザーランズ ビー.ブイ. | リソグラフィ装置 |
| JP2010140958A (ja) * | 2008-12-09 | 2010-06-24 | Canon Inc | 露光装置及びデバイス製造方法 |
| EP2391700A4 (en) | 2009-01-28 | 2016-08-31 | Entegris Inc | IN SITU CLEANING FORMULATIONS OF LITHOGRAPHIC APPARATUS |
| GB2469112A (en) | 2009-04-03 | 2010-10-06 | Mapper Lithography Ip Bv | Wafer support using controlled capillary liquid layer to hold and release wafer |
| DE102009015717B4 (de) * | 2009-03-31 | 2012-12-13 | Globalfoundries Dresden Module One Limited Liability Company & Co. Kg | Verfahren und System zum Erkennen einer Teilchenkontamination in einer Immersionslithographieanlage |
| NL2004362A (en) * | 2009-04-10 | 2010-10-12 | Asml Netherlands Bv | A fluid handling device, an immersion lithographic apparatus and a device manufacturing method. |
| US20110153387A1 (en) * | 2009-12-17 | 2011-06-23 | Google Inc. | Customizing surveys |
| NL2005717A (en) * | 2009-12-18 | 2011-06-21 | Asml Netherlands Bv | A lithographic apparatus and a device manufacturing method. |
| EP2381310B1 (en) | 2010-04-22 | 2015-05-06 | ASML Netherlands BV | Fluid handling structure and lithographic apparatus |
| NL2006818A (en) | 2010-07-02 | 2012-01-03 | Asml Netherlands Bv | A method of adjusting speed and/or routing of a table movement plan and a lithographic apparatus. |
| US9632426B2 (en) * | 2011-01-18 | 2017-04-25 | Taiwan Semiconductor Manufacturing Company, Ltd. | In-situ immersion hood cleaning |
| JP2012256000A (ja) * | 2011-06-10 | 2012-12-27 | Sanyo Electric Co Ltd | 投写型映像表示装置 |
| TWI447843B (zh) * | 2011-12-02 | 2014-08-01 | Univ Nat Central | 晶圓定位方法及其系統 |
| CA3202964A1 (en) | 2011-12-06 | 2013-06-13 | Delta Faucet Company | Ozone distribution in a faucet |
| NL2010817A (en) | 2012-05-29 | 2013-12-02 | Asml Netherlands Bv | A support apparatus, a lithographic apparatus and a device manufacturing method. |
| JP6313585B2 (ja) * | 2013-12-10 | 2018-04-18 | キヤノン株式会社 | 露光装置及び物品の製造方法 |
| US9658536B2 (en) * | 2014-02-25 | 2017-05-23 | Taiwan Semiconductor Manufacturing Co., Ltd. | In-line inspection and clean for immersion lithography |
| WO2015133391A1 (ja) * | 2014-03-07 | 2015-09-11 | 富士フイルム株式会社 | トランジスタの製造方法 |
| NL2014792A (en) * | 2014-06-16 | 2016-03-31 | Asml Netherlands Bv | Lithographic apparatus, method of transferring a substrate and device manufacturing method. |
| KR101895018B1 (ko) * | 2014-06-19 | 2018-09-04 | 에이에스엠엘 네델란즈 비.브이. | 리소그래피 장치, 대상물 위치설정 시스템 및 디바이스 제조 방법 |
| TW201643557A (zh) * | 2015-03-31 | 2016-12-16 | 尼康股份有限公司 | 曝光裝置、平面顯示器之製造方法、元件製造方法、及曝光方法 |
| KR102426760B1 (ko) * | 2015-04-24 | 2022-07-29 | 엘지이노텍 주식회사 | 헤드 마운트 디스플레이 장치 |
| CA3007437C (en) | 2015-12-21 | 2021-09-28 | Delta Faucet Company | Fluid delivery system including a disinfectant device |
| JP6207671B1 (ja) * | 2016-06-01 | 2017-10-04 | キヤノン株式会社 | パターン形成装置、基板配置方法及び物品の製造方法 |
| CN107966880B (zh) * | 2017-03-15 | 2019-01-11 | 上海微电子装备(集团)股份有限公司 | 一种用于光刻机的垂向控制方法 |
| JP6985102B2 (ja) * | 2017-10-31 | 2021-12-22 | 株式会社ディスコ | レーザー加工装置 |
| CN111480108B (zh) | 2017-12-22 | 2023-03-28 | 索尼公司 | 隐形眼镜和通信系统 |
| JP6933608B2 (ja) * | 2018-06-01 | 2021-09-08 | ファナック株式会社 | 視覚センサのレンズまたはレンズカバーの異常検出システム |
| WO2020064265A1 (en) | 2018-09-24 | 2020-04-02 | Asml Netherlands B.V. | A process tool and an inspection method |
| CN110597021B (zh) * | 2019-09-20 | 2021-04-23 | 上海华力微电子有限公司 | 浸没式光刻工艺中晶圆表面残水缺陷的改善方法 |
| JP7427461B2 (ja) * | 2020-02-06 | 2024-02-05 | キヤノン株式会社 | 露光装置、及び物品の製造方法 |
| JP7038163B2 (ja) * | 2020-05-18 | 2022-03-17 | 本田技研工業株式会社 | 外観検査システム |
| JP7536571B2 (ja) * | 2020-09-15 | 2024-08-20 | キオクシア株式会社 | 位置計測装置及び計測方法 |
| CN116348820A (zh) * | 2020-12-23 | 2023-06-27 | Asml荷兰有限公司 | 流体处理系统、方法以及光刻设备 |
| CN113189849B (zh) | 2021-04-22 | 2023-08-11 | 中国科学院光电技术研究所 | 一种近场光刻浸没系统及其浸没单元和接口模组 |
| US11761905B2 (en) * | 2021-08-26 | 2023-09-19 | Taiwan Semiconductor Manufacturing Company Limited | Inspection layer to improve the detection of defects through optical systems and methods of inspecting semiconductor device for defects |
| DE102023135389A1 (de) * | 2023-12-15 | 2025-06-18 | Nikon Slm Solutions Ag | Reinigungssystem und -verfahren zum Reinigen eines Optikelements in einer Optikeinheit einer Anlage für additive Fertigung |
Family Cites Families (308)
| Publication number | Priority date | Publication date | Assignee | Title |
|---|---|---|---|---|
| US3139101A (en) | 1962-07-23 | 1964-06-30 | Gen Motors Corp | Sonic surface cleaner |
| GB1242527A (en) * | 1967-10-20 | 1971-08-11 | Kodak Ltd | Optical instruments |
| NL7606482A (nl) * | 1976-06-16 | 1977-12-20 | Philips Nv | Eenkristzl van calcium-gallium-germanium granaat, alsmede substraat vervaardigd van een dergelijk eenkristzl met een epitaxiaal opgegroeide beldo- meinfilm. |
| ATE1462T1 (de) | 1979-07-27 | 1982-08-15 | Werner W. Dr. Tabarelli | Optisches lithographieverfahren und einrichtung zum kopieren eines musters auf eine halbleiterscheibe. |
| US4346164A (en) * | 1980-10-06 | 1982-08-24 | Werner Tabarelli | Photolithographic method for the manufacture of integrated circuits |
| US4509852A (en) | 1980-10-06 | 1985-04-09 | Werner Tabarelli | Apparatus for the photolithographic manufacture of integrated circuit elements |
| JPS57117238A (en) | 1981-01-14 | 1982-07-21 | Nippon Kogaku Kk <Nikon> | Exposing and baking device for manufacturing integrated circuit with illuminometer |
| JPS57153433A (en) * | 1981-03-18 | 1982-09-22 | Hitachi Ltd | Manufacturing device for semiconductor |
| JPS57153433U (enExample) | 1981-03-20 | 1982-09-27 | ||
| JPS58202448A (ja) | 1982-05-21 | 1983-11-25 | Hitachi Ltd | 露光装置 |
| JPS5919912A (ja) | 1982-07-26 | 1984-02-01 | Hitachi Ltd | 液浸距離保持装置 |
| DD221563A1 (de) | 1983-09-14 | 1985-04-24 | Mikroelektronik Zt Forsch Tech | Immersionsobjektiv fuer die schrittweise projektionsabbildung einer maskenstruktur |
| DD224448A1 (de) | 1984-03-01 | 1985-07-03 | Zeiss Jena Veb Carl | Einrichtung zur fotolithografischen strukturuebertragung |
| JPS6197918A (ja) | 1984-10-19 | 1986-05-16 | Hitachi Ltd | X線露光装置 |
| JPS6265326A (ja) | 1985-09-18 | 1987-03-24 | Hitachi Ltd | 露光装置 |
| JPS62121417A (ja) * | 1985-11-22 | 1987-06-02 | Hitachi Ltd | 液浸対物レンズ装置 |
| JPH0782981B2 (ja) | 1986-02-07 | 1995-09-06 | 株式会社ニコン | 投影露光方法及び装置 |
| JPH0695511B2 (ja) * | 1986-09-17 | 1994-11-24 | 大日本スクリ−ン製造株式会社 | 洗浄乾燥処理方法 |
| JPS63157419A (ja) | 1986-12-22 | 1988-06-30 | Toshiba Corp | 微細パタ−ン転写装置 |
| JP2897355B2 (ja) | 1990-07-05 | 1999-05-31 | 株式会社ニコン | アライメント方法,露光装置,並びに位置検出方法及び装置 |
| JPH04305915A (ja) | 1991-04-02 | 1992-10-28 | Nikon Corp | 密着型露光装置 |
| JPH04305917A (ja) | 1991-04-02 | 1992-10-28 | Nikon Corp | 密着型露光装置 |
| JPH0562877A (ja) | 1991-09-02 | 1993-03-12 | Yasuko Shinohara | 光によるlsi製造縮小投影露光装置の光学系 |
| JPH05100182A (ja) * | 1991-10-11 | 1993-04-23 | Nikon Corp | レーザトラツプ集塵装置及び集塵方法 |
| JPH05304072A (ja) | 1992-04-08 | 1993-11-16 | Nec Corp | 半導体装置の製造方法 |
| JPH06459A (ja) * | 1992-06-19 | 1994-01-11 | T H I Syst Kk | 洗浄乾燥方法とその装置 |
| JP3246615B2 (ja) | 1992-07-27 | 2002-01-15 | 株式会社ニコン | 照明光学装置、露光装置、及び露光方法 |
| JPH06188169A (ja) | 1992-08-24 | 1994-07-08 | Canon Inc | 結像方法及び該方法を用いる露光装置及び該方法を用いるデバイス製造方法 |
| JPH06124873A (ja) * | 1992-10-09 | 1994-05-06 | Canon Inc | 液浸式投影露光装置 |
| JP2753930B2 (ja) * | 1992-11-27 | 1998-05-20 | キヤノン株式会社 | 液浸式投影露光装置 |
| JPH06181157A (ja) | 1992-12-15 | 1994-06-28 | Nikon Corp | 低発塵性の装置 |
| JP2520833B2 (ja) | 1992-12-21 | 1996-07-31 | 東京エレクトロン株式会社 | 浸漬式の液処理装置 |
| JP3412704B2 (ja) | 1993-02-26 | 2003-06-03 | 株式会社ニコン | 投影露光方法及び装置、並びに露光装置 |
| JP3306961B2 (ja) * | 1993-03-08 | 2002-07-24 | 株式会社ニコン | 露光装置及び露光方法 |
| WO1994020114A1 (en) | 1993-03-12 | 1994-09-15 | Board Of Regents, The University Of Texas System | Anthracyclines with unusually high activity against cells resistant to doxorubicin and its analogs |
| JPH0750246A (ja) * | 1993-08-06 | 1995-02-21 | Hitachi Ltd | 半導体製造装置 |
| JPH07220990A (ja) | 1994-01-28 | 1995-08-18 | Hitachi Ltd | パターン形成方法及びその露光装置 |
| JP3379200B2 (ja) * | 1994-03-25 | 2003-02-17 | 株式会社ニコン | 位置検出装置 |
| US7365513B1 (en) | 1994-04-01 | 2008-04-29 | Nikon Corporation | Positioning device having dynamically isolated frame, and lithographic device provided with such a positioning device |
| US5528118A (en) | 1994-04-01 | 1996-06-18 | Nikon Precision, Inc. | Guideless stage with isolated reaction stage |
| US6989647B1 (en) | 1994-04-01 | 2006-01-24 | Nikon Corporation | Positioning device having dynamically isolated frame, and lithographic device provided with such a positioning device |
| US5874820A (en) | 1995-04-04 | 1999-02-23 | Nikon Corporation | Window frame-guided stage mechanism |
| JP3555230B2 (ja) | 1994-05-18 | 2004-08-18 | 株式会社ニコン | 投影露光装置 |
| JP3613288B2 (ja) | 1994-10-18 | 2005-01-26 | 株式会社ニコン | 露光装置用のクリーニング装置 |
| US5623853A (en) | 1994-10-19 | 1997-04-29 | Nikon Precision Inc. | Precision motion stage with single guide beam and follower stage |
| JP3647100B2 (ja) | 1995-01-12 | 2005-05-11 | キヤノン株式会社 | 検査装置およびこれを用いた露光装置やデバイス生産方法 |
| JPH08195375A (ja) * | 1995-01-17 | 1996-07-30 | Sony Corp | 回転乾燥方法および回転乾燥装置 |
| US6008500A (en) | 1995-04-04 | 1999-12-28 | Nikon Corporation | Exposure apparatus having dynamically isolated reaction frame |
| JPH08316124A (ja) * | 1995-05-19 | 1996-11-29 | Hitachi Ltd | 投影露光方法及び露光装置 |
| JPH08316125A (ja) | 1995-05-19 | 1996-11-29 | Hitachi Ltd | 投影露光方法及び露光装置 |
| US6297871B1 (en) * | 1995-09-12 | 2001-10-02 | Nikon Corporation | Exposure apparatus |
| US5798838A (en) | 1996-02-28 | 1998-08-25 | Nikon Corporation | Projection exposure apparatus having function of detecting intensity distribution of spatial image, and method of detecting the same |
| US5825043A (en) * | 1996-10-07 | 1998-10-20 | Nikon Precision Inc. | Focusing and tilting adjustment system for lithography aligner, manufacturing apparatus or inspection apparatus |
| JPH10116760A (ja) | 1996-10-08 | 1998-05-06 | Nikon Corp | 露光装置及び基板保持装置 |
| US6033478A (en) | 1996-11-05 | 2000-03-07 | Applied Materials, Inc. | Wafer support with improved temperature control |
| JP4029183B2 (ja) | 1996-11-28 | 2008-01-09 | 株式会社ニコン | 投影露光装置及び投影露光方法 |
| CN1244021C (zh) | 1996-11-28 | 2006-03-01 | 株式会社尼康 | 光刻装置和曝光方法 |
| JP4029182B2 (ja) | 1996-11-28 | 2008-01-09 | 株式会社ニコン | 露光方法 |
| KR19980032589U (ko) | 1996-12-04 | 1998-09-05 | 최병숙 | 롤러컨베이어 장치 |
| WO1998028665A1 (en) | 1996-12-24 | 1998-07-02 | Koninklijke Philips Electronics N.V. | Two-dimensionally balanced positioning device with two object holders, and lithographic device provided with such a positioning device |
| US5815246A (en) | 1996-12-24 | 1998-09-29 | U.S. Philips Corporation | Two-dimensionally balanced positioning device, and lithographic device provided with such a positioning device |
| EP0900412B1 (en) | 1997-03-10 | 2005-04-06 | ASML Netherlands B.V. | Lithographic apparatus comprising a positioning device having two object holders |
| JPH10255319A (ja) | 1997-03-12 | 1998-09-25 | Hitachi Maxell Ltd | 原盤露光装置及び方法 |
| US6268904B1 (en) | 1997-04-23 | 2001-07-31 | Nikon Corporation | Optical exposure apparatus and photo-cleaning method |
| DE69817663T2 (de) | 1997-04-23 | 2004-06-24 | Nikon Corp. | Optischer Belichtungsapparat und optisches Reinigungsverfahren |
| JP3747566B2 (ja) * | 1997-04-23 | 2006-02-22 | 株式会社ニコン | 液浸型露光装置 |
| JP3817836B2 (ja) * | 1997-06-10 | 2006-09-06 | 株式会社ニコン | 露光装置及びその製造方法並びに露光方法及びデバイス製造方法 |
| AU755913B2 (en) | 1997-06-18 | 2003-01-02 | Masad Damha | Nucleic acid biosensor diagnostics |
| JPH1116816A (ja) | 1997-06-25 | 1999-01-22 | Nikon Corp | 投影露光装置、該装置を用いた露光方法、及び該装置を用いた回路デバイスの製造方法 |
| US5980647A (en) | 1997-07-15 | 1999-11-09 | International Business Machines Corporation | Metal removal cleaning process and apparatus |
| US6085764A (en) | 1997-07-22 | 2000-07-11 | Tdk Corporation | Cleaning apparatus and method |
| JP3445120B2 (ja) | 1997-09-30 | 2003-09-08 | キヤノン株式会社 | 露光装置及びデバイスの製造方法 |
| JP4210871B2 (ja) | 1997-10-31 | 2009-01-21 | 株式会社ニコン | 露光装置 |
| WO1999027568A1 (en) | 1997-11-21 | 1999-06-03 | Nikon Corporation | Projection aligner and projection exposure method |
| JPH11283903A (ja) * | 1998-03-30 | 1999-10-15 | Nikon Corp | 投影光学系検査装置及び同装置を備えた投影露光装置 |
| JPH11162831A (ja) * | 1997-11-21 | 1999-06-18 | Nikon Corp | 投影露光装置及び投影露光方法 |
| JPH11166990A (ja) | 1997-12-04 | 1999-06-22 | Nikon Corp | ステージ装置及び露光装置並びに走査型露光装置 |
| JPH11176727A (ja) | 1997-12-11 | 1999-07-02 | Nikon Corp | 投影露光装置 |
| US6208407B1 (en) | 1997-12-22 | 2001-03-27 | Asm Lithography B.V. | Method and apparatus for repetitively projecting a mask pattern on a substrate, using a time-saving height measurement |
| JPH11191525A (ja) | 1997-12-26 | 1999-07-13 | Nikon Corp | 投影露光装置 |
| JP4207240B2 (ja) | 1998-02-20 | 2009-01-14 | 株式会社ニコン | 露光装置用照度計、リソグラフィ・システム、照度計の較正方法およびマイクロデバイスの製造方法 |
| US5913981A (en) | 1998-03-05 | 1999-06-22 | Micron Technology, Inc. | Method of rinsing and drying semiconductor wafers in a chamber with a moveable side wall |
| WO1999049504A1 (fr) * | 1998-03-26 | 1999-09-30 | Nikon Corporation | Procede et systeme d'exposition par projection |
| US5958143A (en) | 1998-04-28 | 1999-09-28 | The Regents Of The University Of California | Cleaning process for EUV optical substrates |
| US6459472B1 (en) | 1998-05-15 | 2002-10-01 | Asml Netherlands B.V. | Lithographic device |
| JP2000058436A (ja) | 1998-08-11 | 2000-02-25 | Nikon Corp | 投影露光装置及び露光方法 |
| JP2000091207A (ja) | 1998-09-14 | 2000-03-31 | Nikon Corp | 投影露光装置及び投影光学系の洗浄方法 |
| JP2000097616A (ja) | 1998-09-22 | 2000-04-07 | Nikon Corp | 干渉計 |
| JP2000311933A (ja) | 1999-04-27 | 2000-11-07 | Canon Inc | 基板保持装置、基板搬送システム、露光装置、塗布装置およびデバイス製造方法ならびに基板保持部クリーニング方法 |
| JP2000354835A (ja) | 1999-06-15 | 2000-12-26 | Toshiba Corp | 超音波洗浄処理方法及びその装置 |
| JP2001013677A (ja) | 1999-06-28 | 2001-01-19 | Shin Etsu Chem Co Ltd | ペリクル収納容器の洗浄方法 |
| US6459672B1 (en) | 1999-09-28 | 2002-10-01 | Sony Corporation | Optical head and optical disc device |
| WO2001035168A1 (en) | 1999-11-10 | 2001-05-17 | Massachusetts Institute Of Technology | Interference lithography utilizing phase-locked scanning beams |
| US6496259B2 (en) | 1999-12-28 | 2002-12-17 | Robert John Barish | Optical device providing relative alignment |
| US6995930B2 (en) * | 1999-12-29 | 2006-02-07 | Carl Zeiss Smt Ag | Catadioptric projection objective with geometric beam splitting |
| US7187503B2 (en) * | 1999-12-29 | 2007-03-06 | Carl Zeiss Smt Ag | Refractive projection objective for immersion lithography |
| US6421932B2 (en) * | 2000-02-14 | 2002-07-23 | Hitachi Electronics Engineering Co., Ltd. | Method and apparatus for drying substrate plates |
| JP2001318470A (ja) * | 2000-02-29 | 2001-11-16 | Nikon Corp | 露光装置、マイクロデバイス、フォトマスク、及び露光方法 |
| HU225403B1 (en) | 2000-03-13 | 2006-11-28 | Andras Dr Boerzsoenyi | Method and apparatus for calibration of flowmeter of liquid flowing in canal |
| JP3996730B2 (ja) * | 2000-03-31 | 2007-10-24 | 株式会社日立製作所 | 半導体部品の製造方法 |
| US6466365B1 (en) | 2000-04-07 | 2002-10-15 | Corning Incorporated | Film coated optical lithography elements and method of making |
| JP3531914B2 (ja) | 2000-04-14 | 2004-05-31 | キヤノン株式会社 | 光学装置、露光装置及びデバイス製造方法 |
| JP2001300453A (ja) * | 2000-04-20 | 2001-10-30 | Canon Inc | 物品表面の洗浄方法と洗浄装置、およびこれらによる光学素子の製造方法と装置、並びに光学系、露光方法、露光装置、デバイス製造方法 |
| US20020041377A1 (en) | 2000-04-25 | 2002-04-11 | Nikon Corporation | Aerial image measurement method and unit, optical properties measurement method and unit, adjustment method of projection optical system, exposure method and apparatus, making method of exposure apparatus, and device manufacturing method |
| JP2002014005A (ja) | 2000-04-25 | 2002-01-18 | Nikon Corp | 空間像計測方法、結像特性計測方法、空間像計測装置及び露光装置 |
| DE10130999A1 (de) | 2000-06-29 | 2002-04-18 | D M S Co | Multifunktions-Reinigungsmodul einer Herstellungseinrichtung für Flachbildschirme und Reinigungsgerät mit Verwendung desselben |
| DE10032238A1 (de) | 2000-07-03 | 2002-01-17 | Siemens Ag | Telefon mit einem kapazitiven Umgebungssensor |
| US6446365B1 (en) | 2000-09-15 | 2002-09-10 | Vermeer Manufacturing Company | Nozzle mount for soft excavation |
| JP3840388B2 (ja) | 2000-09-25 | 2006-11-01 | 東京エレクトロン株式会社 | 基板処理装置 |
| KR100798769B1 (ko) | 2000-09-25 | 2008-01-29 | 동경 엘렉트론 주식회사 | 기판 처리장치 |
| KR100866818B1 (ko) * | 2000-12-11 | 2008-11-04 | 가부시키가이샤 니콘 | 투영광학계 및 이 투영광학계를 구비한 노광장치 |
| US6710850B2 (en) | 2000-12-22 | 2004-03-23 | Nikon Corporation | Exposure apparatus and exposure method |
| JP4345098B2 (ja) | 2001-02-06 | 2009-10-14 | 株式会社ニコン | 露光装置及び露光方法、並びにデバイス製造方法 |
| US20020163629A1 (en) * | 2001-05-07 | 2002-11-07 | Michael Switkes | Methods and apparatus employing an index matching medium |
| DE10123027B4 (de) | 2001-05-11 | 2005-07-21 | Evotec Oai Ag | Vorrichtung zur Untersuchung chemischer und/oder biologischer Proben |
| JP2002336804A (ja) | 2001-05-15 | 2002-11-26 | Nikon Corp | 光学部品の洗浄方法及び露光装置 |
| TW529172B (en) | 2001-07-24 | 2003-04-21 | Asml Netherlands Bv | Imaging apparatus |
| US20030023182A1 (en) * | 2001-07-26 | 2003-01-30 | Mault James R. | Respiratory connector for respiratory gas analysis |
| US7145671B2 (en) | 2001-08-16 | 2006-12-05 | Hewlett-Packard Development Company, L.P. | Image forming devices, methods of operating an image forming device, a method of providing consumable information, and a method of operating a printer |
| JP2003124089A (ja) | 2001-10-09 | 2003-04-25 | Nikon Corp | 荷電粒子線露光装置及び露光方法 |
| US6801301B2 (en) | 2001-10-12 | 2004-10-05 | Canon Kabushiki Kaisha | Exposure apparatus |
| JP4191923B2 (ja) * | 2001-11-02 | 2008-12-03 | 株式会社東芝 | 露光方法および露光装置 |
| EP1313337A1 (de) | 2001-11-15 | 2003-05-21 | Siemens Aktiengesellschaft | Verfahren zur Übertragung von Informationen in einem zellularen Funkkommunikationssystem mit Funksektoren |
| EP1329770A1 (en) * | 2002-01-18 | 2003-07-23 | ASML Netherlands B.V. | Lithographic apparatus and device manufacturing method |
| EP1329773A3 (en) | 2002-01-18 | 2006-08-30 | ASML Netherlands B.V. | Lithographic apparatus, apparatus cleaning method, and device manufacturing method |
| DE10229249A1 (de) | 2002-03-01 | 2003-09-04 | Zeiss Carl Semiconductor Mfg | Refraktives Projektionsobjektiv mit einer Taille |
| US7154676B2 (en) | 2002-03-01 | 2006-12-26 | Carl Zeiss Smt A.G. | Very-high aperture projection objective |
| US7190527B2 (en) | 2002-03-01 | 2007-03-13 | Carl Zeiss Smt Ag | Refractive projection objective |
| DE10210899A1 (de) * | 2002-03-08 | 2003-09-18 | Zeiss Carl Smt Ag | Refraktives Projektionsobjektiv für Immersions-Lithographie |
| DE10229818A1 (de) | 2002-06-28 | 2004-01-15 | Carl Zeiss Smt Ag | Verfahren zur Fokusdetektion und Abbildungssystem mit Fokusdetektionssystem |
| US7092069B2 (en) * | 2002-03-08 | 2006-08-15 | Carl Zeiss Smt Ag | Projection exposure method and projection exposure system |
| US20030200996A1 (en) | 2002-04-30 | 2003-10-30 | Hiatt William Mark | Method and system for cleaning a wafer chuck |
| KR20040104691A (ko) | 2002-05-03 | 2004-12-10 | 칼 짜이스 에스엠테 아게 | 높은 개구를 갖는 투영 대물렌즈 |
| US6853794B2 (en) | 2002-07-02 | 2005-02-08 | Lightel Technologies Inc. | Apparatus for cleaning optical fiber connectors and fiber optic parts |
| US20040021061A1 (en) | 2002-07-30 | 2004-02-05 | Frederik Bijkerk | Photodiode, charged-coupled device and method for the production |
| JP2004071855A (ja) | 2002-08-07 | 2004-03-04 | Tokyo Electron Ltd | 基板処理装置及び基板処理方法 |
| EP1532489A2 (en) | 2002-08-23 | 2005-05-25 | Nikon Corporation | Projection optical system and method for photolithography and exposure apparatus and method using same |
| JP3922637B2 (ja) | 2002-08-30 | 2007-05-30 | 本田技研工業株式会社 | サイドエアバッグシステム |
| US6988326B2 (en) * | 2002-09-30 | 2006-01-24 | Lam Research Corporation | Phobic barrier meniscus separation and containment |
| US7367345B1 (en) | 2002-09-30 | 2008-05-06 | Lam Research Corporation | Apparatus and method for providing a confined liquid for immersion lithography |
| US6954993B1 (en) * | 2002-09-30 | 2005-10-18 | Lam Research Corporation | Concentric proximity processing head |
| US7093375B2 (en) * | 2002-09-30 | 2006-08-22 | Lam Research Corporation | Apparatus and method for utilizing a meniscus in substrate processing |
| US6788477B2 (en) * | 2002-10-22 | 2004-09-07 | Taiwan Semiconductor Manufacturing Co., Ltd. | Apparatus for method for immersion lithography |
| EP1420300B1 (en) * | 2002-11-12 | 2015-07-29 | ASML Netherlands B.V. | Lithographic apparatus and device manufacturing method |
| EP1429188B1 (en) | 2002-11-12 | 2013-06-19 | ASML Netherlands B.V. | Lithographic projection apparatus |
| JP3953460B2 (ja) | 2002-11-12 | 2007-08-08 | エーエスエムエル ネザーランズ ビー.ブイ. | リソグラフィ投影装置 |
| SG121822A1 (en) * | 2002-11-12 | 2006-05-26 | Asml Netherlands Bv | Lithographic apparatus and device manufacturing method |
| CN101349876B (zh) * | 2002-11-12 | 2010-12-01 | Asml荷兰有限公司 | 光刻装置和器件制造方法 |
| EP1420298B1 (en) | 2002-11-12 | 2013-02-20 | ASML Netherlands B.V. | Lithographic apparatus |
| US7110081B2 (en) * | 2002-11-12 | 2006-09-19 | Asml Netherlands B.V. | Lithographic apparatus and device manufacturing method |
| EP1420299B1 (en) * | 2002-11-12 | 2011-01-05 | ASML Netherlands B.V. | Immersion lithographic apparatus and device manufacturing method |
| DE60335595D1 (de) * | 2002-11-12 | 2011-02-17 | Asml Netherlands Bv | Lithographischer Apparat mit Immersion und Verfahren zur Herstellung einer Vorrichtung |
| KR100585476B1 (ko) * | 2002-11-12 | 2006-06-07 | 에이에스엠엘 네델란즈 비.브이. | 리소그래피 장치 및 디바이스 제조방법 |
| DE10253679A1 (de) * | 2002-11-18 | 2004-06-03 | Infineon Technologies Ag | Optische Einrichtung zur Verwendung bei einem Lithographie-Verfahren, insbesondere zur Herstellung eines Halbleiter-Bauelements, sowie optisches Lithographieverfahren |
| SG131766A1 (en) * | 2002-11-18 | 2007-05-28 | Asml Netherlands Bv | Lithographic apparatus and device manufacturing method |
| JP3884371B2 (ja) | 2002-11-26 | 2007-02-21 | 株式会社東芝 | レチクル、露光モニタ方法、露光方法、及び半導体装置の製造方法 |
| TW200412617A (en) | 2002-12-03 | 2004-07-16 | Nikon Corp | Optical illumination device, method for adjusting optical illumination device, exposure device and exposure method |
| DE10258718A1 (de) * | 2002-12-09 | 2004-06-24 | Carl Zeiss Smt Ag | Projektionsobjektiv, insbesondere für die Mikrolithographie, sowie Verfahren zur Abstimmung eines Projektionsobjektives |
| EP1429190B1 (en) * | 2002-12-10 | 2012-05-09 | Canon Kabushiki Kaisha | Exposure apparatus and method |
| KR101037057B1 (ko) * | 2002-12-10 | 2011-05-26 | 가부시키가이샤 니콘 | 노광 장치 및 디바이스 제조 방법 |
| JP4352874B2 (ja) | 2002-12-10 | 2009-10-28 | 株式会社ニコン | 露光装置及びデバイス製造方法 |
| SG2011031200A (en) | 2002-12-10 | 2014-09-26 | Nippon Kogaku Kk | Exposure apparatus and device manufacturing method |
| JP4525062B2 (ja) | 2002-12-10 | 2010-08-18 | 株式会社ニコン | 露光装置及びデバイス製造方法、露光システム |
| US7242455B2 (en) | 2002-12-10 | 2007-07-10 | Nikon Corporation | Exposure apparatus and method for producing device |
| CN101852993A (zh) * | 2002-12-10 | 2010-10-06 | 株式会社尼康 | 曝光装置和器件制造方法 |
| DE60326384D1 (de) | 2002-12-13 | 2009-04-09 | Koninkl Philips Electronics Nv | Flüssigkeitsentfernung in einem verfahren und einer einrichtung zum bestrahlen von flecken auf einer schicht |
| ATE365962T1 (de) | 2002-12-19 | 2007-07-15 | Koninkl Philips Electronics Nv | Verfahren und anordnung zum bestrahlen einer schicht mittels eines lichtpunkts |
| US7010958B2 (en) * | 2002-12-19 | 2006-03-14 | Asml Holding N.V. | High-resolution gas gauge proximity sensor |
| AU2003283717A1 (en) | 2002-12-19 | 2004-07-14 | Koninklijke Philips Electronics N.V. | Method and device for irradiating spots on a layer |
| US6781670B2 (en) * | 2002-12-30 | 2004-08-24 | Intel Corporation | Immersion lithography |
| US7156869B1 (en) * | 2003-01-27 | 2007-01-02 | Advanced Cardiovascular Systems, Inc. | Drug-eluting stent and delivery system with tapered stent in shoulder region |
| JP2004007417A (ja) | 2003-02-10 | 2004-01-08 | Fujitsu Ltd | 情報提供システム |
| US7090964B2 (en) * | 2003-02-21 | 2006-08-15 | Asml Holding N.V. | Lithographic printing with polarized light |
| US7206059B2 (en) * | 2003-02-27 | 2007-04-17 | Asml Netherlands B.V. | Stationary and dynamic radial transverse electric polarizer for high numerical aperture systems |
| US6943941B2 (en) * | 2003-02-27 | 2005-09-13 | Asml Netherlands B.V. | Stationary and dynamic radial transverse electric polarizer for high numerical aperture systems |
| US6853795B2 (en) * | 2003-03-05 | 2005-02-08 | Corning Cable Systems Llc | High density fiber optic distribution frame |
| US7029832B2 (en) | 2003-03-11 | 2006-04-18 | Samsung Electronics Co., Ltd. | Immersion lithography methods using carbon dioxide |
| US20050164522A1 (en) | 2003-03-24 | 2005-07-28 | Kunz Roderick R. | Optical fluids, and systems and methods of making and using the same |
| KR20110104084A (ko) | 2003-04-09 | 2011-09-21 | 가부시키가이샤 니콘 | 액침 리소그래피 유체 제어 시스템 |
| JP4656057B2 (ja) | 2003-04-10 | 2011-03-23 | 株式会社ニコン | 液浸リソグラフィ装置用電気浸透素子 |
| EP3062152B1 (en) | 2003-04-10 | 2017-12-20 | Nikon Corporation | Environmental system including vaccum scavenge for an immersion lithography apparatus |
| KR101319152B1 (ko) | 2003-04-10 | 2013-10-17 | 가부시키가이샤 니콘 | 액침 리소그래피 장치용 진공 배출을 포함하는 환경 시스템 |
| EP3352010A1 (en) * | 2003-04-10 | 2018-07-25 | Nikon Corporation | Run-off path to collect liquid for an immersion lithography apparatus |
| KR101178756B1 (ko) | 2003-04-11 | 2012-08-31 | 가부시키가이샤 니콘 | 액침 리소그래피 머신에서 웨이퍼 교환동안 투영 렌즈 아래의 갭에서 액침액체를 유지하는 장치 및 방법 |
| JP4582089B2 (ja) | 2003-04-11 | 2010-11-17 | 株式会社ニコン | 液浸リソグラフィ用の液体噴射回収システム |
| KR101318542B1 (ko) | 2003-04-11 | 2013-10-16 | 가부시키가이샤 니콘 | 액침 리소그래피에 의한 광학기기의 세정방법 |
| KR101369582B1 (ko) | 2003-04-17 | 2014-03-04 | 가부시키가이샤 니콘 | 액침 리소그래피에서 이용하기 위한 오토포커스 소자의 광학적 배열 |
| JP4025683B2 (ja) * | 2003-05-09 | 2007-12-26 | 松下電器産業株式会社 | パターン形成方法及び露光装置 |
| JP4146755B2 (ja) * | 2003-05-09 | 2008-09-10 | 松下電器産業株式会社 | パターン形成方法 |
| TWI295414B (en) * | 2003-05-13 | 2008-04-01 | Asml Netherlands Bv | Lithographic apparatus and device manufacturing method |
| CN100437358C (zh) * | 2003-05-15 | 2008-11-26 | 株式会社尼康 | 曝光装置及器件制造方法 |
| TW200509205A (en) | 2003-05-23 | 2005-03-01 | Nippon Kogaku Kk | Exposure method and device-manufacturing method |
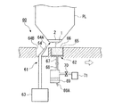
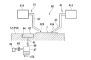
| JP5058550B2 (ja) * | 2003-05-23 | 2012-10-24 | 株式会社ニコン | 露光装置、露光方法、デバイス製造方法、及び液体回収方法 |
| TWI511181B (zh) | 2003-05-23 | 2015-12-01 | 尼康股份有限公司 | Exposure method and exposure apparatus, and device manufacturing method |
| JP2005277363A (ja) * | 2003-05-23 | 2005-10-06 | Nikon Corp | 露光装置及びデバイス製造方法 |
| TWI282487B (en) * | 2003-05-23 | 2007-06-11 | Canon Kk | Projection optical system, exposure apparatus, and device manufacturing method |
| CN101614966B (zh) | 2003-05-28 | 2015-06-17 | 株式会社尼康 | 曝光方法、曝光装置以及器件制造方法 |
| JP2004356356A (ja) | 2003-05-29 | 2004-12-16 | Oki Electric Ind Co Ltd | 洗浄終了判定方法および洗浄装置 |
| US7356332B2 (en) * | 2003-06-09 | 2008-04-08 | Microsoft Corporation | Mobile information system for presenting information to mobile devices |
| EP2261741A3 (en) | 2003-06-11 | 2011-05-25 | ASML Netherlands B.V. | Lithographic apparatus and device manufacturing method |
| US7317504B2 (en) | 2004-04-08 | 2008-01-08 | Asml Netherlands B.V. | Lithographic apparatus and device manufacturing method |
| JP4084710B2 (ja) * | 2003-06-12 | 2008-04-30 | 松下電器産業株式会社 | パターン形成方法 |
| JP4054285B2 (ja) * | 2003-06-12 | 2008-02-27 | 松下電器産業株式会社 | パターン形成方法 |
| US6867844B2 (en) * | 2003-06-19 | 2005-03-15 | Asml Holding N.V. | Immersion photolithography system and method using microchannel nozzles |
| JP4084712B2 (ja) * | 2003-06-23 | 2008-04-30 | 松下電器産業株式会社 | パターン形成方法 |
| JP4029064B2 (ja) * | 2003-06-23 | 2008-01-09 | 松下電器産業株式会社 | パターン形成方法 |
| US6809794B1 (en) * | 2003-06-27 | 2004-10-26 | Asml Holding N.V. | Immersion photolithography system and method using inverted wafer-projection optics interface |
| WO2005006026A2 (en) | 2003-07-01 | 2005-01-20 | Nikon Corporation | Using isotopically specified fluids as optical elements |
| KR101209539B1 (ko) | 2003-07-09 | 2012-12-07 | 가부시키가이샤 니콘 | 노광 장치 및 디바이스 제조 방법 |
| US7384149B2 (en) | 2003-07-21 | 2008-06-10 | Asml Netherlands B.V. | Lithographic projection apparatus, gas purging method and device manufacturing method and purge gas supply system |
| US7006209B2 (en) | 2003-07-25 | 2006-02-28 | Advanced Micro Devices, Inc. | Method and apparatus for monitoring and controlling imaging in immersion lithography systems |
| US7326522B2 (en) * | 2004-02-11 | 2008-02-05 | Asml Netherlands B.V. | Device manufacturing method and a substrate |
| KR101414896B1 (ko) | 2003-07-28 | 2014-07-03 | 가부시키가이샤 니콘 | 노광 장치 및 디바이스 제조 방법, 그리고 노광 장치의 제어 방법 |
| US7175968B2 (en) * | 2003-07-28 | 2007-02-13 | Asml Netherlands B.V. | Lithographic apparatus, device manufacturing method and a substrate |
| US7370659B2 (en) | 2003-08-06 | 2008-05-13 | Micron Technology, Inc. | Photolithographic stepper and/or scanner machines including cleaning devices and methods of cleaning photolithographic stepper and/or scanner machines |
| US7579135B2 (en) * | 2003-08-11 | 2009-08-25 | Taiwan Semiconductor Manufacturing Company, Ltd. | Lithography apparatus for manufacture of integrated circuits |
| US7700267B2 (en) * | 2003-08-11 | 2010-04-20 | Taiwan Semiconductor Manufacturing Company, Ltd. | Immersion fluid for immersion lithography, and method of performing immersion lithography |
| US7061578B2 (en) * | 2003-08-11 | 2006-06-13 | Advanced Micro Devices, Inc. | Method and apparatus for monitoring and controlling imaging in immersion lithography systems |
| US7085075B2 (en) * | 2003-08-12 | 2006-08-01 | Carl Zeiss Smt Ag | Projection objectives including a plurality of mirrors with lenses ahead of mirror M3 |
| US6844206B1 (en) | 2003-08-21 | 2005-01-18 | Advanced Micro Devices, Llp | Refractive index system monitor and control for immersion lithography |
| JP2005072404A (ja) | 2003-08-27 | 2005-03-17 | Sony Corp | 露光装置および半導体装置の製造方法 |
| JP4305095B2 (ja) | 2003-08-29 | 2009-07-29 | 株式会社ニコン | 光学部品の洗浄機構を搭載した液浸投影露光装置及び液浸光学部品洗浄方法 |
| US6954256B2 (en) * | 2003-08-29 | 2005-10-11 | Asml Netherlands B.V. | Gradient immersion lithography |
| TWI245163B (en) | 2003-08-29 | 2005-12-11 | Asml Netherlands Bv | Lithographic apparatus and device manufacturing method |
| US7070915B2 (en) | 2003-08-29 | 2006-07-04 | Tokyo Electron Limited | Method and system for drying a substrate |
| CN100407371C (zh) | 2003-08-29 | 2008-07-30 | 株式会社尼康 | 曝光装置和器件加工方法 |
| TWI424464B (zh) | 2003-08-29 | 2014-01-21 | 尼康股份有限公司 | A liquid recovery device, an exposure device, an exposure method, and an element manufacturing method |
| US7014966B2 (en) * | 2003-09-02 | 2006-03-21 | Advanced Micro Devices, Inc. | Method and apparatus for elimination of bubbles in immersion medium in immersion lithography systems |
| WO2005024517A2 (en) | 2003-09-03 | 2005-03-17 | Nikon Corporation | Apparatus and method for providing fluid for immersion lithography |
| US6961186B2 (en) * | 2003-09-26 | 2005-11-01 | Takumi Technology Corp. | Contact printing using a magnified mask image |
| WO2005031820A1 (ja) | 2003-09-26 | 2005-04-07 | Nikon Corporation | 投影露光装置及び投影露光装置の洗浄方法、メンテナンス方法並びにデバイスの製造方法 |
| US7369217B2 (en) * | 2003-10-03 | 2008-05-06 | Micronic Laser Systems Ab | Method and device for immersion lithography |
| JP2005136374A (ja) | 2003-10-06 | 2005-05-26 | Matsushita Electric Ind Co Ltd | 半導体製造装置及びそれを用いたパターン形成方法 |
| TW201738932A (zh) * | 2003-10-09 | 2017-11-01 | Nippon Kogaku Kk | 曝光裝置及曝光方法、元件製造方法 |
| EP1524588A1 (en) | 2003-10-15 | 2005-04-20 | Sony Ericsson Mobile Communications AB | User input device for a portable electronic device |
| EP1524558A1 (en) | 2003-10-15 | 2005-04-20 | ASML Netherlands B.V. | Lithographic apparatus and device manufacturing method |
| US20050084797A1 (en) * | 2003-10-16 | 2005-04-21 | Agfa-Gevaert | Heat-sensitive lithographic printing plate precursor |
| US7678527B2 (en) * | 2003-10-16 | 2010-03-16 | Intel Corporation | Methods and compositions for providing photoresist with improved properties for contacting liquids |
| JP2007525824A (ja) | 2003-11-05 | 2007-09-06 | ディーエスエム アイピー アセッツ ビー.ブイ. | マイクロチップを製造するための方法および装置 |
| US7924397B2 (en) * | 2003-11-06 | 2011-04-12 | Taiwan Semiconductor Manufacturing Company, Ltd. | Anti-corrosion layer on objective lens for liquid immersion lithography applications |
| US7545481B2 (en) * | 2003-11-24 | 2009-06-09 | Asml Netherlands B.V. | Lithographic apparatus and device manufacturing method |
| US8854602B2 (en) | 2003-11-24 | 2014-10-07 | Asml Netherlands B.V. | Holding device for an optical element in an objective |
| US7125652B2 (en) * | 2003-12-03 | 2006-10-24 | Advanced Micro Devices, Inc. | Immersion lithographic process using a conforming immersion medium |
| WO2005106589A1 (en) | 2004-05-04 | 2005-11-10 | Carl Zeiss Smt Ag | Microlithographic projection exposure apparatus and immersion liquid therefore |
| JP5106858B2 (ja) | 2003-12-15 | 2012-12-26 | カール・ツァイス・エスエムティー・ゲーエムベーハー | 高開口数と平面状端面とを有する投影対物レンズ |
| KR20190007529A (ko) | 2003-12-15 | 2019-01-22 | 가부시키가이샤 니콘 | 스테이지 장치, 노광 장치, 및 노광 방법 |
| EP1700163A1 (en) | 2003-12-15 | 2006-09-13 | Carl Zeiss SMT AG | Objective as a microlithography projection objective with at least one liquid lens |
| US20050185269A1 (en) * | 2003-12-19 | 2005-08-25 | Carl Zeiss Smt Ag | Catadioptric projection objective with geometric beam splitting |
| WO2005059645A2 (en) | 2003-12-19 | 2005-06-30 | Carl Zeiss Smt Ag | Microlithography projection objective with crystal elements |
| JP4323946B2 (ja) | 2003-12-19 | 2009-09-02 | キヤノン株式会社 | 露光装置 |
| US7460206B2 (en) * | 2003-12-19 | 2008-12-02 | Carl Zeiss Smt Ag | Projection objective for immersion lithography |
| US7589818B2 (en) * | 2003-12-23 | 2009-09-15 | Asml Netherlands B.V. | Lithographic apparatus, alignment apparatus, device manufacturing method, and a method of converting an apparatus |
| US7394521B2 (en) | 2003-12-23 | 2008-07-01 | Asml Netherlands B.V. | Lithographic apparatus and device manufacturing method |
| US7119884B2 (en) | 2003-12-24 | 2006-10-10 | Asml Netherlands B.V. | Lithographic apparatus and device manufacturing method |
| US20050147920A1 (en) * | 2003-12-30 | 2005-07-07 | Chia-Hui Lin | Method and system for immersion lithography |
| US7145641B2 (en) | 2003-12-31 | 2006-12-05 | Asml Netherlands, B.V. | Lithographic apparatus, device manufacturing method, and device manufactured thereby |
| US7088422B2 (en) * | 2003-12-31 | 2006-08-08 | International Business Machines Corporation | Moving lens for immersion optical lithography |
| KR101324810B1 (ko) | 2004-01-05 | 2013-11-01 | 가부시키가이샤 니콘 | 노광 장치, 노광 방법 및 디바이스 제조 방법 |
| JP4371822B2 (ja) * | 2004-01-06 | 2009-11-25 | キヤノン株式会社 | 露光装置 |
| JP4429023B2 (ja) * | 2004-01-07 | 2010-03-10 | キヤノン株式会社 | 露光装置及びデバイス製造方法 |
| US20050153424A1 (en) * | 2004-01-08 | 2005-07-14 | Derek Coon | Fluid barrier with transparent areas for immersion lithography |
| KR101309242B1 (ko) * | 2004-01-14 | 2013-09-16 | 칼 짜이스 에스엠티 게엠베하 | 반사굴절식 투영 대물렌즈 |
| KR101165862B1 (ko) | 2004-01-16 | 2012-07-17 | 칼 짜이스 에스엠티 게엠베하 | 편광변조 광학소자 |
| WO2005069078A1 (en) | 2004-01-19 | 2005-07-28 | Carl Zeiss Smt Ag | Microlithographic projection exposure apparatus with immersion projection lens |
| KR101204157B1 (ko) | 2004-01-20 | 2012-11-22 | 칼 짜이스 에스엠테 게엠베하 | 마이크로 리소그래픽 투영 노광 장치 및 그 투영 렌즈를 위한 측정 장치 |
| US7026259B2 (en) * | 2004-01-21 | 2006-04-11 | International Business Machines Corporation | Liquid-filled balloons for immersion lithography |
| US7391501B2 (en) * | 2004-01-22 | 2008-06-24 | Intel Corporation | Immersion liquids with siloxane polymer for immersion lithography |
| JP4506674B2 (ja) * | 2004-02-03 | 2010-07-21 | 株式会社ニコン | 露光装置及びデバイス製造方法 |
| US8852850B2 (en) * | 2004-02-03 | 2014-10-07 | Rochester Institute Of Technology | Method of photolithography using a fluid and a system thereof |
| US7050146B2 (en) * | 2004-02-09 | 2006-05-23 | Asml Netherlands B.V. | Lithographic apparatus and device manufacturing method |
| EP1716454A1 (en) | 2004-02-09 | 2006-11-02 | Carl Zeiss SMT AG | Projection objective for a microlithographic projection exposure apparatus |
| WO2005076323A1 (ja) | 2004-02-10 | 2005-08-18 | Nikon Corporation | 露光装置及びデバイス製造方法、メンテナンス方法及び露光方法 |
| US20070165198A1 (en) | 2004-02-13 | 2007-07-19 | Carl Zeiss Smt Ag | Projection objective for a microlithographic projection exposure apparatus |
| DE102004007946A1 (de) | 2004-02-18 | 2005-09-15 | Tyco Electronics Raychem Gmbh | Gassensoranordnung in integrierter Bauweise |
| EP1721201A1 (en) | 2004-02-18 | 2006-11-15 | Corning Incorporated | Catadioptric imaging system for high numerical aperture imaging with deep ultraviolet light |
| KR101106497B1 (ko) | 2004-02-20 | 2012-01-20 | 가부시키가이샤 니콘 | 노광 장치, 공급 방법 및 회수 방법, 노광 방법, 및디바이스 제조 방법 |
| US20050205108A1 (en) * | 2004-03-16 | 2005-09-22 | Taiwan Semiconductor Manufacturing Co., Ltd. | Method and system for immersion lithography lens cleaning |
| US7027125B2 (en) * | 2004-03-25 | 2006-04-11 | International Business Machines Corporation | System and apparatus for photolithography |
| US7084960B2 (en) * | 2004-03-29 | 2006-08-01 | Intel Corporation | Lithography using controlled polarization |
| US7034917B2 (en) * | 2004-04-01 | 2006-04-25 | Asml Netherlands B.V. | Lithographic apparatus, device manufacturing method and device manufactured thereby |
| US7227619B2 (en) * | 2004-04-01 | 2007-06-05 | Asml Netherlands B.V. | Lithographic apparatus and device manufacturing method |
| US7295283B2 (en) * | 2004-04-02 | 2007-11-13 | Asml Netherlands B.V. | Lithographic apparatus and device manufacturing method |
| US7712905B2 (en) | 2004-04-08 | 2010-05-11 | Carl Zeiss Smt Ag | Imaging system with mirror group |
| US7898642B2 (en) * | 2004-04-14 | 2011-03-01 | Asml Netherlands B.V. | Lithographic apparatus and device manufacturing method |
| US7271878B2 (en) * | 2004-04-22 | 2007-09-18 | International Business Machines Corporation | Wafer cell for immersion lithography |
| US7244665B2 (en) * | 2004-04-29 | 2007-07-17 | Micron Technology, Inc. | Wafer edge ring structures and methods of formation |
| US7379159B2 (en) * | 2004-05-03 | 2008-05-27 | Asml Netherlands B.V. | Lithographic apparatus and device manufacturing method |
| US8054448B2 (en) | 2004-05-04 | 2011-11-08 | Nikon Corporation | Apparatus and method for providing fluid for immersion lithography |
| US7091502B2 (en) * | 2004-05-12 | 2006-08-15 | Taiwan Semiconductor Manufacturing, Co., Ltd. | Apparatus and method for immersion lithography |
| KR20170129271A (ko) | 2004-05-17 | 2017-11-24 | 칼 짜이스 에스엠티 게엠베하 | 중간이미지를 갖는 카타디옵트릭 투사 대물렌즈 |
| US7616383B2 (en) * | 2004-05-18 | 2009-11-10 | Asml Netherlands B.V. | Lithographic apparatus and device manufacturing method |
| US7486381B2 (en) * | 2004-05-21 | 2009-02-03 | Asml Netherlands B.V. | Lithographic apparatus and device manufacturing method |
| WO2005119368A2 (en) | 2004-06-04 | 2005-12-15 | Carl Zeiss Smt Ag | System for measuring the image quality of an optical imaging system |
| EP1783821B1 (en) | 2004-06-09 | 2015-08-05 | Nikon Corporation | Exposure system and device production method |
| US7463330B2 (en) * | 2004-07-07 | 2008-12-09 | Asml Netherlands B.V. | Lithographic apparatus and device manufacturing method |
| US7224427B2 (en) | 2004-08-03 | 2007-05-29 | Taiwan Semiconductor Manufacturing Company, Ltd. | Megasonic immersion lithography exposure apparatus and method |
| US7304715B2 (en) | 2004-08-13 | 2007-12-04 | Asml Netherlands B.V. | Lithographic apparatus and device manufacturing method |
| US7446850B2 (en) * | 2004-12-03 | 2008-11-04 | Asml Netherlands B.V. | Lithographic apparatus and device manufacturing method |
| KR101559621B1 (ko) | 2004-12-06 | 2015-10-13 | 가부시키가이샤 니콘 | 메인터넌스 방법, 메인터넌스 기기, 노광 장치, 및 디바이스 제조 방법 |
| US7248334B2 (en) | 2004-12-07 | 2007-07-24 | Asml Netherlands B.V. | Sensor shield |
| JP4752473B2 (ja) | 2004-12-09 | 2011-08-17 | 株式会社ニコン | 露光装置、露光方法及びデバイス製造方法 |
| US7880860B2 (en) | 2004-12-20 | 2011-02-01 | Asml Netherlands B.V. | Lithographic apparatus and device manufacturing method |
| US7450217B2 (en) | 2005-01-12 | 2008-11-11 | Asml Netherlands B.V. | Exposure apparatus, coatings for exposure apparatus, lithographic apparatus, device manufacturing method, and device manufactured thereby |
| US7262422B2 (en) | 2005-07-01 | 2007-08-28 | Spansion Llc | Use of supercritical fluid to dry wafer and clean lens in immersion lithography |
| US8125610B2 (en) | 2005-12-02 | 2012-02-28 | ASML Metherlands B.V. | Method for preventing or reducing contamination of an immersion type projection apparatus and an immersion type lithographic apparatus |
| JP5100182B2 (ja) | 2007-03-30 | 2012-12-19 | キヤノン株式会社 | データ転送装置及びデータ受信装置並びにデータ転送システム |
| US9019466B2 (en) | 2007-07-24 | 2015-04-28 | Asml Netherlands B.V. | Lithographic apparatus, reflective member and a method of irradiating the underside of a liquid supply system |
| JP5440937B2 (ja) * | 2010-02-01 | 2014-03-12 | 日本電気株式会社 | スレッド数制限装置、スレッド数制限方法およびスレッド数制限プログラム |
-
2004
- 2004-05-21 TW TW093114406A patent/TW200509205A/zh not_active IP Right Cessation
- 2004-05-21 TW TW105115519A patent/TWI616932B/zh not_active IP Right Cessation
- 2004-05-21 TW TW098124949A patent/TWI424470B/zh not_active IP Right Cessation
- 2004-05-21 TW TW101102376A patent/TWI518742B/zh not_active IP Right Cessation
- 2004-05-21 TW TW100136676A patent/TWI503865B/zh not_active IP Right Cessation
- 2004-05-21 TW TW100116612A patent/TWI474380B/zh not_active IP Right Cessation
- 2004-05-21 TW TW106135828A patent/TW201806001A/zh unknown
- 2004-05-21 TW TW103145927A patent/TWI612556B/zh not_active IP Right Cessation
- 2004-05-24 KR KR1020147036412A patent/KR101677829B1/ko not_active Expired - Fee Related
- 2004-05-24 EP EP12155096A patent/EP2466616A3/en not_active Withdrawn
- 2004-05-24 EP EP12155095A patent/EP2466615A3/en not_active Withdrawn
- 2004-05-24 EP EP15199243.5A patent/EP3032572A1/en not_active Withdrawn
- 2004-05-24 KR KR1020117026166A patent/KR101508811B1/ko not_active Expired - Fee Related
- 2004-05-24 KR KR1020127025283A patent/KR101523828B1/ko not_active Expired - Fee Related
- 2004-05-24 KR KR1020157026199A patent/KR101796849B1/ko not_active Expired - Fee Related
- 2004-05-24 EP EP12155099A patent/EP2466619A3/en not_active Withdrawn
- 2004-05-24 EP EP04734624A patent/EP1628329A4/en not_active Withdrawn
- 2004-05-24 EP EP12155097A patent/EP2466617A3/en not_active Withdrawn
- 2004-05-24 EP EP12155114A patent/EP2535769A3/en not_active Withdrawn
- 2004-05-24 KR KR1020117019047A patent/KR101327697B1/ko not_active Expired - Fee Related
- 2004-05-24 KR KR1020117031175A patent/KR101345540B1/ko not_active Expired - Fee Related
- 2004-05-24 KR KR1020057022146A patent/KR20060009950A/ko not_active Ceased
- 2004-05-24 EP EP12155098A patent/EP2466618A3/en not_active Withdrawn
- 2004-05-24 KR KR1020117023021A patent/KR101536033B1/ko not_active Expired - Fee Related
- 2004-05-24 KR KR1020127025284A patent/KR101523829B1/ko not_active Expired - Fee Related
- 2004-05-24 KR KR1020177032045A patent/KR20170126020A/ko not_active Ceased
- 2004-05-24 EP EP12155093.3A patent/EP2498131B1/en not_active Expired - Lifetime
- 2004-05-24 WO PCT/JP2004/007417 patent/WO2004105107A1/ja not_active Ceased
- 2004-05-24 EP EP12155100A patent/EP2466620A3/en not_active Withdrawn
-
2005
- 2005-11-22 US US11/284,187 patent/US7388649B2/en not_active Expired - Fee Related
-
2006
- 2006-08-16 HK HK16109045.8A patent/HK1221072A1/en unknown
- 2006-11-22 US US11/603,078 patent/US8125612B2/en not_active Expired - Fee Related
-
2007
- 2007-02-09 US US11/704,340 patent/US8134682B2/en not_active Expired - Fee Related
- 2007-06-07 US US11/808,231 patent/US8072576B2/en not_active Expired - Fee Related
- 2007-06-07 US US11/808,230 patent/US8384877B2/en not_active Expired - Fee Related
- 2007-06-22 US US11/767,425 patent/US8174668B2/en not_active Expired - Fee Related
-
2008
- 2008-05-15 US US12/153,234 patent/US20080231825A1/en not_active Abandoned
- 2008-05-16 US US12/153,357 patent/US8130363B2/en not_active Expired - Fee Related
- 2008-05-16 US US12/153,354 patent/US8169592B2/en not_active Expired - Fee Related
-
2010
- 2010-02-09 JP JP2010026918A patent/JP5440228B2/ja not_active Expired - Fee Related
-
2011
- 2011-04-13 JP JP2011089259A patent/JP5440541B2/ja not_active Expired - Fee Related
- 2011-04-13 JP JP2011089260A patent/JP5440542B2/ja not_active Expired - Fee Related
- 2011-04-13 JP JP2011089258A patent/JP2011139105A/ja active Pending
- 2011-04-13 JP JP2011089261A patent/JP5252025B2/ja not_active Expired - Fee Related
- 2011-04-21 US US13/064,867 patent/US8780327B2/en not_active Expired - Fee Related
-
2012
- 2012-03-30 JP JP2012082522A patent/JP5699976B2/ja not_active Expired - Fee Related
- 2012-09-18 JP JP2012205080A patent/JP5700011B2/ja not_active Expired - Fee Related
- 2012-09-18 JP JP2012205079A patent/JP5590083B2/ja not_active Expired - Fee Related
-
2013
- 2013-02-25 US US13/775,853 patent/US8760617B2/en not_active Expired - Fee Related
- 2013-12-26 JP JP2013269607A patent/JP5794291B2/ja not_active Expired - Fee Related
-
2014
- 2014-05-21 US US14/283,865 patent/US9304392B2/en not_active Expired - Lifetime
- 2014-11-10 JP JP2014228266A patent/JP5907238B2/ja not_active Expired - Lifetime
-
2015
- 2015-09-11 JP JP2015179702A patent/JP6278015B2/ja not_active Expired - Lifetime
-
2016
- 2016-02-29 US US15/056,295 patent/US9939739B2/en not_active Expired - Fee Related
- 2016-12-27 JP JP2016252527A patent/JP6350643B2/ja not_active Expired - Fee Related
-
2018
- 2018-01-09 JP JP2018001074A patent/JP2018077518A/ja active Pending
- 2018-03-09 US US15/916,937 patent/US20180196352A1/en not_active Abandoned
Cited By (1)
| Publication number | Priority date | Publication date | Assignee | Title |
|---|---|---|---|---|
| JP2015029154A (ja) * | 2003-05-23 | 2015-02-12 | 株式会社ニコン | 露光装置及びデバイス製造方法 |
Also Published As
Similar Documents
| Publication | Publication Date | Title |
|---|---|---|
| JP6350643B2 (ja) | 液浸露光装置、露光方法及びデバイス製造方法 | |
| JP2005277363A (ja) | 露光装置及びデバイス製造方法 | |
| JP5058550B2 (ja) | 露光装置、露光方法、デバイス製造方法、及び液体回収方法 |
Legal Events
| Date | Code | Title | Description |
|---|---|---|---|
| A621 | Written request for application examination |
Free format text: JAPANESE INTERMEDIATE CODE: A621 Effective date: 20100209 |
|
| A521 | Request for written amendment filed |
Free format text: JAPANESE INTERMEDIATE CODE: A523 Effective date: 20110407 |
|
| A521 | Request for written amendment filed |
Free format text: JAPANESE INTERMEDIATE CODE: A523 Effective date: 20110415 |
|
| A131 | Notification of reasons for refusal |
Free format text: JAPANESE INTERMEDIATE CODE: A131 Effective date: 20120717 |
|
| A521 | Request for written amendment filed |
Free format text: JAPANESE INTERMEDIATE CODE: A523 Effective date: 20120918 |
|
| A131 | Notification of reasons for refusal |
Free format text: JAPANESE INTERMEDIATE CODE: A131 Effective date: 20130319 |
|
| A521 | Request for written amendment filed |
Free format text: JAPANESE INTERMEDIATE CODE: A523 Effective date: 20130520 |
|
| RD03 | Notification of appointment of power of attorney |
Free format text: JAPANESE INTERMEDIATE CODE: A7423 Effective date: 20130918 |
|
| RD04 | Notification of resignation of power of attorney |
Free format text: JAPANESE INTERMEDIATE CODE: A7424 Effective date: 20131003 |
|
| TRDD | Decision of grant or rejection written | ||
| A01 | Written decision to grant a patent or to grant a registration (utility model) |
Free format text: JAPANESE INTERMEDIATE CODE: A01 Effective date: 20131119 |
|
| A61 | First payment of annual fees (during grant procedure) |
Free format text: JAPANESE INTERMEDIATE CODE: A61 Effective date: 20131202 |
|
| R150 | Certificate of patent or registration of utility model |
Ref document number: 5440228 Country of ref document: JP Free format text: JAPANESE INTERMEDIATE CODE: R150 Free format text: JAPANESE INTERMEDIATE CODE: R150 |
|
| R250 | Receipt of annual fees |
Free format text: JAPANESE INTERMEDIATE CODE: R250 |
|
| R250 | Receipt of annual fees |
Free format text: JAPANESE INTERMEDIATE CODE: R250 |
|
| R250 | Receipt of annual fees |
Free format text: JAPANESE INTERMEDIATE CODE: R250 |
|
| LAPS | Cancellation because of no payment of annual fees |