JP4786331B2 - 磁気抵抗効果素子の製造方法 - Google Patents

磁気抵抗効果素子の製造方法 Download PDF

Info

Publication number
JP4786331B2
JP4786331B2 JP2005368463A JP2005368463A JP4786331B2 JP 4786331 B2 JP4786331 B2 JP 4786331B2 JP 2005368463 A JP2005368463 A JP 2005368463A JP 2005368463 A JP2005368463 A JP 2005368463A JP 4786331 B2 JP4786331 B2 JP 4786331B2
Authority
JP
Japan
Prior art keywords
layer
magnetic
film
forming
plasma
Prior art date
Legal status (The legal status is an assumption and is not a legal conclusion. Google has not performed a legal analysis and makes no representation as to the accuracy of the status listed.)
Expired - Fee Related
Application number
JP2005368463A
Other languages
English (en)
Other versions
JP2007173476A (ja
Inventor
英明 福澤
裕美 湯浅
慶彦 藤
仁志 岩崎
Current Assignee (The listed assignees may be inaccurate. Google has not performed a legal analysis and makes no representation or warranty as to the accuracy of the list.)
Toshiba Corp
Original Assignee
Toshiba Corp
Priority date (The priority date is an assumption and is not a legal conclusion. Google has not performed a legal analysis and makes no representation as to the accuracy of the date listed.)
Filing date
Publication date
Application filed by Toshiba Corp filed Critical Toshiba Corp
Priority to JP2005368463A priority Critical patent/JP4786331B2/ja
Priority to KR1020087017401A priority patent/KR20080086892A/ko
Priority to CNA2006800476539A priority patent/CN101331568A/zh
Priority to PCT/JP2006/325995 priority patent/WO2007072987A1/en
Priority to US12/086,761 priority patent/US8048492B2/en
Publication of JP2007173476A publication Critical patent/JP2007173476A/ja
Application granted granted Critical
Publication of JP4786331B2 publication Critical patent/JP4786331B2/ja
Anticipated expiration legal-status Critical
Expired - Fee Related legal-status Critical Current

Links

Images

Classifications

    • HELECTRICITY
    • H01ELECTRIC ELEMENTS
    • H01FMAGNETS; INDUCTANCES; TRANSFORMERS; SELECTION OF MATERIALS FOR THEIR MAGNETIC PROPERTIES
    • H01F41/00Apparatus or processes specially adapted for manufacturing or assembling magnets, inductances or transformers; Apparatus or processes specially adapted for manufacturing materials characterised by their magnetic properties
    • H01F41/14Apparatus or processes specially adapted for manufacturing or assembling magnets, inductances or transformers; Apparatus or processes specially adapted for manufacturing materials characterised by their magnetic properties for applying magnetic films to substrates
    • H01F41/30Apparatus or processes specially adapted for manufacturing or assembling magnets, inductances or transformers; Apparatus or processes specially adapted for manufacturing materials characterised by their magnetic properties for applying magnetic films to substrates for applying nanostructures, e.g. by molecular beam epitaxy [MBE]
    • H01F41/302Apparatus or processes specially adapted for manufacturing or assembling magnets, inductances or transformers; Apparatus or processes specially adapted for manufacturing materials characterised by their magnetic properties for applying magnetic films to substrates for applying nanostructures, e.g. by molecular beam epitaxy [MBE] for applying spin-exchange-coupled multilayers, e.g. nanostructured superlattices
    • H01F41/305Apparatus or processes specially adapted for manufacturing or assembling magnets, inductances or transformers; Apparatus or processes specially adapted for manufacturing materials characterised by their magnetic properties for applying magnetic films to substrates for applying nanostructures, e.g. by molecular beam epitaxy [MBE] for applying spin-exchange-coupled multilayers, e.g. nanostructured superlattices applying the spacer or adjusting its interface, e.g. in order to enable particular effect different from exchange coupling
    • HELECTRICITY
    • H01ELECTRIC ELEMENTS
    • H01FMAGNETS; INDUCTANCES; TRANSFORMERS; SELECTION OF MATERIALS FOR THEIR MAGNETIC PROPERTIES
    • H01F41/00Apparatus or processes specially adapted for manufacturing or assembling magnets, inductances or transformers; Apparatus or processes specially adapted for manufacturing materials characterised by their magnetic properties
    • H01F41/14Apparatus or processes specially adapted for manufacturing or assembling magnets, inductances or transformers; Apparatus or processes specially adapted for manufacturing materials characterised by their magnetic properties for applying magnetic films to substrates
    • H01F41/30Apparatus or processes specially adapted for manufacturing or assembling magnets, inductances or transformers; Apparatus or processes specially adapted for manufacturing materials characterised by their magnetic properties for applying magnetic films to substrates for applying nanostructures, e.g. by molecular beam epitaxy [MBE]
    • BPERFORMING OPERATIONS; TRANSPORTING
    • B82NANOTECHNOLOGY
    • B82YSPECIFIC USES OR APPLICATIONS OF NANOSTRUCTURES; MEASUREMENT OR ANALYSIS OF NANOSTRUCTURES; MANUFACTURE OR TREATMENT OF NANOSTRUCTURES
    • B82Y25/00Nanomagnetism, e.g. magnetoimpedance, anisotropic magnetoresistance, giant magnetoresistance or tunneling magnetoresistance
    • BPERFORMING OPERATIONS; TRANSPORTING
    • B82NANOTECHNOLOGY
    • B82YSPECIFIC USES OR APPLICATIONS OF NANOSTRUCTURES; MEASUREMENT OR ANALYSIS OF NANOSTRUCTURES; MANUFACTURE OR TREATMENT OF NANOSTRUCTURES
    • B82Y40/00Manufacture or treatment of nanostructures
    • GPHYSICS
    • G11INFORMATION STORAGE
    • G11BINFORMATION STORAGE BASED ON RELATIVE MOVEMENT BETWEEN RECORD CARRIER AND TRANSDUCER
    • G11B5/00Recording by magnetisation or demagnetisation of a record carrier; Reproducing by magnetic means; Record carriers therefor
    • G11B5/127Structure or manufacture of heads, e.g. inductive
    • G11B5/31Structure or manufacture of heads, e.g. inductive using thin films
    • G11B5/3163Fabrication methods or processes specially adapted for a particular head structure, e.g. using base layers for electroplating, using functional layers for masking, using energy or particle beams for shaping the structure or modifying the properties of the basic layers
    • GPHYSICS
    • G11INFORMATION STORAGE
    • G11BINFORMATION STORAGE BASED ON RELATIVE MOVEMENT BETWEEN RECORD CARRIER AND TRANSDUCER
    • G11B5/00Recording by magnetisation or demagnetisation of a record carrier; Reproducing by magnetic means; Record carriers therefor
    • G11B5/127Structure or manufacture of heads, e.g. inductive
    • G11B5/33Structure or manufacture of flux-sensitive heads, i.e. for reproduction only; Combination of such heads with means for recording or erasing only
    • G11B5/39Structure or manufacture of flux-sensitive heads, i.e. for reproduction only; Combination of such heads with means for recording or erasing only using magneto-resistive devices or effects
    • G11B5/3903Structure or manufacture of flux-sensitive heads, i.e. for reproduction only; Combination of such heads with means for recording or erasing only using magneto-resistive devices or effects using magnetic thin film layers or their effects, the films being part of integrated structures
    • G11B5/398Specially shaped layers
    • GPHYSICS
    • G11INFORMATION STORAGE
    • G11BINFORMATION STORAGE BASED ON RELATIVE MOVEMENT BETWEEN RECORD CARRIER AND TRANSDUCER
    • G11B5/00Recording by magnetisation or demagnetisation of a record carrier; Reproducing by magnetic means; Record carriers therefor
    • G11B5/127Structure or manufacture of heads, e.g. inductive
    • G11B5/33Structure or manufacture of flux-sensitive heads, i.e. for reproduction only; Combination of such heads with means for recording or erasing only
    • G11B5/39Structure or manufacture of flux-sensitive heads, i.e. for reproduction only; Combination of such heads with means for recording or erasing only using magneto-resistive devices or effects
    • G11B5/3903Structure or manufacture of flux-sensitive heads, i.e. for reproduction only; Combination of such heads with means for recording or erasing only using magneto-resistive devices or effects using magnetic thin film layers or their effects, the films being part of integrated structures
    • G11B5/398Specially shaped layers
    • G11B5/3983Specially shaped layers with current confined paths in the spacer layer
    • GPHYSICS
    • G11INFORMATION STORAGE
    • G11CSTATIC STORES
    • G11C11/00Digital stores characterised by the use of particular electric or magnetic storage elements; Storage elements therefor
    • G11C11/02Digital stores characterised by the use of particular electric or magnetic storage elements; Storage elements therefor using magnetic elements
    • G11C11/16Digital stores characterised by the use of particular electric or magnetic storage elements; Storage elements therefor using magnetic elements using elements in which the storage effect is based on magnetic spin effect
    • G11C11/161Digital stores characterised by the use of particular electric or magnetic storage elements; Storage elements therefor using magnetic elements using elements in which the storage effect is based on magnetic spin effect details concerning the memory cell structure, e.g. the layers of the ferromagnetic memory cell
    • HELECTRICITY
    • H01ELECTRIC ELEMENTS
    • H01FMAGNETS; INDUCTANCES; TRANSFORMERS; SELECTION OF MATERIALS FOR THEIR MAGNETIC PROPERTIES
    • H01F10/00Thin magnetic films, e.g. of one-domain structure
    • H01F10/32Spin-exchange-coupled multilayers, e.g. nanostructured superlattices
    • H01F10/324Exchange coupling of magnetic film pairs via a very thin non-magnetic spacer, e.g. by exchange with conduction electrons of the spacer
    • H01F10/3254Exchange coupling of magnetic film pairs via a very thin non-magnetic spacer, e.g. by exchange with conduction electrons of the spacer the spacer being semiconducting or insulating, e.g. for spin tunnel junction [STJ]
    • HELECTRICITY
    • H01ELECTRIC ELEMENTS
    • H01FMAGNETS; INDUCTANCES; TRANSFORMERS; SELECTION OF MATERIALS FOR THEIR MAGNETIC PROPERTIES
    • H01F10/00Thin magnetic films, e.g. of one-domain structure
    • H01F10/32Spin-exchange-coupled multilayers, e.g. nanostructured superlattices
    • H01F10/324Exchange coupling of magnetic film pairs via a very thin non-magnetic spacer, e.g. by exchange with conduction electrons of the spacer
    • H01F10/3254Exchange coupling of magnetic film pairs via a very thin non-magnetic spacer, e.g. by exchange with conduction electrons of the spacer the spacer being semiconducting or insulating, e.g. for spin tunnel junction [STJ]
    • H01F10/3259Spin-exchange-coupled multilayers comprising at least a nanooxide layer [NOL], e.g. with a NOL spacer
    • HELECTRICITY
    • H10SEMICONDUCTOR DEVICES; ELECTRIC SOLID-STATE DEVICES NOT OTHERWISE PROVIDED FOR
    • H10NELECTRIC SOLID-STATE DEVICES NOT OTHERWISE PROVIDED FOR
    • H10N50/00Galvanomagnetic devices
    • H10N50/01Manufacture or treatment
    • HELECTRICITY
    • H10SEMICONDUCTOR DEVICES; ELECTRIC SOLID-STATE DEVICES NOT OTHERWISE PROVIDED FOR
    • H10NELECTRIC SOLID-STATE DEVICES NOT OTHERWISE PROVIDED FOR
    • H10N50/00Galvanomagnetic devices
    • H10N50/10Magnetoresistive devices
    • GPHYSICS
    • G11INFORMATION STORAGE
    • G11BINFORMATION STORAGE BASED ON RELATIVE MOVEMENT BETWEEN RECORD CARRIER AND TRANSDUCER
    • G11B5/00Recording by magnetisation or demagnetisation of a record carrier; Reproducing by magnetic means; Record carriers therefor
    • G11B5/127Structure or manufacture of heads, e.g. inductive
    • G11B5/33Structure or manufacture of flux-sensitive heads, i.e. for reproduction only; Combination of such heads with means for recording or erasing only
    • G11B5/39Structure or manufacture of flux-sensitive heads, i.e. for reproduction only; Combination of such heads with means for recording or erasing only using magneto-resistive devices or effects
    • G11B2005/3996Structure or manufacture of flux-sensitive heads, i.e. for reproduction only; Combination of such heads with means for recording or erasing only using magneto-resistive devices or effects large or giant magnetoresistive effects [GMR], e.g. as generated in spin-valve [SV] devices
    • GPHYSICS
    • G11INFORMATION STORAGE
    • G11BINFORMATION STORAGE BASED ON RELATIVE MOVEMENT BETWEEN RECORD CARRIER AND TRANSDUCER
    • G11B5/00Recording by magnetisation or demagnetisation of a record carrier; Reproducing by magnetic means; Record carriers therefor
    • G11B5/127Structure or manufacture of heads, e.g. inductive
    • G11B5/31Structure or manufacture of heads, e.g. inductive using thin films
    • G11B5/3163Fabrication methods or processes specially adapted for a particular head structure, e.g. using base layers for electroplating, using functional layers for masking, using energy or particle beams for shaping the structure or modifying the properties of the basic layers
    • G11B5/3166Testing or indicating in relation thereto, e.g. before the fabrication is completed
    • HELECTRICITY
    • H01ELECTRIC ELEMENTS
    • H01FMAGNETS; INDUCTANCES; TRANSFORMERS; SELECTION OF MATERIALS FOR THEIR MAGNETIC PROPERTIES
    • H01F10/00Thin magnetic films, e.g. of one-domain structure
    • H01F10/32Spin-exchange-coupled multilayers, e.g. nanostructured superlattices
    • H01F10/324Exchange coupling of magnetic film pairs via a very thin non-magnetic spacer, e.g. by exchange with conduction electrons of the spacer
    • H01F10/3268Exchange coupling of magnetic film pairs via a very thin non-magnetic spacer, e.g. by exchange with conduction electrons of the spacer the exchange coupling being asymmetric, e.g. by use of additional pinning, by using antiferromagnetic or ferromagnetic coupling interface, i.e. so-called spin-valve [SV] structure, e.g. NiFe/Cu/NiFe/FeMn
    • H01F10/3272Exchange coupling of magnetic film pairs via a very thin non-magnetic spacer, e.g. by exchange with conduction electrons of the spacer the exchange coupling being asymmetric, e.g. by use of additional pinning, by using antiferromagnetic or ferromagnetic coupling interface, i.e. so-called spin-valve [SV] structure, e.g. NiFe/Cu/NiFe/FeMn by use of anti-parallel coupled [APC] ferromagnetic layers, e.g. artificial ferrimagnets [AFI], artificial [AAF] or synthetic [SAF] anti-ferromagnets
    • YGENERAL TAGGING OF NEW TECHNOLOGICAL DEVELOPMENTS; GENERAL TAGGING OF CROSS-SECTIONAL TECHNOLOGIES SPANNING OVER SEVERAL SECTIONS OF THE IPC; TECHNICAL SUBJECTS COVERED BY FORMER USPC CROSS-REFERENCE ART COLLECTIONS [XRACs] AND DIGESTS
    • Y10TECHNICAL SUBJECTS COVERED BY FORMER USPC
    • Y10TTECHNICAL SUBJECTS COVERED BY FORMER US CLASSIFICATION
    • Y10T428/00Stock material or miscellaneous articles
    • Y10T428/11Magnetic recording head
    • Y10T428/1107Magnetoresistive
    • Y10T428/1121Multilayer

Landscapes

  • Engineering & Computer Science (AREA)
  • Chemical & Material Sciences (AREA)
  • Manufacturing & Machinery (AREA)
  • Nanotechnology (AREA)
  • Crystallography & Structural Chemistry (AREA)
  • Power Engineering (AREA)
  • Physics & Mathematics (AREA)
  • Spectroscopy & Molecular Physics (AREA)
  • Condensed Matter Physics & Semiconductors (AREA)
  • General Physics & Mathematics (AREA)
  • Computer Hardware Design (AREA)
  • Hall/Mr Elements (AREA)
  • Measuring Magnetic Variables (AREA)
  • Mram Or Spin Memory Techniques (AREA)
  • Magnetic Heads (AREA)

Description

本発明は、磁気抵抗効果膜の膜面の垂直方向にセンス電流を流して磁気を検知する磁気抵抗効果素子およびその製造方法に関する。
巨大磁気抵抗効果(Giant Magneto-Resistive Effect:GMR)を用いることで、磁気デバイス、特に磁気ヘッドの性能が飛躍的に向上している。特に、スピンバルブ膜(Spin-Valve:SV膜)の磁気ヘッドやMRAM(Magnetic Random Access Memory)などへの適用は、磁気デバイス分野に大きな技術的進歩をもたらした。
「スピンバルブ膜」は、2つの強磁性層の間に非磁性のスペーサ層を挟んだ構造を有する積層膜であり、スピン依存散乱ユニットとも呼ばれる。この2つの強磁性層の一方(「ピン層」や「磁化固着層」などと称される)の磁化が反強磁性層などで固着され、他方(「フリー層」や「磁化自由層」などと称される)の磁化が外部磁界に応じて回転可能である。スピンバルブ膜では、ピン層とフリー層の磁化方向の相対角度が変化することで、巨大な磁気抵抗変化が得られる。
スピンバルブ膜を用いた磁気抵抗効果素子には、CIP(Current In Plane)−GMR素子、CPP(Current Perpendicular to Plane)−GMR素子、およびTMR(Tunneling MagnetoResistance)素子がある。CIP−GMR素子ではスピンバルブ膜の面に平行にセンス電流を通電し、CPP−GMR、およびTMR素子ではスピンバルブ膜の面にほぼ垂直方向にセンス電流を通電する。センス電流を膜面に対し垂直に通電する方式の方が、将来の高記録密度ヘッド対応の技術として、注目されている。
ここで、スピンバルブ膜が金属層で形成されたメタルCPP−GMR素子では、磁化による抵抗変化量が小さく、微弱磁界(例えば、高記録密度の磁気ディスクでの磁界)を検知するのは困難である。
スペーサ層として、厚み方向への電流パスを含む酸化物層[NOL(nano-oxide layer)]を用いたCPP素子が提案されている(特許文献1参照)。この素子では、電流狭窄[CCP(Current-confined-path)]効果により素子抵抗およびMR変化率の双方を増大できる。以下、この素子をCCP−CPP素子と呼ぶ。
特開2002−208744号
現在、HDD(Hard Disk Drive)等の磁気記憶装置はパソコンや携帯型音楽プレーヤーなどの用途に用いられている。しかしながら、今後、磁気記憶装置の使用用途がさらに広がり、また高密度記憶化が進むと、信頼性への要求がより厳しくなる。例えば、より高温度の条件下や、より高速での動作環境下での信頼性を向上させることが、必要になる。そのためには、磁気ヘッドの信頼性を、従来よりも向上させることが望ましい。
特にCCP−CPP素子は、従来のTMR素子に比べて抵抗が低いため、より高転送レートが要求されるサーバー・エンタープライズ用途のハイエンドの磁気記憶装置に適用可能である。このようなハイエンドの用途には、高密度化と、高信頼性を同時に満たすことが要求される。また、これらの用途では、より高温化での信頼性を向上させることが望ましい。つまり、より厳しい環境(高温環境等)、より厳しい使用条件(高速で回転する磁気ディスクでの情報の読み取り等)下で、CCP−CPP素子を使用することが必要となる。
本発明は、高密度記憶の磁気記憶装置に適用可能で、信頼性の向上が図られた磁気抵抗効果素子およびその製造方法を提供することを目的とする。
本発明の一態様に係る磁気抵抗効果素子の製造方法は、第1の磁性層を形成するステップと、前記形成される第1の磁性層上に、絶縁層と、この絶縁層の層方向に貫通する電流を通過させる導電層と、を有するスペーサ層を形成するステップと、前記形成されたスペーサ層上に、イオン、プラズマ、または熱でその全部または一部が処理される第2の磁性層を形成するステップと、を具備することを特徴とする。
本発明によれば、高密度記憶の磁気記憶装置に適用可能で、信頼性の向上が図られた磁気抵抗効果素子およびその製造方法を提供できる。
以下、図面を参照しながら本発明の実施の形態を説明する。なお、以下の実施の形態においては、合金の組成は原子%(atomic%)で表される。
(第1の実施の形態)
図1は、本発明の第1の実施の形態に係る磁気抵抗効果素子(CCP−CPP素子)を表す斜視図である。なお、図1および以降の図は全て模式図であり、図上での膜厚同士の比率と、実際の膜厚同士の比率は必ずしも一致しない。
図1に示すように本実施の形態に係る磁気抵抗効果素子は、磁気抵抗効果膜10、およびこれを上下から夾む下電極11および上電極20を有し、図示しない基板上に構成される。
磁気抵抗効果膜10は、下地層12、ピニング層13、ピン層14、下部金属層15、スペーサ層(CCP−NOL)16(絶縁層161、電流パス162)、上部金属層17、フリー層18、キャップ層19が順に積層されて構成される。この内、ピン層14、下部金属層15、スペーサ層16、および上部金属層17、およびフリー層18が、2つの強磁性層の間に非磁性のスペーサ層を挟んでなるスピンバルブ膜に対応する。また、下部金属層15、スペーサ層(CCP−NOL)16、および上部金属層17の全体が広義のスペーサ層として定義される。なお、見やすさのために、スペーサ層16はその上下層(下部金属層15および上部金属層17)から切り離した状態で表している。
以下、磁気抵抗効果素子の構成要素を説明する。
下電極11は、スピンバルブ膜の垂直方向に通電するための電極である。下電極11と上電極20との間に電圧が印加されることで、スピンバルブ膜内部をその膜垂直方向に沿って電流が流れる。この電流によって、磁気抵抗効果に起因する抵抗の変化を検出することで、磁気の検知が可能となる。下電極11には、電流を磁気抵抗効果素子に通電するために、電気抵抗が比較的小さい金属層が用いられる。
下地層12は、例えば、バッファ層12a、シード層12bに区分することができる。バッファ層12aは下電極11表面の荒れを緩和したりするための層である。シード層12bは、その上に成膜されるスピンバルブ膜の結晶配向および結晶粒径を制御するための層である。
バッファ層12aとしては、Ta、Ti、W、Zr、Hf、Crまたはこれらの合金を用いることができる。バッファ層12aの膜厚は2〜10nm程度が好ましく、3〜5nm程度がより好ましい。バッファ層12aの厚さが薄すぎるとバッファ効果が失われる。一方、バッファ層12aの厚さが厚すぎるとMR変化率に寄与しない直列抵抗を増大させることになる。なお、バッファ層12a上に成膜されるシード層12bがバッファ効果を有する場合には、バッファ層12aを必ずしも設ける必要はない。上記のなかの好ましい一例として、Ta[3nm]を用いることができる。
シード層12bは、その上に成膜される層の結晶配向を制御できる材料であればよい。シード層12bとして、fcc構造(face-centered cubic structure:面心立方格子構造)またはhcp構造(hexagonal close-packed structure:六方最密格子構造)やbcc構造(body-centered cubic structure:体心立方格子構造)を有する金属層などが好ましい。例えば、シード層12bとして、hcp構造を有するRuや、fcc構造を有するNiFeを用いることにより、その上のスピンバルブ膜の結晶配向をfcc(111)配向にすることができる。また、ピニング層13(例えば、PtMn)の結晶配向を規則化したfct構造(face-centered tetragonal structure:面心正方構造)、あるいはbcc(body-centered cubic structure:体心立方構造)(110)配向とすることができる。
結晶配向を向上させるシード層12bとしての機能を十分発揮するために、シード層12bの膜厚としては、1〜5nmが好ましく、より好ましくは、1.5〜3nmが好ましい。上記のなかの好ましい一例として、Ru[2nm]を用いることができる。
スピンバルブ膜やピニング層13の結晶配向性は、X線回折により測定できる。スピンバルブ膜のfcc(111)ピーク、ピニング層13(PtMn)のfct(111)ピークまたはbcc(110)ピークでのロッキングカーブの半値幅を3.5〜6度として、良好な配向性を得ることができる。なお、この配向の分散角は断面TEMを用いた回折スポットからも判別することができる。
シード層12bとして、Ruの代わりに、NiFeベースの合金(例えば、NiFe100−x(x=90〜50%、好ましくは75〜85%)や、NiFeに第3元素Xを添加して非磁性にした(NiFe100−x100−y(X=Cr、V、Nb、Hf、Zr、Mo))を用いることもできる。NiFeベースのシード層12bでは、良好な結晶配向性を得るのが比較的容易であり、上記と同様に測定したロッキングカーブの半値幅を3〜5度とすることができる。
シード層12bには、結晶配向を向上させる機能だけでなく、スピンバルブ膜の結晶粒径を制御する機能もある。具体的には、スピンバルブ膜の結晶粒径を5〜40nmに制御することができ、磁気抵抗効果素子のサイズが小さくなっても、特性のばらつきを招くことなく高いMR変化率を実現できる。
ここでの結晶粒径は、シード層12bの上に形成された結晶粒の粒径によって判別することができ、断面TEMなどによって決定することができる。ピン層14がスペーサ層16よりも下層に位置するボトム型スピンバルブ膜の場合には、シード層12bの上に形成される、ピニング層13(反強磁性層)や、ピン層14(磁化固着層)の結晶粒径によって判別することができる。
高密度記録に対応した再生ヘッドでは、素子サイズが、例えば、100nm以下である。素子サイズに対する結晶粒径の比が大きいことは、素子の特性がばらつく原因となる。スピンバルブ膜の結晶粒径が40nmよりも大きいことは好ましくない。具体的には、結晶粒径が5〜40nmの範囲が好ましく、5〜20nmの範囲がさらに好ましい範囲である。
素子面積あたりの結晶粒の数が少なくなると、結晶数が少ないことに起因した特性のばらつきの原因となりうるため、結晶粒径を大きくすることはあまり好ましくない。特に電流パスを形成しているCCP−CPP素子では結晶粒径を大きくすることはあまり好ましくない。一方、結晶粒径が小さくなりすぎても、良好な結晶配向を維持することが一般的には困難になる。これら、結晶粒径の上限、および下限を考慮した結晶粒径の好ましい範囲が、5〜20nmである。
しかしながら、MRAM用途などでは、素子サイズが100nm以上の場合があり、結晶粒径が40nm程度と大きくてもそれほど問題とならない場合もある。即ち、シード層12bを用いることで、結晶粒径が粗大化しても差し支えない場合もある。
上述した5〜20nmの結晶粒径を得るためには、シード層12bとして、Ru2nmや、(NiFe100−x100−y(X=Cr、V、Nb、Hf、Zr、Mo))層の場合には、第3元素Xの組成yを0〜30%程度とすることが好ましい(yが0%の場合も含む)。
一方、結晶粒径を40nmよりも粗大化させて用いるためには、さらに多量の添加元素を用いることが好ましい。シード層12bの材料が、例えば、NiFeCrの場合にはCr量を35〜45%程度とし、fccとbccの境界相を示す組成を用いて、bcc構造を有するNiFeCr層を用いることが好ましい。
前述したように、シード層12bの膜厚は1nm〜5nm程度が好ましく、1.5〜3nmがより好ましい。シード層12bの厚さが薄すぎると結晶配向制御などの効果が失われる。一方、シード層12bの厚さが厚すぎると、直列抵抗の増大を招き、さらにスピンバルブ膜の界面の凹凸の原因となることがある。
ピニング層13は、その上に成膜されるピン層14となる強磁性層に一方向異方性(unidirectional anisotropy)を付与して磁化を固着する機能を有する。ピニング層13の材料としては、PtMn、PdPtMn、IrMn、RuRhMnなどの反強磁性材料を用いることができる。この内、高記録密度対応のヘッドの材料として、IrMnが有利である。IrMnは、PtMnよりも薄い膜厚で一方向異方性を印加することができ、高密度記録の為に必要な狭ギャップ化に適している。
十分な強さの一方向異方性を付与するために、ピニング層13の膜厚を適切に設定する。ピニング層13の材料がPtMnやPdPtMnの場合には、膜厚として、8〜20nm程度が好ましく、10〜15nmがより好ましい。ピニング層13の材料がIrMnの場合には、PtMnなどより薄い膜厚でも一方向異方性を付与可能であり、4〜18nmが好ましく、5〜15nmがより好ましい。上記のなかの好ましい一例として、IrMn[10nm]を用いることができる。
ピニング層13として、反強磁性層の代わりに、ハード磁性層を用いることができる。ハード磁性層として、例えば、CoPt(Co=50〜85%)、(CoPt100−x100−yCr(x=50〜85%、y=0〜40%)、FePt(Pt=40〜60%)を用いることができる。ハード磁性層(特に、CoPt)は比抵抗が比較的小さいため、直列抵抗および面積抵抗RAの増大を抑制できる。
ピン層14は、下部ピン層141(例えば、Co90Fe103.5nm)、磁気結合層142(例えば、Ru)、および上部ピン層143(例えば、Fe50Co50[1nm]/Cu[0.25nm])×2/Fe50Co50[1nm])からなるシンセティックピン層とすることのが好ましい一例である。ピニング層13(例えば、IrMn)とその直上の下部ピン層141は一方向異方性(unidirectional anisotropy)をもつように交換磁気結合している。磁気結合層142の上下の下部ピン層141および上部ピン層143は、磁化の向きが互いに反平行になるように強く磁気結合している。
下部ピン層141の材料として、例えば、CoFe100−x合金(x=0〜100%)、NiFe100−x合金(x=0〜100%)、またはこれらに非磁性元素を添加したものを用いることができる。また、下部ピン層141の材料として、Co、Fe、Niの単元素やこれらの合金を用いても良い。
下部ピン層141の磁気膜厚(飽和磁化Bs×膜厚t(Bs・t積))が、上部ピン層143の磁気膜厚とほぼ等しいことが好ましい。つまり、上部ピン層143の磁気膜厚と下部ピン層141の磁気膜厚とが対応することが好ましい。一例として、上部ピン層143が(Fe50Co50[1nm]/Cu[0.25nm])×2/Fe50Co50[1nm]の場合、薄膜でのFeCoの飽和磁化が約2.2Tであるため、磁気膜厚は2.2T×3nm=6.6Tnmとなる。Co90Fe10の飽和磁化が約1.8Tなので、上記と等しい磁気膜厚を与える下部ピン層141の膜厚tは6.6Tnm/1.8T=3.66nmとなる。したがって、膜厚が約3.6nmのCo90Fe10を用いることが望ましい。
下部ピン層141に用いられる磁性層の膜厚は2〜5nm程度が好ましい。ピニング層13(例えば、IrMn)による一方向異方性磁界強度および磁気結合層142(例えば、Ru)を介した下部ピン層141と上部ピン層143との反強磁性結合磁界強度の観点に基づく。下部ピン層141が薄すぎるとMR変化率が小さくなる。一方、下部ピン層141が厚すぎるとデバイス動作に必要な十分な一方向性異方性磁界を得ることが困難になる。好ましい一例として、膜厚3.6nmのCo90Fe10が挙げられる。
磁気結合層142(例えば、Ru)は、上下の磁性層(下部ピン層141および上部ピン層143)に反強磁性結合を生じさせてシンセティックピン構造を形成する機能を有する。磁気結合層142としてのRu層の膜厚は0.8〜1nmであることが好ましい。なお、上下の磁性層に十分な反強磁性結合を生じさせる材料であれば、Ru以外の材料を用いてもよい。RKKY(Ruderman-Kittel- Kasuya-Yosida)結合の2ndピークに対応する膜厚0.8〜1nmの換わりに、RKKY結合の1stピークに対応する膜厚0.3〜0.6nmを用いることもできる。ここでは、より高信頼性の結合を安定して特性が得られる、0.9nmのRuが一例として挙げられる。
上部ピン層143の一例として、(Fe50Co50[1nm]/Cu[0.25nm])×2/Fe50Co50[1nm]のような磁性層を用いることができる。上部ピン層143は、スピン依存散乱ユニットの一部をなす。上部ピン層143は、MR効果に直接的に寄与する磁性層であり、大きなMR変化率を得るために、この構成材料、膜厚の双方が重要である。特に、スペーサ層16との界面に位置する磁性材料は、スピン依存界面散乱に寄与する点で特に重要である。
上部ピン層143としてここで用いた、bcc構造をもつFe50Co50を用いる効果について述べる。上部ピン層143として、bcc構造をもつ磁性材料を用いた場合、スピン依存界面散乱効果が大きいため、大きなMR変化率を実現することができる。bcc構造をもつFeCo系合金として、FeCo100−x(x=30〜100%)や、FeCo100−xに添加元素を加えたものが挙げられる。そのなかでも、諸特性を満たしたFe40Co60〜Fe60Co40が使いやすい材料の一例である。
上部ピン層143が、高MR変化率を実現しやすいbcc構造をもつ磁性層から形成されている場合には、この磁性層の全膜厚が1.5nm以上であることが好ましい。bcc構造を安定に保つためである。スピンバルブ膜に用いられる金属材料は、fcc構造またはfct構造であることが多いため、上部ピン層143のみがbcc構造を有することがあり得る。このため、上部ピン層143の膜厚が薄すぎると、bcc構造を安定に保つことが困難になり、高いMR変化率が得られなくなる。
ここでは、上部ピン層143として、極薄Cu積層を含むFe50Co50を用いている。ここで、上部ピン層143は、全膜厚が3nmのFeCoと、1nmのFeCo毎に積層された0.25nmのCuとからなり、トータル膜厚3.5nmである。
上部ピン層143の膜厚は5nm以下であることが好ましい。大きなピン固着磁界を得るためである。大きなピン固着磁界と、bcc構造の安定性の両立のため、bcc構造をもつ上部ピン層143の膜厚は、2.0nm〜4nm程度であることが好ましいということになる。
上部ピン層143には、bcc構造をもつ磁性材料の代わりに、従来の磁気抵抗効果素子で広く用いられているfcc構造を有するCo90Fe10合金や、hcp構造をもつコバルト合金を用いることができる。上部ピン層143として、Co、Fe、Niなどの単体金属、またはこれらのいずれか一つの元素を含む合金材料はすべて用いることができる。上部ピン層143の磁性材料として、大きなMR変化率を得るのに有利なものから並べると、bcc構造をもつFeCo合金材料、50%以上のコバルト組成をもつコバルト合金、50%以上のNi組成をもつニッケル合金の順になる。
ここでの一例として挙げたものは、上部ピン層143として、磁性層(FeCo層)と非磁性層(極薄Cu層)とを交互に積層したものを用いることができる。このような構造を有する上部ピン層143では、極薄Cu層によって、スピン依存バルク散乱効果と呼ばれるスピン依存散乱効果を向上させることができる。
「スピン依存バルク散乱効果」は、スピン依存界面散乱効果と対の言葉として用いられる。スピン依存バルク散乱効果とは、磁性層内部でMR効果を発現する現象である。スピン依存界面散乱効果は、スペーサ層と磁性層の界面でMR効果を発現する現象である。
以下、磁性層と非磁性層の積層構造によるバルク散乱効果の向上につき説明する。
CCP−CPP素子においては、スペーサ層16の近傍で電流が狭窄されるため、スペーサ層16の界面近傍での抵抗の寄与が非常に大きい。つまり、スペーサ層16と磁性層(ピン層14、フリー層18)の界面での抵抗が、磁気抵抗効果素子全体の抵抗に占める割合が大きい。このことは、スピン依存界面散乱効果の寄与がCCP−CPP素子では非常に大きく、重要であることを示している。つまり、スペーサ層16の界面に位置する磁性材料の選択が従来のCPP素子の場合と比較して、重要な意味をもつ。これが、ピン層143として、スピン依存界面散乱効果が大きいbcc構造をもつFeCo合金層を用いた理由であり、前述したとおりである。
しかしながら、バルク散乱効果の大きい材料を用いることも無視できず、より高MR変化率を得るためにはやはり重要である。バルク散乱効果を得るための極薄Cu層の膜厚は、0.1〜1nmが好ましく、0.2〜0.5nmがより好ましい。Cu層の膜厚が薄すぎると、バルク散乱効果を向上させる効果が弱くなる。Cu層の膜厚が厚すぎると、バルク散乱効果が減少することがあるうえに、非磁性のCu層を介した上下磁性層の磁気結合が弱くなり、ピン層14の特性が不十分となる。そこで、好ましい一例として挙げたものでは、0.25nmのCuを用いた。
磁性層間の非磁性層の材料として、Cuの換わりに、Hf、Zr、Tiなどを用いてもよい。一方、これら極薄の非磁性層を挿入した場合、FeCoなど磁性層の一層あたりの膜厚は0.5〜2nmが好ましく、1〜1.5nm程度がより好ましい。
上部ピン層143として、FeCo層とCu層との交互積層構造に換えて、FeCoとCuを合金化した層を用いてもよい。このようなFeCoCu合金として、例えば、(FexCo100-x100-yCuy(x=30〜100%、y=3〜15%程度)が挙げられるが、これ以外の組成範囲を用いてもよい。ここで、FeCoに添加する元素として、Cuの代わりに、Hf、Zr,Tiなど他の元素を用いてもよい。
上部ピン層143には、Co、Fe、Niや、これらの合金材料からなる単層膜を用いてもよい。例えば、最も単純な構造の上部ピン層143として、従来から広く用いられている、2〜4nmのCo90Fe10単層を用いてもよい。この材料に他の元素を添加してもよい。
次に、広義のスペーサ層を形成する膜構成について述べる。下部金属層15は、電流パス162の形成に用いられ、いわば電流パス162の供給源である。ただし、電流パス162の形成後にも明確な金属層として残存している必要はない。下部金属層15は、広義のスペーサ層の一部を形成する材料である。下部金属層15は、その上部のスペーサ層16を形成するときに、下部に位置する磁性層143の酸化を抑制するストッパ層としての機能も有する。
スペーサ層(CCP−NOL)16は、絶縁層161、電流パス162を有する。なお、前述のように、スペーサ層16、下部金属層15、および上部金属層17を含めて、広義のスペーサ層として取り扱う。
絶縁層161は、酸化物、窒化物、酸窒化物等から構成される。絶縁層161として、Al23のようなアモルファス構造や、MgOのような結晶構造の双方が有り得る。スペーサ層としての機能を発揮するために、絶縁層161の厚さは、1〜3nmが好ましく、1.5〜2.5nmの範囲がより好ましい。
絶縁層161に用いる典型的な絶縁材料として、Alをベース材料としたものや、これに添加元素を加えたものがある。添加元素として、Ti、Hf、Mg、Zr,V,Mo、Si,Cr,Nb,Ta,W、B,C、Vなどがある。これらの添加元素の添加量は0%〜50%程度の範囲で適宜変えることができる。一例として、約2nmのAlを絶縁層161として用いることができる。
絶縁層161には、AlのようなAl酸化物の換わりに、Ti酸化物、Hf酸化物、Mg酸化物、Zr酸化物、Cr酸化物、Ta酸化物、Nb酸化物、Mo酸化物、Si酸化物、V酸化物なども用いることができる。これらの酸化物の場合でも、添加元素として上述の材料を用いることができる。また、添加元素の量を0%〜50%程度の範囲で適宜に変えることができる。
これら酸化物の換わりに、上述したようなAl,Si,Hf,Ti,Mg,Zr,V,Mo,Nb,Ta,W,B,Cをベースとした酸窒化物や、窒化物を用いても、電流を絶縁する機能を有する材料であれば構わない。
電流パス162は、スペーサ層16の膜面垂直に電流を流すパス(経路)であり、電流を狭窄するためのものである。絶縁層161の膜面垂直方向に電流を通過させる導電体として機能し、例えば、Cu等の金属層から構成できる。即ち、スペーサ層16では、電流狭窄構造(CCP構造)を有し、電流狭窄効果によりMR変化率を増大可能である。電流パス162(CCP)を形成する材料は、Cu以外には、Au,Agや、Ni,Co,Fe、もしくはこれらの元素を少なくとも一つは含む合金層を挙げることができる。一例として、電流パス162をCuを含む合金層で形成することができる。CuNi、CuCo、CuFeなどの合金層も用いることができる。ここで、50%以上のCuを有する組成とすることが、高MR変化率と、ピン層14とフリー層18の層間結合磁界(interlayer coupling field, Hin)を小さくするためには好ましい。
電流パス162は絶縁層161と比べて著しく酸素、窒素の含有量が少ない領域であり(少なくとも2倍以上の酸素や窒素の含有量の差がある)、一般的には結晶相である。結晶相は非結晶相よりも抵抗が小さいため、電流パス162として機能しやすい。
上部金属層17は、広義のスペーサ層の一部を形成するものである。その上に成膜されるフリー層18がスペーサ層16の酸化物に接して酸化されないように保護するバリア層としての機能、およびフリー層18の結晶性を良好にする機能を有する。例えば、絶縁層161の材料がアモルファス(例えば、Al23)の場合には、その上に成膜される金属層の結晶性が悪くなるが、fcc結晶性を良好にする層(例えば、Cu層)を配置することで(1nm以下程度の膜厚で良い)、フリー層18の結晶性を著しく改善することが可能となる。
スペーサ層16の材料やフリー層18の材料によっては、必ずしも上部金属層17を設けなくてもよい。アニール条件の最適化や、スペーサ層16の絶縁層161材料の選択、フリー層18の材料などによって、結晶性の低下を回避し、スペーサ層16上の金属層17が不要にできる。
しかし、製造上のマージンを考慮すると、スペーサ層16上に上部金属層17を形成することが好ましい。好ましい一例としては、上部金属層17として、Cu[0.5nm]を用いることができる。
上部金属層17の構成材料として、Cu以外に、Au、Ag、Ruなどを用いることもできる。上部金属層17の材料は、スペーサ層16の電流パス162の材料と同一であることが好ましい。上部金属層17の材料が電流パス162の材料と異なる場合には界面抵抗の増大を招くが、両者が同一の材料であれば界面抵抗の増大は生じない。
上部金属層17の膜厚は、0〜1nmが好ましく、0.1〜0.5nmがより好ましい。上部金属層17が厚すぎると、スペーサ層16で狭窄された電流が上部金属層17で広がって電流狭窄効果が不十分になり、MR変化率の低下を招く。
フリー層18は、磁化方向が外部磁界によって変化する強磁性体を有する層である。例えば、界面にCoFeを挿入してNiFeを用いたCo90Fe10[1nm]/Ni83Fe17[3.5nm]という二層構成がフリー層18の一例として挙げられる。この場合、スペーサ層16との界面には、NiFe合金よりもCoFe合金を設けることが好ましい。高いMR変化率を得るためには、スペーサ層16の界面に位置するフリー層18の磁性材料の選択が重要である。なお、NiFe層を用いない場合には、Co90Fe10[4nm]単層を用いることができる。また、CoFe/NiFe/CoFeなどの三層構成からなるフリー層を用いても構わない。
CoFe合金のなかでも、軟磁気特性が安定であることから、Co90Fe10が好ましい。Co90Fe10近傍のCoFe合金を用いる場合には、膜厚を0.5〜4nmとすることが好ましい。その他、CoFe100−x(x=70〜90)が好ましい。
また、フリー層18として、1〜2nmのCoFe層またはFe層と、0.1〜0.8nm程度の極薄Cu層とを、複数層交互に積層したものを用いてもよい。
スペーサ層16がCu層から形成される場合には、ピン層14と同様に、フリー層18でも、bccのFeCo層をスペーサ層16との界面材料として用いると、MR変化率が大きくなる。スペーサ層16との界面材料として、fccのCoFe合金に換えて、bccのFeCo合金を用いることもできる。この場合、bcc層が形成されやすい、FeCo100−x(x=30〜100)や、これに添加元素を加えた材料を用いることができる。これらの構成のうち、好ましい実施例の一例として、Co90Fe10[1nm]/Ni83Fe17[3.5nm]を用いることができる。
ここで、本実施形態のポイントは、CCP−NOL上に形成された磁性層、ここで実施例としてあげたボトム型スピンバルブ膜の場合にはフリー層18中の少なくとも一部を応力調整部21とすることで、素子の信頼性を著しく改善することができる。広義のスペーサ層の下に形成された磁性層(ピン層14)の結晶性と、広義のスペーサ層の上に形成された磁性層(フリー層18)の結晶性が著しく異なることに起因して、本処理が絶大な効果を発揮することになる。この処理の詳細については後述する。
キャップ層19は、スピンバルブ膜を保護する機能を有する。キャップ層19は、例えば、複数の金属層、例えば、Cu層とRu層の2層構造(Cu[1nm]/Ru[10nm])とすることができる。また、キャップ層19として、Ruをフリー層18側に配置したRu/Cu層なども用いることができる。この場合、Ruの膜厚は0.5〜2nm程度が好ましい。この構成のキャップ層19は、特に、フリー層18がNiFeからなる場合に望ましい。RuはNiと非固溶な関係にあるので、フリー層18とキャップ層19の間に形成される界面ミキシング層の磁歪を低減できるからである。
キャップ層19が、Cu/Ru、Ru/Cu、いずれの場合も、Cu層の膜厚は0.5〜10nm程度が好ましく、Ru層の膜厚は0.5〜5nm程度とすることができる。Ruは比抵抗値が高いため、あまり厚いRu層を用いることは好ましくないため、このような膜厚範囲にしておくことが好ましい。
キャップ層19として、Cu層やRu層の代わりに他の金属層を設けてもよい。キャップ層19の構成は特に限定されず、キャップとしてスピンバルブ膜を保護可能なものであれば、他の材料を用いてもよい。但し、キャップ層の選択によってMR変化率や長期信頼性が変わる場合があるので、注意が必要である。CuやRuはこれらの観点からも望ましいキャップ層の材料の例である。
上電極20は、スピンバルブ膜の垂直方向に通電するための電極である。下電極11と上電極20との間に電圧が印加されることで、スピンバルブ膜内部にその膜の垂直方向の電流が流れる。上部電極層20には、電気的に低抵抗な材料(例えば、Cu,Au)が用いられる。
(応力調整部21の意義)
ここで本実施形態に特徴的な応力調整部21について詳細に説明する。応力調整部21とは、スペーサ層(CCP−NOL)16上に形成された磁性層の製造過程において応力調整処理(Strain Control Treatment: SCT)が施された領域である。一例として、フリー層18が上述のようなCoFe/NiFeで形成された場合、フリー層18全体を応力調整部21と観念できる。
なお、フリー層18中に応力調整処理された領域(応力調整部21)と、応力調整処理がされない領域とが存在する場合、これらの間に明確な境界が存在しないのが通例である。
本実施形態では、ピン層14が広義のスペーサ層よりも下層側に配置されているので(ボトム型スピンバルブ膜)、スペーサ層(CCP−NOL)16上に形成された磁性層はフリー層18となる(トップ型スピンバルブ膜の場合は、スペーサ層(CCP−NOL)16上に形成された磁性層はピン層14となる)。
即ち、本実施形態では、フリー層18の一部(あるいは、全部)に応力調整処理(SCT)が施される。応力調整処理とは、フリー層18の内部応力を調整するための処理である。処理を行うことで、処理を行わない状態と比べて、フリー層18の膜残留応力をcompressive側(圧縮)にシフトさせることで、磁気抵抗効果素子の信頼性を向上することが可能となる。例えば、フリー層18の膜残留応力が大きなTensile応力(引っ張り応力)を有する場合には、そのTensile応力の絶対値を低減させることが可能となる。
なお、応力調整処理(SCT)の詳細は後述するが、応力調整処理(SCT)は磁性層の薄膜形成時に、イオン、プラズマ、および熱の何れかによる処理を意味する。
A.フリー層18での内部応力の発生
以下に、電流狭窄型の広義のスペーサ層の上に形成された磁性層において膜残留応力が大きくなるメカニズムについて説明する。ここでは、一例として、ピン層14がスペーサ層よりも下層側に配置された、ボトム型スピンバルブ膜の場合について述べる。ボトム型スピンバルブ膜の場合には、スペーサ層の上に形成される磁性層はフリー層18となるため、フリー層18に応力調整処理(SCT)を行うことになる。トップ型スピンバルブ膜の場合には、スペーサ層の上側に形成される磁性層はピン層14となるので、応力調整処理(SCT)を行う層は、ピン層14ということになる。
上述したように、スペーサ層16の上下の2つの強磁性層(ピン層14、フリー層18)は、Fe,Co、Niやそれらの元素を含む合金層からなり、類似の金属材料を用いて形成されている。
しかしながら、これら2つの強磁性層の結晶性が異なることが判った。具体的には、フリー層18の結晶性がピン層14の結晶性より劣る。これは、スペーサ層16の絶縁層161が結晶性の比較的劣る材料(典型的には、アルミナ(Al)等のアモルファス材料)から構成されることに起因すると考えられる。アモルファス材料の上で成長する膜は、結晶性が悪いのが通例である。以上のように、フリー層18の結晶性はピン層14の結晶性より劣る。
これは、CCP−NOLだけでなく、電流狭窄構造を有しない、一様なAlや、MgO,TiOx層からなる、TMR膜でも共通の問題である。このことから、応力調整処理(SCT)を用いた製造方法は、TMR膜に適用することは可能である。
TMR膜の場合には、一例として、ピン層が2〜3nmのCoFe合金層やCoFeB合金層、スペーサ層が1〜2.5nmのAl、TiO、またはMgO、フリー層が1〜3nmのCoFe合金層/2〜4nmのNiFeという構成があげられる。また、フリー層にもピン層同様に、スペーサ層の絶縁層との界面にCoFeB合金層を用いても構わない。ピン層、スペーサ層、フリー層以外のRu下のピン層、反強磁性層、下地層や、フリー層上のキャップ層は前述の場合の電流狭窄型CPP素子の場合と同様である。TMR素子の場合には、スペーサ層の絶縁層材料に膜面垂直に貫通する電流パスは存在せず、膜面垂直に流れる電流はトンネル伝導により電流が流れることになる。
ボトム型スピンバルブ膜の場合には、スペーサ層の上に形成された材料はフリー層18ということになるので、フリー層18に応力調整処理SCTを行うことになる。TMR素子においても、Al、TiO、MgOなどのトンネルバリアスペーサ層の上に形成された磁性層の結晶性は、その下に形成された磁性層の結晶性に比べて悪いので、応力調整処理が効果を発揮する。
しかしながら、CCP−CPP素子においては、TMR素子よりもさらにシビアな問題として、CCP−NOL(電流狭窄型NOL、スペーサ層)上に形成された磁性層では、結晶性が平均的に悪いのみでなく、膜面内で不均一でもあることが判った。フリー層18は、アルミナ(Al)等の酸化物の絶縁層161中に金属材料の電流パス162が配置されている。電流パス162としての金属材料は、絶縁層161を貫通して下層のピン層14と結晶的に結合し、ピン層14の結晶構造を反映した比較的良好な結晶構造となる。即ち、フリー層18は、異なる結晶構造(CCPのCuなどの金属層(電流パス162)上に成長した比較的良好な結晶構造からなる磁性層と、アモルファスAlなどの絶縁層161上に成長した結晶性の悪い磁性層)が二次元面内に混在したマトリックス構造となる。つまり、フリー層18の面上に、結晶構造が比較的良好な領域(電流パス162に対応)と、結晶構造が劣る領域(絶縁層161に対応)とが分布する。
前述したように、上部金属層17(例えば、極薄Cu層)は、その上に成膜されるフリー層18の結晶性を良好にする機能を有する。しかしながら、上部金属層17だけでフリー層18の結晶配向性を良好にすることは困難である。結晶性の改善のためだけに3nm以上のCuを上部金属層17として用いて、磁性層の結晶性改善を試みるなどの手法もあるが、それは磁気抵抗効果素子としての本来の機能を失わせるので、現実的ではない。上部金属層17が1nmよりも厚くなってしまうと、MR変化率を向上させる目的のための電流狭窄効果が著しく失われてしまい、MR変化率の向上が失われてしまうからである。電流狭窄効果を効率よく得るためには、上部金属層17は1nm以下(より好ましくは、0.6nm以下)であることが好ましい。このような薄い上部金属層17で、その上に形成される磁性層の結晶性を改善することが極めて困難であることから、本実施形態のような応力調整処理が必要になる。
フリー層18の結晶配向性の不良は、フリー層18内の大きな応力(特に、引っ張り(Tensile)応力)の発生原因となる。このような状況は、後述のように、フリー層18の内部応力は磁気抵抗効果素子の信頼性が低下する要因となり得る。
さらに、CCP−CPP素子ではTMR素子と異なり、スペーサ層を膜面垂直に通電する電流は、すべて金属層間を伝導する、金属伝導であり、TMR素子における絶縁層を介したトンネル伝導とは異なる。金属伝導ではジュール発熱がより顕著に生じ、さらにはCCPでは大きな電流密度によるジュール発熱が局所的に集中するため、TMR素子よりも熱的条件がシビアになる。
CCP−CPP素子は、スペーサ層を膜面垂直に流れる電流が金属伝導であることに起因して、低抵抗が実現容易であることから、高転送レートに適用し易い。またCCP−CPP素子は、TMR素子では避けられない問題である、トンネル伝導に起因したショットノイズの問題がなく、良好なS/N比(Signal to Noise Ratio)を得やすい。このように、CCP−CPP素子は、高密度化、および高転送レート対応の高密度ヘッドに向いており、TMR素子よりも大きなメリットがある。しかし、CCP−CPP素子は、電流が局所的に通電されるCCP部において金属伝導であることに起因して、CCP部において局所的にジュール発熱が生じる。局所的な発熱はCCP特有の問題であるため、高温環境下において使用するためには、CCP−CPP素子ではTMR素子よりも膜制御を完全にする必要がある。
B.応力調整による磁気抵抗効果素子の信頼性の向上
フリー層18の内部応力が磁気抵抗効果素子の信頼性に与える影響につき説明する。
図2A、図2Bはそれぞれ、応力調整処理(SCT)がされないスピンバルブ膜、応力調整処理(SCT)がされたスピンバルブ膜(ピン層14/スペーサ層16/フリー層18)を表す模式図である。ここでは、状況を顕著に表すため、実際には使用しないような高ストレス環境下での状況を模式的に表している。
また、ここではピン層14がスペーサ層16よりも下層側に配置されたボトム型スピンバルブ膜の例で示しているが、ピン層14がスペーサ層16よりも上層側に配置されたトップ型スピンバルブ膜でも状況は同様である。トップ型スピンバルブ膜の場合には、応力調整処理(SCT)はスペーサ層16よりも上層側に形成されたピン層14に行うことになる。以下の説明でも、トップ型の場合にはフリー層18とピン層14を入れ替えれば、本質的なSCTの効果は全く同様である。
図2Aのスピンバルブ膜では、応力調整処理(SCT)がされていないため、フリー層18xに大きな引張応力T1が発生しやすい。この応力T1はスペーサ層16xに印加され、スペーサ層16x、特に、フリー層18xとの界面(スピン依存散乱界面)の歪みの原因となる。歪んだ状態のスペーサ層16xを有する磁気抵抗効果素子を動作させていると、スピンバルブ膜の経時的劣化が、可逆変化・不可逆な変化、ともに生じる可能性があり、例えば、磁気抵抗効果素子の感度が低下する畏れがある。これは通常の記録密度や、使用環境が従来と同等の場合には問題にはならないが、よりシビアな高温環境下や、高速回転している状況では問題になる可能性がある。HDDの使用用途は近年益々広がっており、従来以上の高信頼性が必要とされている。
一方、図2Bのスピンバルブ膜では、応力調整処理がされているため、フリー層18の引張応力T2が小さくなっている(大きなTensile応力が緩和される)。引張応力T2が低減されたことで、スペーサ層16やスピン依存散乱界面の歪みが小さくなる。このため、磁気抵抗効果素子を動作させたときのスピンバルブ膜の経時的劣化が小さくなる。
このように、フリー層18への応力調整処理(SCT)によって磁気抵抗効果素子の信頼性を向上することができる。ここで、応力調整処理(SCT)を行うのは、フリー層18の層中の一部であって差し支えない。SCTの条件によっては、フリー層18の一部に応力調整処理がされていれば、スペーサ層16やピン依存散乱界面の歪を低減することが可能だからである。
以上のように、フリー層18の全部または一部を応力調整処理された、応力調整部21とすることで、磁気抵抗効果素子の高度な信頼性の向上が図られる。
C.トンネル磁気抵抗素子との比較
磁気抵抗効果素子の一種に、トンネル磁気抵抗(TMR(Tunnel MagnetoResistance))素子がある。TMR素子は、2つの強磁性の間に極薄の絶縁体(以下、「TMR膜」という)を挟んで構成され、トンネル磁気抵抗効果(TMR効果)によって、磁気を検知する。
TMR素子は、絶縁体を有し、その上に成長させる膜の結晶配向性が悪くなる点で、CCP−CPP素子と共通する。但し、以下(1)、(2)の理由により、スペーサ層16を有するスピンバルブ膜では、TMR膜よりも厳格な膜残留応力の調整が必要と考えられる。
(1)CCP−CPP素子では前述したように、フリー層18が、結晶性の良い部分と悪い部分とがマトリックス状に配置された複雑な構造をもつ。フリー層18の一部は、電流パス162上に形成され、ピン層14と連続する比較的良好な結晶配向性を有する。フリー層18の他の部分は、絶縁層161上に形成され、劣悪な結晶配向性を有する。このような結晶性の不均一性がフリー層18中での応力増大の要因となる。
(2)TMR膜での電流密度と比べて、スペーサ層16での電流密度が大きく、素子が発熱の影響を受けやすい。スペーサ層16では、電流が部分的に集中(狭窄)されている。このため、同じ応力を受けた場合、CCP−CPP素子のほうがTMR素子よりも熱の影響を受けやすくなる。それに対し、TMR素子では電流が膜面均一に流れることから、CCP部の局所的な電流密度と比べると電流密度の値は小さい。
以上のように、CCP−CPP素子では、膜の応力、およびその応力が信頼性に与える影響が共に大きくなり易い。
(磁気抵抗効果素子の製造方法)
以下、本実施の形態における磁気抵抗効果素子の製造方法を説明する。
図3は、本発明の第1の実施形態に係る磁気抵抗効果素子の製造工程を表すフロー図である。
本図に示すように、下地層12〜キャップ層19が順に形成される(ステップS11〜S17)。フリー層18の形成に際して、フリー層18の全部または一部に応力調整処理(Strain Control Treatment: SCT)が施され、応力調整部21として形成される。
A.成膜後/成膜中の応力調整処理(SCT)
応力調整処理(SCT)は、フリー層18の残留応力を調整するための処理である。以下、応力調整処理(SCT)を説明する。
応力調整処理(SCT)として、成膜後応力調整処理と成膜中応力調整処理が考えられる。
(1)成膜後の応力調整処理
成膜後の応力調整処理につき説明する。
図4は、図3のステップS15の詳細の一例を表し、成膜後の応力調整処理の一例を表すフロー図である。
成膜後の応力調整処理では、フリー層18の全部または一部の形成(ステップS151)後に、応力調整処理が施される(ステップS152)。追加成膜、もしくは追加応力調整処理が必要なくなるまで、これらの処理が繰り返される。例えば、図5に示すように、フリー層18が第1、第2の層181,182に区分して形成され、この区分に対応して応力調整処理がなされる。第1、第2の層181,182それぞれの表面に対する応力調整処理が可能である。ここで、後述のように、第1の層181での応力調整処理の強度を第2の層182への応力調整処理の強度より小さくすることが考えられる。スペーサ層16等への悪影響を低減するためである。
また、図5における第1、第2の層181、182において、第1の層181全体が同一の材料で形成されていなくても構わない。例えば、CoFe/NiFe二層フリー層において、CoFe層とNiFe層の一部を形成した後に、SCTを行い、残りのNiFe層を成膜した後にSCT処理を施した場合には、最初のCoFe/NiFe層が第1の層181として扱われ、残りのNiFe層が第2の層182として扱われる。
なお、この例では、フリー層18を2回に分けて成膜しているが、この回数は1回、あるいは3回以上でもよい。
以下、成膜後の応力調整処理を具体例において説明する。
上部金属層17(極薄Cu層)上に、フリー層18の界面材料となるCoFe合金層を形成する。このCoFe合金層として、Co90Fe10を用いることができる。また、CoFe合金層として、30%以上のFeを含有し、bcc構造のCoFe組成、具体的には、CoFe100−x(x=95〜0)も用いることができる。CoFe合金層の膜厚は1〜2nm程度が好ましい。
CoFe合金層の上にフリー層18の軟磁性を良好に保つためのNiFe層を形成する。NiFe層の組成として、NiFe100−x(x=75〜95atomic%)などを用いることができる。膜厚としては、1〜4nm程度が好ましい範囲である。このような積層磁性層から形成されるフリー層18の応力制御プロセスが重要となる。
以下、フリー層の形成をシーケンス的に説明する。フリー層18の一部として、スペーサ層16との界面層を形成するCoFe層を形成する。
この界面層の応力を改善するために、応力調整処理(SCT)を施す。SCTは、具体的には、フリー層18の少なくとも一部に、弱いエネルギー(具体的には、RFプラズマ、イオンビーム、熱など)を加えるプロセスである。
SCTを印加した後、CoFe層上に残りのNiFe層の一部(例えば、1.5nmのNiFe)を成膜する。そして、SCTを施してフリー層18の応力を調整する。
そして残りのNiFe層として、2nmのNiFeを成膜する。そして、SCTを施してフリー層18の応力を調整する。この例の場合には、3回の応力調整処理を行った。
SCTを施すことで、フリー層18の引張(Tensile)応力を低減し、より安定な磁気抵抗効果素子を製造できる。SCTという一種のエネルギー処理によって、フリー層18の結晶性が向上して、応力が低減される。
SCTによって、フリー層18の結晶性が改善する。即ち、エネルギーの入射により、フリー層18の膜密度、配向性、粒径の少なくともいずれかが改善される。結晶性が改善された膜では、圧縮(compressive)側に応力が戻されることで、大きな引張(Tensile)応力が低減される。
SCTとして、Arイオンビームや、ArのRFプラズマを照射する場合には、Arイオンがフリー層18中に打ち込まれることで、疎な膜密度が改善される。膜の密度の改善により、圧縮(compressive)側に応力が戻され、引張(Tensile)応力が改善される。
この場合、SCTを施された部分(応力調整部21)は、Arが打ち込まれることから、Arを他の層よりも多く含有する可能性が高い。具体的には、応力調整部21は、SCTが施されていない層と比べて2倍以上多くのArを含有する場合がある。例えば、ボトム型スピンバルブ膜の場合、スペーサ層16の下側に配置されたピン層14と比べて、フリー層18のSCTを施された部分(応力調整部21)ではAr含有量が2倍以上となる場合がある。この状態(Ar含有量の相違)は、断面透過型電子顕微鏡写真と併用した組成分析や、SIMS(Secondary Ion Mass Spectrum)によって膜表面からミリングを行いながら膜組成を分析するデプスプロファイル、三次元アトムプローブ顕微鏡などによって分析することができる。
なお、Arに換えて他のガスのイオンやプラズマを用いた場合にも、そのガス成分の含有量に分布が生じる可能性が高い。
この例では、フリー層18に3回のSCTを行った。SCTの回数は、必要に応じて変更可能であり、1回〜4回程度が好ましい。条件によっては、1回のみのSCTでもよい。
各SCTの間に形成される磁性層の膜厚は1〜2nm程度が好ましい。ここでは界面CoFe層の形成後に一回目のSCTを行ったが、これは必須ではない。例えば、CoFeの形成後、NiFe層の一部、もしくは全層の形成後にSCTを行ってもよい。例えば、CoFe[1nm]/NiFe[3.5nm]のフリー層18を最終的に形成したい場合、CoFeを1nm成膜し、NiFeを2.5nm成膜したあとで、SCTを行う。SCTによって極微量の0.4nmのNiFeがエッチング効果で失われるので、その差分を考慮し、残り1.4nmのNiFeを成膜する。このNiFe成膜後にSCT処理を行なわない場合には、SCT処理は1回のみとなる。
場合によってはNiFeの成膜後にさらにSCTを行っても構わない。この場合、最初からSCTによる極微量エッチング量を加味して、2度目のNiFeの成膜時に1.4nmの成膜の代わりに、0.4nm分加算して、1.8nm成膜することも考えられる。
SCTには、イオンビームやRFプラズマによる処理と、加熱処理の2つに区分できるが、どちらかと言えば前者が好ましい。前者では、処理範囲の制御が可能だからである。即ち、イオンビームやRFプラズマによる処理では、処理条件の選択により、膜表面だけを処理し、その下層を処理しないようにすることができる。これに対して、加熱処理では、処理範囲の制御が困難である。加熱処理によって、スペーサ層16より下層の積層膜の界面での拡散などが生じ、スピンバルブ膜の特性が劣化する可能性がある。
SCTの際、フリー層18のすぐ下層のスペーサ層16に悪影響を及ぼさないように、注意する必要がある。強い条件でのSCTは、スペーサ層16中での絶縁層161と電流パス162の密着力低下や、スペーサ層16,上部金属層17とフリー層18間の界面の乱れを生じさせ、MR変化率の減少や、信頼性の劣化などの原因となる。
SCTが加えられたフリー層18の形成後に、キャップ層19を形成し、スピンバルブ膜の成膜を終える。
ピン層14としての機能を十分に発揮するため、また膜の結晶性改善のために加熱処理を行い、素子作成のための微細加工がなされる。
(2)成膜中の応力調整処理
成膜中の応力調整処理につき説明する。
図6は、図3のステップS15の詳細の一例を表し、成膜中の応力調整処理の一例を表すフロー図である。ここでは、フリー層18を成膜しながら応力調整を行う。
このとき、応力調整処理として、例えば、バイアススパッタや基板加熱成膜などが挙げられる。
バイアススパッタでは、スペーサ層16上へのフリー層18の成膜時にDCバイアス、またはRFバイアスを印加する。この結果、フリー層18の内部応力が引張(Tensile)から圧縮(compressive)側へとシフトされる。
フリー層18としてのCoFeやNiFe層の成膜のとき基板にDCバイアスでは30V〜200V、RFバイアスでは、30W〜200Wのバイアスを印加する。
成膜時に基板を加熱する場合には、100℃〜300℃の温度範囲が好ましい。温度が低すぎると、応力調整処理の効果が十分でないおそれがある。また、温度が高か過ぎると、スペーサ層16の下層の金属積層膜の界面に拡散が生じるおそれがある。
ここで、フリー層18への成膜時の応力調整処理の強度を成膜の初期では小さく、成膜が進むにつれて大きくすることが考えられる(例えば、バイアス電圧の大きさを当初は小さく(電圧の印加無しの場合も含む)、その後大きくする)。スペーサ層16等への悪影響を低減するためである。
B.応力調整処理(SCT)としてのイオン、プラズマ、加熱による処理条件の詳細
既述のように、フリー層18の形成中、もしくは形成後にイオンビーム、RFプラズマ、もしくは加熱による処理が施される。以下、応力調整処理(SCT)としてのイオン処理、プラズマ処理、加熱処理条件の詳細を説明する。
(1)イオン・プラズマ処理
SCT工程の一例として、希ガスのイオンビーム、またはプラズマを照射する。希ガスとして、Ar、Xe、Kr、He、Neなどが挙げられるが、製造コストの点からArが望ましい。Arの代わりに、必要に応じて、より質量の大きいXeなどを用いると特有の効果が得られることがある。
・イオンビーム処理
イオンビーム処理とは、イオンガン等を用いて被処理物にイオンビームを入射させることをいう。イオンガン中でガスがイオン化され、電圧(加速電圧)で加速されることで、イオンガンからイオンビームが出射される。このイオン化にICP(inductive charge coupled)プラズマなどが用いられる。この場合、プラズマ量はRFパワーなどによって制御され、サンプルへの照射イオン量は、ビーム電流量によって制御される。また、イオンビーム処理のエネルギーは、加速電圧値によって制御される。
SCT工程におけるイオンビームの照射条件は、加速電圧V+を30〜150V、ビーム電流Ibを20〜200mA、RFパワーを10〜300Wに設定することが好ましい。RFパワーは、ビーム電流を一定に保つために、イオンソースでプラズマを励起する電力である。これらの条件は、イオンビームエッチングを行う場合の条件と比較して、著しく弱い。SCT工程での顕著なエッチングは、フリー層18の構成材料(例えば、CoFeやNiFe)の消失を招くおそれがある。
ここで、次の(a)、(b)のように、エッチングされる厚さを見込んで素子を作成することで、上記より激しい条件でSCTを行うことが考えられる。
(a)エッチングされる厚さを例えば、2nm以上見込んで、所望の厚さよりも厚く第2の金属層を成膜する。
(b)上記より激しい条件でイオンビーム処理を行い、一部がエッチングされた状態で所望の厚さを有する第2の金属層を残す。
しかしながら、エッチングによる膜表面荒れなどの現象が生じてしまうため、激しい条件でのイオン処理はあまり好ましくない。
上記条件でのSCTでは、膜厚減少の典型的な値は0〜0.5nmと極微量であり、デバイス作成の為の通常のエッチングと異なる。SCTによって極微量減少した磁性層の膜厚0〜0.5nm程度は、適宜に補正する。例えば、その後の成膜で余分に成膜して補ったり、またはSCT前にあらかじめ0〜0.5nm厚めに成膜したりしする。
イオンビームの入射角度は、膜面に対して垂直に入射する場合を0度、膜面に平行に入射する場合を90度と定義して、0〜80度の範囲で適宜変更する。SCT工程による処理時間は15秒〜180秒程度が好ましく、制御性などの観点から30秒以上がより好ましい。処理時間が長すぎると、CCP−CPP素子の生産性が劣るため好ましくない。これらの観点から、処理時間は30秒〜180秒程度が好ましい。
・プラズマ処理
プラズマ処理とは、プラズマガン等を用いて被処理物にプラズマを入射させることをいう。RFパワーによってAr,Xe、Kr等のガスがプラズマ化されサンプル表面に照射される。電流量、エネルギーは、RFパワーの値によって制御される。RFプラズマ処理の強度は、RFパワーの値によって決定される。ここで、RFパワーによって、自動的に加速電圧、ビーム電流が決定され、イオンビームのように電流とエネルギーを独立に制御することは困難である。
イオンビームの換わりに、RFプラズマを用いてもエネルギー範囲、時間等は同等であり、加速電圧V+を30〜150V、ビーム電流Ibを20〜200mA、RFパワー(ビーム電流を一定に保つためにイオンソースでプラズマを励起する)を10〜300Wに設定することが望ましい。エッチングが生じないような弱いエネルギーにおいてSCTを行うためには、RFパワーの値として、10〜100Wがより好ましい値である。RFパワーの値として、10〜50Wが、弱いパワーなため制御性が良く、さらに好ましい。
RFプラズマの場合にも処理時間は、15秒〜180秒程度が好ましく、制御性などの観点から30秒以上がより好ましい。処理時間が長すぎると、CCP−CPP素子の生産性が劣るため好ましくない。これらの観点から、処理時間は30秒〜180秒程度が最も好ましい。これらの条件範囲はイオンビームの場合と同様である。
次のように、イオンビーム、RFプラズマには、それぞれメリット、デメリットがあるので、状況に応じて任意に使い分けられる。即ち、RFプラズマ方式は、メンテナンス性に優れ、量産に適している。この一方、RFプラズマは、イオンビームより制御性で劣る。RFプラズマにおいて、加速電圧、RFパワー、および電流は、この内一つを設定すると他のパラメータは自動的に決定され、互いに独立に制御できるパラメータではないからである。
・バイアススパッタリング処理
バイアススパッタリング処理とは、スパッタリングによる成膜中に基板にDCまたはRFの電圧(バイアス電圧)を印加することを言い、プラズマ処理の一種と考えて良い。
スパッタリングでは、成膜材料のターゲットの付近で放電を起こし、この放電で発生するイオンをターゲットに入射させ、成膜材料を飛散させることで、基板上に膜を形成する。基板にバイアス電圧を印加すると、放電のプラズマが基板に引き寄せられ、基板に入射する(被処理物へのプラズマの入射)。即ち、バイアススパッタリングでは、基板への成膜と、プラズマの入射が並行的に行われる。バイアススパッタをSCT処理として用いる場合には、成膜とSCT処理を前述の場合のように繰り返し行う必要がないため、スループットに優れている。このときのバイアスの条件は、DCバイアスの場合には、30〜200V,RFバイアスの場合には30〜200W程度が好ましい。
(2)加熱処理
イオンビームや、RFプラズマの換わりに、加熱処理によってSCTを行うことも可能である。
この場合、温度範囲として200℃〜400℃が好ましく、250℃〜300℃がより好ましい。この温度範囲よりも低いとSCTとしての効果が薄れる。この温度範囲よりも高いと、スピンバルブ膜中の下層で原子が拡散して、悪影響を与えるおそれがある。
加熱処理の時間としては、10秒から180秒程度が好ましく、15秒から60秒がより好ましい。
加熱方法としては、ランプによる加熱や、基板ホルダに設置されるヒータによる基板加熱処理などが挙げられる。また、これらの加熱処理方法以外にも急速加熱処理(Rapid Thermal Annealing)処理なども挙げられる。
急速加熱処理は、一瞬のみ高温熱処理する方法であり、1秒以下から、長くても60秒程度の処理のものである。例えば、高輝度のランプを用いて、赤外線を短時間照射することで、急速加熱処理を実現できる。
急速加熱処理では、急速に温度を上げ下げできるので、処理時間の短縮化(例えば、長くて60秒、通常は10秒以内)が可能となる。このため、より高温の温度範囲(例えば、200〜400℃)を利用できる。即ち、急速加熱処理で、比較的高温かつ短時間処理することで、高温によりSCTとしての効果を発揮させ、かつ短時間処理によりスペーサ層16下層の界面拡散を防止することが可能である。
スペーサ層16上の磁性層に、イオンビームやRFプラズマ、または加熱によるSCTによって、スペーサ層16上の磁性層の悪い結晶性状態、不完全状態を改善し、引張(Tensile)応力を低減することが可能となる。
SCTを加える箇所は、フリー層18の一部が成膜されたときの表面、フリー層18がすべて成膜されたときの最上層表面、またこれら双方のいずれでもよい。具体的には、フリー層18の界面材料である、CoFe層を成膜した後に、SCTを印加し、さらにNiFeまでを成膜してからSCTを行える。また、NiFeの表面だけに処理を行ってもよい。
さらには、フリー層18全体の処理上、複数回のSCTが有効な場合がある。例えば、NiFe膜において、NiFeを1nm程度成膜してからSCTを行い、さらに次の1nm成膜後にSCTを行い、さらに最終のNiFe層を成膜してからSCTを行う。これはSCTでの処理深さとフリー層18の膜厚の関係を考慮した処理である。SCTでは、エッチングや他の層への悪影響を避けるために弱いエネルギーで行われるため、表面から1nm以内程度の深さまでが処理範囲であり、表面から数nm程度の深さまで処理することは困難である。これに対して、フリー層18のトータル膜厚は3〜5nm程度ある場合がほとんどである。このため、SCTを1〜2nm毎に複数回に分けることで、3〜5nmのフリー層18全体を処理する。
また、ここでは、フリー層18として、典型的なCoFe/NiFe積層構造を例に挙げて説明したが、これ以外の膜構成でも差し支えない。例えば、フリー層18がCo、Fe、Niの少なくとも一つの元素を含む磁性層を有している場合に、SCTを適用できる。
C.磁気抵抗効果素子の製造に用いられる装置
図7は、磁気抵抗効果素子の製造に用いられる成膜装置の概略を示す模式図である。また、図8は、この成膜装置中の酸化物層・窒化物層形成チャンバー60を表す模式図である。
図7に示すように、搬送チャンバー(TC)50を中心として、ロードロックチャンバー51、プレクリーニングチャンバー52、第1の金属成膜チャンバー(MC1)53、第2の金属成膜チャンバー(MC2)54、酸化物層・窒化物層形成チャンバー(OC)60がそれぞれゲートバルブを介して設けられている。この成膜装置では、ゲートバルブを介して接続された各チャンバーの間で、真空中において基板を搬送することができるので、基板の表面は清浄に保たれる。
金属成膜チャンバー53,54は多元(5〜10元)のターゲットを有する。成膜方式は、DCマグネトロンスパッタ、RFマグネトロンスパッタ等のスパッタ法、イオンビームスパッタ法、蒸着法、CVD(Chemical Vapor Deposition)法、およびMBE(Molecular Beam Epitaxy)法などが挙げられる。
SCTには、RFプラズマ機構、イオンビーム機構、または加熱機構を有するチャンバーを利用できる。具体的には、RFバイアス機構を有する金属成膜チャンバー53,54や、プレクリーニングチャンバー52などが適している。RFプラズマ機構は比較的簡便な機構であり、金属成膜チャンバー53,54への設置が容易である。金属成膜チャンバー53,54によって、金属膜成膜およびSCTの双方を実行可能である。
なお、酸化物層・窒化物層形成チャンバー60でのSCTは好ましくない。酸化チャンバーでのSCTの際に、チャンバーに吸着した酸素ガスが脱離し、フリー層18中に混入し、フリー層18が劣化するおそれがある。金属成膜チャンバー53,54のように、成膜時に酸素を使用しないチャンバは、チェンバへの酸素の吸着が少なく、真空の質を良好に保ち易い。
上記真空チャンバーの典型的な真空度の値としては、10-9Torr台であり、10−8Torrの前半の値が許容できる。
D.磁気抵抗効果素子の製造方法の全体的説明
以下、磁気抵抗効果素子の製造方法の全体について詳細に説明する。
基板(図示せず)上に、下電極11、下地層12、ピニング層13、ピン層14、下部金属層15、スペーサ層16、上部金属層17、フリー層18、キャップ層19、上電極20を順に形成する。
基板をロードロックチャンバー51にセットし、金属の成膜を金属成膜チャンバー53、54で、酸化を酸化物層・窒化物層形成チャンバー60でそれぞれ行う。金属成膜チャンバーの到達真空度は1×10−8Torr以下とすることが好ましく、5×10−10Torr〜5×10−9Torr程度が一般的である。搬送チャンバー50の到達真空度は10−9Torrオーダーである。酸化物層・窒化物層形成チャンバー60の到達真空度は8×10−8Torr以下である。
(1)下地層12の形成(ステップS11)
基板(図示せず)上に、下電極11を微細加工プロセスによって前もって形成しておく。
下電極11上に、下地層12として、例えば、Ta[5nm]/Ru[2nm]を成膜する。既述のように、Taは下電極の荒れを緩和したりするためのバッファ層12aである。Ruはその上に成膜されるスピンバルブ膜の結晶配向および結晶粒径を制御するシード層12bである。
(2)ピニング層13の形成(ステップS12)
下地層12上にピニング層13を成膜する。ピニング層13の材料としては、PtMn、PdPtMn、IrMn、RuRhMnなどの反強磁性材料を用いることができる。
(3)ピン層14の形成(ステップS13)
ピニング層13上にピン層14を形成する。ピン層14は、例えば、下部ピン層141(Co90Fe10)、磁気結合層142(Ru)、および上部ピン層143(Co90Fe10[4nm])からなるシンセティックピン層とすることができる。
(4)スペーサ層16の形成(ステップS14)
次に、電流狭窄構造(CCP構造)を有するスペーサ層(CCP−NOL)16を形成する。スペーサ層16を形成するには、酸化物層・窒化物層形成チャンバー60を用いる。
スペーサ層16を形成するには、以下のような方法を用いる。ここでは、アモルファス構造を有するAl23からなる絶縁層161中に金属結晶構造を有するCuからなる電流パス162を含むスペーサ層16を形成する場合を例に説明する。
1)上部ピン層143上に、電流パスの供給源となる下部金属層15(例えばCu)を成膜した後、下部金属層15上に絶縁層161に変換される被酸化金属層(例えばAlCuやAl)を成膜する。
被酸化金属層に希ガス(例えばAr)のイオンビームを照射して前処理を行う。この前処理をPIT(Pre-ion treatmentという)。このPITの結果、被酸化金属層中に下部金属層の一部が吸い上げられて侵入した状態になる。このように第2の金属層の成膜後にPITのようなエネルギー処理を行うことが重要である。
成膜された時点では、第1の金属層(下部金属層15:Cu層)は二次元的な膜の形態で存在している。PIT工程により第1の金属層のCuがAlCu層中へ吸い上げられ、侵入する。AlCu層中へ侵入したCuが、後の酸化処理を行った後でも金属状態のまま維持され電流パス162となる。このPIT処理はCu純度の高い電流狭窄構造(CCP)を実現するために重要な処理である。
この工程では、加速電圧30〜150V、ビーム電流20〜200mA、処理時間30〜180秒の条件でArイオンを照射する。上記加速電圧の中でも、40〜60Vの電圧範囲が好ましい。これよりも高い電圧範囲の場合には、PIT後の表面荒れ等の影響により、MR変化率の低下が生じる場合がある。また、電流値としては、30〜80mAの範囲、照射時間として、60秒から150秒の範囲を利用できる。
また、PIT処理の換わりに、AlCuやAlなどの絶縁層161に変換される前の金属層をバイアススパッタで形成する手法もある。この場合には、バイアススパッタのエネルギーは、DCバイアスの場合には30〜200V、RFバイアスの場合には30〜200Wとすることができる。
2)次に、酸化ガス(例えば、酸素)を供給して被酸化金属層を酸化し、絶縁層161を形成する。このとき、電流パス162はそのまま酸化されないように条件を選択する。この酸化により、被酸化金属層をAlからなる絶縁層161に変換するとともに、絶縁層161を貫通する電流パス162を形成して、スペーサ層16を形成する。
例えば、希ガス(Ar、Xe、Kr、Heなど)のイオンビームを照射しながら酸化ガス(例えば酸素)を供給して被酸化金属層を酸化する(イオンビームアシスト酸化(IAO:Ion beam-assisted Oxidation))。この酸化処理により、Alからなる絶縁層161とCuからなる電流パス162とを有するスペーサ層16が形成される。Alが酸化されやすく、Cuが酸化されにくいという、酸化エネルギーの差を利用した処理である。
この工程では、酸素を供給しながら、加速電圧40〜200V、ビーム電流30〜200mA、処理時間15〜300秒の条件でArイオンを照射する。上記加速電圧の中でも、50〜100Vの電圧範囲が好ましい。加速電圧がこれよりも高いと、PIT後の表面荒れ等の影響により、MR変化率の低下が生じる可能性がある。また、ビーム電流として、40〜100mA、照射時間として、30秒〜180秒を採用できる。
IAOでの酸化時の酸素供給量としては、2000〜4000Lが好ましい範囲である。IAO時にAlだけでなく、下部磁性層(ピン層14)まで酸化されると、CCP−CPP素子の耐熱性、信頼性が低下するので好ましくない。信頼性向上のために、スペーサ層16の下部に位置する磁性層(ピン層14)が酸化されず、メタル状態であることが重要である。これを実現するためには酸素供給量を上記範囲とすることが必要である。
また、供給された酸素によって安定な酸化物を形成するために、イオンビームを基板表面に照射している間だけ、酸素ガスをフローしていることが望ましい。即ち、イオンビームを基板表面に照射していないときは、酸素ガスをフローしないことが望ましい。
下部金属層15のCu層の膜厚はAlCu層の膜厚に応じて調整される。すなわち、AlCu層の膜厚を厚くすると、PIT工程の際にAlCu層中へ侵入させるCu量を増加させなければならないので、Cu層の膜厚を厚くする必要がある。例えば、AlCuの膜厚が0.6〜0.8nmのときには、Cu層の膜厚を0.1〜0.5nm程度にする。AlCuの膜厚が0.8〜1nmのときには、Cu層の膜厚を0.3〜1nm程度にする。Cu層が薄すぎると、PIT工程の際にAlCu層中に十分な量のCuが供給されないため、AlCu層の上部までCuの電流パス162を貫通させることが困難になる。この結果、面積抵抗RAが過剰に高くなり、かつMR変化率が不十分な値となる。
一方、下部金属層15のCu層が厚すぎると、PIT工程の際にはAlCu層中に十分な量のCuが供給されるが、ピン層14とスペーサ層16との間に厚いCu層が残る可能性がある。CCP−CPP素子で高いMR変化率を得るためには、スペーサ層16において狭窄された電流が狭窄されたまま磁性層(ピン層14またはフリー層18)に到達することが必要である。ピン層14とスペーサ層16の間に厚いCu層が残っていると、スペーサ層16において狭窄された電流がピン層14に到達するまでに広がり、MR変化率の低下を招く。磁気抵抗効果素子の完成後に最終的に残るCuの膜厚として、1nm以下であることが望ましい。これ以上の膜厚になると、電流狭窄効果が失われ、MR変化率の増大効果が失われてしまうからである。より好ましくは、最終的に残るCuの膜厚は0.6nm以下であることがよい。
電流パスを形成する第1の金属層(下部金属層15)の材料として、Cuの代わりに、Au、Agなどを用いてもよい。ただし、Au、Agに比べて、Cuの方が熱処理に対する安定性が高く、好ましい。第1の金属層の材料として、これらの非磁性材料の代わりに、磁性材料を用いてもよい。磁性材料としては、Co、Fe、Niや、これらの合金が挙げられる。
ピン層14に用いる磁性材料と電流パス162に用いる磁性材料が同じ場合には、ピン層14上に電流パス162の供給源(第1の金属層)を成膜する必要はない。すなわち、ピン層14上に絶縁層161に変換される第2の金属層を成膜した後、PIT工程を行うことにより第2の金属層中にピン層14の材料を侵入させ、磁性材料からなる電流パス162を形成することができる。
第2の金属層にAl90Cu10を用いると、PIT工程中に、第1の金属層のCuが吸い上げられるのみでなく、AlCu中のCuがAlから分離される。即ち、第1、第2の金属層の双方から電流パス162が形成される。PIT工程後にイオンビームアシスト酸化を行った場合には、イオンビームによるアシスト効果によってAlとCuの分離が促進されつつ酸化が進行する。
第2の金属層として、Al90Cu10の代わりに、電流パス162の構成材料であるCuを含まないAl単金属を用いてもよい。この場合、電流パス162の構成材料となるCuは下地の第1の金属層からのみ供給される。第2の金属層としてAlCuを用いた場合、PIT工程中に第2の金属層からも電流パス162の材料であるCuが供給される。このため、厚い絶縁層161を形成する場合でも、比較的容易に電流パス162を形成することができる。第2の金属層としてAlを用いた場合、酸化により形成されるAlにCuが混入しにくくなるため、耐圧の高いAlを形成しやすい。Al、AlCuそれぞれのメリットがあるので、状況に応じて使い分けられる。
第2の金属層の膜厚は、AlCuの場合には0.6〜2nm、Alの場合には0.5〜1.7nm程度である。これらの第2の金属層が酸化されて形成される絶縁層161の膜厚は、0.8〜3.5nm程度となる。酸化後での膜厚が1.3〜2.5nm程度の範囲にある絶縁層161は作製しやすく、かつ電流狭窄効果の点でも有利である。また、絶縁層161を貫通する電流パス162の直径は1〜10nm程度であり、2〜6nm程度が好ましい。直径10nmよりも大きなメタルパス162は小さな素子サイズにしたときに、各素子ごとの特性のばらつきの原因となるので好ましくなく、直径6nmよりも大きなメタルパス162は存在しないことが好ましい。
第2の金属層としてのAlCuは、AlxCu100-x(x=100〜70%)で表される組成を有するものが好ましい。AlCuには、Ti、Hf、Zr、Nb、Mg、Mo、Siなどの元素を添加してもよい。この場合、添加元素の組成は2〜30%程度が好ましい。これらの元素を添加すると、CCP構造の形成が容易になる可能性がある。また、Alの絶縁層161とCuの電流パス162との境界領域にこれらの添加元素が他の領域よりリッチに分布すると、絶縁層161と電流パス162との密着性が向上して、エレクトロマイグレーション(electro-migration)耐性が向上する可能性がある。CCP−CPP素子においては、スペーサ層16の金属メタルパスに流れる電流の密度が10〜1010A/cmもの巨大な値になる。このため、エレクトロマイグレーション耐性が高く、電流通電時のCu電流パス162の安定性を確保できることが重要である。ただし、適切なCCP構造が形成されれば、第2の金属層に元素を加えなくても十分良好なエレクトロマイグレーション耐性を実現できる。
第2の金属層の材料は、Alを形成するためのAl合金に限らず、Hf、Mg、Zr、Ti、Ta、Mo、W、Nb、Siなどを主成分とする合金でもよい。また、第2の金属層から変換される絶縁層161は、酸化物に限らず、窒化物や酸窒化物でもよい。
第2の金属層としてどのような材料を用いた場合にも、成膜時の膜厚は0.5〜2nmが好ましく、酸化物、窒化物または酸窒化物に変換されたときの膜厚は0.8〜3.5nm程度が好ましい。
絶縁層161は、それぞれ単体の元素を含む酸化物だけでなく、合金材料の酸化物、窒化物、酸窒化物でもよい。例えば、Alを母材として、Ti、Mg,Zr,Ta,Mo,W,Nb,Siなどのいずれか一つの元素、もしくはAlに複数の元素を0〜50%含有する材料の酸化物なども用いることができる。
(5)上部金属層17、フリー層18の形成(ステップS15)
スペーサ層16の上に、上部金属層17として、例えば、Cu[0.25nm]を成膜する。好ましい膜厚範囲は、0.2〜0.6nm程度である。0.4nm程度を用いると、フリー層18の結晶性を向上しやすいというメリットがある。SCTはスペーサ層上の磁性層に行うことが効果的だが、場合によっては、上部金属層17の表面に極めて弱いSCTを行う場合もある。
上部金属層17の上に、フリー層18、例えば、Co90Fe10[1nm]/Ni83Fe17[3.5nm]を形成する。スペーサ層の上の層なため、この層にSCTが行われる。
まず、高いMR変化率を得るためには、スペーサ層16との界面に位置するフリー層18の磁性材料の選択が重要である。この場合、スペーサ層16との界面には、NiFe合金よりもCoFe合金を設けることが好ましい。CoFe合金のなかでも特に軟磁気特性が安定なCo90Fe10[1nm]を用いることができる。他の組成でも、CoFe合金は用いることができる。
Co90Fe10近傍のCoFe合金を用いる場合には、膜厚を0.5〜4nmとすることが好ましい。他の組成のCoFe合金(例えば、Co50Fe50)を用いる場合、膜厚を0.5〜2nmとすることが好ましい。スピン依存界面散乱効果を上昇させるために、フリー層18に、例えば、Fe50Co50(もしくは、FexCo100-x(x=45〜85))を用いた場合には、フリー層18としての軟磁性を維持するために、ピン層14のような厚い膜厚は使用困難である。このため、0.5〜1nmが好ましい膜厚範囲である。Coを含まないFeを用いる場合には、軟磁気特性が比較的良好なため、膜厚を0.5〜4nm程度とすることができる。
CoFe層の上に設けられるNiFe層は、軟磁性特性が安定な材料からなる。CoFe合金の軟磁気特性はそれほど安定ではないが、その上にNiFe合金を設けることによって軟磁気特性を補完することができる。NiFeをフリー層18として用いることは、スペーサ層16との界面に高MR変化率を実現できる材料が使用可能となり、スピンバルブ膜のトータル特性上好ましい。
NiFe合金の組成は、NiFe100−x(x=78〜85%程度)が好ましい。ここで、通常用いるNiFeの組成Ni81Fe19よりも、Niリッチな組成(例えば、Ni83Fe17)を用いることが好ましい。これはゼロ磁歪を実現するためである。CCP構造のスペーサ層16上に成膜されたNiFeでは、メタルCu製のスペーサ層上に成膜されたNiFeよりも、磁歪がプラス側にシフトする。プラス側への磁歪のシフトをキャンセルするために、Ni組成が通常よりも多い、負側のNiFe組成を用いている。
NiFe層のトータル膜厚は2〜5nm程度(例えば、3.5nm)が好ましい。NiFe層を用いない場合には、1〜2nmのCoFe層またはFe層と0.1〜0.8nm程度の極薄Cu層とを、複数層交互に積層したフリー層18を用いてもよい。
以上のべたようなフリー層18の構成材料に応力調整処理(SCT)を行うことが本実施形態の重要なポイントである。既述のように、例えば、CoFe層や、NiFe層をイオン、プラズマ、または熱で処理する。
具体例としては、CoFeを1nm成膜したのち、NiFeを2.5nm成膜し、SCTとして、10〜100WのRFプラズマ処理を60秒から120秒行う。その後、NiFeを2nm成膜し、SCTとして、10〜100WのRFプラズマ処理を60秒から120秒行う。
(6)キャップ層19、および上電極20の形成(ステップS16)
フリー層18の上に、キャップ層19として例えば、Cu[1nm]/Ru[10nm]を積層する。キャップ層19の上にスピンバルブ膜へ垂直通電するための上電極20を形成する。
[実施例]
以下、本発明の実施例につき説明する。以下に、本発明の実施例に係る磁気抵抗効果膜10の構成を表す。
・下電極11
・下地層12:Ta[5nm]/Ru[2nm]
・ピニング層13:Pt50Mn50[15nm]
・ピン層14:Co90Fe10[3.6nm]/Ru[0.9nm]/(Fe50Co50[1nm]/Cu[0.25nm])×2/Fe50Co50[1nm]
・金属層15:Cu[0.5nm]
・スペーサ層(CCP−NOL)16:Alの絶縁層161およびCuの電流パス162(Al90Cu10[1nm]を成膜した後、PIT/IAO処理)
・金属層17:Cu[0.25nm]
・フリー層18:Co90Fe10[1nm]/Ni83Fe17[0.7nm]/SCT/Ni83Fe17[1.8nm]/SCT/Ni83Fe17[1.8nm]/SCT
・キャップ層19:Cu[1nm]/Ru[10nm]
・上電極20。
フリー層18の製造工程につき説明する。なお、その他の工程は、既述の手法で行われるので、説明を省略する。
1nmのCo90Fe10を成膜し、その上に0.7nmのNi83Fe17を成膜し、その表面に第一回目のSCTを施す。ここでは、SCTとしてRFプラズマ処理を用いた。RFバイアス機構つきの金属成膜チャンバーで、Ar流量40sccm、RFパワー20W、バイアス電圧80V、120秒間の第一回目のRFプラズマ処理を行った。RFプラズマ処理によって、0.2nmのNiFeが削れ、実質的に0.5nmのNiFeが膜として残る。
ここで、NiFeを0.7nm成膜した表面にRFプラズマ処理を行ったが、CoFe成膜後の表面にRFプラズマ処理を行ってもよい。ただし、CoFeが1nmと薄いので、RFプラズマ処理が強すぎると、スペーサ層16と金属層17の界面にダメージを与え、MR変化率が低下する可能性がある。制御の容易性を考慮して、ここではNiFeを0.7nm成膜した後に、RFプラズマ処理を行った。また、同様の理由から、後の第2、第3回目のRFプラズマ処理よりもRFパワーを弱くしている。
RFプラズマ処理後、2.0nmのNi83Fe17を成膜した後、RFプラズマ処理を行う。Ar流量40sccm、RFパワー40W、バイアス電圧110V、120秒の第2枚目のRFプラズマ処理を行った。このRFプラズマ処理によって、0.5nmのNiFeが削れ、実質的に2.0nmのNiFeが膜として残る。
この第2回目のRFプラズマ処理の後、2.0nmのNi83Fe17を成膜し、Ar流量40sccm、RFパワー40W、120秒間の第3回目のRFプラズマ処理を行った。このRFプラズマ処理によって、0.5nmのNiFeが削れ、実質的に3.5nmのNiFeが膜として残る。
以上で、SCTが施された磁性層(フリー層18)、具体的には、CoFe[1nm]/NiFe[3.5nm]が形成される。
(実施例の評価)
実施例を比較例と共に評価した。実施例、比較例いずれも、CoFe[1nm]/NiFe[3.5nm]の積層構造のフリー層18を用いて作成された0.4μm×0.4μmの素子である。実施例では、フリー層18にSCTを施し、比較例ではフリー層18xに、SCTを施さず、成膜したままとした。
実施例に係るCCP−CPP素子の特性を評価したところ、RA=500mΩμm、MR変化率=9%、ΔRA=45mΩμmであった。SCTがないものと比べ、RA、MR変化率の値に大きな変化は生じていないが、通電試験時の信頼性が著しく向上している。
図8は、SCTをした実施例と、SCTをしない比較例での通電試験の結果を表すグラフである。横軸が時間、縦軸が規格化されたMR変化率の劣化量である。即ち、このMR変化率の劣化量は、試験開始時の値を1に規格化されている。
通電試験の条件は、温度130℃、バイアス電圧140mVとした。通常の使用条件より厳しい条件とすることで、信頼性の相違が短期間の試験で表れるようにしている。また、通電方向として、ピン層14からフリー層18に電流が流れる方向とした。つまり、電子の流れとしては、逆向きになるのでフリー層18からピン層14に流れることになる。このような通電方向は、スピントランスファーノイズを低減するために望ましい方向である。フリー層18からピン層14に電流を流す場合(電子の流れとしては、ピン層からフリー層)のほうが、スピントランスファートルク効果が大きいといわれており、ヘッドにおいてはノイズ発生のもとになる。その観点からも、通電方向はピン層からフリー層に流れる方向が好ましい構成である。
ここでの試験条件は加速試験のために、温度を通常の条件より高くしている。また、素子サイズの関係で、バイアス電圧も比較的強めの条件である。実施例では、実際のヘッドでの素子サイズ(実際には、0.1μm×0.1μmよりも小さい素子サイズにおいて)より、素子サイズを大きくしている。素子サイズが大きいと、バイアス電圧が同一でも電流量が大きくなり、かつ素子の放熱性が悪くなる。このため、実施例の素子では、ジュール発熱の影響が実際のヘッドの素子よりも遙かに大きい、厳しい条件において試験していることになる。さらには、バイアス電圧も実際に使用される電圧値よりも大きく、かつ温度条件も実際よりも高温化と、すべての条件が厳しく設定されており、短時間で信頼性の良否を判断するために設定された、加速試験条件である。
図8に示すように、SCTを用いた実施例では、通電試験時の信頼性が比較例の場合と比較して著しく改善されている。なお、加速試験の条件を緩くすると、比較例においても劣化量ははるかに小さく、信頼性は良好となるので、この試験は極めて過酷な試験を行っていることになる。
このような厳しい条件において、実施例の素子の信頼性が良好なことは、本実施形態に係る磁気抵抗効果素子を高度な信頼性を要求される環境下で利用できることを意味する。高密度記録対応のヘッドにおいて、従来以上に信頼度の極めて高いヘッドが実現できることになる。この高密度記録対応のヘッドは、信頼性スペックが厳しい使用条件、例えば、高熱環境化で使用するカーナビ応用、高速で使用するサーバー、エンタープライズ応用などのHDD(Hard Disk Drive)に利用できる。
また、本試験では、ピン層14からフリー層18に電流が流れる方向を通電方向としたが、この通電方向のほうがその逆の通電方向よりも信頼性改善の効果は大きかった。スピントランスファーノイズ低減にも有利な通電方向であるため、低ノイズで、より信頼性の高いヘッドが実現できたことになる。
(第2の実施の形態)
図9は、本発明の第2の実施の形態に係る磁気抵抗効果素子(CCP−CPP素子)を表す斜視図である。また、図10は、本発明の第2の実施形態に係る磁気抵抗効果素子の製造工程を表すフロー図である。この磁気抵抗効果素子は、ピン層14がフリー層18よりも上に配置されるトップ型のCCP−CPP素子である。即ち、SCTは、ピン層14がフリー層18よりも下に位置するボトム型のCCP−CPP素子のみならず、トップ型のCCP−CPP素子にも適用できる。
トップ型のスピンバルブ膜の場合には応力調整処理を必要とする層はフリー層18ではなく、ピン層14となる。スペーサ層16上で成長する磁性層の結晶配向性が悪くなることから、この磁性膜への応力調整処理が必要となる。図9では下部ピン層141が応力調整部21Aを有する。
ピン層14は、下部ピン層141、磁気結合層142、上部ピン層143から構成され、このいずれか1つまたは2つの層、若しくはこれら3つの層全部への応力調整処理が可能である。応力調整処理をピン層14の一部に限定しても、内部応力の低減による素子の信頼性の向上を図ることができる。これら3層中で応力調整処理の有効性が最も高いのは、下部ピン層141と考えられる。下部ピン層141は、スペーサ層16に最も近く、スペーサ層16との境界での応力への影響が高い。
ボトム型と同様に、トップ型のCCP−CPP素子でも、SCTとして、イオン、プラズマ、または熱による処理を適宜に採用できる。また、プラズマによる処理には、バイアススパッタによるピン層14の形成が含まれる。ピン層14がFeCo/Cu積層膜からなる場合、例えば、bcc構造からなるFeCo層を1〜2nm成膜後に、SCTを行い、また1〜2nmのSCTを行うシーケンスを2〜3回繰り返す。場合によっては1回のSCTで済ませることも可能である。
図10に示すように、トップ型のCCP−CPP素子を製造する場合には、下地層12とキャップ層19との間にある層が、図3とほぼ逆の順序で成膜される。但し、下部金属層15および上部金属層17は、スペーサ層16の作成等との関係で、順番が逆転していない。また、ピン層14の内部構成も上下が逆転していない。
なお、トップ型のCCP−CPP素子においても、スペーサ層16の上下の下部金属層15、上部金属層17(Cu層)の機能については、ボトム型のCCP−CPP素子と同じである。すなわち、スペーサ層16の下の下部金属層15(Cu層)は電流パス162の供給源であるため必須であるが、スペーサ層16の上の上部金属層17(Cu層)は必須ではない。
(磁気抵抗効果素子の応用)
以下、本発明の実施形態に係る磁気抵抗効果素子(CCP−CPP素子)の応用について説明する。
本発明の実施形態において、CPP素子の素子抵抗RAは、高密度対応の観点から、500mΩμm以下が好ましく、300mΩμm以下がより好ましい。素子抵抗RAを算出する場合には、CPP素子の抵抗Rにスピンバルブ膜の通電部分の実効面積Aを掛け合わせる。ここで、素子抵抗Rは直接測定できる。一方、スピンバルブ膜の通電部分の実効面積Aは素子構造に依存する値であるため、その決定には注意を要する。
例えば、スピンバルブ膜の全体を実効的にセンシングする領域としてパターニングしている場合には、スピンバルブ膜全体の面積が実効面積Aとなる。この場合、素子抵抗を適度に設定する観点から、スピンバルブ膜の面積を少なくとも0.04μm以下にし、200Gbpsi以上の記録密度では0.02μm以下にする。
しかし、スピンバルブ膜に接してスピンバルブ膜より面積の小さい下電極11または上電極20を形成した場合には、下電極11または上電極20の面積がスピンバルブ膜の実効面積Aとなる。下電極11または上電極20の面積が異なる場合には、小さい方の電極の面積がスピンバルブ膜の実効面積Aとなる。この場合、素子抵抗を適度に設定する観点から、小さい方の電極の面積を少なくとも0.04μm以下にする。
後に詳述する図11、図12の実施例の場合、図11でスピンバルブ膜10の面積が一番小さいところは上電極20と接触している部分なので、その幅をトラック幅Twとして考える。また、ハイト方向に関しては、図12においてやはり上電極20と接触している部分が一番小さいので、その幅をハイト長Dとして考える。スピンバルブ膜の実効面積Aは、A=Tw×Dとして考える。
本発明の実施形態に係る磁気抵抗効果素子では、電極間の抵抗Rを100Ω以下にすることができる。この抵抗Rは、例えばヘッドジンバルアセンブリー(HGA)の先端に装着した再生ヘッド部の2つの電極パッド間で測定される抵抗値である。
本発明の実施形態に係る磁気抵抗効果素子において、ピン層14またはフリー層18がfcc構造である場合には、fcc(111)配向性をもつことが望ましい。ピン層14またはフリー層18がbcc構造をもつ場合には、bcc(110)配向性をもつことが望ましい。ピン層14またはフリー層18がhcp構造をもつ場合には、hcp(001)配向またはhcp(110)配向性をもつことが望ましい。
本発明の実施形態に係る磁気抵抗効果素子の結晶配向性は、配向のばらつき角度で4.0度以内が好ましく、3.5度以内がより好ましく、3.0度以内がさらに好ましい。これは、X線回折のθ−2θ測定により得られるピーク位置でのロッキングカーブの半値幅として求められる。また、素子断面からのナノディフラクションスポットでのスポットの分散角度として検知することができる。
反強磁性膜の材料にも依存するが、一般的に反強磁性膜とピン層14/スペーサ層16/フリー層18とでは格子間隔が異なるため、それぞれの層においての配向のばらつき角度を別々に算出することが可能である。例えば、白金マンガン(PtMn)とピン層14/スペーサ層16/フリー層18とでは、格子間隔が異なることが多い。白金マンガン(PtMn)は比較的厚い膜であるため、結晶配向のばらつきを測定するのには適した材料である。ピン層14/スペーサ層16/フリー層18については、ピン層14とフリー層18とで結晶構造がbcc構造とfcc構造というように異なる場合もある。この場合、ピン層14とフリー層18とはそれぞれ別の結晶配向の分散角をもつことになる。
(磁気ヘッド)
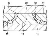
図11および図12は、本発明の実施形態に係る磁気抵抗効果素子を磁気ヘッドに組み込んだ状態を示している。図11は、磁気記録媒体(図示せず)に対向する媒体対向面に対してほぼ平行な方向に磁気抵抗効果素子を切断した断面図である。図12は、この磁気抵抗効果素子を媒体対向面ABSに対して垂直な方向に切断した断面図である。
図11および図12に例示した磁気ヘッドは、いわゆるハード・アバッテッド(hard abutted)構造を有する。磁気抵抗効果膜10は上述したCCP−CPP膜である。磁気抵抗効果膜10の上下には、下電極11と上電極20とがそれぞれ設けられている。図11において、磁気抵抗効果膜10の両側面には、バイアス磁界印加膜41と絶縁膜42とが積層して設けられている。図12に示すように、磁気抵抗効果膜10の媒体対向面には保護層43が設けられている。
磁気抵抗効果膜10に対するセンス電流は、その上下に配置された下電極11、上電極20によって矢印Aで示したように、膜面に対してほぼ垂直方向に通電される。また、左右に設けられた一対のバイアス磁界印加膜41、41により、磁気抵抗効果膜10にはバイアス磁界が印加される。このバイアス磁界により、磁気抵抗効果膜10のフリー層18の磁気異方性を制御して単磁区化することによりその磁区構造が安定化し、磁壁の移動に伴うバルクハウゼンノイズ(Barkhausen noise)を抑制することができる。
磁気抵抗効果膜10のS/N比が向上しているので、磁気ヘッドに応用した場合に高感度の磁気再生が可能となる。
(ハードディスクおよびヘッドジンバルアセンブリー)
図11および図12に示した磁気ヘッドは、記録再生一体型の磁気ヘッドアセンブリに組み込んで、磁気記録再生装置に搭載することができる。
図13は、このような磁気記録再生装置の概略構成を例示する要部斜視図である。すなわち、本実施形態の磁気記録再生装置150は、ロータリーアクチュエータを用いた形式の装置である。同図において、磁気ディスク200は、スピンドル152に装着され、図示しない駆動装置制御部からの制御信号に応答する図示しないモータにより矢印Aの方向に回転する。本実施形態の磁気記録再生装置150は、複数の磁気ディスク200を備えてもよい。
磁気ディスク200に格納する情報の記録再生を行うヘッドスライダ153は、薄膜状のサスペンション154の先端に取り付けられている。ヘッドスライダ153は、上述したいずれかの実施形態に係る磁気抵抗効果素子を含む磁気ヘッドをその先端付近に搭載している。
磁気ディスク200が回転すると、ヘッドスライダ153の媒体対向面(ABS)は磁気ディスク200の表面から所定の浮上量をもって保持される。あるいはスライダが磁気ディスク200と接触するいわゆる「接触走行型」でもよい。
サスペンション154はアクチュエータアーム155の一端に接続されている。アクチュエータアーム155の他端には、リニアモータの一種であるボイスコイルモータ156が設けられている。ボイスコイルモータ156は、ボビン部に巻かれた図示しない駆動コイルと、このコイルを挟み込むように対向して配置された永久磁石および対向ヨークからなる磁気回路とから構成される。
アクチュエータアーム155は、スピンドル157の上下2箇所に設けられた図示しないボールベアリングによって保持され、ボイスコイルモータ156により回転摺動が自在にできるようになっている。
図14は、アクチュエータアーム155から先のヘッドジンバルアセンブリーをディスク側から眺めた拡大斜視図である。すなわち、アセンブリ160は、アクチュエータアーム155を有し、アクチュエータアーム155の一端にはサスペンション154が接続されている。サスペンション154の先端には、上述したいずれかの実施形態に係る磁気抵抗効果素子を含む磁気ヘッドを具備するヘッドスライダ153が取り付けられている。サスペンション154は信号の書き込みおよび読み取り用のリード線164を有し、このリード線164とヘッドスライダ153に組み込まれた磁気ヘッドの各電極とが電気的に接続されている。図中165はアセンブリ160の電極パッドである。
本実施形態によれば、上述の磁気抵抗効果素子を含む磁気ヘッドを具備することにより、高い記録密度で磁気ディスク200に磁気的に記録された情報を確実に読み取ることが可能となる。
(磁気メモリ)
次に、本発明の実施形態に係る磁気抵抗効果素子を搭載した磁気メモリについて説明する。すなわち、本発明の実施形態に係る磁気抵抗効果素子を用いて、例えばメモリセルがマトリクス状に配置されたランダムアクセス磁気メモリ(MRAM: magnetic random access memory)などの磁気メモリを実現できる。
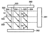
図15は、本発明の実施形態に係る磁気メモリのマトリクス構成の一例を示す図である。この図は、メモリセルをアレイ状に配置した場合の回路構成を示す。アレイ中の1ビットを選択するために、列デコーダ350、行デコーダ351が備えられており、ビット線334とワード線332によりスイッチングトランジスタ330がオンになり一意に選択され、センスアンプ352で検出することにより磁気抵抗効果膜10中の磁気記録層(フリー層)に記録されたビット情報を読み出すことができる。ビット情報を書き込むときは、特定の書き込みワード線323とビット線322に書き込み電流を流して発生する磁場を印加する。
図16は、本発明の実施形態に係る磁気メモリのマトリクス構成の他の例を示す図である。この場合、マトリクス状に配線されたビット線322とワード線334とが、それぞれデコーダ360、361により選択されて、アレイ中の特定のメモリセルが選択される。それぞれのメモリセルは、磁気抵抗効果素子10とダイオードDとが直列に接続された構造を有する。ここで、ダイオードDは、選択された磁気抵抗効果素子10以外のメモリセルにおいてセンス電流が迂回することを防止する役割を有する。書き込みは、特定のビット線322と書き込みワード線323とにそれぞれに書き込み電流を流して発生する磁場により行われる。
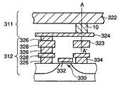
図17は、本発明の実施形態に係る磁気メモリの要部を示す断面図である。図18は、図17のA−A’線に沿う断面図である。これらの図に示した構造は、図15または図16に示した磁気メモリに含まれる1ビット分のメモリセルに対応する。このメモリセルは、記憶素子部分311とアドレス選択用トランジスタ部分312とを有する。
記憶素子部分311は、磁気抵抗効果素子10と、これに接続された一対の配線322、324とを有する。磁気抵抗効果素子10は、上述した実施形態に係る磁気抵抗効果素子(CCP−CPP素子)である。
一方、アドレス選択用トランジスタ部分312には、ビア326および埋め込み配線328を介して接続されたトランジスタ330が設けられている。このトランジスタ330は、ゲート332に印加される電圧に応じてスイッチング動作をし、磁気抵抗効果素子10と配線334との電流経路の開閉を制御する。
また、磁気抵抗効果素子10の下方には、書き込み配線323が、配線322とほぼ直交する方向に設けられている。これら書き込み配線322、323は、例えばアルミニウム(Al)、銅(Cu)、タングステン(W)、タンタル(Ta)あるいはこれらいずれかを含む合金により形成することができる。
このような構成のメモリセルにおいて、ビット情報を磁気抵抗効果素子10に書き込むときは、配線322、323に書き込みパルス電流を流し、それら電流により誘起される合成磁場を印加することにより磁気抵抗効果素子の記録層の磁化を適宜反転させる。
また、ビット情報を読み出すときは、配線322と、磁気記録層を含む磁気抵抗効果素子10と、下電極324とを通してセンス電流を流し、磁気抵抗効果素子10の抵抗値または抵抗値の変化を測定する。
本発明の実施形態に係る磁気メモリは、上述した実施形態に係る磁気抵抗効果素子(CCP−CPP素子)を用いることにより、セルサイズを微細化しても、記録層の磁区を確実に制御して確実な書き込みを確保でき、且つ、読み出しも確実に行うことができる。
MRAM用途において、以下のような実施例が利用可能である。
Ta[5nm]/Ru[2nm]/PtMn[15nm]/CoFe[3.5nm]/Ru[0.9nm]/CoFeB[3.5nm]/MgO[1.5nm]/CoFe[1nm]/NiFe[1nm]/Al−NiFeのCCP構造/NiFe[1nm]/SCT/NiFe[1nm]。
MRAM用途においては、磁気抵抗効果をトンネル素子で実現し、MRAMのスイッチング手法を高めるためにCCP構造を用いるなどの提案もなされている(H. Meng and J-P. Wang, IEEE Trans Magn. 41 (10), 2612 (2005))。この場合には、フリー層、もしくはピン層内部にCCP構造を設ける必要があるが、するとCCP上に形成されたフリー層やピン層のうち、CCP上部に形成された層の結晶性が悪くなり、スイッチングのばらつきの問題などを引き起こす。
この問題においても、本発明の実施形態で示したように、Al−NiFeのCCP構造上に形成された、NiFeの成膜時にSCTを行うことによって、フリー層の応力改善が可能となる。MRAM用途においては、このようにフリー層の内部に挿入されたCCP上に成膜された磁性層にSCTを行うことも可能である。また、フリー層内部にCCPが挿入された場合には、CCPを介して上下磁性層が強く磁気結合していることが好ましいので、電流パスとなる金属は、Cuの換わりに、Ni、Co,Feやそれらの合金材料を用いることが好ましい。
ここで、フリー層に挿入されたCCP構造を実現するための形成プロセスとして、前述のPIT/IAO処理を行うことが好ましい。この場合には電流パスを形成する材料が磁性元素を多く含む(Fe,Co,Niのうちいずれかの元素を50%以上含む)ので、下部金属層15、上部金属層17は特に必要にならず、フリー層16を形成する材料をそのまま使用することが可能となる。
(その他の実施形態)
本発明の実施形態は上記の実施形態に限られず拡張、変更可能であり、拡張、変更した実施形態も本発明の技術的範囲に含まれる。
磁気抵抗効果膜の具体的な構造や、その他、電極、バイアス印加膜、絶縁膜などの形状や材質に関しては、当業者が公知の範囲から適宜選択することにより本発明を同様に実施し、同様の効果を得ることができる。
例えば、磁気抵抗効果素子を再生用磁気ヘッドに適用する際に、素子の上下に磁気シールドを付与することにより、磁気ヘッドの検出分解能を規定することができる。
また、本発明の実施形態は、長手磁気記録方式のみならず、垂直磁気記録方式の磁気ヘッドあるいは磁気再生装置についても適用できる。
さらに、本発明の磁気再生装置は、特定の記録媒体を定常的に備えたいわゆる固定式のものでも良く、一方、記録媒体が差し替え可能ないわゆる「リムーバブル」方式のものでも良い。
その他、本発明の実施形態として上述した磁気ヘッドおよび磁気記憶再生装置を基にして、当業者が適宜設計変更して実施しうるすべての磁気抵抗効果素子、磁気ヘッド、磁気記憶再生装置および磁気メモリも同様に本発明の範囲に属する。
本発明の第1の実施の形態に係る磁気抵抗効果素子を表す斜視図である。 応力調整処理(SCT)がされないスピンバルブ膜を表す模式図である。 応力調整処理(SCT)がされたスピンバルブ膜を表す模式図である。 本発明の第1の実施形態に係る磁気抵抗効果素子の製造工程を表すフロー図である。 図3のステップS15の詳細の例を表すフロー図である。 図4の工程で製造されるフリー層を表す斜視図である。 図3のステップS15の詳細の例を表すフロー図である。 磁気抵抗効果素子の製造に用いられる成膜装置の概略を示す模式図である。 SCTをした実施例と、SCTをしない比較例での通電試験の結果を表すグラフである。 本発明の第2の実施の形態に係る磁気抵抗効果素子を表す斜視図である。 本発明の第2の実施形態に係る磁気抵抗効果素子の製造工程を表すフロー図である。 本発明の実施形態に係る磁気抵抗効果素子を磁気ヘッドに組み込んだ状態を示す図である。 本発明の実施形態に係る磁気抵抗効果素子を磁気ヘッドに組み込んだ状態を示す図である。 磁気記録再生装置の概略構成を例示する要部斜視図である。 アクチュエータアームから先のヘッドジンバルアセンブリーをディスク側から眺めた拡大斜視図である。 本発明の実施形態に係る磁気メモリのマトリクス構成の一例を示す図である。 本発明の実施形態に係る磁気メモリのマトリクス構成の他の例を示す図である。 本発明の実施形態に係る磁気メモリの要部を示す断面図である。 図17のA−A’線に沿う断面図である。
符号の説明
10…磁気抵抗効果膜、11…下電極、12…下地層、12a…バッファ層、12b…シード層、13…ピニング層、14…ピン層、141…下部ピン層、142…磁気結合層、143…上部ピン層、15…下部金属層、16…スペーサ層、161…絶縁層、162…電流パス、17…上部金属層、18…フリー層、19…キャップ層、20…上電極、21…応力調整部

Claims (16)

  1. 第1の磁性層を形成するステップと,
    前記形成される第1の磁性層上に,絶縁層と,この絶縁層の層方向に貫通する電流を通過させる導電層と,を有するスペーサ層を形成するステップと,
    酸素を使用しないチェンバにおいて,前記形成されたスペーサ層上に,Ar,Kr,Xe,Neの何れかを含む希ガスのイオンまたはプラズマでその全部または一部が応力調整処理される,第2の磁性層を形成するステップと,
    を具備することを特徴とする磁気抵抗効果素子の製造方法。
  2. 前記第2の磁性層を形成するステップが,
    前記第2の磁性層の少なくとも一部を形成するステップと,
    前記形成された第2の磁性層の少なくとも一部を前記希ガスのイオンまたはプラズマで処理するステップと,を有する
    ことを特徴とする請求項1記載の磁気抵抗効果素子の製造方法。
  3. 前記処理が,30V以上,150V以下の電圧で加速されるイオンまたはプラズマによる処理である
    ことを特徴とする請求項2記載の磁気抵抗効果素子の製造方法。
  4. 前記第2の磁性層を形成するステップが,
    前記第2の磁性層の一部をなす第1の層を形成するステップと,
    前記形成される第1の層を前記希ガスのイオンまたはプラズマで処理するステップと,
    前記希ガスのイオンまたはプラズマで処理された第1の層上に,前記第2の磁性層の一部をなす第2の層を形成するステップと,
    前記形成される第2の層を前記希ガスのイオンまたはプラズマで処理するステップと,を有する
    ことを特徴とする請求項1記載の磁気抵抗効果素子の製造方法。
  5. 前記第2の磁性層を形成するステップが,
    前記希ガスのイオンまたはプラズマで処理される第2の層上に,前記第2の磁性層の一部をなす第3の層を形成するステップと,
    前記形成される第3の層を前記希ガスのイオンまたはプラズマで処理するステップと,をさらに有する
    ことを特徴とする請求項4記載の磁気抵抗効果素子の製造方法。
  6. 前記第1の層および第2の層の膜厚が0.5nm以上,3nm以下である
    ことを特徴とする請求項4記載の磁気抵抗効果素子の製造方法。
  7. 前記第2の磁性層を形成するステップが,前記希ガスのイオンまたはプラズマで処理を行うと同時に,前記第2の磁性層の少なくとも一部を形成するステップを有する
    ことを特徴とする請求項1記載の磁気抵抗効果素子の製造方法。
  8. 前記処理が,30V以上,200V以下のバイアス電圧が印加された前記第2の磁性層へのプラズマによる処理である
    ことを特徴とする請求項7記載の磁気抵抗効果素子の製造方法。
  9. 前記処理が,30W以上,200W以下の電力が印加されるプラズマによる処理である
    ことを特徴とする請求項7記載の磁気抵抗効果素子の製造方法。
  10. 前記第1の磁性層,または前記第2の磁性層の一方が,磁化方向が実質的に固着される磁化固着層で,他方が外部磁界によって磁化方向が変化する磁化自由層であり,かつ前記第1の磁性層と前記第2の磁性層の膜面に対して垂直方向に電流が通電される
    ことを特徴とする請求項1記載の磁気抵抗効果素子の製造方法。
  11. 前記第2の磁性層が,CoFe層とNiFe層とを含み,かつこのNiFe層の少なくとも一部に前記処理を行う
    ことを特徴とする請求項1記載の磁気抵抗効果素子の製造方法。
  12. 前記第2の磁性層が,bcc構造のFeCo層,またはfcc構造のCoFe層を含み,かつこのFeCo層,またはCoFe層の少なくとも一部に前記処理を行う
    ことを特徴とする請求項1記載の磁気抵抗効果素子の製造方法。
  13. 前記スペーサ層を形成するステップが,
    第1の金属材料からなる第1の層を形成するステップと,
    前記形成される第1の層上に,前記第1の金属材料と異なる第2の金属材料からなる第2の層を形成するステップと,
    前記形成された第2の層の表面をAr,Kr,Xe,Neの何れかを含む希ガスのイオンまたはプラズマで処理するステップと,
    前記第2の層の表面に酸化,窒化,または酸窒化処理して前記スペーサ層を形成するステップと,を有する
    ことを特徴とする請求項1記載の磁気抵抗効果素子の製造方法。
  14. 前記酸化,窒化,または酸窒化処理するステップが,Ar,Kr,Xe,Neの何れかを含む希ガスのイオンまたはプラズマで処理するステップを含む
    ことを特徴とする請求項13に記載の磁気抵抗効果素子の製造方法。
  15. 前記絶縁層が,Al,Si,Hf,Ti,Ta,Mo,W,Nb,Mg,Cr,およびZrからなる群より選択される少なくとも1種の元素を含む酸化物,窒化物,または酸窒化物である
    ことを特徴とする請求項1に記載の磁気抵抗効果素子の製造方法。
  16. 前記第1の層が,Cu,Au,Agのいずれかの元素を含む金属層であることを特徴とする,請求項13に記載の磁気抵抗効果素子の製造方法。
JP2005368463A 2005-12-21 2005-12-21 磁気抵抗効果素子の製造方法 Expired - Fee Related JP4786331B2 (ja)

Priority Applications (5)

Application Number Priority Date Filing Date Title
JP2005368463A JP4786331B2 (ja) 2005-12-21 2005-12-21 磁気抵抗効果素子の製造方法
KR1020087017401A KR20080086892A (ko) 2005-12-21 2006-12-20 자기저항 효과 소자 및 그 제조 방법
CNA2006800476539A CN101331568A (zh) 2005-12-21 2006-12-20 磁阻效应元件及其制造方法
PCT/JP2006/325995 WO2007072987A1 (en) 2005-12-21 2006-12-20 Magnetoresistive effect element and manufacturing method thereof
US12/086,761 US8048492B2 (en) 2005-12-21 2006-12-20 Magnetoresistive effect element and manufacturing method thereof

Applications Claiming Priority (1)

Application Number Priority Date Filing Date Title
JP2005368463A JP4786331B2 (ja) 2005-12-21 2005-12-21 磁気抵抗効果素子の製造方法

Publications (2)

Publication Number Publication Date
JP2007173476A JP2007173476A (ja) 2007-07-05
JP4786331B2 true JP4786331B2 (ja) 2011-10-05

Family

ID=37814068

Family Applications (1)

Application Number Title Priority Date Filing Date
JP2005368463A Expired - Fee Related JP4786331B2 (ja) 2005-12-21 2005-12-21 磁気抵抗効果素子の製造方法

Country Status (5)

Country Link
US (1) US8048492B2 (ja)
JP (1) JP4786331B2 (ja)
KR (1) KR20080086892A (ja)
CN (1) CN101331568A (ja)
WO (1) WO2007072987A1 (ja)

Families Citing this family (64)

* Cited by examiner, † Cited by third party
Publication number Priority date Publication date Assignee Title
JP4786331B2 (ja) 2005-12-21 2011-10-05 株式会社東芝 磁気抵抗効果素子の製造方法
US7646568B2 (en) * 2005-12-23 2010-01-12 Headway Technologies, Inc. Ultra thin seed layer for CPP or TMR structure
JP4514721B2 (ja) * 2006-02-09 2010-07-28 株式会社東芝 磁気抵抗効果素子の製造方法、磁気抵抗効果素子、磁気抵抗効果ヘッド、磁気記録再生装置及び磁気記憶装置
JP2007299880A (ja) 2006-04-28 2007-11-15 Toshiba Corp 磁気抵抗効果素子,および磁気抵抗効果素子の製造方法
JP4550777B2 (ja) 2006-07-07 2010-09-22 株式会社東芝 磁気抵抗効果素子の製造方法、磁気抵抗効果素子、磁気ヘッド、磁気記録再生装置及び磁気メモリ
JP4388093B2 (ja) 2007-03-27 2009-12-24 株式会社東芝 磁気抵抗効果素子、磁気ヘッド、磁気記録再生装置
FR2918761B1 (fr) * 2007-07-10 2009-11-06 Commissariat Energie Atomique Capteur de champ magnetique a faible bruit.
FR2918762B1 (fr) * 2007-07-10 2010-03-19 Commissariat Energie Atomique Capteur de champ magnetique a faible bruit utilisant un transfert de spin lateral.
US8325449B2 (en) * 2007-08-27 2012-12-04 Headway Technologies, Inc. CPP device with improved current confining structure and process
US20090278396A1 (en) * 2008-05-12 2009-11-12 Gm Global Technology Operations, Inc. Corrosion isolation of magnesium components
JP4634489B2 (ja) * 2008-06-19 2011-02-16 株式会社日立製作所 磁気ヘッド
KR101435590B1 (ko) 2008-08-18 2014-08-29 삼성전자주식회사 자기 기억 소자 및 그 형성방법
JP5032429B2 (ja) * 2008-09-26 2012-09-26 株式会社東芝 磁気抵抗効果素子の製造方法、磁気抵抗効果素子、磁気ヘッドアセンブリ及び磁気記録再生装置
JP5032430B2 (ja) * 2008-09-26 2012-09-26 株式会社東芝 磁気抵抗効果素子の製造方法、磁気抵抗効果素子、磁気ヘッドアセンブリ及び磁気記録再生装置
JP5039006B2 (ja) * 2008-09-26 2012-10-03 株式会社東芝 磁気抵抗効果素子の製造方法、磁気抵抗効果素子、磁気ヘッドアセンブリ及び磁気記録再生装置
JP5039007B2 (ja) * 2008-09-26 2012-10-03 株式会社東芝 磁気抵抗効果素子の製造方法、磁気抵抗効果素子、磁気ヘッドアセンブリ及び磁気記録再生装置
JP2010080839A (ja) * 2008-09-29 2010-04-08 Toshiba Corp 磁気抵抗効果素子の製造方法、磁気抵抗効果素子、磁気ヘッドアセンブリおよび磁気記録再生装置
US7957182B2 (en) * 2009-01-12 2011-06-07 Micron Technology, Inc. Memory cell having nonmagnetic filament contact and methods of operating and fabricating the same
US8779538B2 (en) * 2009-08-10 2014-07-15 Samsung Electronics Co., Ltd. Magnetic tunneling junction seed, capping, and spacer layer materials
US8259420B2 (en) * 2010-02-01 2012-09-04 Headway Technologies, Inc. TMR device with novel free layer structure
JP5460375B2 (ja) * 2010-02-22 2014-04-02 株式会社東芝 磁気抵抗効果素子の製造方法
US9054298B2 (en) * 2010-12-10 2015-06-09 Avalanche Technology, Inc. Magnetic random access memory (MRAM) with enhanced magnetic stiffness and method of making same
EP2479759A1 (en) * 2011-01-19 2012-07-25 Crocus Technology S.A. Low power magnetic random access memory cell
CN102179340A (zh) * 2011-04-25 2011-09-14 张家港市佳龙真空浸漆设备制造厂 改进了烘干装置的真空压力浸漆集群设备
FR2976396B1 (fr) * 2011-06-07 2013-07-12 Commissariat Energie Atomique Empilement magnetique et point memoire comportant un tel empilement
CN103137858B (zh) * 2011-12-02 2016-01-06 中芯国际集成电路制造(上海)有限公司 磁性材料层的形成方法及形成装置
US9880232B2 (en) * 2012-03-14 2018-01-30 Seagate Technology Llc Magnetic sensor manufacturing
US9007818B2 (en) 2012-03-22 2015-04-14 Micron Technology, Inc. Memory cells, semiconductor device structures, systems including such cells, and methods of fabrication
JP5579218B2 (ja) * 2012-03-28 2014-08-27 株式会社東芝 圧力検知素子の製造方法
US9194045B2 (en) * 2012-04-03 2015-11-24 Novellus Systems, Inc. Continuous plasma and RF bias to regulate damage in a substrate processing system
US10312433B2 (en) 2012-04-06 2019-06-04 Taiwan Semiconductor Manufacturing Company, Ltd Reduction of capping layer resistance area product for magnetic device applications
US20130288078A1 (en) * 2012-04-30 2013-10-31 Seagate Technology Llc Thin Film with Reduced Stress Anisotropy
KR102130054B1 (ko) * 2012-06-07 2020-07-06 삼성전자주식회사 자기 터널링 접합 시드, 캡핑 및 스페이서 막 물질들
US9054030B2 (en) 2012-06-19 2015-06-09 Micron Technology, Inc. Memory cells, semiconductor device structures, memory systems, and methods of fabrication
US8923038B2 (en) 2012-06-19 2014-12-30 Micron Technology, Inc. Memory cells, semiconductor device structures, memory systems, and methods of fabrication
RU2522714C2 (ru) * 2012-08-09 2014-07-20 Федеральное государственное унитарное предприятие федеральный научно-производственный центр "Научно-исследовательский институт измерительных систем им. Ю.Е. Седакова" Способ формирования магниторезистивного элемента памяти на основе туннельного перехода и его структура
US8970996B2 (en) * 2012-09-27 2015-03-03 HSGT Netherlands B.V. Spin-torque oscillator for microwave assisted magnetic recording
US10026432B1 (en) 2012-11-20 2018-07-17 Seagate Technology Llc Interlayer structure for heat assisted magnetic recording
US8852963B2 (en) 2013-02-12 2014-10-07 HGST Netherlands B.V. Method for making a current-perpendicular-to-the-plane (CPP) magnetoresistive sensor having a low-coercivity reference layer
KR102078849B1 (ko) * 2013-03-11 2020-02-18 삼성전자 주식회사 자기저항 구조체, 이를 포함하는 자기 메모리 소자 및 자기저항 구조체의 제조 방법
US9379315B2 (en) 2013-03-12 2016-06-28 Micron Technology, Inc. Memory cells, methods of fabrication, semiconductor device structures, and memory systems
US9368714B2 (en) 2013-07-01 2016-06-14 Micron Technology, Inc. Memory cells, methods of operation and fabrication, semiconductor device structures, and memory systems
US9466787B2 (en) 2013-07-23 2016-10-11 Micron Technology, Inc. Memory cells, methods of fabrication, semiconductor device structures, memory systems, and electronic systems
US9461242B2 (en) 2013-09-13 2016-10-04 Micron Technology, Inc. Magnetic memory cells, methods of fabrication, semiconductor devices, memory systems, and electronic systems
US9608197B2 (en) 2013-09-18 2017-03-28 Micron Technology, Inc. Memory cells, methods of fabrication, and semiconductor devices
US9145607B2 (en) 2013-10-22 2015-09-29 Lam Research Corporation Tandem source activation for cyclical deposition of films
US10454024B2 (en) 2014-02-28 2019-10-22 Micron Technology, Inc. Memory cells, methods of fabrication, and memory devices
US9281466B2 (en) 2014-04-09 2016-03-08 Micron Technology, Inc. Memory cells, semiconductor structures, semiconductor devices, and methods of fabrication
US9269888B2 (en) 2014-04-18 2016-02-23 Micron Technology, Inc. Memory cells, methods of fabrication, and semiconductor devices
KR20160011069A (ko) * 2014-07-21 2016-01-29 삼성전자주식회사 자기 소자의 제조 방법
US9378760B2 (en) 2014-07-31 2016-06-28 Seagate Technology Llc Data reader with tuned microstructure
US9349945B2 (en) 2014-10-16 2016-05-24 Micron Technology, Inc. Memory cells, semiconductor devices, and methods of fabrication
US9768377B2 (en) 2014-12-02 2017-09-19 Micron Technology, Inc. Magnetic cell structures, and methods of fabrication
US10439131B2 (en) 2015-01-15 2019-10-08 Micron Technology, Inc. Methods of forming semiconductor devices including tunnel barrier materials
US9852755B2 (en) * 2016-04-28 2017-12-26 Tdk Corporation Thin film magnetic head, head gimbals assembly, head arm assembly, and magnetic disk unit
CN107958954B (zh) * 2016-10-14 2021-07-13 中电海康集团有限公司 磁性隧道结的参考层的制备方法、磁性隧道结的制备方法
CN107958951A (zh) * 2016-10-14 2018-04-24 中电海康集团有限公司 Mtj器件的制作方法、mtj器件及stt-mram
CN107958953B (zh) * 2016-10-14 2021-07-13 中电海康集团有限公司 磁性隧道结的自由层的制备方法及磁性隧道结的制备方法
EP3442042B1 (en) * 2017-08-10 2020-12-09 Commissariat à l'Energie Atomique et aux Energies Alternatives Synthetic antiferromagnetic layer, magnetic tunnel junction and spintronic device using said synthetic antiferromagnetic layer
US10381550B1 (en) * 2018-03-01 2019-08-13 Samsung Electronics Co., Ltd. Method and system for engineering the secondary barrier layer in dual magnetic junctions
JP7005452B2 (ja) * 2018-07-30 2022-01-21 株式会社東芝 磁気記憶装置
US11756763B2 (en) * 2019-06-06 2023-09-12 Hitachi High-Tech Corporation Scanning electron microscope
WO2021064935A1 (ja) * 2019-10-03 2021-04-08 Tdk株式会社 磁気記録層、磁壁移動素子及び磁気記録アレイ
CN112750945A (zh) * 2019-10-31 2021-05-04 上海磁宇信息科技有限公司 一种具双自由层的磁性随机存储器存储单元

Family Cites Families (153)

* Cited by examiner, † Cited by third party
Publication number Priority date Publication date Assignee Title
US5304975A (en) 1991-10-23 1994-04-19 Kabushiki Kaisha Toshiba Magnetoresistance effect element and magnetoresistance effect sensor
FR2685489B1 (fr) 1991-12-23 1994-08-05 Thomson Csf Capteur de champ magnetique faible a effet magnetoresistif.
US5448515A (en) 1992-09-02 1995-09-05 Mitsubishi Denki Kabushiki Kaisha Magnetic thin film memory and recording/reproduction method therefor
US5549978A (en) 1992-10-30 1996-08-27 Kabushiki Kaisha Toshiba Magnetoresistance effect element
US5780176A (en) * 1992-10-30 1998-07-14 Kabushiki Kaisha Toshiba Magnetoresistance effect element
JP3184352B2 (ja) 1993-02-18 2001-07-09 松下電器産業株式会社 メモリー素子
EP0629998A2 (en) 1993-06-18 1994-12-21 International Business Machines Corporation Magnetoresistive film, method of its fabrication and magnetoresistive sensor
JPH08504303A (ja) 1993-10-06 1996-05-07 フィリップス エレクトロニクス ネムローゼ フェン ノートシャップ 磁気抵抗デバイス及び斯種のデバイスを用いる磁気ヘッド
US6002553A (en) 1994-02-28 1999-12-14 The United States Of America As Represented By The United States Department Of Energy Giant magnetoresistive sensor
US5583725A (en) 1994-06-15 1996-12-10 International Business Machines Corporation Spin valve magnetoresistive sensor with self-pinned laminated layer and magnetic recording system using the sensor
US5874886A (en) 1994-07-06 1999-02-23 Tdk Corporation Magnetoresistance effect element and magnetoresistance device
US5900324A (en) * 1994-10-27 1999-05-04 Hoya Corporation Magnetic recording media, methods for producing the same and magnetic recorders
DE69611804D1 (de) 1995-04-17 2001-03-29 Read Rite Corp Bildung eines isolierenden dünnen Filmes durch eine Vielzahl von Ionenstrahlen
US5777542A (en) 1995-08-28 1998-07-07 Kabushiki Kaisha Toshiba Magnetoresistance effect device and manufacturing method thereof
WO1997011499A1 (en) * 1995-09-21 1997-03-27 Tdk Corporation Magnetic transducer
FR2742571B1 (fr) 1995-12-15 1998-01-16 Commissariat Energie Atomique Structure et capteur multicouches et procede de realisation
JP3293437B2 (ja) 1995-12-19 2002-06-17 松下電器産業株式会社 磁気抵抗効果素子、磁気抵抗効果型ヘッド及びメモリー素子
US6084752A (en) 1996-02-22 2000-07-04 Matsushita Electric Industrial Co., Ltd. Thin film magnetic head
TW367493B (en) * 1996-04-30 1999-08-21 Toshiba Corp Reluctance component
US5668688A (en) 1996-05-24 1997-09-16 Quantum Peripherals Colorado, Inc. Current perpendicular-to-the-plane spin valve type magnetoresistive transducer
JPH11510911A (ja) 1996-06-12 1999-09-21 フィリップス エレクトロニクス ネムローゼ フェンノートシャップ 磁気抵抗式磁界センサ
US5768183A (en) 1996-09-25 1998-06-16 Motorola, Inc. Multi-layer magnetic memory cells with improved switching characteristics
US5768181A (en) 1997-04-07 1998-06-16 Motorola, Inc. Magnetic device having multi-layer with insulating and conductive layers
DE69820524T2 (de) 1997-05-09 2004-09-23 Kabushiki Kaisha Toshiba, Kawasaki Magnetisches Element und Magnetkopf oder Speicherelement die dieses Element verwenden
JP3472087B2 (ja) 1997-06-30 2003-12-02 Tdk株式会社 膜構造体、電子デバイス、記録媒体および酸化物導電性薄膜の製造方法
JP3182399B2 (ja) 1997-09-17 2001-07-03 株式会社東芝 軟磁性合金膜とその製造方法、磁気ヘッド、および磁気ディスク
DE69827737D1 (de) 1997-09-29 2004-12-30 Matsushita Electric Industrial Co Ltd Magnetowiderstandseffektvorrichtung ,magnetoresistive Kopf und Verfahren zur Herstellung einer Magnetowiderstandseffektvorrichtung
US6033584A (en) 1997-12-22 2000-03-07 Advanced Micro Devices, Inc. Process for reducing copper oxide during integrated circuit fabrication
JP3679593B2 (ja) 1998-01-28 2005-08-03 キヤノン株式会社 磁性薄膜素子および磁性薄膜メモリ素子およびその記録再生方法
US6303218B1 (en) * 1998-03-20 2001-10-16 Kabushiki Kaisha Toshiba Multi-layered thin-film functional device and magnetoresistance effect element
JP4409656B2 (ja) 1998-03-20 2010-02-03 株式会社東芝 磁気抵抗効果素子及び磁気再生装置
US6127045A (en) * 1998-05-13 2000-10-03 International Business Machines Corporation Magnetic tunnel junction device with optimized ferromagnetic layer
US6117569A (en) * 1998-05-27 2000-09-12 International Business Machines Corporation Spin valves with antiferromagnetic exchange pinning and high uniaxial anisotropy reference and keeper layers
JP3234814B2 (ja) 1998-06-30 2001-12-04 株式会社東芝 磁気抵抗効果素子、磁気ヘッド、磁気ヘッドアセンブリ及び磁気記録装置
US6313973B1 (en) * 1998-06-30 2001-11-06 Kabushiki Kaisha Toshiba Laminated magnetorestrictive element of an exchange coupling film, an antiferromagnetic film and a ferromagnetic film and a magnetic disk drive using same
JP2000091667A (ja) 1998-09-09 2000-03-31 Read Rite Smi Kk スピンバルブ磁気抵抗センサ及び薄膜磁気ヘッド
JP2000099922A (ja) 1998-09-17 2000-04-07 Sony Corp 磁気トンネル素子及びその製造方法
JP2000228004A (ja) 1998-11-30 2000-08-15 Nec Corp 磁気抵抗効果素子、再生ヘッド、および記録再生システム
US6542342B1 (en) 1998-11-30 2003-04-01 Nec Corporation Magnetoresistive effect transducer having longitudinal bias layer directly connected to free layer
JP2000188435A (ja) 1998-12-22 2000-07-04 Sony Corp 磁気トンネリング接合素子およびその製造方法、これを用いた磁気ヘッド、磁気センサ、磁気メモリならびに磁気記録再生装置、磁気センサ装置、磁気メモリ装置
US6348274B1 (en) 1998-12-28 2002-02-19 Kabushiki Kaisha Toshiba Magnetoresistive element and magnetic recording apparatus
JP2000215414A (ja) 1999-01-25 2000-08-04 Hitachi Ltd 磁気センサ―
JP3601690B2 (ja) 1999-03-02 2004-12-15 松下電器産業株式会社 磁気抵抗効果素子とその製造方法、磁気抵抗効果型ヘッド、磁気記録装置、磁気抵抗効果メモリ素子
US6567246B1 (en) 1999-03-02 2003-05-20 Matsushita Electric Industrial Co., Ltd. Magnetoresistance effect element and method for producing the same, and magnetoresistance effect type head, magnetic recording apparatus, and magnetoresistance effect memory element
JP2000293982A (ja) 1999-04-08 2000-10-20 Victor Co Of Japan Ltd 磁性メモリ
US6330137B1 (en) 1999-06-11 2001-12-11 Read-Rite Corporation Magnetoresistive read sensor including a carbon barrier layer and method for making same
US6436526B1 (en) 1999-06-17 2002-08-20 Matsushita Electric Industrial Co., Ltd. Magneto-resistance effect element, magneto-resistance effect memory cell, MRAM and method for performing information write to or read from the magneto-resistance effect memory cell
US6275363B1 (en) 1999-07-23 2001-08-14 International Business Machines Corporation Read head with dual tunnel junction sensor
JP2001094173A (ja) 1999-09-22 2001-04-06 Fujitsu Ltd 磁気センサー、磁気ヘッド及び磁気ディスク装置
KR100373473B1 (ko) * 1999-09-24 2003-02-25 가부시끼가이샤 도시바 자기 저항 효과 소자, 자기 저항 효과 헤드, 자기 재생장치 및 자성 적층체
US6556390B1 (en) 1999-10-28 2003-04-29 Seagate Technology Llc Spin valve sensors with an oxide layer utilizing electron specular scattering effect
JP2001143227A (ja) 1999-11-18 2001-05-25 Fujitsu Ltd 磁気センサ
US6770382B1 (en) 1999-11-22 2004-08-03 Headway Technologies, Inc. GMR configuration with enhanced spin filtering
JP3623417B2 (ja) 1999-12-03 2005-02-23 アルプス電気株式会社 スピンバルブ型薄膜磁気素子及び薄膜磁気ヘッド
JP2001176027A (ja) 1999-12-14 2001-06-29 Nec Corp 磁気抵抗効果ヘッド及びこれを用いた磁気記憶装置
US6560077B2 (en) * 2000-01-10 2003-05-06 The University Of Alabama CPP spin-valve device
US6639762B2 (en) 2000-01-24 2003-10-28 Alps Electric Co., Ltd. Spin valve thin-film magnetic device having free magnetic layer in ferrimagnetic state and manufacturing method therefor
JP2001216612A (ja) 2000-01-31 2001-08-10 Alps Electric Co Ltd スピンバルブ型薄膜磁気素子およびこのスピンバルブ型薄膜磁気素子を備えた薄膜磁気ヘッド
JP2001229511A (ja) 2000-02-10 2001-08-24 Fujitsu Ltd 磁気抵抗効果膜、磁気抵抗効果型ヘッド、情報再生装置、および磁気抵抗効果膜製造方法
US6353318B1 (en) 2000-03-10 2002-03-05 Read-Rite Corporation Magnetoresistive sensor having hard biased current perpendicular to the plane sensor
US6603642B1 (en) 2000-03-15 2003-08-05 Tdk Corporation Magnetic transducer having a plurality of magnetic layers stacked alternately with a plurality of nonmagnetic layers and a fixed-orientation-of-magnetization layer and thin film magnetic head including the magnetic transducer
US6469926B1 (en) 2000-03-22 2002-10-22 Motorola, Inc. Magnetic element with an improved magnetoresistance ratio and fabricating method thereof
JP3462832B2 (ja) 2000-04-06 2003-11-05 株式会社日立製作所 磁気抵抗センサ並びにこれを用いた磁気ヘッド及び磁気記録再生装置
US6522507B1 (en) 2000-05-12 2003-02-18 Headway Technologies, Inc. Single top spin valve heads for ultra-high recording density
US6473275B1 (en) 2000-06-06 2002-10-29 International Business Machines Corporation Dual hybrid magnetic tunnel junction/giant magnetoresistive sensor
US6452763B1 (en) 2000-06-06 2002-09-17 International Business Machines Corporation GMR design with nano oxide layer in the second anti-parallel pinned layer
JP2001358380A (ja) 2000-06-13 2001-12-26 Alps Electric Co Ltd スピンバルブ型薄膜磁気素子およびこのスピンバルブ型薄膜磁気素子を備えた薄膜磁気ヘッド
US6661622B1 (en) * 2000-07-17 2003-12-09 International Business Machines Corporation Method to achieve low and stable ferromagnetic coupling field
US6517896B1 (en) 2000-08-07 2003-02-11 Headway Technologies, Inc. Spin filter bottom spin valve head with continuous spacer exchange bias
US6767655B2 (en) 2000-08-21 2004-07-27 Matsushita Electric Industrial Co., Ltd. Magneto-resistive element
JP3559513B2 (ja) 2000-09-05 2004-09-02 株式会社東芝 磁気抵抗効果素子、その製造方法及び製造装置並びに磁気再生装置
US6853520B2 (en) * 2000-09-05 2005-02-08 Kabushiki Kaisha Toshiba Magnetoresistance effect element
JP3618654B2 (ja) 2000-09-11 2005-02-09 株式会社東芝 磁気抵抗効果素子、磁気ヘッド及び磁気記録再生装置
US6937446B2 (en) * 2000-10-20 2005-08-30 Kabushiki Kaisha Toshiba Magnetoresistance effect element, magnetic head and magnetic recording and/or reproducing system
JP4896587B2 (ja) 2000-10-20 2012-03-14 株式会社東芝 磁気抵抗効果素子、磁気ヘッド及び磁気再生装置
JP3833512B2 (ja) * 2000-10-20 2006-10-11 株式会社東芝 磁気抵抗効果素子
JP2002150512A (ja) 2000-11-08 2002-05-24 Sony Corp 磁気抵抗効果素子および磁気抵抗効果型磁気ヘッド
US7059201B2 (en) 2000-12-20 2006-06-13 Fidelica Microsystems, Inc. Use of multi-layer thin films as stress sensors
US6771473B2 (en) 2001-01-22 2004-08-03 Matsushita Electric Industrial Co., Ltd. Magnetoresistive element and method for producing the same
US6809900B2 (en) 2001-01-25 2004-10-26 Seagate Technology Llc Write head with magnetization controlled by spin-polarized electron current
US6905780B2 (en) 2001-02-01 2005-06-14 Kabushiki Kaisha Toshiba Current-perpendicular-to-plane-type magnetoresistive device, and magnetic head and magnetic recording-reproducing apparatus using the same
JP2004022614A (ja) 2002-06-13 2004-01-22 Alps Electric Co Ltd 磁気検出素子及びその製造方法
US6992869B2 (en) 2001-02-06 2006-01-31 Yamaha Corporation Magnetic resistance device
US6686068B2 (en) * 2001-02-21 2004-02-03 International Business Machines Corporation Heterogeneous spacers for CPP GMR stacks
US6704175B2 (en) 2001-03-28 2004-03-09 Tdk Corporation Current perpendicular-to-the-plane magnetoresistance read head
JP3590006B2 (ja) 2001-06-22 2004-11-17 株式会社東芝 磁気抵抗効果素子、磁気ヘッド及び磁気再生装置
US6636389B2 (en) 2001-08-03 2003-10-21 International Business Machines Corporation GMR magnetic transducer with nano-oxide exchange coupled free layers
JP2003086866A (ja) 2001-09-13 2003-03-20 Anelva Corp スピンバルブ型巨大磁気抵抗薄膜の製造方法
JP3958947B2 (ja) 2001-09-14 2007-08-15 アルプス電気株式会社 磁気検出素子及びその製造方法
US6888703B2 (en) 2001-09-17 2005-05-03 Headway Technologies, Inc. Multilayered structures comprising magnetic nano-oxide layers for current perpindicular to plane GMR heads
US6937447B2 (en) 2001-09-19 2005-08-30 Kabushiki Kaisha Toshiba Magnetoresistance effect element, its manufacturing method, magnetic reproducing element and magnetic memory
JP3967237B2 (ja) 2001-09-19 2007-08-29 株式会社東芝 磁気抵抗効果素子及びその製造方法、磁気再生素子並びに磁気メモリ
JP2003110168A (ja) 2001-10-01 2003-04-11 Alps Electric Co Ltd 磁気検出素子及びその製造方法
FR2830971B1 (fr) * 2001-10-12 2004-03-12 Commissariat Energie Atomique Dispositif magnetoresistif a vanne de spin a performances ameliorees
JP2003162806A (ja) 2001-11-27 2003-06-06 Hitachi Ltd 垂直磁気記録媒体および磁気記憶装置
JP2003198004A (ja) 2001-12-27 2003-07-11 Fujitsu Ltd 磁気抵抗効果素子
JP4184668B2 (ja) 2002-01-10 2008-11-19 富士通株式会社 Cpp構造磁気抵抗効果素子
JP3749873B2 (ja) 2002-03-28 2006-03-01 株式会社東芝 磁気抵抗効果素子、磁気ヘッド及び磁気再生装置
JP4382333B2 (ja) * 2002-03-28 2009-12-09 株式会社東芝 磁気抵抗効果素子、磁気ヘッド及び磁気再生装置
JP2004031545A (ja) * 2002-06-25 2004-01-29 Alps Electric Co Ltd 磁気検出素子及びその製造方法
JP2004095110A (ja) * 2002-09-03 2004-03-25 Hitachi Ltd 部分的な電流絞込層を備えたスピンバルブ型磁気ヘッド及びその製造方法、ならびにその電流絞込方法
JP3648504B2 (ja) 2002-09-06 2005-05-18 株式会社東芝 磁気抵抗効果素子、磁気ヘッドおよび磁気再生装置
JP4435521B2 (ja) 2002-09-11 2010-03-17 株式会社東芝 磁気抵抗効果素子の製造方法
US7218484B2 (en) 2002-09-11 2007-05-15 Kabushiki Kaisha Toshiba Magnetoresistance effect element, magnetic head, and magnetic reproducing apparatus
JP4284049B2 (ja) 2002-09-25 2009-06-24 株式会社日立グローバルストレージテクノロジーズ 磁気抵抗効果センサー及び磁気抵抗効果型ヘッド及びその製造方法
JP3836788B2 (ja) 2002-12-26 2006-10-25 株式会社東芝 磁気抵抗効果素子、磁気抵抗効果型ヘッドおよび磁気記録再生装置
US6800565B2 (en) 2003-01-13 2004-10-05 Veeco Instruments, Inc. Method of forming thin oxidation layer by cluster ion beam
JP3673796B2 (ja) 2003-01-14 2005-07-20 Tdk株式会社 磁気抵抗効果素子の製造方法、磁気ヘッド、ヘッドサスペンションアセンブリ及び磁気ディスク装置
US6929957B2 (en) 2003-09-12 2005-08-16 Headway Technologies, Inc. Magnetic random access memory designs with patterned and stabilized magnetic shields
JP4336753B2 (ja) 2003-09-26 2009-09-30 富山県 超薄膜の作製方法
JP3954553B2 (ja) 2003-09-30 2007-08-08 富士通株式会社 記録媒体およびその製造方法
JP2005116703A (ja) 2003-10-06 2005-04-28 Alps Electric Co Ltd 磁気検出素子
JP2005136309A (ja) 2003-10-31 2005-05-26 Toshiba Corp 磁気抵抗効果素子、磁気ヘッド、ヘッドサスペンションアッセンブリ、磁気再生装置、磁気抵抗効果素子の製造方法、および、磁気抵抗効果素子製造装置
US20050141148A1 (en) * 2003-12-02 2005-06-30 Kabushiki Kaisha Toshiba Magnetic memory
JP2005166896A (ja) * 2003-12-02 2005-06-23 Toshiba Corp 磁気メモリ
JP4776164B2 (ja) * 2003-12-25 2011-09-21 株式会社東芝 磁気抵抗効果素子、磁気ヘッド、磁気再生装置および磁気メモリ
JP3993175B2 (ja) 2004-02-26 2007-10-17 株式会社東芝 電流狭窄型垂直通電gmrヘッドアセンブリ、磁気記録再生装置、電流狭窄型垂直通電gmrヘッドの適正センス電流方向の特定方法
US7390529B2 (en) 2004-05-26 2008-06-24 Headway Technologies, Inc. Free layer for CPP GMR having iron rich NiFe
JP2005353236A (ja) 2004-06-14 2005-12-22 Fujitsu Ltd 磁気記録媒体およびその製造方法、磁気記憶装置
US7611912B2 (en) 2004-06-30 2009-11-03 Headway Technologies, Inc. Underlayer for high performance magnetic tunneling junction MRAM
US7331100B2 (en) 2004-07-07 2008-02-19 Headway Technologies, Inc. Process of manufacturing a seed/AFM combination for a CPP GMR device
US7576956B2 (en) 2004-07-26 2009-08-18 Grandis Inc. Magnetic tunnel junction having diffusion stop layer
JP2006049426A (ja) 2004-08-02 2006-02-16 Toshiba Corp 磁気抵抗効果素子とその製造方法、およびそれを用いた磁気ヘッドと磁気再生装置
JP4822680B2 (ja) 2004-08-10 2011-11-24 株式会社東芝 磁気抵抗効果素子の製造方法
JP4594679B2 (ja) 2004-09-03 2010-12-08 株式会社東芝 磁気抵抗効果素子、磁気ヘッド、磁気記録再生装置、および磁気メモリ
TWI278650B (en) * 2004-09-28 2007-04-11 Yamaha Corp Magnetic sensor using giant magnetoresistive elements and method for manufacturing the same
JP5095076B2 (ja) 2004-11-09 2012-12-12 株式会社東芝 磁気抵抗効果素子
US20060114620A1 (en) 2004-11-30 2006-06-01 Tdk Corporation Granular type free layer and magnetic head
JP4521316B2 (ja) 2005-05-26 2010-08-11 株式会社東芝 磁気抵抗効果素子、磁気ヘッド、および磁気記録再生装置
US7583481B2 (en) 2005-09-23 2009-09-01 Headway Technologies, Inc. FCC-like trilayer AP2 structure for CPP GMR EM improvement
JP4550713B2 (ja) 2005-10-21 2010-09-22 株式会社東芝 磁気抵抗効果素子の製造方法
JP4786331B2 (ja) 2005-12-21 2011-10-05 株式会社東芝 磁気抵抗効果素子の製造方法
JP4864464B2 (ja) 2006-01-11 2012-02-01 株式会社東芝 磁気抵抗効果素子とその製造方法、およびそれを用いた磁気ヘッドと磁気再生装置と磁気メモリ
KR100790978B1 (ko) 2006-01-24 2008-01-02 삼성전자주식회사 저온에서의 접합 방법, 및 이를 이용한 반도체 패키지 실장 방법
JP4514721B2 (ja) * 2006-02-09 2010-07-28 株式会社東芝 磁気抵抗効果素子の製造方法、磁気抵抗効果素子、磁気抵抗効果ヘッド、磁気記録再生装置及び磁気記憶装置
US7610674B2 (en) 2006-02-13 2009-11-03 Headway Technologies, Inc. Method to form a current confining path of a CPP GMR device
US7599157B2 (en) 2006-02-16 2009-10-06 Hitachi Global Storage Technologies Netherlands B.V. Current-perpendicular-to-the-plane (CPP) magnetoresistive sensor with high-resistivity amorphous ferromagnetic layers
JP2007299880A (ja) 2006-04-28 2007-11-15 Toshiba Corp 磁気抵抗効果素子,および磁気抵抗効果素子の製造方法
JP4550777B2 (ja) 2006-07-07 2010-09-22 株式会社東芝 磁気抵抗効果素子の製造方法、磁気抵抗効果素子、磁気ヘッド、磁気記録再生装置及び磁気メモリ
JP4550778B2 (ja) 2006-07-07 2010-09-22 株式会社東芝 磁気抵抗効果素子の製造方法
JP4490950B2 (ja) * 2006-07-07 2010-06-30 株式会社東芝 磁気抵抗効果素子の製造方法、及び磁気抵抗効果素子
JP5044157B2 (ja) 2006-07-11 2012-10-10 株式会社東芝 磁気抵抗効果素子,磁気ヘッド,および磁気再生装置
JP2008085220A (ja) 2006-09-28 2008-04-10 Toshiba Corp 磁気抵抗効果素子、磁気ヘッド、および磁気再生装置
US7872838B2 (en) 2007-02-09 2011-01-18 Headway Technologies, Inc. Uniformity in CCP magnetic read head devices
JP4388093B2 (ja) 2007-03-27 2009-12-24 株式会社東芝 磁気抵抗効果素子、磁気ヘッド、磁気記録再生装置
US8031441B2 (en) 2007-05-11 2011-10-04 Headway Technologies, Inc. CPP device with an enhanced dR/R ratio
US8325449B2 (en) 2007-08-27 2012-12-04 Headway Technologies, Inc. CPP device with improved current confining structure and process
US7978442B2 (en) 2007-10-03 2011-07-12 Tdk Corporation CPP device with a plurality of metal oxide templates in a confining current path (CCP) spacer
US8014109B2 (en) 2007-10-04 2011-09-06 Hitachi Global Storage Technologies Netherlands B.V. Current-perpendicular-to-the-plane (CPP) magnetoresistive sensor with antiparallel-pinned layer containing silicon
JP5032430B2 (ja) 2008-09-26 2012-09-26 株式会社東芝 磁気抵抗効果素子の製造方法、磁気抵抗効果素子、磁気ヘッドアセンブリ及び磁気記録再生装置
JP5039007B2 (ja) 2008-09-26 2012-10-03 株式会社東芝 磁気抵抗効果素子の製造方法、磁気抵抗効果素子、磁気ヘッドアセンブリ及び磁気記録再生装置
JP5039006B2 (ja) 2008-09-26 2012-10-03 株式会社東芝 磁気抵抗効果素子の製造方法、磁気抵抗効果素子、磁気ヘッドアセンブリ及び磁気記録再生装置
JP5032429B2 (ja) 2008-09-26 2012-09-26 株式会社東芝 磁気抵抗効果素子の製造方法、磁気抵抗効果素子、磁気ヘッドアセンブリ及び磁気記録再生装置

Also Published As

Publication number Publication date
JP2007173476A (ja) 2007-07-05
KR20080086892A (ko) 2008-09-26
CN101331568A (zh) 2008-12-24
WO2007072987A1 (en) 2007-06-28
US20090162698A1 (en) 2009-06-25
US8048492B2 (en) 2011-11-01

Similar Documents

Publication Publication Date Title
JP4786331B2 (ja) 磁気抵抗効果素子の製造方法
CN101101959B (zh) 磁阻效应元件的制造方法
JP5150284B2 (ja) 磁気抵抗効果素子およびその製造方法
JP4490950B2 (ja) 磁気抵抗効果素子の製造方法、及び磁気抵抗効果素子
JP4822680B2 (ja) 磁気抵抗効果素子の製造方法
JP5361201B2 (ja) 磁気抵抗効果素子の製造方法
JP5095076B2 (ja) 磁気抵抗効果素子
JP4975335B2 (ja) 磁気抵抗効果素子,磁気ヘッド,および磁気記録再生装置
JP4550777B2 (ja) 磁気抵抗効果素子の製造方法、磁気抵抗効果素子、磁気ヘッド、磁気記録再生装置及び磁気メモリ
JP5039007B2 (ja) 磁気抵抗効果素子の製造方法、磁気抵抗効果素子、磁気ヘッドアセンブリ及び磁気記録再生装置
JP5039006B2 (ja) 磁気抵抗効果素子の製造方法、磁気抵抗効果素子、磁気ヘッドアセンブリ及び磁気記録再生装置
JP4768488B2 (ja) 磁気抵抗効果素子,磁気ヘッド,および磁気ディスク装置
JP5032430B2 (ja) 磁気抵抗効果素子の製造方法、磁気抵抗効果素子、磁気ヘッドアセンブリ及び磁気記録再生装置
JP5032429B2 (ja) 磁気抵抗効果素子の製造方法、磁気抵抗効果素子、磁気ヘッドアセンブリ及び磁気記録再生装置
JP5460375B2 (ja) 磁気抵抗効果素子の製造方法
JP2009283499A (ja) 磁気抵抗効果素子、磁気抵抗効果ヘッド、磁気記録再生装置および磁気メモリ
JP2008243327A (ja) 垂直通電型gmr再生素子、並びにこのgmr再生素子を具えることを特徴とする磁気ヘッド及び磁気記録再生装置
JP5095765B2 (ja) 磁気抵抗効果素子の製造方法

Legal Events

Date Code Title Description
A131 Notification of reasons for refusal

Free format text: JAPANESE INTERMEDIATE CODE: A131

Effective date: 20090616

A521 Request for written amendment filed

Free format text: JAPANESE INTERMEDIATE CODE: A523

Effective date: 20090812

A131 Notification of reasons for refusal

Free format text: JAPANESE INTERMEDIATE CODE: A131

Effective date: 20100119

A521 Request for written amendment filed

Free format text: JAPANESE INTERMEDIATE CODE: A523

Effective date: 20100323

RD02 Notification of acceptance of power of attorney

Free format text: JAPANESE INTERMEDIATE CODE: A7422

Effective date: 20100323

A131 Notification of reasons for refusal

Free format text: JAPANESE INTERMEDIATE CODE: A131

Effective date: 20101005

A521 Request for written amendment filed

Free format text: JAPANESE INTERMEDIATE CODE: A523

Effective date: 20101105

TRDD Decision of grant or rejection written
A01 Written decision to grant a patent or to grant a registration (utility model)

Free format text: JAPANESE INTERMEDIATE CODE: A01

Effective date: 20110621

A01 Written decision to grant a patent or to grant a registration (utility model)

Free format text: JAPANESE INTERMEDIATE CODE: A01

A61 First payment of annual fees (during grant procedure)

Free format text: JAPANESE INTERMEDIATE CODE: A61

Effective date: 20110713

FPAY Renewal fee payment (event date is renewal date of database)

Free format text: PAYMENT UNTIL: 20140722

Year of fee payment: 3

LAPS Cancellation because of no payment of annual fees