WO2010109989A1 - 静電霧化装置及び機器及び空気調和機及び冷蔵庫 - Google Patents
静電霧化装置及び機器及び空気調和機及び冷蔵庫 Download PDFInfo
- Publication number
- WO2010109989A1 WO2010109989A1 PCT/JP2010/052444 JP2010052444W WO2010109989A1 WO 2010109989 A1 WO2010109989 A1 WO 2010109989A1 JP 2010052444 W JP2010052444 W JP 2010052444W WO 2010109989 A1 WO2010109989 A1 WO 2010109989A1
- Authority
- WO
- WIPO (PCT)
- Prior art keywords
- water
- electrode
- electrostatic atomizer
- discharge electrode
- main body
- Prior art date
- Legal status (The legal status is an assumption and is not a legal conclusion. Google has not performed a legal analysis and makes no representation as to the accuracy of the status listed.)
- Ceased
Links
Images
Classifications
-
- F—MECHANICAL ENGINEERING; LIGHTING; HEATING; WEAPONS; BLASTING
- F24—HEATING; RANGES; VENTILATING
- F24F—AIR-CONDITIONING; AIR-HUMIDIFICATION; VENTILATION; USE OF AIR CURRENTS FOR SCREENING
- F24F6/00—Air-humidification, e.g. cooling by humidification
- F24F6/12—Air-humidification, e.g. cooling by humidification by forming water dispersions in the air
-
- B—PERFORMING OPERATIONS; TRANSPORTING
- B05—SPRAYING OR ATOMISING IN GENERAL; APPLYING FLUENT MATERIALS TO SURFACES, IN GENERAL
- B05B—SPRAYING APPARATUS; ATOMISING APPARATUS; NOZZLES
- B05B5/00—Electrostatic spraying apparatus; Spraying apparatus with means for charging the spray electrically; Apparatus for spraying liquids or other fluent materials by other electric means
- B05B5/025—Discharge apparatus, e.g. electrostatic spray guns
- B05B5/0255—Discharge apparatus, e.g. electrostatic spray guns spraying and depositing by electrostatic forces only
-
- B—PERFORMING OPERATIONS; TRANSPORTING
- B05—SPRAYING OR ATOMISING IN GENERAL; APPLYING FLUENT MATERIALS TO SURFACES, IN GENERAL
- B05B—SPRAYING APPARATUS; ATOMISING APPARATUS; NOZZLES
- B05B5/00—Electrostatic spraying apparatus; Spraying apparatus with means for charging the spray electrically; Apparatus for spraying liquids or other fluent materials by other electric means
- B05B5/025—Discharge apparatus, e.g. electrostatic spray guns
- B05B5/053—Arrangements for supplying power, e.g. charging power
- B05B5/0533—Electrodes specially adapted therefor; Arrangements of electrodes
-
- B—PERFORMING OPERATIONS; TRANSPORTING
- B05—SPRAYING OR ATOMISING IN GENERAL; APPLYING FLUENT MATERIALS TO SURFACES, IN GENERAL
- B05B—SPRAYING APPARATUS; ATOMISING APPARATUS; NOZZLES
- B05B5/00—Electrostatic spraying apparatus; Spraying apparatus with means for charging the spray electrically; Apparatus for spraying liquids or other fluent materials by other electric means
- B05B5/025—Discharge apparatus, e.g. electrostatic spray guns
- B05B5/053—Arrangements for supplying power, e.g. charging power
- B05B5/0533—Electrodes specially adapted therefor; Arrangements of electrodes
- B05B5/0535—Electrodes specially adapted therefor; Arrangements of electrodes at least two electrodes having different potentials being held on the discharge apparatus, one of them being a charging electrode of the corona type located in the spray or close to it, and another being of the non-corona type located outside of the path for the material
-
- B—PERFORMING OPERATIONS; TRANSPORTING
- B05—SPRAYING OR ATOMISING IN GENERAL; APPLYING FLUENT MATERIALS TO SURFACES, IN GENERAL
- B05B—SPRAYING APPARATUS; ATOMISING APPARATUS; NOZZLES
- B05B5/00—Electrostatic spraying apparatus; Spraying apparatus with means for charging the spray electrically; Apparatus for spraying liquids or other fluent materials by other electric means
- B05B5/025—Discharge apparatus, e.g. electrostatic spray guns
- B05B5/057—Arrangements for discharging liquids or other fluent material without using a gun or nozzle
-
- B—PERFORMING OPERATIONS; TRANSPORTING
- B05—SPRAYING OR ATOMISING IN GENERAL; APPLYING FLUENT MATERIALS TO SURFACES, IN GENERAL
- B05B—SPRAYING APPARATUS; ATOMISING APPARATUS; NOZZLES
- B05B5/00—Electrostatic spraying apparatus; Spraying apparatus with means for charging the spray electrically; Apparatus for spraying liquids or other fluent materials by other electric means
- B05B5/16—Arrangements for supplying liquids or other fluent material
-
- F—MECHANICAL ENGINEERING; LIGHTING; HEATING; WEAPONS; BLASTING
- F24—HEATING; RANGES; VENTILATING
- F24F—AIR-CONDITIONING; AIR-HUMIDIFICATION; VENTILATION; USE OF AIR CURRENTS FOR SCREENING
- F24F11/00—Control or safety arrangements
- F24F11/30—Control or safety arrangements for purposes related to the operation of the system, e.g. for safety or monitoring
-
- F—MECHANICAL ENGINEERING; LIGHTING; HEATING; WEAPONS; BLASTING
- F24—HEATING; RANGES; VENTILATING
- F24F—AIR-CONDITIONING; AIR-HUMIDIFICATION; VENTILATION; USE OF AIR CURRENTS FOR SCREENING
- F24F11/00—Control or safety arrangements
- F24F11/50—Control or safety arrangements characterised by user interfaces or communication
- F24F11/52—Indication arrangements, e.g. displays
-
- F—MECHANICAL ENGINEERING; LIGHTING; HEATING; WEAPONS; BLASTING
- F25—REFRIGERATION OR COOLING; COMBINED HEATING AND REFRIGERATION SYSTEMS; HEAT PUMP SYSTEMS; MANUFACTURE OR STORAGE OF ICE; LIQUEFACTION SOLIDIFICATION OF GASES
- F25D—REFRIGERATORS; COLD ROOMS; ICE-BOXES; COOLING OR FREEZING APPARATUS NOT OTHERWISE PROVIDED FOR
- F25D17/00—Arrangements for circulating cooling fluids; Arrangements for circulating gas, e.g. air, within refrigerated spaces
- F25D17/04—Arrangements for circulating cooling fluids; Arrangements for circulating gas, e.g. air, within refrigerated spaces for circulating air, e.g. by convection
- F25D17/042—Air treating means within refrigerated spaces
-
- A—HUMAN NECESSITIES
- A61—MEDICAL OR VETERINARY SCIENCE; HYGIENE
- A61L—METHODS OR APPARATUS FOR STERILISING MATERIALS OR OBJECTS IN GENERAL; DISINFECTION, STERILISATION OR DEODORISATION OF AIR; CHEMICAL ASPECTS OF BANDAGES, DRESSINGS, ABSORBENT PADS OR SURGICAL ARTICLES; MATERIALS FOR BANDAGES, DRESSINGS, ABSORBENT PADS OR SURGICAL ARTICLES
- A61L9/00—Disinfection, sterilisation or deodorisation of air
- A61L9/14—Disinfection, sterilisation or deodorisation of air using sprayed or atomised substances including air-liquid contact processes
-
- F—MECHANICAL ENGINEERING; LIGHTING; HEATING; WEAPONS; BLASTING
- F24—HEATING; RANGES; VENTILATING
- F24F—AIR-CONDITIONING; AIR-HUMIDIFICATION; VENTILATION; USE OF AIR CURRENTS FOR SCREENING
- F24F11/00—Control or safety arrangements
- F24F11/30—Control or safety arrangements for purposes related to the operation of the system, e.g. for safety or monitoring
- F24F11/46—Improving electric energy efficiency or saving
- F24F11/47—Responding to energy costs
-
- F—MECHANICAL ENGINEERING; LIGHTING; HEATING; WEAPONS; BLASTING
- F24—HEATING; RANGES; VENTILATING
- F24F—AIR-CONDITIONING; AIR-HUMIDIFICATION; VENTILATION; USE OF AIR CURRENTS FOR SCREENING
- F24F2140/00—Control inputs relating to system states
- F24F2140/60—Energy consumption
-
- F—MECHANICAL ENGINEERING; LIGHTING; HEATING; WEAPONS; BLASTING
- F25—REFRIGERATION OR COOLING; COMBINED HEATING AND REFRIGERATION SYSTEMS; HEAT PUMP SYSTEMS; MANUFACTURE OR STORAGE OF ICE; LIQUEFACTION SOLIDIFICATION OF GASES
- F25D—REFRIGERATORS; COLD ROOMS; ICE-BOXES; COOLING OR FREEZING APPARATUS NOT OTHERWISE PROVIDED FOR
- F25D2317/00—Details or arrangements for circulating cooling fluids; Details or arrangements for circulating gas, e.g. air, within refrigerated spaces, not provided for in other groups of this subclass
- F25D2317/04—Treating air flowing to refrigeration compartments
- F25D2317/041—Treating air flowing to refrigeration compartments by purification
-
- F—MECHANICAL ENGINEERING; LIGHTING; HEATING; WEAPONS; BLASTING
- F25—REFRIGERATION OR COOLING; COMBINED HEATING AND REFRIGERATION SYSTEMS; HEAT PUMP SYSTEMS; MANUFACTURE OR STORAGE OF ICE; LIQUEFACTION SOLIDIFICATION OF GASES
- F25D—REFRIGERATORS; COLD ROOMS; ICE-BOXES; COOLING OR FREEZING APPARATUS NOT OTHERWISE PROVIDED FOR
- F25D2317/00—Details or arrangements for circulating cooling fluids; Details or arrangements for circulating gas, e.g. air, within refrigerated spaces, not provided for in other groups of this subclass
- F25D2317/04—Treating air flowing to refrigeration compartments
- F25D2317/041—Treating air flowing to refrigeration compartments by purification
- F25D2317/0416—Treating air flowing to refrigeration compartments by purification using an ozone generator
-
- F—MECHANICAL ENGINEERING; LIGHTING; HEATING; WEAPONS; BLASTING
- F25—REFRIGERATION OR COOLING; COMBINED HEATING AND REFRIGERATION SYSTEMS; HEAT PUMP SYSTEMS; MANUFACTURE OR STORAGE OF ICE; LIQUEFACTION SOLIDIFICATION OF GASES
- F25D—REFRIGERATORS; COLD ROOMS; ICE-BOXES; COOLING OR FREEZING APPARATUS NOT OTHERWISE PROVIDED FOR
- F25D2400/00—General features of, or devices for refrigerators, cold rooms, ice-boxes, or for cooling or freezing apparatus not covered by any other subclass
- F25D2400/36—Visual displays
- F25D2400/361—Interactive visual displays
-
- F—MECHANICAL ENGINEERING; LIGHTING; HEATING; WEAPONS; BLASTING
- F25—REFRIGERATION OR COOLING; COMBINED HEATING AND REFRIGERATION SYSTEMS; HEAT PUMP SYSTEMS; MANUFACTURE OR STORAGE OF ICE; LIQUEFACTION SOLIDIFICATION OF GASES
- F25D—REFRIGERATORS; COLD ROOMS; ICE-BOXES; COOLING OR FREEZING APPARATUS NOT OTHERWISE PROVIDED FOR
- F25D27/00—Lighting arrangements
Definitions
- the present invention relates to an electrostatic atomizer that generates nanomist, a refrigerator, a showcase, a commercial refrigerator, a storage, and an air conditioner (including an air purifier, a humidifier, etc.), etc. Related to air conditioners.
- a transport unit that transports water from the water reservoir to the upper part of the water reservoir, a counter electrode that is arranged to face the transport direction of the transport unit, and a path from the water reservoir to the counter electrode side tip of the transport unit
- An electrostatic atomizer comprising a water application electrode for applying a voltage to water therein, and a transport unit made of a porous ceramic made of a solid acid as a material is described (for example, see Patent Document 1). .
- a water supply unit comprising: a transport unit that transports water by capillary action; a water supply unit that supplies water to the water transport unit; and an application electrode that applies a voltage to the water transported by the water transport unit.
- a heat exchanging unit composed of a heat absorbing plate that cools air on the heat absorbing surface to generate condensed water, a Peltier element, and a heat radiating plate.
- An electrostatic atomizer in which a portion is arranged is described (for example, see Patent Document 2).
- a cooling plate that is provided in a cooling air passage to condense moisture in the air in the refrigerator, a transport unit that transports water condensed by the cooling plate to a water reservoir, and an application electrode for water in the water reservoir
- a refrigerator equipped with an atomizer capable of generating deodorizing mist and ozone in a storage chamber by applying a voltage and supplying a capillary pump to be transported to the voltage application unit between the counter electrodes has been proposed. (For example, refer to Patent Document 3).
- a water storage tank is provided below the refrigerator cover provided with a cover for making the inside of the vegetable case highly humid, and a mist generator (ultrasonic transducer) is provided at the bottom (bottom surface) of the water storage tank.
- a refrigerator has been proposed (see, for example, Patent Document 4).
- the operation unit operates to switch the emission color or emission state, or when the user presses the sterilization button,
- the refrigerator which displays "bacteria mode" is described (for example, refer patent document 5).
- a refrigerator that includes an ultrasonic humidifier that uses defrosted water for water supply in a vegetable room (see, for example, Patent Document 6).
- a path that includes an atomizing device for supplying fine mist to the storage chamber and a water storage unit for storing liquid to be supplied to the atomizing device, and connecting the atomizing device and the water storage unit.
- the refrigerator provided with the removal member which removes the inclusion of a liquid in (path) is described (for example, refer patent document 7).
- ceramic is used for the conveying unit.
- ceramics have a porosity (porosity) of about 10 to 50%, and a pore diameter (pore diameter, void diameter). The average) is about 0.1 to 3 ⁇ m, and the electrical resistance is as large as (0.2 to 2) ⁇ 10 12 ⁇ ⁇ m.
- porosity porosity
- pore diameter pore diameter, void diameter
- the porosity is small, the capillary force is small, the water absorption capacity and the amount of water retained are small, and it takes a long time to start electrostatic atomization or the atomization may be interrupted.
- the electrical resistance is very large, it is difficult to conduct electricity, high voltage is difficult to be applied, and large electric power is required.
- the transport unit is inserted into the water reservoir so that it faces in the vertical direction, and a counter electrode is provided at a position facing the top end above the transport unit, and the water reservoir is configured integrally with the transport unit, counter electrode, etc. It is necessary to remove the water reservoir from the main body of the device such as an air purifier because of the need to supply water to the water reservoir, but the water reservoir is configured integrally with the transport unit, counter electrode, etc. Therefore, when the user removes the water reservoir from the apparatus main body, it is necessary to also remove the electrode part such as the transport part and the counter electrode, and the user may touch the electrode part, which may cause an electric shock.
- a heat exchange part is provided at the lower part of the water transport part, and the heat exchange part is provided in the order of the Peltier element at the lower part of the heat absorption plate having the heat absorption surface, and the heat dissipation plate at the lower part of the Peltier element. Therefore, when there is a large amount of condensed water generated on the endothermic surface, there is a risk that the condensed Peltier element overflows on the Peltier element provided at the lower part of the endothermic surface, and there is a risk that the Peltier element that is sensitive to water will break down. .
- the vegetable container and the cover are directly used as the cooling plate of the mist generating device, so that the condensed water is collected in the shape and size of the vegetable container and the cover.
- the shape of the vegetable container and the cover is limited, the installation space is limited, and there is a lot of restrictions due to the necessity of expanding the internal volume, so there are many restrictions and the water required for mist spraying is stable. It was not easy to secure.
- the vegetable container and cover are directly used for the cooling plate, it is necessary to generate condensed water by making the inside of the vegetable case highly humid, and it is difficult to deploy it to other storage rooms where it cannot be made highly humid. It was.
- the mist generator (ultrasonic transducer) is provided on the bottom of the water storage tank, the structure becomes complicated, including the seal structure for preventing water leakage between the water tank and the mist generator, and the assemblability deteriorates. The cost was rising.
- an ultrasonic vibrator is used in the mist generating device, the mist cannot be miniaturized and it is difficult to spray the mist uniformly in the cabinet.
- Patent Document 3 and Patent Document 4 there was no way for the user to confirm that the atomization device is operating in an incomprehensible manner. In addition, the user did not know when the electrostatic atomizer was actually operating or when it was operating, and made the user questionable.
- the present invention provides an electrostatic atomizer (mist sprayer) that is easy to assemble with a simple configuration and that is low-cost, and a (home appliance) device such as a refrigerator or an air conditioner equipped with the electrostatic atomizer. Objective.
- the present invention has a high resistance to clogging due to foreign matter and can be used for a long period of time, has high reliability, has a large water absorption capacity and water retention amount, and requires a short time to start electrostatic atomization.
- Electric appliances such as refrigerators and air conditioners equipped with electrostatic atomizers (mist atomizers), electrostatic atomizers with low electrical resistance and low power The purpose is to provide.
- an object of the present invention is to provide (home appliance) equipment such as a refrigerator and an air conditioner that can atomize atomized water particles and spray them uniformly in a storage chamber.
- the present invention includes an electrostatic atomizing device and an electrostatic atomizing device that are simple, low-cost, and inexpensive, and have a structure that does not require processing of a conveying portion, a path (capillary channel), or a fine hole in an electrode.
- the purpose is to provide (home appliances) such as refrigerators and air conditioners.
- an object of the present invention is to provide an electrostatic atomizer having means for visually confirming that the electrostatic atomizer is in operation and the history of when it was operated.
- an electrostatic atomizer that can operate without a water reservoir or a water level detection means and has a small number of parts and a simple configuration, a refrigerator equipped with an electrostatic atomizer, an air conditioner, etc. The purpose is to provide home appliances.
- an object of the present invention is to provide a (home appliance) device such as a refrigerator or an air conditioner equipped with a high-performance and high-reliability electrostatic atomizer capable of suppressing water shortage.
- a (home appliance) device such as a refrigerator or an air conditioner equipped with a high-performance and high-reliability electrostatic atomizer capable of suppressing water shortage.
- the present invention provides a highly reliable electrostatic atomizer, a refrigerator equipped with an electrostatic atomizer, an air conditioner, and the like that is low in cost, can be humidified and sterilized in a storage chamber, and does not clog. (Household appliances)
- the purpose is to provide equipment.
- the present invention aims to provide an air conditioner that can achieve the above-mentioned object, among these (home appliances) devices.
- the electrostatic atomizer of the present invention includes a discharge electrode composed of a main body portion formed of a foam metal, and a protruding portion to which water attached to the surface of the main body portion is supplied by capillary action, and the discharge electrode An electrode holding part for holding the electrode, a counter electrode provided in the electrode holding part and provided to face the protruding part, and provided above the main body part via a predetermined gap, the discharge electrode or the electrode And a water supply means for supplying water to the holding portion, wherein the main body portion has a substantially rectangular parallelepiped shape and a width larger than the thickness.
- the present invention since a foam metal having a large pore diameter and porosity is used for the discharge electrode, more water can be held inside the foam metal than conventional ceramics and sintered metals. Therefore, a large amount of nanomist can be efficiently generated.
- the water supply means is provided directly above the main body through a predetermined gap Z, a transport section for transporting water from the water supply means to the discharge electrode and the electrode holding section becomes unnecessary, so that the discharge from the water supply means.
- the water supply path to the electrode and the electrode holding part is shortened, and an electrostatic atomizer and home appliance with a simple structure and low cost can be obtained.
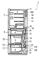
- FIG. 1 It is the top view which looked at the inside of the cover of the electrostatic atomizer 200 provided in the refrigerator 1 showing this Embodiment from the top. It is the side view which looked at the inside of the cover of the electrostatic atomizer 200 provided in the refrigerator 1 showing this Embodiment from the side surface. It is front sectional drawing which looked at the inside of the cover of the electrostatic atomizer 200 provided in the refrigerator 1 showing this Embodiment from the front of the refrigerator 1.
- FIG. It is the side view which looked at the inside of the cover of the electrostatic atomizer 200 provided in the refrigerator 1 showing this Embodiment from the side surface. It is the side view which looked at the inside of the cover of the electrostatic atomizer 200 provided in the refrigerator 1 showing this Embodiment from the side surface.
- FIG. 14 It is a disassembled perspective view of another electrostatic atomizer 200 showing embodiment of this invention. It is a perspective view showing the assembly method of another electrostatic atomizer 200 showing embodiment of this invention. It is a top view of another electrostatic atomizer 200 showing embodiment of this invention. It is sectional drawing of the electrostatic atomizer 200 showing the KK cross section of the electrostatic atomizer 200 shown in FIG. 14 showing embodiment of this invention. It is sectional drawing of the electrostatic atomizer 200 showing the MM cross section of the electrostatic atomizer 200 shown in FIG. 14 showing embodiment of this invention. It is a figure for demonstrating the state which installed the water supply means in the electrostatic atomizer 200 showing embodiment of this invention.
- FIG. 1 is a front view of a refrigerator 1 representing Embodiment 1 of the present invention
- FIG. 2 is a side sectional view of the refrigerator 1 illustrating Embodiment 1 of the present invention
- the refrigerator 1 is provided with a double door (or openable) refrigerator compartment 2 at the top. Below the refrigerating room 2, an ice making room 3 and a switching room 4 are arranged in parallel on the left and right.
- a freezer compartment 6 is provided at the bottom of the refrigerator 1, and a vegetable compartment 5 is provided above the freezer compartment 6.
- the vegetable compartment 5 is provided above the freezing compartment 6 below the ice making compartment 3 and the switching compartment 4 arranged in parallel on the left and right.
- the arrangement of the respective chambers is not limited to the present embodiment, and the ice making chamber 3 and the switching chamber 4 are arranged in parallel on the left and right below the refrigerating chamber 2 provided in the upper stage.
- An ice making room arranged in parallel with the so-called vegetable room 5 in the freezing room 6 below the arranged ice making room 3 and switching room 4 and above the vegetable room 5 provided in the lower stage.
- the mid freezer type in which the freezing chamber 6 is disposed is closer to the low temperature chamber (for example, the ice making chamber 3, the switching chamber 4, the freezing chamber 6), so that a heat insulating material between the low temperature chambers is provided. Since it is unnecessary and there are few heat leaks, an energy-saving and low-cost refrigerator can be provided.
- the front side opening of the refrigerating room 2 which is a storage room is provided with a double door type refrigerating room door 7 which can be freely opened and closed.
- This refrigerating room door 7 has a refrigerating room door left 7A and a refrigerating room door 7A.
- Two doors on the right side of the room door 7B constitute a Kannon type door.
- a single-piece rotary door may be used instead of the Kannon door.
- the ice making room 3, the switching room 4, the vegetable room 5, and the freezing room 6, which are other storage rooms have a drawer type ice making room door 8 and a switching room that can freely open and close the opening of the ice making room 3.
- a drawer-type freezer compartment door 11 that can freely open and close the opening is provided.
- an operation switch room selection switch 60a, temperature zone changeover switch 60b for setting the temperature in the storage room is provided on either of the left and right refrigerator doors 7A and 7B on the right and left of the refrigerator room 2 serving as a storage room.
- a quick freezing switch 60c, an ice making changeover switch 60d, a mist spray switch 60e), and an operation panel 60 for displaying temperature information such as the internal temperature and the set temperature are provided. Display information, temperature information in the storage chamber, and the like are controlled by a control device 30 configured by a control board on which a microcomputer or the like provided on the upper rear surface of the refrigerator body (rear refrigerator compartment) is mounted.
- a compressor 12 is disposed in the machine room 1A provided at the lowermost back of the refrigerator 1.
- the refrigerator 1 is provided with a refrigeration cycle, and the compressor 12 is a component that constitutes the refrigeration cycle and is disposed in the machine room 1A, and has an action of compressing a refrigerant in the refrigeration cycle.
- the refrigerant compressed by the compressor 12 is condensed in a condenser (not shown).
- the condensed refrigerant is decompressed in a capillary tube (not shown) or an expansion valve (not shown) which is a decompression device.
- the cooler 13 is a component that constitutes the refrigeration cycle of the refrigerator and is disposed in the cooler chamber 131.
- the refrigerant decompressed by the decompression device evaporates in the cooler 13, and the gas around the cooler 13 is cooled by the endothermic action during the evaporation.
- the cooling air circulation fan 14 is disposed in the vicinity of the cooler 13 in the cooler chamber 131, and cools the cool air around the cooler 13 as a cooling air passage (for example, the switching chamber cooling air passage 16 or the refrigerating room cooling air). It is for ventilating to each room (refrigeration room 2, ice making room 3, switching room 4, vegetable room 5, freezing room 6) which is a storage room of refrigerator 1 via way 50 etc.).
- a defrosting heater 150 (defrosting glass tube heater, which is a defrosting means for defrosting the cooler 13, for example, a wavelength of 0. 1 which passes through the quartz glass tube into the quartz glass tube.
- a heater roof 151 is provided above the defrosting heater 150 between the cooler 13 and the defrosting heater 150 so that the defrosting water falling from the cooler 13 does not directly hit the defrosting heater 150. ing. If a black medium heater such as a carbon heater is used as the defrosting heater 150, the frost of the cooler 13 can be efficiently melted by radiant electric heat, so the surface temperature is lowered (about 70 ° C. to 80 ° C.).
- a flammable refrigerant for example, isobutane which is a hydrocarbon refrigerant
- isobutane which is a hydrocarbon refrigerant
- the risk of ignition can be reduced even if refrigerant leakage occurs.
- the frost of the cooler 13 can be efficiently melted by radiant electric heat as compared with the nichrome wire heater, the frost formed on the cooler 13 gradually melts, and the frost falls into a lump. Since it becomes difficult, since the fall sound when falling to the heater roof 151 can be reduced, a refrigerator with low noise and good defrosting efficiency can be provided.
- the defrosting heater 150 may be a stowage type heater integrally incorporated in the cooler 13.
- a glass tube type heater and a bite type heater may be used in combination.
- the switching chamber damper 15 that is an air volume adjusting means adjusts the amount of cool air blown to the switching chamber 4 that is a storage chamber by the cool air circulation fan 14, and controls the temperature in the switching chamber 4 to a predetermined temperature, This is for switching the set temperature of the switching chamber 4.
- the cool air cooled by the cooler 13 is blown into the switching chamber 4 through the switching chamber cooling air passage 16 which is a cooling air passage. Further, the switching chamber cooling air passage 16 is disposed downstream of the switching chamber damper 15.
- the cold room damper 55 as the air volume adjusting means also adjusts the amount of cold air blown to the cold room 2 as the storage room by the cold air circulation fan 14 and controls the temperature in the cold room 2 to a predetermined temperature. Or for changing the set temperature of the refrigerator compartment 2.
- the cold air cooled by the cooler 13 is blown into the refrigerator compartment 2 through the refrigerator compartment cooling air passage 50 which is a cooling air passage.
- the switching room 4 which is a storage room, is a room (storage) in which the temperature in the storage room can be selected from a plurality of stages between a freezing temperature zone ( ⁇ 17 ° C. or lower) and a vegetable room temperature zone (3 to 10 ° C.).
- the temperature in the storage room is selected or switched by operating the operation panel 60 installed in either the refrigerator compartment door left 7A or the refrigerator compartment door right 7B of the refrigerator 1.
- a switching chamber thermistor 19 (see FIG. 3), which is a first temperature detecting means for detecting the air temperature in the switching chamber 4, is installed on, for example, the back wall surface of the switching chamber 4.
- a thermopile which is a second temperature detecting means for directly detecting the surface temperature of the stored material put into the switching chamber 4 which is a storage chamber, on the top surface (center portion, front surface portion, rear surface portion, etc.) 22 (see FIG. 3 or an infrared sensor) is installed.
- the air passage that sends the cold air from the cooler chamber 131 to the switching chamber 4 is provided with a switching chamber damper 15 that is an air volume adjusting device that can block the air flow by controlling the air volume and blocking the air passage.
- the temperature of the switching chamber 4 is adjusted to be in the selected temperature range by opening and closing the switching chamber damper 15 by the detection temperature of the switching chamber thermistor 19 (or the detection temperature of the thermopile 22) as the temperature detection means. Or controlled by the control device 30 so as to fall within the set temperature range. Further, the thermopile 22 serving as the second temperature detecting means directly detects the temperature of the food that is stored in the switching chamber 4.
- An electrostatic atomizer 200 which is a mist spraying device that sprays mist into the storage chamber, is provided on the rear partition wall 51 (heat insulating wall) of the refrigerator compartment 2 that is a storage chamber.
- a cooling plate 210 for collecting moisture in the air in the storage chamber as condensed water is a partition wall 51 (from the inside of the refrigerating chamber 2 to the back of the refrigerating chamber 2). It is provided so as to penetrate through the heat insulating wall) and protrude into the refrigerating room cooling air passage 50 which is a cooling air passage.
- FIG. 3 is a block diagram of the control device 30 of the refrigerator 1 representing the first embodiment of the present invention.
- the control device 30 is equipped with a microcomputer 31 (microcomputer) and controls the temperature of each storage chamber of the refrigerator 1, the rotational speed control of the compressor 12 and the cool air circulation fan 14, and the switching chamber damper according to a program stored in advance. 15, open / close control of the refrigerator compartment damper 55, voltage application control to the electrostatic atomizer 200 (a discharge electrode 230 and a counter electrode 240 described later), and the like.
- the operation panel 60 includes the following switches.
- a room selection switch 60a for selecting a storage room such as a refrigerator room, a freezer room, a switching room
- a temperature zone changeover switch 60b for switching the temperature zone (refrigeration, freezing, chilled, soft freezing, etc.) of a storage room such as a switching room, or switching between rapid cooling, strong / medium / weak, etc .
- Instantaneous freezing switch 60c that freezes and stores the storage chamber through a supercooled state (flash freezing is also called supercooled freezing);
- a mist spray switch 60e electrostatic spray selection
- mist spray switch 60e that energizes the electrostatic atomizer 200 to perform mist spray (electrostatic spray) in the storage chamber.
- a temperature detection sensor for detecting the temperature in the storage room for example, the switching room 4
- the switching chamber thermistor 19 as the first temperature detection means and the thermopile 22 as the second temperature detection means.
- the detected temperature of the switching chamber thermistor 19 which is the first temperature detecting means for detecting the temperature of the air in the storage chamber (for example, the switching chamber 4) is input to the microcomputer 31 constituting the control device 30, and the microcomputer 31 (for example, The temperature determination means in the microcomputer 31) makes a temperature determination by comparing with a predetermined value, and performs control so as to fall within a predetermined temperature range.
- thermopile 22 which is a second temperature detecting means for directly detecting the surface temperature of food in the storage room (for example, the switching room 4) is input to the microcomputer 31 and the microcomputer 31 (for example, in the microcomputer 31). And calculating the surface temperature of the food or the like, and then performing predetermined temperature control such as quick freezing control or supercooling freezing control.
- the control device 30 performs various controls such as temperature control in each storage room (refrigeration room 2, ice making room 3, switching room 4, vegetable room 5, freezing room 6) and energization control of the electrostatic atomizer 200.
- the set temperature, food (surface) temperature of each storage room, and electrostatic fog installed in each storage room on the operation panel 60 (display panel) provided in either the refrigerator door left 7A or the refrigerator door right 7B
- the operating status of the computer 200 is displayed.
- FIG. 4 is a front view of the storage room as viewed from the front with the door of the refrigerator 1 shown in FIGS. 1 and 2 representing the present embodiment opened.
- FIG. 5 is a front view of the electrostatic atomizer 200 with a cover mounted on the refrigerator 1 representing the present embodiment
- FIG. 6 is an electrostatic atomizer provided in the refrigerator 1 representing the present embodiment.
- 7 is a perspective view of the inside of the cover 200
- FIG. 7 is a top view of the inside of the cover of the electrostatic atomizer 200 provided in the refrigerator 1 representing the present embodiment
- FIG. 8 is the refrigerator 1 representing the present embodiment. It is the side view which looked at the inside of the cover of the electrostatic atomizer 200 provided in the side from the side.
- the electrostatic atomizer 200 is provided at the upper back of a storage room (for example, the refrigerator room 2 or the vegetable room 5, which may be any storage room).
- the electrostatic atomizer 200 passes through a partition wall 51 (heat insulating wall) provided on the back surface of the refrigerating room 2, which is a storage room, for example, on the refrigerating room 2 side and the cooling air passage 50 side which are the storage rooms.
- a cooling plate 210 serving as water supply means is provided.
- the cooling plate 210 is integrally formed (or divided and configured integrally) with a material that is resistant to corrosion and has good thermal conductivity (for example, aluminum, aluminum alloy, copper alloy, etc.), and protrudes toward the refrigerator compartment 2 side that is a storage room.
- Heat-absorbing fins 211 provided, heat-dissipating fins 212 protruding from the cooling air passage 50, heat-absorbing fins 211 (storage chamber-side fins) and heat connecting the heat-dissipating fins 212 (cooling air-side fins)
- the heat conduction part 213 is configured such that the cooling air leakage from the cooling air path 50 to the storage room is caused by the partition wall 51 (heat insulating wall) between the cooling air path 50 and the refrigerator compartment 2 in the storage room. It is arranged in a state of being substantially sealed so that the temperature can be controlled.
- the heat-absorbing fin portion 211 and the heat-radiating fin portion 212 do not have to protrude separately, as long as a predetermined cooling effect (such as heat-absorbing performance and heat-dissipating performance) is obtained.
- a container-like electrode having an opening or a notch for discharging water through a predetermined gap X in the vertical direction below (directly below) the lower end surface 211Y of the endothermic fin portion 211 (storage chamber side fin portion).
- maintenance part 220 is provided is demonstrated in FIG.
- a resin electrode holding portion 220 is provided below (directly below) the lower end surface 211Y of the heat absorption fin portion 211 (storage chamber side fin portion) via a predetermined vertical gap X of about 1 mm to 20 mm.
- the electrode holder 220 holds the discharge electrode 230, and the discharge electrode 230 is formed of a main body 232 and a protrusion 231.
- the predetermined clearance X in the vertical direction (condensation water falling direction) between the lower end surface 211Y of the heat absorption fin portion 211 and the upper end of the electrode holding portion 220 is such that the dew condensation water falling from the heat absorption fin portion 211 cools the storage chamber.
- the thickness is set to about 1 mm to 20 mm.
- the predetermined clearance X between the heat-absorbing fin portion 211 and the electrode holding portion 220 is such that the air in the storage chamber enters the container of the electrode holding portion 220 and the temperature in the container of the electrode holding portion 220 decreases, so that the electrode It is better to be as small as possible so that the condensed water in the container of the holding unit 220 can be prevented from freezing, and preferably about 10 mm or less.
- the clearance Z between the lower end surface 211Y of the heat-absorbing fin portion 211 that is water supply means and the discharge electrode 230 (upper surface) is a space from the heat-absorbing fin portion 211 to the discharge electrode 230 and the electrode holding portion 220 immediately below. It is better to keep the drop speed of the condensed water falling through the tube small, and to reduce the impact when it falls to the discharge electrode 230 or the electrode holding part 220, or to jump out of the container by jumping, etc. It should be about.
- the discharge electrode 230 and the counter electrode 240 are fixed and held in the electrode holding unit 220.
- the gap Z between the lower end surface 211Y of the endothermic fin portion 211 and the discharge electrode 230 is obtained when a voltage is applied between the discharge electrode 230 and the counter electrode 240 when water droplets adhere to the surface of the discharge electrode 230. Since there is a risk of discharge between the lower end surface 211Y of the endothermic fin portion 211 and the discharge electrode 230, it is necessary to secure a clearance that does not discharge, and the predetermined clearance Z is preferably 4 mm or more. In addition, since it is less likely to discharge when water does not accumulate on the discharge electrode 230, the electrode holding unit 220 does not attach or accumulate water on the surface of the discharge electrode 230 that faces the heat-absorbing fin unit 211 that is water supply means.
- an opening, a notch, etc. are provided so that water does not collect in the discharge electrode 230 holding part of the electrode holding part 220 (or in order to obtain a structure in which water does not collect on the surface of the discharge electrode 230, It is better to adopt a configuration in which water can be discharged, and a configuration in which a water reservoir for storing the discharged water is separately provided below may be configured such that the water accumulated in the water reservoir does not contact the discharge electrode 230).
- the size of the electrode holding portion 220 (for example, the width direction dimension 220K and the depth direction dimension 220L in FIGS. 7 and 8) is the same as the size of the cooling plate 210 (for example, the width direction dimension 211K in FIGS. 7 and 8 and the depth direction).
- Dimension 211L is substantially the same as or larger than the size of the cooling plate 210 so that the condensed water generated by the cooling plate 210 falls into the container of the electrode holder 220 and does not jump out. ing.
- FIG. 9 is a front sectional view of the inside of the cover of the electrostatic atomizer 200 provided in the refrigerator 1 representing the present embodiment as viewed from the front of the refrigerator 1.
- Predetermined clearances Y (see FIG. 9) and Y1 (see FIG. 8) in the side surface direction (direction substantially orthogonal to the falling direction of the condensed water) are provided between the water supply means covering portion 220X which is a covering portion).
- the clearances Y and Y1 between the part 211 and the electrode holding part 220 are preferably 1 mm or more, and preferably 2 mm or more.
- the sizes of the predetermined clearances Y and Y1 are the clearance area between the heat absorption fin portion 211 and the container of the electrode holding portion 220 (formed between the heat absorption fin portion 211 and the electrode holding portion 220 through which cold air can enter the container).
- the area of the opening to be formed is, for example, the area represented by 220K ⁇ 220L ⁇ 211K ⁇ 211L), so that the dew condensation water falling into the container of the electrode holding unit 220 is at a temperature higher than the temperature at which the condensed water does not freeze. What is necessary is just to set a clearance and a clearance area so that it may become the predetermined temperature range (For example, about freezing point temperature (for example, 0 degreeC) or more and about 5 degreeC or less) which is below the temperature at which miscellaneous bacteria do not propagate in dew condensation water.
- the predetermined temperature range For example, about freezing point temperature (for example, 0 degreeC) or more and about 5 degreeC or less
- the condensed water falling from the water supply means (the heat-absorbing fin portion 211 of the cooling plate 210) as the water supply means is covered so as to be substantially sealed by the water supply means cover 220X of the electrode holding part 220, or If at least a part is covered, the water drop 275 (see FIG. 16) that falls into the electrode storage part 225 of the electrode holding part 220 is provided with the heat absorbing fin part 211 and the electrode holding part 220 of the cooling plate 210.
- the condensed water that falls is scattered somewhere by the flow of air or cold air, etc., or occurs in the water supply means (heat-absorbing fin portion 211 of the cooling plate 210)
- the highly reliable electrostatic atomizer 200 is obtained in which the condensed water does not easily freeze.
- the size (for example, width direction dimension 220K, depth direction dimension 220L) of the upper surface opening (water supply means cover 220X) of the container of the electrode holding unit 220 is the outer side (outer surface, outer peripheral surface) of the lower end of the heat absorbing fin unit 211.
- the outer surface 211X of the heat sink fin portion 211 has a predetermined clearance Y of about 1 mm to 20 mm, Covering with Y1 makes it difficult for the air in the storage chamber to enter the electrode holding part 220, and therefore, it is possible to prevent the condensed water falling in the container of the electrode holding part 220 from freezing.
- the predetermined clearance Y with the water supply means covering portion 220X is preferably 2 mm or more, and may be 2 mm to 20 mm.
- the predetermined clearance Y1 between the lower front surface of the endothermic fin portion 211 and the inner wall of the opening of the container of the electrode holding portion 220 is substantially equal to the predetermined clearance Y, preferably 2 mm or more, and preferably 2 mm to 20 mm. .
- the length P between the lower end surface 211Y of the heat absorbing fin portion 211 and the upper end portion of the container (water supply means covering portion 220X) of the electrode holding portion 220 (the upper end portion of the water supply means covering portion 220X of the electrode holding portion 220 is the heat absorbing fin portion.
- the length P that overlaps 211 may be set by experiments or the like so that the condensed water falling from the cooling plate 210 does not jump out of the container, and is preferably about 1 mm to 20 mm.
- the dimensions of the heat absorption fin part 211 and the electrode holding part 220 (water supply means covering part 220X) are defined.
- the electrode holding part 220 (water supply means covering part 220X) has a width direction dimension 220K and a depth direction dimension 220L.
- the width direction dimension 211K of the heat sink fin portion 211 is smaller than the width direction dimension 220K of the electrode holding portion 220 by twice the predetermined clearance Y in the width direction.
- the depth direction dimension 211L of the heat-absorbing fin portion 211 is such that the predetermined clearance in the depth direction is P1 (may be the same as or different from the predetermined clearance P in the width direction). 220X), the depth direction dimension 220L is smaller by a predetermined clearance P1 in the depth direction.
- the clearance Z between the lower end surface 211Y (lower surface) of the heat sink fin portion 211 serving as the water supply means and the upper surface of the discharge electrode 230 suppresses the falling speed of the condensed water falling from the heat sink fin portion 211.
- the clearance Z is preferably smaller if it is small, preferably 0.5 mm or more and preferably about 10 mm or less (preferably about 1 mm or more and about 8 mm or less), and if it is about 1 mm or more and about 6 mm or less, surface tension or Condensed water can be continuously supplied (moved) from the heat-absorbing fin portion 211 directly to the discharge electrode 230 by capillary action, so that impact and jumping at the time of dropping can be suppressed.
- the clearance Z is smaller than 1 mm, the heat-absorbing fins 211 and the discharge electrode 230 are worn due to contact with vibrations such as when the compressor 12 of the refrigerator 1 and the cold-air circulation fan 14 are operated or started / stopped.
- the predetermined gap Z is preferably 4 mm or more.
- the cooling plate 210 heat-absorbing fin portion 211
- the discharge electrode 230 or electrode holding portion 220
- the predetermined gap Z so that the water supply means is the discharge electrode 230.
- the condensed water falls directly on the container-like electrode holding part 220 (or the discharge electrode 230) directly below, so that the heat absorbing fin part 211 of the cooling plate 210 which is a water supply means. Therefore, there is no need for a transport unit for transporting the condensed water generated to the electrode holding unit 220 (or the discharge electrode 230), the structure is simple and compact, and the low-cost refrigerator 1 is obtained.
- the discharge electrode 230 may be provided on the side of the outer surface 211X of the lower end surface 211Y of the heat end fin portion 211.
- the predetermined side clearance between the side surface of the heat absorbing fin part 211 and the discharge electrode 230 is such that the condensed water generated by the heat absorbing fin part 211 is provided so that the condensed water condensed by the heat absorbing fin part 211 can be supplied to the discharge electrode 230.
- the heat sink fin portion 211 and the discharge electrode are brought into contact with each other by vibrations such as when the compressor 12 of the refrigerator 1 and the cooling air circulation fan 14 are operated or started / stopped.
- 230 is a cause of failure such as wear and cracks, and since it makes contact, noise and vibration become a problem, so 0.2 mm or more is preferable.
- the electrode holding part 220 is fixed to the partition wall 51 below (directly below) the endothermic fin part 211 (final chamber side fin part) with a screw or the like, the condensed water condensed on the endothermic fin part 211 can be There is no need for a transfer unit to transfer to the holding unit 220, and the installation location of the electrode holding unit 220 in the storage chamber can be concentrated on the back surface of the storage chamber or the side surface of the storage chamber, and the electrostatic atomizer 200 or the electrode holding unit 220 is stored.
- the user-friendly refrigerator 1 Since it can be provided integrally with the back of the room or the side of the storage room, it is not necessary to provide a separate mounting part, and the protruding volume into the storage room can be reduced, so that the structure is simple and compact, and the installation range of the electrode holding part 220 Since the internal volume in the storage chamber can be increased by the amount that is smaller and more compact, the user-friendly refrigerator 1 with improved storage capacity with a large internal volume can be obtained at low cost.
- the electrode holding unit 220 is provided with a discharge electrode 230 formed of a foam metal such as titanium through a notch or a hole provided in a wall surface (front wall or side wall) of the electrode holding unit 220, or an electrode holding unit. At least one or more (two or more plural members) so as to protrude outside the container through the upper end of the wall surface (front wall or side wall) of the portion 220 (so as to protrude from the wall surface of the electrode holding portion 220) Is desirable).
- a foam metal such as titanium having a pore size of 10 to 800 ⁇ m (preferably a pore size of 50 to 300 ⁇ m, preferably 50 to 150 ⁇ m) and a porosity of 60 to 90% (preferably 70 to 80%) is used. Therefore, since the capillary force is large and electricity is efficiently applied to water as a conductor, it is easy to set the applied voltage, and the generation of nanomist can be performed easily and reliably.
- the discharge electrode 230 is formed of a main body portion 232 and a protruding portion 231, and the discharge electrode 230 may not penetrate the electrode holding portion 220, and the protruding portion 231 is provided so as to protrude from the electrode holding portion 220. Just do it.
- the discharge electrode 230 is provided on the front surface or the side surface of the electrode holding portion 220 and is not provided so as to penetrate below the bottom surface of the electrode holding portion 220. Therefore, the discharge electrode 230 on the bottom surface of the container of the electrode holding portion 220 is provided. There is no risk of water leaking downward from the gap where the is attached.
- the structure in which the discharge electrode 230 is attached to the bottom surface of the container makes the seal structure around the mounting portion of the discharge electrode 230 complicated due to the necessity of supplying water to the discharge electrode 230.
- the discharge electrode 230 is attached to the front wall and side wall of the container.
- the mounting position of the discharge electrode 230 such as a notch or a hole position is selected so that at least a part of the wall surface (front wall or side wall) remains on the wall surface of the electrode holding part 220 to which the discharge electrode 230 is mounted. If the water discharge port is provided at a different position, water does not leak down from the mounting position of the discharge electrode 230 through the discharge electrode 230, and the seal structure can be simplified, so that treatment of the leaked water becomes unnecessary. As a result, the assemblability is improved, the number of parts can be reduced, and the cost can be reduced.
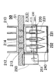
- the heat sink fin portion 211 is provided with a plurality of heat sink fin plates 211a, 211b, 211c, 211d, and 211e
- the heat sink fin portion 212 is provided with a plurality of heat sink fin plates 212a, 212b, 212c, 212d, and 212e. It is provided so that heat can be absorbed and released efficiently.
- at least one endothermic fin plate for example, the plurality of endothermic fin plates 211b, 211c, 211d in the drawing) of the plurality of endothermic fin plates 211a, 211b, 211c, 211d, 211e of the endothermic fin portion 211.
- At least one discharge electrode 230 (in the figure, a plurality of discharge electrodes 230b, 230c, and 230d are arranged below (directly below) each of the plurality of heat-absorbing fin plates 211b, 211c, and 211d).
- the condensed water condensed on the plurality of heat-absorbing fin plates 211b, 211c, and 211d is dropped to the discharge electrode 230 immediately below each fin so that the water can be efficiently supplied to the discharge electrode 230.
- the intervals between the plurality of heat absorbing fin plates 211b, 211c, and 211d are set to a predetermined interval (for example, about 0.5 mm to 3 mm).
- the thickness of the fin plate is 0.5 mm or more so that dust is not clogged between the fin plates and the condensation between the fin plates is too narrow so that the condensed water droplets do not fall easily due to surface tension. Since it decreases and fin efficiency worsens, 3 mm or less is desirable. Therefore, in the present embodiment, the predetermined interval between the plurality of heat absorbing fin plates 211b, 211c, 211d is 0.5 mm or more and 2 mm or less.
- the refrigerator 1 provided with the highly reliable electrostatic atomizer 200 can be provided.
- a transport unit that transports the condensed water condensed on the heat-absorbing fins 211 to the electrode holding unit 220 becomes unnecessary, and the transport unit is not clogged with dust and the condensed water is not supplied to the discharge electrode 230.
- FIG. 10 is a side view of the inside of the cover of the electrostatic atomizer 200 provided in the refrigerator 1 representing the present embodiment as seen from the side. As shown in the figure, an inclined portion (slope portion) is provided in the shape of the lower end of the heat absorbing fin portion 211 so that the condensed water is transmitted to the inclined portion so that the condensed water is collected.
- the shape of the lower end of the endothermic fin portion 211 is a shape having an inclined portion 211W or a protruding portion 211T that protrudes downward, such as a substantially triangular shape, a trapezoidal shape, a conical shape, or a sawtooth shape
- the condensed water is inclined. Since it can be set so as to gather on the protruding portion 211T (portion where condensation water is to be collected) and fall on the required portion of the electrode holding portion 220 through the portion 211W, the falling position of the condensed water can be identified and grasped, so that the electrode is held
- the size of the part 220 can be reduced, and the compact electrostatic atomizer 200 can be obtained.
- FIG. 11 is a side view of the inside of the cover of the electrostatic atomizer 200 provided in the refrigerator 1 representing the present embodiment as viewed from the side.
- the electrode holding part 220 is composed of an inclined part 220W inclined downward and a water concentration part 220G forming a recess provided adjacent to the lower part (lower part) of the inclined part 220W.
- the discharge electrode 230 is disposed in the water concentration part 220G of the electrode holding part 220.
- the container shape of the electrode holding part 220 is formed in this way, when the condensed water generated by the heat absorbing fin part 211 falls into the electrode holding part 220, the condensed water dropped on the inclined part 220W concentrates on the water along the inclination. Since it flows into the part 220G, condensed water collects in the water concentration part 220G.
- the discharge electrode 230 disposed in the water concentration portion 220G has the condensed water falling along the inclined portion 220W and flowing into the water concentration portion 220G to be concentrated. It is immersed in water, and even when there is little condensed water, it can be efficiently collected in the water concentration part 220G where the discharge electrode 230 is disposed, so that the condensed water is not insufficient and stable mist spraying can be performed. it can. Further, since the condensed water concentrates on the water concentration part 220G, the condensed water concentrates on the water concentration part 220G without increasing the length of the discharge electrode 230 and absorbing as much condensed water as possible. It can be shortened according to the size of the water concentration part 220G.
- the compact and low-cost electrostatic atomizer 200 and the refrigerator 1 can be obtained. Moreover, since the length of the discharge electrode 230 can be shortened, the length to the protrusion part 231 (tip part) of the discharge electrode 230 can also be shortened. Further, since the length of the discharge electrode 230 is short, the condensed water can reach the projecting portion 231 (tip portion) by capillarity in a short time through the discharge electrode 230 formed of foam metal or the like. Thus, the time until the fine mist nanosized is sprayed by the electrostatic atomizer 200 can be greatly shortened.
- the heat absorption fin part 211 which is the discharge electrode 230 and the water supply means.
- a water discharge port may be provided so that water does not accumulate.
- the discharge electrode 230 is in direct contact with water from the inclined part 220W and condensed water from the heat sink fin part 211. If this is the case, water can be supplied to the projecting portion 231 (tip portion) by capillary action, so that the projecting portion 231 does not run out of water and stable mist spraying is possible.
- the cooling air passage 50 side is cooled too much by the cool air blown from the cooler chamber 131 flowing through the cooling air passage 50, the storage chamber (for example, the refrigerator compartment 2) side is provided.
- the endothermic fins 211 are configured so as not to freeze. If it freezes, it will not be possible to generate condensed water, so it is difficult to freeze as a structure where heat is transmitted but is not easily transmitted. If at least one gap 214 is provided, the effect is exhibited.
- the length of the heat conducting portion 213 (for example, as shown in FIGS. 6 to 11, the refrigerator 1
- the length between the heat radiation fin portion 212 and the heat absorption fin portion 211 is increased.
- Cooling air passage by adjusting the type and material of the gas such as air and the like to be filled or inserted into the gap 214 and the type and material of the heat insulating material so that the predetermined cooling performance and temperature characteristics can be obtained.
- 50 cooler chamber 131 flowing through Heat absorbing fin part 211 of the even at blower has been coming cold too radiating fin portion 212 of the cooling air passage 50 side is cooled storage compartment (e.g. the refrigerating compartment 2) side can be set so as not to freeze.
- temperature control means such as a heater for controlling the temperature of the cooling plate 210, and the electrostatic atomizer 200 having a simple structure and the refrigerator 1 provided with the electrostatic atomizer 200 is provided. it can.
- the shape and thickness of the plurality of heat conduction plates of the heat conduction unit 213 and the material and type of the filler and heat insulating material sealed in the gap 214 are predetermined. It is possible to adjust so that a predetermined cooling performance can be obtained by selecting so as to obtain the cooling performance and temperature characteristics.
- the temperature of the endothermic fins 211 can be adjusted by controlling the temperature and air volume of the cooling air passage 50, and the refrigerator compartment damper provided in the cooling air passage 50 upstream of the storage chamber (for example, the cooling chamber 2). 55 may be controlled by opening / closing control, and since a plurality of heat conducting portions 213 are provided, the plate thickness, shape, material, etc. are selected (changed) so as to obtain predetermined cooling performance and temperature characteristics.
- the temperature of the endothermic fins 211 may be adjusted moderately, or may be performed in combination with cold air temperature control, air volume control, and the shape, plate thickness, or material change of the heat conducting unit 213.
- the number of the heat conduction parts 213 may be selected (increase / decrease), and the filling rate of the heat insulating material inserted into the gap part 214 and the type of heat insulating material (for example, foamed urethane, vacuum heat insulating material, etc.) may be cooled to a predetermined level. You may select so that performance and a temperature characteristic may be acquired. Further, all the cooling plates and heat conduction plates may have the same thickness, length and shape, or the shape, thickness and length may be individually changed.
- cooling is performed by foaming and filling urethane or a vacuum heat insulating material or the like into the gap portion 214 provided in the heat conducting portion 213 of the cooling plate 210 or enclosing a gas such as air, a liquid, or a heat insulating material in advance.
- the plate 210 and the cooling plate heat insulating material 511 may be separately formed as a kit-shaped component 512 in which the cooling plate 210 and the cooling plate heat insulating material 511 such as urethane or vacuum heat insulating material are integrally formed.
- the cooling plate heat insulating material 511 and the kit-formed component 512 will be described later (in the description of FIGS. 18 to 20).
- the vacuum heat insulating material if a laminated structure of sheet-like organic fiber aggregates is used for the core material, it is more likely to be caused by dust during decomposition or recycling than when glass fiber is used for the core material. There is little influence on the human body.
- the core material is cut into a predetermined length or a predetermined width and inserted into a gas barrier outer packaging material, the pressure is reduced to a substantially vacuum state, and the sheet is sealed in a substantially sealed structure, When short fibers shorter than the length direction or the width direction were used, the fiber length was shortened by the amount cut when the end face of the core and the hole processed part were cut, so the original fiber length was short.
- the remaining fibers remaining on the sheet due to the cut may become extremely short, and may not be entangled with other organic fibers of the sheet, and may protrude from the cut surface (end surface) of the core material or scatter.
- the remaining fibers of the core material are sandwiched between the sealing surfaces of the outer packaging material and the sealing becomes poor, so that a substantially vacuum state cannot be maintained, and the heat insulating performance as a vacuum heat insulating material may be impaired.
- the remaining fibers are sucked into the vacuum pump when vacuuming is performed with the vacuum pump, causing a failure of the vacuum pump. There is a fear.
- long fibers longer than the sheet length direction or width direction are used for the organic fiber aggregate constituting the core material.
- the remaining fiber remaining on the sheet is not extremely shortened, so the remaining fiber is entangled with other fibers of the sheet and protrudes from the cut surface of the core material.
- the remaining fibers of the core material will not be sandwiched between the sealing surfaces of the outer packaging material, and a seal failure will not occur and a substantially vacuum state cannot be maintained. Also, there is no risk of vacuum pump failure. Therefore, it is possible to obtain the heat insulating material, the electrostatic atomizer 200, and the refrigerator 1 that have good recyclability, good heat insulating performance that does not cause defective sealing, and high reliability and low energy.
- a long fiber longer than the sheet length direction or width direction (for example, a fiber having a predetermined length continuous in the sheet length direction or the width direction) is used for the organic fiber aggregate constituting the core material.
- a vacuum heat insulating material having a hole by drilling the core material which is substantially the same as or larger than the electrostatic atomizer 200.
- a vacuum heat insulating material using long fibers as a core material having a hole may be used for the partition wall 51 of the storage chamber, and the electrostatic atomizer 200 may be accommodated in the hole. If it does in this way, the heat insulation performance will be good and the refrigerator which can prevent disinfection, antibacterial, and drying will be obtained.
- the vacuum heat insulating material using the long fiber as the core material does not need to be used only for the electrostatic atomizing apparatus 200 because the sealing failure becomes poor as described above and the substantially vacuum state cannot be maintained. If it uses for the heat insulating material which insulates the refrigerator 1, the energy saving refrigerator 1 with few fears of a sealing failure, etc. with favorable recyclability and heat insulation performance can be provided.
- the cooling plate heat insulating material 511 is set to a predetermined size that is approximately equal to or larger than the size (for example, the length in the width direction and the length in the height direction) of the heat conduction portion 213 of the cooling plate 210.
- a store room for example, refrigerator compartment 2
- the back wall of the storage room for example, the refrigerator compartment 2
- the partition wall 51 of the storage room by providing a through hole having a size substantially equal to or larger than the cooling plate heat insulating material 511. do it.
- the cooling plate heat insulating material 511 for example, foamed urethane, vacuum heat insulating material, etc.
- the cooling plate heat insulating material 511 having a predetermined size including the periphery of the heat conducting portion 213 of the cooling plate 210 is integrally formed (or integrally formed) with the cooling plate 210. ), Etc., so that it can be assembled as a separate part kit 512 so as to be detachably attached to the back wall of the storage room. Assemblability is improved.
- the cooling plate 210 is made by foaming and filling the gap 214 provided in the heat conducting portion 213 of the cooling plate 210 or enclosing a gas such as a vacuum heat insulating material or air, a liquid, or a heat insulating material.
- 210 may be integrally formed as a kit part, or the heat-absorbing fin portion 211 and the heat-dissipating fin portion 212 may be formed separately and a heat insulating material or a Peltier element may be provided between the heat-absorbing fin portion 211 and the heat-dissipating fin portion 212.
- a kit-like part 512 integrally formed by being sandwiched may be formed as a separate part and detachably attached. In this way, if the Peltier element is used to force the movement of heat, it can be easily done without special processing on home appliances such as air conditioners, humidifiers, and air purifiers. Applicable and mist spraying is possible.
- components other than the cooling plate 210 for example, the electrode holding unit 220, the discharge electrode 230, the counter electrode 240, the high voltage power supply unit 250, and the like may be appropriately formed integrally with the cooling plate heat insulating material 511 to form a kit-made component 512.
- Assembling property of the electrostatic atomizer 200 is improved.
- only the kit-formed part 512 configured as a separate part from the partition wall 51 can be removed from the rear wall of the storage room, so that the parts can be replaced. Will be easier and repairs will be easier.
- the refrigerator 1 can be easily removed at the time of dismantling or recycling, the recyclability is improved.
- a vacuum insulating material using a long fiber as a core material having a hole portion substantially equal to the cooling plate heat insulating material 511 on which the kit-formed part 512 is formed or larger than the cooling plate heat insulating material 511 is partitioned into the storage chamber. You may make it use for the wall 51 and store the cooling plate heat insulating material 511 in which the kit-ized component 512 or the kit-formed component 512 is formed in a hole. If it does in this way, the heat insulation performance is good, and also assembly, disassembly, and recyclability are good, disinfection, antibacterial, and drying can be prevented, and the energy-saving refrigerator 1 can be obtained.
- the high voltage power supply unit 250 (see FIG. 8), which may break down due to condensation or freezing when placed in the storage room, is placed as a separate part in a place where there is no risk of condensation or freezing. It may be connected with a lead wire or the like.
- the high voltage power supply unit 250 is integrated with the control device 30 provided on the upper rear surface of the refrigerator 1 or is disposed in the control device accommodation chamber in which the control device 30 is accommodated, and the electrostatic atomizer 200 and the lead
- the connection may be made so that the connection can be easily released via a connector or the like using a connection line such as a line.
- the arrangement place of the high voltage power supply unit 250 is not limited to the accommodation room of the control device 30, and may be any place where there is no fear of condensation or freezing, for example, a place through the storage room and the heat insulating wall.
- the high voltage power supply unit 250 is waterproof or has a low temperature resistance, it can be installed in any storage room in the refrigerator 1.
- the above is performed by foaming and filling urethane or a vacuum heat insulating material into the gap 214 provided in the heat conducting portion 213 of the cooling plate 210, or by previously enclosing a gas such as air, a liquid, or a heat insulating material.
- the cooling plate 210 and the cooling plate heat insulating material 511 are integrally molded (or the cooling plate 210 and the cooling plate heat insulating material 511 such as urethane or vacuum heat insulating material are integrally formed) to make a kit-like component 512 that can be separated and detached.
- the cooling air passage 50 (a part of the cooling air passage 50) located on the back surface of the cooling plate heat insulating material 511 may be included as a kit part and attached in a detachable manner. In this way, the assembly is facilitated, and a damper device, a deodorizing device, a sterilizing device, or the like is provided in the cooling air passage in the kit range (for example, the size approximately the same as the cooling plate heat insulating material 511).
- Incorporate functional parts that perform predetermined operations, replacement parts that become less effective over time, such as filter devices and sterilization devices, etc. Service such as inspection, repair, and replacement can be easily performed by removing the part 512, so that serviceability is improved and recyclability is also improved.
- the kit component 512 may be provided with a cold air outlet for blowing cold air into the storage chamber (for example, the refrigerator compartment 2).
- FIG. 18 is a front view of the refrigerator door representing the embodiment of the present invention with the door open
- FIGS. 19 and 20 are static views with the cover mounted on the refrigerator 1 representing the embodiment of the present invention attached. It is a front view of the electroatomizer 200.
- the kit component 512 is provided with at least one upper cold air outlet 533 and one lower cold air outlet 534 at least on the side of the cover 300 of the electrostatic atomizer 200 or the cooling plate heat insulating material 511 in the vertical direction. Yes. Further, the number of the side cold air outlets 531 and 532, the upper cold air outlet 533, and the lower cold air outlet 534 may be one or plural.
- At least one cool air outlet (side cool air outlet 531, 532, upper cool air outlet 533, lower cool air outlet 534) for cooling the storage room (for example, the refrigerator compartment 2) is provided in the kit component 512. Since it is provided, it is possible to provide a cold air outlet for blowing out the cold air for cooling the storage chamber simply by attaching the kit-formed part 512 provided with the electrostatic atomizer 200 to the partition wall 51. Therefore, it is not necessary to provide a cold air outlet in the partition wall 51, the manufacture of the inner box is simplified, and the low-cost refrigerator 1 can be obtained.
- a cooling air passage dedicated to the electrostatic atomizer 200 may be provided separately from the cooling air passage 50 of the storage chamber.
- the cooling air passage dedicated to the electrostatic atomizer 200 only needs to be able to cool the heat dissipating fins 212, so the flow rate of the cool air may be small, and the cooling air passage cross-sectional area is such that the heat dissipating fins 212 have a predetermined temperature (heat absorbing fins).
- the temperature of the endothermic fin portion 211 is lower than the storage chamber temperature so that the 211 does not freeze, and the amount of air in the storage chamber can be cooled to such an extent that the moisture in the air can be condensed by the endothermic fin portion 211, it is sufficient for the storage chamber. It may be about 1 ⁇ 2 or less of the cooling air passage 50.
- the damper device is also unnecessary, so The electrostatic atomizer 200 and the refrigerator 1 that can be easily controlled at low cost can be provided.
- a predetermined gap (a predetermined gap F in FIG. 8, which is set to a gap of about 1 mm to 10 mm so that a voltage can be applied efficiently) at a position facing the discharge electrode 230.
- a counter electrode 240 (counter ground electrode) formed of a conductive material (for example, a conductive resin resistant to corrosion or a conductive metal) is provided, and is near the electrostatic atomizer 200 (near the side surface).
- a power source 251 is provided in the high-voltage power supply unit 250. The power source 251 is provided in the vicinity of the top and bottom) and energizes the discharge electrode 230 and the counter electrode 240 to generate nanomist.
- the counter electrode 240 is provided with a counter electrode opening 241 (for example, a through hole) for mist spraying at a position facing the protrusion 231 (tip) of the discharge electrode 230.
- a plurality of counter electrode openings 241b, 241c, and 241d are provided in the counter electrode 240 at positions opposed to the plurality of discharge electrodes 231b, 231c, and 231d, respectively (see FIG. 6).
- the discharge electrode 230 has a pore size of 10 to 800 ⁇ m (preferably a pore size of 50 to 300 ⁇ m, more preferably a pore size of 50 to 150 ⁇ m), and a tertiary material such as titanium having a porosity of 60 to 90% (preferably 70 to 80%).
- a substantially cylindrical shape formed of a foam metal having an original mesh structure a shape in which the tip becomes narrower (smaller) gradually or stepwise as the protruding portion 231 moves toward the counter electrode 240 (for example, gradually toward the counter electrode 240).
- the discharge electrode 230 is separated from the heat absorption fin portion 211 of the cooling plate 210 and the discharge electrode 230 and the heat absorption fin portion 211 of the cooling plate 210 are installed through a predetermined gap Z. Therefore, the freedom degree of the shape of the cooling plate 210 or the discharge electrode 230 and the freedom degree of arrangement
- the clearance Z between the lower end surface 211 ⁇ / b> Y of the endothermic fin portion 211 and the upper surface of the discharge electrode 230 applies a voltage between the discharge electrode 230 and the counter electrode 240 when water droplets adhere to the surface of the discharge electrode 230.
- Z is preferably 4 mm or more.
- the electrode holding part 220 is also provided with an opening or a notch on the surface of the discharge electrode 230 facing the heat-absorbing fin part 211 that is a water supply means so that water does not adhere or accumulate, so that water is discharged from the electrode holding part 220.
- a configuration in which a water reservoir for storing water is separately provided below may be configured such that the water accumulated in the water reservoir does not contact the discharge electrode 230).
- the degree of freedom of the setting range of the applied voltage and the setting range of the predetermined clearance F can be increased, and the generation of nanomist can be reliably and easily performed.
- the tip of the protruding portion 231 on the counter electrode side is thin, the narrower one can stably apply a voltage, so that the discharge can be stably performed, and radicalization with a uniform particle size can be achieved.
- the sprayed nano mist can be continuously sprayed and generated.
- the shape of the protrusion 231 (tip shape) of the discharge electrode 230 is substantially conical
- the shape of the counter electrode 240 is substantially similar to the shape of the protrusion 231 of the discharge electrode 230.
- the predetermined clearance F in this case is set to about 1 mm to 6 mm to prevent generation of nanomist.
- the voltage can be applied efficiently. If the predetermined gap F is too large or too small, a voltage cannot be applied efficiently, and the amount of nanomist generated is suppressed, so about 1 mm to 6 mm is preferable.
- the discharge electrode 230 may not be a substantially cylindrical shape, and may be a flat plate shape or a depression (concave) shape. If at least the portion of the discharge electrode 230 that accepts the dew condensation water has a flat plate shape or a depression (recess) shape, the dew condensation water that has dropped from the heat absorption fins 211 can be efficiently received by the discharge electrode 230, so the dew condensation water is wasted. It can be used for nano mist formation without being performed, and nano mist can be supplied stably.
- the portion of the discharge electrode 230 that receives the dew condensation water is a depression (recess) shape
- the dew condensation water can be stored by the discharge electrode 230 itself, so that the shortage of dew condensation water can be eliminated, and the electrode holder 220 is also unnecessary.
- the electrostatic atomizer 200 and the refrigerator 1 having a simple structure, low cost, and high reliability can be provided.
- the discharge electrode 230 when it is considered that the discharge electrode 230 is clogged with foreign matter and water is not supplied to the protruding portion 231 or the water supply is lowered to a state where mist spraying cannot be performed. May be provided with a filter on the discharge electrode 230.
- titanium having a pore diameter of 10 to 800 ⁇ m (preferably a pore diameter of 50 to 300 ⁇ m, more preferably a pore diameter of 50 to 150 ⁇ m) and a porosity of 60 to 90% (preferably 70 to 80%) is formed in the discharge electrode 230. Since the foam metal having a three-dimensional network structure such as the capillaries and the water supply force is large and water is sent to the tip of the protrusion 231 in a short time, it usually falls to the main body 232 of the discharge electrode 230.
- the condensed water does not collect in the main body 232 of the discharge electrode 230, even if the condensed water accumulates on the flat surface of the main body of the discharge electrode 230 or the hollow shape provided in the main body 232.
- KOR Z is provided.
- the electrostatic atomizer 200 can adjust the generation amount of ozone and radicals in the mist by adjusting the applied voltage of the power source 251 of the high voltage power supply unit 250, it does not affect the human body.
- Refrigerator 1 that can be controlled and can avoid adverse effects such as deterioration of resin parts constituting the interior walls of the storage room, and can spray nano mist that can provide sterilization and sterilization effects. Can provide.
- the electrostatic atomizer 200 is provided with a cover 300 on the front surface so that the user cannot touch it directly.
- the front cover 300 is attached so as to cover the cooling plate 210, the electrode holding unit 220, the discharge electrode 230, the counter electrode 240, and the like, and the user cannot insert a finger on the front or both sides of the cover 300.
- One or more openings for example, a front opening 515 or a side opening (not shown), an upper opening (not shown), or a lower opening (not shown) are provided.
- the water that has been nano-misted from one or a plurality of openings provided in the covers 300 is sprayed into a storage chamber (for example, the refrigerator 2 or any storage chamber).
- the necessary direction in the storage room for example, the refrigerator room 2 and the storage room It is possible to spray nano-misted water droplets in any direction.
- the electrostatic atomizer 200 is provided, for example, in the back of the storage room, the side surface, or the back of the upper surface, and is applied with a high voltage for atomization. Can be sprayed from the vicinity of the back (back) of the refrigerator 1 to the vicinity of the front by the flow of cool air that cools the storage chamber, and since it is provided at the top, the cool air that cools the gravity and the storage chamber As a result of this flow, it is possible to spray from the upper side to the lower side of the storage chamber, so that the mist of nano-sized particles can be sprayed over almost the entire area of the storage chamber. Moreover, if the electrostatic atomizer 200 is provided in the back part near the side surface of the upper part of the back surface, the internal volume of the storage room (for example, the refrigerator room 2) can be widely used.
- the rear side of the upper shelf of the storage room (for example, the refrigerator compartment 2) arranged on the upper part of the refrigerator 1 is hard to reach by the user, and it is difficult to see and store the stored items. Therefore, if the electrostatic atomizer 200 is provided at the back side of the rear upper part of the storage room, the inner side of the upper side of the storage room, or the upper upper part of the upper part of the storage room, an ineffective volume (dead volume) that is hardly used in the storage room. ) Can be used effectively, so that the inside of the storage chamber can be sterilized and humidified without reducing the internal volume, so that the refrigerator 1 can be kept clean and fresh, and has a large internal volume.
- the rear upper back side of the storage room (for example, the refrigerator room 2) provided at the top of the refrigerator 1 (
- the back side of the upper back is difficult to reach for users (especially housewives, children, and the elderly with a height of less than about 160 cm) and is not easy to use.
- the chemical conversion apparatus 200 in the vicinity of the upper part of the upper shelf of the uppermost storage room (for example, the refrigerator compartment 2) (for example, the upper part of the upper shelf and the inner part of the side).
- the ineffective volume (dead volume) that is rarely used in the storage room can be used effectively, and the inside of the storage room can be sterilized and humidified without reducing the internal volume, and it can be kept clean and fresh. Reliable and long It is possible to obtain the refrigerator 1 can be saved.
- the electrostatic atomizer 200 is provided in the back part near the center of the upper part of the back of the storage room, it is possible to efficiently cover the entire area inside the storage room (storage room) only by providing one electrostatic atomizer 200.
- the openings of the electrostatic atomizer 200 such as the cover 300 are formed so that the mist of the nano-sized particles from the electrostatic atomizer 200 provided near the center can be sprayed from both sides. If it is provided on the front, bottom, and both sides, mist can be sprayed from the front, bottom, and both sides into the cabinet.
- the front opening part 515 for mist spraying is provided in the front surface (front surface), upper surface, and lower surface of the cover 300 of the electrostatic atomizer 200, mist can be sprayed also to the substantially center part in a store
- a flammable and slightly flammable refrigerant for example, hydrocarbon refrigerant (HC refrigerant), for example, isobutane
- HC refrigerant hydrocarbon refrigerant
- isobutane hydrocarbon refrigerant
- the high voltage power supply unit 250, the discharge electrode 230, and the counter electrode 240 of the electrostatic atomizer 200 are disposed at the upper part (for example, the refrigerator compartment 2) (for example, the refrigerating room 2). If it is provided in the upper part of the storage room provided at the top of the refrigerator 1), the leaked combustible refrigerant is heavier than air and is filled from below the refrigerator 1. Since the atomizing device 200 does not fill up, or it takes time to fill up, the safe and highly reliable refrigerator 1 is obtained with less risk of failure due to ignition by the leaked combustible refrigerant.
- HC refrigerant hydrocarbon refrigerant
- isobutane isobutane
- the electrostatic atomizer 200 is provided with a recess in the partition wall 51 (back wall or side wall) on the back surface or side surface of the storage chamber and stored in the recess, the internal volume increases and the design is increased. Also improves. In this case, since the thickness of the back wall and side wall of the storage chamber is often limited, it is necessary to make the structure as thin as possible. Therefore, in the present embodiment, in order to make the dimension of the cooling plate 210 in the depth direction as small as possible, at least one of the heat absorption fin portions 211 and the heat radiation fin portions 212 of the cooling plate 210 (the vertical length in FIG. 8). Length) or the left-right direction (for example, the width dimension 211K direction in FIG.
- the depth direction dimension 211L of the heat-absorbing fin portion 211 in FIG. 8 is increased to reduce the depth direction length (for example, the depth direction dimension 211L of the heat-absorbing fin portion 211 in FIG. 8).
- the depth direction dimension 211L of the heat-absorbing fin portion 211 in FIG. 8 is the length in the vertical direction (length direction) or in the left-right direction (width direction) (for example, the vertical dimension in the vertical direction in FIG. 8).
- the dimension in the depth direction of the cooling plate 210 is made as small as possible so as to be smaller (thinner) than the width dimension 211K in FIG.
- the dimension in the depth direction of the cooling plate 210 can be reduced.
- the size in the depth direction can be reduced, and a small and thin electrostatic atomizer 200 can be obtained.
- the size of the heat dissipating fin portion 212 is increased and the size in the depth direction is reduced, the size in the depth direction can be reduced, and the small and thin electrostatic atomizer 200 can be obtained.
- the cooling air passage When (part of) the cooling air passage is provided in the partition wall 51 (heat insulating wall) on the rear surface or side surface of the refrigerator 1 (at least part (or all) of the electrostatic atomizer 200 on the partition wall 51).
- a cooling air passage (a part of the cooling air passage is provided on the side of the concave portion) is formed in the concave portion of the partition wall 51 located on the side of the cooling air passage. Is provided so that at least a part (or all) of the gasification apparatus 200 is accommodated, and the radiating fin portion 212 of the cooling plate 210 is disposed in the cooling air passage on the side of the concave portion, and the heat absorbing fin portion 211 is stored in the concave portion or stored.
- the cooling plate 210 of the electrostatic atomizer 200 is provided in the cooling air passage in the recess lateral direction in which the electrostatic atomizer 200 is accommodated.
- the heat conducting portion 213 may be provided so as to penetrate the heat insulating partition between the recess and the cooling air passage, and the heat absorbing fin portion 211 and the heat radiating fin portion 212 are arranged in the depth direction of the refrigerator 1.
- the heat-absorbing fin portion 211 and the heat-radiating fin portion 212 may be installed so as to be aligned in the width direction (left-right direction) of the refrigerator, and the heat-absorbing fin plate (heat-absorbing fin portion 211) and the heat-radiating fin plate (heat-radiating fin portion) 212.
- the length of the heat conduction part 213 in the vertical direction is increased to reduce the depth direction (for example, the width direction dimension 211K direction of the heat absorption fin part 211) by increasing the heat transfer area. It will be possible to install.
- the electrostatic atomizer 200 was applied to the refrigerator 1 as described above, the electrostatic atomizer 200 according to the present invention is not limited to the refrigerator 1 and is a home appliance such as an air conditioner, an air purifier, or a humidifier. It can also be applied to devices.
- a home appliance such as an air conditioner, an air purifier, or a humidifier. It can also be applied to devices.
- FIG. 12 is an exploded perspective view of another electrostatic atomizer 200 representing an embodiment of the present invention
- FIG. 13 is a perspective view illustrating an assembly method of another electrostatic atomizer 200 representing an embodiment of the present invention.
- FIG. 14 is a top view of another electrostatic atomizer 200 representing the embodiment of the present invention
- FIG. 15 is a KK of the electrostatic atomizer 200 shown in FIG. 14 representing the embodiment of the present invention.
- FIG. 16 is a cross-sectional view of the electrostatic atomizer 200 representing the cross section, and FIG.
- FIGS. 17A and 17B are views for explaining a state in which water supply means is installed in the electrostatic atomizer 200 representing the embodiment of the present invention. Parts equivalent to those in FIGS. 1 to 11 are denoted by the same reference numerals and description thereof is omitted.
- the electrostatic atomizer 200 includes a discharge electrode 230, a counter electrode 240, and an electrode holding unit 220.
- the discharge electrode 230 and the counter electrode 240 have a predetermined clearance (a clearance similar to the clearance F in FIG. 8). It is stored and installed in the electrode holder 220 so as to be obtained.
- the discharge electrode 230 includes a rectangular parallelepiped main body portion 232 that is elongated in the axial direction of a substantially rectangular (or substantially quadrilateral) cross section, and a substantially perpendicular direction to the axial direction from the middle of the main body portion 232 in the axial direction.
- a projecting portion 231 having a rectangular parallelepiped shape (or a pyramid shape) having a substantially rectangular (substantially quadrangular) cross section provided in a projecting manner is integrally formed in a substantially T shape, and is formed of a foam metal such as titanium.
- the main body 232 of the discharge electrode 230 may have a cylindrical shape with an elongated shape (long shape in the axial direction) having a substantially circular cross section, and the protrusion 231 is substantially perpendicular to the axial direction from the middle of the main body 232 in the axial direction. It may be provided so as to protrude in the direction, and may have a cylindrical shape (or conical shape) whose cross section is a substantially circular shape (or a substantially circular shape). That is, the shape of the protruding portion 231 may be a conical shape or a pyramid shape that narrows toward the counter electrode 240.
- One protrusion 231 or a plurality of protrusions 231 may be provided.
- the main body 232 of the discharge electrode 230 has an axial length of X2, a width of X3, and a thickness of X4.
- the protrusion 231 has a protrusion length X1, a width X5, and a thickness X6.
- the length X2 of the main body portion 232 is longer than the length X1 of the protruding portion 231, and the value of X2 / X1 (ratio of X2 to X1) is 4 to 20 times, and the workability is good.
- the amount of water supplied to the projecting portion 231 is also large, and the water supply time can be shortened (preferably, the ratio of X2 to X1 is 6 or more and 15 or less in view of workability, strength, water supply amount, and water supply time. It is good because it is balanced. If the ratio is too large, the strength becomes weak.)
- the thickness X4 of the main body 232 and the X6 of the protruding portion 231 are good in processability within the range of about 1.5 to 4 mm, and have good water absorption and moisture retention. It can be supplied by capillary action.
- the substantially T-shaped discharge electrode 230 may be manufactured by cutting a sheet-like foam metal having a thickness of about 1.5 to 4 mm, such as titanium, by pressing or laser processing.
- the discharge electrode 230 is formed of a foam metal having a three-dimensional network structure, and has a substantially rectangular parallelepiped or substantially cylindrical main body 232 that is long in the axial direction, and the main body 232 from the middle of the main body 232 in the axial direction. Projecting in a direction substantially perpendicular to the axial direction of the main body 232, being shorter than the axial length of the main body 232, formed integrally with the main body 232, and attached to the surface of the main body 232 is supplied by capillary action. And a cylindrical protrusion 231. Therefore, it is possible to increase the surface area of the main body portion 232, and the water attached to the surface of the main body portion 232 can supply a large amount of water to the protruding portion 231 by capillary action.
- the protruding portion 231 when water is supplied from the main body portion 232 by capillary action to the tip portion of the protruding portion 231 in the direction facing the counter electrode 240, the protruding portion 231 is in the middle of the main body portion 232 in the axial direction (substantially the center in the axial direction). ), The main body portion is divided into two (for example, the first main body portion 237 and the second main body portion 238) with respect to the protruding position of the protruding portion 231.
- water can be supplied by capillary action from two places (both sides of the protruding portion 231) of the main body portion 237 and the second main body portion 238, it becomes possible to supply a large amount of water to the protruding portion 231, and the mist The amount of spraying can be increased, and mist spraying can be stably performed. Even if one of the first main body portion 237 and the second main body portion 238 (for example, the first main body portion 237) does not function due to clogging or the like, the other (the other) (for example, the second main body portion 237) The main body 238) can supply water to the protrusions 231. Therefore, it is possible to supply water to the protrusions 231 stably over a long period of time, and to reliably spray mist over a long period of time.
- a device 400 (mist spraying device) is obtained.
- the electrostatic atomizer 200 includes a fixing unit 260 (pressing unit) that fixes and holds the discharge electrode 230 or the counter electrode 240 accommodated in the electrode holding unit 220 to the electrode holding unit 220, and at least the electrode holding unit 220.
- the discharge electrode 230, the counter electrode 240, and the fixing means 260 are integrally formed so as to be provided on the wall surface of the storage room (for example, the side wall, the back wall, the partition wall 51, etc.).
- the electrostatic atomizer 200 (kit) is provided in a housing (such as a downstream side of the filter with respect to the air flow) such as an indoor unit installed indoors. Assembling of the component) is easy and compact, and the electrostatic atomizer 200 (kit component) can be easily attached to the wall surface or casing.
- the discharge electrode 230 (for example, both the main body portion 232 and the protruding portion 231 or only the main body portion 232) is formed of a foam metal having a three-dimensional network structure and is long in the axial direction.
- a main body portion 232 having a substantially rectangular parallelepiped shape or a substantially columnar shape, and projecting in a direction substantially perpendicular to the axial direction from the middle of the main body portion 232 in the axial direction.
- the main body portion 232 is integrally formed with the main body portion 232 shorter than the axial length
- a protrusion 231 having a substantially rectangular parallelepiped shape, a substantially cylindrical shape, a substantially pyramid shape, or a substantially conical shape, in which water attached to the surface of the portion 232 is supplied through the inside of the main body portion 232 by capillary action.
- the axial length X2 is in the range of 4 to 20 times the length X1 of the protrusion. If the axial length X2 of the main body 232 is too long with respect to the length X1 of the protruding portion, the body portion 232 becomes too long and the shape balance becomes worse, the processing accuracy is not improved, and it is damaged during processing or during assembly.
- the axial length X2 of the main body 232 should be about 20 times or less (preferably about 15 times or less) of the length X1 of the protrusion.
- the amount of water supplied from the main body 232 is too small, or water is supplied to the tip of the protrusion. Since the time until the mist spraying is too long, the axial length X2 of the main body 232 is about 4 times or more (preferably about 6 times or more) of the length X1 of the protrusion. I found it good.
- the main body 232 may have a rectangular parallelepiped shape with a flat installation surface on the electrode holding portion 220, so that the position of the main body 232 may be stable during the installation. It is better to be sufficiently large.
- the main body 232 efficiently receives the water falling from the water supply means directly above the upper surface and supplies as much water attached to the upper surface as possible through the inside to the tip of the protruding portion 231 by capillary action. Since it is desirable, it is better to increase the surface area by increasing the axial length, and the width X3 is made larger than the thickness X4 to increase the upper surface area.
- the protrusion part 231 since it is desirable for the protrusion part 231 to supply water to the front-end
- the tip of the protruding portion 231 is more sharply pointed toward the counter electrode 240, so that ozone is applied so that the human body is not affected if a voltage is applied even when there is no water at the tip (no water supply state). It can be generated and a sterilization and deodorizing effect can be obtained, and a pyramid shape and a cone shape are good.
- the shape of the projecting portion is a pyramid shape or a conical shape and the tip of the projecting portion 231 is sharply pointed toward the counter electrode 240, regardless of the presence or absence of water at the tip of the projecting portion 231, If a voltage is constantly applied between the discharge electrode 230 and the counter electrode 240 during the operation of the device, even if the water supplied from the water supply means is insufficient, mist spraying or ozone spraying can be performed. Household appliances such as the refrigerator 1 and the air conditioner that can perform bacteria can be obtained.
- the axial length of the main body 232 is the protruding portion 231.
- the workability is good
- the amount of water supplied from the main body 232 to the protruding portion 231 is large, and the water supply time can be shortened.
- the magnification is 21 times larger than 20 times, the main body portion 232 is too long in the axial direction, so that it is damaged during processing or broken during assembly, resulting in poor reliability.
- the axial length of the main body 232 is preferably not less than 4 times and not more than 20 times the length of the protruding portion 231.
- the strength of the discharge electrode 230 is obtained within the range of 6 times to 15 times, and a large amount of water can be supplied to the protruding portion 231 in a short time. The amount of nanomist sprayed when a voltage is applied to the electrode 230 and the counter electrode 240 may be increased.
- foam metal such as titanium is used for the discharge electrode 230, and since the metal porous body has a three-dimensional network structure such as sponge, the amount of water absorption inside the metal is also foam metal. 2 times to 5 times higher than that of non-sintered metal, has a larger capillary force than sintered metal, and has a small electrical resistance of about (0.4-2) ⁇ 10 ⁇ 7 ⁇ ⁇ m. Since electricity is applied, it is much easier to conduct electricity than ceramics with a large electrical resistance (electrical resistance is as large as about 10 12 ⁇ ⁇ m), and the amount of mist generated can be increased. It is easy and the applied voltage can be reduced, and the generation of nanomist can be performed easily and reliably.
- the material has a resistance of about 10 ⁇ 8 ⁇ ⁇ m to 10 ⁇ 4 ⁇ ⁇ m, electricity can be easily conducted, and the amount of mist generated is large and nanomist can be generated stably. Moreover, since electric resistance is small and electricity can be easily conducted, a high voltage is easily applied, and a low-power electrostatic atomizer can be obtained.
- a foamed metal such as titanium having a pore diameter of 10 ⁇ m to 800 ⁇ m and a porosity of 60% to 90% is used for the discharge electrode 230.
- foam metal has a much greater resistance to clogging by foreign materials, so water can be stably supplied from the main body 232 to the protrusion 231 over a long period of time. can do. Since the risk of clogging increases when the pore diameter is smaller than 10 ⁇ m, the pore diameter is preferably 10 ⁇ m or more.
- a hole diameter is preferable to be 800 micrometers or less.
- the porosity is 50% or less, and the porosity is 60% or more and 90% or less, which has a large three-dimensional network structure such as titanium. Since the foam metal of the porous metal body is used, more water can be retained inside the foam metal than conventional ceramics and sintered metals. Therefore, a large amount of nanomist can be efficiently generated.
- the metal foam used for the discharge electrode 230 should have a high capillary force and be stable with little variation in pore diameter, and should have a high resistance to clogging, and preferably has a pore diameter of 50 ⁇ m to 300 ⁇ m and a porosity of 70%. More than 80% of foam metal is desirable. Moreover, since the rigidity and strength of the discharge electrode 230 are improved by using a titanium foam metal for the discharge electrode 230, electric wear due to voltage application can be suppressed, and minute vibrations during operation of the refrigerator 1 and the air conditioner can be suppressed. This also improves the wear resistance against, and enables long-term use, improving reliability.
- the amount of ozone generated by corona discharge at the time of voltage application can be decomposed and reduced by a reducing action, and the amount of ozone generated compared to the case where a ceramic material is used for the electrode. Therefore, it is possible to provide an electrostatic atomizer 200 that can suppress adverse effects on the human body due to being too much and can generate safe and appropriate ozone.
- the oxidation treatment improves the compatibility with water, makes it easier to absorb the water on the surface of the main body 232 by capillary action, and is stable. As a result, water can be supplied to the protruding portion 231, so that the nanomist can be stably sprayed for a long period of time.
- the counter electrode 240 is provided through a predetermined gap F and the tip of the protruding portion 231 of the discharge electrode 230 (similar to FIG. 8), and the counter electrode opening 241 that is a substantially rectangular through hole is the discharge electrode 230. It is provided in the position facing the front-end
- the cross-sectional shape of the tip of the protrusion 231 of the discharge electrode 230 is a substantially square shape
- the counter electrode opening 241 of the counter electrode 240 is a substantially square of the tip of the protrusion 231 of the discharge electrode 230.
- the opening is a substantially rectangular shape larger than the shape.
- the cross-sectional shape of the tip of the protrusion 231 of the discharge electrode 230 may be a substantially circular shape, and the opening shape of the counter electrode opening 241 of the counter electrode 240 is the cross-sectional shape (or outside of the tip of the protrusion 231 of the discharge electrode 230).
- the opening of the counter electrode opening 241 of the counter electrode 240 may be an opening having a shape substantially similar to the diameter) and larger than the cross-sectional shape (or outer diameter shape) of the tip of the protrusion 231 of the discharge electrode 230.
- the shape may be different from the cross-sectional shape (or outer diameter shape) of the distal end portion of the protruding portion 231 of the discharge electrode 230, and the distal end portion of the protruding portion 231 of the discharge electrode 230 has a pyramid shape (cross-sectional shape (or outer diameter shape)). May be a substantially square), and the opening shape of the counter electrode opening 241 of the counter electrode 240 may be a circular opening having a shape larger than the cross-sectional shape of the protruding portion.
- the electrode holding part 220 is provided so as to protrude from the electrode housing part 225 that houses and holds and fixes the main body part 232 of the discharge electrode 230, and in the middle (substantially the central part) in the axial direction (longitudinal direction) of the electrode housing part 225.
- the counter electrode storage unit 223 stores and holds the counter electrode 240.
- the discharge electrode 230 is stored in the electrode storage portion 225 through a notch 222 such as an opening hole or a notch provided in a partition wall between the electrode storage portion 225 and the counter electrode storage portion 223.
- a protruding portion 231 protruding from the main body portion 232 of 230 is provided to protrude to the counter electrode storage portion 223.
- the water supply means is the cooling plate 210
- the heat supply fin portion 211 and the main body portion 232 of the discharge electrode 230 are interposed.
- the electrode holding unit 220 is provided with an opening or a notch (not shown) on the bottom surface or the side surface, and water supplied from the water supply means is supplied to the electrode holding unit. What is necessary is just not to accumulate in 220.
- a notch or an opening is provided in the electrode holding part 220 or the fixing means 260 (pressing means, pressing member), and the heat absorbing part (heat absorbing fin part 211) in a state where the body part 232 of the discharge electrode 230 is held in the electrode holding part 220. ) If the condensed water that has fallen more is prevented from collecting in the electrode holding part 220 or the main body part 232 of the discharge electrode 230, even when a voltage is applied between the discharge electrode 230 and the counter electrode 240, the condensed water is held in the electrode holding part 220.
- the discharge electrode 230 It can be suppressed that water accumulates in the main body portion 232 of the discharge electrode 230 and discharges from the discharge electrode 230 to the heat absorption portion (heat absorption fin portion 211) of the cooling plate 210.
- the gap Z between the lower end surface 211Y of the heat-absorbing fin portion 211 serving as the water supply means and the discharge electrode 230 (the upper surface of the main body portion 232) is in a state where water droplets adhere to the surface of the discharge electrode 230, the discharge When a voltage is applied between the electrode 230 and the counter electrode 240, there is a risk of discharge between the lower end surface 211Y of the heat-absorbing fin portion 211 and the discharge electrode 230. Therefore, it is necessary to secure a clearance that does not discharge. Then, the predetermined clearance Z is 4 mm or more.
- the counter electrode storage unit 225 is provided with a counter electrode holding unit 224 such as a notch or a recess for holding the stepped portion 245 of the counter electrode 240.
- the counter electrode 240 is provided with a counter electrode energization section 246 configured by a hole for connecting a power supply line or a lead line and energizing the counter electrode 240. It is connected to the voltage power source 250 (FIG. 11 etc.).
- the discharge electrode 230 has a main body portion 232 stored and held in the electrode storage portion 225, and a protruding portion 231 stored in the counter electrode storage portion 223 through the energizing member 280 by the fixing means 260 (pressing means).
- the part 232 is pressed and fixed to the electrode storage part 225.
- the energizing member 280 (electrode energizing means) is elastically deformed when pressed by the pressing portion 281 that contacts and presses the main body portion 232 and the fixing means 260 (pressing means, pressing member), thereby causing the pressing portion 281 to become the main body portion.
- An electrode energization means energization section 286 configured by a spring section 282 that presses against H.232, a hole that is connected to the high voltage power supply section 250 and a power line or a lead wire, and the like is provided.
- the electrode energization means energization unit 286 energizes the discharge electrode 230 by the high voltage power supply unit 250 via a power supply line, a lead wire, or the like.
- the energizing member 280 does not have to be configured to press and hold the energizing member 280 by the fixing means 260 (pressing means).
- the main body 232 has a spring property from the side surface (in the width direction) and is a spring. Any shape can be used as long as a voltage can be applied to the discharge electrode 230 by sandwiching with a force.
- the fixing means 260 has a container shape, and is provided on the opening 266 (see FIG. 14) provided on the bottom surface (or side surface) and on the bottom surface (or side surface). Then, the discharge electrode 230 is pressed and fixed to the electrode holding unit 220 side from above, or supplied from an electrode pressing portion 265 that suppresses the discharge electrode 230 from moving upward, and water supply means provided above (directly above).
- the electrode is provided on an inclined part 264 (see FIG. 13) inclined from the outside to the center so as to efficiently supply water to the main body part 232 of the discharge electrode 230 and a bottom part (or side part).
- the energizing member pressing portion 26 that presses and fixes the main body portion 232 of the discharge electrode 230 accommodated in the electrode accommodating portion 225 of the holding portion 220 to the electrode holding portion 220 side via the energizing member 280 formed of an elastic body. (Refer to FIG. 13), and is provided so as to protrude in the direction substantially the same as the direction of the protruding portion 231 of the discharge electrode 230 from the vicinity of the substantially axial center of the side wall of the fixing means 260 (pressing means). At least the opening 241 of the counter electrode 240 stored in the counter electrode storage unit 223 (the stepped portion 245 of the counter electrode 240 is inserted and stored in the notch 224 of the counter electrode storage unit 223 of the electrode holding unit 220).
- the counter electrode cover portion 261 is configured to cover the portion from above and suppress dust and dirt from adhering to the opening portion 241 of the counter electrode 240.
- the current-carrying member pressing part 262 has a stepped shape that is recessed by a thickness substantially equal to the thickness of the current-carrying member 280 from the electrode pressing part 265, and the fixing means 260 (pressing means) is interposed via the current-carrying member 280.
- the energization member 280 is at least partially housed in the electrode pressing portion 265 while the discharge electrode 230 is pressed (desirably, almost the entire energization member 265 other than the electrode energization means energization portion 286 is accommodated).
- the discharge electrode 230 and the counter electrode 240 are pressed and fixed to the electrode holding part 220 by the fixing means 260 (pressing member) via the energizing member 280.
- a predetermined gap F is formed between the substantially square planar tip of the protrusion 231 of the discharge electrode 230 and the opening 241 of the counter electrode 240. Is provided.
- the predetermined gap F is provided in a range of 1 mm or more and 8 mm or less so that a large output can be obtained when energized and a large amount of nanomist can be released.
- the energization member pressing portion 262 has a thickness (thickness) that can maintain an elastic force when the energization member 280 is pressed rather than the discharge electrode pressing portion 265 provided on the bottom surface portion of the fixing means 260 (pressing means, pressing member).
- the thickness is equal to the thickness obtained by subtracting the amount of contraction due to elastic deformation, and the current-carrying member 280 is accommodated in this step portion, and the current-carrying member 280 is pressed by the discharge electrode pressing portion 265 from above. Then, the main body portion 232 of the discharge electrode 230 is pressed and fixed to the electrode holding portion 220 side by the elastic force of the energizing member 280.
- the surface on the opposite side of the current-carrying member pressing portion 262 (the surface on the upper opening side of the fixing means 260) has a stepped portion 263 (a stepped portion that is one step higher) that is partially recessed to accommodate the current-carrying member 280.
- the cooling plate 210 is positioned in this portion, and the clearance between the lower end surface 211Y of the heat absorption fin portion 211 and the main body portion 232 of the discharge electrode 230 (below the heat absorption fin portion 211 of the discharge electrode 230 and the cooling plate 210).
- It also serves as a positioning part so as to ensure a distance from the end face 211Y (for example, a distance (predetermined clearance Z) between the lower end face 211Y of the heat absorbing fin part 211 and the discharge electrode 230 as shown in FIG. 9). What is necessary is just to set so that it may become a predetermined clearance.
- the fixing unit 260 holds the discharge electrode 230 from the upper surface opening side of the electrode holding unit 220 via the energization member 280 in a state where the discharge electrode 230 is stored and held in the electrode storage unit 225 of the electrode holding unit 220.
- the side wall of the electrode holding part 220 is fixed in a state where it is pressed against the electrode holding part 220.
- the clearance Z between the lower end surface of the water supply means (for example, the lower end surface 211Y of the endothermic fin portion 211) and the discharge electrode 230 (upper surface) is a discharge directly below the water supply means (for example, the endothermic fin portion 211).
- the thickness is small, and it is preferably about 1 mm to 30 mm.
- Predetermined clearance Z is more than 4mm is preferably a gap not discharged.
- the water supply means such as the water storage tank 270 may be detachably held by the fixing means 260 (pressing means).
- the storage tank 270 is provided with a scale line 271 and is installed so that the scale line 271 can be seen by the user in a state where it is installed in the refrigerator 1. Can be visually confirmed.
- the required distance (predetermined clearance) between the water discharge port 277 of the water storage tank 270 (the supply port for supplying the water in the water storage tank 270 to the discharge electrode 230) and the discharge electrode 230 is the discharge electrode 230 and the cooling plate 210. If the distance from the lower end surface of the endothermic fin portion 211 is set to be substantially equal to the distance (required predetermined clearance Z), the same effect can be obtained.
- a water supply means cover 269 is provided on the fixing means 260 (pressing means) to position, hold and fix the water storage tank 270. If it carries out, the structure and the low cost electrostatic atomizer 200 can be obtained. Further, since the water droplets 275 falling from the water storage tank 270 are covered by the water supply means covering portion 269 of the fixing means 260 (pressing means) so as to be substantially sealed or at least partially covered, the electrode holding portion 220 is covered. The water droplets 275 dropped into the electrode storage portion 225 are not easily affected by foreign matter such as dust and mold in the surrounding air where the electrode holding portion 220 and the fixing means 260 (pressing means) are installed.
- the water droplet 275 falling from the water discharge port 277 of the water storage tank 270 is covered by the water supply means covering portion 269 of the fixing means 260 (pressing means) so as to be substantially sealed or at least partially covered.
- the water droplets 275 falling into the electrode storage unit 225 of the electrode holding unit 220 are not easily affected by the surroundings where the electrode holding unit 220 and the fixing unit 260 (pressing unit) are installed (such as air flow and temperature). Therefore, the highly reliable electrostatic atomizer 200 is obtained in which the water droplets 275 are unlikely to be scattered somewhere due to the flow of air or cold air, or the water or the water droplets 275 in the water storage tank 270 are frozen.
- the electrostatic atomizer 200 is configured such that the discharge electrode 230 or the electrode holding unit is supplied from the water supply means (such as the cooling plate 210 or the water storage tank 270) provided immediately above the discharge electrode 230 or the electrode holding unit 220.
- Water supply that covers at least a part of the water drop path between the water supply means and the electrode holding unit 220 so that the water supplied by falling on 220 is not directly affected by the flow of air around the falling water Since the means covering portion 269 is provided on the fixing means 260, the dropped water droplet 275 is a foreign substance such as dust, mold or dust in the surrounding air where the electrode holding part 220 and the fixing means 260 (pressing means) are installed.
- the water droplets attached to the discharge electrode 230 and the water droplets in the electrode holding part 220 are less likely to be contaminated and the clogging of the discharge electrode 230 can be suppressed, and the reliability is high. Clean and hygienic electrostatic atomizing device 200 is obtained.
- the upper surface of the main body 232 of the discharge electrode 230 is higher. Even when water is attached to the surface, the discharge electrode 230 does not discharge to the water storage tank 270, so the electrode holding unit 220 may be configured in a container shape to store water. If it does in this way, the state which always accumulated water in the main-body part 232 of the discharge electrode 230 can be maintained, and since water is stably supplied to the protrusion part 231, mist can be sprayed stably.
- the cooling plate 210 when the cooling plate 210 is installed on the fixing means 260 (pressing means), the water droplet 275 (condensed water) falling from the heat-absorbing fins 211 is covered with the fixing means 260 (pressing means) in a substantially sealed state. If this is done, the same effect can be obtained.
- the fixing means 260 is provided with a fixing claw portion 268 protruding outward from the side wall, and a concave portion or a notch is provided on the side wall of the electrode holding portion 220 at a position facing the fixing claw portion 268.
- a fixing claw 268 of the fixing means 260 (pressing means) is provided on the side wall of the electrode holding part 220 by providing at least one fixing recess and pressing the fixing means 260 in the direction of the electrode holding part 220.
- the electrode holding part 220 can be fixed and held together by a simple operation, and can be made into a kit part. Mounting and embedded vessels to like can be facilitated.
- the distance between the water discharge port 277 and the water discharge port 277 of the water storage tank 270 (water supply means) (the supply port for supplying water in the water storage tank 270 to the discharge electrode 230) and the discharge electrode 230 is Since it is set to have a predetermined gap Z in a range in which the falling water is not supplied into the discharge electrode 230 or the electrode holding unit 220 due to the influence of ambient air or cold air flow, water supply means (for example, , A water storage tank 270, etc.) is provided in a separate location away from the electrostatic atomizer 200, and water is conveyed from the water supply means to the electrostatic atomizer 200 via the water flow path by a water supply means such as a pump.
- a water supply means such as a pump.
- the discharge electrode 230 is arranged so that a predetermined gap Z is obtained immediately below the water discharge port 277 of the water storage tank 270, and the fixing means 260, the energizing member 280, the discharge electrode 230, and the like are arranged so that the water storage tank 270 can be attached and detached. If the kit 240 is integrated with the electrode 240 and the electrode holding part 220 so as to obtain a predetermined gap Z, a water droplet falling from the water storage tank 270 can be directly dropped onto the discharge electrode. In addition, the assemblability and mountability are further improved.
- the cooling plate 210 when used instead of the water storage tank 270, the condensed water condensed at least on the heat absorbing fin portion 211 of the cooling plate 210 is discharged directly below the heat absorbing fin portion 211 so that the condensed water falls directly on the discharge electrode 230.
- the cooling plate 210 may be fixed to the fixing means 260 (pressing means) together so that the electrode 230 is positioned.
- the distance between the water storage tank 270 or the heat absorption fin portion 211 and the discharge electrode 230 may be set so as to be a predetermined gap Z.
- the setting of the predetermined clearance Z is as described above.
- the main body 232 of the discharge electrode 230 is elongated in the axial direction and short in the depth direction (length perpendicular to the axial direction, thickness direction). Therefore, a thin wall such as a ceiling wall that forms the upper surface of the storage room of the refrigerator 1, a side wall that forms the side surface of the storage room, a partition wall 51 (partition plate) that partitions the storage room and the storage room, and air In a conditioner or the like, it can be installed in a small portion in the depth direction, and the home appliances and devices such as the refrigerator 1 and the air conditioner can be thinned.
- the main body 232 since the main body 232 is elongated and has a large surface area, it can receive water such as dew condensation water and supply water in a sufficient area. In addition, since the main body 232 is elongated to increase the surface area, even if some foreign matter is present in the water and adheres to the surface of the main body 232, the water can be supplied. Since it passes through the internal space of the main body 232 by capillarity and is supplied to the protruding portion 231 without any problem, a filter or the like that removes dew condensation or foreign matter from the supply water is unnecessary, and a warranty period (for example, use for 10 years) The low-cost and highly reliable electrostatic atomizer 200 and household electrical appliances that can release nano mist within a period) are obtained.
- the axial length and the cross-sectional shape of the main body portion 232 of the discharge electrode 230 have a surface area that allows water to be supplied to the protruding portion 231 assuming a foreign substance in water within the warranty period of the product (for example, about 10 years). What is necessary is just to set to the extent which can ensure a magnitude
- the protruding portion 231 is laterally extended from the main body 232 (for example, substantially horizontal direction). Even if it is arranged so as to protrude, a compact electrostatic atomizer 200 having a small thickness that can be installed in a side wall, a ceiling wall, a partition wall, a small installation place, or the like can be obtained. Since the thickness in the depth direction is smaller if it is arranged so as to protrude substantially upward or downward from the wall, in this case it can be installed on a side wall, ceiling wall, partition wall, or a small installation location A thin electrostatic atomizer 200 having a small thickness is obtained.
- a water storage tank 270 is used as a water supply means, and the electrode holding part 220 for fixing or storing the discharge electrode 230 is formed in a container shape so that water can be collected.
- the shape of the main body part 232 of the discharge electrode 230 is When the surface is formed in a rectangular parallelepiped shape and has a width (in this embodiment, as shown in FIG. 12, a rectangular parallelepiped shape having a substantially rectangular surface with a width X3 and a length X2 as shown in FIG. 12).
- the electrode holding part 220 is a container capable of storing water by installing the upper surface having a width so as to be substantially horizontal (may be slightly inclined, for example, the inclination is 5 degrees or less).
- a discharge electrode 230 including a main body portion 232 formed of a foam metal having a three-dimensional network structure, and a protrusion 231 to which water attached to the surface of the main body portion 232 is supplied by capillary action,
- the electrode holding part 220 for holding the discharge electrode 230, the counter electrode 240 provided on the electrode holding part 220 and facing the protruding part 231, and the body part 232 of the discharge electrode 230 are provided directly above the discharge electrode 230.
- Water supply means for supplying water to the electrode 230 for example, the heat-absorbing fins 211 and the water storage tank 270
- the main body 232 has a substantially rectangular parallelepiped shape elongated in the axial direction, and the width is made larger than the thickness.
- the area of the upper surface having the shape is increased, and the area for receiving water can be increased by installing the upper surface for receiving water so as to be substantially horizontal.
- the water droplet 275 supplied from the water storage tank 270 falls to the main body 232 of the discharge electrode 230 immediately below, but the upper surface of the main body 232 has a shape having a substantially square surface having a width X3 and a length X2. Since it is installed almost horizontally, the dropped water can be directly received by the upper surface formed by the surface of the main body 232, and the water dropped on the upper surface instantly becomes a capillary phenomenon from the surface to the inside of the main body 232 And is supplied to the protruding portion 231.
- the shape of the electrode holding portion 220 does not have to be a container shape because it is not necessary to store water, and it is sufficient that the main body portion 232 of the discharge electrode 230 can be fixed or held. If there is too much water that cannot be completely absorbed into the main body 232, the electrode holder 220 is provided with a water outlet that can discharge water, such as a notch or an opening, and the water outlet of the electrode holder 220 is provided separately. Water may be discharged out of the electrostatic atomizer 200 so that water can be discharged downward from the upper surface of the main body 232 by providing a discharge means below or on the side of the main body 232. For example, in the case of an air conditioner indoor unit, it may be discharged together with drain water, and in the case of a refrigerator, it may be discharged outside together with defrosted water.
- the heater roof 151 provided in the lower part of the cooler 13 has a container shape (such as a heater roof 151 having a shape in which water can be stored separately (for example, a container)).
- the frost electrode holding part 152 is provided, the defrosted water accumulated in the defrosting electrode holding part 152 is formed by a filter, felt, or the like, and is statically passed through the defrosting water conveying part using a capillary phenomenon or the like.
- the defrosting electrode holding part 152 can also serve as the electrode holding part 220 in the storage chamber, so there is no need to provide the electrode holding part 220 in the storage room, and the cooling plate 210 is also provided. Unnecessary Runode, refrigerator 1 structure at a low cost and easy to obtain.
- the heater roof 151 is provided so as to cover the top of the defrosting heater 150 so that the defrosting water falling from the cooler 13 is not directly applied to the defrosting heater 150.
- the size and capacity may be determined in consideration of the number of times of defrosting, the time of defrosting, etc., as long as the size and capacity are sufficient to ensure the amount of defrosted water necessary for mist spraying.
- the defrosting electrode holding portion 152 may be of a size and capacity that can secure the amount of defrosting water necessary for the mist spraying, and therefore does not need to be provided in the entire area of the heater roof 151. What is necessary is just to provide.
- the defrosting electrode holding part 152 is provided at the upper part of the heater roof 151, and even if the defrosting water accumulates and overflows, there is no problem because it is discharged from the defrosting water outlet provided below, The countermeasure when the defrost water overflows from the defrost electrode holding part 152 becomes unnecessary, and the refrigerator 1 with a simple structure can be obtained at low cost.
- the defrost electrode holding part 152 which receives the defrost water which falls from the cooler 13 (it often falls in the state of frost) is used for the electrode holding part of the electrostatic atomizer 200.
- the defrost electrode holding part 152 is used for a long time. Defrosted water can be secured in 152. Therefore, even when the defrosting operation is performed once a day, the defrosting water can be secured in the defrosting electrode holding unit 152 for a long time, so that mist can be sprayed stably. Become.
- the frost of the cooler 13 can be efficiently melted from the surface or the inner surface by radiant electric heat.
- the ratio of the frost that adheres to the frost falls in the frost state is reduced, so that the defrost electrode holding part 152 falls only in the frost state and does not fall in the water state and cannot be used for electrostatic spraying. Absent.
- the frost since it falls even in a moderately frosted state, the frost gradually melts, and defrosted water can be secured in the defrosting electrode holding part 152 for a long time, enabling stable mist spraying for a long time. Become.
- a defrosting means in combination with a cooler 13 provided integrally with the cooler 13, it can also be heated from the cooler 13 side, so that the frost attached to the cooler 13 is on the inside (chuck heater) and on the outside. Since it can heat from (a carbon heater etc. which are heaters for a defrost), the ratio of the water and frost which fall to a defrost electrode holding part can be set as needed.
- the user can set the applied voltage amount and the voltage application timing of the heater and the defrosting heater by using a switch or the like provided on the operation panel 60, or can be set in advance by the control device 30.
- a hot gas defrost circuit for defrosting the cooler 13 by directly flowing a high-temperature refrigerant in the refrigeration cycle to the cooler 13 without using the defrosting heater 150 or the like may be provided.
- the compressor 12 that compresses the refrigerant
- a switching valve (not shown)
- a condenser (not shown) that condenses the refrigerant compressed by the compressor 12, and a decompression that depressurizes the refrigerant condensed by the condenser.
- a refrigeration cycle is configured by sequentially connecting an apparatus (not shown) and a cooler 13 for generating cool air that evaporates the refrigerant decompressed by the decompression apparatus and cools the storage chamber, and is compressed by the compressor 12
- a hot gas defrost circuit for defrosting the cooler 13 by causing the cooler 13 to bypass the high-temperature refrigerant gas via the switching valve and allowing the high-temperature refrigerant gas compressed by the compressor 12 to flow through the cooler 13 is added. You can do it.
- a hot gas defrost circuit (bypass circuit) is provided in this way, when defrosting is performed, the switching valve is switched so that the high-temperature and high-pressure refrigerant compressed by the compressor 12 is passed through the condenser to the hot gas defrost circuit.
- the frost attached to the cooler 13 can be heated directly from the surface of the cooler 13 by using a high-temperature refrigerant so that the frost is melted from the inside of the frost. Defrosting can be performed.
- a hot gas defrost circuit (bypass circuit) is used as the first defrosting means, and a black medium heater (such as a glass tube heater) such as a carbon heater that can use radiant heat transfer as the second defrosting means,
- frost can be melted more efficiently.
- the defrosting heater 150 which is the second defrosting means, is also used as a heating means for heating the frost or defrosted water in the defrosting electrode holding part 152, it is necessary to provide a separate overheating means.
- the refrigerator 1 can be obtained with a simple structure and low cost.
- a bypass pipe of a hot gas defrost circuit which is a first defrosting means may be used as a heating means for heating the frost or defrosted water in the defrosting electrode holding unit 152. If it does in this way, it will become unnecessary to provide a heating means separately, the inexpensive refrigerator 1 which can collect defrost water efficiently, and can perform mist spray stably can be provided.
- the energization control of the heating means is provided on the front surface of the open / close door (for example, the refrigerator compartment door 7) provided so as to cover the front opening of the storage chamber (for example, the refrigerator compartment 2) of the refrigerator 1.
- the operation panel 60 may be provided with a mist spray switch 60e for operating the electrostatic atomizer 200 and operated by operating the mist spray switch 60e.
- the operation time may be appropriately set for a predetermined time or within a predetermined time range by the user, and power may be supplied for the set time.
- the energization time of the heating means may be set in advance by experiments or the like, or the user may be able to set the time appropriately within a predetermined time range set in advance by himself.
- one end of the defrost water transport unit composed of felt or the like is disposed in the defrost electrode holding unit 152 via a filter, and the other end of the defrost water transport unit is directly connected to the electrode holding unit 220. It may be connected, or when the electrode holding part 220 is provided in the storage chamber, it may be arranged in the electrode holding part 220. Moreover, if it sets so that the defroster of the cooler 13 may be performed regularly (for example, at least once a day), the supply of water to the electrostatic atomizer 200 is stable without shortage. Water that has been nano-misted can be supplied into the storage room (inside the storage).
- the cooler chamber 131 and the cooler 13 are separated from the storage chamber in which the electrostatic atomizer 200 is provided (for example, the storage chamber in which the electrostatic atomizer 200 is provided is the upper part).
- the cooler chamber 131 and the cooler 13 are provided on the back surface of the lower storage chamber, or the storage chamber in which the electrostatic atomizer 200 is provided is the lower portion of the refrigerator 1, and the cooler chamber 131 and the cooler 13 is provided on the back of the upper storage room of the refrigerator 1), it is problematic if the defrost water transporting part has a structure that can use the capillary phenomenon or a material that can use the capillary phenomenon. Water can be stably supplied to the electrostatic atomizer 200.
- the water in the defrost water transport unit may freeze, it is sufficient to insulate the periphery of the defrost water transport unit in a range where there is at least a risk of freezing by providing a heat insulating material around it, or What is necessary is just to arrange
- the refrigerator compartment 2 and the vegetable compartment 5 are at the top of the refrigerator 1, and the refrigerator for the refrigerator compartment and the cooler for the vegetable compartment are also above the refrigerator 1, separately from the cooler 13 for the freezer compartment 6.
- the defrosting electrode holding part 152 is provided on the upper back of the refrigerator 1 (refrigerator compartment 2 or Therefore, when the electrostatic atomizer 200 is installed in the refrigerator compartment 2 or the vegetable compartment 5, defrosted water is provided. It is possible to provide the refrigerator 1 including the low-cost electrostatic atomizer 200 that can simplify the length and handling of the transport unit, can be simplified, has a simple structure, and has no problem even when the defrost water overflows.
- the electrostatic atomizer 200 is an operation panel provided on the front surface of an open / close door (for example, the refrigerator compartment door 7) provided so as to cover a front opening of a storage chamber (for example, the refrigerator compartment 2) of the refrigerator 1.
- 60 may be provided with a mist spray switch 60e for operating the electrostatic atomizer 200 and operated by operating the mist spray switch 60e.
- the electrostatic atomizer 200 may be operated only for a predetermined time or by allowing the user to appropriately set the operation time within a predetermined time range. .
- the operation time of the electrostatic atomizer 200 may be set in advance by experiments or the like, or the user may be able to set the time appropriately within a predetermined time range set in advance by himself / herself. .
- electrostatic atomizer 200 when using defrost water for the electrostatic atomizer 200, if the electrostatic atomizer 200 is operated after the completion of the defrost, there is no shortage of water in the defrost water collection unit, and it is ensured. Electrostatic spraying can be performed. In this case, if it takes too much time after the completion of defrosting, it may not be after completion of defrosting, and immediately after the start of defrosting or after a predetermined time has elapsed from the start of defrosting, the electrostatic atomizer 200. May be operated.
- the operation of the electrostatic atomizer 200 can be performed anytime from the end of the defrosting (or the start of defrosting or during the defrosting) to the start of the next defrosting operation. It may be set as possible. In this case, since the defrost water can be used without waiting for the start of defrosting or the end of defrosting, the electrostatic atomizer 200 can be operated when necessary. Accordingly, it is not necessary to replenish the water supply to spray the mist, so that the electrostatic atomizer 200 that does not require maintenance can be obtained.
- water is supplied to the electrostatic atomizer 200 through the water supply conveyance part (not shown) from the water supply tank which supplies the water for ice making. You may do it. Also, among the means for supplying water to the electrostatic atomizer 200, among the supply of condensed water by the cooling plate 210, the supply of defrost water by the defrost electrode holding unit 152, the supply of water from the water supply tank, and other means These may be used in combination.
- the inside of the substantially sealed container 2X is a chilled chamber 2A whose temperature is controlled in a chilled temperature range of about + 3 ° C. to ⁇ 3 ° C.
- the inside of the substantially sealed container 2Y is about + 3 ° C. to + 5 ° C. It is used as a vegetable storage container or vegetable room 5 controlled in the temperature range of the vegetable room.
- the temperature control in the substantially sealed containers 2X and 2Y is performed by the cooling plate 210 of the electrostatic atomizer 200 in the present embodiment.
- the cooling plate 210 of the electrostatic atomizer 200 is formed by the heat radiating fins 212 provided on the cooling air passage 50 side and the heat absorbing fins 211 provided in the containers 2X and 2Y (stored chambers) that are substantially sealed. Since it is comprised, it is set as the structure cooled by the direct cooling system which cools the inside of the containers 2X and 2Y substantially sealed by the heat absorption fin part 211.
- FIG. When temperature control is difficult because the temperature in the substantially sealed containers 2X and 2Y rises only by direct cooling with the cooling plate 210, the outside of the substantially sealed containers 2X and 2Y is indirectly cooled with cold air. It may be combined with the indirect cooling method.
- a container having a substantially sealed structure can be configured by providing a detachable lid on the upper surface opening of the container having an upper surface opening having an upper surface opened.
- the lid may be provided on the container, may be provided on the shelf 80 or the partition wall provided in the upper part of the container, or the shelf or the partition wall itself on the upper part of the container may also be used as the lid. good.
- electrostatic atomization is performed by providing an opening (notch or opening) to the extent that at least a part of the electrostatic atomizer 200 (for example, the cover 300) can be inserted on the back surface of the container.
- the electrostatic atomizer 200 (for example, the cover 300) and the opening of the container are inserted in a state where at least a part of the apparatus 200 is inserted into the containers 2X and 2Y that are substantially sealed from the opening (notch or opening). Because the gap is as small as 0.5mm to 2mm as much as possible, and it has a substantially sealed structure that is not easily affected by the temperature outside the container, the inside of the substantially sealed containers 2X and 2Y is hardly affected by the temperature outside the container. Thus, the temperature hunting inside the substantially sealed containers 2X and 2Y is reduced, and the controllability of the temperature inside the substantially sealed containers 2X and 2Y is improved.
- the predetermined gap between the electrostatic atomizer 200 and the openings of the substantially sealed containers 2X and 2Y is closed while the substantially sealed containers 2X and 2Y are inserted and installed in the storage chamber of the refrigerator 1. If the structure or the structure that can be sealed is used, the predetermined gap can be further reduced and substantially sealed, so that it is less susceptible to the temperature outside the container, and the temperature controllability inside the substantially sealed containers 2X and 2Y is further improved.
- the moisture retention effect in the container is obtained by the effect of the moisture in the nanomist sprayed in the container, and the antibacterial in the container by the effect of ozone and radicals in the mist, Deodorizing, antifouling, and sterilizing effects can be obtained, and the effects are improved as compared with the case of not having a substantially sealed structure.
- the electrostatic atomizer 200 is a storage room, for example, provided in the switching room 4 and the switching room 4 is set to supercooled freezing (instant freezing).
- the instantaneous refrigeration switch 60c supercooled refrigeration
- the switching chamber 4 which is a storage chamber of the refrigerator 1 is cooled to a freezing temperature (for example, about ⁇ 7 ° C.).
- the air temperature in the switching chamber 4 is detected by the switching chamber thermistor 19, and the switching chamber damper 15 is opened and closed, thereby suppressing temperature fluctuations of about ⁇ 1K.
- the user presses the instantaneous freezing switch 60c among the switches on the operation panel 60 (the room selection switch 60a to the mist spraying switch 60e) Cooling refrigeration (In order to avoid misrecognizing that it is “overcooled” if it is “supercooled” and to freeze instantly, it is called “instant freezing” as another expression).
- the detection temperature processing surface temperature estimation processing
- the surface temperature of the stored item in the switching chamber 4 is calculated periodically (every predetermined time).
- the estimated temperature T1 reaches around 1 to -2 ° C., the set temperature of the switching chamber 4 starts to decrease, and gradually cools down to a lower temperature.
- the supercooled state is released at the timing, and the water in the stored product is frozen instantly.After the water is frozen, the cool air is rapidly blown into the switching chamber 4 to freeze the parts other than the water as soon as possible. Then, the set temperature is further lowered to perform quick freezing to freeze, and when it is frozen, supercooling freezing is completed.
- the user operates the operation panel 60 and presses the quick freezing switch 60c to select “instant freezing (supercooling). While the “freezing” control is being performed, the operation panel 60 displays that “instant freezing” is in progress.
- the above shows an example in which the temperature of the switching chamber 4 is detected by the switching chamber thermistor 19 and the temperature of the stored material 25 charged by the thermopile 22 is detected.
- the switching chamber damper 15 may be opened and closed to adjust the temperature of the switching chamber 4. That is, both the temperature detection of the air temperature in the storage chamber and the temperature detection of the surface temperature of the stored item may be performed only by the thermopile 22 as the temperature detection means.
- the temperature T1 of the stored item in the supercooling freezing process may be displayed directly on the operation panel 60 as a numerical value. The user can see the surface temperature T1 of the stored item and can check the progress of supercooled freezing and normal freezing.
- the refrigerator 1 maintains a stable temperature environment necessary for stably realizing supercooling, and is a temperature such as the temperature, wind speed, air volume, timing, etc.
- a control mechanism that adjusts the cooling air, a case that stores food, a device or control mechanism that determines the completion of supercooling that is necessary to reliably realize supercooling cancellation, and that is required for supercooling cancellation
- a device or a control mechanism for providing a stimulus It also has a cooling and storage function for maintaining a high quality freezing after the supercooling is released.
- the supercooling freezing is divided into the following five states depending on the food temperature.
- Unfrozen state The food temperature is above the freezing point of the food.
- Supercooled state The food temperature is below the freezing point of the food and is not frozen. As the food temperature continues to decrease, it can be seen that it is in a supercooled state.
- Supercooling release When the food temperature returns from the temperature below the freezing point to the freezing point.
- Freezing start to freezing completed state A state in which the food reaches the freezing point and undergoes a phase change (if it is water, it changes from liquid water to solid ice) and changes at a constant temperature.
- Freezing completed / frozen storage state Food is frozen through the process of (4).
- steps (1) to (3) will be described.
- the supercooling conditions in the supercooling chamber (same as the supercooling space) of the refrigerator 1 of the present invention will be described.
- the points to be noted when setting the supercooling conditions are the difference between the cooling rate and the minimum point of the core temperature of the food to be cooled (the temperature reached in the supercooled state) and the freezing point. If the cooling rate is too fast, the whole food is cooled in a non-uniform state, so that a frozen part (a large difference between the surface temperature of the food and the core temperature) and an unfrozen part are formed.
- the original flavor of the food is reduced, nutrients such as free amino acids are reduced, and the texture is deteriorated.
- the cooling rate is too slow, there is no problem in maintaining the supercooled state, but the unfrozen state becomes longer, which causes a problem that food quality deteriorates due to bacterial growth, oxidation promotion, and the like.
- it is cooled so that the difference between the surface temperature and the core temperature becomes small until the freezing point, and when the temperature reaches below the freezing point (supercooled state), the cooling rate is increased and the core temperature reaches the lowest point. The supercooling is released so that the unfrozen state does not become longer.
- the temperature control and the cooling air adjustment are performed continuously or stepwise until the food is released from the supercooling to the supercooling state below the freezing point and completely frozen until the freezing point is reached.
- the antibacterial function include a method using ultraviolet rays and ozone.
- the electrostatic atomizer 200 is provided in a storage chamber (for example, the switching chamber 4) that performs supercooled refrigeration.
- a storage chamber for example, the switching chamber 4
- the electrostatic atomizing device 200 is operated to spray water droplets that are nano-misted into the storage chamber, and bacteria breed by ozone, radicals, etc. in the nano-mist.
- the cooling rate is slowed during supercooling refrigeration control, the supercooled state is maintained for a long time, and even if the unfrozen state is lengthened, the original taste of food is reduced, Reduces nutrients such as free amino acids and reduces food texture, and can be stored for a long time in a supercooled state (unfrozen state), so there is no need for thawing and the food's original taste
- a refrigerator capable of obtaining a preserved food having a good texture without reducing nutrients such as free amino acids, and a food preservation method for the refrigerator.
- the supercooled state that does not freeze is maintained in the temperature zone (around -1 ° C to -10 ° C) including the maximum ice crystal formation zone (-1 ° C to -5 ° C).
- the time (the time during which the supercooled and unfrozen state can be maintained) is longer (longer passage time) than normal freezing and quick freezing.
- ice crystals after freezing even if the passing time of this temperature zone (-1 ° C to -10 ° C) including the maximum ice crystal formation zone (-1 ° C to -5 ° C) is long.
- the concept of the supercooled refrigeration of the present invention is novel in terms of forming a large number of small ice crystals and achieving high quality refrigeration. Freezing method.
- freezing starts and completely freezes through a phase change state in which the temperature does not change. Even if it takes a long time to pass through the maximum ice crystal formation zone in the process of freezing (even if it stays in the maximum ice crystal formation zone for a long time), the ice crystals do not enlarge and the ice crystals are fine and the whole food In this respect, it can be said that this is a novel refrigeration method.
- the present invention (supercooled storage and supercooled) has the advantages of both low temperature storage and unfrozenness.
- the electrostatic atomizer 200 provided in the storage chamber (for example, the switching chamber 4) in which the supercooling refrigeration control is performed starts the supercooling refrigeration control (for example, the moment provided in the operation panel 60).
- the operation may be performed simultaneously with the operation of the refrigeration switch 60c), or may be performed in the middle of the supercooling refrigeration control.
- the operation of the electrostatic atomizer 200 is terminated at a predetermined temperature at which the condensed water condensed on the heat absorbing fins 211 and the heat absorbing fins 211 of the cooling plate 210 does not freeze (for example, freezing point temperature, 0 in the case of water). (Zero) ° C).
- the supercooling refrigeration control is started and the temperature in the storage chamber gradually decreases.
- the supercooling refrigeration control starts ( For example, the electrostatic atomizer 200 is operated at the same time as the operation of the instantaneous freezing switch 60c provided on the operation panel 60 or after a predetermined time has elapsed after the start of the supercooling freezing control. 4)
- the detection temperature of the switching chamber thermistor 19 (or the thermopile 22 as the second temperature detection means) installed in the first temperature detection means reaches a predetermined temperature, the electrostatic fog The operation of the conversion apparatus 200 is terminated.
- the electrostatic atomizer 200 may be operated, and the supercooling refrigeration control may be performed after a predetermined time has elapsed.
- the condensed water can be sprayed to the storage chamber by the electrostatic atomizer 200 before the start of the supercooling refrigeration control, storage in the supercooled state or storage in the supercooled refrigeration state can be performed when the stored product is moist. Yes.
- the high voltage power supply unit 250 of the electrostatic atomizer 200 is combined with the electrostatic atomizer 200. What is necessary is just to install separately in the control apparatus 30 without danger, such as freezing and dew condensation, without making it a kit and making it separate and not installing in a storage chamber. Further, if a heating means is provided in the vicinity of the electrostatic atomizer 200, the cooling plate 210 or the like can be used when the electrostatic atomizer 200 is installed in a storage room for supercooled refrigeration or freezing and stored frozen. Even if the electrode holding part 220, the discharge electrode 230, etc.
- the electrostatic atomizer 200 also operates when a mist spray switch 60e provided on the operation panel 60 is operated.
- the operation of the mist spraying device is set to operate only when the mist spraying switch 60e is operated.
- Timing for operating the mist spraying device (electrostatic atomizing device 200) when the user selects a room with the room selection switch 60a or when setting the temperature of the storage room with the temperature zone switch 60b Whether the setting of the timing at which the apparatus 200 operates is operated / stopped in conjunction with the operation of the quick freeze switch 60c, whether it is operated at predetermined time intervals, or operated / stopped in conjunction with opening / closing of the door, the outside air temperature and storage Whether it is operated / stopped in conjunction with the room temperature, whether it is operated / stopped in conjunction with the on / off state of the compressor 12 and the cool air circulation fan 14, and the damper device being opened
- the electrostatic atomizer 200 can operate other operation switches and other storages without operating
- At least one storage chamber is provided with both a direct cooling air passage and an indirect cooling air passage, and a flow control means such as a damper is provided so that indirect cooling and direct cooling can be switched, rapid switching can be achieved.
- a refrigerator 1 or a storage that includes a storage room that can be switched to refrigeration, normal freezing, supercooled freezing, and supercooled storage, and that can spray nanomist by electrostatic atomization.
- the storage chamber for example, the switching chamber
- the high humidity state can be changed by spraying nanomist.
- the electrostatic atomizer 200 is arranged in the storage room, it is possible to uniformly spray the refined nano mist into the storage room, and also to disinfect the storage room, antibacterial, keep freshness, prevent drying, etc. Yes.
- a supercooling refrigeration function is adopted and the electrostatic atomizer 200 can be provided, so that drying is suppressed with less energy than in the past.
- High-quality refrigeration that can be performed that is, energy-saving refrigeration can be realized as a global environmental measure.
- a cooling structure that can control the cooling temperature is introduced by introducing cold air into the space for supercooling
- the structure and control of the refrigerator which is not much different from conventional ones, can be used for the food such as meat.
- Supercooled refrigeration can be realized, and since nanomist can be sprayed, it has the effect of sterilization, antibacterial, and drying prevention in the storage chamber.
- the temperature detecting means since, for example, an infrared sensor is used as the temperature detecting means, it is possible to measure the surface temperature of the food, and it is possible to detect a temperature closer to the food (for example, the surface temperature of the food), As a result, the success rate of supercooled freezing is increased, and frozen storage with good food quality (supercooled freezing) can be provided.
- the present invention since it is provided with a supercooled freezing function that is frozen through a supercooled state, it is possible to perform freezing with high quality in which the size and shape of ice crystals that are formed during freezing hardly destroy the original structure of food.
- the ice crystals are small, even if the ice crystals are broken, a state close to the original state can be obtained, and when thawed, the food quality such as the taste, texture and storage state of the food can be said to be good.
- the ice nuclei are small and fine, and the ice nuclei are substantially uniform over the entire object to be frozen, such as food. Compared to the case, the food quality is better.
- the atomized nano mist can be sprayed uniformly in the storage chamber, it has the effect of being able to disinfect, antibacterial, and prevent drying.
- the food that has undergone supercooled freezing in the refrigerator 1 of the present invention has a slow cooling rate when the supercooled state is created, so that ice crystals begin to form at the same time after the temperature has dropped uniformly to the inside of the food.
- the ice crystals generated in the food will not grow unevenly, the size of the ice crystals formed in the food will be small and substantially uniform, so that the food quality can be maintained and the electrostatic atomizer 200 is installed. In this way, food can be prevented from being dried, sterilized in the storage chamber, antibacterial, etc., so that even if the stored product is stored in a supercooled state for a long period of time, the food quality is unlikely to deteriorate.
- the refrigerator 1 of the present invention includes a freezer compartment 6 capable of continuously or stepwise adjusting the temperature of food stored by cold air circulating from the cooler 13 from 0 ° C. to a temperature in a freezing temperature zone, and a cold air outlet of the freezer compartment 6.
- the cooling chamber disposed in the freezer compartment 6 that takes in the cold air blown out from the mouth and sucked into the cooler 13 and maintains the food in a supercooled state that does not freeze even at temperatures below the freezing point, and the food stored in the cooling chamber
- the temperature setting means for setting the temperature of the freezer compartment 6 to ⁇ 15 ° C. or more and ⁇ 15 ° C.
- the cool air adjustment means for adjusting the cool air blown into the freezer compartment 6 so as to maintain the state, and the supercool release canceling the supercool state by changing the wind speed and temperature around the food stored in the cooler chamber Means and supercooling is released
- a freezing temperature setting means for rapidly cooling the food so as to increase the wind speed around the food or lowering the temperature around the food and store it frozen at a set temperature lower than 0 ° C. Therefore, high quality refrigeration can be realized with energy saving.
- the storage room that can perform supercooling cooling, supercooling freezing, and quick freezing may be other than the switching room 4, and even in other storage rooms such as the freezing room 6 and the vegetable room 5. If the cooling air passage and the indirect cooling air passage are provided and the air passage can be switched, it is possible to perform supercooling freezing and quick freezing. If it does so, a favorite storage room can be set to a favorite temperature zone and subcooling freezing without choosing a storage room, and a user-friendly refrigerator and storage can be provided for a user. Further, the electrostatic atomizer 200 is provided with heating means depending on the temperature range controlled in the storage chamber, regardless of the storage chamber (for example, the refrigerator compartment 2, the switching chamber 4, the vegetable compartment 5, the freezer compartment 6, etc.). Etc., it can be installed.
- the electrostatic atomizer 200 is provided with visual recognition means on the cover 300 so that the user can visually confirm whether the electrostatic atomizer 200 is operating or not is an example of the refrigerator 1.
- the visual recognition means will be described.
- the user determines whether the electrostatic atomizer 200 is operating in the cover 300 of the electrostatic atomizer 200 or in the cover 300 itself.
- at least one LED electrostatic atomizer illumination 600 is provided so that it can be visually confirmed.
- the electrostatic atomizer illumination 600 is turned on when the electrostatic atomizer 200 is in operation, and the electrostatic atomizer 200 is in operation when the opening / closing door (door) of the storage room is opened. If it is, it can be turned on or blinking, so that the user can visually recognize it.
- the electrostatic atomizer illumination 600 may be used as interior illumination. As long as it is continuously lit in a color that can be used as a light source (for example, white).
- the electrostatic atomizer 200 is in operation when the opening / closing door (door) of the storage room is opened, the electrostatic atomizer 200 is turned on or off by turning off the electrostatic atomizer illumination 600 or the like. What is necessary is just to make it make a user visually recognize by the lighting method different from the time of using as interior lighting, not operating.
- an opening for example, the front opening 515 or the side opening (such as the front opening 515) that is large enough to prevent the user's finger from being inserted on the front surface or both side surfaces.
- the electrostatic atomizer illumination 600 (for example, an LED or a lamp) ) Can be informed that the electrostatic atomizer 200 is in operation without special measures.
- the interior lighting it is possible to irradiate the interior of the storage room without providing the interior lighting separately, so that sufficient brightness can be secured.
- the interior of the storage room can be illuminated during operation of the electrostatic atomizer 200. It is possible to notify that the electrostatic atomizer 200 is operating without any special efforts. Further, even when the interior lighting is also used, the interior of the storage room can be illuminated evenly without providing interior lighting separately, so that the interior lighting can be substituted.
- the electrostatic atomizer illumination 600 white LEDs that are used as interior lighting that lights when the storage compartment door is open.
- the blue, green, and red LEDs used as the electrostatic atomizer illumination that is turned on when the electrostatic atomizer 200 is in operation can be selectively used.
- “electrostatic atomization” is provided on the operation panel 60 provided on the door of the storage room (for example, the refrigerator compartment 2). Users can be easily informed by giving blue, green, or red colors by displaying “device is on” or by providing dedicated illumination (LED, etc.) indicating that the electrostatic atomizer is operating. it can.
- the magnitude of the mist spray amount in the storage chamber and the degree of sterilization are increased by the strength of operation of the electrostatic atomizer 200 (for example, the magnitude of the applied voltage and the amount of mist spray). It can be displayed in the size of a graph such as medium, small, or bar graph, or in the size or number of a mark or figure (for example, a figure such as a leaf mark or a simple figure such as a square or circle). Then, the mist spray amount, the degree of sterilization, and the like can be immediately recognized by the user. Also, when displaying power consumption, electricity bills, CO2 emissions, etc.
- the figure has been divided into colors by dividing the figure into multiple parts and changing the color according to the number of divisions.
- the liquid crystal and the like are few and control is easy, so an inexpensive and compact display device and refrigerator can be obtained.
- the amount of mist spray and the degree of sterilization along with the amount of power used, electricity bill, CO2 emissions, etc. can be immediately recognized by the user just by looking at one display part, so there is no need to look at multiple locations. Since it improves, the user-friendly refrigerator 1 can be obtained.
- the cover 300 is transparent, white, milky white, yellow, light blue, or the like, which is a resin material with a small thickness and transparent or translucent so that the internal light can be seen from the outside.
- a thin resin material for example, a thin resin such as white, yellow, blue, or green
- at least one electrostatic atomizer illumination 600 is provided inside the cover 300.
- a plurality may be provided, and the entire cover 300 may emit light in a color (for example, red, orange, blue, purple, etc.) from the inside of the cover 300.
- the cover 300 may emit light with the color of the cover 300, or the cover 300 may emit light with the emission color of the electrostatic atomizer illumination 600.
- an opening or a slit is not provided on the front surface of the cover 300 so that light inside the cover 300 does not leak, and the opening or the slit can be passed through the side surface or the upper and lower surfaces of the cover 300 so that cold air or nano mist can pass through.
- an LED that emits light having a wavelength that has antibacterial, antibacterial, and deodorizing effects (for example, ultraviolet rays that do not affect the human body).
- the cover 300 can emit light over a wide range (for example, the entire cover 300 or at least a part of the cover 300). Even if a stored item such as food is stored around the electrostatic atomizing device 200 such as the front surface of the device 200, it can be immediately confirmed visually that the cover 300 emits light between the stored item and the stored item. Moreover, you may display on the cover 300 that the electrostatic atomizer 200 (mist spraying apparatus) is operating like “during mist spraying operation".
- the electrostatic atomizer 200 is provided with the electrostatic atomizer illumination 600 to visually recognize the operation of the electrostatic atomizer 200
- the operation of the electrostatic atomizer 200 may be visually confirmed using the lighting device 900 in the storage room (inside the store) in the refrigerator compartment 2.
- the lighting device 900 in the storage room may be used to display that the electrostatic atomizer 200 is operating.
- FIG. 21 is a schematic sectional side view of the refrigerator 1 representing the embodiment of the present invention.
- the refrigerator 1 includes a refrigerator room 2, an ice making room 3 (not shown), a switching room 4, a vegetable room 5, a freezer room 6 and the like having a space for storing stored items (food, etc.).
- it has a hinged refrigeration room door 7, a drawer type ice making room door 8 (not shown), a switching room door 9, a vegetable room door 10, and a freezing room door 11. Open / close the space between them.
- a plurality of internal shelves 80 are provided in the refrigerator compartment 2, which is a storage room provided at the uppermost part of the refrigerator 1, and below the internal shelf 80 provided at the lowermost stage.
- Containers 2X and 2Y which are almost sealed, are provided and used as a chilled room whose temperature is controlled in the chilled temperature range of about + 3 ° C to -3 ° C, or in the vegetable room temperature range of about + 3 ° C to + 5 ° C. Used as a vegetable room or vegetable storage container.
- a switching chamber 4 is provided below the refrigerator compartment 2, and a vegetable compartment 5 is provided below the switching chamber 4.
- a freezer compartment 6 is provided at the bottom of the refrigerator 1 and below the vegetable compartment 5. Below, although the refrigerator compartment 2 which has the refrigerator compartment door 7, the shelf 80 (loading shelf), etc. is demonstrated, it does not limit to this.
- the refrigerator 1 has a substantially rectangular parallelepiped shape, and based on the installation direction of the refrigerator 1, the front side surface having the door is the front surface, and the rear surface with respect to the front surface is the rear surface.
- the upper side (ceiling side) in FIG. 21 is the upper surface
- the lower side (floor side) is the lower surface
- the other two surfaces are side surfaces (here, the left side is the left side and the right side is the right side as viewed from the front).
- a plurality of internal shelves 80 stacking shelves for loading stored items are arranged in parallel so as to be substantially parallel to the upper surface (or lower surface).
- a plurality of compartments are arranged to divide the inside of the refrigerator compartment 2 so as to improve the storage of stored items.
- the control apparatus 30 is provided in the bottom face wall of the refrigerator 1 under the storage room (for example, freezing room 6) provided in the lowest stage of the refrigerator 1, and comprises the refrigerator 1. Control each means. Of course, you may provide the control apparatus 30 (control means) in the back upper part of the storage room (for example, refrigerator compartment 2) provided in the uppermost stage of the refrigerator 1.
- FIG. The control device 30 mainly performs control related to a plurality of LEDs 910 (LED 910a, LED 910b, LED 910c, LED 910d, LED 910e, and LED 910f) included in the lighting device 900 for illuminating the refrigerator compartment 2.
- FIG. 22 is a schematic sectional side view of the refrigerator 1 representing the embodiment of the present invention.
- a plurality of pieces of visible light for allowing the user to visually recognize stored items, such as white light are provided on a side surface portion (hereinafter referred to as an inner wall 2 ⁇ / b> P) of the inner wall of the refrigerator compartment 2.
- An illumination device 900 using the LED 910 as a light source is installed.
- stored items are stored on the inner shelf 80 in such a manner that the lighting device 900 is provided on the inner wall 2 ⁇ / b> P in front of the front edge of the inner shelf 80 (closer to the refrigerator compartment door 7).
- the light emitted from the LED 910 of the lighting device 900 is prevented from being hidden by the stored item.
- the plurality of LEDs 910 included in the lighting device 900 are adjacent to each other in the two cabinet shelves 80 so that the light emitted from the LEDs 910 of the lighting device 900 is not easily influenced by the shelf 80 in the cabinet. It arrange
- FIG. 23 is a diagram showing the light emission characteristics of a general LED 910.
- the LED 910 generally has high directivity of light related to light emission. Therefore, the light intensity in the direction of the optical axis 915 perpendicular to the light emitting surface of the LED 910 is the highest, and the light intensity decreases as the distance from the optical axis 915 increases.
- a range irradiated with a light intensity of 50% or more with respect to the light intensity on the optical axis 915 is defined as an effective irradiation range ⁇ of the LED 910 (however, light other than the effective irradiation range ⁇ is completely emitted by light emitted from the LED 910).
- the range other than the effective irradiation range ⁇ by the light emitted from the LED 910 means a range in which a predetermined luminous intensity cannot be obtained.
- ⁇ 100 degrees ( ⁇ about 50 degrees) is included in the effective irradiation range ⁇ .
- the direction of the light related to the light emission of the LED 910 will be described below as representing the direction in a plane parallel to the internal shelf 80 (the light in the vertical direction is not particularly limited). And).
- At least one of the plurality of LEDs 910 (LED 910a, LED 910b, LED 910c, LED 910d, LED 910e, LED 910f) is used as the electrostatic atomizer illumination 600 for the electrostatic atomizer 200.
- the plurality of LEDs 910 of the lighting device 900 are all used as interior lighting while the refrigerator compartment door 7 is open, for example, the LED 910 is lit white and the electrostatic atomizer 200 is operated while the refrigerator compartment door 7 is open.
- at least one LED (for example, 910a) among the plurality of LEDs of the lighting device 900 in the warehouse may be blinked or turned off.
- the color (for example, blue, red, orange, yellow, etc.) of the LED that is turned on during operation of the electrostatic atomizer 200 is different from the color (for example, white) of the LED that is turned on for interior lighting.
- the color may be easily seen by the user visually. Moreover, you may blink after changing the color of LED used for inside illumination.
- a plurality of LEDs may be turned on during the operation of the electrostatic atomizer 200, and the colors of the plurality of LEDs may be changed, or the LEDs having different colors may be blinked alternately so that the user can immediately know. You may make it.
- the LED that is lit during operation of the electrostatic atomizer 200 is statically switched. It is only necessary to turn on the light when the electroatomizer 200 is in operation, and turn off the light when the electrostatic atomizer 200 is not in operation. Also, if LEDs capable of emitting two colors (first color and second color) are used, when the electrostatic atomizer 200 is not in operation, for example, the first color, white, is turned on to When the electroatomizer 200 is in operation, the second color (for example, red, blue, green, yellow, orange, or the like, which is different from the first color) may be lit.
- the LEDs that are lit during the operation of the electrostatic atomizer 200 can be used as interior lighting, so the refrigerator compartment door 7 of the refrigerator compartment 2 is opened.
- the plurality of LEDs of the lighting device 900 can all be used as interior lighting, so that the interior does not become dark.
- the electrostatic atomizer 200 is in operation, it is a color (second color: for example, red, blue, green, yellow, orange, etc.) different from the color (first color: for example, white) used as interior lighting. Since it can be turned on, anyone can visually confirm that the electrostatic atomizer 200 is operating, and the design is improved.
- FIG. 24 is a top view of the refrigerator compartment 2 of the refrigerator 1 representing the embodiment of the present invention.
- the refrigerator compartment door 7 is installed in front of the refrigerator compartment 2.
- the front of the refrigerator compartment 2 is connected to the main body of the refrigerator 1 by a hinge (not shown), and the space of the refrigerator compartment 2 is opened / shielded to the outside by so-called double door opening / closing.
- the refrigerator compartment door 7 ⁇ / b> A and the refrigerator compartment door right 7 ⁇ / b> B are provided.
- the door on the right side of the refrigerator 1 is referred to as a refrigeration room door right 7B
- the door on the left side is referred to as a refrigeration room door left 7A (explained as the refrigeration room door 7 if it is not particularly necessary to distinguish).
- the refrigerator compartment door 7 has a door pocket 72 for food storage inside.
- the lighting device 900 includes a plurality of LEDs 910 provided on a printed circuit board 913 that constitutes an electric circuit.
- the printed circuit board 913 portion is not exposed in the refrigerator compartment 2 to improve its appearance and suppress the reduction of the internal volume.
- the distance (length) from the approximate center of the LED 910 to the front edge of the internal shelf 80 placed in the storage room (for example, the refrigerator room 2) is L1
- the distance (length) of the lateral width (between the inner wall 2P and the inner wall 2P) of the storage room (for example, the refrigerator room 2) of the refrigerator 1 is L2
- the approximate center of the LED 910 and the storage room for example, If the distance (length) to the inner wall 2P of the refrigerator compartment 2) is L3
- the distance from the front edge of the placed shelf 80 to the back wall of the storage compartment (for example, refrigerator compartment 2) is L4.
- the angle ⁇ formed by the optical axis 915 of the LED 910 with respect to the inner wall 2P is arranged so that Tan ⁇ 1 ((L2 + L3) / L1)) ⁇ ⁇ 90 °, and the optical axis of the LED 910 A direction (for example, a direction in which light in the 915 direction does not directly enter the shelf 80 (particularly the front edge portion).
- Tan ⁇ 1 represents an arc tangent.
- L2 since L2 >> L3 (L2 is sufficiently larger than L3), it can be considered that L2 + L3 ⁇ L2 (L2 + L3 is substantially equal to L2), so that Tan ⁇ 1 ((L2 + L3) / L1) is
- the optical axis 915 of the LED 910 may be arranged considering that Tan ⁇ 1 (L2 / L1). Therefore, considering the above, the angle ⁇ formed by the optical axis 915 of the LED 910 with respect to the inner wall 2P is Tan ⁇ 1 (L2 / L1) ⁇ ⁇ 90 ° in the direction of the optical axis 915 of the LED 910.
- the LED 910 and the LED 910 are arranged in a direction in which light does not directly enter the inner shelf 80 (particularly, the front edge portion) (for example, a direction in which the optical axis 915 of the LED 915 does not directly hit the front edge portion of the inner shelf 80).
- An optical axis 915 may be disposed.
- the angle ⁇ formed by the optical axis 915 of the LED 910 with respect to the inner wall 2P is set to an angle greater than Tan ⁇ 1 ((L2 + L3) / L1), for example, ⁇ is set to an angle greater than 70 degrees.
- the lighting device 900 is attached so that the optical axis 915 of the LED 910 is directed in the direction of the light, and the light directly strikes the front edge of the internal shelf 80 so that the reflected light does not give glare to the user.
- the angle ⁇ By making the angle larger than Tan ⁇ 1 ((L2 + L3) / L1), for example, the angle ⁇ larger than 70 degrees, unevenness and the like can be eliminated when irradiating the entire shelf 80, and balanced irradiation can be performed. it can.
- Tan ⁇ 1 ((L2 + L3) / L1)
- the angle ⁇ larger than 70 degrees
- unevenness and the like can be eliminated when irradiating the entire shelf 80, and balanced irradiation can be performed. it can.
- the angle ⁇ when the light in the direction of the optical axis 915 is incident on the internal shelf 80 even if the angle ⁇ is larger than 70 degrees, there is a circumstance that the reflected light does not give glare to the user. If there is not, it is basically desirable to install it with priority given to a direction in which light in the direction of the optical axis 915 does not directly enter the internal shelf 80.
- angle (theta) since it is mainly illuminating the inside of the refrigerator compartment 2, if the angle (theta) is 90 degrees or more, the optical axis 915 will not face the refrigerator inner side. Since the inside of the warehouse may not be irradiated because it faces the outside of the warehouse, the angle ⁇ formed by the optical axis 915 of the LED with respect to the inner wall 2P is made smaller than 90 ° so as to face the inside of the warehouse. Is preferred. That is, the angle ⁇ formed by the optical axis 915 of the LED with respect to the inner wall 2P is preferably larger than 70 ° and smaller than 90 ° (that is, preferably 70 ° ⁇ ⁇ 90 °).
- the optical axis of the LED with respect to the inner wall 2P. Since the angle ⁇ formed by 915 is Tan ⁇ 1 ((L2 + L3) / L1) or less, for example, even if ⁇ is 70 degrees or less, the light in the direction of the optical axis 915 does not directly hit the front edge of the shelf 80 in the cabinet.
- the illuminating device 900 is attached, and the light does not directly hit the front edge of the internal shelf 80, so that the reflected light does not give glare to the user.
- the effective irradiation range ⁇ of the LED 910 is about 100 degrees ( ⁇ about 50 degrees)
- the range irradiated by the LED 910 of the lighting device 900 is the inner wall.
- ⁇ / 2 + ⁇ ⁇ irradiation range ⁇ + ⁇ / 2 and the irradiation range is in a range from 20 ° to 120 °, and it is possible to irradiate almost the entire region uniformly.
- FIG. 25 is a top view of refrigerating room 2 of another refrigerator according to Embodiment 1 of the present invention.
- the angle ⁇ formed by the optical axis 915 of the LED 910 relative to the inner wall 2P is set to Tan ⁇ 1 ((L2 + L3) / L1) or less, and the light in the direction of the optical axis 915 of the LED is directed toward the shelf 80 in the cabinet.
- the angle ⁇ of the LED 910 with respect to the inner wall 2P is set to Tan ⁇ 1 ((L2 + L3) / L1) or less, and the light in the direction of the optical axis 915 of the LED is directed toward the shelf 80 in the cabinet.
- the light tends to be intensively applied to the rear side (back side) of the refrigerator compartment 2.
- the inside of the refrigerator compartment 2 can be illuminated brightly, since the light in the direction of the optical axis 915 by the LED 910 is directly incident on the internal shelf 80, the reflected light from the front edge of the internal shelf 80 is reflected on the refrigerator 1. There is a risk that it will enter the user's eyes strongly and feel dazzling.
- the refrigerator 1 sets the angle ⁇ of the LED 910 with respect to the inner wall 2P to Tan ⁇ 1 ((L2 + L3) / L1) or less (for example, 70 degrees or less) and emits in the direction of the optical axis 915 of the LED 910.
- the LED 910 that is the light source of the lighting device 900 has high directivity, and light in the effective irradiation range ⁇ around the optical axis 915 is strongly irradiated.
- the effective irradiation range ⁇ also changes in conjunction.
- the angle ⁇ of the optical axis 915 of the LED 910 with respect to the inner wall 2P is set to be Tan ⁇ 1 ((L2 + L3) / L1) or less (for example, 70 ° or less), and the inside of the refrigerator compartment 2 is intensively irradiated.
- the inside of the opened refrigerated room door 7 with the refrigerated room door 7 opened approximately 90 degrees with respect to the closed state may not be included in the effective irradiation range ⁇ of the LED 910.
- the door pocket 72 provided inside the chamber door 7 is less irradiated with light from the LED 910 and may become dark.
- the door pocket 72 is a very convenient storage space for storing and taking out drinks, small items, etc., so it is refrigerated for the convenience of the user, especially when the surroundings of the refrigerator 1 are dark, such as at night. Since it is preferable to be able to illuminate the door pocket 72 in a state in which the chamber door 7 is opened approximately 90 degrees, the installation angle of the optical axis 915 may be set in consideration of the effective irradiation range ⁇ .
- the angle ⁇ of the optical axis 915 of the LED 910 with respect to the inner wall 2P is made larger than Tan ⁇ 1 ((L2 + L3) / L1) (for example, 70 degrees), for example, in the refrigerator compartment. What is necessary is just to set angle (theta) which the optical axis 915 of LED910 makes so that the door pocket 72 of the state which the door 7 opened substantially 90 degree
- the angle ⁇ formed by the optical axis 915 of the LED 910 with respect to the inner wall 2P is set to an angle larger than Tan ⁇ 1 ((L2 + L3) / L1) (for example, about 75 degrees).
- Tan ⁇ 1 ((L2 + L3) / L1) (for example, about 75 degrees).
- the door pocket 72 in a state of being opened approximately 90 degrees with respect to the closed state is included in the effective irradiation range ⁇ (on the extended line thereof). Therefore, the LED 910 can illuminate the inside of the refrigerator compartment 2 and simultaneously illuminate the door pocket 72, and the user-friendly refrigerator 1 that can obtain both interior lighting and door pocket illumination even at night. can get. Further, even during operation of the electrostatic atomizer 200, the user can immediately recognize by turning on or blinking the LED 910 of the illumination device 900.
- the optical axis 915 of the LED 910 relative to the inner wall 2P is Tan ⁇ 1 ((L2 + L3) / (L1 + L4)
- the optical axis 915 is the LED 910 when ⁇ is approximately 60 degrees. Since the inner side wall 2P facing the inner side wall 2P is oriented in the direction of the corner position 2R (the inner corner position in the storage chamber, the inner corner position) where the rear wall intersects, ⁇ is approximately 60 degrees. Time can irradiate the entire storage room most efficiently. Therefore, the case where ⁇ is Tan ⁇ 1 ((L2 + L3) / (L1 + L4)) (for example, about 60 degrees) may be considered from the viewpoint of interior lighting.
- ⁇ is about 30 degrees or more and 60 degrees or less
- the direction of reflection is not the direction that gives glare to the user who stands on the front side of the refrigerator 1 and visually recognizes the interior. Therefore, it is considered that there is a low possibility that the user will be dazzled and difficult to use.
- a member made of a material that softens the reflected light or a member that absorbs light and weakens the reflected light may be provided at the front edge of the shelf 80 in the cabinet.
- the angle ⁇ formed by the optical axis 915 of the LED 910 with respect to the inner wall 2P is preferably about Tan ⁇ 1 ((L2 + L3) / (L1 + L4)) in consideration of the effective irradiation range ⁇ of the LED 910.
- the angle ⁇ formed is about Tan ⁇ 1 ((L2 + L3) / (L1 + L4))
- the light may be reflected on the front edge of the shelf 80 and the user may feel dazzling.
- ⁇ is in the range of about Tan ⁇ 1 ((L2 + L3) / (L1 + L4)) ⁇ ⁇ 90 degrees.
- ⁇ is, for example, about 90 degrees
- the effective irradiation range ⁇ is, for example, 100 degrees ( ⁇ 50 degrees with respect to the optical axis 915).
- the irradiation range is from 40 degrees to 150 degrees, and when the irradiation range is 150 degrees, there is a possibility of giving glare to the user (user), so ⁇ is ((L2 + L3) / (L1 + L4). ) Degree ⁇ ⁇ ((L2 + L3) / Better to set the range of about 1), without giving glare to the user when considering the irradiation coverage alpha, or as it can irradiate a wide range of the refrigerator.
- the LED 910 is used for interior lighting, it is possible to obtain the energy-saving refrigerator 1 with a small amount of heat generation and low power consumption.
- at least one of the plurality of LEDs 910 used for interior lighting can blink during operation of the electrostatic atomizer 200, or can be lit in a different color from the color used for illumination, It is not necessary to separately provide an illumination device for the electrostatic atomizing device 200, and the design is improved by turning on the other colors, so that the user visually recognizes that the electrostatic atomizing device 200 is in operation. And immediately understand.
- LED910 when using LED910 for illumination, several LED910 is in the position which becomes the front side (refrigeration room door 7 side) rather than the front edge of the shelf 80 in the inner wall 2P on either side in the refrigerator compartment 2 of the refrigerator 1.
- the angle ⁇ between the optical axis 915 of the light emitted from each LED 910 and the inner wall 2P is larger than about Tan ⁇ 1 (L2 + L3) / L1) (for example, approximately 70 °). Since the light in the direction of the optical axis 915 is not directly incident on the internal shelf 80, the light in the direction of the optical axis 915 of the LED 910 may directly hit the front edge of the internal shelf 80.
- the glare of the user can be reduced, and high visibility in the refrigerator compartment 2 can be ensured.
- the angle ⁇ formed by the optical axis 915 of the light emitted from each LED 910 and the inner wall 2P is made larger than about Tan ⁇ 1 (L2 + L3) / L1) (for example, approximately 70 °), so that the lighting device 900 is placed in the refrigerator compartment 2. If it is not installed too far behind (back side), the front pocket of the refrigerator compartment 2, that is, the door pocket 72 provided in the refrigerator compartment door 7 is irradiated even when the refrigerator compartment door 7 is open. Therefore, for example, there is no need to provide a dedicated lighting device for lighting the door pocket 72, which can contribute to cost reduction and energy saving.
- the angle ⁇ formed by the LED 910 with respect to the inner side wall 2P is set to about Tan ⁇ 1 (L2 + L3) / L1) (for example, approximately 70 °) or less, and the light emitted in the direction of the optical axis 915 of the LED 910 is directly incident on the inner shelf 80.
- Tan ⁇ 1 L2 + L3 / L1
- the reflected light does not directly hit the user on the front of the refrigerator 1 and the user is not easily affected by glare.
- the reflected light from the reflection does not make you feel dazzling, and it can illuminate almost the entire range evenly and brightly, and has little effect on the eyes of the user.
- An eye-friendly refrigerator 1 that can be confirmed can be provided.
- the material that hardly reflects light on the front edge of the internal shelf 80 Coating or shape that makes it difficult to reflect light (for example, non-glossy paint or paint with a color that is difficult to reflect, or the shape of the light that is reflected on the surface to reflect the light toward the side rather than the front side of the cabinet) ),
- the glare caused by reflection can be reduced in the same way, and the entire area in the warehouse can be illuminated uniformly and brightly.
- the opening / closing door for example, the refrigerator compartment door 7) of the storage room (for example, the refrigerator compartment 2)
- the plurality of LEDs for example, the LEDs 910a to 910f
- the storage chamber for example, the refrigerator compartment 2
- At least one of the LEDs 910a may be blinked or turned off when the opening / closing door (for example, the refrigerator compartment door 7) is opened.
- the interior lighting device when at least one LED (for example, LED 910a) is composed of two or more LEDs (for example, white and orange) having different colors and the electrostatic atomizer 200 is not operating, the interior lighting device When the electrostatic atomizer 200 is operating with the same color (for example, white) as the lighting color of 900 and the electrostatic atomizer 200 is operating, the color is different from the lighting color of the lighting device 900 in the cabinet (for example, a non-same color) For example, it may be lit in orange).
- LED 910a and LED 910b when two or more LEDs (for example, LED 910a and LED 910b) are turned on during the operation of the electrostatic atomizer 200, these two or more LEDs (for example, LED 910a and LED 910b)
- the color is different from the lighting color (e.g., white) of 900 (e.g., blue, orange, or red), and the electrostatic atomizer 200 is not operating.
- the color is different from the lighting color of the interior lighting device 900 (for example, you may make it light by non-same system color, for example, blue, orange, red, etc.).
- these at least two LEDs may be different colors or the same color.
- at least two or more LEDs may be alternately turned on and off. In this way, the design is improved and the user can immediately recognize that the electrostatic atomizer 200 is in operation, and can also be used as interior lighting, so that the low-cost refrigerator 1 can be obtained.
- you may make it use the multi-color light emission LED which can light-emit at least 1 or more LED (for example, LED910a, LED910b) by two or more colors from which a color differs.
- At least one of the plurality of LEDs 910 (for example, LED 910f) of the interior lighting device 900 may be used as a dedicated LED indicating that the electrostatic atomizer 200 is operating.
- a color different from the lighting color of the interior lighting device 900 for example, white
- It may be lit in (for example, orange).
- the opening / closing door for example, the refrigerating chamber door 7 of the storage chamber (for example, the refrigerating chamber 2) is opened
- the opening / closing door for example, the refrigerating chamber
- lighting control indicating that the electrostatic atomizer 200 is in operation may be performed. If it does in this way, even if the electrostatic atomizer 200 does not operate
- the operation panel 60 does not display only when the electrostatic atomizer 200 is in operation, but the operation result or operation schedule of the electrostatic atomizer 200 (for example, how many minutes ago it has been operated, For example, how many minutes is expected to run). If it does in this way, even if a user is not near the refrigerator 1 during operation
- the LED 910 is used for the lighting device 900 in the storage room, and the distance from the approximate center of the LED 910 to the front edge of the shelf 80 placed in the storage room (for example, the refrigerator room 2) is L1.
- L2 is the distance between the inner wall surfaces (inner side walls 2P) of the room (horizontal width of the storage room)
- L3 is the distance from the approximate center of the LED 910 to the inner wall 2P where the LEDs of the storage room are provided
- the front edge of the shelf 80 When the distance from the rear wall of the storage room to the rear wall of the storage room is L4, the angle ⁇ formed by the optical axis 915 of the LED 910 with respect to the inner wall 2P where the LED 910 is provided is about ((L2 + L3) / (L1 + L4)) ⁇ ⁇ (( If it is set within the range of about L2 + L3) / L1), it will not give glare to the user, and since it can irradiate a wide range in the storage, it is
- the angle ⁇ formed by the optical axis 915 of the LED 910 with respect to the inner wall 2P where the LED 910 is provided is set within the range of ((L2 + L3) / (L1 + L4)) ⁇ ⁇ approximately 90 degrees, If the effective irradiation range ⁇ is taken into consideration without giving glare, it is possible to irradiate a wide area in the warehouse, so that the inside of the warehouse is easy to see, and at least one of the lighting devices 900 in the storage room (inside the warehouse) is electrostatically charged.
- the atomizing device illumination 600 When used as the atomizing device illumination 600, it is possible to immediately recognize whether or not the electrostatic atomizing device 200 (mist spraying device) is operating in the illumination device 900 in the storage room (inside the storage). Further, since the door pocket 72 can be irradiated even when the door is opened, the stored items in the door pocket 72 can be visually recognized even at night.
- the electrostatic atomizing device 200 mist spraying device
- the angle ⁇ formed by the optical axis 915 of the LED 910 with respect to the inner wall 2P where the LED 910 is provided is set within a range of ((L2 + L3) / L1) ⁇ ⁇ approximately 90 degrees, the optical axis 915 of the LED 910 is Since it does not directly hit the front edge of the shelf 80 in the cabinet, it does not give glare to the user, and if the effective irradiation range ⁇ is taken into consideration, it is possible to irradiate a wide range in the cabinet, so that the inside of the cabinet is easy to see, and the storage room If at least one of the (inside) lighting device 900 is used as the electrostatic atomizer lighting 600, is the electrostatic atomizing device 200 (mist spraying device) operating in the storage chamber (inside) lighting device 900? You can also see immediately. Further, since the door pocket 72 can be irradiated even when the door is opened, the stored items in the door pocket 72 can be visually recognized even
- the LED indicating that the electrostatic atomizer illumination 600, the illumination device 900 in the storage room (inside of the storage room), or the electrostatic atomizer 200 is in operation, for example, 375 nm in the UV-A wavelength region is set. If you use a blue or purple LED (for example, LED 910a) that emits a wavelength in the range of 360 nm to 400 nm at the peak and the refrigerator 1 door is closed, for example, if the interior is lit for a predetermined time, There is no effect on the human body and vitamins such as vegetables can be increased.
- a blue or purple LED for example, LED 910a
- the electrostatic atomizer lighting 600, the lighting device 900 in the storage room (inside the room), and the LED (for example, LED 910a) representing the operation of the electrostatic atomizer 200 have a peak of, for example, 590 nm and 550 nm to 620 nm. If you use a warm orange LED that emits light with a wavelength in the range of, and if the interior of the refrigerator is lit for a predetermined time, for example, while the door of the refrigerator 1 is closed, there is no effect on the human body, Can be used as a warm interior light, can also be used mainly to stimulate the self-defense function of green-yellow vegetables to promote polyphenol biosynthesis, and can also be used to promote vitamin C biosynthesis by photosynthesis . Therefore, although an effect is acquired also in the refrigerator compartment 2, the switching room 4, etc., if it applies to the vegetable compartment 5, a further effect will be acquired.
- Plants basically grow by photosynthesis, but also perform photomorphogenesis, which is qualitative changes in plants such as seed germination, flower bud differentiation, flowering, cotyledon development, chlorophyll synthesis, and intermuscular elongation. Use the stored nutrients as an energy source. Among them, photomorphogenesis that is not suitable for vegetable preservation such as germination and flowering tends to be promoted by blue light around 470 nm and red light around 660 nm.
- the light emitted from the LED of the electrostatic atomizer illumination 600 and the LED 910 of the illumination device 900 in the storage room (inside of the storage room) has a wavelength of 320 to 400 nm which stimulates the self-defense function of green-yellow vegetables and promotes biosynthesis of polyphenols. Because it is in the range, it does not reduce the shelf life of vegetables. In addition, for anthocyanins such as blueberries and strawberries, nutrients are increased by an LED 910 which is a light source having a wavelength such as yellowish green.
- Polyphenol is a general term for compounds in which a benzene ring is substituted with a plurality of hydroxyl groups or methoxy groups, and is contained in crops such as vegetables, fruits and tea.
- flavonoids are contained in parts of plants that are particularly exposed to sunlight. This is thought to be because plants synthesize flavonoids that have strong maximum absorption in the ultraviolet region for self-protection against ultraviolet rays contained in sunlight.
- the main physiological actions of polyphenols are antioxidant action and protein function regulating action. Therefore, in addition to inhibiting aging by antioxidants, it reduces cancer, arteriosclerosis, diabetes, cardiovascular disease, Alzheimer's disease, Parkinson's disease, amyloidosis, hepatitis, cataracts and the like.
- UV light is generally divided into a UV-A wavelength region (near ultraviolet, 320 to 400 nm), a UV-B wavelength region (medium ultraviolet, 280 to 320 nm), and a UV-C wavelength region (far ultraviolet, 100 to 280 nm).
- the shorter the wavelength the more harmful to the human body, and there is a possibility of causing genetic damage in the wavelength region of 320 nm or less, that is, in the UV-B and UV-C wavelength regions.
- the safety is enhanced in a double and triple manner, such as an irradiation amount that does not affect the human body, and structurally it does not come off the open door.
- the safety is improved with a simple structure without being distinguished from other light sources such as the arrangement of the refrigerator 1 in the cabinet.
- a wavelength in the mid-ultraviolet region for example, to irradiate only when the refrigerator door is closed, and structurally prevent irradiation leakage in the door direction.
- light of a wavelength that stimulates the self-defense function of the plant is freely selected, but only the light source needs to be specially arranged and structured separately from other light sources.
- the LED of the electrostatic atomizer illumination 600 and the LED 910 of the illumination device 900 in the storage room (inside the cabinet) mainly stimulate the self-defense function of green-yellow vegetables and promote the biosynthesis of polyphenols.
- the LED of the electrostatic atomizer illumination 600 and the LED 910 of the illumination device 900 in the storage room (inside the warehouse) are high-intensity LEDs having a peak at, for example, 590 nm and emitting wavelengths in the range of 550 nm to 620 nm. It is also used to promote the biosynthesis of vitamin C by photosynthesis. You may use the light of these wavelengths individually or in combination with the light of another wavelength range.
- the electrostatic atomizer 200 is installed in the storage chamber, and the mist is sprayed by dew condensation on the heat-absorbing fins 211 of the cooling plate 210 installed in the storage chamber due to the temperature difference between the storage chamber and the cooling air passage.
- the cooling in the storage room for example, the vegetable room 5
- the electrostatic atomizer 200 may not be provided in the storage room (for example, the vegetable room 5), and may be provided in the return air path from the other storage room (for example, the refrigerator room 2).
- the return cold air flowing in the return air passage cools the other storage chambers and the temperature rises, and the temperature is higher than the cooling cold air in the cooling air passage, and returns to the endothermic fins 211 of the cooling plate 210.
- the cooling fin 210 is provided in the air passage and the heat dissipating fin portion 212 is provided in the cooling air passage, a temperature difference can be used in the cooling plate 210, so that the condensed water can be generated in the heat absorbing fin portion 211 and the return air passage. Mist can be generated inside. Therefore, the micronized nano mist generated in the return air passage flows in the return air passage and reaches the storage room (for example, the vegetable room 5), so that the mist can be uniformly sprayed in the storage room. .
- FIG. A storage room (for example, the switching room 4 or the vegetable room 5) in which a return air path from another storage room (for example, the refrigerator room 2) to the storage room (for example, the vegetable room 5) is provided on the back side of the back wall. ), At least a part of the partition wall 51 (heat insulating wall) on the back of the storage chamber (for example, the switching chamber 4 or the vegetable chamber 5) of the part where the electrostatic atomizer 200 is provided can be removed from the storage chamber side.
- the electrostatic atomizer 200 may be performed. Also in this case, if the electrostatic atomizer 200 is made into a kit and is made into a kit part 512 and attached to the return air passage, maintenance and replacement of the electrostatic atomizer 200 are facilitated. In addition, since it can be collected separately during recycling or decomposition, the recyclability is improved.
- the heat absorption fin portion when it is difficult to provide the heat sink fin portion 211 of the cooling plate 210 in the storage chamber or the return air passage and to provide the heat radiation fin portion 212 of the cooling plate 210 in the cooling air passage, the heat absorption fin portion.
- a Peltier element a Peltier effect in which a current flows between two metal joints to transfer heat from one metal to the other metal
- the heat absorbing fin portion 211 can absorb the heat and dissipate the heat radiating fin portion 212. Therefore, it is only necessary to provide both the heat absorbing fin portion 211 and the heat radiating fin portion 212 in the storage chamber or the return air passage. It is simplified, such as installation and maintenance is easy. In addition, since the temperature difference between the heat sink fin portion 211 and the heat radiating fin portion 212 can be adjusted by the magnitude of the current, the necessary dew condensation water can be set from the temperature in the storage room, etc., thus avoiding the shortage of dew condensation water The refrigerator 1 which can perform mist spraying stably is obtained.
- the heat absorbing fin part 211 can absorb heat and dissipate the heat radiating fin part 212. Therefore, instead of the heat conducting part 213 between the heat absorbing fin part 211 and the heat radiating fin part 212, for example, a Peltier element (two kinds of metal It is a plate-like semiconductor element that uses the Peltier effect in which current flows between the junctions and the heat of the other metal moves from one metal to the other. If a means for generating a temperature difference between one surface and the opposite surface due to heat generation is provided, it can be used in air conditioners and home appliances that cannot use low-temperature cold air. In the case of the refrigerator 1, it is necessary to increase the storage chamber volume of the storage chamber (for example, the refrigerator compartment 2).
- the electrostatic atomizer 200 (mist spraying device) is installed on the upper surface (the ceiling surface of the refrigerator 1) of the storage chamber provided at the top of the refrigerator 1, the refined nano mist can be efficiently removed throughout the storage chamber. Can be sprayed on.
- the electrostatic atomizer 200 can be used in common with air conditioners, home appliances, etc. that do not have a cooling air passage through which the necessary low-temperature cold air flows and cannot use low-temperature cold air. The refrigerator 1, the air conditioner, and the household appliance from which a fouling effect is obtained are obtained.
- FIG. 26 is a side sectional view of the refrigerator 1 showing Embodiment 1 of the present invention
- FIG. 27 is a front perspective view of the refrigerator compartment 2 of the refrigerator 1 according to Embodiment 1 of the present invention.
- parts equivalent to those in FIGS. 1 to 25 are denoted by the same reference numerals, and description thereof is omitted.
- an electrostatic atomizer 200 provided on the inner wall 2P of the refrigerator 1 is housed in a recess provided on the inner wall 2P.
- the electrostatic atomizer 200 has a cross-sectional shape (substantially circular) at the tip of the electrode holding portion 220, the rectangular parallelepiped (rectangular) or cylindrical discharge electrode 230, and the protruding portion 231 of the discharge electrode 230.
- a counter electrode 240 having a substantially circular opening 241 which is an opening larger than the cross section (substantially circular) of the protrusion 231.
- Discharge electrode 230 having a cylindrical or conical protrusion 231, an electrode holding part 220 for holding and storing the discharge electrode 230, a current-carrying member 280 for applying a voltage to the discharge electrode 230, and the protrusion 231 of the discharge electrode 230 Holding and fixing the counter electrode 240 and the discharge electrode 230 having a substantially square or substantially circular opening 241 which is an opening larger than the cross-sectional shape of the tip (substantially square or substantially circular) to the electrode holding part 220 via the energizing member 280. It is comprised from the fixing means 260 (pressing member) to do.
- water supply means such as a cooling plate 210 for generating condensed water and a water storage tank 270 for supplying supply water.
- a water supply means is provided immediately above the discharge electrode 230, and the main body 232 of the discharge electrode 230 provided with the condensed water generated by the cooling plate 210, the water droplet 275 (supply water) from the water storage tank 270, or the like is fixed.
- the electrostatic atomizer 200 is detachably provided on the inner wall 2P, the ceiling wall, or the partition wall.
- the water storage tank 270 may be detachably provided on the fixing means 260 (pressing means) constituting the electrostatic atomizer 200 or the electrode holding part 220 as shown in FIG.
- the cool air blown from the cooler chamber 131 to the cooling air passage 53 provided on the rear surface of the storage chamber is provided in the back wall and the side wall insulating material branched laterally from the cooling air passage 53 provided on the rear surface of the storage chamber.
- the electrostatic atomizer 200 which is installed in the concave portion of the inner wall 2P of the storage chamber, passes through the cool air duct 830 of the electrostatic atomizer such as a duct surrounded by the surroundings. In the state including the fine water droplets nano-misted at 200, it is stored, for example, through an electrostatic atomizer outlet cold air passage 820 such as a duct surrounded by a back wall and a side wall provided in the heat insulating material.
- the mist spraying chamber is provided with a mist spraying cover 800 that is detachably provided, and cold air containing fine water droplets nano-misted by the electrostatic atomizer 200 is applied to the mist spraying cover 800. It sprays in the storage chamber from the formed mist spraying port 810.
- the electrostatic atomizer 200 including at least the discharge electrode 230 and the counter electrode 240 is placed on the side wall of the storage room (for example, the height position on the side wall of the refrigerator compartment 2 is a height position that can be reached by the user's hand).
- the mist generated by the electrostatic atomizer 200 is placed at the center height position, and the height position reaches the user's hand at the place where the electrostatic atomizer 200 is disposed (for example, the side wall of the refrigerator compartment 2). It is different from a place (for example, the upper part of the back wall of the refrigerating room 2 or a storage room (for example, the refrigerating room 2) provided with the electrostatic atomizer 200) different from the height position (substantially central height position).
- Electrostatic atomization comprising at least a discharge electrode 230 and a counter electrode 240
- Mist spraying unit for spraying the mist generated by the device 200 or the electrostatic atomizer 200 into the storage chamber (for example, the mist spraying port 810 formed in the mist spraying cover 800 provided in the mist spraying chamber) Since the degree of freedom of the arrangement position of the mist increases and mist spraying can be performed from the place where mist spraying is desired, the degree of freedom in design is improved.
- the electrostatic atomizer 200 including at least the discharge electrode 230 and the counter electrode 240, and a mist spray unit for spraying the mist generated by the electrostatic atomizer 200 into the storage chamber (for example, in the mist spray chamber) Since the mist spraying port 810) formed in the provided mist spraying cover 800 can be separated as a separate part, the individual parts can be made smaller and thinner, the wall of the refrigerator 1 can be made thinner, and the storage room Thus, the refrigerator 1 can be obtained at a low cost.
- the electrostatic atomizer 200 is disposed at a height position (Japanese) because the user needs to remove the water storage tank 270 and add water. Taking into account the height of the woman, it should not bend and be lower than the line of sight, and the front side of the storage room is preferred at a height from the waist to the shoulder (80 to 140 cm). .
- the mist spraying port 810 is arranged at the upper part of the storage room in order to spray uniformly by gravity from the upper part to the lower part of the storage room in the height direction, and the mist is mixed with cold air in the width direction (lateral direction).
- the position in which the spray can be sprayed evenly in the width direction (lateral direction) in the storage chamber is good, and in consideration of the position of the cold air outlet, one or a plurality of positions may be provided at a substantially central position in the width direction of the refrigerator 1, You may make it provide one place in the substantially edge part position of the width direction, or one place in each both-ends position, a total of two places, or multiple places.
- the indoor unit of the air conditioner is the same as a well-known general separate type air conditioner indoor unit, and is not shown.
- a heat exchanger in which a front heat exchanger provided on the front side and a rear heat exchanger provided above or behind are arranged in an inverted V shape, and this heat exchange
- An air inlet provided in front of or above the front heat exchanger of the unit, an air outlet provided in the lower front of the indoor unit, a filter provided between the air inlet and the heat exchanger, Provided between the front side heat exchanger and the back side heat exchanger of the inverted V-shaped heat exchanger, the air sucked from the air suction port is blown out from the air outlet through the filter and the heat exchanger.
- a drain pan provided below at least one of the front side heat exchanger and the rear side heat exchanger, and the electrostatic atomizer 200 is provided at the upper part of the drain pan downstream of the filter.
- the electrode holder 220 of the electrostatic atomizer 200 or The fixing means 260 is provided with a notch or an opening, and the condensed water or water dropped from the water supply means (the heat-absorbing fin portion 211 or the water storage tank 270) in a state where the discharge electrode 230 is held by the electrode holding portion 220 is discharged to the discharge electrode 230 or the electrode.
- the heat-absorbing fin portion 211, the discharge electrode 230, the counter electrode 240, and the electrode holding portion 220 are arranged on the upper portion of the drain pan that receives drain water near the air outlet of the air conditioner, and the heat-radiating fin portion 212 is arranged near the suction port. You should do it. Then, since the radiating fin portion 212, the discharge electrode 230, the counter electrode 240, and the like are arranged in the vicinity of the outlet, a voltage is applied to the discharge electrode 230 and the counter electrode 240 to generate mist. The mist is blown into the room together with the cooled cold air blown out from the blowout port, so that the room can be sterilized and humidified.
- the electrostatic atomizer 200 is arrange
- a mist spraying port may be provided on the upstream side.
- the mist is opened from the air outlet to the air outlet so that the mistake and the spray outlet can be used also as the air outlet, or the mist spray outlet is provided so as to open inside the air passage or the air outlet. You may make it spray in the room.
- the electrostatic atomizer 200 including at least the discharge electrode 230 and the counter electrode 240 is disposed downstream of the air inlet of the indoor unit of the air conditioner or in the vicinity of the air inlet.
- the generated mist is different from the part where the electrostatic atomizer 200 is disposed (for example, in an air blower on the upstream side of the air blower or the room where the air blower of the air conditioner indoor unit is open).
- the degree of freedom of the arrangement position of the mist spraying part (mist spraying port) for spraying the mist generated in 200 in the room is increased, and the mist spraying can be performed from the place where mist spraying is desired, so that the degree of freedom of design is improved.
- the necessary dew condensation water can be set from the room temperature and the like, and it can be avoided that the dew condensation water is insufficient. A stable and refined nano mist can be sprayed uniformly.
- the radiating fin portion 212 is disposed in the vicinity of the suction port, even if the radiating fin portion 212 generates heat and the temperature rises slightly, the suction port is sucked in, which affects the temperature of the cold air blown into the room. Therefore, it is possible to provide an air conditioner, a home appliance, and the like that are easy to control without affecting indoor temperature control.
- the display may be similar to that applied to an air conditioner or home appliance, and in the case of an air conditioner, a design surface (for example, a front cover) on the front surface of the indoor unit or the operation of the air conditioner. ⁇ Stop, set temperature, etc. What is necessary is just to make it display on the display part etc.
- the operation state of the electrostatic atomizer 200 (mist spraying apparatus) 200 and the electrostatic atomizer are visually observed by the user as in the case of the refrigerator.
- the magnitude of the mist spray amount in the storage chamber and the degree of sterilization (strength of sterilization) can be immediately determined by the strength of operation of 200 (mist spray device) (for example, the magnitude of applied voltage and the amount of mist spray). An effect is obtained.
- Household appliances such as the refrigerator 1 and the air conditioner according to the present embodiment include the electrostatic atomizer 200 and the components constituting the electrostatic atomizer 200 (for example, the cooling plate 210, the discharge electrode 230, and the high voltage power supply unit). 250), the installation position of the mist spraying device (electrostatic atomizing device 200) is visible on the overall view so that the storage room, the part, the material name, etc. can be easily seen visually during recycling. It can be displayed as a graphic so that it can be used.
- the display drawing such as a general view is displayed with a figure such as a black circle ( ⁇ ) or a figure having a shape substantially similar to the shape of the electrostatic atomizer 200, or used for the electrostatic atomizer 200.
- Display useful information at the time of recycling or disassembly by displaying the list of materials, used weight, recyclability, recycling methods, precautions for recycling and disassembly, etc. We have you understand immediately by visual inspection. Therefore, it is possible to immediately know whether materials that affect the human body during recycling, parts that can be reused during recycling, and their weight, etc., can be disassembled without confusion during disassembly, and can be recycled. Therefore, home appliances such as the refrigerator 1 and the air conditioner having good decomposability and improved recycling efficiency can be obtained.
- the home appliance is the refrigerator 1
- the standard use period is used for the refrigerator main body and individual functional components (for example, the electrostatic atomizer 200, the compressor 12, the defrosting heater 150, and the cool air circulation fan 14). Is displayed on the operation panel 60 of the refrigerator body.
- a standard use period is set for an indoor unit, an outdoor unit, a device body, or a functional component (for example, an electrostatic atomizer 200, a compressor, a blower, or the like).
- a functional component for example, an electrostatic atomizer 200, a compressor, a blower, or the like.
- a standard use period may be set for an indoor unit body or an outdoor unit body including functional parts on a design panel on the front surface of the indoor unit body or a remote controller for instructing operation / stopping of the equipment, etc.
- the standard usage period is determined separately from the main unit and outdoor unit main body, the standard usage period (standard usage time) is displayed with the size, length and number of figures such as bar graphs and leaves, and the current usage time is also colored May be displayed side by side by changing the pattern or the pattern, etc., so that the user can visually recognize and prompt the user to replace the purchase.
- the standard use period for the device including the functional components is determined on the display unit such as the operation panel 60, the front panel, or the remote controller, or the device main body and the functional components such as the refrigerator 1 (the electrostatic atomizer 200 or the like).
- the standard usage period is set separately for the compressor 12, etc., the standard usage period (standard usage time) is displayed as a bar graph, etc., and the current usage period (time) is also changed in color or pattern. By displaying the images side by side, they may be displayed visually to the user.
- standard performance data (capacity related to performance such as compressor input, fan input, and total power consumption and capacity of the entire equipment) that changes with the years of use obtained by experiments and calculations according to the display of the actual usage period of the equipment Or data of changes over time such as input) may be stored in advance in the microcomputer 31 as a table, and the degree of deterioration of performance (capability, input, etc.) may be displayed by the length of the bar graph or the number of figures. That is, assuming that the initial purchase is 100%, the current predicted performance may be displayed as a performance degradation rate with respect to the initial performance (for example, displayed by the length of the bar graph or the number of figures) to prompt the user to replace the purchase visually. .
- the storage means microcomputer 31
- the storage means microcomputer 31
- the storage means microcomputer 31
- the storage means microcomputer 31 for storing a predetermined standard use period of the devices such as the electrostatic atomizer 200, the refrigerator 1, the air conditioner, and the air cleaner.
- the current usage period measured with a timer or the like for the standard usage period is displayed on the display unit (display of the refrigerator operation panel 60 or indoor unit front cover) by the size, length and number of figures such as bar graphs and leaves. Etc.) and a remote control display unit for instructing operation / stopping of the device, etc., so that the user can visually recognize the period of use of the device and replace the device or parts with the user. And services such as replacement of parts.
- the remaining period that can be used with respect to the standard period of use of the device may be displayed as a graphic such as a bar graph or leaf mark.
- the size and number of figures such as bar graphs indicating the usable period will decrease as the usage period increases. Can be made. If a message prompting replacement or service is displayed when the remaining period is less than the predetermined period, the user can be made aware of replacement before failure.
- the operation of the device itself and the device can be performed by using the size, length and number of figures such as bar graphs and leaves for the magnitude of applied voltage, the amount of power used by the device, the electricity bill, and the CO2 emission amount during operation of the electrostatic atomizer 200. -If it is displayed on a remote controller or the like instructing to stop, the user can be made aware of the improvement in energy saving awareness. In addition, it is possible to grasp the relationship between the electric power used by the device and the amount of CO2 emission depending on the magnitude of the applied voltage during operation of the electrostatic atomizer 200, and the user's energy saving awareness is enhanced.
- the magnitude of the voltage applied to the electrostatic atomizer 200 can be set by the user with an operation button, a remote control, or the like (for example, if it can be changed by a multi-step setting or a stepless setting of strong, medium, and weak). If you want to save energy, you can select a weak mode when you want to save energy.
- the device main body and functional parts for example, the electrostatic atomizer 200 and the compressor 12
- the instantaneous amount of electricity used or accumulated for example, every day or every month
- the instantaneous power consumption or accumulation is displayed on the operation panel 60 on the front surface of the refrigerator 1, the air conditioner / air purifier front panel display unit, the remote control display unit, etc.
- the amount of electric power used may be graphically displayed as a bar graph or the number of leaf marks, etc., so that the user of the home appliance can visually recognize energy saving.
- the actual usage time exceeds a predetermined percentage of the standard usage time (for example, 90% or 95% of the standard usage time)
- the user can check and replace the main body and functional parts.
- the message may be displayed on the main body or the remote controller together with a message prompting the user to prompt the user to check, replace, or replace the main body or functional parts.
- a first predetermined ratio of the standard usage time for example, 90% of the standard usage time
- the actual usage time is displayed on the main body, the remote controller, etc. with the above-mentioned figure or the like.
- a second predetermined ratio for example, 95% of the standard usage time
- it may be displayed in a plurality of stages (for example, two stages) with the passage of time so that the user is visually instructed to check, replace, or replace the main body or functional parts.
- the main body portion 232 formed of a metal porous body foam metal having a three-dimensional network structure such as a titanium material, and the main body portion 232 so as to project integrally from the main body portion 232.
- a discharge electrode 230 formed of a protrusion 231 to which water attached to the surface of the main body part 232 is supplied by capillary action, an electrode holding part 220 for holding the discharge electrode 230, and an electrode holding part 220
- a counter electrode 240 provided to face the 231 protruding portion, and a water supply means (provided via a predetermined gap Z immediately above the main body portion 232) for supplying water to the discharge electrode 230 or the electrode holding portion 220.
- 260, and the electrode holding part 220, the discharge electrode 230, the counter electrode 240, and the fixing means 260 are integrally formed, and a mist is generated by applying a voltage between the discharge electrode 230 and the counter electrode 240. Therefore, since the hole diameter is larger than when a ceramic material is used for the discharge electrode 230, the water supply amount and the capillary force are large, and the resistance to clogging by foreign substances is remarkably large.
- the electrostatic atomizer 200 is arrange
- a mist spraying port may be provided on the upstream side.
- the mist is opened from the air outlet to the air outlet so that the mistake and the spray outlet can be used also as the air outlet, or the mist spray outlet is provided so as to open inside the air passage or the air outlet. You may make it spray in the room.
- the electrostatic atomizer 200 including at least the discharge electrode 230 and the counter electrode 240 is disposed downstream of the air inlet of the indoor unit of the air conditioner or in the vicinity of the air inlet.
- the generated mist is different from the part where the electrostatic atomizer 200 is disposed (for example, in an air blower on the upstream side of the air blower or the room where the air blower of the air conditioner indoor unit is open).
- the degree of freedom of the arrangement position of the mist spraying part (mist spraying port) for spraying the mist generated in 200 in the room is increased, and the mist spraying can be performed from the place where mist spraying is desired, so that the degree of freedom of design is improved.
- the degree of freedom of the setting range of the predetermined clearance F and the setting range of the applied voltage can be increased, and the generation of nanomist can be reliably and easily performed.
- the water supply means is provided immediately above the main body 232, the water supply means is supplied from the water supply means as compared with the case where the water supply means is provided below the discharge electrode 230 or at a separate location away from the discharge electrode 230.
- the water falls directly onto the discharge electrode 230 (or the electrode holding unit 220 or the fixing means 260) directly below, and is supplied from the condensed water or the water storage tank 270 generated on the heat-absorbing fins 211 of the cooling plate 210 as the water supply means.
- the structure is simple and compact, and the low-cost refrigerator 1 is obtained.
- the transport unit for transporting water, and the transport unit is not clogged with debris and the condensed water is not supplied to the discharge electrode 230. Therefore, the structure is simple, low cost, and highly reliable electrostatic atomization.
- the apparatus 200 and the refrigerator 1 can be provided.
- the degree of freedom of the water supply means for example, the cooling plate 210, the water storage tank 270, etc.
- the electrode holding part and the discharge electrode and the degree of freedom of arrangement increase.
- the shape and arrangement of the discharge electrode 230, the counter electrode 240, and the water supply means (for example, the cooling plate 210 and the water storage tank 270) can be freely set according to the structure of each home appliance, and it is compact and efficient according to the home appliance.
- the electrostatic atomizer 200 can be obtained.
- the axial length of the main body 232 is the length of the protruding portion 231.
- the workability is good, the amount of water supplied from the main body 232 to the protruding portion 231 is large, and the water supply time can be shortened.
- a foam metal such as titanium and is a porous metal body with a three-dimensional network structure like a sponge, so the amount of water absorbed inside the metal is twice to five times that of non-foam metal. It is about twice as large, has a larger capillary force than sintered metal, and has an electric resistance of (0.4-2) ⁇ 10 ⁇ 7 ⁇ ⁇ m, which is small, so that electricity is efficiently applied to water as a conductor. Compared to large ceramics (electric resistance is as large as about 10 12 ⁇ ⁇ m), it is much easier to conduct electricity, and the amount of mist generation can be increased, and the applied voltage can be set easily and the applied voltage can be reduced. It is also possible to produce nano mist reliably and easily.
- the discharge electrode 230 which is composed of a main body portion 232 made of foam metal and a protrusion 231 to which water attached to the surface of the main body portion 232 is supplied by capillary action, is held.
- a high voltage power supply unit 250 that generates a mist from the protruding portion 231 by applying a voltage between the discharge electrode 230 and the counter electrode 240.
- the discharge electrode 230 has a hole diameter of 10 to 800 ⁇ m (preferably a hole diameter of 50 to Use a foam metal with a three-dimensional network structure of 300 ⁇ m, more preferably a pore size of 50 to 150 ⁇ m and a porosity of 60 to 90% (preferably 70 to 80%).
- a hole diameter of 10 to 800 ⁇ m preferably a hole diameter of 50 to Use a foam metal with a three-dimensional network structure of 300 ⁇ m, more preferably a pore size of 50 to 150 ⁇ m and a porosity of 60 to 90% (preferably 70 to 80%).
- foam metal with a three-dimensional network structure such as titanium with a porosity of 60% or more and 90% or less is used, more water is foamed compared to conventional ceramics and sintered metals. Can be held inside metal. Therefore, a large amount of nanomist can be efficiently generated.
- the discharge electrode 230 is formed of a foam metal having a three-dimensional network structure, and has a substantially rectangular parallelepiped or substantially cylindrical main body 232 that is long in the axial direction, and the axial direction of the main body 232 from the middle of the main body 232 in the axial direction.
- a projection portion 231 having a substantially pyramid shape or a substantially conical shape, and the axial length of the main body portion 232 is in the range of 4 to 20 times the length of the projection portion 231.
- the main body portion is divided into two (for example, the first main body portion 237 and the second main body portion 238) at the protruding position of the protruding portion 231 with respect to the axial direction, the first main body portion 237 and the first main body portion 237 are connected to the protruding portion 231.
- 2 body part 38 both sides of the protruding portion 231) can supply water by capillary action, so that it is possible to supply a large amount of water to the protruding portion 231 and to increase the amount of mist spraying. Spraying becomes possible.
- the other Since the main body 238) can supply water to the protruding portion 231, it can supply water to the protruding portion 231 stably over a long period of time and can reliably spray mist over a long period of time. 200 (mist spraying device) is obtained.
- the discharge electrode 230 or the electrode holding part 220 or the fixing means 260 by dropping from the water supply means (for example, the heat absorption fin part 211 or the water storage tank 270 of the cooling plate 210) provided immediately above the discharge electrode 230 or the electrode holding part 220.
- the water supply means for example, the heat absorption fin part 211 or the water storage tank 270 of the cooling plate 210 provided immediately above the discharge electrode 230 or the electrode holding part 220.
- the water supply means (the heat-absorbing fins 211 of the cooling plate 210 or the water storage tank 270) or the electrode so as not to be directly affected by the flow of air in the water drop path until the water supplied to the discharge electrode 230 falls from the water supply means Since the electrode holding unit 220 or the fixing unit 260 is provided with a covering unit (water supply unit covering unit 220X, 269) that covers at least one of the holding unit 220 or the fixing unit 260, the dropped water droplets 275 and condensed water are supplied to the water supply. Means or electrode holding part 220 or fixing means 260 (pressing means) are installed.
- the electrostatic atomizer 200 is high and clean and hygienic.
- the electrode holding unit 220 or the fixing unit 260 is provided with a notch or an opening, and the condensed water or the condensed water dropped from the water supply unit (the heat absorbing fin unit 211 or the water storage tank 270) in a state where the discharge electrode 230 is held in the electrode holding unit 220. Since water is prevented from collecting in the discharge electrode 230, the electrode holding part 220, or the fixing means 260, water drops are attached to the surface of the main body part 232 of the discharge electrode 230 or water is collected in the electrode holding part 220.
- the safe electrostatic atomizer 200 or Equipment is obtained.
- a configuration in which water does not accumulate in the holding portion of the discharge electrode 230 of the electrode holding portion 220 (or a configuration in which water can be discharged from the holding portion of the discharge electrode 230 in order to prevent water from collecting on the surface of the discharge electrode 230.
- the water reservoir for storing the discharged water is separately provided at a position apart from the discharge electrode 230 such as below, so that the water accumulated in the water reservoir does not contact the discharge electrode 230).
- the predetermined gap Z between the lower end surface 211Y of the heat absorption fin portion 211 and the discharge electrode 230 is set to 4 mm or more (preferably 6 mm or more). If the distance which the part 211 and the discharge electrode 230 do not discharge is ensured, safety
- a discharge electrode 230 configured by the following: an electrode holding unit 220 that houses the discharge electrode 230; a counter electrode 240 that is provided on the electrode holding unit 220 and is provided to face the protruding portion 231; A water supply means (heat absorption fin portion 211 of the cooling plate 210, water supply tank 270) that is provided through a predetermined gap Z and supplies water to the discharge electrode 230 or the electrode holding unit 220; and at least the discharge electrode 230, the counter electrode 240,
- the electrostatic atomizer 20 configured by the electrode holding unit 220 and generating mist by applying a voltage between the discharge electrode 230 and the counter electrode 240.
- a spray port provided at a position distant from the electrostatic atomizer 200 and connected to the electrostatic atomizer 200 via an air passage, and the nanomist generated by the electrostatic atomizer 200 Since the spray is provided in a room such as a storage room or a room where the spray port is opened from a spray port provided at a position away from the electrostatic atomizer 200, at least the discharge electrode 230 and the counter electrode 240 are provided.
- the degree of freedom of the arrangement position of the electrostatic atomizer 200 and the mist spraying part (mist spraying port) for spraying the mist generated by the electrostatic atomizer 200 into the room is increased, and the mist from the place where the mist is to be sprayed is increased.
- the water supply means is provided directly above the main body portion 232 through the predetermined gap Z, the shape of the water supply means (cooling plate 210 or water storage tank 270), which is the water supply means, or the discharge electrode 230 is provided.
- the degree of freedom and the degree of arrangement increase, and the shape of the discharge electrode 230, the counter electrode 240, the cooling plate 210, and the water storage tank 270 can be freely selected according to the structure of each home appliance such as the refrigerator 1, an air conditioner, and an air purifier. Can be set, and a compact and efficient electrostatic atomizer can be obtained in accordance with home appliances.
- Refrigerator 1A machine room, 2 refrigerator room, 2A chilled room, 2P inner wall, 2X almost sealed container, 2Y almost sealed container, 3 ice making room, 4 switching room, 5 vegetable room, 6 freezer room, 7 Refrigeration room door, 7A, refrigeration room door left, 7B, refrigeration room door right, 8 ice making room door, 9 switching room door, 10 vegetable room door, 11 freezer room door, 12 compressor, 13 cooler, 14 cold air circulation fan, 19 switching room thermistor, 22 thermopile, 15 switching room damper, 16 switching room cooling air passage, 30 control unit, 50 cooling air passage, 51 partition wall, 53 cooling air passage, 55 cold storage damper, 60 operation panel, 60a room selection Switch, 60b temperature zone switch, 60c flash freeze switch, 60d ice making switch, 60e mist spray switch, 72 door pocket 80 shelf inside, 131 cooler room, 150 defroster heater, 151 heater roof, 152 defrost electrode holder, 200 electrostatic atomizer, 210 cooling plate, 211 heat sink fin, 211a heat sink fin, 211
Landscapes
- Engineering & Computer Science (AREA)
- Chemical & Material Sciences (AREA)
- Combustion & Propulsion (AREA)
- Mechanical Engineering (AREA)
- General Engineering & Computer Science (AREA)
- Dispersion Chemistry (AREA)
- Human Computer Interaction (AREA)
- Thermal Sciences (AREA)
- Physics & Mathematics (AREA)
- Cold Air Circulating Systems And Constructional Details In Refrigerators (AREA)
- Electrostatic Spraying Apparatus (AREA)
- Air Humidification (AREA)
- Devices That Are Associated With Refrigeration Equipment (AREA)
- Air Filters, Heat-Exchange Apparatuses, And Housings Of Air-Conditioning Units (AREA)
- Disinfection, Sterilisation Or Deodorisation Of Air (AREA)
- Devices For Blowing Cold Air, Devices For Blowing Warm Air, And Means For Preventing Water Condensation In Air Conditioning Units (AREA)
- Removal Of Water From Condensation And Defrosting (AREA)
- Air Conditioning Control Device (AREA)
- Defrosting Systems (AREA)
Priority Applications (9)
| Application Number | Priority Date | Filing Date | Title |
|---|---|---|---|
| US13/260,402 US20120017630A1 (en) | 2009-03-27 | 2010-02-18 | Electrostatic atomizing apparatus, appliance, air conditioner, and refrigerator |
| SG2011066354A SG174390A1 (en) | 2009-03-27 | 2010-02-18 | Electrostatic atomizing device, appliances, air conditioner, and refrigerator |
| JP2011505933A JP4794698B2 (ja) | 2009-03-27 | 2010-02-18 | 静電霧化装置及び機器及び空気調和機及び冷蔵庫 |
| CN201080014877.6A CN102365130B (zh) | 2009-03-27 | 2010-02-18 | 静电雾化装置、设备、空气调节器以及电冰箱 |
| EP13175635.5A EP2662639B1 (en) | 2009-03-27 | 2010-02-18 | Air conditioning comprising an electrostatic atomizing apparatus |
| ES10755790.2T ES2498728T3 (es) | 2009-03-27 | 2010-02-18 | Dispositivo atomizador electrostático, aparatos, acondicionador de aire y refrigerador |
| EP10755790.2A EP2412441B1 (en) | 2009-03-27 | 2010-02-18 | Electrostatic atomizing device, appliances, air conditioner, and refrigerator |
| EP13153069.3A EP2642212B1 (en) | 2009-03-27 | 2010-02-18 | Air conditioning comprising an electrostatic atomizing apparatus |
| US13/246,191 US8991203B2 (en) | 2009-03-27 | 2011-09-27 | Electrostatic atomizing apparatus, appliance, air conditioner, and refrigerator |
Applications Claiming Priority (2)
| Application Number | Priority Date | Filing Date | Title |
|---|---|---|---|
| JP2009-079584 | 2009-03-27 | ||
| JP2009079584 | 2009-03-27 |
Related Child Applications (2)
| Application Number | Title | Priority Date | Filing Date |
|---|---|---|---|
| US13/260,402 A-371-Of-International US20120017630A1 (en) | 2009-03-27 | 2010-02-18 | Electrostatic atomizing apparatus, appliance, air conditioner, and refrigerator |
| US13/246,191 Division US8991203B2 (en) | 2009-03-27 | 2011-09-27 | Electrostatic atomizing apparatus, appliance, air conditioner, and refrigerator |
Publications (1)
| Publication Number | Publication Date |
|---|---|
| WO2010109989A1 true WO2010109989A1 (ja) | 2010-09-30 |
Family
ID=42780685
Family Applications (1)
| Application Number | Title | Priority Date | Filing Date |
|---|---|---|---|
| PCT/JP2010/052444 Ceased WO2010109989A1 (ja) | 2009-03-27 | 2010-02-18 | 静電霧化装置及び機器及び空気調和機及び冷蔵庫 |
Country Status (8)
| Country | Link |
|---|---|
| US (2) | US20120017630A1 (enExample) |
| EP (5) | EP2412441B1 (enExample) |
| JP (21) | JP4794698B2 (enExample) |
| CN (7) | CN103148549B (enExample) |
| ES (5) | ES2585089T3 (enExample) |
| SG (4) | SG183030A1 (enExample) |
| TW (5) | TWI415688B (enExample) |
| WO (1) | WO2010109989A1 (enExample) |
Cited By (10)
| Publication number | Priority date | Publication date | Assignee | Title |
|---|---|---|---|---|
| JP2011143409A (ja) * | 2009-03-27 | 2011-07-28 | Mitsubishi Electric Corp | 霧化装置及び機器及び空気調和機及び冷蔵庫 |
| JP2011179745A (ja) * | 2010-03-01 | 2011-09-15 | Toshiba Corp | 冷蔵庫 |
| JP2011202911A (ja) * | 2010-03-26 | 2011-10-13 | Toshiba Corp | 冷蔵庫 |
| WO2013038670A1 (ja) * | 2011-09-16 | 2013-03-21 | パナソニック株式会社 | 空気調和機および空気調和機の室内機 |
| WO2013060840A1 (de) * | 2011-10-28 | 2013-05-02 | BSH Bosch und Siemens Hausgeräte GmbH | Kältegerät mit frischhaltevorrichtung |
| CN104315486A (zh) * | 2013-04-20 | 2015-01-28 | 大连三维传热技术有限公司 | SiO2纳米液体工质的泡沫金属吸液芯热板散热器 |
| CN104501118A (zh) * | 2014-12-20 | 2015-04-08 | 东莞市闻誉实业有限公司 | 带有雾化片的散热器 |
| CN105393073A (zh) * | 2013-06-07 | 2016-03-09 | 三菱电机株式会社 | 隔热箱体和冰箱 |
| CN107372798A (zh) * | 2017-09-22 | 2017-11-24 | 余庆县庆丰源农业发展有限公司 | 蔬菜冷藏装置 |
| JPWO2021070619A1 (enExample) * | 2019-10-09 | 2021-04-15 |
Families Citing this family (79)
| Publication number | Priority date | Publication date | Assignee | Title |
|---|---|---|---|---|
| DE112008002168B4 (de) * | 2007-04-26 | 2014-02-13 | Panasonic Corporation | Kühlschrank und elektrische Vorrichtung |
| JP4818399B2 (ja) * | 2009-06-15 | 2011-11-16 | 三菱電機株式会社 | 静電霧化装置及び空気調和機 |
| US20110232312A1 (en) * | 2010-03-24 | 2011-09-29 | Whirlpool Corporation | Flexible wick as water delivery system |
| US9004369B2 (en) * | 2010-03-24 | 2015-04-14 | Whirlpool Corporation | Systems and methods for multi-sense control algorithm for atomizers in refrigerators |
| US20110233289A1 (en) * | 2010-03-24 | 2011-09-29 | Whirlpool Corporation | Systems and methods for ultrasound-based atomizer for humidity control in refrigerators |
| JP5640589B2 (ja) * | 2010-03-29 | 2014-12-17 | パナソニック株式会社 | 冷蔵庫 |
| EP2375527B1 (en) * | 2010-04-12 | 2018-09-19 | Samsung Electronics Co., Ltd. | Demand Response Method and Demand Response System |
| US9878061B2 (en) | 2012-08-28 | 2018-01-30 | Sensor Electronic Technology, Inc. | Ultraviolet system for disinfection |
| CN105163605B (zh) | 2012-08-28 | 2018-06-12 | 传感器电子技术股份有限公司 | 紫外线梯度杀菌、消毒和存储系统 |
| US9750830B2 (en) | 2012-08-28 | 2017-09-05 | Sensor Electronic Technology, Inc. | Multi wave sterilization system |
| US9919068B2 (en) | 2012-08-28 | 2018-03-20 | Sensor Electronic Technology, Inc. | Storage device including ultraviolet illumination |
| US9034271B2 (en) | 2012-08-28 | 2015-05-19 | Sensor Electronics Technology, Inc. | Storage device including ultraviolet illumination |
| US10383964B2 (en) | 2012-08-28 | 2019-08-20 | Sensor Electronic Technology, Inc. | Storage device including ultraviolet illumination |
| US10441670B2 (en) | 2012-08-28 | 2019-10-15 | Sensor Electronic Technology, Inc. | Storage device including ultraviolet illumination |
| CN105050433A (zh) | 2012-08-28 | 2015-11-11 | 传感器电子技术股份有限公司 | 用于消毒的紫外线系统 |
| US9724441B2 (en) | 2012-08-28 | 2017-08-08 | Sensor Electronic Technology, Inc. | Storage device including target UV illumination ranges |
| US10688210B2 (en) | 2012-08-28 | 2020-06-23 | Sensor Electronic Technology, Inc. | Storage device including ultraviolet illumination |
| US10646603B2 (en) | 2012-08-28 | 2020-05-12 | Sensor Electronic Technology, Inc. | Multi wave sterilization system |
| US9707307B2 (en) | 2012-08-28 | 2017-07-18 | Sensor Electronic Technology, Inc. | Ultraviolet system for disinfection |
| WO2014096340A2 (en) * | 2012-12-21 | 2014-06-26 | Arcelik Anonim Sirketi | A refrigerator |
| WO2014101964A1 (en) * | 2012-12-30 | 2014-07-03 | Arcelik Anonim Sirketi | A refrigerator with improved uv treatment chamber |
| CN103912952B (zh) * | 2013-01-09 | 2017-02-08 | 珠海格力电器股份有限公司 | 纳米水离子发生装置及空调器 |
| JP6411753B2 (ja) * | 2013-03-12 | 2018-10-24 | 東芝ライフスタイル株式会社 | 冷蔵庫、及びカメラ装置 |
| WO2014141786A1 (ja) * | 2013-03-14 | 2014-09-18 | シャープ株式会社 | 冷蔵庫 |
| JP6124642B2 (ja) * | 2013-03-26 | 2017-05-10 | 三菱電機株式会社 | 電力管理システム及び冷蔵庫 |
| SG10201801051QA (en) * | 2013-06-07 | 2018-04-27 | Mitsubishi Electric Corp | Heat insulating box body, refrigerator, and device including heat insulating box body |
| JP6430106B2 (ja) * | 2013-08-26 | 2018-11-28 | 東芝ライフスタイル株式会社 | 消費電力出力装置 |
| JP2016532520A (ja) * | 2013-09-03 | 2016-10-20 | ヘニー・ペニー・コーポレーションHenny Penny Corporation | 閉ループ環境制御システムを有する保持キャビネット、保持キャビネットにおける環境条件を制御する方法、及び該方法を実施する命令を記憶したコンピュータ可読媒体 |
| EP2876392B1 (de) * | 2013-11-26 | 2021-01-06 | Liebherr-Hausgeräte Ochsenhausen GmbH | Kühl- und/oder gefriergerät |
| DE102013225716A1 (de) * | 2013-12-12 | 2015-06-18 | BSH Hausgeräte GmbH | Haushaltskältegerät mit einem Lagerbereich und einer Befeuchtungsvorrichtung, deren Tank zu einer Verneblereinheit bewegbar ist |
| DE102013225715A1 (de) * | 2013-12-12 | 2015-06-18 | BSH Hausgeräte GmbH | Haushaltskältegerät mit einem Lagerbereich und einer Befeuchtungsvorrichtung, die seitlich neben dem Lagerbereich angeordnet ist |
| JP6102831B2 (ja) * | 2014-06-09 | 2017-03-29 | 三菱電機株式会社 | 加熱調理器 |
| EP3201545B1 (en) | 2014-10-02 | 2018-08-15 | Arcelik Anonim Sirketi | A cooling device comprising a thawing compartment and the control method thereof |
| CN104567244A (zh) * | 2014-12-31 | 2015-04-29 | 合肥华凌股份有限公司 | 冰箱 |
| US10935329B2 (en) * | 2015-01-19 | 2021-03-02 | Hussmann Corporation | Heat exchanger with heater insert |
| CN104792094B (zh) * | 2015-04-29 | 2018-02-02 | 青岛海尔股份有限公司 | 一种冷冻冷藏装置及其除霜控制方法 |
| CN104807279B (zh) * | 2015-04-29 | 2019-01-18 | 青岛海尔股份有限公司 | 一种冷冻冷藏装置及其除霜控制方法 |
| KR101661610B1 (ko) * | 2015-06-16 | 2016-09-30 | 동부대우전자 주식회사 | 냉장고의 제빙장치 및 그 탈취 방법 |
| JP3199815U (ja) * | 2015-06-30 | 2015-09-10 | さくら製作所株式会社 | ワインセラー |
| DE102015214211B4 (de) * | 2015-07-28 | 2024-05-16 | BSH Hausgeräte GmbH | Befeuchtungsvorrichtung für ein Haushaltskältegerät mit einer Auslauföffnung in einem Tankträger sowie Haushaltskältegerät |
| KR102070531B1 (ko) * | 2015-09-07 | 2020-01-29 | 신와 콘트롤즈 가부시키가이샤 | 공기 조화 장치 |
| CN106895546B (zh) * | 2015-12-18 | 2020-09-01 | 松下知识产权经营株式会社 | 空气调节机的控制方法、终端装置以及运转控制系统 |
| JP6697764B2 (ja) * | 2015-12-18 | 2020-05-27 | パナソニックIpマネジメント株式会社 | 空気調和機の制御方法、端末装置及び運転制御システム |
| CN106352460B (zh) * | 2016-10-17 | 2021-11-30 | 珠海格力电器股份有限公司 | 加湿系统、电暖器及加湿设备 |
| CN106766647B (zh) * | 2016-11-23 | 2019-12-06 | 青岛海尔股份有限公司 | 用于检测冰箱内是否放入温度异常物品的方法 |
| JP2018100821A (ja) * | 2016-12-20 | 2018-06-28 | パナソニック株式会社 | 結露除去構造体および結露除去構造体を備えた冷熱機器 |
| CN110234947A (zh) * | 2017-02-09 | 2019-09-13 | 夏普株式会社 | 冰箱 |
| KR102309117B1 (ko) * | 2017-03-21 | 2021-10-06 | 엘지전자 주식회사 | 냉장고 |
| JP6219549B1 (ja) * | 2017-05-09 | 2017-10-25 | 伸和コントロールズ株式会社 | 空気調和装置 |
| KR200489840Y1 (ko) * | 2017-05-29 | 2019-10-14 | 김상식 | 물을 이용한 공기정화기 |
| US10612980B2 (en) * | 2017-06-21 | 2020-04-07 | Intel Corporation | Temperature sensing based flow monitoring and fault detection |
| CN109387010B (zh) * | 2017-08-02 | 2021-04-27 | 日立环球生活方案株式会社 | 冰箱 |
| CN108019865B (zh) * | 2017-12-06 | 2020-03-13 | 佛山市顺德区德尔玛电器有限公司 | 一种加湿器控制方法 |
| CN109987401A (zh) * | 2017-12-29 | 2019-07-09 | 浙江大学常州工业技术研究院 | 一种产品漆面检测设备 |
| CN108224604A (zh) * | 2018-01-31 | 2018-06-29 | 珠海格力电器股份有限公司 | 一种电器盒冷却系统、方法和空调器 |
| JP6448874B1 (ja) * | 2018-03-27 | 2019-01-09 | 三菱電機株式会社 | 収納容器 |
| IT201800006226A1 (it) * | 2018-06-13 | 2019-12-13 | Massimo Liani | Dispositivo emettitore di luce per i prodotti alimentari |
| CN109089401B (zh) * | 2018-08-13 | 2020-07-14 | 安徽诚意电气科技有限公司 | 一种用于过电压保护器的动作计数器 |
| TWI677655B (zh) | 2018-10-19 | 2019-11-21 | 國立清華大學 | 自發電空氣清淨系統 |
| CN111174324B (zh) * | 2018-10-24 | 2022-01-21 | 青岛海尔空调器有限总公司 | 一种可移动的空调及其控制方法 |
| CN111174312B (zh) * | 2018-10-24 | 2022-01-21 | 青岛海尔空调器有限总公司 | 一种可移动的空调及杀菌控制方法 |
| US20200139871A1 (en) * | 2018-11-07 | 2020-05-07 | Continental Automotive Systems, Inc. | Smart cup holder in the vehicle |
| US11419340B2 (en) | 2019-05-03 | 2022-08-23 | Graco Minnesota Inc. | Electrostatic spray chilling of foodstuffs |
| CN110523096B (zh) * | 2019-07-24 | 2022-03-04 | 天津科技大学 | 可缩短益生菌料液冷冻干燥时间的规模化干燥装置与方法 |
| CN110440502B (zh) * | 2019-08-28 | 2024-02-06 | 长虹美菱股份有限公司 | 一种风冷冰箱化霜增湿装置及其控制方法 |
| CN110715495B (zh) * | 2019-10-25 | 2021-03-19 | 大连海事大学 | 一种高压摩擦纳米发电除霜装置 |
| JP7173946B2 (ja) * | 2019-10-30 | 2022-11-16 | 東芝ライフスタイル株式会社 | 冷蔵庫 |
| US11287165B2 (en) | 2020-05-20 | 2022-03-29 | Hill Phoenix, Inc. | Refrigeration system with adiabatic electrostatic cooling device |
| US20210393832A1 (en) * | 2020-06-19 | 2021-12-23 | The Boeing Company | Spray mechanism for sanitizing an aircraft |
| CA3183998A1 (en) | 2020-06-23 | 2021-12-30 | Jeffrey E. Newel | Cooling system with a distribution system and a cooling unit |
| CN112032976B (zh) * | 2020-08-25 | 2022-04-12 | 海信(山东)空调有限公司 | 空调器及其控制方法 |
| JP2022038573A (ja) * | 2020-08-27 | 2022-03-10 | パナソニックIpマネジメント株式会社 | 冷蔵庫 |
| JP7572818B2 (ja) * | 2020-09-11 | 2024-10-24 | 東芝ライフスタイル株式会社 | 冷蔵庫 |
| US20220313854A1 (en) * | 2021-04-02 | 2022-10-06 | Sanitoyz, LLC | Apparatus configured to store and sanitize objects |
| CN113042215B (zh) * | 2021-04-13 | 2024-12-24 | 珠海格力电器股份有限公司 | 电极组件、放电单元、净化装置及空气净化器 |
| CN114295532B (zh) * | 2022-03-09 | 2022-06-03 | 中国空气动力研究与发展中心低速空气动力研究所 | 一种结冰孔隙率测量装置及测量方法 |
| CN115200281A (zh) * | 2022-06-17 | 2022-10-18 | 青岛澳柯玛冷链集成有限公司 | 一种可保鲜杀菌的智能生鲜柜及其控制方法 |
| CN115789921A (zh) * | 2022-12-14 | 2023-03-14 | 珠海格力电器股份有限公司 | 除菌除尘智能动态控制方法、装置、设备及存储介质 |
| EP4560210A4 (en) | 2023-01-04 | 2025-12-17 | Samsung Electronics Co Ltd | SPRAYING DEVICE FOR IMPROVING THE THERMAL EFFICIENCY OF AIR CONDITIONERS, AND METHOD FOR CONTROLLING IT |
Citations (15)
| Publication number | Priority date | Publication date | Assignee | Title |
|---|---|---|---|---|
| JPH06257933A (ja) | 1993-03-02 | 1994-09-16 | Sharp Corp | 冷蔵庫 |
| JP2888243B2 (ja) * | 1988-12-27 | 1999-05-10 | 株式会社東芝 | スチームアイロン |
| JP2001074299A (ja) * | 1999-09-07 | 2001-03-23 | Sharp Corp | 空気調和機の制御装置 |
| JP2001272097A (ja) * | 2000-03-27 | 2001-10-05 | Noritz Corp | リモコンを有する温水器 |
| JP2002203657A (ja) * | 2000-12-27 | 2002-07-19 | Daikin Ind Ltd | イオン発生器 |
| JP2003172577A (ja) | 2001-12-05 | 2003-06-20 | Sanyo Electric Co Ltd | 冷蔵庫 |
| JP2006035171A (ja) | 2004-07-29 | 2006-02-09 | Matsushita Electric Works Ltd | 静電霧化装置及び静電霧化装置を備えた空気清浄機 |
| JP2006162195A (ja) | 2004-12-09 | 2006-06-22 | Toshiba Corp | 冷蔵庫 |
| JP2007101034A (ja) | 2005-10-03 | 2007-04-19 | Matsushita Electric Ind Co Ltd | 冷蔵庫 |
| JP2007181835A (ja) | 2007-04-06 | 2007-07-19 | Matsushita Electric Works Ltd | 静電霧化装置 |
| JP2008089203A (ja) | 2006-09-29 | 2008-04-17 | Matsushita Electric Ind Co Ltd | 冷蔵庫 |
| JP2009002587A (ja) * | 2007-06-22 | 2009-01-08 | Panasonic Corp | 冷蔵庫 |
| JP2009007965A (ja) * | 2007-06-26 | 2009-01-15 | Toshiba Home Technology Corp | 扇風機 |
| JP2009036411A (ja) * | 2007-07-31 | 2009-02-19 | Panasonic Corp | 空気調和機 |
| WO2009044939A1 (en) * | 2007-10-05 | 2009-04-09 | Panasonic Electric Works Co., Ltd. | Electrostatically atomizing device |
Family Cites Families (121)
| Publication number | Priority date | Publication date | Assignee | Title |
|---|---|---|---|---|
| US3325698A (en) * | 1964-01-15 | 1967-06-13 | Gen Electric | Electrical capacitor electrode and method of making the same |
| US3816748A (en) * | 1972-04-28 | 1974-06-11 | Alpha Ind Inc | Ion accelerator employing crossed-field selector |
| JPS6294785A (ja) | 1985-10-18 | 1987-05-01 | 富士電機株式会社 | 加湿器付き冷蔵オ−プンシヨ−ケ−ス |
| JPS63180067A (ja) * | 1987-01-21 | 1988-07-25 | 松下冷機株式会社 | 冷蔵庫 |
| JPH02157579A (ja) * | 1988-12-09 | 1990-06-18 | Mitsubishi Electric Corp | 冷蔵庫の脱臭装置 |
| JPH0296579U (enExample) * | 1989-01-18 | 1990-08-01 | ||
| JPH06103141B2 (ja) * | 1989-11-16 | 1994-12-14 | 三洋電機株式会社 | 低温庫 |
| JPH0389376U (enExample) * | 1989-12-28 | 1991-09-11 | ||
| JPH03282176A (ja) * | 1990-03-30 | 1991-12-12 | Toshiba Corp | 冷蔵庫 |
| JPH048081U (enExample) | 1990-05-02 | 1992-01-24 | ||
| CN2106336U (zh) * | 1990-07-10 | 1992-06-03 | 三星电子株式会社 | 冷藏箱的冷藏室湿汽喷雾装置 |
| JP2880275B2 (ja) | 1990-09-07 | 1999-04-05 | 株式会社日立製作所 | 冷蔵庫 |
| JP3157229B2 (ja) * | 1991-11-12 | 2001-04-16 | 三洋電機株式会社 | 冷蔵庫 |
| KR960001703A (ko) | 1994-06-02 | 1996-01-25 | 이헌조 | 냉장고의 야채실 가습장치 |
| JP3240854B2 (ja) * | 1994-09-26 | 2001-12-25 | 三菱電機株式会社 | 空気調和機の吹出口 |
| JPH08145545A (ja) | 1994-11-22 | 1996-06-07 | Hitachi Ltd | 冷蔵庫 |
| JPH09105575A (ja) * | 1995-10-05 | 1997-04-22 | Sharp Corp | 保冷装置用蒸発器の除霜装置 |
| JPH1123041A (ja) * | 1997-07-02 | 1999-01-26 | Matsushita Electric Ind Co Ltd | 乾燥装置 |
| US5981319A (en) * | 1997-09-22 | 1999-11-09 | Lucent Technologies Inc. | Method of forming a T-shaped gate |
| US6042975A (en) * | 1998-07-08 | 2000-03-28 | Lucent Technologies Inc. | Alignment techniques for photolithography utilizing multiple photoresist layers |
| US6449139B1 (en) * | 1999-08-18 | 2002-09-10 | Maxwell Electronic Components Group, Inc. | Multi-electrode double layer capacitor having hermetic electrolyte seal |
| DE19941874C2 (de) * | 1999-09-02 | 2002-11-07 | Perkin Elmer Bodenseewerk Zwei | Elektrothermischer Ofen für ein Atomabsorptionsspektrometer |
| AU768635B2 (en) | 1999-09-07 | 2003-12-18 | Sharp Kabushiki Kaisha | Air conditioner having dehumidifying and ventilating functions |
| CN2415294Y (zh) * | 2000-01-06 | 2001-01-17 | 华南理工大学 | 空调无滴水湿度调节装置 |
| JP4331870B2 (ja) * | 2000-06-26 | 2009-09-16 | 大和ハウス工業株式会社 | 個別建物の性能情報提示装置 |
| JP4493869B2 (ja) | 2001-03-05 | 2010-06-30 | ホシザキ電機株式会社 | 冷却貯蔵庫 |
| JP2003121050A (ja) | 2001-10-05 | 2003-04-23 | Sanyo Electric Co Ltd | 冷蔵庫 |
| JP2003121058A (ja) | 2001-10-05 | 2003-04-23 | Sanyo Electric Co Ltd | 冷蔵庫 |
| JP2003133980A (ja) * | 2001-10-25 | 2003-05-09 | Alpine Electronics Inc | 放送受信機及び受信データ表示方法 |
| JP3837335B2 (ja) | 2002-01-23 | 2006-10-25 | 三洋電機株式会社 | 冷蔵庫 |
| JP3837336B2 (ja) * | 2002-01-23 | 2006-10-25 | 三洋電機株式会社 | 冷蔵庫 |
| JP2003287331A (ja) | 2002-03-27 | 2003-10-10 | Sanyo Electric Co Ltd | 冷蔵庫 |
| JP2003287355A (ja) * | 2002-03-28 | 2003-10-10 | Sanyo Electric Co Ltd | 冷蔵庫 |
| JP2004125179A (ja) * | 2002-04-03 | 2004-04-22 | Sanyo Electric Co Ltd | 冷蔵庫及び超音波加湿器 |
| JP2004060998A (ja) * | 2002-07-29 | 2004-02-26 | Sharp Corp | 省エネ型機器 |
| JP2004062579A (ja) * | 2002-07-30 | 2004-02-26 | Yamaha Livingtec Corp | 住宅総合情報提供システム、住宅総合情報提供方法および住宅総合情報提供プログラム |
| JP2004061063A (ja) | 2002-07-31 | 2004-02-26 | Sanyo Electric Co Ltd | 冷蔵庫 |
| JP4318476B2 (ja) * | 2003-03-27 | 2009-08-26 | 三菱電機株式会社 | 空気調和機の再利用判定システム |
| JP2004353959A (ja) | 2003-05-29 | 2004-12-16 | Matsushita Electric Ind Co Ltd | 冷蔵庫 |
| JP4239692B2 (ja) * | 2003-06-04 | 2009-03-18 | パナソニック電工株式会社 | 空気清浄機 |
| JP4120481B2 (ja) * | 2003-06-04 | 2008-07-16 | 松下電工株式会社 | 静電霧化装置とこれを備えた空気清浄機 |
| JP4232542B2 (ja) * | 2003-06-04 | 2009-03-04 | パナソニック電工株式会社 | 静電霧化装置及びこれを備えた加湿装置 |
| JP4300917B2 (ja) * | 2003-07-09 | 2009-07-22 | パナソニック電工株式会社 | 静電霧化装置とこれを備えた空気調和機 |
| JP4016934B2 (ja) * | 2003-10-30 | 2007-12-05 | 松下電工株式会社 | 静電霧化装置 |
| JP4529468B2 (ja) | 2004-02-13 | 2010-08-25 | パナソニック電工株式会社 | 浴室用静電霧化装置 |
| JP2005249358A (ja) * | 2004-03-08 | 2005-09-15 | Matsushita Electric Ind Co Ltd | 冷蔵庫システムおよびそのプログラム |
| JP2005254208A (ja) * | 2004-03-15 | 2005-09-22 | Matsushita Electric Works Ltd | 静電霧化装置 |
| JP4096905B2 (ja) * | 2004-03-26 | 2008-06-04 | 松下電工株式会社 | 空気調和機 |
| JP2005337694A (ja) | 2004-04-30 | 2005-12-08 | Toshiba Corp | 冷蔵庫 |
| JP4645111B2 (ja) * | 2004-05-26 | 2011-03-09 | パナソニック電工株式会社 | 静電霧化装置及びこれを備えた空気調和機 |
| JP4483926B2 (ja) * | 2004-07-22 | 2010-06-16 | パナソニック株式会社 | 収納庫とそれを用いた冷蔵庫 |
| JP4400523B2 (ja) * | 2004-07-22 | 2010-01-20 | パナソニック株式会社 | 冷蔵庫 |
| JP4196127B2 (ja) * | 2004-07-22 | 2008-12-17 | パナソニック株式会社 | 冷蔵庫 |
| JP4517776B2 (ja) * | 2004-08-26 | 2010-08-04 | パナソニック電工株式会社 | 食品収納庫 |
| JP3952052B2 (ja) | 2004-09-06 | 2007-08-01 | 松下電工株式会社 | 静電霧化装置 |
| JP4123211B2 (ja) * | 2004-09-24 | 2008-07-23 | 松下電器産業株式会社 | 空気調和機 |
| JP2006105404A (ja) | 2004-09-30 | 2006-04-20 | Toshiba Corp | 冷蔵庫 |
| JP2006118825A (ja) * | 2004-10-25 | 2006-05-11 | Toshiba Corp | 冷蔵庫 |
| JP2006145080A (ja) * | 2004-11-17 | 2006-06-08 | Matsushita Electric Ind Co Ltd | 冷蔵庫 |
| JP4687081B2 (ja) * | 2004-11-25 | 2011-05-25 | パナソニック株式会社 | 空気調和機 |
| JP2006189209A (ja) | 2005-01-07 | 2006-07-20 | Sharp Corp | 冷却庫 |
| JP4322822B2 (ja) * | 2005-02-02 | 2009-09-02 | 泰陽株式会社 | 機能性成分含有ミストの発生装置 |
| JP2006038444A (ja) * | 2005-02-03 | 2006-02-09 | Matsushita Electric Ind Co Ltd | 冷蔵庫 |
| JP4262694B2 (ja) * | 2005-04-22 | 2009-05-13 | 日立アプライアンス株式会社 | 自動製氷装置及び自動製氷装置を備えた冷蔵庫 |
| JP4725444B2 (ja) * | 2005-07-13 | 2011-07-13 | パナソニック株式会社 | 冷蔵庫 |
| JP4674570B2 (ja) | 2005-07-13 | 2011-04-20 | パナソニック株式会社 | 冷蔵庫 |
| JP2007046892A (ja) * | 2005-07-14 | 2007-02-22 | Matsushita Electric Ind Co Ltd | 冷蔵庫 |
| JP4511427B2 (ja) * | 2005-07-15 | 2010-07-28 | パナソニック電工株式会社 | 静電霧化機能付き空気調和機 |
| JP2007029812A (ja) * | 2005-07-25 | 2007-02-08 | Matsushita Denko Bath & Life Kk | 静電霧化装置 |
| JP2007040681A (ja) * | 2005-08-05 | 2007-02-15 | Matsushita Electric Ind Co Ltd | オゾンミスト生成装置および冷蔵庫 |
| CN2821457Y (zh) | 2005-08-12 | 2006-09-27 | 梁伟锋 | 空调冷凝水再利用装置 |
| JP4449859B2 (ja) | 2005-08-26 | 2010-04-14 | パナソニック電工株式会社 | 静電霧化装置 |
| JP4910353B2 (ja) | 2005-10-03 | 2012-04-04 | パナソニック株式会社 | 冷蔵庫 |
| JP4688622B2 (ja) | 2005-10-03 | 2011-05-25 | 三洋電機株式会社 | オゾン発生機能を有する電気機器 |
| JP4765556B2 (ja) * | 2005-10-31 | 2011-09-07 | パナソニック電工株式会社 | 静電霧化装置 |
| JP4600247B2 (ja) * | 2005-10-31 | 2010-12-15 | パナソニック電工株式会社 | 静電霧化装置 |
| EP1980433B1 (en) * | 2005-12-16 | 2010-08-04 | Panasonic Electric Works Co., Ltd. | Air conditioning system with electrostatic atomizing function |
| JP4720550B2 (ja) * | 2006-03-08 | 2011-07-13 | パナソニック株式会社 | 冷蔵庫 |
| JP2007240055A (ja) | 2006-03-08 | 2007-09-20 | Matsushita Electric Ind Co Ltd | 冷蔵庫 |
| JP2006337012A (ja) | 2006-03-15 | 2006-12-14 | Mitsubishi Electric Engineering Co Ltd | 保存庫及び保存設備 |
| JP4736915B2 (ja) * | 2006-04-07 | 2011-07-27 | パナソニック電工株式会社 | 静電霧化装置 |
| JP2007292421A (ja) * | 2006-04-27 | 2007-11-08 | Matsushita Electric Ind Co Ltd | 貯蔵庫 |
| JP4665839B2 (ja) * | 2006-06-08 | 2011-04-06 | パナソニック電工株式会社 | 静電霧化装置 |
| CN2919795Y (zh) * | 2006-06-15 | 2007-07-04 | 王亮 | 带有耗电量显示装置的电器 |
| JP4595896B2 (ja) * | 2006-07-14 | 2010-12-08 | パナソニック電工株式会社 | 静電霧化装置 |
| JP4904969B2 (ja) * | 2006-07-31 | 2012-03-28 | ダイキン工業株式会社 | 空気調和機の放電ユニット |
| JP4735466B2 (ja) | 2006-08-08 | 2011-07-27 | パナソニック株式会社 | 冷蔵庫 |
| JP2008039354A (ja) | 2006-08-10 | 2008-02-21 | Matsushita Electric Ind Co Ltd | 冷蔵庫の照明装置 |
| JP2008070001A (ja) | 2006-09-12 | 2008-03-27 | Matsushita Electric Ind Co Ltd | 貯蔵装置 |
| JP2008089282A (ja) * | 2006-10-05 | 2008-04-17 | Matsushita Electric Ind Co Ltd | 冷蔵庫 |
| JP4830788B2 (ja) * | 2006-10-26 | 2011-12-07 | パナソニック電工株式会社 | 静電霧化装置 |
| JP4976828B2 (ja) * | 2006-11-27 | 2012-07-18 | パナソニック株式会社 | 空気清浄機能付き空気調和機 |
| JP4656051B2 (ja) | 2006-12-15 | 2011-03-23 | パナソニック電工株式会社 | 静電霧化装置 |
| JP4706630B2 (ja) | 2006-12-15 | 2011-06-22 | パナソニック電工株式会社 | 静電霧化装置 |
| JP4872653B2 (ja) * | 2006-12-25 | 2012-02-08 | パナソニック電工株式会社 | 静電霧化装置 |
| JP4788594B2 (ja) * | 2006-12-25 | 2011-10-05 | パナソニック電工株式会社 | 静電霧化装置 |
| JP4366405B2 (ja) * | 2007-01-31 | 2009-11-18 | 日立アプライアンス株式会社 | 空気調和機 |
| JP4399469B2 (ja) * | 2007-02-07 | 2010-01-13 | 日立アプライアンス株式会社 | 空気調和機 |
| JP2008190813A (ja) * | 2007-02-07 | 2008-08-21 | Hitachi Appliances Inc | 静電霧化装置を搭載した空気調和機 |
| JP4366406B2 (ja) * | 2007-02-07 | 2009-11-18 | 日立アプライアンス株式会社 | 空気調和機 |
| JP2008238061A (ja) * | 2007-03-27 | 2008-10-09 | Matsushita Electric Works Ltd | 静電霧化装置 |
| JP2008238060A (ja) | 2007-03-27 | 2008-10-09 | Matsushita Electric Works Ltd | 静電霧化装置 |
| JP2007263551A (ja) * | 2007-04-05 | 2007-10-11 | Matsushita Electric Works Ltd | 空気調和機 |
| JP4642043B2 (ja) * | 2007-04-24 | 2011-03-02 | 三菱電機株式会社 | 冷蔵庫 |
| JP5347260B2 (ja) | 2007-04-26 | 2013-11-20 | パナソニック株式会社 | 冷蔵庫 |
| JP4151739B1 (ja) | 2007-04-26 | 2008-09-17 | 松下電器産業株式会社 | 冷蔵庫 |
| BRPI0810633A2 (pt) * | 2007-04-26 | 2014-11-04 | Panasonic Corp | Refrigerador |
| GB2460357B (en) | 2007-04-26 | 2010-12-01 | Panasonic Corp | Refrigerator with means to provide mist into a storage compartment |
| JP4151743B1 (ja) * | 2007-04-26 | 2008-09-17 | 松下電器産業株式会社 | 冷蔵庫 |
| DE112008002168B4 (de) | 2007-04-26 | 2014-02-13 | Panasonic Corporation | Kühlschrank und elektrische Vorrichtung |
| JP5025322B2 (ja) * | 2007-05-09 | 2012-09-12 | 東光電気株式会社 | 空調制御システム |
| JP4333779B2 (ja) | 2007-05-25 | 2009-09-16 | パナソニック電工株式会社 | 送風装置 |
| JP4962163B2 (ja) | 2007-06-22 | 2012-06-27 | パナソニック株式会社 | 冷蔵庫および冷蔵庫に搭載される霧化装置 |
| JP5233180B2 (ja) * | 2007-06-22 | 2013-07-10 | パナソニック株式会社 | 冷蔵庫 |
| JP5029165B2 (ja) * | 2007-06-22 | 2012-09-19 | パナソニック株式会社 | 冷蔵庫 |
| JP5332140B2 (ja) * | 2007-06-22 | 2013-11-06 | パナソニック株式会社 | 霧化装置及びその霧化装置を具備した貯蔵装置 |
| JP2009030866A (ja) * | 2007-07-26 | 2009-02-12 | Toshiba Corp | 冷蔵庫 |
| JP4595972B2 (ja) * | 2007-07-30 | 2010-12-08 | 三菱電機株式会社 | 冷蔵庫 |
| JP4687740B2 (ja) * | 2008-04-03 | 2011-05-25 | パナソニック株式会社 | 空気調和機 |
| JP5931320B2 (ja) * | 2009-03-27 | 2016-06-08 | 株式会社東芝 | 冷蔵庫 |
| ES2585089T3 (es) * | 2009-03-27 | 2016-10-03 | Mitsubishi Electric Corporation | Aparato de atomización electrostática, dispositivo, acondicionador de aire y refrigerador |
-
2010
- 2010-02-18 ES ES13153064.4T patent/ES2585089T3/es active Active
- 2010-02-18 US US13/260,402 patent/US20120017630A1/en not_active Abandoned
- 2010-02-18 CN CN201310060598.9A patent/CN103148549B/zh not_active Expired - Fee Related
- 2010-02-18 CN CN201210553574.2A patent/CN103017267B/zh active Active
- 2010-02-18 JP JP2011505933A patent/JP4794698B2/ja not_active Expired - Fee Related
- 2010-02-18 SG SG2012052080A patent/SG183030A1/en unknown
- 2010-02-18 SG SG2011077153A patent/SG175670A1/en unknown
- 2010-02-18 EP EP10755790.2A patent/EP2412441B1/en active Active
- 2010-02-18 CN CN201310723664.6A patent/CN103776224B/zh active Active
- 2010-02-18 EP EP13153069.3A patent/EP2642212B1/en active Active
- 2010-02-18 ES ES10755790.2T patent/ES2498728T3/es active Active
- 2010-02-18 CN CN201080014877.6A patent/CN102365130B/zh active Active
- 2010-02-18 CN CN201310724318.XA patent/CN103697652B/zh active Active
- 2010-02-18 SG SG2011066354A patent/SG174390A1/en unknown
- 2010-02-18 ES ES13175635T patent/ES2720739T3/es active Active
- 2010-02-18 ES ES13153069T patent/ES2761400T3/es active Active
- 2010-02-18 CN CN201110376469.1A patent/CN102513242B/zh active Active
- 2010-02-18 WO PCT/JP2010/052444 patent/WO2010109989A1/ja not_active Ceased
- 2010-02-18 EP EP13153064.4A patent/EP2602564B1/en active Active
- 2010-02-18 CN CN201310723626.0A patent/CN103776223B/zh active Active
- 2010-02-18 EP EP11007840.9A patent/EP2484984B1/en active Active
- 2010-02-18 EP EP13175635.5A patent/EP2662639B1/en active Active
- 2010-02-18 ES ES11007840.9T patent/ES2573508T3/es active Active
- 2010-02-18 SG SG2013016795A patent/SG188853A1/en unknown
- 2010-02-26 TW TW099105600A patent/TWI415688B/zh active
- 2010-02-26 TW TW101150047A patent/TWI564527B/zh not_active IP Right Cessation
- 2010-02-26 TW TW101150049A patent/TWI579516B/zh active
- 2010-02-26 TW TW104128956A patent/TWI575209B/zh active
- 2010-02-26 TW TW101150045A patent/TWI515401B/zh not_active IP Right Cessation
-
2011
- 2011-04-15 JP JP2011091229A patent/JP5307178B2/ja not_active Expired - Fee Related
- 2011-04-15 JP JP2011091231A patent/JP5566944B2/ja not_active Expired - Fee Related
- 2011-04-15 JP JP2011091227A patent/JP4790093B1/ja not_active Expired - Fee Related
- 2011-04-15 JP JP2011091230A patent/JP5032683B2/ja not_active Expired - Fee Related
- 2011-04-15 JP JP2011091228A patent/JP5174934B2/ja not_active Expired - Fee Related
- 2011-04-15 JP JP2011091226A patent/JP4879360B2/ja not_active Expired - Fee Related
- 2011-04-15 JP JP2011091232A patent/JP5225422B2/ja not_active Expired - Fee Related
- 2011-06-02 JP JP2011124181A patent/JP5181044B2/ja not_active Expired - Fee Related
- 2011-09-27 US US13/246,191 patent/US8991203B2/en active Active
- 2011-10-13 JP JP2011225679A patent/JP4942851B2/ja not_active Expired - Fee Related
-
2012
- 2012-04-27 JP JP2012102266A patent/JP5036917B1/ja not_active Expired - Fee Related
- 2012-04-27 JP JP2012102265A patent/JP5036916B1/ja not_active Expired - Fee Related
- 2012-06-20 JP JP2012138306A patent/JP5174266B2/ja not_active Expired - Fee Related
- 2012-08-01 JP JP2012171090A patent/JP5721671B2/ja not_active Expired - Fee Related
- 2012-08-01 JP JP2012171091A patent/JP5619834B2/ja not_active Expired - Fee Related
- 2012-12-27 JP JP2012285438A patent/JP5562406B2/ja not_active Expired - Fee Related
-
2013
- 2013-01-11 JP JP2013003064A patent/JP5626933B2/ja not_active Expired - Fee Related
- 2013-06-26 JP JP2013133786A patent/JP2013231588A/ja active Pending
-
2014
- 2014-04-10 JP JP2014080773A patent/JP5684418B2/ja not_active Expired - Fee Related
-
2015
- 2015-01-14 JP JP2015005213A patent/JP5752338B2/ja not_active Expired - Fee Related
- 2015-05-19 JP JP2015101615A patent/JP6080896B2/ja not_active Expired - Fee Related
Patent Citations (15)
| Publication number | Priority date | Publication date | Assignee | Title |
|---|---|---|---|---|
| JP2888243B2 (ja) * | 1988-12-27 | 1999-05-10 | 株式会社東芝 | スチームアイロン |
| JPH06257933A (ja) | 1993-03-02 | 1994-09-16 | Sharp Corp | 冷蔵庫 |
| JP2001074299A (ja) * | 1999-09-07 | 2001-03-23 | Sharp Corp | 空気調和機の制御装置 |
| JP2001272097A (ja) * | 2000-03-27 | 2001-10-05 | Noritz Corp | リモコンを有する温水器 |
| JP2002203657A (ja) * | 2000-12-27 | 2002-07-19 | Daikin Ind Ltd | イオン発生器 |
| JP2003172577A (ja) | 2001-12-05 | 2003-06-20 | Sanyo Electric Co Ltd | 冷蔵庫 |
| JP2006035171A (ja) | 2004-07-29 | 2006-02-09 | Matsushita Electric Works Ltd | 静電霧化装置及び静電霧化装置を備えた空気清浄機 |
| JP2006162195A (ja) | 2004-12-09 | 2006-06-22 | Toshiba Corp | 冷蔵庫 |
| JP2007101034A (ja) | 2005-10-03 | 2007-04-19 | Matsushita Electric Ind Co Ltd | 冷蔵庫 |
| JP2008089203A (ja) | 2006-09-29 | 2008-04-17 | Matsushita Electric Ind Co Ltd | 冷蔵庫 |
| JP2007181835A (ja) | 2007-04-06 | 2007-07-19 | Matsushita Electric Works Ltd | 静電霧化装置 |
| JP2009002587A (ja) * | 2007-06-22 | 2009-01-08 | Panasonic Corp | 冷蔵庫 |
| JP2009007965A (ja) * | 2007-06-26 | 2009-01-15 | Toshiba Home Technology Corp | 扇風機 |
| JP2009036411A (ja) * | 2007-07-31 | 2009-02-19 | Panasonic Corp | 空気調和機 |
| WO2009044939A1 (en) * | 2007-10-05 | 2009-04-09 | Panasonic Electric Works Co., Ltd. | Electrostatically atomizing device |
Non-Patent Citations (1)
| Title |
|---|
| See also references of EP2412441A4 |
Cited By (16)
| Publication number | Priority date | Publication date | Assignee | Title |
|---|---|---|---|---|
| JP2011143409A (ja) * | 2009-03-27 | 2011-07-28 | Mitsubishi Electric Corp | 霧化装置及び機器及び空気調和機及び冷蔵庫 |
| JP2011179745A (ja) * | 2010-03-01 | 2011-09-15 | Toshiba Corp | 冷蔵庫 |
| JP2011202911A (ja) * | 2010-03-26 | 2011-10-13 | Toshiba Corp | 冷蔵庫 |
| WO2013038670A1 (ja) * | 2011-09-16 | 2013-03-21 | パナソニック株式会社 | 空気調和機および空気調和機の室内機 |
| JP2013064524A (ja) * | 2011-09-16 | 2013-04-11 | Panasonic Corp | 空気調和機 |
| WO2013060840A1 (de) * | 2011-10-28 | 2013-05-02 | BSH Bosch und Siemens Hausgeräte GmbH | Kältegerät mit frischhaltevorrichtung |
| CN104315486A (zh) * | 2013-04-20 | 2015-01-28 | 大连三维传热技术有限公司 | SiO2纳米液体工质的泡沫金属吸液芯热板散热器 |
| CN105393073A (zh) * | 2013-06-07 | 2016-03-09 | 三菱电机株式会社 | 隔热箱体和冰箱 |
| CN105393073B (zh) * | 2013-06-07 | 2019-03-08 | 三菱电机株式会社 | 隔热箱体和冰箱 |
| CN104501118A (zh) * | 2014-12-20 | 2015-04-08 | 东莞市闻誉实业有限公司 | 带有雾化片的散热器 |
| CN107372798A (zh) * | 2017-09-22 | 2017-11-24 | 余庆县庆丰源农业发展有限公司 | 蔬菜冷藏装置 |
| JPWO2021070619A1 (enExample) * | 2019-10-09 | 2021-04-15 | ||
| JP7454768B2 (ja) | 2019-10-09 | 2024-03-25 | パナソニックIpマネジメント株式会社 | 冷蔵庫 |
| JP2024071383A (ja) * | 2019-10-09 | 2024-05-24 | パナソニックIpマネジメント株式会社 | 冷蔵庫 |
| US12130075B2 (en) | 2019-10-09 | 2024-10-29 | Panasonic Intellectual Property Management Co., Ltd. | Refrigerator comprising a dielectric heating mechanism |
| JP7660272B2 (ja) | 2019-10-09 | 2025-04-11 | パナソニックIpマネジメント株式会社 | 冷蔵庫 |
Also Published As
Similar Documents
| Publication | Publication Date | Title |
|---|---|---|
| JP6080896B2 (ja) | 冷蔵庫 | |
| JP5682101B2 (ja) | 冷蔵庫 | |
| JP2010249427A (ja) | 冷蔵庫 | |
| HK1194461B (en) | Electrostatic atomizing device, appliances, air conditioner, and refrigerator |
Legal Events
| Date | Code | Title | Description |
|---|---|---|---|
| WWE | Wipo information: entry into national phase |
Ref document number: 201080014877.6 Country of ref document: CN |
|
| 121 | Ep: the epo has been informed by wipo that ep was designated in this application |
Ref document number: 10755790 Country of ref document: EP Kind code of ref document: A1 |
|
| WWE | Wipo information: entry into national phase |
Ref document number: 2011505933 Country of ref document: JP |
|
| WWE | Wipo information: entry into national phase |
Ref document number: 13260402 Country of ref document: US |
|
| NENP | Non-entry into the national phase |
Ref country code: DE |
|
| WWE | Wipo information: entry into national phase |
Ref document number: 2010755790 Country of ref document: EP |