JP4495200B2 - 半導体装置用ソケット - Google Patents

半導体装置用ソケット Download PDF

Info

Publication number
JP4495200B2
JP4495200B2 JP2007256211A JP2007256211A JP4495200B2 JP 4495200 B2 JP4495200 B2 JP 4495200B2 JP 2007256211 A JP2007256211 A JP 2007256211A JP 2007256211 A JP2007256211 A JP 2007256211A JP 4495200 B2 JP4495200 B2 JP 4495200B2
Authority
JP
Japan
Prior art keywords
semiconductor device
pressing
pressing member
cover member
socket
Prior art date
Legal status (The legal status is an assumption and is not a legal conclusion. Google has not performed a legal analysis and makes no representation as to the accuracy of the status listed.)
Active
Application number
JP2007256211A
Other languages
English (en)
Other versions
JP2009087739A (ja
Inventor
一美 浦辻
英樹 佐藤
Current Assignee (The listed assignees may be inaccurate. Google has not performed a legal analysis and makes no representation or warranty as to the accuracy of the list.)
Yamaichi Electronics Co Ltd
Original Assignee
Yamaichi Electronics Co Ltd
Priority date (The priority date is an assumption and is not a legal conclusion. Google has not performed a legal analysis and makes no representation as to the accuracy of the date listed.)
Filing date
Publication date
Application filed by Yamaichi Electronics Co Ltd filed Critical Yamaichi Electronics Co Ltd
Priority to JP2007256211A priority Critical patent/JP4495200B2/ja
Priority to MYPI20083763A priority patent/MY144692A/en
Priority to US12/239,211 priority patent/US7568918B2/en
Publication of JP2009087739A publication Critical patent/JP2009087739A/ja
Application granted granted Critical
Publication of JP4495200B2 publication Critical patent/JP4495200B2/ja
Active legal-status Critical Current
Anticipated expiration legal-status Critical

Links

Images

Classifications

    • GPHYSICS
    • G01MEASURING; TESTING
    • G01RMEASURING ELECTRIC VARIABLES; MEASURING MAGNETIC VARIABLES
    • G01R1/00Details of instruments or arrangements of the types included in groups G01R5/00 - G01R13/00 and G01R31/00
    • G01R1/02General constructional details
    • G01R1/04Housings; Supporting members; Arrangements of terminals
    • G01R1/0408Test fixtures or contact fields; Connectors or connecting adaptors; Test clips; Test sockets
    • G01R1/0433Sockets for IC's or transistors
    • G01R1/0441Details
    • G01R1/0466Details concerning contact pieces or mechanical details, e.g. hinges or cams; Shielding

Landscapes

  • Engineering & Computer Science (AREA)
  • Computer Hardware Design (AREA)
  • Microelectronics & Electronic Packaging (AREA)
  • Physics & Mathematics (AREA)
  • General Physics & Mathematics (AREA)
  • Connecting Device With Holders (AREA)
  • Testing Of Individual Semiconductor Devices (AREA)

Description

本発明は、半導体装置を解放可能に選択的に保持する保持機構を備える半導体装置用ソケットに関する。
電子機器などに実装される半導体装置は、実装される以前の段階で種々の試験が行われその潜在的欠陥が除去される。その試験は、例えば、半導体装置が半導体装置用ソケット内に装着された状態で実施される。
このような試験に供される半導体装置用ソケットは、一般に、ICソケットと称され、所定の試験電圧が供給されるとともに被検査物としての半導体装置からの短絡等をあらわす異常検出信号を送出する入出力部を有するプリント配線基板上に配される。
半導体装置用ソケットは、例えば、オープントップタイプソケットの場合、特許文献1にも示されるように、プリント配線基板(不図示)上に配され半導体装置を電気的にプリント配線基板に接続するコンタクト端子群を収容するソケット本体と、ソケット本体内におけるコンタクト端子群に対し上方の位置に配され半導体装置が装着される収容部を有する位置決め部材(特許文献1においては位置決め機構と呼称される)と、位置決め部材の周囲に配され半導体装置を位置決め部材の収容部に対し選択的に保持する一対の押え部材(特許文献1においてはラッチと呼称される)を有する保持機構としてのラッチ機構と、作用される操作力を、所定の駆動機構を介して押え部材を動作させるようにラッチ機構に伝達するカバー部材(特許文献1においては操作部材と呼称される)とを含んで構成されている。
カバー部材は、半導体装置の位置決め部材の収容部に対する着脱のとき、半導体装置が通過する開口部を中央部に有している。カバー部材は、ソケット本体に対し昇降動可能に配され、駆動機構に連結されている。その駆動機構は、例えば、カバー部材とラッチ機構の押え部材の基端部とを連結し、カバー部材の昇降動に応じて押え部材を回動させるリンク機構またはカム機構とされる。
位置決め部材は、ソケット本体に固定され、その収容部内に装着された半導体装置の外周部を位置決めすることにより、その半導体装置の端子のコンタクト端子群に対する相対位置を位置決めるものとされる。
ラッチ機構における一対の押え部材は、それぞれ、装着された半導体装置を挟んで相対向して配されている。押え部材は、ソケット本体に回動可能に支持され上述の駆動機構に連結される基端部と、半導体装置の外周部に選択的に当接または離隔する当接部と、その基端部とその当接部とを連結する連結部とを含んで構成されている。
半導体装置が収容部内に装着される場合、押え部材の当接部は、その半導体装置に干渉しないように収容部内に対し離隔した待機位置をとり、また、半導体装置が収容部内に装着された後、押え部材の当接部は、収容部内に侵入し保持位置をとるものとされる。
斯かる構成において、半導体装置がカバー部材の開口部を通じて位置決め部材の収容部に装着される場合、カバー部材がソケット本体および位置決め部材に対して上方の位置から下方に向けて所定のストロークだけ押圧され保持されることにより、上述の一対の押え部材の当接部が位置決め部材の収容部に対し互いに離隔して待機位置をとるので半導体装置の収容部への装着が可能となる。
次に、カバー部材が保持された状態から解放されることによって、カバー部材が付勢部材の付勢力で上昇せしめられ初期の位置に戻されることにより、一対の押え部材の当接部が待機位置から位置決め部材の収容部に対し互いに近接され、半導体装置のパッケージの外周面に摺接せしめられるとともに、位置決め部材により位置決めされた半導体装置の端子を保持位置でコンタクト端子群に向けて押圧することとなる。従って、半導体装置が位置決め部材の収容部に対し保持されることとなる。
特開2004−79227号公報
半導体装置がカバー部材の開口部を通じて位置決め部材の収容部に装着される場合、上述のように、一対の押え部材の当接部が待機位置から位置決め部材の収容部に対し互いに近接される。その際、その当接部が半導体装置のパッケージの外周面に摺接せしめられることにより、特に、コンタクト端子の数量の増大に応じてその当接部の押圧力が大になるにつれて当接部が摺接し半導体装置のパッケージの外周面に擦り傷を形成する虞がある。従って、良品とされる半導体装置が、外観検査においてそのパッケージの外周面の傷により、外観上不良品とみなされ、歩留まりを低下させる場合がある。
以上の問題点を考慮し、本発明は、半導体装置を解放可能に選択的に保持する保持機構を備える半導体装置用ソケットであって、半導体装置を保持する場合、半導体装置のパッケージの外周面に擦り傷を与えることなく半導体装置を保持できる半導体装置用ソケットを提供することを目的とする。
上述の目的を達成するために、本発明に係る半導体装置用ソケットは、半導体装置が着脱可能に装着される半導体装置装着部および半導体装置の端子に電気的に接続されるコンタクト端子群を有するソケット本体と、半導体装置装着部に装着された半導体装置の外郭面に対し近接する場合、外郭面に対し略平行な押圧面部を有し、押圧面部が外郭面に対し直交する方向に沿って移動し外郭面に当接し、または外郭面に対し離隔した後、回動するようにソケット本体に支持される押圧部材と、ソケット本体に昇降動可能に支持され、半導体装置の着脱のとき、半導体装置が通過する開口部、および、ソケット本体に形成されるガイド壁面に向けて突出する突起片を有するカバー部材と、カバー部材をソケット本体から離隔する方向にカバー部材を付勢する付勢手段と、カバー部材および押圧部材に連結され、押圧部材の押圧面部を、カバー部材の昇降動に連動して半導体装置の外郭面に対し保持状態または解放状態とするリンク機構と、を備え、押圧部材の押圧面が半導体装置の外郭面に対し近接または離隔される場合、押圧部材の脚部が、カバー部材の突起片により回動され、ガイド壁面とカバー部材の突起片との間で摺動可能に支持されることを特徴とする。
また、本発明に係る半導体装置用ソケットは、半導体装置が着脱可能に装着される半導体装置装着部および半導体装置の端子に電気的に接続されるコンタクト端子群を有するソケット本体と、半導体装置装着部に装着された半導体装置の外郭面に対し近接する場合、外郭面に対し略平行な押圧面部を有し、押圧面部が外郭面に対し直交する方向に沿って移動し外郭面に当接し、または外郭面に対し離隔した後、回動するようにソケット本体に支持される第1の押圧部材と、第1の押圧部材の動作に連動して第1の押圧部材に対し近接または離隔可能に配され、半導体装置装着部に装着された半導体装置の外郭面に対し近接する場合、外郭面に対し略平行な押圧面部を有し、押圧面が外郭面に対し直交する方向に沿って移動し外郭面に当接し、または外郭面に対し離隔した後、回動するようにソケット本体に支持される第2の押圧部材と、ソケット本体に昇降動可能に支持され、半導体装置の着脱のとき、半導体装置が通過する開口部、および、ソケット本体に形成されるガイド壁面に向けて突出する突起片を有するカバー部材と、カバー部材をソケット本体から離隔する方向にカバー部材を付勢する付勢手段と、第1の押圧部材および第2の押圧部材とカバー部材とに連結され、第1の押圧部材および第2の押圧部材の押圧面部を、カバー部材の昇降動に連動して半導体装置の外郭面に対し保持状態または解放状態とするリンク機構と、を備え、第1の押圧部材および第2の押圧部材の押圧面が半導体装置の外郭面に対し近接または離隔される場合、第1の押圧部材の脚部、および、第2の押圧部材の脚部が、それぞれ、カバー部材の突起片により回動され、ガイド壁面とカバー部材の突起片との間で摺動可能に支持されることを特徴とする。
以上の説明から明らかなように、本発明に係る半導体装置用ソケットによれば、半導体装置装着部に装着された半導体装置の外郭面に対し近接する場合、外郭面に対し略平行な押圧面部を有し、押圧面部が外郭面に対し直交する方向に沿って移動し外郭面に当接し、または外郭面に対し離隔した後、回動するようにソケット本体に支持される押圧部材を備え、押圧部材の押圧面が半導体装置の外郭面に対し近接または離隔される場合、押圧部材の脚部が、カバー部材の突起片により回動され、ガイド壁面とカバー部材の突起片との間で摺動可能に支持されるので押圧面が半導体装置の外郭面に擦れ合うことがなく、従って、半導体装置を保持する場合、半導体装置のパッケージの外周面に擦り傷を与えることなく半導体装置を保持できる。
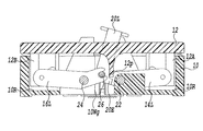
図2は、本発明に係る半導体装置用ソケットの第1実施例の外観を拡大して示す。
半導体装置用ソケットは、図3に示されるように、プリント配線基板PB上に配されている。プリント配線基板PBは、所定の試験電圧が供給されるとともに各被検査物としての半導体装置からの短絡等をあらわす異常検出信号をそれぞれ送出する入出力部を有するものとされる。なお、図3においては、プリント配線基板PB上に縦横に配される複数個の半導体装置用ソケットのうちの1個の半導体装置用ソケットを代表して示す。
図2において、半導体装置用ソケットは、プリント配線基板PBの各電極パッド部(端子部)と半導体装置DVの端子とを電気的に接続するコンタクトピンモジュール31と、コンタクトピンモジュール31を収容するモジュール収容部10Aを有するソケット本体10と、コンタクトピンモジュール31の上部に昇降動可能に支持され、半導体装置DVの各電極のコンタクトピンモジュール31の各端子部に対する位置合わせを行う位置決め部材としての整列板32と、ソケット本体10に昇降動可能に配され後述する押圧部材20を整列板32に対し選択的に近接または離隔させるとともに、回動させるカバー部材12と、カバー部材12の上昇動作に応じて整列板32を介して半導体装置DVの各端子をコンタクトピンモジュール31のコンタクトピンに対して押圧し保持または解放する押圧部材20と、カバー部材12の昇降動に連動して押圧部材20の動作を行わせるリンク機構とを主要な要素として含んで構成されている。
被検査物としての半導体装置DVは、BGA(Ball Grid Array)型のパッケージで形成された半導体装置とされる。半導体素子DVにおいて後述する整列板32に対向する面には、整列板32の透孔を介してコンタクトピンモジュール31に接続されるべきバンプ形の電極が端子として全面にわたって所定の相互間隔で複数個形成されている。
なお、半導体装置DVは、BGA型のパッケージで形成された半導体装置に限られることなく、例えば、LGA(Land Grid Array)型のパッケージで形成された半導体装置であってもよい。
ソケット本体10における長辺側の外周部には、それぞれ、後述するカバー部材の各ガイド爪部12Nが昇降動可能に係合されるガイド溝10Gが所定の間隔で形成されている。ガイド溝10Gは、ソケット本体10の底面部に対して略垂直に形成されている。各溝10Gの一方の端部には、それぞれ、図2に示されるような、カバー部材12が最上端位置をとるとき、そのガイド爪部12Nの先端が係止されている。
一対のガイド溝10G相互間には、後述する連結ピン26の一端が通過するスリット10Sがガイド溝10Gに対して略平行に形成されている。図2においては、ソケット本体10の外周部の一方側に形成された一対のガイド溝10Gを示し、他方側に形成される一対のガイド溝10Gは、図示されていない。
ソケット本体10の内周部における各スリット10Sに隣接した位置には、図2に示されるように、それぞれ、細長い溝10Dがスリット10Sに対し略平行に形成されている。溝10Dには、図5および図6に示されるように、カバー部材12が下降せしめられる場合、後述するカバー部材12の突起片12Pが移動可能に係合される。
ソケット本体10における略中央部分には、コンタクトピンモジュール31が収容されるモジュール収容部10Aが形成されている。モジュール収容部10Aの周縁には、装着される半導体装置のパッケージの外周部の各角がそれぞれ係合される場合、半導体装置DVを所定位置に案内する位置決め用突起10mが4箇所に形成されている。位置決め用突起10m相互間には、後述する押圧部材20の押圧面部が通過する切欠部10Cが、相対向して一対形成されている。
モジュール収容部10Aの周囲には、図4に示されるように、相対向して凹部10Rが設けられている。凹部10R内には、それぞれ、図8に示されるように、選択的にアーム部材12Aおよび12Bの下端が挿入される。
また、各凹部10Rを形成する短辺側の壁部の中央部には、図2および図3に示されるように、それぞれ、後述するコイルスプリング18の一端が配されるスプリング受け部が2箇所に隣接して形成されている。
モジュール収容部10Aの外周部における上述の切欠部10Cの周縁に連なる部分には、図1および図4に示されるように、後述のリンク機構のリンク部材および押圧部材20の回動を規制するガイド壁面10Wgが形成されるリンク支持部10WLbおよび10WRbが形成されている。ガイド壁面10Wgは、モジュール収容部10Aの外周部からソケット本体10の内周部に向けて張り出すように形成されている。
一対のガイド壁面10Wgには、図1および図8に示されるように、それぞれ、押圧部材20の各脚部20Lの側面が選択的に当接または離隔するものとされる。従って、押圧部材20の各脚部20Lの側面がガイド壁面10Wgに当接される場合、押圧部材20の各脚部20Lにおける反時計回り方向の回転が、規制されることとなる。
なお、図1および図4においては、一方側のリンク支持部10WLbを示し、リンク支持部10WRbは、図示されていない。なお、リンク支持部10WRbは、コンタクトピンモジュール31を挟んでリンク支持部10WLbに相対向して形成されている。
整列板32は、半導体装置DVが載置される平板状部を有している。その平板状部は、半導体装置DVの各端子にそれぞれ対応して比較的小なる凹部が縦横に形成されている。また、その凹部は、コンタクトピンモジュール31の端子部が移動可能に挿入される透孔に連通している。従って、その凹部により、半導体装置DVの各端子の平板状部に対する相対位置が位置決めされ、かつ、半導体装置DVの各端子のコンタクトピンモジュール31の端子部に対する相対位置が位置決めされることとなる。
整列板32は、図示が省略される支持機構により、押圧部材20の押圧方向に沿った所定の範囲内で移動可能に支持されている。
カバー部材12は、図2および図10に示されるように、半導体装置DVまたは位置決め用突起10mの上端部が通過する開口部12aを中央部に有している。カバー部材12における上述のソケット本体10の凹部10Rに対向する面には、それぞれ、垂直に一対のアーム部材12Aおよび12Bが突出している。
一対のアーム部材12Aは、その短辺に沿って所定距離、離隔して設けられている。アーム部材12Aにおけるカバー部材12のガイド爪部12Nに対向する部分には、後述する連結ピン30をリンク部材14Lおよび14Rを伴って案内するガイド溝12Agが形成されている。一方側のガイド溝12Agは、図4に拡大されて示されるように、右斜め下方に向かって延びる細長い長孔として形成されている。他方側のガイド溝12Agは、相対向して左斜め下方に向かって延びる細長い長孔として形成されている。
一対のアーム部材12Bは、その短辺に沿って所定距離、離隔して設けられている。アーム部材12Bにおけるカバー部材12のガイド爪部12Nに対向する部分には、後述する連結ピン28をリンク部材16Lおよび16Rを伴って案内するガイド溝12Bgが形成されている。一方側のガイド溝12Bgは、図4に拡大されて示されるように、左斜め下方に向かって延びる細長い長孔として形成されている。他方側のガイド溝12Bgは、相対向して右斜め下方に向かって延びる細長い長孔として形成されている。
カバー部材12における各長辺側の端部には、それぞれ、ソケット本体部10のガイド溝10Gに係合されるガイド爪部12Nが、ソケット本体10に向けて突出している。ガイド爪部12N相互間には、下方に向けて突出する突起片12Pが、ガイド爪部12Nに対し略平行に形成されている。
一対のアーム部材12Aの相互間およびアーム部材12Bの相互間には、それぞれ、カバー部材12を上方に向けて付勢する2個のコイルスプリング18が、カバー部材12の下面とソケット本体10のスプリング受け部との間に設けられている。
コンタクトピンモジュール31は、例えば、特開2002−202344号公報にも示されるように、その両端部をそれぞれ、形成する一対のサイドプレートと、サイドプレート相互間に、スペーサを介して互いに略平行となるように重ねられて配される複数のリードフレームとを主な要素として構成されている。
なお、モジュール収容部10A内に配置されるコンタクトピンモジュール31に代えて、例えば、特開平8−213088号公報にも示されるように、スリーブ内に上部ピン端子、下部ピン端子、および、バネが内装されるコンタクトピンが絶縁基板内に複数個、配列されるものであってもよい。
上述のモジュール収容部10Aの外周部における切欠部10Cが形成される部分とソケット本体10の内周面との間に形成される所定の隙間には、リンク機構および押圧部材20の各脚部20Lが移動可能に配されている。
押圧部材20は、例えば、薄板鋼板で門型にプレス加工により成形され、相対向する一対の脚部20Lと、脚部20Lの一端を相互に連結する押圧面部20Tとを有している。
押圧面部20Tは、整列板32の真上の位置にあるとき、整列板32に配された半導体装置DVのパッケージの外周面に略平行となるように形成されている。
押圧面部20Tに直交し互いに向かい合う一対の脚部20Lの相互間距離は、上述のモジュール収容部10Aの外周部に形成される一対のガイド壁面10Wgの相互間距離と略同一であって、モジュール収容部10Aの外周部の他の部分に対し所定の隙間を形成するように設定されている。
各脚部20Lの下端には、連結ピン26が設けられている。連結ピン26の中心軸線は、相対向する上述のモジュール収容部10Aにおける図心を通る中心線O(図10参照)に対し略直交するものとされる。
連結ピン26の両端は、後述のリンク部材16Lおよび14L、16Rおよび14Rの一端における分岐部に、それぞれ係合されている。各脚部20Lの下端は、鉤状に形成され、上述のカバー部材12の突起片12Pの下端が選択的に係合される係合部20Eを有している。
これにより、各脚部20Lは、リンク支持部10WRbのガイド壁面10Wgとカバー部材の突起片12Pとの間で、昇降動可能に支持されることとなる。即ち、押圧面部20Tが、半導体装置DVのパッケージの外周面に対し略垂直となる方向に移動可能とされる。
また、押圧部材20の各脚部20Lがモジュール収容部10Aの外周部に対し所定の隙間をもって連結ピン26を回転中心として回動可能とされる。
押圧部材20の押圧面部20Tを図2に示される押圧位置または図10に示される待機位置に移動させるリンク機構は、一端が連結ピン28を介してアーム部12Bのガイド溝12Bgに摺動可能に支持されるリンク部材16Lおよび16Rと、一端が連結ピン30を介してアーム部12Aのガイド溝12Agに摺動可能に支持されるリンク部材14Lおよび14Rとを含んで構成されている。
リンク部材16Lおよび16Rは、アーム部12Bを挟んで相対向して配されている。また、リンク部材14Lおよび14Rは、アーム12Aを挟んで相対向して配されている。
リンク部材16Lおよび16Rは、互いに同一の構造を有するのでリンク部材16Lについて説明し、リンク部材16Rの説明を省略する。また、リンク部材14Lおよび14Rは、互いに同一の構造を有するのでリンク部材14Lについて説明し、リンク部材14Rの説明を省略する。
リンク部材16Lは、その中間部が支持軸24を介してリンク支持部10WLbに揺動可能に支持されている。支持軸24の中心からリンク部材16Lの一端までの距離L1は、支持軸24の中心からリンク部材16Lの他端までの距離L2に比して大に設定されている。また、リンク部材16Lの他端は、図4において支持軸24の中心からリンク部材16Lの一端を結ぶ直線に対して反時計回り方向に所定の角度だけ傾斜している。リンク部材16Lの他端には、押圧部材20の連結ピン26の一端が係合される分岐部が形成されている。
リンク部材14Lは、リンク部材16Lの他端および押圧部材20の脚部20Lよりもさらにソケット本体10の内側に配されることとなる。同様に、リンク部材14Rは、リンク部材16Rの他端および押圧部材20の脚部20Lよりもさらにソケット本体10の内側に配されることとなる。
リンク部材14Lは、その中間部が支持軸22を介してリンク支持部10WLaに揺動可能に支持されている。支持軸22の中心からリンク部材16Lの一端までの距離L3は、支持軸22の中心からリンク部材14Lの他端までの距離L4に比して大に設定されている。また、リンク部材14Lの他端は、図4において支持軸22の中心からリンク部材14Lの一端を結ぶ直線に対して時計回り方向に所定の角度だけ傾斜している。リンク部材14Lの他端には、押圧部材20の連結ピン26の一端が係合される分岐部が形成されている。
これにより、カバー部材12が、コイルスプリング18の付勢力に抗してソケット本体10に近接するように下降せしめられる場合、図6に示される矢印の示す方向に、リンク部材16Rおよび16Lの他端における分岐部が、支持軸24を中心として回動され、また、図6に示される矢印の示す方向に、リンク部材14Rおよび14Lの他端における分岐部が、支持軸22を中心として回動される。従って、カバー部材12の突起片12Pの下端と押圧部材20の脚部20Lの係合部20Eとが互いに当接するまで押圧部材20の脚部20Lが上昇せしめられる。その際、上述の距離L1は、距離L2に比して大に設定され、また、上述の距離L3は、距離L4に比して大に設定されていることによって、梃子の原理に基づきカバー部材12の操作力が、押圧部材20の押圧面部20Tの押圧力よりも小となる。
そして、カバー部材12がさらに下降せしめられる場合、図7および図10に示されるように、カバー部材12の突起片12Pの下端と押圧部材20の脚部20Lの係合部20Eとが当接し、突起片12Pの下端が押し下げられることにより、押圧部材20の脚部20Lが連結ピン26を中心として所定の待機位置まで回動せしめられる。
一方、カバー部材12が、図10に示される状態からコイルスプリング18の付勢力により上昇せしめられる場合、リンク部材16Rおよび16Lの他端における分岐部が、支持軸24を中心として時計回り方向に回動され、また、リンク部材14Rおよび14Lの他端における分岐部が、支持軸22を中心として反時計回り方向に回動される。その際、突起片12Pの下端が、係合される押圧部材20の脚部20Lを伴って上昇せしめられることにより、図7において、押圧部材20の脚部20Lが連結ピン26を中心として反時計回り方向に回動される。そして、押圧部材20の各脚部20Lが一対のガイド壁面10Wgに当接した後、リンク部材16Rおよび16L、リンク部材14Rおよび14Lの他端における分岐部により下方に向けて押し下げられることとなる。
斯かる構成において、半導体装置DVの試験を行うにあたっては、先ず、例えば、図示が省略される作業ロボットのアームの先端により、カバー部材12が図1に示される最上端位置から図5に示されるように、コイルスプリング18の付勢力に抗して下方に向けて押圧される。
これにより、図5および図6に示されるように、リンク部材16Rおよび16L、リンク部材14Rおよび14Lの他端における分岐部が上昇せしめられることによって、押圧部材20の脚部20Lが、ガイド壁面10Wg上を摺動されながら所定距離だけ上昇せしめられる。
次に、図7乃至図9に示されるように、カバー部材12がさらに押圧されるとき、カバー部材12の突起片12Pが脚部20Lの係合部20Eに当接した状態で押圧されるので
押圧部材20の脚部20Lが連結ピン26を中心として回動され、押圧面部20Tが整列板32の真上の位置から離隔するように回動される。これにより、押圧部材20の脚部20Lの側面の上端が、ガイド壁面10Wgから離隔し始める。
続いて、図10乃至図12に示されるように、カバー部材12がさらに最下端位置まで押圧された後、保持される場合、回動された押圧部材20の脚部20Lが、カバー部材12の突起片12Pの先端に係合されるとともに、押圧部材20の押圧面部20Tがモジュール収容部10Aの周囲に形成される所定の待機位置に配されることとなる。
また、半導体装置DVが、図示が省略される搬送ロボットの搬送アームにより吸引保持されてカバー部材12の開口部12aおよび整列板32の真上となる位置まで搬送される。
続いて、搬送アームにより吸引保持された半導体装置DVは、整列板32の平板状部に位置決めされ装着される。
続いて、カバー部材12は、作業ロボットの先端がカバー部材12の上面に当接された状態で上昇されるとき、コイルスプリング18の付勢力により最上端位置まで上昇せしめられる。これにより、上昇せしめられるカバー部材12の突起片12Pが脚部20Lをガイド壁面10Wgに向けて回動させるので押圧部材20の押圧面部20Tが、図5に示される状態に戻される。その後、図1に示されるように、押圧面部20Tが切欠部10Cを通じて下降せしめられ、擦れ合うことなく、所定の圧力で半導体装置DVのパッケージの外周面に当接される。これにより、押圧面部20Tは、半導体装置DVをコンタクトピンモジュール31に向けて押圧することとなる。従って、半導体装置DVのパッケージは、押圧部材20の押圧面部20Tにより傷つけられる虞がない。
そして、カバー部材12が試験位置に維持されるもとでプリント配線基板PBの入出力部に検査信号が供給されるとき、コンタクトピンモジュール31を通じてその検査信号が半導体装置DVに供給されるとともにその回路の異常が検出されるとき、半導体装置DVからの異常検出信号が入出力部を通じて外部の故障診断装置に供給されることとなる。
半導体装置DVの検査が終了した場合、その半導体装置DVを取り出し、新たな半導体装置DVを装着するために作業ロボットにおけるアームの先端が、上述と同様に、カバー部材12の上面に当接されてコイルスプリング18の付勢力に抗して下方に向けて押圧される。試験された半導体装置DVは、整列板32から搬送アームにより取り出され、また、試験される新たな半導体装置DVは、上述と同様に、装着されることとなる。
図13は、本発明に係る半導体装置用ソケットの第2実施例の要部を拡大して示す。
図1に示される例では、一つの装着される半導体装置DVに対し単一の押圧部材20を備える構成とされるが、その代わりに、図13に示される例においては、一つの装着される半導体装置に対し一対の押圧部材60および62を備えるものとされる。
図13乃至図17(A)および(B)においては、図1に示される例において同一とされる構成要素について同一の符号を付してその重複説明を省略する。
図13に示される例においては、被検査物としての半導体装置の種類は、上述の半導体装置DVと同様とされるが、しかし、被検査物としての半導体装置の大きさは、上述の半導体装置DVの大きさに比して大とされる。
半導体装置用ソケットは、上述の例と同様に、プリント配線基板PB(図17(A)参照)上に配されている。
図13において、半導体装置用ソケットは、プリント配線基板PBの各電極パッド部(端子部)と半導体装置DVの端子とを電気的に接続するコンタクトピンモジュール48と、コンタクトピンモジュール48を収容するモジュール収容部50Aを有するソケット本体50と、コンタクトピンモジュール48の上部に昇降動可能に支持され、半導体装置の各電極のコンタクトピンモジュール48の各端子部に対する位置合わせを行う位置決め部材としての整列板51と、ソケット本体50に昇降動可能に配され後述する押圧部材60および62を整列板51に対し選択的に近接または離隔させるとともに、回動させるカバー部材52と、カバー部材52の上昇動作に応じて整列板51を介して半導体装置の各端子をコンタクトピンモジュール48のコンタクトピンに対して押圧し保持または解放する押圧部材60および62と、カバー部材52の昇降動に連動して押圧部材60および62の動作を行わせるリンク機構とを主要な要素として含んで構成されている。
ソケット本体50における各辺の外周部には、それぞれ、後述するカバー部材の各ガイド爪部52Nが昇降動可能に係合されるガイド溝50Gが所定の間隔で形成されている。ガイド溝50Gは、ソケット本体50の底面部に対して略垂直に形成されている。各溝50Gの一方の端部には、それぞれ、図13に示されるような、カバー部材52が最上端位置をとるとき、そのガイド爪部52Nの先端が係止されている。
ソケット本体50の内周部における後述する押圧部材60および62の各脚部60L、各脚部62Lに対向する位置には、図15に示されるように、それぞれ、後述する各連結ピン66の端部を案内する細長い溝50D3および50D4が互いに略平行に形成されている。溝50D3および50D4は、ソケット本体50の底面部に対し略垂直となるように形成されている。また、溝50D3および50D4の両脇には、それぞれ、後述する各支持軸64の一端を受け止める溝50B1および50B2が、溝50D3および50D4に対し略平行に形成されている。さらに、溝50B1と溝50D3との間、および、溝50B2と溝50D4との間には、それぞれ、溝50D1および50D2が形成されている。溝50D1および50D2には、それぞれ、図15に示されるように、カバー部材52が下降せしめられる場合、後述するカバー部材52の突起片52Pが移動可能に係合される。
ソケット本体50における略中央部分には、コンタクトピンモジュール48が収容されるモジュール収容部50Aが形成されている。モジュール収容部50Aの周縁には、装着される半導体装置のパッケージの外周部の各角がそれぞれ係合される位置決め用突起50mが4箇所に形成されている。位置決め用突起50m相互間には、後述する押圧部材60および62の押圧片部が通過する切欠部50Cが、相対向して一対形成されている。
モジュール収容部50Aの周囲には、相対向して凹部50Rが設けられている。凹部50R内には、それぞれ、図16に示されるように、選択的にアーム部材52Aおよび52Bの下端が挿入される。
また、各凹部50Rを形成する壁部の両脇には、図16に示されるように、それぞれ、後述するコイルスプリング58の一端が配されるスプリング受け部が隣接して形成されている。
モジュール収容部50Aの外周部における上述の各切欠部50Cの周縁に連なる部分には、図16に示されるように、後述のリンク機構の一部の回動を規制するガイド壁面が形成されるガイド壁部50Wgが形成されている。各ガイド壁部50Wgは、モジュール収容部50Aの外周部からソケット本体50の内周部に向けて張り出すように形成されている。
各ガイド壁部50Wgの一対のガイド壁面には、それぞれ、押圧部材60の脚部60Lおよび押圧部材62の脚部62Lの側面が選択的に当接または離隔するものとされる。
なお、図13および図16においては、一方側のガイド壁部50Wgを示し、他方側のガイド壁部50Wgは、図示されていない。なお、一対のガイド壁部50Wgは、コンタクトピンモジュール48を挟んで相対向して形成されている。
整列板51は、半導体装置が載置される平板状部を有している。その平板状部は、半導体装置の各端子にそれぞれ対応して比較的小なる凹部が縦横に形成されている。また、その凹部は、コンタクトピンモジュール48の端子部が移動可能に挿入される透孔に連通している。従って、その凹部により、半導体装置の各端子の平板状部に対する相対位置が位置決めされ、かつ、半導体装置の各端子のコンタクトピンモジュール48の端子部に対する相対位置が位置決めされることとなる。
整列板51は、図示が省略される支持機構により、押圧部材60および62の押圧方向に沿った所定の範囲内で移動可能に支持されている。
カバー部材52は、図13に示されるように、半導体装置または位置決め用突起50mの上端部が通過する開口部52aを中央部に有している。カバー部材52における上述のソケット本体50の凹部50Rに対向する面には、それぞれ、垂直に一対のアーム部材52Aおよび52Bが突出している。
一対のアーム部材52Aおよび52Bは、その辺に沿って相対向して設けられている。アーム部材52Aにおけるコイルスプリング58に対向する部分には、後述する連結ピン55をリンク部材54Lおよび54Rを伴って案内するガイド溝(不図示)が形成されている。
アーム部材52Bにおけるコイルスプリング58に対向する部分には、後述する連結ピン55をリンク部材56Lおよび56Rを伴って案内するガイド溝(不図示)が形成されている。
カバー部材52における各辺の端部には、それぞれ、ソケット本体部50のガイド溝50Gに係合されるガイド爪部52Nがソケット本体50に向けて突出している。また、カバー部材52におけるリンク部材54Lおよび54Rに対向する部分には、下方に向けて突出する突起片52Pがガイド爪部52Nに対し略平行に形成されている。
一対のアーム部材12Aおよびアーム部材12Bの両脇には、それぞれ、カバー部材52を上方に向けて付勢する2個のコイルスプリング58が、カバー部材52の下面とソケット本体50のスプリング受け部との間に設けられている。
コンタクトピンモジュール48は、上述のコンタクトピンモジュール31と同様な構成を有するものとされる。
なお、コンタクトピンモジュール48に代えて、例えば、特開平8−213088号公報にも示されるように、スリーブ内に上部ピン端子、下部ピン端子、および、バネが内装されるコンタクトピンが絶縁基板内に複数個、配列されるものであってもよい。
上述のモジュール収容部50Aの外周部における切欠部50Cが形成される部分とソケット本体50の内周面との間に形成される所定の隙間には、リンク機構および押圧部材60の各脚部60L、押圧部材62の各脚部62Lが移動可能に配されている。
押圧部材60および62は、それぞれ、互いに同一の構成を有し、図14における図心を通る中心線Lを含む対称面に対し対称的に配されるものなので押圧部材60について説明し、押圧部材62の説明を省略する。
押圧部材60は、例えば、薄板鋼板で門型にプレス加工により成形され、相対向する一対の脚部60Lと、脚部60Lの一端を相互に連結する押圧面部60Tとを有している。
相対向する一対の脚部60Lの相互間距離は、上述のモジュール収容部50Aの外周部に形成される一対のガイド壁部50Wgの相互間距離と略同一であって、モジュール収容部50Aの外周部の他の部分に対し所定の隙間を形成するように設定されている。
各脚部60Lの下端には、連結ピン66が設けられている。連結ピン66の一端は、後述のリンク部材56Lおよび56Rの一端における分岐部に、それぞれ係合されている。
上述の第1実施例における連結ピン26がソケット本体10における略中央位置にあるのに対し、一方、各連結ピン66の位置は、ソケット本体50における略中央位置よりも互いに離隔する方向に偏倚しているので押圧部材60および62の全長および回転角がより小さくなり、従って、ソケット本体50の小型化を図ることが可能となる。
各脚部60Lの下端は、鉤状に形成され、選択的に上述のカバー部材52の突起片52Pの下端が係合される係合部60Eを有している。
これにより、各脚部60Lは、図17(A)に示されるように、ガイド壁部50Wgの壁面とカバー部材52の突起片52Pとの間で、昇降動可能に支持されることとなる。また、押圧部材60の各脚部60Lが、モジュール収容部50Aの外周部に対し所定の隙間をもって連結ピン66を回転中心として回動可能とされる。
押圧部材60の押圧面部60Tを図13に示される押圧位置または図16に示される待機位置に移動させるリンク機構は、一端が連結ピン55を介してアーム部52Bのガイド溝に摺動可能に支持されるリンク部材56Lおよび56Rと、一端が連結ピン55を介してアーム部52Aのガイド溝に摺動可能に支持されるリンク部材54Lおよび54Rとを含んで構成されている。
リンク部材56Lおよび56Rは、アーム部52Bを挟んで相対向して配されている。また、リンク部材54Lおよび54Rは、アーム52Aを挟んで相対向して配されている。
リンク部材56Lおよび56Rは、互いに同一の構造を有するのでリンク部材56Lについて説明し、リンク部材56Rの説明を省略する。また、リンク部材54Lおよび54Rは、互いに同一の構造を有するのでリンク部材54Lについて説明し、リンク部材54Rの説明を省略する。
リンク部材56Lは、その中間部が支持軸64を介して揺動可能に支持されている。支持軸64の中心からリンク部材56Lの一端までの距離L1は、支持軸64の中心からリンク部材56Lの他端までの距離L2に比して大に設定されている。また、リンク部材56Lの他端は、図4において支持軸64の中心からリンク部材56Lの一端を結ぶ直線に対して反時計回り方向に所定の角度だけ傾斜している。リンク部材56Lの他端には、押圧部材60の連結ピン66の一端が係合される分岐部が形成されている。
リンク部材54Lは、図14における中心線Lを対称線としてリンク部材56Lと対称的に共通の平面上にソケット本体50の内側に配されることとなる。同様に、リンク部材54Rは、リンク部材56Rに対し上述と同様な関係でソケット本体50の内側に配されることとなる。
リンク部材54Lは、図17(A)に示されるように、その中間部が支持軸64を介して揺動可能に支持されている。支持軸64の中心からリンク部材54Lの一端までの距離L3は、支持軸64の中心からリンク部材54Lの他端までの距離L4に比して大に設定されている。また、リンク部材54Lの他端は、図17(A)において支持軸64の中心とリンク部材54Lの一端とを結ぶ直線に対して時計回り方向に所定の角度だけ傾斜している。リンク部材54Lの他端には、押圧部材62の連結ピン66の一端が係合される分岐部が形成されている。
これにより、カバー部材52が、コイルスプリング58の付勢力に抗してソケット本体50に近接するように下降せしめられる場合、リンク部材56Rおよび56Lの他端における分岐部が、それぞれ、図17(A)において矢印の示す方向に、支持軸64を中心として回動され、また、リンク部材54Rおよび54Lの他端における分岐部が、図17(A)において矢印の示す方向に、支持軸64を中心として回動される。従って、カバー部材52の各突起片52Pの下端と押圧部材60の脚部20Lの係合部20E、および、押圧部材62の脚部62Lの係合部62Eとが互いに当接するまで押圧部材60の脚部60L、および、押圧部材62の脚部62Lが互いに略平行の状態で上昇せしめられる。
そして、カバー部材52がさらに下降せしめられる場合、カバー部材52の各突起片52Pの下端と押圧部材60の脚部60Lの係合部60E、および、押圧部材62の脚部62Lの係合部62Eとが当接し、突起片52Pの下端が押し下げられることにより、押圧部材60の脚部60Lおよび押圧部材62の脚部62Lが、それぞれ、互いに離隔するように連結ピン66を中心として所定の待機位置まで回動せしめられる。なお、押圧部材60の押圧面部60Tおよび押圧部材62の押圧面部62Tは、カバー部材52が最下端位置に到達する以前に所定の待機位置まで回動せしめられる。
一方、カバー部材52が、図17(B)に示される状態からコイルスプリング58の付勢力により上昇せしめられる場合、リンク部材56Rおよび56Lの他端における分岐部が、支持軸64を中心として時計回り方向に回動され、また、リンク部材54Rおよび54Lの他端における分岐部が、支持軸64を中心として反時計回り方向に回動される。その際、各突起片52Pの下端が、係合される押圧部材60の脚部60Lおよび押圧部材62の脚部62Lを伴って上昇せしめられることにより、図17(B)において、押圧部材60の脚部60Lおよび押圧部材62の脚部62Lが、それぞれ、互いに近接するように連結ピン66を中心として時計回り方向、および、反時計回り方向に回動される。
そして、押圧部材60の各脚部60Lおよび押圧部材62の脚部62Lが、それぞれ、ガイド壁部50Wgの向かい合うガイド壁面に当接した後、リンク部材56Rおよび56L、リンク部材54Rおよび54Lの他端における分岐部により下方に向けて押し下げられることとなる。
斯かる構成において、半導体装置DVの試験を行うにあたっては、上述の第1実施例と同様に、先ず、例えば、図示が省略される作業ロボットのアームの先端により、カバー部材52が図13に示される最上端位置からコイルスプリング58の付勢力に抗して下方に向けて押圧される。
これにより、押圧部材60の脚部60Lおよび押圧部材62の脚部62Lが、それぞれ、ガイド壁部のガイド壁面上を摺動されながら所定距離だけ上昇せしめられる。
次に、カバー部材52がさらに押圧されるとき、カバー部材52の各突起片52Pが脚部60Lの係合部60E、および、脚部62Lの係合部62Eに当接した状態で押圧されるので押圧部材60の脚部60L、および、押圧部材62の脚部62Lが連結ピン66を中心として回動され、押圧面部60Tおよび62Tが整列板51の真上の位置から離隔するように回動される。これにより、押圧部材60の脚部60Lの側面の上端、および、押圧部材62の脚部62Lの側面の上端が、上述のガイド壁面から離隔し始める。
続いて、カバー部材52がさらに最下端位置まで押圧された後保持される場合、回動された押圧部材60の脚部60Lおよび押圧部材62の脚部62Lが、それぞれ、カバー部材52の各突起片52Pの先端に係合されるとともに、押圧部材60の押圧面部60Tおよび押圧部材62の押圧面部62Tが、モジュール収容部50Aの周囲に形成される待機位置に配されることとなる。
また、半導体装置DVが、図示が省略される搬送ロボットの搬送アームにより吸引保持されてカバー部材52の開口部52aおよび整列板51の真上となる位置まで搬送される。
続いて、搬送アームにより吸引保持された半導体装置DVは、整列板51の平板状部に位置決めされ装着される。
続いて、カバー部材52は、作業ロボットの先端がカバー部材52の上面に当接された状態で上昇されるとき、コイルスプリング58の付勢力により最上端位置まで上昇せしめられる。これにより、上昇せしめられるカバー部材52の各突起片52Pが脚部60Lおよび62Lを、それぞれ、ガイド壁部の各ガイド壁面に向けて回動させるので押圧部材60の押圧面部60Tおよび押圧部材62の押圧面部62Tが、整列板51の真上となる状態に戻された後、押圧面部60Tおよび62が切欠部50Cを通じて下降せしめられ、擦れ合うことなく、所定の圧力で半導体装置DVのパッケージの外周面に当接される。これにより、押圧面部60Tおよび押圧面部62Tは、半導体装置DVをコンタクトピンモジュール48に向けて押圧することとなる。従って、半導体装置DVのパッケージは、押圧部材60の押圧面部60Tおよび押圧部材62の押圧面部62Tにより傷つけられる虞がない。
そして、カバー部材52が試験位置に維持されるもとでプリント配線基板PBの入出力部に検査信号が供給されるとき、コンタクトピンモジュール48を通じてその検査信号が半導体装置DVに供給されるとともにその回路の異常が検出されるとき、半導体装置DVからの異常検出信号が入出力部を通じて外部の故障診断装置に供給されることとなる。
半導体装置DVの検査が終了した場合、その半導体装置DVを取り出し、新たな半導体装置DVを装着するために作業ロボットにおけるアームの先端が、上述と同様に、カバー部材52の上面に当接されてコイルスプリング58の付勢力に抗して下方に向けて押圧される。試験された半導体装置DVは、整列板51から搬送アームにより取り出され、また、試験される新たな半導体装置DVは、上述と同様に、装着されることとなる。
上述の第2実施例においては、押圧部材60の脚部60Lおよび押圧部材62の脚部62Lの位置を規制するガイド壁部50Wgが、ソケット本体50における押圧部材60の脚部60Lおよび押圧部材62の脚部62L相互間に対応する位置に形成されているが、斯かる例に限られることなく、例えば、図18および図19に示されるように、そのようなガイド壁部がソケット本体70に形成されることなく、押圧部材72および74が、それぞれ、互いに当接する当接部72tおよび74tを有するものでもよい。これにより、押圧部材72および74が互いに近接した状態の場合、押圧部材72の脚部72Lおよび押圧部材74の脚部74Lが、互いに平行に保持されることとなる。
なお、図18および図19においては、図13に示される例において同一とされる構成要素について同一の符号を付して示し、その重複説明を省略する。
ソケット本体70における各辺の外周部には、それぞれ、カバー部材52の各ガイド爪部52Nが昇降動可能に係合されるガイド溝70Gが所定の間隔で形成されている。ガイド溝70Gは、ソケット本体70の底面部に対して略垂直に形成されている。各溝70Gの一方の端部には、それぞれ、図18に示されるような、カバー部材52が最上端位置をとるとき、そのガイド爪部52Nの先端が係止されている。
ソケット本体70の内周部における後述する押圧部材72および74の各脚部72L、各脚部74Lに対向する位置には、図19に示されるように、それぞれ、後述する各連結ピン66の端部を案内する細長い溝70D3および70D4が互いに略平行に形成されている。溝70D3および70D4は、ソケット本体70の底面部に対し略垂直となるように形成されている。また、溝70D3および70D4の両脇には、それぞれ、後述する各支持軸64の一端を受け止める溝70B1および70B2が、溝70D3および70D4に対し略平行に形成されている。さらに、溝70B1と溝70D3との間、および、溝70B2と溝70D4との間には、それぞれ、溝70D1および70D2が形成されている。溝70D1および70D2には、それぞれ、図19に示されるように、カバー部材52が下降せしめられる場合、後述するカバー部材52の突起片52Pが移動可能に係合される。
ソケット本体50における略中央部分には、コンタクトピンモジュールが収容されるモジュール収容部が形成されている。モジュール収容部の周縁には、装着される半導体装置のパッケージの外周部の各角が係合される場合、半導体装置を所定の位置に案内する位置決め用突起70mが4箇所に形成されている。位置決め用突起70m相互間には、後述する押圧部材72および74の押圧片部が通過する切欠部70Cが、相対向して一対形成されている。
モジュール収容部の周囲には、相対向して凹部70Rが設けられている。凹部70R内には、それぞれ、選択的にアーム部材52Aおよび52Bの下端が挿入される。
また、各凹部70Rを形成する壁部の両脇には、それぞれ、後述するコイルスプリング58の一端が配されるスプリング受け部が隣接して形成されている。
上述のモジュール収容部の外周部における切欠部70Cが形成される部分とソケット本体70の内周面との間に形成される所定の隙間には、リンク機構および押圧部材72の各脚部72L、押圧部材74の各脚部74Lが移動可能に配されている。
押圧部材72および74は、それぞれ、互いに同一の構成を有し、図19における中心線CLに対し対称的に配されるものなので押圧部材72について説明し、押圧部材74の説明を省略する。
押圧部材72は、例えば、薄板鋼板で門型にプレス加工により成形され、相対向する一対の脚部72Lと、脚部72Lの一端を相互に連結する押圧面部72Tとを有している。
相対向する一対の脚部72Lの相互間距離は、モジュール収容部の外周部に対し所定の隙間を形成するように設定されている。
各脚部72Lの下端には、連結ピン66が設けられている。連結ピン66の一端は、リンク部材56Lおよび56Rの一端における分岐部に、それぞれ係合されている。
各脚部72Lの下端は、鉤状に形成され、選択的に上述のカバー部材52の突起片52Pの下端が係合される係合部72Eを有している。各脚部72Lにおける係合部72Eが形成される一方の側面に対向する他方の側面には、所定の高さだけその側面から隆起した当接部72tが形成されている。
これにより、各脚部72Lは、押圧部材74の各脚部74Lと当接部72tおよび74tを介して当接した状態でカバー部材52の突起片52P相互間で、昇降動可能に支持されることとなる。また、押圧部材72の各脚部72Lが、モジュール収容部の外周部に対し所定の隙間をもって連結ピン66を回転中心として回動可能とされる。
斯かる例における動作においても、上述の第2実施例と同様な作用効果を奏するのでその重複説明を省略する。
本発明に係る半導体装置用ソケットの第1実施例の要部を一部破断して示す斜視図である。 本発明に係る半導体装置用ソケットの第1実施例の外観を示す斜視図である。 図2に示される例における正面図である。 図1における正面図である。 図2に示される例において動作説明に供される斜視図である。 図5における正面図である。 図2に示される例において動作説明に供される斜視図である。 図7における正面図である。 図7に示される状態における外観を示す正面図である。 図2に示される例において動作説明に供される斜視図である。 図10における正面図である。 図10に示される状態における外観を示す正面図である。 本発明に係る半導体装置用ソケットの第2実施例の要部を一部破断して示す斜視図である。 図13に示される例における上面図である。 図13に示される例における要部を、その部分断面図とともに示す斜視図である。 図13に示される例における動作説明に供される斜視図である。 (A)および(B)は、それぞれ、図13に示される例における正面図である。 図13に示される押圧部材の変形例を備えた本発明に係る半導体装置用ソケットを示す斜視図である。 図18に示される例における要部を、その部分断面図とともに示す斜視図である。
符号の説明
10、50、70 ソケット本体
12、52 カバー部材
12P、52P 突起片
18、58 コイルスプリング
20、60、62、72、74 押圧部材
26、66 連結ピン
32 整列板
DV 半導体装置

Claims (9)

  1. 半導体装置が着脱可能に装着される半導体装置装着部および該半導体装置の端子に電気的に接続されるコンタクト端子群を有するソケット本体と、
    前記半導体装置装着部に装着された半導体装置の外郭面に対し近接する場合、該外郭面に対し略平行な押圧面部を有し、該押圧面部が該外郭面に対し直交する方向に沿って移動し該外郭面に当接し、または該外郭面に対し離隔した後、回動するように前記ソケット本体に支持される押圧部材と、
    前記ソケット本体に昇降動可能に支持され、前記半導体装置の着脱のとき、該半導体装置が通過する開口部、および、前記ソケット本体に形成されるガイド壁面に向けて突出する突起片を有するカバー部材と、
    前記カバー部材を前記ソケット本体から離隔する方向に該カバー部材を付勢する付勢手段と、
    前記カバー部材および前記押圧部材に連結され、前記押圧部材の押圧面部を、前記カバー部材の昇降動に連動して前記半導体装置の外郭面に対し保持状態または解放状態とするリンク機構と、を備え、
    前記押圧部材の押圧面が前記半導体装置の外郭面に対し近接または離隔される場合、該押圧部材の脚部が、前記カバー部材の突起片により回動され、前記ガイド壁面と該カバー部材の突起片との間で摺動可能に支持されることを特徴とする半導体装置用ソケット。
  2. 前記押圧部材の脚部が、前記ガイド壁面と該カバー部材の突起片との間で摺動可能に支持される場合、前記押圧部材の押圧面の中心位置が該押圧部材の脚部の回転中心軸線の真上となる位置にあることを特徴とする請求項1記載の半導体装置用ソケット。
  3. 半導体装置が着脱可能に装着される半導体装置装着部および該半導体装置の端子に電気的に接続されるコンタクト端子群を有するソケット本体と、
    前記半導体装置装着部に装着された半導体装置の外郭面に対し近接する場合、該外郭面に対し略平行な押圧面部を有し、該押圧面部が該外郭面に対し直交する方向に沿って移動し該外郭面に当接し、または該外郭面に対し離隔した後、回動するように前記ソケット本体に支持される第1の押圧部材と、
    前記第1の押圧部材の動作に連動して該第1の押圧部材に対し近接または離隔可能に配され、前記半導体装置装着部に装着された半導体装置の外郭面に対し近接する場合、該外郭面に対し略平行な押圧面部を有し、該押圧面が該外郭面に対し直交する方向に沿って移動し該外郭面に当接し、または該外郭面に対し離隔した後、回動するように前記ソケット本体に支持される第2の押圧部材と、
    前記ソケット本体に昇降動可能に支持され、前記半導体装置の着脱のとき、該半導体装置が通過する開口部、および、前記ソケット本体に形成されるガイド壁面に向けて突出する突起片を有するカバー部材と、
    前記カバー部材を前記ソケット本体から離隔する方向に該カバー部材を付勢する付勢手段と、
    前記第1の押圧部材および前記第2の押圧部材と前記カバー部材とに連結され、前記第1の押圧部材および第2の押圧部材の押圧面部を、前記カバー部材の昇降動に連動して前記半導体装置の外郭面に対し保持状態または解放状態とするリンク機構と、を備え、
    前記第1の押圧部材および第2の押圧部材の押圧面が前記半導体装置の外郭面に対し近接または離隔される場合、該第1の押圧部材の脚部、および、該第2の押圧部材の脚部が、それぞれ、前記カバー部材の突起片により回動され、前記ガイド壁面と該カバー部材の突起片との間で摺動可能に支持されることを特徴とする半導体装置用ソケット。
  4. 前記押圧部材の脚部の回転中心軸線が、前記ソケット本体のコンタクト端子群が配置されるモジュール収容部における図心を通る中心線に対し直交することを特徴とする請求項1記載の半導体装置用ソケット。
  5. 前記第1の押圧部材および前記第2の押圧部材の脚部の回転中心軸線が、それぞれ、前記ソケット本体のコンタクト端子群が配置されるモジュール収容部における図心を通る中心線に対し所定距離、偏倚した位置にあることを特徴とする請求項3記載の半導体装置用ソケット。
  6. 前記第1の押圧部材および前記第2の押圧部材の脚部の回転中心軸線が、前記ソケット本体のコンタクト端子群が配置されるモジュール収容部における図心を通る中心線を含む平面を対称面として対称的に配されることを特徴とする請求項5記載の半導体装置用ソケット。
  7. 半導体装置が着脱可能に装着される半導体装置装着部および該半導体装置の端子に電気的に接続されるコンタクト端子群を有するソケット本体と、
    前記半導体装置装着部に装着された半導体装置の外郭面に対し近接する場合、該外郭面に対し略平行な押圧面部を有し、該押圧面部が該外郭面に対し直交する方向に沿って移動し該外郭面に当接し、または該外郭面に対し離隔した後、回動するように前記ソケット本体に支持される第1の押圧部材と、
    前記第1の押圧部材の動作に連動して該第1の押圧部材に対し近接または離隔可能に配され、前記半導体装置装着部に装着された半導体装置の外郭面に対し近接する場合、該外郭面に対し略平行な押圧面部を有し、該押圧面が該外郭面に対し直交する方向に沿って移動し該外郭面に当接し、または該外郭面に対し離隔した後、回動するように前記ソケット本体に支持される第2の押圧部材と、
    前記ソケット本体に昇降動可能に支持され、前記半導体装置の着脱のとき、該半導体装置が通過する開口部、および、互いに離隔して形成され前記ソケット本体に向けて突出する少なくとも2つの突起片を有するカバー部材と、
    前記カバー部材を前記ソケット本体から離隔する方向に該カバー部材を付勢する付勢手段と、
    前記第1の押圧部材および前記第2の押圧部材と前記カバー部材とに連結され、前記第1の押圧部材および第2の押圧部材の押圧面部を、前記カバー部材の昇降動に連動して前記半導体装置の外郭面に対し保持状態または解放状態とするリンク機構と、を備え、
    前記第1の押圧部材および第2の押圧部材の押圧面が前記半導体装置の外郭面に対し近接または離隔される場合、該第1の押圧部材の脚部、および、該第2の押圧部材の脚部が、それぞれ、前記カバー部材の突起片により回動され、該第1の押圧部材の脚部、および、該第2の押圧部材の脚部にそれぞれ互いに向かい合って形成される当接部が当接した状態で、前記カバー部材の2つの突起片の相互間で摺動可能に支持されることを特徴とする半導体装置用ソケット。
  8. 前記第1の押圧部材および前記第2の押圧部材の脚部の回転中心軸線が、それぞれ、前記ソケット本体のコンタクト端子群が配置されるモジュール収容部における図心を通る中心線に対し所定距離、偏倚した位置にあることを特徴とする請求項7記載の半導体装置用ソケット。
  9. 前記第1の押圧部材および前記第2の押圧部材の脚部の回転中心軸線が、前記ソケット本体のコンタクト端子群が配置されるモジュール収容部における図心を通る中心線を含む平面を対称面として対称的に配されることを特徴とする請求項8記載の半導体装置用ソケット。
JP2007256211A 2007-09-28 2007-09-28 半導体装置用ソケット Active JP4495200B2 (ja)

Priority Applications (3)

Application Number Priority Date Filing Date Title
JP2007256211A JP4495200B2 (ja) 2007-09-28 2007-09-28 半導体装置用ソケット
MYPI20083763A MY144692A (en) 2007-09-28 2008-09-24 Socket for semiconductor device
US12/239,211 US7568918B2 (en) 2007-09-28 2008-09-26 Socket for semiconductor device

Applications Claiming Priority (1)

Application Number Priority Date Filing Date Title
JP2007256211A JP4495200B2 (ja) 2007-09-28 2007-09-28 半導体装置用ソケット

Publications (2)

Publication Number Publication Date
JP2009087739A JP2009087739A (ja) 2009-04-23
JP4495200B2 true JP4495200B2 (ja) 2010-06-30

Family

ID=40508876

Family Applications (1)

Application Number Title Priority Date Filing Date
JP2007256211A Active JP4495200B2 (ja) 2007-09-28 2007-09-28 半導体装置用ソケット

Country Status (3)

Country Link
US (1) US7568918B2 (ja)
JP (1) JP4495200B2 (ja)
MY (1) MY144692A (ja)

Families Citing this family (7)

* Cited by examiner, † Cited by third party
Publication number Priority date Publication date Assignee Title
JP5041955B2 (ja) * 2007-10-17 2012-10-03 株式会社エンプラス 電気部品用ソケット
DE102011016301B8 (de) * 2011-04-07 2013-11-28 Yamaichi Electronics Deutschland Gmbh Testkontaktor für ein integriertes Schaltkreisbauteil und Verwendung
KR101432449B1 (ko) * 2013-08-30 2014-09-29 아주야마이찌전기공업(주) 반도체 장치 검사용 소켓 장치
USD788722S1 (en) * 2014-07-17 2017-06-06 Advantest Corporation Socket for an electronic device testing apparatus
KR101926690B1 (ko) * 2017-03-27 2018-12-07 주식회사 엔티에스 슬라이드 수직형 테스트 소켓
JP7233290B2 (ja) * 2019-04-12 2023-03-06 株式会社エンプラス 電気部品用ソケット
JP7455593B2 (ja) * 2020-01-21 2024-03-26 株式会社エンプラス ソケット

Family Cites Families (136)

* Cited by examiner, † Cited by third party
Publication number Priority date Publication date Assignee Title
CA1170235A (en) 1980-12-22 1984-07-03 Elvis W. Moss Pickup pin assembly for a fishing reel
US4420205A (en) 1981-09-14 1983-12-13 Augat Inc. Low insertion force electronic component socket
JPS60189977A (ja) 1984-03-12 1985-09-27 Sumitomo Electric Ind Ltd 発光ダイオ−ド
JPS61145076A (ja) 1984-12-19 1986-07-02 Tokyo Sankei Kogyo Kk 結束用合成樹脂紐のコア無し巻体製造方法
US4739257A (en) 1985-06-06 1988-04-19 Automated Electronic Technology, Inc. Testsite system
JPS62160676A (ja) 1985-12-31 1987-07-16 日本テキサス・インスツルメンツ株式会社 ソケツト
JPS63299257A (ja) 1987-05-29 1988-12-06 Dai Ichi Seiko Co Ltd Ic検査用ソケット
JP2564142B2 (ja) 1987-09-24 1996-12-18 川崎製鉄株式会社 2分割燃焼方式のコークス炉燃焼制御方法
JPH0350635Y2 (ja) 1987-11-20 1991-10-29
US4889499A (en) 1988-05-20 1989-12-26 Amdahl Corporation Zero insertion force connector
JPH02119378A (ja) 1988-10-28 1990-05-07 Nec Corp ファクシミリ出力における障害制御方式
US4927369A (en) 1989-02-22 1990-05-22 Amp Incorporated Electrical connector for high density usage
US5073117A (en) 1989-03-30 1991-12-17 Texas Instruments Incorporated Flip-chip test socket adaptor and method
JPH03257994A (ja) 1990-03-08 1991-11-18 Mitsubishi Plastics Ind Ltd 多層配線基板の製造方法
JP3151490B2 (ja) 1990-07-13 2001-04-03 松下電工株式会社 ワイヤレス送信器におけるidコードの設定方法
JPH04135190A (ja) 1990-09-25 1992-05-08 Fujita Corp 建造物の耐火物吹付け方法
JPH0738312B2 (ja) 1991-04-08 1995-04-26 日本航空電子工業株式会社 コネクタ
JPH0520286A (ja) 1991-06-21 1993-01-29 Sony Corp 画像処理装置
JP3016630B2 (ja) 1991-07-01 2000-03-06 コニカ株式会社 放射線画像記録読取装置
JP3086971B2 (ja) 1991-07-19 2000-09-11 日本テキサス・インスツルメンツ株式会社 ソケット
JP2665419B2 (ja) 1991-08-13 1997-10-22 山一電機株式会社 電気部品用接続器
US5147213A (en) 1991-10-24 1992-09-15 Minnesota Mining And Manufacturing Company Zero insertion pressure test socket for pin grid array electronic packages
US5281160A (en) 1991-11-07 1994-01-25 Burndy Corporation Zero disengagement force connector with wiping insertion
JP3302720B2 (ja) 1992-06-09 2002-07-15 ミネソタ マイニング アンド マニュファクチャリング カンパニー Icソケット
JP2527673B2 (ja) 1992-10-20 1996-08-28 山一電機 株式会社 Icソケット
JP2527672B2 (ja) 1992-10-20 1996-08-28 山一電機 株式会社 Icソケット
US5249972A (en) 1992-12-22 1993-10-05 The Whitaker Corporation Electrical socket
JPH06105630B2 (ja) 1992-12-26 1994-12-21 山一電機株式会社 Icソケット
JPH0763081B2 (ja) 1993-01-22 1995-07-05 山一電機株式会社 Icキャリア
US5482471A (en) 1993-02-24 1996-01-09 Texas Instruments Incorporated Socket apparatus for IC package testing
JP2501746B2 (ja) 1993-03-04 1996-05-29 インターナショナル・ビジネス・マシーンズ・コーポレイション ディスク駆動装置
JPH0775183B2 (ja) 1993-03-30 1995-08-09 山一電機株式会社 Icソケット
US5518410A (en) 1993-05-24 1996-05-21 Enplas Corporation Contact pin device for IC sockets
US5342214A (en) 1993-11-01 1994-08-30 Hsu Feng Chien IC socket
JP2667633B2 (ja) 1994-02-24 1997-10-27 山一電機株式会社 Icソケットにおけるic保持装置
JP3099254B2 (ja) 1994-02-28 2000-10-16 安藤電気株式会社 浮動機構つき吸着ハンドおよび搬送接触機構
US5419710A (en) 1994-06-10 1995-05-30 Pfaff; Wayne K. Mounting apparatus for ball grid array device
JPH0846335A (ja) 1994-07-26 1996-02-16 Oki Electric Ind Co Ltd 熱伝導シート
JP3293370B2 (ja) 1994-11-07 2002-06-17 株式会社エンプラス Icソケット
JPH08222335A (ja) 1994-12-15 1996-08-30 Amp Japan Ltd 電気コンタクト及びこれを使用したicソケット
JP2648120B2 (ja) 1995-02-08 1997-08-27 山一電機株式会社 表面接触形接続器
JPH08213128A (ja) 1995-02-08 1996-08-20 Texas Instr Japan Ltd ソケット
JPH0955273A (ja) 1995-08-11 1997-02-25 Advantest Corp Bgaパッケージic用icソケット
JP2768920B2 (ja) 1995-08-11 1998-06-25 山一電機株式会社 Icキャリア
JP3518091B2 (ja) 1995-09-25 2004-04-12 株式会社エンプラス Icソケット
JPH09199217A (ja) 1996-01-12 1997-07-31 Fuji Electric Co Ltd 複合形コネクタ
JP3228400B2 (ja) 1996-01-24 2001-11-12 古河電気工業株式会社 面実装型ic用ソケット
JPH09211067A (ja) 1996-01-29 1997-08-15 Toshiba Corp 半導体装置の試験装置
JP3103760B2 (ja) 1996-03-05 2000-10-30 山一電機株式会社 Icソケットにおけるic押え機構
US5923179A (en) 1996-03-29 1999-07-13 Intel Corporation Thermal enhancing test/burn in socket for C4 and tab packaging
JPH1073635A (ja) 1996-08-30 1998-03-17 Ando Electric Co Ltd Bgaパッケージic用吸着ハンド
US6027344A (en) * 1996-12-31 2000-02-22 Battelle Memorial Institute Simulant training kit for recognizing hazardous materials
JP2866632B2 (ja) 1997-03-17 1999-03-08 三菱電機株式会社 放熱材
JP3059946B2 (ja) 1997-05-01 2000-07-04 山一電機株式会社 Icソケット
US6162066A (en) 1997-05-16 2000-12-19 Wells-Cti, Inc. Socket for positioning and installing an integrated circuit chip on a flexible connector sheet
JPH112126A (ja) 1997-06-13 1999-01-06 Aisin Seiki Co Ltd ウォータポンプの水抜構造
KR200165887Y1 (ko) 1997-06-25 2000-01-15 김영환 비지에이 패키지 검사용 소켓
JP3270716B2 (ja) 1997-07-04 2002-04-02 日本テキサス・インスツルメンツ株式会社 ソケット及び半導体装置の取付方法
JPH1197818A (ja) 1997-09-16 1999-04-09 Toyota Autom Loom Works Ltd 実装配線基板
US20010000765A1 (en) 1997-10-03 2001-05-03 Enplas Corporation, A Japan Corporation Socket for an electric device
JPH11126671A (ja) 1997-10-21 1999-05-11 Kel Corp Ic検査用コネクタ
JP3755701B2 (ja) * 1997-11-28 2006-03-15 株式会社エンプラス 電気部品用ソケット
JP4021984B2 (ja) 1998-02-23 2007-12-12 株式会社エンプラス 電気部品用ソケット
JP3694166B2 (ja) 1998-02-27 2005-09-14 株式会社エンプラス Icソケット
JP3714656B2 (ja) 1998-02-27 2005-11-09 株式会社エンプラス Icソケット
US6283780B1 (en) 1998-04-01 2001-09-04 Molex Incorporated Test socket lattice
JPH11329643A (ja) 1998-05-14 1999-11-30 Wells Cti Kk Icソケット
DE69942287D1 (de) 1998-06-30 2010-06-02 Enplas Corp Sockel für elektrische Teile
US6371783B1 (en) 1998-07-01 2002-04-16 Enplas Corporation Socket for electrical parts and method of assembling the same
JP4187850B2 (ja) 1998-12-18 2008-11-26 株式会社エンプラス 電気部品用ソケット
US6126467A (en) 1998-07-22 2000-10-03 Enplas Corporation Socket for electrical parts
JP4172856B2 (ja) 1998-10-05 2008-10-29 山一電機株式会社 Icソケット
JP3273248B2 (ja) 1998-10-26 2002-04-08 日本航空電子工業株式会社 Bgaソケット
JP2000150092A (ja) 1998-11-09 2000-05-30 Ueruzu Cti Kk Icソケット
JP2973406B1 (ja) 1998-12-17 1999-11-08 山一電機株式会社 Icソケットにおけるコンタクトの開閉機構
JP3755718B2 (ja) 1999-04-28 2006-03-15 株式会社エンプラス 電気部品用ソケット
US6220869B1 (en) 1999-05-20 2001-04-24 Airborn, Inc. Area array connector
JP2000340324A (ja) 1999-05-31 2000-12-08 Enplas Corp 電気部品用ソケット
JP4087012B2 (ja) 1999-05-31 2008-05-14 株式会社エンプラス 電気部品用ソケット
JP3661500B2 (ja) 1999-07-27 2005-06-15 松下電工株式会社 有電圧、無電圧出力の選択設定可能なフレキシブル対応型防災受信機
JP3758069B2 (ja) 1999-07-30 2006-03-22 株式会社エンプラス 電気部品用ソケット
JP3257994B2 (ja) 1999-08-30 2002-02-18 日本テキサス・インスツルメンツ株式会社 ソケット
TW453628U (en) 1999-09-03 2001-09-01 Foxconn Prec Components Co Ltd Assembly of heat dissipation device
JP2001091577A (ja) 1999-09-22 2001-04-06 Toshiba Corp 半導体テストソケット
JP3822005B2 (ja) 1999-10-04 2006-09-13 株式会社エンプラス 電気部品用ソケット
JP2001115037A (ja) 1999-10-18 2001-04-24 Kyocera Corp サーフェスマウントコネクタ用樹脂組成物及びそれを用いたサーフェスマウントコネクタ
WO2001037381A1 (fr) 1999-11-17 2001-05-25 Advantest Corporation Douille de circuit integre et testeur de circuit integre
JP2001151234A (ja) 1999-11-29 2001-06-05 Ricoh Co Ltd 物品運搬保管装置
JP4301669B2 (ja) 1999-12-24 2009-07-22 株式会社センサータ・テクノロジーズジャパン ソケット
US6567866B1 (en) 1999-12-30 2003-05-20 Intel Corporation Selecting multiple functions using configuration mechanism
JP4251423B2 (ja) 2000-01-28 2009-04-08 株式会社センサータ・テクノロジーズジャパン ソケット
JP3797467B2 (ja) 2000-05-17 2006-07-19 株式会社エンプラス 電気部品用ソケット
JP2002025731A (ja) 2000-07-07 2002-01-25 Texas Instr Japan Ltd ソケット及び電子部品装着装置
US6280222B1 (en) 2000-07-25 2001-08-28 Hon Hai Precision Ind. Co., Ltd. LGA socket with reliable securing mechanism
JP2002063975A (ja) 2000-08-18 2002-02-28 Enplas Corp 電気部品用ソケット
JP3942823B2 (ja) 2000-12-28 2007-07-11 山一電機株式会社 検査装置
JP2002231398A (ja) 2001-01-30 2002-08-16 Yamaichi Electronics Co Ltd Icソケット
JP3725042B2 (ja) 2001-04-13 2005-12-07 日本圧着端子製造株式会社 Pga用コンタクトおよびpgaソケット
JP3912723B2 (ja) 2001-04-19 2007-05-09 日本圧着端子製造株式会社 Pgaソケット
US6328587B1 (en) 2001-05-11 2001-12-11 Feng-Chien Hsu Contact for a ZIF socket type connector
US6796823B1 (en) 2001-05-21 2004-09-28 Yamaichi Electronics Co., Ltd. Socket for electronic element
JP3678170B2 (ja) 2001-05-25 2005-08-03 山一電機株式会社 Icパッケージ用ソケット
JP2002367747A (ja) 2001-06-06 2002-12-20 Yamaichi Electronics Co Ltd Icソケット
JP3696129B2 (ja) 2001-06-21 2005-09-14 山一電機株式会社 ヒートシンク取付構造
JP2003017208A (ja) 2001-06-27 2003-01-17 Yamaichi Electronics Co Ltd 半導体装置用ソケット
JP2003017206A (ja) 2001-06-27 2003-01-17 Yamaichi Electronics Co Ltd 半導体装置用ソケット
JP2003017207A (ja) 2001-07-03 2003-01-17 Yamaichi Electronics Co Ltd 半導体装置用ソケット
JP3703741B2 (ja) 2001-07-04 2005-10-05 山一電機株式会社 Icソケット
JP2003035745A (ja) 2001-07-25 2003-02-07 Yokowo Co Ltd 電子部品の検査用治具
JP2003059602A (ja) 2001-08-08 2003-02-28 Yamaichi Electronics Co Ltd 半導体装置用ソケット
JP3678182B2 (ja) 2001-08-10 2005-08-03 山一電機株式会社 半導体装置用ソケット
US6461182B1 (en) 2001-10-01 2002-10-08 Feng-Chien Hsu Socket on a printed circuit board
JP2003123923A (ja) 2001-10-03 2003-04-25 Molex Inc 半導体パッケージのソケット、及びコンタクト
JP3977621B2 (ja) 2001-10-05 2007-09-19 モレックス インコーポレーテッド 半導体パッケージのソケット、及びコンタクト
JP3745667B2 (ja) 2001-10-09 2006-02-15 山一電機株式会社 Icソケット
JP2003123926A (ja) 2001-10-11 2003-04-25 Yamaichi Electronics Co Ltd Icソケット
JP3499849B2 (ja) 2001-10-22 2004-02-23 松下電器産業株式会社 プラズマディスプレイ装置
US6561831B1 (en) 2001-12-27 2003-05-13 Hon Hai Precision Ind. Co., Ltd. Housing of socket connector and conductive terminal thereof
JP4271406B2 (ja) 2002-04-09 2009-06-03 株式会社エンプラス 電気部品用ソケット
JP2003308940A (ja) 2002-04-15 2003-10-31 Enplas Corp 電気部品用ソケット
DK175108B1 (da) * 2002-05-27 2004-06-07 Tetra Laval Holdings & Finance Metode og system til skabelse af formpresset spiselegemer
JP2004014873A (ja) 2002-06-07 2004-01-15 Yamaichi Electronics Co Ltd 電子部品用ソケット
JP2004079227A (ja) * 2002-08-12 2004-03-11 Yamaichi Electronics Co Ltd Icソケット
JP4054238B2 (ja) 2002-09-18 2008-02-27 山一電機株式会社 Icソケット
JP3803099B2 (ja) 2002-12-17 2006-08-02 山一電機株式会社 半導体装置用ソケット
JP2004227907A (ja) 2003-01-22 2004-08-12 Moldec Kk 集積回路用コネクタ及びコネクタと回路基板との組立体
JP2004355983A (ja) 2003-05-29 2004-12-16 Yamaichi Electronics Co Ltd Icソケット
JP2005026213A (ja) 2003-06-12 2005-01-27 Yamaichi Electronics Co Ltd ソケットを基板に配設する方法およびその方法が用いられるソケット
JP3716843B2 (ja) 2003-07-15 2005-11-16 株式会社エンプラス 電気部品用ソケット
US6960092B1 (en) 2003-07-25 2005-11-01 Advanced Micro Devices, Inc. Compression mount and zero insertion force socket for IC devices
JP4098231B2 (ja) 2003-12-19 2008-06-11 山一電機株式会社 半導体装置用ソケット
JP4319055B2 (ja) * 2004-01-30 2009-08-26 株式会社エンプラス 電気部品用ソケット
JP4312685B2 (ja) 2004-08-31 2009-08-12 山一電機株式会社 半導体装置の着脱方法、それが用いられる半導体装置の着脱装置、および半導体装置用ソケット
JP4150016B2 (ja) 2005-04-01 2008-09-17 株式会社エンプラス 電気部品用ソケット
JP2006294281A (ja) 2005-04-06 2006-10-26 Matsushita Electric Ind Co Ltd 半導体装置の検査装置
JP2007017234A (ja) 2005-07-06 2007-01-25 Molex Japan Co Ltd 検査装置用ソケット

Also Published As

Publication number Publication date
MY144692A (en) 2011-10-31
JP2009087739A (ja) 2009-04-23
US20090088006A1 (en) 2009-04-02
US7568918B2 (en) 2009-08-04

Similar Documents

Publication Publication Date Title
JP4495200B2 (ja) 半導体装置用ソケット
US7278868B2 (en) Socket for semiconductor device
TWI425216B (zh) Probe device
KR101442035B1 (ko) 카메라 모듈 테스트 장치
US7393232B2 (en) Socket for electrical parts
KR101245837B1 (ko) 반도체 패키지 테스트용 소켓장치
KR101593634B1 (ko) 전기적 검사소켓
KR100487448B1 (ko) 전자 부품용 소켓
TWI419425B (zh) 半導體裝置用插槽
JP4820394B2 (ja) テストソケット
JP7120762B2 (ja) 電気部品用ソケット
JP2001043947A (ja) 電気部品用ソケット
TWM514004U (zh) 積體電路的檢測裝置及檢測設備
TW200924310A (en) Semiconductor device socket
KR101628302B1 (ko) 전자부품 테스트용 소켓
CN119291482A (zh) 一种具有探针保护功能的芯片测试用探针插座及使用方法
KR20220040315A (ko) 검사용 소켓
US7407401B2 (en) Socket for electrical parts
KR100792729B1 (ko) 반도체 소자 테스트 핸들러용 캐리어 모듈
JP4270337B2 (ja) Icパッケージソケット
CN100504516C (zh) 导正装置
KR100795490B1 (ko) 반도체 소자 테스트 핸들러용 캐리어 모듈
JP2004325393A (ja) Icソケット
JP3227968B2 (ja) Tsop型icの多数個同時接触機構
CN222994516U (zh) 一种针座与连接器对位结构

Legal Events

Date Code Title Description
A977 Report on retrieval

Free format text: JAPANESE INTERMEDIATE CODE: A971007

Effective date: 20090724

A131 Notification of reasons for refusal

Free format text: JAPANESE INTERMEDIATE CODE: A131

Effective date: 20090731

A521 Request for written amendment filed

Free format text: JAPANESE INTERMEDIATE CODE: A523

Effective date: 20090929

TRDD Decision of grant or rejection written
A01 Written decision to grant a patent or to grant a registration (utility model)

Free format text: JAPANESE INTERMEDIATE CODE: A01

Effective date: 20100323

A01 Written decision to grant a patent or to grant a registration (utility model)

Free format text: JAPANESE INTERMEDIATE CODE: A01

A61 First payment of annual fees (during grant procedure)

Free format text: JAPANESE INTERMEDIATE CODE: A61

Effective date: 20100408

R150 Certificate of patent or registration of utility model

Ref document number: 4495200

Country of ref document: JP

Free format text: JAPANESE INTERMEDIATE CODE: R150

Free format text: JAPANESE INTERMEDIATE CODE: R150

FPAY Renewal fee payment (event date is renewal date of database)

Free format text: PAYMENT UNTIL: 20130416

Year of fee payment: 3

FPAY Renewal fee payment (event date is renewal date of database)

Free format text: PAYMENT UNTIL: 20130416

Year of fee payment: 3

FPAY Renewal fee payment (event date is renewal date of database)

Free format text: PAYMENT UNTIL: 20130416

Year of fee payment: 3

FPAY Renewal fee payment (event date is renewal date of database)

Free format text: PAYMENT UNTIL: 20130416

Year of fee payment: 3

FPAY Renewal fee payment (event date is renewal date of database)

Free format text: PAYMENT UNTIL: 20140416

Year of fee payment: 4

R250 Receipt of annual fees

Free format text: JAPANESE INTERMEDIATE CODE: R250

R250 Receipt of annual fees

Free format text: JAPANESE INTERMEDIATE CODE: R250

R250 Receipt of annual fees

Free format text: JAPANESE INTERMEDIATE CODE: R250

R250 Receipt of annual fees

Free format text: JAPANESE INTERMEDIATE CODE: R250

R250 Receipt of annual fees

Free format text: JAPANESE INTERMEDIATE CODE: R250

R250 Receipt of annual fees

Free format text: JAPANESE INTERMEDIATE CODE: R250

R250 Receipt of annual fees

Free format text: JAPANESE INTERMEDIATE CODE: R250

R250 Receipt of annual fees

Free format text: JAPANESE INTERMEDIATE CODE: R250

R250 Receipt of annual fees

Free format text: JAPANESE INTERMEDIATE CODE: R250

R250 Receipt of annual fees

Free format text: JAPANESE INTERMEDIATE CODE: R250

R250 Receipt of annual fees

Free format text: JAPANESE INTERMEDIATE CODE: R250

R250 Receipt of annual fees

Free format text: JAPANESE INTERMEDIATE CODE: R250

R250 Receipt of annual fees

Free format text: JAPANESE INTERMEDIATE CODE: R250