JP2014123748A - 発光装置 - Google Patents
発光装置 Download PDFInfo
- Publication number
- JP2014123748A JP2014123748A JP2014003953A JP2014003953A JP2014123748A JP 2014123748 A JP2014123748 A JP 2014123748A JP 2014003953 A JP2014003953 A JP 2014003953A JP 2014003953 A JP2014003953 A JP 2014003953A JP 2014123748 A JP2014123748 A JP 2014123748A
- Authority
- JP
- Japan
- Prior art keywords
- layer
- insulating layer
- oxide semiconductor
- oxide
- halogen element
- Prior art date
- Legal status (The legal status is an assumption and is not a legal conclusion. Google has not performed a legal analysis and makes no representation as to the accuracy of the status listed.)
- Granted
Links
Images
Classifications
-
- H—ELECTRICITY
- H01—ELECTRIC ELEMENTS
- H01L—SEMICONDUCTOR DEVICES NOT COVERED BY CLASS H10
- H01L21/00—Processes or apparatus adapted for the manufacture or treatment of semiconductor or solid state devices or of parts thereof
- H01L21/02—Manufacture or treatment of semiconductor devices or of parts thereof
- H01L21/02104—Forming layers
- H01L21/02365—Forming inorganic semiconducting materials on a substrate
- H01L21/02656—Special treatments
- H01L21/02664—Aftertreatments
-
- H—ELECTRICITY
- H10—SEMICONDUCTOR DEVICES; ELECTRIC SOLID-STATE DEVICES NOT OTHERWISE PROVIDED FOR
- H10D—INORGANIC ELECTRIC SEMICONDUCTOR DEVICES
- H10D30/00—Field-effect transistors [FET]
- H10D30/60—Insulated-gate field-effect transistors [IGFET]
- H10D30/67—Thin-film transistors [TFT]
- H10D30/6729—Thin-film transistors [TFT] characterised by the electrodes
- H10D30/6737—Thin-film transistors [TFT] characterised by the electrodes characterised by the electrode materials
- H10D30/6739—Conductor-insulator-semiconductor electrodes
-
- H—ELECTRICITY
- H01—ELECTRIC ELEMENTS
- H01L—SEMICONDUCTOR DEVICES NOT COVERED BY CLASS H10
- H01L21/00—Processes or apparatus adapted for the manufacture or treatment of semiconductor or solid state devices or of parts thereof
- H01L21/02—Manufacture or treatment of semiconductor devices or of parts thereof
- H01L21/02104—Forming layers
- H01L21/02365—Forming inorganic semiconducting materials on a substrate
- H01L21/02518—Deposited layers
- H01L21/02521—Materials
- H01L21/02565—Oxide semiconducting materials not being Group 12/16 materials, e.g. ternary compounds
-
- H—ELECTRICITY
- H01—ELECTRIC ELEMENTS
- H01L—SEMICONDUCTOR DEVICES NOT COVERED BY CLASS H10
- H01L23/00—Details of semiconductor or other solid state devices
- H01L23/564—Details not otherwise provided for, e.g. protection against moisture
-
- H—ELECTRICITY
- H10—SEMICONDUCTOR DEVICES; ELECTRIC SOLID-STATE DEVICES NOT OTHERWISE PROVIDED FOR
- H10D—INORGANIC ELECTRIC SEMICONDUCTOR DEVICES
- H10D30/00—Field-effect transistors [FET]
- H10D30/01—Manufacture or treatment
- H10D30/021—Manufacture or treatment of FETs having insulated gates [IGFET]
- H10D30/031—Manufacture or treatment of FETs having insulated gates [IGFET] of thin-film transistors [TFT]
-
- H—ELECTRICITY
- H10—SEMICONDUCTOR DEVICES; ELECTRIC SOLID-STATE DEVICES NOT OTHERWISE PROVIDED FOR
- H10D—INORGANIC ELECTRIC SEMICONDUCTOR DEVICES
- H10D30/00—Field-effect transistors [FET]
- H10D30/60—Insulated-gate field-effect transistors [IGFET]
- H10D30/67—Thin-film transistors [TFT]
- H10D30/6704—Thin-film transistors [TFT] having supplementary regions or layers in the thin films or in the insulated bulk substrates for controlling properties of the device
-
- H—ELECTRICITY
- H10—SEMICONDUCTOR DEVICES; ELECTRIC SOLID-STATE DEVICES NOT OTHERWISE PROVIDED FOR
- H10D—INORGANIC ELECTRIC SEMICONDUCTOR DEVICES
- H10D30/00—Field-effect transistors [FET]
- H10D30/60—Insulated-gate field-effect transistors [IGFET]
- H10D30/67—Thin-film transistors [TFT]
- H10D30/674—Thin-film transistors [TFT] characterised by the active materials
- H10D30/6755—Oxide semiconductors, e.g. zinc oxide, copper aluminium oxide or cadmium stannate
-
- H—ELECTRICITY
- H10—SEMICONDUCTOR DEVICES; ELECTRIC SOLID-STATE DEVICES NOT OTHERWISE PROVIDED FOR
- H10D—INORGANIC ELECTRIC SEMICONDUCTOR DEVICES
- H10D86/00—Integrated devices formed in or on insulating or conducting substrates, e.g. formed in silicon-on-insulator [SOI] substrates or on stainless steel or glass substrates
- H10D86/40—Integrated devices formed in or on insulating or conducting substrates, e.g. formed in silicon-on-insulator [SOI] substrates or on stainless steel or glass substrates characterised by multiple TFTs
- H10D86/60—Integrated devices formed in or on insulating or conducting substrates, e.g. formed in silicon-on-insulator [SOI] substrates or on stainless steel or glass substrates characterised by multiple TFTs wherein the TFTs are in active matrices
-
- H—ELECTRICITY
- H10—SEMICONDUCTOR DEVICES; ELECTRIC SOLID-STATE DEVICES NOT OTHERWISE PROVIDED FOR
- H10D—INORGANIC ELECTRIC SEMICONDUCTOR DEVICES
- H10D99/00—Subject matter not provided for in other groups of this subclass
-
- H10P14/22—
-
- H10P14/3426—
-
- H10P14/3434—
-
- H—ELECTRICITY
- H01—ELECTRIC ELEMENTS
- H01L—SEMICONDUCTOR DEVICES NOT COVERED BY CLASS H10
- H01L21/00—Processes or apparatus adapted for the manufacture or treatment of semiconductor or solid state devices or of parts thereof
- H01L21/02—Manufacture or treatment of semiconductor devices or of parts thereof
- H01L21/02104—Forming layers
- H01L21/02365—Forming inorganic semiconducting materials on a substrate
- H01L21/02518—Deposited layers
- H01L21/02521—Materials
- H01L21/02551—Group 12/16 materials
- H01L21/02554—Oxides
-
- H—ELECTRICITY
- H01—ELECTRIC ELEMENTS
- H01L—SEMICONDUCTOR DEVICES NOT COVERED BY CLASS H10
- H01L21/00—Processes or apparatus adapted for the manufacture or treatment of semiconductor or solid state devices or of parts thereof
- H01L21/02—Manufacture or treatment of semiconductor devices or of parts thereof
- H01L21/02104—Forming layers
- H01L21/02365—Forming inorganic semiconducting materials on a substrate
- H01L21/02612—Formation types
- H01L21/02617—Deposition types
- H01L21/02631—Physical deposition at reduced pressure, e.g. MBE, sputtering, evaporation
-
- H—ELECTRICITY
- H01—ELECTRIC ELEMENTS
- H01L—SEMICONDUCTOR DEVICES NOT COVERED BY CLASS H10
- H01L2924/00—Indexing scheme for arrangements or methods for connecting or disconnecting semiconductor or solid-state bodies as covered by H01L24/00
-
- H—ELECTRICITY
- H01—ELECTRIC ELEMENTS
- H01L—SEMICONDUCTOR DEVICES NOT COVERED BY CLASS H10
- H01L2924/00—Indexing scheme for arrangements or methods for connecting or disconnecting semiconductor or solid-state bodies as covered by H01L24/00
- H01L2924/0001—Technical content checked by a classifier
- H01L2924/0002—Not covered by any one of groups H01L24/00, H01L24/00 and H01L2224/00
Landscapes
- Engineering & Computer Science (AREA)
- Physics & Mathematics (AREA)
- Condensed Matter Physics & Semiconductors (AREA)
- General Physics & Mathematics (AREA)
- Computer Hardware Design (AREA)
- Microelectronics & Electronic Packaging (AREA)
- Power Engineering (AREA)
- Manufacturing & Machinery (AREA)
- Thin Film Transistor (AREA)
- Liquid Crystal (AREA)
- Electroluminescent Light Sources (AREA)
- Formation Of Insulating Films (AREA)
- Semiconductor Integrated Circuits (AREA)
- Physical Deposition Of Substances That Are Components Of Semiconductor Devices (AREA)
- Physical Vapour Deposition (AREA)
- Devices For Indicating Variable Information By Combining Individual Elements (AREA)
- Optics & Photonics (AREA)
Abstract
目的の一つとする。
【解決手段】フッ素や塩素に代表されるハロゲン元素により、酸化物半導体層に含まれる
水素や水分(水素原子や、H2Oなど水素原子を含む化合物)などの不純物を、酸化物半
導体層より排除し、上記酸化物半導体層中の不純物濃度を低減する。ハロゲン元素は酸化
物半導体層と接して設けられるゲート絶縁層及び/又は絶縁層に含ませて形成することが
でき、またハロゲン元素を含むガス雰囲気下でのプラズマ処理によって酸化物半導体層に
付着させてもよい。
【選択図】図1
Description
全般を指し、電気光学装置、半導体回路および電子機器は全て半導体装置である。
構成する技術が注目されている。薄膜トランジスタは液晶テレビに代表されるような表示
装置に用いられている。薄膜トランジスタに適用可能な半導体薄膜としてシリコン系半導
体材料が公知であるが、その他の材料として酸化物半導体が注目されている。
そして、電子キャリア濃度が1018/cm3未満である非晶質酸化物(酸化物半導体)
なるもので形成された薄膜トランジスタが開示されている(特許文献1乃至3参照。)。
まう。例えば、酸素の過不足によって酸化物半導体の電気伝導度が変化してしまう。また
、酸化物半導体の薄膜形成中に混入する水素や水分が酸素(O)−水素(H)結合を形成
して電子供与体となり、電気伝導度を変化させる要因となる。さらにO−Hは極性分子な
ので、酸化物半導体によって作製される薄膜トランジスタのような能動デバイスに対して
特性の変動要因となる。
いた半導体装置を提供することを目的とする。
導体層及び、該酸化物半導体層と接して形成される絶縁層との界面において、変動要因と
なる水素、水分、水酸基又は水素化物(水素化合物ともいう)などの不純物を排除する。
水素原子や、H2Oなど水素原子を含む化合物)などの不純物を、酸化物半導体層より排
除し、上記酸化物半導体層中の不純物濃度を低減する。本明細書において、ハロゲン元素
とは周期表において第17族元素(フッ素(F)、塩素(Cl)、臭素(Br)、ヨウ素
(I)など)のことを意味し、代表的には、フッ素、塩素を用いることができ、用いるハ
ロゲン元素は一種でも複数種でもよい。
層に含ませて形成することができ、またハロゲン元素を含むガス雰囲気下でのプラズマ処
理によって酸化物半導体層に付着させてもよい。
ス)に導入してもよいし、前工程におけるクリーニング処理によって処理室に残留したハ
ロゲン元素を用いて膜中に含ませてもよい。また、成膜後にゲート絶縁層や絶縁層に添加
してもよい。また、プラズマ処理によって酸化物半導体層との界面に付着させてもよい。
ゲート絶縁層や絶縁層にハロゲン元素を含ませる場合、ゲート絶縁層や絶縁層中における
ハロゲン元素濃度は5×1018atoms/cm3乃至1×1020atoms/cm
3程度とすればよい。
基又は水素化物などの不純物を、ゲート絶縁層、及び/又は絶縁層に拡散させ、上記酸化
物半導体層中の不純物濃度を低減させる。
欠陥を多く含む絶縁層は、主に水素に対して束縛エネルギーがより大きくなり、酸化物半
導体層から絶縁層への拡散がより促進され、絶縁層において不純物が安定化させることが
できるため好ましい。
ポンプを用いて排気して不純物濃度が低減された成膜室内で、成膜すればよい。
際に用いるスパッタガス(ハロゲン元素を含むガスも含め)も水素、水、水酸基又は水素
化物などの不純物が、濃度ppm程度、濃度ppb程度まで除去された高純度ガスを用い
ることが好ましい。
元素を含むゲート絶縁層と、ハロゲン元素を含むゲート絶縁層上に酸化物半導体層と、酸
化物半導体層上にソース電極層及びドレイン電極層と、酸化物半導体層、ソース電極層及
びドレイン電極層上に酸化物半導体層の一部と接する絶縁層を有する半導体装置である。
ト絶縁層と、ゲート絶縁層上に酸化物半導体層と、酸化物半導体層上にソース電極層及び
ドレイン電極層と、酸化物半導体層、ソース電極層及びドレイン電極層上に酸化物半導体
層の一部と接するハロゲン元素を含む絶縁層を有する半導体装置である。
ゲン元素を含むゲート絶縁層と、ハロゲン元素を含むゲート絶縁層上に酸化物半導体層と
、酸化物半導体層上にソース電極層及びドレイン電極層と、酸化物半導体層、ソース電極
層及びドレイン電極層上に酸化物半導体層の一部と接するハロゲン元素を含む絶縁層を有
する半導体装置である。
ゲート絶縁層を積層構造とし、ゲート電極層側から窒化物絶縁層、酸化物絶縁層からなる
積層としてもよい。この場合、少なくとも酸化物半導体層と接する酸化物絶縁層にハロゲ
ン元素を含ませるとよい。
をハロゲン元素を含むガスを用いてクリーニング処理し減圧状態に保持された第1の処理
室に導入し、ゲート電極層を覆うハロゲン元素を含むゲート絶縁層を形成した後、該基板
を減圧状態に保持された第2の処理室に導入し、第2の処理室内の残留水分を除去しつつ
水素及び水分が除去されたスパッタガスを導入し、第2の処理室内に装着された金属酸化
物のターゲットを用いてハロゲン元素を含むゲート絶縁層上に酸化物半導体層を形成し、
酸化物半導体層上にソース電極層及びドレイン電極層を形成した後、該基板を第3の処理
室に導入し、第3の処理室内の残留水分を除去しつつ水素及び水分が除去された酸素を含
むスパッタガスを導入し、第3の処理室内に装着されたシリコンを含むターゲットを用い
て、酸化物半導体層上に、絶縁層を形成し、該基板を100℃乃至400℃の温度に加熱
して酸化物半導体層中に含まれる水素若しくは水分をハロゲン元素を含むゲート絶縁層側
に拡散させる半導体装置の作製方法である。
ゲート絶縁層側に拡散させる加熱処理は、ハロゲン元素を含むゲート絶縁層上に酸化物半
導体層が形成した後であればいつ行ってもよく、絶縁層の形成前に行ってもよい。
層を覆うゲート絶縁層を形成した後、該基板を減圧状態に保持された第1の処理室に導入
し、第1の処理室内の残留水分を除去しつつ水素及び水分が除去されたスパッタガスを導
入し、第1の処理室内に装着された金属酸化物のターゲットを用いてゲート絶縁層上に酸
化物半導体層を形成し、酸化物半導体層上にソース電極層及びドレイン電極層を形成した
後、該基板を第2の処理室に導入し、第2の処理室内の残留水分を除去しつつ水素及び水
分が除去された酸素及びハロゲン元素を含むスパッタガスを導入し、第2の処理室内に装
着されたシリコンを含むターゲットを用いて、酸化物半導体層上に、ハロゲン元素を含む
絶縁層を形成し、該基板を100℃乃至400℃の温度に加熱して酸化物半導体層中に含
まれる水素若しくは水分をハロゲン元素を含む絶縁層側に拡散させる半導体装置の作製方
法である。
層を覆うゲート絶縁層を形成した後、該基板を減圧状態に保持された第1の処理室に導入
し、第1の処理室内の残留水分を除去しつつ水素及び水分が除去されたスパッタガスを導
入し、第1の処理室内に装着された金属酸化物のターゲットを用いてゲート絶縁層上に酸
化物半導体層を形成し、酸化物半導体層上にソース電極層及びドレイン電極層を形成した
後、酸化物半導体層にハロゲン元素を含むガス雰囲気下でプラズマ処理を行い酸化物半導
体層表面にハロゲン元素を付着させ、該基板を第2の処理室に導入し、第2の処理室内の
残留水分を除去しつつ水素及び水分が除去された酸素を含むスパッタガスを導入し、第2
の処理室内に装着されたシリコンを含むターゲットを用いて、酸化物半導体層上に、絶縁
層を形成し、該基板を100℃乃至400℃の温度に加熱して酸化物半導体層中に含まれ
る水素若しくは水分を絶縁層側に拡散させる半導体装置の作製方法である。
温度とすることができる。
又は絶縁層を作製する際に、第1の処理室及び/又は第2の処理室及び/又は第3の処理
室の排気は吸着型の真空ポンプを用いることが好ましい。例えば、クライオポンプ、イオ
ンポンプ、チタンサブリメーションポンプを用いることが好ましい。上記吸着型の真空ポ
ンプは、ゲート絶縁層、及び/又は酸化物半導体層、及び/又は絶縁層に含まれる水素、
水、水酸基又は水素化物の量を低減するように作用する。
化亜鉛を主成分として含むものを用いることができる。また、ターゲットとして、インジ
ウム、ガリウム、亜鉛を含む金属酸化物を用いることができる。
コンを含むターゲットは、シリコン半導体のターゲット又は合成石英のターゲットを用い
ることができる。
あり、その薄膜を酸化物半導体層として用いた薄膜トランジスタを作製する。なお、Mは
、Ga、Fe、Ni、Mn及びCoから選ばれた一の金属元素または複数の金属元素を示
す。例えばMとして、Gaの場合があることの他、GaとNiまたはGaとFeなど、G
a以外の上記金属元素が含まれる場合がある。また、上記酸化物半導体において、Mとし
て含まれる金属元素の他に、不純物元素としてFe、Niその他の遷移金属元素、または
該遷移金属の酸化物が含まれているものがある。本明細書においては、InMO3(Zn
O)m(m>0)で表記される構造の酸化物半導体層のうち、MとしてGaを含む構造の
酸化物半導体をIn−Ga−Zn−O系酸化物半導体とよび、その薄膜をIn−Ga−Z
n−O系非単結晶膜とも呼ぶ。
n−Sn−Zn−O系、In−Al−Zn−O系、Sn−Ga−Zn−O系、Al−Ga
−Zn−O系、Sn−Al−Zn−O系、In−Zn−O系、Sn−Zn−O系、Al−
Zn−O系、In−O系、Sn−O系、Zn−O系の金属酸化物を適用することができる
。また上記金属酸化物からなる酸化物半導体層に酸化シリコンを含ませてもよい。
よい。酸化物導電層とソース電極及びドレイン電極を形成するための金属層は、連続成膜
が可能である。
線に対して、画素部の薄膜トランジスタの保護用の保護回路を同一基板上に設けることが
好ましい。保護回路は、酸化物半導体層を用いた非線形素子を用いて構成することが好ま
しい。
示すものではない。また、本明細書において発明を特定するための事項として固有の名称
を示すものではない。
以下の説明に限定されず、その形態および詳細を様々に変更し得ることは、当業者であれ
ば容易に理解される。また、本発明は以下に示す実施の形態の記載内容に限定して解釈さ
れるものではない。
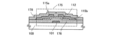
本実施の形態の半導体装置及び半導体装置の作製方法の一形態を、図1を用いて説明する
。本実施の形態で示す半導体装置は薄膜トランジスタである。
す薄膜トランジスタ110は、ボトムゲート構造の一つであり逆スタガ型薄膜トランジス
タともいう。
に、ゲート電極層101、ゲート絶縁層131、ゲート絶縁層132、酸化物半導体層1
12、ソース電極層115a、及びドレイン電極層115bを含む。また、薄膜トランジ
スタ110を覆い、酸化物半導体層112に接する酸化物絶縁層116が設けられ、さら
にその上に保護絶縁層103が積層されている。
導体層及び、該酸化物半導体層と接して形成されるゲート絶縁層及び/又は絶縁層との界
面において、変動要因となる水素、水分、水酸基又は水素化物(水素化合物ともいう)な
どの不純物を排除する。具体的には、酸化物半導体層及び、該酸化物半導体層と接して形
成される絶縁層との界面における水素濃度は5×1019atoms/cm3以下、好ま
しくは1×1019atoms/cm3以下とすることが望ましい。
水素原子や、H2Oなど水素原子を含む化合物)などの不純物を、酸化物半導体層より排
除し、上記酸化物半導体層中の不純物濃度を低減する。ゲート絶縁層や絶縁層にハロゲン
元素を含ませる場合、ゲート絶縁層や絶縁層中におけるハロゲン元素濃度は5×1018
atoms/cm3乃至1×1020atoms/cm3程度とすればよい。
dary Ion Mass Spectrometry)による各濃度の定量結果であ
る。
することができ、またハロゲン元素を含むガス雰囲気下でのプラズマ処理によって酸化物
半導体層に付着させてもよい。上記ハロゲン元素を半導体装置に含ませる方法(成膜時に
ゲート絶縁層に含ませる、成膜時に絶縁層に含ませる、プラズマ処理により絶縁層との界
面に付着させる)は、少なくとも1つ以上行えばよく、もちろん複数行ってもよい。
水分、水酸基又は水素化物などの不純物を、ゲート絶縁層、及び/又は絶縁層に拡散させ
、上記酸化物半導体層中の不純物濃度を低減させる。
ハロゲン元素としてはフッ素(F)、ハロゲン元素が含まれる絶縁層としては酸化シリコ
ン(SiOx)を用いた。
、交換相関相互作用を電子密度で表現された一電子ポテンシャルの汎関数(関数の関数の
意)で近似しているため、計算は高速かつ高精度である。ここでは、混合汎関数であるB
3LYPを用いて、交換と相関エネルギーに係る各パラメータの重みを規定した。また、
基底関数として、6−311G(それぞれの原子価軌道に三つの短縮関数を用いたtri
ple split valence基底系の基底関数)を全ての原子に適用した。上述
の基底関数により、例えば、水素原子であれば、1s〜3sの軌道が考慮され、また、酸
素原子であれば、1s〜4s、2p〜4pの軌道が考慮されることになる。さらに、計算
精度向上のため、分極基底系として、水素原子にはp関数を、水素原子以外にはd関数を
加えた。なお、量子化学計算プログラムとしては、Gaussian 03を使用した。
計算は、ハイパフォーマンスコンピュータ(SGI社製、Altix4700)を用いて
行った。
た場合に、水素がフッ素に結合するか、SiO2中の酸素に結合するか、SiO2中のシ
リコンに結合するかについて計算を行った。具体的には、フッ素を添加したSiO2中に
水素が存在するとき、水素がフッ素、酸素とシリコンのどの原子と結合を形成すると安定
化するかを計算した。図30に計算モデルの模式図を示す。また、表1にH−F、H−O
、H−Si結合の結合エネルギーを示す。
わかる。よって、フッ素が添加されたSiOxを層間膜に用いる事で、加熱処理によりマ
イグレーションしている水素はSiOx中のフッ素と結合して安定化し、捉えられやすい
と言える。
の電気陰性度との差が大きく、ハロゲン元素と水素とはイオン結合の結合力が大きく作用
する。
中の水素や水分(水素原子や、H2Oなど水素原子を含む化合物)などの不純物をゲート
絶縁層又は/及び絶縁層へより効果的に拡散し、酸化物半導体層中より排除することがで
きる。
12に接して設けられるゲート絶縁層132はハロゲン元素を含む。
ト電極(GE1)上にゲート絶縁膜(GI)を介して酸化物半導体層(OS)が設けられ
、その上にソース電極(S)及びドレイン電極(D)が設けられている。
26(A)はソースとドレインの間の電圧を等電位(VD=0V)とした場合を示し、図
26(B)はソースに対しドレインに正の電位(VD>0)を加えた場合を示す。
。図27(A)はゲート(G1)に正の電位(+VG)が印加された状態であり、ソース
とドレインと間にキャリア(電子)が流れるオン状態を示している。また、図27(B)
は、ゲート(G1)に負の電位(−VG)が印加された状態であり、オフ状態(少数キャ
リアは流れない)である場合を示す。
を示す。
従来の酸化物半導体は一般にn型であり、その場合のフェルミ準位(EF)は、バンドギ
ャップ中央に位置する真性フェルミ準位(Ei)から離れて、伝導帯寄りに位置している
。なお、酸化物半導体において水素はドナーでありn型化する一つの要因であることが知
られている。
去し、酸化物半導体の主成分以外の不純物が極力含まれないように高純度化することによ
り真性(i型)とし、又は真性型とせんとしたものである。すなわち、不純物を添加して
i型化するのでなく、水素や水等の不純物を極力除去したことにより、高純度化されたi
型(真性半導体)又はそれに近づけることを特徴としている。そうすることにより、フェ
ルミ準位(EF)は真性フェルミ準位(Ei)と同じレベルにまですることができる。
4.3eVと言われている。ソース電極及びドレイン電極を構成するチタン(Ti)の仕
事関数は、酸化物半導体の電子親和力(χ)とほぼ等しい。この場合、金属−酸化物半導
体界面において、電子に対してショットキー型の障壁は形成されない。
、両者が接触すると図26(A)で示すようなエネルギーバンド図(模式図)が示される
。
子はバリア(h)をこえて酸化物半導体に注入され、ドレインに向かって流れる。この場
合、バリア(h)の高さは、ゲート電圧とドレイン電圧に依存して変化するが、正のドレ
イン電圧が印加された場合には、電圧印加のない図26(A)のバリアの高さすなわちバ
ンドギャップ(Eg)の1/2よりもバリア(h)の高さは小さい値となる。
との界面における、酸化物半導体側のエネルギー的に安定な最低部を移動する。
ると、少数キャリアであるホールは実質的にゼロであるため、電流は限りなくゼロに近い
値となる。
であっても、オフ電流が10−13A以下であり、サブスレッショルドスイング値(S値
)が0.1V/dec.(ゲート絶縁膜厚100nm)が得られる。
とにより、薄膜トランジスタの動作を良好なものとすることができる。
るが、必要に応じて、チャネル形成領域を複数有するマルチゲート構造の薄膜トランジス
タも形成することができる。
工程を説明する。
工程及びエッチング工程によりゲート電極層101を形成する(図1(A)参照。)。形
成されたゲート電極層の端部はテーパ形状であると、上に積層するゲート絶縁層の被覆性
が向上するため好ましい。なお、レジストマスクをインクジェット法で形成してもよい。
レジストマスクをインクジェット法で形成するとフォトマスクを使用しないため、製造コ
ストを低減できる。
とも、後の加熱処理に耐えうる程度の耐熱性を有していることが必要となる。バリウムホ
ウケイ酸ガラスやアルミノホウケイ酸ガラスなどのガラス基板を用いることができる。
のものを用いると良い。また、ガラス基板には、例えば、アルミノシリケートガラス、ア
ルミノホウケイ酸ガラス、バリウムホウケイ酸ガラスなどのガラス材料が用いられている
。なお、酸化ホウ酸と比較して酸化バリウム(BaO)を多く含ませることで、より実用
的な耐熱ガラスが得られる。このため、B2O3よりBaOを多く含むガラス基板を用い
ることが好ましい。
縁体でなる基板を用いても良い。他にも、結晶化ガラスなどを用いることができる。また
、プラスチック基板等も適宜用いることができる。
、基板100からの不純物元素の拡散を防止する機能があり、窒化シリコン膜、酸化シリ
コン膜、窒化酸化シリコン膜、又は酸化窒化シリコン膜から選ばれた一又は複数の膜によ
る積層構造により形成することができる。
テン、アルミニウム、銅、ネオジム、スカンジウム等の金属材料又はこれらを主成分とす
る合金材料を用いて、単層で又は積層して形成することができる。
層が積層された2層の積層構造、または銅層上にモリブデン層を積層した2層構造、また
は銅層上に窒化チタン層若しくは窒化タンタル層を積層した2層構造、窒化チタン層とモ
リブデン層とを積層した2層構造とすることが好ましい。3層の積層構造としては、タン
グステン層または窒化タングステン層と、アルミニウムとシリコンの合金層またはアルミ
ニウムとチタンの合金層と、窒化チタン層またはチタン層とを積層した積層や、モリブデ
ン層、アルミニウム層、モリブデン層の3層を用いることができる。なお、透光性を有す
る導電膜を用いてゲート電極層を形成することもできる。透光性を有する導電膜としては
、透光性導電性酸化物等をその例に挙げることができる。
縁層にハロゲン元素を含ませて形成する。ゲート絶縁層が積層構造の場合、少なくとも酸
化物半導体層に接するゲート絶縁層にハロゲン元素を含ませる。
窒化シリコン層、酸化窒化シリコン層、窒化酸化シリコン層、又は酸化アルミニウム層を
単層で又は積層して形成することができる。スパッタリング法により酸化シリコン層を成
膜する場合には、ターゲットとしてシリコンターゲット又は石英ターゲットを用い、スパ
ッタガスとして酸素又は、酸素及びアルゴンの混合ガスを用いて行う。
純度化された酸化物半導体)は界面準位、界面電荷に対して極めて敏感であるため、ゲー
ト絶縁層との界面は重要である。そのため高純度化された酸化物半導体に接するゲート絶
縁層(GI)は、高品質化が要求される。
い高品質な絶縁層を形成できるので好ましい。高純度化された酸化物半導体と高品質ゲー
ト絶縁層とが密接することにより、界面準位を低減して界面特性を良好なものとすること
ができるからである。
法やプラズマCVD法など他の成膜方法を適用することができる。また、成膜後の熱処理
によってゲート絶縁層の膜質、酸化物半導体との界面特性が改質される絶縁層であっても
良い。いずれにしても、ゲート絶縁層としての膜質が良好であることは勿論のこと、酸化
物半導体との界面準位密度を低減し、良好な界面を形成できるものであれば良い。
T試験)においては、不純物が酸化物半導体に添加されていると、不純物と酸化物半導体
の主成分との結合手が、強電界(B:バイアス)と高温(T:温度)により切断され、生
成された不対結合手がしきい値電圧(Vth)のドリフトを誘発することとなる。
力除去し、上記のようにゲート絶縁層との界面特性を良好にすることにより、BT試験に
対しても安定な薄膜トランジスタを得ることを可能としている。
の積層構造でゲート絶縁層を形成する(図1(B)参照。)。積層するゲート絶縁層は、
ゲート電極層101側から窒化シリコン層と酸化シリコン層の積層構造を用いることがで
きる。ゲート絶縁層131としてスパッタリング法により膜厚50nm以上200nm以
下の窒化シリコン層(SiNy(y>0))を形成し、ゲート絶縁層131上にゲート絶
縁層132として膜厚5nm以上300nm以下のハロゲン元素を含む酸化シリコン層(
SiOx(x>0))を積層して、膜厚100nmのゲート絶縁層とする。
入してもよいし、前工程におけるクリーニング処理によって処理室に残留したハロゲン元
素を用いて膜中に含ませてもよい。また、成膜後にゲート絶縁層に添加してもよい。
NF3などを用いることができる。また、成膜を行う処理室のクリーニング処理に上記N
F3のようなハロゲン元素を含むガスを用いて、処理室内に残留するフッ素などのハロゲ
ン元素を成膜時にゲート絶縁層に含ませるように成膜することができる。上記のように成
膜と同時にハロゲン元素をゲート絶縁層に添加すると、工程数を増加させずに、ハロゲン
元素を含むゲート絶縁層を形成できる利点がある。
(CF4)、弗化硫黄(SF6)、弗化窒素(NF3)、トリフルオロメタン(CHF3
)など)、塩素を含むガス(塩素系ガス、例えば塩素(Cl2)、塩化硼素(BCl3)
、塩化珪素(SiCl4)、四塩化炭素(CCl4)など)などを適宜用いることができ
る。
も水素、水、水酸基又は水素化物などの不純物が、濃度ppm程度、濃度ppb程度まで
除去された高純度ガスを用いることが好ましい。
れないようにするために、成膜の前処理として、スパッタリング装置の予備加熱室でゲー
ト電極層101が形成された基板100を200℃以上の温度で加熱し、基板100に吸
着した不純物を除去することが好ましい。
の酸化物半導体膜を形成する。
プラズマを発生させる逆スパッタを行い、ゲート絶縁層132の表面に付着しているゴミ
を除去することが好ましい。逆スパッタとは、ターゲット側に電圧を印加せずに、アルゴ
ン雰囲気下で基板側にRF電源を用いて電圧を印加して基板近傍にプラズマを形成して表
面を改質する方法である。なお、アルゴン雰囲気に代えて窒素、ヘリウム、酸素などを用
いてもよい。
n−O系非単結晶膜、In−Sn−Zn−O系、In−Al−Zn−O系、Sn−Ga−
Zn−O系、Al−Ga−Zn−O系、Sn−Al−Zn−O系、In−Zn−O系、S
n−Zn−O系、Al−Zn−O系、In−O系、Sn−O系、Zn−O系の酸化物半導
体膜を用いる。本実施の形態では、酸化物半導体膜をIn−Ga−Zn−O系酸化物半導
体ターゲットを用いてスパッタリング法により成膜する。また、酸化物半導体膜は、スパ
ッタガスとして希ガス(代表的にはアルゴン)、酸素、又は希ガス(代表的にはアルゴン
)及び酸素を用いることができ、該スパッタガスの雰囲気下においてスパッタリング法に
より形成することができる。また、スパッタリング法を用いる場合、SiO2を2重量%
以上10重量%以下含むターゲットを用いて成膜を行ってもよい。
どの不純物が、濃度ppm程度、濃度ppb程度まで除去された高純度ガスを用いること
が好ましい。
分とする金属酸化物のターゲットを用いることができる。また、金属酸化物のターゲット
の他の例としては、In、Ga、及びZnを含む酸化物半導体ターゲット(組成比として
、In2O3:Ga2O3:ZnO=1:1:1[mol数比]、In:Ga:Zn=1
:1:0.5[at.比])を用いることができる。また、In、Ga、及びZnを含む
酸化物半導体ターゲットとして、In:Ga:Zn=1:1:1[atom比]、又はI
n:Ga:Zn=1:1:2[atom比]の組成比を有するターゲットを用いることも
できる。酸化物半導体ターゲットの充填率は90%以上100%以下、好ましくは95%
以上99.9%以下である。充填率の高い酸化物半導体ターゲットを用いることにより、
成膜した酸化物半導体膜は緻密な膜となる。
そして、処理室内の残留水分を除去しつつ水素及び水分が除去されたスパッタガスを導入
し、金属酸化物をターゲットとして基板100上に酸化物半導体膜を成膜する。処理室内
の残留水分を除去するためには、吸着型の真空ポンプを用いることが好ましい。例えば、
クライオポンプ、イオンポンプ、チタンサブリメーションポンプを用いることが好ましい
。また、排気手段としては、ターボ分子ポンプにコールドトラップを加えたものであって
もよい。クライオポンプを用いて排気した成膜室は、例えば、水素原子や、H2Oなど水
素原子を含む化合物や、炭素原子を含む化合物等が排気されるため、当該成膜室で成膜し
た酸化物半導体膜に含まれる不純物の濃度を低減できる。
、直流(DC)電源0.5kW、酸素(酸素流量比率100%)雰囲気下の条件が適用さ
れる。なお、パルス直流(DC)電源を用いると、ごみが軽減でき、膜厚分布も均一とな
るために好ましい。酸化物半導体膜は好ましくは5nm以上30nm以下とする。なお、
適用する酸化物半導体材料により適切な厚みは異なり、材料に応じて適宜厚みを選択すれ
ばよい。
分析(SIMS:Secondary Ion Mass Spectrometry)
による水素濃度の定量結果が5×1019atoms/cm3以下、好ましくは1×10
19atoms/cm3以下(さらに好ましくは5×1018atoms/cm3以下)
、に抑制された酸化物半導体膜を得ることができる。
る。また、基板を400℃未満の温度として成膜することによって、高温の加熱処理によ
る酸化物半導体膜の変質(例えば、In−Ga−Zn−O系非単結晶膜であれば、ZnO
が膜の外部に析出してしまうなど)を防止することができる。
Cスパッタリング法があり、さらにパルス的にバイアスを与えるパルスDCスパッタリン
グ法もある。RFスパッタリング法は主に絶縁膜を成膜する場合に用いられ、DCスパッ
タリング法は主に金属膜を成膜する場合に用いられる。
装置は、同一チャンバーで異なる材料膜を積層成膜することも、同一チャンバーで複数種
類の材料を同時に放電させて成膜することもできる。
タ装置や、グロー放電を使わずマイクロ波を用いて発生させたプラズマを用いるECRス
パッタリング法を用いるスパッタ装置がある。
ス成分とを化学反応させてそれらの化合物薄膜を形成するリアクティブスパッタリング法
や、成膜中に基板にも電圧をかけるバイアススパッタリング法もある。
の酸化物半導体層121に加工する(図1(C)参照。)。また、島状の酸化物半導体層
121を形成するためのレジストマスクをインクジェット法で形成してもよい。レジスト
マスクをインクジェット法で形成するとフォトマスクを使用しないため、製造コストを低
減できる。
層121の形成時に行うことができる。
グでもよく、両方を用いてもよい。
ば塩素(Cl2)、塩化硼素(BCl3)、塩化珪素(SiCl4)、四塩化炭素(CC
l4)など)が好ましい。
6)、弗化窒素(NF3)、トリフルオロメタン(CHF3)など)、臭化水素(HBr
)、酸素(O2)、これらのガスにヘリウム(He)やアルゴン(Ar)などの希ガスを
添加したガス、などを用いることができる。
ing)法や、ICP(Inductively Coupled Plasma:誘導
結合型プラズマ)エッチング法を用いることができる。所望の加工形状にエッチングでき
るように、エッチング条件(コイル型の電極に印加される電力量、基板側の電極に印加さ
れる電力量、基板側の電極温度等)を適宜調節する。
ンモニア過水(31重量%過酸化水素水:28重量%アンモニア水:水=5:2:2)な
どを用いることができる。また、ITO07N(関東化学社製)を用いてもよい。
て除去される。その除去された材料を含むエッチング液の廃液を精製し、含まれる材料を
再利用してもよい。当該エッチング後の廃液から酸化物半導体層に含まれるインジウム等
の材料を回収して再利用することにより、資源を有効活用し低コスト化することができる
。
液、エッチング時間、温度等)を適宜調節する。
ト絶縁層132の表面に付着しているレジスト残渣などを除去することが好ましい。
膜をスパッタリング法や真空蒸着法で形成すればよい。導電膜の材料としては、Al、C
r、Cu、Ta、Ti、Mo、Wから選ばれた元素、または上述した元素を成分とする合
金か、上述した元素を組み合わせた合金膜等が挙げられる。また、マンガン、マグネシウ
ム、ジルコニウム、ベリリウム、トリウムのいずれか一または複数から選択された材料を
用いてもよい。また、金属導電膜は、単層構造でも、2層以上の積層構造としてもよい。
例えば、シリコンを含むアルミニウム膜の単層構造、アルミニウム膜上にチタン膜を積層
する2層構造、Ti膜と、そのTi膜上に重ねてアルミニウム膜を積層し、さらにその上
にTi膜を成膜する3層構造などが挙げられる。また、Alに、チタン(Ti)、タンタ
ル(Ta)、タングステン(W)、モリブデン(Mo)、クロム(Cr)、ネオジム(N
d)、スカンジウム(Sc)から選ばれた元素を単数、又は複数組み合わせた膜、合金膜
、もしくは窒化膜を用いてもよい。
チングを行ってソース電極層115a、ドレイン電極層115bを形成した後、レジスト
マスクを除去する(図1(D)参照。)。
の材料及びエッチング条件を適宜調節する。
−Zn−O系酸化物を用いて、エッチャントとして過水アンモニア水(アンモニア、水、
過酸化水素水の混合液)を用いる。
一部のみがエッチングされ、溝部(凹部)を有する酸化物半導体層となることもある。ま
た、ソース電極層115a、ドレイン電極層115bを形成するためのレジストマスクを
インクジェット法で形成してもよい。レジストマスクをインクジェット法で形成するとフ
ォトマスクを使用しないため、製造コストを低減できる。
した光が複数の強度となる露光マスクである多階調マスクによって形成されたレジストマ
スクを用いてエッチング工程を行ってもよい。多階調マスクを用いて形成したレジストマ
スクは複数の膜厚を有する形状となり、エッチングを行うことでさらに形状を変形するこ
とができるため、異なるパターンに加工する複数のエッチング工程に用いることができる
。よって、一枚の多階調マスクによって、少なくとも二種類以上の異なるパターンに対応
するレジストマスクを形成することができる。よって露光マスク数を削減することができ
、対応するフォトリソグラフィ工程も削減できるため、工程の簡略化が可能となる。
半導体層の表面に付着した吸着水などを除去してもよい。また、酸素とアルゴンの混合ガ
スを用いてプラズマ処理を行ってもよい。
絶縁膜となる酸化物絶縁層として酸化物絶縁層116を形成する。本実施の形態では、酸
化物半導体層121がソース電極層115a、ドレイン電極層115bと重ならない領域
において、酸化物半導体層121と酸化物絶縁層116とが接するように形成する(図1
(E)参照。)。
イン電極層115bまで形成された基板100を100℃未満の温度に加熱し、水素及び
水分が除去された高純度酸素を含むスパッタガスを導入しシリコン半導体のターゲットを
用いて、酸化シリコン層を成膜する。なお、酸化物絶縁層116は、欠陥を含む酸化シリ
コン層となるように形成すると好ましい。
物などの不純物が、濃度ppm程度、濃度ppb程度まで除去された高純度ガスを用いる
ことが好ましい。
Ωcm)を用い、ターゲットと基板との間の距離(T−S間距離)を89mm、圧力0.
4Pa、直流(DC)電源6kW、酸素(酸素流量比率100%)雰囲気下でパルスDC
スパッタリング法により酸化シリコン層を成膜する。膜厚は300nmとする。なお、シ
リコンターゲットに代えて石英(好ましくは合成石英)を酸化シリコン層を成膜するため
のターゲットとして用いることができる。なお、スパッタガスとして酸素又は、酸素及び
アルゴンの混合ガスを用いて行う。
が好ましい。酸化物半導体層121及び酸化物絶縁層116に水素、水酸基又は水分が含
まれないようにするためである。
化アルミニウム層、または酸化窒化アルミニウム層などを用いることもできる。
1とを接した状態で100℃乃至400℃で加熱処理を行う。この加熱処理によって酸化
物半導体層121中に含まれる水素若しくは水分をハロゲン元素を含む酸化物絶縁層であ
るゲート絶縁層132に拡散させることができる。ゲート絶縁層132はハロゲン元素を
含むため、島状の酸化物半導体層121に含まれる水素、水酸基又水分等の不純物は、酸
化物半導体層121とゲート絶縁層132が接する界面を介して、ゲート絶縁層132に
拡散する。具体的には、酸化物半導体層121に含まれる水素原子や、H2Oなど水素原
子を含む化合物や、炭素原子を含む化合物等がゲート絶縁層132に拡散し移動し易くな
る。
が好ましい。欠陥を多く含む酸化物絶縁層116は、主に水素に対して束縛エネルギーが
より大きくなり、酸化物半導体層から酸化物絶縁層116への拡散がより促進され、酸化
物絶縁層116において不純物が安定化させることができるため好ましい。
することによって、酸化物半導体層表層部のバックチャネル側での寄生チャネルの発生を
抑えることができる。
スタ110を形成することができる(図1(F)参照。)。
で、該酸化物半導体膜中の水素及び水素化物の濃度を低減することができる。それにより
酸化物半導体膜の安定化を図ることができる。
化物絶縁層116上に形成する。保護絶縁層103としては、窒化シリコン膜、窒化酸化
シリコン膜、または窒化アルミニウム膜などを用いる。
00℃の温度に加熱し、水素及び水分が除去された高純度窒素を含むスパッタガスを導入
しシリコン半導体のターゲットを用いて窒化シリコン膜を成膜する。この場合においても
、酸化物絶縁層116と同様に、処理室内の残留水分を除去しつつ保護絶縁層103を成
膜することが好ましい。
板100を加熱することで、酸化物半導体層中に含まれる水素若しくは水分をハロゲン元
素を含むゲート絶縁層に拡散させることができる。よって上記酸化物絶縁層116の形成
後に加熱処理を行わなくてもよい。
コン層と窒化シリコン層を同じ処理室において、共通のシリコンターゲットを用いて成膜
することができる。先に酸素を含むスパッタリングガスを導入して、処理室内に装着され
たシリコンターゲットを用いて酸化シリコン層を形成し、次にスパッタリングガスを窒素
を含むスパッタリングガスに切り替えて同じシリコンターゲットを用いて窒化シリコン層
を成膜する。酸化シリコン層と窒化シリコン層とを大気に曝露せずに連続して形成するこ
とができるため、酸化シリコン層表面に水素や水分などの不純物が吸着することを防止す
ることができる。この場合、酸化物絶縁層116と保護絶縁層103として窒化シリコン
層を積層した後、酸化物半導体層中に含まれる水素若しくは水分をハロゲン元素を含むゲ
ート絶縁層に拡散させる加熱処理(温度100℃乃至400℃)を行えばよい。
下での加熱処理を行ってもよい。この加熱処理は一定の加熱温度を保持して加熱してもよ
いし、室温から、100℃以上200℃の加熱温度への昇温と、加熱温度から室温までの
降温を複数回くりかえして行ってもよい。また、この加熱処理を、酸化物絶縁膜の形成前
に、減圧下で行ってもよい。減圧下で加熱処理を行うと、加熱時間を短縮することができ
る。この加熱処理よって、ノーマリーオフとなる薄膜トランジスタを得ることができる。
よって半導体装置の信頼性を向上できる。
むゲート絶縁層に水素、水分を拡散させつつ、同時に外気から水分の侵入を防ぐバリア膜
を設けることができる。
雰囲気中の残留水分を除去することで、該酸化物半導体層中の水素及び水素化物の濃度を
低減することができる。また、酸化物半導体層に接してハロゲン元素を含むゲート絶縁層
を設けることで酸化物半導体層中の水素、水分を酸化シリコン膜へ拡散させ酸化物半導体
層の水素及び水素化合物の濃度を低減することができる。
きる成膜装置1000の一例を示す。
処理前の基板を収納するカセット1111と、処理済みの基板を収納するカセット112
1が設置されている。ローダー室1110と、アンローダー室1120の間には第1の搬
送室1100があり、基板を搬送する搬送手段1101が設置されている。
手段1201が設置され、ゲートバルブを介して周囲に4つの処理室(第1の処理室12
10、第2の処理室1220、第3の処理室1230、及び第4の処理室1240)と接
続されている。なお、第1の処理室1210はゲートバルブを介して、一方が第1の搬送
室1100と接続され、他方が第2の搬送室1200と接続されている。
230、及び第4の処理室1240には、それぞれ排気手段1205、排気手段1215
、排気手段1225、排気手段1235、及び排気手段1245が設けられている。また
、これらの排気手段は各処理室の使用用途に応じて適宜排気装置を選定すればよいが、特
にクライオポンプを備えた排気手段が好ましい。また、ターボ分子ポンプにコールドトラ
ップを備えた手段であってもよい。
化物半導体膜に接する膜、及び酸化物半導体膜の成膜前後の工程において、処理室内に残
留する水分が不純物として混入しないよう、クライオポンプなどの排気手段を用いること
が好ましい。
室1210は、大気圧状態の第1の搬送室1100から減圧状態の第2の搬送室1200
に、基板を搬送する受け渡し室の役割を有している。受け渡し室を設けることにより、第
2の搬送室1200を大気による汚染から守ることができる。
れスパッタリング法により窒化シリコン膜、酸化シリコン膜、酸化物半導体膜を成膜する
ための構成が備えられている。すなわち、各処理室にはターゲット、基板加熱手段が備え
られ、スパッタガスを導入するガス供給手段、グロー放電生成手段が付加されている。
された基板にゲート絶縁層と酸化物半導体層を連続成膜する方法について説明する。
1が形成された基板100を搬送する。次いで、ゲートバルブを閉じ第1の処理室121
0で基板100を予備加熱し、基板に吸着した不純物を脱離させ排気する。不純物は、例
えば、水素原子や、H2Oなど水素原子を含む化合物や、炭素原子を含む化合物などであ
る。
基板100を第3の処理室1230に搬送してハロゲン元素を含む酸化シリコン層を成膜
してゲート絶縁層131、132を形成する。第2の処理室1220、及び第3の処理室
1230はクライオポンプ等により排気され、成膜室内の不純物濃度が低減されていると
好ましい。不純物が低減された処理室内で積層された窒化シリコン膜と酸化シリコン膜は
、含有する水素、水酸基又は水分等が抑制されたゲート絶縁層131、132として用い
る。
にハロゲン元素を含むガスを導入してゲート絶縁層132の膜中にハロゲン元素を含ませ
ることができる。また、ゲート絶縁層132を成膜する第3の処理室1230をハロゲン
元素を含むガスを用いてクリーニング処理し、第3の処理室1230にハロゲン元素を残
留させた状態で基板100を搬送して、その残留させたハロゲン元素を取り込むようにゲ
ート絶縁層132を成膜し、ハロゲン元素を含ませてもよい。
物半導体用のターゲットを備えており、排気手段としてクライオポンプを有している。第
4の処理室1240では、酸化物半導体層を成膜する。
。図22に示すように第4の処理室1240は排気室5002を介してメインバルブによ
って排気手段1245と接続され、電源5003、ドライポンプ5001、カソード50
05、ステージ昇降機構5006、基板ステージ5007、ゲートバルブ5008、冷却
水5009、流量調節器5010、ガスタンク5011を有しており、基板ステージ50
07上に基板100が保持され、カソード5005側に酸化物半導体用のターゲット50
04が装着されている。
され、減圧化される。次にクライオポンプである排気手段1245によって排気され、第
4の処理室1240内の水素、水分、水素化物、水素化合物などの不純物を排気する。な
お、クライオポンプに代えて、ターボ分子ポンプを用い、当該ターボ分子ポンプの吸気口
上に水分等を吸着させるべくコールドトラップを設ける構成としても良い。
理室1240へ搬送し、基板ステージ5007上に保持する。ガスタンク5011から流
量調節器5010によって流量を制御しながらスパッタガスを第4の処理室1240内に
導入し、電源5003よりカソードに電圧を印加してプラズマを発生させ、ターゲット5
004を用いて基板100上に酸化物半導体膜を形成する。
においても図22の方法が適宜適用できる。
半導体膜の水素濃度を低減することができる。また、酸化物半導体膜は基板を加熱しなが
ら成膜する。クライオポンプにより処理室内に残留する水分を除去しながらスパッタ成膜
を行うことで、酸化物半導体膜を成膜する際の基板温度は400℃以下とすることができ
る。
連続して形成することができる。なお、図23では、3つ以上の処理室が搬送室を介して
接続する構成を有しているがこれに限られない。例えば、基板の搬入口と搬出口を有し、
各処理室が互いに接続する構成、所謂インライン型の構成としてもよい。
層116及び保護絶縁層103を形成するための成膜装置3000の一例を示す。
処理前の基板を収納するカセット3111と、処理済みの基板を収納するカセット312
1が設置されている。
は搬送手段3101が設置され、ゲートバルブを介して周囲に5つの処理室(第1の処理
室3210、第2の処理室3220、第3の処理室3230、第4の処理室3240、及
び第5の処理室3250)と接続されている。
210、第2の処理室3220、第3の処理室3230、第4の処理室3240、及び第
5の処理室3250には、それぞれ排気手段3115、排気手段3125、排気手段31
05、排気手段3215、排気手段3225、排気手段3235、排気手段3245、及
び排気手段3255が設けられており、減圧状態を実現できる。また、これらの排気手段
は各処理室の使用用途に応じて適宜排気装置を選定すればよいが、特にクライオポンプを
備えた排気手段が好ましい。また、ターボ分子ポンプにコールドトラップを備えた手段で
あってもよい。
送する受け渡し室の役割を有している。受け渡し室を設けることにより、第1の搬送室3
100を大気による汚染から守ることができる。
及び基板加熱手段3241が設けられている。第2の処理室3220、第3の処理室32
30には、それぞれスパッタリング法により酸化シリコン膜、窒化シリコン膜を成膜する
ための構成が備えられている。すなわち、各処理室にはターゲット、基板加熱手段が備え
られ、スパッタガスを導入するガス供給手段、グロー放電生成手段が付加されている。ま
た、第5の処理室3250には冷却手段3251が設けられている。
1上に、酸化物絶縁層116及び保護絶縁層103を形成する方法について説明する。
00の圧力と概略等しくなったら、ゲートバルブを開き第1の搬送室3100を介してロ
ーダー室3110から第1の処理室3210へ基板100を搬送する。
に吸着した不純物を脱離し排気することが好ましい。不純物としては、例えば、水素原子
や、H2Oなど水素原子を含む化合物や、炭素原子を含む化合物などである。なお、予備
加熱の温度としては、100℃以上400℃以下好ましくは150℃以上300℃以下で
ある。なお、第1の処理室3210に設ける排気手段はクライオポンプが好ましい。基板
100に吸着していた不純物が予備加熱により脱離し、第1の処理室3210内に拡散す
るため、クライオポンプを用いて不純物を第1の処理室3210から排出する必要がある
。なお、この予備加熱の処理は省略することもできる。
例えば、酸化物絶縁層116として酸化シリコン膜を成膜する。第2の処理室3220は
クライオポンプ等により排気され、処理室内の不純物濃度が低減されている。不純物が低
減された処理室内で成膜された酸化物絶縁膜は、不純物濃度が抑制される。具体的には、
酸化物絶縁膜に含まれる水素濃度を低減することができる。また、酸化物絶縁層116は
基板100を加熱しながら成膜しても良いが、酸化物絶縁層116に欠陥を含ませるため
0℃乃至50℃程度の温度、好ましくは室温で成膜することが望ましい。
ゲットとして石英ターゲットまたはシリコンターゲットを用いることができる。シリコン
ターゲットを用いて、酸素、及び希ガス雰囲気下でスパッタリング法により成膜した酸化
シリコン膜は、シリコン原子または酸素原子の不対結合手(ダングリングボンド)を含ま
せることができる。
工程は、成膜中に、第2の処理室3220にハロゲン元素を含むガスを導入して酸化物絶
縁層の膜中にハロゲン元素を含ませることができる。また、酸化物絶縁層を成膜する第2
の処理室3220をハロゲン元素を含むガスを用いてクリーニング処理し、第2の処理室
3220にハロゲン元素を残留させた状態で基板100を搬送して、その残留させたハロ
ゲン元素を取り込むように酸化物絶縁層を成膜し、ハロゲン元素を含ませてもよい。
層103を成膜する。保護絶縁層103としては、不純物元素の拡散を防止する機能があ
ればよく、例えば窒化シリコン膜、窒化酸化シリコン膜などにより形成することができる
。また、第3の処理室3230はクライオポンプ等により排気され、処理室内の不純物濃
度が低減されている状態が好ましい。
防止する。不純物は、水素、H2Oなど水素原子を含む化合物や、炭素原子を含む化合物
などである。
、シリコンターゲットを用い、第3の処理室3230に窒素とアルゴンの混合ガスを導入
して、反応性スパッタリングにより成膜を行う。基板温度を、100℃以上400℃以下
例えば200℃以上350℃以下として成膜する。加熱しながら成膜することにより、水
素、水酸基又は水分など水素原子を含む不純物をハロゲン元素を含むゲート絶縁層132
に拡散させ、島状の酸化物半導体層121における当該不純物濃度を低減させることがで
きる。特に、水素原子の拡散が促進される200℃以上350℃以下の温度範囲が好適で
ある。
化シリコン層と窒化シリコン層を同じ処理室において、共通のシリコンターゲットを用い
て成膜することができる。先に酸素を含むスパッタリングガスを導入して、処理室内に装
着されたシリコンターゲットを用いて酸化シリコン層を形成し、次にスパッタリングガス
を窒素を含むスパッタリングガスに切り替えて同じシリコンターゲットを用いて窒化シリ
コン層を成膜する。酸化シリコン層と窒化シリコン層とを大気に曝露せずに連続して形成
することができるため、酸化シリコン層表面に水素や水分などの不純物が吸着することを
防止することができる。この場合、酸化物絶縁層116と保護絶縁層103として窒化シ
リコン層を積層した後、酸化物半導体層中に含まれる水素若しくは水分をハロゲン元素を
含むゲート絶縁層132に拡散させる加熱処理(温度100℃乃至400℃)を行えばよ
い。
層132に拡散させ、島状の酸化物半導体層121における当該不純物濃度を低減させる
ために、保護絶縁層103を成膜した後に加熱処理を行っても良い。
処理を行う。成膜後の加熱処理において基板温度を100℃以上400℃以下とする。加
熱処理により、酸化物半導体層に含まれる不純物を島状の酸化物半導体層121とハロゲ
ン元素を含むゲート絶縁層132が接する界面を介して、ハロゲン元素を含むゲート絶縁
層132に拡散し易くなる。具体的には、島状の酸化物半導体層121に含まれる水素原
子や、H2Oなど水素原子を含む化合物がハロゲン元素を含むゲート絶縁層132に拡散
移動し易くなる。その結果、酸化物半導体層の不純物濃度が低減される。
132に拡散させる加熱処理は、酸化物絶縁層116の形成前に行ってもよい。
板温度Tから、再び水等の不純物が入らないよう、十分低い温度まで冷却する。具体的に
は加熱処理の基板温度Tよりも100℃以上下がるまで徐冷する。冷却は、ヘリウム、ネ
オン、アルゴン等を第5の処理室3250に導入して行ってもよい。なお、冷却に用いる
窒素、またはヘリウム、ネオン、アルゴン等の希ガスに、水、水素などが含まれないこと
が好ましい。または、窒素、またはヘリウム、ネオン、アルゴン等の希ガスの純度を、6
N(99.9999%)以上、好ましくは7N(99.99999%)以上、(即ち不純
物濃度を1ppm以下、好ましくは0.1ppm以下)とすることが好ましい。
の不純物を低減できる。処理室の内壁に吸着していた不純物が脱離し、成膜中の基板や、
膜の中に不純物が混入する不具合を低減できる。また、予備加熱中の雰囲気から脱離する
不純物を排気して、基板に再吸着される現象を防ぐことができる。
例えば、本実施の形態で例示する成膜装置を用いて形成したゲート絶縁層及び酸化物絶縁
層が接して設けられた酸化物半導体層をチャネル形成領域に適用した薄膜トランジスタは
、ゲート電極に電圧を印加しない状態、所謂オフ状態において、チャネル形成領域のキャ
リア濃度が低減されているため、オフ電流が少なく、良好な特性を示す。
限られない。例えば、基板の搬入口と搬出口を有し、各処理室が互いに接続する構成、所
謂インライン型の構成としてもよい。
子インクを用いた表示装置などのバックプレーン(薄膜トランジスタが形成された基板)
の製造に用いることができる。本実施の形態を用いた工程は、400℃以下の温度で行わ
れるため、厚さが1mm以下で、一辺が1mを超えるガラス基板を用いる製造工程にも適
用することができる。また、400℃以下の処理温度で全ての工程を行うことができるの
で、表示パネルを製造するために多大なエネルギーを消費しないで済む。
安定な電気特性を有し信頼性の高い半導体装置を提供することができる。
本実施の形態は、本明細書で開示する半導体装置に適用できる薄膜トランジスタの他の例
を示す。上記実施の形態と同一部分又は同様な機能を有する部分、及び工程は、上記実施
の形態を適用することができ、繰り返しの説明は省略する。また同じ箇所の詳細な説明は
省略する。
す薄膜トランジスタ130は、ボトムゲート構造の一つであり逆スタガ型薄膜トランジス
タともいう。
に、ゲート電極層101、ゲート絶縁層131、ゲート絶縁層102、酸化物半導体層1
12、ソース電極層115a、及びドレイン電極層115bを含む。また、薄膜トランジ
スタ130を覆い、酸化物半導体層112に接する酸化物絶縁層136が設けられ、さら
にその上に保護絶縁層103が積層されている。
導体層及び、該酸化物半導体層と接して形成される酸化物絶縁層(酸化シリコン層)との
界面において、変動要因となる水素、水分、水酸基又は水素化物(水素化合物ともいう)
などの不純物を排除する。具体的には、酸化物半導体層及び、該酸化物半導体層と接して
形成される酸化物絶縁層との界面における水素濃度は5×1019atoms/cm3以
下、好ましくは1×1019atoms/cm3以下とすることが望ましい。
水素原子や、H2Oなど水素原子を含む化合物)などの不純物を、酸化物半導体層より排
除し、上記酸化物半導体層中の不純物濃度を低減する。ゲート絶縁層や酸化物絶縁層にハ
ロゲン元素を含ませる場合、ゲート絶縁層や酸化物絶縁層中におけるハロゲン元素濃度は
5×1018atoms/cm3乃至1×1020atoms/cm3程度とすればよい
。
の電気陰性度との差が大きく、ハロゲン元素と水素とはイオン結合の結合力が大きく作用
する。従って、ゲート絶縁層又は/及び酸化物絶縁層に含まれるハロゲン元素により、酸
化物半導体層中の水素や水分(水素原子や、H2Oなど水素原子を含む化合物)などの不
純物をゲート絶縁層又は/及び酸化物絶縁層へより効果的に拡散し、酸化物半導体層中よ
り排除することができる。
て形成することができ、またハロゲン元素を含むガス雰囲気下でのプラズマ処理によって
酸化物半導体層に付着させてもよい。上記ハロゲン元素を半導体装置に含ませる方法(成
膜時にゲート絶縁層に含ませる、成膜時に酸化物絶縁層に含ませる、プラズマ処理により
酸化物絶縁層との界面に付着させる)は、少なくとも1つ以上行えばよく、もちろん複数
行ってもよい。
水分、水酸基又は水素化物などの不純物を、ゲート絶縁層、及び/又は酸化物絶縁層に拡
散させ、上記酸化物半導体層中の不純物濃度を低減させる。
あり、酸化物半導体層112に接して設けられる酸化物絶縁層136はハロゲン元素を含
む。
たが、必要に応じて、チャネル形成領域を複数有するマルチゲート構造の薄膜トランジス
タも形成することができる。
工程を説明する。
工程によりゲート電極層101を形成する(図2(A)参照。)。
窒化シリコン層、酸化窒化シリコン層、窒化酸化シリコン層、酸化アルミニウム層、酸化
窒化アルミニウム層、窒化酸化アルミニウム層を単層で又は積層して形成することができ
る。μ波(2.45GHz)を用いた高密度プラズマCVDは、緻密で絶縁耐圧の高い高
品質な絶縁層を形成できるので好ましい。
の積層構造でゲート絶縁層を形成する(図2(B)参照。)。積層するゲート絶縁層は、
ゲート電極層101側から窒化シリコン層と酸化シリコン層の積層構造を用いることがで
きる。ゲート絶縁層131としてスパッタリング法により膜厚50nm以上200nm以
下の窒化シリコン層(SiNy(y>0))を形成し、ゲート絶縁層131上にゲート絶
縁層102として膜厚5nm以上300nm以下の酸化シリコン層(SiOx(x>0)
)を積層して、膜厚100nmのゲート絶縁層とする。
むガスも含め)も水素、水、水酸基又は水素化物などの不純物が、濃度ppm程度、濃度
ppb程度まで除去された高純度ガスを用いることが好ましい。
のフォトリソグラフィ工程及びエッチング工程により島状の酸化物半導体層121に加工
する(図2(C)参照。)。本実施の形態では、酸化物半導体膜としてIn−Ga−Zn
−O系酸化物半導体ターゲットを用いてスパッタリング法により成膜する。
のフォトリソグラフィ工程により導電膜上にレジストマスクを形成し、選択的にエッチン
グを行ってソース電極層115a、ドレイン電極層115bを形成した後、レジストマス
クを除去する(図2(D)参照。)。
イン電極層115b上に、酸化物絶縁層136を形成する(図2(E)参照。)。
実施の形態では、酸化物絶縁層136としてハロゲン元素を含む酸化絶縁層(フッ素を含
む酸化シリコン層)を形成する。
極層115bまで形成された基板100を100℃未満の温度に加熱し、水素及び水分が
除去された高純度酸素及びハロゲン元素を含むスパッタガスを導入しシリコン半導体のタ
ーゲットを用いて、ハロゲン元素を含む酸化シリコン層を成膜する。
ス)に導入してもよいし、前工程におけるクリーニング処理によって処理室に残留したハ
ロゲン元素を用いて膜中に含ませてもよい。また、成膜後にゲート絶縁層や酸化物絶縁層
に添加してもよい。
NF3などを用いることができる。また、成膜を行う処理室のクリーニング処理に上記N
F3のようなハロゲン元素を含むガスを用いて、処理室内に残留するフッ素などのハロゲ
ン元素を成膜時に、酸化物絶縁層136に含ませるように成膜することができる。
(CF4)、弗化硫黄(SF6)、弗化窒素(NF3)、トリフルオロメタン(CHF3
)など)、塩素を含むガス(塩素系ガス、例えば塩素(Cl2)、塩化硼素(BCl3)
、塩化珪素(SiCl4)、四塩化炭素(CCl4)など)などを適宜用いることができ
る。
含め)も水素、水、水酸基又は水素化物などの不純物が、濃度ppm程度、濃度ppb程
度まで除去された高純度ガスを用いることが好ましい。
が好ましい。酸化物半導体層121及び酸化物絶縁層136に水素、水酸基又は水分が含
まれないようにするためである。
ミニウム層、または酸化窒化アルミニウムなどを用いることもできる。
100℃乃至400℃で加熱処理を行う。この加熱処理によって酸化物半導体層121中
に含まれる水素若しくは水分をハロゲン元素を含む酸化物絶縁層136に拡散させること
ができる。酸化物絶縁層136はハロゲン元素を含むため、島状の酸化物半導体層121
に含まれる水素、水酸基又水分等の不純物は、酸化物半導体層121と酸化物絶縁層13
6が接する界面を介して、酸化物絶縁層136に拡散する。具体的には、酸化物半導体層
121に含まれる水素原子や、H2Oなど水素原子を含む化合物や、炭素原子を含む化合
物等が酸化物絶縁層136に拡散し移動し易くなる。
が好ましい。欠陥を多く含む酸化物絶縁層136は、主に水素に対して束縛エネルギーが
より大きくなり、酸化物半導体層から酸化物絶縁層136への拡散がより促進され、酸化
物絶縁層136において不純物が安定化させることができるため好ましい。
は、窒化シリコン膜、窒化酸化シリコン膜、または窒化アルミニウムなどを用いる。保護
絶縁層103として、酸化物絶縁層136まで形成された基板100を100℃〜400
℃の温度に加熱し、水素及び水分が除去された高純度窒素を含むスパッタガスを導入しシ
リコン半導体のターゲットを用いて窒化シリコン膜を成膜する。
することによって、酸化物半導体層表層部のバックチャネル側での寄生チャネルの発生を
抑えることができる。
スタ130を形成することができる(図2(F)参照。)。
り、酸化物半導体層112中の水素、水酸基又は水分など水素原子を含む不純物は、ハロ
ゲン元素を含む酸化物絶縁層136に拡散でき、酸化物半導体層112における電気特性
の変動要因となる当該不純物濃度を低減させることができる。
安定な電気特性を有し信頼性の高い半導体装置を提供することができる。
本実施の形態は、本明細書で開示する半導体装置に適用できる薄膜トランジスタの他の例
を示す。上記実施の形態と同一部分又は同様な機能を有する部分、及び工程は、上記実施
の形態を適用することができ、繰り返しの説明は省略する。また同じ箇所の詳細な説明は
省略する。
す薄膜トランジスタ135は、ボトムゲート構造の一つであり逆スタガ型薄膜トランジス
タともいう。
に、ゲート電極層101、ゲート絶縁層131、ゲート絶縁層132、酸化物半導体層1
12、ソース電極層115a、及びドレイン電極層115bを含む。また、薄膜トランジ
スタ135を覆い、酸化物半導体層112に接する酸化物絶縁層136が設けられ、さら
にその上に保護絶縁層103が積層されている。
導体層及び、該酸化物半導体層と接して形成される酸化物絶縁層(酸化シリコン層)との
界面において、変動要因となる水素、水分、水酸基又は水素化物(水素化合物ともいう)
などの不純物を排除する。具体的には、酸化物半導体層及び、該酸化物半導体層と接して
形成される酸化物絶縁層との界面における水素濃度は5×1019atoms/cm3以
下、好ましくは1×1019atoms/cm3以下とすることが望ましい。
水素原子や、H2Oなど水素原子を含む化合物)などの不純物を、酸化物半導体層より排
除し、上記酸化物半導体層中の不純物濃度を低減する。ゲート絶縁層や酸化物絶縁層にハ
ロゲン元素を含ませる場合、ゲート絶縁層や酸化物絶縁層中におけるハロゲン元素濃度は
5×1018atoms/cm3乃至1×1020atoms/cm3程度とすればよい
。
の電気陰性度との差が大きく、ハロゲン元素と水素とはイオン結合の結合力が大きく作用
する。従って、ゲート絶縁層又は/及び酸化物絶縁層に含まれるハロゲン元素により、酸
化物半導体層中の水素や水分(水素原子や、H2Oなど水素原子を含む化合物)などの不
純物をゲート絶縁層又は/及び酸化物絶縁層へより効果的に拡散し、酸化物半導体層中よ
り排除することができる。
て形成することができ、またハロゲン元素を含むガス雰囲気下でのプラズマ処理によって
酸化物半導体層に付着させてもよい。上記ハロゲン元素を半導体装置に含ませる方法(成
膜時にゲート絶縁層に含ませる、成膜時に酸化物絶縁層に含ませる、プラズマ処理により
酸化物絶縁層との界面に付着させる)は、少なくとも1つ以上行えばよく、もちろん複数
行ってもよい。
水分、水酸基又は水素化物などの不純物を、ゲート絶縁層、及び/又は酸化物絶縁層に拡
散させ、上記酸化物半導体層中の不純物濃度を低減させる。
ゲン元素を含ませる例であり、酸化物半導体層112に接して設けられるゲート絶縁層1
32及び酸化物絶縁層136はハロゲン元素を含む。
たが、必要に応じて、チャネル形成領域を複数有するマルチゲート構造の薄膜トランジス
タも形成することができる。
工程を説明する。
工程及びエッチング工程によりゲート電極層101を形成する(図3(A)参照。)。
本実施の形態では、ゲート絶縁層にハロゲン元素を含ませて形成する。ゲート絶縁層が積
層構造の場合、少なくとも酸化物半導体層に接するゲート絶縁層にハロゲン元素を含ませ
る。
窒化シリコン層、酸化窒化シリコン層、窒化酸化シリコン層、酸化アルミニウム層、酸化
窒化アルミニウム層、窒化酸化アルミニウム層を単層で又は積層して形成することができ
る。μ波(2.45GHz)を用いた高密度プラズマCVDは、緻密で絶縁耐圧の高い高
品質な絶縁層を形成できるので好ましい。
の積層構造でゲート絶縁層を形成する(図3(B)参照。)。積層するゲート絶縁層は、
ゲート電極層101側から窒化シリコン層と酸化シリコン層の積層構造を用いることがで
きる。ゲート絶縁層131としてスパッタリング法により膜厚50nm以上200nm以
下の窒化シリコン層(SiNy(y>0))を形成し、ゲート絶縁層131上にゲート絶
縁層132として膜厚5nm以上300nm以下のハロゲン元素を含む酸化シリコン層(
SiOx(x>0))を積層して、膜厚100nmのゲート絶縁層とする。
NF3などを用いることができる。また、成膜を行う処理室のクリーニング処理に上記N
F3のようなハロゲン元素を含むガスを用いて、処理室内に残留するフッ素などのハロゲ
ン元素を成膜時にゲート絶縁層に含ませるように成膜することができる。上記のように成
膜と同時にハロゲン元素をゲート絶縁層に添加すると、工程数を増加させずに、ハロゲン
元素を含むゲート絶縁層を形成できる利点がある。
(CF4)、弗化硫黄(SF6)、弗化窒素(NF3)、トリフルオロメタン(CHF3
)など)、塩素を含むガス(塩素系ガス、例えば塩素(Cl2)、塩化硼素(BCl3)
、塩化珪素(SiCl4)、四塩化炭素(CCl4)など)などを適宜用いることができ
る。
むガスも含め)も水素、水、水酸基又は水素化物などの不純物が、濃度ppm程度、濃度
ppb程度まで除去された高純度ガスを用いることが好ましい。
のフォトリソグラフィ工程及びエッチング工程により島状の酸化物半導体層121に加工
する(図3(C)参照。)。本実施の形態では、酸化物半導体膜としてIn−Ga−Zn
−O系酸化物半導体ターゲットを用いてスパッタリング法により成膜する。
のフォトリソグラフィ工程により導電膜上にレジストマスクを形成し、選択的にエッチン
グを行ってソース電極層115a、ドレイン電極層115bを形成した後、レジストマス
クを除去する(図3(D)参照。)。
イン電極層115b上に、酸化物絶縁層136を形成する(図3(E)参照。)。
実施の形態では、酸化物絶縁層136としてハロゲン元素を含む酸化絶縁層(フッ素を含
む酸化シリコン層)を形成する。
極層115bまで形成された基板100を100℃未満の温度に加熱し、水素及び水分が
除去された高純度酸素及びハロゲン元素を含むスパッタガスを導入しシリコン半導体のタ
ーゲットを用いて、ハロゲン元素を含む酸化シリコン層を成膜する。
ス)に導入してもよいし、前工程におけるクリーニング処理によって処理室に残留したハ
ロゲン元素を用いて膜中に含ませてもよい。また、成膜後にゲート絶縁層や酸化物絶縁層
に添加してもよい。
NF3などを用いることができる。また、成膜を行う処理室のクリーニング処理に上記N
F3のようなハロゲン元素を含むガスを用いて、処理室内に残留するフッ素などのハロゲ
ン元素を成膜時に、酸化物絶縁層136に含ませるように成膜することができる。
(CF4)、弗化硫黄(SF6)、弗化窒素(NF3)、トリフルオロメタン(CHF3
)など)、塩素を含むガス(塩素系ガス、例えば塩素(Cl2)、塩化硼素(BCl3)
、塩化珪素(SiCl4)、四塩化炭素(CCl4)など)などを適宜用いることができ
る。
含め)も水素、水、水酸基又は水素化物などの不純物が、濃度ppm程度、濃度ppb程
度まで除去された高純度ガスを用いることが好ましい。
が好ましい。酸化物半導体層121及び酸化物絶縁層136に水素、水酸基又は水分が含
まれないようにするためである。
ミニウム層、または酸化窒化アルミニウムなどを用いることもできる。
6と酸化物半導体層121とを接した状態で100℃乃至400℃で加熱処理を行う。こ
の加熱処理によって酸化物半導体層121中に含まれる水素若しくは水分をハロゲン元素
を含むゲート絶縁層132及びハロゲン元素を含む酸化物絶縁層136に拡散させること
ができる。ゲート絶縁層132及び酸化物絶縁層136はハロゲン元素を含むため、島状
の酸化物半導体層121に含まれる水素、水酸基又水分等の不純物は、酸化物半導体層1
21とゲート絶縁層132又は酸化物絶縁層136が接する界面を介して、ゲート絶縁層
132又は酸化物絶縁層136に拡散する。具体的には、酸化物半導体層121に含まれ
る水素原子や、H2Oなど水素原子を含む化合物や、炭素原子を含む化合物等がゲート絶
縁層132及び酸化物絶縁層136に拡散し移動し易くなる。
が好ましい。欠陥を多く含む酸化物絶縁層136は、主に水素に対して束縛エネルギーが
より大きくなり、酸化物半導体層から酸化物絶縁層136への拡散がより促進され、酸化
物絶縁層136において不純物が安定化させることができるため好ましい。
は、窒化シリコン膜、窒化酸化シリコン膜、または窒化アルミニウムなどを用いる。保護
絶縁層103として、酸化物絶縁層136まで形成された基板100を100℃〜400
℃の温度に加熱し、水素及び水分が除去された高純度窒素を含むスパッタガスを導入しシ
リコン半導体のターゲットを用いて窒化シリコン膜を成膜する。
することによって、酸化物半導体層表層部のバックチャネル側での寄生チャネルの発生を
抑えることができる。
スタ135を形成することができる(図3(F)参照。)。
化物半導体層112に接して設けることにより、酸化物半導体層112中の水素、水酸基
又は水分など水素原子を含む不純物は、ハロゲン元素を含むゲート絶縁層132及びハロ
ゲン元素を含む酸化物絶縁層136に拡散でき、酸化物半導体層112における電気特性
の変動要因となる当該不純物濃度を低減させることができる。
安定な電気特性を有し信頼性の高い半導体装置を提供することができる。
本実施の形態は、本明細書で開示する半導体装置に適用できる薄膜トランジスタの他の例
を示す。上記実施の形態と同一部分又は同様な機能を有する部分、及び工程は、上記実施
の形態を適用することができ、繰り返しの説明は省略する。また同じ箇所の詳細な説明は
省略する。
す薄膜トランジスタ180は、ボトムゲート構造の一つであり逆スタガ型薄膜トランジス
タともいう。
に、ゲート電極層101、ゲート絶縁層131、ゲート絶縁層102、酸化物半導体層1
12、ソース電極層115a、及びドレイン電極層115bを含む。また、薄膜トランジ
スタ180を覆い、酸化物半導体層112に接する酸化物絶縁層116が設けられ、さら
にその上に保護絶縁層103が積層されている。
導体層及び、該酸化物半導体層と接して形成される酸化物絶縁層(酸化シリコン層)との
界面において、変動要因となる水素、水分、水酸基又は水素化物(水素化合物ともいう)
などの不純物を排除する。具体的には、酸化物半導体層及び、該酸化物半導体層と接して
形成される酸化物絶縁層との界面における水素濃度は5×1019atoms/cm3以
下、好ましくは1×1019atoms/cm3以下とすることが望ましい。
水素原子や、H2Oなど水素原子を含む化合物)などの不純物を、酸化物半導体層より排
除し、上記酸化物半導体層中の不純物濃度を低減する。
の電気陰性度との差が大きく、ハロゲン元素と水素とはイオン結合の結合力が大きく作用
する。従って、ゲート絶縁層又は/及び酸化物絶縁層に含まれるハロゲン元素により、酸
化物半導体層中の水素や水分(水素原子や、H2Oなど水素原子を含む化合物)などの不
純物をゲート絶縁層又は/及び酸化物絶縁層へより効果的に拡散し、酸化物半導体層中よ
り排除することができる。
て形成することができ、またハロゲン元素を含むガス雰囲気下でのプラズマ処理によって
酸化物半導体層に付着させてもよい。上記ハロゲン元素を半導体装置に含ませる方法(成
膜時にゲート絶縁層に含ませる、成膜時に酸化物絶縁層に含ませる、プラズマ処理により
酸化物絶縁層との界面に付着させる)は、少なくとも1つ以上行えばよく、もちろん複数
行ってもよい。
水分、水酸基又は水素化物などの不純物を、ゲート絶縁層、及び/又は酸化物絶縁層に拡
散させ、上記酸化物半導体層中の不純物濃度を低減させる。
導体層112にハロゲン元素133を付着させる。
たが、必要に応じて、チャネル形成領域を複数有するマルチゲート構造の薄膜トランジス
タも形成することができる。
工程を説明する。
工程及びエッチング工程によりゲート電極層101を形成する。
ゲート絶縁層を形成する。積層するゲート絶縁層は、ゲート電極層101側から窒化シリ
コン層と酸化シリコン層の積層構造を用いることができる。
のフォトリソグラフィ工程により島状の酸化物半導体層121に加工する。本実施の形態
では、酸化物半導体膜としてIn−Ga−Zn−O系酸化物半導体ターゲットを用いてス
パッタリング法により成膜する。
のフォトリソグラフィ工程により導電膜上にレジストマスクを形成し、選択的にエッチン
グを行ってソース電極層115a、ドレイン電極層115bを形成した後、レジストマス
クを除去する(図4(A)参照。)。
って、ハロゲン元素133を酸化物半導体層121に付着させてもよい。
5bを形成する際のレジストマスクを除去する前に、形成した状態で行ってもよい。
(CF4)、弗化硫黄(SF6)、弗化窒素(NF3)、トリフルオロメタン(CHF3
)など)、塩素を含むガス(塩素系ガス、例えば塩素(Cl2)、塩化硼素(BCl3)
、塩化珪素(SiCl4)、四塩化炭素(CCl4)など)などを適宜用いることができ
る。
イン電極層115b上に、酸化物絶縁層116を形成する(図4(C)参照。)。
極層115bまで形成された基板100を100℃未満の温度に加熱し、水素及び水分が
除去された高純度酸素及びハロゲン元素を含むスパッタガスを導入しシリコン半導体のタ
ーゲットを用いて、ハロゲン元素を含む酸化シリコン層を成膜する。
て接した状態で100℃乃至400℃で加熱処理を行う。この加熱処理によって酸化物半
導体層121中に含まれる水素若しくは水分をハロゲン元素により酸化物絶縁層116に
拡散させることができる。界面に設けられたハロゲン元素のため、島状の酸化物半導体層
121に含まれる水素、水酸基又水分等の不純物は、酸化物半導体層121と酸化物絶縁
層116が接する界面を介して、酸化物絶縁層116に拡散する。具体的には、酸化物半
導体層121に含まれる水素原子や、H2Oなど水素原子を含む化合物や、炭素原子を含
む化合物等が酸化物絶縁層116に拡散し移動し易くなる。
は、窒化シリコン膜、窒化酸化シリコン膜、または窒化アルミニウムなどを用いる。保護
絶縁層103として、酸化物絶縁層116まで形成された基板100を100℃〜400
℃の温度に加熱し、水素及び水分が除去された高純度窒素を含むスパッタガスを導入しシ
リコン半導体のターゲットを用いて窒化シリコン膜を成膜する。
することによって、酸化物半導体層表層部のバックチャネル側での寄生チャネルの発生を
抑えることができる。
スタ180を形成することができる(図4(D)参照。)。
、酸化物半導体層112中の水素、水酸基又は水分など水素原子を含む不純物は、ハロゲ
ン元素により酸化物絶縁層116に拡散でき、酸化物半導体層112における電気特性の
変動要因となる当該不純物濃度を低減させることができる。
安定な電気特性を有し信頼性の高い半導体装置を提供することができる。
本実施の形態は、本明細書で開示する半導体装置に適用できる薄膜トランジスタの他の例
を示す。
。
す薄膜トランジスタ160は、チャネル保護型(チャネルストップ型ともいう)と呼ばれ
るボトムゲート構造の一つであり逆スタガ型薄膜トランジスタともいう。
導体層及び、該酸化物半導体層と接して形成される酸化物絶縁層(酸化シリコン層)との
界面において、変動要因となる水素、水分、水酸基又は水素化物(水素化合物ともいう)
などの不純物を排除する。具体的には、酸化物半導体層及び、該酸化物半導体層と接して
形成される酸化物絶縁層との界面における水素濃度は5×1019atoms/cm3以
下、好ましくは1×1019atoms/cm3以下とすることが望ましい。
水素原子や、H2Oなど水素原子を含む化合物)などの不純物を、酸化物半導体層より排
除し、上記酸化物半導体層中の不純物濃度を低減する。
て形成することができ、またハロゲン元素を含むガス雰囲気下でのプラズマ処理によって
酸化物半導体層に付着させてもよい。上記ハロゲン元素を半導体装置に含ませる方法(成
膜時にゲート絶縁層に含ませる、成膜時に酸化物絶縁層に含ませる、プラズマ処理により
酸化物絶縁層との界面に付着させる)は、少なくとも1つ以上行えばよく、もちろん複数
行ってもよい。
層中におけるハロゲン元素濃度は5×1018atoms/cm3乃至1×1020at
oms/cm3程度とすればよい。
水分、水酸基又は水素化物などの不純物を、ゲート絶縁層、及び/又は酸化物絶縁層に拡
散させ、上記酸化物半導体層中の不純物濃度を低減させる。
たが、必要に応じて、チャネル形成領域を複数有するマルチゲート構造の薄膜トランジス
タも形成することができる。
工程を説明する。
工程及びエッチング工程によりゲート電極層151を形成する。なお、レジストマスクを
インクジェット法で形成してもよい。レジストマスクをインクジェット法で形成するとフ
ォトマスクを使用しないため、製造コストを低減できる。
テン、アルミニウム、銅、ネオジム、スカンジウム等の金属材料又はこれらを主成分とす
る合金材料を用いて、単層で又は積層して形成することができる。
152としてハロゲン元素を含む酸化物絶縁層を形成してもよい。
入してもよいし、前工程におけるクリーニング処理によって処理室に残留したハロゲン元
素を用いて膜中に含ませてもよい。また、成膜後にゲート絶縁層や酸化物絶縁層に添加し
てもよい。
NF3などを用いることができる。また、成膜を行う処理室のクリーニング処理に上記N
F3のようなハロゲン元素を含むガスを用いて、処理室内に残留するフッ素などのハロゲ
ン元素を成膜時にゲート絶縁層に含ませるように成膜することができる。
ゲート絶縁層152としてスパッタリング法により酸化シリコン層を形成する。
工程及びエッチング工程により島状の酸化物半導体層171に加工する。本実施の形態で
は、酸化物半導体膜としてIn−Ga−Zn−O系酸化物半導体ターゲットを用いてスパ
ッタリング法により成膜する。
そして、処理室内の残留水分を除去しつつ水素及び水分が除去されたスパッタガスを導入
し、金属酸化物をターゲットとして基板150上に酸化物半導体膜を成膜する。処理室内
の残留水分を除去するためには、吸着型の真空ポンプを用いることが好ましい。例えば、
クライオポンプ、イオンポンプ、チタンサブリメーションポンプを用いることが好ましい
。また、排気手段としては、ターボ分子ポンプにコールドトラップを加えたものであって
もよい。クライオポンプを用いて排気した成膜室は、例えば、水素原子や、H2Oなど水
素原子を含む化合物や、炭素原子を含む化合物等が排気されるため、当該成膜室で成膜し
た酸化物半導体膜に含まれる不純物の濃度を低減できる。
、直流(DC)電源0.5kW、酸素(酸素流量比率100%)雰囲気下の条件が適用さ
れる。なお、パルス直流(DC)電源を用いると、ごみが軽減でき、膜厚分布も均一とな
るために好ましい。酸化物半導体膜は好ましくは5nm以上30nm以下とする。なお、
適用する酸化物半導体材料により適切な厚みは異なり、材料に応じて適宜厚みを選択すれ
ばよい。
のプラズマ処理によって、フッ素や塩素などのハロゲン元素を酸化物半導体層171に付
着させてもよい。
成する(図5(B)参照。)。
温又は100℃未満の温度に加熱し、水素及び水分が除去された高純度酸素を含むスパッ
タガスを導入しシリコン半導体のターゲットを用いて、酸化シリコン層を成膜する。
実施の形態では、酸化物絶縁層173としてハロゲン元素を含む酸化物絶縁層を形成する
。
ス)に導入してもよいし、前工程におけるクリーニング処理によって処理室に残留したハ
ロゲン元素を用いて膜中に含ませてもよい。また、成膜後にゲート絶縁層や酸化物絶縁層
に添加してもよい。
NF3などを用いることができる。また、成膜を行う処理室のクリーニング処理に上記N
F3のようなハロゲン元素を含むガスを用いて、処理室内に残留するフッ素などのハロゲ
ン元素を成膜時に、酸化物絶縁層173に含ませるように成膜することができる。
層173であると、より酸化物半導体層171から、水素若しくは水素を含む不純物を、
酸化物絶縁層173に拡散させることができるために好ましい。
Ωcm)を用い、ターゲットと基板との間の距離(T−S間距離)を89mm、圧力0.
4Pa、直流(DC)電源6kW、酸素(酸素流量比率100%)雰囲気下でパルスDC
スパッタリング法により酸化物絶縁層173を成膜する。膜厚は300nmとする。なお
、シリコンターゲットに代えて石英(好ましくは合成石英)を酸化物絶縁層173を成膜
するためのターゲットとして用いることができる。また、酸化物絶縁層173は基板15
0を加熱しながら成膜しても良いが、酸化物絶縁層173に欠陥を含ませるため0℃乃至
50℃程度の温度、好ましくは室温で成膜することが望ましい。
が好ましい。酸化物半導体層171及び酸化物絶縁層173に水素、水酸基又は水分が含
まれないようにするためである。
ミニウム層、または酸化窒化アルミニウムなどを用いることもできる。
100℃乃至400℃で加熱処理を行う。この加熱処理によって酸化物半導体層171中
に含まれる水素若しくは水分をハロゲン元素を含む酸化物絶縁層173に拡散させること
ができる。ハロゲン元素を含む酸化物絶縁層173はハロゲン元素を含むため、島状の酸
化物半導体層171に含まれる水素、水酸基又水分等の不純物は、酸化物半導体層171
と酸化物絶縁層173が接する界面を介して、酸化物絶縁層173に拡散する。具体的に
は、酸化物半導体層171に含まれる水素原子や、H2Oなど水素原子を含む化合物や、
炭素原子を含む化合物等が酸化物絶縁層173に拡散移動し易くなる。
体的には、酸化物半導体層162及び酸化物絶縁層173との界面における水素濃度が5
×1019atoms/cm3以下、好ましくは1×1019atoms/cm3以下と
することができる。
選択的にエッチングを行って酸化物絶縁層166を形成した後、レジストマスクを除去す
る(図5(C)参照。)。
上に、導電膜を形成した後、第4のフォトリソグラフィ工程によりレジストマスクを形成
し、選択的にエッチングを行ってソース電極層165a、ドレイン電極層165bを形成
した後、レジストマスクを除去する(図5(D)参照。)。
a、Ti、Mo、Wから選ばれた元素、または上述した元素を成分とする合金か、上述し
た元素を組み合わせた合金膜等が挙げられる。また、金属導電膜は、単層構造でも、2層
以上の積層構造としてもよい。
トランジスタ160を形成することができる(図5(D)参照。)。
で、該酸化物半導体膜中の水素及び水素化物の濃度を低減することができる。それにより
酸化物半導体膜の安定化を図ることができる。
化物絶縁層166、ソース電極層165a、ドレイン電極層165b上に形成する。保護
絶縁層153としては、窒化シリコン膜、窒化酸化シリコン膜、または窒化アルミニウム
などを用いる。本実施の形態では、保護絶縁層153を、窒化シリコン膜を用いて形成す
る(図5(E)参照。)。
酸化物絶縁層を形成し、該酸化物絶縁層上に保護絶縁層153を積層してもよい。また、
保護絶縁層153上に平坦化絶縁層を形成してもよい。
体層から該酸化物絶縁層に水素、水分を拡散させつつ、同時に外気から水分の侵入を防ぐ
バリア膜を設けることができる。
雰囲気中の残留水分を除去することで、該酸化物半導体層中の水素及び水素化物の濃度を
低減することができる。また、酸化物半導体層に接してハロゲン元素を含む絶縁層を設け
ることで酸化物半導体層中の水素、水分をハロゲン元素を含む絶縁層へ拡散させ酸化物半
導体層の水素及び水素化合物の濃度を低減することができる。
安定な電気特性を有し信頼性の高い半導体装置を提供することができる。
本実施の形態は、本明細書で開示する半導体装置に適用できる薄膜トランジスタの他の例
を示す。
。
導体層及び、該酸化物半導体層と接して形成される酸化物絶縁層(酸化シリコン層)との
界面において、変動要因となる水素、水分、水酸基又は水素化物(水素化合物ともいう)
などの不純物を排除する。具体的には、酸化物半導体層及び、該酸化物半導体層と接して
形成される酸化物絶縁層との界面における水素濃度は5×1019atoms/cm3以
下、好ましくは1×1019atoms/cm3以下とすることが望ましい。
水素原子や、H2Oなど水素原子を含む化合物)などの不純物を、酸化物半導体層より排
除し、上記酸化物半導体層中の不純物濃度を低減する。
て形成することができ、またハロゲン元素を含むガス雰囲気下でのプラズマ処理によって
酸化物半導体層に付着させてもよい。上記ハロゲン元素を半導体装置に含ませる方法(成
膜時にゲート絶縁層に含ませる、成膜時に酸化物絶縁層に含ませる、プラズマ処理により
酸化物絶縁層との界面に付着させる)は、少なくとも1つ以上行えばよく、もちろん複数
行ってもよい。
層中におけるハロゲン元素濃度は5×1018atoms/cm3乃至1×1020at
oms/cm3程度とすればよい。
水分、水酸基又は水素化物などの不純物を、ゲート絶縁層、及び/又は酸化物絶縁層に拡
散させ、上記酸化物半導体層中の不純物濃度を低減させる。
たが、必要に応じて、チャネル形成領域を複数有するマルチゲート構造の薄膜トランジス
タも形成することができる。
工程を説明する。
工程及びエッチング工程によりゲート電極層181を形成する。本実施の形態では、ゲー
ト電極層181として、膜厚150nmのタングステン膜を、スパッタリング法を用いて
形成する。
ゲート絶縁層142としてハロゲン元素を含む酸化物絶縁層を形成してもよい。
入してもよいし、前工程におけるクリーニング処理によって処理室に残留したハロゲン元
素を用いて膜中に含ませてもよい。また、成膜後にゲート絶縁層や酸化物絶縁層に添加し
てもよい。
NF3などを用いることができる。また、成膜を行う処理室のクリーニング処理に上記N
F3のようなハロゲン元素を含むガスを用いて、処理室内に残留するフッ素などのハロゲ
ン元素を成膜時にゲート絶縁層に含ませるように成膜することができる。
ゲート絶縁層142として酸化シリコン層を形成する。
導電膜上にレジストマスクを形成し、選択的にエッチングを行ってソース電極層195a
、ドレイン電極層195bを形成した後、レジストマスクを除去する。
島状の酸化物半導体層141に加工する(図6(A)参照。)。本実施の形態では、酸化
物半導体膜としてIn−Ga−Zn−O系酸化物半導体ターゲットを用いてスパッタリン
グ法により成膜する。
そして、処理室内の残留水分を除去しつつ水素及び水分が除去されたスパッタガスを導入
し、金属酸化物をターゲットとして基板140上に酸化物半導体膜を成膜する。処理室内
の残留水分を除去するためには、吸着型の真空ポンプを用いることが好ましい。例えば、
クライオポンプ、イオンポンプ、チタンサブリメーションポンプを用いることが好ましい
。また、排気手段としては、ターボ分子ポンプにコールドトラップを加えたものであって
もよい。クライオポンプを用いて排気した成膜室は、例えば、水素原子や、H2Oなど水
素原子を含む化合物や、炭素原子を含む化合物等が排気されるため、当該成膜室で成膜し
た酸化物半導体膜に含まれる不純物の濃度を低減できる。
、直流(DC)電源0.5kW、酸素(酸素流量比率100%)雰囲気下の条件が適用さ
れる。なお、パルス直流(DC)電源を用いると、ごみが軽減でき、膜厚分布も均一とな
るために好ましい。酸化物半導体膜は好ましくは5nm以上30nm以下とする。なお、
適用する酸化物半導体材料により適切な厚みは異なり、材料に応じて適宜厚みを選択すれ
ばよい。
のプラズマ処理によって、フッ素や塩素などのハロゲン元素を酸化物半導体層141に付
着させてもよい。
イン電極層195b上に、酸化物絶縁層196を形成する。
00℃未満の温度に加熱し、水素及び水分が除去された高純度酸素を含むスパッタガスを
導入しシリコン半導体のターゲットを用いて、酸化シリコン層を成膜する。
実施の形態では、酸化物絶縁層196としてハロゲン元素を含む酸化絶縁層(フッ素を含
む酸化シリコン層)を形成する。
ス)に導入してもよいし、前工程におけるクリーニング処理によって処理室に残留したハ
ロゲン元素を用いて膜中に含ませてもよい。また、成膜後にゲート絶縁層や酸化物絶縁層
に添加してもよい。
NF3などを用いることができる。また、成膜を行う処理室のクリーニング処理に上記N
F3のようなハロゲン元素を含むガスを用いて、処理室内に残留するフッ素などのハロゲ
ン元素を成膜時に、酸化物絶縁層196に含ませるように成膜することができる。
層196であると、より酸化物半導体層141から、水素若しくは水素を含む不純物を、
酸化物絶縁層196に拡散させることができるために好ましい。
Ωcm)を用い、ターゲットと基板との間の距離(T−S間距離)を89mm、圧力0.
4Pa、直流(DC)電源6kW、酸素(酸素流量比率100%)雰囲気下でパルスDC
スパッタリング法により酸化物絶縁層196を成膜する。膜厚は300nmとする。なお
、シリコンターゲットに代えて石英(好ましくは合成石英)を酸化物絶縁層196を成膜
するためのターゲットとして用いることができる。また、酸化物絶縁層196は基板14
0を加熱しながら成膜しても良いが、酸化物絶縁層196に欠陥を含ませるため0℃乃至
50℃程度の温度、好ましくは室温で成膜することが望ましい。
が好ましい。酸化物半導体層141及び酸化物絶縁層196に水素、水酸基又は水分が含
まれないようにするためである。
ミニウム層、または酸化窒化アルミニウムなどを用いることもできる。
は、窒化シリコン膜、窒化酸化シリコン膜、または窒化アルミニウムなどを用いる。保護
絶縁層183として、酸化物絶縁層196まで形成された基板140を100℃〜400
℃の温度に加熱し、水素及び水分が除去された高純度窒素を含むスパッタガスを導入しシ
リコン半導体のターゲットを用いて窒化シリコン膜を成膜する。
半導体層中に含まれる水素若しくは水分をハロゲン元素を含む酸化物絶縁層196に拡散
させることができる。ハロゲン元素を含む酸化物絶縁層196はハロゲン元素を含むため
、島状の酸化物半導体層141に含まれる水素、水酸基又水分等の不純物は、酸化物半導
体層141とハロゲン元素を含む酸化物絶縁層196が接する界面を介して、ハロゲン元
素を含む酸化物絶縁層196に拡散する。具体的には、酸化物半導体層141に含まれる
水素原子や、H2Oなど水素原子を含む化合物や、炭素原子を含む化合物等がハロゲン元
素を含む酸化物絶縁層196に拡散移動し易くなる。
トランジスタ190を形成することができる(図6(C)参照。)。具体的には、酸化物
半導体層141及び酸化物絶縁層196との界面における水素濃度が5×1019ato
ms/cm3以下、好ましくは1×1019atoms/cm3以下とすることができる
。
安定な電気特性を有し信頼性の高い半導体装置を提供することができる。
本実施の形態は、本明細書で開示する半導体装置に適用できる薄膜トランジスタの例を示
す。
電材料を用いる例を示す。従って、他は上記実施の形態と同様に行うことができ、上記実
施の形態と同一部分又は同様な機能を有する部分、及び工程の繰り返しの説明は省略する
。また同じ箇所の詳細な説明は省略する。
光性を有する導電材料、例えばIn−Sn−O系、In−Sn−Zn−O系、In−Al
−Zn−O系、Sn−Ga−Zn−O系、Al−Ga−Zn−O系、Sn−Al−Zn−
O系、In−Zn−O系、Sn−Zn−O系、Al−Zn−O系、In−O系、Sn−O
系、Zn−O系の金属酸化物を適用することができ、膜厚は50nm以上300nm以下
の範囲内で適宜選択する。ゲート電極層、ソース電極層、ドレイン電極層に用いる金属酸
化物の成膜方法は、スパッタリング法や真空蒸着法(電子ビーム蒸着法など)や、アーク
放電イオンプレーティング法や、スプレー法を用いる。また、スパッタリング法を用いる
場合、SiO2を2重量%以上10重量%以下含むターゲットを用いて成膜を行い、透光
性を有する導電膜に結晶化を阻害するSiOx(X>0)を含ませ、後の工程で行う加熱
処理の際に酸化物半導体膜が結晶化してしまうのを抑制することが好ましい。
(EPMA:Electron Probe X−ray MicroAnalyzer
)を用いた分析により評価するものとする。
量電極層など)や、その他の配線層(容量配線層など)に可視光に対して透光性を有する
導電膜を用いると、高開口率を有する表示装置を実現することができる。勿論、画素に存
在するゲート絶縁層、酸化物絶縁層、保護絶縁層、平坦化絶縁層も可視光に対して透光性
を有する膜を用いることが好ましい。
%である膜厚を有する膜を指し、その膜が導電性を有する場合は透明の導電膜とも呼ぶ。
また、ゲート電極層、ソース電極層、ドレイン電極層、画素電極層、またはその他の電極
層や、その他の配線層に適用する金属酸化物として、可視光に対して半透明の導電膜を用
いてもよい。可視光に対して半透明とは可視光の透過率が50〜75%であることを指す
。
ンチ以下の小型の液晶表示パネルにおいて、ゲート配線の本数を増やすなどして表示画像
の高精細化を図るため、画素寸法を微細化しても、高い開口率を実現することができる。
また、薄膜トランジスタの構成部材に透光性を有する膜を用いることで、広視野角を実現
するため、1画素を複数のサブピクセルに分割しても高い開口率を実現することができる
。即ち、高密度の薄膜トランジスタ群を配置しても開口率を大きくとることができ、表示
領域の面積を十分に確保することができる。例えば、一つの画素内に2〜4個のサブピク
セルを有する場合、薄膜トランジスタが透光性を有するため、開口率を向上させることが
できる。また、薄膜トランジスタの構成部材と同工程で同材料を用いて保持容量を形成す
ると、保持容量も透光性とすることができるため、さらに開口率を向上させることができ
る。
本実施の形態は、本明細書で開示する半導体装置に適用できる薄膜トランジスタの例を示
す。
図7は、酸化物絶縁層の上面形状及び端部の位置が図23と異なる点、ゲート絶縁層の構
成が異なる点以外は同じであるため、同じ箇所には同じ符号を用い、同じ箇所の詳細な説
明は省略する。
面を有する基板100上に、ゲート電極層101、窒化物絶縁層を用いたゲート絶縁層1
31、ハロゲン元素を含む酸化物絶縁層を用いたゲート絶縁層137、酸化物半導体層1
12、ソース電極層115a、及びドレイン電極層115bを含む。また、薄膜トランジ
スタ139を覆い、酸化物半導体層112のチャネル形成領域に接するハロゲン元素を含
む酸化物絶縁層138が設けられている。酸化物絶縁層138上にはさらに窒化物絶縁層
を用いた保護絶縁層103が形成されている。保護絶縁層103は窒化物絶縁層であるゲ
ート絶縁層131と接する構成とする。
窒化物絶縁層と酸化物絶縁層との積層構造とする。また、窒化物絶縁層である保護絶縁層
103の形成前に、ハロゲン元素を含む酸化物絶縁層である酸化物絶縁層138と、ゲー
ト絶縁層137を選択的に除去し、窒化物絶縁層であるゲート絶縁層131が露出するよ
うに加工する。
2の上面形状よりも広く、薄膜トランジスタ139を覆う上面形状とすることが好ましい
。
とを覆い、かつ窒化物絶縁層であるゲート絶縁層131に接して、窒化物絶縁層である保
護絶縁層103を形成する。
マCVD法で得られる窒化珪素膜、酸化窒化珪素膜、窒化アルミニウム膜、酸化窒化アル
ミニウム膜などの水分や、水素イオンや、OH−などの不純物を含まず、これらが外部か
ら侵入することをブロックする無機絶縁膜を用いる。
2の下面、上面、及び側面を囲むようにRFスパッタ法を用い、膜厚100nmの窒化珪
素層を設ける。
素を含むゲート絶縁層137及び酸化物絶縁層138によって、水素、水分、水酸基又は
水素化物などの不純物は低減され、かつ窒化物絶縁層であるゲート絶縁層131及び保護
絶縁層103によってさらに外部を覆うように囲まれているので、保護絶縁層103の形
成後の製造プロセスにおいて、外部からの水分の侵入を防ぐことができる。また、半導体
装置、例えば表示装置としてデバイスが完成した後にも長期的に、外部からの水分の侵入
を防ぐことができデバイスの長期信頼性を向上することができる。
に限定されず、複数の薄膜トランジスタを窒化物絶縁層で囲む構成としてもよいし、画素
部の複数の薄膜トランジスタをまとめて窒化物絶縁層で囲む構成としてもよい。少なくと
もアクティブマトリクス基板の画素部の周縁を囲むように保護絶縁層103とゲート絶縁
層131とが接する領域を設ける構成とすればよい。
本実施の形態では、実施の形態1乃至8に示した半導体装置において、薄膜トランジスタ
と、エレクトロルミネッセンスを利用する発光素子とを用い、アクティブマトリクス型の
発光表示装置を作製する一例を示す。
化合物であるかによって区別され、一般的に、前者は有機EL素子、後者は無機EL素子
と呼ばれている。
がそれぞれ発光性の有機化合物を含む層に注入され、電流が流れる。そして、それらキャ
リア(電子および正孔)が再結合することにより、発光性の有機化合物が励起状態を形成
し、その励起状態が基底状態に戻る際に発光する。このようなメカニズムから、このよう
な発光素子は、電流励起型の発光素子と呼ばれる。
類される。分散型無機EL素子は、発光材料の粒子をバインダ中に分散させた発光層を有
するものであり、発光メカニズムはドナー準位とアクセプター準位を利用するドナー−ア
クセプター再結合型発光である。薄膜型無機EL素子は、発光層を誘電体層で挟み込み、
さらにそれを電極で挟んだ構造であり、発光メカニズムは金属イオンの内殻電子遷移を利
用する局在型発光である。なお、ここでは、発光素子として有機EL素子を用いて説明す
る。
図である。
は酸化物半導体層をチャネル形成領域に用いるnチャネル型のトランジスタを1つの画素
に2つ用いる例を示す。
発光素子6404及び容量素子6403を有している。スイッチング用トランジスタ64
01はゲートが走査線6406に接続され、第1電極(ソース電極及びドレイン電極の一
方)が信号線6405に接続され、第2電極(ソース電極及びドレイン電極の他方)が駆
動用トランジスタ6402のゲートに接続されている。駆動用トランジスタ6402は、
ゲートが容量素子6403を介して電源線6407に接続され、第1電極が電源線640
7に接続され、第2電極が発光素子6404の第1電極(画素電極)に接続されている。
発光素子6404の第2電極は共通電極6408に相当する。共通電極6408は、同一
基板上に形成される共通電位線と電気的に接続される。
る。なお、低電源電位とは、電源線6407に設定される高電源電位を基準にして低電源
電位<高電源電位を満たす電位であり、低電源電位としては例えばGND、0Vなどが設
定されていても良い。この高電源電位と低電源電位との電位差を発光素子6404に印加
して、発光素子6404に電流を流して発光素子6404を発光させるため、高電源電位
と低電源電位との電位差が発光素子6404の順方向しきい値電圧以上となるようにそれ
ぞれの電位を設定する。
ことも可能である。駆動用トランジスタ6402のゲート容量については、チャネル領域
とゲート電極との間で容量が形成されていてもよい。
駆動用トランジスタ6402が十分にオンするか、オフするかの二つの状態となるような
ビデオ信号を入力する。つまり、駆動用トランジスタ6402は線形領域で動作させる。
駆動用トランジスタ6402は線形領域で動作させるため、電源線6407の電圧よりも
高い電圧を駆動用トランジスタ6402のゲートにかける。なお、信号線6405には、
(電源線電圧+駆動用トランジスタ6402のVth)以上の電圧をかける。
らせることで、図8と同じ画素構成を用いることができる。
の順方向電圧+駆動用トランジスタ6402のVth以上の電圧をかける。発光素子64
04の順方向電圧とは、所望の輝度とする場合の電圧を指しており、少なくとも順方向し
きい値電圧を含む。なお、駆動用トランジスタ6402が飽和領域で動作するようなビデ
オ信号を入力することで、発光素子6404に電流を流すことができる。駆動用トランジ
スタ6402を飽和領域で動作させるため、電源線6407の電位は、駆動用トランジス
タ6402のゲート電位よりも高くする。ビデオ信号をアナログとすることで、発光素子
6404にビデオ信号に応じた電流を流し、アナログ階調駆動を行うことができる。
イッチ、抵抗素子、容量素子、トランジスタ又は論理回路などを追加してもよい。
の場合を例に挙げて、画素の断面構造について説明する。図9(A)(B)(C)の半導
体装置に用いられる駆動用TFT7001、7011、7021は、実施の形態1乃至8
で示す薄膜トランジスタを適用することができる。本実施の形態では実施の形態2及び実
施の形態7を適用する例を示し、実施の形態2及び実施の形態7と同様に作製できる、酸
化物半導体層を含む透光性の薄膜トランジスタを用いる例を示す。
元素を含む絶縁層7031、7041、7051を積層し、加熱処理することにより酸化
物半導体層中に含まれる水素や水は絶縁層7031、7041、7051に拡散され、酸
化物半導体層は水素や水が低減されている。従って、駆動用TFT7001、7011、
7021は電気的特性の安定な信頼性の高い薄膜トランジスタである。
することができ、またハロゲン元素を含むガス雰囲気下でのプラズマ処理によって酸化物
半導体層に付着させてもよい。上記ハロゲン元素を半導体装置に含ませる方法(成膜時に
ゲート絶縁層に含ませる、成膜時に絶縁層に含ませる、プラズマ処理により絶縁層との界
面に付着させる)は、少なくとも1つ以上行えばよく、もちろん複数行ってもよい。
して、基板上に薄膜トランジスタ及び発光素子を形成し、基板とは逆側の面から発光を取
り出す上面射出構造や、基板側の面から発光を取り出す下面射出構造や、基板側及び基板
とは反対側の面から発光を取り出す両面射出構造の発光素子があり、画素構成はどの射出
構造の発光素子にも適用することができる。
3側に射出する場合の、画素の断面図を示す。図9(A)では、駆動用TFT7011の
ドレイン電極層と電気的に接続された透光性を有する導電膜7017上に、発光素子70
12の第1の電極7013が形成されており、第1の電極7013上にEL層7014、
第2の電極7015が順に積層されている。
化タングステンを含むインジウム亜鉛酸化物、酸化チタンを含むインジウム酸化物、酸化
チタンを含むインジウム錫酸化物、インジウム錫酸化物、インジウム亜鉛酸化物、酸化ケ
イ素を添加したインジウム錫酸化物などの透光性を有する導電膜を用いることができる。
の電極7013を陰極として用いる場合には、仕事関数が小さい材料、具体的には、例え
ば、LiやCs等のアルカリ金属、およびMg、Ca、Sr等のアルカリ土類金属、およ
びこれらを含む合金(Mg:Ag、Al:Liなど)の他、YbやEr等の希土類金属等
が好ましい。図9(A)では、第1の電極7013の膜厚は、光を透過する程度(好まし
くは、5nm〜30nm程度)とする。例えば20nmの膜厚を有するアルミニウム膜を
、第1の電極7013として用いる。
て透光性を有する導電膜7017と第1の電極7013を形成してもよく、この場合、同
じマスクを用いてエッチングすることができるため、好ましい。
ド、アクリル、ポリアミド、エポキシ等の有機樹脂膜、無機絶縁膜または有機ポリシロキ
サンを用いて形成する。隔壁7019は、特に感光性の樹脂材料を用い、第1の電極70
13上に開口部を形成し、その開口部の側壁が連続した曲率を持って形成される傾斜面と
なるように形成することが好ましい。隔壁7019として感光性の樹脂材料を用いる場合
、レジストマスクを形成する工程を省略することができる。
発光層を含めば良く、単数の層で構成されていても、複数の層が積層されるように構成さ
れていてもどちらでも良い。EL層7014が複数の層で構成されている場合、陰極とし
て機能する第1の電極7013上に電子注入層、電子輸送層、発光層、ホール輸送層、ホ
ール注入層の順に積層する。なおこれらの層を全て設ける必要はない。
7013上にホール注入層、ホール輸送層、発光層、電子輸送層、電子注入層の順に積層
してもよい。ただし、消費電力を比較する場合、第1の電極7013を陰極として機能さ
せ、第1の電極7013上に電子注入層、電子輸送層、発光層、ホール輸送層、ホール注
入層の順に積層するほうが、駆動回路部の電圧上昇を抑制でき、消費電力を少なくできる
ため好ましい。
とができる。例えば、第2の電極7015を陽極として用いる場合、仕事関数が大きい材
料、例えば、ZrN、Ti、W、Ni、Pt、Cr等や、ITO、IZO、ZnOなどの
透明導電性材料が好ましい。また、第2の電極7015上に遮蔽膜7016、例えば光を
遮光する金属、光を反射する金属等を用いる。本実施の形態では、第2の電極7015と
してITO膜を用い、遮蔽膜7016としてTi膜を用いる。
る領域が発光素子7012に相当する。図9(A)に示した素子構造の場合、発光素子7
012から発せられる光は、矢印で示すように第1の電極7013側に射出する。
層及びドレイン電極層に透光性を有するような薄膜を用いる例を示しており、発光素子7
012から発せられる光は、カラーフィルタ層7033を通過し、基板を通過して射出さ
せることができる。
グラフィ技術を用いたエッチング方法などでそれぞれ形成する。
層7035によって覆う。なお、図9(A)ではオーバーコート層7034は薄い膜厚で
図示したが、オーバーコート層7034は、カラーフィルタ層7033に起因する凹凸を
平坦化する機能を有している。
レイン電極層に達するコンタクトホールは、隔壁7019と重なる位置に配置する。
有する導電膜7027上に、発光素子7022の第1の電極7023が形成されており、
第1の電極7023上にEL層7024、第2の電極7025が順に積層されている。
化タングステンを含むインジウム亜鉛酸化物、酸化チタンを含むインジウム酸化物、酸化
チタンを含むインジウム錫酸化物、インジウム錫酸化物、インジウム亜鉛酸化物、酸化ケ
イ素を添加したインジウム錫酸化物などの透光性を有する導電膜を用いることができる。
23を陰極として用いる場合、仕事関数が小さい材料、具体的には、例えば、LiやCs
等のアルカリ金属、およびMg、Ca、Sr等のアルカリ土類金属、およびこれらを含む
合金(Mg:Ag、Al:Liなど)の他、YbやEr等の希土類金属等が好ましい。本
実施の形態では、第1の電極7023を陰極として用い、その膜厚は、光を透過する程度
(好ましくは、5nm〜30nm程度)とする。例えば20nmの膜厚を有するアルミニ
ウム膜を、陰極として用いる。
て透光性を有する導電膜7027と第1の電極7023を形成してもよく、この場合、同
じマスクを用いてエッチングすることができ、好ましい。
ド、アクリル、ポリアミド、エポキシ等の有機樹脂膜、無機絶縁膜または有機ポリシロキ
サンを用いて形成する。隔壁7029は、特に感光性の樹脂材料を用い、第1の電極70
23上に開口部を形成し、その開口部の側壁が連続した曲率を持って形成される傾斜面と
なるように形成することが好ましい。隔壁7029として感光性の樹脂材料を用いる場合
、レジストマスクを形成する工程を省略することができる。
めば良く、単数の層で構成されていても、複数の層が積層されるように構成されていても
どちらでも良い。EL層7024が複数の層で構成されている場合、陰極として機能する
第1の電極7023上に電子注入層、電子輸送層、発光層、ホール輸送層、ホール注入層
の順に積層する。なおこれらの層を全て設ける必要はない。
注入層、ホール輸送層、発光層、電子輸送層、電子注入層の順に積層してもよい。ただし
、消費電力を比較する場合、第1の電極7023を陰極として用い、陰極上に電子注入層
、電子輸送層、発光層、ホール輸送層、ホール注入層の順に積層するほうが消費電力が少
ないため好ましい。
とができる。例えば、第2の電極7025を陽極として用いる場合、仕事関数が大きい材
料、例えば、ITO、IZO、ZnOなどの透明導電性材料を好ましく用いることができ
る。本実施の形態では、第2の電極7025を陽極として用い、酸化シリコンを含むIT
O膜を形成する。
る領域が発光素子7022に相当する。図9(B)に示した素子構造の場合、発光素子7
022から発せられる光は、矢印で示すように第2の電極7025側と第1の電極702
3側の両方に射出する。
層及びドレイン電極層に透光性を有するような薄膜を用いる例を示しており、発光素子7
022から第1の電極7023側に発せられる光は、カラーフィルタ層7043を通過し
、基板を通過して射出させることができる。
グラフィ技術を用いたエッチング方法などでそれぞれ形成する。
層7045によって覆う。
レイン電極層に達するコンタクトホールは、隔壁7029と重なる位置に配置する。
第2の電極7025側からの光はカラーフィルタ層7043を通過しないため、別途カラ
ーフィルタ層を備えた封止基板を第2の電極7025上方に設けることが好ましい。
2の電極7005側に抜ける場合の、画素の断面図を示す。図9(C)では、駆動用TF
T7001のドレイン電極層と第1の電極7003と接しており、駆動用TFT7001
と発光素子7002の第1の電極7003とを電気的に接続している。第1の電極700
3上にEL層7004、第2の電極7005が順に積層されている。
03を陰極として用いる場合、仕事関数が小さい材料、具体的には、例えば、LiやCs
等のアルカリ金属、およびMg、Ca、Sr等のアルカリ土類金属、およびこれらを含む
合金(Mg:Ag、Al:Liなど)の他、YbやEr等の希土類金属等が好ましい。
ド、アクリル、ポリアミド、エポキシ等の有機樹脂膜、無機絶縁膜または有機ポリシロキ
サンを用いて形成する。隔壁7009は、特に感光性の樹脂材料を用い、第1の電極70
03上に開口部を形成し、その開口部の側壁が連続した曲率を持って形成される傾斜面と
なるように形成することが好ましい。隔壁7009として感光性の樹脂材料を用いる場合
、レジストマスクを形成する工程を省略することができる。
発光層を含めば良く、単数の層で構成されていても、複数の層が積層されるように構成さ
れていてもどちらでも良い。EL層7004が複数の層で構成されている場合、陰極とし
て用いる第1の電極7003上に電子注入層、電子輸送層、発光層、ホール輸送層、ホー
ル注入層の順に積層する。なおこれらの層を全て設ける必要はない。
、ホール輸送層、発光層、電子輸送層、電子注入層の順に積層してもよい。
層、ホール輸送層、発光層、電子輸送層、電子注入層の順に積層し、その上にMg:Ag
合金薄膜とITOとの積層を形成する。
輸送層、発光層、ホール輸送層、ホール注入層の順に積層するほうが、駆動回路における
電圧上昇を抑制することができ、消費電力を少なくできるため好ましい。
化タングステンを含むインジウム酸化物、酸化タングステンを含むインジウム亜鉛酸化物
、酸化チタンを含むインジウム酸化物、酸化チタンを含むインジウム錫酸化物、インジウ
ム錫酸化物、インジウム亜鉛酸化物、酸化ケイ素を添加したインジウム錫酸化物などの透
光性を有する導電膜を用いても良い。
領域が発光素子7002に相当する。図9(C)に示した画素の場合、発光素子7002
から発せられる光は、矢印で示すように第2の電極7005側に射出する。
、保護絶縁層7052、平坦化絶縁層7056、平坦化絶縁層7053、及び絶縁層70
55に設けられたコンタクトホールを介して第1の電極7003と電気的に接続する。平
坦化絶縁層7036、7046、7053、7056は、ポリイミド、アクリル、ベンゾ
シクロブテン、ポリアミド、エポキシ等の樹脂材料を用いることができる。また上記樹脂
材料の他に、低誘電率材料(low−k材料)、シロキサン系樹脂、PSG(リンガラス
)、BPSG(リンボロンガラス)等を用いることができる。なお、これらの材料で形成
される絶縁膜を複数積層させることで、平坦化絶縁層7036、7046、7053、7
056を形成してもよい。平坦化絶縁層7036、7046、7053、7056の形成
法は、特に限定されず、その材料に応じて、スパッタリング法、スピンコート法、ディッ
ピング法、スプレー塗布法、液滴吐出法(インクジェット法、スクリーン印刷、オフセッ
ト印刷等)、ロールコート法、カーテンコート法、ナイフコート法等を用いることができ
る。
9を設ける。隔壁7009は、ポリイミド、アクリル、ポリアミド、エポキシ等の有機樹
脂膜、無機絶縁膜または有機ポリシロキサンを用いて形成する。隔壁7009は、特に感
光性の樹脂材料を用い、第1の電極7003上に開口部を形成し、その開口部の側壁が連
続した曲率を持って形成される傾斜面となるように形成することが好ましい。隔壁700
9として感光性の樹脂材料を用いる場合、レジストマスクを形成する工程を省略すること
ができる。
2として緑色発光素子とし、隣り合う一方の発光素子を赤色発光素子とし、もう一方の発
光素子を青色発光素子とする。また、3種類の発光素子だけでなく白色発光素子を加えた
4種類の発光素子でフルカラー表示ができる発光表示装置を作製してもよい。
、発光素子7002上方にカラーフィルタなどを有する封止基板を配置する構成とし、フ
ルカラー表示ができる発光表示装置を作製してもよい。白色などの単色の発光を示す材料
を形成し、カラーフィルタや色変換層を組み合わせることによりフルカラー表示を行うこ
とができる。
もよいし、単色発光を用いてエリアカラータイプの発光装置を形成してもよい。
L素子を設けることも可能である。
に接続されている例を示したが、駆動用TFTと発光素子との間に電流制御用TFTが接
続されている構成であってもよい。
本実施の形態では、発光表示パネル(発光パネルともいう)の外観及び断面について、図
10を用いて説明する。図10(A)は、第1の基板上に形成された薄膜トランジスタ及
び発光素子を、第2の基板との間にシール材によって封止した、パネルの平面図であり、
図10(B)は、図10(A)のH−Iにおける断面図に相当する。
3b、及び走査線駆動回路4504a、4504bを囲むようにして、シール材4505
が設けられている。また画素部4502、信号線駆動回路4503a、4503b、及び
走査線駆動回路4504a、4504bの上に第2の基板4506が設けられている。よ
って画素部4502、信号線駆動回路4503a、4503b、及び走査線駆動回路45
04a、4504bは、第1の基板4501とシール材4505と第2の基板4506と
によって、充填材4507と共に密封されている。このように外気に曝されないように気
密性が高く、脱ガスの少ない保護フィルム(貼り合わせフィルム、紫外線硬化樹脂フィル
ム等)やカバー材でパッケージング(封入)することが好ましい。
503b、及び走査線駆動回路4504a、4504bは、薄膜トランジスタを複数有し
ており、図10(B)では、画素部4502に含まれる薄膜トランジスタ4510と、信
号線駆動回路4503aに含まれる薄膜トランジスタ4509とを例示している。
ジスタを適宜用いることができ、同様な工程及び材料で形成することができる。薄膜トラ
ンジスタ4509、4510は、酸化物半導体層にハロゲン元素を含む酸化物絶縁層及び
/又はゲート絶縁層を接して形成し、加熱処理することにより酸化物半導体層中に含まれ
る水素や水は酸化物絶縁層及び/又はゲート絶縁層に拡散され、酸化物半導体層は水素や
水が低減されている。従って、薄膜トランジスタ4509、4510は電気的特性の安定
な信頼性の高い薄膜トランジスタである。
することができ、またハロゲン元素を含むガス雰囲気下でのプラズマ処理によって酸化物
半導体層に付着させてもよい。上記ハロゲン元素を半導体装置に含ませる方法(成膜時に
ゲート絶縁層に含ませる、成膜時に絶縁層に含ませる、プラズマ処理により絶縁層との界
面に付着させる)は、少なくとも1つ以上行えばよく、もちろん複数行ってもよい。
体層のチャネル形成領域と重なる位置に導電層を設けた構造とする。本実施の形態におい
て、薄膜トランジスタ4509、4510はnチャネル型薄膜トランジスタである。
層のチャネル形成領域と重なる位置に導電層4540が設けられている。導電層4540
を酸化物半導体層のチャネル形成領域と重なる位置に設けることによって、BT試験前後
における薄膜トランジスタ4509のしきい値電圧の変化量を低減することができる。ま
た、導電層4540は、電位が薄膜トランジスタ4509のゲート電極層と同じでもよい
し、異なっていても良く、第2のゲート電極層として機能させることもできる。また、導
電層4540の電位がGND、0V、或いはフローティング状態であってもよい。
ジスタを含む回路部)に作用しないようにする機能(特に静電気に対する静電遮蔽機能)
も有する。導電層の4540の遮蔽機能により、静電気などの外部の電場の影響により薄
膜トランジスタの電気的な特性が変動することを防止することができる。
れている。薄膜トランジスタ4510のソース電極層又はドレイン電極層は薄膜トランジ
スタ上に設けられた酸化物絶縁層4542及び絶縁層4551に形成された開口において
配線層4550と電気的に接続されている。配線層4550は第1の電極4517と接し
て形成されており、薄膜トランジスタ4510と第1の電極4517とは配線層4550
を介して電気的に接続されている。
36と同様な材料及び方法で形成すればよい。
1上に形成される。
オーバーコート層4543で覆う構成となっている。
は、実施の形態1で示した保護絶縁層103と同様に形成すればよく、例えば窒化シリコ
ン膜をスパッタリング法で形成すればよい。
517は、薄膜トランジスタ4510のソース電極層またはドレイン電極層と配線層45
50を介して電気的に接続されている。なお発光素子4511の構成は、第1電極451
7、電界発光層4512、第2電極4513の積層構造であるが、示した構成に限定され
ない。発光素子4511から取り出す光の方向などに合わせて、発光素子4511の構成
は適宜変えることができる。
特に感光性の材料を用い、第1電極4517上に開口部を形成し、その開口部の側壁が連
続した曲率を持って形成される傾斜面となるように形成することが好ましい。
されていてもどちらでも良い。
13及び隔壁4520上に保護膜を形成してもよい。保護膜としては、窒化シリコン膜、
窒化酸化シリコン膜、DLC膜等を形成することができる。
、または画素部4502に与えられる各種信号及び電位は、FPC4518a、4518
bから供給されている。
形成され、端子電極4516は、薄膜トランジスタ4509のソース電極層及びドレイン
電極層と同じ導電膜から形成されている。
して電気的に接続されている。
ない。その場合には、ガラス板、プラスチック板、ポリエステルフィルムまたはアクリル
フィルムのような透光性を有する材料を用いる。
脂または熱硬化樹脂を用いることができ、PVC(ポリビニルクロライド)、アクリル、
ポリイミド、エポキシ樹脂、シリコーン樹脂、PVB(ポリビニルブチラル)またはEV
A(エチレンビニルアセテート)を用いることができる。例えば充填材として窒素を用い
ればよい。
位相差板(λ/4板、λ/2板)などの光学フィルムを適宜設けてもよい。また、偏光板
又は円偏光板に反射防止膜を設けてもよい。例えば、表面の凹凸により反射光を拡散し、
映り込みを低減できるアンチグレア処理を施すことができる。
成することができる。シール材は、代表的には可視光硬化性、紫外線硬化性または熱硬化
性の樹脂を含む材料を用いることができる。また、フィラーを含んでもよい。
、別途用意された基板上に単結晶半導体膜又は多結晶半導体膜によって形成された駆動回
路で実装されていてもよい。また、信号線駆動回路のみ、或いは一部、又は走査線駆動回
路のみ、或いは一部のみを別途形成して実装しても良く、図10の構成に限定されない。
ることができる。
半導体装置の一形態に相当する液晶表示パネルの外観及び断面について、図16を用いて
説明する。図16(A)(C)は、薄膜トランジスタ4010、4011、及び液晶素子
4013を、第1の基板4001と第2の基板4006との間にシール材4005によっ
て封止した、パネルの平面図であり、図16(B)は、図16(A)または図16(C)
のM−Nにおける断面図に相当する。
ようにして、シール材4005が設けられている。また画素部4002と、走査線駆動回
路4004の上に第2の基板4006が設けられている。よって画素部4002と、走査
線駆動回路4004とは、第1の基板4001とシール材4005と第2の基板4006
とによって、液晶層4008と共に封止されている。また第1の基板4001上のシール
材4005によって囲まれている領域とは異なる領域に、別途用意された基板上に単結晶
半導体膜又は多結晶半導体膜で形成された信号線駆動回路4003が実装されている。
ワイヤボンディング方法、或いはTAB方法などを用いることができる。図16(A)は
、COG方法により信号線駆動回路4003を実装する例であり、図16(C)は、TA
B方法により信号線駆動回路4003を実装する例である。
薄膜トランジスタを複数有しており、図16(B)では、画素部4002に含まれる薄膜
トランジスタ4010と、走査線駆動回路4004に含まれる薄膜トランジスタ4011
とを例示している。薄膜トランジスタ4010、4011上には絶縁層4041、404
2、4021が設けられている。
ジスタを適宜用いることができ、同様な工程及び材料で形成することができる。薄膜トラ
ンジスタ4010、4011は、酸化物半導体層にハロゲン元素を含む絶縁層4041又
は/及びゲート絶縁層4020を接して形成し、加熱処理することにより酸化物半導体層
中に含まれる水素や水は酸化物絶縁層及び/又はゲート絶縁層に拡散され、酸化物半導体
層は水素や水が低減されている。従って、薄膜トランジスタ4010、4011は電気的
特性の安定な信頼性の高い薄膜トランジスタである。
することができ、またハロゲン元素を含むガス雰囲気下でのプラズマ処理によって酸化物
半導体層に付着させてもよい。上記ハロゲン元素を半導体装置に含ませる方法(成膜時に
ゲート絶縁層に含ませる、成膜時に絶縁層に含ませる、プラズマ処理により絶縁層との界
面に付着させる)は、少なくとも1つ以上行えばよく、もちろん複数行ってもよい。
チャネル形成領域と重なる位置に導電層4040が設けられている。導電層4040を酸
化物半導体層のチャネル形成領域と重なる位置に設けることによって、BT試験前後にお
ける薄膜トランジスタ4011のしきい値電圧の変化量を低減することができる。また、
導電層4040は、電位が薄膜トランジスタ4011のゲート電極層と同じでもよいし、
異なっていても良く、第2のゲート電極層として機能させることもできる。また、導電層
4040の電位がGND、0V、或いはフローティング状態であってもよい。
ース電極層又はドレイン電極層と電気的に接続されている。そして液晶素子4013の対
向電極層4031は第2の基板4006上に形成されている。画素電極層4030と対向
電極層4031と液晶層4008とが重なっている部分が、液晶素子4013に相当する
。なお、画素電極層4030、対向電極層4031はそれぞれ配向膜として機能する絶縁
層4032、4033が設けられ、絶縁層4032、4033を介して液晶層4008を
挟持している。
き、ガラス、セラミックス、プラスチックを用いることができる。プラスチックとしては
、FRP(Fiberglass−Reinforced Plastics)板、PV
F(ポリビニルフルオライド)フィルム、ポリエステルフィルム、またはアクリル樹脂フ
ィルムを用いることができる。
画素電極層4030と対向電極層4031との間の距離(セルギャップ)を制御するため
に設けられている。なお球状のスペーサを用いていても良い。また、対向電極層4031
は、薄膜トランジスタ4010と同一基板上に設けられる共通電位線と電気的に接続され
る。共通接続部を用いて、一対の基板間に配置される導電性粒子を介して対向電極層40
31と共通電位線とを電気的に接続することができる。なお、導電性粒子はシール材40
05に含有させる。
あり、コレステリック液晶を昇温していくと、コレステリック相から等方相へ転移する直
前に発現する相である。ブルー相は狭い温度範囲でしか発現しないため、温度範囲を改善
するために5重量%以上のカイラル剤を混合させた液晶組成物を用いて液晶層4008に
用いる。ブルー相を示す液晶とカイラル剤とを含む液晶組成物は、応答速度が1msec
以下と短く、光学的等方性であるため配向処理が不要であり、視野角依存性が小さい。ま
た配向膜を設けなくてもよいのでラビング処理も不要となるため、ラビング処理によって
引き起こされる静電破壊を防止することができ、作製工程中の液晶表示装置の不良や破損
を軽減することができる。よって液晶表示装置の生産性を向上させることが可能となる。
特に、酸化物半導体層を用いる薄膜トランジスタは、静電気の影響により薄膜トランジス
タの電気的な特性が著しく変動して設計範囲を逸脱する恐れがある。よって酸化物半導体
層を用いる薄膜トランジスタを有する液晶表示装置にブルー相の液晶材料を用いることは
より効果的である。
子に用いる電極層という順に設ける例を示すが、偏光板は基板の内側に設けてもよい。ま
た、偏光板と着色層の積層構造も本実施の形態に限定されず、偏光板及び着色層の材料や
作製工程条件によって適宜設定すればよい。また、表示部以外にブラックマトリクスとし
て機能する遮光膜を設けてもよい。
形成されている。絶縁層4041はハロゲン元素を含む場合、実施の形態2で示した酸化
物絶縁層136と同様な材料及び方法で形成すればよい。ここでは、絶縁層4041とし
て、実施の形態2を用いてスパッタリング法によりハロゲン元素を含む酸化シリコン層を
形成する。また、絶縁層4041上に接して絶縁層4042を形成する。また、絶縁層4
042は実施の形態1で示した保護絶縁層103と同様に形成すればよく、例えば窒化シ
リコン層を用いることができる。また、絶縁層4042上に薄膜トランジスタの表面凹凸
を低減するため平坦化絶縁膜として機能する絶縁層4021で覆う構成となっている。
ミド、アクリル、ベンゾシクロブテン、ポリアミド、エポキシ等の、耐熱性を有する有機
材料を用いることができる。また上記有機材料の他に、低誘電率材料(low−k材料)
、シロキサン系樹脂、PSG(リンガラス)、BPSG(リンボロンガラス)等を用いる
ことができる。なお、これらの材料で形成される絶縁膜を複数積層させることで、絶縁層
4021を形成してもよい。
ピンコート法、ディッピング法、スプレー塗布法、液滴吐出法(インクジェット法、スク
リーン印刷、オフセット印刷等)、ロールコート法、カーテンコート法、ナイフコート法
等を用いることができる。絶縁層4021の焼成工程と半導体層のアニールを兼ねること
で効率よく半導体装置を作製することが可能となる。
、酸化タングステンを含むインジウム亜鉛酸化物、酸化チタンを含むインジウム酸化物、
酸化チタンを含むインジウム錫酸化物、インジウム錫酸化物(以下、ITOと示す。)、
インジウム亜鉛酸化物、酸化ケイ素を添加したインジウム錫酸化物などの透光性を有する
透光性の導電性材料を用いることができる。
ともいう)を含む導電性組成物を用いて形成することができる。導電性組成物を用いて形
成した画素電極は、シート抵抗が10000Ω/□以下、波長550nmにおける透光率
が70%以上であることが好ましい。また、導電性組成物に含まれる導電性高分子の抵抗
率が0.1Ω・cm以下であることが好ましい。
ば、ポリアニリンまたはその誘導体、ポリピロールまたはその誘導体、ポリチオフェンま
たはその誘導体、若しくはこれらの2種以上の共重合体などがあげられる。
002に与えられる各種信号及び電位は、FPC4018から供給されている。
ら形成され、端子電極4016は、薄膜トランジスタ4010、4011のソース電極層
及びドレイン電極層と同じ導電膜で形成されている。
て電気的に接続されている。
装している例を示しているがこの構成に限定されない。走査線駆動回路を別途形成して実
装しても良いし、信号線駆動回路の一部または走査線駆動回路の一部のみを別途形成して
実装しても良い。
部材(光学基板)などは適宜設ける。例えば、偏光基板及び位相差基板による円偏光を用
いてもよい。また、光源としてバックライト、サイドライトなどを用いてもよい。
を駆動することによって、画面上に表示パターンが形成される。詳しくは選択された画素
電極と該画素電極に対応する対向電極との間に電圧が印加されることによって、画素電極
と対向電極との間に配置された液晶層の光学変調が行われ、この光学変調が表示パターン
として観察者に認識される。
は動画のぼけが生じるという問題がある。液晶表示装置の動画特性を改善するため、全面
黒表示を1フレームおきに行う、所謂、黒挿入と呼ばれる駆動技術がある。
、所謂、倍速駆動と呼ばれる駆動技術もある。
ダイオード)光源または複数のEL光源などを用いて面光源を構成し、面光源を構成して
いる各光源を独立して1フレーム期間内で間欠点灯駆動する駆動技術もある。面光源とし
て、3種類以上のLEDを用いてもよいし、白色発光のLEDを用いてもよい。独立して
複数のLEDを制御できるため、液晶層の光学変調の切り替えタイミングに合わせてLE
Dの発光タイミングを同期させることもできる。この駆動技術は、LEDを部分的に消灯
することができるため、特に一画面を占める黒い表示領域の割合が多い映像表示の場合に
は、消費電力の低減効果が図れる。
を従来よりも改善することができる。
動回路と同一基板上に保護回路を設けることが好ましい。保護回路は、酸化物半導体層を
用いた非線形素子を用いて構成することが好ましい。例えば、保護回路は画素部と、走査
線入力端子及び信号線入力端子との間に配設されている。本実施の形態では複数の保護回
路を配設して、走査線、信号線及び容量バス線に静電気等によりサージ電圧が印加され、
画素トランジスタなどが破壊されないように構成されている。そのため、保護回路にはサ
ージ電圧が印加されたときに、共通配線に電荷を逃がすように構成する。また、保護回路
は、走査線に対して並列に配置された非線形素子によって構成されている。非線形素子は
、ダイオードのような二端子素子又はトランジスタのような三端子素子で構成される。例
えば、画素部の薄膜トランジスタと同じ工程で形成することも可能であり、例えばゲート
端子とドレイン端子を接続することによりダイオードと同様の特性を持たせることができ
る。
S(In−Plane−Switching)モード、FFS(Fringe Fiel
d Switching)モード、ASM(Axially Symmetric al
igned Micro−cell)モード、OCB(Optical Compens
ated Birefringence)モード、FLC(Ferroelectric
Liquid Crystal)モード、AFLC(AntiFerroelectr
ic Liquid Crystal)モードなどを用いることができる。
CB液晶、STN液晶、VA液晶、ECB型液晶、GH液晶、高分子分散型液晶、ディス
コティック液晶などを用いることができるが、中でもノーマリーブラック型の液晶パネル
、例えば垂直配向(VA)モードを採用した透過型の液晶表示装置とすることが好ましい
。垂直配向モードとしては、いくつか挙げられるが、例えば、MVA(Multi−Do
main Vertical Alignment)モード、PVA(Patterne
d Vertical Alignment)モード、ASVモードなどを用いることが
できる。
る。VA型の液晶表示装置は、電圧が印加されていないときにパネル面に対して液晶分子
が垂直方向を向く方式である。本実施の形態では、特に画素(ピクセル)をいくつかの領
域(サブピクセル)に分け、それぞれ別の方向に分子を倒すよう工夫されている。これを
マルチドメイン化あるいはマルチドメイン設計という。以下の説明では、マルチドメイン
設計が考慮された液晶表示装置について説明する。
の平面図であり、図中に示す切断線Y−Zに対応する断面構造を図12に表している。以
下の説明ではこの両図を参照して説明する。
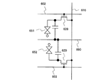
が接続されている。各TFTは、異なるゲート信号で駆動されるように構成されている。
すなわち、マルチドメイン設計された画素において、個々の画素電極層に印加する信号を
、独立して制御する構成を有している。
クトホール623において、配線618でTFT628と接続している。また、画素電極
層626は、酸化物絶縁層620、及び絶縁膜622をそれぞれ貫通するコンタクトホー
ル627において、配線619でTFT629と接続している。TFT628のゲート配
線602と、TFT629のゲート配線603には、異なるゲート信号を与えることがで
きるように分離されている。一方、データ線として機能するソース電極層又はドレイン電
極層616は、TFT628とTFT629で共通に用いられている。なお、ゲート配線
602、ゲート配線603上にはゲート絶縁層606a、606bが形成されている。
宜用いることができる。本実施の形態のTFT628及びTFT629においては、実施
の形態3で示した薄膜トランジスタと同様に酸化物半導体層と接するゲート絶縁層606
b及び酸化物絶縁層620にハロゲン元素を含む例である。ハロゲン元素を含むゲート絶
縁層及び酸化物絶縁層を接して形成し、加熱処理を行うことによって、酸化物半導体層に
含まれる水素、水分、水酸基又は水素化物などの不純物は低減されている。よって、TF
T628とTFT629は電気的特性の安定な信頼性の高いTFTである。
することができ、またハロゲン元素を含むガス雰囲気下でのプラズマ処理によって酸化物
半導体層に付着させてもよい。上記ハロゲン元素を半導体装置に含ませる方法(成膜時に
ゲート絶縁層に含ませる、成膜時に絶縁層に含ませる、プラズマ処理により絶縁層との界
面に付着させる)は、少なくとも1つ以上行えばよく、もちろん複数行ってもよい。
、画素電極層または画素電極層と電気的に接続する容量電極と保持容量を形成する。
離されている。V字型に広がる画素電極層624の外側を囲むように画素電極層626が
形成されている。画素電極層624と画素電極層626に印加する電圧のタイミングを、
TFT628及びTFT629により異ならせることで、液晶の配向を制御している。こ
の画素構造の等価回路を図15に示す。TFT628とTFT629は、共にソース電極
層又はドレイン電極層616と接続している。ゲート配線602とゲート配線603に異
なるゲート信号を与えることで、液晶素子651と液晶素子652の動作を異ならせるこ
とができる。すなわち、TFT628とTFT629の動作を個別に制御することにより
、液晶の配向を精密に制御して視野角を広げることができる。
ている。また、第2の着色膜636と対向電極層640の間にはオーバーコート膜とも呼
ばれる平坦化膜637が形成され、液晶の配向乱れを防いでいる。図14に対向基板側の
構造を示す。対向電極層640は異なる画素間で共通化されている電極であるが、スリッ
ト641が形成されている。このスリット641と、画素電極層624及び画素電極層6
26側のスリットとを交互に咬み合うように配置することで、斜め電界が効果的に発生さ
せて液晶の配向を制御することができる。これにより、液晶が配向する方向を場所によっ
て異ならせることができ、視野角を広げている。
る開口パターンを有する第2の対向電極層と同電位である。開口パターンを有する第2の
対向電極層を駆動回路部に設けることによって、高信頼性及び低消費電力の半導体装置と
することができる。
子が形成されている。また、画素電極層626と液晶層650と対向電極層640が重な
り合うことで、第2の液晶素子が形成されている。また、一画素に第1の液晶素子と第2
の液晶素子が設けられたマルチドメイン構造である。
本実施の形態では、本発明の一実施の形態である半導体装置として電子ペーパーの例を示
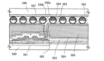
す。
型の電子ペーパーを示す。半導体装置に用いられる薄膜トランジスタ581としては、実
施の形態1乃至8のいずれか一の薄膜トランジスタを適宜用いることができ、同様な工程
及び材料で形成することができる。
スタと同様に酸化物半導体層と接するゲート絶縁層582にハロゲン元素を含む例である
。ハロゲン元素を含むゲート絶縁層を接して形成し、加熱処理を行うことによって、酸化
物半導体層に含まれる水素、水分、水酸基又は水素化物などの不純物は低減されている。
よって、薄膜トランジスタ581は電気的特性の安定な信頼性の高い薄膜トランジスタで
ある。
することができ、またハロゲン元素を含むガス雰囲気下でのプラズマ処理によって酸化物
半導体層に付着させてもよい。上記ハロゲン元素を半導体装置に含ませる方法(成膜時に
ゲート絶縁層に含ませる、成膜時に絶縁層に含ませる、プラズマ処理により絶縁層との界
面に付着させる)は、少なくとも1つ以上行えばよく、もちろん複数行ってもよい。
トボール表示方式とは、白と黒に塗り分けられた球形粒子を表示素子に用い、電極層であ
る第1の電極層及び第2の電極層の間に配置し、第1の電極層及び第2の電極層に電位差
を生じさせての球形粒子の向きを制御することにより、表示を行う方法である。
タであり、ソース電極層又はドレイン電極層は、酸化物絶縁層583、保護絶縁層584
、絶縁層585に形成される開口において第1の電極層587と接して電気的に接続され
ている。
0bを有し、周りに液体で満たされているキャビティ594を含む球形粒子が設けられて
おり、球形粒子の周囲は樹脂等の充填材595で充填されている(図11参照。)。本実
施の形態においては、第1の電極層587が画素電極に相当し、対向基板596に設けら
れる第2の電極層588が共通電極に相当する。
と、正に帯電した白い微粒子と負に帯電した黒い微粒子とを封入した直径10μm〜20
0μm程度のマイクロカプセルを用いる。第1の電極層と第2の電極層との間に設けられ
るマイクロカプセルは、第1の電極層と第2の電極層によって、電場が与えられると、白
い微粒子と、黒い微粒子が逆の方向に移動し、白または黒を表示することができる。この
原理を応用した表示素子が電気泳動表示素子であり、一般的に電子ペーパーとよばれてい
る。電気泳動表示素子は、液晶表示素子に比べて反射率が高いため、補助ライトは不要で
あり、また消費電力が小さく、薄暗い場所でも表示部を認識することが可能である。また
、表示部に電源が供給されない場合であっても、一度表示した像を保持することが可能で
あるため、電波発信源から表示機能付き半導体装置(単に表示装置、又は表示装置を具備
する半導体装置ともいう)を遠ざけた場合であっても、表示された像を保存しておくこと
が可能となる。
。
本明細書に開示する半導体装置は、さまざまな電子機器(遊技機も含む)に適用すること
ができる。電子機器としては、例えば、テレビジョン装置(テレビ、またはテレビジョン
受信機ともいう)、コンピュータ用などのモニタ、デジタルカメラ、デジタルビデオカメ
ラ、デジタルフォトフレーム、携帯電話機(携帯電話、携帯電話装置ともいう)、携帯型
ゲーム機、携帯情報端末、音響再生装置、パチンコ機などの大型ゲーム機などが挙げられ
る。
1600は、筐体1601に組み込まれた表示部1602の他、操作ボタン1603a、
1603b、外部接続ポート1604、スピーカ1605、マイク1606などを備えて
いる。
報を入力ことができる。また、電話を掛ける、或いはメールを打つなどの操作は、表示部
1602を指などで触れることにより行うことができる。
示モードであり、第2は、文字等の情報の入力を主とする入力モードである。第3は表示
モードと入力モードの2つのモードが混合した表示+入力モードである。
主とする文字入力モードとし、画面に表示させた文字の入力操作を行えばよい。この場合
、表示部1602の画面のほとんどにキーボードまたは番号ボタンを表示させることが好
ましい。
有する検出装置を設けることで、携帯電話機1600の向き(縦か横か)を判断して、表
示部1602の画面表示を自動的に切り替えるようにすることができる。
ボタン1603の操作により行われる。また、表示部1602に表示される画像の種類に
よって切り替えるようにすることもできる。例えば、表示部に表示する画像信号が動画の
データであれば表示モード、テキストデータであれば入力モードに切り替える。
部1602のタッチ操作による入力が一定期間ない場合には、画面のモードを入力モード
から表示モードに切り替えるように制御してもよい。
02に掌や指を触れることで、掌紋、指紋等を撮像することで、本人認証を行うことがで
きる。また、表示部に近赤外光を発光するバックライトまたは近赤外光を発光するセンシ
ング用光源を用いれば、指静脈、掌静脈などを撮像することもできる。
素のスイッチング素子として、上記他の実施の形態に示す薄膜トランジスタを複数配置す
ることができる。
複数の機能を備えることができる。例えば電話機能に加えて、コンピュータを内蔵し、様
々なデータ処理機能を備えることもできる。
成されている。筐体1800には、表示パネル1802、スピーカー1803、マイクロ
フォン1804、ポインティングデバイス1806、カメラ用レンズ1807、外部接続
端子1808などを備え、筐体1801には、キーボード1810、外部メモリスロット
1811などを備えている。また、アンテナは筐体1801内部に内蔵されている。
ている複数の操作キー1805を点線で示している。
に応じて表示の方向が適宜変化する。また、表示パネル1802と同一面上にカメラ用レ
ンズ1807を備えているため、テレビ電話が可能である。スピーカー1803及びマイ
クロフォン1804は音声通話に限らず、テレビ電話、録音、再生などが可能である。さ
らに、筐体1800と筐体1801は、スライドし、図17(B)のように展開している
状態から重なり合った状態とすることができ、携帯に適した小型化が可能である。
であり、充電及びパーソナルコンピュータなどとのデータ通信が可能である。また、外部
メモリスロット1811に記録媒体を挿入し、より大量のデータ保存及び移動に対応でき
る。
よい。
。テレビジョン装置9600は、筐体9601に表示部9603が組み込まれている。表
示部9603により、映像を表示することが可能である。また、ここでは、スタンド96
05により筐体9601を支持した構成を示している。
コン操作機9610により行うことができる。リモコン操作機9610が備える操作キー
9609により、チャンネルや音量の操作を行うことができ、表示部9603に表示され
る映像を操作することができる。また、リモコン操作機9610に、当該リモコン操作機
9610から出力する情報を表示する表示部9607を設ける構成としてもよい。
より一般のテレビ放送の受信を行うことができ、さらにモデムを介して有線または無線に
よる通信ネットワークに接続することにより、一方向(送信者から受信者)または双方向
(送信者と受信者間、あるいは受信者間同士など)の情報通信を行うことも可能である。
素のスイッチング素子として、上記他の実施の形態に示す薄膜トランジスタを複数配置す
ることができる。
を示している。例えば、デジタルフォトフレーム9700は、筐体9701に表示部97
03が組み込まれている。表示部9703は、各種画像を表示することが可能であり、例
えばデジタルカメラなどで撮影した画像データを表示させることで、通常の写真立てと同
様に機能させることができる。
素のスイッチング素子として、上記他の実施の形態に示す薄膜トランジスタを複数配置す
ることができる。
Bケーブルなどの各種ケーブルと接続可能な端子など)、記録媒体挿入部などを備える構
成とする。これらの構成は、表示部と同一面に組み込まれていてもよいが、側面や裏面に
備えるとデザイン性が向上するため好ましい。例えば、デジタルフォトフレーム9700
の記録媒体挿入部に、デジタルカメラで撮影した画像データを記憶したメモリを挿入して
画像データを取り込み、取り込んだ画像データを表示部9703に表示させることができ
る。
。無線により、所望の画像データを取り込み、表示させる構成とすることもできる。
り、連結部9893により、開閉可能に連結されている。筐体9881には表示部988
2が組み込まれ、筐体9891には表示部9883が組み込まれている。
素のスイッチング素子として、上記他の実施の形態に示す薄膜トランジスタを複数配置す
ることができる。
86、LEDランプ9890、入力手段(操作キー9885、接続端子9887、センサ
9888(力、変位、位置、速度、加速度、角速度、回転数、距離、光、液、磁気、温度
、化学物質、音声、時間、硬度、電場、電流、電圧、電力、放射線、流量、湿度、傾度、
振動、におい又は赤外線を測定する機能を含むもの)、マイクロフォン9889)等を備
えている。もちろん、携帯型遊技機の構成は上述のものに限定されず、少なくとも本明細
書に開示する薄膜トランジスタを備えた構成であればよく、その他付属設備が適宜設けら
れた構成とすることができる。図19に示す携帯型遊技機は、記録媒体に記録されている
プログラム又はデータを読み出して表示部に表示する機能や、他の携帯型遊技機と無線通
信を行って情報を共有する機能を有する。なお、図19に示す携帯型遊技機が有する機能
はこれに限定されず、様々な機能を有することができる。
内の照明装置3001として用いた例である。本明細書に示す発光装置は大面積化も可能
であるため、大面積の照明装置として用いることができる。また、上記実施の形態で示し
た発光装置は、卓上照明器具3002として用いることも可能である。なお、照明器具に
は天井固定型の照明器具、卓上照明器具の他にも、壁掛け型の照明器具、車内用照明、誘
導灯なども含まれる。
様々な電子機器の表示パネルに適用することができ、信頼性の高い電子機器を提供するこ
とができる。
本明細書に開示する半導体装置は、電子ペーパーとして適用することができる。電子ペー
パーは、情報を表示するものであればあらゆる分野の電子機器に用いることが可能である
。例えば、電子ペーパーを用いて、電子書籍(電子ブック)、ポスター、電車などの乗り
物の車内広告、クレジットカード等の各種カードにおける表示等に適用することができる
。電子機器の一例を図20に示す。
00は、筐体2701および筐体2703の2つの筐体で構成されている。筐体2701
および筐体2703は、軸部2711により一体とされており、該軸部2711を軸とし
て開閉動作を行うことができる。このような構成により、紙の書籍のような動作を行うこ
とが可能となる。
込まれている。表示部2705および表示部2707は、続き画面を表示する構成として
もよいし、異なる画面を表示する構成としてもよい。異なる画面を表示する構成とするこ
とで、例えば右側の表示部(図20では表示部2705)に文章を表示し、左側の表示部
(図20では表示部2707)に画像を表示することができる。
701において、電源2721、操作キー2723、スピーカ2725などを備えている
。操作キー2723により、頁を送ることができる。なお、筐体の表示部と同一面にキー
ボードやポインティングデバイスなどを備える構成としてもよい。また、筐体の裏面や側
面に、外部接続用端子(イヤホン端子、USB端子、またはACアダプタおよびUSBケ
ーブルなどの各種ケーブルと接続可能な端子など)、記録媒体挿入部などを備える構成と
してもよい。さらに、電子書籍2700は、電子辞書としての機能を持たせた構成として
もよい。
電子書籍サーバから、所望の書籍データなどを購入し、ダウンロードする構成とすること
も可能である。
(実施の形態15)
本実施の形態は、本明細書で開示する半導体装置に適用できる薄膜トランジスタの例を示
す。
化物絶縁層を用いる構成の例を図29示す。よって、該構成が異なる点以外は同じである
ため、同じ箇所には同じ符号を用い、同じ箇所の詳細な説明は省略する。
表面を有する基板100上に、ゲート電極層101、ゲート絶縁層176、酸化物半導体
層112、ソース電極層115a、及びドレイン電極層115bを含む。また、薄膜トラ
ンジスタ175を覆い、酸化物半導体層112のチャネル形成領域に接する保護絶縁層と
して絶縁層178が設けられている。
導体層及び、該酸化物半導体層と接して形成される絶縁層との界面において、変動要因と
なる水素、水分、水酸基又は水素化物(水素化合物ともいう)などの不純物を排除する。
具体的には、酸化物半導体層及び、該酸化物半導体層と接して形成される絶縁層との界面
における水素濃度は5×1019atoms/cm3以下、好ましくは1×1019at
oms/cm3以下とすることが望ましい。
水素原子や、H2Oなど水素原子を含む化合物)などの不純物を、酸化物半導体層より排
除し、上記酸化物半導体層中の不純物濃度を低減する。ゲート絶縁層や絶縁層にハロゲン
元素を含ませる場合、ゲート絶縁層や絶縁層中におけるハロゲン元素濃度は5×1018
atoms/cm3乃至1×1020atoms/cm3程度とすればよい。
することができ、またハロゲン元素を含むガス雰囲気下でのプラズマ処理によって酸化物
半導体層に付着させてもよい。上記ハロゲン元素を半導体装置に含ませる方法(成膜時に
ゲート絶縁層に含ませる、成膜時に絶縁層に含ませる、プラズマ処理により酸化物絶縁層
との界面に付着させる)は、少なくとも1つ以上行えばよく、もちろん複数行ってもよい
。
水分、水酸基又は水素化物などの不純物を、ゲート絶縁層、及び/又は絶縁層に拡散させ
、上記酸化物半導体層中の不純物濃度を低減させる。
あり、酸化物半導体層112に接して設けられるゲート絶縁層176及び絶縁層178は
ハロゲン元素を含む。
178として窒化物絶縁層を用いる。ゲート絶縁層176及び絶縁層178両方に窒化物
絶縁層を用いてもよいし、どちらか一方に用いて他方には酸化物絶縁層を用いてもよい。
ゲート絶縁層176に窒化物絶縁層、絶縁層178に酸化物絶縁層を用いる組みあわせ(
例えば、ゲート絶縁層176に窒化シリコン層、絶縁層178に酸化シリコン層)、ゲー
ト絶縁層176に酸化物絶縁層、絶縁層178に窒化物絶縁層(例えば、ゲート絶縁層1
76に酸化シリコン層、絶縁層178に窒化シリコン層)を用いる組みあわせなどとする
ことができる。
向上することができる。
ることができ、またμ波(2.45GHz)を用いた高密度プラズマCVDは、緻密で絶
縁耐圧の高い高品質な絶縁層を形成できるので好ましい。
化シリコン層、窒化酸化シリコン層、窒化アルミニウム層、又は窒化酸化アルミニウム層
などの単層、又は積層を用いることができる。
化シリコン層、酸化窒化シリコン層、酸化アルミニウム層、又は酸化窒化アルミニウム層
などの単層、又は積層を用いることができる。
ズマCVD法によりハロゲン元素を含む窒化シリコン層により形成し、絶縁層178をス
パッタリング法によりハロゲン元素を含む窒化シリコン層により形成する。
導体層112に接して設けることにより、酸化物半導体層112中の水素、水酸基又は水
分など水素原子を含む不純物は、ハロゲン元素を含むゲート絶縁層176及びハロゲン元
素を含む絶縁層178に拡散でき、酸化物半導体層112における電気特性の変動要因と
なる当該不純物濃度を低減させることができる。
安定な電気特性を有し信頼性の高い半導体装置を提供することができる。
Claims (6)
- ゲート電極層上の第1の絶縁層と、
前記第1の絶縁層上の酸化物半導体層と、
前記酸化物半導体層上の第2の絶縁層と、
前記第2の絶縁層上のソース電極層と、
前記第2の絶縁層上のドレイン電極層と、を有し、
前記第2の絶縁層は、前記酸化物半導体層の一部と接しており、
前記第2の絶縁層は、ハロゲン元素の濃度が、5×1018atoms/cm3乃至1×1020atoms/cm3である領域を有することを特徴とする発光装置。 - ゲート電極層上の第1の絶縁層と、
前記第1の絶縁層上の酸化物半導体層と、
前記酸化物半導体層上の第2の絶縁層と、
前記第2の絶縁層上のソース電極層と、
前記第2の絶縁層上のドレイン電極層と、を有し、
前記第2の絶縁層は、前記酸化物半導体層の一部と接しており、
前記第2の絶縁層は、ハロゲン元素の濃度が、5×1018atoms/cm3乃至1×1020atoms/cm3である領域を有し、
前記ハロゲン元素は、フッ素、塩素、臭素、又はヨウ素であることを特徴とする発光装置。 - トランジスタと、発光素子とを有し、
前記トランジスタは、
ゲート電極層上の第1の絶縁層と、
前記第1の絶縁層上の酸化物半導体層と、
前記酸化物半導体層上の第2の絶縁層と、
前記第2の絶縁層上のソース電極層と、
前記第2の絶縁層上のドレイン電極層と、を有し、
前記第2の絶縁層は、前記酸化物半導体層の一部と接しており、
前記第2の絶縁層は、ハロゲン元素の濃度が、5×1018atoms/cm3乃至1×1020atoms/cm3である領域を有し、
前記トランジスタは、前記発光素子と電気的に接続されていることを特徴とする発光装置。 - トランジスタと、発光素子とを有し、
前記トランジスタは、
ゲート電極層上の第1の絶縁層と、
前記第1の絶縁層上の酸化物半導体層と、
前記酸化物半導体層上の第2の絶縁層と、
前記第2の絶縁層上のソース電極層と、
前記第2の絶縁層上のドレイン電極層と、を有し、
前記第2の絶縁層は、前記酸化物半導体層の一部と接しており、
前記第2の絶縁層は、ハロゲン元素の濃度が、5×1018atoms/cm3乃至1×1020atoms/cm3である領域を有し、
前記ハロゲン元素は、フッ素、塩素、臭素、又はヨウ素であり、
前記トランジスタは、前記発光素子と電気的に接続されていることを特徴とする発光装置。 - 請求項1乃至請求項4のいずれか一項において、
前記酸化物半導体層は、インジウム、ガリウム、又は亜鉛を有することを特徴とする発光装置。 - 請求項1乃至請求項5のいずれか一項において、
前記ハロゲン元素の濃度の値は、二次イオン質量分析によるものであることを特徴とする発光装置。
Priority Applications (1)
| Application Number | Priority Date | Filing Date | Title |
|---|---|---|---|
| JP2014003953A JP5566546B2 (ja) | 2009-10-21 | 2014-01-14 | 発光装置 |
Applications Claiming Priority (3)
| Application Number | Priority Date | Filing Date | Title |
|---|---|---|---|
| JP2009242777 | 2009-10-21 | ||
| JP2009242777 | 2009-10-21 | ||
| JP2014003953A JP5566546B2 (ja) | 2009-10-21 | 2014-01-14 | 発光装置 |
Related Parent Applications (1)
| Application Number | Title | Priority Date | Filing Date |
|---|---|---|---|
| JP2010233285A Division JP5460552B2 (ja) | 2009-10-21 | 2010-10-18 | 半導体装置 |
Related Child Applications (1)
| Application Number | Title | Priority Date | Filing Date |
|---|---|---|---|
| JP2014124029A Division JP5870159B2 (ja) | 2009-10-21 | 2014-06-17 | 半導体装置 |
Publications (2)
| Publication Number | Publication Date |
|---|---|
| JP2014123748A true JP2014123748A (ja) | 2014-07-03 |
| JP5566546B2 JP5566546B2 (ja) | 2014-08-06 |
Family
ID=43878611
Family Applications (11)
| Application Number | Title | Priority Date | Filing Date |
|---|---|---|---|
| JP2010233285A Active JP5460552B2 (ja) | 2009-10-21 | 2010-10-18 | 半導体装置 |
| JP2012182999A Active JP5220944B2 (ja) | 2009-10-21 | 2012-08-22 | 半導体装置 |
| JP2014003953A Active JP5566546B2 (ja) | 2009-10-21 | 2014-01-14 | 発光装置 |
| JP2014124029A Active JP5870159B2 (ja) | 2009-10-21 | 2014-06-17 | 半導体装置 |
| JP2014234203A Withdrawn JP2015084426A (ja) | 2009-10-21 | 2014-11-19 | 半導体装置 |
| JP2014234201A Active JP5959604B2 (ja) | 2009-10-21 | 2014-11-19 | 半導体装置の作製方法 |
| JP2016122772A Active JP6154049B2 (ja) | 2009-10-21 | 2016-06-21 | 半導体装置の作製方法 |
| JP2017107685A Expired - Fee Related JP6334033B2 (ja) | 2009-10-21 | 2017-05-31 | 半導体装置の作製方法 |
| JP2018084378A Withdrawn JP2018113491A (ja) | 2009-10-21 | 2018-04-25 | 半導体装置 |
| JP2019222311A Withdrawn JP2020057798A (ja) | 2009-10-21 | 2019-12-09 | 半導体装置 |
| JP2022066031A Active JP7394909B2 (ja) | 2009-10-21 | 2022-04-13 | 半導体装置 |
Family Applications Before (2)
| Application Number | Title | Priority Date | Filing Date |
|---|---|---|---|
| JP2010233285A Active JP5460552B2 (ja) | 2009-10-21 | 2010-10-18 | 半導体装置 |
| JP2012182999A Active JP5220944B2 (ja) | 2009-10-21 | 2012-08-22 | 半導体装置 |
Family Applications After (8)
| Application Number | Title | Priority Date | Filing Date |
|---|---|---|---|
| JP2014124029A Active JP5870159B2 (ja) | 2009-10-21 | 2014-06-17 | 半導体装置 |
| JP2014234203A Withdrawn JP2015084426A (ja) | 2009-10-21 | 2014-11-19 | 半導体装置 |
| JP2014234201A Active JP5959604B2 (ja) | 2009-10-21 | 2014-11-19 | 半導体装置の作製方法 |
| JP2016122772A Active JP6154049B2 (ja) | 2009-10-21 | 2016-06-21 | 半導体装置の作製方法 |
| JP2017107685A Expired - Fee Related JP6334033B2 (ja) | 2009-10-21 | 2017-05-31 | 半導体装置の作製方法 |
| JP2018084378A Withdrawn JP2018113491A (ja) | 2009-10-21 | 2018-04-25 | 半導体装置 |
| JP2019222311A Withdrawn JP2020057798A (ja) | 2009-10-21 | 2019-12-09 | 半導体装置 |
| JP2022066031A Active JP7394909B2 (ja) | 2009-10-21 | 2022-04-13 | 半導体装置 |
Country Status (5)
| Country | Link |
|---|---|
| US (3) | US8642412B2 (ja) |
| JP (11) | JP5460552B2 (ja) |
| KR (3) | KR20170024130A (ja) |
| TW (2) | TWI562245B (ja) |
| WO (1) | WO2011048959A1 (ja) |
Families Citing this family (77)
| Publication number | Priority date | Publication date | Assignee | Title |
|---|---|---|---|---|
| JP3176648B2 (ja) | 1991-04-23 | 2001-06-18 | 三菱長崎機工株式会社 | リング成形機 |
| KR20170024130A (ko) * | 2009-10-21 | 2017-03-06 | 가부시키가이샤 한도오따이 에네루기 켄큐쇼 | 반도체 장치 및 그 제조 방법 |
| EP2494601A4 (en) | 2009-10-30 | 2016-09-07 | Semiconductor Energy Lab | SEMICONDUCTOR COMPONENT AND MANUFACTURING METHOD THEREFOR |
| WO2011108381A1 (en) | 2010-03-05 | 2011-09-09 | Semiconductor Energy Laboratory Co., Ltd. | Semiconductor device and manufacturing method thereof |
| KR20130008037A (ko) * | 2010-03-05 | 2013-01-21 | 가부시키가이샤 한도오따이 에네루기 켄큐쇼 | 반도체 장치를 제작하는 방법 |
| KR102112065B1 (ko) * | 2010-03-26 | 2020-06-04 | 가부시키가이샤 한도오따이 에네루기 켄큐쇼 | 반도체 장치 |
| WO2011118741A1 (en) | 2010-03-26 | 2011-09-29 | Semiconductor Energy Laboratory Co., Ltd. | Method for manufacturing semiconductor device |
| CN105321961B (zh) | 2010-04-23 | 2018-10-02 | 株式会社半导体能源研究所 | 半导体装置的制造方法 |
| KR20130055607A (ko) | 2010-04-23 | 2013-05-28 | 가부시키가이샤 한도오따이 에네루기 켄큐쇼 | 반도체 장치의 제작 방법 |
| KR101806271B1 (ko) | 2010-05-14 | 2017-12-07 | 가부시키가이샤 한도오따이 에네루기 켄큐쇼 | 반도체 장치의 제작 방법 |
| US9496405B2 (en) | 2010-05-20 | 2016-11-15 | Semiconductor Energy Laboratory Co., Ltd. | Method for manufacturing semiconductor device including step of adding cation to oxide semiconductor layer |
| WO2011145484A1 (en) | 2010-05-21 | 2011-11-24 | Semiconductor Energy Laboratory Co., Ltd. | Semiconductor device |
| US8629438B2 (en) | 2010-05-21 | 2014-01-14 | Semiconductor Energy Laboratory Co., Ltd. | Semiconductor device and manufacturing method thereof |
| US8441010B2 (en) * | 2010-07-01 | 2013-05-14 | Semiconductor Energy Laboratory Co., Ltd. | Semiconductor device |
| US8642380B2 (en) * | 2010-07-02 | 2014-02-04 | Semiconductor Energy Laboratory Co., Ltd. | Manufacturing method of semiconductor device |
| JP5778960B2 (ja) * | 2011-03-29 | 2015-09-16 | 株式会社Joled | 表示パネル、表示装置および電子機器 |
| JP5766491B2 (ja) * | 2011-04-11 | 2015-08-19 | 株式会社Joled | 発光パネル、表示装置および電子機器 |
| JP6004308B2 (ja) * | 2011-08-12 | 2016-10-05 | Nltテクノロジー株式会社 | 薄膜デバイス |
| CN102629574A (zh) * | 2011-08-22 | 2012-08-08 | 京东方科技集团股份有限公司 | 一种氧化物tft阵列基板及其制造方法和电子器件 |
| KR101506303B1 (ko) * | 2011-09-29 | 2015-03-26 | 가부시키가이샤 한도오따이 에네루기 켄큐쇼 | 반도체 장치, 및 반도체 장치의 제작 방법 |
| KR20130043063A (ko) | 2011-10-19 | 2013-04-29 | 가부시키가이샤 한도오따이 에네루기 켄큐쇼 | 반도체 장치 및 반도체 장치의 제작 방법 |
| KR101976212B1 (ko) * | 2011-10-24 | 2019-05-07 | 가부시키가이샤 한도오따이 에네루기 켄큐쇼 | 반도체 장치 및 반도체 장치의 제작 방법 |
| KR102067051B1 (ko) | 2011-10-24 | 2020-01-16 | 가부시키가이샤 한도오따이 에네루기 켄큐쇼 | 반도체 장치 및 반도체 장치의 제작 방법 |
| JP5933895B2 (ja) | 2011-11-10 | 2016-06-15 | 株式会社半導体エネルギー研究所 | 半導体装置および半導体装置の作製方法 |
| TWI621183B (zh) | 2011-12-01 | 2018-04-11 | 半導體能源研究所股份有限公司 | 半導體裝置及半導體裝置的製造方法 |
| WO2013111756A1 (en) * | 2012-01-25 | 2013-08-01 | Semiconductor Energy Laboratory Co., Ltd. | Semiconductor device and method for manufacturing semiconductor device |
| JP2013201428A (ja) * | 2012-02-23 | 2013-10-03 | Semiconductor Energy Lab Co Ltd | 半導体装置の作製方法 |
| JP6035195B2 (ja) * | 2012-05-01 | 2016-11-30 | 株式会社半導体エネルギー研究所 | 半導体装置の作製方法 |
| KR20200019269A (ko) * | 2012-06-29 | 2020-02-21 | 가부시키가이샤 한도오따이 에네루기 켄큐쇼 | 반도체 장치 |
| TWI495943B (zh) * | 2012-07-10 | 2015-08-11 | Innocom Tech Shenzhen Co Ltd | 液晶顯示面板、其驅動方法及包含其之液晶顯示器 |
| KR102008956B1 (ko) * | 2012-07-18 | 2019-08-09 | 삼성디스플레이 주식회사 | 표시 장치 및 그 제조 방법 |
| KR20250175003A (ko) * | 2012-07-20 | 2025-12-15 | 가부시키가이샤 한도오따이 에네루기 켄큐쇼 | 표시 장치 |
| TWI691084B (zh) | 2012-10-24 | 2020-04-11 | 日商半導體能源研究所股份有限公司 | 半導體裝置及其製造方法 |
| CN103022149B (zh) * | 2012-12-14 | 2015-06-10 | 京东方科技集团股份有限公司 | 薄膜晶体管、阵列基板及制造方法和显示器件 |
| CN105051906B (zh) * | 2013-03-15 | 2018-12-07 | 应用材料公司 | 用于tft的金属氧化物半导体的缓冲层 |
| JP6108898B2 (ja) | 2013-03-19 | 2017-04-05 | 株式会社東芝 | 表示装置、薄膜トランジスタ、表示装置の製造方法及び薄膜トランジスタの製造方法 |
| TWI809474B (zh) | 2013-05-16 | 2023-07-21 | 日商半導體能源研究所股份有限公司 | 半導體裝置 |
| JP6326270B2 (ja) * | 2013-06-28 | 2018-05-16 | 株式会社神戸製鋼所 | 薄膜トランジスタおよびその製造方法 |
| US20150079727A1 (en) * | 2013-09-17 | 2015-03-19 | Intermolecular, Inc. | Amorphous IGZO Devices and Methods for Forming the Same |
| CN103500711B (zh) * | 2013-10-15 | 2017-06-06 | 深圳市华星光电技术有限公司 | 薄膜晶体管的制造方法 |
| KR20150060448A (ko) * | 2013-11-26 | 2015-06-03 | 삼성디스플레이 주식회사 | 박막 트랜지스터 표시판 및 이의 제조 방법 |
| JP6486660B2 (ja) * | 2013-11-27 | 2019-03-20 | 株式会社半導体エネルギー研究所 | 表示装置 |
| JP6556998B2 (ja) * | 2013-11-28 | 2019-08-07 | 株式会社半導体エネルギー研究所 | 表示装置 |
| JP2016027597A (ja) * | 2013-12-06 | 2016-02-18 | 株式会社半導体エネルギー研究所 | 半導体装置 |
| CN104752516A (zh) * | 2013-12-27 | 2015-07-01 | 昆山工研院新型平板显示技术中心有限公司 | 氧化物半导体薄膜晶体管及其制造方法 |
| CN103730373B (zh) * | 2013-12-31 | 2016-09-07 | 京东方科技集团股份有限公司 | 一种半导体器件的制备方法及半导体器件 |
| KR101536174B1 (ko) * | 2014-02-11 | 2015-07-14 | 연세대학교 산학협력단 | 산소 확산을 억제할 수 있는 반도체 소자 제조 방법 |
| JP6412322B2 (ja) * | 2014-03-13 | 2018-10-24 | 東京エレクトロン株式会社 | 半導体デバイス、その製造方法、及びその製造装置 |
| JP6375654B2 (ja) * | 2014-03-17 | 2018-08-22 | 株式会社デンソー | 有機トランジスタ |
| JP6263721B2 (ja) * | 2014-06-20 | 2018-01-24 | 株式会社Joled | 薄膜トランジスタ、薄膜トランジスタの製造方法及び有機el表示装置 |
| JP6392061B2 (ja) * | 2014-10-01 | 2018-09-19 | 東京エレクトロン株式会社 | 電子デバイス、その製造方法、及びその製造装置 |
| WO2016063160A1 (en) * | 2014-10-20 | 2016-04-28 | Semiconductor Energy Laboratory Co., Ltd. | Semiconductor device, manufacturing method thereof, display device, and display module |
| WO2016063159A1 (en) * | 2014-10-20 | 2016-04-28 | Semiconductor Energy Laboratory Co., Ltd. | Semiconductor device and manufacturing method thereof, module, and electronic device |
| WO2016067159A1 (en) * | 2014-10-28 | 2016-05-06 | Semiconductor Energy Laboratory Co., Ltd. | Functional panel, method for manufacturing the same, module, data processing device |
| JPWO2016067161A1 (ja) * | 2014-10-28 | 2017-08-31 | 株式会社半導体エネルギー研究所 | 半導体装置およびその作製方法 |
| US20160155849A1 (en) * | 2014-12-02 | 2016-06-02 | Semiconductor Energy Laboratory Co., Ltd. | Semiconductor device, method for manufacturing semiconductor device, module, and electronic device |
| US10056497B2 (en) | 2015-04-15 | 2018-08-21 | Semiconductor Energy Laboratory Co., Ltd. | Semiconductor device and manufacturing method thereof |
| US10192995B2 (en) | 2015-04-28 | 2019-01-29 | Semiconductor Energy Laboratory Co., Ltd. | Semiconductor device and manufacturing method thereof |
| WO2017002986A1 (ko) * | 2015-06-30 | 2017-01-05 | 실리콘 디스플레이 (주) | 산화물 반도체 박막 트랜지스터 및 그 제조 방법 |
| WO2017013691A1 (ja) * | 2015-07-17 | 2017-01-26 | 株式会社Joled | 薄膜トランジスタ及び薄膜トランジスタの製造方法 |
| US20180219097A1 (en) * | 2015-07-27 | 2018-08-02 | Sharp Kabushiki Kaisha | Semiconductor device and method for manufacturing same |
| CN105137660A (zh) * | 2015-09-25 | 2015-12-09 | 京东方科技集团股份有限公司 | 一种光配向膜杂质去除装置和方法 |
| US20170104090A1 (en) * | 2015-10-12 | 2017-04-13 | Semiconductor Energy Laboratory Co., Ltd. | Method for manufacturing semiconductor device |
| US10121759B2 (en) * | 2015-11-04 | 2018-11-06 | Kulicke And Soffa Industries, Inc. | On-bonder automatic overhang die optimization tool for wire bonding and related methods |
| DE112017000905T5 (de) | 2016-02-18 | 2018-10-25 | Semiconductor Energy Laboratory Co., Ltd. | Halbleitervorrichtung, Herstellungsverfahren dafür, Anzeigevorrichtung und elektronisches Gerät |
| KR101874822B1 (ko) * | 2016-04-01 | 2018-07-06 | 주식회사 테스 | 실리콘산화막의 선택적 식각 방법 |
| JP6179912B2 (ja) * | 2016-06-10 | 2017-08-16 | Tianma Japan株式会社 | 薄膜デバイス及びその製造方法 |
| KR102661549B1 (ko) * | 2016-11-30 | 2024-04-26 | 엘지디스플레이 주식회사 | 표시 장치 및 그 제조 방법 |
| KR102627305B1 (ko) * | 2016-12-30 | 2024-01-18 | 한양대학교 산학협력단 | 박막 트랜지스터 기판 및 표시 장치 |
| KR102393552B1 (ko) | 2017-11-09 | 2022-05-02 | 엘지디스플레이 주식회사 | 수소 차단막을 갖는 박막 트랜지스터 및 이를 포함하는 표시장치 |
| JP6753450B2 (ja) * | 2018-11-12 | 2020-09-09 | セイコーエプソン株式会社 | 電気光学装置用基板、電気光学装置、電子機器 |
| JP7147953B2 (ja) * | 2019-02-25 | 2022-10-05 | 株式会社ニコン | 半導体装置、pHセンサ及びバイオセンサ並びに半導体装置の製造方法 |
| TWI692816B (zh) * | 2019-05-22 | 2020-05-01 | 友達光電股份有限公司 | 顯示裝置及其製作方法 |
| JP7182577B2 (ja) * | 2020-03-24 | 2022-12-02 | 株式会社Kokusai Electric | 基板処理方法、半導体装置の製造方法、基板処理装置、およびプログラム |
| JP7418703B2 (ja) * | 2020-07-01 | 2024-01-22 | 日新電機株式会社 | 薄膜トランジスタ |
| JP2022038209A (ja) | 2020-08-26 | 2022-03-10 | キオクシア株式会社 | 半導体装置 |
| US12225735B2 (en) | 2022-06-07 | 2025-02-11 | Taiwan Semiconductor Manufacturing Company, Ltd. | Selector for memory device |
Citations (3)
| Publication number | Priority date | Publication date | Assignee | Title |
|---|---|---|---|---|
| JP2007073558A (ja) * | 2005-09-02 | 2007-03-22 | Kochi Prefecture Sangyo Shinko Center | 薄膜トランジスタの製法 |
| JP2007220816A (ja) * | 2006-02-15 | 2007-08-30 | Kochi Prefecture Sangyo Shinko Center | 薄膜トランジスタ及びその製法 |
| JP2007250982A (ja) * | 2006-03-17 | 2007-09-27 | Canon Inc | 酸化物半導体を用いた薄膜トランジスタ及び表示装置 |
Family Cites Families (163)
| Publication number | Priority date | Publication date | Assignee | Title |
|---|---|---|---|---|
| JPS60198861A (ja) | 1984-03-23 | 1985-10-08 | Fujitsu Ltd | 薄膜トランジスタ |
| JPH0244256B2 (ja) | 1987-01-28 | 1990-10-03 | Kagaku Gijutsucho Mukizaishitsu Kenkyushocho | Ingazn2o5deshimesarerurotsuhoshokeinosojokozoojusurukagobutsuoyobisonoseizoho |
| JPH0244258B2 (ja) | 1987-02-24 | 1990-10-03 | Kagaku Gijutsucho Mukizaishitsu Kenkyushocho | Ingazn3o6deshimesarerurotsuhoshokeinosojokozoojusurukagobutsuoyobisonoseizoho |
| JPS63210023A (ja) | 1987-02-24 | 1988-08-31 | Natl Inst For Res In Inorg Mater | InGaZn↓4O↓7で示される六方晶系の層状構造を有する化合物およびその製造法 |
| JPH0244260B2 (ja) | 1987-02-24 | 1990-10-03 | Kagaku Gijutsucho Mukizaishitsu Kenkyushocho | Ingazn5o8deshimesarerurotsuhoshokeinosojokozoojusurukagobutsuoyobisonoseizoho |
| JPH0244262B2 (ja) | 1987-02-27 | 1990-10-03 | Kagaku Gijutsucho Mukizaishitsu Kenkyushocho | Ingazn6o9deshimesarerurotsuhoshokeinosojokozoojusurukagobutsuoyobisonoseizoho |
| JPH0244263B2 (ja) | 1987-04-22 | 1990-10-03 | Kagaku Gijutsucho Mukizaishitsu Kenkyushocho | Ingazn7o10deshimesarerurotsuhoshokeinosojokozoojusurukagobutsuoyobisonoseizoho |
| TW237562B (ja) * | 1990-11-09 | 1995-01-01 | Semiconductor Energy Res Co Ltd | |
| JP3071851B2 (ja) * | 1991-03-25 | 2000-07-31 | 株式会社半導体エネルギー研究所 | 電気光学装置 |
| JPH0567782A (ja) * | 1991-09-09 | 1993-03-19 | Hitachi Ltd | 薄膜トランジスタとその製造方法 |
| JPH05251705A (ja) | 1992-03-04 | 1993-09-28 | Fuji Xerox Co Ltd | 薄膜トランジスタ |
| JP3564505B2 (ja) * | 1993-02-19 | 2004-09-15 | 株式会社半導体エネルギー研究所 | 半導体装置の作製方法 |
| KR0143873B1 (ko) * | 1993-02-19 | 1998-08-17 | 순페이 야마자끼 | 절연막 및 반도체장치 및 반도체 장치 제조방법 |
| US7465679B1 (en) | 1993-02-19 | 2008-12-16 | Semiconductor Energy Laboratory Co., Ltd. | Insulating film and method of producing semiconductor device |
| JP2796049B2 (ja) * | 1993-11-26 | 1998-09-10 | 菱電セミコンダクタシステムエンジニアリング株式会社 | 薄膜トランジスタおよびその製造方法 |
| JP3117872B2 (ja) * | 1994-06-02 | 2000-12-18 | 株式会社半導体エネルギー研究所 | 薄膜半導体集積回路の作製方法 |
| JP3468848B2 (ja) * | 1994-06-09 | 2003-11-17 | 株式会社半導体エネルギー研究所 | 薄膜トランジスタおよびその作製方法、並びに液晶表示装置およびその作製方法 |
| JP3479375B2 (ja) | 1995-03-27 | 2003-12-15 | 科学技術振興事業団 | 亜酸化銅等の金属酸化物半導体による薄膜トランジスタとpn接合を形成した金属酸化物半導体装置およびそれらの製造方法 |
| KR100394896B1 (ko) * | 1995-08-03 | 2003-11-28 | 코닌클리케 필립스 일렉트로닉스 엔.브이. | 투명스위칭소자를포함하는반도체장치 |
| JP3625598B2 (ja) * | 1995-12-30 | 2005-03-02 | 三星電子株式会社 | 液晶表示装置の製造方法 |
| US6100562A (en) * | 1996-03-17 | 2000-08-08 | Semiconductor Energy Laboratory Co., Ltd. | Method of manufacturing a semiconductor device |
| JPH10303128A (ja) | 1997-04-30 | 1998-11-13 | Fujitsu Ltd | 成膜方法 |
| JP4170454B2 (ja) | 1998-07-24 | 2008-10-22 | Hoya株式会社 | 透明導電性酸化物薄膜を有する物品及びその製造方法 |
| JP2000150861A (ja) * | 1998-11-16 | 2000-05-30 | Tdk Corp | 酸化物薄膜 |
| JP3276930B2 (ja) * | 1998-11-17 | 2002-04-22 | 科学技術振興事業団 | トランジスタ及び半導体装置 |
| TW460731B (en) * | 1999-09-03 | 2001-10-21 | Ind Tech Res Inst | Electrode structure and production method of wide viewing angle LCD |
| JP3241708B2 (ja) * | 2000-08-07 | 2001-12-25 | 株式会社半導体エネルギー研究所 | アクティブマトリクス型表示装置 |
| JP4089858B2 (ja) | 2000-09-01 | 2008-05-28 | 国立大学法人東北大学 | 半導体デバイス |
| KR20020038482A (ko) * | 2000-11-15 | 2002-05-23 | 모리시타 요이찌 | 박막 트랜지스터 어레이, 그 제조방법 및 그것을 이용한표시패널 |
| JP3997731B2 (ja) * | 2001-03-19 | 2007-10-24 | 富士ゼロックス株式会社 | 基材上に結晶性半導体薄膜を形成する方法 |
| JP2002289859A (ja) | 2001-03-23 | 2002-10-04 | Minolta Co Ltd | 薄膜トランジスタ |
| JP2002368009A (ja) * | 2001-06-05 | 2002-12-20 | Matsushita Electric Ind Co Ltd | 薄膜トランジスタおよび液晶表示装置 |
| JP4090716B2 (ja) * | 2001-09-10 | 2008-05-28 | 雅司 川崎 | 薄膜トランジスタおよびマトリクス表示装置 |
| JP3925839B2 (ja) | 2001-09-10 | 2007-06-06 | シャープ株式会社 | 半導体記憶装置およびその試験方法 |
| WO2003040441A1 (fr) * | 2001-11-05 | 2003-05-15 | Japan Science And Technology Agency | Film mince monocristallin homologue a super-reseau naturel, procede de preparation et dispositif dans lequel est utilise ledit film mince monocristallin |
| JP4164562B2 (ja) | 2002-09-11 | 2008-10-15 | 独立行政法人科学技術振興機構 | ホモロガス薄膜を活性層として用いる透明薄膜電界効果型トランジスタ |
| JP4083486B2 (ja) * | 2002-02-21 | 2008-04-30 | 独立行政法人科学技術振興機構 | LnCuO(S,Se,Te)単結晶薄膜の製造方法 |
| US7049190B2 (en) * | 2002-03-15 | 2006-05-23 | Sanyo Electric Co., Ltd. | Method for forming ZnO film, method for forming ZnO semiconductor layer, method for fabricating semiconductor device, and semiconductor device |
| JP3933591B2 (ja) * | 2002-03-26 | 2007-06-20 | 淳二 城戸 | 有機エレクトロルミネッセント素子 |
| US7339187B2 (en) * | 2002-05-21 | 2008-03-04 | State Of Oregon Acting By And Through The Oregon State Board Of Higher Education On Behalf Of Oregon State University | Transistor structures |
| JP2004022625A (ja) * | 2002-06-13 | 2004-01-22 | Murata Mfg Co Ltd | 半導体デバイス及び該半導体デバイスの製造方法 |
| US7105868B2 (en) * | 2002-06-24 | 2006-09-12 | Cermet, Inc. | High-electron mobility transistor with zinc oxide |
| US7067843B2 (en) * | 2002-10-11 | 2006-06-27 | E. I. Du Pont De Nemours And Company | Transparent oxide semiconductor thin film transistors |
| JP4166105B2 (ja) | 2003-03-06 | 2008-10-15 | シャープ株式会社 | 半導体装置およびその製造方法 |
| JP2004273732A (ja) | 2003-03-07 | 2004-09-30 | Sharp Corp | アクティブマトリクス基板およびその製造方法 |
| JP2004311702A (ja) * | 2003-04-07 | 2004-11-04 | Sumitomo Heavy Ind Ltd | 薄膜トランジスタの製造方法および薄膜トランジスタ |
| JP4108633B2 (ja) | 2003-06-20 | 2008-06-25 | シャープ株式会社 | 薄膜トランジスタおよびその製造方法ならびに電子デバイス |
| US7262463B2 (en) * | 2003-07-25 | 2007-08-28 | Hewlett-Packard Development Company, L.P. | Transistor including a deposited channel region having a doped portion |
| JP3923458B2 (ja) * | 2003-09-10 | 2007-05-30 | 株式会社半導体エネルギー研究所 | 半導体装置 |
| JP4877867B2 (ja) * | 2003-11-14 | 2012-02-15 | 株式会社半導体エネルギー研究所 | 表示装置の作製方法 |
| US8247965B2 (en) * | 2003-11-14 | 2012-08-21 | Semiconductor Energy Laboratory Co., Ltd. | Light emitting display device and method for manufacturing the same |
| JP2005167019A (ja) * | 2003-12-03 | 2005-06-23 | Sharp Corp | トランジスタおよびそのゲート絶縁膜の成膜に用いるcvd装置 |
| US7297977B2 (en) * | 2004-03-12 | 2007-11-20 | Hewlett-Packard Development Company, L.P. | Semiconductor device |
| US7145174B2 (en) * | 2004-03-12 | 2006-12-05 | Hewlett-Packard Development Company, Lp. | Semiconductor device |
| US7282782B2 (en) * | 2004-03-12 | 2007-10-16 | Hewlett-Packard Development Company, L.P. | Combined binary oxide semiconductor device |
| CN1998087B (zh) | 2004-03-12 | 2014-12-31 | 独立行政法人科学技术振兴机构 | 非晶形氧化物和薄膜晶体管 |
| US7211825B2 (en) * | 2004-06-14 | 2007-05-01 | Yi-Chi Shih | Indium oxide-based thin film transistors and circuits |
| US8158517B2 (en) * | 2004-06-28 | 2012-04-17 | Semiconductor Energy Laboratory Co., Ltd. | Method for manufacturing wiring substrate, thin film transistor, display device and television device |
| JP4854994B2 (ja) * | 2004-06-28 | 2012-01-18 | 株式会社半導体エネルギー研究所 | 配線基板の作製方法及び薄膜トランジスタの作製方法 |
| JP2006100760A (ja) * | 2004-09-02 | 2006-04-13 | Casio Comput Co Ltd | 薄膜トランジスタおよびその製造方法 |
| US7285501B2 (en) * | 2004-09-17 | 2007-10-23 | Hewlett-Packard Development Company, L.P. | Method of forming a solution processed device |
| US7298084B2 (en) * | 2004-11-02 | 2007-11-20 | 3M Innovative Properties Company | Methods and displays utilizing integrated zinc oxide row and column drivers in conjunction with organic light emitting diodes |
| US7863611B2 (en) * | 2004-11-10 | 2011-01-04 | Canon Kabushiki Kaisha | Integrated circuits utilizing amorphous oxides |
| KR100953596B1 (ko) * | 2004-11-10 | 2010-04-21 | 캐논 가부시끼가이샤 | 발광장치 |
| JP5126729B2 (ja) | 2004-11-10 | 2013-01-23 | キヤノン株式会社 | 画像表示装置 |
| US7829444B2 (en) * | 2004-11-10 | 2010-11-09 | Canon Kabushiki Kaisha | Field effect transistor manufacturing method |
| JP5118810B2 (ja) | 2004-11-10 | 2013-01-16 | キヤノン株式会社 | 電界効果型トランジスタ |
| JP5138163B2 (ja) | 2004-11-10 | 2013-02-06 | キヤノン株式会社 | 電界効果型トランジスタ |
| RU2402106C2 (ru) * | 2004-11-10 | 2010-10-20 | Кэнон Кабусики Кайся | Аморфный оксид и полевой транзистор с его использованием |
| US7453065B2 (en) * | 2004-11-10 | 2008-11-18 | Canon Kabushiki Kaisha | Sensor and image pickup device |
| US7791072B2 (en) * | 2004-11-10 | 2010-09-07 | Canon Kabushiki Kaisha | Display |
| JP5118812B2 (ja) * | 2004-11-10 | 2013-01-16 | キヤノン株式会社 | 電界効果型トランジスタ |
| US7579224B2 (en) * | 2005-01-21 | 2009-08-25 | Semiconductor Energy Laboratory Co., Ltd. | Method for manufacturing a thin film semiconductor device |
| US7608531B2 (en) * | 2005-01-28 | 2009-10-27 | Semiconductor Energy Laboratory Co., Ltd. | Semiconductor device, electronic device, and method of manufacturing semiconductor device |
| TWI472037B (zh) * | 2005-01-28 | 2015-02-01 | 半導體能源研究所股份有限公司 | 半導體裝置,電子裝置,和半導體裝置的製造方法 |
| US7858451B2 (en) * | 2005-02-03 | 2010-12-28 | Semiconductor Energy Laboratory Co., Ltd. | Electronic device, semiconductor device and manufacturing method thereof |
| US7948171B2 (en) * | 2005-02-18 | 2011-05-24 | Semiconductor Energy Laboratory Co., Ltd. | Light emitting device |
| US20060197092A1 (en) * | 2005-03-03 | 2006-09-07 | Randy Hoffman | System and method for forming conductive material on a substrate |
| US8681077B2 (en) * | 2005-03-18 | 2014-03-25 | Semiconductor Energy Laboratory Co., Ltd. | Semiconductor device, and display device, driving method and electronic apparatus thereof |
| US7544967B2 (en) * | 2005-03-28 | 2009-06-09 | Massachusetts Institute Of Technology | Low voltage flexible organic/transparent transistor for selective gas sensing, photodetecting and CMOS device applications |
| US7645478B2 (en) * | 2005-03-31 | 2010-01-12 | 3M Innovative Properties Company | Methods of making displays |
| US8300031B2 (en) * | 2005-04-20 | 2012-10-30 | Semiconductor Energy Laboratory Co., Ltd. | Semiconductor device comprising transistor having gate and drain connected through a current-voltage conversion element |
| JP3970891B2 (ja) * | 2005-06-06 | 2007-09-05 | 株式会社半導体エネルギー研究所 | 半導体装置 |
| JP2006344849A (ja) | 2005-06-10 | 2006-12-21 | Casio Comput Co Ltd | 薄膜トランジスタ |
| US7402506B2 (en) * | 2005-06-16 | 2008-07-22 | Eastman Kodak Company | Methods of making thin film transistors comprising zinc-oxide-based semiconductor materials and transistors made thereby |
| US7691666B2 (en) * | 2005-06-16 | 2010-04-06 | Eastman Kodak Company | Methods of making thin film transistors comprising zinc-oxide-based semiconductor materials and transistors made thereby |
| TWI267195B (en) | 2005-06-20 | 2006-11-21 | Au Optronics Corp | Switching device for a pixel electrode and methods for fabricating the same |
| US7507618B2 (en) | 2005-06-27 | 2009-03-24 | 3M Innovative Properties Company | Method for making electronic devices using metal oxide nanoparticles |
| KR100711890B1 (ko) * | 2005-07-28 | 2007-04-25 | 삼성에스디아이 주식회사 | 유기 발광표시장치 및 그의 제조방법 |
| JP2007059128A (ja) * | 2005-08-23 | 2007-03-08 | Canon Inc | 有機el表示装置およびその製造方法 |
| JP4850457B2 (ja) * | 2005-09-06 | 2012-01-11 | キヤノン株式会社 | 薄膜トランジスタ及び薄膜ダイオード |
| CN101258607B (zh) | 2005-09-06 | 2011-01-05 | 佳能株式会社 | 使用非晶氧化物膜作为沟道层的场效应晶体管、使用非晶氧化物膜作为沟道层的场效应晶体管的制造方法、以及非晶氧化物膜的制造方法 |
| JP5116225B2 (ja) * | 2005-09-06 | 2013-01-09 | キヤノン株式会社 | 酸化物半導体デバイスの製造方法 |
| JP4280736B2 (ja) * | 2005-09-06 | 2009-06-17 | キヤノン株式会社 | 半導体素子 |
| JP2007073705A (ja) | 2005-09-06 | 2007-03-22 | Canon Inc | 酸化物半導体チャネル薄膜トランジスタおよびその製造方法 |
| JP4560502B2 (ja) * | 2005-09-06 | 2010-10-13 | キヤノン株式会社 | 電界効果型トランジスタ |
| EP1770788A3 (en) * | 2005-09-29 | 2011-09-21 | Semiconductor Energy Laboratory Co., Ltd. | Semiconductor device having oxide semiconductor layer and manufacturing method thereof |
| JP5064747B2 (ja) * | 2005-09-29 | 2012-10-31 | 株式会社半導体エネルギー研究所 | 半導体装置、電気泳動表示装置、表示モジュール、電子機器、及び半導体装置の作製方法 |
| JP5037808B2 (ja) | 2005-10-20 | 2012-10-03 | キヤノン株式会社 | アモルファス酸化物を用いた電界効果型トランジスタ、及び該トランジスタを用いた表示装置 |
| KR101112652B1 (ko) * | 2005-11-15 | 2012-02-16 | 가부시키가이샤 한도오따이 에네루기 켄큐쇼 | 액티브 매트릭스 디스플레이 장치 및 텔레비전 수신기 |
| TWI292281B (en) * | 2005-12-29 | 2008-01-01 | Ind Tech Res Inst | Pixel structure of active organic light emitting diode and method of fabricating the same |
| US7867636B2 (en) | 2006-01-11 | 2011-01-11 | Murata Manufacturing Co., Ltd. | Transparent conductive film and method for manufacturing the same |
| JP4977478B2 (ja) | 2006-01-21 | 2012-07-18 | 三星電子株式会社 | ZnOフィルム及びこれを用いたTFTの製造方法 |
| US7576394B2 (en) | 2006-02-02 | 2009-08-18 | Kochi Industrial Promotion Center | Thin film transistor including low resistance conductive thin films and manufacturing method thereof |
| US7977169B2 (en) | 2006-02-15 | 2011-07-12 | Kochi Industrial Promotion Center | Semiconductor device including active layer made of zinc oxide with controlled orientations and manufacturing method thereof |
| JP2007242895A (ja) * | 2006-03-08 | 2007-09-20 | Mitsubishi Electric Corp | 薄膜トランジスタ装置及びその製造方法 |
| KR20070101595A (ko) * | 2006-04-11 | 2007-10-17 | 삼성전자주식회사 | ZnO TFT |
| US20070252928A1 (en) | 2006-04-28 | 2007-11-01 | Toppan Printing Co., Ltd. | Structure, transmission type liquid crystal display, reflection type display and manufacturing method thereof |
| JP5135709B2 (ja) * | 2006-04-28 | 2013-02-06 | 凸版印刷株式会社 | 薄膜トランジスタ及びその製造方法 |
| JP4277874B2 (ja) * | 2006-05-23 | 2009-06-10 | エプソンイメージングデバイス株式会社 | 電気光学装置の製造方法 |
| CN101356652B (zh) * | 2006-06-02 | 2012-04-18 | 日本财团法人高知县产业振兴中心 | 包括由氧化锌构成的氧化物半导体薄膜层的半导体器件及其制造方法 |
| JP5028033B2 (ja) | 2006-06-13 | 2012-09-19 | キヤノン株式会社 | 酸化物半導体膜のドライエッチング方法 |
| JP4999400B2 (ja) | 2006-08-09 | 2012-08-15 | キヤノン株式会社 | 酸化物半導体膜のドライエッチング方法 |
| JP4609797B2 (ja) | 2006-08-09 | 2011-01-12 | Nec液晶テクノロジー株式会社 | 薄膜デバイス及びその製造方法 |
| JP4332545B2 (ja) * | 2006-09-15 | 2009-09-16 | キヤノン株式会社 | 電界効果型トランジスタ及びその製造方法 |
| JP4274219B2 (ja) | 2006-09-27 | 2009-06-03 | セイコーエプソン株式会社 | 電子デバイス、有機エレクトロルミネッセンス装置、有機薄膜半導体装置 |
| JP5164357B2 (ja) | 2006-09-27 | 2013-03-21 | キヤノン株式会社 | 半導体装置及び半導体装置の製造方法 |
| US7622371B2 (en) | 2006-10-10 | 2009-11-24 | Hewlett-Packard Development Company, L.P. | Fused nanocrystal thin film semiconductor and method |
| US7772021B2 (en) * | 2006-11-29 | 2010-08-10 | Samsung Electronics Co., Ltd. | Flat panel displays comprising a thin-film transistor having a semiconductive oxide in its channel and methods of fabricating the same for use in flat panel displays |
| JP2008140684A (ja) * | 2006-12-04 | 2008-06-19 | Toppan Printing Co Ltd | カラーelディスプレイおよびその製造方法 |
| JP5105842B2 (ja) | 2006-12-05 | 2012-12-26 | キヤノン株式会社 | 酸化物半導体を用いた表示装置及びその製造方法 |
| JP5305630B2 (ja) * | 2006-12-05 | 2013-10-02 | キヤノン株式会社 | ボトムゲート型薄膜トランジスタの製造方法及び表示装置の製造方法 |
| KR101303578B1 (ko) * | 2007-01-05 | 2013-09-09 | 삼성전자주식회사 | 박막 식각 방법 |
| US8207063B2 (en) * | 2007-01-26 | 2012-06-26 | Eastman Kodak Company | Process for atomic layer deposition |
| TWI478347B (zh) * | 2007-02-09 | 2015-03-21 | 出光興產股份有限公司 | A thin film transistor, a thin film transistor substrate, and an image display device, and an image display device, and a semiconductor device |
| KR100851215B1 (ko) * | 2007-03-14 | 2008-08-07 | 삼성에스디아이 주식회사 | 박막 트랜지스터 및 이를 이용한 유기 전계 발광표시장치 |
| JP5197058B2 (ja) | 2007-04-09 | 2013-05-15 | キヤノン株式会社 | 発光装置とその作製方法 |
| WO2008126879A1 (en) | 2007-04-09 | 2008-10-23 | Canon Kabushiki Kaisha | Light-emitting apparatus and production method thereof |
| US7795613B2 (en) * | 2007-04-17 | 2010-09-14 | Toppan Printing Co., Ltd. | Structure with transistor |
| KR101325053B1 (ko) * | 2007-04-18 | 2013-11-05 | 삼성디스플레이 주식회사 | 박막 트랜지스터 기판 및 이의 제조 방법 |
| KR20080094300A (ko) * | 2007-04-19 | 2008-10-23 | 삼성전자주식회사 | 박막 트랜지스터 및 그 제조 방법과 박막 트랜지스터를포함하는 평판 디스플레이 |
| KR101334181B1 (ko) * | 2007-04-20 | 2013-11-28 | 삼성전자주식회사 | 선택적으로 결정화된 채널층을 갖는 박막 트랜지스터 및 그제조 방법 |
| KR20080095538A (ko) * | 2007-04-25 | 2008-10-29 | 엘지전자 주식회사 | 박막 트랜지스터 및 그 제조방법, 이를 포함하는평판표시장치 |
| US8274078B2 (en) * | 2007-04-25 | 2012-09-25 | Canon Kabushiki Kaisha | Metal oxynitride semiconductor containing zinc |
| KR101334182B1 (ko) * | 2007-05-28 | 2013-11-28 | 삼성전자주식회사 | ZnO 계 박막 트랜지스터의 제조방법 |
| KR101345376B1 (ko) * | 2007-05-29 | 2013-12-24 | 삼성전자주식회사 | ZnO 계 박막 트랜지스터 및 그 제조방법 |
| US8566502B2 (en) | 2008-05-29 | 2013-10-22 | Vmware, Inc. | Offloading storage operations to storage hardware using a switch |
| KR101402189B1 (ko) * | 2007-06-22 | 2014-06-02 | 삼성전자주식회사 | Zn 산화물계 박막 트랜지스터 및 Zn 산화물의 식각용액 |
| KR101576813B1 (ko) | 2007-08-17 | 2015-12-11 | 가부시키가이샤 한도오따이 에네루기 켄큐쇼 | 표시 장치 |
| JP5213422B2 (ja) * | 2007-12-04 | 2013-06-19 | キヤノン株式会社 | 絶縁層を有する酸化物半導体素子およびそれを用いた表示装置 |
| JP5215158B2 (ja) * | 2007-12-17 | 2013-06-19 | 富士フイルム株式会社 | 無機結晶性配向膜及びその製造方法、半導体デバイス |
| US8461583B2 (en) * | 2007-12-25 | 2013-06-11 | Idemitsu Kosan Co., Ltd. | Oxide semiconductor field effect transistor and method for manufacturing the same |
| KR101412761B1 (ko) | 2008-01-18 | 2014-07-02 | 삼성디스플레이 주식회사 | 박막 트랜지스터 기판 및 이의 제조 방법 |
| US20100295042A1 (en) * | 2008-01-23 | 2010-11-25 | Idemitsu Kosan Co., Ltd. | Field-effect transistor, method for manufacturing field-effect transistor, display device using field-effect transistor, and semiconductor device |
| JP5467728B2 (ja) * | 2008-03-14 | 2014-04-09 | 富士フイルム株式会社 | 薄膜電界効果型トランジスタおよびその製造方法 |
| JP2010056541A (ja) * | 2008-07-31 | 2010-03-11 | Semiconductor Energy Lab Co Ltd | 半導体装置およびその作製方法 |
| TWI469354B (zh) * | 2008-07-31 | 2015-01-11 | Semiconductor Energy Lab | 半導體裝置及其製造方法 |
| TWI627757B (zh) * | 2008-07-31 | 2018-06-21 | 半導體能源研究所股份有限公司 | 半導體裝置 |
| TWI518800B (zh) * | 2008-08-08 | 2016-01-21 | 半導體能源研究所股份有限公司 | 半導體裝置的製造方法 |
| JP5627071B2 (ja) * | 2008-09-01 | 2014-11-19 | 株式会社半導体エネルギー研究所 | 半導体装置の作製方法 |
| JP4623179B2 (ja) * | 2008-09-18 | 2011-02-02 | ソニー株式会社 | 薄膜トランジスタおよびその製造方法 |
| EP2172804B1 (en) * | 2008-10-03 | 2016-05-11 | Semiconductor Energy Laboratory Co, Ltd. | Display device |
| JP5451280B2 (ja) * | 2008-10-09 | 2014-03-26 | キヤノン株式会社 | ウルツ鉱型結晶成長用基板およびその製造方法ならびに半導体装置 |
| KR101631454B1 (ko) * | 2008-10-31 | 2016-06-17 | 가부시키가이샤 한도오따이 에네루기 켄큐쇼 | 논리회로 |
| WO2011010541A1 (en) * | 2009-07-18 | 2011-01-27 | Semiconductor Energy Laboratory Co., Ltd. | Semiconductor device and method for manufacturing the same |
| CN104681447A (zh) * | 2009-09-04 | 2015-06-03 | 株式会社半导体能源研究所 | 半导体器件的制造方法 |
| KR102070268B1 (ko) * | 2009-10-09 | 2020-01-29 | 가부시키가이샤 한도오따이 에네루기 켄큐쇼 | 반도체 장치 |
| KR20170024130A (ko) * | 2009-10-21 | 2017-03-06 | 가부시키가이샤 한도오따이 에네루기 켄큐쇼 | 반도체 장치 및 그 제조 방법 |
| WO2011062043A1 (en) * | 2009-11-20 | 2011-05-26 | Semiconductor Energy Laboratory Co., Ltd. | Method for manufacturing semiconductor device |
| JP5731244B2 (ja) * | 2010-03-26 | 2015-06-10 | 株式会社半導体エネルギー研究所 | 半導体装置の作製方法 |
| US8207025B2 (en) * | 2010-04-09 | 2012-06-26 | Semiconductor Energy Laboratory Co., Ltd. | Manufacturing method of semiconductor device |
| US8629438B2 (en) * | 2010-05-21 | 2014-01-14 | Semiconductor Energy Laboratory Co., Ltd. | Semiconductor device and manufacturing method thereof |
| TWI521612B (zh) * | 2011-03-11 | 2016-02-11 | 半導體能源研究所股份有限公司 | 半導體裝置的製造方法 |
-
2010
- 2010-10-01 KR KR1020177004916A patent/KR20170024130A/ko not_active Ceased
- 2010-10-01 WO PCT/JP2010/067697 patent/WO2011048959A1/en not_active Ceased
- 2010-10-01 KR KR1020137010433A patent/KR101291488B1/ko active Active
- 2010-10-01 KR KR1020127006654A patent/KR101847656B1/ko active Active
- 2010-10-14 TW TW104124539A patent/TWI562245B/zh active
- 2010-10-14 TW TW099135075A patent/TWI514571B/zh active
- 2010-10-18 US US12/906,175 patent/US8642412B2/en active Active
- 2010-10-18 JP JP2010233285A patent/JP5460552B2/ja active Active
-
2012
- 2012-08-22 JP JP2012182999A patent/JP5220944B2/ja active Active
-
2014
- 2014-01-14 JP JP2014003953A patent/JP5566546B2/ja active Active
- 2014-01-28 US US14/165,917 patent/US20140138683A1/en not_active Abandoned
- 2014-06-17 JP JP2014124029A patent/JP5870159B2/ja active Active
- 2014-11-19 JP JP2014234203A patent/JP2015084426A/ja not_active Withdrawn
- 2014-11-19 JP JP2014234201A patent/JP5959604B2/ja active Active
- 2014-11-24 US US14/551,754 patent/US9679768B2/en active Active
-
2016
- 2016-06-21 JP JP2016122772A patent/JP6154049B2/ja active Active
-
2017
- 2017-05-31 JP JP2017107685A patent/JP6334033B2/ja not_active Expired - Fee Related
-
2018
- 2018-04-25 JP JP2018084378A patent/JP2018113491A/ja not_active Withdrawn
-
2019
- 2019-12-09 JP JP2019222311A patent/JP2020057798A/ja not_active Withdrawn
-
2022
- 2022-04-13 JP JP2022066031A patent/JP7394909B2/ja active Active
Patent Citations (3)
| Publication number | Priority date | Publication date | Assignee | Title |
|---|---|---|---|---|
| JP2007073558A (ja) * | 2005-09-02 | 2007-03-22 | Kochi Prefecture Sangyo Shinko Center | 薄膜トランジスタの製法 |
| JP2007220816A (ja) * | 2006-02-15 | 2007-08-30 | Kochi Prefecture Sangyo Shinko Center | 薄膜トランジスタ及びその製法 |
| JP2007250982A (ja) * | 2006-03-17 | 2007-09-27 | Canon Inc | 酸化物半導体を用いた薄膜トランジスタ及び表示装置 |
Also Published As
Similar Documents
| Publication | Publication Date | Title |
|---|---|---|
| JP7394909B2 (ja) | 半導体装置 | |
| JP7199501B2 (ja) | 表示装置 | |
| JP6329303B2 (ja) | 半導体装置 | |
| JP6277228B2 (ja) | 半導体装置 |
Legal Events
| Date | Code | Title | Description |
|---|---|---|---|
| A521 | Request for written amendment filed |
Free format text: JAPANESE INTERMEDIATE CODE: A523 Effective date: 20140424 |
|
| TRDD | Decision of grant or rejection written | ||
| A01 | Written decision to grant a patent or to grant a registration (utility model) |
Free format text: JAPANESE INTERMEDIATE CODE: A01 Effective date: 20140520 |
|
| A61 | First payment of annual fees (during grant procedure) |
Free format text: JAPANESE INTERMEDIATE CODE: A61 Effective date: 20140617 |
|
| R150 | Certificate of patent or registration of utility model |
Ref document number: 5566546 Country of ref document: JP Free format text: JAPANESE INTERMEDIATE CODE: R150 |
|
| R250 | Receipt of annual fees |
Free format text: JAPANESE INTERMEDIATE CODE: R250 |
|
| R250 | Receipt of annual fees |
Free format text: JAPANESE INTERMEDIATE CODE: R250 |
|
| R250 | Receipt of annual fees |
Free format text: JAPANESE INTERMEDIATE CODE: R250 |
|
| R250 | Receipt of annual fees |
Free format text: JAPANESE INTERMEDIATE CODE: R250 |
|
| R250 | Receipt of annual fees |
Free format text: JAPANESE INTERMEDIATE CODE: R250 |
|
| R250 | Receipt of annual fees |
Free format text: JAPANESE INTERMEDIATE CODE: R250 |
|
| R250 | Receipt of annual fees |
Free format text: JAPANESE INTERMEDIATE CODE: R250 |
|
| R250 | Receipt of annual fees |
Free format text: JAPANESE INTERMEDIATE CODE: R250 |
|
| R250 | Receipt of annual fees |
Free format text: JAPANESE INTERMEDIATE CODE: R250 |
