JP5460552B2 - 半導体装置 - Google Patents
半導体装置 Download PDFInfo
- Publication number
- JP5460552B2 JP5460552B2 JP2010233285A JP2010233285A JP5460552B2 JP 5460552 B2 JP5460552 B2 JP 5460552B2 JP 2010233285 A JP2010233285 A JP 2010233285A JP 2010233285 A JP2010233285 A JP 2010233285A JP 5460552 B2 JP5460552 B2 JP 5460552B2
- Authority
- JP
- Japan
- Prior art keywords
- insulating layer
- layer
- oxide
- oxide semiconductor
- halogen element
- Prior art date
- Legal status (The legal status is an assumption and is not a legal conclusion. Google has not performed a legal analysis and makes no representation as to the accuracy of the status listed.)
- Active
Links
Images
Classifications
-
- H—ELECTRICITY
- H01—ELECTRIC ELEMENTS
- H01L—SEMICONDUCTOR DEVICES NOT COVERED BY CLASS H10
- H01L21/00—Processes or apparatus adapted for the manufacture or treatment of semiconductor or solid state devices or of parts thereof
- H01L21/02—Manufacture or treatment of semiconductor devices or of parts thereof
- H01L21/02104—Forming layers
- H01L21/02365—Forming inorganic semiconducting materials on a substrate
- H01L21/02656—Special treatments
- H01L21/02664—Aftertreatments
-
- H—ELECTRICITY
- H10—SEMICONDUCTOR DEVICES; ELECTRIC SOLID-STATE DEVICES NOT OTHERWISE PROVIDED FOR
- H10D—INORGANIC ELECTRIC SEMICONDUCTOR DEVICES
- H10D30/00—Field-effect transistors [FET]
- H10D30/60—Insulated-gate field-effect transistors [IGFET]
- H10D30/67—Thin-film transistors [TFT]
- H10D30/6729—Thin-film transistors [TFT] characterised by the electrodes
- H10D30/6737—Thin-film transistors [TFT] characterised by the electrodes characterised by the electrode materials
- H10D30/6739—Conductor-insulator-semiconductor electrodes
-
- H—ELECTRICITY
- H01—ELECTRIC ELEMENTS
- H01L—SEMICONDUCTOR DEVICES NOT COVERED BY CLASS H10
- H01L21/00—Processes or apparatus adapted for the manufacture or treatment of semiconductor or solid state devices or of parts thereof
- H01L21/02—Manufacture or treatment of semiconductor devices or of parts thereof
- H01L21/02104—Forming layers
- H01L21/02365—Forming inorganic semiconducting materials on a substrate
- H01L21/02518—Deposited layers
- H01L21/02521—Materials
- H01L21/02565—Oxide semiconducting materials not being Group 12/16 materials, e.g. ternary compounds
-
- H—ELECTRICITY
- H01—ELECTRIC ELEMENTS
- H01L—SEMICONDUCTOR DEVICES NOT COVERED BY CLASS H10
- H01L23/00—Details of semiconductor or other solid state devices
- H01L23/564—Details not otherwise provided for, e.g. protection against moisture
-
- H—ELECTRICITY
- H10—SEMICONDUCTOR DEVICES; ELECTRIC SOLID-STATE DEVICES NOT OTHERWISE PROVIDED FOR
- H10D—INORGANIC ELECTRIC SEMICONDUCTOR DEVICES
- H10D30/00—Field-effect transistors [FET]
- H10D30/01—Manufacture or treatment
- H10D30/021—Manufacture or treatment of FETs having insulated gates [IGFET]
- H10D30/031—Manufacture or treatment of FETs having insulated gates [IGFET] of thin-film transistors [TFT]
-
- H—ELECTRICITY
- H10—SEMICONDUCTOR DEVICES; ELECTRIC SOLID-STATE DEVICES NOT OTHERWISE PROVIDED FOR
- H10D—INORGANIC ELECTRIC SEMICONDUCTOR DEVICES
- H10D30/00—Field-effect transistors [FET]
- H10D30/60—Insulated-gate field-effect transistors [IGFET]
- H10D30/67—Thin-film transistors [TFT]
- H10D30/6704—Thin-film transistors [TFT] having supplementary regions or layers in the thin films or in the insulated bulk substrates for controlling properties of the device
-
- H—ELECTRICITY
- H10—SEMICONDUCTOR DEVICES; ELECTRIC SOLID-STATE DEVICES NOT OTHERWISE PROVIDED FOR
- H10D—INORGANIC ELECTRIC SEMICONDUCTOR DEVICES
- H10D30/00—Field-effect transistors [FET]
- H10D30/60—Insulated-gate field-effect transistors [IGFET]
- H10D30/67—Thin-film transistors [TFT]
- H10D30/674—Thin-film transistors [TFT] characterised by the active materials
- H10D30/6755—Oxide semiconductors, e.g. zinc oxide, copper aluminium oxide or cadmium stannate
-
- H—ELECTRICITY
- H10—SEMICONDUCTOR DEVICES; ELECTRIC SOLID-STATE DEVICES NOT OTHERWISE PROVIDED FOR
- H10D—INORGANIC ELECTRIC SEMICONDUCTOR DEVICES
- H10D86/00—Integrated devices formed in or on insulating or conducting substrates, e.g. formed in silicon-on-insulator [SOI] substrates or on stainless steel or glass substrates
- H10D86/40—Integrated devices formed in or on insulating or conducting substrates, e.g. formed in silicon-on-insulator [SOI] substrates or on stainless steel or glass substrates characterised by multiple TFTs
- H10D86/60—Integrated devices formed in or on insulating or conducting substrates, e.g. formed in silicon-on-insulator [SOI] substrates or on stainless steel or glass substrates characterised by multiple TFTs wherein the TFTs are in active matrices
-
- H—ELECTRICITY
- H10—SEMICONDUCTOR DEVICES; ELECTRIC SOLID-STATE DEVICES NOT OTHERWISE PROVIDED FOR
- H10D—INORGANIC ELECTRIC SEMICONDUCTOR DEVICES
- H10D99/00—Subject matter not provided for in other groups of this subclass
-
- H10P14/22—
-
- H10P14/3426—
-
- H10P14/3434—
-
- H—ELECTRICITY
- H01—ELECTRIC ELEMENTS
- H01L—SEMICONDUCTOR DEVICES NOT COVERED BY CLASS H10
- H01L21/00—Processes or apparatus adapted for the manufacture or treatment of semiconductor or solid state devices or of parts thereof
- H01L21/02—Manufacture or treatment of semiconductor devices or of parts thereof
- H01L21/02104—Forming layers
- H01L21/02365—Forming inorganic semiconducting materials on a substrate
- H01L21/02518—Deposited layers
- H01L21/02521—Materials
- H01L21/02551—Group 12/16 materials
- H01L21/02554—Oxides
-
- H—ELECTRICITY
- H01—ELECTRIC ELEMENTS
- H01L—SEMICONDUCTOR DEVICES NOT COVERED BY CLASS H10
- H01L21/00—Processes or apparatus adapted for the manufacture or treatment of semiconductor or solid state devices or of parts thereof
- H01L21/02—Manufacture or treatment of semiconductor devices or of parts thereof
- H01L21/02104—Forming layers
- H01L21/02365—Forming inorganic semiconducting materials on a substrate
- H01L21/02612—Formation types
- H01L21/02617—Deposition types
- H01L21/02631—Physical deposition at reduced pressure, e.g. MBE, sputtering, evaporation
-
- H—ELECTRICITY
- H01—ELECTRIC ELEMENTS
- H01L—SEMICONDUCTOR DEVICES NOT COVERED BY CLASS H10
- H01L2924/00—Indexing scheme for arrangements or methods for connecting or disconnecting semiconductor or solid-state bodies as covered by H01L24/00
-
- H—ELECTRICITY
- H01—ELECTRIC ELEMENTS
- H01L—SEMICONDUCTOR DEVICES NOT COVERED BY CLASS H10
- H01L2924/00—Indexing scheme for arrangements or methods for connecting or disconnecting semiconductor or solid-state bodies as covered by H01L24/00
- H01L2924/0001—Technical content checked by a classifier
- H01L2924/0002—Not covered by any one of groups H01L24/00, H01L24/00 and H01L2224/00
Landscapes
- Engineering & Computer Science (AREA)
- Physics & Mathematics (AREA)
- Condensed Matter Physics & Semiconductors (AREA)
- General Physics & Mathematics (AREA)
- Computer Hardware Design (AREA)
- Microelectronics & Electronic Packaging (AREA)
- Power Engineering (AREA)
- Manufacturing & Machinery (AREA)
- Thin Film Transistor (AREA)
- Liquid Crystal (AREA)
- Electroluminescent Light Sources (AREA)
- Formation Of Insulating Films (AREA)
- Semiconductor Integrated Circuits (AREA)
- Physical Deposition Of Substances That Are Components Of Semiconductor Devices (AREA)
- Physical Vapour Deposition (AREA)
- Devices For Indicating Variable Information By Combining Individual Elements (AREA)
- Optics & Photonics (AREA)
Description
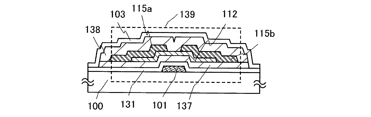
本実施の形態の半導体装置及び半導体装置の作製方法の一形態を、図1を用いて説明する。本実施の形態で示す半導体装置は薄膜トランジスタである。
本実施の形態は、本明細書で開示する半導体装置に適用できる薄膜トランジスタの他の例を示す。上記実施の形態と同一部分又は同様な機能を有する部分、及び工程は、上記実施の形態を適用することができ、繰り返しの説明は省略する。また同じ箇所の詳細な説明は省略する。
本実施の形態は、本明細書で開示する半導体装置に適用できる薄膜トランジスタの他の例を示す。上記実施の形態と同一部分又は同様な機能を有する部分、及び工程は、上記実施の形態を適用することができ、繰り返しの説明は省略する。また同じ箇所の詳細な説明は省略する。
本実施の形態は、本明細書で開示する半導体装置に適用できる薄膜トランジスタの他の例を示す。上記実施の形態と同一部分又は同様な機能を有する部分、及び工程は、上記実施の形態を適用することができ、繰り返しの説明は省略する。また同じ箇所の詳細な説明は省略する。
本実施の形態は、本明細書で開示する半導体装置に適用できる薄膜トランジスタの他の例を示す。
本実施の形態は、本明細書で開示する半導体装置に適用できる薄膜トランジスタの他の例を示す。
本実施の形態は、本明細書で開示する半導体装置に適用できる薄膜トランジスタの例を示す。
本実施の形態は、本明細書で開示する半導体装置に適用できる薄膜トランジスタの例を示す。
本実施の形態では、実施の形態1乃至8に示した半導体装置において、薄膜トランジスタと、エレクトロルミネッセンスを利用する発光素子とを用い、アクティブマトリクス型の発光表示装置を作製する一例を示す。
本実施の形態では、発光表示パネル(発光パネルともいう)の外観及び断面について、図10を用いて説明する。図10(A)は、第1の基板上に形成された薄膜トランジスタ及び発光素子を、第2の基板との間にシール材によって封止した、パネルの平面図であり、図10(B)は、図10(A)のH−Iにおける断面図に相当する。
半導体装置の一形態に相当する液晶表示パネルの外観及び断面について、図16を用いて説明する。図16(A)(C)は、薄膜トランジスタ4010、4011、及び液晶素子4013を、第1の基板4001と第2の基板4006との間にシール材4005によって封止した、パネルの平面図であり、図16(B)は、図16(A)または図16(C)のM−Nにおける断面図に相当する。
本実施の形態では、本発明の一実施の形態である半導体装置として電子ペーパーの例を示す。
本明細書に開示する半導体装置は、さまざまな電子機器(遊技機も含む)に適用することができる。電子機器としては、例えば、テレビジョン装置(テレビ、またはテレビジョン受信機ともいう)、コンピュータ用などのモニタ、デジタルカメラ、デジタルビデオカメラ、デジタルフォトフレーム、携帯電話機(携帯電話、携帯電話装置ともいう)、携帯型ゲーム機、携帯情報端末、音響再生装置、パチンコ機などの大型ゲーム機などが挙げられる。
本明細書に開示する半導体装置は、電子ペーパーとして適用することができる。電子ペーパーは、情報を表示するものであればあらゆる分野の電子機器に用いることが可能である。例えば、電子ペーパーを用いて、電子書籍(電子ブック)、ポスター、電車などの乗り物の車内広告、クレジットカード等の各種カードにおける表示等に適用することができる。電子機器の一例を図20に示す。
(実施の形態15)
本実施の形態は、本明細書で開示する半導体装置に適用できる薄膜トランジスタの例を示す。
Claims (10)
- 酸化物半導体層と、
前記酸化物半導体層と接する領域を有する絶縁層と、を有し、
前記絶縁層は、ハロゲン元素を有し、
前記絶縁層は、前記ハロゲン元素の濃度が、5×10 18 atoms/cm 3 乃至1×10 20 atoms/cm 3 である領域を有することを特徴とする半導体装置。 - 酸化物半導体層と、
前記酸化物半導体層上方の絶縁層と、を有し、
前記絶縁層は、ハロゲン元素を有し、
前記絶縁層は、前記ハロゲン元素の濃度が、5×10 18 atoms/cm 3 乃至1×10 20 atoms/cm 3 である領域を有することを特徴とする半導体装置。 - 絶縁層と、
前記絶縁層上方の酸化物半導体層と、を有し、
前記絶縁層は、ハロゲン元素を有し、
前記絶縁層は、前記ハロゲン元素の濃度が、5×10 18 atoms/cm 3 乃至1×10 20 atoms/cm 3 である領域を有することを特徴とする半導体装置。 - 第1の絶縁層と、
前記第1の絶縁層上方の酸化物半導体層と、
前記酸化物半導体層上方の第2の絶縁層と、を有し、
前記第1の絶縁層は、第1のハロゲン元素を有し、
前記第2の絶縁層は、第2のハロゲン元素を有し、
前記第1の絶縁層は、前記第1のハロゲン元素の濃度が、5×10 18 atoms/cm 3 乃至1×10 20 atoms/cm 3 である領域を有し、
前記第2の絶縁層は、前記第2のハロゲン元素の濃度が、5×10 18 atoms/cm 3 乃至1×10 20 atoms/cm 3 である領域を有することを特徴とする半導体装置。 - 酸化物半導体層と、
前記酸化物半導体層と接する領域を有する絶縁層と、を有し、
前記絶縁層は、ハロゲン元素を有し、
前記絶縁層は、前記ハロゲン元素の濃度が、5×10 18 atoms/cm 3 乃至1×10 20 atoms/cm 3 である領域を有し、
前記ハロゲン元素は、フッ素、塩素、臭素、又はヨウ素であることを特徴とする半導体装置。 - 酸化物半導体層と、
前記酸化物半導体層上方の絶縁層と、を有し、
前記絶縁層は、ハロゲン元素を有し、
前記絶縁層は、前記ハロゲン元素の濃度が、5×10 18 atoms/cm 3 乃至1×10 20 atoms/cm 3 である領域を有し、
前記ハロゲン元素は、フッ素、塩素、臭素、又はヨウ素であることを特徴とする半導体装置。 - 絶縁層と、
前記絶縁層上方の酸化物半導体層と、を有し、
前記絶縁層は、ハロゲン元素を有し、
前記絶縁層は、前記ハロゲン元素の濃度が、5×10 18 atoms/cm 3 乃至1×10 20 atoms/cm 3 である領域を有し、
前記ハロゲン元素は、フッ素、塩素、臭素、又はヨウ素であることを特徴とする半導体装置。 - 第1の絶縁層と、
前記第1の絶縁層上方の酸化物半導体層と、
前記酸化物半導体層上方の第2の絶縁層と、を有し、
前記第1の絶縁層は、第1のハロゲン元素を有し、
前記第2の絶縁層は、第2のハロゲン元素を有し、
前記第1の絶縁層は、前記第1のハロゲン元素の濃度が、5×10 18 atoms/cm 3 乃至1×10 20 atoms/cm 3 である領域を有し、
前記第2の絶縁層は、前記第2のハロゲン元素の濃度が、5×10 18 atoms/cm 3 乃至1×10 20 atoms/cm 3 である領域を有し、
前記第1のハロゲン元素は、フッ素、塩素、臭素、又はヨウ素であり、
前記第2のハロゲン元素は、フッ素、塩素、臭素、又はヨウ素であることを特徴とする半導体装置。 - 請求項1乃至請求項8のいずれか一項において、
前記酸化物半導体層は、インジウム、ガリウム、又は亜鉛を有することを特徴とする半導体装置。 - 請求項1乃至請求項9のいずれか一項において、
前記ハロゲン元素の濃度の値は、二次イオン質量分析によるものであることを特徴とする半導体装置。
Priority Applications (1)
| Application Number | Priority Date | Filing Date | Title |
|---|---|---|---|
| JP2010233285A JP5460552B2 (ja) | 2009-10-21 | 2010-10-18 | 半導体装置 |
Applications Claiming Priority (3)
| Application Number | Priority Date | Filing Date | Title |
|---|---|---|---|
| JP2009242777 | 2009-10-21 | ||
| JP2009242777 | 2009-10-21 | ||
| JP2010233285A JP5460552B2 (ja) | 2009-10-21 | 2010-10-18 | 半導体装置 |
Related Child Applications (2)
| Application Number | Title | Priority Date | Filing Date |
|---|---|---|---|
| JP2012182999A Division JP5220944B2 (ja) | 2009-10-21 | 2012-08-22 | 半導体装置 |
| JP2014003953A Division JP5566546B2 (ja) | 2009-10-21 | 2014-01-14 | 発光装置 |
Publications (3)
| Publication Number | Publication Date |
|---|---|
| JP2011109078A JP2011109078A (ja) | 2011-06-02 |
| JP2011109078A5 JP2011109078A5 (ja) | 2013-11-14 |
| JP5460552B2 true JP5460552B2 (ja) | 2014-04-02 |
Family
ID=43878611
Family Applications (11)
| Application Number | Title | Priority Date | Filing Date |
|---|---|---|---|
| JP2010233285A Active JP5460552B2 (ja) | 2009-10-21 | 2010-10-18 | 半導体装置 |
| JP2012182999A Active JP5220944B2 (ja) | 2009-10-21 | 2012-08-22 | 半導体装置 |
| JP2014003953A Active JP5566546B2 (ja) | 2009-10-21 | 2014-01-14 | 発光装置 |
| JP2014124029A Active JP5870159B2 (ja) | 2009-10-21 | 2014-06-17 | 半導体装置 |
| JP2014234203A Withdrawn JP2015084426A (ja) | 2009-10-21 | 2014-11-19 | 半導体装置 |
| JP2014234201A Active JP5959604B2 (ja) | 2009-10-21 | 2014-11-19 | 半導体装置の作製方法 |
| JP2016122772A Active JP6154049B2 (ja) | 2009-10-21 | 2016-06-21 | 半導体装置の作製方法 |
| JP2017107685A Expired - Fee Related JP6334033B2 (ja) | 2009-10-21 | 2017-05-31 | 半導体装置の作製方法 |
| JP2018084378A Withdrawn JP2018113491A (ja) | 2009-10-21 | 2018-04-25 | 半導体装置 |
| JP2019222311A Withdrawn JP2020057798A (ja) | 2009-10-21 | 2019-12-09 | 半導体装置 |
| JP2022066031A Active JP7394909B2 (ja) | 2009-10-21 | 2022-04-13 | 半導体装置 |
Family Applications After (10)
| Application Number | Title | Priority Date | Filing Date |
|---|---|---|---|
| JP2012182999A Active JP5220944B2 (ja) | 2009-10-21 | 2012-08-22 | 半導体装置 |
| JP2014003953A Active JP5566546B2 (ja) | 2009-10-21 | 2014-01-14 | 発光装置 |
| JP2014124029A Active JP5870159B2 (ja) | 2009-10-21 | 2014-06-17 | 半導体装置 |
| JP2014234203A Withdrawn JP2015084426A (ja) | 2009-10-21 | 2014-11-19 | 半導体装置 |
| JP2014234201A Active JP5959604B2 (ja) | 2009-10-21 | 2014-11-19 | 半導体装置の作製方法 |
| JP2016122772A Active JP6154049B2 (ja) | 2009-10-21 | 2016-06-21 | 半導体装置の作製方法 |
| JP2017107685A Expired - Fee Related JP6334033B2 (ja) | 2009-10-21 | 2017-05-31 | 半導体装置の作製方法 |
| JP2018084378A Withdrawn JP2018113491A (ja) | 2009-10-21 | 2018-04-25 | 半導体装置 |
| JP2019222311A Withdrawn JP2020057798A (ja) | 2009-10-21 | 2019-12-09 | 半導体装置 |
| JP2022066031A Active JP7394909B2 (ja) | 2009-10-21 | 2022-04-13 | 半導体装置 |
Country Status (5)
| Country | Link |
|---|---|
| US (3) | US8642412B2 (ja) |
| JP (11) | JP5460552B2 (ja) |
| KR (3) | KR20170024130A (ja) |
| TW (2) | TWI562245B (ja) |
| WO (1) | WO2011048959A1 (ja) |
Families Citing this family (77)
| Publication number | Priority date | Publication date | Assignee | Title |
|---|---|---|---|---|
| JP3176648B2 (ja) | 1991-04-23 | 2001-06-18 | 三菱長崎機工株式会社 | リング成形機 |
| KR20170024130A (ko) * | 2009-10-21 | 2017-03-06 | 가부시키가이샤 한도오따이 에네루기 켄큐쇼 | 반도체 장치 및 그 제조 방법 |
| EP2494601A4 (en) | 2009-10-30 | 2016-09-07 | Semiconductor Energy Lab | SEMICONDUCTOR COMPONENT AND MANUFACTURING METHOD THEREFOR |
| WO2011108381A1 (en) | 2010-03-05 | 2011-09-09 | Semiconductor Energy Laboratory Co., Ltd. | Semiconductor device and manufacturing method thereof |
| KR20130008037A (ko) * | 2010-03-05 | 2013-01-21 | 가부시키가이샤 한도오따이 에네루기 켄큐쇼 | 반도체 장치를 제작하는 방법 |
| KR102112065B1 (ko) * | 2010-03-26 | 2020-06-04 | 가부시키가이샤 한도오따이 에네루기 켄큐쇼 | 반도체 장치 |
| WO2011118741A1 (en) | 2010-03-26 | 2011-09-29 | Semiconductor Energy Laboratory Co., Ltd. | Method for manufacturing semiconductor device |
| CN105321961B (zh) | 2010-04-23 | 2018-10-02 | 株式会社半导体能源研究所 | 半导体装置的制造方法 |
| KR20130055607A (ko) | 2010-04-23 | 2013-05-28 | 가부시키가이샤 한도오따이 에네루기 켄큐쇼 | 반도체 장치의 제작 방법 |
| KR101806271B1 (ko) | 2010-05-14 | 2017-12-07 | 가부시키가이샤 한도오따이 에네루기 켄큐쇼 | 반도체 장치의 제작 방법 |
| US9496405B2 (en) | 2010-05-20 | 2016-11-15 | Semiconductor Energy Laboratory Co., Ltd. | Method for manufacturing semiconductor device including step of adding cation to oxide semiconductor layer |
| WO2011145484A1 (en) | 2010-05-21 | 2011-11-24 | Semiconductor Energy Laboratory Co., Ltd. | Semiconductor device |
| US8629438B2 (en) | 2010-05-21 | 2014-01-14 | Semiconductor Energy Laboratory Co., Ltd. | Semiconductor device and manufacturing method thereof |
| US8441010B2 (en) * | 2010-07-01 | 2013-05-14 | Semiconductor Energy Laboratory Co., Ltd. | Semiconductor device |
| US8642380B2 (en) * | 2010-07-02 | 2014-02-04 | Semiconductor Energy Laboratory Co., Ltd. | Manufacturing method of semiconductor device |
| JP5778960B2 (ja) * | 2011-03-29 | 2015-09-16 | 株式会社Joled | 表示パネル、表示装置および電子機器 |
| JP5766491B2 (ja) * | 2011-04-11 | 2015-08-19 | 株式会社Joled | 発光パネル、表示装置および電子機器 |
| JP6004308B2 (ja) * | 2011-08-12 | 2016-10-05 | Nltテクノロジー株式会社 | 薄膜デバイス |
| CN102629574A (zh) * | 2011-08-22 | 2012-08-08 | 京东方科技集团股份有限公司 | 一种氧化物tft阵列基板及其制造方法和电子器件 |
| KR101506303B1 (ko) * | 2011-09-29 | 2015-03-26 | 가부시키가이샤 한도오따이 에네루기 켄큐쇼 | 반도체 장치, 및 반도체 장치의 제작 방법 |
| KR20130043063A (ko) | 2011-10-19 | 2013-04-29 | 가부시키가이샤 한도오따이 에네루기 켄큐쇼 | 반도체 장치 및 반도체 장치의 제작 방법 |
| KR101976212B1 (ko) * | 2011-10-24 | 2019-05-07 | 가부시키가이샤 한도오따이 에네루기 켄큐쇼 | 반도체 장치 및 반도체 장치의 제작 방법 |
| KR102067051B1 (ko) | 2011-10-24 | 2020-01-16 | 가부시키가이샤 한도오따이 에네루기 켄큐쇼 | 반도체 장치 및 반도체 장치의 제작 방법 |
| JP5933895B2 (ja) | 2011-11-10 | 2016-06-15 | 株式会社半導体エネルギー研究所 | 半導体装置および半導体装置の作製方法 |
| TWI621183B (zh) | 2011-12-01 | 2018-04-11 | 半導體能源研究所股份有限公司 | 半導體裝置及半導體裝置的製造方法 |
| WO2013111756A1 (en) * | 2012-01-25 | 2013-08-01 | Semiconductor Energy Laboratory Co., Ltd. | Semiconductor device and method for manufacturing semiconductor device |
| JP2013201428A (ja) * | 2012-02-23 | 2013-10-03 | Semiconductor Energy Lab Co Ltd | 半導体装置の作製方法 |
| JP6035195B2 (ja) * | 2012-05-01 | 2016-11-30 | 株式会社半導体エネルギー研究所 | 半導体装置の作製方法 |
| KR20200019269A (ko) * | 2012-06-29 | 2020-02-21 | 가부시키가이샤 한도오따이 에네루기 켄큐쇼 | 반도체 장치 |
| TWI495943B (zh) * | 2012-07-10 | 2015-08-11 | Innocom Tech Shenzhen Co Ltd | 液晶顯示面板、其驅動方法及包含其之液晶顯示器 |
| KR102008956B1 (ko) * | 2012-07-18 | 2019-08-09 | 삼성디스플레이 주식회사 | 표시 장치 및 그 제조 방법 |
| KR20250175003A (ko) * | 2012-07-20 | 2025-12-15 | 가부시키가이샤 한도오따이 에네루기 켄큐쇼 | 표시 장치 |
| TWI691084B (zh) | 2012-10-24 | 2020-04-11 | 日商半導體能源研究所股份有限公司 | 半導體裝置及其製造方法 |
| CN103022149B (zh) * | 2012-12-14 | 2015-06-10 | 京东方科技集团股份有限公司 | 薄膜晶体管、阵列基板及制造方法和显示器件 |
| CN105051906B (zh) * | 2013-03-15 | 2018-12-07 | 应用材料公司 | 用于tft的金属氧化物半导体的缓冲层 |
| JP6108898B2 (ja) | 2013-03-19 | 2017-04-05 | 株式会社東芝 | 表示装置、薄膜トランジスタ、表示装置の製造方法及び薄膜トランジスタの製造方法 |
| TWI809474B (zh) | 2013-05-16 | 2023-07-21 | 日商半導體能源研究所股份有限公司 | 半導體裝置 |
| JP6326270B2 (ja) * | 2013-06-28 | 2018-05-16 | 株式会社神戸製鋼所 | 薄膜トランジスタおよびその製造方法 |
| US20150079727A1 (en) * | 2013-09-17 | 2015-03-19 | Intermolecular, Inc. | Amorphous IGZO Devices and Methods for Forming the Same |
| CN103500711B (zh) * | 2013-10-15 | 2017-06-06 | 深圳市华星光电技术有限公司 | 薄膜晶体管的制造方法 |
| KR20150060448A (ko) * | 2013-11-26 | 2015-06-03 | 삼성디스플레이 주식회사 | 박막 트랜지스터 표시판 및 이의 제조 방법 |
| JP6486660B2 (ja) * | 2013-11-27 | 2019-03-20 | 株式会社半導体エネルギー研究所 | 表示装置 |
| JP6556998B2 (ja) * | 2013-11-28 | 2019-08-07 | 株式会社半導体エネルギー研究所 | 表示装置 |
| JP2016027597A (ja) * | 2013-12-06 | 2016-02-18 | 株式会社半導体エネルギー研究所 | 半導体装置 |
| CN104752516A (zh) * | 2013-12-27 | 2015-07-01 | 昆山工研院新型平板显示技术中心有限公司 | 氧化物半导体薄膜晶体管及其制造方法 |
| CN103730373B (zh) * | 2013-12-31 | 2016-09-07 | 京东方科技集团股份有限公司 | 一种半导体器件的制备方法及半导体器件 |
| KR101536174B1 (ko) * | 2014-02-11 | 2015-07-14 | 연세대학교 산학협력단 | 산소 확산을 억제할 수 있는 반도체 소자 제조 방법 |
| JP6412322B2 (ja) * | 2014-03-13 | 2018-10-24 | 東京エレクトロン株式会社 | 半導体デバイス、その製造方法、及びその製造装置 |
| JP6375654B2 (ja) * | 2014-03-17 | 2018-08-22 | 株式会社デンソー | 有機トランジスタ |
| JP6263721B2 (ja) * | 2014-06-20 | 2018-01-24 | 株式会社Joled | 薄膜トランジスタ、薄膜トランジスタの製造方法及び有機el表示装置 |
| JP6392061B2 (ja) * | 2014-10-01 | 2018-09-19 | 東京エレクトロン株式会社 | 電子デバイス、その製造方法、及びその製造装置 |
| WO2016063160A1 (en) * | 2014-10-20 | 2016-04-28 | Semiconductor Energy Laboratory Co., Ltd. | Semiconductor device, manufacturing method thereof, display device, and display module |
| WO2016063159A1 (en) * | 2014-10-20 | 2016-04-28 | Semiconductor Energy Laboratory Co., Ltd. | Semiconductor device and manufacturing method thereof, module, and electronic device |
| WO2016067159A1 (en) * | 2014-10-28 | 2016-05-06 | Semiconductor Energy Laboratory Co., Ltd. | Functional panel, method for manufacturing the same, module, data processing device |
| JPWO2016067161A1 (ja) * | 2014-10-28 | 2017-08-31 | 株式会社半導体エネルギー研究所 | 半導体装置およびその作製方法 |
| US20160155849A1 (en) * | 2014-12-02 | 2016-06-02 | Semiconductor Energy Laboratory Co., Ltd. | Semiconductor device, method for manufacturing semiconductor device, module, and electronic device |
| US10056497B2 (en) | 2015-04-15 | 2018-08-21 | Semiconductor Energy Laboratory Co., Ltd. | Semiconductor device and manufacturing method thereof |
| US10192995B2 (en) | 2015-04-28 | 2019-01-29 | Semiconductor Energy Laboratory Co., Ltd. | Semiconductor device and manufacturing method thereof |
| WO2017002986A1 (ko) * | 2015-06-30 | 2017-01-05 | 실리콘 디스플레이 (주) | 산화물 반도체 박막 트랜지스터 및 그 제조 방법 |
| WO2017013691A1 (ja) * | 2015-07-17 | 2017-01-26 | 株式会社Joled | 薄膜トランジスタ及び薄膜トランジスタの製造方法 |
| US20180219097A1 (en) * | 2015-07-27 | 2018-08-02 | Sharp Kabushiki Kaisha | Semiconductor device and method for manufacturing same |
| CN105137660A (zh) * | 2015-09-25 | 2015-12-09 | 京东方科技集团股份有限公司 | 一种光配向膜杂质去除装置和方法 |
| US20170104090A1 (en) * | 2015-10-12 | 2017-04-13 | Semiconductor Energy Laboratory Co., Ltd. | Method for manufacturing semiconductor device |
| US10121759B2 (en) * | 2015-11-04 | 2018-11-06 | Kulicke And Soffa Industries, Inc. | On-bonder automatic overhang die optimization tool for wire bonding and related methods |
| DE112017000905T5 (de) | 2016-02-18 | 2018-10-25 | Semiconductor Energy Laboratory Co., Ltd. | Halbleitervorrichtung, Herstellungsverfahren dafür, Anzeigevorrichtung und elektronisches Gerät |
| KR101874822B1 (ko) * | 2016-04-01 | 2018-07-06 | 주식회사 테스 | 실리콘산화막의 선택적 식각 방법 |
| JP6179912B2 (ja) * | 2016-06-10 | 2017-08-16 | Tianma Japan株式会社 | 薄膜デバイス及びその製造方法 |
| KR102661549B1 (ko) * | 2016-11-30 | 2024-04-26 | 엘지디스플레이 주식회사 | 표시 장치 및 그 제조 방법 |
| KR102627305B1 (ko) * | 2016-12-30 | 2024-01-18 | 한양대학교 산학협력단 | 박막 트랜지스터 기판 및 표시 장치 |
| KR102393552B1 (ko) | 2017-11-09 | 2022-05-02 | 엘지디스플레이 주식회사 | 수소 차단막을 갖는 박막 트랜지스터 및 이를 포함하는 표시장치 |
| JP6753450B2 (ja) * | 2018-11-12 | 2020-09-09 | セイコーエプソン株式会社 | 電気光学装置用基板、電気光学装置、電子機器 |
| JP7147953B2 (ja) * | 2019-02-25 | 2022-10-05 | 株式会社ニコン | 半導体装置、pHセンサ及びバイオセンサ並びに半導体装置の製造方法 |
| TWI692816B (zh) * | 2019-05-22 | 2020-05-01 | 友達光電股份有限公司 | 顯示裝置及其製作方法 |
| JP7182577B2 (ja) * | 2020-03-24 | 2022-12-02 | 株式会社Kokusai Electric | 基板処理方法、半導体装置の製造方法、基板処理装置、およびプログラム |
| JP7418703B2 (ja) * | 2020-07-01 | 2024-01-22 | 日新電機株式会社 | 薄膜トランジスタ |
| JP2022038209A (ja) | 2020-08-26 | 2022-03-10 | キオクシア株式会社 | 半導体装置 |
| US12225735B2 (en) | 2022-06-07 | 2025-02-11 | Taiwan Semiconductor Manufacturing Company, Ltd. | Selector for memory device |
Family Cites Families (166)
| Publication number | Priority date | Publication date | Assignee | Title |
|---|---|---|---|---|
| JPS60198861A (ja) | 1984-03-23 | 1985-10-08 | Fujitsu Ltd | 薄膜トランジスタ |
| JPH0244256B2 (ja) | 1987-01-28 | 1990-10-03 | Kagaku Gijutsucho Mukizaishitsu Kenkyushocho | Ingazn2o5deshimesarerurotsuhoshokeinosojokozoojusurukagobutsuoyobisonoseizoho |
| JPH0244258B2 (ja) | 1987-02-24 | 1990-10-03 | Kagaku Gijutsucho Mukizaishitsu Kenkyushocho | Ingazn3o6deshimesarerurotsuhoshokeinosojokozoojusurukagobutsuoyobisonoseizoho |
| JPS63210023A (ja) | 1987-02-24 | 1988-08-31 | Natl Inst For Res In Inorg Mater | InGaZn↓4O↓7で示される六方晶系の層状構造を有する化合物およびその製造法 |
| JPH0244260B2 (ja) | 1987-02-24 | 1990-10-03 | Kagaku Gijutsucho Mukizaishitsu Kenkyushocho | Ingazn5o8deshimesarerurotsuhoshokeinosojokozoojusurukagobutsuoyobisonoseizoho |
| JPH0244262B2 (ja) | 1987-02-27 | 1990-10-03 | Kagaku Gijutsucho Mukizaishitsu Kenkyushocho | Ingazn6o9deshimesarerurotsuhoshokeinosojokozoojusurukagobutsuoyobisonoseizoho |
| JPH0244263B2 (ja) | 1987-04-22 | 1990-10-03 | Kagaku Gijutsucho Mukizaishitsu Kenkyushocho | Ingazn7o10deshimesarerurotsuhoshokeinosojokozoojusurukagobutsuoyobisonoseizoho |
| TW237562B (ja) * | 1990-11-09 | 1995-01-01 | Semiconductor Energy Res Co Ltd | |
| JP3071851B2 (ja) * | 1991-03-25 | 2000-07-31 | 株式会社半導体エネルギー研究所 | 電気光学装置 |
| JPH0567782A (ja) * | 1991-09-09 | 1993-03-19 | Hitachi Ltd | 薄膜トランジスタとその製造方法 |
| JPH05251705A (ja) | 1992-03-04 | 1993-09-28 | Fuji Xerox Co Ltd | 薄膜トランジスタ |
| JP3564505B2 (ja) * | 1993-02-19 | 2004-09-15 | 株式会社半導体エネルギー研究所 | 半導体装置の作製方法 |
| KR0143873B1 (ko) * | 1993-02-19 | 1998-08-17 | 순페이 야마자끼 | 절연막 및 반도체장치 및 반도체 장치 제조방법 |
| US7465679B1 (en) | 1993-02-19 | 2008-12-16 | Semiconductor Energy Laboratory Co., Ltd. | Insulating film and method of producing semiconductor device |
| JP2796049B2 (ja) * | 1993-11-26 | 1998-09-10 | 菱電セミコンダクタシステムエンジニアリング株式会社 | 薄膜トランジスタおよびその製造方法 |
| JP3117872B2 (ja) * | 1994-06-02 | 2000-12-18 | 株式会社半導体エネルギー研究所 | 薄膜半導体集積回路の作製方法 |
| JP3468848B2 (ja) * | 1994-06-09 | 2003-11-17 | 株式会社半導体エネルギー研究所 | 薄膜トランジスタおよびその作製方法、並びに液晶表示装置およびその作製方法 |
| JP3479375B2 (ja) | 1995-03-27 | 2003-12-15 | 科学技術振興事業団 | 亜酸化銅等の金属酸化物半導体による薄膜トランジスタとpn接合を形成した金属酸化物半導体装置およびそれらの製造方法 |
| KR100394896B1 (ko) * | 1995-08-03 | 2003-11-28 | 코닌클리케 필립스 일렉트로닉스 엔.브이. | 투명스위칭소자를포함하는반도체장치 |
| JP3625598B2 (ja) * | 1995-12-30 | 2005-03-02 | 三星電子株式会社 | 液晶表示装置の製造方法 |
| US6100562A (en) * | 1996-03-17 | 2000-08-08 | Semiconductor Energy Laboratory Co., Ltd. | Method of manufacturing a semiconductor device |
| JPH10303128A (ja) | 1997-04-30 | 1998-11-13 | Fujitsu Ltd | 成膜方法 |
| JP4170454B2 (ja) | 1998-07-24 | 2008-10-22 | Hoya株式会社 | 透明導電性酸化物薄膜を有する物品及びその製造方法 |
| JP2000150861A (ja) * | 1998-11-16 | 2000-05-30 | Tdk Corp | 酸化物薄膜 |
| JP3276930B2 (ja) * | 1998-11-17 | 2002-04-22 | 科学技術振興事業団 | トランジスタ及び半導体装置 |
| TW460731B (en) * | 1999-09-03 | 2001-10-21 | Ind Tech Res Inst | Electrode structure and production method of wide viewing angle LCD |
| JP3241708B2 (ja) * | 2000-08-07 | 2001-12-25 | 株式会社半導体エネルギー研究所 | アクティブマトリクス型表示装置 |
| JP4089858B2 (ja) | 2000-09-01 | 2008-05-28 | 国立大学法人東北大学 | 半導体デバイス |
| KR20020038482A (ko) * | 2000-11-15 | 2002-05-23 | 모리시타 요이찌 | 박막 트랜지스터 어레이, 그 제조방법 및 그것을 이용한표시패널 |
| JP3997731B2 (ja) * | 2001-03-19 | 2007-10-24 | 富士ゼロックス株式会社 | 基材上に結晶性半導体薄膜を形成する方法 |
| JP2002289859A (ja) | 2001-03-23 | 2002-10-04 | Minolta Co Ltd | 薄膜トランジスタ |
| JP2002368009A (ja) * | 2001-06-05 | 2002-12-20 | Matsushita Electric Ind Co Ltd | 薄膜トランジスタおよび液晶表示装置 |
| JP4090716B2 (ja) * | 2001-09-10 | 2008-05-28 | 雅司 川崎 | 薄膜トランジスタおよびマトリクス表示装置 |
| JP3925839B2 (ja) | 2001-09-10 | 2007-06-06 | シャープ株式会社 | 半導体記憶装置およびその試験方法 |
| WO2003040441A1 (fr) * | 2001-11-05 | 2003-05-15 | Japan Science And Technology Agency | Film mince monocristallin homologue a super-reseau naturel, procede de preparation et dispositif dans lequel est utilise ledit film mince monocristallin |
| JP4164562B2 (ja) | 2002-09-11 | 2008-10-15 | 独立行政法人科学技術振興機構 | ホモロガス薄膜を活性層として用いる透明薄膜電界効果型トランジスタ |
| JP4083486B2 (ja) * | 2002-02-21 | 2008-04-30 | 独立行政法人科学技術振興機構 | LnCuO(S,Se,Te)単結晶薄膜の製造方法 |
| US7049190B2 (en) * | 2002-03-15 | 2006-05-23 | Sanyo Electric Co., Ltd. | Method for forming ZnO film, method for forming ZnO semiconductor layer, method for fabricating semiconductor device, and semiconductor device |
| JP3933591B2 (ja) * | 2002-03-26 | 2007-06-20 | 淳二 城戸 | 有機エレクトロルミネッセント素子 |
| US7339187B2 (en) * | 2002-05-21 | 2008-03-04 | State Of Oregon Acting By And Through The Oregon State Board Of Higher Education On Behalf Of Oregon State University | Transistor structures |
| JP2004022625A (ja) * | 2002-06-13 | 2004-01-22 | Murata Mfg Co Ltd | 半導体デバイス及び該半導体デバイスの製造方法 |
| US7105868B2 (en) * | 2002-06-24 | 2006-09-12 | Cermet, Inc. | High-electron mobility transistor with zinc oxide |
| US7067843B2 (en) * | 2002-10-11 | 2006-06-27 | E. I. Du Pont De Nemours And Company | Transparent oxide semiconductor thin film transistors |
| JP4166105B2 (ja) | 2003-03-06 | 2008-10-15 | シャープ株式会社 | 半導体装置およびその製造方法 |
| JP2004273732A (ja) | 2003-03-07 | 2004-09-30 | Sharp Corp | アクティブマトリクス基板およびその製造方法 |
| JP2004311702A (ja) * | 2003-04-07 | 2004-11-04 | Sumitomo Heavy Ind Ltd | 薄膜トランジスタの製造方法および薄膜トランジスタ |
| JP4108633B2 (ja) | 2003-06-20 | 2008-06-25 | シャープ株式会社 | 薄膜トランジスタおよびその製造方法ならびに電子デバイス |
| US7262463B2 (en) * | 2003-07-25 | 2007-08-28 | Hewlett-Packard Development Company, L.P. | Transistor including a deposited channel region having a doped portion |
| JP3923458B2 (ja) * | 2003-09-10 | 2007-05-30 | 株式会社半導体エネルギー研究所 | 半導体装置 |
| JP4877867B2 (ja) * | 2003-11-14 | 2012-02-15 | 株式会社半導体エネルギー研究所 | 表示装置の作製方法 |
| US8247965B2 (en) * | 2003-11-14 | 2012-08-21 | Semiconductor Energy Laboratory Co., Ltd. | Light emitting display device and method for manufacturing the same |
| JP2005167019A (ja) * | 2003-12-03 | 2005-06-23 | Sharp Corp | トランジスタおよびそのゲート絶縁膜の成膜に用いるcvd装置 |
| US7297977B2 (en) * | 2004-03-12 | 2007-11-20 | Hewlett-Packard Development Company, L.P. | Semiconductor device |
| US7145174B2 (en) * | 2004-03-12 | 2006-12-05 | Hewlett-Packard Development Company, Lp. | Semiconductor device |
| US7282782B2 (en) * | 2004-03-12 | 2007-10-16 | Hewlett-Packard Development Company, L.P. | Combined binary oxide semiconductor device |
| CN1998087B (zh) | 2004-03-12 | 2014-12-31 | 独立行政法人科学技术振兴机构 | 非晶形氧化物和薄膜晶体管 |
| US7211825B2 (en) * | 2004-06-14 | 2007-05-01 | Yi-Chi Shih | Indium oxide-based thin film transistors and circuits |
| US8158517B2 (en) * | 2004-06-28 | 2012-04-17 | Semiconductor Energy Laboratory Co., Ltd. | Method for manufacturing wiring substrate, thin film transistor, display device and television device |
| JP4854994B2 (ja) * | 2004-06-28 | 2012-01-18 | 株式会社半導体エネルギー研究所 | 配線基板の作製方法及び薄膜トランジスタの作製方法 |
| JP2006100760A (ja) * | 2004-09-02 | 2006-04-13 | Casio Comput Co Ltd | 薄膜トランジスタおよびその製造方法 |
| US7285501B2 (en) * | 2004-09-17 | 2007-10-23 | Hewlett-Packard Development Company, L.P. | Method of forming a solution processed device |
| US7298084B2 (en) * | 2004-11-02 | 2007-11-20 | 3M Innovative Properties Company | Methods and displays utilizing integrated zinc oxide row and column drivers in conjunction with organic light emitting diodes |
| US7863611B2 (en) * | 2004-11-10 | 2011-01-04 | Canon Kabushiki Kaisha | Integrated circuits utilizing amorphous oxides |
| KR100953596B1 (ko) * | 2004-11-10 | 2010-04-21 | 캐논 가부시끼가이샤 | 발광장치 |
| JP5126729B2 (ja) | 2004-11-10 | 2013-01-23 | キヤノン株式会社 | 画像表示装置 |
| US7829444B2 (en) * | 2004-11-10 | 2010-11-09 | Canon Kabushiki Kaisha | Field effect transistor manufacturing method |
| JP5118810B2 (ja) | 2004-11-10 | 2013-01-16 | キヤノン株式会社 | 電界効果型トランジスタ |
| JP5138163B2 (ja) | 2004-11-10 | 2013-02-06 | キヤノン株式会社 | 電界効果型トランジスタ |
| RU2402106C2 (ru) * | 2004-11-10 | 2010-10-20 | Кэнон Кабусики Кайся | Аморфный оксид и полевой транзистор с его использованием |
| US7453065B2 (en) * | 2004-11-10 | 2008-11-18 | Canon Kabushiki Kaisha | Sensor and image pickup device |
| US7791072B2 (en) * | 2004-11-10 | 2010-09-07 | Canon Kabushiki Kaisha | Display |
| JP5118812B2 (ja) * | 2004-11-10 | 2013-01-16 | キヤノン株式会社 | 電界効果型トランジスタ |
| US7579224B2 (en) * | 2005-01-21 | 2009-08-25 | Semiconductor Energy Laboratory Co., Ltd. | Method for manufacturing a thin film semiconductor device |
| US7608531B2 (en) * | 2005-01-28 | 2009-10-27 | Semiconductor Energy Laboratory Co., Ltd. | Semiconductor device, electronic device, and method of manufacturing semiconductor device |
| TWI472037B (zh) * | 2005-01-28 | 2015-02-01 | 半導體能源研究所股份有限公司 | 半導體裝置,電子裝置,和半導體裝置的製造方法 |
| US7858451B2 (en) * | 2005-02-03 | 2010-12-28 | Semiconductor Energy Laboratory Co., Ltd. | Electronic device, semiconductor device and manufacturing method thereof |
| US7948171B2 (en) * | 2005-02-18 | 2011-05-24 | Semiconductor Energy Laboratory Co., Ltd. | Light emitting device |
| US20060197092A1 (en) * | 2005-03-03 | 2006-09-07 | Randy Hoffman | System and method for forming conductive material on a substrate |
| US8681077B2 (en) * | 2005-03-18 | 2014-03-25 | Semiconductor Energy Laboratory Co., Ltd. | Semiconductor device, and display device, driving method and electronic apparatus thereof |
| US7544967B2 (en) * | 2005-03-28 | 2009-06-09 | Massachusetts Institute Of Technology | Low voltage flexible organic/transparent transistor for selective gas sensing, photodetecting and CMOS device applications |
| US7645478B2 (en) * | 2005-03-31 | 2010-01-12 | 3M Innovative Properties Company | Methods of making displays |
| US8300031B2 (en) * | 2005-04-20 | 2012-10-30 | Semiconductor Energy Laboratory Co., Ltd. | Semiconductor device comprising transistor having gate and drain connected through a current-voltage conversion element |
| JP3970891B2 (ja) * | 2005-06-06 | 2007-09-05 | 株式会社半導体エネルギー研究所 | 半導体装置 |
| JP2006344849A (ja) | 2005-06-10 | 2006-12-21 | Casio Comput Co Ltd | 薄膜トランジスタ |
| US7402506B2 (en) * | 2005-06-16 | 2008-07-22 | Eastman Kodak Company | Methods of making thin film transistors comprising zinc-oxide-based semiconductor materials and transistors made thereby |
| US7691666B2 (en) * | 2005-06-16 | 2010-04-06 | Eastman Kodak Company | Methods of making thin film transistors comprising zinc-oxide-based semiconductor materials and transistors made thereby |
| TWI267195B (en) | 2005-06-20 | 2006-11-21 | Au Optronics Corp | Switching device for a pixel electrode and methods for fabricating the same |
| US7507618B2 (en) | 2005-06-27 | 2009-03-24 | 3M Innovative Properties Company | Method for making electronic devices using metal oxide nanoparticles |
| KR100711890B1 (ko) * | 2005-07-28 | 2007-04-25 | 삼성에스디아이 주식회사 | 유기 발광표시장치 및 그의 제조방법 |
| JP2007059128A (ja) * | 2005-08-23 | 2007-03-08 | Canon Inc | 有機el表示装置およびその製造方法 |
| JP2007073558A (ja) * | 2005-09-02 | 2007-03-22 | Kochi Prefecture Sangyo Shinko Center | 薄膜トランジスタの製法 |
| JP4850457B2 (ja) * | 2005-09-06 | 2012-01-11 | キヤノン株式会社 | 薄膜トランジスタ及び薄膜ダイオード |
| CN101258607B (zh) | 2005-09-06 | 2011-01-05 | 佳能株式会社 | 使用非晶氧化物膜作为沟道层的场效应晶体管、使用非晶氧化物膜作为沟道层的场效应晶体管的制造方法、以及非晶氧化物膜的制造方法 |
| JP5116225B2 (ja) * | 2005-09-06 | 2013-01-09 | キヤノン株式会社 | 酸化物半導体デバイスの製造方法 |
| JP4280736B2 (ja) * | 2005-09-06 | 2009-06-17 | キヤノン株式会社 | 半導体素子 |
| JP2007073705A (ja) | 2005-09-06 | 2007-03-22 | Canon Inc | 酸化物半導体チャネル薄膜トランジスタおよびその製造方法 |
| JP4560502B2 (ja) * | 2005-09-06 | 2010-10-13 | キヤノン株式会社 | 電界効果型トランジスタ |
| EP1770788A3 (en) * | 2005-09-29 | 2011-09-21 | Semiconductor Energy Laboratory Co., Ltd. | Semiconductor device having oxide semiconductor layer and manufacturing method thereof |
| JP5064747B2 (ja) * | 2005-09-29 | 2012-10-31 | 株式会社半導体エネルギー研究所 | 半導体装置、電気泳動表示装置、表示モジュール、電子機器、及び半導体装置の作製方法 |
| JP5037808B2 (ja) | 2005-10-20 | 2012-10-03 | キヤノン株式会社 | アモルファス酸化物を用いた電界効果型トランジスタ、及び該トランジスタを用いた表示装置 |
| KR101112652B1 (ko) * | 2005-11-15 | 2012-02-16 | 가부시키가이샤 한도오따이 에네루기 켄큐쇼 | 액티브 매트릭스 디스플레이 장치 및 텔레비전 수신기 |
| TWI292281B (en) * | 2005-12-29 | 2008-01-01 | Ind Tech Res Inst | Pixel structure of active organic light emitting diode and method of fabricating the same |
| US7867636B2 (en) | 2006-01-11 | 2011-01-11 | Murata Manufacturing Co., Ltd. | Transparent conductive film and method for manufacturing the same |
| JP4977478B2 (ja) | 2006-01-21 | 2012-07-18 | 三星電子株式会社 | ZnOフィルム及びこれを用いたTFTの製造方法 |
| US7576394B2 (en) | 2006-02-02 | 2009-08-18 | Kochi Industrial Promotion Center | Thin film transistor including low resistance conductive thin films and manufacturing method thereof |
| US7977169B2 (en) | 2006-02-15 | 2011-07-12 | Kochi Industrial Promotion Center | Semiconductor device including active layer made of zinc oxide with controlled orientations and manufacturing method thereof |
| JP5015470B2 (ja) | 2006-02-15 | 2012-08-29 | 財団法人高知県産業振興センター | 薄膜トランジスタ及びその製法 |
| JP2007242895A (ja) * | 2006-03-08 | 2007-09-20 | Mitsubishi Electric Corp | 薄膜トランジスタ装置及びその製造方法 |
| JP2007250982A (ja) | 2006-03-17 | 2007-09-27 | Canon Inc | 酸化物半導体を用いた薄膜トランジスタ及び表示装置 |
| KR20070101595A (ko) * | 2006-04-11 | 2007-10-17 | 삼성전자주식회사 | ZnO TFT |
| US20070252928A1 (en) | 2006-04-28 | 2007-11-01 | Toppan Printing Co., Ltd. | Structure, transmission type liquid crystal display, reflection type display and manufacturing method thereof |
| JP5135709B2 (ja) * | 2006-04-28 | 2013-02-06 | 凸版印刷株式会社 | 薄膜トランジスタ及びその製造方法 |
| JP4277874B2 (ja) * | 2006-05-23 | 2009-06-10 | エプソンイメージングデバイス株式会社 | 電気光学装置の製造方法 |
| CN101356652B (zh) * | 2006-06-02 | 2012-04-18 | 日本财团法人高知县产业振兴中心 | 包括由氧化锌构成的氧化物半导体薄膜层的半导体器件及其制造方法 |
| JP5028033B2 (ja) | 2006-06-13 | 2012-09-19 | キヤノン株式会社 | 酸化物半導体膜のドライエッチング方法 |
| JP4999400B2 (ja) | 2006-08-09 | 2012-08-15 | キヤノン株式会社 | 酸化物半導体膜のドライエッチング方法 |
| JP4609797B2 (ja) | 2006-08-09 | 2011-01-12 | Nec液晶テクノロジー株式会社 | 薄膜デバイス及びその製造方法 |
| JP4332545B2 (ja) * | 2006-09-15 | 2009-09-16 | キヤノン株式会社 | 電界効果型トランジスタ及びその製造方法 |
| JP4274219B2 (ja) | 2006-09-27 | 2009-06-03 | セイコーエプソン株式会社 | 電子デバイス、有機エレクトロルミネッセンス装置、有機薄膜半導体装置 |
| JP5164357B2 (ja) | 2006-09-27 | 2013-03-21 | キヤノン株式会社 | 半導体装置及び半導体装置の製造方法 |
| US7622371B2 (en) | 2006-10-10 | 2009-11-24 | Hewlett-Packard Development Company, L.P. | Fused nanocrystal thin film semiconductor and method |
| US7772021B2 (en) * | 2006-11-29 | 2010-08-10 | Samsung Electronics Co., Ltd. | Flat panel displays comprising a thin-film transistor having a semiconductive oxide in its channel and methods of fabricating the same for use in flat panel displays |
| JP2008140684A (ja) * | 2006-12-04 | 2008-06-19 | Toppan Printing Co Ltd | カラーelディスプレイおよびその製造方法 |
| JP5105842B2 (ja) | 2006-12-05 | 2012-12-26 | キヤノン株式会社 | 酸化物半導体を用いた表示装置及びその製造方法 |
| JP5305630B2 (ja) * | 2006-12-05 | 2013-10-02 | キヤノン株式会社 | ボトムゲート型薄膜トランジスタの製造方法及び表示装置の製造方法 |
| KR101303578B1 (ko) * | 2007-01-05 | 2013-09-09 | 삼성전자주식회사 | 박막 식각 방법 |
| US8207063B2 (en) * | 2007-01-26 | 2012-06-26 | Eastman Kodak Company | Process for atomic layer deposition |
| TWI478347B (zh) * | 2007-02-09 | 2015-03-21 | 出光興產股份有限公司 | A thin film transistor, a thin film transistor substrate, and an image display device, and an image display device, and a semiconductor device |
| KR100851215B1 (ko) * | 2007-03-14 | 2008-08-07 | 삼성에스디아이 주식회사 | 박막 트랜지스터 및 이를 이용한 유기 전계 발광표시장치 |
| JP5197058B2 (ja) | 2007-04-09 | 2013-05-15 | キヤノン株式会社 | 発光装置とその作製方法 |
| WO2008126879A1 (en) | 2007-04-09 | 2008-10-23 | Canon Kabushiki Kaisha | Light-emitting apparatus and production method thereof |
| US7795613B2 (en) * | 2007-04-17 | 2010-09-14 | Toppan Printing Co., Ltd. | Structure with transistor |
| KR101325053B1 (ko) * | 2007-04-18 | 2013-11-05 | 삼성디스플레이 주식회사 | 박막 트랜지스터 기판 및 이의 제조 방법 |
| KR20080094300A (ko) * | 2007-04-19 | 2008-10-23 | 삼성전자주식회사 | 박막 트랜지스터 및 그 제조 방법과 박막 트랜지스터를포함하는 평판 디스플레이 |
| KR101334181B1 (ko) * | 2007-04-20 | 2013-11-28 | 삼성전자주식회사 | 선택적으로 결정화된 채널층을 갖는 박막 트랜지스터 및 그제조 방법 |
| KR20080095538A (ko) * | 2007-04-25 | 2008-10-29 | 엘지전자 주식회사 | 박막 트랜지스터 및 그 제조방법, 이를 포함하는평판표시장치 |
| US8274078B2 (en) * | 2007-04-25 | 2012-09-25 | Canon Kabushiki Kaisha | Metal oxynitride semiconductor containing zinc |
| KR101334182B1 (ko) * | 2007-05-28 | 2013-11-28 | 삼성전자주식회사 | ZnO 계 박막 트랜지스터의 제조방법 |
| KR101345376B1 (ko) * | 2007-05-29 | 2013-12-24 | 삼성전자주식회사 | ZnO 계 박막 트랜지스터 및 그 제조방법 |
| US8566502B2 (en) | 2008-05-29 | 2013-10-22 | Vmware, Inc. | Offloading storage operations to storage hardware using a switch |
| KR101402189B1 (ko) * | 2007-06-22 | 2014-06-02 | 삼성전자주식회사 | Zn 산화물계 박막 트랜지스터 및 Zn 산화물의 식각용액 |
| KR101576813B1 (ko) | 2007-08-17 | 2015-12-11 | 가부시키가이샤 한도오따이 에네루기 켄큐쇼 | 표시 장치 |
| JP5213422B2 (ja) * | 2007-12-04 | 2013-06-19 | キヤノン株式会社 | 絶縁層を有する酸化物半導体素子およびそれを用いた表示装置 |
| JP5215158B2 (ja) * | 2007-12-17 | 2013-06-19 | 富士フイルム株式会社 | 無機結晶性配向膜及びその製造方法、半導体デバイス |
| US8461583B2 (en) * | 2007-12-25 | 2013-06-11 | Idemitsu Kosan Co., Ltd. | Oxide semiconductor field effect transistor and method for manufacturing the same |
| KR101412761B1 (ko) | 2008-01-18 | 2014-07-02 | 삼성디스플레이 주식회사 | 박막 트랜지스터 기판 및 이의 제조 방법 |
| US20100295042A1 (en) * | 2008-01-23 | 2010-11-25 | Idemitsu Kosan Co., Ltd. | Field-effect transistor, method for manufacturing field-effect transistor, display device using field-effect transistor, and semiconductor device |
| JP5467728B2 (ja) * | 2008-03-14 | 2014-04-09 | 富士フイルム株式会社 | 薄膜電界効果型トランジスタおよびその製造方法 |
| JP2010056541A (ja) * | 2008-07-31 | 2010-03-11 | Semiconductor Energy Lab Co Ltd | 半導体装置およびその作製方法 |
| TWI469354B (zh) * | 2008-07-31 | 2015-01-11 | Semiconductor Energy Lab | 半導體裝置及其製造方法 |
| TWI627757B (zh) * | 2008-07-31 | 2018-06-21 | 半導體能源研究所股份有限公司 | 半導體裝置 |
| TWI518800B (zh) * | 2008-08-08 | 2016-01-21 | 半導體能源研究所股份有限公司 | 半導體裝置的製造方法 |
| JP5627071B2 (ja) * | 2008-09-01 | 2014-11-19 | 株式会社半導体エネルギー研究所 | 半導体装置の作製方法 |
| JP4623179B2 (ja) * | 2008-09-18 | 2011-02-02 | ソニー株式会社 | 薄膜トランジスタおよびその製造方法 |
| EP2172804B1 (en) * | 2008-10-03 | 2016-05-11 | Semiconductor Energy Laboratory Co, Ltd. | Display device |
| JP5451280B2 (ja) * | 2008-10-09 | 2014-03-26 | キヤノン株式会社 | ウルツ鉱型結晶成長用基板およびその製造方法ならびに半導体装置 |
| KR101631454B1 (ko) * | 2008-10-31 | 2016-06-17 | 가부시키가이샤 한도오따이 에네루기 켄큐쇼 | 논리회로 |
| WO2011010541A1 (en) * | 2009-07-18 | 2011-01-27 | Semiconductor Energy Laboratory Co., Ltd. | Semiconductor device and method for manufacturing the same |
| CN104681447A (zh) * | 2009-09-04 | 2015-06-03 | 株式会社半导体能源研究所 | 半导体器件的制造方法 |
| KR102070268B1 (ko) * | 2009-10-09 | 2020-01-29 | 가부시키가이샤 한도오따이 에네루기 켄큐쇼 | 반도체 장치 |
| KR20170024130A (ko) * | 2009-10-21 | 2017-03-06 | 가부시키가이샤 한도오따이 에네루기 켄큐쇼 | 반도체 장치 및 그 제조 방법 |
| WO2011062043A1 (en) * | 2009-11-20 | 2011-05-26 | Semiconductor Energy Laboratory Co., Ltd. | Method for manufacturing semiconductor device |
| JP5731244B2 (ja) * | 2010-03-26 | 2015-06-10 | 株式会社半導体エネルギー研究所 | 半導体装置の作製方法 |
| US8207025B2 (en) * | 2010-04-09 | 2012-06-26 | Semiconductor Energy Laboratory Co., Ltd. | Manufacturing method of semiconductor device |
| US8629438B2 (en) * | 2010-05-21 | 2014-01-14 | Semiconductor Energy Laboratory Co., Ltd. | Semiconductor device and manufacturing method thereof |
| TWI521612B (zh) * | 2011-03-11 | 2016-02-11 | 半導體能源研究所股份有限公司 | 半導體裝置的製造方法 |
-
2010
- 2010-10-01 KR KR1020177004916A patent/KR20170024130A/ko not_active Ceased
- 2010-10-01 WO PCT/JP2010/067697 patent/WO2011048959A1/en not_active Ceased
- 2010-10-01 KR KR1020137010433A patent/KR101291488B1/ko active Active
- 2010-10-01 KR KR1020127006654A patent/KR101847656B1/ko active Active
- 2010-10-14 TW TW104124539A patent/TWI562245B/zh active
- 2010-10-14 TW TW099135075A patent/TWI514571B/zh active
- 2010-10-18 US US12/906,175 patent/US8642412B2/en active Active
- 2010-10-18 JP JP2010233285A patent/JP5460552B2/ja active Active
-
2012
- 2012-08-22 JP JP2012182999A patent/JP5220944B2/ja active Active
-
2014
- 2014-01-14 JP JP2014003953A patent/JP5566546B2/ja active Active
- 2014-01-28 US US14/165,917 patent/US20140138683A1/en not_active Abandoned
- 2014-06-17 JP JP2014124029A patent/JP5870159B2/ja active Active
- 2014-11-19 JP JP2014234203A patent/JP2015084426A/ja not_active Withdrawn
- 2014-11-19 JP JP2014234201A patent/JP5959604B2/ja active Active
- 2014-11-24 US US14/551,754 patent/US9679768B2/en active Active
-
2016
- 2016-06-21 JP JP2016122772A patent/JP6154049B2/ja active Active
-
2017
- 2017-05-31 JP JP2017107685A patent/JP6334033B2/ja not_active Expired - Fee Related
-
2018
- 2018-04-25 JP JP2018084378A patent/JP2018113491A/ja not_active Withdrawn
-
2019
- 2019-12-09 JP JP2019222311A patent/JP2020057798A/ja not_active Withdrawn
-
2022
- 2022-04-13 JP JP2022066031A patent/JP7394909B2/ja active Active
Also Published As
Similar Documents
| Publication | Publication Date | Title |
|---|---|---|
| JP7394909B2 (ja) | 半導体装置 | |
| JP6953570B2 (ja) | 半導体装置の作製方法 | |
| JP6612941B2 (ja) | 半導体装置の作製方法 | |
| JP6329303B2 (ja) | 半導体装置 |
Legal Events
| Date | Code | Title | Description |
|---|---|---|---|
| A521 | Request for written amendment filed |
Free format text: JAPANESE INTERMEDIATE CODE: A523 Effective date: 20131002 |
|
| A621 | Written request for application examination |
Free format text: JAPANESE INTERMEDIATE CODE: A621 Effective date: 20131002 |
|
| A871 | Explanation of circumstances concerning accelerated examination |
Free format text: JAPANESE INTERMEDIATE CODE: A871 Effective date: 20131002 |
|
| TRDD | Decision of grant or rejection written | ||
| A975 | Report on accelerated examination |
Free format text: JAPANESE INTERMEDIATE CODE: A971005 Effective date: 20131213 |
|
| A01 | Written decision to grant a patent or to grant a registration (utility model) |
Free format text: JAPANESE INTERMEDIATE CODE: A01 Effective date: 20131217 |
|
| A61 | First payment of annual fees (during grant procedure) |
Free format text: JAPANESE INTERMEDIATE CODE: A61 Effective date: 20140114 |
|
| R150 | Certificate of patent or registration of utility model |
Ref document number: 5460552 Country of ref document: JP Free format text: JAPANESE INTERMEDIATE CODE: R150 Free format text: JAPANESE INTERMEDIATE CODE: R150 |
|
| R250 | Receipt of annual fees |
Free format text: JAPANESE INTERMEDIATE CODE: R250 |
|
| R250 | Receipt of annual fees |
Free format text: JAPANESE INTERMEDIATE CODE: R250 |
|
| R250 | Receipt of annual fees |
Free format text: JAPANESE INTERMEDIATE CODE: R250 |
|
| R250 | Receipt of annual fees |
Free format text: JAPANESE INTERMEDIATE CODE: R250 |
|
| R250 | Receipt of annual fees |
Free format text: JAPANESE INTERMEDIATE CODE: R250 |
|
| R250 | Receipt of annual fees |
Free format text: JAPANESE INTERMEDIATE CODE: R250 |
|
| R250 | Receipt of annual fees |
Free format text: JAPANESE INTERMEDIATE CODE: R250 |
|
| R250 | Receipt of annual fees |
Free format text: JAPANESE INTERMEDIATE CODE: R250 |
|
| R250 | Receipt of annual fees |
Free format text: JAPANESE INTERMEDIATE CODE: R250 |
|
| R250 | Receipt of annual fees |
Free format text: JAPANESE INTERMEDIATE CODE: R250 |
