JP6052182B2 - 有機エレクトロルミネッセンス素子、及び、面状発光体 - Google Patents
有機エレクトロルミネッセンス素子、及び、面状発光体 Download PDFInfo
- Publication number
- JP6052182B2 JP6052182B2 JP2013544176A JP2013544176A JP6052182B2 JP 6052182 B2 JP6052182 B2 JP 6052182B2 JP 2013544176 A JP2013544176 A JP 2013544176A JP 2013544176 A JP2013544176 A JP 2013544176A JP 6052182 B2 JP6052182 B2 JP 6052182B2
- Authority
- JP
- Japan
- Prior art keywords
- organic
- light
- light extraction
- layer
- film
- Prior art date
- Legal status (The legal status is an assumption and is not a legal conclusion. Google has not performed a legal analysis and makes no representation as to the accuracy of the status listed.)
- Expired - Fee Related
Links
- 238000005401 electroluminescence Methods 0.000 title claims description 16
- 238000000605 extraction Methods 0.000 claims description 166
- 239000000463 material Substances 0.000 claims description 165
- 239000000758 substrate Substances 0.000 claims description 120
- 239000010408 film Substances 0.000 claims description 111
- 150000001875 compounds Chemical class 0.000 claims description 72
- -1 polyethylene terephthalate Polymers 0.000 claims description 52
- 229910052751 metal Inorganic materials 0.000 claims description 35
- 239000002184 metal Substances 0.000 claims description 35
- 150000002894 organic compounds Chemical class 0.000 claims description 31
- 229920000139 polyethylene terephthalate Polymers 0.000 claims description 22
- 239000005020 polyethylene terephthalate Substances 0.000 claims description 22
- 238000002834 transmittance Methods 0.000 claims description 20
- 239000011521 glass Substances 0.000 claims description 18
- 239000011888 foil Substances 0.000 claims description 15
- 229920001721 polyimide Polymers 0.000 claims description 15
- 239000010409 thin film Substances 0.000 claims description 12
- WKBOTKDWSSQWDR-UHFFFAOYSA-N Bromine atom Chemical compound [Br] WKBOTKDWSSQWDR-UHFFFAOYSA-N 0.000 claims description 11
- 150000003377 silicon compounds Chemical class 0.000 claims description 11
- GDTBXPJZTBHREO-UHFFFAOYSA-N bromine Substances BrBr GDTBXPJZTBHREO-UHFFFAOYSA-N 0.000 claims description 10
- 229910052794 bromium Inorganic materials 0.000 claims description 10
- 229920006289 polycarbonate film Polymers 0.000 claims description 5
- 239000004925 Acrylic resin Substances 0.000 claims description 2
- 229920006290 polyethylene naphthalate film Polymers 0.000 claims description 2
- 238000004020 luminiscence type Methods 0.000 claims 1
- 239000010410 layer Substances 0.000 description 379
- 238000000034 method Methods 0.000 description 113
- 230000032258 transport Effects 0.000 description 68
- 230000005525 hole transport Effects 0.000 description 53
- 238000002347 injection Methods 0.000 description 50
- 239000007924 injection Substances 0.000 description 50
- 239000000243 solution Substances 0.000 description 37
- 239000011347 resin Substances 0.000 description 33
- 229920005989 resin Polymers 0.000 description 33
- 239000000203 mixture Substances 0.000 description 31
- 230000000903 blocking effect Effects 0.000 description 30
- 238000000576 coating method Methods 0.000 description 28
- 238000011156 evaluation Methods 0.000 description 28
- 239000011248 coating agent Substances 0.000 description 27
- 239000002245 particle Substances 0.000 description 27
- 239000000853 adhesive Substances 0.000 description 24
- 230000001070 adhesive effect Effects 0.000 description 24
- 230000000052 comparative effect Effects 0.000 description 23
- 238000009792 diffusion process Methods 0.000 description 23
- 239000002585 base Substances 0.000 description 19
- VYPSYNLAJGMNEJ-UHFFFAOYSA-N silicon dioxide Inorganic materials O=[Si]=O VYPSYNLAJGMNEJ-UHFFFAOYSA-N 0.000 description 19
- 229910052782 aluminium Inorganic materials 0.000 description 15
- XAGFODPZIPBFFR-UHFFFAOYSA-N aluminium Chemical compound [Al] XAGFODPZIPBFFR-UHFFFAOYSA-N 0.000 description 15
- 239000000872 buffer Substances 0.000 description 15
- 239000007787 solid Substances 0.000 description 15
- 239000000126 substance Substances 0.000 description 14
- 239000007772 electrode material Substances 0.000 description 13
- 229910052757 nitrogen Inorganic materials 0.000 description 13
- 238000007789 sealing Methods 0.000 description 13
- 239000003566 sealing material Substances 0.000 description 13
- 230000004888 barrier function Effects 0.000 description 12
- 239000000975 dye Substances 0.000 description 12
- 238000004519 manufacturing process Methods 0.000 description 11
- 238000007740 vapor deposition Methods 0.000 description 11
- 238000004383 yellowing Methods 0.000 description 11
- 239000002861 polymer material Substances 0.000 description 10
- 230000008569 process Effects 0.000 description 10
- DKPFZGUDAPQIHT-UHFFFAOYSA-N Butyl acetate Natural products CCCCOC(C)=O DKPFZGUDAPQIHT-UHFFFAOYSA-N 0.000 description 8
- FYYHWMGAXLPEAU-UHFFFAOYSA-N Magnesium Chemical compound [Mg] FYYHWMGAXLPEAU-UHFFFAOYSA-N 0.000 description 8
- 238000010438 heat treatment Methods 0.000 description 8
- FUZZWVXGSFPDMH-UHFFFAOYSA-M hexanoate Chemical compound CCCCCC([O-])=O FUZZWVXGSFPDMH-UHFFFAOYSA-M 0.000 description 8
- 229910010272 inorganic material Inorganic materials 0.000 description 8
- 239000012948 isocyanate Substances 0.000 description 8
- 239000011777 magnesium Substances 0.000 description 8
- 229910052749 magnesium Inorganic materials 0.000 description 8
- NROKBHXJSPEDAR-UHFFFAOYSA-M potassium fluoride Chemical compound [F-].[K+] NROKBHXJSPEDAR-UHFFFAOYSA-M 0.000 description 8
- 239000000377 silicon dioxide Substances 0.000 description 8
- XLYOFNOQVPJJNP-UHFFFAOYSA-N water Chemical compound O XLYOFNOQVPJJNP-UHFFFAOYSA-N 0.000 description 8
- RTTZISZSHSCFRH-UHFFFAOYSA-N 1,3-bis(isocyanatomethyl)benzene Chemical compound O=C=NCC1=CC=CC(CN=C=O)=C1 RTTZISZSHSCFRH-UHFFFAOYSA-N 0.000 description 7
- 239000004642 Polyimide Substances 0.000 description 7
- 230000015572 biosynthetic process Effects 0.000 description 7
- 229920001577 copolymer Polymers 0.000 description 7
- 150000002513 isocyanates Chemical class 0.000 description 7
- 239000011368 organic material Substances 0.000 description 7
- 230000035699 permeability Effects 0.000 description 7
- 239000011112 polyethylene naphthalate Substances 0.000 description 7
- 229920000642 polymer Polymers 0.000 description 7
- 229920005862 polyol Polymers 0.000 description 7
- 238000006862 quantum yield reaction Methods 0.000 description 7
- 239000012780 transparent material Substances 0.000 description 7
- 239000000654 additive Substances 0.000 description 6
- 230000000996 additive effect Effects 0.000 description 6
- QVGXLLKOCUKJST-UHFFFAOYSA-N atomic oxygen Chemical compound [O] QVGXLLKOCUKJST-UHFFFAOYSA-N 0.000 description 6
- 239000011147 inorganic material Substances 0.000 description 6
- 239000007788 liquid Substances 0.000 description 6
- 150000004767 nitrides Chemical class 0.000 description 6
- 239000001301 oxygen Substances 0.000 description 6
- 229910052760 oxygen Inorganic materials 0.000 description 6
- 229920003229 poly(methyl methacrylate) Polymers 0.000 description 6
- 239000004926 polymethyl methacrylate Substances 0.000 description 6
- 229910052710 silicon Inorganic materials 0.000 description 6
- 238000004544 sputter deposition Methods 0.000 description 6
- VZSRBBMJRBPUNF-UHFFFAOYSA-N 2-(2,3-dihydro-1H-inden-2-ylamino)-N-[3-oxo-3-(2,4,6,7-tetrahydrotriazolo[4,5-c]pyridin-5-yl)propyl]pyrimidine-5-carboxamide Chemical compound C1C(CC2=CC=CC=C12)NC1=NC=C(C=N1)C(=O)NCCC(N1CC2=C(CC1)NN=N2)=O VZSRBBMJRBPUNF-UHFFFAOYSA-N 0.000 description 5
- XLOMVQKBTHCTTD-UHFFFAOYSA-N Zinc monoxide Chemical compound [Zn]=O XLOMVQKBTHCTTD-UHFFFAOYSA-N 0.000 description 5
- 229910044991 metal oxide Inorganic materials 0.000 description 5
- 150000004706 metal oxides Chemical class 0.000 description 5
- 239000012044 organic layer Substances 0.000 description 5
- 229920003207 poly(ethylene-2,6-naphthalate) Polymers 0.000 description 5
- 238000012360 testing method Methods 0.000 description 5
- 238000001771 vacuum deposition Methods 0.000 description 5
- VVQNEPGJFQJSBK-UHFFFAOYSA-N Methyl methacrylate Chemical group COC(=O)C(C)=C VVQNEPGJFQJSBK-UHFFFAOYSA-N 0.000 description 4
- 239000004793 Polystyrene Substances 0.000 description 4
- XUIMIQQOPSSXEZ-UHFFFAOYSA-N Silicon Chemical compound [Si] XUIMIQQOPSSXEZ-UHFFFAOYSA-N 0.000 description 4
- 150000001716 carbazoles Chemical class 0.000 description 4
- 239000000969 carrier Substances 0.000 description 4
- 238000010586 diagram Methods 0.000 description 4
- 230000000694 effects Effects 0.000 description 4
- 230000005281 excited state Effects 0.000 description 4
- 230000009477 glass transition Effects 0.000 description 4
- 229910052738 indium Inorganic materials 0.000 description 4
- 239000000178 monomer Substances 0.000 description 4
- 230000003287 optical effect Effects 0.000 description 4
- TWNQGVIAIRXVLR-UHFFFAOYSA-N oxo(oxoalumanyloxy)alumane Chemical compound O=[Al]O[Al]=O TWNQGVIAIRXVLR-UHFFFAOYSA-N 0.000 description 4
- 229920002223 polystyrene Polymers 0.000 description 4
- 235000003270 potassium fluoride Nutrition 0.000 description 4
- 239000011698 potassium fluoride Substances 0.000 description 4
- 230000006798 recombination Effects 0.000 description 4
- 238000005215 recombination Methods 0.000 description 4
- 239000010703 silicon Substances 0.000 description 4
- 239000002356 single layer Substances 0.000 description 4
- 238000004528 spin coating Methods 0.000 description 4
- UHOVQNZJYSORNB-UHFFFAOYSA-N Benzene Chemical compound C1=CC=CC=C1 UHOVQNZJYSORNB-UHFFFAOYSA-N 0.000 description 3
- KFZMGEQAYNKOFK-UHFFFAOYSA-N Isopropanol Chemical compound CC(C)O KFZMGEQAYNKOFK-UHFFFAOYSA-N 0.000 description 3
- WHXSMMKQMYFTQS-UHFFFAOYSA-N Lithium Chemical compound [Li] WHXSMMKQMYFTQS-UHFFFAOYSA-N 0.000 description 3
- CERQOIWHTDAKMF-UHFFFAOYSA-M Methacrylate Chemical compound CC(=C)C([O-])=O CERQOIWHTDAKMF-UHFFFAOYSA-M 0.000 description 3
- 229920001609 Poly(3,4-ethylenedioxythiophene) Polymers 0.000 description 3
- 239000004698 Polyethylene Substances 0.000 description 3
- 239000004721 Polyphenylene oxide Chemical group 0.000 description 3
- BQCADISMDOOEFD-UHFFFAOYSA-N Silver Chemical compound [Ag] BQCADISMDOOEFD-UHFFFAOYSA-N 0.000 description 3
- 229920006243 acrylic copolymer Polymers 0.000 description 3
- 239000012298 atmosphere Substances 0.000 description 3
- 238000005266 casting Methods 0.000 description 3
- 238000006243 chemical reaction Methods 0.000 description 3
- 238000005229 chemical vapour deposition Methods 0.000 description 3
- 230000005684 electric field Effects 0.000 description 3
- APFVFJFRJDLVQX-UHFFFAOYSA-N indium atom Chemical compound [In] APFVFJFRJDLVQX-UHFFFAOYSA-N 0.000 description 3
- 150000002504 iridium compounds Chemical class 0.000 description 3
- 238000010030 laminating Methods 0.000 description 3
- 229910052744 lithium Inorganic materials 0.000 description 3
- 150000004866 oxadiazoles Chemical class 0.000 description 3
- IEQIEDJGQAUEQZ-UHFFFAOYSA-N phthalocyanine Chemical compound N1C(N=C2C3=CC=CC=C3C(N=C3C4=CC=CC=C4C(=N4)N3)=N2)=C(C=CC=C2)C2=C1N=C1C2=CC=CC=C2C4=N1 IEQIEDJGQAUEQZ-UHFFFAOYSA-N 0.000 description 3
- 229920003023 plastic Polymers 0.000 description 3
- 239000004033 plastic Substances 0.000 description 3
- 229920002493 poly(chlorotrifluoroethylene) Polymers 0.000 description 3
- 229920001230 polyarylate Polymers 0.000 description 3
- 239000004417 polycarbonate Substances 0.000 description 3
- 229920000515 polycarbonate Polymers 0.000 description 3
- 229920000570 polyether Chemical group 0.000 description 3
- 229920000573 polyethylene Polymers 0.000 description 3
- 238000006116 polymerization reaction Methods 0.000 description 3
- 229910052761 rare earth metal Inorganic materials 0.000 description 3
- 150000002910 rare earth metals Chemical class 0.000 description 3
- 230000009467 reduction Effects 0.000 description 3
- 229920002050 silicone resin Polymers 0.000 description 3
- 239000002904 solvent Substances 0.000 description 3
- PJANXHGTPQOBST-UHFFFAOYSA-N stilbene Chemical compound C=1C=CC=CC=1C=CC1=CC=CC=C1 PJANXHGTPQOBST-UHFFFAOYSA-N 0.000 description 3
- 125000001424 substituent group Chemical group 0.000 description 3
- BFKJFAAPBSQJPD-UHFFFAOYSA-N tetrafluoroethene Chemical group FC(F)=C(F)F BFKJFAAPBSQJPD-UHFFFAOYSA-N 0.000 description 3
- 125000000391 vinyl group Chemical group [H]C([*])=C([H])[H] 0.000 description 3
- 239000011787 zinc oxide Substances 0.000 description 3
- YLZOPXRUQYQQID-UHFFFAOYSA-N 3-(2,4,6,7-tetrahydrotriazolo[4,5-c]pyridin-5-yl)-1-[4-[2-[[3-(trifluoromethoxy)phenyl]methylamino]pyrimidin-5-yl]piperazin-1-yl]propan-1-one Chemical compound N1N=NC=2CN(CCC=21)CCC(=O)N1CCN(CC1)C=1C=NC(=NC=1)NCC1=CC(=CC=C1)OC(F)(F)F YLZOPXRUQYQQID-UHFFFAOYSA-N 0.000 description 2
- GYPAGHMQEIUKAO-UHFFFAOYSA-N 4-butyl-n-[4-[4-(n-(4-butylphenyl)anilino)phenyl]phenyl]-n-phenylaniline Chemical compound C1=CC(CCCC)=CC=C1N(C=1C=CC(=CC=1)C=1C=CC(=CC=1)N(C=1C=CC=CC=1)C=1C=CC(CCCC)=CC=1)C1=CC=CC=C1 GYPAGHMQEIUKAO-UHFFFAOYSA-N 0.000 description 2
- 229910018072 Al 2 O 3 Inorganic materials 0.000 description 2
- 229920008347 Cellulose acetate propionate Polymers 0.000 description 2
- RYGMFSIKBFXOCR-UHFFFAOYSA-N Copper Chemical compound [Cu] RYGMFSIKBFXOCR-UHFFFAOYSA-N 0.000 description 2
- BRLQWZUYTZBJKN-UHFFFAOYSA-N Epichlorohydrin Chemical compound ClCC1CO1 BRLQWZUYTZBJKN-UHFFFAOYSA-N 0.000 description 2
- 239000004593 Epoxy Substances 0.000 description 2
- JOYRKODLDBILNP-UHFFFAOYSA-N Ethyl urethane Chemical compound CCOC(N)=O JOYRKODLDBILNP-UHFFFAOYSA-N 0.000 description 2
- 229920000144 PEDOT:PSS Polymers 0.000 description 2
- 239000002033 PVDF binder Substances 0.000 description 2
- 239000004820 Pressure-sensitive adhesive Substances 0.000 description 2
- 229910052581 Si3N4 Inorganic materials 0.000 description 2
- PJANXHGTPQOBST-VAWYXSNFSA-N Stilbene Natural products C=1C=CC=CC=1/C=C/C1=CC=CC=C1 PJANXHGTPQOBST-VAWYXSNFSA-N 0.000 description 2
- YTPLMLYBLZKORZ-UHFFFAOYSA-N Thiophene Chemical compound C=1C=CSC=1 YTPLMLYBLZKORZ-UHFFFAOYSA-N 0.000 description 2
- 239000007983 Tris buffer Substances 0.000 description 2
- NIXOWILDQLNWCW-UHFFFAOYSA-N acrylic acid group Chemical group C(C=C)(=O)O NIXOWILDQLNWCW-UHFFFAOYSA-N 0.000 description 2
- 125000000217 alkyl group Chemical group 0.000 description 2
- 229910045601 alloy Inorganic materials 0.000 description 2
- 239000000956 alloy Substances 0.000 description 2
- 125000003118 aryl group Chemical group 0.000 description 2
- 230000008901 benefit Effects 0.000 description 2
- IISBACLAFKSPIT-UHFFFAOYSA-N bisphenol A Chemical class C=1C=C(O)C=CC=1C(C)(C)C1=CC=C(O)C=C1 IISBACLAFKSPIT-UHFFFAOYSA-N 0.000 description 2
- 229920001940 conductive polymer Polymers 0.000 description 2
- 229910052802 copper Inorganic materials 0.000 description 2
- 239000010949 copper Substances 0.000 description 2
- ZYGHJZDHTFUPRJ-UHFFFAOYSA-N coumarin Chemical compound C1=CC=C2OC(=O)C=CC2=C1 ZYGHJZDHTFUPRJ-UHFFFAOYSA-N 0.000 description 2
- 150000001925 cycloalkenes Chemical class 0.000 description 2
- 238000000151 deposition Methods 0.000 description 2
- 230000008021 deposition Effects 0.000 description 2
- 238000000113 differential scanning calorimetry Methods 0.000 description 2
- 239000004205 dimethyl polysiloxane Substances 0.000 description 2
- 239000002019 doping agent Substances 0.000 description 2
- 238000000295 emission spectrum Methods 0.000 description 2
- 125000003700 epoxy group Chemical group 0.000 description 2
- CAYGQBVSOZLICD-UHFFFAOYSA-N hexabromobenzene Chemical compound BrC1=C(Br)C(Br)=C(Br)C(Br)=C1Br CAYGQBVSOZLICD-UHFFFAOYSA-N 0.000 description 2
- 239000012535 impurity Substances 0.000 description 2
- 150000002484 inorganic compounds Chemical class 0.000 description 2
- 238000003475 lamination Methods 0.000 description 2
- PQXKHYXIUOZZFA-UHFFFAOYSA-M lithium fluoride Chemical compound [Li+].[F-] PQXKHYXIUOZZFA-UHFFFAOYSA-M 0.000 description 2
- 150000002736 metal compounds Chemical class 0.000 description 2
- 125000002496 methyl group Chemical group [H]C([H])([H])* 0.000 description 2
- JFNLZVQOOSMTJK-KNVOCYPGSA-N norbornene Chemical compound C1[C@@H]2CC[C@H]1C=C2 JFNLZVQOOSMTJK-KNVOCYPGSA-N 0.000 description 2
- 150000002989 phenols Chemical class 0.000 description 2
- 230000000704 physical effect Effects 0.000 description 2
- BASFCYQUMIYNBI-UHFFFAOYSA-N platinum Chemical compound [Pt] BASFCYQUMIYNBI-UHFFFAOYSA-N 0.000 description 2
- 229920000435 poly(dimethylsiloxane) Polymers 0.000 description 2
- 229920001643 poly(ether ketone) Polymers 0.000 description 2
- 239000005023 polychlorotrifluoroethylene (PCTFE) polymer Substances 0.000 description 2
- 229920000728 polyester Polymers 0.000 description 2
- 229920006254 polymer film Polymers 0.000 description 2
- 229920001343 polytetrafluoroethylene Polymers 0.000 description 2
- 239000004810 polytetrafluoroethylene Substances 0.000 description 2
- 229920000123 polythiophene Polymers 0.000 description 2
- 229920002981 polyvinylidene fluoride Polymers 0.000 description 2
- 238000003825 pressing Methods 0.000 description 2
- 125000001567 quinoxalinyl group Chemical class N1=C(C=NC2=CC=CC=C12)* 0.000 description 2
- 235000012239 silicon dioxide Nutrition 0.000 description 2
- HQVNEWCFYHHQES-UHFFFAOYSA-N silicon nitride Chemical compound N12[Si]34N5[Si]62N3[Si]51N64 HQVNEWCFYHHQES-UHFFFAOYSA-N 0.000 description 2
- 229910052814 silicon oxide Inorganic materials 0.000 description 2
- 229910052709 silver Inorganic materials 0.000 description 2
- 239000004332 silver Substances 0.000 description 2
- 238000005507 spraying Methods 0.000 description 2
- 235000021286 stilbenes Nutrition 0.000 description 2
- 238000012546 transfer Methods 0.000 description 2
- QGKMIGUHVLGJBR-UHFFFAOYSA-M (4z)-1-(3-methylbutyl)-4-[[1-(3-methylbutyl)quinolin-1-ium-4-yl]methylidene]quinoline;iodide Chemical compound [I-].C12=CC=CC=C2N(CCC(C)C)C=CC1=CC1=CC=[N+](CCC(C)C)C2=CC=CC=C12 QGKMIGUHVLGJBR-UHFFFAOYSA-M 0.000 description 1
- 125000000008 (C1-C10) alkyl group Chemical group 0.000 description 1
- GRPTWLLWXYXFLX-UHFFFAOYSA-N 1,1,2,2,3,3-hexabromocyclodecane Chemical compound BrC1(Br)CCCCCCCC(Br)(Br)C1(Br)Br GRPTWLLWXYXFLX-UHFFFAOYSA-N 0.000 description 1
- AQPHBYQUCKHJLT-UHFFFAOYSA-N 1,2,3,4,5-pentabromo-6-(2,3,4,5,6-pentabromophenyl)benzene Chemical group BrC1=C(Br)C(Br)=C(Br)C(Br)=C1C1=C(Br)C(Br)=C(Br)C(Br)=C1Br AQPHBYQUCKHJLT-UHFFFAOYSA-N 0.000 description 1
- LJDGJCNHVGGOFW-UHFFFAOYSA-N 1,2,3,4,5-pentabromo-6-(2-bromophenoxy)benzene Chemical compound BrC1=CC=CC=C1OC1=C(Br)C(Br)=C(Br)C(Br)=C1Br LJDGJCNHVGGOFW-UHFFFAOYSA-N 0.000 description 1
- DJHWAIPYZDRNMH-UHFFFAOYSA-N 1,2,3,4,5-pentabromo-6-(2-bromophenyl)benzene Chemical group BrC1=CC=CC=C1C1=C(Br)C(Br)=C(Br)C(Br)=C1Br DJHWAIPYZDRNMH-UHFFFAOYSA-N 0.000 description 1
- YHMOQCYOOUHZSF-UHFFFAOYSA-N 1,2,3,4,5-pentabromo-6-[1-(2,3,4,5,6-pentabromophenoxy)ethoxy]benzene Chemical compound BrC=1C(Br)=C(Br)C(Br)=C(Br)C=1OC(C)OC1=C(Br)C(Br)=C(Br)C(Br)=C1Br YHMOQCYOOUHZSF-UHFFFAOYSA-N 0.000 description 1
- OZHJEQVYCBTHJT-UHFFFAOYSA-N 1,2,3,4,5-pentabromo-6-methylbenzene Chemical compound CC1=C(Br)C(Br)=C(Br)C(Br)=C1Br OZHJEQVYCBTHJT-UHFFFAOYSA-N 0.000 description 1
- ORYGKUIDIMIRNN-UHFFFAOYSA-N 1,2,3,4-tetrabromo-5-(2,3,4,5-tetrabromophenoxy)benzene Chemical compound BrC1=C(Br)C(Br)=CC(OC=2C(=C(Br)C(Br)=C(Br)C=2)Br)=C1Br ORYGKUIDIMIRNN-UHFFFAOYSA-N 0.000 description 1
- VERMWGQSKPXSPZ-BUHFOSPRSA-N 1-[(e)-2-phenylethenyl]anthracene Chemical class C=1C=CC2=CC3=CC=CC=C3C=C2C=1\C=C\C1=CC=CC=C1 VERMWGQSKPXSPZ-BUHFOSPRSA-N 0.000 description 1
- NBUKAOOFKZFCGD-UHFFFAOYSA-N 2,2,3,3-tetrafluoropropan-1-ol Chemical compound OCC(F)(F)C(F)F NBUKAOOFKZFCGD-UHFFFAOYSA-N 0.000 description 1
- RNFJDJUURJAICM-UHFFFAOYSA-N 2,2,4,4,6,6-hexaphenoxy-1,3,5-triaza-2$l^{5},4$l^{5},6$l^{5}-triphosphacyclohexa-1,3,5-triene Chemical compound N=1P(OC=2C=CC=CC=2)(OC=2C=CC=CC=2)=NP(OC=2C=CC=CC=2)(OC=2C=CC=CC=2)=NP=1(OC=1C=CC=CC=1)OC1=CC=CC=C1 RNFJDJUURJAICM-UHFFFAOYSA-N 0.000 description 1
- SULWTXOWAFVWOY-PHEQNACWSA-N 2,3-bis[(E)-2-phenylethenyl]pyrazine Chemical class C=1C=CC=CC=1/C=C/C1=NC=CN=C1\C=C\C1=CC=CC=C1 SULWTXOWAFVWOY-PHEQNACWSA-N 0.000 description 1
- MVWPVABZQQJTPL-UHFFFAOYSA-N 2,3-diphenylcyclohexa-2,5-diene-1,4-dione Chemical class O=C1C=CC(=O)C(C=2C=CC=CC=2)=C1C1=CC=CC=C1 MVWPVABZQQJTPL-UHFFFAOYSA-N 0.000 description 1
- HONWGFNQCPRRFM-UHFFFAOYSA-N 2-n-(3-methylphenyl)-1-n,1-n,2-n-triphenylbenzene-1,2-diamine Chemical compound CC1=CC=CC(N(C=2C=CC=CC=2)C=2C(=CC=CC=2)N(C=2C=CC=CC=2)C=2C=CC=CC=2)=C1 HONWGFNQCPRRFM-UHFFFAOYSA-N 0.000 description 1
- 125000003903 2-propenyl group Chemical group [H]C([*])([H])C([H])=C([H])[H] 0.000 description 1
- MGADZUXDNSDTHW-UHFFFAOYSA-N 2H-pyran Chemical compound C1OC=CC=C1 MGADZUXDNSDTHW-UHFFFAOYSA-N 0.000 description 1
- VEORPZCZECFIRK-UHFFFAOYSA-N 3,3',5,5'-tetrabromobisphenol A Chemical compound C=1C(Br)=C(O)C(Br)=CC=1C(C)(C)C1=CC(Br)=C(O)C(Br)=C1 VEORPZCZECFIRK-UHFFFAOYSA-N 0.000 description 1
- OGGKVJMNFFSDEV-UHFFFAOYSA-N 3-methyl-n-[4-[4-(n-(3-methylphenyl)anilino)phenyl]phenyl]-n-phenylaniline Chemical compound CC1=CC=CC(N(C=2C=CC=CC=2)C=2C=CC(=CC=2)C=2C=CC(=CC=2)N(C=2C=CC=CC=2)C=2C=C(C)C=CC=2)=C1 OGGKVJMNFFSDEV-UHFFFAOYSA-N 0.000 description 1
- DYIZJUDNMOIZQO-UHFFFAOYSA-N 4,5,6,7-tetrabromo-2-[2-(4,5,6,7-tetrabromo-1,3-dioxoisoindol-2-yl)ethyl]isoindole-1,3-dione Chemical compound O=C1C(C(=C(Br)C(Br)=C2Br)Br)=C2C(=O)N1CCN1C(=O)C2=C(Br)C(Br)=C(Br)C(Br)=C2C1=O DYIZJUDNMOIZQO-UHFFFAOYSA-N 0.000 description 1
- AHDTYXOIJHCGKH-UHFFFAOYSA-N 4-[[4-(dimethylamino)-2-methylphenyl]-phenylmethyl]-n,n,3-trimethylaniline Chemical compound CC1=CC(N(C)C)=CC=C1C(C=1C(=CC(=CC=1)N(C)C)C)C1=CC=CC=C1 AHDTYXOIJHCGKH-UHFFFAOYSA-N 0.000 description 1
- 125000004172 4-methoxyphenyl group Chemical group [H]C1=C([H])C(OC([H])([H])[H])=C([H])C([H])=C1* 0.000 description 1
- MEIBOBDKQKIBJH-UHFFFAOYSA-N 4-methyl-n-[4-[1-[4-(4-methyl-n-(4-methylphenyl)anilino)phenyl]-4-phenylcyclohexyl]phenyl]-n-(4-methylphenyl)aniline Chemical compound C1=CC(C)=CC=C1N(C=1C=CC(=CC=1)C1(CCC(CC1)C=1C=CC=CC=1)C=1C=CC(=CC=1)N(C=1C=CC(C)=CC=1)C=1C=CC(C)=CC=1)C1=CC=C(C)C=C1 MEIBOBDKQKIBJH-UHFFFAOYSA-N 0.000 description 1
- ZOKIJILZFXPFTO-UHFFFAOYSA-N 4-methyl-n-[4-[1-[4-(4-methyl-n-(4-methylphenyl)anilino)phenyl]cyclohexyl]phenyl]-n-(4-methylphenyl)aniline Chemical compound C1=CC(C)=CC=C1N(C=1C=CC(=CC=1)C1(CCCCC1)C=1C=CC(=CC=1)N(C=1C=CC(C)=CC=1)C=1C=CC(C)=CC=1)C1=CC=C(C)C=C1 ZOKIJILZFXPFTO-UHFFFAOYSA-N 0.000 description 1
- DUSWRTUHJVJVRY-UHFFFAOYSA-N 4-methyl-n-[4-[2-[4-(4-methyl-n-(4-methylphenyl)anilino)phenyl]propan-2-yl]phenyl]-n-(4-methylphenyl)aniline Chemical compound C1=CC(C)=CC=C1N(C=1C=CC(=CC=1)C(C)(C)C=1C=CC(=CC=1)N(C=1C=CC(C)=CC=1)C=1C=CC(C)=CC=1)C1=CC=C(C)C=C1 DUSWRTUHJVJVRY-UHFFFAOYSA-N 0.000 description 1
- MVIXNQZIMMIGEL-UHFFFAOYSA-N 4-methyl-n-[4-[4-(4-methyl-n-(4-methylphenyl)anilino)phenyl]phenyl]-n-(4-methylphenyl)aniline Chemical group C1=CC(C)=CC=C1N(C=1C=CC(=CC=1)C=1C=CC(=CC=1)N(C=1C=CC(C)=CC=1)C=1C=CC(C)=CC=1)C1=CC=C(C)C=C1 MVIXNQZIMMIGEL-UHFFFAOYSA-N 0.000 description 1
- XIQGFRHAIQHZBD-UHFFFAOYSA-N 4-methyl-n-[4-[[4-(4-methyl-n-(4-methylphenyl)anilino)phenyl]-phenylmethyl]phenyl]-n-(4-methylphenyl)aniline Chemical compound C1=CC(C)=CC=C1N(C=1C=CC(=CC=1)C(C=1C=CC=CC=1)C=1C=CC(=CC=1)N(C=1C=CC(C)=CC=1)C=1C=CC(C)=CC=1)C1=CC=C(C)C=C1 XIQGFRHAIQHZBD-UHFFFAOYSA-N 0.000 description 1
- NNWNNQTUZYVQRK-UHFFFAOYSA-N 5-bromo-1h-pyrrolo[2,3-c]pyridine-2-carboxylic acid Chemical compound BrC1=NC=C2NC(C(=O)O)=CC2=C1 NNWNNQTUZYVQRK-UHFFFAOYSA-N 0.000 description 1
- DEXFNLNNUZKHNO-UHFFFAOYSA-N 6-[3-[4-[2-(2,3-dihydro-1H-inden-2-ylamino)pyrimidin-5-yl]piperidin-1-yl]-3-oxopropyl]-3H-1,3-benzoxazol-2-one Chemical compound C1C(CC2=CC=CC=C12)NC1=NC=C(C=N1)C1CCN(CC1)C(CCC1=CC2=C(NC(O2)=O)C=C1)=O DEXFNLNNUZKHNO-UHFFFAOYSA-N 0.000 description 1
- ZYASLTYCYTYKFC-UHFFFAOYSA-N 9-methylidenefluorene Chemical class C1=CC=C2C(=C)C3=CC=CC=C3C2=C1 ZYASLTYCYTYKFC-UHFFFAOYSA-N 0.000 description 1
- VIJYEGDOKCKUOL-UHFFFAOYSA-N 9-phenylcarbazole Chemical compound C1=CC=CC=C1N1C2=CC=CC=C2C2=CC=CC=C21 VIJYEGDOKCKUOL-UHFFFAOYSA-N 0.000 description 1
- NIXOWILDQLNWCW-UHFFFAOYSA-M Acrylate Chemical compound [O-]C(=O)C=C NIXOWILDQLNWCW-UHFFFAOYSA-M 0.000 description 1
- IJGRMHOSHXDMSA-UHFFFAOYSA-N Atomic nitrogen Chemical compound N#N IJGRMHOSHXDMSA-UHFFFAOYSA-N 0.000 description 1
- LSNNMFCWUKXFEE-UHFFFAOYSA-M Bisulfite Chemical compound OS([O-])=O LSNNMFCWUKXFEE-UHFFFAOYSA-M 0.000 description 1
- 229920002799 BoPET Polymers 0.000 description 1
- 229920002574 CR-39 Polymers 0.000 description 1
- 229920000298 Cellophane Polymers 0.000 description 1
- 229920000623 Cellulose acetate phthalate Polymers 0.000 description 1
- 229920001747 Cellulose diacetate Polymers 0.000 description 1
- 229920002284 Cellulose triacetate Polymers 0.000 description 1
- 241000284156 Clerodendrum quadriloculare Species 0.000 description 1
- QPLDLSVMHZLSFG-UHFFFAOYSA-N Copper oxide Chemical compound [Cu]=O QPLDLSVMHZLSFG-UHFFFAOYSA-N 0.000 description 1
- 239000005751 Copper oxide Substances 0.000 description 1
- 229920001651 Cyanoacrylate Polymers 0.000 description 1
- TXCDCPKCNAJMEE-UHFFFAOYSA-N Dibenzofuran Natural products C1=CC=C2C3=CC=CC=C3OC2=C1 TXCDCPKCNAJMEE-UHFFFAOYSA-N 0.000 description 1
- VGGSQFUCUMXWEO-UHFFFAOYSA-N Ethene Chemical compound C=C VGGSQFUCUMXWEO-UHFFFAOYSA-N 0.000 description 1
- IMROMDMJAWUWLK-UHFFFAOYSA-N Ethenol Chemical compound OC=C IMROMDMJAWUWLK-UHFFFAOYSA-N 0.000 description 1
- 239000005977 Ethylene Substances 0.000 description 1
- YCKRFDGAMUMZLT-UHFFFAOYSA-N Fluorine atom Chemical compound [F] YCKRFDGAMUMZLT-UHFFFAOYSA-N 0.000 description 1
- DGAQECJNVWCQMB-PUAWFVPOSA-M Ilexoside XXIX Chemical compound C[C@@H]1CC[C@@]2(CC[C@@]3(C(=CC[C@H]4[C@]3(CC[C@@H]5[C@@]4(CC[C@@H](C5(C)C)OS(=O)(=O)[O-])C)C)[C@@H]2[C@]1(C)O)C)C(=O)O[C@H]6[C@@H]([C@H]([C@@H]([C@H](O6)CO)O)O)O.[Na+] DGAQECJNVWCQMB-PUAWFVPOSA-M 0.000 description 1
- 229910000799 K alloy Inorganic materials 0.000 description 1
- MWCLLHOVUTZFKS-UHFFFAOYSA-N Methyl cyanoacrylate Chemical compound COC(=O)C(=C)C#N MWCLLHOVUTZFKS-UHFFFAOYSA-N 0.000 description 1
- PAYRUJLWNCNPSJ-UHFFFAOYSA-N N-phenyl amine Natural products NC1=CC=CC=C1 PAYRUJLWNCNPSJ-UHFFFAOYSA-N 0.000 description 1
- 239000000020 Nitrocellulose Substances 0.000 description 1
- 239000004677 Nylon Substances 0.000 description 1
- CBENFWSGALASAD-UHFFFAOYSA-N Ozone Chemical compound [O-][O+]=O CBENFWSGALASAD-UHFFFAOYSA-N 0.000 description 1
- OAICVXFJPJFONN-UHFFFAOYSA-N Phosphorus Chemical compound [P] OAICVXFJPJFONN-UHFFFAOYSA-N 0.000 description 1
- 229920012266 Poly(ether sulfone) PES Polymers 0.000 description 1
- 239000004952 Polyamide Substances 0.000 description 1
- 239000004695 Polyether sulfone Substances 0.000 description 1
- 239000004697 Polyetherimide Substances 0.000 description 1
- 239000004734 Polyphenylene sulfide Substances 0.000 description 1
- 239000004743 Polypropylene Substances 0.000 description 1
- 239000004372 Polyvinyl alcohol Substances 0.000 description 1
- 229920001328 Polyvinylidene chloride Polymers 0.000 description 1
- 229910006404 SnO 2 Inorganic materials 0.000 description 1
- 229920010524 Syndiotactic polystyrene Polymers 0.000 description 1
- GWEVSGVZZGPLCZ-UHFFFAOYSA-N Titan oxide Chemical compound O=[Ti]=O GWEVSGVZZGPLCZ-UHFFFAOYSA-N 0.000 description 1
- NNLVGZFZQQXQNW-ADJNRHBOSA-N [(2r,3r,4s,5r,6s)-4,5-diacetyloxy-3-[(2s,3r,4s,5r,6r)-3,4,5-triacetyloxy-6-(acetyloxymethyl)oxan-2-yl]oxy-6-[(2r,3r,4s,5r,6s)-4,5,6-triacetyloxy-2-(acetyloxymethyl)oxan-3-yl]oxyoxan-2-yl]methyl acetate Chemical compound O([C@@H]1O[C@@H]([C@H]([C@H](OC(C)=O)[C@H]1OC(C)=O)O[C@H]1[C@@H]([C@@H](OC(C)=O)[C@H](OC(C)=O)[C@@H](COC(C)=O)O1)OC(C)=O)COC(=O)C)[C@@H]1[C@@H](COC(C)=O)O[C@@H](OC(C)=O)[C@H](OC(C)=O)[C@H]1OC(C)=O NNLVGZFZQQXQNW-ADJNRHBOSA-N 0.000 description 1
- FJWGYAHXMCUOOM-QHOUIDNNSA-N [(2s,3r,4s,5r,6r)-2-[(2r,3r,4s,5r,6s)-4,5-dinitrooxy-2-(nitrooxymethyl)-6-[(2r,3r,4s,5r,6s)-4,5,6-trinitrooxy-2-(nitrooxymethyl)oxan-3-yl]oxyoxan-3-yl]oxy-3,5-dinitrooxy-6-(nitrooxymethyl)oxan-4-yl] nitrate Chemical compound O([C@@H]1O[C@@H]([C@H]([C@H](O[N+]([O-])=O)[C@H]1O[N+]([O-])=O)O[C@H]1[C@@H]([C@@H](O[N+]([O-])=O)[C@H](O[N+]([O-])=O)[C@@H](CO[N+]([O-])=O)O1)O[N+]([O-])=O)CO[N+](=O)[O-])[C@@H]1[C@@H](CO[N+]([O-])=O)O[C@@H](O[N+]([O-])=O)[C@H](O[N+]([O-])=O)[C@H]1O[N+]([O-])=O FJWGYAHXMCUOOM-QHOUIDNNSA-N 0.000 description 1
- XHCLAFWTIXFWPH-UHFFFAOYSA-N [O-2].[O-2].[O-2].[O-2].[O-2].[V+5].[V+5] Chemical compound [O-2].[O-2].[O-2].[O-2].[O-2].[V+5].[V+5] XHCLAFWTIXFWPH-UHFFFAOYSA-N 0.000 description 1
- 238000010521 absorption reaction Methods 0.000 description 1
- 150000001252 acrylic acid derivatives Chemical class 0.000 description 1
- 230000009471 action Effects 0.000 description 1
- 125000003158 alcohol group Chemical group 0.000 description 1
- 239000003513 alkali Substances 0.000 description 1
- 150000001339 alkali metal compounds Chemical class 0.000 description 1
- 125000005233 alkylalcohol group Chemical group 0.000 description 1
- 150000001412 amines Chemical class 0.000 description 1
- 229910003481 amorphous carbon Inorganic materials 0.000 description 1
- 238000004458 analytical method Methods 0.000 description 1
- 150000008425 anthrones Chemical class 0.000 description 1
- 101150059062 apln gene Proteins 0.000 description 1
- 150000004982 aromatic amines Chemical class 0.000 description 1
- 125000001797 benzyl group Chemical group [H]C1=C([H])C([H])=C(C([H])=C1[H])C([H])([H])* 0.000 description 1
- GCTPMLUUWLLESL-UHFFFAOYSA-N benzyl prop-2-enoate Chemical compound C=CC(=O)OCC1=CC=CC=C1 GCTPMLUUWLLESL-UHFFFAOYSA-N 0.000 description 1
- 239000011230 binding agent Substances 0.000 description 1
- 229910052791 calcium Inorganic materials 0.000 description 1
- 150000001718 carbodiimides Chemical class 0.000 description 1
- 125000003178 carboxy group Chemical group [H]OC(*)=O 0.000 description 1
- 229920002678 cellulose Polymers 0.000 description 1
- HKQOBOMRSSHSTC-UHFFFAOYSA-N cellulose acetate Chemical compound OC1C(O)C(O)C(CO)OC1OC1C(CO)OC(O)C(O)C1O.CC(=O)OCC1OC(OC(C)=O)C(OC(C)=O)C(OC(C)=O)C1OC1C(OC(C)=O)C(OC(C)=O)C(OC(C)=O)C(COC(C)=O)O1.CCC(=O)OCC1OC(OC(=O)CC)C(OC(=O)CC)C(OC(=O)CC)C1OC1C(OC(=O)CC)C(OC(=O)CC)C(OC(=O)CC)C(COC(=O)CC)O1 HKQOBOMRSSHSTC-UHFFFAOYSA-N 0.000 description 1
- 229920006217 cellulose acetate butyrate Polymers 0.000 description 1
- 229940081734 cellulose acetate phthalate Drugs 0.000 description 1
- 230000008859 change Effects 0.000 description 1
- 238000012512 characterization method Methods 0.000 description 1
- 125000004965 chloroalkyl group Chemical group 0.000 description 1
- MVPPADPHJFYWMZ-UHFFFAOYSA-N chlorobenzene Chemical compound ClC1=CC=CC=C1 MVPPADPHJFYWMZ-UHFFFAOYSA-N 0.000 description 1
- 238000004140 cleaning Methods 0.000 description 1
- 230000003749 cleanliness Effects 0.000 description 1
- 239000003086 colorant Substances 0.000 description 1
- 239000000470 constituent Substances 0.000 description 1
- 238000007796 conventional method Methods 0.000 description 1
- 239000011889 copper foil Substances 0.000 description 1
- 229910000431 copper oxide Inorganic materials 0.000 description 1
- PMHQVHHXPFUNSP-UHFFFAOYSA-M copper(1+);methylsulfanylmethane;bromide Chemical compound Br[Cu].CSC PMHQVHHXPFUNSP-UHFFFAOYSA-M 0.000 description 1
- 238000003869 coulometry Methods 0.000 description 1
- 229960000956 coumarin Drugs 0.000 description 1
- 235000001671 coumarin Nutrition 0.000 description 1
- MGNCLNQXLYJVJD-UHFFFAOYSA-N cyanuric chloride Chemical compound ClC1=NC(Cl)=NC(Cl)=N1 MGNCLNQXLYJVJD-UHFFFAOYSA-N 0.000 description 1
- 125000000113 cyclohexyl group Chemical group [H]C1([H])C([H])([H])C([H])([H])C([H])(*)C([H])([H])C1([H])[H] 0.000 description 1
- WHHGLZMJPXIBIX-UHFFFAOYSA-N decabromodiphenyl ether Chemical compound BrC1=C(Br)C(Br)=C(Br)C(Br)=C1OC1=C(Br)C(Br)=C(Br)C(Br)=C1Br WHHGLZMJPXIBIX-UHFFFAOYSA-N 0.000 description 1
- 230000006837 decompression Effects 0.000 description 1
- 230000003247 decreasing effect Effects 0.000 description 1
- 230000006866 deterioration Effects 0.000 description 1
- 238000007865 diluting Methods 0.000 description 1
- 229910001873 dinitrogen Inorganic materials 0.000 description 1
- 239000006185 dispersion Substances 0.000 description 1
- 125000006575 electron-withdrawing group Chemical group 0.000 description 1
- 229920000775 emeraldine polymer Polymers 0.000 description 1
- 238000007720 emulsion polymerization reaction Methods 0.000 description 1
- 239000008393 encapsulating agent Substances 0.000 description 1
- 230000007613 environmental effect Effects 0.000 description 1
- 125000004185 ester group Chemical group 0.000 description 1
- 150000002148 esters Chemical class 0.000 description 1
- 125000001495 ethyl group Chemical group [H]C([H])([H])C([H])([H])* 0.000 description 1
- 230000008020 evaporation Effects 0.000 description 1
- 238000001704 evaporation Methods 0.000 description 1
- 239000000945 filler Substances 0.000 description 1
- 239000003063 flame retardant Substances 0.000 description 1
- 150000008376 fluorenones Chemical class 0.000 description 1
- GNBHRKFJIUUOQI-UHFFFAOYSA-N fluorescein Chemical compound O1C(=O)C2=CC=CC=C2C21C1=CC=C(O)C=C1OC1=CC(O)=CC=C21 GNBHRKFJIUUOQI-UHFFFAOYSA-N 0.000 description 1
- 239000011737 fluorine Substances 0.000 description 1
- 229910052731 fluorine Inorganic materials 0.000 description 1
- 238000010528 free radical solution polymerization reaction Methods 0.000 description 1
- 229910052733 gallium Inorganic materials 0.000 description 1
- BIXHRBFZLLFBFL-UHFFFAOYSA-N germanium nitride Chemical compound N#[Ge]N([Ge]#N)[Ge]#N BIXHRBFZLLFBFL-UHFFFAOYSA-N 0.000 description 1
- YBMRDBCBODYGJE-UHFFFAOYSA-N germanium oxide Inorganic materials O=[Ge]=O YBMRDBCBODYGJE-UHFFFAOYSA-N 0.000 description 1
- 239000010931 gold Substances 0.000 description 1
- PCHJSUWPFVWCPO-UHFFFAOYSA-N gold Chemical compound [Au] PCHJSUWPFVWCPO-UHFFFAOYSA-N 0.000 description 1
- RBTKNAXYKSUFRK-UHFFFAOYSA-N heliogen blue Chemical compound [Cu].[N-]1C2=C(C=CC=C3)C3=C1N=C([N-]1)C3=CC=CC=C3C1=NC([N-]1)=C(C=CC=C3)C3=C1N=C([N-]1)C3=CC=CC=C3C1=N2 RBTKNAXYKSUFRK-UHFFFAOYSA-N 0.000 description 1
- 229940083761 high-ceiling diuretics pyrazolone derivative Drugs 0.000 description 1
- 150000007857 hydrazones Chemical class 0.000 description 1
- 239000001257 hydrogen Substances 0.000 description 1
- 229910052739 hydrogen Inorganic materials 0.000 description 1
- 125000004435 hydrogen atom Chemical group [H]* 0.000 description 1
- 238000005286 illumination Methods 0.000 description 1
- 150000002460 imidazoles Chemical class 0.000 description 1
- 150000003949 imides Chemical class 0.000 description 1
- 230000006872 improvement Effects 0.000 description 1
- AMGQUBHHOARCQH-UHFFFAOYSA-N indium;oxotin Chemical compound [In].[Sn]=O AMGQUBHHOARCQH-UHFFFAOYSA-N 0.000 description 1
- 239000011261 inert gas Substances 0.000 description 1
- 229910052809 inorganic oxide Inorganic materials 0.000 description 1
- 230000003993 interaction Effects 0.000 description 1
- 229940079865 intestinal antiinfectives imidazole derivative Drugs 0.000 description 1
- 238000007733 ion plating Methods 0.000 description 1
- 238000010884 ion-beam technique Methods 0.000 description 1
- 230000001678 irradiating effect Effects 0.000 description 1
- 230000001788 irregular Effects 0.000 description 1
- 238000001182 laser chemical vapour deposition Methods 0.000 description 1
- ORUIBWPALBXDOA-UHFFFAOYSA-L magnesium fluoride Chemical compound [F-].[F-].[Mg+2] ORUIBWPALBXDOA-UHFFFAOYSA-L 0.000 description 1
- 229910001635 magnesium fluoride Inorganic materials 0.000 description 1
- 238000005259 measurement Methods 0.000 description 1
- 150000002739 metals Chemical class 0.000 description 1
- 238000002156 mixing Methods 0.000 description 1
- 238000001451 molecular beam epitaxy Methods 0.000 description 1
- IBHBKWKFFTZAHE-UHFFFAOYSA-N n-[4-[4-(n-naphthalen-1-ylanilino)phenyl]phenyl]-n-phenylnaphthalen-1-amine Chemical group C1=CC=CC=C1N(C=1C2=CC=CC=C2C=CC=1)C1=CC=C(C=2C=CC(=CC=2)N(C=2C=CC=CC=2)C=2C3=CC=CC=C3C=CC=2)C=C1 IBHBKWKFFTZAHE-UHFFFAOYSA-N 0.000 description 1
- 229920001220 nitrocellulos Polymers 0.000 description 1
- 239000012299 nitrogen atmosphere Substances 0.000 description 1
- 229920001778 nylon Polymers 0.000 description 1
- 239000003921 oil Substances 0.000 description 1
- 150000005526 organic bromine compounds Chemical class 0.000 description 1
- 150000002908 osmium compounds Chemical class 0.000 description 1
- WCPAKWJPBJAGKN-UHFFFAOYSA-N oxadiazole Chemical group C1=CON=N1 WCPAKWJPBJAGKN-UHFFFAOYSA-N 0.000 description 1
- 150000007978 oxazole derivatives Chemical class 0.000 description 1
- 230000003647 oxidation Effects 0.000 description 1
- 238000007254 oxidation reaction Methods 0.000 description 1
- PVADDRMAFCOOPC-UHFFFAOYSA-N oxogermanium Chemical compound [Ge]=O PVADDRMAFCOOPC-UHFFFAOYSA-N 0.000 description 1
- 125000004430 oxygen atom Chemical group O* 0.000 description 1
- GPRIERYVMZVKTC-UHFFFAOYSA-N p-quaterphenyl Chemical group C1=CC=CC=C1C1=CC=C(C=2C=CC(=CC=2)C=2C=CC=CC=2)C=C1 GPRIERYVMZVKTC-UHFFFAOYSA-N 0.000 description 1
- 238000000059 patterning Methods 0.000 description 1
- 230000000737 periodic effect Effects 0.000 description 1
- 150000002978 peroxides Chemical class 0.000 description 1
- 125000002080 perylenyl group Chemical group C1(=CC=C2C=CC=C3C4=CC=CC5=CC=CC(C1=C23)=C45)* 0.000 description 1
- CSHWQDPOILHKBI-UHFFFAOYSA-N peryrene Natural products C1=CC(C2=CC=CC=3C2=C2C=CC=3)=C3C2=CC=CC3=C1 CSHWQDPOILHKBI-UHFFFAOYSA-N 0.000 description 1
- 125000001997 phenyl group Chemical group [H]C1=C([H])C([H])=C(*)C([H])=C1[H] 0.000 description 1
- 150000004986 phenylenediamines Chemical class 0.000 description 1
- 238000000206 photolithography Methods 0.000 description 1
- 238000005268 plasma chemical vapour deposition Methods 0.000 description 1
- 229910052697 platinum Inorganic materials 0.000 description 1
- 150000003058 platinum compounds Chemical class 0.000 description 1
- 229920001467 poly(styrenesulfonates) Polymers 0.000 description 1
- 229920002492 poly(sulfone) Polymers 0.000 description 1
- 229920003251 poly(α-methylstyrene) Polymers 0.000 description 1
- 229920003050 poly-cycloolefin Polymers 0.000 description 1
- 229920000058 polyacrylate Polymers 0.000 description 1
- 229920002647 polyamide Polymers 0.000 description 1
- 229920006122 polyamide resin Polymers 0.000 description 1
- 229920000767 polyaniline Polymers 0.000 description 1
- 229920006393 polyether sulfone Polymers 0.000 description 1
- 229920001601 polyetherimide Polymers 0.000 description 1
- 229920000306 polymethylpentene Polymers 0.000 description 1
- 239000011116 polymethylpentene Substances 0.000 description 1
- 229920001955 polyphenylene ether Polymers 0.000 description 1
- 229920000069 polyphenylene sulfide Polymers 0.000 description 1
- 229920001155 polypropylene Polymers 0.000 description 1
- 229920001296 polysiloxane Polymers 0.000 description 1
- 229920002451 polyvinyl alcohol Polymers 0.000 description 1
- 239000005033 polyvinylidene chloride Substances 0.000 description 1
- BITYAPCSNKJESK-UHFFFAOYSA-N potassiosodium Chemical compound [Na].[K] BITYAPCSNKJESK-UHFFFAOYSA-N 0.000 description 1
- 238000002360 preparation method Methods 0.000 description 1
- 230000002265 prevention Effects 0.000 description 1
- 230000000644 propagated effect Effects 0.000 description 1
- 230000001902 propagating effect Effects 0.000 description 1
- 125000001436 propyl group Chemical group [H]C([*])([H])C([H])([H])C([H])([H])[H] 0.000 description 1
- JEXVQSWXXUJEMA-UHFFFAOYSA-N pyrazol-3-one Chemical class O=C1C=CN=N1 JEXVQSWXXUJEMA-UHFFFAOYSA-N 0.000 description 1
- 150000003219 pyrazolines Chemical class 0.000 description 1
- WVIICGIFSIBFOG-UHFFFAOYSA-N pyrylium Chemical compound C1=CC=[O+]C=C1 WVIICGIFSIBFOG-UHFFFAOYSA-N 0.000 description 1
- 239000010453 quartz Substances 0.000 description 1
- MCJGNVYPOGVAJF-UHFFFAOYSA-N quinolin-8-ol Chemical class C1=CN=C2C(O)=CC=CC2=C1 MCJGNVYPOGVAJF-UHFFFAOYSA-N 0.000 description 1
- DLJHXMRDIWMMGO-UHFFFAOYSA-N quinolin-8-ol;zinc Chemical compound [Zn].C1=CN=C2C(O)=CC=CC2=C1.C1=CN=C2C(O)=CC=CC2=C1 DLJHXMRDIWMMGO-UHFFFAOYSA-N 0.000 description 1
- 238000005546 reactive sputtering Methods 0.000 description 1
- 238000005096 rolling process Methods 0.000 description 1
- WTGQALLALWYDJH-WYHSTMEOSA-N scopolamine hydrobromide Chemical compound Br.C1([C@@H](CO)C(=O)OC2C[C@@H]3N([C@H](C2)[C@@H]2[C@H]3O2)C)=CC=CC=C1 WTGQALLALWYDJH-WYHSTMEOSA-N 0.000 description 1
- 239000004065 semiconductor Substances 0.000 description 1
- 229920002545 silicone oil Polymers 0.000 description 1
- 229910052708 sodium Inorganic materials 0.000 description 1
- 239000011734 sodium Substances 0.000 description 1
- 238000003980 solgel method Methods 0.000 description 1
- 230000003595 spectral effect Effects 0.000 description 1
- 238000004611 spectroscopical analysis Methods 0.000 description 1
- 239000010935 stainless steel Substances 0.000 description 1
- 229910001220 stainless steel Inorganic materials 0.000 description 1
- 238000003860 storage Methods 0.000 description 1
- 229910052712 strontium Inorganic materials 0.000 description 1
- CIOAGBVUUVVLOB-UHFFFAOYSA-N strontium atom Chemical compound [Sr] CIOAGBVUUVVLOB-UHFFFAOYSA-N 0.000 description 1
- 150000003440 styrenes Chemical class 0.000 description 1
- 125000005504 styryl group Chemical group 0.000 description 1
- 125000000542 sulfonic acid group Chemical group 0.000 description 1
- 229910052717 sulfur Inorganic materials 0.000 description 1
- 125000004434 sulfur atom Chemical group 0.000 description 1
- 238000010557 suspension polymerization reaction Methods 0.000 description 1
- 229940042055 systemic antimycotics triazole derivative Drugs 0.000 description 1
- 229910052715 tantalum Inorganic materials 0.000 description 1
- GUVRBAGPIYLISA-UHFFFAOYSA-N tantalum atom Chemical compound [Ta] GUVRBAGPIYLISA-UHFFFAOYSA-N 0.000 description 1
- 238000002230 thermal chemical vapour deposition Methods 0.000 description 1
- 229920006259 thermoplastic polyimide Polymers 0.000 description 1
- 150000004867 thiadiazoles Chemical class 0.000 description 1
- 125000003396 thiol group Chemical group [H]S* 0.000 description 1
- 229930192474 thiophene Natural products 0.000 description 1
- IBBLKSWSCDAPIF-UHFFFAOYSA-N thiopyran Chemical compound S1C=CC=C=C1 IBBLKSWSCDAPIF-UHFFFAOYSA-N 0.000 description 1
- 229910052718 tin Inorganic materials 0.000 description 1
- OGIDPMRJRNCKJF-UHFFFAOYSA-N titanium oxide Inorganic materials [Ti]=O OGIDPMRJRNCKJF-UHFFFAOYSA-N 0.000 description 1
- 125000003944 tolyl group Chemical group 0.000 description 1
- TVIVIEFSHFOWTE-UHFFFAOYSA-K tri(quinolin-8-yloxy)alumane Chemical compound [Al+3].C1=CN=C2C([O-])=CC=CC2=C1.C1=CN=C2C([O-])=CC=CC2=C1.C1=CN=C2C([O-])=CC=CC2=C1 TVIVIEFSHFOWTE-UHFFFAOYSA-K 0.000 description 1
- 125000002023 trifluoromethyl group Chemical group FC(F)(F)* 0.000 description 1
- 125000006617 triphenylamine group Chemical group 0.000 description 1
- 229910001935 vanadium oxide Inorganic materials 0.000 description 1
Images
Classifications
-
- G—PHYSICS
- G02—OPTICS
- G02B—OPTICAL ELEMENTS, SYSTEMS OR APPARATUS
- G02B5/00—Optical elements other than lenses
- G02B5/02—Diffusing elements; Afocal elements
- G02B5/0205—Diffusing elements; Afocal elements characterised by the diffusing properties
- G02B5/021—Diffusing elements; Afocal elements characterised by the diffusing properties the diffusion taking place at the element's surface, e.g. by means of surface roughening or microprismatic structures
-
- H—ELECTRICITY
- H10—SEMICONDUCTOR DEVICES; ELECTRIC SOLID-STATE DEVICES NOT OTHERWISE PROVIDED FOR
- H10K—ORGANIC ELECTRIC SOLID-STATE DEVICES
- H10K50/00—Organic light-emitting devices
- H10K50/80—Constructional details
- H10K50/85—Arrangements for extracting light from the devices
-
- H—ELECTRICITY
- H10—SEMICONDUCTOR DEVICES; ELECTRIC SOLID-STATE DEVICES NOT OTHERWISE PROVIDED FOR
- H10K—ORGANIC ELECTRIC SOLID-STATE DEVICES
- H10K50/00—Organic light-emitting devices
- H10K50/80—Constructional details
- H10K50/85—Arrangements for extracting light from the devices
- H10K50/852—Arrangements for extracting light from the devices comprising a resonant cavity structure, e.g. Bragg reflector pair
-
- H—ELECTRICITY
- H10—SEMICONDUCTOR DEVICES; ELECTRIC SOLID-STATE DEVICES NOT OTHERWISE PROVIDED FOR
- H10K—ORGANIC ELECTRIC SOLID-STATE DEVICES
- H10K50/00—Organic light-emitting devices
- H10K50/80—Constructional details
- H10K50/85—Arrangements for extracting light from the devices
- H10K50/854—Arrangements for extracting light from the devices comprising scattering means
-
- H—ELECTRICITY
- H10—SEMICONDUCTOR DEVICES; ELECTRIC SOLID-STATE DEVICES NOT OTHERWISE PROVIDED FOR
- H10K—ORGANIC ELECTRIC SOLID-STATE DEVICES
- H10K50/00—Organic light-emitting devices
- H10K50/80—Constructional details
- H10K50/85—Arrangements for extracting light from the devices
- H10K50/858—Arrangements for extracting light from the devices comprising refractive means, e.g. lenses
-
- H—ELECTRICITY
- H10—SEMICONDUCTOR DEVICES; ELECTRIC SOLID-STATE DEVICES NOT OTHERWISE PROVIDED FOR
- H10K—ORGANIC ELECTRIC SOLID-STATE DEVICES
- H10K59/00—Integrated devices, or assemblies of multiple devices, comprising at least one organic light-emitting element covered by group H10K50/00
- H10K59/80—Constructional details
- H10K59/875—Arrangements for extracting light from the devices
- H10K59/877—Arrangements for extracting light from the devices comprising scattering means
-
- H—ELECTRICITY
- H10—SEMICONDUCTOR DEVICES; ELECTRIC SOLID-STATE DEVICES NOT OTHERWISE PROVIDED FOR
- H10K—ORGANIC ELECTRIC SOLID-STATE DEVICES
- H10K77/00—Constructional details of devices covered by this subclass and not covered by groups H10K10/80, H10K30/80, H10K50/80 or H10K59/80
- H10K77/10—Substrates, e.g. flexible substrates
-
- H—ELECTRICITY
- H10—SEMICONDUCTOR DEVICES; ELECTRIC SOLID-STATE DEVICES NOT OTHERWISE PROVIDED FOR
- H10K—ORGANIC ELECTRIC SOLID-STATE DEVICES
- H10K50/00—Organic light-emitting devices
- H10K50/10—OLEDs or polymer light-emitting diodes [PLED]
- H10K50/11—OLEDs or polymer light-emitting diodes [PLED] characterised by the electroluminescent [EL] layers
- H10K50/125—OLEDs or polymer light-emitting diodes [PLED] characterised by the electroluminescent [EL] layers specially adapted for multicolour light emission, e.g. for emitting white light
-
- H—ELECTRICITY
- H10—SEMICONDUCTOR DEVICES; ELECTRIC SOLID-STATE DEVICES NOT OTHERWISE PROVIDED FOR
- H10K—ORGANIC ELECTRIC SOLID-STATE DEVICES
- H10K50/00—Organic light-emitting devices
- H10K50/10—OLEDs or polymer light-emitting diodes [PLED]
- H10K50/11—OLEDs or polymer light-emitting diodes [PLED] characterised by the electroluminescent [EL] layers
- H10K50/125—OLEDs or polymer light-emitting diodes [PLED] characterised by the electroluminescent [EL] layers specially adapted for multicolour light emission, e.g. for emitting white light
- H10K50/13—OLEDs or polymer light-emitting diodes [PLED] characterised by the electroluminescent [EL] layers specially adapted for multicolour light emission, e.g. for emitting white light comprising stacked EL layers within one EL unit
-
- H—ELECTRICITY
- H10—SEMICONDUCTOR DEVICES; ELECTRIC SOLID-STATE DEVICES NOT OTHERWISE PROVIDED FOR
- H10K—ORGANIC ELECTRIC SOLID-STATE DEVICES
- H10K59/00—Integrated devices, or assemblies of multiple devices, comprising at least one organic light-emitting element covered by group H10K50/00
-
- H—ELECTRICITY
- H10—SEMICONDUCTOR DEVICES; ELECTRIC SOLID-STATE DEVICES NOT OTHERWISE PROVIDED FOR
- H10K—ORGANIC ELECTRIC SOLID-STATE DEVICES
- H10K59/00—Integrated devices, or assemblies of multiple devices, comprising at least one organic light-emitting element covered by group H10K50/00
- H10K59/30—Devices specially adapted for multicolour light emission
-
- H—ELECTRICITY
- H10—SEMICONDUCTOR DEVICES; ELECTRIC SOLID-STATE DEVICES NOT OTHERWISE PROVIDED FOR
- H10K—ORGANIC ELECTRIC SOLID-STATE DEVICES
- H10K59/00—Integrated devices, or assemblies of multiple devices, comprising at least one organic light-emitting element covered by group H10K50/00
- H10K59/80—Constructional details
- H10K59/87—Passivation; Containers; Encapsulations
- H10K59/871—Self-supporting sealing arrangements
-
- H—ELECTRICITY
- H10—SEMICONDUCTOR DEVICES; ELECTRIC SOLID-STATE DEVICES NOT OTHERWISE PROVIDED FOR
- H10K—ORGANIC ELECTRIC SOLID-STATE DEVICES
- H10K59/00—Integrated devices, or assemblies of multiple devices, comprising at least one organic light-emitting element covered by group H10K50/00
- H10K59/80—Constructional details
- H10K59/875—Arrangements for extracting light from the devices
- H10K59/879—Arrangements for extracting light from the devices comprising refractive means, e.g. lenses
-
- Y—GENERAL TAGGING OF NEW TECHNOLOGICAL DEVELOPMENTS; GENERAL TAGGING OF CROSS-SECTIONAL TECHNOLOGIES SPANNING OVER SEVERAL SECTIONS OF THE IPC; TECHNICAL SUBJECTS COVERED BY FORMER USPC CROSS-REFERENCE ART COLLECTIONS [XRACs] AND DIGESTS
- Y02—TECHNOLOGIES OR APPLICATIONS FOR MITIGATION OR ADAPTATION AGAINST CLIMATE CHANGE
- Y02E—REDUCTION OF GREENHOUSE GAS [GHG] EMISSIONS, RELATED TO ENERGY GENERATION, TRANSMISSION OR DISTRIBUTION
- Y02E10/00—Energy generation through renewable energy sources
- Y02E10/50—Photovoltaic [PV] energy
- Y02E10/549—Organic PV cells
Landscapes
- Physics & Mathematics (AREA)
- Optics & Photonics (AREA)
- General Physics & Mathematics (AREA)
- Electroluminescent Light Sources (AREA)
- Optical Elements Other Than Lenses (AREA)
Description
[有機EL素子の全体構成]
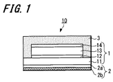
図1に、本発明の一実施形態に係る有機EL素子の構成例を示す。なお、図1は、本実施形態の有機EL素子の概略構成断面図である。
(1)素子基板/陽極/発光層/電子輸送層/陰極
(2)素子基板/陽極/正孔輸送層/発光層/電子輸送層/陰極
(3)素子基板/陽極/正孔輸送層/発光層/正孔阻止層/電子輸送層/陰極
(4)素子基板/陽極/正孔輸送層/発光層/正孔阻止層/電子輸送層/電子注入層(陰極バッファー層)/陰極
(5)素子基板/陽極/正孔注入層(陽極バッファー層)/正孔輸送層/発光層/正孔阻止層/電子輸送層/電子注入層/陰極
(6)素子基板/陽極/正孔注入層/正孔輸送層/発光層/電子輸送層/電子注入層/陰極
以下、有機EL素子10の各部及び各層の構成をより具体的に説明する。
素子基板11(基体、基板、基材、支持体)は、例えば、ガラス、プラスチック等の透明性材料で形成することができる。特に、素子基板11を、ガラス基板、薄膜ガラス、石英基板、又は、透明樹脂フィルムで構成することが好ましい。
陽極12は、発光層に正孔を供給(注入)する電極膜であり、仕事関数の大きい(4eV以上)、例えば、金属、合金、電気伝導性化合物、及び、これらの混合物等の電極材料で形成される。
有機化合物層13は、上述のように、発光層だけでなく、キャリア(正孔及び電子)の注入層、阻止層及び輸送層等の各種有機層を備える。ここで、各有機層の構成をより具体的に説明する。
発光層は、陽極12から直接、又は、陽極12から正孔輸送層等を介して注入される正孔と、陰極14から直接、又は、陰極14から電子輸送層等を介して注入される電子とが再結合して発光する層である。なお、発光する部分は、発光層の内部であってもよいし、発光層と、それに隣接する層との間の界面であってもよい。
発光層に含まれるホスト化合物としては、室温(25℃)における燐光発光の燐光量子収率が約0.1未満の値である化合物を用いることが好ましい。特に、燐光量子収率が約0.01未満の値である化合物をホスト化合物として用いることが好ましい。また、発光層中のホスト化合物の体積比は、発光層に含まれる各種化合物の中で約50%以上の値とすることが好ましい。
発光材料としては、例えば、燐光発光材料(燐光性化合物、燐光発光性化合物)、蛍光発光材料等を用いることができる。なお、一つの発光層には、一種類の発光材料を含有させてもよいし、発光極大波長が互いに異なる複数種の発光材料を含有させてもよい。複数種の発光材料を用いることにより、上述のように、発光波長の異なる複数の光を混ぜることができ、これにより、任意の発光色の光を得ることができる。例えば、青色発光材料、緑色発光材料及び赤色発光材料(3種類の発光発光材料)を発光層に含有させることにより白色光を得ることができる。
上述のように、発光層を複数の層で構成した場合、隣り合う層間に、非発光性の中間層(非ドープ領域)を設けることが好ましい。この場合、中間層の膜厚を、約1〜20nmの範囲内の値に設定することが好ましい。特に、中間層と隣接する発光層との間におけるエネルギー移動等の相互作用の抑制、及び、有機EL素子10の電流電圧特性への影響の低減という観点では、中間層の膜厚は、約3〜10nmの範囲内の値で設定することが好ましい。
有機化合物層13内には、必要に応じて、キャリアの注入層(正孔注入層及び/電子輸送層)が設けられる。注入層は、駆動電圧の低下や発光輝度の向上を図るための層であり、電極及び有機層(発光層)間に設けられる。
有機化合物層13内には、必要に応じて、キャリアの阻止層(正孔阻止層及び/又は電子阻止層)が設けられる。なお、阻止層の構成は、例えば、特開平11−204258号公報、同11−204359号公報、及び「有機EL素子とその工業化最前線(1998年11月30日エヌ・ティー・エス社発行)」の237頁等に詳細に記載されている。
有機化合物層13内には、必要に応じて、キャリアの輸送層(正孔輸送層及び/又は電子輸送層)が設けられる。
正孔輸送層は、陽極12から供給された正孔を発光層に輸送(注入)する層である。また、正孔輸送層は、陰極14側からの電子の流入を阻止する障壁としても作用する。それゆえ、正孔輸送層という用語は、広い意味で、正孔注入層及び/又は電子阻止層を含む意味で用いられることもある。なお、正孔輸送層は、一層だけ設けてもよいし、複数層設けてもよい。
電子輸送層は、陰極14から供給された電子を発光層に輸送(注入)する層である。また、電子輸送層は、陽極12側からの正孔の流入を阻止する障壁としても作用する。それゆえ、電子輸送層という用語は、広い意味で、電子注入層及び/又は正孔阻止層を含む意味で用いられることもある。なお、電子輸送層は、一層だけ設けてもよいし、複数層設けてもよい。
陰極14は、発光層に電子を供給(注入)する電極膜であり、通常、仕事関数の小さい(4eV以下)、例えば、金属(電子注入性金属)、合金、電気伝導性化合物、及び、これらの混合物等の電極材料で形成される。
光取り出しシート2は、例えば、図1に示すように、基材2aと、該基材2aの有機EL素子本体部1側とは反対側の表面上に形成された光拡散層2bとを有する光拡散シートで構成することができる。光取り出しシート2は、素子基板11の陽極12側とは反対側の表面上に、例えば接着剤等を介して取り付けられる。この際、光取り出しシート2の基材2aの光拡散層2b側とは反対側の表面が素子基板11と対向するように、光取り出しシート2が素子基板11に取り付けられる。
ヘイズ値(曇価)={拡散透過率(%)/全光透過率(%)}×100(%)
なお、ヘイズ値は、JIS−K−7136「プラスチック−透明材料のヘイズの求め方」、又は、ISO14782「Plastics−Determination of haze for transparent materials」に記載されている手法で測定することができる。
本実施形態の光取り出しシート2の基材2aは、光透過性を有する基材であれば、任意の基材で構成することができる。また、本実施形態では、基材2aの屈折率n1は、約1.65以上の値であることが好ましい。
光取り出しシート2に添加する(含有させる)、光の拡散及び散乱能を備える添加材料としては、例えばシリコン化合物(Si含有有機化合物)、ポリアクリル酸エステル樹脂、臭素含有化合物等が挙げられる。そして、本実施形態では、光取り出しシート2は、少なくとも、シリコン化合物(Si含有有機化合物)を添加材料として含む構成とする。
本実施形態の光取り出しシート2の光出射側(光取り出し側)の表面形状は、平坦形状であってもよいし、凹凸形状であってもよい。
封止材3は、有機化合物層13を封止する部材であり、図1に示すように、有機EL素子本体部1を覆うように設けられる。なお、図1には示さないが、封止材3で有機EL素子本体部1を封止する際には、陽極12及び陰極14の引き出し電極部分が外部に露出するように有機EL素子本体部1を封止する。
次に、有機EL素子10の作製手法の一例を説明する。具体的には、有機EL素子本体部1の構成が、陽極/正孔注入層/正孔輸送層/発光層/正孔阻止層/電子輸送層/陰極である場合の作製手法の一例を説明する。
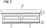
次に、上述した有機EL素子10を複数配列(タイリング)して作製された面状発光体について説明する。
図2に、本発明の一実施形態に係る面状発光体の概略構成断面図を示す。なお、図2には、説明を簡略化するため、2枚の有機EL素子10を配列した構成例を示すが、本発明はこれに限定されず、面状発光体を構成する有機EL素子10の枚数及び配列形態は、例えば用途等に応じて適宜設定される。
支持基板21は、2枚の有機EL素子10を、接着部材22を介して搭載した際に、その状態を保持可能な板状部材であれば、任意の板状部材を用いることができる。
本実施形態では、各種工業分野において、粘着剤、接着剤等、又は、粘着材、接着材等の呼称で用いられる接着部材のうち、支持基板21又は封止材3上に塗布して、支持基板21と封止材3とを貼り合わせた後に、種々の化学反応により高分子量体又は架橋構造体を形成する硬化型の接着部材22を用いる。すなわち、接着部材22は、紫外線のような光を照射するか、熱を加えるか、又は、加圧することによって接着部分が硬化する材料で形成される。
次に、実際に作製した本発明の有機EL素子の各種実施例(サンプル)の構成、並びに、各実施例で作製した有機EL素子に対して行った評価試験及びその結果を説明する。
以下に説明する各種実施例の有機EL素子では、互いに構成の異なる複数種の光取り出しシートを用いた。それゆえ、有機EL素子の各種実施例の構成を説明する前に、各種実施例で用いた光取り出しシートの構成及び作製手法について説明する。
下記の組成で調製された光取り出しシート用溶液A(光拡散層2bの形成材料)を、厚さ100μmのポリエチレンテレフタレートフィルム(PET:基材2a)に塗布することにより、第1の光取り出しシートを作製した。
アクリルポリオール(アクリディック49−394IM<固形分50%>,大日本インキ化学工業社):162重量部
イソシアネート(タケネートD110N<固形分60%>,三井武田ケミカル社):32重量部
シリカ樹脂粒子(平均粒子径27.2μm):200重量部
酢酸ブチル:215重量部
下記の組成で調製された光取り出しシート用溶液Bを、厚さ100μmのポリエチレンテレフタレートフィルム(PET)に塗布することにより、第2の光取り出しシートを作製した。
アクリルポリオール(アクリディック49−394IM<固形分50%>,大日本インキ化学工業社):162重量部
イソシアネート(タケネートD110N<固形分60%>,三井武田ケミカル社):32重量部
シリカ樹脂粒子(平均粒子径27.2μm):250重量部
酢酸ブチル:215重量部
下記の組成で調製された光取り出しシート用溶液Cを、厚さ100μmのポリエチレンテレフタレートフィルム(PET)に塗布することにより、第3の光取り出しシートを作製した。
アクリルポリオール(アクリディック49−394IM<固形分50%>,大日本インキ化学工業社):162重量部
イソシアネート(タケネートD110N<固形分60%>,三井武田ケミカル社):32重量部
シリカ樹脂粒子(平均粒子径27.2μm):150重量部
酢酸ブチル:215重量部
下記の組成で調製された光取り出しシート用溶液Dを、厚さ100μmのポリエチレンテレフタレートフィルム(PET)に塗布することにより、第4の光取り出しシートを作製した。
アクリルポリオール(アクリディック49−394IM<固形分50%>,大日本インキ化学工業社):162重量部
イソシアネート(タケネートD110N<固形分60%>,三井武田ケミカル社):32重量部
シリカ樹脂粒子(平均粒子径27.2μm):130重量部
シリコン樹脂粒子(平均粒子径30.0μm):80重量部
酢酸ブチル:215重量部
上記第4の光取り出しシートで用いられた光取り出しシート用溶液Dを、厚さ100μmのポリカーボネートフィルムに塗布することにより、第5の光取り出しシートを作製した。
下記の組成で調製された光取り出しシート用溶液Eを、厚さ100μmのポリカーボネートフィルムに塗布することにより、第6の光取り出しシートを作製した。
アクリルポリオール(アクリディック49−394IM<固形分50%>,大日本インキ化学工業社):162重量部
イソシアネート(タケネートD110N<固形分60%>,三井武田ケミカル社):32重量部
シリカ樹脂粒子(平均粒子径27.2μm):120重量部
シリコン樹脂粒子(平均粒子径30.0μm):80重量部
ポリメタクリル酸メチル樹脂(PMMA)粒子(平均粒形8.0μm):30重量部
酢酸ブチル:215重量部
下記の組成で調製された光取り出しシート用溶液Fを、厚さ100μmのポリカーボネートフィルムに塗布することにより、第7の光取り出しシートを作製した。
アクリルポリオール(アクリディック49−394IM<固形分50%>,大日本インキ化学工業社):162重量部
イソシアネート(タケネートD110N<固形分60%>,三井武田ケミカル社):32重量部
シリカ樹脂粒子(平均粒子径27.2μm):110重量部
シリコン樹脂粒子(平均粒子径30.0μm):80重量部
ポリメタクリル酸メチル樹脂粒子(平均粒形8.0μm):30重量部
ヘキサブロモベンゼン:5重量部
酢酸ブチル:215重量部
表面に凹部が周期的に配列された、厚さ40μmのポリエチレンテレフタレート(PET)フィルム(凹凸フィルム)を、上記第7の光取り出しシートの光拡散層上に貼り付けることにより、第8の光取り出しシートを作製した。なお、凹凸フィルムの凹部の面形状は球面状とし、凹部の直径は5μmとし、かつ、凹部の間隔は3μmとした(すなわち、凹凸パターンの周期は8μmとした)。また、凹凸パターンは、上述した水滴構造を表面に転写する手法を用いて形成した。
下記の組成で調製された光取り出しシート用溶液Gを、厚さ100μmのポリエチレンテレフタレート(PET)フィルムに塗布することにより、第9の光取り出しシートを作製した。
アクリルポリオール(アクリディック49−394IM<固形分50%>,大日本インキ化学工業社):162重量部
イソシアネート(タケネートD110N<固形分60%>,三井武田ケミカル社):32重量部
シリカ樹脂粒子(平均粒子径27.2μm):180重量部
シリコン樹脂粒子(平均粒子径30.0μm):40重量部
酢酸ブチル:215重量部
次に、下記各種実施例で作製した有機EL素子の構成及びその作製手法について説明する。図4に、各種実施例の有機EL素子における有機EL素子本体部の概略構成断面図を示す。
モノクロロベンゼン:100g
ポリ−N,N′−ビス(4−ブチルフェニル)−N,N′−ビス(フェニル)ベンジジン(ADS254BE:アメリカン・ダイ・ソース社製):0.5g
酢酸ブチル:100g
ホスト化合物(H−A):1g
第1発光材料(D−A):0.11g
第2発光材料(D−B):0.002g
第3発光材料(D−C):0.002g
2,2,3,3−テトラフルオロ−1−プロパノール:100g
電子輸送材料(ET−A):0.75g
(1)有機EL素子の構成(実施例1−1〜1−6)
実施例1では、上記第4〜第9の光取り出しシートをそれぞれ用いて有機EL素子(実施例1−1〜1−6)を作製した。
実施例1では、上述のようにして作製した実施例1−1〜1−6及び比較例1−1〜1−4の各有機EL素子に対して、次のような輝度特性の評価を行った。
OK:黄変が認識できない。
NG:明らかに黄色に変色している。
(1)有機EL素子の構成(実施例2−1〜2−6)
実施例2では、素子基板31の形成材料を種々変化させて有機EL素子(実施例2−1〜2−6)を作製した。なお、実施例2の有機EL素子において、素子基板31以外の構成は、上記実施例1−5の有機EL素子の対応する構成と同様とした。すなわち、実施例2では、光取り出しシートとして、光取り出し面に凹凸パターンを形成した第8の光取り出しシート(光取り出しシートのサンプル番号8)を用いた。
実施例2では、上記実施例2−1〜2−6及び比較例2−1〜2−3の各有機EL素子に対して、上記実施例1と同様にして、輝度特性、及び、黄変の有無を評価した。なお、黄変の有無の評価基準は、上記実施例1の評価基準と同様である。
実施例3では、上記実施例1−5、上記実施例2−1〜2−6、及び、比較例2−1〜2−3の各有機EL素子に対して、JIS C8105−1に記載の手法に従ってグローワイヤー耐熱性試験を実施し、各有機EL素子の難燃性について調べた。
OK:グローワイヤーを有機EL素子から離した後、30秒より短い時間で消火した。
NG:グローワイヤーを有機EL素子から離した後、30秒を越えても消火しない。
Claims (9)
- 素子基板、該素子基板上に形成された第1電極、該第1電極上に形成されかつ発光層を含む有機化合物層、及び、該有機化合物層上に形成された第2電極を有する有機エレクトロルミネッセンス素子本体部と、
前記有機エレクトロルミネッセンス素子本体部の光取り出し側に設けられた光取り出しシートとを備え、
前記光取り出しシートがシリコン化合物及び臭素含有化合物を含み、前記光取り出しシートのヘイズ値が90以上の値であり、かつ、前記光取り出しシートの全光透過率が80%以上の値であることを特徴とする
有機エレクトロルミネッセンス素子。 - 前記光取り出しシートのヘイズ値が92以上の値であり、かつ、前記光取り出しシートの全光透過率が82%以上の値であることを特徴とする
請求項1に記載の有機エレクトロルミネッセンス素子。 - 前記光取り出しシートが基材を有し、該基材が、ポリカーボネートフィルム、ポリエチレンテレフタレートフィルム、ポリエチレンナフタレートフィルム、ポリイミドフィルム、及び、フッ素樹脂含有フィルムのいずれかであることを特徴とする
請求項1又は2に記載の有機エレクトロルミネッセンス素子。 - 前記光取り出しシートが、さらに、ポリアクリル酸エステル樹脂を含むことを特徴とする
請求項1〜3のいずれか一項に記載の有機エレクトロルミネッセンス素子。 - 前記光取り出しシートの光取り出し面に所定の凹凸パターンが形成されていることを特徴とする
請求項1〜4のいずれか一項に記載の有機エレクトロルミネッセンス素子。 - 前記素子基板が、薄膜ガラスであることを特徴とする
請求項1〜5のいずれか一項に記載の有機エレクトロルミネッセンス素子。 - 前記素子基板が、メタルフォイルであることを特徴とする
請求項1〜5のいずれか一項に記載の有機エレクトロルミネッセンス素子。 - 前記素子基板が、ポリイミドフィルムであることを特徴とする
請求項1〜5のいずれか一項に記載の有機エレクトロルミネッセンス素子。 - 複数の有機エレクトロルミネッセンス素子と、
前記複数の有機エレクトロルミネッセンス素子を、所定の形態で配列して支持する支持部材とを備え、
前記有機エレクトロルミネッセンス素子が、素子基板、該素子基板上に形成された第1電極、該第1電極上に形成されかつ発光層を含む有機化合物層、及び、該有機化合物層上に形成された第2電極を有する有機エレクトロルミネッセンス素子本体部と、該有機エレクトロルミネッセンス素子本体部の光取り出し側に設けられた光取り出しシートとを有し、
前記光取り出しシートがシリコン化合物及び臭素含有化合物を含み、前記光取り出しシートのヘイズ値が90以上の値であり、かつ、前記光取り出しシートの全光透過率が80%以上の値であることを特徴とする
面状発光体。
Applications Claiming Priority (3)
| Application Number | Priority Date | Filing Date | Title |
|---|---|---|---|
| JP2011248367 | 2011-11-14 | ||
| JP2011248367 | 2011-11-14 | ||
| PCT/JP2012/075690 WO2013073301A1 (ja) | 2011-11-14 | 2012-10-03 | 有機エレクトロルミネッセンス素子、及び、面状発光体 |
Publications (2)
| Publication Number | Publication Date |
|---|---|
| JPWO2013073301A1 JPWO2013073301A1 (ja) | 2015-04-02 |
| JP6052182B2 true JP6052182B2 (ja) | 2016-12-27 |
Family
ID=48429371
Family Applications (1)
| Application Number | Title | Priority Date | Filing Date |
|---|---|---|---|
| JP2013544176A Expired - Fee Related JP6052182B2 (ja) | 2011-11-14 | 2012-10-03 | 有機エレクトロルミネッセンス素子、及び、面状発光体 |
Country Status (4)
| Country | Link |
|---|---|
| US (1) | US9627653B2 (ja) |
| EP (1) | EP2782417A4 (ja) |
| JP (1) | JP6052182B2 (ja) |
| WO (1) | WO2013073301A1 (ja) |
Families Citing this family (11)
| Publication number | Priority date | Publication date | Assignee | Title |
|---|---|---|---|---|
| JP6194889B2 (ja) * | 2012-09-11 | 2017-09-13 | コニカミノルタ株式会社 | 有機エレクトロルミネッセンス素子及び有機エレクトロルミネッセンス素子用光取り出しシート |
| US9595684B2 (en) * | 2012-11-30 | 2017-03-14 | Lg Chem, Ltd. | Substrate for organic electronic device having high refractive layer on light scattering, optical functional layer |
| CN105325056B (zh) * | 2013-06-18 | 2017-09-08 | 柯尼卡美能达株式会社 | 有机发光元件 |
| KR102073791B1 (ko) * | 2013-09-03 | 2020-02-05 | 삼성전자주식회사 | 가요성 전자 소자 및 그 제조 방법 |
| JP6438678B2 (ja) | 2014-05-14 | 2018-12-19 | Jxtgエネルギー株式会社 | 凹凸構造を有するフィルム部材 |
| CN107409459B (zh) * | 2015-02-25 | 2020-02-07 | 日本先锋公司 | 发光装置、发光装置的制造方法及发光系统 |
| CN104934550A (zh) * | 2015-05-07 | 2015-09-23 | 京东方科技集团股份有限公司 | Oled器件的封装结构、封装方法以及电子设备 |
| KR20170050729A (ko) * | 2015-10-30 | 2017-05-11 | 엘지디스플레이 주식회사 | 유기 발광 표시 장치 |
| CN107123754A (zh) * | 2017-06-14 | 2017-09-01 | 京东方科技集团股份有限公司 | 一种有机电致发光器件及制备方法、蒸镀设备 |
| JP7257100B2 (ja) * | 2017-09-11 | 2023-04-13 | 東洋製罐グループホールディングス株式会社 | 透明基板、薄膜支持基板 |
| JP7323988B2 (ja) * | 2018-03-27 | 2023-08-09 | 株式会社ダイセル | 有機el表示装置 |
Family Cites Families (120)
| Publication number | Priority date | Publication date | Assignee | Title |
|---|---|---|---|---|
| JP2525209B2 (ja) | 1987-09-30 | 1996-08-14 | 油谷重工株式会社 | 振動低減用支持装置 |
| US5061569A (en) | 1990-07-26 | 1991-10-29 | Eastman Kodak Company | Electroluminescent device with organic electroluminescent medium |
| JPH04297076A (ja) | 1991-01-31 | 1992-10-21 | Toshiba Corp | 有機el素子 |
| JP3016896B2 (ja) | 1991-04-08 | 2000-03-06 | パイオニア株式会社 | 有機エレクトロルミネッセンス素子 |
| JP3048702B2 (ja) | 1991-09-13 | 2000-06-05 | 鐘淵化学工業株式会社 | ポリアミック酸共重合体、ポリイミド共重合体、ポリイミドフィルム及びそれらの製造方法 |
| JPH06325871A (ja) | 1993-05-18 | 1994-11-25 | Mitsubishi Kasei Corp | 有機電界発光素子 |
| JP3561549B2 (ja) | 1995-04-07 | 2004-09-02 | 三洋電機株式会社 | 有機エレクトロルミネッセンス素子 |
| JP3529543B2 (ja) | 1995-04-27 | 2004-05-24 | パイオニア株式会社 | 有機エレクトロルミネッセンス素子 |
| US5719467A (en) | 1995-07-27 | 1998-02-17 | Hewlett-Packard Company | Organic electroluminescent device |
| JP3645642B2 (ja) | 1996-03-25 | 2005-05-11 | Tdk株式会社 | 有機エレクトロルミネセンス素子 |
| US5776622A (en) | 1996-07-29 | 1998-07-07 | Eastman Kodak Company | Bilayer eletron-injeting electrode for use in an electroluminescent device |
| JP4486713B2 (ja) | 1997-01-27 | 2010-06-23 | 淳二 城戸 | 有機エレクトロルミネッセント素子 |
| JP3852509B2 (ja) | 1998-01-09 | 2006-11-29 | ソニー株式会社 | 電界発光素子及びその製造方法 |
| JPH11204359A (ja) | 1998-01-14 | 1999-07-30 | Tokin Corp | 圧粉磁芯の製造方法と製造装置 |
| JPH11251067A (ja) | 1998-03-02 | 1999-09-17 | Junji Kido | 有機エレクトロルミネッセント素子 |
| US6097147A (en) | 1998-09-14 | 2000-08-01 | The Trustees Of Princeton University | Structure for high efficiency electroluminescent device |
| GB9820805D0 (en) | 1998-09-25 | 1998-11-18 | Isis Innovation | Divalent lanthanide metal complexes |
| JP2000119419A (ja) | 1998-10-16 | 2000-04-25 | Du Pont Toray Co Ltd | 共重合ポリイミドフィルム、その製造方法およびこれを基材とした金属配線回路板 |
| JP2000196140A (ja) | 1998-12-28 | 2000-07-14 | Sharp Corp | 有機エレクトロルミネッセンス素子とその製造法 |
| AU3908400A (en) | 1999-03-23 | 2000-10-09 | University Of Southern California | Cyclometallated metal complexes as phosphorescent dopants in organic leds |
| JP2000298203A (ja) | 1999-04-15 | 2000-10-24 | Shiseido Co Ltd | 光拡散板、それを用いた照明装置および液晶表示素子 |
| ATE344532T1 (de) | 1999-05-13 | 2006-11-15 | Univ Princeton | Lichtemittierende, organische, auf elektrophosphoreszenz basierende anordnung mit sehr hoher quantenausbeute |
| DE60027441T2 (de) * | 1999-08-25 | 2006-12-21 | Bellataire International LLC, Worthington | Hochtemperatur/hochdruck-verfahren zur herstellung von gefärbten diamanten |
| JP4729154B2 (ja) | 1999-09-29 | 2011-07-20 | 淳二 城戸 | 有機エレクトロルミネッセント素子、有機エレクトロルミネッセント素子群及びその発光スペクトルの制御方法 |
| JP3929690B2 (ja) | 1999-12-27 | 2007-06-13 | 富士フイルム株式会社 | オルトメタル化イリジウム錯体からなる発光素子材料、発光素子および新規イリジウム錯体 |
| JP3929689B2 (ja) | 2000-03-28 | 2007-06-13 | 富士フイルム株式会社 | 高効率赤色発光素子、イリジウム錯体から成る発光素子材料及び新規イリジウム錯体 |
| JP2001181617A (ja) | 1999-12-27 | 2001-07-03 | Fuji Photo Film Co Ltd | オルトメタル化白金錯体からなる発光素子材料および発光素子 |
| JP2001181616A (ja) | 1999-12-27 | 2001-07-03 | Fuji Photo Film Co Ltd | オルトメタル化パラジウム錯体からなる発光素子材料および発光素子 |
| JP3929706B2 (ja) | 2000-02-10 | 2007-06-13 | 富士フイルム株式会社 | イリジウム錯体からなる発光素子材料及び発光素子 |
| JP4890669B2 (ja) | 2000-03-13 | 2012-03-07 | Tdk株式会社 | 有機el素子 |
| JP2002008860A (ja) | 2000-04-18 | 2002-01-11 | Mitsubishi Chemicals Corp | 有機電界発光素子 |
| JP2002015871A (ja) | 2000-04-27 | 2002-01-18 | Toray Ind Inc | 発光素子 |
| JP2001313178A (ja) | 2000-04-28 | 2001-11-09 | Pioneer Electronic Corp | 有機エレクトロルミネッセンス素子 |
| JP2001313179A (ja) | 2000-05-01 | 2001-11-09 | Mitsubishi Chemicals Corp | 有機電界発光素子 |
| JP4382961B2 (ja) | 2000-05-02 | 2009-12-16 | 富士フイルム株式会社 | 発光素子 |
| JP4048521B2 (ja) | 2000-05-02 | 2008-02-20 | 富士フイルム株式会社 | 発光素子 |
| JP4683766B2 (ja) | 2000-05-22 | 2011-05-18 | 株式会社半導体エネルギー研究所 | アクティブマトリクス型発光装置 |
| JP5062797B2 (ja) | 2000-05-22 | 2012-10-31 | 昭和電工株式会社 | 有機エレクトロルミネッセンス素子および発光材料 |
| JP2002062824A (ja) | 2000-06-05 | 2002-02-28 | Semiconductor Energy Lab Co Ltd | 発光装置 |
| JP4290858B2 (ja) | 2000-06-12 | 2009-07-08 | 富士フイルム株式会社 | 有機電界発光素子 |
| JP2002083684A (ja) | 2000-06-23 | 2002-03-22 | Semiconductor Energy Lab Co Ltd | 発光装置 |
| JP4340401B2 (ja) | 2000-07-17 | 2009-10-07 | 富士フイルム株式会社 | 発光素子及びイリジウム錯体 |
| JP4712232B2 (ja) | 2000-07-17 | 2011-06-29 | 富士フイルム株式会社 | 発光素子及びアゾール化合物 |
| JP2002043056A (ja) | 2000-07-19 | 2002-02-08 | Canon Inc | 発光素子 |
| EP1325671B1 (en) | 2000-08-11 | 2012-10-24 | The Trustees Of Princeton University | Organometallic compounds and emission-shifting organic electrophosphorescence |
| JP2002141173A (ja) | 2000-08-22 | 2002-05-17 | Semiconductor Energy Lab Co Ltd | 発光装置 |
| JP4344494B2 (ja) | 2000-08-24 | 2009-10-14 | 富士フイルム株式会社 | 発光素子及び新規重合体子 |
| JP4554047B2 (ja) | 2000-08-29 | 2010-09-29 | 株式会社半導体エネルギー研究所 | 発光装置 |
| JP4505162B2 (ja) | 2000-09-21 | 2010-07-21 | 富士フイルム株式会社 | 発光素子および新規レニウム錯体 |
| JP4067286B2 (ja) | 2000-09-21 | 2008-03-26 | 富士フイルム株式会社 | 発光素子及びイリジウム錯体 |
| JP4454130B2 (ja) | 2000-09-25 | 2010-04-21 | 京セラ株式会社 | 有機エレクトロルミネッセンス素子 |
| JP4154140B2 (ja) | 2000-09-26 | 2008-09-24 | キヤノン株式会社 | 金属配位化合物 |
| JP2002184582A (ja) | 2000-09-28 | 2002-06-28 | Semiconductor Energy Lab Co Ltd | 発光装置 |
| JP4026740B2 (ja) | 2000-09-29 | 2007-12-26 | 富士フイルム株式会社 | 有機発光素子材料及びそれを用いた有機発光素子 |
| JP4092901B2 (ja) | 2000-10-30 | 2008-05-28 | 株式会社豊田中央研究所 | 有機電界発光素子 |
| JP4086498B2 (ja) | 2000-11-29 | 2008-05-14 | キヤノン株式会社 | 金属配位化合物、発光素子及び表示装置 |
| JP4086499B2 (ja) | 2000-11-29 | 2008-05-14 | キヤノン株式会社 | 金属配位化合物、発光素子及び表示装置 |
| JP3855675B2 (ja) | 2000-11-30 | 2006-12-13 | 三菱化学株式会社 | 有機電界発光素子 |
| JP4048525B2 (ja) | 2000-12-25 | 2008-02-20 | 富士フイルム株式会社 | 新規インドール誘導体およびそれを利用した発光素子 |
| JP2002255934A (ja) | 2000-12-25 | 2002-09-11 | Fuji Photo Film Co Ltd | 新規化合物、その重合体、それらを利用した発光素子材料およびその発光素子 |
| JP2002203679A (ja) | 2000-12-27 | 2002-07-19 | Fuji Photo Film Co Ltd | 発光素子 |
| JP2002203678A (ja) | 2000-12-27 | 2002-07-19 | Fuji Photo Film Co Ltd | 発光素子 |
| JP4153694B2 (ja) | 2000-12-28 | 2008-09-24 | 株式会社東芝 | 有機el素子および表示装置 |
| US6720090B2 (en) | 2001-01-02 | 2004-04-13 | Eastman Kodak Company | Organic light emitting diode devices with improved luminance efficiency |
| JP4598282B2 (ja) | 2001-02-09 | 2010-12-15 | 三井化学株式会社 | アミン化合物および該化合物を含有する有機電界発光素子 |
| JP3988915B2 (ja) | 2001-02-09 | 2007-10-10 | 富士フイルム株式会社 | 遷移金属錯体及びそれからなる発光素子用材料、並びに発光素子 |
| JP4215145B2 (ja) | 2001-02-21 | 2009-01-28 | 富士フイルム株式会社 | 発光素子用材料及び発光素子 |
| CN1267525C (zh) | 2001-03-08 | 2006-08-02 | 香港大学 | 有机金属光发射材料 |
| JP4438042B2 (ja) | 2001-03-08 | 2010-03-24 | キヤノン株式会社 | 金属配位化合物、電界発光素子及び表示装置 |
| JP4307000B2 (ja) | 2001-03-08 | 2009-08-05 | キヤノン株式会社 | 金属配位化合物、電界発光素子及び表示装置 |
| JP4655410B2 (ja) | 2001-03-09 | 2011-03-23 | ソニー株式会社 | 有機電界発光素子 |
| JP2002334788A (ja) | 2001-03-09 | 2002-11-22 | Sony Corp | 有機電界発光素子 |
| JP2002334787A (ja) | 2001-03-09 | 2002-11-22 | Sony Corp | 有機電界発光素子 |
| JP2002334786A (ja) | 2001-03-09 | 2002-11-22 | Sony Corp | 有機電界発光素子 |
| JP4307001B2 (ja) | 2001-03-14 | 2009-08-05 | キヤノン株式会社 | 金属配位化合物、電界発光素子及び表示装置 |
| JP2002343572A (ja) | 2001-03-14 | 2002-11-29 | Canon Inc | ポルフィリン誘導体化合物を用いた発光素子および表示装置 |
| JP2002280180A (ja) | 2001-03-16 | 2002-09-27 | Canon Inc | 有機発光素子 |
| JP2002280178A (ja) | 2001-03-16 | 2002-09-27 | Canon Inc | 有機発光素子 |
| JP4169246B2 (ja) | 2001-03-16 | 2008-10-22 | 富士フイルム株式会社 | ヘテロ環化合物及びそれを用いた発光素子 |
| JP2002280179A (ja) | 2001-03-16 | 2002-09-27 | Canon Inc | 有機発光素子 |
| JP3964245B2 (ja) | 2001-03-28 | 2007-08-22 | 株式会社半導体エネルギー研究所 | 有機発光素子および前記素子を用いた発光装置 |
| JP2002299060A (ja) | 2001-03-30 | 2002-10-11 | Fuji Photo Film Co Ltd | 有機発光素子 |
| JP2002302516A (ja) | 2001-04-03 | 2002-10-18 | Fuji Photo Film Co Ltd | 新規ポリマーおよびそれを用いた発光素子 |
| JP2002363227A (ja) | 2001-04-03 | 2002-12-18 | Fuji Photo Film Co Ltd | 新規ポリマーおよびそれを用いた発光素子 |
| JP2002305083A (ja) | 2001-04-04 | 2002-10-18 | Mitsubishi Chemicals Corp | 有機電界発光素子 |
| JP2002308837A (ja) | 2001-04-05 | 2002-10-23 | Fuji Photo Film Co Ltd | 新規化合物、およびそれを用いた発光素子 |
| JP2002308855A (ja) | 2001-04-05 | 2002-10-23 | Fuji Photo Film Co Ltd | 新規化合物、およびそれを用いた発光素子 |
| JP2003007471A (ja) | 2001-04-13 | 2003-01-10 | Semiconductor Energy Lab Co Ltd | 有機発光素子および前記素子を用いた発光装置 |
| JP2002324679A (ja) | 2001-04-26 | 2002-11-08 | Honda Motor Co Ltd | 有機エレクトロルミネッセンス素子 |
| JP2002343568A (ja) | 2001-05-10 | 2002-11-29 | Sony Corp | 有機電界発光素子 |
| JP2002352957A (ja) | 2001-05-23 | 2002-12-06 | Honda Motor Co Ltd | 有機エレクトロルミネッセンス素子 |
| JP2002352960A (ja) | 2001-05-29 | 2002-12-06 | Hitachi Ltd | 薄膜電界発光素子 |
| JP2003007469A (ja) | 2001-06-25 | 2003-01-10 | Canon Inc | 発光素子及び表示装置 |
| JP4628594B2 (ja) | 2001-06-25 | 2011-02-09 | 昭和電工株式会社 | 有機発光素子および発光材料 |
| JP4789359B2 (ja) | 2001-07-11 | 2011-10-12 | 株式会社半導体エネルギー研究所 | 発光装置 |
| JP4003824B2 (ja) | 2001-07-11 | 2007-11-07 | 富士フイルム株式会社 | 発光素子 |
| JP2003109747A (ja) | 2001-07-24 | 2003-04-11 | Matsushita Electric Works Ltd | 有機エレクトロルミネッセンス面発光体及び液晶表示装置 |
| JP4433680B2 (ja) | 2002-06-10 | 2010-03-17 | コニカミノルタホールディングス株式会社 | 薄膜形成方法 |
| JP3962997B2 (ja) | 2003-08-01 | 2007-08-22 | 荒川化学工業株式会社 | アルコキシ基含有シラン変性ブロック共重合体型ポリアミック酸、ブロック共重合ポリイミド−シリカハイブリッド硬化物及び金属積層体 |
| JP4074847B2 (ja) * | 2003-09-30 | 2008-04-16 | 恵和株式会社 | 光学シート及びこれを用いたバックライトユニット |
| US20060257678A1 (en) | 2005-05-10 | 2006-11-16 | Benson Olester Jr | Fiber reinforced optical films |
| JP2007056198A (ja) | 2005-08-26 | 2007-03-08 | Teijin Ltd | ポリイミドフィルムおよびその製造方法 |
| JPWO2007032469A1 (ja) | 2005-09-15 | 2009-03-19 | 日本ゼオン株式会社 | 直下型バックライト装置 |
| JP2007206569A (ja) * | 2006-02-03 | 2007-08-16 | Daicel Chem Ind Ltd | 光学シート |
| US20080008845A1 (en) * | 2006-07-07 | 2008-01-10 | Young Oh | Light diffusion sheet for a display device |
| US20090214828A1 (en) | 2008-02-26 | 2009-08-27 | Vicki Herzl Watkins | Blunt tip prism film and methods for making the same |
| JP2009238694A (ja) | 2008-03-28 | 2009-10-15 | Sumitomo Chemical Co Ltd | 有機エレクトロルミネッセンス素子およびその製造方法 |
| US7957621B2 (en) * | 2008-12-17 | 2011-06-07 | 3M Innovative Properties Company | Light extraction film with nanoparticle coatings |
| WO2010143705A1 (ja) * | 2009-06-11 | 2010-12-16 | 日本ゼオン株式会社 | 面光源装置、照明器具及びバックライト装置 |
| JP2011018583A (ja) | 2009-07-09 | 2011-01-27 | Fujifilm Corp | 有機el装置及びその設計方法 |
| US8476825B2 (en) * | 2009-10-14 | 2013-07-02 | Zeon Corporation | Organic electroluminescent light source device |
| CA2777649A1 (en) * | 2009-10-15 | 2011-04-21 | Asahi Glass Company, Limited | Organic led element, glass frit for diffusion layer for use in organic led element, and method for production of diffusion layer for use in organic led element |
| US10581020B2 (en) * | 2011-02-08 | 2020-03-03 | Vitro Flat Glass Llc | Light extracting substrate for organic light emitting diode |
| JP5731830B2 (ja) | 2010-01-19 | 2015-06-10 | パナソニック株式会社 | 面状発光装置 |
| WO2011105141A1 (ja) | 2010-02-23 | 2011-09-01 | コニカミノルタホールディングス株式会社 | 有機エレクトロルミネッセンス素子及びその製造方法 |
| US9541681B2 (en) * | 2010-05-26 | 2017-01-10 | Konica Minolta Holdings, Inc. | Light extraction sheet, organic electroluminescence element and illumination device |
| JP2011248104A (ja) | 2010-05-27 | 2011-12-08 | Jsr Corp | 光取り出しフィルムおよびその製造方法 |
| EP2518789B1 (en) * | 2011-04-18 | 2016-04-13 | Corning Precision Materials Co., Ltd. | Method of manufacturing a light extraction substrate for an electroluminescent device |
| WO2013035299A1 (ja) * | 2011-09-07 | 2013-03-14 | パナソニック株式会社 | 発光装置および光シート |
| KR101892711B1 (ko) * | 2011-12-28 | 2018-08-29 | 삼성디스플레이 주식회사 | 유기 발광 표시 장치 및 유기 발광 표시 장치의 제조 방법 |
-
2012
- 2012-10-03 EP EP12849338.4A patent/EP2782417A4/en not_active Withdrawn
- 2012-10-03 WO PCT/JP2012/075690 patent/WO2013073301A1/ja not_active Ceased
- 2012-10-03 US US14/355,055 patent/US9627653B2/en active Active
- 2012-10-03 JP JP2013544176A patent/JP6052182B2/ja not_active Expired - Fee Related
Also Published As
| Publication number | Publication date |
|---|---|
| US9627653B2 (en) | 2017-04-18 |
| US20140264317A1 (en) | 2014-09-18 |
| JPWO2013073301A1 (ja) | 2015-04-02 |
| WO2013073301A1 (ja) | 2013-05-23 |
| EP2782417A1 (en) | 2014-09-24 |
| EP2782417A4 (en) | 2015-08-05 |
Similar Documents
| Publication | Publication Date | Title |
|---|---|---|
| JP6052182B2 (ja) | 有機エレクトロルミネッセンス素子、及び、面状発光体 | |
| JP5835216B2 (ja) | 光取り出しシート、有機エレクトロルミネッセンス素子及び照明装置 | |
| JP5413459B2 (ja) | 白色発光有機エレクトロルミネッセンス素子 | |
| JP6362330B2 (ja) | 有機エレクトロルミネッセンス素子、及び、面状発光体 | |
| JP5888095B2 (ja) | 有機エレクトロルミネッセンス素子 | |
| WO2013042533A1 (ja) | 有機エレクトロルミネッセンスパネル及び有機エレクトロルミネッセンスパネルの製造方法 | |
| JPWO2011132550A1 (ja) | 有機エレクトロルミネッセンス素子、表示装置及び照明装置 | |
| JP5678891B2 (ja) | 装飾発光体の製造方法 | |
| JP5589852B2 (ja) | 有機エレクトロルミネッセンス素子及びその製造方法 | |
| WO2012172883A1 (ja) | 有機エレクトロルミネッセンス素子の製造方法 | |
| JP5879737B2 (ja) | 有機エレクトロルミネッセンス素子の製造方法 | |
| JP5660125B2 (ja) | 有機エレクトロルミネッセンス部材及び有機エレクトロルミネッセンス素子の製造方法 | |
| JP2009252944A (ja) | 有機エレクトロルミネセンス素子とその製造方法 | |
| WO2012063656A1 (ja) | 有機エレクトロルミネッセンス素子の製造方法 | |
| JP6119606B2 (ja) | 有機エレクトロルミネッセンスパネル及び有機エレクトロルミネッセンスパネルの製造方法 | |
| JP6061450B2 (ja) | 有機エレクトロルミネッセンス素子、及び、有機エレクトロルミネッセンス素子の製造方法 | |
| JP5428162B2 (ja) | 有機エレクトロルミネッセンス素子 | |
| JP2010177338A (ja) | 有機エレクトロルミネッセンス素子及びその製造方法 | |
| JP4978034B2 (ja) | 有機エレクトロルミネッセンス素子 | |
| JP5594291B2 (ja) | 有機エレクトロルミネッセンス素子及びその製造方法 | |
| JPWO2010084816A1 (ja) | 有機エレクトロルミネッセンス素子及びその製造方法 | |
| JP5286637B2 (ja) | 有機エレクトロルミネッセンスパネルの製造方法、有機エレクトロルミネッセンスパネル | |
| JP2010199021A (ja) | 有機エレクトロルミネセンス素子の製造方法 | |
| JP2011222385A (ja) | 有機エレクトロルミネッセンス素子の製造方法及び有機エレクトロルミネッセンス素子 | |
| JP2012234972A (ja) | 有機エレクトロルミネッセンス素子及び有機エレクトロルミネッセンス素子の製造方法 |
Legal Events
| Date | Code | Title | Description |
|---|---|---|---|
| A621 | Written request for application examination |
Free format text: JAPANESE INTERMEDIATE CODE: A621 Effective date: 20150519 |
|
| A131 | Notification of reasons for refusal |
Free format text: JAPANESE INTERMEDIATE CODE: A131 Effective date: 20160517 |
|
| A521 | Request for written amendment filed |
Free format text: JAPANESE INTERMEDIATE CODE: A523 Effective date: 20160706 |
|
| TRDD | Decision of grant or rejection written | ||
| A01 | Written decision to grant a patent or to grant a registration (utility model) |
Free format text: JAPANESE INTERMEDIATE CODE: A01 Effective date: 20161101 |
|
| A61 | First payment of annual fees (during grant procedure) |
Free format text: JAPANESE INTERMEDIATE CODE: A61 Effective date: 20161114 |
|
| R150 | Certificate of patent or registration of utility model |
Ref document number: 6052182 Country of ref document: JP Free format text: JAPANESE INTERMEDIATE CODE: R150 |
|
| LAPS | Cancellation because of no payment of annual fees |
