JP5554792B2 - 発光素子及びその製造方法 - Google Patents

発光素子及びその製造方法 Download PDF

Info

Publication number
JP5554792B2
JP5554792B2 JP2012021079A JP2012021079A JP5554792B2 JP 5554792 B2 JP5554792 B2 JP 5554792B2 JP 2012021079 A JP2012021079 A JP 2012021079A JP 2012021079 A JP2012021079 A JP 2012021079A JP 5554792 B2 JP5554792 B2 JP 5554792B2
Authority
JP
Japan
Prior art keywords
semiconductor layer
type semiconductor
light emitting
layer
substrate
Prior art date
Legal status (The legal status is an assumption and is not a legal conclusion. Google has not performed a legal analysis and makes no representation as to the accuracy of the status listed.)
Active
Application number
JP2012021079A
Other languages
English (en)
Other versions
JP2012084933A (ja
Inventor
イ,ジョンラン
イ,ジェホ
ユン,ヨジン
フアン,ウイジン
キム,デウォン
Current Assignee (The listed assignees may be inaccurate. Google has not performed a legal analysis and makes no representation or warranty as to the accuracy of the list.)
Seoul Viosys Co Ltd
Original Assignee
Seoul Viosys Co Ltd
Priority date (The priority date is an assumption and is not a legal conclusion. Google has not performed a legal analysis and makes no representation as to the accuracy of the date listed.)
Filing date
Publication date
Family has litigation
First worldwide family litigation filed litigation Critical https://patents.darts-ip.com/?family=37570683&utm_source=google_patent&utm_medium=platform_link&utm_campaign=public_patent_search&patent=JP5554792(B2) "Global patent litigation dataset” by Darts-ip is licensed under a Creative Commons Attribution 4.0 International License.
Priority claimed from KR1020050053797A external-priority patent/KR100691497B1/ko
Priority claimed from KR1020050055179A external-priority patent/KR100646635B1/ko
Priority claimed from KR1020060021801A external-priority patent/KR100690323B1/ko
Application filed by Seoul Viosys Co Ltd filed Critical Seoul Viosys Co Ltd
Publication of JP2012084933A publication Critical patent/JP2012084933A/ja
Application granted granted Critical
Publication of JP5554792B2 publication Critical patent/JP5554792B2/ja
Active legal-status Critical Current
Anticipated expiration legal-status Critical

Links

Images

Classifications

    • HELECTRICITY
    • H10SEMICONDUCTOR DEVICES; ELECTRIC SOLID-STATE DEVICES NOT OTHERWISE PROVIDED FOR
    • H10HINORGANIC LIGHT-EMITTING SEMICONDUCTOR DEVICES HAVING POTENTIAL BARRIERS
    • H10H29/00Integrated devices, or assemblies of multiple devices, comprising at least one light-emitting semiconductor element covered by group H10H20/00
    • H10H29/10Integrated devices comprising at least one light-emitting semiconductor component covered by group H10H20/00
    • H10H29/14Integrated devices comprising at least one light-emitting semiconductor component covered by group H10H20/00 comprising multiple light-emitting semiconductor components
    • HELECTRICITY
    • H10SEMICONDUCTOR DEVICES; ELECTRIC SOLID-STATE DEVICES NOT OTHERWISE PROVIDED FOR
    • H10HINORGANIC LIGHT-EMITTING SEMICONDUCTOR DEVICES HAVING POTENTIAL BARRIERS
    • H10H20/00Individual inorganic light-emitting semiconductor devices having potential barriers, e.g. light-emitting diodes [LED]
    • H10H20/80Constructional details
    • H10H20/81Bodies
    • H10H20/813Bodies having a plurality of light-emitting regions, e.g. multi-junction LEDs or light-emitting devices having photoluminescent regions within the bodies
    • HELECTRICITY
    • H10SEMICONDUCTOR DEVICES; ELECTRIC SOLID-STATE DEVICES NOT OTHERWISE PROVIDED FOR
    • H10HINORGANIC LIGHT-EMITTING SEMICONDUCTOR DEVICES HAVING POTENTIAL BARRIERS
    • H10H20/00Individual inorganic light-emitting semiconductor devices having potential barriers, e.g. light-emitting diodes [LED]
    • H10H20/80Constructional details
    • H10H20/81Bodies
    • H10H20/819Bodies characterised by their shape, e.g. curved or truncated substrates
    • H10H20/821Bodies characterised by their shape, e.g. curved or truncated substrates of the light-emitting regions, e.g. non-planar junctions
    • HELECTRICITY
    • H10SEMICONDUCTOR DEVICES; ELECTRIC SOLID-STATE DEVICES NOT OTHERWISE PROVIDED FOR
    • H10HINORGANIC LIGHT-EMITTING SEMICONDUCTOR DEVICES HAVING POTENTIAL BARRIERS
    • H10H20/00Individual inorganic light-emitting semiconductor devices having potential barriers, e.g. light-emitting diodes [LED]
    • H10H20/80Constructional details
    • H10H20/81Bodies
    • H10H20/822Materials of the light-emitting regions
    • H10H20/824Materials of the light-emitting regions comprising only Group III-V materials, e.g. GaP
    • H10H20/825Materials of the light-emitting regions comprising only Group III-V materials, e.g. GaP containing nitrogen, e.g. GaN
    • HELECTRICITY
    • H10SEMICONDUCTOR DEVICES; ELECTRIC SOLID-STATE DEVICES NOT OTHERWISE PROVIDED FOR
    • H10HINORGANIC LIGHT-EMITTING SEMICONDUCTOR DEVICES HAVING POTENTIAL BARRIERS
    • H10H20/00Individual inorganic light-emitting semiconductor devices having potential barriers, e.g. light-emitting diodes [LED]
    • H10H20/80Constructional details
    • H10H20/85Packages
    • H10H20/857Interconnections, e.g. lead-frames, bond wires or solder balls
    • HELECTRICITY
    • H10SEMICONDUCTOR DEVICES; ELECTRIC SOLID-STATE DEVICES NOT OTHERWISE PROVIDED FOR
    • H10HINORGANIC LIGHT-EMITTING SEMICONDUCTOR DEVICES HAVING POTENTIAL BARRIERS
    • H10H29/00Integrated devices, or assemblies of multiple devices, comprising at least one light-emitting semiconductor element covered by group H10H20/00
    • H10H29/10Integrated devices comprising at least one light-emitting semiconductor component covered by group H10H20/00
    • HELECTRICITY
    • H01ELECTRIC ELEMENTS
    • H01LSEMICONDUCTOR DEVICES NOT COVERED BY CLASS H10
    • H01L2224/00Indexing scheme for arrangements for connecting or disconnecting semiconductor or solid-state bodies and methods related thereto as covered by H01L24/00
    • H01L2224/01Means for bonding being attached to, or being formed on, the surface to be connected, e.g. chip-to-package, die-attach, "first-level" interconnects; Manufacturing methods related thereto
    • H01L2224/42Wire connectors; Manufacturing methods related thereto
    • H01L2224/44Structure, shape, material or disposition of the wire connectors prior to the connecting process
    • H01L2224/45Structure, shape, material or disposition of the wire connectors prior to the connecting process of an individual wire connector
    • H01L2224/45001Core members of the connector
    • H01L2224/45099Material
    • H01L2224/451Material with a principal constituent of the material being a metal or a metalloid, e.g. boron (B), silicon (Si), germanium (Ge), arsenic (As), antimony (Sb), tellurium (Te) and polonium (Po), and alloys thereof
    • H01L2224/45138Material with a principal constituent of the material being a metal or a metalloid, e.g. boron (B), silicon (Si), germanium (Ge), arsenic (As), antimony (Sb), tellurium (Te) and polonium (Po), and alloys thereof the principal constituent melting at a temperature of greater than or equal to 950°C and less than 1550°C
    • H01L2224/45144Gold (Au) as principal constituent
    • HELECTRICITY
    • H01ELECTRIC ELEMENTS
    • H01LSEMICONDUCTOR DEVICES NOT COVERED BY CLASS H10
    • H01L2224/00Indexing scheme for arrangements for connecting or disconnecting semiconductor or solid-state bodies and methods related thereto as covered by H01L24/00
    • H01L2224/01Means for bonding being attached to, or being formed on, the surface to be connected, e.g. chip-to-package, die-attach, "first-level" interconnects; Manufacturing methods related thereto
    • H01L2224/42Wire connectors; Manufacturing methods related thereto
    • H01L2224/47Structure, shape, material or disposition of the wire connectors after the connecting process
    • H01L2224/48Structure, shape, material or disposition of the wire connectors after the connecting process of an individual wire connector
    • H01L2224/4805Shape
    • H01L2224/4809Loop shape
    • H01L2224/48095Kinked
    • HELECTRICITY
    • H01ELECTRIC ELEMENTS
    • H01LSEMICONDUCTOR DEVICES NOT COVERED BY CLASS H10
    • H01L2224/00Indexing scheme for arrangements for connecting or disconnecting semiconductor or solid-state bodies and methods related thereto as covered by H01L24/00
    • H01L2224/01Means for bonding being attached to, or being formed on, the surface to be connected, e.g. chip-to-package, die-attach, "first-level" interconnects; Manufacturing methods related thereto
    • H01L2224/42Wire connectors; Manufacturing methods related thereto
    • H01L2224/47Structure, shape, material or disposition of the wire connectors after the connecting process
    • H01L2224/48Structure, shape, material or disposition of the wire connectors after the connecting process of an individual wire connector
    • H01L2224/481Disposition
    • H01L2224/48135Connecting between different semiconductor or solid-state bodies, i.e. chip-to-chip
    • H01L2224/48137Connecting between different semiconductor or solid-state bodies, i.e. chip-to-chip the bodies being arranged next to each other, e.g. on a common substrate
    • HELECTRICITY
    • H10SEMICONDUCTOR DEVICES; ELECTRIC SOLID-STATE DEVICES NOT OTHERWISE PROVIDED FOR
    • H10HINORGANIC LIGHT-EMITTING SEMICONDUCTOR DEVICES HAVING POTENTIAL BARRIERS
    • H10H20/00Individual inorganic light-emitting semiconductor devices having potential barriers, e.g. light-emitting diodes [LED]
    • H10H20/01Manufacture or treatment
    • H10H20/036Manufacture or treatment of packages
    • H10H20/0364Manufacture or treatment of packages of interconnections
    • HELECTRICITY
    • H10SEMICONDUCTOR DEVICES; ELECTRIC SOLID-STATE DEVICES NOT OTHERWISE PROVIDED FOR
    • H10HINORGANIC LIGHT-EMITTING SEMICONDUCTOR DEVICES HAVING POTENTIAL BARRIERS
    • H10H20/00Individual inorganic light-emitting semiconductor devices having potential barriers, e.g. light-emitting diodes [LED]
    • H10H20/80Constructional details
    • H10H20/81Bodies
    • H10H20/819Bodies characterised by their shape, e.g. curved or truncated substrates
    • HELECTRICITY
    • H10SEMICONDUCTOR DEVICES; ELECTRIC SOLID-STATE DEVICES NOT OTHERWISE PROVIDED FOR
    • H10HINORGANIC LIGHT-EMITTING SEMICONDUCTOR DEVICES HAVING POTENTIAL BARRIERS
    • H10H20/00Individual inorganic light-emitting semiconductor devices having potential barriers, e.g. light-emitting diodes [LED]
    • H10H20/80Constructional details
    • H10H20/81Bodies
    • H10H20/822Materials of the light-emitting regions
    • H10H20/823Materials of the light-emitting regions comprising only Group II-VI materials, e.g. ZnO
    • HELECTRICITY
    • H10SEMICONDUCTOR DEVICES; ELECTRIC SOLID-STATE DEVICES NOT OTHERWISE PROVIDED FOR
    • H10HINORGANIC LIGHT-EMITTING SEMICONDUCTOR DEVICES HAVING POTENTIAL BARRIERS
    • H10H20/00Individual inorganic light-emitting semiconductor devices having potential barriers, e.g. light-emitting diodes [LED]
    • H10H20/80Constructional details
    • H10H20/83Electrodes
    • H10H20/831Electrodes characterised by their shape
    • H10H20/8314Electrodes characterised by their shape extending at least partially onto an outer side surface of the bodies
    • HELECTRICITY
    • H10SEMICONDUCTOR DEVICES; ELECTRIC SOLID-STATE DEVICES NOT OTHERWISE PROVIDED FOR
    • H10HINORGANIC LIGHT-EMITTING SEMICONDUCTOR DEVICES HAVING POTENTIAL BARRIERS
    • H10H20/00Individual inorganic light-emitting semiconductor devices having potential barriers, e.g. light-emitting diodes [LED]
    • H10H20/80Constructional details
    • H10H20/84Coatings, e.g. passivation layers or antireflective coatings
    • HELECTRICITY
    • H10SEMICONDUCTOR DEVICES; ELECTRIC SOLID-STATE DEVICES NOT OTHERWISE PROVIDED FOR
    • H10KORGANIC ELECTRIC SOLID-STATE DEVICES
    • H10K59/00Integrated devices, or assemblies of multiple devices, comprising at least one organic light-emitting element covered by group H10K50/00
    • H10K59/80Constructional details
    • H10K59/87Passivation; Containers; Encapsulations
    • H10K59/873Encapsulations

Landscapes

  • Led Devices (AREA)
  • Led Device Packages (AREA)

Description

本発明は発光素子及びその製造方法に係り、さらに詳しくは、窒化物系の半導体発光素子における発光効率及び輝度を高めるための発光素子及びその製造方法に関する。
発光素子(light emitting diode;LED)とは、半導体のpn接合構造を用いて注入された少数キャリア(電子または正孔)を作り、これらの再結合により所定の光を発する素子を言い、GaAs、AlGaAs、GaN、InGaN、AlGaInPなどの化合物半導体の材料を変えて発光源を構成することにより種々の色を実現することができる。例えば、赤色発光素子はGaAsPなどを用いて得ることができ、緑色発光素子はGaP、InGaNなどを用いて得ることができ、青色発光素子はInGaN/GaNダブルへテロ構造を用いて得ることができ、さらに、UV発光素子はAlGaN/GaNまたはAlGaN/AlGaN構造を用いて得ることができる。
特に、GaNは、常温下で3.4eVの直接遷移型バンドギャップを有し、窒化インジウム(InN)、窒化アルミニウム(AlN)などの物質との組み合わせにより1.9eV(InN)から3.4eV(GaN)、6.2eV(AlN)までの直接エネルギーバンドギャップを有していて、可視光から紫外線域までの広い波長域が得られることから、光素子の応用可能性が極めて高い物質とされている。このように波長が調節できて短波長域における赤色、緑色及び青色発光素子によるフルカラーが実現可能になることから、ディスプレイ領域はもとより、一般の照明市場への波及効果は極めて大きくなると見込まれる。
発光素子は、既存の電球または蛍光灯に比べて、消耗電力が低く、長寿命であり、手狭いスペースに取り付け可能である他、振動に強い、という特性を示している。この種の発光素子は表示素子及びバックライトとして用いられているが、消耗電力の削減と耐久性の面で優れた特性を有することから、近年、照明用途として採用するための研究が盛んになされてきている。今後、大型LCD−TVのバックライトや自動車のヘッドライト、一般照明にまでその応用が拡大していくと見込まれる中で、発光素子の発光効率の改善、放熱問題の解消及び発光素子の高輝度化・高出力化が解決課題として残されている。
これまで発光素子の性能を高めるための数多くの技術が開発されている。発光素子の性能を示す指標としては、発光効率(lm/W)、内部量子効率(%)、外部量子効率(%)、取出効率(%)など種々あるが、取出効率は、発光素子に注入された電子と発光素子の外に発せられる光子との比により決まり、取出効率が高いほど発光素子が明るいことを意味する。発光素子の取出効率は、チップの形状や表面の形状、チップの構造、パッケージング方式に大きく影響されるため、発光素子を設計するに当たって細かい注意を払うことが必要である。
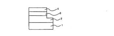
図1は、従来の水平構造の発光素子を示す断面図である。
図1を参照すれば、発光素子は、基板1と、基板1の上に形成されたN型半導体層2と、該N型半導体層2の一部に形成された活性層3と、P型半導体層4と、を備えている。これは、前記基板1の上にN型半導体層2、活性層3、P型半導体層4を順次に形成した後、所定の領域のP型半導体層4と活性層3をエッチングしてN型半導体層2の一部を露出させ、その露出されたN型半導体層2の上面とP型半導体層2の上面にそれぞれ所定の電圧を印加するためのものである。
図2は、従来のフリップチップ構造の発光素子を示す断面図である。
図2を参照すれば、発光素子は、ベース基板1の上に順次に形成されたN型半導体層2と、活性層3及びP型半導体層4を備え、さらに、金属バンプ8、9を用いて前記ベース基板1をフリップチップボンディングしたサブマウント基板5を備えている。このために、所定の基板1の上にN型半導体層2と、活性層3及びP型半導体層4を順次に形成し、P型半導体層4と活性層3の一部をエッチングすることによりN型半導体層2を露出させて発光セルを形成する。また、別のサブマウント基板5を用意して第1及び第2の電極6、7を形成し、第1の電極6の上にはP型金属バンプ8を形成し、第2の電極7の上にはN型金属バンプ9を形成する。この後、前記発光セルを前記サブマウント基板5にボンディングするが、発光セルのP電極をP型金属バンプ8に、N電極をN型金属バンプ9にボンディングして発光素子を作製する。このような従来のフリップチップ構造の発光素子は、放熱効率が高く、且つ、光の遮蔽がほとんどないことから、光効率が既存の発光素子に比べて50%以上増大するという効果があり、発光素子の駆動のための金線が不要になることから、種々の小型パッケージへの応用も考えられている。
発光素子の発光層において生成された光はチップの全面から発せられ、光の取出効率は、通常、光の臨界角により決まる。しかしながら、従来の発光素子は、N型半導体層を露出させるためにエッチングを行うとき、P型半導体層と活性層の側面が垂直に加工されて、発光素子の内部において生成された光の一部が水平面から垂直に加工されたエッチング面において全反射されてしまう。
また、全反射される相当量の光は内部反射により外部に放出されないままで発光素子の内部において消滅されてしまう。すなわち、電気エネルギーが光エネルギーに変換されて素子の外部に抜け出る発光効率が低いという不都合がある。
本発明は上記事情に鑑みてなされたものであり、その目的は、発光効率、外部量子効率、取出効率などの特性を高めると共に信頼性を確保することにより、高光度、高輝度の光を発光することのできる発光素子及びその製造方法を提供するところにある。
上述した目的を達成するために、本発明は、基板の上にN型半導体層及び該N型半導体層の一部に形成されたP型半導体層を含む発光セルを多数備え、
前記一方の発光セルのN型半導体層とそれに隣り合う他方の発光セルのP型半導体層が接続され、前記発光セルのN型半導体層またはP型半導体層を含む側面が水平面から20〜80°の勾配を有することを特徴とする発光素子を提供する。前記一方の発光セルのN型半導体層とそれに隣り合う他方の発光セルのP型半導体層を接続するための配線をさらに備えてもよい。前記P型半導体層の上に透明電極層をさらに備えてもよく、前記P型半導体層及び前記N型半導体層の上にCrまたはAuを含むP型オーミック金属層及びN型オーミック金属層をそれぞれさらに備えてもよい。
また、本発明は、N型半導体層及び該N型半導体層の上に形成されたP型半導体層を含む多数の発光セルが形成された基板と、前記基板がフリップチップボンディングされるサブマウント基板と、を備え、前記一方の発光セルのN型半導体層とそれに隣り合う他方の発光セルのP型半導体層が接続され、前記発光セルの少なくともP型半導体層を含む側面が水平面から20〜80°の勾配を有することを特徴とする発光素子を提供する。前記一方の発光セルのN型半導体層とそれに隣り合う他方の発光セルのP型半導体層を接続するための配線をさらに備えてもよい。
本発明は、基板の上にN型半導体層及びP型半導体層を順次に形成するステップと、前記P型半導体層の上に側面が水平面から垂直ではなく所定の勾配を有するエッチングマスクパターンを形成するステップと、前記エッチングマスクパターンにより露出されたP型半導体層及び前記エッチングマスクパターンを除去するステップと、を含むことを特徴とする発光素子の製造方法を提供する。
前記P型半導体層の除去により露出されたN型半導体層の一部を除去して多数の発光セルを形成するステップと、導電性配線を介して一方の発光セルのN型半導体層とそれに隣り合う他方の発光セルのP型半導体層を接続するステップと、をさらに含んでいてもよい。
また、前記P型半導体層及び前記エッチングマスクパターンを除去するステップ後に、前記基板を別のサブマウント基板にフリップチップボンディングするステップをさらに含んでいてもよい。ここで、前記P型半導体層の除去により露出されたN型半導体層の一部を除去して多数の発光セルを形成するステップを含み、前記P型半導体層及び前記エッチングマスクパターンを除去するステップ後に、導電性配線を介して一方の発光セルのN型半導体層とそれに隣り合う他方の発光セルのP型半導体層を接続するステップをさらに含んでいてもよい。
前記多数の発光セルを形成するステップは、前記P型半導体層の上に側面が水平面から垂直ではなく所定の勾配を有するエッチングマスクパターンを形成するステップと、前記エッチングマスクパターンにより露出されたP型半導体層及びN型半導体層を除去して多数の発光セルを形成するステップと、前記エッチングマスクパターンを除去するステップと、を含んでいてもよい。
前記導電性配線は、ブリッジ工程またはステップカバレジ工程により一方の発光セルのN型半導体層とそれに隣り合う他方の発光セルのP型半導体層を接続するものであることを特徴とする。
前記エッチングマスクパターンを形成するステップにおいて、3〜50μmの厚さの感光膜が用いられてもよい。前記エッチングマスクパターンを形成するステップは、前記P型半導体層の上に前記感光膜を塗布するステップと、所定のマスクパターンに応じて前記感光膜を露光するステップと、前記露光後に、ベーク工程を行うことなく現像を行うステップと、を含んでいてもよい。また、前記エッチングマスクパターンを形成するステップは、前記P型半導体層の上に前記感光膜を塗布するステップと、所定のマスクパターンに応じて前記感光膜を露光するステップと、100〜140℃の温度下でハードベークを行うステップと、現像を行うステップと、を含んでいてもよい。
前記P型半導体層及び前記エッチングマスクパターンを除去するステップ後に、前記基板の背面を所定の厚さだけ除去するステップと、前記基板の背面にAl、Ti、Ag、W、Ta、Ni、Ruまたはこれらの合金を蒸着するステップと、をさらに含んでいてもよい。
本発明による発光素子及びその製造方法によれば、水平面から垂直ではなく所定の勾配を有する半導体層の側面から発せられた光が全反射されずに発光素子の外部に放出されることから、さらに高い光取出効率、外部量子効率、発光効率などの特性が得られる。
従来の発光素子を示す断面図。 従来の発光素子を示す断面図。 本発明による水平構造の発光素子を説明するための概念断面図。 A,Bは本発明による第1の実施形態の製造工程を説明するための断面図。 A〜Dは本発明による第2の実施形態の製造工程を説明するための断面図。 A〜Dは本発明による第3の実施形態の製造工程を説明するための断面図。 A〜Dは本発明による第4の実施形態の製造工程を説明するための断面図。 本発明によるフリップチップ構造の発光素子を説明するための概念断面図。 A〜Eは本発明による第5の実施形態の製造工程を説明するための断面図。 A〜Eは本発明による第6の実施形態の製造工程を説明するための断面図。 本発明による第7の実施形態を示す断面図。 A,Bはそれぞれ従来の技術及び本発明による発光素子の効果を説明するための概念断面図。
以下、添付図面に基づき、本発明の好適な実施形態について詳細に説明する。しかし、本発明は後述する実施の形態に限定されるものではなく、相異なる形で実現可能であり、これらの実施の形態は、単に本発明の開示を完全たるものにし、且つ、この技術分野における通常の知識を持った者に発明の範疇を完全に報知するために提供されるものである。
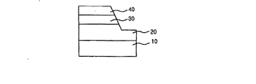
図3は、本発明による水平構造の発光素子を説明するための概念断面図である。
図3を参照すれば、発光素子は、基板10と、基板10の上に順次に形成されたN型半導体層20と、活性層30及びP型半導体層40を備えている。前記P型半導体層40と、活性層30及び所定の部分のN型半導体層20の側面は水平面から80〜20°の勾配を有し、この側面から光の臨界角を変えて容易に光を取り出すことができるので、発光素子の発光効率を改善することができる。
図4A及び図4Bは、本発明による第1の実施形態の製造工程を説明するための断面図である。
図4Aを参照すれば、基板10の上にN型半導体層20と、活性層30及びP型半導体層40を順次に形成する。
基板10とは、発光素子を製作するための通常のウェーハを言い、Al、SiC、ZnO、Si、GaAs、GaP、LiAl、BN、AlN及びGaNのうち少なくともいずれか1種の基板10を用いる。この実施形態においては、サファイア製の結晶成長基板が用いられている。
前記基板10の上に結晶を成長させるに際して基板10と後続層との間の格子不整合を低減するためのバッファ層(図示せず)をさらに形成してもよい。なお、バッファ層は、半導体材料としてのGaNまたはAlNを含めて形成してもよい。
N型半導体層20は電子が生成される層であって、N型不純物が注入された窒化ガリウム(GaN)を用いることが好ましいが、本発明はこれに限定されるものではなく、種々の半導体性質を有する物質層が採用可能である。この実施形態においては、N型AlGa1−xN(0≦x≦1)を含むN型半導体層20を形成している。また、P型半導体層40は正孔が生成される層であって、P型不純物が注入された窒化ガリウム(GaN)を用いることが好ましいが、本発明はこれに限定されるものではなく、種々の半導体性質を有する物質層が採用可能である。この実施形態においては、P型AlGa1−xN(0≦x≦1)を含むP型半導体層40を形成している。加えて、前記半導体層としてInGaNを用いてもよい。なお、上記のN型半導体層20及びP型半導体層40は多層膜であってもよい。
活性層30は所定のバンドギャップを有し、且つ、量子井戸が形成されて電子及び正孔が再結合される領域であり、InGaNを含んでいてもよい。活性層30を構成する物質の種類に応じて、電子及び正孔が結合して得られる発光波長が変わる。このため、目標とする波長に応じて、活性層30に含まれる半導体材料を調節することが好ましい。
上述した物質層は、有機金属化学蒸着法(MOCVD:Metal Organic Chemical Vapor Deposition)、化学蒸着法(CVD:Chemical Vapor Deposition)、プラズマ化学蒸着法(PCVD:Plasma−enhanced Chemical Vapor Deposition)、分子線成長法(MBE:Molecular Beam Epitaxy)、水素化物気相成長法(HVPE:Hydride Vapor Phase Epitaxy)などをはじめとする種々の蒸着及び成長方法により形成される。
この後、所定のエッチング工程によりP型半導体層40及び活性層30の一部を除去してN型半導体層20の一部を露出させる。P型半導体層40の上にエッチングマスクパターンを形成した後、ドライまたはウェットエッチング工程を行うことによりP型半導体層40及び活性層30を除去してN型半導体層20を露出させる。
通常、前記エッチング工程を行うために、P型半導体層の上面に1〜2μmの厚さにて感光膜を塗布した後、80〜90℃の温度下でソフトベークを行う。次いで、所定のフォトマスクを介して紫外線(UV)領域の光を照射することにより、マスクの上に形成されたパターンを塗布された感光膜に転写するという露光工程を行う。この後、100〜120℃の温度下でハードベークを行い、露光工程により相対的に結合が弱まっている個所の感光膜を溶剤を用いて溶け出すという現像工程を行う。これらの過程を経て前記P型半導体層40の上に所定のエッチングマスクパターンが形成される。
しかしながら、この実施形態においては、前記エッチングマスクパターンを形成するに当たって、従来に比べて厚目の3〜50μmの厚さに感光膜を塗布し、ソフトベークを経て露光工程を行っている。その後、ハードベークを行うことなく直ちに現像すれば、残留している感光膜の現像された側面は水平面から垂直(90°)ではなく所定の勾配を有するような斜面を形成することになる。次いで、このような側面の勾配を有するエッチングマスクパターンを用いて露出された領域のP型半導体層40、活性層30、所定のN型半導体層20をエッチングすれば、エッチングされたP型半導体層40、活性層30、所定のN型半導体層20の側面は、上記と同様、水平面から垂直(90°)ではなく所定の勾配を有するような斜面が得られる。
すなわち、図4Aに示すP型半導体層40の上に3〜50μmの厚さに感光膜を厚目に塗布して露光した後、ハードベークを行うことなく直ちに現像したエッチングマスクパターンを形成する。前記エッチングマスクパターンにより露出されたP型半導体層40、活性層30を誘導結合プラズマ(ICP:Inductive Coupled Plasma)またはドライエッチング工程により除去してN型半導体層20を露出させる。露出されたN型半導体層20の一部をさらに除去してもよい。この後、エッチングマスクパターンを除去すれば、図4Bに示すように、P型半導体層40、活性層30、一部のN型半導体層20の側面が水平面から垂直(90°)ではなく所定の勾配を有するような発光素子を製造することができる。
また、図4Aに示すP型半導体層40の上に3〜50μmの厚さに感光膜を厚目に塗布して露光した後、ハードベークを行う場合、ハードベークの温度を100〜140℃にしてハードベークを行った後に現像を行うと、現像された感光膜の側面が水平面から80〜20°の勾配を有するようにエッチングされた側面が得られる。例えば、100℃の温度下でハードベークを行う場合に、水平面から80°程度の勾配を有するエッチングマスクパターンが得られ、これを用いて、P型半導体層40、活性層30、一部のN型半導体層20の側面に水平面から80°程度の勾配を持たせることができる。さらに、140℃の温度下でハードベークを行う場合に、水平面から20°程度の勾配を有するエッチングマスクパターンが得られ、これを用いて、P型半導体層40、活性層30、一部のN型半導体層20の側面に水平面から20°程度の勾配を持たせることができる。
このようにして3〜50μmの厚さの感光膜を露光した後、100〜140℃の温度下でハードベークを行った後に現像したエッチングマスクパターンを用いることにより、エッチングされたP型半導体層40、活性層30、所定のN型半導体層20の側面が、上記と同様に、水平面から80〜20°の勾配を有するようにエッチングされた側面が得られる。しかして、発光層の内部において生成された光は種々の勾配を有するようにエッチングされた側面に全反射されずに発光素子の外部に抜け出ることになる。 前記P型半導体層40の上部にP型半導体層40の抵抗を削減して透光率を高める目的で透明電極層をさらに形成してもよく、P型半導体層40または露出されたN型半導体層20の上部への電流の供給をスムーズに行うための別のオーミック金属層をさらに別設してもよい。前記透明電極層としては、ITO(Indium Tin Oxide)、ZnOまたは伝導性を有する透明金属が使用可能であり、前記オーミック金属層としては、Cr、Auが使用可能である。さらに、電圧を印加する目的で、型半導体層40の上部にP型電極をさらに形成してもよく、N型半導体層20の上部にN型電極をさらに形成してもよい。
さらに、発光素子の放熱特性を高めるために、前記基板10の背面を所定の厚さだけ除去した後、Al、Ti、Ag、W、Ni、Ta、Ruまたはこれらの合金を基板10の背面に蒸着してもよい。
図面から明らかなように、多数の発光素子を1枚の基板10の上に製作してもよく、この場合には、今後の使用に際し、多数の発光素子から個別の発光素子を切り出して用いる。このとき、図4BのA部はこれらの多数の発光素子から個別の発光素子を切り出すための切出部となる。
これにより、P型半導体層40、活性層30、N型半導体層20の側面の一部が水平面から垂直ではなく所定の勾配を有するような発光素子を製造することが可能になる。
上述した本発明の発光素子の製造工程は単なる例示に過ぎず、本発明はこれに限定されるものではなく、種々の工程及び製造方法が素子の特性及び工程の都合により変更または付加可能である。
図5Aから図5Dは、本発明による第2の実施形態の製造工程を説明するための断面図である。
本発明による第2の実施形態は、第1の実施形態とほとんど同様である。単に相違点があれば、第2の実施形態は、ウェーハのレベルで多数の発光セルを直列、並列または直並列など種々に接続して素子を小型化させ、適正な電圧及び電流に駆動して照明として使用可能である他、交流電源においても駆動可能な発光素子を提供するということである。以下では、上述した第1の実施形態と重なる部分の説明は省く。
図5Aを参照すれば、有機金属化学蒸着法、化学蒸着法、プラズマ化学蒸着法、分子線成長法、水素化物気相成長法などの種々の蒸着方法により基板10の上にN型半導体層20、活性層30及びP型半導体層40を順次に形成する。前記基板10の上に結晶を成長させるに際して基板10と後続層との間の格子不整合を低減するためのバッファ層をさらに形成してもよい。
この後、所定のエッチング工程によりP型半導体層40及び活性層30の一部を除去してN型半導体層20の一部を露出させる。すなわち、図5Aに示すP型半導体層40の上に3〜50μmの厚さに感光膜を厚目に塗布して露光した後、ハードベークを行うことなく直ちに現像してエッチングマスクパターンを形成する。前記エッチングマスクパターンにより露出されたP型半導体層40、活性層30を誘導結合プラズマまたはドライエッチング工程により除去してN型半導体層20を露出させる。露出されたN型半導体層20の一部をさらに除去してもよい。この後、エッチングマスクパターンを除去すれば、図5Bに示すように、P型半導体層40、活性層30、所定のN型半導体層20の側面が水平面から垂直(90°)ではなく所定の勾配を有するような斜面が得られる。
また、図5Aに示すP型半導体層40の上に3〜50μmの厚さに感光膜を厚目に塗布して露光した後、100〜140℃の温度下でハードベークを行った後に現像してエッチングマスクパターンを形成してもよい。このエッチングマスクパターンにより露出されたP型半導体層40及び活性層30をエッチングした後、エッチングマスクパターンを除去してエッチングされたP型半導体層40及び活性層30の側面に80〜20°の種々の勾配を持たせてもよい。
次いで、基板10の上に多数の発光セルを形成するために露出されたN型半導体層20の所定の領域を基板10が露出されるようにして除去する。このために、前記基板10が露出される所定の領域を除く全ての部分に所定のマスクパターンを形成した後、前記マスクパターンにより露出された領域のN型半導体層20をエッチングして、図5Cに示すように、多数の発光セルを電気的に絶縁する。このとき、上述した工程により側面が勾配を有するマスクパターンを形成してエッチングすることにより、多数の発光セルが分離されるN型半導体層20の側面が水平面から垂直ではなく種々の勾配を有するようにもできる。
図5Dを参照すれば、所定の配線形成工程により隣り合う発光セル間のN型半導体層20とP型半導体層40を接続する。すなわち、一方の発光セルの露出されたN型半導体層20とこれと隣り合う他方の発光セルのP型半導体層40を配線60を介して接続する。このとき、ブリッジ工程により隣り合う発光セルのN型半導体層20とP型半導体層40との間を電気的に接続する導電性配線60を形成する。
上述したブリッジ工程はエアブリッジ工程とも呼ばれ、互いに接続するチップ間にフォト工程を用いて感光液を塗布し且つ現像して感光膜パターンを形成し、先ずその上に金属などの物質を真空蒸着などの方法により薄膜として形成し、さらにその上に電気めっき、無電解めっきまたは金属蒸着などの方法により金を含む導電性物質を所定の厚さに塗布する。この後、ソルベントなどの溶液により感光膜パターンを除去すれば、導電性物質の下部は完全に除去されてブリッジ状の導電性物質のみが空間に形成される。
上記の配線60としては、金属に加えて、伝導性を有するあらゆる物質が使用可能である。もちろん、不純物によりドープされたシリコン化合物を用いることも可能である。
さらに、発光素子に外部より電圧を印加する目的で、一方の周縁に位置する発光セルのP型半導体層40にP型ボンディングパッド50を形成し、他方の周縁に位置する発光セルの露出されたN型半導体層20の上にN型ボンディングパッド55を形成する。
上述した本発明の発光素子の製造工程は単なる例示に過ぎず、本発明はこれに限定されるものではなく、種々の変形及び種々の物質膜がさらに付加可能である。例えば、発光素子の放熱特性を高めるために、前記基板の背面を所定の厚さだけ除去した後、Al、Ti、Ag、W、Ta、Ni、Ruまたはこれらの合金を基板の背面に蒸着してもよい。
これにより、P型半導体層40、活性層30、N型半導体層20の側面の一部が水平面から垂直ではなく所定の勾配を有するような発光セルが多数接続されてなる発光素子を製造することができる。
図6Aから図6Dは、本発明による第3の実施形態の製造方法を説明するための断面図である。
本発明による第3の実施形態は第2の実施形態とほとんど同様である。単に相違点があれば、第2の実施形態においては、先ず、N型半導体層20を露出させた後、発光セル間の分離のために露出されたN型半導体層20の一部を除去していたが、第3の実施形態においては、先ず、多数の発光セルを分離した後、N型半導体層20の一部を露出させているところにある。以下では、上記の第2の実施形態と重なる説明は省く。
図6Aを参照すれば、基板10の上に順次に形成されたN型半導体層20、活性層30及びP型半導体層40の一部を除去して多数の発光セルを形成する。このために、P型半導体層40の上に3〜50μmの厚さに感光膜を厚目に塗布して露光した後、ハードベークを行うことなく直ちに現像してエッチングマスクパターンを形成する。前記エッチングマスクパターンにより露出されたP型半導体層40、活性層30、所定のN型半導体層20と前記エッチングマスクパターンを除去して発光セルを分離する。そして、図面に示すように、P型半導体層40、活性層30、N型半導体層20の全ての側面が水平面から水平面から垂直(90°)ではなく所定の勾配を有するような斜面が得られる。また、P型半導体層40の上に3〜50μmの厚さに感光膜を厚目に塗布して露光した後、100〜140℃の温度下でハードベークを行った後に現像したエッチングマスクパターンを用いてP型半導体層40、活性層30、N型半導体層20を除去することにより、P型半導体層40、活性層30、N型半導体層20の全ての側面に80〜20°の種々の勾配を持たせることもできる。
この後、図6Bに示すように、所定のエッチング工程によりP型半導体層40及び活性層30の一部を除去してN型半導体層20の一部を露出させる。
図6Cを参照すれば、ブリッジ工程により隣り合う発光セル間のN型半導体層20とP型半導体層40を接続する。
また、発光素子に外部電圧を印加するために、一方の周縁に位置する発光セルのP型半導体層40にP型ボンディングパッド50を形成し、他方の周縁に位置する発光セルの露出されたN型半導体層20の上にN型ボンディングパッド55を形成する。
上述した本発明の発光素子の製造工程は単なる例示に過ぎず、本発明はこれに限定されるものではなく、種々の変形及び物質膜がさらに付加可能である。例えば、発光素子の放熱特性を高めるために、前記基板の背面を所定の厚さだけ除去した後、Al、Ti、Ag、W、Ta、Ni、Ruまたはこれらの合金を基板の背面に蒸着させてもよい。
さらに、図6Aに示すように、側面が種々の勾配を有するようにエッチングして多数の発光セルを分離した後、N型半導体層20を露出させるためにエッチングする場合にも同じエッチング工程により発光素子を製造することができる。すなわち、図6Dに示すように、N型半導体層20が露出されるようにエッチングされるP型半導体層40と活性層30の側面が種々の勾配を有するようにできる。
これにより、P型半導体層40、活性層30、N型半導体層20の全ての側面が水平面から垂直ではなく所定の勾配を有するような発光セルが多数接続されて得られる発光素子を製造することができる。
図7Aから図7Dは、本発明による第4の実施形態の製造方法を説明するための断面図である。
本発明による第4の実施形態は第3の実施形態とほとんど同様である。単に相違点があれば、第3の実施形態においては、ブリッジ工程により隣り合う発光セルのN型半導体層とP型半導体層を電気的に接続する導電性配線を形成していたが、第4の実施形態においては、ステップカバレジ工程により上記の導電性配線を形成するところにある。以下では、上記の第3の実施形態と重なる説明は省く。
図7Aを参照すれば、上述した工程により側面が種々の勾配を有するようにエッチングして多数の発光セルを分離した後、N型半導体層20を露出させるためにエッチングする場合にも、N型半導体層20が露出されるようにエッチングされるP型半導体層40と活性層30の側面が種々の勾配を有するようにする。また、前記P型半導体層40の上部にP型半導体層40の抵抗を削減して透光率を高める目的で透明電極層85をさらに形成してもよく、P型半導体層40または露出されたN型半導体層20の上部への電流の供給をスムーズに行うための別のオーミック金属層87をさらに別設してもよい。前記透明電極層85としては、ITO、ZnOまたは伝導性を有する透明金属が使用可能であり、前記オーミック金属層87としては、Cr、Auが使用可能である。
図7Bを参照すれば、多数の発光セルが形成された基板10の上面の全体に連続した絶縁層70を形成する。絶縁層70は、発光セルの側面及び上面を覆い、発光セル間の領域の基板10の上部を覆う。前記絶縁層70は、化学気相蒸着(CVD)技術を用いて、例えば、シリコン酸化膜から形成可能である。
前記発光セルの側面が斜面となっているので、前記絶縁層70は発光セルの側面を容易に覆うことができる。N型半導体層20及び活性層30の全体の厚さが薄く、且つ、P型半導体層40間の空間が広いので、前記N型半導体層20の露出された領域に隣り合うP型半導体層40の側面も絶縁層70により容易に覆われる。
図7Cを参照すれば、所定のエッチング工程により前記絶縁層70をパターニングして発光セルの露出されたN型半導体層20とP型半導体層40の上に開口部を形成する。同図に示すように、透明電極層85及び/またはオーミック金属層87を形成している場合、前記開口部により透明電極層85及び/またはオーミック金属層87が露出される。
図7Dを参照すれば、前記開口部を有する絶縁層70の上に配線80が形成される。前記配線80は、前記開口部を介してN型半導体層20及びP型半導体層40に電気的に接続し、隣り合う発光セルのN型半導体層20とP型半導体層40をそれぞれ電気的に接続する。
前記配線80はめっき技術により形成可能である。すなわち、前記絶縁層70の上に配線80領域を限定する開口部を有するエッチングマスクパターンを形成し、前記開口部内に金属層をめっきした後、前記エッチングマスクパターンを除去することにより、配線80を形成することができる。
さらに、前記配線80は、化学気相蒸着または物理気相蒸着技術により形成されてもよい。すなわち、電子ビーム蒸着などの気相蒸着技術により金属層を形成した後、これを写真及びエッチング工程を用いてパターニングすることにより配線を形成することができる。前記発光セルの側面が斜面となっているので、金属層は発光セルの側面の上部に連設される。
このような方法により配線80が形成された発光素子は、外圧により配線80が短線または短絡されることを防ぐことができ、配線80を形成する間に残存する金属などの導電性物質が発光セルを短絡させることを防止できるというメリットがある。
これにより、P型半導体層40、活性層30、N型半導体層20の全ての側面が水平面から垂直ではなく所定の勾配を有するような発光セルが多数接続されて得られる発光素子を製造することができる。
上述したように、本発明による発光素子は、P型半導体層、活性層、N型半導体層の一部側面が水平面から垂直ではなく所定の勾配を有することにより、従来の発光素子に比べて発光効率を高めることができる。これは、従来の平らな表面において反射されていた光子が様々な角の表面により反射されずに外部に抜け出るためである。
図8は、本発明によるフリップチップ構造の発光素子を説明するための概念断面図である。
図8を参照すれば、ベース基板110の上に順次に形成された発光層、すなわち、N型半導体層120、活性層130及びP型半導体層140を備え、さらに、金属バンプ150、155を用いて前記発光層が形成されたベース基板110とフリップチップボンディングされるサブマウント基板200を備える。前記P型半導体層140、活性層130及びN型半導体層120を備える発光層の側面は水平面から20〜80°の勾配を有し、この側面から光の臨界角を変えて容易に光を取り出すことができ、発光素子の発光効率を改善することができる。
図9Aから図9Eは、本発明による第5の実施形態の製造工程を説明するための断面図である。
図9Aを参照すれば、ベース基板110の上にN型半導体層120、活性層130及びP型半導体層140を順次に形成する。
ベース基板110とは、発光素子を製作するための通常のウェーハを言い、Al、ZnO、LiAlなどの透明基板を用いる。この実施形態においては、サファイア製の透明な結晶成長基板が用いられている。
有機金属化学蒸着法、化学蒸着法、プラズマ化学蒸着法、分子線成長法、水素化物気相成長法などの種々の蒸着方法により前記ベース基板110の上にN型半導体層120、活性層130及びP型半導体層140を順次に形成する。前記基板110の上に結晶を成長させるに際して基板110と後続層との間の格子不整合を低減するためのバッファ層をさらに形成してもよい。これは上述した通りであるため、以下では重なる説明は省く。
この後、所定のエッチング工程によりP型半導体層140及び活性層130の一部を除去してN型半導体層120の一部を露出させる。これは、上述した実施形態と同様にして行う。
すなわち、図9Aに示すP型半導体層140の上に3〜50μmの厚さに感光膜を厚目に塗布して露光した後、ハードベークを行うことなく直ちに現像してエッチングマスクパターンを形成する。前記エッチングマスクパターンにより露出されたP型半導体層140、活性層130を誘導結合プラズマまたはドライエッチング工程により除去してN型半導体層120を露出させる。この後、エッチングマスクパターンを除去すれば、図9Bに示すように、P型半導体層140、活性層130の側面が垂直(90°)ではなく所定の勾配を有するような斜面が得られる。
また、図9Aに示すP型半導体層140の上に3〜50μmの厚さに感光膜を厚目に塗布して露光した後、100〜140℃の温度下でハードベークを行った後に現像してエッチングマスクパターンを形成してもよい。このようなエッチングマスクパターンにより露出されたP型半導体層140及び活性層130をエッチングした後、エッチングマスクパターンを除去してエッチングされたP型半導体層140及び活性層130の側面が水平面から80〜20°の種々の勾配を有するようにもできる。
前記P型半導体層140の上部に光の反射のための反射層をさらに形成してもよく、P型半導体層140または露出されたN型半導体層120の上部への電流の供給をスムーズに行うための別のオーミック金属層をさらに別設してもよい。前記オーミック金属層としては、Cr、Auが使用可能である。
さらに、図9Cに示すように、P型半導体層140の上にP型金属バンプ155を、N型半導体層120の上にN型金属バンプ150をバンピング用として形成する。P型及びN型金属バンプ155、150としては、Pb、Sn、Au、Ge、Cu、Bi、Cd、Zn、Ag、Ni及びTiのうち少なくともいずれか1種が使用可能であり、これらの合金も使用可能である。このために、全体の構造の上に感光膜を塗布した後、所定のマスクを用いた写真エッチング工程を行うことにより、P型半導体層140とN型半導体層120の一部を露出させた感光膜パターン(図示せず)を形成する。全体の構造の上に金属膜を蒸着した後、前記感光膜パターンにより露出されたP型半導体層140の上部に形成された金属膜と、N型半導体層120の上部に形成された金属膜を除く残りの領域の金属膜及び前記感光膜パターンを除去する。これにより、P型半導体層140の上にはP型金属バンプ155が形成され、N型半導体層120の上にはN型金属バンプ150が形成される。
次いで、図9Dを参照すれば、別のサブマウント基板200を設けて前記P型金属バンプ155及びN型金属バンプ150にそれぞれ接続されるP型ボンディングパッド215及びN型ボンディングパッド210を形成する。
このとき、サブマウント基板200としては、熱伝導性に優れた種々の基板200を用いる。すなわち、SiC、Si、Ge、SiGe、AlN、金属などを用いる。この実施形態においては、熱伝導性に優れ、且つ、絶縁性を有するAlNが用いられている。もちろん、本発明はこれに限定されるものではなく、熱伝導率が高く、且つ、電気伝導性に優れた金属性物質を用いることができる。この場合には、基板200の上に絶縁膜誘電体膜を形成して十分な絶縁を行わせる。誘電体膜としては、SiO、MgO及びSiNまたは絶縁性物質が使用可能である。また、前記N型ボンディングパッド210及びP型ボンディングパッド215は、電気伝導性に優れた金属を用いて形成する。なお、これは、スクリーン印刷法により形成するか、あるいは、所定のマスクパターンを用いた蒸着工程により形成する。
この後、前記サブマウント基板200及び前記発光層が形成されたベース基板110をフリップチップボンディングする。
図9Eを参照すれば、本発明の発光素子は、発光層の上部に形成されたN型及びP型金属バンプ150、155とサブマウント基板200のN型及びP型ボンディングパッド210、215が接続されるようにしてボンディングされる。このとき、熱及び超音波のいずれか一方、あるいは、これらの両方を用いてボンディングを行うことができる。金属バンプ150、155と下部ボンディングパッド210、215との接続は、種々のボンディング方法により行われる。
加えて、発光層の上部に必ずしもN型及びP型金属バンプ150、155が形成されるわけではなく、サブマウント基板200の上にそれぞれの金属バンプが形成されてもよい。
図面から明らかなように、多数の発光素子を1枚の基板の上に製作してもよく、この場合、今後の使用に際して多数の発光素子から個別の発光素子を切り出して用いる。このとき、図9EのA部は、これらの多数の発光素子から個別の発光素子を切り出すための切出部となる。
上述した本発明の発光素子の製造工程は単なる例示に過ぎず、本発明はこれに限定されるものではなく、種々の工程と製造方法が素子の特性及び工程の都合に応じて変形あるいは付加可能である。例えば、上記と同じ工程において、図9Aに示すように、N型半導体層、活性層、P型半導体層が順次に形成されたベース基板を形成し、まず、基板が露出されるように前記P型半導体層、活性層、N型半導体層の一部を除去して多数の発光素子を個別に分離することができる。このとき、上述した工程によりエッチングされるP型半導体層、活性層、N型半導体層の側面を水平面から垂直ではなく所定の勾配を有するように形成してもよい。
これにより、P型半導体層、活性層、N型半導体層側面の一部が水平面から垂直ではなく所定の勾配を有するようなフリップチップ構造の発光素子を製造することができる。
図10Aから図10Eは、本発明による第6の実施形態の製造工程を説明するための断面図である。
本発明による第6の実施形態は第5の実施形態とほとんど同様である。単に相違点があれば、第6の実施形態においては、ウェーハのレベルで多数の発光セルを直列、並列または直並列など種々に接続して素子を小型化させ、適正な電圧及び電流に駆動して照明として使用可能であり、交流電源においても駆動可能なフリップチップ構造の発光素子を提供することである。以下では、上述した実施形態と重なる説明は省く。
図10Aを参照すれば、有機金属化学蒸着法、化学蒸着法、プラズマ化学蒸着法、分子線成長法、水素化物気相成長法などの種々の蒸着方法によりベース基板110の上にN型半導体層120、活性層130及びP型半導体層140を順次に形成する。前記ベース基板110の上に結晶を成長させるに際して基板110と後続層との間の格子不整合を低減するためのバッファ層をさらに形成してもよい。
この後、前記ベース基板110の上に順次に形成されたN型半導体層120、活性層130及びP型半導体層140の一部を除去して多数の発光セルを形成する。このために、図10Aに示すP型半導体層140の上に3〜50μmの厚さに感光膜を厚目に塗布して露光した後、ハードベークを行うことなく直ちに現像してエッチングマスクパターンを形成する。前記エッチングマスクパターンにより露出されたP型半導体層140、活性層130、所定のN型半導体層120を誘導結合プラズマまたはドライエッチング工程により除去して発光セルを分離する。次いで、エッチングマスクパターンを除去すれば、図10Bに示すように、エッチングされたP型半導体層140、活性層130、N型半導体層120の全ての側面が水平面から垂直(90°)ではなく所定の勾配を有するような斜面が得られる。
また、図10Aに示すP型半導体層140の上に3〜50μmの厚さに感光膜を厚目に塗布して露光した後、100〜140℃の温度下でハードベークを行った後に現像してエッチングマスクパターンを形成してもよい。このようなエッチングマスクパターンにより露出されたP型半導体層140、活性層130、N型半導体層120をエッチングした後、エッチングマスクパターンを除去してエッチングされたP型半導体層140及び活性層130の側面に80〜20°の種々の勾配を持たせることもできる。
次いで、図10Cに示すように、所定のエッチング工程によりP型半導体層140及び活性層130の一部を除去してN型半導体層120の一部を露出させる。所定の導電性配線を介して一方の発光セルの露出されたN型半導体層120と隣り合う他方の発光セルのP型半導体層140を接続する。このとき、ブリッジ配線160は導電性の物質を用いて形成するが、金属を用いて形成する。もちろん、不純物によりドープされたシリコン化合物を用いることもできる。前記ブリッジ配線160はブリッジ工程により形成される。
さらに、各発光セルの上部にバンピング用に多数の金属バンプを形成し、一方の周縁に位置する発光セルのP型半導体層140と他方の周縁に位置する発光セルのN型半導体層120の上にそれぞれP型金属バンプ155及びN型金属バンプ150をさらに形成する。
次いで、図10Dに示すように、別のサブマウント基板200を設けて、基板200の上部に多数のボンディング層220と、サブマウント基板200の一方の周縁に位置するP型ボンディングパッド215と、他方の周縁に位置するN型ボンディングパッド210と、を形成する。
この後、図10Eに示すように、上述した多数の発光セルが形成されたベース基板110とサブマウント基板200をフリップチップボンディングして発光素子を製作する。前記発光セルの上部に形成された金属バンプ150、155と前記サブマウント基板200に形成されたボンディング層220を介してボンディングを行う。サブマウント基板200の一方の周縁に位置するP型ボンディングパッド215は一方の周縁に位置する発光セルのP型金属バンプ155に接続され、他方の周縁に位置するN型ボンディングパッド210は他方の周縁に位置する発光セルのN型半導体層150に接続される。
上述した本発明の発光素子の製造方法はこれに限定されるものではなく、種々の工程と製造方法が素子の特性及び工程の都合に応じて変形または付加可能である。例えば、この実施形態においては、ブリッジ工程を介して隣り合う発光セルのN型半導体層とP型半導体層を電気的に接続する導電性配線を形成した後、サブマウント基板とフリップチップボンディングを行っているが、本発明はこれに限定されるものではなく、前記第4の実施形態と同じステップカバレジ工程により隣り合う発光セルのN型半導体層とP型半導体層を電気的に接続する導電性配線を形成してもよい。また、多数の発光セルとサブマウント基板のフリップチップボンディング時にサブマウント基板に電極層を形成し、金属バンプを介して隣り合う発光セルのN型半導体層とP型半導体層を電気的に接続してもよい。
これにより、発光層の側面が水平面から垂直ではなく所定の勾配を有するような多数のフリップチップ状の発光セルがサブマウント基板の上にアレイされた発光素子を製造することができる。前記発光セルは、目的に応じて、直列、並列または直並列など種々に種々に接続可能である。
図11は、本発明による第7の実施形態を示す断面図である。
本発明による第7の実施形態は第6の実施形態とほとんど同様である。単に相違点があれば、第7の実施形態においては、図10Bに示すように、側面が種々の勾配を有するようにエッチングして多数の発光セルを分離した後、N型半導体層を露出させるためにエッチングする場合にも、同じエッチング工程を用いて発光素子を製造できることである。すなわち、図11に示すように、N型半導体層120が露出されるようにエッチングされるP型半導体層140と活性層130の側面が種々の勾配を有するようにできる。
これにより、発光層の全ての側面が水平面から垂直ではなく所定の勾配を有するような多数のフリップチップ状の発光セルがサブマウント基板の上にアレイされた発光素子を製造することができる。前記発光セルは、目的に応じて、直列、並列または直並列など種々に種々に接続可能である。
上述したように、本発明は、フリップチップ構造の発光素子において、発光層の一部の側面が水平面から垂直ではなく所定の勾配を有するようにすることにより、従来の発光素子に比べて発光効率を高めることができる。これは、従来の平らな表面において反射されていた光子が様々な角の表面により反射されずに外部に抜け出るためである。
図12A及び図12Bは、それぞれ従来の技術及び本発明による発光素子の効果を説明するための概念断面図である。
発光素子の光効率は、内部量子効率と外部量子効率とに大別できるが、内部量子効率は、活性層の設計や品質により決まる。外部量子効率の場合、活性層において生成される光子が発光素子の外部に放出される量によって決まる。図12Aは、従来の技術による発光素子を示している。同図を参照すれば、半導体層の側面が水平面から垂直に形成される場合に、一部の光子が半導体層の側面を透過できずにそこから反射され、全反射された光は外部に透過できずに発光素子の内部において消滅されてしまう。これに対し、本発明による発光素子を示している図12Bを参照すれば、半導体層の側面が水平面から垂直ではなく所定の勾配を有する場合に、所定の勾配を有する側面が光の臨界角を変えてより容易に光を取出可能に助長する。このため、活性層から発せられた光が全反射されずに発光素子の外部に放出される確率が高くなり、外部量子効率が格段に上がる結果となる。
以上、本発明による発光素子及びその製造方法について説明したが、これは単なる例示的なものに過ぎず、本発明はこれらに限定されるものではない。なお、特許請求の範囲において請求するように、本発明の要旨を逸脱することなく、この技術分野における通常の知識を持った者であれば誰でも種々の変更実施が行える範囲まで本発明の技術的な精神があると言えるであろう。
以上説明したように、本発明による発光素子及びその製造方法によれば、水平面から垂直ではなく所定の勾配を有する半導体層の側面から発せられた光が全反射されずに発光素子の外部に放出されることから、さらに高い光取出効率、外部量子効率、発光効率などの特性が得られる。また、本発明の発光素子は、高光度、高輝度の光を発光するものであって、優れた光特性が求められる種々の製品分野に応用可能であるというメリットがある。
10、110:基板、
20、120:N型半導体層、
30、130:活性層、
40、140:P型半導体層、
50、55:ボンディングパッド、
60、160:配線、
200:サブマウント基板、
210、215:金属バンプ、
220:ボンディング層

Claims (1)

  1. 基板上に複数の発光セルにそれぞれ対応させてn型半導体層、活性層、及びp型半導体層を順次に形成し、
    前記複数の発光セルごとに水平面に対して勾配を有し且つ前記p型半導体層から前記活性層まで連続して形成された少なくとも一つの斜面を有するように前記p型半導体層及び前記活性層の一部をそれぞれ除去して前記n型半導体層の一部をそれぞれ露出させ、
    前記p型半導体層の上部に反射層を形成し、
    一方の前記発光セルの前記露出されたn型半導体層と、前記一方の前記発光セルに隣接する他方の前記発光セルの前記反射層とを、前記基板の一方の周縁に位置する前記発光セルの前記反射層及び前記基板の他方の周縁に位置する前記発光セルの前記露出されたn型半導体層を除いて、それぞれブリッジ配線を介して接続し、
    前記複数の発光セルのうち、前記基板の一方の周縁に位置する前記発光セルの前記反射層上に型金属バンプと、前記基板の一方の周縁に位置する前記発光セル以外の前記発光セルの前記反射層上にそれぞれバンピング用の金属バンプと、を形成し、
    前記複数の発光セルのうち、前記基板の他方の周縁に位置する前記発光セルの前記露出された前記n型半導体層上に型金属バンプを形成し、
    サブマウント基板上に前記p型金属バンプ及び前記n型金属バンプにそれぞれ対応するp型ボンディングパッド及びn型ボンディングパッドと、前記バンピング用の金属バンプにそれぞれ対応するボンディング層と、を形成し、
    前記p型金属バンプ及び前記n型金属バンプと、それぞれ対応する前記p型ボンディングパッド及び前記n型ボンディングパッドとがそれぞれ接続されるように、前記基板と前記サブマウント基板とをフリップチップボンディングし、
    前記フリップチップボンディングされた前記基板と前記サブマウント基板を、前記ブリッジ配線を介して接続された前記複数の発光セルを有する発光素子ごとに切り出すことを含み、
    前記反射層は電気伝導性を有することを特徴とする発光素子の製造方法。
JP2012021079A 2005-06-22 2012-02-02 発光素子及びその製造方法 Active JP5554792B2 (ja)

Applications Claiming Priority (6)

Application Number Priority Date Filing Date Title
KR1020050053797A KR100691497B1 (ko) 2005-06-22 2005-06-22 발광 소자 및 이의 제조 방법
KR10-2005-0053797 2005-06-22
KR1020050055179A KR100646635B1 (ko) 2005-06-24 2005-06-24 복수 셀의 단일 발광 소자 및 이의 제조 방법
KR10-2005-0055179 2005-06-24
KR10-2006-0021801 2006-03-08
KR1020060021801A KR100690323B1 (ko) 2006-03-08 2006-03-08 배선들을 갖는 교류용 발광 다이오드 및 그것을 제조하는방법

Related Parent Applications (1)

Application Number Title Priority Date Filing Date
JP2008518038A Division JP2008544540A (ja) 2005-06-22 2006-06-22 発光素子及びその製造方法

Related Child Applications (1)

Application Number Title Priority Date Filing Date
JP2014022820A Division JP2014112713A (ja) 2005-06-22 2014-02-07 発光素子及びその製造方法

Publications (2)

Publication Number Publication Date
JP2012084933A JP2012084933A (ja) 2012-04-26
JP5554792B2 true JP5554792B2 (ja) 2014-07-23

Family

ID=37570683

Family Applications (4)

Application Number Title Priority Date Filing Date
JP2008518038A Withdrawn JP2008544540A (ja) 2005-06-22 2006-06-22 発光素子及びその製造方法
JP2009262658A Withdrawn JP2010034608A (ja) 2005-06-22 2009-11-18 発光素子
JP2012021079A Active JP5554792B2 (ja) 2005-06-22 2012-02-02 発光素子及びその製造方法
JP2014022820A Pending JP2014112713A (ja) 2005-06-22 2014-02-07 発光素子及びその製造方法

Family Applications Before (2)

Application Number Title Priority Date Filing Date
JP2008518038A Withdrawn JP2008544540A (ja) 2005-06-22 2006-06-22 発光素子及びその製造方法
JP2009262658A Withdrawn JP2010034608A (ja) 2005-06-22 2009-11-18 発光素子

Family Applications After (1)

Application Number Title Priority Date Filing Date
JP2014022820A Pending JP2014112713A (ja) 2005-06-22 2014-02-07 発光素子及びその製造方法

Country Status (4)

Country Link
US (10) US8476648B2 (ja)
EP (3) EP2750194A1 (ja)
JP (4) JP2008544540A (ja)
WO (1) WO2006137711A1 (ja)

Families Citing this family (122)

* Cited by examiner, † Cited by third party
Publication number Priority date Publication date Assignee Title
US20060005763A1 (en) * 2001-12-24 2006-01-12 Crystal Is, Inc. Method and apparatus for producing large, single-crystals of aluminum nitride
US7638346B2 (en) * 2001-12-24 2009-12-29 Crystal Is, Inc. Nitride semiconductor heterostructures and related methods
US8545629B2 (en) 2001-12-24 2013-10-01 Crystal Is, Inc. Method and apparatus for producing large, single-crystals of aluminum nitride
JP3802910B2 (ja) * 2004-09-13 2006-08-02 ローム株式会社 半導体発光装置
EP2750194A1 (en) 2005-06-22 2014-07-02 Seoul Viosys Co., Ltd. Light emitting device comprising a plurality of light emitting diode cells
WO2007018360A1 (en) 2005-08-09 2007-02-15 Seoul Opto Device Co., Ltd. Ac light emitting diode and method for fabricating the same
KR100634307B1 (ko) * 2005-08-10 2006-10-16 서울옵토디바이스주식회사 발광 소자 및 이의 제조 방법
US7641735B2 (en) 2005-12-02 2010-01-05 Crystal Is, Inc. Doped aluminum nitride crystals and methods of making them
CN101820043A (zh) 2006-01-09 2010-09-01 首尔Opto仪器股份有限公司 发光装置
EP2007933B1 (en) * 2006-03-30 2017-05-10 Crystal Is, Inc. Methods for controllable doping of aluminum nitride bulk crystals
US9034103B2 (en) * 2006-03-30 2015-05-19 Crystal Is, Inc. Aluminum nitride bulk crystals having high transparency to ultraviolet light and methods of forming them
US7274083B1 (en) * 2006-05-02 2007-09-25 Semisouth Laboratories, Inc. Semiconductor device with surge current protection and method of making the same
WO2008088838A1 (en) 2007-01-17 2008-07-24 Crystal Is, Inc. Defect reduction in seeded aluminum nitride crystal growth
US9771666B2 (en) 2007-01-17 2017-09-26 Crystal Is, Inc. Defect reduction in seeded aluminum nitride crystal growth
CN101601135B (zh) 2007-01-22 2012-06-27 科锐公司 使用发光器件外部互连阵列的照明装置以及其制造方法
US8080833B2 (en) 2007-01-26 2011-12-20 Crystal Is, Inc. Thick pseudomorphic nitride epitaxial layers
CN101652832B (zh) * 2007-01-26 2011-06-22 晶体公司 厚的赝晶氮化物外延层
US8088220B2 (en) 2007-05-24 2012-01-03 Crystal Is, Inc. Deep-eutectic melt growth of nitride crystals
KR100889956B1 (ko) 2007-09-27 2009-03-20 서울옵토디바이스주식회사 교류용 발광다이오드
KR100928259B1 (ko) 2007-10-15 2009-11-24 엘지전자 주식회사 발광 장치 및 그 제조방법
US8183582B2 (en) * 2007-10-16 2012-05-22 LumaChip, Inc. Bare die semiconductor device configured for lamination
TWI372478B (en) * 2008-01-08 2012-09-11 Epistar Corp Light-emitting device
CN102136533A (zh) * 2008-01-24 2011-07-27 晶元光电股份有限公司 发光元件的制造方法
JP2009283912A (ja) * 2008-04-25 2009-12-03 Sanyo Electric Co Ltd 窒化物系半導体素子およびその製造方法
US8569735B2 (en) * 2008-06-16 2013-10-29 Toyoda Gosei Co., Ltd. Semiconductor light-emitting element, electrode and manufacturing method for the element, and lamp
US8716723B2 (en) 2008-08-18 2014-05-06 Tsmc Solid State Lighting Ltd. Reflective layer between light-emitting diodes
US9293656B2 (en) * 2012-11-02 2016-03-22 Epistar Corporation Light emitting device
CN102067335A (zh) * 2008-08-22 2011-05-18 晶能光电(江西)有限公司 一种在复合衬底上制备InGaAlN发光器件的方法
US9117944B2 (en) * 2008-09-24 2015-08-25 Koninklijke Philips N.V. Semiconductor light emitting devices grown on composite substrates
DE102008049188A1 (de) * 2008-09-26 2010-04-01 Osram Opto Semiconductors Gmbh Optoelektronisches Modul mit einem Trägersubstrat und einer Mehrzahl von strahlungsemittierenden Halbleiterbauelementen und Verfahren zu dessen Herstellung
JP2010103522A (ja) * 2008-10-21 2010-05-06 Seoul Opto Devices Co Ltd 遅延蛍光体を備える交流駆動型の発光素子及び発光素子モジュール
CN101800219B (zh) * 2009-02-09 2019-09-17 晶元光电股份有限公司 发光元件
TWI466266B (zh) * 2009-02-24 2014-12-21 晶元光電股份有限公司 陣列式發光元件及其裝置
US20100314551A1 (en) * 2009-06-11 2010-12-16 Bettles Timothy J In-line Fluid Treatment by UV Radiation
KR101712543B1 (ko) * 2010-02-12 2017-03-07 서울바이오시스 주식회사 분포 브래그 반사기를 갖는 발광 다이오드 칩 및 그 제조방법
US8963178B2 (en) 2009-11-13 2015-02-24 Seoul Viosys Co., Ltd. Light emitting diode chip having distributed bragg reflector and method of fabricating the same
US8105852B2 (en) * 2010-01-15 2012-01-31 Koninklijke Philips Electronics N.V. Method of forming a composite substrate and growing a III-V light emitting device over the composite substrate
JP5855344B2 (ja) * 2010-02-12 2016-02-09 ソウル バイオシス カンパニー リミテッドSeoul Viosys Co.,Ltd. 分布ブラッグ反射器を有する発光ダイオードチップ及びその製造方法
US8658513B2 (en) * 2010-05-04 2014-02-25 Varian Semiconductor Equipment Associates, Inc. Isolation by implantation in LED array manufacturing
US8471282B2 (en) 2010-06-07 2013-06-25 Koninklijke Philips Electronics N.V. Passivation for a semiconductor light emitting device
WO2012003304A1 (en) 2010-06-30 2012-01-05 Crystal Is, Inc. Growth of large aluminum nitride single crystals with thermal-gradient control
TWI557875B (zh) * 2010-07-19 2016-11-11 晶元光電股份有限公司 多維度發光裝置
JP2012028749A (ja) * 2010-07-22 2012-02-09 Seoul Opto Devices Co Ltd 発光ダイオード
KR101650518B1 (ko) * 2010-09-13 2016-08-23 에피스타 코포레이션 발광 구조체
US9070851B2 (en) 2010-09-24 2015-06-30 Seoul Semiconductor Co., Ltd. Wafer-level light emitting diode package and method of fabricating the same
US9012948B2 (en) * 2010-10-04 2015-04-21 Epistar Corporation Light-emitting element having a plurality of contact parts
JP2012114377A (ja) * 2010-11-26 2012-06-14 Mitsubishi Chemicals Corp 半導体発光素子
TWI467805B (zh) * 2011-03-08 2015-01-01 光磊科技股份有限公司 具寬視角的發光二極體及其製造方法
US8592847B2 (en) * 2011-04-15 2013-11-26 Epistar Corporation Light-emitting device
TWI580070B (zh) * 2011-05-25 2017-04-21 元智大學 具光萃取層的發光元件及其製造方法
TW201301570A (zh) * 2011-06-28 2013-01-01 Aceplux Optotech Inc 多光色發光二極體及其製作方法
US8274091B1 (en) * 2011-07-07 2012-09-25 Yuan Ze University Light emitting device with light extraction layer and fabricating method thereof
US8962359B2 (en) 2011-07-19 2015-02-24 Crystal Is, Inc. Photon extraction from nitride ultraviolet light-emitting devices
CN102916090A (zh) * 2011-08-05 2013-02-06 展晶科技(深圳)有限公司 Led磊晶粗化制程
KR20130035658A (ko) * 2011-09-30 2013-04-09 서울옵토디바이스주식회사 발광 다이오드 소자용 기판 제조 방법
JP5644745B2 (ja) * 2011-12-05 2014-12-24 豊田合成株式会社 半導体発光素子および発光装置
JP2013135098A (ja) * 2011-12-27 2013-07-08 Sanken Electric Co Ltd 半導体発光装置
KR20130109319A (ko) * 2012-03-27 2013-10-08 삼성전자주식회사 반도체 발광장치, 발광모듈 및 조명장치
KR101669641B1 (ko) 2012-06-28 2016-10-26 서울바이오시스 주식회사 표면 실장용 발광 다이오드, 그 형성방법 및 발광 다이오드 모듈의 제조방법
US11160148B2 (en) 2017-06-13 2021-10-26 Ideal Industries Lighting Llc Adaptive area lamp
US11792898B2 (en) 2012-07-01 2023-10-17 Ideal Industries Lighting Llc Enhanced fixtures for area lighting
US8816383B2 (en) * 2012-07-06 2014-08-26 Invensas Corporation High performance light emitting diode with vias
US10388690B2 (en) 2012-08-07 2019-08-20 Seoul Viosys Co., Ltd. Wafer level light-emitting diode array
US9318529B2 (en) 2012-09-07 2016-04-19 Seoul Viosys Co., Ltd. Wafer level light-emitting diode array
US10804316B2 (en) * 2012-08-07 2020-10-13 Seoul Viosys Co., Ltd. Wafer level light-emitting diode array
CN104620399B (zh) * 2012-09-07 2020-02-21 首尔伟傲世有限公司 晶圆级发光二极管阵列
KR102087933B1 (ko) 2012-11-05 2020-04-14 엘지이노텍 주식회사 발광 소자 및 이를 포함하는 발광 소자 어레이
US20140209961A1 (en) * 2013-01-30 2014-07-31 Luxo-Led Co., Limited Alternating current light emitting diode flip-chip
JP6275817B2 (ja) 2013-03-15 2018-02-07 クリスタル アイエス, インコーポレーテッドCrystal Is, Inc. 仮像電子及び光学電子装置に対する平面コンタクト
US9673254B2 (en) * 2013-07-22 2017-06-06 Lg Innotek Co., Ltd. Light emitting device
KR102194805B1 (ko) * 2013-07-22 2020-12-28 엘지이노텍 주식회사 발광소자
US9780276B2 (en) * 2014-01-23 2017-10-03 Suzhou Institute of Nano-tech and Nano-bionics, Chinese Academy of Sciences Wafer-level semiconductor device and manufacturing method thereof
DE102014107555A1 (de) * 2014-05-28 2015-12-03 Osram Opto Semiconductors Gmbh Elektrische Kontaktstruktur für ein Halbleiterbauelement und Halbleiterbauelement
JP6328497B2 (ja) * 2014-06-17 2018-05-23 ソニーセミコンダクタソリューションズ株式会社 半導体発光素子、パッケージ素子、および発光パネル装置
TWI866425B (zh) * 2014-06-18 2024-12-11 愛爾蘭商艾克斯展示公司技術有限公司 微組裝發光二極體顯示器及照明元件
US11073248B2 (en) 2014-09-28 2021-07-27 Zhejiang Super Lighting Electric Appliance Co., Ltd. LED bulb lamp
US12007077B2 (en) 2014-09-28 2024-06-11 Zhejiang Super Lighting Electric Appliance Co., Ltd. LED filament and LED light bulb
US11543083B2 (en) 2014-09-28 2023-01-03 Zhejiang Super Lighting Electric Appliance Co., Ltd LED filament and LED light bulb
US11686436B2 (en) 2014-09-28 2023-06-27 Zhejiang Super Lighting Electric Appliance Co., Ltd LED filament and light bulb using LED filament
US11421827B2 (en) 2015-06-19 2022-08-23 Zhejiang Super Lighting Electric Appliance Co., Ltd LED filament and LED light bulb
US11085591B2 (en) 2014-09-28 2021-08-10 Zhejiang Super Lighting Electric Appliance Co., Ltd LED light bulb with curved filament
US11525547B2 (en) 2014-09-28 2022-12-13 Zhejiang Super Lighting Electric Appliance Co., Ltd LED light bulb with curved filament
US11997768B2 (en) 2014-09-28 2024-05-28 Zhejiang Super Lighting Electric Appliance Co., Ltd LED filament and LED light bulb
US9853197B2 (en) * 2014-09-29 2017-12-26 Bridgelux, Inc. Light emitting diode package having series connected LEDs
JP2016081562A (ja) 2014-10-09 2016-05-16 ソニー株式会社 表示装置、表示装置の製造方法および電子機器
KR102231646B1 (ko) * 2014-10-17 2021-03-24 엘지이노텍 주식회사 발광 소자
KR20160054073A (ko) * 2014-11-05 2016-05-16 삼성전자주식회사 디스플레이 장치 및 디스플레이 패널
KR102255214B1 (ko) 2014-11-13 2021-05-24 삼성전자주식회사 발광 소자
CN107683534B (zh) * 2015-06-01 2020-10-23 东芝北斗电子株式会社 发光模块
JP5967269B2 (ja) * 2015-06-11 2016-08-10 日亜化学工業株式会社 発光装置
KR102316325B1 (ko) * 2015-07-06 2021-10-22 엘지전자 주식회사 반도체 발광 소자를 이용한 디스플레이 장치 및 이의 제조방법
US10998478B2 (en) * 2015-08-18 2021-05-04 Lg Innotek Co., Ltd. Light-emitting element, light-emitting element package comprising light-emitting element, and light-emitting device comprising light-emitting element package
EP3369780B1 (en) * 2015-10-30 2022-10-26 Toray Industries, Inc. Method for manufacturing substrate and method for manufacturing light emitting element using same
CN205944139U (zh) 2016-03-30 2017-02-08 首尔伟傲世有限公司 紫外线发光二极管封装件以及包含此的发光二极管模块
US10529696B2 (en) 2016-04-12 2020-01-07 Cree, Inc. High density pixelated LED and devices and methods thereof
KR102572515B1 (ko) * 2016-08-09 2023-08-30 쑤저우 레킨 세미컨덕터 컴퍼니 리미티드 반도체 소자 및 이를 구비한 조명 장치
KR102571788B1 (ko) * 2016-08-30 2023-09-04 쑤저우 레킨 세미컨덕터 컴퍼니 리미티드 반도체 소자, 발광 소자 및 이를 구비한 조명 장치
US12322732B2 (en) 2017-02-09 2025-06-03 Vuereal Inc. Circuit and system integration onto a microdevice substrate
US10734363B2 (en) 2017-08-03 2020-08-04 Cree, Inc. High density pixelated-LED chips and chip array devices
EP3662514B1 (en) 2017-08-03 2024-07-17 CreeLED, Inc. High density pixelated-led chips
US11522006B2 (en) 2017-12-21 2022-12-06 Seoul Viosys Co., Ltd. Light emitting stacked structure and display device having the same
US11037911B2 (en) 2017-12-27 2021-06-15 Nichia Corporation Light emitting device
US10529773B2 (en) 2018-02-14 2020-01-07 Cree, Inc. Solid state lighting devices with opposing emission directions
JP6822429B2 (ja) * 2018-02-19 2021-01-27 日亜化学工業株式会社 発光素子
CN108470752A (zh) * 2018-03-27 2018-08-31 京东方科技集团股份有限公司 像素界定层及其制造方法和显示基板
US10982048B2 (en) 2018-04-17 2021-04-20 Jiaxing Super Lighting Electric Appliance Co., Ltd Organosilicon-modified polyimide resin composition and use thereof
US10607515B2 (en) * 2018-04-19 2020-03-31 Lg Electronics Inc. Display device using semiconductor light emitting device and method for manufacturing the same
US11282984B2 (en) * 2018-10-05 2022-03-22 Seoul Viosys Co., Ltd. Light emitting device
CN109300919B (zh) * 2018-10-15 2020-09-29 上海天马微电子有限公司 Micro LED显示基板及其制作方法、显示装置
US10903265B2 (en) 2018-12-21 2021-01-26 Cree, Inc. Pixelated-LED chips and chip array devices, and fabrication methods
CN113454857B (zh) * 2019-02-26 2024-11-01 新唐科技日本株式会社 半导体激光装置以及半导体激光元件
KR102737506B1 (ko) * 2019-03-18 2024-12-05 삼성전자주식회사 반도체 발광소자 및 그 제조 방법
WO2021087109A1 (en) 2019-10-29 2021-05-06 Cree, Inc. Texturing for high density pixelated-led chips
US11923398B2 (en) 2019-12-23 2024-03-05 Lumileds Llc III-nitride multi-wavelength LED arrays
US11404473B2 (en) 2019-12-23 2022-08-02 Lumileds Llc III-nitride multi-wavelength LED arrays
EP4170734A4 (en) * 2020-06-18 2024-06-19 Nichia Corporation METHOD FOR PRODUCING AN IMAGE DISPLAY DEVICE AND IMAGE DISPLAY DEVICE
US11437548B2 (en) 2020-10-23 2022-09-06 Creeled, Inc. Pixelated-LED chips with inter-pixel underfill materials, and fabrication methods
US11631786B2 (en) 2020-11-12 2023-04-18 Lumileds Llc III-nitride multi-wavelength LED arrays with etch stop layer
TWI789764B (zh) * 2021-05-21 2023-01-11 友達光電股份有限公司 發光元件及其製造方法與發光裝置的製造方法
TWI778835B (zh) * 2021-10-21 2022-09-21 隆達電子股份有限公司 電子元件連接基座以及使用此電子元件連接基座製成之電子裝置
KR102783689B1 (ko) * 2021-11-12 2025-03-21 엘지전자 주식회사 디스플레이 장치
CN116466509A (zh) * 2023-04-27 2023-07-21 鄂尔多斯市源盛光电有限责任公司 液晶显示面板的制备方法、液晶显示面板以及电子设备

Family Cites Families (83)

* Cited by examiner, † Cited by third party
Publication number Priority date Publication date Assignee Title
US5252434A (en) * 1992-02-20 1993-10-12 At&T Bell Laboratories Method for forming a sloped surface having a predetermined slope
US5406095A (en) * 1992-08-27 1995-04-11 Victor Company Of Japan, Ltd. Light emitting diode array and production method of the light emitting diode
JP2964822B2 (ja) 1993-02-19 1999-10-18 日亜化学工業株式会社 発光ダイオードの製造方法
JPH06318731A (ja) * 1993-03-12 1994-11-15 Sharp Corp 半導体発光装置
EP0622858B2 (en) * 1993-04-28 2004-09-29 Nichia Corporation Gallium nitride-based III-V group compound semiconductor device and method of producing the same
JPH07153993A (ja) 1993-11-29 1995-06-16 Daido Steel Co Ltd 発光ダイオード
JP3717196B2 (ja) * 1994-07-19 2005-11-16 豊田合成株式会社 発光素子
US5940683A (en) * 1996-01-18 1999-08-17 Motorola, Inc. LED display packaging with substrate removal and method of fabrication
DE19640003B4 (de) * 1996-09-27 2005-07-07 Siemens Ag Halbleitervorrichtung und Verfahren zu dessen Herstellung
US6677619B1 (en) * 1997-01-09 2004-01-13 Nichia Chemical Industries, Ltd. Nitride semiconductor device
JP4203132B2 (ja) * 1997-03-31 2008-12-24 シャープ株式会社 発光素子及びその製造方法
JP3505374B2 (ja) 1997-11-14 2004-03-08 三洋電機株式会社 発光部品
US6633120B2 (en) * 1998-11-19 2003-10-14 Unisplay S.A. LED lamps
US7253445B2 (en) * 1998-07-28 2007-08-07 Paul Heremans High-efficiency radiating device
US6608330B1 (en) * 1998-09-21 2003-08-19 Nichia Corporation Light emitting device
JP3659098B2 (ja) 1999-11-30 2005-06-15 日亜化学工業株式会社 窒化物半導体発光素子
JP2001168383A (ja) * 1999-12-03 2001-06-22 Matsushita Electronics Industry Corp 複合発光素子の製造方法
JP4773597B2 (ja) 1999-12-24 2011-09-14 ローム株式会社 半導体発光素子
TW465123B (en) * 2000-02-02 2001-11-21 Ind Tech Res Inst High power white light LED
JP2002026378A (ja) 2000-07-05 2002-01-25 Kyocera Corp 発光ダイオードおよびledアレーヘッド
JP2002026384A (ja) * 2000-07-05 2002-01-25 Nichia Chem Ind Ltd 集積型窒化物半導体発光素子
JP2002043633A (ja) 2000-07-25 2002-02-08 Stanley Electric Co Ltd 白色発光ダイオ−ド
US6255129B1 (en) * 2000-09-07 2001-07-03 Highlink Technology Corporation Light-emitting diode device and method of manufacturing the same
JP2002185032A (ja) * 2000-10-06 2002-06-28 Furukawa Electric Co Ltd:The 受光アレイ素子、受光モジュール及び受光モジュールと光コネクタとの接続構造
US6547249B2 (en) * 2001-03-29 2003-04-15 Lumileds Lighting U.S., Llc Monolithic series/parallel led arrays formed on highly resistive substrates
US6987613B2 (en) 2001-03-30 2006-01-17 Lumileds Lighting U.S., Llc Forming an optical element on the surface of a light emitting device for improved light extraction
CN1220283C (zh) * 2001-04-23 2005-09-21 松下电工株式会社 使用led芯片的发光装置
JP4075321B2 (ja) * 2001-04-24 2008-04-16 日亜化学工業株式会社 集積型窒化物半導体発光素子
JP2002329896A (ja) * 2001-05-02 2002-11-15 Kansai Tlo Kk Led面発光装置
US6455878B1 (en) * 2001-05-15 2002-09-24 Lumileds Lighting U.S., Llc Semiconductor LED flip-chip having low refractive index underfill
US7067916B2 (en) * 2001-06-20 2006-06-27 International Business Machines Corporation Extension of fatigue life for C4 solder ball to chip connection
JP2003031840A (ja) * 2001-07-11 2003-01-31 Hitachi Cable Ltd 発光ダイオードアレイ
KR100433989B1 (ko) 2001-09-11 2004-06-04 삼성전기주식회사 반도체 엘이디 소자 및 그 제조방법
JP4045767B2 (ja) * 2001-09-28 2008-02-13 日亜化学工業株式会社 半導体発光装置
JP3620498B2 (ja) 2001-12-07 2005-02-16 日亜化学工業株式会社 窒化物半導体レーザ素子
KR20030052499A (ko) 2001-12-21 2003-06-27 삼성전자주식회사 반도체 발광 소자
JP4269709B2 (ja) * 2002-02-19 2009-05-27 日亜化学工業株式会社 発光装置およびその製造方法
JP3822545B2 (ja) * 2002-04-12 2006-09-20 士郎 酒井 発光装置
US7164155B2 (en) * 2002-05-15 2007-01-16 Semiconductor Energy Laboratory Co., Ltd. Light emitting device
US6635902B1 (en) * 2002-05-24 2003-10-21 Para Light Electronics Co., Ltd. Serial connection structure of light emitting diode chip
JP4123830B2 (ja) * 2002-05-28 2008-07-23 松下電工株式会社 Ledチップ
JP2003031852A (ja) * 2002-07-01 2003-01-31 Rohm Co Ltd 半導体発光素子、およびその製造方法
KR20040005098A (ko) * 2002-07-08 2004-01-16 주식회사 비첼 질화물계 반도체 발광 소자 및 그 제조방법
JP3912219B2 (ja) 2002-08-01 2007-05-09 日亜化学工業株式会社 窒化物半導体発光素子
EP2290715B1 (en) * 2002-08-01 2019-01-23 Nichia Corporation Semiconductor light-emitting device, method for manufacturing the same, and light-emitting apparatus including the same
JP4309106B2 (ja) 2002-08-21 2009-08-05 士郎 酒井 InGaN系化合物半導体発光装置の製造方法
EP2154721B1 (en) 2002-08-29 2019-08-07 Seoul Semiconductor Co., Ltd. Light-emitting device having light-emitting diodes
US7009199B2 (en) * 2002-10-22 2006-03-07 Cree, Inc. Electronic devices having a header and antiparallel connected light emitting diodes for producing light from AC current
US7213942B2 (en) * 2002-10-24 2007-05-08 Ac Led Lighting, L.L.C. Light emitting diodes for high AC voltage operation and general lighting
US6957899B2 (en) * 2002-10-24 2005-10-25 Hongxing Jiang Light emitting diodes for high AC voltage operation and general lighting
JP2004200277A (ja) * 2002-12-17 2004-07-15 Matsushita Electric Ind Co Ltd 複合発光素子
GB0302580D0 (en) * 2003-02-05 2003-03-12 Univ Strathclyde MICRO LEDs
JP2004273746A (ja) * 2003-03-07 2004-09-30 Hitachi Cable Ltd 発光ダイオードアレイ
TWI220798B (en) * 2003-03-07 2004-09-01 Hitachi Cable Light-emitting diode array
US7057208B2 (en) * 2003-03-25 2006-06-06 Semiconductor Energy Laboratory Co., Ltd. Display device and manufacturing method thereof
JP2004311677A (ja) 2003-04-07 2004-11-04 Matsushita Electric Works Ltd 半導体発光素子
US20040206970A1 (en) * 2003-04-16 2004-10-21 Martin Paul S. Alternating current light emitting device
RU2231171C1 (ru) * 2003-04-30 2004-06-20 Закрытое акционерное общество "Инновационная фирма "ТЕТИС" Светоизлучающий диод
JP4699681B2 (ja) 2003-06-27 2011-06-15 パナソニック株式会社 Ledモジュール、および照明装置
JP2005051233A (ja) * 2003-07-15 2005-02-24 Matsushita Electric Ind Co Ltd 半導体発光装置およびその製造方法
EP2398074B1 (en) * 2003-07-16 2014-09-03 Panasonic Corporation Semiconductor light emitting device, method of manufacturing the same, and lighting apparatus and display apparatus using the same
US20060043433A1 (en) * 2003-07-18 2006-03-02 Sanyo Electric Co,. Ltd. Light-emitting diode
JP2005064104A (ja) * 2003-08-08 2005-03-10 Hitachi Cable Ltd 発光ダイオードアレイ
JP4160881B2 (ja) * 2003-08-28 2008-10-08 松下電器産業株式会社 半導体発光装置、発光モジュール、照明装置、および半導体発光装置の製造方法
JP4305102B2 (ja) * 2003-09-03 2009-07-29 豊田合成株式会社 半導体発光素子用複合基板及びその製造方法、並びに半導体発光素子の製造方法
JP2007528588A (ja) * 2003-09-16 2007-10-11 松下電器産業株式会社 Led照明光源およびled照明装置
JP2005117020A (ja) 2003-09-16 2005-04-28 Stanley Electric Co Ltd 窒化ガリウム系化合物半導体素子とその製造方法
US7902747B2 (en) * 2003-10-21 2011-03-08 Semiconductor Energy Laboratory Co., Ltd. Light-emitting device having a thin insulating film made of nitrogen and silicon and an electrode made of conductive transparent oxide and silicon dioxide
JP4683832B2 (ja) 2003-10-30 2011-05-18 京セラ株式会社 発光ダイオードアレイ装置及びそれを用いた発光ダイオードプリンタ
JP4334321B2 (ja) 2003-11-05 2009-09-30 シャープ株式会社 窒化物半導体発光ダイオードチップの作製方法
KR101127314B1 (ko) 2003-11-19 2012-03-29 니치아 카가쿠 고교 가부시키가이샤 반도체소자
KR100593891B1 (ko) 2003-12-26 2006-06-28 삼성전기주식회사 플립칩용 질화물 반도체 발광소자 및 그 제조방법
JP4868709B2 (ja) * 2004-03-09 2012-02-01 三洋電機株式会社 発光素子
US7285801B2 (en) * 2004-04-02 2007-10-23 Lumination, Llc LED with series-connected monolithically integrated mesas
TW200501464A (en) * 2004-08-31 2005-01-01 Ind Tech Res Inst LED chip structure with AC loop
KR101216938B1 (ko) 2004-10-28 2012-12-31 서울반도체 주식회사 다수의 셀이 결합된 발광 소자 및 이의 제조 방법 및 이를이용한 발광 장치
US7221044B2 (en) * 2005-01-21 2007-05-22 Ac Led Lighting, L.L.C. Heterogeneous integrated high voltage DC/AC light emitter
US7525248B1 (en) * 2005-01-26 2009-04-28 Ac Led Lighting, L.L.C. Light emitting diode lamp
US7535028B2 (en) * 2005-02-03 2009-05-19 Ac Led Lighting, L.Lc. Micro-LED based high voltage AC/DC indicator lamp
US7474681B2 (en) * 2005-05-13 2009-01-06 Industrial Technology Research Institute Alternating current light-emitting device
EP2750194A1 (en) * 2005-06-22 2014-07-02 Seoul Viosys Co., Ltd. Light emitting device comprising a plurality of light emitting diode cells
TWI331406B (en) * 2005-12-14 2010-10-01 Advanced Optoelectronic Tech Single chip with multi-led
KR100974923B1 (ko) * 2007-03-19 2010-08-10 서울옵토디바이스주식회사 발광 다이오드

Also Published As

Publication number Publication date
JP2012084933A (ja) 2012-04-26
US20170186810A1 (en) 2017-06-29
JP2008544540A (ja) 2008-12-04
US20150102367A1 (en) 2015-04-16
US9209223B2 (en) 2015-12-08
US20100078658A1 (en) 2010-04-01
WO2006137711A1 (en) 2006-12-28
US20130234173A1 (en) 2013-09-12
EP2750194A1 (en) 2014-07-02
JP2010034608A (ja) 2010-02-12
EP2161752A3 (en) 2010-03-24
US20100047943A1 (en) 2010-02-25
US7951626B2 (en) 2011-05-31
US9929208B2 (en) 2018-03-27
EP2161752B1 (en) 2015-08-12
JP2014112713A (ja) 2014-06-19
US8895957B2 (en) 2014-11-25
US20080251796A1 (en) 2008-10-16
EP1897151A1 (en) 2008-03-12
US8476648B2 (en) 2013-07-02
US9627435B2 (en) 2017-04-18
US7977691B2 (en) 2011-07-12
US10340309B2 (en) 2019-07-02
US20130341592A1 (en) 2013-12-26
US20160087003A1 (en) 2016-03-24
EP2161752A2 (en) 2010-03-10
US20100006870A1 (en) 2010-01-14
US20180175105A1 (en) 2018-06-21
US7723737B2 (en) 2010-05-25
EP1897151A4 (en) 2010-03-10
US8704246B2 (en) 2014-04-22

Similar Documents

Publication Publication Date Title
JP5554792B2 (ja) 発光素子及びその製造方法
US7897981B2 (en) Light emitting device and method of manufacturing the same
JP2009283984A (ja) フリップチップ発光ダイオード及びその製造方法
CN101203966B (zh) 发光装置及其制造方法
KR101221643B1 (ko) 플립칩 구조의 발광 소자 및 이의 제조 방법
KR100646636B1 (ko) 발광 소자 및 이의 제조 방법
KR100646635B1 (ko) 복수 셀의 단일 발광 소자 및 이의 제조 방법
KR100675268B1 (ko) 다수의 발광 셀이 어레이된 플립칩 구조의 반도체 발광소자 및 이의 제조 방법
KR101115533B1 (ko) 플립칩 구조의 발광 소자 및 이의 제조 방법
KR100663910B1 (ko) 발광 소자 및 이의 제조 방법
KR101205524B1 (ko) 플립칩 구조의 발광 소자 및 이의 제조 방법

Legal Events

Date Code Title Description
A621 Written request for application examination

Free format text: JAPANESE INTERMEDIATE CODE: A621

Effective date: 20120202

A977 Report on retrieval

Free format text: JAPANESE INTERMEDIATE CODE: A971007

Effective date: 20130130

A131 Notification of reasons for refusal

Free format text: JAPANESE INTERMEDIATE CODE: A131

Effective date: 20130305

A601 Written request for extension of time

Free format text: JAPANESE INTERMEDIATE CODE: A601

Effective date: 20130604

A602 Written permission of extension of time

Free format text: JAPANESE INTERMEDIATE CODE: A602

Effective date: 20130607

A521 Request for written amendment filed

Free format text: JAPANESE INTERMEDIATE CODE: A523

Effective date: 20130624

A02 Decision of refusal

Free format text: JAPANESE INTERMEDIATE CODE: A02

Effective date: 20131008

A521 Request for written amendment filed

Free format text: JAPANESE INTERMEDIATE CODE: A523

Effective date: 20140207

A911 Transfer to examiner for re-examination before appeal (zenchi)

Free format text: JAPANESE INTERMEDIATE CODE: A911

Effective date: 20140325

TRDD Decision of grant or rejection written
A01 Written decision to grant a patent or to grant a registration (utility model)

Free format text: JAPANESE INTERMEDIATE CODE: A01

Effective date: 20140520

A61 First payment of annual fees (during grant procedure)

Free format text: JAPANESE INTERMEDIATE CODE: A61

Effective date: 20140529

R150 Certificate of patent or registration of utility model

Ref document number: 5554792

Country of ref document: JP

Free format text: JAPANESE INTERMEDIATE CODE: R150

S531 Written request for registration of change of domicile

Free format text: JAPANESE INTERMEDIATE CODE: R313531

R350 Written notification of registration of transfer

Free format text: JAPANESE INTERMEDIATE CODE: R350

R250 Receipt of annual fees

Free format text: JAPANESE INTERMEDIATE CODE: R250

R250 Receipt of annual fees

Free format text: JAPANESE INTERMEDIATE CODE: R250

R250 Receipt of annual fees

Free format text: JAPANESE INTERMEDIATE CODE: R250

R250 Receipt of annual fees

Free format text: JAPANESE INTERMEDIATE CODE: R250

R250 Receipt of annual fees

Free format text: JAPANESE INTERMEDIATE CODE: R250

R250 Receipt of annual fees

Free format text: JAPANESE INTERMEDIATE CODE: R250

R250 Receipt of annual fees

Free format text: JAPANESE INTERMEDIATE CODE: R250

R250 Receipt of annual fees

Free format text: JAPANESE INTERMEDIATE CODE: R250

R250 Receipt of annual fees

Free format text: JAPANESE INTERMEDIATE CODE: R250