WO2017130597A1 - 半導体装置 - Google Patents

半導体装置 Download PDF

Info

Publication number
WO2017130597A1
WO2017130597A1 PCT/JP2016/087505 JP2016087505W WO2017130597A1 WO 2017130597 A1 WO2017130597 A1 WO 2017130597A1 JP 2016087505 W JP2016087505 W JP 2016087505W WO 2017130597 A1 WO2017130597 A1 WO 2017130597A1
Authority
WO
WIPO (PCT)
Prior art keywords
electrode
gate
region
gate electrode
voltage
Prior art date
Legal status (The legal status is an assumption and is not a legal conclusion. Google has not performed a legal analysis and makes no representation as to the accuracy of the status listed.)
Ceased
Application number
PCT/JP2016/087505
Other languages
English (en)
French (fr)
Japanese (ja)
Inventor
規行 柿本
Current Assignee (The listed assignees may be inaccurate. Google has not performed a legal analysis and makes no representation or warranty as to the accuracy of the list.)
Denso Corp
Original Assignee
Denso Corp
Priority date (The priority date is an assumption and is not a legal conclusion. Google has not performed a legal analysis and makes no representation as to the accuracy of the date listed.)
Filing date
Publication date
Application filed by Denso Corp filed Critical Denso Corp
Priority to CN201680073924.1A priority Critical patent/CN108475675B/zh
Priority to US15/770,258 priority patent/US10438852B2/en
Publication of WO2017130597A1 publication Critical patent/WO2017130597A1/ja
Anticipated expiration legal-status Critical
Ceased legal-status Critical Current

Links

Images

Classifications

    • HELECTRICITY
    • H10SEMICONDUCTOR DEVICES; ELECTRIC SOLID-STATE DEVICES NOT OTHERWISE PROVIDED FOR
    • H10DINORGANIC ELECTRIC SEMICONDUCTOR DEVICES
    • H10D84/00Integrated devices formed in or on semiconductor substrates that comprise only semiconducting layers, e.g. on Si wafers or on GaAs-on-Si wafers
    • H10D84/01Manufacture or treatment
    • H10D84/0123Integrating together multiple components covered by H10D12/00 or H10D30/00, e.g. integrating multiple IGBTs
    • H10D84/0126Integrating together multiple components covered by H10D12/00 or H10D30/00, e.g. integrating multiple IGBTs the components including insulated gates, e.g. IGFETs
    • H10D84/013Manufacturing their source or drain regions, e.g. silicided source or drain regions
    • HELECTRICITY
    • H02GENERATION; CONVERSION OR DISTRIBUTION OF ELECTRIC POWER
    • H02MAPPARATUS FOR CONVERSION BETWEEN AC AND AC, BETWEEN AC AND DC, OR BETWEEN DC AND DC, AND FOR USE WITH MAINS OR SIMILAR POWER SUPPLY SYSTEMS; CONVERSION OF DC OR AC INPUT POWER INTO SURGE OUTPUT POWER; CONTROL OR REGULATION THEREOF
    • H02M1/00Details of apparatus for conversion
    • H02M1/08Circuits specially adapted for the generation of control voltages for semiconductor devices incorporated in static converters
    • HELECTRICITY
    • H02GENERATION; CONVERSION OR DISTRIBUTION OF ELECTRIC POWER
    • H02MAPPARATUS FOR CONVERSION BETWEEN AC AND AC, BETWEEN AC AND DC, OR BETWEEN DC AND DC, AND FOR USE WITH MAINS OR SIMILAR POWER SUPPLY SYSTEMS; CONVERSION OF DC OR AC INPUT POWER INTO SURGE OUTPUT POWER; CONTROL OR REGULATION THEREOF
    • H02M7/00Conversion of AC power input into DC power output; Conversion of DC power input into AC power output
    • H02M7/003Constructional details, e.g. physical layout, assembly, wiring or busbar connections
    • HELECTRICITY
    • H10SEMICONDUCTOR DEVICES; ELECTRIC SOLID-STATE DEVICES NOT OTHERWISE PROVIDED FOR
    • H10DINORGANIC ELECTRIC SEMICONDUCTOR DEVICES
    • H10D12/00Bipolar devices controlled by the field effect, e.g. insulated-gate bipolar transistors [IGBT]
    • HELECTRICITY
    • H10SEMICONDUCTOR DEVICES; ELECTRIC SOLID-STATE DEVICES NOT OTHERWISE PROVIDED FOR
    • H10DINORGANIC ELECTRIC SEMICONDUCTOR DEVICES
    • H10D12/00Bipolar devices controlled by the field effect, e.g. insulated-gate bipolar transistors [IGBT]
    • H10D12/411Insulated-gate bipolar transistors [IGBT]
    • H10D12/441Vertical IGBTs
    • H10D12/461Vertical IGBTs having non-planar surfaces, e.g. having trenches, recesses or pillars in the surfaces of the emitter, base or collector regions
    • H10D12/481Vertical IGBTs having non-planar surfaces, e.g. having trenches, recesses or pillars in the surfaces of the emitter, base or collector regions having gate structures on slanted surfaces, on vertical surfaces, or in grooves, e.g. trench gate IGBTs
    • HELECTRICITY
    • H10SEMICONDUCTOR DEVICES; ELECTRIC SOLID-STATE DEVICES NOT OTHERWISE PROVIDED FOR
    • H10DINORGANIC ELECTRIC SEMICONDUCTOR DEVICES
    • H10D30/00Field-effect transistors [FET]
    • H10D30/60Insulated-gate field-effect transistors [IGFET]
    • HELECTRICITY
    • H10SEMICONDUCTOR DEVICES; ELECTRIC SOLID-STATE DEVICES NOT OTHERWISE PROVIDED FOR
    • H10DINORGANIC ELECTRIC SEMICONDUCTOR DEVICES
    • H10D30/00Field-effect transistors [FET]
    • H10D30/60Insulated-gate field-effect transistors [IGFET]
    • H10D30/64Double-diffused metal-oxide semiconductor [DMOS] FETs
    • H10D30/66Vertical DMOS [VDMOS] FETs
    • HELECTRICITY
    • H10SEMICONDUCTOR DEVICES; ELECTRIC SOLID-STATE DEVICES NOT OTHERWISE PROVIDED FOR
    • H10DINORGANIC ELECTRIC SEMICONDUCTOR DEVICES
    • H10D62/00Semiconductor bodies, or regions thereof, of devices having potential barriers
    • H10D62/10Shapes, relative sizes or dispositions of the regions of the semiconductor bodies; Shapes of the semiconductor bodies
    • H10D62/102Constructional design considerations for preventing surface leakage or controlling electric field concentration
    • H10D62/103Constructional design considerations for preventing surface leakage or controlling electric field concentration for increasing or controlling the breakdown voltage of reverse-biased devices
    • H10D62/105Constructional design considerations for preventing surface leakage or controlling electric field concentration for increasing or controlling the breakdown voltage of reverse-biased devices by having particular doping profiles, shapes or arrangements of PN junctions; by having supplementary regions, e.g. junction termination extension [JTE] 
    • H10D62/106Constructional design considerations for preventing surface leakage or controlling electric field concentration for increasing or controlling the breakdown voltage of reverse-biased devices by having particular doping profiles, shapes or arrangements of PN junctions; by having supplementary regions, e.g. junction termination extension [JTE]  having supplementary regions doped oppositely to or in rectifying contact with regions of the semiconductor bodies, e.g. guard rings with PN or Schottky junctions
    • H10D62/107Buried supplementary regions, e.g. buried guard rings 
    • HELECTRICITY
    • H10SEMICONDUCTOR DEVICES; ELECTRIC SOLID-STATE DEVICES NOT OTHERWISE PROVIDED FOR
    • H10DINORGANIC ELECTRIC SEMICONDUCTOR DEVICES
    • H10D62/00Semiconductor bodies, or regions thereof, of devices having potential barriers
    • H10D62/10Shapes, relative sizes or dispositions of the regions of the semiconductor bodies; Shapes of the semiconductor bodies
    • H10D62/13Semiconductor regions connected to electrodes carrying current to be rectified, amplified or switched, e.g. source or drain regions
    • H10D62/141Anode or cathode regions of thyristors; Collector or emitter regions of gated bipolar-mode devices, e.g. of IGBTs
    • HELECTRICITY
    • H10SEMICONDUCTOR DEVICES; ELECTRIC SOLID-STATE DEVICES NOT OTHERWISE PROVIDED FOR
    • H10DINORGANIC ELECTRIC SEMICONDUCTOR DEVICES
    • H10D62/00Semiconductor bodies, or regions thereof, of devices having potential barriers
    • H10D62/10Shapes, relative sizes or dispositions of the regions of the semiconductor bodies; Shapes of the semiconductor bodies
    • H10D62/13Semiconductor regions connected to electrodes carrying current to be rectified, amplified or switched, e.g. source or drain regions
    • H10D62/141Anode or cathode regions of thyristors; Collector or emitter regions of gated bipolar-mode devices, e.g. of IGBTs
    • H10D62/142Anode regions of thyristors or collector regions of gated bipolar-mode devices
    • HELECTRICITY
    • H10SEMICONDUCTOR DEVICES; ELECTRIC SOLID-STATE DEVICES NOT OTHERWISE PROVIDED FOR
    • H10DINORGANIC ELECTRIC SEMICONDUCTOR DEVICES
    • H10D62/00Semiconductor bodies, or regions thereof, of devices having potential barriers
    • H10D62/10Shapes, relative sizes or dispositions of the regions of the semiconductor bodies; Shapes of the semiconductor bodies
    • H10D62/13Semiconductor regions connected to electrodes carrying current to be rectified, amplified or switched, e.g. source or drain regions
    • H10D62/141Anode or cathode regions of thyristors; Collector or emitter regions of gated bipolar-mode devices, e.g. of IGBTs
    • H10D62/145Emitter regions of IGBTs
    • HELECTRICITY
    • H10SEMICONDUCTOR DEVICES; ELECTRIC SOLID-STATE DEVICES NOT OTHERWISE PROVIDED FOR
    • H10DINORGANIC ELECTRIC SEMICONDUCTOR DEVICES
    • H10D62/00Semiconductor bodies, or regions thereof, of devices having potential barriers
    • H10D62/10Shapes, relative sizes or dispositions of the regions of the semiconductor bodies; Shapes of the semiconductor bodies
    • H10D62/17Semiconductor regions connected to electrodes not carrying current to be rectified, amplified or switched, e.g. channel regions
    • H10D62/393Body regions of DMOS transistors or IGBTs 
    • HELECTRICITY
    • H10SEMICONDUCTOR DEVICES; ELECTRIC SOLID-STATE DEVICES NOT OTHERWISE PROVIDED FOR
    • H10DINORGANIC ELECTRIC SEMICONDUCTOR DEVICES
    • H10D64/00Electrodes of devices having potential barriers
    • H10D64/20Electrodes characterised by their shapes, relative sizes or dispositions 
    • H10D64/27Electrodes not carrying the current to be rectified, amplified, oscillated or switched, e.g. gates
    • H10D64/311Gate electrodes for field-effect devices
    • H10D64/411Gate electrodes for field-effect devices for FETs
    • H10D64/511Gate electrodes for field-effect devices for FETs for IGFETs
    • H10D64/517Gate electrodes for field-effect devices for FETs for IGFETs characterised by the conducting layers
    • H10D64/519Gate electrodes for field-effect devices for FETs for IGFETs characterised by the conducting layers characterised by their top-view geometrical layouts
    • HELECTRICITY
    • H10SEMICONDUCTOR DEVICES; ELECTRIC SOLID-STATE DEVICES NOT OTHERWISE PROVIDED FOR
    • H10DINORGANIC ELECTRIC SEMICONDUCTOR DEVICES
    • H10D8/00Diodes
    • HELECTRICITY
    • H10SEMICONDUCTOR DEVICES; ELECTRIC SOLID-STATE DEVICES NOT OTHERWISE PROVIDED FOR
    • H10DINORGANIC ELECTRIC SEMICONDUCTOR DEVICES
    • H10D8/00Diodes
    • H10D8/50PIN diodes 
    • HELECTRICITY
    • H10SEMICONDUCTOR DEVICES; ELECTRIC SOLID-STATE DEVICES NOT OTHERWISE PROVIDED FOR
    • H10DINORGANIC ELECTRIC SEMICONDUCTOR DEVICES
    • H10D8/00Diodes
    • H10D8/80PNPN diodes, e.g. Shockley diodes or break-over diodes
    • HELECTRICITY
    • H10SEMICONDUCTOR DEVICES; ELECTRIC SOLID-STATE DEVICES NOT OTHERWISE PROVIDED FOR
    • H10DINORGANIC ELECTRIC SEMICONDUCTOR DEVICES
    • H10D84/00Integrated devices formed in or on semiconductor substrates that comprise only semiconducting layers, e.g. on Si wafers or on GaAs-on-Si wafers
    • HELECTRICITY
    • H10SEMICONDUCTOR DEVICES; ELECTRIC SOLID-STATE DEVICES NOT OTHERWISE PROVIDED FOR
    • H10DINORGANIC ELECTRIC SEMICONDUCTOR DEVICES
    • H10D84/00Integrated devices formed in or on semiconductor substrates that comprise only semiconducting layers, e.g. on Si wafers or on GaAs-on-Si wafers
    • H10D84/01Manufacture or treatment
    • H10D84/02Manufacture or treatment characterised by using material-based technologies
    • H10D84/03Manufacture or treatment characterised by using material-based technologies using Group IV technology, e.g. silicon technology or silicon-carbide [SiC] technology
    • H10D84/038Manufacture or treatment characterised by using material-based technologies using Group IV technology, e.g. silicon technology or silicon-carbide [SiC] technology using silicon technology, e.g. SiGe
    • HELECTRICITY
    • H10SEMICONDUCTOR DEVICES; ELECTRIC SOLID-STATE DEVICES NOT OTHERWISE PROVIDED FOR
    • H10DINORGANIC ELECTRIC SEMICONDUCTOR DEVICES
    • H10D84/00Integrated devices formed in or on semiconductor substrates that comprise only semiconducting layers, e.g. on Si wafers or on GaAs-on-Si wafers
    • H10D84/101Integrated devices comprising main components and built-in components, e.g. IGBT having built-in freewheel diode
    • H10D84/141VDMOS having built-in components
    • H10D84/143VDMOS having built-in components the built-in components being PN junction diodes
    • H10D84/144VDMOS having built-in components the built-in components being PN junction diodes in antiparallel diode configurations
    • HELECTRICITY
    • H10SEMICONDUCTOR DEVICES; ELECTRIC SOLID-STATE DEVICES NOT OTHERWISE PROVIDED FOR
    • H10DINORGANIC ELECTRIC SEMICONDUCTOR DEVICES
    • H10D84/00Integrated devices formed in or on semiconductor substrates that comprise only semiconducting layers, e.g. on Si wafers or on GaAs-on-Si wafers
    • H10D84/80Integrated devices formed in or on semiconductor substrates that comprise only semiconducting layers, e.g. on Si wafers or on GaAs-on-Si wafers characterised by the integration of at least one component covered by groups H10D12/00 or H10D30/00, e.g. integration of IGFETs
    • H10D84/811Combinations of field-effect devices and one or more diodes, capacitors or resistors
    • HELECTRICITY
    • H10SEMICONDUCTOR DEVICES; ELECTRIC SOLID-STATE DEVICES NOT OTHERWISE PROVIDED FOR
    • H10DINORGANIC ELECTRIC SEMICONDUCTOR DEVICES
    • H10D84/00Integrated devices formed in or on semiconductor substrates that comprise only semiconducting layers, e.g. on Si wafers or on GaAs-on-Si wafers
    • H10D84/80Integrated devices formed in or on semiconductor substrates that comprise only semiconducting layers, e.g. on Si wafers or on GaAs-on-Si wafers characterised by the integration of at least one component covered by groups H10D12/00 or H10D30/00, e.g. integration of IGFETs
    • H10D84/82Integrated devices formed in or on semiconductor substrates that comprise only semiconducting layers, e.g. on Si wafers or on GaAs-on-Si wafers characterised by the integration of at least one component covered by groups H10D12/00 or H10D30/00, e.g. integration of IGFETs of only field-effect components
    • H10D84/83Integrated devices formed in or on semiconductor substrates that comprise only semiconducting layers, e.g. on Si wafers or on GaAs-on-Si wafers characterised by the integration of at least one component covered by groups H10D12/00 or H10D30/00, e.g. integration of IGFETs of only field-effect components of only insulated-gate FETs [IGFET]
    • HELECTRICITY
    • H02GENERATION; CONVERSION OR DISTRIBUTION OF ELECTRIC POWER
    • H02MAPPARATUS FOR CONVERSION BETWEEN AC AND AC, BETWEEN AC AND DC, OR BETWEEN DC AND DC, AND FOR USE WITH MAINS OR SIMILAR POWER SUPPLY SYSTEMS; CONVERSION OF DC OR AC INPUT POWER INTO SURGE OUTPUT POWER; CONTROL OR REGULATION THEREOF
    • H02M7/00Conversion of AC power input into DC power output; Conversion of DC power input into AC power output
    • H02M7/42Conversion of DC power input into AC power output without possibility of reversal
    • H02M7/44Conversion of DC power input into AC power output without possibility of reversal by static converters
    • H02M7/48Conversion of DC power input into AC power output without possibility of reversal by static converters using discharge tubes with control electrode or semiconductor devices with control electrode
    • H02M7/53Conversion of DC power input into AC power output without possibility of reversal by static converters using discharge tubes with control electrode or semiconductor devices with control electrode using devices of a triode or transistor type requiring continuous application of a control signal
    • H02M7/537Conversion of DC power input into AC power output without possibility of reversal by static converters using discharge tubes with control electrode or semiconductor devices with control electrode using devices of a triode or transistor type requiring continuous application of a control signal using semiconductor devices only, e.g. single switched pulse inverters
    • H02M7/538Conversion of DC power input into AC power output without possibility of reversal by static converters using discharge tubes with control electrode or semiconductor devices with control electrode using devices of a triode or transistor type requiring continuous application of a control signal using semiconductor devices only, e.g. single switched pulse inverters in a push-pull configuration
    • HELECTRICITY
    • H10SEMICONDUCTOR DEVICES; ELECTRIC SOLID-STATE DEVICES NOT OTHERWISE PROVIDED FOR
    • H10DINORGANIC ELECTRIC SEMICONDUCTOR DEVICES
    • H10D62/00Semiconductor bodies, or regions thereof, of devices having potential barriers
    • H10D62/10Shapes, relative sizes or dispositions of the regions of the semiconductor bodies; Shapes of the semiconductor bodies
    • H10D62/124Shapes, relative sizes or dispositions of the regions of semiconductor bodies or of junctions between the regions
    • H10D62/126Top-view geometrical layouts of the regions or the junctions
    • H10D62/127Top-view geometrical layouts of the regions or the junctions of cellular field-effect devices, e.g. multicellular DMOS transistors or IGBTs
    • HELECTRICITY
    • H10SEMICONDUCTOR DEVICES; ELECTRIC SOLID-STATE DEVICES NOT OTHERWISE PROVIDED FOR
    • H10DINORGANIC ELECTRIC SEMICONDUCTOR DEVICES
    • H10D64/00Electrodes of devices having potential barriers
    • H10D64/111Field plates
    • H10D64/117Recessed field plates, e.g. trench field plates or buried field plates

Definitions

  • the present invention relates to a semiconductor device provided with a switching element and a reverse conducting diode.
  • a forward voltage drop (hereinafter referred to as a forward voltage) can be reduced.
  • the IGBT element region is in an on state in consideration of the stability of the operation of the entire system.
  • the gate electrode potential is fixed to the anode potential in order to suppress gate interference in which voltage is applied to the gate electrode.
  • the voltage cannot be fixed in the mode in which the voltage is applied. Therefore, a positive voltage is applied to the gate electrode of the diode element region in such a current region where the positive / negative of the output current cannot be determined. For this reason, the inventors have found a problem that the forward voltage in the diode element region may increase.
  • This disclosure is intended to provide a semiconductor device that achieves both improved recovery characteristics and reduced forward voltage in all current regions.
  • a semiconductor device includes a reverse conduction switching element in which a diode element and a switching element are formed in parallel on the same semiconductor substrate, and a gate voltage applied to a plurality of gate electrodes formed in the reverse conduction switching element.
  • a driving unit to be applied, and a mode determination unit that determines whether the driving is performed in a forward conduction mode in which a current mainly flows in a switching element or a reverse conduction mode in which a current mainly flows in a diode element.
  • the diode element includes a first impurity region of a first conductivity type, a second impurity region of a second conductivity type formed to be joined to the first impurity region, and a first electrode electrically connected to the first impurity region.
  • a first impurity sandwiched between the second impurity region and the third impurity region by applying a predetermined gate voltage to the gate electrode.
  • An inversion layer is generated in the barrier region in the region.
  • the switching element has a first electrode and a second electrode that are common to the diode element, and is turned on by applying a predetermined gate voltage to the gate electrode, and between the first electrode and the second electrode.
  • the plurality of gate electrodes are controlled independently of the first gate voltage to which the first gate voltage for turning on the switching element is input and the first gate voltage, and are equal to the potential of the first electrode, or A second gate electrode to which a second gate voltage having a polarity opposite to the polarity of the first gate voltage is input with reference to the potential of the first electrode.
  • the gate electrode belonging to the diode element includes at least a second gate electrode, and the gate electrode belonging to the switching element includes at least a first gate electrode. Based on the current flowing between the first electrode and the second electrode, the second gate electrode when the mode determination unit determines that the reverse conduction mode or the reverse conduction mode or the forward conduction mode cannot be determined. In addition, a second gate voltage is applied.
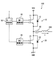
  • FIG. 1 is a circuit diagram illustrating a schematic configuration of the inverter according to the first embodiment.
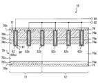
  • FIG. 2 is a cross-sectional view taken along the line II-II shown in FIG. 3, showing the detailed structure of the first element or the second element,
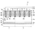
  • FIG. 3 is a top view showing a detailed structure of the first element or the second element.
  • FIG. 4 is a diagram illustrating a pattern of a gate voltage applied to the first element or the second element by the driving unit
  • FIG. 5 is a timing chart showing the application timing of the gate voltage.
  • FIG. 6 is a timing chart showing the application timing of the gate voltage.
  • FIG. 1 is a circuit diagram illustrating a schematic configuration of the inverter according to the first embodiment.
  • FIG. 2 is a cross-sectional view taken along the line II-II shown in FIG. 3, showing the detailed structure of the first element or the second element
  • FIG. 3 is a top view showing a detailed structure of the first element or the second element.
  • FIG. 4 is
  • FIG. 7 is a timing chart showing the application timing of the gate voltage.
  • FIG. 8 is a cross-sectional view showing a detailed structure of the first element or the second element according to the second embodiment.
  • FIG. 9 is a cross-sectional view showing a detailed structure of the first element or the second element according to the third embodiment, and
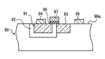
  • FIG. 10 is a cross-sectional view showing the structure of the lateral diode.
  • RC-IGBT reverse conducting insulated gate bipolar transistor
  • IGBT element insulated gate bipolar transistor element
  • the inverter 100 includes two reverse conducting insulated gate bipolar transistors 10 and 20 and driving units 30 and 40 for applying a gate voltage to the gate electrodes of the reverse conducting insulated gate bipolar transistors 10 and 20. And a mode determination unit 50 for determining the drive state of each reverse conducting insulated gate bipolar transistor 10, 20.
  • the inverter 100 is configured by connecting two reverse conducting insulated gate bipolar transistors 10 and 20 in series between a power supply voltage VCC and a ground GND.
  • a load 200 is connected to a connection point between the two reverse conducting insulated gate bipolar transistors 10 and 20.
  • the two reverse conducting insulated gate bipolar transistors 10 and 20 the one on the power supply voltage VCC side with respect to the load 200 is referred to as the first element 10, and the one on the ground GND side is referred to as the second element 20.
  • the first element 10 constitutes the upper arm in the inverter 100
  • the second element 20 constitutes the lower arm.
  • the first element 10 and the second element 20 correspond to reverse conduction switching elements.
  • the first element 10 includes an IGBT element 11 corresponding to a switching element and a diode element 12.
  • the diode element 12 is a so-called flywheel diode, and is connected in parallel to the IGBT element 11 so as to be in the forward direction from the emitter to the collector in the IGBT element 11.
  • the second element 20 is equivalent to the first element 10 and has an IGBT element 21 and a diode element 22.
  • the diode element 22 is connected in parallel to the IGBT element 21 so as to be in the forward direction from the emitter to the collector of the IGBT element 21.
  • the first element 10 and the second element 20 are reverse conducting switching elements having a double gate structure and have two types of gate electrodes. Detailed element structures of the first element 10 and the second element 20 will be described in detail later with reference to FIGS.
  • the drive unit includes a first drive unit 30 that controls application of the gate voltage to the first element 10 and a second drive unit 40 that controls application of the gate voltage to the second element 20.
  • the structures of the first drive unit 30 and the second drive unit 40 are equivalent to each other.
  • the drive units 30 and 40 in the present embodiment are connected to two gate wirings, respectively, and have independent gate voltages for the gate electrodes of the first element 10 and the second element having a double gate structure. Can be applied.
  • one of the gate electrodes (first gate electrode 82a described later) can be input with two values of the emitter voltage Ve and + V1, and the other gate electrode (second gate electrode 82b described later) can be + V1, Ve.
  • Three values of -V2 can be input. Note that + V1 is a positive voltage based on the emitter voltage Ve, and ⁇ V2 is a negative voltage based on the emitter voltage Ve.
  • the first gate voltage corresponds to + V1
  • the second gate voltage corresponds to Ve or -V2.
  • the mode determination unit 50 determines the operation mode of the first element 10 and the second element 20.
  • the operation mode distinguishes whether a current mainly flows through the IGBT element or a current mainly flows through the diode element.
  • a state where the current flows mainly through the IGBT element is referred to as a forward conduction mode
  • a state where the current flows mainly through the diode element is referred to as a reverse conduction mode.
  • the mode determination unit 50 in this embodiment determines the operation mode of the first element 10 and the second element 20 based on the direction of the current flowing through the load 200.
  • Inverter 100 includes a load current detection unit 60 connected in series with a load 200.
  • the load current detection unit 60 is an ammeter that detects the load current I flowing through the load 200 including the direction.
  • the load current detection unit 60 sets the case where the load current I flows from the connection point of the first element 10 and the second element 20 toward the load 200 as a positive current, and vice versa as a negative current. Output.
  • the mode determination unit 50 determines the operation mode based on the positive / negative of the load current I output from the load current detection unit 60. Specifically, when the load current I is positive, the current is mainly flowing through the IGBT element 11 in the first element 10 (upper arm) and the diode element 22 in the second element 20 (lower arm). It is. Therefore, the mode determination unit 50 determines the operation mode of the first element 10 as the forward conduction mode, and determines the operation mode of the second element 20 as the reverse conduction mode. On the other hand, when the load current I is negative, the current is mainly flowing through the diode element 12 in the first element 10 and the IGBT element 21 in the second element 20.
  • the mode determination unit 50 determines the operation mode of the first element 10 as the reverse conduction mode, and determines the operation mode of the second element 20 as the forward conduction mode. If the load current I is smaller than the current level at which the mode determination unit 50 can determine the operation mode, the mode determination unit 50 cannot determine the operation mode of the element 10 or 20, but in such a case, the mode determination is impossible.
  • the drive units 30 and 40 are notified of the fact.
  • the mode determination unit 50 notifies the drive units 30 and 40 that the operation mode of the elements 10 and 20 or the mode determination is impossible.
  • the drive units 30 and 40 apply a gate voltage to the gate electrode according to the operation mode.
  • the first element 10 and the second element 20 are reverse conducting insulated gate bipolar transistors equivalent to each other, and will be described without distinction between them. However, the elements common to FIG. Correlate with each other. In FIG. 2, the impurity diffusion layer having the p conductivity type is hatched in the semiconductor substrate 70, but the hatching of the impurity diffusion layer having the n conductivity type is omitted.
  • the reverse conducting insulated gate bipolar transistor which is a reverse conducting switching element in this embodiment, is formed on a semiconductor substrate 70 having a first main surface 70a and a second main surface 70b that is the back surface thereof.
  • the IGBT element 11 that functions as a switching element and the diode element 12 that functions as a diode are formed on the same semiconductor substrate 70.
  • a cathode electrode 71 made of, for example, aluminum is formed on the first main surface 70a.
  • the cathode electrode 71 corresponds to a cathode terminal in the diode element 12 or a collector terminal in the IGBT element 11, and the cathode electrode 71 also serves as both.
  • the cathode electrode 71 corresponds to the first electrode.
  • an n-conductivity type cathode region 72a is formed on the surface layer of the first main surface 70a of the semiconductor substrate 70 so as to be in contact with the cathode electrode 71.
  • a p-conductivity type collector region 72b is formed in the same layer as the cathode region 72a.
  • the collector region 72 b is adjacent to the cathode region 72 a while being in contact with the cathode electrode 71.
  • the diode element 12 can act as the IGBT 11. Further, the IGBT element 11 can act as the diode element 12.
  • a region where the IGBT element 11 and the diode element 12 are mixed as a function is referred to as a hybrid region, and an interface between the cathode region 72a and the collector region 72b is referred to as a boundary between the diode portion 12 and the IGBT portion 11.
  • the cathode region 72a corresponds to a part of the first impurity region.
  • n conductivity type first drift region 73a is stacked on the cathode region 72a, and an n conductivity type second drift region 73b is stacked on the collector region 72b.
  • the names of the first drift region 73a and the second drift region 73b are separated for convenience, these regions 73a and 73b are continuous regions composed of substantially the same impurity diffusion layer.
  • the first drift region 73a corresponds to a part of the first impurity region.
  • the first sub-anode 74a of p conductivity type is stacked on the first drift region 73a
  • the second sub-anode 74b of p conductivity type is stacked on the second drift region 73b.
  • the sub-anodes 74a and 74b are continuous regions composed of substantially the same impurity diffusion layer.
  • the first sub anode region 74a and the second sub anode region 74b correspond to the third impurity region.
  • the n-conductivity-type first barrier region 75a is laminated on the first sub-anode 74a, and the n-conductivity-type second barrier region 75b is laminated on the second sub-anode 74b.
  • the names of the first barrier region 75a and the second barrier region 75b are separated for convenience, the barrier regions 75a and 75b are continuous regions made of substantially the same impurity diffusion layer.
  • the first barrier region 75a corresponds to a part of the first impurity region.
  • a p conductivity type anode region 76a is stacked on the first barrier region 75a, and a p conductivity type body region 76b is stacked on the second barrier region 75b.
  • the names of the anode region 76a and the body region 76b are separated for convenience, these regions 76a and 76b in the present embodiment are continuous regions made of substantially the same impurity diffusion layer.
  • the anode region 76a corresponds to a second impurity region.
  • the first impurity region is an n conductivity type region including the cathode region 72a, the first drift region 73a, and the first barrier region 75a.
  • the diode element 12 has a structure in which the first sub-anode 74a is embedded in the first impurity region while being separated from the anode region 76a that is the second impurity region.
  • the first sub-anode 74a is formed in a current path for a current flowing between the first drift region 73a and the anode region 76a.
  • the reverse current is limited when the voltage to be switched from forward bias to reverse bias. For this reason, since the reverse recovery current can be reduced as compared with the diode in which the first sub-anode 74a and the first barrier region 75a are not formed, the recovery characteristic can be improved. However, since the pn junction formed by the first sub-anode 74a and the first barrier region 75a inhibits the forward current flow of the diode element 12, the forward voltage VF increases.
  • an n conductivity type emitter region 77 is formed on the surface layer of the second main surface 70b so as to be surrounded by the body region 76b.
  • An anode electrode 78 is formed on second main surface 70b so as to be in contact with emitter region 77, body region 76b, and anode region 76a.
  • the anode electrode 78 corresponds to an anode terminal in the diode element 12 or an emitter terminal in the IGBT element 11.
  • the anode electrode 78 corresponds to the second electrode.
  • the IGBT element 11 has a collector region 72b, a second drift region 73b, a second sub-anode 74b, a second barrier region 75b, a body region 76b, and an emitter region 77 as impurity diffusion layers.
  • the diode element 12 has a cathode region 72a, a first drift region 73a, a first sub-anode 74a, a first barrier region 75a, and an anode region 76a as impurity diffusion layers.
  • the impurity diffusion layers located in substantially the same layer do not prevent the impurity concentrations in the corresponding regions from being different from each other according to the requirements of the electrical characteristics of the IGBT element 11 and the diode element 12.
  • the impurity concentration in the region should be set as appropriate.
  • this reverse conducting insulated gate bipolar transistor has a trench gate 80 formed in the thickness direction of the semiconductor substrate 70 from the second main surface 70b and reaching the drift regions 73a and 73b.
  • the trench gate 80 penetrates the body region 76b, the second barrier region 75b, and the second sub-anode 74b in the IGBT element 11 and reaches the second drift region 73b.
  • the trench gate 80a, The first barrier region 75a and the first sub-anode 74a are penetrated to reach the first drift region 73a.
  • the trench gate 80 extends from the second main surface 70b in the thickness direction of the semiconductor substrate 70 and fills the trench with an insulating film 81 formed on the inner surface of the trench dug until reaching the drift regions 73a and 73b.
  • the conductive gate electrode 82 is formed.
  • the gate electrode 82 and the emitter electrode 78 are insulated from each other through the insulating film 81.
  • the emitter region 77 formed in the IGBT element 11 is formed so as to be in contact with the trench gate 80.
  • a voltage higher than the anode electrode 78 is applied to the gate electrode 82, the channel region is connected to the body region 76b and the second sub-anode 74b. And an output current due to the IGBT operation flows between the anode electrode 78 and the cathode electrode 71.
  • the plurality of gate electrodes 82 in this embodiment are classified into two gate electrodes, a first gate electrode 82a and a second gate electrode 82b.
  • the first gate electrode 82a is connected to the first gate pad G1.
  • the second gate electrode 82b is connected to the second gate pad G2. Independent voltages are applied to the first gate electrode 82a and the second gate electrode 82b, respectively.
  • the first driving unit 30 supplies a voltage to the first gate electrode 82 a and the second gate electrode 82 b in the first element 11.
  • the second drive unit 40 supplies a voltage to the first gate electrode 82a and the second gate electrode 82b in the second element 21.
  • the p conductivity type anode region 76a and the body region 76b, the n conductivity type first and second barrier regions 75a and 75b, and the p conductivity type first and second sub-anodes 74a and 74b are pnp type.
  • a parasitic transistor is formed.
  • the n-conductivity type barrier regions 75a and 75b serve as potential barriers for the holes to the p-conductivity type region, but the barrier height can be controlled by the voltage (gate voltage) applied to the gate electrode 82. It can be done.
  • the diode element 11 can be regarded as a p-conductivity type region in which the first barrier region 75a is inverted and the anode region 76a, the first barrier region 75a, and the first sub-anode 74a are integrated. That is, the diode element 12 is a simple pn junction diode, and the forward voltage VF can be reduced as compared with the diode in which the first sub-anode 74a is formed.
  • the gate voltage V2 is set to a value that can cause at least a channel in the first barrier region 75a.
  • the voltage V2 is set to be equal to or higher than the threshold voltage Vth of the parasitic transistor formed by the anode region 76a, the first barrier region 75a, and the first sub-anode 74a in the diode element 12.
  • the gate voltage V1 is set to a value that can cause a channel in the body region 76b in the IGBT element 11. In other words, the gate voltage V1 is set to a voltage that can turn on the IGBT as the switching element.
  • the n conductivity type corresponds to the first conductivity type
  • the p conductivity type corresponds to the second conductivity type.
  • the conductivity type relationships may be reversed. In this case, the relationship between the anode and the cathode is also reversed.
  • first element 10 and the second element 20 are reverse conduction insulated gate bipolar transistors equivalent to each other, and therefore will be described without distinction.
  • elements common to those in FIGS. 1 and 2 are associated with the reference numerals attached to the first element 10.
  • a cross section taken along line II-II in FIG. 3 corresponds to FIG.
  • the gate electrode 82 is formed in a stripe shape.
  • a gate wiring 83 that electrically connects the gate pads G1, G2 and the gate electrode 82 is formed along the extending direction of the gate electrode 82 on the element region where the IGBT element 11 or the diode element 12 is formed.
  • the gate wiring 83 includes a first gate wiring 83a that connects the first gate pad G1 and the first gate electrode 82a, and a second gate wiring 83b that connects the second gate pad G2 and the second gate electrode 82b. .
  • the potential Ve of the anode electrode 78 (that is, the emitter electrode) and the positive voltage + V1 can be applied to the first gate electrode 82a with reference to Ve. Further, a negative voltage ⁇ V2 can be applied to the second gate electrode 82b with respect to Ve, + V1, and Ve.
  • the gate electrode 82 of the IGBT element 11 includes both the first gate electrode 82a and the second gate electrode 82b. Only the second gate electrode 82 b is assigned to the gate electrode 82 of the diode element 12. That is, the IGBT element 11 can be applied with at least the gate voltage V1 that turns on the IGBT, and can be applied with the gate voltage ⁇ V2 independently of the application of the gate voltage V1. The diode element 12 can be applied with at least a gate voltage ⁇ V2.
  • the second gate electrode 82b is assigned to a region in the vicinity of the boundary between the IGBT element 11 and the diode element 12, that is, a hybrid region. That is, both + V1 and -V2 can be applied to the hybrid region.
  • the first gate electrode 82a and the second gate electrode 82b are alternately arranged in a direction orthogonal to the extending direction of the gate wiring 83, as shown in FIG.
  • the same kind of gate electrodes 82 may be arranged adjacent to each other, but the first gate electrode 82a and the second gate electrode 82b are alternately arranged, which is related to turn-off described in detail later. The effect of increasing the switching speed can be further increased. Further, since the heat source can be dispersed, it is thermally advantageous.
  • the gate electrode 82 does not necessarily have to belong to the first gate electrode 82a or the second gate electrode 82b, and may have a thinned structure in which several gate electrodes 82 are short-circuited to the anode electrode 78. . Since the potential of the gate electrode 82 short-circuited to the anode electrode 78 is fixed to the anode voltage (corresponding to the emitter voltage), the gate capacity of the elements 10 and 20 can be reduced as a whole. Thereby, the drive capability of the drive parts 30 and 40 required in order to drive the elements 10 and 20 can be suppressed.
  • FIG. 4 shows the gate voltage applied to the first gate electrode 82 a and the second gate electrode 82 b corresponding to the operation mode of the first element 10 or the second element 20. Since the first element 10 and the second element 20 are equivalent to each other, the first element 10 will be described unless otherwise specified.
  • the state of the element 10 includes states A to D shown in FIG.
  • the state A is a state in which it can be determined that the load current I is sufficiently large and the device is operating in the forward conduction mode.
  • the state B is actually in the forward conduction mode, the load current I is smaller than the level at which the operation mode can be determined, and the mode determination unit 50 cannot determine whether it is the forward conduction mode or the reverse conduction mode.
  • the state C is a state in which the state B is actually in the reverse conduction mode, but the load current I is smaller than the level at which the operation mode can be determined, and the forward conduction mode or the reverse conduction mode cannot be determined.
  • the state D is a state in which it can be determined that the load current I is sufficiently large and the device is operating in the reverse conduction mode.
  • the drive unit 30 applies the voltage + V1 to both the first gate electrode 82a and the second gate electrode 82b.
  • the element 10 is being driven in the forward conduction mode, and a function as an IGBT is expected. Therefore, the IGBT can be operated by applying the voltage + V1 to both the first gate electrode 82a and the second gate electrode 82b belonging to the region where the IGBT element 11 is formed.
  • + V1 is also applied to the second gate electrode 82b belonging to the region where the diode element 12 is formed.
  • all the gate electrodes 82 to which the diode element 12 belongs are the second gate electrodes 82b, and + V1 is also applied to the hybrid region in the vicinity of the boundary with the IGBT element 11. Therefore, the hybrid region can function as an IGBT.
  • the driving unit 30 applies the voltage + V1 to the first gate electrode 82b and the voltage ⁇ V2 to the second gate electrode 82b.
  • State B and state C are current regions in which the mode determination unit 50 cannot determine in which operation mode the element 10 is operating. If the element 10 is in the forward conduction mode (state B), the voltage + V1 is applied to the first gate electrode 82a belonging to the IGBT element 11, so that the IGBT 10 can be operated correctly.
  • the voltage ⁇ V2 is applied to the second gate electrode 82b belonging to the IGBT element 11, holes are likely to flow into the body region 76b when the IGBT element 11 is turned off. That is, the hole in which the second drift region 73b exists can easily move to the body region 76b, and the switching speed related to the turn-off can be increased.
  • the diode element 12 can function reliably as a diode.
  • the drive unit 30 applies the emitter voltage Ve to the first gate electrode 82b and the voltage ⁇ V2 to the second gate electrode 82b.
  • the element 10 is being driven in the reverse conduction mode, and a function as a diode is expected. Therefore, an effect of reducing the forward voltage VF can be obtained by applying the voltage ⁇ V2 to the second gate electrode 82b belonging to the region where the diode element 12 is formed.
  • the emitter voltage Ve is applied to the first gate electrode 82a. For this reason, compared with the case where a negative voltage is applied to the first gate electrode 82a with respect to the emitter voltage Ve, the function of applying the negative voltage only needs to be on the second gate electrode 82b side, and the circuit scale can be reduced.
  • the load current I in FIGS. 5 to 7 is synonymous with the load current I shown in FIG. 1, and the load current I is positive when flowing from the connection point between the first element 10 and the second element 20 toward the load 200.
  • the gate voltage applied to the first gate electrode 82a is for switching the IGBT element 11 as an IGBT, and is assumed to repeat a high level and a low level in synchronization with the PWM reference signal.
  • Example synchronized with PWM reference signal As shown in FIG. 5, in this example, the gate voltage applied to the second gate electrode 82b is also applied in synchronization with the PWM reference signal in the same manner as the first gate electrode 82a.
  • the High / Low of the PWM reference signal is in an inverted relationship between the signal corresponding to the first element 10 constituting the upper arm and the signal corresponding to the second element 20 constituting the lower arm.
  • the gate voltage shown in FIG. 4 is effective when the PWM reference signal is High, and the emitter voltage Ve is input to each gate electrode 82 as the gate voltage when the PWM reference signal is Low.
  • the mode determination unit 50 determines that the first element 10 is in the forward conduction mode and the second element 20 is in the reverse conduction mode. Accordingly, the first element 10 operates in the state A. That is, a PWM-controlled gate voltage in which the high level is + V1 and the low level is Ve is applied to both the first gate electrode 82a and the second gate electrode 82b in synchronization with the PWM reference signal.
  • the second element 20 operates in the state D. That is, the emitter voltage Ve is always applied to the first gate electrode 82a, and the PWM-controlled gate voltage having the high level Ve and the low level ⁇ V2 is applied to the second gate electrode 82b. .
  • the mode determination unit 50 cannot determine the operation mode of the first element 10 and the second element 20. Accordingly, the first element 10 and the second element 20 operate in the state B or the state C. That is, a PWM-controlled gate voltage having a high level of + V1 and a low level of Ve is applied to the first gate electrode 82a. A PWM-controlled gate voltage having a high level Ve and a low level ⁇ V2 is applied to the second gate electrode 82b.
  • the mode determination unit 50 determines that the first element 10 is in the reverse conduction mode and the second element 20 is in the forward conduction mode. Accordingly, the first element 10 operates in the state D, and the second element 20 operates in the state A.
  • the gate voltage is opposite to the relationship between the first element 10 and the second element 20 from time t1 to time t2.
  • the mode determination unit 50 cannot determine the operation mode of the first element 10 and the second element 20. Accordingly, the first element 10 and the second element 20 operate in the state B or the state C. That is, the gate voltage changes in the same manner as from time t2 to time t3.
  • the forward voltage VF can be reduced.
  • the PWM reference signal input to the first element 10 and the PWM reference signal input to the second element 20 do not become High at the same time. Since the dead time at which both are low is set for a certain time, the gate voltage to be applied to the diode element 12 during the recovery period of the reverse conducting insulated gate bipolar transistor can be kept at Ve, so that ⁇ V2 is always applied. The recovery loss can be reduced compared to the achieved state.
  • the mode in which the voltage ⁇ V2 is always applied regardless of the PWM reference signal is highly effective in reducing the loss due to the forward voltage VF, but the recovery loss may also increase. This is effective in a system in which the ratio of loss due to the forward voltage VF in the drive loss is large.
  • n conductivity type pillar region 79 In addition to the reverse conducting insulated gate bipolar transistors as the first element 10 and the second element 20 described in the first embodiment, it is preferable to have an n conductivity type pillar region 79 as shown in FIG.
  • the pillar region 79 extends from the second main surface 70b of the semiconductor substrate 70 in the thickness direction, penetrates the anode region 76a or the body region 76b, and reaches the first barrier region 75a and the second barrier region 75b. Yes.
  • the pillar region 79 is a diffusion layer doped with impurities of the same conductivity type as the first and second barrier regions 75a and 75b, and the pillar region 79 and the barrier regions 75a and 75b have substantially the same potential.
  • the anode electrode 78 and the pillar region 79 are short-circuited via the metal-semiconductor interface. Since the pillar region 79 and the first barrier region 75a have substantially the same potential, the potential difference between the first barrier region 75a and the anode electrode 78 is substantially equal to the voltage drop at the metal-semiconductor interface.
  • the voltage drop at the metal-semiconductor junction surface is smaller than the built-in voltage of the pn junction between the anode region 76a and the first barrier region 75a, the injection of holes from the anode region 76a to the first drift region 73a is suppressed.
  • the depletion layer extending from the pn junction interface between the first sub-anode 74 a and the first drift region 73 a has a withstand voltage. Is secured. That is, according to the diode element 12, the withstand voltage against the reverse bias can be improved.
  • the pillar region 79 is formed also in the IGBT element 11 .
  • a hole injection suppressing effect can be achieved.
  • the pillar region 79 is not necessarily formed in the IGBT element 11.
  • the pillar region 79 is provided, and the gate electrodes 82 adjacent to each other are not short-circuited to the anode electrode 78 in the diode element 12 as shown in FIG. It is like that.
  • the gate electrode 82 adjacent to the gate electrode 82 short-circuited with the anode electrode 78 is assigned to the second gate electrode 82b.
  • the diode element 12 since the first barrier region 75a formed in the diode element 12 is in contact with at least one second gate electrode 82b via the insulating film 81, the diode element 12 includes the second gate electrode 82b.
  • the forward voltage VF can be reduced by applying the negative voltage ⁇ V2 to the negative voltage ⁇ V2.
  • the gate capacitance can be reduced by the thinning structure.
  • the vertical insulated gate bipolar transistor having the trench gate 80 has been described as an example.
  • the structure does not necessarily need to have the trench-type gate electrode 82 and does not have to be the vertical type.
  • the present invention can also be applied to a lateral element.
  • a diode having a barrier region and a gate electrode has a p-conductivity type anode region 91 formed on the surface layer of one surface 90 a of an n-conductivity type semiconductor substrate 90.
  • an n-conductivity type barrier region 92 is formed so as to partially surround the one surface 90 a so as to surround the anode region 91.
  • a sub-anode 93 is formed on the opposite side of the anode region 91 with the barrier region 92 interposed therebetween.
  • a metal anode electrode 94 is joined to the anode region 91 on one surface 90a.
  • a cathode electrode 95 is bonded to one surface 90a of the semiconductor substrate 90 where the anode region 91, the barrier region 92, and the sub-anode 93 are not formed.
  • the diode current flows between the anode electrode 94 and the cathode electrode 95.
  • the n conductivity type semiconductor substrate to which the cathode electrode 95 is bonded corresponds to the first impurity region
  • the anode region 91 to which the anode electrode 94 is bonded corresponds to the second impurity region. That is, the diode current flows between the semiconductor substrate near the cathode electrode 95 and the anode region 91, and the sub-anode 93 and the barrier region 92 are located in the current path.
  • a gate electrode 97 is further formed on one surface 90 a where the barrier region 92 is exposed via an insulating film 96.
  • the horizontal diode can improve the recovery characteristics by having the barrier region 92, and the gate electrode 97 can be improved with respect to the potential of the anode region 91.
  • the forward voltage VF can be reduced by applying a negative voltage. Therefore, as in the first embodiment, when the mode determination unit 50 cannot determine the forward conduction mode or the reverse conduction mode, the same effect as that of the first embodiment can be obtained by applying a negative voltage to the gate electrode 97. Can be played.
  • the emitter voltage Ve can be applied only at the timing of inputting the negative voltage ⁇ V2.
  • the voltage + V1 is not applied to the diode element 12, and therefore, the diode characteristics deteriorate due to the application of + V1, particularly the forward voltage. An increase in VF can be suppressed.
  • the switching element may be a MOSFET, for example.
  • the collector region 72b of the switching element region shown in FIGS. 2, 8, and 9 (in the above-described embodiments, the IGBT element 11) is an n-conducting drain region, and serves as a switching element and a diode element. It becomes. That is, the switching element region and the diode element 12 do not have to be created separately.
  • the emitter region 77 shown in FIGS. 2, 8, and 9 becomes a source region. In such an aspect, the region substantially functioning as a switching element and the region functioning as a diode are in a state formed in parallel.
  • the gate electrode 82 is formed in a stripe shape.
  • any shape may be used as long as the gate electrode 82 is divided into at least the first gate electrode 82a and the second gate electrode 82b. It may be formed in a lattice shape.
  • the barrier region 92 and the sub-anode 93 are formed on the IGBT elements 11 and 21 side in the reverse conducting switching element, and the sub-anode 93 is partially formed on the diode elements 12 and 22 side instead of the entire surface. May be.
  • the first electrode and the second electrode in the IGBT elements 11 and 21 and the first electrode and the second electrode in the diode elements 21 and 22 are common gate pads G1 and G1, respectively.
  • the example connected to G2 was demonstrated.
  • the mutual electrodes may be connected outside the element, and the expression of the first electrode and the second electrode common to the diode element includes connection outside the first element 10 or the second element 20.
  • the example in which the first electrode 71 is formed in common in the switching element region and the diode element has been described.
  • the collector electrode in the IGBT elements 11 and 21 and the cathode in the diode elements 21 and 22 are described.
  • the electrodes may be formed separately from each other, and include cases where the electrodes are connected outside the first element 10 or the second element 20.
  • the example in which the second electrode 78 is formed in common in the switching element region and the diode element has been described.
  • the emitter electrode in the IGBT elements 11 and 21 and the anode in the diode elements 21 and 22 are described.
  • the electrodes may be formed separately from each other, and include cases where the electrodes are connected outside the first element 10 or the second element 20.

Landscapes

  • Engineering & Computer Science (AREA)
  • Power Engineering (AREA)
  • Power Conversion In General (AREA)
  • Metal-Oxide And Bipolar Metal-Oxide Semiconductor Integrated Circuits (AREA)
PCT/JP2016/087505 2016-01-27 2016-12-16 半導体装置 Ceased WO2017130597A1 (ja)

Priority Applications (2)

Application Number Priority Date Filing Date Title
CN201680073924.1A CN108475675B (zh) 2016-01-27 2016-12-16 半导体装置
US15/770,258 US10438852B2 (en) 2016-01-27 2016-12-16 Semiconductor device

Applications Claiming Priority (2)

Application Number Priority Date Filing Date Title
JP2016-013713 2016-01-27
JP2016013713A JP6414090B2 (ja) 2016-01-27 2016-01-27 半導体装置

Publications (1)

Publication Number Publication Date
WO2017130597A1 true WO2017130597A1 (ja) 2017-08-03

Family

ID=59398955

Family Applications (1)

Application Number Title Priority Date Filing Date
PCT/JP2016/087505 Ceased WO2017130597A1 (ja) 2016-01-27 2016-12-16 半導体装置

Country Status (4)

Country Link
US (1) US10438852B2 (enExample)
JP (1) JP6414090B2 (enExample)
CN (1) CN108475675B (enExample)
WO (1) WO2017130597A1 (enExample)

Cited By (1)

* Cited by examiner, † Cited by third party
Publication number Priority date Publication date Assignee Title
JP2023106740A (ja) * 2022-01-21 2023-08-02 株式会社東芝 駆動装置及び半導体モジュール

Families Citing this family (23)

* Cited by examiner, † Cited by third party
Publication number Priority date Publication date Assignee Title
WO2019017104A1 (ja) * 2017-07-18 2019-01-24 富士電機株式会社 半導体装置
DE102017124872B4 (de) * 2017-10-24 2021-02-18 Infineon Technologies Ag Verfahren zur Herstellung eines IGBT mit dV/dt-Steuerbarkeit
JP7095303B2 (ja) 2018-02-14 2022-07-05 富士電機株式会社 半導体装置
WO2019159391A1 (ja) 2018-02-14 2019-08-22 富士電機株式会社 半導体装置
JP6969662B2 (ja) 2018-02-14 2021-11-24 富士電機株式会社 半導体装置
JP7002431B2 (ja) * 2018-10-09 2022-01-20 三菱電機株式会社 半導体装置
JP2020109901A (ja) * 2019-01-04 2020-07-16 株式会社東芝 制御回路、半導体装置及び電気回路装置
JP7353891B2 (ja) * 2019-09-20 2023-10-02 株式会社東芝 半導体装置及び半導体回路
JP7456113B2 (ja) 2019-10-11 2024-03-27 富士電機株式会社 半導体装置
JP7352437B2 (ja) 2019-10-25 2023-09-28 株式会社東芝 半導体装置
JP7319601B2 (ja) 2019-11-01 2023-08-02 株式会社東芝 半導体装置
JP7352443B2 (ja) 2019-11-01 2023-09-28 株式会社東芝 半導体装置の制御方法
JP7302469B2 (ja) * 2019-12-24 2023-07-04 株式会社デンソー 半導体装置
JP7233387B2 (ja) * 2020-01-24 2023-03-06 三菱電機株式会社 半導体モジュール
JP7335190B2 (ja) 2020-03-23 2023-08-29 株式会社東芝 半導体装置
JP7456902B2 (ja) * 2020-09-17 2024-03-27 株式会社東芝 半導体装置
JP7490604B2 (ja) 2021-03-22 2024-05-27 株式会社東芝 半導体装置
JP7607538B2 (ja) * 2021-09-14 2024-12-27 三菱電機株式会社 半導体装置
DE102022107009A1 (de) 2022-03-24 2023-09-28 Infineon Technologies Ag Dual-gate-leistungshalbleitervorrichtung und verfahren zum steuern einer dual-gateleistungshalbleitervorrichtung
CN116504822B (zh) * 2023-05-29 2024-02-09 上海林众电子科技有限公司 基于沟槽栅的逆导型igbt
JP2025041430A (ja) * 2023-09-13 2025-03-26 株式会社東芝 駆動装置および半導体装置
JP2025122264A (ja) * 2024-02-08 2025-08-21 ミネベアパワーデバイス株式会社 半導体装置および半導体装置の駆動方法
US20250343117A1 (en) * 2024-05-06 2025-11-06 Wolfspeed, Inc. Semiconductor devices having metal gate runners with asymmetric outer gate runners, unevenly-spaced inner gate runners and/or spine-rib inner gate runners with multiple ribs

Citations (4)

* Cited by examiner, † Cited by third party
Publication number Priority date Publication date Assignee Title
JP2008072848A (ja) * 2006-09-14 2008-03-27 Mitsubishi Electric Corp 半導体装置
JP2009065105A (ja) * 2007-09-10 2009-03-26 Toyota Motor Corp 給電装置とその駆動方法
JP2009253004A (ja) * 2008-04-07 2009-10-29 Toyota Motor Corp 半導体素子と半導体装置とその駆動方法
JP2014063960A (ja) * 2012-09-24 2014-04-10 Denso Corp 半導体装置

Family Cites Families (22)

* Cited by examiner, † Cited by third party
Publication number Priority date Publication date Assignee Title
US5828112A (en) * 1995-09-18 1998-10-27 Kabushiki Kaisha Toshiba Semiconductor device incorporating an output element having a current-detecting section
JP4765252B2 (ja) * 2004-01-13 2011-09-07 株式会社豊田自動織機 温度検出機能付き半導体装置
JP4380726B2 (ja) * 2007-04-25 2009-12-09 株式会社デンソー ブリッジ回路における縦型mosfet制御方法
DE102008045410B4 (de) * 2007-09-05 2019-07-11 Denso Corporation Halbleitervorrichtung mit IGBT mit eingebauter Diode und Halbleitervorrichtung mit DMOS mit eingebauter Diode
JP4840370B2 (ja) 2008-01-16 2011-12-21 トヨタ自動車株式会社 半導体装置とその半導体装置を備えている給電装置の駆動方法
CN101946324B (zh) * 2008-02-14 2013-02-27 丰田自动车株式会社 反向导通半导体元件的驱动方法和半导体装置以及供电装置
JP2010263149A (ja) 2009-05-11 2010-11-18 Toyota Motor Corp 半導体装置
JP5858914B2 (ja) * 2010-08-04 2016-02-10 ローム株式会社 パワーモジュールおよび出力回路
JP2013026534A (ja) 2011-07-25 2013-02-04 Toyota Central R&D Labs Inc 半導体装置
JP4947230B2 (ja) * 2011-08-29 2012-06-06 トヨタ自動車株式会社 半導体装置
JP5742672B2 (ja) 2011-11-02 2015-07-01 株式会社デンソー 半導体装置
JP6064371B2 (ja) 2012-05-30 2017-01-25 株式会社デンソー 半導体装置
JP2014073055A (ja) * 2012-10-01 2014-04-21 Denso Corp 電子回路
JP5949646B2 (ja) 2013-04-10 2016-07-13 株式会社デンソー 半導体装置
GB2520617B (en) * 2013-10-22 2020-12-30 Abb Schweiz Ag RC-IGBT with freewheeling SiC diode
US9960165B2 (en) * 2013-11-05 2018-05-01 Toyota Jidosha Kabushiki Kaisha Semiconductor device having adjacent IGBT and diode regions with a shifted boundary plane between a collector region and a cathode region
JP6459791B2 (ja) 2014-07-14 2019-01-30 株式会社デンソー 半導体装置およびその製造方法
JP2016092163A (ja) 2014-11-03 2016-05-23 株式会社デンソー 半導体装置
JP6350298B2 (ja) 2015-01-21 2018-07-04 株式会社デンソー 半導体装置
JP6439460B2 (ja) 2015-01-23 2018-12-19 株式会社デンソー 駆動装置
CN104835841B (zh) * 2015-05-08 2018-10-26 邓华鲜 Igbt芯片的结构
JP6246415B2 (ja) * 2015-09-03 2017-12-13 三菱電機株式会社 電力変換装置

Patent Citations (4)

* Cited by examiner, † Cited by third party
Publication number Priority date Publication date Assignee Title
JP2008072848A (ja) * 2006-09-14 2008-03-27 Mitsubishi Electric Corp 半導体装置
JP2009065105A (ja) * 2007-09-10 2009-03-26 Toyota Motor Corp 給電装置とその駆動方法
JP2009253004A (ja) * 2008-04-07 2009-10-29 Toyota Motor Corp 半導体素子と半導体装置とその駆動方法
JP2014063960A (ja) * 2012-09-24 2014-04-10 Denso Corp 半導体装置

Cited By (2)

* Cited by examiner, † Cited by third party
Publication number Priority date Publication date Assignee Title
JP2023106740A (ja) * 2022-01-21 2023-08-02 株式会社東芝 駆動装置及び半導体モジュール
JP7751496B2 (ja) 2022-01-21 2025-10-08 株式会社東芝 駆動装置及び半導体モジュール

Also Published As

Publication number Publication date
JP6414090B2 (ja) 2018-10-31
US20180308757A1 (en) 2018-10-25
CN108475675B (zh) 2022-03-15
JP2017135255A (ja) 2017-08-03
US10438852B2 (en) 2019-10-08
CN108475675A (zh) 2018-08-31

Similar Documents

Publication Publication Date Title
JP6414090B2 (ja) 半導体装置
JP6652173B2 (ja) 半導体装置
JP6117640B2 (ja) 半導体装置及び駆動システム
JP6658021B2 (ja) 半導体装置
CN102104039B (zh) 高耐压半导体装置
JP4506808B2 (ja) 半導体装置
JP4577425B2 (ja) 半導体装置
JP5229288B2 (ja) 半導体装置およびその制御方法
US20150041850A1 (en) Semiconductor device having switching element and free wheel diode and method for controlling the same
JP5488256B2 (ja) 電力用半導体装置
JP6283468B2 (ja) 逆導通igbt
JP2004296831A (ja) 半導体装置
JP2016115763A (ja) 逆導通igbt
JP6579273B2 (ja) 半導体集積回路
WO2018016284A1 (ja) 半導体装置
JP6413467B2 (ja) 半導体装置
CN109983565A (zh) 半导体装置
WO2016117338A1 (ja) 半導体装置
US20150076598A1 (en) Semiconductor device
WO2018016282A1 (ja) 半導体装置
JP6226101B2 (ja) 半導体集積回路
CN100389499C (zh) 半导体器件以及半导体器件的驱动电路
JP5072043B2 (ja) 半導体装置
CN111326510A (zh) 半导体装置
JP6088401B2 (ja) 逆導通igbt

Legal Events

Date Code Title Description
121 Ep: the epo has been informed by wipo that ep was designated in this application

Ref document number: 16888181

Country of ref document: EP

Kind code of ref document: A1

WWE Wipo information: entry into national phase

Ref document number: 15770258

Country of ref document: US

NENP Non-entry into the national phase

Ref country code: DE

122 Ep: pct application non-entry in european phase

Ref document number: 16888181

Country of ref document: EP

Kind code of ref document: A1