KR20140125822A - 전자 담배 - Google Patents

전자 담배 Download PDF

Info

Publication number
KR20140125822A
KR20140125822A KR1020147023749A KR20147023749A KR20140125822A KR 20140125822 A KR20140125822 A KR 20140125822A KR 1020147023749 A KR1020147023749 A KR 1020147023749A KR 20147023749 A KR20147023749 A KR 20147023749A KR 20140125822 A KR20140125822 A KR 20140125822A
Authority
KR
South Korea
Prior art keywords
mouth end
aerosol
end insert
heater
smoking article
Prior art date
Legal status (The legal status is an assumption and is not a legal conclusion. Google has not performed a legal analysis and makes no representation as to the accuracy of the status listed.)
Withdrawn
Application number
KR1020147023749A
Other languages
English (en)
Korean (ko)
Inventor
크로스토퍼 에스. 터커
지오프레이 브랜든 조단
배리 에스. 스미스
알리 에이. 로스타미
Original Assignee
알트리아 클라이언트 서비시스 인코포레이티드
Priority date (The priority date is an assumption and is not a legal conclusion. Google has not performed a legal analysis and makes no representation as to the accuracy of the date listed.)
Filing date
Publication date
Family has litigation
First worldwide family litigation filed litigation Critical https://patents.darts-ip.com/?family=48869191&utm_source=google_patent&utm_medium=platform_link&utm_campaign=public_patent_search&patent=KR20140125822(A) "Global patent litigation dataset” by Darts-ip is licensed under a Creative Commons Attribution 4.0 International License.
Application filed by 알트리아 클라이언트 서비시스 인코포레이티드 filed Critical 알트리아 클라이언트 서비시스 인코포레이티드
Publication of KR20140125822A publication Critical patent/KR20140125822A/ko
Withdrawn legal-status Critical Current

Links

Images

Classifications

    • AHUMAN NECESSITIES
    • A24TOBACCO; CIGARS; CIGARETTES; SIMULATED SMOKING DEVICES; SMOKERS' REQUISITES
    • A24FSMOKERS' REQUISITES; MATCH BOXES; SIMULATED SMOKING DEVICES
    • A24F47/00Smokers' requisites not otherwise provided for
    • AHUMAN NECESSITIES
    • A24TOBACCO; CIGARS; CIGARETTES; SIMULATED SMOKING DEVICES; SMOKERS' REQUISITES
    • A24FSMOKERS' REQUISITES; MATCH BOXES; SIMULATED SMOKING DEVICES
    • A24F7/00Mouthpieces for pipes; Mouthpieces for cigar or cigarette holders
    • AHUMAN NECESSITIES
    • A24TOBACCO; CIGARS; CIGARETTES; SIMULATED SMOKING DEVICES; SMOKERS' REQUISITES
    • A24BMANUFACTURE OR PREPARATION OF TOBACCO FOR SMOKING OR CHEWING; TOBACCO; SNUFF
    • A24B15/00Chemical features or treatment of tobacco; Tobacco substitutes, e.g. in liquid form
    • A24B15/10Chemical features of tobacco products or tobacco substitutes
    • A24B15/16Chemical features of tobacco products or tobacco substitutes of tobacco substitutes
    • A24B15/167Chemical features of tobacco products or tobacco substitutes of tobacco substitutes in liquid or vaporisable form, e.g. liquid compositions for electronic cigarettes
    • AHUMAN NECESSITIES
    • A24TOBACCO; CIGARS; CIGARETTES; SIMULATED SMOKING DEVICES; SMOKERS' REQUISITES
    • A24BMANUFACTURE OR PREPARATION OF TOBACCO FOR SMOKING OR CHEWING; TOBACCO; SNUFF
    • A24B15/00Chemical features or treatment of tobacco; Tobacco substitutes, e.g. in liquid form
    • A24B15/18Treatment of tobacco products or tobacco substitutes
    • A24B15/186Treatment of tobacco products or tobacco substitutes by coating with a coating composition, encapsulation of tobacco particles
    • AHUMAN NECESSITIES
    • A24TOBACCO; CIGARS; CIGARETTES; SIMULATED SMOKING DEVICES; SMOKERS' REQUISITES
    • A24BMANUFACTURE OR PREPARATION OF TOBACCO FOR SMOKING OR CHEWING; TOBACCO; SNUFF
    • A24B15/00Chemical features or treatment of tobacco; Tobacco substitutes, e.g. in liquid form
    • A24B15/18Treatment of tobacco products or tobacco substitutes
    • A24B15/24Treatment of tobacco products or tobacco substitutes by extraction; Tobacco extracts
    • A24B15/241Extraction of specific substances
    • A24B15/243Nicotine
    • AHUMAN NECESSITIES
    • A24TOBACCO; CIGARS; CIGARETTES; SIMULATED SMOKING DEVICES; SMOKERS' REQUISITES
    • A24FSMOKERS' REQUISITES; MATCH BOXES; SIMULATED SMOKING DEVICES
    • A24F40/00Electrically operated smoking devices; Component parts thereof; Manufacture thereof; Maintenance or testing thereof; Charging means specially adapted therefor
    • A24F40/10Devices using liquid inhalable precursors
    • AHUMAN NECESSITIES
    • A24TOBACCO; CIGARS; CIGARETTES; SIMULATED SMOKING DEVICES; SMOKERS' REQUISITES
    • A24FSMOKERS' REQUISITES; MATCH BOXES; SIMULATED SMOKING DEVICES
    • A24F40/00Electrically operated smoking devices; Component parts thereof; Manufacture thereof; Maintenance or testing thereof; Charging means specially adapted therefor
    • A24F40/40Constructional details, e.g. connection of cartridges and battery parts
    • AHUMAN NECESSITIES
    • A24TOBACCO; CIGARS; CIGARETTES; SIMULATED SMOKING DEVICES; SMOKERS' REQUISITES
    • A24FSMOKERS' REQUISITES; MATCH BOXES; SIMULATED SMOKING DEVICES
    • A24F40/00Electrically operated smoking devices; Component parts thereof; Manufacture thereof; Maintenance or testing thereof; Charging means specially adapted therefor
    • A24F40/40Constructional details, e.g. connection of cartridges and battery parts
    • A24F40/44Wicks
    • AHUMAN NECESSITIES
    • A24TOBACCO; CIGARS; CIGARETTES; SIMULATED SMOKING DEVICES; SMOKERS' REQUISITES
    • A24FSMOKERS' REQUISITES; MATCH BOXES; SIMULATED SMOKING DEVICES
    • A24F40/00Electrically operated smoking devices; Component parts thereof; Manufacture thereof; Maintenance or testing thereof; Charging means specially adapted therefor
    • A24F40/40Constructional details, e.g. connection of cartridges and battery parts
    • A24F40/46Shape or structure of electric heating means
    • AHUMAN NECESSITIES
    • A24TOBACCO; CIGARS; CIGARETTES; SIMULATED SMOKING DEVICES; SMOKERS' REQUISITES
    • A24FSMOKERS' REQUISITES; MATCH BOXES; SIMULATED SMOKING DEVICES
    • A24F40/00Electrically operated smoking devices; Component parts thereof; Manufacture thereof; Maintenance or testing thereof; Charging means specially adapted therefor
    • A24F40/40Constructional details, e.g. connection of cartridges and battery parts
    • A24F40/48Fluid transfer means, e.g. pumps
    • A24F40/485Valves; Apertures
    • AHUMAN NECESSITIES
    • A24TOBACCO; CIGARS; CIGARETTES; SIMULATED SMOKING DEVICES; SMOKERS' REQUISITES
    • A24FSMOKERS' REQUISITES; MATCH BOXES; SIMULATED SMOKING DEVICES
    • A24F40/00Electrically operated smoking devices; Component parts thereof; Manufacture thereof; Maintenance or testing thereof; Charging means specially adapted therefor
    • A24F40/70Manufacture
    • AHUMAN NECESSITIES
    • A61MEDICAL OR VETERINARY SCIENCE; HYGIENE
    • A61MDEVICES FOR INTRODUCING MEDIA INTO, OR ONTO, THE BODY; DEVICES FOR TRANSDUCING BODY MEDIA OR FOR TAKING MEDIA FROM THE BODY; DEVICES FOR PRODUCING OR ENDING SLEEP OR STUPOR
    • A61M11/00Sprayers or atomisers specially adapted for therapeutic purposes
    • A61M11/001Particle size control
    • A61M11/003Particle size control by passing the aerosol trough sieves or filters
    • AHUMAN NECESSITIES
    • A61MEDICAL OR VETERINARY SCIENCE; HYGIENE
    • A61MDEVICES FOR INTRODUCING MEDIA INTO, OR ONTO, THE BODY; DEVICES FOR TRANSDUCING BODY MEDIA OR FOR TAKING MEDIA FROM THE BODY; DEVICES FOR PRODUCING OR ENDING SLEEP OR STUPOR
    • A61M11/00Sprayers or atomisers specially adapted for therapeutic purposes
    • A61M11/04Sprayers or atomisers specially adapted for therapeutic purposes operated by the vapour pressure of the liquid to be sprayed or atomised
    • A61M11/041Sprayers or atomisers specially adapted for therapeutic purposes operated by the vapour pressure of the liquid to be sprayed or atomised using heaters
    • A61M11/042Sprayers or atomisers specially adapted for therapeutic purposes operated by the vapour pressure of the liquid to be sprayed or atomised using heaters electrical
    • AHUMAN NECESSITIES
    • A61MEDICAL OR VETERINARY SCIENCE; HYGIENE
    • A61MDEVICES FOR INTRODUCING MEDIA INTO, OR ONTO, THE BODY; DEVICES FOR TRANSDUCING BODY MEDIA OR FOR TAKING MEDIA FROM THE BODY; DEVICES FOR PRODUCING OR ENDING SLEEP OR STUPOR
    • A61M15/00Inhalators
    • A61M15/06Inhaling appliances shaped like cigars, cigarettes or pipes
    • HELECTRICITY
    • H01ELECTRIC ELEMENTS
    • H01CRESISTORS
    • H01C17/00Apparatus or processes specially adapted for manufacturing resistors
    • HELECTRICITY
    • H05ELECTRIC TECHNIQUES NOT OTHERWISE PROVIDED FOR
    • H05BELECTRIC HEATING; ELECTRIC LIGHT SOURCES NOT OTHERWISE PROVIDED FOR; CIRCUIT ARRANGEMENTS FOR ELECTRIC LIGHT SOURCES, IN GENERAL
    • H05B1/00Details of electric heating devices
    • H05B1/02Automatic switching arrangements specially adapted to apparatus ; Control of heating devices
    • H05B1/0227Applications
    • H05B1/023Industrial applications
    • H05B1/0244Heating of fluids
    • HELECTRICITY
    • H05ELECTRIC TECHNIQUES NOT OTHERWISE PROVIDED FOR
    • H05BELECTRIC HEATING; ELECTRIC LIGHT SOURCES NOT OTHERWISE PROVIDED FOR; CIRCUIT ARRANGEMENTS FOR ELECTRIC LIGHT SOURCES, IN GENERAL
    • H05B3/00Ohmic-resistance heating
    • H05B3/0014Devices wherein the heating current flows through particular resistances
    • HELECTRICITY
    • H05ELECTRIC TECHNIQUES NOT OTHERWISE PROVIDED FOR
    • H05BELECTRIC HEATING; ELECTRIC LIGHT SOURCES NOT OTHERWISE PROVIDED FOR; CIRCUIT ARRANGEMENTS FOR ELECTRIC LIGHT SOURCES, IN GENERAL
    • H05B3/00Ohmic-resistance heating
    • H05B3/10Heating elements characterised by the composition or nature of the materials or by the arrangement of the conductor
    • HELECTRICITY
    • H05ELECTRIC TECHNIQUES NOT OTHERWISE PROVIDED FOR
    • H05BELECTRIC HEATING; ELECTRIC LIGHT SOURCES NOT OTHERWISE PROVIDED FOR; CIRCUIT ARRANGEMENTS FOR ELECTRIC LIGHT SOURCES, IN GENERAL
    • H05B3/00Ohmic-resistance heating
    • H05B3/10Heating elements characterised by the composition or nature of the materials or by the arrangement of the conductor
    • H05B3/12Heating elements characterised by the composition or nature of the materials or by the arrangement of the conductor characterised by the composition or nature of the conductive material
    • HELECTRICITY
    • H05ELECTRIC TECHNIQUES NOT OTHERWISE PROVIDED FOR
    • H05BELECTRIC HEATING; ELECTRIC LIGHT SOURCES NOT OTHERWISE PROVIDED FOR; CIRCUIT ARRANGEMENTS FOR ELECTRIC LIGHT SOURCES, IN GENERAL
    • H05B3/00Ohmic-resistance heating
    • H05B3/10Heating elements characterised by the composition or nature of the materials or by the arrangement of the conductor
    • H05B3/16Heating elements characterised by the composition or nature of the materials or by the arrangement of the conductor the conductor being mounted on an insulating base
    • HELECTRICITY
    • H05ELECTRIC TECHNIQUES NOT OTHERWISE PROVIDED FOR
    • H05BELECTRIC HEATING; ELECTRIC LIGHT SOURCES NOT OTHERWISE PROVIDED FOR; CIRCUIT ARRANGEMENTS FOR ELECTRIC LIGHT SOURCES, IN GENERAL
    • H05B3/00Ohmic-resistance heating
    • H05B3/40Heating elements having the shape of rods or tubes
    • H05B3/42Heating elements having the shape of rods or tubes non-flexible
    • HELECTRICITY
    • H05ELECTRIC TECHNIQUES NOT OTHERWISE PROVIDED FOR
    • H05BELECTRIC HEATING; ELECTRIC LIGHT SOURCES NOT OTHERWISE PROVIDED FOR; CIRCUIT ARRANGEMENTS FOR ELECTRIC LIGHT SOURCES, IN GENERAL
    • H05B3/00Ohmic-resistance heating
    • H05B3/40Heating elements having the shape of rods or tubes
    • H05B3/42Heating elements having the shape of rods or tubes non-flexible
    • H05B3/44Heating elements having the shape of rods or tubes non-flexible heating conductor arranged within rods or tubes of insulating material
    • AHUMAN NECESSITIES
    • A61MEDICAL OR VETERINARY SCIENCE; HYGIENE
    • A61MDEVICES FOR INTRODUCING MEDIA INTO, OR ONTO, THE BODY; DEVICES FOR TRANSDUCING BODY MEDIA OR FOR TAKING MEDIA FROM THE BODY; DEVICES FOR PRODUCING OR ENDING SLEEP OR STUPOR
    • A61M11/00Sprayers or atomisers specially adapted for therapeutic purposes
    • A61M11/001Particle size control
    • AHUMAN NECESSITIES
    • A61MEDICAL OR VETERINARY SCIENCE; HYGIENE
    • A61MDEVICES FOR INTRODUCING MEDIA INTO, OR ONTO, THE BODY; DEVICES FOR TRANSDUCING BODY MEDIA OR FOR TAKING MEDIA FROM THE BODY; DEVICES FOR PRODUCING OR ENDING SLEEP OR STUPOR
    • A61M11/00Sprayers or atomisers specially adapted for therapeutic purposes
    • A61M11/04Sprayers or atomisers specially adapted for therapeutic purposes operated by the vapour pressure of the liquid to be sprayed or atomised
    • AHUMAN NECESSITIES
    • A61MEDICAL OR VETERINARY SCIENCE; HYGIENE
    • A61MDEVICES FOR INTRODUCING MEDIA INTO, OR ONTO, THE BODY; DEVICES FOR TRANSDUCING BODY MEDIA OR FOR TAKING MEDIA FROM THE BODY; DEVICES FOR PRODUCING OR ENDING SLEEP OR STUPOR
    • A61M15/00Inhalators
    • A61M15/0001Details of inhalators; Constructional features thereof
    • A61M15/002Details of inhalators; Constructional features thereof with air flow regulating means
    • AHUMAN NECESSITIES
    • A61MEDICAL OR VETERINARY SCIENCE; HYGIENE
    • A61MDEVICES FOR INTRODUCING MEDIA INTO, OR ONTO, THE BODY; DEVICES FOR TRANSDUCING BODY MEDIA OR FOR TAKING MEDIA FROM THE BODY; DEVICES FOR PRODUCING OR ENDING SLEEP OR STUPOR
    • A61M16/00Devices for influencing the respiratory system of patients by gas treatment, e.g. ventilators; Tracheal tubes
    • A61M16/0003Accessories therefor, e.g. sensors, vibrators, negative pressure
    • A61M2016/0015Accessories therefor, e.g. sensors, vibrators, negative pressure inhalation detectors
    • A61M2016/0018Accessories therefor, e.g. sensors, vibrators, negative pressure inhalation detectors electrical
    • AHUMAN NECESSITIES
    • A61MEDICAL OR VETERINARY SCIENCE; HYGIENE
    • A61MDEVICES FOR INTRODUCING MEDIA INTO, OR ONTO, THE BODY; DEVICES FOR TRANSDUCING BODY MEDIA OR FOR TAKING MEDIA FROM THE BODY; DEVICES FOR PRODUCING OR ENDING SLEEP OR STUPOR
    • A61M16/00Devices for influencing the respiratory system of patients by gas treatment, e.g. ventilators; Tracheal tubes
    • A61M16/0003Accessories therefor, e.g. sensors, vibrators, negative pressure
    • A61M2016/0015Accessories therefor, e.g. sensors, vibrators, negative pressure inhalation detectors
    • A61M2016/0018Accessories therefor, e.g. sensors, vibrators, negative pressure inhalation detectors electrical
    • A61M2016/0024Accessories therefor, e.g. sensors, vibrators, negative pressure inhalation detectors electrical with an on-off output signal, e.g. from a switch
    • AHUMAN NECESSITIES
    • A61MEDICAL OR VETERINARY SCIENCE; HYGIENE
    • A61MDEVICES FOR INTRODUCING MEDIA INTO, OR ONTO, THE BODY; DEVICES FOR TRANSDUCING BODY MEDIA OR FOR TAKING MEDIA FROM THE BODY; DEVICES FOR PRODUCING OR ENDING SLEEP OR STUPOR
    • A61M21/00Other devices or methods to cause a change in the state of consciousness; Devices for producing or ending sleep by mechanical, optical, or acoustical means, e.g. for hypnosis
    • A61M2021/0005Other devices or methods to cause a change in the state of consciousness; Devices for producing or ending sleep by mechanical, optical, or acoustical means, e.g. for hypnosis by the use of a particular sense, or stimulus
    • A61M2021/0016Other devices or methods to cause a change in the state of consciousness; Devices for producing or ending sleep by mechanical, optical, or acoustical means, e.g. for hypnosis by the use of a particular sense, or stimulus by the smell sense
    • AHUMAN NECESSITIES
    • A61MEDICAL OR VETERINARY SCIENCE; HYGIENE
    • A61MDEVICES FOR INTRODUCING MEDIA INTO, OR ONTO, THE BODY; DEVICES FOR TRANSDUCING BODY MEDIA OR FOR TAKING MEDIA FROM THE BODY; DEVICES FOR PRODUCING OR ENDING SLEEP OR STUPOR
    • A61M2205/00General characteristics of the apparatus
    • A61M2205/36General characteristics of the apparatus related to heating or cooling
    • A61M2205/3653General characteristics of the apparatus related to heating or cooling by Joule effect, i.e. electric resistance
    • AHUMAN NECESSITIES
    • A61MEDICAL OR VETERINARY SCIENCE; HYGIENE
    • A61MDEVICES FOR INTRODUCING MEDIA INTO, OR ONTO, THE BODY; DEVICES FOR TRANSDUCING BODY MEDIA OR FOR TAKING MEDIA FROM THE BODY; DEVICES FOR PRODUCING OR ENDING SLEEP OR STUPOR
    • A61M2205/00General characteristics of the apparatus
    • A61M2205/82Internal energy supply devices
    • A61M2205/8206Internal energy supply devices battery-operated
    • AHUMAN NECESSITIES
    • A61MEDICAL OR VETERINARY SCIENCE; HYGIENE
    • A61MDEVICES FOR INTRODUCING MEDIA INTO, OR ONTO, THE BODY; DEVICES FOR TRANSDUCING BODY MEDIA OR FOR TAKING MEDIA FROM THE BODY; DEVICES FOR PRODUCING OR ENDING SLEEP OR STUPOR
    • A61M2205/00General characteristics of the apparatus
    • A61M2205/82Internal energy supply devices
    • A61M2205/8268Fuel storage cells
    • AHUMAN NECESSITIES
    • A61MEDICAL OR VETERINARY SCIENCE; HYGIENE
    • A61MDEVICES FOR INTRODUCING MEDIA INTO, OR ONTO, THE BODY; DEVICES FOR TRANSDUCING BODY MEDIA OR FOR TAKING MEDIA FROM THE BODY; DEVICES FOR PRODUCING OR ENDING SLEEP OR STUPOR
    • A61M2209/00Ancillary equipment
    • A61M2209/02Equipment for testing the apparatus
    • FMECHANICAL ENGINEERING; LIGHTING; HEATING; WEAPONS; BLASTING
    • F04POSITIVE - DISPLACEMENT MACHINES FOR LIQUIDS; PUMPS FOR LIQUIDS OR ELASTIC FLUIDS
    • F04CROTARY-PISTON, OR OSCILLATING-PISTON, POSITIVE-DISPLACEMENT MACHINES FOR LIQUIDS; ROTARY-PISTON, OR OSCILLATING-PISTON, POSITIVE-DISPLACEMENT PUMPS
    • F04C2270/00Control; Monitoring or safety arrangements
    • F04C2270/04Force
    • F04C2270/042Force radial
    • F04C2270/0421Controlled or regulated
    • HELECTRICITY
    • H05ELECTRIC TECHNIQUES NOT OTHERWISE PROVIDED FOR
    • H05BELECTRIC HEATING; ELECTRIC LIGHT SOURCES NOT OTHERWISE PROVIDED FOR; CIRCUIT ARRANGEMENTS FOR ELECTRIC LIGHT SOURCES, IN GENERAL
    • H05B2203/00Aspects relating to Ohmic resistive heating covered by group H05B3/00
    • H05B2203/021Heaters specially adapted for heating liquids
    • YGENERAL TAGGING OF NEW TECHNOLOGICAL DEVELOPMENTS; GENERAL TAGGING OF CROSS-SECTIONAL TECHNOLOGIES SPANNING OVER SEVERAL SECTIONS OF THE IPC; TECHNICAL SUBJECTS COVERED BY FORMER USPC CROSS-REFERENCE ART COLLECTIONS [XRACs] AND DIGESTS
    • Y10TECHNICAL SUBJECTS COVERED BY FORMER USPC
    • Y10TTECHNICAL SUBJECTS COVERED BY FORMER US CLASSIFICATION
    • Y10T29/00Metal working
    • Y10T29/49Method of mechanical manufacture
    • Y10T29/49002Electrical device making
    • Y10T29/49082Resistor making
    • Y10T29/49083Heater type

Landscapes

  • Health & Medical Sciences (AREA)
  • Engineering & Computer Science (AREA)
  • Life Sciences & Earth Sciences (AREA)
  • Animal Behavior & Ethology (AREA)
  • Anesthesiology (AREA)
  • Biomedical Technology (AREA)
  • Heart & Thoracic Surgery (AREA)
  • Hematology (AREA)
  • Veterinary Medicine (AREA)
  • Public Health (AREA)
  • General Health & Medical Sciences (AREA)
  • Pulmonology (AREA)
  • Bioinformatics & Cheminformatics (AREA)
  • Chemical & Material Sciences (AREA)
  • Chemical Kinetics & Catalysis (AREA)
  • General Chemical & Material Sciences (AREA)
  • Microelectronics & Electronic Packaging (AREA)
  • Manufacturing & Machinery (AREA)
  • Dispersion Chemistry (AREA)
  • Catching Or Destruction (AREA)
  • Cigarettes, Filters, And Manufacturing Of Filters (AREA)
  • Manufacture Of Tobacco Products (AREA)
  • Resistance Heating (AREA)
  • Packaging Of Annular Or Rod-Shaped Articles, Wearing Apparel, Cassettes, Or The Like (AREA)
  • Medicinal Preparation (AREA)
  • Pharmaceuticals Containing Other Organic And Inorganic Compounds (AREA)
  • Investigating Or Analyzing Materials Using Thermal Means (AREA)
  • Supply Of Fluid Materials To The Packaging Location (AREA)
  • Apparatuses And Processes For Manufacturing Resistors (AREA)
  • Nozzles (AREA)
KR1020147023749A 2012-01-31 2013-01-31 전자 담배 Withdrawn KR20140125822A (ko)

Applications Claiming Priority (5)

Application Number Priority Date Filing Date Title
US201261593004P 2012-01-31 2012-01-31
US61/593,004 2012-01-31
US13/741,217 2013-01-14
US13/741,217 US9282772B2 (en) 2012-01-31 2013-01-14 Electronic vaping device
PCT/US2013/024215 WO2013116561A1 (en) 2012-01-31 2013-01-31 Electronic cigarette

Publications (1)

Publication Number Publication Date
KR20140125822A true KR20140125822A (ko) 2014-10-29

Family

ID=48869191

Family Applications (7)

Application Number Title Priority Date Filing Date
KR1020147023749A Withdrawn KR20140125822A (ko) 2012-01-31 2013-01-31 전자 담배
KR1020147024196A Withdrawn KR20140125828A (ko) 2012-01-31 2013-01-31 전자 담배
KR1020147024413A Withdrawn KR20150035488A (ko) 2012-01-31 2013-01-31 전자 담배
KR1020147024210A Withdrawn KR20140125829A (ko) 2012-01-31 2013-01-31 개량된 전자 담배 및 그 제조방법
KR1020147024404A Withdrawn KR20150005514A (ko) 2012-01-31 2013-01-31 전자 담배
KR1020147024072A Withdrawn KR20140127288A (ko) 2012-01-31 2013-01-31 전자 담배
KR1020147024182A Withdrawn KR20140125827A (ko) 2012-01-31 2013-01-31 전자 담배

Family Applications After (6)

Application Number Title Priority Date Filing Date
KR1020147024196A Withdrawn KR20140125828A (ko) 2012-01-31 2013-01-31 전자 담배
KR1020147024413A Withdrawn KR20150035488A (ko) 2012-01-31 2013-01-31 전자 담배
KR1020147024210A Withdrawn KR20140125829A (ko) 2012-01-31 2013-01-31 개량된 전자 담배 및 그 제조방법
KR1020147024404A Withdrawn KR20150005514A (ko) 2012-01-31 2013-01-31 전자 담배
KR1020147024072A Withdrawn KR20140127288A (ko) 2012-01-31 2013-01-31 전자 담배
KR1020147024182A Withdrawn KR20140125827A (ko) 2012-01-31 2013-01-31 전자 담배

Country Status (19)

Country Link
US (33) US9854839B2 (enExample)
EP (12) EP2809183B1 (enExample)
JP (12) JP6286366B2 (enExample)
KR (7) KR20140125822A (enExample)
CN (7) CN104219973B (enExample)
AR (1) AR091949A1 (enExample)
AU (7) AU2013214987B2 (enExample)
BR (7) BR112014018887A8 (enExample)
CA (7) CA2862105A1 (enExample)
ES (3) ES2612531T3 (enExample)
IL (9) IL233653B (enExample)
MA (4) MA37293B2 (enExample)
MX (5) MX2014009394A (enExample)
MY (7) MY175849A (enExample)
NZ (7) NZ627439A (enExample)
PL (2) PL2809182T5 (enExample)
RU (7) RU2627004C2 (enExample)
UA (7) UA116770C2 (enExample)
WO (7) WO2013116572A1 (enExample)

Cited By (12)

* Cited by examiner, † Cited by third party
Publication number Priority date Publication date Assignee Title
JP2019502402A (ja) * 2015-11-30 2019-01-31 フィリップ・モーリス・プロダクツ・ソシエテ・アノニム 不燃性喫煙装置およびその要素
KR20190013709A (ko) 2016-04-04 2019-02-11 스루이스 시갈 머시너리 비.브이. 전자 담배
US10986874B2 (en) 2016-12-28 2021-04-27 Altria Client Services Llc Non-combustible smoking systems, devices and elements thereof
US11090450B2 (en) 2015-05-06 2021-08-17 Altria Client Services Llc Non-combustible smoking device and components thereof
US11213635B2 (en) 2016-09-14 2022-01-04 British American Tobacco (Investments) Limited Receptacle section
US11253000B2 (en) 2016-09-14 2022-02-22 Nicoventures Trading Limited Receptacle section for an aerosol provision article
US11318264B2 (en) 2017-01-13 2022-05-03 Nicoventures Trading Limited Aerosol generating device and article
US11589617B2 (en) 2017-01-05 2023-02-28 Nicoventures Trading Limited Aerosol generating device and article
US11623053B2 (en) 2017-12-06 2023-04-11 Nicoventures Trading Limited Component for an aerosol-generating apparatus
US12016996B2 (en) 2016-09-14 2024-06-25 Nicoventures Trading Limited Receptacle section
US12376620B2 (en) 2016-09-14 2025-08-05 Nicoventures Trading Limited Aerosol provision devices with a substance of 8-12 denier and a first and second tube portion extending therefrom
US12471628B2 (en) 2016-09-14 2025-11-18 Nicoventures Trading Limited Container for an aerosol provision device

Families Citing this family (1064)

* Cited by examiner, † Cited by third party
Publication number Priority date Publication date Assignee Title
US20160345631A1 (en) 2005-07-19 2016-12-01 James Monsees Portable devices for generating an inhalable vapor
US7726320B2 (en) 2006-10-18 2010-06-01 R. J. Reynolds Tobacco Company Tobacco-containing smoking article
US8991402B2 (en) 2007-12-18 2015-03-31 Pax Labs, Inc. Aerosol devices and methods for inhaling a substance and uses thereof
AT507187B1 (de) 2008-10-23 2010-03-15 Helmut Dr Buchberger Inhalator
US8897628B2 (en) 2009-07-27 2014-11-25 Gregory D. Conley Electronic vaporizer
AT508244B1 (de) 2010-03-10 2010-12-15 Helmut Dr Buchberger Inhalatorkomponente
WO2011124033A1 (zh) * 2010-04-09 2011-10-13 Liu Qiuming 一种电子烟雾化装置
US9259035B2 (en) 2010-05-15 2016-02-16 R. J. Reynolds Tobacco Company Solderless personal vaporizing inhaler
US11344683B2 (en) 2010-05-15 2022-05-31 Rai Strategic Holdings, Inc. Vaporizer related systems, methods, and apparatus
US9095175B2 (en) 2010-05-15 2015-08-04 R. J. Reynolds Tobacco Company Data logging personal vaporizing inhaler
US9999250B2 (en) 2010-05-15 2018-06-19 Rai Strategic Holdings, Inc. Vaporizer related systems, methods, and apparatus
US10159278B2 (en) 2010-05-15 2018-12-25 Rai Strategic Holdings, Inc. Assembly directed airflow
US8757147B2 (en) 2010-05-15 2014-06-24 Minusa Holdings Llc Personal vaporizing inhaler with internal light source
US10136672B2 (en) 2010-05-15 2018-11-27 Rai Strategic Holdings, Inc. Solderless directly written heating elements
US9861772B2 (en) 2010-05-15 2018-01-09 Rai Strategic Holdings, Inc. Personal vaporizing inhaler cartridge
US9743691B2 (en) 2010-05-15 2017-08-29 Rai Strategic Holdings, Inc. Vaporizer configuration, control, and reporting
US11247003B2 (en) 2010-08-23 2022-02-15 Darren Rubin Systems and methods of aerosol delivery with airflow regulation
EP2641490A4 (en) * 2010-11-19 2017-06-21 Kimree Hi-Tech Inc Electronic cigarette, electronic cigarette flare and atomizer thereof
KR101057774B1 (ko) * 2010-12-13 2011-08-19 신종수 전자담배
JP5681819B2 (ja) 2011-02-11 2015-03-11 バットマーク・リミテッド 吸入器コンポーネント
AT510837B1 (de) 2011-07-27 2012-07-15 Helmut Dr Buchberger Inhalatorkomponente
CA2833132A1 (en) 2011-04-12 2012-10-18 Robert LEVITZ Battery connector for electronic cigarette with side air intake
US9078473B2 (en) 2011-08-09 2015-07-14 R.J. Reynolds Tobacco Company Smoking articles and use thereof for yielding inhalation materials
KR102353233B1 (ko) 2011-09-06 2022-01-18 니코벤처스 트레이딩 리미티드 가열식 끽연 가능 물질
CA2839099C (en) 2011-09-06 2016-06-28 British American Tobacco (Investments) Limited Heating smokeable material
AT511344B1 (de) 2011-10-21 2012-11-15 Helmut Dr Buchberger Inhalatorkomponente
ITMI20112290A1 (it) * 2011-12-16 2013-06-17 Dks Aromatic Srl Composizione per sigarette elettroniche
CA150613S (en) 2011-12-23 2014-11-06 Philip Morris Products Sa Electronic aerosol generating smoking device
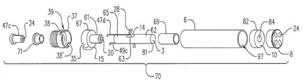
US9854839B2 (en) 2012-01-31 2018-01-02 Altria Client Services Llc Electronic vaping device and method
EP2817051B1 (en) 2012-02-22 2017-07-26 Altria Client Services LLC Electronic smoking article
WO2013126777A2 (en) 2012-02-22 2013-08-29 Altria Client Services Inc. Electronic smoking article and improved heater element
US20140261494A1 (en) * 2013-03-15 2014-09-18 Mark Scatterday Single-use electronic cigar
WO2013149484A1 (zh) * 2012-04-01 2013-10-10 Liu Qiuming 雾化装置及其电子烟
CN202618275U (zh) * 2012-04-01 2012-12-26 惠州市吉瑞科技有限公司 电子烟及其吸嘴
GB201207039D0 (en) 2012-04-23 2012-06-06 British American Tobacco Co Heating smokeable material
GB2502053B (en) 2012-05-14 2014-09-24 Nicoventures Holdings Ltd Electronic smoking device
GB2502055A (en) 2012-05-14 2013-11-20 Nicoventures Holdings Ltd Modular electronic smoking device
JP5960352B2 (ja) * 2012-06-05 2016-08-02 キムリー ハイ テック インク.Kimree Hi−Tech Inc. 電子タバコ及び電子タバコ吸引装置
US10004259B2 (en) 2012-06-28 2018-06-26 Rai Strategic Holdings, Inc. Reservoir and heater system for controllable delivery of multiple aerosolizable materials in an electronic smoking article
GB2504075A (en) 2012-07-16 2014-01-22 Nicoventures Holdings Ltd Electronic smoking device
GB2504076A (en) 2012-07-16 2014-01-22 Nicoventures Holdings Ltd Electronic smoking device
GB2504074A (en) 2012-07-16 2014-01-22 Nicoventures Holdings Ltd Electronic cigarette
US8807140B1 (en) * 2012-08-24 2014-08-19 Njoy, Inc. Electronic cigarette configured to simulate the texture of the tobacco rod and cigarette paper of a traditional cigarette
US10517530B2 (en) 2012-08-28 2019-12-31 Juul Labs, Inc. Methods and devices for delivering and monitoring of tobacco, nicotine, or other substances
US8881737B2 (en) 2012-09-04 2014-11-11 R.J. Reynolds Tobacco Company Electronic smoking article comprising one or more microheaters
US8910639B2 (en) * 2012-09-05 2014-12-16 R. J. Reynolds Tobacco Company Single-use connector and cartridge for a smoking article and related method
US10111461B2 (en) * 2012-09-10 2018-10-30 Healthier Choices Management Corp Electronic vaping material container
US10117460B2 (en) 2012-10-08 2018-11-06 Rai Strategic Holdings, Inc. Electronic smoking article and associated method
GB2507104A (en) 2012-10-19 2014-04-23 Nicoventures Holdings Ltd Electronic inhalation device
GB2507103A (en) * 2012-10-19 2014-04-23 Nicoventures Holdings Ltd Electronic inhalation device
US20140123989A1 (en) * 2012-11-05 2014-05-08 The Safe Cig, Llc Device and method for vaporizing a fluid
WO2014071623A1 (zh) * 2012-11-12 2014-05-15 Liu Qiuming 电子烟装置、电子烟及其雾化装置
CN104010534B (zh) * 2012-11-12 2016-04-20 惠州市吉瑞科技有限公司 电子烟装置、电子烟及其雾化装置
US10034988B2 (en) 2012-11-28 2018-07-31 Fontem Holdings I B.V. Methods and devices for compound delivery
US20150351455A1 (en) * 2012-12-11 2015-12-10 Kimree Hi-Tech Inc. Electronic cigarette and electronic cigarette device thereof
CN203015837U (zh) * 2012-12-17 2013-06-26 深圳市合元科技有限公司 电子烟用雾化器、通气构件及电子烟
US20140246031A1 (en) * 2012-12-28 2014-09-04 Qiuming Liu Electronic Cigarette and Soft Enclosure Holding Device Thereof
KR102246950B1 (ko) 2012-12-28 2021-05-03 필립모리스 프로덕츠 에스.에이. 에어로졸 발생 시스템을 위한 가열 조립체
US20140182612A1 (en) * 2012-12-28 2014-07-03 Shenzhen Smoore Technology Limited Electronic atomizing inhalation device
USD849993S1 (en) 2013-01-14 2019-05-28 Altria Client Services Electronic smoking article
USD695449S1 (en) 2013-01-14 2013-12-10 Altria Client Services Inc. Electronic smoking article
USD691765S1 (en) * 2013-01-14 2013-10-15 Altria Client Services Inc. Electronic smoking article
USD841231S1 (en) 2013-01-14 2019-02-19 Altria Client Services, Llc Electronic vaping device mouthpiece
WO2014110723A1 (zh) * 2013-01-16 2014-07-24 Liu Qiuming 涨紧连接式电子烟
CN203040684U (zh) * 2013-01-17 2013-07-10 深圳市英德尔电子有限公司 具有仿真过滤嘴结构的电子烟
WO2014113940A1 (zh) * 2013-01-23 2014-07-31 Liu Qiuming 电子烟及其电池极片保护架
CN112353001B (zh) * 2013-01-24 2025-02-25 富特姆投资有限公司 用于非易燃吸烟制品的气雾剂的功能化的方法、组分和装置
US9861138B2 (en) * 2013-01-31 2018-01-09 Huizhou Kimree Technology Co., Ltd., Shenzhen Branch Electronic cigarette and its sucking rod
US20140216450A1 (en) * 2013-02-02 2014-08-07 Qiuming Liu Electronic cigarette
CN105208882B (zh) 2013-02-22 2019-07-23 奥驰亚客户服务有限责任公司 电子吸烟器具
MA38434A1 (fr) 2013-02-22 2016-01-29 Altria Client Services Llc Article à fumer électronique
US20160113325A1 (en) * 2013-03-04 2016-04-28 Kimree Hi-Tech Inc Electronic cigarette
US10031183B2 (en) 2013-03-07 2018-07-24 Rai Strategic Holdings, Inc. Spent cartridge detection method and system for an electronic smoking article
US20140261486A1 (en) * 2013-03-12 2014-09-18 R.J. Reynolds Tobacco Company Electronic smoking article having a vapor-enhancing apparatus and associated method
CN105142436B (zh) * 2013-03-13 2018-09-04 吉瑞高新科技股份有限公司 吸嘴盖及电子烟
US9918495B2 (en) * 2014-02-28 2018-03-20 Rai Strategic Holdings, Inc. Atomizer for an aerosol delivery device and related input, aerosol production assembly, cartridge, and method
US9277770B2 (en) 2013-03-14 2016-03-08 R. J. Reynolds Tobacco Company Atomizer for an aerosol delivery device formed from a continuously extending wire and related input, cartridge, and method
US20140261487A1 (en) 2013-03-14 2014-09-18 R. J. Reynolds Tobacco Company Electronic smoking article with improved storage and transport of aerosol precursor compositions
US20180035721A1 (en) * 2013-03-15 2018-02-08 Healthier Choices Management Corp Electronic cigarette
US9491974B2 (en) * 2013-03-15 2016-11-15 Rai Strategic Holdings, Inc. Heating elements formed from a sheet of a material and inputs and methods for the production of atomizers
US10279934B2 (en) 2013-03-15 2019-05-07 Juul Labs, Inc. Fillable vaporizer cartridge and method of filling
US10130120B2 (en) * 2013-03-15 2018-11-20 Altria Client Services Llc Use of pectin or other anionic polymers in the stabilization and controlled release of nicotine in oral sensorial tobacco products or nicotine containing non-tobacco oral sensorial products
US9723876B2 (en) * 2013-03-15 2017-08-08 Altria Client Services Llc Electronic smoking article
US9609893B2 (en) 2013-03-15 2017-04-04 Rai Strategic Holdings, Inc. Cartridge and control body of an aerosol delivery device including anti-rotation mechanism and related method
US9538788B2 (en) * 2013-03-15 2017-01-10 Vapor Corp. Electronic cigarette
CA2906456A1 (en) * 2013-03-15 2014-09-25 Altria Client Services Llc An electronic smoking article
US9220302B2 (en) 2013-03-15 2015-12-29 R.J. Reynolds Tobacco Company Cartridge for an aerosol delivery device and method for assembling a cartridge for a smoking article
US10206428B2 (en) * 2013-03-15 2019-02-19 Philip Morris Products S.A. Aerosol-generating system with a replaceable mouthpiece cover
CN105142439B (zh) * 2013-03-15 2018-09-04 吉瑞高新科技股份有限公司 电子烟
US11064732B2 (en) * 2013-03-15 2021-07-20 Healthier Choices Management Corp. Electronic vaporizer cartridge with encased heat source
US20180049466A1 (en) * 2013-03-15 2018-02-22 Healthier Choices Management Corp Electronic cigarette
KR20150132466A (ko) 2013-03-15 2015-11-25 알트리아 클라이언트 서비시스 인코포레이티드 흡연 토포그래피 데이터 획득 시스템 및 방법
WO2014146232A1 (zh) * 2013-03-18 2014-09-25 吉瑞高新科技股份有限公司 电子烟
WO2014146297A1 (zh) * 2013-03-22 2014-09-25 Liu Qiuming 电子烟
WO2014153719A1 (zh) * 2013-03-26 2014-10-02 Liu Qiuming 电子烟
EP2979554A4 (en) * 2013-03-26 2017-01-04 Kimree Hi-Tech Inc. Electronic cigarette
WO2014153715A1 (zh) * 2013-03-26 2014-10-02 Liu Qiuming 一种电子烟
CN204579885U (zh) * 2013-03-29 2015-08-26 惠州市吉瑞科技有限公司 电子烟
US9402421B2 (en) * 2013-03-29 2016-08-02 Huizhou Kimree Technology Co., Ltd., Shenzhen Branch Electronic cigarette
CN203314099U (zh) * 2013-04-03 2013-12-04 刘秋明 一种电子烟
US20160073690A1 (en) * 2013-04-09 2016-03-17 Kimree Hi-Tech Inc. Electronic cigarette
US9901120B2 (en) * 2013-04-10 2018-02-27 Huizhou Kimree Technology Co., Ltd., Shenzhen Branch Electronic cigarette with a built-in battery rod
CN205082669U (zh) * 2013-04-18 2016-03-16 惠州市吉瑞科技有限公司深圳分公司 一次性电子烟
GB2513637A (en) * 2013-05-02 2014-11-05 Nicoventures Holdings Ltd Electronic cigarette
GB2513635A (en) * 2013-05-02 2014-11-05 Nicoventures Holdings Ltd Electronic cigarette
GB2513638A (en) 2013-05-02 2014-11-05 Nicoventures Holdings Ltd Electronic cigarette
GB2513639A (en) * 2013-05-02 2014-11-05 Nicoventures Holdings Ltd Electronic cigarette
HUE069174T2 (hu) 2013-05-06 2025-02-28 Juul Labs Inc Nikotinsó készítmények aeroszolos eszközökhöz és ezek eljárásai
WO2014183073A1 (en) * 2013-05-10 2014-11-13 Loec, Inc. Flavor vortex device
US20140345632A1 (en) * 2013-05-23 2014-11-27 Njoy, Inc. Electronic cigarette having multiple ports
JP2016519943A (ja) * 2013-05-31 2016-07-11 キムリー ハイ—テク インコーポレイテッド 電子タバコ
EP3698655B1 (en) 2013-06-04 2024-03-06 Nicoventures Holdings Limited Container
GB2514893B (en) 2013-06-04 2017-12-06 Nicoventures Holdings Ltd Container
CN111642812A (zh) 2013-06-14 2020-09-11 尤尔实验室有限公司 电子汽化设备中的具有单独的可汽化材料的多个加热元件
WO2014201602A1 (zh) * 2013-06-17 2014-12-24 吉瑞高新科技股份有限公司 电子烟吸杆及电子烟
US20150000682A1 (en) * 2013-06-28 2015-01-01 Qiuming Liu Electronic cigarette
GB2515562B (en) * 2013-06-28 2016-04-06 Totally Wicked Ltd Vaporiser unit and fluid reservoir for an atomiser
UA117370C2 (uk) * 2013-07-03 2018-07-25 Філіп Морріс Продактс С.А. Система, що генерує аерозоль, багаторазового застосування
US20160150827A1 (en) * 2013-07-11 2016-06-02 Kimree Hi-Tech Inc. Electronic cigarette vaporizer
US9462831B2 (en) * 2013-07-15 2016-10-11 Huizhou Kimree Technology Co., Ltd. Shenzhen Branch Electronic cigarette and electrode assembly thereof
US12290631B2 (en) * 2013-07-19 2025-05-06 Altria Client Services Llc Electronic smoking article
US20150027473A1 (en) * 2013-07-23 2015-01-29 Frederick W Graf Phallic Themed Electronic Vaporizer
US9877511B2 (en) 2013-07-24 2018-01-30 Altria Client Services Llc Electronic smoking article
WO2015010291A1 (zh) * 2013-07-24 2015-01-29 吉瑞高新科技股份有限公司 电子烟
US9848645B2 (en) 2013-07-24 2017-12-26 Sis Resources Ltd. Cartomizer structure for automated assembly
US10905159B2 (en) 2013-07-25 2021-02-02 Altria Client Services Llc Electronic smoking article
CN203353690U (zh) * 2013-07-25 2013-12-25 刘秋明 电子烟
CN203538368U (zh) * 2013-07-26 2014-04-16 刘秋明 电子烟
MY176167A (en) * 2013-08-05 2020-07-24 Sharp Kk Agitation blade, agitation apparatus, beverage preparation apparatus, and agitation portion
CN203424295U (zh) * 2013-08-14 2014-02-12 刘秋明 一种电子烟
CN203523809U (zh) * 2013-08-15 2014-04-09 刘秋明 一种电子烟
CN203424297U (zh) * 2013-08-15 2014-02-12 刘秋明 一种电子烟装置
CN203398241U (zh) * 2013-08-16 2014-01-15 刘秋明 电池组件及由该电池组件制成的电子烟
USD809189S1 (en) * 2013-08-23 2018-01-30 Kimree Hi-Tech Inc Electronic cigarette
CN203457808U (zh) * 2013-08-23 2014-03-05 刘秋明 雾化组件、电池组件以及电子烟
US10172387B2 (en) * 2013-08-28 2019-01-08 Rai Strategic Holdings, Inc. Carbon conductive substrate for electronic smoking article
CN203435686U (zh) * 2013-08-29 2014-02-19 刘秋明 电子烟
GB2518598B (en) 2013-08-30 2016-06-01 Nicoventures Holdings Ltd Apparatus with battery power control
CN203435687U (zh) * 2013-08-31 2014-02-19 卓尔悦(常州)电子科技有限公司 一种雾化头
CA2924114A1 (en) * 2013-09-13 2015-03-19 Nicodart, Inc. Programmable electronic vaporizing apparatus and smoking cessation system
WO2015042412A1 (en) 2013-09-20 2015-03-26 E-Nicotine Technology. Inc. Devices and methods for modifying delivery devices
US9788571B2 (en) 2013-09-25 2017-10-17 R.J. Reynolds Tobacco Company Heat generation apparatus for an aerosol-generation system of a smoking article, and associated smoking article
IL317931A (en) 2013-09-26 2025-02-01 Altria Client Services Llc Electronic smoking part and electronic smoking device
CN103948172B (zh) * 2013-09-29 2017-08-01 深圳麦克韦尔股份有限公司 电子烟
EP3042577B1 (en) * 2013-09-30 2020-02-26 Japan Tobacco Inc. Non-burning type flavor inhaler and capsule unit
EP3039974B1 (en) 2013-09-30 2018-04-18 Japan Tobacco, Inc. Non-combusting flavor inhaler
KR101828728B1 (ko) * 2013-09-30 2018-02-12 니뽄 다바코 산교 가부시키가이샤 비 연소형 향미 흡인기
WO2015042943A1 (zh) * 2013-09-30 2015-04-02 吉瑞高新科技股份有限公司 一种雾化器、电子烟以及雾化器的组装方法
EP2856893B2 (en) 2013-10-02 2023-10-04 Fontem Holdings 1 B.V. Electronic smoking device
TWI651055B (zh) * 2013-10-08 2019-02-21 傑提國際公司 噴霧產生裝置之噴霧轉移適配器及噴霧產生裝置中轉移噴霧方法
GB2519101A (en) * 2013-10-09 2015-04-15 Nicoventures Holdings Ltd Electronic vapour provision system
BR302014001648S1 (pt) 2013-10-14 2015-06-09 Altria Client Services Inc Configuração aplicada em artigo de fumo
CN203492792U (zh) * 2013-10-15 2014-03-26 刘秋明 电子烟
JP6216875B2 (ja) * 2013-10-18 2017-10-18 ニコベンチャーズ ホールディングス リミテッド 電子式蒸気供給装置
CA3041922C (en) * 2013-10-29 2022-07-12 British American Tobacco (Investments) Limited Apparatus for heating smokable material
US10292424B2 (en) 2013-10-31 2019-05-21 Rai Strategic Holdings, Inc. Aerosol delivery device including a pressure-based aerosol delivery mechanism
US20150122252A1 (en) * 2013-11-01 2015-05-07 Kevin FRIJA Hand-held personal vaporizer
US20150125136A1 (en) * 2013-11-05 2015-05-07 Timothy H. Sanchez Vaporization & Inhalation System with Convective and Conductive Heaters for Herbal Material and/or Fluid Extracts
US10039321B2 (en) 2013-11-12 2018-08-07 Vmr Products Llc Vaporizer
WO2015073854A2 (en) * 2013-11-15 2015-05-21 Jj 206, Llc Systems and methods for a vaporization device and product usage control and documentation
EP3068244A4 (en) * 2013-11-15 2017-07-05 VMR Products, LLC Vaporizer with cover sleeve
CN204070513U (zh) * 2013-11-18 2015-01-07 惠州市吉瑞科技有限公司 电子烟及其电池杆
WO2015070532A1 (zh) * 2013-11-18 2015-05-21 吉瑞高新科技股份有限公司 一种雾化器及电子烟
CN203646500U (zh) * 2013-11-18 2014-06-18 刘秋明 电子烟及其电池杆
WO2015074189A1 (zh) * 2013-11-20 2015-05-28 吉瑞高新科技股份有限公司 电子烟雾化器、电子烟以及电子烟雾化器组装方法
CN106455683B (zh) * 2013-11-21 2020-04-07 阿万扎托股份有限公司 用于电子汽化吸入器的改良汽化和剂量控制
US9839237B2 (en) 2013-11-22 2017-12-12 Rai Strategic Holdings, Inc. Reservoir housing for an electronic smoking article
CN203633504U (zh) * 2013-11-25 2014-06-11 深圳市合元科技有限公司 电子烟用雾化器及电子烟
CN203646503U (zh) * 2013-11-29 2014-06-18 刘秋明 一种电子烟装置
CN203563693U (zh) * 2013-12-04 2014-04-30 林光榕 一种无棉电子烟的储液装置
CN103653260B (zh) * 2013-12-04 2015-12-30 林光榕 无棉电子烟的雾化装置
CN103653259A (zh) * 2013-12-04 2014-03-26 林光榕 一种具有防液体溢出的无棉电子烟
UA118457C2 (uk) * 2013-12-05 2019-01-25 Філіп Морріс Продактс С.А. Нагрівний виріб, що генерує аерозоль, з перегородкою для повітряного потоку
JP6877141B2 (ja) 2013-12-05 2021-05-26 ジュール・ラブズ・インコーポレイテッドJuul Labs, Inc. エアロゾル装置のためのニコチン液体製剤及びその方法
US20150164141A1 (en) * 2013-12-13 2015-06-18 Kyle D. Newton Electronic Cigarette with Dual Atomizer Cartridge Interface
USD842536S1 (en) 2016-07-28 2019-03-05 Juul Labs, Inc. Vaporizer cartridge
US10159282B2 (en) 2013-12-23 2018-12-25 Juul Labs, Inc. Cartridge for use with a vaporizer device
US20160366947A1 (en) 2013-12-23 2016-12-22 James Monsees Vaporizer apparatus
US9549573B2 (en) 2013-12-23 2017-01-24 Pax Labs, Inc. Vaporization device systems and methods
CN110710727B (zh) 2013-12-23 2023-06-20 尤尔实验室有限公司 蒸发装置系统和方法
USD825102S1 (en) 2016-07-28 2018-08-07 Juul Labs, Inc. Vaporizer device with cartridge
US10076139B2 (en) 2013-12-23 2018-09-18 Juul Labs, Inc. Vaporizer apparatus
US10058129B2 (en) 2013-12-23 2018-08-28 Juul Labs, Inc. Vaporization device systems and methods
US10117463B2 (en) 2014-01-03 2018-11-06 Robert P Thomas, Jr. Vapor delivery device
US9820510B2 (en) 2014-01-03 2017-11-21 Robert P Thomas, Jr. Vapor delivery device
CN203762295U (zh) * 2014-01-14 2014-08-13 深圳市合元科技有限公司 电子烟用电池组件及电子烟
CN105916397B (zh) * 2014-01-14 2019-05-17 吉瑞高新科技股份有限公司 电子烟雾化器以及电子烟
US9974334B2 (en) 2014-01-17 2018-05-22 Rai Strategic Holdings, Inc. Electronic smoking article with improved storage of aerosol precursor compositions
JP6273591B2 (ja) * 2014-01-20 2018-02-07 フイジョウ キムリー テクノロジー シーオー.、エルティーディー.シェンジェン ブランチ バッテリースティック、電子タバコ、およびバッテリースティックの組立方法
CN106413436B (zh) * 2014-01-22 2019-08-02 吉瑞高新科技股份有限公司 电池杆和电子烟
TWM478798U (zh) * 2014-01-28 2014-05-21 Wei-Li Tsai 吹煙器
US10575558B2 (en) * 2014-02-03 2020-03-03 Rai Strategic Holdings, Inc. Aerosol delivery device comprising multiple outer bodies and related assembly method
US9451791B2 (en) 2014-02-05 2016-09-27 Rai Strategic Holdings, Inc. Aerosol delivery device with an illuminated outer surface and related method
TWI828016B (zh) 2014-02-06 2024-01-01 美商尤爾實驗室有限公司 用於產生可吸入蒸汽之電子裝置及包括該電子裝置之系統及套件
US12279646B2 (en) 2014-02-06 2025-04-22 Juul Labs, Inc. Cartridge of vaporization device systems having unequal transverse cartridge dimensions
US10709173B2 (en) 2014-02-06 2020-07-14 Juul Labs, Inc. Vaporizer apparatus
US20150224268A1 (en) 2014-02-07 2015-08-13 R.J. Reynolds Tobacco Company Charging Accessory Device for an Aerosol Delivery Device and Related System, Method, Apparatus, and Computer Program Product for Providing Interactive Services for Aerosol Delivery Devices
RU2692784C2 (ru) 2014-02-10 2019-06-27 Филип Моррис Продактс С.А. Система, генерирующая аэрозоль, имеющая нагреватель в сборе, и картридж для системы, генерирующей аэрозоль, имеющей проницаемый для жидкости нагреватель в сборе
KR102402245B1 (ko) * 2014-02-10 2022-05-26 필립모리스 프로덕츠 에스.에이. 히터 조립체를 포함하고 있는 에어로졸 발생 시스템용 카트리지
EP3912496A1 (en) 2014-02-10 2021-11-24 Philip Morris Products, S.A. Cartridge for an aerosol-generating system
NL2012264C2 (en) * 2014-02-13 2015-08-17 Sluis Cigar Machinery B V Electronic cigarette.
US9833019B2 (en) 2014-02-13 2017-12-05 Rai Strategic Holdings, Inc. Method for assembling a cartridge for a smoking article
CN203733875U (zh) * 2014-02-27 2014-07-23 刘秋明 一种电子烟的电池组件
US10136674B2 (en) 2014-02-28 2018-11-27 Beyond Twenty Ltd. Electronic vaporiser system
GB201413037D0 (en) 2014-02-28 2014-09-03 Beyond Twenty Ltd Beyond 10
US10202274B2 (en) 2014-02-28 2019-02-12 Beyond Twenty Ltd. Electronic vaporiser system
BR112016019938B1 (pt) * 2014-02-28 2022-07-12 Altria Client Services Llc Dispositivo de vaporização eletrônico
US10588176B2 (en) 2014-02-28 2020-03-10 Ayr Ltd. Electronic vaporiser system
US9839238B2 (en) 2014-02-28 2017-12-12 Rai Strategic Holdings, Inc. Control body for an electronic smoking article
US12295411B2 (en) 2014-02-28 2025-05-13 Ayr Ltd. Electronic vaporizer system
US10219538B2 (en) 2014-02-28 2019-03-05 Beyond Twenty Ltd. Electronic vaporiser system
US11085550B2 (en) 2014-02-28 2021-08-10 Ayr Ltd. Electronic vaporiser system
US10091839B2 (en) 2014-02-28 2018-10-02 Beyond Twenty Ltd. Electronic vaporiser system
USD763502S1 (en) 2014-03-04 2016-08-09 Vmr Products Llc Cartomizer for a vaporizer
USD788697S1 (en) 2014-03-04 2017-06-06 VMR Products, LLC Battery portion for a vaporizer
USD749505S1 (en) 2014-03-07 2016-02-16 VMR Products, LLC Charger for a vaporizer
USD752280S1 (en) 2014-03-07 2016-03-22 VMR Products, LLC Cartomizer for a vaporizer
USD752278S1 (en) 2014-03-07 2016-03-22 VMR Products, LLC Battery portion of a vaporizer
US9380812B2 (en) * 2014-03-11 2016-07-05 Henry Chung Wet scrubbing electronic cigarette
WO2015179002A2 (en) * 2014-03-11 2015-11-26 Voodoo Science Llc Electronic cigarette assembly with disposable tank
US9380811B2 (en) * 2014-03-11 2016-07-05 Henry Chung Wet scrubbing electronic cigarette
US9597466B2 (en) 2014-03-12 2017-03-21 R. J. Reynolds Tobacco Company Aerosol delivery system and related method, apparatus, and computer program product for providing control information to an aerosol delivery device via a cartridge
US11696604B2 (en) 2014-03-13 2023-07-11 Rai Strategic Holdings, Inc. Aerosol delivery device and related method and computer program product for controlling an aerosol delivery device based on input characteristics
WO2015135184A1 (zh) * 2014-03-13 2015-09-17 吉瑞高新科技股份有限公司 电池组件、电子烟及电子烟的制造方法
GB2524296B (en) * 2014-03-19 2018-10-24 Kind Consumer Ltd An inhaler
WO2015143662A1 (zh) * 2014-03-27 2015-10-01 深圳麦克韦尔股份有限公司 电子烟
WO2015143666A1 (zh) * 2014-03-27 2015-10-01 深圳麦克韦尔股份有限公司 电子烟
CN103892467B (zh) * 2014-04-02 2016-04-20 林光榕 椭圆形电子烟及其制造工艺
CN106455693B (zh) * 2014-04-03 2019-03-05 吉瑞高新科技股份有限公司 电子烟
CN103859609B (zh) * 2014-04-03 2016-05-11 惠州市吉瑞科技有限公司 电子烟和电子烟雾化控制方法
CN203986096U (zh) * 2014-04-03 2014-12-10 惠州市吉瑞科技有限公司 一种雾化器以及电子烟
FR3019442A1 (fr) * 2014-04-04 2015-10-09 Agece Ecole Centrale D Electronique Dispositif d'ajustement d'une quantite de nicotine inhalee par un utilisateur et terminal portable communiquant
US9877510B2 (en) 2014-04-04 2018-01-30 Rai Strategic Holdings, Inc. Sensor for an aerosol delivery device
USD804090S1 (en) 2014-04-08 2017-11-28 VMR Products, LLC Vaporizer with indicators
DE102014207154A1 (de) * 2014-04-14 2015-10-15 Hauni Maschinenbau Ag Rauchprodukt mit einer elektrischen Energiequelle und mindestens einer elektrischen Funktionseinheit
EA201692054A1 (ru) 2014-04-14 2017-05-31 Олтриа Клайент Сервисиз Ллк Вращающийся барабан и способ и система, использующие такой барабан для автоматизированного производства электронных устройств для получения пара
WO2015186000A2 (en) 2014-04-14 2015-12-10 Altria Client Services Inc. Method and system for the automated production of e-vapor devices
EP3133942B1 (en) * 2014-04-23 2019-04-17 Fontem Holdings 1 B.V. Electronic cigarette with coil-less atomizer
GB201407426D0 (en) 2014-04-28 2014-06-11 Batmark Ltd Aerosol forming component
JP6694825B2 (ja) 2014-04-30 2020-05-20 フィリップ・モーリス・プロダクツ・ソシエテ・アノニム エアロゾル発生装置用のヒーターを持つ容器、およびエアロゾル発生装置
GB201407642D0 (en) 2014-04-30 2014-06-11 British American Tobacco Co Aerosol-cooling element and arrangements for apparatus for heating a smokable material
US20150313282A1 (en) 2014-05-01 2015-11-05 R.J. Reynolds Tobacco Company Electronic smoking article
USD750320S1 (en) 2014-08-05 2016-02-23 VMR Products, LLC Vaporizer
US9924741B2 (en) 2014-05-05 2018-03-27 Rai Strategic Holdings, Inc. Method of preparing an aerosol delivery device
CN203913391U (zh) * 2014-05-15 2014-11-05 深圳市合元科技有限公司 电子烟及供电装置
US11478021B2 (en) 2014-05-16 2022-10-25 Juul Labs, Inc. Systems and methods for aerosolizing a vaporizable material
US20210080435A1 (en) * 2019-09-18 2021-03-18 Epc Natural Products Co., Ltd. Devices and methods for flavor analysis
US20150335070A1 (en) 2014-05-20 2015-11-26 R.J. Reynolds Tobacco Company Electrically-powered aerosol delivery system
USD752727S1 (en) 2014-05-20 2016-03-29 Vape Holdings, Inc. Ceramic vaporizer
TWI669072B (zh) 2014-05-21 2019-08-21 瑞士商菲利浦莫里斯製品股份有限公司 電熱式霧劑產生系統及用於此系統中之匣筒
US9955726B2 (en) * 2014-05-23 2018-05-01 Rai Strategic Holdings, Inc. Sealed cartridge for an aerosol delivery device and related assembly method
US9738622B2 (en) * 2014-05-27 2017-08-22 R.J. Reynolds Tobacco Company Nicotine salts, co-crystals, and salt co-crystal complexes
US9896429B2 (en) 2014-05-27 2018-02-20 R.J. Reynolds Tobacco Company Nicotine salts, co-crystals, and salt co-crystal complexes
US10508096B2 (en) 2014-05-27 2019-12-17 R.J. Reynolds Tobacco Company Nicotine salts, co-crystals, and salt co-crystal complexes
WO2015180073A1 (zh) * 2014-05-28 2015-12-03 瑞吉高新科技股份有限公司 电子烟
CN104114050B (zh) * 2014-05-30 2019-01-18 深圳麦克韦尔股份有限公司 电子烟及其雾化器
US9943113B2 (en) 2014-06-03 2018-04-17 Huizhou Kimree Technology Co., Ltd. Shenzhen Branch Atomizer filtering large smoke particles and electronic cigarette thereof
GB201410171D0 (en) * 2014-06-09 2014-07-23 Nicoventures Holdings Ltd Electronic vapour provision system
US20170156402A1 (en) * 2014-06-12 2017-06-08 Kimree Hi-Tech Inc. Atomizer and electronic cigarette comprising same
US20150366265A1 (en) * 2014-06-19 2015-12-24 Samuel Lansing Electronic-cigarette filter
TWI669073B (zh) * 2014-06-24 2019-08-21 瑞士商菲利浦莫里斯製品股份有限公司 氣溶膠產生系統、氣溶膠產生物件、氣溶膠產生裝置及控制反應化學計量的方法
WO2015196354A1 (zh) * 2014-06-24 2015-12-30 深圳麦克韦尔股份有限公司 电子烟及其控制方法
GB201411483D0 (en) * 2014-06-27 2014-08-13 Batmark Ltd Vaporizer Assembly
GB201411619D0 (en) * 2014-06-30 2014-08-13 British American Tobacco Co Flow control device
US10888119B2 (en) 2014-07-10 2021-01-12 Rai Strategic Holdings, Inc. System and related methods, apparatuses, and computer program products for controlling operation of a device based on a read request
US10058123B2 (en) 2014-07-11 2018-08-28 R. J. Reynolds Tobacco Company Heater for an aerosol delivery device and methods of formation thereof
RU2685285C2 (ru) * 2014-07-11 2019-04-17 Филип Моррис Продактс С.А. Картридж, образующий аэрозоль, который содержит источник жидкого никотина
WO2016008124A1 (zh) * 2014-07-16 2016-01-21 惠州市吉瑞科技有限公司 一种带有多个雾化组件的电子烟
US20160262452A1 (en) * 2014-07-17 2016-09-15 Shenzhen Kanger Technology Co., Ltd Electronic cigarettes having adjustable vaporizer
GB201412752D0 (en) * 2014-07-17 2014-09-03 Nicoventures Holdings Ltd Electronic vapour provision system
WO2016011574A1 (zh) * 2014-07-21 2016-01-28 惠州市吉瑞科技有限公司 一种电子烟
GB201412954D0 (en) * 2014-07-22 2014-09-03 Nicoventures Holdings Ltd Electronic vapour provision system
GB2528673B (en) 2014-07-25 2020-07-01 Nicoventures Holdings Ltd Aerosol provision system
GB2528711B (en) * 2014-07-29 2019-02-20 Nicoventures Holdings Ltd E-cigarette and re-charging pack
US20160029695A1 (en) * 2014-07-29 2016-02-04 Joe Benites Vapor safety ring for mechanical mods
CN106413433B (zh) * 2014-07-31 2019-12-13 惠州市吉瑞科技有限公司 一种电子烟和启动电子烟的方法
US20170208866A1 (en) * 2014-07-31 2017-07-27 Huizhou Kimree Technology Co., Ltd. Electronic cigarette
CA160775S (en) 2014-08-11 2015-09-29 Ploom Inc Electronic vaporization device with cartridge
GB2529201A (en) 2014-08-13 2016-02-17 Batmark Ltd Device and method
US9913493B2 (en) 2014-08-21 2018-03-13 Rai Strategic Holdings, Inc. Aerosol delivery device including a moveable cartridge and related assembly method
US9609895B2 (en) 2014-08-21 2017-04-04 Rai Strategic Holdings, Inc. System and related methods, apparatuses, and computer program products for testing components of an aerosol delivery device
US10765144B2 (en) 2014-08-21 2020-09-08 Rai Strategic Holdings, Inc. Aerosol delivery device including a moveable cartridge and related assembly method
WO2016029475A1 (zh) * 2014-08-29 2016-03-03 深圳麦克韦尔股份有限公司 电子烟及其组装方法
WO2016034157A1 (de) * 2014-09-03 2016-03-10 Harro Höfliger Verpackungsmaschinen GmbH Elektrische zigarette
CN107847696B (zh) 2014-09-10 2020-11-06 方特慕控股第一私人有限公司 用于调节递送装置中的气流的方法和装置
US9750282B2 (en) * 2014-09-12 2017-09-05 Shenzhen Smoore Technology Limited Electronic cigarette and air switch thereof
US20160073677A1 (en) * 2014-09-12 2016-03-17 David Kappel Electronic cigarette liquid flavoring and nicotine additives
WO2016042409A1 (en) * 2014-09-17 2016-03-24 Fontem Holdings 2 B.V. Device for storing and vaporizing liquid media
CN104256895B (zh) * 2014-09-23 2015-10-07 普维思信(北京)科技有限公司 一种可双重过滤的智能烟嘴
WO2016045076A1 (zh) * 2014-09-26 2016-03-31 深圳麦克韦尔股份有限公司 吸入器、雾化组件及雾化芯
GB2534336A (en) * 2014-09-26 2016-07-27 Kind Consumer Ltd A method of assembling and testing a simulated cigarette
UA31653S (uk) 2014-09-29 2016-03-10 Алтріа Клаент Се Курильне приладдя
CN115104758A (zh) * 2014-09-30 2022-09-27 菲利普莫里斯生产公司 由加工来回收烟草组分
CN106998809A (zh) * 2014-10-02 2017-08-01 迪吉雷特有限公司 一次性烟弹型电子香烟、制造方法及使用方法
US20160095357A1 (en) * 2014-10-03 2016-04-07 Douglas A. Burton Electronic vaping device and components thereof
WO2016050245A1 (en) * 2014-10-03 2016-04-07 Fertin Pharma A/S Electronic nicotine delivery system
WO2016050246A1 (en) * 2014-10-03 2016-04-07 Fertin Pharma A/S Electronic nicotine delivery system
US11578863B2 (en) * 2014-10-15 2023-02-14 Altria Client Services Llc Electronic vaping device and components thereof
US9968131B2 (en) * 2014-10-16 2018-05-15 Altria Client Services Llc Assembly drum and system and method using the same for the automated production of e-vapor devices
PL3009019T3 (pl) 2014-10-17 2019-10-31 Fontem Holdings 1 Bv Kapsułka z płynnym elementem transportującym do zastosowania z elektronicznym urządzeniem do palenia
GB201418817D0 (en) 2014-10-22 2014-12-03 British American Tobacco Co Apparatus and method for generating an inhalable medium, and a cartridge for use therewith
US10219541B2 (en) 2014-10-29 2019-03-05 Lubby Holdings, LLC Cartridge cover for personal vaporizer
CN104366695B (zh) 2014-10-29 2017-12-08 深圳麦克韦尔股份有限公司 雾化器、雾化组件及吸入器
US10849358B2 (en) * 2014-10-29 2020-12-01 Altria Client Services Llc E-vaping cartridge
PL3212017T3 (pl) * 2014-10-29 2021-12-06 Altria Client Services Llc Wkład z formulacją żelową wolną od etanolu do urządzenia do e-wapowania
CN206472847U (zh) * 2014-10-31 2017-09-08 惠州市吉瑞科技有限公司深圳分公司 一种电热丝绕线装置
WO2016065605A1 (zh) * 2014-10-31 2016-05-06 惠州市吉瑞科技有限公司 一种电热丝绕线装置及电热丝组件的制造方法
CN206525545U (zh) 2014-10-31 2017-09-29 惠州市吉瑞科技有限公司深圳分公司 一种电热丝绕线装置
GB2535427A (en) 2014-11-07 2016-08-24 Nicoventures Holdings Ltd Solution
US10440991B2 (en) 2014-11-05 2019-10-15 Altria Client Services Llc Reservoir filling system for an electronic vaping device
WO2016073709A1 (en) * 2014-11-05 2016-05-12 Altria Client Services Llc Electronic vaping device
GB2532062A (en) 2014-11-07 2016-05-11 Nicoventures Holdings Ltd Container
WO2016075746A1 (ja) 2014-11-10 2016-05-19 日本たばこ産業株式会社 非燃焼型香味吸引器及び制御方法
CN107072310B (zh) 2014-11-10 2020-08-04 日本烟草产业株式会社 烟弹以及非燃烧型香味吸取器
WO2016075747A1 (ja) * 2014-11-10 2016-05-19 日本たばこ産業株式会社 非燃焼型香味吸引器及びパッケージ
KR101924744B1 (ko) 2014-11-10 2018-12-03 니뽄 다바코 산교 가부시키가이샤 비연소형 향미 흡인기
US11051554B2 (en) 2014-11-12 2021-07-06 Rai Strategic Holdings, Inc. MEMS-based sensor for an aerosol delivery device
LT3220987T (lt) 2014-11-17 2019-07-10 Mcneil Ab Elektroninė aprūpinimo nikotinu sistema
CA2967900A1 (en) 2014-11-17 2016-05-26 Mcneil Ab Disposable cartridge for use in an electronic nicotine delivery system
US20160135506A1 (en) * 2014-11-19 2016-05-19 Fontem Holdings 2 B.V. Method, composition and apparatus for functionalization of aerosols from non combustible smoking articles
CN107404939B (zh) * 2014-11-19 2021-03-16 富特姆4有限公司 用于使来自非可燃吸烟制品的气溶胶功能化的装置
WO2016079729A1 (en) * 2014-11-20 2016-05-26 Ian Solomon Compensating cigarette holder
IL291812B2 (en) 2014-11-25 2025-05-01 Altria Client Services Llc Method and apparatus for implementing an electronic vaporizer operating system, an electronic vaporizer programming language, and an electronic vaporizer programming interface implementation
CN206923666U (zh) * 2014-11-26 2018-01-26 惠州市吉瑞科技有限公司深圳分公司 一种电子烟以及电子水烟
CN104432539A (zh) * 2014-11-26 2015-03-25 深圳市卓力能电子有限公司 一种无包棉式电子烟雾化器
KR200477004Y1 (ko) * 2014-11-28 2015-04-24 김성회 금연 보조 기구
WO2016082178A1 (zh) * 2014-11-28 2016-06-02 惠州市吉瑞科技有限公司 雾化组件和电子烟
WO2016090303A1 (en) 2014-12-05 2016-06-09 Pax Labs, Inc. Calibrated dose control
PL3229619T3 (pl) * 2014-12-08 2019-12-31 Fontem Holdings 1 B.V. Opracowania papierosa elektronicznego do wytwarzania automatycznego
US10500600B2 (en) 2014-12-09 2019-12-10 Rai Strategic Holdings, Inc. Gesture recognition user interface for an aerosol delivery device
GB2533135B (en) 2014-12-11 2020-11-11 Nicoventures Holdings Ltd Aerosol provision systems
AR103016A1 (es) 2014-12-15 2017-04-12 Philip Morris Products Sa Sistemas generadores de aerosol y métodos para dirigir un flujo de aire hacia dentro de un sistema generador de aerosol calentado eléctricamente
EP3232837B1 (en) * 2014-12-15 2020-04-22 Philip Morris Products S.a.s. Handheld aerosol-generating device and cartridge for use with such a device
PL3232842T3 (pl) * 2014-12-15 2019-10-31 Philip Morris Products Sa Urządzenie do wytwarzania aerozolu
US9648908B1 (en) 2014-12-16 2017-05-16 Altria Client Services Llc E-vaping device
US9681688B1 (en) 2014-12-16 2017-06-20 Altria Client Services Llc E-vaping device
EP3233643A4 (en) * 2014-12-19 2018-08-22 Altria Client Services LLC System and method for applying a label for the automated production of e-vapor devices
NL2014019B1 (en) * 2014-12-19 2016-10-12 Sluis Cigar Machinery Bv A wick adopted for an electronic cigarette, a method of producing such a wick and an electronic cigarette with such a wick.
ES2574569B1 (es) * 2014-12-19 2017-03-28 Zobele España, S.A. Dispositivo de evaporación de sustancias volátiles
US10736357B2 (en) 2014-12-25 2020-08-11 Fontem Holdings 1 B.V. Electronic cigarette liquid detection and measurement systems
GB201423316D0 (en) 2014-12-29 2015-02-11 British American Tobacco Co Cartridge for use with apparatus for heating smokable material
GB201423317D0 (en) 2014-12-29 2015-02-11 British American Tobacco Co Apparatus for heating smokable material
GB201423312D0 (en) 2014-12-29 2015-02-11 British American Tobacco Co Heating device for apparatus for heating smokable material and method of manufacture
GB201423318D0 (en) * 2014-12-29 2015-02-11 British American Tobacco Co Cartridge for use with apparatus for heating smokable material
US20160192708A1 (en) * 2014-12-31 2016-07-07 Kevin DeMeritt Enhanced Electronic Cigarette Assembly With Modular Disposable Elements Including Tanks
CN104687253B (zh) * 2015-01-05 2018-02-06 云南中烟工业有限责任公司 一种降低电子烟烟气甜腻感的滤嘴以及包含该滤嘴的电子烟
US10412785B1 (en) 2015-01-16 2019-09-10 YETS Innovation, Inc. Manually activated vaporizing or smoking device
CN104621705B (zh) * 2015-01-20 2016-02-03 川渝中烟工业有限责任公司 一种含菇娘提取物的电子烟烟液
CA2974364C (en) 2015-01-22 2020-10-27 Fontem Holdings 1 B.V. Electronic vaporization devices
GB201501429D0 (en) * 2015-01-28 2015-03-11 British American Tobacco Co Apparatus for heating aerosol generating material
US10321711B2 (en) 2015-01-29 2019-06-18 Rai Strategic Holdings, Inc. Proximity detection for an aerosol delivery device
EP3669683A1 (en) * 2015-01-30 2020-06-24 Fontem Holdings 4 B.V. Wick-positioning device
US20160221707A1 (en) * 2015-02-03 2016-08-04 Avail Vapor Llc Disposable refill ampule
GB201501951D0 (en) 2015-02-05 2015-03-25 Jt Int Sa Aerosol guiding device and aerosol generating system comprising said aerosol guiding device
US20210172650A1 (en) * 2015-02-05 2021-06-10 Giorgio TORCHIO Capillary Proximity Heater
DK3254034T3 (da) * 2015-02-05 2022-04-04 Giorgio Torchio Kapillar proximity varmer med høj energibesparelse anbragt opstrøms af et mikrofiltreringsapparat til eliminering af kalkpartikler tilstede i væsker og nedstrøms af en dyse eller lukket kreds
PL229757B1 (pl) 2015-02-06 2018-08-31 Esmoking Inst Spolka Z Ograniczona Odpowiedzialnoscia Elektroniczne urządzenie do wytwarzania aerozolu, moduł parownika oraz sposób wytwarzania aerozolu
EP3153037B1 (en) * 2015-02-06 2020-05-06 O-Net Automation Technology Shenzhen Limited Atomizer of electronic cigarette
WO2016128562A1 (en) * 2015-02-13 2016-08-18 Fontem Ventures B.V. Filling system for electronic smoking devices
CN204444258U (zh) * 2015-02-13 2015-07-08 林光榕 电子烟雾化器
US10893707B2 (en) 2015-02-17 2021-01-19 Mark H. Krietzman Portable temperature controlled aromatherapy vaporizers
US12245337B2 (en) 2015-02-17 2025-03-04 Mark Krietzman Vaporizing consumables heated with convection and conduction in a portable device
PT3261465T (pt) * 2015-02-27 2019-10-15 Philip Morris Products Sa Ajuste de rtd controlado por feedback para um dispositivo gerador de aerossol
GB201503411D0 (en) * 2015-02-27 2015-04-15 British American Tobacco Co Apparatus and method for generating an inhalable medium, and a cartridge for use therewith
RU2664376C1 (ru) 2015-02-27 2018-08-16 Бритиш Америкэн Тобэкко (Инвестментс) Лимитед Картридж, компоненты и способы генерирования вдыхаемой среды
US10010111B2 (en) * 2015-03-04 2018-07-03 Altria Client Services Llc E-vaping device
US10027016B2 (en) 2015-03-04 2018-07-17 Rai Strategic Holdings Inc. Antenna for an aerosol delivery device
US9980516B2 (en) 2015-03-09 2018-05-29 Rai Strategic Holdings, Inc. Aerosol delivery device including a wave guide and related method
US10172388B2 (en) 2015-03-10 2019-01-08 Rai Strategic Holdings, Inc. Aerosol delivery device with microfluidic delivery component
HK1211163A2 (en) * 2015-03-27 2016-05-13 Champ View Development Limited An apparatus and a method for extracting a compound from a substance
GB201505597D0 (en) 2015-03-31 2015-05-13 British American Tobacco Co Article for use with apparatus for heating smokable material
GB201505595D0 (en) 2015-03-31 2015-05-13 British American Tobacco Co Cartridge for use with apparatus for heating smokeable material
GB201505593D0 (en) 2015-03-31 2015-05-13 British American Tobacco Co Article for use with apparatus for heating smokable material
TWI581725B (zh) * 2015-04-02 2017-05-11 日本煙草產業股份有限公司 香味吸嚐器
CA2980426C (en) * 2015-04-02 2020-09-15 Japan Tobacco Inc. Flavor inhaler
BR112017022201A2 (pt) * 2015-04-15 2018-07-03 Sansa Corporation (Barbados) Inc. dispositivo para adicionar um componente de aroma ou supressor de tosse a um inalador, inalador de pó seco, e, método para inalação de pó seco
USD874720S1 (en) 2015-04-22 2020-02-04 Altria Client Services, Llc Pod for an electronic vaping device
USD874059S1 (en) 2015-04-22 2020-01-28 Altria Client Servies Llc Electronic vaping device
US10104913B2 (en) 2015-04-22 2018-10-23 Altria Client Services Llc Pod assembly, dispensing body, and E-vapor apparatus including the same
US9999258B2 (en) * 2015-04-22 2018-06-19 Altria Client Services Llc Pod assembly, dispensing body, and e-vapor apparatus including the same
USD1052163S1 (en) 2015-04-22 2024-11-19 Altria Client Services Llc Electronic vaping device
US10701981B2 (en) 2015-04-22 2020-07-07 Altria Client Services Llc Pod assembly and e-vapor apparatus including the same
USD980507S1 (en) 2015-04-22 2023-03-07 Altria Client Services Llc Electronic vaping device
EA036653B1 (ru) 2015-04-22 2020-12-04 Олтриа Клайент Сервисиз Ллк Капсула в сборе, дозирующий элемент и электронное устройство для выработки пара, содержащее указанное
US10064432B2 (en) 2015-04-22 2018-09-04 Altria Client Services Llc Pod assembly, dispensing body, and E-vapor apparatus including the same
UA129081C2 (uk) * 2015-04-23 2025-01-08 Олтріа Клайєнт Сервісиз Ллк Нагрівач і електронний випаровувальний пристрій (варіанти)
EP3808196A1 (en) 2015-04-30 2021-04-21 Japan Tobacco Inc. Non-combustion type flavor inhaler
EA036219B1 (ru) * 2015-05-01 2020-10-15 Джапан Тобакко Инк. Ингалятор аромата без горения и распылительный блок
TWI618493B (zh) * 2015-05-01 2018-03-21 日本煙草產業股份有限公司 非燃燒型香味吸嚐器、香吸嚐味源單元及霧化單元
CN107846974B (zh) * 2015-05-04 2021-03-09 富特姆控股第一有限公司 电子香烟液体引导结构、无线圈加热元件和电源管理单元
US10611505B2 (en) 2015-05-04 2020-04-07 Rai Strategic Holdings, Inc. Dispensing machine for aerosol precursor
DE102015107082A1 (de) * 2015-05-06 2016-11-10 Joachim Fischer Elektronische Zigarette zum Verdampfen zweier Liquide
US20160325055A1 (en) * 2015-05-08 2016-11-10 Lunatech, Llc Device To Deliver Cannabidiol And Associated Compounds To Promote Health
USD782108S1 (en) 2015-05-15 2017-03-21 Altria Client Services Llc Mouthpiece for electronic vaping device
US11000069B2 (en) 2015-05-15 2021-05-11 Rai Strategic Holdings, Inc. Aerosol delivery device and methods of formation thereof
USD767820S1 (en) 2015-05-15 2016-09-27 Altria Client Services Llc Mouthpiece for electronic vaping device
CA165365S (en) 2015-05-15 2016-11-22 Altria Client Services Llc Mouthpiece for electronic vaping device
WO2016184824A1 (en) * 2015-05-19 2016-11-24 Jt International Sa An aerosol generating device and capsule
US10238145B2 (en) 2015-05-19 2019-03-26 Rai Strategic Holdings, Inc. Assembly substation for assembling a cartridge for a smoking article
US20160338409A1 (en) * 2015-05-20 2016-11-24 Rick Varone Tactical electronic cigarette
EP3292774B1 (en) 2015-05-22 2021-08-04 Japan Tobacco Inc. Manufacturing method for atomizing unit, atomizing unit, and non-combustion type fragrance aspirator
CN104839894B (zh) * 2015-05-22 2018-10-26 林光榕 吸嘴一体式电子烟
EP3097802B1 (en) 2015-05-26 2024-06-26 Fontem Ventures B.V. Mouthpiece for an electronic smoking device
US9723877B2 (en) * 2015-05-29 2017-08-08 Shanghai Green Vaper Technology Co., Ltd. Electronic cigarette
US20160345621A1 (en) * 2015-06-01 2016-12-01 San Li Pre-vapor formulation of an electronic vaping device and/or methods of manufacturing the same
US11589427B2 (en) 2015-06-01 2023-02-21 Altria Client Services Llc E-vapor device including a compound heater structure
US10226073B2 (en) * 2015-06-09 2019-03-12 Rai Strategic Holdings, Inc. Electronic smoking article including a heating apparatus implementing a solid aerosol generating source, and associated apparatus and method
EP3283149B1 (en) * 2015-06-10 2023-08-02 Evolv, LLC Electronic vaporizer having reduced particle size
US10362803B2 (en) * 2015-06-10 2019-07-30 Evolv, Llc Electronic vaporizer having reduced particle size
US10368399B2 (en) 2015-06-10 2019-07-30 Altria Client Services Llc E-vaping device
USD797368S1 (en) * 2015-06-15 2017-09-12 Paule Rockferry Electronic cigarette
CN104886785B (zh) * 2015-06-15 2017-09-22 湖北中烟工业有限责任公司 一种电子烟多孔陶瓷雾化发热组件
US9775382B2 (en) * 2015-06-15 2017-10-03 Dan Wang Multiple mode vapor generator
CN106307616B (zh) * 2015-06-17 2023-09-05 深圳市新宜康科技股份有限公司 负压吸引型电子烟雾化芯结构
CN205082671U (zh) * 2015-06-19 2016-03-16 卓尔悦(常州)电子科技有限公司 雾化器及其气溶胶发生装置
US10010114B2 (en) 2015-06-25 2018-07-03 Altria Client Services Llc Charger assembly and charging system for an electronic vaping device
PL3108759T3 (pl) * 2015-06-25 2020-05-18 Fontem Holdings 2 B.V. Elektroniczne urządzenie do palenia i atomizer
CA166053S (en) 2015-06-25 2016-11-22 Altria Client Services Llc Electronic vaping device
US10314338B2 (en) * 2015-06-25 2019-06-11 Altria Client Services Llc Electronic vaping device
USD767822S1 (en) 2015-06-25 2016-09-27 Altria Client Services Llc Cartomizer for an electronic vaping device
EP3313173A1 (en) 2015-06-26 2018-05-02 Altria Client Services LLC Compositions and methods for producing tobacco plants and products having altered alkaloid levels
BR112017027824B1 (pt) 2015-06-26 2022-07-19 Nicoventures Trading Limited Aparelho disposto para aquecer material fumável para volatilizar pelo menos um componente do material fumável
GB201511361D0 (en) * 2015-06-29 2015-08-12 Nicoventures Holdings Ltd Electronic vapour provision system
GB201511358D0 (en) * 2015-06-29 2015-08-12 Nicoventures Holdings Ltd Electronic aerosol provision systems
GB201511349D0 (en) 2015-06-29 2015-08-12 Nicoventures Holdings Ltd Electronic aerosol provision systems
MX2017017095A (es) * 2015-06-29 2018-05-23 Philip Morris Products Sa Cartucho para un sistema generador de aerosol.
GB201511359D0 (en) 2015-06-29 2015-08-12 Nicoventures Holdings Ltd Electronic vapour provision system
GB2540135B (en) 2015-07-01 2021-03-03 Nicoventures Holdings Ltd Electronic aerosol provision system
US20170007594A1 (en) * 2015-07-08 2017-01-12 Niconovum Usa,Inc Therapeutic composition and configuration
EP3322311B1 (en) * 2015-07-14 2020-10-07 Dynavap, LLC Exothermal vaporizer
US10966460B2 (en) 2015-07-17 2021-04-06 Rai Strategic Holdings, Inc. Load-based detection of an aerosol delivery device in an assembled arrangement
US11504489B2 (en) 2015-07-17 2022-11-22 Rai Strategic Holdings, Inc. Contained liquid system for refilling aerosol delivery devices
FR3039039B1 (fr) * 2015-07-20 2017-08-25 Innovi Dispositif pour l'inhalation d'un e-liquide a faible resistance d'aspiration
US10039325B2 (en) * 2015-07-22 2018-08-07 Lunatech, Llc Electronic vapor device for simulating a traditional smoking implement
US10015987B2 (en) 2015-07-24 2018-07-10 Rai Strategic Holdings Inc. Trigger-based wireless broadcasting for aerosol delivery devices
US11033054B2 (en) 2015-07-24 2021-06-15 Rai Strategic Holdings, Inc. Radio-frequency identification (RFID) authentication system for aerosol delivery devices
US10206429B2 (en) 2015-07-24 2019-02-19 Rai Strategic Holdings, Inc. Aerosol delivery device with radiant heating
US11134544B2 (en) 2015-07-24 2021-09-28 Rai Strategic Holdings, Inc. Aerosol delivery device with radiant heating
US10721965B2 (en) 2015-07-29 2020-07-28 Altria Client Services Llc E-vapor device including heater structure with recessed shell layer
US10869502B2 (en) * 2015-07-31 2020-12-22 14Th Round Inc. Disposable assembly for vaporizing e-liquid and a method of using the same
US20180228897A1 (en) * 2015-08-03 2018-08-16 Atmovita, Llc Compositions for Vapor Phase Delivery of Active Compounds, Methods of Making and Using Same, and Kits Comprising Same
CN204907927U (zh) * 2015-08-04 2015-12-30 深圳市合元科技有限公司 雾化器及电子烟
PL3127441T3 (pl) 2015-08-06 2019-06-28 Fontem Holdings 1 B.V. Elektroniczne urządzenie do palenia ze szklaną rurką kapilarną
US10524505B2 (en) * 2015-08-06 2020-01-07 Altria Client Services Llc. Method for measuring a vapor precursor level in a cartomizer of an electronic vaping device and/or an electronic vaping device configured to perform the method
MX2018001418A (es) * 2015-08-07 2018-04-13 Philip Morris Products Sa Sistema generador de aerosol con manejo de flujo de aire mejorado.
EP3331388B1 (en) * 2015-08-07 2020-07-08 Philip Morris Products S.a.s. An aerosol-generating system with enhanced airflow management
EP3130238B1 (en) * 2015-08-14 2018-05-23 Vapeonly Technology Co., Ltd. Electronic cigarette
ES2733439T3 (es) 2015-08-17 2019-11-29 Philip Morris Products Sa Sistema generador de aerosol y artículo generador de aerosol para usar en dicho sistema
EP3135137B1 (en) 2015-08-28 2021-04-28 Fontem Holdings 1 B.V. Electronic smoking device with additive reservoir
CN105054310B (zh) * 2015-08-28 2018-03-23 湖北中烟工业有限责任公司 一种从烟草外部加热的电加热吸烟装置
EP3135133B1 (en) * 2015-08-28 2023-08-16 Fontem Ventures B.V. Electronic smoking device and additive reservoir for an electronic smoking device
EP3135136B1 (en) * 2015-08-28 2018-07-11 Fontem Holdings 1 B.V. Liquid reservoir with two storage volumes and atomizer/liquid reservoir portion as well as electronic smoking device with liquid reservoir
US20170055584A1 (en) 2015-08-31 2017-03-02 British American Tobacco (Investments) Limited Article for use with apparatus for heating smokable material
US11924930B2 (en) 2015-08-31 2024-03-05 Nicoventures Trading Limited Article for use with apparatus for heating smokable material
CN113826948A (zh) 2015-09-01 2021-12-24 艾尔有限公司 电子蒸发器系统
WO2017041186A1 (en) * 2015-09-13 2017-03-16 Proflex+ Distribution Inc. Inspection smoke machine
US10034494B2 (en) * 2015-09-15 2018-07-31 Rai Strategic Holdings, Inc. Reservoir for aerosol delivery devices
GB2542376A (en) * 2015-09-16 2017-03-22 Nicoventures Holdings Ltd Aerosol provision system with variable airflow
US11602019B2 (en) * 2015-09-16 2023-03-07 Altria Client Services Llc Cartridge with a capacity sensor
US10653182B2 (en) * 2015-09-16 2020-05-19 Altria Client Services Llc Electronic cigarette with visible liquid container
KR102615430B1 (ko) * 2015-09-16 2023-12-19 필립모리스 프로덕츠 에스.에이. 보이는 액체 용기를 갖는 전자 담배
KR102624340B1 (ko) * 2015-09-16 2024-01-15 필립모리스 프로덕츠 에스.에이. 용량 센서를 갖는 카트리지
CA2998538A1 (en) * 2015-09-16 2017-03-23 Alexandra DILLMANN A method and a dispensing arrangement for treating a flow of vaporized liquid provided by an e-cigarette and an e-cigarette for the oral intake of vaporized liquid containing an additional composition
US10327472B2 (en) * 2015-09-25 2019-06-25 Altria Client Services Llc Pre-vaporization formulation for controlling acidity in an e-vaping device
JP2018535803A (ja) * 2015-09-25 2018-12-06 ルビー ホールディングス エルエルシー 空気流を逆流させるパーソナル気化器
GB201517087D0 (en) * 2015-09-28 2015-11-11 Nicoventures Holdings Ltd Vaping policy alert system and method
GB2542838B (en) 2015-10-01 2022-01-12 Nicoventures Trading Ltd Aerosol provision system
GB201517471D0 (en) 2015-10-02 2015-11-18 British American Tobacco Co Apparatus for generating an inhalable medium
US10058125B2 (en) 2015-10-13 2018-08-28 Rai Strategic Holdings, Inc. Method for assembling an aerosol delivery device
EP3155908B1 (en) * 2015-10-16 2018-12-05 Fontem Holdings 1 B.V. Electronic smoking device with adaptable atomizing chamber
EP3292773B1 (en) * 2015-10-21 2020-01-29 Shenzhen Smoore Technology Limited Electronic cigarette and method for manufacturing atomizing assembly thereof
US20170112194A1 (en) 2015-10-21 2017-04-27 Rai Strategic Holdings, Inc. Rechargeable lithium-ion capacitor for an aerosol delivery device
US10582726B2 (en) 2015-10-21 2020-03-10 Rai Strategic Holdings, Inc. Induction charging for an aerosol delivery device
US10918134B2 (en) 2015-10-21 2021-02-16 Rai Strategic Holdings, Inc. Power supply for an aerosol delivery device
CN105212277B (zh) * 2015-10-28 2018-05-18 云南中烟工业有限责任公司 烟油软胶囊型电子烟
US20170119046A1 (en) 2015-10-30 2017-05-04 British American Tobacco (Investments) Limited Apparatus for Heating Smokable Material
US20170119052A1 (en) 2015-10-30 2017-05-04 R.J. Reynolds Tobacco Company Application specific integrated circuit (asic) for an aerosol delivery device
US10201187B2 (en) 2015-11-02 2019-02-12 Rai Strategic Holdings, Inc. User interface for an aerosol delivery device
US10820630B2 (en) 2015-11-06 2020-11-03 Rai Strategic Holdings, Inc. Aerosol delivery device including a wirelessly-heated atomizer and related method
USD790122S1 (en) 2015-11-13 2017-06-20 Altria Client Services Llc Electronic vaping device
US10021910B2 (en) * 2015-11-13 2018-07-17 Altria Client Services Llc E-vaping section and e-vaping device, and a method of manufacturing thereof
USD797990S1 (en) * 2015-11-13 2017-09-19 Altria Client Services Llc Electronic vaporizer
USD847419S1 (en) 2015-11-13 2019-04-30 Altria Client Services, Llc Electronic vaping device
CN105266208B (zh) * 2015-11-19 2019-05-21 深圳市云创高科电子有限公司 玻璃发热真空隔热电子烟
PL4292454T3 (pl) 2015-11-24 2025-07-07 Rai Strategic Holdings, Inc. Zasilany elektrycznie system dostarczania aerozolu
WO2017089931A1 (en) * 2015-11-25 2017-06-01 R. J. Reynolds Tobacco Company Nicotine salts, co-crystals, and salt co-crystal complexes
EA036457B1 (ru) * 2015-12-03 2020-11-12 Джт Интернэшнл С.А. Система и способ нагрева для ингаляционного устройства
US9955733B2 (en) 2015-12-07 2018-05-01 Rai Strategic Holdings, Inc. Camera for an aerosol delivery device
US10440992B2 (en) 2015-12-07 2019-10-15 Rai Strategic Holdings, Inc. Motion sensing for an aerosol delivery device
EP3178334B1 (en) * 2015-12-09 2025-01-29 Fontem Ventures B.V. Electronic smoking device with a liquid reservoir that allows the addition of additives
ITUB20156887A1 (it) * 2015-12-11 2017-06-11 Gd Spa Vaporizzatore per un articolo da fumo.
CN105361238A (zh) * 2015-12-16 2016-03-02 浙江中烟工业有限责任公司 一种含pH调节剂的电子烟烟液及提高电子烟烟液抽吸感的方法
GB201522368D0 (en) * 2015-12-18 2016-02-03 Jt Int Sa An aerosol generating device
US11291252B2 (en) 2015-12-18 2022-04-05 Rai Strategic Holdings, Inc. Proximity sensing for an aerosol delivery device
WO2017108721A1 (en) * 2015-12-21 2017-06-29 Philip Morris Products S.A. Aerosol-generating system comprising variable air inlet
CA3007517A1 (en) * 2015-12-22 2017-06-29 Philip Morris Products S.A. Aerosol-generating system with pump
PL3183980T3 (pl) 2015-12-22 2019-02-28 Philip Morris Products S.A. Wkład do układu wytwarzania aerozolu i układ wytwarzania aerozolu zawierający wkład
US10092036B2 (en) 2015-12-28 2018-10-09 Rai Strategic Holdings, Inc. Aerosol delivery device including a housing and a coupler
RU2724846C2 (ru) 2015-12-31 2020-06-25 Филип Моррис Продактс С.А. Система, генерирующая аэрозоль, с несколькими нагревательными элементами
US10051891B2 (en) 2016-01-05 2018-08-21 Rai Strategic Holdings, Inc. Capacitive sensing input device for an aerosol delivery device
US10194694B2 (en) 2016-01-05 2019-02-05 Rai Strategic Holdings, Inc. Aerosol delivery device with improved fluid transport
US9814270B2 (en) * 2016-01-06 2017-11-14 Adam Montgomery Tabletop vaporizer
US10258086B2 (en) 2016-01-12 2019-04-16 Rai Strategic Holdings, Inc. Hall effect current sensor for an aerosol delivery device
US10104912B2 (en) 2016-01-20 2018-10-23 Rai Strategic Holdings, Inc. Control for an induction-based aerosol delivery device
US9999255B2 (en) * 2016-01-21 2018-06-19 Shenzhen First Union Technology Co., Ltd. Electronic cigarette with a blocking module
US10015989B2 (en) 2016-01-27 2018-07-10 Rai Strategic Holdings, Inc. One-way valve for refilling an aerosol delivery device
CN105455190A (zh) * 2016-02-01 2016-04-06 湖北中烟工业有限责任公司 一种电子烟液
WO2017136361A1 (en) * 2016-02-02 2017-08-10 Lubby Holdings, LLC Personal vaporizer
CA169756S (en) 2016-02-08 2017-09-01 Nicoventures Holdings Ltd Electronic cigarette
SG10202108578XA (en) * 2016-02-11 2021-09-29 Juul Labs Inc Securely attaching cartridges for vaporizer devices
DE202017007467U1 (de) 2016-02-11 2021-12-08 Juul Labs, Inc. Befüllbare Verdampferkartusche
JP6929858B2 (ja) * 2016-02-12 2021-09-01 フィリップ・モーリス・プロダクツ・ソシエテ・アノニム 電極を備えたエアロゾル発生システム
US11412781B2 (en) 2016-02-12 2022-08-16 Rai Strategic Holdings, Inc. Adapters for refilling an aerosol delivery device
JP6850298B2 (ja) * 2016-02-12 2021-03-31 フィリップ・モーリス・プロダクツ・ソシエテ・アノニム 吸煙検出器を備えたエアロゾル発生システム
US11006668B2 (en) 2016-02-12 2021-05-18 Altria Client Services Llc Aerosol-generating system with electrodes
US10757976B2 (en) 2016-02-12 2020-09-01 Altria Client Services Llc Aerosol-generating system with puff detector
MX2018010186A (es) 2016-02-25 2019-01-14 Juul Labs Inc Sistemas de control de dispositivo de vaporacion y metodos.
US20170251722A1 (en) 2016-03-03 2017-09-07 Altria Client Services Llc Flavor assembly for electronic vaping device
US10455863B2 (en) * 2016-03-03 2019-10-29 Altria Client Services Llc Cartridge for electronic vaping device
US10433580B2 (en) * 2016-03-03 2019-10-08 Altria Client Services Llc Methods to add menthol, botanic materials, and/or non-botanic materials to a cartridge, and/or an electronic vaping device including the cartridge
US10368580B2 (en) 2016-03-08 2019-08-06 Altria Client Services Llc Combined cartridge for electronic vaping device
UA123911C2 (uk) * 2016-03-09 2021-06-23 Філіп Морріс Продактс С.А. Виріб, що генерує аерозоль
US9936733B2 (en) 2016-03-09 2018-04-10 Rai Strategic Holdings, Inc. Accessory configured to charge an aerosol delivery device and related method
US10405582B2 (en) 2016-03-10 2019-09-10 Pax Labs, Inc. Vaporization device with lip sensing
US10258087B2 (en) * 2016-03-10 2019-04-16 Altria Client Services Llc E-vaping cartridge and device
US10357060B2 (en) 2016-03-11 2019-07-23 Altria Client Services Llc E-vaping device cartridge holder
SG11201807774TA (en) 2016-03-11 2018-10-30 Philip Morris Products Sa Multiple dispersion generator e-vaping device
US20170258135A1 (en) 2016-03-11 2017-09-14 Altria Client Services Llc Personal charging case for electronic vaping device
US10278423B2 (en) 2016-03-11 2019-05-07 Altria Client Services Llc E-vaping device cartridge with internal conductive element
US10368581B2 (en) 2016-03-11 2019-08-06 Altria Client Services Llc Multiple dispersion generator e-vaping device
US10264821B2 (en) 2016-03-21 2019-04-23 Altria Client Services Llc Electronic vaping device
US10375993B2 (en) * 2016-03-21 2019-08-13 Altria Client Services Llc E-vaping device cartridge with internal infrared sensor
EP3432740A4 (en) * 2016-03-21 2019-12-04 Advanced Grow Labs Technologies, LLC METHOD AND SYSTEM OF VAPORIZATION DEVICE
US10251424B2 (en) 2016-03-22 2019-04-09 Altria Client Services Llc Electronic vaping device
GB201605100D0 (en) 2016-03-24 2016-05-11 Nicoventures Holdings Ltd Vapour provision system
GB201605102D0 (en) 2016-03-24 2016-05-11 Nicoventures Holdings Ltd Mechanical connector for electronic vapour provision system
GB201605105D0 (en) 2016-03-24 2016-05-11 Nicoventures Holdings Ltd Vapour provision apparatus
GB201605101D0 (en) 2016-03-24 2016-05-11 Nicoventures Holdings Ltd Electronic vapour provision system
US10334880B2 (en) 2016-03-25 2019-07-02 Rai Strategic Holdings, Inc. Aerosol delivery device including connector comprising extension and receptacle
US11207478B2 (en) 2016-03-25 2021-12-28 Rai Strategic Holdings, Inc. Aerosol production assembly including surface with micro-pattern
USD844892S1 (en) * 2016-03-28 2019-04-02 Brian K. Reaux Cannabis container
US10433581B2 (en) * 2016-03-29 2019-10-08 Altria Client Services Llc Electronic vaping device and cartridge for electronic vaping device
US10321712B2 (en) * 2016-03-29 2019-06-18 Altria Client Services Llc Electronic vaping device
CN105639734B (zh) * 2016-03-31 2019-01-04 珠海优德科技有限公司 一种便于安装发热丝的电子烟雾化器
CN105707983B (zh) * 2016-03-31 2019-02-01 卓尔悦欧洲控股有限公司 电子烟
KR102276436B1 (ko) * 2016-03-31 2021-07-12 조예테크 유럽 홀딩 게엠베하 배터리 장치 및 상기 배터리 장치를 갖춘 전자 담배
NL2016546B1 (en) * 2016-04-04 2017-10-10 Sluis Cigar Machinery Bv Electronic cigarette, and method of cleaning an electronic cigarette.
US20170280769A1 (en) * 2016-04-04 2017-10-05 Altria Client Services Llc Electronic vaping device and kit
CN205695704U (zh) * 2016-04-05 2016-11-23 卓尔悦欧洲控股有限公司 烟弹及带有该烟弹的电子烟
CN105686089B (zh) * 2016-04-05 2019-06-14 卓尔悦欧洲控股有限公司 电子烟
CN108778009B (zh) * 2016-04-11 2022-03-22 菲利普莫里斯生产公司 水烟消耗制品
US10463076B2 (en) 2016-04-11 2019-11-05 Altria Client Services Llc Electronic vaping device
US10945462B2 (en) 2016-04-12 2021-03-16 Rai Strategic Holdings, Inc. Detachable power source for an aerosol delivery device
US10473323B2 (en) * 2016-04-12 2019-11-12 Brendan J. SQUASHIC Loading tube
US10333339B2 (en) 2016-04-12 2019-06-25 Rai Strategic Holdings, Inc. Charger for an aerosol delivery device
EA037785B1 (ru) 2016-04-12 2021-05-21 Джапан Тобакко Инк. Ароматический ингалятор
CN205757176U (zh) * 2016-04-14 2016-12-07 深圳市合元科技有限公司 雾化器及电子烟
SE539899C2 (en) 2016-04-15 2018-01-02 A & R Carton Lund Ab Paperboard packaging container with a lid and a method for producing such a container
US10028534B2 (en) 2016-04-20 2018-07-24 Rai Strategic Holdings, Inc. Aerosol delivery device, and associated apparatus and method of formation thereof
CN105725280A (zh) * 2016-04-20 2016-07-06 深圳市杰仕博科技有限公司 防渗雾化器
WO2017185051A1 (en) 2016-04-22 2017-10-26 Pax Labs, Inc. Aerosol devices having compartmentalized materials
CN205695715U (zh) * 2016-04-26 2016-11-23 深圳市合元科技有限公司 电子烟
EP4309715A3 (en) 2016-04-27 2024-03-27 Nicoventures Trading Limited Electronic aerosol provision system and vaporizer therefor
US10405579B2 (en) 2016-04-29 2019-09-10 Rai Strategic Holdings, Inc. Methods for assembling a cartridge for an aerosol delivery device, and associated systems and apparatuses
US10512921B2 (en) * 2016-05-09 2019-12-24 Funai Electric Co., Ltd. Maintenance apparatus for vaporizing device
TW201742555A (zh) * 2016-05-13 2017-12-16 英美煙草(投資)有限公司 用以加熱可吸菸材料之裝置(二)
US20170325502A1 (en) 2016-05-13 2017-11-16 Altria Client Services Llc Connector assembly and method
RU2728533C2 (ru) 2016-05-13 2020-07-30 Бритиш Америкэн Тобэкко (Инвестментс) Лимитед Устройство для нагревания курительного материала и способ формирования нагревателя
TW201742554A (zh) * 2016-05-13 2017-12-16 英美煙草(投資)有限公司 用於容收可吸菸材料之裝置
US11038360B2 (en) 2016-05-18 2021-06-15 Gsw Creative Corporation Vaporization device, method of using the device, a charging case, a kit, and a vibration assembly
GB201608931D0 (en) * 2016-05-20 2016-07-06 British American Tobacco Co Article for use in apparatus for heating smokeable material
GB201608928D0 (en) 2016-05-20 2016-07-06 British American Tobacco Co Article for use in apparatus for heating smokable material
EP3462930B1 (en) * 2016-05-27 2020-05-27 Philip Morris Products S.a.s. Aerosol-generating article having a liquid indicator
US10772354B2 (en) 2016-05-31 2020-09-15 Altria Client Services Llc Heater and wick assembly for an aerosol generating system
CA3014497A1 (en) * 2016-05-31 2017-12-07 Philip Morris Products S.A. Heater and wick assembly for an aerosol generating system
RU2745143C2 (ru) * 2016-05-31 2021-03-22 Филип Моррис Продактс С.А. Повторно заправляемое генерирующее аэрозоль изделие
WO2017207418A1 (en) * 2016-05-31 2017-12-07 Philip Morris Products S.A. Aerosol generating device with multiple heaters
RU2736744C2 (ru) 2016-05-31 2020-11-19 Филип Моррис Продактс С.А. Электрически управляемая система, генерирующая аэрозоль, с трубчатым изделием, генерирующим аэрозоль, и удерживающим элементом
GB201610220D0 (en) * 2016-06-13 2016-07-27 Nicoventures Holdings Ltd Aerosol delivery device
JP7090561B2 (ja) 2016-06-16 2022-06-24 ジュール・ラブズ・インコーポレイテッド 即時の携帯型熱対流式気化器
USD849996S1 (en) 2016-06-16 2019-05-28 Pax Labs, Inc. Vaporizer cartridge
US10959458B2 (en) 2016-06-20 2021-03-30 Rai Strategic Holdings, Inc. Aerosol delivery device including an electrical generator assembly
USD851830S1 (en) 2016-06-23 2019-06-18 Pax Labs, Inc. Combined vaporizer tamp and pick tool
USD836541S1 (en) 2016-06-23 2018-12-25 Pax Labs, Inc. Charging device
USD848057S1 (en) 2016-06-23 2019-05-07 Pax Labs, Inc. Lid for a vaporizer
US10463077B2 (en) 2016-06-24 2019-11-05 Altria Client Services Llc Cartridge for e-vaping device with open-microchannels
US10292426B2 (en) * 2016-06-24 2019-05-21 Altria Client Services, Llc E-vaping device cartridge with superabsorbent polymer
EA039062B1 (ru) * 2016-06-27 2021-11-29 Джапан Тобакко Инк. Картридж для аэрозольного ингалятора, аэрозольный ингалятор, оснащенный таковым, а также теплогенерирующий лист для аэрозольного ингалятора
KR20190017907A (ko) * 2016-06-27 2019-02-20 니뽄 다바코 산교 가부시키가이샤 향미 흡인기용 카트리지 및 그 향미 흡인기용 카트리지를 가지는 향미 흡인기
US10085485B2 (en) 2016-07-06 2018-10-02 Rai Strategic Holdings, Inc. Aerosol delivery device with a reservoir housing and a vaporizer assembly
US10405580B2 (en) 2016-07-07 2019-09-10 Altria Client Services Llc Mechanically-adjustable e-vaping device flavor assembly
US10881139B2 (en) 2016-07-07 2021-01-05 Altria Client Services Llc Non-combustible vaping element with tobacco insert
US10212964B2 (en) 2016-07-07 2019-02-26 Altria Client Services Additive assembly for electronic vaping device
US20180007954A1 (en) * 2016-07-08 2018-01-11 Altria Client Services Llc Flavored tip or mouth-end insert for e-vaping and/or smokeable devices and manufacturing method thereof
US10231485B2 (en) 2016-07-08 2019-03-19 Rai Strategic Holdings, Inc. Radio frequency to direct current converter for an aerosol delivery device
US10463078B2 (en) 2016-07-08 2019-11-05 Rai Strategic Holdings, Inc. Aerosol delivery device with condensing and non-condensing vaporization
US10405581B2 (en) 2016-07-08 2019-09-10 Rai Strategic Holdings, Inc. Gas sensing for an aerosol delivery device
US9799989B1 (en) * 2016-07-10 2017-10-24 Xiaochun Zhu Rotating connector and electronic cigarettes having the rotating connector
GB201612231D0 (en) * 2016-07-14 2016-08-31 British American Tobacco Investments Ltd Mouthpiece
CN106063583A (zh) * 2016-07-14 2016-11-02 深圳昱朋科技有限公司 烟油添加剂的制备方法及烟油
US10617151B2 (en) 2016-07-21 2020-04-14 Rai Strategic Holdings, Inc. Aerosol delivery device with a liquid transport element comprising a porous monolith and related method
US10278424B2 (en) 2016-07-21 2019-05-07 Altria Client Services Llc Electronic vaping device
US10602775B2 (en) 2016-07-21 2020-03-31 Rai Strategic Holdings, Inc. Aerosol delivery device with a unitary reservoir and liquid transport element comprising a porous monolith and related method
RU2741664C2 (ru) 2016-07-22 2021-01-28 Никовенчерс Трейдинг Лимитед Футляр для устройства предоставления пара
EP3272236B1 (en) 2016-07-22 2021-06-16 Fontem Holdings 1 B.V. Electronic smoking device
US10757973B2 (en) 2016-07-25 2020-09-01 Fontem Holdings 1 B.V. Electronic cigarette with mass air flow sensor
US11147315B2 (en) 2016-07-25 2021-10-19 Fontem Holdings 1 B.V. Controlling an operation of an electronic cigarette
US10383367B2 (en) 2016-07-25 2019-08-20 Fontem Holdings 1 B.V. Electronic cigarette power supply portion
US9974338B2 (en) 2016-07-25 2018-05-22 Fontem Holdings 1 B.V. Electronic cigarette with illuminated tip
US11019847B2 (en) 2016-07-28 2021-06-01 Rai Strategic Holdings, Inc. Aerosol delivery devices including a selector and related methods
US10306927B2 (en) * 2016-07-28 2019-06-04 Altria Client Services Llc Venturi effect-driven formulation delivery in e-vaping devices
US10575560B2 (en) 2016-07-29 2020-03-03 Altria Client Services Llc Method of making a heater of an electronic vaping device
USD830298S1 (en) 2016-07-29 2018-10-09 Altria Client Services Llc USB charging connector for electronic vaporizer
CA3031295A1 (en) * 2016-07-29 2018-02-01 Philip Morris Products S.A. Aerosol-generating system comprising a gel containing cartridge and a device for heating the cartridge
US10729177B2 (en) 2016-07-31 2020-08-04 Altria Client Services Llc Electronic vaping device, battery section, and charger
US10051894B2 (en) 2016-08-01 2018-08-21 Altria Client Services Llc Cartridge and e-vaping device with serpentine heater
US10143239B2 (en) 2016-08-01 2018-12-04 Altria Client Services Llc Cartridge and e-vaping device
US11357937B2 (en) * 2016-08-02 2022-06-14 Altria Client Services Llc Collapsible fiber matrix reservoir for an e-vaping device
US10765146B2 (en) 2016-08-08 2020-09-08 Rai Strategic Holdings, Inc. Boost converter for an aerosol delivery device
BR112019002298A2 (pt) 2016-08-09 2019-06-18 British American Tobacco Investments Ltd receptáculo, cartucho, aparelho e método para gerar um meio inalável
US11903099B2 (en) 2016-08-12 2024-02-13 Altria Client Services Llc Vaporizer of an electronic vaping device and method of forming a vaporizer
CN109475179B (zh) * 2016-08-17 2021-12-07 恒信伟业科技(东莞)有限公司 电子雾化装置
GB2598492B (en) * 2016-08-25 2022-07-06 Nicoventures Trading Ltd Electronic vapour provision device with absorbent element
GB2598848B (en) * 2016-08-25 2022-09-07 Nicoventures Trading Ltd Electronic vapour provision device with absorbent element
GB2598490B (en) * 2016-08-25 2022-07-06 Nicoventures Trading Ltd Electronic vapour provision device with absorbent element
GB2556024B (en) 2016-08-25 2021-12-08 Nicoventures Trading Ltd Electronic vapour provision device with absorbent element
GB2598491B (en) * 2016-08-25 2022-07-06 Nicoventures Trading Ltd Electronic vapour provision device with absorbent element
WO2018048813A1 (en) * 2016-09-06 2018-03-15 Juul Labs, Inc. Vaporizer apparatus
GB2553535A (en) 2016-09-07 2018-03-14 3M Innovative Properties Co Trigger mechansim for an inhaler
US11937647B2 (en) 2016-09-09 2024-03-26 Rai Strategic Holdings, Inc. Fluidic control for an aerosol delivery device
US20180070633A1 (en) 2016-09-09 2018-03-15 Rai Strategic Holdings, Inc. Power source for an aerosol delivery device
US12472316B2 (en) 2016-09-09 2025-11-18 Rai Strategic Holdings, Inc. Analog control component for an aerosol delivery device
CN106235418A (zh) * 2016-09-14 2016-12-21 昂纳自动化技术(深圳)有限公司 一种大烟雾量电子烟的雾化装置
CN106235419B (zh) * 2016-09-19 2023-10-27 深圳市康泓威科技有限公司 具有储液过渡腔的电子烟雾化器
USD870371S1 (en) * 2016-09-21 2019-12-17 Stobi Gmbh & Co. Kg Container for medical purposes
CN106376971A (zh) * 2016-09-22 2017-02-08 内蒙古昆明卷烟有限责任公司 一种烟丝仅为再造烟叶丝和烟草梗丝的卷烟
US11660403B2 (en) 2016-09-22 2023-05-30 Juul Labs, Inc. Leak-resistant vaporizer device
US10080387B2 (en) 2016-09-23 2018-09-25 Rai Strategic Holdings, Inc. Aerosol delivery device with replaceable wick and heater assembly
US10092038B2 (en) * 2016-09-23 2018-10-09 Yongjie James Xu Single use cartridge with contact point
USD870366S1 (en) * 2016-09-28 2019-12-17 Philip Morris Products S.A. Handheld aerosol generator
US10448667B2 (en) * 2016-09-29 2019-10-22 Schmidt Innovations GmbH Closure system for a hookah
US10842193B2 (en) * 2016-10-04 2020-11-24 Altria Client Services Llc Non-combustible smoking device and elements thereof
CN111264906A (zh) * 2018-12-05 2020-06-12 常州市派腾电子技术服务有限公司 电子烟
US10477896B2 (en) 2016-10-12 2019-11-19 Rai Strategic Holdings, Inc. Photodetector for measuring aerosol precursor composition in an aerosol delivery device
US10986873B2 (en) * 2016-10-12 2021-04-27 Changzhou Patent Electronic Technology Co., LTD Electronic cigarette
US10004265B2 (en) * 2016-10-12 2018-06-26 Altria Client Services Llc Application of a multi-chamber cartridge
US10426198B2 (en) 2016-10-31 2019-10-01 Altria Client Services Llc Electrical connector for an electronic vaping device
CN206714087U (zh) * 2016-10-31 2017-12-08 深圳市卓力能电子有限公司 一种烧烟草电子烟
GB201618481D0 (en) * 2016-11-02 2016-12-14 British American Tobacco Investments Ltd Aerosol provision article
US10440994B2 (en) 2016-11-03 2019-10-15 Altria Client Services Llc Vaporizer assembly for e-vaping device
US20180132526A1 (en) 2016-11-11 2018-05-17 Rai Strategic Holdings, Inc. Real-time temperature control for an aerosol delivery device
US11245235B2 (en) 2016-11-11 2022-02-08 Altria Client Services Llc Electronic vaping device and connector assembly
WO2018086999A1 (en) 2016-11-14 2018-05-17 Philip Morris Products S.A. Aerosol-generating system having variable airflow
US20180132528A1 (en) 2016-11-14 2018-05-17 Rai Strategic Holdings, Inc. Photoelectric proximity sensor for gesture-based control of an aerosol delivery device
US20180132529A1 (en) 2016-11-14 2018-05-17 Rai Strategic Holdings, Inc. Aerosol delivery device with integrated wireless connectivity for temperature monitoring
US9864947B1 (en) 2016-11-15 2018-01-09 Rai Strategic Holdings, Inc. Near field communication for a tobacco-based article or package therefor
US10492530B2 (en) 2016-11-15 2019-12-03 Rai Strategic Holdings, Inc. Two-wire authentication system for an aerosol delivery device
US10524508B2 (en) 2016-11-15 2020-01-07 Rai Strategic Holdings, Inc. Induction-based aerosol delivery device
US11103012B2 (en) 2016-11-17 2021-08-31 Rai Strategic Holdings, Inc. Satellite navigation for an aerosol delivery device
US10524509B2 (en) 2016-11-18 2020-01-07 Rai Strategic Holdings, Inc. Pressure sensing for an aerosol delivery device
EP4057426A3 (en) 2016-11-18 2023-02-22 Romeo Systems, Inc. Systems and methods for battery thermal management utilizing a vapor chamber
US10172392B2 (en) 2016-11-18 2019-01-08 Rai Strategic Holdings, Inc. Humidity sensing for an aerosol delivery device
US10653183B2 (en) 2016-11-18 2020-05-19 Rai Strategic Holdings, Inc. Power source for an aerosol delivery device
US10206431B2 (en) 2016-11-18 2019-02-19 Rai Strategic Holdings, Inc. Charger for an aerosol delivery device
US10537137B2 (en) 2016-11-22 2020-01-21 Rai Strategic Holdings, Inc. Rechargeable lithium-ion battery for an aerosol delivery device
GB201620352D0 (en) * 2016-11-30 2017-01-11 British American Tobacco Investments Ltd Smoking article
RU2753552C2 (ru) 2016-12-01 2021-08-17 Раи Стретеджик Холдингс, Инк. Перезаряжаемый литий-ионный конденсатор для устройства доставки аэрозоля
UA124937C2 (uk) * 2016-12-02 2021-12-15 Раі Стретеджік Холдінгс, Інк. Індукційна зарядка для пристрою доставки аерозолю
US11013266B2 (en) 2016-12-09 2021-05-25 Rai Strategic Holdings, Inc. Aerosol delivery device sensory system including an infrared sensor and related method
US10518243B2 (en) 2016-12-15 2019-12-31 Altria Client Services Llc Portion of an electronic vaping device formed of an oxygen sequestering agent
JP6878618B2 (ja) * 2016-12-16 2021-05-26 ケーティー・アンド・ジー・コーポレーション エアロゾル生成方法及びその装置
EP3554294B1 (en) * 2016-12-19 2020-11-04 Philip Morris Products S.a.s. An aerosol-generating system comprising multiple aerosol-forming substrates and a piercing element
US10716333B2 (en) 2016-12-19 2020-07-21 Altria Client Services Llc Aerosol-generating system having a cartridge and a bypass air inlet
CA3038922A1 (en) * 2016-12-19 2018-06-28 Philip Morris Products S.A. An aerosol-generating system having a cartridge and a bypass air inlet
JP2020503646A (ja) * 2016-12-22 2020-01-30 ロメオ・システムズ,インコーポレーテッド 統合された蒸気チャンバを有するバッテリセル
WO2018122978A1 (ja) * 2016-12-27 2018-07-05 日本たばこ産業株式会社 加熱型香味吸引器
CA3048627A1 (en) 2016-12-27 2018-07-05 Juul Labs, Inc. Thermal wick for electronic vaporizers
US10015991B1 (en) 2016-12-29 2018-07-10 Altria Client Services Llc Hybrid E-vaping cartridge, E-vaping device including a hybrid E-vaping cartridge, and method of making thereof
CN106490693B (zh) * 2017-01-05 2019-05-17 中国烟草总公司郑州烟草研究院 电子烟气溶胶中玻璃纤维迁移物收集装置及收集方法
GB201700812D0 (en) 2017-01-17 2017-03-01 British American Tobacco Investments Ltd Apparatus for heating smokable material
JP2018113955A (ja) * 2017-01-18 2018-07-26 ギョンス チェ 喫煙習慣矯正器
WO2018138072A1 (en) * 2017-01-25 2018-08-02 British American Tobacco (Investments) Limited Apparatus for heating smokable material
US10517326B2 (en) 2017-01-27 2019-12-31 Rai Strategic Holdings, Inc. Secondary battery for an aerosol delivery device
US11445755B2 (en) * 2017-01-31 2022-09-20 Philip Morris Products S.A. Aerosol-generating system and device
US20180220697A1 (en) 2017-02-03 2018-08-09 Altria Client Services Llc Methods and systems for improving stability of pre-vapor formulations of e-vaping devices
EP3574775B1 (en) * 2017-02-08 2023-07-26 Japan Tobacco Inc. Supply method for liquids
KR20190099331A (ko) * 2017-02-08 2019-08-26 니뽄 다바코 산교 가부시키가이샤 카트리지 및 흡인기
JP6765455B2 (ja) * 2017-02-08 2020-10-07 日本たばこ産業株式会社 カートリッジ及び吸引器
KR102311323B1 (ko) 2017-02-08 2021-10-08 니뽄 다바코 산교 가부시키가이샤 카트리지 및 흡인기
GB201702206D0 (en) 2017-02-10 2017-03-29 British American Tobacco Investments Ltd Vapour provision system
US20180228203A1 (en) * 2017-02-16 2018-08-16 Altria Client Services Llc Pre-vapor formulation for formation of organic acids during operation of an e-vaping device
EP3585189B1 (en) 2017-02-24 2022-07-27 Philip Morris Products S.A. An aerosol-generating system and a cartridge for an aerosol generating system having a two-part liquid storage compartment
US11696368B2 (en) 2017-02-24 2023-07-04 Altria Client Services Llc Aerosol-generating system and a cartridge for an aerosol-generating system having a two-part liquid storage compartment
MY201206A (en) 2017-02-24 2024-02-09 Philip Morris Products Sa Moulded mounting for an aerosol-generating element in an aerosol-generating system
US9986769B1 (en) * 2017-02-24 2018-06-05 Lily Liu Atomizer for an electronic cigarette
US10827783B2 (en) 2017-02-27 2020-11-10 Rai Strategic Holdings, Inc. Digital compass for an aerosol delivery device
GB201703284D0 (en) 2017-03-01 2017-04-12 Nicoventures Holdings Ltd Vapour provision device with liquid capture
CN108567166A (zh) * 2017-03-09 2018-09-25 深圳市康尔科技有限公司 电子烟液分离机构以及带有电子烟液分离机构的电子烟
US11129413B2 (en) 2017-03-13 2021-09-28 Altria Client Services Llc Three-piece electronic vaping device with planar heater
CN115381137A (zh) 2017-03-17 2022-11-25 瑞恩·丹尼尔·塞尔比 封闭底部的气化器荚
US10342259B2 (en) 2017-03-21 2019-07-09 Altria Client Services Llc Flavor delivery system
US11134715B2 (en) 2017-03-24 2021-10-05 Altria Client Services Llc Methods and devices for cartridge authentication
HUE063251T2 (hu) * 2017-03-29 2024-01-28 Philip Morris Products Sa Eljárás alkaloidokat tartalmazó anyagból álló tekercs elõállítására
US10674765B2 (en) * 2017-03-29 2020-06-09 Rai Strategic Holdings, Inc. Aerosol delivery device with improved atomizer
US10440995B2 (en) 2017-03-29 2019-10-15 Rai Strategic Holdings, Inc. Aerosol delivery device including substrate with improved absorbency properties
US20200113234A1 (en) * 2017-03-29 2020-04-16 Philip Morris Products S.A. Cartridge assembly comprising a blocking element
US10413685B2 (en) 2017-04-10 2019-09-17 Iconic Ventures, Inc. Vaporizer
US11273428B2 (en) 2017-04-10 2022-03-15 Iconic Ventures, Inc. Vaporizable substance storage device
WO2018188231A1 (zh) 2017-04-14 2018-10-18 常州市派腾电子技术服务有限公司 加热装置、雾化器及电子烟
AT519470B1 (de) * 2017-04-20 2018-07-15 Von Erl Gmbh Mundstück für einen Inhalator
US10314340B2 (en) 2017-04-21 2019-06-11 Rai Strategic Holdings, Inc. Refillable aerosol delivery device and related method
GB2561867B (en) * 2017-04-25 2021-04-07 Nerudia Ltd Aerosol delivery system
US10285444B2 (en) 2017-04-27 2019-05-14 Rai Strategic Holdings, Inc. Aerosol delivery device including a ceramic wicking element
GB201707436D0 (en) * 2017-05-09 2017-06-21 British American Tobacco Investments Ltd Aerosol provision device and apparatus for a vessel
KR20180124739A (ko) 2017-05-11 2018-11-21 주식회사 케이티앤지 궐련의 종류별로 에어로졸 생성장치에 포함된 히터의 온도를 제어하는 방법 및 궐련의 종류별로 히터의 온도를 제어하는 에어로졸 생성장치
JP6790252B2 (ja) * 2017-05-12 2020-11-25 日本たばこ産業株式会社 バッテリユニットの検査装置及びバッテリユニットの検査システム
US11297876B2 (en) 2017-05-17 2022-04-12 Rai Strategic Holdings, Inc. Aerosol delivery device
WO2018211035A1 (en) 2017-05-18 2018-11-22 Jt International S.A. Vaporizer unit for a personal vaporizer device
US10517330B2 (en) 2017-05-23 2019-12-31 RAI Stategic Holdings, Inc. Heart rate monitor for an aerosol delivery device
US11589621B2 (en) 2017-05-23 2023-02-28 Rai Strategic Holdings, Inc. Heart rate monitor for an aerosol delivery device
DE102017111435B4 (de) * 2017-05-24 2018-12-06 Hauni Maschinenbau Gmbh Verdampfereinheit für einen Inhalator und Verfahren zum Steuern einer Verdampfereinheit
US10897930B2 (en) 2017-05-24 2021-01-26 Altria Client Services Llc Topography apparatus for electronic vaping device
WO2018220599A1 (en) 2017-06-02 2018-12-06 Fontem Holdings 1 B.V. Electronic cigarette wick
CN110709125B (zh) * 2017-06-02 2022-07-19 Jt国际公司 具有可更换雾化器的气溶胶产生系统
US10383369B2 (en) 2017-06-07 2019-08-20 Rai Strategic Holdings, Inc. Fibrous filtration material for electronic smoking article
GB201709201D0 (en) * 2017-06-09 2017-07-26 Nicoventures Holdings Ltd Electronic aerosol provision system
US11053395B2 (en) * 2017-06-12 2021-07-06 Altria Client Services Llc Corrosion-resistant reservoir for an e-vaping device and method of manufacturing thereof
WO2018227275A1 (en) * 2017-06-17 2018-12-20 Tafée Technologies Corp. Beverage and vapor dispenser
US10939705B2 (en) 2017-06-19 2021-03-09 Tma Labs Llc Portable aerosol devices and methods thereof
US20180370667A1 (en) 2017-06-23 2018-12-27 Altria Client Services Llc Packaging system with flexible object
CA178744S (en) * 2017-06-26 2018-12-12 Nicoventures Holdings Ltd Electronic cigarette
US10994086B2 (en) 2017-06-29 2021-05-04 Altria Client Services Llc Electronic vaping device with tubular heating element
US10973261B2 (en) * 2017-07-06 2021-04-13 Vuber Technologies, Llc Vaporization device and process
US10292436B2 (en) 2017-07-10 2019-05-21 Arc Innovations, Inc. Electronic smoking systems, devices, and methods
US10842197B2 (en) 2017-07-12 2020-11-24 Rai Strategic Holdings, Inc. Detachable container for aerosol delivery having pierceable membrane
MY205437A (en) * 2017-07-14 2024-10-21 Philip Morris Products Sa An aerosol-generating system with concealed ventilation airflow
US10349674B2 (en) 2017-07-17 2019-07-16 Rai Strategic Holdings, Inc. No-heat, no-burn smoking article
US11337456B2 (en) 2017-07-17 2022-05-24 Rai Strategic Holdings, Inc. Video analytics camera system for an aerosol delivery device
RU2697002C2 (ru) * 2017-07-27 2019-08-08 Костов Тодор Димитров Портативное устройство для вдыхания кислорода и твердый источник кислорода для использования в нем
US10905164B2 (en) * 2017-07-30 2021-02-02 Wallace Dray Moorman Vaporizer having adjustable atomizer and removable screen
EP3437496A1 (en) * 2017-08-02 2019-02-06 BSMW Limited Rapid replace hygienic coil system
KR20190049391A (ko) 2017-10-30 2019-05-09 주식회사 케이티앤지 히터를 구비한 에어로졸 생성 장치
US10791761B2 (en) 2017-08-17 2020-10-06 Rai Strategic Holdings, Inc. Microtextured liquid transport element for aerosol delivery device
GB201713679D0 (en) 2017-08-25 2017-10-11 Nicoventures Holdings Ltd Vapour provision systems
GB201713681D0 (en) * 2017-08-25 2017-10-11 Nicoventures Holdings Ltd Vapour provision systems
WO2019046315A1 (en) 2017-08-28 2019-03-07 Juul Labs, Inc. DRYER FOR SPRAY DEVICE
GB201714300D0 (en) 2017-09-06 2017-10-18 British American Tobacco Investments Ltd Vapour provision systems
GB201714564D0 (en) * 2017-09-11 2017-10-25 British American Tobacco Investments Ltd Heater for aerosol generating device and device
USD887632S1 (en) 2017-09-14 2020-06-16 Pax Labs, Inc. Vaporizer cartridge
PL4176741T3 (pl) 2017-09-18 2024-09-23 Philip Morris Products S.A. Wkład dla układu wytwarzania aerozolu
US11039645B2 (en) 2017-09-19 2021-06-22 Rai Strategic Holdings, Inc. Differential pressure sensor for an aerosol delivery device
US10505383B2 (en) 2017-09-19 2019-12-10 Rai Strategic Holdings, Inc. Intelligent charger for an aerosol delivery device
US10157265B1 (en) 2017-09-21 2018-12-18 Rai Strategic Holdings, Inc. Clinical study product dispensing device
US11013267B2 (en) * 2017-09-22 2021-05-25 Altria Client Services Llc Non-combustible tobacco vaping insert, and a cartridge containing the non-combustible tobacco vaping insert
GB2604314A (en) 2017-09-22 2022-09-07 Nerudia Ltd Device, system and method
US10506830B2 (en) 2017-09-22 2019-12-17 Altria Client Services Llc Air flow design for an e-vaping cartridge, method of making the e-vaping cartridge, and e-vaping device including the cartridge
WO2019162377A1 (en) * 2018-02-26 2019-08-29 Nerudia Limited Consumable for a substitute smoking device, associated system and method
US11103656B2 (en) * 2017-10-05 2021-08-31 Derek Domenici Inhalation device
US10772356B2 (en) 2017-10-11 2020-09-15 Altria Client Services Llc Electronic vaping device including transfer pad with oriented fibers
USD870375S1 (en) 2017-10-11 2019-12-17 Altria Client Services Llc Battery for an electronic vaping device
US12232224B2 (en) 2017-10-11 2025-02-18 Altria Client Services Llc Folded heater for electronic vaping device
US12396482B2 (en) 2017-10-11 2025-08-26 Altria Client Services Llc Electronic vaping device including transfer pad with oriented fibers
US10660370B2 (en) 2017-10-12 2020-05-26 Rai Strategic Holdings, Inc. Aerosol delivery device including a control body, an atomizer body, and a cartridge and related methods
DE102017123867A1 (de) * 2017-10-13 2019-04-18 Hauni Maschinenbau Gmbh Inhalator, insbesondere elektronisches Zigarettenprodukt, und Computerprogrammprodukt
GB201717498D0 (en) 2017-10-24 2017-12-06 British American Tobacco Investments Ltd Aerosol provision device
GB201717496D0 (en) 2017-10-24 2017-12-06 British American Tobacco Investments Ltd A cartridge for an aerosol provision device
GB201717497D0 (en) 2017-10-24 2017-12-06 British American Tobacco Investments Ltd A mouthpiece assembly
CN109717510A (zh) * 2017-10-30 2019-05-07 日本烟草产业株式会社 雾化单元及香味吸取器
JP2020536574A (ja) 2017-10-30 2020-12-17 ケーティー・アンド・ジー・コーポレーション 光学モジュール、及びそれを含むエアロゾル生成装置
US11528936B2 (en) 2017-10-30 2022-12-20 Kt&G Corporation Aerosol generating device
KR102057216B1 (ko) 2017-10-30 2019-12-18 주식회사 케이티앤지 에어로졸 생성 장치 및 에어로졸 생성 장치용 히터 조립체
KR102138245B1 (ko) * 2017-10-30 2020-07-28 주식회사 케이티앤지 에어로졸 생성 장치
EP3704972B1 (en) 2017-10-30 2025-04-09 KT&G Corporation Aerosol generation device and heater for aerosol generation device
JP6840291B2 (ja) 2017-10-30 2021-03-10 ケイティー アンド ジー コーポレイション エアロゾル生成装置
KR102180421B1 (ko) 2017-10-30 2020-11-18 주식회사 케이티앤지 에어로졸 생성 장치
KR102057215B1 (ko) 2017-10-30 2019-12-18 주식회사 케이티앤지 에어로졸 생성 장치 및 생성 방법
KR102138246B1 (ko) 2017-10-30 2020-07-28 주식회사 케이티앤지 증기화기 및 이를 구비하는 에어로졸 생성 장치
WO2019088580A2 (ko) 2017-10-30 2019-05-09 주식회사 케이티앤지 에어로졸 생성 장치
CN111713754A (zh) 2017-10-30 2020-09-29 韩国烟草人参公社 气溶胶生成装置及其控制方法和计算机可读记录介质
US10517332B2 (en) 2017-10-31 2019-12-31 Rai Strategic Holdings, Inc. Induction heated aerosol delivery device
GB201718031D0 (en) 2017-11-01 2017-12-13 British American Tobacco Investments Ltd Aerosolisable gel
US20190124983A1 (en) * 2017-11-02 2019-05-02 Avail Vapor, LLC Micro-vaporizer with leak protection
US11000072B2 (en) * 2017-11-02 2021-05-11 Blackship Technologies Development Llc Multi-source micro-vaporizer
WO2019090363A1 (en) * 2017-11-06 2019-05-09 Avanzato Technology Corp. Dual chamber vaporization tank
GB201718923D0 (en) * 2017-11-16 2018-01-03 British American Tobacco Investments Ltd Consumable ventilation control
US12102125B2 (en) 2017-11-21 2024-10-01 Fuma International, Llc Vaping vaporizer
WO2019106040A1 (en) * 2017-11-28 2019-06-06 Philip Morris Products S.A. Aerosol generating article having a mouthpiece with a modified structure
US10806181B2 (en) 2017-12-08 2020-10-20 Rai Strategic Holdings, Inc. Quasi-resonant flyback converter for an induction-based aerosol delivery device
CN109924545B (zh) * 2017-12-19 2024-05-28 上海新型烟草制品研究院有限公司 一种气雾产生装置
GB201721470D0 (en) 2017-12-20 2018-01-31 British American Tobacco Investments Ltd Electronic aerosol provision system
GB201721477D0 (en) 2017-12-20 2018-01-31 British American Tobacco Investments Ltd Electronic aerosol provision system
WO2019122015A1 (en) * 2017-12-20 2019-06-27 Philip Morris Products S.A. Aerosol-generating substrate comprising an oil additive
GB201721447D0 (en) * 2017-12-20 2018-01-31 British American Tobacco Investments Ltd Electronic aerosol provision system
GB201721766D0 (en) 2017-12-22 2018-02-07 British American Tobacco Investments Ltd Electronic aerosol provision system
GB201721821D0 (en) 2017-12-22 2018-02-07 Nicoventures Holdings Ltd Electronic aerosol provision system
WO2019129470A1 (en) 2017-12-28 2019-07-04 Philip Morris Products S.A. Cartridge for use with aerosol generating device
EP4494502A3 (en) 2017-12-28 2025-03-26 JT International SA Induction heating assembly for a vapour generating device
WO2019130158A1 (en) * 2017-12-28 2019-07-04 Philip Morris Products S.A. Inhaler with vortex tunnel
US11033051B2 (en) 2017-12-29 2021-06-15 Altria Client Services Llc Tip device for electronic vaping device
US10687557B2 (en) 2017-12-29 2020-06-23 Altria Client Services Llc Electronic vaping device with outlet-end illumination
US10813384B2 (en) 2017-12-29 2020-10-27 Altria Client Services Llc Electronic vaping device having formulation level indicator
US11035704B2 (en) 2017-12-29 2021-06-15 Altria Client Services Llc Sensor apparatus
PL3731679T3 (pl) * 2017-12-29 2023-07-17 Jt International Sa Sterowany elektrycznie system wytwarzania aerozolu
US10555558B2 (en) 2017-12-29 2020-02-11 Rai Strategic Holdings, Inc. Aerosol delivery device providing flavor control
KR102653111B1 (ko) 2018-01-05 2024-04-01 필립모리스 프로덕츠 에스.에이. 카트리지 및 e-베이핑 장치
GB201801257D0 (en) * 2018-01-25 2018-03-14 British American Tobacco Investments Ltd Apparatus for heating aerosol-generating material
WO2019145104A1 (en) * 2018-01-29 2019-08-01 Philip Morris Products S.A. Lighting unit for aerosol-generating systems
US11758948B2 (en) * 2018-01-29 2023-09-19 Altria Client Services Llc Lighting unit for aerosol-generating systems
US11019850B2 (en) 2018-02-26 2021-06-01 Rai Strategic Holdings, Inc. Heat conducting substrate for electrically heated aerosol delivery device
US11290182B2 (en) 2018-03-05 2022-03-29 Altria Client Services Llc Methods and devices for communication of data between electronic vaping device and external device
US20190274355A1 (en) * 2018-03-09 2019-09-12 Healthier Choices Management Corp Electronic cigarette
EP3536178B1 (en) * 2018-03-09 2020-11-04 Fontem Holdings 1 B.V. Electronic smoking device with capillary element
US10813385B2 (en) 2018-03-09 2020-10-27 Rai Strategic Holdings, Inc. Buck regulator with operational amplifier feedback for an aerosol delivery device
US10945465B2 (en) 2018-03-15 2021-03-16 Rai Strategic Holdings, Inc. Induction heated susceptor and aerosol delivery device
GB201805192D0 (en) * 2018-03-29 2018-05-16 Nicoventures Trading Ltd Vapour provision system with aerosolisable substrate material carrying portion detection
WO2019199291A1 (en) * 2018-04-10 2019-10-17 Iconic Ventures Vaporizer
WO2019198162A1 (ja) * 2018-04-10 2019-10-17 日本たばこ産業株式会社 霧化ユニット
GB201807157D0 (en) * 2018-05-01 2018-06-13 Nerudia Ltd A consumable for a smoking substitute device
US12336570B2 (en) * 2018-05-01 2025-06-24 Imperial Tobacco Limited Consumable for a smoking substitute device and a smoking substitute device containing same
GB201807305D0 (en) * 2018-05-03 2018-06-20 Nicoventures Trading Ltd Vaporisable formulation
CN108308728A (zh) * 2018-05-04 2018-07-24 云南中烟工业有限责任公司 一种储滴油型雾化器
CN110447958A (zh) * 2018-05-07 2019-11-15 深圳御烟实业有限公司 一种清洁套
KR102175704B1 (ko) * 2018-05-10 2020-11-06 최경수 흡연습관 교정기
US10959459B2 (en) 2018-05-16 2021-03-30 Rai Strategic Holdings, Inc. Voltage regulator for an aerosol delivery device
US10932490B2 (en) 2018-05-16 2021-03-02 Rai Strategic Holdings, Inc. Atomizer and aerosol delivery device
MY209688A (en) 2018-05-18 2025-07-30 Philip Morris Products Sa Aerosol-generating apparatus including self-diagnostics
CN108552602B (zh) * 2018-05-28 2024-01-23 云南中烟工业有限责任公司 一种具有热量分配功能的电加热吸烟装置
WO2019232086A1 (en) 2018-05-29 2019-12-05 Pax Labs, Inc. Vaporizer device with cartridge
CN110555198B (zh) * 2018-05-31 2023-05-23 北京百度网讯科技有限公司 用于生成文章的方法、装置、设备和计算机可读存储介质
JP7270728B2 (ja) 2018-06-15 2023-05-10 フィリップ・モーリス・プロダクツ・ソシエテ・アノニム エアロゾル発生装置用の汚れ付着防止性、熱反射性の被覆
EP3813914B1 (en) 2018-06-26 2023-10-25 Juul Labs, Inc. Vaporizer wicking elements
DE102018127926A1 (de) * 2018-07-09 2020-01-09 Hauni Maschinenbau Gmbh Verdampferkopf für einen Inhalator, insbesondere für ein elektronisches Zigarettenprodukt
PL3821733T3 (pl) * 2018-07-13 2024-03-18 Daicel Corporation Pasmo dla końcówki podgrzewanego wyrobu tytoniowego, końcówka podgrzewanego wyrobu tytoniowego i sposób wytwarzania pasma dla podgrzewanego wyrobu tytoniowego
US11825883B2 (en) 2018-07-16 2023-11-28 Lubby Holdings, LLC Personal vaporizer
KR102372858B1 (ko) * 2018-07-19 2022-03-08 주식회사 케이티앤지 전자 증기화기
WO2020023535A1 (en) 2018-07-23 2020-01-30 Juul Labs, Inc. Airflow management for vaporizer device
WO2020019167A1 (zh) * 2018-07-24 2020-01-30 深圳麦克韦尔股份有限公司 烘烤烟具及真空隔热的加热组件
US10897925B2 (en) 2018-07-27 2021-01-26 Joseph Pandolfino Articles and formulations for smoking products and vaporizers
US20200035118A1 (en) 2018-07-27 2020-01-30 Joseph Pandolfino Methods and products to facilitate smokers switching to a tobacco heating product or e-cigarettes
GB201812373D0 (en) 2018-07-30 2018-09-12 Nicoventures Trading Ltd Generation of an inhalable medium
EP3829361B1 (en) * 2018-07-30 2022-11-16 Philip Morris Products S.A. Electronic vaping device including transfer pads with oriented fibers
US12431568B2 (en) 2018-07-30 2025-09-30 Altria Client Services Llc Electronic vaping device
EP3829366B1 (en) 2018-07-31 2024-07-24 Juul Labs, Inc. Cartridge-based heat not burn vaporizer
CN108783605B (zh) * 2018-08-07 2024-02-13 上海新型烟草制品研究院有限公司 一种松脱机构及气雾产生装置
AU2018264051B2 (en) * 2018-08-09 2020-03-26 Final Bell Brand Co. A vaporization device, method of using the device, a charging case, a kit, and a vibration assembly
US11094993B2 (en) 2018-08-10 2021-08-17 Rai Strategic Holdings, Inc. Charge circuitry for an aerosol delivery device
CN109393550A (zh) * 2018-10-31 2019-03-01 云南恒罡科技有限公司 一种加热不燃烧制品的封口方式
US20200060339A1 (en) * 2018-08-21 2020-02-27 Xoglo Llc Air restriction sleeve for an electronic smoking device
US11311048B2 (en) 2018-09-07 2022-04-26 Altria Client Services Llc E-vaping device with an insert
US11432581B2 (en) * 2018-09-07 2022-09-06 Altria Client Services Llc Capsule containing a matrix, device with the matrix, and method of forming the matrix
US11395507B2 (en) 2018-09-07 2022-07-26 Altria Client Services Llc Filter for an e-vaping device, e-vaping device with the filter, and method of forming the filter
CN109275205B (zh) * 2018-09-10 2024-02-13 广东金莱特智能科技有限公司 电子烟发热组件制造装置
US20200077703A1 (en) 2018-09-11 2020-03-12 Rai Strategic Holdings, Inc. Wicking element for aerosol delivery device
US11413409B2 (en) 2018-09-12 2022-08-16 Juul Labs, Inc. Vaporizer including positive temperature coefficient of resistivity (PTCR) heating element
US20200093181A1 (en) 2018-09-20 2020-03-26 Rai Strategic Holdings, Inc. Flavorants
US12075835B2 (en) 2018-09-24 2024-09-03 Imperial Tobacco Limited Aerosol delivery device with support for maintaining position of aerosol generator portion
KR20250048483A (ko) 2018-10-08 2025-04-08 쥴 랩스, 인크. 가열 요소
US12171261B2 (en) 2018-10-12 2024-12-24 Rai Strategic Holdings, Inc. Vaporization system
US10939702B2 (en) 2018-10-12 2021-03-09 Rai Strategic Holdings, Inc. Connectors for forming electrical and mechanical connections between interchangeable units in an aerosol delivery system
US11678700B2 (en) 2018-10-12 2023-06-20 Rai Strategic Holdings, Inc. Aerosol delivery device with visible indicator
US11588287B2 (en) 2018-10-12 2023-02-21 Rai Strategic Holdings, Inc. Aerosol delivery device with improved connectivity, airflow, and aerosol paths
US12232526B2 (en) 2018-10-12 2025-02-25 Rai Strategic Holdings, Inc. Connectors for forming electrical and mechanical connections between interchangeable units in an aerosol delivery system
US12342860B2 (en) 2018-10-12 2025-07-01 Rai Strategic Holdings, Inc. Heater and liquid transport for an aerosol delivery system
US11291249B2 (en) 2018-10-12 2022-04-05 Rai Strategic Holdings, Inc. Aerosol delivery device with visible indicator
US10791767B2 (en) 2018-10-12 2020-10-06 Rai Strategic Holdings, Inc. Connectors for forming electrical and mechanical connections between interchangeable units in an aerosol delivery system
US11974603B2 (en) 2018-10-12 2024-05-07 Rai Strategic Holdings, Inc. Aerosol delivery device with visible indicator
US10905835B2 (en) 2018-10-15 2021-02-02 Juul Labs, Inc. Heating element
GB201816831D0 (en) * 2018-10-16 2018-11-28 Nicoventures Trading Ltd Aerosol provision device
US12256784B2 (en) 2018-10-17 2025-03-25 Juul Labs, Inc. Cartridge for a vaporizer device
GB2580763B (en) 2018-10-19 2023-02-22 Juul Labs Inc Vaporizer power system
AU2019365396B2 (en) * 2018-10-24 2022-02-03 Zanoprima Lifesciences Limited Composition
US11690396B2 (en) 2018-10-24 2023-07-04 Zanoprima Lifesciences Limited Electronic cigarette compositions, devices, and related methods
US12478112B2 (en) 2018-10-30 2025-11-25 R.J. Reynolds Tobacco Company Smoking article cartridge
KR102425542B1 (ko) * 2018-10-30 2022-07-26 주식회사 케이티앤지 일회용 액상 에어로졸 발생 물품 및 에어로졸 발생 장치
GB201817860D0 (en) 2018-11-01 2018-12-19 Nicoventures Trading Ltd Aerosolised formulation
WO2020097085A1 (en) 2018-11-05 2020-05-14 Juul Labs, Inc. Cartridges for vaporizer devices
US11439774B2 (en) 2018-11-05 2022-09-13 Juul Labs, Inc. Vaporizer devices and cartridges with folded mesh
WO2020097567A1 (en) 2018-11-08 2020-05-14 Juul Labs, Inc. Vaporizer device with more than one heating element
US11553734B2 (en) 2018-11-08 2023-01-17 Juul Labs, Inc. Cartridges for vaporizer devices
US12004563B2 (en) * 2018-11-09 2024-06-11 Tanya M. Stephens Assembly facilitating the generation of vapor
EP3880021B1 (en) * 2018-11-15 2024-10-16 Clir Life Extractions Inc. Apparatus and method for vaporizing oils
US11372153B2 (en) 2018-11-19 2022-06-28 Rai Strategic Holdings, Inc. Cartridge orientation for selection of a control function in a vaporization system
US12066654B2 (en) 2018-11-19 2024-08-20 Rai Strategic Holdings, Inc. Charging control for an aerosol delivery device
US11592793B2 (en) 2018-11-19 2023-02-28 Rai Strategic Holdings, Inc. Power control for an aerosol delivery device
US11156766B2 (en) 2018-11-19 2021-10-26 Rai Strategic Holdings, Inc. Aerosol delivery device
US11614720B2 (en) 2018-11-19 2023-03-28 Rai Strategic Holdings, Inc. Temperature control in an aerosol delivery device
US12114711B2 (en) 2018-11-28 2024-10-15 Philip Morris Products S.A. Heater comprising a part manufactured by additive manufacturing
US11547816B2 (en) 2018-11-28 2023-01-10 Rai Strategic Holdings, Inc. Micropump for an aerosol delivery device
MY204437A (en) 2018-12-06 2024-08-28 Philip Morris Products Sa Aerosol-generating system comprising venturi element
EP3733002A1 (en) * 2019-05-02 2020-11-04 Philip Morris Products S.a.s. Aerosol-generating system comprising venturi element
US12161165B2 (en) 2018-12-07 2024-12-10 Philip Morris Products S.A. Aerosol-generating system and cartridge with leakage protection
CN109731203B (zh) * 2018-12-12 2022-10-04 浦易(上海)生物技术股份有限公司 手持式气味释放装置
WO2020128828A1 (en) * 2018-12-17 2020-06-25 Philip Morris Products S.A. Cartridge for use with aerosol generating device
CA3123428A1 (en) 2018-12-21 2020-06-25 Juul Labs, Inc. Vaporizer devices
US11432582B2 (en) * 2018-12-21 2022-09-06 Board Of Regents Of The Nevada System Of Higher Education On Behalf Of The Desert Research Institute Electronic cigarette
CN111358058A (zh) * 2018-12-26 2020-07-03 常州市派腾电子技术服务有限公司 电池壳及电子烟、装配方法
WO2020142523A1 (en) 2018-12-31 2020-07-09 Juul Labs, Inc. Cartridges for vaporizer devices
US20200221785A1 (en) 2019-01-10 2020-07-16 Altria Client Services Llc Vaping device with insert
CN109845398A (zh) * 2019-01-11 2019-06-04 惠州市吉瑞科技有限公司深圳分公司 一种加热组件及发烟设备
KR102605782B1 (ko) * 2019-01-11 2023-11-24 니뽄 다바코 산교 가부시키가이샤 흡연 또는 흡인에 의한 만성 폐색성 폐 질환의 리스크의 인비트로 평가 방법
EP3911185B1 (en) 2019-01-15 2024-04-24 Juul Labs, Inc. Vaporizer devices
JP6573737B1 (ja) * 2019-01-17 2019-09-11 日本たばこ産業株式会社 エアロゾル吸引器用の電源ユニット
US11523470B2 (en) 2019-01-18 2022-12-06 Altria Client Services Llc Non-combustible aerosol system and pre-aerosol formulation housing
US11096419B2 (en) 2019-01-29 2021-08-24 Rai Strategic Holdings, Inc. Air pressure sensor for an aerosol delivery device
US20200245695A1 (en) * 2019-02-03 2020-08-06 Avanzato Technology Corp. Vaporization device having a wick and coil assembly
US20200245696A1 (en) 2019-02-06 2020-08-06 Rai Strategic Holdings, Inc. Buck-boost regulator circuit for an aerosol delivery device
EP3692837A1 (en) * 2019-02-07 2020-08-12 Nerudia Limited Flavour delivery article, smoking substitute apparatus and smoke substitute device
US11456480B2 (en) 2019-02-07 2022-09-27 Rai Strategic Holdings, Inc. Non-inverting amplifier circuit for an aerosol delivery device
DE102019103990B4 (de) 2019-02-18 2021-09-02 Hauni Maschinenbau Gmbh Verdampfereinsatz für einen Inhalator, insbesondere ein elektronisches Zigarettenprodukt, Verdampfer-Tank-Einheit und ein elektronisches Zigarettenprodukt
GB201902220D0 (en) 2019-02-18 2019-04-03 Nicoventures Trading Ltd Aerosol provision systems
US11253001B2 (en) 2019-02-28 2022-02-22 Juul Labs, Inc. Vaporizer device with vaporizer cartridge
US12140978B2 (en) 2019-03-01 2024-11-12 Rai Strategic Holdings, Inc. Temperature control circuitry for an aerosol delivery device
CN109820250A (zh) * 2019-03-06 2019-05-31 云南巴菰生物科技有限公司 一种无烟雾型电子烟
CN118177412A (zh) 2019-03-08 2024-06-14 莱战略控股公司 用于气溶胶递送装置的乳酸水解方法
CN113490432B (zh) * 2019-03-08 2024-08-13 菲利普莫里斯生产公司 气溶胶生成系统以及用于与其一起使用的制品
CA3132437A1 (en) 2019-03-11 2020-09-17 Nicoventures Trading Limited Aerosol provision device
GB201903250D0 (en) * 2019-03-11 2019-04-24 Nicoventures Trading Ltd Aerosol provision device
CN109717519B (zh) * 2019-03-13 2021-07-27 常州市派腾电子技术服务有限公司 电子烟
US11602164B2 (en) * 2019-03-14 2023-03-14 Rai Strategic Holdings, Inc. Aerosol delivery device with graded porosity from inner to outer wall surfaces
EP3711568A1 (en) * 2019-03-22 2020-09-23 Nerudia Limited Smoking substitute system
US12329201B2 (en) 2019-03-22 2025-06-17 Imperial Tobacco Limited Smoking substitute system
US11935350B2 (en) 2019-04-02 2024-03-19 Rai Strategic Holdings, Inc. Functional control and age verification of electronic devices through speaker communication
US11676438B2 (en) 2019-04-02 2023-06-13 Rai Strategic Holdings, Inc. Authentication and age verification for an aerosol delivery device
US11200770B2 (en) 2019-04-02 2021-12-14 Rai Strategic Holdings, Inc. Functional control and age verification of electronic devices through visual communication
CN109846096A (zh) * 2019-04-03 2019-06-07 刘锐 烟弹
US11751599B2 (en) 2019-04-04 2023-09-12 Altria Client Services Llc Flavor carriers for electronic vaping device
US11666089B2 (en) 2019-04-04 2023-06-06 Altria Client Services Llc Heat-not-burn device and flavor carrier
WO2020206529A1 (en) * 2019-04-08 2020-10-15 1769474 Alberta Ltd. Tamper-resistant vaporizer cartridge
US11783395B2 (en) 2019-04-24 2023-10-10 Rai Strategic Holdings, Inc. Decentralized identity storage for tobacco products
US11690405B2 (en) 2019-04-25 2023-07-04 Rai Strategic Holdings, Inc. Artificial intelligence in an aerosol delivery device
CA187269S (en) 2019-04-25 2021-01-29 Nguyen Tommy Vape device
US11910829B1 (en) * 2019-04-26 2024-02-27 Podz Lyfe INC. Electronic cigarette and cartridge unit
CN109965363A (zh) * 2019-04-29 2019-07-05 栗明 一次性烟弹
EP3965601B1 (en) * 2019-05-07 2023-08-16 Philip Morris Products S.A. Leakage prevention structure in a vaporizer device
CN210203316U (zh) 2019-05-07 2020-03-31 深圳市合元科技有限公司 烟弹及电子烟
US11517688B2 (en) 2019-05-10 2022-12-06 Rai Strategic Holdings, Inc. Flavor article for an aerosol delivery device
ES3014030T3 (en) * 2019-05-16 2025-04-16 Xiamen Fengtao Ceram Co Ltd Heating-air-type e-cigarette heater, ceramic heating body and preparation method therefor
US12232543B2 (en) 2019-05-17 2025-02-25 Rai Strategic Holdings, Inc. Age verification with registered cartridges for an aerosol delivery device
US12396480B2 (en) 2019-05-22 2025-08-26 Rai Strategic Holdings, Inc. Reservoir configuration for aerosol delivery device
US11589425B2 (en) 2019-05-24 2023-02-21 Rai Strategic Holdings, Inc. Shape memory material for controlled liquid delivery in an aerosol delivery device
US11181199B2 (en) 2019-06-04 2021-11-23 14Th Round Inc. Assembly for preventing leakage in a vaporization device
JP7579282B2 (ja) * 2019-06-25 2024-11-07 フィリップ・モーリス・プロダクツ・ソシエテ・アノニム 炭酸液体ニコチン製剤
KR102480482B1 (ko) * 2019-07-05 2022-12-23 주식회사 케이티앤지 에어로졸 생성 장치
US12075819B2 (en) 2019-07-18 2024-09-03 R.J. Reynolds Tobacco Company Aerosol delivery device with consumable cartridge
US11330838B2 (en) * 2019-07-19 2022-05-17 R. J. Reynolds Tobacco Company Holder for aerosol delivery device with detachable cartridge
US20210030063A1 (en) * 2019-07-31 2021-02-04 Mohammed M. Khalifa Crushable filter for an electronic cigarette
US11405983B2 (en) 2019-08-14 2022-08-02 Altria Client Services Llc Non-nicotine e-vaping section, and non-nicotine e-vaping device including non-nicotine e-vaping section
US12082603B2 (en) * 2019-08-14 2024-09-10 Altria Client Services Llc Nicotine e-vaping section, and nicotine e-vaping device including nicotine e-vaping section
US11207711B2 (en) 2019-08-19 2021-12-28 Rai Strategic Holdings, Inc. Detachable atomization assembly for aerosol delivery device
GB201912477D0 (en) 2019-08-30 2019-10-16 Nicoventures Trading Ltd Aerosol provision systems
CN110353298A (zh) * 2019-08-30 2019-10-22 深圳雾芯科技有限公司 电子烟液
WO2021039343A1 (ja) 2019-08-30 2021-03-04 日本たばこ産業株式会社 非加熱型香味吸引器
JP2022177327A (ja) 2019-08-30 2022-12-01 日本たばこ産業株式会社 霧化用液体
EP4531148A3 (en) 2019-09-03 2025-06-11 Juul Labs, Inc. Fuel cell powered vaporizer device
EP3794982A1 (en) * 2019-09-20 2021-03-24 Nerudia Limited Smoking substitute apparatus
EP3794981A1 (en) * 2019-09-20 2021-03-24 Nerudia Limited Smoking substitute component
EP3795007A1 (en) * 2019-09-20 2021-03-24 Nerudia Limited Smoking substitute apparatus
WO2021053216A1 (en) 2019-09-20 2021-03-25 Nerudia Limited A smoking substitute apparatus with electrical contacts
EP3794996A1 (en) * 2019-09-20 2021-03-24 Nerudia Limited Smoking substitute apparatus
US11889861B2 (en) 2019-09-23 2024-02-06 Rai Strategic Holdings, Inc. Arrangement of atomization assemblies for aerosol delivery device
WO2021065702A1 (ja) * 2019-10-04 2021-04-08 株式会社村田製作所 プローブ
US11785991B2 (en) 2019-10-04 2023-10-17 Rai Strategic Holdings, Inc. Use of infrared temperature detection in an aerosol delivery device
US10842189B1 (en) 2019-10-09 2020-11-24 Cegnum LLC Electronic smoking device including terminals arranged to provide for selective energizing of heating elements
US10721973B1 (en) 2019-10-09 2020-07-28 Cegnum LLC Electronic smoking device with an indicator assembly for providing visual output based on operation of plural atomizers
US12439951B2 (en) 2019-10-09 2025-10-14 Nicoventures Trading Limited Aerosolizable material with cannabinoid and carrier constituent
US12414586B2 (en) 2019-10-18 2025-09-16 Rai Strategic Holdings, Inc. Surface acoustic wave atomizer for aerosol delivery device
US11304451B2 (en) 2019-10-18 2022-04-19 Rai Strategic Holdings, Inc. Aerosol delivery device with dual reservoir
US11470689B2 (en) 2019-10-25 2022-10-11 Rai Strategic Holdings, Inc. Soft switching in an aerosol delivery device
US20220408810A1 (en) * 2019-11-05 2022-12-29 Vitamin Leaf Llc Vape pen and vaping fluid delivery container protection device and decorative cover
EP4061164B1 (en) 2019-11-18 2025-06-25 RAI Strategic Holdings, Inc. Security tag
US11528938B2 (en) 2019-11-26 2022-12-20 Altria Client Services Llc Non-nicotine pod assemblies and non-nicotine e-vaping devices
US11490656B2 (en) 2019-11-26 2022-11-08 Altria Client Services Llc Nicotine pod assemblies and nicotine e-vaping devices
US11484062B2 (en) 2019-11-26 2022-11-01 Altria Client Services Llc Nicotine pod assemblies and nicotine e-vaping devices
US11528939B2 (en) 2019-11-26 2022-12-20 Altria Client Services Llc Non-nicotine pod assemblies and non-nicotine e-vaping devices
US11528937B2 (en) 2019-11-26 2022-12-20 Altria Client Services Llc Nicotine pod assemblies and nicotine e-vaping devices
US11596172B2 (en) 2019-11-26 2023-03-07 Altria Client Services Llc Non-nicotine pod assemblies and non-nicotine e-vaping devices
US11576432B2 (en) 2019-11-26 2023-02-14 Altria Client Services Llc Nicotine pod assemblies and nicotine e-vaping devices
US11564416B2 (en) 2019-11-26 2023-01-31 Altria Client Services Llc Non-nicotine pod assemblies and non-nicotine e-vaping devices
US11632985B2 (en) * 2019-12-10 2023-04-25 Darren Rubin Flavor elements and methods of providing nonvaporized flavor to electronic vaporizers and e-cigarettes
CN111011932B (zh) * 2019-12-26 2025-03-21 深圳麦克韦尔科技有限公司 电子雾化装置及其雾化器
JP7702408B2 (ja) 2019-12-30 2025-07-03 アール・エイ・アイ・ストラテジック・ホールディングス・インコーポレイテッド エアロゾル送達デバイス用の心拍数モニタ
WO2021146251A1 (en) 2020-01-14 2021-07-22 Juul Labs, Inc. Hybrid gel-fiber wick for use in a vaporizer device
IL294738B1 (en) 2020-01-30 2025-10-01 Philip Morris Products Sa Spray generation system with leak prevention
US11751606B2 (en) 2020-02-10 2023-09-12 Altria Client Services Llc Heating engine control algorithm for non-nicotine e-vapor device
US11793237B2 (en) 2020-02-10 2023-10-24 Altria Client Services Llc Heating engine control algorithm for nicotine e-vapor device
KR102479092B1 (ko) 2020-02-24 2022-12-19 주식회사 케이티앤지 에어로졸 생성 장치
US20230126367A1 (en) * 2020-02-26 2023-04-27 Philip Morris Products S.A. Inhaler mouthpiece with flavour element
KR102478152B1 (ko) 2020-03-02 2022-12-15 주식회사 케이티앤지 에어로졸 생성 장치 및 에어로졸 생성 시스템
CN113424989B (zh) * 2020-03-23 2024-12-24 湖南中烟工业有限责任公司 烟支加热组件及低温烟具
AR121656A1 (es) 2020-03-26 2022-06-29 Rai Strategic Holdings Inc Métodos, aparatos y sistemas para activar un dispositivo antes de accionar el dispositivo
US20210321674A1 (en) 2020-04-21 2021-10-21 Rai Strategic Holdings, Inc. Pressure-sensing user interface for an aerosol delivery device
US11839240B2 (en) 2020-04-29 2023-12-12 Rai Strategic Holdings, Inc. Piezo sensor for a power source
JP2020127424A (ja) * 2020-05-12 2020-08-27 アール・エイ・アイ・ストラテジック・ホールディングス・インコーポレイテッド 1つ以上のマイクロヒーターを備える電子喫煙物品
CN113662252B (zh) * 2020-05-14 2025-03-11 云南中烟工业有限责任公司 一种可产生非氧气体的加热卷烟抽吸装置及加热卷烟
KR102427857B1 (ko) * 2020-05-14 2022-08-01 주식회사 케이티앤지 에어로졸 생성 시스템
KR102405823B1 (ko) * 2020-05-20 2022-06-03 한상운 일회용 전자담배
KR102436227B1 (ko) * 2020-05-29 2022-08-24 주식회사 케이티앤지 기능성 물질이 코팅된 흡연물품용 팁페이퍼 및 상기 팁페이퍼의 코팅 방법
WO2021240444A2 (en) 2020-05-29 2021-12-02 Nicoventures Trading Limited Aerosol delivery device
US12303640B2 (en) * 2020-05-31 2025-05-20 The Original Sustainable Joint LLC Administering apparatus with dispensing device system for delivery of combustible medicaments
CN111713745B (zh) * 2020-06-08 2023-06-27 惠州市新泓威科技有限公司 电子雾化设备溶液粘度的检测与控制方法及其电子雾化设备
US11576438B2 (en) 2020-07-15 2023-02-14 Altria Client Services Llc Nicotine electronic vaping device
US11730196B2 (en) * 2020-07-15 2023-08-22 Altria Client Services Llc Nicotine electronic vaping device including a reservoir assembly
US11771849B2 (en) 2020-07-15 2023-10-03 Altria Client Services Llc Non-nicotine electronic vaping device
CN111789297B (zh) * 2020-07-20 2023-10-20 北京航空航天大学云南创新研究院 一种带储弹仓可连续进弹夹持式加热烟具
US11659864B2 (en) * 2020-07-28 2023-05-30 Ruyun Guo Electronic cigarette burner element
CN112038978B (zh) * 2020-08-05 2022-04-05 河南牛帕力学工程研究院 一种适用于无人机电力放线的挂线工具
US11839239B2 (en) 2020-08-12 2023-12-12 DES Products Ltd. Adjustable airflow cartridge for electronic vaporizer
KR102593728B1 (ko) * 2020-08-26 2023-10-24 주식회사 케이티앤지 초음파 기반 에어로졸 발생 장치 및 그의 카트리지 인식 방법
US11690400B2 (en) 2020-08-28 2023-07-04 E-Cone LLC Self-igniting cap for a pipe
WO2022049537A1 (en) 2020-09-03 2022-03-10 Itc Limited Aerosol generating article
JP6865879B1 (ja) * 2020-09-07 2021-04-28 日本たばこ産業株式会社 エアロゾル発生システム、吸引器用コントローラ、および電源装置
CN213486879U (zh) * 2020-09-17 2021-06-22 新疆睿丰智能科技有限公司 可替换油仓式雾化烟弹
US11771136B2 (en) 2020-09-28 2023-10-03 Rai Strategic Holdings, Inc. Aerosol delivery device
DE102020126010B4 (de) * 2020-10-05 2025-05-08 Türk & Hillinger GmbH Elektrische Heizvorrichtung und Verfahren zur Herstellung einer elektrischen Heizvorrichtung
USD942678S1 (en) 2020-10-16 2022-02-01 Raymond G Cragle Mouthpiece
US11856986B2 (en) 2020-10-19 2024-01-02 Rai Strategic Holdings, Inc. Customizable panel for aerosol delivery device
US20220118200A1 (en) * 2020-10-19 2022-04-21 Drury Industries, LLC Discrete Inhaling Device
JP1714440S (ja) 2020-10-30 2022-05-10 喫煙用エアロゾル発生器
JP1714441S (ja) 2020-10-30 2022-05-10 喫煙用エアロゾル発生器
USD990765S1 (en) 2020-10-30 2023-06-27 Nicoventures Trading Limited Aerosol generator
JP1715888S (ja) 2020-10-30 2022-05-25 喫煙用エアロゾル発生器
JP1714443S (ja) 2020-10-30 2022-05-10 喫煙用エアロゾル発生器
JP1714442S (ja) 2020-10-30 2022-05-10 喫煙用エアロゾル発生器
US20220168514A1 (en) 2020-12-01 2022-06-02 Rai Strategic Holdings, Inc. Microchannel Feed System for an Aerosol Delivery Device
US11969545B2 (en) 2020-12-01 2024-04-30 Rai Strategic Holdings, Inc. Liquid feed systems for an aerosol delivery device
US11930861B2 (en) 2020-12-07 2024-03-19 Rai Strategic Holdings, Inc. Aerosol provision system with integrated charger
CN112545057A (zh) * 2020-12-24 2021-03-26 云南中烟工业有限责任公司 一种传动-加热二合一型连续供应凝胶态烟油的电子烟
CN114847527A (zh) * 2021-01-20 2022-08-05 深圳市合元科技有限公司 雾化器及电子雾化装置
US12097384B2 (en) 2021-03-16 2024-09-24 Krietzman Mark H Energy and gaseous health supplements
KR102623265B1 (ko) * 2021-03-17 2024-01-09 주식회사 케이티앤지 에어로졸 생성 장치
US20220304375A1 (en) * 2021-03-24 2022-09-29 Next Level Ventures LLC Combinable and orientable electronic vaping devices
US20220304378A1 (en) 2021-03-24 2022-09-29 Rai Strategic Holdings, Inc. Aerosol delivery device
WO2022201419A1 (ja) 2021-03-25 2022-09-29 日本たばこ産業株式会社 吸引装置、カプセル、情報処理システム、情報処理方法、及びプログラム
KR102542022B1 (ko) * 2021-04-29 2023-06-12 주식회사 케이티앤지 카트리지 및 이를 포함하는 에어로졸 생성 장치
USD989384S1 (en) 2021-04-30 2023-06-13 Nicoventures Trading Limited Aerosol generator
JP7102590B1 (ja) * 2021-07-26 2022-07-19 株式会社北の達人コーポレーション 電子タバコ用リキッド、および電子タバコ用リキッドの製造方法、ならびに電子タバコ用カートリッジ、電子タバコ
US12274303B2 (en) * 2021-08-17 2025-04-15 Aspire North America Llc Heating assembly
KR102588889B1 (ko) * 2021-08-27 2023-10-16 주식회사 이엠텍 액 막힘을 최소화할 수 있는 미세입자 발생장치용 액상 카트리지
EP4398964A4 (en) * 2021-09-12 2025-06-25 Niconox LLC DELIVERY DEVICES AND COMPOSITIONS
WO2023052112A1 (en) * 2021-09-28 2023-04-06 Nerudia Limited Vapour delivery apparatus
US12144377B2 (en) 2021-10-01 2024-11-19 Rai Strategic Holdings, Inc. Absorbent containing mouthpiece for aerosol delivery device
CN216416022U (zh) * 2021-10-17 2022-05-03 程金 一种电子烟雾化器用陶瓷发热芯
CN118019468A (zh) * 2021-10-20 2024-05-10 菲利普莫里斯生产公司 用于感应加热气溶胶生成装置的多液体筒组件
KR102759630B1 (ko) * 2021-12-09 2025-02-03 주식회사 케이티앤지 담배 냄새 유발 물질 저감 첨가제 및 향 적용으로 담배 냄새가 저감된 흡연 물품용 필터 및 흡연 물품
US12279648B2 (en) 2021-12-20 2025-04-22 Rai Strategic Holdings, Inc. Aerosol delivery device with improved sealing arrangement
WO2023128815A1 (ru) * 2021-12-28 2023-07-06 Плонк Дмсс Одноразовая электронная сигарета
RU210637U1 (ru) * 2021-12-28 2022-04-22 Плонк Дмсс Одноразовая электронная сигарета
US20250098726A1 (en) * 2022-01-14 2025-03-27 Nicoventures Trading Limited Aerosolisable material
CA3259894A1 (en) * 2022-06-24 2023-12-28 Nicoventures Trading Limited ORAL COMPOSITION INCLUDING A RECEIVER MODULATOR
US20240065320A1 (en) * 2022-08-25 2024-02-29 Troy D. Vann Cannabidiol Electronic Liquid Pod for Cigarettes and Vaporizer
CN218457284U (zh) * 2022-09-13 2023-02-10 山西顺雾奥尔特科技有限公司 一种电子烟用的连接器
JP7502536B2 (ja) * 2022-10-14 2024-06-18 Future Technology株式会社 エアロゾル吸引カートリッジのシール部材及びシール構造
WO2024080175A1 (ja) * 2022-10-14 2024-04-18 Future Technology株式会社 エアロゾル吸引カートリッジとそのシール部材及びシール機構
GB202217145D0 (en) * 2022-11-16 2022-12-28 Nicoventures Trading Ltd Consumable
CN115886311A (zh) * 2022-12-22 2023-04-04 东莞市吉纯生物技术有限公司 一种口味改善组合物及其制备方法和雾化液
US20240270711A1 (en) 2023-01-18 2024-08-15 Ready Mix Naturals, LLC Vaporizable alkaloid compositions and methods of use thereof
US11964958B1 (en) * 2023-01-18 2024-04-23 Ready Mix Naturals, LLC Vaporizable alkaloid compositions and methods of use thereof
US20240245092A1 (en) 2023-01-18 2024-07-25 Ready Mix Naturals, LLC Vaporizable alkaloid compositions and methods of use thereof
WO2024200734A1 (en) * 2023-03-29 2024-10-03 Philip Morris Products S.A. Aerosol-generating device having improved aerosol extraction
US11937633B1 (en) 2023-05-25 2024-03-26 Next Level Ventures LLC Vaping mouthpiece locking structure
WO2025008272A1 (en) * 2023-07-06 2025-01-09 Nicoventures Trading Limited Aerosol-generating device and component for use with an aerosol-generating device
CN120113830A (zh) * 2023-12-08 2025-06-10 思摩尔国际控股有限公司 一种尼古丁替代液体制剂及其制备方法和应用
CN120154138A (zh) * 2023-12-16 2025-06-17 尼科创业贸易有限公司 用于气溶胶供应系统的烟弹、烟杆及气溶胶供应系统
US12207686B1 (en) 2024-09-06 2025-01-28 My Next Idea, LLC Vortexer for cap of personal vaporizer

Family Cites Families (739)

* Cited by examiner, † Cited by third party
Publication number Priority date Publication date Assignee Title
BE421623A (enExample)
US567558A (en) 1896-09-08 Inhaler
US393869A (en) 1888-12-04 Inhaler
US539839A (en) 1895-05-28 Isaac vobon
US751923A (en) 1904-02-09 James joseph kelly
US2057353A (en) 1936-10-13 Vaporizing unit fob therapeutic
US652987A (en) 1899-10-28 1900-07-03 David R Watson Cigar-pipe and inhaler.
US777948A (en) 1903-02-12 1904-12-20 James C Gable Tobacco-smoking pipe.
US811859A (en) 1905-03-15 1906-02-06 Hoskins Company Electric resistance element.
US900197A (en) 1906-10-08 1908-10-06 Gustave H Osman Blow-off cock.
US1013157A (en) 1909-05-01 1912-01-02 Westinghouse Electric & Mfg Co Resistance or heating element.
US962617A (en) 1909-12-23 1910-06-28 Francisco Ricart Inhaler.
US1185661A (en) 1915-10-11 1916-06-06 William C Hawley Tobacco-pipe and cigar-holder.
US1514482A (en) 1920-12-27 1924-11-04 L Mario Teran Sugar-evaporating plant
GB203061A (en) 1922-06-02 1923-09-03 Herbert Fleetwood Holworthy A novel device for repairing chairs, sofas and the like
GB203964A (en) 1922-11-23 1923-09-20 W H Newman Ltd Improvements relating to tobacco pipes
US1514682A (en) 1923-05-03 1924-11-11 Wilson Harold Electric vaporizer
US1557351A (en) 1924-12-17 1925-10-13 Charles W Fischer Tobacco-pipe stem
US1771366A (en) 1926-10-30 1930-07-22 R W Cramer & Company Inc Medicating apparatus
US1771386A (en) 1927-02-02 1930-07-22 Leo L Williams Molding for automobile bodies and the like
US1775947A (en) 1927-05-03 1930-09-16 Roy M Wolvin Electric vaporizer
US1865679A (en) 1929-11-16 1932-07-05 Lorne H Colpe Mouthpiece for cigarettes
US1817546A (en) 1930-07-09 1931-08-04 Deinstein Abraham Cigarette
US1865780A (en) * 1931-02-04 1932-07-05 Naimaster Frederick Mouthpiece for tobacco pipes, cigar or cigarette holders, or other articles to be held by the teeth
US2051030A (en) 1931-03-20 1936-08-18 Joseph Z Dalinda Method and apparatus for smoking
US1841952A (en) 1931-05-18 1932-01-19 James F Hughes Mouthpiece for cigarettes
US1916799A (en) 1932-02-18 1933-07-04 James F Hughes Mouthplece for cigarettes
US1968509A (en) 1932-07-13 1934-07-31 Tiffany Technical Corp Therapeutic apparatus
US2104266A (en) 1935-09-23 1938-01-04 William J Mccormick Means for the production and inhalation of tobacco fumes
US2247869A (en) 1940-02-28 1941-07-01 John R Beers Heater element for cathodes used in radio tubes and method of making the same
US2342853A (en) 1941-08-25 1944-02-29 Furstenberg Siegfried Combination inhaler, cigarette filter, and holder
US2356975A (en) * 1942-01-19 1944-08-29 Gedeon R Comptois Pipe
US2406275A (en) 1942-04-07 1946-08-20 Wejnarth Axel Richard Electrical resistance element
US2425624A (en) 1943-07-26 1947-08-12 Lardinois Omer Inhaling device
US2445476A (en) 1944-12-29 1948-07-20 Marvin L Folkman Cigarette article
GB588117A (en) 1945-01-29 1947-05-14 John Terry Hayward Butt Improvements in or relating to inhalers for analgesic or anaesthetic purposes
US2599310A (en) 1945-11-23 1952-06-03 Alexander V Abercrombie Pipe with smoke baffle
US2542612A (en) 1946-06-22 1951-02-20 Stanley E Arneson Cigarette tip attachment
US2479002A (en) 1946-12-06 1949-08-16 Walter R Ceperly Tubular medicator
US2631219A (en) 1949-05-06 1953-03-10 Charles T Suchy Electrical heating element
US2558127A (en) 1949-11-10 1951-06-26 George E Downs Cigarette insert
US2609817A (en) 1950-06-08 1952-09-09 Falcone Anthony Inhaler
US2746890A (en) 1950-09-14 1956-05-22 Larus & Brother Company Inc Cigarette device
US2670739A (en) 1951-07-02 1954-03-02 Charles M Mcneill Inhaler
US2702033A (en) 1951-10-09 1955-02-15 Henry H Pardeman Inhaler shaped like a cigarette
US2701836A (en) 1952-08-20 1955-02-08 Pavenick Stanford Automobile cigarette lighter
US2830597A (en) 1953-05-21 1958-04-15 Kummli Jakob Smoking device
US2721551A (en) 1954-05-17 1955-10-25 Lobl Otto Tubular mouth inhaler simulating a smoking device
US2815028A (en) 1954-07-20 1957-12-03 Bernhard Edgar Cigarette structure
US2836183A (en) 1954-11-19 1958-05-27 Harold C Fay Cigarette
US2907686A (en) 1954-12-23 1959-10-06 Henry I Siegel Cigarette substitute and method
US2860638A (en) 1956-02-21 1958-11-18 Bartolomeo Frank Smoking device
US2972557A (en) 1957-10-14 1961-02-21 Basic Res Corp Tobacco smoking product
US2971039A (en) 1957-11-26 1961-02-07 Hayes Inc C I Resistance heating element for vacuum furnaces and the like
US2974669A (en) 1958-10-28 1961-03-14 Ellis Robert Combination cigarette holder, lighter, and smoke purifier, filter, and cooler
US3150668A (en) 1960-02-12 1964-09-29 Lassiter Cigarette
US3097419A (en) * 1960-03-11 1963-07-16 dickson
US3062218A (en) 1961-02-06 1962-11-06 Charles E Temkovits Smoke cooling cigarettes
CH401788A (de) 1961-11-02 1965-10-31 Seuthe Eberhard Vorrichtung zum Erzeugen von Dampf, insbesondere zur Anwendung bei einem Spielzeug
US3255760A (en) 1962-08-03 1966-06-14 Kimberly Clark Co Tobacco product which produces less tars
US3234633A (en) * 1962-09-28 1966-02-15 Gen Electric Method of making a sheathed electric heating unit
GB1033674A (en) 1963-01-17 1966-06-22 Battelle Memorial Institute Improvements relating to inhaling devices
US3200819A (en) 1963-04-17 1965-08-17 Herbert A Gilbert Smokeless non-tobacco cigarette
US3347231A (en) 1963-04-17 1967-10-17 Chang Chien-Hshuing Imitation cigarette
US3294095A (en) 1963-09-26 1966-12-27 Carl L Ackerman Cigarette filter protector
US3280819A (en) 1963-10-09 1966-10-25 Weeks Gladys Hazle Foundation garment
US3402723A (en) 1963-10-11 1968-09-24 Yow Jiun Hu Smoking pipe apparatus
US3258015A (en) 1964-02-04 1966-06-28 Battelle Memorial Institute Smoking device
US3320953A (en) 1964-08-06 1967-05-23 Rindner Sheperd Mouth inhaler simulating smoking device
US3324861A (en) 1965-01-22 1967-06-13 Henry J Gaisman Cigarette construction or the like
US3394733A (en) 1965-01-27 1968-07-30 Jacuzzi Bros Inc Airless water pressure system
US3425414A (en) 1965-05-28 1969-02-04 William J La Roche Inhalant dispenser
US3356094A (en) 1965-09-22 1967-12-05 Battelle Memorial Institute Smoking devices
US3396733A (en) 1966-03-23 1968-08-13 Lorillard Co P Cigarette tip
US3363633A (en) 1966-02-01 1968-01-16 Claude J. Weber Smoker's pipe and means for keeping same lighted
GB1185887A (en) 1966-06-22 1970-03-25 Synectics Inc Smoking Article
US3404692A (en) 1966-11-22 1968-10-08 Lampert Antal Cigarette substitute inhaler
US3428050A (en) 1967-02-21 1969-02-18 Walter R Kandel Filter cigarette of adjustable filter capacity
US3439685A (en) 1967-03-14 1969-04-22 Robert L Allen Method for breaking the cigarette habit
GB1194572A (en) 1967-07-24 1970-06-10 British American Tobacco Co Improvements in Cigarettes
US3410273A (en) 1968-01-16 1968-11-12 Bolles James Chadbourn Cigarette
US3482580A (en) 1968-02-26 1969-12-09 Shem Ernest Hollabaugh Anti-smoking device
US3521643A (en) 1968-02-26 1970-07-28 Ernest Toth Cigarette-simulating inhaler
US3516417A (en) 1968-04-05 1970-06-23 Clayton Small Moses Method of smoking and means therefor
US3608560A (en) 1968-11-07 1971-09-28 Sutton Res Corp Smokable product of oxidized cellulosic material
US3559300A (en) 1969-02-07 1971-02-02 Lloyd G Fox Tobacco pipe dryer
US3587573A (en) 1969-06-20 1971-06-28 John Gene Flack Inhalation device with rupturable microscopic capsules
NL6909541A (enExample) 1969-06-21 1970-12-23
US3581748A (en) 1969-07-02 1971-06-01 Int Automated Electronics Corp Cigarette filter
US3656489A (en) * 1969-08-26 1972-04-18 Eldon Stahly Method of treating tobacco smoke to eliminate metal carbonyl content thereof
US3631856A (en) 1969-09-22 1972-01-04 Ruth E Taylor Substitute smoking article dispensing oxygen to provide a physiological lift
US3683936A (en) * 1969-12-12 1972-08-15 H 2 O Filter Corp The Substitute for a smoking article such as a cigarette
US3738374A (en) 1970-03-05 1973-06-12 B Lab Cigar or cigarette having substitute filler
US3721240A (en) 1970-11-10 1973-03-20 M Tamburri Mechanical smoking device
US3648929A (en) 1971-02-08 1972-03-14 Battelle Memorial Institute Atomizer
US4016061A (en) 1971-03-11 1977-04-05 Matsushita Electric Industrial Co., Ltd. Method of making resistive films
US3744498A (en) 1971-03-11 1973-07-10 Seita Method of forming a continuous band of natural tobacco
US3685527A (en) * 1971-06-29 1972-08-22 Reynolds Tobacco Co R Filter construction and method of forming same
US3789840A (en) 1971-07-27 1974-02-05 R Rosenblatt Device for assisting cigarette smokers to discontinue smoking
US3804100A (en) 1971-11-22 1974-04-16 L Fariello Smoking pipe
BE791758A (fr) 1971-11-24 1973-05-22 Olin Corp Enveloppe chargee de carbone pour article a fumer et article a fumer presentant une telle enveloppe
US4319591A (en) 1972-02-09 1982-03-16 Celanese Corporation Smoking compositions
IE37524B1 (en) 1972-04-20 1977-08-17 Gallaher Ltd Synthetic smoking product
US3828799A (en) 1973-02-02 1974-08-13 J Beam Tobacco smoking equipment
GB1397351A (en) 1973-06-20 1975-06-11 Pfizer Cigarette mouthpiece
US3878041A (en) 1973-08-08 1975-04-15 Us Energy Oxynitride fuel kernel for gas-cooled reactor fuel particles
US3889690A (en) 1973-09-24 1975-06-17 James Guarnieri Smoking appliance
US3895219A (en) 1973-11-23 1975-07-15 Norton Co Composite ceramic heating element
US3875476A (en) 1974-01-10 1975-04-01 Honeywell Inc Igniter element
FI50767C (fi) 1974-10-02 1976-07-12 Lauri H Vaeyrynen Sähkösuodatin.
US3886954A (en) 1974-03-13 1975-06-03 Johannes Hermanus Hannema Fire safety cigarette
US4098725A (en) 1974-11-28 1978-07-04 Tokyo Denki Kagaku Kogyo Kabushiki Kaisha Low thermal expansive, electroconductive composite ceramics
US4319587A (en) 1975-06-09 1982-03-16 Irving S. Moser Smoking article
US4110260A (en) 1975-09-25 1978-08-29 Tokyo Denki Kagaku Kogyo Kabushiki Kaisha (Tdk Electronics Co., Ltd.) Electroconductive composite ceramics
DE2547941C2 (de) 1975-10-27 1983-01-05 Klaus 8024 Deisenhofen Müller-Brandt Tabakwaren-Surrogat, insbesondere zur Raucherentwöhnung
US4068672A (en) 1975-12-22 1978-01-17 Alfohn Corporation Method and apparatus for breaking the habit of smoking
GB1528391A (en) 1976-01-05 1978-10-11 Gildemeister V Aerosol compositions
US4083372A (en) 1976-05-24 1978-04-11 Robert Boden Cigarette-simulating inhaler
FR2358846A1 (fr) 1976-07-20 1978-02-17 Blasutti Claudine Fume-cigarette ou pipe
US4141369A (en) 1977-01-24 1979-02-27 Burruss Robert P Noncombustion system for the utilization of tobacco and other smoking materials
NL165639C (nl) 1977-03-02 1981-05-15 Evert Jacob Sybren Bron Pijp voor sigaretten, sigaren en andere tabaksartikelen waarbij in het rookkanaal een gloeidraad als nabrander is aangebracht.
US4171000A (en) 1977-03-23 1979-10-16 Uhle Klaus P Smoking device
US4430072A (en) 1977-06-03 1984-02-07 International Business Machines Corporation Centrifuge assembly
US4193411A (en) 1977-06-13 1980-03-18 Raymond W. Reneau Power-operated smoking device
US4164230A (en) 1977-07-13 1979-08-14 Walter Pearlman Automatic smoking device
US4219032A (en) 1977-11-30 1980-08-26 Reiner Steven H Smoking device
US4209026A (en) 1977-12-02 1980-06-24 Dock Mortimer R Method of securing a filtering mass for tobacco smoke within a housing encompassing said mass
US4184496A (en) 1978-02-23 1980-01-22 Adair Virginia M Air moving simulated cigarette device
US4267976A (en) 1978-03-10 1981-05-19 Chatwin Francis R Apparatus for vaporizing and atomizing liquids
US4505282A (en) 1978-05-12 1985-03-19 American Brands, Inc. Innerliner wrap for smoking articles
US4149548A (en) 1978-09-21 1979-04-17 Bradshaw John C Therapeutic cigarette-substitute
US4284089A (en) 1978-10-02 1981-08-18 Ray Jon P Simulated smoking device
US4799979A (en) 1978-11-24 1989-01-24 Alloy Surfaces Company, Inc. Heat generation
US4246913A (en) 1979-04-02 1981-01-27 Henry R. Harrison Apparatus for reducing the desire to smoke
US4275747A (en) 1979-08-30 1981-06-30 Miller William L Smoking pipe
US4256945A (en) 1979-08-31 1981-03-17 Iris Associates Alternating current electrically resistive heating element having intrinsic temperature control
US4413641A (en) 1979-09-07 1983-11-08 Philip Morris Incorporated Cigarette mouthpiece
US4419302A (en) 1979-09-29 1983-12-06 Matsushita Electric Industrial Company, Limited Steam generator
GB2064296B (en) 1979-11-16 1983-06-22 Imp Group Ltd Cigarette or cigarette-like device which produces aerosol in smoke
US4580583A (en) 1979-12-17 1986-04-08 Green Jr William D Smoke generating device
US4259970A (en) 1979-12-17 1981-04-07 Green Jr William D Smoke generating and dispensing apparatus and method
US4436100A (en) 1979-12-17 1984-03-13 Green Jr William D Smoke generator
DE3006553A1 (de) 1980-02-21 1981-09-03 Geldmacher, Erwin Helmut, Niederteufen, Appenzell Außerrhoden Zigarette o.ae. abrauchbares genussmittel
US4331166A (en) 1980-05-02 1982-05-25 Philip Morris, Incorporated Cigarette
US4327186A (en) 1980-06-23 1982-04-27 Kennecott Corporation Sintered silicon carbide-titanium diboride mixtures and articles thereof
US4303083A (en) 1980-10-10 1981-12-01 Burruss Jr Robert P Device for evaporation and inhalation of volatile compounds and medications
USD270097S (en) 1980-11-06 1983-08-09 Minkevitch Joseph M Combined cigarette snuffer and holder
GB2089188B (en) 1980-12-12 1984-08-30 Smith Walter Artificial cigarettes
DE8102346U1 (de) 1981-01-30 1981-08-06 Niemann, Horst, 8060 Dachau Zigaretten- bzw. zigarettenersatz mit zigaretten- bzw. zigarrenspitze
NL8201585A (nl) 1981-04-28 1982-11-16 Douwe Egberts Tabaksfab Sigaar.
NL8102227A (nl) 1981-05-07 1982-12-01 Philips Nv Werkwijze voor het vervaardigen van straalpijpkanalen en inktstraaldrukker met een volgens die werkwijze vervaardigd straalpijpkanaal.
US4851206A (en) 1981-07-15 1989-07-25 The Board Of Trustees Of The Leland Stanford Junior University, Stanford University Methods and compostions involving high specific surface area carbides and nitrides
US4515763A (en) 1981-07-15 1985-05-07 Board Of Trustees Of Leland Stanford Jr. Univeristy High specific surface area carbides and nitrides
JPS5841770A (ja) 1981-09-01 1983-03-11 株式会社東芝 セラミツクス焼結体及びその製造方法
US4449039A (en) 1981-09-14 1984-05-15 Nippondenso Co., Ltd. Ceramic heater
US4446878A (en) * 1981-09-21 1984-05-08 Brown & Williamson Tobacco Corporation Cigarette filter
US4393884A (en) 1981-09-25 1983-07-19 Jacobs Allen W Demand inhaler for oral administration of tobacco, tobacco-like, or other substances
US4431903A (en) 1981-11-09 1984-02-14 Eldon Industries Soldering iron with flat blade heating element
DE3242959C2 (de) 1981-11-20 1986-02-20 Kabushiki Kaisha Kobe Seiko Sho, Kobe Isostatische Heißpreßvorrichtung
DE3148335C2 (de) 1981-12-07 1984-03-29 Adam Dr. 8630 Coburg Müller Verfahren zur Gewinnung von Aromastoffen aus Tabak und deren Verwendung
DE3218760A1 (de) 1982-05-18 1983-12-01 Adam Dr. 8630 Coburg Müller Klares tabak-aromaoel, sowie verfahren zu seiner gewinnung aus einem tabakextrakt und dessen verwendung
US4416840A (en) 1981-12-21 1983-11-22 General Electric Company Al2 O3 Ceramic composite
IT1208089B (it) 1982-02-10 1989-06-06 Francesco Cornelio Miscela da fumo confezionata in sigaretta o similari contro il vizio del fumo.
US4429703A (en) 1982-02-22 1984-02-07 William Haber Cigarette substitute
US4475029A (en) 1982-03-02 1984-10-02 Nippondenso Co., Ltd. Ceramic heater
JPS58209084A (ja) 1982-05-28 1983-12-05 株式会社日立製作所 直熱形ヒ−タ材
US4457319A (en) 1982-06-22 1984-07-03 Brown & Williamson Tobacco Corporation Cigarette filter
US4493331A (en) 1982-08-02 1985-01-15 Brown & Williamson Tobacco Corporation Cigarette filter
US4649944A (en) 1982-09-30 1987-03-17 Philip Morris Incorporated Filter cigarette
JPS5978973A (ja) 1982-10-27 1984-05-08 株式会社日立製作所 導電性セラミツクス
DE3240015C2 (de) 1982-10-28 1984-09-13 Hans Dipl.-Ing. 5928 Laasphe Osterrath Zigarettenpackung mit elektrischer Glühzündeinrichtung
JPS5991685A (ja) 1982-11-17 1984-05-26 株式会社デンソー セラミツクヒ−タ
US4463247A (en) 1982-12-06 1984-07-31 Eldon Industries, Inc. Soldering iron having electric heater unit with improved heat transfer characteristics
DE3382221D1 (de) 1982-12-16 1991-04-25 Philip Morris Prod Verfahren zur herstellung einer kohlehitzequelle und ein diese quelle und einen geschmackstoffgenerator enthaltender raucherartikel.
US4476882A (en) * 1983-02-07 1984-10-16 Brown & Williamson Tobacco Corporation Tobacco smoke filters
US4517996A (en) 1983-03-25 1985-05-21 Brown & Williamson Tobacco Corporation Ventilated filter and smoke dispersing mouthpiece
US4515170A (en) 1983-05-09 1985-05-07 Brown & Williamson Tobacco Corporation Ventilated mouthpiece for a smoking article
US4506683A (en) 1983-05-09 1985-03-26 Brown & Williamson Tobacco Corporation Ventilated mouthpiece for a smoking article
GB2148079A (en) 1983-10-12 1985-05-22 Eldon Ind Inc Soldering device
GB2148676A (en) 1983-10-17 1985-05-30 Eldon Ind Inc Ceramic heater having temperature sensor integrally formed thereon
US4620557A (en) 1983-12-05 1986-11-04 Brown & Williamson Tobacco Corporation Cigarette having a mouthpiece and method of making same
US4624828A (en) 1983-12-29 1986-11-25 Battelle Memorial Institute Metal-actinide nitride nuclear fuel
US4623401A (en) 1984-03-06 1986-11-18 Metcal, Inc. Heat treatment with an autoregulating heater
US4570646A (en) 1984-03-09 1986-02-18 Herron B Keith Method and apparatus for smoking
JPS60216484A (ja) 1984-04-09 1985-10-29 株式会社日本自動車部品総合研究所 セラミツクヒ−タ
US4562337A (en) 1984-05-30 1985-12-31 Eldon Industries, Inc. Solder pot
CA1260671A (en) 1984-06-07 1989-09-26 Takahisa Koshida High-purity powder of hexagonal boron nitride and a method for the preparation thereof
US4659912A (en) 1984-06-21 1987-04-21 Metcal, Inc. Thin, flexible, autoregulating strap heater
US4582072A (en) 1984-06-25 1986-04-15 Brown & Williamson Tobacco Corporation Cigarette filter
JPS6168061A (ja) 1984-09-10 1986-04-08 吉田 錦吾 酸素タバコパイプ並に酸素健康パイプ
US4793365A (en) 1984-09-14 1988-12-27 R. J. Reynolds Tobacco Company Smoking article
JPS6168061U (enExample) 1984-10-08 1986-05-09
SE8405479D0 (sv) 1984-11-01 1984-11-01 Nilsson Sven Erik Sett att administrera flyktiga, fysiologiskt, aktiva emnen och anordning for detta
US5045237A (en) 1984-11-08 1991-09-03 Norton Company Refractory electrical device
US5085804A (en) 1984-11-08 1992-02-04 Norton Company Refractory electrical device
US4676237A (en) 1985-01-29 1987-06-30 Boutade Worldwide Investments Nv Inhaler device
US4609555A (en) * 1985-02-21 1986-09-02 Frito-Lay, Inc. Topical flavoring composition for baked products
US4637407A (en) 1985-02-28 1987-01-20 Cangro Industries, Inc. Cigarette holder
US4681125A (en) 1985-03-06 1987-07-21 Brown & Williamson Tobacco Corporation Mouthpiece for tobacco smoke article
US4953572A (en) * 1985-04-25 1990-09-04 Rose Jed E Method and apparatus for aiding in the reduction of incidence of tobacco smoking
US4800903A (en) 1985-05-24 1989-01-31 Ray Jon P Nicotine dispenser with polymeric reservoir of nicotine
US4715390A (en) * 1985-11-19 1987-12-29 Philip Morris Incorporated Matrix entrapment of flavorings for smoking articles
US4649945A (en) * 1985-12-05 1987-03-17 R. J. Reynolds Tobacco Company Adjustable air dilution cigarette exhibiting controlled pressure drop
US4941486A (en) 1986-02-10 1990-07-17 Dube Michael F Cigarette having sidestream aroma
US5076297A (en) 1986-03-14 1991-12-31 R. J. Reynolds Tobacco Company Method for preparing carbon fuel for smoking articles and product produced thereby
US4708151A (en) 1986-03-14 1987-11-24 R. J. Reynolds Tobacco Company Pipe with replaceable cartridge
US5316759A (en) 1986-03-17 1994-05-31 Robert J. Schaap Agonist-antagonist combination to reduce the use of nicotine and other drugs
US4846199A (en) 1986-03-17 1989-07-11 The Regents Of The University Of California Smoking of regenerated tobacco smoke
DE3610917A1 (de) 1986-03-24 1987-10-01 Linde Ag Steuereinrichtung mit einem willkuerlich ansteuerbaren regler fuer eine maschine
US4800183A (en) 1986-04-09 1989-01-24 The United States Of America As Represented By The United States Department Of Energy Method for producing refractory nitrides
US4700725A (en) * 1986-04-17 1987-10-20 Philip Morris Incorporated Adjustable filter cigarette
US4687008A (en) 1986-04-17 1987-08-18 Philip Morris Incorporated Filter cigarette
US4765347A (en) 1986-05-09 1988-08-23 R. J. Reynolds Tobacco Company Aerosol flavor delivery system
GB8614805D0 (en) 1986-06-18 1986-07-23 British American Tobacco Co Aerosol device
DE3627222A1 (de) 1986-08-11 1988-02-18 Siemens Ag Ultraschall-taschenzerstaeubergeraet
US4735217A (en) 1986-08-21 1988-04-05 The Procter & Gamble Company Dosing device to provide vaporized medicament to the lungs as a fine aerosol
WO1988001884A1 (en) * 1986-09-19 1988-03-24 Terasaki Paul I Sniffing stick
DE3735704A1 (de) 1987-10-22 1989-05-03 Zernisch Kg Riechstoffspender
DE3640917A1 (de) 1986-11-03 1988-08-25 Zernisch Kg Riechstoffbehaelter
KR910001300B1 (ko) 1986-11-28 1991-03-02 가와사키세이데쓰 가부시키가이샤 질화 알루미늄 분말의 제조방법
US5389677B1 (en) 1986-12-23 1997-07-15 Tristrata Inc Method of treating wrinkles using glycalic acid
JPS63167784A (ja) * 1986-12-27 1988-07-11 株式会社 晃和デイスプレイ 吸引かぎタバコ
US4771796A (en) 1987-01-07 1988-09-20 Fritz Myer Electrically operated simulated cigarette
US4819665A (en) 1987-01-23 1989-04-11 R. J. Reynolds Tobacco Company Aerosol delivery article
DE3852519T2 (de) 1987-04-21 1995-08-10 Fumakilla Ltd Heizvorrichtung mit Kaltleiter.
US4804002A (en) 1987-05-29 1989-02-14 P. H. Glatfelter Company Tobacco product containing side stream smoke flavorant
GB8713645D0 (en) 1987-06-11 1987-07-15 Imp Tobacco Ltd Smoking device
CN87104459A (zh) 1987-06-24 1988-02-24 谭祖佑 健康香烟
US4837421A (en) 1987-11-23 1989-06-06 Creative Environments, Inc. Fragrance dispensing apparatus
US4807648A (en) * 1987-12-21 1989-02-28 Tripar Incorporated Non-burning tobacco substitute
ES2007818A6 (es) * 1988-04-08 1989-07-01 Tejidos Telats S A Tubo aislante, en especial para proteccion termica y electrica.
US5115971A (en) 1988-09-23 1992-05-26 Battelle Memorial Institute Nebulizer device
US4966171A (en) 1988-07-22 1990-10-30 Philip Morris Incorporated Smoking article
US4991606A (en) 1988-07-22 1991-02-12 Philip Morris Incorporated Smoking article
US5159940A (en) 1988-07-22 1992-11-03 Philip Morris Incorporated Smoking article
US4981522A (en) 1988-07-22 1991-01-01 Philip Morris Incorporated Thermally releasable flavor source for smoking articles
US5076296A (en) 1988-07-22 1991-12-31 Philip Morris Incorporated Carbon heat source
US4947875A (en) 1988-09-08 1990-08-14 R. J. Reynolds Tobacco Company Flavor delivery articles utilizing electrical energy
US4922901A (en) 1988-09-08 1990-05-08 R. J. Reynolds Tobacco Company Drug delivery articles utilizing electrical energy
EP0358114A3 (en) 1988-09-08 1990-11-14 R.J. Reynolds Tobacco Company Aerosol delivery articles utilizing electrical energy
US4947874A (en) 1988-09-08 1990-08-14 R. J. Reynolds Tobacco Company Smoking articles utilizing electrical energy
US5040552A (en) 1988-12-08 1991-08-20 Philip Morris Incorporated Metal carbide heat source
US5038458A (en) 1989-02-22 1991-08-13 Heaters Engineering, Inc. Method of manufacture of a nonuniform heating element
US4961438A (en) 1989-04-03 1990-10-09 Brown & Williamson Tobacco Corporation Smoking device
DE3910899A1 (de) * 1989-04-04 1990-10-11 Bat Cigarettenfab Gmbh Rauchbarer artikel
US5042470A (en) 1989-05-30 1991-08-27 Nozomi Kanesaka Ventilating system for respiration of a patient
US5070891A (en) * 1989-07-12 1991-12-10 International Flavors & Fragrances, Inc. Method for imparting flavors and aromas, flavor-imparting articles, and methods for preparation and use thereof
US4945931A (en) 1989-07-14 1990-08-07 Brown & Williamson Tobacco Corporation Simulated smoking device
GB8916589D0 (en) 1989-07-20 1989-09-06 Tabac Fab Reunies Sa Control process and apparatus for the production of cigarette filters
DE3938447A1 (de) 1989-11-18 1991-05-23 Roland Man Druckmasch Farbwerk mit zonaler dosierung der farbmenge
US5188130A (en) 1989-11-29 1993-02-23 Philip Morris, Incorporated Chemical heat source comprising metal nitride, metal oxide and carbon
US5269327A (en) 1989-12-01 1993-12-14 Philip Morris Incorporated Electrical smoking article
US5144962A (en) 1989-12-01 1992-09-08 Philip Morris Incorporated Flavor-delivery article
US5093894A (en) 1989-12-01 1992-03-03 Philip Morris Incorporated Electrically-powered linear heating element
US5408574A (en) 1989-12-01 1995-04-18 Philip Morris Incorporated Flat ceramic heater having discrete heating zones
US5060671A (en) 1989-12-01 1991-10-29 Philip Morris Incorporated Flavor generating article
US5224498A (en) 1989-12-01 1993-07-06 Philip Morris Incorporated Electrically-powered heating element
US4993436A (en) 1989-12-21 1991-02-19 Bloom Jr Walter L Aspirating and volatilizing liquid dispenser
US5042510A (en) 1990-01-08 1991-08-27 Curtiss Philip F Simulated cigarette
US5016656A (en) 1990-02-20 1991-05-21 Brown & Williamson Tobacco Corporation Cigarette and method of making same
US5099861A (en) * 1990-02-27 1992-03-31 R. J. Reynolds Tobacco Company Aerosol delivery article
US5139594A (en) 1990-06-26 1992-08-18 The United States Of America As Represented By The United States Department Of Energy Method for joining ceramic shapes
GB9015502D0 (en) 1990-07-13 1990-08-29 Unilever Plc Cosmetic composition
US5080115A (en) * 1990-07-19 1992-01-14 Brown & Williamson Tobacco Corporation Simulated smoking article
US5396911A (en) 1990-08-15 1995-03-14 R. J. Reynolds Tobacco Company Substrate material for smoking articles
US5304125A (en) * 1990-10-05 1994-04-19 The University Of North Carolina Apparatus for administering solid particulate aerosols to the lungs
GB9023368D0 (en) * 1990-10-26 1990-12-05 Rothmans International Ltd Smoking article
US5157242A (en) 1990-10-29 1992-10-20 Hetherington, Inc. Hanging heating element for high temperature furnace
US5179966A (en) 1990-11-19 1993-01-19 Philip Morris Incorporated Flavor generating article
US5095921A (en) 1990-11-19 1992-03-17 Philip Morris Incorporated Flavor generating article
US5137578A (en) 1991-02-26 1992-08-11 Philip Morris Incorporated Smoking compositions containing a flavorant-release saccharide additive
US5726421A (en) 1991-03-11 1998-03-10 Philip Morris Incorporated Protective and cigarette ejection system for an electrical smoking system
US5530225A (en) 1991-03-11 1996-06-25 Philip Morris Incorporated Interdigitated cylindrical heater for use in an electrical smoking article
DE69202288T2 (de) 1991-03-11 1995-11-02 Philip Morris Prod Aromaerzeugende Artikel.
US5479948A (en) 1993-08-10 1996-01-02 Philip Morris Incorporated Electrical smoking article having continuous tobacco flavor web and flavor cassette therefor
US5388594A (en) 1991-03-11 1995-02-14 Philip Morris Incorporated Electrical smoking system for delivering flavors and method for making same
US5665262A (en) 1991-03-11 1997-09-09 Philip Morris Incorporated Tubular heater for use in an electrical smoking article
US5591368A (en) 1991-03-11 1997-01-07 Philip Morris Incorporated Heater for use in an electrical smoking system
US5505214A (en) 1991-03-11 1996-04-09 Philip Morris Incorporated Electrical smoking article and method for making same
US5249586A (en) 1991-03-11 1993-10-05 Philip Morris Incorporated Electrical smoking
US5144964A (en) 1991-03-14 1992-09-08 Philip Morris Incorporated Smoking compositions containing a flavorant-release additive
JP3032044B2 (ja) 1991-05-31 2000-04-10 国際電気株式会社 無瞬断スイッチ切替方式
US5228460A (en) 1991-12-12 1993-07-20 Philip Morris Incorporated Low mass radial array heater for electrical smoking article
US5235157A (en) 1992-01-07 1993-08-10 Electra-Lite, Inc. Battery powered cigarette lighter having recessed heating element and normally open pivotally actuated switch
GB9203761D0 (en) 1992-02-21 1992-04-08 Innovata Biomed Ltd Inhaler
US5353813A (en) 1992-08-19 1994-10-11 Philip Morris Incorporated Reinforced carbon heater with discrete heating zones
US5322075A (en) 1992-09-10 1994-06-21 Philip Morris Incorporated Heater for an electric flavor-generating article
US5498855A (en) 1992-09-11 1996-03-12 Philip Morris Incorporated Electrically powered ceramic composite heater
US5369723A (en) 1992-09-11 1994-11-29 Philip Morris Incorporated Tobacco flavor unit for electrical smoking article comprising fibrous mat
US5613505A (en) 1992-09-11 1997-03-25 Philip Morris Incorporated Inductive heating systems for smoking articles
US5666976A (en) 1992-09-11 1997-09-16 Philip Morris Incorporated Cigarette and method of manufacturing cigarette for electrical smoking system
US5692525A (en) 1992-09-11 1997-12-02 Philip Morris Incorporated Cigarette for electrical smoking system
TW245766B (enExample) 1992-09-11 1995-04-21 Philip Morris Prod
US5499636A (en) 1992-09-11 1996-03-19 Philip Morris Incorporated Cigarette for electrical smoking system
JPH06121779A (ja) 1992-10-12 1994-05-06 Toshiba Corp 磁気共鳴イメージング装置
KR950010661B1 (ko) 1992-11-07 1995-09-21 엘지전자주식회사 티에프티 엘씨디(tft-lcd)용 신호선 제조방법 및 구조
JPH06149554A (ja) 1992-11-09 1994-05-27 Matsushita Electric Ind Co Ltd プログラム動作仕様自動合成装置及びその方法
US5409669A (en) 1993-01-25 1995-04-25 Minnesota Mining And Manufacturing Company Electrically regenerable diesel particulate filter cartridge and filter
US5372148A (en) 1993-02-24 1994-12-13 Philip Morris Incorporated Method and apparatus for controlling the supply of energy to a heating load in a smoking article
GB9307710D0 (en) 1993-04-14 1993-06-02 Rothmans Benson & Hedges Smoking apparatus-l
JP2928388B2 (ja) 1993-05-28 1999-08-03 ブラウン アンド ウイリアムソン タバコ コーポレーション 喫煙品
US6228460B1 (en) 1993-06-01 2001-05-08 Interface, Inc. Tufted articles and related processes
US5666977A (en) 1993-06-10 1997-09-16 Philip Morris Incorporated Electrical smoking article using liquid tobacco flavor medium delivery system
EP0706352B1 (en) 1993-06-29 2002-03-20 Ponwell Enterprises Limited Dispenser
US5396907A (en) 1993-07-20 1995-03-14 Rojas Henao; Jerry Device for containing secondary smoke
US5388574A (en) 1993-07-29 1995-02-14 Ingebrethsen; Bradley J. Aerosol delivery article
US5592955A (en) 1994-02-07 1997-01-14 Philip Morris Incorporated Cigarette with insulating shell and method for making same
ZA954936B (en) * 1994-06-17 1996-02-27 Trudell Medical Ltd Nebulizing catheter system and methods of use and manufacture
US5514630A (en) 1994-10-06 1996-05-07 Saint Gobain/Norton Industrial Ceramics Corp. Composition for small ceramic igniters
US5595706A (en) 1994-12-29 1997-01-21 Philip Morris Incorporated Aluminum containing iron-base alloys useful as electrical resistance heating elements
US5620651A (en) 1994-12-29 1997-04-15 Philip Morris Incorporated Iron aluminide useful as electrical resistance heating elements
US6085740A (en) 1996-02-21 2000-07-11 Aerogen, Inc. Liquid dispensing apparatus and methods
US5758637A (en) 1995-08-31 1998-06-02 Aerogen, Inc. Liquid dispensing apparatus and methods
US6427682B1 (en) 1995-04-05 2002-08-06 Aerogen, Inc. Methods and apparatus for aerosolizing a substance
US5738087A (en) * 1995-09-21 1998-04-14 King; Russell W. Aerosol medication delivery system
CN2243191Y (zh) 1995-11-23 1996-12-25 孙广同 氧烟
US5724997A (en) 1995-12-21 1998-03-10 R. J. Reynolds Tobacco Company Disposable flavored filter for cigarettes
US6280682B1 (en) 1996-01-03 2001-08-28 Chrysalis Technologies Incorporated Iron aluminide useful as electrical resistance heating elements
US5743251A (en) 1996-05-15 1998-04-28 Philip Morris Incorporated Aerosol and a method and apparatus for generating an aerosol
JP3977872B2 (ja) 1996-06-04 2007-09-19 日本曹達株式会社 新規な農園芸用殺菌剤組成物
JP3325028B2 (ja) 1996-06-17 2002-09-17 日本たばこ産業株式会社 香味生成物品
CN1113621C (zh) 1996-06-17 2003-07-09 日本烟业产业株式会社 香味生成物和香味生成器
US6089857A (en) * 1996-06-21 2000-07-18 Japan Tobacco, Inc. Heater for generating flavor and flavor generation appliance
US5909845A (en) 1996-06-28 1999-06-08 S. C. Johnson & Son, Inc. Wick-based liquid emanation system with child-resistant overcap
DE19630619C2 (de) 1996-07-29 1998-07-09 Mueller Extract Co Gmbh Im wesentlichen nikotinfreies Tabakaromaöl sowie Verfahren zu dessen Herstellung
DE19654945C2 (de) 1996-07-29 1998-05-20 Mueller Extract Co Gmbh Im wesentlichen nikotinfreies Tabakaromaöl sowie Verfahren zu dessen Herstellung
JP2814997B2 (ja) * 1996-08-08 1998-10-27 株式会社アドバンテスト 半導体試験装置
FR2752718B1 (fr) 1996-08-30 1999-01-08 Plasto Sa Embout buccal hygienique amovible
DE69720508T2 (de) 1996-10-15 2004-03-04 Rothmans, Benson & Hedges Inc., North York Vorrichtung zur kontrolle der seitenströmung und der freien brenngeschwindigkeit einer zigarette
SE9603804D0 (sv) * 1996-10-16 1996-10-16 Aga Ab Sätt och anordning för framställning av en finfördelad aerosol
US6040560A (en) 1996-10-22 2000-03-21 Philip Morris Incorporated Power controller and method of operating an electrical smoking system
US5934289A (en) 1996-10-22 1999-08-10 Philip Morris Incorporated Electronic smoking system
US5878752A (en) 1996-11-25 1999-03-09 Philip Morris Incorporated Method and apparatus for using, cleaning, and maintaining electrical heat sources and lighters useful in smoking systems and other apparatuses
AU6606498A (en) 1997-03-24 1998-10-20 Vth Verfahrenstechnik Fur Heizung Ag A boiler fitted with a burner
CN2293953Y (zh) * 1997-04-16 1998-10-14 吕都宪 戒烟辅助器
US5865186A (en) 1997-05-21 1999-02-02 Volsey, Ii; Jack J Simulated heated cigarette
KR100289448B1 (ko) 1997-07-23 2001-05-02 미즈노 마사루 향미발생장치
US6016801A (en) 1997-09-03 2000-01-25 Philips; Monir Wasef Nitrous oxide delivery system
US5954979A (en) 1997-10-16 1999-09-21 Philip Morris Incorporated Heater fixture of an electrical smoking system
CN1044314C (zh) 1997-12-01 1999-07-28 蒲邯名 健身香烟
JP3327826B2 (ja) 1997-12-05 2002-09-24 日本たばこ産業株式会社 香味生成物品及び香味生成器具
US6345625B1 (en) 1997-12-06 2002-02-12 Kar Eng Chew Filter for secondary smoke and smoking articles incorporating the same
JPH11178562A (ja) * 1997-12-19 1999-07-06 Japan Tobacco Inc 非燃焼型香味発生品
JP3901322B2 (ja) * 1998-01-09 2007-04-04 ゼネラル株式会社 段ボール製キャビネット
US6425964B1 (en) 1998-02-02 2002-07-30 Chrysalis Technologies Incorporated Creep resistant titanium aluminide alloys
US6214133B1 (en) 1998-10-16 2001-04-10 Chrysalis Technologies, Incorporated Two phase titanium aluminide alloy
US6006757A (en) 1998-05-14 1999-12-28 Lichtenberg; Edward Cigarette holder
US6164287A (en) * 1998-06-10 2000-12-26 R. J. Reynolds Tobacco Company Smoking method
US6234167B1 (en) 1998-10-14 2001-05-22 Chrysalis Technologies, Incorporated Aerosol generator and methods of making and using an aerosol generator
US6116247A (en) 1998-10-21 2000-09-12 Philip Morris Incorporated Cleaning unit for the heater fixture of a smoking device
WO2000027232A1 (en) 1998-11-10 2000-05-18 Philip Morris Products Inc. Brush cleaning unit for the heater fixture of a smoking device
US6125866A (en) 1998-11-10 2000-10-03 Philip Morris Incorporated Pump cleaning unit for the heater fixture of a smoking device
DE19854009C2 (de) 1998-11-12 2001-04-26 Reemtsma H F & Ph System zur Bereitstellung eines inhalierbaren Aerosols
DE19854005C2 (de) 1998-11-12 2001-05-17 Reemtsma H F & Ph System zur Bereitstellung eines inhalierbaren Aerosols
SE9900369D0 (sv) 1999-02-04 1999-02-04 Siemens Elema Ab Ultrasonic nebuliser
US6053176A (en) 1999-02-23 2000-04-25 Philip Morris Incorporated Heater and method for efficiently generating an aerosol from an indexing substrate
US6196218B1 (en) 1999-02-24 2001-03-06 Ponwell Enterprises Ltd Piezo inhaler
CN1126443C (zh) 1999-06-21 2003-11-05 郭振东 一种泥浆固穴灭鼠的方法
DE19935706A1 (de) * 1999-07-29 2001-02-01 Kumar Zubide Rauchfreie Zigarette
CA2403378C (en) 2000-03-23 2010-01-05 Philip Morris Products Inc. Electrical smoking system and method
US6506338B1 (en) 2000-04-14 2003-01-14 Chrysalis Technologies Incorporated Processing of iron aluminides by pressureless sintering of elemental iron and aluminum
MY138902A (en) * 2000-04-20 2009-08-28 Philip Morris Prod "cigarette filters of shaped micro cavity fibers impregnated with flavorant materials"
USD453854S1 (en) 2000-04-26 2002-02-19 Bernardina Maria Verhoeven-Koster Cigarette
US6883516B2 (en) 2000-04-27 2005-04-26 Chrysalis Technologies Incorporated Method for generating an aerosol with a predetermined and/or substantially monodispersed particle size distribution
US6446426B1 (en) 2000-05-03 2002-09-10 Philip Morris Incorporated Miniature pulsed heat source
US6509553B2 (en) 2000-09-05 2003-01-21 A.T.C.T. Advanced Thermal Chips Technologies Ltd. Method and apparatus for providing an indication of the composition of a fluid particularly useful in heat pumps and vaporizers
WO2002038208A2 (en) * 2000-11-03 2002-05-16 Recovery Pharmaceuticals, Inc. Device and method for the cessation of smoking
US6799572B2 (en) 2000-12-22 2004-10-05 Chrysalis Technologies Incorporated Disposable aerosol generator system and methods for administering the aerosol
US6491233B2 (en) 2000-12-22 2002-12-10 Chrysalis Technologies Incorporated Vapor driven aerosol generator and method of use thereof
US7077130B2 (en) 2000-12-22 2006-07-18 Chrysalis Technologies Incorporated Disposable inhaler system
US6501052B2 (en) 2000-12-22 2002-12-31 Chrysalis Technologies Incorporated Aerosol generator having multiple heating zones and methods of use thereof
US6701921B2 (en) 2000-12-22 2004-03-09 Chrysalis Technologies Incorporated Aerosol generator having heater in multilayered composite and method of use thereof
US6681998B2 (en) 2000-12-22 2004-01-27 Chrysalis Technologies Incorporated Aerosol generator having inductive heater and method of use thereof
DE10103123A1 (de) 2001-01-24 2002-08-01 Reemtsma H F & Ph Verfahren zum Behandeln von Tabak
US7073499B1 (en) 2001-02-06 2006-07-11 Injet Digital Aerosols Limited Inhaler with airflow regulation
US7766013B2 (en) 2001-06-05 2010-08-03 Alexza Pharmaceuticals, Inc. Aerosol generating method and device
US7458374B2 (en) 2002-05-13 2008-12-02 Alexza Pharmaceuticals, Inc. Method and apparatus for vaporizing a compound
US20080038363A1 (en) 2001-05-24 2008-02-14 Zaffaroni Alejandro C Aerosol delivery system and uses thereof
US20020179101A1 (en) * 2001-05-29 2002-12-05 Elaine Chavez Cigarette substitute device
EP2495004B1 (en) 2001-07-31 2014-04-16 Philip Morris Products S.a.s. Method and apparatus for generating a volatilized material
US6640050B2 (en) 2001-09-21 2003-10-28 Chrysalis Technologies Incorporated Fluid vaporizing device having controlled temperature profile heater/capillary tube
US6568390B2 (en) 2001-09-21 2003-05-27 Chrysalis Technologies Incorporated Dual capillary fluid vaporizing device
GB2380357A (en) 2001-09-27 2003-04-02 Motorola Inc Mobile radio communication unit with display for indicating peak intensity of speech to user
US6532965B1 (en) 2001-10-24 2003-03-18 Brown & Williamson Tobacco Corporation Smoking article using steam as an aerosol-generating source
US6598607B2 (en) 2001-10-24 2003-07-29 Brown & Williamson Tobacco Corporation Non-combustible smoking device and fuel element
GB0126150D0 (en) 2001-10-31 2002-01-02 Gw Pharma Ltd A device method and resistive element for vaporising a substance
ATE547016T1 (de) 2001-11-05 2012-03-15 Japan Tobacco Inc Langsam abbrennende zigarette
US6804458B2 (en) 2001-12-06 2004-10-12 Chrysalis Technologies Incorporated Aerosol generator having heater arranged to vaporize fluid in fluid passage between bonded layers of laminate
US6701922B2 (en) 2001-12-20 2004-03-09 Chrysalis Technologies Incorporated Mouthpiece entrainment airflow control for aerosol generators
US6772756B2 (en) 2002-02-09 2004-08-10 Advanced Inhalation Revolutions Inc. Method and system for vaporization of a substance
US6615840B1 (en) 2002-02-15 2003-09-09 Philip Morris Incorporated Electrical smoking system and method
WO2003080149A2 (en) * 2002-03-20 2003-10-02 Mannkind Corporation Inhalation apparatus
USD478983S1 (en) 2002-05-01 2003-08-26 Chrysalis Technologies Incorporated Inhaler
AU2003239433A1 (en) 2002-05-13 2003-11-11 Alexza Molecular Delivery Corporation Delivery of drug amines through an inhalation route
US6803545B2 (en) 2002-06-05 2004-10-12 Philip Morris Incorporated Electrically heated smoking system and methods for supplying electrical power from a lithium ion power source
ES2300589T3 (es) 2002-06-06 2008-06-16 S.C. JOHNSON & SON, INC. Volatilizacion de superficie localizada.
US7167641B2 (en) 2002-06-06 2007-01-23 S.C. Johnson & Son, Inc. Localized surface volatilization
US7527059B2 (en) 2002-07-02 2009-05-05 Iannuzzi Diane M Aromatic cigarette substitute
US6923179B2 (en) 2002-09-06 2005-08-02 Philip Morris Usa Inc. Aerosol generating devices and methods for generating aerosols having controlled particle sizes
ES2400706T3 (es) 2002-09-06 2013-04-11 Philip Morris Usa Inc. Dispositivo de generación de aerosol y método de uso del mismo
EP1539284B1 (en) 2002-09-06 2020-01-29 Philip Morris Products S.a.s. Aerosol generating device and method for generating aerosols
ITRM20020148U1 (it) 2002-09-18 2004-03-19 Squeo Michele Filtro aggiuntivo per sigaretta.
US6810883B2 (en) 2002-11-08 2004-11-02 Philip Morris Usa Inc. Electrically heated cigarette smoking system with internal manifolding for puff detection
DE20217332U1 (de) 2002-11-11 2003-02-27 Brand Factory Swiss Gmbh, Rotkreuz Socke
US20040105818A1 (en) 2002-11-26 2004-06-03 Alexza Molecular Delivery Corporation Diuretic aerosols and methods of making and using them
US7913688B2 (en) 2002-11-27 2011-03-29 Alexza Pharmaceuticals, Inc. Inhalation device for producing a drug aerosol
US7708014B2 (en) * 2002-12-13 2010-05-04 Otsuka Pharmaceutical Co., Ltd. Inhalation device for transpulmonary administration
US6806682B2 (en) 2003-01-10 2004-10-19 Len Cheng Brother Co., Ltd. Charging device with retractable charging plug
WO2004064546A1 (ja) 2003-01-21 2004-08-05 Japan Tobacco Inc. 塗布香料検査装置およびこれを備えたたばこ製造機
US6803550B2 (en) 2003-01-30 2004-10-12 Philip Morris Usa Inc. Inductive cleaning system for removing condensates from electronic smoking systems
US6994096B2 (en) 2003-01-30 2006-02-07 Philip Morris Usa Inc. Flow distributor of an electrically heated cigarette smoking system
CN100381082C (zh) 2003-03-14 2008-04-16 韩力 一种非可燃性电子雾化香烟
WO2004089126A1 (ja) 2003-04-01 2004-10-21 Shusei Takano ニコチン吸引パイプ及びニコチンホルダ
CN100381083C (zh) 2003-04-29 2008-04-16 韩力 一种非可燃性电子喷雾香烟
CN101084801A (zh) * 2003-04-29 2007-12-12 韩力 一种非可燃性电子喷雾香烟
US7683029B2 (en) 2003-05-07 2010-03-23 Philip Morris Usa Inc. Liquid aerosol formulations containing insulin and aerosol generating devices and methods for generating aerosolized insulin
US20040223918A1 (en) 2003-05-07 2004-11-11 Chrysalis Technologies Incorporated Aerosolization of cromolyn sodium using a capillary aerosol generator
US20040231684A1 (en) 2003-05-20 2004-11-25 Zawadzki Michael A. Smoking article and smoking article filter
US7293565B2 (en) 2003-06-30 2007-11-13 Philip Morris Usa Inc. Electrically heated cigarette smoking system
JP2005034021A (ja) 2003-07-17 2005-02-10 Seiko Epson Corp 電子タバコ
ES1055356Y (es) 2003-07-24 2004-03-01 Fernandez Jose Antoni Martinez Cigarrillo simulado para favorecer la eliminacion de la adiccion al tabaco
JP4411901B2 (ja) 2003-08-11 2010-02-10 セイコーエプソン株式会社 霧化装置
US7367334B2 (en) 2003-08-27 2008-05-06 Philip Morris Usa Inc. Fluid vaporizing device having controlled temperature profile heater/capillary tube
US7234470B2 (en) 2003-08-28 2007-06-26 Philip Morris Usa Inc. Electromagnetic mechanism for positioning heater blades of an electrically heated cigarette smoking system
WO2005037949A2 (en) 2003-10-07 2005-04-28 Chrysalis Technologies Incorporated Aerosol formulations of butalbital, lorazepam, ipratropium, baclofen, morphine and scopolamine
GB2406780A (en) 2003-10-11 2005-04-13 Martin Henry King Mouthpiece for a hand-rolled cigarette
US6877382B1 (en) 2003-10-20 2005-04-12 Robert D Gourlay Inhalation detector
CN102669810B (zh) 2003-11-07 2014-11-05 美国无烟烟草有限责任公司 烟草组合物
BRPI0416698A (pt) 2003-11-18 2007-01-30 Shan Yansong dispositivo de inalação agradável e sadio
US7410550B2 (en) * 2003-12-11 2008-08-12 Sherwin Michael J Flexible insulating sleeve
US8502064B2 (en) 2003-12-11 2013-08-06 Philip Morris Usa Inc. Hybrid system for generating power
US7159507B2 (en) 2003-12-23 2007-01-09 Philip Morris Usa Inc. Piston pump useful for aerosol generation
US7381277B2 (en) 2004-07-29 2008-06-03 R.U. Reynolds Tobacco Company Flavoring a cigarette by using a flavored filter plug wrap
US7997280B2 (en) 2004-01-30 2011-08-16 Joshua Rosenthal Portable vaporizer
USD512777S1 (en) 2004-02-19 2005-12-13 Chrysalis Technologies Incorporated Inhaler
US7962017B2 (en) * 2004-03-26 2011-06-14 C.T.R. Consultoria Tecnica E Representacoes Device for the evaporation of volatile substances, in particular of aromatics and/or insecticides
CN2719043Y (zh) 2004-04-14 2005-08-24 韩力 雾化电子烟
US8166044B2 (en) 2004-05-05 2012-04-24 Koninklijke Philips Electronics N.V. Method and apparatus for selecting items from a number of items
GB0410712D0 (en) 2004-05-13 2004-06-16 Novartis Ag Organic compounds
US7540286B2 (en) 2004-06-03 2009-06-02 Alexza Pharmaceuticals, Inc. Multiple dose condensation aerosol devices and methods of forming condensation aerosols
MXPA06014123A (es) 2004-06-03 2007-05-09 Alexza Pharmaceuticals Inc Dispositivos para aerosoles por condensacion de multiples dosis y metodos para formar los aerosoles por condensacion.
FR2871344B1 (fr) 2004-06-10 2007-01-05 Shishamania Internat Sarl Narguille a allumage simplifie
US20060016453A1 (en) 2004-07-22 2006-01-26 Kim In Y Cigarette substitute device
US7167776B2 (en) 2004-09-02 2007-01-23 Philip Morris Usa Inc. Method and system for controlling a vapor generator
US7766018B2 (en) * 2004-09-30 2010-08-03 Smoke-Break, Inc. Device and composition for reducing the incidence of tobacco smoking
EP1802903B1 (en) 2004-10-04 2011-09-21 Mohamed Radwan Rafaat Atassi Volumetric valve
NL1027533C2 (nl) 2004-11-17 2006-05-18 Berten Beheer B V N Inhaleerinrichting en bijbehorende verwarmingsinrichting en verpakking.
CN101076263A (zh) 2004-11-22 2007-11-21 约翰内斯·维尔纳 一次性使用吸入器
US7938121B2 (en) 2005-02-11 2011-05-10 Merit Medical Systems, Inc. Abdominal restraint for medical procedures
US7614402B2 (en) 2005-03-04 2009-11-10 Roberta Gomes Simulated cigarette
CN2777990Y (zh) 2005-03-08 2006-05-10 中国农业机械化科学研究院 一种块茎类果实去皮机
CN101141892B (zh) * 2005-03-17 2013-02-06 日本烟草产业株式会社 用于吸烟的过滤部件保持器、吸烟管和吸烟管单元
CN2777995Y (zh) 2005-03-30 2006-05-10 韩力 雾化电子烟斗
CH698603B1 (de) 2005-04-29 2009-09-15 Burger Soehne Man Ag Inhalator.
US7878962B2 (en) * 2005-05-03 2011-02-01 Philip Morris Usa Inc. Cigarettes and filter subassemblies with squeezable flavor capsule and methods of manufacture
US7920777B2 (en) 2005-05-16 2011-04-05 Vapore, Inc. Capillary force vaporizers
JP4611801B2 (ja) 2005-05-20 2011-01-12 株式会社東海 擬似タバコ
JP2006320286A (ja) 2005-05-20 2006-11-30 Tokai Corp 擬似タバコ用加熱装置および擬似タバコ
US8771846B2 (en) 2005-05-27 2014-07-08 Philip Morris Usa Inc. Intermetallic magnetically readable medium
US20060272657A1 (en) 2005-06-01 2006-12-07 Mehio Nizar Y Multiple-user smoking apparatus
US9675109B2 (en) 2005-07-19 2017-06-13 J. T. International Sa Method and system for vaporization of a substance
KR100636287B1 (ko) 2005-07-29 2006-10-19 주식회사 케이티앤지 가열식 담배용 전기 가열기
CN2887086Y (zh) 2005-09-01 2007-04-11 王山红 一种纯净香烟
US20070102013A1 (en) 2005-09-30 2007-05-10 Philip Morris Usa Inc. Electrical smoking system
US20070074734A1 (en) 2005-09-30 2007-04-05 Philip Morris Usa Inc. Smokeless cigarette system
US8157918B2 (en) 2005-09-30 2012-04-17 Philip Morris Usa Inc. Menthol cigarette
US20070098148A1 (en) * 2005-10-14 2007-05-03 Sherman Kenneth N Aroma releasing patch on mobile telephones
KR101365383B1 (ko) * 2005-11-01 2014-02-21 필립모리스 프로덕츠 에스.에이. 수동으로 방출가능한 냄새물질을 구비한 끽연물품
ITME20050008A1 (it) 2005-12-09 2006-03-10 Brumil Internat Srl Sistema che consente rilascio di nicotina per aspirazione, destinato ai fumatori di sigarette.
US7886439B2 (en) 2005-12-15 2011-02-15 The Boeing Company Ground stud installation on composite structures for electrostatic charges
WO2007078273A1 (en) 2005-12-22 2007-07-12 Augite Incorporation No-tar electronic smoking utensils
US7832397B2 (en) * 2005-12-28 2010-11-16 Philip Morris Usa Inc. Aerosol powder delivery device
FR2895644B1 (fr) 2006-01-03 2008-05-16 Didier Gerard Martzel Substitut de cigarette
US7952322B2 (en) 2006-01-31 2011-05-31 Mojo Mobility, Inc. Inductive power source and charging system
US20070267033A1 (en) * 2006-02-09 2007-11-22 Philip Morris Usa Inc. Gamma cyclodextrin flavoring-release additives
WO2007098337A2 (en) 2006-02-17 2007-08-30 Jake Brenneise Portable vaporizing device and method for inhalation and/or aromatherapy without combustion
US9220301B2 (en) * 2006-03-16 2015-12-29 R.J. Reynolds Tobacco Company Smoking article
CN201067079Y (zh) * 2006-05-16 2008-06-04 韩力 仿真气溶胶吸入器
CN2889333Y (zh) 2006-05-24 2007-04-18 深圳市健康源科技有限公司 口吸式家用超声雾化治疗仪
US7948208B2 (en) 2006-06-01 2011-05-24 Mojo Mobility, Inc. Power source, charging system, and inductive receiver for mobile devices
ES2402584T3 (es) 2006-06-09 2013-05-06 Philip Morris Products S.A. Generador de aerosol capilar calentado indirectamente
US20080047571A1 (en) 2006-07-12 2008-02-28 Philip Morris Usa Inc. Smoking article with plate impactor
JP2008035742A (ja) * 2006-08-03 2008-02-21 British American Tobacco Pacific Corporation 揮発装置
US7789089B2 (en) 2006-08-04 2010-09-07 R. J. Reynolds Tobacco Company Filtered cigarette possessing tipping material
EP1891866A1 (en) 2006-08-25 2008-02-27 Philip Morris Products S.A. Smoking article with encapsulated flavourant
US8251055B2 (en) 2006-10-02 2012-08-28 Philip Morris Usa Inc. Continuous high pressure delivery system
DE102007026979A1 (de) 2006-10-06 2008-04-10 Friedrich Siller Inhalationsvorrichtung
US7726320B2 (en) 2006-10-18 2010-06-01 R. J. Reynolds Tobacco Company Tobacco-containing smoking article
CN200966824Y (zh) 2006-11-10 2007-10-31 韩力 吸入雾化装置
CN200983833Y (zh) 2006-12-25 2007-12-05 廖东燕 计算机化健康吸烟装置
CN201018927Y (zh) 2007-01-04 2008-02-13 王月华 电子液体香烟
CN201051762Y (zh) 2007-01-10 2008-04-23 曹逸宁 伸缩型u盘
CN201054977Y (zh) 2007-02-05 2008-05-07 天津奥陀尔科技发展有限公司 一种新型雾化电子烟
US8196576B2 (en) 2007-02-28 2012-06-12 Microdose Therapeutx, Inc. Inhaler
TW200900014A (en) 2007-03-09 2009-01-01 Philip Morris Prod Smoking article filter with annular restrictor and downstream ventilation
EP1972215A1 (de) 2007-03-20 2008-09-24 Wedegree GmbH Rauchfreies Zigarettenersatzprodukt
US7845359B2 (en) 2007-03-22 2010-12-07 Pierre Denain Artificial smoke cigarette
RU2424750C2 (ru) 2007-04-18 2011-07-27 Джапан Тобакко Инк. Курительная принадлежность
EP1989946A1 (en) 2007-05-11 2008-11-12 Rauchless Inc. Smoking device, charging means and method of using it
CN201029436Y (zh) 2007-05-24 2008-03-05 杨金辉 改进型模拟香烟电子器具
US20080302376A1 (en) * 2007-06-08 2008-12-11 Philip Morris Usa Inc. Smoking article with controlled flavor release
US8113215B2 (en) 2007-06-21 2012-02-14 Philip Morris Usa Inc. Smoking article filter having liquid additive containing tubes therein
CN201086689Y (zh) 2007-06-25 2008-07-16 何文华 一种新型汽车防盗系统
GB0712305D0 (en) 2007-06-25 2007-08-01 Kind Group Ltd A system comprising a simulated cigarette device and a refill unit
CN201061259Y (zh) * 2007-06-28 2008-05-21 王月华 香烟电子烟具
US8231064B2 (en) 2007-07-02 2012-07-31 Grundfos Pumps Corporation Water control fixture having auxiliary functions
US8078333B2 (en) * 2007-07-05 2011-12-13 Baxter International Inc. Dialysis fluid heating algorithms
ES2440916T3 (es) * 2007-08-10 2014-01-31 Philip Morris Products S.A. Artículo para fumar basado en destilación
CA127565S (en) 2007-08-10 2008-10-22 British American Tobacco Co Cigarette
US20090044816A1 (en) 2007-08-17 2009-02-19 Philip Morris Usa Inc. Smoking article having carbon dioxide delivery technology for sensorially improved carbon filtration and method of smoking
CN201076006Y (zh) 2007-08-17 2008-06-25 北京格林世界科技发展有限公司 电子香烟
CN101371721B (zh) 2007-08-23 2011-07-20 北京格林世界科技发展有限公司 电子香烟盒
DE502007006729D1 (de) 2007-09-03 2011-04-28 Uhde Inventa Fischer Gmbh Verfahren zur Reinigung von Prozessdämpfen bei der Polylactidherstellung
CN100593982C (zh) 2007-09-07 2010-03-17 中国科学院理化技术研究所 具有纳米尺度超精细空间加热雾化功能的电子烟
CN201085044Y (zh) 2007-09-18 2008-07-16 方晓林 一种电子香烟
CN201108031Y (zh) 2007-09-20 2008-09-03 何塞·安东尼奥·马丁内兹·费南德兹 设计成帮助抑制烟瘾的仿真香烟
EP2042208A1 (en) * 2007-09-25 2009-04-01 Boehringer Ingelheim Pharma GmbH & Co. KG Dispensing device
US20100206317A1 (en) 2007-09-28 2010-08-19 Vector Tobacco, Inc. Reduced risk tobacco products and use thereof
US20090084391A1 (en) 2007-09-29 2009-04-02 Trent Krupp Standardized Mobile Hookah
US8193769B2 (en) 2007-10-18 2012-06-05 Powermat Technologies, Ltd Inductively chargeable audio devices
US8052127B2 (en) 2007-10-19 2011-11-08 Philip Morris Usa Inc. Respiratory humidification system
CN101883833B (zh) 2007-11-30 2014-02-26 日本烟草产业株式会社 气溶胶抽吸器用气溶胶产生液
US20090139533A1 (en) * 2007-12-04 2009-06-04 Park Sung K System and process for tobaccoless nicotine delivery
ES2394589T3 (es) 2007-12-14 2013-02-04 Aerodesigns, Inc Suministro de productos alimenticios transformables en aerosol
US8991402B2 (en) 2007-12-18 2015-03-31 Pax Labs, Inc. Aerosol devices and methods for inhaling a substance and uses thereof
JP2011507593A (ja) 2007-12-20 2011-03-10 アストラゼネカ・アクチエボラーグ 粉末854を脱凝集解体する装置ならびに方法
JP2009148233A (ja) 2007-12-21 2009-07-09 Japan Tobacco Inc 喫煙物品
CN201127293Y (zh) * 2007-12-21 2008-10-08 中国烟草总公司郑州烟草研究院 一种电子烟具
US7404405B1 (en) 2008-01-03 2008-07-29 Mya Saray, Llc Portable hookah system and hookah containment device
CN201146824Y (zh) 2008-02-02 2008-11-12 龙功运 电子香烟
CN101518301A (zh) 2008-02-25 2009-09-02 宏炬德企业股份有限公司 白金复合水溶液及其用途
DE202008018338U1 (de) 2008-02-29 2013-04-16 Yunqiang Xiu Elektronische Simulationszigarette und zugehörige Verneblungsflüssigkeit, Rauchgerät für die elektronische,simulierte Zigarette mit zugehöriger Flüssigkeitskapsel
EP2100525A1 (en) 2008-03-14 2009-09-16 Philip Morris Products S.A. Electrically heated aerosol generating system and method
EP2110033A1 (en) 2008-03-25 2009-10-21 Philip Morris Products S.A. Method for controlling the formation of smoke constituents in an electrical aerosol generating system
PT2285439E (pt) * 2008-04-04 2014-03-25 Nektar Therapeutics Dispositivo de aerossolização
EP2110034A1 (en) 2008-04-17 2009-10-21 Philip Morris Products S.A. An electrically heated smoking system
RU2360583C1 (ru) 2008-04-28 2009-07-10 Владимир Николаевич Урцев Трубка для бездымного курения
EP2113178A1 (en) 2008-04-30 2009-11-04 Philip Morris Products S.A. An electrically heated smoking system having a liquid storage portion
GB0808154D0 (en) 2008-05-06 2008-06-11 British American Tobacco Co Aerosol dispensing device
US20090283103A1 (en) 2008-05-13 2009-11-19 Nielsen Michael D Electronic vaporizing devices and docking stations
FR2931485B1 (fr) 2008-05-23 2011-06-17 Centre Nat Rech Scient Vaccin antitumoral comprenant des cellules tumorales modifiees
US20090293892A1 (en) * 2008-05-30 2009-12-03 Vapor For Life Portable vaporizer for plant material
USD651336S1 (en) 2008-06-04 2011-12-27 Hartman Michael S Elongate light fixture
USD590990S1 (en) 2008-06-13 2009-04-21 Lik Hon Electronic cigarette
USD590991S1 (en) 2008-06-13 2009-04-21 Lik Hon Electronic cigarette
USD590988S1 (en) 2008-06-13 2009-04-21 Lik Hon Electronic cigarette power supply
USD590989S1 (en) 2008-06-13 2009-04-21 Lik Hon Electronic cigarette power supply
EP2289357A4 (en) * 2008-06-25 2012-06-27 Japan Tobacco Inc SMOKING ARTICLE
US8899240B2 (en) 2008-06-27 2014-12-02 Bernard Karel Mass Electric substitute cigarette
CN101322579B (zh) 2008-07-18 2011-05-11 深圳市大百汇技术有限公司 可降低香烟危害的低危害型卷烟及其制备方法
GB0813686D0 (en) 2008-07-25 2008-09-03 Gamucci Ltd A method and apparatus relating to electronic smoking-substitute devices
USD614346S1 (en) 2008-08-15 2010-04-20 Hon Lik Electronic cigar
CN201238610Y (zh) 2008-08-19 2009-05-20 夏浩然 一种具有香烟代用品作用的环保型非可燃性雾化电子香烟
CN101348571B (zh) 2008-09-02 2011-08-03 南京四新科技应用研究所有限公司 一种分散高粘度有机硅组合物于水中的方法
GB0816937D0 (en) 2008-09-16 2008-10-22 British American Tobacco Co Filter for a Smoking Article
USD646431S1 (en) 2008-10-20 2011-10-04 British American Tobacco (Investments) Limited Smoking article filter
AT507187B1 (de) 2008-10-23 2010-03-15 Helmut Dr Buchberger Inhalator
CN102264423A (zh) 2008-10-24 2011-11-30 呼吸医疗技术有限公司 用于通气的方法和系统
JP2010104310A (ja) 2008-10-31 2010-05-13 Samuraing Co Ltd 擬似喫煙具
EP2201850A1 (en) 2008-12-24 2010-06-30 Philip Morris Products S.A. An article including identification information for use in an electrically heated smoking system
CN101524187B (zh) 2009-02-04 2010-12-01 万佳通达科技(北京)有限公司 电子烟及电子烟具
US20100200008A1 (en) 2009-02-09 2010-08-12 Eli Taieb E-Cigarette With Vitamin Infusion
CN201379072Y (zh) 2009-02-11 2010-01-13 韩力 一种改进的雾化电子烟
JP2010213579A (ja) 2009-03-13 2010-09-30 Samuraing Co Ltd 擬似喫煙具
CN102355914B (zh) 2009-03-17 2015-06-10 菲利普莫里斯生产公司 烟草基尼古丁气雾产生系统
ES2674139T5 (es) 2009-03-23 2024-05-08 Japan Tobacco Inc Artículo para inhalación de aroma, de tipo sin combustión
CN101518361B (zh) 2009-03-24 2010-10-06 北京格林世界科技发展有限公司 高仿真电子烟
US8851068B2 (en) 2009-04-21 2014-10-07 Aj Marketing Llc Personal inhalation devices
ES1070376Y (es) 2009-05-28 2009-11-04 Arkochim Espana S A Cigarrillo electronico con deposito de liquido y aromatizantes desechable perfeccionado
CN201445686U (zh) 2009-06-19 2010-05-05 李文博 高频感应雾化装置
CN101926506B (zh) 2009-06-19 2012-11-21 李文博 一种香烟液
KR101065413B1 (ko) 2009-07-03 2011-09-16 삼성모바일디스플레이주식회사 유기전계발광표시장치 및 그의 제조방법
CN101606758B (zh) 2009-07-14 2011-04-13 方晓林 电子烟
KR20110000692U (ko) 2009-07-15 2011-01-21 곽평근 에어 튜브가 부가된 유에스비 디바이스
US8897628B2 (en) 2009-07-27 2014-11-25 Gregory D. Conley Electronic vaporizer
GB2476611B (en) 2009-08-07 2011-08-31 Kind Consumer Ltd An inhaler
US8434498B2 (en) * 2009-08-11 2013-05-07 R. J. Reynolds Tobacco Company Degradable filter element
USD613904S1 (en) 2009-08-18 2010-04-13 Jianyong Wu Charging electronic cigarette case
USD613903S1 (en) 2009-08-18 2010-04-13 Jianyong Wu Charging electronic cigarette case
US8118161B2 (en) 2009-08-20 2012-02-21 R.J. Reynolds Tobacco Company Pressurized cigarette packages and methods
USD656094S1 (en) 2009-09-11 2012-03-20 Zongwen Wu Portable backup power box of electronic cigarette
WO2011033396A2 (en) 2009-09-18 2011-03-24 Minilogic Device Corporation Ltd. Electronic smoke
BR112012008596B1 (pt) 2009-10-13 2019-03-19 Philip Morris Products S.A. Dispositivo para renovação de ar e métodos para a geração de material vaporizado e geração pulsante repetida do mesmo
US8528567B2 (en) 2009-10-15 2013-09-10 Philip Morris Usa Inc. Smoking article having exothermal catalyst downstream of fuel element
EP2319334A1 (en) * 2009-10-27 2011-05-11 Philip Morris Products S.A. A smoking system having a liquid storage portion
CN201571500U (zh) 2009-11-12 2010-09-08 深圳市博格科技有限公司 便携式电子烟旅行充电烟盒
EP2327318A1 (en) * 2009-11-27 2011-06-01 Philip Morris Products S.A. An electrically heated smoking system with internal or external heater
EP2507053A4 (en) * 2009-12-02 2013-05-01 Sancoa Internat Company L P SCENTED LABEL
GB0921930D0 (en) 2009-12-16 2010-02-03 British American Tobacco Co Smoking article component
US9095174B2 (en) 2009-12-20 2015-08-04 Sis Resources Ltd. Electronic hookah
EP2338361A1 (en) 2009-12-23 2011-06-29 Philip Morris Products S.A. An elongate heater for an electrically heated aerosol-generating system
EP2340729A1 (en) 2009-12-30 2011-07-06 Philip Morris Products S.A. An improved heater for an electrically heated aerosol generating system
EP2340730A1 (en) 2009-12-30 2011-07-06 Philip Morris Products S.A. A shaped heater for an aerosol generating system
ZA201000888B (en) * 2010-02-05 2015-08-26 Tobacco Res And Development Institute (Pty) Ltd Flow control device for a smoking article
CN201767027U (zh) 2010-02-11 2011-03-23 许明亮 新型烟弹
EP2361516A1 (en) 2010-02-19 2011-08-31 Philip Morris Products S.A. Aerosol-generating substrate for smoking articles
UA101940C2 (en) 2010-02-24 2013-05-13 Джапан Тобакко Инк. Flavor inhalation pipe
RU94815U1 (ru) 2010-03-18 2010-06-10 Евгений Иванович Евсюков Электронная сигарета
GB201004861D0 (en) 2010-03-23 2010-05-05 Kind Consumer Ltd A simulated cigarette
JP2011205914A (ja) 2010-03-29 2011-10-20 British American Tobacco (Investments) Ltd 喫煙品
CN101843368A (zh) 2010-04-02 2010-09-29 陈志平 电子雾化吸入器的吸嘴
EP2555642A1 (en) 2010-04-06 2013-02-13 Oglesby&Butler Research&Development Limited A portable handheld vaporising device
WO2011124033A1 (zh) 2010-04-09 2011-10-13 Liu Qiuming 一种电子烟雾化装置
CN202664229U (zh) 2010-04-12 2013-01-16 刘秋明 一种电子烟雾化开关装置
WO2011127644A1 (zh) 2010-04-13 2011-10-20 Liu Qiuming 一种电子烟
CN101822420B (zh) 2010-04-22 2012-06-27 修运强 一种组合式多功能电子模拟香烟
CA2730109A1 (en) 2010-04-28 2011-10-28 Mitsubishi Heavy Industries, Ltd. Direct-drive wind turbine generator and bearing structure
CN102970885B (zh) 2010-04-30 2015-05-20 洛艾克有限公司 电子吸烟设备
CN201709398U (zh) 2010-05-12 2011-01-19 深圳市烟趣电子产品有限公司 一种可替代香烟的电子装置
US8757147B2 (en) 2010-05-15 2014-06-24 Minusa Holdings Llc Personal vaporizing inhaler with internal light source
WO2011146175A2 (en) 2010-05-15 2011-11-24 Noah Mark Minskoff Electrical activation in a personal vaporizing inhaler
US20110277780A1 (en) 2010-05-15 2011-11-17 Nathan Andrew Terry Personal vaporizing inhaler with mouthpiece cover
US8746240B2 (en) 2010-05-15 2014-06-10 Nate Terry & Michael Edward Breede Activation trigger for a personal vaporizing inhaler
US8550068B2 (en) 2010-05-15 2013-10-08 Nathan Andrew Terry Atomizer-vaporizer for a personal vaporizing inhaler
US9259035B2 (en) 2010-05-15 2016-02-16 R. J. Reynolds Tobacco Company Solderless personal vaporizing inhaler
US9861772B2 (en) 2010-05-15 2018-01-09 Rai Strategic Holdings, Inc. Personal vaporizing inhaler cartridge
US9095175B2 (en) 2010-05-15 2015-08-04 R. J. Reynolds Tobacco Company Data logging personal vaporizing inhaler
CN201789924U (zh) 2010-05-17 2011-04-13 深圳市博格科技有限公司 一种一次性雾化器
US8578942B2 (en) 2010-05-25 2013-11-12 British American Tobacco (Investments) Limited Aerosol generator
US8950395B2 (en) 2010-05-25 2015-02-10 Nicoventures Holdings Limited Aerosol generator
CN201830899U (zh) 2010-06-09 2011-05-18 李永海 电子香烟的供电装置
CN201830900U (zh) 2010-06-09 2011-05-18 李永海 电子香烟的烟液雾化装置
TWI392204B (zh) 2010-07-06 2013-04-01 Power Forest Technology Corp 電源轉換裝置及其過電流保護方法
CN201813840U (zh) * 2010-07-23 2011-05-04 郑登林 含吸附剂的过滤烟嘴
CN201767029U (zh) * 2010-08-13 2011-03-23 李永海 一种电子香烟的一次性雾化器
DE202010011436U1 (de) 2010-08-16 2010-11-04 Sungur, Cetin Elektrischer Inhalator
DK3508083T3 (da) 2010-08-24 2021-10-11 Jt Int Sa Inhalationsanordning, der indbefatter styring af stofbrug
US8737826B2 (en) * 2010-09-13 2014-05-27 Redline Detection, Llc High pressure smoke machine
US8499766B1 (en) 2010-09-15 2013-08-06 Kyle D. Newton Electronic cigarette with function illuminator
US8459270B2 (en) 2010-09-15 2013-06-11 Malcolm Coven Method and apparatus for processing cigarette butts
US8314623B2 (en) 2010-09-15 2012-11-20 GM Global Technology Operations LLC System and method for more accurate temperature sensing using thermistors
CN201797997U (zh) 2010-09-28 2011-04-20 深圳市如烟生物科技有限公司 固体烟油雾化器
US9545489B2 (en) 2010-10-18 2017-01-17 Jeffrey Turner Device for dispensing a medium
CN102160906B (zh) 2010-11-01 2012-08-08 常州市富艾发进出口有限公司 口吸式便携雾化器
USD644375S1 (en) 2010-11-02 2011-08-30 Xuewu Zhou Electronic cigarette
RU103062U1 (ru) * 2010-11-16 2011-03-27 Общество с ограниченной ответственностью "КОРОНА" Устройство электронное для профилактики никотиновой зависимости
EP2641490A4 (en) 2010-11-19 2017-06-21 Kimree Hi-Tech Inc Electronic cigarette, electronic cigarette flare and atomizer thereof
CN201869778U (zh) 2010-11-19 2011-06-22 刘秋明 一种电子烟、电子烟烟弹及其雾化装置
USD655036S1 (en) 2010-11-24 2012-02-28 Xuewu Zhou Electronic cigarette
EP2460424A1 (en) 2010-12-03 2012-06-06 Philip Morris Products S.A. An aerosol generating system with leakage prevention
EP2460422A1 (en) 2010-12-03 2012-06-06 Philip Morris Products S.A. An aerosol generating system with provention of condensate leakage
EP2460423A1 (en) 2010-12-03 2012-06-06 Philip Morris Products S.A. An electrically heated aerosol generating system having improved heater control
US8978663B2 (en) 2010-12-06 2015-03-17 Kyle D. Newton Charger package for electronic cigarette components
CN201860753U (zh) 2010-12-09 2011-06-15 深圳市施美乐科技有限公司 一种电子香烟一次性雾化装置
JP5292386B2 (ja) 2010-12-22 2013-09-18 株式会社ホンダロック 集中解錠操作装置
EP2468116A1 (en) 2010-12-24 2012-06-27 Philip Morris Products S.A. An aerosol generating system having means for handling consumption of a liquid substrate
WO2012088675A1 (zh) 2010-12-29 2012-07-05 深圳市奉天元电子有限公司 电子烟雾化液
US8757169B2 (en) 2010-12-29 2014-06-24 David Gysland Electronic cigarette refilling apparatus
US20120174914A1 (en) 2011-01-08 2012-07-12 Nasser Pirshafiey Electronic vapor inhaling device
US20120186593A1 (en) 2011-01-24 2012-07-26 Anthony Albert Grano Filter with both conventional and scented filtration
JP5767342B2 (ja) 2011-01-28 2015-08-19 キムリー ハイ—テク インコーポレイテッド ワイヤレス充電装置
JP6030580B2 (ja) 2011-02-09 2016-11-24 エスアイエス・リソーシズ・リミテッド 可変出力制御電子タバコ
US20120199146A1 (en) 2011-02-09 2012-08-09 Bill Marangos Electronic cigarette
CN202026802U (zh) 2011-02-28 2011-11-09 深圳市如烟生物科技有限公司 可重复添加固体烟油雾化器
CN103338662A (zh) * 2011-03-02 2013-10-02 清水和彦 烟嘴
US8903228B2 (en) 2011-03-09 2014-12-02 Chong Corporation Vapor delivery devices and methods
CN202026804U (zh) 2011-03-14 2011-11-09 深圳市如烟生物科技有限公司 无烟棉雾化器
CN202068930U (zh) 2011-03-18 2011-12-14 万利龙 一种过滤烟嘴及包括该过滤烟嘴的电子烟装置
KR200454110Y1 (ko) 2011-03-24 2011-06-15 윤성훈 전자담배
CN201986689U (zh) 2011-03-28 2011-09-28 深圳市康泰尔电子有限公司 电子香烟
CN102106611B (zh) 2011-03-28 2013-01-16 深圳市康泰尔电子有限公司 电子香烟
CN201995587U (zh) * 2011-03-30 2011-10-05 龚伟 电子烟烟嘴
CN202014571U (zh) 2011-03-30 2011-10-26 深圳市康泰尔电子有限公司 烟液可控式电子香烟
CN102166044B (zh) 2011-03-30 2012-05-30 深圳市康泰尔电子有限公司 烟液可控式电子香烟
WO2012129812A1 (zh) 2011-03-31 2012-10-04 深圳市康泰尔电子有限公司 电子香烟
CA2833132A1 (en) 2011-04-12 2012-10-18 Robert LEVITZ Battery connector for electronic cigarette with side air intake
CN202145881U (zh) 2011-04-15 2012-02-22 黄桂花 新型电子烟雾化器结构
CN202014572U (zh) 2011-04-21 2011-10-26 深圳市康泰尔电子有限公司 烟液可循环式电子香烟
CN102326869B (zh) 2011-05-12 2013-04-03 陈志平 电子雾化吸入器的雾化嘴
GB2490732A (en) 2011-05-13 2012-11-14 British American Tobacco Co Filter for a smoking article
CN202068932U (zh) 2011-05-20 2011-12-14 张广杰 新型电子烟
EP2717855A4 (en) 2011-06-07 2014-11-12 Parion Sciences Inc PROCESSING METHODS
WO2012170424A1 (en) 2011-06-07 2012-12-13 Vapor Corp. Padded cartridge for an electronic smoking apparatus
KR20110006928U (ko) 2011-06-10 2011-07-07 남동환 전자담배
KR101081481B1 (ko) 2011-06-13 2011-11-08 김형윤 전자담배용 무화기 일체형 카트리지
US20120318882A1 (en) 2011-06-16 2012-12-20 Vapor Corp. Vapor delivery devices
US20120325227A1 (en) * 2011-06-24 2012-12-27 Alexander Robinson Portable vaporizer
US8528569B1 (en) * 2011-06-28 2013-09-10 Kyle D. Newton Electronic cigarette with liquid reservoir
CN202122097U (zh) 2011-07-04 2012-01-25 易侧位 烟弹、雾化器和电子烟
WO2013007020A1 (zh) 2011-07-12 2013-01-17 Liu Qiuming 一种电子烤烟
CN102266125B (zh) 2011-07-28 2013-01-09 易侧位 一种中药戒烟电子烟
DE102011052250A1 (de) 2011-07-28 2013-01-31 Dr. Ing. H.C. F. Porsche Aktiengesellschaft Cockpittragstruktur eines Kraftfahrzeugs
US9078473B2 (en) 2011-08-09 2015-07-14 R.J. Reynolds Tobacco Company Smoking articles and use thereof for yielding inhalation materials
RU110608U1 (ru) * 2011-08-12 2011-11-27 Сергей Павлович Кузьмин Электронная сигарета
TWI811089B (zh) 2011-08-16 2023-08-01 美商尤爾實驗室有限公司 產生可吸入氣霧的裝置
CN202179125U (zh) 2011-08-19 2012-04-04 郑俊祥 一种透明新型电子烟雾化器
CN202262413U (zh) 2011-09-05 2012-06-06 李永海 一次性电子香烟
KR102353233B1 (ko) 2011-09-06 2022-01-18 니코벤처스 트레이딩 리미티드 가열식 끽연 가능 물질
CN202286307U (zh) 2011-09-09 2012-07-04 华健 超大容量固体烟油雾化器
CN202233005U (zh) 2011-09-16 2012-05-30 深圳市奥海康科技有限公司 一种卫生舒适的电子烟
CN202233007U (zh) 2011-09-20 2012-05-30 深圳市杰仕博科技有限公司 一种电子烟
USD671678S1 (en) 2011-09-22 2012-11-27 Shenzhen Jieshibo Technology Co., Ltd. Portable charging case for electronic cigarettes
USD671677S1 (en) 2011-09-22 2012-11-27 Shenzhen Jieshibo Technology Co., Ltd. Portable charging case for electronic cigarettes
KR200457340Y1 (ko) 2011-09-27 2011-12-15 김충민 전자담배용 무화기 일체형 카트리지
US9351522B2 (en) * 2011-09-29 2016-05-31 Robert Safari Cartomizer e-cigarette
UA111630C2 (uk) 2011-10-06 2016-05-25 Сіс Рісорсез Лтд. Система для паління
US20130087160A1 (en) 2011-10-06 2013-04-11 Alexandru Gherghe Electronic pipe personal vaporizer with concealed removable atomizer/ cartomizer
CN202456410U (zh) 2011-11-22 2012-10-03 深圳市合元科技有限公司 一种电子香烟的雾化装置
US9498588B2 (en) 2011-12-14 2016-11-22 Atmos Nation, LLC Portable pen sized electric herb vaporizer with ceramic heating chamber
UA114903C2 (uk) 2011-12-18 2017-08-28 Сіс Рісорсез Лтд. Електронна цигарка з підзарядкою
CN202436108U (zh) * 2011-12-29 2012-09-19 顾楼 电子雾化器
US8740641B2 (en) 2012-01-17 2014-06-03 Ramin Rostami Apparatus and methods for providing power and communicating data with electronic devices
CN202445135U (zh) * 2012-01-19 2012-09-26 湖北中烟工业有限责任公司 双通道雾化电子烟
US9078474B2 (en) 2012-01-30 2015-07-14 Spencer Thompson Cartomizer for electronic cigarettes
US9854839B2 (en) 2012-01-31 2018-01-02 Altria Client Services Llc Electronic vaping device and method
WO2013126777A2 (en) 2012-02-22 2013-08-29 Altria Client Services Inc. Electronic smoking article and improved heater element
EP2817051B1 (en) 2012-02-22 2017-07-26 Altria Client Services LLC Electronic smoking article
CN202525085U (zh) 2012-03-02 2012-11-14 深圳市合元科技有限公司 电子烟用雾化器
US9427022B2 (en) 2012-03-12 2016-08-30 UpToke, LLC Electronic vaporizing device and methods for use
CN202603603U (zh) 2012-03-15 2012-12-19 刘团芳 透明雾化器
USD690461S1 (en) 2012-03-26 2013-09-24 Zhiping CHEN Portable box with electronic cigarettes
US11517042B2 (en) 2012-04-25 2022-12-06 Altria Client Services Llc Digital marketing applications for electronic cigarette users
US20130340775A1 (en) 2012-04-25 2013-12-26 Bernard Juster Application development for a network with an electronic cigarette
US20130284192A1 (en) 2012-04-25 2013-10-31 Eyal Peleg Electronic cigarette with communication enhancements
CN202603608U (zh) 2012-05-17 2012-12-19 深圳市康尔科技有限公司 电子香烟
US9101729B2 (en) 2012-06-05 2015-08-11 Huizou Kimree Technology Co., Ltd., Shenzhen Branch Electronic cigarette and inhaling shell thereof
US10004259B2 (en) * 2012-06-28 2018-06-26 Rai Strategic Holdings, Inc. Reservoir and heater system for controllable delivery of multiple aerosolizable materials in an electronic smoking article
USD677000S1 (en) 2012-06-29 2013-02-26 Qiuming Liu Charging electronic cigarette case
USD677001S1 (en) 2012-07-07 2013-02-26 Qiuming Liu Charging electronic cigarette case
US9814262B2 (en) 2012-07-11 2017-11-14 Sis Resources, Ltd. Hot-wire control for an electronic cigarette
USD683898S1 (en) 2012-08-23 2013-06-04 Qiuming Liu Charging electronic cigarette case
USD683899S1 (en) 2012-08-29 2013-06-04 Qiuming Liu Charging electronic cigarette case
USD684311S1 (en) 2012-09-10 2013-06-11 Qiuming Liu Power part of electronic cigarette
CN102894485B (zh) 2012-10-23 2015-04-01 深圳市合元科技有限公司 电子烟用雾化装置、雾化器及电子烟
USD681269S1 (en) 2012-11-26 2013-04-30 B2B International Holding Limited Electronic cigarette case
USD681268S1 (en) 2012-11-26 2013-04-30 B2B International Holding Limited Electronic cigarette case
USD688418S1 (en) 2012-12-14 2013-08-20 Qiuming Liu Charging electronic cigarette case
WO2014097294A1 (en) 2012-12-17 2014-06-26 Sis Resources Ltd. Flavor enhancement for e-cigarette
USD691765S1 (en) 2013-01-14 2013-10-15 Altria Client Services Inc. Electronic smoking article
USD695449S1 (en) 2013-01-14 2013-12-10 Altria Client Services Inc. Electronic smoking article
USD691766S1 (en) 2013-01-14 2013-10-15 Altria Client Services Inc. Mouthpiece of a smoking article
US9533791B2 (en) 2013-03-15 2017-01-03 Altria Client Services Llc Accessory packaging
US10470492B2 (en) 2013-03-15 2019-11-12 Altria Client Services Llc Display package
US8915365B2 (en) 2013-03-15 2014-12-23 Altria Client Services Inc. Packaging sleeve
US10098381B2 (en) 2013-03-15 2018-10-16 Altria Client Services Llc Electronic smoking article
US10799548B2 (en) 2013-03-15 2020-10-13 Altria Client Services Llc Modifying taste and sensory irritation of smokeless tobacco and non-tobacco products
US9723876B2 (en) 2013-03-15 2017-08-08 Altria Client Services Llc Electronic smoking article
US10039321B2 (en) 2013-11-12 2018-08-07 Vmr Products Llc Vaporizer
JP7472477B2 (ja) 2019-12-02 2024-04-23 富士電機株式会社 炭化珪素半導体装置の製造方法および炭化珪素基板の製造方法

Cited By (16)

* Cited by examiner, † Cited by third party
Publication number Priority date Publication date Assignee Title
US11090450B2 (en) 2015-05-06 2021-08-17 Altria Client Services Llc Non-combustible smoking device and components thereof
US20210361890A1 (en) * 2015-05-06 2021-11-25 Altria Client Services Llc Non-combustible smoking device and components thereof
JP2022010274A (ja) * 2015-11-30 2022-01-14 フィリップ・モーリス・プロダクツ・ソシエテ・アノニム 不燃性喫煙装置およびその要素
JP2019502402A (ja) * 2015-11-30 2019-01-31 フィリップ・モーリス・プロダクツ・ソシエテ・アノニム 不燃性喫煙装置およびその要素
KR20190013709A (ko) 2016-04-04 2019-02-11 스루이스 시갈 머시너리 비.브이. 전자 담배
US12016996B2 (en) 2016-09-14 2024-06-25 Nicoventures Trading Limited Receptacle section
US11213635B2 (en) 2016-09-14 2022-01-04 British American Tobacco (Investments) Limited Receptacle section
US11253000B2 (en) 2016-09-14 2022-02-22 Nicoventures Trading Limited Receptacle section for an aerosol provision article
US12376620B2 (en) 2016-09-14 2025-08-05 Nicoventures Trading Limited Aerosol provision devices with a substance of 8-12 denier and a first and second tube portion extending therefrom
US12434016B2 (en) 2016-09-14 2025-10-07 Nicoventures Trading Limited Receptacle section
US12471628B2 (en) 2016-09-14 2025-11-18 Nicoventures Trading Limited Container for an aerosol provision device
US11877595B2 (en) 2016-12-28 2024-01-23 Altria Client Services Llc Non-combustible smoking systems, devices and elements thereof
US10986874B2 (en) 2016-12-28 2021-04-27 Altria Client Services Llc Non-combustible smoking systems, devices and elements thereof
US11589617B2 (en) 2017-01-05 2023-02-28 Nicoventures Trading Limited Aerosol generating device and article
US11318264B2 (en) 2017-01-13 2022-05-03 Nicoventures Trading Limited Aerosol generating device and article
US11623053B2 (en) 2017-12-06 2023-04-11 Nicoventures Trading Limited Component for an aerosol-generating apparatus

Also Published As

Publication number Publication date
MA20150153A1 (fr) 2015-05-29
AU2013214998A1 (en) 2014-08-21
NZ628057A (en) 2016-09-30
RU2608289C2 (ru) 2017-01-17
US20250222212A1 (en) 2025-07-10
CN104219973A (zh) 2014-12-17
BR112014018820A8 (pt) 2017-07-11
WO2013116571A1 (en) 2013-08-08
UA112786C2 (uk) 2016-10-25
US8997753B2 (en) 2015-04-07
RU2627004C2 (ru) 2017-08-02
WO2013116568A3 (en) 2014-11-06
MY175849A (en) 2020-07-13
MA37295B1 (fr) 2016-04-29
IL233653B (en) 2020-04-30
US20130192622A1 (en) 2013-08-01
NZ627439A (en) 2015-09-25
CN104244749B (zh) 2016-12-14
EP3155911B1 (en) 2022-06-29
US9456635B2 (en) 2016-10-04
EP2809184A4 (en) 2015-07-01
EP2809187A1 (en) 2014-12-10
US20160165956A1 (en) 2016-06-16
US20180192703A1 (en) 2018-07-12
US20170347716A1 (en) 2017-12-07
AU2013214991A1 (en) 2014-08-21
UA115323C2 (uk) 2017-10-25
IL274421B (en) 2022-03-01
BR112014018928A2 (pt) 2017-07-04
EP2809182A2 (en) 2014-12-10
CN104244749A (zh) 2014-12-24
EP3123879B1 (en) 2024-03-20
AU2013214987A1 (en) 2014-08-07
US9326547B2 (en) 2016-05-03
RU2608277C2 (ru) 2017-01-17
UA111988C2 (uk) 2016-07-11
US20160360795A1 (en) 2016-12-15
MY169631A (en) 2019-04-24
UA115778C2 (uk) 2017-12-26
US10881814B2 (en) 2021-01-05
MA37293B2 (fr) 2017-10-31
WO2013116572A1 (en) 2013-08-08
US10980953B2 (en) 2021-04-20
CA2863185A1 (en) 2013-08-08
US20130192619A1 (en) 2013-08-01
KR20140125828A (ko) 2014-10-29
US20210046257A1 (en) 2021-02-18
US11511058B2 (en) 2022-11-29
MY176694A (en) 2020-08-19
EP2809184B2 (en) 2025-06-04
WO2013116565A1 (en) 2013-08-08
US20230039898A1 (en) 2023-02-09
CN104302197A (zh) 2015-01-21
RU2627002C2 (ru) 2017-08-02
CN104244750B (zh) 2017-12-15
EP4349387A2 (en) 2024-04-10
IL274419B (en) 2022-04-01
CN104219973B (zh) 2017-03-01
RU2014135387A (ru) 2016-03-27
JP2020043865A (ja) 2020-03-26
PL2809182T5 (pl) 2022-06-20
US20180103687A1 (en) 2018-04-19
IL233651A0 (en) 2014-08-31
US20130192623A1 (en) 2013-08-01
US20240261521A1 (en) 2024-08-08
US11730901B2 (en) 2023-08-22
PL2809182T3 (pl) 2018-08-31
CA2862294A1 (en) 2013-08-08
US20250269124A1 (en) 2025-08-28
AU2013214994A1 (en) 2014-08-21
CN104244750A (zh) 2014-12-24
JP2015513393A (ja) 2015-05-14
JP2015508641A (ja) 2015-03-23
EP2809182A4 (en) 2015-08-12
US10092037B2 (en) 2018-10-09
EP3155911A1 (en) 2017-04-19
BR112014018820A2 (enExample) 2017-06-20
NZ628059A (en) 2016-08-26
MY172204A (en) 2019-11-15
US20170020199A1 (en) 2017-01-26
US9474306B2 (en) 2016-10-25
AR091949A1 (es) 2015-03-11
MA20150058A1 (fr) 2015-02-27
EP4349387A3 (en) 2024-04-17
WO2013116568A2 (en) 2013-08-08
US10716903B2 (en) 2020-07-21
JP6286366B2 (ja) 2018-02-28
US10098386B2 (en) 2018-10-16
RU2608915C2 (ru) 2017-01-26
US10123566B2 (en) 2018-11-13
KR20140125827A (ko) 2014-10-29
BR112014018882A2 (enExample) 2017-06-20
RU2014135380A (ru) 2016-03-27
EP2809184A1 (en) 2014-12-10
MY170845A (en) 2019-09-10
RU2014135393A (ru) 2016-03-27
IL233651B (en) 2020-03-31
WO2013116561A1 (en) 2013-08-08
WO2013116558A1 (en) 2013-08-08
RU2014135399A (ru) 2016-03-20
UA112105C2 (uk) 2016-07-25
RU2608278C2 (ru) 2017-01-17
BR112014018887A8 (pt) 2017-07-11
EP2809180B1 (en) 2019-12-04
JP7297856B2 (ja) 2023-06-26
US10780236B2 (en) 2020-09-22
EP3123879A1 (en) 2017-02-01
US8997754B2 (en) 2015-04-07
AU2013214984A1 (en) 2014-08-21
KR20150035488A (ko) 2015-04-06
KR20150005514A (ko) 2015-01-14
IL233895A0 (en) 2014-09-30
IL233894B (en) 2020-05-31
MX2014009396A (es) 2015-02-20
RU2014135392A (ru) 2016-03-27
IL274421A (en) 2020-06-30
JP2022044053A (ja) 2022-03-16
US9510623B2 (en) 2016-12-06
NZ627444A (en) 2016-09-30
PL2809186T3 (pl) 2017-12-29
US20130192620A1 (en) 2013-08-01
ES2665362T3 (es) 2018-04-25
MA20150056A1 (fr) 2015-02-27
JP6101293B2 (ja) 2017-03-22
ES2612531T3 (es) 2017-05-17
AU2013214997B2 (en) 2017-02-23
CN104661544A (zh) 2015-05-27
RU2608298C2 (ru) 2017-01-17
AU2013214998B2 (en) 2017-02-23
US20250345535A1 (en) 2025-11-13
BR112014018786A2 (enExample) 2017-06-20
ES2665362T5 (es) 2022-05-12
BR112014018766A8 (pt) 2017-07-11
US11975143B2 (en) 2024-05-07
JP2015506182A (ja) 2015-03-02
UA115777C2 (uk) 2017-12-26
JP2015505476A (ja) 2015-02-23
IL233896A0 (en) 2014-09-30
CA2862105A1 (en) 2013-08-08
IL233896B (en) 2020-06-30
EP2809186B1 (en) 2017-04-05
EP4085951A1 (en) 2022-11-09
IL233851A0 (en) 2014-09-30
US20180352866A1 (en) 2018-12-13
KR20140125829A (ko) 2014-10-29
MX2014009394A (es) 2015-05-12
US20130192616A1 (en) 2013-08-01
US20210213215A1 (en) 2021-07-15
CN104661544B (zh) 2019-01-01
JP2025134833A (ja) 2025-09-17
CN104394722A (zh) 2015-03-04
AU2013214987B2 (en) 2017-02-02
EP2809187A4 (en) 2015-07-01
US20230041459A1 (en) 2023-02-09
EP2809182B2 (en) 2022-01-19
MA37294B1 (fr) 2016-02-29
AU2013214994B2 (en) 2017-03-09
ES2665362T8 (es) 2019-02-15
NZ628010A (en) 2016-03-31
EP2809185A1 (en) 2014-12-10
MA20150057A1 (fr) 2015-02-27
IL233885B (en) 2020-05-31
US10405583B2 (en) 2019-09-10
IL274419A (en) 2020-06-30
BR112014018882A8 (pt) 2017-07-11
US9848656B2 (en) 2017-12-26
CA2867620A1 (en) 2013-08-08
US20160165957A1 (en) 2016-06-16
EP3165101B1 (en) 2019-08-07
IL233894A0 (en) 2014-09-30
EP2809182B1 (en) 2018-01-31
JP2018078902A (ja) 2018-05-24
BR112014018881A2 (pt) 2017-07-04
JP2015512617A (ja) 2015-04-30
EP2809183A4 (en) 2015-08-12
US11478593B2 (en) 2022-10-25
IL233653A0 (en) 2014-08-31
AU2013214993A1 (en) 2014-08-21
BR112014018766A2 (enExample) 2017-06-20
IL233851B (en) 2019-06-30
CA2868313A1 (en) 2013-08-08
MX2014009393A (es) 2015-05-12
US20170238616A1 (en) 2017-08-24
EP2809186A1 (en) 2014-12-10
US20180116296A1 (en) 2018-05-03
US9854839B2 (en) 2018-01-02
AU2013214984B2 (en) 2017-02-02
JP2015505475A (ja) 2015-02-23
KR20140127288A (ko) 2014-11-03
CN104284606A (zh) 2015-01-14
NZ628008A (en) 2016-09-30
CA2863189A1 (en) 2013-08-08
MX2014009398A (es) 2015-02-20
US20160183598A1 (en) 2016-06-30
EP2809183A1 (en) 2014-12-10
US20200345952A1 (en) 2020-11-05
MY175955A (en) 2020-07-16
AU2013214993B2 (en) 2017-02-23
US20230364364A1 (en) 2023-11-16
US12364826B2 (en) 2025-07-22
EP2809185B1 (en) 2016-10-26
EP2809185A4 (en) 2015-08-05
ES2632468T3 (es) 2017-09-13
CN104394722B (zh) 2017-02-22
EP2809183B1 (en) 2020-03-04
MX2014009397A (es) 2015-05-12
EP2809187B1 (en) 2019-09-18
EP2809184B1 (en) 2022-08-03
US20200171250A1 (en) 2020-06-04
EP3165101A1 (en) 2017-05-10
JP2015505474A (ja) 2015-02-23
IL233895B (en) 2020-05-31
NZ628058A (en) 2016-01-29
BR112014018786A8 (pt) 2017-07-11
BR112014018887A2 (enExample) 2017-06-20
WO2013116567A1 (en) 2013-08-08
US9282772B2 (en) 2016-03-15
EP2809180A1 (en) 2014-12-10
US9668523B2 (en) 2017-06-06
AU2013214997A1 (en) 2014-08-07
RU2014135388A (ru) 2016-03-27
US12263300B2 (en) 2025-04-01
US12296091B2 (en) 2025-05-13
US20170042249A1 (en) 2017-02-16
UA116770C2 (uk) 2018-05-10
RU2014135386A (ru) 2016-03-20
US20160120229A1 (en) 2016-05-05
US20130192621A1 (en) 2013-08-01
EP2809180A4 (en) 2015-07-01
US20130192615A1 (en) 2013-08-01
US9004073B2 (en) 2015-04-14
CA2867624A1 (en) 2013-08-08
JP2023126792A (ja) 2023-09-12
IL233885A0 (en) 2014-09-30
EP2809186A4 (en) 2015-09-02
MY169626A (en) 2019-04-23
US20160183599A1 (en) 2016-06-30
US20170238615A1 (en) 2017-08-24

Similar Documents

Publication Publication Date Title
US12296091B2 (en) Electronic vaping device

Legal Events

Date Code Title Description
PA0105 International application

Patent event date: 20140825

Patent event code: PA01051R01D

Comment text: International Patent Application

PG1501 Laying open of application
PC1203 Withdrawal of no request for examination
WITN Application deemed withdrawn, e.g. because no request for examination was filed or no examination fee was paid