JP6170641B1 - 液晶表示装置 - Google Patents
液晶表示装置 Download PDFInfo
- Publication number
- JP6170641B1 JP6170641B1 JP2017054100A JP2017054100A JP6170641B1 JP 6170641 B1 JP6170641 B1 JP 6170641B1 JP 2017054100 A JP2017054100 A JP 2017054100A JP 2017054100 A JP2017054100 A JP 2017054100A JP 6170641 B1 JP6170641 B1 JP 6170641B1
- Authority
- JP
- Japan
- Prior art keywords
- insulating film
- wiring
- film
- region
- gate
- Prior art date
- Legal status (The legal status is an assumption and is not a legal conclusion. Google has not performed a legal analysis and makes no representation as to the accuracy of the status listed.)
- Expired - Lifetime
Links
Images
Classifications
-
- H—ELECTRICITY
- H10—SEMICONDUCTOR DEVICES; ELECTRIC SOLID-STATE DEVICES NOT OTHERWISE PROVIDED FOR
- H10D—INORGANIC ELECTRIC SEMICONDUCTOR DEVICES
- H10D30/00—Field-effect transistors [FET]
- H10D30/60—Insulated-gate field-effect transistors [IGFET]
- H10D30/67—Thin-film transistors [TFT]
- H10D30/6704—Thin-film transistors [TFT] having supplementary regions or layers in the thin films or in the insulated bulk substrates for controlling properties of the device
- H10D30/6713—Thin-film transistors [TFT] having supplementary regions or layers in the thin films or in the insulated bulk substrates for controlling properties of the device characterised by the properties of the source or drain regions, e.g. compositions or sectional shapes
- H10D30/6715—Thin-film transistors [TFT] having supplementary regions or layers in the thin films or in the insulated bulk substrates for controlling properties of the device characterised by the properties of the source or drain regions, e.g. compositions or sectional shapes characterised by the doping profiles, e.g. having lightly-doped source or drain extensions
-
- H—ELECTRICITY
- H10—SEMICONDUCTOR DEVICES; ELECTRIC SOLID-STATE DEVICES NOT OTHERWISE PROVIDED FOR
- H10D—INORGANIC ELECTRIC SEMICONDUCTOR DEVICES
- H10D30/00—Field-effect transistors [FET]
- H10D30/60—Insulated-gate field-effect transistors [IGFET]
- H10D30/67—Thin-film transistors [TFT]
- H10D30/6729—Thin-film transistors [TFT] characterised by the electrodes
- H10D30/673—Thin-film transistors [TFT] characterised by the electrodes characterised by the shapes, relative sizes or dispositions of the gate electrodes
- H10D30/6731—Top-gate only TFTs
-
- H—ELECTRICITY
- H10—SEMICONDUCTOR DEVICES; ELECTRIC SOLID-STATE DEVICES NOT OTHERWISE PROVIDED FOR
- H10D—INORGANIC ELECTRIC SEMICONDUCTOR DEVICES
- H10D30/00—Field-effect transistors [FET]
- H10D30/60—Insulated-gate field-effect transistors [IGFET]
- H10D30/67—Thin-film transistors [TFT]
- H10D30/6729—Thin-film transistors [TFT] characterised by the electrodes
- H10D30/673—Thin-film transistors [TFT] characterised by the electrodes characterised by the shapes, relative sizes or dispositions of the gate electrodes
- H10D30/6732—Bottom-gate only TFTs
-
- H—ELECTRICITY
- H10—SEMICONDUCTOR DEVICES; ELECTRIC SOLID-STATE DEVICES NOT OTHERWISE PROVIDED FOR
- H10D—INORGANIC ELECTRIC SEMICONDUCTOR DEVICES
- H10D30/00—Field-effect transistors [FET]
- H10D30/60—Insulated-gate field-effect transistors [IGFET]
- H10D30/67—Thin-film transistors [TFT]
- H10D30/6729—Thin-film transistors [TFT] characterised by the electrodes
- H10D30/673—Thin-film transistors [TFT] characterised by the electrodes characterised by the shapes, relative sizes or dispositions of the gate electrodes
- H10D30/6733—Multi-gate TFTs
-
- H—ELECTRICITY
- H10—SEMICONDUCTOR DEVICES; ELECTRIC SOLID-STATE DEVICES NOT OTHERWISE PROVIDED FOR
- H10D—INORGANIC ELECTRIC SEMICONDUCTOR DEVICES
- H10D30/00—Field-effect transistors [FET]
- H10D30/60—Insulated-gate field-effect transistors [IGFET]
- H10D30/67—Thin-film transistors [TFT]
- H10D30/674—Thin-film transistors [TFT] characterised by the active materials
- H10D30/6741—Group IV materials, e.g. germanium or silicon carbide
- H10D30/6743—Silicon
- H10D30/6745—Polycrystalline or microcrystalline silicon
-
- H—ELECTRICITY
- H10—SEMICONDUCTOR DEVICES; ELECTRIC SOLID-STATE DEVICES NOT OTHERWISE PROVIDED FOR
- H10D—INORGANIC ELECTRIC SEMICONDUCTOR DEVICES
- H10D86/00—Integrated devices formed in or on insulating or conducting substrates, e.g. formed in silicon-on-insulator [SOI] substrates or on stainless steel or glass substrates
- H10D86/40—Integrated devices formed in or on insulating or conducting substrates, e.g. formed in silicon-on-insulator [SOI] substrates or on stainless steel or glass substrates characterised by multiple TFTs
- H10D86/441—Interconnections, e.g. scanning lines
-
- H—ELECTRICITY
- H10—SEMICONDUCTOR DEVICES; ELECTRIC SOLID-STATE DEVICES NOT OTHERWISE PROVIDED FOR
- H10D—INORGANIC ELECTRIC SEMICONDUCTOR DEVICES
- H10D86/00—Integrated devices formed in or on insulating or conducting substrates, e.g. formed in silicon-on-insulator [SOI] substrates or on stainless steel or glass substrates
- H10D86/40—Integrated devices formed in or on insulating or conducting substrates, e.g. formed in silicon-on-insulator [SOI] substrates or on stainless steel or glass substrates characterised by multiple TFTs
- H10D86/451—Integrated devices formed in or on insulating or conducting substrates, e.g. formed in silicon-on-insulator [SOI] substrates or on stainless steel or glass substrates characterised by multiple TFTs characterised by the compositions or shapes of the interlayer dielectrics
-
- H—ELECTRICITY
- H10—SEMICONDUCTOR DEVICES; ELECTRIC SOLID-STATE DEVICES NOT OTHERWISE PROVIDED FOR
- H10D—INORGANIC ELECTRIC SEMICONDUCTOR DEVICES
- H10D86/00—Integrated devices formed in or on insulating or conducting substrates, e.g. formed in silicon-on-insulator [SOI] substrates or on stainless steel or glass substrates
- H10D86/40—Integrated devices formed in or on insulating or conducting substrates, e.g. formed in silicon-on-insulator [SOI] substrates or on stainless steel or glass substrates characterised by multiple TFTs
- H10D86/481—Integrated devices formed in or on insulating or conducting substrates, e.g. formed in silicon-on-insulator [SOI] substrates or on stainless steel or glass substrates characterised by multiple TFTs integrated with passive devices, e.g. auxiliary capacitors
-
- H—ELECTRICITY
- H10—SEMICONDUCTOR DEVICES; ELECTRIC SOLID-STATE DEVICES NOT OTHERWISE PROVIDED FOR
- H10D—INORGANIC ELECTRIC SEMICONDUCTOR DEVICES
- H10D86/00—Integrated devices formed in or on insulating or conducting substrates, e.g. formed in silicon-on-insulator [SOI] substrates or on stainless steel or glass substrates
- H10D86/40—Integrated devices formed in or on insulating or conducting substrates, e.g. formed in silicon-on-insulator [SOI] substrates or on stainless steel or glass substrates characterised by multiple TFTs
- H10D86/60—Integrated devices formed in or on insulating or conducting substrates, e.g. formed in silicon-on-insulator [SOI] substrates or on stainless steel or glass substrates characterised by multiple TFTs wherein the TFTs are in active matrices
-
- G—PHYSICS
- G02—OPTICS
- G02F—OPTICAL DEVICES OR ARRANGEMENTS FOR THE CONTROL OF LIGHT BY MODIFICATION OF THE OPTICAL PROPERTIES OF THE MEDIA OF THE ELEMENTS INVOLVED THEREIN; NON-LINEAR OPTICS; FREQUENCY-CHANGING OF LIGHT; OPTICAL LOGIC ELEMENTS; OPTICAL ANALOGUE/DIGITAL CONVERTERS
- G02F1/00—Devices or arrangements for the control of the intensity, colour, phase, polarisation or direction of light arriving from an independent light source, e.g. switching, gating or modulating; Non-linear optics
- G02F1/01—Devices or arrangements for the control of the intensity, colour, phase, polarisation or direction of light arriving from an independent light source, e.g. switching, gating or modulating; Non-linear optics for the control of the intensity, phase, polarisation or colour
- G02F1/13—Devices or arrangements for the control of the intensity, colour, phase, polarisation or direction of light arriving from an independent light source, e.g. switching, gating or modulating; Non-linear optics for the control of the intensity, phase, polarisation or colour based on liquid crystals, e.g. single liquid crystal display cells
- G02F1/133—Constructional arrangements; Operation of liquid crystal cells; Circuit arrangements
- G02F1/1333—Constructional arrangements; Manufacturing methods
- G02F1/1345—Conductors connecting electrodes to cell terminals
- G02F1/13454—Drivers integrated on the active matrix substrate
-
- H—ELECTRICITY
- H01—ELECTRIC ELEMENTS
- H01L—SEMICONDUCTOR DEVICES NOT COVERED BY CLASS H10
- H01L2924/00—Indexing scheme for arrangements or methods for connecting or disconnecting semiconductor or solid-state bodies as covered by H01L24/00
- H01L2924/0001—Technical content checked by a classifier
- H01L2924/0002—Not covered by any one of groups H01L24/00, H01L24/00 and H01L2224/00
-
- H—ELECTRICITY
- H10—SEMICONDUCTOR DEVICES; ELECTRIC SOLID-STATE DEVICES NOT OTHERWISE PROVIDED FOR
- H10D—INORGANIC ELECTRIC SEMICONDUCTOR DEVICES
- H10D30/00—Field-effect transistors [FET]
- H10D30/01—Manufacture or treatment
- H10D30/021—Manufacture or treatment of FETs having insulated gates [IGFET]
- H10D30/031—Manufacture or treatment of FETs having insulated gates [IGFET] of thin-film transistors [TFT]
- H10D30/0312—Manufacture or treatment of FETs having insulated gates [IGFET] of thin-film transistors [TFT] characterised by the gate electrodes
- H10D30/0314—Manufacture or treatment of FETs having insulated gates [IGFET] of thin-film transistors [TFT] characterised by the gate electrodes of lateral top-gate TFTs comprising only a single gate
-
- H—ELECTRICITY
- H10—SEMICONDUCTOR DEVICES; ELECTRIC SOLID-STATE DEVICES NOT OTHERWISE PROVIDED FOR
- H10D—INORGANIC ELECTRIC SEMICONDUCTOR DEVICES
- H10D30/00—Field-effect transistors [FET]
- H10D30/01—Manufacture or treatment
- H10D30/021—Manufacture or treatment of FETs having insulated gates [IGFET]
- H10D30/031—Manufacture or treatment of FETs having insulated gates [IGFET] of thin-film transistors [TFT]
- H10D30/0312—Manufacture or treatment of FETs having insulated gates [IGFET] of thin-film transistors [TFT] characterised by the gate electrodes
- H10D30/0316—Manufacture or treatment of FETs having insulated gates [IGFET] of thin-film transistors [TFT] characterised by the gate electrodes of lateral bottom-gate TFTs comprising only a single gate
-
- H—ELECTRICITY
- H10—SEMICONDUCTOR DEVICES; ELECTRIC SOLID-STATE DEVICES NOT OTHERWISE PROVIDED FOR
- H10D—INORGANIC ELECTRIC SEMICONDUCTOR DEVICES
- H10D30/00—Field-effect transistors [FET]
- H10D30/01—Manufacture or treatment
- H10D30/021—Manufacture or treatment of FETs having insulated gates [IGFET]
- H10D30/031—Manufacture or treatment of FETs having insulated gates [IGFET] of thin-film transistors [TFT]
- H10D30/0321—Manufacture or treatment of FETs having insulated gates [IGFET] of thin-film transistors [TFT] comprising silicon, e.g. amorphous silicon or polysilicon
-
- H—ELECTRICITY
- H10—SEMICONDUCTOR DEVICES; ELECTRIC SOLID-STATE DEVICES NOT OTHERWISE PROVIDED FOR
- H10D—INORGANIC ELECTRIC SEMICONDUCTOR DEVICES
- H10D30/00—Field-effect transistors [FET]
- H10D30/60—Insulated-gate field-effect transistors [IGFET]
- H10D30/67—Thin-film transistors [TFT]
- H10D30/6729—Thin-film transistors [TFT] characterised by the electrodes
- H10D30/6737—Thin-film transistors [TFT] characterised by the electrodes characterised by the electrode materials
-
- H—ELECTRICITY
- H10—SEMICONDUCTOR DEVICES; ELECTRIC SOLID-STATE DEVICES NOT OTHERWISE PROVIDED FOR
- H10D—INORGANIC ELECTRIC SEMICONDUCTOR DEVICES
- H10D30/00—Field-effect transistors [FET]
- H10D30/60—Insulated-gate field-effect transistors [IGFET]
- H10D30/67—Thin-film transistors [TFT]
- H10D30/6729—Thin-film transistors [TFT] characterised by the electrodes
- H10D30/6737—Thin-film transistors [TFT] characterised by the electrodes characterised by the electrode materials
- H10D30/6739—Conductor-insulator-semiconductor electrodes
-
- H—ELECTRICITY
- H10—SEMICONDUCTOR DEVICES; ELECTRIC SOLID-STATE DEVICES NOT OTHERWISE PROVIDED FOR
- H10D—INORGANIC ELECTRIC SEMICONDUCTOR DEVICES
- H10D30/00—Field-effect transistors [FET]
- H10D30/60—Insulated-gate field-effect transistors [IGFET]
- H10D30/67—Thin-film transistors [TFT]
- H10D30/674—Thin-film transistors [TFT] characterised by the active materials
- H10D30/6741—Group IV materials, e.g. germanium or silicon carbide
- H10D30/6743—Silicon
-
- H—ELECTRICITY
- H10—SEMICONDUCTOR DEVICES; ELECTRIC SOLID-STATE DEVICES NOT OTHERWISE PROVIDED FOR
- H10K—ORGANIC ELECTRIC SOLID-STATE DEVICES
- H10K59/00—Integrated devices, or assemblies of multiple devices, comprising at least one organic light-emitting element covered by group H10K50/00
- H10K59/10—OLED displays
- H10K59/12—Active-matrix OLED [AMOLED] displays
Landscapes
- Thin Film Transistor (AREA)
- Liquid Crystal (AREA)
- Electroluminescent Light Sources (AREA)
- Internal Circuitry In Semiconductor Integrated Circuit Devices (AREA)
- Semiconductor Memories (AREA)
- Non-Volatile Memory (AREA)
- Devices For Indicating Variable Information By Combining Individual Elements (AREA)
- Electrodes Of Semiconductors (AREA)
- Semiconductor Integrated Circuits (AREA)
- Metal-Oxide And Bipolar Metal-Oxide Semiconductor Integrated Circuits (AREA)
Abstract
Description
装置およびその作製方法に関する。例えば、液晶表示パネルに代表される電気光学装置お
よびその様な電気光学装置を部品として搭載した電子機器に関する。
置全般を指し、電気光学装置、半導体回路および電子機器は全て半導体装置である。
が進んでいる。アクティブマトリクス型液晶表示装置、EL表示装置、および密着型イメ
ージセンサはその代表例として知られている。特に、結晶質シリコン膜(典型的にはポリ
シリコン膜)を活性層にしたTFT(以下、ポリシリコンTFTと記す)は電界効果移動
度が高いことから、いろいろな機能回路を形成することも可能である。
う画素回路や、CMOS回路を基本としたシフトレジスタ回路、レベルシフタ回路、バッ
ファ回路、サンプリング回路などの画素回路を制御するための駆動回路が一枚の基板上に
形成される。
FTが配置され、そのTFTのそれぞれには画素電極が設けられている。液晶を挟んだ対
向基板側には対向電極が設けられており、液晶を誘電体とした一種のコンデンサを形成し
ている。そして、各画素に印加する電圧をTFTのスイッチング機能により制御して、こ
のコンデンサへの電荷を制御することで液晶を駆動し、透過光量を制御して画像を表示す
る仕組みになっている。
容量(寄生容量)が生じてしまう。
いる下層配線と上層配線との間の絶縁膜の膜厚等で決定される。
ど大きくなっている。そこで、この寄生容量の影響を低下させるために補助容量の電極面
積を大きくすることが提案されているが、電極面積を大きくすると画素領域の開口率が低
下するという問題があった。
下する。
最も重要視されている。
り、下層配線と上層配線を可能な限り重ねて多層配線を形成することが行われている。
ールの寸法も微細化されている。良好なコンタクト接続をとるためには、コンタクトホー
ルをテーパー状に加工して傾斜を持たせるようにすればよいが、極端なテーパー形状加工
を行うとコンタクトホールの寸法が大きくなってしまう。例えば0.5〜1.5μm程度
の直径を有する微小なコンタクトホールを形成しようとした場合、TFTのソース領域や
ドレイン領域の膜厚は10nm〜50nmと薄いため、層間絶縁膜が厚いとエッチング条
件によってはオーバーエッチングやエッチング残りなどのエッチング不良が発生していた
。
量を低減し、表示特性を向上させることを目的とする。また、そのような半導体装置を実
現するための作製方法を提供することを課題とする。
層間絶縁膜と、 前記第1層間絶縁膜上の一部に接して第2層間絶縁膜と、 前記第1層
間絶縁膜及び前記第2層間絶縁膜上に第2配線とを有し、 前記第1配線と前記第2配線
とが重なっている領域には、前記第1層間絶縁膜と前記第2層間絶縁膜とが積層されてい
ることを特徴とする半導体装置である。
ッチングレートより小さいことを特徴としている。
グレートの選択比は、1.5以上であることが望ましい。
特徴としている。
を特徴としている。
、 前記TFTを形成する第1配線の上方には第1層間絶縁膜と、第2層間絶縁膜と、第
2配線とが形成され、前記TFTのソース領域またはドレイン領域の上方にはゲート絶縁
膜と、第1層間絶縁膜と、前記第2配線とが形成されていることを特徴とする半導体装置
である。
μm以上であることを特徴としている。
、 前記TFTを形成する第1配線の上方には第1層間絶縁膜及び第2層間絶縁膜を介し
て第2配線が存在していることを特徴とする半導体装置である。
膜が存在していることを特徴としている。
。
路とを少なくとも含む半導体装置において、 前記画素回路を形成する画素TFTのチャ
ネル形成領域は、ゲート絶縁膜を介してゲート配線の一部と重なるように形成され、該ゲ
ート配線の一部はエッチングレートの異なる複数の絶縁膜を介して第2配線と重なってい
ることを特徴とする半導体装置である。
なくとも一部または全部が、該nチャネル型TFTのゲート配線と重なるように形成され
、 前記画素回路を形成する画素TFTのLDD領域は、該画素TFTのゲート電極と重
ならないように形成されていることを特徴としている。
なくとも一部または全部が、該nチャネル型TFTのゲート電極と重なるように形成され
、 前記画素回路を形成する画素TFTのLDD領域は、該画素TFTのゲート電極と重
ならないように形成され、 前記画素回路の保持容量は有機樹脂膜の上に設けられた遮蔽
膜、該遮蔽膜の酸化物および画素電極で形成されていることを特徴としている。
1工程と、 前記第1配線を覆う第1層間絶縁膜を形成する第2工程と、 前記第1層間
絶縁膜上に第2層間絶縁膜を形成する第3工程と、 前記第2層間絶縁膜の一部を選択的
に除去する第4工程と、 前記第1配線と重なる第2層間絶縁膜上に第2配線を形成する
第5工程とを有することを特徴とする半導体装置の作製方法である。
法において、絶縁表面上に活性層を形成する第1工程と、前記活性層に接してゲート絶縁
膜を形成する第2工程と、前記活性層の一部にn型不純物元素またはp型不純物元素を添
加してソース領域またはドレイン領域を形成する第3工程と、ゲート配線及びゲート電極
を覆う第1層間絶縁膜を形成する第4工程と、前記第1層間絶縁膜上に第2層間絶縁膜を
形成する第5工程と、前記第2層間絶縁膜にエッチングを行い、前記ソース領域または前
記ドレイン領域の上方の第2層間絶縁膜を除去する第6工程と、前記第1層間絶縁膜及び
前記ゲート絶縁膜にエッチングを行い、前記ソース領域またはドレイン領域に達するコン
タクトホールを形成する第7工程と、前記ゲート電極と重なる前記第2層間絶縁膜上に、
前記ソース領域またはドレイン領域と接する第2配線を形成する第8工程とを有すること
を特徴とする半導体装置の作製方法である。
回路とを少なくとも含む半導体装置の作製方法において、絶縁表面上に活性層を形成する
第1工程と、前記活性層に接してゲート絶縁膜を形成する第2工程と、前記ゲート絶縁膜
上にゲート配線及びゲート電極を形成する第3工程と、前記活性層の一部にn型不純物元
素またはp型不純物元素を添加し、n型不純物領域またはp型不純物領域を形成する第4
工程と、ゲート配線及びゲート電極を覆う第1層間絶縁膜を形成する第5工程と、前記ゲ
ート電極と重なる第1層間絶縁膜上に第2層間絶縁膜を選択的に形成する第6工程と、前
記第1層間絶縁膜及び前記ゲート絶縁膜にエッチングを行い、前記n型不純物領域または
前記p型不純物領域に達するコンタクトホールを形成する第7工程と、前記ゲート電極と
重なる前記第2層間絶縁膜上に、前記n型不純物領域または前記p型不純物領域と接する
第2配線を形成する第8工程とを有することを特徴とする半導体装置の作製方法である。
回路とを少なくとも含む半導体装置の作製方法において、絶縁表面上に活性層を形成する
第1工程と、前記活性層に接してゲート絶縁膜を形成する第2工程と、前記ゲート絶縁膜
上にゲート配線及びゲート電極を形成する第3工程と、前記活性層の一部にn型不純物元
素またはp型不純物元素を添加し、n型不純物領域またはp型不純物領域を形成する第4
工程と、ゲート配線及びゲート電極を覆う第1層間絶縁膜を形成する第5工程と、前記第
1層間絶縁膜及び前記ゲート絶縁膜にエッチングを行い、前記n型不純物領域または前記
p型不純物領域に達するコンタクトホールを形成する第6工程と、前記第1層間絶縁膜上
に第2層間絶縁膜を選択的に形成する第7工程と、前記ゲート電極と重なる前記第2層間
絶縁膜上に、前記n型不純物領域または前記p型不純物領域と接する第2配線を形成する
第8工程とを有することを特徴とする半導体装置の作製方法である。
置(ここでは具体的に電気光学装置)の動作性能や信頼性を大幅に向上させることができ
た。
いて、ゲート配線と第2配線とを重ねて開口率を向上させても十分寄生容量を小さくする
ことができた。そのため、対角1インチ以下のアクティブマトリクス型液晶表示装置にお
いても開口率を向上させ、寄生容量を低減するとともに、十分な保持容量を確保すること
が可能となった。
電子機器)の動作性能と信頼性も向上させることができた。
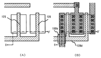
成領域213、214と重なるゲート電極の一部または全部と第2配線(ソース線または
ドレイン線)154、157とを重ねる。また、ゲート電極と第2配線154、157の
間には第1層間絶縁膜149及び第2層間絶縁膜150cを設け、寄生容量を低減する。
なお、図8(B)に図5に対応する表示領域の上面図を示した。
けられているため、画素TFTのソース領域またはドレイン領域に達するコンタクトホー
ルの開口を行いやすい。
とが交差して重なっている領域に第2層間絶縁膜150bを選択的に形成すればよい。な
お、図7(B)に図5に対応する駆動回路の上面図を示した。
含む絶縁膜としては、酸化シリコン膜、窒化シリコン膜、窒化酸化シリコン膜を用いるこ
とができる。これらの膜の成膜方法にはプラズマCVD、減圧CVD、ECRCVD等の
CVD法や、スパッタ法等を用いればよい。なお、プラズマCVDを用い、原料ガスにS
i源としてTEOS等の有機シランを、O源としてO2またはO3を用いればTEOS膜と
呼ばれる絶縁膜が形成される。また、原料ガスにSi源としてSiH4(モノシラン)ま
たはジシラン等の無機シランを用い、O源としてO2やO3やN2Oを用いることができる
。なお、減圧CVD法を用い、Si源としてSiH4(モノシラン)、O源としてO2やO
3やN2Oを用いればLTO膜と呼ばれる絶縁膜が形成される。
OxNyで表される絶縁膜である。ただし、窒化酸化シリコン膜におけるSiの濃度に対
するNの濃度比は0.1以上0.8以下にする。珪素、酸素、窒素等を含む絶縁膜の組成
の制御は原料ガスの種類、流量、基板温度、圧力、RFパワー、電極間隔を適宜調節する
ことによって行う。
グし、シリコン層に達するコンタクトホールを形成する際、シリコン層は薄いため、シリ
コン層と十分選択比が取れる条件(絶縁膜材料、膜厚、エッチングガス等)でエッチング
を行うことが重要である。なお、これらの条件を考慮にいれると、第1層間絶縁膜の膜厚
は薄くする(例えば200nm以下)ことが望ましい。ただし、活性化工程での酸化から
ゲート配線を保護する膜厚は必要である。また、微小なコンタクトホールを形成する上で
は、コンタクトホール形成領域に第2層間絶縁膜が存在しないようにすることが望ましい
。
ットエッチングする工程(図4(B))を有しているため、第2層間絶縁膜に用いる材料
は、第1層間絶縁膜よりもエッチングレートの大きな材料とすることが望ましい。
絶縁膜の成膜温度より10℃以上低い温度で成膜するとエッチングレートの大きな膜を得
ることができる。
1層間絶縁膜のエッチングレートを小さくすることによって、第2層間絶縁膜との選択比
を大きくしてもよい。
いることは可能であるが、第1層間絶縁膜と選択比が十分取れ、テーパー形状が得られる
ウエットエッチングが望ましい。なお、第2層間絶縁膜の膜厚としては、寄生容量が問題
にならない膜厚、例えば0.5μm以上であれば特に限定されない。また、異方性エッチ
ングを用いてもよい。
、図12に示すようにドライエッチングでゲート絶縁膜及び第1層間絶縁膜にコンタクト
ホールを形成した後、第2層間絶縁膜を積層して再度、ウエットエッチングで第2層間絶
縁膜にコンタクトホールを形成してもよい。
薄い窒化シリコン膜や、DLC膜や、AlN膜、やAlNO膜等を積層し、それをエッチ
ングのブロッキング層として用いればドライエッチングを用いて第2層間絶縁膜を選択的
にエッチングすることができる。また、ドライエッチングを用いてもレジスト形状を変え
ればテーパー形状とすることができる。
層間絶縁膜)を用いたが、3層、あるいはそれ以上の層間絶縁膜を積層させてもよい。
も寄生容量による表示特性への悪影響をなくすることができる。また、対角1インチ以下
のアクティブマトリクス型液晶表示装置であっても、ゲート配線と第2配線とで形成され
る寄生容量が十分小さく、微小なコンタクトホール(直径が約0.5μm〜1.5μm)
を形成することができる。
うこととする。
路とその画素回路を制御するための駆動回路とを同時に作製する方法について説明する。
但し、説明を簡単にするために、駆動回路では、シフトレジスタ回路、バッファ回路等の
基本回路であるCMOS回路と、サンプリング回路を形成するnチャネル型TFTとを図
示することとする。
しい。本実施例では石英基板を用いた。その他にも金属基板またはステンレス基板の表面
に絶縁膜を形成したものを基板としても良い。本実施例の場合、800℃以上の温度に耐
えうる耐熱性を要求されるので、それを満たす基板であればどのような基板を用いても構
わない。
0〜80nm)の厚さの非晶質構造を含む半導体膜102を減圧熱CVD法、プラズマC
VD法またはスパッタ法で形成する。なお、本実施例では60nm厚の非晶質シリコン膜
を形成するが、後に熱酸化工程があるのでこの膜厚が最終的なTFTの活性層の膜厚にな
るわけではない。
さらに非晶質シリコンゲルマニウム膜などの非晶質構造を含む化合物半導体膜も含まれる
。
も有効である。そうすることにより基板表面の汚染が非晶質シリコン膜に影響を与えない
ようにすることが可能となり、作製されるTFTの特性バラツキを低減させることができ
る。
3を形成し、パターニングによって開口部104a、104bを形成する。この開口部は、
次の結晶化工程の際に結晶化を助長する触媒元素を添加するための添加領域となる。(図
1(A))
ン膜を用いることができる。窒化酸化シリコン膜は、珪素、窒素及び酸素を所定の量で含
む絶縁膜であり、SiOxNyで表される絶縁膜である。窒化酸化シリコン膜はSiH4
、N2O及びNH3を原料ガスとして作製することが可能であり、含有する窒素濃度が25
atomic%以上50atomic%未満とすると良い。
準となるマーカーパターンを形成しておく。
に記載された技術に従って、結晶構造を含む半導体膜を形成する。同公報記載の技術は、
非晶質構造を含む半導体膜の結晶化に際して、結晶化を助長する触媒元素(ニッケル、コ
バルト、ゲルマニウム、錫、鉛、パラジウム、鉄、銅から選ばれた一種または複数種の元
素)を用いる結晶化手段である。
を行い、非晶質構造を含む半導体膜を、結晶構造を含む半導体膜に変化させるものである
。なお、結晶化手段としては、特開平7−130652号公報の実施例1に記載された技
術を用いても良い。また、結晶質構造を含む半導体膜には、いわゆる単結晶半導体膜も多
結晶半導体膜も含まれるが、同公報で形成される結晶構造を含む半導体膜は結晶粒界を有
している。
ているが、触媒元素を含む薄膜をスパッタ法や蒸着法といった気相法を用いて成膜する手
段をとっても良い。
間程度の加熱処理を行い、水素を十分に脱離させてから結晶化させることが望ましい。そ
の場合、含有水素量を5atom%以下とすることが好ましい。
ら脱離させた後、500〜650℃(好ましくは550〜600℃)で6〜16時間(好
ましくは8〜14時間)の熱処理を行う。
その結果、開口部104a、104bを起点として概略基板と平行な方向(矢印で示した方
向)に結晶化が進行し、巨視的な結晶成長方向が揃った結晶構造を含む半導体膜(本実施
例では結晶質シリコン膜)105a〜105dが形成される。(図1(B))
程を行う。本実施例では、先ほど形成したマスク膜103をそのままマスクとして15族
に属する元素(本実施例ではリン)を添加する工程を行い、開口部104a、104bで露
出した結晶質シリコン膜に1×1019〜1×1020atoms/cm3の濃度でリンを含むリン添
加領域(以下、ゲッタリング領域という)106a、106bを形成する。(図1(C))
間(好ましくは6〜12時間)の熱処理工程を行う。この熱処理工程により結晶質シリコ
ン膜中のニッケルは矢印の方向に移動し、リンのゲッタリング作用によってゲッタリング
領域106a、106bに捕獲される。即ち、結晶質シリコン膜中からニッケルが除去され
るため、ゲッタリング後の結晶質シリコン膜107a〜107dに含まれるニッケル濃度は
、1×1017atoms/cm3以下、好ましくは1×1016atoms/cm3にまで低減することができ
る。
加工程のために保護膜108を形成する。保護膜108は100〜200nm(好ましく
は130〜170nm)の厚さの窒化酸化シリコン膜または酸化シリコン膜を用いると良
い。この保護膜108は不純物添加時に結晶質シリコン膜が直接プラズマに曝されないよ
うにするためと、微妙な濃度制御を可能にするための意味がある。
る不純物元素(以下、p型不純物元素という)を添加する。p型不純物元素としては、代
表的には13族に属する元素、典型的にはボロンまたはガリウムを用いることができる。
この工程(チャネルドープ工程という)はTFTのしきい値電圧を制御するための工程で
ある。なお、ここではジボラン(B2H6)を質量分離しないでプラズマ励起したイオンド
ープ法でボロンを添加する。勿論、質量分離を行うイオンインプランテーション法を用い
ても良い。
7atoms/cm3)の濃度でp型不純物元素(本実施例ではボロン)を含む不純物領域110a
、110bを形成する。なお、本明細書中では上記濃度範囲でp型不純物元素を含む不純
物領域(但し、リンは含まれていない領域)をp型不純物領域(b)と定義する。(図1
(D))
導体層(以下、活性層という)111〜114を形成する。なお、活性層111〜114
は、ニッケルを選択的に添加して結晶化することによって、非常に結晶性の良い結晶質シ
リコン膜で形成されている。具体的には、棒状または柱状の結晶が、特定の方向性を持っ
て並んだ結晶構造を有している。また、結晶化後、ニッケルをリンのゲッタリング作用に
より除去又は低減しており、活性層111〜14中に残存する触媒元素の濃度は、1×1
017atoms/cm3以下、好ましくは1×1016atoms/cm3である。(図1(E))
領域であり、nチャネル型TFTの活性層112〜114はp型不純物領域(b)となっ
ている。本明細書中では、この状態の活性層111〜114は全て真性または実質的に真
性であると定義する。即ち、TFTの動作に支障をきたさない程度に不純物元素が意図的
に添加されている領域が実質的に真性な領域と考えて良い。
膜を形成する。本実施例では、30nm厚の窒化酸化シリコン膜を形成する。この珪素を
含む絶縁膜は、他の珪素を含む絶縁膜を単層または積層で用いても構わない。
(好ましくは30分〜2時間)の熱処理工程を、酸化性雰囲気下で行う(熱酸化工程)。
本実施例では酸素雰囲気中に3体積%の塩化水素を添加した雰囲気中で950℃80分の
熱処理工程を行う。なお、図1(D)の工程で添加されたボロンはこの熱酸化工程の間に
活性化される。(図2(A))
半導体層中の結晶欠陥の低減にはドライ酸素雰囲気が適している。また、本実施例では酸
素雰囲気中にハロゲン元素を含ませた雰囲気としたが、100%酸素雰囲気で行っても構
わない。
いても酸化反応が進行する。本願発明ではそれを考慮して最終的に形成されるゲート絶縁
膜115の膜厚が50〜200nm(好ましくは100〜150nm)となるように調節する
。本実施例の熱酸化工程では、60nm厚の活性層のうち25nmが酸化されて活性層1
11〜114の膜厚は45nmとなる。また、30nm厚の珪素を含む絶縁膜に対して5
0nm厚の熱酸化膜が加わるので、最終的なゲート絶縁膜115の膜厚は110nmとなる
。
物元素(以下、n型不純物元素という)を添加してn型を呈する不純物領域120〜12
2を形成する。なお、n型不純物元素としては、代表的には15族に属する元素、典型的
にはリンまたは砒素を用いることができる。(図2(B))
ネル型TFTにおいて、LDD領域として機能させるための不純物領域である。なお、こ
こで形成された不純物領域にはn型不純物元素が2×1016〜5×1019atoms/cm3(代
表的には5×1017〜5×1018atoms/cm3)の濃度で含まれている。本明細書中では上
記濃度範囲でn型不純物元素を含む不純物領域をn型不純物領域(b)と定義する。
ープ法でリンを1×1018atoms/cm3の濃度で添加する。勿論、質量分離を行うイオンイ
ンプランテーション法を用いても良い。この工程では、ゲート膜115を介して結晶質シ
リコン膜にリンを添加する。
を行い、図2(B)の工程で添加されたリンを活性化する。本実施例では800℃、1時
間の熱処理を窒素雰囲気中で行う。(図2(C))
復することが可能である。この活性化工程は電熱炉を用いたファーネスアニールが好まし
いが、ランプアニールやレーザーアニールといった光アニールを併用しても良い。
(b)の周囲に存在する真性又は実質的に真性な領域(勿論、p型不純物領域(b)も含
む)との接合部が明確になる。このことは、後にTFTが完成した時点において、LDD
領域とチャネル形成領域とが非常に良好な接合部を形成しうることを意味する。
ても良いが、必要に応じて二層、三層といった積層膜とすることが好ましい。本実施例で
は、第1導電膜123と第2導電膜124とでなる積層膜を形成する。(図2(D))
i)、モリブデン(Mo)、タングステン(W)、クロム(Cr)、シリコン(Si)か
ら選ばれた元素、または前記元素を主成分とする導電膜(代表的には窒化タンタル膜、窒
化タングステン膜、窒化チタン膜)、または前記元素を組み合わせた合金膜(代表的には
Mo−W合金膜、Mo−Ta合金膜、タングステンシリサイド膜等)を用いることができ
る。
電膜124は200〜400nm(好ましくは250〜350nm)とすれば良い。本実
施例では、第1導電膜123として、50nm厚の窒化タングステン(WN)膜を、第2
導電膜124として、350nm厚のタングステン膜を用いる。なお、図示しないが、第
1導電膜123の下にシリコン膜(リンがドープされた)を2〜20nm程度の厚さで形
成しておくことは有効である。これによりその上に形成される導電膜の密着性の向上と、
酸化防止を図ることができる。
用いることも有効である。
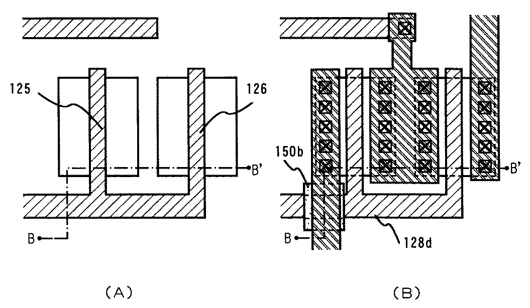
ゲート配線125〜128を形成する。この時、駆動回路に形成されるゲート配線126
、127はn型不純物領域(b)120〜122の一部とゲート絶縁膜115を介して重
なるように形成する。この重なった部分が後にLov領域となる。(図2(E))
中のA−A’断面が図2(E)に相当する。また、図7(A)中のB−B’断面が図2(
E)に相当する。図2(E)でのゲート配線128a、128b、128cは断面では三つ
に見えるが実際は連続的に繋がった一つのパターンから形成されている。
ステン膜を積層して、再度パターニングを施し、第2導電膜を囲ったゲート電極構造とし
てもよい。
して高濃度にボロンを含む不純物領域130、131を形成する。本実施例ではジボラン
(B2H6)を用いたイオンドープ法(勿論、イオンインプランテーション法でも良い)に
より3×1020〜3×1021atoms/cm3(代表的には5×1020〜1×1021atoms/cm3)
濃度でボロンを添加する。なお、本明細書中では上記濃度範囲でp型不純物元素を含む不
純物領域をp型不純物領域(a)
と定義する。(図3(A))
を覆う形でレジストマスク132〜134を形成する。そして、n型不純物元素(本実施
例ではリン)を添加して高濃度にリンを含む不純物領域135〜141を形成する。ここ
でも、フォスフィン(PH3)を用いたイオンドープ法(勿論、イオンインプランテーシ
ョン法でも良い)で行い、この領域のリンの濃度は1×1020〜1×1021atoms/cm3(
代表的には2×1020〜5×1021atoms/cm3)とする。(図3(B))
域(a)と定義する。また、不純物領域135〜141が形成された領域には既に前工程
で添加されたリンまたはボロンが含まれるが、十分に高い濃度でリンが添加されることに
なるので、前工程で添加されたリンまたはボロンの影響は考えなくて良い。従って、本明
細書中では不純物領域135〜141はn型不純物領域(a)と言い換えても構わない。
例ではリン)を添加する。こうして形成された不純物領域143〜146には前記n型不
純物領域(b)の1/2〜1/10(代表的には1/3〜1/4)の濃度(但し、前述の
チャネルドープ工程で添加されたボロン濃度よりも5〜10倍高い濃度、代表的には1×
1016〜5×1018atoms/cm3、典型的には3×1017〜3×1018atoms/cm3、)でリン
が添加されるように調節する。なお、本明細書中では上記濃度範囲でn型不純物元素を含
む不純物領域(但し、p型不純物領域(a)を除く)をn型不純物領域(c)と定義する
。(図3(C)
)
〜5×1018atoms/cm3の濃度でリンが添加されているが、非常に低濃度であるため各不
純物領域の機能には影響を与えない。また、n型不純物領域(b)143〜146には既
にチャネルドープ工程で1×1015〜1×1018atoms/cm3の濃度のボロンが添加されて
いるが、この工程ではp型不純物領域(b)
に含まれるボロンの5〜10倍の濃度でリンが添加されるので、この場合もボロンはn型
不純物領域(b)の機能には影響を与えないと考えて良い。
のリン濃度が2×1016〜5×1019atoms/cm3のままであるのに対し、ゲート配線に重
ならない部分はそれに1×1016〜5×1018atoms/cm3の濃度のリンが加わっており、
若干高い濃度でリンを含むことになる。
膜(25〜100nm)を形成し、オフセット領域を形成してもよい。
なお、オフセット領域とは、チャネル形成領域に接して形成され、チャネル形成領域と同
一組成の半導体膜でなるが、ゲート電圧が印加されないため反転層(チャネル領域)を形
成しない高抵抗な領域を指す。オフ電流値を下げるためにはLDD領域とゲート配線の重
なりを極力抑えることが重要であり、そういう意味でオフセット領域を設けることは有効
と言える。
絶縁膜、具体的には窒化シリコン膜、酸化シリコン膜、窒化酸化シリコン膜またはそれら
を組み合わせた積層膜で形成すれば良い。また、膜厚は100〜400nm、好ましくは
200nm以下とすれば良い。本実施例では、プラズマCVD法で成膜温度325℃、S
iH4、N2Oを原料ガスとし、膜厚200nmの窒化酸化シリコン膜(ここでは窒素濃度
が5atomic%未満)を用いた。
処理工程を行った。この工程はファーネスアニール法、レーザーアニール法、ランプアニ
ール法またはそれらを併用して行うことができる。ファーネスアニール法で行う場合は、
不活性雰囲気中において500〜800℃、好ましくは550〜600℃で行えば良い。
本実施例では800℃、1時間の熱処理を行い、不純物元素を活性化するとともに、第1
層間絶縁膜149のエッチングレートを小さくして後に形成される第2層間絶縁膜との選
択比を大きくした。第1層間絶縁膜149成膜直後のエッチングレート(20℃における
LAL500の値)が260nm/minであったのに対し、熱アニ―ル後の第1層間絶
縁膜149のエッチングレートを88nm/minと小さくすることができた。(図3(
D))
〜4時間の熱処理を行い、活性層の水素化を行う。この工程は熱的に励起された水素によ
り半導体層のダングリングボンドを終端する工程である。水素化の他の手段として、プラ
ズマ水素化(プラズマにより励起された水素を用いる)を行っても良い。
くは500nm〜800nmの厚さを有する第2層間絶縁膜150aを形成する。この第
2層間絶縁膜150aは、ゲート配線と上層配線との重なり部分やゲート電極(チャネル
形成領域上方に相当する)と上層配線との重なり部に生じる寄生容量の低減のために設け
たものである。なお、第2層間絶縁膜150aは第1の層間絶縁膜と比較してエッチング
レートが大きい材料(プラズマCVD法で成膜温度400℃、SiH4、N2Oを原料ガス
とした窒化酸化シリコン膜(但し窒素濃度が10atomic%以下)、エッチングレート21
0nm/min)
を選択し、膜厚を500nmとした。
形成されるソース配線またはドレイン配線がゲート配線と重なる領域(150b、150
c)のみに第2層間絶縁膜を残す。本実施例ではLAL500を用いたウエットエッチン
グを用いてパターニングした。上述したように、第2層間絶縁膜のエッチングレートは2
10nm/minであるのに対し、第1層間絶縁膜のエッチングレートは88nm/mi
nであるので十分選択比が取れる。
第1層間絶縁膜と第2層間絶縁膜との選択比は、1.5以上、好ましくは3〜5有してい
ればよい。(図4(B))
またはドレイン領域に達するコンタクトホールを形成する。ただし、ソース領域およびド
レイン領域の厚さは薄い(10nm〜50nm)ため、オーバーエッチング量(ポリシリ
コン膜減り量)が所定値を越えないようエッチング条件を調節することが重要である。
ン膜、膜厚120nm±5%)と第1層間絶縁膜(窒素を含む酸化シリコン膜、膜厚20
0nm±5%)とが積層された状態で、エッチングレートが300nm/minのドライ
エッチングを行う。エッチングレートは、フッ化水素アンモニウムを7.13%とフッ化
アンモニウムを15.4%含む混合溶液(ステラケミファ社製、商品名LAL500)の
20℃における値である。縦軸はエッチングレートのばらつきを示し、横軸はポリシリコ
ン膜と窒素を含む酸化シリコン膜の選択比である。
例えば5nm以下となるようにしたい場合、表1から選択比を10よりも大きく持たせる
必要があることが読み取れる。このようにして、表1からオーバーエッチング量を所定値
以下とするためには、選択比がどれくらい必要かを求めることができる。また、選択比を
ある値とした場合、エッチングレートのばらつきはどれくらいに抑える必要があるかを求
めることができる。また、第1層間絶縁膜が200nmよりも大きい場合の表を表1と同
様に作成した場合、選択比が大きく、エッチングレートのばらつきが極小でないとコンタ
クトホール形成は困難であることがわかった。
ートのばらつきを5%以内に抑えたため、オーバーエッチングのほとんどないコンタクト
ホールを形成することができた。
、コンタクトホールの大きさが1μm以下である場合には、コンタクトホールをドライエ
ッチングで形成することが好ましい。なお、CMOS回路を形成するためにドレイン配線
155はpチャネル型TFTとnチャネル型TFTとの間で共通化されている。また、図
示していないが、本実施例ではこの配線を、Ti膜を200nm、Tiを含むアルミニウ
ム膜500nm、Ti膜100nmをスパッタ法で連続して形成した3層構造の積層膜と
する。
化酸化シリコン膜で50〜500nm(代表的には200〜300nm)の厚さで形成す
る。(図4(C))なお、この状態における上面図を図6(B)及び図7(B)に示す。
図6(B)中のA−A’断面が図4(C)A−A’に相当する。また、図7(B)中のB
−B’断面が図4(C)B−B’に相当する。
処理を行い、成膜後に熱処理を行う。この前処理により励起された水素が第1、第2層間
絶縁膜中に供給される。この状態で熱処理を行うことで、パッシベーション膜158の膜
質を改善するとともに、第1、第2層間絶縁膜中に添加された水素が下層側に拡散するた
め、効果的に活性層を水素化することができる。
例えば、3〜100%の水素を含む雰囲気中で、300〜450℃で1〜12時間の熱処
理を行うと良く、あるいはプラズマ水素化法を用いても同様の効果が得られる。なお、水
素化工程後に画素電極とドレイン配線を接続するためのコンタクトホールを形成する位置
において、パッシベーション膜158に開口部(図示せず)を形成しておいても良い。
脂としては、ポリイミド、アクリル、ポリアミド、ポリイミドアミド、BCB(ベンゾシ
クロブテン)等を使用することができる。有機樹脂膜を用いることの利点は、成膜方法が
簡単である点や、比誘電率が低いので、寄生容量を低減できる点、平坦性に優れる点など
が上げられる。なお上述した以外の有機樹脂膜や有機系SiO化合物などを用いることもで
きる。ここでは、アクリルを用い、熱焼成して形成する。
る。なお、本明細書中では光と電磁波を遮るという意味で遮蔽膜という文言を用いる。遮
蔽膜160はアルミニウム(Al)、チタン(Ti)、タンタル(Ta)から選ばれた元
素でなる膜またはいずれかの元素を主成分とする膜で100〜300nmの厚さに形成す
る。本実施例では1wt%のチタンを含有させたアルミニウム膜を125nmの厚さに形成す
る。
くと、この上に形成する遮蔽膜の密着性を高めることができる。また、有機樹脂で形成し
た第3層間絶縁膜159の表面にCF4ガスを用いたプラズマ処理を施すと、表面改質に
より膜上に形成する遮蔽膜の密着性を向上させることができる。
線を形成することも可能である。例えば、駆動回路内で回路間をつなぐ接続配線を形成で
きる。但し、その場合は遮蔽膜または接続配線を形成する材料を成膜する前に、予め第3
層間絶縁膜にコンタクトホールを形成しておく必要がある。
法)により20〜100nm(好ましくは30〜50nm)の厚さの酸化物161を形成
する。本実施例では遮蔽膜160としてアルミニウムを主成分とする膜を用いたため、陽
極酸化物161として酸化アルミニウム膜(アルミナ膜)が形成される。
リコール溶液を作製する。これは15%の酒石酸アンモニウム水溶液とエチレングリコー
ルとを2:8で混合した溶液であり、これにアンモニア水を加え、pHが7±0.5とな
るように調節する。そして、この溶液中に陰極となる白金電極を設け、遮蔽膜160が形
成されている基板を溶液に浸し、遮蔽膜160を陽極として、一定(数mA〜数十mA)
の直流電流を流す。
電流のまま100V/minの昇圧レートで電圧を上昇させて、到達電圧45Vに達した
ところで陽極酸化処理を終了させる。このようにして遮蔽膜160の表面には厚さ約50
nmの陽極酸化物161を形成することができる。また、その結果、遮蔽膜160の膜厚
は90nmとなる。なお、ここで示した陽極酸化法に係わる数値は一例にすぎず、作製す
る素子の大きさ等によって当然最適値は変化しうるものである。
縁膜をプラズマCVD法、熱CVD法またはスパッタ法などの気相法によって形成しても
良い。その場合も膜厚は20〜100nm(好ましくは30〜50nm)とすることが好
ましい。また、酸化シリコン膜、窒化シリコン膜、窒化酸化シリコン膜、DLC(Diamon
d like carbon)膜、酸化タンタル膜または有機樹脂膜を用いても良い。さらに、これ
らを組み合わせた積層膜を用いても良い。
るコンタクトホールを形成し、画素電極162を形成する。なお、画素電極163は隣接
する別の画素の画素電極である。画素電極162、163は、透過型液晶表示装置とする
場合には透明導電膜を用い、反射型の液晶表示装置とする場合には金属膜を用いれば良い
。ここでは透過型の液晶表示装置とするために、酸化インジウム・スズ(ITO)膜を1
10nmの厚さにスパッタ法で形成する。
保持容量(キャハ゜シタンス・ストレーシ゛)164を形成する。なお、この場合、遮蔽
膜160をフローティング状態(電気的に孤立した状態)か固定電位、好ましくはコモン
電位(データとして送られる画像信号の中間電位)に設定しておくことが望ましい。
成した。なお、図5においては、駆動回路にはpチャネル型TFT301、nチャネル型
TFT302、303が形成され、画素回路にはnチャネル型TFTでなる画素TFT3
04が形成される。
(B)で示した上面図は図8(A)の一部を示した図であり、共通の符号を用いた。
2、ドレイン領域203がそれぞれp型不純物領域(a)で形成される。但し、厳密には
ソース202領域及びドレイン領域203に1×1016〜5×1018atoms/cm3の濃度で
リンを含んでいる。
ドレイン領域206、そしてチャネル形成領域とドレイン領域との間に、ゲート絶縁膜を
介してゲート配線と重なった領域(本明細書中ではこのような領域をLov領域という。な
お、ovはoverlapの意味で付した。)207が形成される。この時、Lov領域207は2
×1016〜5×1019atoms/cm3の濃度でリンを含み、且つ、ゲート配線と全部重なるよ
うに形成される。
ドレイン領域210、そしてチャネル形成領域を挟むようにしてLDD領域211、21
2が形成される。即ち、ソース領域とチャネル形成領域との間及びドレイン領域とチャネ
ル形成領域との間にLDD領域が形成される。
されたために、ゲート絶縁膜を介してゲート配線と重なった領域(Lov領域)とゲート配
線と重ならない領域(本明細書中ではこのような領域をLoff領域という。なお、offはof
fsetの意味で付した。)が実現されている。
さ(幅)は0.3〜3.0μm、代表的には0.5〜1.5μmとすれば良い。また、n
チャネル型TFT303のLov領域の長さ(幅)は0.3〜3.0μm、代表的には0,
5〜1.5μm、Loff領域の長さ(幅)は1.0〜3.5μm、代表的には1.5〜2
.0μmとすれば良い。また、画素TFT304に設けられるLoff領域217〜220
の長さ(幅)は0.5〜3.5μm、代表的には2.0〜2.5μmとすれば良い。
ったマルチゲート構造として各回路の信頼性を向上させてもよい。また、シングルゲート
構造としてもよい。
たことで、必要な容量を形成するために必要な保持容量の占有面積を少なくすることがで
きる。さらに、本実施例のように画素TFT上に形成される遮蔽膜を保持容量の一方の電
極とすることで、アクティブマトリクス型液晶表示装置の画像表示部の開口率を向上させ
ることができる。
出願人による特願平9−316567号出願、特願平9−273444号出願または特願
平10−254097号出願に記載された構造の保持容量を用いることもできる。
を設ける構成に特徴があるので、それ以外の構成については実施者が適宜決定すればよい
。
る工程を説明する。図9に示すように、図5の状態の基板に対し、配向膜501を形成す
る。本実施例では配向膜としてポリイミド膜を用いる。また、対向基板502には、透明
導電膜503と、配向膜504とを形成する。なお、対向基板には必要に応じてカラーフ
ィルターや遮蔽膜を形成しても良い。
を持って配向するように調節する。そして、画素回路と、駆動回路が形成されたアクティ
ブマトリクス基板と対向基板とを、公知のセル組み工程によってシール材507やスペー
サ506などを介して貼りあわせる。その後、両基板の間に液晶505を注入し、封止剤
(図示せず)によって完全に封止する。液晶には公知の液晶材料を用いれば良い。このよ
うにして図9に示すアクティブマトリクス型液晶表示装置が完成する。
明する。なお、図10は、図1〜図5の断面構造図と対応付けるため、共通の符号を用い
ている。アクティブマトリクス基板は、石英基板101上に形成された、画素回路801
と、ゲート線(走査線)側駆動回路802と、ソース線(信号線)側駆動回路803で構
成される。画素回路の画素TFT304はnチャネル型TFTであり、周辺に設けられる
駆動回路はCMOS回路を基本として構成されている。ゲート線側駆動回路802と、ソ
ース線側駆動回路803はそれぞれゲート配線128とソース配線154で画素回路80
1に接続されている。また、FPC804が接続された外部入出力端子805から駆動回
路の入出力端子までの接続配線806、807が設けられている。
示す。本実施例のアクティブマトリクス型液晶表示装置は、画像信号駆動回路901、ゲ
ート線側駆動回路(A)907、ゲート線側駆動回路(B)911、プリチャージ回路9
12、画素回路906を有している。なお、本明細書中において、駆動回路にはソース線
側駆動回路901およびゲート線側駆動回路907が含まれる。
バッファ回路904、サンプリング回路905を備えている。また、ゲート線側駆動回路
(A)907は、シフトレジスタ回路908、レベルシフタ回路909、バッファ回路9
10を備えている。ゲート線側駆動回路(B)911も同様な構成である。
を少なくとも含む半導体装置、例えば同一基板上に信号処理回路、駆動回路および画素回
路とを具備した半導体装置を実現しうる。
構造の結晶質シリコン膜が形成される。以下、本出願人が実験的に調べた結晶構造の特徴
について概略を説明する。なお、この特徴は、本実施例によって完成されたTFTの活性
層を形成する半導体層の特徴と一致する。
と略記する)が集まって並んだ結晶構造を有する。このことはTEM(透過型電子顕微鏡
法)による観察で容易に確認できる。
チャネルを形成する部分)が、結晶軸に多少のずれが含まれているものの主たる配向面と
して{110}面を有することを確認できる。この時、電子線回折で分析を行えば{11
0}面に対応する回折斑点がきれいに現れるのを確認することができる。また、各斑点は
同心円上に分布を持っていることも確認できる。
顕微鏡法)により観察すると、結晶粒界において結晶格子に連続性があることを確認でき
る。これは観察される格子縞が結晶粒界において連続的に繋がっていることから容易に確
認することができる。
る粒界であることに起因する。本明細書における平面状粒界の定義は、「Characterizati
on of High-Efficiency Cast-Si Solar Cell Wafers by MBIC Measurement ;Ryuichi Sh
imokawa and Yutaka Hayashi,Japanese Journal of Applied Physics vol.27,No.5,pp
.751-758,1988」に記載された「Planar boundary 」である。
が含まれる。この平面状粒界は電気的に不活性であるという特徴を持つ。即ち、結晶粒界
でありながらキャリアの移動を阻害するトラップとして機能しないため、実質的に存在し
ないと見なすことができる。
3の対応粒界とも呼ばれる。Σ値は対応粒界の整合性の程度を示す指針となるパラメータ
であり、Σ値が小さいほど整合性の良い粒界であることが知られている。
ど(90%以上、典型的には95%以上)がΣ3の対応粒界、典型的には{211}双晶
粒界であることが判る。
ある場合、{111}面に対応する格子縞がなす角をθとすると、θ=70.5°の時にΣ3
の対応粒界となることが知られている。本実施例の結晶質シリコン膜は、結晶粒界におい
て隣接する結晶粒の各格子縞がまさに約70.5°の角度で連続しており、その事からこの結
晶粒界はΣ3の対応粒界であると言える。
る。いずれにしても不活性であることに変わりはない。
結晶質シリコン膜は面方位が概略{110}で揃っているからこそ、広範囲に渡ってこの
様な対応粒界を形成しうる。
粒が極めて整合性よく接合していることを示している。即ち、結晶粒界において結晶格子
が連続的に連なり、結晶欠陥等に起因するトラップ準位を非常に作りにくい構成となって
いる。従って、この様な結晶構造を有する半導体薄膜は実質的に結晶粒界が存在しない見
なすことができる。
酸化工程に相当する)によって結晶粒内に存在する欠陥が殆ど消滅していることがTEM
観察によって確認されている。これはこの熱処理工程の前後で欠陥数が大幅に低減されて
いることからも明らかである。
によってスピン密度の差となって現れる。現状では本実施例の結晶質シリコン膜のスピン
密度は少なくとも 5×1017spins/cm3以下(好ましくは 3×1017spins/cm3以下)であるこ
とが判明している。ただし、この測定値は現存する測定装置の検出限界に近いので、実際
のスピン密度はさらに低いと予想される。
界が実質的に存在しないと見なせるため、単結晶シリコン膜又は実質的な単結晶シリコン
膜と考えて良い。
を用いる例を示したが、本実施例では、そのような触媒元素を用いずに熱結晶化またはレ
ーザー結晶化によって結晶構造を含む半導体膜を形成する場合を示す。
度で15〜24時間の熱処理を行えばよい。即ち、600℃を越える温度で熱処理を行う
ことにより自然核が発生し、結晶化が進行する。
アニ―ルを行えばよい。これにより短時間で結晶構造を含む半導体膜を形成することがで
きる。勿論、レーザーアニ―ルの代わりにランプアニ―ルを用いてもよい。また、基板と
して、石英基板の他にガラス基板やプラスチック基板を用いることが可能である。
も有効である。そうすることにより基板表面の汚染が非晶質シリコン膜に影響を与えない
ようにすることが可能となり、作製されるTFTの特性バラツキを低減させることができ
る。
成することができる。
実施例では、活性化の後、コンタクトホールを形成し、第2層間絶縁膜を積層した後、再
度パターニングを行うことによってコンタクトホールを形成する。基本的な構成は、実施
例1とほぼ同様であるので、相違点のみに着目して説明する。
(D)の状態を得る。なお、図3(D)に対応する図を図12(A)に示す。
同一のマスクを用いてゲート絶縁膜と第1層間絶縁膜とを同時または順次エッチングする
。(図12(B))この時のエッチングをドライエッチングで行えば微細なコンタクトホ
ール(0.5μm〜1.5μm)の形成が可能である。
膜は実施例1と同一の組成を有する絶縁膜を用いた。次いで、第2層間絶縁膜1201の
パターニングを行った後、実施例1と同様にソース配線、ドレイン配線の形成を行い、実
施例1の図4(C)に相当する図12(D)の状態を得る。なお、第2層間絶縁膜のパタ
ーニングにおいて、ウエットエッチングを用いるとテーパー形状が得られるので、その上
に形成されるソース配線、ドレイン配線のカバレッジが良好となる。以降の工程は実施例
1と同一であるため省略する。
エッチングすることで、オーバーエッチングが少なく、形状の良好なコンタクトホールを
形成することができる。こうすることにより、確実なコンタクト接続が行えるため歩留ま
りを向上させることができた。
である。
クトホール形成を容易に可能とした例である。基本的な構成は、実施例1とほぼ同様であ
るので、相違点のみに着目して説明する。
図13(A)に示す。
。(図13(B))その後、レジストマスク1304を用いてp型不純物元素のドーピン
グを行い、実施例1と同じ濃度に添加されたp型不純物領域(a)1302、1303を
形成する。ただし、活性層が露呈した状態でドーピングを行うため実施例1とはドーピン
グ条件を変えなければならない。(図13(C))
。そして、レジストマスク1305〜1308を用いてn型不純物元素のドーピングを行
い、実施例1と同じ濃度に添加されたn型不純物領域(a)1309〜1315を形成す
る。ただし、実施者は活性層が露呈した状態でドーピングを行うため実施例1とはドーピ
ング条件を変えなければならない。(図13(D))
物元素のドーピングを行い、実施例1と同じ濃度に添加されたn型不純物領域(c)14
01〜1404を形成する。ただし、実施者は活性層が露呈した状態でドーピングを行う
ため実施例1とはドーピング条件を変えなければならない。(図14(A))
を行った。(図14(B))ただし、本実施例においては、第1層間絶縁膜のみで活性層
が覆われている部分があるため、活性層を保護する最低限の膜厚が第1層間絶縁膜に必要
とされる。ここでの第1層間絶縁膜の膜厚として、代表的には50nm〜200nmであ
ればよい。
グを行ってソース領域またはドレイン領域に達するコンタクトホールを形成した後、ソー
ス配線及びドレイン配線を形成する。(図14(D))以降の工程は実施例1と同一であ
るため省略する。
例を示したが、ゲート絶縁膜の除去工程を施すのは、ゲート配線形成直後から第2層間絶
縁膜形成前までの間であればよい。
ことができた。ただし、実施例1と同様に第1層間絶縁膜と第2層間絶縁膜のエッチング
レートを考慮にいれることが必要である。
説明する。典型的には、画素電極として反射率の高い金属膜を用いた反射型液晶表示装置
に適用できる。
基板に直接的にn型またはp型不純物元素を添加してLDD領域、ソース領域またはドレ
イン領域といった不純物領域を形成する。その際、各不純物領域の形成順序やゲート絶縁
膜の形成順序は問わない。
能である。但し、活性層となる半導体層は単結晶シリコン基板と決まっているので、結晶
化工程以外での組み合わせとなる。
用いることも可能である。即ち、三次元構造の半導体装置を実現することも可能である。
また、基板としてSIMOX、Smart−Cut(SOITEC社の登録商標)、ELTRA
N(キャノン株式会社の登録商標)などのSOI基板を用いることも可能である。
可能である。
た場合について説明する。
のメモリセルに形成される一つのメモリトランジスタ(メモリセルトランジスタともいう
)を例示する。実際には複数のメモリセルが集積化されてメモリ部を形成する。ここでは
集積度の高いフラッシュメモリ(フラッシュEEPROM)を用いて説明する。
(LDD領域ともいう)1506及びチャネル形成領域1507を含む活性層、ゲート絶
縁膜1500、第1層間絶縁膜1501、第2層間絶縁膜1502c、浮遊ゲート電極1
509、第3ゲート絶縁膜11、制御ゲート電極1510、そして第3層間絶縁膜150
3を介して形成された共通ソース配線1512、ビット配線(ドレイン配線)1511を
有して形成される。
を共通ソース配線1512に引き抜くための領域であり消去領域とも言える。なお、図1
5ではチャネル形成領域1507との間にLDD領域1506を設けているが、形成しな
くても良い。また、ドレイン領域1508は電気的に孤立した浮遊ゲート電極1509に
キャリアを注入するための領域であり書き込み領域とも言える。さらに、ドレイン領域1
508はメモリトランジスタに記憶されたデータをビット配線1511に読み出すための
読み出し領域としても機能する。
れる程度に薄い絶縁膜(膜厚が3〜20nm、好ましくは5〜10nm)を用いる必要がある
ため、活性層を酸化して得られた酸化膜(活性層が珪素ならば酸化珪素膜)を用いること
が好ましい。勿論、膜厚の均一性と確執さえ良ければ、CVD法やスパッタ法等の気相法
で第1ゲート絶縁膜を形成することもできる。
配線1512との重なり部分に生じる寄生容量を第2層間絶縁膜1502cによって低減
した。
路を基本回路としてフリップフロップ回路等の論理回路が形成され、それらが集積化され
て駆動回路部を形成する。CMOS回路においても、ゲート配線と上層配線との寄生容量
を低減するための第2層間絶縁膜1502a、1502bが設けられている。
可能である。
実施例3とほぼ同様であるので、相違点のみに着目して図16を用いて説明する。
ッチングし、第1層間絶縁膜を成膜した後、活性化を行って図14(B)と同じ状態を得
た。
縁物1601を形成する。この際、ゲート配線を保護するための保護膜(図示しない)を
あらかじめ形成しておくことが好ましい。
を行ってソース領域またはドレイン領域に達するコンタクトホールを形成した後、ソース
配線及びドレイン配線を形成する。以降の工程は実施例1と同一であるため省略する。
が簡略化され、歩留まりを向上させることができた。
D領域などの不純物領域を形成する工程としてもよい。
可能である。
具体的には、逆スタガ型TFTに用いた場合を図17に示す。本発明の逆スタガ型TFT
の場合、実施例1のトップゲート型TFTとはゲート配線と活性層の位置関係が異なる以
外、特に大きく異なることはない。従って、本実施例では、図5に示した構造と大きく異
なる点に注目して説明を行い、その他の部分は図5と同一であるため説明を省略する。実
施例1と同様にして、寄生容量を低減するための第2層間絶縁膜46、47が形成されて
いる。この第2層間絶縁膜は実施例1に示した方法で形成する。
のpチャネル型TFT、nチャネル型TFT、13はサンプリング回路等を形成するnチ
ャネル型TFT、14は画素回路を形成するnチャネル型TFTである。これらは下地膜
を設けた基板上に形成されている。
ゲート配線、17はnチャネル型TFT13のゲート配線、18はnチャネル型TFT1
4のゲート配線であり、実施例1で説明したゲート配線と同じ材料を用いて形成すること
ができる。また、19はゲート絶縁膜であり、これも実施例1と同じ材料を用いることが
できる。
及び活性層を構成する半導体膜の作製時においては、大気にふれることなくスパッタ法ま
たはPCVD法で連続成膜を行い、形成することが好ましい。
pチャネル型TFT11の活性層には、ソース領域20、ドレイン領域21、チャネル形
成領域22が形成される。
DD領域(この場合、Lov領域25)、チャネル形成領域26が形成される。
DD領域(この場合、Lov領域29a、30a及びLoff領域29b、30b)、チャネル形
成領域31が形成される。
DD領域(この場合、Loff領域34〜37)、チャネル形成領域38、39、n+領域4
0が形成される。
形成する目的のために形成されている。
ことは容易である。なお、本実施例の逆スタガ型TFTを作製するにあたっては、本明細
書中に記載された他の実施例に示される作製工程を、公知の逆スタガ型TFTの作製工程
に適用すれば良い。
可能である。
用することも可能である。その例を図18に示す。
表しており、その周辺にはX方向駆動回路82、Y方向駆動回路83が設けられている。
また、画素回路81の各画素は、スイッチ用TFT84、コンデンサ85、電流制御用T
FT86、有機EL素子87を有し、スイッチ用TFT84にX方向信号線88a(また
は88b)、Y方向信号線89a(または89b、89c)が接続される。また、電流制御用
TFT86には、電源線90a、90bが接続される。
向駆動回路83または電流制御用TFT86に用いられるTFTを5のpチャネル型TF
T301、nチャネル型TFT302または303を組み合わせて形成する。また、スイ
ッチ用TFT84のTFTを図5のnチャネル型TFT304で形成する。
いずれの構成を組み合わせても良い。
そのような材料として、TN液晶、PDLC(ポリマー分散型液晶)、FLC(強誘電性
液晶)、AFLC(反強誘性電液晶)、またはFLCとAFLCの混合物が挙げられる。
ed Monostable FLCD Exhibiting Fast Response Time and High Contrast Ratio with Gr
ay-Scale Capability,SID,1998」、「T.Yoshida et al.;A Full-Color Thresholdless An
tiferroelectric LCD Exhibiting Wide Viewing Angle with Fast Response Time,841,SI
D97DIGEST,1997」、または米国特許第5,594,569号に開示された材料を用いることができ
る。
ric LCD:TL−AFLCと略記する)を使うと、液晶の動作電圧を±2.5V程度に低
減しうるため電源電圧として5〜8V程度で済む場合がある。
即ち、ドライバー回路と画素マトリクス回路を同じ電源電圧で動作させることが可能とな
り、液晶表示装置全体の低消費電力化を図ることができる。
の駆動電圧が約±2.5V程度(セル厚約1μm〜2μm)のものも見出されている。
る光透過率の特性を示す例を図19に示す。図19に示すグラフの縦軸は透過率(任意単
位)、横軸は印加電圧である。なお、液晶パネルの入射側の偏光板の透過軸は、液晶パネ
ルのラビング方向にほぼ一致する無しきい値反強誘電性混合液晶のスメクティック層の法
線方向とほぼ平行に設定されている。また、出射側の偏光板の透過軸は、入射側の偏光板
の透過軸に対してほぼ直角(クロスニコル)に設定されている。
もつ。上記実施例で用いるような結晶質TFTは非常に動作速度の速いTFTを実現しう
るため、強誘電性液晶や反強誘電性液晶の応答速度の速さを十分に生かした画像応答速度
の速い液晶表示装置を実現することが可能である。
レイとして用いることが有効であることは言うまでもない。
可能である。
ついて説明する。なお、図20(A)は本発明のEL表示装置の上面図であり、図20(
B)はその断面図である。
回路、4004はゲート側駆動回路であり、それぞれの駆動回路は配線4005を経てF
PC(フレキシブルプリントサーキット)4006に至り、外部機器へと接続される。
を囲むようにして第1シール材4101、カバー材4102、充填材4103及び第2シ
ール材4104が設けられている。
1の上にソース側駆動回路4003に含まれる駆動TFT(但し、ここではnチャネル型
TFTとpチャネル型TFTを図示している。)4201及び画素部4002に含まれる
電流制御用TFT(EL素子への電流を制御するTFT)4202が形成されている。
TFTと同じ構造のTFTが用いられ、電流制御用TFT4202には図5のpチャネル
型TFTと同じ構造のTFTが用いられる。また、画素部4002には電流制御用TFT
4202のゲートに接続された保持容量(図示せず)
が設けられる。
化膜)4301が形成され、その上に画素TFT4202のドレインと電気的に接続する
画素電極(陽極)4302が形成される。画素電極4302としては仕事関数の大きい透
明導電膜が用いられる。透明導電膜としては、酸化インジウムと酸化スズとの化合物、酸
化インジウムと酸化亜鉛との化合物、酸化亜鉛、酸化スズまたは酸化インジウムを用いる
ことができる。また、前記透明導電膜にガリウムを添加したものを用いても良い。
電極4302の上に開口部が形成されている。この開口部において、画素電極4302の
上にはEL(エレクトロルミネッセンス)層4304が形成される。EL層4304は公
知の有機EL材料または無機EL材料を用いることができる。また、有機EL材料には低
分子系(モノマー系)材料と高分子系(ポリマー系)材料があるがどちらを用いても良い
。
、EL層の構造は正孔注入層、正孔輸送層、発光層、電子輸送層または電子注入層を自由
に組み合わせて積層構造または単層構造とすれば良い。
はアルミニウム、銅もしくは銀に、アルカリ金属元素もしくはアルカリ土類金属元素を含
ませた導電膜)からなる陰極4305が形成される。また、陰極4305とEL層430
4の界面に存在する水分や酸素は極力排除しておくことが望ましい。従って、真空中で両
者を連続成膜するか、EL層4304を窒素または希ガス雰囲気で形成し、酸素や水分に
触れさせないまま陰極4305を形成するといった工夫が必要である。本実施例ではマル
チチャンバー方式(クラスターツール方式)の成膜装置を用いることで上述のような成膜
を可能とする。
れる。配線4005は陰極4305に所定の電圧を与えるための配線であり、異方導電性
フィルム4307を介してFPC4006に電気的に接続される。
なるEL素子が形成される。このEL素子は、第1シール材4101及び第1シール材4
101によって基板4001に貼り合わされたカバー材4102で囲まれ、充填材410
3により封入されている。
クス材、プラスチック材(プラスチックフィルムも含む)を用いることができる。プラス
チック材としては、FRP(Fiberglass−Reinforced Plast
ics)板、PVF(ポリビニルフルオライド)フィルム、マイラーフィルム、ポリエス
テルフィルムまたはアクリル樹脂フィルムを用いることができる。また、アルミニウムホ
イルをPVFフィルムやマイラーフィルムで挟んだ構造のシートを用いることもできる。
ければならない。その場合には、ガラス板、プラスチック板、ポリエステルフィルムまた
はアクリルフィルムのような透明物質を用いる。
PVC(ポリビニルクロライド)、アクリル、ポリイミド、エポキシ樹脂、シリコーン樹
脂、PVB(ポリビニルブチラル)またはEVA(エチレンビニルアセテート)を用いる
ことができる。この充填材4103の内部に吸湿性物質(好ましくは酸化バリウム)もし
くは酸素を吸着しうる物質を設けておくとEL素子の劣化を抑制できる。
バリウムで形成すればスペーサ自体に吸湿性をもたせることが可能である。また、スペー
サを設けた場合、スペーサからの圧力を緩和するバッファ層として陰極4305上に樹脂
膜を設けることも有効である。
接続される。配線4005は画素部4002、ソース側駆動回路4003及びゲート側駆
動回路4004に送られる信号をFPC4006に伝え、FPC4006により外部機器
と電気的に接続される。
うに第2シール材4104を設け、EL素子を徹底的に外気から遮断する構造となってい
る。こうして図20(B)の断面構造を有するEL表示装置となる。
を図22(B)に示す。図21、図22(A)及び図22(B)では共通の符号を用いる
ので互いに参照すれば良い。
nチャネル型TFTを用いて形成される。従って、構造の説明はnチャネル型TFTの説
明を参照すれば良い。また、4403で示される配線は、スイッチング用TFT4402
のゲート電極4404a、4404bを電気的に接続するゲート配線である。
、チャネル形成領域が一つ形成されるシングルゲート構造もしくは三つ形成されるトリプ
ルゲート構造であっても良い。
06のゲート電極4407に電気的に接続されている。なお、電流制御用TFT4406
は図5のpチャネル型TFT301を用いて形成される。従って、構造の説明はpチャネ
ル型TFT301の説明を参照すれば良い。なお、本実施例ではシングルゲート構造とし
ているが、ダブルゲート構造もしくはトリプルゲート構造であっても良い。
ション膜4408が設けられ、その上に樹脂からなる平坦化膜4409が形成される。平
坦化膜4409を用いてTFTによる段差を平坦化することは非常に重要である。後に形
成されるEL層は非常に薄いため、段差が存在することによって発光不良を起こす場合が
ある。従って、EL層をできるだけ平坦面に形成しうるように画素電極を形成する前に平
坦化しておくことが望ましい。
TFT4406のドレイン配線4411に電気的に接続される。透明導電膜としては、酸
化インジウムと酸化スズとの化合物、酸化インジウムと酸化亜鉛との化合物、酸化亜鉛、
酸化スズまたは酸化インジウムを用いることができる。また、前記透明導電膜にガリウム
を添加したものを用いても良い。
図示していないが、本実施例ではR(赤)、G(緑)、B(青)の各色に対応したEL層
を作り分けている。また、本実施例では蒸着法により低分子系有機EL材料を形成してい
る。具体的には、正孔注入層として20nm厚の銅フタロシアニン(CuPc)膜を設け
、その上に発光層として70nm厚のトリス−8−キノリノラトアルミニウム錯体(Al
q3)膜を設けた積層構造としている。Alq3にキナクリドン、ペリレンもしくはDCM
1といった蛍光色素を添加することで発光色を制御することができる。
に限定する必要はまったくない。発光層、電荷輸送層または電荷注入層を自由に組み合わ
せてEL層(発光及びそのためのキャリアの移動を行わせるための層)を形成すれば良い
。例えば、本実施例では低分子系有機EL材料をEL層として用いる例を示したが、高分
子系有機EL材料を用いても良い。また、電荷輸送層や電荷注入層として炭化珪素等の無
機材料を用いることも可能である。
これらの有機EL材料や無機材料は公知の材料を用いることができる。
場合、導電膜としてアルミニウムとリチウムとの合金膜を用いる。勿論、公知のMgAg
膜(マグネシウムと銀との合金膜)を用いても良い。陰極材料としては、周期表の1族も
しくは2族に属する元素からなる導電膜もしくはそれらの元素を添加した導電膜を用いれ
ば良い。
うEL素子4413は、画素電極(陽極)4410、EL層4411及び陰極4412で
形成されたコンデンサを指す。
グ用TFT4402のソースはソース配線4415に接続され、ドレインはドレイン配線
4405に接続される。また、ドレイン配線4405は電流制御用TFT4406のゲー
ト電極4407に電気的に接続される。また、電流制御用TFT4406のソースは電流
供給線4416に電気的に接続され、ドレインはドレイン配線4417に電気的に接続さ
れる。また、ドレイン配線4417は点線で示される画素電極(陽極)4418に電気的
に接続される。
電流供給線4416と電気的に接続された半導体膜4420、ゲート絶縁膜と同一層の絶
縁膜(図示せず)及びゲート電極4407との間で形成される。また、ゲート電極440
7、第1層間絶縁膜と同一の層(図示せず)及び電流供給線4416で形成される容量も
保持容量として用いることが可能である。
。説明には図23を用いる。なお、図22と同一の符号が付してある部分については実施
例12の説明を参照すれば良い。
FTを用いる。勿論、電流制御用TFT4501のゲート電極4502はスイッチング用
TFT4402のドレイン配線4405に電気的に接続されている。また、電流制御用T
FT4501のドレイン配線4503は画素電極4504に電気的に接続されている。
体的には、アルミニウムとリチウムとの合金膜を用いるが、周期表の1族もしくは2族に
属する元素からなる導電膜もしくはそれらの元素を添加した導電膜を用いれば良い。
図示していないが、本実施例ではG(緑)に対応したEL層を蒸着法及び塗布法(好まし
くはスピンコーティング法)により形成している。具体的には、電子注入層として20n
m厚のフッ化リチウム(LiF)膜を設け、その上に発光層として70nm厚のPPV(
ポリパラフェニレンビニレン)膜を設けた積層構造としている。
例の場合、透明導電膜として酸化インジウムと酸化スズとの化合物もしくは酸化インジウ
ムと酸化亜鉛との化合物からなる導電膜を用いる。
うEL素子4507は、画素電極(陰極)4504、EL層4505及び陽極4506で
形成されたコンデンサを指す。
1においてホットキャリア効果による劣化が顕在化してくる。このような場合に、電流制
御用TFT4501として本発明の構造のnチャネル型TFTを用いることは有効である
。
9との間にゲート容量と呼ばれる寄生容量を形成する。このゲート容量を調節することで
図22(A)、(B)に示した保持容量4418と同等の機能を持たせることも可能であ
る。特に、EL表示装置をデジタル駆動方式で動作させる場合においては、保持容量のキ
ャパシタンスがアナログ駆動方式で動作させる場合よりも小さくて済むため、ゲート容量
で保持容量を代用しうる。
ットキャリア効果による劣化はさほど問題とならなくなるため、図23においてLDD領
域4509を省略した構造のnチャネル型TFTを用いても良い。
ことができる画素構造の例を図24(A)〜(C)に示す。なお、本実施例において、4
601はスイッチング用TFT4602のソース配線、4603はスイッチング用TFT
4602のゲート配線、4604は電流制御用TFT、4605はコンデンサ、4606
、4608は電流供給線、4607はEL素子とする。
ち、二つの画素が電流供給線4606を中心に線対称となるように形成されている点に特
徴がある。この場合、電流供給線の本数を減らすことができるため、画素部をさらに高精
細化することができる。
の例である。なお、図24(B)では電流供給線4608とゲート配線4603とが重な
らないように設けた構造となっているが、両者が異なる層に形成される配線であれば、絶
縁膜を介して重なるように設けることもできる。この場合、電流供給線4608とゲート
配線4603とで専有面積を共有させることができるため、画素部をさらに高精細化する
ことができる。
4603と平行に設け、さらに、二つの画素を電流供給線4608を中心に線対称となる
ように形成する点に特徴がある。また、電流供給線4608をゲート配線4603のいず
れか一方と重なるように設けることも有効である。この場合、電流供給線の本数を減らす
ことができるため、画素部をさらに高精細化することができる。
、(B)に示す。なお、本実施例において、4701はスイッチング用TFT4702の
ソース配線、4703はスイッチング用TFT4702のゲート配線、4704は電流制
御用TFT、4705はコンデンサ(省略することも可能)、4706は電流供給線、、
4707は電源制御用TFT、4708は電源制御用ゲート配線、4709はEL素子と
する。電源制御用TFT4707の動作については特願平11−341272号を参照す
ると良い。
4708との間に設けているが、電源制御用TFT4707とEL素子4708との間に
電流制御用TFT4704が設けられた構造としても良い。また、電源制御用TFT47
07は電流制御用TFT4704と同一構造とするか、同一の活性層で直列させて形成す
るのが好ましい。
る。即ち、二つの画素が電流供給線4706を中心に線対称となるように形成されている
点に特徴がある。この場合、電流供給線の本数を減らすことができるため、画素部をさら
に高精細化することができる。
ス配線4701と平行に電源制御用ゲート配線4711を設けた場合の例である。なお、
図25(B)では電流供給線4710とゲート配線4703とが重ならないように設けた
構造となっているが、両者が異なる層に形成される配線であれば、絶縁膜を介して重なる
ように設けることもできる。この場合、電流供給線4710とゲート配線4703とで専
有面積を共有させることができるため、画素部をさらに高精細化することができる。
、(B)に示す。なお、本実施例において、4801はスイッチング用TFT4802の
ソース配線、4803はスイッチング用TFT4802のゲート配線、4804は電流制
御用TFT、4805はコンデンサ(省略することも可能)、4806は電流供給線、、
4807は消去用TFT、4808は消去用ゲート配線、4809はEL素子とする。消
去用TFT4807の動作については特願平11−338786号を参照すると良い。
流制御用TFT4804のゲート電圧を強制的に変化させることができるようになってい
る。なお、消去用TFT4807はnチャネル型TFTとしてもpチャネル型TFTとし
ても良いが、オフ電流を小さくできるようにスイッチング用TFT4802と同一構造と
することが好ましい。
る。即ち、二つの画素が電流供給線4806を中心に線対称となるように形成されている
点に特徴がある。この場合、電流供給線の本数を減らすことができるため、画素部をさら
に高精細化することができる。
ス配線4801と平行に消去用ゲート配線4811を設けた場合の例である。なお、図2
6(B)では電流供給線4810とゲート配線4803とが重ならないように設けた構造
となっているが、両者が異なる層に形成される配線であれば、絶縁膜を介して重なるよう
に設けることもできる。この場合、電流供給線4810とゲート配線4803とで専有面
積を共有させることができるため、画素部をさらに高精細化することができる。
乃至六つまたはそれ以上のTFTを設けても構わない。本発明はEL表示装置の画素構造
に限定されずに実施することが可能である。
て開口率を向上させても十分寄生容量を小さくすることができた。そのため、特に対角1
インチ以下のアクティブマトリクス型液晶表示装置に用いるとより効果的である。
が挙げられる。図27を参照する。図27には、本実施例のゴーグル型表示装置の概略構
成図が示されている。1900はゴーグル型表示装置本体、1901Rおよび1901L
はレンズ、1902Rおよび1902Lは液晶パネル、1903Rおよび1903Lはバ
ックライトである。
が可能である。
クティブマトリクス型液晶ディスプレイ、アクティブマトリクス型ELディスプレイ、ア
クティブマトリクス型EC(エレクトロクロミック)ディスプレイ)に用いることができ
る。即ち、それら電気光学装置を表示部として組み込んだ電子機器全てに本発明を実施で
きる。
ルディスプレイ、カーナビゲーション、パーソナルコンピュータ、携帯情報端末(モバイ
ルコンピュータ、携帯電話または電子書籍等)などが挙げられる。それらの一例を図28
及び図30に示す。
表示部2003、キーボード2004で構成される。本願発明を画像入力部2002、表
示部2003やその他の駆動回路に適用することができる。
03、操作スイッチ2104、バッテリー2105、受像部2106で構成される。本願
発明を表示部2102、音声入力部2103やその他の駆動回路に適用することができる
。
、カメラ部2202、受像部2203、操作スイッチ2204、表示部2205で構成さ
れる。本願発明は表示部2205やその他の駆動回路に適用できる。
3、操作スイッチ2504、受像部(図示しない)で構成される。本願発明を表示部25
02やその他の駆動回路に適用することができる。
ーヤーであり、本体2401、表示部2402、スピーカ部2403、記録媒体2404
、操作スイッチ2405で構成される。なお、この装置は記録媒体としてDVD(Dig
tial Versatile Disc)、CD等を用い、音楽鑑賞や映画鑑賞やゲー
ムやインターネットを行うことができる。本発明は表示部2402やその他の駆動回路に
適用することができる。
03、表示部2904、操作スイッチ2905、アンテナ2906等を含む。本願発明を
音声出力部2902、音声入力部2903、表示部2904やその他の信号制御回路に適
用することができる。
3、記憶媒体3004、操作スイッチ3005、アンテナ3006等を含む。本発明は表
示部3002、3003やその他の信号回路に適用することができる。
等を含む。本発明は表示部3103に適用することができる。本発明のディスプレイは特
に大画面化した場合において有利であり、対角10インチ以上(特に30インチ以上)の
ディスプレイには有利である。
とが可能である。また、本実施例の電子機器は実施例1〜18のどのような組み合わせか
らなる構成を用いても実現することができる。
)に用いることができる。
2で構成される。本発明は表示部やその他の駆動回路に適用することができる。
2703、スクリーン2704で構成される。本発明は表示部やその他の駆動回路に適用
することができる。
702の構造の一例を示した図である。表示部2601、2702は、光源光学系280
1、ミラー2802、2804〜2806、ダイクロイックミラー2803、プリズム2
807、液晶表示装置2808、位相差板2809、投射光学系2810で構成される。
投射光学系2810は、投射レンズを含む光学系で構成される。本実施例は三板式の例を
示したが、特に限定されず、例えば単板式であってもよい。また、図29(C)中におい
て矢印で示した光路に実施者が適宜、光学レンズや、偏光機能を有するフィルムや、位相
差を調節するためのフィルム、IRフィルム等の光学系を設けてもよい。
した図である。本実施例では、光源光学系2801は、リフレクター2811、光源28
12、レンズアレイ2813、2814、偏光変換素子2815、集光レンズ2816で
構成される。なお、図29(D)に示した光源光学系は一例であって特に限定されない。
例えば、光源光学系に実施者が適宜、光学レンズや、偏光機能を有するフィルムや、位相
差を調節するフィルム、IRフィルム等の光学系を設けてもよい。
なる構成を用いても実現することができる。
Claims (4)
- 基板と、
前記基板上方の半導体層と、
前記半導体層上方のゲート絶縁膜と、
前記ゲート絶縁膜上方のゲート配線と、
前記ゲート配線上方の第1の絶縁膜と、
前記第1の絶縁膜上方の第2の絶縁膜と、
前記第2の絶縁膜上方の第1の配線と、
前記第2の絶縁膜上方の第2の配線と、
前記第1の配線上方及び前記第2の配線上方の第3の絶縁膜と、
前記第3の絶縁膜上方の画素電極と、
前記画素電極上方のスペーサと、
前記スペーサ上方の配向膜と、
前記配向膜上方の液晶と、
前記液晶上方の対向基板と、を有し、
前記半導体層は、第1のチャネル形成領域と、第2のチャネル形成領域と、を有し、
前記第1の配線は、前記半導体層と接する領域を有し、
前記第1の配線は、前記第1の絶縁膜の上面と接する領域を有し、
前記第1の配線は、前記第2の絶縁膜の上面と接する領域を有し、
前記第2の配線は、前記半導体層と接する領域を有し、
前記第2の配線は、前記第1の絶縁膜の上面と接する領域を有し、
前記第2の配線は、前記第2の絶縁膜の上面と接する領域を有し、
前記第1の配線の一部と前記第1の絶縁膜の一部と前記第2の絶縁膜の一部と前記ゲート配線の一部とは、互いに重なっており、
前記第1の配線は、前記第1のチャネル形成領域を介して、前記第2のチャネル形成領域と電気的に接続され、
前記第1のチャネル形成領域は、前記第2のチャネル形成領域を介して、前記第2の配線と電気的に接続され、
前記第3の絶縁膜は、コンタクトホールを有し、
前記画素電極は、前記コンタクトホールを介して前記第2の配線と電気的に接続され、
前記スペーサは、前記第3の絶縁膜の前記コンタクトホール内において前記画素電極上方に設けられている領域を有することを特徴とする液晶表示装置。 - 基板と、
前記基板上方の半導体層と、
前記半導体層上方のゲート絶縁膜と、
前記ゲート絶縁膜上方のゲート配線と、
前記ゲート配線上方の第1の絶縁膜と、
前記第1の絶縁膜上方の第2の絶縁膜と、
前記第2の絶縁膜上方の第1の配線と、
前記第2の絶縁膜上方の第2の配線と、
前記第1の配線上方及び前記第2の配線上方の第3の絶縁膜と、
前記第3の絶縁膜上方の第3の導電膜と、
前記第3の導電膜上方の第4の絶縁膜と、
前記第4の絶縁膜上方の画素電極と、
前記画素電極上方のスペーサと、
前記スペーサ上方の配向膜と、
前記配向膜上方の液晶と、
前記液晶上方の対向基板と、を有し、
前記半導体層は、第1のチャネル形成領域と、第2のチャネル形成領域と、を有し、
前記第1の配線は、前記半導体層と接する領域を有し、
前記第1の配線は、前記第1の絶縁膜の上面と接する領域を有し、
前記第1の配線は、前記第2の絶縁膜の上面と接する領域を有し、
前記第2の配線は、前記半導体層と接する領域を有し、
前記第2の配線は、前記第1の絶縁膜の上面と接する領域を有し、
前記第2の配線は、前記第2の絶縁膜の上面と接する領域を有し、
前記第1の配線の一部と前記第1の絶縁膜の一部と前記第2の絶縁膜の一部と前記ゲート配線の一部とは、互いに重なっており、
前記第1の配線は、前記第1のチャネル形成領域を介して、前記第2のチャネル形成領域と電気的に接続され、
前記第1のチャネル形成領域は、前記第2のチャネル形成領域を介して、前記第2の配線と電気的に接続され、
前記第3の絶縁膜は、コンタクトホールを有し、
前記第3の導電膜は、遮光性を有し、
前記第3の導電膜は、コモン電位に設定されることが可能であり、
前記第3の導電膜は、前記第4の絶縁膜を介して前記画素電極と重なる領域を有し、
前記画素電極は、前記コンタクトホールを介して前記第2の配線と電気的に接続され、
前記スペーサは、前記第3の絶縁膜の前記コンタクトホール内において前記画素電極上方に設けられている領域を有することを特徴とする液晶表示装置。 - 基板と、
前記基板上方の半導体層と、
前記半導体層上方のゲート絶縁膜と、
前記ゲート絶縁膜上方のゲート配線と、
前記ゲート配線上方の第1の絶縁膜と、
前記第1の絶縁膜上方の第2の絶縁膜と、
前記第2の絶縁膜上方の第1の配線と、
前記第2の絶縁膜上方の第2の配線と、
前記第1の配線上方及び前記第2の配線上方の第3の絶縁膜と、
前記第3の絶縁膜上方の画素電極と、
前記画素電極上方のスペーサと、
前記スペーサ上方の配向膜と、
前記配向膜上方の液晶と、
前記液晶上方の対向基板と、を有し、
前記半導体層は、第1のチャネル形成領域と、第2のチャネル形成領域と、を有し、
前記第1の配線は、前記半導体層と接する領域を有し、
前記第1の配線は、前記第1の絶縁膜の上面と接する領域を有し、
前記第1の配線は、前記第2の絶縁膜の上面と接する領域を有し、
前記第2の配線は、前記半導体層と接する領域を有し、
前記第2の配線は、前記第1の絶縁膜の上面と接する領域を有し、
前記第2の配線は、前記第2の絶縁膜の上面と接する領域を有し、
前記第1の配線の一部と前記第1の絶縁膜の一部と前記第2の絶縁膜の一部と前記ゲート配線の一部と前記第1のチャネル形成領域の一部とは、互いに重なっており、
前記第1の配線は、前記第1のチャネル形成領域を介して、前記第2のチャネル形成領域と電気的に接続され、
前記第1のチャネル形成領域は、前記第2のチャネル形成領域を介して、前記第2の配線と電気的に接続され、
前記第3の絶縁膜は、コンタクトホールを有し、
前記画素電極は、前記コンタクトホールを介して前記第2の配線と電気的に接続され、
前記スペーサは、前記第3の絶縁膜の前記コンタクトホール内において前記画素電極上方に設けられている領域を有することを特徴とする液晶表示装置。 - 基板と、
前記基板上方の半導体層と、
前記半導体層上方のゲート絶縁膜と、
前記ゲート絶縁膜上方のゲート配線と、
前記ゲート配線上方の第1の絶縁膜と、
前記第1の絶縁膜上方の第2の絶縁膜と、
前記第2の絶縁膜上方の第1の配線と、
前記第2の絶縁膜上方の第2の配線と、
前記第1の配線上方及び前記第2の配線上方の第3の絶縁膜と、
前記第3の絶縁膜上方の第3の導電膜と、
前記第3の導電膜上方の第4の絶縁膜と、
前記第4の絶縁膜上方の画素電極と、
前記画素電極上方のスペーサと、
前記スペーサ上方の配向膜と、
前記配向膜上方の液晶と、
前記液晶上方の対向基板と、を有し、
前記半導体層は、第1のチャネル形成領域と、第2のチャネル形成領域と、を有し、
前記第1の配線は、前記半導体層と接する領域を有し、
前記第1の配線は、前記第1の絶縁膜の上面と接する領域を有し、
前記第1の配線は、前記第2の絶縁膜の上面と接する領域を有し、
前記第2の配線は、前記半導体層と接する領域を有し、
前記第2の配線は、前記第1の絶縁膜の上面と接する領域を有し、
前記第2の配線は、前記第2の絶縁膜の上面と接する領域を有し、
前記第1の配線の一部と前記第1の絶縁膜の一部と前記第2の絶縁膜の一部と前記ゲート配線の一部と前記第1のチャネル形成領域の一部とは、互いに重なっており、
前記第1の配線は、前記第1のチャネル形成領域を介して、前記第2のチャネル形成領域と電気的に接続され、
前記第1のチャネル形成領域は、前記第2のチャネル形成領域を介して、前記第2の配線と電気的に接続され、
前記第3の絶縁膜は、コンタクトホールを有し、
前記第3の導電膜は、遮光性を有し、
前記第3の導電膜は、コモン電位に設定されることが可能であり、
前記第3の導電膜は、前記第4の絶縁膜を介して前記画素電極と重なる領域を有し、
前記画素電極は、前記コンタクトホールを介して前記第2の配線と電気的に接続され、
前記スペーサは、前記第3の絶縁膜の前記コンタクトホール内において前記画素電極上方に設けられている領域を有することを特徴とする液晶表示装置。
Applications Claiming Priority (2)
| Application Number | Priority Date | Filing Date | Title |
|---|---|---|---|
| JP1999154432 | 1999-06-02 | ||
| JP15443299 | 1999-06-02 |
Related Parent Applications (1)
| Application Number | Title | Priority Date | Filing Date |
|---|---|---|---|
| JP2017022691A Division JP2017098585A (ja) | 1999-06-02 | 2017-02-10 | 半導体装置 |
Publications (2)
| Publication Number | Publication Date |
|---|---|
| JP6170641B1 true JP6170641B1 (ja) | 2017-07-26 |
| JP2017146609A JP2017146609A (ja) | 2017-08-24 |
Family
ID=15584067
Family Applications (10)
| Application Number | Title | Priority Date | Filing Date |
|---|---|---|---|
| JP2010241878A Expired - Lifetime JP5025781B2 (ja) | 1999-06-02 | 2010-10-28 | 半導体装置 |
| JP2010278815A Expired - Fee Related JP5548602B2 (ja) | 1999-06-02 | 2010-12-15 | 半導体装置 |
| JP2013100059A Expired - Fee Related JP5552553B2 (ja) | 1999-06-02 | 2013-05-10 | 半導体装置 |
| JP2013246274A Expired - Lifetime JP5719912B2 (ja) | 1999-06-02 | 2013-11-28 | 半導体装置及び電子機器 |
| JP2013246277A Expired - Lifetime JP5668126B2 (ja) | 1999-06-02 | 2013-11-28 | 半導体装置 |
| JP2015004341A Expired - Lifetime JP6008999B2 (ja) | 1999-06-02 | 2015-01-13 | 半導体装置及び電子機器 |
| JP2015257548A Expired - Lifetime JP6262709B2 (ja) | 1999-06-02 | 2015-12-29 | 半導体装置及び電子機器 |
| JP2017022691A Withdrawn JP2017098585A (ja) | 1999-06-02 | 2017-02-10 | 半導体装置 |
| JP2017054100A Expired - Lifetime JP6170641B1 (ja) | 1999-06-02 | 2017-03-21 | 液晶表示装置 |
| JP2018126003A Withdrawn JP2018207113A (ja) | 1999-06-02 | 2018-07-02 | 半導体装置 |
Family Applications Before (8)
| Application Number | Title | Priority Date | Filing Date |
|---|---|---|---|
| JP2010241878A Expired - Lifetime JP5025781B2 (ja) | 1999-06-02 | 2010-10-28 | 半導体装置 |
| JP2010278815A Expired - Fee Related JP5548602B2 (ja) | 1999-06-02 | 2010-12-15 | 半導体装置 |
| JP2013100059A Expired - Fee Related JP5552553B2 (ja) | 1999-06-02 | 2013-05-10 | 半導体装置 |
| JP2013246274A Expired - Lifetime JP5719912B2 (ja) | 1999-06-02 | 2013-11-28 | 半導体装置及び電子機器 |
| JP2013246277A Expired - Lifetime JP5668126B2 (ja) | 1999-06-02 | 2013-11-28 | 半導体装置 |
| JP2015004341A Expired - Lifetime JP6008999B2 (ja) | 1999-06-02 | 2015-01-13 | 半導体装置及び電子機器 |
| JP2015257548A Expired - Lifetime JP6262709B2 (ja) | 1999-06-02 | 2015-12-29 | 半導体装置及び電子機器 |
| JP2017022691A Withdrawn JP2017098585A (ja) | 1999-06-02 | 2017-02-10 | 半導体装置 |
Family Applications After (1)
| Application Number | Title | Priority Date | Filing Date |
|---|---|---|---|
| JP2018126003A Withdrawn JP2018207113A (ja) | 1999-06-02 | 2018-07-02 | 半導体装置 |
Country Status (3)
| Country | Link |
|---|---|
| US (3) | US6583471B1 (ja) |
| EP (2) | EP2500941A3 (ja) |
| JP (10) | JP5025781B2 (ja) |
Families Citing this family (48)
| Publication number | Priority date | Publication date | Assignee | Title |
|---|---|---|---|---|
| US6512504B1 (en) | 1999-04-27 | 2003-01-28 | Semiconductor Energy Laborayory Co., Ltd. | Electronic device and electronic apparatus |
| US6583471B1 (en) * | 1999-06-02 | 2003-06-24 | Semiconductor Energy Laboratory Co., Ltd. | Semiconductor device having first and second insulating films |
| JP5210473B2 (ja) | 1999-06-21 | 2013-06-12 | 株式会社半導体エネルギー研究所 | 表示装置 |
| JP2001035808A (ja) * | 1999-07-22 | 2001-02-09 | Semiconductor Energy Lab Co Ltd | 配線およびその作製方法、この配線を備えた半導体装置、ドライエッチング方法 |
| US6876145B1 (en) * | 1999-09-30 | 2005-04-05 | Semiconductor Energy Laboratory Co., Ltd. | Organic electroluminescent display device |
| US7023021B2 (en) | 2000-02-22 | 2006-04-04 | Semiconductor Energy Laboratory Co., Ltd. | Semiconductor device and method of manufacturing the same |
| TW521303B (en) | 2000-02-28 | 2003-02-21 | Semiconductor Energy Lab | Electronic device |
| US6789910B2 (en) | 2000-04-12 | 2004-09-14 | Semiconductor Energy Laboratory, Co., Ltd. | Illumination apparatus |
| TW525216B (en) | 2000-12-11 | 2003-03-21 | Semiconductor Energy Lab | Semiconductor device, and manufacturing method thereof |
| SG111923A1 (en) | 2000-12-21 | 2005-06-29 | Semiconductor Energy Lab | Light emitting device and method of manufacturing the same |
| JP2002202527A (ja) * | 2000-12-28 | 2002-07-19 | Nec Corp | アクティブマトリクス型液晶表示装置 |
| US6912021B2 (en) * | 2001-01-22 | 2005-06-28 | Seiko Epson Corporation | Electro-optical device, method for driving electro-optical device, electronic apparatus, and method for driving electronic apparatus |
| US6720198B2 (en) * | 2001-02-19 | 2004-04-13 | Semiconductor Energy Laboratory Co., Ltd. | Light emitting device and manufacturing method thereof |
| US7301279B2 (en) * | 2001-03-19 | 2007-11-27 | Semiconductor Energy Laboratory Co., Ltd. | Light-emitting apparatus and method of manufacturing the same |
| JP3608613B2 (ja) | 2001-03-28 | 2005-01-12 | 株式会社日立製作所 | 表示装置 |
| JP3810725B2 (ja) | 2001-09-21 | 2006-08-16 | 株式会社半導体エネルギー研究所 | 発光装置及び電子機器 |
| KR100459219B1 (ko) * | 2001-12-28 | 2004-12-03 | 엘지.필립스 엘시디 주식회사 | 절연막 형성방법 및 이를 이용한 폴리실리콘박막트랜지스터의 형성방법 |
| TWI231996B (en) * | 2003-03-28 | 2005-05-01 | Au Optronics Corp | Dual gate layout for thin film transistor |
| US7238963B2 (en) * | 2003-04-28 | 2007-07-03 | Tpo Displays Corp. | Self-aligned LDD thin-film transistor and method of fabricating the same |
| US20050104072A1 (en) * | 2003-08-14 | 2005-05-19 | Slater David B.Jr. | Localized annealing of metal-silicon carbide ohmic contacts and devices so formed |
| JP4446707B2 (ja) * | 2003-09-30 | 2010-04-07 | 三洋電機株式会社 | アクティブマトリクス型表示装置 |
| US20050074914A1 (en) * | 2003-10-06 | 2005-04-07 | Toppoly Optoelectronics Corp. | Semiconductor device and method of fabrication the same |
| KR101054341B1 (ko) | 2004-04-30 | 2011-08-04 | 삼성전자주식회사 | 유기 발광 표시 장치 및 이의 제조 방법 |
| JP4904671B2 (ja) * | 2004-06-24 | 2012-03-28 | 日本電気株式会社 | 半導体装置、その製造方法及び電子機器 |
| US7385238B2 (en) * | 2004-08-16 | 2008-06-10 | Micron Technology, Inc. | Low dark current image sensors with epitaxial SiC and/or carbonated channels for array transistors |
| JP2006098641A (ja) * | 2004-09-29 | 2006-04-13 | Seiko Epson Corp | 薄膜半導体装置、電気光学装置、および電子機器 |
| KR101216377B1 (ko) | 2004-12-06 | 2012-12-31 | 가부시키가이샤 한도오따이 에네루기 켄큐쇼 | 반도체 장치 |
| KR20060073826A (ko) * | 2004-12-24 | 2006-06-29 | 삼성전자주식회사 | 박막 트랜지스터 표시판 |
| KR20060101944A (ko) * | 2005-03-22 | 2006-09-27 | 삼성전자주식회사 | 액정 표시 장치 |
| US7829394B2 (en) | 2005-05-26 | 2010-11-09 | Semiconductor Energy Laboratory Co., Ltd. | Semiconductor device and manufacturing method of the same |
| US20070052021A1 (en) * | 2005-08-23 | 2007-03-08 | Semiconductor Energy Laboratory Co., Ltd. | Transistor, and display device, electronic device, and semiconductor device using the same |
| US7781768B2 (en) * | 2006-06-29 | 2010-08-24 | Semiconductor Energy Laboratory Co., Ltd. | Display device, method for manufacturing the same, and electronic device having the same |
| KR101293950B1 (ko) * | 2006-06-30 | 2013-08-07 | 삼성디스플레이 주식회사 | 표시기판 및 이를 갖는 표시패널 |
| US8581260B2 (en) * | 2007-02-22 | 2013-11-12 | Semiconductor Energy Laboratory Co., Ltd. | Semiconductor device including a memory |
| US7851343B2 (en) * | 2007-06-14 | 2010-12-14 | Cree, Inc. | Methods of forming ohmic layers through ablation capping layers |
| JP5090856B2 (ja) * | 2007-10-30 | 2012-12-05 | 株式会社ジャパンディスプレイイースト | 有機el表示装置 |
| WO2009082817A1 (en) * | 2007-12-27 | 2009-07-09 | Protiva Biotherapeutics, Inc. | Silencing of polo-like kinase expression using interfering rna |
| KR20100012080A (ko) | 2008-07-28 | 2010-02-05 | 삼성전자주식회사 | 어레이 기판, 이의 제조방법 및 이를 갖는 액정표시장치 |
| US8665192B2 (en) * | 2009-07-08 | 2014-03-04 | Hitachi Displays, Ltd. | Liquid crystal display device |
| CN105655340B (zh) * | 2009-12-18 | 2020-01-21 | 株式会社半导体能源研究所 | 半导体装置 |
| JP5834733B2 (ja) | 2011-10-03 | 2015-12-24 | セイコーエプソン株式会社 | 電気光学装置、電子機器 |
| GB2498072B (en) | 2011-12-21 | 2015-03-18 | Lg Display Co Ltd | Display device and method for manufacturing of the same |
| TWI484271B (zh) * | 2012-08-09 | 2015-05-11 | Au Optronics Corp | 畫素結構及畫素結構的製作方法 |
| US9305941B2 (en) * | 2012-11-02 | 2016-04-05 | Apple Inc. | Device and method for improving AMOLED driving |
| JP6216100B1 (ja) * | 2014-10-24 | 2017-10-18 | イメージン コーポレイション | マイクロディスプレイベースの没入型ヘッドセット |
| KR102278159B1 (ko) * | 2014-11-13 | 2021-07-20 | 엘지디스플레이 주식회사 | 게이트 배선과 데이터 배선 사이의 절연성을 향상한 평판 표시장치용 박막 트랜지스터 기판 및 그 제조 방법 |
| CN108073007B (zh) | 2016-11-10 | 2021-08-13 | 元太科技工业股份有限公司 | 像素阵列 |
| TWI759232B (zh) | 2021-07-13 | 2022-03-21 | 友達光電股份有限公司 | 主動元件基板 |
Family Cites Families (87)
| Publication number | Priority date | Publication date | Assignee | Title |
|---|---|---|---|---|
| US5365079A (en) * | 1982-04-30 | 1994-11-15 | Seiko Epson Corporation | Thin film transistor and display device including same |
| GB2122419B (en) * | 1982-04-30 | 1986-10-22 | Suwa Seikosha Kk | A thin film transistor and an active matrix liquid crystal display device |
| US5650637A (en) * | 1982-04-30 | 1997-07-22 | Seiko Epson Corporation | Active matrix assembly |
| JPH0748563B2 (ja) * | 1988-08-01 | 1995-05-24 | シャープ株式会社 | 薄膜トランジスタ装置 |
| JP2807304B2 (ja) * | 1990-02-19 | 1998-10-08 | 株式会社東芝 | 不揮発性半導体装置 |
| JPH073835B2 (ja) * | 1990-03-19 | 1995-01-18 | 日本プレシジョン・サーキッツ株式会社 | 半導体装置 |
| JPH04133032A (ja) * | 1990-09-25 | 1992-05-07 | Casio Comput Co Ltd | Tftパネル |
| JPH04133031A (ja) * | 1990-09-25 | 1992-05-07 | Casio Comput Co Ltd | Tftパネル |
| JP2864794B2 (ja) * | 1991-07-04 | 1999-03-08 | 三菱電機株式会社 | 半導体装置 |
| JPH0572561A (ja) * | 1991-09-17 | 1993-03-26 | Sharp Corp | アクテイブマトリクス基板 |
| US5905820A (en) * | 1991-12-18 | 1999-05-18 | Eastman Kodak Company | Enhancement of digital images for electronic displays |
| JPH05341313A (ja) * | 1992-06-05 | 1993-12-24 | Toshiba Corp | アクティブマトリクス型液晶表示素子 |
| JP3231410B2 (ja) * | 1992-08-13 | 2001-11-19 | カシオ計算機株式会社 | 薄膜トランジスタアレイ及びその製造方法 |
| JPH06163897A (ja) * | 1992-11-17 | 1994-06-10 | Toshiba Corp | 液晶表示装置およびその製造方法 |
| JP2541446B2 (ja) * | 1993-03-31 | 1996-10-09 | カシオ計算機株式会社 | アクティブマトリックスパネル |
| JPH0786305A (ja) * | 1993-06-30 | 1995-03-31 | Sony Corp | 半導体装置製造方法 |
| US5594569A (en) | 1993-07-22 | 1997-01-14 | Semiconductor Energy Laboratory Co., Ltd. | Liquid-crystal electro-optical apparatus and method of manufacturing the same |
| JPH07135323A (ja) * | 1993-10-20 | 1995-05-23 | Semiconductor Energy Lab Co Ltd | 薄膜状半導体集積回路およびその作製方法 |
| US5923962A (en) | 1993-10-29 | 1999-07-13 | Semiconductor Energy Laboratory Co., Ltd. | Method for manufacturing a semiconductor device |
| TW264575B (ja) | 1993-10-29 | 1995-12-01 | Handotai Energy Kenkyusho Kk | |
| JP3431033B2 (ja) | 1993-10-29 | 2003-07-28 | 株式会社半導体エネルギー研究所 | 半導体作製方法 |
| JPH07302912A (ja) * | 1994-04-29 | 1995-11-14 | Semiconductor Energy Lab Co Ltd | 半導体装置 |
| JP3312083B2 (ja) * | 1994-06-13 | 2002-08-05 | 株式会社半導体エネルギー研究所 | 表示装置 |
| JP3155886B2 (ja) * | 1994-06-20 | 2001-04-16 | キヤノン株式会社 | 表示装置及びその製造法 |
| JP3253808B2 (ja) * | 1994-07-07 | 2002-02-04 | 株式会社半導体エネルギー研究所 | 半導体装置およびその作製方法 |
| JPH0862592A (ja) * | 1994-08-19 | 1996-03-08 | Sony Corp | 液晶表示素子 |
| US5814529A (en) * | 1995-01-17 | 1998-09-29 | Semiconductor Energy Laboratory Co., Ltd. | Method for producing a semiconductor integrated circuit including a thin film transistor and a capacitor |
| US5631473A (en) * | 1995-06-21 | 1997-05-20 | General Electric Company | Solid state array with supplemental dielectric layer crossover structure |
| JP4209477B2 (ja) * | 1995-11-27 | 2009-01-14 | 株式会社半導体エネルギー研究所 | 半導体装置の作製方法 |
| US6294799B1 (en) * | 1995-11-27 | 2001-09-25 | Semiconductor Energy Laboratory Co., Ltd. | Semiconductor device and method of fabricating same |
| JPH09199474A (ja) * | 1996-01-12 | 1997-07-31 | Semiconductor Energy Lab Co Ltd | 半導体装置の作製方法 |
| JP3597305B2 (ja) * | 1996-03-05 | 2004-12-08 | 株式会社半導体エネルギー研究所 | 液晶表示装置およびその作製方法 |
| JP3565983B2 (ja) * | 1996-04-12 | 2004-09-15 | 株式会社半導体エネルギー研究所 | 半導体装置の作製方法 |
| JP3304272B2 (ja) * | 1996-05-09 | 2002-07-22 | シャープ株式会社 | アクティブマトリクス基板およびその構造欠陥処置方法 |
| JP3219685B2 (ja) * | 1996-06-04 | 2001-10-15 | キヤノン株式会社 | 液晶表示装置およびその製造方法 |
| JP3708637B2 (ja) * | 1996-07-15 | 2005-10-19 | 株式会社半導体エネルギー研究所 | 液晶表示装置 |
| KR100219117B1 (ko) * | 1996-08-24 | 1999-09-01 | 구자홍 | 박막트랜지스터 액정표시장치 및 그 제조방법 |
| JPH1074697A (ja) * | 1996-08-29 | 1998-03-17 | Toshiba Corp | 多結晶シリコン膜、多結晶シリコンの製造方法、薄膜トランジスタの製造方法、液晶表示装置の製造方法、及びレーザアニール装置 |
| JP3520401B2 (ja) * | 1996-09-17 | 2004-04-19 | セイコーエプソン株式会社 | 液晶パネル用基板およびそれを用いた液晶パネル並びに投射型表示装置 |
| US6010955A (en) * | 1996-09-23 | 2000-01-04 | Kabushiki Kaisha Toshiba | Electrical connection forming process for semiconductor devices |
| US5973763A (en) * | 1996-10-16 | 1999-10-26 | Seiko Epson Corporation | Liquid crystal device including supporting columns |
| KR100225097B1 (ko) * | 1996-10-29 | 1999-10-15 | 구자홍 | 액정표시장치 및 그 제조방법 |
| JP3602279B2 (ja) * | 1996-11-04 | 2004-12-15 | 株式会社半導体エネルギー研究所 | アクティブマトリクス型表示回路およびその作製方法 |
| JP3457819B2 (ja) * | 1996-11-28 | 2003-10-20 | カシオ計算機株式会社 | 表示装置 |
| JPH10209452A (ja) * | 1997-01-17 | 1998-08-07 | Sony Corp | 薄膜トランジスタ及びその製造方法 |
| US6088070A (en) | 1997-01-17 | 2000-07-11 | Semiconductor Energy Laboratory Co., Ltd. | Active matrix liquid crystal with capacitor between light blocking film and pixel connecting electrode |
| JPH11133463A (ja) | 1997-10-31 | 1999-05-21 | Semiconductor Energy Lab Co Ltd | アクティブマトリクス型液晶表示装置及び電子機器 |
| JP4401448B2 (ja) * | 1997-02-24 | 2010-01-20 | 株式会社半導体エネルギー研究所 | 半導体装置の作製方法 |
| JPH10239698A (ja) * | 1997-02-25 | 1998-09-11 | Sharp Corp | 液晶表示装置 |
| JP3032801B2 (ja) | 1997-03-03 | 2000-04-17 | 株式会社半導体エネルギー研究所 | 半導体装置の作製方法 |
| TW379360B (en) * | 1997-03-03 | 2000-01-11 | Semiconductor Energy Lab | Method of manufacturing a semiconductor device |
| JPH10256557A (ja) * | 1997-03-14 | 1998-09-25 | Toshiba Corp | 薄膜トランジスタおよび液晶表示装置 |
| JP3934731B2 (ja) * | 1997-03-24 | 2007-06-20 | 株式会社半導体エネルギー研究所 | アクティブマトリクス型液晶表示装置の作製方法、アクティブマトリクス型液晶表示装置、電気光学装置 |
| JP3883641B2 (ja) * | 1997-03-27 | 2007-02-21 | 株式会社半導体エネルギー研究所 | コンタクト構造およびアクティブマトリクス型表示装置 |
| JP3644185B2 (ja) * | 1997-03-27 | 2005-04-27 | セイコーエプソン株式会社 | アクティブマトリクス基板の製造方法 |
| JPH10325959A (ja) * | 1997-05-26 | 1998-12-08 | Semiconductor Energy Lab Co Ltd | 表示装置 |
| JPH10339889A (ja) * | 1997-06-09 | 1998-12-22 | Semiconductor Energy Lab Co Ltd | 電気光学装置およびその製造方法 |
| JP3541625B2 (ja) * | 1997-07-02 | 2004-07-14 | セイコーエプソン株式会社 | 表示装置及びアクティブマトリクス基板 |
| JP3892115B2 (ja) * | 1997-07-07 | 2007-03-14 | 株式会社半導体エネルギー研究所 | ディスプレイ及びディスプレイを備えた装置 |
| JP3382130B2 (ja) * | 1997-07-25 | 2003-03-04 | シャープ株式会社 | 薄膜トランジスタの製造方法 |
| JPH1164889A (ja) * | 1997-08-20 | 1999-03-05 | Sony Corp | 表示装置 |
| JP3292108B2 (ja) * | 1997-09-01 | 2002-06-17 | 松下電器産業株式会社 | エッチング液及びこれを用いた薄膜トランジスタの製造方法 |
| JPH11143379A (ja) * | 1997-09-03 | 1999-05-28 | Semiconductor Energy Lab Co Ltd | 半導体表示装置補正システムおよび半導体表示装置の補正方法 |
| JP3919900B2 (ja) * | 1997-09-19 | 2007-05-30 | 株式会社半導体エネルギー研究所 | 液晶表示装置およびその作製方法 |
| JP4159633B2 (ja) | 1997-09-19 | 2008-10-01 | 株式会社半導体エネルギー研究所 | 半導体装置およびその作製方法並びに電子機器 |
| JPH1195687A (ja) * | 1997-09-20 | 1999-04-09 | Semiconductor Energy Lab Co Ltd | 表示装置 |
| JPH11135793A (ja) * | 1997-10-28 | 1999-05-21 | Sharp Corp | 半導体装置およびその製造方法 |
| US6136211A (en) * | 1997-11-12 | 2000-10-24 | Applied Materials, Inc. | Self-cleaning etch process |
| JPH11145431A (ja) * | 1997-11-12 | 1999-05-28 | Hitachi Ltd | 半導体装置及びその製造方法 |
| JPH11274509A (ja) | 1998-03-26 | 1999-10-08 | Sanyo Electric Co Ltd | 薄膜トランジスタ及び液晶表示装置 |
| JP4030193B2 (ja) * | 1998-07-16 | 2008-01-09 | 株式会社半導体エネルギー研究所 | 半導体装置の作製方法 |
| US6313481B1 (en) | 1998-08-06 | 2001-11-06 | Semiconductor Energy Laboratory Co., Ltd. | Semiconductor device and a method of manufacturing the same |
| EP0984492A3 (en) * | 1998-08-31 | 2000-05-17 | Sel Semiconductor Energy Laboratory Co., Ltd. | Semiconductor device comprising organic resin and process for producing semiconductor device |
| US6274887B1 (en) * | 1998-11-02 | 2001-08-14 | Semiconductor Energy Laboratory Co., Ltd. | Semiconductor device and manufacturing method therefor |
| EP1006589B1 (en) * | 1998-12-03 | 2012-04-11 | Semiconductor Energy Laboratory Co., Ltd. | MOS thin film transistor and method of fabricating same |
| EP1017108B1 (en) * | 1998-12-25 | 2009-02-18 | Semiconductor Energy Laboratory Co., Ltd. | Semiconductor devices and methods of manufacturing the same |
| JP4549475B2 (ja) | 1999-02-12 | 2010-09-22 | 株式会社半導体エネルギー研究所 | 半導体装置、電子機器、および半導体装置の作製方法 |
| EP1031873A3 (en) * | 1999-02-23 | 2005-02-23 | Sel Semiconductor Energy Laboratory Co., Ltd. | Semiconductor device and fabrication method thereof |
| US6306694B1 (en) | 1999-03-12 | 2001-10-23 | Semiconductor Energy Laboratory Co., Ltd. | Process of fabricating a semiconductor device |
| US6461899B1 (en) * | 1999-04-30 | 2002-10-08 | Semiconductor Energy Laboratory, Co., Ltd. | Oxynitride laminate “blocking layer” for thin film semiconductor devices |
| JP3714033B2 (ja) * | 1999-05-27 | 2005-11-09 | セイコーエプソン株式会社 | 半導体装置、アクティブマトリクス基板、電気光学装置、および半導体装置の製造方法 |
| US6583471B1 (en) * | 1999-06-02 | 2003-06-24 | Semiconductor Energy Laboratory Co., Ltd. | Semiconductor device having first and second insulating films |
| US6037199A (en) * | 1999-08-16 | 2000-03-14 | Taiwan Semiconductor Manufacturing Company, Ltd. | SOI device for DRAM cells beyond gigabit generation and method for making the same |
| TW525122B (en) | 1999-11-29 | 2003-03-21 | Semiconductor Energy Lab | Electronic device |
| JP2005276620A (ja) * | 2004-03-25 | 2005-10-06 | Semiconductor Energy Lab Co Ltd | 発光装置、電子機器及びテレビ受像器 |
| JP2006337713A (ja) * | 2005-06-02 | 2006-12-14 | Seiko Epson Corp | 発光装置および電子機器 |
| JP2008216621A (ja) * | 2007-03-05 | 2008-09-18 | Seiko Epson Corp | 電気光学装置及び電子機器 |
-
2000
- 2000-05-31 US US09/583,678 patent/US6583471B1/en not_active Expired - Lifetime
- 2000-05-31 EP EP12172007.2A patent/EP2500941A3/en not_active Withdrawn
- 2000-05-31 EP EP00111706A patent/EP1058310A3/en not_active Withdrawn
-
2003
- 2003-04-15 US US10/413,736 patent/US7001801B2/en not_active Expired - Fee Related
-
2005
- 2005-11-30 US US11/290,025 patent/US7601572B2/en not_active Expired - Fee Related
-
2010
- 2010-10-28 JP JP2010241878A patent/JP5025781B2/ja not_active Expired - Lifetime
- 2010-12-15 JP JP2010278815A patent/JP5548602B2/ja not_active Expired - Fee Related
-
2013
- 2013-05-10 JP JP2013100059A patent/JP5552553B2/ja not_active Expired - Fee Related
- 2013-11-28 JP JP2013246274A patent/JP5719912B2/ja not_active Expired - Lifetime
- 2013-11-28 JP JP2013246277A patent/JP5668126B2/ja not_active Expired - Lifetime
-
2015
- 2015-01-13 JP JP2015004341A patent/JP6008999B2/ja not_active Expired - Lifetime
- 2015-12-29 JP JP2015257548A patent/JP6262709B2/ja not_active Expired - Lifetime
-
2017
- 2017-02-10 JP JP2017022691A patent/JP2017098585A/ja not_active Withdrawn
- 2017-03-21 JP JP2017054100A patent/JP6170641B1/ja not_active Expired - Lifetime
-
2018
- 2018-07-02 JP JP2018126003A patent/JP2018207113A/ja not_active Withdrawn
Also Published As
| Publication number | Publication date |
|---|---|
| JP2018207113A (ja) | 2018-12-27 |
| JP2015109465A (ja) | 2015-06-11 |
| JP2017146609A (ja) | 2017-08-24 |
| JP2016057646A (ja) | 2016-04-21 |
| US20030201496A1 (en) | 2003-10-30 |
| US20060086982A1 (en) | 2006-04-27 |
| JP2014081643A (ja) | 2014-05-08 |
| JP2013211573A (ja) | 2013-10-10 |
| JP5552553B2 (ja) | 2014-07-16 |
| JP5025781B2 (ja) | 2012-09-12 |
| EP2500941A3 (en) | 2017-05-10 |
| US6583471B1 (en) | 2003-06-24 |
| US7001801B2 (en) | 2006-02-21 |
| JP2011066432A (ja) | 2011-03-31 |
| EP1058310A3 (en) | 2009-11-18 |
| JP6008999B2 (ja) | 2016-10-19 |
| EP2500941A2 (en) | 2012-09-19 |
| EP1058310A2 (en) | 2000-12-06 |
| JP5548602B2 (ja) | 2014-07-16 |
| JP5719912B2 (ja) | 2015-05-20 |
| US7601572B2 (en) | 2009-10-13 |
| JP2017098585A (ja) | 2017-06-01 |
| JP6262709B2 (ja) | 2018-01-17 |
| JP2014053640A (ja) | 2014-03-20 |
| JP2011119743A (ja) | 2011-06-16 |
| JP5668126B2 (ja) | 2015-02-12 |
Similar Documents
| Publication | Publication Date | Title |
|---|---|---|
| JP6170641B1 (ja) | 液晶表示装置 | |
| JP6062497B2 (ja) | 液晶表示装置 | |
| JP5608798B2 (ja) | El表示装置 | |
| JP4578609B2 (ja) | 電気光学装置 | |
| JP4531194B2 (ja) | 電気光学装置及び電子機器 | |
| JP2000349301A (ja) | 半導体装置およびその作製方法 | |
| JP4651777B2 (ja) | 半導体装置の作製方法 | |
| JP4260334B2 (ja) | 半導体装置の作製方法 |
Legal Events
| Date | Code | Title | Description |
|---|---|---|---|
| A975 | Report on accelerated examination |
Free format text: JAPANESE INTERMEDIATE CODE: A971005 Effective date: 20170525 |
|
| A131 | Notification of reasons for refusal |
Free format text: JAPANESE INTERMEDIATE CODE: A131 Effective date: 20170606 |
|
| A521 | Request for written amendment filed |
Free format text: JAPANESE INTERMEDIATE CODE: A523 Effective date: 20170612 |
|
| TRDD | Decision of grant or rejection written | ||
| A01 | Written decision to grant a patent or to grant a registration (utility model) |
Free format text: JAPANESE INTERMEDIATE CODE: A01 Effective date: 20170627 |
|
| A61 | First payment of annual fees (during grant procedure) |
Free format text: JAPANESE INTERMEDIATE CODE: A61 Effective date: 20170630 |
|
| R150 | Certificate of patent or registration of utility model |
Ref document number: 6170641 Country of ref document: JP Free format text: JAPANESE INTERMEDIATE CODE: R150 |
|
| EXPY | Cancellation because of completion of term |
