JP6141348B2 - 半導体装置の作製方法 - Google Patents

半導体装置の作製方法 Download PDF

Info

Publication number
JP6141348B2
JP6141348B2 JP2015077622A JP2015077622A JP6141348B2 JP 6141348 B2 JP6141348 B2 JP 6141348B2 JP 2015077622 A JP2015077622 A JP 2015077622A JP 2015077622 A JP2015077622 A JP 2015077622A JP 6141348 B2 JP6141348 B2 JP 6141348B2
Authority
JP
Japan
Prior art keywords
oxide semiconductor
semiconductor layer
layer
wiring
thin film
Prior art date
Legal status (The legal status is an assumption and is not a legal conclusion. Google has not performed a legal analysis and makes no representation as to the accuracy of the status listed.)
Expired - Fee Related
Application number
JP2015077622A
Other languages
English (en)
Other versions
JP2015144313A (ja
Inventor
英臣 須澤
英臣 須澤
慎也 笹川
慎也 笹川
大河 村岡
大河 村岡
Current Assignee (The listed assignees may be inaccurate. Google has not performed a legal analysis and makes no representation or warranty as to the accuracy of the list.)
Semiconductor Energy Laboratory Co Ltd
Original Assignee
Semiconductor Energy Laboratory Co Ltd
Priority date (The priority date is an assumption and is not a legal conclusion. Google has not performed a legal analysis and makes no representation as to the accuracy of the date listed.)
Filing date
Publication date
Application filed by Semiconductor Energy Laboratory Co Ltd filed Critical Semiconductor Energy Laboratory Co Ltd
Priority to JP2015077622A priority Critical patent/JP6141348B2/ja
Publication of JP2015144313A publication Critical patent/JP2015144313A/ja
Application granted granted Critical
Publication of JP6141348B2 publication Critical patent/JP6141348B2/ja
Expired - Fee Related legal-status Critical Current
Anticipated expiration legal-status Critical

Links

Images

Classifications

    • HELECTRICITY
    • H10SEMICONDUCTOR DEVICES; ELECTRIC SOLID-STATE DEVICES NOT OTHERWISE PROVIDED FOR
    • H10DINORGANIC ELECTRIC SEMICONDUCTOR DEVICES
    • H10D30/00Field-effect transistors [FET]
    • H10D30/60Insulated-gate field-effect transistors [IGFET]
    • H10D30/67Thin-film transistors [TFT]
    • H10D30/674Thin-film transistors [TFT] characterised by the active materials
    • H10D30/6755Oxide semiconductors, e.g. zinc oxide, copper aluminium oxide or cadmium stannate
    • HELECTRICITY
    • H01ELECTRIC ELEMENTS
    • H01LSEMICONDUCTOR DEVICES NOT COVERED BY CLASS H10
    • H01L21/00Processes or apparatus adapted for the manufacture or treatment of semiconductor or solid state devices or of parts thereof
    • H01L21/02Manufacture or treatment of semiconductor devices or of parts thereof
    • H01L21/02104Forming layers
    • H01L21/02107Forming insulating materials on a substrate
    • H01L21/02225Forming insulating materials on a substrate characterised by the process for the formation of the insulating layer
    • HELECTRICITY
    • H01ELECTRIC ELEMENTS
    • H01LSEMICONDUCTOR DEVICES NOT COVERED BY CLASS H10
    • H01L21/00Processes or apparatus adapted for the manufacture or treatment of semiconductor or solid state devices or of parts thereof
    • H01L21/02Manufacture or treatment of semiconductor devices or of parts thereof
    • H01L21/04Manufacture or treatment of semiconductor devices or of parts thereof the devices having potential barriers, e.g. a PN junction, depletion layer or carrier concentration layer
    • H01L21/34Manufacture or treatment of semiconductor devices or of parts thereof the devices having potential barriers, e.g. a PN junction, depletion layer or carrier concentration layer the devices having semiconductor bodies not provided for in groups H01L21/18, H10D48/04 and H10D48/07, with or without impurities, e.g. doping materials
    • H01L21/46Treatment of semiconductor bodies using processes or apparatus not provided for in groups H01L21/428
    • H01L21/461Treatment of semiconductor bodies using processes or apparatus not provided for in groups H01L21/428 to change their surface-physical characteristics or shape, e.g. etching, polishing, cutting
    • H01L21/465Chemical or electrical treatment, e.g. electrolytic etching
    • HELECTRICITY
    • H01ELECTRIC ELEMENTS
    • H01LSEMICONDUCTOR DEVICES NOT COVERED BY CLASS H10
    • H01L21/00Processes or apparatus adapted for the manufacture or treatment of semiconductor or solid state devices or of parts thereof
    • H01L21/02Manufacture or treatment of semiconductor devices or of parts thereof
    • H01L21/04Manufacture or treatment of semiconductor devices or of parts thereof the devices having potential barriers, e.g. a PN junction, depletion layer or carrier concentration layer
    • H01L21/34Manufacture or treatment of semiconductor devices or of parts thereof the devices having potential barriers, e.g. a PN junction, depletion layer or carrier concentration layer the devices having semiconductor bodies not provided for in groups H01L21/18, H10D48/04 and H10D48/07, with or without impurities, e.g. doping materials
    • H01L21/46Treatment of semiconductor bodies using processes or apparatus not provided for in groups H01L21/428
    • H01L21/461Treatment of semiconductor bodies using processes or apparatus not provided for in groups H01L21/428 to change their surface-physical characteristics or shape, e.g. etching, polishing, cutting
    • H01L21/4763Deposition of non-insulating, e.g. conductive -, resistive -, layers on insulating layers; After-treatment of these layers
    • HELECTRICITY
    • H01ELECTRIC ELEMENTS
    • H01LSEMICONDUCTOR DEVICES NOT COVERED BY CLASS H10
    • H01L21/00Processes or apparatus adapted for the manufacture or treatment of semiconductor or solid state devices or of parts thereof
    • H01L21/67Apparatus specially adapted for handling semiconductor or electric solid state devices during manufacture or treatment thereof; Apparatus specially adapted for handling wafers during manufacture or treatment of semiconductor or electric solid state devices or components ; Apparatus not specifically provided for elsewhere
    • H01L21/67005Apparatus not specifically provided for elsewhere
    • H01L21/67011Apparatus for manufacture or treatment
    • H01L21/67017Apparatus for fluid treatment
    • H01L21/67063Apparatus for fluid treatment for etching
    • H01L21/67069Apparatus for fluid treatment for etching for drying etching
    • HELECTRICITY
    • H10SEMICONDUCTOR DEVICES; ELECTRIC SOLID-STATE DEVICES NOT OTHERWISE PROVIDED FOR
    • H10DINORGANIC ELECTRIC SEMICONDUCTOR DEVICES
    • H10D30/00Field-effect transistors [FET]
    • H10D30/60Insulated-gate field-effect transistors [IGFET]
    • H10D30/67Thin-film transistors [TFT]
    • H10D30/6757Thin-film transistors [TFT] characterised by the structure of the channel, e.g. transverse or longitudinal shape or doping profile
    • HELECTRICITY
    • H10SEMICONDUCTOR DEVICES; ELECTRIC SOLID-STATE DEVICES NOT OTHERWISE PROVIDED FOR
    • H10DINORGANIC ELECTRIC SEMICONDUCTOR DEVICES
    • H10D64/00Electrodes of devices having potential barriers
    • H10D64/20Electrodes characterised by their shapes, relative sizes or dispositions 
    • H10D64/23Electrodes carrying the current to be rectified, amplified, oscillated or switched, e.g. sources, drains, anodes or cathodes
    • H10D64/251Source or drain electrodes for field-effect devices
    • HELECTRICITY
    • H10SEMICONDUCTOR DEVICES; ELECTRIC SOLID-STATE DEVICES NOT OTHERWISE PROVIDED FOR
    • H10DINORGANIC ELECTRIC SEMICONDUCTOR DEVICES
    • H10D64/00Electrodes of devices having potential barriers
    • H10D64/20Electrodes characterised by their shapes, relative sizes or dispositions 
    • H10D64/27Electrodes not carrying the current to be rectified, amplified, oscillated or switched, e.g. gates
    • H10D64/311Gate electrodes for field-effect devices
    • HELECTRICITY
    • H10SEMICONDUCTOR DEVICES; ELECTRIC SOLID-STATE DEVICES NOT OTHERWISE PROVIDED FOR
    • H10DINORGANIC ELECTRIC SEMICONDUCTOR DEVICES
    • H10D64/00Electrodes of devices having potential barriers
    • H10D64/20Electrodes characterised by their shapes, relative sizes or dispositions 
    • H10D64/27Electrodes not carrying the current to be rectified, amplified, oscillated or switched, e.g. gates
    • H10D64/311Gate electrodes for field-effect devices
    • H10D64/411Gate electrodes for field-effect devices for FETs
    • H10D64/511Gate electrodes for field-effect devices for FETs for IGFETs
    • HELECTRICITY
    • H10SEMICONDUCTOR DEVICES; ELECTRIC SOLID-STATE DEVICES NOT OTHERWISE PROVIDED FOR
    • H10DINORGANIC ELECTRIC SEMICONDUCTOR DEVICES
    • H10D86/00Integrated devices formed in or on insulating or conducting substrates, e.g. formed in silicon-on-insulator [SOI] substrates or on stainless steel or glass substrates
    • H10D86/01Manufacture or treatment
    • H10D86/021Manufacture or treatment of multiple TFTs
    • H10D86/0221Manufacture or treatment of multiple TFTs comprising manufacture, treatment or patterning of TFT semiconductor bodies
    • HELECTRICITY
    • H10SEMICONDUCTOR DEVICES; ELECTRIC SOLID-STATE DEVICES NOT OTHERWISE PROVIDED FOR
    • H10DINORGANIC ELECTRIC SEMICONDUCTOR DEVICES
    • H10D86/00Integrated devices formed in or on insulating or conducting substrates, e.g. formed in silicon-on-insulator [SOI] substrates or on stainless steel or glass substrates
    • H10D86/40Integrated devices formed in or on insulating or conducting substrates, e.g. formed in silicon-on-insulator [SOI] substrates or on stainless steel or glass substrates characterised by multiple TFTs
    • H10D86/421Integrated devices formed in or on insulating or conducting substrates, e.g. formed in silicon-on-insulator [SOI] substrates or on stainless steel or glass substrates characterised by multiple TFTs having a particular composition, shape or crystalline structure of the active layer
    • H10D86/423Integrated devices formed in or on insulating or conducting substrates, e.g. formed in silicon-on-insulator [SOI] substrates or on stainless steel or glass substrates characterised by multiple TFTs having a particular composition, shape or crystalline structure of the active layer comprising semiconductor materials not belonging to the Group IV, e.g. InGaZnO
    • HELECTRICITY
    • H10SEMICONDUCTOR DEVICES; ELECTRIC SOLID-STATE DEVICES NOT OTHERWISE PROVIDED FOR
    • H10DINORGANIC ELECTRIC SEMICONDUCTOR DEVICES
    • H10D86/00Integrated devices formed in or on insulating or conducting substrates, e.g. formed in silicon-on-insulator [SOI] substrates or on stainless steel or glass substrates
    • H10D86/40Integrated devices formed in or on insulating or conducting substrates, e.g. formed in silicon-on-insulator [SOI] substrates or on stainless steel or glass substrates characterised by multiple TFTs
    • H10D86/441Interconnections, e.g. scanning lines
    • HELECTRICITY
    • H10SEMICONDUCTOR DEVICES; ELECTRIC SOLID-STATE DEVICES NOT OTHERWISE PROVIDED FOR
    • H10DINORGANIC ELECTRIC SEMICONDUCTOR DEVICES
    • H10D86/00Integrated devices formed in or on insulating or conducting substrates, e.g. formed in silicon-on-insulator [SOI] substrates or on stainless steel or glass substrates
    • H10D86/40Integrated devices formed in or on insulating or conducting substrates, e.g. formed in silicon-on-insulator [SOI] substrates or on stainless steel or glass substrates characterised by multiple TFTs
    • H10D86/60Integrated devices formed in or on insulating or conducting substrates, e.g. formed in silicon-on-insulator [SOI] substrates or on stainless steel or glass substrates characterised by multiple TFTs wherein the TFTs are in active matrices
    • HELECTRICITY
    • H10SEMICONDUCTOR DEVICES; ELECTRIC SOLID-STATE DEVICES NOT OTHERWISE PROVIDED FOR
    • H10DINORGANIC ELECTRIC SEMICONDUCTOR DEVICES
    • H10D99/00Subject matter not provided for in other groups of this subclass
    • GPHYSICS
    • G02OPTICS
    • G02FOPTICAL DEVICES OR ARRANGEMENTS FOR THE CONTROL OF LIGHT BY MODIFICATION OF THE OPTICAL PROPERTIES OF THE MEDIA OF THE ELEMENTS INVOLVED THEREIN; NON-LINEAR OPTICS; FREQUENCY-CHANGING OF LIGHT; OPTICAL LOGIC ELEMENTS; OPTICAL ANALOGUE/DIGITAL CONVERTERS
    • G02F1/00Devices or arrangements for the control of the intensity, colour, phase, polarisation or direction of light arriving from an independent light source, e.g. switching, gating or modulating; Non-linear optics
    • G02F1/01Devices or arrangements for the control of the intensity, colour, phase, polarisation or direction of light arriving from an independent light source, e.g. switching, gating or modulating; Non-linear optics for the control of the intensity, phase, polarisation or colour 
    • G02F1/13Devices or arrangements for the control of the intensity, colour, phase, polarisation or direction of light arriving from an independent light source, e.g. switching, gating or modulating; Non-linear optics for the control of the intensity, phase, polarisation or colour  based on liquid crystals, e.g. single liquid crystal display cells
    • G02F1/133Constructional arrangements; Operation of liquid crystal cells; Circuit arrangements
    • G02F1/1333Constructional arrangements; Manufacturing methods
    • G02F1/1343Electrodes
    • G02F1/134309Electrodes characterised by their geometrical arrangement
    • GPHYSICS
    • G02OPTICS
    • G02FOPTICAL DEVICES OR ARRANGEMENTS FOR THE CONTROL OF LIGHT BY MODIFICATION OF THE OPTICAL PROPERTIES OF THE MEDIA OF THE ELEMENTS INVOLVED THEREIN; NON-LINEAR OPTICS; FREQUENCY-CHANGING OF LIGHT; OPTICAL LOGIC ELEMENTS; OPTICAL ANALOGUE/DIGITAL CONVERTERS
    • G02F1/00Devices or arrangements for the control of the intensity, colour, phase, polarisation or direction of light arriving from an independent light source, e.g. switching, gating or modulating; Non-linear optics
    • G02F1/01Devices or arrangements for the control of the intensity, colour, phase, polarisation or direction of light arriving from an independent light source, e.g. switching, gating or modulating; Non-linear optics for the control of the intensity, phase, polarisation or colour 
    • G02F1/13Devices or arrangements for the control of the intensity, colour, phase, polarisation or direction of light arriving from an independent light source, e.g. switching, gating or modulating; Non-linear optics for the control of the intensity, phase, polarisation or colour  based on liquid crystals, e.g. single liquid crystal display cells
    • G02F1/133Constructional arrangements; Operation of liquid crystal cells; Circuit arrangements
    • G02F1/136Liquid crystal cells structurally associated with a semi-conducting layer or substrate, e.g. cells forming part of an integrated circuit
    • G02F1/1362Active matrix addressed cells
    • G02F1/136227Through-hole connection of the pixel electrode to the active element through an insulation layer
    • GPHYSICS
    • G09EDUCATION; CRYPTOGRAPHY; DISPLAY; ADVERTISING; SEALS
    • G09GARRANGEMENTS OR CIRCUITS FOR CONTROL OF INDICATING DEVICES USING STATIC MEANS TO PRESENT VARIABLE INFORMATION
    • G09G2300/00Aspects of the constitution of display devices
    • G09G2300/04Structural and physical details of display devices
    • G09G2300/0404Matrix technologies
    • G09G2300/0408Integration of the drivers onto the display substrate
    • GPHYSICS
    • G09EDUCATION; CRYPTOGRAPHY; DISPLAY; ADVERTISING; SEALS
    • G09GARRANGEMENTS OR CIRCUITS FOR CONTROL OF INDICATING DEVICES USING STATIC MEANS TO PRESENT VARIABLE INFORMATION
    • G09G2300/00Aspects of the constitution of display devices
    • G09G2300/08Active matrix structure, i.e. with use of active elements, inclusive of non-linear two terminal elements, in the pixels together with light emitting or modulating elements
    • G09G2300/0809Several active elements per pixel in active matrix panels
    • GPHYSICS
    • G09EDUCATION; CRYPTOGRAPHY; DISPLAY; ADVERTISING; SEALS
    • G09GARRANGEMENTS OR CIRCUITS FOR CONTROL OF INDICATING DEVICES USING STATIC MEANS TO PRESENT VARIABLE INFORMATION
    • G09G2310/00Command of the display device
    • G09G2310/02Addressing, scanning or driving the display screen or processing steps related thereto
    • G09G2310/0243Details of the generation of driving signals
    • G09G2310/0251Precharge or discharge of pixel before applying new pixel voltage
    • GPHYSICS
    • G09EDUCATION; CRYPTOGRAPHY; DISPLAY; ADVERTISING; SEALS
    • G09GARRANGEMENTS OR CIRCUITS FOR CONTROL OF INDICATING DEVICES USING STATIC MEANS TO PRESENT VARIABLE INFORMATION
    • G09G2310/00Command of the display device
    • G09G2310/02Addressing, scanning or driving the display screen or processing steps related thereto
    • G09G2310/0264Details of driving circuits
    • G09G2310/0286Details of a shift registers arranged for use in a driving circuit
    • GPHYSICS
    • G09EDUCATION; CRYPTOGRAPHY; DISPLAY; ADVERTISING; SEALS
    • G09GARRANGEMENTS OR CIRCUITS FOR CONTROL OF INDICATING DEVICES USING STATIC MEANS TO PRESENT VARIABLE INFORMATION
    • G09G2310/00Command of the display device
    • G09G2310/08Details of timing specific for flat panels, other than clock recovery
    • GPHYSICS
    • G09EDUCATION; CRYPTOGRAPHY; DISPLAY; ADVERTISING; SEALS
    • G09GARRANGEMENTS OR CIRCUITS FOR CONTROL OF INDICATING DEVICES USING STATIC MEANS TO PRESENT VARIABLE INFORMATION
    • G09G3/00Control arrangements or circuits, of interest only in connection with visual indicators other than cathode-ray tubes
    • G09G3/20Control arrangements or circuits, of interest only in connection with visual indicators other than cathode-ray tubes for presentation of an assembly of a number of characters, e.g. a page, by composing the assembly by combination of individual elements arranged in a matrix no fixed position being assigned to or needed to be assigned to the individual characters or partial characters
    • G09G3/34Control arrangements or circuits, of interest only in connection with visual indicators other than cathode-ray tubes for presentation of an assembly of a number of characters, e.g. a page, by composing the assembly by combination of individual elements arranged in a matrix no fixed position being assigned to or needed to be assigned to the individual characters or partial characters by control of light from an independent source
    • G09G3/36Control arrangements or circuits, of interest only in connection with visual indicators other than cathode-ray tubes for presentation of an assembly of a number of characters, e.g. a page, by composing the assembly by combination of individual elements arranged in a matrix no fixed position being assigned to or needed to be assigned to the individual characters or partial characters by control of light from an independent source using liquid crystals
    • G09G3/3611Control of matrices with row and column drivers
    • G09G3/3648Control of matrices with row and column drivers using an active matrix
    • GPHYSICS
    • G09EDUCATION; CRYPTOGRAPHY; DISPLAY; ADVERTISING; SEALS
    • G09GARRANGEMENTS OR CIRCUITS FOR CONTROL OF INDICATING DEVICES USING STATIC MEANS TO PRESENT VARIABLE INFORMATION
    • G09G3/00Control arrangements or circuits, of interest only in connection with visual indicators other than cathode-ray tubes
    • G09G3/20Control arrangements or circuits, of interest only in connection with visual indicators other than cathode-ray tubes for presentation of an assembly of a number of characters, e.g. a page, by composing the assembly by combination of individual elements arranged in a matrix no fixed position being assigned to or needed to be assigned to the individual characters or partial characters
    • G09G3/34Control arrangements or circuits, of interest only in connection with visual indicators other than cathode-ray tubes for presentation of an assembly of a number of characters, e.g. a page, by composing the assembly by combination of individual elements arranged in a matrix no fixed position being assigned to or needed to be assigned to the individual characters or partial characters by control of light from an independent source
    • G09G3/36Control arrangements or circuits, of interest only in connection with visual indicators other than cathode-ray tubes for presentation of an assembly of a number of characters, e.g. a page, by composing the assembly by combination of individual elements arranged in a matrix no fixed position being assigned to or needed to be assigned to the individual characters or partial characters by control of light from an independent source using liquid crystals
    • G09G3/3611Control of matrices with row and column drivers
    • G09G3/3674Details of drivers for scan electrodes
    • G09G3/3677Details of drivers for scan electrodes suitable for active matrices only
    • GPHYSICS
    • G11INFORMATION STORAGE
    • G11CSTATIC STORES
    • G11C19/00Digital stores in which the information is moved stepwise, e.g. shift registers
    • G11C19/28Digital stores in which the information is moved stepwise, e.g. shift registers using semiconductor elements
    • HELECTRICITY
    • H10SEMICONDUCTOR DEVICES; ELECTRIC SOLID-STATE DEVICES NOT OTHERWISE PROVIDED FOR
    • H10KORGANIC ELECTRIC SOLID-STATE DEVICES
    • H10K59/00Integrated devices, or assemblies of multiple devices, comprising at least one organic light-emitting element covered by group H10K50/00
    • H10K59/10OLED displays
    • H10K59/12Active-matrix OLED [AMOLED] displays
    • H10K59/121Active-matrix OLED [AMOLED] displays characterised by the geometry or disposition of pixel elements
    • H10K59/1213Active-matrix OLED [AMOLED] displays characterised by the geometry or disposition of pixel elements the pixel elements being TFTs

Landscapes

  • Engineering & Computer Science (AREA)
  • Microelectronics & Electronic Packaging (AREA)
  • General Physics & Mathematics (AREA)
  • Manufacturing & Machinery (AREA)
  • Computer Hardware Design (AREA)
  • Physics & Mathematics (AREA)
  • Power Engineering (AREA)
  • Condensed Matter Physics & Semiconductors (AREA)
  • Thin Film Transistor (AREA)
  • Liquid Crystal (AREA)
  • Electroluminescent Light Sources (AREA)
  • Devices For Indicating Variable Information By Combining Individual Elements (AREA)
  • Drying Of Semiconductors (AREA)
  • Electrodes Of Semiconductors (AREA)
  • Weting (AREA)

Description

酸化物半導体を用いた半導体装置の作製方法に関する。
近年、酸化物半導体を用いて薄膜トランジスタ(TFTとも呼ぶ)を作製し、電子デバイ
ス等に応用する技術が注目されている。例えば、特許文献1や特許文献2には、酸化物半
導体膜として酸化亜鉛やIn−Ga−Zn−O系酸化物半導体などを用いて、画像表示装
置のスイッチング素子などを作製する技術が開示されている。
酸化物半導体を加工する技術としてはエッチング処理が代表的であるが(特許文献3、特
許文献4等参照)、例えば、ウエットエッチングは等方的なエッチングであるため、素子
の微細化には不向きという問題がある。また、薬液を用いる処理であるため、制御性の点
で課題がある。一方で、ドライエッチングは、微細化、制御性の面では有利であるが、エ
ッチングレートが小さく、処理に時間がかかるという問題がある。また、使用する装置に
よっては、エッチングの面内ばらつきが生じる可能性が高い。
特開2007−123861号公報 特開2007−96055号公報 特開2008−41695号公報 特開2008−42067号公報
このように、酸化物半導体を加工する技術は既にいくつか存在していたが、酸化物半導体
を用いて半導体装置を作製しようとする場合に要求される条件を満たす加工技術は、未だ
確立されていなかった。
また、酸化物半導体にはインジウムなどの希少金属が使用されているが、従来のエッチン
グをはじめとする加工技術においては、これらの高価な金属類を含有する酸化物半導体層
は、成膜された膜のうち大部分が除去されると共に廃棄されていた。このため、従来の加
工技術では酸化物半導体を適用する半導体装置の作製にかかるコストを低減することが困
難であった。また、省資源問題への対応が求められていた。
上記問題点に鑑み、酸化物半導体を用いた半導体装置を作製する際の加工技術を確立する
ことを課題の一とする。または、省資源問題に対応した半導体装置の作製方法を提供する
ことを課題の一とする。
開示する発明の一例は、活性層として機能する島状の酸化物半導体層と、それを覆う導電
層を、ドライエッチングにより加工する。例えば、塩素と酸素を含むガスを用いたドライ
エッチングにより、導電層を加工してソース電極及びドレイン電極を形成すると共に、酸
化物半導体層の一部を除去し、島状の酸化物半導体層に凹部を形成する。この際、島状の
酸化物半導体層の下方に存在するゲート絶縁層には、酸化シリコンを含む材料を用いるこ
とが好ましい。
又は、ゲート絶縁層上方の酸化物半導体層を、ウエットエッチングにより島状の酸化物半
導体層に加工する。
より詳細には、次の通りである。
開示する発明の一例は、基板上に、ゲート電極と、該ゲート電極上方のゲート絶縁層と、
該ゲート絶縁層上方の酸化物半導体層と、を形成し、ウエットエッチングにより、酸化物
半導体層を加工して島状の酸化物半導体層を形成し、島状の酸化物半導体層を覆う導電層
を形成し、ドライエッチングにより、導電層を加工してソース電極及びドレイン電極を形
成し(形成すると共に)、島状の酸化物半導体層の一部を除去し、島状の酸化物半導体層
に凹部を形成することを特徴とする。
開示する発明の他の一例は、基板上に、ゲート電極と、該ゲート電極上方のゲート絶縁層
と、該ゲート絶縁層上方の第1の酸化物半導体層と、を形成し、第1の酸化物半導体層上
方に、第1の酸化物半導体層より導電率が高い第2の酸化物半導体層を形成し、ウエット
エッチングにより、第1の酸化物半導体層及び第2の酸化物半導体層を加工して島状の第
1の酸化物半導体層及び島状の第2の酸化物半導体層を形成し、島状の第2の酸化物半導
体層を覆う導電層を形成し、ドライエッチングにより、導電層を加工してソース電極及び
ドレイン電極を形成し(形成すると共に)、島状の第1の酸化物半導体層及び島状の第2
の酸化物半導体層の一部を除去し、島状の第1の酸化物半導体層に凹部を形成することを
特徴とする。
上記において、酸化物半導体層(第1の酸化物半導体層、及び第2の酸化物半導体層を含
む)は、インジウム、ガリウム及び亜鉛を含んでいても良い。また、導電層として、酸化
物半導体層(第1の酸化物半導体層、及び第2の酸化物半導体層を含む)に用いる材料よ
りドライエッチングにおけるエッチングレートが大きい材料を用いることができる。
また、上記ドライエッチングは、塩素を含むガスを用いて行うことができる。この場合、
ゲート絶縁層は、酸化シリコンを含む材料を用いて形成し、塩素を含むガスは酸素を含ん
でいることが好ましい。また、酸素の含有量を、塩素を含むガスの15体積%以上として
も良い。
また、上記ウエットエッチングの廃液から、金属元素を回収することもできる。
開示する発明の一例は、基板上に、ゲート電極と、該ゲート電極上方のゲート絶縁層と、
該ゲート絶縁層上方の島状の酸化物半導体層と、を形成し、島状の酸化物半導体層を覆う
導電層を形成し、塩素と酸素を含むガスを用いたドライエッチングにより、導電層を加工
してソース電極及びドレイン電極を形成し(形成すると共に)、酸化物半導体層の一部を
除去し、島状の酸化物半導体層に凹部を形成することを特徴とする。
上記において、酸化物半導体層は、インジウム、ガリウム及び亜鉛を含んでいても良い。
また、導電層として、酸化物半導体層に用いる材料よりドライエッチングにおけるエッチ
ングレートが大きい材料を用いることができる。また、ゲート絶縁層は、酸化シリコンを
含む材料を用いて形成すると良い。また、酸素の含有量を、塩素と酸素を含むガスの15
体積%以上としても良い。
なお、「エッチングレート」とは、単位時間あたりにエッチングされる量(被エッチング
量)を意味する。したがって、「エッチングレートが大きい」とは、よりエッチングされ
やすいことを意味し、「エッチングレートが小さい」とは、よりエッチングされにくいこ
とを意味する。また、「エッチング選択比がとれる」とは、例えば、A層とB層をエッチ
ングする場合に、A層のエッチングレートとB層のエッチングレートに十分な差を有する
ことにより、A層とB層の一方をより多くエッチングできることを意味する。
なお、本明細書中で用いることができる酸化物半導体の一例としては、InMO(Zn
O)(m>0)で表記されるものがある。ここで、Mは、ガリウム(Ga)、鉄(Fe
)、ニッケル(Ni)、マンガン(Mn)及びコバルト(Co)から選ばれた一の金属元
素又は複数の金属元素を示す。例えばMとしてGaが選択される場合には、Gaのみの場
合の他に、GaとNiや、GaとFeなど、Ga以外の上記金属元素が選択される場合を
含む。また、上記酸化物半導体において、Mとして含まれる金属元素の他に、不純物元素
としてFe、Niその他の遷移金属元素、又は該遷移金属の酸化物が含まれているものが
ある。本明細書においては、上記酸化物半導体のうち、Mとして少なくともガリウムを含
むものをIn−Ga−Zn−O系酸化物半導体と呼び、当該材料を用いた薄膜をIn−G
a−Zn−O系非単結晶膜と呼ぶことがある。
なお、本明細書中において半導体装置とは、半導体特性を利用することで機能しうる装置
全般を指し、表示装置、半導体回路および電子機器は全て半導体装置に含まれる。
開示する発明において、活性層として機能する島状の酸化物半導体層と、それを覆う導電
層を、ドライエッチングにより加工することで、半導体装置の微細化が可能となり、半導
体装置の性能が向上する。又は、ゲート絶縁層上方の酸化物半導体層を、ウエットエッチ
ングにより島状の酸化物半導体層に加工することで、スループットを向上させることがで
きる。
または、比較的エッチングの制御性が要求されないゲート絶縁層上方の酸化物半導体層の
エッチング(島状酸化物半導体層への加工)をウエットエッチングにより行い、微細化や
エッチングの制御性が要求されるチャネルエッチをドライエッチングにより行うことによ
り、作製プロセス全体としてスループットを向上させると共に半導体装置を高性能化する
ことができる。
または、酸化物半導体層を島状に加工する際にウエットエッチングを用いて行い、当該エ
ッチング後の廃液から酸化物半導体層に含まれるインジウム等の材料を回収して再利用す
ることにより、資源を有効活用し低コスト化することができる。
実施の形態1に係る半導体装置を説明する図である。 実施の形態2に係る半導体装置を説明する図である。 実施の形態2に係る半導体装置の作製方法を説明する図である。 エッチングレート及び選択比の酸素含有量依存性を示す図である。 実施の形態3に係る半導体装置の作製方法を説明する図である。 実施の形態3に係る半導体装置の作製方法を説明する図である。 実施の形態3に係る半導体装置の作製方法を説明する図である。 実施の形態3に係る半導体装置の作製方法を説明する図である。 実施の形態3に係る半導体装置の作製方法を説明する図である。 実施の形態3に係る半導体装置を説明する図である。 実施の形態3に係る半導体装置を説明する図である。 実施の形態3に係る半導体装置を説明する図である。 実施の形態4に係る半導体装置を説明する図である。 半導体装置のブロック図を説明する図である。 信号線駆動回路の構成を説明する図である。 信号線駆動回路の動作を説明するタイミングチャートである。 信号線駆動回路の動作を説明するタイミングチャートである。 シフトレジスタの構成を説明する図である。 図18に示すフリップフロップの接続構成を説明する図である。 実施の形態6に係る半導体装置の画素等価回路を説明する図である。 実施の形態6に係る半導体装置を説明する図である。 実施の形態5に係る半導体装置を説明する図である。 実施の形態6に係る半導体装置を説明する図である。 実施の形態6に係る半導体装置を説明する図である。 電子ペーパーの使用形態の例を説明する図である。 電子書籍の一例を示す外観図である。 テレビジョン装置およびデジタルフォトフレームの例を示す外観図である。 遊技機の例を示す外観図である。 携帯電話機の一例を示す外観図である。
実施の形態について、図面を用いて詳細に説明する。但し、本発明は以下に示す実施の形
態の記載内容に限定されず、発明の趣旨から逸脱することなく形態及び詳細を様々に変更
し得ることは当業者にとって自明である。また、異なる実施の形態に係る構成は、適宜組
み合わせて実施することができる。なお、以下に説明する発明の構成において、同一部分
又は同様な機能を有する部分には同一の符号を用い、その繰り返しの説明は省略する。
(実施の形態1)
本実施の形態では、半導体装置の作製工程の一例について、図1を用いて説明する。
はじめに、絶縁表面を有する基板200上にゲート電極202を形成し、続いて当該ゲー
ト電極202上にゲート絶縁層204と酸化物半導体層206を形成する(図1(A)参
照)。
絶縁表面を有する基板200としては、例えば、液晶表示装置などに使用される可視光透
過性を有するガラス基板を用いることができる。上記のガラス基板は無アルカリガラス基
板であることが好ましい。無アルカリガラス基板には、例えば、アルミノシリケートガラ
ス、アルミノホウケイ酸ガラス、バリウムホウケイ酸ガラスなどのガラス材料が用いられ
ている。他にも、絶縁表面を有する基板200として、セラミック基板、石英基板やサフ
ァイア基板などの絶縁体でなる絶縁性基板、珪素などの半導体材料でなる半導体基板の表
面を絶縁材料で被覆したもの、金属やステンレスなどの導電体でなる導電性基板の表面を
絶縁材料で被覆したもの、などを用いることができる。
ゲート電極202は、導電層を基板200全面に形成した後、フォトリソグラフィ法によ
り形成されたレジストマスクを用いて、選択的に導電層をエッチングすることにより形成
することができる。この際、後に形成されるゲート絶縁層204の被覆性を向上し、段切
れを防止するために、ゲート電極202の端部がテーパー形状となるようエッチングする
ことが好ましい。なお、ゲート電極202にはゲート配線等、上記導電層によって形成さ
れる電極や配線が含まれる。
ゲート電極202は、アルミニウム(Al)や銅(Cu)などの低抵抗導電性材料で形成
することが望ましい。なお、配線及び電極としてアルミニウムを用いる場合、アルミニウ
ム単体では耐熱性が低く、腐蝕しやすい等の問題点があるため、耐熱性導電性材料と組み
合わせて形成することが好ましい。
耐熱性導電性材料は、チタン(Ti)、タンタル(Ta)、タングステン(W)、モリブ
デン(Mo)、クロム(Cr)、Nd(ネオジム)、スカンジウム(Sc)から選ばれた
元素、または上述した元素を成分とする合金か、上述した元素を組み合わせた合金膜、ま
たは上述した元素を成分とする窒化物で形成する。これらの耐熱性導電性材料からなる膜
とアルミニウム(又は銅)を積層させて、配線や電極を形成することができる。
ゲート絶縁層204は、酸化シリコン膜、酸化窒化シリコン膜、窒化シリコン膜、窒化酸
化シリコン膜、酸化アルミニウム膜又は酸化タンタル膜等で形成することができる。また
、これらの膜を積層させて設けてもよい。これらの膜は、スパッタ法等を用いて膜厚を5
0nm以上250nm以下で形成することができる。例えば、ゲート絶縁層204として
、スパッタ法により酸化シリコン膜を100nmの厚さで形成することができる。
なお、ゲート絶縁層204上に酸化物半導体層206を形成する前に、ゲート絶縁層20
4の表面にプラズマ処理を行ってもよい。プラズマ処理を行うことにより、ゲート絶縁層
204の表面に付着しているゴミを除去することができる。
プラズマ処理は、真空状態のチャンバーにアルゴン(Ar)ガス等の不活性ガスを導入し
、被処理物(ここでは、ゲート絶縁層204が形成された基板200)にバイアス電圧を
印加してプラズマ状態として行うことができる。この場合、プラズマ中には電子とArの
陽イオンが存在し、陰極方向(基板200側)にArの陽イオンが加速される。加速され
たArの陽イオンがゲート絶縁層204の表面に衝突することによって、当該ゲート絶縁
層204の表面がスパッタエッチングされ、その表面を改質することができる。なお、ア
ルゴンガスに代えて、ヘリウムガスを用いてもよい。また、アルゴン雰囲気に酸素、水素
、窒素等を加えた雰囲気で行ってもよい。また、アルゴン雰囲気にCl、CFなどを
加えた雰囲気で行ってもよい。このようなプラズマ処理を「逆スパッタ」と呼ぶこともあ
る。
酸化物半導体層206は、In−Ga−Zn−O系非単結晶膜で形成することができる。
例えば、In、Ga、及びZnを含む酸化物半導体ターゲット(In:Ga
:ZnO=1:1:1)を用いたスパッタ法で、酸化物半導体層206を形成する。スパ
ッタの条件としては、例えば、基板200とターゲットとの距離を30mm〜500mm
、圧力を0.1Pa〜2.0Pa、直流(DC)電源を0.25kW〜5.0kW(直径
8インチのターゲット使用時)、雰囲気をアルゴン雰囲気、酸素雰囲気、又はアルゴンと
酸素との混合雰囲気とすることができる。
なお、パルス直流(DC)電源を用いると、ごみが軽減でき、膜厚分布も均一となるため
好ましい。また、上述したプラズマ処理を行った後、大気に曝すことなく酸化物半導体層
206を形成することにより、ゲート絶縁層204と酸化物半導体層206の界面にゴミ
や水分が付着することを抑制することができる。また、酸化物半導体層206の膜厚は、
5nm〜200nm程度とすればよい。
上記のスパッタ法としては、スパッタ用電源に高周波電源を用いるRFスパッタ法や、D
Cスパッタ法、パルス的に直流バイアスを加えるパルスDCスパッタ法などを用いること
ができる。
また、材料の異なるターゲットを複数設置できる多元スパッタ装置を用いてもよい。多元
スパッタ装置では、同一チャンバーで異なる膜を積層形成することも、同一チャンバーで
複数種類の材料を同時にスパッタして一の膜を形成することもできる。さらに、チャンバ
ー内部に磁界発生機構を備えたマグネトロンスパッタ装置を用いる方法(マグネトロンス
パッタ法)や、マイクロ波を用いて発生させたプラズマを用いるECRスパッタ法等を用
いてもよい。また、成膜中にターゲット物質とスパッタガス成分とを化学反応させてそれ
らの化合物を形成するリアクティブスパッタ法や、成膜中に基板にも電圧をかけるバイア
ススパッタ法等を用いてもよい。
次に、酸化物半導体層206上にレジストマスク208を形成し、当該レジストマスク2
08を用いて酸化物半導体層206を選択的にエッチングして島状の酸化物半導体層21
0を形成する(図1(B)参照)。
ここでは、ITO07N(関東化学社製)又は酢酸と硝酸と燐酸との混合液を用いたウエ
ットエッチングにより、酸化物半導体層206の不要な部分を除去して、島状の酸化物半
導体層210を形成する。なお、上記エッチングの後にはレジストマスク208は除去す
る。また、ウエットエッチングに用いるエッチャントは酸化物半導体層206をエッチン
グできるものであればよく上述したものに限られない。
上記のエッチングとしては、ウエットエッチングを用いることが好ましい。ウエットエッ
チングを用いることで、大面積を均一に、かつ、短時間で加工することが可能となるため
である。なお、ウエットエッチングを用いる場合には、エッチング後の廃液からインジウ
ムなどの材料を回収して再利用することもできる。資源の有効活用という観点からも、上
記のエッチングとしてウエットエッチングを用いることが好ましい。一方で、ドライエッ
チングを用いる場合であっても島状の酸化物半導体層210を形成することは可能である
から、上記のエッチングからドライエッチングを除外するものではない。
次に、島状の酸化物半導体層210上に導電層212を形成する(図1(C)参照)。
導電層212として、スパッタ法や真空蒸着法等を用いて、アルミニウム(Al)、銅(
Cu)、チタン(Ti)、タンタル(Ta)、タングステン(W)、モリブデン(Mo)
、クロム(Cr)、ネオジム(Nd)、スカンジウム(Sc)から選ばれた元素を含む金
属、上述の元素を成分とする合金、または、上述の元素を成分とする窒化物等からなる材
料で形成することができる。なお、導電層212の形成後に熱処理(例えば、200〜6
00℃程度の熱処理)を行う場合には、導電層212に所定の耐熱性を持たせることが好
ましい。
例えば、導電層212としてチタン膜の単層構造で形成することができる。また、導電層
212を積層構造としても良く、例えば、アルミニウム膜とチタン膜との積層構造とする
ことができる。また、チタン膜と、ネオジムを含むアルミニウム(Al−Nd)膜と、チ
タン膜の3層構造としてもよい。さらに、導電層212を、シリコンを含むアルミニウム
膜の単層構造としてもよい。
次に、導電層212上にレジストマスク214a、レジストマスク214b、レジストマ
スク214cを形成し、導電層212を選択的にエッチングして、導電層216a、21
6b、218を形成すると共に、島状の酸化物半導体層210の一部(表面付近の一部)
を除去(チャネルエッチ)し当該島状の酸化物半導体層210に凹部220を形成する(
図1(D)参照)。
島状の酸化物半導体層210の一部が除去されて形成される凹部220は、導電層216
aと導電層216bの間の領域にあたる。そのため、導電層216aはトランジスタのソ
ース電極又はドレイン電極の一方として機能し、導電層216bはトランジスタのソース
電極又はドレイン電極の他方として機能する。図1(D)に示すように、酸化物半導体層
210の一部を除去して凹部220を形成することにより、導電層216aと導電層21
6bを確実に電気的に絶縁状態とすることができる。また、導電層218は、トランジス
タ等の素子を電気的に接続する配線として機能する。
なお、上記エッチングの後にはレジストマスク214a、レジストマスク214b、レジ
ストマスク214cは除去する。
この際のエッチングとしてはドライエッチングを用いることが好ましい。ドライエッチン
グを用いることで、ウエットエッチングを用いる場合と比較して配線構造などの微細化が
可能となる。また、ドライエッチングを用いることにより、エッチングの制御性が良いた
め、島状の酸化物半導体層210の除去(凹部220の形成)を制御性良く行うことがで
きる。
上記ドライエッチングとしては、特に、塩素を含有するガスを用いたドライエッチングを
用いると良い。塩素を含有するガスを用いてエッチングを行うことで、塩素を含有しない
ガスを用いる場合と比較して、エッチングの面内ばらつきを低減することができるためで
ある。
上記塩素を含有するガスには、酸素が添加されているとより好ましい。塩素と酸素とを含
有するガスを用いることで、ゲート絶縁層204と島状の酸化物半導体層210とのエッ
チング選択比がとりやすく、ゲート絶縁層204へのダメージを十分に低減できるためで
ある。なお、この場合には、ゲート絶縁層204として酸化シリコンや酸化窒化シリコン
、窒化酸化シリコンといった酸化シリコンを含む材料を用いることが好ましい。また、エ
ッチングガス中の酸素ガスの含有量を15体積%以上とすることにより、ゲート絶縁層2
04と島状の酸化物半導体層210とのエッチング選択比を大きくし、ゲート絶縁層20
4へのダメージを効果的に低減することができる。
ドライエッチングに用いるガスとしては、塩素(Cl)の他、塩化硼素(BCl)、
塩化珪素(SiCl)、四塩化炭素(CCl)などの塩素系ガスや、四弗化炭素(C
)、弗化硫黄(SF)、弗化窒素(NF)、トリフルオロメタン(CHF)な
どのフッ素系ガス、臭化水素(HBr)、酸素(O)、これらのガスにヘリウム(He
)やアルゴン(Ar)などの希ガスを添加したガス、などを用いることができる。
また、導電層212の材料として、島状の酸化物半導体層210よりエッチングレートが
高い材料を用いることが好ましい。これは、ドライエッチングにより、導電層212と島
状の酸化物半導体層210を一回でエッチングする場合、島状の酸化物半導体層210の
エッチングレートを導電層212のエッチングレートより小さくすることにより、島状の
酸化物半導体層210が過度にエッチングされることを抑制することができるためである
。その結果、酸化物半導体層210の消失を抑制することが可能となる。
その後、200℃〜600℃、代表的には300℃〜500℃の熱処理を行うと良い。こ
こでは、窒素雰囲気下で350℃、1時間の熱処理を行う。この熱処理により島状の酸化
物半導体層210を構成するIn−Ga−Zn−O系酸化物半導体の原子レベルの再配列
が行われる。この熱処理(光アニール等も含む)は、島状の酸化物半導体層210中にお
けるキャリアの移動を阻害する歪みを解放できる点で重要である。なお、上記の熱処理を
行うタイミングは、酸化物半導体層206の形成後であれば特に限定されない。
また、露出している島状の酸化物半導体層210の凹部220に対して酸素ラジカル処理
を行ってもよい。酸素ラジカル処理を行うことにより島状の酸化物半導体層210をチャ
ネル形成領域とする薄膜トランジスタをノーマリーオフとすることができる。また、ラジ
カル処理を行うことにより、島状の酸化物半導体層210のエッチングによるダメージを
回復することができる。ラジカル処理は、O、NO、酸素を含むN、He、Arな
どの雰囲気下で行うことが好ましい。また、上記雰囲気にCl、CFを加えた雰囲気
下で行ってもよい。なお、ラジカル処理は、基板100側にバイアス電圧を印加せずに行
うことが好ましい。
次に、ゲート電極202、島状の酸化物半導体層210、導電層216a、216b等を
含む薄膜トランジスタ250を覆うように、保護絶縁層222を形成する(図1(E)参
照)。保護絶縁層222としては、スパッタ法などを用いて、窒化シリコン、酸化シリコ
ン、窒化酸化シリコン、酸化窒化シリコン、酸化アルミニウム、酸化タンタルなどの材料
を含む層を形成すればよい。
その後、各種電極や配線を形成することで半導体装置が完成する。
以上のように、本実施の形態では、活性層として機能する島状の酸化物半導体層と、それ
を覆う導電層を、ドライエッチングにより加工することで、半導体装置の微細化が可能と
なり、半導体装置の性能を向上させることができる。又は、ゲート絶縁層上方の酸化物半
導体層を、ウエットエッチングにより島状の酸化物半導体層に加工することで、スループ
ットを向上させることができる。すなわち、比較的エッチングの制御性が要求されないゲ
ート絶縁層上方の酸化物半導体層のエッチング(島状酸化物半導体層への加工)をウエッ
トエッチングにより行い、微細化やエッチングの制御性が要求されるチャネルエッチをド
ライエッチングにより行うことにより、作製プロセス全体としてスループットを向上させ
ると共に半導体装置を高性能化することができる。また、酸化物半導体層を島状に加工す
る際にウエットエッチングを用いて行い、当該エッチング後の廃液から酸化物半導体層に
含まれるインジウム等の材料を回収して再利用することにより、資源を有効活用し低コス
ト化することができる。
本実施の形態により、高い特性を有する半導体装置を低いコストで提供することができる
。なお、本実施の形態は、他の実施の形態と適宜組み合わせて用いることができる。
(実施の形態2)
本実施の形態では、半導体装置の作製工程について上記実施の形態と異なる場合について
、図面を用いて説明する。なお、本実施の形態における半導体装置の作製工程は多くの部
分で実施の形態1と共通している。したがって、以下においては、重複する部分の説明は
省略し、異なる点について詳細に説明する。
はじめに、絶縁表面を有する基板200上にゲート電極202を形成し、続いて当該ゲー
ト電極202上にゲート絶縁層204を形成した後、酸化物半導体層206と酸化物半導
体層207を積層して形成する(図2(A)参照)。
ゲート電極202、ゲート絶縁層204、酸化物半導体層206の材料や作製方法につい
ては、実施の形態1を参照することができる。
酸化物半導体層207は、In−Ga−Zn−O系非単結晶膜で形成することができる。
例えば、In、Ga、及びZnを含む酸化物半導体ターゲット(In:Ga
:ZnO=1:1:1)を用いたスパッタ法で、酸化物半導体層206上に酸化物半導体
層207を形成することができる。この際に、酸化物半導体層206を大気に曝すことな
く酸化物半導体層207を連続して形成することが好ましい。
また、酸化物半導体層206の形成の際に用いたターゲット(In:Ga
ZnO=1:1:1)を用いて、酸化物半導体層207を形成することができる。スパッ
タの条件は、例えば、温度を20℃〜100℃、圧力を0.1Pa〜2.0Pa、電力を
250W〜3kW(8インチφ時)とすることができる。また、流量が40sccmのア
ルゴンガスを導入している。なお、ターゲットの成分比や、その他スパッタの成膜条件な
どを適宜調節することで、結晶粒の有無や、結晶粒の密度などを調節することができる。
結晶粒の直径サイズは、概ね1nm〜10nmの範囲とすることができる。酸化物半導体
層207の膜厚は、2nm〜20nm程度とすれば良い。もちろん、膜中に結晶粒が含ま
れる場合には、含まれる結晶粒のサイズは膜厚を超える大きさとならない。
ここで、上記の酸化物半導体層206と酸化物半導体層207の成膜条件を異ならせるこ
とが好ましい。例えば、酸化物半導体層206の成膜条件においては、酸化物半導体層2
07の成膜条件より、アルゴンガスの流量に対する酸素ガスの流量の比を大きくする。具
体的には、酸化物半導体層207の成膜条件は、希ガス(アルゴン、又はヘリウムなど)
雰囲気下、または、酸素ガス10%以下、希ガス90%以上の雰囲気下とし、酸化物半導
体層206の成膜条件は、酸素雰囲気下、または、希ガスに対する酸素ガスの流量比が1
以上の雰囲気下とする。
なお、酸化物半導体層206と酸化物半導体層207は互いに異なる材料を用いて形成し
ても良い。
次に、酸化物半導体層207上にレジストマスク208を形成し、当該レジストマスク2
08を用いて酸化物半導体層206及び酸化物半導体層207を選択的にエッチングして
、島状の酸化物半導体層210及び島状の酸化物半導体層211を形成する(図2(B)
参照)。
ここではITO07N(関東化学社製)又は酢酸と硝酸と燐酸との混合液を用いたウエッ
トエッチングにより、酸化物半導体層206及び酸化物半導体層207の不要な部分を除
去して、島状の酸化物半導体層210及び島状の酸化物半導体層211を形成する。なお
、上記エッチングの後にはレジストマスク208は除去する。また、ウエットエッチング
に用いるエッチャントは酸化物半導体層206及び酸化物半導体層207をエッチングで
きるものであればよく、上述したものに限られない。
上記のエッチングとしては、ウエットエッチングを用いることが好ましい。ウエットエッ
チングを用いることで、大面積を均一に、かつ、短時間で加工することが可能となるため
である。なお、ウエットエッチングを用いる場合には、エッチング後の廃液からインジウ
ムなどの材料を回収して再利用することもできる。資源の有効活用という観点からも、上
記のエッチングとしてウエットエッチングを用いることが好ましい。一方で、ドライエッ
チングを用いる場合であっても島状の酸化物半導体層210及び島状の酸化物半導体層2
11を形成することは可能であるから、上記のエッチングからドライエッチングを除外す
るものではない。
次に、島状の酸化物半導体層211上に導電層212を形成する(図2(C)参照)。導
電層212の材料や作製方法については、実施の形態1を参照することができる。
次に、導電層212上にレジストマスク214a、レジストマスク214b、レジストマ
スク214cを形成し、導電層212を選択的にエッチングして、導電層216a、21
6b、218を形成すると共に、島状の酸化物半導体層211をエッチングして導電率の
高い半導体領域215a、215bを形成し、島状の酸化物半導体層210の一部(表面
付近の一部)を除去(チャネルエッチ)する(図2(D)参照)。
島状の酸化物半導体層210の一部が除去されて形成される凹部220は、導電層216
aと導電層216bの間、及び導電率の高い半導体領域215aと導電率の高い半導体領
域215bの間の領域にあたる。そのため、導電層216aはトランジスタのソース電極
又はドレイン電極の一方として機能し、導電層216bはトランジスタのソース電極又は
ドレイン電極の他方として機能する。
なお、上記エッチングの後にはレジストマスク214a、レジストマスク214b、レジ
ストマスク214cは除去する。
この際のエッチングとしてはドライエッチングを用いることが好ましい。ドライエッチン
グを用いることで、ウエットエッチングを用いる場合と比較して配線構造などの微細化が
可能となる。また、ドライエッチングを用いることにより、エッチングの制御性が良いた
め、島状の酸化物半導体層210の除去(凹部220の形成)を制御性良く行うことがで
きる。
上記ドライエッチングとしては、特に、塩素を含有するガスを用いたドライエッチングを
用いると良い。塩素を含有するガスを用いてエッチングを行うことで、塩素を含有しない
ガスを用いる場合と比較して、エッチングの面内ばらつきを低減することができるためで
ある。
上記塩素を含有するガスには、酸素が添加されているとより好ましい。塩素と酸素とを含
有するガスを用いることで、ゲート絶縁層204と島状の酸化物半導体層210(及び島
状の酸化物半導体層211)とのエッチング選択比がとりやすく、ゲート絶縁層204へ
のダメージを十分に低減できるためである。なお、この場合には、ゲート絶縁層204と
して酸化シリコンや酸化窒化シリコン、窒化酸化シリコンといった酸化シリコンを含む材
料を用いることが好ましい。また、エッチングガス中の酸素ガスの含有量を15体積%以
上とすることにより、ゲート絶縁層204と島状の酸化物半導体層210とのエッチング
選択比を大きくし、ゲート絶縁層204へのダメージを効果的に低減することができる。
ドライエッチングに用いるガスとしては、塩素(Cl)の他、塩化硼素(BCl)、
塩化珪素(SiCl)、四塩化炭素(CCl)などの塩素系ガスや、四弗化炭素(C
)、弗化硫黄(SF)、弗化窒素(NF)、トリフルオロメタン(CHF)な
どのフッ素系ガス、臭化水素(HBr)、酸素(O)、これらのガスにヘリウム(He
)やアルゴン(Ar)などの希ガスを添加したガス、などを用いることができる。
また、導電層212の材料として、島状の酸化物半導体層210、島状の酸化物半導体層
211よりエッチングレートが大きい材料を用いることが好ましい。これは、ドライエッ
チングにより、導電層212、島状の酸化物半導体層210、及び島状の酸化物半導体層
211を一回でエッチングする場合に、島状の酸化物半導体層210及び島状の酸化物半
導体層211のエッチングレートを導電層212のエッチングレートより小さくすること
により、島状の酸化物半導体層210が過度にエッチングされることを抑制することがで
きるためである。特に、導電層212よりエッチングレートが小さい島状の酸化物半導体
層211を設けることにより、島状の酸化物半導体層210が過度にエッチングされるこ
とを効果的に抑制することができる。
また、島状の酸化物半導体層211のエッチングレートが島状の酸化物半導体層210の
エッチングレートより高い場合には、導電率の高い半導体領域215aと導電率の高い半
導体領域215bの分離、及び、島状の酸化物半導体層210の一部の除去を良好に行う
ことができるため、好ましい。
その後、200℃〜600℃、代表的には300℃〜500℃の熱処理を行うと良い。ま
た、露出している島状の酸化物半導体層210の凹部220に対して酸素ラジカル処理を
行ってもよい。詳細については、実施の形態1を参照することができる。
次に、ゲート電極202、島状の酸化物半導体層210、島状の酸化物半導体層211、
導電層216a、導電層216b等を含む薄膜トランジスタ250を覆うように、保護絶
縁層222を形成する(図2(E)参照)。保護絶縁層222としては、スパッタ法など
を用いて、窒化シリコン、酸化シリコン、窒化酸化シリコン、酸化窒化シリコン、酸化ア
ルミニウム、酸化タンタルなどの材料を含む層を形成すればよい。
その後、各種電極や配線を形成することで半導体装置が完成する。
以上のように、本実施の形態では、活性層として機能する島状の酸化物半導体層と、それ
を覆う導電層を、ドライエッチングにより加工することで、半導体装置の微細化が可能と
なり、半導体装置の性能が向上する。又は、ゲート絶縁層上方の酸化物半導体層を、ウエ
ットエッチングにより島状の酸化物半導体層に加工することで、スループットを向上させ
ることができる。すなわち、比較的エッチングの制御性が要求されないゲート絶縁層上方
の酸化物半導体層のエッチング(島状酸化物半導体層への加工)をウエットエッチングに
より行い、微細化やエッチングの制御性が要求されるチャネルエッチをドライエッチング
により行うことにより、作製プロセス全体としてスループットを向上させると共に半導体
装置を高性能化することができる。また、酸化物半導体層を島状に加工する際にウエット
エッチングを用いて行い、当該エッチング後の廃液から酸化物半導体層に含まれるインジ
ウム等の材料を回収して再利用することにより、資源を有効活用し低コスト化することが
できる。
また、本実施の形態では、島状の酸化物半導体層210と導電層216aとの間に、導電
率の高い半導体領域215aを、島状の酸化物半導体層210と導電層216bとの間に
、導電率の高い半導体領域215bを設けている。
なお、本実施の形態においては、酸化物半導体層206上に酸化物半導体層207を形成
し、酸化物半導体層206と酸化物半導体層207を一度に加工する場合について示して
いるが、本実施の形態はこの作製順序に限定されない。例えば、酸化物半導体層206を
形成した後(図3(A)参照)、島状の酸化物半導体層210に加工し(図3(B)参照
)、その後、島状の酸化物半導体層210を覆うように酸化物半導体層207及び導電層
212を形成して(図3(C)参照)、酸化物半導体層207と導電層212を一度に加
工する工程としても良い(図3(D)、図3(E)参照)。この場合、導電層212をエ
ッチングする際に、露出するゲート絶縁層204の損傷を低減することができる。特に、
導電層212よりエッチングレートが小さい酸化物半導体層207を設けることにより、
露出するゲート絶縁層204の損傷を効果的に低減することができる。
本実施の形態により、高い特性を有する半導体装置を低いコストで提供することができる
。なお、本実施の形態は、他の実施の形態と適宜組み合わせて用いることができる。
(実施の形態3)
本実施の形態では、半導体装置の使用形態の一例である表示装置の作製工程について、図
面を用いて説明する。なお、本実施の形態で示す作製工程は多くの部分で実施の形態1又
は実施の形態2と共通している。したがって、以下においては、重複する部分の説明は省
略し、異なる点について詳細に説明する。なお、以下の説明において、図5、図6は断面
図を示しており、図7〜図10は上面図を示している。
はじめに、絶縁表面を有する基板200上に配線及び電極(ゲート電極202を含むゲー
ト配線、容量配線108、第1の端子121)を形成する(図5(A)、図7参照)。
容量配線108、第1の端子121はゲート電極202と同一の材料を用いて同時に形成
することができる。なお、ゲート電極202の材料や作製方法については、実施の形態1
を参照することができる。
次に、ゲート電極202上にゲート絶縁層204を介して島状の酸化物半導体層210及
び島状の酸化物半導体層211を形成する(図5(B)、図8参照)。島状の酸化物半導
体層210及び島状の酸化物半導体層211の材料や作製方法については、実施の形態1
、2を参照することができる。
次に、第1の端子121を露出させるようにゲート絶縁層204にコンタクトホール21
3を形成した後、ゲート絶縁層204、島状の酸化物半導体層210及び島状の酸化物半
導体層211を覆うように導電層212を形成する(図5(C)参照)。
導電層212の材料や作製方法については、実施の形態1を参照することができる。なお
、本実施の形態では、導電層212と第1の端子121がコンタクトホール213を介し
て電気的に接続される。
次に、導電層212上にレジストマスク214を形成し、導電層212を選択的にエッチ
ングして、導電層216a、導電層216b、接続電極120、第2の端子122を形成
すると共に、酸化物半導体層211をエッチングして導電率の高い半導体領域215a、
導電率の高い半導体領域215bを形成し、酸化物半導体層210の一部(表面付近の一
部)を除去し当該酸化物半導体層210に凹部220を形成する(図6(A)、図9参照
)。
第2の端子122は、ソース配線(導電層216a又は導電層216bを含むソース配線
)と電気的に接続する構成とすることができる。また、接続電極120は、ゲート絶縁層
204に形成されたコンタクトホール213を介して第1の端子121と直接接続する構
成とすることができる。
また、この際のエッチングとしてはドライエッチングを用いることが好ましい。ドライエ
ッチングを用いることで、ウエットエッチングを用いる場合と比較して配線構造などの微
細化が可能となる。また、ドライエッチングを用いることにより、エッチングの制御性が
良いため、島状の酸化物半導体層210の除去(凹部220の形成)を制御性良く行うこ
とができる。なお、ドライエッチングに用いるガス等については上記実施の形態を参照す
ることができる。
次に、200℃〜600℃、代表的には300℃〜500℃の熱処理を行うことが好まし
い。例えば、窒素雰囲気下で350℃、1時間の熱処理を行う。この熱処理により島状の
酸化物半導体層210を構成するIn−Ga−Zn−O系非単結晶膜の原子レベルの再配
列が行われる。この熱処理によりキャリアの移動を阻害する歪が解放されるため、ここで
の熱処理(光アニールも含む)は効果的である。なお、熱処理を行うタイミングは、酸化
物半導体層211の成膜後であれば特に限定されず、例えば、画素電極形成後に行っても
よい。
また、露出している島状の酸化物半導体層210に、酸素ラジカル処理を行ってもよい。
酸素ラジカル処理を行うことにより島状の酸化物半導体層210をチャネル形成領域とす
る薄膜トランジスタをノーマリーオフとすることができる。また、ラジカル処理を行うこ
とにより、島状の酸化物半導体層210のエッチングによるダメージを回復することがで
きる。ラジカル処理はO、NO、好ましくは酸素を含むN、He、Ar雰囲気下で
行うことが好ましい。また、上記雰囲気にCl、CFを加えた雰囲気下で行ってもよ
い。
次に、レジストマスク214を除去した後、薄膜トランジスタ250を覆う保護絶縁層2
22を形成し、当該保護絶縁層222を選択的にエッチングして導電層216bに達する
コンタクトホール125、接続電極120に達するコンタクトホール126及び第2の端
子122に達するコンタクトホール127を形成する(図6(B)参照)。
次に、導電層216と電気的に接続する透明導電層110、接続電極120に電気的に接
続する透明導電層128及び第2の端子122に電気的に接続する透明導電層129を形
成する(図6(C)、図10参照)。
透明導電層110は画素電極として機能し、透明導電層128、129はFPCとの接続
に用いられる電極または配線となる。より具体的には、接続電極120上に形成された透
明導電層128をゲート配線の入力端子として機能する接続用の端子電極として用い、第
2の端子122上に形成された透明導電層129をソース配線の入力端子として機能する
接続用の端子電極として用いることができる。
また、容量配線108、ゲート絶縁層204、保護絶縁層222及び透明導電層110に
より保持容量を形成することができる。この場合、容量配線108と透明導電層110が
電極となり、ゲート絶縁層204と保護絶縁層222が誘電体となる。
透明導電層110、128、129は、酸化インジウム(In)、酸化インジウム
酸化スズ合金(In―SnO、ITOと略記する)、酸化インジウム酸化亜鉛合
金(In―ZnO)等をスパッタ法や真空蒸着法等を用いて形成することができる
。例えば、透明導電膜を成膜した後、当該透明導電膜上にレジストマスクを形成し、エッ
チングにより不要な部分を除去することにより透明導電層110、128、129を形成
することができる。
また、図11(A1)、図11(A2)は、この段階でのゲート配線端子部の上面図及び
断面図をそれぞれ図示している。図11(A1)は図11(A2)中のC1−C2線に沿
った断面図に相当する。図11(A1)において、保護絶縁層222上に形成される透明
導電層128は、入力端子として機能する接続用の端子電極である。また、図11(A1
)において、端子部では、ゲート配線と同じ材料で形成される第1の端子121と、ソー
ス配線と同じ材料で形成される接続電極120とがゲート絶縁層204を介して重なり直
接接して導通させている。また、接続電極120と透明導電層128が保護絶縁層222
に設けられたコンタクトホールを介して直接接して導通させている。
また、図11(B1)、及び図11(B2)は、ソース配線端子部の上面図及び断面図を
それぞれ図示している。また、図11(B1)は図11(B2)中のD1−D2線に沿っ
た断面図に相当する。図11(B1)において、保護絶縁層222上に形成される透明導
電層129は、入力端子として機能する接続用の端子電極である。また、図11(B1)
において、端子部では、ゲート配線と同じ材料で形成される電極156が、ソース配線と
電気的に接続される第2の端子122の下方にゲート絶縁層204を介して重なる場合を
示している。電極156は第2の端子122とは電気的に接続しておらず、電極156を
第2の端子122と異なる電位、例えばフローティング、GND、0Vなどに設定すれば
、ノイズ対策のための容量または静電気対策のための容量を形成することができる。また
、第2の端子122は、保護絶縁層222を介して透明導電層129と電気的に接続して
いる。
ゲート配線、ソース配線、及び容量配線は画素密度に応じて複数本設けられるものである
。また、端子部においては、ゲート配線と同電位の第1の端子、ソース配線と同電位の第
2の端子、容量配線と同電位の第3の端子などが複数並べられて配置される。それぞれの
端子の数は、それぞれ任意な数で設ければ良いものとし、実施者が適宣決定すれば良い。
以上の工程により、6枚のフォトマスクを使用して、ボトムゲート型のnチャネル型薄膜
トランジスタや保持容量等の素子を完成させることができる。そして、これらの素子を個
々の画素に対応してマトリクス状に配置することにより、アクティブマトリクス型の表示
装置を作製するための一方の基板とすることができる。本明細書では便宜上このような基
板をアクティブマトリクス基板と呼ぶ。
アクティブマトリクス型の液晶表示装置を作製する場合には、アクティブマトリクス基板
と、対向電極が設けられた対向基板との間に液晶層を設け、アクティブマトリクス基板と
対向基板とを固定する。なお、対向基板に設けられた対向電極と電気的に接続する共通電
極をアクティブマトリクス基板上に設け、共通電極と電気的に接続する第4の端子を端子
部に設ける。この第4の端子は、共通電極を固定電位、例えばGND、0Vなどに設定す
るための端子である。
また、本実施の形態で示す構成は、図10の画素構成に限られない。他の構成の一例を図
12に示す。図12は容量配線を設けず、画素電極と、隣接する画素のゲート配線とを電
極とし、保護絶縁層及びゲート絶縁層を誘電体として保持容量を形成する構成を示してい
る。この場合、容量配線及び容量配線と接続する第3の端子は省略することができる。
なお、本実施の形態は、他の実施の形態と適宜組み合わせて用いることができる。
(実施の形態4)
本実施の形態では、表示装置において、同一基板上に少なくとも駆動回路の一部と、画素
部に配置する薄膜トランジスタを作製する例について以下に説明する。
画素部に配置する薄膜トランジスタは、実施の形態3に従って形成する。また、実施の形
態3に示す薄膜トランジスタはnチャネル型TFTであるため、駆動回路のうち、nチャ
ネル型TFTで構成することができる駆動回路の一部を画素部の薄膜トランジスタと同一
基板上に形成する。
表示装置の一例であるアクティブマトリクス型液晶表示装置のブロック図の一例を図14
(A)に示す。図14(A)に示す表示装置は、基板5300上に表示素子を備えた画素
を複数有する画素部5301と、各画素を選択する走査線駆動回路5302と、選択され
た画素へのビデオ信号の入力を制御する信号線駆動回路5303とを有する。
また、実施の形態3に示す薄膜トランジスタは、nチャネル型TFTであり、nチャネル
型TFTで構成する信号線駆動回路について図15を用いて説明する。
図15に示す信号線駆動回路は、ドライバIC5601、スイッチ群5602_1〜56
02_M、第1の配線5611、第2の配線5612、第3の配線5613及び配線56
21_1〜5621_Mを有する。スイッチ群5602_1〜5602_Mそれぞれは、
第1の薄膜トランジスタ5603a、第2の薄膜トランジスタ5603b及び第3の薄膜
トランジスタ5603cを有する。
ドライバIC5601は第1の配線5611、第2の配線5612、第3の配線5613
及び配線5621_1〜5621_Mに接続される。そして、スイッチ群5602_1〜
5602_Mそれぞれは、第1の配線5611、第2の配線5612、第3の配線561
3及びスイッチ群5602_1〜5602_Mそれぞれに対応した配線5621_1〜5
621_Mに接続される。そして、配線5621_1〜5621_Mそれぞれは、第1の
薄膜トランジスタ5603a、第2の薄膜トランジスタ5603b及び第3の薄膜トラン
ジスタ5603cを介して、3つの信号線(信号線Sm−2、信号線Sm−1、信号線S
m(m=3M))に接続される。例えば、J列目の配線5621_J(配線5621_1
〜配線5621_Mのうちいずれか一)は、スイッチ群5602_Jが有する第1の薄膜
トランジスタ5603a、第2の薄膜トランジスタ5603b及び第3の薄膜トランジス
タ5603cを介して、信号線Sj−2、信号線Sj−1、信号線Sj(j=3J)に接
続される。
なお、第1の配線5611、第2の配線5612、第3の配線5613には、それぞれ信
号が入力される。
なお、ドライバIC5601は、単結晶半導体を用いて形成されていることが望ましい。
さらに、スイッチ群5602_1〜5602_Mは、画素部と同一基板上に形成されてい
ることが望ましい。したがって、ドライバIC5601とスイッチ群5602_1〜56
02_MとはFPCなどを介して接続するとよい。又は、画素部と同一基板上に貼り合わ
せなどの方法により形成された単結晶半導体を用いてドライバIC5601を形成しても
良い。
次に、図15に示した信号線駆動回路の動作について、図16のタイミングチャートを参
照して説明する。なお、図16のタイミングチャートは、i行目の走査線Giが選択され
ている場合のタイミングチャートを示している。さらに、i行目の走査線Giの選択期間
は、第1のサブ選択期間T1、第2のサブ選択期間T2及び第3のサブ選択期間T3に分
割されている。さらに、図15の信号線駆動回路は、他の行の走査線が選択されている場
合でも図16と同様の動作をする。
なお、図16のタイミングチャートは、J列目の配線5621_Jが第1の薄膜トランジ
スタ5603a、第2の薄膜トランジスタ5603b及び第3の薄膜トランジスタ560
3cを介して、信号線Sj−2、信号線Sj−1、信号線Sjに接続される場合について
示している。
なお、図16のタイミングチャートは、i行目の走査線Giが選択されるタイミング、第
1の薄膜トランジスタ5603aのオン・オフのタイミング5703a、第2の薄膜トラ
ンジスタ5603bのオン・オフのタイミング5703b、第3の薄膜トランジスタ56
03cのオン・オフのタイミング5703c及びJ列目の配線5621_Jに入力される
信号5721_Jを示している。
なお、配線5621_1〜配線5621_Mには第1のサブ選択期間T1、第2のサブ選
択期間T2及び第3のサブ選択期間T3において、それぞれ別のビデオ信号が入力される
。例えば、第1のサブ選択期間T1において配線5621_Jに入力されるビデオ信号は
信号線Sj−2に入力され、第2のサブ選択期間T2において配線5621_Jに入力さ
れるビデオ信号は信号線Sj−1に入力され、第3のサブ選択期間T3において配線56
21_Jに入力されるビデオ信号は信号線Sjに入力される。さらに、第1のサブ選択期
間T1、第2のサブ選択期間T2及び第3のサブ選択期間T3において、配線5621_
Jに入力されるビデオ信号をそれぞれData_j−2、Data_j−1、Data_
jとする。
図16に示すように、第1のサブ選択期間T1において第1の薄膜トランジスタ5603
aがオンし、第2の薄膜トランジスタ5603b及び第3の薄膜トランジスタ5603c
がオフする。このとき、配線5621_Jに入力されるData_j−2が、第1の薄膜
トランジスタ5603aを介して信号線Sj−2に入力される。第2のサブ選択期間T2
では、第2の薄膜トランジスタ5603bがオンし、第1の薄膜トランジスタ5603a
及び第3の薄膜トランジスタ5603cがオフする。このとき、配線5621_Jに入力
されるData_j−1が、第2の薄膜トランジスタ5603bを介して信号線Sj−1
に入力される。第3のサブ選択期間T3では、第3の薄膜トランジスタ5603cがオン
し、第1の薄膜トランジスタ5603a及び第2の薄膜トランジスタ5603bがオフす
る。このとき、配線5621_Jに入力されるData_jが、第3の薄膜トランジスタ
5603cを介して信号線Sjに入力される。
以上のことから、図15の信号線駆動回路は、1ゲート選択期間を3つに分割することで
、1ゲート選択期間中に1つの配線5621から3つの信号線にビデオ信号を入力するこ
とができる。したがって、図15の信号線駆動回路は、ドライバIC5601が形成され
る基板と、画素部が形成されている基板との接続数を信号線の数に比べて約1/3にする
ことができる。接続数が約1/3になることによって、図15の信号線駆動回路は、信頼
性、歩留まりなどを向上できる。
なお、図15のように、1ゲート選択期間を複数のサブ選択期間に分割し、複数のサブ選
択期間それぞれにおいて、ある1つの配線から複数の信号線それぞれにビデオ信号を入力
することができれば、薄膜トランジスタの配置や数、駆動方法などは限定されない。
例えば、3つ以上のサブ選択期間それぞれにおいて1つの配線から3つ以上の信号線それ
ぞれにビデオ信号を入力する場合は、薄膜トランジスタ及び薄膜トランジスタを制御する
ための配線を追加すればよい。ただし、1ゲート選択期間を4つ以上のサブ選択期間に分
割すると、1つのサブ選択期間が短くなる。したがって、1ゲート選択期間は、2つ又は
3つのサブ選択期間に分割されることが望ましい。
別の例として、図17のタイミングチャートに示すように、1つの選択期間をプリチャー
ジ期間Tp、第1のサブ選択期間T1、第2のサブ選択期間T2、第3の選択期間T3に
分割してもよい。さらに、図17のタイミングチャートは、i行目の走査線Giが選択さ
れるタイミング、第1の薄膜トランジスタ5603aのオン・オフのタイミング5803
a、第2の薄膜トランジスタ5603bのオン・オフのタイミング5803b、第3の薄
膜トランジスタ5603cのオン・オフのタイミング5803c及びJ列目の配線562
1_Jに入力される信号5821_Jを示している。図17に示すように、プリチャージ
期間Tpにおいて第1の薄膜トランジスタ5603a、第2の薄膜トランジスタ5603
b及び第3の薄膜トランジスタ5603cがオンする。このとき、配線5621_Jに入
力されるプリチャージ電圧Vpが第1の薄膜トランジスタ5603a、第2の薄膜トラン
ジスタ5603b及び第3の薄膜トランジスタ5603cを介してそれぞれ信号線Sj−
2、信号線Sj−1、信号線Sjに入力される。第1のサブ選択期間T1において第1の
薄膜トランジスタ5603aがオンし、第2の薄膜トランジスタ5603b及び第3の薄
膜トランジスタ5603cがオフする。このとき、配線5621_Jに入力されるDat
a_j−2が、第1の薄膜トランジスタ5603aを介して信号線Sj−2に入力される
。第2のサブ選択期間T2では、第2の薄膜トランジスタ5603bがオンし、第1の薄
膜トランジスタ5603a及び第3の薄膜トランジスタ5603cがオフする。このとき
、配線5621_Jに入力されるData_j−1が、第2の薄膜トランジスタ5603
bを介して信号線Sj−1に入力される。第3のサブ選択期間T3では、第3の薄膜トラ
ンジスタ5603cがオンし、第1の薄膜トランジスタ5603a及び第2の薄膜トラン
ジスタ5603bがオフする。このとき、配線5621_Jに入力されるData_jが
、第3の薄膜トランジスタ5603cを介して信号線Sjに入力される。
以上のことから、図17のタイミングチャートを適用した図15の信号線駆動回路は、サ
ブ選択期間の前にプリチャージ選択期間を設けることによって、信号線をプリチャージで
きるため、画素へのビデオ信号の書き込みを高速に行うことができる。なお、図17にお
いて、図16と同様なものに関しては共通の符号を用いて示し、同一部分又は同様な機能
を有する部分の詳細な説明は省略する。
また、走査線駆動回路の構成について説明する。走査線駆動回路は、シフトレジスタ、バ
ッファを有している。また場合によってはレベルシフタを有していても良い。走査線駆動
回路において、シフトレジスタにクロック信号(CLK)及びスタートパルス信号(SP
)が入力されることによって、選択信号が生成される。生成された選択信号はバッファに
おいて緩衝増幅され、対応する走査線に供給される。走査線には、1ライン分の画素のト
ランジスタのゲート電極が接続されている。そして、1ライン分の画素のトランジスタを
一斉にONにしなくてはならないので、バッファは大きな電流を流すことが可能なものが
用いられる。
走査線駆動回路の一部に用いるシフトレジスタの一形態について図18及び図19を用い
て説明する。
図18にシフトレジスタの回路構成を示す。図18に示すシフトレジスタは、フリップフ
ロップ5701_1〜5701_nという複数のフリップフロップで構成される。また、
第1のクロック信号、第2のクロック信号、スタートパルス信号、リセット信号が入力さ
れて動作する。
図18のシフトレジスタの接続関係について説明する。1段目のフリップフロップ570
1_1は、第1の配線5711、第2の配線5712、第4の配線5714、第5の配線
5715、第7の配線5717_1、及び第7の配線5717_2と接続される。また、
2段目のフリップフロップ5701_2は、第3の配線5713、第4の配線5714、
第5の配線5715、第7の配線5717_1、第7の配線5717_2及び第7の配線
5717_3と接続される。
同様に、i段目のフリップフロップ5701_i(フリップフロップ5701_1〜57
01_nのうちいずれか一)は、第2の配線5712又は第3の配線5713の一方、第
4の配線5714、第5の配線5715、第7の配線5717_i−1、第7の配線57
17_i、及び第7の配線5717_i+1と接続される。ここで、iが奇数の場合には
、i段目のフリップフロップ5701_iは第2の配線5712と接続され、iが偶数で
ある場合には、i段目のフリップフロップ5701_iは第3の配線5713と接続され
ることになる。
また、n段目のフリップフロップ5701_nは、第2の配線5712又は第3の配線5
713の一方、第4の配線5714、第5の配線5715、第7の配線5717_n−1
、第7の配線5717_n、及び第6の配線5716と接続される。
なお、第1の配線5711、第2の配線5712、第3の配線5713、第6の配線57
16を、それぞれ第1の信号線、第2の信号線、第3の信号線、第4の信号線と呼んでも
よい。さらに、第4の配線5714、第5の配線5715を、それぞれ第1の電源線、第
2の電源線と呼んでもよい。
次に、図18に示すフリップフロップの詳細について、図19を用いて説明する。図19
に示すフリップフロップは、第1の薄膜トランジスタ5571、第2の薄膜トランジスタ
5572、第3の薄膜トランジスタ5573、第4の薄膜トランジスタ5574、第5の
薄膜トランジスタ5575、第6の薄膜トランジスタ5576、第7の薄膜トランジスタ
5577及び第8の薄膜トランジスタ5578を有する。なお、第1の薄膜トランジスタ
5571、第2の薄膜トランジスタ5572、第3の薄膜トランジスタ5573、第4の
薄膜トランジスタ5574、第5の薄膜トランジスタ5575、第6の薄膜トランジスタ
5576、第7の薄膜トランジスタ5577及び第8の薄膜トランジスタ5578は、n
チャネル型トランジスタであり、ゲート・ソース間電圧(Vgs)がしきい値電圧(Vt
h)を上回ったとき導通状態になるものとする。
また、図19に示すフリップフロップは、第1の配線5501、第2の配線5502、第
3の配線5503、第4の配線5504、第5の配線5505、及び第6の配線5506
を有する。
なお、ここでは全ての薄膜トランジスタを、エンハンスメント型のnチャネル型トランジ
スタとする例を示すが、特に限定されず、例えば、デプレッション型のnチャネル型トラ
ンジスタを用いて駆動回路を駆動させることもできる。
次に、図18に示すフリップフロップの接続構成について、以下に示す。
第1の薄膜トランジスタ5571の第1の電極(ソース電極またはドレイン電極の一方)
が第4の配線5504に接続され、第2の電極(ソース電極またはドレイン電極の他方)
が第3の配線5503に接続される。
第2の薄膜トランジスタ5572の第1の電極が第6の配線5506に接続され、第2の
電極が第3の配線5503に接続される。
第3の薄膜トランジスタ5573の第1の電極及びゲート電極が第5の配線5505に接
続され、第2の電極が第2の薄膜トランジスタ5572のゲート電極に接続される。
第4の薄膜トランジスタ5574の第1の電極が第6の配線5506に接続され、ゲート
電極が第1の薄膜トランジスタ5571のゲート電極に接続され、第2の電極が第2の薄
膜トランジスタ5572のゲート電極に接続される。
第5の薄膜トランジスタ5575の第1の電極が第5の配線5505に接続され、ゲート
電極が第1の配線5501に接続され、第2の電極が第1の薄膜トランジスタ5571の
ゲート電極に接続される。
第6の薄膜トランジスタ5576の第1の電極が第6の配線5506に接続され、ゲート
電極が第2の薄膜トランジスタ5572のゲート電極に接続され、第2の電極が第1の薄
膜トランジスタ5571のゲート電極に接続される。
第7の薄膜トランジスタ5577の第1の電極が第6の配線5506に接続され、ゲート
電極が第2の配線5502に接続され、第2の電極が第1の薄膜トランジスタ5571の
ゲート電極に接続される。
第8の薄膜トランジスタ5578の第1の電極が第6の配線5506に接続され、ゲート
電極が第1の配線5501に接続され、第2の電極が第2の薄膜トランジスタ5572の
ゲート電極に接続される。
なお、第1の薄膜トランジスタ5571のゲート電極、第4の薄膜トランジスタ5574
のゲート電極、第5の薄膜トランジスタ5575の第2の電極、第6の薄膜トランジスタ
5576の第2の電極及び第7の薄膜トランジスタ5577の第2の電極の接続箇所をノ
ード5543とする。さらに、第2の薄膜トランジスタ5572のゲート電極、第3の薄
膜トランジスタ5573の第2の電極、第4の薄膜トランジスタ5574の第2の電極、
第6の薄膜トランジスタ5576のゲート電極及び第8の薄膜トランジスタ5578の第
2の電極の接続箇所をノード5544とする。
なお、第1の配線5501、第2の配線5502、第3の配線5503及び第4の配線5
504を、それぞれ第1の信号線、第2の信号線、第3の信号線、第4の信号線と呼んで
もよい。さらに、第5の配線5505を第1の電源線、第6の配線5506を第2の電源
線と呼んでもよい。
i段目のフリップフロップ5701_iにおいて、図19中の第1の配線5501と、図
18中の第7の配線5717_i−1が接続される。また、図19中の第2の配線550
2と、図18中の第7の配線5717_i+1が接続される。また、図19中の第3の配
線5503と、第7の配線5717_iが接続される。さらに、図19中の第6の配線5
506と、第5の配線5715が接続される。
iが奇数の場合、図19中の第4の配線5504は、図18中の第2の配線5712と接
続され、iが偶数の場合、図18中の第3の配線5713と接続される。また、図19中
の第5の配線5505と、図18中の第4の配線5714が接続される。
ただし、1段目のフリップフロップ5701_1において、図19中の第1の配線550
1は図18中の第1の配線5711に接続される。また、n段目のフリップフロップ57
01_nにおいて、図19中の第2の配線5502は図18中の第6の配線5716に接
続される。
なお、信号線駆動回路及び走査線駆動回路を実施の形態3に示すnチャネル型TFTのみ
で作製することも可能である。実施の形態3に示すnチャネル型TFTはトランジスタの
移動度が大きいため、駆動回路の駆動周波数を高くすることが可能となる。また、実施の
形態3に示すnチャネル型TFTはIn−Ga−Zn−O系非単結晶膜であるソース領域
又はドレイン領域により寄生容量が低減されるため、周波数特性(f特性と呼ばれる)が
高い。例えば、実施の形態3に示すnチャネル型TFTを用いた走査線駆動回路は、高速
に動作させることができるため、フレーム周波数を高くすること、または、黒画面挿入を
実現することなども実現することができる。
さらに、走査線駆動回路のトランジスタのチャネル幅を大きくすることや、複数の走査線
駆動回路を配置することなどによって、さらに高いフレーム周波数を実現することができ
る。複数の走査線駆動回路を配置する場合は、例えば、偶数行の走査線を駆動する為の走
査線駆動回路を片側に配置し、奇数行の走査線を駆動するための走査線駆動回路をその反
対側に配置することにより、フレーム周波数を高くすることができる。また、複数の走査
線駆動回路により、同じ走査線に信号を出力すると、表示装置の大型化に有利である。
また、表示装置の一例であるアクティブマトリクス型発光表示装置を作製する場合、少な
くとも一つの画素に複数の薄膜トランジスタを配置するため、走査線駆動回路を複数配置
することが好ましい。アクティブマトリクス型発光表示装置のブロック図の一例を図14
(B)に示す。
図14(B)に示す発光表示装置は、基板5400上に表示素子を備えた画素を複数有す
る画素部5401と、各画素を選択する第1の走査線駆動回路5402及び第2の走査線
駆動回路5404と、選択された画素へのビデオ信号の入力を制御する信号線駆動回路5
403とを有する。
図14(B)に示す発光表示装置の画素に入力されるビデオ信号をデジタル形式とする場
合、画素はトランジスタのオンとオフの切り替えによって、発光もしくは非発光の状態と
なる。よって、面積階調法または時間階調法を用いて階調の表示を行うことができる。面
積階調法は、1画素を複数の副画素に分割し、各副画素を独立にビデオ信号に基づいて駆
動させることによって、階調表示を行う駆動法である。また時間階調法は、画素が発光す
る期間を制御することによって、階調表示を行う駆動法である。
発光素子は、液晶素子などに比べて応答速度が高いので、液晶素子よりも時間階調法に適
している。時間階調法で表示を行なう場合、1フレーム期間を複数のサブフレーム期間に
分割する。そしてビデオ信号に従い、各サブフレーム期間において画素の発光素子を発光
または非発光の状態にする。複数のサブフレーム期間に分割することによって、1フレー
ム期間中に画素が発光する期間の合計の長さを、ビデオ信号により制御することができ、
階調を表示することができる。
なお、図14(B)に示す発光表示装置では、一つの画素に2つのスイッチング用TFT
を配置する場合であって、一方のスイッチング用TFTのゲート配線である第1の走査線
に入力される信号を第1走査線駆動回路5402で生成し、他方のスイッチング用TFT
のゲート配線である第2の走査線に入力される信号を第2の走査線駆動回路5404で生
成する例を示しているが、第1の走査線に入力される信号と、第2の走査線に入力される
信号とを、共に1つの走査線駆動回路で生成するようにしても良い。また、例えば、1つ
の画素が有するスイッチング用TFTの数によって、スイッチング素子の動作を制御する
ために用いられる走査線が、各画素に複数設けられることもあり得る。この場合、複数の
走査線に入力される信号を、全て1つの走査線駆動回路で生成しても良いし、複数の各走
査線駆動回路で生成しても良い。
また、発光表示装置においても、駆動回路のうち、nチャネル型TFTで構成することが
できる駆動回路の一部を画素部の薄膜トランジスタと同一基板上に形成することができる
。また、信号線駆動回路及び走査線駆動回路を実施の形態3に示すnチャネル型TFTの
みで作製することも可能である。
また、上述した駆動回路は、液晶表示装置や発光表示装置に限らず、スイッチング素子と
電気的に接続する素子を利用して電子インクを駆動させる電子ペーパーに用いてもよい。
電子ペーパーは、電気泳動表示装置(電気泳動ディスプレイ)とも呼ばれており、紙と同
じ読みやすさを実現し、他の表示装置に比べ消費電力を抑え、且つ、薄型、軽量とするこ
とが可能である。
電気泳動ディスプレイは、様々な形態が考えられ得るが、例えば、プラスの電荷を有する
第1の粒子と、マイナスの電荷を有する第2の粒子とを含むマイクロカプセルが溶媒また
は溶質に複数分散された構成とすることができ、この場合、マイクロカプセルに電界を印
加することによって、マイクロカプセル中の粒子を互いに反対方向に移動させて一方側に
集合した粒子の色のみを表示することができる。なお、第1の粒子または第2の粒子は染
料を含み、電界がない場合において移動しないものである。また、第1の粒子の色と第2
の粒子の色は異なるもの(無色を含む)とする。
このように、電気泳動ディスプレイは、電界などにより微粒子が移動する機構を利用した
ディスプレイである。電気泳動ディスプレイでは、液晶表示装置には必要な偏光板や、対
向基板が不要であり、厚さや重さを著しく低減することができる。
上記マイクロカプセルを溶媒中に分散させたものが電子インクと呼ばれるものであり、こ
の電子インクはガラス、プラスチック、布、紙などの表面に印刷することができる。また
、カラーフィルタや色素を有する粒子を用いることによってカラー表示も可能である。
アクティブマトリクス基板上にマイクロカプセルを複数配置して、アクティブマトリクス
基板に形成された電極と別の電極とでマイクロカプセルを挟み込むことによりアクティブ
マトリクス型の表示装置が完成し、マイクロカプセルに電界を印加すれば表示を行うこと
ができる。アクティブマトリクス基板としては、例えば、実施の形態3の薄膜トランジス
タによって得られるアクティブマトリクス基板を用いることができる。
なお、マイクロカプセル中の第1の粒子および第2の粒子は、導電体材料、絶縁体材料、
半導体材料、磁性材料、液晶材料、強誘電性材料、エレクトロルミネセント材料、エレク
トロクロミック材料、磁気泳動材料から選ばれた一種の材料、またはこれらの複合材料を
用いればよい。
以上の工程により、半導体装置として信頼性の高い表示装置を作製することができる。
本実施の形態は、他の実施の形態に記載した構成と適宜組み合わせて実施することが可能
である。
(実施の形態5)
本実施の形態では、薄膜トランジスタを作製し、該薄膜トランジスタを画素部、さらには
駆動回路に用いて表示機能を有する半導体装置(表示装置ともいう)を作製する場合につ
いて説明する。また、薄膜トランジスタを、駆動回路の一部または全体を、画素部と同じ
基板上に一体形成し、システムオンパネルを形成することができる。
表示装置は表示素子を含む。表示素子としては液晶素子(液晶表示素子ともいう)、発光
素子(発光表示素子ともいう)を用いることができる。発光素子は、電流または電圧によ
って輝度が制御される素子をその範疇に含んでおり、具体的には無機EL(Electr
o Luminescence)、有機EL等が含まれる。また、電子インクなど、電気
的作用によりコントラストが変化する表示媒体も適用することができる。
また、表示装置は、表示素子が封止された状態にあるパネルと、該パネルにコントローラ
を含むIC等を実装した状態にあるモジュールとを含む。さらに表示装置は、該表示装置
を作製する過程における、表示素子が完成する前の一形態に相当する素子基板に関し、該
素子基板は、電流を表示素子に供給するための手段を複数の各画素に備える。素子基板は
、具体的には、表示素子の画素電極のみが形成された状態であっても良いし、画素電極と
なる導電膜を成膜した後であって、エッチングして画素電極を形成する前の状態であって
も良いし、あらゆる形態があてはまる。
なお、本明細書中における表示装置とは、画像表示デバイス、表示デバイス、もしくは光
源(照明装置含む)を指す。また、コネクター、例えばFPC(Flexible pr
inted circuit)もしくはTAB(Tape Automated Bon
ding)テープもしくはTCP(Tape Carrier Package)が取り
付けられたモジュール、TABテープやTCPの先にプリント配線板が設けられたモジュ
ール、または表示素子にCOG(Chip On Glass)方式によりIC(集積回
路)が直接実装されたモジュールも全て表示装置に含むものとする。
本実施の形態では、半導体装置として液晶表示装置の例を示す。まず、半導体装置の一形
態に相当する液晶表示パネルの外観及び断面について、図22を用いて説明する。図22
は、第1の基板4001上に形成された実施の形態3で示したIn−Ga−Zn−O系非
単結晶膜を半導体層として含む信頼性の高い薄膜トランジスタ4010、4011、及び
液晶素子4013を、第2の基板4006との間にシール材4005によって封止した、
パネルの上面図であり、図22(B)は、図22(A1)(A2)のM−Nにおける断面
図に相当する。
第1の基板4001上に設けられた画素部4002と、走査線駆動回路4004とを囲む
ようにして、シール材4005が設けられている。また画素部4002と、走査線駆動回
路4004の上に第2の基板4006が設けられている。よって画素部4002と、走査
線駆動回路4004とは、第1の基板4001とシール材4005と第2の基板4006
とによって、液晶層4008と共に封止されている。また第1の基板4001上のシール
材4005によって囲まれている領域とは異なる領域に、別途用意された基板上に単結晶
半導体膜又は多結晶半導体膜で形成された信号線駆動回路4003が実装されている。
なお、別途形成した駆動回路の接続方法は、特に限定されるものではなく、COG方法、
ワイヤボンディング方法、或いはTAB方法などを用いることができる。図22(A1)
は、COG方法により信号線駆動回路4003を実装する例であり、図22(A2)は、
TAB方法により信号線駆動回路4003を実装する例である。
また、第1の基板4001上に設けられた画素部4002と、走査線駆動回路4004は
、薄膜トランジスタを複数有しており、図22(B)では、画素部4002に含まれる薄
膜トランジスタ4010と、走査線駆動回路4004に含まれる薄膜トランジスタ401
1とを例示している。薄膜トランジスタ4010、4011上には絶縁層4020、40
21が設けられている。
薄膜トランジスタ4010、4011は、In−Ga−Zn−O系非単結晶膜を半導体層
として含む信頼性の高い実施の形態3に示す薄膜トランジスタを適用することができる。
本実施の形態において、薄膜トランジスタ4010、4011はnチャネル型薄膜トラン
ジスタである。
また、液晶素子4013が有する画素電極層4030は、薄膜トランジスタ4010と電
気的に接続されている。そして液晶素子4013の対向電極層4031は第2の基板40
06上に形成されている。画素電極層4030と対向電極層4031と液晶層4008と
が重なっている部分が、液晶素子4013に相当する。なお、画素電極層4030、対向
電極層4031はそれぞれ配向膜として機能する絶縁層4032、4033が設けられ、
絶縁層4032、4033を介して液晶層4008を挟持している。
なお、第1の基板4001、第2の基板4006としては、ガラス、金属(代表的にはス
テンレス)、セラミックス、プラスチックを用いることができる。プラスチックとしては
、FRP(Fiberglass−Reinforced Plastics)板、PV
F(ポリビニルフルオライド)フィルム、ポリエステルフィルム、またはアクリル樹脂フ
ィルムを用いることができる。また、アルミニウムホイルをPVFフィルムやポリエステ
ルフィルムで挟んだ構造のシートを用いることもできる。
また、4035は絶縁膜を選択的にエッチングすることで得られる柱状のスペーサであり
、画素電極層4030と対向電極層4031との間の距離(セルギャップ)を制御するた
めに設けられている。なお球状のスペーサを用いていても良い。また、対向電極層403
1は、薄膜トランジスタ4010と同一基板上に設けられる共通電位線と電気的に接続さ
れる。共通接続部を用いて、一対の基板間に配置される導電性粒子を介して対向電極層4
031と共通電位線とを電気的に接続することができる。なお、導電性粒子はシール材4
005に含有させる。
また、配向膜を用いないブルー相を示す液晶を用いてもよい。ブルー相は液晶相の一つで
あり、コレステリック液晶を昇温していくと、コレステリック相から等方相へ転移する直
前に発現する相である。ブルー相は狭い温度範囲でしか発現しないため、温度範囲を改善
するために5重量%以上のカイラル剤を混合させた液晶組成物を用いて液晶層4008に
用いる。ブルー相を示す液晶とカイラル剤とを含む液晶組成物は、応答速度が10μs〜
100μsと短く、光学的等方性であるため配向処理が不要であり、視野角依存性が小さ
い。
なお、本実施の形態で示す液晶表示装置は透過型液晶表示装置の例であるが、液晶表示装
置は反射型液晶表示装置でも半透過型液晶表示装置でも適用できる。
また、本実施の形態で示す液晶表示装置では、基板の外側(視認側)に偏光板を設け、内
側に着色層、表示素子に用いる電極層という順に設ける例を示すが、偏光板は基板の内側
に設けてもよい。また、偏光板と着色層の積層構造も本実施の形態に限定されず、偏光板
及び着色層の材料や作製工程条件によって適宜設定すればよい。また、ブラックマトリク
スとして機能する遮光膜を設けてもよい。
また、本実施の形態では、薄膜トランジスタの表面凹凸を低減するため、及び薄膜トラン
ジスタの信頼性を向上させるため、実施の形態3で得られた薄膜トランジスタを保護膜や
平坦化絶縁膜として機能する絶縁層(絶縁層4020、絶縁層4021)で覆う構成とな
っている。なお、保護膜は、大気中に浮遊する有機物や金属物、水蒸気などの汚染不純物
の侵入を防ぐためのものであり、緻密な膜が好ましい。保護膜は、スパッタ法を用いて、
酸化珪素膜、窒化珪素膜、酸化窒化珪素膜、窒化酸化珪素膜、酸化アルミニウム膜、窒化
アルミニウム膜、酸化窒化アルミニウム膜、又は窒化酸化アルミニウム膜の単層、又は積
層で形成すればよい。本実施の形態では保護膜をスパッタ法で形成する例を示すが、特に
限定されず種々の方法で形成すればよい。
ここでは、保護膜として積層構造の絶縁層4020を形成する。ここでは、絶縁層402
0の一層目として、スパッタ法を用いて酸化珪素膜を形成する。保護膜として酸化珪素膜
を用いると、ソース電極層及びドレイン電極層として用いるアルミニウム膜のヒロック防
止に効果がある。
また、保護膜の二層目として絶縁層を形成する。ここでは、ここでは、絶縁層4020の
二層目として、スパッタ法を用いて窒化珪素膜を形成する。保護膜として窒化珪素膜を用
いると、ナトリウム等の可動イオンが半導体領域中に侵入して、TFTの電気特性を変化
させることを抑制することができる。
また、保護膜を形成した後に、半導体層のアニール(300℃〜400℃)を行ってもよ
い。
また、平坦化絶縁膜として絶縁層4021を形成する。絶縁層4021としては、ポリイ
ミド、アクリル、ベンゾシクロブテン、ポリアミド、エポキシ等の、耐熱性を有する有機
材料を用いることができる。また上記有機材料の他に、低誘電率材料(low−k材料)
、シロキサン系樹脂、PSG(リンガラス)、BPSG(リンボロンガラス)等を用いる
ことができる。なお、これらの材料で形成される絶縁膜を複数積層させることで、絶縁層
4021を形成してもよい。
なおシロキサン系樹脂とは、シロキサン系材料を出発材料として形成されたSi−O−S
i結合を含む樹脂に相当する。シロキサン系樹脂は置換基としては有機基(例えばアルキ
ル基やアリール基)やフルオロ基を用いても良い。また、有機基はフルオロ基を有してい
ても良い。
絶縁層4021の形成法は、特に限定されず、その材料に応じて、スパッタ法、SOG法
、スピンコート、ディップ、スプレー塗布、液滴吐出法(インクジェット法、スクリーン
印刷、オフセット印刷等)、ドクターナイフ、ロールコーター、カーテンコーター、ナイ
フコーター等を用いることができる。絶縁層4021を材料液を用いて形成する場合、ベ
ークする工程で同時に、半導体層のアニール(300℃〜400℃)を行ってもよい。絶
縁層4021の焼成工程と半導体層のアニールを兼ねることで効率よく半導体装置を作製
することが可能となる。
画素電極層4030、対向電極層4031は、酸化タングステンを含むインジウム酸化物
、酸化タングステンを含むインジウム亜鉛酸化物、酸化チタンを含むインジウム酸化物、
酸化チタンを含むインジウム錫酸化物、インジウム錫酸化物(以下、ITOと示す。)、
インジウム亜鉛酸化物、酸化ケイ素を添加したインジウム錫酸化物などの透光性を有する
導電性材料を用いることができる。
また、画素電極層4030、対向電極層4031として、導電性高分子(導電性ポリマー
ともいう)を含む導電性組成物を用いて形成することができる。導電性組成物を用いて形
成した画素電極は、シート抵抗が1.0×10Ω/sq.以下、波長550nmにおけ
る透光率が70%以上であることが好ましい。また、導電性組成物に含まれる導電性高分
子の抵抗率が0.1Ω・cm以下であることが好ましい。
導電性高分子としては、いわゆるπ電子共役系導電性高分子が用いることができる。例え
ば、ポリアニリンまたはその誘導体、ポリピロールまたはその誘導体、ポリチオフェンま
たはその誘導体、若しくはこれらの2種以上の共重合体などがあげられる。
また別途形成された信号線駆動回路4003と、走査線駆動回路4004または画素部4
002に与えられる各種信号及び電位は、FPC4018から供給されている。
本実施の形態では、接続端子電極4015が、液晶素子4013が有する画素電極層40
30と同じ導電膜から形成され、端子電極4016は、薄膜トランジスタ4010、40
11のソース電極層及びドレイン電極層と同じ導電膜で形成されている。
接続端子電極4015は、FPC4018が有する端子と、異方性導電膜4019を介し
て電気的に接続されている。
また図22においては、信号線駆動回路4003を別途形成し、第1の基板4001に実
装している例を示しているが、本実施の形態はこの構成に限定されない。走査線駆動回路
を別途形成して実装しても良いし、信号線駆動回路の一部または走査線駆動回路の一部の
みを別途形成して実装しても良い。
図23は、半導体装置の一形態に相当する液晶表示モジュールにTFT基板2600を用
いて構成する一例を示している。
図23は液晶表示モジュールの一例であり、TFT基板2600と対向基板2601がシ
ール材2602により固着され、その間にTFT等を含む画素部2603、液晶層を含む
表示素子2604、着色層2605、偏光板2606が設けられ表示領域を形成している
。着色層2605はカラー表示を行う場合に必要であり、RGB方式の場合は、赤、緑、
青の各色に対応した着色層が各画素に対応して設けられている。TFT基板2600と対
向基板2601の外側には偏光板2606、偏光板2607、拡散板2613が配設され
ている。光源は冷陰極管2610と反射板2611により構成され、回路基板2612は
、フレキシブル配線基板2609によりTFT基板2600の配線回路部2608と接続
され、コントロール回路や電源回路などの外部回路が組みこまれている。また偏光板と、
液晶層との間に位相差板を有した状態で積層してもよい。
液晶表示モジュールには、TN(Twisted Nematic)モード、IPS(I
n−Plane−Switching)モード、FFS(Fringe Field S
witching)モード、MVA(Multi−domain Vertical A
lignment)モード、PVA(Patterned Vertical Alig
nment)、ASM(Axially Symmetric aligned Mic
ro−cell)モード、OCB(Optical Compensated Bire
fringence)モード、FLC(Ferroelectric Liquid C
rystal)モード、AFLC(AntiFerroelectric Liquid
Crystal)などを用いることができる。
以上の工程により、半導体装置として信頼性の高い液晶表示装置を作製することができる
本実施の形態は、他の実施の形態に記載した構成と適宜組み合わせて実施することが可能
である。
(実施の形態6)
本実施の形態では、半導体装置の一例として電子ペーパーを示す。
図13は、半導体装置の一例としてアクティブマトリクス型の電子ペーパーを示す。半導
体装置に用いられる薄膜トランジスタ581としては、上記実施の形態1〜3で示す薄膜
トランジスタと同様に作製できる。
図13の電子ペーパーは、ツイストボール表示方式を用いた表示装置の例である。ツイス
トボール表示方式とは、白と黒に塗り分けられた球形粒子を表示素子に用いる電極層であ
る第1の電極層及び第2の電極層の間に配置し、第1の電極層及び第2の電極層に電位差
を生じさせることによって、球形粒子の向きを制御し、表示を行う方法である。
基板580上に設けられた薄膜トランジスタ581はボトムゲート構造の薄膜トランジス
タであり、ソース電極層又はドレイン電極層が第1の電極層587と、絶縁層583、5
84、585に形成されたコンタクトホールを介して電気的に接続している。第1の電極
層587と第2の電極層588との間には、黒色領域590a及び白色領域590bを有
し、周りに液体で満たされているキャビティ594を含む球形粒子589が設けられてお
り、球形粒子589の周囲は樹脂等の充填材595が設けられている(図13参照)。図
13においては、第1の電極層587が画素電極に相当し、第2の電極層588が共通電
極に相当する。第2の電極層588は、薄膜トランジスタ581と同一基板上に設けられ
る共通電位線と電気的に接続される。上記実施の形態に示す共通接続部を用いて、一対の
基板間に配置される導電性粒子を介して、基板596に設けられた第2の電極層588と
共通電位線とを電気的に接続することができる。
また、ツイストボールの代わりに、電気泳動素子を用いることも可能である。その場合、
透明な液体と、正に帯電した白い微粒子と負に帯電した黒い微粒子とを封入した直径10
μm〜200μm程度のマイクロカプセルを用いる。第1の電極層と第2の電極層との間
に設けられるマイクロカプセルは、第1の電極層と第2の電極層によって、電場が与えら
れると、白い微粒子と、黒い微粒子が逆の方向に移動し、白または黒を表示することがで
きる。この原理を応用した表示素子が電気泳動表示素子であり、一般的に電子ペーパーと
よばれている。電気泳動表示素子は、液晶表示素子に比べて反射率が高いため、補助ライ
トは不要であり、また消費電力が小さく、薄暗い場所でも表示部を認識することが可能で
ある。また、表示部に電源が供給されない場合であっても、一度表示した像を保持するこ
とが可能であるため、電波発信源から表示機能付き半導体装置(単に表示装置、又は表示
装置を具備する半導体装置ともいう)を遠ざけた場合であっても、表示された像を保存し
ておくことが可能となる。
以上のように、半導体装置として信頼性の高い電子ペーパーを作製することができる。
本実施の形態は、他の実施の形態に記載した構成と適宜組み合わせて実施することが可能
である。
(実施の形態7)
本実施の形態では、半導体装置として発光表示装置の例を示す。表示装置の有する表示素
子としては、ここではエレクトロルミネッセンスを利用する発光素子を用いて示す。エレ
クトロルミネッセンスを利用する発光素子は、発光材料が有機化合物であるか、無機化合
物であるかによって区別され、一般的に、前者は有機EL素子、後者は無機EL素子と呼
ばれている。
有機EL素子は、発光素子に電圧を印加することにより、一対の電極から電子および正孔
がそれぞれ発光性の有機化合物を含む層に注入され、電流が流れる。そして、それらキャ
リア(電子および正孔)が再結合することにより、発光性の有機化合物が励起状態を形成
し、その励起状態が基底状態に戻る際に発光する。このようなメカニズムから、このよう
な発光素子は、電流励起型の発光素子と呼ばれる。
無機EL素子は、その素子構成により、分散型無機EL素子と薄膜型無機EL素子とに分
類される。分散型無機EL素子は、発光材料の粒子をバインダ中に分散させた発光層を有
するものであり、発光メカニズムはドナー準位とアクセプター準位を利用するドナー−ア
クセプター再結合型発光である。薄膜型無機EL素子は、発光層を誘電体層で挟み込み、
さらにそれを電極で挟んだ構造であり、発光メカニズムは金属イオンの内殻電子遷移を利
用する局在型発光である。なお、ここでは、発光素子として有機EL素子を用いて説明す
る。
図20は、半導体装置の一例としてデジタル時間階調駆動を適用可能な画素構成の一例を
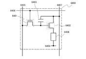
示す図である。
デジタル時間階調駆動を適用可能な画素の構成及び画素の動作について説明する。ここで
は酸化物半導体層(In−Ga−Zn−O系非単結晶膜)をチャネル形成領域に用いるn
チャネル型のトランジスタを1つの画素に2つ用いる例を示す。
画素6400は、スイッチング用トランジスタ6401、駆動用トランジスタ6402、
発光素子6404及び容量素子6403を有している。スイッチング用トランジスタ64
01はゲートが走査線6406に接続され、第1電極(ソース電極及びドレイン電極の一
方)が信号線6405に接続され、第2電極(ソース電極及びドレイン電極の他方)が駆
動用トランジスタ6402のゲートに接続されている。駆動用トランジスタ6402は、
ゲートが容量素子6403を介して電源線6407に接続され、第1電極が電源線640
7に接続され、第2電極が発光素子6404の第1電極(画素電極)に接続されている。
発光素子6404の第2電極は共通電極6408に相当する。共通電極6408は、同一
基板上に形成される共通電位線と電気的に接続され、その接続部分を共通接続部として、
図1(A)、図2(A)、或いは図3(A)に示す構造とすればよい。
なお、発光素子6404の第2電極(共通電極6408)には低電源電位が設定されてい
る。なお、低電源電位とは、電源線6407に設定される高電源電位を基準にして低電源
電位<高電源電位を満たす電位であり、低電源電位としては例えばGND、0Vなどが設
定されていても良い。この高電源電位と低電源電位との電位差を発光素子6404に印加
して、発光素子6404に電流を流して発光素子6404を発光させるため、高電源電位
と低電源電位との電位差が発光素子6404の順方向しきい値電圧以上となるようにそれ
ぞれの電位を設定する。
なお、容量素子6403は駆動用トランジスタ6402のゲート容量を代用して省略する
ことも可能である。駆動用トランジスタ6402のゲート容量については、チャネル領域
とゲート電極との間で容量が形成されていてもよい。
ここで、電圧入力電圧駆動方式の場合には、駆動用トランジスタ6402のゲートには、
駆動用トランジスタ6402が十分にオンするか、オフするかの二つの状態となるような
ビデオ信号を入力する。つまり、駆動用トランジスタ6402は線形領域で動作させる。
駆動用トランジスタ6402は線形領域で動作させるため、電源線6407の電圧よりも
高い電圧を駆動用トランジスタ6402のゲートにかける。なお、信号線6405には、
(電源線電圧+駆動用トランジスタ6402のVth)以上の電圧をかける。
また、デジタル時間階調駆動に代えて、アナログ階調駆動を行う場合、信号の入力を異な
らせることで、図20と同じ画素構成を用いることができる。
アナログ階調駆動を行う場合、駆動用トランジスタ6402のゲートに発光素子6404
の順方向電圧+駆動用トランジスタ6402のVth以上の電圧をかける。発光素子64
04の順方向電圧とは、所望の輝度とする場合の電圧を指しており、少なくとも順方向し
きい値電圧を含む。なお、駆動用トランジスタ6402が飽和領域で動作するようなビデ
オ信号を入力することで、発光素子6404に電流を流すことができる。駆動用トランジ
スタ6402を飽和領域で動作させるため、電源線6407の電位は、駆動用トランジス
タ6402のゲート電位よりも高くする。ビデオ信号をアナログとすることで、発光素子
6404にビデオ信号に応じた電流を流し、アナログ階調駆動を行うことができる。
なお、図20に示す画素構成は、これに限定されない。例えば、図20に示す画素に新た
にスイッチ、抵抗素子、容量素子、トランジスタ又は論理回路などを追加してもよい。
次に、発光素子の構成について、図21を用いて説明する。ここでは、駆動用TFTがn
型の場合を例に挙げて、画素の断面構造について説明する。図21(A)(B)(C)の
半導体装置に用いられる駆動用TFTであるTFT7001、7011、7021は、実
施の形態3で示す薄膜トランジスタと同様に作製でき、In−Ga−Zn−O系非単結晶
膜を半導体層として含む信頼性の高い薄膜トランジスタである。
発光素子は発光を取り出すために陽極又は陰極の少なくとも一方が透明であればよい。そ
して、基板上に薄膜トランジスタ及び発光素子を形成し、基板とは逆側の面から発光を取
り出す上面射出や、基板側の面から発光を取り出す下面射出や、基板側及び基板とは反対
側の面から発光を取り出す両面射出構造の発光素子があり、画素構成はどの射出構造の発
光素子にも適用することができる。
上面射出構造の発光素子について図21(A)を用いて説明する。
図21(A)に、駆動用TFTであるTFT7001がn型で、発光素子7002から発
せられる光が陽極7005側に抜ける場合の、画素の断面図を示す。図21(A)では、
発光素子7002の陰極7003と駆動用TFTであるTFT7001が電気的に接続さ
れており、陰極7003上に発光層7004、陽極7005が順に積層されている。陰極
7003は仕事関数が小さく、なおかつ光を反射する導電膜であれば様々の材料を用いる
ことができる。例えば、Ca、Al、CaF、MgAg、AlLi等が望ましい。そして
発光層7004は、単数の層で構成されていても、複数の層が積層されるように構成され
ていてもどちらでも良い。複数の層で構成されている場合、陰極7003上に電子注入層
、電子輸送層、発光層、ホール輸送層、ホール注入層の順に積層する。なおこれらの層を
全て設ける必要はない。陽極7005は光を透過する透光性を有する導電性材料を用いて
形成し、例えば酸化タングステンを含むインジウム酸化物、酸化タングステンを含むイン
ジウム亜鉛酸化物、酸化チタンを含むインジウム酸化物、酸化チタンを含むインジウム錫
酸化物、インジウム錫酸化物(以下、ITOと示す。)、インジウム亜鉛酸化物、酸化ケ
イ素を添加したインジウム錫酸化物などの透光性を有する導電性材料を用いても良い。
陰極7003及び陽極7005で発光層7004を挟んでいる領域が発光素子7002に
相当する。図21(A)に示した画素の場合、発光素子7002から発せられる光は、矢
印で示すように陽極7005側に射出する。
次に、下面射出構造の発光素子について図21(B)を用いて説明する。駆動用TFT7
011がn型で、発光素子7012から発せられる光が陰極7013側に射出する場合の
、画素の断面図を示す。図21(B)では、駆動用TFT7011と電気的に接続された
透光性を有する導電膜7017上に、発光素子7012の陰極7013が成膜されており
、陰極7013上に発光層7014、陽極7015が順に積層されている。なお、陽極7
015が透光性を有する場合、陽極上を覆うように、光を反射または遮蔽するための遮蔽
膜7016が成膜されていてもよい。陰極7013は、図21(A)の場合と同様に、仕
事関数が小さい導電性材料であれば様々な材料を用いることができる。ただしその膜厚は
、光を透過する程度(好ましくは、5nm〜30nm程度)とする。例えば20nmの膜
厚を有するアルミニウム膜を、陰極7013として用いることができる。そして発光層7
014は、図21(A)と同様に、単数の層で構成されていても、複数の層が積層される
ように構成されていてもどちらでも良い。陽極7015は光を透過する必要はないが、図
21(A)と同様に、透光性を有する導電性材料を用いて形成することができる。そして
遮蔽膜7016は、例えば光を反射する金属等を用いることができるが、金属膜に限定さ
れない。例えば黒の顔料を添加した樹脂等を用いることもできる。
陰極7013及び陽極7015で、発光層7014を挟んでいる領域が発光素子7012
に相当する。図21(B)に示した画素の場合、発光素子7012から発せられる光は、
矢印で示すように陰極7013側に射出する。
次に、両面射出構造の発光素子について、図21(C)を用いて説明する。図21(C)
では、駆動用TFT7021と電気的に接続された透光性を有する導電膜7027上に、
発光素子7022の陰極7023が成膜されており、陰極7023上に発光層7024、
陽極7025が順に積層されている。陰極7023は、図21(A)の場合と同様に、仕
事関数が小さい導電性材料であれば様々な材料を用いることができる。ただしその膜厚は
、光を透過する程度とする。例えば20nmの膜厚を有するAlを、陰極7023として
用いることができる。そして発光層7024は、図21(A)と同様に、単数の層で構成
されていても、複数の層が積層されるように構成されていてもどちらでも良い。陽極70
25は、図21(A)と同様に、光を透過する透光性を有する導電性材料を用いて形成す
ることができる。
陰極7023と、発光層7024と、陽極7025とが重なっている部分が発光素子70
22に相当する。図21(C)に示した画素の場合、発光素子7022から発せられる光
は、矢印で示すように陽極7025側と陰極7023側の両方に射出する。
なお、ここでは、発光素子として有機EL素子について述べたが、発光素子として無機E
L素子を設けることも可能である。
なお本実施の形態では、発光素子の駆動を制御する薄膜トランジスタ(駆動用TFT)と
発光素子が電気的に接続されている例を示したが、駆動用TFTと発光素子との間に電流
制御用TFTが接続されている構成であってもよい。
なお本実施の形態で示す半導体装置は、図21に示した構成に限定されるものではなく、
本発明の技術的思想に基づく各種の変形が可能である。
次に、半導体装置の一形態に相当する発光表示パネル(発光パネルともいう)の外観及び
断面について、図24を用いて説明する。図24は、第1の基板4051上に形成された
実施の形態3で示したIn−Ga−Zn−O系非単結晶膜を半導体層として含む信頼性の
高い薄膜トランジスタ4509、4510及び発光素子4511を、第2の基板4506
との間にシール材4505によって封止した、パネルの上面図であり、図24(B)は、
図24(A)のH−Iにおける断面図に相当する。
第1の基板4501上に設けられた画素部4502、信号線駆動回路4503a、450
3b、及び走査線駆動回路4504a、4504bを囲むようにして、シール材4505
が設けられている。また画素部4502、信号線駆動回路4503a、4503b、及び
走査線駆動回路4504a、4504bの上に第2の基板4506が設けられている。よ
って画素部4502、信号線駆動回路4503a、4503b、及び走査線駆動回路45
04a、4504bは、第1の基板4501とシール材4505と第2の基板4506と
によって、充填材4507と共に密封されている。このように外気に曝されないように気
密性が高く、脱ガスの少ない保護フィルム(貼り合わせフィルム、紫外線硬化樹脂フィル
ム等)やカバー材でパッケージング(封入)することが好ましい。
また第1の基板4501上に設けられた画素部4502、信号線駆動回路4503a、4
503b、及び走査線駆動回路4504a、4504bは、薄膜トランジスタを複数有し
ており、図24(B)では、画素部4502に含まれる薄膜トランジスタ4510と、信
号線駆動回路4503aに含まれる薄膜トランジスタ4509とを例示している。
薄膜トランジスタ4509、4510は、In−Ga−Zn−O系非単結晶膜を半導体層
として含む信頼性の高い実施の形態3に示す薄膜トランジスタを適用することができる。
本実施の形態において、薄膜トランジスタ4509、4510はnチャネル型薄膜トラン
ジスタである。
また4511は発光素子に相当し、発光素子4511が有する画素電極である第1の電極
層4517は、薄膜トランジスタ4510のソース電極層またはドレイン電極層と電気的
に接続されている。なお発光素子4511の構成は、第1の電極層4517、電界発光層
4512、第2の電極層4513の積層構造であるが、本実施の形態に示した構成に限定
されない。発光素子4511から取り出す光の方向などに合わせて、発光素子4511の
構成は適宜変えることができる。
隔壁4520は、有機樹脂膜、無機絶縁膜または有機ポリシロキサンを用いて形成する。
特に感光性の材料を用い、第1の電極層4517上に開口部を形成し、その開口部の側壁
が連続した曲率を持って形成される傾斜面となるように形成することが好ましい。
電界発光層4512は、単数の層で構成されていても、複数の層が積層されるように構成
されていてもどちらでも良い。
発光素子4511に酸素、水素、水分、二酸化炭素等が侵入しないように、第2の電極層
4513及び隔壁4520上に保護膜を形成してもよい。保護膜としては、窒化珪素膜、
窒化酸化珪素膜、DLC膜等を形成することができる。
また、信号線駆動回路4503a、4503b、走査線駆動回路4504a、4504b
、または画素部4502に与えられる各種信号及び電位は、FPC4518a、4518
bから供給されている。
本実施の形態では、接続端子電極4515が、発光素子4511が有する第1の電極層4
517と同じ導電膜から形成され、端子電極4516は、薄膜トランジスタ4509、4
510が有するソース電極層及びドレイン電極層と同じ導電膜から形成されている。
接続端子電極4515は、FPC4518aが有する端子と、異方性導電膜4519を介
して電気的に接続されている。
発光素子4511からの光の取り出し方向に位置する基板には、第2の基板は透光性でな
ければならない。その場合には、ガラス板、プラスチック板、ポリエステルフィルムまた
はアクリルフィルムのような透光性を有する材料を用いる。
また、充填材4507としては窒素やアルゴンなどの不活性な気体の他に、紫外線硬化樹
脂または熱硬化樹脂を用いることができ、PVC(ポリビニルクロライド)、アクリル、
ポリイミド、エポキシ樹脂、シリコーン樹脂、PVB(ポリビニルブチラル)またはEV
A(エチレンビニルアセテート)を用いることができる。本実施の形態は充填材として窒
素を用いた。
また、必要であれば、発光素子の射出面に偏光板、又は円偏光板(楕円偏光板を含む)、
位相差板(λ/4板、λ/2板)、カラーフィルタなどの光学フィルムを適宜設けてもよ
い。また、偏光板又は円偏光板に反射防止膜を設けてもよい。例えば、表面の凹凸により
反射光を拡散し、映り込みを低減できるアンチグレア処理を施すことができる。
信号線駆動回路4503a、4503b、及び走査線駆動回路4504a、4504bは
、別途用意された基板上に単結晶半導体膜又は多結晶半導体膜によって形成された駆動回
路で実装されていてもよい。また、信号線駆動回路のみ、或いは一部、又は走査線駆動回
路のみ、或いは一部のみを別途形成して実装しても良く、本実施の形態は図24の構成に
限定されない。
以上の工程により、半導体装置として信頼性の高い発光表示装置(表示パネル)を作製す
ることができる。
本実施の形態は、他の実施の形態に記載した構成と適宜組み合わせて実施することが可能
である。
(実施の形態8)
半導体装置は、電子ペーパーとして適用することができる。電子ペーパーは、情報を表示
するものであればあらゆる分野の電子機器に用いることが可能である。例えば、電子ペー
パーを用いて、電子書籍(電子ブック)、ポスター、電車などの乗り物の車内広告、クレ
ジットカード等の各種カードにおける表示等に適用することができる。電子機器の一例を
図25、図26に示す。
図25(A)は、電子ペーパーで作られたポスター2631を示している。広告媒体が紙
の印刷物である場合には、広告の交換は人手によって行われるが、電子ペーパーを用いれ
ば短時間で広告の表示を変えることができる。また、表示も崩れることなく安定した画像
が得られる。なお、ポスターは無線で情報を送受信できる構成としてもよい。
また、図25(B)は、電車などの乗り物の車内広告2632を示している。広告媒体が
紙の印刷物である場合には、広告の交換は人手によって行われるが、電子ペーパーを用い
れば人手を多くかけることなく短時間で広告の表示を変えることができる。また表示も崩
れることなく安定した画像が得られる。なお、車内広告は無線で情報を送受信できる構成
としてもよい。
また、図26は、電子書籍2700の一例を示している。例えば、電子書籍2700は、
筐体2701および筐体2703の2つの筐体で構成されている。筐体2701および筐
体2703は、軸部2711により一体とされており、該軸部2711を軸として開閉動
作を行うことができる。このような構成により、紙の書籍のような動作を行うことが可能
となる。
筐体2701には表示部2705が組み込まれ、筐体2703には表示部2707が組み
込まれている。表示部2705および表示部2707は、続き画面を表示する構成として
もよいし、異なる画面を表示する構成としてもよい。異なる画面を表示する構成とするこ
とで、例えば右側の表示部(図26では表示部2705)に文章を表示し、左側の表示部
(図26では表示部2707)に画像を表示することができる。
また、図26では、筐体2701に操作部などを備えた例を示している。例えば、筐体2
701において、電源2721、操作キー2723、スピーカ2725などを備えている
。操作キー2723により、頁を送ることができる。なお、筐体の表示部と同一面にキー
ボードやポインティングディバイスなどを備える構成としてもよい。また、筐体の裏面や
側面に、外部接続用端子(イヤホン端子、USB端子、またはACアダプタおよびUSB
ケーブルなどの各種ケーブルと接続可能な端子など)、記録媒体挿入部などを備える構成
としてもよい。さらに、電子書籍2700は、電子辞書としての機能を持たせた構成とし
てもよい。
また、電子書籍2700は、無線で情報を送受信できる構成としてもよい。無線により、
電子書籍サーバから、所望の書籍データなどを購入し、ダウンロードする構成とすること
も可能である。
(実施の形態9)
半導体装置は、さまざまな電子機器(遊技機も含む)に適用することができる。電子機器
としては、例えば、テレビジョン装置(テレビ、またはテレビジョン受信機ともいう)、
コンピュータ用などのモニタ、デジタルカメラ、デジタルビデオカメラ、デジタルフォト
フレーム、携帯電話機(携帯電話、携帯電話装置ともいう)、携帯型ゲーム機、携帯情報
端末、音響再生装置、パチンコ機などの大型ゲーム機などが挙げられる。
図27(A)は、テレビジョン装置9600の一例を示している。テレビジョン装置96
00は、筐体9601に表示部9603が組み込まれている。表示部9603により、映
像を表示することが可能である。また、ここでは、スタンド9605により筐体9601
を支持した構成を示している。
テレビジョン装置9600の操作は、筐体9601が備える操作スイッチや、別体のリモ
コン操作機9610により行うことができる。リモコン操作機9610が備える操作キー
9609により、チャンネルや音量の操作を行うことができ、表示部9603に表示され
る映像を操作することができる。また、リモコン操作機9610に、当該リモコン操作機
9610から出力する情報を表示する表示部9607を設ける構成としてもよい。
なお、テレビジョン装置9600は、受信機やモデムなどを備えた構成とする。受信機に
より一般のテレビ放送の受信を行うことができ、さらにモデムを介して優先または無線に
よる通信ネットワークに接続することにより、一方向(送信者から受信者)または双方向
(送信者と受信者間、あるいは受信者間同士など)の情報通信を行うことも可能である。
図27(B)は、デジタルフォトフレーム9700の一例を示している。例えば、デジタ
ルフォトフレーム9700は、筐体9701に表示部9703が組み込まれている。表示
部9703は、各種画像を表示することが可能であり、例えばデジタルカメラなどで撮影
した画像データを表示させることで、通常の写真立てと同様に機能させることができる。
なお、デジタルフォトフレーム9700は、操作部、外部接続用端子(USB端子、US
Bケーブルなどの各種ケーブルと接続可能な端子など)、記録媒体挿入部などを備える構
成とする。これらの構成は、表示部と同一面に組み込まれていてもよいが、側面や裏面に
備えるとデザイン性が向上するため好ましい。例えば、デジタルフォトフレームの記録媒
体挿入部に、デジタルカメラで撮影した画像データを記憶したメモリを挿入して画像デー
タを取り込み、取り込んだ画像データを表示部9703に表示させることができる。
また、デジタルフォトフレーム9700は、無線で情報を送受信できる構成としてもよい
。無線により、所望の画像データを取り込み、表示させる構成とすることもできる。
図28(A)は携帯型遊技機であり、筐体9881と筐体9891の2つの筐体で構成さ
れており、連結部9893により、開閉可能に連結されている。筐体9881には表示部
9882が組み込まれ、筐体9891には表示部9883が組み込まれている。また、図
28(A)に示す携帯型遊技機は、その他、スピーカ部9884、記録媒体挿入部988
6、LEDランプ9890、入力手段(操作キー9885、接続端子9887、センサ9
888(力、変位、位置、速度、加速度、角速度、回転数、距離、光、液、磁気、温度、
化学物質、音声、時間、硬度、電場、電流、電圧、電力、放射線、流量、湿度、傾度、振
動、におい又は赤外線を測定する機能を含むもの)、マイクロフォン9889)等を備え
ている。もちろん、携帯型遊技機の構成は上述のものに限定されず、少なくとも半導体装
置を備えた構成であればよく、その他付属設備が適宜設けられた構成とすることができる
。図28(A)に示す携帯型遊技機は、記録媒体に記録されているプログラム又はデータ
を読み出して表示部に表示する機能や、他の携帯型遊技機と無線通信を行って情報を共有
する機能を有する。なお、図28(A)に示す携帯型遊技機が有する機能はこれに限定さ
れず、様々な機能を有することができる。
図28(B)は大型遊技機であるスロットマシン9900の一例を示している。スロット
マシン9900は、筐体9901に表示部9903が組み込まれている。また、スロット
マシン9900は、その他、スタートレバーやストップスイッチなどの操作手段、コイン
投入口、スピーカなどを備えている。もちろん、スロットマシン9900の構成は上述の
ものに限定されず、少なくとも半導体装置を備えた構成であればよく、その他付属設備が
適宜設けられた構成とすることができる。
図29(A)は、携帯電話機1000の一例を示している。携帯電話機1000は、筐体
1001に組み込まれた表示部1002の他、操作ボタン1003、外部接続ポート10
04、スピーカ1005、マイク1006などを備えている。
図29(A)に示す携帯電話機1000は、表示部1002を指などで触れることで、情
報を入力ことができる。また、電話を掛ける、或いはメールを打つなどの操作は、表示部
1002を指などで触れることにより行うことができる。
表示部1002の画面は主として3つのモードがある。第1は、画像の表示を主とする表
示モードであり、第2は、文字等の情報の入力を主とする入力モードである。第3は表示
モードと入力モードの2つのモードが混合した表示+入力モードである。
例えば、電話を掛ける、或いはメールを作成する場合は、表示部1002を文字の入力を
主とする文字入力モードとし、画面に表示させた文字の入力操作を行えばよい。この場合
、表示部1002の画面のほとんどにキーボードまたは番号ボタンを表示させることが好
ましい。
また、携帯電話機1000内部に、ジャイロ、加速度センサ等の傾きを検出するセンサを
有する検出装置を設けることで、携帯電話機1000の向き(縦か横か)を判断して、表
示部1002の画面表示を自動的に切り替えるようにすることができる。
また、画面モードの切り替えは、表示部1002を触れること、又は筐体1001の操作
ボタン1003の操作により行われる。また、表示部1002に表示される画像の種類に
よって切り替えるようにすることもできる。例えば、表示部に表示する画像信号が動画の
データであれば表示モード、テキストデータであれば入力モードに切り替える。
また、入力モードにおいて、表示部1002の光センサで検出される信号を検知し、表示
部1002のタッチ操作による入力が一定期間ない場合には、画面のモードを入力モード
から表示モードに切り替えるように制御してもよい。
表示部1002は、イメージセンサとして機能させることもできる。例えば、表示部10
02に掌や指を触れることで、掌紋、指紋等を撮像することで、本人認証を行うことがで
きる。また、表示部に近赤外光を発光するバックライトまたは近赤外光を発光するセンシ
ング用光源を用いれば、指静脈、掌静脈などを撮像することもできる。
図29(B)も携帯電話機の一例である。図29(B)の携帯電話機は、筐体9411に
、表示部9412、及び操作ボタン9413を含む表示装置9410と、筐体9401に
操作ボタン9402、外部入力端子9403、マイク9404、スピーカ9405、及び
着信時に発光する発光部9406を含む通信装置9400とを有しており、表示機能を有
する表示装置9410は電話機能を有する通信装置9400と矢印の2方向に脱着可能で
ある。よって、表示装置9410と通信装置9400の短軸同士を取り付けることも、表
示装置9410と通信装置9400の長軸同士を取り付けることもできる。また、表示機
能のみを必要とする場合、通信装置9400より表示装置9410を取り外し、表示装置
9410を単独で用いることもできる。通信装置9400と表示装置9410とは無線通
信又は有線通信により画像又は入力情報を授受することができ、それぞれ充電可能なバッ
テリーを有する。
本実施例では、酸化物半導体層と絶縁膜について、塩素ガス及び酸素ガスを用いてドライ
エッチングを行った結果について説明する。
本実施例で用いた試料について説明する。第1の酸化物半導体層として、ガラス基板上に
スパッタ法によって150nmのIn−Ga−Zn−O系非単結晶膜を成膜した。成膜条
件は、圧力を0.4Paとし、電力を500Wとし、成膜温度を25℃とし、アルゴンガ
ス流量を10sccmとし、酸素流量を5sccmとし、基板とターゲット間の距離は、
170mmとした。ターゲットは、In:Ga:ZnO=1:1:1とした
ターゲット(In:Ga:Zn=1:1:0.5)を用いた。この成膜条件で得られた第
1の酸化物半導体層の組成を誘導結合プラズマ質量分析法(Inductively C
oupled Plasma Mass Spectrometry:ICP−MS分析
法)により測定した結果は、InGa0.94Zn0.403.31であった。
次に、第1の酸化物半導体層より導電率が高い第2の酸化物半導体層として、ガラス基板
上にスパッタ法によって150nmのIn−Ga−Zn−O系非単結晶膜を成膜した。成
膜条件は、圧力を0.4Paとし、電力を500Wとし、成膜温度を25℃とし、アルゴ
ンガス流量を40sccmとし、基板とターゲット間の距離は、170mmとした。ター
ゲットは、In:Ga:ZnO=1:1:1としたターゲット(In:Ga
:Zn=1:1:0.5)を用いた。この成膜条件で得られた第2の酸化物半導体層の組
成を誘導結合プラズマ質量分析法により測定した結果は、InGa0.95Zn0.41
3.33であった。
次に、絶縁膜としてガラス基板上にCVD法によって200nmの酸化窒化シリコン膜を
成膜した。成膜条件は、圧力を39.99Paとし、成膜温度を400℃とし、シランの
流量を4sccmとし、NOの流量を800sccmとし、RFパワーを150Wとし
、電極間距離は28mmとした。
次に、第1の酸化物半導体層、第2の酸化物半導体層、及び絶縁膜のエッチングレートに
ついて測定を行った。作製した第1の酸化物半導体層、第2の酸化物半導体層、及び絶縁
膜のそれぞれついて、フォトレジストなどによるマスクを用いて、それぞれの膜が残存す
る程度の時間でエッチングを行った(ハーフエッチング)。その後、第1の酸化物半導体
層、第2の酸化物半導体層、及び絶縁膜のエッチング量を段差測定器にて測定し、エッチ
ング量とエッチング時間との関係からエッチングレート(nm/min)を算出した。
エッチングは、ICPエッチング法を用いて、ICP電力を1500W(電極サイズ:3
70mm×470mm)、RFバイアスを200W、圧力を1.5Pa、基板温度を−1
0℃として行った。この際、エッチングガスである塩素ガスと酸素ガスの流量が異なる4
つの条件(塩素ガスの流量:酸素ガスの流量=100sccm:0sccm、85scc
m:15sccm、70sccm:30sccm、55sccm:45sccm)でエッ
チングを行い、それぞれの条件におけるエッチングレートを算出した。
エッチングレートを算出した結果を図4に示す。図4において、横軸は、エッチングガス
(塩素ガスと酸素ガスの合計)中の酸素ガスの含有量(体積%)であり、左縦軸は、エッ
チングレート(nm/min)であり、右縦軸は、選択比である。また、図4において、
丸印は、第1の酸化物半導体層のエッチングレートを示しており、三角印は、第2の酸化
物半導体層のエッチングレートを示しており、四角印は、絶縁膜のエッチングレートを示
しており、バツ印は、選択比を示している。なお、図4に示す選択比とは、絶縁膜のエッ
チングレートに対する第1の酸化物半導体層のエッチングレートを指す。
図4の結果より、第1の酸化物半導体層及び第2の酸化物半導体層は、エッチングガス中
の酸素ガスの含有量(体積%)を上昇させても、エッチングレートに有意差は見られなか
った。一方、絶縁膜は、エッチングガス中の酸素ガスの含有量(体積%)を上昇させるこ
とによって、エッチングレートが小さくなるという結果が得られた。特に、エッチングガ
ス中の酸素ガスの含有量が15体積%以上になると、絶縁膜のエッチングレートが小さく
なるという結果が得られた。
また、絶縁膜に対する第1の酸化物半導体層の選択比(絶縁膜のエッチングレートと第1
の酸化物半導体層のエッチングレートの比)を求めると、図4に示したように、エッチン
グガス中に酸素が添加されていない状態では1未満であった選択比が、エッチングガスに
酸素を添加することで最大4.2まで増加することがわかった。また、第1の酸化物半導
体層及び第2の酸化物半導体層のエッチングレートに有意差は見られないため、絶縁膜に
対する第2の酸化物半導体層の選択比においても、絶縁膜に対する第1の酸化物半導体層
の選択比と同様の結果が得られる。
以上により、酸素ガスの添加率を上昇させることによって、絶縁膜のエッチングレートを
第1及び第2の酸化物半導体層よりも小さくすることができることがわかった。また、エ
ッチングガス中の酸素ガスの含有量を15体積%以上にすることによって、絶縁膜に対す
る第1及び第2の酸化膜半導体層の選択比を高めることができることがわかった。このよ
うにエッチングガス中に酸素ガスを含有させることによって、絶縁層と酸化物半導体層と
の選択比を大きくすることができる。これにより、絶縁層の上方に形成された酸化物半導
体層の一部(表面付近の一部)を除去(チャネルエッチ)する場合であっても、露出して
いる絶縁層へのダメージを抑制することが可能となる。
100 基板
102 ゲート絶縁層
108 容量配線
110 透明導電層
120 接続電極
121 端子
122 端子
125 コンタクトホール
126 コンタクトホール
127 コンタクトホール
128 透明導電層
129 透明導電層
156 電極
200 基板
202 ゲート電極
204 ゲート絶縁層
206 酸化物半導体層
207 酸化物半導体層
208 レジストマスク
210 酸化物半導体層
211 酸化物半導体層
212 導電層
213 コンタクトホール
214 レジストマスク
214a レジストマスク
214b レジストマスク
214c レジストマスク
215a 半導体領域
215b 半導体領域
216 導電層
216a 導電層
216b 導電層
218 導電層
220 凹部
222 保護絶縁層
250 薄膜トランジスタ
580 基板
581 薄膜トランジスタ
583 絶縁層
587 電極層
588 電極層
589 球形粒子
590a 黒色領域
590b 白色領域
594 キャビティ
595 充填材
596 基板
1000 携帯電話機
1001 筐体
1002 表示部
1003 操作ボタン
1004 外部接続ポート
1005 スピーカ
1006 マイク
2600 TFT基板
2601 対向基板
2602 シール材
2603 画素部
2604 表示素子
2605 着色層
2606 偏光板
2607 偏光板
2608 配線回路部
2609 フレキシブル配線基板
2610 冷陰極管
2611 反射板
2612 回路基板
2613 拡散板
2631 ポスター
2632 車内広告
2700 電子書籍
2701 筐体
2703 筐体
2705 表示部
2707 表示部
2711 軸部
2721 電源
2723 操作キー
2725 スピーカ
4001 基板
4002 画素部
4003 信号線駆動回路
4004 走査線駆動回路
4005 シール材
4006 基板
4008 液晶層
4010 薄膜トランジスタ
4011 薄膜トランジスタ
4013 液晶素子
4015 接続端子電極
4016 端子電極
4018 FPC
4019 異方性導電膜
4020 絶縁層
4021 絶縁層
4030 画素電極層
4031 対向電極層
4032 絶縁層
4051 基板
4501 基板
4502 画素部
4503a 信号線駆動回路
4504a 走査線駆動回路
4505 シール材
4506 基板
4507 充填材
4509 薄膜トランジスタ
4510 薄膜トランジスタ
4511 発光素子
4512 電界発光層
4513 電極層
4515 接続端子電極
4516 端子電極
4517 電極層
4518a FPC
4519 異方性導電膜
4520 隔壁
5300 基板
5301 画素部
5302 走査線駆動回路
5303 信号線駆動回路
5400 基板
5401 画素部
5402 走査線駆動回路
5403 信号線駆動回路
5404 走査線駆動回路
5501 配線
5502 配線
5503 配線
5504 配線
5505 配線
5506 配線
5543 ノード
5544 ノード
5571 薄膜トランジスタ
5572 薄膜トランジスタ
5573 薄膜トランジスタ
5574 薄膜トランジスタ
5575 薄膜トランジスタ
5576 薄膜トランジスタ
5577 薄膜トランジスタ
5578 薄膜トランジスタ
5601 ドライバIC
5602 スイッチ群
5603a 薄膜トランジスタ
5603b 薄膜トランジスタ
5603c 薄膜トランジスタ
5611 配線
5612 配線
5613 配線
5621 配線
5701 フリップフロップ
5703a タイミング
5703b タイミング
5703c タイミング
5711 配線
5712 配線
5713 配線
5714 配線
5715 配線
5716 配線
5717 配線
5721 信号
5803a タイミング
5803b タイミング
5803c タイミング
5821 信号
6400 画素
6401 スイッチング用トランジスタ
6402 駆動用トランジスタ
6403 容量素子
6404 発光素子
6405 信号線
6406 走査線
6407 電源線
6408 共通電極
7001 TFT
7002 発光素子
7003 陰極
7004 発光層
7005 陽極
7011 駆動用TFT
7012 発光素子
7013 陰極
7014 発光層
7015 陽極
7016 遮蔽膜
7017 導電膜
7021 駆動用TFT
7022 発光素子
7023 陰極
7024 発光層
7025 陽極
7027 導電膜
9400 通信装置
9401 筐体
9402 操作ボタン
9403 外部入力端子
9404 マイク
9405 スピーカ
9406 発光部
9410 表示装置
9411 筐体
9412 表示部
9413 操作ボタン
9600 テレビジョン装置
9601 筐体
9603 表示部
9605 スタンド
9607 表示部
9609 操作キー
9610 リモコン操作機
9700 デジタルフォトフレーム
9701 筐体
9703 表示部
9881 筐体
9882 表示部
9883 表示部
9884 スピーカ部
9885 入力手段(操作キー
9886 記録媒体挿入部
9887 接続端子
9888 センサ
9889 マイクロフォン
9890 LEDランプ
9891 筐体
9893 連結部
9900 スロットマシン
9901 筐体
9903 表示部

Claims (4)

  1. 酸化物半導体層を形成し、
    ウエットエッチングにより前記酸化物半導体層を加工して、島状の酸化物半導体層を形成し、
    前記島状の酸化物半導体層を覆う導電層を形成し、
    ドライエッチングにより、前記導電層を加工してソース電極及びドレイン電極を形成するとともに、前記島状の酸化物半導体層の一部を除去して前記島状の酸化物半導体層に凹部を形成し、
    前記凹部に対して、酸素ラジカル処理を行い、
    前記酸素ラジカル処理は、前記基板側にバイアス電圧を印加せずに行うことを特徴とする半導体装置の作製方法。
  2. 第1の酸化物半導体層を形成し、
    前記第1の酸化物半導体層上に、前記第1の酸化物半導体層よりも導電率が高い第2の酸化物半導体層を形成し、
    ウエットエッチングにより前記第1の酸化物半導体層及び前記第2の酸化物半導体層を加工して、島状の第1の酸化物半導体層及び島状の第2の酸化物半導体層を形成し、
    前記島状の第2の酸化物半導体層を覆う導電層を形成し、
    ドライエッチングにより、前記導電層を加工してソース電極及びドレイン電極を形成するとともに、前記島状の第1の酸化物半導体層及び前記島状の第2の酸化物半導体層の一部を除去して前記島状の第1の酸化物半導体層に凹部を形成し、
    前記凹部に対して、酸素ラジカル処理を行い、
    前記酸素ラジカル処理は、前記基板側にバイアス電圧を印加せずに行うことを特徴とする半導体装置の作製方法。
  3. 請求項1または請求項2において、
    前記酸素ラジカル処理は、酸素を含み、且つN2、He又はArを含むガス雰囲気下で行うことを特徴とする半導体装置の作製方法。
  4. 請求項1乃至3のいずれか一において、
    前記凹部を形成した後、200〜600℃の熱処理を行うことを特徴とする半導体装置の作製方法。
JP2015077622A 2008-10-22 2015-04-06 半導体装置の作製方法 Expired - Fee Related JP6141348B2 (ja)

Priority Applications (1)

Application Number Priority Date Filing Date Title
JP2015077622A JP6141348B2 (ja) 2008-10-22 2015-04-06 半導体装置の作製方法

Applications Claiming Priority (3)

Application Number Priority Date Filing Date Title
JP2008271598 2008-10-22
JP2008271598 2008-10-22
JP2015077622A JP6141348B2 (ja) 2008-10-22 2015-04-06 半導体装置の作製方法

Related Parent Applications (1)

Application Number Title Priority Date Filing Date
JP2013181916A Division JP5728542B2 (ja) 2008-10-22 2013-09-03 半導体装置の作製方法

Related Child Applications (1)

Application Number Title Priority Date Filing Date
JP2016060119A Division JP2016178308A (ja) 2008-10-22 2016-03-24 半導体装置

Publications (2)

Publication Number Publication Date
JP2015144313A JP2015144313A (ja) 2015-08-06
JP6141348B2 true JP6141348B2 (ja) 2017-06-07

Family

ID=42109001

Family Applications (9)

Application Number Title Priority Date Filing Date
JP2009237054A Expired - Fee Related JP5361651B2 (ja) 2008-10-22 2009-10-14 半導体装置の作製方法
JP2013181916A Active JP5728542B2 (ja) 2008-10-22 2013-09-03 半導体装置の作製方法
JP2015077622A Expired - Fee Related JP6141348B2 (ja) 2008-10-22 2015-04-06 半導体装置の作製方法
JP2016060119A Withdrawn JP2016178308A (ja) 2008-10-22 2016-03-24 半導体装置
JP2017192377A Expired - Fee Related JP6636487B2 (ja) 2008-10-22 2017-10-02 El表示装置
JP2019191948A Withdrawn JP2020025114A (ja) 2008-10-22 2019-10-21 半導体装置
JP2022007579A Withdrawn JP2022062088A (ja) 2008-10-22 2022-01-21 表示装置
JP2023102938A Active JP7535631B2 (ja) 2008-10-22 2023-06-23 表示装置
JP2024129092A Pending JP2024153897A (ja) 2008-10-22 2024-08-05 半導体装置

Family Applications Before (2)

Application Number Title Priority Date Filing Date
JP2009237054A Expired - Fee Related JP5361651B2 (ja) 2008-10-22 2009-10-14 半導体装置の作製方法
JP2013181916A Active JP5728542B2 (ja) 2008-10-22 2013-09-03 半導体装置の作製方法

Family Applications After (6)

Application Number Title Priority Date Filing Date
JP2016060119A Withdrawn JP2016178308A (ja) 2008-10-22 2016-03-24 半導体装置
JP2017192377A Expired - Fee Related JP6636487B2 (ja) 2008-10-22 2017-10-02 El表示装置
JP2019191948A Withdrawn JP2020025114A (ja) 2008-10-22 2019-10-21 半導体装置
JP2022007579A Withdrawn JP2022062088A (ja) 2008-10-22 2022-01-21 表示装置
JP2023102938A Active JP7535631B2 (ja) 2008-10-22 2023-06-23 表示装置
JP2024129092A Pending JP2024153897A (ja) 2008-10-22 2024-08-05 半導体装置

Country Status (5)

Country Link
US (6) US7915075B2 (ja)
JP (9) JP5361651B2 (ja)
KR (4) KR20100044716A (ja)
CN (2) CN101728275B (ja)
TW (2) TWI466193B (ja)

Families Citing this family (86)

* Cited by examiner, † Cited by third party
Publication number Priority date Publication date Assignee Title
CN101719493B (zh) 2008-10-08 2014-05-14 株式会社半导体能源研究所 显示装置
JP5361651B2 (ja) * 2008-10-22 2013-12-04 株式会社半導体エネルギー研究所 半導体装置の作製方法
EP2180518B1 (en) 2008-10-24 2018-04-25 Semiconductor Energy Laboratory Co, Ltd. Method for manufacturing semiconductor device
JP5616012B2 (ja) * 2008-10-24 2014-10-29 株式会社半導体エネルギー研究所 半導体装置の作製方法
US8741702B2 (en) 2008-10-24 2014-06-03 Semiconductor Energy Laboratory Co., Ltd. Method for manufacturing semiconductor device
KR101667909B1 (ko) 2008-10-24 2016-10-28 가부시키가이샤 한도오따이 에네루기 켄큐쇼 반도체장치의 제조방법
TWI467663B (zh) 2008-11-07 2015-01-01 Semiconductor Energy Lab 半導體裝置和該半導體裝置的製造方法
US8441007B2 (en) 2008-12-25 2013-05-14 Semiconductor Energy Laboratory Co., Ltd. Display device and manufacturing method thereof
US8704216B2 (en) * 2009-02-27 2014-04-22 Semiconductor Energy Laboratory Co., Ltd. Semiconductor device and manufacturing method thereof
TW201103090A (en) * 2009-07-01 2011-01-16 Univ Nat Chiao Tung Method for manufacturing a self-aligned thin film transistor and a structure of the same
WO2011010541A1 (en) 2009-07-18 2011-01-27 Semiconductor Energy Laboratory Co., Ltd. Semiconductor device and method for manufacturing the same
KR20230165355A (ko) 2009-09-16 2023-12-05 가부시키가이샤 한도오따이 에네루기 켄큐쇼 표시 장치
CN105428424A (zh) 2009-09-16 2016-03-23 株式会社半导体能源研究所 晶体管及显示设备
KR102054650B1 (ko) 2009-09-24 2019-12-11 가부시키가이샤 한도오따이 에네루기 켄큐쇼 산화물 반도체막 및 반도체 장치
KR101877149B1 (ko) 2009-10-08 2018-07-10 가부시키가이샤 한도오따이 에네루기 켄큐쇼 산화물 반도체층, 반도체 장치 및 그 제조 방법
KR101969253B1 (ko) 2009-10-08 2019-04-15 가부시키가이샤 한도오따이 에네루기 켄큐쇼 반도체 장치
EP2486593B1 (en) 2009-10-09 2017-02-01 Semiconductor Energy Laboratory Co., Ltd. Semiconductor device and manufacturing method thereof
CN102687400B (zh) 2009-10-30 2016-08-24 株式会社半导体能源研究所 逻辑电路和半导体装置
KR101876473B1 (ko) 2009-11-06 2018-07-10 가부시키가이샤 한도오따이 에네루기 켄큐쇼 반도체 장치 및 반도체 장치의 제작 방법
KR102286284B1 (ko) 2009-11-06 2021-08-06 가부시키가이샤 한도오따이 에네루기 켄큐쇼 반도체 장치 및 그 제작 방법
KR101931206B1 (ko) 2009-11-13 2018-12-21 가부시키가이샤 한도오따이 에네루기 켄큐쇼 반도체 장치 및 그 제작 방법
KR20210043743A (ko) 2009-12-04 2021-04-21 가부시키가이샤 한도오따이 에네루기 켄큐쇼 반도체 장치 및 그 제조 방법
CN105609509A (zh) 2009-12-04 2016-05-25 株式会社半导体能源研究所 显示装置
WO2011155174A1 (ja) * 2010-06-07 2011-12-15 シャープ株式会社 薄膜トランジスタ基板及びその製造方法
US8552425B2 (en) 2010-06-18 2013-10-08 Semiconductor Energy Laboratory Co., Ltd. Semiconductor device
WO2012002104A1 (en) 2010-06-30 2012-01-05 Semiconductor Energy Laboratory Co., Ltd. Semiconductor device and manufacturing method thereof
WO2012029596A1 (en) 2010-09-03 2012-03-08 Semiconductor Energy Laboratory Co., Ltd. Method for manufacturing semiconductor device
US8558960B2 (en) 2010-09-13 2013-10-15 Semiconductor Energy Laboratory Co., Ltd. Liquid crystal display device and method for manufacturing the same
US8647919B2 (en) * 2010-09-13 2014-02-11 Semiconductor Energy Laboratory Co., Ltd. Light-emitting display device and method for manufacturing the same
US8664097B2 (en) * 2010-09-13 2014-03-04 Semiconductor Energy Laboratory Co., Ltd. Manufacturing method of semiconductor device
KR20200052993A (ko) 2010-12-03 2020-05-15 가부시키가이샤 한도오따이 에네루기 켄큐쇼 산화물 반도체막 및 반도체 장치
US9911858B2 (en) 2010-12-28 2018-03-06 Semiconductor Energy Laboratory Co., Ltd. Semiconductor device and method for manufacturing the same
JP5975635B2 (ja) 2010-12-28 2016-08-23 株式会社半導体エネルギー研究所 半導体装置
JP5879165B2 (ja) * 2011-03-30 2016-03-08 株式会社半導体エネルギー研究所 半導体装置
TWI792087B (zh) * 2011-05-05 2023-02-11 日商半導體能源研究所股份有限公司 半導體裝置及其製造方法
US9093539B2 (en) 2011-05-13 2015-07-28 Semiconductor Energy Laboratory Co., Ltd. Semiconductor device and method for manufacturing the same
KR101884824B1 (ko) 2011-09-07 2018-08-03 삼성디스플레이 주식회사 박막 트랜지스터 및 그 제조 방법
KR102504604B1 (ko) 2011-09-29 2023-02-27 가부시키가이샤 한도오따이 에네루기 켄큐쇼 반도체 장치
KR20130040706A (ko) 2011-10-14 2013-04-24 가부시키가이샤 한도오따이 에네루기 켄큐쇼 반도체 장치 및 반도체 장치의 제작 방법
CN104025301B (zh) 2011-10-14 2017-01-18 株式会社半导体能源研究所 半导体装置
JP6045285B2 (ja) * 2011-10-24 2016-12-14 株式会社半導体エネルギー研究所 半導体装置の作製方法
KR101976212B1 (ko) * 2011-10-24 2019-05-07 가부시키가이샤 한도오따이 에네루기 켄큐쇼 반도체 장치 및 반도체 장치의 제작 방법
US9847225B2 (en) * 2011-11-15 2017-12-19 Taiwan Semiconductor Manufacturing Company, Ltd. Semiconductor device and method of manufacturing the same
TWI669760B (zh) * 2011-11-30 2019-08-21 日商半導體能源研究所股份有限公司 半導體裝置的製造方法
TWI621185B (zh) 2011-12-01 2018-04-11 半導體能源研究所股份有限公司 半導體裝置及半導體裝置的製造方法
TWI470808B (zh) 2011-12-28 2015-01-21 Au Optronics Corp 半導體元件及其製作方法
CN102646683B (zh) * 2012-02-02 2014-09-24 京东方科技集团股份有限公司 一种阵列基板及其制造方法
US9553200B2 (en) 2012-02-29 2017-01-24 Semiconductor Energy Laboratory Co., Ltd. Semiconductor device and method for manufacturing the same
KR102479944B1 (ko) * 2012-04-13 2022-12-20 가부시키가이샤 한도오따이 에네루기 켄큐쇼 반도체 장치
US9048323B2 (en) 2012-04-30 2015-06-02 Semiconductor Energy Laboratory Co., Ltd. Semiconductor device
US9059219B2 (en) * 2012-06-27 2015-06-16 Semiconductor Energy Laboratory Co., Ltd. Semiconductor device and method for manufacturing semiconductor device
JP6306832B2 (ja) * 2012-07-06 2018-04-04 株式会社半導体エネルギー研究所 半導体装置および半導体装置の作製方法
KR102262323B1 (ko) * 2012-07-20 2021-06-08 가부시키가이샤 한도오따이 에네루기 켄큐쇼 반도체 장치 및 반도체 장치의 제조 방법
JP6351947B2 (ja) 2012-10-12 2018-07-04 株式会社半導体エネルギー研究所 液晶表示装置の作製方法
TWI681233B (zh) 2012-10-12 2020-01-01 日商半導體能源研究所股份有限公司 液晶顯示裝置、觸控面板及液晶顯示裝置的製造方法
TWI637517B (zh) * 2012-10-24 2018-10-01 半導體能源研究所股份有限公司 半導體裝置及其製造方法
US9865743B2 (en) * 2012-10-24 2018-01-09 Semiconductor Energy Laboratory Co., Ltd. Semiconductor device including oxide layer surrounding oxide semiconductor layer
KR102072340B1 (ko) 2012-11-08 2020-01-31 가부시키가이샤 한도오따이 에네루기 켄큐쇼 금속 산화물 막 및 금속 산화물 막의 형성 방법
KR102153110B1 (ko) 2013-03-06 2020-09-07 가부시키가이샤 한도오따이 에네루기 켄큐쇼 반도체막 및 반도체 장치
US9153650B2 (en) 2013-03-19 2015-10-06 Semiconductor Energy Laboratory Co., Ltd. Oxide semiconductor
US10304859B2 (en) 2013-04-12 2019-05-28 Semiconductor Energy Laboratory Co., Ltd. Semiconductor device having an oxide film on an oxide semiconductor film
TWI652822B (zh) 2013-06-19 2019-03-01 日商半導體能源研究所股份有限公司 氧化物半導體膜及其形成方法
KR20150010065A (ko) * 2013-07-18 2015-01-28 삼성디스플레이 주식회사 산화물 반도체 소자의 제조 방법 및 산화물 반도체 소자를 포함하는 표시 장치의 제조 방법
TWI608523B (zh) 2013-07-19 2017-12-11 半導體能源研究所股份有限公司 Oxide semiconductor film, method of manufacturing oxide semiconductor film, and semiconductor device
US9755036B2 (en) 2013-09-18 2017-09-05 Sharp Kabushiki Kaisha Semiconductor device, display device, and method for producing semiconductor device
US9276128B2 (en) 2013-10-22 2016-03-01 Semiconductor Energy Laboratory Co., Ltd. Semiconductor device, method for manufacturing the same, and etchant used for the same
JP6034980B2 (ja) 2013-11-18 2016-11-30 シャープ株式会社 半導体装置
WO2015132697A1 (en) 2014-03-07 2015-09-11 Semiconductor Energy Laboratory Co., Ltd. Semiconductor device
US9147607B1 (en) 2014-04-10 2015-09-29 The United States Of America As Represented By The Secretary Of The Air Force Method of fabricating ultra short gate length thin film transistors using optical lithography
US9082794B1 (en) 2014-04-10 2015-07-14 The United States Of America As Represented By The Secretary Of The Air Force Metal oxide thin film transistor fabrication method
CN105841718B (zh) * 2015-01-29 2020-08-04 万渡江 一种跌倒传感器
CN107408579B (zh) * 2015-03-03 2021-04-02 株式会社半导体能源研究所 半导体装置、该半导体装置的制造方法或包括该半导体装置的显示装置
US10460984B2 (en) 2015-04-15 2019-10-29 Semiconductor Energy Laboratory Co., Ltd. Method for fabricating electrode and semiconductor device
WO2017002672A1 (ja) 2015-06-29 2017-01-05 シャープ株式会社 半導体装置およびその製造方法
US10978489B2 (en) * 2015-07-24 2021-04-13 Semiconductor Energy Laboratory Co., Ltd. Semiconductor device, display panel, method for manufacturing semiconductor device, method for manufacturing display panel, and information processing device
US11302717B2 (en) * 2016-04-08 2022-04-12 Semiconductor Energy Laboratory Co., Ltd. Transistor and method for manufacturing the same
JP6789721B2 (ja) * 2016-08-12 2020-11-25 東京エレクトロン株式会社 基板処理方法及び基板処理装置
CN106373868B (zh) * 2016-10-10 2020-03-10 昆山龙腾光电股份有限公司 一种阵列基板的制造方法
CN106784014A (zh) * 2016-12-23 2017-05-31 京东方科技集团股份有限公司 薄膜晶体管及其制作方法、显示基板、显示装置
JP2019087552A (ja) * 2017-11-01 2019-06-06 シャープ株式会社 薄膜トランジスタの製造方法、及び、薄膜トランジスタ
EP3599646A3 (en) * 2018-07-23 2020-04-01 Ricoh Company, Ltd. Metal oxide, field-effect transistor, and method for producing the same
CN109616476A (zh) * 2018-12-17 2019-04-12 惠科股份有限公司 主动开关及其制作方法、显示装置
TW202038326A (zh) 2019-01-11 2020-10-16 日商索尼半導體解決方案公司 氧化物半導體膜之蝕刻方法
CN112670240B (zh) * 2020-12-24 2024-05-28 深圳市华星光电半导体显示技术有限公司 阵列基板的制备方法与显示面板
CN115206994A (zh) 2021-04-09 2022-10-18 株式会社日本显示器 显示装置
CN114313921B (zh) * 2021-12-20 2025-05-13 太仓市晨启电子精密机械有限公司 一种高压硅堆gpp芯片多层叠加组装装置

Family Cites Families (233)

* Cited by examiner, † Cited by third party
Publication number Priority date Publication date Assignee Title
US2006102A (en) 1929-06-13 1935-06-25 Junkers Hugo Booster brake for vehicles
US2009100A (en) 1931-01-08 1935-07-23 Bendix Brake Co Brake
US2010101A (en) 1932-03-28 1935-08-06 Albert P Hunt Method and apparatus for drying liquid and semi-liquid materials
US2009101A (en) 1932-08-19 1935-07-23 Bendix Aviat Corp Brake
US2012102A (en) 1933-04-11 1935-08-20 Cameron Machine Co Method of and means for winding flexible material
US2007100A (en) 1934-01-30 1935-07-02 Anthony A Varese Combined cap and pressure applying attachment
US2008102A (en) 1934-05-14 1935-07-16 Velsicol Corp Rubber plasticizer
US2008103A (en) 1934-12-07 1935-07-16 Velsicol Corp Manufacture of a shellac substitute
JPS6017962Y2 (ja) 1980-10-08 1985-05-31 十条エンジニアリング株式会社 フアクシミリ装置における原稿検出装置
JPS6017962A (ja) 1983-07-11 1985-01-29 Canon Inc 薄膜トランジスタ
JPS60198861A (ja) 1984-03-23 1985-10-08 Fujitsu Ltd 薄膜トランジスタ
JPH0244256B2 (ja) 1987-01-28 1990-10-03 Kagaku Gijutsucho Mukizaishitsu Kenkyushocho Ingazn2o5deshimesarerurotsuhoshokeinosojokozoojusurukagobutsuoyobisonoseizoho
JPH0244258B2 (ja) 1987-02-24 1990-10-03 Kagaku Gijutsucho Mukizaishitsu Kenkyushocho Ingazn3o6deshimesarerurotsuhoshokeinosojokozoojusurukagobutsuoyobisonoseizoho
JPS63210023A (ja) 1987-02-24 1988-08-31 Natl Inst For Res In Inorg Mater InGaZn↓4O↓7で示される六方晶系の層状構造を有する化合物およびその製造法
JPH0244260B2 (ja) 1987-02-24 1990-10-03 Kagaku Gijutsucho Mukizaishitsu Kenkyushocho Ingazn5o8deshimesarerurotsuhoshokeinosojokozoojusurukagobutsuoyobisonoseizoho
JPH0244262B2 (ja) 1987-02-27 1990-10-03 Kagaku Gijutsucho Mukizaishitsu Kenkyushocho Ingazn6o9deshimesarerurotsuhoshokeinosojokozoojusurukagobutsuoyobisonoseizoho
JPH0244263B2 (ja) 1987-04-22 1990-10-03 Kagaku Gijutsucho Mukizaishitsu Kenkyushocho Ingazn7o10deshimesarerurotsuhoshokeinosojokozoojusurukagobutsuoyobisonoseizoho
US5256897A (en) 1988-11-28 1993-10-26 Hitachi, Ltd. Oxide superconducting device
EP0445535B1 (en) 1990-02-06 1995-02-01 Sel Semiconductor Energy Laboratory Co., Ltd. Method of forming an oxide film
JP2585118B2 (ja) 1990-02-06 1997-02-26 株式会社半導体エネルギー研究所 薄膜トランジスタの作製方法
JPH05251705A (ja) 1992-03-04 1993-09-28 Fuji Xerox Co Ltd 薄膜トランジスタ
JP2572003B2 (ja) 1992-03-30 1997-01-16 三星電子株式会社 三次元マルチチャンネル構造を有する薄膜トランジスタの製造方法
JP3098345B2 (ja) * 1992-12-28 2000-10-16 富士通株式会社 薄膜トランジスタマトリクス装置及びその製造方法
JP2642849B2 (ja) 1993-08-24 1997-08-20 株式会社フロンテック 薄膜の製造方法および製造装置
JP3411408B2 (ja) 1993-09-07 2003-06-03 株式会社半導体エネルギー研究所 半導体装置の作製方法
KR100333153B1 (ko) 1993-09-07 2002-12-05 가부시키가이샤 한도오따이 에네루기 켄큐쇼 반도체장치제작방법
JP3479375B2 (ja) 1995-03-27 2003-12-15 科学技術振興事業団 亜酸化銅等の金属酸化物半導体による薄膜トランジスタとpn接合を形成した金属酸化物半導体装置およびそれらの製造方法
US6124606A (en) 1995-06-06 2000-09-26 Ois Optical Imaging Systems, Inc. Method of making a large area imager with improved signal-to-noise ratio
KR100394896B1 (ko) 1995-08-03 2003-11-28 코닌클리케 필립스 일렉트로닉스 엔.브이. 투명스위칭소자를포함하는반도체장치
US5847410A (en) 1995-11-24 1998-12-08 Semiconductor Energy Laboratory Co. Semiconductor electro-optical device
JP3625598B2 (ja) 1995-12-30 2005-03-02 三星電子株式会社 液晶表示装置の製造方法
JPH09199474A (ja) 1996-01-12 1997-07-31 Semiconductor Energy Lab Co Ltd 半導体装置の作製方法
KR100471765B1 (ko) 1997-07-11 2005-07-18 삼성전자주식회사 단일막게이트라인을갖는박막트랜지스터기판및그제조방법
JPH1140814A (ja) 1997-07-18 1999-02-12 Furontetsuku:Kk 薄膜トランジスタ基板と液晶表示装置および薄膜トランジスタ基板の製造方法
US6359672B2 (en) 1997-10-20 2002-03-19 Guardian Industries Corp. Method of making an LCD or X-ray imaging device with first and second insulating layers
US6259119B1 (en) * 1997-12-18 2001-07-10 Lg. Philips Lcd Co, Ltd. Liquid crystal display and method of manufacturing the same
KR100276442B1 (ko) 1998-02-20 2000-12-15 구본준 액정표시장치 제조방법 및 그 제조방법에 의한 액정표시장치
JP4170454B2 (ja) 1998-07-24 2008-10-22 Hoya株式会社 透明導電性酸化物薄膜を有する物品及びその製造方法
JP2000150861A (ja) 1998-11-16 2000-05-30 Tdk Corp 酸化物薄膜
JP3276930B2 (ja) 1998-11-17 2002-04-22 科学技術振興事業団 トランジスタ及び半導体装置
JP3974305B2 (ja) 1999-06-18 2007-09-12 エルジー フィリップス エルシーディー カンパニー リミテッド エッチング剤及びこれを用いた電子機器用基板の製造方法と電子機器
JP2001053283A (ja) 1999-08-12 2001-02-23 Semiconductor Energy Lab Co Ltd 半導体装置及びその作製方法
TW460731B (en) 1999-09-03 2001-10-21 Ind Tech Res Inst Electrode structure and production method of wide viewing angle LCD
KR100739366B1 (ko) 1999-12-20 2007-07-16 엘지.필립스 엘시디 주식회사 박막 트랜지스터 및 그 제조방법
JP4700160B2 (ja) 2000-03-13 2011-06-15 株式会社半導体エネルギー研究所 半導体装置
JP2001284592A (ja) 2000-03-29 2001-10-12 Sony Corp 薄膜半導体装置及びその駆動方法
US7633471B2 (en) 2000-05-12 2009-12-15 Semiconductor Energy Laboratory Co., Ltd. Light-emitting device and electric appliance
JP2001324725A (ja) 2000-05-12 2001-11-22 Hitachi Ltd 液晶表示装置およびその製造方法
JP3430335B2 (ja) 2000-07-05 2003-07-28 株式会社半導体エネルギー研究所 半導体装置の作製方法
WO2002016679A1 (en) 2000-08-18 2002-02-28 Tohoku Techno Arch Co., Ltd. Polycrystalline semiconductor material and method of manufacture thereof
JP4089858B2 (ja) 2000-09-01 2008-05-28 国立大学法人東北大学 半導体デバイス
US6549071B1 (en) 2000-09-12 2003-04-15 Silicon Laboratories, Inc. Power amplifier circuitry and method using an inductance coupled to power amplifier switching devices
KR20020038482A (ko) 2000-11-15 2002-05-23 모리시타 요이찌 박막 트랜지스터 어레이, 그 제조방법 및 그것을 이용한표시패널
JP2002196363A (ja) * 2000-12-26 2002-07-12 Nec Corp 液晶表示装置及びその製造方法
US7071037B2 (en) 2001-03-06 2006-07-04 Semiconductor Energy Laboratory Co., Ltd. Semiconductor device and manufacturing method thereof
JP3997731B2 (ja) 2001-03-19 2007-10-24 富士ゼロックス株式会社 基材上に結晶性半導体薄膜を形成する方法
JP2002289859A (ja) 2001-03-23 2002-10-04 Minolta Co Ltd 薄膜トランジスタ
US6623653B2 (en) 2001-06-12 2003-09-23 Sharp Laboratories Of America, Inc. System and method for etching adjoining layers of silicon and indium tin oxide
JP4090716B2 (ja) 2001-09-10 2008-05-28 雅司 川崎 薄膜トランジスタおよびマトリクス表示装置
JP3925839B2 (ja) 2001-09-10 2007-06-06 シャープ株式会社 半導体記憶装置およびその試験方法
JP4164562B2 (ja) 2002-09-11 2008-10-15 独立行政法人科学技術振興機構 ホモロガス薄膜を活性層として用いる透明薄膜電界効果型トランジスタ
EP1443130B1 (en) 2001-11-05 2011-09-28 Japan Science and Technology Agency Natural superlattice homologous single crystal thin film, method for preparation thereof, and device using said single crystal thin film
JP4083486B2 (ja) 2002-02-21 2008-04-30 独立行政法人科学技術振興機構 LnCuO(S,Se,Te)単結晶薄膜の製造方法
CN1445821A (zh) 2002-03-15 2003-10-01 三洋电机株式会社 ZnO膜和ZnO半导体层的形成方法、半导体元件及其制造方法
JP3933591B2 (ja) 2002-03-26 2007-06-20 淳二 城戸 有機エレクトロルミネッセント素子
KR100436181B1 (ko) 2002-04-16 2004-06-12 엘지.필립스 엘시디 주식회사 액정표시장치용 어레이기판 제조방법
JP4104489B2 (ja) * 2002-05-17 2008-06-18 東芝松下ディスプレイテクノロジー株式会社 表示装置及びその製造方法
US7339187B2 (en) 2002-05-21 2008-03-04 State Of Oregon Acting By And Through The Oregon State Board Of Higher Education On Behalf Of Oregon State University Transistor structures
JP2004022625A (ja) 2002-06-13 2004-01-22 Murata Mfg Co Ltd 半導体デバイス及び該半導体デバイスの製造方法
TWI306311B (en) 2002-06-21 2009-02-11 Sanyo Electric Co Thin film transistor and method for producing thin film transistor
JP2004031409A (ja) * 2002-06-21 2004-01-29 Sanyo Electric Co Ltd 薄膜トランジスタの製造方法
US7105868B2 (en) 2002-06-24 2006-09-12 Cermet, Inc. High-electron mobility transistor with zinc oxide
US7067843B2 (en) 2002-10-11 2006-06-27 E. I. Du Pont De Nemours And Company Transparent oxide semiconductor thin film transistors
KR100892087B1 (ko) 2002-10-28 2009-04-06 엘지디스플레이 주식회사 횡전계방식 액정표시장치용 어레이기판과 그 제조방법
JP4166105B2 (ja) 2003-03-06 2008-10-15 シャープ株式会社 半導体装置およびその製造方法
JP4102925B2 (ja) * 2003-05-15 2008-06-18 カシオ計算機株式会社 アクティブマトリックス型液晶表示装置
JP2004273732A (ja) 2003-03-07 2004-09-30 Sharp Corp アクティブマトリクス基板およびその製造方法
JP4016955B2 (ja) * 2003-05-02 2007-12-05 セイコーエプソン株式会社 電気光学装置及びその製造方法並びに電子機器
JP4108633B2 (ja) 2003-06-20 2008-06-25 シャープ株式会社 薄膜トランジスタおよびその製造方法ならびに電子デバイス
US7262463B2 (en) 2003-07-25 2007-08-28 Hewlett-Packard Development Company, L.P. Transistor including a deposited channel region having a doped portion
JP4578826B2 (ja) * 2004-02-26 2010-11-10 株式会社半導体エネルギー研究所 半導体装置の作製方法
JP4936643B2 (ja) 2004-03-02 2012-05-23 株式会社リコー 半導体装置及びその製造方法
CN103121799A (zh) 2004-03-09 2013-05-29 出光兴产株式会社 溅射靶、透明导电膜、薄膜晶体管、薄膜晶体管基板及其制造方法及液晶显示装置
US7297977B2 (en) 2004-03-12 2007-11-20 Hewlett-Packard Development Company, L.P. Semiconductor device
US7145174B2 (en) 2004-03-12 2006-12-05 Hewlett-Packard Development Company, Lp. Semiconductor device
US7282782B2 (en) 2004-03-12 2007-10-16 Hewlett-Packard Development Company, L.P. Combined binary oxide semiconductor device
US20070194379A1 (en) 2004-03-12 2007-08-23 Japan Science And Technology Agency Amorphous Oxide And Thin Film Transistor
CN101065837A (zh) * 2004-03-30 2007-10-31 巴斯福股份公司 用于去除蚀刻后残留物的水溶液
US7211825B2 (en) 2004-06-14 2007-05-01 Yi-Chi Shih Indium oxide-based thin film transistors and circuits
US20060000802A1 (en) * 2004-06-30 2006-01-05 Ajay Kumar Method and apparatus for photomask plasma etching
CN100405547C (zh) * 2004-08-06 2008-07-23 台湾薄膜电晶体液晶显示器产业协会 防止金属层扩散的tft电极结构与其制程
US7977253B2 (en) * 2004-08-31 2011-07-12 Semiconductor Energy Laboratory Co., Ltd. Manufacturing method of semiconductor device
JP2006100760A (ja) 2004-09-02 2006-04-13 Casio Comput Co Ltd 薄膜トランジスタおよびその製造方法
US7285501B2 (en) 2004-09-17 2007-10-23 Hewlett-Packard Development Company, L.P. Method of forming a solution processed device
US7298084B2 (en) 2004-11-02 2007-11-20 3M Innovative Properties Company Methods and displays utilizing integrated zinc oxide row and column drivers in conjunction with organic light emitting diodes
EP1815530B1 (en) 2004-11-10 2021-02-17 Canon Kabushiki Kaisha Field effect transistor employing an amorphous oxide
AU2005302963B2 (en) 2004-11-10 2009-07-02 Cannon Kabushiki Kaisha Light-emitting device
US7791072B2 (en) 2004-11-10 2010-09-07 Canon Kabushiki Kaisha Display
US7829444B2 (en) 2004-11-10 2010-11-09 Canon Kabushiki Kaisha Field effect transistor manufacturing method
US7453065B2 (en) 2004-11-10 2008-11-18 Canon Kabushiki Kaisha Sensor and image pickup device
US7863611B2 (en) 2004-11-10 2011-01-04 Canon Kabushiki Kaisha Integrated circuits utilizing amorphous oxides
EP2453480A2 (en) 2004-11-10 2012-05-16 Canon Kabushiki Kaisha Amorphous oxide and field effect transistor
US7579224B2 (en) 2005-01-21 2009-08-25 Semiconductor Energy Laboratory Co., Ltd. Method for manufacturing a thin film semiconductor device
TWI481024B (zh) 2005-01-28 2015-04-11 半導體能源研究所股份有限公司 半導體裝置,電子裝置,和半導體裝置的製造方法
TWI412138B (zh) 2005-01-28 2013-10-11 半導體能源研究所股份有限公司 半導體裝置,電子裝置,和半導體裝置的製造方法
US7858451B2 (en) 2005-02-03 2010-12-28 Semiconductor Energy Laboratory Co., Ltd. Electronic device, semiconductor device and manufacturing method thereof
US7948171B2 (en) 2005-02-18 2011-05-24 Semiconductor Energy Laboratory Co., Ltd. Light emitting device
US20060197092A1 (en) 2005-03-03 2006-09-07 Randy Hoffman System and method for forming conductive material on a substrate
US8681077B2 (en) 2005-03-18 2014-03-25 Semiconductor Energy Laboratory Co., Ltd. Semiconductor device, and display device, driving method and electronic apparatus thereof
US7544967B2 (en) 2005-03-28 2009-06-09 Massachusetts Institute Of Technology Low voltage flexible organic/transparent transistor for selective gas sensing, photodetecting and CMOS device applications
US7645478B2 (en) 2005-03-31 2010-01-12 3M Innovative Properties Company Methods of making displays
US8300031B2 (en) 2005-04-20 2012-10-30 Semiconductor Energy Laboratory Co., Ltd. Semiconductor device comprising transistor having gate and drain connected through a current-voltage conversion element
US7868320B2 (en) 2005-05-31 2011-01-11 Semiconductor Energy Laboratory Co., Ltd. Semiconductor device and manufacturing method thereof
KR20060125066A (ko) * 2005-06-01 2006-12-06 삼성전자주식회사 개구율이 향상된 어레이 기판 및 이의 제조방법
JP2006344849A (ja) 2005-06-10 2006-12-21 Casio Comput Co Ltd 薄膜トランジスタ
US7402506B2 (en) 2005-06-16 2008-07-22 Eastman Kodak Company Methods of making thin film transistors comprising zinc-oxide-based semiconductor materials and transistors made thereby
US7691666B2 (en) 2005-06-16 2010-04-06 Eastman Kodak Company Methods of making thin film transistors comprising zinc-oxide-based semiconductor materials and transistors made thereby
US7507618B2 (en) 2005-06-27 2009-03-24 3M Innovative Properties Company Method for making electronic devices using metal oxide nanoparticles
KR100711890B1 (ko) 2005-07-28 2007-04-25 삼성에스디아이 주식회사 유기 발광표시장치 및 그의 제조방법
JP4767616B2 (ja) 2005-07-29 2011-09-07 富士フイルム株式会社 半導体デバイスの製造方法及び半導体デバイス
JP4039446B2 (ja) * 2005-08-02 2008-01-30 エプソンイメージングデバイス株式会社 電気光学装置及び電子機器
JP2007059128A (ja) 2005-08-23 2007-03-08 Canon Inc 有機el表示装置およびその製造方法
JP4870404B2 (ja) 2005-09-02 2012-02-08 財団法人高知県産業振興センター 薄膜トランジスタの製法
JP4280736B2 (ja) 2005-09-06 2009-06-17 キヤノン株式会社 半導体素子
JP2007073705A (ja) 2005-09-06 2007-03-22 Canon Inc 酸化物半導体チャネル薄膜トランジスタおよびその製造方法
JP5116225B2 (ja) 2005-09-06 2013-01-09 キヤノン株式会社 酸化物半導体デバイスの製造方法
JP4850457B2 (ja) 2005-09-06 2012-01-11 キヤノン株式会社 薄膜トランジスタ及び薄膜ダイオード
EP3614442A3 (en) 2005-09-29 2020-03-25 Semiconductor Energy Laboratory Co., Ltd. Semiconductor device having oxide semiconductor layer and manufactoring method thereof
JP5078246B2 (ja) 2005-09-29 2012-11-21 株式会社半導体エネルギー研究所 半導体装置、及び半導体装置の作製方法
JP5064747B2 (ja) * 2005-09-29 2012-10-31 株式会社半導体エネルギー研究所 半導体装置、電気泳動表示装置、表示モジュール、電子機器、及び半導体装置の作製方法
CN101283388B (zh) 2005-10-05 2011-04-13 出光兴产株式会社 Tft基板及tft基板的制造方法
CN101278403B (zh) 2005-10-14 2010-12-01 株式会社半导体能源研究所 半导体器件及其制造方法
JP5037808B2 (ja) 2005-10-20 2012-10-03 キヤノン株式会社 アモルファス酸化物を用いた電界効果型トランジスタ、及び該トランジスタを用いた表示装置
CN101667544B (zh) 2005-11-15 2012-09-05 株式会社半导体能源研究所 半导体器件及其制造方法
US7998372B2 (en) 2005-11-18 2011-08-16 Idemitsu Kosan Co., Ltd. Semiconductor thin film, method for manufacturing the same, thin film transistor, and active-matrix-driven display panel
JP5250929B2 (ja) 2005-11-30 2013-07-31 凸版印刷株式会社 トランジスタおよびその製造方法
US7692610B2 (en) * 2005-11-30 2010-04-06 Semiconductor Energy Laboratory Co., Ltd. Display device
JP4492528B2 (ja) 2005-12-02 2010-06-30 カシオ計算機株式会社 液晶表示装置
CN101336485B (zh) 2005-12-02 2012-09-26 出光兴产株式会社 Tft基板及tft基板的制造方法
US8212953B2 (en) 2005-12-26 2012-07-03 Semiconductor Energy Laboratory Co., Ltd. Semiconductor device and method for manufacturing the same
JP5057769B2 (ja) * 2005-12-28 2012-10-24 株式会社半導体エネルギー研究所 ライトワンスメモリ、半導体装置、および電子機器
TWI292281B (en) 2005-12-29 2008-01-01 Ind Tech Res Inst Pixel structure of active organic light emitting diode and method of fabricating the same
US7867636B2 (en) 2006-01-11 2011-01-11 Murata Manufacturing Co., Ltd. Transparent conductive film and method for manufacturing the same
JP4977478B2 (ja) 2006-01-21 2012-07-18 三星電子株式会社 ZnOフィルム及びこれを用いたTFTの製造方法
US7576394B2 (en) 2006-02-02 2009-08-18 Kochi Industrial Promotion Center Thin film transistor including low resistance conductive thin films and manufacturing method thereof
JP2007212699A (ja) 2006-02-09 2007-08-23 Idemitsu Kosan Co Ltd 反射型tft基板及び反射型tft基板の製造方法
US7977169B2 (en) 2006-02-15 2011-07-12 Kochi Industrial Promotion Center Semiconductor device including active layer made of zinc oxide with controlled orientations and manufacturing method thereof
JP2007250982A (ja) 2006-03-17 2007-09-27 Canon Inc 酸化物半導体を用いた薄膜トランジスタ及び表示装置
JP5110803B2 (ja) 2006-03-17 2012-12-26 キヤノン株式会社 酸化物膜をチャネルに用いた電界効果型トランジスタ及びその製造方法
KR20070101595A (ko) 2006-04-11 2007-10-17 삼성전자주식회사 ZnO TFT
KR100785038B1 (ko) * 2006-04-17 2007-12-12 삼성전자주식회사 비정질 ZnO계 TFT
KR101206033B1 (ko) * 2006-04-18 2012-11-28 삼성전자주식회사 ZnO 반도체 박막의 제조방법 및 이를 이용한박막트랜지스터 및 그 제조방법
TWI298545B (en) 2006-04-24 2008-07-01 Au Optronics Corp Method for fabricating a thin film transistor
US20070252928A1 (en) 2006-04-28 2007-11-01 Toppan Printing Co., Ltd. Structure, transmission type liquid crystal display, reflection type display and manufacturing method thereof
JP5135709B2 (ja) 2006-04-28 2013-02-06 凸版印刷株式会社 薄膜トランジスタ及びその製造方法
JP5364242B2 (ja) * 2006-04-28 2013-12-11 株式会社半導体エネルギー研究所 半導体装置の作製方法
US8900970B2 (en) 2006-04-28 2014-12-02 Semiconductor Energy Laboratory Co., Ltd. Method for manufacturing a semiconductor device using a flexible substrate
KR20070115370A (ko) 2006-06-02 2007-12-06 삼성전자주식회사 개구율이 향상된 표시 장치 및 그 제조 방법
JP5028033B2 (ja) 2006-06-13 2012-09-19 キヤノン株式会社 酸化物半導体膜のドライエッチング方法
WO2007148601A1 (ja) * 2006-06-19 2007-12-27 Panasonic Corporation 薄膜トランジスタおよびその製造方法ならびにそれを用いた電子機器
KR100846974B1 (ko) * 2006-06-23 2008-07-17 베이징 보에 옵토일렉트로닉스 테크놀로지 컴퍼니 리미티드 Tft lcd 어레이 기판 및 그 제조 방법
JP5328083B2 (ja) 2006-08-01 2013-10-30 キヤノン株式会社 酸化物のエッチング方法
JP4609797B2 (ja) 2006-08-09 2011-01-12 Nec液晶テクノロジー株式会社 薄膜デバイス及びその製造方法
JP4999400B2 (ja) 2006-08-09 2012-08-15 キヤノン株式会社 酸化物半導体膜のドライエッチング方法
JP5127183B2 (ja) 2006-08-23 2013-01-23 キヤノン株式会社 アモルファス酸化物半導体膜を用いた薄膜トランジスタの製造方法
JP5332091B2 (ja) * 2006-08-29 2013-11-06 カシオ計算機株式会社 薄膜トランジスタの製造方法
JP4332545B2 (ja) 2006-09-15 2009-09-16 キヤノン株式会社 電界効果型トランジスタ及びその製造方法
JP4274219B2 (ja) 2006-09-27 2009-06-03 セイコーエプソン株式会社 電子デバイス、有機エレクトロルミネッセンス装置、有機薄膜半導体装置
JP5164357B2 (ja) 2006-09-27 2013-03-21 キヤノン株式会社 半導体装置及び半導体装置の製造方法
JP2008091614A (ja) * 2006-10-02 2008-04-17 Toshiba Corp 半導体装置およびその製造方法
US7622371B2 (en) 2006-10-10 2009-11-24 Hewlett-Packard Development Company, L.P. Fused nanocrystal thin film semiconductor and method
JP5116290B2 (ja) 2006-11-21 2013-01-09 キヤノン株式会社 薄膜トランジスタの製造方法
KR101425635B1 (ko) 2006-11-29 2014-08-06 삼성디스플레이 주식회사 산화물 박막 트랜지스터 기판의 제조 방법 및 산화물 박막트랜지스터 기판
US7772021B2 (en) 2006-11-29 2010-08-10 Samsung Electronics Co., Ltd. Flat panel displays comprising a thin-film transistor having a semiconductive oxide in its channel and methods of fabricating the same for use in flat panel displays
JP2008140984A (ja) * 2006-12-01 2008-06-19 Sharp Corp 半導体素子、半導体素子の製造方法、及び表示装置
JP2008140684A (ja) 2006-12-04 2008-06-19 Toppan Printing Co Ltd カラーelディスプレイおよびその製造方法
US7851277B2 (en) * 2006-12-05 2010-12-14 Semiconductor Energy Laboratory Co., Ltd. Semiconductor device and method of manufacturing same
KR20080052107A (ko) 2006-12-07 2008-06-11 엘지전자 주식회사 산화물 반도체층을 구비한 박막 트랜지스터
KR101363555B1 (ko) * 2006-12-14 2014-02-19 삼성디스플레이 주식회사 박막 트랜지스터 기판 및 그 제조 방법
JP5280671B2 (ja) * 2006-12-20 2013-09-04 富士フイルム株式会社 画像検出器および放射線検出システム
KR101303578B1 (ko) 2007-01-05 2013-09-09 삼성전자주식회사 박막 식각 방법
KR20080068240A (ko) 2007-01-18 2008-07-23 삼성전자주식회사 박막 트랜지스터 기판의 제조 방법
US8207063B2 (en) 2007-01-26 2012-06-26 Eastman Kodak Company Process for atomic layer deposition
KR100858088B1 (ko) 2007-02-28 2008-09-10 삼성전자주식회사 박막 트랜지스터 및 그 제조 방법
KR100851215B1 (ko) 2007-03-14 2008-08-07 삼성에스디아이 주식회사 박막 트랜지스터 및 이를 이용한 유기 전계 발광표시장치
KR20080086686A (ko) 2007-03-23 2008-09-26 주식회사 하이닉스반도체 반도체 소자의 제조방법
JP5512930B2 (ja) * 2007-03-26 2014-06-04 株式会社半導体エネルギー研究所 半導体装置の作製方法
US7795613B2 (en) 2007-04-17 2010-09-14 Toppan Printing Co., Ltd. Structure with transistor
KR101325053B1 (ko) 2007-04-18 2013-11-05 삼성디스플레이 주식회사 박막 트랜지스터 기판 및 이의 제조 방법
KR20080094300A (ko) 2007-04-19 2008-10-23 삼성전자주식회사 박막 트랜지스터 및 그 제조 방법과 박막 트랜지스터를포함하는 평판 디스플레이
KR101334181B1 (ko) 2007-04-20 2013-11-28 삼성전자주식회사 선택적으로 결정화된 채널층을 갖는 박막 트랜지스터 및 그제조 방법
US8274078B2 (en) 2007-04-25 2012-09-25 Canon Kabushiki Kaisha Metal oxynitride semiconductor containing zinc
KR101345376B1 (ko) 2007-05-29 2013-12-24 삼성전자주식회사 ZnO 계 박막 트랜지스터 및 그 제조방법
US7935964B2 (en) 2007-06-19 2011-05-03 Samsung Electronics Co., Ltd. Oxide semiconductors and thin film transistors comprising the same
US9176353B2 (en) 2007-06-29 2015-11-03 Semiconductor Energy Laboratory Co., Ltd. Liquid crystal display device
US8921858B2 (en) 2007-06-29 2014-12-30 Semiconductor Energy Laboratory Co., Ltd. Light-emitting device
KR20090002841A (ko) 2007-07-04 2009-01-09 삼성전자주식회사 산화물 반도체, 이를 포함하는 박막 트랜지스터 및 그 제조방법
US7738050B2 (en) 2007-07-06 2010-06-15 Semiconductor Energy Laboratory Co., Ltd Liquid crystal display device
JP2009049384A (ja) 2007-07-20 2009-03-05 Semiconductor Energy Lab Co Ltd 発光装置
TWI464510B (zh) 2007-07-20 2014-12-11 Semiconductor Energy Lab 液晶顯示裝置
US7611930B2 (en) 2007-08-17 2009-11-03 Semiconductor Energy Laboratory Co., Ltd. Method of manufacturing display device
JP5380037B2 (ja) 2007-10-23 2014-01-08 株式会社半導体エネルギー研究所 半導体装置の作製方法
JP5377940B2 (ja) 2007-12-03 2013-12-25 株式会社半導体エネルギー研究所 半導体装置
KR101270174B1 (ko) 2007-12-03 2013-05-31 삼성전자주식회사 산화물 반도체 박막 트랜지스터의 제조방법
JP5395415B2 (ja) 2007-12-03 2014-01-22 株式会社半導体エネルギー研究所 薄膜トランジスタの作製方法
US8202365B2 (en) 2007-12-17 2012-06-19 Fujifilm Corporation Process for producing oriented inorganic crystalline film, and semiconductor device using the oriented inorganic crystalline film
KR20090076046A (ko) * 2008-01-07 2009-07-13 삼성전자주식회사 액정 표시 장치와 그 제조 방법
KR101461127B1 (ko) 2008-05-13 2014-11-14 삼성디스플레이 주식회사 반도체 장치 및 이의 제조 방법
TWI469354B (zh) 2008-07-31 2015-01-11 Semiconductor Energy Lab 半導體裝置及其製造方法
KR101499239B1 (ko) * 2008-08-26 2015-03-06 삼성디스플레이 주식회사 박막 트랜지스터 표시판 및 그 제조 방법
US9082857B2 (en) 2008-09-01 2015-07-14 Semiconductor Energy Laboratory Co., Ltd. Semiconductor device comprising an oxide semiconductor layer
JP2010062233A (ja) * 2008-09-02 2010-03-18 Hitachi Displays Ltd 表示装置
US9306078B2 (en) 2008-09-08 2016-04-05 Cbrite Inc. Stable amorphous metal oxide semiconductor
KR101644406B1 (ko) 2008-09-12 2016-08-01 가부시키가이샤 한도오따이 에네루기 켄큐쇼 표시 장치
WO2010029866A1 (en) 2008-09-12 2010-03-18 Semiconductor Energy Laboratory Co., Ltd. Display device
JP4623179B2 (ja) 2008-09-18 2011-02-02 ソニー株式会社 薄膜トランジスタおよびその製造方法
KR101670695B1 (ko) 2008-09-19 2016-10-31 가부시키가이샤 한도오따이 에네루기 켄큐쇼 반도체장치
KR101889287B1 (ko) 2008-09-19 2018-08-20 가부시키가이샤 한도오따이 에네루기 켄큐쇼 반도체장치
EP2172977A1 (en) 2008-10-03 2010-04-07 Semiconductor Energy Laboratory Co., Ltd. Display device
KR102133478B1 (ko) 2008-10-03 2020-07-13 가부시키가이샤 한도오따이 에네루기 켄큐쇼 표시장치
JP5451280B2 (ja) 2008-10-09 2014-03-26 キヤノン株式会社 ウルツ鉱型結晶成長用基板およびその製造方法ならびに半導体装置
JP5361651B2 (ja) * 2008-10-22 2013-12-04 株式会社半導体エネルギー研究所 半導体装置の作製方法
KR101667909B1 (ko) 2008-10-24 2016-10-28 가부시키가이샤 한도오따이 에네루기 켄큐쇼 반도체장치의 제조방법
JP5616012B2 (ja) 2008-10-24 2014-10-29 株式会社半導体エネルギー研究所 半導体装置の作製方法
EP2180518B1 (en) 2008-10-24 2018-04-25 Semiconductor Energy Laboratory Co, Ltd. Method for manufacturing semiconductor device
WO2010047288A1 (en) 2008-10-24 2010-04-29 Semiconductor Energy Laboratory Co., Ltd. Method for manufacturing semiconductordevice
US8741702B2 (en) 2008-10-24 2014-06-03 Semiconductor Energy Laboratory Co., Ltd. Method for manufacturing semiconductor device
WO2010053060A1 (en) 2008-11-07 2010-05-14 Semiconductor Energy Laboratory Co., Ltd. Semiconductor device
JP5564331B2 (ja) 2009-05-29 2014-07-30 株式会社半導体エネルギー研究所 半導体装置の作製方法
KR20230165355A (ko) 2009-09-16 2023-12-05 가부시키가이샤 한도오따이 에네루기 켄큐쇼 표시 장치
CN105428424A (zh) 2009-09-16 2016-03-23 株式会社半导体能源研究所 晶体管及显示设备
KR101969253B1 (ko) 2009-10-08 2019-04-15 가부시키가이샤 한도오따이 에네루기 켄큐쇼 반도체 장치
CN102687400B (zh) 2009-10-30 2016-08-24 株式会社半导体能源研究所 逻辑电路和半导体装置

Also Published As

Publication number Publication date
TW201123313A (en) 2011-07-01
US20180108680A1 (en) 2018-04-19
JP2016178308A (ja) 2016-10-06
US9373525B2 (en) 2016-06-21
KR20160124721A (ko) 2016-10-28
US7915075B2 (en) 2011-03-29
US10211240B2 (en) 2019-02-19
US20100099216A1 (en) 2010-04-22
JP2014027291A (ja) 2014-02-06
JP2023130385A (ja) 2023-09-20
JP7535631B2 (ja) 2024-08-16
US20110117698A1 (en) 2011-05-19
KR20110019413A (ko) 2011-02-25
US20150079730A1 (en) 2015-03-19
CN101728275A (zh) 2010-06-09
CN102136500A (zh) 2011-07-27
KR20170100468A (ko) 2017-09-04
JP6636487B2 (ja) 2020-01-29
JP2022062088A (ja) 2022-04-19
US20170294453A1 (en) 2017-10-12
US9853069B2 (en) 2017-12-26
CN102136500B (zh) 2015-09-09
JP5361651B2 (ja) 2013-12-04
JP2015144313A (ja) 2015-08-06
KR101088648B1 (ko) 2011-12-02
TWI463570B (zh) 2014-12-01
KR20100044716A (ko) 2010-04-30
US8912040B2 (en) 2014-12-16
TWI466193B (zh) 2014-12-21
JP5728542B2 (ja) 2015-06-03
CN101728275B (zh) 2015-05-06
JP2024153897A (ja) 2024-10-29
TW201034085A (en) 2010-09-16
JP2020025114A (ja) 2020-02-13
JP2018032866A (ja) 2018-03-01
US20160284739A1 (en) 2016-09-29
JP2010123923A (ja) 2010-06-03
US9691789B2 (en) 2017-06-27

Similar Documents

Publication Publication Date Title
JP7535631B2 (ja) 表示装置
JP6366754B2 (ja) 半導体装置の作製方法
JP6005773B2 (ja) 半導体装置の作製方法
JP5947933B2 (ja) 半導体装置
JP6082763B2 (ja) 半導体装置の作製方法
JP6082762B2 (ja) 半導体装置の作製方法

Legal Events

Date Code Title Description
A977 Report on retrieval

Free format text: JAPANESE INTERMEDIATE CODE: A971007

Effective date: 20160421

A131 Notification of reasons for refusal

Free format text: JAPANESE INTERMEDIATE CODE: A131

Effective date: 20160510

A521 Request for written amendment filed

Free format text: JAPANESE INTERMEDIATE CODE: A523

Effective date: 20160610

A131 Notification of reasons for refusal

Free format text: JAPANESE INTERMEDIATE CODE: A131

Effective date: 20161122

A521 Request for written amendment filed

Free format text: JAPANESE INTERMEDIATE CODE: A523

Effective date: 20161216

TRDD Decision of grant or rejection written
A01 Written decision to grant a patent or to grant a registration (utility model)

Free format text: JAPANESE INTERMEDIATE CODE: A01

Effective date: 20170425

A61 First payment of annual fees (during grant procedure)

Free format text: JAPANESE INTERMEDIATE CODE: A61

Effective date: 20170502

R150 Certificate of patent or registration of utility model

Ref document number: 6141348

Country of ref document: JP

Free format text: JAPANESE INTERMEDIATE CODE: R150

R250 Receipt of annual fees

Free format text: JAPANESE INTERMEDIATE CODE: R250

R250 Receipt of annual fees

Free format text: JAPANESE INTERMEDIATE CODE: R250

R250 Receipt of annual fees

Free format text: JAPANESE INTERMEDIATE CODE: R250

R250 Receipt of annual fees

Free format text: JAPANESE INTERMEDIATE CODE: R250

LAPS Cancellation because of no payment of annual fees