JP5259129B2 - 低い仕事関数の陽極を有する電界発光素子 - Google Patents
低い仕事関数の陽極を有する電界発光素子 Download PDFInfo
- Publication number
- JP5259129B2 JP5259129B2 JP2007160505A JP2007160505A JP5259129B2 JP 5259129 B2 JP5259129 B2 JP 5259129B2 JP 2007160505 A JP2007160505 A JP 2007160505A JP 2007160505 A JP2007160505 A JP 2007160505A JP 5259129 B2 JP5259129 B2 JP 5259129B2
- Authority
- JP
- Japan
- Prior art keywords
- oxide
- layer
- anode
- cathode
- substituted
- Prior art date
- Legal status (The legal status is an assumption and is not a legal conclusion. Google has not performed a legal analysis and makes no representation as to the accuracy of the status listed.)
- Expired - Lifetime
Links
- 238000002347 injection Methods 0.000 claims abstract description 47
- 239000007924 injection Substances 0.000 claims abstract description 47
- 229910052782 aluminium Inorganic materials 0.000 claims abstract description 33
- XAGFODPZIPBFFR-UHFFFAOYSA-N aluminium Chemical compound [Al] XAGFODPZIPBFFR-UHFFFAOYSA-N 0.000 claims abstract description 32
- 239000010405 anode material Substances 0.000 claims abstract description 14
- 239000010406 cathode material Substances 0.000 claims abstract description 14
- 239000010410 layer Substances 0.000 claims description 254
- 150000001875 compounds Chemical class 0.000 claims description 58
- PQXKHYXIUOZZFA-UHFFFAOYSA-M lithium fluoride Chemical compound [Li+].[F-] PQXKHYXIUOZZFA-UHFFFAOYSA-M 0.000 claims description 23
- 239000002346 layers by function Substances 0.000 claims description 21
- 125000003118 aryl group Chemical group 0.000 claims description 12
- QVQLCTNNEUAWMS-UHFFFAOYSA-N barium oxide Chemical compound [Ba]=O QVQLCTNNEUAWMS-UHFFFAOYSA-N 0.000 claims description 10
- TWNQGVIAIRXVLR-UHFFFAOYSA-N oxo(oxoalumanyloxy)alumane Chemical compound O=[Al]O[Al]=O TWNQGVIAIRXVLR-UHFFFAOYSA-N 0.000 claims description 10
- 239000004020 conductor Substances 0.000 claims description 8
- 229910052709 silver Inorganic materials 0.000 claims description 8
- 239000004332 silver Substances 0.000 claims description 8
- XJHCXCQVJFPJIK-UHFFFAOYSA-M caesium fluoride Chemical compound [F-].[Cs+] XJHCXCQVJFPJIK-UHFFFAOYSA-M 0.000 claims description 7
- WUPHOULIZUERAE-UHFFFAOYSA-N 3-(oxolan-2-yl)propanoic acid Chemical compound OC(=O)CCC1CCCO1 WUPHOULIZUERAE-UHFFFAOYSA-N 0.000 claims description 6
- WCUXLLCKKVVCTQ-UHFFFAOYSA-M Potassium chloride Chemical compound [Cl-].[K+] WCUXLLCKKVVCTQ-UHFFFAOYSA-M 0.000 claims description 6
- FAPWRFPIFSIZLT-UHFFFAOYSA-M Sodium chloride Chemical compound [Na+].[Cl-] FAPWRFPIFSIZLT-UHFFFAOYSA-M 0.000 claims description 6
- XLOMVQKBTHCTTD-UHFFFAOYSA-N Zinc monoxide Chemical compound [Zn]=O XLOMVQKBTHCTTD-UHFFFAOYSA-N 0.000 claims description 6
- 239000005083 Zinc sulfide Substances 0.000 claims description 6
- 150000004982 aromatic amines Chemical class 0.000 claims description 6
- 229910052980 cadmium sulfide Inorganic materials 0.000 claims description 6
- AMWRITDGCCNYAT-UHFFFAOYSA-L hydroxy(oxo)manganese;manganese Chemical compound [Mn].O[Mn]=O.O[Mn]=O AMWRITDGCCNYAT-UHFFFAOYSA-L 0.000 claims description 6
- 229910052984 zinc sulfide Inorganic materials 0.000 claims description 6
- 229910052581 Si3N4 Inorganic materials 0.000 claims description 5
- VYPSYNLAJGMNEJ-UHFFFAOYSA-N Silicium dioxide Chemical compound O=[Si]=O VYPSYNLAJGMNEJ-UHFFFAOYSA-N 0.000 claims description 5
- 125000000217 alkyl group Chemical group 0.000 claims description 5
- HQVNEWCFYHHQES-UHFFFAOYSA-N silicon nitride Chemical compound N12[Si]34N5[Si]62N3[Si]51N64 HQVNEWCFYHHQES-UHFFFAOYSA-N 0.000 claims description 5
- 229910052814 silicon oxide Inorganic materials 0.000 claims description 5
- WHXSMMKQMYFTQS-UHFFFAOYSA-N Lithium Chemical compound [Li] WHXSMMKQMYFTQS-UHFFFAOYSA-N 0.000 claims description 4
- 150000001408 amides Chemical class 0.000 claims description 4
- 125000000623 heterocyclic group Chemical group 0.000 claims description 4
- 229910052744 lithium Inorganic materials 0.000 claims description 4
- 239000012811 non-conductive material Substances 0.000 claims description 4
- 230000003647 oxidation Effects 0.000 claims description 4
- 238000007254 oxidation reaction Methods 0.000 claims description 4
- 125000004642 (C1-C12) alkoxy group Chemical group 0.000 claims description 3
- PZNSFCLAULLKQX-UHFFFAOYSA-N Boron nitride Chemical compound N#B PZNSFCLAULLKQX-UHFFFAOYSA-N 0.000 claims description 3
- QPLDLSVMHZLSFG-UHFFFAOYSA-N Copper oxide Chemical compound [Cu]=O QPLDLSVMHZLSFG-UHFFFAOYSA-N 0.000 claims description 3
- 239000005751 Copper oxide Substances 0.000 claims description 3
- JMASRVWKEDWRBT-UHFFFAOYSA-N Gallium nitride Chemical compound [Ga]#N JMASRVWKEDWRBT-UHFFFAOYSA-N 0.000 claims description 3
- 239000004111 Potassium silicate Substances 0.000 claims description 3
- GWEVSGVZZGPLCZ-UHFFFAOYSA-N Titan oxide Chemical compound O=[Ti]=O GWEVSGVZZGPLCZ-UHFFFAOYSA-N 0.000 claims description 3
- WGLPBDUCMAPZCE-UHFFFAOYSA-N Trioxochromium Chemical compound O=[Cr](=O)=O WGLPBDUCMAPZCE-UHFFFAOYSA-N 0.000 claims description 3
- XHCLAFWTIXFWPH-UHFFFAOYSA-N [O-2].[O-2].[O-2].[O-2].[O-2].[V+5].[V+5] Chemical compound [O-2].[O-2].[O-2].[O-2].[O-2].[V+5].[V+5] XHCLAFWTIXFWPH-UHFFFAOYSA-N 0.000 claims description 3
- OQNXPQOQCWVVHP-UHFFFAOYSA-N [Si].O=[Ge] Chemical compound [Si].O=[Ge] OQNXPQOQCWVVHP-UHFFFAOYSA-N 0.000 claims description 3
- 229910002113 barium titanate Inorganic materials 0.000 claims description 3
- JRPBQTZRNDNNOP-UHFFFAOYSA-N barium titanate Chemical compound [Ba+2].[Ba+2].[O-][Ti]([O-])([O-])[O-] JRPBQTZRNDNNOP-UHFFFAOYSA-N 0.000 claims description 3
- AQCDIIAORKRFCD-UHFFFAOYSA-N cadmium selenide Chemical compound [Cd]=[Se] AQCDIIAORKRFCD-UHFFFAOYSA-N 0.000 claims description 3
- KOPBYBDAPCDYFK-UHFFFAOYSA-N caesium oxide Chemical compound [O-2].[Cs+].[Cs+] KOPBYBDAPCDYFK-UHFFFAOYSA-N 0.000 claims description 3
- 229910001942 caesium oxide Inorganic materials 0.000 claims description 3
- WUKWITHWXAAZEY-UHFFFAOYSA-L calcium difluoride Chemical compound [F-].[F-].[Ca+2] WUKWITHWXAAZEY-UHFFFAOYSA-L 0.000 claims description 3
- 229910001634 calcium fluoride Inorganic materials 0.000 claims description 3
- BRPQOXSCLDDYGP-UHFFFAOYSA-N calcium oxide Chemical compound [O-2].[Ca+2] BRPQOXSCLDDYGP-UHFFFAOYSA-N 0.000 claims description 3
- 239000000292 calcium oxide Substances 0.000 claims description 3
- ODINCKMPIJJUCX-UHFFFAOYSA-N calcium oxide Inorganic materials [Ca]=O ODINCKMPIJJUCX-UHFFFAOYSA-N 0.000 claims description 3
- 229910000423 chromium oxide Inorganic materials 0.000 claims description 3
- 229910000428 cobalt oxide Inorganic materials 0.000 claims description 3
- IVMYJDGYRUAWML-UHFFFAOYSA-N cobalt(ii) oxide Chemical compound [Co]=O IVMYJDGYRUAWML-UHFFFAOYSA-N 0.000 claims description 3
- 229910000431 copper oxide Inorganic materials 0.000 claims description 3
- 150000002148 esters Chemical class 0.000 claims description 3
- HZXMRANICFIONG-UHFFFAOYSA-N gallium phosphide Chemical compound [Ga]#P HZXMRANICFIONG-UHFFFAOYSA-N 0.000 claims description 3
- YBMRDBCBODYGJE-UHFFFAOYSA-N germanium oxide Inorganic materials O=[Ge]=O YBMRDBCBODYGJE-UHFFFAOYSA-N 0.000 claims description 3
- 125000001475 halogen functional group Chemical group 0.000 claims description 3
- 239000001257 hydrogen Substances 0.000 claims description 3
- 229910052739 hydrogen Inorganic materials 0.000 claims description 3
- 125000004435 hydrogen atom Chemical group [H]* 0.000 claims description 3
- FUJCRWPEOMXPAD-UHFFFAOYSA-N lithium oxide Chemical compound [Li+].[Li+].[O-2] FUJCRWPEOMXPAD-UHFFFAOYSA-N 0.000 claims description 3
- 229910001947 lithium oxide Inorganic materials 0.000 claims description 3
- ORUIBWPALBXDOA-UHFFFAOYSA-L magnesium fluoride Chemical compound [F-].[F-].[Mg+2] ORUIBWPALBXDOA-UHFFFAOYSA-L 0.000 claims description 3
- 229910001635 magnesium fluoride Inorganic materials 0.000 claims description 3
- 239000000395 magnesium oxide Substances 0.000 claims description 3
- CPLXHLVBOLITMK-UHFFFAOYSA-N magnesium oxide Inorganic materials [Mg]=O CPLXHLVBOLITMK-UHFFFAOYSA-N 0.000 claims description 3
- AXZKOIWUVFPNLO-UHFFFAOYSA-N magnesium;oxygen(2-) Chemical compound [O-2].[Mg+2] AXZKOIWUVFPNLO-UHFFFAOYSA-N 0.000 claims description 3
- 229910000480 nickel oxide Inorganic materials 0.000 claims description 3
- 150000004767 nitrides Chemical class 0.000 claims description 3
- 150000002825 nitriles Chemical group 0.000 claims description 3
- 125000000449 nitro group Chemical group [O-][N+](*)=O 0.000 claims description 3
- QGLKJKCYBOYXKC-UHFFFAOYSA-N nonaoxidotritungsten Chemical compound O=[W]1(=O)O[W](=O)(=O)O[W](=O)(=O)O1 QGLKJKCYBOYXKC-UHFFFAOYSA-N 0.000 claims description 3
- PVADDRMAFCOOPC-UHFFFAOYSA-N oxogermanium Chemical compound [Ge]=O PVADDRMAFCOOPC-UHFFFAOYSA-N 0.000 claims description 3
- GNRSAWUEBMWBQH-UHFFFAOYSA-N oxonickel Chemical compound [Ni]=O GNRSAWUEBMWBQH-UHFFFAOYSA-N 0.000 claims description 3
- MMKQUGHLEMYQSG-UHFFFAOYSA-N oxygen(2-);praseodymium(3+) Chemical compound [O-2].[O-2].[O-2].[Pr+3].[Pr+3] MMKQUGHLEMYQSG-UHFFFAOYSA-N 0.000 claims description 3
- BPUBBGLMJRNUCC-UHFFFAOYSA-N oxygen(2-);tantalum(5+) Chemical compound [O-2].[O-2].[O-2].[O-2].[O-2].[Ta+5].[Ta+5] BPUBBGLMJRNUCC-UHFFFAOYSA-N 0.000 claims description 3
- RVTZCBVAJQQJTK-UHFFFAOYSA-N oxygen(2-);zirconium(4+) Chemical compound [O-2].[O-2].[Zr+4] RVTZCBVAJQQJTK-UHFFFAOYSA-N 0.000 claims description 3
- 230000000737 periodic effect Effects 0.000 claims description 3
- 239000001103 potassium chloride Substances 0.000 claims description 3
- 235000011164 potassium chloride Nutrition 0.000 claims description 3
- CHWRSCGUEQEHOH-UHFFFAOYSA-N potassium oxide Chemical compound [O-2].[K+].[K+] CHWRSCGUEQEHOH-UHFFFAOYSA-N 0.000 claims description 3
- 229910001950 potassium oxide Inorganic materials 0.000 claims description 3
- NNHHDJVEYQHLHG-UHFFFAOYSA-N potassium silicate Chemical compound [K+].[K+].[O-][Si]([O-])=O NNHHDJVEYQHLHG-UHFFFAOYSA-N 0.000 claims description 3
- 229910052913 potassium silicate Inorganic materials 0.000 claims description 3
- 235000019353 potassium silicate Nutrition 0.000 claims description 3
- 229910003447 praseodymium oxide Inorganic materials 0.000 claims description 3
- 229910001925 ruthenium oxide Inorganic materials 0.000 claims description 3
- WOCIAKWEIIZHES-UHFFFAOYSA-N ruthenium(iv) oxide Chemical compound O=[Ru]=O WOCIAKWEIIZHES-UHFFFAOYSA-N 0.000 claims description 3
- LIVNPJMFVYWSIS-UHFFFAOYSA-N silicon monoxide Chemical compound [Si-]#[O+] LIVNPJMFVYWSIS-UHFFFAOYSA-N 0.000 claims description 3
- 239000011780 sodium chloride Substances 0.000 claims description 3
- 229940124530 sulfonamide Drugs 0.000 claims description 3
- 150000003456 sulfonamides Chemical class 0.000 claims description 3
- BDHFUVZGWQCTTF-UHFFFAOYSA-M sulfonate Chemical compound [O-]S(=O)=O BDHFUVZGWQCTTF-UHFFFAOYSA-M 0.000 claims description 3
- 125000000472 sulfonyl group Chemical group *S(*)(=O)=O 0.000 claims description 3
- 150000003462 sulfoxides Chemical class 0.000 claims description 3
- 229910001936 tantalum oxide Inorganic materials 0.000 claims description 3
- OGIDPMRJRNCKJF-UHFFFAOYSA-N titanium oxide Inorganic materials [Ti]=O OGIDPMRJRNCKJF-UHFFFAOYSA-N 0.000 claims description 3
- 125000002023 trifluoromethyl group Chemical group FC(F)(F)* 0.000 claims description 3
- 229910001930 tungsten oxide Inorganic materials 0.000 claims description 3
- 229910001935 vanadium oxide Inorganic materials 0.000 claims description 3
- 239000011787 zinc oxide Substances 0.000 claims description 3
- DRDVZXDWVBGGMH-UHFFFAOYSA-N zinc;sulfide Chemical compound [S-2].[Zn+2] DRDVZXDWVBGGMH-UHFFFAOYSA-N 0.000 claims description 3
- 229910001928 zirconium oxide Inorganic materials 0.000 claims description 3
- HZRMTWQRDMYLNW-UHFFFAOYSA-N lithium metaborate Chemical compound [Li+].[O-]B=O HZRMTWQRDMYLNW-UHFFFAOYSA-N 0.000 claims description 2
- SIWVEOZUMHYXCS-UHFFFAOYSA-N oxo(oxoyttriooxy)yttrium Chemical compound O=[Y]O[Y]=O SIWVEOZUMHYXCS-UHFFFAOYSA-N 0.000 claims description 2
- 229910052712 strontium Inorganic materials 0.000 claims description 2
- CIOAGBVUUVVLOB-UHFFFAOYSA-N strontium atom Chemical compound [Sr] CIOAGBVUUVVLOB-UHFFFAOYSA-N 0.000 claims description 2
- 229910013184 LiBO Inorganic materials 0.000 claims 1
- 239000000969 carrier Substances 0.000 abstract description 8
- 238000010276 construction Methods 0.000 abstract 1
- 239000000463 material Substances 0.000 description 54
- 239000000758 substrate Substances 0.000 description 36
- 230000005684 electric field Effects 0.000 description 19
- 230000005525 hole transport Effects 0.000 description 17
- 239000011521 glass Substances 0.000 description 16
- 230000000052 comparative effect Effects 0.000 description 10
- 230000005855 radiation Effects 0.000 description 9
- 238000007789 sealing Methods 0.000 description 8
- 230000015572 biosynthetic process Effects 0.000 description 7
- -1 itorium oxide Chemical compound 0.000 description 7
- 239000011159 matrix material Substances 0.000 description 7
- 238000000034 method Methods 0.000 description 7
- 239000000126 substance Substances 0.000 description 7
- 230000007935 neutral effect Effects 0.000 description 6
- IATRAKWUXMZMIY-UHFFFAOYSA-N strontium oxide Chemical compound [O-2].[Sr+2] IATRAKWUXMZMIY-UHFFFAOYSA-N 0.000 description 6
- 238000001771 vacuum deposition Methods 0.000 description 6
- BQCADISMDOOEFD-UHFFFAOYSA-N Silver Chemical compound [Ag] BQCADISMDOOEFD-UHFFFAOYSA-N 0.000 description 5
- 238000005516 engineering process Methods 0.000 description 5
- PXHVJJICTQNCMI-UHFFFAOYSA-N Nickel Chemical compound [Ni] PXHVJJICTQNCMI-UHFFFAOYSA-N 0.000 description 4
- 238000004140 cleaning Methods 0.000 description 4
- 238000000151 deposition Methods 0.000 description 4
- 230000008021 deposition Effects 0.000 description 4
- AMGQUBHHOARCQH-UHFFFAOYSA-N indium;oxotin Chemical compound [In].[Sn]=O AMGQUBHHOARCQH-UHFFFAOYSA-N 0.000 description 4
- 239000010955 niobium Substances 0.000 description 4
- 230000027756 respiratory electron transport chain Effects 0.000 description 4
- 239000002356 single layer Substances 0.000 description 4
- 239000010936 titanium Substances 0.000 description 4
- 239000012780 transparent material Substances 0.000 description 4
- 229910018072 Al 2 O 3 Inorganic materials 0.000 description 3
- KDLHZDBZIXYQEI-UHFFFAOYSA-N Palladium Chemical compound [Pd] KDLHZDBZIXYQEI-UHFFFAOYSA-N 0.000 description 3
- RTAQQCXQSZGOHL-UHFFFAOYSA-N Titanium Chemical compound [Ti] RTAQQCXQSZGOHL-UHFFFAOYSA-N 0.000 description 3
- 239000000956 alloy Substances 0.000 description 3
- 229910045601 alloy Inorganic materials 0.000 description 3
- 239000011575 calcium Substances 0.000 description 3
- 229910052738 indium Inorganic materials 0.000 description 3
- APFVFJFRJDLVQX-UHFFFAOYSA-N indium atom Chemical compound [In] APFVFJFRJDLVQX-UHFFFAOYSA-N 0.000 description 3
- 239000011777 magnesium Substances 0.000 description 3
- 229910052751 metal Inorganic materials 0.000 description 3
- 239000002184 metal Substances 0.000 description 3
- 150000002739 metals Chemical class 0.000 description 3
- 238000002310 reflectometry Methods 0.000 description 3
- 239000011734 sodium Substances 0.000 description 3
- 229910052719 titanium Inorganic materials 0.000 description 3
- 239000011701 zinc Substances 0.000 description 3
- DMEVMYSQZPJFOK-UHFFFAOYSA-N 3,4,5,6,9,10-hexazatetracyclo[12.4.0.02,7.08,13]octadeca-1(18),2(7),3,5,8(13),9,11,14,16-nonaene Chemical group N1=NN=C2C3=CC=CC=C3C3=CC=NN=C3C2=N1 DMEVMYSQZPJFOK-UHFFFAOYSA-N 0.000 description 2
- OYPRJOBELJOOCE-UHFFFAOYSA-N Calcium Chemical compound [Ca] OYPRJOBELJOOCE-UHFFFAOYSA-N 0.000 description 2
- VYZAMTAEIAYCRO-UHFFFAOYSA-N Chromium Chemical compound [Cr] VYZAMTAEIAYCRO-UHFFFAOYSA-N 0.000 description 2
- RTZKZFJDLAIYFH-UHFFFAOYSA-N Diethyl ether Chemical group CCOCC RTZKZFJDLAIYFH-UHFFFAOYSA-N 0.000 description 2
- GYHNNYVSQQEPJS-UHFFFAOYSA-N Gallium Chemical compound [Ga] GYHNNYVSQQEPJS-UHFFFAOYSA-N 0.000 description 2
- DGAQECJNVWCQMB-PUAWFVPOSA-M Ilexoside XXIX Chemical compound C[C@@H]1CC[C@@]2(CC[C@@]3(C(=CC[C@H]4[C@]3(CC[C@@H]5[C@@]4(CC[C@@H](C5(C)C)OS(=O)(=O)[O-])C)C)[C@@H]2[C@]1(C)O)C)C(=O)O[C@H]6[C@@H]([C@H]([C@@H]([C@H](O6)CO)O)O)O.[Na+] DGAQECJNVWCQMB-PUAWFVPOSA-M 0.000 description 2
- FYYHWMGAXLPEAU-UHFFFAOYSA-N Magnesium Chemical compound [Mg] FYYHWMGAXLPEAU-UHFFFAOYSA-N 0.000 description 2
- ZLMJMSJWJFRBEC-UHFFFAOYSA-N Potassium Chemical compound [K] ZLMJMSJWJFRBEC-UHFFFAOYSA-N 0.000 description 2
- ATJFFYVFTNAWJD-UHFFFAOYSA-N Tin Chemical compound [Sn] ATJFFYVFTNAWJD-UHFFFAOYSA-N 0.000 description 2
- HCHKCACWOHOZIP-UHFFFAOYSA-N Zinc Chemical compound [Zn] HCHKCACWOHOZIP-UHFFFAOYSA-N 0.000 description 2
- VVTSZOCINPYFDP-UHFFFAOYSA-N [O].[Ar] Chemical compound [O].[Ar] VVTSZOCINPYFDP-UHFFFAOYSA-N 0.000 description 2
- 238000009825 accumulation Methods 0.000 description 2
- 229910021417 amorphous silicon Inorganic materials 0.000 description 2
- 229910052791 calcium Inorganic materials 0.000 description 2
- 239000002800 charge carrier Substances 0.000 description 2
- 238000005229 chemical vapour deposition Methods 0.000 description 2
- 229910052804 chromium Inorganic materials 0.000 description 2
- 239000011651 chromium Substances 0.000 description 2
- ZUOUZKKEUPVFJK-UHFFFAOYSA-N diphenyl Chemical compound C1=CC=CC=C1C1=CC=CC=C1 ZUOUZKKEUPVFJK-UHFFFAOYSA-N 0.000 description 2
- 229910052733 gallium Inorganic materials 0.000 description 2
- 229910052749 magnesium Inorganic materials 0.000 description 2
- 238000004519 manufacturing process Methods 0.000 description 2
- 239000000203 mixture Substances 0.000 description 2
- 229910052759 nickel Inorganic materials 0.000 description 2
- 229910052758 niobium Inorganic materials 0.000 description 2
- GUCVJGMIXFAOAE-UHFFFAOYSA-N niobium atom Chemical compound [Nb] GUCVJGMIXFAOAE-UHFFFAOYSA-N 0.000 description 2
- 150000002894 organic compounds Chemical class 0.000 description 2
- 239000011368 organic material Substances 0.000 description 2
- BASFCYQUMIYNBI-UHFFFAOYSA-N platinum Chemical compound [Pt] BASFCYQUMIYNBI-UHFFFAOYSA-N 0.000 description 2
- 229910052700 potassium Inorganic materials 0.000 description 2
- 239000011591 potassium Substances 0.000 description 2
- 230000006798 recombination Effects 0.000 description 2
- 238000005215 recombination Methods 0.000 description 2
- 229910052708 sodium Inorganic materials 0.000 description 2
- 239000000243 solution Substances 0.000 description 2
- 125000001424 substituent group Chemical group 0.000 description 2
- 229910052715 tantalum Inorganic materials 0.000 description 2
- GUVRBAGPIYLISA-UHFFFAOYSA-N tantalum atom Chemical compound [Ta] GUVRBAGPIYLISA-UHFFFAOYSA-N 0.000 description 2
- 229910052718 tin Inorganic materials 0.000 description 2
- YUOWTJMRMWQJDA-UHFFFAOYSA-J tin(iv) fluoride Chemical compound [F-].[F-].[F-].[F-].[Sn+4] YUOWTJMRMWQJDA-UHFFFAOYSA-J 0.000 description 2
- 229910052725 zinc Inorganic materials 0.000 description 2
- YVTHLONGBIQYBO-UHFFFAOYSA-N zinc indium(3+) oxygen(2-) Chemical compound [O--].[Zn++].[In+3] YVTHLONGBIQYBO-UHFFFAOYSA-N 0.000 description 2
- YJTKZCDBKVTVBY-UHFFFAOYSA-N 1,3-Diphenylbenzene Chemical group C1=CC=CC=C1C1=CC=CC(C=2C=CC=CC=2)=C1 YJTKZCDBKVTVBY-UHFFFAOYSA-N 0.000 description 1
- WSMQKESQZFQMFW-UHFFFAOYSA-N 5-methyl-pyrazole-3-carboxylic acid Chemical compound CC1=CC(C(O)=O)=NN1 WSMQKESQZFQMFW-UHFFFAOYSA-N 0.000 description 1
- ZOXJGFHDIHLPTG-UHFFFAOYSA-N Boron Chemical compound [B] ZOXJGFHDIHLPTG-UHFFFAOYSA-N 0.000 description 1
- MYMOFIZGZYHOMD-UHFFFAOYSA-N Dioxygen Chemical compound O=O MYMOFIZGZYHOMD-UHFFFAOYSA-N 0.000 description 1
- 239000004593 Epoxy Substances 0.000 description 1
- 229910052693 Europium Inorganic materials 0.000 description 1
- 229910052688 Gadolinium Inorganic materials 0.000 description 1
- 229910018068 Li 2 O Inorganic materials 0.000 description 1
- ZOKXTWBITQBERF-UHFFFAOYSA-N Molybdenum Chemical compound [Mo] ZOKXTWBITQBERF-UHFFFAOYSA-N 0.000 description 1
- 229910000583 Nd alloy Inorganic materials 0.000 description 1
- 229910052779 Neodymium Inorganic materials 0.000 description 1
- 229910001252 Pd alloy Inorganic materials 0.000 description 1
- 229910052772 Samarium Inorganic materials 0.000 description 1
- QCWXUUIWCKQGHC-UHFFFAOYSA-N Zirconium Chemical compound [Zr] QCWXUUIWCKQGHC-UHFFFAOYSA-N 0.000 description 1
- AWJDQCINSGRBDJ-UHFFFAOYSA-N [Li].[Ta] Chemical compound [Li].[Ta] AWJDQCINSGRBDJ-UHFFFAOYSA-N 0.000 description 1
- 239000002253 acid Substances 0.000 description 1
- UBSJOWMHLJZVDJ-UHFFFAOYSA-N aluminum neodymium Chemical compound [Al].[Nd] UBSJOWMHLJZVDJ-UHFFFAOYSA-N 0.000 description 1
- IEQUNHXCJVILJQ-UHFFFAOYSA-N aluminum palladium Chemical compound [Al].[Pd] IEQUNHXCJVILJQ-UHFFFAOYSA-N 0.000 description 1
- 150000001412 amines Chemical group 0.000 description 1
- 125000002178 anthracenyl group Chemical group C1(=CC=CC2=CC3=CC=CC=C3C=C12)* 0.000 description 1
- 230000004888 barrier function Effects 0.000 description 1
- 125000001797 benzyl group Chemical group [H]C1=C([H])C([H])=C(C([H])=C1[H])C([H])([H])* 0.000 description 1
- 230000005540 biological transmission Effects 0.000 description 1
- 235000010290 biphenyl Nutrition 0.000 description 1
- 239000004305 biphenyl Substances 0.000 description 1
- 229910052796 boron Inorganic materials 0.000 description 1
- 229910052793 cadmium Inorganic materials 0.000 description 1
- BDOSMKKIYDKNTQ-UHFFFAOYSA-N cadmium atom Chemical compound [Cd] BDOSMKKIYDKNTQ-UHFFFAOYSA-N 0.000 description 1
- 239000011248 coating agent Substances 0.000 description 1
- 238000000576 coating method Methods 0.000 description 1
- 239000000356 contaminant Substances 0.000 description 1
- 125000003336 coronenyl group Chemical group C1(=CC2=CC=C3C=CC4=CC=C5C=CC6=CC=C1C1=C6C5=C4C3=C21)* 0.000 description 1
- 229910001882 dioxygen Inorganic materials 0.000 description 1
- 238000003618 dip coating Methods 0.000 description 1
- 230000000694 effects Effects 0.000 description 1
- 239000007772 electrode material Substances 0.000 description 1
- 238000005401 electroluminescence Methods 0.000 description 1
- 238000005566 electron beam evaporation Methods 0.000 description 1
- 125000004185 ester group Chemical group 0.000 description 1
- OGPBJKLSAFTDLK-UHFFFAOYSA-N europium atom Chemical compound [Eu] OGPBJKLSAFTDLK-UHFFFAOYSA-N 0.000 description 1
- 239000003574 free electron Substances 0.000 description 1
- UIWYJDYFSGRHKR-UHFFFAOYSA-N gadolinium atom Chemical compound [Gd] UIWYJDYFSGRHKR-UHFFFAOYSA-N 0.000 description 1
- PCHJSUWPFVWCPO-UHFFFAOYSA-N gold Chemical compound [Au] PCHJSUWPFVWCPO-UHFFFAOYSA-N 0.000 description 1
- 229910052737 gold Inorganic materials 0.000 description 1
- 239000010931 gold Substances 0.000 description 1
- 229910052735 hafnium Inorganic materials 0.000 description 1
- VBJZVLUMGGDVMO-UHFFFAOYSA-N hafnium atom Chemical compound [Hf] VBJZVLUMGGDVMO-UHFFFAOYSA-N 0.000 description 1
- 238000007641 inkjet printing Methods 0.000 description 1
- 229910010272 inorganic material Inorganic materials 0.000 description 1
- 239000011147 inorganic material Substances 0.000 description 1
- 238000003780 insertion Methods 0.000 description 1
- 230000037431 insertion Effects 0.000 description 1
- 229910052746 lanthanum Inorganic materials 0.000 description 1
- FZLIPJUXYLNCLC-UHFFFAOYSA-N lanthanum atom Chemical compound [La] FZLIPJUXYLNCLC-UHFFFAOYSA-N 0.000 description 1
- 238000004020 luminiscence type Methods 0.000 description 1
- QSHDDOUJBYECFT-UHFFFAOYSA-N mercury Chemical compound [Hg] QSHDDOUJBYECFT-UHFFFAOYSA-N 0.000 description 1
- 229910052753 mercury Inorganic materials 0.000 description 1
- 229910052750 molybdenum Inorganic materials 0.000 description 1
- 239000011733 molybdenum Substances 0.000 description 1
- 125000001624 naphthyl group Chemical group 0.000 description 1
- QEFYFXOXNSNQGX-UHFFFAOYSA-N neodymium atom Chemical compound [Nd] QEFYFXOXNSNQGX-UHFFFAOYSA-N 0.000 description 1
- 229910052763 palladium Inorganic materials 0.000 description 1
- 230000000149 penetrating effect Effects 0.000 description 1
- 125000003933 pentacenyl group Chemical group C1(=CC=CC2=CC3=CC4=CC5=CC=CC=C5C=C4C=C3C=C12)* 0.000 description 1
- 125000002080 perylenyl group Chemical group C1(=CC=C2C=CC=C3C4=CC=CC5=CC=CC(C1=C23)=C45)* 0.000 description 1
- 125000001997 phenyl group Chemical group [H]C1=C([H])C([H])=C(*)C([H])=C1[H] 0.000 description 1
- 238000005240 physical vapour deposition Methods 0.000 description 1
- 229910052697 platinum Inorganic materials 0.000 description 1
- 229910021420 polycrystalline silicon Inorganic materials 0.000 description 1
- 229920005591 polysilicon Polymers 0.000 description 1
- KZUNJOHGWZRPMI-UHFFFAOYSA-N samarium atom Chemical compound [Sm] KZUNJOHGWZRPMI-UHFFFAOYSA-N 0.000 description 1
- 238000007650 screen-printing Methods 0.000 description 1
- 238000004528 spin coating Methods 0.000 description 1
- 238000004544 sputter deposition Methods 0.000 description 1
- 238000003786 synthesis reaction Methods 0.000 description 1
- 125000001935 tetracenyl group Chemical group C1(=CC=CC2=CC3=CC4=CC=CC=C4C=C3C=C12)* 0.000 description 1
- QHGNHLZPVBIIPX-UHFFFAOYSA-N tin(ii) oxide Chemical class [Sn]=O QHGNHLZPVBIIPX-UHFFFAOYSA-N 0.000 description 1
- 238000007738 vacuum evaporation Methods 0.000 description 1
- 229910052720 vanadium Inorganic materials 0.000 description 1
- LEONUFNNVUYDNQ-UHFFFAOYSA-N vanadium atom Chemical compound [V] LEONUFNNVUYDNQ-UHFFFAOYSA-N 0.000 description 1
- 238000007740 vapor deposition Methods 0.000 description 1
- 229910052727 yttrium Inorganic materials 0.000 description 1
- VWQVUPCCIRVNHF-UHFFFAOYSA-N yttrium atom Chemical compound [Y] VWQVUPCCIRVNHF-UHFFFAOYSA-N 0.000 description 1
- 229910052726 zirconium Inorganic materials 0.000 description 1
Images
Classifications
-
- H—ELECTRICITY
- H05—ELECTRIC TECHNIQUES NOT OTHERWISE PROVIDED FOR
- H05B—ELECTRIC HEATING; ELECTRIC LIGHT SOURCES NOT OTHERWISE PROVIDED FOR; CIRCUIT ARRANGEMENTS FOR ELECTRIC LIGHT SOURCES, IN GENERAL
- H05B33/00—Electroluminescent light sources
- H05B33/12—Light sources with substantially two-dimensional radiating surfaces
- H05B33/26—Light sources with substantially two-dimensional radiating surfaces characterised by the composition or arrangement of the conductive material used as an electrode
-
- H—ELECTRICITY
- H05—ELECTRIC TECHNIQUES NOT OTHERWISE PROVIDED FOR
- H05B—ELECTRIC HEATING; ELECTRIC LIGHT SOURCES NOT OTHERWISE PROVIDED FOR; CIRCUIT ARRANGEMENTS FOR ELECTRIC LIGHT SOURCES, IN GENERAL
- H05B33/00—Electroluminescent light sources
- H05B33/12—Light sources with substantially two-dimensional radiating surfaces
- H05B33/14—Light sources with substantially two-dimensional radiating surfaces characterised by the chemical or physical composition or the arrangement of the electroluminescent material, or by the simultaneous addition of the electroluminescent material in or onto the light source
-
- C—CHEMISTRY; METALLURGY
- C09—DYES; PAINTS; POLISHES; NATURAL RESINS; ADHESIVES; COMPOSITIONS NOT OTHERWISE PROVIDED FOR; APPLICATIONS OF MATERIALS NOT OTHERWISE PROVIDED FOR
- C09K—MATERIALS FOR MISCELLANEOUS APPLICATIONS, NOT PROVIDED FOR ELSEWHERE
- C09K11/00—Luminescent, e.g. electroluminescent, chemiluminescent materials
- C09K11/06—Luminescent, e.g. electroluminescent, chemiluminescent materials containing organic luminescent materials
-
- H—ELECTRICITY
- H10—SEMICONDUCTOR DEVICES; ELECTRIC SOLID-STATE DEVICES NOT OTHERWISE PROVIDED FOR
- H10K—ORGANIC ELECTRIC SOLID-STATE DEVICES
- H10K50/00—Organic light-emitting devices
- H10K50/10—OLEDs or polymer light-emitting diodes [PLED]
- H10K50/17—Carrier injection layers
-
- H—ELECTRICITY
- H10—SEMICONDUCTOR DEVICES; ELECTRIC SOLID-STATE DEVICES NOT OTHERWISE PROVIDED FOR
- H10K—ORGANIC ELECTRIC SOLID-STATE DEVICES
- H10K50/00—Organic light-emitting devices
- H10K50/80—Constructional details
- H10K50/805—Electrodes
- H10K50/81—Anodes
-
- H—ELECTRICITY
- H10—SEMICONDUCTOR DEVICES; ELECTRIC SOLID-STATE DEVICES NOT OTHERWISE PROVIDED FOR
- H10K—ORGANIC ELECTRIC SOLID-STATE DEVICES
- H10K50/00—Organic light-emitting devices
- H10K50/80—Constructional details
- H10K50/805—Electrodes
- H10K50/81—Anodes
- H10K50/818—Reflective anodes, e.g. ITO combined with thick metallic layers
-
- H—ELECTRICITY
- H10—SEMICONDUCTOR DEVICES; ELECTRIC SOLID-STATE DEVICES NOT OTHERWISE PROVIDED FOR
- H10K—ORGANIC ELECTRIC SOLID-STATE DEVICES
- H10K85/00—Organic materials used in the body or electrodes of devices covered by this subclass
- H10K85/60—Organic compounds having low molecular weight
- H10K85/649—Aromatic compounds comprising a hetero atom
- H10K85/657—Polycyclic condensed heteroaromatic hydrocarbons
- H10K85/6572—Polycyclic condensed heteroaromatic hydrocarbons comprising only nitrogen in the heteroaromatic polycondensed ring system, e.g. phenanthroline or carbazole
-
- C—CHEMISTRY; METALLURGY
- C09—DYES; PAINTS; POLISHES; NATURAL RESINS; ADHESIVES; COMPOSITIONS NOT OTHERWISE PROVIDED FOR; APPLICATIONS OF MATERIALS NOT OTHERWISE PROVIDED FOR
- C09K—MATERIALS FOR MISCELLANEOUS APPLICATIONS, NOT PROVIDED FOR ELSEWHERE
- C09K2211/00—Chemical nature of organic luminescent or tenebrescent compounds
- C09K2211/10—Non-macromolecular compounds
- C09K2211/1018—Heterocyclic compounds
- C09K2211/1025—Heterocyclic compounds characterised by ligands
- C09K2211/1044—Heterocyclic compounds characterised by ligands containing two nitrogen atoms as heteroatoms
-
- H—ELECTRICITY
- H10—SEMICONDUCTOR DEVICES; ELECTRIC SOLID-STATE DEVICES NOT OTHERWISE PROVIDED FOR
- H10K—ORGANIC ELECTRIC SOLID-STATE DEVICES
- H10K2101/00—Properties of the organic materials covered by group H10K85/00
- H10K2101/50—Oxidation-reduction potentials, e.g. excited state redox potentials
-
- H—ELECTRICITY
- H10—SEMICONDUCTOR DEVICES; ELECTRIC SOLID-STATE DEVICES NOT OTHERWISE PROVIDED FOR
- H10K—ORGANIC ELECTRIC SOLID-STATE DEVICES
- H10K2102/00—Constructional details relating to the organic devices covered by this subclass
- H10K2102/301—Details of OLEDs
- H10K2102/302—Details of OLEDs of OLED structures
- H10K2102/3023—Direction of light emission
- H10K2102/3026—Top emission
-
- H—ELECTRICITY
- H10—SEMICONDUCTOR DEVICES; ELECTRIC SOLID-STATE DEVICES NOT OTHERWISE PROVIDED FOR
- H10K—ORGANIC ELECTRIC SOLID-STATE DEVICES
- H10K50/00—Organic light-emitting devices
- H10K50/10—OLEDs or polymer light-emitting diodes [PLED]
- H10K50/14—Carrier transporting layers
-
- H—ELECTRICITY
- H10—SEMICONDUCTOR DEVICES; ELECTRIC SOLID-STATE DEVICES NOT OTHERWISE PROVIDED FOR
- H10K—ORGANIC ELECTRIC SOLID-STATE DEVICES
- H10K50/00—Organic light-emitting devices
- H10K50/80—Constructional details
- H10K50/805—Electrodes
-
- H—ELECTRICITY
- H10—SEMICONDUCTOR DEVICES; ELECTRIC SOLID-STATE DEVICES NOT OTHERWISE PROVIDED FOR
- H10K—ORGANIC ELECTRIC SOLID-STATE DEVICES
- H10K85/00—Organic materials used in the body or electrodes of devices covered by this subclass
- H10K85/30—Coordination compounds
- H10K85/321—Metal complexes comprising a group IIIA element, e.g. Tris (8-hydroxyquinoline) gallium [Gaq3]
- H10K85/324—Metal complexes comprising a group IIIA element, e.g. Tris (8-hydroxyquinoline) gallium [Gaq3] comprising aluminium, e.g. Alq3
-
- H—ELECTRICITY
- H10—SEMICONDUCTOR DEVICES; ELECTRIC SOLID-STATE DEVICES NOT OTHERWISE PROVIDED FOR
- H10K—ORGANIC ELECTRIC SOLID-STATE DEVICES
- H10K85/00—Organic materials used in the body or electrodes of devices covered by this subclass
- H10K85/60—Organic compounds having low molecular weight
- H10K85/615—Polycyclic condensed aromatic hydrocarbons, e.g. anthracene
- H10K85/626—Polycyclic condensed aromatic hydrocarbons, e.g. anthracene containing more than one polycyclic condensed aromatic rings, e.g. bis-anthracene
-
- H—ELECTRICITY
- H10—SEMICONDUCTOR DEVICES; ELECTRIC SOLID-STATE DEVICES NOT OTHERWISE PROVIDED FOR
- H10K—ORGANIC ELECTRIC SOLID-STATE DEVICES
- H10K85/00—Organic materials used in the body or electrodes of devices covered by this subclass
- H10K85/60—Organic compounds having low molecular weight
- H10K85/631—Amine compounds having at least two aryl rest on at least one amine-nitrogen atom, e.g. triphenylamine
-
- H—ELECTRICITY
- H10—SEMICONDUCTOR DEVICES; ELECTRIC SOLID-STATE DEVICES NOT OTHERWISE PROVIDED FOR
- H10K—ORGANIC ELECTRIC SOLID-STATE DEVICES
- H10K85/00—Organic materials used in the body or electrodes of devices covered by this subclass
- H10K85/60—Organic compounds having low molecular weight
- H10K85/649—Aromatic compounds comprising a hetero atom
- H10K85/654—Aromatic compounds comprising a hetero atom comprising only nitrogen as heteroatom
-
- H—ELECTRICITY
- H10—SEMICONDUCTOR DEVICES; ELECTRIC SOLID-STATE DEVICES NOT OTHERWISE PROVIDED FOR
- H10K—ORGANIC ELECTRIC SOLID-STATE DEVICES
- H10K85/00—Organic materials used in the body or electrodes of devices covered by this subclass
- H10K85/731—Liquid crystalline materials
-
- Y—GENERAL TAGGING OF NEW TECHNOLOGICAL DEVELOPMENTS; GENERAL TAGGING OF CROSS-SECTIONAL TECHNOLOGIES SPANNING OVER SEVERAL SECTIONS OF THE IPC; TECHNICAL SUBJECTS COVERED BY FORMER USPC CROSS-REFERENCE ART COLLECTIONS [XRACs] AND DIGESTS
- Y10—TECHNICAL SUBJECTS COVERED BY FORMER USPC
- Y10S—TECHNICAL SUBJECTS COVERED BY FORMER USPC CROSS-REFERENCE ART COLLECTIONS [XRACs] AND DIGESTS
- Y10S428/00—Stock material or miscellaneous articles
- Y10S428/917—Electroluminescent
Landscapes
- Physics & Mathematics (AREA)
- Optics & Photonics (AREA)
- Chemical & Material Sciences (AREA)
- Engineering & Computer Science (AREA)
- Materials Engineering (AREA)
- Organic Chemistry (AREA)
- Spectroscopy & Molecular Physics (AREA)
- Electroluminescent Light Sources (AREA)
- Nitrogen Condensed Heterocyclic Rings (AREA)
- Illuminated Signs And Luminous Advertising (AREA)
Description
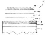
本発明の様々な実施形態による有機EL素子は多様な方式で構成することができる。有機EL素子の一般的な構成は、対向する2個の電極とこの両電極の間に挿入された一つ以上の機能性層を含む。用語“層”とは一つの物質または二つ以上の物質の混合物のデポジット、コートまたはフィルムを意味する。図1〜6は本発明の多様な側面を実現することができる有機EL素子の例証的な断面構成を示す。前記図面において、同一な図面符号が層または構成成分を指すのに使用される。これら諸構成は本発明による有機EL素子の仕残しのない変形ではないことを注目すべきである。
本発明の一つの側面は二つの対向する電極3及び15の間に位置する一つ以上の機能性層内に一般式Iで示される少なくとも一つの化合物を含有する有機EL素子を提供する。
R1-R6は独立的に水素、ハロ、ニトリル(-CN)、ニトロ(-NO2)、スルホニル(-SO2R)、スルホキシド(-SOR)、スルホンアミド(-SO2NR)、スルホン酸塩(-SO3R)、トリフルオロメチル(-CF3)、エステル(-CO-OR)、アミド(-CO-NHRまたは-CO-NRR’)、直鎖または分枝(置換または非置換)C1-C12アルコキシ、直鎖または分枝(置換または非置換)C1-C12アルキル、芳香族または非-芳香族(置換または非置換)複素環、置換または非置換アリール、モノ-またはジ-(置換または非置換)アリール-アミン、及び(置換または非置換)アルキル-(置換または非置換)アリール-アミンで構成される群より選択される。前記置換基で、R及びR’は、例えば、置換または非置換C1-C60アルキル、置換または非置換アリール、置換または非置換5-7員複素環である。前記置換されたC1-C60アルキル、アリール及び複素環は一つ以上のアミン、アミド、エーテル及びエステル基で任意で置換される。あるいは、R1-R6は置換または非置換電子求引型置換基から独立的に選択され、このことは当業者であればよく理解できる。前記アリール基はフェニル、ビペニル、テルフェニル、ベンジル、ナフチル、アントラセニル、テトラセニル、ペンタセニル、ペリレニル及びコロネニルを含み、これらは単一的または多重的に置換され、または置換されない。
本発明の他の側面は有機EL素子を含む電子素子の作動において仮想電極の形成に関する。用語“仮想電極”とは実物電極の概念に基づいて、あたかも電極のように見える電子素子の内部領域における荷電キャリアの蓄積を意味する。前記仮想電極は実際に電極からキャリアの注入を増進または促進させる。
本発明の他の側面は、陽極3内の低い仕事関数を有する物質の使用に関する。陽極物質は相対的に高い仕事関数を有する物質から選択される反面、陰極物質は相対的に低い仕事関数を有する物質から選択されると当業界に一般に知られている。しかし、本発明の実施形態によると、有機EL素子は相対的に低い仕事関数を有する物質を使用する陽極を含む。例えば、陽極物質の仕事関数は約4.5eV以下、好ましく約4.3eV以下である。他の場合には、陽極物質の仕事関数は約3.5乃至約4.5eV、好ましく約3.8乃至約4.3eVである。陽極内使用のための物質には、例えば、アルミニウム(Al、4.28eV)、銀(Ag、4.26eV)、亜鉛(Zn、4.33eV)、ニオビウム(Nb、4.3eV)、ジルコニウム(Zr、4.05eV)、錫(Sn、4.42eV)、タンタル(Ta、4.25eV)、バナジウム(V、4.3eV)、水銀(Hg、4.49eV)、ガリウム(Ga、4.2eV)、インジウム(In、4.12eV)、カドミウム(Cd、4.22eV)、ホウ素(B、4.4eV)、ハフニウム(Hf、3.9eV)、ランタン(La、3.5eV)、ニオビウム(Nb、4.3eV)、チタニウム(Ti、4.3eV)、またはこれらのうちの一つとネオジム(Nd)またはパラジウム(Pd)との合金を含む。
本発明の他の側面は有機EL素子の陽極3内の反射物質使用に関する。本発明による有機EL素子の一つの実施形態で、陽極は高い反射率を有する一つ以上の物質で形成される。例えば、投入された光強度に対する反射された光強度の比率である反射率は約0.2、例えば、約0.4乃至1である。陽極3内使用のための反射物質は、例えば、アルミニウム、銀、金、ニッケル、クロム、モリブデン、タンタル、チタニウム及び亜鉛を含む。任意で、前記物質は可視光の実質的に全ての波長成分に対して反射率を有する。任意で、前記物質は可視光の実質的に全ての波長成分に対して同等な反射率を有する。好ましくは、陽極反射物質は、例えば、アルミニウム、銀、白金、クロム及びニッケルである。
陰極15でなく陽極3が基板1と接触する図1〜6の構成で、陽極3内反射物質の使用によって生成された光が陰極15を通じてまたは陽極3を通じない方向に放射される。図1〜6で、陰極15を通じる放射は頂部放射と呼ばれ、陽極3及び基板1を通じる放射は底部放射と呼ばれる。任意選択で、有機EL素子10は頂部放射デザインで構成することができる。頂部放射のために、陰極15は実質的に透明である。
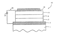
有機EL素子の頂部放射デザインは一般に底部放射デザインより素子の能動マトリックス駆動にさらに適している。前記能動マトリックス駆動は、図8に例示したように基板1と陽極3との間に集積回路またはトランジスタのための層31を必要とする。底部放射デザインを有する有機EL素子においては、集積回路層31が発光化合物から放射された光を少なくとも一部ブロッキングする。しかし、頂部放射デザインは陽極3下の集積回路層31の存在により影響を受けない。頂部放射デザインは集積回路層31を形成する技術、例えば、層31の口径比に影響を与える非晶質シリコンまたはポリシリコンの使用によっても影響を受けない。
有機EL素子の特定実施形態において、基板1と陽極3との間に密封層を有して水分またはその他の汚染物質が積層構造の複雑な領域内に浸透することを防止することが有利である。そのような密封層は特に基板1を構成する物質がより透過性である場合、さらに重要である。そのような物質は、例えば、アルミニウム、アルミニウム酸化物、ストロンチウム酸化物、バリウム酸化物、シリコン酸化物、シリコン窒化物である。前記密封層は少なくとも一つの有機サブ層及び少なくとも一つの無機サブ層を含む多重層で構成することができる。有機サブ層は、例えばポリフェニルエチレン、重合されたエポキシ化合物及び/または多環式アルカンで形成することができる。無機サブ層は、例えばシリコン窒化物、シリコン酸化物及び/またはバリウム酸化物で形成することができる。実質的に非透過性または半-透過性である物質、また、陽極物質として使用することができる場合には、陽極3自体が密封層を形成する。したがって、別途の密封層が形成される必要はない。本発明の一つの実施形態で、陽極3はアルミニウム、アルミニウム-ネオジム合金またはアルミニウム-パラジウム合金で形成され、これはまた、密封層として機能する。密封層としても機能する陽極3は基板1と陽極3との間に集積回路層31が介在したり介在せずに任意の適切な基板物質と共に使用される。
本発明の任意の有機EL素子実施形態において、陽極3及び陰極15のうちの一方または両方を多重サブ層で形成できる。図9を参照すると、例えば、図示された有機EL素子の陽極3は伝導性サブ層33及び非-伝導性サブ層35を含む。二つのサブ層において示されるとしても、陽極3は二つより多くのサブ層を有することができる。図示のように、非-伝導性サブ層35は、正孔注入層5と伝導性サブ層33との間に位置し、 陰極15に向かう側で陽極3に接触する。前記積層陽極構造における正孔注入層5は正孔移送層7(図4及び5)、発光層9(図6)、または多機能成層(図示せず)で代替することができる。他方、前記非-伝導性サブ層35は、陽極3に接触する層5、7または9と陽極3との間に挿入された別個の層と見なすことができる。
本発明の有機EL素子の多様な層はスパッタリング、電子ビーム蒸着、その他の類型である物理蒸着(Pysical Vapor Deposition)、化学蒸着(Chemical Vapor Deposition)、スピンコーティング、ディップコーティング、ドクターブレード、インクジェットプリンティング、スクリーン-プリンティング、ロール-コーティング及び熱伝達を含む任意のフィルム形成技術を利用して製造することができる。このような技術は一般に下記文献に記載されており、これら文献は本願に参照して全体的に統合される:Applied Physic Letters, 73, 18, 1998, 2561-2563; Applied Physics Letters, 78, 24, 2001, 3905-3907。当業者は層形成のための条件及び環境下における適切なフィルム形成技術を理解するであろう。
本発明の多様な側面及び特徴が以下の実施例を通じて追加的に論議される。下記の実施例は本発明の多様な側面及び特徴を例示するためのものであり、本発明の範囲を制限するわけではない。
ガラス基板(Corning7059)を約1300Åインジウム錫酸化物(ITO)でコーティングし、Fisher Co.の洗浄剤水溶液内で超音波洗浄した。洗浄されたITO層状基板を乾燥させ、プラズマ洗浄装置に移動させた。基板をアルゴン-酸素(2:1)プラズマで50Wで14mtorrで5分間追加洗浄した。その後、基板を真空蒸着チャンバーに移動させた。
ITO層を形成せず、Al2O3層も形成しないことを除いては、実施例1と同様な方法で素子を製作した。得られた構造は“ガラス基板/Al(100Å)/HAT(500Å)/NPB(400Å)/Alq3(300Å)/一般式II(200Å)/LiF(10Å)/Al(2500Å)”であった。
HAT正孔注入層を形成しないことを除いて、実施例1と同一な方式で素子を製作した。得られた素子の構造は“ガラス基板/ITO(1300Å)/Al(100Å)/Al2O3(20Å)/NPB(400Å)/Alq3(300Å)/一般式II(200Å)/LiF(10Å)/Al(2500Å)”であった。20Vの順方向電界を前記素子に加えた時、発光は観察されなかった 。順方向電界を印加する間の電流密度は0.1mA/cm2未満であった。
ITOとNPBとの間にアルミニウム及びアルミニウム酸化物層を形成しなかったことを除いては、実施例1と同一な方式で素子を製作した。結果構造は“ガラス基板/ITO(1300Å)/HAT(500Å)/NPB(400Å)/Alq3(300Å)/一般式II(200Å)/LiF(10Å)/Al(2500Å)”であった。5.37Vの順方向電界を得られた素子に加えた時、1931 CIE 色座標でx=0.345、y=0.553に相当する緑色発光が観察された。作動中の電流密度は50mA/cm2であった。100mA/cm2一定の直流電流密度で、初期輝度3399nitが80%水準に落ちるまでかかる時間は23時間であった。
アルミニウム及びアルミニウム酸化物の代りに100Å厚さの銀を半透明陽極として形成したことを除いては、実施例1と同一な方式で素子を製作した。得られた素子の構造は“ガラス基板/ITO(1300Å)/Ag(100Å)/HAT(500Å)/NPB(400Å)/Alq3(300Å)/一般式II(200Å)/LiF(10Å)/Al(2500Å)”であった。5.1Vの順方向電界を得られた素子に加えた時、1931 CIE 色座標でx=0.420、y=0.516に相当する800nit明るさの発光が観察された。作動中の電流密度は50mA/cm2であった。
ITO層を形成しないことを除いては、実施例1と同一な方式で素子を製作した。結果構造は“ガラス基板/Ag(100Å)/HAT(500Å)/NPB(400Å)/Alq3(300Å)/一般式II(200Å)/LiF(10Å)/Al(2500Å)”であった。順方向電界を得られた素子に加えた時、可視光が観察された。
約1300Åのインジウム錫酸化物(ITO)でコーティングされたガラス基板(Corning 7059)をFisher Co.の洗浄剤水溶液内で超音波洗浄した。洗浄されたITO層状基板を乾燥し、プラズマ洗浄装置に移動した。基板を50Wで14mtorr下で15分間アルゴン-酸素(2:1)プラズマで追加的に洗浄した。その後、基板を真空蒸着チャンバーに移動させた。
1600Å厚さのNPBをHATの代りに形成したことを除いては、実施例7と同一な方式で素子を製作した。得られた素子の構造は“ガラス基板/ITO(1300Å)/NPB(1600Å)/Al(500Å)”であった。順方向電界を素子に加えた時、約1Vの電位差で電流が観察された。電圧-電流関係を図10に示す。
500Åのアルミニウム層をITO層の代わりに陽極として形成したことを除いては、実施例7と同一な方式で素子を製作した。得られた構造は“ガラス基板/Al(500Å)/HAT(2000Å)/Al(500Å)”であった。順方向電界を素子に加えた時、0V直上の電位差で電流が観察された。電圧-電流関係を図11に示す。
2000Å厚さのNPBをHATの代りに形成したことを除いて、実施例9と同一な方式で素子を製作した。結果素子の構造は“ガラス基板/Al(500Å)/NPB(2000Å)/Al(500Å)”であった。順方向電界を素子に加えた時、20Vを超える電位差でも電流が観察されなかった。電圧-電流関係を図11に示す。
“ガラス基板/Al(500Å)/HAT(2000Å)/Al(500Å)”の構造を有する実施例9で製作された素子に、実施例9と反対極性で電位を加え、ここでガラス基板とHATとの間に位置したアルミニウムは陰極として作用し、HAT上に位置したアルミニウムは陽極として作用した。順方向電界の印加時、0V直上で電流が流れ始めた。電圧-電流関係を図12に示す。結果は、実施例9の結果が共に、アルミニウム層がHAT層上または下に蒸着されるか、HAT層がアルミニウム層に正孔をその中へ注入させるようにすることを示す。
“ガラス基板/Al(500Å)/NPB(2000Å)/Al(500Å)”の構成を有する比較例4で製作された素子に、比較例4と反対極性で電位を加え、ここでガラス基板とNPB層との間に位置したアルミニウムは陰極として作用し、HAT上に位置したアルミニウムは陽極として作用した。順方向電界を印加した時、20V以上の電位差で電流は観察されなかった。電圧-電流関係を図12に示す。
本出願は2002年12月11日に出願された大韓民国特許出願第2002-78809号に基づいた外国優先権を主張し、これは本願に参考として全体的に統合される。
3 陽極
5 正孔注入層
7 正孔移送層
9 発光層
11 電子移送層
13 電子注入層
15 陰極
Claims (13)
- 銀またはアルミニウムの陽極物質を含み、仕事関数が4.5eV以下である陽極;
陰極物質を含む陰極;及び
下記一般式Iの化合物を含み、前記陽極と前記陰極の間で前記陽極と直接接触する少なくとも一つの層
を含み、
前記銀またはアルミニウムの陽極物質の仕事関数が前記陰極物質の仕事関数と同一であるか、それ未満の値を有することを特徴とする電界発光素子:
[一般式I]
前記式で、
R1-R6は独立的に水素、ハロ、ニトリル(-CN)、ニトロ(-NO2)、スルホニル(-SO2R)、スルホキシド(-SOR)、スルホンアミド(-SO2NR)、スルホン酸塩(-SO3R)、トリフルオロメチル(-CF3)、エステル(-CO-OR)、アミド(-CO-NHRまたは-CO-NRR’)、直鎖または分枝(置換または非置換)C1-C12アルコキシ、直鎖または分枝(置換または非置換)C1-C12アルキル、芳香族または非-芳香族(置換または非置換)複素環、置換または非置換アリール、モノ-またはジ-(置換または非置換)アリール-アミン、及び(置換または非置換)アルキル-(置換または非置換)アリール-アミンで構成される群より選択される。 - 前記銀またはアルミニウムの陽極物質と、前記陰極物質が同一であることを特徴とする、請求項1に記載の素子。
- 前記陰極が伝導性物質で構成され;
前記機能性層が前記陽極と陰極との間に位置する少なくとも一つの発光層を含み、
前記陽極の一部または陰極の一部は、前記少なくとも1つの発光層に向かっているバッファー層であり、
前記陽極は前記少なくとも一つの発光層に向かって正孔を注入するように配列されるが、前記陰極は前記少なくとも一つの発光層に向かって電子を注入するように配列され;
前記バッファー層は少なくとも一つの非-伝導性である物質で構成されることを特徴とする、請求項1に記載の素子。 - 前記陽極がアルミニウムを含み、前記バッファー層がアルミニウム酸化物を含むことを特徴とする、請求項4に記載の素子。
- 前記バッファー層と前記少なくとも一つの発光層の間に正孔注入層を追加的に含むことを特徴とする、請求項4に記載の素子。
- 前記正孔注入層が一般式Iの化合物を含むことを特徴とする、請求項6に記載の素子:
[一般式I]
前記式で、
R1-R6は独立的に水素、ハロ、ニトリル(-CN)、ニトロ(-NO2)、スルホニル(-SO2R)、スルホキシド(-SOR)、スルホンアミド(-SO2NR)、スルホン酸塩(-SO3R)、トリフルオロメチル(-CF3)、エステル(-CO-OR)、アミド(-CO-NHRまたは-CO-NRR’)、直鎖または分枝(置換または非置換)C1-C12アルコキシ、直鎖または分枝(置換または非置換)C1-C12アルキル、芳香族または非-芳香族(置換または非置換)複素環、置換または非置換アリール、モノ-またはジ-(置換または非置換)アリール-アミン、及び(置換または非置換)アルキル-(置換または非置換)アリール-アミンで構成される群より選択される。 - 前記陰極の一部が前記少なくとも一つの発光層に向かっているバッファー層であることを特徴とする、請求項4に記載の素子。
- 前記バッファー層が正孔を通過させるのに十分な厚さを有することを特徴とする、請求項4に記載の素子。
- 前記バッファー層が5Åから40Åまでの厚さを有することを特徴とする、請求項4に記載の素子。
- 前記バッファー層が10Åから20Åまでの厚さを有することを特徴とする、請求項4に記載の素子。
- 前記少なくとも一つの非-伝導性である物質がアルミニウム酸化物、チタニウム酸化物、亜鉛酸化物、ルテニウム酸化物、ニッケル酸化物、ジルコニウム酸化物、タンタル酸化物、マグネシウム酸化物、カルシウム酸化物、ストロンチウム酸化物、バナジウム酸化物、イットリウム酸化物、リチウム酸化物、セシウム酸化物、クロム酸化物、シリコン酸化物、バリウム酸化物、マンガン酸化物、コバルト酸化物、銅酸化物、プラセオジム酸化物、タングステン酸化物、ゲルマニウム酸化物、カリウム酸化物、フッ化リチウム、フッ化マグネシウム、フッ化セシウム、フッ化カルシウム、塩化ナトリウム、塩化カリウム、メタホウ酸リチウム(LiBO2)、珪酸カリウム(K2SiO3)、シリコン-ゲルマニウム酸化物、チタン酸バリウム、タンタル酸リチウム(LiTaO3)、窒化ケイ素(Si3N4)、窒化ホウ素(BN)、元素周期律表の3族と4族に属する元素の窒化物、硫化亜鉛(ZnS)、硫化カドミウム(CdS)、セレン化カドミウム(CdSe)、燐化ガリウム(GaP)、及び窒化ガリウム(GaN)からなる群より選択されることを特徴とする、請求項4に記載の素子。
- 請求項1に記載の電界発光素子;及び
前記電界発光素子と連結された電子回路
を含むことを特徴とする、ディスプレイ。
Applications Claiming Priority (2)
| Application Number | Priority Date | Filing Date | Title |
|---|---|---|---|
| KR20020078809 | 2002-12-11 | ||
| KR10-2002-0078809 | 2002-12-11 |
Related Parent Applications (1)
| Application Number | Title | Priority Date | Filing Date |
|---|---|---|---|
| JP2004558519A Division JP4537207B2 (ja) | 2002-12-11 | 2003-12-05 | 低い仕事関数の陽極を有する電界発光素子 |
Publications (2)
| Publication Number | Publication Date |
|---|---|
| JP2007287698A JP2007287698A (ja) | 2007-11-01 |
| JP5259129B2 true JP5259129B2 (ja) | 2013-08-07 |
Family
ID=32501361
Family Applications (3)
| Application Number | Title | Priority Date | Filing Date |
|---|---|---|---|
| JP2004558519A Expired - Lifetime JP4537207B2 (ja) | 2002-12-11 | 2003-12-05 | 低い仕事関数の陽極を有する電界発光素子 |
| JP2007160504A Expired - Lifetime JP5259128B2 (ja) | 2002-12-11 | 2007-06-18 | 低い仕事関数の陽極を有する電界発光素子 |
| JP2007160505A Expired - Lifetime JP5259129B2 (ja) | 2002-12-11 | 2007-06-18 | 低い仕事関数の陽極を有する電界発光素子 |
Family Applications Before (2)
| Application Number | Title | Priority Date | Filing Date |
|---|---|---|---|
| JP2004558519A Expired - Lifetime JP4537207B2 (ja) | 2002-12-11 | 2003-12-05 | 低い仕事関数の陽極を有する電界発光素子 |
| JP2007160504A Expired - Lifetime JP5259128B2 (ja) | 2002-12-11 | 2007-06-18 | 低い仕事関数の陽極を有する電界発光素子 |
Country Status (10)
| Country | Link |
|---|---|
| US (3) | US7560175B2 (ja) |
| EP (3) | EP1842890B1 (ja) |
| JP (3) | JP4537207B2 (ja) |
| KR (1) | KR100606634B1 (ja) |
| CN (1) | CN100527472C (ja) |
| AT (1) | ATE433649T1 (ja) |
| AU (1) | AU2003302867A1 (ja) |
| DE (1) | DE60327944D1 (ja) |
| TW (1) | TWI241864B (ja) |
| WO (1) | WO2004054326A2 (ja) |
Families Citing this family (163)
| Publication number | Priority date | Publication date | Assignee | Title |
|---|---|---|---|---|
| US7560175B2 (en) * | 1999-12-31 | 2009-07-14 | Lg Chem, Ltd. | Electroluminescent devices with low work function anode |
| KR100377321B1 (ko) * | 1999-12-31 | 2003-03-26 | 주식회사 엘지화학 | 피-형 반도체 성질을 갖는 유기 화합물을 포함하는 전기소자 |
| KR100721656B1 (ko) * | 2005-11-01 | 2007-05-23 | 주식회사 엘지화학 | 유기 전기 소자 |
| JP4628690B2 (ja) * | 2004-03-24 | 2011-02-09 | 株式会社 日立ディスプレイズ | 有機発光表示装置 |
| CN100493289C (zh) | 2004-04-09 | 2009-05-27 | Lg化学株式会社 | 具有高效率和高亮度的叠层式有机发光器件 |
| TWI265753B (en) * | 2004-05-11 | 2006-11-01 | Lg Chemical Ltd | Organic electronic device |
| KR101068395B1 (ko) * | 2004-06-30 | 2011-09-28 | 엘지디스플레이 주식회사 | 상부발광 방식의 유기전계발광 소자 및 그 제조방법 |
| US7812522B2 (en) * | 2004-07-22 | 2010-10-12 | Ifire Ip Corporation | Aluminum oxide and aluminum oxynitride layers for use with phosphors for electroluminescent displays |
| JP4785386B2 (ja) * | 2005-01-31 | 2011-10-05 | 三洋電機株式会社 | 有機エレクトロルミネッセント素子及び有機エレクトロルミネッセント表示装置 |
| JP2006066380A (ja) * | 2004-07-30 | 2006-03-09 | Sanyo Electric Co Ltd | 有機エレクトロルミネッセント素子及び有機エレクトロルミネッセント表示装置 |
| JP4434872B2 (ja) * | 2004-07-30 | 2010-03-17 | 三洋電機株式会社 | 有機エレクトロルミネッセント素子及び有機エレクトロルミネッセント表示装置 |
| JP2006066379A (ja) * | 2004-07-30 | 2006-03-09 | Sanyo Electric Co Ltd | 有機エレクトロルミネッセント素子及び有機エレクトロルミネッセント表示装置 |
| JP4578215B2 (ja) * | 2004-11-30 | 2010-11-10 | 三洋電機株式会社 | 有機エレクトロルミネッセント素子及び有機エレクトロルミネッセント表示装置 |
| JP4565922B2 (ja) * | 2004-07-30 | 2010-10-20 | 三洋電機株式会社 | 有機エレクトロルミネッセント素子及び有機エレクトロルミネッセント表示装置 |
| JP4565921B2 (ja) * | 2004-07-30 | 2010-10-20 | 三洋電機株式会社 | 有機エレクトロルミネッセント素子及び有機エレクトロルミネッセント表示装置 |
| JP4315874B2 (ja) * | 2004-07-30 | 2009-08-19 | 三洋電機株式会社 | 有機エレクトロルミネッセント素子及び有機エレクトロルミネッセント表示装置 |
| US7540978B2 (en) * | 2004-08-05 | 2009-06-02 | Novaled Ag | Use of an organic matrix material for producing an organic semiconductor material, organic semiconductor material and electronic component |
| KR101027896B1 (ko) | 2004-08-13 | 2011-04-07 | 테크니셰 유니베르시테트 드레스덴 | 발광 컴포넌트를 위한 층 어셈블리 |
| KR100718765B1 (ko) * | 2004-08-19 | 2007-05-15 | 주식회사 엘지화학 | 버퍼층을 포함하는 유기 발광 소자 및 이의 제작 방법 |
| JP4254668B2 (ja) * | 2004-09-07 | 2009-04-15 | ソニー株式会社 | 有機電界発光素子および表示装置 |
| DE602004006275T2 (de) * | 2004-10-07 | 2007-12-20 | Novaled Ag | Verfahren zur Dotierung von einem Halbleitermaterial mit Cäsium |
| JP2006114544A (ja) * | 2004-10-12 | 2006-04-27 | Chisso Corp | 有機電界発光素子 |
| GB2442028A (en) * | 2004-12-24 | 2008-03-26 | Cambridge Display Tech Ltd | Light emissive device |
| KR100611673B1 (ko) * | 2005-01-31 | 2006-08-10 | 삼성에스디아이 주식회사 | 박막 형성 방법 및 유기전계발광소자의 제조 방법 |
| US7494722B2 (en) | 2005-02-23 | 2009-02-24 | Eastman Kodak Company | Tandem OLED having an organic intermediate connector |
| EP1705727B1 (de) * | 2005-03-15 | 2007-12-26 | Novaled AG | Lichtemittierendes Bauelement |
| EP1867080A4 (en) * | 2005-03-23 | 2009-08-12 | Semiconductor Energy Lab | COMPOSITE MATERIAL, MATERIAL FOR A LIGHT-EMITTING ELEMENT, LIGHT-EMITTING ELEMENT, LIGHT-EMITTING EQUIPMENT AND ELECTRONIC EQUIPMENT |
| US8906517B2 (en) | 2005-04-04 | 2014-12-09 | Sony Corporation | Organic electroluminescence device |
| JP4792828B2 (ja) * | 2005-06-17 | 2011-10-12 | ソニー株式会社 | 表示素子 |
| EP1713136B1 (de) | 2005-04-13 | 2007-12-12 | Novaled AG | Anordnung für eine organische Leuchtdiode vom pin-Typ und Verfahren zum Herstellen |
| US20060240281A1 (en) * | 2005-04-21 | 2006-10-26 | Eastman Kodak Company | Contaminant-scavenging layer on OLED anodes |
| US20060240280A1 (en) * | 2005-04-21 | 2006-10-26 | Eastman Kodak Company | OLED anode modification layer |
| DE502005009415D1 (de) | 2005-05-27 | 2010-05-27 | Novaled Ag | Transparente organische Leuchtdiode |
| EP2045843B1 (de) * | 2005-06-01 | 2012-08-01 | Novaled AG | Lichtemittierendes Bauteil mit einer Elektrodenanordnung |
| JP4715329B2 (ja) * | 2005-06-22 | 2011-07-06 | セイコーエプソン株式会社 | 電子デバイス用基板の製造方法 |
| US7696682B2 (en) * | 2005-06-27 | 2010-04-13 | Samsung Electronics Co., Ltd. | Organic light emitting device using Mg—Ag thin film and manufacturing method thereof |
| EP1739765A1 (de) * | 2005-07-01 | 2007-01-03 | Novaled AG | Organische Leuchtdiode und Anordnung mit mehreren organischen Leuchtdioden |
| TWI321968B (en) * | 2005-07-15 | 2010-03-11 | Lg Chemical Ltd | Organic light meitting device and method for manufacturing the same |
| US20090015150A1 (en) * | 2005-07-15 | 2009-01-15 | Lg Chem, Ltd. | Organic light emitting device and method for manufacturing the same |
| JP4785509B2 (ja) * | 2005-11-30 | 2011-10-05 | 三洋電機株式会社 | 有機エレクトロルミネッセント素子及び有機エレクトロルミネッセント表示装置 |
| JP4848152B2 (ja) | 2005-08-08 | 2011-12-28 | 出光興産株式会社 | 芳香族アミン誘導体及びそれを用いた有機エレクトロルミネッセンス素子 |
| JPWO2007026581A1 (ja) * | 2005-08-30 | 2009-03-05 | 出光興産株式会社 | 有機エレクトロルミネッセンス素子 |
| KR20080052589A (ko) | 2005-09-15 | 2008-06-11 | 이데미쓰 고산 가부시키가이샤 | 비대칭 플루오렌 유도체 및 그것을 이용한 유기 전기발광소자 |
| JPWO2007032162A1 (ja) | 2005-09-16 | 2009-03-19 | 出光興産株式会社 | ピレン系誘導体及びそれらを用いた有機エレクトロルミネッセンス素子 |
| US8956738B2 (en) * | 2005-10-26 | 2015-02-17 | Global Oled Technology Llc | Organic element for low voltage electroluminescent devices |
| US20070092755A1 (en) * | 2005-10-26 | 2007-04-26 | Eastman Kodak Company | Organic element for low voltage electroluminescent devices |
| US20070092759A1 (en) * | 2005-10-26 | 2007-04-26 | Begley William J | Organic element for low voltage electroluminescent devices |
| JP2007123611A (ja) * | 2005-10-28 | 2007-05-17 | Sanyo Electric Co Ltd | 有機エレクトロルミネッセント素子及び有機エレクトロルミネッセント表示装置 |
| KR100890862B1 (ko) * | 2005-11-07 | 2009-03-27 | 주식회사 엘지화학 | 유기 발광 소자 및 이의 제조 방법 |
| KR100830332B1 (ko) * | 2005-11-30 | 2008-05-19 | 삼성에스디아이 주식회사 | 유기발광소자 |
| KR100730190B1 (ko) * | 2005-12-20 | 2007-06-19 | 삼성에스디아이 주식회사 | 유기 발광 표시 소자 및 이의 제조방법 |
| DE502005004675D1 (de) | 2005-12-21 | 2008-08-21 | Novaled Ag | Organisches Bauelement |
| EP1804309B1 (en) * | 2005-12-23 | 2008-07-23 | Novaled AG | Electronic device with a layer structure of organic layers |
| EP1808909A1 (de) | 2006-01-11 | 2007-07-18 | Novaled AG | Elekrolumineszente Lichtemissionseinrichtung |
| JP4972938B2 (ja) * | 2006-01-12 | 2012-07-11 | コニカミノルタホールディングス株式会社 | 有機エレクトロルミネッセンス素子材料、有機エレクトロルミネッセンス素子、表示装置及び照明装置 |
| WO2007083918A1 (en) * | 2006-01-18 | 2007-07-26 | Lg Chem. Ltd. | Oled having stacked organic light-emitting units |
| US7799439B2 (en) * | 2006-01-25 | 2010-09-21 | Global Oled Technology Llc | Fluorocarbon electrode modification layer |
| KR100792139B1 (ko) * | 2006-02-06 | 2008-01-04 | 주식회사 엘지화학 | 전자주입층으로서 무기절연층을 이용한 유기발광소자 및이의 제조 방법 |
| TW200740290A (en) | 2006-02-28 | 2007-10-16 | Idemitsu Kosan Co | Organic electroluminescent device using fluoranthene derivative and indenoperylene derivative |
| WO2007102704A1 (en) * | 2006-03-07 | 2007-09-13 | Lg Chem, Ltd. | Oled and fabricating method of the same |
| CN101395126A (zh) | 2006-03-07 | 2009-03-25 | 出光兴产株式会社 | 芳香族胺衍生物及使用其的有机电致发光元件 |
| EP1848049B1 (de) * | 2006-04-19 | 2009-12-09 | Novaled AG | Lichtemittierendes Bauelement |
| JP5186365B2 (ja) | 2006-04-26 | 2013-04-17 | 出光興産株式会社 | 芳香族アミン誘導体及びそれらを用いた有機エレクトロルミネッセンス素子 |
| WO2007129834A1 (en) * | 2006-05-04 | 2007-11-15 | Lg Chem, Ltd. | Organic light-emitting device having light-emitting pattern, method and apparatus for preparing the same |
| CN101473464B (zh) | 2006-06-22 | 2014-04-23 | 出光兴产株式会社 | 应用含有杂环的芳胺衍生物的有机电致发光元件 |
| US8974918B2 (en) * | 2006-07-04 | 2015-03-10 | Semiconductor Energy Laboratory Co., Ltd. | Display device and electronic device |
| JP5109303B2 (ja) | 2006-07-31 | 2012-12-26 | ソニー株式会社 | 有機発光素子および表示装置 |
| JP5203207B2 (ja) | 2006-08-23 | 2013-06-05 | 出光興産株式会社 | 芳香族アミン誘導体及びそれらを用いた有機エレクトロルミネッセンス素子 |
| CN101535256B (zh) | 2006-11-24 | 2013-05-22 | 出光兴产株式会社 | 芳香族胺衍生物及使用其的有机电致发光元件 |
| KR20080051572A (ko) * | 2006-12-06 | 2008-06-11 | 주성엔지니어링(주) | 유기 전계 발광 소자 및 그 제조 방법 |
| US8795855B2 (en) * | 2007-01-30 | 2014-08-05 | Global Oled Technology Llc | OLEDs having high efficiency and excellent lifetime |
| JP2008192576A (ja) * | 2007-02-08 | 2008-08-21 | Sony Corp | 有機電界発光素子の製造方法および表示装置の製造方法 |
| TWI373987B (en) * | 2007-03-07 | 2012-10-01 | Sony Corp | Organic electroluminescent device and display device |
| US8278819B2 (en) | 2007-03-09 | 2012-10-02 | Idemitsu Kosan Co., Ltd. | Organic electroluminescence device and display |
| JP4939284B2 (ja) * | 2007-04-05 | 2012-05-23 | 財団法人山形県産業技術振興機構 | 有機エレクトロルミネッセント素子 |
| EP2136422B1 (en) | 2007-04-06 | 2013-12-18 | Idemitsu Kosan Co., Ltd. | Organic electroluminescent element |
| DE102007019260B4 (de) * | 2007-04-17 | 2020-01-16 | Novaled Gmbh | Nichtflüchtiges organisches Speicherelement |
| US20080284317A1 (en) * | 2007-05-17 | 2008-11-20 | Liang-Sheng Liao | Hybrid oled having improved efficiency |
| US8044390B2 (en) * | 2007-05-25 | 2011-10-25 | Idemitsu Kosan Co., Ltd. | Material for organic electroluminescent device, organic electroluminescent device, and organic electroluminescent display |
| KR100856508B1 (ko) * | 2007-06-15 | 2008-09-04 | 주식회사 잉크테크 | 투명도전막 및 이의 제조방법 |
| US8034465B2 (en) * | 2007-06-20 | 2011-10-11 | Global Oled Technology Llc | Phosphorescent oled having double exciton-blocking layers |
| KR20100038193A (ko) | 2007-08-06 | 2010-04-13 | 이데미쓰 고산 가부시키가이샤 | 방향족 아민 유도체 및 그것을 사용한 유기 전기 발광 소자 |
| US20090091242A1 (en) * | 2007-10-05 | 2009-04-09 | Liang-Sheng Liao | Hole-injecting layer in oleds |
| US7719180B2 (en) * | 2007-10-16 | 2010-05-18 | Global Oled Technology Llc | Inverted OLED device with improved efficiency |
| US8431242B2 (en) * | 2007-10-26 | 2013-04-30 | Global Oled Technology, Llc. | OLED device with certain fluoranthene host |
| US8076009B2 (en) * | 2007-10-26 | 2011-12-13 | Global Oled Technology, Llc. | OLED device with fluoranthene electron transport materials |
| US8420229B2 (en) | 2007-10-26 | 2013-04-16 | Global OLED Technologies LLC | OLED device with certain fluoranthene light-emitting dopants |
| US8129039B2 (en) * | 2007-10-26 | 2012-03-06 | Global Oled Technology, Llc | Phosphorescent OLED device with certain fluoranthene host |
| US20090110956A1 (en) * | 2007-10-26 | 2009-04-30 | Begley William J | Oled device with electron transport material combination |
| US20090134469A1 (en) * | 2007-11-28 | 2009-05-28 | Interuniversitair Microelektronica Centrum (Imec) Vzw | Method of manufacturing a semiconductor device with dual fully silicided gate |
| US8900722B2 (en) | 2007-11-29 | 2014-12-02 | Global Oled Technology Llc | OLED device employing alkali metal cluster compounds |
| JP5024021B2 (ja) * | 2007-12-18 | 2012-09-12 | セイコーエプソン株式会社 | 発光装置及び電子機器 |
| JPWO2009084268A1 (ja) * | 2007-12-28 | 2011-05-12 | 出光興産株式会社 | 芳香族アミン誘導体及びそれらを用いた有機エレクトロルミネッセンス素子 |
| FR2926677B1 (fr) | 2008-01-18 | 2014-04-25 | Astron Fiamm Safety | Diode et procede de realisation d'une diode electroluminescente organique a microcavite incluant des couches organiques dopees |
| CN104752616A (zh) * | 2008-01-18 | 2015-07-01 | Lg化学株式会社 | 有机发光器件及其制备方法 |
| JP5603254B2 (ja) * | 2008-01-23 | 2014-10-08 | エルジー・ケム・リミテッド | 有機発光素子およびその製作方法 |
| US20090191427A1 (en) * | 2008-01-30 | 2009-07-30 | Liang-Sheng Liao | Phosphorescent oled having double hole-blocking layers |
| US7947974B2 (en) * | 2008-03-25 | 2011-05-24 | Global Oled Technology Llc | OLED device with hole-transport and electron-transport materials |
| JP5624459B2 (ja) * | 2008-04-23 | 2014-11-12 | パナソニック株式会社 | 有機エレクトロルミネッセンス素子 |
| US8242487B2 (en) | 2008-05-16 | 2012-08-14 | E I Du Pont De Nemours And Company | Anode for an organic electronic device |
| WO2009145016A1 (ja) | 2008-05-29 | 2009-12-03 | 出光興産株式会社 | 芳香族アミン誘導体及びそれらを用いた有機エレクトロルミネッセンス素子 |
| US8372526B2 (en) | 2008-07-16 | 2013-02-12 | Universal Display Corporation | Intermediate connector for stacked organic light emitting devices |
| DE102008036063B4 (de) | 2008-08-04 | 2017-08-31 | Novaled Gmbh | Organischer Feldeffekt-Transistor |
| DE102008036062B4 (de) | 2008-08-04 | 2015-11-12 | Novaled Ag | Organischer Feldeffekt-Transistor |
| US8058159B2 (en) * | 2008-08-27 | 2011-11-15 | General Electric Company | Method of making low work function component |
| US7931975B2 (en) * | 2008-11-07 | 2011-04-26 | Global Oled Technology Llc | Electroluminescent device containing a flouranthene compound |
| US8088500B2 (en) * | 2008-11-12 | 2012-01-03 | Global Oled Technology Llc | OLED device with fluoranthene electron injection materials |
| JP5458554B2 (ja) * | 2008-11-19 | 2014-04-02 | ソニー株式会社 | 有機電界発光素子および表示装置 |
| TWI522007B (zh) * | 2008-12-01 | 2016-02-11 | 半導體能源研究所股份有限公司 | 發光元件、發光裝置、照明裝置、及電子裝置 |
| JP2012510706A (ja) * | 2008-12-01 | 2012-05-10 | イー・アイ・デュポン・ドウ・ヌムール・アンド・カンパニー | 有機電子デバイス用のアノード |
| US7968215B2 (en) * | 2008-12-09 | 2011-06-28 | Global Oled Technology Llc | OLED device with cyclobutene electron injection materials |
| US8461758B2 (en) | 2008-12-19 | 2013-06-11 | E I Du Pont De Nemours And Company | Buffer bilayers for electronic devices |
| JP2010192413A (ja) * | 2009-01-22 | 2010-09-02 | Sony Corp | 有機電界発光素子および表示装置 |
| US8216697B2 (en) * | 2009-02-13 | 2012-07-10 | Global Oled Technology Llc | OLED with fluoranthene-macrocyclic materials |
| DE102009009277B4 (de) * | 2009-02-17 | 2023-12-07 | Merck Patent Gmbh | Organische elektronische Vorrichtung, Verfahren zu deren Herstellung und Verwendung von Verbindungen |
| EP2399906A4 (en) * | 2009-02-18 | 2012-08-29 | Idemitsu Kosan Co | AROMATIC AMINE DERIVATIVE AND ORGANIC ELECTROLUMINESCENT ITEM |
| US8147989B2 (en) * | 2009-02-27 | 2012-04-03 | Global Oled Technology Llc | OLED device with stabilized green light-emitting layer |
| JP2010232163A (ja) * | 2009-03-03 | 2010-10-14 | Fujifilm Corp | 発光表示装置の製造方法、発光表示装置、及び発光ディスプレイ |
| JP2012521087A (ja) * | 2009-03-17 | 2012-09-10 | エルジー・ケム・リミテッド | 有機発光素子およびその製造方法 |
| US20100244677A1 (en) * | 2009-03-31 | 2010-09-30 | Begley William J | Oled device containing a silyl-fluoranthene derivative |
| US8206842B2 (en) * | 2009-04-06 | 2012-06-26 | Global Oled Technology Llc | Organic element for electroluminescent devices |
| US9125716B2 (en) * | 2009-04-17 | 2015-09-08 | Boston Scientific Scimed, Inc. | Delivery sleeve for pelvic floor implants |
| DE102009022900A1 (de) * | 2009-04-30 | 2010-11-18 | Osram Opto Semiconductors Gmbh | Optoelektronisches Bauelement und Verfahren zu dessen Herstellung |
| US20110108854A1 (en) * | 2009-11-10 | 2011-05-12 | Chien-Min Sung | Substantially lattice matched semiconductor materials and associated methods |
| KR101097339B1 (ko) * | 2010-03-08 | 2011-12-23 | 삼성모바일디스플레이주식회사 | 유기 발광 소자 및 이의 제조 방법 |
| KR101647134B1 (ko) * | 2010-03-29 | 2016-08-10 | 삼성디스플레이 주식회사 | 유기 발광 소자 |
| KR102134294B1 (ko) | 2010-04-02 | 2020-07-15 | 가부시키가이샤 한도오따이 에네루기 켄큐쇼 | 반도체 장치 |
| CN101826600A (zh) * | 2010-04-09 | 2010-09-08 | 苏旋 | 一种有机电致发光二极管器件 |
| US8556516B2 (en) | 2010-08-26 | 2013-10-15 | Hamilton Sundstrand Corporation | Compressor bearing cooling inlet plate |
| CN102005540A (zh) * | 2010-10-12 | 2011-04-06 | 西安文景光电科技有限公司 | 金属与p型盘状化合物作为复合阳极的有机电致发光器件 |
| KR101351512B1 (ko) * | 2010-10-25 | 2014-01-16 | 엘지디스플레이 주식회사 | 유기전계 발광소자 및 그의 제조방법 |
| CN103180994A (zh) * | 2010-11-26 | 2013-06-26 | 海洋王照明科技股份有限公司 | 一种有机电致发光器件及其制备方法 |
| US8784048B2 (en) | 2010-12-21 | 2014-07-22 | Hamilton Sundstrand Corporation | Air cycle machine bearing cooling inlet plate |
| CN102157703B (zh) * | 2011-03-03 | 2013-04-24 | 西安文景光电科技有限公司 | 一种提高亮度的oled器件 |
| WO2012128298A1 (ja) * | 2011-03-24 | 2012-09-27 | 出光興産株式会社 | ビスカルバゾール誘導体およびこれを用いた有機エレクトロルミネッセンス素子 |
| FR2976729B1 (fr) * | 2011-06-16 | 2013-06-07 | Saint Gobain | Substrat a electrode pour dispositif oled et un tel dispositif oled |
| CN102838986B (zh) * | 2011-06-22 | 2014-04-02 | 海洋王照明科技股份有限公司 | 钛锰共掺杂氧化钇发光薄膜、其制备方法及有机电致发光器件 |
| JP5938175B2 (ja) * | 2011-07-15 | 2016-06-22 | 出光興産株式会社 | 含窒素芳香族複素環誘導体およびそれを用いた有機エレクトロルミネッセンス素子 |
| KR101813171B1 (ko) * | 2011-09-01 | 2017-12-28 | 삼성전자주식회사 | 가스차단성 박막, 이를 포함하는 전자소자 및 이의 제조방법 |
| KR101320449B1 (ko) * | 2011-09-02 | 2013-10-23 | 주식회사 엘엠에스 | 유기전자소자 |
| JP5861961B2 (ja) * | 2012-02-01 | 2016-02-16 | 株式会社Joled | 有機el素子とその製造方法 |
| CN102544368B (zh) * | 2012-02-10 | 2014-12-10 | 中国科学院微电子研究所 | 一种有机薄膜晶体管及其制备方法 |
| JP6142323B2 (ja) | 2012-04-27 | 2017-06-07 | 株式会社Joled | 有機el素子、およびそれを備える有機elパネル、有機el発光装置、有機el表示装置 |
| CN102659790B (zh) * | 2012-05-16 | 2015-02-04 | 吉林奥来德光电材料股份有限公司 | 有机发光材料及制备方法及应用 |
| KR102087950B1 (ko) | 2012-12-04 | 2020-03-12 | 삼성디스플레이 주식회사 | 헤테로고리 화합물 및 이를 포함한 유기 발광 소자 |
| JP5892924B2 (ja) * | 2012-12-28 | 2016-03-23 | エルジー ディスプレイ カンパニー リミテッド | 有機el素子および有機el素子の製造方法、並びに有機elディスプレイ |
| KR102052071B1 (ko) | 2013-02-21 | 2019-12-05 | 삼성디스플레이 주식회사 | 유기 발광 소자 |
| CN104009166A (zh) * | 2013-02-26 | 2014-08-27 | 海洋王照明科技股份有限公司 | 有机电致发光器件及其制备方法 |
| CN104009180A (zh) * | 2013-02-26 | 2014-08-27 | 海洋王照明科技股份有限公司 | 有机电致发光器件及其制备方法 |
| CN104009167A (zh) * | 2013-02-26 | 2014-08-27 | 海洋王照明科技股份有限公司 | 有机电致发光器件及其制备方法 |
| CN104009162A (zh) * | 2013-02-26 | 2014-08-27 | 海洋王照明科技股份有限公司 | 一种有机电致发光器件及其制备方法 |
| CN104009174A (zh) * | 2013-02-26 | 2014-08-27 | 海洋王照明科技股份有限公司 | 一种有机电致发光器件及其制备方法 |
| CN103219472B (zh) * | 2013-04-19 | 2015-12-02 | 云南北方奥雷德光电科技股份有限公司 | 顶部发光oled器件阳极结构及其制备工艺 |
| CN104183738A (zh) * | 2013-05-24 | 2014-12-03 | 海洋王照明科技股份有限公司 | 有机电致发光器件及其制备方法 |
| CN104183729A (zh) * | 2013-05-24 | 2014-12-03 | 海洋王照明科技股份有限公司 | 有机电致发光器件及其制备方法 |
| WO2014196329A1 (ja) * | 2013-06-06 | 2014-12-11 | コニカミノルタ株式会社 | 有機エレクトロルミネッセンス素子 |
| US9515226B2 (en) | 2013-07-10 | 2016-12-06 | Yangang Xi | Light emitting device and method for making the same |
| JP6134292B2 (ja) * | 2014-05-30 | 2017-05-24 | 信越化学工業株式会社 | 反応性シリル基を有する電荷移動錯体及びその製造方法、並びに表面修飾剤及びこれを用いた透明酸化物電極及びその製造方法 |
| TWI569492B (zh) * | 2014-12-22 | 2017-02-01 | 昱鐳光電科技股份有限公司 | 有機發光元件 |
| US10418522B2 (en) | 2016-12-20 | 2019-09-17 | Goforward Technology Inc. | Optoelectronic device and method for making the same |
| KR102670447B1 (ko) | 2018-08-31 | 2024-06-03 | 삼성디스플레이 주식회사 | 유기 발광 소자 및 화합물 |
| US10818865B2 (en) * | 2018-10-17 | 2020-10-27 | Lakeside Photoelectronic Technology (Jiangsu) Co., Ltd. | Multiple hole injection structure on oxidized aluminum and applications thereof in organic luminescent devices |
| KR20210013495A (ko) | 2019-07-26 | 2021-02-04 | 삼성디스플레이 주식회사 | 안트라센계 화합물 및 이를 포함한 유기 발광 소자 |
Family Cites Families (58)
| Publication number | Priority date | Publication date | Assignee | Title |
|---|---|---|---|---|
| US4356429A (en) * | 1980-07-17 | 1982-10-26 | Eastman Kodak Company | Organic electroluminescent cell |
| US4780536A (en) * | 1986-09-05 | 1988-10-25 | The Ohio State University Research Foundation | Hexaazatriphenylene hexanitrile and its derivatives and their preparations |
| US4769292A (en) * | 1987-03-02 | 1988-09-06 | Eastman Kodak Company | Electroluminescent device with modified thin film luminescent zone |
| DE69027697T2 (de) * | 1989-03-31 | 1997-01-23 | Toshiba Kawasaki Kk | Organische elektrolumineszente Vorrichtung |
| WO1992005131A1 (fr) * | 1990-09-20 | 1992-04-02 | Idemitsu Kosan Co., Ltd. | Element electro-luminescent organique |
| US5150006A (en) * | 1991-08-01 | 1992-09-22 | Eastman Kodak Company | Blue emitting internal junction organic electroluminescent device (II) |
| JPH05307997A (ja) * | 1992-04-30 | 1993-11-19 | Pioneer Electron Corp | 有機エレクトロルミネッセンス素子 |
| JP3300069B2 (ja) | 1992-11-19 | 2002-07-08 | パイオニア株式会社 | 有機エレクトロルミネッセンス素子 |
| JPH0711249A (ja) | 1993-04-28 | 1995-01-13 | Mitsui Petrochem Ind Ltd | 薄膜電界発光素子およびその製造方法 |
| JP3534445B2 (ja) * | 1993-09-09 | 2004-06-07 | 隆一 山本 | ポリチオフェンを用いたel素子 |
| DE59510315D1 (de) * | 1994-04-07 | 2002-09-19 | Covion Organic Semiconductors | Spiroverbindungen und ihre Verwendung als Elektrolumineszenzmaterialien |
| JPH08167477A (ja) | 1994-10-13 | 1996-06-25 | Tdk Corp | 有機エレクトロルミネセンス素子 |
| JPH08325564A (ja) * | 1995-06-05 | 1996-12-10 | Nec Corp | 有機薄膜el素子 |
| DE19543637A1 (de) * | 1995-11-23 | 1997-05-28 | Basf Ag | Verwendung von in der plastisch-kolumnar diskotischen flüssigkristallinen Phase vorliegenden organischen Verbindungen zum Transport elektrischer Ladungen |
| TW365104B (en) | 1996-03-19 | 1999-07-21 | Motorola Inc | Organic electroluminescent device with new hole transporting material |
| JP4125376B2 (ja) * | 1996-04-25 | 2008-07-30 | コーニンクレッカ フィリップス エレクトロニクス エヌ ヴィ | 有機エレクトロルミネセント装置 |
| US5645948A (en) * | 1996-08-20 | 1997-07-08 | Eastman Kodak Company | Blue organic electroluminescent devices |
| US5766779A (en) * | 1996-08-20 | 1998-06-16 | Eastman Kodak Company | Electron transporting materials for organic electroluminescent devices |
| US6046543A (en) | 1996-12-23 | 2000-04-04 | The Trustees Of Princeton University | High reliability, high efficiency, integratable organic light emitting devices and methods of producing same |
| DE69839015T2 (de) | 1997-04-25 | 2008-12-24 | Koninklijke Philips Electronics N.V. | Seltene erden und komplex gruppe enthaltende komplex |
| US6497969B2 (en) * | 1997-09-05 | 2002-12-24 | Nessdisplay Co., Ltd. | Electroluminescent device having an organic layer including polyimide |
| DE19740792A1 (de) * | 1997-09-17 | 1999-04-01 | Bosch Gmbh Robert | Verfahren zur Erzeugung eines Plasmas durch Einstrahlung von Mikrowellen |
| FI105986B (fi) * | 1997-11-26 | 2000-10-31 | Nokia Networks Oy | Tilaajan palveluprofiilit tietoliikennejärjestelmässä |
| US6501217B2 (en) * | 1998-02-02 | 2002-12-31 | International Business Machines Corporation | Anode modification for organic light emitting diodes |
| WO1999039393A1 (en) | 1998-02-02 | 1999-08-05 | International Business Machines Corporation | Anode modification for organic light emitting diodes |
| JP3852518B2 (ja) * | 1998-05-18 | 2006-11-29 | ソニー株式会社 | 有機電界発光素子 |
| US6352777B1 (en) * | 1998-08-19 | 2002-03-05 | The Trustees Of Princeton University | Organic photosensitive optoelectronic devices with transparent electrodes |
| JP2000164361A (ja) * | 1998-11-25 | 2000-06-16 | Tdk Corp | 有機el素子 |
| US6656608B1 (en) * | 1998-12-25 | 2003-12-02 | Konica Corporation | Electroluminescent material, electroluminescent element and color conversion filter |
| US6351067B2 (en) * | 1999-01-21 | 2002-02-26 | City University Of Hong Kong | Organic electroluminescent device with improved hole injecting structure |
| JP4198253B2 (ja) | 1999-02-02 | 2008-12-17 | 出光興産株式会社 | 有機エレクトロルミネッセンス素子およびその製造方法 |
| CN1182601C (zh) | 1999-07-19 | 2004-12-29 | 杜邦显示器股份有限公司 | 具有改进的发光效率和辐射率的长效聚合物发光装置 |
| JP2001043980A (ja) * | 1999-07-29 | 2001-02-16 | Sony Corp | 有機エレクトロルミネッセンス素子及び表示装置 |
| JP3571977B2 (ja) | 1999-11-12 | 2004-09-29 | キヤノン株式会社 | 有機発光素子 |
| JP3744766B2 (ja) * | 1999-12-27 | 2006-02-15 | 三洋電機株式会社 | 有機発光素子およびその製造方法ならびに表示装置およびその製造方法 |
| KR100377321B1 (ko) * | 1999-12-31 | 2003-03-26 | 주식회사 엘지화학 | 피-형 반도체 성질을 갖는 유기 화합물을 포함하는 전기소자 |
| KR100721656B1 (ko) * | 2005-11-01 | 2007-05-23 | 주식회사 엘지화학 | 유기 전기 소자 |
| US7560175B2 (en) * | 1999-12-31 | 2009-07-14 | Lg Chem, Ltd. | Electroluminescent devices with low work function anode |
| TWI238183B (en) | 2000-01-12 | 2005-08-21 | Sumitomo Chemical Co | Polymeric fluorescent substance and polymer light-emitting device |
| JP3967081B2 (ja) * | 2000-02-03 | 2007-08-29 | 株式会社半導体エネルギー研究所 | 発光装置及びその作製方法 |
| AT410729B (de) * | 2000-04-27 | 2003-07-25 | Qsel Quantum Solar Energy Linz | Photovoltaische zelle mit einer photoaktiven schicht aus zwei molekularen organischen komponenten |
| US6579629B1 (en) | 2000-08-11 | 2003-06-17 | Eastman Kodak Company | Cathode layer in organic light-emitting diode devices |
| JP2002100482A (ja) * | 2000-09-20 | 2002-04-05 | Mitsubishi Chemicals Corp | 有機電界発光素子 |
| JP4798322B2 (ja) * | 2001-01-26 | 2011-10-19 | ソニー株式会社 | 表示装置及び表示装置の製造方法 |
| JP2002246184A (ja) | 2001-02-14 | 2002-08-30 | Fuji Photo Film Co Ltd | 発光素子 |
| US6998487B2 (en) | 2001-04-27 | 2006-02-14 | Lg Chem, Ltd. | Double-spiro organic compounds and organic electroluminescent devices using the same |
| DE10135513B4 (de) | 2001-07-20 | 2005-02-24 | Novaled Gmbh | Lichtemittierendes Bauelement mit organischen Schichten |
| DE10207859A1 (de) * | 2002-02-20 | 2003-09-04 | Univ Dresden Tech | Dotiertes organisches Halbleitermaterial sowie Verfahren zu dessen Herstellung |
| US6806491B2 (en) | 2002-04-03 | 2004-10-19 | Tsinghua University | Organic light-emitting devices |
| CN1161002C (zh) | 2002-04-03 | 2004-08-04 | 清华大学 | 一种有机电致发光器件 |
| JP2005531552A (ja) | 2002-05-07 | 2005-10-20 | エルジー・ケム・リミテッド | 新たな有機発光化合物及びこれを利用した有機発光素子 |
| US6626697B1 (en) | 2002-11-07 | 2003-09-30 | Tyco Electronics Corp. | Network connection sensing assembly |
| US6963081B2 (en) * | 2003-09-30 | 2005-11-08 | Osram Otpo Semiconductors Gmbh | Interfacial trap layer to improve carrier injection |
| DE10357044A1 (de) | 2003-12-04 | 2005-07-14 | Novaled Gmbh | Verfahren zur Dotierung von organischen Halbleitern mit Chinondiiminderivaten |
| TWI265753B (en) | 2004-05-11 | 2006-11-01 | Lg Chemical Ltd | Organic electronic device |
| KR100718765B1 (ko) * | 2004-08-19 | 2007-05-15 | 주식회사 엘지화학 | 버퍼층을 포함하는 유기 발광 소자 및 이의 제작 방법 |
| KR100890862B1 (ko) * | 2005-11-07 | 2009-03-27 | 주식회사 엘지화학 | 유기 발광 소자 및 이의 제조 방법 |
| WO2007083918A1 (en) * | 2006-01-18 | 2007-07-26 | Lg Chem. Ltd. | Oled having stacked organic light-emitting units |
-
2003
- 2003-11-26 US US10/722,812 patent/US7560175B2/en not_active Expired - Lifetime
- 2003-12-03 KR KR1020030087159A patent/KR100606634B1/ko not_active Expired - Lifetime
- 2003-12-05 DE DE60327944T patent/DE60327944D1/de not_active Expired - Lifetime
- 2003-12-05 EP EP07014668.3A patent/EP1842890B1/en not_active Expired - Lifetime
- 2003-12-05 CN CNB2003801000992A patent/CN100527472C/zh not_active Expired - Lifetime
- 2003-12-05 EP EP07014669.1A patent/EP1842891B1/en not_active Expired - Lifetime
- 2003-12-05 JP JP2004558519A patent/JP4537207B2/ja not_active Expired - Lifetime
- 2003-12-05 AU AU2003302867A patent/AU2003302867A1/en not_active Abandoned
- 2003-12-05 AT AT03812707T patent/ATE433649T1/de not_active IP Right Cessation
- 2003-12-05 EP EP03812707A patent/EP1570711B1/en not_active Expired - Lifetime
- 2003-12-05 WO PCT/KR2003/002659 patent/WO2004054326A2/en not_active Ceased
- 2003-12-10 TW TW092134931A patent/TWI241864B/zh not_active IP Right Cessation
-
2007
- 2007-06-15 US US11/812,256 patent/US7648779B2/en not_active Expired - Fee Related
- 2007-06-15 US US11/812,257 patent/US7648780B2/en not_active Expired - Fee Related
- 2007-06-18 JP JP2007160504A patent/JP5259128B2/ja not_active Expired - Lifetime
- 2007-06-18 JP JP2007160505A patent/JP5259129B2/ja not_active Expired - Lifetime
Also Published As
| Publication number | Publication date |
|---|---|
| US20070257605A1 (en) | 2007-11-08 |
| JP5259128B2 (ja) | 2013-08-07 |
| JP4537207B2 (ja) | 2010-09-01 |
| TW200420177A (en) | 2004-10-01 |
| US7560175B2 (en) | 2009-07-14 |
| JP2007311811A (ja) | 2007-11-29 |
| AU2003302867A1 (en) | 2004-06-30 |
| TWI241864B (en) | 2005-10-11 |
| JP2007287698A (ja) | 2007-11-01 |
| CN1989787A (zh) | 2007-06-27 |
| KR100606634B1 (ko) | 2006-07-31 |
| WO2004054326A3 (en) | 2004-09-16 |
| US20040113547A1 (en) | 2004-06-17 |
| EP1570711B1 (en) | 2009-06-10 |
| ATE433649T1 (de) | 2009-06-15 |
| WO2004054326A2 (en) | 2004-06-24 |
| EP1842890B1 (en) | 2020-05-06 |
| EP1842891A1 (en) | 2007-10-10 |
| DE60327944D1 (de) | 2009-07-23 |
| US20090230842A9 (en) | 2009-09-17 |
| CN100527472C (zh) | 2009-08-12 |
| US20080001532A1 (en) | 2008-01-03 |
| EP1570711A2 (en) | 2005-09-07 |
| EP1842891B1 (en) | 2020-05-20 |
| US7648779B2 (en) | 2010-01-19 |
| KR20040051507A (ko) | 2004-06-18 |
| JP2006503443A (ja) | 2006-01-26 |
| US7648780B2 (en) | 2010-01-19 |
| EP1842890A1 (en) | 2007-10-10 |
Similar Documents
| Publication | Publication Date | Title |
|---|---|---|
| JP5259129B2 (ja) | 低い仕事関数の陽極を有する電界発光素子 | |
| TWI363579B (en) | Organic light emitting device having improved stabiltiy | |
| JP4886352B2 (ja) | 有機エレクトロルミネッセンス素子 | |
| US6885147B2 (en) | Organic light emitting diode devices with improved anode stability | |
| JP2000040589A (ja) | 有機el素子 | |
| WO2006121105A1 (ja) | 有機エレクトロルミネッセンス素子 | |
| JP2000123976A (ja) | 有機el素子 | |
| JP4872805B2 (ja) | 有機エレクトロルミネッセンス素子 | |
| TWI569492B (zh) | 有機發光元件 | |
| JP2000012234A (ja) | 有機el素子 | |
| US20050122041A1 (en) | Organic electroluminescent device | |
| JP2010114312A (ja) | 有機エレクトロルミネッセンス素子 | |
| JP5238136B2 (ja) | 発光装置 | |
| JPH1154279A (ja) | 有機エレクトロルミネッセンス素子 | |
| JP2000068060A (ja) | 有機el素子およびその製造方法 | |
| JP3912925B2 (ja) | 有機発光素子 | |
| JP2023173602A (ja) | 有機エレクトロルミネッセンス素子、表示装置および照明装置 | |
| JPH10237442A (ja) | 有機エレクトロルミネッセンス素子及び有機エレクトロルミネッセンス素子用材料 | |
| JP2000100574A (ja) | 有機el素子 | |
| JP2008066499A (ja) | 有機電界発光素子および表示装置 | |
| JP2000040588A (ja) | 有機el素子 |
Legal Events
| Date | Code | Title | Description |
|---|---|---|---|
| A131 | Notification of reasons for refusal |
Free format text: JAPANESE INTERMEDIATE CODE: A131 Effective date: 20110215 |
|
| A601 | Written request for extension of time |
Free format text: JAPANESE INTERMEDIATE CODE: A601 Effective date: 20110513 |
|
| A602 | Written permission of extension of time |
Free format text: JAPANESE INTERMEDIATE CODE: A602 Effective date: 20110518 |
|
| A601 | Written request for extension of time |
Free format text: JAPANESE INTERMEDIATE CODE: A601 Effective date: 20110615 |
|
| A602 | Written permission of extension of time |
Free format text: JAPANESE INTERMEDIATE CODE: A602 Effective date: 20110620 |
|
| A601 | Written request for extension of time |
Free format text: JAPANESE INTERMEDIATE CODE: A601 Effective date: 20110715 |
|
| A602 | Written permission of extension of time |
Free format text: JAPANESE INTERMEDIATE CODE: A602 Effective date: 20110721 |
|
| A521 | Request for written amendment filed |
Free format text: JAPANESE INTERMEDIATE CODE: A523 Effective date: 20110815 |
|
| A131 | Notification of reasons for refusal |
Free format text: JAPANESE INTERMEDIATE CODE: A131 Effective date: 20120207 |
|
| A601 | Written request for extension of time |
Free format text: JAPANESE INTERMEDIATE CODE: A601 Effective date: 20120507 |
|
| A602 | Written permission of extension of time |
Free format text: JAPANESE INTERMEDIATE CODE: A602 Effective date: 20120510 |
|
| A601 | Written request for extension of time |
Free format text: JAPANESE INTERMEDIATE CODE: A601 Effective date: 20120607 |
|
| A602 | Written permission of extension of time |
Free format text: JAPANESE INTERMEDIATE CODE: A602 Effective date: 20120612 |
|
| A601 | Written request for extension of time |
Free format text: JAPANESE INTERMEDIATE CODE: A601 Effective date: 20120709 |
|
| A602 | Written permission of extension of time |
Free format text: JAPANESE INTERMEDIATE CODE: A602 Effective date: 20120712 |
|
| A521 | Request for written amendment filed |
Free format text: JAPANESE INTERMEDIATE CODE: A523 Effective date: 20120807 |
|
| RD04 | Notification of resignation of power of attorney |
Free format text: JAPANESE INTERMEDIATE CODE: A7424 Effective date: 20120928 |
|
| TRDD | Decision of grant or rejection written | ||
| A01 | Written decision to grant a patent or to grant a registration (utility model) |
Free format text: JAPANESE INTERMEDIATE CODE: A01 Effective date: 20130402 |
|
| A61 | First payment of annual fees (during grant procedure) |
Free format text: JAPANESE INTERMEDIATE CODE: A61 Effective date: 20130424 |
|
| FPAY | Renewal fee payment (event date is renewal date of database) |
Free format text: PAYMENT UNTIL: 20160502 Year of fee payment: 3 |
|
| R150 | Certificate of patent or registration of utility model |
Ref document number: 5259129 Country of ref document: JP Free format text: JAPANESE INTERMEDIATE CODE: R150 Free format text: JAPANESE INTERMEDIATE CODE: R150 |
|
| R250 | Receipt of annual fees |
Free format text: JAPANESE INTERMEDIATE CODE: R250 |
|
| R250 | Receipt of annual fees |
Free format text: JAPANESE INTERMEDIATE CODE: R250 |
|
| R250 | Receipt of annual fees |
Free format text: JAPANESE INTERMEDIATE CODE: R250 |
|
| R250 | Receipt of annual fees |
Free format text: JAPANESE INTERMEDIATE CODE: R250 |
|
| R250 | Receipt of annual fees |
Free format text: JAPANESE INTERMEDIATE CODE: R250 |
|
| R250 | Receipt of annual fees |
Free format text: JAPANESE INTERMEDIATE CODE: R250 |
|
| R250 | Receipt of annual fees |
Free format text: JAPANESE INTERMEDIATE CODE: R250 |
|
| R250 | Receipt of annual fees |
Free format text: JAPANESE INTERMEDIATE CODE: R250 |
|
| EXPY | Cancellation because of completion of term |
