JP4875012B2 - デューティサイクル推定装置 - Google Patents
デューティサイクル推定装置 Download PDFInfo
- Publication number
- JP4875012B2 JP4875012B2 JP2008057067A JP2008057067A JP4875012B2 JP 4875012 B2 JP4875012 B2 JP 4875012B2 JP 2008057067 A JP2008057067 A JP 2008057067A JP 2008057067 A JP2008057067 A JP 2008057067A JP 4875012 B2 JP4875012 B2 JP 4875012B2
- Authority
- JP
- Japan
- Prior art keywords
- output
- duty cycle
- power
- voltage
- signal
- Prior art date
- Legal status (The legal status is an assumption and is not a legal conclusion. Google has not performed a legal analysis and makes no representation as to the accuracy of the status listed.)
- Expired - Fee Related
Links
- 230000007423 decrease Effects 0.000 claims description 15
- 230000002194 synthesizing effect Effects 0.000 claims 1
- 238000010586 diagram Methods 0.000 description 58
- 238000000034 method Methods 0.000 description 41
- 230000004044 response Effects 0.000 description 30
- 230000007704 transition Effects 0.000 description 30
- 230000001105 regulatory effect Effects 0.000 description 28
- 238000001514 detection method Methods 0.000 description 27
- 230000001276 controlling effect Effects 0.000 description 26
- 238000005070 sampling Methods 0.000 description 25
- 238000003491 array Methods 0.000 description 18
- 238000012546 transfer Methods 0.000 description 17
- 230000003044 adaptive effect Effects 0.000 description 16
- 230000006870 function Effects 0.000 description 10
- 230000002829 reductive effect Effects 0.000 description 9
- 230000008859 change Effects 0.000 description 6
- 230000001052 transient effect Effects 0.000 description 6
- 238000012937 correction Methods 0.000 description 5
- 230000003111 delayed effect Effects 0.000 description 5
- 230000014509 gene expression Effects 0.000 description 5
- 230000005355 Hall effect Effects 0.000 description 4
- 238000007620 mathematical function Methods 0.000 description 4
- 230000007246 mechanism Effects 0.000 description 4
- 238000012544 monitoring process Methods 0.000 description 4
- 238000013139 quantization Methods 0.000 description 4
- 239000000872 buffer Substances 0.000 description 3
- 230000003247 decreasing effect Effects 0.000 description 3
- 238000012545 processing Methods 0.000 description 3
- 230000000630 rising effect Effects 0.000 description 3
- 230000002238 attenuated effect Effects 0.000 description 2
- 238000006243 chemical reaction Methods 0.000 description 2
- 230000001934 delay Effects 0.000 description 2
- 238000011156 evaluation Methods 0.000 description 2
- 230000006872 improvement Effects 0.000 description 2
- 230000000670 limiting effect Effects 0.000 description 2
- 230000010363 phase shift Effects 0.000 description 2
- 230000008569 process Effects 0.000 description 2
- 230000003068 static effect Effects 0.000 description 2
- 230000000712 assembly Effects 0.000 description 1
- 238000000429 assembly Methods 0.000 description 1
- 230000002457 bidirectional effect Effects 0.000 description 1
- 230000033228 biological regulation Effects 0.000 description 1
- 230000015572 biosynthetic process Effects 0.000 description 1
- 238000004364 calculation method Methods 0.000 description 1
- 239000003990 capacitor Substances 0.000 description 1
- 239000013078 crystal Substances 0.000 description 1
- 238000013461 design Methods 0.000 description 1
- 230000000694 effects Effects 0.000 description 1
- 230000006266 hibernation Effects 0.000 description 1
- 238000012423 maintenance Methods 0.000 description 1
- 238000004519 manufacturing process Methods 0.000 description 1
- 239000000203 mixture Substances 0.000 description 1
- 238000012986 modification Methods 0.000 description 1
- 230000004048 modification Effects 0.000 description 1
- 230000001629 suppression Effects 0.000 description 1
- 238000003786 synthesis reaction Methods 0.000 description 1
- 230000002277 temperature effect Effects 0.000 description 1
- 230000001960 triggered effect Effects 0.000 description 1
- 238000004804 winding Methods 0.000 description 1
Images
Classifications
-
- H—ELECTRICITY
- H02—GENERATION; CONVERSION OR DISTRIBUTION OF ELECTRIC POWER
- H02M—APPARATUS FOR CONVERSION BETWEEN AC AND AC, BETWEEN AC AND DC, OR BETWEEN DC AND DC, AND FOR USE WITH MAINS OR SIMILAR POWER SUPPLY SYSTEMS; CONVERSION OF DC OR AC INPUT POWER INTO SURGE OUTPUT POWER; CONTROL OR REGULATION THEREOF
- H02M3/00—Conversion of DC power input into DC power output
- H02M3/02—Conversion of DC power input into DC power output without intermediate conversion into AC
- H02M3/04—Conversion of DC power input into DC power output without intermediate conversion into AC by static converters
- H02M3/10—Conversion of DC power input into DC power output without intermediate conversion into AC by static converters using discharge tubes with control electrode or semiconductor devices with control electrode
- H02M3/145—Conversion of DC power input into DC power output without intermediate conversion into AC by static converters using discharge tubes with control electrode or semiconductor devices with control electrode using devices of a triode or transistor type requiring continuous application of a control signal
- H02M3/155—Conversion of DC power input into DC power output without intermediate conversion into AC by static converters using discharge tubes with control electrode or semiconductor devices with control electrode using devices of a triode or transistor type requiring continuous application of a control signal using semiconductor devices only
- H02M3/156—Conversion of DC power input into DC power output without intermediate conversion into AC by static converters using discharge tubes with control electrode or semiconductor devices with control electrode using devices of a triode or transistor type requiring continuous application of a control signal using semiconductor devices only with automatic control of output voltage or current, e.g. switching regulators
- H02M3/157—Conversion of DC power input into DC power output without intermediate conversion into AC by static converters using discharge tubes with control electrode or semiconductor devices with control electrode using devices of a triode or transistor type requiring continuous application of a control signal using semiconductor devices only with automatic control of output voltage or current, e.g. switching regulators with digital control
-
- H—ELECTRICITY
- H02—GENERATION; CONVERSION OR DISTRIBUTION OF ELECTRIC POWER
- H02M—APPARATUS FOR CONVERSION BETWEEN AC AND AC, BETWEEN AC AND DC, OR BETWEEN DC AND DC, AND FOR USE WITH MAINS OR SIMILAR POWER SUPPLY SYSTEMS; CONVERSION OF DC OR AC INPUT POWER INTO SURGE OUTPUT POWER; CONTROL OR REGULATION THEREOF
- H02M1/00—Details of apparatus for conversion
- H02M1/08—Circuits specially adapted for the generation of control voltages for semiconductor devices incorporated in static converters
- H02M1/088—Circuits specially adapted for the generation of control voltages for semiconductor devices incorporated in static converters for the simultaneous control of series or parallel connected semiconductor devices
-
- H—ELECTRICITY
- H02—GENERATION; CONVERSION OR DISTRIBUTION OF ELECTRIC POWER
- H02M—APPARATUS FOR CONVERSION BETWEEN AC AND AC, BETWEEN AC AND DC, OR BETWEEN DC AND DC, AND FOR USE WITH MAINS OR SIMILAR POWER SUPPLY SYSTEMS; CONVERSION OF DC OR AC INPUT POWER INTO SURGE OUTPUT POWER; CONTROL OR REGULATION THEREOF
- H02M1/00—Details of apparatus for conversion
- H02M1/38—Means for preventing simultaneous conduction of switches
-
- H—ELECTRICITY
- H02—GENERATION; CONVERSION OR DISTRIBUTION OF ELECTRIC POWER
- H02M—APPARATUS FOR CONVERSION BETWEEN AC AND AC, BETWEEN AC AND DC, OR BETWEEN DC AND DC, AND FOR USE WITH MAINS OR SIMILAR POWER SUPPLY SYSTEMS; CONVERSION OF DC OR AC INPUT POWER INTO SURGE OUTPUT POWER; CONTROL OR REGULATION THEREOF
- H02M3/00—Conversion of DC power input into DC power output
- H02M3/02—Conversion of DC power input into DC power output without intermediate conversion into AC
- H02M3/04—Conversion of DC power input into DC power output without intermediate conversion into AC by static converters
- H02M3/10—Conversion of DC power input into DC power output without intermediate conversion into AC by static converters using discharge tubes with control electrode or semiconductor devices with control electrode
- H02M3/145—Conversion of DC power input into DC power output without intermediate conversion into AC by static converters using discharge tubes with control electrode or semiconductor devices with control electrode using devices of a triode or transistor type requiring continuous application of a control signal
- H02M3/155—Conversion of DC power input into DC power output without intermediate conversion into AC by static converters using discharge tubes with control electrode or semiconductor devices with control electrode using devices of a triode or transistor type requiring continuous application of a control signal using semiconductor devices only
- H02M3/156—Conversion of DC power input into DC power output without intermediate conversion into AC by static converters using discharge tubes with control electrode or semiconductor devices with control electrode using devices of a triode or transistor type requiring continuous application of a control signal using semiconductor devices only with automatic control of output voltage or current, e.g. switching regulators
- H02M3/158—Conversion of DC power input into DC power output without intermediate conversion into AC by static converters using discharge tubes with control electrode or semiconductor devices with control electrode using devices of a triode or transistor type requiring continuous application of a control signal using semiconductor devices only with automatic control of output voltage or current, e.g. switching regulators including plural semiconductor devices as final control devices for a single load
-
- H—ELECTRICITY
- H02—GENERATION; CONVERSION OR DISTRIBUTION OF ELECTRIC POWER
- H02M—APPARATUS FOR CONVERSION BETWEEN AC AND AC, BETWEEN AC AND DC, OR BETWEEN DC AND DC, AND FOR USE WITH MAINS OR SIMILAR POWER SUPPLY SYSTEMS; CONVERSION OF DC OR AC INPUT POWER INTO SURGE OUTPUT POWER; CONTROL OR REGULATION THEREOF
- H02M3/00—Conversion of DC power input into DC power output
- H02M3/02—Conversion of DC power input into DC power output without intermediate conversion into AC
- H02M3/04—Conversion of DC power input into DC power output without intermediate conversion into AC by static converters
- H02M3/10—Conversion of DC power input into DC power output without intermediate conversion into AC by static converters using discharge tubes with control electrode or semiconductor devices with control electrode
- H02M3/145—Conversion of DC power input into DC power output without intermediate conversion into AC by static converters using discharge tubes with control electrode or semiconductor devices with control electrode using devices of a triode or transistor type requiring continuous application of a control signal
- H02M3/155—Conversion of DC power input into DC power output without intermediate conversion into AC by static converters using discharge tubes with control electrode or semiconductor devices with control electrode using devices of a triode or transistor type requiring continuous application of a control signal using semiconductor devices only
- H02M3/156—Conversion of DC power input into DC power output without intermediate conversion into AC by static converters using discharge tubes with control electrode or semiconductor devices with control electrode using devices of a triode or transistor type requiring continuous application of a control signal using semiconductor devices only with automatic control of output voltage or current, e.g. switching regulators
- H02M3/158—Conversion of DC power input into DC power output without intermediate conversion into AC by static converters using discharge tubes with control electrode or semiconductor devices with control electrode using devices of a triode or transistor type requiring continuous application of a control signal using semiconductor devices only with automatic control of output voltage or current, e.g. switching regulators including plural semiconductor devices as final control devices for a single load
- H02M3/1588—Conversion of DC power input into DC power output without intermediate conversion into AC by static converters using discharge tubes with control electrode or semiconductor devices with control electrode using devices of a triode or transistor type requiring continuous application of a control signal using semiconductor devices only with automatic control of output voltage or current, e.g. switching regulators including plural semiconductor devices as final control devices for a single load comprising at least one synchronous rectifier element
-
- H—ELECTRICITY
- H03—ELECTRONIC CIRCUITRY
- H03K—PULSE TECHNIQUE
- H03K17/00—Electronic switching or gating, i.e. not by contact-making and –breaking
- H03K17/12—Modifications for increasing the maximum permissible switched current
- H03K17/122—Modifications for increasing the maximum permissible switched current in field-effect transistor switches
-
- H—ELECTRICITY
- H03—ELECTRONIC CIRCUITRY
- H03K—PULSE TECHNIQUE
- H03K17/00—Electronic switching or gating, i.e. not by contact-making and –breaking
- H03K17/16—Modifications for eliminating interference voltages or currents
- H03K17/161—Modifications for eliminating interference voltages or currents in field-effect transistor switches
- H03K17/165—Modifications for eliminating interference voltages or currents in field-effect transistor switches by feedback from the output circuit to the control circuit
- H03K17/166—Soft switching
- H03K17/167—Soft switching using parallel switching arrangements
-
- H—ELECTRICITY
- H03—ELECTRONIC CIRCUITRY
- H03K—PULSE TECHNIQUE
- H03K5/00—Manipulating of pulses not covered by one of the other main groups of this subclass
- H03K5/156—Arrangements in which a continuous pulse train is transformed into a train having a desired pattern
- H03K5/1565—Arrangements in which a continuous pulse train is transformed into a train having a desired pattern the output pulses having a constant duty cycle
-
- H—ELECTRICITY
- H02—GENERATION; CONVERSION OR DISTRIBUTION OF ELECTRIC POWER
- H02M—APPARATUS FOR CONVERSION BETWEEN AC AND AC, BETWEEN AC AND DC, OR BETWEEN DC AND DC, AND FOR USE WITH MAINS OR SIMILAR POWER SUPPLY SYSTEMS; CONVERSION OF DC OR AC INPUT POWER INTO SURGE OUTPUT POWER; CONTROL OR REGULATION THEREOF
- H02M1/00—Details of apparatus for conversion
- H02M1/0003—Details of control, feedback or regulation circuits
- H02M1/0009—Devices or circuits for detecting current in a converter
-
- H—ELECTRICITY
- H02—GENERATION; CONVERSION OR DISTRIBUTION OF ELECTRIC POWER
- H02M—APPARATUS FOR CONVERSION BETWEEN AC AND AC, BETWEEN AC AND DC, OR BETWEEN DC AND DC, AND FOR USE WITH MAINS OR SIMILAR POWER SUPPLY SYSTEMS; CONVERSION OF DC OR AC INPUT POWER INTO SURGE OUTPUT POWER; CONTROL OR REGULATION THEREOF
- H02M1/00—Details of apparatus for conversion
- H02M1/0003—Details of control, feedback or regulation circuits
- H02M1/0012—Control circuits using digital or numerical techniques
-
- H—ELECTRICITY
- H02—GENERATION; CONVERSION OR DISTRIBUTION OF ELECTRIC POWER
- H02M—APPARATUS FOR CONVERSION BETWEEN AC AND AC, BETWEEN AC AND DC, OR BETWEEN DC AND DC, AND FOR USE WITH MAINS OR SIMILAR POWER SUPPLY SYSTEMS; CONVERSION OF DC OR AC INPUT POWER INTO SURGE OUTPUT POWER; CONTROL OR REGULATION THEREOF
- H02M1/00—Details of apparatus for conversion
- H02M1/0003—Details of control, feedback or regulation circuits
- H02M1/0025—Arrangements for modifying reference values, feedback values or error values in the control loop of a converter
-
- H—ELECTRICITY
- H02—GENERATION; CONVERSION OR DISTRIBUTION OF ELECTRIC POWER
- H02M—APPARATUS FOR CONVERSION BETWEEN AC AND AC, BETWEEN AC AND DC, OR BETWEEN DC AND DC, AND FOR USE WITH MAINS OR SIMILAR POWER SUPPLY SYSTEMS; CONVERSION OF DC OR AC INPUT POWER INTO SURGE OUTPUT POWER; CONTROL OR REGULATION THEREOF
- H02M1/00—Details of apparatus for conversion
- H02M1/0048—Circuits or arrangements for reducing losses
-
- H—ELECTRICITY
- H03—ELECTRONIC CIRCUITRY
- H03K—PULSE TECHNIQUE
- H03K17/00—Electronic switching or gating, i.e. not by contact-making and –breaking
- H03K17/51—Electronic switching or gating, i.e. not by contact-making and –breaking characterised by the components used
- H03K17/56—Electronic switching or gating, i.e. not by contact-making and –breaking characterised by the components used by the use, as active elements, of semiconductor devices
- H03K17/687—Electronic switching or gating, i.e. not by contact-making and –breaking characterised by the components used by the use, as active elements, of semiconductor devices the devices being field-effect transistors
- H03K17/6871—Electronic switching or gating, i.e. not by contact-making and –breaking characterised by the components used by the use, as active elements, of semiconductor devices the devices being field-effect transistors the output circuit comprising more than one controlled field-effect transistor
-
- Y—GENERAL TAGGING OF NEW TECHNOLOGICAL DEVELOPMENTS; GENERAL TAGGING OF CROSS-SECTIONAL TECHNOLOGIES SPANNING OVER SEVERAL SECTIONS OF THE IPC; TECHNICAL SUBJECTS COVERED BY FORMER USPC CROSS-REFERENCE ART COLLECTIONS [XRACs] AND DIGESTS
- Y02—TECHNOLOGIES OR APPLICATIONS FOR MITIGATION OR ADAPTATION AGAINST CLIMATE CHANGE
- Y02B—CLIMATE CHANGE MITIGATION TECHNOLOGIES RELATED TO BUILDINGS, e.g. HOUSING, HOUSE APPLIANCES OR RELATED END-USER APPLICATIONS
- Y02B70/00—Technologies for an efficient end-user side electric power management and consumption
- Y02B70/10—Technologies improving the efficiency by using switched-mode power supplies [SMPS], i.e. efficient power electronics conversion e.g. power factor correction or reduction of losses in power supplies or efficient standby modes
Landscapes
- Engineering & Computer Science (AREA)
- Power Engineering (AREA)
- Physics & Mathematics (AREA)
- Nonlinear Science (AREA)
- Dc-Dc Converters (AREA)
- Continuous-Control Power Sources That Use Transistors (AREA)
- Electronic Switches (AREA)
- Control Of Voltage And Current In General (AREA)
- Measuring Instrument Details And Bridges, And Automatic Balancing Devices (AREA)
Description
Claims (2)
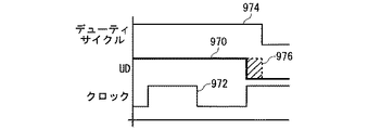
- スイッチングレギュレータの出力側へエネルギーが移動される際のデューティサイクルを表すデジタル信号である公称デューティサイクルを決定するデューティサイクル推定装置であって、前記スイッチングレギュレータは、
前記スイッチングレギュレータのスイッチング時間の1000倍にほぼ等しい時間にわたって、基準レベルと前記スイッチングレギュレータの出力間の出力誤差の関数である誤差信号の移動平均値を計算するアキュムレータと、
第1の基準レベル及び前記第1の基準レベルより小さい第2の基準レベルを含む前記基準レベルを生成する基準ジェネレータと、
前記移動平均値を前記第1及び第2の基準レベルと比較する複数のコンパレータと、
前記コンパレータの出力に基づいて前記公称デューティサイクルのカウントを制御するカウントコントローラと、
を備え、
前記移動平均値が前記第1の基準レベルよりも大きければ、前記カウントコントローラは1ステップ分だけ前記カウントを減少させ、前記移動平均値が第2の基準レベル未満であれば、前記カウントコントローラは、1ステップ分だけ前記カウントを増加させ、前記移動平均値が第1の基準レベル未満でかつ第2の基準レベルよりも大きければ、前記カウントコントローラは前記カウントを変えないまま保持する、デューティサイクル推定装置。 - 調整済みデューティサイクル信号に基づき生成されるUDパルスが、前記スイッチングレギュレータのパワースイッチを駆動するオンタイムを表す変動するパルス幅を有し、前記調整済みデューティサイクル信号は前記公称デューティサイクルと調整値とを合成して生成される、請求項1に記載のデューティサイクル推定装置。
Applications Claiming Priority (6)
| Application Number | Priority Date | Filing Date | Title |
|---|---|---|---|
| US39511502P | 2002-07-10 | 2002-07-10 | |
| US60/395,115 | 2002-07-10 | ||
| US39569702P | 2002-07-12 | 2002-07-12 | |
| US60/395,697 | 2002-07-12 | ||
| US10/460,825 | 2003-06-12 | ||
| US10/460,825 US6977492B2 (en) | 2002-07-10 | 2003-06-12 | Output regulator |
Related Parent Applications (1)
| Application Number | Title | Priority Date | Filing Date |
|---|---|---|---|
| JP2004520097A Division JP4271656B2 (ja) | 2002-07-10 | 2003-07-10 | 出力レギュレータ |
Publications (2)
| Publication Number | Publication Date |
|---|---|
| JP2008182887A JP2008182887A (ja) | 2008-08-07 |
| JP4875012B2 true JP4875012B2 (ja) | 2012-02-15 |
Family
ID=30119139
Family Applications (19)
| Application Number | Title | Priority Date | Filing Date |
|---|---|---|---|
| JP2004520097A Expired - Lifetime JP4271656B2 (ja) | 2002-07-10 | 2003-07-10 | 出力レギュレータ |
| JP2005258594A Pending JP2006042598A (ja) | 2002-07-10 | 2005-09-06 | 適応型マルチモードシステム |
| JP2005258598A Pending JP2006141195A (ja) | 2002-07-10 | 2005-09-06 | 適応型制御ループ |
| JP2005258593A Pending JP2006054912A (ja) | 2002-07-10 | 2005-09-06 | 電圧スライサ |
| JP2005258600A Pending JP2006050897A (ja) | 2002-07-10 | 2005-09-06 | エネルギ節約型不連続モードシステム |
| JP2005258596A Pending JP2006042599A (ja) | 2002-07-10 | 2005-09-06 | 適応型デューティサイクルリミッタ |
| JP2005258595A Pending JP2006054998A (ja) | 2002-07-10 | 2005-09-06 | 出力アレイシステム及び方法 |
| JP2005258599A Pending JP2006050896A (ja) | 2002-07-10 | 2005-09-06 | 単一ゼロのコンペンセータ |
| JP2005258592A Pending JP2006042597A (ja) | 2002-07-10 | 2005-09-06 | 出力レギュレータ |
| JP2005258597A Pending JP2006042600A (ja) | 2002-07-10 | 2005-09-06 | デューティサイクル推定装置 |
| JP2008057073A Expired - Lifetime JP5025529B2 (ja) | 2002-07-10 | 2008-03-06 | 出力レギュレータの調整済出力を制御するコントローラ |
| JP2008057075A Expired - Fee Related JP5281302B2 (ja) | 2002-07-10 | 2008-03-06 | 出力レギュレータを制御するコントローラ |
| JP2008057074A Expired - Lifetime JP5022949B2 (ja) | 2002-07-10 | 2008-03-06 | 出力レギュレータ |
| JP2008057072A Expired - Lifetime JP5022948B2 (ja) | 2002-07-10 | 2008-03-06 | 出力レギュレータを制御する制御システム |
| JP2008057067A Expired - Fee Related JP4875012B2 (ja) | 2002-07-10 | 2008-03-06 | デューティサイクル推定装置 |
| JP2008057070A Expired - Lifetime JP4922970B2 (ja) | 2002-07-10 | 2008-03-06 | 出力アレイ |
| JP2008057071A Expired - Fee Related JP5025528B2 (ja) | 2002-07-10 | 2008-03-06 | デューティサイクルリミッタ |
| JP2008057068A Expired - Lifetime JP4922968B2 (ja) | 2002-07-10 | 2008-03-06 | 出力レギュレータにおいてフィードバック信号を生成する回路 |
| JP2008057069A Expired - Lifetime JP4922969B2 (ja) | 2002-07-10 | 2008-03-06 | 出力レギュレータおよび出力レギュレータの制御システム |
Family Applications Before (14)
| Application Number | Title | Priority Date | Filing Date |
|---|---|---|---|
| JP2004520097A Expired - Lifetime JP4271656B2 (ja) | 2002-07-10 | 2003-07-10 | 出力レギュレータ |
| JP2005258594A Pending JP2006042598A (ja) | 2002-07-10 | 2005-09-06 | 適応型マルチモードシステム |
| JP2005258598A Pending JP2006141195A (ja) | 2002-07-10 | 2005-09-06 | 適応型制御ループ |
| JP2005258593A Pending JP2006054912A (ja) | 2002-07-10 | 2005-09-06 | 電圧スライサ |
| JP2005258600A Pending JP2006050897A (ja) | 2002-07-10 | 2005-09-06 | エネルギ節約型不連続モードシステム |
| JP2005258596A Pending JP2006042599A (ja) | 2002-07-10 | 2005-09-06 | 適応型デューティサイクルリミッタ |
| JP2005258595A Pending JP2006054998A (ja) | 2002-07-10 | 2005-09-06 | 出力アレイシステム及び方法 |
| JP2005258599A Pending JP2006050896A (ja) | 2002-07-10 | 2005-09-06 | 単一ゼロのコンペンセータ |
| JP2005258592A Pending JP2006042597A (ja) | 2002-07-10 | 2005-09-06 | 出力レギュレータ |
| JP2005258597A Pending JP2006042600A (ja) | 2002-07-10 | 2005-09-06 | デューティサイクル推定装置 |
| JP2008057073A Expired - Lifetime JP5025529B2 (ja) | 2002-07-10 | 2008-03-06 | 出力レギュレータの調整済出力を制御するコントローラ |
| JP2008057075A Expired - Fee Related JP5281302B2 (ja) | 2002-07-10 | 2008-03-06 | 出力レギュレータを制御するコントローラ |
| JP2008057074A Expired - Lifetime JP5022949B2 (ja) | 2002-07-10 | 2008-03-06 | 出力レギュレータ |
| JP2008057072A Expired - Lifetime JP5022948B2 (ja) | 2002-07-10 | 2008-03-06 | 出力レギュレータを制御する制御システム |
Family Applications After (4)
| Application Number | Title | Priority Date | Filing Date |
|---|---|---|---|
| JP2008057070A Expired - Lifetime JP4922970B2 (ja) | 2002-07-10 | 2008-03-06 | 出力アレイ |
| JP2008057071A Expired - Fee Related JP5025528B2 (ja) | 2002-07-10 | 2008-03-06 | デューティサイクルリミッタ |
| JP2008057068A Expired - Lifetime JP4922968B2 (ja) | 2002-07-10 | 2008-03-06 | 出力レギュレータにおいてフィードバック信号を生成する回路 |
| JP2008057069A Expired - Lifetime JP4922969B2 (ja) | 2002-07-10 | 2008-03-06 | 出力レギュレータおよび出力レギュレータの制御システム |
Country Status (7)
| Country | Link |
|---|---|
| US (16) | US6977492B2 (ja) |
| EP (1) | EP1532501B1 (ja) |
| JP (19) | JP4271656B2 (ja) |
| CN (10) | CN100392551C (ja) |
| DE (9) | DE60337012D1 (ja) |
| TW (1) | TWI287912B (ja) |
| WO (1) | WO2004006037A2 (ja) |
Families Citing this family (385)
| Publication number | Priority date | Publication date | Assignee | Title |
|---|---|---|---|---|
| US7522878B2 (en) * | 1999-06-21 | 2009-04-21 | Access Business Group International Llc | Adaptive inductive power supply with communication |
| US7239116B2 (en) * | 2004-12-21 | 2007-07-03 | Primarion, Inc. | Fine resolution pulse width modulation pulse generator for use in a multiphase pulse width modulated voltage regulator |
| US6977492B2 (en) * | 2002-07-10 | 2005-12-20 | Marvell World Trade Ltd. | Output regulator |
| US7049798B2 (en) * | 2002-11-13 | 2006-05-23 | Power-One, Inc. | System and method for communicating with a voltage regulator |
| US7394445B2 (en) | 2002-11-12 | 2008-07-01 | Power-One, Inc. | Digital power manager for controlling and monitoring an array of point-of-load regulators |
| US6949916B2 (en) | 2002-11-12 | 2005-09-27 | Power-One Limited | System and method for controlling a point-of-load regulator |
| US7456617B2 (en) | 2002-11-13 | 2008-11-25 | Power-One, Inc. | System for controlling and monitoring an array of point-of-load regulators by a host |
| US6833691B2 (en) | 2002-11-19 | 2004-12-21 | Power-One Limited | System and method for providing digital pulse width modulation |
| EP1437638B1 (de) * | 2002-12-17 | 2016-02-24 | Infineon Technologies AG | Schaltung zur Erzeugung einer Versorgungsspannung |
| US7266709B2 (en) | 2002-12-21 | 2007-09-04 | Power-One, Inc. | Method and system for controlling an array of point-of-load regulators and auxiliary devices |
| US7737961B2 (en) | 2002-12-21 | 2010-06-15 | Power-One, Inc. | Method and system for controlling and monitoring an array of point-of-load regulators |
| US7882372B2 (en) | 2002-12-21 | 2011-02-01 | Power-One, Inc. | Method and system for controlling and monitoring an array of point-of-load regulators |
| US7673157B2 (en) | 2002-12-21 | 2010-03-02 | Power-One, Inc. | Method and system for controlling a mixed array of point-of-load regulators through a bus translator |
| US7836322B2 (en) | 2002-12-21 | 2010-11-16 | Power-One, Inc. | System for controlling an array of point-of-load regulators and auxiliary devices |
| US7249267B2 (en) | 2002-12-21 | 2007-07-24 | Power-One, Inc. | Method and system for communicating filter compensation coefficients for a digital power control system |
| US7743266B2 (en) | 2002-12-21 | 2010-06-22 | Power-One, Inc. | Method and system for optimizing filter compensation coefficients for a digital power control system |
| US7373527B2 (en) | 2002-12-23 | 2008-05-13 | Power-One, Inc. | System and method for interleaving point-of-load regulators |
| US7710092B2 (en) | 2003-02-10 | 2010-05-04 | Power-One, Inc. | Self tracking ADC for digital power supply control systems |
| US7023190B2 (en) * | 2003-02-10 | 2006-04-04 | Power-One, Inc. | ADC transfer function providing improved dynamic regulation in a switched mode power supply |
| US7080265B2 (en) * | 2003-03-14 | 2006-07-18 | Power-One, Inc. | Voltage set point control scheme |
| US6936999B2 (en) | 2003-03-14 | 2005-08-30 | Power-One Limited | System and method for controlling output-timing parameters of power converters |
| WO2004082091A1 (en) * | 2003-03-14 | 2004-09-23 | Magnetek S.P.A. | Electronic circuit breaker |
| JP3733128B2 (ja) * | 2003-04-28 | 2006-01-11 | トレックスデバイス株式会社 | Dc/dcコンバータの制御回路 |
| US7120038B2 (en) * | 2003-06-11 | 2006-10-10 | Koninklijke Philips Electronics N.V. | Control system for a voltage converter |
| ITMI20031505A1 (it) * | 2003-07-22 | 2005-01-23 | St Microelectronics Srl | Circuito di lettura di tipo multisense-adattativo, in particolare per convertitori dc-dc interleaved e relativo metodo di lettura |
| US7498786B2 (en) * | 2003-12-01 | 2009-03-03 | Fairchild Semiconductor Corporation | Digital control of switching voltage regulators |
| US7042201B2 (en) * | 2003-12-19 | 2006-05-09 | Silicon Labs Cp, Inc. | Digital control circuit for switching power supply with pattern generator |
| US7372682B2 (en) | 2004-02-12 | 2008-05-13 | Power-One, Inc. | System and method for managing fault in a power system |
| US7205751B2 (en) * | 2004-03-12 | 2007-04-17 | Intersil America's Inc. | Enable and disable of diode emulation in a DC/DC converter |
| US7388354B2 (en) * | 2004-04-12 | 2008-06-17 | Newport Corporation | Methods and devices for low noise current source with dynamic power distribution |
| US7045992B1 (en) * | 2004-06-22 | 2006-05-16 | National Semiconductor Corporation | Apparatus and method for start-up for a synchronous switching regulator |
| JP4681830B2 (ja) * | 2004-06-24 | 2011-05-11 | パナソニック株式会社 | Pwm回路およびpwm回路制御方法 |
| US20050286709A1 (en) * | 2004-06-28 | 2005-12-29 | Steve Horton | Customer service marketing |
| US7218541B2 (en) * | 2004-07-21 | 2007-05-15 | Dell Products L.P. | High efficiency two stage inverter |
| US7502240B2 (en) * | 2004-07-27 | 2009-03-10 | Silicon Laboratories Inc. | Distributed power supply system with separate SYNC control for controlling remote digital DC/DC converters |
| US7417877B2 (en) * | 2004-07-27 | 2008-08-26 | Silicon Laboratories Inc. | Digital power supply with programmable soft start |
| US7426123B2 (en) * | 2004-07-27 | 2008-09-16 | Silicon Laboratories Inc. | Finite state machine digital pulse width modulator for a digitally controlled power supply |
| US7142140B2 (en) * | 2004-07-27 | 2006-11-28 | Silicon Laboratories Inc. | Auto scanning ADC for DPWM |
| US7428159B2 (en) * | 2005-03-31 | 2008-09-23 | Silicon Laboratories Inc. | Digital PWM controller |
| US20060172783A1 (en) * | 2004-07-27 | 2006-08-03 | Silicon Laboratories Inc. | Digital DC/DC converter with SYNC control |
| US20060025104A1 (en) * | 2004-07-29 | 2006-02-02 | Reed Byron M | Dynamic trim to mitigate transients |
| EP1779501B1 (en) * | 2004-08-13 | 2017-02-15 | Nxp B.V. | Dc-dc converter with adaptive switching parameter adjustment |
| US7427852B2 (en) * | 2004-09-03 | 2008-09-23 | Texas Instruments Incorporated | Low power control mode for power supply |
| CA2483378A1 (en) * | 2004-10-01 | 2006-04-01 | Aleksandar Prodic | A digital controller for dc-dc switching converters that allows operation at ultra-high constant switching frequencies |
| WO2006052217A1 (en) * | 2004-11-09 | 2006-05-18 | St Electronics (Info-Comm Systems) Pte. Ltd. | Redundant power supply for power-over-ethernet |
| US8476887B2 (en) | 2004-12-03 | 2013-07-02 | Texas Instruments Incorporated | DC to DC converter with pseudo constant switching frequency |
| US7148670B2 (en) * | 2005-01-18 | 2006-12-12 | Micrel, Inc. | Dual mode buck regulator with improved transition between LDO and PWM operation |
| US7463011B2 (en) * | 2005-02-21 | 2008-12-09 | Texas Instruments Incorporated | Switching regulator with analog or digital control |
| TWI288999B (en) * | 2005-03-01 | 2007-10-21 | Realtek Semiconductor Corp | Switching regulator |
| JP4984569B2 (ja) * | 2005-03-18 | 2012-07-25 | 富士通株式会社 | スイッチングコンバータ |
| US7141956B2 (en) * | 2005-03-18 | 2006-11-28 | Power-One, Inc. | Digital output voltage regulation circuit having first control loop for high speed and second control loop for high accuracy |
| US7554310B2 (en) | 2005-03-18 | 2009-06-30 | Power-One, Inc. | Digital double-loop output voltage regulation |
| US20060214711A1 (en) * | 2005-03-24 | 2006-09-28 | Fick Preston F | Programmable pattern generator for digital power supply controller |
| US7095217B1 (en) * | 2005-03-31 | 2006-08-22 | O2Micro International Limited | Method circuitry and electronic device for controlling a variable output dc power source |
| US7446430B2 (en) * | 2005-03-31 | 2008-11-04 | Silicon Laboratories Inc. | Plural load distributed power supply system with shared master for controlling remote digital DC/DC converters |
| US7239115B2 (en) | 2005-04-04 | 2007-07-03 | Power-One, Inc. | Digital pulse width modulation controller with preset filter coefficients |
| US20060227028A1 (en) * | 2005-04-07 | 2006-10-12 | Laszlo Balogh | Simple digital interface for advance power supply control |
| US7548047B1 (en) * | 2005-05-03 | 2009-06-16 | Marvell International Ltd. | Pulse width modulated buck voltage regulator with stable feedback control loop |
| US7327149B2 (en) | 2005-05-10 | 2008-02-05 | Power-One, Inc. | Bi-directional MOS current sense circuit |
| ITTO20050402A1 (it) * | 2005-06-10 | 2006-12-11 | Selenia Comm S P A | Convertitore di potenza ad alta efficienza, modulatore e trasmettitore che lo utilizzano |
| CN100435461C (zh) * | 2005-09-13 | 2008-11-19 | 尼克森微电子股份有限公司 | 自动适应电压定位的高速脉宽调变控制装置及方法 |
| US7492136B2 (en) * | 2005-09-16 | 2009-02-17 | International Rectifier Corporation | Multi-phase converter with improved load step-up transient response |
| US7692417B2 (en) | 2005-09-19 | 2010-04-06 | Skyworks Solutions, Inc. | Switched mode power converter |
| US7391196B2 (en) * | 2005-09-30 | 2008-06-24 | Silicon Laboratories Inc. | In system analysis and compensation for a digital PWM controller |
| US7368897B2 (en) * | 2005-10-07 | 2008-05-06 | Intel Corporation | Load adaptive power converter |
| JP4418788B2 (ja) * | 2005-10-19 | 2010-02-24 | キヤノン株式会社 | スイッチング電源及び該スイッチング電源を含む電子機器、並びにスイッチング電源の制御方法 |
| ITMI20052051A1 (it) * | 2005-10-27 | 2007-04-28 | St Microelectronics Srl | Dispositivo di controllo di un convertitore a commutazione con circuito di protezione contro le sovraccorenti e relativo convertitore a commutazione |
| US7844304B1 (en) * | 2005-10-27 | 2010-11-30 | Rockwell Collins, Inc. | Method of filtering low frequency components from power lines |
| WO2007059432A2 (en) | 2005-11-11 | 2007-05-24 | L & L Engineering Llc | Non-linear controller for switching power supply |
| WO2007059440A2 (en) * | 2005-11-11 | 2007-05-24 | L & L Engineering Llc | Non-linear pwm controller for dc-to-dc converters |
| KR100659296B1 (ko) * | 2005-12-27 | 2006-12-20 | 삼성전자주식회사 | 과전압 제어 리미터 및 이를 갖는 rfid 태그 |
| US7667447B2 (en) * | 2005-12-28 | 2010-02-23 | Intel Corporation | Load adaptive power delivery |
| TWI308426B (en) * | 2006-01-16 | 2009-04-01 | Holtek Semiconductor Inc | Digital pulse width modulation system and method |
| US7545132B2 (en) * | 2006-03-10 | 2009-06-09 | Satcon Technology Corporation | Sensor-less, low frequency adaptive current limiter and methods for limiting inductive current using the same |
| US7486060B1 (en) | 2006-03-30 | 2009-02-03 | Western Digital Technologies, Inc. | Switching voltage regulator comprising a cycle comparator for dynamic voltage scaling |
| JP4793821B2 (ja) * | 2006-03-31 | 2011-10-12 | Tdkラムダ株式会社 | ディジタル制御器 |
| US7755342B2 (en) * | 2006-05-04 | 2010-07-13 | International Rectifier Corporation | Multi-mode switching control circuit and method for improving light load efficiency in switching power supplies |
| US7541790B2 (en) * | 2006-06-09 | 2009-06-02 | Silicon Laboratories Inc. | Method and apparatus for power savings in a switching regulator |
| DE102006029389A1 (de) * | 2006-06-27 | 2008-01-10 | Robert Bosch Gmbh | Verfahren zur Erweiterung der Diagnosefähigkeit von Stromreglern |
| US7551383B1 (en) | 2006-06-28 | 2009-06-23 | Western Digital Technologies, Inc. | Adjusting voltage delivered to disk drive circuitry based on a selected zone |
| US20080246453A1 (en) * | 2006-07-20 | 2008-10-09 | International Business Machines Corporation | Power supply system using delay lines in regulator topology to reduce input ripple voltage |
| US20080024012A1 (en) * | 2006-07-27 | 2008-01-31 | Jaber Abu Qahouq | Power device configuration with adaptive control |
| JP5020732B2 (ja) * | 2006-07-27 | 2012-09-05 | 富士通テン株式会社 | スイッチングレギュレータ |
| US7710088B2 (en) | 2006-07-27 | 2010-05-04 | Fujitsu Ten Limited | Switching regulator with an adjustable output regulator circuit and a constant output regulator circuit |
| US20090302173A1 (en) * | 2006-09-01 | 2009-12-10 | Science Applications International Corporation | Automatic flight control systems |
| CN101636702B (zh) * | 2006-09-25 | 2014-03-05 | 弗莱克斯电子有限责任公司 | 双向调节器 |
| US20080079406A1 (en) * | 2006-09-28 | 2008-04-03 | Holmquist Gunnar R | Power supply with digital feedback loop |
| US20080150506A1 (en) * | 2006-10-02 | 2008-06-26 | Micrel, Incorporated | Power controller having a single digital control pin and method utilizing same |
| US7567066B2 (en) * | 2006-10-04 | 2009-07-28 | Power Integrations, Inc. | Integrated switch with internally adjusted conduction time |
| US7518885B2 (en) | 2006-10-04 | 2009-04-14 | Power Integrations, Inc. | Method and apparatus for a control circuit with multiple operation modes |
| US7957116B2 (en) | 2006-10-13 | 2011-06-07 | Advanced Analogic Technologies, Inc. | System and method for detection of multiple current limits |
| US7672107B2 (en) * | 2006-10-13 | 2010-03-02 | Advanced Analogic Technologies, Inc. | Current limit control with current limit detector |
| US8001407B2 (en) | 2006-10-31 | 2011-08-16 | Hewlett-Packard Development Company, L.P. | Server configured for managing power and performance |
| US7330019B1 (en) | 2006-10-31 | 2008-02-12 | Western Digital Technologies, Inc. | Adjusting on-time for a discontinuous switching voltage regulator |
| US7609047B2 (en) * | 2006-11-09 | 2009-10-27 | Intel Corporation | Dynamically configurable voltage regulator for integrated circuits |
| US7624360B2 (en) * | 2006-11-13 | 2009-11-24 | Power Integrations, Inc. | Method for feedback circuit design |
| TWI339480B (en) * | 2006-11-14 | 2011-03-21 | Delta Electronics Inc | Separate type converter having relatively better effectiveness |
| DE102007002342B3 (de) * | 2007-01-16 | 2008-10-16 | Friwo Mobile Power Gmbh | Vereinfachte primärseitige Ansteuerschaltung für den Schalter in einem Schaltnetzteil |
| TWI334692B (en) * | 2007-02-06 | 2010-12-11 | Realtek Semiconductor Corp | Dynamic voltage-generating apparatus and method thereof |
| US7652459B2 (en) * | 2007-02-23 | 2010-01-26 | Intel Corporation | Adaptive controller with mode tracking and parametric estimation for digital power converters |
| US8274265B1 (en) * | 2007-02-28 | 2012-09-25 | Netlogic Microsystems, Inc. | Multi-phase power system with redundancy |
| US7667625B2 (en) * | 2007-02-28 | 2010-02-23 | Exar Corporation | Universal and fault-tolerant multiphase digital PWM controller for high-frequency DC-DC converters |
| US8086355B1 (en) | 2007-02-28 | 2011-12-27 | Global Embedded Technologies, Inc. | Method, a system, a computer-readable medium, and a power controlling apparatus for applying and distributing power |
| JP4277912B2 (ja) * | 2007-03-02 | 2009-06-10 | 株式会社デンソー | 負荷駆動装置及び負荷駆動方法 |
| US7764520B2 (en) * | 2007-04-06 | 2010-07-27 | Power Integrations, Inc. | Method and apparatus for on/off control of a power converter |
| GB0708733D0 (en) * | 2007-05-04 | 2007-06-13 | Nokia Corp | A device |
| US7800350B2 (en) * | 2007-05-11 | 2010-09-21 | Freescale Semiconductor, Inc. | Apparatus for optimizing diode conduction time during a deadtime interval |
| US7869228B2 (en) * | 2007-06-29 | 2011-01-11 | Intel Corporation | Power delivery systems and methods with dynamic look-up table |
| DE102007032484A1 (de) | 2007-07-12 | 2009-01-22 | Beckhoff Automation Gmbh | Regelverfahren und Regelvorrichtung mit mehrkanaliger Rückführung |
| US8060218B2 (en) | 2007-08-02 | 2011-11-15 | Synecor, Llc | Inductive element for intravascular implantable devices |
| US7884586B2 (en) * | 2007-08-09 | 2011-02-08 | Infineon Technologies | Controlling a switching regulator mode determined by an ideal duty cycle for maintaining high efficiency for a wide input voltage range |
| US7893669B2 (en) * | 2007-09-10 | 2011-02-22 | Analog Devices, Inc. | Efficient voltage converter methods and structures |
| US7733189B1 (en) | 2007-09-14 | 2010-06-08 | Western Digital Technologies, Inc. | Oscillator comprising foldover detection |
| TWI501550B (zh) * | 2007-10-12 | 2015-09-21 | Monolithic Power Systems Inc | 用於高性能開關模式電壓調整器的設備和方法 |
| TWI349228B (en) | 2007-10-17 | 2011-09-21 | Ind Tech Res Inst | Speed-level calculator and calculating method for dynamic voltage scaling |
| EP2051360B1 (de) * | 2007-10-17 | 2016-09-21 | Power Systems Technologies GmbH | Steuerschaltung für ein primär gesteuertes Schaltnetzteil mit erhöhter Genauigkeit der Spannungsregelung sowie primär gesteuertes Schaltnetzteil |
| JP2009105221A (ja) * | 2007-10-23 | 2009-05-14 | Nec Electronics Corp | 半導体集積回路装置 |
| US7834613B2 (en) | 2007-10-30 | 2010-11-16 | Power-One, Inc. | Isolated current to voltage, voltage to voltage converter |
| JP5365136B2 (ja) * | 2007-11-01 | 2013-12-11 | 富士電機株式会社 | 電力変換装置の駆動装置 |
| JP4575420B2 (ja) * | 2007-12-05 | 2010-11-04 | 株式会社東芝 | 半導体装置 |
| US8319484B2 (en) * | 2007-12-12 | 2012-11-27 | Intersil Americas Inc. | Voltage regulator system and method for efficiency optimization using duty cycle measurements |
| US8279646B1 (en) | 2007-12-14 | 2012-10-02 | Flextronics Ap, Llc | Coordinated power sequencing to limit inrush currents and ensure optimum filtering |
| US7808299B2 (en) * | 2007-12-14 | 2010-10-05 | Astec International Limited | Switching power converter with reduced switching losses |
| US7834598B1 (en) * | 2007-12-21 | 2010-11-16 | Maxim Integrated Products, Inc. | Thermally optimized architecture for switching regulators |
| GB2456005B (en) * | 2007-12-28 | 2013-03-06 | Wolfson Ltd | Amplifier circuit |
| US8063618B2 (en) | 2007-12-31 | 2011-11-22 | Intel Corporation | Supply voltage control based at least in part on power state of integrated circuit |
| US20090189444A1 (en) * | 2008-01-25 | 2009-07-30 | Donald Miles Currie | Power supply system and ramp strategy |
| JP5058024B2 (ja) * | 2008-03-04 | 2012-10-24 | 本田技研工業株式会社 | Dc/dcコンバータの故障検出方法 |
| US8271816B2 (en) * | 2008-03-11 | 2012-09-18 | Infineon Technologies Austria Ag | System and method for statistics recording of power devices |
| US7777367B2 (en) * | 2008-04-08 | 2010-08-17 | The Boeing Company | Sequential shunt solar array controller |
| US8179111B2 (en) * | 2008-04-10 | 2012-05-15 | Silicon Labs Spectra, Inc. | Methods, systems, and devices for power-on sequence for a circuit |
| US8084956B2 (en) * | 2008-04-17 | 2011-12-27 | Panasonic Electric Works Co., Ltd. | Apparatus and method for automatically trimming an output parameter of an electronic ballast |
| CN101981794B (zh) * | 2008-04-29 | 2014-04-23 | 半导体元件工业有限责任公司 | 用于调节输出电压的方法 |
| US8080948B2 (en) * | 2008-05-01 | 2011-12-20 | Panasonic Electric Works Co., Ltd. | Apparatus and method for trimming an output parameter of an electronic ballast |
| US8749209B2 (en) | 2008-05-05 | 2014-06-10 | Infineon Technologies Austria Ag | System and method for providing adaptive dead times |
| US8693213B2 (en) | 2008-05-21 | 2014-04-08 | Flextronics Ap, Llc | Resonant power factor correction converter |
| US8531174B2 (en) * | 2008-06-12 | 2013-09-10 | Flextronics Ap, Llc | AC-DC input adapter |
| US8085020B1 (en) | 2008-06-13 | 2011-12-27 | Western Digital Technologies, Inc. | Switching voltage regulator employing dynamic voltage scaling with hysteretic comparator |
| US8242759B2 (en) * | 2008-06-26 | 2012-08-14 | International Rectifier Corporation | Power supply circuit and multi-phase control based on peak and average current |
| US7884583B2 (en) * | 2008-06-30 | 2011-02-08 | Infineon Technologies Austria Ag | Speed recognition for half bridge control |
| TW201007422A (en) * | 2008-08-05 | 2010-02-16 | Richtek Technology Corp | Multi-functional drMOS |
| US8193790B2 (en) | 2008-08-08 | 2012-06-05 | Astec International Limited | Switching power converter and controller |
| CN101651413B (zh) * | 2008-08-15 | 2013-09-11 | 立锜科技股份有限公司 | 多功能的DrMOS |
| CN103259407B (zh) * | 2008-08-15 | 2016-06-08 | 立锜科技股份有限公司 | 多功能的DrMOS |
| WO2010030741A1 (en) | 2008-09-11 | 2010-03-18 | Marvell Semiconductor, Inc. | Intelligent switching controller and power conversion circuits and methods |
| US20100066323A1 (en) * | 2008-09-18 | 2010-03-18 | Intersil Americas Inc. | System and method for providing pulse frequency modulation mode |
| US8143871B1 (en) * | 2008-11-20 | 2012-03-27 | Linear Technology Corporation | Dynamically-compensated controller |
| US7872456B2 (en) * | 2008-12-16 | 2011-01-18 | Texas Instruments Incorporated | Discontinuous conduction mode pulse-width modulation |
| DE112009002495T5 (de) * | 2008-12-19 | 2012-08-16 | Mitsubishi Electric Corp. | Leuchtvorrichtung für Fahrzeuglichtquelle |
| TWI375380B (en) * | 2008-12-23 | 2012-10-21 | Richtek Technology Corp | Power system with temperature compensation control |
| US8742744B2 (en) * | 2009-01-13 | 2014-06-03 | University Of Alabama | Sensor-less operation and detection of CCM and DCM operation modes in synchronous switching power converters |
| GB2466953B (en) * | 2009-01-14 | 2013-11-27 | Nujira Ltd | Control of multi-level supply stage |
| US8816661B2 (en) * | 2009-01-28 | 2014-08-26 | International Rectifier Corporation | Hybrid analog/digital power supply circuit including analog summer circuit to produce an error voltage |
| JP5228971B2 (ja) * | 2009-02-12 | 2013-07-03 | ブラザー工業株式会社 | 電源回路 |
| CN101826796B (zh) * | 2009-03-02 | 2015-10-21 | 昂宝电子(上海)有限公司 | 利用多模控制的准谐振系统和方法 |
| US8217635B2 (en) * | 2009-04-03 | 2012-07-10 | Infineon Technologies Ag | LDO with distributed output device |
| US8787044B2 (en) * | 2009-05-07 | 2014-07-22 | Flextronics Ap, Llc | Energy recovery snubber circuit for power converters |
| GB2470214A (en) | 2009-05-14 | 2010-11-17 | Powervation Ltd | Determining DC-DC converter losses |
| US20100301826A1 (en) * | 2009-06-02 | 2010-12-02 | Intersil Americas Inc. | System and method for oring phases to overcome duty cycle limitations in a multi-phase boost converter |
| US8253397B2 (en) * | 2009-06-18 | 2012-08-28 | Analog Devices, Inc. | Switching converters with efficiently-controlled mode transitions |
| US8891803B2 (en) * | 2009-06-23 | 2014-11-18 | Flextronics Ap, Llc | Notebook power supply with integrated subwoofer |
| US8310793B2 (en) * | 2009-07-21 | 2012-11-13 | Infineon Technologies Ag | Over-current protection for DC-to-DC converters |
| TWI393337B (zh) * | 2009-07-31 | 2013-04-11 | Delta Electronics Inc | 雙級交換式電源轉換電路 |
| EP2475654B1 (en) | 2009-09-09 | 2016-12-28 | E. I. du Pont de Nemours and Company | Herbicidal pyrimidone derivatives |
| DE102009041217B4 (de) * | 2009-09-11 | 2021-11-11 | Austriamicrosystems Ag | Spannungswandler und Verfahren zur Spannungswandlung |
| US8283900B2 (en) * | 2009-11-10 | 2012-10-09 | GM Global Technologies Operations LLC | Methods and systems for controlling boost converters |
| JP5617227B2 (ja) * | 2009-11-26 | 2014-11-05 | トヨタ自動車株式会社 | Dc−dcコンバータ |
| US8555091B2 (en) * | 2009-12-23 | 2013-10-08 | Intel Corporation | Dynamic power state determination of a graphics processing unit |
| TWI424301B (zh) * | 2009-12-24 | 2014-01-21 | Richwave Technology Corp | 以序列延遲方式來任意調變輸出電壓之電壓調節器及相關電壓調節方法 |
| US20110156685A1 (en) * | 2009-12-29 | 2011-06-30 | Richtek Technology Corporation, R.O.C. | Constant time buck-boost switching regulator and control circuit and method for the same |
| US8289741B2 (en) * | 2010-01-14 | 2012-10-16 | Flextronics Ap, Llc | Line switcher for power converters |
| JP5486954B2 (ja) * | 2010-02-19 | 2014-05-07 | 株式会社東芝 | スイッチング電源装置 |
| US8451628B2 (en) | 2010-04-01 | 2013-05-28 | Analog Devices, Inc. | Switching converter systems with isolating digital feedback loops |
| GB201006386D0 (en) | 2010-04-16 | 2010-06-02 | Dyson Technology Ltd | Control of a brushless motor |
| GB201006388D0 (en) * | 2010-04-16 | 2010-06-02 | Dyson Technology Ltd | Control of brushless motor |
| GB201006395D0 (en) * | 2010-04-16 | 2010-06-02 | Dyson Technology Ltd | Control of a brushless motor |
| GB201006398D0 (en) | 2010-04-16 | 2010-06-02 | Dyson Technology Ltd | Control of a brushless motor |
| GB201006397D0 (en) | 2010-04-16 | 2010-06-02 | Dyson Technology Ltd | Control of a brushless motor |
| GB201006396D0 (en) | 2010-04-16 | 2010-06-02 | Dyson Technology Ltd | Control of a brushless motor |
| GB201006390D0 (en) | 2010-04-16 | 2010-06-02 | Dyson Technology Ltd | Control of a brushless motor |
| US20110254531A1 (en) * | 2010-04-20 | 2011-10-20 | Astec International Limited | Current Balancing Multiphase Power Converters, Controllers and Methods |
| US8964413B2 (en) | 2010-04-22 | 2015-02-24 | Flextronics Ap, Llc | Two stage resonant converter enabling soft-switching in an isolated stage |
| JP5071516B2 (ja) * | 2010-04-22 | 2012-11-14 | 株式会社デンソー | 電力変換装置 |
| US8760891B2 (en) * | 2010-06-03 | 2014-06-24 | Honeywell International Inc. | Real time dynamic optimization of deadtime |
| JP5537272B2 (ja) * | 2010-06-07 | 2014-07-02 | ローム株式会社 | 負荷駆動回路装置及びこれを用いた電気機器 |
| US8600595B2 (en) * | 2010-07-29 | 2013-12-03 | GM Global Technology Operations LLC | Power module active current management for efficiency improvement |
| US8937404B1 (en) | 2010-08-23 | 2015-01-20 | Western Digital Technologies, Inc. | Data storage device comprising dual mode independent/parallel voltage regulators |
| US8488340B2 (en) | 2010-08-27 | 2013-07-16 | Flextronics Ap, Llc | Power converter with boost-buck-buck configuration utilizing an intermediate power regulating circuit |
| JP5274527B2 (ja) * | 2010-09-13 | 2013-08-28 | 株式会社東芝 | Dc−dcコンバータ |
| CN102403900B (zh) * | 2010-09-14 | 2014-10-08 | 登丰微电子股份有限公司 | 转换控制器 |
| TWI473395B (zh) * | 2010-09-30 | 2015-02-11 | Green Solution Tech Co Ltd | 轉換控制器 |
| GB2484289B (en) * | 2010-10-04 | 2013-11-20 | Dyson Technology Ltd | Control of an electrical machine |
| US8520410B2 (en) | 2010-11-09 | 2013-08-27 | Flextronics Ap, Llc | Virtual parametric high side MOSFET driver |
| US8441810B2 (en) | 2010-11-09 | 2013-05-14 | Flextronics Ap, Llc | Cascade power system architecture |
| EP2458723B1 (en) | 2010-11-24 | 2016-08-17 | Nxp B.V. | A circuit for a resonant converter |
| TW201224694A (en) * | 2010-12-06 | 2012-06-16 | Eneraiser Technology Co Ltd | Phase-controlled alternative current voltage regulator circuit |
| US8593123B2 (en) | 2010-12-27 | 2013-11-26 | Analog Devices, Inc. | Switching voltage regulators with hysteretic control for enhanced mode-transition speed and stability |
| US8614567B2 (en) | 2011-01-05 | 2013-12-24 | Analog Devices, Inc. | Voltage regulator structures and methods with bootstrapped bias capacitor |
| US8970183B2 (en) | 2011-01-14 | 2015-03-03 | Hamilton Sundstrand Corporation | Overvoltage limiter in an aircraft electrical power generation system |
| US9531273B2 (en) * | 2011-02-22 | 2016-12-27 | Redarc Technologies Pty Ltd | Synchronous DC-DC converters, and systems and methods of controlling same |
| US8692609B2 (en) * | 2011-02-25 | 2014-04-08 | Peregrine Semiconductor Corporation | Systems and methods for current sensing |
| EP2495765A1 (en) * | 2011-03-02 | 2012-09-05 | Lantiq Deutschland GmbH | Operating a semiconductor component having a breakthrough voltage |
| US8552706B2 (en) | 2011-03-29 | 2013-10-08 | Analog Devices, Inc. | Stability methods and structures for current-mode DC-DC voltage converters |
| US8742741B2 (en) * | 2011-03-30 | 2014-06-03 | Fairchild Semiconductor Corporation | Apparatus and methods of soft-start in a hysteretic power converter |
| US8842450B2 (en) | 2011-04-12 | 2014-09-23 | Flextronics, Ap, Llc | Power converter using multiple phase-shifting quasi-resonant converters |
| US8587283B2 (en) | 2011-04-20 | 2013-11-19 | Analog Devices, Inc. | DC-DC voltage converter system with a high-efficiency pulse-skip operational mode |
| US8754720B2 (en) | 2011-08-03 | 2014-06-17 | Mi Yan | Two-stage pulse signal controller |
| CN102931961A (zh) * | 2011-08-09 | 2013-02-13 | 成都芯源系统有限公司 | 控制金属氧化物半导体单元的功耗的方法和设备 |
| US8918658B2 (en) * | 2011-09-06 | 2014-12-23 | Dell Products L.P. | System and method for an interleaved multi-stage phase array voltage regulator |
| US8901899B1 (en) * | 2011-09-12 | 2014-12-02 | Maxim Integrated Products, Inc. | DC to DC converter control systems and methods |
| CN103475210B (zh) * | 2011-09-14 | 2016-04-27 | 矽力杰半导体技术(杭州)有限公司 | 一种开关型调节器的恒定时间控制方法、控制电路以及应用其的开关型调节器 |
| TWI443930B (zh) * | 2011-09-23 | 2014-07-01 | Askey Technology Jiangsu Ltd | 充電電流控制方法及充電系統 |
| JP5827535B2 (ja) * | 2011-10-12 | 2015-12-02 | サンデンホールディングス株式会社 | 車載暖房用ヒータの制御装置 |
| US20130099763A1 (en) * | 2011-10-20 | 2013-04-25 | Qualcomm Atheros, Inc. | Systems and methods for suppressing undesirable limit cycles in switching regulators |
| JP5864220B2 (ja) * | 2011-11-11 | 2016-02-17 | ルネサスエレクトロニクス株式会社 | 半導体集積回路 |
| US9105887B2 (en) * | 2011-12-08 | 2015-08-11 | GM Global Technology Operations LLC | Anode injector control algorithm for a low frequency discrete output |
| US9438219B2 (en) * | 2011-12-22 | 2016-09-06 | Intel Corporation | Hybrid digital pulse width modulation (PWM) based on phases of a system clock |
| US9812942B2 (en) | 2012-01-10 | 2017-11-07 | Renesas Electronics America Inc. | Distributed driving system |
| US8994434B2 (en) * | 2012-02-13 | 2015-03-31 | Bae Systems Information And Electronic Systems Integration Inc. | Coincident tracking turn-on for mixed voltage logic |
| US20130229832A1 (en) * | 2012-03-02 | 2013-09-05 | Apple Inc. | Controlling a flyback converter for use with a computer system |
| KR101259894B1 (ko) * | 2012-03-26 | 2013-05-02 | 주식회사 동부하이텍 | 단일 인덕터 다중 출력 전력 회로의 펄스 주파수 변조 제어 장치 및 방법 |
| US9276460B2 (en) | 2012-05-25 | 2016-03-01 | Flextronics Ap, Llc | Power converter with noise immunity |
| US9203293B2 (en) | 2012-06-11 | 2015-12-01 | Power Systems Technologies Ltd. | Method of suppressing electromagnetic interference emission |
| US9203292B2 (en) | 2012-06-11 | 2015-12-01 | Power Systems Technologies Ltd. | Electromagnetic interference emission suppressor |
| US9154026B2 (en) | 2012-06-27 | 2015-10-06 | Intel Corporation | Bridge driver for a switching voltage regulator which is operable to soft-switch and hard-switch |
| US9019726B2 (en) | 2012-07-13 | 2015-04-28 | Flextronics Ap, Llc | Power converters with quasi-zero power consumption |
| CN104428985B (zh) | 2012-07-13 | 2018-09-14 | 瑞典爱立信有限公司 | 具有提高的轻负载效率的开关式电源 |
| US8901989B2 (en) * | 2012-07-26 | 2014-12-02 | Qualcomm Incorporated | Adaptive gate drive circuit with temperature compensation |
| US9019724B2 (en) | 2012-07-27 | 2015-04-28 | Flextronics Ap, Llc | High power converter architecture |
| JP5814876B2 (ja) | 2012-07-27 | 2015-11-17 | 株式会社東芝 | 同期整流型電源回路とその調整方法 |
| US8743565B2 (en) | 2012-07-27 | 2014-06-03 | Flextronics Ap, Llc | High power converter architecture |
| US9287792B2 (en) | 2012-08-13 | 2016-03-15 | Flextronics Ap, Llc | Control method to reduce switching loss on MOSFET |
| US9118253B2 (en) | 2012-08-15 | 2015-08-25 | Flextronics Ap, Llc | Energy conversion architecture with secondary side control delivered across transformer element |
| US9071479B2 (en) | 2012-08-24 | 2015-06-30 | Credo Semiconductor (Hong Kong) Limited | High-speed parallel decision feedback equalizer |
| US9318965B2 (en) | 2012-10-10 | 2016-04-19 | Flextronics Ap, Llc | Method to control a minimum pulsewidth in a switch mode power supply |
| US9605860B2 (en) | 2012-11-02 | 2017-03-28 | Flextronics Ap, Llc | Energy saving-exhaust control and auto shut off system |
| US9660540B2 (en) | 2012-11-05 | 2017-05-23 | Flextronics Ap, Llc | Digital error signal comparator |
| CN102938607B (zh) * | 2012-11-16 | 2015-03-18 | 矽力杰半导体技术(杭州)有限公司 | 低噪声的多输出电源电路及其控制方法 |
| US9395738B2 (en) | 2013-01-28 | 2016-07-19 | Nvidia Corporation | Current-parking switching regulator with a split inductor |
| US9800158B2 (en) | 2013-01-30 | 2017-10-24 | Nvidia Corporation | Current-parking switching regulator downstream controller |
| US9804621B2 (en) | 2013-02-05 | 2017-10-31 | Nvidia Corporation | Current-parking switching regulator downstream controller pre-driver |
| US9459635B2 (en) * | 2013-02-08 | 2016-10-04 | Nvidia Corporation | Current-parking switching regulator upstream controller |
| US9639102B2 (en) | 2013-02-19 | 2017-05-02 | Nvidia Corporation | Predictive current sensing |
| US9389617B2 (en) | 2013-02-19 | 2016-07-12 | Nvidia Corporation | Pulsed current sensing |
| US10704988B2 (en) * | 2013-02-28 | 2020-07-07 | Infineon Technologies Ag | Sensor systems and methods having emulated line adaptation |
| US9323267B2 (en) | 2013-03-14 | 2016-04-26 | Flextronics Ap, Llc | Method and implementation for eliminating random pulse during power up of digital signal controller |
| US9494658B2 (en) | 2013-03-14 | 2016-11-15 | Flextronics Ap, Llc | Approach for generation of power failure warning signal to maximize useable hold-up time with AC/DC rectifiers |
| US9093911B2 (en) | 2013-03-15 | 2015-07-28 | Flextronics Ap, Llc | Switching mode power converter using coded signal control |
| US8654553B1 (en) | 2013-03-15 | 2014-02-18 | Flextronics Ap, Llc | Adaptive digital control of power factor correction front end |
| US9184668B2 (en) | 2013-03-15 | 2015-11-10 | Flextronics Ap, Llc | Power management integrated circuit partitioning with dedicated primary side control winding |
| US9627915B2 (en) | 2013-03-15 | 2017-04-18 | Flextronics Ap, Llc | Sweep frequency mode for multiple magnetic resonant power transmission |
| US9712063B2 (en) * | 2013-04-15 | 2017-07-18 | Futurewei Technologies, Inc. | Apparatus and method for loosely regulated power converters |
| DE102013219167B4 (de) | 2013-04-26 | 2017-03-02 | Conti Temic Microelectronic Gmbh | Zwei Verfahren, Vorrichtung und Verwendung davon, jeweils zum Einschalten oder Abschalten eines elektronischen Bauelements |
| WO2014191787A1 (en) * | 2013-05-29 | 2014-12-04 | Freescale Semiconductor, Inc. | Voltage regulator, application-specific integrated circuit and method for providing a load with a regulated voltage |
| FR3007907B1 (fr) * | 2013-06-26 | 2016-09-16 | Continental Automotive France | Procede de commande d'un convertisseur dc/dc abaisseur de tension |
| US9214861B2 (en) * | 2013-06-28 | 2015-12-15 | Toyota Jidosha Kabushiki Kaisha | Loss optimization control for DC-to-DC converter |
| EP4057089B1 (en) * | 2013-08-06 | 2024-07-31 | Bedrock Automation Platforms Inc. | Programmable discrete output module and corresponding method |
| CN103633824B (zh) * | 2013-10-10 | 2017-03-01 | 吴宗宪 | 一种开关电源控制方法及系统 |
| US9490707B2 (en) | 2013-11-26 | 2016-11-08 | Telefonaktiebolaget L M Ericsson (Publ) | Control circuit and a method for an energy based pulse skipping mode in a DC/DC converter |
| US10312695B2 (en) | 2014-03-27 | 2019-06-04 | Autonetworks Technologies, Ltd. | Power source control device and power source control method |
| CN104092359B (zh) * | 2014-07-29 | 2016-08-17 | 东南大学 | 一种用于多模式数字开关电源的控制环路系统 |
| US9621053B1 (en) | 2014-08-05 | 2017-04-11 | Flextronics Ap, Llc | Peak power control technique for primary side controller operation in continuous conduction mode |
| US9762124B2 (en) | 2014-08-13 | 2017-09-12 | Endura Technologies LLC | Integrated thermal and power control |
| US9854527B2 (en) | 2014-08-28 | 2017-12-26 | Apple Inc. | User equipment transmit duty cycle control |
| US9257913B1 (en) * | 2014-09-06 | 2016-02-09 | Texas Instruments Incorporated | LLC converter and loss of inductive mode detection circuit |
| US9748847B2 (en) * | 2014-10-23 | 2017-08-29 | Qualcomm Incorporated | Circuits and methods providing high efficiency over a wide range of load values |
| US10374514B2 (en) | 2014-11-05 | 2019-08-06 | Qualcomm Incorporated | Boost converters having self-adaptive maximum duty-cycle-limit control |
| US9450490B2 (en) | 2014-11-05 | 2016-09-20 | Dialog Semiconductor (Uk) Limited | Automatic reference generator in switching boost converters |
| DE102014224172A1 (de) * | 2014-11-26 | 2016-06-02 | Robert Bosch Gmbh | Verfahren und Vorrichtung zum Ansteuern parallel geschalteter Leistungshalbleiterschalter |
| CN104578801B (zh) * | 2015-01-16 | 2017-12-29 | 无锡芯朋微电子股份有限公司 | 一种用于隔离开关电源芯片的数字通信电路 |
| US10749455B2 (en) * | 2015-01-27 | 2020-08-18 | Stmicroelectronics S.R.L. | Method for current control and corresponding system and apparatus |
| US9431900B2 (en) | 2015-02-03 | 2016-08-30 | Astec International Limited | Dynamic operating frequency control of a buck power converter having a variable voltage output |
| US9207732B1 (en) | 2015-02-25 | 2015-12-08 | Quanta Computer Inc. | Optimized fan duty control for computing device |
| US10027225B2 (en) | 2015-03-12 | 2018-07-17 | Qualcomm Incorporated | Switched mode power supply having a staircase current limit |
| US9520870B2 (en) * | 2015-03-27 | 2016-12-13 | Semiconductor Components Industries, Llc | Systems and methods for pulse width modulated control of a semiconductor switch |
| US9991795B2 (en) | 2015-04-24 | 2018-06-05 | Epc Power Corporation | Power converter with controllable DC offset |
| JP6452548B2 (ja) * | 2015-05-27 | 2019-01-16 | キヤノン株式会社 | 電力供給装置及び制御方法 |
| US9698691B2 (en) | 2015-06-04 | 2017-07-04 | Dialog Semiconductor (Uk) Limited | Circuit and method for maximum duty cycle limitation in switching converters |
| US10003260B2 (en) | 2015-06-23 | 2018-06-19 | Nxp Usa, Inc. | Semiconductor devices and methods for dead time optimization by measuring gate driver response time |
| JP6468150B2 (ja) * | 2015-09-29 | 2019-02-13 | 株式会社デンソー | 負荷駆動装置 |
| US9698681B2 (en) | 2015-09-30 | 2017-07-04 | Dialog Semiconductor (Uk) Limited | Circuit and method for maximum duty cycle limitation in step up converters |
| US10530353B2 (en) | 2015-10-21 | 2020-01-07 | Microchip Technology Incorporated | Gate drive control system for SiC and IGBT power devices to control desaturation or short circuit faults |
| KR102636083B1 (ko) * | 2015-10-21 | 2024-02-13 | 마이크로칩 테크날러지 인코포레이티드 | 불포화 또는 단락 결함을 제어하는 SiC 및 IGBT 전력 디바이스용 게이트 드라이브 제어 시스템 |
| US9800132B2 (en) * | 2015-12-29 | 2017-10-24 | General Electric Company | Systems and methods for controlling a plurality of power semiconductor devices |
| TWI595342B (zh) * | 2016-03-22 | 2017-08-11 | 台達電子工業股份有限公司 | 控制模組、切換式電源供應裝置及切換式電源供應裝置之峰值電流模式控制方法 |
| CN105784035A (zh) * | 2016-03-22 | 2016-07-20 | 中国计量学院 | 一种低功耗浸入型热式气体流量测量方法及装置 |
| US10148174B2 (en) * | 2016-03-28 | 2018-12-04 | Qualcomm Incorporated | Duty cycle estimator for a switch mode power supply |
| US20170331364A1 (en) * | 2016-05-13 | 2017-11-16 | General Electric Company | Single-stage current-fed clamped series resonant power factor corrected converter |
| EP4099370B1 (en) | 2016-06-15 | 2024-08-07 | Watlow Electric Manufacturing Company | Power converter for a thermal system |
| JP6230665B1 (ja) | 2016-06-27 | 2017-11-15 | 三菱電機株式会社 | 直流電源装置 |
| US10524312B2 (en) | 2016-07-01 | 2019-12-31 | Weber-Stephen Products Llc | Electric grill with current protection circuitry |
| US10551893B2 (en) | 2016-07-01 | 2020-02-04 | Weber-Stephen Products Llc | Digital power supply with wireless monitoring and control |
| US10537199B2 (en) * | 2016-07-01 | 2020-01-21 | Weber-Stephen Products Llc | Digital power supply |
| US10250418B2 (en) | 2016-08-02 | 2019-04-02 | Keyssa Systems, Inc. | EHF receiver architecture with dynamically adjustable discrimination threshold |
| US10020732B2 (en) | 2016-08-25 | 2018-07-10 | Silanna Asia Pte Ltd | Power converter having low power operating mode |
| US10191124B2 (en) * | 2016-08-26 | 2019-01-29 | Sii Semiconductor Corporation | Sensor circuit |
| US9906143B1 (en) * | 2016-09-30 | 2018-02-27 | Dell Products L.P. | Systems and methods for diagnostic current shunt and overcurrent protection (OCP) for power supplies |
| US9935800B1 (en) | 2016-10-04 | 2018-04-03 | Credo Technology Group Limited | Reduced complexity precomputation for decision feedback equalizer |
| JP6505062B2 (ja) * | 2016-10-12 | 2019-04-24 | 本田技研工業株式会社 | 電圧変換装置及び機器 |
| JP6772053B2 (ja) * | 2016-12-26 | 2020-10-21 | 株式会社京三製作所 | 電源装置、及び電源装置の制御方法 |
| TWI781995B (zh) * | 2017-03-22 | 2022-11-01 | 美商瑞薩電子美國有限公司 | 在多相電壓調節器中組合溫度監測和真實的不同電流感測 |
| US10756538B2 (en) * | 2017-04-24 | 2020-08-25 | Silicon Laboratories Inc. | Current limiting for high current drivers |
| US10809777B2 (en) | 2017-05-04 | 2020-10-20 | Silicon Laboratories Inc. | Energy estimation for thermal management |
| CN106951022B (zh) * | 2017-05-15 | 2018-10-30 | 深圳市莱福德光电有限公司 | 数字电源控制方法及装置 |
| FR3066661B1 (fr) * | 2017-05-22 | 2019-06-28 | Valeo Vision | Convertisseur a plages de tension de sortie selectionnables |
| KR101945350B1 (ko) | 2017-05-26 | 2019-02-07 | 엘에스산전 주식회사 | 전력 변환 장치의 설계 방법 |
| WO2018222903A1 (en) * | 2017-05-31 | 2018-12-06 | Intuitive Surgical Operations, Inc. | Electrosurgical output stage with integrated dc regulator |
| US10469112B2 (en) * | 2017-05-31 | 2019-11-05 | Silicon Laboratories Inc. | System, apparatus and method for performing automatic gain control in a receiver for a packet-based protocol |
| AU2018282873B2 (en) | 2017-06-12 | 2023-04-27 | Tae Technologies, Inc. | Multi-level multi-quadrant hysteresis current controllers and methods for control thereof |
| EA202090065A1 (ru) | 2017-06-16 | 2020-04-17 | Таэ Текнолоджиз, Инк. | Многоуровневые контроллеры напряжения гистерезиса для модуляторов напряжения и способы для их управления |
| US10126152B1 (en) | 2017-07-25 | 2018-11-13 | Ecolab Usa Inc. | Fluid flow meter with linearization |
| US10260923B2 (en) * | 2017-07-25 | 2019-04-16 | Ecolab Usa Inc. | Fluid flow meter with normalized output |
| CN107482885B (zh) | 2017-09-01 | 2019-12-06 | 华为数字技术(苏州)有限公司 | 续流管的控制方法、装置及开关电源装置 |
| CN108233710A (zh) * | 2017-12-19 | 2018-06-29 | 晶晨半导体(上海)股份有限公司 | 一种自动调节输出的电源系统 |
| US11112810B2 (en) | 2018-03-19 | 2021-09-07 | Hoerbiger Wien Gmbh | Analog control loop with digital feedback |
| JP2021518733A (ja) | 2018-03-22 | 2021-08-02 | ティーエーイー テクノロジーズ, インコーポレイテッド | 電力管理および制御のためのシステムおよび方法 |
| US10250118B1 (en) * | 2018-04-16 | 2019-04-02 | Nxp B.V. | PWM mode boost switching regulator with programmable pulse skip mode |
| WO2020014378A1 (en) * | 2018-07-10 | 2020-01-16 | Bose Corporation | Self-boosting amplifier |
| US10985646B2 (en) * | 2018-08-14 | 2021-04-20 | Apple Inc. | Continuous conduction boost converter with zero voltage switching and power factor correction |
| US10811185B2 (en) | 2018-09-13 | 2020-10-20 | Analog Devices Global Unlimited Company | Saturation prevention of current transformer |
| TWI683522B (zh) * | 2018-10-24 | 2020-01-21 | 林景源 | 高頻分時多相電源轉換器 |
| JP7211018B2 (ja) * | 2018-11-05 | 2023-01-24 | 富士電機株式会社 | 電源制御装置 |
| ES2953149T3 (es) | 2018-11-05 | 2023-11-08 | Carrier Corp | Gestión térmica de accionamientos de frecuencia variable |
| US10720832B2 (en) * | 2018-11-05 | 2020-07-21 | Lion Semiconductor Inc. | Circuits and methods for measuring the output current of a switched capacitor regulator |
| CN111161783B (zh) * | 2018-11-08 | 2024-12-06 | 长鑫存储技术有限公司 | 占空比校准电路、存储器及占空比校准电路的调整方法 |
| US10742206B2 (en) | 2018-11-21 | 2020-08-11 | Dialog Semiconductor (Uk) Limited | Switching circuit |
| US11411532B2 (en) | 2019-03-18 | 2022-08-09 | Uplift Solar Corp. | Methods and systems for power management |
| EP3942673A4 (en) * | 2019-03-18 | 2023-01-18 | Uplift Solar Corp. | POWER MANAGEMENT PROCESSES AND SYSTEMS |
| DE102020106660A1 (de) * | 2019-03-19 | 2020-09-24 | Brusa Elektronik Ag | Verfahren zum Betreiben eines elektronischen Leistungswandlers und elektronischer Leistungswandler |
| DE102019203896A1 (de) * | 2019-03-21 | 2020-09-24 | Bombardier Transportation Gmbh | Flexibel konfigurierbare Stromrichteranordnung und Verfahren zum Konfigurieren einer Stromrichteranordnung |
| BR112021018566A2 (pt) | 2019-03-29 | 2021-11-30 | Tae Tech Inc | Sistemas de energia com base em módulo que têm capacidade de configurações em cascata e interconectadas e métodos relacionados aos mesmos |
| US10763750B1 (en) | 2019-04-04 | 2020-09-01 | Apple Inc. | Noise suppression in voltage regulator circuits |
| US11401783B2 (en) | 2019-06-10 | 2022-08-02 | Halliburton Energy Services. Inc. | Fault tolerant downhole power regulator |
| US10728059B1 (en) | 2019-07-01 | 2020-07-28 | Credo Technology Group Limited | Parallel mixed-signal equalization for high-speed serial link |
| CN112394763A (zh) * | 2019-08-15 | 2021-02-23 | 成都纳能微电子有限公司 | 通用串行总线2.0高速驱动器输出幅度自动校准系统 |
| JP7251412B2 (ja) * | 2019-08-30 | 2023-04-04 | 株式会社デンソー | 通信装置 |
| US11223272B2 (en) * | 2019-09-13 | 2022-01-11 | Semiconductor Components Industries, Llc | Uninterrupted current sense |
| US11018583B2 (en) * | 2019-10-24 | 2021-05-25 | Kinetic Technologies | Switching voltage regulators with phase-lock loops and lock range extension |
| CN111010021B (zh) | 2019-11-14 | 2021-06-22 | 华为技术有限公司 | 一种load line电路及电子设备 |
| US12149161B2 (en) | 2020-02-07 | 2024-11-19 | Mitsubishi Electric Corporation | Power conversion device |
| JP2023058754A (ja) * | 2020-02-27 | 2023-04-26 | ニデックアドバンスドモータ株式会社 | モータ駆動装置 |
| WO2021178462A1 (en) | 2020-03-02 | 2021-09-10 | Falcon Power, LLC | Cooling system for variable torque generation electric machine |
| WO2021178463A1 (en) * | 2020-03-02 | 2021-09-10 | Falcon Power, LLC | Cascade mosfet design for variable torque generator/motor gear switching |
| CN115667020A (zh) | 2020-04-14 | 2023-01-31 | 阿尔法能源技术公司 | 具有冷却设备并具有可更换的能量源能力的模块化级联能量系统 |
| WO2021211630A2 (en) | 2020-04-14 | 2021-10-21 | Tae Technologies, Inc. | Systems, devices, and methods for charging and discharging module-based cascaded energy systems |
| JP7778088B2 (ja) | 2020-05-14 | 2025-12-01 | ティーエーイー テクノロジーズ, インコーポレイテッド | モジュール型カスケード式エネルギーシステムを伴う、レールベースおよび他の電気自動車両のためのシステム、デバイス、ならびに方法 |
| US11349381B2 (en) * | 2020-06-30 | 2022-05-31 | Alpha And Omega Semiconductor International Lp | Phase redundant power supply with ORing FET current sensing |
| US11289998B2 (en) | 2020-07-31 | 2022-03-29 | Texas Instruments Incorporated | Current limiting technique for buck converters |
| EP3952084A1 (en) * | 2020-08-03 | 2022-02-09 | SolarEdge Technologies Ltd. | Method and apparatus for efficient switching |
| US11437989B2 (en) * | 2020-08-04 | 2022-09-06 | Pakal Technologies, Inc | Insulated gate power device with independently controlled segments |
| US20240359595A1 (en) * | 2020-08-24 | 2024-10-31 | Tae Technologies, Inc. | Modular Cascaded Energy Systems with a Cooling Apparatus and with Replaceable Energy Source Capability |
| CN112083752A (zh) * | 2020-09-03 | 2020-12-15 | 索尔思光电(成都)有限公司 | 基于自适应电压调节的光收发系统、模块、方法 |
| US11422168B2 (en) * | 2020-09-16 | 2022-08-23 | Nxp Usa, Inc. | On-chip, low-voltage, current sensing circuit |
| AU2021350186A1 (en) | 2020-09-28 | 2023-05-11 | Tae Technologies, Inc. | Multi-phase module-based energy system frameworks and methods related thereto |
| CN116529119A (zh) | 2020-09-30 | 2023-08-01 | 阿尔法能源技术公司 | 用于基于模块的级联能量系统中的相内和相间平衡的系统、设备和方法 |
| US11223276B1 (en) * | 2020-10-30 | 2022-01-11 | Monolithic Power Systems, Inc. | Adaptive constant on time converter and the method thereof |
| CN114552983B (zh) * | 2020-11-25 | 2025-05-06 | 台达电子工业股份有限公司 | 电源系统及其适用的脉宽调制方法 |
| CN112667021B (zh) * | 2020-12-11 | 2022-04-08 | 珠海格力电器股份有限公司 | 净化设备输出功率的控制方法及控制装置、空气净化设备 |
| US11808804B2 (en) * | 2020-12-15 | 2023-11-07 | Nxp Usa, Inc. | Power profiling in an integrated circuit having a current sensing circuit |
| WO2022133691A1 (zh) * | 2020-12-21 | 2022-06-30 | 华为技术有限公司 | 一种开关电路及开关电源 |
| CN112698683B (zh) * | 2020-12-28 | 2024-07-19 | 深圳市合信自动化技术有限公司 | 一种可配置总线解决传输延时数据出错的方法、装置及plc |
| US12139024B2 (en) | 2021-01-13 | 2024-11-12 | Tae Technologies, Inc. | Systems, devices, and methods for module-based cascaded energy systems |
| WO2022204047A1 (en) * | 2021-03-23 | 2022-09-29 | Uplift Solar Corp. | Methods and systems for power management |
| US11456729B1 (en) | 2021-03-26 | 2022-09-27 | Analog Devices, Inc. | Deskew cell for delay and pulse width adjustment |
| TWI785657B (zh) * | 2021-06-22 | 2022-12-01 | 偉詮電子股份有限公司 | 功率調節電路 |
| EP4367770A4 (en) | 2021-07-07 | 2025-06-18 | TAE Technologies, Inc. | Systems, devices and methods for modular cascaded energy systems configured for coupling with renewable energy sources |
| KR20230013729A (ko) | 2021-07-19 | 2023-01-27 | 삼성디스플레이 주식회사 | 표시 장치 및 이의 구동 방법 |
| US20230155471A1 (en) * | 2021-11-16 | 2023-05-18 | Dialog Semiconductor (Uk) Limited | Methods and Systems for Current Sensing in Power Converters |
| US12341411B2 (en) | 2021-11-16 | 2025-06-24 | Renesas Design (UK) Limited | Methods and systems for current sensing |
| CN114884327B (zh) * | 2022-04-28 | 2023-09-19 | 杭州华塑科技股份有限公司 | 基于巴特沃斯滤波器的占空比自适应方法、装置及设备 |
| US12081124B2 (en) | 2022-04-29 | 2024-09-03 | Apple Inc. | Regulator switch array |
| CN114897065B (zh) * | 2022-05-06 | 2025-05-27 | 西安理工大学 | 基于单元与多元融合预测模型的高速列车节能驾驶策略 |
| US12132393B2 (en) * | 2022-06-27 | 2024-10-29 | Texas Instruments Incorporated | Adapting split-transistor switching power supply based on condition |
| CN115276393B (zh) * | 2022-08-12 | 2025-08-12 | 中国电子科技集团公司第五十八研究所 | 一种基于高斯函数的数字占空比自适应软切换方法 |
| WO2024069360A1 (en) * | 2022-09-28 | 2024-04-04 | Delphi Technologies Ip Limited | Systems and methods for multiple output integrated gate driver for inverter for electric vehicle |
| US12122251B2 (en) | 2022-09-28 | 2024-10-22 | BorgWarner US Technologies LLC | Systems and methods for bidirectional message architecture for inverter for electric vehicle |
| US12407240B2 (en) | 2022-10-14 | 2025-09-02 | Shaoxing Yuanfang Semiconductor Co., Ltd. | Sensing inductor-current in a switching converter |
| US12489452B2 (en) | 2022-11-15 | 2025-12-02 | Renesas Design (UK) Limited | Method of correcting a data stream of a pulse density modulator |
| CN115598580A (zh) * | 2022-12-12 | 2023-01-13 | 南京宏泰半导体科技有限公司(Cn) | 分立器件半导体测试系统测试站自动切换校准装置及方法 |
| US12413134B2 (en) | 2023-05-31 | 2025-09-09 | Diodes Incorporated | Reconfigurable power conversion apparatus and control method |
| CN120500803A (zh) * | 2023-05-31 | 2025-08-15 | 达尔科技股份有限公司 | 可重新配置的功率转换装置和控制方法 |
| US20250047190A1 (en) * | 2023-08-04 | 2025-02-06 | Texas Instruments Incorporated | Mode transitions for buck converters |
| US12334889B1 (en) | 2023-12-14 | 2025-06-17 | Silicon Laboratories Inc. | Gain contol to optimize sensitivity and blocking performance |
| CN117792155B (zh) * | 2024-02-23 | 2024-06-07 | 晶艺半导体有限公司 | 用于电机驱动的软换相控制电路、方法及电机驱动系统 |
| TWI859102B (zh) * | 2024-04-29 | 2024-10-11 | 能創半導體股份有限公司 | 功率級電路及虛擬電流訊號產生方法 |
Family Cites Families (131)
| Publication number | Priority date | Publication date | Assignee | Title |
|---|---|---|---|---|
| US515882A (en) * | 1894-03-06 | Dynamo-electric machine | ||
| US31001A (en) * | 1860-12-18 | Warren gale | ||
| US4223958A (en) * | 1978-12-29 | 1980-09-23 | Mechanical Technology Incorporated | Modular compliant hydrodynamic bearing with overlapping bearing sheet |
| US4323958A (en) * | 1980-09-26 | 1982-04-06 | Honeywell Information Systems Inc. | Circuit for controlling the switching frequency of SCR regulators |
| US4884163A (en) * | 1985-03-14 | 1989-11-28 | Raychem Corporation | Conductive polymer devices |
| JPH0630031B2 (ja) * | 1986-09-25 | 1994-04-20 | 日本電気株式会社 | 自動電力制御回路 |
| JPH0687656B2 (ja) | 1988-10-12 | 1994-11-02 | 耕介 原田 | コンバータ |
| US4902958A (en) * | 1988-11-14 | 1990-02-20 | Progressive Dynamics, Inc. | Incandescent light regulation and intensity controller |
| JPH02231960A (ja) * | 1989-03-01 | 1990-09-13 | Canon Inc | 電源制御装置 |
| US4884183A (en) | 1989-03-29 | 1989-11-28 | General Electric Company | Dual-mode controlled pulse width modulator |
| JPH03145968A (ja) * | 1989-10-30 | 1991-06-21 | Mitsubishi Electric Corp | 直流電源装置 |
| FR2656930B1 (fr) * | 1990-01-05 | 1992-10-02 | Alcatel Radiotelephone | Circuit de mesure numerique d'un signal electrique. |
| JPH03215165A (ja) * | 1990-01-17 | 1991-09-20 | Nec Corp | スイッチング電源回路 |
| US5121413A (en) * | 1990-03-05 | 1992-06-09 | Motorola, Inc. | Digital pulse processor for determining leading and trailing time-of-arrival |
| JPH0442771A (ja) * | 1990-06-06 | 1992-02-13 | Fujitsu Ltd | 高効率型dc/dcコンバータ |
| FR2748872B1 (fr) * | 1990-08-21 | 1998-11-27 | Thomson Trt Defense | Synthetiseur de frequence a boucle a verrouillage de phase a division fractionnaire multiple |
| US5289361A (en) * | 1991-01-16 | 1994-02-22 | Vlt Corporation | Adaptive boost switching preregulator and method |
| JP3185257B2 (ja) * | 1991-07-23 | 2001-07-09 | 株式会社明電舎 | 電力変換ユニットの並列運転装置 |
| JPH0549252A (ja) | 1991-08-16 | 1993-02-26 | Matsushita Electric Works Ltd | インバータ |
| US5239273A (en) * | 1991-11-20 | 1993-08-24 | Numa Technologies, Inc. | Digital demodualtor using signal processor to evaluate period measurements |
| US5612588A (en) * | 1993-05-26 | 1997-03-18 | American International Technologies, Inc. | Electron beam device with single crystal window and expansion-matched anode |
| DE4335857A1 (de) | 1993-10-21 | 1995-04-27 | Abb Management Ag | Stromrichterschaltungsanordnung und Verfahren zur Ansteuerung derselben |
| JPH07143741A (ja) * | 1993-11-15 | 1995-06-02 | Hitachi Ltd | スイッチング電源 |
| EP0666703A1 (en) | 1994-02-08 | 1995-08-09 | HUANG, Wen-Liang | Power transistor driving circuit of electromagnetic induction heating device |
| US5404094A (en) * | 1994-03-18 | 1995-04-04 | Holophane Lighting, Inc. | Wide input power supply and method of converting therefor |
| US5486752A (en) * | 1994-06-17 | 1996-01-23 | Center For Innovative Technology** | Zero-current transition PWM converters |
| JPH0833328A (ja) * | 1994-07-11 | 1996-02-02 | Canon Inc | スイッチング電源 |
| US5563779A (en) | 1994-12-05 | 1996-10-08 | Motorola, Inc. | Method and apparatus for a regulated supply on an integrated circuit |
| US5479089A (en) * | 1994-12-21 | 1995-12-26 | Hughes Aircraft Company | Power converter apparatus having instantaneous commutation switching system |
| US5949226A (en) * | 1995-04-10 | 1999-09-07 | Kabushiki Kaisha Toyoda Jidoshokki Seisakush | DC/DC converter with reduced power consumpton and improved efficiency |
| JPH09140126A (ja) | 1995-05-30 | 1997-05-27 | Linear Technol Corp | 適応スイッチ回路、適応出力回路、制御回路およびスイッチング電圧レギュレータを動作させる方法 |
| JPH09121536A (ja) * | 1995-08-17 | 1997-05-06 | Harris Corp | デュアルモードdc−dc変換器及び変換方法 |
| US5612580A (en) * | 1995-10-10 | 1997-03-18 | Northrop Grumman Corporation | Uninterruptible power system |
| JP3419613B2 (ja) | 1995-11-20 | 2003-06-23 | 株式会社リコー | スイッチング電源装置 |
| JPH09215319A (ja) | 1996-02-01 | 1997-08-15 | Toyota Autom Loom Works Ltd | Dc/dcコンバータ |
| JP3587928B2 (ja) * | 1996-03-12 | 2004-11-10 | 株式会社ケーヒン | 車両用昇圧電源装置 |
| JPH09288897A (ja) * | 1996-04-19 | 1997-11-04 | Sony Corp | 電圧供給回路 |
| CN1052586C (zh) * | 1996-06-24 | 2000-05-17 | Tdk株式会社 | 开关电源装置及其数字控制装置 |
| JP3452727B2 (ja) * | 1996-06-27 | 2003-09-29 | 株式会社リコー | スイッチング電源装置 |
| KR100517248B1 (ko) * | 1996-11-04 | 2005-12-01 | 코닌클리케 필립스 일렉트로닉스 엔.브이. | 상태 정보를 갖는 스위치 모드 전원 |
| JPH10257766A (ja) * | 1997-03-07 | 1998-09-25 | Ricoh Co Ltd | スイッチング電源装置 |
| US5905370A (en) * | 1997-05-06 | 1999-05-18 | Fairchild Semiconductor Corporation | Programmable step down DC-DC converter controller |
| US5867384A (en) * | 1997-07-08 | 1999-02-02 | Johnson Services Company | Feedback controller |
| JP3511195B2 (ja) | 1997-09-03 | 2004-03-29 | 株式会社ルネサステクノロジ | 電圧変換回路 |
| JP3504119B2 (ja) * | 1997-09-12 | 2004-03-08 | 三菱電機株式会社 | 復調装置、クロック再生装置、復調方法及びクロック再生方法 |
| JP3202957B2 (ja) | 1997-11-13 | 2001-08-27 | 日本テキサス・インスツルメンツ株式会社 | ビデオ信号用電源回路 |
| US6020729A (en) * | 1997-12-16 | 2000-02-01 | Volterra Semiconductor Corporation | Discrete-time sampling of data for use in switching regulators |
| JPH11187646A (ja) | 1997-12-24 | 1999-07-09 | Mitsubishi Electric Corp | 交流電流制御装置及びその制御方法 |
| JP3202960B2 (ja) * | 1998-02-17 | 2001-08-27 | 大塚化学株式会社 | ハロゲン化剤及び水酸基のハロゲン化方法 |
| JPH11235025A (ja) * | 1998-02-18 | 1999-08-27 | Seiko Instruments Inc | Pwm方式のスイッチング・レギュレータ制御回路及びスイッチング・レギュレータ |
| JP2946091B2 (ja) * | 1998-02-18 | 1999-09-06 | セイコーインスツルメンツ株式会社 | スイッチング・レギュレーター |
| JP3742721B2 (ja) * | 1998-02-24 | 2006-02-08 | 株式会社リコー | Pwm制御装置 |
| US6226190B1 (en) * | 1998-02-27 | 2001-05-01 | Power Integrations, Inc. | Off-line converter with digital control |
| US5969515A (en) * | 1998-02-27 | 1999-10-19 | Motorola, Inc. | Apparatus and method for digital control of a power converter current |
| US6098837A (en) * | 1998-03-24 | 2000-08-08 | Japan Cash Machine Co., Ltd. | Note hopper/dispenser |
| JP3744680B2 (ja) * | 1998-03-31 | 2006-02-15 | 富士通株式会社 | 電源装置、および電源回路の制御方法 |
| JPH11289574A (ja) | 1998-04-03 | 1999-10-19 | Fujitsu Social Science Laboratory Ltd | 移動体位置監視装置および記録媒体 |
| US5929619A (en) * | 1998-04-22 | 1999-07-27 | Victory Industrial Corporation | System and method for stabilizing an automotive alternator voltage regulator with load response control |
| US6307356B1 (en) * | 1998-06-18 | 2001-10-23 | Linear Technology Corporation | Voltage mode feedback burst mode circuit |
| US6100676A (en) * | 1998-10-30 | 2000-08-08 | Volterra Semiconductor Corporation | Method and apparatus for digital voltage regulation |
| US6268716B1 (en) * | 1998-10-30 | 2001-07-31 | Volterra Semiconductor Corporation | Digital voltage regulator using current control |
| JP2000163961A (ja) * | 1998-11-26 | 2000-06-16 | Mitsubishi Electric Corp | 同期型半導体集積回路装置 |
| DE19909464C2 (de) * | 1999-03-04 | 2001-03-22 | Danfoss Compressors Gmbh | Verfahren zur Erzeugung einer geregelten Gleichspannung aus einer Wechselspannung und Stromversorgungseinrichtung zur Durchführung des Verfahrens |
| EP1095445A1 (en) * | 1999-05-04 | 2001-05-02 | Koninklijke Philips Electronics N.V. | Dc-dc converter |
| US6557066B1 (en) * | 1999-05-25 | 2003-04-29 | Lsi Logic Corporation | Method and apparatus for data dependent, dual level output driver |
| JP3805927B2 (ja) * | 1999-06-10 | 2006-08-09 | 株式会社アイ・ヒッツ研究所 | 交流電圧調整器 |
| JP2001057778A (ja) | 1999-08-12 | 2001-02-27 | Toshiba Corp | スイッチング電源装置 |
| US6232754B1 (en) * | 1999-08-15 | 2001-05-15 | Philips Electronics North America Corporation | Sleep-mode-ready switching power converter |
| US6472918B1 (en) * | 1999-08-23 | 2002-10-29 | Level One Communications, Inc. | Self-referencing slicer method and apparatus for high-accuracy clock duty cycle generation |
| JP4592040B2 (ja) * | 1999-11-11 | 2010-12-01 | キヤノン株式会社 | 画像形成装置用電源装置及びそれを用いた画像形成装置並びに定着装置 |
| US6370039B1 (en) * | 1999-11-19 | 2002-04-09 | Iwatt | Isolated power converter having primary feedback control |
| US6215288B1 (en) | 2000-02-25 | 2001-04-10 | Cadence Design Systems, Inc. | Ultra-low power switching regulator method and apparatus |
| JP2001251851A (ja) * | 2000-03-07 | 2001-09-14 | Fuji Xerox Co Ltd | 電源装置 |
| JP2001258269A (ja) | 2000-03-15 | 2001-09-21 | Kawasaki Steel Corp | ソフトスイッチングdc−dcコンバータ |
| US6680604B2 (en) * | 2000-03-27 | 2004-01-20 | Intersil Corporation | Methods to control the droop when powering dual mode processors and associated circuits |
| JP2001298949A (ja) | 2000-04-07 | 2001-10-26 | Sony Corp | スイッチング電源回路 |
| US6329801B1 (en) * | 2000-04-24 | 2001-12-11 | Volterra Semiconductor Corporation | Switching regulator control system and method |
| JP4104808B2 (ja) * | 2000-04-27 | 2008-06-18 | 株式会社三社電機製作所 | ランプ点灯用電源装置 |
| US20020057080A1 (en) * | 2000-06-02 | 2002-05-16 | Iwatt | Optimized digital regulation of switching power supply |
| US6859549B1 (en) | 2000-06-07 | 2005-02-22 | Nec Laboratories America, Inc. | Method for recovering 3D scene structure and camera motion from points, lines and/or directly from the image intensities |
| US6310469B1 (en) * | 2000-06-19 | 2001-10-30 | Texas Instruments Incorporated | System and method to detect synchronous switching regulator light load |
| US6525514B1 (en) * | 2000-08-08 | 2003-02-25 | Power Integrations, Inc. | Method and apparatus for reducing audio noise in a switching regulator |
| JP2002064975A (ja) | 2000-08-17 | 2002-02-28 | Taiyo Yuden Co Ltd | Dc/dcコンバータの駆動制御方法及びdc/dcコンバータ |
| JP2002064339A (ja) * | 2000-08-17 | 2002-02-28 | Taiyo Yuden Co Ltd | 高周波電力増幅装置 |
| JP2002078320A (ja) | 2000-08-24 | 2002-03-15 | Matsushita Electric Ind Co Ltd | スイッチング電源装置 |
| EP1336238A2 (en) * | 2000-08-25 | 2003-08-20 | SynQor, Inc. | Interleaved power converters incorporating bang-bang control |
| JP2002084742A (ja) | 2000-09-04 | 2002-03-22 | Sharp Corp | 降圧dcdcコンバータの過電流保護動作制御方法、降圧dcdcコンバータの過電流保護動作判定集積回路、降圧dcdcコンバータの過電流保護動作判定回路モジュールおよび降圧dcdcコンバータの制御集積回路並びにコンピュータ用の基板 |
| JP2002084743A (ja) | 2000-09-04 | 2002-03-22 | Shindengen Electric Mfg Co Ltd | スイッチング電源装置 |
| US6504132B1 (en) | 2000-09-05 | 2003-01-07 | Lincoln Global, Inc. | Electric arc welder for variable AC input |
| JP3488861B2 (ja) | 2000-09-13 | 2004-01-19 | シャープ株式会社 | 直流電源装置 |
| IT1318879B1 (it) | 2000-09-19 | 2003-09-10 | St Microelectronics Srl | Dispositivo controllore di tensione/corrente, in particolare perregolatori switching interleaving. |
| US6661285B1 (en) | 2000-10-02 | 2003-12-09 | Holosonic Research Labs | Power efficient capacitive load driving device |
| US6555994B1 (en) * | 2000-10-11 | 2003-04-29 | Eni Technology, Inc. | Predictive control of a generator output |
| EP1325547A2 (en) * | 2000-10-13 | 2003-07-09 | Primarion, Inc. | System and method for highly phased power regulation using adaptive compensation control |
| JP3696077B2 (ja) | 2000-11-13 | 2005-09-14 | シャープ株式会社 | 電圧変換回路及びこれを備えた半導体集積回路装置 |
| JP2002159173A (ja) * | 2000-11-20 | 2002-05-31 | Sony Corp | 電源装置 |
| JP2002165442A (ja) | 2000-11-21 | 2002-06-07 | Matsushita Electric Ind Co Ltd | デューティ制御装置および直流―直流変換装置 |
| US6304067B1 (en) * | 2000-12-08 | 2001-10-16 | Micrel, Incorporated | Adding a laplace transform zero to a linear integrated circuit for frequency stability |
| US6396252B1 (en) * | 2000-12-14 | 2002-05-28 | National Semiconductor Corporation | Switching DC-to-DC converter with discontinuous pulse skipping and continuous operating modes without external sense resistor |
| US6396718B1 (en) * | 2000-12-19 | 2002-05-28 | Semiconductor Components Industries Llc | Switch mode power supply using transformer flux sensing for duty cycle control |
| US6445169B1 (en) | 2000-12-29 | 2002-09-03 | Volterra Semiconductor Corporation | Lag compensating controller having an improved transient response |
| JP4445677B2 (ja) * | 2001-01-24 | 2010-04-07 | Okiセミコンダクタ株式会社 | 半導体集積回路 |
| US6631064B2 (en) * | 2001-02-06 | 2003-10-07 | Semiconductor Components Industries Llc | Apparatus and method for providing overcurrent protection for switch-mode power supplies |
| US6504351B2 (en) * | 2001-02-20 | 2003-01-07 | Linear Technology Corporation | Systems and methods for controlling the charge profile during the commutation event of a synchronous switching transistor in a regulator |
| JP3718830B2 (ja) * | 2001-02-26 | 2005-11-24 | 株式会社日立製作所 | 電力変換装置 |
| AU2002320142A1 (en) | 2001-06-21 | 2003-01-08 | Champion Microelectronic Corp. | Current limiting technique for a switching power converter |
| US6366070B1 (en) | 2001-07-12 | 2002-04-02 | Analog Devices, Inc. | Switching voltage regulator with dual modulation control scheme |
| US6661210B2 (en) * | 2002-01-23 | 2003-12-09 | Telfonaktiebolaget L.M. Ericsson | Apparatus and method for DC-to-DC power conversion |
| US6906503B2 (en) * | 2002-01-25 | 2005-06-14 | Precor Incorporated | Power supply controller for exercise equipment drive motor |
| US6853173B2 (en) * | 2002-01-25 | 2005-02-08 | Broadcom Corporation | Programmable dual mode hysteretic power output controller |
| JP4098533B2 (ja) * | 2002-02-28 | 2008-06-11 | Tdk株式会社 | スイッチング電源装置用制御回路及びこれを用いたスイッチング電源装置 |
| TWI275232B (en) * | 2002-04-25 | 2007-03-01 | Quanta Comp Inc | Dual frequency pulse-width-modulation voltage regulation device |
| CN100481691C (zh) | 2002-06-04 | 2009-04-22 | Nxp股份有限公司 | 直流-直流转换器 |
| JP4010893B2 (ja) * | 2002-07-08 | 2007-11-21 | ローム株式会社 | 電流制限機能付き安定化電源装置 |
| US6977492B2 (en) | 2002-07-10 | 2005-12-20 | Marvell World Trade Ltd. | Output regulator |
| ITMI20021539A1 (it) | 2002-07-12 | 2004-01-12 | St Microelectronics Srl | Controllore digitale per convertitori dc-dc a commutazione |
| TWI237515B (en) | 2002-08-14 | 2005-08-01 | Rohm Co Ltd | Organic EL element drive circuit and organic EL display device using the same |
| DE10243885A1 (de) | 2002-09-21 | 2004-04-01 | Philips Intellectual Property & Standards Gmbh | Konverterschaltung und Ansteuerverfahren hierfür |
| US7019506B2 (en) * | 2002-11-14 | 2006-03-28 | Fyre Storm, Inc. | Charge-based switching power converter controller |
| US6894910B1 (en) * | 2003-03-03 | 2005-05-17 | Lockheed Martin Corporation | Dynamic duty cycle clamping for switching converters |
| US7034512B2 (en) * | 2003-07-11 | 2006-04-25 | Texas Instruments Incorporated | Hysteretic controlled switch regulator with fixed off time |
| TWI236220B (en) * | 2003-09-30 | 2005-07-11 | Ali Corp | Automatic correction device and method of clock duty cycle |
| US7042201B2 (en) | 2003-12-19 | 2006-05-09 | Silicon Labs Cp, Inc. | Digital control circuit for switching power supply with pattern generator |
| US7268527B2 (en) | 2004-03-11 | 2007-09-11 | Semtech Corporation | Method and apparatus for determining load current in a CPU core voltage regulator |
| TWI254133B (en) * | 2004-12-10 | 2006-05-01 | Aopen Inc | Method for detecting loading current of a load with a duty cycle signal of PWM controller |
| US7352161B2 (en) | 2004-12-15 | 2008-04-01 | Texas Instruments Incorporated | Burst-mode switching voltage regulator with ESR compensation |
| JP4829622B2 (ja) * | 2005-02-17 | 2011-12-07 | キヤノン株式会社 | スイッチング電源、スイッチング電源を備えた電子機器、スイッチング電源を備えた記録装置 |
| US7327127B2 (en) | 2005-06-17 | 2008-02-05 | Via Technologies, Inc. | Pulse-frequency mode DC-DC converter circuit |
| US7304464B2 (en) | 2006-03-15 | 2007-12-04 | Micrel, Inc. | Switching voltage regulator with low current trickle mode |
| US7405551B2 (en) | 2006-05-08 | 2008-07-29 | Intel Corporation | Method and an apparatus to adjust duty cycle for voltage supply regulation |
| US8032850B2 (en) * | 2007-11-12 | 2011-10-04 | International Business Machines Corporation | Structure for an absolute duty cycle measurement circuit |
-
2003
- 2003-06-12 US US10/460,825 patent/US6977492B2/en not_active Expired - Lifetime
- 2003-07-10 CN CNB038054655A patent/CN100392551C/zh not_active Expired - Lifetime
- 2003-07-10 CN CNB200410088920XA patent/CN100392971C/zh not_active Expired - Lifetime
- 2003-07-10 DE DE60337012T patent/DE60337012D1/de not_active Expired - Lifetime
- 2003-07-10 CN CNB2004100889178A patent/CN100392552C/zh not_active Expired - Fee Related
- 2003-07-10 DE DE60324148T patent/DE60324148D1/de not_active Expired - Lifetime
- 2003-07-10 JP JP2004520097A patent/JP4271656B2/ja not_active Expired - Lifetime
- 2003-07-10 CN CNB2004100889163A patent/CN100440097C/zh not_active Expired - Lifetime
- 2003-07-10 DE DE60336816T patent/DE60336816D1/de not_active Expired - Lifetime
- 2003-07-10 CN CNB2004100889214A patent/CN100416442C/zh not_active Expired - Fee Related
- 2003-07-10 DE DE60323499T patent/DE60323499D1/de not_active Expired - Lifetime
- 2003-07-10 EP EP03763431A patent/EP1532501B1/en not_active Expired - Lifetime
- 2003-07-10 DE DE60323501T patent/DE60323501D1/de not_active Expired - Lifetime
- 2003-07-10 CN CN2004100889233A patent/CN1604001B/zh not_active Expired - Fee Related
- 2003-07-10 DE DE60323498T patent/DE60323498D1/de not_active Expired - Lifetime
- 2003-07-10 CN CNB2004100889248A patent/CN100440098C/zh not_active Expired - Fee Related
- 2003-07-10 DE DE60336817T patent/DE60336817D1/de not_active Expired - Lifetime
- 2003-07-10 WO PCT/US2003/021542 patent/WO2004006037A2/en not_active Ceased
- 2003-07-10 DE DE60336818T patent/DE60336818D1/de not_active Expired - Lifetime
- 2003-07-10 CN CN2004100889229A patent/CN100407086C/zh not_active Expired - Lifetime
- 2003-07-10 CN CNB2004100889182A patent/CN100380798C/zh not_active Expired - Lifetime
- 2003-07-10 CN CNB2004100889197A patent/CN100416998C/zh not_active Expired - Lifetime
- 2003-07-10 TW TW092118863A patent/TWI287912B/zh not_active IP Right Cessation
- 2003-07-10 DE DE60334102T patent/DE60334102D1/de not_active Expired - Lifetime
- 2003-11-12 US US10/712,290 patent/US7023192B2/en not_active Expired - Lifetime
-
2004
- 2004-03-26 US US10/811,430 patent/US7009372B2/en not_active Expired - Lifetime
- 2004-04-05 US US10/818,508 patent/US6894465B2/en not_active Expired - Lifetime
- 2004-04-19 US US10/827,634 patent/US7358711B2/en not_active Expired - Lifetime
- 2004-04-19 US US10/827,625 patent/US7042202B2/en not_active Expired - Lifetime
- 2004-04-19 US US10/827,645 patent/US7053594B2/en not_active Expired - Lifetime
- 2004-04-19 US US10/827,633 patent/US6979988B2/en not_active Expired - Lifetime
- 2004-04-19 US US10/827,644 patent/US6933711B2/en not_active Expired - Lifetime
-
2005
- 2005-03-15 US US11/080,829 patent/US7368898B2/en not_active Expired - Lifetime
- 2005-09-06 JP JP2005258594A patent/JP2006042598A/ja active Pending
- 2005-09-06 JP JP2005258598A patent/JP2006141195A/ja active Pending
- 2005-09-06 JP JP2005258593A patent/JP2006054912A/ja active Pending
- 2005-09-06 JP JP2005258600A patent/JP2006050897A/ja active Pending
- 2005-09-06 JP JP2005258596A patent/JP2006042599A/ja active Pending
- 2005-09-06 JP JP2005258595A patent/JP2006054998A/ja active Pending
- 2005-09-06 JP JP2005258599A patent/JP2006050896A/ja active Pending
- 2005-09-06 JP JP2005258592A patent/JP2006042597A/ja active Pending
- 2005-09-06 JP JP2005258597A patent/JP2006042600A/ja active Pending
- 2005-10-11 US US11/187,761 patent/US7411377B2/en not_active Expired - Lifetime
-
2007
- 2007-09-28 US US11/906,087 patent/US7622904B2/en not_active Expired - Lifetime
- 2007-09-28 US US11/906,084 patent/US7573249B2/en not_active Expired - Lifetime
-
2008
- 2008-03-06 JP JP2008057073A patent/JP5025529B2/ja not_active Expired - Lifetime
- 2008-03-06 JP JP2008057075A patent/JP5281302B2/ja not_active Expired - Fee Related
- 2008-03-06 JP JP2008057074A patent/JP5022949B2/ja not_active Expired - Lifetime
- 2008-03-06 JP JP2008057072A patent/JP5022948B2/ja not_active Expired - Lifetime
- 2008-03-06 JP JP2008057067A patent/JP4875012B2/ja not_active Expired - Fee Related
- 2008-03-06 JP JP2008057070A patent/JP4922970B2/ja not_active Expired - Lifetime
- 2008-03-06 JP JP2008057071A patent/JP5025528B2/ja not_active Expired - Fee Related
- 2008-03-06 JP JP2008057068A patent/JP4922968B2/ja not_active Expired - Lifetime
- 2008-03-06 JP JP2008057069A patent/JP4922969B2/ja not_active Expired - Lifetime
- 2008-04-04 US US12/080,645 patent/US7609043B2/en not_active Expired - Lifetime
- 2008-04-15 US US12/082,825 patent/US7863880B1/en not_active Expired - Lifetime
- 2008-04-16 US US12/148,078 patent/US7906949B1/en not_active Expired - Lifetime
Also Published As
Similar Documents
| Publication | Publication Date | Title |
|---|---|---|
| JP4875012B2 (ja) | デューティサイクル推定装置 | |
| JP2005533471A5 (ja) | ||
| EP1524568B1 (en) | Adaptive duty cycle limiter |
Legal Events
| Date | Code | Title | Description |
|---|---|---|---|
| A131 | Notification of reasons for refusal |
Free format text: JAPANESE INTERMEDIATE CODE: A131 Effective date: 20100907 |
|
| A131 | Notification of reasons for refusal |
Free format text: JAPANESE INTERMEDIATE CODE: A131 Effective date: 20110705 |
|
| A521 | Written amendment |
Free format text: JAPANESE INTERMEDIATE CODE: A523 Effective date: 20110929 |
|
| TRDD | Decision of grant or rejection written | ||
| A01 | Written decision to grant a patent or to grant a registration (utility model) |
Free format text: JAPANESE INTERMEDIATE CODE: A01 Effective date: 20111025 |
|
| A01 | Written decision to grant a patent or to grant a registration (utility model) |
Free format text: JAPANESE INTERMEDIATE CODE: A01 |
|
| A61 | First payment of annual fees (during grant procedure) |
Free format text: JAPANESE INTERMEDIATE CODE: A61 Effective date: 20111124 |
|
| FPAY | Renewal fee payment (event date is renewal date of database) |
Free format text: PAYMENT UNTIL: 20141202 Year of fee payment: 3 |
|
| R150 | Certificate of patent or registration of utility model |
Ref document number: 4875012 Country of ref document: JP Free format text: JAPANESE INTERMEDIATE CODE: R150 Free format text: JAPANESE INTERMEDIATE CODE: R150 |
|
| R250 | Receipt of annual fees |
Free format text: JAPANESE INTERMEDIATE CODE: R250 |
|
| R250 | Receipt of annual fees |
Free format text: JAPANESE INTERMEDIATE CODE: R250 |
|
| R250 | Receipt of annual fees |
Free format text: JAPANESE INTERMEDIATE CODE: R250 |
|
| R250 | Receipt of annual fees |
Free format text: JAPANESE INTERMEDIATE CODE: R250 |
|
| LAPS | Cancellation because of no payment of annual fees | ||
| S111 | Request for change of ownership or part of ownership |
Free format text: JAPANESE INTERMEDIATE CODE: R313113 |
|
| R371 | Transfer withdrawn |
Free format text: JAPANESE INTERMEDIATE CODE: R371 |
