JP2010051017A - 給電回路 - Google Patents

給電回路 Download PDF

Info

Publication number
JP2010051017A
JP2010051017A JP2009267172A JP2009267172A JP2010051017A JP 2010051017 A JP2010051017 A JP 2010051017A JP 2009267172 A JP2009267172 A JP 2009267172A JP 2009267172 A JP2009267172 A JP 2009267172A JP 2010051017 A JP2010051017 A JP 2010051017A
Authority
JP
Japan
Prior art keywords
wireless
radiation plate
inductance element
chip
power feeding
Prior art date
Legal status (The legal status is an assumption and is not a legal conclusion. Google has not performed a legal analysis and makes no representation as to the accuracy of the status listed.)
Granted
Application number
JP2009267172A
Other languages
English (en)
Other versions
JP4929485B2 (ja
Inventor
Yuya Michiumi
雄也 道海
Noboru Kato
登 加藤
Satoshi Ishino
聡 石野
Current Assignee (The listed assignees may be inaccurate. Google has not performed a legal analysis and makes no representation or warranty as to the accuracy of the list.)
Murata Manufacturing Co Ltd
Original Assignee
Murata Manufacturing Co Ltd
Priority date (The priority date is an assumption and is not a legal conclusion. Google has not performed a legal analysis and makes no representation as to the accuracy of the date listed.)
Filing date
Publication date
Family has litigation
First worldwide family litigation filed litigation Critical https://patents.darts-ip.com/?family=38287527&utm_source=google_patent&utm_medium=platform_link&utm_campaign=public_patent_search&patent=JP2010051017(A) "Global patent litigation dataset” by Darts-ip is licensed under a Creative Commons Attribution 4.0 International License.
Application filed by Murata Manufacturing Co Ltd filed Critical Murata Manufacturing Co Ltd
Priority to JP2009267172A priority Critical patent/JP4929485B2/ja
Publication of JP2010051017A publication Critical patent/JP2010051017A/ja
Application granted granted Critical
Publication of JP4929485B2 publication Critical patent/JP4929485B2/ja
Active legal-status Critical Current
Anticipated expiration legal-status Critical

Links

Images

Classifications

    • GPHYSICS
    • G06COMPUTING OR CALCULATING; COUNTING
    • G06KGRAPHICAL DATA READING; PRESENTATION OF DATA; RECORD CARRIERS; HANDLING RECORD CARRIERS
    • G06K19/00Record carriers for use with machines and with at least a part designed to carry digital markings
    • G06K19/06Record carriers for use with machines and with at least a part designed to carry digital markings characterised by the kind of the digital marking, e.g. shape, nature, code
    • G06K19/067Record carriers with conductive marks, printed circuits or semiconductor circuit elements, e.g. credit or identity cards also with resonating or responding marks without active components
    • G06K19/07Record carriers with conductive marks, printed circuits or semiconductor circuit elements, e.g. credit or identity cards also with resonating or responding marks without active components with integrated circuit chips
    • GPHYSICS
    • G06COMPUTING OR CALCULATING; COUNTING
    • G06KGRAPHICAL DATA READING; PRESENTATION OF DATA; RECORD CARRIERS; HANDLING RECORD CARRIERS
    • G06K19/00Record carriers for use with machines and with at least a part designed to carry digital markings
    • G06K19/06Record carriers for use with machines and with at least a part designed to carry digital markings characterised by the kind of the digital marking, e.g. shape, nature, code
    • G06K19/067Record carriers with conductive marks, printed circuits or semiconductor circuit elements, e.g. credit or identity cards also with resonating or responding marks without active components
    • G06K19/07Record carriers with conductive marks, printed circuits or semiconductor circuit elements, e.g. credit or identity cards also with resonating or responding marks without active components with integrated circuit chips
    • G06K19/077Constructional details, e.g. mounting of circuits in the carrier
    • GPHYSICS
    • G06COMPUTING OR CALCULATING; COUNTING
    • G06KGRAPHICAL DATA READING; PRESENTATION OF DATA; RECORD CARRIERS; HANDLING RECORD CARRIERS
    • G06K19/00Record carriers for use with machines and with at least a part designed to carry digital markings
    • G06K19/06Record carriers for use with machines and with at least a part designed to carry digital markings characterised by the kind of the digital marking, e.g. shape, nature, code
    • G06K19/067Record carriers with conductive marks, printed circuits or semiconductor circuit elements, e.g. credit or identity cards also with resonating or responding marks without active components
    • G06K19/07Record carriers with conductive marks, printed circuits or semiconductor circuit elements, e.g. credit or identity cards also with resonating or responding marks without active components with integrated circuit chips
    • G06K19/077Constructional details, e.g. mounting of circuits in the carrier
    • G06K19/07749Constructional details, e.g. mounting of circuits in the carrier the record carrier being capable of non-contact communication, e.g. constructional details of the antenna of a non-contact smart card
    • GPHYSICS
    • G06COMPUTING OR CALCULATING; COUNTING
    • G06KGRAPHICAL DATA READING; PRESENTATION OF DATA; RECORD CARRIERS; HANDLING RECORD CARRIERS
    • G06K19/00Record carriers for use with machines and with at least a part designed to carry digital markings
    • G06K19/06Record carriers for use with machines and with at least a part designed to carry digital markings characterised by the kind of the digital marking, e.g. shape, nature, code
    • G06K19/067Record carriers with conductive marks, printed circuits or semiconductor circuit elements, e.g. credit or identity cards also with resonating or responding marks without active components
    • G06K19/07Record carriers with conductive marks, printed circuits or semiconductor circuit elements, e.g. credit or identity cards also with resonating or responding marks without active components with integrated circuit chips
    • G06K19/077Constructional details, e.g. mounting of circuits in the carrier
    • G06K19/07749Constructional details, e.g. mounting of circuits in the carrier the record carrier being capable of non-contact communication, e.g. constructional details of the antenna of a non-contact smart card
    • G06K19/0775Constructional details, e.g. mounting of circuits in the carrier the record carrier being capable of non-contact communication, e.g. constructional details of the antenna of a non-contact smart card arrangements for connecting the integrated circuit to the antenna
    • G06K19/07756Constructional details, e.g. mounting of circuits in the carrier the record carrier being capable of non-contact communication, e.g. constructional details of the antenna of a non-contact smart card arrangements for connecting the integrated circuit to the antenna the connection being non-galvanic, e.g. capacitive
    • HELECTRICITY
    • H01ELECTRIC ELEMENTS
    • H01QANTENNAS, i.e. RADIO AERIALS
    • H01Q1/00Details of, or arrangements associated with, antennas
    • H01Q1/12Supports; Mounting means
    • H01Q1/22Supports; Mounting means by structural association with other equipment or articles
    • H01Q1/2208Supports; Mounting means by structural association with other equipment or articles associated with components used in interrogation type services, i.e. in systems for information exchange between an interrogator/reader and a tag/transponder, e.g. in Radio Frequency Identification [RFID] systems
    • HELECTRICITY
    • H01ELECTRIC ELEMENTS
    • H01QANTENNAS, i.e. RADIO AERIALS
    • H01Q1/00Details of, or arrangements associated with, antennas
    • H01Q1/12Supports; Mounting means
    • H01Q1/22Supports; Mounting means by structural association with other equipment or articles
    • H01Q1/2208Supports; Mounting means by structural association with other equipment or articles associated with components used in interrogation type services, i.e. in systems for information exchange between an interrogator/reader and a tag/transponder, e.g. in Radio Frequency Identification [RFID] systems
    • H01Q1/2225Supports; Mounting means by structural association with other equipment or articles associated with components used in interrogation type services, i.e. in systems for information exchange between an interrogator/reader and a tag/transponder, e.g. in Radio Frequency Identification [RFID] systems used in active tags, i.e. provided with its own power source or in passive tags, i.e. deriving power from RF signal
    • HELECTRICITY
    • H01ELECTRIC ELEMENTS
    • H01QANTENNAS, i.e. RADIO AERIALS
    • H01Q1/00Details of, or arrangements associated with, antennas
    • H01Q1/12Supports; Mounting means
    • H01Q1/22Supports; Mounting means by structural association with other equipment or articles
    • H01Q1/24Supports; Mounting means by structural association with other equipment or articles with receiving set
    • HELECTRICITY
    • H01ELECTRIC ELEMENTS
    • H01QANTENNAS, i.e. RADIO AERIALS
    • H01Q1/00Details of, or arrangements associated with, antennas
    • H01Q1/36Structural form of radiating elements, e.g. cone, spiral, umbrella; Particular materials used therewith
    • H01Q1/38Structural form of radiating elements, e.g. cone, spiral, umbrella; Particular materials used therewith formed by a conductive layer on an insulating support
    • HELECTRICITY
    • H01ELECTRIC ELEMENTS
    • H01QANTENNAS, i.e. RADIO AERIALS
    • H01Q1/00Details of, or arrangements associated with, antennas
    • H01Q1/44Details of, or arrangements associated with, antennas using equipment having another main function to serve additionally as an antenna, e.g. means for giving an antenna an aesthetic aspect
    • H01Q1/46Electric supply lines or communication lines
    • HELECTRICITY
    • H01ELECTRIC ELEMENTS
    • H01QANTENNAS, i.e. RADIO AERIALS
    • H01Q9/00Electrically-short antennas having dimensions not more than twice the operating wavelength and consisting of conductive active radiating elements
    • H01Q9/04Resonant antennas
    • H01Q9/16Resonant antennas with feed intermediate between the extremities of the antenna, e.g. centre-fed dipole
    • HELECTRICITY
    • H04ELECTRIC COMMUNICATION TECHNIQUE
    • H04BTRANSMISSION
    • H04B5/00Near-field transmission systems, e.g. inductive or capacitive transmission systems
    • H04B5/20Near-field transmission systems, e.g. inductive or capacitive transmission systems characterised by the transmission technique; characterised by the transmission medium
    • H04B5/22Capacitive coupling
    • HELECTRICITY
    • H04ELECTRIC COMMUNICATION TECHNIQUE
    • H04BTRANSMISSION
    • H04B5/00Near-field transmission systems, e.g. inductive or capacitive transmission systems
    • H04B5/70Near-field transmission systems, e.g. inductive or capacitive transmission systems specially adapted for specific purposes
    • H04B5/77Near-field transmission systems, e.g. inductive or capacitive transmission systems specially adapted for specific purposes for interrogation
    • H10W90/724
    • YGENERAL TAGGING OF NEW TECHNOLOGICAL DEVELOPMENTS; GENERAL TAGGING OF CROSS-SECTIONAL TECHNOLOGIES SPANNING OVER SEVERAL SECTIONS OF THE IPC; TECHNICAL SUBJECTS COVERED BY FORMER USPC CROSS-REFERENCE ART COLLECTIONS [XRACs] AND DIGESTS
    • Y02TECHNOLOGIES OR APPLICATIONS FOR MITIGATION OR ADAPTATION AGAINST CLIMATE CHANGE
    • Y02DCLIMATE CHANGE MITIGATION TECHNOLOGIES IN INFORMATION AND COMMUNICATION TECHNOLOGIES [ICT], I.E. INFORMATION AND COMMUNICATION TECHNOLOGIES AIMING AT THE REDUCTION OF THEIR OWN ENERGY USE
    • Y02D30/00Reducing energy consumption in communication networks
    • Y02D30/70Reducing energy consumption in communication networks in wireless communication networks

Landscapes

  • Engineering & Computer Science (AREA)
  • Microelectronics & Electronic Packaging (AREA)
  • Computer Hardware Design (AREA)
  • Physics & Mathematics (AREA)
  • General Physics & Mathematics (AREA)
  • Theoretical Computer Science (AREA)
  • Computer Networks & Wireless Communication (AREA)
  • Signal Processing (AREA)
  • Details Of Aerials (AREA)
  • Near-Field Transmission Systems (AREA)
  • Transceivers (AREA)
  • Filters And Equalizers (AREA)
  • Variable-Direction Aerials And Aerial Arrays (AREA)

Abstract

【課題】無線ICデバイスなどに搭載でき、安定した周波数特性を有し、かつ、広い周波数帯域を実現できる給電回路を得る。
【解決手段】無線ICチップ5と接続され、所定の共振周波数を有する共振回路を含む給電回路16。放射板20は給電回路16から供給された送信信号を放射し、かつ、受信信号を受けて給電回路16に供給する。給電回路16はコイル状電極パターンで形成されたインダクタンス素子L1,L2を含み、インダクタンス素子L1,L2は、互いに電気的に並列に接続されており、かつ、互いに磁気的に結合している。
【選択図】図29

Description

本発明は、給電回路、特に、RFID(Radio Frequency Identification)システムに用いられる無線ICデバイスに好適に搭載することのできる給電回路に関する。
近年、物品の管理システムとして、誘導電磁界を発生するリーダライタと物品に付された所定の情報を記憶したICタグ(以下、無線ICデバイスと称する)とを非接触方式で通信し、情報を伝達するRFIDシステムが開発されている。RFIDシステムに使用される無線ICデバイスとしては、例えば、特許文献1,2に記載のものが知られている。
即ち、図59に示すように、プラスチックフィルム300上にアンテナパターン301を設け、該アンテナパターン301の一端に無線ICチップ310を取り付けたもの、図60に示すように、プラスチックフィルム320上にアンテナパターン321と放射用電極322とを設け、アンテナパターン321の所定箇所に無線ICチップ310を取り付けたものが提供されている。
しかしながら、従来の無線ICデバイスにおいては、無線ICチップ310をアンテナパターン301,321にAuバンプを用いてDC的に接続、搭載するため、大面積のフィルム300,320に微小な無線ICチップ310を位置決めする必要がある。しかし、大面積のフィルム300,320に微小な無線ICチップ310を実装することは極めて困難で、実装時に位置ずれを生じるとアンテナにおける共振周波数特性が変化するという問題点を有している。また、アンテナにおける共振周波数特性は、アンテナパターン301,321が丸められたり、誘電体に挟まれたりする(例えば、書籍のなかに挟み込まれる)ことでも変化する。
特開2005−136528号公報 特開2005−244778号公報
そこで、本発明の目的は、無線ICデバイスなどに搭載でき、安定した周波数特性を有し、かつ、広い周波数帯域を実現できる給電回路を提供することにある。
前記目的を達成するため、本発明の一形態である給電回路は、
所定の共振周波数を有する共振回路を含み、所定の周波数を有する送信信号を放射板に供給する、及び/又は、所定の周波数を有する受信信号を放射板から供給される給電回路であって、
前記共振回路は、第1のインダクタンス素子を含む第1の共振回路、及び、第2のインダクタンス素子を含む第2の共振回路を備え、
前記第1のインダクタンス素子と前記第2のインダクタンス素子は、互いに電気的に並列に接続されており、かつ、互いに磁気的に結合していること、
を特徴とする。
前記給電回路において、放射板から放射する送信信号の周波数及び無線ICチップなどに供給する受信信号の周波数は、共振回路の共振周波数で実質的に決まる。実質的に決まるとは、給電回路と放射板の位置関係などで周波数が微少にずれることがあることによる。つまり、給電回路において送受信信号の周波数が決まるため、放射板の形状やサイズ、配置位置などによらず、例えば、無線ICデバイスを丸めたり、誘電体で挟んだりしても周波数特性が変化することがなく、安定した周波数特性が得られる。即ち、送信信号の周波数及び/又は受信信号の周波数は、共振回路の共振周波数に実質的に相当することになる。
また、第1のインダクタンス素子と第2のインダクタンス素子とが互いに電気的に並列に接続されており、かつ、互いに磁気的に結合していることにより、第1の共振回路と第2の共振回路とが結合することになり、結果的に非常に広い周波数帯域が実現される。
本発明によれば、第1のインダクタンス素子と第2のインダクタンス素子とが互いに電気的に並列に接続されており、かつ、互いに磁気的に結合しているため、広い周波数帯域を実現できる。また、送信信号や受信信号の周波数は、給電回路にて決められるため、無線ICデバイスを丸めたり、誘電体で挟んだりしても周波数特性が変化することはなく、安定した周波数特性が得られる。
無線ICデバイスの第1実施例を示す斜視図である。 前記第1実施例の断面図である。 前記第1実施例の等価回路図である。 前記第1実施例の給電回路基板を示す分解斜視図である。 (A),(B)ともに無線ICチップと給電回路基板との接続形態を示す斜視図である。 放射板の変形例1を示す斜視図である。 放射板の変形例2を示す斜視図である。 無線ICデバイスの第2実施例を示す平面図である。 無線ICデバイスの第3実施例を示し、(A)は展開状態の平面図、(B)は使用時の斜視図である。 無線ICデバイスの第4実施例を示す斜視図である。 無線ICデバイスの第5実施例を示す斜視図である。 無線ICデバイスの第6実施例を示す断面図である。 無線ICデバイスの第7実施例を示す等価回路図である。 無線ICデバイスの第8実施例を示す等価回路図である。 無線ICデバイスの第9実施例を示す等価回路図である。 無線ICデバイスの第10実施例を示す断面図である。 前記第10実施例の等価回路図である。 前記第10実施例の給電回路基板を示す分解斜視図である。 無線ICデバイスの第11実施例を示す等価回路図である。 無線ICデバイスの第12実施例を示す等価回路図である。 前記第12実施例の給電回路基板を示す分解斜視図である。 無線ICデバイスの第13実施例を示す斜視図である。 無線ICデバイスの第14実施例を示す断面図である。 前記第14実施例の給電回路基板を示す分解斜視図である。 無線ICデバイスの第15実施例を示す等価回路図である。 前記第15実施例の給電回路基板を示す分解斜視図である。 無線ICデバイスの第16実施例を示す等価回路図である。 前記第16実施例の給電回路基板を示す分解斜視図である。 無線ICデバイスの第17実施例を示す等価回路図である。 前記第17実施例の給電回路基板を示す分解斜視図である。 前記第17実施例の反射特性を示すグラフである。 無線ICデバイスの第18実施例を示す等価回路図である。 前記第18実施例の給電回路基板を示す分解斜視図である。 前記第18実施例の無線ICチップを示し、(A)は底面図、(B)は拡大断面図である。 無線ICデバイスの第19実施例を示す等価回路図である。 前記第19実施例の給電回路基板を示す分解斜視図である。 無線ICデバイスの第20実施例を示す分解斜視図である。 前記第20実施例において、無線ICチップを搭載した給電回路基板の底面図である。 前記第20実施例の側面図である。 前記第20実施例の変形例を示す側面図である。 図40に示した変形例での第1形態を示す斜視図である。 図40に示した変形例での第2形態を示す斜視図である。 無線ICデバイスの第21実施例を示す分解斜視図である。 無線ICデバイスの第22実施例を示す等価回路図である。 前記第22実施例の給電回路基板を示す分解斜視図である。 無線ICデバイスの第23実施例における給電回路基板を示す分解斜視図である。 無線ICデバイスの第24実施例を示す等価回路図である。 前記第24実施例の給電回路基板を示す斜視図である。 本発明の第25実施例を示す等価回路図である。 前記第25実施例の給電回路基板を示す斜視図である。 無線ICデバイスの第26実施例を示す等価回路図である。 前記第26実施例の給電回路基板を示す斜視図である。 無線ICデバイスの第27実施例を示す等価回路図である。 前記第27実施例の給電回路基板を示す斜視図である。 無線ICデバイスの第28実施例を示す断面図である。 無線ICデバイスの第29実施例を示す断面図である。 無線ICデバイスの第30実施例を示す斜視図である。 無線ICデバイスの第31実施例を示す斜視図である。 従来の無線ICデバイスの第1例を示す平面図である。 従来の無線ICデバイスの第2例を示す平面図である。
以下、本発明に係る給電回路の実施例について添付図面を参照して説明する。なお、以下に説明する各実施例において共通する部品、部分は同じ符号を付し、重複する説明は省略する。
(第1実施例、図1〜図7参照)
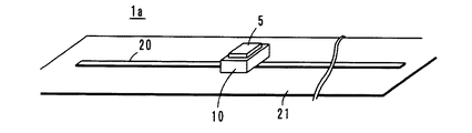
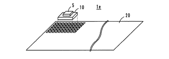
第1実施例である無線ICデバイス1aは、モノポールタイプであり、図1及び図2に示すように、無線ICチップ5と、上面に無線ICチップ5を搭載した給電回路基板10と、該給電回路基板10を貼着した放射板20とで構成されている。無線ICチップ5は、クロック回路、ロジック回路、メモリ回路を含み、必要な情報がメモリされており、給電回路基板10に内蔵された給電回路16と直接的にDC接続されている。
給電回路16は、所定の周波数を有する送信信号を放射板20に供給するための回路、及び/又は、放射板20で受けた信号から所定の周波数を有する受信信号を選択し、無線ICチップ5に供給するための回路であり、送受信信号の周波数で共振する共振回路を備えている。
給電回路基板10には、図2及び図3に示すように、ヘリカル型のインダクタンス素子L及びキャパシタンス素子C1,C2からなる集中定数型のLC直列共振回路にて構成した給電回路16が内蔵されている。詳しくは、図4に示すように、給電回路基板10は誘電体からなるセラミックシート11A〜11Gを積層、圧着、焼成したもので、接続用電極12とビアホール導体13aを形成したシート11A、キャパシタ電極14aを形成したシート11B、キャパシタ電極14bとビアホール導体13bを形成したシート11C、ビアホール導体13cを形成したシート11D、導体パターン15aとビアホール導体13dを形成したシート11E、ビアホール導体13eを形成したシート11F(1枚もしくは複数枚)、導体パターン15bを形成したシート11Gからなる。なお、各セラミックシート11A〜11Gは磁性体のセラミック材料からなるシートであってもよく、給電回路基板10は従来から用いられているシート積層法、厚膜印刷法などの多層基板の製作工程により容易に得ることができる。
以上のシート11A〜11Gを積層することにより、ヘリカルの巻回軸が放射板20と平行なインダクタンス素子Lと、該インダクタンス素子Lの両端にキャパシタ電極14bが接続され、かつ、キャパシタ電極14aがビアホール導体13aを介して接続用電極12に接続されたキャパシタンス素子C1,C2が形成される。そして、基板側電極パターンである接続用電極12が半田バンプ6を介して無線ICチップ5のチップ側電極パターン(図示せず)とDC接続により接続される。
即ち、給電回路16を構成する素子のうち、コイル状電極パターンであるインダクタンス素子Lから、磁界を介して、放射板20に送信信号を給電し、また、放射板20からの受信信号は、磁界を介して、インダクタンス素子Lに給電される。そのため、給電回路基板10において、共振回路を構成するインダクタンス素子L、キャパシタンス素子C1,C2のうち、インダクタンス素子Lが放射板20に近くなるようにレイアウトすることが望ましい。
放射板20はアルミ箔や銅箔などの非磁性体からなる長尺体、即ち、両端開放型の金属体であり、PETなどの絶縁性のフレキシブルな樹脂フィルム21上に形成されている。前記給電回路基板10はその下面が接着剤18からなる絶縁性接着層を介して放射板20上に貼着されている。
サイズ的にその一例を示すと、無線ICチップ5の厚さは50〜100μm、半田バンプ6の厚さは約20μm、給電回路基板10の厚さは200〜500μm、接着剤18の厚さは0.1〜10μm、放射板20の厚さは1〜50μm、フィルム21の厚さは10〜100μmである。また、無線ICチップ5のサイズ(面積)は、0.4mm×0.4mm、0.9mm×0.8mmなど多様である。給電回路基板10のサイズ(面積)は、無線ICチップ5と同じサイズから3mm×3mm程度のサイズで構成できる。
図5に無線ICチップ5と給電回路基板10との接続形態を示す。図5(A)は無線ICチップ5の裏面及び給電回路基板10の表面に、それぞれ、一対のアンテナ(バランス)端子7a,17aを設けたものである。図5(B)は他の接続形態を示し、無線ICチップ5の裏面及び給電回路基板10の表面に、それぞれ、一対のアンテナ(バランス)端子7a,17aに加えて、グランド端子7b,17bを設けたものである。但し、給電回路基板10のグランド端子17bは終端しており、給電回路基板10の他の素子に接続されているわけではない。
また、図6及び図7に示すように、放射板20は細長い形状であることが好ましく、給電回路基板10が貼着される箇所20’の面積を基板10よりも大きくすることが好ましい。貼着時の位置精度に厳しさが要求されず、安定した電気的特性が得られる。
図3に無線ICデバイス1aの等価回路を示す。この無線ICデバイス1aは、図示しないリーダライタから放射される高周波信号(例えば、UHF周波数帯)を放射板20で受信し、放射板20と主として磁気的に結合している給電回路16(インダクタンス素子Lとキャパシタンス素子C1,C2からなるLC直列共振回路)を共振させ、所定の周波数帯の受信信号のみを無線ICチップ5に供給する。一方、この受信信号から所定のエネルギーを取り出し、このエネルギーを駆動源として無線ICチップ5にメモリされている情報を、給電回路16にて所定の周波数に整合させた後、給電回路16のインダクタンス素子Lから、磁界結合を介して放射板20に送信信号を伝え、放射板20からリーダライタに送信、転送する。
なお、給電回路16と放射板20との結合は、磁界を介しての結合が主であるが、電界を介しての結合が存在していてもよい(電磁界結合)。
第1実施例である無線ICデバイス1aにおいて、無線ICチップ5は給電回路16を内蔵した給電回路基板10上に直接的にDC接続されており、給電回路基板10は無線ICチップ5とほぼ同じ面積であり、かつ、リジッドであるため、従来の如く広い面積のフレキシブルなフィルム上に搭載するよりも無線ICチップ5を極めて精度よく位置決めして搭載することが可能である。しかも、給電回路基板10はセラミック材料からなり、耐熱性を有するため、無線ICチップ5を給電回路基板10に半田付けすることができる。つまり、従来の如く超音波接合法を用いないため、安価につき、かつ、超音波接合時に加わる圧力で無線ICチップ5が破損するおそれはなく、半田リフローによるセルフアライメント作用を利用することもできる。
また、給電回路16においては、インダクタンス素子Lとキャパシタンス素子C1,C2で構成された共振回路にて共振周波数特性が決定される。放射板20から放射される信号の共振周波数は、給電回路16の自己共振周波数に実質的に相当し、信号の最大利得は、給電回路16のサイズ、形状、給電回路16と放射板20との距離及び媒質の少なくともいずれか一つで実質的に決定される。具体的には、本第1実施例において、放射板20の電気長は共振周波数λの1/2とされている。但し、放射板20の電気長はλ/2の整数倍でなくてもよい。即ち、本発明において、放射板20から放射される信号の周波数は、共振回路(給電回路16)の共振周波数によって実質的に決まるので、周波数特性に関しては、放射板20の電気長に実質的に依存しない。放射板20の電気長がλ/2の整数倍であると、利得が最大になるので好ましい。
以上のごとく、給電回路16の共振周波数特性は給電回路基板10に内蔵されているインダクタンス素子Lとキャパシタンス素子C1,C2で構成された共振回路にて決定されるため、無線ICデバイス1aを書籍の間に挟んだりしても共振周波数特性が変化することはない。また、無線ICデバイス1aを丸めて放射板20の形状を変化させたり、放射板20のサイズを変化させても、共振周波数特性が変化することはない。また、インダクタンス素子Lを構成するコイル状電極パターンは、その巻回軸が放射板20と平行に形成されているため、中心周波数が変動しないという利点を有している。また、無線ICチップ5の後段に、キャパシタンス素子C1,C2が挿入されているため、この素子C1,C2で低周波数のサージをカットすることができ、無線ICチップ5をサージから保護できる。
さらに、給電回路基板10はリジッドな多層基板であるために、無線ICチップ5を半田付けする際の取扱いに便利である。しかも、放射板20はフレキシブルなフィルム21に保持されたフレキシブルな金属膜によって形成されているため、例えば、プラスチックフィルム製の柔らかい袋やペットボトルのような円柱状体に何ら支障なく貼着することができる。
なお、本発明において、共振回路は無線ICチップのインピーダンスと放射板のインピーダンスを整合させるためのマッチング回路を兼ねていてもよい。あるいは、給電回路基板は、インダクタンス素子やキャパシタンス素子で構成された、共振回路とは別に設けられたマッチング回路をさらに備えていてもよい。共振回路にマッチング回路の機能をも付加しようとすると、共振回路の設計が複雑になる傾向がある。共振回路とは別にマッチング回路を設ければ、共振回路、マッチング回路をそれぞれ独立して設計できる。
(第2実施例、図8参照)
第2実施例である無線ICデバイス1bは、図8に示すように、放射板20を90度に分岐させたものである。即ち、放射板20をx−y平面内においてx軸方向に延在する放射部20aとy軸方向に延在する放射部20bにて構成し、放射部20aの延長線上を給電部20dとし、該給電部20d上に無線ICチップ5を搭載した給電回路基板10が貼着されている。
なお、給電回路基板10の内部構成は前記第1実施例と同様であり、本第2実施例の作用効果は第1実施例と同様である。さらに、放射部20a,20bがx軸方向及びy軸方向に延在しているため、円偏波の受信が可能であり、アンテナ利得が向上する。
(第3実施例、図9参照)
第3実施例である無線ICデバイス1cは、図9(A),(B)に示すように、放射板20をx−y−z空間において、x軸方向、y軸方向、z軸方向に延在する放射部20a,20b,20cにて構成し、放射部20aの延長線上を給電部20dとし、該給電部20d上に無線ICチップ5を搭載した給電回路基板10が貼着されている。
この無線ICデバイス1cは、例えば、箱状物の隅部に貼り付けて使用することができ、放射部20a,20b,20cが3次元的に延在しているため、アンテナの指向性がなくなり、いずれの方向においても効率のよい送受信が可能になる。さらに、無線ICデバイス1cの他の作用効果は前記第1実施例と同様である。
(第4実施例、図10参照)
第4実施例である無線ICデバイス1dは、図10に示すように、広い面積のフレキシブルな絶縁性を有するプラスチックフィルム21上に広い面積の放射板20をアルミ箔などで形成したもので、無線ICチップ5を搭載した給電回路基板10が放射板20の任意の位置に接着されている。
なお、無線ICデバイス1dの他の構成、即ち、給電回路基板10の内部構成は前記第1実施例と同様である。従って、本第4実施例の作用効果は基本的に第1実施例と同様であり、さらに、給電回路基板10の接着位置にそれほど高い精度が要求されない利点を有している。
(第5実施例、図11参照)
第5実施例である無線ICデバイス1eは、図11に示すように、アルミ箔などで形成した広い面積の放射板20をメッシュ状としたものである。メッシュは放射板20の全面に形成されていてもよく、あるいは、部分的に形成されていてもよい。
その他の構成は前記第4実施例と同様であり、給電回路基板10の接着位置に高精度が要求されない利点に加えて、コイル状電極パターンの磁束がメッシュの開口部を抜けるので給電回路基板10から発生する磁束の変化(減少)が少なくなり、より多くの磁束が放射板20を通過できるようになる。従って、信号エネルギーの伝達効率を向上させることができるとともに、貼り合わせによる周波数のずれを少なくできる。
(第6実施例、図12参照)
第6実施例である無線ICデバイス1fは、図12に示すように、フィルム21上の給電回路基板10との接合面を含めてそれ以外の面(ここでは全面)に放射板20を介して接着剤18が塗布されている。この接着剤18にて無線ICデバイス1fを物品の任意の部分に貼着可能である。
なお、無線ICデバイス1fの他の構成、即ち、給電回路基板10の内部構成は前記第1実施例と同様である。従って、本第6実施例の作用効果は基本的に第1実施例と同様である。
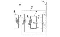
(第7実施例、図13参照)
第7実施例である無線ICデバイス1gは、図13に等価回路として示すように、給電回路基板10に給電回路16としてコイル状電極パターンからなるインダクタンス素子Lを内蔵したものである。LC並列共振回路を構成するキャパシタンス素子Cはインダクタンス素子Lの導体パターン間の浮遊容量(分布定数型の容量)として形成される。
即ち、一つのコイル状電極パターンであっても自己共振を持っていれば、コイル状電極パターン自身のL成分と線間浮遊容量であるC成分とでLC並列共振回路として作用し、給電回路16を構成することができる。従って、この無線ICデバイス1gは、図示しないリーダライタから放射される高周波信号(例えば、UHF周波数帯)を放射板20で受信し、放射板20と主として磁気的に結合している給電回路16(インダクタンス素子Lとキャパシタンス素子CからなるLC並列共振回路)を共振させ、所定の周波数帯の受信信号のみを無線ICチップ5に供給する。一方、この受信信号から所定のエネルギーを取り出し、このエネルギーを駆動源として無線ICチップ5にメモリされている情報を、給電回路16にて所定の周波数に整合させた後、給電回路16のインダクタンス素子Lから、磁界結合を介して放射板20に送信信号を伝え、放射板20からリーダライタに送信、転送する。
(第8実施例、図14参照)
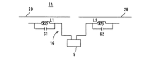
第8実施例である無線ICデバイス1hは、図14に等価回路として示すように、ダイポールタイプの給電回路16及び放射板20を備えたデバイスであり、給電回路基板に二つのLC並列共振回路からなる給電回路16を内蔵している。インダクタンス素子L1及びキャパシタンス素子C1は無線ICチップ5の第1ポート側に接続され、インダクタンス素子L2及びキャパシタンス素子C2は無線ICチップ5の第2ポート側に接続され、それぞれ、放射板20,20と対向している。インダクタンス素子L1とキャパシタンス素子C1の端部は開放端とされている。なお、第1ポートと第2ポートは差動回路のI/Oを構成している。
本第8実施例の作用効果は基本的に前記第1実施例と同様である。即ち、この無線ICデバイス1hは、図示しないリーダライタから放射される高周波信号(例えば、UHF周波数帯)を放射板20で受信し、放射板20と主として磁気的に結合している給電回路16(インダクタンス素子L1とキャパシタンス素子C1からなるLC並列共振回路及びインダクタンス素子L2とキャパシタンス素子C2からなるLC並列共振回路)を共振させ、所定の周波数帯の受信信号のみを無線ICチップ5に供給する。一方、この受信信号から所定のエネルギーを取り出し、このエネルギーを駆動源として無線ICチップ5にメモリされている情報を、給電回路16にて所定の周波数に整合させた後、給電回路16のインダクタンス素子L1,L2から、磁界結合を介して放射板20に送信信号を伝え、放射板20からリーダライタに送信、転送する。
(第9実施例、図15参照)
第9実施例である無線ICデバイス1iは、図15に等価回路として示すように、ダイポールタイプの給電回路16及び放射板20を備えたデバイスであり、給電回路基板に二つのLC直列共振回路からなる給電回路16を内蔵している。各インダクタンス素子L1,L2は放射板20,20と対向し、各キャパシタンス素子C1,C2はグランドに接続される。
本第9実施例の作用効果は基本的に前記第1実施例と同様である。即ち、この無線ICデバイス1iは、図示しないリーダライタから放射される高周波信号(例えば、UHF周波数帯)を放射板20で受信し、放射板20と主として磁気的に結合している給電回路16(インダクタンス素子L1とキャパシタンス素子C1からなるLC直列共振回路及びインダクタンス素子L2とキャパシタンス素子C2からなるLC直列共振回路)を共振させ、所定の周波数帯の受信信号のみを無線ICチップ5に供給する。一方、この受信信号から所定のエネルギーを取り出し、このエネルギーを駆動源として無線ICチップ5にメモ
リされている情報を、給電回路16にて所定の周波数に整合させた後、給電回路16のインダクタンス素子L1,L2から、磁界結合を介して放射板20に送信信号を伝え、放射板20からリーダライタに送信、転送する。
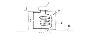
(第10実施例、図16〜図18参照)
第10実施例である無線ICデバイス1jは、図16に示すように、モノポールタイプであり、給電回路基板10に内蔵したインダクタンス素子Lとキャパシタンス素子CとでLC直列共振回路からなる給電回路16を構成したものである。図17に示すように、インダクタンス素子Lを構成するコイル状電極パターンは、その巻回軸が放射板20と垂直に形成され、給電回路16は放射板20と主として磁気的に結合している。
給電回路基板10は、詳しくは、図18に示すように、誘電体からなるセラミックシート31A〜31Fを積層、圧着、焼成したもので、接続用電極32とビアホール導体33aを形成したシート31A、キャパシタ電極34aとビアホール導体33bを形成したシート31B、キャパシタ電極34bとビアホール導体33c,33bを形成したシート31C、導体パターン35aとビアホール導体33d,33bを形成したシート31D(1枚もしくは複数枚)、導体パターン35bとビアホール導体33e,33bを形成したシート31E(1枚もしくは複数枚)、導体パターン35cを形成したシート31Fからなる。
以上のシート31A〜31Fを積層することにより、ヘリカルの巻回軸が放射板20と垂直なインダクタンス素子Lに対して直列にキャパシタンス素子Cが接続されたLC直列共振回路からなる給電回路16が得られる。キャパシタ電極34aはビアホール導体33aを介して接続用電極32に接続され、さらに半田バンプ6を介して無線ICチップ5と接続され、インダクタンス素子Lの一端はビアホール導体33bを介して接続用電極32に接続され、さらに半田バンプ6を介して無線ICチップ5と接続される。
本第10実施例の作用効果は基本的に前記第1実施例と同様である。即ち、この無線ICデバイス1jは、図示しないリーダライタから放射される高周波信号(例えば、UHF周波数帯)を放射板20で受信し、放射板20と主として磁気的に結合している給電回路16(インダクタンス素子Lとキャパシタンス素子CからなるLC直列共振回路)を共振させ、所定の周波数帯の受信信号のみを無線ICチップ5に供給する。一方、この受信信号から所定のエネルギーを取り出し、このエネルギーを駆動源として無線ICチップ5にメモリされている情報を、給電回路16にて所定の周波数に整合させた後、給電回路16のインダクタンス素子Lから、磁界結合を介して放射板20に送信信号を伝え、放射板20からリーダライタに送信、転送する。
特に、本第10実施例においては、コイル状電極パターンはその巻回軸が放射板20と垂直に形成されているため、放射板20への磁束成分が増加して信号エネルギーの伝達効率が向上し、利得が大きいという利点を有している。
(第11実施例、図19参照)
第11実施例である無線ICデバイス1kは、図19に等価回路として示すように、前記第10実施例で示したインダクタンス素子Lのコイル状電極パターンの巻回幅(コイル径)を放射板20に向かって徐々に大きく形成したものである。他の構成は前記第10実施例と同様である。
本第11実施例は前記第10実施例と同様の作用効果を奏し、加えて、インダクタンス素子Lのコイル状電極パターンの巻回幅(コイル径)が放射板20に向かって徐々に大きく形成されているため、信号の伝達効率が向上する。
(第12実施例、図20及び図21参照)
第12実施例である無線ICデバイス1lは、図20に等価回路として示すように、ダイポールタイプであり、給電回路基板10に二つのLC直列共振回路からなる給電回路16を内蔵したものである。
給電回路基板10は、詳しくは、図21に示すように、誘電体からなるセラミックシート41A〜41Fを積層、圧着、焼成したもので、接続用電極42とビアホール導体43aを形成したシート41A、キャパシタ電極44aを形成したシート41B、キャパシタ電極44bとビアホール導体43bを形成したシート41C、導体パターン45aとビアホール導体43cを形成したシート41D(1枚もしくは複数枚)、導体パターン45bとビアホール導体43dを形成したシート41E(1枚もしくは複数枚)、導体パターン45cを形成したシート41Fからなる。
以上のシート41A〜41Fを積層することにより、ヘリカルの巻回軸が放射板20と垂直なインダクタンス素子L1,L2に対して直列にキャパシタンス素子C1,C2が接続された二つのLC直列共振回路からなる給電回路16が得られる。キャパシタ電極44aはビアホール導体43aを介して接続用電極42に接続され、さらに半田バンプを介して無線ICチップ5と接続される。
本第12実施例の作用効果は基本的に前記第1実施例と同様である。即ち、この無線ICデバイス1lは、図示しないリーダライタから放射される高周波信号(例えば、UHF周波数帯)を放射板20で受信し、放射板20と主として磁気的に結合している給電回路16(インダクタンス素子L1とキャパシタンス素子C1からなるLC直列共振回路及びインダクタンス素子L2とキャパシタンス素子C2からなるLC直列共振回路)を共振させ、所定の周波数帯の受信信号のみを無線ICチップ5に供給する。一方、この受信信号から所定のエネルギーを取り出し、このエネルギーを駆動源として無線ICチップ5にメモリされている情報を、給電回路16にて所定の周波数に整合させた後、給電回路16のインダクタンス素子L1,L2から、磁界結合を介して放射板20に送信信号を伝え、放射板20からリーダライタに送信、転送する。
また、キャパシタンス素子C1,C2が無線ICチップ5の後段であって、無線ICチップ5とインダクタンス素子L1,L2との間に配置されているため、耐サージ性が向上する。サージは200MHzまでの低周波電流であるためにキャパシタンス素子C1,C2によってカットすることができ、無線ICチップ5のサージ破壊が防止されることになる。
なお、本第12実施例では、キャパシタンス素子C1とインダクタンス素子L1からなる共振回路とキャパシタンス素子C2とインダクタンス素子L2からなる共振回路は互いに結合しているわけではない。
(第13実施例、図22参照)
第13実施例である無線ICデバイス1mは、図22に示すように、セラミックあるいは耐熱性樹脂からなるリジッドな単層の給電回路基板50の表面にコイル状電極パターン、即ち、スパイラル型のインダクタンス素子からなる給電回路56を設けたものである。給電回路56の両端部は無線ICチップ5と半田バンプを介して直接的に接続され、給電回路基板50は放射板20を保持するフィルム21上に接着剤にて貼着されている。また、給電回路56を構成する互いに交差する導体パターン56aと導体パターン56b,56cは図示しない絶縁膜によって隔てられている。
本第13実施例における給電回路56は、スパイラルに巻かれた導体パターン間に形成される浮遊容量をキャパシタンス成分として利用したLC並列共振回路を構成している。また、給電回路基板50は誘電体又は磁性体からなる単層基板である。
本第13実施例である無線ICデバイス1mにおいては、給電回路56は放射板20と主として磁気的に結合されている。従って、前記各実施例と同様に、リーダライタから放射される高周波信号を放射板20で受信し、給電回路56を共振させ、所定の周波数帯の受信信号のみを無線ICチップ5に供給する。一方、この受信信号から所定のエネルギーを取り出し、このエネルギーを駆動源として無線ICチップ5にメモリされている情報を、給電回路56にて所定の周波数に整合させた後、給電回路56のインダクタンス素子から、磁界結合を介して放射板20に送信信号を伝え、放射板20からリーダライタに送信、転送する。
そして、無線ICチップ5はリジッドで小さな面積の給電回路基板50上に設けられている点で前記第1実施例と同様に、位置決め精度が良好であり、給電回路基板50と半田バンプによって接続することが可能である。
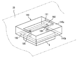
(第14実施例、図23及び図24参照)
第14実施例である無線ICデバイス1nは、図23に示すように、給電回路56のコイル状電極パターンを給電回路基板50に内蔵したものである。給電回路基板50は、図24に示すように、誘電体からなるセラミックシート51A〜51Dを積層、圧着、焼成したもので、接続用電極52とビアホール導体53aを形成したシート51A、導体パターン54aとビアホール導体53b,53cを形成したシート51B、導体パターン54bを形成したシート51C、無地のシート51D(複数枚)からなる。
以上のシート51A〜51Dを積層することによりコイル状電極パターンにおいて、スパイラル状に巻かれたインダクタンス素子とスパイラル状導体の線間の浮遊容量で形成されたキャパシタンス成分とで構成された共振回路を含む給電回路56を内蔵した給電回路基板50が得られる。そして、給電回路56の両端に位置する接続用電極52が半田バンプ6を介して無線ICチップ5に接続される。本第14実施例の作用効果は前記第13実施例と同様である。
(第15実施例、図25及び図26参照)
第15実施例である無線ICデバイス1oは、図25に等価回路として示すように、無線ICチップ5と給電回路基板10とを容量結合したものであり、給電回路基板10と放射板20とはDC接続により接続されている。給電回路基板10には、二つのLC直列共振回路からなる給電回路16を内蔵している。インダクタンス素子L1,L2はその巻回軸が放射板20と垂直に位置し、一端はキャパシタンス素子C1,C2を構成するキャパシタ電極65a,65b(図26参照)に接続され、他端は基板10の底面側表面に設けられた接続用電極62により互いに直結されている。また、キャパシタンス素子C1,C2を構成するキャパシタ電極66a,66b(図26参照)は無線ICチップ5の裏面に形成されている。
給電回路基板10は、詳しくは、図26に示すように、誘電体からなるセラミックシート61A〜61Gを積層、圧着、焼成したもので、接続用電極62とビアホール導体63a,63bを形成したシート61A、導体パターン64a,64bとビアホール導体63c,63dを形成したシート61B〜61F、キャパシタ電極65a,65bを形成したシート61Gからなる。
以上のシート61A〜61Gを積層することにより、インダクタンス素子L1,L2に対して直列にキャパシタンス素子C1,C2が接続された二つのLC直列共振回路からなる給電回路16が得られる。
即ち、キャパシタンス素子C1はチップ側電極パターンである電極66aと基板側電極パターンである電極65aとの互いに平行な平面電極パターンの間に形成されている。キャパシタンス素子C2はチップ側電極パターンである電極66bと基板側電極パターンである電極65bとの互いに平行な平面電極パターンの間に形成されている。無線ICチップ5は給電回路基板10に対して絶縁性接着層で貼り付けられており、この絶縁性接着層を介して接合されている。また、給電回路基板10は第2基板側電極パターンである接続用電極62を介して放射板20とDC接続されている。ここで、給電回路基板10の接続用電極62と放射板20とは半田、導電性接着剤などで接合すればよい。
本第15実施例の作用効果は基本的に前記第1実施例と同様である。即ち、この無線ICデバイス1oは、図示しないリーダライタから放射される高周波信号(例えば、UHF周波数帯)を放射板20で受信し、放射板20とDC接続している給電回路16(インダクタンス素子L1とキャパシタンス素子C1からなるLC直列共振回路及びインダクタンス素子L2とキャパシタンス素子C2からなるLC直列共振回路)を共振させ、所定の周波数帯の受信信号のみを無線ICチップ5に供給する。一方、この受信信号から所定のエネルギーを取り出し、このエネルギーを駆動源として無線ICチップ5にメモリされている情報を、給電回路16にて所定の周波数に整合させた後、給電回路16とDC接続されている放射板20に送信信号を伝え、放射板20からリーダライタに送信、転送する。給電回路16と無線ICチップ5はキャパシタンス素子C1,C2によって容量結合され、電力、送受信信号が伝送される。
ところで、給電回路基板10に形成したキャパシタ電極65a,65bの面積は無線ICチップ5に形成したキャパシタ電極66a,66bの面積よりも大きくされている。無線ICチップ5を給電回路基板10に搭載するときの位置精度が多少ばらついても、キャパシタ電極65a,66a及び65b,66bの間に形成される容量のばらつきが緩和される。また、無線ICチップ5の後段にキャパシタンス素子C1,C2が挿入されているため、耐サージ性能が向上する。
(第16実施例、図27及び図28参照)
第16実施例である無線ICデバイス1pは、図27に等価回路として示すように、給電回路基板10と放射板20とを容量結合したものである。給電回路基板10には、二つのLC直列共振回路からなる給電回路16を内蔵している。インダクタンス素子L1,L2の一端は無線ICチップ5に接続され、他端は基板10の表面に設けられたキャパシタンス素子C1,C2を構成するキャパシタ電極72a,72b(図28参照)に接続されている。また、キャパシタンス素子C1,C2を構成するいま一つのキャパシタ電極は放射板20の端部20a,20bが担っている。
給電回路基板10は、詳しくは、図28に示すように、誘電体からなるセラミックシート71A〜71Fを積層、圧着、焼成したもので、キャパシタ電極72a,72bとビアホール導体73a,73bを形成したシート71A、導体パターン74a,74bとビアホール導体73c,73dを形成したシート71B〜71E、一面に導体パターン74a,74bを形成し、他面に接続用電極75a,75bを形成してビアホール導体73e,73fで接続したシート71Fからなる。
以上のシート71A〜71Fを積層することにより、インダクタンス素子L1,L2に対して直列にキャパシタンス素子C1,C2が接続された二つのLC直列共振回路からなる給電回路16が得られる。給電回路基板10が放射板20に接着剤で貼り付けられることにより、絶縁性接着層を介して、放射板20に対して平行に配置された平面電極パターンであるキャパシタ電極72a,72bが放射板20の端部20a,20bと対向して、キャパシタンス素子C1,C2を形成する。また、接続用電極75a,75bが半田バンプを介して無線ICチップ5と接続されることにより、インダクタンス素子L1,L2の一端が無線ICチップ5に接続され、無線ICチップ5と給電回路基板10とはDC接続されることになる。
なお、接着剤が、例えば、誘電体粉末を含んでいると、接着層が誘電体としての性質を持つようになり、キャパシタンス素子C1,C2の容量を大きくすることができる。また、第2基板側電極パターンであるキャパシタ電極72a,72bは、本第16実施例では給電回路基板10の裏面側表面に形成したが、給電回路基板10の内部(但し、放射板20に近い側)に形成してもよい。また、キャパシタ電極72a,72bは基板10の内層に設けられていてもよい。
本第16実施例の作用効果は基本的に前記第1実施例と同様である。即ち、この無線ICデバイス1pは、図示しないリーダライタから放射される高周波信号(例えば、UHF周波数帯)を放射板20で受信し、放射板20と容量結合している給電回路16(インダクタンス素子L1とキャパシタンス素子C1からなるLC直列共振回路及びインダクタンス素子L2とキャパシタンス素子C2からなるLC直列共振回路)を共振させ、所定の周波数帯の受信信号のみを無線ICチップ5に供給する。一方、この受信信号から所定のエネルギーを取り出し、このエネルギーを駆動源として無線ICチップ5にメモリされている情報を、給電回路16にて所定の周波数に整合させた後、キャパシタンス素子C1,C2による容量結合を介して放射板20に送信信号を伝え、放射板20からリーダライタに送信、転送する。
(第17実施例、図29〜図31参照)
第17実施例である無線ICデバイス1qは、図29に等価回路として示すように、給電回路16が互いに磁気結合するインダクタンス素子L1,L2を備え、インダクタンス素子L1はキャパシタンス素子C1a,C1bを介して無線ICチップ5と接続され、かつ、インダクタンス素子L2とキャパシタンス素子C2a,C2bを介して並列に接続されている。換言すれば、給電回路16は、インダクタンス素子L1とキャパシタンス素子C1a,C1bとからなるLC直列共振回路と、インダクタンス素子L2とキャパシタンス素子C2a,C2bとからなるLC直列共振回路を含んで構成されており、各共振回路は図29でMで示される磁界結合によって結合されている。そして、インダクタンス素子L1,L2の双方が放射板20と磁気的に結合している。
給電回路基板10は、詳しくは、図30に示すように、誘電体からなるセラミックシート81A〜81Hを積層、圧着、焼成したもので、無地のシート81A、導体パターン82a,82bとビアホール導体83a,83b,84a,84bを形成したシート81B、導体パターン82a,82bとビアホール導体83c,84c,83e,84eを形成したシート81C、導体パターン82a,82bとビアホール導体83d,84d,83e,84eを形成したシート81D、キャパシタ電極85a,85bとビアホール導体83eを形成したシート81E、キャパシタ電極86a,86bを形成したシート81F、無地のシート81G、裏面にキャパシタ電極87a,87bを形成したシート81Hからなる。
以上のシート81A〜81Hを積層することにより、導体パターン82aがビアホール導体83b,83cを介して接続されてインダクタンス素子L1が形成され、導体パターン82bがビアホール導体84b,84cを介して接続されてインダクタンス素子L2が形成される。キャパシタ電極86a,87aにてキャパシタンス素子C1aが形成され、キャパシタ電極86aはビアホール導体83eを介してインダクタンス素子L1の一端に接続されている。キャパシタ電極86b,87bにてキャパシタンス素子C1bが形成され、キャパシタ電極86bはビアホール導体83dを介してインダクタンス素子L1の他端に接続されている。さらに、キャパシタ電極85a,86aにてキャパシタンス素子C2aが形成され、キャパシタ電極85aはビアホール導体84eを介してインダクタンス素子L2の一端に接続されている。キャパシタ電極85b,86bにてキャパシタンス素子C2bが形成され、キャパシタ電極85bはビアホール導体84dを介してインダクタンス素子L2の他端に接続されている。
本第17実施例の作用効果は基本的に前記第1実施例と同様である。即ち、この無線ICデバイス1qは、図示しないリーダライタから放射される高周波信号(例えば、UHF周波数帯)を放射板20で受信し、放射板20と主として磁気的に結合している給電回路16(インダクタンス素子L1とキャパシタンス素子C1a,C1bからなるLC直列共振回路及びインダクタンス素子L2とキャパシタンス素子C2a,C2bからなるLC直列共振回路)を共振させ、所定の周波数帯の受信信号のみを無線ICチップ5に供給する。一方、この受信信号から所定のエネルギーを取り出し、このエネルギーを駆動源として無線ICチップ5にメモリされている情報を、給電回路16にて所定の周波数に整合させた後、給電回路16のインダクタンス素子L1,L2から、磁界結合を介して放射板20に送信信号を伝え、放射板20からリーダライタに送信、転送する。
特に、本第17実施例では、図31に示すように、帯域幅X(−5dBの帯域幅)が150MHz以上の非常に広い周波数帯域を実現する。これは、給電回路16を互いに高い結合度をもって磁気結合するインダクタンス素子L1,L2を含む複数のLC共振回路にて構成したことに起因する。また、無線ICチップ5の後段にキャパシタンス素子C1a,C1bが挿入されているため、耐サージ性能が向上する。
(第18実施例、図32〜図34参照)
第18実施例である無線ICデバイス1rは、図32に等価回路として示すように、給電回路16が互いに高い結合度をもって磁気結合するインダクタンス素子L1,L2を備えている。インダクタンス素子L1は無線ICチップ5に設けたインダクタンス素子L5と磁気結合し、インダクタンス素子L2はキャパシタンス素子C2とでLC直列共振回路を形成している。また、キャパシタンス素子C1は放射板20と容量結合し、キャパシタンス素子C1,C2の間にいま一つのキャパシタンス素子C3が挿入されている。
給電回路基板10は、詳しくは、図33に示すように、誘電体からなるセラミックシート91A〜91Eを積層、圧着、焼成したもので、導体パターン92a,92bとビアホール導体93a,93b,94a,94bを形成したシート91A、キャパシタ電極95とビアホール導体93c,93d,94cを形成したシート91B、キャパシタ電極96とビアホール導体93c,93dを形成したシート91C、キャパシタ電極97とビアホール導体93cを形成したシート91D、キャパシタ電極98を形成したシート91Eからなる。
これらのシート91A〜91Eを積層することにより、導体パターン92aにてインダクタンス素子L1が形成され、導体パターン92bにてインダクタンス素子L2が形成される。キャパシタ電極97,98にてキャパシタンス素子C1が形成され、インダクタンス素子L1の一端はビアホール導体93a,93cを介してキャパシタ電極98に接続され、他端はビアホール導体93b,93dを介してキャパシタ電極97に接続されている。キャパシタ電極95,96にてキャパシタンス素子C2が形成され、インダクタンス素子L2の一端はビアホール導体94a,94cを介してキャパシタ電極96に接続され、他端はビアホール導体94bを介してキャパシタ電極95に接続されている。さらに、キャパシタ電極96,97にてキャパシタンス素子C3が形成される。
また、図34に示すように、無線ICチップ5の裏面側にはチップ側電極パターンとしてのコイル状電極パターン99が設けられ、該コイル状電極パターン99にてインダクタンス素子L5が形成されている。なお、コイル状電極パターン99の表面には樹脂などによる保護膜が設けられている。これによって、基板側電極パターンであるコイル状電極パターンで形成されたインダクタンス素子L1,L2とコイル状電極パターン99とが磁気結合する。
本第18実施例の作用効果は基本的に前記第1実施例と同様である。即ち、この無線ICデバイス1rは、図示しないリーダライタから放射される高周波信号(例えば、UHF周波数帯)を放射板20で受信し、放射板20と容量結合及び磁気結合している給電回路16(インダクタンス素子L2とキャパシタンス素子C2からなるLC直列共振回路)を共振させ、所定の周波数帯の受信信号のみを無線ICチップ5に供給する。一方、この受信信号から所定のエネルギーを取り出し、このエネルギーを駆動源として無線ICチップ5にメモリされている情報を、給電回路16にて所定の周波数に整合させた後、容量結合及び磁界結合を介して放射板20に送信信号を伝え、放射板20からリーダライタに送信、転送する。給電回路16と無線ICチップ5はインダクタンス素子L1,L5によって磁気結合され、電力、送受信信号が伝送される。
(第19実施例、図35及び図36参照)
第19実施例である無線ICデバイス1sは、図35に等価回路として示すように、給電回路16が互いに高い結合度をもって磁気結合するインダクタンス素子L1,L2,L3を備えている。インダクタンス素子L1は無線ICチップ5に設けたインダクタンス素子L5と磁気結合し、インダクタンス素子L2はキャパシタンス素子C1a,C1bとでLC直列共振回路を形成し、インダクタンス素子L3はキャパシタンス素子C2a,C2bとでLC直列共振回路を形成している。また、インダクタンス素子L1,L2,L3はそれぞれ放射板20と磁気結合している。
給電回路基板10は、詳しくは、図36に示すように、誘電体からなるセラミックシート101A〜101Eを積層、圧着、焼成したもので、導体パターン102aとビアホール導体103a,103bを形成したシート101A、キャパシタ電極104a,104bを形成したシート101B、キャパシタ電極105a,105bとビアホール導体103c,103dを形成したシート101C、キャパシタ電極106a,106bとビアホール導体103c,103d,103e,103fを形成したシート101D、導体パターン102b,102cを形成したシート101Eからなる。即ち、インダクタンス素子L1による磁束がインダクタンス素子L2,L3、さらには、放射板20に到達するように、キャパシタンス素子を構成する電極104a,105a,106aと電極104b,105b,106bとの間にスペースが空けられている。
これらのシート101A〜101Eを積層することにより、導体パターン102aにてインダクタンス素子L1が形成され、導体パターン102bにてインダクタンス素子L2が形成され、導体パターン102cにてインダクタンス素子L3が形成される。キャパシタ電極104a,105aにてキャパシタンス素子C1aが形成され、キャパシタ電極104b,105bにてキャパシタンス素子C1bが形成される。また、キャパシタ電極105a,106aにてキャパシタンス素子C2aが形成され、キャパシタ電極105b,106bにてキャパシタンス素子C2bが形成される。
インダクタンス素子L1の一端はビアホール導体103aを介してキャパシタ電極104aに接続され、他端はビアホール導体103bを介してキャパシタ電極104bに接続されている。インダクタンス素子L2の一端はビアホール導体103cを介してキャパシタ電極105aに接続され、他端はビアホール導体103fを介してキャパシタ電極106bに接続されている。インダクタンス素子L3の一端はビアホール導体103eを介してキャパシタ電極106aに接続され、他端はビアホール導体103dを介してキャパシタ電極105bに接続されている。
また、図34に示したように、無線ICチップ5の裏面側にはチップ側電極パターンとしてのコイル状電極パターン99が設けられ、該コイル状電極パターン99にてインダクタンス素子L5が形成されている。なお、コイル状電極パターン99の表面には樹脂などによる保護膜が設けられている。これによって、基板側電極パターンであるコイル状電極パターンで形成されたインダクタンス素子L1とコイル状電極パターン99とが磁気結合する。
本第19実施例の作用効果は基本的に前記第17実施例と同様である。即ち、この無線ICデバイス1sは、図示しないリーダライタから放射される高周波信号(例えば、UHF周波数帯)を放射板20で受信し、放射板20と磁気結合している給電回路16(インダクタンス素子L2とキャパシタンス素子C1a,C1bからなるLC直列共振回路及びインダクタンス素子L3とキャパシタンス素子C2a,C2bからなるLC直列共振回路)を共振させ、所定の周波数帯の受信信号のみを無線ICチップ5に供給する。一方、この受信信号から所定のエネルギーを取り出し、このエネルギーを駆動源として無線ICチップ5にメモリされている情報を、給電回路16にて所定の周波数に整合させた後、給電回路16のインダクタンス素子L1,L2,L3から、磁界結合を介して放射板20に送信信号を伝え、放射板20からリーダライタに送信、転送する。給電回路16と無線ICチップ5はインダクタンス素子L1,L5によって磁気結合され、電力、送受信信号が伝送される。
特に、本第19実施例では、給電回路16を互いに磁気結合するインダクタンス素子L2,L3を含む複数のLC共振回路にて構成したため、前記第17実施例と同様に周波数帯域が広くなる。
(第20実施例、図37〜図42参照)
第20実施例である無線ICデバイス1tは、給電回路基板110を単層基板で構成したものであり、その等価回路は図3と同様である。即ち、給電回路16はインダクタンス素子Lの両端にキャパシタンス素子C1,C2が接続されたLC直列共振回路にて構成されている。給電回路基板110は、誘電体からなるセラミック基板であり、図37に示すように、表面にはキャパシタ電極111a,111bが形成され、裏面にはキャパシタ電極112a,112bと導体パターン113が形成されている。キャパシタ電極111a,112aにてキャパシタンス素子C1が形成され、キャパシタ電極111b,112bにてキャパシタンス素子C2が形成される。
本第20実施例の作用効果は基本的に前記第1実施例と同様である。即ち、この無線ICデバイス1tは、図示しないリーダライタから放射される高周波信号(例えば、UHF周波数帯)を放射板20で受信し、放射板20と磁気結合している給電回路16(インダクタンス素子Lとキャパシタンス素子C1,C2からなるLC直列共振回路)を共振させ、所定の周波数帯の受信信号のみを無線ICチップ5に供給する。一方、この受信信号から所定のエネルギーを取り出し、このエネルギーを駆動源として無線ICチップ5にメモリされている情報を、給電回路16にて所定の周波数に整合させた後、給電回路16のインダクタンス素子Lから、磁界結合を介して放射板20に送信信号を伝え、放射板20からリーダライタに送信、転送する。
特に、本第20実施例においては、図38及び図39に示すように、インダクタンス素子Lは無線ICチップ5に対して平面視で部分的にしか重ならないように配置されている。これにて、インダクタンス素子Lで発生する磁束のほとんどが無線ICチップ5に遮られることがなく、磁束の立ち上がりが良好になる。
また、本第20実施例においては、図40に示すように、無線ICチップ5を搭載した給電回路基板110を放射板20,20にて表裏で挟み込んでもよい。給電回路16と放射板20,20との磁気結合効率が向上し、利得が改善される。
放射板20,20を給電回路基板110の表裏面に配置する形態としては、図41に示すように、x軸上に一直線上に配置してもよく、あるいは、図42に示すように、x軸、y軸上に配置してもよい。
(第21実施例、図43参照)
第21実施例である無線ICデバイス1uは、インダクタンス素子Lをミアンダ状のライン電極パターンで形成したものであり、その等価回路は図3と同様である。即ち、給電回路16はインダクタンス素子Lの両端にキャパシタンス素子C1,C2が接続されたLC直列共振回路にて構成されている。給電回路基板110は、誘電体からなるセラミックの単層基板であり、図43に示すように、表面にはキャパシタ電極121a,121bが形成され、裏面にはキャパシタ電極122a,122bとミアンダ状の導体パターン123が形成されている。キャパシタ電極121a,122aにてキャパシタンス素子C1が形成され、キャパシタ電極121b,122bにてキャパシタンス素子C2が形成される。
本第21実施例の作用効果は基本的に前記第1実施例と同様である。即ち、この無線ICデバイス1uは、図示しないリーダライタから放射される高周波信号(例えば、UHF周波数帯)を放射板20で受信し、放射板20と磁気結合している給電回路16(インダクタンス素子Lとキャパシタンス素子C1,C2からなるLC直列共振回路)を共振させ、所定の周波数帯の受信信号のみを無線ICチップ5に供給する。一方、この受信信号から所定のエネルギーを取り出し、このエネルギーを駆動源として無線ICチップ5にメモリされている情報を、給電回路16にて所定の周波数に整合させた後、給電回路16のインダクタンス素子Lから、磁界結合を介して放射板20に送信信号を伝え、放射板20からリーダライタに送信、転送する。
特に、本第21実施例においては、インダクタンス素子Lをミアンダ状の導体パターン123で構成しているため、高周波信号の送受信に効果的である。
なお、前記第20実施例及び本第21実施例においては、給電回路基板110を多層基板で構成することも可能である。
(第22実施例、図44及び図45参照)
第22実施例である無線ICデバイス1vは、図44に等価回路として示すように、給電回路16が互いに磁気結合(符号Mで示す)するインダクタンス素子L1,L2を備え、インダクタンス素子L1は一端がキャパシタンス素子C1及び接続用電極131aを介して無線ICチップ5と接続されるとともに、キャパシタンス素子C2を介してインダクタンス素子L2の一端と接続されている。また、インダクタンス素子L1,L2の他端はそれぞれ接続用電極131bを介して無線ICチップ5と接続されている。換言すれば、給電回路16は、インダクタンス素子L1とキャパシタンス素子C1とからなるLC直列共振回路と、インダクタンス素子L2とキャパシタンス素子C2とからなるLC直列共振回路を含んで構成されており、インダクタンス素子L1,L2の双方が放射板20と磁気的に結合している。
給電回路基板10は図45に示すように構成されている。接続用電極131aはビアホール導体132aを介してキャパシタ電極133と接続され、キャパシタ電極133はキャパシタ電極134と対向してキャパシタンス素子C1を形成している。さらに、キャパシタ電極134はキャパシタ電極135と対向してキャパシタンス素子C2を形成している。接続用電極131bはビアホール導体132bを介して二股状に分岐した導体パターン136a,137aと接続され、導体パターン136aはビアホール導体132cを介して導体パターン136bと接続され、さらに、ビアホール導体132dを介して導体パターン136cと接続され、さらに、ビアホール導体132eを介して導体パターン136dと接続され、この導体パターン136dはビアホール導体132fを介してキャパシタ電極134と接続されている。
一方、導体パターン137aはビアホール導体132gを介して導体パターン137bと接続され、さらに、ビアホール導体132hを介して導体パターン137cと接続され、さらに、ビアホール導体132iを介してキャパシタ電極135と接続されている。導体パターン136a,136b,136cはインダクタンス素子L1を構成し、導体パターン137a,137b,137cはインダクタンス素子L2を構成している。なお、図45において誘電体からなるセラミックシートは図示を省略している。
本第22実施例の作用効果は基本的に前記第1実施例と同様である。即ち、この無線ICデバイス1vは、図示しないリーダライタから放射される高周波信号(例えば、UHF周波数帯)を放射板20で受信し、放射板20と主として磁気的に結合している給電回路16(インダクタンス素子L1とキャパシタンス素子C1からなるLC直列共振回路及びインダクタンス素子L2とキャパシタンス素子C2からなるLC直列共振回路)を共振させ、所定の周波数帯の受信信号のみを無線ICチップ5に供給する。一方、この受信信号から所定のエネルギーを取り出し、このエネルギーを駆動源として無線ICチップ5にメモリされている情報を、給電回路16にて所定の周波数に整合させた後、給電回路16のインダクタンス素子L1,L2から、磁界結合を介して放射板20に送信信号を伝え、放射板20からリーダライタに送信、転送する。
特に、本第22実施例では、キャパシタ電極133,134,135及びインダクタ導体パターン136a〜136c,137a〜137cは放射板20に対して平行に配置されている。それゆえ、インダクタ導体パターン136a〜136c,137a〜137cによって形成される磁界がキャパシタ電極133,134,135によって遮られることがなく、インダクタ導体パターン136a〜136c,137a〜137cからの放射特性が向上する。
(第23実施例、図46参照)
第23実施例である無線ICデバイスは、図44に示した等価回路を有する給電回路16を備えた給電回路基板10にて構成されている。この給電回路基板10は、図46に示すように、図45に示した給電回路基板10と基本的に同様の構成を有し、さらに、インダクタ導体パターン136a〜136c,137a〜137cによって磁界が形成される部分に、反射器(反射パターン)138及び導波器(導波パターン)139を設けたものである。反射器138や導波器139は給電回路16から放射板20への放射特性や指向性を容易に調整することができ、外部からの電磁気的な影響を極力排除して共振特性の安定化を図ることができる。本第23実施例の作用効果は前記第22実施例と同様である。
(第24実施例、図47及び図48参照)
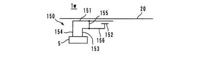
第24実施例である無線ICデバイス1wは、給電回路150を逆Fアンテナ構成で形成した分布定数型共振回路によって形成したものであり、図47に示す等価回路を有している。詳しくは、図48に示すように、セラミックの多層基板からなる給電回路基板140は、第1面140aに設けたハイ側電極151と内蔵されたキャパシタ電極152と第2面140bに設けたロー側電極153とを備えている。ハイ側電極151は放射板20と磁界結合及び容量結合により電気的に接続されるとともに、給電ピン154にて無線ICチップ5のハイ側端子に接続されている。ロー側電極153は無線ICチップ5のロー側端子に接続され、かつ、短絡ピン155を介してハイ側電極151に接続されている。キャパシタ電極152はハイ側電極151と対向して容量を形成し、短絡ピン156を介してロー側電極153に接続されている。
この無線ICデバイス1wは、図示しないリーダライタから放射される高周波信号を放射板20で受信し、放射板20と磁界結合及び容量結合している給電回路150を共振させ、所定の周波数の受信信号のみを無線ICチップ5に供給する。一方、この受信信号から所定のエネルギーを取り出し、このエネルギーを駆動源として無線ICチップ5にメモリされている情報を、給電回路150にて所定の周波数に整合させた後、放射板20からリーダライタに送信、転送する。
(第25実施例、図49及び図50参照)
第25実施例である無線ICデバイス1xは、給電回路160を逆Fアンテナ構成で形成した分布定数型共振回路によって形成したものであり、図49に示す等価回路を有している。詳しくは、図50に示すように、セラミックの多層基板からなる給電回路基板140は、第1面140aに設けたハイ側電極161と第2面140bに設けたロー側電極162とを備えている。ハイ側電極161は放射板20と磁界結合及び容量結合により電気的に接続されるとともに、給電ピン163にて無線ICチップ5のハイ側端子に接続されている。ロー側電極162は無線ICチップ5のロー側端子に接続され、かつ、短絡ピン164を介してハイ側電極161に接続されている。
この無線ICデバイス1xは、図示しないリーダライタから放射される高周波信号を放射板20で受信し、放射板20と磁界結合及び容量結合している給電回路160を共振させ、所定の周波数の受信信号のみを無線ICチップ5に供給する。一方、この受信信号から所定のエネルギーを取り出し、このエネルギーを駆動源として無線ICチップ5にメモリされている情報を、給電回路160にて所定の周波数に整合させた後、放射板20からリーダライタに送信、転送する。
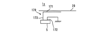
(第26実施例、図51及び図52参照)
第26実施例である無線ICデバイス1yは、給電回路170を逆Lアンテナ構成で形成した分布定数型共振回路によって形成したものであり、図51に示す等価回路を有している。詳しくは、図52に示すように、セラミックの多層基板からなる給電回路基板140は、第1面140aに設けたハイ側電極171と第2面140bに設けたロー側電極172とを備えている。ハイ側電極171は放射板20と磁界結合及び容量結合により電気的に接続されるとともに、給電ピン173にて無線ICチップ5のハイ側端子に接続されている。ロー側電極172は無線ICチップ5のロー側端子に接続されている。
この無線ICデバイス1yは、図示しないリーダライタから放射される高周波信号を放射板20で受信し、放射板20と磁界結合及び容量結合している給電回路170を共振させ、所定の周波数の受信信号のみを無線ICチップ5に供給する。一方、この受信信号から所定のエネルギーを取り出し、このエネルギーを駆動源として無線ICチップ5にメモリされている情報を、給電回路170にて所定の周波数に整合させた後、放射板20からリーダライタに送信、転送する。
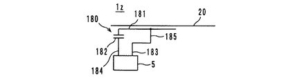
(第27実施例、図53及び図54参照)
第27実施例である無線ICデバイス1zは、給電回路180を逆Lアンテナ構成で形成した分布定数型共振回路によって形成したものであり、図53に示す等価回路を有している。詳しくは、図54に示すように、セラミックの多層基板からなる給電回路基板140は、第1面140aに設けたハイ側電極181と内蔵されたキャパシタ電極182と第2面140bに設けたロー側電極183とを備えている。ハイ側電極181は放射板20と磁界結合及び容量結合により電気的に接続されている。キャパシタ電極182はハイ側電極181と対向して容量を形成し、給電ピン184にて無線ICチップ5のハイ側端子に接続されている。ロー側電極183は無線ICチップ5のロー側端子に接続され、かつ、短絡ピン185を介してハイ側電極181に接続されている。
この無線ICデバイス1zは、図示しないリーダライタから放射される高周波信号を放射板20で受信し、放射板20と磁界結合及び容量結合している給電回路180を共振させ、所定の周波数の受信信号のみを無線ICチップ5に供給する。一方、この受信信号から所定のエネルギーを取り出し、このエネルギーを駆動源として無線ICチップ5にメモリされている情報を、給電回路180にて所定の周波数に整合させた後、放射板20からリーダライタに送信、転送する。
(第28実施例、図55参照)
第28実施例である無線ICデバイス2aは、図55に示すように、無線ICチップ5と給電回路基板10とをリジッドな配線基板8上に搭載、並置し、給電回路基板10を接着剤18にて放射板20に貼着したものである。給電回路基板10は、例えば、図2に示した給電回路16を内蔵したもので、無線ICチップ5とは配線基板8上に設けた複数の導体9によって電気的に接続されている。
この無線ICデバイス2aにおいても、給電回路16が放射板20と主として磁気的に結合し、前記第1実施例と同様の作用を奏し、リーダライタと交信する。なお、本第28実施例において、給電回路基板10としては第1実施例に示したもの以外に、前記各実施例に示したものを使用することができる。この点は以下に説明する第29実施例でも同様である。
(第29実施例、図56参照)
第29実施例である無線ICデバイス2bは、図56に示すように、前記第28実施例に対して配線基板8にいま一つの放射板20を貼着し、一対の放射板20,20にて無線ICチップ5、給電回路基板10及び配線基板8を挟み込んだものである。その作用は第28実施例と同様であり、特に、給電回路16と放射板20,20との磁気結合効率が向上する。
(第30実施例、図57参照)
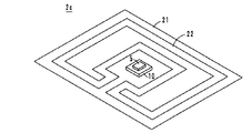
第30実施例である無線ICデバイス2cは、図57に示すように、樹脂フィルム21の表面に二重の閉ループ形状とした放射板22を左右対称形状に設け、該放射板22の内側ループの中央部に、無線ICチップ5を搭載した給電回路基板10を配置したものである。
本第30実施例において、給電回路基板10は放射板22に貼着されることなく、放射板22に近接配置されている。そして、放射板22はループ形状とされているため、放射板22の直線的な長さが短くなる。この構成においても、給電回路基板10と放射板22とが電磁誘導結合され、前記各実施例と同様に信号の受け渡しが行われ、リーダライタとの交信が可能である。また、給電回路基板10は放射板22のほぼ中心部に配置すればよく、それほどの位置精度を要求されない。
(第31実施例、図58参照)
第31実施例である無線ICデバイス2dは、図58に示すように、樹脂フィルム21の表面にミアンダ形状とループ形状とうず巻き形状を組み合わせた放射板23を左右対称形状に設け、該放射板23の内側ループの中心部に、無線ICチップ5を搭載した給電回路基板10を配置したものである。
本第31実施例においても、給電回路基板10は放射板23に貼着されることなく、放射板23に近接配置されている。そして、放射板23はミアンダ形状とループ形状とうず巻き形状を組み合わせているため、放射板23の直線的な長さが短くなる。この構成においても、給電回路基板10と放射板23とが電磁誘導結合され、前記各実施例と同様に信号の受け渡しが行われ、リーダライタとの交信が可能である。また、前記第30実施例と同様に、給電回路基板10の配置にそれほどの位置精度を要求されない。
(他の実施例)
なお、本発明に係る給電回路は前記実施例に限定するものではなく、その要旨の範囲内で種々に変更することができる。
例えば、給電回路基板の内部構成の細部、放射板やフィルムの細部形状は任意である。また、無線ICチップを給電回路基板上に接続するのに、半田バンプ以外の処理を用いてもよい。さらに、給電回路基板は必ずしもリジッドである必要はなく、有機樹脂材料(例えば、ポリイミドや液晶ポリマー)にてフレキシブルな基板として構成してもよい。
以上のように、本発明は、給電回路に有用であり、安定した周波数特性を有し、かつ、広い周波数帯域を実現できる点で優れている。
1a〜1z,2a〜2d…無線ICデバイス
5…無線ICチップ
6…半田バンプ
8…配線基板
10,50,110,140…給電回路基板
16,56,150,160,170,180…給電回路
20,22,23…放射板
21…フィルム
L、L1,L2,L3,L5…インダクタンス素子
C,C1,C2,C3,C1a,C1b,C2a,C2b…キャパシタンス素子

Claims (8)

  1. 所定の共振周波数を有する共振回路を含み、所定の周波数を有する送信信号を放射板に供給する、及び/又は、所定の周波数を有する受信信号を放射板から供給される給電回路であって、
    前記共振回路は、第1のインダクタンス素子を含む第1の共振回路、及び、第2のインダクタンス素子を含む第2の共振回路を備え、
    前記第1のインダクタンス素子と前記第2のインダクタンス素子は、互いに電気的に並列に接続されており、かつ、互いに磁気的に結合していること、
    を特徴とする給電回路。
  2. さらに、複数の端子を備え、
    前記第1のインダクタンス素子と前記第2のインダクタンス素子は、前記複数の端子に対して電気的に並列に接続されていること、
    を特徴とする請求項1に記載の給電回路。
  3. 前記第1のインダクタンス素子の一方端は前記第2のインダクタンス素子の一方端に接続されており、
    前記第1のインダクタンス素子の他方端は前記第2のインダクタンス素子の他方端に接続されていること、
    を特徴とする請求項1又は請求項2に記載の給電回路。
  4. 前記第1及び第2の共振回路は、それぞれ、分布定数型共振回路であること、を特徴とする請求項1ないし請求項3のいずれかに記載の給電回路。
  5. 前記第1及び第2の共振回路は、それぞれ、第1のキャパシタンス素子及び第2のキャパシタンス素子を含む集中定数型共振回路であること、を特徴とする請求項1ないし請求項3のいずれかに記載の給電回路。
  6. 前記第1のキャパシタンス素子は前記端子と前記第1のインダクタンス素子との間に接続され、
    前記第2のキャパシタンス素子は前記第1のインダクタンス素子と前記第2のインダクタンス素子との間に接続されていること、
    を特徴とする請求項5に記載の給電回路。
  7. さらに、複数の誘電体層又は磁性体層を積層してなる多層基板を備え、
    前記第1及び第2のインダクタンス素子を構成するコイル状電極パターンは、前記多層基板の表面及び/又は内部に形成されていること、
    を特徴とする請求項1ないし請求項6のいずれかに記載の給電回路。
  8. 前記放射板はその電気長が前記共振回路の共振周波数の半波長の整数倍であること、を特徴とする請求項1ないし請求項7のいずれかに記載の給電回路。
JP2009267172A 2006-01-19 2009-11-25 給電回路 Active JP4929485B2 (ja)

Priority Applications (1)

Application Number Priority Date Filing Date Title
JP2009267172A JP4929485B2 (ja) 2006-01-19 2009-11-25 給電回路

Applications Claiming Priority (11)

Application Number Priority Date Filing Date Title
JP2006011626 2006-01-19
JP2006011626 2006-01-19
JP2006079099 2006-03-22
JP2006079099 2006-03-22
JP2006146258 2006-05-26
JP2006146258 2006-05-26
JP2006182685 2006-06-30
JP2006182685 2006-06-30
JP2006236777 2006-08-31
JP2006236777 2006-08-31
JP2009267172A JP4929485B2 (ja) 2006-01-19 2009-11-25 給電回路

Related Parent Applications (1)

Application Number Title Priority Date Filing Date
JP2009145245A Division JP5077296B2 (ja) 2006-01-19 2009-06-18 無線icデバイス及び無線icデバイス用部品

Publications (2)

Publication Number Publication Date
JP2010051017A true JP2010051017A (ja) 2010-03-04
JP4929485B2 JP4929485B2 (ja) 2012-05-09

Family

ID=38287527

Family Applications (7)

Application Number Title Priority Date Filing Date
JP2007531525A Active JP4069958B2 (ja) 2006-01-19 2007-01-12 無線icデバイス
JP2007341513A Active JP4367556B2 (ja) 2006-01-19 2007-12-29 無線icデバイス
JP2009145245A Active JP5077296B2 (ja) 2006-01-19 2009-06-18 無線icデバイス及び無線icデバイス用部品
JP2009145247A Active JP5077298B2 (ja) 2006-01-19 2009-06-18 無線icデバイス
JP2009145246A Active JP5077297B2 (ja) 2006-01-19 2009-06-18 無線icデバイス
JP2009267172A Active JP4929485B2 (ja) 2006-01-19 2009-11-25 給電回路
JP2012189457A Pending JP2013013130A (ja) 2006-01-19 2012-08-30 無線icデバイス

Family Applications Before (5)

Application Number Title Priority Date Filing Date
JP2007531525A Active JP4069958B2 (ja) 2006-01-19 2007-01-12 無線icデバイス
JP2007341513A Active JP4367556B2 (ja) 2006-01-19 2007-12-29 無線icデバイス
JP2009145245A Active JP5077296B2 (ja) 2006-01-19 2009-06-18 無線icデバイス及び無線icデバイス用部品
JP2009145247A Active JP5077298B2 (ja) 2006-01-19 2009-06-18 無線icデバイス
JP2009145246A Active JP5077297B2 (ja) 2006-01-19 2009-06-18 無線icデバイス

Family Applications After (1)

Application Number Title Priority Date Filing Date
JP2012189457A Pending JP2013013130A (ja) 2006-01-19 2012-08-30 無線icデバイス

Country Status (6)

Country Link
EP (9) EP3367500B1 (ja)
JP (7) JP4069958B2 (ja)
KR (3) KR101010834B1 (ja)
CN (3) CN104751221B (ja)
BR (1) BRPI0702918A2 (ja)
WO (1) WO2007083574A1 (ja)

Cited By (33)

* Cited by examiner, † Cited by third party
Publication number Priority date Publication date Assignee Title
JP2012059015A (ja) * 2010-09-09 2012-03-22 Murata Mfg Co Ltd 無線icタグ及びrfidシステム
WO2012117843A1 (ja) * 2011-02-28 2012-09-07 株式会社村田製作所 無線通信デバイス
JP2013183596A (ja) * 2012-03-05 2013-09-12 Nagasaki Univ 無線電力伝送装置および無線電力伝送システム
US8662403B2 (en) 2007-07-04 2014-03-04 Murata Manufacturing Co., Ltd. Wireless IC device and component for wireless IC device
US8690070B2 (en) 2009-04-14 2014-04-08 Murata Manufacturing Co., Ltd. Wireless IC device component and wireless IC device
US8720789B2 (en) 2012-01-30 2014-05-13 Murata Manufacturing Co., Ltd. Wireless IC device
US8740093B2 (en) 2011-04-13 2014-06-03 Murata Manufacturing Co., Ltd. Radio IC device and radio communication terminal
US8770489B2 (en) 2011-07-15 2014-07-08 Murata Manufacturing Co., Ltd. Radio communication device
US8797225B2 (en) 2011-03-08 2014-08-05 Murata Manufacturing Co., Ltd. Antenna device and communication terminal apparatus
US8797148B2 (en) 2008-03-03 2014-08-05 Murata Manufacturing Co., Ltd. Radio frequency IC device and radio communication system
US8814056B2 (en) 2011-07-19 2014-08-26 Murata Manufacturing Co., Ltd. Antenna device, RFID tag, and communication terminal apparatus
US8853549B2 (en) 2009-09-30 2014-10-07 Murata Manufacturing Co., Ltd. Circuit substrate and method of manufacturing same
US8878739B2 (en) 2011-07-14 2014-11-04 Murata Manufacturing Co., Ltd. Wireless communication device
US8905296B2 (en) 2011-12-01 2014-12-09 Murata Manufacturing Co., Ltd. Wireless integrated circuit device and method of manufacturing the same
US8917211B2 (en) 2008-11-17 2014-12-23 Murata Manufacturing Co., Ltd. Antenna and wireless IC device
US8976075B2 (en) 2009-04-21 2015-03-10 Murata Manufacturing Co., Ltd. Antenna device and method of setting resonant frequency of antenna device
US8973841B2 (en) 2008-05-21 2015-03-10 Murata Manufacturing Co., Ltd. Wireless IC device
US8991713B2 (en) 2011-01-14 2015-03-31 Murata Manufacturing Co., Ltd. RFID chip package and RFID tag
US9024725B2 (en) 2009-11-04 2015-05-05 Murata Manufacturing Co., Ltd. Communication terminal and information processing system
US9024837B2 (en) 2010-03-31 2015-05-05 Murata Manufacturing Co., Ltd. Antenna and wireless communication device
US9104950B2 (en) 2009-01-30 2015-08-11 Murata Manufacturing Co., Ltd. Antenna and wireless IC device
US9117157B2 (en) 2009-10-02 2015-08-25 Murata Manufacturing Co., Ltd. Wireless IC device and electromagnetic coupling module
JP5825457B1 (ja) * 2014-02-14 2015-12-02 株式会社村田製作所 アンテナ装置および無線通信装置
US9281873B2 (en) 2008-05-26 2016-03-08 Murata Manufacturing Co., Ltd. Wireless IC device system and method of determining authenticity of wireless IC device
US9378452B2 (en) 2011-05-16 2016-06-28 Murata Manufacturing Co., Ltd. Radio IC device
US9543642B2 (en) 2011-09-09 2017-01-10 Murata Manufacturing Co., Ltd. Antenna device and wireless device
US9558384B2 (en) 2010-07-28 2017-01-31 Murata Manufacturing Co., Ltd. Antenna apparatus and communication terminal instrument
US9692128B2 (en) 2012-02-24 2017-06-27 Murata Manufacturing Co., Ltd. Antenna device and wireless communication device
US9727765B2 (en) 2010-03-24 2017-08-08 Murata Manufacturing Co., Ltd. RFID system including a reader/writer and RFID tag
US9761923B2 (en) 2011-01-05 2017-09-12 Murata Manufacturing Co., Ltd. Wireless communication device
US9830552B2 (en) 2007-07-18 2017-11-28 Murata Manufacturing Co., Ltd. Radio IC device
US10013650B2 (en) 2010-03-03 2018-07-03 Murata Manufacturing Co., Ltd. Wireless communication module and wireless communication device
US10235544B2 (en) 2012-04-13 2019-03-19 Murata Manufacturing Co., Ltd. Inspection method and inspection device for RFID tag

Families Citing this family (100)

* Cited by examiner, † Cited by third party
Publication number Priority date Publication date Assignee Title
US9130602B2 (en) 2006-01-18 2015-09-08 Qualcomm Incorporated Method and apparatus for delivering energy to an electrical or electronic device via a wireless link
US8447234B2 (en) 2006-01-18 2013-05-21 Qualcomm Incorporated Method and system for powering an electronic device via a wireless link
US7519328B2 (en) 2006-01-19 2009-04-14 Murata Manufacturing Co., Ltd. Wireless IC device and component for wireless IC device
CN102780085A (zh) 2006-04-14 2012-11-14 株式会社村田制作所 天线
US9064198B2 (en) 2006-04-26 2015-06-23 Murata Manufacturing Co., Ltd. Electromagnetic-coupling-module-attached article
CN101467209B (zh) 2006-06-30 2012-03-21 株式会社村田制作所 光盘
JP4775442B2 (ja) 2006-09-26 2011-09-21 株式会社村田製作所 電磁結合モジュール付き物品
CN101523750B (zh) * 2006-10-27 2016-08-31 株式会社村田制作所 带电磁耦合模块的物品
JP4888494B2 (ja) 2007-02-06 2012-02-29 株式会社村田製作所 電磁結合モジュール付き包装材
JPWO2008096574A1 (ja) * 2007-02-06 2010-05-20 株式会社村田製作所 電磁結合モジュール付き包装材
US9774086B2 (en) 2007-03-02 2017-09-26 Qualcomm Incorporated Wireless power apparatus and methods
EP2133827B1 (en) 2007-04-06 2012-04-25 Murata Manufacturing Co. Ltd. Radio ic device
JP4697332B2 (ja) 2007-04-09 2011-06-08 株式会社村田製作所 無線icデバイス
CN101601055B (zh) 2007-04-26 2012-11-14 株式会社村田制作所 无线ic器件
ATE544129T1 (de) 2007-04-27 2012-02-15 Murata Manufacturing Co Drahtlose ic-vorrichtung
EP2141769A4 (en) 2007-04-27 2010-08-11 Murata Manufacturing Co WIRELESS IC DEVICE
JP4867777B2 (ja) * 2007-05-01 2012-02-01 富士ゼロックス株式会社 ユニット間通信装置
WO2008142957A1 (ja) 2007-05-10 2008-11-27 Murata Manufacturing Co., Ltd. 無線icデバイス
WO2008140037A1 (ja) 2007-05-11 2008-11-20 Murata Manufacturing Co., Ltd. 無線icデバイス
US9124120B2 (en) 2007-06-11 2015-09-01 Qualcomm Incorporated Wireless power system and proximity effects
ATE545174T1 (de) 2007-06-27 2012-02-15 Murata Manufacturing Co Kabelloses ic-gerät
CN101542831B (zh) 2007-07-09 2014-06-25 株式会社村田制作所 无线ic器件
CN104540317B (zh) 2007-07-17 2018-11-02 株式会社村田制作所 印制布线基板
EP2169594B1 (en) 2007-07-18 2018-03-07 Murata Manufacturing Co., Ltd. Wireless ic device and method for manufacturing the same
US7830311B2 (en) * 2007-07-18 2010-11-09 Murata Manufacturing Co., Ltd. Wireless IC device and electronic device
US20090021352A1 (en) 2007-07-18 2009-01-22 Murata Manufacturing Co., Ltd. Radio frequency ic device and electronic apparatus
JP2009037413A (ja) * 2007-08-01 2009-02-19 Murata Mfg Co Ltd 無線icデバイス
WO2009023155A2 (en) 2007-08-09 2009-02-19 Nigelpower, Llc Increasing the q factor of a resonator
JP5023885B2 (ja) * 2007-08-28 2012-09-12 株式会社村田製作所 無線icデバイスの供給方法、電子部品の供給方法、および供給テープ
TW200814105A (en) * 2007-10-25 2008-03-16 Greatchip Technology Co Ltd Manufacture adjustable leakage inductance transformer
KR101047189B1 (ko) * 2007-12-20 2011-07-06 가부시키가이샤 무라타 세이사쿠쇼 무선 ic 디바이스
EP2717196B1 (en) 2007-12-26 2020-05-13 Murata Manufacturing Co., Ltd. Antenna device and wireless IC device
JP4518211B2 (ja) 2008-03-03 2010-08-04 株式会社村田製作所 複合アンテナ
CN101960665B (zh) 2008-03-26 2014-03-26 株式会社村田制作所 无线ic器件
US8629576B2 (en) 2008-03-28 2014-01-14 Qualcomm Incorporated Tuning and gain control in electro-magnetic power systems
CN101953025A (zh) 2008-04-14 2011-01-19 株式会社村田制作所 无线ic器件、电子设备以及无线ic器件的谐振频率调整方法
US20090273242A1 (en) * 2008-05-05 2009-11-05 Nigelpower, Llc Wireless Delivery of power to a Fixed-Geometry power part
WO2009142068A1 (ja) 2008-05-22 2009-11-26 株式会社村田製作所 無線icデバイス及びその製造方法
CN102047500B (zh) 2008-05-28 2014-05-28 株式会社村田制作所 无线ic器件用部件及无线ic器件
JP4557186B2 (ja) 2008-06-25 2010-10-06 株式会社村田製作所 無線icデバイスとその製造方法
JP4671001B2 (ja) 2008-07-04 2011-04-13 株式会社村田製作所 無線icデバイス
EP2320519B1 (en) 2008-08-19 2017-04-12 Murata Manufacturing Co., Ltd. Wireless ic device and method for manufacturing same
JP5429182B2 (ja) 2008-10-24 2014-02-26 株式会社村田製作所 無線icデバイス
JP4525869B2 (ja) 2008-10-29 2010-08-18 株式会社村田製作所 無線icデバイス
JPWO2010052839A1 (ja) 2008-11-06 2012-03-29 パナソニック株式会社 半導体装置
JP5041075B2 (ja) * 2009-01-09 2012-10-03 株式会社村田製作所 無線icデバイスおよび無線icモジュール
WO2010082413A1 (ja) 2009-01-16 2010-07-22 株式会社村田製作所 高周波デバイス及び無線icデバイス
EP2408063B1 (en) * 2009-03-13 2018-04-18 Murata Manufacturing Co., Ltd. Antenna apparatus
JP5170306B2 (ja) * 2009-03-31 2013-03-27 株式会社村田製作所 信号伝達用通信体及びカプラ
WO2010140429A1 (ja) * 2009-06-03 2010-12-09 株式会社村田製作所 無線icデバイス及びその製造方法
WO2010146944A1 (ja) * 2009-06-19 2010-12-23 株式会社村田製作所 無線icデバイス及び給電回路と放射板との結合方法
CN102474009B (zh) 2009-07-03 2015-01-07 株式会社村田制作所 天线及天线模块
JP5291570B2 (ja) * 2009-08-18 2013-09-18 トッパン・フォームズ株式会社 非接触通信部内蔵型金属製筐体
JP5182431B2 (ja) 2009-09-28 2013-04-17 株式会社村田製作所 無線icデバイスおよびそれを用いた環境状態検出方法
JP5218369B2 (ja) * 2009-10-13 2013-06-26 Tdk株式会社 Rfid及び無線通信機
CN102576939B (zh) 2009-10-16 2015-11-25 株式会社村田制作所 天线及无线ic器件
CN102598413A (zh) 2009-10-27 2012-07-18 株式会社村田制作所 收发装置及无线标签读取装置
EP2498207B1 (en) 2009-11-04 2014-12-31 Murata Manufacturing Co., Ltd. Wireless ic tag, reader/writer, and information processing system
WO2011055701A1 (ja) 2009-11-04 2011-05-12 株式会社村田製作所 通信端末及び情報処理システム
WO2011062238A1 (ja) 2009-11-20 2011-05-26 株式会社村田製作所 アンテナ装置及び移動体通信端末
WO2011077877A1 (ja) 2009-12-24 2011-06-30 株式会社村田製作所 アンテナ及び携帯端末
WO2011108341A1 (ja) 2010-03-03 2011-09-09 株式会社村田製作所 無線通信デバイス及び無線通信端末
JP5477459B2 (ja) 2010-03-12 2014-04-23 株式会社村田製作所 無線通信デバイス及び金属製物品
JP5170156B2 (ja) 2010-05-14 2013-03-27 株式会社村田製作所 無線icデバイス
JP5299351B2 (ja) 2010-05-14 2013-09-25 株式会社村田製作所 無線icデバイス
JP5376060B2 (ja) 2010-07-08 2013-12-25 株式会社村田製作所 アンテナ及びrfidデバイス
JP5609398B2 (ja) * 2010-08-05 2014-10-22 株式会社村田製作所 磁界プローブ
JP5423897B2 (ja) 2010-08-10 2014-02-19 株式会社村田製作所 プリント配線板及び無線通信システム
JP5234071B2 (ja) 2010-09-03 2013-07-10 株式会社村田製作所 Rficモジュール
WO2012033031A1 (ja) 2010-09-07 2012-03-15 株式会社村田製作所 アンテナ装置および通信端末装置
WO2012043432A1 (ja) 2010-09-30 2012-04-05 株式会社村田製作所 無線icデバイス
CN105226382B (zh) 2010-10-12 2019-06-11 株式会社村田制作所 天线装置及终端装置
CN102971909B (zh) 2010-10-21 2014-10-15 株式会社村田制作所 通信终端装置
JP5852432B2 (ja) * 2011-01-17 2016-02-03 ルネサスエレクトロニクス株式会社 送信回路、受信回路及びこれらを有する通信システム
JP6039785B2 (ja) * 2011-01-17 2016-12-07 ルネサスエレクトロニクス株式会社 送信回路
KR101317226B1 (ko) 2011-04-05 2013-10-15 가부시키가이샤 무라타 세이사쿠쇼 무선 통신 디바이스
WO2013008375A1 (ja) * 2011-07-12 2013-01-17 株式会社村田製作所 信号伝達用通信体及びカプラ
CN103733533A (zh) * 2011-08-16 2014-04-16 皇家飞利浦有限公司 用于电容性无线供电系统中的高效电力传输的技术
JP5665710B2 (ja) * 2011-09-26 2015-02-04 株式会社東芝 無線電力伝送システム、送電装置及び受電装置
JP2013120110A (ja) * 2011-12-07 2013-06-17 Murata Mfg Co Ltd 磁界プローブ
CN104115414B (zh) 2012-11-16 2016-09-07 株式会社村田制作所 无线通信设备及天线装置
WO2014141906A1 (ja) * 2013-03-15 2014-09-18 株式会社日立システムズ 積層コイルアンテナを備えた小型icタグ及びその製法
US9601267B2 (en) 2013-07-03 2017-03-21 Qualcomm Incorporated Wireless power transmitter with a plurality of magnetic oscillators
JP6135824B2 (ja) 2014-06-06 2017-05-31 株式会社村田製作所 Rficパッケージ内蔵樹脂成形体およびその製造方法
JP6511623B2 (ja) * 2015-07-17 2019-05-15 株式会社フェニックスソリューション 補助アンテナ、及び、rfidシステム
WO2018074553A1 (ja) * 2016-10-21 2018-04-26 京セラ株式会社 タグ用基板、rfidタグおよびrfidシステム
CN108122856B (zh) * 2016-11-29 2021-05-14 京瓷株式会社 半导体元件搭载基板
JP6593552B2 (ja) 2017-03-09 2019-10-23 株式会社村田製作所 無線通信デバイス
JP6678617B2 (ja) * 2017-03-29 2020-04-08 学校法人智香寺学園 円偏波アンテナ
JP6586447B2 (ja) * 2017-11-02 2019-10-02 株式会社エスケーエレクトロニクス Lc共振アンテナ
JP6473210B1 (ja) * 2017-11-02 2019-02-20 株式会社エスケーエレクトロニクス Lc共振アンテナ
US11275983B2 (en) 2017-12-25 2022-03-15 Kyocera Corporation RFID tags board, RFID tag and RFID system
JP7109232B2 (ja) * 2018-03-30 2022-07-29 戸田工業株式会社 モジュール基板用アンテナ、及びそれを用いたモジュール基板
JP2020017142A (ja) * 2018-07-26 2020-01-30 京セラ株式会社 ケーブル及び電子装置
EP3648010B1 (en) 2018-09-05 2022-08-10 Murata Manufacturing Co., Ltd. Rfic module, rfid tag, and article
JP6610849B1 (ja) 2018-09-05 2019-11-27 株式会社村田製作所 Rficモジュール、rfidタグ及び物品
JP6912022B1 (ja) 2019-09-05 2021-07-28 株式会社村田製作所 無線icタグ付き医療用金属製器具
WO2021075159A1 (ja) 2019-10-18 2021-04-22 株式会社村田製作所 無線icタグ付き医療用金属製器具
WO2021166490A1 (ja) 2020-02-17 2021-08-26 株式会社村田製作所 無線通信モジュール
CN114389055B (zh) 2022-01-18 2024-07-05 安徽安努奇科技有限公司 一种天线组件与通信系统

Citations (5)

* Cited by examiner, † Cited by third party
Publication number Priority date Publication date Assignee Title
JPH10293828A (ja) * 1997-04-18 1998-11-04 Omron Corp データキャリア、コイルモジュール、リーダライタ及び衣服データ取得方法
JP2000137779A (ja) * 1998-10-30 2000-05-16 Hitachi Maxell Ltd 非接触情報媒体とその製造方法
JP2003298348A (ja) * 2002-03-29 2003-10-17 Honda Denshi Giken:Kk アンテナ装置
JP2004343410A (ja) * 2003-05-15 2004-12-02 Hitachi Maxell Ltd 非接触通信式情報担体
JP2005204038A (ja) * 2004-01-15 2005-07-28 Fec Inc 識別タグのリーダライタ用アンテナ

Family Cites Families (52)

* Cited by examiner, † Cited by third party
Publication number Priority date Publication date Assignee Title
JPH04111218A (ja) * 1990-08-30 1992-04-13 Fujitsu Ltd 浮動型磁気ヘッドの支持機構
NL9100176A (nl) * 1991-02-01 1992-03-02 Nedap Nv Antenne met transformator voor contactloze informatieoverdracht vanuit integrated circuit-kaart.
NL9100347A (nl) * 1991-02-26 1992-03-02 Nedap Nv Geintegreerde transformator voor een contactloze identificatiekaart.
US5491483A (en) * 1994-01-05 1996-02-13 Texas Instruments Incorporated Single loop transponder system and method
EP0704928A3 (en) 1994-09-30 1998-08-05 HID Corporation RF transponder system with parallel resonant interrogation and series resonant response
JP3426774B2 (ja) * 1995-03-03 2003-07-14 日立マクセル株式会社 電磁結合コネクタ及びその製造方法
US5955723A (en) * 1995-05-03 1999-09-21 Siemens Aktiengesellschaft Contactless chip card
AU4705097A (en) * 1996-10-09 1998-05-05 Evc Rigid Film Gmbh Method and connection arrangement for producing a smart card
DE19645067C2 (de) * 1996-10-09 2002-01-10 Pav Card Gmbh Verbindungsanordnung zum Herstellen einer Chipkarte
US6181287B1 (en) * 1997-03-10 2001-01-30 Precision Dynamics Corporation Reactively coupled elements in circuits on flexible substrates
WO1999026195A1 (en) * 1997-11-14 1999-05-27 Toppan Printing Co., Ltd. Composite ic module and composite ic card
US6154137A (en) * 1998-06-08 2000-11-28 3M Innovative Properties Company Identification tag with enhanced security
US6018299A (en) * 1998-06-09 2000-01-25 Motorola, Inc. Radio frequency identification tag having a printed antenna and method
US6107920A (en) * 1998-06-09 2000-08-22 Motorola, Inc. Radio frequency identification tag having an article integrated antenna
US6837438B1 (en) * 1998-10-30 2005-01-04 Hitachi Maxell, Ltd. Non-contact information medium and communication system utilizing the same
JP2000286634A (ja) * 1999-03-30 2000-10-13 Ngk Insulators Ltd アンテナ装置及びアンテナ装置の製造方法
JP4186149B2 (ja) * 1999-12-06 2008-11-26 株式会社エフ・イー・シー Icカード用の補助アンテナ
US6628237B1 (en) * 2000-03-25 2003-09-30 Marconi Communications Inc. Remote communication using slot antenna
JP4624536B2 (ja) * 2000-04-04 2011-02-02 大日本印刷株式会社 非接触式データキャリア装置
JP2001338813A (ja) * 2000-05-29 2001-12-07 Tdk Corp 電子部品
AU2001261192B2 (en) 2000-05-08 2005-01-06 Checkpoint Systems, Inc. Radio frequency detection and identification system
JP2001076111A (ja) * 2000-07-12 2001-03-23 Hitachi Kokusai Electric Inc 共振回路
US6483473B1 (en) * 2000-07-18 2002-11-19 Marconi Communications Inc. Wireless communication device and method
JP2002076750A (ja) * 2000-08-24 2002-03-15 Murata Mfg Co Ltd アンテナ装置およびそれを備えた無線機
JP2002183690A (ja) * 2000-12-11 2002-06-28 Hitachi Maxell Ltd 非接触icタグ装置
JP2002204114A (ja) * 2000-12-28 2002-07-19 Matsushita Electric Ind Co Ltd アンテナ装置およびそれを用いた通信機器
JP4044302B2 (ja) * 2001-06-20 2008-02-06 株式会社村田製作所 表面実装型アンテナおよびそれを用いた無線機
JP2003087008A (ja) * 2001-07-02 2003-03-20 Ngk Insulators Ltd 積層型誘電体フィルタ
JP2003179426A (ja) * 2001-12-13 2003-06-27 Matsushita Electric Ind Co Ltd アンテナ装置及び携帯無線装置
JP3915092B2 (ja) * 2002-01-21 2007-05-16 株式会社エフ・イー・シー Icカード用のブースタアンテナ
DE10204884A1 (de) * 2002-02-06 2003-08-14 Schreiner Gmbh & Co Kg Transponderetikett
US7119693B1 (en) * 2002-03-13 2006-10-10 Celis Semiconductor Corp. Integrated circuit with enhanced coupling
JP3873022B2 (ja) * 2002-12-09 2007-01-24 株式会社東芝 線状無線タグ体
JP2003317052A (ja) * 2002-04-24 2003-11-07 Smart Card:Kk Icタグシステム
JP2004040579A (ja) * 2002-07-04 2004-02-05 Mitsubishi Electric Corp デジタル放送受信装置、およびデジタル放送同期再生方法
JP3863464B2 (ja) * 2002-07-05 2006-12-27 株式会社ヨコオ フィルタ内蔵アンテナ
JP2004253858A (ja) * 2003-02-18 2004-09-09 Minerva:Kk Icタグ用のブースタアンテナ装置
JP4034676B2 (ja) * 2003-03-20 2008-01-16 日立マクセル株式会社 非接触通信式情報担体
ATE375016T1 (de) * 2003-04-10 2007-10-15 Avery Dennison Corp Selbstkompensierende antennen für substrate mit unterschiedlichen dielektrizitätskonstanten
JP2004336250A (ja) * 2003-05-02 2004-11-25 Taiyo Yuden Co Ltd アンテナ整合回路、アンテナ整合回路を有する移動体通信装置、アンテナ整合回路を有する誘電体アンテナ
JP2004352190A (ja) * 2003-05-30 2004-12-16 Calsonic Kansei Corp ステアリングロック装置
JP2004362190A (ja) * 2003-06-04 2004-12-24 Hitachi Ltd 半導体装置
JP2004064780A (ja) * 2003-08-27 2004-02-26 Hiroji Kawakami アンテナ
JP3570430B1 (ja) 2003-10-29 2004-09-29 オムロン株式会社 ループコイルアンテナ
JP2005184094A (ja) * 2003-12-16 2005-07-07 Olympus Corp アンテナおよびアンテナの製造方法
JP4089680B2 (ja) * 2003-12-25 2008-05-28 三菱マテリアル株式会社 アンテナ装置
US20080272885A1 (en) * 2004-01-22 2008-11-06 Mikoh Corporation Modular Radio Frequency Identification Tagging Method
JP4393228B2 (ja) 2004-02-27 2010-01-06 シャープ株式会社 小型アンテナ及びそれを備えた無線タグ
JP2005284511A (ja) * 2004-03-29 2005-10-13 Matsushita Electric Ind Co Ltd 挿入型無線通信媒体装置および電子機器
JP2005352858A (ja) * 2004-06-11 2005-12-22 Hitachi Maxell Ltd 通信式記録担体
GB2419779A (en) * 2004-10-29 2006-05-03 Hewlett Packard Development Co Document having conductive tracks for coupling to a memory tag and a reader
JP4437965B2 (ja) * 2005-03-22 2010-03-24 Necトーキン株式会社 無線タグ

Patent Citations (5)

* Cited by examiner, † Cited by third party
Publication number Priority date Publication date Assignee Title
JPH10293828A (ja) * 1997-04-18 1998-11-04 Omron Corp データキャリア、コイルモジュール、リーダライタ及び衣服データ取得方法
JP2000137779A (ja) * 1998-10-30 2000-05-16 Hitachi Maxell Ltd 非接触情報媒体とその製造方法
JP2003298348A (ja) * 2002-03-29 2003-10-17 Honda Denshi Giken:Kk アンテナ装置
JP2004343410A (ja) * 2003-05-15 2004-12-02 Hitachi Maxell Ltd 非接触通信式情報担体
JP2005204038A (ja) * 2004-01-15 2005-07-28 Fec Inc 識別タグのリーダライタ用アンテナ

Cited By (42)

* Cited by examiner, † Cited by third party
Publication number Priority date Publication date Assignee Title
US8662403B2 (en) 2007-07-04 2014-03-04 Murata Manufacturing Co., Ltd. Wireless IC device and component for wireless IC device
US9830552B2 (en) 2007-07-18 2017-11-28 Murata Manufacturing Co., Ltd. Radio IC device
US8797148B2 (en) 2008-03-03 2014-08-05 Murata Manufacturing Co., Ltd. Radio frequency IC device and radio communication system
US8973841B2 (en) 2008-05-21 2015-03-10 Murata Manufacturing Co., Ltd. Wireless IC device
US9022295B2 (en) 2008-05-21 2015-05-05 Murata Manufacturing Co., Ltd. Wireless IC device
US9281873B2 (en) 2008-05-26 2016-03-08 Murata Manufacturing Co., Ltd. Wireless IC device system and method of determining authenticity of wireless IC device
US8917211B2 (en) 2008-11-17 2014-12-23 Murata Manufacturing Co., Ltd. Antenna and wireless IC device
US9104950B2 (en) 2009-01-30 2015-08-11 Murata Manufacturing Co., Ltd. Antenna and wireless IC device
US8876010B2 (en) 2009-04-14 2014-11-04 Murata Manufacturing Co., Ltd Wireless IC device component and wireless IC device
US8690070B2 (en) 2009-04-14 2014-04-08 Murata Manufacturing Co., Ltd. Wireless IC device component and wireless IC device
US9203157B2 (en) 2009-04-21 2015-12-01 Murata Manufacturing Co., Ltd. Antenna device and method of setting resonant frequency of antenna device
US9564678B2 (en) 2009-04-21 2017-02-07 Murata Manufacturing Co., Ltd. Antenna device and method of setting resonant frequency of antenna device
US8976075B2 (en) 2009-04-21 2015-03-10 Murata Manufacturing Co., Ltd. Antenna device and method of setting resonant frequency of antenna device
US8853549B2 (en) 2009-09-30 2014-10-07 Murata Manufacturing Co., Ltd. Circuit substrate and method of manufacturing same
US9117157B2 (en) 2009-10-02 2015-08-25 Murata Manufacturing Co., Ltd. Wireless IC device and electromagnetic coupling module
US9024725B2 (en) 2009-11-04 2015-05-05 Murata Manufacturing Co., Ltd. Communication terminal and information processing system
US10013650B2 (en) 2010-03-03 2018-07-03 Murata Manufacturing Co., Ltd. Wireless communication module and wireless communication device
US9727765B2 (en) 2010-03-24 2017-08-08 Murata Manufacturing Co., Ltd. RFID system including a reader/writer and RFID tag
US9024837B2 (en) 2010-03-31 2015-05-05 Murata Manufacturing Co., Ltd. Antenna and wireless communication device
US9558384B2 (en) 2010-07-28 2017-01-31 Murata Manufacturing Co., Ltd. Antenna apparatus and communication terminal instrument
JP2012059015A (ja) * 2010-09-09 2012-03-22 Murata Mfg Co Ltd 無線icタグ及びrfidシステム
US9761923B2 (en) 2011-01-05 2017-09-12 Murata Manufacturing Co., Ltd. Wireless communication device
US8991713B2 (en) 2011-01-14 2015-03-31 Murata Manufacturing Co., Ltd. RFID chip package and RFID tag
US8960561B2 (en) 2011-02-28 2015-02-24 Murata Manufacturing Co., Ltd. Wireless communication device
JP2013258779A (ja) * 2011-02-28 2013-12-26 Murata Mfg Co Ltd 無線通信デバイス
WO2012117843A1 (ja) * 2011-02-28 2012-09-07 株式会社村田製作所 無線通信デバイス
JP5370616B2 (ja) * 2011-02-28 2013-12-18 株式会社村田製作所 無線通信デバイス
US8757502B2 (en) 2011-02-28 2014-06-24 Murata Manufacturing Co., Ltd. Wireless communication device
US8613395B2 (en) 2011-02-28 2013-12-24 Murata Manufacturing Co., Ltd. Wireless communication device
US8797225B2 (en) 2011-03-08 2014-08-05 Murata Manufacturing Co., Ltd. Antenna device and communication terminal apparatus
US8740093B2 (en) 2011-04-13 2014-06-03 Murata Manufacturing Co., Ltd. Radio IC device and radio communication terminal
US9378452B2 (en) 2011-05-16 2016-06-28 Murata Manufacturing Co., Ltd. Radio IC device
US8878739B2 (en) 2011-07-14 2014-11-04 Murata Manufacturing Co., Ltd. Wireless communication device
US8770489B2 (en) 2011-07-15 2014-07-08 Murata Manufacturing Co., Ltd. Radio communication device
US8814056B2 (en) 2011-07-19 2014-08-26 Murata Manufacturing Co., Ltd. Antenna device, RFID tag, and communication terminal apparatus
US9543642B2 (en) 2011-09-09 2017-01-10 Murata Manufacturing Co., Ltd. Antenna device and wireless device
US8905296B2 (en) 2011-12-01 2014-12-09 Murata Manufacturing Co., Ltd. Wireless integrated circuit device and method of manufacturing the same
US8720789B2 (en) 2012-01-30 2014-05-13 Murata Manufacturing Co., Ltd. Wireless IC device
US9692128B2 (en) 2012-02-24 2017-06-27 Murata Manufacturing Co., Ltd. Antenna device and wireless communication device
JP2013183596A (ja) * 2012-03-05 2013-09-12 Nagasaki Univ 無線電力伝送装置および無線電力伝送システム
US10235544B2 (en) 2012-04-13 2019-03-19 Murata Manufacturing Co., Ltd. Inspection method and inspection device for RFID tag
JP5825457B1 (ja) * 2014-02-14 2015-12-02 株式会社村田製作所 アンテナ装置および無線通信装置

Also Published As

Publication number Publication date
EP3367500A1 (en) 2018-08-29
KR20080058355A (ko) 2008-06-25
EP2375495A1 (en) 2011-10-12
EP2204882B1 (en) 2020-04-22
JP2013013130A (ja) 2013-01-17
KR101010834B1 (ko) 2011-01-25
JP2008148345A (ja) 2008-06-26
EP3367500B1 (en) 2021-08-11
JP4367556B2 (ja) 2009-11-18
CN105631509A (zh) 2016-06-01
CN101901955B (zh) 2014-11-26
EP2375493A1 (en) 2011-10-12
EP2226893B1 (en) 2014-07-23
EP2375494B1 (en) 2018-06-27
EP2226893A1 (en) 2010-09-08
JP5077296B2 (ja) 2012-11-21
BRPI0702918A2 (pt) 2011-05-10
JP2009213171A (ja) 2009-09-17
JP5077297B2 (ja) 2012-11-21
CN104751221B (zh) 2018-02-23
KR20100031557A (ko) 2010-03-22
JPWO2007083574A1 (ja) 2009-06-11
JP4069958B2 (ja) 2008-04-02
EP3244487A1 (en) 2017-11-15
CN104751221A (zh) 2015-07-01
EP2385579A1 (en) 2011-11-09
KR20100099354A (ko) 2010-09-10
JP2009213170A (ja) 2009-09-17
EP2375493B1 (en) 2018-03-21
EP1976056A4 (en) 2008-12-24
WO2007083574A1 (ja) 2007-07-26
JP5077298B2 (ja) 2012-11-21
KR101050330B1 (ko) 2011-07-19
JP2009213169A (ja) 2009-09-17
CN101901955A (zh) 2010-12-01
EP2226893B8 (en) 2014-10-08
EP1976056A1 (en) 2008-10-01
EP2204882A1 (en) 2010-07-07
JP4929485B2 (ja) 2012-05-09
EP2375494A1 (en) 2011-10-12

Similar Documents

Publication Publication Date Title
JP4929485B2 (ja) 給電回路
CN101460964B (zh) 无线ic器件和无线ic器件用复合元件
CN101351924A (zh) 无线ic器件以及无线ic器件用零件
US20090109102A1 (en) Antenna and radio ic device
JP4367540B2 (ja) 無線icデバイス用部品
RU2378746C1 (ru) Беспроводное устройство на интегральной схеме и компонент беспроводного устройства на интегральной схеме
JP5162988B2 (ja) 無線icデバイス及びその製造方法
KR101050317B1 (ko) 무선ic디바이스 및 무선ic디바이스용 부품

Legal Events

Date Code Title Description
A621 Written request for application examination

Free format text: JAPANESE INTERMEDIATE CODE: A621

Effective date: 20091125

TRDD Decision of grant or rejection written
A01 Written decision to grant a patent or to grant a registration (utility model)

Free format text: JAPANESE INTERMEDIATE CODE: A01

Effective date: 20120110

A01 Written decision to grant a patent or to grant a registration (utility model)

Free format text: JAPANESE INTERMEDIATE CODE: A01

A61 First payment of annual fees (during grant procedure)

Free format text: JAPANESE INTERMEDIATE CODE: A61

Effective date: 20120123

R150 Certificate of patent or registration of utility model

Ref document number: 4929485

Country of ref document: JP

Free format text: JAPANESE INTERMEDIATE CODE: R150

Free format text: JAPANESE INTERMEDIATE CODE: R150

FPAY Renewal fee payment (event date is renewal date of database)

Free format text: PAYMENT UNTIL: 20150224

Year of fee payment: 3