JP5329068B2 - 半導体装置 - Google Patents

半導体装置 Download PDF

Info

Publication number
JP5329068B2
JP5329068B2 JP2007274216A JP2007274216A JP5329068B2 JP 5329068 B2 JP5329068 B2 JP 5329068B2 JP 2007274216 A JP2007274216 A JP 2007274216A JP 2007274216 A JP2007274216 A JP 2007274216A JP 5329068 B2 JP5329068 B2 JP 5329068B2
Authority
JP
Japan
Prior art keywords
protective
wiring layer
semiconductor device
insulating film
interlayer insulating
Prior art date
Legal status (The legal status is an assumption and is not a legal conclusion. Google has not performed a legal analysis and makes no representation as to the accuracy of the status listed.)
Expired - Fee Related
Application number
JP2007274216A
Other languages
English (en)
Other versions
JP2009105160A5 (ja
JP2009105160A (ja
Inventor
泰之 石井
Current Assignee (The listed assignees may be inaccurate. Google has not performed a legal analysis and makes no representation or warranty as to the accuracy of the list.)
Renesas Electronics Corp
Original Assignee
Renesas Electronics Corp
Priority date (The priority date is an assumption and is not a legal conclusion. Google has not performed a legal analysis and makes no representation as to the accuracy of the date listed.)
Filing date
Publication date
Application filed by Renesas Electronics Corp filed Critical Renesas Electronics Corp
Priority to JP2007274216A priority Critical patent/JP5329068B2/ja
Priority to US12/239,809 priority patent/US20090102059A1/en
Publication of JP2009105160A publication Critical patent/JP2009105160A/ja
Publication of JP2009105160A5 publication Critical patent/JP2009105160A5/ja
Priority to US13/924,175 priority patent/US20130285057A1/en
Application granted granted Critical
Publication of JP5329068B2 publication Critical patent/JP5329068B2/ja
Expired - Fee Related legal-status Critical Current
Anticipated expiration legal-status Critical

Links

Images

Classifications

    • HELECTRICITY
    • H01ELECTRIC ELEMENTS
    • H01LSEMICONDUCTOR DEVICES NOT COVERED BY CLASS H10
    • H01L24/00Arrangements for connecting or disconnecting semiconductor or solid-state bodies; Methods or apparatus related thereto
    • H01L24/01Means for bonding being attached to, or being formed on, the surface to be connected, e.g. chip-to-package, die-attach, "first-level" interconnects; Manufacturing methods related thereto
    • H01L24/02Bonding areas ; Manufacturing methods related thereto
    • H01L24/04Structure, shape, material or disposition of the bonding areas prior to the connecting process
    • H01L24/06Structure, shape, material or disposition of the bonding areas prior to the connecting process of a plurality of bonding areas
    • HELECTRICITY
    • H01ELECTRIC ELEMENTS
    • H01LSEMICONDUCTOR DEVICES NOT COVERED BY CLASS H10
    • H01L23/00Details of semiconductor or other solid state devices
    • H01L23/52Arrangements for conducting electric current within the device in operation from one component to another, i.e. interconnections, e.g. wires, lead frames
    • H01L23/522Arrangements for conducting electric current within the device in operation from one component to another, i.e. interconnections, e.g. wires, lead frames including external interconnections consisting of a multilayer structure of conductive and insulating layers inseparably formed on the semiconductor body
    • H01L23/5226Via connections in a multilevel interconnection structure
    • HELECTRICITY
    • H01ELECTRIC ELEMENTS
    • H01LSEMICONDUCTOR DEVICES NOT COVERED BY CLASS H10
    • H01L24/00Arrangements for connecting or disconnecting semiconductor or solid-state bodies; Methods or apparatus related thereto
    • H01L24/01Means for bonding being attached to, or being formed on, the surface to be connected, e.g. chip-to-package, die-attach, "first-level" interconnects; Manufacturing methods related thereto
    • H01L24/02Bonding areas ; Manufacturing methods related thereto
    • H01L24/03Manufacturing methods
    • HELECTRICITY
    • H01ELECTRIC ELEMENTS
    • H01LSEMICONDUCTOR DEVICES NOT COVERED BY CLASS H10
    • H01L24/00Arrangements for connecting or disconnecting semiconductor or solid-state bodies; Methods or apparatus related thereto
    • H01L24/01Means for bonding being attached to, or being formed on, the surface to be connected, e.g. chip-to-package, die-attach, "first-level" interconnects; Manufacturing methods related thereto
    • H01L24/02Bonding areas ; Manufacturing methods related thereto
    • H01L24/04Structure, shape, material or disposition of the bonding areas prior to the connecting process
    • H01L24/05Structure, shape, material or disposition of the bonding areas prior to the connecting process of an individual bonding area
    • HELECTRICITY
    • H01ELECTRIC ELEMENTS
    • H01LSEMICONDUCTOR DEVICES NOT COVERED BY CLASS H10
    • H01L2224/00Indexing scheme for arrangements for connecting or disconnecting semiconductor or solid-state bodies and methods related thereto as covered by H01L24/00
    • H01L2224/01Means for bonding being attached to, or being formed on, the surface to be connected, e.g. chip-to-package, die-attach, "first-level" interconnects; Manufacturing methods related thereto
    • H01L2224/02Bonding areas; Manufacturing methods related thereto
    • H01L2224/0212Auxiliary members for bonding areas, e.g. spacers
    • H01L2224/02122Auxiliary members for bonding areas, e.g. spacers being formed on the semiconductor or solid-state body
    • H01L2224/02163Auxiliary members for bonding areas, e.g. spacers being formed on the semiconductor or solid-state body on the bonding area
    • H01L2224/02165Reinforcing structures
    • H01L2224/02166Collar structures
    • HELECTRICITY
    • H01ELECTRIC ELEMENTS
    • H01LSEMICONDUCTOR DEVICES NOT COVERED BY CLASS H10
    • H01L2224/00Indexing scheme for arrangements for connecting or disconnecting semiconductor or solid-state bodies and methods related thereto as covered by H01L24/00
    • H01L2224/01Means for bonding being attached to, or being formed on, the surface to be connected, e.g. chip-to-package, die-attach, "first-level" interconnects; Manufacturing methods related thereto
    • H01L2224/02Bonding areas; Manufacturing methods related thereto
    • H01L2224/04Structure, shape, material or disposition of the bonding areas prior to the connecting process
    • H01L2224/05Structure, shape, material or disposition of the bonding areas prior to the connecting process of an individual bonding area
    • H01L2224/05001Internal layers
    • H01L2224/05075Plural internal layers
    • H01L2224/0508Plural internal layers being stacked
    • H01L2224/05085Plural internal layers being stacked with additional elements, e.g. vias arrays, interposed between the stacked layers
    • H01L2224/05089Disposition of the additional element
    • H01L2224/05093Disposition of the additional element of a plurality of vias
    • HELECTRICITY
    • H01ELECTRIC ELEMENTS
    • H01LSEMICONDUCTOR DEVICES NOT COVERED BY CLASS H10
    • H01L2224/00Indexing scheme for arrangements for connecting or disconnecting semiconductor or solid-state bodies and methods related thereto as covered by H01L24/00
    • H01L2224/01Means for bonding being attached to, or being formed on, the surface to be connected, e.g. chip-to-package, die-attach, "first-level" interconnects; Manufacturing methods related thereto
    • H01L2224/02Bonding areas; Manufacturing methods related thereto
    • H01L2224/04Structure, shape, material or disposition of the bonding areas prior to the connecting process
    • H01L2224/05Structure, shape, material or disposition of the bonding areas prior to the connecting process of an individual bonding area
    • H01L2224/05001Internal layers
    • H01L2224/05075Plural internal layers
    • H01L2224/0508Plural internal layers being stacked
    • H01L2224/05085Plural internal layers being stacked with additional elements, e.g. vias arrays, interposed between the stacked layers
    • H01L2224/05089Disposition of the additional element
    • H01L2224/05093Disposition of the additional element of a plurality of vias
    • H01L2224/05095Disposition of the additional element of a plurality of vias at the periphery of the internal layers
    • HELECTRICITY
    • H01ELECTRIC ELEMENTS
    • H01LSEMICONDUCTOR DEVICES NOT COVERED BY CLASS H10
    • H01L2224/00Indexing scheme for arrangements for connecting or disconnecting semiconductor or solid-state bodies and methods related thereto as covered by H01L24/00
    • H01L2224/01Means for bonding being attached to, or being formed on, the surface to be connected, e.g. chip-to-package, die-attach, "first-level" interconnects; Manufacturing methods related thereto
    • H01L2224/02Bonding areas; Manufacturing methods related thereto
    • H01L2224/04Structure, shape, material or disposition of the bonding areas prior to the connecting process
    • H01L2224/05Structure, shape, material or disposition of the bonding areas prior to the connecting process of an individual bonding area
    • H01L2224/0554External layer
    • H01L2224/0555Shape
    • H01L2224/05552Shape in top view
    • HELECTRICITY
    • H01ELECTRIC ELEMENTS
    • H01LSEMICONDUCTOR DEVICES NOT COVERED BY CLASS H10
    • H01L2224/00Indexing scheme for arrangements for connecting or disconnecting semiconductor or solid-state bodies and methods related thereto as covered by H01L24/00
    • H01L2224/01Means for bonding being attached to, or being formed on, the surface to be connected, e.g. chip-to-package, die-attach, "first-level" interconnects; Manufacturing methods related thereto
    • H01L2224/02Bonding areas; Manufacturing methods related thereto
    • H01L2224/04Structure, shape, material or disposition of the bonding areas prior to the connecting process
    • H01L2224/05Structure, shape, material or disposition of the bonding areas prior to the connecting process of an individual bonding area
    • H01L2224/0554External layer
    • H01L2224/0555Shape
    • H01L2224/05552Shape in top view
    • H01L2224/05553Shape in top view being rectangular
    • HELECTRICITY
    • H01ELECTRIC ELEMENTS
    • H01LSEMICONDUCTOR DEVICES NOT COVERED BY CLASS H10
    • H01L2224/00Indexing scheme for arrangements for connecting or disconnecting semiconductor or solid-state bodies and methods related thereto as covered by H01L24/00
    • H01L2224/01Means for bonding being attached to, or being formed on, the surface to be connected, e.g. chip-to-package, die-attach, "first-level" interconnects; Manufacturing methods related thereto
    • H01L2224/02Bonding areas; Manufacturing methods related thereto
    • H01L2224/04Structure, shape, material or disposition of the bonding areas prior to the connecting process
    • H01L2224/05Structure, shape, material or disposition of the bonding areas prior to the connecting process of an individual bonding area
    • H01L2224/0554External layer
    • H01L2224/0555Shape
    • H01L2224/05552Shape in top view
    • H01L2224/05554Shape in top view being square
    • HELECTRICITY
    • H01ELECTRIC ELEMENTS
    • H01LSEMICONDUCTOR DEVICES NOT COVERED BY CLASS H10
    • H01L2224/00Indexing scheme for arrangements for connecting or disconnecting semiconductor or solid-state bodies and methods related thereto as covered by H01L24/00
    • H01L2224/01Means for bonding being attached to, or being formed on, the surface to be connected, e.g. chip-to-package, die-attach, "first-level" interconnects; Manufacturing methods related thereto
    • H01L2224/02Bonding areas; Manufacturing methods related thereto
    • H01L2224/04Structure, shape, material or disposition of the bonding areas prior to the connecting process
    • H01L2224/05Structure, shape, material or disposition of the bonding areas prior to the connecting process of an individual bonding area
    • H01L2224/0554External layer
    • H01L2224/05599Material
    • H01L2224/056Material with a principal constituent of the material being a metal or a metalloid, e.g. boron [B], silicon [Si], germanium [Ge], arsenic [As], antimony [Sb], tellurium [Te] and polonium [Po], and alloys thereof
    • H01L2224/05617Material with a principal constituent of the material being a metal or a metalloid, e.g. boron [B], silicon [Si], germanium [Ge], arsenic [As], antimony [Sb], tellurium [Te] and polonium [Po], and alloys thereof the principal constituent melting at a temperature of greater than or equal to 400°C and less than 950°C
    • H01L2224/05624Aluminium [Al] as principal constituent
    • HELECTRICITY
    • H01ELECTRIC ELEMENTS
    • H01LSEMICONDUCTOR DEVICES NOT COVERED BY CLASS H10
    • H01L2224/00Indexing scheme for arrangements for connecting or disconnecting semiconductor or solid-state bodies and methods related thereto as covered by H01L24/00
    • H01L2224/01Means for bonding being attached to, or being formed on, the surface to be connected, e.g. chip-to-package, die-attach, "first-level" interconnects; Manufacturing methods related thereto
    • H01L2224/02Bonding areas; Manufacturing methods related thereto
    • H01L2224/04Structure, shape, material or disposition of the bonding areas prior to the connecting process
    • H01L2224/06Structure, shape, material or disposition of the bonding areas prior to the connecting process of a plurality of bonding areas
    • H01L2224/0601Structure
    • H01L2224/0603Bonding areas having different sizes, e.g. different heights or widths
    • HELECTRICITY
    • H01ELECTRIC ELEMENTS
    • H01LSEMICONDUCTOR DEVICES NOT COVERED BY CLASS H10
    • H01L2924/00Indexing scheme for arrangements or methods for connecting or disconnecting semiconductor or solid-state bodies as covered by H01L24/00
    • H01L2924/01Chemical elements
    • H01L2924/01004Beryllium [Be]
    • HELECTRICITY
    • H01ELECTRIC ELEMENTS
    • H01LSEMICONDUCTOR DEVICES NOT COVERED BY CLASS H10
    • H01L2924/00Indexing scheme for arrangements or methods for connecting or disconnecting semiconductor or solid-state bodies as covered by H01L24/00
    • H01L2924/01Chemical elements
    • H01L2924/01005Boron [B]
    • HELECTRICITY
    • H01ELECTRIC ELEMENTS
    • H01LSEMICONDUCTOR DEVICES NOT COVERED BY CLASS H10
    • H01L2924/00Indexing scheme for arrangements or methods for connecting or disconnecting semiconductor or solid-state bodies as covered by H01L24/00
    • H01L2924/01Chemical elements
    • H01L2924/01006Carbon [C]
    • HELECTRICITY
    • H01ELECTRIC ELEMENTS
    • H01LSEMICONDUCTOR DEVICES NOT COVERED BY CLASS H10
    • H01L2924/00Indexing scheme for arrangements or methods for connecting or disconnecting semiconductor or solid-state bodies as covered by H01L24/00
    • H01L2924/01Chemical elements
    • H01L2924/01013Aluminum [Al]
    • HELECTRICITY
    • H01ELECTRIC ELEMENTS
    • H01LSEMICONDUCTOR DEVICES NOT COVERED BY CLASS H10
    • H01L2924/00Indexing scheme for arrangements or methods for connecting or disconnecting semiconductor or solid-state bodies as covered by H01L24/00
    • H01L2924/01Chemical elements
    • H01L2924/01014Silicon [Si]
    • HELECTRICITY
    • H01ELECTRIC ELEMENTS
    • H01LSEMICONDUCTOR DEVICES NOT COVERED BY CLASS H10
    • H01L2924/00Indexing scheme for arrangements or methods for connecting or disconnecting semiconductor or solid-state bodies as covered by H01L24/00
    • H01L2924/01Chemical elements
    • H01L2924/01022Titanium [Ti]
    • HELECTRICITY
    • H01ELECTRIC ELEMENTS
    • H01LSEMICONDUCTOR DEVICES NOT COVERED BY CLASS H10
    • H01L2924/00Indexing scheme for arrangements or methods for connecting or disconnecting semiconductor or solid-state bodies as covered by H01L24/00
    • H01L2924/01Chemical elements
    • H01L2924/01027Cobalt [Co]
    • HELECTRICITY
    • H01ELECTRIC ELEMENTS
    • H01LSEMICONDUCTOR DEVICES NOT COVERED BY CLASS H10
    • H01L2924/00Indexing scheme for arrangements or methods for connecting or disconnecting semiconductor or solid-state bodies as covered by H01L24/00
    • H01L2924/01Chemical elements
    • H01L2924/01028Nickel [Ni]
    • HELECTRICITY
    • H01ELECTRIC ELEMENTS
    • H01LSEMICONDUCTOR DEVICES NOT COVERED BY CLASS H10
    • H01L2924/00Indexing scheme for arrangements or methods for connecting or disconnecting semiconductor or solid-state bodies as covered by H01L24/00
    • H01L2924/01Chemical elements
    • H01L2924/01029Copper [Cu]
    • HELECTRICITY
    • H01ELECTRIC ELEMENTS
    • H01LSEMICONDUCTOR DEVICES NOT COVERED BY CLASS H10
    • H01L2924/00Indexing scheme for arrangements or methods for connecting or disconnecting semiconductor or solid-state bodies as covered by H01L24/00
    • H01L2924/01Chemical elements
    • H01L2924/01033Arsenic [As]
    • HELECTRICITY
    • H01ELECTRIC ELEMENTS
    • H01LSEMICONDUCTOR DEVICES NOT COVERED BY CLASS H10
    • H01L2924/00Indexing scheme for arrangements or methods for connecting or disconnecting semiconductor or solid-state bodies as covered by H01L24/00
    • H01L2924/01Chemical elements
    • H01L2924/0105Tin [Sn]
    • HELECTRICITY
    • H01ELECTRIC ELEMENTS
    • H01LSEMICONDUCTOR DEVICES NOT COVERED BY CLASS H10
    • H01L2924/00Indexing scheme for arrangements or methods for connecting or disconnecting semiconductor or solid-state bodies as covered by H01L24/00
    • H01L2924/01Chemical elements
    • H01L2924/01073Tantalum [Ta]
    • HELECTRICITY
    • H01ELECTRIC ELEMENTS
    • H01LSEMICONDUCTOR DEVICES NOT COVERED BY CLASS H10
    • H01L2924/00Indexing scheme for arrangements or methods for connecting or disconnecting semiconductor or solid-state bodies as covered by H01L24/00
    • H01L2924/01Chemical elements
    • H01L2924/01074Tungsten [W]
    • HELECTRICITY
    • H01ELECTRIC ELEMENTS
    • H01LSEMICONDUCTOR DEVICES NOT COVERED BY CLASS H10
    • H01L2924/00Indexing scheme for arrangements or methods for connecting or disconnecting semiconductor or solid-state bodies as covered by H01L24/00
    • H01L2924/049Nitrides composed of metals from groups of the periodic table
    • H01L2924/04944th Group
    • H01L2924/04941TiN
    • HELECTRICITY
    • H01ELECTRIC ELEMENTS
    • H01LSEMICONDUCTOR DEVICES NOT COVERED BY CLASS H10
    • H01L2924/00Indexing scheme for arrangements or methods for connecting or disconnecting semiconductor or solid-state bodies as covered by H01L24/00
    • H01L2924/049Nitrides composed of metals from groups of the periodic table
    • H01L2924/04955th Group
    • H01L2924/04953TaN
    • HELECTRICITY
    • H01ELECTRIC ELEMENTS
    • H01LSEMICONDUCTOR DEVICES NOT COVERED BY CLASS H10
    • H01L2924/00Indexing scheme for arrangements or methods for connecting or disconnecting semiconductor or solid-state bodies as covered by H01L24/00
    • H01L2924/10Details of semiconductor or other solid state devices to be connected
    • H01L2924/11Device type
    • H01L2924/13Discrete devices, e.g. 3 terminal devices
    • H01L2924/1304Transistor
    • H01L2924/1306Field-effect transistor [FET]
    • HELECTRICITY
    • H01ELECTRIC ELEMENTS
    • H01LSEMICONDUCTOR DEVICES NOT COVERED BY CLASS H10
    • H01L2924/00Indexing scheme for arrangements or methods for connecting or disconnecting semiconductor or solid-state bodies as covered by H01L24/00
    • H01L2924/10Details of semiconductor or other solid state devices to be connected
    • H01L2924/11Device type
    • H01L2924/14Integrated circuits

Landscapes

  • Engineering & Computer Science (AREA)
  • Computer Hardware Design (AREA)
  • Microelectronics & Electronic Packaging (AREA)
  • Power Engineering (AREA)
  • Physics & Mathematics (AREA)
  • Condensed Matter Physics & Semiconductors (AREA)
  • General Physics & Mathematics (AREA)
  • Manufacturing & Machinery (AREA)
  • Internal Circuitry In Semiconductor Integrated Circuit Devices (AREA)
  • Testing Or Measuring Of Semiconductors Or The Like (AREA)
  • Wire Bonding (AREA)

Description

本発明は、半導体装置に関し、特に、半導体素子の上方に設けられた電極パッドを有する半導体装置に適用して有効な技術に関するものである。
電極パッドは、コンタクト、Via(ビア、バイア)および配線層を介してMISFET(Metal Insulator Semiconductor Field Effect Transistor)などの半導体素子と電気的に接続されて半導体基板(半導体ウエハ、半導体チップを構成するもの)上に設けられている。この電極パッドは、ウエハプロービング試験時の接続や組み立て時のワイヤボンディング接続などのために用いられている。
従来、電極パッドは半導体素子が形成される活性領域上には設けないのが一般的であった。その理由としては、電極パッドへのプロービングなどの際に加えられる圧力によって、電極パッド下に発生するクラックの防止や、また電極パッド下方に設けられている半導体素子が損傷を受けて特性が悪化するのを防止するためである。
しかしながら、半導体素子の微細化によって半導体集積回路に搭載される機能が増大し、必要な電極パッド数が増大するに従い、活性領域に形成された半導体素子の上方に電極パッドを配置するPAA(PAD on Active Area)の必要性が出てきている。これにより、チップサイズの拡大を抑制することができる。
なお、本発明者は、発明した結果に基づき、チップサイズの拡大を抑制するためPAAを用いる観点、および電極パッド下のクラック発生対策のため保護材として働く保護用Viaとその下の保護用配線層で囲む観点で先行技術調査を行った。その結果、保護用Viaおよび保護用配線層で囲む観点では、特開2006−165419号公報(特許文献1)が抽出された。特許文献1は、全体として、電極パッド直下のクラック進行を防止し、半導体装置の信頼性を向上することを主題とするものであり、PAAを用いることによってチップサイズの拡大を抑制することについての記載はない。
特開2006−165419号公報
半導体装置にPAAを用いない場合、電極パッド数が増大するに従い、チップサイズが拡大してしまう。このためチップサイズの拡大防止に有効な手段として、PAAの必要性が出てきている。PAAを用いることによって、電極パッド下方に半導体素子を配置することができるからである。
また、PAAを半導体装置に適用した場合であっても、半導体装置によっては配線構造などが異なるため、プロセス毎に開発・評価・検討が必要となることが考えられる。このため、どのプロセスによる半導体装置であってもPAAを簡便に適用できることが望まれる。また、単に、活性領域に形成された半導体素子の上方に電極パッドを設けたPAAではなく、電極パッドへのプロービングなどの際に加えられる圧力によって、電極パッド下に発生するクラックの防止や、また電極パッド下方に設けられている半導体素子が損傷を受けて特性が悪化するのを防止する必要もある。
本発明の目的は、半導体装置のチップサイズの拡大を抑制することのできる技術を提供することにある。
また、本発明の他の目的は、半導体素子の上方に電極パッドを配置した半導体装置の信頼性を向上することのできる技術を提供することにある。
本発明の前記ならびにその他の目的と新規な特徴は、本明細書の記述および添付図面から明らかになるであろう。
本願において開示される発明のうち、代表的なものの概要を簡単に説明すれば、次のとおりである。
本発明の一実施の形態は、上下の配線層間における層間絶縁膜に設けられ、それぞれを接続する回路用Viaと、電極パッド下の前記層間絶縁膜に設けられ、一方が電極パッドと接続された保護用Viaと、前記保護用Viaの他方のみと接続された配線層から構成される保護用配線層と、前記保護用配線層の下方の半導体基板の主面に設けられた半導体素子とを有する半導体装置に適用した場合について示している。ここで、保護用Viaの幅は回路用Viaの幅以上である。
本願において開示される発明のうち、代表的なものによって得られる効果を簡単に説明すれば以下のとおりである。
この一実施の形態によれば、半導体装置のチップサイズの拡大を抑制することができる。
以下、本発明の実施の形態を図面に基づいて詳細に説明する。なお、実施の形態を説明するための全図において、同一の機能を有する部材には同一の符号を付し、その繰り返しの説明は省略する場合がある。また、以下の実施の形態を説明する図面においては、構成を分かり易くするために平面図であってもハッチングを付す場合がある。
本発明の実施の形態では、半導体集積回路(LSI)を内蔵した半導体装置について説明する。用途により、入出力などの周辺回路や、メモリを内蔵する場合もある。半導体集積回路など(以下、回路という)は、半導体チップ(半導体基板)の主面に設けられたMISFET、Via、配線層などが電気的に接続されて構成される。
(実施の形態1)
図1は本実施の形態における半導体装置(半導体チップ1C)の平面を示す模式図である。半導体チップ1Cを構成する半導体基板1Sの表面には、表面保護膜(パッシベーション膜)によって覆われた素子形成領域2と、その外周の外周領域3とが設けられている。素子形成領域2ではMISFETなどが形成されており、それらと電気的に接続された電極パッド(PAD)4が外部端子として設けられている。また外周領域3では半導体ウエハから半導体チップ1Cを切り出す際のマージン領域を含めて、外部から素子形成領域2内への水分侵入を防止する手段が施されている。
図2は図1中の半導体装置のX−X線の断面を示す模式図であり、図3は図1中の半導体装置の破線で囲まれた領域Aを透視して示す模式図である。図3中の上図および下図はそれぞれ最上層の配線層5M4およびその下の配線層5M3を中心に示しており、特に、平面リング状の保護用Via9と、電極パッド4および保護用配線層10との配置関係が明確になるように示している。このため、図3中では、一部の部材が省略されており、また、上図では、配線層5M4下の回路用Via7および保護用Via9を破線で示している。
図2に示すように、半導体基板1S上には、それぞれが層間絶縁膜6を介して複数の配線層5が設けられている。本実施の形態では、複数の配線層5は4層から構成されており、最下層の第1層の配線層5M1から第2層の配線層5M2、第3層の配線層5M3、そして最上層の第4層の配線層5M4が積層されている。この最上層である配線層5M4の一部には、電極パッド4が設けられている。これら配線層5は、例えばAl(アルミニウム)を主成分とする材料からなる。ここで、電極パッド4とは、表面保護膜8のパッド開口部8aによって表面が露出した最上層の配線層(配線層5M4)のことをいう。
また、複数の配線層5を電気的に分離する層間絶縁膜6は、層間絶縁膜6aと層間絶縁膜6bとから構成されており、層間絶縁膜6aは同層の配線間を埋め込むために、埋め込み性の高い絶縁膜が用いられている。層間絶縁膜6は、例えばSiO(酸化シリコン)からなる。
複数の配線層5のうち上下の配線層5間(例えば、配線層5M3と配線層5M4との間)における層間絶縁膜6には、その上下の配線層5(先の例では、配線層5M3と配線層5M4)を接続する回路用Via7が設けられている。回路用Via7は、孔7aに、例えばバリアメタルと、そのバリアメタルを介して孔7aの内部を埋め込む高融点金属(例えば、W(タングステン))とからなり、その幅yは最小加工寸法以上であるとし、例えば0.2〜0.3μmである。また、バリアメタルは、例えば、Ti(チタン)とTiN(窒化チタン)等の導電膜を積層して構成されている。
半導体チップ1Cの表面となる複数の配線層5上には、例えばポリイミドからなる表面保護膜8が設けられている。表面保護膜8には、電極パッド4の表面が露出するようにパッド開口部8aが設けられている。これにより電極パッド4は、ウエハプロービング試験時の接続や組み立て時のワイヤボンディング接続などとして用いられる。本実施の形態では、これらの接続による電極パッド4下の層間絶縁膜6にクラックが発生した場合の対策のために、クラックが発生する領域を、保護用Via9とその下の保護用配線層10(配線層5)で囲むようにして、回路を構成する部材を保護している。
具体的には、図3に示すように、電極パッド4(配線層5M4)下の層間絶縁膜6には、一方が電極パッド4と接続された平面リング状の保護用Via9が設けられている。本実施の形態では、保護用Via9の平面リング状が矩形状となるように設けられている。保護用Via9は、溝9aに、例えばバリアメタルと、そのバリアメタルを介して溝9aの内部を埋め込む高融点金属(例えば、W(タングステン))とからなる。
上記の保護用Via9の幅(溝9aの幅)xは、回路用Via7の幅y以上で、高融点金属が埋め込み可能な幅以下であり、例えば0.6μmである。また、複数の配線層5のうち、電極パッド4下方には保護用Via9の他方のみと接続された保護用配線層10が設けられている。保護用配線層10は、配線層5から構成されるので、配線層5と同様に例えばAl(アルミニウム)を主成分とする材料からなる。なお、本実施の形態では、保護用Via9および保護用配線層10には、それぞれ回路用Via7および配線層5と同じの材料を適用した場合について説明したが、電極パッド4下の層間絶縁膜6で発生したクラックから回路を保護できるものであれば別の材料でも良い。
これら保護用Via9および保護用配線層10は、図1に示したように、半導体チップ1Cの複数の電極パッド4下のそれぞれに設けられている。すなわち、各電極パッド4間で短絡が起きないように、保護用Via9同士、保護用配線層10同士では電気的に分離されている。したがって、保護用配線層10は、回路用としては使用することができない。
このように保護用Via9と、保護用Via9のみと接続された保護用配線層10は、電極パッド4下で、パッド開口部8aで露出している電極パッド4下の層間絶縁膜6を囲んで設けている。これによって、囲んだ領域外にクラックが延在するなどの不具合を生じさせないようにして、回路を構成する部材を保護することができる。なお、回路を構成するViaを回路用Via7として示しており、保護用Via9と区別している。
半導体基板1Sの主面には、活性領域を区画するように素子分離領域11が設けられている。その活性領域には、回路を構成する半導体素子として、MISFET12が設けられている。MISFET12は、半導体基板1S上にゲート絶縁膜を構成する絶縁膜12aと、その上にゲート電極を構成する導電性膜12bと、そのゲート電極の側壁下の半導体基板1Sに設けられたソース・ドレインを構成する半導体領域12cとを有している。
また、図示はしないが、このゲート電極およびソース・ドレイン領域には、自己整合的に形成されたシリサイド層が設けられている。シリサイド層は接触抵抗低減のために設けられており、例えば、コバルトシリサイドまたはニッケルシリサイド等の材料からなる。
ここで、保護用配線層10の下方の半導体基板1Sの主面にもMISFET12が設けられている。また、保護用配線層10の下方に回路を構成する配線層5、拡散層(半導体領域)などを設けることができる。従来、電極パッドへのプロービングなどの際に加えられる圧力によって、電極パッド下方に設けられている半導体素子が損傷を受けて特性が悪化するのを防止するため、電極パッド下方には活性領域(MISFET)を設けないのが一般的であった。しかしながら、本実施の形態に示すように、保護用Via9と保護用配線層10とを電極パッド4下に設けることによって、電極パッド4からの圧力によって保護用配線層10下方のMISFET12の特性に影響を及ぼすのを防止することができる。また、後に詳述するが、このようなMISFET12の上方に電極パッド4を配置するPAA(PAD on Active Area)とすることができるので、チップサイズの拡大を抑制することができる。このチップサイズの拡大防止により、半導体装置の製品コストも抑制することができる。また、電極パッド4下に電源配線として配線層5を設けることもできる。
また、本実施の形態では、素子分離領域11は、所謂STI(Shallow Trench Isolation)で形成されている。すなわち、半導体基板1Sに溝を形成し、その溝内に酸化シリコン膜等の絶縁膜を埋め込むことで形成されている場合を例示している。しかし、素子分離領域11を、半導体基板1Sを選択的に熱酸化させることによって形成するLOCOS法を用いて形成してもよい。
図3に示すように、電極パッド4下に設けられている保護用Via9は、その平面形状がリング状(環状)であり、切れ目がないものとなっている。この保護用Via9は電極パッド4および保護用配線層10以外の配線層5とは接続しておらず、独立している。表面保護膜8のパッド開口部8aによって露出された領域の配線層5すなわち電極パッド4が、保護用Via9のリングの内側となるように、電極パッド4と保護用Via9が配置されている。言い換えると、電極パッド4を露出するパッド開口部8aの外側に、平面リング状の保護用Via9が配置されている。前述したように、パッド開口部8aの下部は、保護用Via9と保護用配線層10とで囲むことによって、電極パッド4へ例えばプローブピンが接触してもクラックの進行を防止することができる。さらに、本実施の形態では、保護用Via9の幅は回路用Via7の幅以上としているので、回路用Via7の幅が縮小されるように回路が微細化された場合でも、厚みが確保された保護用Via9によってクラックの進行を防止することができる。
次に、表面が露出した電極パッド4下の保護用Via9および保護用配線層10の配置について説明する。図4は図2中の半導体装置の要部を示す模式図であり、図5は電極パッド4にプローブピン14が接触してクラック15が発生した場合の説明図である。
本実施の形態では、複数の配線層5のうち、最上層の配線層5M4およびその下の配線層5M3の2層の一部がそれぞれ電極パッド4および保護用配線層10として用いられている。これら電極パッド4と保護用配線層10との間で、平面リング状の保護用Via9の一方が電極パッド4と他方が保護用配線層10と接続されている。これにより電極パッド4の下部が保護用Via9と保護用配線層10とで囲まれることとなる。したがって、図5に示すように、例えば電気的特性を測定するためにプローブピン14が電極パッド4に接触してクラック15が発生した場合であっても、保護用Via9と保護用配線層10とで囲まれた領域の外には、クラック15が進行することを防止することができる。
例えば、回路の電気的特性を評価するためにプローブピン14やボンディングするためにボンディングワイヤが、電極パッド4の接触領域4aに接触すれば良い。本実施の形態では、図5に示すように、パッド開口部8aによって表面が露出している電極パッド4を囲むように平面リング状の保護用Via9が設けられているが、プローブピン14が電極パッド4に接触したことにより発生したクラック15の進行を防止の観点から、プローブピン14が電極パッド4に接触する接触領域4aを囲むように保護用Via9が設けられていれば良い。
しかしながら、電極パッド4の接触領域4aの境界でプローブピン14が接触した場合は、図5に示すようにストレス16が拡がることが考えられる。したがって、更に、クラック15の進行を防止するために、図4に示すように、平面リング状の保護用Via9の内側の距離bが、パッド開口部8a(パッド電極4)の距離a以上であることが望ましい。また、保護用配線層10の外周の距離cが、平面リング状の保護用Via9の内側の距離b以上であることが望ましい。さらに、電極パッド4を構成する最上層の配線層5の端から、平面リング状の保護用Via9の内側の端までの距離wが0より大きいこと、すなわち電極パッドを構成する配線層5と保護用Via9とが重なっていることが望ましい。
図5に示すように、電極パッド4下の層間絶縁膜(絶縁膜)6において、クラック15の横方向(図の左右方向)の進行はタングステン膜(金属膜)から構成される保護用Via9によって防止でき、またクラック15の下方向(図の下方向)の進行はアルミニウム膜(金属膜)から構成される保護用配線層10によって防止できる。これは保護用Via9および保護用配線層10が緩衝材として働くことと、金属膜と絶縁膜の界面に沿ようにクラック15が進行するからと考えることができる。
図6は本発明者が検討した半導体装置(半導体チップ1C’)の平面を示す模式図であり、図7は図6中の半導体装置のX−X線の断面を示す模式図である。なお、本実施の形態における半導体装置の回路と本発明者が検討した半導体装置の回路とは、同一の機能を有するものとし、それらが形成される素子形成領域2のサイズ(面積)は、図1と図6とでは同じであることとする。
図6および図7に示す半導体チップ1C’では、パッド開口部8a(電極パッド4)の下には、回路を構成する部材を配置せずに、チップの平坦性を確保するためにダミーの配線層17、ダミーの電極18およびダミーの活性領域を配置している。このような配置とすることで、電極パッド4へのプロービングなどの際に加えられる圧力によって、回路を構成する部材に損傷を与えず、半導体素子の特性が悪化するのを防止することができる。しかしながら、電極パッド4下の領域が回路を配置しない領域として外周領域3内に確保されなければならず、微細化によって半導体集積回路に搭載される機能が増大し、必要な電極パッド数が増大した場合には、さらに外周領域3を拡大することになってしまう。
そこで、本実施の形態では、例えば図4に示したように、電極パッド4下の層間絶縁膜6に設けられ一方が電極パッド4を構成する最上層の配線層5と接続された平面リング状の保護用Via9と、電極パッド4下方に設けられ保護用Via9の他方のみと接続された保護用配線層10とを有する構造とし、保護用Via9の幅xを回路用Via7の幅y以上とすることにより、信頼性を確保しつつ、チップサイズの拡大を抑制することができる。なお、保護用Via9のリング内側に回路を構成しないViaを設けても良い。
次に、本実施の形態における半導体装置の製造方法について図8〜図19を参照して順に説明する。ここでは、回路を構成するMISFET及び複数の配線層(多層配線)は周知の技術によって製造することができるので、その説明を省略し、保護用Via9および保護用配線層10の形成を中心に説明する。
図8に示すように、孔7aに回路用Via7が形成された層間絶縁膜6b(層間絶縁膜6)上に金属膜を形成した後、ホトリソグラフィ技術によりパターニングされたホトレジスト膜19を前記金属膜上に形成し、ホトレジスト膜19をマスクとして前記金属膜をエッチングすることによって配線層5を形成する。層間絶縁膜6bは例えばCVD(Chemical Vapor Deposition)によって形成された酸化シリコン膜から構成される。また、前記金属膜は例えばスパッタによって形成されたアルミニウム膜から構成される。なお、形成された配線層5は図2で示した第3層の配線層5M3を構成する。
続いて、ホトレジスト膜19を除去した後、図9に示すように、第3層の配線層5M3の間を埋め込むように層間絶縁膜6aを形成した後、この層間絶縁膜6aを平坦化する(図10)。層間絶縁膜6aは埋め込み性の高い絶縁膜であれば良く、例えばHDP−CVD(High Density Plasma CVD)によって形成された酸化シリコン膜から構成される。
続いて、図11に示すように、層間絶縁膜6a上に層間絶縁膜6bを形成する。層間絶縁膜6bは例えばCVDによって形成された酸化シリコン膜から構成される。層間絶縁膜6aと層間絶縁膜6bにより層間絶縁膜6が構成され、その厚さは第3層の配線層5M3とその上層の配線層とが電気的に分離されるような厚さとなるように調整される。
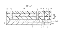
続いて、図12に示すように、ホトリソグラフィ技術によりパターニングされたホトレジスト膜19を層間絶縁膜6上に形成し、ホトレジスト膜19をマスクとして前記層間絶縁膜6をエッチングすることによって層間絶縁膜6に孔7aおよび溝9aを形成する。この際、溝9aの幅(図中の左右方向)が、孔7aの幅(図中の左右方向)以上となるように調整する。また、溝9aは図3に示したように平面形状がリング状となるように形成される。
続いて、ホトレジスト膜19を除去した後、図13に示すように、孔7aおよび溝9aの側壁にバリアメタル(図示しない)を形成し、前記バリアメタルを介して孔7aおよび溝9aの内部を埋め込むように金属膜20を形成する。金属膜20は例えば高融点金属のタングステン膜から構成される。
続いて、図14に示すように、余分な金属膜20およびバリアメタルを研磨除去することによって、孔7aに回路用Via7を形成すると共に、溝9aに保護用Via9を形成する。本実施の形態では、溝9aの幅と孔7aの幅の関係から、保護用Via9の幅は回路用Via7の幅以上となる。
続いて、図15に示すように、回路用Via7および保護用Via9が形成された層間絶縁膜6上に金属膜5aを形成する。この金属膜5aは例えばスパッタによって形成されたアルミニウム膜から構成される。
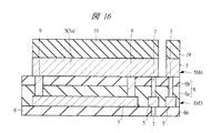
続いて、図16に示すように、ホトリソグラフィ技術によりパターニングされたホトレジスト膜19を金属膜5a上に形成し、ホトレジスト膜19をマスクとして金属膜5aをエッチングすることによって配線層5を形成する。なお、形成された配線層5は図2で示した第4層(最上層)の配線層5M4を構成する。
続いて、ホトレジスト膜19を除去した後、図17に示すように、第4層の配線層5M4間を埋め込むように表面保護膜8を形成する。表面保護膜8は例えば塗布によって形成されたポリイミド膜から構成される。なお、本実施の形態では、表面保護膜8は単層構造であるが、積層構造であっても良い。
続いて、図18に示すように、ホトリソグラフィ技術によりパターニングされたホトレジスト膜19を表面保護膜8上に形成し、ホトレジスト膜19をマスクとして表面保護膜8をエッチングすることによって表面保護膜8にパッド開口部8aを形成する。次いで、ホトレジスト膜19を除去することによって、パッド開口部8aから最上層の配線層5の一部の表面が露出して電極パッド4が形成される(図19)。これにより、図1および図2で示した本実施の形態における半導体装置が完成する。
(実施の形態2)
前記実施の形態1では、例えば図3に示したように、平面リングの形状が矩形状の保護用Via9の場合について説明した。これに対して本実施の形態では、保護用Via9の平面リングの形状を種々変形した場合について説明する。図20〜図22は本実施の形態における半導体装置の要部の平面を示す模式図である。本実施の形態における保護用Via9は、例えば図5を参照して説明したように、電極パッド4にプローブピン14が接触したときに発生したストレス16によって、平面リング状の保護用Via9および保護用配線層10の外側にクラック15を進行させないようにしたものである。以下に、保護用Via9の形状以外の構成は前記実施の形態1と同様であるので、相違する点を中心に説明する。なお、本実施の形態における半導体装置は、前記実施の形態1で説明した製造方法と同様の工程で製造することができる。
まず、図20に示す保護用Via9は、平面リング状の角(コーナー)部の幅を太くするものである。平面リング状が単に矩形状の場合、その角部には両側からストレス16が加わるため、ストレス16が集中し易い。そこで、角部の幅を太くしておき、保護用Via9の強度を上げている。すなわち、図20に示す保護用Via9は、平面リング状は矩形状であって、角部の幅が辺部の幅xより大きいものである。ここで、辺部の幅xは回路用Via7の幅y(図2参照)と同一でも良い。また、図20では、保護用Via9の角部の形状がL字状となっているが、これに限らず、角部の幅が辺部の幅xより太い形状となれば良い。
次に、図21に示す保護用Via9は、平面リング状の角(コーナー)部の角度を緩めたものである。平面リング状が単に矩形状の場合、角度が90°の角部には両側からストレス16が加わるため、ストレス16が集中し易い。そこで、角部の角度を緩め、ストレス16の集中が起こりにくいようにしている。ここで、辺部の幅xは回路用Via7の幅y(図2参照)と同一でも良い。また、図21では、保護用Via9の平面リング状の形状が、角部が8つの八角形状としてその角度を90°以上の鈍角としているが、これに限らず、角部の角度が緩くなる形状であれば良い。さらに、保護用Via9の平面リング状の形状が角度を持たない円形状や楕円形状となっても良い。
次に、図22に示す保護用Via9は、平面リング状の形状が長方形状とし、その長辺部の幅x1を、短辺部の幅x2より太くするものである。平面リング状が単に長方形状の場合、長辺部が短辺部に比べて強度が低下する。そこで、長辺部の幅x1を短辺部の幅x2より太くして、ストレス耐性を向上している。ここで、短辺部の幅x2は回路用Via7の幅y(図2参照)と同一でも良い。
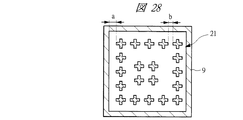
(実施の形態3)
前記実施の形態1では、例えば図3に示したように、平面リングの形状が矩形状の保護用Via9を1つ用いた場合について説明した。これに対して本実施の形態では、保護用Via9のリング内側に別のVia(以下、内側Viaという)を設ける場合について説明する。図23は、本実施の形態における半導体装置の要部の平面を示す模式図である。本実施の形態における保護用Via9および内側Via21は、例えば図5に示したように、平面リング状の保護用Via9上の電極パッド4にプローブピン14が接触したときに発生したストレス16によって、リング外側にクラック15を進行させないようにしたものである。以下に、内側Via21を設ける以外の構成は前記実施の形態1と同様であるので、相違する点を中心に説明する。なお、内側Via21は、保護用Via9と同様に形成される。また、本実施の形態における半導体装置は、前記実施の形態1で説明した製造方法と同様の工程で製造することができる。
図23に示すように、平面リング状の保護用Via9の内側に、その形状に相似した、すなわち平面リング状の内側Via21が設けられている。具体的には、平面リング状の保護用Via9の内側には、保護用Via9の幅x1より幅の小さい平面リング状の内側Via21(幅x2)が設けられている。このようにリングを2重にし、外周側のリング(保護用Via9)は内周側のリング(内側Via21)に比べて太くすることによって、内周側のリングで止めきれないストレス16でクラック15が発生した場合、外周側でクラック15を停止させることができる。これは内周側のリングを破壊することでエネルギーを吸収させるからである。このように、同一線幅で2重リングを配置するよりも、保護用Via9の幅x1より幅の小さい平面リング状の内側Via21(幅x2)を配置することで、外側の保護用Via9でクラック15を停止させる効果は高くなる。ここで、内側Via21の幅x2は回路用Via7の幅y(図2参照)と同一でも良い。
(実施の形態4)
本実施の形態では、前記実施の形態1で示した平面リング状の保護用Via9(例えば図3参照)のリング内側にVia(以下、内側Viaという)を設ける場合について説明する。図24〜図31は、本実施の形態における半導体装置の要部の平面を示す模式図である。本実施の形態における保護用Via9および内側Via21は、例えば図5に示したように、平面リング状の保護用Via9上の電極パッド4にプローブピン14が接触したときに発生したストレス16によって、保護用Via9の外側にクラック15を進行させないようにしたものである。以下に、内側Via21を設ける以外の構成は前記実施の形態1と同様であるので、相違する点を中心に説明する。なお、内側Via21は、保護用Via9と同様に形成される。また、本実施の形態における半導体装置は、前記実施の形態1で説明した製造方法と同様の工程で製造することができる。
本実施の形態では、図24〜図31に示すように、平面リング状の保護用Via9の内側には、内側Via21が設けられており、保護用Via9と内側Via21との距離aは、内側Via21間の距離bより大きくなるものとしている。これにより、内側Via21間の領域でクラック15を発生させ易くして、一方の保護用Via9と内側Via21との間の領域ではクラック15を発生しにくくしている。したがって、保護用Via9の外側にクラック15を進行することを防止できる。以下に図24から図31に示す複数の内側Via21について説明する。
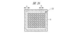
まず、図24に示す複数の内側Via21は、その平面形状を多重のリング状としたものである。また、図25に示す内側Via21は、その平面形状をメッシュ状としたものである。また、図26に示す複数の内側Via21は、その平面形状をドット状としたものである。これら内側Via21を、保護用Via9の内側に設けることで、保護用Via9の外側にクラック15を進行することを防止できる。
次に、図27に示す複数の内側Via21は、その平面形状を多重のリング状とし、その一部に切り込み部を設けたものである。この切り込み部の幅cにより更にストレス耐性の弱い部分を形成することになり、ストレス16が逃げやすい部分を特定することができる。ここで、隣接する複数の内側Via21において、切り込み部は隣接しないようにする。また、保護用Via9までにストレスを到達させないために、保護用Via9と複数の内側Via21との距離aが複数のVia21間の距離bより大きく、かつ保護用Via9と複数の内側Via21との距離aが切り込み部の幅cより大きくなるものとしている。これにより、切り込み部で最もクラック15が発生し易くなり、次いで複数の内側Via21間でクラック15が発生し易くなるため、保護用Via9の外側にクラック15が進行することを防止できる。
次に、図28および図29に示す複数の内側Via21は、その平面形状を十字状として、それぞれを均等に設けたものである。ここで、複数の内側Via21同士では接触しないようにし、少なくとも幅bは距離を開けるものとする。これによりストレス耐性の弱い部分を形成することになり、ストレス16が逃げやすい部分を特定することができる。これら複数の内側Via21を、保護用Via9の内側に設けることで、保護用Via9の外側にクラック15を進行することを防止できる。
次に、図30に示す複数の内側Via21は、その平面形状を多重のリング状とし、そのリングの一部をドット状としたものである。ここで、複数の内側Via21同士では接触しないようにし、少なくとも幅bは距離を開けるものとする。また、隣接する複数の内側Via21において、幅bの領域は隣接しないようにする。これによりストレス耐性の弱い部分を形成することになり、ストレス16が逃げやすい部分を特定することができる。また、図30で示すように複数の内側Via21の平面リング状が矩形状の場合には、角部ではストレス耐性を向上するためドット状とせず、辺部でドット状とすることが望ましい。
次に、図31に示す内側Via21は、その平面形状を螺旋状としたものである。幅bの距離を開けた螺旋状の内側Via21を、保護用Via9の内側に設けることで、保護用Via9の外側にクラック15を進行することを防止できる。
(実施の形態5)
本実施の形態では、前記実施の形態1で示した平面リング状の保護用Via9(例えば図3参照)のリング内側にVia(以下、内側Viaという)を設ける場合について説明する。図32〜図34は、本実施の形態における半導体装置の要部の平面を示す模式図である。本実施の形態における保護用Via9および内側Via21は、例えば図5に示したように、平面リング状の保護用Via9上の電極パッド4にプローブピン14が接触したときに発生したストレス16によって、保護用Via9の外側にクラック15を進行させないようにしたものである。以下に、内側Via21を設ける以外の構成は前記実施の形態1と同様であるので、相違する点を中心に説明する。なお、内側Via21は、保護用Via9と同様に形成される。また、本実施の形態における半導体装置は、前記実施の形態1で説明した製造方法と同様の工程で製造することができる。
本実施の形態では、図32〜図34に示すように、平面リング状の保護用Via9の内側には、異なる幅aおよび幅bを有する内側Via21が設けられており、幅aが幅bよりも大きく、幅bが回路用Via7の幅y(図2参照)と同一としている。これにより、幅bの内側Via21付近でクラック15が発生し易くして、保護用Via9の外側にクラック15を進行することを防止できる。
図32および図33に示す内側Via21は、その平面形状をメッシュ状とし、平面メッシュ状の交点以外の内側Via21の幅bを、回路用Via7の幅yと同じとし、交点となる内側Via21の幅aよりも狭くしている。また、図34に示す内側Via21は、その平面形状を多重のリング状とし、その一部の幅bを、回路用Via7の幅yと同じとし、その他の内側Via21の幅aよりも狭くしている。
内側Via21の一部に幅の狭い部分を設けることによって、その部分でクラック15を発生し易くすることによって、保護用Via9の外側にクラック15が進行することを防止できる。
(実施の形態6)
図35は本実施の形態における半導体装置の要部の断面を示す模式図である。前記実施の形態1では、例えば図2に示したように、4層の配線層5のうち最上層である第4層の配線層5M4の一部に電極パッド4、その下の第3層の配線層5M3の一部に保護用配線層10、電極パッド4と保護用配線層10との間に保護用Via9を設けた場合について説明した。これに対して本実施の形態では、図35に示すように、配線層5M3ではなく、その下の第2層の配線層5M2に保護用配線層10を設け、電極パッド4と保護用配線層10との間に2つの保護用Via9、23およびそれらを接続する中間層22を設けている点のみが相違する。
したがって、本実施の形態における半導体装置は、半導体基板1S上に、それぞれが層間絶縁膜6を介して設けられた複数の配線層5と、複数の配線層5のうち上下の配線層5間における層間絶縁膜6に設けられ、上下の配線層5間を接続する回路用Via7と、複数の配線層5上に設けられた表面保護膜8とを有している。複数の配線層5の最上層の一部には、表面保護膜8に設けられたパッド開口部8aによって露出した電極パッド4が設けられている。また、電極パッド4下の層間絶縁膜6には、一方が電極パッド4を構成する配線層5と接続された平面リング状の保護用Via9が設けられている。また、複数の配線層5のうち、電極パッド4下方には、保護用Via9の他方と接続された平面リング状の中間層22が設けられている。また、中間層22下の層間絶縁膜6には、一方が中間層22と接続された平面リング状の保護用Via23が設けられている。複数の配線層5のうち、中間層22下方には、保護用Via23の他方のみと接続された保護用配線層10が設けられている。また、保護用Via9の幅x1および保護用Viaの幅x2は回路用Via7の幅y以上としている。なお、保護用配線層10の下方の半導体基板1Sの主面には、前記実施の携帯で示した図2と同様にMISFET12が設けられている。
電極パッド4下の層間絶縁膜(絶縁膜)6において、クラック15の横方向(図35中の左右方向)の進行はタングステン膜(金属膜)から構成される保護用Via9、23によって防止でき、またクラック15の下方向(図35中の下方向)の進行はアルミニウム膜(金属膜)から構成される保護用配線層10によって防止できる。これは保護用Via9および保護用配線層10が緩衝材として働くことと、金属膜と絶縁膜の界面に沿うようにクラック15が進行するからと考えることができる。さらに、前記実施の形態1では第3層の配線層5M3に保護用配線層10を設けているところ、本実施の形態では第2層の配線層5M2に保護用配線層10を設けることによって、電極パッド4から保護用配線層10までの距離が長くなり、保護用配線層10外側へのクラック15の進行をより防止できる。なお、本実施の形態では、第2の配線層5M2に保護用配線層10を設けた場合について説明しているが、クラック15が第2の配線層5M2まで進行しないのであれば、保護用配線層10を設けなくとも良い。
図35中の左右方向における距離(幅)について、パッド開口部8aの距離をa、第1の保護用Via9の内周の距離をb1、第2の保護用Via23の内周の距離をb2、保護用配線層10の外周の距離をc、中間層22の内周の距離をd、電極パッド4を構成する最上層の配線層5の端から平面リング状の保護用Via9の内側の端までの距離をwとする。また、第1の保護用Via9の幅をx1、第2の保護用Via23の幅をx2、回路用Via7の幅をy、中間層22の幅をeとする。
ここで、更なるストレス耐性を向上するためには、a≦b1、a≦b2、a≦d、d≦b1、d≦b2、b1≦b2、b2≦c、x1≦y、x2≦y、w>0の関係を満たすような構成にすれば良い。この構成は前記実施の形態1の半導体装置の電極パッド4、保護用Via9および保護用配線層10で構成した断面(例えば図2参照)のように矩形状ではなく、図35に示すように電極パッド4、保護用Via9、23、中間層22および保護用配線層10で構成した断面形状が台形状となっている。このため、電極パッド4から保護用配線層10までの距離が長くなり、保護用配線層10の外側へのクラック15の進行をより防止できるとともに、電極パッド4から保護用Via23までの距離が長くなり、保護用Via23の外側へのクラック15の進行をより防止できる。
一方、保護用配線層10下に回路を構成する配線層5を設ける自由度を向上するためには、a≦b1、d≦b1、d≧b2、b1≧b2、b2≦c、x1≦y、x2≦yの関係を満たすような構成にすれば良い。この構成は図35で示した電極パッド4、保護用Via9、23、中間層22および保護用配線層10で構成した断面形状が台形状とは逆の逆台形状となっている。このため、電極パッド4から保護用配線層10までの距離が長くなり、保護用配線層10の外側へのクラック15の進行をより防止できるとともに、電極パッド、保護用Via9、23、中間層22で囲まれる領域を狭めて、保護用配線層10下に回路を構成する配線層5を設ける自由度を向上することができる。
なお、本実施の形態における半導体装置は、前記実施の形態1で説明した製造方法と同様の工程で製造することができる。また、前記実施の形態3〜5に示したように、平面リング状の保護用Via9、23の内側にViaを設けても良い。
(実施の形態7)
図36は本実施の形態における半導体装置の要部の断面を示す模式図である。前記実施の形態1では、例えば図2に示したように、4層の配線層5のうち最上層である第4層の配線層5M4の一部に電極パッド4、その下の第3層の配線層5M3の一部に保護用配線層10、電極パッド4と保護用配線層10との間に保護用Via9を設けた場合について説明した。これに対して本実施の形態では、図36に示すように、第3層の配線層5M3ではなく、その下の第2層の配線層5M2に保護用配線層10を設け、電極パッド4と保護用配線層10との間に2つの保護用Via9、23を設けている点のみが相違する。
したがって、本実施の形態における半導体装置は、半導体基板1S上に、それぞれが層間絶縁膜6を介して設けられた複数の配線層5と、複数の配線層5のうち上下の配線層5間における層間絶縁膜6に設けられ、上下の配線層5間を接続する回路用Via7と、複数の配線層5上に設けられた表面保護膜8とを有している。複数の配線層5の最上層の一部には、表面保護膜8に設けられたパッド開口部8aによって露出した電極パッド4が設けられている。また、電極パッド4下の層間絶縁膜6には、一方が電極パッド4を構成する配線層5と接続された平面リング状の保護用Via9が設けられている。また、保護用Via9下の層間絶縁膜6には、一方が保護用Via9の他方と接続された平面リング状の保護用Via23が設けられている。複数の配線層5のうち、電極パッド4下方には、保護用Via23の他方のみと接続された保護用配線層10が設けられている。また、保護用配線層10の下方の半導体基板1Sの主面には、MISFET12が設けられている。また、保護用Via9の幅x1および保護用Viaの幅x2は回路用Via7の幅y以上としている。
電極パッド4下の層間絶縁膜6(絶縁膜)において、クラック15の横方向(図36中の左右方向)の進行はタングステン膜(金属膜)から構成される保護用Via9、23によって防止でき、またクラック15の下方向(図36中の下方向)の進行はアルミニウム膜(金属膜)から構成される保護用配線層10によって防止できる。これは保護用Via9および保護用配線層10が緩衝材として働くことと、金属膜と絶縁膜の界面に沿うようにクラック15が進行するからと考えることができる。さらに、前記実施の形態1では第3層の配線層5M3に保護用配線層10を設けているところ、本実施の形態では第2層の配線層5M2に保護用配線層10を設けることによって、電極パッド4から保護用配線層10までの距離が長くなり、保護用配線層10の外側へのクラック15の進行をより防止できる。なお、本実施の形態では、第2の配線層5M2に保護用配線層10を設けた場合について説明しているが、クラック15が第2の配線層5M2まで進行しないのであれば、保護用配線層10を設けなくとも良い。
本実施の形態では、保護用配線層10が最上層である第4層の配線層5M4から2つ下の第2層の配線層5M2に構成されており、保護用Via9が電極パッド4下の層間絶縁膜6から、最上層である第4層の配線層5M4から1つ下の第3層の配線層5M3と保護用配線層10との間の層間絶縁膜6まで設けられている。これにより、保護用Via9の一部と、保護用Via23の一部とが重複して接続されている。
図36中の左右方向における距離(幅)について、パッド開口部8aの距離をa、第1の保護用Via9の内周の距離をb1、第2の保護用Via23の内周の距離をb2、保護用配線層10の外周の距離をc、電極パッド4を構成する最上層の配線層5の端から平面リング状の保護用Via9の内側の端までの距離をwとする。また、第1の保護用Via9の幅をx1、第2の保護用Via23の幅をx2、回路用Via7の幅をyとする。
ここで、更なるストレス耐性を向上するためには、a≦b1、a≦b2、b1≦b2、b2≦c、b2≦(b1+x1+x1)≦(b2+x2+x2)、w>0の関係を満たすような構成にすれば良い。この構成は前記実施の形態1の半導体装置の電極パッド4、保護用Via9および保護用配線層10で構成した断面(例えば図2参照)のように矩形状ではなく、図36に示すように電極パッド4、保護用Via9、23および保護用配線層10で構成した断面形状が台形状となっている。このため、電極パッド4から保護用配線層10までの距離が長くなり、保護用配線層10の外側へのクラック15の進行をより防止できるとともに、電極パッド4から保護用Via23までの距離が長くなり、保護用Via23の外側へのクラック15の進行をより防止できる。
なお、本実施の形態における半導体装置は、前記実施の形態1で説明した製造方法と同様の工程で製造することができる。本実施の形態では、第1の保護用Via9と第2の保護用Via23とを直に接続するので、第1の保護用Via9の溝を形成する工程では、少なくとも第3の配線層5M3の厚さ分のエッチング量を増やす必要がある。また、前記実施の形態3〜5に示したように、平面リング状の保護用Via9、23の内側にViaを設けても良い。
(実施の形態8)
前記実施の形態1は、例えば図5を参照して説明したように、電極パッド4にプローブピン14が接触したときに電極パッド4下の層間絶縁膜6にクラック15が発生することを考慮して、平面リング状の保護用Via9および保護用配線層10の外側にクラック15を進行させないようにしたものである。本実施の形態は、電極パッド下の層間絶縁膜6にクラック15を発生させるのを防止して、保護用Via9および保護用配線層10の外側にクラック15を進行させないようにするものである。以下に、前記実施の形態1と相違する点を中心に説明する。
図37は本実施の形態における半導体装置の要部の平面を示す模式図であり、図38は図37中のX−X線の断面を示す模式図である。図37は、第3の配線層5M3の一部から構成される保護用配線層10上に設けられる保護用Via9および空隙24を有する内側Via21の配置関係が明確となるように示しており、一部の部材を省略して示している。
前記実施の形態1の図2、図3の半導体装置と、本実施の形態の図37、図38の半導体装置の断面を比較してもわかるように、本実施の形態では、平面リング状の保護用Via9のリング内側に、空隙24を有する内側Via21を設けている点が相違する。
したがって、本実施の形態における半導体装置は、半導体基板1S上に、それぞれが層間絶縁膜6を介して設けられた複数の配線層5と、複数の配線層5のうち上下の配線層5間における層間絶縁膜6に設けられ、上下の配線層5間を接続する回路用Via7と、複数の配線層5上に設けられた表面保護膜8とを有している。複数の配線層5の最上層の一部には、表面保護膜8に設けられたパッド開口部8aによって露出した電極パッド4が設けられている。また、電極パッド4下の層間絶縁膜6には、一方が電極パッド4を構成する配線層5と接続された平面リング状の保護用Via9が設けられている。また、複数の配線層5のうち、電極パッド4下方には、保護用Via9の他方のみと接続された保護用配線層10が設けられている。また、保護用配線層10の下方の半導体基板1Sの主面にはMISFET12が設けられている。また、平面リング状の保護用Via9で囲まれた層間絶縁膜6には溝21aに形成された空隙24を有する平面リング状の内側Via21が設けられている。また、内側Via21(溝21a)の幅x2が保護用Via9(溝9a)の幅x1および回路用Via7(孔7a)の幅yより大きいため、金属膜が溝9aおよび孔7aでは埋め込まれるが、溝21aでは埋め込まれずに空隙24が設けられる。なお、保護用Via9(溝9a)の幅x1は、回路用Via7(孔7a)の幅yと同じでも良い。
このように溝21aに形成された内側Via21の内部には空隙24が設けられている。この空隙24は、例えば電極パッド4にプローブピンが接触した場合に、エアクッションとして衝撃を吸収することができる。また、2重に設けられている空隙24を有する内側Via21の間の層間絶縁膜6、すなわち空隙24と空隙24との間の緩衝領域25は、断面積が狭くなり加重耐性が低くなる。このためエアクッションとしての空隙24でも耐えきれないストレスの場合、緩衝領域25でクラック(破壊)させることでストレスを吸収することができる。
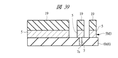
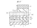
次に、本実施の形態における半導体装置の製造方法について図39〜図47を参照して順に説明する。ここでは、回路を構成するMISFET及び複数の配線層(多層配線)は周知の技術によって製造することができるので、その説明を省略し、空隙24を有する内側Via21の形成を中心に説明する。
図39に示すように、孔7aに回路用Via7が形成された層間絶縁膜6b(層間絶縁膜6)上に金属膜を形成した後、ホトリソグラフィ技術によりパターニングされたホトレジスト膜19を前記金属膜上に形成し、ホトレジスト膜19をマスクとして前記金属膜をエッチングすることによって配線層5を形成する。層間絶縁膜6bは例えばCVDによって形成された酸化シリコン膜から構成される。また、前記金属膜は例えばスパッタによって形成されたアルミニウム膜から構成される。なお、形成された配線層5は図38で示した第3層の配線層5M3を構成する。
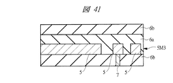
続いて、ホトレジスト膜19を除去した後、図40に示すように、第3層の配線層5M3の間を埋め込むように層間絶縁膜6aを形成した後、この層間絶縁膜6aを平坦化する(図41)。層間絶縁膜6aは埋め込み性の高い絶縁膜であれば良く、例えばHDP−CVDによって形成された酸化シリコン膜から構成される。
続いて、図41に示すように、層間絶縁膜6a上に層間絶縁膜6bを形成する。層間絶縁膜6bは例えばCVDによって形成された酸化シリコン膜から構成される。層間絶縁膜6aと層間絶縁膜6bにより層間絶縁膜6が構成され、その厚さは第3層の配線層5M3とその上層の配線層とが電気的に分離されるような厚さとなるように調整される。
続いて、図42に示すように、ホトリソグラフィ技術によりパターニングされたホトレジスト膜19を層間絶縁膜6上に形成し、ホトレジスト膜19をマスクとして前記層間絶縁膜6をエッチングすることによって前記層間絶縁膜6に孔7a、溝9aおよび溝21aを形成する。この際、溝21aの幅x2(図中の左右方向)が、孔7aの幅yおよび溝9aの幅x1より大きくなるように調整する。また、溝9aおよび溝21aは図37に示したように平面形状がリング状となるように形成される。
続いて、ホトレジスト膜19を除去した後、図43に示すように、孔7a、溝9a、溝21aの側壁にバリアメタル(図示しない)を形成し、前記バリアメタルを介して孔7aおよび溝9aの内部を埋め込むように金属膜20を形成する。金属膜20は例えば高融点金属のタングステン膜から構成される。ここで、溝21aの幅x2が、金属膜20が孔7aおよび溝9aの内部を埋め込む程度の膜厚以上であると、溝21aの内部には空隙24が形成される。
続いて、図44に示すように、余分な金属膜20およびバリアメタルを研磨除去することによって、孔7aに回路用Via7および溝9aに保護用Via9を形成すると共に、溝21aに空隙24を有する内側Via21を形成する。
続いて、図45に示すように、回路用Via7および保護用Via9が形成された層間絶縁膜6上に金属膜を形成した後、ホトリソグラフィ技術によりパターニングされたホトレジスト膜19を前記金属膜上に形成し、ホトレジスト膜19をマスクとして前記金属膜をエッチングすることによって配線層5を形成する。前記金属膜はカバレッジの悪いものであり、例えばスパッタによって形成されたアルミニウム膜から構成される。このため内側Via21の内部の空隙24は前記金属膜によって埋め込まれず、塞がれた状態となる。また、形成された配線層5は図38で示した第4層(最上層)の配線層5M4を構成する。
続いて、ホトレジスト膜19を除去した後、図46に示すように、第4層の配線層5M4間を埋め込むように表面保護膜8を形成する。表面保護膜8は例えば塗布によって形成されたポリイミド膜から構成される。なお、本実施の形態では、表面保護膜8は単層構造であるが、積層構造であっても良い。
続いて、図47に示すように、ホトリソグラフィ技術によりパターニングされたホトレジスト膜19を表面保護膜8上に形成し、ホトレジスト膜19をマスクとして表面保護膜8をエッチングすることによって表面保護膜8にパッド開口部8aを形成する。次いで、ホトレジスト膜19を除去することによって、パッド開口部8aから最上層の配線層5の一部の表面が露出して電極パッド4が形成される(図38)。これにより、本実施の形態における半導体装置が完成する。
(実施の形態9)
前記実施の形態8は、例えば図38を参照して説明したように、保護用Via9および保護用配線層10で囲まれた層間絶縁膜6に、内側Via21および空隙24を設けたものである。本実施の形態は、電極パッド4下において保護用Via9および保護用配線層10で囲まれた層間絶縁膜6に、空隙24のみを設けるものである。以下に、前記実施の形態8と相違する点を中心に説明する。
図48は本実施の形態における半導体装置の要部の平面を示す模式図であり、図49は図48中のX−X線の断面を示す模式図である。図48は、第3の配線層5M3の一部から構成される保護用配線層10上に設けられる保護用Via9および空隙24の配置関係が明確となるように示しており、一部の部材を省略して示している。
図48および図49に示すように、平面リング状の保護用Via9の内側には、平面リング状の溝21aが2重に設けられており、溝21aの内部には空隙24が設けられている。この空隙24は、例えば電極パッド4にプローブピンが接触した場合に、エアクッションとして衝撃を吸収することができる。また、2重に設けられている空隙24間の層間絶縁膜6、すなわち空隙24と空隙24との間の緩衝領域25は、断面積が狭くなり加重耐性が低くなる。このためエアクッションとしての空隙24でも耐えきれないストレスの場合、緩衝領域25でクラック(破壊)させることでストレスを吸収することができる。また、本実施の形態では、前記実施の形態8のように溝21aの内部には金属膜を堆積させないので、エアクッションとしてよりストレスを吸収することができる。
次に、本実施の形態における半導体装置の製造方法について図50〜図55を参照して順に説明する。ここでは、回路を構成するMISFET及び複数の配線層(多層配線)は周知の技術によって製造することができるので、その説明を省略し、空隙24の形成を中心に説明する。
図50に示すように、層間絶縁膜6に孔7a、溝9aおよび溝21aを形成し、それら側壁にバリアメタル(図示しない)を形成した後、前記バリアメタルを介して孔7a、溝9aおよび溝21aの内部を埋め込むように金属膜20を形成する。金属膜20は例えば高融点金属のタングステン膜から構成される。本実施の形態では、孔7a、溝9aおよび溝21aを形成する際に、孔7aの幅y、溝9aの幅x1および溝21aの幅x2は同じとするが、孔7aの幅yより溝9aの幅x1、溝21aの幅x2が大きくても良い。
続いて、図51に示すように、金属膜20によって埋め込まれている孔7aおよび溝9aを覆うように、ホトリソグラフィ技術によりパターニングされたホトレジスト膜19を金属膜20上に形成し、ホトレジスト膜19をマスクとして金属膜20をエッチングすることによって、溝21aに空隙24を形成する。
続いて、図52に示すように、余分な金属膜20およびバリアメタルを研磨除去することによって、孔7aに回路用Via7および溝9aに保護用Via9を形成する。
続いて、図53に示すように、回路用Via7および保護用Via9が形成された層間絶縁膜6上に金属膜を形成した後、ホトリソグラフィ技術を用いて前記金属膜をエッチングすることによって配線層5を形成する。前記金属膜はカバレッジの悪いものであり、例えばスパッタによって形成されたアルミニウム膜から構成される。このため空隙24は前記金属膜によって埋め込まれず、塞がれた状態となる。また、形成された配線層5は図49で示した第4層(最上層)の配線層5M4を構成する。
その後、第4層の配線層5M4間を埋め込むように表面保護膜8を形成し、ホトリソグラフィ技術を用いて表面保護膜8をエッチングすることによって表面保護膜8にパッド開口部8aを形成する。これにより、パッド開口部8aから最上層の配線層5の一部の表面が露出して電極パッド4が形成される(図49)。これにより、本実施の形態における半導体装置が完成する。なお、図50に続く工程の後、図54および図55に示す工程でも良い。
図54に示すように、余分な金属膜20およびバリアメタルを研磨除去することによって、孔7a、溝9a、溝21aの内部に金属膜20を埋め込む。これにより、孔7aに回路用Via7、溝9aに保護用Via9が形成される。
続いて、図55に示すように、金属膜20によって埋め込まれている孔7aおよび溝9aを覆うように、ホトリソグラフィ技術によりパターニングされたホトレジスト膜19を層間絶縁膜6上に形成し、ホトレジスト膜19をマスクとして溝21a内部の金属膜20をエッチングすることによって、溝21aに空隙24を形成する。その後の工程は、図53および図49を参照して説明した通りである。このような工程でも、本実施の形態における半導体装置が完成する。
(実施の形態10)
前記実施の形態8は、例えば図38を参照して説明したように、保護用Via9および保護用配線層10で囲まれた層間絶縁膜6に、内側Via21および空隙24を設けたものである。本実施の形態は、電極パッド4下において保護用Via9、23、保護用配線層10および中間層22で囲まれた層間絶縁膜6に、空隙24を有する内側配線層26を設けるものである。以下に、前記実施の形態8と相違する点を中心に説明する。
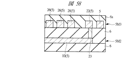
図56は本実施の形態における半導体装置の要部の平面を示す模式図であり、図57は図56中のX−X線の断面を示す模式図である。図56は、第3の配線層5M3の一部から構成される中間層22、内側配線層26、中間層22上に設けられる保護用Via9および空隙24の配置関係が明確となるように示しており、一部の部材を省略して示している。
図56および図57に示すように、平面リング状の中間層22の内側には、平面リング状の内側配線層26が3重に設けられており、それら内側配線層26間には、層間絶縁膜6によって形成された空隙24が設けられている。この内側配線層26は、他の配線層5とは電気的に分離されており、独立したリングであるといえる。また、空隙24は、例えば電極パッド4にプローブピンが接触した場合に、エアクッションとして衝撃を吸収することができる。また、空隙24上の層間絶縁膜6に設けられた緩衝領域25、すなわち空隙24を塞ぐために層間絶縁膜6と層間絶縁膜6とが接触する緩衝領域25は、層間絶縁膜6の界面であるため加重耐性が低くなる。このためエアクッションとしての空隙24でも耐えきれないストレスの場合、緩衝領域25でクラック(破壊)させることでストレスを吸収することができる。
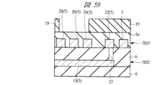
次に、本実施の形態における半導体装置の製造方法について図58〜図62を参照して順に説明する。ここでは、回路を構成するMISFET及び複数の配線層(多層配線)は周知の技術によって製造することができるので、その説明を省略し、空隙24の形成を中心に説明する。
図58に示すように、第2層の配線層5M2の配線層5から構成される保護用配線層10は、層間絶縁膜6によって覆われており、保護用配線層10上には保護用Via23が形成されている。この層間絶縁膜6上に第3層の配線層5M3を構成する金属膜を形成した後、ホトリソグラフィ技術により前記金属膜をパターニングして、配線層5、中間層22および内側配線層26を形成する。前記金属膜は例えばスパッタによって形成されたアルミニウム膜から構成される。次いで、第3層の配線層5M3の間を埋め込むように層間絶縁膜6aを形成した後、この層間絶縁膜6aを平坦化する。層間絶縁膜6aは埋め込み性の高い絶縁膜であれば良く、例えばHDP−CVDによって形成された酸化シリコン膜から構成される。
続いて、図59に示すように、ホトリソグラフィ技術によりパターニングされたホトレジスト膜19を層間絶縁膜6a上に形成し、ホトレジスト膜19をマスクとしたエッチングによって内側配線層26間の層間絶縁膜6aを除去する。さらに、図59に示すように、内側配線層26の側壁下の層間絶縁膜6もオーバーエッチングしても良い。
続いて、ホトレジスト膜19を除去した後、図60に示すように、層間絶縁膜6aを覆うような層間絶縁膜6bを形成する。この層間絶縁膜6bは例えばCVDによって形成された酸化シリコン膜から構成され、層間絶縁膜6aより埋め込み性の低い膜である。このため、内側配線層26間には、層間絶縁膜6bによって塞がれた空隙24が形成される。
続いて、層間絶縁膜6bの上部を研磨除去した後、図61に示すように、層間絶縁膜6b上に層間絶縁膜6cを形成する。この層間絶縁膜6cは例えばCVDによって形成された酸化シリコン膜から構成される。
続いて、図62に示すように、ホトリソグラフィ技術を用いて、層間絶縁膜6a、6b、6cに孔7aおよび溝9aを形成する。
その後、図57に示すように、孔7aに配線用Via7、溝9aに保護用Via9を形成し、回路用Via7および保護用Via9が形成された層間絶縁膜6上に金属膜を形成した後、ホトリソグラフィ技術により前記金属膜をエッチングすることによって第4層(最上層)の配線層5M4を形成する。次いで、第4層の配線層5M4間を埋め込むように表面保護膜8を形成し、ホトリソグラフィ技術により表面保護膜8をエッチングすることによって表面保護膜8にパッド開口部8aを形成する。これにより、パッド開口部8aから最上層の配線層5の一部の表面が露出して電極パッド4が形成され、本実施の形態における半導体装置が完成する。
(実施の形態11)
前記実施の形態1〜10では、配線層として、アルニミウムを主成分とする配線を例示したが、本実施の形態では、銅を主成分とする配線を含む場合について説明する。
図63に示すように、上層の配線層は、層間絶縁膜6に形成した溝27内にバリアメタル膜28と、バリアメタル膜28上に形成された銅を主成分とする材料膜29を埋め込むことで形成することができる。また、プラグについても同様に、層間絶縁膜6に形成した孔30内に上記バリアメタル膜28と上記材料膜29とを埋め込むことで形成されている。また、バリアメタル膜28の材料としては、タンタル、窒化タンタル、チタン、または、窒化チタン等の高融点金属膜や、これらの積層膜で形成することができる。
また、上層の配線層では、上記溝27と上記孔30とを形成した後に、上記バリアメタル膜28と上記材料膜29とを埋め込むことで形成されている。
また、前記実施の形態では層間絶縁膜6として、酸化シリコン膜を例示したが、これに限らず、酸化シリコン膜よりも誘電率の低い材料を用いてもよい。例えば、TEOS酸化膜の比誘電率(約4.2)以下の材料を用いてもよい。このような材料として、有機材料、SiOC系材料またはSiOF系材料が挙げられる。これらの膜の形成法としては、CVD法や塗布法が挙げられる。
本実施の形態においては、このような配線層や層間絶縁膜を使用した場合でも、前述の実施の形態1〜10と同様の効果を得ることができる。
(実施の形態12)
前記実施の形態1〜11では、電極パッド4の下方の活性領域にMISFET12等の半導体素子や配線層5を形成した場合を例示したが、本実施の形態では図64に示すように、ダミー活性領域DLおよびダミー配線DMを形成した場合を例示している。
図64に示したダミー活性領域DLには、半導体素子が設けられていない。素子分離領域11を前述の実施の形態1で説明したSTIで形成したときには、このようなダミー活性領域DLを形成することで、大きいパターンのSTIを減少させることができるので、ディッシング等の問題が生じず、半導体チップの平坦化を向上させることができる。
また、ダミー活性領域DLには必ずしも半導体素子を設けないようなものに限られず、例えば、前述の実施の形態1で説明したような回路と接続せず、回路構成に寄与することのないダミー素子を設けてもよい。
次に、電極パッド4の下に、配線層5が設けられないような場合には、図64に示したように、電極パッド4および保護用配線層10の下方に、保護用配線層10とは別に、更にダミー配線DMを設けることができる。ここで、ダミー配線DMは、回路に寄与しないダミー配線である。すなわち、ダミー配線DMは前述のMISFET12とは電気的に接続しない配線である。このようなダミー配線DMを設けることで、各配線層間の平坦化を向上させることができる。
特に、ダミー活性領域DLが形成されている場合を考えると、ダミー活性領域DLは、回路に寄与しない領域なので、配線層5を形成する必要がない場合がある。しかし、ダミー活性領域DL上に、上述のダミー配線DMを設けることで、層間絶縁膜の平坦性を向上させている。
以上のようなダミー活性領域DLまたはダミー配線DMは、前述の実施の形態1〜11に適用することができる。
以上、本発明者によってなされた発明を実施の形態に基づき具体的に説明したが、本発明は前記実施の形態に限定されるものではなく、その要旨を逸脱しない範囲で種々変更可能であることはいうまでもない。
例えば、前記実施の形態では、4層の配線層に適用した場合について説明したが、これに限らず、複数の配線層にも適用することができる。
本発明は、半導体装置、特に、半導体素子の上方に電極パッドが設けられた半導体装置の製造業に幅広く利用されるものである。
本発明の一実施の形態の半導体装置の平面を示す模式図である。 図1中の半導体装置のX−X線の断面を示す模式図である。 図1中の半導体装置の破線で囲まれた領域Aを透視して示す模式図である。 図2中の半導体装置の要部を示す模式図である。 図4中の半導体装置においてクラックが発生した場合の説明図である。 本発明者が検討した半導体装置の平面を示す模式図である。 図6中の半導体装置のX−X線の断面を示す模式図である。 本発明の一実施の形態の製造工程中の半導体装置の断面を示す模式図である。 図8に続く製造工程中の半導体装置の断面を示す模式図である。 図9に続く製造工程中の半導体装置の断面を示す模式図である。 図10に続く製造工程中の半導体装置の断面を示す模式図である。 図11に続く製造工程中の半導体装置の断面を示す模式図である。 図12に続く製造工程中の半導体装置の断面を示す模式図である。 図13に続く製造工程中の半導体装置の断面を示す模式図である。 図14に続く製造工程中の半導体装置の断面を示す模式図である。 図15に続く製造工程中の半導体装置の断面を示す模式図である。 図16に続く製造工程中の半導体装置の断面を示す模式図である。 図17に続く製造工程中の半導体装置の断面を示す模式図である。 図18に続く製造工程中の半導体装置の断面を示す模式図である。 本発明の他の実施の形態の半導体装置の要部の平面を示す模式図である。 本発明の他の実施の形態の半導体装置の要部の平面を示す模式図である。 本発明の他の実施の形態の半導体装置の要部の平面を示す模式図である。 本発明の他の実施の形態の半導体装置の要部の平面を示す模式図である。 本発明の他の実施の形態の半導体装置の要部の平面を示す模式図である。 本発明の他の実施の形態の半導体装置の要部の平面を示す模式図である。 本発明の他の実施の形態の半導体装置の要部の平面を示す模式図である。 本発明の他の実施の形態の半導体装置の要部の平面を示す模式図である。 本発明の他の実施の形態の半導体装置の要部の平面を示す模式図である。 本発明の他の実施の形態の半導体装置の要部の平面を示す模式図である。 本発明の他の実施の形態の半導体装置の要部の平面を示す模式図である。 本発明の他の実施の形態の半導体装置の要部の平面を示す模式図である。 本発明の他の実施の形態の半導体装置の要部の平面を示す模式図である。 本発明の他の実施の形態の半導体装置の要部の平面を示す模式図である。 本発明の他の実施の形態の半導体装置の要部の平面を示す模式図である。 本発明の他の実施の形態の半導体装置の要部の断面を示す模式図である。 本発明の他の実施の形態の半導体装置の要部の断面を示す模式図である。 本発明の他の実施の形態の半導体装置の要部の平面を示す模式図である。 図37中の半導体装置のX−X線の断面を示す模式図である。 本発明の他の実施の形態の製造工程中の半導体装置の断面を示す模式図である。 図39に続く製造工程中の半導体装置の断面を示す模式図である。 図40に続く製造工程中の半導体装置の断面を示す模式図である。 図41に続く製造工程中の半導体装置の断面を示す模式図である。 図42に続く製造工程中の半導体装置の断面を示す模式図である。 図43に続く製造工程中の半導体装置の断面を示す模式図である。 図44に続く製造工程中の半導体装置の断面を示す模式図である。 図45に続く製造工程中の半導体装置の断面を示す模式図である。 図46に続く製造工程中の半導体装置の断面を示す模式図である。 本発明の他の実施の形態の半導体装置の要部の平面を示す模式図である。 図48中の半導体装置のX−X線の断面を示す模式図である。 本発明の他の実施の形態の製造工程中の半導体装置の断面を示す模式図である。 図50に続く製造工程中の半導体装置の断面を示す模式図である。 図51に続く製造工程中の半導体装置の断面を示す模式図である。 図52に続く製造工程中の半導体装置の断面を示す模式図である。 図50に続く製造工程中の半導体装置の断面を示す模式図である。 図54に続く製造工程中の半導体装置の断面を示す模式図である。 本発明の他の実施の形態の半導体装置の要部の平面を示す模式図である。 図56中の半導体装置のX−X線の断面を示す模式図である。 本発明の他の実施の形態の製造工程中の半導体装置の断面を示す模式図である。 図50に続く製造工程中の半導体装置の断面を示す模式図である。 図50に続く製造工程中の半導体装置の断面を示す模式図である。 図50に続く製造工程中の半導体装置の断面を示す模式図である。 図50に続く製造工程中の半導体装置の断面を示す模式図である。 本発明の他の実施の形態の半導体装置の断面を示す模式図である。 本発明の他の実施の形態の半導体装置の断面を示す模式図である。
符号の説明
1C、1C’ 半導体チップ
1S 半導体基板
2 素子形成領域
3 外周領域
4 電極パッド
4a 接触領域
5、5M1、5M2、5M3、5M4 配線層
5a 金属膜
6、6a、6b、6c 層間絶縁膜
7 回路用Via
7a 孔
8 表面保護膜
8a パッド開口部
9 保護用Via
9a 溝
10 保護用配線層
11 素子分離領域
12 MISFET
12a 絶縁膜
12b 導電性膜
12c 半導体領域
13 コンタクト
14 プローブピン
15 クラック
16 ストレス
17 配線層
18 電極
19 ホトレジスト膜
20 金属膜
21 内側Via
21a 溝
22 中間層
23 保護用Via
24 空隙
25 緩衝領域
26 内側配線層
27 溝
28 バリアメタル膜
29 材料膜
30 孔
DL ダミー活性領域
DM ダミー配線

Claims (9)

  1. 半導体基板と、
    前記半導体基板上に形成された半導体素子と、
    前記半導体素子を覆うように形成された層間絶縁膜と、
    前記層間絶縁膜中に形成された第1配線層と、
    前記第1配線層と接続し、かつ、前記層間絶縁膜中に形成された第1ビアと、
    前記第1ビアと接続し、かつ、前記層間絶縁膜上に形成された第2配線層と、
    前記第1配線層と同層で、かつ、前記層間絶縁膜中に形成された第3配線層と、
    前記第1ビアと同層で、前記第3配線層と接続し、かつ、前記層間絶縁膜中に形成された平面リング状の第2ビアと、
    前記第2配線層と同層で、前記第2ビアと接続し、かつ、前記層間絶縁膜上に形成されたパッドと、
    前記パッド及び前記第2配線層を覆うように前記層間絶縁膜上に形成され、かつ、パッドの上部に開口部を有する絶縁膜と、を有し、
    前記第2ビアの幅は、前記第1ビアの幅よりも大きく、
    前記第2ビアの平面リング状は矩形状であって、角部の幅が辺部の幅より大きいことを特徴とする半導体装置。
  2. 請求項1記載の半導体装置において、
    平面リング状の前記第2ビアで囲まれた平面領域は、前記パッドと前記第2ビアと前記第3配線層とで囲まれていることを特徴とする半導体装置。
  3. 請求項2記載の半導体装置において、
    前記第2ビアで囲まれた平面領域は、前記開口部の平面領域より大きいことを特徴とする半導体装置。
  4. 請求項3記載の半導体装置において、
    前記パッドの端から前記第2ビアの内側の端までの距離が0より大きいことを特徴とする半導体装置。
  5. 請求項3記載の半導体装置において、
    前記パッドと前記第2ビアが平面的に重なっていることを特徴とする半導体装置。
  6. 請求項1記載の半導体装置において、
    平面リング状の前記第2ビアの内側には、前記第2ビアより幅が小さい平面リング状の第3ビアが設けられていることを特徴とする半導体装置。
  7. 請求項1記載の半導体装置において、
    平面リング状の前記第2ビアの内側には、前記パッドおよび前記第3配線層に接続する複数の第3ビアが設けられており、
    前記第2ビアと前記第3ビアとの距離は、前記複数の第3ビア間の距離より大きいことを特徴とする半導体装置。
  8. 請求項1記載の半導体装置において、
    平面リング状の前記第2ビアの内側には、前記パッドおよび前記第3配線層に接続し、且つ、平面メッシュ状の第3ビアが設けられており、
    前記平面メッシュ状の交点以外の前記第3ビアの幅が、前記第1ビアの幅と同じであることを特徴とする半導体装置。
  9. 請求項1記載の半導体装置において、
    平面リング状の前記第2ビアの内側には、前記パッドおよび前記第3配線層に接続し、且つ、平面リング状の多重の第3ビアが設けられており、
    前記多重の第3ビアの一部の幅が、前記第1ビアの幅と同じであることを特徴とする半導体装置。
JP2007274216A 2007-10-22 2007-10-22 半導体装置 Expired - Fee Related JP5329068B2 (ja)

Priority Applications (3)

Application Number Priority Date Filing Date Title
JP2007274216A JP5329068B2 (ja) 2007-10-22 2007-10-22 半導体装置
US12/239,809 US20090102059A1 (en) 2007-10-22 2008-09-28 Semiconductor device
US13/924,175 US20130285057A1 (en) 2007-10-22 2013-06-21 Semiconductor device

Applications Claiming Priority (1)

Application Number Priority Date Filing Date Title
JP2007274216A JP5329068B2 (ja) 2007-10-22 2007-10-22 半導体装置

Related Child Applications (1)

Application Number Title Priority Date Filing Date
JP2013126032A Division JP5553923B2 (ja) 2013-06-14 2013-06-14 半導体装置

Publications (3)

Publication Number Publication Date
JP2009105160A JP2009105160A (ja) 2009-05-14
JP2009105160A5 JP2009105160A5 (ja) 2013-04-25
JP5329068B2 true JP5329068B2 (ja) 2013-10-30

Family

ID=40562659

Family Applications (1)

Application Number Title Priority Date Filing Date
JP2007274216A Expired - Fee Related JP5329068B2 (ja) 2007-10-22 2007-10-22 半導体装置

Country Status (2)

Country Link
US (2) US20090102059A1 (ja)
JP (1) JP5329068B2 (ja)

Families Citing this family (35)

* Cited by examiner, † Cited by third party
Publication number Priority date Publication date Assignee Title
WO2011033496A1 (en) 2009-09-16 2011-03-24 Maradin Technologies Ltd. Micro coil apparatus and manufacturing methods therefor
JP5610905B2 (ja) * 2010-08-02 2014-10-22 パナソニック株式会社 半導体装置
KR20120069119A (ko) * 2010-12-20 2012-06-28 에스케이하이닉스 주식회사 반도체 장치
JP5922331B2 (ja) * 2011-02-02 2016-05-24 ラピスセミコンダクタ株式会社 半導体装置の配線構造及びその製造方法
JP5882069B2 (ja) * 2011-03-29 2016-03-09 エスアイアイ・セミコンダクタ株式会社 半導体装置及びその製造方法
JP5837783B2 (ja) * 2011-09-08 2015-12-24 ルネサスエレクトロニクス株式会社 半導体集積回路装置
JP5660466B2 (ja) * 2011-10-07 2015-01-28 株式会社デンソー 半導体装置及び半導体装置の製造方法
US9166054B2 (en) 2012-04-13 2015-10-20 Semiconductor Energy Laboratory Co., Ltd. Semiconductor device and manufacturing method thereof
TW201401396A (zh) * 2012-05-25 2014-01-01 村田製作所股份有限公司 半導體裝置
US20130320522A1 (en) * 2012-05-30 2013-12-05 Taiwan Semiconductor Manufacturing Company, Ltd. Re-distribution Layer Via Structure and Method of Making Same
JP6008603B2 (ja) * 2012-06-15 2016-10-19 エスアイアイ・セミコンダクタ株式会社 半導体装置
JP6157100B2 (ja) 2012-12-13 2017-07-05 ルネサスエレクトロニクス株式会社 半導体装置
JP6027452B2 (ja) * 2013-02-01 2016-11-16 エスアイアイ・セミコンダクタ株式会社 半導体装置
JP2015002234A (ja) * 2013-06-14 2015-01-05 サンケン電気株式会社 半導体装置及びその製造方法
JP2015032661A (ja) * 2013-08-01 2015-02-16 ルネサスエレクトロニクス株式会社 半導体装置とその製造方法および半導体装置の実装方法
JP6212720B2 (ja) 2013-09-20 2017-10-18 パナソニックIpマネジメント株式会社 半導体装置及びその製造方法
JP2015103776A (ja) * 2013-11-28 2015-06-04 日本電信電話株式会社 多層配線用パッド構造
US9711451B2 (en) * 2014-01-29 2017-07-18 Renesas Electronics Corporation Semiconductor device with coils in different wiring layers
US9230941B2 (en) * 2014-03-28 2016-01-05 Taiwan Semiconductor Manufacturing Company, Ltd. Bonding structure for stacked semiconductor devices
US10109599B2 (en) * 2016-12-21 2018-10-23 Globalfoundries Inc. Integrated circuit structure with continuous metal crack stop
CN108666287B (zh) * 2017-04-01 2020-07-28 中芯国际集成电路制造(北京)有限公司 一种焊盘结构
JP2017147475A (ja) * 2017-06-06 2017-08-24 ルネサスエレクトロニクス株式会社 半導体装置
JP2019054199A (ja) * 2017-09-19 2019-04-04 東芝メモリ株式会社 半導体装置
US10896888B2 (en) * 2018-03-15 2021-01-19 Microchip Technology Incorporated Integrated circuit (IC) device including a force mitigation system for reducing under-pad damage caused by wire bond
JP7085417B2 (ja) * 2018-06-25 2022-06-16 ルネサスエレクトロニクス株式会社 半導体装置
US11004812B2 (en) * 2018-09-18 2021-05-11 Taiwan Semiconductor Manufacturing Company, Ltd. Package structure and method of forming the same
US11121047B2 (en) * 2019-03-14 2021-09-14 Taiwan Semiconductor Manufacturing Co., Ltd. Semiconductor structure
US11217496B2 (en) * 2019-05-07 2022-01-04 Globalfoundries Singapore Pte. Ltd. Test pad with crack stop protection
JP2021044399A (ja) * 2019-09-11 2021-03-18 キオクシア株式会社 半導体装置およびその製造方法
US11309266B2 (en) * 2020-05-28 2022-04-19 Nanya Technology Corporation Semiconductor device structure with air gap and method for forming the same
KR102866909B1 (ko) * 2020-09-09 2025-10-01 삼성전자주식회사 반도체 칩
US20240047354A1 (en) * 2022-08-03 2024-02-08 Nanya Technology Corporation Wiring structure with conductive features having different critical dimensions, and method of manufacturing the same
US12278152B2 (en) * 2022-08-06 2025-04-15 Nanya Technology Corporation Semiconductor device with cushion structure and method for fabricating the same
JP2024071995A (ja) * 2022-11-15 2024-05-27 ルネサスエレクトロニクス株式会社 半導体装置およびその製造方法
CN119028930B (zh) * 2023-05-18 2025-10-21 长鑫存储技术有限公司 半导体结构及其形成方法

Family Cites Families (15)

* Cited by examiner, † Cited by third party
Publication number Priority date Publication date Assignee Title
EP0637840A1 (en) * 1993-08-05 1995-02-08 AT&T Corp. Integrated circuit with active devices under bond pads
EP0923126A1 (en) * 1997-12-05 1999-06-16 STMicroelectronics S.r.l. Integrated electronic device comprising a mechanical stress protection structure
US5986343A (en) * 1998-05-04 1999-11-16 Lucent Technologies Inc. Bond pad design for integrated circuits
US6955981B2 (en) * 2002-09-13 2005-10-18 Taiwan Semiconductor Manufacturing Company, Ltd. Pad structure to prompt excellent bondability for low-k intermetal dielectric layers
JP4579621B2 (ja) * 2003-09-26 2010-11-10 パナソニック株式会社 半導体装置
JP2005116562A (ja) * 2003-10-02 2005-04-28 Renesas Technology Corp 半導体装置
US7049701B2 (en) * 2003-10-15 2006-05-23 Kabushiki Kaisha Toshiba Semiconductor device using insulating film of low dielectric constant as interlayer insulating film
JP2005142553A (ja) * 2003-10-15 2005-06-02 Toshiba Corp 半導体装置
US7057296B2 (en) * 2003-10-29 2006-06-06 Taiwan Semiconductor Manufacturing Co., Ltd. Bonding pad structure
JP4759229B2 (ja) * 2004-05-12 2011-08-31 ルネサスエレクトロニクス株式会社 半導体装置
JP2005327913A (ja) * 2004-05-14 2005-11-24 Renesas Technology Corp 半導体装置
KR100827653B1 (ko) * 2004-12-06 2008-05-07 삼성전자주식회사 상변화 기억 셀들 및 그 제조방법들
JP4517843B2 (ja) * 2004-12-10 2010-08-04 エルピーダメモリ株式会社 半導体装置
JP2007019128A (ja) * 2005-07-06 2007-01-25 Sony Corp 半導体装置
JP2007214349A (ja) * 2006-02-09 2007-08-23 Fuji Electric Device Technology Co Ltd 半導体装置

Also Published As

Publication number Publication date
US20130285057A1 (en) 2013-10-31
US20090102059A1 (en) 2009-04-23
JP2009105160A (ja) 2009-05-14

Similar Documents

Publication Publication Date Title
JP5329068B2 (ja) 半導体装置
JP4401874B2 (ja) 半導体装置
US7417304B2 (en) Electronic device and method for fabricating the same
JP5448304B2 (ja) 半導体装置
JP5235378B2 (ja) 半導体装置
US9711451B2 (en) Semiconductor device with coils in different wiring layers
JP5622433B2 (ja) 半導体装置およびその製造方法
JP2011139103A (ja) 半導体装置
JP5326282B2 (ja) 半導体装置とその製造方法、及び露光用マスク
JP2011146563A (ja) 半導体装置
US9437556B2 (en) Semiconductor device
JP2005294581A (ja) 半導体装置およびその製造方法
JP5553923B2 (ja) 半導体装置
JP5932079B2 (ja) 半導体装置
JP2014017437A (ja) 半導体装置およびその製造方法
JP5041088B2 (ja) 半導体装置
JP5945180B2 (ja) 半導体装置及びその製造方法
JP6435037B2 (ja) 半導体装置
US12451444B2 (en) Semiconductor wafer including chip guard
JP5726989B2 (ja) 半導体装置
JP4814694B2 (ja) 半導体装置
JP5801329B2 (ja) 半導体装置
JP5214571B2 (ja) 半導体装置
JP2006005213A (ja) 半導体装置の製造方法及び半導体装置

Legal Events

Date Code Title Description
A711 Notification of change in applicant

Free format text: JAPANESE INTERMEDIATE CODE: A712

Effective date: 20100528

A521 Request for written amendment filed

Free format text: JAPANESE INTERMEDIATE CODE: A523

Effective date: 20101005

A621 Written request for application examination

Free format text: JAPANESE INTERMEDIATE CODE: A621

Effective date: 20101005

A521 Request for written amendment filed

Free format text: JAPANESE INTERMEDIATE CODE: A523

Effective date: 20130311

A131 Notification of reasons for refusal

Free format text: JAPANESE INTERMEDIATE CODE: A131

Effective date: 20130416

A521 Request for written amendment filed

Free format text: JAPANESE INTERMEDIATE CODE: A523

Effective date: 20130614

TRDD Decision of grant or rejection written
A01 Written decision to grant a patent or to grant a registration (utility model)

Free format text: JAPANESE INTERMEDIATE CODE: A01

Effective date: 20130702

A61 First payment of annual fees (during grant procedure)

Free format text: JAPANESE INTERMEDIATE CODE: A61

Effective date: 20130724

R150 Certificate of patent or registration of utility model

Ref document number: 5329068

Country of ref document: JP

Free format text: JAPANESE INTERMEDIATE CODE: R150

Free format text: JAPANESE INTERMEDIATE CODE: R150

S531 Written request for registration of change of domicile

Free format text: JAPANESE INTERMEDIATE CODE: R313531

R350 Written notification of registration of transfer

Free format text: JAPANESE INTERMEDIATE CODE: R350

LAPS Cancellation because of no payment of annual fees