JP2005294581A - 半導体装置およびその製造方法 - Google Patents

半導体装置およびその製造方法 Download PDF

Info

Publication number
JP2005294581A
JP2005294581A JP2004108433A JP2004108433A JP2005294581A JP 2005294581 A JP2005294581 A JP 2005294581A JP 2004108433 A JP2004108433 A JP 2004108433A JP 2004108433 A JP2004108433 A JP 2004108433A JP 2005294581 A JP2005294581 A JP 2005294581A
Authority
JP
Japan
Prior art keywords
wiring
semiconductor device
mosfet
plug
protective
Prior art date
Legal status (The legal status is an assumption and is not a legal conclusion. Google has not performed a legal analysis and makes no representation as to the accuracy of the status listed.)
Granted
Application number
JP2004108433A
Other languages
English (en)
Other versions
JP4609982B2 (ja
Inventor
Koichi Aizawa
宏一 相澤
Hiroyasu Tamida
浩靖 民田
Current Assignee (The listed assignees may be inaccurate. Google has not performed a legal analysis and makes no representation or warranty as to the accuracy of the list.)
NEC Electronics Corp
Original Assignee
NEC Electronics Corp
Priority date (The priority date is an assumption and is not a legal conclusion. Google has not performed a legal analysis and makes no representation as to the accuracy of the date listed.)
Filing date
Publication date
Application filed by NEC Electronics Corp filed Critical NEC Electronics Corp
Priority to JP2004108433A priority Critical patent/JP4609982B2/ja
Priority to US11/078,477 priority patent/US7190011B2/en
Publication of JP2005294581A publication Critical patent/JP2005294581A/ja
Application granted granted Critical
Publication of JP4609982B2 publication Critical patent/JP4609982B2/ja
Anticipated expiration legal-status Critical
Expired - Fee Related legal-status Critical Current

Links

Images

Classifications

    • HELECTRICITY
    • H10SEMICONDUCTOR DEVICES; ELECTRIC SOLID-STATE DEVICES NOT OTHERWISE PROVIDED FOR
    • H10DINORGANIC ELECTRIC SEMICONDUCTOR DEVICES
    • H10D89/00Aspects of integrated devices not covered by groups H10D84/00 - H10D88/00
    • H10D89/60Integrated devices comprising arrangements for electrical or thermal protection, e.g. protection circuits against electrostatic discharge [ESD]
    • H10D89/601Integrated devices comprising arrangements for electrical or thermal protection, e.g. protection circuits against electrostatic discharge [ESD] for devices having insulated gate electrodes, e.g. for IGFETs or IGBTs
    • H10D89/611Integrated devices comprising arrangements for electrical or thermal protection, e.g. protection circuits against electrostatic discharge [ESD] for devices having insulated gate electrodes, e.g. for IGFETs or IGBTs using diodes as protective elements
    • HELECTRICITY
    • H01ELECTRIC ELEMENTS
    • H01LSEMICONDUCTOR DEVICES NOT COVERED BY CLASS H10
    • H01L24/00Arrangements for connecting or disconnecting semiconductor or solid-state bodies; Methods or apparatus related thereto
    • H01L24/01Means for bonding being attached to, or being formed on, the surface to be connected, e.g. chip-to-package, die-attach, "first-level" interconnects; Manufacturing methods related thereto
    • H01L24/02Bonding areas ; Manufacturing methods related thereto
    • H01L24/04Structure, shape, material or disposition of the bonding areas prior to the connecting process
    • H01L24/05Structure, shape, material or disposition of the bonding areas prior to the connecting process of an individual bonding area
    • HELECTRICITY
    • H10SEMICONDUCTOR DEVICES; ELECTRIC SOLID-STATE DEVICES NOT OTHERWISE PROVIDED FOR
    • H10DINORGANIC ELECTRIC SEMICONDUCTOR DEVICES
    • H10D84/00Integrated devices formed in or on semiconductor substrates that comprise only semiconducting layers, e.g. on Si wafers or on GaAs-on-Si wafers
    • H10D84/80Integrated devices formed in or on semiconductor substrates that comprise only semiconducting layers, e.g. on Si wafers or on GaAs-on-Si wafers characterised by the integration of at least one component covered by groups H10D12/00 or H10D30/00, e.g. integration of IGFETs
    • H10D84/811Combinations of field-effect devices and one or more diodes, capacitors or resistors
    • HELECTRICITY
    • H01ELECTRIC ELEMENTS
    • H01LSEMICONDUCTOR DEVICES NOT COVERED BY CLASS H10
    • H01L2924/00Indexing scheme for arrangements or methods for connecting or disconnecting semiconductor or solid-state bodies as covered by H01L24/00
    • H01L2924/10Details of semiconductor or other solid state devices to be connected
    • H01L2924/11Device type
    • H01L2924/12Passive devices, e.g. 2 terminal devices
    • H01L2924/1203Rectifying Diode
    • H01L2924/12036PN diode
    • HELECTRICITY
    • H01ELECTRIC ELEMENTS
    • H01LSEMICONDUCTOR DEVICES NOT COVERED BY CLASS H10
    • H01L2924/00Indexing scheme for arrangements or methods for connecting or disconnecting semiconductor or solid-state bodies as covered by H01L24/00
    • H01L2924/10Details of semiconductor or other solid state devices to be connected
    • H01L2924/11Device type
    • H01L2924/13Discrete devices, e.g. 3 terminal devices
    • H01L2924/1304Transistor
    • H01L2924/1306Field-effect transistor [FET]
    • HELECTRICITY
    • H01ELECTRIC ELEMENTS
    • H01LSEMICONDUCTOR DEVICES NOT COVERED BY CLASS H10
    • H01L2924/00Indexing scheme for arrangements or methods for connecting or disconnecting semiconductor or solid-state bodies as covered by H01L24/00
    • H01L2924/10Details of semiconductor or other solid state devices to be connected
    • H01L2924/11Device type
    • H01L2924/13Discrete devices, e.g. 3 terminal devices
    • H01L2924/1304Transistor
    • H01L2924/1306Field-effect transistor [FET]
    • H01L2924/13091Metal-Oxide-Semiconductor Field-Effect Transistor [MOSFET]

Landscapes

  • Engineering & Computer Science (AREA)
  • Computer Hardware Design (AREA)
  • Microelectronics & Electronic Packaging (AREA)
  • Power Engineering (AREA)
  • Metal-Oxide And Bipolar Metal-Oxide Semiconductor Integrated Circuits (AREA)
  • Insulated Gate Type Field-Effect Transistor (AREA)
  • Internal Circuitry In Semiconductor Integrated Circuit Devices (AREA)
  • Semiconductor Integrated Circuits (AREA)

Abstract

【課題】 MOSFETのゲート絶縁膜の損傷を抑制しつつ、アンテナ比の許容最大値を高める。
【解決手段】 シリコン基板101、コンタクト層間膜121、第一配線層間膜123、第一ビア層間膜125、および第二配線層間膜127がこの順に積層した構成の半導体装置100において、MOSFET102に第二配線119を介して接続する複数の保護ダイオード104を設ける。
【選択図】 図1



Description

本発明は、トランジスタを有する半導体装置およびその製造方法に関する。
MOSFETやCMOSを含む半導体装置の製造プロセスでは、プラズマを用いた処理が多く利用される。こうしたプラズマを用いた製造プロセスにおいては、シリコン基板上に設けられたMOSFETのゲート電極に接続する配線層に電荷が蓄積されることがあった。この現象はアンテナ効果と呼ばれる。電荷の蓄積により配線層の電位が上昇し、上昇した電位がゲート絶縁膜の耐圧を超えると、電荷が配線層からシリコン基板に流れる。このとき、ゲート絶縁膜が損傷を受ける。ゲート絶縁膜が損傷を受けると、ゲート電極からの半導体基板へのリーク電流が増加し、トランジスタの動作不良や信頼性の低下をもたらす原因となる。
アンテナ効果を抑制する技術としては、特許文献1に記載のものがある。特許文献1に記載の半導体装置においては、MOSFETのゲート電極の電気入力部と電気的に接続されている配線層と基板における半導体領域の間にpn接合を有するダイオードが設置されている。このような構成とすることにより、チャージアップを防止することができるとされている。
また、非特許文献1には、半導体装置の製造プロセスを工夫することにより、プラズマダメージを抑制する技術が提案されている。
特開2000−323582号公報 G. Cellere他3名、「Influence of process pRameters on plasma damage during inter−metal dielectric deposition」、2004年、Microelectronic Engineering、71巻、p.133−138
ところが、本発明者が上記従来技術について検討したところ、ゲート電極と配線層との面積比が大きい場合、アンテナ効果を抑制することが困難であった。ここで、ゲート電極の面積と配線層との面積比はアンテナ比とよばれ、このアンテナ比が大きいほど面積比が大きく、電荷の蓄積が大きくなる。このため、アンテナ効果を抑制するためには、アンテナ比を所定の値以下に抑える必要があった。また、アンテナ比が小さい場合、ゲート絶縁膜の破壊は抑制される一方、一つのMOSFETのゲート電極に接続する配線の規模に制約が生じていた。このため、高度集積化の要請に反して、配線設計に制限が生じていた。
本発明は、上記事情に鑑みなされたものであり、その目的は、MOSFETのゲート絶縁膜の損傷を抑制しつつ、アンテナ比の許容最大値を高める技術を提供することにある。
本発明によれば、半導体基板と、前記半導体基板の素子形成面に設けられたMOSFETと、前記MOSFETのゲート電極に配線を介して接続される複数の保護ダイオードと、を有することを特徴とする半導体装置が提供される。
本発明に係る半導体装置は、MOSFETに接続して複数の保護ダイオードを設けることにより、プラズマ処理過程で配線に蓄積される電荷を複数の保護ダイオードから半導体基板に確実に誘導する構成となっている。また、電荷の誘導経路を複数有する構成であるため、装置作製時のMOSFETのゲート絶縁膜の損傷が抑制された構成となっている。
本発明によれば、半導体基板と、前記半導体基板の素子形成面に設けられたMOSFETと、前記MOSFETのゲート電極に配線を介して接続され、前記半導体基板に設けられた拡散層を構成要素とする保護ダイオードと、前記拡散層に接して設けられ、前記配線に接続される複数の保護プラグと、を有することを特徴とする半導体装置が提供される。
本発明に係る半導体装置においては、保護ダイオードの拡散層に接して複数の保護プラグが設けられている。こうすることにより、プラズマ処理過程で配線に蓄積される電荷が、保護ダイオードから半導体基板に確実に誘導される構成とすることができる。このため、装置作製時のMOSFETのゲート絶縁膜の損傷が抑制された構成とすることができる。よって、半導体装置の信頼性を向上させることができる。
本発明によれば、半導体基板と、前記半導体基板の素子形成面に設けられたMOSFETと、前記MOSFETのゲート電極に配線を介して接続され、前記半導体基板に設けられた拡散層を構成要素とする保護ダイオードと、底面において前記ゲート電極に接するとともに前記配線と接続するトランジスタ接続プラグと、底面において前記拡散層に接するとともに前記配線と接続する保護プラグと、を有し、前記保護プラグの底面積が、前記トランジスタ接続プラグの底面積よりも大きいことを特徴とする半導体装置が提供される。
保護プラグの底面積、すなわち拡散層と保護プラグのとの接触面積が、トランジスタ接続プラグの底面積(ゲート電極との接触面積)よりも大きい構成とすることにより、プラズマ処理過程で配線に蓄積される電荷を保護ダイオードに優先的に移動させる構成とすることができる。このため、半導体装置の作製時のMOSFETのゲート絶縁膜の損傷が抑制された構成とすることができる。
また、本発明によれば、半導体基板と、前記半導体基板の素子形成面に設けられたアンテナ比10000以上のMOSFETと、を有し、前記MOSFETの少なくとも一つに対し、複数の保護ダイオードが接続されていることを特徴とする半導体装置が提供される。ここで、アンテナ比が10000以上の前記MOSFETのすべてについて、当該MOSFETに複数の前記保護ダイオードが接続するように構成してもよい。
また、本発明によれば、半導体基板と、前記半導体基板の素子形成面に設けられたアンテナ比10000以上のMOSFETと、を有し、前記MOSFETの少なくとも一つに対し、当該MOSFETのゲート電極に配線を介して接続され、前記半導体基板に設けられた拡散層を構成要素とする保護ダイオードと、前記拡散層に接するとともに前記配線に接続する複数の保護プラグと、が設けられたことを特徴とする半導体装置が提供される。
ここで、アンテナ比が10000以上の前記MOSFETのすべてについて複数の前記保護プラグを設けてもよい。
また本発明によれば、半導体基板と、前記半導体基板の素子形成面に設けられたアンテナ比10000以上のMOSFETと、を有し、前記MOSFETの少なくとも一つに対し、当該MOSFETのゲート電極に配線を介して接続され、前記半導体基板に設けられた拡散層を構成要素とする保護ダイオードと、底面において前記ゲート電極に接するとともに前記配線と接続するトランジスタ接続プラグと、底面において前記拡散層に接するとともに前記配線と接続する保護プラグと、が設けられ、前記保護プラグの底面積が、前記トランジスタ接続プラグの底面積よりも大きいことを特徴とする半導体装置が提供される。ここで、アンテナ比が10000以上の前記MOSFETのすべてについて、保護プラグの底面積が、トランジスタ接続プラグの底面積よりも大きい構成としてもよい。
以上のようにすることにより、アンテナ比が10000以上のMOSFETを有する場合にも、そのゲート絶縁膜の損傷を抑制することができる。このため、半導体装置の信頼性を向上させることができる。
本発明の半導体装置において、複数の前記保護ダイオードが所定の間隔で配設された構成とすることができる。こうすることにより、半導体装置の製造過程においてプラズマ処理が行われる場合にも、配線に蓄積された電荷が保護ダイオードを通って複数の経路で半導体基板に確実に移動する構成とすることができる。本発明において、前記間隔が等間隔であってもよい。こうすれば、プラズマ処理により配線に蓄積された電荷がより一層確実に保護ダイオードに誘導される構成とすることができる。
本発明の半導体装置において、複数の前記保護ダイオードがアレイ状に配置された構成とすることができる。こうすることにより、ゲート絶縁膜の破壊をさらに確実に抑制することができる。
本発明の半導体装置において、前記保護ダイオードが内部回路中に設けられた構成とすることができる。こうすることにより、配線に蓄積される電荷の移動経路を短くすることができるため、さらに確実に電荷を除去することができる。なお、保護ダイオードが内部回路に設けられているとは、保護プラグがI/O領域に囲まれた素子の領域に設けられた配線に直接接続していることをいう。
本発明の半導体装置において、前記保護ダイオードが、素子分離領域を介して前記MOSFETに隣接している構成とすることができる。保護ダイオードがMOSFETに素子分離領域を介して隣接している構成とすることにより、配線に蓄積された電荷をさらに確実に保護ダイオードに誘導することができる。また、誘導経路を短くすることができる。
本発明の半導体装置において、前記配線と前記保護ダイオードとが保護プラグによって接続されており、前記MOSFETのアンテナ比Rの最大許容値Rmaxが、前記保護プラグの底面積SCTに応じて定められており、前記最大許容値Rmaxが下記式(1)で表される構成とすることができる。
max=5.0×105[1/μm2]SCT+5000 (1)
こうすることにより、ゲート絶縁膜の損傷をより一層確実に抑制しつつ、配線設計の自由度を充分に確保することができる。なお、上記式(1)において、「[1/μm2]」は、定数5.0×105の単位を示す。
本発明によれば、シリコン基板の素子形成面にMOSFETおよび保護ダイオードを形成する工程と、前記MOSFETのゲート電極に接続するトランジスタ接続プラグおよび前記保護ダイオードの拡散層に接続する保護プラグを絶縁膜中に埋設する工程と、前記トランジスタ接続プラグおよび前記保護プラグに接続する配線を前記絶縁膜中に形成する配線形成工程と、前記トランジスタ接続プラグに接続された前記配線のアンテナ比の上限を、前記保護プラグが前記保護ダイオードの前記拡散層と接触する面積によって決定する工程と、を含み、前記配線形成工程において、アンテナ比の上限を決定する前記工程にて決定された前記上限以下の前記アンテナ比となるように、前記配線を形成することを特徴とする半導体装置の製造方法が提供される。
また、本発明において、前記決定の結果に基づいて半導体装置を設計する工程を含み、前記設計の結果を踏まえて前記保護ダイオードおよび前記保護プラグを作製する工程を含むことができる。
本発明においては、保護ダイオードの設計にあたり、アンテナ比を考慮して、前記保護プラグの前記拡散層との総接触面積を決定するため、MOSFETのゲート絶縁膜の損傷を確実に抑制する構成の半導体装置を製造することが可能となる。
なお、これらの各構成の任意の組み合わせや、本発明の表現を方法、装置などの間で変換したものもまた本発明の態様として有効である。
たとえば、上記半導体装置において、保護ダイオードは、半導体基板中に設けられたものとすることができる。この場合、半導体基板表面近傍に設けられた第1導電型のウエルと、このウエル中に設けられた第2導電型の不純物拡散層と、により保護ダイオードを構成することができる。
たとえば、本発明の半導体装置の製造方法において、前記保護ダイオードの設計にあたり、前記半導体装置がアンテナ比10000以上の前記MOSFETに対しては、当該MOSFETの少なくとも一つに複数の前記保護ダイオードを接続させることができる。
また、本発明の半導体装置の製造方法において、前記保護ダイオードの設計にあたり、前記半導体装置がアンテナ比10000以上の前記MOSFETに対しては、当該MOSFETの少なくとも一つに配線を介して保護ダイオードを接続し、前記保護ダイオードの拡散層に、前記MOSFETに接続する複数の保護プラグを設けることができる。
また、本発明の半導体装置の製造方法において、前記保護ダイオードの設計にあたり、前記半導体装置がアンテナ比10000以上の前記MOSFETに対しては、当該MOSFETの少なくとも一つに、前記MOSFETの拡散層に接続するトランジスタ接続プラグの底面積よりも大きい底面積の導電プラグを有する保護ダイオードを接続させることができる。
また、本発明の半導体装置の製造方法において、前記MOSFETのアンテナ比Rの最大許容値Rmaxが前記保護プラグの底面積SCTに応じた下記式(1)を満たすように前記保護ダイオードを設計することができる。
max=5.0×105[1/μm2]SCT+5000 (1)
以上説明したように本発明によれば、MOSFETのゲート電極に配線を介して接続する複数の保護ダイオードを設けることにより、MOSFETのゲート絶縁膜の損傷を抑制しつつ、アンテナ比の許容最大値を高める技術が実現される。
以下、本発明の実施形態について図面を参照して説明する。なお、すべての図面において、共通の構成要素には同一の符号を付し、以下の説明において詳細な説明を適宜省略する。また、以下の実施形態において、シリコン基板101の素子形成面の側を上または表とし、素子形成面の反対側の面(裏面)の側を下または裏とする。
(第一の実施形態)
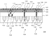
図1は、本実施形態に係る半導体装置100の構成を模式的に示す断面図である。半導体装置100は、シリコン基板101、コンタクト層間膜121、第一配線層間膜123、第一ビア層間膜125、および第二配線層間膜127がこの順に積層した構成であり、MOSFET102および二つの保護ダイオード104を有する。
MOSFET102は、拡散層105、ウェル109、ゲート電極111、およびゲート絶縁膜112から構成される。拡散層105およびウェル109の外周には、素子分離領域103としてSTIが設けられている。素子分離領域103、拡散層105およびウェル109は、シリコン基板101中に埋設されている。また、ゲート電極111およびゲート絶縁膜112はコンタクト層間膜121中に埋設されている。ゲート絶縁膜112は酸化膜とする。
導電プラグであるコンタクトプラグ113は、コンタクト層間膜121中に埋設され、ゲート電極111に接続して設けられている。また、ゲート電極111に接続する第一配線115が第一配線層間膜123中に埋設されており、第一配線115に接続する導電性の第一ビア117が第一ビア層間膜125中に埋設されている。さらに、第一ビア117に接続する第二配線119が第二配線層間膜127中に埋設されている。
また、保護ダイオード104は、ウェル109および拡散層107を有する。ウェル109および拡散層107は、シリコン基板101中に埋設され、これらの外周縁に素子分離領域103が設けられている。拡散層107には、コンタクト層間膜121中に埋設された保護プラグ131が接続している。また、保護プラグ131には、第一配線層間膜123中に埋設された第一配線133が接している。また、第一配線133には、第一ビア層間膜125中に埋設された第一ビア135が接している。さらに、第一ビア135は、MOSFET102に接続する第二配線119に接している。
以上のように、半導体装置100は、MOSFET102と二つの保護ダイオード104とが第二配線119を介して接続する構成となっている。なお、図1の半導体装置100は、第二配線119までの層を示したが、第二配線119の上部に金属膜の設けられた層が積層されており、多層配線構造の半導体装置をなしていてもよい。
次に、図1に示した半導体装置100の製造方法を説明する。半導体装置100の作製には、多層配線構造を有する半導体装置の製造に通常用いられる方法を適用することができる。
まず、シリコン基板101上にMOSFET102、保護ダイオード104および素子分離領域103を形成する。その後、シリコン基板101の上面全面にエッチングストッパ膜(不図示)およびコンタクト層間膜121をこの順に積層する。
このとき、エッチングストッパ膜として、たとえばSiN膜をプラズマCVD法により成膜する。また、コンタクト層間膜121として、たとえばSiO2膜をプラズマCVD法により成膜する。または、コンタクト層間膜121として、低誘電率層間絶縁膜であるL−Ox(商標)膜を塗布法により成膜、もしくはSiOC膜をプラズマCVD法により成膜し、低誘電率層間絶縁膜の上面にSiO2膜を成膜して、積層膜を形成してもよい。
次に、コンタクト層間膜121をドライエッチングして、コンタクトプラグ113および保護プラグ131を設ける位置を開口させて、接続孔を設ける。そして、ドライエッチングによりエッチングストッパ膜のエッチバックを行い、ゲート電極111または拡散層107との導通面を開口し、エッチング残渣除去のためのウエット処理を行う。
次に、バリアメタル膜(不図示)をスパッタリング法により成膜し、つづいて、バリアメタル膜の上にW膜(不図示)をMOCVD法(有機金属化学気相成長法)により成膜し、接続孔を埋め込む。そして、コンタクト層間膜121上のバリアメタル膜およびW膜をCMP(Chemical Mechanical polishing)により除去し、コンタクトプラグ113および保護プラグ131が形成される。
そして、コンタクト層間膜121上に第一配線層間膜123を成膜し、第一配線層間膜123中に第一配線115および第一配線133を設ける。以下、同様にして、第一ビア層間膜125中に第一ビア117および第一ビア135を設ける。そして、第二配線層間膜127中に第二配線119を設ける。こうして、図1に示した半導体装置100が得られる。
次に、図1に示した半導体装置100の効果を説明する。
半導体装置100においては、一つのMOSFET102に二つの保護ダイオード104が接続されている。これにより、保護プラグ131と拡散層107との接触面積(保護プラグ131の底面積)の総和を好適に増加させることができる。このため、半導体装置100の作製にプラズマ処理を用いる場合にも、第二配線119に蓄積した電荷を複数の保護ダイオード104に分散させて、MOSFET102を通らずにシリコン基板101に逃がすようにすることができる。電流経路が複数の保護ダイオード104に分散するため、MOSFET102におけるアンテナ効果を確実に抑制することができる。このため、ゲート絶縁膜112の損傷やそれに伴うリーク電流の発生を確実に抑制することができる。このため、MOSFET102に接続する配線の配線規模を大きくすることができる。
また、半導体装置100においては、保護ダイオード104から第二配線119までの配線および接続プラグは、MOSFET102を第二配線119に接続させる配線や接続プラグの作製時に同一工程で作製可能な構成となっている。このため、追加される製造プロセスが不要な構成であり、歩留まりよく安定的に製造可能な構成となっている。
なお、図1においては、一つのMOSFET102のゲート電極111に二つの保護ダイオード104が接続する構成とした。また、MOSFET102と保護ダイオード104とが第二配線119にて接続する構成とした。一つのMOSFET102のゲート電極111に接続する保護ダイオード104の数や接続方法は、こうした態様には限られず、半導体装置100の設計に応じて適宜選択することができる。
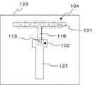
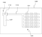
図2および図3は、MOSFET102と保護ダイオード104の配置例を示す平面図である。たとえば、図2に示したように、MOSFET102のゲート電極111(図2では不図示)が、内部回路129に等間隔にアレイ状に配置された複数の保護ダイオード104に電気的に接続する構成とすることができる。また、図3に示したように、内部回路129に、第二配線119に接続する複数の保護ダイオード104を平面配置してもよい。このように、一つのゲート電極111に接続する保護ダイオード104の数を増すことにより、電荷の移動経路を分散させることができるため、アンテナ効果をさらに確実に抑制することができる。
なお、図2および図3では、MOSFET102が第二配線119の上層に設けられている上部配線137に接続された構成となっている。また、内部回路129とは、半導体装置100の素子領域のうち、I/O領域に囲まれた素子の領域のことをいう。
(第二の実施形態)
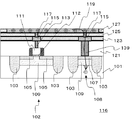
図4は、本実施形態に係る半導体装置の構成を模式的に示す断面図である。図4に示した半導体装置114は、MOSFET102に接続する第二配線119に保護ダイオード106が接続している。
保護ダイオード106は、拡散層107に接続する保護プラグ131を複数有する。図4中では、2本の保護プラグ131が保護ダイオード106の拡散層107に接続する構成を例示しているが、一つの拡散層107に接続される保護プラグ131の本数に制限はなく、半導体装置100の設計に応じて適宜選択される。
一つの保護ダイオード106の拡散層107に接続する保護プラグ131を複数とすることにより、拡散層107に接触する保護プラグ131の底面積の合計を増加させることができる。このため、第二配線119に蓄積した電荷を複数の保護プラグ131に分散させて確実にシリコン基板101に逃がすことができる。このため、MOSFET102のゲート絶縁膜112の損傷を抑制することができる。このため、MOSFET102に接続する配線のアンテナ比を大きくすることができる。よって、配線の規模を大きくすることが可能である。
また、配線規模に応じて保護プラグ131の本数を増やす図4の半導体装置114において、保護プラグ131の底面積をゲート電極111に接続するコンタクトプラグ113の底面積に等しくすることができる。この構成を採用すれば、コンタクトプラグ113と同一工程で保護プラグ131を作製可能な構成とすることができる。このため、製造プロセスの簡素化が可能である。
なお、本実施形態においても、第一の実施形態と同様に、一つのMOSFET102に接続する保護ダイオード106を複数設けてもよい。拡散層107に複数の保護プラグ131が接続した保護ダイオード106を複数個MOSFET102に接続させることにより、MOSFET102に生じるアンテナ効果をより一層確実に抑制することができる。
(第三の実施形態)
図5は、本実施形態に係る半導体装置の構成を模式的に示す断面図である。図5に示した半導体装置116は、MOSFET102に接続する第二配線119に、保護ダイオード108が接続している。
保護ダイオード108は、拡散層107に接続する大径プラグ139を有する。大径プラグ139は、MOSFET102のゲート電極111に接続するコンタクトプラグ113の径よりも大きい径を有する導電性の保護プラグである。なお、ここでは、コンタクトプラグ113と大径プラグ139の径を変化させたが、コンタクトプラグ113と保護プラグの底面積(接触面積)を変化させる構成であれば、必ずしも径を異ならせる態様には限られない。また、コンタクトプラグ113および大径プラグ139の底面積は、それぞれ、コンタクトプラグ113とゲート電極111との接触面の面積および保護プラグ131と拡散層107との接触面の面積を指す。
保護ダイオード108の拡散層107に接続する大径プラグ139の径をゲート電極111に接続するコンタクトプラグ113の径よりも大きくすることにより、第二配線119に蓄積した電荷を大径プラグ139の側に優先的に導き、シリコン基板101に逃がすことができる。このため、ゲート絶縁膜112の損傷を抑制することができる。このため、MOSFET102に接続する配線の規模を大きくすることが可能である。
なお、本実施形態においても、第一の実施形態と同様に、一つのMOSFET102に接続する保護ダイオード108を複数設けてもよい。断面積がコンタクトプラグ113よりも大きい大径プラグ139に接続する保護ダイオード108を複数個MOSFET102に接続させることにより、MOSFET102に生じるアンテナ効果をより一層確実に抑制することができる。
図6(a)〜図6(c)は、保護ダイオードの拡散層107と拡散層107に接続する保護プラグの大きさおよび配置を模式的に示す平面図である。図6(a)は、コンタクトプラグ113と同径の保護プラグを一本有する保護ダイオード一つを第二配線119に接続する場合に対応する。図6(b)は、第二の実施形態に記載の構成に対応し、図6(c)は、第三の実施形態に記載の構成に対応している。図6(b)および図6(c)の場合、拡散層107に接するコンタクトプラグの底面積の合計が図6(a)の場合の9倍となっている。このため、第二の実施形態の保護ダイオード106のように保護プラグ131の本数を増やしたり、第三の実施形態のように大径プラグ139を設けたりすることにより、製造過程において第二配線119に蓄積する電荷を確実に保護ダイオード側に導き、シリコン基板101中に逃がすことができる。
さらに、図6(b)と図6(c)を比較した場合、図6(b)に示したように、複数の保護プラグ131を設けるか、あるいは第一の実施形態に記載の半導体装置100(図1)のように一つのゲート電極111に複数の保護ダイオード104が接続する構成とすることにより、電荷の通過経路の数を増やすことができる。このため、電荷を複数の経路に分散させて逃がすことが可能であり、より一層確実にゲート絶縁膜112の損傷を抑制することができる。
(第四の実施形態)
本実施形態では、以上の実施形態に記載の半導体装置中の一つのMOSFET102に係るアンテナ比の設定方法について説明する。トランジスタはゲート電極の底面積が大きいほど破壊電圧に対する耐圧が大きくなる。そのためプラズマダメージの観点からデバイスの規模を表現するときは、ゲート電極の底面積とデバイス規模の比である「アンテナ比(antenna Ratio)」Rを用いる。プラズマダメージはデバイスごとに発生するので、アンテナ比はデバイス毎に計算する。ここで、デバイスとは、各層配線(Metal1、2、3等)、各層ビア(Via1、2、3等)を指し、デバイスの規模を変化させる因子として、配線長、配線の高さもしくは厚さ、ビア個数、ビア径などが挙げられる。MOSFETのゲート電極に接続する配線およびビアについて、アンテナ比Rはたとえば以下のようにして求められる。
図7(a)〜図7(c)は、以上の実施形態に係る半導体装置のアンテナ比Rの計算方法を説明する図である。なお、図7(a)〜図7(c)において、Sgはゲート電極111の底面積である。また、Smsは、配線の側面積である。また、Smbは、配線の底面積である。また、Svbは、ビアの底面積であり、nは同層に存在し、一つのゲート電極111に接続するビアの個数である。また、Wtrは、MOSFETの幅である。
図7(a)および図7(b)に示したように、配線のアンテナ比は下記式(i)または下記(ii)で表すことができる。
R=Sms/Sg (i)
R=Smb/Sg (ii)
本実施形態では、配線の底面積からアンテナ比Rを求める式(ii)(図7(b))の場合を例に以下説明する。
また、図7(c)に示したように、ビアのアンテナ比は、下記式(iii)で表すことができる。
R=Svb×n/Sg (iii)
配線およびビアについてそれぞれ式(ii)および式(iii)を適用することにより、半導体装置のアンテナ基準を設定することができる。図8は、半導体装置の構成を模式的に示す断面図である。ここでは、図8の半導体装置の構成を例に、アンテナ基準の設定方法を説明する。なお、図8には示していないが、Metal2には以下の基準で保護ダイオードが接続される。
本実施形態では、保護ダイオードが接続したMOSFETの接続される各層を全層あわせて設定し、MOSFETのアンテナ比Rが10000以上であるときは、
(a)MOSFETに接続される保護ダイオードを複数個設ける、
(b)MOSFETに接続される一つの保護ダイオードが、複数の保護プラグを有する構成とする、または
(c)MOSFETのゲート電極に接続されるコンタクトプラグの底面積よりも保護ダイオードの拡散層に接続される保護プラグの底面積を大きくする、
のいずれかを満たすようにゲート電極に接続する保護ダイオードを設ける。このようにすれば、MOSFETのアンテナ比が10000以上の場合にも、ゲート絶縁膜の損傷を抑制することができる。このため、ゲート電極からシリコン基板へのリーク電流の増加を抑制することができる。よって、MOSFETの動作不良を抑制することができる。
なお、上記(c)において、たとえば、コンタクトプラグおよび保護プラグが円柱の形状を有する場合には、保護プラグの径をコンタクトプラグの径よりも太くすることができる。
また、一つの半導体装置に、アンテナ比が10000以上のMOSFETを複数設けられている場合、これらの過半数が上記(a)〜(c)のいずれかを満たしているように半導体装置を設計するとよい。こうすることにより、MOSFETに動作不良が生じる確率をさらに確実に低下させることができる。また、アンテナ比が10000以上のMOSFETのすべてが上記(a)〜(c)のいずれかを満たすように設計するとさらに好ましい。こうすれば、MOSFETの動作不良をより一層確実に抑制することができる。
このようなアンテナ基準を設けることにより、デバイスに蓄積される電荷量を抑制することができる。その結果、ゲート絶縁膜を通過する電荷量を制限し、ダメージの発生を防止できる。また、保護ダイオードを設けることにより、アンテナ基準を従来の値に比べて大きくすることが可能であり、LSIの設計の自由度を向上させることができる。
なお、MOSFETに一つの保護ダイオードを設けた従来の場合でも、たとえば前述の非特許文献1に記載されているように、アンテナ比を300〜500に設計されていた。これに対し、本実施形態では、上記(a)〜(c)のいずれかを満たす構成とすることにより、MOSFETのアンテナ比を充分大きくすることができる。
(第五の実施形態)
以上の実施形態に記載の半導体装置において、一つのMOSFET102に係るアンテナ比を以下のように設定することもできる。
本実施形態においては、保護ダイオードが接続されたMOSFETのアンテナ比Rの最大許容値Rmaxを、保護プラグの底面積SCTに応じて定め、最大許容値Rmaxが下記式(1)で表される構成とする。
max=5.0×105[1/μm2]SCT+5000 (1)
MOSFETに接続する保護ダイオードの構成に応じて、MOSFETに係るアンテナ比の最大許容値が上記式(1)を満たすようにデバイスを設計することにより、半導体装置の製造時のプラズマダメージをより一層確実に抑制することができる。
なお、上記式(1)は、一般化して次のように表すことができる。
max=α×SCT+A0 (2)
ただし、上記式(2)において、αおよびA0は定数であるため、Rmaxは保護プラグの底面積SCTに応じて変動する値である。
αは、MOSFETに接続する保護ダイオードが変化したときのRmaxの増分を示す係数である。αの値は、保護ダイオードの数を一つ増やした場合の許容されるRmaxの変化を評価することにより、実験的に求めることができる。なお、αを分解すると、
α=β/S0
と表される。S0は、MOSFETのゲート電極に接続するコンタクトプラグの底面積であり、設計値から算出することができる。βは係数であり、保護プラグの底面積がS0分増加したときに増えるアンテナ比を表す。βの値は実験的に求めることができる。S0の性質から、αはCMOS世代によって変化する値となり、上述のように実験により求めることができる。αは、たとえば5.0×105[1/μm2]とすることができる。
また、SCTは、保護プラグの底面積であり、半導体装置の設計値からこの底面積を求めることができる。
また、A0は定数である。保護ダイオードが接続されていないときに許容される最大アンテナ比Rmax0に相当する値である。A0は、保護ダイオードを有しないMOSFETを用いて実験的に求めることが可能である。A0は、たとえば5000とすることができる。
一方、ダイオードを接続した場合の許容される最小のアンテナ比Rminは、たとえば、
max/2>A0の場合、Rmin=Rmax/2、
max/2≦A0の場合、Rmin=A0
とすることができる。こうすることにより、アンテナ比を充分に高めつつ、ゲート絶縁膜112の損傷が抑制された構成とすることができる。
以上、発明の好適な実施形態を説明した。しかし、本発明は上述の実施形態に限定されず、当業者が本発明の範囲内で上述の実施形態を変形可能なことはもちろんである。
たとえば、以上の実施形態においては、コンタクトプラグ113、保護プラグ131、および大径プラグ139の材料としてWを用いることを例示したが、導電率の高い他の材料を用いてもよい。たとえば、アルミニウムや銅を主成分とする金属などの材料を用いてもよい。
また、以上の実施形態においては、保護ダイオードの拡散層107に接続する保護プラグ131が第二配線119に接続される構成について説明したが、第三配線層以上の上層配線または第一配線115に接続される構成としてもよい。
また、以上の実施形態においては、コンタクトプラグ113、保護プラグ131、および大径プラグ139が円柱である場合を例に説明したが、これらの形状は円柱形には限定されない。たとえば、これらのプラグの形状は、楕円柱、または角柱等の上面および底面の面積が略等しい形状であってもよい。また、上面に先端部を有しない円錐台、楕円錐台、または角錐台の形状であってもよい。また、柱状体は、一方向に延在するトレンチ形状であってもよい。
以下の実施例では、特に断りがない限り、アンテナ比の評価モデルとして、図14に示した構成の半導体装置を用いた。図14は、保護プラグを一つ有する保護ダイオード一つがMOSFETに接続する半導体装置の構成を模式的に示す図である。
また、以下の実施例では、特に断りがない限り、アンテナ比Rとして、配線の底面積(図7(b))から上記式(ii)を用いて算出した第二配線(Metal2)のアンテナ比を用いた。なお、アンテナ比の算定にあたり、配線の底面積については、たとえば配線形成時のマスクパターンに基づいて決めることができる。
(実施例1)
本実施例では、MOSFETのアンテナ比と不良率の関係について検討を行った。まず、図14に示した半導体装置を作製した。この半導体装置について、ゲート絶縁膜を変化させてゲート電極におけるリーク電流を測定し、ある一定値以上の電流が流れたチップを不良と判定した。保護プラグのホール径を、0.10〜0.15μmとした。
図9は、ゲート絶縁膜の膜厚と不良率との関係を示す図である。図9では、トランジスタ間の差が明確に分かるアンテナ比=50000の不良率を示した。図9より、ゲート絶縁膜の膜厚が2〜4nmの場合が最もプラズマダメージ耐性が低いことがわかる。
そこで、最もプラズマダメージ耐性が低いゲート絶縁膜の膜厚が2〜4nmのトランジスタの不良率のアンテナ比依存性の評価を行った。この測定においても、保護プラグを一つ有する保護ダイオード一つがMOSFETに接続する半導体装置(図14)を用いた。また、円形の形状を有する保護プラグのホール径を、0.10〜0.15μmとした。
結果を図10に示す。図10に示したように、アンテナ比の値が15000以上になると、不良率が増加することがわかる。よって、コンタクト1個の保護ダイオードで許容できるアンテナ比の最大値が15000以下であることがわかる。また、半導体装置の生産性(安全余裕)を考慮すると、アンテナ比の上限を10000程度とすることが好ましい。
本実施例より、ゲート電極に接続する保護ダイオードを有する半導体装置において、ゲート電極のアンテナ比が10000を超える場合には保護ダイオードの数を増やす必要があることがわかった。
(実施例2)
本実施例では、第一の実施形態(図1)に記載の構成を用いて、複数の保護ダイオード104を有する半導体装置を作製した。一つのゲート電極111に接続する保護ダイオード104の個数を変化させることにより、ゲート電極111に接続する保護プラグ131の合計面積を変化させ、ゲート電極111の不良率との関係を調べた。図11は、保護ダイオード104に接続する保護プラグ131の底面積と不良率との関係を示す図である。図11より、接続する保護ダイオード104の個数を2個以上にすることにより、1個の場合より不良率低減の効果が得られることがわかる。また、接続する保護ダイオード104の数が多いほど電荷を逃がしやすくなることがわかる。
(実施例3)
本実施例では、第二の実施形態(図4)に記載の構成を用いて、保護ダイオード106の拡散層107に複数の保護プラグ131が接続された半導体装置を作製した。具体的には、図12の右上図および右下図に例示したように、保護ダイオード106の拡散層107に接続する円柱形の保護プラグ131の本数を変化させることにより、アンテナ比を変化させた。そして、そのときの不良率を評価した。
図12は、本実施例に係る半導体装置のアンテナ比と不良率の関係を示す図である。図12より、一つの保護ダイオード106の拡散層107に接続する保護プラグ131の個数を2個以上にすることにより、不良率低減の効果が得られることがわかる。そして、保護プラグ131と拡散層107との接触面積の合計、すなわち保護プラグ131の底面積の合計が大きくなるほど不良率低減の効果があることがわかる。
さらに、この装置の不良率を5%以下とするためには、Rmaxを規定する上記式(2)において、α=5.0×105[1/μm2]、A0=5000とするとよいことがわかった。
(実施例4)
本実施例では、第五の実施形態に記載の上記式(1)を満たす半導体装置を作製した。図13は、本実施例に係る半導体装置の構成を模式的に示す断面図である。図13に示したように、保護ダイオードに接続するコンタクトプラグの径を、トランジスタに接続するコンタクトプラグの径よりも太くした。図13に示した半導体装置において、各層および各部材の構成は以下のようにした。
・ゲート絶縁膜
膜厚:0.1〜10nm
・トランジスタに接続するコンタクトプラグ
ホール形成後にバリアメタルを成膜し、その上にタングステンを成膜した。
ホール径:100〜200nm
バリアメタル材質:チタンと窒化チタンの積層膜とした。チタン膜厚:5〜15nm、窒化チタン膜厚:10〜20nmとした。
層間膜:シリコン酸化膜、膜厚:500〜800nm
・第1配線
溝形成後にバリアメタルを成膜し、その上にCuを主成分とする金属を成膜した。
バリアメタル材質:タンタルと窒化タンタルの積層膜とした。タンタル膜厚:50〜200nm、窒化タンタル膜厚:50〜200nmとした。
配線幅:100〜20000nm
配線厚:100〜300nm
層間膜:シリコン窒化膜上にシリコン酸化膜を成膜した。シリコン窒化膜の膜厚:20〜100nm、シリコン酸化膜の膜厚:100〜400nmとした。
・第2、3配線
溝形成後にバリアメタルを成膜し、その上にCuを主成分とする金属を成膜した。
バリアメタル材質:タンタルと窒化タンタルの積層膜とした。タンタル膜厚:5〜20nm、窒化タンタル膜厚:5〜20nmとした。
配線幅:100〜20000nm
配線厚:100〜300nm
層間膜:シリコン窒化膜上に低誘電率膜を成膜、その上にシリコン酸化膜を成膜した。シリコン窒化膜の膜厚:20〜100nm、低誘電率膜の膜厚:100〜300nm、シリコン酸化膜の膜厚:10〜40nmとした。
・ビア
溝形成後にバリアメタルを成膜し、その上にCuを主成分とする金属を成膜した。
ホール径:100〜200nm
バリアメタル材質:タンタルと窒化タンタルの積層膜とした。タンタル膜厚:5〜20nm、窒化タンタル膜厚:5〜20nmとした。
層間膜:シリコン窒化膜上に低誘電率膜を成膜、その上にシリコン酸化膜を成膜した。シリコン窒化膜の膜厚:20〜100nm、低誘電率膜の膜厚:100〜300nm、シリコン酸化膜の膜厚:10〜40nmとした。
・パッドメタル
下部のバリアメタルを成膜後、アルミニウムを主成分とする金属を成膜し、その上に上部のバリアメタルを成膜した。
アルミニウムを主成分とする金属の膜厚:1000〜3000nm
下部のバリアメタル材質:チタンと窒化チタンの積層膜とした。チタン膜厚:30〜100nm、窒化チタン膜厚:50〜300nmとした。
上部のバリアメタル材質:窒化チタンの単層膜とした。窒化チタン膜厚:10〜50nmとした。
・カバー膜
シリコン酸化膜上にシリコン酸窒化膜を成膜し、その上にポリイミドを成膜してパッシベイション膜(吸湿防止膜)とした。それぞれ、シリコン酸化膜厚:500〜2000nm、シリコン酸窒化膜厚:500〜2000nm、ポリイミド膜厚:1000〜5000nmとした。
また、トランジスタとダイオードの組み合わせは、
P型トランジスタの場合、トランジスタ:P+拡散層、Nウェル、
ダイオード:P+拡散層、Nウェル。
または、
N型トランジスタの場合、トランジスタ:N+拡散層、Pウェル、
ダイオード:N+拡散層、Pウェル。
とした。
得られた半導体装置は、MOSFETのゲート電極の不良率が低く、MOSFETの動作特性に優れていた。これより、上記式(1)を満たすように保護プラグと拡散層の接触面積を決定することにより、アンテナ比を充分に高めつつ、ゲート絶縁膜の損傷を抑制できることがわかった。
本実施形態に係る半導体装置の構成を模式的に示す断面図である。 本実施形態に係る半導体装置の構成を模式的に示す断面図である。 本実施形態に係る半導体装置の構成を模式的に示す断面図である。 本実施形態に係る半導体装置の構成を模式的に示す断面図である 本実施形態に係る半導体装置の構成を模式的に示す断面図である。 半導体装置の保護ダイオードの拡散層とコンタクトプラグの構成を模式的に示す平面図である。 アンテナ比の計算方法を説明する図である。 アンテナ比の計算方法を説明する図である。 実施例に係る半導体装置のゲート絶縁膜の膜厚と不良率の関係を示す図である。 実施例に係る半導体装置のアンテナ比と不良率の関係を示す図である。 実施例に係る半導体装置の保護プラグの底面積と不良率の関係を示す図である。 実施例に係る半導体装置のアンテナ比と不良率の関係を示す図である。 実施例に係る半導体装置の構成を模式的に示す断面図である。 実施例に係る半導体装置の構成を模式的に示す断面図である。
符号の説明
100 半導体装置
101 シリコン基板
103 素子分離領域
104 保護ダイオード
105 拡散層
106 保護ダイオード
107 拡散層
108 保護ダイオード
109 ウェル
111 ゲート電極
112 ゲート絶縁膜
113 コンタクトプラグ
114 半導体装置
115 第一配線
116 半導体装置
117 第一ビア
119 第二配線
121 コンタクト層間膜
123 第一配線層間膜
125 第一ビア層間膜
127 第二配線層間膜
129 内部回路
131 保護プラグ
133 第一配線
135 第一ビア
137 上部配線
139 大径プラグ

Claims (12)

  1. 半導体基板と、
    前記半導体基板の素子形成面に設けられたMOSFETと、
    前記MOSFETのゲート電極に配線を介して接続される複数の保護ダイオードと、
    を有することを特徴とする半導体装置。
  2. 半導体基板と、
    前記半導体基板の素子形成面に設けられたMOSFETと、
    前記MOSFETのゲート電極に配線を介して接続され、前記半導体基板に設けられた拡散層を構成要素とする保護ダイオードと、
    前記拡散層に接するとともに前記配線に接続される複数の保護プラグと、
    を有することを特徴とする半導体装置。
  3. 半導体基板と、
    前記半導体基板の素子形成面に設けられたMOSFETと、
    前記MOSFETのゲート電極に配線を介して接続され、前記半導体基板に設けられた拡散層を構成要素とする保護ダイオードと、
    底面において前記ゲート電極に接するとともに前記配線と接続するトランジスタ接続プラグと、
    底面において前記拡散層に接するとともに前記配線と接続する保護プラグと、
    を有し、
    前記保護プラグの底面積が、前記トランジスタ接続プラグの底面積よりも大きいことを特徴とする半導体装置。
  4. 半導体基板と、
    前記半導体基板の素子形成面に設けられたアンテナ比10000以上のMOSFETと、
    を有し、
    前記MOSFETの少なくとも一つに対し、複数の保護ダイオードが接続されていることを特徴とする半導体装置。
  5. 半導体基板と、
    前記半導体基板の素子形成面に設けられたアンテナ比10000以上のMOSFETと、
    を有し、
    前記MOSFETの少なくとも一つに対し、
    当該MOSFETのゲート電極に配線を介して接続され、前記半導体基板に設けられた拡散層を構成要素とする保護ダイオードと、
    前記拡散層に接するとともに前記配線に接続する複数の保護プラグと、
    が設けられたことを特徴とする半導体装置。
  6. 半導体基板と、
    前記半導体基板の素子形成面に設けられたアンテナ比10000以上のMOSFETと、
    を有し、
    前記MOSFETの少なくとも一つに対し、
    当該MOSFETのゲート電極に配線を介して接続され、前記半導体基板に設けられた拡散層を構成要素とする保護ダイオードと、
    底面において前記ゲート電極に接するとともに前記配線と接続するトランジスタ接続プラグと、
    底面において前記拡散層に接するとともに前記配線と接続する保護プラグと、
    が設けられ、
    前記保護プラグの底面積が、前記トランジスタ接続プラグの底面積よりも大きいことを特徴とする半導体装置。
  7. 請求項1乃至6いずれかに記載の半導体装置において、
    複数の前記保護ダイオードが所定の間隔で配設されたことを特徴とする半導体装置。
  8. 請求項1乃至7いずれかに記載の半導体装置において、
    複数の前記保護ダイオードがアレイ状に配置されたことを特徴とする半導体装置。
  9. 請求項1乃至8いずれかに記載の半導体装置において、
    前記保護ダイオードが内部回路中に設けられたことを特徴とする半導体装置。
  10. 請求項1乃至9いずれかに記載の半導体装置において、
    前記保護ダイオードが、素子分離領域を介して前記MOSFETに隣接していることを特徴とする半導体装置。
  11. 請求項1乃至10いずれかに記載の半導体装置において、
    前記配線と、前記保護ダイオードとが保護プラグによって接続されており、
    前記MOSFETのアンテナ比Rの最大許容値Rmaxが、前記保護プラグの底面積SCTに応じて定められており、前記最大許容値Rmaxが下記式(1)で表されることを特徴とする半導体装置。
    max=5.0×105[1/μm2]SCT+5000 (1)
  12. シリコン基板の素子形成面にMOSFETおよび保護ダイオードを形成する工程と、
    前記MOSFETのゲート電極に接続するトランジスタ接続プラグおよび前記保護ダイオードの拡散層に接続する保護プラグを絶縁膜中に埋設する工程と、
    前記トランジスタ接続プラグおよび前記保護プラグに接続する配線を前記絶縁膜中に形成する配線形成工程と、
    前記トランジスタ接続プラグに接続された前記配線のアンテナ比の上限を、前記保護プラグが前記保護ダイオードの前記拡散層と接触する面積によって決定する工程と、
    を含み、
    前記配線形成工程において、アンテナ比の上限を決定する前記工程にて決定された前記上限以下の前記アンテナ比となるように、前記配線を形成することを特徴とする半導体装置の製造方法。
JP2004108433A 2004-03-31 2004-03-31 半導体装置およびその製造方法 Expired - Fee Related JP4609982B2 (ja)

Priority Applications (2)

Application Number Priority Date Filing Date Title
JP2004108433A JP4609982B2 (ja) 2004-03-31 2004-03-31 半導体装置およびその製造方法
US11/078,477 US7190011B2 (en) 2004-03-31 2005-03-14 Semiconductor device and method for manufacturing same

Applications Claiming Priority (1)

Application Number Priority Date Filing Date Title
JP2004108433A JP4609982B2 (ja) 2004-03-31 2004-03-31 半導体装置およびその製造方法

Publications (2)

Publication Number Publication Date
JP2005294581A true JP2005294581A (ja) 2005-10-20
JP4609982B2 JP4609982B2 (ja) 2011-01-12

Family

ID=35096793

Family Applications (1)

Application Number Title Priority Date Filing Date
JP2004108433A Expired - Fee Related JP4609982B2 (ja) 2004-03-31 2004-03-31 半導体装置およびその製造方法

Country Status (2)

Country Link
US (1) US7190011B2 (ja)
JP (1) JP4609982B2 (ja)

Cited By (3)

* Cited by examiner, † Cited by third party
Publication number Priority date Publication date Assignee Title
JP2009231585A (ja) * 2008-03-24 2009-10-08 Seiko Epson Corp 半導体装置及びその製造方法
JP2009239019A (ja) * 2008-03-27 2009-10-15 Seiko Epson Corp 半導体装置及びその製造方法
WO2018110304A1 (ja) * 2016-12-14 2018-06-21 ソニーセミコンダクタソリューションズ株式会社 半導体装置、および保護素子

Families Citing this family (8)

* Cited by examiner, † Cited by third party
Publication number Priority date Publication date Assignee Title
JP4205732B2 (ja) * 2006-05-12 2009-01-07 エルピーダメモリ株式会社 半導体集積回路装置
JP2010171345A (ja) * 2009-01-26 2010-08-05 Renesas Electronics Corp 半導体装置
MX2013001367A (es) 2010-08-02 2013-03-07 Manitowoc Foodservice Co Inc Analisis de una onda acustica que se ha propagado a traves de un cuerpo de agua mientras el cuerpo de agua esta siendo congelado.
KR101865840B1 (ko) * 2011-08-10 2018-06-08 삼성전자주식회사 반도체 소자
WO2018132991A1 (en) * 2017-01-19 2018-07-26 Texas Instruments Incorporated Power mosfet with a deep source contact
US10480843B2 (en) 2018-01-19 2019-11-19 Manitowoc Foodservice Companies, Llc Ice-making machine that utilizes closed-loop harvest control with vibrational feedback
CN111508954A (zh) * 2020-04-28 2020-08-07 上海华力集成电路制造有限公司 一种基于fdsoi工艺平台的保护二极管结构及其制作方法
US20230171963A1 (en) * 2021-11-26 2023-06-01 Samsung Electronics Co., Ltd. Semiconductor device

Citations (9)

* Cited by examiner, † Cited by third party
Publication number Priority date Publication date Assignee Title
JPS63314860A (ja) * 1987-06-17 1988-12-22 Mitsubishi Electric Corp 入力保護回路
JPS6446973A (en) * 1988-07-22 1989-02-21 Hitachi Ltd Semiconductor device
JPH05175426A (ja) * 1991-12-26 1993-07-13 Kawasaki Steel Corp 半導体静電保護回路
JPH0611361U (ja) * 1992-07-15 1994-02-10 三菱電機株式会社 Mic用入力端子構造
JPH08274267A (ja) * 1995-04-03 1996-10-18 Nec Corp 半導体装置
JPH11186394A (ja) * 1997-12-19 1999-07-09 Matsushita Electric Ind Co Ltd 半導体集積回路の製造方法
JP2000106419A (ja) * 1998-09-29 2000-04-11 Oki Electric Ind Co Ltd Ic設計用ライブラリ及びレイアウトパターン設計方法
US6091114A (en) * 1998-03-31 2000-07-18 Texas Instruments Incorporated Method and apparatus for protecting gate oxide from process-induced charging effects
JP2002100739A (ja) * 2000-09-25 2002-04-05 Hitachi Ltd 半導体装置

Family Cites Families (3)

* Cited by examiner, † Cited by third party
Publication number Priority date Publication date Assignee Title
JP3413876B2 (ja) * 1992-07-08 2003-06-09 セイコーエプソン株式会社 半導体装置
JP2000323582A (ja) 1999-05-14 2000-11-24 Hitachi Ltd 半導体装置およびその製造方法
US6344368B1 (en) * 2000-06-26 2002-02-05 United Microelectronics Corp. Method for forming CMOS sensor

Patent Citations (9)

* Cited by examiner, † Cited by third party
Publication number Priority date Publication date Assignee Title
JPS63314860A (ja) * 1987-06-17 1988-12-22 Mitsubishi Electric Corp 入力保護回路
JPS6446973A (en) * 1988-07-22 1989-02-21 Hitachi Ltd Semiconductor device
JPH05175426A (ja) * 1991-12-26 1993-07-13 Kawasaki Steel Corp 半導体静電保護回路
JPH0611361U (ja) * 1992-07-15 1994-02-10 三菱電機株式会社 Mic用入力端子構造
JPH08274267A (ja) * 1995-04-03 1996-10-18 Nec Corp 半導体装置
JPH11186394A (ja) * 1997-12-19 1999-07-09 Matsushita Electric Ind Co Ltd 半導体集積回路の製造方法
US6091114A (en) * 1998-03-31 2000-07-18 Texas Instruments Incorporated Method and apparatus for protecting gate oxide from process-induced charging effects
JP2000106419A (ja) * 1998-09-29 2000-04-11 Oki Electric Ind Co Ltd Ic設計用ライブラリ及びレイアウトパターン設計方法
JP2002100739A (ja) * 2000-09-25 2002-04-05 Hitachi Ltd 半導体装置

Cited By (4)

* Cited by examiner, † Cited by third party
Publication number Priority date Publication date Assignee Title
JP2009231585A (ja) * 2008-03-24 2009-10-08 Seiko Epson Corp 半導体装置及びその製造方法
JP2009239019A (ja) * 2008-03-27 2009-10-15 Seiko Epson Corp 半導体装置及びその製造方法
WO2018110304A1 (ja) * 2016-12-14 2018-06-21 ソニーセミコンダクタソリューションズ株式会社 半導体装置、および保護素子
US10861847B2 (en) 2016-12-14 2020-12-08 Sony Semiconductor Solutions Corporation Semiconductor device and protection element

Also Published As

Publication number Publication date
JP4609982B2 (ja) 2011-01-12
US20050233517A1 (en) 2005-10-20
US7190011B2 (en) 2007-03-13

Similar Documents

Publication Publication Date Title
JP4502173B2 (ja) 半導体装置及びその製造方法
JP5329068B2 (ja) 半導体装置
US8810001B2 (en) Seal ring structure with capacitor
JP5799235B2 (ja) 半導体装置
TWI466236B (zh) 裂縫停止結構及其形成方法
US20060145347A1 (en) Semiconductor device and method for fabricating the same
JP5090696B2 (ja) 半導体装置
TWI540725B (zh) 半導體裝置及半導體裝置之製造方法
JP2006005288A (ja) 半導体装置
JPWO2005083767A1 (ja) 半導体装置
JP4609982B2 (ja) 半導体装置およびその製造方法
CN112838070A (zh) 内连线结构、内连线布局结构及其制作方法
US11830870B2 (en) ESD protection device and manufacturing method thereof
JP7039557B2 (ja) 半導体装置、及び、製造方法
CN105826293A (zh) 半导体器件及其制造方法
JP2006344773A (ja) 半導体装置及びその製造方法
JP5553923B2 (ja) 半導体装置
US12451444B2 (en) Semiconductor wafer including chip guard
JP4205732B2 (ja) 半導体集積回路装置
JP2013016721A (ja) 半導体装置
JP2006005213A (ja) 半導体装置の製造方法及び半導体装置
JP5722651B2 (ja) 半導体装置およびその製造方法
JP2005150396A (ja) 半導体装置の製造方法及び半導体装置
JP5801329B2 (ja) 半導体装置
JP2009032730A (ja) 半導体装置

Legal Events

Date Code Title Description
A977 Report on retrieval

Free format text: JAPANESE INTERMEDIATE CODE: A971007

Effective date: 20060222

A131 Notification of reasons for refusal

Free format text: JAPANESE INTERMEDIATE CODE: A131

Effective date: 20080108

A521 Request for written amendment filed

Free format text: JAPANESE INTERMEDIATE CODE: A523

Effective date: 20080310

A131 Notification of reasons for refusal

Free format text: JAPANESE INTERMEDIATE CODE: A131

Effective date: 20080729

A521 Request for written amendment filed

Free format text: JAPANESE INTERMEDIATE CODE: A523

Effective date: 20080929

A131 Notification of reasons for refusal

Free format text: JAPANESE INTERMEDIATE CODE: A131

Effective date: 20091201

TRDD Decision of grant or rejection written
A01 Written decision to grant a patent or to grant a registration (utility model)

Free format text: JAPANESE INTERMEDIATE CODE: A01

Effective date: 20101005

A01 Written decision to grant a patent or to grant a registration (utility model)

Free format text: JAPANESE INTERMEDIATE CODE: A01

A61 First payment of annual fees (during grant procedure)

Free format text: JAPANESE INTERMEDIATE CODE: A61

Effective date: 20101008

FPAY Renewal fee payment (event date is renewal date of database)

Free format text: PAYMENT UNTIL: 20131022

Year of fee payment: 3

R150 Certificate of patent or registration of utility model

Ref document number: 4609982

Country of ref document: JP

Free format text: JAPANESE INTERMEDIATE CODE: R150

Free format text: JAPANESE INTERMEDIATE CODE: R150

S531 Written request for registration of change of domicile

Free format text: JAPANESE INTERMEDIATE CODE: R313531

R350 Written notification of registration of transfer

Free format text: JAPANESE INTERMEDIATE CODE: R350

LAPS Cancellation because of no payment of annual fees