JP2010076422A - 液体吐出ヘッド及び画像形成装置並びに液体吐出ヘッドの製造方法 - Google Patents

液体吐出ヘッド及び画像形成装置並びに液体吐出ヘッドの製造方法 Download PDF

Info

Publication number
JP2010076422A
JP2010076422A JP2009085614A JP2009085614A JP2010076422A JP 2010076422 A JP2010076422 A JP 2010076422A JP 2009085614 A JP2009085614 A JP 2009085614A JP 2009085614 A JP2009085614 A JP 2009085614A JP 2010076422 A JP2010076422 A JP 2010076422A
Authority
JP
Japan
Prior art keywords
layer
nozzle
water
film
water repellent
Prior art date
Legal status (The legal status is an assumption and is not a legal conclusion. Google has not performed a legal analysis and makes no representation as to the accuracy of the status listed.)
Granted
Application number
JP2009085614A
Other languages
English (en)
Other versions
JP5387096B2 (ja
Inventor
Yoshiori Fujii
佳織 藤井
Kenichiro Hashimoto
憲一郎 橋本
Kozo Urasaki
好三 浦崎
Yudai Hiratsuka
雄大 平塚
Current Assignee (The listed assignees may be inaccurate. Google has not performed a legal analysis and makes no representation or warranty as to the accuracy of the list.)
Ricoh Co Ltd
Original Assignee
Ricoh Co Ltd
Priority date (The priority date is an assumption and is not a legal conclusion. Google has not performed a legal analysis and makes no representation as to the accuracy of the date listed.)
Filing date
Publication date
Application filed by Ricoh Co Ltd filed Critical Ricoh Co Ltd
Priority to JP2009085614A priority Critical patent/JP5387096B2/ja
Priority to US12/548,730 priority patent/US8303083B2/en
Publication of JP2010076422A publication Critical patent/JP2010076422A/ja
Application granted granted Critical
Publication of JP5387096B2 publication Critical patent/JP5387096B2/ja
Active legal-status Critical Current
Anticipated expiration legal-status Critical

Links

Images

Classifications

    • BPERFORMING OPERATIONS; TRANSPORTING
    • B41PRINTING; LINING MACHINES; TYPEWRITERS; STAMPS
    • B41JTYPEWRITERS; SELECTIVE PRINTING MECHANISMS, i.e. MECHANISMS PRINTING OTHERWISE THAN FROM A FORME; CORRECTION OF TYPOGRAPHICAL ERRORS
    • B41J2/00Typewriters or selective printing mechanisms characterised by the printing or marking process for which they are designed
    • B41J2/005Typewriters or selective printing mechanisms characterised by the printing or marking process for which they are designed characterised by bringing liquid or particles selectively into contact with a printing material
    • B41J2/01Ink jet
    • B41J2/135Nozzles
    • B41J2/16Production of nozzles
    • B41J2/1607Production of print heads with piezoelectric elements
    • B41J2/1612Production of print heads with piezoelectric elements of stacked structure type, deformed by compression/extension and disposed on a diaphragm
    • BPERFORMING OPERATIONS; TRANSPORTING
    • B41PRINTING; LINING MACHINES; TYPEWRITERS; STAMPS
    • B41JTYPEWRITERS; SELECTIVE PRINTING MECHANISMS, i.e. MECHANISMS PRINTING OTHERWISE THAN FROM A FORME; CORRECTION OF TYPOGRAPHICAL ERRORS
    • B41J2/00Typewriters or selective printing mechanisms characterised by the printing or marking process for which they are designed
    • B41J2/005Typewriters or selective printing mechanisms characterised by the printing or marking process for which they are designed characterised by bringing liquid or particles selectively into contact with a printing material
    • B41J2/01Ink jet
    • B41J2/135Nozzles
    • B41J2/16Production of nozzles
    • B41J2/1606Coating the nozzle area or the ink chamber
    • BPERFORMING OPERATIONS; TRANSPORTING
    • B41PRINTING; LINING MACHINES; TYPEWRITERS; STAMPS
    • B41JTYPEWRITERS; SELECTIVE PRINTING MECHANISMS, i.e. MECHANISMS PRINTING OTHERWISE THAN FROM A FORME; CORRECTION OF TYPOGRAPHICAL ERRORS
    • B41J2/00Typewriters or selective printing mechanisms characterised by the printing or marking process for which they are designed
    • B41J2/005Typewriters or selective printing mechanisms characterised by the printing or marking process for which they are designed characterised by bringing liquid or particles selectively into contact with a printing material
    • B41J2/01Ink jet
    • B41J2/135Nozzles
    • B41J2/16Production of nozzles
    • B41J2/1621Manufacturing processes
    • B41J2/1626Manufacturing processes etching
    • B41J2/1628Manufacturing processes etching dry etching
    • BPERFORMING OPERATIONS; TRANSPORTING
    • B41PRINTING; LINING MACHINES; TYPEWRITERS; STAMPS
    • B41JTYPEWRITERS; SELECTIVE PRINTING MECHANISMS, i.e. MECHANISMS PRINTING OTHERWISE THAN FROM A FORME; CORRECTION OF TYPOGRAPHICAL ERRORS
    • B41J2/00Typewriters or selective printing mechanisms characterised by the printing or marking process for which they are designed
    • B41J2/005Typewriters or selective printing mechanisms characterised by the printing or marking process for which they are designed characterised by bringing liquid or particles selectively into contact with a printing material
    • B41J2/01Ink jet
    • B41J2/135Nozzles
    • B41J2/16Production of nozzles
    • B41J2/1621Manufacturing processes
    • B41J2/1626Manufacturing processes etching
    • B41J2/1629Manufacturing processes etching wet etching
    • BPERFORMING OPERATIONS; TRANSPORTING
    • B41PRINTING; LINING MACHINES; TYPEWRITERS; STAMPS
    • B41JTYPEWRITERS; SELECTIVE PRINTING MECHANISMS, i.e. MECHANISMS PRINTING OTHERWISE THAN FROM A FORME; CORRECTION OF TYPOGRAPHICAL ERRORS
    • B41J2/00Typewriters or selective printing mechanisms characterised by the printing or marking process for which they are designed
    • B41J2/005Typewriters or selective printing mechanisms characterised by the printing or marking process for which they are designed characterised by bringing liquid or particles selectively into contact with a printing material
    • B41J2/01Ink jet
    • B41J2/135Nozzles
    • B41J2/16Production of nozzles
    • B41J2/1621Manufacturing processes
    • B41J2/1631Manufacturing processes photolithography
    • BPERFORMING OPERATIONS; TRANSPORTING
    • B41PRINTING; LINING MACHINES; TYPEWRITERS; STAMPS
    • B41JTYPEWRITERS; SELECTIVE PRINTING MECHANISMS, i.e. MECHANISMS PRINTING OTHERWISE THAN FROM A FORME; CORRECTION OF TYPOGRAPHICAL ERRORS
    • B41J2/00Typewriters or selective printing mechanisms characterised by the printing or marking process for which they are designed
    • B41J2/005Typewriters or selective printing mechanisms characterised by the printing or marking process for which they are designed characterised by bringing liquid or particles selectively into contact with a printing material
    • B41J2/01Ink jet
    • B41J2/135Nozzles
    • B41J2/16Production of nozzles
    • B41J2/1621Manufacturing processes
    • B41J2/1632Manufacturing processes machining
    • BPERFORMING OPERATIONS; TRANSPORTING
    • B41PRINTING; LINING MACHINES; TYPEWRITERS; STAMPS
    • B41JTYPEWRITERS; SELECTIVE PRINTING MECHANISMS, i.e. MECHANISMS PRINTING OTHERWISE THAN FROM A FORME; CORRECTION OF TYPOGRAPHICAL ERRORS
    • B41J2/00Typewriters or selective printing mechanisms characterised by the printing or marking process for which they are designed
    • B41J2/005Typewriters or selective printing mechanisms characterised by the printing or marking process for which they are designed characterised by bringing liquid or particles selectively into contact with a printing material
    • B41J2/01Ink jet
    • B41J2/135Nozzles
    • B41J2/16Production of nozzles
    • B41J2/1621Manufacturing processes
    • B41J2/164Manufacturing processes thin film formation
    • B41J2/1646Manufacturing processes thin film formation thin film formation by sputtering
    • YGENERAL TAGGING OF NEW TECHNOLOGICAL DEVELOPMENTS; GENERAL TAGGING OF CROSS-SECTIONAL TECHNOLOGIES SPANNING OVER SEVERAL SECTIONS OF THE IPC; TECHNICAL SUBJECTS COVERED BY FORMER USPC CROSS-REFERENCE ART COLLECTIONS [XRACs] AND DIGESTS
    • Y10TECHNICAL SUBJECTS COVERED BY FORMER USPC
    • Y10TTECHNICAL SUBJECTS COVERED BY FORMER US CLASSIFICATION
    • Y10T29/00Metal working
    • Y10T29/49Method of mechanical manufacture
    • Y10T29/49401Fluid pattern dispersing device making, e.g., ink jet

Landscapes

  • Engineering & Computer Science (AREA)
  • Manufacturing & Machinery (AREA)
  • Particle Formation And Scattering Control In Inkjet Printers (AREA)
  • Coating Apparatus (AREA)
  • Ink Jet (AREA)

Abstract

【課題】ノズル形成部材の撥水層の耐久性及び撥水性のいずれも両立して向上することができる液体吐出ヘッドの提供。
【解決手段】ノズル板3は、ノズル基材31の液滴吐出側の面に撥水層32が形成され、撥水層32は、フッ素樹脂層からなり、単分子の層32a、二量体の層32b、多量体又はコポリマー(分子鎖)が絡み合った層32cで構成され、これらの単分子の層32a、二量体の層32b、多量体の層32cがいずれもノズル板3の表面に露出した状態で形成されている。
【選択図】図5

Description

本発明は液体吐出ヘッド及び液体吐出ヘッドを備える画像形成装置並びに液体吐出ヘッドの製造方法に関する。
プリンタ、ファクシミリ、複写装置、プロッタ、これらの複合機等の画像形成装置として、例えばインク液滴を吐出する記録ヘッドを用いた液体吐出記録方式の画像形成装置としてインクジェット記録装置などが知られている。この液体吐出記録方式の画像形成装置は、記録ヘッドからインク滴を、搬送される用紙(紙に限定するものではなく、OHPなどを含み、インク滴、その他の液体などが付着可能なものの意味であり、被記録媒体あるいは記録媒体、記録紙、記録用紙などとも称される。)に対して吐出して、画像形成(記録、印字、印写、印刷も同義語で使用する。)を行なうものであり、記録ヘッドが主走査方向に移動しながら液滴を吐出して画像を形成するシリアル型画像形成装置と、記録ヘッドが移動しない状態で液滴を吐出して画像を形成するライン型ヘッドを用いるライン型画像形成装置がある。
なお、本願において、「画像形成装置」は、紙、糸、繊維、布帛、皮革、金属、プラスチック、ガラス、木材、セラミックス等の媒体に液体を吐出して画像形成を行う装置を意味し、また、「画像形成」とは、文字や図形等の意味を持つ画像を媒体に対して付与することだけでなく、パターン等の意味を持たない画像を媒体に付与すること(単に液滴を媒体に着弾させること)をも意味する。また、「インク」とは、インクと称されるものに限らず、記録液、定着処理液、液体などと称されるものなど、画像形成を行うことができるすべての液体の総称として用い、例えば、DNA試料、レジスト、パターン材料なども含まれる。
液体吐出ヘッドとしては、インク滴を吐出する複数の並列されたノズルに個別に対応して配置された複数の個別流路(加圧液室、圧力室などともいう。)内のインクを加圧する圧力を発生するための圧力発生手段(アクチュエータ手段)として圧電素子などで構成される圧電アクチュエータを用いたもの、発熱抵抗体などで構成されるサーマルアクチュエータを用いたもの、静電力を発生する静電アクチュエータを用いたものなどが知られている。
液体吐出ヘッドは、ノズルからインクを液滴として吐出させるため、ノズルが形成されるノズル形成部材(以下、単に「ノズル板」という。)のノズル形成面の液滴吐出側表面、即ちノズル板の用紙に対向する側の表面(単に「ノズル形成面」と表記する場合がある。)の表面特性が滴吐出特性に大きな影響を与える。例えば、ノズルの周辺部にインクが付着すると、液滴吐出方向が定まらないほか、ノズル径が縮小して液滴吐出量(液滴の大きさ)が減少したり、あるいは液滴吐出速度が不安定になる等の不具合が生じる。そのため、一般に、ノズル形成面の表面に撥水層(撥液層、撥インク層などともいう。)を形成し、ノズル周辺部のインクの付着を防止することにより液滴吐出特性を向上することが行われている。
一方、画像形成装置では、液体吐出ヘッドのノズルの目詰まり防止のために所要のタイミングでヘッドの維持回復を行う維持回復機構を備え、ヘッドのノズル形成面をワイパー部材で払拭して(ワイピングして)清浄化するようにしているため、撥水層の耐ワイピング性を高める必要がある。
このような撥水層は、特に耐久性と撥水性を得るため、一般に、ノズル形成面にフッ素を添加した共析めっき膜や有機性の薄膜を成膜したり、或いは、フッ素系及びシリコーン系撥水剤をコーティングすることで形成されている。
例えば、特許文献1には、楕円形状の硬質体とフッ素樹脂重合体を共析させたメッキ被膜を形成し、硬質体が撥水膜の表面から突出させることで撥水膜の耐ワイピング性(耐刷性)を高める構成が記載されている。
また、特許文献2には、ノズル板のノズル形成面に、ノズル板に対して密着性に優れたダイアモンド・ライク・カーボン(DLC)からなる薄膜層を形成して撥水層の剥離を防止するとともに、さらにフッ素を添加したDLC層を撥水層として形成し、ノズル形成面の撥水性を得る構成が記載されている。この構成では、フッ素添加DLC層として、フッ素添加量の異なる層を2層以上形成し、DLC側の層のフッ素添加量を少なく、表面に近いほどフッ素添加量を多くすることで、良好な撥水性を得ると同時に、表面のフッ素の添加量の多い層からフッ素が多少剥離しても、フッ素添加量が大のため撥水性を維持できるとされている。
また、特許文献3にはノズル形成面に撥インク性を有するフッ素樹脂重合膜を形成した後、不活性ガス中又は真空中において加熱処理してフッ素樹脂重合膜を硬化させる構成が記載されている。この構成によれば、加熱処理により、フッ素樹脂重合膜に含まれる液体原料が蒸発するので、フッ素樹脂重合膜を硬化させることができて、耐久性に優れた撥インク膜を形成することができ、また加熱処理は、不活性ガス中又は真空中において行うことにより、フッ素樹脂重合膜の酸化を防止することができ、またフッ素樹脂重合膜への水酸基や水素原子の結合を防止することができことから、撥インク性に優れた撥インク膜を形成することができるとされている。
特開2006−182038号公報 特開2004−276568号公報 特許第3755647号公報
しかしながら、特許文献1に記載の楕円形状の硬質体とフッ素樹脂重合体を共析させたメッキ被膜を形成し、硬質体が撥水膜の表面から突出することを可能にする構成にあっては、表面の撥水基の割合を減少させることとなり、インク残りの原因となる。
また、特許文献2に記載のフッ素を添加したDLC層を撥水層とする構成にあっては、DLCがダイヤモンドに近い性質を有していることからワイピング等の引っかきによる衝撃には強いものの、機械的衝撃に対して割れや欠けが生じ易い。また、ノズル板とで線膨張係数差がある場合、例えば製造時における温度上昇により、ノズル板を流路部材に接合するとき、ノズル板との間に引っ張り応力や圧縮応力が発生し、ノズル板に撓みが発生し、DLCの剥がれや浮きが発生するおそれもある。
また、特許文献3に記載のノズル形成面にフッ素系樹脂重合膜を形成した後、不活性ガス中又は真空中において加熱処理してフッ素樹脂重合膜を硬化させる構成にあっては、フッ素樹脂重合膜の酸化を防止することができ、またフッ素樹脂重合膜への水酸基や水素原子の結合を防止することができるものの、耐久性(耐ワイピング性)においては十分ではない。
本発明は上記の課題に鑑みてなされたものであり、ノズル形成部材の撥水層の耐久性及び撥水性のいずれも両立して向上することを目的とする。
上記の課題を解決するため、本発明に係る液体吐出ヘッドは、
前記撥水層は、少なくとも相対的に低分子量の分子が多い層と高分子量の分子が多い層とが積層されて形成され、前記低分子量の分子が多い層と高分子量の分子が多い層の両方が前記ノズル形成部材の表面に露出した状態で形成されている
構成とした。
ここで、前記低分子量の層が前記ノズル基材の全面にわたって形成され、前記低分子量の分子が多い層上に前記高分子量の分子が多い層が島状に点在して形成されている構成とできる。
また、前記撥水層がフッ素樹脂で形成されている構成とできる。
この場合、前記ノズル基材と前記撥水層との間に無機酸化物の層が形成されている構成とできる。
更に、前記ノズル基材と無機酸化物の層との間に前記ノズル基材よりも酸化物生成自由エネルギーが低い金属からなる層が形成されている構成とできる。
本発明に係る液体吐出ヘッドは、
液滴を吐出するノズル穴が形成されたノズル基材の液滴吐出側の面に撥水層が形成されたノズル形成部材を備え、
前記撥水層は、前記ノズル形成部材の表面に露出した状態で形成されている少なくとも2つの層を積層して構成され、前記2つの層の内の一方の層は他の層に対して相対的に撥水性が高い層であり、他方の層は前記一方の層に対して相対的に払拭部材による払拭に対する耐性が高い層である
構成とした。
これらの本発明に係る液体吐出ヘッドにおいて、前記ノズル穴近傍のノズル形成部材表面は、前記ノズル穴から離れたところよりも表面凹凸が小さく、前記ノズル穴から離れたところよりも撥水層の厚さが厚く、ノズル穴エッジ端まで撥水膜が厚く形成されている構成とできる。
また、前記ノズル穴近傍の領域は、凹部となっている構成とできる。
本発明に係る画像形成装置は、本発明に係る液体吐出ヘッドを備えているものである。
ここで、前記ノズル形成部材の表面を払拭するワイピング部材を有し、前記液体吐出ヘッドの前記高分子量の撥水層又は払拭に対する耐性が高い撥水層の領域がワイピング方向に平行に整列して形成されている構成とできる。
また、前記液体吐出ヘッドの前記撥水層が形成された下地層にはワイピング方向と平行な溝が形成されている構成とできる。
この場合、前記液体吐出ヘッドの前記溝は前記ノズル穴に接していない構成とできる。
本発明に係る液体吐出ヘッドの製造方法は、
本発明に係る液体吐出ヘッドを製造する液体吐出ヘッドの製造方法であって、
前記ノズル基材の液室形成面に金属又は無機材料からなる犠牲層を形成する工程と、
前記液滴吐出面に撥水膜を形成する工程と、
前記ノズル穴内部に付着した前記撥水膜を前記犠牲層とともに除去する工程と、を有する
構成とした。
ここで、前記液滴吐出面にプラズマ用マスクを設置し、ノズル穴内部に付着した前記撥水膜に対して液室形成面よりプラズマ処理照射し、親水化を行う工程とウェットエッチングにより前記犠牲層とともにノズル内部に付着した撥水膜を除去する工程を有する構成とできる。
また、液室形成面にエッチング用マスク層を形成する工程と、前記マスク層上に前記犠牲層を形成する工程を有する構成とできる。
本発明に係る液体吐出ヘッドによれば、少なくとも相対的に低分子量の分子が多い層と高分子量の分子が多い層とが積層されて形成され、低分子量の分子が多い層と高分子量の分子が多い層の両方が前記ノズル形成部材の表面に露出した状態で形成されているので、耐久性と撥水性を両立して向上することができる。
本発明に係る液体吐出ヘッドによれば、撥水層は、ノズル形成部材の表面に露出した状態で形成されている少なくとも2つの層を積層して構成され、2つの層の内の一方の層は他の層に対して相対的に撥水性が高い層であり、他方の層は一方の層に対して相対的に払拭部材による払拭に対する耐性が高い層であるので、耐久性と撥水性を両立して向上することができる。
本発明に係る液体吐出ヘッドの製造方法によれば、本発明に係る液体吐出ヘッドを製造する方法であって、ノズル基材の液室形成面に金属又は無機材料からなる犠牲層を形成する工程と、液滴吐出面に撥水膜を形成する工程と、ノズル穴内部に付着した撥水膜を犠牲層とともに除去する工程とを有するので、犠牲層除去後のノズル穴端部(ノズルエッジ)の精度を向上できる。
本発明に係る画像形成装置によれば、本発明に係る液体吐出ヘッドを備えている構成としたので、安定した画像形成を行うことができる。
本発明に係る液体吐出ヘッドの第1実施形態を示す分解斜視図である。 同ヘッドの液室長手方向に沿う断面説明図である。 同ヘッドの液室短手方向に沿うバイピッチ構造の断面説明図である。 同ヘッドの液室短手方向に沿うノーマルピッチ構造の断面説明図である。 同ヘッドにおけるノズル板の撥水層を模式的に説明する模式的説明図及び同ノズル板の模式的断面説明図である。 本発明に係る液体吐出ヘッドの第2実施形態におけるノズル板について撥水層表面を電子顕微鏡で撮影した結果を示す図及び同撥水層表面を模式的に示す平面説明図である。 第1、第2実施形態に係るノズル板の製造方法の説明に供するシリコン基板上の複数のノズル基材の配置パターンの一例を示す平面説明図である。 同じく図7のB部の要部拡大説明図である。 図8のA−A線に沿うノズル板の製造工程を説明する断面説明図である。 本発明に係る液体吐出ヘッドの第3実施形態におけるノズル板の撥水層を模式的に説明する模式的説明図である。 本発明に係る液体吐出ヘッドの第4実施形態におけるノズル板の撥水層を模式的に説明する模式的説明図である。 本発明に係る液体吐出ヘッドの第5実施形態を説明する断面説明図である。 同実施形態におけるノズル板の平面説明図である。 同じく断面説明図である。 同じく1つのノズル部分の拡大断面説明図である。 同じくノズル板の製造工程の説明に供する断面説明図である。 図16に続く工程の説明に供する断面説明図である。 本発明に係る液体吐出ヘッドの第6実施形態におけるノズル板の断面説明図である。 本発明に係る液体吐出ヘッドの第7実施形態におけるノズル板をその製造工程とともに説明する断面説明図である。 同じく図19に続く工程の説明に供する断面説明図である。 同じくノズル近傍の凹部の撥水膜の状態の説明に供する説明図である。 本発明に係る液体吐出ヘッドの第8実施形態におけるノズル板についてその製造工程とともに説明する断面説明図である。 本発明に係る画像形成装置で使用する液体吐出ヘッドにおけるノズル板の説明に供する平面説明図である。 同ノズル板の1つのノズル穴部分の拡大説明図である。 図24のC−C線に沿う拡大説明図である。 比較例のノズル板の1つのノズル穴部分の拡大説明図である。 図26のD−D線に沿う拡大説明図である。 同第8実施形態におけるノズル板の製造工程の説明に供する断面説明図である。 本発明に係る液体吐出ヘッドの第9実施形態におけるノズル板の説明に供する模式的平面説明図である。 同ノズル板の製造工程の説明に供する断面説明図である。 本発明に係る液体吐出ヘッドの製造方法で製造するヘッドの一例の説明に供する要部拡大断面説明図である。 同ヘッドのノズル板の製造工程の説明に供する断面説明図である。 本発明に係る画像形成装置の一例を示す全体構成図である。 同じく要部平面説明図である。
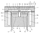
以下、本発明の実施形態について添付図面を参照して説明する。本発明に係る液体吐出ヘッドの第1実施形態について図1ないし図4を参照して説明する。なお、図1は同ヘッドの分解斜視説明図、図2は同ヘッドのノズル配列方向と直交する方向(液室長手方向)に沿う断面説明図、図3及び図4は同ヘッドのノズル配列方向(液室短手方向)に沿う異なる例の断面説明図である。
この液体吐出ヘッドは、流路基板(液室基板、流路部材)1と、この流路基板1の下面に接合した振動板部材2と、流路基板1の上面に接合したノズル形成部材であるノズル板3とを有し、これらによって液滴(液体の滴)を吐出する複数のノズル4がそれぞれノズル連通路5を介して連通する個別流路としての複数の液室(加圧液室、圧力室、加圧室、流路などとも称される。)6、液室6にインクを供給する供給路を兼ねた流体抵抗部7、この流体抵抗部7を介して液室6と連通する連通部8を形成し、連通部8に振動板部材2に形成した供給口9を介して後述するフレーム部材17に形成した共通液室10からインクを供給する。
流路基板1は、シリコン基板をエッチングして連通路5、加圧液室6、流体抵抗部7などの開口をそれぞれ形成している。なお、流路基板1は、例えば、SUS基板を、酸性エッチング液を用いてエッチング、あるいは打ち抜き(プレス)などの機械加工することで形成することもできる。
振動板部材2は各液室6に対応してその壁面を形成する各振動領域(ダイアフラム部)2aを有し、振動領域2aの面外側(液室6と反対面側)に島状凸部2bが設けられ、この島状凸部2bに振動領域2aを変形させ、液滴を吐出させるエネルギーを発生する駆動素子(アクチュエータ手段、圧力発生手段)としての積層型圧電素子12、12の各圧電素子柱12A、12Bの上端面(接合面)を接合している。また、積層型圧電素子12の下端面はベース部材13に接合している。
ここで、圧電素子12は、PZTなどの圧電材料層21と内部電極22a、22bとを交互に積層したものであり、内部電極22a、22bをそれぞれ端面、即ち圧電素子12の振動板2に略垂直な側面に引き出して、この側面に形成された端面電極(外部電極)23a、23bに接続し、端面電極(外部電極)23a、23bに電圧を印加することで積層方向の変位を生じる。この圧電素子12は、ハーフカットダイシングによる溝加工を施して1つの圧電素子部材に対して所要数の圧電素子柱12A、12Bを形成したものである。
なお、圧電素子12の圧電素子柱12A、12Bは、同じものであるが、駆動波形を与えて駆動させる圧電素子柱を圧電素子柱12A、駆動波形を与えないで単なる支柱として使用する圧電素子柱を圧電素子柱12Bとして区別している。この場合、図3に示すように、駆動用圧電素子柱12Aと支柱用圧電素子柱12Bとを交互に使用するバイピッチ構成でも、あるいは、図4に示すようにすべての圧電素子柱を駆動用圧電素子柱12Aとして使用するノーマルピッチ構成のいずれでも採用できる。
これにより、ベース部材13上に駆動素子としての複数の駆動用圧電素子柱12Aが並べて配置された駆動素子列(駆動用圧電素子柱12Aの列)が2列設けられた構成としている。
また、積層型圧電素子12の圧電方向としてd33方向の変位を用いて液室6内インクを加圧する構成としているが、積層型圧電素子12の圧電方向としてd31方向の変位を用いて加圧液室6内インクを加圧する構成とすることもできる。
また、圧電素子として用いる材料についても本実施例に限られるものでなく、一般に圧電素子材料として用いられるBaTiO3、PbTiO3、(NaK)NbO3等の強誘電体などの電気機械変換素子を用いることもできる。さらに、圧電素子に積層型のものを用いているが、単板の圧電素子を用いても良い。単板の圧電素子としては切削加工したものや、スクリーン印刷して焼結した厚膜のものや、スパッタや蒸着、或いはゾルゲル法により形成する薄膜のものでも良い。また、1つのベース部材13に設けられる積層型圧電素子12は1列としても、複数列設けられた構造としてもよい。
そして、圧電素子12の各駆動用圧電素子柱12Aの外部電極23aには駆動信号を与えるために半田部材で配線手段としてのFPC15を直接接続し、このFPC15には圧電素子12の各駆動用圧電素子柱12Aに対して選択的に駆動波形を印加するための駆動回路(ドライバIC)16が実装されている。なお、すべての圧電素子柱12Aの外部電極23bは電気的に共通に接続されてFPC15の共通配線に同じく半田部材で接続される。また、ここでは、FPC15の圧電素子12と接合される出力端子部には半田メッキが施されており、半田接合を可能にしているが、FPC15ではなく圧電素子12側に半田メッキを施しても良い。また、接合方法についても半田接合の他に異方導電性膜による接合やワイヤボンディングを用いることもできる
ノズル板3は、各液室6に対応して直径10〜35μmのノズル4を構成するノズル穴が形成されたノズル基材31の液滴吐出側面(吐出方向の表面:吐出面、又は液室6側と反対の面、ノズル形成面)に撥水層32を形成して構成している。
また、FPC15を実装した(接続した)圧電素子12及びベース部材13などで構成される圧電型アクチュエータユニット100の外周側には、エポキシ系樹脂或いはポリフェニレンサルファイトで射出成形により形成したフレーム部材17を接合している。そして、このフレーム部材17には前述した共通液室10を形成し、更に共通液室10に外部からインクを供給するための供給口19を形成し、この供給口19は更に図示しないサブタンクやインクカートリッジなどのインク供給源に接続される。
このように構成した液体吐出ヘッドにおいては、例えば駆動用圧電素子柱12Aに印加する電圧を基準電位から下げることによって圧電素子柱12Aが収縮し、振動板部材2の振動領域2aが下降して液室6の容積が膨張することで、液室6内にインクが流入し、その後圧電素子柱12Aに印加する電圧を上げて圧電素子柱12Aを積層方向に伸長させ、振動板部材2をノズル4方向に変形させて液室6の容積/体積を収縮させることにより、液室6内のインクが加圧され、ノズル4からインク滴が吐出(噴射)される。
そして、圧電素子柱12Aに印加する電圧を基準電位に戻すことによって振動板部材2が初期位置に復元し、液室6が膨張して負圧が発生するので、このとき、共通液室10から液室6内にインクが充填される。そこで、ノズル4のメニスカス面の振動が減衰して安定した後、次の液滴吐出のための動作に移行する。
なお、このヘッドの駆動方法については上記の例(引き−押し打ち)に限るものではなく、駆動波形の与えた方によって引き打ちや押し打ちなどを行なうこともできる。
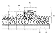
次に、この液体吐出ヘッドにおけるノズル板の詳細について図5をも参照して説明する。なお、図5(a)は同ノズル板の撥水層を模式的に説明する模式的説明図(モデル説明図)、図5(b)は同ノズル板の模式的断面説明図である。
ノズル板3は、前述したようにノズル基材31の液滴吐出側の面に撥水層32が形成されたものである。撥水層32は、撥水性の異なる少なくとも2つの層がノズル板3の表面に露出した状態で形成されている。
ここでは、撥水層32はフッ素樹脂層からなり、単分子の層32a、二量体の層32b、多量体又はコポリマー(分子鎖)が絡み合った層(以下、単に「多量体の層」という。)32cで構成され、これらの単分子の層32a、二量体の層32b、多量体の層32cがいずれもノズル板3の表面に露出した状態で形成されている。なお、多量体層は単分子層または二量体層と独立して積層しているのではなく、多量体層の一部が単分子層または二量体層に絡み合った状態で形成されている。
このような層構造を形成できる含フッ素有機物質としては、平均して1個以上のフッ素原子を含む単位モノマーの重合体または共重合体であって、被膜形成能のある有機高分子であれば使用できる。例えば、ポリテトラフルオロエチレン(PTFE)、テトラフルオロエチレン−パーフルオロアルキルビニルエーテル共重合体(PFA)、テトラフルオロエチレン−ヘキサフルオロプロピレン−パーフルオロアルキルビニルエーテル共重合体、テトラフルオロエチレン−ヘキサフルオロプロピレン共重合体、テトラフルオロエチレン−エチレン共重合体、トリフルオロクロロエチレン重合体、トリフルオロクロロエチレン−エチレン共重合体、ポリビニルフルオライド、ポリビニリデンフルオライド、フルオロポリエーテル重合体、ポリフルオロシリコーン、脂肪族環構造を有するパーフルオロ重合体等を挙げることができる。
上記含フッ素有機物質の中で、パーフルオロ系高分子が好ましく、更に少なくとも1個の二重結合もしくは三重結合炭素、−COOH基、または、−Si(OR)基(Rは炭素数1〜3のアルキル基)を分子内に含むことが好ましい。このようなパーフルオロ系高分子を用いた撥水層32はノズル基材31との密着性に優れる。
好適に用いられる含フッ素有機物質として、主鎖末端に−Si(OR)基を有するパーフルオロポリエーテル(オプツールDSX:商品名)、主鎖に脂肪族環構造を有するアモルファスパーフルオロ重合体が挙げられる。
なお、このような含フッ素有機物質を用いた上記構造を有する撥水層32の製造方法の詳細については後述する。
また、撥水層31の薄膜として実用的な範囲は50〜2000nmであり、好ましくは、100〜200nmである。また、単分子の層32a及び二量体の層32bと、多量体の層32cとの膜厚差は、2nmから200nm、好ましくは10nmから100nmに形成することで後述の層間の物性差を顕在化できる。
上述した撥水層32を構成する単分子の層32a、二量体の層32b、多量体の層32cについて、バルクとして見た場合、低分子量の層(単分子の層32a、二量体の層32b)ほど撥水性に富み、高分子量の層(多量体の層32c)ほど耐久性に富んでいる。高分子量の層では直鎖状のコポリマーが互いに結合している状態と、絡み合っただけの状態が混在しており、分子鎖に自由度がある。この自由度の結果、高分子量の層でワイパー部材によるワイピングに対して摺動性があり(払拭に対する耐久性が高く)、撥水層32の耐久性を更に向上させることができる。
このように、撥水層は、少なくとも低分子量の層と高分子量の層が積層され、低分子の層と高分子の層の両方がノズル形成部材の表面に露出した状態で形成されている構成とすることで、耐久性と撥水性を両立して向上することができる。
つまり、撥水層は、ノズル形成部材の表面に露出した状態で形成されている少なくとも2つの層を積層して構成され、2つの層の内の一方の層は他の層に対して相対的に撥水性が高い層であり、他方の層は一方の層に対して相対的に払拭部材による払拭に対する耐性が高い層である構成とすることで、耐久性と撥水性を両立して向上することができる。
また、撥水層をフッ素系化合物で形成することにより、撥水、撥油効果が向上し、防汚性に優れた撥水層が得られる。
次に、本発明に係る液体吐出ヘッドの第2実施形態におけるノズル板について図6をも参照して説明する。なお、図6(a)は同ノズル板の撥水層表面を電子顕微鏡で撮影した結果を示す図、図6(b)は同撥水層表面を模式的に示す平面説明図である。
この実施形態は、全体にわたって形成された低分子の層32dの層上に高分子の層32eが島状に点在して形成されたものである。
ここで、全体にわたって形成されている層32dは単分子若しくは数分子で構成され、末端の一部が基材と結合し、撥水基を持つ直鎖状の分子が稲穂状に存在するもので、撥水性に富む層である。また、島状に点在する層32eは、分子鎖の絡み合い一部結合している構成であり、撥水性を有するとともに耐久性に富む層である。この島状の層32eは、ノズル板3の表面に任意に存在し規則性がないことでワイパー部材による偏摩耗を生ずることがなく、クリーニング性能の低下を防ぐことができる。
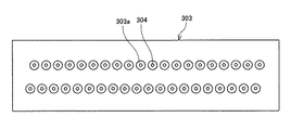
次に、上記各実施形態に係るノズル板の製造方法の一例について図7ないし図9を参照して説明する。なお、図7はシリコン基板上の複数のノズル基材の配置パターンの一例を示す平面説明図、図8は同じく図7のB部の要部拡大説明図、図9は図8のA−A線に沿うノズル板の製造工程を説明する断面説明図である。
まず、図9(a)に示すようにシリコン基板101上にスパッタ装置を用いて例えばTi膜102を1000Åの厚みで成膜し、Ti膜102上にノズル穴を形成するためのノズル穴形成パターン104及び各ノズル板3に分離するためのチップ分離パターン103をフォトレジストの塗布、露光、現像により形成する。
次いで、図9(b)に示すように、Ni電鋳によってTi膜102上にNiを析出成長させてノズル基材31を形成する。このとき、図7及び図8に示すように、1枚のシリコン基板101上にはチップ分離パターン103で分離され、ブリッジ113で繋がった多数のノズル基材31のシート状部材131が形成される
そこで、図9(c)に示すように、ノズル基材31のシート状部材131をシリコン基板101から剥離する。これにより、ノズル4を構成するノズル穴4aが形成されたノズル基材31が得られる。このとき、ノズル基材31のノズル形成面106にはノズル穴形成パターン104及びチップ分離パターン103を形成するレジスト107が付着している。
次に、図9(d)に示すように、ノズル基材31のノズル形成面106側から酸素プラズマ処理をすることでノズル形成面106に残ったレジスト107を除去する。これにより、ノズル基材31へのノズル穴4a及びチップ分離パターン113の形成が完成する。
次に、図9(e)に示すように、蒸着装置を用いて、ノズル基材31のノズル形成面106に撥水層32を形成する。ただし、成膜方法としては蒸着に限るものではなく、ディッピング、スピンコート、ディスペンサー等を用いてもよい。また、撥水層32の材料については前述したような含フッ素有機物質であり、ここでは、主鎖末端に−Si(OR)基を有するパーフルオロポリエーテル(オプツールDSX、ダイキン工業製)を使用した。
その後、図7に示すノズルシートのブリッジ部をハサミ、カッター等で切断することで個々のノズル板3に分離する。
次に、上述した蒸着法による含フッ素樹脂薄膜(撥水層32)のノズル基材31への形成方法について説明する。
(1)ノズル基材31の脱脂洗浄:被膜基材であるノズル基材31を予め洗浄する。洗浄は、アセトンなどによる有機溶剤による洗浄、イソプロピルアルコール(IPA)などによるブラシ洗浄、その他超音波洗浄などを基材の種類に応じて行なう。
(2)ターゲット及びノズル基材31のセッティング:含フッ素有機物質としての主鎖末端に−Si(OR)基を有するパーフルオロポリエーテル(オプツールDSX、ダイキン工業製)をアルミナ被覆バスケット型蒸着ボートに充填し、ノズル基材31のノズル形成面106側を上にして装着する。
(3)成膜装置の排気:装置内圧が10−2〜10−4Paとなるまで排気する。装置内圧5×10−3Pa以下とすることが好ましい。
(4)含フッ素薄膜の形成:蒸着ボート電流を5Aに設定し,50℃まで加熱し溶剤を除去し、次に電流を10Aに上げ400℃に昇温し3分間保持する。
以上の蒸着条件は、通常の前記材料の蒸着条件に比べ、前記材料の蒸着量が過剰になるように設定されている。このため、ノズル基材31上には単分子の層32a、二量体の層32bの上に通常は撥水性が低く単体ではあまり撥水層として用いられない多量体の層32cで全体が覆われた構成となる。
しかし、この多量体の層32cはノズル基材と直接接合しておらず、また蒸着環境下では液状となり流動性を示すため、撥水性の高い単分子の層32a、二量体の層32bの上ではじかれ、液滴状に固まって点在することとなる。これにより多量体の層32cがはじかれた部分は下地の単分子の層32a、二量体の層32bが露出することとなる。
以上のような製造方法によって撥水層31としてのフッ素樹脂薄膜をノズル基材31のノズル形成面に成膜することによって、前述した第1、第2実施形態で説明したように、単分子の層32a、二量体の層32b、多量体の層32cで構成される複層構造で、それぞれの層がノズル面に露出した撥水層32が得られる。
なお、予めフッ素有機物質を部分反応させた状態にして蒸着することで、上述した低分子量の層(単分子の層32a、二量体の層32b)と高分子量の層(多量体の層32c)を有する撥水層32を容易に得ることができ、製造コストを低減できる。
ここで、上記撥水層31の蒸着法による形成で用いた主鎖末端に−Si(OR)基を有するパーフルオロポリエーテル(オプツールDSX、ダイキン工業製)を用いた従来の撥水膜との違いについて説明する。
従来、オプツールDSXを用いた撥水膜はシランカップリング材が基材と結合し稲穂状にフッ素化合物主鎖が揺らいでいる構成(本発明の撥水性の高い単分子の層32a)を用いるものであり、したがって、工法的には蒸着量も少なく管理され、かつ、蒸着後に基材と結合していない未反応物は除去して撥水膜とするものであった。これに対して、本発明では、部分的に多量体が構成されるだけではなく、多量体が流動して液滴状になるまで過剰に蒸着を行うことによって、単量体と多量体のいずれもが表面に露出している構成(また、多量体が島状に点在する構成)を形成するものであり、工法的にも、本発明では蒸着法を用いて形成した膜の表面の未反応物(多量体の層32c)を除去することなく残したまま撥水膜として利用しているものである。従来は本発明のように表面未反応物を残すという思想はなかったものである。
次に、本発明に係る液体吐出ヘッドの第3実施形態におけるノズル板について図10を参照して説明する。なお、図10は同ノズル板の撥水層を模式的に説明する模式的説明図(モデル説明図)である。
ここでは、ノズル基材31と撥水層32との間に、SiOなどの無機酸化物の層33を形成している。このように、無機酸化膜をノズル基材と撥水層との中間層として設けることで撥水層の密着性が向上し、更に耐久性が向上する。
なお、ノズル基材31と撥水層32との間に、SiOの層33を形成する方法としては、例えば、次のような方法を用いることができる。
(1)SiOを真空中で蒸発させノズル基材31のノズル形成面に薄膜形成する。あるいは、Siを蒸発させ酸素プラズマ中を通過させて誘電体をノズル基材31上で形成する真空蒸着法。
(2)SiOをターゲット材料としてArプラズマなどで原子やクラスターをたたき出しノズル基材31上に薄膜形成する酸化物スパッタリング法。
(3)Siターゲットを原料とし、酸素を含む反応性ガスで参加しながらノズル基材31上に薄膜形成する反応性スパッタリング法。
(4)ノズル基材31を回転しながら、Siターゲットでのスパッタ−金属薄膜形成と異なるゾーンでの酸化を繰り返し実施し、SiO薄膜を形成するメタモードスパッタリング法。
この実施形態では、メタモードスパッタリング法を用いてSiOの層33を成膜し、同一チャンバー内で、SiOの層33上にフッ素系撥水剤を蒸着して撥水層32を形成した。SiOの層33の膜厚としては200Åから2000Åの範囲が好ましい。
次に、本発明に係る液体吐出ヘッドの第4実施形態におけるノズル板について図11を参照して説明する。なお、図11は同ノズル板の撥水層を模式的に説明する模式的説明図(モデル説明図)である。
ここでは、ノズル基材31と無機酸化物の層33との間に、ノズル基31よりも酸化物生成自由エネルギーが小さい金属の層34を介在させている。このような層34の材料としては、Al、Cr、Zr、Ti、W、Fe、Mo、Mg、Snなどを挙げることができる。このように、撥水層が結合する中間層(層33)とノズル基材31との間に層34を介在させることで、撥水層31の密着性を向上させ、さらに優れた撥水層の耐久性を得ることができる。
なお、ここでは、Tiを用いて、メタモードスパッタリング方式にて同一チャンバー内でTi、SiO、をスパッタリングし、ノズル基31よりも酸化物生成自由エネルギーが小さい金属の層34、無機酸化物の層33、フッ素系撥水剤の撥水層32を順に成膜した。なお、Tiの膜厚としては50Åから1000Åが好ましい。
次に、本発明の第5実施形態に係る液体吐出ヘッドについて図12を参照して説明する。
この液体吐出ヘッドは、前記第1実施形態に係る液体吐出ヘッドのノズル板3に代えてノズル板303を用いている。このノズル板303は、ノズル4の周囲近傍に凹部303aを形成している。また、流路部材1としてはSUS基板で形成している。また、振動板部材2は、圧延製金属板とポリイミド(PI)やポリフェニレンサルファイド(PPS)樹脂等の高分子フィルムを積層して、金属板をエッチングして、樹脂フィルムからなる振動領域2aと金属板からなる凸部2bを形成したものである。また、共通液室10に振動板部材2のダンパー領域2cを介してダンパー室20を流路部材1に形成している。その他は、ヘッド構成としては同様な構成であるので、前記第1実施形態と同じ符号を付して説明を省略する。
次に、この液体吐出ヘッドにおけるノズル板303の詳細について図13ないし図15を参照して説明する。なお、図13は同ノズル板の平面説明図、図14は同じく断面説明図、図15は1つのノズル部分の拡大断面説明図である。
ノズル板303は、ノズル304を構成するノズル穴304aが形成されたノズル基材331上に撥水膜332を形成したものである。ここで、ノズル基材331のノズル穴304a近傍の領域341の表面331aは、ノズル穴304aから離れた領域342の表面331bよりも表面凹凸が小さく、かつ、ノズル穴304a近傍の領域341の撥水膜332の厚さt1は、ノズル穴304aから離れた領域342の撥水膜332の厚さt2よりも厚く、ノズル穴304a近傍の領域341の撥水膜332の厚さt1はノズル穴304aのエッジまでノズル穴304aから離れた領域342の撥水膜332の厚さt2より厚く形成されている。
このように、ノズル穴近傍のノズル形成部材表面は、ノズル穴から離れたところよりも表面凹凸が小さく、ノズル穴から離れたところよりも撥水層の厚さが厚く、ノズル穴エッジ端まで撥水膜が厚く形成されている構成とすることで、ノズル穴近傍における撥水層のワイピングに対する耐久性が向上する。また、ノズル穴から離れた領域に表面凹凸が存在することよって、撥水材料を塗布するときに撥水材料の流れ出しが防止されて、撥水材料が強固にノズル基材表面に密着し、一方、ノズル穴近傍の領域の表面は、表面凹凸が相対的に小さいことで、ノズル穴のエッジ部分が滑らかとなり、滴吐出時の噴射曲がりなどが発生しなくなり、安定した滴吐出を行うことができる。
次に、この第5実施形態におけるノズル板303の製造工程について図16及び図17の断面説明図を参照して説明する。
図16(a)に示すように、例えば、厚さ60μmの圧延SUS基板(ノズル基材)351準備する。SUS基板351の表面には圧延加工時に形成された表面凹凸352が存在する。なお、以降の図では、図示を簡略化するための表面凹凸352はハッチングで図示する。
このSUS基板351に対して、図16(b)に示すように、パンチ353によってノズル穴304aに対応する位置にプレス加工を行う。パンチ353はSUS基板351を打ち抜かず、反対面に凸部354が形成される。パンチ353はテーパー部353aとストレート部353bからなり、プレス内壁はパンチ353の形状に倣った形状となる。
次いで、図16(c)に示すように、凸部354を研磨によって除去する。ここではテープ研磨を用いた。凸部354を研磨することによって、SUS基板351には貫通孔が形成され、ノズル穴304aを有するSUS基板351からなるノズル基材331が得られる。ノズル穴304aの穴径が小さい方が滴吐出側となる。ここで、滴吐出側のノズル穴304a近傍の領域331aは研磨によって滑らかな表面性となっている。一方、ノズル穴304aから離れた領域331bの表面性は元々のSUS基板351の圧延による凹凸352が残っている。
そこで、ノズル基材331の滴吐出面側に撥水材料を塗布して撥水膜332を形成する。ここでは、撥水材料としてシリコーン系の撥水材料を用いている。ノズル穴304aの近傍は液体である撥水材料の液溜りができノズル近傍で撥水膜が厚く形成される。一部ノズル穴304a内にも入り込む。ここで、250℃/1時間のベーク処理によって乾燥硬化させる。
次に、図17(a)に示すように、撥水膜332を成膜した側に、保護材355を貼り付ける。ここでは、DFR(ドライ・フィルム・レジスト)をラミネートにより貼り付けた。そして、図17(b)に示すように、保護材355を貼り付けていない側にOプラズマを照射し、ノズル穴104a内に回りこんだ撥水膜332を除去する。その後、図17(c)に示すように、保護材355を剥がしてノズル板303が完成する。
このようにして製造されたノズル板303は、ノズル基材331にノズル穴304aから離れた領域331bの表面凹凸が存在することより、撥水材料を塗布するときに撥水材料の流れ出しが防止されて、撥水材料が強固にノズル基材303表面に密着する。一方、ノズル穴304a近傍の領域331aの表面は、表面凹凸が小さく、そのため、ノズル穴304aのエッジが滑らかとなり、液滴吐出時の噴射曲がりなどが発生しない。しかも、ノズル穴304a近傍の撥水膜332の厚さは、ノズル穴304から離れた領域の撥水膜332の厚さよりも厚く、ノズル穴304a近傍の撥水膜332の厚さはノズル穴304aのエッジまでノズル穴304aから離れた領域の撥水膜332の厚さより厚くなっているので、ノズル穴304a近傍におけるワイピングに対する撥水膜332の耐久性も得られる。
次に、本発明に係る液体吐出ヘッドの第6実施形態におけるノズル板の詳細について図18を参照して説明する。
このノズル板303は、ノズル基材331と撥水膜332との間に無機酸化物層としての例えばSiO膜333を設けている。このSiO膜333は、SUS基板からなるノズル基材331上にスパッタにより形成している。
このとき、SiO膜333はSUS基板(ノズル基材331)に強固に密着し、また撥水膜332はSiO膜333上に対して強い密着性が得られるため、更に耐久性が向上する。また、SiO膜333は100Å〜2000Å程度の薄い膜であるので、SiO膜333表面は、ノズル基材331の表面に倣った表面形状となり、SiO膜333上に形成する撥水膜332に対しては、前記第5実施形態と同様の効果を得ることができる。
次に、本発明に係る液体吐出ヘッドの第7実施形態におけるノズル板についてその製造方法とともに図19及び図20を参照して説明する。
まず、図19(a)に示すように、シリコン基板361の表面をドライエッチングにより表面を荒らすことにより凹凸362を形成する。その上に導電層となるチタン膜363を成膜する。このとき、シリコン基板361の表面性(凹凸形状)はチタン膜363の表面形状にも現れ、チタン層363の表面には凹凸が形成される。
次に、図19(b)に示すように、ノズル304の周囲の凹部303aに相当する厚さ1μmのレジストパターン364をフォトリソ工程(露光、現像)により形成する。このとき、レジストパターン364を形成するレジストは流動性があり、チタン膜363表面の微小な表面凹凸はレジストパターン364表面には転写されない。
次いで、図19(c)に示すように、チタン膜363を導電層として、電鋳によりニッケルを30μmの厚さに成長させてニッケル膜364を成膜する。このとき、レジストパターン364よりもニッケルの厚さに相当する分だけ内側にニッケル膜364が入り込む。その結果として、ニッケル膜364が開口された部分がノズル穴となる。レジストパターン364は最終的なノズル径とニッケルの入り込み量を加味して大きさを設計している。
そして、図19(d)に示すように、シリコン基板361からニッケル膜365を剥離することで、ニッケル膜365からなるノズル基材331が得られる。このとき、ノズル基材331のノズル穴304aの周辺部には、レジストパターン364が転写された凹部303aが形成されている。また、チタン膜362上に成長したニッケル膜365はチタン膜362との界面において、チタン膜362の表面性を転写されることから、ノズル基材331のノズル穴304aから離れた領域331bでは凹凸のある表面性となる(図中ハッチングで示す)。一方、レジストパターン364上に成長したニッケル膜365の部分は滑らかレジストパターン364表面が転写されるので、ノズル基材331のノズル穴304aの近傍の領域331a(凹部303aの底面)は滑らかな表面性が得られる。
その後、図19(e)に示すように、撥水膜332の下地層となるチタン層334を10nm厚にスパッタにより成膜する。このとき、チタン層334の表面には、ニッケル膜からなるノズル基材331の領域331bの表面性が現れる。
続いて、図19(f)に示すように、下地層の2層目となるSiO層333を100nm厚にスパッタにより成膜する。この時、SiO層333の表面には、チタン層334の表面性が現れる。
その後、図20(a)に示すように、撥水膜332を真空蒸着により成膜する。蒸着法を用いても、撥水膜332のノズル穴304aの内壁面や外周から裏側(液室側)への回りこみが生じる。ここでは、撥水膜332の撥水材料としてフッ素系撥水材料を用いた。フッ素系撥水材料としては、ここではパーフルオロポリエーテル(ダイキン工業製、商品名:オプツールDSX)を5nm〜20nm厚に蒸着することで必要な撥水性を得ている。
撥水材料の蒸着後、蒸着チャンバーより取り出すと、空気中水蒸気によりフッ素系撥水剤とSiO膜333とが、空気中の水分により加水分解がなされSiOと化学的結合をし、フッ素系撥水膜332が形成される。フッ素系撥水材料を蒸着で付けた場合、蒸着中、あるいは蒸着直後では、流動性があり、凹部303aにフッ素系撥水材料が流れ込み、凹部303aの領域(ノズル穴304aの近傍の領域)では撥水膜332の厚みが他の領域よりも相対的に厚く形成される。
続いて、図20(b)に示すように、撥水膜332を成膜した側に保護材366を貼り付ける。ここでは、保護材366として耐熱性のテープをローラ圧着により貼り付けた。
そして、図20(c)に示すように、保護材366を貼り付けていない側にOプラズマを照射し、ノズル304から裏側に回りこんだ撥水膜332を除去する。
その後、図20(d)に示すように、保護材366を剥がしてノズル板303が完成する。
ここで、フッ素系撥水膜について説明する。従前、フッ素系撥水膜の厚さは、2nm〜3nmの単分子層で十分であるとされている。これは、フッ素系撥水膜の厚さを厚くしても、基材と結合するフッ素系撥水膜は単分子層でその上のフッ素系撥水膜は基材と結合しておらず、撥インク性能及びワイピング耐性には何ら影響は与えないとされていたことによる。
しかしながら、発明者らの検討によれば、フッ素系撥水膜の厚さが薄いと、ワイピング耐久性能の低下が起こることが判明した。すなわち、ノズル板表面の撥インク膜が何度もワイピングされると、撥インク性が徐々に劣化し、正常な液滴吐出ができなくなってしまうことになる。これに対し、フッ素系撥水膜の厚さが厚いものは、繰り返しのワイピングにも耐えうることが分かった。
一方、撥水膜の厚さをより厚くしていくと、蒸着処理時間が長くかかってしまうこと、蒸着材料の消費が多くなること、あるいは、蒸着時にスプラッシュという、撥水材料が大きな滴として飛翔し、ノズル基材表面に付着し、均一な膜にならないという問題も起こることから、必要最低限の厚さにしておきたいという要求もある。
フッ素系撥水材料の蒸着において、真空チャンバー内でフッ素系材料がノズル基材表面に付着した時点では、フッ素系撥水材料は液体のように振舞う。そのため、細かいパターンや段差部分に流れ込む性質を持つことになる。そこで、本実施形態では、ノズル304の周辺部には凹部303aを設けている。これにより、上述したように、フッ素系撥水材料は、この凹部303aに流れ込み、ノズル304周辺部はフッ素系撥水材料の厚さが他の領域よりも厚くなる。
液滴吐出性能に特に寄与するのは、ノズル周辺部の撥インク性(撥水性)であり、また、ワイピングによる負荷が特に大きいのもノズル周辺部である。ノズル周辺部は、特に耐久性能が求められることになる。本実施形態では、ノズル周辺部にフッ素系撥水材料が厚くなっているので、特に重要なノズル穴周辺部の耐久性を高くすることが可能となる。この場合、凹部303aの深さは0.5μm〜3μmが好ましい。また、凹部303aの深さは、レジストパターン364の厚さを変えることにより容易に調整が可能である。
また、凹部303aは、ノズル304の周辺部へのワイピング部材の当たりによるダメージを緩和させ、あるいは、用紙ジャムなどで、紙が直接ノズル面に接触した場合に、ノズル304の周辺に当たりづらくするという効果も合わせ持っている。
フッ素系撥水材料の塗布方法としては、ディッピング、スピンコータ、ロールコータ、スクリーン印刷、スプレーコータなどの方法が使用可能であるが、真空蒸着で成膜する方法が撥水膜の耐久性を向上させることにつながるので、より効果的である。また、真空蒸着は、図19(e)に示すチタン膜334及び図19(f)に示すSiO膜333の成膜から、一連の成膜を、そのまま真空チャンバー内で実施することで更によい効果が得られる。チタン膜334或いはSiO膜333を形成後、一旦真空チャンバーからワークを取り出した場合は、不純物などが表面に付着することにより密着性が損なわれるものと考えられる。
また、撥水膜として、製造工程において液体、あるいは液体状の振る舞いをする撥水材料によって形成する場合に本発明は特に有効である。前記フッ素系撥水材料以外に、シリコーン系撥水材も用いることができる。シリコーン系撥水材は、撥水に寄与するのは撥水膜の表面であり撥水膜の表面が特に重要である。これに対し、フッ素系撥水膜はノズル基材と撥水膜の界面の状態が重要であり、ノズル基材と結合しているのはノズル基材との界面の極近傍の単分子層のみである。しかし、撥水膜の厚さを増やすことにより、ノズル基材と結合する分子数が増加し、結果として耐久性が増加することが分かった。この膜厚増加による耐久性の向上は、撥水膜表面の寄与が大きいシリコーン系よりも、ノズル基材との界面の寄与が大きいフッ素系撥水膜による場合の効果が非常に高いことが分かった。よって、本発明は、フッ素系撥水材料を用いた撥水膜を成膜する場合に特に有効である。
なお、フッ素系撥水膜を厚くした場合に、特に厚くなる凹部303aに撥水膜中の分子が凝集し、図21に示すように表面に凸形状332a(多量体の層32c)が現れる。この凸形状332の高さは60nm〜100nm程度であり、液体吐出ヘッドの吐出には影響を与えることなく、ワイピングへの耐久性を向上する効果を有する。
また、この実施形態においても、ノズル板303は、ノズル基材331にノズル穴304aから離れた領域331bの表面凹凸が存在することより、撥水材料を塗布するときに撥水材料の流れ出しが防止されて、撥水材料が強固にノズル基材331表面に密着する。一方、ノズル穴304a近傍の領域331aの表面は、表面凹凸が小さく、そのためノズル穴4のエッジが滑らかとなり、液滴吐出時の噴射曲がりなどが発生しない。しかも、ノズル穴304a近傍の撥水膜332の厚さは、ノズル穴304aから離れた領域の撥水膜332の厚さよりも厚く、ノズル穴304a近傍の撥水膜332の厚さはノズル穴304aのエッジまでノズル穴304aから離れた領域の撥水膜332の厚さより厚くなっているので、ノズル穴304a近傍におけるワイピングに対する撥水膜332の耐久性も得られる。
次に、本発明に係る液体吐出ヘッドの第8実施形態におけるノズル板の詳細についてその製造工程とともに図22を参照して説明する。
図22(a)に示すように、シリコン基板371の表面にレジストを塗布し、フォトリソ(露光、現像)によるパターニングを行って、レジストパターンの開口部をドライエッチングすることにより、深さ200nmのエッチングを行うことで、シリコン基板371の表面に凹部372を形成する。
そして、図22(b)に示すように、シリコン基板371の凹部372を形成した面上に導電層となるチタン膜373を成膜する。このとき、シリコン基板371の表面性はチタン膜373表面にも現れる。
次に、図22(c)に示すように、ノズル304の周囲の凹部303aに相当する厚さ1μmのレジストパターン374をフォトリソ工程(露光、現像)により形成する。
次いで、図22(d)に示すように、チタン膜373を導電層として、電鋳によりニッケルを30μmの厚さで成長させてニッケル膜375を成膜する。このとき、レジストパターン374よりもニッケルの厚さに相当する分だけ内側にニッケル膜375が入り込む。その結果として、ニッケル膜375が開口された部分がノズル穴304aとなる。レジストパターン374は最終的なノズル径とニッケルの入り込み量を加味して大きさを設計している。
そして、シリコン基板371からニッケル膜375を剥離することで、ニッケル膜375からなるノズル基材331が得られる。このノズル基材331のノズル穴304aの周辺部には、レジストパターン374が転写された表面の滑らかな領域331aが形成され、また、シリコン基板371の凹部372はニッケル膜375に転写されるので、ノズル基材331のノズル穴304aから離れた領域331bには凹凸が形成される。
以後、前記第7実施形態と同様にして、撥水膜332を成膜する。
この実施形態では、ノズル基材331の表面に現れる凹凸をフォトリソとドライエッチングで形成しているので、パターンや深さを任意に選定することができ、最適な効果が得られるパターンを選定することができる。
次に、本発明に係る画像形成装置で使用する液体吐出ヘッドにおけるノズル板について図23ないし図24を参照して説明する。なお、図23は同ノズル板の平面説明図、図24は同ノズル板の1つのノズル穴部分の拡大説明図、図25は図24のC−C線に沿う拡大説明図である。
このノズル板403は、図23の白抜き矢印方向(ワイピング方向)401に後述する画像形成装置のワイピング部材によってワイピングされる。そして、各ノズル404の周囲には、ワイピング方向401と平行な溝413が形成され、溝413に沿って凸部414が整列して形成されている。
このようにして、ノズル板403の表面(撥水膜432の表面)にワイピング方向と平行に形成された溝413に沿って凸部414が整列して形成されることで、図25に示すように、ワイピング方向で見たときに凸部414が重なり、溝413が塞がれないので、ワイピングされるノズル404の近傍に付着したインクが溝413に沿って逃げることができ、インクの排除性が高くなる。
これによりワイピングされたインクがノズル404のエッジに滞留することがなくなり、メニスカス形成が安定し、高品位な印字が可能となる。
これに対し、図26に示す比較例のように、凸部414がランダムに形成されている場合、図27に示すように、ワイピング方向で見たときに凸部414が重ならず、直線的な溝413が形成されないので、そのためワイピングされたインクの逃げ道がなくなって、ワイピング時のインクの排除性が低下する。
次に、上記ノズル板403の製造工程について図28を参照して説明する。なお、図28は図24のB−B線に沿う断面に相当する断面説明図であり、図28(d)ないし(f)は半分のみ図示している。
まず、図28(a)に示すように、シリコン基板471にスパッタ装置を用いてTi膜472を1000Åの厚みで成膜し、Ti膜472上にノズル穴形成パターン474をフォトレジストの塗布、露光、現像により形成する。
そして、図28(b)に示すように、電鋳によりTi膜472上にニッケルを成長させてニッケル膜475を成膜する。
その後、図28(c)に示すように、ニッケル膜475をシリコン基板471から剥離して、ニッケル膜475からなるノズル基材431を得て、撥水膜を成膜する側の表面に残ったフォトレジストを酸素プラズマにより除去する。
次いで、図28(d)に示すように、ノズル基材431の表面にSiO膜433をスパッタ装置で1000Å厚みに成膜する。このとき、ノズル基材431であるニッケル膜との密着性を向上させるために、前述したように、ノズル基材431にTi膜を100Å厚みにスパッタ装置で成膜し、その後SiO膜433を成膜するようにしてもよい。
その後、図28(e)に示すように、表面に微細な凹凸480aが形成された回転体480をワイピング方向と同じ方向に回転させ、これをノズル基材431の表面に接触させることで、ノズル基材431に成膜したSiO膜433の表面にワイピング方向と平行な凹部と凸部からなる凹凸パターン433aを形成する。この凹凸パターン433aの形成方法は、上記の方法のみではなく、凹凸が形成された板部材でノズル基材431表面のSiO膜433をワイピング方向に擦るなどして形成することもできる。
なお、この場合、上述したようにノズル基材431とSiO膜433との間にTi膜を成膜したときには、該Ti膜に形成することもできる。この場合には、Ti膜上に成膜されるSiO膜433は下地層であるTi膜をエンハストして成膜されるので、SiO膜433の成膜が完了した時点においてSiO膜433にも溝が形成され、SiO膜433に改めて溝を形成する工程は必要ない。さらに、ノズル基材431となるニッケル膜自体に溝を形成することもでき、この場合には、図示しないTi膜及びSiO膜433に溝を形成する工程は必要なくなる。
このように、下地層にワイピング方向と平行な溝が形成されている構成とすることで、下地層の溝の方向により凸部の整列方向を決定することができ、ノズル設計における自由度が増し、低コスト化を図れる。
次に、図28(f)に示すように、真空蒸着装置を用いてノズル基材431のSiO膜433上に撥水膜432を成膜する。この撥水材料としては、前述したように、シリコーン系やフッ素系材料を用いることができるが、ここでは、フッ素系撥水材料であるオプツールを用いた。
このとき、ノズル基材431のノズル404の周囲には凹部403aが形成されているため、オプツールの流れ込みが発生し、撥水膜432の厚みは、ノズル404の近傍の領域431aの厚みがノズル404から離れた領域431bのより膜厚が厚くなり、且つこの流れ込みによる凹凸パターン415(溝413と凸部414のパターン)が形成される。これにより、撥水膜432の表面には、下地層(SiO膜433)に形成された溝435によって、ワイピング方向と平行な溝413が形成されて、この溝413に沿って凸部414が整列して形成される凹凸パターン415が現れる。
このようにして、ノズル板403の表面(撥水膜432の表面)にワイピング方向と平行に形成された溝413に沿って凸部414が整列して形成されることで、前述した図25に示すように、ワイピング方向で見たときに凸部414が重なり、溝413が塞がれないので、ワイピングされるノズル404の近傍に付着したインクが溝413に沿って逃げることができ、インクの排除性が高くなる。ここでは、凸部414は多量体の層32cで形成され、ノズル近傍のワイピング耐久性を高める効果も有する。
次に、本発明に係る液体吐出ヘッドの第9実施形態におけるノズル板について図29を参照して説明する。
ここでは、ノズル板403の表面に形成された溝413がノズル404に接していない構成としている。このように、ノズル404のエッジに溝413が形成されないため、ノズル形状を一定に保つことができ、これにより安定したメニスカスを形成することができ、高品位の印字が可能となる。
ここで、このノズル板403の製造工程について図30を参照して説明する。
先ず、図30(a)ないし(d)は前述した図28(a)ないし(d)と同様であるので説明を省略する。そこで、図30(e)に示すように、SiO膜433上に、ノズル404の近傍において、ワイピング方向に平行で且つ、ノズル404のエッジ部にパターンが形成されないようなフォトレジストパターン481をフォトリソ(露光、現像)によって形成する。このとき、レジストの塗布は、ノズル404の液室面よりNブローで気流482を流しながらスプレー塗布を行うことで、レジストが液室面に回りこむことを防止できる。
次に、図30(f)に示すように、レジストパターン481をマスクにして、ドライエッチングによってSiO膜433に溝部433aを形成する。ドライエッチングは、RIEエッチング装置を用いて、RFパワー:300〜500W程度、CFガス100〜200cc程度、圧力:200〜400Pa程度で容易にエッチングすることができる。その後、酸素プラズマによりレジスト481を除去する。これにより、SiO膜433上にワイピング方向に平行で、且つ、ノズル404に接しない溝413が形成される。
次いで、図30(g)に示すように、真空蒸着装置を用いてSiO膜433表面に撥水膜432を成膜する。ここでも、フッ素系材料であるオプツールを用いて撥水膜432を成膜した。
次に、本発明に係る液体吐出ヘッドの製造方法について説明する。
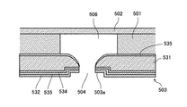
まず、同製造方法で製造するヘッドの一例について図31を参照して説明する。このヘッドは、前述したと同様に、ノズル504を形成したノズル板503と、ノズル504が連通する液室506を形成する流路部材501及び液室506の壁面を形成する振動板部材502を有している。ノズル板503は、ノズル穴504aを形成したNiプレートなどのノズル基材531の滴吐出面には中間層としてTi層534及びSiO層533を介して撥水膜532を成膜し、裏面(液室面)には流路部材501との接合性を強めるためにSiO層535を形成している。なお、ノズル504の周辺部には凹部503aが形成されている。
このノズル板503のノズル基材531の製造工程は、前述したと同様にNi電鋳によるニッケル膜の析出で行っているので、その説明を省略する。
そこで、ノズル基材531に対する撥水膜の成膜工程について図32を参照して説明する。
先ず、図32(a)に示すように、ノズル基材531の液室面側にプラズマクリーニングを施し、流路部材501との接着層としてSiO層535を100nm厚に成膜する。このSiO層535は、犠牲層除去時のエッチング用マスクとしても機能する。そして、このSiO層535上に、犠牲層としてAl層536を100nm厚みに成膜する。
次いで、図32(b)に示すように、ノズル基材531の滴吐出面に中間層としてTi層534を10nm厚みで、SiO層533を100nm厚みで順次積層形成し、さらに図32(c)に示すように撥水膜532を10nm厚みで成膜する。
その後、図32(d)に示すように、滴吐出面側にダイシングテープでプラズマ用マスク556を設け、プラズマ処理を行って親水化を行い、ウェットエッチングプロセスを用いて各ノズル穴504aの内部に回りこんだ撥水膜532を犠牲層(Al層)536ごと除去する。これにより、滴吐出面に撥水膜532を形成したノズル板503が得られる。
このように、ノズル基材の液室形成面に金属又は無機材料からなる犠牲層を形成する工程と、液滴吐出面に撥水膜を形成する工程と、ノズル穴内部に付着した撥水膜を犠牲層とともに除去する工程とを有する構成とし、金属又は無機材料からなる薄膜を犠牲層とすることで犠牲層上に形成される撥水膜の膜厚は滴吐出面側に形成される膜厚に対して十分に薄くなるため、犠牲層除去後のノズル穴端部の精度を向上できる。
この場合、液滴吐出面にプラズマ用マスクを設置し、撥水膜のノズル内壁回りこみ部に対して液室形成面よりプラズマ処理照射し、親水化を行う工程とウェットエッチングにより犠牲層とともにノズル内部に付着した撥水膜を除去する工程を有する構成とすることで、犠牲層を除去し易くなる。
また、液室形成面にエッチング用マスク層を形成する工程と、マスク層上に犠牲層を形成する工程を有する構成とすることで、液室形成面における犠牲層との選択エッチング性が向上し、またエッチング用マスク層をノズル板と流路部材との密着層として機能させて十分な接合強度を得ることができる。
次に、本発明に係る液体吐出ヘッドを備える画像形成装置の一例について図33及び図34を参照して説明する。なお、図33は同装置の機構部の全体構成を説明する概略構成図、図34は同機構部の要部平面説明図である。
この画像形成装置はシリアル型画像形成装置であり、左右の側板221A、221Bに横架したガイド部材である主従のガイドロッド231、232でキャリッジ233を主走査方向に摺動自在に保持し、図示しない主走査モータによってタイミングベルトを介して矢示方向(キャリッジ主走査方向)に移動走査する。
このキャリッジ233には、イエロー(Y)、シアン(C)、マゼンタ(M)、ブラック(K)の各色のインク滴を吐出するための本発明に係る液体吐出ヘッドからなる記録ヘッド234a、234b(区別しないときは「記録ヘッド234」という。)を複数のノズルからなるノズル列を主走査方向と直交する副走査方向に配列し、インク滴吐出方向を下方に向けて装着している。
記録ヘッド234は、それぞれ2つのノズル列を有し、記録ヘッド234aの一方のノズル列はブラック(K)の液滴を、他方のノズル列はシアン(C)の液滴を、記録ヘッド234bの一方のノズル列はマゼンタ(M)の液滴を、他方のノズル列はイエロー(Y)の液滴を、それぞれ吐出する。
なお、記録ヘッド234を構成する本発明に係る液体吐出ヘッドとしては、前述した圧電素子を用いる圧電型液体吐出ヘッドに限らず、発熱抵抗体を用いてインク流路内で熱エネルギーによってインクを加熱して気泡を発生させるいわゆるサーマル型液体吐出ヘッド、インク流路の壁面を形成する振動板と電極とを対向配置し、振動板と電極との間に発生させる静電力によって振動板を変形させることで、インク流路内容積を変化させてインク滴を吐出させる静電型液体吐出ヘッドなどを用いることができる。
また、キャリッジ233には、記録ヘッド234のノズル列に対応して各色のインクを供給するためのヘッドタンク235a、235b(区別しないときは「ヘッドタンク35」という。)を搭載している。このサブタンク235には各色の供給チューブ36を介して、各色のインクカートリッジ210k、210c、210m、210yから各色のインクが補充供給される。
一方、給紙トレイ202の用紙積載部(圧板)241上に積載した用紙242を給紙するための給紙部として、用紙積載部241から用紙242を1枚ずつ分離給送する半月コロ(給紙コロ)243及び給紙コロ243に対向し、摩擦係数の大きな材質からなる分離パッド244を備え、この分離パッド244は給紙コロ243側に付勢されている。
そして、この給紙部から給紙された用紙242を記録ヘッド234の下方側に送り込むために、用紙242を案内するガイド部材245と、カウンタローラ246と、搬送ガイド部材247と、先端加圧コロ249を有する押さえ部材248とを備えるとともに、給送された用紙242を静電吸着して記録ヘッド234に対向する位置で搬送するための搬送手段である搬送ベルト251を備えている。
この搬送ベルト251は、無端状ベルトであり、搬送ローラ252とテンションローラ253との間に掛け渡されて、ベルト搬送方向(副走査方向)に周回するように構成している。また、この搬送ベルト251の表面を帯電させるための帯電手段である帯電ローラ256を備えている。この帯電ローラ256は、搬送ベルト251の表層に接触し、搬送ベルト251の回動に従動して回転するように配置されている。この搬送ベルト251は、図示しない副走査モータによってタイミングを介して搬送ローラ252が回転駆動されることによってベルト搬送方向に周回移動する。
さらに、記録ヘッド234で記録された用紙242を排紙するための排紙部として、搬送ベルト251から用紙242を分離するための分離爪261と、排紙ローラ262及び排紙コロ263とを備え、排紙ローラ262の下方に排紙トレイ203を備えている。
また、装置本体の背面部には両面ユニット271が着脱自在に装着されている。この両面ユニット271は搬送ベルト251の逆方向回転で戻される用紙242を取り込んで反転させて再度カウンタローラ246と搬送ベルト251との間に給紙する。また、この両面ユニット271の上面は手差しトレイ272としている。
さらに、キャリッジ233の走査方向一方側の非印字領域には、記録ヘッド234のノズルの状態を維持し、回復するための維持回復機構281を配置している。この維持回復機構281には、記録ヘッド234の各ノズル面をキャピングするための各キャップ部材(以下「キャップ」という。)282a、282b(区別しないときは「キャップ282」という。)と、ノズル面をワイピングするためのワイピング部材であるワイパーブレード283と、増粘した記録液を排出するために記録に寄与しない液滴を吐出させる空吐出を行うときの液滴を受ける空吐出受け284などを備えている。
また、キャリッジ233の走査方向他方側の非印字領域には、記録中などに増粘した記録液を排出するために記録に寄与しない液滴を吐出させる空吐出を行うときの液滴を受ける液体回収容器であるインク回収ユニット(空吐出受け)288を配置し、このインク回収ユニット288には記録ヘッド234のノズル列方向に沿った開口部289などを備えている。
このように構成したこの画像形成装置においては、給紙トレイ202から用紙242が1枚ずつ分離給紙され、略鉛直上方に給紙された用紙242はガイド245で案内され、搬送ベルト251とカウンタローラ246との間に挟まれて搬送され、更に先端を搬送ガイド237で案内されて先端加圧コロ249で搬送ベルト251に押し付けられ、略90°搬送方向を転換される。
このとき、帯電ローラ256に対してプラス出力とマイナス出力とが交互に繰り返すように、つまり交番する電圧が印加され、搬送ベルト251が交番する帯電電圧パターン、すなわち、周回方向である副走査方向に、プラスとマイナスが所定の幅で帯状に交互に帯電されたものとなる。このプラス、マイナス交互に帯電した搬送ベルト251上に用紙242が給送されると、用紙242が搬送ベルト251に吸着され、搬送ベルト251の周回移動によって用紙242が副走査方向に搬送される。
そこで、キャリッジ233を移動させながら画像信号に応じて記録ヘッド234を駆動することにより、停止している用紙242にインク滴を吐出して1行分を記録し、用紙242を所定量搬送後、次の行の記録を行う。記録終了信号又は用紙242の後端が記録領域に到達した信号を受けることにより、記録動作を終了して、用紙242を排紙トレイ203に排紙する。
このように、この画像形成装置では、本発明に係る液体吐出ヘッドを備えているので、液滴吐出特性が安定し、ワイピングに対する耐久性が高く、安定して長期にわたり高画質画像を形成することができる。
なお、上記実施形態では本発明に係る画像形成装置として、プリンタ構成の画像形成装置に適用した例で説明したが、これに限るものではなく、例えば、プリンタ/ファックス/コピア複合機などの画像形成装置に適用することができる。また、前述したようにパターンを形成する画像形成装置などにも適用することができる。さらに、シリアル型画像形成装置に限らず、ライン型画像形成装置にも同様に適用できる。
1 流路部材(流路基板)
2 振動板部材
3 ノズル板(ノズル形成部材)
4 ノズル
6 液室
12 圧電素子
31 ノズル基材
32 撥水層(撥液層、撥インク層)
32a 単分子の層
32b 二量体の層
32c 多量体の層
33 無機酸化物の層
233 キャリッジ
234 記録ヘッド
303 ノズル板
304 ノズル
304a ノズル穴
332 撥水膜
333 SiO
404 ノズル
404a ノズル穴
413 溝
414 凸部
415 凹凸パターン
432 撥水膜
433 SiO
536 犠牲層

Claims (15)

  1. 液滴を吐出するノズル穴が形成されたノズル基材の液滴吐出側の面に撥水層が形成されたノズル形成部材を備え、
    前記撥水層は、少なくとも相対的に低分子量の分子が多い層と高分子量の分子が多い層とが積層されて形成され、前記低分子量の分子が多い層と高分子量の分子が多い層の両方が前記ノズル形成部材の表面に露出した状態で形成されている
    ことを特徴とする液体吐出ヘッド。
  2. 請求項1に記載の液体吐出ヘッドにおいて、前記低分子量の層が前記ノズル基材の全面にわたって形成され、前記低分子量の分子が多い層上に前記高分子量の分子が多い層が島状に点在して形成されていることを特徴とする液体吐出ヘッド。
  3. 請求項1ないし3のいずれかに記載の液体吐出ヘッドにおいて、前記撥水層がフッ素樹脂で形成されていることを特徴とする液体吐出ヘッド。
  4. 請求項3に記載の液体吐出ヘッドにおいて、前記ノズル基材と前記撥水層との間に無機酸化物の層が形成されていることを特徴とする液体吐出ヘッド。
  5. 請求項4に記載の液体吐出ヘッドにおいて、前記ノズル基材と無機酸化物の層との間に前記ノズル基材よりも酸化物生成自由エネルギーが低い金属からなる層が形成されていることを特徴とする液体吐出ヘッド。
  6. 液滴を吐出するノズル穴が形成されたノズル基材の液滴吐出側の面に撥水層が形成されたノズル形成部材を備え、
    前記撥水層は、前記ノズル形成部材の表面に露出した状態で形成されている少なくとも2つの層を積層して構成され、前記2つの層の内の一方の層は他の層に対して相対的に撥水性が高い層であり、他方の層は前記一方の層に対して相対的に払拭部材による払拭に対する耐性が高い層である
    ことを特徴とする液体吐出ヘッド。
  7. 前記ノズル穴近傍のノズル形成部材表面は、前記ノズル穴から離れたところよりも表面凹凸が小さく、前記ノズル穴から離れたところよりも撥水層の厚さが厚く、ノズル穴エッジ端まで撥水膜が厚く形成されていることを特徴とする請求項1ないし6のいずれかに記載の液体吐出ヘッド。
  8. 前記ノズル穴近傍の領域は、凹部となっていることを特徴とする請求項7に記載の液体吐出ヘッド。
  9. 請求項1ないし8のいずれかに記載の液体吐出ヘッドを備えていることを特徴とする画像形成装置。
  10. 前記ノズル形成部材の表面を払拭するワイピング部材を有し、
    前記液体吐出ヘッドの前記高分子量の撥水層又は払拭に対する耐性が高い撥水層の領域がワイピング方向に平行に整列して形成されていることを特徴とする請求項9に記載の画像形成装置。
  11. 前記液体吐出ヘッドの前記撥水層が形成された下地層にはワイピング方向と平行な溝が形成されていることを特徴とする請求項10に記載の画像形成装置。
  12. 前記液体吐出ヘッドの前記溝は前記ノズル穴に接していないことを特徴とする請求項11に記載の画像形成装置。
  13. 請求項1ないし8のいずれかに記載の液体吐出ヘッドを製造する液体吐出ヘッドの製造方法であって、
    前記ノズル基材の液室形成面に金属又は無機材料からなる犠牲層を形成する工程と、
    前記液滴吐出面に撥水膜を形成する工程と、
    前記ノズル穴内部に付着した前記撥水膜を前記犠牲層とともに除去する工程と、を有する
    ことを特徴とする液体吐出ヘッドの製造方法。
  14. 前記液滴吐出面にプラズマ用マスクを設置し、ノズル穴内部に付着した前記撥水膜に対して液室形成面よりプラズマ処理照射し、親水化を行う工程とウェットエッチングにより前記犠牲層とともにノズル穴内部に付着した撥水膜を除去する工程を有することを特徴とする請求項13に記載の液体吐出ヘッドの製造方法。
  15. 液室形成面にエッチング用マスク層を形成する工程と、前記マスク層上に前記犠牲層を形成する工程を有することを特徴とする請求項13又は14に記載の液体吐出ヘッドの製造方法。
JP2009085614A 2008-08-27 2009-03-31 液体吐出ヘッド及び画像形成装置並びに液体吐出ヘッドの製造方法 Active JP5387096B2 (ja)

Priority Applications (2)

Application Number Priority Date Filing Date Title
JP2009085614A JP5387096B2 (ja) 2008-08-27 2009-03-31 液体吐出ヘッド及び画像形成装置並びに液体吐出ヘッドの製造方法
US12/548,730 US8303083B2 (en) 2008-08-27 2009-08-27 Liquid ejection head, image forming apparatus employing the liquid ejection head, and method of manufacturing the liquid ejection head

Applications Claiming Priority (3)

Application Number Priority Date Filing Date Title
JP2008217494 2008-08-27
JP2008217494 2008-08-27
JP2009085614A JP5387096B2 (ja) 2008-08-27 2009-03-31 液体吐出ヘッド及び画像形成装置並びに液体吐出ヘッドの製造方法

Publications (2)

Publication Number Publication Date
JP2010076422A true JP2010076422A (ja) 2010-04-08
JP5387096B2 JP5387096B2 (ja) 2014-01-15

Family

ID=41724746

Family Applications (1)

Application Number Title Priority Date Filing Date
JP2009085614A Active JP5387096B2 (ja) 2008-08-27 2009-03-31 液体吐出ヘッド及び画像形成装置並びに液体吐出ヘッドの製造方法

Country Status (2)

Country Link
US (1) US8303083B2 (ja)
JP (1) JP5387096B2 (ja)

Cited By (21)

* Cited by examiner, † Cited by third party
Publication number Priority date Publication date Assignee Title
JP2012081612A (ja) * 2010-10-08 2012-04-26 Brother Industries Ltd 液体吐出ヘッド、及び、その製造方法
JP2013031948A (ja) * 2011-08-01 2013-02-14 Sharp Corp 液体吐出ノズル、及び液体吐出ノズルにおける撥水層の再生方法
JP2013155408A (ja) * 2012-01-30 2013-08-15 Fujifilm Corp 撥水膜の製造方法および該製造方法により製造された撥水膜
JP2013193289A (ja) * 2012-03-19 2013-09-30 Ricoh Co Ltd ノズル板、液体吐出ヘッド、画像形成装置、ノズル板の製造方法
WO2015034027A1 (en) 2013-09-03 2015-03-12 Ricoh Company, Ltd. Inkjet recording method and inkjet recording device
US9205653B2 (en) 2014-01-23 2015-12-08 Ricoh Company, Ltd. Nozzle plate, liquid ejection head, and inkjet recording device
JP2015227027A (ja) * 2014-06-02 2015-12-17 株式会社リコー 液体吐出ヘッド及びその製造方法、並びに画像形成装置
JP2016097585A (ja) * 2014-11-21 2016-05-30 株式会社リコー インクジェット記録方法及びインクジェット記録装置
JP2017132252A (ja) * 2016-01-27 2017-08-03 株式会社リコー ノズル板、液体吐出ヘッド、液体吐出ユニット、液体を吐出する装置、ノズル板の製造方法
JP2017132244A (ja) * 2016-01-27 2017-08-03 株式会社リコー ノズル板、液体吐出ヘッド、液体吐出ユニット、液体を吐出する装置、ノズル板の製造方法
JP2017209977A (ja) * 2016-05-24 2017-11-30 株式会社リコー ノズル板、液体吐出ヘッド、液体吐出ユニット、液体を吐出する装置
JP2019005951A (ja) * 2017-06-22 2019-01-17 セイコーエプソン株式会社 ノズルプレート、液体噴射ヘッド、及び、液体噴射装置
US10232622B2 (en) 2013-09-04 2019-03-19 Fujifilm Corporation Water-repellent film, film formation method, nozzle plate, ink-jet head, and ink-jet recording device
US10252526B2 (en) 2014-10-25 2019-04-09 Ricoh Company, Ltd. Nozzle plate, liquid discharge head, liquid discharge device, and apparatus for discharging liquid
JP2019089231A (ja) * 2017-11-14 2019-06-13 エスアイアイ・プリンテック株式会社 噴射孔プレート、液体噴射ヘッド、液体噴射記録装置、および噴射孔プレートの製造方法
WO2021002869A1 (en) * 2019-07-03 2021-01-07 Hewlett-Packard Development Company, L.P. Fluid feed hole
WO2021199731A1 (ja) * 2020-03-30 2021-10-07 富士フイルム株式会社 液体吐出構造体、液体吐出ヘッド及び液体吐出装置
WO2022014566A1 (ja) * 2020-07-13 2022-01-20 日東電工株式会社 積層体
WO2022014575A1 (ja) * 2020-07-13 2022-01-20 日東電工株式会社 積層体
JPWO2022044245A1 (ja) * 2020-08-28 2022-03-03
JP2022080086A (ja) * 2020-11-17 2022-05-27 株式会社リコー 液体吐出ヘッド、液体吐出ヘッドの製造方法、液体吐出ユニット及び液体を吐出する装置

Families Citing this family (13)

* Cited by examiner, † Cited by third party
Publication number Priority date Publication date Assignee Title
US8393716B2 (en) * 2009-09-07 2013-03-12 Ricoh Company, Ltd. Liquid ejection head including flow channel plate formed with pressure generating chamber, method of manufacturing such liquid ejection head, and image forming apparatus including such liquid ejection head
KR101625090B1 (ko) * 2009-12-11 2016-05-30 삼성전자주식회사 노즐 플레이트 및 그 제조방법
US8926062B2 (en) * 2010-10-18 2015-01-06 Hewlett-Packard Development Company, L.P. Printers and duplexers for printers
US8754338B2 (en) * 2011-05-28 2014-06-17 Banpil Photonics, Inc. On-chip interconnects with reduced capacitance and method of afbrication
JP6098099B2 (ja) 2011-12-13 2017-03-22 株式会社リコー 液体吐出ヘッド及び画像形成装置
JP5943292B2 (ja) 2012-03-19 2016-07-05 株式会社リコー 液体吐出ヘッド、画像形成装置、液体吐出ヘッドの製造方法
JP2014043029A (ja) * 2012-08-25 2014-03-13 Ricoh Co Ltd 液体吐出ヘッド及び画像形成装置
JP6217170B2 (ja) * 2013-06-23 2017-10-25 株式会社リコー 液体吐出ヘッド及び画像形成装置
US9561655B2 (en) * 2015-01-16 2017-02-07 Ricoh Company, Ltd. Liquid discharging head, liquid discharging unit, and device to discharge liquid
JP6418023B2 (ja) * 2015-03-24 2018-11-07 ブラザー工業株式会社 液体吐出装置の製造方法
US9809024B2 (en) 2015-06-11 2017-11-07 Ricoh Company, Ltd. Image forming apparatus
US10144213B2 (en) 2016-06-08 2018-12-04 Ricoh Company, Ltd. Printing apparatus, recording medium storing program, and printing method
JP7087489B2 (ja) 2018-03-14 2022-06-21 株式会社リコー ヘッド用振動板部材、液体吐出ヘッド、液体吐出ユニット、液体を吐出する装置

Citations (10)

* Cited by examiner, † Cited by third party
Publication number Priority date Publication date Assignee Title
JP2001038917A (ja) * 1999-07-29 2001-02-13 Casio Comput Co Ltd インクジェットプリンタ
JP2001055563A (ja) * 1999-08-18 2001-02-27 Seiko Epson Corp 撥水性構造体およびその製造方法、インクジェットヘッドおよびその製造方法並びにインクジェットプリンター
JP2002086021A (ja) * 2000-06-20 2002-03-26 Ngk Insulators Ltd 液滴吐出装置
JP2004330793A (ja) * 2000-05-22 2004-11-25 Seiko Epson Corp 微細孔内フッ素樹脂除去方法及び除去装置
JP2005271299A (ja) * 2004-03-23 2005-10-06 Fuji Photo Film Co Ltd インクジェット記録ヘッド及び画像形成装置
JP3755647B2 (ja) * 2001-08-31 2006-03-15 セイコーエプソン株式会社 撥インク処理方法、インクジェットヘッドのノズルプレート、インクジェットヘッドおよびインクジェットプリンタ
JP2006150155A (ja) * 2004-11-25 2006-06-15 Seiko Epson Corp 液滴吐出ヘッドおよび液滴吐出ヘッドの製造方法、液滴吐出装置
JP2006150156A (ja) * 2004-11-25 2006-06-15 Seiko Epson Corp 液滴吐出ヘッドおよび液滴吐出ヘッドの製造方法、液滴吐出装置
JP2007144989A (ja) * 2005-11-25 2007-06-14 Samsung Electronics Co Ltd 疎水性コーティング膜の形成方法
JP2007253537A (ja) * 2006-03-24 2007-10-04 Canon Inc インクジェットヘッド及びインクジェット記録装置

Family Cites Families (33)

* Cited by examiner, † Cited by third party
Publication number Priority date Publication date Assignee Title
DE69227659T2 (de) * 1991-02-04 1999-06-17 Seiko Epson Corp., Tokio/Tokyo Farbstrahldruckkopf und herstellungsverfahren
JPH10151744A (ja) 1996-11-22 1998-06-09 Hitachi Koki Co Ltd インク噴射記録ヘッドとその製造方法およびインク噴射記録装置
JP3428616B2 (ja) 1997-02-27 2003-07-22 セイコーエプソン株式会社 インクジェットプリンタヘッドおよびその製造方法
US6511156B1 (en) * 1997-09-22 2003-01-28 Citizen Watch Co., Ltd. Ink-jet head nozzle plate, its manufacturing method and ink-jet head
JP3826608B2 (ja) * 1999-03-17 2006-09-27 富士写真フイルム株式会社 液体吐出部表面の撥水膜形成
US6367914B1 (en) 1999-04-15 2002-04-09 Ricoh Company, Ltd. Electrostatic ink-jet head and method of production of the same
JP2000318163A (ja) 1999-05-13 2000-11-21 Ricoh Co Ltd インクジェットヘッド及びその製造方法並びにノズル形成部材及びその製造方法
JP2002292868A (ja) 2001-03-28 2002-10-09 Ricoh Co Ltd 液滴吐出ヘッド、インクカートリッジ及びインクジェット記録装置
JP4087085B2 (ja) 2001-07-06 2008-05-14 株式会社日立製作所 インクジェットヘッド
EP1423282B1 (en) 2001-09-06 2011-02-09 Ricoh Company, Ltd. Method of manufacturing a liquid drop discharge head
JP4393730B2 (ja) 2001-09-19 2010-01-06 株式会社リコー インクジェットヘッド
DE60326962D1 (de) 2002-08-06 2009-05-14 Ricoh Kk Durch ein halbleiterherstellungsverfahren gebildetes elektrostatisches stellglied
JP2004075739A (ja) 2002-08-12 2004-03-11 Sii Printek Inc 撥水膜及びその製造方法並びにノズルプレート
JP2004276568A (ja) 2003-03-19 2004-10-07 Fuji Xerox Co Ltd インクジェット記録ヘッド
JP2004330681A (ja) 2003-05-09 2004-11-25 Hitachi Printing Solutions Ltd インクジェットヘッド、及びこれを用いたインクジェットプリンタ及びインクジェットヘッドの製造方法
JP4446704B2 (ja) 2003-09-17 2010-04-07 株式会社リコー 液滴吐出ヘッド及びその製造方法並びに画像形成装置
JP2005138383A (ja) 2003-11-06 2005-06-02 Ricoh Co Ltd ノズル板、液滴吐出ヘッド、画像形成装置及びノズル板の製造方法。
JP2005219426A (ja) 2004-02-09 2005-08-18 Ricoh Co Ltd 液体吐出ヘッド、液体カートリッジ、液体吐出装置、画像形成装置及び液体吐出ヘッドの製造方法
KR100561864B1 (ko) * 2004-02-27 2006-03-17 삼성전자주식회사 잉크젯 프린트헤드의 노즐 플레이트 표면에 소수성코팅막을 형성하는 방법
JP4439319B2 (ja) 2004-04-14 2010-03-24 株式会社リコー 液体吐出ヘッド、液体カートリッジ、液体吐出装置及び画像形成装置
EP1775128B1 (en) * 2004-07-15 2011-09-07 Ricoh Company, Ltd. Liquid jet head, method of manufacturing the liquid jet head and image forming device
JP2006175845A (ja) 2004-11-29 2006-07-06 Ricoh Co Ltd 液体吐出ヘッド、液体吐出装置及び画像形成装置
JP2006341451A (ja) * 2005-06-08 2006-12-21 Fujifilm Holdings Corp ノズルプレートの製造方法、ノズルプレート、液体吐出ヘッド、及び画像形成装置。
JP4889450B2 (ja) * 2005-11-11 2012-03-07 株式会社リコー 液体吐出ヘッド及び画像形成装置、液滴を吐出する装置、記録方法
JP4726159B2 (ja) 2006-03-14 2011-07-20 株式会社リコー 液体吐出ヘッド、液体吐出装置、画像形成装置
JP4000486B2 (ja) 2006-03-31 2007-10-31 富士フイルム株式会社 インクジェットプリンタのノズル板の製造方法
JP2007276256A (ja) 2006-04-06 2007-10-25 Fuji Xerox Co Ltd 液滴吐出ヘッド、液滴吐出装置及び液滴吐出ヘッドの製造方法
JP5233130B2 (ja) 2006-04-14 2013-07-10 株式会社リコー 圧電アクチュエータ、液体吐出ヘッド、液体吐出装置、画像形成装置
US8197048B2 (en) 2006-04-26 2012-06-12 Ricoh Company, Ltd. Image forming apparatus
JP5102551B2 (ja) 2006-09-07 2012-12-19 株式会社リコー 液滴吐出ヘッド、液体カートリッジ、液滴吐出装置、及び画像形成装置
JP5085272B2 (ja) 2007-02-09 2012-11-28 株式会社リコー 液体吐出ヘッド及び画像形成装置
JP4861859B2 (ja) 2007-03-07 2012-01-25 富士フイルム株式会社 ノズルプレートの製造方法及び液体吐出ヘッドの製造方法
JP2008221641A (ja) 2007-03-13 2008-09-25 Brother Ind Ltd 液体吐出ヘッドの製造方法

Patent Citations (10)

* Cited by examiner, † Cited by third party
Publication number Priority date Publication date Assignee Title
JP2001038917A (ja) * 1999-07-29 2001-02-13 Casio Comput Co Ltd インクジェットプリンタ
JP2001055563A (ja) * 1999-08-18 2001-02-27 Seiko Epson Corp 撥水性構造体およびその製造方法、インクジェットヘッドおよびその製造方法並びにインクジェットプリンター
JP2004330793A (ja) * 2000-05-22 2004-11-25 Seiko Epson Corp 微細孔内フッ素樹脂除去方法及び除去装置
JP2002086021A (ja) * 2000-06-20 2002-03-26 Ngk Insulators Ltd 液滴吐出装置
JP3755647B2 (ja) * 2001-08-31 2006-03-15 セイコーエプソン株式会社 撥インク処理方法、インクジェットヘッドのノズルプレート、インクジェットヘッドおよびインクジェットプリンタ
JP2005271299A (ja) * 2004-03-23 2005-10-06 Fuji Photo Film Co Ltd インクジェット記録ヘッド及び画像形成装置
JP2006150155A (ja) * 2004-11-25 2006-06-15 Seiko Epson Corp 液滴吐出ヘッドおよび液滴吐出ヘッドの製造方法、液滴吐出装置
JP2006150156A (ja) * 2004-11-25 2006-06-15 Seiko Epson Corp 液滴吐出ヘッドおよび液滴吐出ヘッドの製造方法、液滴吐出装置
JP2007144989A (ja) * 2005-11-25 2007-06-14 Samsung Electronics Co Ltd 疎水性コーティング膜の形成方法
JP2007253537A (ja) * 2006-03-24 2007-10-04 Canon Inc インクジェットヘッド及びインクジェット記録装置

Cited By (35)

* Cited by examiner, † Cited by third party
Publication number Priority date Publication date Assignee Title
JP2012081612A (ja) * 2010-10-08 2012-04-26 Brother Industries Ltd 液体吐出ヘッド、及び、その製造方法
JP2013031948A (ja) * 2011-08-01 2013-02-14 Sharp Corp 液体吐出ノズル、及び液体吐出ノズルにおける撥水層の再生方法
US8657410B2 (en) 2011-08-01 2014-02-25 Sharp Kabushiki Kaisha Liquid discharging nozzle and method for recovering water-repellent layer of the liquid discharging nozzle
JP2013155408A (ja) * 2012-01-30 2013-08-15 Fujifilm Corp 撥水膜の製造方法および該製造方法により製造された撥水膜
US9012670B2 (en) 2012-01-30 2015-04-21 Fujifilm Corporation Method of manufacturing water repellent film and thereby manufactured water repellent film
JP2013193289A (ja) * 2012-03-19 2013-09-30 Ricoh Co Ltd ノズル板、液体吐出ヘッド、画像形成装置、ノズル板の製造方法
WO2015034027A1 (en) 2013-09-03 2015-03-12 Ricoh Company, Ltd. Inkjet recording method and inkjet recording device
CN105593020A (zh) * 2013-09-03 2016-05-18 株式会社理光 喷墨记录方法和喷墨记录装置
US10232622B2 (en) 2013-09-04 2019-03-19 Fujifilm Corporation Water-repellent film, film formation method, nozzle plate, ink-jet head, and ink-jet recording device
US9205653B2 (en) 2014-01-23 2015-12-08 Ricoh Company, Ltd. Nozzle plate, liquid ejection head, and inkjet recording device
JP2015227027A (ja) * 2014-06-02 2015-12-17 株式会社リコー 液体吐出ヘッド及びその製造方法、並びに画像形成装置
US10252526B2 (en) 2014-10-25 2019-04-09 Ricoh Company, Ltd. Nozzle plate, liquid discharge head, liquid discharge device, and apparatus for discharging liquid
US9757942B2 (en) 2014-11-21 2017-09-12 Ricoh Company, Ltd. Inkjet recording method and inkjet recording device
JP2016097585A (ja) * 2014-11-21 2016-05-30 株式会社リコー インクジェット記録方法及びインクジェット記録装置
JP2017132252A (ja) * 2016-01-27 2017-08-03 株式会社リコー ノズル板、液体吐出ヘッド、液体吐出ユニット、液体を吐出する装置、ノズル板の製造方法
JP2017132244A (ja) * 2016-01-27 2017-08-03 株式会社リコー ノズル板、液体吐出ヘッド、液体吐出ユニット、液体を吐出する装置、ノズル板の製造方法
JP2017209977A (ja) * 2016-05-24 2017-11-30 株式会社リコー ノズル板、液体吐出ヘッド、液体吐出ユニット、液体を吐出する装置
JP2019005951A (ja) * 2017-06-22 2019-01-17 セイコーエプソン株式会社 ノズルプレート、液体噴射ヘッド、及び、液体噴射装置
JP2019089231A (ja) * 2017-11-14 2019-06-13 エスアイアイ・プリンテック株式会社 噴射孔プレート、液体噴射ヘッド、液体噴射記録装置、および噴射孔プレートの製造方法
CN110001201A (zh) * 2017-11-14 2019-07-12 精工电子打印科技有限公司 喷射孔板、液体喷射头以及喷射孔板的制造方法
JP7086569B2 (ja) 2017-11-14 2022-06-20 エスアイアイ・プリンテック株式会社 噴射孔プレート、液体噴射ヘッド、液体噴射記録装置、および噴射孔プレートの製造方法
TWI743864B (zh) * 2019-07-03 2021-10-21 美商惠普發展公司有限責任合夥企業 形成流體進送孔之方法以及射流晶粒節點陣列與其形成方法
WO2021002869A1 (en) * 2019-07-03 2021-01-07 Hewlett-Packard Development Company, L.P. Fluid feed hole
WO2021199731A1 (ja) * 2020-03-30 2021-10-07 富士フイルム株式会社 液体吐出構造体、液体吐出ヘッド及び液体吐出装置
US12172440B2 (en) 2020-03-30 2024-12-24 Fujifilm Corporation Liquid jetting structure, liquid jetting head, and liquid jetting device
JPWO2021199731A1 (ja) * 2020-03-30 2021-10-07
JP7334335B2 (ja) 2020-03-30 2023-08-28 富士フイルム株式会社 液体吐出構造体、液体吐出ヘッド及び液体吐出装置
WO2022014575A1 (ja) * 2020-07-13 2022-01-20 日東電工株式会社 積層体
WO2022014566A1 (ja) * 2020-07-13 2022-01-20 日東電工株式会社 積層体
CN115989150A (zh) * 2020-08-28 2023-04-18 柯尼卡美能达株式会社 喷嘴板及喷墨头
JPWO2022044245A1 (ja) * 2020-08-28 2022-03-03
JP7485053B2 (ja) 2020-08-28 2024-05-16 コニカミノルタ株式会社 ノズルプレート及びインクジェットヘッド
US12269266B2 (en) 2020-08-28 2025-04-08 Konica Minolta, Inc. Nozzle plate including substrate adhesion layer between base layer and substrate, and inkjet head equipped with said nozzle plate
JP2022080086A (ja) * 2020-11-17 2022-05-27 株式会社リコー 液体吐出ヘッド、液体吐出ヘッドの製造方法、液体吐出ユニット及び液体を吐出する装置
JP7540309B2 (ja) 2020-11-17 2024-08-27 株式会社リコー 液体吐出ヘッド、液体吐出ヘッドの製造方法、液体吐出ユニット及び液体を吐出する装置

Also Published As

Publication number Publication date
US20100053269A1 (en) 2010-03-04
US8303083B2 (en) 2012-11-06
JP5387096B2 (ja) 2014-01-15

Similar Documents

Publication Publication Date Title
JP5387096B2 (ja) 液体吐出ヘッド及び画像形成装置並びに液体吐出ヘッドの製造方法
US9365040B2 (en) Liquid ejection head and image forming apparatus including same
WO2006006682A1 (ja) 液体吐出ヘッド及びその製造方法、画像形成装置、液体吐出ヘッドのノズル部材、撥インク膜形成方法、液体吐出ヘッド、カートリッジ、及び液体吐出記録装置
JP5108565B2 (ja) 液滴吐出ヘッドとその製造方法、液滴吐出ヘッドを具備した画像記録装置
US8118413B2 (en) Liquid ejecting head, image forming apparatus, and method for manufacturing liquid ejecting head
JP5251187B2 (ja) 液体吐出ヘッドおよび液体吐出装置
JP4906537B2 (ja) 液体吐出ヘッド、画像形成装置
JP5068063B2 (ja) 液体吐出ヘッド、液体吐出装置、画像形成装置、液体吐出ヘッドの製造方法
JP5327435B2 (ja) 液体吐出ヘッド及びその製造方法、画像形成装置
JP5085272B2 (ja) 液体吐出ヘッド及び画像形成装置
JP4876046B2 (ja) 液体吐出ヘッド及び画像形成装置
JP5549163B2 (ja) 液体吐出ヘッド及び画像形成装置
JP6119152B2 (ja) ノズル板、ノズル板の製造方法、液体吐出ヘッド及び画像形成装置
JP5471646B2 (ja) 液体吐出ヘッド及び画像形成装置
JP2012121199A (ja) 液滴吐出ヘッド、インクカートリッジ及び画像形成装置
JP2009220421A (ja) ノズルプレート、液滴吐出ヘッド、液体カートリッジ及び画像形成装置
JP5338585B2 (ja) 液体吐出ヘッド及び画像形成装置
JP6701795B2 (ja) 液体吐出ヘッド、液体吐出装置及び画像形成装置
JP2012245725A (ja) 液体吐出ヘッド、ヘッドカートリッジ、及び画像形成装置
JP5728934B2 (ja) ヘッド回復装置及び画像形成装置
JP5338715B2 (ja) 液体吐出ヘッド及び画像形成装置
JP2009220396A (ja) ノズルプレート、液滴吐出ヘッド、液体カートリッジ及びインクジェット記録装置
JP2009066890A (ja) 液体吐出ヘッド及び画像形成装置
JP2009078534A (ja) 液滴吐出ヘッド、ヘッドカートリッジ及び画像形成装置
JP2010214828A (ja) 液体吐出ヘッド及びその製造方法、画像形成装置

Legal Events

Date Code Title Description
A621 Written request for application examination

Free format text: JAPANESE INTERMEDIATE CODE: A621

Effective date: 20120313

A521 Written amendment

Free format text: JAPANESE INTERMEDIATE CODE: A523

Effective date: 20120622

A977 Report on retrieval

Free format text: JAPANESE INTERMEDIATE CODE: A971007

Effective date: 20130307

A131 Notification of reasons for refusal

Free format text: JAPANESE INTERMEDIATE CODE: A131

Effective date: 20130318

A521 Written amendment

Free format text: JAPANESE INTERMEDIATE CODE: A523

Effective date: 20130430

TRDD Decision of grant or rejection written
A01 Written decision to grant a patent or to grant a registration (utility model)

Free format text: JAPANESE INTERMEDIATE CODE: A01

Effective date: 20130910

A61 First payment of annual fees (during grant procedure)

Free format text: JAPANESE INTERMEDIATE CODE: A61

Effective date: 20130923

R151 Written notification of patent or utility model registration

Ref document number: 5387096

Country of ref document: JP

Free format text: JAPANESE INTERMEDIATE CODE: R151