JP2010034503A - 積層セラミック電子部品およびその製造方法 - Google Patents
積層セラミック電子部品およびその製造方法 Download PDFInfo
- Publication number
- JP2010034503A JP2010034503A JP2009092658A JP2009092658A JP2010034503A JP 2010034503 A JP2010034503 A JP 2010034503A JP 2009092658 A JP2009092658 A JP 2009092658A JP 2009092658 A JP2009092658 A JP 2009092658A JP 2010034503 A JP2010034503 A JP 2010034503A
- Authority
- JP
- Japan
- Prior art keywords
- plating film
- ceramic body
- ceramic
- main surface
- electronic component
- Prior art date
- Legal status (The legal status is an assumption and is not a legal conclusion. Google has not performed a legal analysis and makes no representation as to the accuracy of the status listed.)
- Granted
Links
- 239000000919 ceramic Substances 0.000 title claims abstract description 190
- 238000000034 method Methods 0.000 title claims description 24
- 238000004519 manufacturing process Methods 0.000 title claims description 8
- 238000007747 plating Methods 0.000 claims abstract description 147
- 239000004020 conductor Substances 0.000 claims abstract description 89
- 239000002184 metal Substances 0.000 claims abstract description 54
- 229910052751 metal Inorganic materials 0.000 claims abstract description 54
- 239000007791 liquid phase Substances 0.000 claims abstract description 20
- 239000007790 solid phase Substances 0.000 claims abstract description 6
- 238000000151 deposition Methods 0.000 claims description 4
- 239000012071 phase Substances 0.000 abstract description 4
- 239000003985 ceramic capacitor Substances 0.000 description 12
- 230000000694 effects Effects 0.000 description 7
- 238000010438 heat treatment Methods 0.000 description 7
- 230000015572 biosynthetic process Effects 0.000 description 5
- 150000001875 compounds Chemical class 0.000 description 5
- 238000009792 diffusion process Methods 0.000 description 5
- 229910052737 gold Inorganic materials 0.000 description 5
- 229910045601 alloy Inorganic materials 0.000 description 4
- 239000000956 alloy Substances 0.000 description 4
- 230000000052 comparative effect Effects 0.000 description 4
- 238000010030 laminating Methods 0.000 description 4
- 229910052759 nickel Inorganic materials 0.000 description 4
- 229910052763 palladium Inorganic materials 0.000 description 4
- 229910052709 silver Inorganic materials 0.000 description 4
- 229910052718 tin Inorganic materials 0.000 description 4
- QVGXLLKOCUKJST-UHFFFAOYSA-N atomic oxygen Chemical compound [O] QVGXLLKOCUKJST-UHFFFAOYSA-N 0.000 description 3
- 230000004888 barrier function Effects 0.000 description 3
- 239000011230 binding agent Substances 0.000 description 3
- 229910052797 bismuth Inorganic materials 0.000 description 3
- 238000007772 electroless plating Methods 0.000 description 3
- 238000009713 electroplating Methods 0.000 description 3
- 229910052745 lead Inorganic materials 0.000 description 3
- 229910052760 oxygen Inorganic materials 0.000 description 3
- 239000001301 oxygen Substances 0.000 description 3
- 229910000679 solder Inorganic materials 0.000 description 3
- 239000011800 void material Substances 0.000 description 3
- 229910052725 zinc Inorganic materials 0.000 description 3
- 230000001070 adhesive effect Effects 0.000 description 2
- 229910052802 copper Inorganic materials 0.000 description 2
- 238000010586 diagram Methods 0.000 description 2
- 239000011521 glass Substances 0.000 description 2
- 230000002250 progressing effect Effects 0.000 description 2
- 239000004065 semiconductor Substances 0.000 description 2
- 239000007787 solid Substances 0.000 description 2
- 239000002904 solvent Substances 0.000 description 2
- 229910002367 SrTiO Inorganic materials 0.000 description 1
- 239000000853 adhesive Substances 0.000 description 1
- 239000003990 capacitor Substances 0.000 description 1
- 239000003054 catalyst Substances 0.000 description 1
- 229910010293 ceramic material Inorganic materials 0.000 description 1
- 238000010344 co-firing Methods 0.000 description 1
- 238000007796 conventional method Methods 0.000 description 1
- 230000008021 deposition Effects 0.000 description 1
- 238000002474 experimental method Methods 0.000 description 1
- 238000010304 firing Methods 0.000 description 1
- JEIPFZHSYJVQDO-UHFFFAOYSA-N iron(III) oxide Inorganic materials O=[Fe]O[Fe]=O JEIPFZHSYJVQDO-UHFFFAOYSA-N 0.000 description 1
- 230000008018 melting Effects 0.000 description 1
- 238000002844 melting Methods 0.000 description 1
- 239000007769 metal material Substances 0.000 description 1
- 150000002739 metals Chemical class 0.000 description 1
- 239000003960 organic solvent Substances 0.000 description 1
- 230000035515 penetration Effects 0.000 description 1
- 238000005498 polishing Methods 0.000 description 1
- 238000007517 polishing process Methods 0.000 description 1
- 230000002265 prevention Effects 0.000 description 1
- 238000007639 printing Methods 0.000 description 1
- 230000002940 repellent Effects 0.000 description 1
- 239000005871 repellent Substances 0.000 description 1
- 238000007650 screen-printing Methods 0.000 description 1
- 229910052596 spinel Inorganic materials 0.000 description 1
- 239000011029 spinel Substances 0.000 description 1
- XLYOFNOQVPJJNP-UHFFFAOYSA-N water Substances O XLYOFNOQVPJJNP-UHFFFAOYSA-N 0.000 description 1
Images
Classifications
-
- H—ELECTRICITY
- H01—ELECTRIC ELEMENTS
- H01G—CAPACITORS; CAPACITORS, RECTIFIERS, DETECTORS, SWITCHING DEVICES, LIGHT-SENSITIVE OR TEMPERATURE-SENSITIVE DEVICES OF THE ELECTROLYTIC TYPE
- H01G4/00—Fixed capacitors; Processes of their manufacture
- H01G4/002—Details
- H01G4/005—Electrodes
-
- H—ELECTRICITY
- H01—ELECTRIC ELEMENTS
- H01G—CAPACITORS; CAPACITORS, RECTIFIERS, DETECTORS, SWITCHING DEVICES, LIGHT-SENSITIVE OR TEMPERATURE-SENSITIVE DEVICES OF THE ELECTROLYTIC TYPE
- H01G4/00—Fixed capacitors; Processes of their manufacture
- H01G4/002—Details
- H01G4/228—Terminals
- H01G4/232—Terminals electrically connecting two or more layers of a stacked or rolled capacitor
-
- H—ELECTRICITY
- H01—ELECTRIC ELEMENTS
- H01G—CAPACITORS; CAPACITORS, RECTIFIERS, DETECTORS, SWITCHING DEVICES, LIGHT-SENSITIVE OR TEMPERATURE-SENSITIVE DEVICES OF THE ELECTROLYTIC TYPE
- H01G4/00—Fixed capacitors; Processes of their manufacture
- H01G4/30—Stacked capacitors
-
- Y—GENERAL TAGGING OF NEW TECHNOLOGICAL DEVELOPMENTS; GENERAL TAGGING OF CROSS-SECTIONAL TECHNOLOGIES SPANNING OVER SEVERAL SECTIONS OF THE IPC; TECHNICAL SUBJECTS COVERED BY FORMER USPC CROSS-REFERENCE ART COLLECTIONS [XRACs] AND DIGESTS
- Y10—TECHNICAL SUBJECTS COVERED BY FORMER USPC
- Y10T—TECHNICAL SUBJECTS COVERED BY FORMER US CLASSIFICATION
- Y10T29/00—Metal working
- Y10T29/43—Electric condenser making
- Y10T29/435—Solid dielectric type
Landscapes
- Engineering & Computer Science (AREA)
- Power Engineering (AREA)
- Manufacturing & Machinery (AREA)
- Microelectronics & Electronic Packaging (AREA)
- Fixed Capacitors And Capacitor Manufacturing Machines (AREA)
- Ceramic Capacitors (AREA)
Abstract
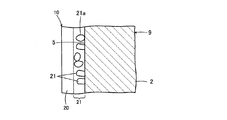
【解決手段】外部端子電極10,11を形成するため、セラミック素体9における、内部導体12,13の露出部上に金属めっき膜20を析出させ、次いで、金属めっき膜20を被覆しかつ金属めっき膜20の周囲に位置するセラミック素体9と接するようにして、Cuめっき膜22を析出させ、その後、セラミック素体9を熱処理し、Cuめっき膜22とセラミック素体9との間に、Cu液相、O液相およびCu固相を生成させる。これらCu液相等の混合相は、Cuめっき膜22の内部における、少なくともセラミック素体9との界面側に、不連続状にCu酸化物が存在する領域21を形成する。Cu酸化物は、セラミック素体9とCuめっき膜22とを強固に接合し、外部端子電極10,11の固着力を高める。
【選択図】図3
Description
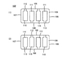
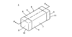
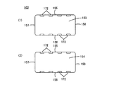
2,109,159 セラミック層
3,4,103,104,153,154 主面
5〜8,105〜108,155〜158 側面
9,102,152 セラミック素体
10,11,114,115,168,169 外部端子電極
12,13,110,111,160,161 内部導体
18,19,112,113,164,167 露出部
20 金属めっき膜
21 Cu酸化物存在領域
22 Cuめっき膜
26,118,172 補助導電層
Claims (8)
- 複数のセラミック層が積層されてなり、互いに対向する第1の主面および第2の主面と、前記第1の主面および前記第2の主面間を結ぶ複数の側面とを有する、セラミック素体と、
前記セラミック素体の内部に形成され、かつ前記セラミック素体の少なくとも1つの前記側面上に露出部を有する、内部導体と、
前記セラミック素体の少なくとも1つの前記側面上に形成され、かつ前記内部導体の前記露出部を被覆する、外部端子電極と
を備え、
前記外部端子電極は、
前記内部導体の前記露出部を被覆するようにして形成された、金属めっき膜と、
前記金属めっき膜を被覆し、かつ前記セラミック素体と接するようにして形成された、Cuめっき膜と
を備え、
前記Cuめっき膜の内部であって、前記Cuめっき膜の少なくとも前記セラミック素体との界面側に、不連続状にCu酸化物が存在している、
積層セラミック電子部品。 - 前記Cu酸化物は、さらに前記第1の主面および前記第2の主面とも接するように存在している、請求項1に記載の積層セラミック電子部品。
- 前記外部端子電極は、第1の主面上および前記第2の主面上に形成された補助導電層をさらに備え、
前記Cu酸化物は、前記金属めっき膜と前記補助導電層との間に位置するように形成され、
前記Cuめっき膜は、前記金属めっき膜、前記Cu酸化物および前記補助導電層を被覆するようにして形成される、請求項1または2に記載の積層セラミック電子部品。 - 前記内部導体はNiを含み、前記金属めっき膜はNiを含む、請求項1ないし3のいずれかに記載の積層セラミック電子部品。
- 前記Cu酸化物は玉状に存在している、請求項1ないし4のいずれかに記載の積層セラミック電子部品。
- 前記Cu酸化物はCu2OとCuOとを含む、請求項1ないし5のいずれかに記載の積層セラミック電子部品。
- 前記Cu酸化物において、Cu2Oは90重量%以上を占める、請求項6に記載の積層セラミック電子部品。
- 複数のセラミック層が積層されてなり、互いに対向する第1の主面および第2の主面と、前記第1の主面および前記第2の主面間を結ぶ複数の側面とを有し、少なくとも1つの前記側面上に露出部を有する内部導体が内部に形成されている、セラミック素体を準備する工程と、
前記セラミック素体にめっき処理を施し、前記内部導体の露出部上に金属めっき膜を析出させる工程と、
前記セラミック素体にめっき処理を施し、前記金属めっき膜を被覆するように、かつ、前記金属めっき膜の周囲に位置する前記セラミック素体の前記側面と接するようにして、Cuめっき膜を析出させる工程と、
前記セラミック素体に熱処理を施し、前記Cuめっき膜と前記セラミック素体との間に、Cu液相、O液相およびCu固相を生成させる工程と
を備える、積層セラミック電子部品の製造方法。
Priority Applications (2)
| Application Number | Priority Date | Filing Date | Title |
|---|---|---|---|
| JP2009092658A JP5282634B2 (ja) | 2008-06-25 | 2009-04-07 | 積層セラミック電子部品およびその製造方法 |
| US12/490,471 US8125763B2 (en) | 2008-06-25 | 2009-06-24 | Multilayer ceramic electronic component and method for making the same |
Applications Claiming Priority (3)
| Application Number | Priority Date | Filing Date | Title |
|---|---|---|---|
| JP2008165321 | 2008-06-25 | ||
| JP2008165321 | 2008-06-25 | ||
| JP2009092658A JP5282634B2 (ja) | 2008-06-25 | 2009-04-07 | 積層セラミック電子部品およびその製造方法 |
Publications (2)
| Publication Number | Publication Date |
|---|---|
| JP2010034503A true JP2010034503A (ja) | 2010-02-12 |
| JP5282634B2 JP5282634B2 (ja) | 2013-09-04 |
Family
ID=41447101
Family Applications (1)
| Application Number | Title | Priority Date | Filing Date |
|---|---|---|---|
| JP2009092658A Active JP5282634B2 (ja) | 2008-06-25 | 2009-04-07 | 積層セラミック電子部品およびその製造方法 |
Country Status (2)
| Country | Link |
|---|---|
| US (1) | US8125763B2 (ja) |
| JP (1) | JP5282634B2 (ja) |
Cited By (14)
| Publication number | Priority date | Publication date | Assignee | Title |
|---|---|---|---|---|
| JP2012009813A (ja) * | 2010-05-27 | 2012-01-12 | Murata Mfg Co Ltd | セラミック電子部品及びその製造方法 |
| JP2012064779A (ja) * | 2010-09-16 | 2012-03-29 | Murata Mfg Co Ltd | 電子部品 |
| JP2013254935A (ja) * | 2012-05-08 | 2013-12-19 | Murata Mfg Co Ltd | 電子部品、電子部品内蔵基板及び電子部品の製造方法 |
| WO2014057751A1 (ja) * | 2012-10-09 | 2014-04-17 | 株式会社村田製作所 | 積層セラミック電子部品およびその製造方法 |
| JP2014216638A (ja) * | 2013-04-22 | 2014-11-17 | サムソン エレクトロ−メカニックス カンパニーリミテッド. | 積層セラミックキャパシタ及びその実装基板 |
| US9524828B2 (en) | 2013-04-22 | 2016-12-20 | Samsung Electro-Mechanics, Co., Ltd. | Multilayered ceramic capacitor and mounting the same |
| CN106536130A (zh) * | 2015-07-08 | 2017-03-22 | 柳元植 | 刹车片摩擦材料连续加工装置 |
| JP2020119965A (ja) * | 2019-01-22 | 2020-08-06 | 太陽誘電株式会社 | 積層セラミックコンデンサ及び積層セラミックコンデンサの製造方法 |
| JP2020167376A (ja) * | 2019-03-28 | 2020-10-08 | 株式会社村田製作所 | 積層セラミックコンデンサおよび積層セラミックコンデンサの製造方法 |
| JP2021108328A (ja) * | 2019-12-27 | 2021-07-29 | 太陽誘電株式会社 | 電子部品及び電子部品の製造方法 |
| JPWO2022070779A1 (ja) * | 2020-09-30 | 2022-04-07 | ||
| WO2023038032A1 (ja) * | 2021-09-08 | 2023-03-16 | 株式会社村田製作所 | 電子部品ならびにその実装方法および実装構造 |
| WO2025022942A1 (ja) * | 2023-07-25 | 2025-01-30 | 京セラ株式会社 | 積層型電子部品 |
| KR102922466B1 (ko) * | 2023-08-23 | 2026-02-04 | 티디케이가부시기가이샤 | 전자 부품 |
Families Citing this family (47)
| Publication number | Priority date | Publication date | Assignee | Title |
|---|---|---|---|---|
| US8194391B2 (en) * | 2007-12-21 | 2012-06-05 | Murata Manufacturing Co., Ltd. | Multilayer ceramic electronic component and manufacturing method thereof |
| JP5282678B2 (ja) * | 2009-06-26 | 2013-09-04 | 株式会社村田製作所 | 積層型電子部品およびその製造方法 |
| JP5382144B2 (ja) * | 2010-02-01 | 2014-01-08 | 株式会社村田製作所 | 電子部品の製造方法 |
| JP5459487B2 (ja) * | 2010-02-05 | 2014-04-02 | 株式会社村田製作所 | 積層型電子部品およびその製造方法 |
| JP5526908B2 (ja) * | 2010-03-24 | 2014-06-18 | 株式会社村田製作所 | 積層型電子部品 |
| JP5267583B2 (ja) * | 2011-01-21 | 2013-08-21 | 株式会社村田製作所 | 積層セラミック電子部品 |
| US9490055B2 (en) * | 2011-10-31 | 2016-11-08 | Murata Manufacturing Co., Ltd. | Ceramic electronic component and manufacturing method thereof |
| KR101503967B1 (ko) * | 2011-12-08 | 2015-03-19 | 삼성전기주식회사 | 적층형 인덕터 및 그 제조방법 |
| KR102029468B1 (ko) * | 2012-01-18 | 2019-10-07 | 삼성전기주식회사 | 적층 세라믹 전자부품 및 이의 제조방법 |
| KR101983129B1 (ko) * | 2012-01-18 | 2019-05-28 | 삼성전기주식회사 | 적층 세라믹 전자부품 및 이의 제조방법 |
| KR101645626B1 (ko) * | 2012-03-05 | 2016-08-05 | 가부시키가이샤 무라타 세이사쿠쇼 | 전자부품 |
| DE102012105517B4 (de) * | 2012-06-25 | 2020-06-18 | Tdk Electronics Ag | Vielschichtbauelement mit einer Außenkontaktierung und Verfahren zur Herstellung eines Vielschichtbauelements mit einer Außenkontaktierung |
| KR101422926B1 (ko) * | 2012-10-26 | 2014-07-23 | 삼성전기주식회사 | 적층 칩 전자부품 및 그 실장 기판 |
| KR101452079B1 (ko) * | 2012-12-28 | 2014-10-16 | 삼성전기주식회사 | 기판 내장용 적층 세라믹 전자부품 및 적층 세라믹 전자부품 내장형 인쇄회로기판 |
| KR101994717B1 (ko) * | 2013-07-15 | 2019-07-01 | 삼성전기주식회사 | 적층 세라믹 커패시터 및 그 실장 기판 |
| KR101525676B1 (ko) * | 2013-09-24 | 2015-06-03 | 삼성전기주식회사 | 기판 내장용 적층 세라믹 전자부품, 그 제조방법 및 적층 세라믹 전자부품 내장형 인쇄회로기판 |
| KR101548859B1 (ko) * | 2014-02-26 | 2015-08-31 | 삼성전기주식회사 | 적층 세라믹 전자부품 및 그 실장 기판 |
| KR102037264B1 (ko) * | 2014-12-15 | 2019-10-29 | 삼성전기주식회사 | 기판 내장용 소자, 그 제조 방법 및 소자 내장 인쇄회로기판 |
| KR101652850B1 (ko) * | 2015-01-30 | 2016-08-31 | 삼성전기주식회사 | 칩 전자부품, 그 제조방법 및 이를 구비한 기판 |
| KR101659208B1 (ko) | 2015-02-06 | 2016-09-30 | 삼성전기주식회사 | 적층 세라믹 전자 제품 및 그 제조 방법 |
| TWI628678B (zh) * | 2016-04-21 | 2018-07-01 | Tdk 股份有限公司 | 電子零件 |
| JP6841611B2 (ja) * | 2016-07-25 | 2021-03-10 | 太陽誘電株式会社 | 積層セラミックコンデンサ |
| DE102018104459A1 (de) * | 2018-02-27 | 2019-08-29 | Tdk Electronics Ag | Vielschichtbauelement mit externer Kontaktierung |
| JP7089402B2 (ja) * | 2018-05-18 | 2022-06-22 | 太陽誘電株式会社 | 積層セラミックコンデンサおよびその製造方法 |
| JP7145652B2 (ja) * | 2018-06-01 | 2022-10-03 | 太陽誘電株式会社 | 積層セラミックコンデンサおよびその製造方法 |
| JP7231340B2 (ja) | 2018-06-05 | 2023-03-01 | 太陽誘電株式会社 | セラミック電子部品およびその製造方法 |
| JP7446705B2 (ja) * | 2018-06-12 | 2024-03-11 | 太陽誘電株式会社 | 積層セラミックコンデンサおよびその製造方法 |
| US11258325B2 (en) | 2018-10-23 | 2022-02-22 | General Electric Company | Articles including insulated conductors and systems thereof |
| CN111755247B (zh) * | 2019-03-28 | 2022-01-07 | 株式会社村田制作所 | 层叠陶瓷电容器以及层叠陶瓷电容器的制造方法 |
| JP2020202220A (ja) * | 2019-06-07 | 2020-12-17 | 株式会社村田製作所 | 積層セラミック電子部品 |
| KR102333094B1 (ko) * | 2019-07-08 | 2021-12-01 | 삼성전기주식회사 | 커패시터 부품 |
| JP7273373B2 (ja) * | 2020-04-20 | 2023-05-15 | 株式会社村田製作所 | 積層セラミック電子部品 |
| CN111732455B (zh) * | 2020-06-30 | 2022-05-31 | 苏州蓝晶研材料科技有限公司 | 一种双锡层陶瓷导电材料及其制备方法 |
| JP2022014536A (ja) * | 2020-07-07 | 2022-01-20 | 株式会社村田製作所 | 電子部品 |
| JP2022014532A (ja) * | 2020-07-07 | 2022-01-20 | 株式会社村田製作所 | 電子部品及び電子部品の製造方法 |
| KR20220060286A (ko) | 2020-11-04 | 2022-05-11 | 삼성전기주식회사 | 적층형 커패시터 |
| JP2022134972A (ja) * | 2021-03-04 | 2022-09-15 | 株式会社村田製作所 | 積層セラミック電子部品 |
| JP7587445B2 (ja) * | 2021-03-08 | 2024-11-20 | Tdk株式会社 | セラミック電子部品 |
| JP2023013421A (ja) * | 2021-07-16 | 2023-01-26 | 株式会社村田製作所 | 積層セラミック電子部品 |
| KR20230068021A (ko) * | 2021-11-10 | 2023-05-17 | 삼성전기주식회사 | 적층형 커패시터 |
| KR20230086074A (ko) * | 2021-12-08 | 2023-06-15 | 삼성전기주식회사 | 적층형 커패시터 |
| KR20230102525A (ko) * | 2021-12-30 | 2023-07-07 | 삼성전기주식회사 | 적층형 전자 부품 |
| KR20230121320A (ko) * | 2022-02-11 | 2023-08-18 | 삼성전기주식회사 | 적층형 전자 부품 |
| KR20240076921A (ko) * | 2022-11-24 | 2024-05-31 | 삼성전기주식회사 | 적층형 전자 부품 |
| KR20240080833A (ko) * | 2022-11-30 | 2024-06-07 | 삼성전기주식회사 | 적층형 전자 부품 |
| CN115881435B (zh) * | 2022-12-28 | 2025-09-30 | 深圳市微容电子元器件有限公司 | 多层陶瓷电容器的制备方法以及多层陶瓷电容器 |
| KR20240148055A (ko) * | 2023-04-03 | 2024-10-11 | 삼성전기주식회사 | 적층 세라믹 커패시터 |
Citations (5)
| Publication number | Priority date | Publication date | Assignee | Title |
|---|---|---|---|---|
| JPS5793517A (en) * | 1980-12-02 | 1982-06-10 | Murata Manufacturing Co | Method of forming terminal electrode for chip circuit part |
| JPH02232326A (ja) * | 1989-03-07 | 1990-09-14 | Kobe Steel Ltd | セラミックスとの接合性の良い銅材 |
| JP2000100647A (ja) * | 1998-09-24 | 2000-04-07 | Kyocera Corp | 積層セラミックコンデンサおよびその製造方法 |
| WO2007097180A1 (ja) * | 2006-02-27 | 2007-08-30 | Murata Manufacturing Co., Ltd. | 積層型電子部品およびその製造方法 |
| JP2008041786A (ja) * | 2006-08-03 | 2008-02-21 | Murata Mfg Co Ltd | 積層セラミック電子部品 |
Family Cites Families (17)
| Publication number | Priority date | Publication date | Assignee | Title |
|---|---|---|---|---|
| JP4423707B2 (ja) * | 1999-07-22 | 2010-03-03 | Tdk株式会社 | 積層セラミック電子部品の製造方法 |
| TWI260657B (en) | 2002-04-15 | 2006-08-21 | Avx Corp | Plated terminations |
| US6982863B2 (en) | 2002-04-15 | 2006-01-03 | Avx Corporation | Component formation via plating technology |
| US6960366B2 (en) | 2002-04-15 | 2005-11-01 | Avx Corporation | Plated terminations |
| US7177137B2 (en) | 2002-04-15 | 2007-02-13 | Avx Corporation | Plated terminations |
| US7152291B2 (en) | 2002-04-15 | 2006-12-26 | Avx Corporation | Method for forming plated terminations |
| US7576968B2 (en) | 2002-04-15 | 2009-08-18 | Avx Corporation | Plated terminations and method of forming using electrolytic plating |
| US7463474B2 (en) | 2002-04-15 | 2008-12-09 | Avx Corporation | System and method of plating ball grid array and isolation features for electronic components |
| US7345868B2 (en) | 2002-10-07 | 2008-03-18 | Presidio Components, Inc. | Multilayer ceramic capacitor with terminal formed by electroless plating |
| GB2400493B (en) | 2003-04-08 | 2005-11-09 | Avx Corp | Plated terminations |
| CN101248499B (zh) | 2005-10-28 | 2011-02-02 | 株式会社村田制作所 | 层叠型电子部件及其制造方法 |
| JP5116661B2 (ja) | 2006-03-14 | 2013-01-09 | 株式会社村田製作所 | 積層型電子部品の製造方法 |
| KR100975757B1 (ko) | 2006-03-15 | 2010-08-12 | 가부시키가이샤 무라타 세이사쿠쇼 | 적층형 전자부품 및 그 제조방법 |
| JP2009295602A (ja) | 2006-08-22 | 2009-12-17 | Murata Mfg Co Ltd | 積層型電子部品、および積層型電子部品の製造方法。 |
| WO2008059666A1 (fr) | 2006-11-15 | 2008-05-22 | Murata Manufacturing Co., Ltd. | Composant électronique stratifié et son procédé de fabrication |
| KR100979066B1 (ko) | 2006-11-22 | 2010-08-30 | 가부시키가이샤 무라타 세이사쿠쇼 | 적층형 전자부품 및 그 제조방법 |
| JP5289794B2 (ja) | 2007-03-28 | 2013-09-11 | 株式会社村田製作所 | 積層型電子部品およびその製造方法 |
-
2009
- 2009-04-07 JP JP2009092658A patent/JP5282634B2/ja active Active
- 2009-06-24 US US12/490,471 patent/US8125763B2/en active Active
Patent Citations (5)
| Publication number | Priority date | Publication date | Assignee | Title |
|---|---|---|---|---|
| JPS5793517A (en) * | 1980-12-02 | 1982-06-10 | Murata Manufacturing Co | Method of forming terminal electrode for chip circuit part |
| JPH02232326A (ja) * | 1989-03-07 | 1990-09-14 | Kobe Steel Ltd | セラミックスとの接合性の良い銅材 |
| JP2000100647A (ja) * | 1998-09-24 | 2000-04-07 | Kyocera Corp | 積層セラミックコンデンサおよびその製造方法 |
| WO2007097180A1 (ja) * | 2006-02-27 | 2007-08-30 | Murata Manufacturing Co., Ltd. | 積層型電子部品およびその製造方法 |
| JP2008041786A (ja) * | 2006-08-03 | 2008-02-21 | Murata Mfg Co Ltd | 積層セラミック電子部品 |
Cited By (23)
| Publication number | Priority date | Publication date | Assignee | Title |
|---|---|---|---|---|
| US8564931B2 (en) | 2010-05-27 | 2013-10-22 | Murata Manufacturing Co., Ltd. | Ceramic electronic component and method for manufacturing the same |
| JP2012009813A (ja) * | 2010-05-27 | 2012-01-12 | Murata Mfg Co Ltd | セラミック電子部品及びその製造方法 |
| JP2012064779A (ja) * | 2010-09-16 | 2012-03-29 | Murata Mfg Co Ltd | 電子部品 |
| JP2013254935A (ja) * | 2012-05-08 | 2013-12-19 | Murata Mfg Co Ltd | 電子部品、電子部品内蔵基板及び電子部品の製造方法 |
| US9330848B2 (en) | 2012-05-08 | 2016-05-03 | Murata Manufacturing Co., Ltd. | Electronic component, electronic-component-embedded substrate, and method for producing electronic component |
| US9620290B2 (en) | 2012-10-09 | 2017-04-11 | Murata Manufacturing Co., Ltd. | Monolithic ceramic electronic component and method for manufacturing the same |
| WO2014057751A1 (ja) * | 2012-10-09 | 2014-04-17 | 株式会社村田製作所 | 積層セラミック電子部品およびその製造方法 |
| JPWO2014057751A1 (ja) * | 2012-10-09 | 2016-09-05 | 株式会社村田製作所 | 積層セラミック電子部品およびその製造方法 |
| US9831037B2 (en) | 2012-10-09 | 2017-11-28 | Murata Manufaturing Co., Ltd. | Monolithic ceramic electronic component and method for manufacturing the same |
| JP2014216638A (ja) * | 2013-04-22 | 2014-11-17 | サムソン エレクトロ−メカニックス カンパニーリミテッド. | 積層セラミックキャパシタ及びその実装基板 |
| US9524828B2 (en) | 2013-04-22 | 2016-12-20 | Samsung Electro-Mechanics, Co., Ltd. | Multilayered ceramic capacitor and mounting the same |
| CN106536130A (zh) * | 2015-07-08 | 2017-03-22 | 柳元植 | 刹车片摩擦材料连续加工装置 |
| JP2020119965A (ja) * | 2019-01-22 | 2020-08-06 | 太陽誘電株式会社 | 積層セラミックコンデンサ及び積層セラミックコンデンサの製造方法 |
| JP7215410B2 (ja) | 2019-03-28 | 2023-01-31 | 株式会社村田製作所 | 積層セラミックコンデンサおよび積層セラミックコンデンサの製造方法 |
| JP2020167376A (ja) * | 2019-03-28 | 2020-10-08 | 株式会社村田製作所 | 積層セラミックコンデンサおよび積層セラミックコンデンサの製造方法 |
| JP2021108328A (ja) * | 2019-12-27 | 2021-07-29 | 太陽誘電株式会社 | 電子部品及び電子部品の製造方法 |
| JP7688961B2 (ja) | 2019-12-27 | 2025-06-05 | 太陽誘電株式会社 | 電子部品及び電子部品の製造方法 |
| JPWO2022070779A1 (ja) * | 2020-09-30 | 2022-04-07 | ||
| WO2023038032A1 (ja) * | 2021-09-08 | 2023-03-16 | 株式会社村田製作所 | 電子部品ならびにその実装方法および実装構造 |
| JPWO2023038032A1 (ja) * | 2021-09-08 | 2023-03-16 | ||
| WO2025022942A1 (ja) * | 2023-07-25 | 2025-01-30 | 京セラ株式会社 | 積層型電子部品 |
| JP7646100B1 (ja) * | 2023-07-25 | 2025-03-14 | 京セラ株式会社 | 積層型電子部品 |
| KR102922466B1 (ko) * | 2023-08-23 | 2026-02-04 | 티디케이가부시기가이샤 | 전자 부품 |
Also Published As
| Publication number | Publication date |
|---|---|
| US20090323253A1 (en) | 2009-12-31 |
| US8125763B2 (en) | 2012-02-28 |
| JP5282634B2 (ja) | 2013-09-04 |
Similar Documents
| Publication | Publication Date | Title |
|---|---|---|
| JP5282634B2 (ja) | 積層セラミック電子部品およびその製造方法 | |
| JP5239731B2 (ja) | 積層セラミック電子部品およびその製造方法 | |
| JP5115349B2 (ja) | 積層セラミック電子部品およびその製造方法 | |
| US8194391B2 (en) | Multilayer ceramic electronic component and manufacturing method thereof | |
| KR101462754B1 (ko) | 적층 세라믹 커패시터 및 그 제조방법. | |
| US8484815B2 (en) | Method for manufacturing laminated electronic component | |
| JP5777179B2 (ja) | 基板内蔵用積層セラミック電子部品及び積層セラミック電子部品内蔵型印刷回路基板 | |
| CN103325567B (zh) | 多层陶瓷电子元件及其制备方法 | |
| JP2010118499A (ja) | 積層セラミック電子部品 | |
| JP6376604B2 (ja) | 基板内蔵用積層セラミック電子部品及び積層セラミック電子部品内蔵型印刷回路基板 | |
| JP2010021524A (ja) | 積層セラミック電子部品およびその製造方法 | |
| JP2017228757A (ja) | 積層セラミック電子部品及びその実装基板 | |
| JP2012156315A (ja) | 積層セラミック電子部品 | |
| JP2012164966A (ja) | セラミック電子部品 | |
| JP2017118093A (ja) | 積層セラミック電子部品及びその製造方法 | |
| JP2014027248A (ja) | 積層セラミック電子部品及びその製造方法 | |
| JP2015023271A (ja) | 基板内蔵用積層セラミック電子部品及び積層セラミック電子部品内蔵型印刷回路基板 | |
| JP2013106035A (ja) | 積層セラミック電子部品 | |
| JP2019195037A (ja) | 積層型キャパシタ | |
| JP2015057810A (ja) | 基板内蔵用積層セラミック電子部品及び積層セラミック電子部品内蔵型印刷回路基板 | |
| JP2012099786A (ja) | 積層型セラミックキャパシタ及びその製造方法 | |
| JP4548471B2 (ja) | コンデンサアレイおよびその製造方法 | |
| JP2013098533A (ja) | 積層セラミック電子部品の製造方法 | |
| US20120147517A1 (en) | Multilayer ceramic capacitor and method of manufacturing the same | |
| JP2013128090A (ja) | 電子部品及びその製造方法 |
Legal Events
| Date | Code | Title | Description |
|---|---|---|---|
| A621 | Written request for application examination |
Free format text: JAPANESE INTERMEDIATE CODE: A621 Effective date: 20120403 |
|
| A977 | Report on retrieval |
Free format text: JAPANESE INTERMEDIATE CODE: A971007 Effective date: 20130208 |
|
| A131 | Notification of reasons for refusal |
Free format text: JAPANESE INTERMEDIATE CODE: A131 Effective date: 20130219 |
|
| A521 | Request for written amendment filed |
Free format text: JAPANESE INTERMEDIATE CODE: A523 Effective date: 20130411 |
|
| TRDD | Decision of grant or rejection written | ||
| A01 | Written decision to grant a patent or to grant a registration (utility model) |
Free format text: JAPANESE INTERMEDIATE CODE: A01 Effective date: 20130430 |
|
| A61 | First payment of annual fees (during grant procedure) |
Free format text: JAPANESE INTERMEDIATE CODE: A61 Effective date: 20130513 |
|
| R150 | Certificate of patent or registration of utility model |
Ref document number: 5282634 Country of ref document: JP Free format text: JAPANESE INTERMEDIATE CODE: R150 |
