KR20180098473A - 화학 강화 유리 및 화학 강화용 유리 - Google Patents
화학 강화 유리 및 화학 강화용 유리 Download PDFInfo
- Publication number
- KR20180098473A KR20180098473A KR1020177016471A KR20177016471A KR20180098473A KR 20180098473 A KR20180098473 A KR 20180098473A KR 1020177016471 A KR1020177016471 A KR 1020177016471A KR 20177016471 A KR20177016471 A KR 20177016471A KR 20180098473 A KR20180098473 A KR 20180098473A
- Authority
- KR
- South Korea
- Prior art keywords
- glass
- mpa
- value
- less
- tempered glass
- Prior art date
- Legal status (The legal status is an assumption and is not a legal conclusion. Google has not performed a legal analysis and makes no representation as to the accuracy of the status listed.)
- Granted
Links
Images
Classifications
-
- C—CHEMISTRY; METALLURGY
- C03—GLASS; MINERAL OR SLAG WOOL
- C03C—CHEMICAL COMPOSITION OF GLASSES, GLAZES OR VITREOUS ENAMELS; SURFACE TREATMENT OF GLASS; SURFACE TREATMENT OF FIBRES OR FILAMENTS MADE FROM GLASS, MINERALS OR SLAGS; JOINING GLASS TO GLASS OR OTHER MATERIALS
- C03C3/00—Glass compositions
- C03C3/04—Glass compositions containing silica
- C03C3/076—Glass compositions containing silica with 40% to 90% silica, by weight
- C03C3/083—Glass compositions containing silica with 40% to 90% silica, by weight containing aluminium oxide or an iron compound
- C03C3/085—Glass compositions containing silica with 40% to 90% silica, by weight containing aluminium oxide or an iron compound containing an oxide of a divalent metal
-
- C—CHEMISTRY; METALLURGY
- C03—GLASS; MINERAL OR SLAG WOOL
- C03C—CHEMICAL COMPOSITION OF GLASSES, GLAZES OR VITREOUS ENAMELS; SURFACE TREATMENT OF GLASS; SURFACE TREATMENT OF FIBRES OR FILAMENTS MADE FROM GLASS, MINERALS OR SLAGS; JOINING GLASS TO GLASS OR OTHER MATERIALS
- C03C21/00—Treatment of glass, not in the form of fibres or filaments, by diffusing ions or metals in the surface
-
- C—CHEMISTRY; METALLURGY
- C03—GLASS; MINERAL OR SLAG WOOL
- C03C—CHEMICAL COMPOSITION OF GLASSES, GLAZES OR VITREOUS ENAMELS; SURFACE TREATMENT OF GLASS; SURFACE TREATMENT OF FIBRES OR FILAMENTS MADE FROM GLASS, MINERALS OR SLAGS; JOINING GLASS TO GLASS OR OTHER MATERIALS
- C03C21/00—Treatment of glass, not in the form of fibres or filaments, by diffusing ions or metals in the surface
- C03C21/001—Treatment of glass, not in the form of fibres or filaments, by diffusing ions or metals in the surface in liquid phase, e.g. molten salts, solutions
- C03C21/002—Treatment of glass, not in the form of fibres or filaments, by diffusing ions or metals in the surface in liquid phase, e.g. molten salts, solutions to perform ion-exchange between alkali ions
-
- C—CHEMISTRY; METALLURGY
- C03—GLASS; MINERAL OR SLAG WOOL
- C03C—CHEMICAL COMPOSITION OF GLASSES, GLAZES OR VITREOUS ENAMELS; SURFACE TREATMENT OF GLASS; SURFACE TREATMENT OF FIBRES OR FILAMENTS MADE FROM GLASS, MINERALS OR SLAGS; JOINING GLASS TO GLASS OR OTHER MATERIALS
- C03C3/00—Glass compositions
- C03C3/04—Glass compositions containing silica
- C03C3/076—Glass compositions containing silica with 40% to 90% silica, by weight
- C03C3/083—Glass compositions containing silica with 40% to 90% silica, by weight containing aluminium oxide or an iron compound
-
- C—CHEMISTRY; METALLURGY
- C03—GLASS; MINERAL OR SLAG WOOL
- C03C—CHEMICAL COMPOSITION OF GLASSES, GLAZES OR VITREOUS ENAMELS; SURFACE TREATMENT OF GLASS; SURFACE TREATMENT OF FIBRES OR FILAMENTS MADE FROM GLASS, MINERALS OR SLAGS; JOINING GLASS TO GLASS OR OTHER MATERIALS
- C03C3/00—Glass compositions
- C03C3/04—Glass compositions containing silica
- C03C3/076—Glass compositions containing silica with 40% to 90% silica, by weight
- C03C3/083—Glass compositions containing silica with 40% to 90% silica, by weight containing aluminium oxide or an iron compound
- C03C3/085—Glass compositions containing silica with 40% to 90% silica, by weight containing aluminium oxide or an iron compound containing an oxide of a divalent metal
- C03C3/087—Glass compositions containing silica with 40% to 90% silica, by weight containing aluminium oxide or an iron compound containing an oxide of a divalent metal containing calcium oxide, e.g. common sheet or container glass
-
- C—CHEMISTRY; METALLURGY
- C03—GLASS; MINERAL OR SLAG WOOL
- C03C—CHEMICAL COMPOSITION OF GLASSES, GLAZES OR VITREOUS ENAMELS; SURFACE TREATMENT OF GLASS; SURFACE TREATMENT OF FIBRES OR FILAMENTS MADE FROM GLASS, MINERALS OR SLAGS; JOINING GLASS TO GLASS OR OTHER MATERIALS
- C03C3/00—Glass compositions
- C03C3/04—Glass compositions containing silica
- C03C3/076—Glass compositions containing silica with 40% to 90% silica, by weight
- C03C3/089—Glass compositions containing silica with 40% to 90% silica, by weight containing boron
- C03C3/091—Glass compositions containing silica with 40% to 90% silica, by weight containing boron containing aluminium
-
- C—CHEMISTRY; METALLURGY
- C03—GLASS; MINERAL OR SLAG WOOL
- C03C—CHEMICAL COMPOSITION OF GLASSES, GLAZES OR VITREOUS ENAMELS; SURFACE TREATMENT OF GLASS; SURFACE TREATMENT OF FIBRES OR FILAMENTS MADE FROM GLASS, MINERALS OR SLAGS; JOINING GLASS TO GLASS OR OTHER MATERIALS
- C03C3/00—Glass compositions
- C03C3/04—Glass compositions containing silica
- C03C3/076—Glass compositions containing silica with 40% to 90% silica, by weight
- C03C3/089—Glass compositions containing silica with 40% to 90% silica, by weight containing boron
- C03C3/091—Glass compositions containing silica with 40% to 90% silica, by weight containing boron containing aluminium
- C03C3/093—Glass compositions containing silica with 40% to 90% silica, by weight containing boron containing aluminium containing zinc or zirconium
-
- C—CHEMISTRY; METALLURGY
- C03—GLASS; MINERAL OR SLAG WOOL
- C03C—CHEMICAL COMPOSITION OF GLASSES, GLAZES OR VITREOUS ENAMELS; SURFACE TREATMENT OF GLASS; SURFACE TREATMENT OF FIBRES OR FILAMENTS MADE FROM GLASS, MINERALS OR SLAGS; JOINING GLASS TO GLASS OR OTHER MATERIALS
- C03C3/00—Glass compositions
- C03C3/04—Glass compositions containing silica
- C03C3/076—Glass compositions containing silica with 40% to 90% silica, by weight
- C03C3/097—Glass compositions containing silica with 40% to 90% silica, by weight containing phosphorus, niobium or tantalum
-
- C—CHEMISTRY; METALLURGY
- C03—GLASS; MINERAL OR SLAG WOOL
- C03C—CHEMICAL COMPOSITION OF GLASSES, GLAZES OR VITREOUS ENAMELS; SURFACE TREATMENT OF GLASS; SURFACE TREATMENT OF FIBRES OR FILAMENTS MADE FROM GLASS, MINERALS OR SLAGS; JOINING GLASS TO GLASS OR OTHER MATERIALS
- C03C4/00—Compositions for glass with special properties
- C03C4/18—Compositions for glass with special properties for ion-sensitive glass
Landscapes
- Chemical & Material Sciences (AREA)
- Life Sciences & Earth Sciences (AREA)
- Engineering & Computer Science (AREA)
- Chemical Kinetics & Catalysis (AREA)
- General Chemical & Material Sciences (AREA)
- Geochemistry & Mineralogy (AREA)
- Materials Engineering (AREA)
- Organic Chemistry (AREA)
- Ceramic Engineering (AREA)
- Glass Compositions (AREA)
- Surface Treatment Of Glass (AREA)
- Surface Treatment Of Glass Fibres Or Filaments (AREA)
Abstract
Description
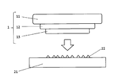
도 2는 화학 강화 유리의 표면 압축 응력(CS)을 측정하기 위한 샘플을 제작하는 모습을 나타내는 개요도이며, (a)는 연마 전의 샘플을 도시하고, (b)는 연마 후의 박편화된 샘플을 도시한다.
도 3은 모래 위 낙하 시험의 시험 방법을 도시하는 모식도이다.
도 4는 화학 강화 유리 또는 유리의 DOL과 평균 깨짐 높이의 관계를 플롯한 그래프이다.
도 5는 화학 강화 유리 또는 유리의 CT와 평균 깨짐 높이의 관계를 플롯한 그래프이다.
도 6은 화학 강화 유리의 CT와 평균 깨짐 높이의 관계를 플롯한 그래프이다.
도 7은 화학 강화 유리 또는 유리의, 표면 압축 응력값 CS와 평균 깨짐 높이의 관계를 플롯한 그래프이다.
도 8은 화학 강화 유리 또는 유리의 압축 응력값 CS90과 평균 깨짐 높이의 관계를 플롯한 그래프이다.
도 9는 화학 강화 유리 또는 유리의, 압축 응력값 CS100과 평균 깨짐 높이의 관계를 플롯한 그래프이다.
도 10은 화학 강화 유리 또는 유리의, 압축 응력값 CS100과 판 두께 t의 제곱의 곱(CS100×t2)과 평균 깨짐 높이의 관계를 플롯한 그래프이다.
도 11은 화학 강화 유리에 관한, 4점 굽힘 시험의 시험 결과를 나타내는 그래프이다.
도 12는 화학 강화 유리에 관한, CS와 굽힘 강도의 관계를 플롯한 그래프이다.
도 13은 화학 강화 유리에 관한, DOL과, 굽힘 강도의 관계를 플롯한 그래프이다.
도 14는 가상적인 화학 강화 유리의 응력 프로파일을 나타내는 그래프이다.
도 15는 St Limit 및 CT Limit의 측정예를 나타내며, (a)는 내부 인장 응력층의 면적 St와 파쇄수의 관계를 나타내는 그래프이고, (b)는 (a) 중의 점선으로 둘러싸인 부분의 확대도이고, (c)는 내부 인장 응력 CT와 파쇄수의 관계를 나타내는 그래프이고, (d)는 (c) 중의 점선으로 둘러싸인 부분의 확대도이다.
도 16은 DCDC법에 의한 파괴 인성값 측정에 사용하는 샘플의 설명도이다.
도 17은 DCDC법에 의한 파괴 인성값 측정에 사용하는, 응력 확대 계수 K1과 크랙 진전 속도 v의 관계를 나타내는 K1-v 곡선을 나타내는 도면이다.
도 18은 화학 강화 유리에 관한, St Limit와 X값의 관계를 플롯한 그래프이다.
도 19는 화학 강화 유리에 관한, St Limit와 Z값의 관계를 플롯한 그래프이다.
도 20은 화학 강화 유리에 관한, St Limit와 영률의 관계를 플롯한 그래프이다.
도 21은 화학 강화 유리에 관한, X값과 Z값의 관계를 플롯한 그래프이다.
도 22는 화학 강화 유리의 ST Limit를 판 두께 t에 대하여 플롯한 그래프이다.
도 23은 화학 강화 유리의 CT Limit를 판 두께 t에 대하여 플롯한 그래프이다.
11: MOC판
12: 스펀지 양면 테이프
13: 유리
21: SUS판
22: 규사
Claims (24)
- 표면 압축 응력(CS)이 300㎫ 이상인 화학 강화 유리이며,
유리 표면으로부터 90㎛의 깊이 부분의 압축 응력값(CS90)이 25㎫ 이상, 또는, 유리 표면으로부터 100㎛의 깊이 부분의 압축 응력값(CS100)이 15㎫ 이상이고,
상기 화학 강화 유리의 모조성에 있어서의 SiO2, Al2O3, B2O3, P2O5, Li2O, Na2O, K2O, MgO, CaO, SrO, BaO 및 ZrO2의 각 성분의 산화물 기준의 몰 백분율 표시에 의한 함유량을 사용하여, 하기 식에 기초하여 산출되는 X의 값이 30000 이상인, 화학 강화 유리.
X=SiO2×329+Al2O3×786+B2O3×627+P2O5×(-941)+Li2O×927+Na2O×47.5+K2O×(-371)+MgO×1230+CaO×1154+SrO×733+ZrO2×51.8 - 표면 압축 응력(CS)이 300㎫ 이상인 화학 강화 유리이며,
유리 표면으로부터 90㎛의 깊이 부분의 압축 응력값(CS90)이 25㎫ 이상, 또는, 유리 표면으로부터 100㎛의 깊이 부분의 압축 응력값(CS100)이 15㎫ 이상이고,
상기 화학 강화 유리의 모조성에 있어서의 SiO2, Al2O3, B2O3, P2O5, Li2O, Na2O, K2O, MgO, CaO, SrO, BaO 및 ZrO2의 각 성분의 산화물 기준의 몰 백분율 표시에 의한 함유량을 사용하여, 하기 식에 기초하여 산출되는 Z의 값이 20000 이상인, 화학 강화 유리.
Z=SiO2×237+Al2O3×524+B2O3×228+P2O5×(-756)+Li2O×538+Na2O×44.2+K2O×(-387)+MgO×660+CaO×569+SrO×291+ZrO2×510 - 제1항 또는 제2항에 있어서,
판 두께 t가 2㎜ 이하인 판상인, 화학 강화 유리. - 표면 압축 응력(CS)이 300㎫ 이상이고, 또한,
하기 식 (1) 및 (2)를 충족하는 화학 강화 유리.
StL(t)≥a×t+7000 (단위: ㎫·㎛) (1)
a≥30000 (단위: ㎫·㎛/㎜) (2)
(여기서, t는 판 두께(㎜)이며, StL(t)은 판 두께 t일 때의 St Limit의 값임) - 제4항에 있어서,
a≥35000인, 화학 강화 유리. - 표면 압축 응력(CS)이 300㎫ 이상이며, 또한,
하기 식 (3), (4) 및 (5)를 충족하는, 화학 강화 유리.
CTL(t)≥-b×ln(t)+c (단위: ㎫) (3)
b≥14 (단위: ㎫) (4)
c≥48.4 (단위: ㎫) (5)
(여기서, t는 판 두께(㎜)이며, CTL(t)은 판 두께 t일 때의 CT Limit의 값임) - 제4항 내지 제6항 중 어느 한 항에 있어서,
상기 판 두께 t가 2㎜ 이하인 판상인, 화학 강화 유리. - 제4항 내지 제7항 중 어느 한 항에 있어서,
유리 표면으로부터 90㎛의 깊이 부분의 압축 응력값(CS90)이 25㎫ 이상, 또는, 유리 표면으로부터 100㎛의 깊이 부분의 압축 응력값(CS100)이 15㎫ 이상인, 화학 강화 유리. - 하기 조건에서의 모래 위 낙하 시험에 의한 평균 깨짐 높이가 250㎜ 이상이고,
하기 조건에서의 압자 압입 시험에 의한 파쇄수가 30개 이하이고,
판 두께 t가 0.4 내지 2㎜이고,
표면 압축 응력(CS)이 300㎫ 이상이고, 또한,
압축 응력층의 깊이(DOL)가 100㎛ 이상인, 화학 강화 유리.
모래 위 낙하 시험 조건:
경질 나일론제의 MOC판(50㎜×50㎜, 중량: 54g)에 화학 강화 유리(50㎜×50㎜×판 두께 t(㎜))를 스펀지 양면 테이프(50㎜×50㎜×두께 3㎜)를 개재해서 접합하여, 측정 시료를 제작한다. 이어서, 15㎝×15㎝ 사이즈의 SUS판 위에 1g의 규사(타케오리사 제조 5호 규사)를 균일해지도록 뿌리고, 제작한 측정 시료를, 화학 강화 유리를 아래로 하여, 규사가 뿌려진 SUS판의 표면에 소정의 높이(낙하 높이)로부터 낙하시킨다. 낙하 시험은, 낙하 높이: 10㎜부터 개시하여, 10㎜씩 높이를 높여서 실시하고, 화학 강화 유리가 깨진 높이를 깨짐 높이(단위㎜)로 한다. 낙하 시험은 각 예에 대하여 5회 이상 실시하여, 낙하 시험에서의 깨짐 높이의 평균값을, 평균 깨짐 높이(단위: ㎜)로 한다.
압자 압입 시험 조건:
25㎜×25㎜×판 두께 t(㎜)의 화학 강화 유리에 대하여, 대면각의 압자 각도 60도를 갖는 다이아몬드 압자를 사용하여, 3 내지 10kgf의 하중을 15초간 유지하는 압자 압입 시험에 의해, 화학 강화 유리를 파괴시켜서, 파괴 후의 화학 강화 유리의 파쇄수를 계측한다. 25㎜×25㎜보다 큰 사이즈의 화학 강화 유리를 사용할 때에는, 화학 강화 유리 내에 25㎜×25㎜의 영역을 표시하고, 그 영역 내에서 압자 압입 시험 및 파쇄수의 계측을 행한다. 화학 강화 유리가 곡면 형상을 가질 때에는, 투영 면적으로 25㎜×25㎜의 사이즈를 화학 강화 유리의 곡면 위에 표시시키고, 그 영역 내에서 압자 압입 시험 및 파쇄수의 계측을 행한다. - 제1항 내지 제9항 중 어느 한 항에 있어서,
유리 표면으로부터 100㎛의 깊이 부분의 압축 응력값과 판 두께 t(㎜)의 제곱의 곱(CS100×t2)이 5㎫·㎟ 이상인, 화학 강화 유리. - 제1항 내지 제10항 중 어느 한 항에 있어서,
압축 응력층의 면적 Sc(㎫·㎛)가 30000㎫·㎛ 이상인, 화학 강화 유리. - 제1항 내지 제11항 중 어느 한 항에 있어서,
내부의 압축 응력의 크기가 표면 압축 응력(CS)의 2분의 1이 되는 부분의 깊이 dh가 8㎛ 이상인, 화학 강화 유리. - 제1항 내지 제12항 중 어느 한 항에 있어서,
압축 응력이 최대가 되는 위치 dM이 유리 표면으로부터 5㎛의 범위에 있는, 화학 강화 유리. - 제1항 내지 제13항 중 어느 한 항에 있어서,
압축 응력층의 깊이(DOL)가 110㎛ 이상인, 화학 강화 유리. - 제1항 내지 제14항 중 어느 한 항에 있어서,
상기 화학 강화 유리의 모조성을 갖는 유리의 파괴 인성값(K1c)이 0.7㎫·m1/2 이상인, 화학 강화 유리. - 제1항 내지 제15항 중 어느 한 항에 있어서,
내부 인장층의 면적 St(㎫·㎛)가 StL(t)(㎫·㎛) 이하인, 화학 강화 유리.
(여기서, t는 판 두께(㎜)이며, StL(t)은 판 두께 t일 때의 St Limit의 값임) - 제1항 내지 제16항 중 어느 한 항에 있어서,
내부 인장층 응력 CT(㎫)가 CTL(t)(㎫) 이하인, 화학 강화 유리.
(여기서, t는 판 두께(㎜)이며, CTL(t)은 판 두께 t일 때의 CT Limit의 값임) - 제1항 내지 제17항 중 어느 한 항에 있어서,
상기 화학 강화 유리의 모조성이, 산화물 기준의 몰 백분율 표시로, SiO2를 50 내지 80%, Al2O3을 1 내지 30%, B2O3을 0 내지 5%, P2O5를 0 내지 4%, Li2O를 0 내지 20%, Na2O를 0 내지 8%, K2O를 0 내지 10%, MgO를 3 내지 20%, CaO를 0 내지 20%, SrO를 0 내지 20%, BaO를 0 내지 15%, ZnO를 0 내지 10%, TiO2를 0 내지 1%, ZrO2를 0 내지 8% 함유하는, 화학 강화 유리. - 산화물 기준의 몰 백분율 표시로, SiO2를 63 내지 80%, Al2O3을 7 내지 30%, B2O3을 0 내지 5%, P2O5를 0 내지 4%, Li2O를 5 내지 15%, Na2O를 4 내지 8%, K2O를 0 내지 2%, MgO를 3 내지 10%, CaO를 0 내지 5%, SrO를 0 내지 20%, BaO를 0 내지 15%, ZnO를 0 내지 10%, TiO2를 0 내지 1%, ZrO2를 0 내지 8% 함유하고,
Ta2O5, Gd2O3, As2O3, Sb2O3을 함유하지 않고,
SiO2, Al2O3, B2O3, P2O5, Li2O, Na2O, K2O, MgO, CaO, SrO, BaO 및 ZrO2의 각 성분의 산화물 기준의 몰 백분율 표시에 의한 함유량을 사용하여, 하기 식에 기초하여 산출되는 X의 값이 30000 이상인, 화학 강화용 유리.
X=SiO2×329+Al2O3×786+B2O3×627+P2O5×(-941)+Li2O×927+Na2O×47.5+K2O×(-371)+MgO×1230+CaO×1154+SrO×733+ZrO2×51.8 - 제19항에 있어서,
산화물 기준의 몰 백분율 표시에 의한 ZrO2의 함유량이 1.2% 이하인, 화학 강화용 유리. - 제19항 또는 제20항에 있어서,
산화물 기준의 몰 백분율 표시에 의한 K2O의 함유량이 0.5% 이상인, 화학 강화용 유리. - 제19항 내지 제21항 중 어느 한 항에 있어서,
산화물 기준의 몰 백분율 표시에 의한 B2O3의 함유량이 1% 이하인, 화학 강화용 유리. - 제19항 내지 제22항 중 어느 한 항에 있어서,
산화물 기준의 몰 백분율 표시에 의한 Al2O3의 함유량이 11% 이하인, 화학 강화용 유리. - 제19항 내지 제23항 중 어느 한 항에 있어서,
실투 온도 T가, 점도가 104dPa·s가 되는 온도 T4 이하인, 화학 강화용 유리.
Applications Claiming Priority (5)
| Application Number | Priority Date | Filing Date | Title |
|---|---|---|---|
| JP2016010002 | 2016-01-21 | ||
| JPJP-P-2016-010002 | 2016-01-21 | ||
| JP2016204745 | 2016-10-18 | ||
| JPJP-P-2016-204745 | 2016-10-18 | ||
| PCT/JP2017/001755 WO2017126607A1 (ja) | 2016-01-21 | 2017-01-19 | 化学強化ガラスおよび化学強化用ガラス |
Related Child Applications (1)
| Application Number | Title | Priority Date | Filing Date |
|---|---|---|---|
| KR1020187014737A Division KR102024126B1 (ko) | 2016-01-21 | 2017-01-19 | 화학 강화 유리 및 화학 강화용 유리 |
Publications (2)
| Publication Number | Publication Date |
|---|---|
| KR20180098473A true KR20180098473A (ko) | 2018-09-04 |
| KR101927014B1 KR101927014B1 (ko) | 2018-12-07 |
Family
ID=59362484
Family Applications (11)
| Application Number | Title | Priority Date | Filing Date |
|---|---|---|---|
| KR1020187014737A Active KR102024126B1 (ko) | 2016-01-21 | 2017-01-19 | 화학 강화 유리 및 화학 강화용 유리 |
| KR1020197015480A Active KR102161536B1 (ko) | 2016-01-21 | 2017-01-19 | 화학 강화 유리 및 화학 강화용 유리 |
| KR1020207015390A Active KR102126835B1 (ko) | 2016-01-21 | 2017-01-19 | 화학 강화 유리 및 화학 강화용 유리 |
| KR1020237027967A Active KR102630405B1 (ko) | 2016-01-21 | 2017-01-19 | 화학 강화 유리 및 화학 강화용 유리 |
| KR1020197035146A Active KR102074835B1 (ko) | 2016-01-21 | 2017-01-19 | 화학 강화 유리 및 화학 강화용 유리 |
| KR1020197017823A Active KR102073143B1 (ko) | 2016-01-21 | 2017-01-19 | 화학 강화 유리 및 화학 강화용 유리 |
| KR1020187030257A Active KR102121414B1 (ko) | 2016-01-21 | 2017-01-19 | 화학 강화 유리 및 화학 강화용 유리 |
| KR1020177016471A Active KR101927014B1 (ko) | 2016-01-21 | 2017-01-19 | 화학 강화 유리 및 화학 강화용 유리 |
| KR1020217025788A Active KR102569434B1 (ko) | 2016-01-21 | 2017-01-19 | 화학 강화 유리 및 화학 강화용 유리 |
| KR1020207026654A Active KR102292273B1 (ko) | 2016-01-21 | 2017-01-19 | 화학 강화 유리 및 화학 강화용 유리 |
| KR1020197008706A Active KR102027956B1 (ko) | 2016-01-21 | 2017-01-19 | 화학 강화 유리 및 화학 강화용 유리 |
Family Applications Before (7)
| Application Number | Title | Priority Date | Filing Date |
|---|---|---|---|
| KR1020187014737A Active KR102024126B1 (ko) | 2016-01-21 | 2017-01-19 | 화학 강화 유리 및 화학 강화용 유리 |
| KR1020197015480A Active KR102161536B1 (ko) | 2016-01-21 | 2017-01-19 | 화학 강화 유리 및 화학 강화용 유리 |
| KR1020207015390A Active KR102126835B1 (ko) | 2016-01-21 | 2017-01-19 | 화학 강화 유리 및 화학 강화용 유리 |
| KR1020237027967A Active KR102630405B1 (ko) | 2016-01-21 | 2017-01-19 | 화학 강화 유리 및 화학 강화용 유리 |
| KR1020197035146A Active KR102074835B1 (ko) | 2016-01-21 | 2017-01-19 | 화학 강화 유리 및 화학 강화용 유리 |
| KR1020197017823A Active KR102073143B1 (ko) | 2016-01-21 | 2017-01-19 | 화학 강화 유리 및 화학 강화용 유리 |
| KR1020187030257A Active KR102121414B1 (ko) | 2016-01-21 | 2017-01-19 | 화학 강화 유리 및 화학 강화용 유리 |
Family Applications After (3)
| Application Number | Title | Priority Date | Filing Date |
|---|---|---|---|
| KR1020217025788A Active KR102569434B1 (ko) | 2016-01-21 | 2017-01-19 | 화학 강화 유리 및 화학 강화용 유리 |
| KR1020207026654A Active KR102292273B1 (ko) | 2016-01-21 | 2017-01-19 | 화학 강화 유리 및 화학 강화용 유리 |
| KR1020197008706A Active KR102027956B1 (ko) | 2016-01-21 | 2017-01-19 | 화학 강화 유리 및 화학 강화용 유리 |
Country Status (7)
| Country | Link |
|---|---|
| US (5) | US10384974B2 (ko) |
| JP (8) | JP6327407B2 (ko) |
| KR (11) | KR102024126B1 (ko) |
| CN (16) | CN113800783A (ko) |
| DE (3) | DE202017007276U1 (ko) |
| TW (8) | TWI759603B (ko) |
| WO (1) | WO2017126607A1 (ko) |
Cited By (1)
| Publication number | Priority date | Publication date | Assignee | Title |
|---|---|---|---|---|
| US11912613B2 (en) | 2019-12-17 | 2024-02-27 | Samsung Display Co., Ltd. | Glass article and method for manufacturing the same |
Families Citing this family (76)
| Publication number | Priority date | Publication date | Assignee | Title |
|---|---|---|---|---|
| TWI762083B (zh) | 2015-09-17 | 2022-04-21 | 美商康寧公司 | 特性量測經離子交換之含鋰化學強化玻璃的方法 |
| WO2017126605A1 (ja) | 2016-01-21 | 2017-07-27 | 旭硝子株式会社 | 化学強化ガラス及び化学強化ガラスの製造方法 |
| KR102024126B1 (ko) * | 2016-01-21 | 2019-09-23 | 에이지씨 가부시키가이샤 | 화학 강화 유리 및 화학 강화용 유리 |
| CN109071316B (zh) * | 2016-04-08 | 2020-03-27 | 康宁股份有限公司 | 包含金属氧化物浓度梯度的玻璃基制品 |
| US11453612B2 (en) * | 2016-04-20 | 2022-09-27 | Corning Incorporated | Glass-based articles including a metal oxide concentration gradient |
| WO2018074335A1 (ja) * | 2016-10-18 | 2018-04-26 | 旭硝子株式会社 | 化学強化用ガラス、化学強化ガラスおよび化学強化ガラスの製造方法 |
| CN106854037B (zh) * | 2016-12-30 | 2018-03-16 | 东旭集团有限公司 | 一种硅酸盐制品及其强化方法 |
| WO2018159386A1 (ja) * | 2017-02-28 | 2018-09-07 | 日本電気硝子株式会社 | アルミノケイ酸塩ガラス |
| DE102018110500A1 (de) * | 2017-09-04 | 2019-03-07 | Schott Ag | Biegbare und/oder faltbare Artikel sowie Verfahren zur Bereitstellung von biegbaren und/oder faltbaren Artikeln |
| JP2019064875A (ja) * | 2017-10-02 | 2019-04-25 | 日本電気硝子株式会社 | 強化ガラス板及び強化ガラス板付デバイス |
| US20230416144A1 (en) * | 2017-10-17 | 2023-12-28 | PGBC Intellectual Holdings, LLC | Chemically-strengthened thin glass substrates new paradigms for modified curvature and methods of manufacture |
| CN107840570A (zh) * | 2017-10-26 | 2018-03-27 | 中国南玻集团股份有限公司 | 铝硅酸盐玻璃及其制备方法、电子设备 |
| CN108129020B (zh) * | 2017-12-13 | 2019-06-07 | 东旭科技集团有限公司 | 一种玻璃用组合物、铝硅酸盐玻璃及其制备方法和应用 |
| JP7303482B2 (ja) * | 2017-12-26 | 2023-07-05 | 日本電気硝子株式会社 | カバーガラス |
| WO2019131528A1 (ja) * | 2017-12-26 | 2019-07-04 | 日本電気硝子株式会社 | カバーガラス |
| CN108147657B (zh) * | 2017-12-29 | 2020-11-03 | 重庆鑫景特种玻璃有限公司 | 一种素玻璃、强化玻璃及制备方法 |
| KR102564323B1 (ko) * | 2018-02-05 | 2023-08-08 | 에이지씨 가부시키가이샤 | 화학 강화용 유리 |
| CN111757858A (zh) | 2018-02-27 | 2020-10-09 | Agc株式会社 | 三维形状的晶化玻璃、三维形状的化学强化玻璃以及它们的制造方法 |
| JP7134397B2 (ja) * | 2018-02-28 | 2022-09-12 | 日本電気硝子株式会社 | 強化ガラス及び強化用ガラス |
| JP7328629B2 (ja) * | 2018-02-28 | 2023-08-17 | 日本電気硝子株式会社 | 強化ガラス及び強化用ガラス |
| WO2019194110A1 (ja) * | 2018-04-04 | 2019-10-10 | Agc株式会社 | 化学強化用ガラス |
| CN112566877A (zh) * | 2018-06-08 | 2021-03-26 | 康宁股份有限公司 | 玻璃中的抗碎裂应力分布 |
| CN108585480B (zh) * | 2018-07-10 | 2021-05-04 | 科立视材料科技有限公司 | 一种二步法化学强化碱铝硅酸玻璃组合物及其制备方法 |
| US11130705B2 (en) * | 2018-09-11 | 2021-09-28 | Corning Incorporated | Glass-based articles with improved fracture resistance |
| WO2020075709A1 (ja) | 2018-10-09 | 2020-04-16 | 日本電気硝子株式会社 | 強化ガラスおよび強化ガラスの製造方法 |
| CN111099823B (zh) * | 2018-10-25 | 2022-04-12 | 重庆鑫景特种玻璃有限公司 | 基于素玻璃化学强化后的玻璃及玻璃器件 |
| MX2021005461A (es) | 2018-11-26 | 2021-06-18 | Owens Corning Intellectual Capital Llc | Composicion de fibra de vidrio de alto rendimiento con modulo de elasticidad mejorado. |
| EP3887328A2 (en) | 2018-11-26 | 2021-10-06 | Owens Corning Intellectual Capital, LLC | High performance fiberglass composition with improved specific modulus |
| CN116217093A (zh) * | 2018-12-11 | 2023-06-06 | Agc株式会社 | 化学强化玻璃板、包含化学强化玻璃的保护玻璃以及电子设备 |
| CN113242841B (zh) * | 2018-12-11 | 2023-05-02 | Agc株式会社 | 玻璃、化学强化玻璃和包含化学强化玻璃的电子设备 |
| WO2020138062A1 (ja) * | 2018-12-25 | 2020-07-02 | 日本電気硝子株式会社 | 強化ガラス板及びその製造方法 |
| KR102130995B1 (ko) * | 2018-12-27 | 2020-07-09 | (주)유티아이 | 광학 필터용 글라스 기판의 강도 개선 방법 및 이에 의한 강화 글라스 기반 광학 필터 |
| KR102746130B1 (ko) * | 2019-01-18 | 2024-12-26 | 에이지씨 가부시키가이샤 | 화학 강화 유리 및 그 제조 방법 |
| CN113788621B (zh) | 2019-02-08 | 2023-07-25 | Agc株式会社 | 微晶玻璃、化学强化玻璃和半导体支撑基板 |
| WO2020190504A1 (en) * | 2019-03-15 | 2020-09-24 | Corning Incorporated | Chemically durable aluminosilicate glass compositions and glass articles formed therefrom |
| CN111847872B (zh) * | 2019-04-30 | 2022-06-14 | 重庆鑫景特种玻璃有限公司 | 一种可用于化学强化的低介电常数的玻璃、强化玻璃 |
| CN110040982B (zh) * | 2019-05-14 | 2021-08-27 | 重庆鑫景特种玻璃有限公司 | 具有复合应力优势的化学强化玻璃及其制备方法与应用 |
| WO2020246274A1 (ja) * | 2019-06-03 | 2020-12-10 | Agc株式会社 | ガラス、化学強化ガラスおよびその製造方法 |
| JP2022535231A (ja) * | 2019-06-03 | 2022-08-05 | コーニング インコーポレイテッド | アルカリ金属含有ディスプレイガラス |
| CN117069379A (zh) * | 2019-06-26 | 2023-11-17 | Agc株式会社 | 化学强化玻璃的制造方法和化学强化玻璃 |
| CN114096489B (zh) * | 2019-07-17 | 2024-02-20 | Agc株式会社 | 玻璃、化学强化玻璃和保护玻璃 |
| JP7234856B2 (ja) * | 2019-08-20 | 2023-03-08 | Agc株式会社 | リチウムアルミノシリケートガラスの製造方法、およびフロートガラス板 |
| WO2021041031A1 (en) | 2019-08-30 | 2021-03-04 | Corning Incorporated | Scratch resistant glass and method of making |
| KR102052688B1 (ko) * | 2019-09-02 | 2019-12-05 | 이준우 | 건식 이온 교환에 의한 방화유리 강화 방법 |
| KR102052687B1 (ko) * | 2019-09-02 | 2019-12-05 | 이준우 | 습식 이온 교환에 의한 방화유리 강화 방법 |
| RU2726812C1 (ru) * | 2019-09-25 | 2020-07-15 | Российская Федерация, От Имени Которой Выступает Министерство Промышленности И Торговли Российской Федерации | Стекло, упрочняемое ионным обменом |
| US12202767B2 (en) | 2019-09-30 | 2025-01-21 | National Institute Of Advanced Industrial Science And Technology | Glass and method for manufacturing the same |
| CN114651535A (zh) | 2019-11-04 | 2022-06-21 | 康宁股份有限公司 | 高度易碎玻璃的应力分布 |
| JP2021075426A (ja) * | 2019-11-11 | 2021-05-20 | 石塚硝子株式会社 | 化学強化用アルミノボロシケートガラス及び化学強化ガラス品 |
| CN114901604A (zh) * | 2019-11-12 | 2022-08-12 | 康宁股份有限公司 | 高cte、高uv透射率和高杨氏模量玻璃 |
| KR102815052B1 (ko) | 2020-04-13 | 2025-05-30 | 삼성디스플레이 주식회사 | 유리 제품 및 이를 포함하는 디스플레이 장치 |
| JP7484369B2 (ja) * | 2020-04-17 | 2024-05-16 | Agc株式会社 | アルミノシリケートガラス及びその製造方法 |
| CN113716850A (zh) * | 2020-05-12 | 2021-11-30 | 福耀玻璃工业集团股份有限公司 | 使超薄高铝盖板玻璃具有安全破碎行为的方法 |
| US11434167B2 (en) | 2020-05-15 | 2022-09-06 | Corning Incorporated | Strengthened glass articles and methods of forming the same |
| JP2021195278A (ja) | 2020-06-12 | 2021-12-27 | Agc株式会社 | 保護部材、及びこれを備える通信端末機器 |
| WO2021262618A1 (en) | 2020-06-23 | 2021-12-30 | Corning Incorporated | Frangible glass articles and methods of making the same |
| EP4180400A4 (en) * | 2020-07-10 | 2024-07-24 | Agc Inc. | GLASS AND CHEMICALLY REINFORCED GLASS |
| CN116444160B (zh) * | 2020-08-21 | 2025-05-09 | Agc株式会社 | 化学强化玻璃和微晶玻璃以及它们的制造方法 |
| KR20220027761A (ko) * | 2020-08-27 | 2022-03-08 | 에이지씨 가부시키가이샤 | 강화 유리의 응력 측정 장치, 강화 유리의 응력 측정 방법, 강화 유리 |
| EP3984970B1 (en) | 2020-10-14 | 2026-02-25 | Schott Ag | Method for processing glass by alkaline etching |
| CN112592056A (zh) * | 2020-10-30 | 2021-04-02 | 重庆鑫景特种玻璃有限公司 | 具有低变化幅度的张应力区的安全强化玻璃及制法和应用 |
| CN120965131A (zh) * | 2020-12-04 | 2025-11-18 | Agc株式会社 | 化学强化玻璃和电子设备壳体 |
| CN112441740A (zh) * | 2020-12-22 | 2021-03-05 | 中国洛阳浮法玻璃集团有限责任公司 | 一种高透高强度超薄中铝玻璃的制备方法 |
| JP7537298B2 (ja) * | 2021-02-10 | 2024-08-21 | Agc株式会社 | 強化ガラス板、および強化ガラス板の製造方法 |
| CN117062788A (zh) * | 2021-04-07 | 2023-11-14 | Agc株式会社 | 化学强化玻璃及其制造方法 |
| WO2023096826A1 (en) | 2021-11-29 | 2023-06-01 | Corning Incorporated | Transparent beta-spodumene glass-ceramics |
| JP2023124633A (ja) * | 2022-02-25 | 2023-09-06 | Agc株式会社 | 化学強化ガラス及びその製造方法 |
| JP7812689B2 (ja) * | 2022-02-28 | 2026-02-10 | Agc株式会社 | 化学強化ガラス及びその製造方法 |
| EP4541777A1 (en) * | 2022-06-15 | 2025-04-23 | Agc Inc. | Glass for chemical strengthening, and glass |
| CN116023025B (zh) * | 2023-01-19 | 2024-06-28 | 清远南玻节能新材料有限公司 | 用于离子交换的铝硼硅酸盐玻璃及其制备方法和应用 |
| CN117865464B (zh) * | 2023-06-29 | 2025-01-07 | 重庆鑫景特种玻璃有限公司 | 一种着色化学强化玻璃及其制备方法和应用 |
| CN117865465B (zh) * | 2023-06-29 | 2025-04-01 | 重庆鑫景特种玻璃有限公司 | 一种着色化学强化玻璃及其制法和应用 |
| DE102023124136A1 (de) | 2023-09-07 | 2025-03-13 | Schott Ag | Glas, insbesondere als Deckscheibe |
| KR102871526B1 (ko) * | 2023-09-13 | 2025-10-14 | 주식회사 케이씨씨글라스 | 유리 물품 |
| CN117902829A (zh) * | 2024-01-11 | 2024-04-19 | 河南旭阳光电科技有限公司 | 一种玻璃组合物、玻璃板及其制备方法和应用 |
| CN120271224A (zh) * | 2025-02-28 | 2025-07-08 | 重庆鑫景特种玻璃有限公司 | 一种超薄玻璃和强化抗冲击超薄玻璃及其制备方法和用途 |
Citations (1)
| Publication number | Priority date | Publication date | Assignee | Title |
|---|---|---|---|---|
| US8075999B2 (en) | 2008-08-08 | 2011-12-13 | Corning Incorporated | Strengthened glass articles and methods of making |
Family Cites Families (99)
| Publication number | Priority date | Publication date | Assignee | Title |
|---|---|---|---|---|
| FR1596961A (ko) * | 1968-04-19 | 1970-06-22 | ||
| JPS50732A (ko) | 1973-05-02 | 1975-01-07 | ||
| US4156755A (en) | 1978-04-19 | 1979-05-29 | Ppg Industries, Inc. | Lithium containing ion exchange strengthened glass |
| JPS60180936A (ja) * | 1984-02-27 | 1985-09-14 | Nippon Electric Glass Co Ltd | 高強度耐熱ガラス製品の製造方法 |
| US4549894A (en) * | 1984-06-06 | 1985-10-29 | Corning Glass Works | Ultraviolet absorbing photochromic glass of low silver content |
| JPS61101434A (ja) * | 1984-10-23 | 1986-05-20 | Nippon Sheet Glass Co Ltd | 透明結晶化ガラス |
| US5674790A (en) * | 1995-12-15 | 1997-10-07 | Corning Incorporated | Strengthening glass by ion exchange |
| CN1207086A (zh) * | 1996-09-04 | 1999-02-03 | 保谷株式会社 | 信息记录介质基片用玻璃及玻璃基片 |
| US5972460A (en) | 1996-12-26 | 1999-10-26 | Hoya Corporation | Information recording medium |
| JP3412804B2 (ja) | 1996-12-26 | 2003-06-03 | Hoya株式会社 | 情報記録媒体用基板 |
| FR2761978B1 (fr) * | 1997-04-11 | 1999-05-07 | Saint Gobain Vitrage | Composition de verre et substrat en verre trempe chimiquement |
| GB2335423A (en) | 1998-03-20 | 1999-09-22 | Pilkington Plc | Chemically toughenable glass |
| US6440531B1 (en) | 1999-05-13 | 2002-08-27 | Nippon Sheet Glass Co., Ltd | Hydrofluoric acid etched substrate for information recording medium |
| SG99350A1 (en) * | 2000-02-17 | 2003-10-27 | Hoya Corp | Glass for cathode-ray tube, strengthened glass, method for the production thereof and use thereof |
| JP2001302278A (ja) * | 2000-02-17 | 2001-10-31 | Hoya Corp | 陰極線管用ガラス、陰極線管用ガラスパネル、及び陰極線管、並びにそれらの製造方法 |
| JP2002174810A (ja) * | 2000-12-08 | 2002-06-21 | Hoya Corp | ディスプレイ用ガラス基板及びその製造方法並びにこれを用いたディスプレイ |
| JP3995902B2 (ja) | 2001-05-31 | 2007-10-24 | Hoya株式会社 | 情報記録媒体用ガラス基板及びそれを用いた磁気情報記録媒体 |
| JP2004131314A (ja) | 2002-10-09 | 2004-04-30 | Asahi Glass Co Ltd | 透明導電膜付き化学強化ガラス基板、およびその製造方法 |
| US7727917B2 (en) * | 2003-10-24 | 2010-06-01 | Schott Ag | Lithia-alumina-silica containing glass compositions and glasses suitable for chemical tempering and articles made using the chemically tempered glass |
| US7566673B2 (en) | 2003-10-31 | 2009-07-28 | Konica Minolta Opto, Inc. | Glass substrate for an information recording medium and information recording medium employing it |
| JP5146897B2 (ja) * | 2004-04-05 | 2013-02-20 | 日本電気硝子株式会社 | 照明用ガラス |
| DE102004022629B9 (de) * | 2004-05-07 | 2008-09-04 | Schott Ag | Gefloatetes Lithium-Aluminosilikat-Flachglas mit hoher Temperaturbeständigkeit, das chemisch und thermisch vorspannbar ist und dessen Verwendung |
| US20060006300A1 (en) * | 2004-07-09 | 2006-01-12 | Reason William B | Golf accessory attachment device |
| JP2006083045A (ja) * | 2004-09-17 | 2006-03-30 | Hitachi Ltd | ガラス部材 |
| JP4218839B2 (ja) | 2005-05-18 | 2009-02-04 | Hoya株式会社 | 情報記録媒体用ガラス基板及びそれを用いた磁気情報記録媒体 |
| US8304078B2 (en) * | 2005-09-12 | 2012-11-06 | Saxon Glass Technologies, Inc. | Chemically strengthened lithium aluminosilicate glass having high strength effective to resist fracture upon flexing |
| JP2007099557A (ja) | 2005-10-04 | 2007-04-19 | Nippon Electric Glass Co Ltd | 強化ガラス物品およびその製造方法 |
| JP5605736B2 (ja) | 2006-05-25 | 2014-10-15 | 日本電気硝子株式会社 | 強化ガラス及びその製造方法 |
| CN101466648B (zh) | 2006-06-08 | 2012-09-26 | Hoya株式会社 | 用于供信息记录介质用基板使用的玻璃、信息记录介质用基板和信息记录介质以及它们的制造方法 |
| KR20090027259A (ko) * | 2006-10-10 | 2009-03-16 | 니폰 덴키 가라스 가부시키가이샤 | 강화 유리 기판 |
| CN101679105B (zh) * | 2007-06-07 | 2015-06-17 | 日本电气硝子株式会社 | 强化玻璃基板及其制造方法 |
| JP5743125B2 (ja) * | 2007-09-27 | 2015-07-01 | 日本電気硝子株式会社 | 強化ガラス及び強化ガラス基板 |
| CN101417861A (zh) * | 2007-10-26 | 2009-04-29 | 旭硝子株式会社 | 信息记录媒体基板用玻璃、磁盘用玻璃基板及磁盘 |
| MY158789A (en) * | 2008-03-19 | 2016-11-15 | Hoya Corp | Glass for magnetic recording media substrates, magnetic recording media substrates, magnetic recording media and method for preparation thereof |
| JP5429684B2 (ja) * | 2008-11-11 | 2014-02-26 | 日本電気硝子株式会社 | 強化ガラス基板及びその製造方法 |
| JP5622069B2 (ja) | 2009-01-21 | 2014-11-12 | 日本電気硝子株式会社 | 強化ガラス、強化用ガラス及び強化ガラスの製造方法 |
| US8802581B2 (en) | 2009-08-21 | 2014-08-12 | Corning Incorporated | Zircon compatible glasses for down draw |
| JP2011105587A (ja) * | 2009-10-22 | 2011-06-02 | Nippon Sheet Glass Co Ltd | 鱗片状ガラス及びその製造方法 |
| JP2011111364A (ja) * | 2009-11-27 | 2011-06-09 | Ohara Inc | 陽極接合用ガラス |
| JP5483262B2 (ja) * | 2009-12-04 | 2014-05-07 | 日本電気硝子株式会社 | 合わせガラス |
| JP5110074B2 (ja) | 2009-12-28 | 2012-12-26 | 住友電気工業株式会社 | 結晶の製造方法および発光素子の製造方法 |
| CN102167507B (zh) | 2010-02-26 | 2016-03-16 | 肖特玻璃科技(苏州)有限公司 | 用于3d紧密模压的薄锂铝硅玻璃 |
| DE102010009584B4 (de) | 2010-02-26 | 2015-01-08 | Schott Ag | Chemisch vorgespanntes Glas, Verfahren zu seiner Herstellung sowie Verwendung desselben |
| DE102010009585B4 (de) | 2010-02-26 | 2012-04-19 | Schott Ag | Lithium-Aluminosilicatglas mit hohen E-Modul, Verfahren zu dessen Herstellung und Verwendung |
| WO2011145661A1 (ja) * | 2010-05-19 | 2011-11-24 | 旭硝子株式会社 | 化学強化用ガラスおよびディスプレイ装置用ガラス板 |
| US9540278B2 (en) * | 2010-05-27 | 2017-01-10 | Corning Incorporated | Ion exchangeable glasses |
| US8759238B2 (en) * | 2010-05-27 | 2014-06-24 | Corning Incorporated | Ion exchangeable glasses |
| US8778820B2 (en) | 2010-05-27 | 2014-07-15 | Corning Incorporated | Glasses having low softening temperatures and high toughness |
| JP2010202514A (ja) | 2010-06-10 | 2010-09-16 | Hoya Corp | 携帯型液晶ディスプレイ用のガラス基板及びその製造方法並びにこれを用いた携帯型液晶ディスプレイ |
| JP2012020921A (ja) * | 2010-06-18 | 2012-02-02 | Asahi Glass Co Ltd | ディスプレイ装置用のガラスおよびガラス板 |
| US20120052271A1 (en) * | 2010-08-26 | 2012-03-01 | Sinue Gomez | Two-step method for strengthening glass |
| FR2964655B1 (fr) * | 2010-09-13 | 2017-05-19 | Saint Gobain | Feuille de verre |
| WO2012043482A1 (ja) * | 2010-09-27 | 2012-04-05 | 旭硝子株式会社 | 化学強化用ガラス、化学強化ガラスおよびディスプレイ装置用ガラス板 |
| JP5720499B2 (ja) * | 2010-10-26 | 2015-05-20 | 旭硝子株式会社 | 基板用ガラスおよびガラス基板 |
| US9346703B2 (en) | 2010-11-30 | 2016-05-24 | Corning Incorporated | Ion exchangable glass with deep compressive layer and high damage threshold |
| JP5834793B2 (ja) * | 2010-12-24 | 2015-12-24 | 旭硝子株式会社 | 化学強化ガラスの製造方法 |
| JP5896338B2 (ja) * | 2011-01-18 | 2016-03-30 | 日本電気硝子株式会社 | 強化用ガラスの製造方法及び強化ガラス板の製造方法 |
| CN102690059B (zh) | 2011-03-23 | 2016-08-03 | 肖特玻璃科技(苏州)有限公司 | 用于化学钢化的铝硅酸盐玻璃和玻璃陶瓷 |
| CN102709723B (zh) * | 2011-03-28 | 2015-05-13 | 泰科电子(上海)有限公司 | Usb连接器 |
| EP2692706B1 (en) * | 2011-03-31 | 2016-03-30 | Nippon Sheet Glass Company, Limited | Glass composition suitable for chemical strengthening and chemically strengthened glass article |
| JP2012232882A (ja) * | 2011-04-18 | 2012-11-29 | Asahi Glass Co Ltd | 化学強化ガラスの製造方法および化学強化用ガラス |
| JP2012250861A (ja) * | 2011-05-31 | 2012-12-20 | Asahi Glass Co Ltd | 化学強化ガラス板 |
| JP5751036B2 (ja) * | 2011-06-09 | 2015-07-22 | 旭硝子株式会社 | 強化ガラス及びその製造方法、該強化ガラスの表面応力測定方法 |
| TWI591039B (zh) | 2011-07-01 | 2017-07-11 | 康寧公司 | 具高壓縮應力的離子可交換玻璃 |
| US9783452B2 (en) | 2011-07-01 | 2017-10-10 | Corning Incorporated | Ion-exchanged glass of high surface compression and shallow depth of layer with high resistance to radial crack formation from vickers indentation |
| TWI572480B (zh) * | 2011-07-25 | 2017-03-01 | 康寧公司 | 經層壓及離子交換之強化玻璃疊層 |
| JP5737043B2 (ja) | 2011-07-29 | 2015-06-17 | 旭硝子株式会社 | 基板用ガラスおよびガラス基板 |
| US10280112B2 (en) | 2011-08-19 | 2019-05-07 | Corning Incorporated | Ion exchanged glass with high resistance to sharp contact failure and articles made therefrom |
| JP5724779B2 (ja) * | 2011-09-13 | 2015-05-27 | 旭硝子株式会社 | 化学強化ガラスの強度測定方法、化学強化ガラスの割れ再現方法及び化学強化ガラスの製造方法 |
| EP2780291B1 (en) | 2011-11-16 | 2018-04-11 | Corning Incorporated | Ion exchangeable glass with high crack initiation threshold |
| CN103946171A (zh) * | 2011-11-18 | 2014-07-23 | 旭硝子株式会社 | 化学强化用玻璃及化学强化玻璃 |
| KR20150040367A (ko) * | 2011-12-16 | 2015-04-14 | 아사히 가라스 가부시키가이샤 | 디스플레이용 커버 유리, 디스플레이용 커버 유리의 제조 방법 |
| CN103249121A (zh) | 2012-02-13 | 2013-08-14 | 电信科学技术研究院 | 一种机器型通信终端的触发控制方法、装置及系统 |
| US9359251B2 (en) * | 2012-02-29 | 2016-06-07 | Corning Incorporated | Ion exchanged glasses via non-error function compressive stress profiles |
| CN102690057B (zh) * | 2012-04-10 | 2015-09-16 | 东旭集团有限公司 | 一种触摸屏盖板玻璃用的玻璃 |
| US9156725B2 (en) * | 2012-05-30 | 2015-10-13 | Corning Incorporated | Down-drawable chemically strengthened glass for information storage devices |
| JP6168288B2 (ja) * | 2012-06-13 | 2017-07-26 | 日本電気硝子株式会社 | 強化ガラス及び強化ガラス板 |
| US9139469B2 (en) | 2012-07-17 | 2015-09-22 | Corning Incorporated | Ion exchangeable Li-containing glass compositions for 3-D forming |
| JP6360055B2 (ja) * | 2012-08-17 | 2018-07-18 | コーニング インコーポレイテッド | 極薄強化ガラス |
| WO2014045809A1 (ja) * | 2012-09-20 | 2014-03-27 | 旭硝子株式会社 | 化学強化ガラスの製造方法 |
| US20140154661A1 (en) * | 2012-11-30 | 2014-06-05 | Corning Incorporated | Durable glass articles for use as writable erasable marker boards |
| WO2014166250A1 (en) * | 2013-04-10 | 2014-10-16 | Schott Glass Technologies (Suzhou) Co. Ltd. | Chemically toughened glass |
| CN105189385A (zh) * | 2013-04-25 | 2015-12-23 | 旭硝子株式会社 | 化学强化用玻璃板及其制造方法 |
| US11079309B2 (en) * | 2013-07-26 | 2021-08-03 | Corning Incorporated | Strengthened glass articles having improved survivability |
| JP5668828B1 (ja) * | 2013-11-22 | 2015-02-12 | 旭硝子株式会社 | 化学強化ガラス板 |
| CN106966586B (zh) * | 2013-12-13 | 2020-12-01 | Agc株式会社 | 化学强化用玻璃和化学强化玻璃以及化学强化玻璃的制造方法 |
| DE102013114225B4 (de) * | 2013-12-17 | 2017-03-16 | Schott Ag | Chemisch vorspannbares Glas und daraus hergestelltes Glaselement |
| FR3015507B1 (fr) * | 2013-12-20 | 2016-12-30 | Seb Sa | Compositions aqueuses pour primaires de revetements antiadhesifs et leur procede de preparation |
| US10118858B2 (en) * | 2014-02-24 | 2018-11-06 | Corning Incorporated | Strengthened glass with deep depth of compression |
| WO2015127970A1 (en) | 2014-02-26 | 2015-09-03 | Brainlab Ag | Tracking soft tissue in medical images |
| WO2015166891A1 (ja) * | 2014-04-30 | 2015-11-05 | 旭硝子株式会社 | ガラス |
| JP6386801B2 (ja) * | 2014-06-10 | 2018-09-05 | Agcセラミックス株式会社 | アルミナ溶融鋳造耐火物とその製造方法 |
| JP6390203B2 (ja) | 2014-06-24 | 2018-09-19 | リコーイメージング株式会社 | 撮像装置及びノイズ補正方法 |
| JP5900560B2 (ja) | 2014-09-01 | 2016-04-06 | 旭硝子株式会社 | 基板用ガラスおよびガラス基板 |
| KR102584493B1 (ko) | 2014-10-08 | 2023-10-04 | 코닝 인코포레이티드 | 금속 산화물 농도 구배를 포함한 유리 및 유리 세라믹 |
| CN106746741B (zh) * | 2014-12-23 | 2020-04-10 | 深圳南玻应用技术有限公司 | 铝硅酸盐玻璃、铝硅酸盐玻璃的强化方法及强化玻璃 |
| US10579106B2 (en) * | 2015-07-21 | 2020-03-03 | Corning Incorporated | Glass articles exhibiting improved fracture performance |
| WO2017126605A1 (ja) * | 2016-01-21 | 2017-07-27 | 旭硝子株式会社 | 化学強化ガラス及び化学強化ガラスの製造方法 |
| KR102024126B1 (ko) * | 2016-01-21 | 2019-09-23 | 에이지씨 가부시키가이샤 | 화학 강화 유리 및 화학 강화용 유리 |
-
2017
- 2017-01-19 KR KR1020187014737A patent/KR102024126B1/ko active Active
- 2017-01-19 KR KR1020197015480A patent/KR102161536B1/ko active Active
- 2017-01-19 CN CN202110986741.1A patent/CN113800783A/zh active Pending
- 2017-01-19 DE DE202017007276.9U patent/DE202017007276U1/de active Active
- 2017-01-19 KR KR1020207015390A patent/KR102126835B1/ko active Active
- 2017-01-19 KR KR1020237027967A patent/KR102630405B1/ko active Active
- 2017-01-19 CN CN202211232234.XA patent/CN115650601B/zh active Active
- 2017-01-19 KR KR1020197035146A patent/KR102074835B1/ko active Active
- 2017-01-19 KR KR1020197017823A patent/KR102073143B1/ko active Active
- 2017-01-19 CN CN202211232239.2A patent/CN115572076A/zh active Pending
- 2017-01-19 KR KR1020187030257A patent/KR102121414B1/ko active Active
- 2017-01-19 CN CN202011142412.0A patent/CN113024108B/zh active Active
- 2017-01-19 CN CN202110986861.1A patent/CN113754276B/zh active Active
- 2017-01-19 CN CN202211233035.0A patent/CN115572077A/zh active Pending
- 2017-01-19 CN CN202211232235.4A patent/CN115677235A/zh active Pending
- 2017-01-19 CN CN202111534127.8A patent/CN114349368B/zh active Active
- 2017-01-19 DE DE112017000454.3T patent/DE112017000454T5/de active Pending
- 2017-01-19 DE DE202017007305.6U patent/DE202017007305U1/de active Active
- 2017-01-19 CN CN201810952965.9A patent/CN109133670B/zh active Active
- 2017-01-19 CN CN202211233164.XA patent/CN115650602B/zh active Active
- 2017-01-19 CN CN201910486194.3A patent/CN110255892B/zh active Active
- 2017-01-19 CN CN201910528904.4A patent/CN110330228A/zh active Pending
- 2017-01-19 CN CN201811234810.8A patent/CN109320098B/zh active Active
- 2017-01-19 KR KR1020177016471A patent/KR101927014B1/ko active Active
- 2017-01-19 KR KR1020217025788A patent/KR102569434B1/ko active Active
- 2017-01-19 JP JP2017562079A patent/JP6327407B2/ja active Active
- 2017-01-19 CN CN201811180740.2A patent/CN109455926B/zh active Active
- 2017-01-19 KR KR1020207026654A patent/KR102292273B1/ko active Active
- 2017-01-19 CN CN201780007591.7A patent/CN108473370B/zh active Active
- 2017-01-19 WO PCT/JP2017/001755 patent/WO2017126607A1/ja not_active Ceased
- 2017-01-19 KR KR1020197008706A patent/KR102027956B1/ko active Active
- 2017-01-19 CN CN202111532739.3A patent/CN114315133B/zh active Active
- 2017-01-20 TW TW108119486A patent/TWI759603B/zh active
- 2017-01-20 TW TW111150065A patent/TWI858479B/zh active
- 2017-01-20 TW TW106102257A patent/TWI770002B/zh active
- 2017-01-20 TW TW111105932A patent/TWI790922B/zh active
- 2017-01-20 TW TW111122553A patent/TWI788269B/zh active
- 2017-01-20 TW TW107137003A patent/TWI678351B/zh active
- 2017-01-20 TW TW107111929A patent/TWI644879B/zh active
- 2017-01-20 TW TW108121125A patent/TWI689477B/zh active
- 2017-12-01 JP JP2017231614A patent/JP6394776B2/ja active Active
-
2018
- 2018-02-28 US US15/908,227 patent/US10384974B2/en active Active
- 2018-03-13 US US15/920,009 patent/US10370287B2/en active Active
- 2018-03-22 JP JP2018055141A patent/JP6424978B2/ja active Active
- 2018-07-12 US US16/033,787 patent/US10472272B2/en active Active
- 2018-10-25 JP JP2018200912A patent/JP6583511B2/ja active Active
-
2019
- 2019-03-04 US US16/291,407 patent/US20190194057A1/en not_active Abandoned
- 2019-06-12 JP JP2019109487A patent/JP6583583B2/ja active Active
- 2019-09-05 JP JP2019162190A patent/JP7059993B2/ja active Active
-
2020
- 2020-09-17 US US17/024,109 patent/US11767252B2/en active Active
-
2022
- 2022-04-08 JP JP2022064554A patent/JP2022082778A/ja active Pending
-
2024
- 2024-04-30 JP JP2024073865A patent/JP2024096285A/ja active Pending
Patent Citations (1)
| Publication number | Priority date | Publication date | Assignee | Title |
|---|---|---|---|---|
| US8075999B2 (en) | 2008-08-08 | 2011-12-13 | Corning Incorporated | Strengthened glass articles and methods of making |
Cited By (2)
| Publication number | Priority date | Publication date | Assignee | Title |
|---|---|---|---|---|
| US11912613B2 (en) | 2019-12-17 | 2024-02-27 | Samsung Display Co., Ltd. | Glass article and method for manufacturing the same |
| US12459859B2 (en) | 2019-12-17 | 2025-11-04 | Samsung Display Co., Ltd. | Glass article and method for manufacturing the same |
Also Published As
Similar Documents
| Publication | Publication Date | Title |
|---|---|---|
| KR101927014B1 (ko) | 화학 강화 유리 및 화학 강화용 유리 | |
| JP6891921B2 (ja) | 化学強化ガラス及び化学強化ガラスの製造方法 |
Legal Events
| Date | Code | Title | Description |
|---|---|---|---|
| A201 | Request for examination | ||
| PA0105 | International application |
Patent event date: 20170615 Patent event code: PA01051R01D Comment text: International Patent Application |
|
| PA0201 | Request for examination | ||
| A302 | Request for accelerated examination | ||
| PA0302 | Request for accelerated examination |
Patent event date: 20170616 Patent event code: PA03022R01D Comment text: Request for Accelerated Examination |
|
| E902 | Notification of reason for refusal | ||
| PE0902 | Notice of grounds for rejection |
Comment text: Notification of reason for refusal Patent event date: 20171211 Patent event code: PE09021S01D |
|
| AMND | Amendment | ||
| E601 | Decision to refuse application | ||
| PE0601 | Decision on rejection of patent |
Patent event date: 20180427 Comment text: Decision to Refuse Application Patent event code: PE06012S01D Patent event date: 20171211 Comment text: Notification of reason for refusal Patent event code: PE06011S01I |
|
| A107 | Divisional application of patent | ||
| PA0104 | Divisional application for international application |
Comment text: Divisional Application for International Patent Patent event code: PA01041R01D Patent event date: 20180524 |
|
| AMND | Amendment | ||
| PX0901 | Re-examination |
Patent event code: PX09011S01I Patent event date: 20180427 Comment text: Decision to Refuse Application Patent event code: PX09012R01I Patent event date: 20180202 Comment text: Amendment to Specification, etc. |
|
| E902 | Notification of reason for refusal | ||
| PE0902 | Notice of grounds for rejection |
Comment text: Notification of reason for refusal Patent event date: 20180706 Patent event code: PE09021S01D |
|
| AMND | Amendment | ||
| PG1501 | Laying open of application | ||
| PX0701 | Decision of registration after re-examination |
Patent event date: 20181115 Comment text: Decision to Grant Registration Patent event code: PX07013S01D Patent event date: 20180814 Comment text: Amendment to Specification, etc. Patent event code: PX07012R01I Patent event date: 20180529 Comment text: Amendment to Specification, etc. Patent event code: PX07012R01I Patent event date: 20180427 Comment text: Decision to Refuse Application Patent event code: PX07011S01I Patent event date: 20180202 Comment text: Amendment to Specification, etc. Patent event code: PX07012R01I |
|
| X701 | Decision to grant (after re-examination) | ||
| GRNT | Written decision to grant | ||
| PR0701 | Registration of establishment |
Comment text: Registration of Establishment Patent event date: 20181203 Patent event code: PR07011E01D |
|
| PR1002 | Payment of registration fee |
Payment date: 20181203 End annual number: 3 Start annual number: 1 |
|
| PG1601 | Publication of registration | ||
| PR1001 | Payment of annual fee |
Payment date: 20211126 Start annual number: 4 End annual number: 4 |
|
| PR1001 | Payment of annual fee |
Payment date: 20221125 Start annual number: 5 End annual number: 5 |





















