JP6220946B2 - 表示パネル - Google Patents

表示パネル Download PDF

Info

Publication number
JP6220946B2
JP6220946B2 JP2016197193A JP2016197193A JP6220946B2 JP 6220946 B2 JP6220946 B2 JP 6220946B2 JP 2016197193 A JP2016197193 A JP 2016197193A JP 2016197193 A JP2016197193 A JP 2016197193A JP 6220946 B2 JP6220946 B2 JP 6220946B2
Authority
JP
Japan
Prior art keywords
electrode
wiring
film
connection pad
connection terminal
Prior art date
Legal status (The legal status is an assumption and is not a legal conclusion. Google has not performed a legal analysis and makes no representation as to the accuracy of the status listed.)
Active
Application number
JP2016197193A
Other languages
English (en)
Other versions
JP2017021377A (ja
Inventor
木村 肇
肇 木村
山崎 舜平
舜平 山崎
Current Assignee (The listed assignees may be inaccurate. Google has not performed a legal analysis and makes no representation or warranty as to the accuracy of the list.)
Semiconductor Energy Laboratory Co Ltd
Original Assignee
Semiconductor Energy Laboratory Co Ltd
Priority date (The priority date is an assumption and is not a legal conclusion. Google has not performed a legal analysis and makes no representation as to the accuracy of the date listed.)
Filing date
Publication date
Application filed by Semiconductor Energy Laboratory Co Ltd filed Critical Semiconductor Energy Laboratory Co Ltd
Publication of JP2017021377A publication Critical patent/JP2017021377A/ja
Application granted granted Critical
Publication of JP6220946B2 publication Critical patent/JP6220946B2/ja
Active legal-status Critical Current
Anticipated expiration legal-status Critical

Links

Images

Classifications

    • GPHYSICS
    • G02OPTICS
    • G02FOPTICAL DEVICES OR ARRANGEMENTS FOR THE CONTROL OF LIGHT BY MODIFICATION OF THE OPTICAL PROPERTIES OF THE MEDIA OF THE ELEMENTS INVOLVED THEREIN; NON-LINEAR OPTICS; FREQUENCY-CHANGING OF LIGHT; OPTICAL LOGIC ELEMENTS; OPTICAL ANALOGUE/DIGITAL CONVERTERS
    • G02F1/00Devices or arrangements for the control of the intensity, colour, phase, polarisation or direction of light arriving from an independent light source, e.g. switching, gating or modulating; Non-linear optics
    • G02F1/01Devices or arrangements for the control of the intensity, colour, phase, polarisation or direction of light arriving from an independent light source, e.g. switching, gating or modulating; Non-linear optics for the control of the intensity, phase, polarisation or colour 
    • G02F1/13Devices or arrangements for the control of the intensity, colour, phase, polarisation or direction of light arriving from an independent light source, e.g. switching, gating or modulating; Non-linear optics for the control of the intensity, phase, polarisation or colour  based on liquid crystals, e.g. single liquid crystal display cells
    • G02F1/133Constructional arrangements; Operation of liquid crystal cells; Circuit arrangements
    • G02F1/1333Constructional arrangements; Manufacturing methods
    • G02F1/1345Conductors connecting electrodes to cell terminals
    • G02F1/13452Conductors connecting driver circuitry and terminals of panels
    • GPHYSICS
    • G02OPTICS
    • G02FOPTICAL DEVICES OR ARRANGEMENTS FOR THE CONTROL OF LIGHT BY MODIFICATION OF THE OPTICAL PROPERTIES OF THE MEDIA OF THE ELEMENTS INVOLVED THEREIN; NON-LINEAR OPTICS; FREQUENCY-CHANGING OF LIGHT; OPTICAL LOGIC ELEMENTS; OPTICAL ANALOGUE/DIGITAL CONVERTERS
    • G02F1/00Devices or arrangements for the control of the intensity, colour, phase, polarisation or direction of light arriving from an independent light source, e.g. switching, gating or modulating; Non-linear optics
    • G02F1/01Devices or arrangements for the control of the intensity, colour, phase, polarisation or direction of light arriving from an independent light source, e.g. switching, gating or modulating; Non-linear optics for the control of the intensity, phase, polarisation or colour 
    • G02F1/13Devices or arrangements for the control of the intensity, colour, phase, polarisation or direction of light arriving from an independent light source, e.g. switching, gating or modulating; Non-linear optics for the control of the intensity, phase, polarisation or colour  based on liquid crystals, e.g. single liquid crystal display cells
    • G02F1/133Constructional arrangements; Operation of liquid crystal cells; Circuit arrangements
    • G02F1/13306Circuit arrangements or driving methods for the control of single liquid crystal cells
    • GPHYSICS
    • G02OPTICS
    • G02FOPTICAL DEVICES OR ARRANGEMENTS FOR THE CONTROL OF LIGHT BY MODIFICATION OF THE OPTICAL PROPERTIES OF THE MEDIA OF THE ELEMENTS INVOLVED THEREIN; NON-LINEAR OPTICS; FREQUENCY-CHANGING OF LIGHT; OPTICAL LOGIC ELEMENTS; OPTICAL ANALOGUE/DIGITAL CONVERTERS
    • G02F1/00Devices or arrangements for the control of the intensity, colour, phase, polarisation or direction of light arriving from an independent light source, e.g. switching, gating or modulating; Non-linear optics
    • G02F1/01Devices or arrangements for the control of the intensity, colour, phase, polarisation or direction of light arriving from an independent light source, e.g. switching, gating or modulating; Non-linear optics for the control of the intensity, phase, polarisation or colour 
    • G02F1/13Devices or arrangements for the control of the intensity, colour, phase, polarisation or direction of light arriving from an independent light source, e.g. switching, gating or modulating; Non-linear optics for the control of the intensity, phase, polarisation or colour  based on liquid crystals, e.g. single liquid crystal display cells
    • G02F1/133Constructional arrangements; Operation of liquid crystal cells; Circuit arrangements
    • G02F1/1333Constructional arrangements; Manufacturing methods
    • G02F1/133345Insulating layers
    • GPHYSICS
    • G02OPTICS
    • G02FOPTICAL DEVICES OR ARRANGEMENTS FOR THE CONTROL OF LIGHT BY MODIFICATION OF THE OPTICAL PROPERTIES OF THE MEDIA OF THE ELEMENTS INVOLVED THEREIN; NON-LINEAR OPTICS; FREQUENCY-CHANGING OF LIGHT; OPTICAL LOGIC ELEMENTS; OPTICAL ANALOGUE/DIGITAL CONVERTERS
    • G02F1/00Devices or arrangements for the control of the intensity, colour, phase, polarisation or direction of light arriving from an independent light source, e.g. switching, gating or modulating; Non-linear optics
    • G02F1/01Devices or arrangements for the control of the intensity, colour, phase, polarisation or direction of light arriving from an independent light source, e.g. switching, gating or modulating; Non-linear optics for the control of the intensity, phase, polarisation or colour 
    • G02F1/13Devices or arrangements for the control of the intensity, colour, phase, polarisation or direction of light arriving from an independent light source, e.g. switching, gating or modulating; Non-linear optics for the control of the intensity, phase, polarisation or colour  based on liquid crystals, e.g. single liquid crystal display cells
    • G02F1/133Constructional arrangements; Operation of liquid crystal cells; Circuit arrangements
    • G02F1/1333Constructional arrangements; Manufacturing methods
    • G02F1/1335Structural association of cells with optical devices, e.g. polarisers or reflectors
    • G02F1/133509Filters, e.g. light shielding masks
    • G02F1/133512Light shielding layers, e.g. black matrix
    • GPHYSICS
    • G02OPTICS
    • G02FOPTICAL DEVICES OR ARRANGEMENTS FOR THE CONTROL OF LIGHT BY MODIFICATION OF THE OPTICAL PROPERTIES OF THE MEDIA OF THE ELEMENTS INVOLVED THEREIN; NON-LINEAR OPTICS; FREQUENCY-CHANGING OF LIGHT; OPTICAL LOGIC ELEMENTS; OPTICAL ANALOGUE/DIGITAL CONVERTERS
    • G02F1/00Devices or arrangements for the control of the intensity, colour, phase, polarisation or direction of light arriving from an independent light source, e.g. switching, gating or modulating; Non-linear optics
    • G02F1/01Devices or arrangements for the control of the intensity, colour, phase, polarisation or direction of light arriving from an independent light source, e.g. switching, gating or modulating; Non-linear optics for the control of the intensity, phase, polarisation or colour 
    • G02F1/13Devices or arrangements for the control of the intensity, colour, phase, polarisation or direction of light arriving from an independent light source, e.g. switching, gating or modulating; Non-linear optics for the control of the intensity, phase, polarisation or colour  based on liquid crystals, e.g. single liquid crystal display cells
    • G02F1/133Constructional arrangements; Operation of liquid crystal cells; Circuit arrangements
    • G02F1/1333Constructional arrangements; Manufacturing methods
    • G02F1/1335Structural association of cells with optical devices, e.g. polarisers or reflectors
    • G02F1/133509Filters, e.g. light shielding masks
    • G02F1/133514Colour filters
    • GPHYSICS
    • G02OPTICS
    • G02FOPTICAL DEVICES OR ARRANGEMENTS FOR THE CONTROL OF LIGHT BY MODIFICATION OF THE OPTICAL PROPERTIES OF THE MEDIA OF THE ELEMENTS INVOLVED THEREIN; NON-LINEAR OPTICS; FREQUENCY-CHANGING OF LIGHT; OPTICAL LOGIC ELEMENTS; OPTICAL ANALOGUE/DIGITAL CONVERTERS
    • G02F1/00Devices or arrangements for the control of the intensity, colour, phase, polarisation or direction of light arriving from an independent light source, e.g. switching, gating or modulating; Non-linear optics
    • G02F1/01Devices or arrangements for the control of the intensity, colour, phase, polarisation or direction of light arriving from an independent light source, e.g. switching, gating or modulating; Non-linear optics for the control of the intensity, phase, polarisation or colour 
    • G02F1/13Devices or arrangements for the control of the intensity, colour, phase, polarisation or direction of light arriving from an independent light source, e.g. switching, gating or modulating; Non-linear optics for the control of the intensity, phase, polarisation or colour  based on liquid crystals, e.g. single liquid crystal display cells
    • G02F1/133Constructional arrangements; Operation of liquid crystal cells; Circuit arrangements
    • G02F1/1333Constructional arrangements; Manufacturing methods
    • G02F1/1339Gaskets; Spacers; Sealing of cells
    • GPHYSICS
    • G02OPTICS
    • G02FOPTICAL DEVICES OR ARRANGEMENTS FOR THE CONTROL OF LIGHT BY MODIFICATION OF THE OPTICAL PROPERTIES OF THE MEDIA OF THE ELEMENTS INVOLVED THEREIN; NON-LINEAR OPTICS; FREQUENCY-CHANGING OF LIGHT; OPTICAL LOGIC ELEMENTS; OPTICAL ANALOGUE/DIGITAL CONVERTERS
    • G02F1/00Devices or arrangements for the control of the intensity, colour, phase, polarisation or direction of light arriving from an independent light source, e.g. switching, gating or modulating; Non-linear optics
    • G02F1/01Devices or arrangements for the control of the intensity, colour, phase, polarisation or direction of light arriving from an independent light source, e.g. switching, gating or modulating; Non-linear optics for the control of the intensity, phase, polarisation or colour 
    • G02F1/13Devices or arrangements for the control of the intensity, colour, phase, polarisation or direction of light arriving from an independent light source, e.g. switching, gating or modulating; Non-linear optics for the control of the intensity, phase, polarisation or colour  based on liquid crystals, e.g. single liquid crystal display cells
    • G02F1/133Constructional arrangements; Operation of liquid crystal cells; Circuit arrangements
    • G02F1/1333Constructional arrangements; Manufacturing methods
    • G02F1/1339Gaskets; Spacers; Sealing of cells
    • G02F1/13394Gaskets; Spacers; Sealing of cells spacers regularly patterned on the cell subtrate, e.g. walls, pillars
    • GPHYSICS
    • G02OPTICS
    • G02FOPTICAL DEVICES OR ARRANGEMENTS FOR THE CONTROL OF LIGHT BY MODIFICATION OF THE OPTICAL PROPERTIES OF THE MEDIA OF THE ELEMENTS INVOLVED THEREIN; NON-LINEAR OPTICS; FREQUENCY-CHANGING OF LIGHT; OPTICAL LOGIC ELEMENTS; OPTICAL ANALOGUE/DIGITAL CONVERTERS
    • G02F1/00Devices or arrangements for the control of the intensity, colour, phase, polarisation or direction of light arriving from an independent light source, e.g. switching, gating or modulating; Non-linear optics
    • G02F1/01Devices or arrangements for the control of the intensity, colour, phase, polarisation or direction of light arriving from an independent light source, e.g. switching, gating or modulating; Non-linear optics for the control of the intensity, phase, polarisation or colour 
    • G02F1/13Devices or arrangements for the control of the intensity, colour, phase, polarisation or direction of light arriving from an independent light source, e.g. switching, gating or modulating; Non-linear optics for the control of the intensity, phase, polarisation or colour  based on liquid crystals, e.g. single liquid crystal display cells
    • G02F1/133Constructional arrangements; Operation of liquid crystal cells; Circuit arrangements
    • G02F1/1333Constructional arrangements; Manufacturing methods
    • G02F1/1341Filling or closing of cells
    • GPHYSICS
    • G02OPTICS
    • G02FOPTICAL DEVICES OR ARRANGEMENTS FOR THE CONTROL OF LIGHT BY MODIFICATION OF THE OPTICAL PROPERTIES OF THE MEDIA OF THE ELEMENTS INVOLVED THEREIN; NON-LINEAR OPTICS; FREQUENCY-CHANGING OF LIGHT; OPTICAL LOGIC ELEMENTS; OPTICAL ANALOGUE/DIGITAL CONVERTERS
    • G02F1/00Devices or arrangements for the control of the intensity, colour, phase, polarisation or direction of light arriving from an independent light source, e.g. switching, gating or modulating; Non-linear optics
    • G02F1/01Devices or arrangements for the control of the intensity, colour, phase, polarisation or direction of light arriving from an independent light source, e.g. switching, gating or modulating; Non-linear optics for the control of the intensity, phase, polarisation or colour 
    • G02F1/13Devices or arrangements for the control of the intensity, colour, phase, polarisation or direction of light arriving from an independent light source, e.g. switching, gating or modulating; Non-linear optics for the control of the intensity, phase, polarisation or colour  based on liquid crystals, e.g. single liquid crystal display cells
    • G02F1/133Constructional arrangements; Operation of liquid crystal cells; Circuit arrangements
    • G02F1/136Liquid crystal cells structurally associated with a semi-conducting layer or substrate, e.g. cells forming part of an integrated circuit
    • G02F1/1362Active matrix addressed cells
    • G02F1/1368Active matrix addressed cells in which the switching element is a three-electrode device
    • GPHYSICS
    • G09EDUCATION; CRYPTOGRAPHY; DISPLAY; ADVERTISING; SEALS
    • G09GARRANGEMENTS OR CIRCUITS FOR CONTROL OF INDICATING DEVICES USING STATIC MEANS TO PRESENT VARIABLE INFORMATION
    • G09G3/00Control arrangements or circuits, of interest only in connection with visual indicators other than cathode-ray tubes
    • G09G3/20Control arrangements or circuits, of interest only in connection with visual indicators other than cathode-ray tubes for presentation of an assembly of a number of characters, e.g. a page, by composing the assembly by combination of individual elements arranged in a matrix no fixed position being assigned to or needed to be assigned to the individual characters or partial characters
    • GPHYSICS
    • G09EDUCATION; CRYPTOGRAPHY; DISPLAY; ADVERTISING; SEALS
    • G09GARRANGEMENTS OR CIRCUITS FOR CONTROL OF INDICATING DEVICES USING STATIC MEANS TO PRESENT VARIABLE INFORMATION
    • G09G3/00Control arrangements or circuits, of interest only in connection with visual indicators other than cathode-ray tubes
    • G09G3/20Control arrangements or circuits, of interest only in connection with visual indicators other than cathode-ray tubes for presentation of an assembly of a number of characters, e.g. a page, by composing the assembly by combination of individual elements arranged in a matrix no fixed position being assigned to or needed to be assigned to the individual characters or partial characters
    • G09G3/2092Details of a display terminals using a flat panel, the details relating to the control arrangement of the display terminal and to the interfaces thereto
    • HELECTRICITY
    • H05ELECTRIC TECHNIQUES NOT OTHERWISE PROVIDED FOR
    • H05KPRINTED CIRCUITS; CASINGS OR CONSTRUCTIONAL DETAILS OF ELECTRIC APPARATUS; MANUFACTURE OF ASSEMBLAGES OF ELECTRICAL COMPONENTS
    • H05K1/00Printed circuits
    • H05K1/02Details
    • H05K1/11Printed elements for providing electric connections to or between printed circuits
    • H05K1/117Pads along the edge of rigid circuit boards, e.g. for pluggable connectors
    • HELECTRICITY
    • H05ELECTRIC TECHNIQUES NOT OTHERWISE PROVIDED FOR
    • H05KPRINTED CIRCUITS; CASINGS OR CONSTRUCTIONAL DETAILS OF ELECTRIC APPARATUS; MANUFACTURE OF ASSEMBLAGES OF ELECTRICAL COMPONENTS
    • H05K1/00Printed circuits
    • H05K1/02Details
    • H05K1/14Structural association of two or more printed circuits
    • H05K1/148Arrangements of two or more hingeably connected rigid printed circuit boards, i.e. connected by flexible means
    • HELECTRICITY
    • H05ELECTRIC TECHNIQUES NOT OTHERWISE PROVIDED FOR
    • H05KPRINTED CIRCUITS; CASINGS OR CONSTRUCTIONAL DETAILS OF ELECTRIC APPARATUS; MANUFACTURE OF ASSEMBLAGES OF ELECTRICAL COMPONENTS
    • H05K3/00Apparatus or processes for manufacturing printed circuits
    • H05K3/36Assembling printed circuits with other printed circuits
    • H05K3/361Assembling flexible printed circuits with other printed circuits
    • HELECTRICITY
    • H10SEMICONDUCTOR DEVICES; ELECTRIC SOLID-STATE DEVICES NOT OTHERWISE PROVIDED FOR
    • H10DINORGANIC ELECTRIC SEMICONDUCTOR DEVICES
    • H10D86/00Integrated devices formed in or on insulating or conducting substrates, e.g. formed in silicon-on-insulator [SOI] substrates or on stainless steel or glass substrates
    • H10D86/40Integrated devices formed in or on insulating or conducting substrates, e.g. formed in silicon-on-insulator [SOI] substrates or on stainless steel or glass substrates characterised by multiple TFTs
    • H10D86/421Integrated devices formed in or on insulating or conducting substrates, e.g. formed in silicon-on-insulator [SOI] substrates or on stainless steel or glass substrates characterised by multiple TFTs having a particular composition, shape or crystalline structure of the active layer
    • HELECTRICITY
    • H10SEMICONDUCTOR DEVICES; ELECTRIC SOLID-STATE DEVICES NOT OTHERWISE PROVIDED FOR
    • H10DINORGANIC ELECTRIC SEMICONDUCTOR DEVICES
    • H10D86/00Integrated devices formed in or on insulating or conducting substrates, e.g. formed in silicon-on-insulator [SOI] substrates or on stainless steel or glass substrates
    • H10D86/40Integrated devices formed in or on insulating or conducting substrates, e.g. formed in silicon-on-insulator [SOI] substrates or on stainless steel or glass substrates characterised by multiple TFTs
    • H10D86/60Integrated devices formed in or on insulating or conducting substrates, e.g. formed in silicon-on-insulator [SOI] substrates or on stainless steel or glass substrates characterised by multiple TFTs wherein the TFTs are in active matrices
    • GPHYSICS
    • G09EDUCATION; CRYPTOGRAPHY; DISPLAY; ADVERTISING; SEALS
    • G09GARRANGEMENTS OR CIRCUITS FOR CONTROL OF INDICATING DEVICES USING STATIC MEANS TO PRESENT VARIABLE INFORMATION
    • G09G2300/00Aspects of the constitution of display devices
    • G09G2300/04Structural and physical details of display devices
    • G09G2300/0404Matrix technologies
    • G09G2300/0408Integration of the drivers onto the display substrate
    • GPHYSICS
    • G09EDUCATION; CRYPTOGRAPHY; DISPLAY; ADVERTISING; SEALS
    • G09GARRANGEMENTS OR CIRCUITS FOR CONTROL OF INDICATING DEVICES USING STATIC MEANS TO PRESENT VARIABLE INFORMATION
    • G09G2300/00Aspects of the constitution of display devices
    • G09G2300/04Structural and physical details of display devices
    • G09G2300/0421Structural details of the set of electrodes
    • G09G2300/0426Layout of electrodes and connections
    • GPHYSICS
    • G09EDUCATION; CRYPTOGRAPHY; DISPLAY; ADVERTISING; SEALS
    • G09GARRANGEMENTS OR CIRCUITS FOR CONTROL OF INDICATING DEVICES USING STATIC MEANS TO PRESENT VARIABLE INFORMATION
    • G09G2300/00Aspects of the constitution of display devices
    • G09G2300/04Structural and physical details of display devices
    • G09G2300/0439Pixel structures
    • GPHYSICS
    • G09EDUCATION; CRYPTOGRAPHY; DISPLAY; ADVERTISING; SEALS
    • G09GARRANGEMENTS OR CIRCUITS FOR CONTROL OF INDICATING DEVICES USING STATIC MEANS TO PRESENT VARIABLE INFORMATION
    • G09G2300/00Aspects of the constitution of display devices
    • G09G2300/08Active matrix structure, i.e. with use of active elements, inclusive of non-linear two terminal elements, in the pixels together with light emitting or modulating elements
    • GPHYSICS
    • G09EDUCATION; CRYPTOGRAPHY; DISPLAY; ADVERTISING; SEALS
    • G09GARRANGEMENTS OR CIRCUITS FOR CONTROL OF INDICATING DEVICES USING STATIC MEANS TO PRESENT VARIABLE INFORMATION
    • G09G2310/00Command of the display device
    • G09G2310/02Addressing, scanning or driving the display screen or processing steps related thereto
    • G09G2310/0264Details of driving circuits
    • GPHYSICS
    • G09EDUCATION; CRYPTOGRAPHY; DISPLAY; ADVERTISING; SEALS
    • G09GARRANGEMENTS OR CIRCUITS FOR CONTROL OF INDICATING DEVICES USING STATIC MEANS TO PRESENT VARIABLE INFORMATION
    • G09G2320/00Control of display operating conditions
    • G09G2320/04Maintaining the quality of display appearance
    • G09G2320/043Preventing or counteracting the effects of ageing
    • GPHYSICS
    • G09EDUCATION; CRYPTOGRAPHY; DISPLAY; ADVERTISING; SEALS
    • G09GARRANGEMENTS OR CIRCUITS FOR CONTROL OF INDICATING DEVICES USING STATIC MEANS TO PRESENT VARIABLE INFORMATION
    • G09G2330/00Aspects of power supply; Aspects of display protection and defect management
    • G09G2330/02Details of power systems and of start or stop of display operation
    • G09G2330/021Power management, e.g. power saving
    • GPHYSICS
    • G09EDUCATION; CRYPTOGRAPHY; DISPLAY; ADVERTISING; SEALS
    • G09GARRANGEMENTS OR CIRCUITS FOR CONTROL OF INDICATING DEVICES USING STATIC MEANS TO PRESENT VARIABLE INFORMATION
    • G09G2330/00Aspects of power supply; Aspects of display protection and defect management
    • G09G2330/08Fault-tolerant or redundant circuits, or circuits in which repair of defects is prepared
    • GPHYSICS
    • G09EDUCATION; CRYPTOGRAPHY; DISPLAY; ADVERTISING; SEALS
    • G09GARRANGEMENTS OR CIRCUITS FOR CONTROL OF INDICATING DEVICES USING STATIC MEANS TO PRESENT VARIABLE INFORMATION
    • G09G3/00Control arrangements or circuits, of interest only in connection with visual indicators other than cathode-ray tubes
    • G09G3/20Control arrangements or circuits, of interest only in connection with visual indicators other than cathode-ray tubes for presentation of an assembly of a number of characters, e.g. a page, by composing the assembly by combination of individual elements arranged in a matrix no fixed position being assigned to or needed to be assigned to the individual characters or partial characters
    • G09G3/34Control arrangements or circuits, of interest only in connection with visual indicators other than cathode-ray tubes for presentation of an assembly of a number of characters, e.g. a page, by composing the assembly by combination of individual elements arranged in a matrix no fixed position being assigned to or needed to be assigned to the individual characters or partial characters by control of light from an independent source
    • G09G3/36Control arrangements or circuits, of interest only in connection with visual indicators other than cathode-ray tubes for presentation of an assembly of a number of characters, e.g. a page, by composing the assembly by combination of individual elements arranged in a matrix no fixed position being assigned to or needed to be assigned to the individual characters or partial characters by control of light from an independent source using liquid crystals
    • G09G3/3611Control of matrices with row and column drivers
    • G09G3/3614Control of polarity reversal in general
    • HELECTRICITY
    • H01ELECTRIC ELEMENTS
    • H01LSEMICONDUCTOR DEVICES NOT COVERED BY CLASS H10
    • H01L2924/00Indexing scheme for arrangements or methods for connecting or disconnecting semiconductor or solid-state bodies as covered by H01L24/00
    • H01L2924/0001Technical content checked by a classifier
    • H01L2924/0002Not covered by any one of groups H01L24/00, H01L24/00 and H01L2224/00
    • HELECTRICITY
    • H05ELECTRIC TECHNIQUES NOT OTHERWISE PROVIDED FOR
    • H05KPRINTED CIRCUITS; CASINGS OR CONSTRUCTIONAL DETAILS OF ELECTRIC APPARATUS; MANUFACTURE OF ASSEMBLAGES OF ELECTRICAL COMPONENTS
    • H05K1/00Printed circuits
    • H05K1/02Details
    • H05K1/0213Electrical arrangements not otherwise provided for
    • H05K1/0263High current adaptations, e.g. printed high current conductors or using auxiliary non-printed means; Fine and coarse circuit patterns on one circuit board
    • HELECTRICITY
    • H05ELECTRIC TECHNIQUES NOT OTHERWISE PROVIDED FOR
    • H05KPRINTED CIRCUITS; CASINGS OR CONSTRUCTIONAL DETAILS OF ELECTRIC APPARATUS; MANUFACTURE OF ASSEMBLAGES OF ELECTRICAL COMPONENTS
    • H05K1/00Printed circuits
    • H05K1/02Details
    • H05K1/0213Electrical arrangements not otherwise provided for
    • H05K1/0263High current adaptations, e.g. printed high current conductors or using auxiliary non-printed means; Fine and coarse circuit patterns on one circuit board
    • H05K1/0265High current adaptations, e.g. printed high current conductors or using auxiliary non-printed means; Fine and coarse circuit patterns on one circuit board characterized by the lay-out of or details of the printed conductors, e.g. reinforced conductors, redundant conductors, conductors having different cross-sections
    • HELECTRICITY
    • H05ELECTRIC TECHNIQUES NOT OTHERWISE PROVIDED FOR
    • H05KPRINTED CIRCUITS; CASINGS OR CONSTRUCTIONAL DETAILS OF ELECTRIC APPARATUS; MANUFACTURE OF ASSEMBLAGES OF ELECTRICAL COMPONENTS
    • H05K2201/00Indexing scheme relating to printed circuits covered by H05K1/00
    • H05K2201/09Shape and layout
    • H05K2201/09209Shape and layout details of conductors
    • H05K2201/09372Pads and lands
    • H05K2201/094Array of pads or lands differing from one another, e.g. in size, pitch or thickness; Using different connections on the pads
    • HELECTRICITY
    • H05ELECTRIC TECHNIQUES NOT OTHERWISE PROVIDED FOR
    • H05KPRINTED CIRCUITS; CASINGS OR CONSTRUCTIONAL DETAILS OF ELECTRIC APPARATUS; MANUFACTURE OF ASSEMBLAGES OF ELECTRICAL COMPONENTS
    • H05K2201/00Indexing scheme relating to printed circuits covered by H05K1/00
    • H05K2201/09Shape and layout
    • H05K2201/09209Shape and layout details of conductors
    • H05K2201/09654Shape and layout details of conductors covering at least two types of conductors provided for in H05K2201/09218 - H05K2201/095
    • H05K2201/09727Varying width along a single conductor; Conductors or pads having different widths
    • HELECTRICITY
    • H05ELECTRIC TECHNIQUES NOT OTHERWISE PROVIDED FOR
    • H05KPRINTED CIRCUITS; CASINGS OR CONSTRUCTIONAL DETAILS OF ELECTRIC APPARATUS; MANUFACTURE OF ASSEMBLAGES OF ELECTRICAL COMPONENTS
    • H05K2201/00Indexing scheme relating to printed circuits covered by H05K1/00
    • H05K2201/10Details of components or other objects attached to or integrated in a printed circuit board
    • H05K2201/10007Types of components
    • H05K2201/10128Display
    • H05K2201/10136Liquid Crystal display [LCD]
    • HELECTRICITY
    • H05ELECTRIC TECHNIQUES NOT OTHERWISE PROVIDED FOR
    • H05KPRINTED CIRCUITS; CASINGS OR CONSTRUCTIONAL DETAILS OF ELECTRIC APPARATUS; MANUFACTURE OF ASSEMBLAGES OF ELECTRICAL COMPONENTS
    • H05K2201/00Indexing scheme relating to printed circuits covered by H05K1/00
    • H05K2201/10Details of components or other objects attached to or integrated in a printed circuit board
    • H05K2201/10007Types of components
    • H05K2201/10166Transistor

Landscapes

  • Physics & Mathematics (AREA)
  • Nonlinear Science (AREA)
  • Engineering & Computer Science (AREA)
  • General Physics & Mathematics (AREA)
  • Crystallography & Structural Chemistry (AREA)
  • Chemical & Material Sciences (AREA)
  • Mathematical Physics (AREA)
  • Optics & Photonics (AREA)
  • Microelectronics & Electronic Packaging (AREA)
  • Computer Hardware Design (AREA)
  • Theoretical Computer Science (AREA)
  • Manufacturing & Machinery (AREA)
  • Electroluminescent Light Sources (AREA)
  • Devices For Indicating Variable Information By Combining Individual Elements (AREA)
  • Liquid Crystal (AREA)
  • Printing Elements For Providing Electric Connections Between Printed Circuits (AREA)
  • Combinations Of Printed Boards (AREA)

Description

本発明は接続端子を有する半導体装置に関する。特に、画素がマトリクスに配置された画
素部を有する表示装置の接続端子の構造や、外部端子と表示装置の接続端子との接続構造
に関する。
表示装置においては、表示パネルにフレキシブルプリントサーキットを導電接続した構
造を有し、このフレキシブルプリントサーキットから表示パネルに対して信号や電源が供
給されることがある。
例えば、表示パネルは、基板上に画素部と、画素部を駆動する周辺駆動回路とを有し、基
板はシール材によって対向基板とシール領域で張り合わされる。そして、少なくとも画素
部は基板と対向基板とシール材によって封入される。
そして、基板には、対向基板とは重ならない領域があり、その領域に接続端子部が形成さ
れる。接続端子部には、電極(接続パッド)がストライプ状に配置されている。そして、
その電極は、シール領域内から外側に延びて形成されている配線と接続されている。
表示パネルは、接続端子部において、接続端子の電極(接続パッド)とフレキシブルプリ
ントサーキット端子の電極(FPCパッド)とが異方性導電膜などによって熱圧着で電気
的に接続される。
そして、フレキシブルサーキットから供給される信号や電源は、各接続端子や配線を通っ
て基板上の回路に供給される。
ここで、基板上の回路の電源となる電源電位が供給される配線や、その配線間の接続部や
、FPC端子と基板上の接続端子との接続部などを含めた電源供給ライン(電源供給経路
)には、画素や周辺駆動回路などを動作させるため、大量の電流が流れることになる。
よって、電源供給ラインにおいての抵抗が大きいと、電源供給ラインでの電圧降下が大き
くなってしまう。すると、画素や周辺駆動回路に供給される電源電位は、所望の電源電位
より、低くなってしまう。すると、画素や周辺駆動回路に入力される電源電位が低下し、
表示不良を引き起こしてしまう。
そこで、電源の供給をフレキシブルプリントサーキットの複数の配線を介して行い、基板
上の回路の電源となる電源電位が入力されている接続端子と接続されている配線を、シー
ル領域内で互いに接続する構成が特許文献1及び特許文献2に記載されている。
特開2001−109395号公報 特開2001−102169号公報
しかし、上記のような構成によっても、基板とFPCとの貼り合わせにおいて、接続パッ
ドの線幅方向に位置ずれが生じると、FPC端子と接続端子との接続面積が小さくなり、
接触抵抗が大きくなってしまう。とくに、電源となる電源電位が入力されている接続端子
での接触抵抗の増加は表示不良の原因となる。
そこで、本発明は、電源供給ラインの抵抗を小さくし、電源供給ラインでの電圧降下を抑
制し、表示不良を防止することを課題とする。
本発明の構成を以下に示す。
本発明の半導体装置は、接続端子部を有し、該接続端子部には、複数の接続端子を有し、
該複数の接続端子は、それぞれ接続端子の一部を成す接続パッドを備え、該複数の接続パ
ッドには、第1の接続パッドと、該第1の接続パッドと線幅の異なる第2の接続パッドと
、が含まれ、該複数の接続パッドのピッチは等しい。
また、本発明の半導体装置は、接続端子部を有し、該接続端子部には、線幅の等しい接続
パッドが等間隔で複数配置され、該複数の接続パッドのうち、2以上の接続パッドが、該
接続端子部において引き回された配線によりつながっている接続端子を有する。
また、本発明の半導体装置は、接続端子部を有し、該接続端子部には、線幅の等しい接続
パッドが等間隔で複数配置され、該複数の接続パッドのうち、2以上の接続パッドが、該
接続端子部において、コンタクトホールを介して下層の電極で接続されている接続端子を
有する。
また、本発明の半導体装置は、上記構成において、該接続端子部にフレキシブルプリント
サーキットが接続されている。
また、本発明の半導体装置は、上記構成において、該接続端子部のうち少なくとも一つの
接続端子は、該フレキシブルプリントサーキットの複数の端子と接続され、該接続端子と
該フレキシブルプリントサーキットの複数の端子との接触抵抗が5Ω以下である。
本発明の表示装置は、画素部と周辺駆動回路と接続端子部とを有し、該接続端子部には、
複数の接続端子を有し、該複数の接続端子は、それぞれ接続端子の一部を成す接続パッド
を備え、該複数の接続パッドには、第1の接続パッドと、該第1の接続パッドと線幅の異
なる第2の接続パッドと、が含まれ、該複数の接続パッドのピッチは等しい。
また、本発明の表示装置は、画素部と周辺駆動回路と接続端子部とを有し、該接続端子部
には、線幅の等しい接続パッドが等間隔で複数配置され、該複数の接続パッドのうち、2
以上の接続パッドが、該接続端子部において引き回された配線によりつながっている接続
端子を有する。
また、本発明の表示装置は、画素部と周辺駆動回路と接続端子部とを有し、該接続端子部
には、線幅の等しい接続パッドが等間隔で複数配置され、該複数の接続パッドのうち、2
以上の接続パッドが、該接続端子部において、コンタクトホールを介して下層の電極で接
続されている接続端子を有する。
また、本発明の表示装置は、上記構成において、該接続端子部にフレキシブルプリントサ
ーキットが接続されている。
また、本発明の表示装置は、上記構成において、該接続端子部のうち少なくとも一つの接
続端子は、該フレキシブルプリントサーキットの複数の端子と接続され、該接続端子と該
フレキシブルプリントサーキットの複数の端子との接触抵抗が5Ω以下である。
また、本発明の表示装置は、画素部と周辺駆動回路と接続端子部とを有し、該接続端子部
には、複数の接続端子を有し、該複数の接続端子は、それぞれ接続端子の一部を成す接続
パッドを備え、該複数の接続パッドのピッチは等しく、該複数の接続パッドには、第1の
接続パッドと、該第1の接続パッドよりも線幅の大きい第2の接続パッドと、が含まれ、
該第2の接続パッドには複数の配線が電気的に接続され、該複数の配線は表示素子の対向
電極に電気的に接続されている。
なお、本発明に示すスイッチは、様々な形態のものを用いることができ、一例として、電
気的スイッチや機械的なスイッチなどがある。つまり、電流の流れを制御できるものであ
ればよく、特定のものに限定されず、様々なものを用いることができる。例えば、トラン
ジスタでもよいし、ダイオード(PNダイオード、PINダイオード、ショットキーダイ
オード、ダイオード接続のトランジスタなど)でもよいし、それらを組み合わせた論理回
路でもよい。よって、スイッチとしてトランジスタを用いる場合、そのトランジスタは、
単なるスイッチとして動作するため、トランジスタの極性(導電型)は特に限定されない
。ただし、オフ電流が少ない方が望ましい場合、オフ電流が少ない方の極性のトランジス
タを用いることが望ましい。オフ電流が少ないトランジスタとしては、LDD領域を設け
ているものやマルチゲート構造にしているもの等がある。また、スイッチとして動作させ
るトランジスタのソース端子の電位が、低電位側電源(Vss、GND、0Vなど)に近
い状態で動作する場合はNチャネル型を、反対に、ソース端子の電位が、高電位側電源(
Vddなど)に近い状態で動作する場合はPチャネル型を用いることが望ましい。なぜな
ら、ゲートソース間電圧の絶対値を大きくできるため、スイッチとして、動作しやすいか
らである。なお、Nチャネル型とPチャネル型の両方を用いて、CMOS型のスイッチに
してもよい。CMOS型のスイッチにすると、スイッチを介して出力する電圧(つまりス
イッチへの入力電圧)が、出力電圧に対して、高かったり、低かったりして、状況が変化
する場合においても、適切に動作させることが出来る。
なお、本発明において、接続されているとは、電気的に接続されている場合と直接接続さ
れている場合とを含むものとする。したがって、本発明が開示する構成において、所定の
接続関係に加え、その間に電気的な接続を可能とする他の素子(例えば、スイッチやトラ
ンジスタや容量素子やインダクタや抵抗素子やダイオードなど)が配置されていてもよい
。あるいは、間に他の素子を挟まずに、直接接続されて、配置されていてもよい。なお、
電気的な接続を可能とする他の素子を間に介さずに接続されていて、直接接続されている
場合のみを含む場合であって、電気的に接続されている場合を含まない場合には、直接接
続されている、と記載するものとする。なお、電気的に接続されている、と記載する場合
は、電気的に接続されている場合と直接接続されている場合とを含むものとする。
なお、本発明において、トランジスタは、様々な形態のトランジスタを適用させることが
出来る。よって、適用可能なトランジスタの種類に限定はない。したがって、非晶質シリ
コンや多結晶シリコンに代表される非単結晶半導体膜を用いた薄膜トランジスタ(TFT
)、半導体基板やSOI基板を用いて形成されるMOS型トランジスタ、接合型トランジ
スタ、バイポーラトランジスタ、ZnO、a−InGaZnOなどの化合物半導体を用い
たトランジスタ、有機半導体やカーボンナノチューブを用いたトランジスタ、その他のト
ランジスタを適用することができる。なお、非単結晶半導体膜には水素またはハロゲンが
含まれていてもよい。また、トランジスタが配置されている基板の種類は、様々なものを
用いることができ、特定のものに限定されることはない。従って例えば、単結晶基板、S
OI基板、ガラス基板、石英基板、プラスチック基板、紙基板、セロファン基板、石材基
板などに配置することが出来る。また、ある基板でトランジスタを形成し、その後、別の
基板にトランジスタを移動させて、別の基板上に配置するようにしてもよい。
なお、本発明においては、一画素とは画像の最小単位を示すものとする。よって、R(赤
)G(緑)B(青)の色要素からなるフルカラー表示装置の場合には、一画素とはRの色
要素のドットとGの色要素のドットとBの色要素のドットとから構成されるものとする。
なお、色要素は、三色に限定されず、それ以上でもよく、例えば、RGBW(Wは白)や
、RGBに、イエロー、シアン、マゼンダを追加したものなどがある。なお、一画素に、
ある色の色要素のドットが複数あってもよい。そのとき、その複数の色要素は、各々、表
示に寄与する領域の大きさが異なっていても良い。また、ある色の色要素の複数のドット
のうち、それぞれのドットを各々制御することによって、階調を表現してもよい。これを
、面積階調方式と呼ぶ。あるいは、ある色の色要素の複数のドットのうち、それぞれのド
ットを用いて、各々のドットに供給する信号を僅かに異ならせるようにして、視野角を広
げるようにしてもよい。
なお、画素がマトリクスに配置(配列)されているとは、縦縞と横縞を組み合わせたいわ
ゆる格子状にストライプ配置されている場合を含んでいる。そして、三色の色要素(例え
ばRGB)でフルカラー表示を行う場合に、三つの色要素のドットがいわゆるデルタ配置
されている場合も含むものとする。さらに、ベイヤー配置されている場合も含んでいる。
なお、色要素は、三色に限定されず、それ以上でもよく、例えば、RGBW(Wは白)や
、RGBに、イエロー、シアン、マゼンダを追加したものなどがある。また、色要素のド
ット毎にその発光領域の大きさが異なっていてもよい。
なお、本発明において、半導体装置とは半導体素子(トランジスタやダイオードなど)を
含む回路を有する装置をいう。また、半導体特性を利用することで機能しうる装置全般で
もよい。また、表示装置とは、表示素子(液晶素子や発光素子など)を有する装置のこと
を言う。なお、基板上に液晶素子やEL素子などの表示素子を含む複数の画素やそれらの
画素を駆動させる周辺駆動回路が形成された表示パネル本体のことでもよい。さらに、フ
レキシブルプリントサーキット(FPC)やプリント配線基盤(PWB)が取り付けられ
たもの(ICや抵抗素子や容量素子やインダクタやトランジスタなど)も含んでもよい。
さらに、偏光板や位相差板などの光学シートを含んでいても良い。さらに、バックライト
(導光板やプリズムシートや拡散シートや反射シートや光源(LEDや冷陰極管など)を
含んでいても良い)を含んでいても良い。
電源供給ラインの抵抗が小さくなり、電源供給ラインでの電圧降下が抑制されることによ
り、表示不良を防止することができる。
(A)本発明の表示パネルを示す図。(B)接続端子部を説明する図。 本発明の表示装置の模式図。 本発明の表示装置の模式図。 接続端子部を説明する図。 接続端子部を説明する図。 接続端子部を説明する図。 本発明の表示装置の模式図。 本発明の表示パネルを示す図。 本発明の表示装置の模式図。 接続端子部を説明する図。 接続端子部を説明する図。 接続端子部を説明する図。 本発明の表示装置の模式図。 本発明の表示装置の模式図。 本発明の表示装置の模式図。 本発明の表示装置の模式図。 本発明の表示装置の模式図。 本発明の表示装置の模式図。 本発明の表示装置の模式図。 本発明の表示装置の模式図。 本発明の表示装置の模式図。 本発明の表示装置の模式図。 本発明の表示装置の模式図。 本発明の表示装置の模式図。 本発明の表示装置の模式図。 本発明の表示装置の模式図。 本発明の表示装置の模式図。 本発明の表示装置の模式図。 本発明の表示装置の模式図。 本発明の表示装置の模式図。 本発明の表示装置の模式図。 本発明の表示装置の模式図。 本発明の表示装置の模式図。 本発明の表示装置の模式図。 接続端子部を説明する図。 接続端子部を説明する図。 接続端子部を説明する図。 接続端子部を説明する図。 接続端子部を説明する図。 本発明の表示装置の模式図。 本発明の表示装置の模式図。 信号線駆動回路を説明する図。 電流源回路を説明する図。 接続端子部を説明する図。 接続端子部を説明する図。 接続端子部を説明する図。 接続端子部を説明する図。 接続端子部を説明する図。 接続端子部を説明する図。 接続端子部を説明する図。 接続端子部を説明する図。 本発明の表示装置の断面図。 本発明の表示装置の断面図。 本発明の表示装置の断面図。 本発明の表示装置の断面図。 本発明の表示装置の断面図。 本発明の表示装置の断面図。 本発明の表示装置の断面図。 本発明の表示装置の断面図。 本発明の表示装置の断面図。 接続端子部を説明する図。 ELモジュールの例。 ELテレビ受像機の主要な構成を示すブロック図。 本発明の適用可能な携帯電話機の例。 電子機器の例。 (a)本発明の表示パネルの構成を示す模式図。(b)本発明の表示パネルの構成を示す模式図。 接続端子部を説明する図。 シフトレジスタ及びバッファ回路への電源の供給を説明する図。 本発明の表示パネルを示す図。 本発明の表示パネルを示す図。 本発明の表示パネルを示す図。 発光素子を示す図。 表示装置の断面図。 表示装置の断面図。 表示装置の断面図。 本発明の表示パネルを示す図。 本発明の表示パネルの部分拡大図。 本発明の表示パネルの部分拡大図。 発光素子の例。 発光素子の例。
以下、本発明の実施の形態について図面を参照しながら説明する。但し、本発明は多くの
異なる態様で実施することが可能であり、本発明の趣旨及びその範囲から逸脱することな
くその形態及び詳細を様々に変更し得ることは当業者であれば容易に理解される。従って
、本実施の形態の記載内容に限定して解釈されるものではない。
本発明の半導体装置は、基板上に回路が形成され、FPC(Frexible Prin
t Cercuit:フレキシブルプリントサーキット)と接続される接続端子部を有し
ている。そして、接続端子部は複数の接続端子を有し、その中の少なくとも一つの接続端
子が、複数のFPC端子と接続される構造となっている。以下、この接続端子を、複合接
続端子という。また、FPC端子と一対の関係で接続される接続端子を以下、基準接続端
子という。
このように、複数のFPC端子と複合接続端子とを接続することにより、接触抵抗を低く
することができる。
なお、接続端子において、FPC端子と接続される表面の電極のことを接続パッドという
。つまり、接続端子の一部を成す表面の電極を接続パッドという。また、接続端子と接続
されるFPC端子の表面の電極をFPCパッドという。つまり、FPC端子の一部を成す
表面の電極をFPCパッドという。また、隣り合う接続パッド間の幅を接続ピッチといい
、隣り合うFPCパッド間の幅をFPCピッチという。
本発明の半導体装置の一つの接続端子部におけるそれぞれの接続パッドは、接続ピッチが
等しく配置されているが、これに限定されない。
よって、FPCはFPC端子配列を変える必要がないため、FPCの仕様変更することな
く用いることができる。したがって、FPCを共通化することができる。
なお、半導体装置の接続端子部において接続するものとしてFPCを用いて説明したが、
これに限定されない。例えば、IC(半導体集積回路)チップ、プリント配線基板(Pr
inted Wiring Board:PWB)、プログラマブルロジックデバイス基
板(Field Programmable Gate Array:FPGA)、CP
LD(Complex Programmable Logic Device)などど
のようなものでもよい。
(実施の形態1)
本実施の形態において、表示パネルに本発明を適用した場合について説明する。また、本
実施の形態では、複合接続端子が複合接続パッドを有する構成について説明する。つまり
、複合接続端子が一つの接続パッド(複合接続パッド)を有し、その複合接続パッドが複
数のFPCパッドと異方性導電膜を介して電気的に接続されている構成である。
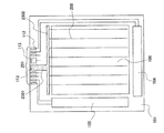
まず、図1(A)に本実施の形態における表示パネルとFPCが接続されているモジュー
ルを示す。なお、本明細書において、このようなモジュールや表示パネル本体を含めて表
示装置という。
基板101上に画素部106と、画素部106を駆動するための周辺駆動回路(走査線駆
動回路105及び信号線駆動回路104)が形成されている。そして、基板101と対向
基板102が張り合わされている。画素部106には、信号線駆動回路104から列方向
に延びた複数の信号線が行方向に並んで配列している。また、画素部106には、走査線
駆動回路105から行方向に延びた複数の走査線が列方向に並んで配列している。また画
素部106には、表示素子を含む複数の画素が配列している。
なお、表示素子は、様々な形態を用いることが出来る。例えば、EL素子(有機EL素子
、無機EL素子又は有機物材料及び無機材料を含むEL素子)、電子放出素子、液晶素子
、電子インク、光回折素子、放電素子、微小鏡面素子(DMD:Digital Mic
romirror Device)、圧電素子、カーボンナノチューブなど、電気磁気的
作用によりコントラストが変化する表示媒体を適用することができる。なお、EL素子を
用いたELパネル方式の表示装置としてはELディスプレイ、電子放出素子を用いた表示
装置としてはフィールドエミッションディスプレイ(FED:Field Emissi
on Display)やSED方式平面型ディスプレイ(SED:Surface−c
onduction Electron−emitter Disply)など、液晶素
子を用いた液晶パネル方式の表示装置としては液晶ディスプレイ、電子インクを用いたデ
ジタルペーパー方式の表示装置としては電子ペーパー、光回折素子を用いた表示装置とし
てはグレーティングライトバルブ(GLV)方式のディスプレイ、放電素子を用いたPD
P(Plazma Display Panel)方式のディスプレイとしてはプラズマ
ディスプレイ、微小鏡面素子を用いたDMDパネル方式の表示装置としてはデジタル・ラ
イト・プロセッシング(DLP)方式の表示装置、圧電素子を用いた表示装置としては圧
電セラミックディスプレイ、カーボンナノチューブを用いた表示装置としてはナノ放射デ
ィスプレイ(NED:Nano Emissive Display)、などがある。
また、基板101は接続端子部において、FPC103と接続されている。そして、走査
線駆動回路105や信号線駆動回路104や画素部106に必要な信号や電源がFPC1
03から表示パネルへ供給される。
次に、点線107付近の基板101とFPC103との接続状態を示す模式的な部分断面
の斜視図を図1(B)に示す。なお、断面方向をわかりやすくするため、図1(A)の線
abに対する方向を図1(B)の線abとして示している。
基板101上に複数の接続パッドが形成されている。そして、複数の接続パッドには、基
準接続パッド112と複合接続パッド113とが含まれている。そして、複数の接続パッ
ドはそれぞれ概略等しい幅の隔壁114を介して配置されている。なお、ここでは、基準
接続パッド112と複合接続パッド113の配列の順番は図1(B)に示すものに限定さ
れるものではない。
FPC103には、おおよそ幅の等しいFPCパッド111がおおよそ等間隔で設けられ
ている。そして、基板101の接続パッド(基準接続パッド112及び複合接続パッド1
13)が形成された面とFPC103のFPCパッド111が形成された面とが向かい合
って張り合わされている。
なお、基準接続パッド112上には、対応する一対のFPCパッド111が対向して設け
られている。また、複合接続パッド113上には、対応する複数のFPCパッド111が
対向して設けられている。そして、接続パッド(基準接続パッド112及び複合接続パッ
ド113)と、FPCパッド111とは異方性導電膜によって電気的に接続されている。
なお、ここでは構造を理解しやすくするため異方性導電膜は図示していない。
続いて、図1に示した表示パネルの構成の模式図を図2に示す。基板101上に走査線駆
動回路105と信号線駆動回路104と画素部106とを有している。さらに、基板10
1上には、接続端子部201を有している。接続端子部201には、基準接続端子の一部
を成す基準接続パッド112や複合接続端子の一部を成す複合接続パッド113を備えて
いる。なお、図2において、基準接続パッド112や複合接続パッド113の数や配列は
図示されるものに限定されるものではない。
また、走査線駆動回路105からは、画素部106へ複数の走査線206が行方向に延び
て配置されている。また、信号線駆動回路104からは、画素部106へ複数の信号線2
07が列方向に延びて配置されている。また、画素部106には、走査線206と信号線
207に対応してマトリクス状に複数の画素205が配置されている。なお、画素がマト
リクスに配置されているとは、縦縞と横縞を組み合わせたいわゆる格子状に配置されてい
るストライプ型配列の場合はもちろんのこと、三色の色要素(例えばRGB)を用いてフ
ルカラー表示を行う場合に、画像を構成する最小単位の三つの色要素がいわゆるデルタ状
に配置されているデルタ配列の場合も含むものとする。
なお、画素205は画素電極を備えている。また、画素部106を覆うように対向電極2
02が形成されている。そして、画素電極と対向電極202により表示媒体を挟み込むこ
とで表示素子が形成されている。さらに、画素部106には電源線208を有し、電源線
208から各画素205の画素電極に電源が供給される。
本実施の形態の表示パネルは、接続端子部201に、複合接続端子の一部を成す複合接続
パッド113を備えているため消費電力の低減を図ることができる。よって、特に電源の
電源電位が入力されている接続端子を複合接続端子にすることが望ましい。
また、画素205の点灯非点灯を制御するビデオ信号が入力される接続端子も複合接続端
子にするとさらに表示不良を防止することができる。
本実施の形態の表示パネルは、図2に示すように、接続端子部201が基板の縁から内側
に形成されていてもよいし、図3に示すように、接続端子部201が基板の縁に接するよ
うに形成されていてもよい。また、図7に示すように、接続端子部201の両端に複合接
続パッド113を有していてもよい。また、接続端子部を複数設けてもよい。例えば、図
40に示すように、接続端子部4001と接続端子部4002とを設けてもよい。なお、
接続端子部4001と接続端子部4002には、それぞれ別のFPCが接続される。そし
てこれらの接続端子部のいずれかに複合接続パッドを有していてもいいし、どちらにも有
していてもよい。
なお、図1においては、基板上に走査線駆動回路105、信号線駆動回路104及び画素
部106が一体形成された構成について示したが、図8に示すように走査線駆動回路10
5や信号線駆動回路104はICチップに形成し、COG(Chip On Glass
:チップオングラス)等で実装していてもよい。なお、ICチップとは、基板上に形成さ
れた集積回路をチップ状に切り離したものをいう。特に、ICチップとしては、単結晶シ
リコンウエハを基板に用いて、素子分離などにより回路を形成し、単結晶シリコンウエハ
を任意の形状に切り離したものが適している。
さらに、図4(B)、(C)を用いて接続パッド(基準接続パッド112及び複合接続パ
ッド113)と、FPCパッド111との接続構造について詳しく説明する。基準接続パ
ッド112とFPCパッド111との電気的接続は異方性導電膜411を用いて圧着によ
り行われている。なお、図4(C)に示すように、異方性導電膜411中に導電性粒子4
21を含ませてもよい。導電性粒子421は異方性導電膜411より低い抵抗の粒子であ
る。よって、基準接続パッド112とFPCパッド111との接触抵抗を低くすることが
できる。なお、図4(B)、(C)においては、基準接続パッド112とFPCパッド1
11との接続箇所を示しているが、複合接続パッド113とFPCパッド111との接続
についても同様である。
さらに、基板101側の接続端子部の特徴について図4(A)を用いて説明する。図4(
A)は、基板101の接続端子部の断面を示す図である。幅の異なる複合接続パッド11
3aや複合接続パッド113bは、図1(B)に示した複合接続パッド113に相当する
そして、基準接続パッド112の線幅401、複合接続パッド113aの線幅402、複
合接続パッド113bの線幅403、各接続パッド(基準接続パッド112や複合接続パ
ッド113aや複合接続パッド113b)の隣り合う接続パッドとの間に設けられた隔壁
114の幅(接続ピッチともいう)404とすると、線幅402の長さは、おおよそ、線
幅401が二つ分と幅404とを足した分の長さに相当する。また、線幅403は、おお
よそ、線幅401が三つ分と幅404が二つ分を足した分の長さに相当する。つまり、図
1(B)複合接続パッド113の線幅の長さとしては、n個分(nは2以上の整数)の基
準接続パッド112の線幅と(n−1)個分の隔壁の幅(接続ピッチともいう)を足した
分の長さに相当する。
よって、図1(B)では、複合接続パッド113が、二つのFPCパッド111と電気的
に接続されている場合について示してあるが、これに限定されないことはいうまでもない
。つまり、複合接続パッド113は三つのFPCパッド111、四つのFPCパッド11
1、又はそれ以上のFPCパッド111と電気的に接続されていてもよい。
つまり、複合接続パッド113が二つのFPCパッド111と電気的に接続されている場
合には、図5(A)のようになる。複合接続パッド113aが異方性導電膜411を介し
て二つのFPCパッド111と接続されている。また、複合接続パッド113bが三つの
FPCパッド111と電気的に接続されている場合には、図5(B)のようになる。複合
接続パッド113bが異方性導電膜411を介して三つのFPCパッド111と接続され
ている。なお、図4(C)に示したように、異方性導電膜411に導電性粒子421を含
ませていてもよい。
なお、本実施の形態に示した表示パネルは、接続端子部において、複合接続端子の接触抵
抗を、基準接続端子の接触抵抗より低くすることができる。よって、電源となる電源電位
のように消費電力の大きくなるものを供給する場合には、複数のFPC端子と接続する複
合接続端子を介して表示パネルに供給するようにするとよい。つまり、電源となる電源電
位が入力される接続端子を複合接続端子にするとよい。そうすることにより、電源供給ラ
インの抵抗を小さくし、電源供給ラインでの電圧降下を抑制し、表示不良を防止すること
ができる。
また、複合接続端子が複合接続パッドを有することにより、表示パネルとFPCとの貼り
合わせにおいて、接続端子とFPC端子との線幅方向の位置ずれが生じても、複合接続端
子の接触抵抗の増大は生じない。以下に図6(A)、(B)を用いて説明する。
図6(A)は、表示パネルとFPCとの貼り合わせにおいて、接続端子とFPC端子との
線幅方向の位置ずれが生じていない場合の基準接続パッドとFPCパッドとが異方性導電
膜を介して接続されているところの断面図である。つまり、基準接続パッド112とFP
Cパッド111の線幅の中心がほぼ一致している。そして、図6(D)がその上面図に相
当する。なお、基準接続パッド112と重畳していないFPCパッド111の領域は幅s
となっている。
図6(B)は、表示パネルとFPCとの貼り合わせにおいて、接続端子とFPC端子との
線幅方向の位置ずれが生じている場合の基準接続パッドとFPCパッドとが異方性導電膜
を介して接続されているところの断面図である。そして、図6(E)がその上面図に相当
する。図6(B)及び(E)に示すように、基準接続パッド112と対応する一対のFP
Cパッド111が線幅方向にずれているため、基準接続パッド112に非重畳領域が発生
し、その非重畳領域は幅gとなる。なお、FPCパッド111に増加する非重畳領域は幅
tとなる。この幅gと幅tとは、ほぼ等しくなる。よって、幅gの分、接続面積が減少す
ることになる。
一方、図6(C)は、表示パネルとFPCとの貼り合わせにおいて、接続端子とFPC端
子との線幅方向の位置ずれが生じている場合の複合接続パッドとFPCパッドとが異方性
導電膜を介して接続されているところの断面図である。そして、図6(F)がその上面図
に相当する。図6(C)や図6(F)に示す複合接続パッド113とFPCパッド111
との接続においては、位置ずれが生じても、非重畳領域の発生は、複合接続パッド113
と接続される複数のFPCパッド111のうち一つのFPCパッド111に対してのみで
ある。そして、その非重畳領域の幅はtである。さらに、FPCパッド111が基準接続
パッド112より幅が広い場合には、位置ずれを生じていないときに、FPCパッド11
1の隔壁114と重なっていた領域sが複合接続パッド113と重畳するため、接続面積
は増加する。その増加する面積は幅sとなる。そして、一つの複合接続パッド113に対
して接続されるFPCパッド111の数が多くなればなるほど、非重畳領域の発生による
接続面積の減少の影響は小さくなる。また、複合接続パッド113においては接続面積が
増大する場合もある。よって、表示パネルとFPCとの貼り合わせにおいて、接続端子と
FPC端子との線幅方向の位置ずれが生じても、複合接続端子のFPC端子との接触抵抗
を低くすることができる。
よって、本実施の形態に示した複合接続端子と複数のFPC端子との接触抵抗は5Ω以下
、好ましくは1Ω以下にすることができる。
(実施の形態2)
本実施の形態においては、実施の形態1で示した接続端子(基準接続端子及び複合接続端
子)の一部を構成する接続パッド(基準接続パッド112及び複合接続パッド113)と
、その接合パッドからシール領域内へ延びる配線の構造について詳しく説明する。
なお、本実施の形態において示す表示パネルは、特に、画素部とともに画素を駆動するた
めの周辺駆動回路(走査線駆動回路や信号線駆動回路)が一体形成された構成の表示パネ
ルに適している。つまり、周辺駆動回路は、画素が有する薄膜トランジスタ(TFTとも
いう)の形成と同時に作り込まれた薄膜トランジスタなどから構成される。そのような構
成の表示パネルの模式図を図9に示す。なお、接続端子部201は、本構成のように基板
101の縁から内部に形成しているものに限られず、図3のように基板101の縁に接し
て形成されていてもよい。
本構成の表示パネルは、基板101上に形成された画素部106や周辺駆動回路が、基板
101と対向基板とによって挟み込まれ、シール領域901で密封されている。なお、封
止は、固体封止、真空封止、ガス封止、液体封止などのいずれでもよい。例えば、固体封
止には、樹脂などを用いることができる。また、ガス封止にはHe(ヘリウム)やAr(
アルゴン)やN(窒素)などを用いることができる。また、液体封止には、流動パラフィ
ンやシリコン液体などを用いることができる。
ここで、点線902で囲まれた領域の拡大図を図10に示す。接続端子部には基準接続パ
ッド112と複合接続パッド(複合接続パッド113a及び複合接続パッド113b)と
を有する。基準接続パッド112と配線1001とは一続きの層の導電膜で形成されてい
る。そして、配線1001の線幅は、基準接続パッド112の線幅より細くなっている。
具体的には、配線1001の線幅は、基準接続パッド112の線幅の半分以下となってい
る。さらに好ましくは3分の1以下である。また、複合接続パッド113aも配線100
2と、複合接続パッド113bも配線1003と、それぞれ一続きの層の導電膜で形成さ
れている。そして、配線1002は複合接続パッド113aと、配線1003は複合接続
パッド113bとほぼ等しい線幅となっている。
なお、複合接続パッド113aは基準接続パッド112の二つ分の線幅と一つの接続ピッ
チの幅を合わせた幅を有しているがこれに限定されない。また、複合接続パッド113b
は基準接続パッド112の三つ分の線幅と二つの接続ピッチの幅を合わせた幅を有してい
るがこれに限定されない。また、図10に示すように、線幅の異なる複合接続パッドを有
していてもいいし、同じ線幅の複合接続パッドを複数有していてもいい。また、接続端子
部の複合接続パッドは一つであってもいいし、複数であってもよい。また、配線部におい
ての配線1001や配線1002や配線1003はシール領域901周辺での線幅であっ
て、さらに画素部内側においては、他の線幅を有していてもよい。また、基準接続パッド
112や複合接続パッド113aや複合接続パッド113bの数及び配列順序などはこれ
に限定されない。
つまり、図10の構成は、基準接続パッドと一続きの層の導電膜で形成された配線は、シ
ール領域で狭幅となっている。一方、複合接続パッドと一続きの層の導電膜で形成された
配線は、シール領域においても複合接続パッドの線幅と同じになっていればよい。
よって、基準接続パッド112と一続きの層の導電膜で形成された配線の面積が、シール
領域で小さくなることから、基板101と貼り合わせる対向基板との密着性を向上させる
ことができる。また、複合接続パッド(複合接続パッド113a及び複合接続パッド11
3b)においては、一続きの層で形成された配線が複合接続パッドの線幅と同じため、配
線の低抵抗化を図ることができる。なお、より密着性を高めるため、複合接続パッドは基
準接続パッド112の数より少ないことが望ましい。
また、点線902で囲まれた領域の他の構成の拡大図を図11に示す。この構成は、基板
101と貼り合わせる対向基板との密着性をより高めることができる構成である。
図11の構成は、基準接続パッド112と一続きの層の導電膜で形成された配線1001
は図10と同じである。そして、複合接続パッド113aにおいては、配線部に狭幅の配
線部1101と幅広の配線部1102とを有する。また、複合接続パッド113bも、配
線部に狭幅の配線部1103と幅広の配線部1104とを有する。
つまり、複合接続パッド(複合接続パッド113a及び複合接続パッド113b)にはシ
ール領域901をまたがって同一の層の導電膜により配線が形成されている。そして、シ
ール領域901にて、狭幅の配線となり、基板と対向基板とが張り合わされた領域内で幅
広の配線となっている。そして好ましくは、狭幅の配線の線幅は、基準接続パッド112
の線幅の3分の1以下であり、幅広の配線の線幅は複合接続パッドの線幅と概略等しくす
る。また、狭幅の配線の長さはシール領域901の幅の3倍以上10倍以下とする。よっ
て、基板と対向基板との密着性が向上する。また、狭幅の配線は長さが短いため、抵抗の
増加を抑制することができる。
また、点線902で囲まれた領域の他の構成の拡大図を図12に示す。この構成は、配線
抵抗の増加を抑制しつつ、基板101と貼り合わせる対向基板との密着性を高めることが
できる構成である。
図12の構成は、基準接続パッド112と一続きの層の導電膜で形成された配線1001
は図10と同じである。そして、複合接続パッド113aにおいては、配線部に狭幅の配
線部1201と幅広の配線部1202とを有する。また、複合接続パッド113bも、配
線部に狭幅の配線部1203と幅広の配線部1204とを有する。
つまり、複合接続パッド(複合接続パッド113a及び複合接続パッド113b)はシー
ル領域901をまたがって同一の層の導電膜により配線が形成されている。そして、シー
ル領域901にて、複数の狭幅の配線となり、基板と対向基板とが張り合わされた領域内
で、複数の狭幅の配線が集束して幅広の配線となっている。そして好ましくは、狭幅の配
線のそれぞれの線幅は、複合接続パッドの線幅の3分の1以下であり、幅広の配線の線幅
は複合接続パッドの線幅と概略等しくする。また、狭幅の配線の長さはシール領域901
の幅の3倍以上10倍以下とする。よって、基板と対向基板との密着性が向上する。また
、狭幅の配線は長さが短いため、抵抗の増加を抑制することができる。
なお、図12の構成においては、基準接続パッド112の二つ分の線幅と一つの接続ピッ
チの幅を合わせた幅を有している複合接続パッド113aはシール領域901において、
二本の狭幅の配線部1201となっているがこれに限定されない。また、基準接続パッド
112の三つ分の線幅と二つの接続ピッチの幅を合わせた幅を有している複合接続パッド
113bはシール領域901において、三本の狭幅の配線部1203となっているがこれ
に限定されない。また、図44に示すように、複合接続パッド113aから同じ幅でなる
配線部において、シール領域901をまたがるところの配線を一部くり抜いて狭幅の配線
部4401を複数有し、さらに画素部内では幅広の配線部4402を有していてもよい。
同様に、複合接続パッド113bから同じ幅でなる配線部において、シール領域901を
またがるところの配線を一部くり抜いて狭幅の配線部4403を複数有し、さらに画素部
内では幅広の配線部4404を有していてもよい。
なお、表示装置がRGBの色要素を用いたフルカラー表示の場合には、電源電位をそれぞ
れ変えてもよい。その場合には図41に示すように複合接続パッド113と接続された配
線4101R、とそれに接続された配線4201Rとそれに接続された電源線208Rに
よりRの色要素の電源電位を画素に供給する。また、配線4101G、とそれに接続され
た配線4201Gとそれに接続された電源線208GによりGの色要素の電源電位を画素
に供給する。配線4101B、とそれに接続された配線4201Bとそれに接続された電
源線208BによりBの色要素の電源電位を画素に供給する。
また、接続端子部でのFPCとの密着性を向上させるため、図47に示すように、接続パ
ッド(基準接続パッド112、複合接続パッド113a及び複合接続パッド113b)に
凹部4701を設けてもよい。なお、凹部4701は一つの接続パッドに対して複数設け
るとよい。ただし、凹部4701の数及び形状は図47に示すものに限られない。よって
、図47に示したような丸い形状に限らず、四角、三角であってもよいし、図50に示す
ように、接続パッドの線幅方向と垂直な方向にストライプ形状に形成された凹部5001
であってもよいし、図51に示すように、接続パッドの線幅方向にストライプ形状に形成
された凹部5101であってもよい。
また、複合接続パッドの構成も上述したものに限定されない。例えば、図36に示すよう
に、複合接続パッドは、基準接続パッドと同形状の複数の電極が電極結合部3601で結
合されたようになっていてもよい。つまり、基準接続パッド112と同じ線幅の二つの電
極が電極結合部3601により結合され複合接続パッド113aが形成されている。また
、基準接続パッド112と同じ線幅の三つの電極が電極結合部3601により結合され複
合接続パッド113bが形成されている。なお、この複合接続パッドは同じ層の導電膜に
より、一続きに形成されていてもいいし、電極と電極結合部3601が別の導電膜であっ
てもいい。
また、接続端子を構成する接続パッド(基準接続パッド112、複合接続パッド113a
及び複合接続パッド113b)となる電極と、それぞれの接続端子から延びる配線とは、
別の導電膜によって形成されていてもよい。例えば、図48に示すように、接続端子部内
の電極4801は、シール領域内へ向かって延びた配線4802と一続きの導電膜で形成
されている。そして、電極4801上には、パッドとなる電極が形成されている。つまり
、基準接続端子を構成する電極4801上には基準接続パッド112が形成され、複合接
続端子となる複数の電極4801上には、それらの電極をまたがって、それぞれ複合接続
パッド113a及び複合接続パッド113bが形成されている。
このような構造は、下面射出の表示装置の透明導電膜の材料によって接続パッド(基準接
続パッド112、複合接続パッド113a及び複合接続パッド113b)を形成し、金属
材料で電極4801や配線4802を形成する。透明導電膜として、例えばITOやTZ
OやCTOなどが挙げられる。
なお、接続パッドとは、一つの層の導電膜によって形成されている電極に限られない。つ
まり、図49に示すように電極4901や電極4902a及び電極4902b上に電極4
901より面積の小さい別の導電膜4903を有していてもよい。つまり、基準接続パッ
ドは電極4901と導電膜4903とにより構成されている。また複合接続パッドは電極
4902aと導電膜4903によって構成されている。また、複合接続パッドは電極49
02bと導電膜4903によって構成されている。このように、接続パッドとは、接続端
子部を上面からみたときに、露呈している導電性領域をも含まれる。
このような構造は、上面射出の表示装置の透明導電膜の材料によって電極4901や電極
4902a及び電極4902bを形成し、補助配線の材料で導電膜4903を形成する。
透明導電膜として、例えばITOやTZOやCTOなどが挙げられる。
なお、本発明に適用可能な接続パッドやその接続パッドと接続された配線の構造は、上述
したものに限られない。また、上述したものを組み合わせて用いることができる。
(実施の形態3)
本実施の形態において、表示装置の構成について説明する。特に、本実施の形態では、複
合接続パッドと対向電極との接続の構成に注目して説明する。
まず、本実施の形態の第1の構成について図13を用いて説明する。なお、図2と共通す
るところは共通の符号を用いてその説明を省略する。第1の構成は、対向電極202の一
部を成す幅広配線1301が信号線駆動回路104上を越えて形成され、複合接続パッド
113から延びた配線とコンタクトホール1302で接続されている。このとき、幅広配
線1301は、複合接続パッド113の線幅よりも広く形成するとよい。すると、コンタ
クトホール1302を大きくすることができるので接触抵抗を小さくすることができる。
つまり、図45に示すように、複合接続パッド113bから延びた配線部1203が、シ
ール領域901をまたいで画素部内でコンタクトホール4501を介して対向電極202
の一部を成す幅広配線1301と接続されている。このとき、配線部1204は複合接続
パッド113aの線幅と同じにすることができるので、コンタクトホール4501の幅も
大きくすることができる。つまり、コンタクトホール4501の幅を基準接続パッド11
2の線幅よりも大きくすることができる。なお、図12と共通しているところは共通の符
号を用いてその説明を省略している。また、一つのコンタクトホールでなくともよく、図
46に示すように複数のコンタクトホール4601を介して配線部1204と対向電極2
02とを接続してもよい。
次に、本実施の形態の第2の構成について図14を用いて説明する。なお、図2と共通す
るところは共通の符号を用いてその説明を省略する。第2の構成は、複合接続パッド11
3から延びた配線1401は、複合接続パッド113とおおよそ同じ線幅を有し、さらに
幅の広い配線1402を有している。この配線1402の幅は信号線駆動回路104とお
およそ等しい幅となっている。そして、配線1402と接続された配線1403は多層配
線構造により、信号線駆動回路104をくぐり抜けて、対向電極202とコンタクトホー
ル1404を介して接続されている。なお、コンタクトホール1404は、画素部106
と信号線駆動回路104との間の領域に形成される。このように、複合接続パッド113
と配線抵抗の小さい配線1401と配線1402とがコンタクトホールを介さずに一続き
の導電膜で形成されているため、複合接続パッド113から対向電極202までのライン
の抵抗を小さくすることができる。
次に、本実施の形態の第3の構成について図15を用いて説明する。なお、図2と共通す
るところは共通の符号を用いてその説明を省略する。第3の構成は、信号線駆動回路10
4が画素部106を挟んで接続端子部201とは反対側に形成されている。このような構
成とすることにより、対向電極202が信号線駆動回路104上をまたがることなく、複
合接続パッド113から延びた配線とコンタクトホール1501にて接続される。そして
、複合接続パッド113から対向電極202までのラインの距離が短いため、このライン
の抵抗を小さくすることができる。
次に、本実施の形態の第4の構成について図16を用いて説明する。なお、図2と共通す
るところは共通の符号を用いてその説明を省略する。第4の構成は、複合接続パッド11
3と接続された配線1603が、信号線駆動回路104を囲むように配置された配線16
01と接続されている。配線1601は、少なくとも信号線駆動回路104と画素部10
6と挟まれた領域で幅広となっており、そこでコンタクトホール1602を介して対向電
極202と接続されている。なお、複合接続パッド113、配線1603及び配線160
1を同じ層の導電膜により形成するとコンタクトホールを介さないため、より低抵抗化を
図ることができる。
次に、本実施の形態の第5の構成について図17を用いて説明する。なお、図2と共通す
るところは共通の符号を用いてその説明を省略する。第5の構成は、複合接続パッド11
3と接続された配線1703が、信号線駆動回路104及び画素部106を囲むように配
置された配線1701と接続されている。配線1701は、少なくとも信号線駆動回路1
04と画素部106と挟まれた領域及び、その領域と画素部106を挟んで反対側の領域
で幅広となっており、そこでコンタクトホール1702を介して対向電極202と接続さ
れている。なお、複合接続パッド113、配線1703及び配線1701を同じ層の導電
膜により形成するとコンタクトホールを介さないため、より低抵抗化を図ることができる
。本構成によれば、画素部106の周辺に配線1701を引き回しているので、配線17
01に低抵抗な材料でなる導電膜を用いることにより、対向電極202の面内の電位を均
一化することができる。なお、対向電極202と配線1701との接続は、他の領域で行
ってもよい。例えば、図18に示すように、配線1701は、少なくとも走査線駆動回路
105と画素部106とで挟まれた領域及び、その領域と画素部106を挟んで反対側の
領域で幅広となっており、そこでコンタクトホール1702を介して対向電極202と接
続されているようになっていてもよい。
次に、本実施の形態の第6の構成について、図19を用いて説明する。なお、図2と共通
するところは、共通の符号を用いてその説明を省略する。第6の構成は、複合接続パッド
113が接続端子部201の両端に配置されている。また、幅広の配線1901aが走査
線駆動回路105と画素部106の間に形成されている。また、画素部106を介して配
線1901aとは反対側に幅広の配線1901bが形成されている。
そして、両端に形成された複合接続パッド113の一方と接続された配線1903が配線
1901aと接続されている。また、両端に形成された複合接続パッド113の他方と接
続された配線1903は配線1901bと接続されている。
そして、配線1901a及び配線1901bはコンタクトホール1902を介して対向電
極202と接続されている。なお、配線1901aや配線1901bは、低抵抗な導電膜
で形成することが好ましい。すると、電圧降下による影響を小さくし、対向電極202の
面内の電位を均一にすることができる。また、配線1901a又は配線1901bのいず
れかのみを設けてもよいが、図19に示すように画素部106の両側に配置することで、
電圧降下による影響をさらに低減することができる。また、配線1901aや配線190
1bのように両側に配置する場合に限らず、画素部106を囲むように配線を配置しても
よい。この場合には、図20に示すように、画素部106を囲む配線2001における、
画素部106と信号線駆動回路104と挟まれた領域、また、画素部106を挟んで信号
線駆動回路104とは反対側の領域、また、走査線駆動回路105と画素部106で挟ま
れた領域、また画素部106を挟んで反対側の領域のそれぞれにおいて少なくとも一つの
コンタクトホール1902を有する。そして、そのコンタクトホール1902を介して配
線2001と対向電極202が接続される。
なお、本発明の適用可能な表示装置の構成は、上述したものに限られない。
(実施の形態4)
本実施の形態において、表示装置の構成について説明する。特に、本実施の形態では、複
合接続パッドと画素電極との接続の構成に注目して説明する。
まず、本実施の形態の第1の構成について図21を用いて説明する。なお、図2と共通す
るところは、共通の符号を用いてその説明を省略する。第1の構成は、信号線駆動回路1
04を囲むように配線2102が形成されている。そして、複合接続パッド113と接続
された配線2101が、さらに配線2102と接続されている。また、配線2102には
、画素部106へ延びる電源線208が形成されている。このような構成にすることによ
り、電圧降下の影響を低減し、各電源線208の電位を均一にすることができる。さらに
、配線2102に低抵抗な導電膜を用いることにより、より電圧降下の影響を低減するこ
とができる。また、画素部106の各行の画素毎に供給される電源電位がばらついてしま
うのを低減するため、配線2102を画素部106の周辺まで引き回してもよい。その場
合には、図22の配線2201のようになる。この場合には、画素部106と信号線駆動
回路104とで挟まれる領域で配線2201と電源線208を接続し、また、画素部10
6を挟んで信号線駆動回路104とは反対側においても配線2201と電源線208を接
続する。なお、配線2201は、電源線208の線幅より広くする。又は、配線2201
に用いる材料を電源線208に用いる材料より低抵抗なものにする。又はそれらを組み合
わせる。こうすることにより、電圧降下の影響をさらに減らすことができる。
次に、本実施の形態の第2の構成について、図23を用いて説明する。なお、図2と共通
するところは、共通の符号を用いてその説明を省略する。第2の構成は、信号線駆動回路
104が画素部106を挟んで接続端子部201とは反対側に形成されている。そして、
複合接続パッド113から幅広の配線2301と幅広の配線2302とが一続きの同じ層
の導電膜で形成されている。そして、幅広の配線2301の線幅は複合接続パッド113
の線幅と概略等しくなっており、幅広の配線2302は、その線幅が画素部106の行方
向の幅と概略等しくなっている。そして、幅広の配線2302と接続された電源線208
が画素部106に延びて形成されている。本構成によれば、複合接続パッド113から電
源線208までをコンタクトホールをかいさずに一続きの配線により形成することができ
るため低抵抗化を図ることができる。よって、電圧降下の影響をさらに減らすことができ
る。
(実施の形態5)
本実施の形態において、表示装置の構成について説明する。特に、本実施の形態では、複
合接続パッドと、画素電極及び対向電極との接続の構成に注目して説明する。
まず、本実施の形態の第1の構成について図24を用いて説明する。なお、図2と共通す
るところは、共通の符号を用いてその説明を省略する。第1の構成は、信号線駆動回路1
04が画素部106を挟んで接続端子部201とは反対側に形成されている。このような
構成とすることにより、対向電極202が信号線駆動回路104上をまたがることなく、
複合接続パッド113から延びた配線とコンタクトホール1501にて接続される。また
、複合接続パッド113から幅広の配線2301と幅広の配線2302とが一続きの同じ
層の導電膜で形成されている。そして、幅広の配線2301の線幅は複合接続パッド11
3の線幅と概略等しくなっており、幅広の配線2302は、その線幅が画素部106の行
方向の幅と概略等しくなっている。そして、幅広の配線2302と接続された電源線20
8が画素部106に延びて形成されている。本構成によれば、複合接続パッド113から
電源線208までをコンタクトホールをかいさずに一続きの配線により形成することがで
きるため低抵抗化を図ることができる。
次に、本実施の形態の第2の構成について図25を用いて説明する。なお、図2と共通す
るところは、共通の符号を用いてその説明を省略する。第2の構成は、少なくとも二つの
複合接続パッド113を有している。そして、一方の複合接続パッド113から幅広の配
線1401と幅広の配線1402とが一続きの同じ層の導電膜で形成されている。そして
、幅広の配線1401は複合接続パッド113の線幅と概略等しくなっており、幅広の配
線1402は、その線幅が画素部106の行方向の幅と概略等しくなっている。また、他
方の複合接続パッド113と接続されている配線2101は、信号線駆動回路104を囲
むように形成された配線2102と接続される。そして、幅広の配線1402は、多層構
造の配線1403により、対向電極202とコンタクトホール1404を介して接続され
る。このコンタクトホール1404は信号線駆動回路104と画素部106の間に形成さ
れている。また、また、配線2102から画素部106へ電源線208が形成されている
次に、本実施の形態の第3の構成について図26を用いて説明する。なお、図2と共通す
るところは、共通の符号を用いてその説明を省略する。第3の構成は、少なくとも二つの
複合接続パッド113を有している。対向電極202の一部を成す幅広配線1301が信
号線駆動回路104上を越えて形成され、一方の複合接続パッド113から延びた配線と
コンタクトホール1302で接続されている。このとき、幅広配線1301は、複合接続
パッド113の線幅よりも広く形成するとよい。すると、コンタクトホール1302を大
きくすることができるので接触抵抗を小さくすることができる。そして、他方の複合接続
パッド113と接続された配線2101は信号線駆動回路104を囲むように形成された
配線2102と接続されている。また、配線2102から画素部106へ電源線208が
形成されている。
(実施の形態6)
本実施の形態において、接続端子の断面構造についてさらに詳しく説明する。なお、本実
施の形態においては、EL素子を画素に有する表示装置の画素部と接続端子部の断面構造
について示すが、本発明の適用できる表示装置はこれに限定されない。
また、本発明の適用することができる表示装置には、表示パネルに作り込まれた薄膜トラ
ンジスタ(TFTともいう)の半導体層が結晶性半導体膜のものでもよいし、非晶質半導
体膜のものでもよい。結晶性半導体膜としては、例えば、ポリシリコン(p−Si)を用
いることができる。また、非晶質半導体膜としては、アモルファスシリコン(a−Si:
H)を用いることができる。さらに、微結晶シリコンと呼ばれるものを用いてもよい。ま
た、薄膜トランジスタの構造も、半導体層上にゲート電極が配置されているトップゲート
のものや、半導体層下にゲート電極が配置されているボトムゲートのものを用いることが
できる。
まず、半導体層に結晶性半導体膜を適用した場合において、トップゲート構造のトランジ
スタを有する表示パネルの接続端子部と画素部の断面を図52に示す。
基板5201上に下地膜5202を有している。基板5201としてはガラス基板、石英
基板、プラスチック基板、セラミックス基板等の絶縁性基板、金属基板、半導体基板等を
用いることができる。
下地膜5202はCVD法やスパッタ法により形成することができる。例えばSiH
O、NHを原料に用いたCVD法により形成した酸化珪素膜、窒化珪素膜、酸化窒
化珪素膜等を適用することができる。また、これらの積層を用いても良い。なお、下地膜
5202は基板5201から不純物が半導体層に拡散することを防ぐために設けるもので
あり、基板5201にガラス基板や石英基板を用いている場合には下地膜5202は設け
なくてもよい。
下地膜5202上に島状の半導体層を有する。半導体層にはチャネルが形成されるチャネ
ル形成領域5203、ソース領域又はドレイン領域となる不純物領域5204が形成され
ている。そして、チャネル形成領域5203上にゲート絶縁膜5205を介してゲート電
極5206を有している。
ゲート絶縁膜5205としてはCVD法やスパッタ法により形成される酸化珪素膜、窒化
珪素膜、酸化窒化珪素膜等を用いることができる。また、ゲート電極5206としてはア
ルミニウム(Al)膜、銅(Cu)膜、アルミニウム又は銅を主成分とする薄膜、クロム
(Cr)膜、タンタル(Ta)膜、窒化タンタル(TaN)膜、チタン(Ti)膜、タン
グステン(W)膜、モリブデン(Mo)膜等を用いることができる。
なお、ゲート電極5206の脇にはサイドウォールが形成されていてもよい。ゲート電極
5206を覆うようにシリコン化合物、例えば、酸化シリコン膜、窒化シリコン膜若しく
は酸化窒化シリコン膜を形成した後、エッチバックしてサイドウォールを形成することが
できる。
ゲート電極5206、およびゲート絶縁膜5205上には第1の層間絶縁膜5207を有
している。第1の層間絶縁膜5207は下層に無機絶縁膜、上層に樹脂膜を有していても
よい。無機絶縁膜としては、窒化珪素膜、酸化珪素膜、酸化窒化珪素膜又はこれらを積層
した膜を用いることができる。樹脂膜としては、ポリイミド、ポリアミド、アクリル、ポ
リイミドアミド、エポキシなどを用いることができる。
また、第1の層間絶縁膜5207上には、配線5208を有し、配線5208はコンタク
トホールを介して不純物領域5204と電気的に接続されている。第1の配線5208と
しては、チタン(Ti)膜やアルミニウム(Al)膜や銅(Cu)膜やTiを含むアルミ
ニウム膜などを用いることができる。より好ましくは、配線5208は、三層構造とし、
下層にチタン(Ti)膜、その上にアルミニウム(Al)膜、さらにその上にチタン(T
i)膜という構造とする。こうすることにより、配線抵抗及び、不純物領域5204との
接触抵抗も低くすることができる。
配線5208および第1の層間絶縁膜5207上に第2の層間絶縁膜5209を有する。
第2の層間絶縁膜5209としては、無機絶縁膜や、樹脂膜、又はこれらの積層を用いる
ことができる。無機絶縁膜としては、窒化珪素膜、酸化珪素膜、酸化窒化珪素膜又はこれ
らを積層した膜を用いることができる。樹脂膜としては、ポリイミド、ポリアミド、アク
リル、ポリイミドアミド、エポキシなどを用いることができる。なお、より好ましくは、
平坦化するため樹脂膜を用いるとよい。
第2の層間絶縁膜5209上には画素電極5210を有している。画素電極5210に用
いる材料としては、仕事関数の大きい材料を用いることが望ましい。そして、基板520
1側から光を取り出す下面射出を採用する場合には、画素電極5210には透明導電膜を
用いる。若しくは透明導電膜と、光が透過するぐらい薄い金属膜とを積層して用いること
ができる。また、基板5201とは反対側から光を取り出す上面射出を採用する場合には
、画素電極5210は光が反射する金属膜を用いるとよい。
例えば、透明導電膜の材料として、酸化インジウムに酸化スズが添加された酸化インジウ
ムスズ(ITO)、酸化インジウム亜鉛(IZO)、酸化スズカドミウム(CTO)、酸
化亜鉛(ZnO)、酸化スズ(TO)などの材料を用いることができる。ITOを用いる
ことにより、低抵抗な画素電極5210を形成することができる。また、IZOを用いる
ことにより、均一な膜を形成することができ、緻密な加工をすることが可能となる。
例えば、反射性を有する金属膜として、窒化チタン(TiN)膜、クロム(Cr)膜、タ
ングステン(W)膜、亜鉛(Zn)膜、プラチナ(Pt)膜などの単層膜の他、窒化チタ
ンとアルミニウムを主成分とする膜との積層、窒化チタン膜とアルミニウムを主成分とす
る膜と窒化チタン膜との3層構造等を用いることができる。なお、積層構造とすると、配
線としての抵抗も低く、良好なオーミックコンタクトがとれ、さらに陽極として機能させ
ることができる。光を反射する金属膜を用いることで光を透過させない陽極を形成するこ
とができる。
また、画素電極5210の端部を覆うように絶縁物5211を有する。例えば、絶縁物5
211としては、ポジ型の感光性アクリル樹脂膜を用いることができる。
また、画素電極5210上に有機化合物を含む層5212が形成されている。また、有機
化合物を含む層5212上に対向電極5213を有している。
対向電極5213に用いる材料としては、仕事関数の小さい材料を用いることが望ましい
。例えば、アルミニウム(Al)、銀(Ag)、リチウム(Li)、カルシウム(Ca)
、若しくはこれらの合金又は、MgAg、MgIn、AlLi、CaF、若しくはCa
などの金属薄膜を用いることができる。
下面射出を採用する場合には、アルミニウム(Al)、銀(Ag)、リチウム(Li)、
カルシウム(Ca)、若しくはこれらの合金又は、MgAg、MgIn、AlLi、Ca
、若しくはCaなどの金属薄膜などを用いて光が反射する程度の膜厚にする。
また、上面射出を採用する場合には、上述した金属薄膜を光が透過する程度の膜厚にして
用いるか、若しくは、光が透過する程度の膜厚の上記金属薄膜と、透明導電膜とを組み合
わせて用いてもよい。こうして、光を透過させることが可能な対向電極5213を形成す
ることができる。
対向電極5213と画素電極5210とにより有機化合物を含む層5212が挟まれた領
域では発光素子5215が形成されている。
また、ゲート電極5206と、ソース領域若しくはドレイン領域となる不純物領域520
4と、チャネル形成領域5203とを有するトランジスタ5214が形成されている。
続いて、接続端子部の構造について説明する。なお、図52(A)に示す接続端子部の断
面図は接続端子の線幅方向の断面を示している。
接続端子部においても、基板5201上に下地膜5202、さらにその上にゲート絶縁膜
5205を有している。しかし、接続端子部においては、下地膜5202及びゲート絶縁
膜5205は有していなくてもよい。
さらに、ゲート絶縁膜5205上には、第1の電極5221、第1の電極5223、第1
の電極5225を有し、さらに第1の電極5221の上には第2の電極5222、第1の
電極5223の上には第2の電極5224、第1の電極5225の上には第2の電極52
26を有している。
そして、第1の電極5221、第1の電極5223及び第1の電極5225並びに、第2
の電極5222、第2の電極5224及び第2の電極5226は第1の層間絶縁膜520
7と第2の層間絶縁膜5209により構成される隔壁により電気的に絶縁されている。
なお、第1の電極5221、第1の電極5223及び第1の電極5225は、ゲート電極
5206と同じ材料で形成されている。また、第2の電極5222、第2の電極5224
及び第2の電極5226は配線5208と同じ材料で形成されている。そして、より好ま
しくは、第2の電極5222、第2の電極5224及び第2の電極5226は三層構造と
し、チタン膜の上にアルミニウム膜、さらにその上にチタン膜とするとよい。
そして、第1の電極5221と第2の電極5222とにより基準接続端子5227を構成
している。また、第1の電極5223と第2の電極5224とにより複合接続端子522
8を構成している。また、第1の電極5225と第2の電極5226とにより基準接続端
子5229を構成している。そして、図52(A)のような構成の場合には、第2の電極
5222及び第2の電極5226が基準接続パッドに相当し、第2の電極5224が複合
接続パッドに相当する。
なお、図52(A)の構成において、第2の電極5222上に第3の電極5231、第2
の電極5224上に第3の電極5232、第2の電極5226上に第3の電極5233を
有する図52(B)のような構成でもよい。つまり、第1の電極5221と第2の電極5
222と第3の電極5231とにより基準接続端子5234を構成し、第1の電極522
3と第2の電極5224と第3の電極5232とにより複合接続端子5235を構成し、
第1の電極5225と第2の電極5226と第3の電極5233とにより基準接続端子5
236を構成している。そして、図52(B)のような構成の場合には、第3の電極52
31及び第3の電極5232が基準接続パッドに相当し、第3の電極5233が複合接続
パッドに相当する。
なお、第3の電極5231、第3の電極5232及び第3の電極5233は、画素電極5
210と同じ材料で形成されている。そして、より好ましくは、第3の電極5231、第
3の電極5232及び第3の電極5233は酸化インジウムに酸化スズが添加された酸化
インジウムスズ(ITO)、酸化インジウム亜鉛(IZO)、酸化スズカドミウム(CT
O)、酸化亜鉛(ZnO)、酸化スズ(TO)などの酸化物の電極とするとよい。これら
の酸化物の電極は化学的安定性に優れているため電極を保護することができる。
また、図52(A)の構成において、第1の電極5222下に半導体膜5311、第1の
電極5223下に半導体膜5312、第1の電極5225下に半導体膜5313を有する
図53(B)のような構成でもよい。つまり、第1の電極5221と第2の電極5222
と半導体膜5311とにより基準接続端子5314を構成し、第1の電極5223と第2
の電極5224と半導体膜5312とにより複合接続端子5315を構成し、第1の電極
5225と第2の電極5226と半導体膜5313とにより基準接続端子5316を構成
している。
また、接続端子部は図53(A)のような構成でもよい。つまり、第1の層間絶縁膜52
07上に第1の電極5301、第1の電極5303、第1の電極5305を有し、さらに
第1の電極5301の上には第2の電極5302、第1の電極5303の上には第2の電
極5304、第1の電極5305の上には第2の電極5306を有している。
そして、第1の電極5301、第1の電極5303及び第1の電極5305並びに、第2
の電極5302、第2の電極5304及び第2の電極5306は第2の層間絶縁膜520
9により構成される隔壁により電気的に絶縁されている。
なお、第1の電極5301、第1の電極5303及び第1の電極5305は、配線520
8と同じ材料で形成されている。また、第2の電極5302、第2の電極5304及び第
2の電極5306は画素電極5210と同じ材料で形成されている。そして、より好まし
くは、第2の電極5302、第2の電極5304及び第2の電極5306は酸化インジウ
ムに酸化スズが添加された酸化インジウムスズ(ITO)、酸化インジウム亜鉛(IZO
)、酸化スズカドミウム(CTO)、酸化亜鉛(ZnO)、酸化スズ(TO)などの酸化
物の電極とするとよい。これらの酸化物の電極は化学的安定性に優れているため電極を保
護することができる。
そして、第1の電極5301と第2の電極5302とにより基準接続端子5307を構成
している。また、第1の電極5303と第2の電極5304とにより複合接続端子530
8を構成している。また、第1の電極5305と第2の電極5306とにより基準接続端
子5309を構成している。そして、図53(A)のような構成の場合には、第2の電極
5302及び第2の電極5306が基準接続パッドに相当し、第2の電極5304が複合
接続パッドに相当する。
また、第2の層間絶縁膜5209はなくてもよい。まず、画素部の断面について図54(
A)を用いて説明する。第1の層間絶縁膜5207上に配線5208を有するところまで
は図52(A)と同様である。
また、画素電極5401の端部を覆うように絶縁物5402を有する。例えば、絶縁物5
402としては、ポジ型の感光性アクリル樹脂膜を用いることができる。
また、画素電極5401上に有機化合物を含む層5403が形成されている。また、有機
化合物を含む層5403上に対向電極5404を有している。
続いて、接続端子部の構造について説明する。なお、図54(A)に示す接続端子部の断
面図は接続端子の線幅方向の断面を示している。
接続端子部においても、基板5201上に下地膜5202、さらにその上にゲート絶縁膜
5205を有している。しかし、接続端子部においては、下地膜5202及びゲート絶縁
膜5205は有していなくてもよい。
さらに、ゲート絶縁膜5205上には、第1の電極5411、第1の電極5413、第1
の電極5415を有し、さらに第1の電極5411の上には第2の電極5412、第1の
電極5413の上には第2の電極5414、第1の電極5415の上には第2の電極54
16を有している。
そして、第1の電極5411、第1の電極5413及び第1の電極5415並びに、第2
の電極5412、第2の電極5414及び第2の電極5416は第1の層間絶縁膜520
7により電気的に絶縁されている。
なお、第1の電極5411、第1の電極5413及び第1の電極5415は、ゲート電極
5206と同じ材料で形成されている。また、第2の電極5412、第2の電極5414
及び第2の電極5416は配線5208と同じ材料で形成されている。そして、より好ま
しくは、第2の電極5412、第2の電極5414及び第2の電極5416は三層構造と
し、チタン膜の上にアルミニウム膜、さらにその上にチタン膜とするとよい。
そして、第1の電極5411と第2の電極5412とにより基準接続端子5421を構成
している。また、第1の電極5413と第2の電極5414とにより複合接続端子542
2を構成している。また、第1の電極5415と第2の電極5416とにより基準接続端
子5423を構成している。そして、図54(A)のような構成の場合には、第2の電極
5412及び第2の電極5416が基準接続パッドに相当し、第2の電極5414が複合
接続パッドに相当する。
なお、図54(A)の構成において、第2の電極5412上に第3の電極5431、第2
の電極5414上に第3の電極5432、第2の電極5416上に第3の電極5433を
有する図54(B)のような構成でもよい。つまり、第1の電極5411と第2の電極5
412と第3の電極5431とにより基準接続端子5441を構成し、第1の電極541
3と第2の電極5414と第3の電極5432とにより複合接続端子5442を構成し、
第1の電極5415と第2の電極5416と第3の電極5433とにより基準接続端子5
443を構成している。そして、図54(B)のような構成の場合には、第3の電極54
31及び第3の電極5432が基準接続パッドに相当し、第3の電極5433が複合接続
パッドに相当する。
なお、第3の電極5431、第3の電極5432及び第3の電極5433は、画素電極5
401と同じ材料で形成されている。そして、より好ましくは、第3の電極5431、第
3の電極5432及び第3の電極5433は酸化インジウムに酸化スズが添加された酸化
インジウムスズ(ITO)、酸化インジウム亜鉛(IZO)、酸化スズカドミウム(CT
O)、酸化亜鉛(ZnO)、酸化スズ(TO)などの酸化物の電極とするとよい。これら
の酸化物の電極は化学的安定性に優れているため電極を保護することができる。
また、接続端子部は図55(A)のような構成でもよい。つまり、第1の層間絶縁膜52
07上に第1の電極5501、第1の電極5503、第1の電極5505を有し、さらに
第1の電極5501の上には第2の電極5502、第1の電極5503の上には第2の電
極5504、第1の電極5505の上には第2の電極5506を有している。
そして、第1の電極5501、第1の電極5503及び第1の電極5505並びに、第2
の電極5502、第2の電極5504及び第2の電極5506は絶縁物5402により電
気的に絶縁されている。
なお、第1の電極5501、第1の電極5503及び第1の電極5505は、配線520
8と同じ材料で形成されている。また、第2の電極5502、第2の電極5504及び第
2の電極5506は画素電極5401と同じ材料で形成されている。そして、より好まし
くは、第2の電極5502、第2の電極5504及び第2の電極5506は酸化インジウ
ムに酸化スズが添加された酸化インジウムスズ(ITO)、酸化インジウム亜鉛(IZO
)、酸化スズカドミウム(CTO)、酸化亜鉛(ZnO)、酸化スズ(TO)などの酸化
物の電極とするとよい。これらの酸化物の電極は化学的安定性に優れているため電極を保
護することができる。
そして、第1の電極5501と第2の電極5502とにより基準接続端子5511を構成
している。また、第1の電極5503と第2の電極5504とにより複合接続端子551
2を構成している。また、第1の電極5505と第2の電極5506とにより基準接続端
子5513を構成している。そして、図55(A)のような構成の場合には、第2の電極
5502及び第2の電極5506が基準接続パッドに相当し、第2の電極5504が複合
接続パッドに相当する。
また、図55(B)の構成のように、図55(A)の構成において第2の電極5502、
第2の電極5504、第2の電極5506を設けない構成としてもよい。つまり、第1の
電極5501により基準接続端子、5521を構成している。また、第1の電極5503
により複合接続端子、5522を構成している。また、第1の電極5505により基準接
続端子、5523を構成している。そして、図55(B)のような構成の場合には、第1
の電極5501及び第1の電極5505が基準接続パッドに相当し、第1の電極5503
が複合接続パッドに相当する。
また、半導体層にポリシリコン(p−Si)を用いたトランジスタの構成として、基板と
半導体層の間にゲート電極が挟まれた構造、つまり、半導体層の下にゲート電極が位置す
るボトムゲートのトランジスタ5653を適用した表示パネルの部分断面を図56に示す
基板5601上に下地膜5602が形成されている。さらに下地膜5602上にゲート
電極5603が形成されている。ゲート電極5603の材料には金属膜、又はリンが添加
された多結晶シリコンを用いることができる。多結晶シリコンの他に、金属とシリコンの
化合物であるシリサイドでもよい。
また、ゲート電極5603を覆うようにゲート絶縁膜5604が形成されている。ゲート
絶縁膜5604としては酸化珪素膜や窒化珪素膜などが用いられる。
また、ゲート絶縁膜5604上に、半導体膜が形成されている。半導体膜は、チャネル
形成領域5606及び不純物領域5605を有する。なお、チャネル形成領域5606は
チャネルドープが行われていても良い。
基板はガラス基板、石英基板、セラミック基板などを用いることができる。また、下地膜
5602としては、窒化アルミニウム(AlN)や酸化珪素(SiO)、酸化窒化珪素
(SiO)などの単層やこれらの積層を用いることができる。
半導体膜を覆って第1の層間絶縁膜5600が形成され、第1の層間絶縁膜5600上に
コンタクトホールを介して配線5607が不純物領域5605と接している。
また、第1の層間絶縁膜5600には開口部5608が形成されている。
第1の層間絶縁膜5600、配線5607及び開口部5608を覆うように第2の層間絶
縁膜5609が形成され、第2の層間絶縁膜5609上にコンタクトホールを介して、画
素電極5610が形成されている。また、画素電極5610の端部を覆って絶縁物561
1が形成されている。例えば、ポジ型の感光性アクリル樹脂膜を用いることができる。そ
して、画素電極5610上に有機化合物を含む層5612及び対向電極5613が形成さ
れ、画素電極5610と対向電極5613とで有機化合物を含む層5612が挟まれた領
域では発光素子5614が形成されている。そして、発光素子5614の下部に開口部5
608が位置している。つまり、発光素子5614からの発光を基板側から取り出すとき
には開口部5608を有するため透過率を高めることができる。
続いて、接続端子部の構造について説明する。なお、図56(A)に示す接続端子部の断
面図は接続端子の線幅方向の断面を示している。
接続端子部においても、基板5601上に下地膜5602、さらにその上にゲート絶縁膜
5604を有している。しかし、接続端子部においては、下地膜5602及びゲート絶縁
膜5604は有していなくてもよい。
さらに、ゲート絶縁膜5604上には、半導体膜5615、半導体膜5617、半導体膜
5619を有し、さらに半導体膜5615の上には第1の導電膜5616、半導体膜56
17の上には第1の導電膜5618、半導体膜5619の上には第1の導電膜5620を
有している。
そして、半導体膜5615、半導体膜5617及び半導体膜5619並びに、第1の導電
膜5616、第1の導電膜5618及び第1の導電膜5620は第1の層間絶縁膜560
0と第2の層間絶縁膜5609とにより構成される隔壁により電気的に絶縁されている。
なお、半導体膜5615、半導体膜5617及び半導体膜5619は、トランジスタの半
導体層と同じ材料で形成されている。また、第1の導電膜5616、第1の導電膜561
8及び第1の導電膜5620は配線5607と同じ材料で形成されている。
そして、半導体膜5615と第1の導電膜5616とにより基準接続端子5621を構成
している。また、半導体膜5617と第1の導電膜5618とにより複合接続端子562
2を構成している。また、半導体膜5619と第1の導電膜5620とにより基準接続端
子5623を構成している。そして、図56(A)のような構成の場合には、第1の導電
膜5616及び第1の導電膜5620が基準接続パッドに相当し、第1の導電膜5618
が複合接続パッドに相当する。
なお、図56(A)の構成において、第1の導電膜5616上に第2の導電膜5631、
第1の導電膜5618上に第2の導電膜5632、第1の導電膜5620上に第2の導電
膜5633を有する図56(B)のような構成でもよい。つまり、半導体膜5615と第
1の導電膜5616と第2の導電膜5631とにより基準接続端子5641を構成し、半
導体膜5617と第1の導電膜5618と第2の導電膜5632とにより複合接続端子5
642を構成し、半導体膜5619と第1の導電膜5620と第2の導電膜5633とに
より基準接続端子5643を構成している。そして、図56(B)のような構成の場合に
は、第2の導電膜5631及び第2の導電膜5632が基準接続パッドに相当し、第2の
導電膜5633が複合接続パッドに相当する。
なお、第2の導電膜5631、第2の導電膜5632及び第2の導電膜5633は、画素
電極5610と同じ材料で形成されている。そして、より好ましくは、第2の導電膜56
31、第2の導電膜5632及び第2の導電膜5633は酸化インジウムに酸化スズが添
加された酸化インジウムスズ(ITO)、酸化インジウム亜鉛(IZO)、酸化スズカド
ミウム(CTO)、酸化亜鉛(ZnO)、酸化スズ(TO)などの酸化物の電極とすると
よい。これらの酸化物の電極は化学的安定性に優れているため電極を保護することができ
る。
また、図57(B)の構成のように、図56(B)の構成において半導体膜5615、半
導体膜5617、半導体膜5619を設けない構成としてもよい。つまり、第1の導電膜
5616及び第2の導電膜5631により基準接続端子5711を構成している。また、
第1の導電膜5618及び第2の導電膜5632により複合接続端子5712を構成して
いる。また、第1の導電膜5620及び第2の導電膜5633により基準接続端子571
3を構成している。そして、図57(B)のような構成の場合には、第2の導電膜563
1及び第2の導電膜5633が基準接続パッドに相当し、第2の導電膜5632が複合接
続パッドに相当する。
また、接続端子部は図57(A)のような構成でもよい。つまり、第1の層間絶縁膜56
00上に第1の導電膜5701、第1の導電膜5703、第1の導電膜5705を有し、
さらに第1の導電膜5701の上には第2の導電膜5702、第1の導電膜5703の上
には第2の導電膜5704、第1の導電膜5705の上には第2の導電膜5706を有し
ている。
そして、第1の導電膜5701、第1の導電膜5703及び第1の導電膜5705並びに
、第2の導電膜5702、第2の導電膜5704及び第2の導電膜5706は第2の層間
絶縁膜5609により構成される隔壁により電気的に絶縁されている。
なお、第1の導電膜5701、第1の導電膜5703及び第1の導電膜5705は、配線
5607と同じ材料で形成されている。また、第2の導電膜5702、第2の導電膜57
04及び第2の導電膜5706は画素電極5610と同じ材料で形成されている。そして
、より好ましくは、第2の導電膜5702、第2の導電膜5704及び第2の導電膜57
06は酸化インジウムに酸化スズが添加された酸化インジウムスズ(ITO)、酸化イン
ジウム亜鉛(IZO)、酸化スズカドミウム(CTO)、酸化亜鉛(ZnO)、酸化スズ
(TO)などの酸化物の電極とするとよい。これらの酸化物の電極は化学的安定性に優れ
ているため電極を保護することができる。
そして、第1の導電膜5701と第2の導電膜5702とにより基準接続端子5707を
構成している。また、第1の導電膜5703と第2の導電膜5704とにより複合接続端
子5708を構成している。また、第1の導電膜5705と第2の導電膜5706とによ
り基準接続端子5709を構成している。そして、図57(A)のような構成の場合には
、第2の導電膜5702及び第2の導電膜5706が基準接続パッドに相当し、第2の導
電膜5704が複合接続パッドに相当する。
次に、トランジスタの半導体層にアモルファスシリコン(a−Si:H)膜を用いた場合
について説明する。
アモルファスシリコンを半導体層に用いたトップゲート構造のトランジスタの断面を図5
8(A)に示すように、基板5801上に下地膜5802が形成されている。さらに下地
膜5802上に画素電極5803が形成されている。
基板はガラス基板、石英基板、セラミック基板などを用いることができる。また、下地膜
5802としては、窒化アルミニウム(AlN)や酸化珪素(SiO)、酸化窒化珪素
(SiO)などの単層やこれらの積層を用いることができる。
また、下地膜5802上に配線5804が形成され、画素電極5803の端部が配線58
04で覆われている。配線5804の上部にN型の導電型を有するN型半導体層5806
が形成されている。また、N型半導体層5806及び下地膜5802上に半導体層580
5が形成されている。なお、この半導体層はアモルファスシリコン(a−Si:H)、微
結晶半導体(μ−Si:H)等の非結晶性を有する半導体膜で形成されている。また、半
導体層5805上にゲート絶縁膜5807が形成されている。なお、ゲート絶縁膜580
7としては酸化珪素膜や窒化珪素膜などが用いられる。
また、ゲート絶縁膜5807上に、ゲート電極5808が形成されている。また、画素
電極5803の端部、トランジスタ5812を覆い、絶縁物5809が形成されている。
絶縁物5809及びその開口部に位置する画素電極5803上に有機化合物を含む層58
10及び対向電極5811が形成され、画素電極5803と対向電極5811とで有機化
合物を含む層5810が挟まれた領域では発光素子5813が形成されている。
続いて、接続端子部の構造について説明する。なお、図58(A)に示す接続端子部の断
面図は接続端子の線幅方向の断面を示している。
接続端子部においても、基板5801上に下地膜5802を有している。しかし、接続端
子部においては、下地膜5802は有していなくてもよい。
さらに、下地膜5802上には、第1の導電膜5814、第1の導電膜5816、第1の
導電膜5818を有し、さらに第1の導電膜5814上には第2の導電膜5815、第1
の導電膜5816上には第2の導電膜5817、第1の導電膜5818上には第2の導電
膜5819を有している。
そして、第1の導電膜5814、第1の導電膜5816及び第1の導電膜5818並びに
、第2の導電膜5815、第2の導電膜5817及び第2の導電膜5819は絶縁物58
09により電気的に絶縁されている。
なお、第1の導電膜5814、第1の導電膜5816及び第1の導電膜5818は配線5
804と同じ材料で形成されている。また、第2の導電膜5815、第2の導電膜581
7及び第2の導電膜5819はゲート電極5808と同じ材料で形成されている。
そして、第1の導電膜5814と第2の導電膜5815とにより基準接続端子5820を
構成している。また、第1の導電膜5816と第2の導電膜5817とにより複合接続端
子5821を構成している。また、第1の導電膜5818と第2の導電膜5819とによ
り基準接続端子5822を構成している。そして、図58(A)のような構成の場合には
、第2の導電膜5815及び第2の導電膜5819が基準接続パッドに相当し、第2の導
電膜5817が複合接続パッドに相当する。
また、図58(A)の構成において、第1の導電膜5814下に第3の導電膜5823、
第1の導電膜5816下に第3の導電膜5824、第1の導電膜5818下に第3の導電
膜5825を有する図58(B)のような構成でもよい。つまり、第1の導電膜5814
と第2の導電膜5815と第3の導電膜5823とにより基準接続端子5820を構成し
、第1の導電膜5816と第2の導電膜5817と第3の導電膜5824とにより複合接
続端子5821を構成し、第1の導電膜5818と第2の導電膜5819と第3の導電膜
5825とにより基準接続端子5822を構成している。
また、アモルファスシリコンを半導体層に用いたボトムゲート構造のトランジスタを用い
た表示パネルの部分断面を図59に示す。
基板5901上に下地膜5902が形成されている。さらに下地膜5902上にゲート
電極5903が形成されている。ゲート電極5903の材料にはリンが添加された多結晶
シリコンを用いることができる。多結晶シリコンの他に、金属とシリコンの化合物である
シリサイドでもよい。
また、ゲート電極5903を覆うようにゲート絶縁膜5904が形成されている。ゲート
絶縁膜5904としては酸化珪素膜や窒化珪素膜などが用いられる。
また、ゲート絶縁膜5904上に、半導体層5905が形成されている。
基板はガラス基板、石英基板、セラミック基板などを用いることができる。また、下地膜
5902としては、窒化アルミニウム(AlN)や酸化珪素(SiO)、酸化窒化珪素
(SiO)などの単層やこれらの積層を用いることができる。
半導体層5905上にはN型の導電性を有するN型半導体層5906が形成されている。
N型半導体層5906上には配線5907が形成されている。
また、配線5907の一方の端部は延在し、その延在した配線5907上部に接して画素
電極5908が形成されている。
また、画素電極5908の端部、トランジスタ5912を覆うように絶縁物5909が形
成されている。
画素電極5908及び絶縁物5909上には有機化合物を含む層5910及び対向電極5
911形成され、画素電極5908と対向電極5911とで有機化合物を含む層5910
が挟まれた領域では発光素子5913が形成されている。
続いて、接続端子部の構造について説明する。なお、図59(A)に示す接続端子部の断
面図は接続端子の線幅方向の断面を示している。
接続端子部においても、基板5901上に下地膜5902を有している。しかし、接続端
子部においては、下地膜5902は有していなくてもよい。
さらに、下地膜5902上には、第1の導電膜5914、第1の導電膜5915、第1の
導電膜5916を有している。
そして、第1の導電膜5914、第1の導電膜5915及び第1の導電膜5916は絶縁
物5909により電気的に絶縁されている。
なお、第1の導電膜5914、第1の導電膜5915及び第1の導電膜5916は配線5
907と同じ材料で形成されている。
そして、第1の導電膜5914により基準接続端子5917を構成している。また、第1
の導電膜5915により複合接続端子5918を構成している。また、第1の導電膜59
16により基準接続端子5919を構成している。そして、図59(A)のような構成の
場合には、第1の導電膜5914及び第1の導電膜5916が基準接続パッドに相当し、
第1の導電膜5915が複合接続パッドに相当する。
また、図59(A)の構成において、第1の導電膜5914上に第2の導電膜5920、
第1の導電膜5915上に第2の導電膜5921、第1の導電膜5916上に第2の導電
膜5922を有する図59(B)のような構成でもよい。つまり、第1の導電膜5914
と第2の導電膜5920とにより基準接続端子5923を構成し、第1の導電膜5915
と第2の導電膜5921とにより複合接続端子5924を構成し、第1の導電膜5916
と第2の導電膜5922とにより基準接続端子5925を構成している。
なお、図59(A)、(B)では、逆スタガ型のチャネルエッチ構造のトランジスタにつ
いて示したが、もちろんチャネル保護構造のトランジスタでも良い。なお、チャネル保護
構造のトランジスタの場合について、図60(A)、(B)を用いて説明する。
図60(A)、(B)に示すチャネル保護型構造のトランジスタ6002は、図59(A
)、(B)に示したチャネルエッチ構造のトランジスタ5912と、半導体層5905の
チャネルが形成される領域上にエッチングのマスクとなる絶縁物6001が設けられてい
る点が異なり、他の共通しているところは共通の符号を用いている。
本発明の画素を構成するトランジスタの半導体層(チャネル形成領域やソース領域やドレ
イン領域など)に非晶質半導体膜を用いることで、製造コストを削減することができる。
なお、本発明の適用できる表示パネルは上述したものに限られるものではない。
(実施の形態7)
本実施の形態においては、実施の形態1とは異なる複合接続端子の構成について説明する
まず、本実施の形態の第1の構成について図39(A)、(B)を用いて説明する。接続
パッド3901aと、複数の接続パッド3902と、接続パッド3901bが等しい間隔
で基板101上の接続端子部に配置されている。そしてこれらの接続パッドの線幅もほぼ
等しくなっている。
また、接続パッド3902の下層には、絶縁膜を介して電極3903を有している。この
電極3903は、接続パッド3901aから接続パッド3901bにわたって形成されて
いる。そして、接続パッド3901aと電極3903はコンタクトホール3904aを介
して電気的に接続され、接続パッド3901bと電極3903はコンタクトホール390
4bを介して電気的に接続されている。こうして、接続パッド3901aと接続パッド3
901bとが電気的に接続されている。そして、この接続パッド3901aと接続パッド
3901bと電極3903により複合接続端子が構成されている。そして、この複合接続
端子がFPC端子と接続される箇所は接続パッド3901aと接続パッド3901bであ
る。
なお、図39では、接続端子部の両端の接続パッドが電気的に接続され、これらにより複
合接続端子を構成しているが、これに限定されない。つまり、接続端子部の任意の接続パ
ッド同士を電気的に接続することにより、複合接続端子を構成することができる。よって
、電気的に接続する接続パッドは2つに限らず、3つや4つ又はそれ以上であってもよい
。数を増やすことにより、FPCパッドとの接続面積をより大きくすることができるため
接触抵抗を低くすることができる。
また、本構成によれば、接続端子部の下層において、それぞれの接続パッドが電気的に接
続されるため、シール領域901で囲まれた内部で配線を引き回すことなく、離れた接続
パッド間の接続が可能となる。
なお、本構成は実施の形態2で示した様々な構成の接続端子部の構成と組み合わせること
ができる。一例を図61に示す。
図61では、複合接続パッド6101aと複合接続パッド6101bと複合接続パッド6
102と、基準接続パッド6103が等しい間隔で基板101上の接続端子部に配置され
ている。
また、複合接続パッド6101a及び複合接続パッド6101bの下層には、絶縁膜を介
して電極6104を有している。この電極6104は、複合接続パッド6101aから複
合接続パッド6101bにわたって形成されている。そして、複合接続パッド6101a
と電極6104はコンタクトホール6105aを介して電気的に接続され、複合接続パッ
ド6101bと電極6104はコンタクトホール6105bを介して電気的に接続されて
いる。こうして、複合接続パッド6101aと複合接続パッド6101bとが電気的に接
続されている。そして、この複合接続パッド6101aと複合接続パッド6101bと電
極6104により複合接続端子が構成されている。そして、この複合接続端子がFPC端
子と接続される箇所は複合接続パッド6101aと複合接続パッド6101bである。
なお、この場合には、コンタクトホール6105aの幅を基準接続パッド6103の線幅
よりも大きくすることができるので、接触抵抗を小さくすることができる。
なお、図61では、接続端子部の両端の複合接続パッドが電気的に接続され、これらによ
り複合接続端子を構成しているが、これに限定されない。つまり、接続端子部の任意の接
続パッド同士を電気的に接続することにより、複合接続端子を構成することができる。よ
って、電気的に接続する接続パッドは2つに限らず、3つや4つ又はそれ以上であっても
よい。数を増やすことにより、FPCパッドとの接続面積をより大きくすることができる
ため接触抵抗を低くすることができる。
また、複合接続パッド同士を接続しているが、複合接続パッドと基準接続パッドと電気的
に接続して複合接続端子を構成してもよい。
また、本構成によれば、接続端子部の下層において、それぞれの接続パッドが接続される
ため、シール領域901で囲まれた内部で配線を引き回すことなく、離れた接続パッド間
の接続が可能となる。
次に、本実施の形態の第2の構成について図37を用いて説明する。接続パッド3701
aと、複数の接続パッド3702と、接続パッド3701bが等しい間隔で基板101上
の接続端子部に配置されている。そしてこれらの接続パッドの線幅もほぼ等しくなってい
る。
また、接続パッド3701a及び接続パッド3701bは、接続端子部において基板10
1の縁側に形成された配線3703により接続されている。なお、配線3703は接続パ
ッド3701a及び接続パッド3701bと一続きの導電膜で形成されているため、コン
タクトホールを介さずに配線3703と接続パッド3701aと接続パッド3701bと
は電気的に接続されている。よって、この接続パッド3701aと接続パッド3701b
と配線3703により複合接続端子が構成されている。そして、この複合接続端子がFP
C端子と接続される箇所は接続パッド3701aと接続パッド3701bである。
なお、図37では、接続端子部の両端の接続パッドが電気的に接続され、これらにより複
合接続端子を構成しているが、これに限定されない。つまり、接続端子部の任意の接続パ
ッド同士を電気的に接続することにより、複合接続端子を構成することができる。よって
、電気的に接続する接続パッドは2つに限らず、3つや4つ又はそれ以上であってもよい
。数を増やすことにより、FPCパッドとの接続面積をより大きくすることができるため
接触抵抗を低くすることができる。
また、本構成によれば、コンタクトホールを介さずに、それぞれの接続パッドが接続され
るため、接触抵抗の増加を招くことなく離れた接続パッド間の接続が可能となる。よって
低抵抗化を図ることができる。
なお、本構成は実施の形態2で示した様々な構成の接続端子部の構成と組み合わせること
ができる。一例を図38に示す。
図38では、複合接続パッド3801aと複合接続パッド3801bと複合接続パッド3
802と、基準接続パッド3803が等しい間隔で基板101上の接続端子部に配置され
ている。
また、複合接続パッド3801a及び複合接続パッド3801bは、接続端子部において
基板101の縁側に形成された配線3804により接続されている。なお、配線3804
は複合接続パッド3801a及び複合接続パッド3801bと一続きの導電膜で形成され
ているため、コンタクトホールを介さずに配線3804と複合接続パッド3801aと複
合接続パッド3801bとは電気的に接続されている。よって、この複合接続パッド38
01aと複合接続パッド3801bと配線3804により複合接続端子が構成されている
。そして、この複合接続端子がFPC端子と接続される箇所は複合接続パッド3801a
と複合接続パッド3801bである。
なお、図38では、接続端子部の両端の複合接続パッドが電気的に接続され、これらによ
り複合接続端子を構成しているが、これに限定されない。つまり、接続端子部の任意の複
合接続パッド同士を電気的に接続することにより、複合接続端子を構成することができる
。よって、電気的に接続する接続パッドは2つに限らず、3つや4つ又はそれ以上であっ
てもよい。また、複合接続パッドと基準接続パッドを基板の縁に設けた配線で電気的に接
続してもよい。なお、数を増やすことにより、FPCパッドとの接続面積をより大きくす
ることができるため接触抵抗を低くすることができる。
(実施の形態8)
本実施の形態においては、表示装置の表示不良をさらに改善することができる構成につい
て説明する。
本実施の形態おいては、周辺駆動回路(走査線駆動回路や信号線駆動回路など)内の電流
源回路や、その電流源回路と電流源とを接続する配線が、対向電極と重ならない構成とす
る。
まず、本実施の形態の第1の構成を図27に示す。なお、図13と共通するところは共通
の符号を用いて説明を省略する。図27の構成においては、信号線駆動回路104内にラ
ッチ回路2701とシフトレジスタ2702を有する。そして、ラッチ回路2701がシ
フトレジスタ2702と比較して、画素部106より離れた位置に配置されている。そし
て、表示パネルの面積有効利用のため、信号線駆動回路104と画素部106との間隔は
小さくしてある。よって、画素部106からはみ出した対向電極202がシフトレジスタ
2702と一部重なっている。しかし、電流源や電流源回路又はそれらを接続している配
線など、を有するラッチ回路2701は、対向電極202とは重なっていない。
このような構成にすることにより、表示パネルの面積を有効利用しつつ、配線と対向電極
202とにより形成される寄生容量影響で起こる表示不良を防止することができる。
なぜなら、ラッチ回路2701に入力されるビデオ信号を各段のラッチ回路に保持する時
間は、ラッチ回路2701から画素へビデオ信号を書き込む時間に比べ短い。そのため、
ビデオ信号に相当する信号電流が小さいと、寄生容量による影響が大きくなり、ラッチ回
路2701へ正常にビデオ信号の書き込みが行われなくなってしまうからである。
ここで、信号線駆動回路104の構成例を図42に示す。シフトレジスタ2702は、複
数のフリップフロップ4201とフリップフロップ4202で構成されている。そして、
シフトレジスタ2702には、クロック信号(CLK)とクロック反転信号(CLKB)
が入力されている。そして、シフトレジスタ2702の最初の段のフリップフロップ42
01にスタートパルス(S_SP)が入力される。すると、2段目のフリップフロップ4
202から出力されるパルスは、スタートパルスが1パルス分遅れる。つまり、フリップ
フロップ4201に入力されたパルスがフリップフロップ4202から出力される際に1
パルス分遅れるため、フリップフロップ4202からの出力は1パルス分づつ遅れて出力
される。これがビデオ信号(Video Data)の保持を行うタイミングをとるサン
プリングパルスとなる。
また、ラッチ回路2701は各信号線に対応して、それぞれ書き込み選択スイッチ420
3a、書き込み選択スイッチ4203b、サンプリングスイッチ4204a、サンプリン
グスイッチ4204b、電流源回路4205a、電流源回路4205b、読み出し選択ス
イッチ4206a及び読み出し選択スイッチ4206bを有している。
そして、書き込み選択スイッチ4203a又は書き込み選択スイッチ4203bの一方が
オンし、他方がオフしている。そして、書き込み選択スイッチ4203aがオンしている
ときには、書き込み選択スイッチ4203bはオフし、ビデオ信号の書き込みを行う電流
源回路として電流源回路4205aが選択されることになる。つまり、ラッチ回路270
1にサンプリングパルスが入力されるタイミングにしたがってサンプリングスイッチ42
04aがオンし、ビデオ信号に相当する電流が電流源回路4205aに書き込まれる。同
様に、書き込み選択スイッチ4203bがオンしているときには、書き込み選択スイッチ
4203aはオフし、ビデオ信号の書き込みを行う電流源回路として電流源回路4205
bが選択されることになる。つまり、ラッチ回路2701にサンプリングパルスが入力さ
れるタイミングにしたがってサンプリングスイッチ4204bがオンし、ビデオ信号に相
当する電流が電流源回路4205bに書き込まれる。
また、書き込み選択スイッチ4203aがオンしているときには、読み出し選択スイッチ
4206bがオンし、読み出し選択スイッチ4206aがオフする。そして、電流源回路
4205bに書き込まれたビデオ信号に相当する電流が信号線へ出力される。同様に、書
き込み選択スイッチ4203bがオンしているときには、読み出し選択スイッチ4206
aがオンし、読み出し選択スイッチ4206bがオフする。そして、電流源回路4205
aに書き込まれたビデオ信号に相当する電流が信号線へ出力される。
ここで、ビデオ信号(Video Data)が入力されているビデオ線4207が対向
電極と重なっていると、寄生容量が発生する。そして、ビデオ信号に相当する電流値が小
さいときには、寄生容量に電流が流れてしまい、電流源回路へのビデオ信号の書き込みは
十分に行われないことになる。すると表示不良を起こしてしまう。
しかし、本実施の形態の図27に示すような構成とすることにより、表示パネルの面積の
有効利用を図っても対向電極202がラッチ回路2701と重ならないため、表示不良を
防止することができる。
なお、電流源回路としては、図43(a)、(b)、(c)に示すような構成のいずれも
適用することができる。図43(a)の電流源回路はスイッチ4304とトランジスタ4
302と容量素子4303で構成される。そして、電流源4301によって、電流源回路
に書き込まれる。図43(b)の電流源回路はスイッチ4313とトランジスタ4311
と容量素子4312で構成される。そして、電流源4301によって、電流源回路に書き
込まれる。図43(c)の電流源回路はスイッチ4324とトランジスタ4321とトラ
ンジスタ4322と容量素子4323とスイッチ4325で構成される。そして、電流源
4301によって、電流源回路に書き込まれる。
次に、本実施の形態の第2の構成を図28に示す。なお、図14と共通するところは共通
の符号を用いてその説明を省略する。本構成においても、信号線駆動回路104内にラッ
チ回路2701とシフトレジスタ2702を有する。そして、ラッチ回路2701がシフ
トレジスタ2702と比較して、画素部106より離れた位置に配置されている。そして
、表示パネルの面積有効利用のため、信号線駆動回路104と画素部106との間隔は小
さくしてある。よって、画素部106からはみ出した対向電極202がシフトレジスタ2
702と一部重なっている。しかし、電流源や電流源回路又はそれらを接続している配線
など、を有するラッチ回路2701は、対向電極202とは重なっていない。
また、本構成においては、シフトレジスタ2702の中で配線1403と対向電極202
がコンタクトホール1404を介して接続されている。
次に、本実施の形態の第3の構成を図29に示す。なお、図15と共通するところは共通
の符号を用いてその説明を省略する。本構成においても、信号線駆動回路104内にラッ
チ回路2701とシフトレジスタ2702を有する。そして、ラッチ回路2701がシフ
トレジスタ2702と比較して、画素部106より離れた位置に配置されている。そして
、表示パネルの面積有効利用のため、信号線駆動回路104と画素部106との間隔は小
さくしてある。よって、画素部106からはみ出した対向電極202がシフトレジスタ2
702と一部重なっている。しかし、電流源や電流源回路又はそれらを接続している配線
など、を有するラッチ回路2701は、対向電極202とは重なっていない。
また、本構成においては、ラッチ回路2701が信号や電源の供給される接続端子部20
1とは画素部106を挟んで反対側に配置されているため、寄生容量の発生する原因とな
る配線がラッチ回路2701をまたぐことがない。よって、より、表示不良の防止を図る
ことが可能となる。
次に、本実施の形態の第4の構成を図30に示す。なお、図16と共通するところは共通
の符号を用いてその説明を省略する。本構成においても、信号線駆動回路104内にラッ
チ回路2701とシフトレジスタ2702を有する。そして、ラッチ回路2701がシフ
トレジスタ2702と比較して、画素部106より離れた位置に配置されている。そして
、表示パネルの面積有効利用のため、信号線駆動回路104と画素部106との間隔は小
さくしてある。よって、画素部106からはみ出した対向電極202がシフトレジスタ2
702と一部重なっている。しかし、電流源や電流源回路又はそれらを接続している配線
など、を有するラッチ回路2701は、対向電極202とは重なっていない。よって、表
示不良を防止することができる。
次に、本実施の形態の第5の構成を図31に示す。なお、図17と共通するところは共通
の符号を用いてその説明を省略する。本構成においても、信号線駆動回路104内にラッ
チ回路2701とシフトレジスタ2702を有する。そして、ラッチ回路2701がシフ
トレジスタ2702と比較して、画素部106より離れた位置に配置されている。そして
、表示パネルの面積有効利用のため、信号線駆動回路104と画素部106との間隔は小
さくしてある。よって、画素部106からはみ出した対向電極202がシフトレジスタ2
702と一部重なっている。しかし、電流源や電流源回路又はそれらを接続している配線
など、を有するラッチ回路2701は、対向電極202とは重なっていない。よって、表
示不良を防止することができる。
次に、本実施の形態の第6の構成を図32に示す。なお、図18と共通するところは共通
の符号を用いてその説明を省略する。本構成においても、信号線駆動回路104内にラッ
チ回路2701とシフトレジスタ2702を有する。そして、ラッチ回路2701がシフ
トレジスタ2702と比較して、画素部106より離れた位置に配置されている。そして
、表示パネルの面積有効利用のため、信号線駆動回路104と画素部106との間隔は小
さくしてある。よって、画素部106からはみ出した対向電極202がシフトレジスタ2
702と一部重なっている。しかし、電流源や電流源回路又はそれらを接続している配線
など、を有するラッチ回路2701は、対向電極202とは重なっていない。よって、表
示不良を防止することができる。
次に、本実施の形態の第7の構成を図33に示す。なお、図19と共通するところは共通
の符号を用いてその説明を省略する。本構成においても、信号線駆動回路104内にラッ
チ回路2701とシフトレジスタ2702を有する。そして、ラッチ回路2701がシフ
トレジスタ2702と比較して、画素部106より離れた位置に配置されている。そして
、表示パネルの面積有効利用のため、信号線駆動回路104と画素部106との間隔は小
さくしてある。よって、画素部106からはみ出した対向電極202がシフトレジスタ2
702と一部重なっている。しかし、電流源や電流源回路又はそれらを接続している配線
など、を有するラッチ回路2701は、対向電極202とは重なっていない。よって、表
示不良を防止することができる。
次に、本実施の形態の第8の構成を図34に示す。なお、図20と共通するところは共通
の符号を用いてその説明を省略する。本構成においても、信号線駆動回路104内にラッ
チ回路2701とシフトレジスタ2702を有する。そして、ラッチ回路2701がシフ
トレジスタ2702と比較して、画素部106より離れた位置に配置されている。そして
、表示パネルの面積有効利用のため、信号線駆動回路104と画素部106との間隔は小
さくしてある。よって、画素部106からはみ出した対向電極202がシフトレジスタ2
702と一部重なっている。しかし、電流源や電流源回路又はそれらを接続している配線
など、を有するラッチ回路2701は、対向電極202とは重なっていない。よって、表
示不良を防止することができる。
本実施例において、実施の形態1に示した、基準接続パッドの線幅、複合接続パッドの線
幅、接続ピッチ、FPCパッドの線幅及びFPCピッチの好適な大小関係について図35
(A)、(B)、(C)を用いて説明する。
図35(A)では、回路が形成された基板101とFPC103とが接続されている様子
を示している。そして、点線3501で囲まれた領域の部分拡大図を図35(b)に示す
。また、その断面を図35(C)に示す。
まず、図35(C)を用いて説明する。基板101上に、接続パッド(基準接続パッド1
12及び複合接続パッド113)を有し、それぞれ接続パッド間には隔壁114が形成さ
れている。隔壁114は絶縁性を有しており、接続パッド間の絶縁を保っている。そして
、接続パッド(基準接続パッド112及び複合接続パッド113)は異方性導電膜411
を介してそれぞれ対応するFPCパッド111と接続されている。なお、ここでは、複合
接続パッド113が二つのFPCパッド111と接続する場合の構成を示しているがこれ
に限定されない。また、図4(C)に示すように、異方性導電膜411の中に導電性粒子
421が混入してあってもよい。そうすることにより、接触抵抗を低くすることができる
そして、FPC103と基板101との貼り合わせにおいて、パッドの線幅方向に位置ず
れがない場合には、基準接続パッド112の中心軸と、FPCパッド111の中心軸が一
致しており、図35(B)、(C)のようになっている。
次に図35(B)を用いて説明する。線3502はFPCの縁を示している。
基準接続パッド112の線幅L1は、接続ピッチL3よりも小さく構成されている。また
、FPCパッド111の線幅L2は、FPCピッチL4よりも大きく構成されている。さ
らに、基準接続パッド112の線幅L1は、FPCパッド111の線幅L2より小さく構
成されている。つまり、L1<L3、L2>L4、L1<L2の条件を満たすように各パ
ッドを構成することにより、FPC103と基板101との貼り合わせにおいて、パッド
の線幅方向に多少の位置ずれが生じても、対応するパッド間での電気的接続を可能にし、
隣接するパッドとの短絡の発生を低減することができる。
さらに、本構成によれば、複合接続パッド113の線幅L5は、FPCパッド111の線
幅L2と基準接続パッド112の線幅L1とFPCピッチL4とを合わせた大きさにほぼ
等しい。つまり、L5=L2+L1+L4となる。そして、複合接続パッド113と二つ
のFPCパッド111との接続領域の線幅は、L2+L1となる。すると、L2>L1で
あるため、二つのFPCパッド111と接続する複合接続パッド113の接続面積は、基
準接続パッド112とFPCパッド111との接続面積の2倍以上の面積となる。よって
、複合接続パッド113での接触抵抗を大幅に低減することができる。なお、複合接続パ
ッド113が三つ以上のFPCパッド111と接続する場合においても、同様に接続面積
が大幅に増えるので接触抵抗の低減を図ることが可能となる。
本実施例では、表示素子に発光素子を用いた場合の表示パネルの構成について説明する。
本実施例では、本発明の表示装置に適用可能な表示パネルについて図66を用いて説明す
る。なお、図66(A)は、表示パネルを示す上面図、図66(B)は図66(A)をa
−a’で切断した断面図である。点線で示された信号線駆動回路6601、画素部660
2、第2の走査線駆動回路6603、第1の走査線駆動回路6606を有する。また、封
止基板6604、シール材6605を有し、シール材6605で囲まれた内側は、空間6
607になっている。
なお、配線6608は第2の走査線駆動回路6603、第1の走査線駆動回路6606
及び信号線駆動回路6601に入力される信号を伝送するための配線であり、外部入力端
子となるFPC(フレキシブルプリントサーキット)6609からビデオ信号、クロック
信号、スタート信号等を受け取る。FPC6609と表示パネルとの接合部上にはICチ
ップ(メモリ回路や、バッファ回路などが形成された半導体チップ)6619がCOG(
Chip On Glass)等で実装されている。なお、ここではFPCしか図示され
ていないが、このFPCにはプリント配線基盤(PWB)が取り付けられていても良い。
本明細書における表示装置とは、表示パネル本体だけでなく、それにFPCもしくはPW
Bが取り付けられた状態をも含むものとする。また、ICチップなどが実装されたものを
含むものとする。
次に、断面構造について図66(B)を用いて説明する。基板6610上には画素部6
602とその周辺駆動回路(第2の走査線駆動回路6603、第1の走査線駆動回路66
06及び信号線駆動回路6601)が形成されているが、ここでは、信号線駆動回路66
01と、画素部6602が示されている。
なお、信号線駆動回路6601はNチャネル型TFT6620やPチャネル型TFT6
621を用いてCMOS回路を構成している。また、本実施例では、基板上に周辺駆動回
路を一体形成した表示パネルを示すが、必ずしもその必要はなく、周辺駆動回路の全部若
しくは一部をICチップなどに形成し、COGなどで実装しても良い。
また、画素部6602はTFT6611と、TFT6612とを含む画素を構成する複
数の回路を有している。なお、TFT6612のソース電極は第1の電極6613と接続
されている。また、第1の電極6613の端部を覆って絶縁物6614が形成されている
。ここでは、ポジ型の感光性アクリル樹脂膜を用いることにより形成する。
また、カバレッジを良好なものとするため、絶縁物6614の上端部または下端部に曲
率を有する曲面が形成されるようにする。例えば、絶縁物6614の材料としてポジ型の
感光性アクリルを用いた場合、絶縁物6614の上端部のみに曲率半径(0.2μm〜3
μm)を有する曲面を持たせることが好ましい。また、絶縁物6614として、感光性の
光によってエッチャントに不溶解性となるネガ型、或いは光によってエッチャントに溶解
性となるポジ型のいずれも使用することができる。
第1の電極6613上には、有機化合物を含む層6616、および第2の電極6617
がそれぞれ形成されている。ここで、陽極として機能する第1の電極6613に用いる材
料としては、仕事関数の大きい材料を用いることが望ましい。例えば、ITO(インジウ
ムスズ酸化物)膜、インジウム亜鉛酸化物(IZO)膜、窒化チタン膜、クロム膜、タン
グステン膜、Zn膜、Pt膜などの単層膜の他、窒化チタンとアルミニウムを主成分とす
る膜との積層、窒化チタン膜とアルミニウムを主成分とする膜と窒化チタン膜との3層構
造等を用いることができる。なお、積層構造とすると、配線としての抵抗も低く、良好な
オーミックコンタクトがとれ、さらに陽極として機能させることができる。
また、有機化合物を含む層6616は、蒸着マスクを用いた蒸着法、またはインクジェ
ット法によって形成される。有機化合物を含む層6616には、元素周期律第4族金属錯
体をその一部に用いることとし、その他、組み合わせて用いることのできる材料としては
、低分子系材料であっても高分子系材料であっても良い。また、有機化合物を含む層に用
いる材料としては、通常、有機化合物を単層もしくは積層で用いる場合が多いが、本実施
例においては、有機化合物からなる膜の一部に無機化合物を用いる構成も含めることとす
る。さらに、公知の三重項材料を用いることも可能である。
さらに、有機化合物を含む層6616上に形成される第2の電極(陰極)6617に用
いる材料としては、仕事関数の小さい材料(Al、Ag、Li、Ca、またはこれらの合
金MgAg、MgIn、AlLi、CaF、またはCa)を用いればよい。なお
、有機化合物を含む層6616で生じた光が第2の電極6617を透過させる場合には、
第2の電極(陰極)6617として、膜厚を薄くした金属薄膜と、透明導電膜(ITO(
酸化インジウム酸化スズ合金)、酸化インジウム酸化亜鉛合金(In―ZnO)、
酸化亜鉛(ZnO)等)との積層を用いるのが良い。
さらにシール材6605で封止基板6604を基板6610と貼り合わせることにより
、基板6610、封止基板6604、およびシール材6605で囲まれた空間6607に
発光素子6618が備えられた構造になっている。なお、空間6607には、不活性気体
(窒素やアルゴン等)が充填される場合の他、シール材6605で充填される構成も含む
ものとする。
なお、シール材6605にはエポキシ系樹脂を用いるのが好ましい。また、これらの材
料はできるだけ水分や酸素を透過しない材料であることが望ましい。また、封止基板66
04に用いる材料としてガラス基板や石英基板の他、FRP(Fiberglass−R
einforced Plastics)、PVF(ポリビニルフロライド)、マイラー
、ポリエステルまたはアクリル等からなるプラスチック基板を用いることができる。
以上のようにして、表示パネルを得ることができる。
さらに、発光素子6618に適用可能なEL素子の例を図72に示す。
基板7201の上に陽極7202、正孔注入材料からなる正孔注入層7203、その上に
正孔輸送材料からなる正孔輸送層7204、発光層7205、電子輸送材料からなる電子
輸送層7206、電子注入材料からなる電子注入層7207、そして陰極7208を積層
させた素子構造である。ここで、発光層7205は、一種類の発光材料のみから形成され
ることもあるが、2種類以上の材料から形成されてもよい。また本発明の素子の構造は、
この構造に限定されない。
また、図72(A)で示した各機能層を積層した積層構造の他、高分子化合物を用いた
素子、発光層に三重項励起状態から発光する三重項発光材料を利用した高効率素子など、
バリエーションは多岐にわたる。ホールブロック層によってキャリヤの再結合領域を制御
し、発光領域を二つの領域にわけることによって得られる白色表示素子などにも応用可能
である。
図72(A)に示す本発明の素子作製方法は、まず、陽極7202を有する基板720
1に正孔注入材料、正孔輸送材料、発光材料を順に蒸着する。次に電子輸送材料、電子注
入材料を蒸着し、最後に陰極7208を蒸着で形成する。
次に、正孔注入材料、正孔輸送材料、電子輸送材料、電子注入材料、発光材料の材料に
好適な材料を以下に列挙する。
正孔注入材料としては、有機化合物でればポルフィリン系の化合物や、フタロシアニン(
以下「HPc」と記す)、銅フタロシアニン(以下「CuPc」と記す)などが有効で
ある。また、使用する正孔輸送材料よりもイオン化ポテンシャルの値が小さく、かつ、正
孔輸送機能をもつ材料であれば、これも正孔注入材料として使用できる。導電性高分子化
合物に化学ドーピングを施した材料もあり、ポリスチレンスルホン酸(以下「PSS」と
記す)をドープしたポリエチレンジオキシチオフェン(以下「PEDOT」と記す)や、
ポリアニリンなどが挙げられる。また、絶縁体の高分子化合物も陽極の平坦化の点で有効
であり、ポリイミド(以下「PI」と記す)がよく用いられる。さらに、無機化合物も用
いられ、金や白金などの金属薄膜の他、酸化アルミニウム(以下「アルミナ」と記す)の
超薄膜などがある。
正孔輸送材料として最も広く用いられているのは、芳香族アミン系(すなわち、ベンゼ
ン環−窒素の結合を有するもの)の化合物である。広く用いられている材料として、4,
4’−ビス(ジフェニルアミノ)−ビフェニル(以下、「TAD」と記す)や、その誘導
体である4,4’−ビス[N−(3−メチルフェニル)−N−フェニル−アミノ]−ビフ
ェニル(以下、「TPD」と記す)、4,4’−ビス[N−(1−ナフチル)−N−フェ
ニル−アミノ]−ビフェニル(以下、「α−NPD」と記す)がある。4,4’,4”−
トリス(N,N− ジフェニル−アミノ)−トリフェニルアミン(以下、「TDATA」
と記す)、4,4’,4”−トリス[N−(3−メチルフェニル)−N− フェニル−ア
ミノ]−トリフェニルアミン(以下、「MTDATA」と記す)などのスターバースト型
芳香族アミン化合物が挙げられる。
電子輸送材料としては、金属錯体がよく用いられ、Alq、BAlq、トリス(4−
メチル−8−キノリノラト)アルミニウム(以下、「Almq」と記す)、ビス(10−
ヒドロキシベンゾ[h]−キノリナト)ベリリウム(以下、「Bebq」と記す)などの
キノリン骨格またはベンゾキノリン骨格を有する金属錯体などがある。また、ビス[2−
(2−ヒドロキシフェニル)−ベンゾオキサゾラト]亜鉛(以下、「Zn(BOX)
と記す)、ビス[2−(2−ヒドロキシフェニル)−ベンゾチアゾラト]亜鉛(以下、「
Zn(BTZ)」と記す)などのオキサゾール系、チアゾール系配位子を有する金属錯
体もある。さらに、金属錯体以外にも、2−(4−ビフェニリル)−5−(4−tert
−ブチルフェニル)−1,3,4−オキサジアゾール(以下、「PBD」と記す)、OX
D−7などのオキサジアゾール誘導体、TAZ、3−(4−tert−ブチルフェニル)
−4−(4−エチルフェニル)−5−(4−ビフェニリル)−1、2、4−トリアゾール
(以下、「p−EtTAZ」と記す)などのトリアゾール誘導体、バソフェナントロリン
(以下、「BPhen」と記す)、BCPなどのフェナントロリン誘導体が電子輸送性を
有する。
電子注入材料としては、上で述べた電子輸送材料を用いることができる。その他に、フッ
化カルシウム、フッ化リチウム、フッ化セシウムなどの金属ハロゲン化物や、酸化リチウ
ムなどのアルカリ金属酸化物のような絶縁体の、超薄膜がよく用いられる。また、リチウ
ムアセチルアセトネート(以下、「Li(acac)」と記す)や8−キノリノラト−リ
チウム(以下、「Liq」と記す)などのアルカリ金属錯体も有効である。
発光材料としては、先に述べたAlq、Almq、BeBq、BAlq、Zn(BOX
、Zn(BTZ)などの金属錯体の他、各種蛍光色素が有効である。蛍光色素とし
ては、青色の4,4’−ビス(2,2 − ジフェニル−ビニル)−ビフェニルや、赤橙
色の4−(ジシアノメチレン)−2−メチル−6−(p−ジメチルアミノスチリル)−4
H−ピランなどがある。また、三重項発光材料も可能であり、白金ないしはイリジウムを
中心金属とする錯体が主体である。三重項発光材料として、トリス(2−フェニルピリジ
ン)イリジウム、ビス(2−(4’−トリル)ピリジナト−N,C2’)アセチルアセト
ナトイリジウム(以下「acacIr(tpy)」と記す)、 2,3,7,8,12
,13,17,18−オクタエチル−21H,23Hポルフィリン−白金などが知られて
いる。
以上で述べたような各機能を有する材料を、各々組み合わせ、高信頼性の表示素子を作製
することができる。
また、図72(B)に示すように図72(A)とは逆の順番に層を形成した表示素子を用
いることができる。つまり、基板7211の上に陰極7218、電子注入材料からなる電
子注入層7217、その上に電子輸送材料からなる電子輸送層7216、発光層7215
、正孔輸送材料からなる正孔輸送層7214、正孔注入材料からなる正孔注入層7213
、そして陽極7212を積層させた素子構造である。
また、表示素子は発光を取り出すために少なくとも陽極又は陰極の一方が透明であればよ
い。そして、基板上にTFT及び表示素子を形成し、基板とは逆側の面から発光を取り出
す上面射出や、基板側の面から発光を取り出す下面射出や、基板側及び基板とは反対側の
面から発光を取り出す両面射出構造の表示素子があり、本発明の画素構成はどの射出構造
の表示素子にも適用することができる。
上面射出構造の発光素子について図73(A)を用いて説明する。
基板7300上にTFT7301が形成され、TFT7301のソース電極に接して第1
の電極7302が形成され、その上に有機化合物を含む層7303と第2の電極7304
が形成されている。
また、第1の電極7302は発光素子の陽極である。そして第2の電極7304は発光素
子の陰極である。つまり、第1の電極7302と第2の電極7304とで有機化合物を含
む層7303が挟まれているところが発光素子となる。
また、ここで、陽極として機能する第1の電極7302に用いる材料としては、仕事関数
の大きい材料を用いることが望ましい。例えば、窒化チタン膜、クロム膜、タングステン
膜、Zn膜、Pt膜などの単層膜の他、窒化チタンとアルミニウムを主成分とする膜との
積層、窒化チタン膜とアルミニウムを主成分とする膜と窒化チタン膜との3層構造等を用
いることができる。なお、積層構造とすると、配線としての抵抗も低く、良好なオーミッ
クコンタクトがとれ、さらに陽極として機能させることができる。光を反射する金属膜を
用いることで光を透過させない陽極を形成することができる。
また、陰極として機能する第2の電極7304に用いる材料としては、仕事関数の小さい
材料(Al、Ag、Li、Ca、またはこれらの合金MgAg、MgIn、AlLi、C
aF、またはCa)からなる金属薄膜と、透明導電膜(ITO(インジウムスズ
酸化物)、インジウム亜鉛酸化物(IZO)、酸化亜鉛(ZnO)等)との積層を用いる
のが良い。こうして薄い金属薄膜と、透明性を有する透明導電膜を用いることで光を透過
させることが可能な陰極を形成することができる。
こうして、図73(A)の矢印に示すように発光素子からの光を上面に取り出すことが可
能になる。つまり、図71の表示パネルに適用した場合には、基板7145側に光が射出
することになる。従って上面射出構造の発光素子を表示装置に用いる場合には基板714
5は光透過性を有する基板を用いる。
また、光学フィルムを設ける場合には、基板7145に光学フィルムを設ければよい。
なお、実施の形態7に示す画素構成の場合には、第1の電極7302を陰極として機能す
るMgAg、MgIn、AlLi等の仕事関数の小さい材料からなる金属膜を用いること
ができる。そして、第2の電極7304にはITO(インジウムスズ酸化物)膜、インジ
ウム亜鉛酸化物(IZO)などの透明導電膜を用いることができる。よって、この構成に
よれば、上面射出の透過率を高くすることができる。
また、下面射出構造の発光素子について図73(B)を用いて説明する。射出構造以外は
図73(A)と同じ構造の発光素子であるため同じ符号を用いて説明する。
ここで、陽極として機能する第1の電極7302に用いる材料としては、仕事関数の大き
い材料を用いることが望ましい。例えば、ITO(インジウムスズ酸化物)膜、インジウ
ム亜鉛酸化物(IZO)膜などの透明導電膜を用いることができる。透明性を有する透明
導電膜を用いることで光を透過させることが可能な陽極を形成することができる。
また、陰極として機能する第2の電極7304に用いる材料としては、仕事関数の小さい
材料(Al、Ag、Li、Ca、またはこれらの合金MgAg、MgIn、AlLi、C
aF、またはCa)からなる金属膜を用いることができる。こうして、光を反射
する金属膜を用いることで光が透過しない陰極を形成することができる。
こうして、図73(B)の矢印に示すように発光素子からの光を下面に取り出すことが可
能になる。つまり、図71の表示パネルに適用した場合には、基板7100側に光が射出
することになる。従って下面射出構造の発光素子を表示装置に用いる場合には基板710
0は光透過性を有する基板を用いる。
また、光学フィルムを設ける場合には、基板7100に光学フィルムを設ければよい。
両面射出構造の発光素子について図73(C)を用いて説明する。射出構造以外は図73
(A)と同じ構造の発光素子であるため同じ符号を用いて説明する。
ここで、陽極として機能する第1の電極7302に用いる材料としては、仕事関数の大き
い材料を用いることが望ましい。例えば、ITO(インジウムスズ酸化物)膜、インジウ
ム亜鉛酸化物(IZO)膜などの透明導電膜を用いることができる。透明性を有する透明
導電膜を用いることで光を透過させることが可能な陽極を形成することができる。
また、陰極として機能する第2の電極7304に用いる材料としては、仕事関数の小さい
材料(Al、Ag、Li、Ca、またはこれらの合金MgAg、MgIn、AlLi、C
aF、またはCa)からなる金属薄膜と、透明導電膜(ITO(インジウムスズ
酸化物)、酸化インジウム酸化亜鉛合金(In―ZnO)、酸化亜鉛(ZnO)等
)との積層を用いるのが良い。こうして薄い金属薄膜と、透明性を有する透明導電膜を用
いることで光を透過させることが可能な陰極を形成することができる。
こうして、図73(C)の矢印に示すように発光素子からの光を両面に取り出すことが可
能になる。つまり、図71の表示パネルに適用した場合には、基板7100側と基板71
45側に光が射出することになる。従って両面射出構造の発光素子を表示装置に用いる場
合には基板7100および基板7145は、ともに光透過性を有する基板を用いる。
また、光学フィルムを設ける場合には、基板7100および基板7145の両方に光学
フィルムを設ければよい。
また、白色の発光素子とカラーフィルターを用いてフルカラー表示を実現する表示装置に
も本発明を適用することが可能である。
図74に示すように、基板7400上にTFT7401が形成され、TFT7401のソ
ース電極に接して第1の電極7403が形成され、その上に有機化合物を含む層7404
と第2の電極7405が形成されている。
また、第1の電極7403は発光素子の陽極である。そして第2の電極7405は発光素
子の陰極である。つまり、第1の電極7403と第2の電極7405とで有機化合物を含
む層7404が挟まれているところが発光素子となる。図74の構成では白色光を発光す
る。そして、発光素子の上部に赤色のカラーフィルター7406R、緑色のカラーフィル
ター7406G、青色のカラーフィルター7406Bを設けられており、フルカラー表示
を行うことができる。また、これらのカラーフィルターを隔離するブラックマトリクス(
BMともいう)7407が設けられている。
上述した発光素子の構成は組み合わせて用いることができ、本発明の表示パネルに適宜
用いることができる。また、発光素子は例示であり他の構成の発光素子を適用することも
できる。
本発明の表示パネルは様々な電子機器に適用することができる。具体的には電子機器の表
示部に適用することができる。そのような電子機器として、ビデオカメラ、デジタルカメ
ラ、ゴーグル型ディスプレイ、ナビゲーションシステム、音響再生装置(カーオーディオ
、オーディオコンポ等)、コンピュータ、ゲーム機器、携帯情報端末(モバイルコンピュ
ータ、携帯電話、携帯型ゲーム機又は電子書籍等)、記録媒体を備えた画像再生装置(具
体的にはDigital Versatile Disc(DVD)等の記録媒体を再生
し、その画像を表示しうる発光装置を備えた装置)などが挙げられる。
図65(A)は発光装置であり、筐体65001、支持台65002、表示部65003
、スピーカー部65004、ビデオ入力端子65005等を含む。本発明の表示装置を表
示部65003に用いることができる。なお、発光装置は、パーソナルコンピュータ用、
テレビジョン放送受信用、広告表示用などの全ての情報表示用発光装置が含まれる。本発
明の表示パネルを表示部65003に用いた発光装置は、表示不良を防止することができ
る。
図65(B)はカメラであり、本体65101、表示部65102、受像部65103、
操作キー65104、外部接続ポート65105、シャッター65106等を含む。
本発明の表示パネルを表示部65102に用いたカメラは、表示不良を防止することがで
きる。
図65(C)はコンピュータであり、本体65201、筐体65202、表示部652
03、キーボード65204、外部接続ポート65205、ポインティングマウス652
06等を含む。本発明の表示パネルを表示部65203に用いたコンピュータは、表示不
良を防止することができる。
図65(D)はモバイルコンピュータであり、本体65301、表示部65302、ス
イッチ65303、操作キー65304、赤外線ポート65305等を含む。本発明の表
示パネルを表示部65302に用いたモバイルコンピュータは、表示不良を防止すること
ができる。
図65(E)は記録媒体を備えた携帯型の画像再生装置(具体的にはDVD再生装置)で
あり、本体65401、筐体65402、表示部A65403、表示部B65404、記
録媒体(DVD等)読み込み部65405、操作キー65406、スピーカー部6540
7等を含む。表示部A65403は主として画像情報を表示し、表示部B65404は主
として文字情報を表示することができる。本発明の表示パネルを表示部A65403や表
示部B65404に用いた画像再生装置は、表示不良を防止することができる。
図65(F)はゴーグル型ディスプレイであり、本体65501、表示部65502、
アーム部65503を含む。本発明の表示パネルを表示部65502に用いたゴーグル型
ディスプレイは、表示不良を防止することができる。
図65(G)はビデオカメラであり、本体652001、表示部652002、筐体6
52003、外部接続ポート652004、リモコン受信部652005、受像部652
006、バッテリー652007、音声入力部652008、操作キー652009等を
含む。本発明の表示パネルを表示部652002に用いたビデオカメラは、表示不良を防
止することができる。
図65(H)は携帯電話機であり、本体65701、筐体65702、表示部6570
3、音声入力部65704、音声出力部65705、操作キー65706、外部接続ポー
ト65707、アンテナ65708等を含む。本発明の表示パネルを表示部65703に
用いた携帯電話機は表示不良を防止することができる。
このように本発明の表示パネルは、あらゆる電子機器に適用することが可能である。
本実施例において、本発明の表示パネルを表示部に有する携帯電話の構成例について図6
4を用いて説明する。
表示パネル6410はハウジング6400に脱着自在に組み込まれる。ハウジング64
00は表示パネル6410のサイズに合わせて、形状や寸法を適宜変更することができる
。表示パネル6410を固定したハウジング6400はプリント基板6401に嵌入され
モジュールとして組み立てられる。
表示パネル6410はFPC6411を介してプリント基板6401に接続される。プ
リント基板6401には、スピーカ6402、マイクロフォン6403、送受信回路64
04、CPU及びコントローラなどを含む信号処理回路6405が形成されている。この
ようなモジュールと、入力手段6406、バッテリ6407を組み合わせ、筐体6409
に収納する。表示パネル6410の画素部は筐体6412に形成された開口窓から視認で
きように配置する。
また、本実施例に示した構成は携帯電話の一例であって、本発明の表示装置はこのよう
な構成の携帯電話に限られず様々な構成の携帯電話に適用することができる。
図62は表示パネル6201と、回路基板6202を組み合わせたELモジュールを示
している。表示パネル6201は画素部6203、走査線駆動回路6204及び信号線駆
動回路6205を有している。回路基板6202には、例えば、コントロール回路620
6や信号分割回路6207などが形成されている。表示パネル6201と回路基板620
2は接続配線6208によって接続されている。接続配線にはFPC等を用いることがで
きる。
このELモジュールによりELテレビ受像機を完成させることができる。図63は
、ELテレビ受像機の主要な構成を示すブロック図である。チューナ6301は映像信号
と音声信号を受信する。映像信号は、映像信号増幅回路6302と、そこから出力される
信号を赤、緑、青の各色に対応した色信号に変換する映像信号処理回路6303と、その
映像信号を駆動回路の入力仕様に変換するためのコントロール回路6206により処理さ
れる。コントロール回路6206は、走査線側と信号線側にそれぞれ信号が出力する。デ
ジタル駆動する場合には、信号線側に信号分割回路6207を設け、入力デジタル信号を
m個に分割して供給する構成としても良い。
チューナ6301で受信した信号のうち、音声信号は音声信号増幅回路6304に送ら
れ、その出力は音声信号処理回路6305を経てスピーカー6306に供給される。制御
回路6307は受信局(受信周波数)や音量の制御情報を入力部6308から受け、チュ
ーナ6301や音声信号処理回路6305に信号を送出する。
図65(A)に示すように、図62のELモジュールを筐体65001に組みこんで、
テレビ受像機を完成させることができる。ELモジュールにより、表示部65003が形
成される。また、スピーカー部65004、ビデオ入力端子65005などが適宜備えら
れている。
勿論、本発明はテレビ受像機に限定されず、パーソナルコンピュータのモニタをはじめ
、鉄道の駅や空港などにおける情報表示盤や、街頭における広告表示盤など特に大面積の
表示媒体として様々な用途に適用することができる。
本実施例においては、複合接続パッドを接続端子部に有する表示パネルの好適な構成につ
いて説明する。
まず、図67を用いて表示パネルの接続端子部の接続パッド(基準接続パッド及び複合接
続パッド)の構成について説明する。
基板6701上に一続きの導電膜が形成され、接続端子部の領域の導電膜は接続パッドと
して機能し、配線部の領域の導電膜は配線として機能する。図67において、基準接続パ
ッド6703及び配線6706は一続きの導電膜で形成されている。また、複合接続パッ
ド6704、配線6707及び配線6708は一続きの導電膜で形成されている。また、
複合接続パッド6705、配線6709、配線6710及び配線6711は一続きの導電
膜で形成されている。
また、シール領域6702において、基板6701と対向して設けられた対向基板がシー
ル材によって貼り合わせられる。
なお、複合接続パッド6704は二つのFPCパッドと接続され、複合接続パッド670
5は三つのFPCパッドと接続される。
ここで、基準接続パッド6703の線幅をWとし、複合接続パッド6704の線幅をW’
とし、複合接続パッド6705の線幅をW’’とする。また、隣り合う基準接続パッド同
士の線幅中心の距離をLとする。
ここで、複合接続パッド6704の線幅中心と基準接続パッドの線幅中心との距離はLの
1.5倍となり、複合接続パッド6705の線幅中心と基準接続パッドの線幅中心との距
離はLの2倍となる。よって、FPCはFPC端子配列を変える必要がないため、FPC
の仕様変更することなく用いることができる。
なお、複合接続パッド6704の線幅W’は隣り合う基準接続パッド同士の線幅中心の距
離Lよりも大きいことが好ましい。また、複合接続パッド6705の線幅W’’はLの2
倍よりも大きいことが好ましい。こうすることにより、接続パッドとFPCパッドとの接
触抵抗を小さくすることができる。
続いて、複合接続パッドと電気的に接続された複数の配線の表示パネル内での役割につい
て説明する。
例えば、二つの走査線駆動回路を有する表示パネルにおいて、図67の配線6707は一
方の走査線駆動回路に電気的に接続され、図67の配線6708は他方の走査線駆動回路
に電気的に接続されている。つまり、二つの走査線駆動回路へ、共通の信号又は共通の電
源を供給するそれぞれの配線が、一つの接続パッドと電気的に接続されている。よって、
二つの走査線駆動回路の動作不良を防止することができる。
また、他の構成として、画素部と、画素を駆動する周辺駆動回路を備え、周辺駆動回路に
シフトレジスタ及びバッファ回路を有する表示パネルにおいて、図67の配線6707は
シフトレジスタに電気的に接続され、図67の配線6708はバッファ回路に電気的に接
続されている。つまり、シフトレジスタとバッファ回路へ、共通の電源を供給するそれぞ
れの配線が、一つの接続パッドと電気的に接続されている。つまり、図68(B)に示す
ように配線6804はシフトレジスタ6801の電源を供給する配線であり、図67の配
線6707に電気的に接続されている。また、配線6805はバッファ回路6802の電
源を供給する配線であり、図67の配線6708に電気的に接続されている。ここで、図
、図68(A)のように配線6803からシフトレジスタ6801及びバッファ回路68
02に電源を供給するようにすると、バッファ回路6802で大電流を出力するときに配
線6803の電源電位が下がってしまう。よって、シフトレジスタ6801が正常に動作
しなくなってしまう。よって、図68(B)のようにすることで、シフトレジスタ680
1の誤動作を防止することができる。
また、他の構成として、画素に液晶素子を有する液晶表示パネルにおいて、図67の配線
6707及び配線6708が対向電極に電気的に接続されている。つまり、対向電極へ、
電源となる電源電位を供給するそれぞれの配線が、一つの接続パッドと電気的に接続され
ている。特に液晶表示パネルにおいては、液晶素子に印加する電圧を極性反転させて液晶
素子の長寿命化を図るため対向電極の電位を変化させる。よって、本構成のようにして電
源供給ラインの抵抗を小さくすることで低消費電力化を図ることができる。
また、他の構成として、画素にEL素子を有するEL表示パネルにおいて、図67の配線
6707及び配線6708が電源線又は対向電極に電気的に接続されている。つまり、対
向電極又は電源線へ、電源となる電源電位を供給するそれぞれの配線が、一つの接続パッ
ドと電気的に接続されている。特にEL表示パネルにおいては、EL素子に大量の電流が
流れるため、電源供給ラインの抵抗が大きいと電圧降下により所望の電源電位を得られな
くなってしまう。よって、本構成のようにして電源供給ラインの抵抗を小さくして表示不
良を防止することができる。
また、他の構成として、画素に発光素子を有する表示パネルにおいて、図67の配線67
07は対向電極に電気的に接続され、図67の配線6708は対向電極と接して設けられ
た配線(補助配線という)に電気的に接続されている。つまり、対向電極と補助配線へ、
共通の電源を供給するそれぞれの配線が、一つの接続パッドと電気的に接続されている。
なお、この場合の表示パネルの構成の断面構造について図75を用いて説明する。
基板7501上に下地膜7502を有している。基板7501としてはガラス基板、石英
基板、プラスチック基板、セラミックス基板等の絶縁性基板、金属基板、半導体基板等を
用いることができる。下地膜7502はCVD法やスパッタ法により形成することができ
る。例えばSiH、NO、NHを原料に用いたCVD法により形成した酸化珪素膜
、窒化珪素膜、酸化窒化珪素膜等を適用することができる。また、これらの積層を用いて
も良い。なお、下地膜7502は基板7501から不純物が半導体層に拡散することを防
ぐために設けるものであり、基板7501にガラス基板や石英基板を用いている場合には
下地膜7502は設けなくてもよい。
下地膜7502上に島状の半導体層を有する。半導体層にはトランジスタ7503のチャ
ネル形成領域7505、ソース領域又はドレイン領域となる不純物領域7506及び低濃
度不純物領域(LDD領域)7507、並びにトランジスタ7504のチャネル形成領域
7508、ソース又はドレイン領域となる不純物領域7509、低濃度不純物領域(LD
D領域)7510が形成されている。そして、チャネル形成領域7505及びチャネル形
成領域7508上にゲート絶縁膜7511を介してゲート電極7512及びゲート電極7
513を有している。ゲート絶縁膜7511としてはCVD法やスパッタ法により形成さ
れる酸化珪素膜、窒化珪素膜、酸化窒化珪素膜等を用いることができる。また、ゲート電
極7512及びゲート電極7513としてはアルミニウム(Al)膜、銅(Cu)膜、ア
ルミニウム又は銅を主成分とする薄膜、クロム(Cr)膜、タンタル(Ta)膜、窒化タ
ンタル(TaN)膜、チタン(Ti)膜、タングステン(W)膜、モリブデン(Mo)膜
等を用いることができる。
ゲート電極7512の脇にはサイドウォール7514、ゲート電極7513の脇にはサイ
ドウォール7515が形成されている。ゲート電極7512及びゲート電極7513を覆
うようにシリコン化合物、例えば、酸化シリコン膜、窒化シリコン膜若しくは酸化窒化シ
リコン膜を形成した後、エッチバックしてサイドウォール7514及びサイドウォール7
515を形成することができる。
なお、低濃度不純物領域7507、低濃度不純物領域7510はそれぞれサイドウォール
7514、サイドウォール7515の下部に位置している。つまり、自己整合的に低濃度
不純物領域7507及び低濃度不純物領域7510が形成されている。なお、サイドウォ
ール7514及びサイドウォール7515は、低濃度不純物領域7507及び低濃度不純
物領域7510を自己整合的に形成するために設けているのであって、必ずしも設けなく
ともよい。
ゲート電極7512、ゲート電極7513、サイドウォール7514、サイドウォール7
515およびゲート絶縁膜7511上には第1の層間絶縁膜を有している。第1の層間絶
縁膜は下層に無機絶縁膜7516、上層に樹脂膜7517を有している。無機絶縁膜75
16としては、窒化珪素膜、酸化珪素膜、酸化窒化珪素膜又はこれらを積層した膜を用い
ることができる。樹脂膜7517としては、ポリイミド、ポリアミド、アクリル、ポリイ
ミドアミド、エポキシなどを用いることができる。
第1の層間絶縁膜上には、配線7518、配線7519及び配線7520を有し、配線7
518はコンタクトホールを介して不純物領域7506と、配線7519はコンタクトホ
ールを介して不純物領域7506及び不純物領域7509と、配線7520はコンタクト
ホールを介して不純物領域7509と電気的に接続されている。配線7518、配線75
19及び配線7520としては、チタン(Ti)膜やアルミニウム(Al)膜や銅(Cu
)膜やTiを含むアルミニウム膜をなどを用いることができる。なお、配線7518、配
線7519及び配線7520と同じ層に信号線などの配線を設ける場合には低抵抗な銅を
用いるとよい。
配線7518、配線7519及び配線7520および第1の層間絶縁膜上に第2の層間絶
縁膜7521を有する。第2の層間絶縁膜7521としては、無機絶縁膜や、樹脂膜、又
はこれらの積層を用いることができる。無機絶縁膜としては、窒化珪素膜、酸化珪素膜、
酸化窒化珪素膜又はこれらを積層した膜を用いることができる。樹脂膜としては、ポリイ
ミド、ポリアミド、アクリル、ポリイミドアミド、エポキシなどを用いることができる。
第2の層間絶縁膜7521上には画素電極7522および配線7523を有している。画
素電極7522および配線7523は同じ材料により形成されている。つまり、同じ層に
同時に形成されている。画素電極7522や配線7523に用いる材料としては、仕事関
数の大きい材料を用いることが望ましい。例えば、窒化チタン(TiN)膜、クロム(C
r)膜、タングステン(W)膜、亜鉛(Zn)膜、プラチナ(Pt)膜などの単層膜の他
、窒化チタンとアルミニウムを主成分とする膜との積層、窒化チタン膜とアルミニウムを
主成分とする膜と窒化チタン膜との3層構造等を用いることができる。なお、積層構造と
すると、配線としての抵抗も低く、良好なオーミックコンタクトがとれ、さらに陽極とし
て機能させることができる。光を反射する金属膜を用いることで光を透過させない陽極を
形成することができる。
画素電極7522および配線7523の端部を覆うように絶縁物7524を有する。例え
ば、絶縁物7524としては、ポジ型の感光性アクリル樹脂膜を用いることができる。
画素電極7522上に有機化合物を含む層7525が形成され、有機化合物を含む層75
25の一部は絶縁物7524上に重なっている。なお、有機化合物を含む層7525は、
配線7523上には形成されていない。
有機化合物を含む層7525、絶縁物7524および配線7523上に対向電極7526
を有している。対向電極7526に用いる材料としては、仕事関数の小さい材料を用いる
ことが望ましい。例えば、アルミニウム(Al)、銀(Ag)、リチウム(Li)、カル
シウム(Ca)、若しくはこれらの合金又は、MgAg、MgIn、AlLi、CaF
、若しくはCaなどの金属薄膜を用いることができる。こうして薄い金属薄膜を用
いることで光を透過させることが可能な陰極を形成することができる。
対向電極7526と画素電極7522とにより有機化合物を含む層7525が挟まれた領
域では発光素子7527が形成されている。
また、絶縁物7524により有機化合物を含む層7525が隔離されている領域では、接
合部7528が形成され、対向電極7526と配線7523とが接している。よって、配
線7523が対向電極7526の補助電極として機能し、対向電極7526を低抵抗化す
ることができる。よって、対向電極7526の膜厚を薄くすることができ、透過率を高く
することができる。したがって、発光素子7527から得られる光を上面から取り出す構
造の表示パネルにおいて、より高い輝度を得ることができる。
なお、対向電極7526をより低抵抗化するため、金属薄膜と透明導電膜(ITO(イン
ジウムスズ酸化物)、インジウム亜鉛酸化物(IZO)、酸化亜鉛(ZnO)等)との積
層を用いてもよい。こうして薄い金属薄膜と、透明性を有する透明導電膜を用いることに
よっても光を透過させることが可能な陰極を形成することができる。
なお、不純物領域7506及び不純物領域7509にはN型の不純物がドーピングされて
いる。よって、トランジスタ7503及びトランジスタ7504はNチャネル型のトラン
ジスタである。
なお、図75で説明した表示パネルは対向電極7526の膜を薄くすることができ、上面
から射出する光の透光性がよい。よって、上面からの輝度が高くすることができる。また
、対向電極7526に配線7523を接続することにより、対向電極7526を低抵抗化
することができる。よって、消費電力の低減を図ることができる。なお配線7523が補
助配線である。
次に上面からみた表示パネルの模式図76(a)、(b)を用いて表示パネルの構成につ
いて説明する。基板7600上に信号線駆動回路7601、走査線駆動回路7602、画
素部7603が形成されている。なお、基板7600はFPC(フレキシブルプリントサ
ーキット)7604と接続され、信号線駆動回路7601や走査線駆動回路7602に入
力されるビデオ信号、クロック信号、スタート信号等の信号をFPC7604から受け取
る。FPC7604と基板7600との接合部上にはICチップ(メモリ回路や、バッフ
ァ回路などが形成された半導体チップ)7605がCOG(Chip On Glass
)等で実装されている。なお、ここではFPC7604しか図示されていないが、このF
PC7604にはプリント配線基盤(PWB)が取り付けられていても良い。本明細書に
おける表示装置とは、表示パネル本体だけでなく、それにFPCもしくはPWBが取り付
けられた状態をも含むものとする。また、ICチップなどが実装されたものを含むものと
する。
図76(a)に示す表示パネルの画素部7603には画素がマトリクスに配置されている
。そして、それぞれの色要素毎の画素列となっている。そして、有機化合物を含む層76
07は色毎に一列分の画素に渡って設けられている。そして、画素部において、有機化合
物を含む層7607の設けられていない領域7606にて、画素電極と同じ材料で形成さ
れた配線と対向電極との接合部を形成する。つまり、図75の断面図における接合部75
28を図76(a)における領域7606に形成する。また、画素部における上面の模式
図を図77に示す。図77は、画素電極7701と同じ材料にて配線7702が形成され
ている。そして、画素電極7701は図75の画素電極7522に相当し、配線7702
が図75の配線7523に相当する。一列分の画素電極7701に渡って有機化合物を含
む層が形成され、画素電極7701と対向電極で挟まれる領域にそれぞれ発光素子が形成
される。そして、接合部では対向電極に配線7702が接しているため対向電極の低抵抗
化を図ることができる。つまり、配線7702が対向電極の補助電極として機能する。な
お、図77のような画素部の構成とすることで開口率が高く、且つ対向電極の低抵抗化を
図った表示パネルを提供することが可能となる。
図76(b)に示す表示パネルの画素部7603には画素がマトリクスに配置されている
。そして、それぞれの色要素毎の画素列となっている。そして、有機化合物を含む層76
17は色毎に一列分の画素にそれぞれ設けられている。そして、画素部において、有機化
合物を含む層7617の設けられていない領域7616にて、画素電極と同じ材料で形成
された配線と対向電極との接合部を形成する。つまり、図75の断面図における接合部7
528を図76(b)における領域7616に形成する。また、画素部における上面の模
式図を図78に示す。図78は、画素電極7801と同じ材料にて配線7802が形成さ
れている。そして、画素電極7801は図75の画素電極7522に相当し、配線780
2が図75の配線7523に相当する。画素電極7801のそれぞれに有機化合物を含む
層が形成され、画素電極7801と対向電極で挟まれる領域にそれぞれ発光素子が形成さ
れる。そして、接合部では対向電極に配線7802が接しているため対向電極の低抵抗化
を図ることができる。つまり、配線7802が対向電極の補助電極として機能する。なお
、図78のような画素部の構成とすることでより対向電極の低抵抗化を図った表示パネル
を提供することが可能となる。
本実施の形態に示した表示パネルは、対向電極の透光性がよく、画素の開口率が高いため
、輝度を低くしても必要な光度を得ることができる。よって、発光素子の信頼性を向上さ
せることができる。また、対向電極の低抵抗化も図れるため消費電力も低減することがで
きる。
また、表示パネルの模式図を用いて説明する。
図69の表示パネルは、基板6901上に信号線駆動回路6903と、第1の走査線駆動
回路6904と、第2の走査線駆動回路6905と、画素部6906と、接続端子部69
07と、を有している。そして、基板6901と対向基板とがシール領域6902におい
て張り合わされ、信号線駆動回路6903と、第1の走査線駆動回路6904と、第2の
走査線駆動回路6905とが密封される。
接続端子部6907は複数の接続パッドを有している。複数の接続パッドのうち、基準接
続パッド6908は配線6910と電気的に接続されている。また、複合接続パッド69
09は配線6911及び配線6912と電気的に接続されている。また、配線6911及
び配線6912は信号線駆動回路6903に電気的に接続されている。例えば、図68(
B)で示したように配線6911又は配線6912の、一方が信号線駆動回路6903内
のシフトレジスタの電源を供給する配線と電気的に接続され、他方が信号線駆動回路69
03内のバッファ回路の電源を供給する配線と電気的に接続されている。
また、図70に示す表示パネルの構成は、基板7001上に信号線駆動回路7003と、
第1の走査線駆動回路7004と、第2の走査線駆動回路7005と、画素部7006と
、接続端子部7007と、を有している。そして、基板7001と対向基板とがシール領
域7002において張り合わされ、信号線駆動回路7003と、第1の走査線駆動回路7
004と、第2の走査線駆動回路7005とが密封される。
接続端子部7007は複数の接続パッドを有している。複数の接続パッドのうち、基準接
続パッド7008は配線7010と電気的に接続されている。また、複合接続パッド70
09は配線7011及び配線7012と電気的に接続されている。また、配線7011は
第1の走査線駆動回路7004と電気的に接続され、配線7012は第2の走査線駆動回
路7005と電気的に接続されている。
本実施の例では、本発明の発光素子に適用することのできる他の構成を、図79及び図8
0を用いて説明する。
エレクトロルミネセンスを利用する発光素子は、発光材料が有機化合物であるか、無機化
合物であるかによって区別され、一般的に、前者は有機EL素子、後者は無機EL素子と
呼ばれている。
無機EL素子は、その素子構成により、分散型無機EL素子と薄膜型無機EL素子とに分
類される。前者は、発光材料の粒子をバインダ中に分散させた電界発光層を有し、後者は
、発光材料の薄膜からなる電界発光層を有している点に違いはあるが、高電界で加速され
た電子を必要とする点では共通である。なお、得られる発光のメカニズムとしては、ドナ
ー準位とアクセプター準位を利用するドナー−アクセプター再結合型発光と、金属イオン
の内殻電子遷移を利用する局在型発光とがある。一般的に、分散型無機EL素子ではドナ
ー−アクセプター再結合型発光、薄膜型無機EL素子では局在型発光である場合が多い。
本発明で用いることのできる発光材料は、母体材料と発光中心となる不純物元素とで構成
される。含有させる不純物元素を変化させることで、様々な色の発光を得ることができる
。発光材料の作製方法としては、固相法や液相法(共沈法)などの様々な方法を用いるこ
とができる。また、噴霧熱分解法、複分解法、プレカーサーの熱分解反応による方法、逆
ミセル法やこれらの方法と高温焼成を組み合わせた方法、凍結乾燥法などの液相法なども
用いることができる。
固相法は、母体材料と、不純物元素又は不純物元素を含む化合物を秤量し、乳鉢で混合、
電気炉で加熱、焼成を行い反応させ、母体材料に不純物元素を含有させる方法である。焼
成温度は、700〜1500℃が好ましい。温度が低すぎる場合は固相反応が進まず、温
度が高すぎる場合は母体材料が分解してしまうからである。なお、粉末状態で焼成を行っ
てもよいが、ペレット状態で焼成を行うことが好ましい。比較的高温での焼成を必要とす
るが、簡単な方法であるため、生産性がよく大量生産に適している。
液相方法(共沈法)は、母体材料又は母体材料を含む化合物と、不純物元素又は不純物元
素を含む化合物を溶液中で反応させ、乾燥させた後、焼成を行う方法である。発光材料の
粒子が均一に分布し、粒径が小さく低い焼成温度でも反応が進むことができる。
発光材料に用いる母体材料としては、硫化物、酸化物、窒化物を用いることができる。
硫化物としては、例えば、硫化亜鉛(ZnS)、硫化カドミウム(CdS)、硫化カルシ
ウム(CaS)、硫化イットリウム(Y)、硫化ガリウム(Ga)、硫化ス
トロンチウム(SrS)、硫化バリウム(BaS)等を用いることができる。また、酸化
物としては、例えば、酸化亜鉛(ZnO)、酸化イットリウム(Y)等を用いるこ
とができる。また、窒化物としては、例えば、窒化アルミニウム(AlN)、窒化ガリウ
ム(GaN)、窒化インジウム(InN)等を用いることができる。さらに、セレン化亜
鉛(ZnSe)、テルル化亜鉛(ZnTe)等も用いることができ、硫化カルシウム−ガ
リウム(CaGa)、硫化ストロンチウム−ガリウム(SrGa)、硫化バ
リウム−ガリウム(BaGa)、等の3元系の混晶であってもよい。
局在型発光の発光中心として、マンガン(Mn)、銅(Cu)、サマリウム(Sm)、
テルビウム(Tb)、エルビウム(Er)、ツリウム(Tm)、ユーロピウム(Eu)、
セリウム(Ce)、プラセオジウム(Pr)などを用いることができる。なお、電荷補償
として、フッ素(F)、塩素(Cl)などのハロゲン元素が添加されていてもよい。
一方、ドナー−アクセプター再結合型発光の発光中心として、ドナー準位を形成する第
1の不純物元素及びアクセプター準位を形成する第2の不純物元素を含む発光材料を用い
ることができる。第1の不純物元素は、例えば、フッ素(F)、塩素(Cl)、アルミニ
ウム(Al)等を用いることができる。第2の不純物元素としては、例えば、銅(Cu)
、銀(Ag)等を用いることができる。
ドナー−アクセプター再結合型発光の発光材料を固相法を用いて合成する場合、母体材
料と、第1の不純物元素又は第1の不純物元素を含む化合物と、第2の不純物元素又は第
2の不純物元素を含む化合物をそれぞれ秤量し、乳鉢で混合した後、電気炉で加熱、焼成
を行う。母体材料としては、上述した母体材料を用いることができ、第1の不純物元素又
は第1の不純物元素を含む化合物としては、例えば、フッ素(F)、塩素(Cl)、硫化
アルミニウム(Al)等を用いることができ、第2の不純物元素又は第2の不純物
元素を含む化合物としては、例えば、銅(Cu)、銀(Ag)、硫化銅(CuS)、硫
化銀(AgS)等を用いることができる。焼成温度は、700〜1500℃が好ましい
。温度が低すぎる場合は固相反応が進まず、温度が高すぎる場合は母体材料が分解してし
まうからである。なお、粉末状態で焼成を行ってもよいが、ペレット状態で焼成を行うこ
とが好ましい。
また、固相反応を利用する場合の不純物元素として、第1の不純物元素と第2の不純物
元素で構成される化合物を組み合わせて用いてもよい。この場合、不純物元素が拡散され
やすく、固相反応が進みやすくなるため、均一な発光材料を得ることができる。さらに、
余分な不純物元素が入らないため、純度の高い発光材料が得ることができる。第1の不純
物元素と第2の不純物元素で構成される化合物としては、例えば、塩化銅(CuCl)、
塩化銀(AgCl)等を用いることができる。
なお、これらの不純物元素の濃度は、母体材料に対して0.01〜10atom%であ
ればよく、好ましくは0.05〜5atom%の範囲である。
また、ドナー−アクセプター再結合型発光の発光中心を有する発光材料に、第3の不純
物元素を含む発光材料を用いてもよい。この場合、第3の不純物元素の濃度は、母体材料
に対して0.05〜5atom%であることが好ましい。このような構成の発光材料では
、低電圧での発光が可能となる。よって、低駆動電圧で発光可能な発光素子を得ることが
でき、消費電力が低減された発光素子を得ることができる。また、さらに上述した局在型
発光の発光中心となる不純物元素が含まれていてもよい。
このような発光材料として、例えば、母体材料としてZnS、第1の不純物元素として
Cl、第2の不純物元素としてCu、第3の不純物元素してGa及びAsを含み、さらに
局在型発光の発光中心としてMnを含む発光材料を用いることも可能である。このような
発光材料を形成するには、以下に示す方法を用いることができる。発光材料(ZnS:C
u,Cl)にMnを加え、真空中で2〜4時間程度焼成する。焼成温度は700〜150
0℃であることが好ましい。この焼成したものを粉砕して粒径5〜20μmにし、粒径1
〜3μmのGaAsを加え撹拌する。この混合物を硫黄ガスを含む窒素気流中で約500
〜800℃で2〜4時間焼成することにより、発光材料を得ることができる。この発光材
料を用いて、蒸着法などにより薄膜を形成することにより、発光素子の発光層として用い
ることができる。
薄膜型無機EL素子の場合、電界発光層は、上記発光材料を含む層であり、抵抗加熱蒸着
法、電子ビーム蒸着(EB蒸着)法等の真空蒸着法、スパッタリング法等の物理気相成長
法(PVD)、有機金属CVD法、ハイドライド輸送減圧CVD法等の化学気相成長法(
CVD)、原子層エピタキシ法(ALE)等を用いて形成することができる。
図79(A)乃至(C)に発光素子として用いることのできる薄膜型無機EL素子の一例
を示す。図79(A)乃至(C)において、発光素子は、第1の電極層50、電界発光層
51、第2の電極層53を含む。
図79(B)及び図79(C)に示す発光素子は、図79(A)の発光素子において、電
極層と電界発光層間に絶縁層を設ける構造である。図79(B)に示す発光素子は、第1
の電極層50と電界発光層52との間に絶縁層54を有し、図79(C)に示す発光素子
は、第1の電極層50と電界発光層52との間に絶縁層54a、第2の電極層53と電界
発光層52との間に絶縁層54bとを有している。このように絶縁層は電界発光層を狭持
する一対の電極層のうち一方の間にのみ設けてもよいし、両方の間に設けてもよい。また
絶縁層は単層でもよいし複数層からなる積層でもよい。
また、図79(B)では第1の電極層50に接するように絶縁層54が設けられているが
、絶縁層と電界発光層の順番を逆にして、第2の電極層53に接するように絶縁層54を
設けてもよい。
分散型無機EL素子の場合、粒子状の発光材料をバインダ中に分散させ膜状の電界発光層
を形成する。粒子状に加工する。発光材料の作製方法によって、十分に所望の大きさの粒
子が得られない場合は、乳鉢等で粉砕などによって粒子状に加工すればよい。バインダと
は、粒状の発光材料を分散した状態で固定し、電界発光層としての形状に保持するための
物質である。発光材料は、バインダによって電界発光層中に均一に分散し固定される。
分散型無機EL素子の場合、電界発光層の形成方法は、選択的に電界発光層を形成できる
液滴吐出法や、印刷法(スクリーン印刷やオフセット印刷など)、スピンコート法などの
塗布法、ディッピング法、ディスペンサ法などを用いることもできる。膜厚は特に限定さ
れることはないが、好ましくは、10〜1000nmの範囲である。また、発光材料及び
バインダを含む電界発光層において、発光材料の割合は50wt%以上80wt%以下と
するよい。
図80(A)乃至(C)に発光素子として用いることのできる分散型無機EL素子の一例
を示す。図80(A)における発光素子は、第1の電極層60、電界発光層62、第2の
電極層63の積層構造を有し、電界発光層62中にバインダによって保持された発光材料
61を含む。
本実施例に用いることのできるバインダとしては、絶縁材料を用いることができ、有機材
料や無機材料を用いることができ、有機材料及び無機材料の混合材料を用いてもよい。有
機絶縁材料としては、シアノエチルセルロース系樹脂のように、比較的誘電率の高いポリ
マーや、ポリエチレン、ポリプロピレン、ポリスチレン系樹脂、シリコーン樹脂、エポキ
シ樹脂、フッ化ビニリデンなどの樹脂を用いることができる。また、芳香族ポリアミド、
ポリベンゾイミダゾール(polybenzimidazole)などの耐熱性高分子、
又はシロキサン樹脂を用いてもよい。なお、シロキサン樹脂とは、Si−O−Si結合を
含む樹脂に相当する。シロキサンは、シリコン(Si)と酸素(O)との結合で骨格構造
が構成される。置換基として、少なくとも水素を含む有機基(例えばアルキル基、芳香族
炭化水素)が用いられる。置換基として、フルオロ基を用いてもよい。または置換基とし
て、少なくとも水素を含む有機基と、フルオロ基とを用いてもよい。また、ポリビニルア
ルコール、ポリビニルブチラールなどのビニル樹脂、フェノール樹脂、ノボラック樹脂、
アクリル樹脂、メラミン樹脂、ウレタン樹脂、オキサゾール樹脂(ポリベンゾオキサゾー
ル)等の樹脂材料を用いてもよい。また、例えば光硬化型の樹脂材料などを用いることが
できる。これらの樹脂に、チタン酸バリウム(BaTiO)やチタン酸ストロンチウム
(SrTiO)などの高誘電率の微粒子を適度に混合して誘電率を調整することもでき
る。
バインダに含まれる無機絶縁材料としては、酸化珪素(SiO)、窒化珪素(SiN
)、酸素及び窒素を含む珪素、窒化アルミニウム(AlN)、酸素及び窒素を含むアルミ
ニウムまたは酸化アルミニウム(Al)、酸化チタン(TiO)、BaTiO
、SrTiO、チタン酸鉛(PbTiO)、ニオブ酸カリウム(KNbO)、ニオ
ブ酸鉛(PbNbO)、酸化タンタル(Ta)、タンタル酸バリウム(BaTa
)、タンタル酸リチウム(LiTaO)、酸化イットリウム(Y)、酸化
ジルコニウム(ZrO)、ZnSその他の無機絶縁性材料を含む物質から選ばれた材料
で形成することができる。有機材料に、誘電率の高い無機材料を含ませる(添加等によっ
て)ことによって、発光材料及びバインダよりなる電界発光層の誘電率をより制御するこ
とができ、より誘電率を大きくすることができる。
作製工程において、発光材料はバインダを含む溶液中に分散されるが本実施の形態に用い
ることのできるバインダを含む溶液の溶媒としては、バインダ材料が溶解し、電界発光層
を形成する方法(各種ウエットプロセス)及び所望の膜厚に適した粘度の溶液を作製でき
るような溶媒を適宜選択すればよい。有機溶媒等を用いることができ、例えばバインダと
してシロキサン樹脂を用いる場合は、プロピレングリコールモノメチルエーテル、プロピ
レングリコールモノメチルエーテルアセテート(PGMEAともいう)、3−メトシキ−
3メチル−1−ブタノール(MMBともいう)などを用いることができる。
図80(B)及び図80(C)に示す発光素子は、図80(A)の発光素子において、電
極層と電界発光層間に絶縁層を設ける構造である。図80(B)に示す発光素子は、第1
の電極層60と電界発光層62との間に絶縁層64を有し、図80(C)に示す発光素子
は、第1の電極層60と電界発光層62との間に絶縁層64a、第2の電極層63と電界
発光層62との間に絶縁層64bとを有している。このように絶縁層は電界発光層を狭持
する一対の電極層のうち一方の間にのみ設けてもよいし、両方の間に設けてもよい。また
絶縁層は単層でもよいし複数層からなる積層でもよい。
また、図80(B)では第1の電極層60に接するように絶縁層64が設けられているが
、絶縁層と電界発光層の順番を逆にして、第2の電極層63に接するように絶縁層64を
設けてもよい。
図79における絶縁層54、図80における絶縁層64のような絶縁層は、特に限定され
ることはないが、絶縁耐性が高く、緻密な膜質であることが好ましく、さらには、誘電率
が高いことが好ましい。例えば、酸化シリコン(SiO)、酸化イットリウム(Y
)、酸化チタン(TiO)、酸化アルミニウム(Al)、酸化ハフニウム(H
fO)、酸化タンタル(Ta)、チタン酸バリウム(BaTiO)、チタン酸
ストロンチウム(SrTiO)、チタン酸鉛(PbTiO)、窒化シリコン(Si
)、酸化ジルコニウム(ZrO)等やこれらの混合膜又は2種以上の積層膜を用い
ることができる。これらの絶縁膜は、スパッタリング、蒸着、CVD等により成膜するこ
とができる。また、絶縁層はこれら絶縁材料の粒子をバインダ中に分散して成膜してもよ
い。バインダ材料は、電界発光層に含まれるバインダと同様な材料、方法を用いて形成す
ればよい。膜厚は特に限定されることはないが、好ましくは10〜1000nmの範囲で
ある。
本実施例で示す発光素子は、電界発光層を狭持する一対の電極層間に電圧を印加すること
で発光が得られるが、直流駆動又は交流駆動のいずれにおいても動作することができる。
なお、本実施例に示す発光素子は本明細書の発光素子に適用することが可能であり、例え
ば実施例2の表示パネルの発光素子に適用することもできる。その場合には、本実施例の
電界発光層が実施例2の図66における有機化合物を含む層6616に相当する。
本実施例では、表示素子に液晶素子を用いた場合の表示パネルの構成について説明する。
図71(A)には、第1の基板7100上に信号線駆動回路7130、走査線駆動回路7
138、及び画素部7131が形成された液晶表示パネルを示す。
図71(B)は液晶表示パネルのA−A’の断面図を示し、第1の基板7100上に、n
チャネル型TFT7121とpチャネル型TFT7122とを有するCMOS回路を備え
た信号線駆動回路7130を示す。nチャネル型TFT7121とpチャネル型TFT7
122は、結晶性半導体膜を有するように形成するとよい。信号線駆動回路7130や走
査線駆動回路7138を形成するTFTは、CMOS回路、PMOS回路又はNMOS回
路で形成してもよい。
画素部7131は、TFT7123及び容量素子7158を有する。TFT7123は
、結晶性半導体膜を有するように形成するとよい。容量素子7158は、不純物が添加さ
れた半導体膜と、ゲート電極とに挟まれたゲート絶縁膜により構成される。
なお、画素部7131のTFTは信号線駆動回路7130や走査線駆動回路7138と
比べると、高い結晶性を有する必要はない。
また画素部7131は、TFT7123の一方の電極と接続された画素電極7111を
有する。そして、nチャネル型TFT7121、pチャネル型TFT7122、画素電極
7111、及びTFT7123等を覆うように第3の絶縁膜7109が設けられている。
また対向基板となる第2の基板7145を用意する。第2の基板7145には、少なくと
も信号線駆動回路7130に相当する位置にブラックマトリクス7151が設けられ、少
なくとも画素部に相当する位置にカラーフィルタ7152が設けられ、さらに対向電極7
153が設けられている。本発明は必ずしも、第2の基板7145にブラックマトリクス
、カラーフィルタ、又は対向電極を設ける必要はなく、第1の基板7100側へ設けても
よい。この後、基板間隔を保持するためのスペーサ7156を形成しても良い。また液晶
材料に混合した有機強誘電体微粒子の分布の偏りを防止することを目的とした液晶材料の
対流防止のための突起物7150を同時に形成してもよい。スペーサ7156は球状のも
のを利用しても良いし、絶縁膜をエッチングして形成される所謂柱状スペーサを用いるこ
とができる。さらに突起物7150の高さを液晶層7154の厚みと同じにして、スペー
サ7156と同じ機能を持たせても良く、スペーサ7156と突起物7150を別にする
か同じにするかは適宜選択する。
次に第2の基板7145に、配向処理を施し、第1の基板7100とシール材7143を
用いて張り合わせる。シール材7143はエポキシ系樹脂を用いるのが好ましい。またシ
ール材7143を形成する位置に、第3の絶縁膜7109を一部残しておいてもよい。そ
の結果、接着面積が大きくなり、接着強度を高めることができる。なお、基板間隔を保持
するためのスペーサ7156は配向膜に配向処理を行った後に形成しても良い。
第1の基板7100、及び第2の基板7145の間に液晶層7154を注入する。液晶層
7154を注入する場合は、真空中で行うとよい。また第1の基板7100へ液晶層を滴
下した後、第2の基板7145を張り合わせてもよい。特に、大型基板になると液晶層を
注入するより、滴下する方が好ましい。
また、第1の基板7100や第2の基板7145に適宜、偏光板又は円偏光板を設け、
コントラストを高めるとよい。
また、第1の接着領域7132に設けられた導電膜7108には、異方性導電膜(AC
F)によりフレキシブルプリントサーキット(FPC)7146が接続されている。そし
て、FPC7146を介して外部入力信号となるビデオ信号やクロック信号を受け取る。
ここではFPCしか図示されていないが、このFPCを介して、プリント配線基板(PW
B)が取り付けられている。そしてプリント配線基盤には、外部信号生成回路が搭載され
ている。
また加圧や加熱によりACFを接着するときに、基板のフレキシブル性や加熱による軟
化のため、クラックが生じないように注意する。例えば、少なくとも第1の接着領域71
32の下方に硬性の高い基板を補助として配置すればよい。
本実施例では、第1の基板7100上に信号線駆動回路7130及び走査線駆動回路7
138を設けた、ドライバ一体型の発光装置を示すが、信号線駆動回路及び走査線駆動回
路はICにより形成し、SOG法やTAB法により信号線、又は走査線等と接続しても構
わない。
以上のように、液晶表示パネルを作製することができる。

Claims (1)

  1. 画素部と、
    複数の接続パッドを有する接続端子部と、
    複数の配線を有するシール領域部と、を有し、
    前記複数の配線は、等しい線幅を有し、
    前記複数の配線は、等しいピッチで配置され、
    前記複数の接続パッドは、第1の接続パッドと、第2の接続パッドと、第3の接続パッドと、を有し、
    前記第2の接続パッドは、前記接続端子部において、前記第1の接続パッドと、前記第1及び第2の接続パッドよりも下層の導電層を介して、電気的に接続され、
    前記第3の接続パッドは、前記複数の配線のうちの一つのみと接続され、
    前記第1の接続パッドは、前記複数の配線のうち二つ以上と接続され、
    前記第1の接続パッドと接続されている配線は、前記接続端子部とは逆方向の領域で、一つの配線に接続され
    前記第2の接続パッドは、前記複数の配線のうち二つ以上と接続されていることを特徴とする表示パネル。
JP2016197193A 2005-04-28 2016-10-05 表示パネル Active JP6220946B2 (ja)

Applications Claiming Priority (2)

Application Number Priority Date Filing Date Title
JP2005133741 2005-04-28
JP2005133741 2005-04-28

Related Parent Applications (1)

Application Number Title Priority Date Filing Date
JP2015094513A Division JP2015156041A (ja) 2005-04-28 2015-05-05 表示パネル

Publications (2)

Publication Number Publication Date
JP2017021377A JP2017021377A (ja) 2017-01-26
JP6220946B2 true JP6220946B2 (ja) 2017-10-25

Family

ID=37195487

Family Applications (5)

Application Number Title Priority Date Filing Date
JP2011253795A Active JP5463342B2 (ja) 2005-04-28 2011-11-21 表示パネル、モジュール及び電子機器
JP2013085622A Active JP5659266B2 (ja) 2005-04-28 2013-04-16 表示パネル、モジュール、電子機器
JP2014109051A Active JP5931959B2 (ja) 2005-04-28 2014-05-27 表示パネル
JP2015094513A Withdrawn JP2015156041A (ja) 2005-04-28 2015-05-05 表示パネル
JP2016197193A Active JP6220946B2 (ja) 2005-04-28 2016-10-05 表示パネル

Family Applications Before (4)

Application Number Title Priority Date Filing Date
JP2011253795A Active JP5463342B2 (ja) 2005-04-28 2011-11-21 表示パネル、モジュール及び電子機器
JP2013085622A Active JP5659266B2 (ja) 2005-04-28 2013-04-16 表示パネル、モジュール、電子機器
JP2014109051A Active JP5931959B2 (ja) 2005-04-28 2014-05-27 表示パネル
JP2015094513A Withdrawn JP2015156041A (ja) 2005-04-28 2015-05-05 表示パネル

Country Status (3)

Country Link
US (7) US7710739B2 (ja)
JP (5) JP5463342B2 (ja)
CN (2) CN102231013B (ja)

Cited By (1)

* Cited by examiner, † Cited by third party
Publication number Priority date Publication date Assignee Title
US11322572B2 (en) 2019-03-07 2022-05-03 Samsung Display Co., Ltd. Organic light emitting display device including voltage line connected to cathode electrode

Families Citing this family (103)

* Cited by examiner, † Cited by third party
Publication number Priority date Publication date Assignee Title
US7112997B1 (en) * 2004-05-19 2006-09-26 Altera Corporation Apparatus and methods for multi-gate silicon-on-insulator transistors
JP2007012938A (ja) * 2005-06-30 2007-01-18 Seiko Epson Corp 集積回路装置
KR100725492B1 (ko) * 2005-09-24 2007-06-08 삼성전자주식회사 디스플레이장치
US20070090385A1 (en) * 2005-10-21 2007-04-26 Semiconductor Energy Laboratory Co., Ltd. Semiconductor device
JP4934325B2 (ja) * 2006-02-17 2012-05-16 株式会社フジクラ プリント配線板の接続構造及びプリント配線板の接続方法
GB2439584A (en) * 2006-06-30 2008-01-02 Cambridge Display Tech Ltd Active Matrix Organic Electro-Optic Devices
US20080017859A1 (en) * 2006-07-18 2008-01-24 Tpo Displays Corp. System for displaying images including thin film transistor device and method for fabricating the same
JP4449953B2 (ja) 2006-07-27 2010-04-14 エプソンイメージングデバイス株式会社 液晶表示装置
JP2008058853A (ja) * 2006-09-04 2008-03-13 Sony Corp 表示装置及びその製造方法
KR100790216B1 (ko) * 2006-10-17 2008-01-02 삼성전자주식회사 전도성 분산제를 이용한 cnt 투명전극 및 그의 제조방법
KR100883737B1 (ko) * 2007-01-17 2009-02-12 삼성전자주식회사 망상 탄소나노튜브 박막층을 포함하는 탄소나노튜브 투명전극 및 그의 제조방법
JP2008191443A (ja) * 2007-02-06 2008-08-21 Nec Electronics Corp 表示ドライバic
JP2008286953A (ja) * 2007-05-16 2008-11-27 Sony Corp 表示装置及びその駆動方法と電子機器
TWI340282B (en) 2007-05-25 2011-04-11 Au Optronics Corp Liquid crystal panel, thin film transistors array substrate and curing line structure thereof in use of phase separation alignment process
KR101383409B1 (ko) * 2007-06-08 2014-04-18 엘지디스플레이 주식회사 표시장치
US8319703B2 (en) 2007-06-28 2012-11-27 Qualcomm Mems Technologies, Inc. Rendering an image pixel in a composite display
US20090323341A1 (en) * 2007-06-28 2009-12-31 Boundary Net, Incorporated Convective cooling based lighting fixtures
JP5505754B2 (ja) * 2007-12-26 2014-05-28 Nltテクノロジー株式会社 表示装置
TWI382381B (zh) * 2008-03-06 2013-01-11 Pervasive Display Co Ltd 非揮發型顯示裝置
KR101246769B1 (ko) * 2008-03-31 2013-03-26 샤프 가부시키가이샤 면 발광 표시장치
KR101015885B1 (ko) * 2008-06-12 2011-02-23 삼성모바일디스플레이주식회사 평판 디스플레이 장치 및 그 제조 방법
US8183755B2 (en) * 2008-06-12 2012-05-22 Samsung Mobile Display Co., Ltd. Flat panel display apparatus and method of manufacturing the same
KR100952824B1 (ko) * 2008-06-18 2010-04-15 삼성모바일디스플레이주식회사 유기전계발광 표시장치
KR101195688B1 (ko) * 2008-08-11 2012-10-30 샤프 가부시키가이샤 플렉시블 기판 및 전기 회로 구조체
JP5491833B2 (ja) * 2008-12-05 2014-05-14 株式会社半導体エネルギー研究所 半導体装置
KR101009976B1 (ko) * 2009-02-17 2011-01-21 삼성에스디아이 주식회사 플라즈마 디스플레이 장치
BRPI0924471A2 (pt) * 2009-04-09 2016-02-16 Sharp Kk dispositivo de visor
US20100320558A1 (en) 2009-06-18 2010-12-23 Hsien-Chang Chang Circuit layout structure and method to scale down ic layout
US8351009B2 (en) * 2009-06-22 2013-01-08 Sharp Kabushiki Kaisha Display panel, liquid crystal display device and drive-circuit-mounted board
CN101930966B (zh) * 2009-06-24 2014-07-02 联华电子股份有限公司 电路布局结构及缩小集成电路布局的方法
JP5404289B2 (ja) 2009-10-05 2014-01-29 株式会社ジャパンディスプレイ 表示パネル
KR101917753B1 (ko) 2011-06-24 2018-11-13 가부시키가이샤 한도오따이 에네루기 켄큐쇼 표시 장치
KR20130083722A (ko) * 2012-01-13 2013-07-23 삼성전자주식회사 디스플레이 구동 칩 및 디스플레이 장치
KR101879831B1 (ko) * 2012-03-21 2018-07-20 삼성디스플레이 주식회사 플렉시블 표시 장치, 유기 발광 표시 장치 및 플렉시블 표시 장치용 원장 기판
TWI588718B (zh) * 2012-03-28 2017-06-21 友達光電股份有限公司 觸控面板及其製造方法
KR20140019043A (ko) * 2012-06-29 2014-02-14 삼성디스플레이 주식회사 평판표시장치
KR101960523B1 (ko) * 2012-08-17 2019-03-21 삼성디스플레이 주식회사 표시 장치 및 이의 제조 방법
WO2014061235A1 (ja) * 2012-10-17 2014-04-24 パナソニック株式会社 El表示装置
TWI472274B (zh) * 2012-12-12 2015-02-01 勝華科技股份有限公司 複合線路結構
KR102107383B1 (ko) * 2012-12-27 2020-05-07 엘지디스플레이 주식회사 디스플레이 장치용 어레이 기판
KR101980766B1 (ko) * 2012-12-27 2019-05-21 엘지디스플레이 주식회사 터치 패널 내장형 유기 발광 다이오드 표시 장치
US8890408B2 (en) * 2013-01-18 2014-11-18 Nokia Corporation Method and apparatus for coupling an active display portion and substrate
TWI790673B (zh) 2013-03-07 2023-01-21 日商半導體能源研究所股份有限公司 電子裝置
WO2014174891A1 (ja) * 2013-04-25 2014-10-30 シャープ株式会社 表示装置
KR102096038B1 (ko) * 2013-07-16 2020-04-02 삼성디스플레이 주식회사 전원 전달 배선을 포함하는 백라이트 유닛
CN104345997B (zh) * 2013-07-23 2017-08-25 宏达国际电子股份有限公司 触控面板
US9614021B2 (en) 2013-07-24 2017-04-04 Samsung Display Co., Ltd. Organic light-emitting display apparatus and manufacturing method thereof
JP6076865B2 (ja) * 2013-09-02 2017-02-08 ルネサスエレクトロニクス株式会社 電子装置
WO2015061332A1 (en) 2013-10-23 2015-04-30 Heilux, Llc High powered led light module with a balanced matrix circuit
KR102212953B1 (ko) * 2014-03-06 2021-02-08 엘지이노텍 주식회사 터치 윈도우 및 이를 포함하는 터치 디바이스
JP2015169760A (ja) 2014-03-06 2015-09-28 株式会社ジャパンディスプレイ 表示装置の製造方法、表示装置および表示装置形成基板
JP6427360B2 (ja) * 2014-08-22 2018-11-21 株式会社ジャパンディスプレイ 表示装置
KR102301999B1 (ko) * 2014-10-15 2021-09-14 엘지디스플레이 주식회사 드라이버, 표시패널 및 표시장치
KR102332272B1 (ko) * 2014-11-18 2021-12-01 삼성디스플레이 주식회사 이방성 도전 필름 및 이를 갖는 표시장치
JP6416633B2 (ja) * 2015-01-09 2018-10-31 株式会社ジャパンディスプレイ 液晶表示装置
CN104516163B (zh) * 2015-01-15 2018-02-16 京东方科技集团股份有限公司 一种显示基板和显示装置
JP6562715B2 (ja) * 2015-05-27 2019-08-21 キヤノン株式会社 配線基板および液体吐出ヘッド
KR102395900B1 (ko) * 2015-06-26 2022-05-09 삼성디스플레이 주식회사 표시 장치 및 표시 장치의 제조 방법
KR102317553B1 (ko) * 2015-08-28 2021-10-25 엘지디스플레이 주식회사 유기 발광 표시 장치
KR102443832B1 (ko) * 2015-12-31 2022-09-19 엘지디스플레이 주식회사 유기발광표시패널 및 이를 포함하는 유기발광표시장치
JP6698369B2 (ja) * 2016-02-10 2020-05-27 シナプティクス・ジャパン合同会社 表示ドライバ及び表示パネルモジュール
TWI567725B (zh) * 2016-03-07 2017-01-21 友達光電股份有限公司 液晶顯示面板以及其驅動方法
KR102539031B1 (ko) * 2016-04-28 2023-06-02 삼성디스플레이 주식회사 표시 장치
WO2018005131A1 (en) 2016-07-01 2018-01-04 Google Llc Head mounted display device having display panels with asymmetric panel borders for improved nasal fov
KR102535209B1 (ko) * 2016-07-04 2023-05-22 삼성디스플레이 주식회사 인쇄회로기판 패키지 및 이를 포함하는 표시 장치
CN107645824B (zh) 2016-07-22 2022-07-01 Lg伊诺特有限公司 柔性电路板、覆晶薄膜模块和包括柔性电路板的电子设备
JP2018018006A (ja) * 2016-07-29 2018-02-01 株式会社ジャパンディスプレイ 表示装置
CN106249496B (zh) * 2016-08-31 2020-02-18 深圳市华星光电技术有限公司 像素单元、像素驱动电路及驱动方法
KR102518426B1 (ko) 2016-09-09 2023-04-05 삼성디스플레이 주식회사 표시 장치
KR102553236B1 (ko) * 2016-09-09 2023-07-11 삼성디스플레이 주식회사 표시장치 및 그의 구동방법
CN108091255A (zh) * 2016-11-21 2018-05-29 群创光电股份有限公司 显示装置及其制造方法
KR102774342B1 (ko) * 2017-02-07 2025-03-05 삼성디스플레이 주식회사 유기 발광 표시 장치
JP2018155999A (ja) * 2017-03-21 2018-10-04 株式会社ジャパンディスプレイ 表示装置
KR102354514B1 (ko) * 2017-05-11 2022-01-21 엘지디스플레이 주식회사 표시 장치
CN106940502B (zh) * 2017-05-18 2021-11-26 京东方科技集团股份有限公司 一种液晶显示面板及显示装置
JP6907036B2 (ja) * 2017-06-12 2021-07-21 株式会社ジャパンディスプレイ 表示装置
CN107490885B (zh) * 2017-09-05 2021-03-09 武汉天马微电子有限公司 一种显示装置
CN207303104U (zh) * 2017-10-31 2018-05-01 昆山国显光电有限公司 显示面板
CN107808653B (zh) * 2017-11-24 2024-04-26 京东方科技集团股份有限公司 显示面板供电装置、制造方法、供电方法及显示装置
CN107946319B (zh) * 2017-11-27 2021-01-26 京东方科技集团股份有限公司 一种阵列基板及显示装置
CN107966841B (zh) * 2017-12-28 2020-06-02 友达光电(昆山)有限公司 一种显示装置
KR102711314B1 (ko) 2018-06-28 2024-09-27 삼성디스플레이 주식회사 유기 발광 표시 장치
KR102623057B1 (ko) * 2018-07-03 2024-01-10 삼성디스플레이 주식회사 표시 패널 및 이를 포함하는 표시 장치
KR102484389B1 (ko) * 2018-07-23 2023-01-02 엘지디스플레이 주식회사 유기발광소자를 이용한 조명 장치
CN112640587A (zh) * 2018-08-01 2021-04-09 深圳市柔宇科技股份有限公司 电子装置、显示装置、基底与导电层
KR102603403B1 (ko) * 2018-08-09 2023-11-17 삼성디스플레이 주식회사 표시 장치
CN109119039A (zh) * 2018-09-13 2019-01-01 惠科股份有限公司 一种显示面板和显示装置
US11301000B2 (en) * 2018-12-04 2022-04-12 Wuhan China Star Optoelectronics Semiconductor Display Technology Co., Ltd. Flexible display panel
KR102718398B1 (ko) * 2019-01-23 2024-10-18 삼성디스플레이 주식회사 표시 장치
CN110596962B (zh) * 2019-09-03 2020-12-08 深圳市华星光电技术有限公司 显示模组及显示装置
JP7380679B2 (ja) * 2019-04-03 2023-11-15 I-Pex株式会社 コネクタ及びその製造方法
KR20200145985A (ko) * 2019-06-21 2020-12-31 삼성디스플레이 주식회사 표시 장치 및 표시 장치의 제조 방법
KR102777054B1 (ko) * 2019-07-04 2025-03-11 서울반도체 주식회사 직병렬 연결된 복수의 발광 다이오드 칩을 갖는 발광 모듈
JPWO2021014264A1 (ja) 2019-07-19 2021-01-28
CN110488525B (zh) * 2019-08-30 2021-12-17 厦门天马微电子有限公司 显示面板及显示装置
CN110730557B (zh) * 2019-09-05 2020-08-28 光为科技(广州)有限公司 高速柔性电路板、光组件和光模块
KR20210060732A (ko) * 2019-11-18 2021-05-27 삼성디스플레이 주식회사 표시 장치의 제조 방법
CN111430368B (zh) * 2020-03-30 2023-01-20 友达光电(苏州)有限公司 显示装置
US11252822B1 (en) * 2020-11-16 2022-02-15 Himax Technologies Limited Flexible printed circuit board and display apparatus having the same
CN113380166A (zh) * 2021-06-15 2021-09-10 深圳市华星光电半导体显示技术有限公司 显示面板
US12414376B2 (en) * 2021-11-18 2025-09-09 Boe Technology Group Co., Ltd. Driving apparatus, display apparatus, and method of fabricating driving apparatus
CN114253037B (zh) * 2021-12-16 2023-12-08 武汉华星光电技术有限公司 显示模组
CN118887903A (zh) * 2024-08-16 2024-11-01 天马新型显示技术研究院(厦门)有限公司 显示面板和显示装置

Family Cites Families (94)

* Cited by examiner, † Cited by third party
Publication number Priority date Publication date Assignee Title
US4753820A (en) * 1986-10-20 1988-06-28 United Technologies Corporation Variable pitch IC bond pad arrangement
JPS63142894A (ja) 1986-12-06 1988-06-15 株式会社東芝 フラツトパツケ−ジ集積回路の配線基板
JPH0329828A (ja) 1989-06-28 1991-02-07 Matsushita Electric Ind Co Ltd ポテンショメータ
JPH0329828U (ja) * 1989-07-27 1991-03-25
JPH04171423A (ja) 1990-11-02 1992-06-18 Sharp Corp 液晶表示装置
JPH0579540A (ja) 1991-06-22 1993-03-30 Shimadzu Corp アクチユエータ
JPH0579540U (ja) 1992-03-24 1993-10-29 セイコー電子工業株式会社 表示装置
JP2968139B2 (ja) * 1992-12-28 1999-10-25 シャープ株式会社 パネルの実装構造
JPH07101699B2 (ja) * 1993-09-29 1995-11-01 インターナショナル・ビジネス・マシーンズ・コーポレイション 印刷回路基板及び液晶表示装置
JPH07175076A (ja) 1993-12-20 1995-07-14 Hitachi Ltd 液晶表示素子
JP3208998B2 (ja) * 1994-05-24 2001-09-17 ソニー株式会社 表示装置
JPH08201841A (ja) * 1994-11-24 1996-08-09 Toshiba Electron Eng Corp 表示装置及びその検査方法
JPH08313922A (ja) 1995-05-19 1996-11-29 Rohm Co Ltd 液晶表示装置
WO1997000462A1 (fr) * 1995-06-16 1997-01-03 Hitachi, Ltd. Afficheur a cristaux liquides convenant a un cadre etroit
JP3326673B2 (ja) 1995-11-17 2002-09-24 株式会社アドバンスト・ディスプレイ 液晶表示素子
US5982470A (en) * 1996-08-29 1999-11-09 Sharp Kabushiki Kaisha Liquid crystal display device having dummy electrodes with interleave ratio same on all sides
WO1998012597A1 (fr) * 1996-09-20 1998-03-26 Hitachi, Ltd. Dispositif d'affichage a cristaux liquides, son procede de fabrication et telephone mobile
JPH1096944A (ja) 1996-09-25 1998-04-14 Toshiba Electron Eng Corp 電気的接続構造および液晶表示装置
JP3907804B2 (ja) * 1997-10-06 2007-04-18 株式会社半導体エネルギー研究所 液晶表示装置
JP3459560B2 (ja) * 1998-02-10 2003-10-20 三洋電機株式会社 半導体装置及び表示装置
US6362027B1 (en) * 1998-07-08 2002-03-26 Semiconductor Energy Laboratory Co., Ltd. Semiconductor device, active matrix substrate, method of manufacturing the semiconductor device and method of manufacturing the active matrix substrate
US6111357A (en) 1998-07-09 2000-08-29 Eastman Kodak Company Organic electroluminescent display panel having a cover with radiation-cured perimeter seal
JP2000150861A (ja) * 1998-11-16 2000-05-30 Tdk Corp 酸化物薄膜
JP2000275663A (ja) * 1999-03-26 2000-10-06 Hitachi Ltd 液晶表示装置とその製造方法
JP2000347207A (ja) * 1999-06-04 2000-12-15 Nec Corp 液晶表示装置及び液晶表示装置の製造方法
JP2001056477A (ja) 1999-08-17 2001-02-27 Casio Comput Co Ltd 液晶表示装置及びその検査方法
JP2001109395A (ja) 1999-10-01 2001-04-20 Sanyo Electric Co Ltd El表示装置
JP2001102169A (ja) * 1999-10-01 2001-04-13 Sanyo Electric Co Ltd El表示装置
KR100356988B1 (ko) * 2000-02-23 2002-10-18 엘지.필립스 엘시디 주식회사 액정표시장치 및 그 제조방법
TW487896B (en) 2000-02-24 2002-05-21 Seiko Epson Corp Mounting structure for semiconductor device, electro-optical device, and electronic apparatus
JP4475829B2 (ja) 2000-02-24 2010-06-09 セイコーエプソン株式会社 半導体装置の実装構造、電気光学装置及び電子機器
KR100323826B1 (ko) 2000-03-02 2002-02-19 구본준, 론 위라하디락사 액정표시장치
JP3956572B2 (ja) 2000-03-13 2007-08-08 セイコーエプソン株式会社 液晶装置用基板の製造方法
US7019718B2 (en) 2000-07-25 2006-03-28 Semiconductor Energy Laboratory Co., Ltd. Display device
JP4671551B2 (ja) * 2000-07-25 2011-04-20 株式会社半導体エネルギー研究所 表示装置
JP3660216B2 (ja) 2000-08-22 2005-06-15 シャープ株式会社 マトリクス型表示装置
KR100806808B1 (ko) * 2000-10-17 2008-02-22 엘지.필립스 엘시디 주식회사 등저항 배선을 위한 액정표시장치
JP2003050402A (ja) 2001-05-31 2003-02-21 Fujitsu Display Technologies Corp 液晶表示装置及びフレキシブル基板
TW535287B (en) * 2001-05-31 2003-06-01 Fujitsu Display Tech Liquid crystal display device having a drive IC mounted on a flexible board directly connected to a liquid crystal panel
JP3932833B2 (ja) * 2001-06-21 2007-06-20 セイコーエプソン株式会社 コンデンサ付き電気光学装置および電子機器
US20030085855A1 (en) * 2001-07-17 2003-05-08 Kabushiki Kaisha Toshiba Array substrate, method of inspecting array substrate, and liquid crystal display
JP3909572B2 (ja) * 2001-09-28 2007-04-25 株式会社日立製作所 表示装置
JP4164562B2 (ja) * 2002-09-11 2008-10-15 独立行政法人科学技術振興機構 ホモロガス薄膜を活性層として用いる透明薄膜電界効果型トランジスタ
EP1443130B1 (en) 2001-11-05 2011-09-28 Japan Science and Technology Agency Natural superlattice homologous single crystal thin film, method for preparation thereof, and device using said single crystal thin film
JP2003152019A (ja) 2001-11-12 2003-05-23 Matsushita Electric Ind Co Ltd 電極端子の接続構造及びその構造を用いた液晶表示装置
JP2003161957A (ja) 2001-11-26 2003-06-06 Toshiba Corp 液晶表示装置及びその製造方法
JP3939140B2 (ja) * 2001-12-03 2007-07-04 株式会社日立製作所 液晶表示装置
KR100800330B1 (ko) * 2001-12-20 2008-02-01 엘지.필립스 엘시디 주식회사 라인 온 글래스형 신호라인 검사를 위한 액정표시패널
JP4109864B2 (ja) 2001-12-26 2008-07-02 東芝松下ディスプレイテクノロジー株式会社 マトリクスアレイ基板及びその製造方法
JP4011344B2 (ja) * 2001-12-28 2007-11-21 株式会社半導体エネルギー研究所 半導体装置の作製方法
US7749818B2 (en) * 2002-01-28 2010-07-06 Semiconductor Energy Laboratory Co., Ltd. Semiconductor device and method of manufacturing the same
PT1333026E (pt) 2002-01-30 2007-09-17 Servier Lab ''processo para a preparação de perindopril com elevado grau de pureza e intermediários úteis para a sua síntese''
JP4083486B2 (ja) 2002-02-21 2008-04-30 独立行政法人科学技術振興機構 LnCuO(S,Se,Te)単結晶薄膜の製造方法
CN101217150B (zh) * 2002-03-05 2011-04-06 株式会社半导体能源研究所 半导体元件和使用半导体元件的半导体装置
US7045861B2 (en) * 2002-03-26 2006-05-16 Semiconductor Energy Laboratory Co., Ltd. Light-emitting device, liquid-crystal display device and method for manufacturing same
TWI303882B (en) * 2002-03-26 2008-12-01 Semiconductor Energy Lab Semiconductor device and method of manufacturing the same
JP2003308051A (ja) * 2002-04-16 2003-10-31 Seiko Epson Corp 画像信号供給回路および電気光学パネル
TW546853B (en) * 2002-05-01 2003-08-11 Au Optronics Corp Active type OLED and the fabrication method thereof
US7339187B2 (en) * 2002-05-21 2008-03-04 State Of Oregon Acting By And Through The Oregon State Board Of Higher Education On Behalf Of Oregon State University Transistor structures
JP4047102B2 (ja) * 2002-08-23 2008-02-13 シャープ株式会社 フレキシブル基板およびそれを用いたlcdモジュール
KR100900537B1 (ko) * 2002-08-23 2009-06-02 삼성전자주식회사 액정 표시 장치, 그 검사 방법 및 제조 방법
JP2004095996A (ja) * 2002-09-03 2004-03-25 Seiko Epson Corp 多層膜構造の製造方法、カラーフィルタ基板の製造方法、多層膜構造、カラーフィルタ基板、電気光学装置及び電子機器
JP3925486B2 (ja) * 2003-01-23 2007-06-06 セイコーエプソン株式会社 電気光学装置用基板、電気光学装置及び電子機器
JP3783707B2 (ja) 2003-03-19 2006-06-07 セイコーエプソン株式会社 検査素子付基板並びに電気光学装置用基板及び電気光学装置及び電子機器
KR100943729B1 (ko) * 2003-05-20 2010-02-23 엘지디스플레이 주식회사 액정표시장치 및 그 제조방법
JP4075691B2 (ja) * 2003-05-27 2008-04-16 セイコーエプソン株式会社 電気光学装置の製造方法並びに基板装置の製造方法
JP4179199B2 (ja) 2003-06-02 2008-11-12 セイコーエプソン株式会社 電気光学装置及びこれを備えた電子機器
US7221095B2 (en) * 2003-06-16 2007-05-22 Semiconductor Energy Laboratory Co., Ltd. Light emitting device and method for fabricating light emitting device
US7262463B2 (en) * 2003-07-25 2007-08-28 Hewlett-Packard Development Company, L.P. Transistor including a deposited channel region having a doped portion
KR100544123B1 (ko) 2003-07-29 2006-01-23 삼성에스디아이 주식회사 평판표시장치
JP4547202B2 (ja) 2003-07-30 2010-09-22 シチズン電子株式会社 タッチパネル及びそれを備えた画面入力型表示装置
JP2005070723A (ja) 2003-08-04 2005-03-17 Seiko Epson Corp 電気光学装置用基板、電気光学装置および電子機器
KR100553745B1 (ko) 2003-08-06 2006-02-20 삼성에스디아이 주식회사 평판표시장치
JP4483224B2 (ja) 2003-08-08 2010-06-16 セイコーエプソン株式会社 電気光学パネル、電気光学装置、及び電子機器
JP4623701B2 (ja) * 2003-08-29 2011-02-02 株式会社 日立ディスプレイズ カラーフィルター用着色組成物及びこの着色組成物で形成したカラーフィルターを用いた表示装置
KR100583311B1 (ko) * 2003-10-14 2006-05-25 엘지.필립스 엘시디 주식회사 액정표시패널 및 그 제조 방법
JP2005183408A (ja) * 2003-12-15 2005-07-07 Seiko Epson Corp 電気光学装置、その駆動回路および電子機器
US7282782B2 (en) * 2004-03-12 2007-10-16 Hewlett-Packard Development Company, L.P. Combined binary oxide semiconductor device
US7145174B2 (en) * 2004-03-12 2006-12-05 Hewlett-Packard Development Company, Lp. Semiconductor device
US20070194379A1 (en) * 2004-03-12 2007-08-23 Japan Science And Technology Agency Amorphous Oxide And Thin Film Transistor
US7297977B2 (en) * 2004-03-12 2007-11-20 Hewlett-Packard Development Company, L.P. Semiconductor device
JP2005354035A (ja) * 2004-05-14 2005-12-22 Toppan Printing Co Ltd 半導体装置の形成方法
US7285501B2 (en) * 2004-09-17 2007-10-23 Hewlett-Packard Development Company, L.P. Method of forming a solution processed device
US7791072B2 (en) * 2004-11-10 2010-09-07 Canon Kabushiki Kaisha Display
US7863611B2 (en) * 2004-11-10 2011-01-04 Canon Kabushiki Kaisha Integrated circuits utilizing amorphous oxides
AU2005302963B2 (en) * 2004-11-10 2009-07-02 Cannon Kabushiki Kaisha Light-emitting device
EP2453480A2 (en) * 2004-11-10 2012-05-16 Canon Kabushiki Kaisha Amorphous oxide and field effect transistor
US7453065B2 (en) * 2004-11-10 2008-11-18 Canon Kabushiki Kaisha Sensor and image pickup device
EP1815530B1 (en) * 2004-11-10 2021-02-17 Canon Kabushiki Kaisha Field effect transistor employing an amorphous oxide
US7829444B2 (en) * 2004-11-10 2010-11-09 Canon Kabushiki Kaisha Field effect transistor manufacturing method
US20060197092A1 (en) * 2005-03-03 2006-09-07 Randy Hoffman System and method for forming conductive material on a substrate
US20090039495A1 (en) * 2005-10-05 2009-02-12 Sharp Kabushiki Kaisha Wiring substrate and display device including the same
JP5068067B2 (ja) * 2006-11-22 2012-11-07 株式会社ジャパンディスプレイイースト 表示装置および平面型表示装置
CN103038056B (zh) * 2010-06-30 2015-09-30 倍耐力轮胎股份公司 用于控制用于轮胎生产的半完成元件的沉积的方法和装置

Cited By (1)

* Cited by examiner, † Cited by third party
Publication number Priority date Publication date Assignee Title
US11322572B2 (en) 2019-03-07 2022-05-03 Samsung Display Co., Ltd. Organic light emitting display device including voltage line connected to cathode electrode

Also Published As

Publication number Publication date
CN102231013A (zh) 2011-11-02
JP5463342B2 (ja) 2014-04-09
JP2013190795A (ja) 2013-09-26
US10877329B2 (en) 2020-12-29
JP5659266B2 (ja) 2015-01-28
JP2012083769A (ja) 2012-04-26
JP5931959B2 (ja) 2016-06-08
US9411203B2 (en) 2016-08-09
US20210109395A1 (en) 2021-04-15
US8259463B2 (en) 2012-09-04
JP2014194571A (ja) 2014-10-09
US10162235B2 (en) 2018-12-25
CN102231013B (zh) 2013-01-30
US7710739B2 (en) 2010-05-04
CN1855465A (zh) 2006-11-01
US20100201661A1 (en) 2010-08-12
US20190219859A1 (en) 2019-07-18
US20230046143A1 (en) 2023-02-16
US20060244741A1 (en) 2006-11-02
US20170031199A1 (en) 2017-02-02
JP2015156041A (ja) 2015-08-27
US11726373B2 (en) 2023-08-15
US11520193B2 (en) 2022-12-06
US20130027282A1 (en) 2013-01-31
JP2017021377A (ja) 2017-01-26
CN1855465B (zh) 2011-07-06

Similar Documents

Publication Publication Date Title
JP6220946B2 (ja) 表示パネル
JP7400130B2 (ja) 表示装置
JP7331164B2 (ja) 半導体装置
JP5525685B2 (ja) 半導体装置及び電子機器
TWI633365B (zh) 液晶顯示裝置
CN100570882C (zh) 发光器件
WO2003044762A1 (fr) Substrat a matrice active, appareil electro-optique et appareil electronique
JP5376705B2 (ja) El表示パネル

Legal Events

Date Code Title Description
A621 Written request for application examination

Free format text: JAPANESE INTERMEDIATE CODE: A621

Effective date: 20161019

TRDD Decision of grant or rejection written
A01 Written decision to grant a patent or to grant a registration (utility model)

Free format text: JAPANESE INTERMEDIATE CODE: A01

Effective date: 20170905

A61 First payment of annual fees (during grant procedure)

Free format text: JAPANESE INTERMEDIATE CODE: A61

Effective date: 20171002

R150 Certificate of patent or registration of utility model

Ref document number: 6220946

Country of ref document: JP

Free format text: JAPANESE INTERMEDIATE CODE: R150

R250 Receipt of annual fees

Free format text: JAPANESE INTERMEDIATE CODE: R250

R250 Receipt of annual fees

Free format text: JAPANESE INTERMEDIATE CODE: R250

R250 Receipt of annual fees

Free format text: JAPANESE INTERMEDIATE CODE: R250

R250 Receipt of annual fees

Free format text: JAPANESE INTERMEDIATE CODE: R250

R250 Receipt of annual fees

Free format text: JAPANESE INTERMEDIATE CODE: R250