JP3908112B2 - サセプタ、エピタキシャルウェーハ製造装置及びエピタキシャルウェーハ製造方法 - Google Patents
サセプタ、エピタキシャルウェーハ製造装置及びエピタキシャルウェーハ製造方法 Download PDFInfo
- Publication number
- JP3908112B2 JP3908112B2 JP2002220027A JP2002220027A JP3908112B2 JP 3908112 B2 JP3908112 B2 JP 3908112B2 JP 2002220027 A JP2002220027 A JP 2002220027A JP 2002220027 A JP2002220027 A JP 2002220027A JP 3908112 B2 JP3908112 B2 JP 3908112B2
- Authority
- JP
- Japan
- Prior art keywords
- susceptor
- wafer
- gas
- chamber
- Prior art date
- Legal status (The legal status is an assumption and is not a legal conclusion. Google has not performed a legal analysis and makes no representation as to the accuracy of the status listed.)
- Expired - Lifetime
Links
- 238000004519 manufacturing process Methods 0.000 title claims description 35
- 239000007789 gas Substances 0.000 claims description 217
- 239000012159 carrier gas Substances 0.000 claims description 39
- 238000010438 heat treatment Methods 0.000 claims description 12
- 230000000149 penetrating effect Effects 0.000 claims description 6
- 235000012431 wafers Nutrition 0.000 description 190
- 239000002019 doping agent Substances 0.000 description 23
- 230000002093 peripheral effect Effects 0.000 description 20
- 229910052710 silicon Inorganic materials 0.000 description 16
- 239000010703 silicon Substances 0.000 description 16
- XUIMIQQOPSSXEZ-UHFFFAOYSA-N Silicon Chemical compound [Si] XUIMIQQOPSSXEZ-UHFFFAOYSA-N 0.000 description 15
- HBMJWWWQQXIZIP-UHFFFAOYSA-N silicon carbide Chemical compound [Si+]#[C-] HBMJWWWQQXIZIP-UHFFFAOYSA-N 0.000 description 12
- 229910010271 silicon carbide Inorganic materials 0.000 description 12
- 239000010408 film Substances 0.000 description 9
- 230000007246 mechanism Effects 0.000 description 9
- 230000002000 scavenging effect Effects 0.000 description 9
- XKRFYHLGVUSROY-UHFFFAOYSA-N Argon Chemical compound [Ar] XKRFYHLGVUSROY-UHFFFAOYSA-N 0.000 description 8
- 238000000034 method Methods 0.000 description 7
- UFHFLCQGNIYNRP-UHFFFAOYSA-N Hydrogen Chemical compound [H][H] UFHFLCQGNIYNRP-UHFFFAOYSA-N 0.000 description 6
- XYFCBTPGUUZFHI-UHFFFAOYSA-N Phosphine Chemical compound P XYFCBTPGUUZFHI-UHFFFAOYSA-N 0.000 description 6
- 238000006243 chemical reaction Methods 0.000 description 6
- 230000008569 process Effects 0.000 description 5
- 239000010453 quartz Substances 0.000 description 5
- VYPSYNLAJGMNEJ-UHFFFAOYSA-N silicon dioxide Inorganic materials O=[Si]=O VYPSYNLAJGMNEJ-UHFFFAOYSA-N 0.000 description 5
- 238000012546 transfer Methods 0.000 description 5
- 229910052786 argon Inorganic materials 0.000 description 4
- 230000015572 biosynthetic process Effects 0.000 description 4
- SLLGVCUQYRMELA-UHFFFAOYSA-N chlorosilicon Chemical compound Cl[Si] SLLGVCUQYRMELA-UHFFFAOYSA-N 0.000 description 4
- MROCJMGDEKINLD-UHFFFAOYSA-N dichlorosilane Chemical compound Cl[SiH2]Cl MROCJMGDEKINLD-UHFFFAOYSA-N 0.000 description 4
- 238000000407 epitaxy Methods 0.000 description 4
- 238000012545 processing Methods 0.000 description 4
- ZDHXKXAHOVTTAH-UHFFFAOYSA-N trichlorosilane Chemical compound Cl[SiH](Cl)Cl ZDHXKXAHOVTTAH-UHFFFAOYSA-N 0.000 description 4
- 239000005052 trichlorosilane Substances 0.000 description 4
- OKTJSMMVPCPJKN-UHFFFAOYSA-N Carbon Chemical compound [C] OKTJSMMVPCPJKN-UHFFFAOYSA-N 0.000 description 3
- 239000005046 Chlorosilane Substances 0.000 description 3
- VEXZGXHMUGYJMC-UHFFFAOYSA-N Hydrochloric acid Chemical compound Cl VEXZGXHMUGYJMC-UHFFFAOYSA-N 0.000 description 3
- 229910052799 carbon Inorganic materials 0.000 description 3
- KOPOQZFJUQMUML-UHFFFAOYSA-N chlorosilane Chemical compound Cl[SiH3] KOPOQZFJUQMUML-UHFFFAOYSA-N 0.000 description 3
- 239000013078 crystal Substances 0.000 description 3
- 238000009792 diffusion process Methods 0.000 description 3
- 239000000463 material Substances 0.000 description 3
- 229910000073 phosphorus hydride Inorganic materials 0.000 description 3
- 239000002994 raw material Substances 0.000 description 3
- 239000006227 byproduct Substances 0.000 description 2
- 230000008859 change Effects 0.000 description 2
- 238000013461 design Methods 0.000 description 2
- 230000006866 deterioration Effects 0.000 description 2
- 238000007599 discharging Methods 0.000 description 2
- 230000000694 effects Effects 0.000 description 2
- 238000011049 filling Methods 0.000 description 2
- 229910052736 halogen Inorganic materials 0.000 description 2
- 150000002367 halogens Chemical class 0.000 description 2
- 150000002431 hydrogen Chemical class 0.000 description 2
- 239000001257 hydrogen Substances 0.000 description 2
- 229910052739 hydrogen Inorganic materials 0.000 description 2
- 238000012423 maintenance Methods 0.000 description 2
- 238000002791 soaking Methods 0.000 description 2
- 238000002230 thermal chemical vapour deposition Methods 0.000 description 2
- 239000011248 coating agent Substances 0.000 description 1
- 238000000576 coating method Methods 0.000 description 1
- 238000011109 contamination Methods 0.000 description 1
- 238000000354 decomposition reaction Methods 0.000 description 1
- 230000007547 defect Effects 0.000 description 1
- 238000010586 diagram Methods 0.000 description 1
- 238000006073 displacement reaction Methods 0.000 description 1
- 230000003028 elevating effect Effects 0.000 description 1
- -1 for example Substances 0.000 description 1
- 238000012986 modification Methods 0.000 description 1
- 230000004048 modification Effects 0.000 description 1
- 229910003465 moissanite Inorganic materials 0.000 description 1
- 238000007517 polishing process Methods 0.000 description 1
- 239000000047 product Substances 0.000 description 1
- 238000000746 purification Methods 0.000 description 1
- 230000000630 rising effect Effects 0.000 description 1
- 150000003376 silicon Chemical class 0.000 description 1
- 239000000758 substrate Substances 0.000 description 1
- 230000003746 surface roughness Effects 0.000 description 1
- 239000010409 thin film Substances 0.000 description 1
Images
Classifications
-
- C—CHEMISTRY; METALLURGY
- C23—COATING METALLIC MATERIAL; COATING MATERIAL WITH METALLIC MATERIAL; CHEMICAL SURFACE TREATMENT; DIFFUSION TREATMENT OF METALLIC MATERIAL; COATING BY VACUUM EVAPORATION, BY SPUTTERING, BY ION IMPLANTATION OR BY CHEMICAL VAPOUR DEPOSITION, IN GENERAL; INHIBITING CORROSION OF METALLIC MATERIAL OR INCRUSTATION IN GENERAL
- C23C—COATING METALLIC MATERIAL; COATING MATERIAL WITH METALLIC MATERIAL; SURFACE TREATMENT OF METALLIC MATERIAL BY DIFFUSION INTO THE SURFACE, BY CHEMICAL CONVERSION OR SUBSTITUTION; COATING BY VACUUM EVAPORATION, BY SPUTTERING, BY ION IMPLANTATION OR BY CHEMICAL VAPOUR DEPOSITION, IN GENERAL
- C23C16/00—Chemical coating by decomposition of gaseous compounds, without leaving reaction products of surface material in the coating, i.e. chemical vapour deposition [CVD] processes
- C23C16/44—Chemical coating by decomposition of gaseous compounds, without leaving reaction products of surface material in the coating, i.e. chemical vapour deposition [CVD] processes characterised by the method of coating
- C23C16/455—Chemical coating by decomposition of gaseous compounds, without leaving reaction products of surface material in the coating, i.e. chemical vapour deposition [CVD] processes characterised by the method of coating characterised by the method used for introducing gases into reaction chamber or for modifying gas flows in reaction chamber
- C23C16/45519—Inert gas curtains
- C23C16/45521—Inert gas curtains the gas, other than thermal contact gas, being introduced the rear of the substrate to flow around its periphery
-
- C—CHEMISTRY; METALLURGY
- C23—COATING METALLIC MATERIAL; COATING MATERIAL WITH METALLIC MATERIAL; CHEMICAL SURFACE TREATMENT; DIFFUSION TREATMENT OF METALLIC MATERIAL; COATING BY VACUUM EVAPORATION, BY SPUTTERING, BY ION IMPLANTATION OR BY CHEMICAL VAPOUR DEPOSITION, IN GENERAL; INHIBITING CORROSION OF METALLIC MATERIAL OR INCRUSTATION IN GENERAL
- C23C—COATING METALLIC MATERIAL; COATING MATERIAL WITH METALLIC MATERIAL; SURFACE TREATMENT OF METALLIC MATERIAL BY DIFFUSION INTO THE SURFACE, BY CHEMICAL CONVERSION OR SUBSTITUTION; COATING BY VACUUM EVAPORATION, BY SPUTTERING, BY ION IMPLANTATION OR BY CHEMICAL VAPOUR DEPOSITION, IN GENERAL
- C23C16/00—Chemical coating by decomposition of gaseous compounds, without leaving reaction products of surface material in the coating, i.e. chemical vapour deposition [CVD] processes
- C23C16/44—Chemical coating by decomposition of gaseous compounds, without leaving reaction products of surface material in the coating, i.e. chemical vapour deposition [CVD] processes characterised by the method of coating
- C23C16/458—Chemical coating by decomposition of gaseous compounds, without leaving reaction products of surface material in the coating, i.e. chemical vapour deposition [CVD] processes characterised by the method of coating characterised by the method used for supporting substrates in the reaction chamber
- C23C16/4582—Rigid and flat substrates, e.g. plates or discs
- C23C16/4583—Rigid and flat substrates, e.g. plates or discs the substrate being supported substantially horizontally
- C23C16/4584—Rigid and flat substrates, e.g. plates or discs the substrate being supported substantially horizontally the substrate being rotated
-
- C—CHEMISTRY; METALLURGY
- C30—CRYSTAL GROWTH
- C30B—SINGLE-CRYSTAL GROWTH; UNIDIRECTIONAL SOLIDIFICATION OF EUTECTIC MATERIAL OR UNIDIRECTIONAL DEMIXING OF EUTECTOID MATERIAL; REFINING BY ZONE-MELTING OF MATERIAL; PRODUCTION OF A HOMOGENEOUS POLYCRYSTALLINE MATERIAL WITH DEFINED STRUCTURE; SINGLE CRYSTALS OR HOMOGENEOUS POLYCRYSTALLINE MATERIAL WITH DEFINED STRUCTURE; AFTER-TREATMENT OF SINGLE CRYSTALS OR A HOMOGENEOUS POLYCRYSTALLINE MATERIAL WITH DEFINED STRUCTURE; APPARATUS THEREFOR
- C30B25/00—Single-crystal growth by chemical reaction of reactive gases, e.g. chemical vapour-deposition growth
- C30B25/02—Epitaxial-layer growth
- C30B25/12—Substrate holders or susceptors
-
- C—CHEMISTRY; METALLURGY
- C30—CRYSTAL GROWTH
- C30B—SINGLE-CRYSTAL GROWTH; UNIDIRECTIONAL SOLIDIFICATION OF EUTECTIC MATERIAL OR UNIDIRECTIONAL DEMIXING OF EUTECTOID MATERIAL; REFINING BY ZONE-MELTING OF MATERIAL; PRODUCTION OF A HOMOGENEOUS POLYCRYSTALLINE MATERIAL WITH DEFINED STRUCTURE; SINGLE CRYSTALS OR HOMOGENEOUS POLYCRYSTALLINE MATERIAL WITH DEFINED STRUCTURE; AFTER-TREATMENT OF SINGLE CRYSTALS OR A HOMOGENEOUS POLYCRYSTALLINE MATERIAL WITH DEFINED STRUCTURE; APPARATUS THEREFOR
- C30B25/00—Single-crystal growth by chemical reaction of reactive gases, e.g. chemical vapour-deposition growth
- C30B25/02—Epitaxial-layer growth
- C30B25/14—Feed and outlet means for the gases; Modifying the flow of the reactive gases
-
- H—ELECTRICITY
- H01—ELECTRIC ELEMENTS
- H01L—SEMICONDUCTOR DEVICES NOT COVERED BY CLASS H10
- H01L21/00—Processes or apparatus adapted for the manufacture or treatment of semiconductor or solid state devices or of parts thereof
- H01L21/67—Apparatus specially adapted for handling semiconductor or electric solid state devices during manufacture or treatment thereof; Apparatus specially adapted for handling wafers during manufacture or treatment of semiconductor or electric solid state devices or components ; Apparatus not specifically provided for elsewhere
- H01L21/67005—Apparatus not specifically provided for elsewhere
- H01L21/67011—Apparatus for manufacture or treatment
- H01L21/67017—Apparatus for fluid treatment
-
- H—ELECTRICITY
- H01—ELECTRIC ELEMENTS
- H01L—SEMICONDUCTOR DEVICES NOT COVERED BY CLASS H10
- H01L21/00—Processes or apparatus adapted for the manufacture or treatment of semiconductor or solid state devices or of parts thereof
- H01L21/67—Apparatus specially adapted for handling semiconductor or electric solid state devices during manufacture or treatment thereof; Apparatus specially adapted for handling wafers during manufacture or treatment of semiconductor or electric solid state devices or components ; Apparatus not specifically provided for elsewhere
- H01L21/67005—Apparatus not specifically provided for elsewhere
- H01L21/67011—Apparatus for manufacture or treatment
- H01L21/67098—Apparatus for thermal treatment
- H01L21/67115—Apparatus for thermal treatment mainly by radiation
Landscapes
- Chemical & Material Sciences (AREA)
- General Chemical & Material Sciences (AREA)
- Chemical Kinetics & Catalysis (AREA)
- Engineering & Computer Science (AREA)
- Materials Engineering (AREA)
- Metallurgy (AREA)
- Organic Chemistry (AREA)
- Mechanical Engineering (AREA)
- Crystallography & Structural Chemistry (AREA)
- Chemical Vapour Deposition (AREA)
Description
【発明の属する技術分野】
本発明は、ウェーハにエピタキシャル層を形成するためのエピタキシャルウェーハ製造装置,サセプタ構造およびエピタキシャルウェーハ製造方法に関し、特に、エピタキシャルウェーハの表面周縁部におけるドーパント濃度の上昇を抑制可能なエピタキシャルウェーハ製造装置,サセプタ構造およびエピタキシャルウェーハ製造方法に関する。
【0002】
【従来の技術】
ウェーハの表面にシリコンの結晶層を成長させることにより、結晶欠陥がなく、所望の抵抗率を有するシリコンウェーハを製造する技術が知られている。このシリコンの結晶層は、例えば直径が200mmで厚さが0.75mmのウェーハの場合に数μm程度の厚さを有する極薄い層であり、一般的にエピタキシャル層と呼ばれ、このエピタキシャル層を形成する装置をエピタキシャルウェーハ製造装置と呼んでいる。エピタキシャルウェーハ製造装置は、膜厚制御の容易性および膜品質の面から、主にシリコンウェーハを1枚ずつ処理する枚葉式のものが使用されることが多くなった。
【0003】
図1に示すように、この枚葉式のエピタキシャルウェーハ製造装置においては、通常、ウェーハを1枚だけ水平に支持するサセプタ4(ウェーハ支持台)が処理チャンバ2内に設けられている。また、サセプタ4上にウェーハ12を搬送するために、ウェーハ12をサセプタ4に対して上下動させるためのリフト機構を設けている。リフト機構は、サセプタ4を貫通して延びる複数本のリフトピン23を有しており、これらのリフトピン23の上端にウェーハ12を載せ、サセプタ4に対して相対的にリフトピン23を上下動させることでウェーハ12を昇降させる。このようなリフト機構により、搬送用アームのハンドに載せられてチャンバ2内に運ばれてきたウェーハ12をサセプタ4上に移載したり、或いはその逆に、ウェーハ12をサセプタ4からハンドに受け渡したりすることが可能となる。
【0004】
また、エピタキシャル層の成長を行うためには、サセプタ4上で支持されたウェーハ12を高温に加熱する必要がある。このため、多数のハロゲンランプ(赤外線ランプ)等の熱源8,9を処理チャンバ2の上下に配置し、サセプタ4及びウェーハ12を加熱している。
【0005】
サセプタ4は、炭素Cの基材に炭化シリコンSiCの被膜を施したものであり、ウェーハ12を加熱する際にウェーハ12全体の温度を均一に保つ均熱盤としての役割を果たす。図2に示すようにサセプタ4の上面には、例えばシリコンウェーハを収めるためにウェーハ12より一回り大きく、深さがl〜2mm程度のウェーハポケットと呼ばれるくぼみが形成されている。ウェーハポケット13の内表面は、ウェーハの外周部のみで接触するようにテーパ面とする構成が用いられ、ウェーハポケット13の内表面とウェーハ12の面接触をできるだけ減らすように工夫が施されている。このウェーハポケット13内にウェーハ12を収容し、所定温度にて原料ガスを含むキャリアガス中にサセプタ4を保持することにより、ウェーハ12の表面にシリコン薄膜よりなるエピタキシャル層が成長する。ここで原料ガスとは、シリコンソースガスとドーパントガスを指している。
【0006】
シリコンソースガスには、トリクロロシランSiHCl3やジクロロシランSiH2Cl2等のクロロシラン系ガスが、またドーパントガスには、ジボラン(P型)やホスフィン(N型)が使われるのが一般的である。これらのガスはキャリアガスである水素H2とともにチャンバ内に導入され、ウェーハ表面において熱CVD反応によるシリコンエピタキシーとともに副生成物としてHClが生成する。従って、ウェーハ表面においてはシリコンエピタキシーが進行するが、ウェーハ裏面においては主にガス拡散による回り込みによりSi−H−Cl系雰囲気が形成され、Si−H−Cl系雰囲気でウェーハ裏面からのドーパント種の放出が起こる。
【0007】
その結果、ウェーハポケット13に充満したドーパント種を含む雰囲気が拡散によりウェーハ表面へ回り込み、ウェーハ12の表面周縁部において局所的に気相中のドーパント濃度が上昇するため、エピタキシャル層中のドーパント濃度がウェーハ表面周縁部において上昇する現象が見られる。
【0008】
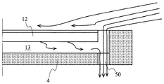
上記のようにウェーハポケット13に充満したドーパント種を含む雰囲気がウェーハ表面に回り込むのを防ぐために、特開平10−223545号公報に記載された発明は、図16に示すようにウェーハポケット13の最外周部にサセプタ4の裏面に貫通する孔部50を設けている。このようにウェーハポケット13の最外周部にサセプタ4表面から裏面に貫通する孔部50を設けることにより、サセプタ4の表面側を流れる原料ガスを含むキャリアガスが孔部50を通ってサセプタ4の下方に流出するため、ウェーハポケット13に充満したドーパント種を含む雰囲気がウェーハ12の表面に回り込むのを防止することができる。
【0009】
【発明が解決しようとする課題】
特開平10−223545号公報に記載された発明のようにサセプタ4の表面側からサセプタ4の下方にガスを流出させる場合には、キャリアガスとともに反応性の強いトリクロロシランSiHCl3やジクロロシランSiH2Cl2等の原料ガスおよび気相中で分解したSiアモルファス、HClなどが下部チャンバ7bに大量に流出する。
【0010】
図1を参照すればわかる通り下部チャンバ7bは、ウェーハ12の回転駆動機構,リフト機構,搬送用アームの進入経路等を含んでおり、掃除をすることは非常に困難である。上記のような原料ガスや分解生成物の侵入は、大幅なメンテナンス時間の増大をもたらし、生産性の悪化要因となる。また、メンテナンス費用の増大も無視できない。
【0011】
さらに、下部チャンバ7b側からも熱源9により加熱しているため、チャンバ内壁の汚れはサセプタ4の加熱の不均一や再現性の悪化をもたらし、ウェーハ品質のバラツキの原因にもなる。
【0012】
本出願に係る発明は、上記のような問題点を解決するためになされたものであり、その目的とするところは、サセプタの表面側からサセプタの下方へ大量の原料ガスを流すことなく、ウェーハポケットに充満したドーパント種を含む雰囲気を排出可能なエピタキシャルウェーハ製造装置およびサセプタ構造を提供することにある。
【0013】
また、本出願に係る発明の他の目的は、サセプタの表面側からサセプタの下方へ原料ガスが流れにくいエピタキシャルウェーハ製造装置およびエピタキシャルウェーハ製造方法を提供することにある。
【0014】
【課題を解決するための手段】
上記目的を達成するため、本出願に係る第1の発明は、略円板形状をなし、表面にウェーハを収容する凹状のウェーハポケットを有するサセプタであって、前記サセプタの側面または裏面から前記ウェーハポケットに貫通するガス供給用路と、前記ウェーハポケットから前記サセプタの側面または裏面に貫通するガス排出用路と、を有するサセプタである。
【0015】
また、本出願に係る第2の発明は、前記ガス供給用路は、前記サセプタの回転にしたがって前記ウェーハポケット内にガスを供給する形状をなし、前記ガス排出用路は、前記サセプタの回転にしたがって前記ウェーハポケット内のガスを排出する形状をなす、ことを特徴とする上記第1の発明に記載のサセプタである。
【0016】
さらに、本出願に係る第3の発明は、ガスの供給口と排出口を有するチャンバと、前記チャンバ内に配置され、表面にウェーハを収容する凹状のウェーハポケットと、側面または裏面から前記ウェーハポケットに貫通するガス供給用路と、前記ウェーハポケットから側面または裏面に貫通するガス排出用路と、を有する略円板状のサセプタと、前記サセプタを支持する支持手段と、前記チャンバ内の前記サセプタとウェーハを加熱する加熱手段と、を備えるエピタキシャルウェーハ製造装置である。
【0017】
また、本出願に係る第4の発明は、前記チャンバ内の前記サセプタよりも上方にのみ原料ガスを含むキャリアガスを供給するガス供給口を備える、ことを特徴とする上記第3の発明に記載のエピタキシャルウェーハ製造装置である。
【0018】
さらに、本出願に係る第5の発明は、チャンバと、前記チャンバ内に配置され、表面にウェーハを収容する凹状のウェーハポケットを有するサセプタと、前記サセプタを支持する支持手段と、前記チャンバ内の前記サセプタとウェーハを加熱する加熱手段と、を備えるエピタキシャルウェーハ製造装置であって、前記チャンバ内の前記サセプタの上方に原料ガスを含むキャリアガスを供給するガス供給口と、前記チャンバ内の前記サセプタの下方に前記キャリアガスよりも重いガスを供給する重ガス供給口と、を備えるエピタキシャルウェーハ製造装置である。
【0019】
また、本出願に係る第6の発明は、チャンバ内に配置され、表面にウェーハを収容する凹状のウェーハポケットを有するサセプタの、前記ウェーハポケットにウェーハを載置するステップと、前記ウェーハポケットに前記サセプタの下部からガスを供給するステップと、前記ウェーハポケット内のガスを前記サセプタの下部から排出するステップと、前記チャンバ内の前記サセプタと前記ウェーハを加熱するステップと、を含むことを特徴とするエピタキシャルウェーハ製造方法である。
【0020】
さらに、本出願に係る第7の発明は、チャンバ内に配置されたサセプタ上にウェーハを載置するステップと、前記チャンバ内の前記サセプタの上方に原料ガスを含むキャリアガスを供給し、前記サセプタの下方に前記キャリアガスよりも重いガスを供給するステップと、前記チャンバ内の前記サセプタと前記ウェーハを加熱するステップと、を含むことを特徴とするエピタキシャルウェーハ製造方法である。
【0021】
【発明の実施の形態】
以下、本出願に係る発明の実施の形態について、図1〜図15および図17に基づいて詳細に説明する。
【0022】
[装置全体の説明]
図1は、本発明に係るエピタキシャルウェーハ製造装置1の概略構造を示す縦断面である。本発明のエピタキシャルウェーハ製造装置自体の概略構造は、従来技術で説明したエピタキシャルウェーハ製造装置とほぼ同様であるため、同一図面を用いて説明する。同図においては、チャンバ2の構造を主に記載しており、チャンバ2の下方に設けた回転駆動機構については、具体的な図示を省略している。
【0023】
チャンバ2は、円筒状のベースリング3を円板状の上部窓5および受皿状の下部窓6によって上下から挟んでなり、内部の閉空間は反応炉を形成する。上部窓5および下部窓6は、熱源からの光を遮ることが無いように透光性を有する石英を用いている。チャンバ2内に形成された反応炉は、ウェーハ12よりも上部の空間である上部チャンバ7aと、ウェーハ12よりも下部の空間である下部チャンバ7bとに大別される。
【0024】
さらに、反応炉を加熱する熱源8,9をチャンバ2の上下に備えている。本実施の形態においては、上下の熱源8,9はそれぞれ複数本のハロゲンランプ(赤外線ランプ)から構成されている。
【0025】
チャンバ2内には、ウェーハ12を上部に支持するサセプタ4を収納している。サセプタ4は上方から見ると円板形状をしており、その直径はウェーハ12よりも大きく、サセプタ4の上面にはウェーハ12が収納される円形凹状のウェーハポケット13を設けている。サセプタ4は、本例においては炭素Cの基材に炭化シリコンSiCの被膜を施したものであり、ウェーハ12を加熱する際にウェーハ12全体の温度を均一に保つ均熱盤としての役割を果たす。そのため、サセプタ4はウェーハ12よりも数倍の厚さおよび数倍の熱容量を有している。
【0026】
ウェーハ12の上面に均一なエピタキシャル層が形成されるように、エピタキシャル層成長処理操作の間、サセプタ4はウェーハ12の板面と平行な面内において垂直軸を回転中心として回転動をする。当然のことながら、サセプタ4に設けたウェーハポケット13の中心は、サセプタ4の回転中心と一致する。
【0027】
サセプタ4の下方には、サセプタ4の回転軸となる円柱状または円筒状のサセプタ支持軸14が垂直に配置され、サセプタ支持軸14の上部にはサセプタ4を水平に支持する3本のサセプタアーム15を備える。3本のサセプタアーム15は上方から見たときにそれぞれが120°の角度をなすように放射状に配置され、サセプタアーム15の先端に設けた上方向凸部がサセプタ4の下面に当接してサセプタ4を支持する。
【0028】
サセプタ支持軸14は、その軸心とサセプタ4の円板中心とが一致する位置に垂直に配置され、サセプタ支持軸14の回転によりサセプタ4が回転する。サセプタ支持軸14への回転は、不図示の回転駆動機構によって与えられる。サセプタ支持軸14およびサセプタアーム15は、下部熱源9からの光を遮ることのないよう、透光性の石英から形成されている。
【0029】
図2はサセプタ4の縦断面を模式的に表した図である。サセプタ4のウェーハポケット13は、以下に説明するように複数の段部およびテーパ面からなる。例えば、直径300mmのウェーハをエピタキシャル成膜処理する装置においては、サセプタ4として直径が350〜400mm、厚さが3〜6mmの円板部材を用いる。
【0030】
サセプタ4の上面外周から20〜40mm中心に向かった位置に、円形凹部である第1の段部30を設けている。第1の段部30はサセプタ4の上面から0.4〜0.7mm下がった位置に設けた円形の平坦面であり、サセプタ4の上面と平行すなわち水平面である。
【0031】
さらに、第1の段部30の外周から5〜6mm中心に向かった位置を始点として、緩やかな傾斜を有するテーパ面31を設けている。テーパ面31は、第1の段部30よりも更に約0.1mm程下がった位置から始まり、中心に向かって24〜27mmの距離に対して約0.1mm下がる勾配を有する非常に緩やかなロート形状をなす。
【0032】
テーパ面31から更に中心に向かって、円形凹部である第2の段部32を設けている。第2の段部32はテーパ面31から約0.3mm下がった位置に設けた円形の平坦面であり、サセプタ4の上面と平行すなわち水平面である。
【0033】
図2では説明の都合上2個しか図示していないが、第2の段部32には3個の貫通穴22が設けられ、各々の貫通穴22の上部は上方に向かって拡大開口する皿状穴22´を形成している。3個の貫通穴22にはそれぞれウェーハ支持用のリフトピン23が挿通している。この貫通穴22の穴径はリフトピン23の直径よりも大きくし、サセプタ4に対してリフトピン23が上下動する際に接触しない大きさを有するように形成する。
【0034】
リフトピン23は、石英,シリコンSi,炭化シリコンSiC,石英にシリコンSi又は炭化シリコンSiCの被膜を施したもの等よりなる。リフトピン23は円柱または円筒状をなし、上端部には、皿状穴22´に対応するように下部外周にテーパ面24bを有する頭部24を備える。この頭部24のテーパ面24bのテーパ角は、皿状穴22´のテーパ面のテーパ角と適合する。この結果、頭部24は皿状穴22´の内壁に対し優れたシールを与え、これにより原料ガスがリフトピン23と貫通穴22の内壁との間を通って漏れることが防止される。
【0035】
頭部24の上部24aは頂角が鈍角をなす円錐形状をなし、ウェーハ裏面を支持する際の接触面積を極めて小さくすることにより、リフトピン23によるウェーハ裏面への傷の発生を防止している。リフトピン23は頭部24がサセプタ4の皿状穴22´の内壁に係合し、リフトピン23が下降した状態においては、自重により鉛直に垂下される。このとき、頭部24の上部24aが第2の段部32の上面から突出することはない。
【0036】
図1に示すように、リフトピン23はサセプタ4に垂下され、その胴部はサセプタアーム15に設けた貫通穴を挿通している。リフトピン23は後述のリフトアーム16とは分離した独立の単体構造であるため、サセプタ4が回転するときには、サセプタ4とともにリフトピン23も回転するが、リフトアーム16は停止した状態を保つ。リフトピン23の胴部がサセプタアーム15に設けた貫通穴を挿通しているため、サセプタ4が回転したときに、リフトピン23が遠心力によって傾くのを防止することができる。
【0037】
サセプタ支持軸14の外周には、サセプタ支持軸14に対して摺動可能な内径を有する円筒状のリフト軸17を設けている。リフト軸17の上端には、上方から見た際にそれぞれが120°の角度をなすように放射状に配置された3本のリフトアーム16を備える。リフトピン23が下降してエピタキシャル成膜処理をしている間は、リフトアーム16とリフトピン23の下端は非接触状態を保ち、サセプタ4の回転時にリフトアーム16がリフトピン23に余計な負荷を加えることはない。
【0038】
ウェーハ12をサセプタ4から上昇させる場合には、各リフトピン23がリフトアーム16上に位置合わせされたところでサセプタ4の回転を停止させ、リフトアーム16を上昇またはサセプタ支持軸14を下降させる。それにより、リフトピン23の下端がリフトアーム16に当接してリフトピン23の頭部24がサセプタ4から上昇し、ウェーハ12は頭部24によって下方から押し上げられてウェーハポケット13から上昇する。
【0039】
図1に示すように、サセプタ4の外周にはサセプタ4を取り囲むように、サセプタ4とほぼ同じ厚さを有する円環状の余熱リング19を固定配置している。余熱リング19の内周面はサセプタ4の外周面に対して接触しないだけの間隔をとって配置され、サセプタ4は余熱リング19と独立して回転することができる。余熱リング19は、サセプタ4と同様に炭素Cの基材に炭化シリコンSiCの被膜を施したものであり、サセプタ4の外周部における熱容量の変化に伴う急激な温度変化を防止する役割を果たす。このようにサセプタ4の周りに余熱リング19を設けることにより、サセプタ4は中心部から外周部に亘ってほぼ均一に加熱される。
【0040】
図1に示すようにベースリング3には、ガス供給口10aとガス排出口11を設けている。同図向かって左側のガス供給口10aから原料ガスを含んだキャリアガスを供給し、右側のガス排出口11から排出する。チャンバ外部に設けた不図示のガス供給ユニットより、ガス供給口10aを通して、チャンバ2内に原料ガスおよびキャリアガスが供給される。
【0041】
ガス供給口10aは、ベースリング3の内周面において余熱リング19よりも上側に開口を有し、上部チャンバ7a内に水素ガスH2或いは、原料ガスを含んだ水素ガスを供給する。原料ガスは、主にトリクロロシランSiHCl3やジクロロシランSiH2Cl2等のクロロシラン系のシリコンソースガスに、ジボラン(P型)やホスフィン(N型)のドーパントガスが添加されたものである。これらのガスはキャリアガスである水素ガスH2とともに上部チャンバ7a内に導入される。
【0042】
さらに、下部供給口10bがガス供給口10aとは別に設けられ、チャンバ外部に設けた不図示のガス供給ユニットより、下部供給口10bを通して下部チャンバ7b内に水素ガスH2が供給される。下部供給口10bは、ベースリング3の内周面において余熱リング19よりも下側に開口を有し、下部チャンバ7b内に水素ガスH2を供給する。
このように、上部チャンバ7a側にのみ原料ガスを供給することにより、下部チャンバ7bにおける原料ガスの無用な反応を防止することができる。
【0043】
ガス排出口11は、ベースリング3の内周面に余熱リング19よりも上側および下側に2つの開口を有し、上部チャンバ7aおよび下部チャンバ7bからのガスをひとまとめにしてチャンバ2の外へ排出する。
【0044】
[第1の実施の形態]
次に第1の実施の形態におけるサセプタの構造について、図3〜図7を用いて詳細に説明する。
【0045】
図3はサセプタ4の表面側の斜視図、図4はサセプタ4の裏面側の斜視図である。図3及び図4に示すようにサセプタ4は、サセプタ4の裏面側から厚さ方向でサセプタ4の中腹に至る4個の切欠きを備える。各切欠きは、サセプタ4の外周面に長方形の開口を有する。4個の切欠きは、サセプタ4の中心に対して対称の位置に配置された切欠き同士が対をなし、2個のガス流入用切欠き25と、2個のガス排出用切欠き26を形成する。図4に示すように、サセプタ4の裏面側から見ると、ガス流入用切欠き25とガス排出用切欠き26は緩やかな曲線を描く幅広の溝である。溝の断面形状は、サセプタ4の外周からサセプタ4の中心部に向かうにつれて狭くなる方が好ましいが、一定であってもよい。
【0046】
図5はサセプタ4の平面図、図6はサセプタ4の底面図である。図5に示すようにガス流入用切欠き25は右巻き方向で中心に向かって渦を巻くように形成され、ガス排出用切欠き26は右巻き方向で外側に向かって渦を巻くように形成される。
【0047】
図7は図5のB−B´断面図である。ガス流入用切欠き25とガス排出用切欠き26は共に同様な断面形状を有するため、ここではガス流入用切欠き25の断面形状についてのみ説明する。図7に示すように、ガス流入用切欠き25はサセプタ4の外周面からテーパ面31の開始位置に至るまで、中心方向に向かって溝を形成し、さらに、サセプタ4を斜めに10〜45°の角度で貫通してテーパ面31に開口を形成する。より好ましくはサセプタ4を20°の角度で貫通するのがよい。その結果、サセプタ4の裏面にはサセプタ4の外周面から中心方向に向かって曲線を描く溝が形成され、テーパ面31に差し掛かったところでウェーハポケット13に貫通する。
【0048】
図3の矢印aで示すように、上方から見た場合にサセプタ4は反時計方向に回転する。すると、矢印bで示すように下部チャンバ7b内のキャリアガスがサセプタ4のガス流入用切欠き25からウェーハポケット13内に流入し、矢印cで示すようにウェーハポケット13内のガスがガス排出用切欠き26から排出される。このように、サセプタ4の裏面側からガス流入用切欠き25を通ってキャリアガスが流入して、ウェーハポケット13内を循環し、ガス排出用切欠き26を通ってサセプタ4の裏面側に排出される。
【0049】
したがって、第1の実施の形態におけるサセプタ4によれば、サセプタ4の表面側からサセプタ4の下方へ大量の原料ガスを流すことなく、エピタキシャル成長の過程でウェーハの裏面から放散されるドーパント種を含む雰囲気をウェーハポケット13から排出することが可能になる。
【0050】
また、エピタキシャル成膜時におけるサセプタ4の回転を利用して、ウェーハポケット13内のガスを強制的に排出するため、ウェーハポケット13に充満したドーパント種を含む雰囲気がウェーハ12の表面に回り込むのをより効果的に防止することができる。本実施の形態においては、ガス流入用切欠き25とガス排出用切欠き26を曲線状の溝として形成することによりウェーハポケット13内のガスを強制的に排出する構成としたが、曲線状の溝でない場合であってもウェーハポケット13内のガスを排出する効果を奏することができる。
【0051】
更に、本実施の形態におけるサセプタ4によれば、ガス流入用切欠き25とガス排出用切欠き26が対称形状であるため、サセプタ4を正逆何れの方向に回転させた場合であっても、ウェーハポケット13内のガスを強制的に排出することができる。例えば、図5に示す反時計回りとは反対の方向(時計回り)に回転させた場合には、ガス流入用切欠き25がガス排出用として機能し、ガス排出用切欠き26がガス流入用として機能する。
【0052】
尚、本実施の形態においては、ガス流入用切欠き25およびガス排出用切欠き26は、サセプタ4の裏面側からテーパ面31に貫通している例を示したが、両方若しくは一方が第2の段部32に貫通していても良い。また、ガス流入用切欠き25およびガス排出用切欠き26の個数は設計により種々の変更が可能であり、それぞれが少なくとも1個以上であればよい。
【0053】
[第2の実施の形態]
図14及び図15に他の例を示す。図14はサセプタ4を上面から見た平面図、図15はD−D´断面図である。ウェーハの裏面形状は第1の実施の形態と同様であるため、図4を参照して説明する。
【0054】
サセプタ4は、第1の実施の形態と同様に、サセプタ4の裏面側から厚さ方向でサセプタ4の中腹に至る4個の切欠きを備え、各切欠きはサセプタ4の外周面に長方形の開口を有する。4個の切欠きは、サセプタ4の中心に対して対称の位置に配置された切欠き同士が対をなし、2個のガス流入用切欠き25と、2個のガス排出用切欠き26を形成する。図4に示すように、サセプタ4の裏面側から見ると、ガス流入用切欠き25とガス排出用切欠き26は緩やかな曲線を描く幅広の溝である。溝の断面形状は、サセプタ4の外周からサセプタ4の中心部に向かうにつれて狭くなる方が好ましいが、一定であってもよい。
【0055】
図14に示すようにガス流入用切欠き25は右巻き方向で中心に向かって渦を巻くように形成され、ガス排出用切欠き26は右巻き方向で外側に向かって渦を巻くように形成される。
【0056】
図15に示すように、本実施の形態におけるサセプタ4は、ウェーハ12を載置する面52と、その面52の外周部に形成された掃気段部51を備える。面52はサセプタ4の上面からおよそウェーハ12の形状に合わせて円形に凹んだ面である。掃気段部51は、面52よりも更にウェーハ裏面側に下がった段部であり、面52の外周に円環状に設けられた平坦面である。二点鎖線で示すウェーハ12は、掃気段部51よりも内側に形成された面52に載置され、外周部は掃気段部51の上を覆うように配置される。その結果、ウェーハ12と掃気段部51との間には、円環状空間53が形成される。なお、面52上には、メッシュ状の浅い細溝を形成する、いわゆるローレット加工を施していても良い。
【0057】
次に、本実施の形態におけるガス流入出用切欠き25及びガス排出用切欠き26の断面形状について説明する。ガス流入用切欠き25とガス排出用切欠き26は共に同様な断面形状を有するため、ここではガス流入出用切欠き25の断面形状についてのみ説明する。図15に示すように、ガス流入用切欠き25はサセプタ4の外周面から掃気段部51の開始位置に至るまで、中心方向に向かって溝を形成し、さらに、サセプタ4を斜めに10〜45°の角度で貫通して掃気段部51に開口を形成する。より好ましくはサセプタ4を20°の角度で貫通するのがよい。
【0058】
図14の矢印aで示すように、上方から見た場合にサセプタ4は反時計方向に回転する。すると、矢印bで示すようにサセプタ4の下部チャンバ7b内のキャリアガスがガス流入用切欠き25から掃気段部51に流入し、矢印cで示すようにガス排出用切欠き26から排出される。このように、サセプタ4の裏面側からガス流入用切欠き25を通ってキャリアガスが流入して、円環状空間53内を循環し、ガス排出用切欠き26を通ってサセプタ4の裏面側に排出される。
【0059】
したがって、第2の実施の形態におけるサセプタ4によれば、サセプタ4の表面側からサセプタ4の下方へ大量の原料ガスを流すことなく、ウェーハポケットに充満したドーパント種を含む雰囲気を排出することが可能になる。
【0060】
[第3の実施の形態]
次に第3の実施の形態におけるサセプタの構造について、図8〜図12を用いて詳細に説明する。
【0061】
図8はサセプタ4の表面側の斜視図、図9はサセプタ4の裏面側の斜視図である。図8及び図9に示すようにサセプタ4は、サセプタ4の裏面側から厚さ方向でサセプタ4の中腹に至る3個の切欠きを備える。各切欠きは、サセプタ4の外周面に長方形の開口を有するガス流入用切欠き27である。図9に示すように、サセプタ4の裏面側から見ると、ガス流入用切欠き27は緩やかな曲線を描く幅広の溝である。溝の断面形状は、サセプタ4の外周からサセプタ4の中心部に向かうにつれて狭くなる方が好ましいが、一定であってもよい。
【0062】
図10はサセプタ4の平面図、図11はサセプタ4の底面図である。図10に示すように、サセプタ4は矢印aで示すように時計回りに回転するため、ガス流入用切欠き27は左巻き方向で中心に向かって渦を巻くように形成される。各ガス流入用切欠き27は、サセプタ4の中心に対して互いに120°の角度をなすように、等間隔に割り出しした位置に設けられている。
【0063】
図12(a)は図10のA−A´断面図である。図12(a)に示すように、ガス流入用切欠き27はサセプタ4の外周面からテーパ面31の開始位置に至るまで、中心方向に向かって溝を形成し、さらに、サセプタ4を斜めに10〜45°の角度で貫通してテーパ面31に開口を形成する。より好ましくはサセプタ4を20°の角度で貫通するのがよい。その結果、サセプタ4の裏面にはサセプタ4の外周面から中心方向に向かって曲線を描く溝が形成され、テーパ面31に差し掛かったところでウェーハポケット13に貫通する。
【0064】
図10に示すように、本実施の形態におけるサセプタ4は、サセプタ中央部近辺すなわち第2の段部32の平坦面に、サセプタ4を表面側から裏面側へ貫通するガス排出用開口28を設けている。図12(b)は、図10のC−C´断面図である。ガス排出用開口28は、ウェーハポケット13の第2の段部32の上面に開口を有し、サセプタ4を斜めに10〜45°の角度で貫通して、サセプタ4の裏面に再び開口を形成する。より好ましくはサセプタ4を20°の角度で貫通するのがよい。図10においては、ガス排出用開口28は断面形状を四角形に構成しているが、必ずしも四角形の必要はなく円形や三角形であってもよい。
【0065】
図8の矢印aで示すように、上方から見た場合にサセプタ4は時計方向に回転する。すると、矢印bで示すようにサセプタ4の下部チャンバ7b内のキャリアガスがガス流入用切欠き27からウェーハポケット13内に流入し、矢印cで示すようにウェーハポケット13内のガスがガス排出用開口28から排出される。このように、サセプタ4の裏面側からガス流入用切欠き27を通ってキャリアガスが流入して、ウェーハポケット13内を循環し、ガス排出用開口28を通ってサセプタ4の裏面側に排出される。
【0066】
したがって、第3の実施の形態におけるサセプタ4によれば、サセプタ4の表面側からサセプタ4の下方へ大量の原料ガスを流すことなく、ウェーハポケット13に充満したドーパント種を含む雰囲気を排出することが可能になる。
【0067】
また、エピタキシャル成膜時におけるサセプタ4の回転を利用して、ウェーハポケット13内のガスを強制的に排出するため、ウェーハポケット13に充満したドーパント種を含む雰囲気がウェーハ12の表面に回り込むのをより効果的に防止することができる。
【0068】
尚、本実施の形態においてガス流入用切欠き27は、サセプタ4の裏面側からテーパ面31に貫通している例を示したが、第2の段部32に貫通していても良い。また、ガス流入用切欠き27の個数は設計により種々の変更が可能であり、1個以上であればよい。
【0069】
第1〜第3の実施の形態に示したように、特に、ウェーハポケット13の形状は段部とテーパ面を組み合わせた構成である必要はなく、段部のみ或いはテーパ面のみ、またはいわゆるローレットというメッシュ状の浅い細溝が形成されてウェーハを多数の凸部と接触支持させる構成や、表面に被覆した炭化珪素の面粗度がウェーハ裏面よりもはるかに粗いことを利用する構成であってもよい。何れにしても本願発明は適用可能であり、サセプタ4の側面または裏面からウェーハポケット13内にガスを取り込み、再びサセプタ4の側面または裏面から排出する全ての構成に及ぶものである。
【0070】
[第4の実施の形態]
次に第4の実施の形態におけるサセプタの構造について、図17を用いて詳細に説明する。本実施の形態におけるサセプタの全体構成は、図8に示す第3の実施の形態におけるサセプタとほぼ同様であるため、同一部分については同一符号を付すことにより具体的な説明は省略する。
【0071】
図17はサセプタ4の表面側の斜視図である。本実施の形態におけるサセプタ4は、特に図17の太線で示すように、ガス逃がし溝20を備えた点に特徴を有する。ガス逃がし溝20は、テーパ面31に形成された円環状の浅い溝であり、各ガス流入用切欠き27のウェーハポケット13側の開口を連結するように形成されている。
【0072】
より詳細には、ガス逃がし溝20は溝幅3.0mm、溝深さ1.5mm程度で良く、もちろん、溝幅は3.0mm以上で溝深さが1.5mm以上であってもよい。排気効率を向上させる目的からは、溝幅は1.0mm以上で溝深さは0.5mm以上であることが望ましい。
【0073】
このように、各ガス流入用切欠き27のウェーハポケット13側の開口を連結する円環状のガス逃がし溝20を、テーパ面31に形成することにより、ガス逃がし溝20のある部分の排気効率を向上させ、或いは排気効率をウェーハの円周方向で均一化することができる。
【0074】
なお、本実施の形態におけるガス逃がし溝20を、上記第1の実施の形態におけるガス流入用切欠き25とガス排出用切欠き26のウェーハポケット側開口を連結する円環状に形成することも可能である。この場合においても、溝のある部分の排気効率を向上させ、或いは排気効率をウェーハの円周方向で均一化することができる。
【0075】
次に、本願発明のエピタキシャルウェーハ製造装置の全体の動作について、図1を用いて説明する。本動作説明においては、昇降機構や回転駆動機構の機械的な動作の説明は省略し、サセプタおよびリフトピンとウェーハとの動作関係、及び、それらの位置関係についてのみ説明する。
【0076】
まず、上下部の熱源8,9を作動させ、処理チャンバ2内のサセプタ4をウェーハの搬送に適した温度まで加熱する。ウェーハ搬送温度としては、800℃程度が好ましく、サーモセンサ等によってチャンバ2内のサセプタ4の温度を検知しながら上記の温度範囲を保つように制御する。同時に、ガス供給口10a及び下部供給口10bからキャリアガスを流し込み、上部チャンバ7a及び下部チャンバ7b内をキャリアガスによって充填する。チャンバ2はガス供給口10aの反対側にガス排出口11を有しており、ガス供給口10a及び下部供給口10bからガス排出口11に向かってキャリアガスが常時流れる。キャリアガスとしては一般に水素H2を用いることが多く、通常、常温(室温)の状態でチャンバ2内へ供給される。
【0077】
次に、チャンバ2内が十分に加熱されキャリアガスが充填されたら、今度はチャンバ2内にウェーハ12を搬入する。ウェーハ12はインゴットからスライス加工され、研磨工程等を経てなり、薄い円板状をなしている。一例としては、直径300mm,厚さ0.7〜0.75mm程度のものがある。このウェーハ12を石英製のハンドの上に載せ、ハンドをチャンバ2内に入れる。ウェーハ12を上昇したリフトピン23上に移載し、リフトピン23をゆっくりと下降させることによってウェーハ12がサセプタ4のウェーハポケット13に嵌り込み、左右方向の位置ずれが発生しない状態となる。
【0078】
上下部の熱源8,9を作動させ、ウェーハ表面温度をエピタキシャル成長に適した温度(1000〜1200℃)に上昇させる。また、不図示の制御部からの指令によって回転駆動用モータを駆動し、サセプタ4を回転させる。サセプタ4の回転が安定したら、キャリアガスに原料ガスを混合して、ガス供給口10aを通して上部チャンバ7a内に原料ガスを供給する。原料ガスは、主にトリクロロシランSiHCl3やジクロロシランSiH2Cl2等のクロロシラン系のシリコンソースガスに、ジボラン(P型)やホスフィン(N型)のドーパントガスが添加されたものである。
【0079】
ウェーハ12の表面を原料ガスを含むキャリアガスが流れ、ウェーハ表面にエピタキシャル層が成長し始める。ウェーハ12はサセプタ4に収容された状態で水平面内で回転しているため、ウェーハ12の表面にはほぼ均一な厚さを有するエピタキシャル層が成長する。このとき、ウェーハ表面において、熱CVD反応によるシリコンエピタキシーとともに副生成物としてHClが生成する。
【0080】
従来の装置によれば、ウェーハ表面においてはシリコンエピタキシーが進行するが、ウェーハ裏面においては主にガス拡散による回り込みによりウェーハポケット13内にSi−H−Cl系雰囲気が留まるため、Si−H−Cl系雰囲気でウェーハ裏面からのドーパント種の放出が起こる。
【0081】
上記の通り、第1〜第4の実施の形態において説明した本願のサセプタ4によれば、ウェーハ表面への成膜処理時の回転を利用して、サセプタ4の側面または裏面から下部チャンバ7b内のキャリアガス(原料ガスを含まない水素ガスH2)を吸気し、ウェーハポケット13内を循環させた後、サセプタ4の側面または裏面から排出する。その後、ガス排出口11の下側の開口からチャンバ外へ排出される。そのため、ウェーハポケット13内にSi−H−Cl系雰囲気が留まることを防止でき、ウェーハ裏面からのドーパント種の放出の影響を抑制することができる。
【0082】
所望の厚さのエピタキシャル層が成長したら、原料ガスの供給を停止し、熱源8,9を制御してチャンバ2内をウェーハ搬送温度に下げる。そして、処理済みのウェーハ12をチャンバ2内から搬出する。搬出は、搬入とは逆の手順に従えばよい。
【0083】
次に、本願におけるエピタキシャルウェーハ製造装置の変形例について説明する。図13は、エピタキシャルウェーハ製造装置40の概略構造を示す縦断面である。このエピタキシャルウェーハ製造装置40自体の概略構造は、図1を用いて説明したエピタキシャルウェーハ製造装置1とほぼ同様であるため、同様部分については同符号を付して詳細な説明は省略する。
【0084】
エピタキシャルウェーハ製造装置40は、ベースリング3に形成された重ガス供給口45に、重ガス供給手段41及びキャリアガス供給手段42を連結している。重ガス供給手段41には重ガス源44が流量調整手段43を介して接続されており、重ガス源44から供給される重ガスは流量調整手段43によって所望の供給量に調整される。重ガス供給手段41から供給される重ガスは、キャリアガス供給手段42から供給されるキャリアガスと混合され、重ガス供給口45から下部チャンバ7bへ供給される。ガス供給口10aから供給されるガスおよび重ガス供給口45から供給されるガスの供給量は、不図示のプロセスコントローラにより制御される。
【0085】
重ガス供給口45はガス供給口10aと交わることなく、チャンバ2外部から重ガスを下部チャンバ7bにのみ供給する。重ガスとしては、例えばアルゴンガスを用いることができる。基本的には、上部チャンバ7aに供給されるキャリアガスよりも重いことが必要である。重ガス源44としては、アルゴンガスタンクまたはアルゴンガス精製プラントからの配管を使用することができ、また、流量調整手段43としては、マスフローコントローラを使用することができる。
【0086】
重ガス供給口45から供給されたアルゴンガス等の重ガスは、チャンバ2の下部チャンバ7b内に充満する。重ガスは上部チャンバ7aに供給されるキャリアガスよりも重いため、下部チャンバ7b内を重ガスで満たすことにより、上部チャンバ7aからキャリアガスとともに原料ガスが流れ込むのを防止することができる。その結果、サセプタ4の表面側からサセプタ4の下方側へ大量の原料ガスを流すことなく、ウェーハポケットに充満したドーパント種を含む雰囲気を排出することができる。なお、図13においては、重ガス供給口45はキャリアガスと重ガスの混合ガスを供給する場合について例示しているが、キャリアガス供給口と重ガス供給口を独立して設けてもよい。
【0087】
【発明の効果】
本願のサセプタ構造によれば、サセプタの表面側からサセプタの下方へ大量の原料ガスを流すことなく、ウェーハポケットに充満したドーパント種を含む雰囲気を排出することが可能になる。
【0088】
また、本願のサセプタ構造によれば、エピタキシャル成膜時におけるサセプタの回転を利用してウェーハポケット内のガスを強制的に排出するため、ウェーハポケットに充満したドーパント種を含む雰囲気がウェーハの表面に回り込むのをより効果的に防止することができる。
【0089】
更に、ガス流入用切欠きとガス排出用切欠きを対称形状に形成することにより、サセプタを正逆何れの方向に回転させた場合であっても、ウェーハポケット内のガスを強制的に排出することができる。
【0090】
本願のエピタキシャルウェーハ製造装置によれば、上部チャンバに供給するキャリアガスよりも重いガスを下部チャンバに供給することにより、下部チャンバ内が重ガスで満たされ、上部チャンバからキャリアガスとともに原料ガスが流れ込むのを防止することができる。その結果、サセプタの表面側からサセプタの下方側へ大量の原料ガスを流すことなく、ウェーハポケットに充満したドーパント種を含む雰囲気を排出することができる。
【図面の簡単な説明】
【図1】本願のエピタキシャルウェーハ製造装置の概略を示す、縦断面図である。
【図2】サセプタの概略を示す、縦断面図である。
【図3】第1の実施の形態におけるサセプタの表面側の斜視図である。
【図4】第1の実施の形態におけるサセプタの裏面側の斜視図である。
【図5】第1の実施の形態におけるサセプタの平面図である。
【図6】第1の実施の形態におけるサセプタの底面図である。
【図7】図5に示すサセプタのB−B´断面図である。
【図8】第3の実施の形態におけるサセプタの表面側の斜視図である。
【図9】第3の実施の形態におけるサセプタの裏面側の斜視図である。
【図10】第3の実施の形態におけるサセプタの平面図である。
【図11】第3の実施の形態におけるサセプタの底面図である。
【図12】(a)は図10に示すサセプタのA−A´断面図、(b)は図10に示すサセプタのC−C´断面図である。
【図13】本願のエピタキシャルウェーハ製造装置の他の例を示す、縦断面図である。
【図14】第2の実施の形態におけるサセプタの平面図である。
【図15】図14に示すサセプタのD−D´断面図である。
【図16】従来技術のサセプタの概略を示す、縦断面図である。
【図17】第4の実施の形態におけるサセプタの表面側の斜視図である。
【符号の説明】
1…エピタキシャルウェーハ製造装置
2…チャンバ
3…ベースリング
4…サセプタ
5…上部窓
6…下部窓
7a…上部チャンバ 7b…下部チャンバ
8…熱源
9…熱源
10a…ガス供給口 10b…下部供給口
11…ガス排出口
12…ウェーハ
13…ウェーハポケット
14…サセプタ支持軸
15…サセプタアーム
16…リフトアーム
17…リフト軸
19…余熱リング
20…ガス逃がし溝
22…貫通穴 22´…皿状穴
23…リフトピン
24…頭部 24a…上部 24b…テーパ面
25…ガス流入用切欠き
26…ガス排出用切欠き
27…ガス流入用切欠き
28…ガス排出用開口
30…第1の段部
31…テーパ面
32…第2の段部
40…エピタキシャルウェーハ製造装置
41…重ガス供給手段
42…キャリアガス供給手段
43…流量調整手段
44…重ガス源
45…重ガス供給口
50…孔部
51…掃気段部
52…面
53…円環状空間。
Claims (5)
- 略円板形状をなし、表面にウェーハを収容する凹状のウェーハポケットを有するサセプタであって、
前記サセプタの側面または裏面から前記ウェーハポケットに貫通するガス供給用路と、
前記ウェーハポケットから前記サセプタの側面または裏面に貫通するガス排出用路と、
を有するサセプタ。 - 前記ガス供給用路は、前記サセプタの回転にしたがって前記ウェーハポケット内にガスを供給する形状をなし、
前記ガス排出用路は、前記サセプタの回転にしたがって前記ウェーハポケット内のガスを排出する形状をなす、
ことを特徴とする請求項1に記載のサセプタ。 - ガスの供給口と排出口を有するチャンバと、
前記チャンバ内に配置され、表面にウェーハを収容する凹状のウェーハポケットと、側面または裏面から前記ウェーハポケットに貫通するガス供給用路と、前記ウェーハポケットから側面または裏面に貫通するガス排出用路と、を有する略円板状のサセプタと、
前記サセプタを支持する支持手段と、
前記チャンバ内の前記サセプタとウェーハを加熱する加熱手段と、
を備えるエピタキシャルウェーハ製造装置。 - 前記チャンバ内の前記サセプタよりも上方にのみ原料ガスを含むキャリアガスを供給するガス供給口を備える、
ことを特徴とする請求項3に記載のエピタキシャルウェーハ製造装置。 - チャンバ内に配置され、表面にウェーハを収容する凹状のウェーハポケットを有するサセプタの、前記ウェーハポケットにウェーハを載置するステップと、
前記ウェーハポケットに前記サセプタの側部または下部からガスを供給するステップと、
前記ウェーハポケット内のガスを前記サセプタの側部または下部から排出するステップと、
前記チャンバ内の前記サセプタと前記ウェーハを加熱するステップと、
を含むことを特徴とするエピタキシャルウェーハ製造方法。
Priority Applications (3)
| Application Number | Priority Date | Filing Date | Title |
|---|---|---|---|
| JP2002220027A JP3908112B2 (ja) | 2002-07-29 | 2002-07-29 | サセプタ、エピタキシャルウェーハ製造装置及びエピタキシャルウェーハ製造方法 |
| US10/626,675 US7699934B2 (en) | 2002-07-29 | 2003-07-25 | Epitaxial wafer production apparatus and susceptor structure |
| TW092120618A TWI237312B (en) | 2002-07-29 | 2003-07-29 | Manufacturing device for epitaxy wafer and wafer loader structure |
Applications Claiming Priority (1)
| Application Number | Priority Date | Filing Date | Title |
|---|---|---|---|
| JP2002220027A JP3908112B2 (ja) | 2002-07-29 | 2002-07-29 | サセプタ、エピタキシャルウェーハ製造装置及びエピタキシャルウェーハ製造方法 |
Publications (2)
| Publication Number | Publication Date |
|---|---|
| JP2004063779A JP2004063779A (ja) | 2004-02-26 |
| JP3908112B2 true JP3908112B2 (ja) | 2007-04-25 |
Family
ID=31940783
Family Applications (1)
| Application Number | Title | Priority Date | Filing Date |
|---|---|---|---|
| JP2002220027A Expired - Lifetime JP3908112B2 (ja) | 2002-07-29 | 2002-07-29 | サセプタ、エピタキシャルウェーハ製造装置及びエピタキシャルウェーハ製造方法 |
Country Status (3)
| Country | Link |
|---|---|
| US (1) | US7699934B2 (ja) |
| JP (1) | JP3908112B2 (ja) |
| TW (1) | TWI237312B (ja) |
Families Citing this family (340)
| Publication number | Priority date | Publication date | Assignee | Title |
|---|---|---|---|---|
| EP1651802B1 (en) * | 2004-06-09 | 2011-03-09 | E.T.C. Epitaxial Technology Center SRL | Support system for treatment apparatuses |
| US8052794B2 (en) * | 2005-09-12 | 2011-11-08 | The United States Of America As Represented By The Secretary Of The Navy | Directed reagents to improve material uniformity |
| US8852349B2 (en) * | 2006-09-15 | 2014-10-07 | Applied Materials, Inc. | Wafer processing hardware for epitaxial deposition with reduced auto-doping and backside defects |
| US8951351B2 (en) * | 2006-09-15 | 2015-02-10 | Applied Materials, Inc. | Wafer processing hardware for epitaxial deposition with reduced backside deposition and defects |
| US8021968B2 (en) * | 2007-08-03 | 2011-09-20 | Shin-Etsu Handotai Co., Ltd. | Susceptor and method for manufacturing silicon epitaxial wafer |
| KR101516164B1 (ko) | 2007-12-28 | 2015-05-04 | 신에쯔 한도타이 가부시키가이샤 | 에피텍셜 성장용 서셉터 |
| JP5156446B2 (ja) * | 2008-03-21 | 2013-03-06 | 株式会社Sumco | 気相成長装置用サセプタ |
| JP5412759B2 (ja) * | 2008-07-31 | 2014-02-12 | 株式会社Sumco | エピタキシャルウェーハの保持具及びそのウェーハの製造方法 |
| JP5207996B2 (ja) * | 2009-01-20 | 2013-06-12 | 東京エレクトロン株式会社 | 基板載置台及び基板処理装置 |
| KR101680751B1 (ko) | 2009-02-11 | 2016-12-12 | 어플라이드 머티어리얼스, 인코포레이티드 | 비-접촉 기판 프로세싱 |
| US9394608B2 (en) | 2009-04-06 | 2016-07-19 | Asm America, Inc. | Semiconductor processing reactor and components thereof |
| JP5038365B2 (ja) * | 2009-07-01 | 2012-10-03 | 株式会社東芝 | サセプタおよび成膜装置 |
| US9650726B2 (en) * | 2010-02-26 | 2017-05-16 | Applied Materials, Inc. | Methods and apparatus for deposition processes |
| US8920564B2 (en) * | 2010-07-02 | 2014-12-30 | Applied Materials, Inc. | Methods and apparatus for thermal based substrate processing with variable temperature capability |
| JP5707766B2 (ja) * | 2010-07-28 | 2015-04-30 | 住友電気工業株式会社 | サセプタおよび半導体製造装置 |
| DE102011007682A1 (de) * | 2011-04-19 | 2012-10-25 | Siltronic Ag | Suszeptor zum Abstützen einer Halbleiterscheibe und Verfahren zum Abscheiden einer Schicht auf einer Vorderseite einer Halbleiterscheibe |
| US20130023129A1 (en) | 2011-07-20 | 2013-01-24 | Asm America, Inc. | Pressure transmitter for a semiconductor processing environment |
| DE102012205616B4 (de) | 2012-04-04 | 2016-07-14 | Siltronic Ag | Vorrichtung zum Abscheiden einer Schicht auf einer Halbleiterscheibe mittels Gasphasenabscheidung |
| US9401271B2 (en) * | 2012-04-19 | 2016-07-26 | Sunedison Semiconductor Limited (Uen201334164H) | Susceptor assemblies for supporting wafers in a reactor apparatus |
| DE102012215676A1 (de) | 2012-09-04 | 2014-03-06 | Siltronic Ag | Verfahren und Vorrichtung zum Abscheiden einer Schicht auf einer Halbleiterscheibe |
| DE102012216070B4 (de) | 2012-09-11 | 2018-09-20 | Siltronic Ag | Epitaxiereaktor für die Abscheidung einer epitaktischen Schicht auf einem Substrat |
| JP3180048U (ja) * | 2012-09-20 | 2012-11-29 | 東京エレクトロン株式会社 | 熱処理装置 |
| US10714315B2 (en) | 2012-10-12 | 2020-07-14 | Asm Ip Holdings B.V. | Semiconductor reaction chamber showerhead |
| JP5343162B1 (ja) * | 2012-10-26 | 2013-11-13 | エピクルー株式会社 | エピタキシャル成長装置 |
| CN103065957B (zh) * | 2012-12-27 | 2016-04-20 | 日月光半导体制造股份有限公司 | 半导体基板切割的装置及半导体晶圆切割的制造方法 |
| US20160376700A1 (en) | 2013-02-01 | 2016-12-29 | Asm Ip Holding B.V. | System for treatment of deposition reactor |
| JP5602903B2 (ja) * | 2013-03-14 | 2014-10-08 | アプライド マテリアルズ インコーポレイテッド | エピタキシャル成長による成膜方法、および、エピタキシャル成長装置 |
| JP5684955B1 (ja) * | 2013-03-28 | 2015-03-18 | 芝浦メカトロニクス株式会社 | 載置台及びプラズマ処理装置 |
| TWI648427B (zh) * | 2013-07-17 | 2019-01-21 | 應用材料股份有限公司 | 用於交叉流動類型的熱cvd腔室之改良的氣體活化的結構 |
| US10047457B2 (en) * | 2013-09-16 | 2018-08-14 | Applied Materials, Inc. | EPI pre-heat ring |
| US11015245B2 (en) | 2014-03-19 | 2021-05-25 | Asm Ip Holding B.V. | Gas-phase reactor and system having exhaust plenum and components thereof |
| JP6149796B2 (ja) * | 2014-05-02 | 2017-06-21 | 信越半導体株式会社 | エピタキシャル成長装置 |
| US10858737B2 (en) | 2014-07-28 | 2020-12-08 | Asm Ip Holding B.V. | Showerhead assembly and components thereof |
| US10941490B2 (en) | 2014-10-07 | 2021-03-09 | Asm Ip Holding B.V. | Multiple temperature range susceptor, assembly, reactor and system including the susceptor, and methods of using the same |
| US10276355B2 (en) | 2015-03-12 | 2019-04-30 | Asm Ip Holding B.V. | Multi-zone reactor, system including the reactor, and method of using the same |
| US10458018B2 (en) | 2015-06-26 | 2019-10-29 | Asm Ip Holding B.V. | Structures including metal carbide material, devices including the structures, and methods of forming same |
| KR102373977B1 (ko) * | 2015-10-05 | 2022-03-15 | 삼성전자주식회사 | 기판 처리 장치 |
| US10211308B2 (en) | 2015-10-21 | 2019-02-19 | Asm Ip Holding B.V. | NbMC layers |
| DE102015225663A1 (de) * | 2015-12-17 | 2017-06-22 | Siltronic Ag | Verfahren zum epitaktischen Beschichten von Halbleiterscheiben und Halbleiterscheibe |
| US11139308B2 (en) | 2015-12-29 | 2021-10-05 | Asm Ip Holding B.V. | Atomic layer deposition of III-V compounds to form V-NAND devices |
| US10529554B2 (en) | 2016-02-19 | 2020-01-07 | Asm Ip Holding B.V. | Method for forming silicon nitride film selectively on sidewalls or flat surfaces of trenches |
| US10343920B2 (en) | 2016-03-18 | 2019-07-09 | Asm Ip Holding B.V. | Aligned carbon nanotubes |
| US10190213B2 (en) | 2016-04-21 | 2019-01-29 | Asm Ip Holding B.V. | Deposition of metal borides |
| US10367080B2 (en) | 2016-05-02 | 2019-07-30 | Asm Ip Holding B.V. | Method of forming a germanium oxynitride film |
| US11453943B2 (en) | 2016-05-25 | 2022-09-27 | Asm Ip Holding B.V. | Method for forming carbon-containing silicon/metal oxide or nitride film by ALD using silicon precursor and hydrocarbon precursor |
| DE102016210203B3 (de) * | 2016-06-09 | 2017-08-31 | Siltronic Ag | Suszeptor zum Halten einer Halbleiterscheibe, Verfahren zum Abscheiden einer epitaktischen Schicht auf einer Vorderseite einer Halbleiterscheibe und Halbleiterscheibe mit epitaktischer Schicht |
| US10612137B2 (en) | 2016-07-08 | 2020-04-07 | Asm Ip Holdings B.V. | Organic reactants for atomic layer deposition |
| US9859151B1 (en) | 2016-07-08 | 2018-01-02 | Asm Ip Holding B.V. | Selective film deposition method to form air gaps |
| US9812320B1 (en) | 2016-07-28 | 2017-11-07 | Asm Ip Holding B.V. | Method and apparatus for filling a gap |
| US9887082B1 (en) | 2016-07-28 | 2018-02-06 | Asm Ip Holding B.V. | Method and apparatus for filling a gap |
| KR102532607B1 (ko) | 2016-07-28 | 2023-05-15 | 에이에스엠 아이피 홀딩 비.브이. | 기판 가공 장치 및 그 동작 방법 |
| US10643826B2 (en) | 2016-10-26 | 2020-05-05 | Asm Ip Holdings B.V. | Methods for thermally calibrating reaction chambers |
| US11532757B2 (en) | 2016-10-27 | 2022-12-20 | Asm Ip Holding B.V. | Deposition of charge trapping layers |
| US10714350B2 (en) | 2016-11-01 | 2020-07-14 | ASM IP Holdings, B.V. | Methods for forming a transition metal niobium nitride film on a substrate by atomic layer deposition and related semiconductor device structures |
| KR102546317B1 (ko) | 2016-11-15 | 2023-06-21 | 에이에스엠 아이피 홀딩 비.브이. | 기체 공급 유닛 및 이를 포함하는 기판 처리 장치 |
| KR102000021B1 (ko) * | 2016-11-30 | 2019-07-17 | 세메스 주식회사 | 기판 지지 유닛, 열처리 유닛 및 이를 포함하는 기판 처리 장치 |
| KR102762543B1 (ko) | 2016-12-14 | 2025-02-05 | 에이에스엠 아이피 홀딩 비.브이. | 기판 처리 장치 |
| US11447861B2 (en) | 2016-12-15 | 2022-09-20 | Asm Ip Holding B.V. | Sequential infiltration synthesis apparatus and a method of forming a patterned structure |
| US11581186B2 (en) | 2016-12-15 | 2023-02-14 | Asm Ip Holding B.V. | Sequential infiltration synthesis apparatus |
| KR102700194B1 (ko) | 2016-12-19 | 2024-08-28 | 에이에스엠 아이피 홀딩 비.브이. | 기판 처리 장치 |
| US10269558B2 (en) | 2016-12-22 | 2019-04-23 | Asm Ip Holding B.V. | Method of forming a structure on a substrate |
| US10867788B2 (en) | 2016-12-28 | 2020-12-15 | Asm Ip Holding B.V. | Method of forming a structure on a substrate |
| US11390950B2 (en) | 2017-01-10 | 2022-07-19 | Asm Ip Holding B.V. | Reactor system and method to reduce residue buildup during a film deposition process |
| US10468261B2 (en) | 2017-02-15 | 2019-11-05 | Asm Ip Holding B.V. | Methods for forming a metallic film on a substrate by cyclical deposition and related semiconductor device structures |
| US10529563B2 (en) | 2017-03-29 | 2020-01-07 | Asm Ip Holdings B.V. | Method for forming doped metal oxide films on a substrate by cyclical deposition and related semiconductor device structures |
| KR102457289B1 (ko) | 2017-04-25 | 2022-10-21 | 에이에스엠 아이피 홀딩 비.브이. | 박막 증착 방법 및 반도체 장치의 제조 방법 |
| US10770286B2 (en) | 2017-05-08 | 2020-09-08 | Asm Ip Holdings B.V. | Methods for selectively forming a silicon nitride film on a substrate and related semiconductor device structures |
| US10892156B2 (en) | 2017-05-08 | 2021-01-12 | Asm Ip Holding B.V. | Methods for forming a silicon nitride film on a substrate and related semiconductor device structures |
| US10886123B2 (en) | 2017-06-02 | 2021-01-05 | Asm Ip Holding B.V. | Methods for forming low temperature semiconductor layers and related semiconductor device structures |
| US12040200B2 (en) | 2017-06-20 | 2024-07-16 | Asm Ip Holding B.V. | Semiconductor processing apparatus and methods for calibrating a semiconductor processing apparatus |
| US11306395B2 (en) | 2017-06-28 | 2022-04-19 | Asm Ip Holding B.V. | Methods for depositing a transition metal nitride film on a substrate by atomic layer deposition and related deposition apparatus |
| KR20190009245A (ko) | 2017-07-18 | 2019-01-28 | 에이에스엠 아이피 홀딩 비.브이. | 반도체 소자 구조물 형성 방법 및 관련된 반도체 소자 구조물 |
| US10541333B2 (en) | 2017-07-19 | 2020-01-21 | Asm Ip Holding B.V. | Method for depositing a group IV semiconductor and related semiconductor device structures |
| US11374112B2 (en) | 2017-07-19 | 2022-06-28 | Asm Ip Holding B.V. | Method for depositing a group IV semiconductor and related semiconductor device structures |
| US11018002B2 (en) | 2017-07-19 | 2021-05-25 | Asm Ip Holding B.V. | Method for selectively depositing a Group IV semiconductor and related semiconductor device structures |
| CN109306468B (zh) * | 2017-07-26 | 2020-10-16 | 上海新昇半导体科技有限公司 | 衬托器、气相生长装置及气相生长方法 |
| US10590535B2 (en) | 2017-07-26 | 2020-03-17 | Asm Ip Holdings B.V. | Chemical treatment, deposition and/or infiltration apparatus and method for using the same |
| CN109306467B (zh) * | 2017-07-26 | 2020-10-16 | 上海新昇半导体科技有限公司 | 气相生长装置及气相生长方法 |
| TWI815813B (zh) | 2017-08-04 | 2023-09-21 | 荷蘭商Asm智慧財產控股公司 | 用於分配反應腔內氣體的噴頭總成 |
| US10770336B2 (en) * | 2017-08-08 | 2020-09-08 | Asm Ip Holding B.V. | Substrate lift mechanism and reactor including same |
| US10692741B2 (en) | 2017-08-08 | 2020-06-23 | Asm Ip Holdings B.V. | Radiation shield |
| US11139191B2 (en) | 2017-08-09 | 2021-10-05 | Asm Ip Holding B.V. | Storage apparatus for storing cassettes for substrates and processing apparatus equipped therewith |
| US11769682B2 (en) | 2017-08-09 | 2023-09-26 | Asm Ip Holding B.V. | Storage apparatus for storing cassettes for substrates and processing apparatus equipped therewith |
| US11830730B2 (en) | 2017-08-29 | 2023-11-28 | Asm Ip Holding B.V. | Layer forming method and apparatus |
| US11056344B2 (en) | 2017-08-30 | 2021-07-06 | Asm Ip Holding B.V. | Layer forming method |
| KR102491945B1 (ko) | 2017-08-30 | 2023-01-26 | 에이에스엠 아이피 홀딩 비.브이. | 기판 처리 장치 |
| US11295980B2 (en) | 2017-08-30 | 2022-04-05 | Asm Ip Holding B.V. | Methods for depositing a molybdenum metal film over a dielectric surface of a substrate by a cyclical deposition process and related semiconductor device structures |
| KR102401446B1 (ko) | 2017-08-31 | 2022-05-24 | 에이에스엠 아이피 홀딩 비.브이. | 기판 처리 장치 |
| KR102630301B1 (ko) | 2017-09-21 | 2024-01-29 | 에이에스엠 아이피 홀딩 비.브이. | 침투성 재료의 순차 침투 합성 방법 처리 및 이를 이용하여 형성된 구조물 및 장치 |
| US10844484B2 (en) | 2017-09-22 | 2020-11-24 | Asm Ip Holding B.V. | Apparatus for dispensing a vapor phase reactant to a reaction chamber and related methods |
| US10658205B2 (en) | 2017-09-28 | 2020-05-19 | Asm Ip Holdings B.V. | Chemical dispensing apparatus and methods for dispensing a chemical to a reaction chamber |
| US10403504B2 (en) | 2017-10-05 | 2019-09-03 | Asm Ip Holding B.V. | Method for selectively depositing a metallic film on a substrate |
| US10923344B2 (en) | 2017-10-30 | 2021-02-16 | Asm Ip Holding B.V. | Methods for forming a semiconductor structure and related semiconductor structures |
| US10910262B2 (en) | 2017-11-16 | 2021-02-02 | Asm Ip Holding B.V. | Method of selectively depositing a capping layer structure on a semiconductor device structure |
| US11022879B2 (en) | 2017-11-24 | 2021-06-01 | Asm Ip Holding B.V. | Method of forming an enhanced unexposed photoresist layer |
| US11127617B2 (en) | 2017-11-27 | 2021-09-21 | Asm Ip Holding B.V. | Storage device for storing wafer cassettes for use with a batch furnace |
| CN111344522B (zh) | 2017-11-27 | 2022-04-12 | 阿斯莫Ip控股公司 | 包括洁净迷你环境的装置 |
| JP6812961B2 (ja) * | 2017-12-25 | 2021-01-13 | 株式会社Sumco | エピタキシャル成長装置およびそれを用いた半導体エピタキシャルウェーハの製造方法 |
| US10872771B2 (en) | 2018-01-16 | 2020-12-22 | Asm Ip Holding B. V. | Method for depositing a material film on a substrate within a reaction chamber by a cyclical deposition process and related device structures |
| TWI852426B (zh) | 2018-01-19 | 2024-08-11 | 荷蘭商Asm Ip私人控股有限公司 | 沈積方法 |
| KR102695659B1 (ko) | 2018-01-19 | 2024-08-14 | 에이에스엠 아이피 홀딩 비.브이. | 플라즈마 보조 증착에 의해 갭 충진 층을 증착하는 방법 |
| US11018047B2 (en) | 2018-01-25 | 2021-05-25 | Asm Ip Holding B.V. | Hybrid lift pin |
| USD880437S1 (en) | 2018-02-01 | 2020-04-07 | Asm Ip Holding B.V. | Gas supply plate for semiconductor manufacturing apparatus |
| US11081345B2 (en) | 2018-02-06 | 2021-08-03 | Asm Ip Holding B.V. | Method of post-deposition treatment for silicon oxide film |
| EP3737779A1 (en) | 2018-02-14 | 2020-11-18 | ASM IP Holding B.V. | A method for depositing a ruthenium-containing film on a substrate by a cyclical deposition process |
| US10896820B2 (en) | 2018-02-14 | 2021-01-19 | Asm Ip Holding B.V. | Method for depositing a ruthenium-containing film on a substrate by a cyclical deposition process |
| US10731249B2 (en) | 2018-02-15 | 2020-08-04 | Asm Ip Holding B.V. | Method of forming a transition metal containing film on a substrate by a cyclical deposition process, a method for supplying a transition metal halide compound to a reaction chamber, and related vapor deposition apparatus |
| KR102636427B1 (ko) | 2018-02-20 | 2024-02-13 | 에이에스엠 아이피 홀딩 비.브이. | 기판 처리 방법 및 장치 |
| US10975470B2 (en) | 2018-02-23 | 2021-04-13 | Asm Ip Holding B.V. | Apparatus for detecting or monitoring for a chemical precursor in a high temperature environment |
| US11473195B2 (en) | 2018-03-01 | 2022-10-18 | Asm Ip Holding B.V. | Semiconductor processing apparatus and a method for processing a substrate |
| US11629406B2 (en) | 2018-03-09 | 2023-04-18 | Asm Ip Holding B.V. | Semiconductor processing apparatus comprising one or more pyrometers for measuring a temperature of a substrate during transfer of the substrate |
| US11114283B2 (en) | 2018-03-16 | 2021-09-07 | Asm Ip Holding B.V. | Reactor, system including the reactor, and methods of manufacturing and using same |
| KR102646467B1 (ko) | 2018-03-27 | 2024-03-11 | 에이에스엠 아이피 홀딩 비.브이. | 기판 상에 전극을 형성하는 방법 및 전극을 포함하는 반도체 소자 구조 |
| US11088002B2 (en) | 2018-03-29 | 2021-08-10 | Asm Ip Holding B.V. | Substrate rack and a substrate processing system and method |
| US11230766B2 (en) | 2018-03-29 | 2022-01-25 | Asm Ip Holding B.V. | Substrate processing apparatus and method |
| KR102501472B1 (ko) | 2018-03-30 | 2023-02-20 | 에이에스엠 아이피 홀딩 비.브이. | 기판 처리 방법 |
| KR102600229B1 (ko) | 2018-04-09 | 2023-11-10 | 에이에스엠 아이피 홀딩 비.브이. | 기판 지지 장치, 이를 포함하는 기판 처리 장치 및 기판 처리 방법 |
| US12025484B2 (en) | 2018-05-08 | 2024-07-02 | Asm Ip Holding B.V. | Thin film forming method |
| TWI811348B (zh) | 2018-05-08 | 2023-08-11 | 荷蘭商Asm 智慧財產控股公司 | 藉由循環沉積製程於基板上沉積氧化物膜之方法及相關裝置結構 |
| US12272527B2 (en) | 2018-05-09 | 2025-04-08 | Asm Ip Holding B.V. | Apparatus for use with hydrogen radicals and method of using same |
| TWI879056B (zh) | 2018-05-11 | 2025-04-01 | 荷蘭商Asm Ip私人控股有限公司 | 用於基板上形成摻雜金屬碳化物薄膜之方法及相關半導體元件結構 |
| KR102596988B1 (ko) | 2018-05-28 | 2023-10-31 | 에이에스엠 아이피 홀딩 비.브이. | 기판 처리 방법 및 그에 의해 제조된 장치 |
| TWI840362B (zh) | 2018-06-04 | 2024-05-01 | 荷蘭商Asm Ip私人控股有限公司 | 水氣降低的晶圓處置腔室 |
| US11718913B2 (en) | 2018-06-04 | 2023-08-08 | Asm Ip Holding B.V. | Gas distribution system and reactor system including same |
| US11286562B2 (en) | 2018-06-08 | 2022-03-29 | Asm Ip Holding B.V. | Gas-phase chemical reactor and method of using same |
| US10797133B2 (en) | 2018-06-21 | 2020-10-06 | Asm Ip Holding B.V. | Method for depositing a phosphorus doped silicon arsenide film and related semiconductor device structures |
| KR102568797B1 (ko) | 2018-06-21 | 2023-08-21 | 에이에스엠 아이피 홀딩 비.브이. | 기판 처리 시스템 |
| JP7515411B2 (ja) | 2018-06-27 | 2024-07-12 | エーエスエム・アイピー・ホールディング・ベー・フェー | 金属含有材料ならびに金属含有材料を含む膜および構造体を形成するための周期的堆積方法 |
| TWI871083B (zh) | 2018-06-27 | 2025-01-21 | 荷蘭商Asm Ip私人控股有限公司 | 用於形成含金屬材料之循環沉積製程 |
| KR102686758B1 (ko) | 2018-06-29 | 2024-07-18 | 에이에스엠 아이피 홀딩 비.브이. | 박막 증착 방법 및 반도체 장치의 제조 방법 |
| US10612136B2 (en) | 2018-06-29 | 2020-04-07 | ASM IP Holding, B.V. | Temperature-controlled flange and reactor system including same |
| US10388513B1 (en) | 2018-07-03 | 2019-08-20 | Asm Ip Holding B.V. | Method for depositing silicon-free carbon-containing film as gap-fill layer by pulse plasma-assisted deposition |
| US10755922B2 (en) | 2018-07-03 | 2020-08-25 | Asm Ip Holding B.V. | Method for depositing silicon-free carbon-containing film as gap-fill layer by pulse plasma-assisted deposition |
| US11053591B2 (en) | 2018-08-06 | 2021-07-06 | Asm Ip Holding B.V. | Multi-port gas injection system and reactor system including same |
| US10883175B2 (en) | 2018-08-09 | 2021-01-05 | Asm Ip Holding B.V. | Vertical furnace for processing substrates and a liner for use therein |
| US11430674B2 (en) | 2018-08-22 | 2022-08-30 | Asm Ip Holding B.V. | Sensor array, apparatus for dispensing a vapor phase reactant to a reaction chamber and related methods |
| KR102707956B1 (ko) | 2018-09-11 | 2024-09-19 | 에이에스엠 아이피 홀딩 비.브이. | 박막 증착 방법 |
| US11024523B2 (en) | 2018-09-11 | 2021-06-01 | Asm Ip Holding B.V. | Substrate processing apparatus and method |
| US11049751B2 (en) | 2018-09-14 | 2021-06-29 | Asm Ip Holding B.V. | Cassette supply system to store and handle cassettes and processing apparatus equipped therewith |
| CN110970344B (zh) | 2018-10-01 | 2024-10-25 | Asmip控股有限公司 | 衬底保持设备、包含所述设备的系统及其使用方法 |
| US11232963B2 (en) | 2018-10-03 | 2022-01-25 | Asm Ip Holding B.V. | Substrate processing apparatus and method |
| KR102592699B1 (ko) | 2018-10-08 | 2023-10-23 | 에이에스엠 아이피 홀딩 비.브이. | 기판 지지 유닛 및 이를 포함하는 박막 증착 장치와 기판 처리 장치 |
| KR102605121B1 (ko) | 2018-10-19 | 2023-11-23 | 에이에스엠 아이피 홀딩 비.브이. | 기판 처리 장치 및 기판 처리 방법 |
| KR102546322B1 (ko) | 2018-10-19 | 2023-06-21 | 에이에스엠 아이피 홀딩 비.브이. | 기판 처리 장치 및 기판 처리 방법 |
| USD948463S1 (en) | 2018-10-24 | 2022-04-12 | Asm Ip Holding B.V. | Susceptor for semiconductor substrate supporting apparatus |
| US12378665B2 (en) | 2018-10-26 | 2025-08-05 | Asm Ip Holding B.V. | High temperature coatings for a preclean and etch apparatus and related methods |
| US11087997B2 (en) | 2018-10-31 | 2021-08-10 | Asm Ip Holding B.V. | Substrate processing apparatus for processing substrates |
| KR102748291B1 (ko) | 2018-11-02 | 2024-12-31 | 에이에스엠 아이피 홀딩 비.브이. | 기판 지지 유닛 및 이를 포함하는 기판 처리 장치 |
| US11572620B2 (en) | 2018-11-06 | 2023-02-07 | Asm Ip Holding B.V. | Methods for selectively depositing an amorphous silicon film on a substrate |
| US11031242B2 (en) | 2018-11-07 | 2021-06-08 | Asm Ip Holding B.V. | Methods for depositing a boron doped silicon germanium film |
| US10818758B2 (en) | 2018-11-16 | 2020-10-27 | Asm Ip Holding B.V. | Methods for forming a metal silicate film on a substrate in a reaction chamber and related semiconductor device structures |
| US10847366B2 (en) | 2018-11-16 | 2020-11-24 | Asm Ip Holding B.V. | Methods for depositing a transition metal chalcogenide film on a substrate by a cyclical deposition process |
| US12040199B2 (en) | 2018-11-28 | 2024-07-16 | Asm Ip Holding B.V. | Substrate processing apparatus for processing substrates |
| US11217444B2 (en) | 2018-11-30 | 2022-01-04 | Asm Ip Holding B.V. | Method for forming an ultraviolet radiation responsive metal oxide-containing film |
| KR102636428B1 (ko) | 2018-12-04 | 2024-02-13 | 에이에스엠 아이피 홀딩 비.브이. | 기판 처리 장치를 세정하는 방법 |
| US11158513B2 (en) | 2018-12-13 | 2021-10-26 | Asm Ip Holding B.V. | Methods for forming a rhenium-containing film on a substrate by a cyclical deposition process and related semiconductor device structures |
| TWI874340B (zh) | 2018-12-14 | 2025-03-01 | 荷蘭商Asm Ip私人控股有限公司 | 形成裝置結構之方法、其所形成之結構及施行其之系統 |
| TWI866480B (zh) | 2019-01-17 | 2024-12-11 | 荷蘭商Asm Ip 私人控股有限公司 | 藉由循環沈積製程於基板上形成含過渡金屬膜之方法 |
| KR102727227B1 (ko) | 2019-01-22 | 2024-11-07 | 에이에스엠 아이피 홀딩 비.브이. | 기판 처리 장치 |
| CN111524788B (zh) | 2019-02-01 | 2023-11-24 | Asm Ip私人控股有限公司 | 氧化硅的拓扑选择性膜形成的方法 |
| TWI838458B (zh) | 2019-02-20 | 2024-04-11 | 荷蘭商Asm Ip私人控股有限公司 | 用於3d nand應用中之插塞填充沉積之設備及方法 |
| TWI845607B (zh) | 2019-02-20 | 2024-06-21 | 荷蘭商Asm Ip私人控股有限公司 | 用來填充形成於基材表面內之凹部的循環沉積方法及設備 |
| KR102626263B1 (ko) | 2019-02-20 | 2024-01-16 | 에이에스엠 아이피 홀딩 비.브이. | 처리 단계를 포함하는 주기적 증착 방법 및 이를 위한 장치 |
| TWI873122B (zh) | 2019-02-20 | 2025-02-21 | 荷蘭商Asm Ip私人控股有限公司 | 填充一基板之一表面內所形成的一凹槽的方法、根據其所形成之半導體結構、及半導體處理設備 |
| CN111599664B (zh) * | 2019-02-21 | 2023-06-23 | 株洲中车时代半导体有限公司 | 一种硅片承载装置以及非对称扩散掺杂方法 |
| TWI842826B (zh) | 2019-02-22 | 2024-05-21 | 荷蘭商Asm Ip私人控股有限公司 | 基材處理設備及處理基材之方法 |
| US11742198B2 (en) | 2019-03-08 | 2023-08-29 | Asm Ip Holding B.V. | Structure including SiOCN layer and method of forming same |
| KR102782593B1 (ko) | 2019-03-08 | 2025-03-14 | 에이에스엠 아이피 홀딩 비.브이. | SiOC 층을 포함한 구조체 및 이의 형성 방법 |
| KR102858005B1 (ko) | 2019-03-08 | 2025-09-09 | 에이에스엠 아이피 홀딩 비.브이. | 실리콘 질화물 층을 선택적으로 증착하는 방법, 및 선택적으로 증착된 실리콘 질화물 층을 포함하는 구조체 |
| KR20200116033A (ko) | 2019-03-28 | 2020-10-08 | 에이에스엠 아이피 홀딩 비.브이. | 도어 개방기 및 이를 구비한 기판 처리 장치 |
| KR102809999B1 (ko) | 2019-04-01 | 2025-05-19 | 에이에스엠 아이피 홀딩 비.브이. | 반도체 소자를 제조하는 방법 |
| US11447864B2 (en) | 2019-04-19 | 2022-09-20 | Asm Ip Holding B.V. | Layer forming method and apparatus |
| KR20200125453A (ko) | 2019-04-24 | 2020-11-04 | 에이에스엠 아이피 홀딩 비.브이. | 기상 반응기 시스템 및 이를 사용하는 방법 |
| KR102869364B1 (ko) | 2019-05-07 | 2025-10-10 | 에이에스엠 아이피 홀딩 비.브이. | 비정질 탄소 중합체 막을 개질하는 방법 |
| KR20200130121A (ko) | 2019-05-07 | 2020-11-18 | 에이에스엠 아이피 홀딩 비.브이. | 딥 튜브가 있는 화학물질 공급원 용기 |
| KR20200130652A (ko) | 2019-05-10 | 2020-11-19 | 에이에스엠 아이피 홀딩 비.브이. | 표면 상에 재료를 증착하는 방법 및 본 방법에 따라 형성된 구조 |
| JP7598201B2 (ja) | 2019-05-16 | 2024-12-11 | エーエスエム・アイピー・ホールディング・ベー・フェー | ウェハボートハンドリング装置、縦型バッチ炉および方法 |
| JP7612342B2 (ja) | 2019-05-16 | 2025-01-14 | エーエスエム・アイピー・ホールディング・ベー・フェー | ウェハボートハンドリング装置、縦型バッチ炉および方法 |
| USD947913S1 (en) | 2019-05-17 | 2022-04-05 | Asm Ip Holding B.V. | Susceptor shaft |
| USD975665S1 (en) | 2019-05-17 | 2023-01-17 | Asm Ip Holding B.V. | Susceptor shaft |
| USD935572S1 (en) | 2019-05-24 | 2021-11-09 | Asm Ip Holding B.V. | Gas channel plate |
| USD922229S1 (en) | 2019-06-05 | 2021-06-15 | Asm Ip Holding B.V. | Device for controlling a temperature of a gas supply unit |
| KR20200141002A (ko) | 2019-06-06 | 2020-12-17 | 에이에스엠 아이피 홀딩 비.브이. | 배기 가스 분석을 포함한 기상 반응기 시스템을 사용하는 방법 |
| KR20200141931A (ko) | 2019-06-10 | 2020-12-21 | 에이에스엠 아이피 홀딩 비.브이. | 석영 에피택셜 챔버를 세정하는 방법 |
| KR20200143254A (ko) | 2019-06-11 | 2020-12-23 | 에이에스엠 아이피 홀딩 비.브이. | 개질 가스를 사용하여 전자 구조를 형성하는 방법, 상기 방법을 수행하기 위한 시스템, 및 상기 방법을 사용하여 형성되는 구조 |
| USD944946S1 (en) | 2019-06-14 | 2022-03-01 | Asm Ip Holding B.V. | Shower plate |
| USD931978S1 (en) | 2019-06-27 | 2021-09-28 | Asm Ip Holding B.V. | Showerhead vacuum transport |
| CN112185844A (zh) * | 2019-07-01 | 2021-01-05 | 圆益Ips股份有限公司 | 基板处理装置 |
| KR20210005515A (ko) | 2019-07-03 | 2021-01-14 | 에이에스엠 아이피 홀딩 비.브이. | 기판 처리 장치용 온도 제어 조립체 및 이를 사용하는 방법 |
| JP7499079B2 (ja) | 2019-07-09 | 2024-06-13 | エーエスエム・アイピー・ホールディング・ベー・フェー | 同軸導波管を用いたプラズマ装置、基板処理方法 |
| CN112216646A (zh) | 2019-07-10 | 2021-01-12 | Asm Ip私人控股有限公司 | 基板支撑组件及包括其的基板处理装置 |
| US11032945B2 (en) * | 2019-07-12 | 2021-06-08 | Applied Materials, Inc. | Heat shield assembly for an epitaxy chamber |
| KR102895115B1 (ko) | 2019-07-16 | 2025-12-03 | 에이에스엠 아이피 홀딩 비.브이. | 기판 처리 장치 |
| KR20210010816A (ko) | 2019-07-17 | 2021-01-28 | 에이에스엠 아이피 홀딩 비.브이. | 라디칼 보조 점화 플라즈마 시스템 및 방법 |
| KR102860110B1 (ko) | 2019-07-17 | 2025-09-16 | 에이에스엠 아이피 홀딩 비.브이. | 실리콘 게르마늄 구조를 형성하는 방법 |
| US11643724B2 (en) | 2019-07-18 | 2023-05-09 | Asm Ip Holding B.V. | Method of forming structures using a neutral beam |
| CN112242295B (zh) | 2019-07-19 | 2025-12-09 | Asmip私人控股有限公司 | 形成拓扑受控的无定形碳聚合物膜的方法 |
| TWI839544B (zh) | 2019-07-19 | 2024-04-21 | 荷蘭商Asm Ip私人控股有限公司 | 形成形貌受控的非晶碳聚合物膜之方法 |
| CN112309843A (zh) | 2019-07-29 | 2021-02-02 | Asm Ip私人控股有限公司 | 实现高掺杂剂掺入的选择性沉积方法 |
| CN112309899B (zh) | 2019-07-30 | 2025-11-14 | Asmip私人控股有限公司 | 基板处理设备 |
| CN112309900B (zh) | 2019-07-30 | 2025-11-04 | Asmip私人控股有限公司 | 基板处理设备 |
| KR20210015655A (ko) | 2019-07-30 | 2021-02-10 | 에이에스엠 아이피 홀딩 비.브이. | 기판 처리 장치 및 방법 |
| US11587814B2 (en) | 2019-07-31 | 2023-02-21 | Asm Ip Holding B.V. | Vertical batch furnace assembly |
| US11227782B2 (en) | 2019-07-31 | 2022-01-18 | Asm Ip Holding B.V. | Vertical batch furnace assembly |
| US11587815B2 (en) | 2019-07-31 | 2023-02-21 | Asm Ip Holding B.V. | Vertical batch furnace assembly |
| KR20210018759A (ko) | 2019-08-05 | 2021-02-18 | 에이에스엠 아이피 홀딩 비.브이. | 화학물질 공급원 용기를 위한 액체 레벨 센서 |
| KR20210018761A (ko) | 2019-08-09 | 2021-02-18 | 에이에스엠 아이피 홀딩 비.브이. | 냉각 장치를 포함한 히터 어셈블리 및 이를 사용하는 방법 |
| USD965044S1 (en) | 2019-08-19 | 2022-09-27 | Asm Ip Holding B.V. | Susceptor shaft |
| USD965524S1 (en) | 2019-08-19 | 2022-10-04 | Asm Ip Holding B.V. | Susceptor support |
| JP2021031769A (ja) | 2019-08-21 | 2021-03-01 | エーエスエム アイピー ホールディング ビー.ブイ. | 成膜原料混合ガス生成装置及び成膜装置 |
| USD979506S1 (en) | 2019-08-22 | 2023-02-28 | Asm Ip Holding B.V. | Insulator |
| USD940837S1 (en) | 2019-08-22 | 2022-01-11 | Asm Ip Holding B.V. | Electrode |
| USD949319S1 (en) | 2019-08-22 | 2022-04-19 | Asm Ip Holding B.V. | Exhaust duct |
| USD930782S1 (en) | 2019-08-22 | 2021-09-14 | Asm Ip Holding B.V. | Gas distributor |
| KR20210024423A (ko) | 2019-08-22 | 2021-03-05 | 에이에스엠 아이피 홀딩 비.브이. | 홀을 구비한 구조체를 형성하기 위한 방법 |
| US11286558B2 (en) | 2019-08-23 | 2022-03-29 | Asm Ip Holding B.V. | Methods for depositing a molybdenum nitride film on a surface of a substrate by a cyclical deposition process and related semiconductor device structures including a molybdenum nitride film |
| KR20210024420A (ko) | 2019-08-23 | 2021-03-05 | 에이에스엠 아이피 홀딩 비.브이. | 비스(디에틸아미노)실란을 사용하여 peald에 의해 개선된 품질을 갖는 실리콘 산화물 막을 증착하기 위한 방법 |
| KR102806450B1 (ko) | 2019-09-04 | 2025-05-12 | 에이에스엠 아이피 홀딩 비.브이. | 희생 캡핑 층을 이용한 선택적 증착 방법 |
| KR102733104B1 (ko) | 2019-09-05 | 2024-11-22 | 에이에스엠 아이피 홀딩 비.브이. | 기판 처리 장치 |
| US12469693B2 (en) | 2019-09-17 | 2025-11-11 | Asm Ip Holding B.V. | Method of forming a carbon-containing layer and structure including the layer |
| US11562901B2 (en) | 2019-09-25 | 2023-01-24 | Asm Ip Holding B.V. | Substrate processing method |
| CN112593212B (zh) | 2019-10-02 | 2023-12-22 | Asm Ip私人控股有限公司 | 通过循环等离子体增强沉积工艺形成拓扑选择性氧化硅膜的方法 |
| TW202128273A (zh) | 2019-10-08 | 2021-08-01 | 荷蘭商Asm Ip私人控股有限公司 | 氣體注入系統、及將材料沉積於反應室內之基板表面上的方法 |
| TWI846953B (zh) | 2019-10-08 | 2024-07-01 | 荷蘭商Asm Ip私人控股有限公司 | 基板處理裝置 |
| KR20210042810A (ko) | 2019-10-08 | 2021-04-20 | 에이에스엠 아이피 홀딩 비.브이. | 활성 종을 이용하기 위한 가스 분배 어셈블리를 포함한 반응기 시스템 및 이를 사용하는 방법 |
| KR102879443B1 (ko) | 2019-10-10 | 2025-11-03 | 에이에스엠 아이피 홀딩 비.브이. | 포토레지스트 하부층을 형성하기 위한 방법 및 이를 포함한 구조체 |
| US12009241B2 (en) | 2019-10-14 | 2024-06-11 | Asm Ip Holding B.V. | Vertical batch furnace assembly with detector to detect cassette |
| TWI834919B (zh) | 2019-10-16 | 2024-03-11 | 荷蘭商Asm Ip私人控股有限公司 | 氧化矽之拓撲選擇性膜形成之方法 |
| US11637014B2 (en) | 2019-10-17 | 2023-04-25 | Asm Ip Holding B.V. | Methods for selective deposition of doped semiconductor material |
| KR102845724B1 (ko) | 2019-10-21 | 2025-08-13 | 에이에스엠 아이피 홀딩 비.브이. | 막을 선택적으로 에칭하기 위한 장치 및 방법 |
| KR20210050453A (ko) | 2019-10-25 | 2021-05-07 | 에이에스엠 아이피 홀딩 비.브이. | 기판 표면 상의 갭 피처를 충진하는 방법 및 이와 관련된 반도체 소자 구조 |
| US11646205B2 (en) | 2019-10-29 | 2023-05-09 | Asm Ip Holding B.V. | Methods of selectively forming n-type doped material on a surface, systems for selectively forming n-type doped material, and structures formed using same |
| KR102890638B1 (ko) | 2019-11-05 | 2025-11-25 | 에이에스엠 아이피 홀딩 비.브이. | 도핑된 반도체 층을 갖는 구조체 및 이를 형성하기 위한 방법 및 시스템 |
| US11501968B2 (en) | 2019-11-15 | 2022-11-15 | Asm Ip Holding B.V. | Method for providing a semiconductor device with silicon filled gaps |
| KR102861314B1 (ko) | 2019-11-20 | 2025-09-17 | 에이에스엠 아이피 홀딩 비.브이. | 기판의 표면 상에 탄소 함유 물질을 증착하는 방법, 상기 방법을 사용하여 형성된 구조물, 및 상기 구조물을 형성하기 위한 시스템 |
| CN112951697B (zh) | 2019-11-26 | 2025-07-29 | Asmip私人控股有限公司 | 基板处理设备 |
| US11450529B2 (en) | 2019-11-26 | 2022-09-20 | Asm Ip Holding B.V. | Methods for selectively forming a target film on a substrate comprising a first dielectric surface and a second metallic surface |
| CN112885693B (zh) | 2019-11-29 | 2025-06-10 | Asmip私人控股有限公司 | 基板处理设备 |
| CN112885692B (zh) | 2019-11-29 | 2025-08-15 | Asmip私人控股有限公司 | 基板处理设备 |
| JP7527928B2 (ja) | 2019-12-02 | 2024-08-05 | エーエスエム・アイピー・ホールディング・ベー・フェー | 基板処理装置、基板処理方法 |
| JP2021089933A (ja) * | 2019-12-03 | 2021-06-10 | 信越半導体株式会社 | 気相成長装置 |
| KR20210070898A (ko) | 2019-12-04 | 2021-06-15 | 에이에스엠 아이피 홀딩 비.브이. | 기판 처리 장치 |
| JP7703317B2 (ja) | 2019-12-17 | 2025-07-07 | エーエスエム・アイピー・ホールディング・ベー・フェー | 窒化バナジウム層および窒化バナジウム層を含む構造体を形成する方法 |
| JP7264038B2 (ja) * | 2019-12-19 | 2023-04-25 | 株式会社Sumco | 気相成長装置及び気相成長処理方法 |
| KR20210080214A (ko) | 2019-12-19 | 2021-06-30 | 에이에스엠 아이피 홀딩 비.브이. | 기판 상의 갭 피처를 충진하는 방법 및 이와 관련된 반도체 소자 구조 |
| JP7730637B2 (ja) | 2020-01-06 | 2025-08-28 | エーエスエム・アイピー・ホールディング・ベー・フェー | ガス供給アセンブリ、その構成要素、およびこれを含む反応器システム |
| TWI887322B (zh) * | 2020-01-06 | 2025-06-21 | 荷蘭商Asm Ip私人控股有限公司 | 反應器系統、抬升銷、及處理方法 |
| US11993847B2 (en) | 2020-01-08 | 2024-05-28 | Asm Ip Holding B.V. | Injector |
| KR102882467B1 (ko) | 2020-01-16 | 2025-11-05 | 에이에스엠 아이피 홀딩 비.브이. | 고 종횡비 피처를 형성하는 방법 |
| KR102675856B1 (ko) | 2020-01-20 | 2024-06-17 | 에이에스엠 아이피 홀딩 비.브이. | 박막 형성 방법 및 박막 표면 개질 방법 |
| CN111364021B (zh) * | 2020-01-22 | 2022-07-22 | 北京北方华创微电子装备有限公司 | 一种工艺腔室 |
| TWI889744B (zh) | 2020-01-29 | 2025-07-11 | 荷蘭商Asm Ip私人控股有限公司 | 污染物捕集系統、及擋板堆疊 |
| TWI871421B (zh) | 2020-02-03 | 2025-02-01 | 荷蘭商Asm Ip私人控股有限公司 | 包括釩或銦層的裝置、結構及其形成方法、系統 |
| KR20210100010A (ko) | 2020-02-04 | 2021-08-13 | 에이에스엠 아이피 홀딩 비.브이. | 대형 물품의 투과율 측정을 위한 방법 및 장치 |
| US11776846B2 (en) | 2020-02-07 | 2023-10-03 | Asm Ip Holding B.V. | Methods for depositing gap filling fluids and related systems and devices |
| KR20210103956A (ko) | 2020-02-13 | 2021-08-24 | 에이에스엠 아이피 홀딩 비.브이. | 수광 장치를 포함하는 기판 처리 장치 및 수광 장치의 교정 방법 |
| TW202146691A (zh) | 2020-02-13 | 2021-12-16 | 荷蘭商Asm Ip私人控股有限公司 | 氣體分配總成、噴淋板總成、及調整至反應室之氣體的傳導率之方法 |
| US11781243B2 (en) | 2020-02-17 | 2023-10-10 | Asm Ip Holding B.V. | Method for depositing low temperature phosphorous-doped silicon |
| TWI895326B (zh) | 2020-02-28 | 2025-09-01 | 荷蘭商Asm Ip私人控股有限公司 | 專用於零件清潔的系統 |
| DE102020105538A1 (de) | 2020-03-02 | 2021-09-02 | Aixtron Se | Vorrichtung zur Halterung eines Substrates in einem CVD-Reaktor |
| KR20210113043A (ko) | 2020-03-04 | 2021-09-15 | 에이에스엠 아이피 홀딩 비.브이. | 반응기 시스템용 정렬 고정구 |
| KR20210116249A (ko) | 2020-03-11 | 2021-09-27 | 에이에스엠 아이피 홀딩 비.브이. | 록아웃 태그아웃 어셈블리 및 시스템 그리고 이의 사용 방법 |
| KR20210116240A (ko) | 2020-03-11 | 2021-09-27 | 에이에스엠 아이피 홀딩 비.브이. | 조절성 접합부를 갖는 기판 핸들링 장치 |
| KR102775390B1 (ko) | 2020-03-12 | 2025-02-28 | 에이에스엠 아이피 홀딩 비.브이. | 타겟 토폴로지 프로파일을 갖는 층 구조를 제조하기 위한 방법 |
| US12173404B2 (en) | 2020-03-17 | 2024-12-24 | Asm Ip Holding B.V. | Method of depositing epitaxial material, structure formed using the method, and system for performing the method |
| KR102755229B1 (ko) | 2020-04-02 | 2025-01-14 | 에이에스엠 아이피 홀딩 비.브이. | 박막 형성 방법 |
| TWI887376B (zh) | 2020-04-03 | 2025-06-21 | 荷蘭商Asm Ip私人控股有限公司 | 半導體裝置的製造方法 |
| TWI888525B (zh) | 2020-04-08 | 2025-07-01 | 荷蘭商Asm Ip私人控股有限公司 | 用於選擇性蝕刻氧化矽膜之設備及方法 |
| US11821078B2 (en) | 2020-04-15 | 2023-11-21 | Asm Ip Holding B.V. | Method for forming precoat film and method for forming silicon-containing film |
| KR20210128343A (ko) | 2020-04-15 | 2021-10-26 | 에이에스엠 아이피 홀딩 비.브이. | 크롬 나이트라이드 층을 형성하는 방법 및 크롬 나이트라이드 층을 포함하는 구조 |
| US11996289B2 (en) | 2020-04-16 | 2024-05-28 | Asm Ip Holding B.V. | Methods of forming structures including silicon germanium and silicon layers, devices formed using the methods, and systems for performing the methods |
| TW202143328A (zh) | 2020-04-21 | 2021-11-16 | 荷蘭商Asm Ip私人控股有限公司 | 用於調整膜應力之方法 |
| KR20210132600A (ko) | 2020-04-24 | 2021-11-04 | 에이에스엠 아이피 홀딩 비.브이. | 바나듐, 질소 및 추가 원소를 포함한 층을 증착하기 위한 방법 및 시스템 |
| CN113555279A (zh) | 2020-04-24 | 2021-10-26 | Asm Ip私人控股有限公司 | 形成含氮化钒的层的方法及包含其的结构 |
| KR102866804B1 (ko) | 2020-04-24 | 2025-09-30 | 에이에스엠 아이피 홀딩 비.브이. | 냉각 가스 공급부를 포함한 수직형 배치 퍼니스 어셈블리 |
| KR20210132612A (ko) | 2020-04-24 | 2021-11-04 | 에이에스엠 아이피 홀딩 비.브이. | 바나듐 화합물들을 안정화하기 위한 방법들 및 장치 |
| TW202208671A (zh) | 2020-04-24 | 2022-03-01 | 荷蘭商Asm Ip私人控股有限公司 | 形成包括硼化釩及磷化釩層的結構之方法 |
| KR102783898B1 (ko) | 2020-04-29 | 2025-03-18 | 에이에스엠 아이피 홀딩 비.브이. | 고체 소스 전구체 용기 |
| KR20210134869A (ko) | 2020-05-01 | 2021-11-11 | 에이에스엠 아이피 홀딩 비.브이. | Foup 핸들러를 이용한 foup의 빠른 교환 |
| JP7726664B2 (ja) | 2020-05-04 | 2025-08-20 | エーエスエム・アイピー・ホールディング・ベー・フェー | 基板を処理するための基板処理システム |
| JP7736446B2 (ja) | 2020-05-07 | 2025-09-09 | エーエスエム・アイピー・ホールディング・ベー・フェー | 同調回路を備える反応器システム |
| KR102788543B1 (ko) | 2020-05-13 | 2025-03-27 | 에이에스엠 아이피 홀딩 비.브이. | 반응기 시스템용 레이저 정렬 고정구 |
| TW202146699A (zh) | 2020-05-15 | 2021-12-16 | 荷蘭商Asm Ip私人控股有限公司 | 形成矽鍺層之方法、半導體結構、半導體裝置、形成沉積層之方法、及沉積系統 |
| TW202147383A (zh) | 2020-05-19 | 2021-12-16 | 荷蘭商Asm Ip私人控股有限公司 | 基材處理設備 |
| KR102795476B1 (ko) | 2020-05-21 | 2025-04-11 | 에이에스엠 아이피 홀딩 비.브이. | 다수의 탄소 층을 포함한 구조체 및 이를 형성하고 사용하는 방법 |
| KR20210145079A (ko) | 2020-05-21 | 2021-12-01 | 에이에스엠 아이피 홀딩 비.브이. | 기판을 처리하기 위한 플랜지 및 장치 |
| KR102702526B1 (ko) | 2020-05-22 | 2024-09-03 | 에이에스엠 아이피 홀딩 비.브이. | 과산화수소를 사용하여 박막을 증착하기 위한 장치 |
| TW202212650A (zh) | 2020-05-26 | 2022-04-01 | 荷蘭商Asm Ip私人控股有限公司 | 沉積含硼及鎵的矽鍺層之方法 |
| TWI876048B (zh) | 2020-05-29 | 2025-03-11 | 荷蘭商Asm Ip私人控股有限公司 | 基板處理方法 |
| TW202212620A (zh) | 2020-06-02 | 2022-04-01 | 荷蘭商Asm Ip私人控股有限公司 | 處理基板之設備、形成膜之方法、及控制用於處理基板之設備之方法 |
| TW202208659A (zh) | 2020-06-16 | 2022-03-01 | 荷蘭商Asm Ip私人控股有限公司 | 沉積含硼之矽鍺層的方法 |
| KR20210158809A (ko) | 2020-06-24 | 2021-12-31 | 에이에스엠 아이피 홀딩 비.브이. | 실리콘이 구비된 층을 형성하는 방법 |
| TWI873359B (zh) | 2020-06-30 | 2025-02-21 | 荷蘭商Asm Ip私人控股有限公司 | 基板處理方法 |
| TWI896694B (zh) | 2020-07-01 | 2025-09-11 | 荷蘭商Asm Ip私人控股有限公司 | 沉積方法、半導體結構、及沉積系統 |
| KR102707957B1 (ko) | 2020-07-08 | 2024-09-19 | 에이에스엠 아이피 홀딩 비.브이. | 기판 처리 방법 |
| KR20220010438A (ko) | 2020-07-17 | 2022-01-25 | 에이에스엠 아이피 홀딩 비.브이. | 포토리소그래피에 사용하기 위한 구조체 및 방법 |
| KR20220011092A (ko) | 2020-07-20 | 2022-01-27 | 에이에스엠 아이피 홀딩 비.브이. | 전이 금속층을 포함하는 구조체를 형성하기 위한 방법 및 시스템 |
| TWI878570B (zh) | 2020-07-20 | 2025-04-01 | 荷蘭商Asm Ip私人控股有限公司 | 用於沉積鉬層之方法及系統 |
| US12322591B2 (en) | 2020-07-27 | 2025-06-03 | Asm Ip Holding B.V. | Thin film deposition process |
| KR20220021863A (ko) | 2020-08-14 | 2022-02-22 | 에이에스엠 아이피 홀딩 비.브이. | 기판 처리 방법 |
| US12040177B2 (en) | 2020-08-18 | 2024-07-16 | Asm Ip Holding B.V. | Methods for forming a laminate film by cyclical plasma-enhanced deposition processes |
| TW202228863A (zh) | 2020-08-25 | 2022-08-01 | 荷蘭商Asm Ip私人控股有限公司 | 清潔基板的方法、選擇性沉積的方法、及反應器系統 |
| US11725280B2 (en) | 2020-08-26 | 2023-08-15 | Asm Ip Holding B.V. | Method for forming metal silicon oxide and metal silicon oxynitride layers |
| TW202229601A (zh) | 2020-08-27 | 2022-08-01 | 荷蘭商Asm Ip私人控股有限公司 | 形成圖案化結構的方法、操控機械特性的方法、裝置結構、及基板處理系統 |
| KR20220033997A (ko) | 2020-09-10 | 2022-03-17 | 에이에스엠 아이피 홀딩 비.브이. | 갭 충진 유체를 증착하기 위한 방법 그리고 이와 관련된 시스템 및 장치 |
| USD990534S1 (en) | 2020-09-11 | 2023-06-27 | Asm Ip Holding B.V. | Weighted lift pin |
| KR20220036866A (ko) | 2020-09-16 | 2022-03-23 | 에이에스엠 아이피 홀딩 비.브이. | 실리콘 산화물 증착 방법 |
| USD1012873S1 (en) | 2020-09-24 | 2024-01-30 | Asm Ip Holding B.V. | Electrode for semiconductor processing apparatus |
| TWI889903B (zh) | 2020-09-25 | 2025-07-11 | 荷蘭商Asm Ip私人控股有限公司 | 基板處理方法 |
| US12009224B2 (en) | 2020-09-29 | 2024-06-11 | Asm Ip Holding B.V. | Apparatus and method for etching metal nitrides |
| KR20220045900A (ko) | 2020-10-06 | 2022-04-13 | 에이에스엠 아이피 홀딩 비.브이. | 실리콘 함유 재료를 증착하기 위한 증착 방법 및 장치 |
| CN114293174A (zh) | 2020-10-07 | 2022-04-08 | Asm Ip私人控股有限公司 | 气体供应单元和包括气体供应单元的衬底处理设备 |
| TW202229613A (zh) | 2020-10-14 | 2022-08-01 | 荷蘭商Asm Ip私人控股有限公司 | 於階梯式結構上沉積材料的方法 |
| KR102873665B1 (ko) | 2020-10-15 | 2025-10-17 | 에이에스엠 아이피 홀딩 비.브이. | 반도체 소자의 제조 방법, 및 ether-cat을 사용하는 기판 처리 장치 |
| TW202217037A (zh) | 2020-10-22 | 2022-05-01 | 荷蘭商Asm Ip私人控股有限公司 | 沉積釩金屬的方法、結構、裝置及沉積總成 |
| TW202223136A (zh) | 2020-10-28 | 2022-06-16 | 荷蘭商Asm Ip私人控股有限公司 | 用於在基板上形成層之方法、及半導體處理系統 |
| TW202229620A (zh) | 2020-11-12 | 2022-08-01 | 特文特大學 | 沉積系統、用於控制反應條件之方法、沉積方法 |
| TW202229795A (zh) | 2020-11-23 | 2022-08-01 | 荷蘭商Asm Ip私人控股有限公司 | 具注入器之基板處理設備 |
| TW202235649A (zh) | 2020-11-24 | 2022-09-16 | 荷蘭商Asm Ip私人控股有限公司 | 填充間隙之方法與相關之系統及裝置 |
| KR20220076343A (ko) | 2020-11-30 | 2022-06-08 | 에이에스엠 아이피 홀딩 비.브이. | 기판 처리 장치의 반응 챔버 내에 배열되도록 구성된 인젝터 |
| US12255053B2 (en) | 2020-12-10 | 2025-03-18 | Asm Ip Holding B.V. | Methods and systems for depositing a layer |
| TW202233884A (zh) | 2020-12-14 | 2022-09-01 | 荷蘭商Asm Ip私人控股有限公司 | 形成臨限電壓控制用之結構的方法 |
| US11946137B2 (en) | 2020-12-16 | 2024-04-02 | Asm Ip Holding B.V. | Runout and wobble measurement fixtures |
| TW202232639A (zh) | 2020-12-18 | 2022-08-16 | 荷蘭商Asm Ip私人控股有限公司 | 具有可旋轉台的晶圓處理設備 |
| TW202242184A (zh) | 2020-12-22 | 2022-11-01 | 荷蘭商Asm Ip私人控股有限公司 | 前驅物膠囊、前驅物容器、氣相沉積總成、及將固態前驅物裝載至前驅物容器中之方法 |
| TW202231903A (zh) | 2020-12-22 | 2022-08-16 | 荷蘭商Asm Ip私人控股有限公司 | 過渡金屬沉積方法、過渡金屬層、用於沉積過渡金屬於基板上的沉積總成 |
| TW202226899A (zh) | 2020-12-22 | 2022-07-01 | 荷蘭商Asm Ip私人控股有限公司 | 具匹配器的電漿處理裝置 |
| JP7729038B2 (ja) * | 2020-12-28 | 2025-08-26 | 株式会社レゾナック | ウェハ保持具、化学気相成長装置及びSiCエピタキシャルウェハの製造方法 |
| US11781212B2 (en) | 2021-04-07 | 2023-10-10 | Applied Material, Inc. | Overlap susceptor and preheat ring |
| USD980813S1 (en) | 2021-05-11 | 2023-03-14 | Asm Ip Holding B.V. | Gas flow control plate for substrate processing apparatus |
| USD981973S1 (en) | 2021-05-11 | 2023-03-28 | Asm Ip Holding B.V. | Reactor wall for substrate processing apparatus |
| USD1023959S1 (en) | 2021-05-11 | 2024-04-23 | Asm Ip Holding B.V. | Electrode for substrate processing apparatus |
| USD980814S1 (en) | 2021-05-11 | 2023-03-14 | Asm Ip Holding B.V. | Gas distributor for substrate processing apparatus |
| USD990441S1 (en) | 2021-09-07 | 2023-06-27 | Asm Ip Holding B.V. | Gas flow control plate |
| USD1099184S1 (en) | 2021-11-29 | 2025-10-21 | Asm Ip Holding B.V. | Weighted lift pin |
| USD1060598S1 (en) | 2021-12-03 | 2025-02-04 | Asm Ip Holding B.V. | Split showerhead cover |
| US20240026530A1 (en) * | 2022-07-20 | 2024-01-25 | Applied Materials, Inc. | Method of coating a chamber component |
| KR102744843B1 (ko) * | 2022-08-30 | 2024-12-19 | 한화정밀기계 주식회사 | 부산물을 배출할 수 있는 웨이퍼 히터 |
| US12398462B2 (en) | 2023-04-24 | 2025-08-26 | Applied Materials, Inc. | Process chamber |
| CN119571257B (zh) * | 2025-02-07 | 2025-10-31 | 深圳市新凯来工业机器有限公司 | 工艺腔室及工艺处理设备 |
Family Cites Families (12)
| Publication number | Priority date | Publication date | Assignee | Title |
|---|---|---|---|---|
| US4990374A (en) * | 1989-11-28 | 1991-02-05 | Cvd Incorporated | Selective area chemical vapor deposition |
| JP2934565B2 (ja) * | 1993-05-21 | 1999-08-16 | 三菱電機株式会社 | 半導体製造装置及び半導体製造方法 |
| US5679404A (en) * | 1995-06-07 | 1997-10-21 | Saint-Gobain/Norton Industrial Ceramics Corporation | Method for depositing a substance with temperature control |
| JPH1050615A (ja) * | 1996-07-30 | 1998-02-20 | Toshiba Microelectron Corp | 枚葉式気相成長装置 |
| JP3336897B2 (ja) | 1997-02-07 | 2002-10-21 | 三菱住友シリコン株式会社 | 気相成長装置用サセプター |
| JPH1187250A (ja) * | 1997-09-01 | 1999-03-30 | Inotetsuku Kk | 気相成長装置 |
| DE69813014T2 (de) * | 1997-11-03 | 2004-02-12 | Asm America Inc., Phoenix | Verbesserte kleinmassige waferhaleeinrichtung |
| JPH11340142A (ja) * | 1998-05-29 | 1999-12-10 | Mitsubishi Materials Silicon Corp | 枚葉式エピタキシャル成長装置及びその成長方法 |
| JP3357311B2 (ja) * | 1999-02-12 | 2002-12-16 | アプライド マテリアルズ インコーポレイテッド | 半導体製造装置におけるウェハ支持装置 |
| US6245149B1 (en) * | 1999-07-01 | 2001-06-12 | Applied Materials, Inc. | Inert barrier for high purity epitaxial deposition systems |
| JP2001053030A (ja) * | 1999-08-11 | 2001-02-23 | Tokyo Electron Ltd | 成膜装置 |
| JP2003197532A (ja) * | 2001-12-21 | 2003-07-11 | Sumitomo Mitsubishi Silicon Corp | エピタキシャル成長方法及びエピタキシャル成長用サセプター |
-
2002
- 2002-07-29 JP JP2002220027A patent/JP3908112B2/ja not_active Expired - Lifetime
-
2003
- 2003-07-25 US US10/626,675 patent/US7699934B2/en not_active Expired - Lifetime
- 2003-07-29 TW TW092120618A patent/TWI237312B/zh not_active IP Right Cessation
Also Published As
| Publication number | Publication date |
|---|---|
| TW200416839A (en) | 2004-09-01 |
| JP2004063779A (ja) | 2004-02-26 |
| US7699934B2 (en) | 2010-04-20 |
| US20040144323A1 (en) | 2004-07-29 |
| TWI237312B (en) | 2005-08-01 |
Similar Documents
| Publication | Publication Date | Title |
|---|---|---|
| JP3908112B2 (ja) | サセプタ、エピタキシャルウェーハ製造装置及びエピタキシャルウェーハ製造方法 | |
| JP4492840B2 (ja) | 化学的蒸着処理に使用する改良された受容体 | |
| EP1749900B1 (en) | Susceptor for vapor deposition apparatus | |
| JP4285240B2 (ja) | エピタキシャル成長用サセプタおよびエピタキシャル成長方法 | |
| US20090280248A1 (en) | Porous substrate holder with thinned portions | |
| US7648579B2 (en) | Substrate support system for reduced autodoping and backside deposition | |
| JP4592849B2 (ja) | 半導体製造装置 | |
| TWI706446B (zh) | 磊晶成長裝置及使用此裝置的半導體磊晶晶圓的製造方法 | |
| KR20130007594A (ko) | 경사진 에지를 가진 웨이퍼 캐리어 | |
| KR101447663B1 (ko) | 성막 방법 및 성막 장치 | |
| JP2004119859A (ja) | サセプタ、半導体ウェーハの製造装置及び製造方法 | |
| US6887775B2 (en) | Process and apparatus for epitaxially coating a semiconductor wafer and epitaxially coated semiconductor wafer | |
| WO2005013343A1 (ja) | 気相成長装置及び気相成長方法 | |
| JP2017011239A (ja) | エピタキシャルシリコンウェーハの製造方法 | |
| JP4868503B2 (ja) | エピタキシャルウェーハの製造方法 | |
| JPWO2005093136A1 (ja) | 支持体並びに半導体基板の処理方法 | |
| JP2008294217A (ja) | 気相成長装置及び気相成長方法 | |
| JP2004235439A (ja) | サセプタ及び気相成長装置 | |
| JP3071591U (ja) | 気相エピタキシャル成長装置 | |
| JPH11240795A (ja) | エピタキシャル成長装置 | |
| KR20110090284A (ko) | 반도체 제조용 서셉터 | |
| HK40026229A (en) | Vapor-phase growth device and vapor-phase growth method | |
| JPH107490A (ja) | 気相エピタキシャル装置 |
Legal Events
| Date | Code | Title | Description |
|---|---|---|---|
| A621 | Written request for application examination |
Free format text: JAPANESE INTERMEDIATE CODE: A621 Effective date: 20050615 |
|
| A977 | Report on retrieval |
Free format text: JAPANESE INTERMEDIATE CODE: A971007 Effective date: 20060526 |
|
| A131 | Notification of reasons for refusal |
Free format text: JAPANESE INTERMEDIATE CODE: A131 Effective date: 20060606 |
|
| A521 | Request for written amendment filed |
Free format text: JAPANESE INTERMEDIATE CODE: A523 Effective date: 20060807 |
|
| RD02 | Notification of acceptance of power of attorney |
Free format text: JAPANESE INTERMEDIATE CODE: A7422 Effective date: 20060807 |
|
| A02 | Decision of refusal |
Free format text: JAPANESE INTERMEDIATE CODE: A02 Effective date: 20060905 |
|
| A521 | Request for written amendment filed |
Free format text: JAPANESE INTERMEDIATE CODE: A523 Effective date: 20061005 |
|
| A911 | Transfer to examiner for re-examination before appeal (zenchi) |
Free format text: JAPANESE INTERMEDIATE CODE: A911 Effective date: 20061208 |
|
| TRDD | Decision of grant or rejection written | ||
| A01 | Written decision to grant a patent or to grant a registration (utility model) |
Free format text: JAPANESE INTERMEDIATE CODE: A01 Effective date: 20070116 |
|
| A61 | First payment of annual fees (during grant procedure) |
Free format text: JAPANESE INTERMEDIATE CODE: A61 Effective date: 20070117 |
|
| R150 | Certificate of patent or registration of utility model |
Ref document number: 3908112 Country of ref document: JP Free format text: JAPANESE INTERMEDIATE CODE: R150 Free format text: JAPANESE INTERMEDIATE CODE: R150 |
|
| FPAY | Renewal fee payment (event date is renewal date of database) |
Free format text: PAYMENT UNTIL: 20110126 Year of fee payment: 4 |
|
| R250 | Receipt of annual fees |
Free format text: JAPANESE INTERMEDIATE CODE: R250 |
|
| FPAY | Renewal fee payment (event date is renewal date of database) |
Free format text: PAYMENT UNTIL: 20110126 Year of fee payment: 4 |
|
| FPAY | Renewal fee payment (event date is renewal date of database) |
Free format text: PAYMENT UNTIL: 20120126 Year of fee payment: 5 |
|
| R250 | Receipt of annual fees |
Free format text: JAPANESE INTERMEDIATE CODE: R250 |
|
| FPAY | Renewal fee payment (event date is renewal date of database) |
Free format text: PAYMENT UNTIL: 20120126 Year of fee payment: 5 |
|
| FPAY | Renewal fee payment (event date is renewal date of database) |
Free format text: PAYMENT UNTIL: 20130126 Year of fee payment: 6 |
|
| R250 | Receipt of annual fees |
Free format text: JAPANESE INTERMEDIATE CODE: R250 |
|
| FPAY | Renewal fee payment (event date is renewal date of database) |
Free format text: PAYMENT UNTIL: 20130126 Year of fee payment: 6 |
|
| FPAY | Renewal fee payment (event date is renewal date of database) |
Free format text: PAYMENT UNTIL: 20140126 Year of fee payment: 7 |
|
| R250 | Receipt of annual fees |
Free format text: JAPANESE INTERMEDIATE CODE: R250 |
|
| R250 | Receipt of annual fees |
Free format text: JAPANESE INTERMEDIATE CODE: R250 |
|
| R250 | Receipt of annual fees |
Free format text: JAPANESE INTERMEDIATE CODE: R250 |
|
| R250 | Receipt of annual fees |
Free format text: JAPANESE INTERMEDIATE CODE: R250 |
|
| R250 | Receipt of annual fees |
Free format text: JAPANESE INTERMEDIATE CODE: R250 |
|
| R250 | Receipt of annual fees |
Free format text: JAPANESE INTERMEDIATE CODE: R250 |
|
| R250 | Receipt of annual fees |
Free format text: JAPANESE INTERMEDIATE CODE: R250 |
|
| R250 | Receipt of annual fees |
Free format text: JAPANESE INTERMEDIATE CODE: R250 |
|
| R250 | Receipt of annual fees |
Free format text: JAPANESE INTERMEDIATE CODE: R250 |
|
| R250 | Receipt of annual fees |
Free format text: JAPANESE INTERMEDIATE CODE: R250 |
|
| EXPY | Cancellation because of completion of term |