JP2010021520A - 薄膜トランジスタ及びその製造方法、ならびに薄膜トランジスタを備える平板表示装置 - Google Patents

薄膜トランジスタ及びその製造方法、ならびに薄膜トランジスタを備える平板表示装置 Download PDF

Info

Publication number
JP2010021520A
JP2010021520A JP2009058255A JP2009058255A JP2010021520A JP 2010021520 A JP2010021520 A JP 2010021520A JP 2009058255 A JP2009058255 A JP 2009058255A JP 2009058255 A JP2009058255 A JP 2009058255A JP 2010021520 A JP2010021520 A JP 2010021520A
Authority
JP
Japan
Prior art keywords
film transistor
thin film
active layer
compound semiconductor
protective layer
Prior art date
Legal status (The legal status is an assumption and is not a legal conclusion. Google has not performed a legal analysis and makes no representation as to the accuracy of the status listed.)
Granted
Application number
JP2009058255A
Other languages
English (en)
Other versions
JP5542352B2 (ja
Inventor
Jae-Heung Ha
載 興 河
Eiu So
英 宇 宋
Jong-Hyuk Lee
鐘 赫 李
Jong-Han Jeong
棕 翰 鄭
Minkei Kin
民 圭 金
Yeon-Gon Mo
然 坤 牟
Jae Kyeong Jeong
在 景 鄭
Hyun-Joong Chung
現 中 鄭
Kwang-Suk Kim
光 淑 金
Hui-Won Yang
熙 元 梁
Chaun-Gi Choi
千 基 崔
Current Assignee (The listed assignees may be inaccurate. Google has not performed a legal analysis and makes no representation or warranty as to the accuracy of the list.)
Samsung Display Co Ltd
Original Assignee
Samsung Mobile Display Co Ltd
Priority date (The priority date is an assumption and is not a legal conclusion. Google has not performed a legal analysis and makes no representation as to the accuracy of the date listed.)
Filing date
Publication date
Application filed by Samsung Mobile Display Co Ltd filed Critical Samsung Mobile Display Co Ltd
Publication of JP2010021520A publication Critical patent/JP2010021520A/ja
Application granted granted Critical
Publication of JP5542352B2 publication Critical patent/JP5542352B2/ja
Active legal-status Critical Current
Anticipated expiration legal-status Critical

Links

Images

Classifications

    • HELECTRICITY
    • H10SEMICONDUCTOR DEVICES; ELECTRIC SOLID-STATE DEVICES NOT OTHERWISE PROVIDED FOR
    • H10DINORGANIC ELECTRIC SEMICONDUCTOR DEVICES
    • H10D30/00Field-effect transistors [FET]
    • H10D30/60Insulated-gate field-effect transistors [IGFET]
    • H10D30/67Thin-film transistors [TFT]
    • H10D30/674Thin-film transistors [TFT] characterised by the active materials
    • H10D30/6755Oxide semiconductors, e.g. zinc oxide, copper aluminium oxide or cadmium stannate
    • GPHYSICS
    • G02OPTICS
    • G02FOPTICAL DEVICES OR ARRANGEMENTS FOR THE CONTROL OF LIGHT BY MODIFICATION OF THE OPTICAL PROPERTIES OF THE MEDIA OF THE ELEMENTS INVOLVED THEREIN; NON-LINEAR OPTICS; FREQUENCY-CHANGING OF LIGHT; OPTICAL LOGIC ELEMENTS; OPTICAL ANALOGUE/DIGITAL CONVERTERS
    • G02F1/00Devices or arrangements for the control of the intensity, colour, phase, polarisation or direction of light arriving from an independent light source, e.g. switching, gating or modulating; Non-linear optics
    • G02F1/01Devices or arrangements for the control of the intensity, colour, phase, polarisation or direction of light arriving from an independent light source, e.g. switching, gating or modulating; Non-linear optics for the control of the intensity, phase, polarisation or colour 
    • G02F1/13Devices or arrangements for the control of the intensity, colour, phase, polarisation or direction of light arriving from an independent light source, e.g. switching, gating or modulating; Non-linear optics for the control of the intensity, phase, polarisation or colour  based on liquid crystals, e.g. single liquid crystal display cells
    • G02F1/133Constructional arrangements; Operation of liquid crystal cells; Circuit arrangements
    • G02F1/136Liquid crystal cells structurally associated with a semi-conducting layer or substrate, e.g. cells forming part of an integrated circuit
    • G02F1/1362Active matrix addressed cells
    • G02F1/1368Active matrix addressed cells in which the switching element is a three-electrode device
    • HELECTRICITY
    • H10SEMICONDUCTOR DEVICES; ELECTRIC SOLID-STATE DEVICES NOT OTHERWISE PROVIDED FOR
    • H10DINORGANIC ELECTRIC SEMICONDUCTOR DEVICES
    • H10D30/00Field-effect transistors [FET]
    • H10D30/60Insulated-gate field-effect transistors [IGFET]
    • H10D30/67Thin-film transistors [TFT]
    • H10D30/6704Thin-film transistors [TFT] having supplementary regions or layers in the thin films or in the insulated bulk substrates for controlling properties of the device
    • HELECTRICITY
    • H10SEMICONDUCTOR DEVICES; ELECTRIC SOLID-STATE DEVICES NOT OTHERWISE PROVIDED FOR
    • H10DINORGANIC ELECTRIC SEMICONDUCTOR DEVICES
    • H10D30/00Field-effect transistors [FET]
    • H10D30/60Insulated-gate field-effect transistors [IGFET]
    • H10D30/67Thin-film transistors [TFT]
    • H10D30/6757Thin-film transistors [TFT] characterised by the structure of the channel, e.g. transverse or longitudinal shape or doping profile
    • HELECTRICITY
    • H10SEMICONDUCTOR DEVICES; ELECTRIC SOLID-STATE DEVICES NOT OTHERWISE PROVIDED FOR
    • H10KORGANIC ELECTRIC SOLID-STATE DEVICES
    • H10K59/00Integrated devices, or assemblies of multiple devices, comprising at least one organic light-emitting element covered by group H10K50/00
    • H10K59/10OLED displays
    • H10K59/12Active-matrix OLED [AMOLED] displays
    • H10K59/121Active-matrix OLED [AMOLED] displays characterised by the geometry or disposition of pixel elements
    • H10K59/1213Active-matrix OLED [AMOLED] displays characterised by the geometry or disposition of pixel elements the pixel elements being TFTs

Landscapes

  • Physics & Mathematics (AREA)
  • Nonlinear Science (AREA)
  • Microelectronics & Electronic Packaging (AREA)
  • Engineering & Computer Science (AREA)
  • Mathematical Physics (AREA)
  • Crystallography & Structural Chemistry (AREA)
  • Chemical & Material Sciences (AREA)
  • General Physics & Mathematics (AREA)
  • Optics & Photonics (AREA)
  • Geometry (AREA)
  • Thin Film Transistor (AREA)
  • Liquid Crystal (AREA)
  • Electroluminescent Light Sources (AREA)
  • Devices For Indicating Variable Information By Combining Individual Elements (AREA)

Abstract

【課題】本発明は、酸素を含む化合物半導体を活性層とする薄膜トランジスタ及びその製造方法、ならびに薄膜トランジスタを備える平板表示装置を提供する。
【解決手段】基板上に形成されたゲート電極と、ゲート絶縁膜によりゲート電極から絶縁され、酸素を含む化合物半導体からなる活性層と、活性層上に形成された保護層と、活性層と接触するソース電極及びドレイン電極とを備え、保護層が、酸素との結合力を有する無機物を含む酸化物からなる。
【選択図】図1

Description

本発明は、薄膜トランジスタ及びその製造方法、ならびに薄膜トランジスタを備える平板表示装置に関し、より詳細には、酸素を含む化合物半導体を活性層とする薄膜トランジスタ及びその製造方法、ならびに薄膜トランジスタを備える平板表示装置に関する。
一般に、薄膜トランジスタ(TFT:Thin Film Transistor)は、チャネル領域、ソース領域及びドレイン領域を提供する活性層と、チャネル領域上に形成され、ゲート絶縁膜により活性層から電気的に絶縁されるゲート電極とからなる。
前記薄膜トランジスタの活性層は、大体、非晶質シリコンやポリシリコンのような半導体物質で形成される。しかし、活性層が非晶質シリコンで形成されると、移動度が低いため、高速で動作する駆動回路の実現が難しく、ポリシリコンで形成されると、移動度は高いものの、閾値電圧が不均一なため、補償回路が別途に付加されなければならないという問題があった。
また、低温ポリシリコン(LTPS:Low Temperature Poly-Silicon)を用いた従来の薄膜トランジスタの製造方法では、レーザ熱処理などの高価な工程が含まれ、特性の制御が難しいため、大面積の基板への適用が困難であるという問題があった。
これらの問題を解決するため、最近では、化合物半導体を活性層として用いる研究が行われている。
下記特許文献1には、酸化亜鉛(ZnO)または酸化亜鉛(ZnO)を主成分とする化合物半導体を活性層とする薄膜トランジスタが開示されている。
酸化亜鉛(ZnO)を主成分とする化合物半導体は、非晶質状で、かつ安定した材料として評価されている。前記化合物半導体を活性層として用いると、別の工程装置を追加で購入することなく、従来の工程装置を用いて、350℃以下の低温で、薄膜トランジスタを製造することができるほか、イオン注入工程の省略などの様々なメリットがある。
しかし、化合物半導体を用いると、活性層上に薄膜を形成したり、形成された薄膜をエッチングする際、プラズマによる損傷が発生し、破壊効果(bombardment effect)や放射効果(radiation effect)などによりキャリアが増加するなどの電気的特性の変化が発生する。このような化合物半導体の電気的特性の変化により薄膜トランジスタの閾値電圧が変化するなど、電気的特性の低下が発生し、基板内における特性の分散度が低下する。
特開2004−273614号公報
そこで、本発明の目的は、活性層の損傷による薄膜トランジスタの電気的特性及び分散度の低下を防止することができる薄膜トランジスタ及びその製造方法、ならびに薄膜トランジスタを備える平板表示装置を提供することである。
本発明の他の目的は、外光による薄膜トランジスタの電気的特性の低下を防止することができる薄膜トランジスタ及びその製造方法、ならびに薄膜トランジスタを備える平板表示装置を提供することである。
上記の目的を達成するための本発明の一態様による薄膜トランジスタは、基板と、該基板上に形成されたゲート電極と、ゲート絶縁膜により前記ゲート電極から絶縁され、酸素を含む化合物半導体からなる活性層と、該活性層上に形成された保護層と、前記活性層と接触するソース電極及びドレイン電極とを備え、前記保護層が、酸素との結合力を有する無機物を含む酸化物からなる。
上記の目的を達成するための本発明の他の態様による薄膜トランジスタの製造方法は、基板上にゲート電極を形成するステップと、前記ゲート電極を含む上部にゲート絶縁膜を形成するステップと、前記ゲート絶縁膜上に、酸素を含む化合物半導体で活性層を形成するステップと、前記活性層上に、酸素との結合力を有する無機物を含む酸化物で保護層を形成するステップと、前記活性層と接触するソース電極及びドレイン電極を形成するステップとを含む。
また、上記の目的を達成するための本発明のさらに他の態様による薄膜トランジスタを備える平板表示装置は、複数の第1導電線と第2導電線とによって複数の画素が画定され、各画素に供給される信号を制御する薄膜トランジスタと、当該薄膜トランジスタに接続された第1電極とが形成された第1基板と、第2電極が形成された第2基板と、前記第1電極と前記第2電極との間の密封された空間に注入された液晶層とを備え、前記薄膜トランジスタは、前記第1基板上に形成されたゲート電極と、ゲート絶縁膜により前記ゲート電極から絶縁され、酸素を含む化合物半導体からなる活性層と、該活性層上に形成された保護層と、前記活性層と接触するソース電極及びドレイン電極とを備え、前記保護層が、酸素との結合力を有する無機物を含む酸化物からなる。
さらに、上記の目的を達成するための本発明のさらなる態様による薄膜トランジスタを備える平板表示装置は、第1電極、有機薄膜層及び第2電極からなる有機電界発光素子と、当該有機電界発光素子の動作を制御するための薄膜トランジスタとが形成された第1基板と、該第1基板に対向するように配置された第2基板とを備え、前記薄膜トランジスタは、前記第1基板上に形成されたゲート電極と、ゲート絶縁膜により前記ゲート電極から絶縁され、酸素を含む化合物半導体からなる活性層と、該活性層上に形成された保護層と、前記活性層と接触するソース電極及びドレイン電極とを備え、前記保護層が、酸素との結合力を有する無機物を含む酸化物からなる。
本発明の薄膜トランジスタは、酸素を含む化合物半導体からなる活性層を備え、活性層上に、酸素との結合力を有する無機酸化物で保護層が形成される。保護層は、ソース電極及びドレイン電極を形成する過程において、エッチング停止層として用いられるとともに、チャネル領域の汚染や損傷を防止し、活性層の損傷が発生しても、後続の熱処理により回復できるようにする。したがって、活性層の損傷による薄膜トランジスタの電気的特性の低下が防止され、基板内における特性の分散度が改善され得る。また、本発明の保護層は、バンドギャップが比較的小さな無機酸化物で形成されるため、外光を効果的に吸収する。したがって、外光による活性層の電気的特性の低下を補償するための工程または装置を別途に追加しなくてもよい。
本発明の一実施形態に係る薄膜トランジスタを説明するための断面図である。 本発明に係る薄膜トランジスタの製造方法を説明するための断面図である。 本発明に係る薄膜トランジスタの製造方法を説明するための断面図である。 本発明に係る薄膜トランジスタの製造方法を説明するための断面図である。 本発明に係る薄膜トランジスタの製造方法を説明するための断面図である。 ゲート電圧に応じたドレイン電流の変化を示すグラフである。 時間に応じた閾値電圧の変化を示すグラフである。 ゲート電圧に応じたドレイン電流の変化を示すグラフである。 時間に応じた閾値電圧の変化を示すグラフである。 保護層の形成前に測定した薄膜トランジスタの電気的特性を示すグラフである。 保護層の形成後に測定した薄膜トランジスタの電気的特性を示すグラフである。 保護層の形成後に測定した薄膜トランジスタの電気的特性を示すグラフである。 本発明に係る薄膜トランジスタの電気的特性を示すグラフである。 本発明に係る薄膜トランジスタの電気的特性を示すグラフである。 本発明に係る薄膜トランジスタの信頼性の測定結果を示すグラフである。 本発明に係る薄膜トランジスタの信頼性の測定結果を示すグラフである。 外光の吸収に応じたトランジスタの伝達特性を示すグラフである。 外光の吸収に応じたトランジスタの伝達特性を示すグラフである。 本発明の他の実施形態に係る薄膜トランジスタを説明するための断面図である。 本発明の一実施形態に係る薄膜トランジスタを備える平板表示装置を説明するための平面図である。 本発明の他の実施形態に係る薄膜トランジスタを備える平板表示装置を説明するための平面図である。 本発明の他の実施形態に係る薄膜トランジスタを備える平板表示装置を説明するための断面図である。 図11aの有機電界発光素子を説明するための断面図である。
以下、添付図面を参照して本発明の好ましい実施形態を詳細に説明する。以下の実施形態は、当該技術分野における通常の知識を有する者にとって本発明が十分に理解されるように提供されるものであって、様々な形態で変形可能であり、本発明の範囲は、以下に示す実施形態に限定されるものではない。
図1は、本発明の一実施形態に係る薄膜トランジスタを説明するための断面図である。
基板10上にバッファ層11が形成され、バッファ層11上にゲート電極12が形成される。ゲート電極12を含む上部には、ゲート絶縁膜13によりゲート電極12から絶縁され、化合物半導体からなる活性層14が形成される。活性層14は、チャネル領域14a、ソース領域14b及びドレイン領域14cを提供し、チャネル領域14aがゲート電極12と重なるように配置される。
活性層14を含む上部には、保護層15が形成され、保護層15には、活性層14のソース領域14b及びドレイン領域14cが露出するように、コンタクトホールが形成される。また、保護層15上には、コンタクトホールを介してソース領域14b及びドレイン領域14cと接触するように、ソース電極16a及びドレイン電極16bが形成される。
前記薄膜トランジスタにおいて、活性層14は、酸素を含む化合物半導体、例えば、酸化亜鉛(ZnO)で形成され得る。前記化合物半導体には、ガリウム(Ga)、インジウム(In)、スズ(Sn)、ジルコニウム(Zr)、ハフニウム(Hf)及びバナジウム(V)のうちの少なくとも1つのイオンがドープされ得る。さらに、保護層15は、酸素(O)との結合力を有する無機物を含む酸化物、すなわち、無機酸化物で形成される。酸素との結合力を有する無機物は、前記化合物半導体を構成する元素、例えば、亜鉛(Zn)、ガリウム(Ga)、インジウム(In)、スズ(Sn)、ジルコニウム(Zr)、ハフニウム(Hf)及びバナジウム(V)からなる群から選択されるか、シリコン(Si)またはアルミニウム(Al)を含む群から選択され得る。
以下では、前記薄膜トランジスタの製造工程に基づいて本発明をより詳細に説明する。
図2a〜図2dは、本発明に係る薄膜トランジスタの製造方法を説明するための断面図である。
図2aに示すように、基板10上にバッファ層11を形成した後、バッファ層11上にゲート電極12を形成し、ゲート電極12を含む上部にゲート絶縁膜13を形成する。基板10としては、シリコン(Si)などの半導体基板、ガラスやプラスチックなどの絶縁基板、または金属基板を用いることができる。ゲート電極12は、Al、Cr、MoWなどの金属や導電性ポリマーなどで形成され得る。ゲート絶縁膜13は、SiO、SiN、Gaなどの絶縁物で形成され得る。
図2bに示すように、ゲート絶縁膜13上に、化合物半導体で活性層14を形成する。活性層14は、チャネル領域14a、ソース領域14b及びドレイン領域14cを提供し、チャネル領域14aがゲート電極12と重なるように形成される。活性層14は、酸素を含む化合物半導体、例えば、酸化亜鉛(ZnO)で形成され得、前記化合物半導体に、ガリウム(Ga)、インジウム(In)、スズ(Sn)、ジルコニウム(Zr)、ハフニウム(Hf)及びバナジウム(V)のうちの少なくとも1つのイオンがドープされ得る。化合物半導体としては、例えば、ZnO、ZnGaO、ZnInO、ZnSnO、GaInZnOなどが使用可能である。
図2cに示すように、活性層14を含む上部に保護層15を形成した後、保護層15のパターニングを行い、活性層14のソース領域14b及びドレイン領域14cが露出するように、コンタクトホール15aを形成する。保護層15は、酸素(O)との結合力を有する無機物を含む酸化物で形成する。酸素との結合力を有する無機物は、前記化合物半導体を構成する元素、例えば、亜鉛(Zn)、ガリウム(Ga)、インジウム(In)、スズ(Sn)、ジルコニウム(Zr)、ハフニウム(Hf)及びバナジウム(V)からなる群から選択されるか、シリコン(Si)またはアルミニウム(Al)を含む群から選択され得る。保護層15としては、例えば、前記化合物半導体を構成する元素を全て含む(前記化合物半導体と同じ)酸化物であって、ZnO、ZnGaO、ZnInO、ZnSnO、GaInZnOなどが使用可能である。また、前記化合物半導体を構成する元素のうちの少なくとも1つを含む酸化物であって、Gaなどが使用可能である。さらに、シリコン(Si)を含む酸化物であって、SiOが使用可能であり、アルミニウム(Al)を含む酸化物であって、AlOまたはAlOが使用可能である。ただし、本発明の効果を得るためには、シリコン酸化物(SiO)の場合、蒸着時において、温度を300℃以下に調節し、酸素分圧を50%以上に調節しなければならない。また、アルミニウム酸化物(AlO)の場合、蒸着時において、温度を300℃以下に調節し、アルミニウム(Al)の含有量を2〜50%以下に調節しなければならない。さらに、アルミニウム酸窒化物(AlO)の場合、窒素及びアルゴンガス雰囲気下、アルミニウム酸化物(Al)をターゲットとしてスパッタ蒸着を行う過程において、酸素分圧を4%程度に調節しなければならない。
図2c及び2dに示すように、コンタクトホール15aを埋め込むように、保護層15上に導電層を形成した後、導電層のパターニングを行い、コンタクトホール15aを介してソース領域14b及びドレイン領域14cと接触するソース電極16a及びドレイン電極16bを形成する。ソース電極16a及びドレイン電極16bは、Mo、MoW、Al、AlNd、AlLiLaなどの金属で形成され得る。
上記のように、本発明は、酸素を含む化合物半導体で活性層14を形成し、活性層14上に、酸素との結合力を有する無機酸化物で保護層15を形成する。保護層15は、ソース電極16a及びドレイン電極16bを形成するために導電層のパターニングを行う過程において、エッチング停止層として用いることができることから、エッチング工程が容易になる。さらに、エッチング過程において、チャネル領域14aの活性層14を保護し、後続の工程において、有機物などによる活性層14の汚染を防止する。
しかし、本発明の場合、保護層15が化合物半導体とのエッチング選択比の低い物質で形成された場合、コンタクトホール15aを形成するエッチング過程において、活性層14の損傷が発生し得る。そのため、保護層15の材料またはエッチング方法を適宜選択しなければならない。ただし、活性層14の損傷が発生した場合は、ソース電極16a及びドレイン電極16bを形成した後、例えば、200〜350℃の温度、10e−2程度の低真空及び窒素(N)、酸素(O)などのガス雰囲気下、熱処理を行うと、活性層14の損傷を回復することができる。
プラズマ損傷による化合物半導体の電気的特性の低下は、そのほとんどが、表面格子の破壊による酸素欠陥によって発生すると推定される。したがって、本発明は、酸素との結合力を有する無機酸化物で保護層15を形成して活性層14を保護することにより、活性層14の損傷を防止するとともに、損傷が発生した場合でも、後続の熱処理により回復できるようにする。熱処理による活性層14の損傷の回復は、保護層15からの酸素の拡散によると推定される。
図3a及び図3bは、保護層を形成していない状態で測定した薄膜トランジスタのゲート電圧Vgに応じたドレイン電流Idの変化と、時間に応じた閾値電圧Vthの変化を示すグラフである。また、図4a及び図4bは、本発明により、保護層15を形成した状態で測定した薄膜トランジスタのゲート電圧Vgに応じたドレイン電流Idの変化と、ストレス時間に応じた閾値電圧Vthの変化を示すグラフである。測定は、ソース電極16a及びドレイン電極16bに10Vの電圧Vdsを印加し、3μAの電流が一定に流れるようにゲート電圧Vgを制御した状態で、50時間行われた。
図3a及び図3bの場合、時間が経過するほど、閾値電圧Vthが正(+)の方向に急激に増加しており、一定時間後には、測定が不可能になるくらいに閾値電圧Vthの変動が激しかった。反面、図4a及び図4bの場合は、閾値電圧Vthの変動幅が1V以内と小さく、50時間経過した後にも、安定した特性を示している。
活性層がポリシリコンからなる従来の薄膜トランジスタでは、一般的に、シリコン酸化物(SiO)、シリコン窒化物(SiN)、またはアルミニウム酸化物(Al)で保護層を形成する。しかし、活性層が酸素を含む化合物半導体からなる薄膜トランジスタの場合、保護層15をシリコン酸化物(SiO)、シリコン窒化物(SiN)、またはアルミニウム酸化物(Al)で形成すると、電気的特性の低下が著しくなる。このような電気的特性の低下は、蒸着過程において、プラズマによって発生する活性層の損傷によると推定される。プラズマによる損傷が発生すると、酸素欠陥によって活性層のキャリア濃度が増加し、この過剰キャリアによりオフ電流が増加し、Sファクタ(S−factor)特性が低下し得る。
図5aは、保護層15の形成前に測定した本発明に係る薄膜トランジスタの電気的特性を示すグラフである。図5bは、保護層15をシリコン酸化物(SiO)で形成した後に、図5cは、保護層15をアルミニウム酸化物(Al)で形成した後に、それぞれ測定した電気的特性を示すグラフである。シリコン酸化物(SiO)またはアルミニウム酸化物(Al)は、一般的な従来の方法によって形成された。シリコン酸化物(SiO)またはアルミニウム酸化物(Al)で保護層15を形成した後には、外光を効果的に遮断できないことから、トランジスタの特性を失う(図5b参照)か、特性の低下が著しかった(図5c参照)。
反面、図6aは、活性層14を構成する化合物半導体の全ての元素を含む(活性層と同じ)GaInZnOで保護層15を形成した場合である。また、図6bは、活性層14を構成する化合物半導体の一部の元素を含むGaで保護層15を形成した場合である。これら図6a及び6bの場合、保護層を形成していない場合(図5a参照)の閾値電圧Vthの3.3Vに比べて、2.4V程度上昇する(図6a参照)か、0.2V程度下降した(図6b参照)。
図7a及び図7bは、本発明に係る薄膜トランジスタの信頼性の測定結果であって、3mTorrの圧力でGaInZnOを蒸着して活性層14を形成し、Gaで保護層15を形成した。図7a及び図7bのグラフにおいて、最下端は閾値電圧Vthを示し、閾値電圧Vth以上の電圧は、ノイズまたは瞬間的な電圧の変化を示す。
ソース電極16a及びドレイン電極16bに10Vの電圧Vdsを印加し、3μAの電流が一定に流れるようにゲート電圧Vgを制御した状態で、時間(h)に応じた閾値電圧Vthの変化を観察した結果、50時間測定した場合(図7a)と、10000時間測定した場合(図7b)とでいずれも若干の変化を示した。閾値電圧Vthの変化を示す図7bの点線からみると、30000時間後には、1.2V以内の変化を示すと推測される。
このように安定した電気的特性は、無機酸化物からなる保護層15によるものである。つまり、本発明の保護層15は、酸素との強い結合力を有する無機物を含むため、蒸着過程で発生する過剰キャリアをより容易に捕獲(抑制)することにより、過剰キャリアによる特性の低下を防止する。
さらに、本発明の保護層15は、外光によるトランジスタの特性の低下を防止する。酸素を含む化合物半導体として、GaInZnOは、約3.37eVの大きなバンドギャップを有するが、光が吸収されると、過剰キャリアが生成されることから、リーク電流が発生し、トランジスタの特性が劣化し得る。特に、下部ゲート構造は、上部ゲート構造に比べて、外光に脆弱な構造となっている。
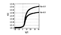
本発明の薄膜トランジスタにおいて、図5bのように、保護層15をバンドギャップの大きなシリコン酸化物(SiO)で形成すると、外光を効果的に遮断できないことから、図8aのように、トランジスタの伝達特性が低下する。図8aは、ソース電極16a及びドレイン電極16bに5.1Vの電圧Vdsを印加した状態で、外光として0〜20000Luxの光を照射した。
しかし、本発明の薄膜トランジスタは、図6bのように、保護層15がバンドギャップの比較的小さなGaなどの無機酸化物で形成されるため、外光が吸収されやすい。したがって、光の光学的吸収による活性層14の活性化及び酸素脱着が防止されることにより、図8bのように、トランジスタの伝達特性が一定に維持可能である。
光の光学的吸収による活性層の劣化は、薄膜トランジスタを含む表示装置の画質の低下を誘発するか、消費電力を増加させる。そのため、従来の非晶質シリコン薄膜トランジスタでは、デュアルゲート、LDD(Lightly Doped Drain)、オフセット構造などのような、リーク電流を減少させ得る構造を採用していた。しかし、この場合、動作(turn on)状態におけるドレイン電流が減少し、追加の工程が必要になるという問題があった。しかし、本発明によれば、保護層がバンドギャップの小さな無機酸化物で形成されるため、外光を効果的に吸収することにより、電気的特性の低下を補償するための工程または装置を別途に追加しなくてもよい。
図9は、本発明の他の実施形態に係る薄膜トランジスタを説明するための断面図である。
図1に示す薄膜トランジスタとの構造的相違点について説明すると、図1の薄膜トランジスタは、保護層15が活性層14を含む上部全体に形成され、ソース電極16a及びドレイン電極16bが、コンタクトホール15aを介して活性層14のソース領域14b及びドレイン領域14cと接触する構造である。反面、図9の薄膜トランジスタは、保護層25が活性層14上にのみ形成され、ソース電極26a及びドレイン電極26bが、活性層14のソース領域14b及びドレイン領域14cと直接接触する構造である。
本実施形態の薄膜トランジスタ構造は、活性層14上に形成された保護層25によって活性層14が保護され、ソース電極26a及びドレイン電極26bと、ソース領域14b及びドレイン領域14cとの直接接触により、接触抵抗が減少し得る。保護層25の構成及び役割は、前述の保護層15と同じであるため、詳細な説明は省略する。
図9の薄膜トランジスタは、図1の薄膜トランジスタと同じ方法によって製造可能である。しかし、図2cを参照して説明したステップでは、保護層15のパターニングを行うことでコンタクトホール15aを形成したが、本実施形態の場合、保護層25のパターニングを行う過程において、保護層25が活性層14上にのみ残留するようにする。
上記のように構成された本発明の薄膜トランジスタは、平板表示装置に適用可能である。
図10は、本発明の一実施形態に係る薄膜トランジスタを備える平板表示装置を説明するための斜視図であって、画像を表示する表示パネル100を中心に概略的に説明する。
表示パネル100は、互いに対向するように配置された2つの基板110及び120と、2つの基板110及び120の間に介在する液晶層130とからなり、基板110にマトリクス状に配列された複数のゲート線111とデータ線112とによって画素領域113が画定される。また、ゲート線111とデータ線112とが交差する部分の基板110には、各画素に供給される信号を制御する薄膜トランジスタ114と、薄膜トランジスタ114に接続された画素電極115とが形成される。
薄膜トランジスタ114は、図1及び図9のような構造を有し、図2a〜図2dを参照して説明した本発明の製造方法によって製造可能である。
さらに、基板120には、カラーフィルタ121と、共通電極122とが形成される。また、基板110及び120の背面には、偏光板116及び123がそれぞれ形成され、偏光板116の下には、光源としてバックライト(図示せず)が配置される。
一方、表示パネル100の画素領域113の周辺には、表示パネル100を駆動させるための駆動部(LCD Drive IC)(図示せず)が実装される。駆動部は、外部から提供される電気的信号を走査信号及びデータ信号に変換してゲート線111とデータ線112とに供給する。
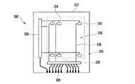
図11a及び図11bは、本発明の他の実施形態に係る薄膜トランジスタを備える平板表示装置を説明するための平面図及び断面図であって、画像を表示する表示パネル200を中心に概略的に説明する。
図11aに示すように、基板210は、画素領域220と、画素領域220の周辺の非画素領域230とに画定される。画素領域220の基板210には、走査線224及びデータ線226の間にマトリクス状に接続された複数の有機電界発光素子300が形成される。また、非画素領域230の基板210には、画素領域220の走査線224及びデータ線226から延びる走査線224及びデータ線226と、有機電界発光素子300の動作のための電源供給線(図示せず)と、パッド228を介して外部から提供された信号を処理して走査線224及びデータ線226に供給する走査駆動部234及びデータ駆動部236とが形成される。
図12に示すように、有機電界発光素子300は、アノード電極317及びカソード電極320と、アノード電極317及びカソード電極320の間に形成された有機薄膜層319とからなる。有機薄膜層319は、正孔輸送層と、有機発光層と、電子輸送層との積層構造で形成され、正孔注入層と、電子注入層とをさらに備えることができる。さらに、有機電界発光素子300の動作を制御するための薄膜トランジスタと、信号を保持させるためのキャパシタとをさらに備えることができる。
薄膜トランジスタは、図1及び図9のような構造を有し、図2a〜図2dを参照して説明した本発明の製造方法によって製造可能である。
以下では、上記のように構成された薄膜トランジスタを備える有機電界発光素子300を、図11a及び図12を参照してより詳細に説明する。
基板210上にバッファ層11が形成され、画素領域220のバッファ層11上にゲート電極12が形成される。このとき、画素領域220には、ゲート電極12に接続される走査線224が形成され、非画素領域230には、画素領域220の走査線224から延びる走査線224及び外部からの信号を受信するためのパッド228が形成され得る。
ゲート電極12を含む上部には、ゲート絶縁膜13によりゲート電極12から電気的に絶縁され、チャネル領域14a、ソース領域14b及びドレイン領域14cを提供する活性層14が形成される。
活性層14を含む上部には、保護層15が形成され、保護層15には、活性層14のソース領域14b及びドレイン領域14cが露出するように、コンタクトホールが形成される。また、保護層14上には、コンタクトホールを介してソース領域14b及びドレイン領域14cと接触するように、ソース電極16a及びドレイン電極16bが形成される。このとき、画素領域220には、ソース電極16a及びドレイン電極16bに接続されるデータ線226が形成され、非画素領域230には、画素領域220のデータ線226から延びるデータ線226及び外部からの信号を受信するためのパッド228が形成される。
ソース電極16a及びドレイン電極16bを含む上部には、表面の平坦化のために、有機物で平坦化層17が形成され、平坦化層17には、ソース電極16aまたはドレイン電極16bが露出するように、ビアホールが形成される。また、ビアホールを介してソース電極16aまたはドレイン電極16bに接続されるアノード電極317が形成される。
アノード電極317の一部の領域(発光領域)が露出するように、平坦化層17上に画素画定膜318が形成され、露出したアノード電極317上に有機薄膜層319が形成され、有機薄膜層319を含む画素画定膜318上にカソード電極320が形成される。
図11bに示すように、上記のように有機電界発光素子300が形成された基板210上には、画素領域220を封止するための封止基板400が配置される。また、封止材410により封止基板400が基板210に貼り合わされ、これにより、表示パネル200が完成する。
10 基板
11 バッファ層
12 ゲート電極
13 ゲート絶縁膜
14 活性層
14a チャネル領域
14b ソース領域
14c ドレイン領域
15,25 保護層
15a コンタクトホール
16a,26a ソース電極
16b,26b ドレイン電極
100,200 表示パネル
110,120,210 基板
130 液晶層
300 有機電界発光素子
400 封止基板
410 封止材

Claims (34)

  1. 基板と、
    該基板上に形成されたゲート電極と、
    ゲート絶縁膜により前記ゲート電極から絶縁され、酸素を含む化合物半導体からなる活性層と、
    該活性層上に形成された保護層と、
    前記活性層と接触するソース電極及びドレイン電極とを備え、
    前記保護層が、酸素との結合力を有する無機物を含む酸化物からなることを特徴とする薄膜トランジスタ。
  2. 前記保護層が、前記活性層を含む上部に形成され、前記ソース電極及び前記ドレイン電極が、前記保護層に形成されたコンタクトホールを介して前記活性層と接触することを特徴とする請求項1に記載の薄膜トランジスタ。
  3. 前記化合物半導体が、酸化亜鉛(ZnO)を含むことを特徴とする請求項1に記載の薄膜トランジスタ。
  4. 前記化合物半導体に、ガリウム(Ga)、インジウム(In)、スズ(Sn)、ジルコニウム(Zr)、ハフニウム(Hf)及びバナジウム(V)のうちの少なくとも1つのイオンがドープされることを特徴とする請求項3に記載の薄膜トランジスタ。
  5. 前記酸素との結合力を有する無機物が、前記化合物半導体を構成する元素から選択されることを特徴とする請求項1に記載の薄膜トランジスタ。
  6. 前記化合物半導体を構成する元素が、亜鉛(Zn)、ガリウム(Ga)、インジウム(In)、スズ(Sn)、ジルコニウム(Zr)、ハフニウム(Hf)及びバナジウム(V)からなる群から選択されることを特徴とする請求項5に記載の薄膜トランジスタ。
  7. 前記酸素との結合力を有する無機物が、シリコン(Si)及びアルミニウム(Al)のうちの1つを含む群から選択されることを特徴とする請求項1に記載の薄膜トランジスタ。
  8. 前記シリコン(Si)を含む無機物が、SiOであり、前記アルミニウム(Al)を含む無機物が、AlOまたはAlOであることを特徴とする請求項7に記載の薄膜トランジスタ。
  9. 前記基板と前記ゲート電極との間に形成されたバッファ層をさらに備えることを特徴とする請求項1に記載の薄膜トランジスタ。
  10. 基板上にゲート電極を形成するステップと、
    前記ゲート電極を含む上部にゲート絶縁膜を形成するステップと、
    前記ゲート絶縁膜上に、酸素を含む化合物半導体で活性層を形成するステップと、
    前記活性層上に、酸素との結合力を有する無機物を含む酸化物で保護層を形成するステップと、
    前記活性層と接触するソース電極及びドレイン電極を形成するステップと
    を含むことを特徴とする薄膜トランジスタの製造方法。
  11. 前記保護層を形成するステップが、
    前記活性層を含む上部に保護層を形成するステップと、
    前記保護層にコンタクトホールを形成するステップと
    を含むことを特徴とする請求項10に記載の薄膜トランジスタの製造方法。
  12. 前記ソース電極及び前記ドレイン電極を形成するステップが、
    前記コンタクトホールを埋め込むように、前記保護層上に導電層を形成するステップと、
    前記導電層のパターニングを行い、前記コンタクトホールを介して前記活性層と接触する前記ソース電極及び前記ドレイン電極を形成するステップと
    を含むことを特徴とする請求項11に記載の薄膜トランジスタの製造方法。
  13. 前記保護層を熱処理するステップをさらに含むことを特徴とする請求項10に記載の薄膜トランジスタの製造方法。
  14. 前記化合物半導体が、酸化亜鉛(ZnO)を含むことを特徴とする請求項10に記載の薄膜トランジスタの製造方法。
  15. 前記化合物半導体に、ガリウム(Ga)、インジウム(In)、スズ(Sn)、ジルコニウム(Zr)、ハフニウム(Hf)及びバナジウム(V)のうちの少なくとも1つのイオンがドープされることを特徴とする請求項14に記載の薄膜トランジスタの製造方法。
  16. 前記酸素との結合力を有する無機物が、前記化合物半導体を構成する元素から選択されることを特徴とする請求項10に記載の薄膜トランジスタの製造方法。
  17. 前記化合物半導体を構成する元素が、亜鉛(Zn)、ガリウム(Ga)、インジウム(In)、スズ(Sn)、ジルコニウム(Zr)、ハフニウム(Hf)及びバナジウム(V)からなる群から選択されることを特徴とする請求項16に記載の薄膜トランジスタの製造方法。
  18. 前記酸素との結合力を有する無機物が、シリコン(Si)及びアルミニウム(Al)のうちの1つを含む群から選択されることを特徴とする請求項10に記載の薄膜トランジスタの製造方法。
  19. 前記ソース電極及び前記ドレイン電極を形成するステップにおいて、前記保護層をエッチング停止層として用いることを特徴とする請求項10に記載の薄膜トランジスタの製造方法。
  20. 前記基板上にバッファ層を形成するステップをさらに含むことを特徴とする請求項10に記載の薄膜トランジスタの製造方法。
  21. 複数の第1導電線と第2導電線とによって複数の画素が画定され、各画素に供給される信号を制御する薄膜トランジスタと、当該薄膜トランジスタに接続された第1電極とが形成された第1基板と、
    第2電極が形成された第2基板と、
    前記第1電極と前記第2電極との間の密封された空間に注入された液晶層とを備え、
    前記薄膜トランジスタは、
    前記第1基板上に形成されたゲート電極と、
    ゲート絶縁膜により前記ゲート電極から絶縁され、酸素を含む化合物半導体からなる活性層と、
    該活性層上に形成された保護層と、
    前記活性層と接触するソース電極及びドレイン電極とを備え、
    前記保護層が、酸素との結合力を有する無機物を含む酸化物からなることを特徴とする平板表示装置。
  22. 前記保護層が、前記活性層を含む上部に形成され、前記ソース電極及び前記ドレイン電極が、前記保護層に形成されたコンタクトホールを介して前記活性層と接触することを特徴とする請求項21に記載の平板表示装置。
  23. 前記化合物半導体が、酸化亜鉛(ZnO)を含むことを特徴とする請求項21に記載の平板表示装置。
  24. 前記化合物半導体に、ガリウム(Ga)、インジウム(In)、スズ(Sn)、ジルコニウム(Zr)、ハフニウム(Hf)及びバナジウム(V)のうちの少なくとも1つのイオンがドープされることを特徴とする請求項23に記載の平板表示装置。
  25. 前記酸素との結合力を有する無機物が、前記化合物半導体を構成する元素から選択されることを特徴とする請求項21に記載の平板表示装置。
  26. 前記化合物半導体を構成する元素が、亜鉛(Zn)、ガリウム(Ga)、インジウム(In)、スズ(Sn)、ジルコニウム(Zr)、ハフニウム(Hf)及びバナジウム(V)からなる群から選択されることを特徴とする請求項25に記載の平板表示装置。
  27. 前記酸素との結合力を有する無機物が、シリコン(Si)及びアルミニウム(Al)のうちの1つを含む群から選択されることを特徴とする請求項21に記載の平板表示装置。
  28. 第1電極、有機薄膜層及び第2電極からなる有機電界発光素子と、当該有機電界発光素子の動作を制御するための薄膜トランジスタとが形成された第1基板と、
    該第1基板と対向するように配置された第2基板とを備え、
    前記薄膜トランジスタは、
    前記第1基板上に形成されたゲート電極と、
    ゲート絶縁膜により前記ゲート電極から絶縁され、酸素を含む化合物半導体からなる活性層と、
    該活性層上に形成された保護層と、
    前記活性層と接触するソース電極及びドレイン電極とを備え、
    前記保護層が、酸素との結合力を有する無機物を含む酸化物からなることを特徴とする平板表示装置。
  29. 前記保護層が、前記活性層を含む上部に形成され、前記ソース電極及び前記ドレイン電極が、前記保護層に形成されたコンタクトホールを介して前記活性層と接触することを特徴とする請求項28に記載の平板表示装置。
  30. 前記化合物半導体が、酸化亜鉛(ZnO)を含むことを特徴とする請求項28に記載の平板表示装置。
  31. 前記化合物半導体に、ガリウム(Ga)、インジウム(In)、スズ(Sn)、ジルコニウム(Zr)、ハフニウム(Hf)及びバナジウム(V)のうちの少なくとも1つのイオンがドープされることを特徴とする請求項30に記載の平板表示装置。
  32. 前記酸素との結合力を有する無機物が、前記化合物半導体を構成する元素から選択されることを特徴とする請求項28に記載の平板表示装置。
  33. 前記化合物半導体を構成する元素が、亜鉛(Zn)、ガリウム(Ga)、インジウム(In)、スズ(Sn)、ジルコニウム(Zr)、ハフニウム(Hf)及びバナジウム(V)からなる群から選択されることを特徴とする請求項32に記載の平板表示装置。
  34. 前記酸素との結合力を有する無機物が、シリコン(Si)及びアルミニウム(Al)のうちの1つを含む群から選択されることを特徴とする請求項28に記載の平板表示装置。
JP2009058255A 2008-07-08 2009-03-11 薄膜トランジスタ及びその製造方法、ならびに薄膜トランジスタを備える平板表示装置 Active JP5542352B2 (ja)

Applications Claiming Priority (2)

Application Number Priority Date Filing Date Title
KR1020080066002A KR100963104B1 (ko) 2008-07-08 2008-07-08 박막 트랜지스터, 그의 제조 방법 및 박막 트랜지스터를구비하는 평판 표시 장치
KR10-2008-0066002 2008-07-08

Publications (2)

Publication Number Publication Date
JP2010021520A true JP2010021520A (ja) 2010-01-28
JP5542352B2 JP5542352B2 (ja) 2014-07-09

Family

ID=41211906

Family Applications (1)

Application Number Title Priority Date Filing Date
JP2009058255A Active JP5542352B2 (ja) 2008-07-08 2009-03-11 薄膜トランジスタ及びその製造方法、ならびに薄膜トランジスタを備える平板表示装置

Country Status (5)

Country Link
US (3) US8178884B2 (ja)
EP (1) EP2144294B1 (ja)
JP (1) JP5542352B2 (ja)
KR (1) KR100963104B1 (ja)
CN (1) CN101626036B (ja)

Cited By (41)

* Cited by examiner, † Cited by third party
Publication number Priority date Publication date Assignee Title
WO2011013561A1 (en) * 2009-07-31 2011-02-03 Semiconductor Energy Laboratory Co., Ltd. Semiconductor device and method for manufacturing the same
JP2011199273A (ja) * 2010-02-26 2011-10-06 Semiconductor Energy Lab Co Ltd 半導体装置の作製方法
JP2011222984A (ja) * 2010-03-26 2011-11-04 Semiconductor Energy Lab Co Ltd 半導体装置の作製方法
JP2011222982A (ja) * 2010-03-26 2011-11-04 Semiconductor Energy Lab Co Ltd 半導体装置の作製方法
JP2011233876A (ja) * 2010-04-09 2011-11-17 Semiconductor Energy Lab Co Ltd 半導体装置
JP2011243972A (ja) * 2010-04-23 2011-12-01 Semiconductor Energy Lab Co Ltd 半導体装置の作製方法、及び半導体装置
JP2011243973A (ja) * 2010-04-23 2011-12-01 Semiconductor Energy Lab Co Ltd 半導体装置の作製方法
JP2012015496A (ja) * 2010-06-01 2012-01-19 Semiconductor Energy Lab Co Ltd 電界効果トランジスタおよびその作製方法
JP2012028481A (ja) * 2010-07-22 2012-02-09 Fujifilm Corp 電界効果型トランジスタ及びその製造方法
JP2012160720A (ja) * 2011-01-12 2012-08-23 Semiconductor Energy Lab Co Ltd 半導体装置及びその作製方法
JP2012231100A (ja) * 2010-06-11 2012-11-22 Semiconductor Energy Lab Co Ltd 半導体装置
JP2012256941A (ja) * 2010-05-21 2012-12-27 Semiconductor Energy Lab Co Ltd 記憶装置
JP2012256902A (ja) * 2010-03-26 2012-12-27 Semiconductor Energy Lab Co Ltd 半導体装置
KR101239231B1 (ko) 2011-07-22 2013-03-11 한국과학기술연구원 금속을 포함하는 패시배이션 층을 갖는 박막 트랜지스터 및 그 제조 방법
JP2013084939A (ja) * 2011-09-29 2013-05-09 Semiconductor Energy Lab Co Ltd 半導体装置及び半導体装置の作製方法
JP2013123045A (ja) * 2011-11-11 2013-06-20 Semiconductor Energy Lab Co Ltd 半導体装置
JP2013153156A (ja) * 2011-12-27 2013-08-08 Semiconductor Energy Lab Co Ltd 半導体装置及び半導体装置の作製方法
JP2014175463A (ja) * 2013-03-08 2014-09-22 Fujifilm Corp 薄膜トランジスタを備えた半導体装置の製造方法
JP2014195103A (ja) * 2010-04-23 2014-10-09 Semiconductor Energy Lab Co Ltd 半導体装置の作製方法
JP2015504246A (ja) * 2011-12-31 2015-02-05 京東方科技集團股▲ふん▼有限公司 薄膜トランジスタ、アレイ基板及びその製造方法、並びに表示装置
JP2015062246A (ja) * 2010-02-11 2015-04-02 三星ディスプレイ株式會社Samsung Display Co.,Ltd. 薄膜トランジスタパネルおよびそれの製造方法
JP2015097282A (ja) * 2010-04-16 2015-05-21 株式会社半導体エネルギー研究所 半導体装置の作製方法
JP2015111667A (ja) * 2013-11-06 2015-06-18 株式会社半導体エネルギー研究所 半導体装置及び該半導体装置を有する表示装置
JP2015111697A (ja) * 2010-04-28 2015-06-18 株式会社半導体エネルギー研究所 半導体装置の作製方法、及び半導体装置
JP2016034033A (ja) * 2010-08-27 2016-03-10 株式会社半導体エネルギー研究所 酸化物半導体膜の評価方法
JP2016034027A (ja) * 2010-04-02 2016-03-10 株式会社半導体エネルギー研究所 半導体装置の作製方法
JP2016136647A (ja) * 2010-11-11 2016-07-28 株式会社半導体エネルギー研究所 半導体装置
JP2016192579A (ja) * 2011-03-31 2016-11-10 株式会社半導体エネルギー研究所 半導体装置
JP2016197739A (ja) * 2009-09-04 2016-11-24 株式会社半導体エネルギー研究所 半導体装置
US9576982B2 (en) 2011-11-11 2017-02-21 Semiconductor Energy Laboratory Co., Ltd. Liquid crystal display device, EL display device, and manufacturing method thereof
JP2017055134A (ja) * 2010-04-02 2017-03-16 株式会社半導体エネルギー研究所 半導体装置
TWI575751B (zh) * 2011-06-16 2017-03-21 半導體能源研究所股份有限公司 半導體裝置及其製造方法
JP2017126760A (ja) * 2010-03-26 2017-07-20 株式会社半導体エネルギー研究所 半導体装置の作製方法
JP2017135405A (ja) * 2010-06-18 2017-08-03 株式会社半導体エネルギー研究所 半導体装置
JP2017523593A (ja) * 2014-06-26 2017-08-17 インテル・コーポレーション ドープサブフィン領域があるオメガフィンを有する非プレーナ型半導体デバイスおよびそれを製造する方法
US9831351B2 (en) 2012-09-24 2017-11-28 Semiconductor Energy Laboratory Co., Ltd. Semiconductor device
US10043918B2 (en) 2011-07-08 2018-08-07 Semiconductor Energy Laboratory Co., Ltd. Semiconductor device and manufacturing method thereof
JP2018186279A (ja) * 2010-07-02 2018-11-22 株式会社半導体エネルギー研究所 半導体装置
US10158026B2 (en) 2012-04-13 2018-12-18 Semiconductor Energy Laboratory Co., Ltd. Semiconductor device including oxide semiconductor stacked layers
US10304859B2 (en) 2013-04-12 2019-05-28 Semiconductor Energy Laboratory Co., Ltd. Semiconductor device having an oxide film on an oxide semiconductor film
JP2019117937A (ja) * 2013-12-02 2019-07-18 株式会社半導体エネルギー研究所 半導体装置

Families Citing this family (75)

* Cited by examiner, † Cited by third party
Publication number Priority date Publication date Assignee Title
JP2010205987A (ja) * 2009-03-04 2010-09-16 Sony Corp 薄膜トランジスタおよびその製造方法並びに表示装置
KR102458127B1 (ko) 2009-06-30 2022-10-24 가부시키가이샤 한도오따이 에네루기 켄큐쇼 반도체 장치 제조 방법
CN102473728B (zh) 2009-06-30 2014-11-26 株式会社半导体能源研究所 半导体装置的制造方法
KR101810699B1 (ko) 2009-06-30 2018-01-25 가부시키가이샤 한도오따이 에네루기 켄큐쇼 반도체 장치 제작 방법
WO2011013523A1 (en) 2009-07-31 2011-02-03 Semiconductor Energy Laboratory Co., Ltd. Semiconductor device and method for manufacturing the same
KR102153841B1 (ko) 2009-07-31 2020-09-08 가부시키가이샤 한도오따이 에네루기 켄큐쇼 반도체 장치 및 그 제조 방법
KR102097932B1 (ko) 2009-07-31 2020-04-06 가부시키가이샤 한도오따이 에네루기 켄큐쇼 반도체 디바이스 및 그 형성 방법
WO2011013502A1 (en) 2009-07-31 2011-02-03 Semiconductor Energy Laboratory Co., Ltd. Semiconductor device and manufacturing method thereof
KR101073543B1 (ko) * 2009-09-04 2011-10-17 삼성모바일디스플레이주식회사 유기 발광 표시 장치
KR20170046186A (ko) * 2009-09-16 2017-04-28 가부시키가이샤 한도오따이 에네루기 켄큐쇼 반도체 장치 및 전자 기기
KR101147414B1 (ko) * 2009-09-22 2012-05-22 삼성모바일디스플레이주식회사 유기 발광 표시 장치 및 그 제조 방법
KR20120106766A (ko) 2009-11-20 2012-09-26 가부시키가이샤 한도오따이 에네루기 켄큐쇼 반도체 장치의 제작 방법
KR20240129225A (ko) 2009-12-04 2024-08-27 가부시키가이샤 한도오따이 에네루기 켄큐쇼 반도체 장치
KR101649732B1 (ko) * 2009-12-10 2016-08-22 삼성디스플레이 주식회사 박막 트랜지스터 표시판 및 그 제조 방법
KR101084192B1 (ko) 2010-02-16 2011-11-17 삼성모바일디스플레이주식회사 유기 발광 표시 장치
US9190522B2 (en) 2010-04-02 2015-11-17 Semiconductor Energy Laboratory Co., Ltd. Semiconductor device having an oxide semiconductor
US9147768B2 (en) 2010-04-02 2015-09-29 Semiconductor Energy Laboratory Co., Ltd. Semiconductor device having an oxide semiconductor and a metal oxide film
KR101977152B1 (ko) 2010-04-02 2019-05-10 가부시키가이샤 한도오따이 에네루기 켄큐쇼 반도체 장치
US8884282B2 (en) 2010-04-02 2014-11-11 Semiconductor Energy Laboratory Co., Ltd. Semiconductor device
KR20110114089A (ko) 2010-04-12 2011-10-19 삼성모바일디스플레이주식회사 박막 트랜지스터, 이의 제조 방법 및 이를 포함하는 표시 장치
KR101800844B1 (ko) 2010-04-23 2017-11-23 가부시키가이샤 한도오따이 에네루기 켄큐쇼 반도체 장치의 제작 방법
CN103500709B (zh) 2010-04-23 2015-09-23 株式会社半导体能源研究所 半导体装置的制造方法
WO2011132591A1 (en) 2010-04-23 2011-10-27 Semiconductor Energy Laboratory Co., Ltd. Method for manufacturing semiconductor device
KR101806271B1 (ko) 2010-05-14 2017-12-07 가부시키가이샤 한도오따이 에네루기 켄큐쇼 반도체 장치의 제작 방법
US8629438B2 (en) 2010-05-21 2014-01-14 Semiconductor Energy Laboratory Co., Ltd. Semiconductor device and manufacturing method thereof
WO2011158704A1 (en) 2010-06-18 2011-12-22 Semiconductor Energy Laboratory Co., Ltd. Method for manufacturing semiconductor device
KR101789236B1 (ko) 2010-12-24 2017-10-24 삼성디스플레이 주식회사 박막 트랜지스터 및 평판 표시 장치
CN102157563B (zh) * 2011-01-18 2012-09-19 上海交通大学 金属氧化物薄膜晶体管制备方法
TWI541904B (zh) 2011-03-11 2016-07-11 半導體能源研究所股份有限公司 半導體裝置的製造方法
KR101781532B1 (ko) * 2011-03-14 2017-10-24 삼성디스플레이 주식회사 유기 발광 표시 장치와 그 제조방법
TWI451573B (zh) 2011-03-17 2014-09-01 E Ink Holdings Inc 顯示裝置及其薄膜電晶體結構
US9634029B2 (en) 2011-03-17 2017-04-25 E Ink Holdings Inc. Thin film transistor substrate and display device having same
CN102208441A (zh) * 2011-05-03 2011-10-05 复旦大学 一种薄膜晶体管有源层及其生长方法
US8709922B2 (en) * 2011-05-06 2014-04-29 Semiconductor Energy Laboratory Co., Ltd. Semiconductor device
US9385238B2 (en) 2011-07-08 2016-07-05 Semiconductor Energy Laboratory Co., Ltd. Transistor using oxide semiconductor
KR102029389B1 (ko) * 2011-09-02 2019-11-08 엘지디스플레이 주식회사 산화물 박막 트랜지스터를 구비한 평판표시장치 및 그 제조방법
US9018629B2 (en) 2011-10-13 2015-04-28 Semiconductor Energy Laboratory Co., Ltd. Semiconductor device and method for manufacturing semiconductor device
JP6226518B2 (ja) * 2011-10-24 2017-11-08 株式会社半導体エネルギー研究所 半導体装置
KR20130049620A (ko) * 2011-11-04 2013-05-14 삼성디스플레이 주식회사 표시 장치
JP6122275B2 (ja) 2011-11-11 2017-04-26 株式会社半導体エネルギー研究所 表示装置
JP2013115098A (ja) * 2011-11-25 2013-06-10 Sony Corp トランジスタ、トランジスタの製造方法、表示装置および電子機器
CN102751240B (zh) * 2012-05-18 2015-03-11 京东方科技集团股份有限公司 薄膜晶体管阵列基板及其制造方法、显示面板、显示装置
CN102723344B (zh) * 2012-06-12 2015-07-15 南京中电熊猫液晶显示科技有限公司 一种阵列基板及其制造方法和液晶显示器
CN103578984B (zh) * 2012-07-26 2016-10-26 瀚宇彩晶股份有限公司 半导体元件及其制造方法
US8653516B1 (en) * 2012-08-31 2014-02-18 Eastman Kodak Company High performance thin film transistor
CN102800709B (zh) * 2012-09-11 2015-07-01 深圳市华星光电技术有限公司 薄膜晶体管主动装置
CN102916051B (zh) * 2012-10-11 2015-09-02 京东方科技集团股份有限公司 一种薄膜晶体管及其制作方法、阵列基板和显示装置
CN102955312B (zh) 2012-11-14 2015-05-20 京东方科技集团股份有限公司 一种阵列基板及其制作方法、显示装置
WO2014104267A1 (en) 2012-12-28 2014-07-03 Semiconductor Energy Laboratory Co., Ltd. Semiconductor device
WO2014181777A1 (ja) 2013-05-09 2014-11-13 独立行政法人物質・材料研究機構 薄膜トランジスタおよびその製造方法
KR101498522B1 (ko) * 2013-07-17 2015-03-04 한국광기술원 마이크로 볼로미터용 고특성 산화물 박막 제조방법
KR102130139B1 (ko) 2013-07-30 2020-07-03 엘지디스플레이 주식회사 산화물 반도체를 이용한 박막 트랜지스터 기판을 포함하는 유기발광 다이오드 표시장치 및 그 제조 방법
KR20150030034A (ko) * 2013-09-11 2015-03-19 삼성디스플레이 주식회사 표시장치 및 그 제조방법
TWI677989B (zh) 2013-09-19 2019-11-21 日商半導體能源研究所股份有限公司 半導體裝置及其製造方法
DE102013111501B4 (de) 2013-10-18 2024-02-08 Universität Stuttgart Dünnschichttransistor und Verfahren zu seiner Herstellung
TWI666770B (zh) 2013-12-19 2019-07-21 日商半導體能源研究所股份有限公司 半導體裝置
KR102172972B1 (ko) * 2014-02-26 2020-11-03 삼성디스플레이 주식회사 박막 트랜지스터 및 그의 제조방법
CN104091809B (zh) * 2014-06-26 2017-01-25 京东方科技集团股份有限公司 一种阵列基板、其制备方法、液晶显示屏及显示装置
CN104538400B (zh) * 2014-12-16 2017-08-04 深圳市华星光电技术有限公司 一种ltps阵列基板
CN104900711B (zh) 2015-06-08 2019-11-05 京东方科技集团股份有限公司 薄膜晶体管及其制作方法以及阵列基板、显示装置
TWI650817B (zh) 2015-08-28 2019-02-11 聯華電子股份有限公司 半導體元件及其製作方法
KR20170027932A (ko) * 2015-09-02 2017-03-13 삼성디스플레이 주식회사 박막 트랜지스터 표시판 및 그 제조 방법
KR102483953B1 (ko) * 2015-10-16 2023-01-03 삼성디스플레이 주식회사 박막트랜지스터 기판 및 이를 구비한 유기 발광 표시 장치
CN105633170A (zh) * 2016-02-23 2016-06-01 广州新视界光电科技有限公司 金属氧化物薄膜晶体管及其制备方法以及阵列基板和显示装置
CN105742297B (zh) * 2016-04-13 2019-09-24 深圳市华星光电技术有限公司 薄膜晶体管阵列面板及其制作方法
CN109417099A (zh) * 2016-04-25 2019-03-01 堺显示器制品株式会社 薄膜晶体管、显示装置和薄膜晶体管制造方法
KR102660292B1 (ko) * 2016-06-23 2024-04-24 삼성디스플레이 주식회사 박막 트랜지스터 패널 및 그 제조 방법
CN106252362B (zh) * 2016-08-31 2019-07-12 深圳市华星光电技术有限公司 一种阵列基板及其制备方法
US11257722B2 (en) 2017-07-31 2022-02-22 Semiconductor Energy Laboratory Co., Ltd. Semiconductor device having oxide containing gallium indium and zinc
CN107507850B (zh) * 2017-08-11 2020-02-14 京东方科技集团股份有限公司 一种阵列基板及其制作方法、显示装置
JP7147953B2 (ja) * 2019-02-25 2022-10-05 株式会社ニコン 半導体装置、pHセンサ及びバイオセンサ並びに半導体装置の製造方法
KR102333694B1 (ko) * 2020-04-28 2021-11-30 연세대학교 산학협력단 생체 구조 모방형 다공성 산화물 반도체 기반의 고감도 전기-화학 센서 제조 방법
CN113838801B (zh) * 2020-06-24 2024-10-22 京东方科技集团股份有限公司 半导体基板的制造方法和半导体基板
US12439650B2 (en) * 2021-01-15 2025-10-07 Taiwan Semiconductor Manufacturing Co., Ltd. CMOS fabrication methods for back-gate transistor
JP2025509535A (ja) * 2022-03-14 2025-04-11 ジュスン エンジニアリング カンパニー リミテッド 薄膜トランジスター及びその製造方法

Citations (5)

* Cited by examiner, † Cited by third party
Publication number Priority date Publication date Assignee Title
JP2005033172A (ja) * 2003-06-20 2005-02-03 Sharp Corp 半導体装置およびその製造方法ならびに電子デバイス
JP2007073559A (ja) * 2005-09-02 2007-03-22 Kochi Prefecture Sangyo Shinko Center 薄膜トランジスタの製法
JP2007258675A (ja) * 2006-02-21 2007-10-04 Idemitsu Kosan Co Ltd Tft基板及び反射型tft基板並びにそれらの製造方法
JP2007281486A (ja) * 2006-04-11 2007-10-25 Samsung Electronics Co Ltd ZnO薄膜トランジスタ
WO2008069056A1 (en) * 2006-12-05 2008-06-12 Canon Kabushiki Kaisha Bottom gate type thin film transistor, method of manufacturing the same, and display apparatus

Family Cites Families (47)

* Cited by examiner, † Cited by third party
Publication number Priority date Publication date Assignee Title
US6577011B1 (en) * 1997-07-10 2003-06-10 International Business Machines Corporation Chip interconnect wiring structure with low dielectric constant insulator and methods for fabricating the same
KR100425858B1 (ko) * 1998-07-30 2004-08-09 엘지.필립스 엘시디 주식회사 박막트랜지스터및그제조방법
WO2001084230A1 (en) * 2000-05-04 2001-11-08 Schott Donnelly Llc Chromogenic glazing
KR100367009B1 (ko) * 2000-05-19 2003-01-09 엘지.필립스 엘시디 주식회사 액정표시소자 및 그 제조방법
KR100720093B1 (ko) * 2000-10-04 2007-05-18 삼성전자주식회사 액정 표시 장치
KR100586241B1 (ko) * 2000-10-28 2006-06-02 엘지.필립스 엘시디 주식회사 액정표시장치용 어레이기판 및 제조방법
KR100413668B1 (ko) * 2001-03-29 2003-12-31 엘지.필립스 엘시디 주식회사 액정표시장치용 어레이기판 제조방법
US6794220B2 (en) * 2001-09-05 2004-09-21 Konica Corporation Organic thin-film semiconductor element and manufacturing method for the same
KR100870697B1 (ko) * 2002-03-07 2008-11-27 엘지디스플레이 주식회사 저저항 구리배선 형성방법
KR100432544B1 (ko) * 2002-03-18 2004-05-24 박병주 매트릭스형 3 극성 유기 el 표시장치
KR20030078355A (ko) * 2002-03-29 2003-10-08 삼성전자주식회사 수직 배향형 액정 표시 장치
JP3501155B1 (ja) * 2002-07-03 2004-03-02 富士電機ホールディングス株式会社 有機elディスプレイおよびその製造方法
TWI224880B (en) * 2002-07-25 2004-12-01 Sanyo Electric Co Organic electroluminescence display device
US7109119B2 (en) * 2002-10-31 2006-09-19 Taiwan Semiconductor Manufacturing Company, Ltd. Scum solution for chemically amplified resist patterning in cu/low k dual damascene
JP4588445B2 (ja) * 2002-11-11 2010-12-01 株式会社半導体エネルギー研究所 発光装置の作製方法
JP4166105B2 (ja) 2003-03-06 2008-10-15 シャープ株式会社 半導体装置およびその製造方法
JP2004335207A (ja) * 2003-05-02 2004-11-25 Fuji Electric Holdings Co Ltd 有機el素子とその製造方法
US7462514B2 (en) * 2004-03-03 2008-12-09 Semiconductor Energy Laboratory Co., Ltd. Semiconductor device and method for manufacturing the same, liquid crystal television, and EL television
US7531294B2 (en) * 2004-03-25 2009-05-12 Semiconductor Energy Laboratory Co., Ltd. Method for forming film pattern, method for manufacturing semiconductor device, liquid crystal television, and EL television
US7223641B2 (en) * 2004-03-26 2007-05-29 Semiconductor Energy Laboratory Co., Ltd. Semiconductor device, method for manufacturing the same, liquid crystal television and EL television
EP1732054A4 (en) * 2004-03-30 2009-03-18 Idemitsu Kosan Co ORGANIC ELECTROLUMINESCENCE DISPLAY INSTALLATION
WO2006025473A1 (en) * 2004-08-31 2006-03-09 Semiconductor Energy Laboratory Co., Ltd. Manufacturing method of semiconductor device
JP5110762B2 (ja) 2004-09-24 2012-12-26 日本碍子株式会社 半導体積層構造およびhemt素子
KR100670255B1 (ko) * 2004-12-23 2007-01-16 삼성에스디아이 주식회사 박막 트랜지스터, 이를 구비한 평판표시장치, 상기 박막트랜지스터의 제조방법, 및 상기 평판 표시장치의 제조방법
JP4631683B2 (ja) * 2005-01-17 2011-02-16 セイコーエプソン株式会社 発光装置、及び電子機器
TWI562380B (en) * 2005-01-28 2016-12-11 Semiconductor Energy Lab Co Ltd Semiconductor device, electronic device, and method of manufacturing semiconductor device
US7645478B2 (en) * 2005-03-31 2010-01-12 3M Innovative Properties Company Methods of making displays
US7732330B2 (en) * 2005-06-30 2010-06-08 Semiconductor Energy Laboratory Co., Ltd. Semiconductor device and manufacturing method using an ink-jet method of the same
KR101293564B1 (ko) * 2005-07-27 2013-08-06 삼성디스플레이 주식회사 액정표시장치
KR100719706B1 (ko) * 2005-09-13 2007-05-17 삼성에스디아이 주식회사 평판표시장치 및 유기 발광표시장치
KR101174780B1 (ko) * 2005-09-14 2012-08-20 엘지디스플레이 주식회사 박막트랜지스터의 제조방법 및 이를 적용한 액정표시소자의제조방법
KR100786498B1 (ko) * 2005-09-27 2007-12-17 삼성에스디아이 주식회사 투명박막 트랜지스터 및 그 제조방법
JP5064747B2 (ja) * 2005-09-29 2012-10-31 株式会社半導体エネルギー研究所 半導体装置、電気泳動表示装置、表示モジュール、電子機器、及び半導体装置の作製方法
KR101217157B1 (ko) * 2005-10-20 2012-12-31 엘지디스플레이 주식회사 액정표시장치용 어레이 기판 및 그 제조 방법
KR20070053060A (ko) * 2005-11-19 2007-05-23 삼성전자주식회사 표시장치와 이의 제조방법
EP1981085A4 (en) 2006-01-31 2009-11-25 Idemitsu Kosan Co TFT SUBSTRATE, REFLECTIVE TFT SUBSTRATE AND MANUFACTURING PROCESS FOR SUCH SUBSTRATES
KR100754395B1 (ko) 2006-02-10 2007-08-31 삼성전자주식회사 유기 전자발광 디스플레이 및 그 제조방법
KR20080006304A (ko) * 2006-07-12 2008-01-16 삼성전자주식회사 유기 발광 표시 장치 및 그 제조 방법
US20080023703A1 (en) 2006-07-31 2008-01-31 Randy Hoffman System and method for manufacturing a thin-film device
JP5127183B2 (ja) * 2006-08-23 2013-01-23 キヤノン株式会社 アモルファス酸化物半導体膜を用いた薄膜トランジスタの製造方法
EP2064732A4 (en) * 2006-10-19 2012-07-25 Semiconductor Energy Lab Semiconductor device and method for manufacturing the same
CN101563796B (zh) * 2006-11-14 2011-07-06 出光兴产株式会社 有机薄膜晶体管和有机薄膜发光晶体管
KR101031713B1 (ko) * 2006-12-22 2011-04-29 엘지디스플레이 주식회사 박막트랜지스터 기판과 이의 제조방법
KR20080077846A (ko) * 2007-02-21 2008-08-26 삼성전자주식회사 박막 트랜지스터 기판 및 이의 제조 방법
KR101345378B1 (ko) * 2007-05-17 2013-12-24 삼성전자주식회사 ZnO 계 박막 트랜지스터 및 그 제조방법
KR20100047828A (ko) * 2007-06-01 2010-05-10 노오쓰웨스턴 유니버시티 투명한 나노와이어 트랜지스터 및 그 제조 방법
US7682882B2 (en) * 2007-06-20 2010-03-23 Samsung Electronics Co., Ltd. Method of manufacturing ZnO-based thin film transistor

Patent Citations (5)

* Cited by examiner, † Cited by third party
Publication number Priority date Publication date Assignee Title
JP2005033172A (ja) * 2003-06-20 2005-02-03 Sharp Corp 半導体装置およびその製造方法ならびに電子デバイス
JP2007073559A (ja) * 2005-09-02 2007-03-22 Kochi Prefecture Sangyo Shinko Center 薄膜トランジスタの製法
JP2007258675A (ja) * 2006-02-21 2007-10-04 Idemitsu Kosan Co Ltd Tft基板及び反射型tft基板並びにそれらの製造方法
JP2007281486A (ja) * 2006-04-11 2007-10-25 Samsung Electronics Co Ltd ZnO薄膜トランジスタ
WO2008069056A1 (en) * 2006-12-05 2008-06-12 Canon Kabushiki Kaisha Bottom gate type thin film transistor, method of manufacturing the same, and display apparatus

Cited By (144)

* Cited by examiner, † Cited by third party
Publication number Priority date Publication date Assignee Title
JP2022169538A (ja) * 2009-07-31 2022-11-09 株式会社半導体エネルギー研究所 液晶表示装置
US20180138211A1 (en) 2009-07-31 2018-05-17 Semiconductor Energy Laboratory Co., Ltd. Method for manufacturing oxide semiconductor device
US11348949B2 (en) 2009-07-31 2022-05-31 Semiconductor Energy Laboratory Co., Ltd. Semiconductor device
US9786689B2 (en) 2009-07-31 2017-10-10 Semiconductor Energy Laboratory Co., Ltd. Display device
JP7304466B2 (ja) 2009-07-31 2023-07-06 株式会社半導体エネルギー研究所 液晶表示装置
WO2011013561A1 (en) * 2009-07-31 2011-02-03 Semiconductor Energy Laboratory Co., Ltd. Semiconductor device and method for manufacturing the same
JP2014225687A (ja) * 2009-07-31 2014-12-04 株式会社半導体エネルギー研究所 半導体装置
US11728350B2 (en) 2009-07-31 2023-08-15 Semiconductor Energy Laboratory Co., Ltd. Semiconductor device including transistor
US8822990B2 (en) 2009-07-31 2014-09-02 Semiconductor Energy Laboratory Co., Ltd. Semiconductor device
US12183743B2 (en) 2009-07-31 2024-12-31 Semiconductor Energy Laboratory Co., Ltd. Semiconductor device
US8546180B2 (en) 2009-07-31 2013-10-01 Semiconductor Energy Laboratory Co., Ltd. Method for manufacturing oxide semiconductor device
US9293601B2 (en) 2009-07-31 2016-03-22 Semiconductor Energy Laboratory Co., Ltd. Display device
US10854638B2 (en) 2009-07-31 2020-12-01 Semiconductor Energy Laboratory Co., Ltd. Display device and method for manufacturing display device
US9224870B2 (en) 2009-07-31 2015-12-29 Semiconductor Energy Laboratory Co., Ltd. Oxide semiconductor device
US10396097B2 (en) 2009-07-31 2019-08-27 Semiconductor Energy Laboratory Co., Ltd. Method for manufacturing oxide semiconductor device
US12272697B2 (en) 2009-09-04 2025-04-08 Semiconductor Energy Laboratory Co., Ltd. Transistor and display device
US11094717B2 (en) 2009-09-04 2021-08-17 Semiconductor Energy Laboratory Co., Ltd. Transistor and display device
US10665615B2 (en) 2009-09-04 2020-05-26 Semiconductor Energy Laboratory Co., Ltd. Transistor and display device
US11862643B2 (en) 2009-09-04 2024-01-02 Semiconductor Energy Laboratory Co., Ltd. Transistor and display device
US9954007B2 (en) 2009-09-04 2018-04-24 Semiconductor Energy Laboratory Co., Ltd. Transistor and display device
US10418384B2 (en) 2009-09-04 2019-09-17 Semiconductor Energy Laboratory Co., Ltd. Transistor and display device
JP2016197739A (ja) * 2009-09-04 2016-11-24 株式会社半導体エネルギー研究所 半導体装置
JP2015062246A (ja) * 2010-02-11 2015-04-02 三星ディスプレイ株式會社Samsung Display Co.,Ltd. 薄膜トランジスタパネルおよびそれの製造方法
US9520412B2 (en) 2010-02-11 2016-12-13 Samsung Display Co., Ltd. Thin film transistor panel having an etch stopper on semiconductor
US9443877B2 (en) 2010-02-11 2016-09-13 Samsung Display Co., Ltd. Thin film transistor panel having an etch stopper on semiconductor
JP2011199273A (ja) * 2010-02-26 2011-10-06 Semiconductor Energy Lab Co Ltd 半導体装置の作製方法
US9269571B2 (en) 2010-02-26 2016-02-23 Semiconductor Energy Laboratory Co., Ltd. Method for manufacturing semiconductor device
JP2015092621A (ja) * 2010-02-26 2015-05-14 株式会社半導体エネルギー研究所 半導体装置の作製方法
JP2022027774A (ja) * 2010-03-26 2022-02-14 株式会社半導体エネルギー研究所 半導体装置の作製方法
JP2020014023A (ja) * 2010-03-26 2020-01-23 株式会社半導体エネルギー研究所 半導体装置の作製方法
US9954084B2 (en) 2010-03-26 2018-04-24 Semiconductor Energy Laboratory Co., Ltd. Method for manufacturing semiconductor device
JP2011222984A (ja) * 2010-03-26 2011-11-04 Semiconductor Energy Lab Co Ltd 半導体装置の作製方法
US9941414B2 (en) 2010-03-26 2018-04-10 Semiconductor Energy Laboratory Co., Ltd. Metal oxide semiconductor device
JP2018078346A (ja) * 2010-03-26 2018-05-17 株式会社半導体エネルギー研究所 半導体装置
JP2018166210A (ja) * 2010-03-26 2018-10-25 株式会社半導体エネルギー研究所 半導体装置の作製方法
JP2011222982A (ja) * 2010-03-26 2011-11-04 Semiconductor Energy Lab Co Ltd 半導体装置の作製方法
JP2019009467A (ja) * 2010-03-26 2019-01-17 株式会社半導体エネルギー研究所 表示装置の作製方法
US8461584B2 (en) 2010-03-26 2013-06-11 Semiconductor Energy Laboratory Co., Ltd. Semiconductor device with metal oxide film
JP2017126760A (ja) * 2010-03-26 2017-07-20 株式会社半導体エネルギー研究所 半導体装置の作製方法
JP2017073558A (ja) * 2010-03-26 2017-04-13 株式会社半導体エネルギー研究所 半導体装置の作製方法
JP2016021580A (ja) * 2010-03-26 2016-02-04 株式会社半導体エネルギー研究所 半導体装置
US9425295B2 (en) 2010-03-26 2016-08-23 Semiconductor Energy Laboratory Co., Ltd. Method for manufacturing semiconductor device
US8704219B2 (en) 2010-03-26 2014-04-22 Semiconductor Energy Laboratory Co., Ltd. Method for manufacturing semiconductor device
US9012908B2 (en) 2010-03-26 2015-04-21 Semiconductor Energy Laboratory Co., Ltd. Semiconductor device with metal oxide film
JP7279141B2 (ja) 2010-03-26 2023-05-22 株式会社半導体エネルギー研究所 半導体装置の作製方法
JP2012256902A (ja) * 2010-03-26 2012-12-27 Semiconductor Energy Lab Co Ltd 半導体装置
JP2017028315A (ja) * 2010-03-26 2017-02-02 株式会社半導体エネルギー研究所 半導体装置の作製方法
JP2020065091A (ja) * 2010-03-26 2020-04-23 株式会社半導体エネルギー研究所 半導体装置の作製方法
US10608116B2 (en) 2010-04-02 2020-03-31 Semiconductor Energy Laboratory Co., Ltd. Semiconductor device
US12249653B2 (en) 2010-04-02 2025-03-11 Semiconductor Energy Laboratory Co., Ltd. Semiconductor device
JP2017055134A (ja) * 2010-04-02 2017-03-16 株式会社半導体エネルギー研究所 半導体装置
JP2016034027A (ja) * 2010-04-02 2016-03-10 株式会社半導体エネルギー研究所 半導体装置の作製方法
US11411121B2 (en) 2010-04-02 2022-08-09 Semiconductor Energy Laboratory Co., Ltd. Semiconductor device
US9431429B2 (en) 2010-04-09 2016-08-30 Semiconductor Energy Laboratory Co., Ltd. Semiconductor device
JP2018195858A (ja) * 2010-04-09 2018-12-06 株式会社半導体エネルギー研究所 半導体装置の作製方法
JP2016021584A (ja) * 2010-04-09 2016-02-04 株式会社半導体エネルギー研究所 半導体装置の作製方法
US9059047B2 (en) 2010-04-09 2015-06-16 Semiconductor Energy Laboratory Co., Ltd. Semiconductor device
JP2020150266A (ja) * 2010-04-09 2020-09-17 株式会社半導体エネルギー研究所 表示装置
JP2022111119A (ja) * 2010-04-09 2022-07-29 株式会社半導体エネルギー研究所 半導体装置
US10008515B2 (en) 2010-04-09 2018-06-26 Semiconductor Energy Laboratory Co., Ltd. Semiconductor device
US10510777B2 (en) 2010-04-09 2019-12-17 Semiconductor Energy Laboratory Co., Ltd. Semiconductor device
JP2011233876A (ja) * 2010-04-09 2011-11-17 Semiconductor Energy Lab Co Ltd 半導体装置
US10879274B2 (en) 2010-04-09 2020-12-29 Semiconductor Energy Laboratory Co., Ltd. Semiconductor device
JP7302068B2 (ja) 2010-04-09 2023-07-03 株式会社半導体エネルギー研究所 半導体装置
JP2017123499A (ja) * 2010-04-09 2017-07-13 株式会社半導体エネルギー研究所 半導体装置
US9698008B2 (en) 2010-04-16 2017-07-04 Semiconductor Energy Laboratory Co., Ltd. Deposition method and method for manufacturing semiconductor device
JP2015097282A (ja) * 2010-04-16 2015-05-21 株式会社半導体エネルギー研究所 半導体装置の作製方法
US10529556B2 (en) 2010-04-16 2020-01-07 Semiconductor Energy Laboratory Co., Ltd. Deposition method and method for manufacturing semiconductor device
JP2016106408A (ja) * 2010-04-23 2016-06-16 株式会社半導体エネルギー研究所 半導体装置の作製方法
US9147754B2 (en) 2010-04-23 2015-09-29 Semiconductor Energy Laboratory Co., Ltd. Method for manufacturing semiconductor device
US9978878B2 (en) 2010-04-23 2018-05-22 Semiconductor Energy Laboratory Co., Ltd. Manufacturing method of semiconductor device
US9373707B2 (en) 2010-04-23 2016-06-21 Semiconductor Energy Laboratory Co., Ltd. Manufacturing method of semiconductor device with steps of heat treatment in nitrogen containing atmosphere, oxygen doping treatment and heat treatment in oxygen containing atmosphere
JP2011243972A (ja) * 2010-04-23 2011-12-01 Semiconductor Energy Lab Co Ltd 半導体装置の作製方法、及び半導体装置
US9390918B2 (en) 2010-04-23 2016-07-12 Semiconductor Energy Laboratory Co., Ltd. Manufacturing method of semiconductor device
JP2015065467A (ja) * 2010-04-23 2015-04-09 株式会社半導体エネルギー研究所 半導体装置の作製方法
JP2014195103A (ja) * 2010-04-23 2014-10-09 Semiconductor Energy Lab Co Ltd 半導体装置の作製方法
JP2011243973A (ja) * 2010-04-23 2011-12-01 Semiconductor Energy Lab Co Ltd 半導体装置の作製方法
JP2015164225A (ja) * 2010-04-23 2015-09-10 株式会社半導体エネルギー研究所 半導体装置の作製方法
JP2015111697A (ja) * 2010-04-28 2015-06-18 株式会社半導体エネルギー研究所 半導体装置の作製方法、及び半導体装置
US9449852B2 (en) 2010-04-28 2016-09-20 Semiconductor Energy Laboratory Co., Ltd. Method for manufacturing semiconductor device
JP2016119488A (ja) * 2010-04-28 2016-06-30 株式会社半導体エネルギー研究所 半導体装置
JP2014207472A (ja) * 2010-05-21 2014-10-30 株式会社半導体エネルギー研究所 半導体装置
US9299723B2 (en) 2010-05-21 2016-03-29 Semiconductor Energy Laboratory Co., Ltd. Semiconductor device with light-blocking layers
JP2012256941A (ja) * 2010-05-21 2012-12-27 Semiconductor Energy Lab Co Ltd 記憶装置
JP2015195399A (ja) * 2010-06-01 2015-11-05 株式会社半導体エネルギー研究所 電子機器の作製方法
US9812560B2 (en) 2010-06-01 2017-11-07 Semiconductor Energy Laboratory Co., Ltd. Field effect transistor and method for manufacturing the same
JP2017050572A (ja) * 2010-06-01 2017-03-09 株式会社半導体エネルギー研究所 電子機器の作製方法
JP2012015496A (ja) * 2010-06-01 2012-01-19 Semiconductor Energy Lab Co Ltd 電界効果トランジスタおよびその作製方法
JP2012231100A (ja) * 2010-06-11 2012-11-22 Semiconductor Energy Lab Co Ltd 半導体装置
US9755082B2 (en) 2010-06-11 2017-09-05 Semiconductor Energy Laboratory Co., Ltd. Semiconductor device including oxide semiconductor with an insulating film including galliium and oxygen
JP2017135405A (ja) * 2010-06-18 2017-08-03 株式会社半導体エネルギー研究所 半導体装置
JP2018186279A (ja) * 2010-07-02 2018-11-22 株式会社半導体エネルギー研究所 半導体装置
JP2012028481A (ja) * 2010-07-22 2012-02-09 Fujifilm Corp 電界効果型トランジスタ及びその製造方法
JP2016034033A (ja) * 2010-08-27 2016-03-10 株式会社半導体エネルギー研究所 酸化物半導体膜の評価方法
JP2017096959A (ja) * 2010-08-27 2017-06-01 株式会社半導体エネルギー研究所 酸化物半導体膜の評価方法
US11631756B2 (en) 2010-11-11 2023-04-18 Semiconductor Energy Laboratory Co., Ltd. Semiconductor device and method for manufacturing the same
US10153360B2 (en) 2010-11-11 2018-12-11 Semiconductor Energy Laboratory Co., Ltd. Semiconductor device and method for manufacturing the same
JP2016136647A (ja) * 2010-11-11 2016-07-28 株式会社半導体エネルギー研究所 半導体装置
US10811522B2 (en) 2010-11-11 2020-10-20 Semiconductor Energy Laboratory Co., Ltd. Semiconductor device and method for manufacturing the same
US9673305B2 (en) 2010-11-11 2017-06-06 Semiconductor Energy Laboratory Co., Ltd. Semiconductor device and method for manufacturing the same
JP2012160720A (ja) * 2011-01-12 2012-08-23 Semiconductor Energy Lab Co Ltd 半導体装置及びその作製方法
US9882062B2 (en) 2011-01-12 2018-01-30 Semiconductor Energy Laboratory Co., Ltd. Semiconductor device and manufacturing method thereof
US9349752B2 (en) 2011-01-12 2016-05-24 Semiconductor Energy Laboratory Co., Ltd. Semiconductor device and manufacturing method thereof
US9917204B2 (en) 2011-03-31 2018-03-13 Semiconductor Energy Laboratory Co., Ltd. Semiconductor device
JP2016192579A (ja) * 2011-03-31 2016-11-10 株式会社半導体エネルギー研究所 半導体装置
TWI575751B (zh) * 2011-06-16 2017-03-21 半導體能源研究所股份有限公司 半導體裝置及其製造方法
US11588058B2 (en) 2011-07-08 2023-02-21 Semiconductor Energy Laboratory Co., Ltd. Semiconductor device and manufacturing method thereof
US11011652B2 (en) 2011-07-08 2021-05-18 Semiconductor Energy Laboratory Co., Ltd. Semiconductor device and manufacturing method thereof
US10658522B2 (en) 2011-07-08 2020-05-19 Semiconductor Energy Laboratory Co., Ltd. Semiconductor device and manufacturing method thereof
US10043918B2 (en) 2011-07-08 2018-08-07 Semiconductor Energy Laboratory Co., Ltd. Semiconductor device and manufacturing method thereof
US12132121B2 (en) 2011-07-08 2024-10-29 Semiconductor Energy Laboratory Co., Ltd. Semiconductor device and manufacturing method thereof
KR101239231B1 (ko) 2011-07-22 2013-03-11 한국과학기술연구원 금속을 포함하는 패시배이션 층을 갖는 박막 트랜지스터 및 그 제조 방법
JP2013084939A (ja) * 2011-09-29 2013-05-09 Semiconductor Energy Lab Co Ltd 半導体装置及び半導体装置の作製方法
US9159806B2 (en) 2011-09-29 2015-10-13 Semiconductor Energy Laboratory Co., Ltd. Semiconductor device and method for manufacturing the same
US9343585B2 (en) 2011-09-29 2016-05-17 Semiconductor Energy Laboratory Co., Ltd. Semiconductor device and method for manufacturing the same
US9576982B2 (en) 2011-11-11 2017-02-21 Semiconductor Energy Laboratory Co., Ltd. Liquid crystal display device, EL display device, and manufacturing method thereof
JP2024111158A (ja) * 2011-11-11 2024-08-16 株式会社半導体エネルギー研究所 半導体装置
JP2013123045A (ja) * 2011-11-11 2013-06-20 Semiconductor Energy Lab Co Ltd 半導体装置
US12046604B2 (en) 2011-11-11 2024-07-23 Semiconductor Energy Laboratory Co., Ltd. Liquid crystal display device, EL display device, and manufacturing method thereof
US9502572B2 (en) 2011-12-27 2016-11-22 Semiconductor Energy Laboratory Co., Ltd. Bottom-gate transistor including an oxide semiconductor layer contacting an oxygen-rich insulating layer
JP2013153156A (ja) * 2011-12-27 2013-08-08 Semiconductor Energy Lab Co Ltd 半導体装置及び半導体装置の作製方法
JP2015504246A (ja) * 2011-12-31 2015-02-05 京東方科技集團股▲ふん▼有限公司 薄膜トランジスタ、アレイ基板及びその製造方法、並びに表示装置
US11355645B2 (en) 2012-04-13 2022-06-07 Semiconductor Energy Laboratory Co., Ltd. Semiconductor device comprising stacked oxide semiconductor layers
US12414335B2 (en) 2012-04-13 2025-09-09 Semiconductor Energy Laboratory Co., Ltd. Semiconductor device comprising conductive layers functioning as first and second gate electrodes of a transistor
US10158026B2 (en) 2012-04-13 2018-12-18 Semiconductor Energy Laboratory Co., Ltd. Semiconductor device including oxide semiconductor stacked layers
US10872981B2 (en) 2012-04-13 2020-12-22 Semiconductor Energy Laboratory Co., Ltd. Semiconductor device comprising an oxide semiconductor
US10559699B2 (en) 2012-04-13 2020-02-11 Semiconductor Energy Laboratory Co., Ltd. Semiconductor device
US11929437B2 (en) 2012-04-13 2024-03-12 Semiconductor Energy Laboratory Co., Ltd. Semiconductor device comprising various thin-film transistors
US10211345B2 (en) 2012-09-24 2019-02-19 Semiconductor Energy Laboratory Co., Ltd. Semiconductor device
US20180083140A1 (en) 2012-09-24 2018-03-22 Semiconductor Energy Laboratory Co., Ltd. Semiconductor device
US12125918B2 (en) 2012-09-24 2024-10-22 Semiconductor Energy Laboratory Co., Ltd. Semiconductor device
US9831351B2 (en) 2012-09-24 2017-11-28 Semiconductor Energy Laboratory Co., Ltd. Semiconductor device
US11094830B2 (en) 2012-09-24 2021-08-17 Semiconductor Energy Laboratory Co., Ltd. Semiconductor device
JP2014175463A (ja) * 2013-03-08 2014-09-22 Fujifilm Corp 薄膜トランジスタを備えた半導体装置の製造方法
US11843004B2 (en) 2013-04-12 2023-12-12 Semiconductor Energy Laboratory Co., Ltd. Semiconductor device having specified relative material concentration between In—Ga—Zn—O films
US10304859B2 (en) 2013-04-12 2019-05-28 Semiconductor Energy Laboratory Co., Ltd. Semiconductor device having an oxide film on an oxide semiconductor film
US11063066B2 (en) 2013-04-12 2021-07-13 Semiconductor Energy Laboratory Co., Ltd. C-axis alignment of an oxide film over an oxide semiconductor film
US12218144B2 (en) 2013-04-12 2025-02-04 Semiconductor Energy Laboratory Co., Ltd. Semiconductor device having specified relative material concentration between In—Ga—Zn—O films
JP2015111667A (ja) * 2013-11-06 2015-06-18 株式会社半導体エネルギー研究所 半導体装置及び該半導体装置を有する表示装置
JP2019165251A (ja) * 2013-11-06 2019-09-26 株式会社半導体エネルギー研究所 半導体装置
JP2019117937A (ja) * 2013-12-02 2019-07-18 株式会社半導体エネルギー研究所 半導体装置
US11276760B2 (en) 2014-06-26 2022-03-15 Intel Corporation Non-planar semiconductor device having omega-fin with doped sub-fin region and method to fabricate same
US10355093B2 (en) 2014-06-26 2019-07-16 Intel Corporation Non-planar semiconductor device having omega-fin with doped sub-fin region and method to fabricate same
JP2017523593A (ja) * 2014-06-26 2017-08-17 インテル・コーポレーション ドープサブフィン領域があるオメガフィンを有する非プレーナ型半導体デバイスおよびそれを製造する方法

Also Published As

Publication number Publication date
KR20100005900A (ko) 2010-01-18
US20120220077A1 (en) 2012-08-30
US8728862B2 (en) 2014-05-20
CN101626036B (zh) 2015-11-25
EP2144294B1 (en) 2018-11-21
US20100006833A1 (en) 2010-01-14
US8193535B2 (en) 2012-06-05
EP2144294A1 (en) 2010-01-13
JP5542352B2 (ja) 2014-07-09
US20120033152A1 (en) 2012-02-09
US8178884B2 (en) 2012-05-15
KR100963104B1 (ko) 2010-06-14
CN101626036A (zh) 2010-01-13

Similar Documents

Publication Publication Date Title
JP5542352B2 (ja) 薄膜トランジスタ及びその製造方法、ならびに薄膜トランジスタを備える平板表示装置
JP5474372B2 (ja) 薄膜トランジスタ、その製造方法及び薄膜トランジスタを備える平板表示装置
JP5399274B2 (ja) 薄膜トランジスタ及びその製造方法、並びに薄膜トランジスタを備える平板表示装置
KR100975204B1 (ko) 박막 트랜지스터, 그의 제조 방법 및 박막 트랜지스터를구비하는 평판 표시 장치
JP5474374B2 (ja) 薄膜トランジスタ、その製造方法及び薄膜トランジスタを備える平板表示装置
KR100941850B1 (ko) 박막 트랜지스터, 그의 제조 방법 및 박막 트랜지스터를구비하는 평판 표시 장치
US7994510B2 (en) Thin film transistor, method of manufacturing the same and flat panel display device having the same
KR100963003B1 (ko) 박막 트랜지스터, 그의 제조 방법 및 박막 트랜지스터를구비하는 평판 표시 장치
JP2011082487A (ja) 薄膜トランジスタ及びその製造方法、並びに薄膜トランジスタを備える有機電界発光表示装置
KR100941855B1 (ko) 박막 트랜지스터, 그의 제조 방법 및 박막 트랜지스터를구비하는 평판 표시 장치

Legal Events

Date Code Title Description
A131 Notification of reasons for refusal

Free format text: JAPANESE INTERMEDIATE CODE: A131

Effective date: 20120626

A977 Report on retrieval

Free format text: JAPANESE INTERMEDIATE CODE: A971007

Effective date: 20120628

A711 Notification of change in applicant

Free format text: JAPANESE INTERMEDIATE CODE: A712

Effective date: 20120924

A521 Request for written amendment filed

Free format text: JAPANESE INTERMEDIATE CODE: A523

Effective date: 20120925

A131 Notification of reasons for refusal

Free format text: JAPANESE INTERMEDIATE CODE: A131

Effective date: 20130226

A521 Request for written amendment filed

Free format text: JAPANESE INTERMEDIATE CODE: A523

Effective date: 20130524

A02 Decision of refusal

Free format text: JAPANESE INTERMEDIATE CODE: A02

Effective date: 20130917

A521 Request for written amendment filed

Free format text: JAPANESE INTERMEDIATE CODE: A523

Effective date: 20131022

A911 Transfer to examiner for re-examination before appeal (zenchi)

Free format text: JAPANESE INTERMEDIATE CODE: A911

Effective date: 20131217

A131 Notification of reasons for refusal

Free format text: JAPANESE INTERMEDIATE CODE: A131

Effective date: 20140204

A521 Request for written amendment filed

Free format text: JAPANESE INTERMEDIATE CODE: A523

Effective date: 20140305

TRDD Decision of grant or rejection written
A01 Written decision to grant a patent or to grant a registration (utility model)

Free format text: JAPANESE INTERMEDIATE CODE: A01

Effective date: 20140408

A61 First payment of annual fees (during grant procedure)

Free format text: JAPANESE INTERMEDIATE CODE: A61

Effective date: 20140507

R150 Certificate of patent or registration of utility model

Ref document number: 5542352

Country of ref document: JP

Free format text: JAPANESE INTERMEDIATE CODE: R150

R250 Receipt of annual fees

Free format text: JAPANESE INTERMEDIATE CODE: R250

R250 Receipt of annual fees

Free format text: JAPANESE INTERMEDIATE CODE: R250

R250 Receipt of annual fees

Free format text: JAPANESE INTERMEDIATE CODE: R250

R250 Receipt of annual fees

Free format text: JAPANESE INTERMEDIATE CODE: R250

R250 Receipt of annual fees

Free format text: JAPANESE INTERMEDIATE CODE: R250

R250 Receipt of annual fees

Free format text: JAPANESE INTERMEDIATE CODE: R250

R250 Receipt of annual fees

Free format text: JAPANESE INTERMEDIATE CODE: R250

R250 Receipt of annual fees

Free format text: JAPANESE INTERMEDIATE CODE: R250

R250 Receipt of annual fees

Free format text: JAPANESE INTERMEDIATE CODE: R250