JP2005294577A - 半導体装置およびその製造方法 - Google Patents

半導体装置およびその製造方法 Download PDF

Info

Publication number
JP2005294577A
JP2005294577A JP2004108304A JP2004108304A JP2005294577A JP 2005294577 A JP2005294577 A JP 2005294577A JP 2004108304 A JP2004108304 A JP 2004108304A JP 2004108304 A JP2004108304 A JP 2004108304A JP 2005294577 A JP2005294577 A JP 2005294577A
Authority
JP
Japan
Prior art keywords
hole
forming
semiconductor device
plug
conductive plug
Prior art date
Legal status (The legal status is an assumption and is not a legal conclusion. Google has not performed a legal analysis and makes no representation as to the accuracy of the status listed.)
Granted
Application number
JP2004108304A
Other languages
English (en)
Other versions
JP4439976B2 (ja
Inventor
Masaya Kawano
連也 川野
Current Assignee (The listed assignees may be inaccurate. Google has not performed a legal analysis and makes no representation or warranty as to the accuracy of the list.)
NEC Electronics Corp
Original Assignee
NEC Electronics Corp
Priority date (The priority date is an assumption and is not a legal conclusion. Google has not performed a legal analysis and makes no representation as to the accuracy of the date listed.)
Filing date
Publication date
Application filed by NEC Electronics Corp filed Critical NEC Electronics Corp
Priority to JP2004108304A priority Critical patent/JP4439976B2/ja
Priority to TW094110013A priority patent/TWI253103B/zh
Priority to US11/094,152 priority patent/US7541677B2/en
Priority to CNB2005100561952A priority patent/CN100390981C/zh
Priority to CN2007101993435A priority patent/CN101202257B/zh
Publication of JP2005294577A publication Critical patent/JP2005294577A/ja
Priority to US12/128,331 priority patent/US8022529B2/en
Priority to US12/427,366 priority patent/US8008191B2/en
Application granted granted Critical
Publication of JP4439976B2 publication Critical patent/JP4439976B2/ja
Priority to US13/227,065 priority patent/US8310039B2/en
Priority to US13/649,523 priority patent/US8704355B2/en
Anticipated expiration legal-status Critical
Expired - Lifetime legal-status Critical Current

Links

Images

Classifications

    • HELECTRICITY
    • H01ELECTRIC ELEMENTS
    • H01LSEMICONDUCTOR DEVICES NOT COVERED BY CLASS H10
    • H01L21/00Processes or apparatus adapted for the manufacture or treatment of semiconductor or solid state devices or of parts thereof
    • H01L21/70Manufacture or treatment of devices consisting of a plurality of solid state components formed in or on a common substrate or of parts thereof; Manufacture of integrated circuit devices or of parts thereof
    • H01L21/71Manufacture of specific parts of devices defined in group H01L21/70
    • H01L21/768Applying interconnections to be used for carrying current between separate components within a device comprising conductors and dielectrics
    • H01L21/76898Applying interconnections to be used for carrying current between separate components within a device comprising conductors and dielectrics formed through a semiconductor substrate
    • HELECTRICITY
    • H01ELECTRIC ELEMENTS
    • H01LSEMICONDUCTOR DEVICES NOT COVERED BY CLASS H10
    • H01L23/00Details of semiconductor or other solid state devices
    • H01L23/48Arrangements for conducting electric current to or from the solid state body in operation, e.g. leads, terminal arrangements ; Selection of materials therefor
    • H01L23/481Internal lead connections, e.g. via connections, feedthrough structures
    • HELECTRICITY
    • H01ELECTRIC ELEMENTS
    • H01LSEMICONDUCTOR DEVICES NOT COVERED BY CLASS H10
    • H01L24/00Arrangements for connecting or disconnecting semiconductor or solid-state bodies; Methods or apparatus related thereto
    • H01L24/01Means for bonding being attached to, or being formed on, the surface to be connected, e.g. chip-to-package, die-attach, "first-level" interconnects; Manufacturing methods related thereto
    • H01L24/10Bump connectors ; Manufacturing methods related thereto
    • H01L24/11Manufacturing methods
    • HELECTRICITY
    • H01ELECTRIC ELEMENTS
    • H01LSEMICONDUCTOR DEVICES NOT COVERED BY CLASS H10
    • H01L2224/00Indexing scheme for arrangements for connecting or disconnecting semiconductor or solid-state bodies and methods related thereto as covered by H01L24/00
    • H01L2224/01Means for bonding being attached to, or being formed on, the surface to be connected, e.g. chip-to-package, die-attach, "first-level" interconnects; Manufacturing methods related thereto
    • H01L2224/02Bonding areas; Manufacturing methods related thereto
    • H01L2224/04Structure, shape, material or disposition of the bonding areas prior to the connecting process
    • H01L2224/05Structure, shape, material or disposition of the bonding areas prior to the connecting process of an individual bonding area
    • H01L2224/05001Internal layers
    • HELECTRICITY
    • H01ELECTRIC ELEMENTS
    • H01LSEMICONDUCTOR DEVICES NOT COVERED BY CLASS H10
    • H01L2224/00Indexing scheme for arrangements for connecting or disconnecting semiconductor or solid-state bodies and methods related thereto as covered by H01L24/00
    • H01L2224/01Means for bonding being attached to, or being formed on, the surface to be connected, e.g. chip-to-package, die-attach, "first-level" interconnects; Manufacturing methods related thereto
    • H01L2224/02Bonding areas; Manufacturing methods related thereto
    • H01L2224/04Structure, shape, material or disposition of the bonding areas prior to the connecting process
    • H01L2224/05Structure, shape, material or disposition of the bonding areas prior to the connecting process of an individual bonding area
    • H01L2224/05001Internal layers
    • H01L2224/05005Structure
    • H01L2224/05009Bonding area integrally formed with a via connection of the semiconductor or solid-state body
    • HELECTRICITY
    • H01ELECTRIC ELEMENTS
    • H01LSEMICONDUCTOR DEVICES NOT COVERED BY CLASS H10
    • H01L2224/00Indexing scheme for arrangements for connecting or disconnecting semiconductor or solid-state bodies and methods related thereto as covered by H01L24/00
    • H01L2224/01Means for bonding being attached to, or being formed on, the surface to be connected, e.g. chip-to-package, die-attach, "first-level" interconnects; Manufacturing methods related thereto
    • H01L2224/02Bonding areas; Manufacturing methods related thereto
    • H01L2224/04Structure, shape, material or disposition of the bonding areas prior to the connecting process
    • H01L2224/05Structure, shape, material or disposition of the bonding areas prior to the connecting process of an individual bonding area
    • H01L2224/0554External layer
    • H01L2224/0556Disposition
    • H01L2224/05571Disposition the external layer being disposed in a recess of the surface
    • H01L2224/05572Disposition the external layer being disposed in a recess of the surface the external layer extending out of an opening
    • HELECTRICITY
    • H01ELECTRIC ELEMENTS
    • H01LSEMICONDUCTOR DEVICES NOT COVERED BY CLASS H10
    • H01L2224/00Indexing scheme for arrangements for connecting or disconnecting semiconductor or solid-state bodies and methods related thereto as covered by H01L24/00
    • H01L2224/01Means for bonding being attached to, or being formed on, the surface to be connected, e.g. chip-to-package, die-attach, "first-level" interconnects; Manufacturing methods related thereto
    • H01L2224/02Bonding areas; Manufacturing methods related thereto
    • H01L2224/04Structure, shape, material or disposition of the bonding areas prior to the connecting process
    • H01L2224/05Structure, shape, material or disposition of the bonding areas prior to the connecting process of an individual bonding area
    • H01L2224/0554External layer
    • H01L2224/05599Material
    • H01L2224/056Material with a principal constituent of the material being a metal or a metalloid, e.g. boron [B], silicon [Si], germanium [Ge], arsenic [As], antimony [Sb], tellurium [Te] and polonium [Po], and alloys thereof
    • H01L2224/05617Material with a principal constituent of the material being a metal or a metalloid, e.g. boron [B], silicon [Si], germanium [Ge], arsenic [As], antimony [Sb], tellurium [Te] and polonium [Po], and alloys thereof the principal constituent melting at a temperature of greater than or equal to 400°C and less than 950°C
    • H01L2224/05624Aluminium [Al] as principal constituent
    • HELECTRICITY
    • H01ELECTRIC ELEMENTS
    • H01LSEMICONDUCTOR DEVICES NOT COVERED BY CLASS H10
    • H01L2224/00Indexing scheme for arrangements for connecting or disconnecting semiconductor or solid-state bodies and methods related thereto as covered by H01L24/00
    • H01L2224/01Means for bonding being attached to, or being formed on, the surface to be connected, e.g. chip-to-package, die-attach, "first-level" interconnects; Manufacturing methods related thereto
    • H01L2224/02Bonding areas; Manufacturing methods related thereto
    • H01L2224/04Structure, shape, material or disposition of the bonding areas prior to the connecting process
    • H01L2224/05Structure, shape, material or disposition of the bonding areas prior to the connecting process of an individual bonding area
    • H01L2224/0554External layer
    • H01L2224/05599Material
    • H01L2224/056Material with a principal constituent of the material being a metal or a metalloid, e.g. boron [B], silicon [Si], germanium [Ge], arsenic [As], antimony [Sb], tellurium [Te] and polonium [Po], and alloys thereof
    • H01L2224/05638Material with a principal constituent of the material being a metal or a metalloid, e.g. boron [B], silicon [Si], germanium [Ge], arsenic [As], antimony [Sb], tellurium [Te] and polonium [Po], and alloys thereof the principal constituent melting at a temperature of greater than or equal to 950°C and less than 1550°C
    • H01L2224/05647Copper [Cu] as principal constituent
    • HELECTRICITY
    • H01ELECTRIC ELEMENTS
    • H01LSEMICONDUCTOR DEVICES NOT COVERED BY CLASS H10
    • H01L2224/00Indexing scheme for arrangements for connecting or disconnecting semiconductor or solid-state bodies and methods related thereto as covered by H01L24/00
    • H01L2224/01Means for bonding being attached to, or being formed on, the surface to be connected, e.g. chip-to-package, die-attach, "first-level" interconnects; Manufacturing methods related thereto
    • H01L2224/02Bonding areas; Manufacturing methods related thereto
    • H01L2224/04Structure, shape, material or disposition of the bonding areas prior to the connecting process
    • H01L2224/05Structure, shape, material or disposition of the bonding areas prior to the connecting process of an individual bonding area
    • H01L2224/0554External layer
    • H01L2224/05599Material
    • H01L2224/056Material with a principal constituent of the material being a metal or a metalloid, e.g. boron [B], silicon [Si], germanium [Ge], arsenic [As], antimony [Sb], tellurium [Te] and polonium [Po], and alloys thereof
    • H01L2224/05638Material with a principal constituent of the material being a metal or a metalloid, e.g. boron [B], silicon [Si], germanium [Ge], arsenic [As], antimony [Sb], tellurium [Te] and polonium [Po], and alloys thereof the principal constituent melting at a temperature of greater than or equal to 950°C and less than 1550°C
    • H01L2224/05655Nickel [Ni] as principal constituent
    • HELECTRICITY
    • H01ELECTRIC ELEMENTS
    • H01LSEMICONDUCTOR DEVICES NOT COVERED BY CLASS H10
    • H01L2224/00Indexing scheme for arrangements for connecting or disconnecting semiconductor or solid-state bodies and methods related thereto as covered by H01L24/00
    • H01L2224/01Means for bonding being attached to, or being formed on, the surface to be connected, e.g. chip-to-package, die-attach, "first-level" interconnects; Manufacturing methods related thereto
    • H01L2224/10Bump connectors; Manufacturing methods related thereto
    • H01L2224/12Structure, shape, material or disposition of the bump connectors prior to the connecting process
    • H01L2224/13Structure, shape, material or disposition of the bump connectors prior to the connecting process of an individual bump connector
    • H01L2224/13001Core members of the bump connector
    • H01L2224/13005Structure
    • H01L2224/13009Bump connector integrally formed with a via connection of the semiconductor or solid-state body
    • HELECTRICITY
    • H01ELECTRIC ELEMENTS
    • H01LSEMICONDUCTOR DEVICES NOT COVERED BY CLASS H10
    • H01L2224/00Indexing scheme for arrangements for connecting or disconnecting semiconductor or solid-state bodies and methods related thereto as covered by H01L24/00
    • H01L2224/01Means for bonding being attached to, or being formed on, the surface to be connected, e.g. chip-to-package, die-attach, "first-level" interconnects; Manufacturing methods related thereto
    • H01L2224/10Bump connectors; Manufacturing methods related thereto
    • H01L2224/12Structure, shape, material or disposition of the bump connectors prior to the connecting process
    • H01L2224/13Structure, shape, material or disposition of the bump connectors prior to the connecting process of an individual bump connector
    • H01L2224/13001Core members of the bump connector
    • H01L2224/13099Material
    • HELECTRICITY
    • H01ELECTRIC ELEMENTS
    • H01LSEMICONDUCTOR DEVICES NOT COVERED BY CLASS H10
    • H01L2224/00Indexing scheme for arrangements for connecting or disconnecting semiconductor or solid-state bodies and methods related thereto as covered by H01L24/00
    • H01L2224/01Means for bonding being attached to, or being formed on, the surface to be connected, e.g. chip-to-package, die-attach, "first-level" interconnects; Manufacturing methods related thereto
    • H01L2224/10Bump connectors; Manufacturing methods related thereto
    • H01L2224/15Structure, shape, material or disposition of the bump connectors after the connecting process
    • H01L2224/16Structure, shape, material or disposition of the bump connectors after the connecting process of an individual bump connector
    • HELECTRICITY
    • H01ELECTRIC ELEMENTS
    • H01LSEMICONDUCTOR DEVICES NOT COVERED BY CLASS H10
    • H01L24/00Arrangements for connecting or disconnecting semiconductor or solid-state bodies; Methods or apparatus related thereto
    • H01L24/01Means for bonding being attached to, or being formed on, the surface to be connected, e.g. chip-to-package, die-attach, "first-level" interconnects; Manufacturing methods related thereto
    • H01L24/02Bonding areas ; Manufacturing methods related thereto
    • H01L24/03Manufacturing methods
    • HELECTRICITY
    • H01ELECTRIC ELEMENTS
    • H01LSEMICONDUCTOR DEVICES NOT COVERED BY CLASS H10
    • H01L2924/00Indexing scheme for arrangements or methods for connecting or disconnecting semiconductor or solid-state bodies as covered by H01L24/00
    • H01L2924/01Chemical elements
    • H01L2924/01005Boron [B]
    • HELECTRICITY
    • H01ELECTRIC ELEMENTS
    • H01LSEMICONDUCTOR DEVICES NOT COVERED BY CLASS H10
    • H01L2924/00Indexing scheme for arrangements or methods for connecting or disconnecting semiconductor or solid-state bodies as covered by H01L24/00
    • H01L2924/01Chemical elements
    • H01L2924/01006Carbon [C]
    • HELECTRICITY
    • H01ELECTRIC ELEMENTS
    • H01LSEMICONDUCTOR DEVICES NOT COVERED BY CLASS H10
    • H01L2924/00Indexing scheme for arrangements or methods for connecting or disconnecting semiconductor or solid-state bodies as covered by H01L24/00
    • H01L2924/01Chemical elements
    • H01L2924/01013Aluminum [Al]
    • HELECTRICITY
    • H01ELECTRIC ELEMENTS
    • H01LSEMICONDUCTOR DEVICES NOT COVERED BY CLASS H10
    • H01L2924/00Indexing scheme for arrangements or methods for connecting or disconnecting semiconductor or solid-state bodies as covered by H01L24/00
    • H01L2924/01Chemical elements
    • H01L2924/01015Phosphorus [P]
    • HELECTRICITY
    • H01ELECTRIC ELEMENTS
    • H01LSEMICONDUCTOR DEVICES NOT COVERED BY CLASS H10
    • H01L2924/00Indexing scheme for arrangements or methods for connecting or disconnecting semiconductor or solid-state bodies as covered by H01L24/00
    • H01L2924/01Chemical elements
    • H01L2924/01029Copper [Cu]
    • HELECTRICITY
    • H01ELECTRIC ELEMENTS
    • H01LSEMICONDUCTOR DEVICES NOT COVERED BY CLASS H10
    • H01L2924/00Indexing scheme for arrangements or methods for connecting or disconnecting semiconductor or solid-state bodies as covered by H01L24/00
    • H01L2924/01Chemical elements
    • H01L2924/01033Arsenic [As]
    • HELECTRICITY
    • H01ELECTRIC ELEMENTS
    • H01LSEMICONDUCTOR DEVICES NOT COVERED BY CLASS H10
    • H01L2924/00Indexing scheme for arrangements or methods for connecting or disconnecting semiconductor or solid-state bodies as covered by H01L24/00
    • H01L2924/01Chemical elements
    • H01L2924/01072Hafnium [Hf]
    • HELECTRICITY
    • H01ELECTRIC ELEMENTS
    • H01LSEMICONDUCTOR DEVICES NOT COVERED BY CLASS H10
    • H01L2924/00Indexing scheme for arrangements or methods for connecting or disconnecting semiconductor or solid-state bodies as covered by H01L24/00
    • H01L2924/01Chemical elements
    • H01L2924/01074Tungsten [W]
    • HELECTRICITY
    • H01ELECTRIC ELEMENTS
    • H01LSEMICONDUCTOR DEVICES NOT COVERED BY CLASS H10
    • H01L2924/00Indexing scheme for arrangements or methods for connecting or disconnecting semiconductor or solid-state bodies as covered by H01L24/00
    • H01L2924/01Chemical elements
    • H01L2924/01078Platinum [Pt]
    • HELECTRICITY
    • H01ELECTRIC ELEMENTS
    • H01LSEMICONDUCTOR DEVICES NOT COVERED BY CLASS H10
    • H01L2924/00Indexing scheme for arrangements or methods for connecting or disconnecting semiconductor or solid-state bodies as covered by H01L24/00
    • H01L2924/01Chemical elements
    • H01L2924/01079Gold [Au]
    • HELECTRICITY
    • H01ELECTRIC ELEMENTS
    • H01LSEMICONDUCTOR DEVICES NOT COVERED BY CLASS H10
    • H01L2924/00Indexing scheme for arrangements or methods for connecting or disconnecting semiconductor or solid-state bodies as covered by H01L24/00
    • H01L2924/01Chemical elements
    • H01L2924/01082Lead [Pb]
    • HELECTRICITY
    • H01ELECTRIC ELEMENTS
    • H01LSEMICONDUCTOR DEVICES NOT COVERED BY CLASS H10
    • H01L2924/00Indexing scheme for arrangements or methods for connecting or disconnecting semiconductor or solid-state bodies as covered by H01L24/00
    • H01L2924/013Alloys
    • H01L2924/014Solder alloys
    • HELECTRICITY
    • H01ELECTRIC ELEMENTS
    • H01LSEMICONDUCTOR DEVICES NOT COVERED BY CLASS H10
    • H01L2924/00Indexing scheme for arrangements or methods for connecting or disconnecting semiconductor or solid-state bodies as covered by H01L24/00
    • H01L2924/049Nitrides composed of metals from groups of the periodic table
    • H01L2924/04955th Group
    • H01L2924/04953TaN
    • HELECTRICITY
    • H01ELECTRIC ELEMENTS
    • H01LSEMICONDUCTOR DEVICES NOT COVERED BY CLASS H10
    • H01L2924/00Indexing scheme for arrangements or methods for connecting or disconnecting semiconductor or solid-state bodies as covered by H01L24/00
    • H01L2924/10Details of semiconductor or other solid state devices to be connected
    • H01L2924/102Material of the semiconductor or solid state bodies
    • H01L2924/1025Semiconducting materials
    • H01L2924/1026Compound semiconductors
    • H01L2924/1032III-V
    • H01L2924/10329Gallium arsenide [GaAs]
    • HELECTRICITY
    • H01ELECTRIC ELEMENTS
    • H01LSEMICONDUCTOR DEVICES NOT COVERED BY CLASS H10
    • H01L2924/00Indexing scheme for arrangements or methods for connecting or disconnecting semiconductor or solid-state bodies as covered by H01L24/00
    • H01L2924/10Details of semiconductor or other solid state devices to be connected
    • H01L2924/11Device type
    • H01L2924/13Discrete devices, e.g. 3 terminal devices
    • H01L2924/1304Transistor
    • H01L2924/1306Field-effect transistor [FET]
    • H01L2924/13091Metal-Oxide-Semiconductor Field-Effect Transistor [MOSFET]
    • HELECTRICITY
    • H01ELECTRIC ELEMENTS
    • H01LSEMICONDUCTOR DEVICES NOT COVERED BY CLASS H10
    • H01L2924/00Indexing scheme for arrangements or methods for connecting or disconnecting semiconductor or solid-state bodies as covered by H01L24/00
    • H01L2924/19Details of hybrid assemblies other than the semiconductor or other solid state devices to be connected
    • H01L2924/1901Structure
    • H01L2924/1904Component type
    • H01L2924/19043Component type being a resistor
    • HELECTRICITY
    • H01ELECTRIC ELEMENTS
    • H01LSEMICONDUCTOR DEVICES NOT COVERED BY CLASS H10
    • H01L2924/00Indexing scheme for arrangements or methods for connecting or disconnecting semiconductor or solid-state bodies as covered by H01L24/00
    • H01L2924/30Technical effects
    • H01L2924/301Electrical effects
    • H01L2924/30105Capacitance

Landscapes

  • Engineering & Computer Science (AREA)
  • Computer Hardware Design (AREA)
  • Microelectronics & Electronic Packaging (AREA)
  • Power Engineering (AREA)
  • Physics & Mathematics (AREA)
  • Condensed Matter Physics & Semiconductors (AREA)
  • General Physics & Mathematics (AREA)
  • Manufacturing & Machinery (AREA)
  • Internal Circuitry In Semiconductor Integrated Circuit Devices (AREA)

Abstract

【課題】 電極としての性能および製造安定性に優れた貫通電極を有する半導体装置を提供する。
【解決手段】 半導体装置100に導電性の小径プラグ119と導電性の大径プラグ131とからなる貫通電極135を設ける。小径プラグ119の断面積を、それぞれ接続プラグ123の断面積および径よりも大きく大径プラグ131の断面積および径よりも小さくする。また、シリコン基板101から小径プラグ119が突出した突出部141を大径プラグ131の上面に貫入させる。また、小径プラグ119の上面を第一配線121と接続させる。
【選択図】 図1

Description

本発明は、半導体装置およびその製造方法に関する。
近年、半導体装置の軽薄短小化と高性能化が要求されており、マルチチップパッケージなどの半導体装置において、配線の高密度化、論理素子の微細化およびメモリの大容量化が進められている。
こうした要請に対応する一つの手段として、半導体基板に貫通電極を設け、配線の高密度化等を図ることが試みられている。従来の貫通電極としては、たとえば特許文献1に記載されたものがある。同文献には、半導体素子基板を貫通する貫通孔内に中間絶縁層が周設され、その内側に導電層が充填された構成の貫通電極を有する半導体装置が開示されている。この構成を用いると、複数の半導体素子基板を高密度で三次元的に積層することができるとされている。
また、技術分野は異なるが、半導体基板と金属膜を同時に除去する技術として、非特許文献1に記載されたものがある。非特許文献1には、電極形成後に裏面研削する工程を含む半導体基板が記載されているが、これについては後述する。
特開2000−311982号公報 Masataka Hoshino他5名、「Wafer Process and Issue of Through Electrode in Si wafer Using Cu Damascene for Three Dimensional Chip Stacking」、2002年、Proceedings of the International Interconnect Technology Conference p.75−77
ところが、上記特許文献1に記載の構成では、半導体素子基板を太い貫通電極が貫通しているため、貫通電極を形成した領域には、配線等を設けることができない構成となっていた。このため、配線等の集積度が低下してしまい、配線の高密度化の点でさらに改善の余地があった。また、貫通電極が素子形成後に作製されるため、貫通電極の形成時に素子の信頼性を低下させる懸念があった。
本発明は、上記事情に鑑みなされたものであり、その目的は、電極としての性能および製造安定性に優れた貫通電極を有する半導体装置を提供することにある。
本発明によれば、半導体基板と、前記半導体基板の素子形成面に設けられた絶縁層と、前記半導体基板を貫通し、前記絶縁層の内部に設けられた導電部材と接続する貫通電極と、を有し、前記貫通電極は、前記導電部材と接続する第一の導電プラグと、前記半導体基板に設けられ、前記第一の導電プラグの断面積よりも大きい断面積を有し、前記第一の導電プラグの一部を内包する第二の導電プラグと、を有することを特徴とする半導体装置が提供される。
本明細書において、素子形成面は、半導体素子が形成される半導体基板の面のことである。また、第二の導電プラグは半導体基板に設けられるが、その一部が、素子形成面上に設けられた絶縁膜中に存在していても良い。
本発明の半導体装置では、第一の導電プラグの一部が第二の導電プラグに内包されている。このため、アンカー効果により、これらのプラグの密着性にすぐれた構成となっている。また、これらのプラグ間のコンタクト抵抗が低減される構成となっている。また、素子形成面側に断面積の小さい第一の導電プラグが配設されているため、貫通電極近傍の配線の集積度を向上させることができる。このため、小型化に適した構成となっている。
本発明によれば、半導体基板と前記半導体基板の素子形成面に設けられたトランジスタ形成層と、前記トランジスタ形成層の上部に設けられた配線層と、前記配線層の上部に設けられた上部配線層と、前記トランジスタ形成層および前記半導体基板を貫通する貫通電極と、を有し、前記貫通電極は、前記トランジスタ形成層に設けられ前記配線層中に形成された配線に接続する第一の導電プラグと、前記半導体基板に設けられ、前記第一の導電プラグの断面積よりも大きい断面積を有し、前記第一の導電プラグと接続する第二の導電プラグと、を有することを特徴とする半導体装置が提供される。
本発明の半導体装置では、上部絶縁層に被覆された配線層に第一の導電プラグが接続されている。また、第一の導電プラグの断面積が第二の導電プラグの断面積よりも小さい構成となっている。このため、当該配線層の上層の配線や素子の集積度を向上させることができる。よって、本発明の半導体装置は、小型化に適した構成となっている。なお、上記半導体装置において、第一の導電プラグはトランジスタ形成層に設けられるが、その一部が基板中に存在していてもよい。また、第二の導電プラグは半導体基板に設けられるが、その一部が、素子形成面上に設けられた絶縁膜中に存在していても良い。
本発明の半導体装置において、前記上部配線層が前記配線層に接続する構成とすることができる。本発明の半導体装置は、上部配線層が配線層を介して貫通電極に接続する構成の場合にも、配線層に設けられた配線および上部配線層に設けられた上部配線の集積度を向上させることができる。
本発明の半導体装置において、前記第一の導電プラグが前記第二の導電プラグに内包されるように構成されてもよい。こうすることにより、アンカー効果を確実に得ることができる。このため、これらのプラグの密着性を向上させることができる。また、これらのプラグ間のコンタクト抵抗が低減される構成とすることができる。
本発明の半導体装置において、複数の第一の導電プラグの一部が、一つの前記第二の導電プラグに内包されるように構成されてもよい。こうすることにより、前記アンカー効果をさらに確実に得ることができる。このため、これらのプラグの密着性をさらに向上させることができる。また、これらのプラグ間のコンタクト抵抗がさらに低減される構成とすることができる。
本発明の半導体装置において、前記第二の導電プラグが前記半導体基板の前記裏面から前記半導体基板の前記素子形成面の近傍にわたって形成されていてもよい。また、本発明の半導体装置において、第二の導電プラグは、半導体基板の素子形成面よりも下方に位置することができる。こうすることにより、半導体基板上の素子や配線の集積度をさらに向上させることができる。
本発明の半導体装置において、前記第一の導電プラグの一部が前記第二の導電プラグに貫入している構成とすることができる。こうすることにより、両プラグの密着性をさらに確実に向上させることができる。
本発明の半導体装置において、前記第二の導電プラグと前記半導体基板とが絶縁膜を介して接している構成とすることができる。こうすることにより、製造容易性にすぐれた構成とすることができる。また、寄生容量を低下させることができる。たとえば、本発明において、前記絶縁膜を電着絶縁膜とすることができる。
本発明の半導体装置において、前記第二の導電プラグが前記半導体基板の前記裏面から突出している構成とすることができる。こうすることにより、さらに製造安定性にすぐれた構成とすることができる。
本発明の半導体装置において、前記第二の導電プラグの側面外周に環筒状絶縁体が配設された構成とすることができる。こうすることにより、寄生容量を確実に低減することができる。
本発明の半導体装置において、前記半導体基板の前記素子形成面における前記貫通電極の断面積が、前記半導体基板の前記裏面における前記貫通電極の断面積よりも小さい構成とすることができる。こうすることにより、素子形成面の上部に形成された配線の集積度をさらに確実に高めることができる。
本発明によれば、半導体基板の素子形成面の側に第一の孔を形成する工程と、前記第一の孔の内壁に、絶縁材料からなるバリア膜を形成する工程と、前記第一の孔の内部を埋め込むように第一の金属膜を埋設する工程と、前記第一の孔の外部に形成された前記第一の金属膜を除去し、前記第一の孔の内部に第一の導電プラグを形成する工程と、裏面の側から前記半導体基板を選択的に除去して第二の孔を形成し、前記第二の孔の内部に前記第一の導電プラグの一部を露出させる工程と、露出した前記バリア膜の少なくとも一部を除去し、前記第一の金属膜を露出させる工程と、第一の金属膜を露出させる前記工程の後、前記第二の孔を埋めるように第二の金属膜を成長させて、前記第一の導電プラグの一部を内包する第二の導電プラグを形成する工程と、を含むことを特徴とする半導体装置の製造方法が提供される。
この方法によれば、第一の導電プラグと第二の導電プラグとの密着性にすぐれた貫通電極を有する半導体装置を簡便なプロセスで安定的に製造することができる。
なお、本発明において、第一の導電プラグは、第一の金属膜とバリア膜を含む。また、本発明において、第一の金属膜がバリアメタル膜を含んでもよい。
本発明の半導体装置の製造方法において、第一の孔を形成する前記工程の前に、前記素子形成面の側から前記半導体基板を選択的に除去して環筒状の孔を形成し、前記孔の内部に絶縁体を埋設して環筒状絶縁体を形成する工程を含み、 第一の孔を形成する前記工程は、前記半導体基板の前記環筒状絶縁体の内側の領域の一部を除去して前記第一の孔を形成する工程を含み、第二の孔を形成する前記工程は、前記半導体基板の前記環筒状絶縁体の内側の領域の少なくとも一部を除去して前記第二の孔を形成する工程を含んでもよい。こうすることにより、寄生容量の発生が抑制された半導体装置を確実に得ることができる。
本発明の半導体装置の製造方法において、第一の孔を形成する前記工程は、前記半導体基板の前記素子形成面の側に絶縁膜を形成した後、前記絶縁膜および前記半導体基板を選択的に除去して前記第一の孔を形成する工程を含んでもよい。こうすることにより、第一の導電プラグが絶縁膜の上部の配線に接続する構成の半導体装置を安定的に得ることができる。
本発明によれば、半導体基板の素子形成面の側から前記半導体基板を選択的に除去して孔を形成し、前記孔の内部に絶縁体を埋設して絶縁プラグを形成する工程と、前記半導体基板の前記素子形成面の側に、前記絶縁プラグの一部が選択的に除去された第一の孔を形成する工程と、前記第一の孔の内部を埋め込むように第一の金属膜を埋設する工程と、前記第一の孔の外部に形成された前記第一の金属膜を除去し、前記第一の孔の内部に第一の導電プラグを形成する工程と、裏面の側から前記半導体基板を選択的に除去する工程と、半導体基板を除去する前記工程の後、前記絶縁プラグを選択的に除去して第二の孔を形成し、前記第二の孔の内部に前記第一の導電プラグの一部を露出させる工程と、露出した前記第一の導電プラグの少なくとも一部を除去し、前記第一の金属膜を露出させる工程と、第一の金属膜を露出させる前記工程の後、前記第二の孔を埋めるように第二の金属膜を成長させて、前記第一の導電プラグの一部を内包する第二の導電プラグを形成する工程と、を含むことを特徴とする半導体装置の製造方法が提供される。
この方法によれば、第一の導電プラグと第二の導電プラグとの密着性にすぐれた貫通電極を有する半導体装置をさらに安定的に製造することができる。
本発明の半導体装置の製造方法において、第一の孔を形成する前記工程は、前記半導体基板の前記素子形成面の側に絶縁膜を形成した後、前記絶縁膜および絶縁プラグを選択的に除去して前記第一の孔を形成する工程を含むことができる。こうすることにより、第一の導電プラグが絶縁膜の上部の配線に接続する構成の半導体装置を安定的に得ることができる。
本発明の半導体装置の製造方法において、第二の孔を形成する前記工程は、前記第一の孔よりも断面積が大きい孔を形成する工程を含んでもよい。こうすることにより、第一の導電プラグの一部を第二の導電プラグにさらに確実に内包させることができる。
本発明の半導体装置の製造方法において、第一の導電プラグを形成する前記工程の後、前記素子形成面の上部に、前記第一の導電プラグに接続する配線を有する配線層を形成する工程を含んでもよい。こうすることにより、第一の導電プラグに接続する配線と同層の配線の集積度を高めることができる。このため、配線の集積度の高い半導体装置を安定的に製造することができる。また、本発明の半導体装置の製造方法において、前記配線層の上部に、前記配線に接続する上部配線を形成する工程を含んでもよい。こうすることにより、配線層よりも上層に存在する上部配線の集積度の高い多層の半導体装置を安定的に製造することができる。
本発明の製造方法において、第一の孔を形成する前記工程の前に、前記半導体基板の前記素子形成面の上部に設けられた絶縁層を設ける工程を有し、第一の導電プラグを形成する前記工程は、前記絶縁層の内部に、前記第一の導電プラグと同時にトランジスタ素子へ接続する接続プラグを形成する工程を含んでもよい。こうすることにより、さらに簡便な製造手順とすることができる。
なお、これらの各構成の任意の組み合わせや、本発明の表現を方法、装置などの間で変換したものもまた本発明の態様として有効である。
たとえば、本発明において、第一の導電プラグの一部を露出させる前記工程の後、第一の金属膜を露出させる前記工程の前に、前記第二の孔の内面の前記第一の導電プラグを除く領域に選択的に絶縁材料を付着させる工程をさらに含んでもよい。こうすることにより、簡便なプロセスで第二の導電プラグの表面の絶縁性にすぐれた半導体装置を製造することができる。
本発明の半導体装置の製造方法において、前記絶縁材料は電着材料であってもよい。こうすることにより、絶縁材料をさらに高い選択性で前記第二の孔の内面の前記第一の導電プラグを除く領域に付着させることができる。
本発明の半導体装置の製造方法において、前記電着材料は電着ポリイミドであってもよい。こうすることにより、以降のプロセスにおける処理に対する絶縁材料の耐性を向上させることができる。よって、半導体装置のさらに高い歩留まりで安定的に製造することができる。
また、本発明において、第一の金属膜を埋設する前記工程は、前記第一の孔の内壁に、バリアメタル膜を形成する工程を含んでもよい。また、本発明において、第一の金属膜は、バリアメタル膜を含む積層膜とすることができる。こうすることにより、第一の導電プラグを構成する導電材料の半導体基板への拡散をより一層確実に抑制することができる。
以上説明したように本発明によれば、素子形成面側に設けられた第一の導電プラグと、半導体基板に設けられ、第一の導電プラグの断面積よりも大きい第二の導電プラグとにより貫通電極を構成しているため、電極としての性能および製造安定性に優れた貫通電極を有する半導体装置が提供される。
以下、本発明の実施形態について図面を参照して説明する。なお、すべての図面において、同様の構成要素には同一の符号を付し、以下の説明において詳細な説明を適宜省略する。また、以下の実施形態において、半導体基板の素子形成面側を半導体装置の上(表)側とし、半導体基板の裏面側を半導体装置の下(裏)側とする。
(第一の実施形態)
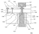
図1は、本実施形態に係る半導体装置の構成を模式的に示す断面図である。図1の半導体装置100は、シリコン基板101、エッチングストッパ膜109、最下層絶縁膜111、第一配線層絶縁膜113の積層構造を有し、シリコン基板101、エッチングストッパ膜109、および最下層絶縁膜111を貫通する貫通電極135が設けられている。
シリコン基板101の素子形成面に、拡散層105、ゲート電極107等からなるMOSトランジスタおよび素子分離膜103が形成されている。MOSトランジスタおよび素子分離膜103を埋め込むように最下層絶縁膜111が形成されている。最下層絶縁膜111中には、シリコン基板101およびゲート電極107の上面に接してエッチングストッパ膜109が設けられている。また、最下層絶縁膜111には、拡散層105に接続する接続プラグ123も設けられている。
第一配線層絶縁膜113には第一配線121および第一配線121に電気的に接続する接続プラグ122が設けられている。また、接続プラグ122の上部には、これと電気的に接続するパッド125およびパッド125と電気的に接続するバンプ127がこの順に形成されている。
貫通電極135は、導電性の小径プラグ119と導電性の大径プラグ131とを有する。小径プラグ119の断面積および径は、それぞれ接続プラグ123の断面積および径よりも大きく大径プラグ131の断面積および径よりも小さい。また、シリコン基板101から小径プラグ119が突出した突出部141が大径プラグ131の上面に貫入している。
小径プラグ119の径は、たとえば、1〜5μm程度とすることができる。また、小径プラグ119はシリコン基板101中に20〜50μm程度貫入している構成とすることができる。さらに、大径プラグ131中に貫入している突出部141の長さを、たとえば1〜50μm程度とすることができる。また、大径プラグ131の径は、たとえば10〜1000μm程度とすることができる。
小径プラグ119は、最下層絶縁膜111の上面からエッチングストッパ膜109、シリコン基板101をこの順に貫通し、その先端がシリコン基板101の外部に露出した突出部141となっている。小径プラグ119の上面は、第一配線層絶縁膜113の底面と同一平面内に底面を有する第一配線121と接触し、電気的な接続が確保されている。小径プラグ119の側面は、突出部141を除きSiN膜137に被覆されている。
また、大径プラグ131は、シリコン基板101の裏面から素子形成面に向かって形成されている。大径プラグ131の上面は、シリコン基板101の上面よりも下方に位置する。大径プラグ131の底面および側面、ならびにシリコン基板101の裏面に電着絶縁膜129が設けられている。また、大径プラグ131の表面はめっき膜133に被覆されている。
小径プラグ119の材料に特に制限はないが、たとえば、Wを用いることができる。こうすることにより、シリコン基板101への拡散が好適に抑制される。また、大径プラグ131およびめっき膜133の材料に特に制限はないが、それぞれ、たとえばNiおよびAuとすることができる。
次に、半導体装置100の製造方法を説明する。図2(a)〜図2(d)は、図1に示した半導体装置100の製造工程を模式的に示す断面図である。
まず、シリコン基板101上にゲート電極107、拡散層105、素子分離膜103を形成する。素子分離膜103は、たとえばSTI(シャロートレンチアイソレーション)とする。その後、シリコン基板101の上面全面にエッチングストッパ膜109および最下層絶縁膜111をこの順に積層する。
このとき、エッチングストッパ膜109として、たとえばSiN膜をプラズマCVD法により50nm成膜する。また、最下層絶縁膜111として、たとえばSiO2膜をプラズマCVD法により400nm成膜する。または、最下層絶縁膜111として、低誘電率層間絶縁膜であるL−Ox(商標)膜を塗布法により300nm成膜し、L−Ox(商標)膜の上面にSiO2膜を100nm成膜して、積層膜を形成してもよい。
次に、最下層絶縁膜111上に反射防止膜とフォトレジストをこの順に塗布し、フォトリソグラフィー技術を用いて小径プラグ119の形状に対応する開口部を有するレジストパターン(不図示)を形成する。フォトレジスト膜をマスクとして最下層絶縁膜111をドライエッチングして、小径プラグ119を設ける位置を開口させる。そして、ドライエッチングによりエッチングストッパ膜109のエッチバックを行う。
その後、さらにエッチングガスを変えて、シリコン基板101を途中までエッチングする。たとえば、シリコン基板101の上面から10μm以上50μm以下の深さまでエッチングする。深さを10μm以上とすることにより、突出部141の周囲を大径プラグ131に確実に接続することができる。また、50μm以下とすることにより、シリコン基板101の素子形成面からの小径プラグ119のシリコン基板101内部への突出量を減少させることができる。このため、開口部を安定的に形成することができる。開口部の径は、小径プラグ119の径がたとえば1〜5μm程度となるように選択される。そして、フォトレジスト膜および反射防止膜あるいはエッチングによるそれらの残渣を除去する。
次に、小径プラグ119の形状に対応した開口部が設けられたシリコン基板101の上面全面にSiN膜137を20nm成膜する。これにより、開口部の側面および底面にSiN膜137が形成される。
そして、最下層絶縁膜111上に、新たに反射防止膜とフォトレジストをこの順に塗布し、フォトリソグラフィー技術を用いて接続プラグ123の形状に対応して開口するレジストパターン(不図示)を形成する。このフォトレジスト膜をマスクとして、最下層絶縁膜111をドライエッチングし、拡散層105の上部の接続プラグ123を設ける位置を開口させる。そして、ドライエッチングによりエッチングストッパ膜109のエッチバックを行い、拡散層105の上面を露出させる。こうして、小径プラグ119および接続プラグ123を形成するための孔を得る。
次に、シリコン基板101の上面全面に、金属膜としてW膜をCVD法により成膜する。W膜の膜厚は、接続プラグ123および小径プラグ119の径に合わせて、その両方が埋め込められるような膜厚に設定される。たとえば、Wの膜厚を1μm程度とする。そして、最下層絶縁膜111上のW膜およびSiN膜137をCMP(Chemical Mechanical polishing)により除去する。こうして、小径プラグ119および接続プラグ123が同時に形成される(図2(a))。
次に、シリコン基板101の上面全面に第一配線層絶縁膜113を設ける。第一配線層絶縁膜113は、図2(b)に示したように、配線用絶縁膜112およびプラグ用絶縁膜114が積層された構成である。
まず、シリコン基板101の上面全面を被覆し、第一配線層絶縁膜113の下層をなす配線用絶縁膜112を300nm成膜する。配線用絶縁膜112は、たとえば、L−Ox(商標)膜等の低誘電率膜とすることができる。このとき、最下層絶縁膜111上にCu拡散防止膜のSiCN膜を設けてもよい。また、低誘電率膜上にSiO2膜を100nm成膜してもよい。次に、シリコン基板101の上面全面に反射防止膜およびフォトレジストを塗布し、フォトリソグラフィー技術を用いて、フォトレジストに溝配線用レジストパターンを形成する。そして、フォトレジストをマスクにして、第一配線層絶縁膜113をエッチングし、第一配線121作製用の開口部を形成する。次に、アッシングによりフォトレジストと反射防止膜を除去する。
その後、スパッタリング法により、バリアメタル膜としてTaN膜を30nm成膜し、TaN膜の上にシード用のCu膜を100nm成膜する。次に、電解メッキ法によりCu膜を700nm成膜し、次いでCMP法により、第一配線121となる金属膜を形成する。その後、小径プラグ119および接続プラグ123の形成時と同様にして、配線用絶縁膜112上のCu膜およびバリアメタル膜を除去し、第一配線121が形成される。
その後、通常の配線作製工程により、配線用絶縁膜112上に、第一配線層絶縁膜113の上層をなすプラグ用絶縁膜114を形成する。プラグ用絶縁膜114中に、第一配線121と接続する接続プラグ122を形成する。そして、接続プラグ122に接続するパッド125、およびバンプ127をこの順に形成する。パッドの材料は、たとえばAl、Cu、Ni、TiN等とすることができる。また、バンプ127の材料は、たとえばAu、ハンダ等とすることができる。
なお、第一配線層絶縁膜113の上部にさらに所定の数の配線層等の上層を形成してもよい。
次に、シリコン基板101の上面に粘着剤層115を形成し、支持体117を貼付する(図2(b))。粘着剤層115として、たとえば粘着テープを用いる。粘着テープは基材とその両面に形成された粘着層から構成されている。粘着テープを構成する基材としては、たとえば、ポリオレフィン系樹脂、ポリエステル系樹脂などが用いられる。また、粘着テープを構成する粘着剤としては、たとえば、アクリル系エマルジョン型粘着剤、アクリル系溶剤型粘着剤、ウレタン系粘着剤などが用いられる。
また、支持体117の材料は、後述する裏面研削によるシリコン基板101の薄化加工等のプロセスにおける、熱、薬剤、外力などに対する耐性を備えている材料であればよく、たとえば、石英やパイレックス(登録商標)等のガラスとすることができる。また、ガラス以外の材料としてもよい。たとえば、アクリル樹脂などのプラスチックス等のを用いてもよい。
次に、シリコン基板101の裏面研削を行う。裏面研削は、機械的研磨により行う。研削後のシリコン基板101の厚さは、小径プラグ119の底部が露出しない範囲で適宜選択することができるが、たとえば、50〜200μm程度とすることができる。そして、シリコン基板101の裏面に反射防止膜およびフォトレジストをこの順に成膜し、フォトリソグラフィー技術を用いて大径プラグ131を形成する領域が開口するレジストパターン(不図示)を形成する。フォトレジスト膜をマスクとしてシリコン基板101をドライエッチングして選択的に除去し、後に大径プラグ131を設ける位置に開口部139を設ける。
開口部139は、シリコン基板101の裏面から素子形成面に向かい、上面がシリコン基板101の素子形成面の近傍よりも下方に位置する形状とする。また、開口部139は突出部141の底部に設けられ、その上面が小径プラグ119の底面よりも上方に位置する。小径プラグ119の表面にSiN膜137が設けられており、前述のシリコン基板101をドライエッチングする際のエッチング条件は、シリコン膜とSiN膜137との選択比が高い条件に設定されているため、開口部139の形成時に小径プラグ119は除去されず、小径プラグ119の側面外周のシリコン基板101が選択的に除去される。これにより、小径プラグ119の底面を含む姿態で開口部139が形成される。また、小径プラグ119の一部がシリコン基板101の外部に露出し、突出部141が形成される。
次に、シリコン基板101の裏面に電着絶縁膜129を設ける(図2(c))。このとき、電着絶縁膜129は、シリコン基板101の裏面ならびに開口部139の底面および側面に選択的に成膜される。突出部141の表面は絶縁性のSiN膜137に被覆されているため、小径プラグ119の外側には電着絶縁膜129が形成されない。電着絶縁膜129の膜厚は、たとえば0.5〜5μm程度とする。
電着絶縁膜129は、たとえば電着ポリイミド膜とする。電着ポリイミド膜の材料として、カチオン型ポリイミド電着塗料またはアニオン型ポリイミド電着塗料を用いることができる。具体的には、たとえば、シミズ社製エレコートPI等を用いることができる。なお、電着絶縁膜129の材料はポリイミドには限定されず、エポキシ系の電着塗料、アクリル系の電着塗料、フッ素系の電着塗料等、他の電着高分子塗料を用いてもよい。電着絶縁膜129の材料としてポリイミドを用いることにより、電着絶縁膜129の耐熱性を向上させることができる。このため、その後の製造プロセスにおける劣化が好適に抑制され、高い歩留まりで安定的に製造可能な構成とすることができる。
電着絶縁膜129の形成は、たとえば以下のようにして行う。シリコン基板101を一方の電極とし、他方の対極とともに電着塗料の液体中に浸漬させる。そして、シリコン基板101および対極に電着塗料中の高分子の電荷に応じて所定の電位を印加する。こうすると、シリコン基板101の表面に高分子が付着する。所定の膜厚が得られたら、塗料からシリコン基板101を取り出し、水洗する。その後、シリコン基板101を焼成することにより、その裏面に電着絶縁膜129が形成される。
次に、SiN膜137のエッチバックを行う。これにより、突出部141の先端部においてSiN膜137が除去されて小径プラグ119の表面を露出させる。このとき、シリコン基板101の裏面には電着絶縁膜129が形成されているため、シリコン基板101は除去されず、SiN膜137が選択的に除去される。なお、図1および図2(d)においては、突出部141におけるSiN膜137がすべて除去されている構成を例示したが、小径プラグ119のプラグ底部を含む少なくとも一部が露出していればよい。
次いで、無電解めっきにより小径プラグ119の露出部を起点としてNi膜を成長させて、開口部139を埋め込むとともに、開口部139の外部にバンプを一体に形成する。そして、バンプの表面にAuのめっき膜133を設けることにより、大径プラグ131が形成される(図2(d))。
このとき、大径プラグ131の形成を、裏面の開口部139の埋め込み工程と、裏面のバンプ形成工程に分けて行ってもよい。
その後、粘着剤層115をシリコン基板101の素子形成面から剥離することにより、支持体117が除去され、図1に示した半導体装置100が得られる。
次に、図1に示した半導体装置100の効果を説明する。
まず、半導体装置100においては、貫通電極135が小径プラグ119および大径プラグ131の二つのプラグからなる。小径プラグ119の端部の突出部141は、大径プラグ131に内包されている。
図7(a)および図7(b)は、太さの異なる2本のプラグからなる貫通電極の構成を模式的に示す図である。各分図において、上の図が断面図であり、下の図が平面図である。図7(a)は、本実施形態に係る貫通電極135の構成を示す図である。また、図7(b)は、小径プラグ219と大径プラグ231とが平坦面において接続した形状の貫通電極235を示す図である。
図7(a)の構成では、アンカー効果による両プラグの密着性の向上が図られる。このため、図7(b)の構成のように、これらの端部同士が単に接触している場合に比べて密着した構成とすることができる。また、シリコン基板101の裏面側から選択成長で大径プラグ131を形成可能な構成とすることができる。このため、製造プロセスの簡素化が可能な構成となっている。また、この構成により、両プラグ間のコンタクト抵抗の低減が図られる。このため、半導体装置100の電気的特性を向上させることができる。
また、図7(c)に示したように、貫通電極135が大径プラグ131に内包される二つの小径プラグ119および大径プラグ131の三つのプラグからなる構造では、アンカー効果によるプラグの密着性はさらに向上し、コンタクト抵抗のさらなる低減が図られる。
なお、小径プラグ119は、大径プラグ131の裏面側まで貫通する必要はない。突出部141の深さを浅くすることができるため、埋め込みによる小径プラグ119の製造が安定的に行える構成である。
また、貫通電極135においては、小径プラグ119の径が大径プラグ131の径よりも小さい構成となっている。このため、小径プラグ119に電気的に接続する第一配線121の大きさを小さくすることができる。また、最下層絶縁膜111中の素子の集積度を向上させることが可能な構成となっている。よって、装置全体の小型化に好適な構成となっている。
また、小径プラグ119が接続プラグ123と同時に成形可能であるため、製造プロセスの簡素化およびそれに伴う製造コストの低減が可能な構成となっている。また、小径プラグ119の成形がトランジスタの成形工程に与える影響が小さく、貫通電極135の形成によるトランジスタへのダメージが少ない構成となっている。
また、貫通電極135の上部において、小径プラグ119が最下層配線である第一配線層絶縁膜113内の第一配線121に接続しており、貫通電極135が第一配線層絶縁膜113に突出しない構成となっている。このため、第一配線層絶縁膜113内の配線密度を向上させることが可能な構成となっている。よって、貫通電極135の設置が回路の構成に与える影響が小さく、半導体装置100は素子や配線の配置の選択の自由度が高く、また、第一配線層絶縁膜113のデッドスペースの減少および第一配線121の集積度を高くすることが可能な構成とすることができる。
また、半導体装置100においては、開口部139の内面の突出部141の表面を除く領域に電着絶縁膜129が選択的に設けられている。このため、大径プラグ131を形成する以降の工程において、電着絶縁膜129を保護膜として用いることができるため、大径プラグ131形成用のレジストパターンをシリコン基板101の裏面に形成する必要がない。このため、簡便なプロセスで大径プラグ131を安定的に製造可能な構成となっている。
次に、小径プラグ119と大径プラグ131からなる貫通電極135の構成を従来の貫通電極の構成と対比してさらに説明する。図8(a)および図8(b)は、貫通電極の構成を模式的に示す断面図である。図8(a)は本実施形態に係る貫通電極135の構成を模式的に示した図である。また、図8(b)は、従来の貫通電極235の構成を模式的に示した図である。
図8(b)に示したように、従来の貫通電極235は、太い一本のプラグからなり、その上面で配線253に接触している。このため、貫通電極235の上部の配線253の面積が比較的大きくなる傾向にあった。また、貫通電極235に接触する配線253の層においては、貫通電極235の近傍に、貫通電極235に接触する配線253以外の配線254を設けることができなかった。このため、図中に矢印で示したように、貫通電極235の上面およびその近傍から離れた領域にのみ、貫通電極235に接触する配線253以外の配線254を形成することが可能であった。よって、貫通電極235に接触する配線253以外の配線254の集積度の向上の点で改善の余地があった。
これに対し、図8(a)に示したように、本実施形態に係る貫通電極135では、小径プラグ119の上面で配線153に接触している。このため、小径プラグ119の上部の配線153の断面積を小さくすることができる。また、配線153に接続するプラグ119が小径プラグ119である。このため、図中に矢印で示したように、小径プラグ119に接触する配線153以外の配線154を形成可能な領域が広い。このため、小径プラグ119に接触する配線153以外の配線154の集積度を向上させることができる。また、配線層近傍ではプラグの径を低くして配線密度を充分に確保しつつ、配線層の近傍以外ではプラグの径を太くして電気抵抗を低減することができる。
また、図8(a)の貫通電極135は、図7(a)および図7(b)を用いて前述したように、小径プラグ119の一部が大径プラグ131に貫入した構成である。このため、図8(b)の構成とは異なり2本のプラグを用いた場合にも、図7(b)の構成と比較した場合に、これらのプラグの間の接触抵抗が充分に小さく、貫通電極としての特性に優れた構成となっている。
なお、図1には示していないが、半導体装置100において、第一配線層絶縁膜113の上層の構成は、装置設計に応じて適宜選択することができる。第一配線層絶縁膜113の上部にさらに配線層等が積層されていてもよい。
たとえば、図10は、配線層が積層された半導体装置の構成を模式的に示す断面図である。図10の半導体装置の構成は基本的には図1に示した半導体装置100と同様であるが、シリコン基板101上に、最下層絶縁膜111、第一配線層絶縁膜113に加え、さらに絶縁層161および絶縁層163が積層されている。絶縁層161には、配線165および接続プラグ167が形成されている。絶縁層163には、配線169および接続プラグ171が形成されている。
図10に示したように、本実施形態に係る貫通電極135は、素子形成面側に断面積の小さい小径プラグ119が設けられ、これが積層体中の下層に設けられた第一配線121と接続している。このため、上層の配線の集積度を向上させることができる。
また、図11は、配線層が積層された半導体装置の別の構成を模式的に示す断面図である。図11に示したように、小径プラグ119が第一配線121と接続しているため、第一配線121よりも上層の設計の自由度にすぐれている。たとえば、貫通電極135がバンプ127に接続していない構成や、貫通電極135の直上にバンプ127を形成せずに、不図示の配線を介して貫通電極135とバンプ127とを接続した構造等とすることができる。
また、本実施形態および以下の実施形態に係る半導体装置において、貫通電極135を構成する小径プラグ119の一部が大径プラグ131に内包する態様として、たとえば、小径プラグ119の断面の一部が内包される態様および断面すべてが内包される態様が挙げられる。図12(a)および図12(b)は、こうした貫通電極135の構成を模式的に示す断面図である。図12(a)は、小径プラグ119の断面のすべてが大径プラグ131に内包されている構成を示す図である。また、図12(b)は、小径プラグ119の断面の一部が大径プラグ131に内包されている構成を示す図である。小径プラグ119の内包のされ方により、大径プラグ131に形成される凹部の形状が異なっている。
図12(a)および図12(b)のように、小径プラグ119の断面の少なくとも一部が大径プラグ131に内包される構成とすることにより、小径プラグ119が大径プラグ131に複数の面で接触する構成とすることができる。このため、図7(b)を用いて前述した構成に比べ、小径プラグ119と大径プラグ131との密着性を向上させることができる。また、図12(a)に示したように、小径プラグ119の断面すべてが大径プラグ131に貫入し、内包される構成とすることにより、これらの密着性をさらに向上させることができる。
以下の実施形態では、第一の実施形態と異なる点を中心に説明する。
(第二の実施形態)
図3は、本実施形態に係る半導体装置の構成を模式的に示す断面図である。図3に示した半導体装置102においては、大径プラグ131の上面がシリコン基板101の上面すなわち素子形成面に一致している。また、半導体装置102では、図1に示したシリコン基板101における電着絶縁膜129に代わり、大径プラグ131の側面にSiN膜143が形成され、シリコン基板101の裏面にSiN膜145が形成されている。
次に、半導体装置102の製造方法を説明する。図4(a)〜図4(d)は、図2に示した半導体装置102の製造工程を模式的に示す断面図である。
まず、シリコン基板101に、反射防止膜とフォトレジストをこの順に塗布し、フォトリソグラフィー技術を用いて大径プラグ131の形状に対応する開口部を有するレジストパターン(不図示)を形成する。このフォトレジスト膜をマスクとして、シリコン基板101をドライエッチングし、大径プラグ131を設けるための開口部を形成する。このとき、開口部の深さは適宜選択されるが、たとえば50μm以上200μm以下とすることができる。そして、フォトレジスト膜および反射防止膜を除去する。
次に、大径プラグ131の形状に対応した開口部が設けられたシリコン基板101の上面全面にSiN膜143を100nm成膜する。そして、開口部を埋め込むようにシリコン基板101の素子形成面の全面にSiO2膜147をSOG(スピンオングラス)塗布する。次に、開口部以外の領域に成膜されたSiO2膜147をCMPにより除去し、SiN膜143の上面を露出させる。次いで、エッチングストッパ膜109としてSiN膜を成膜し、SiO2膜147の上面をエッチングストッパ膜109で被覆する(図4(a))。
次に、第一の実施形態と同様にして、素子分離膜103、拡散層105、ゲート電極107を設ける。さらに、第一の実施形態と同様にして最下層絶縁膜111を形成し、最下層絶縁膜111を貫通する小径プラグ119および接続プラグ123を同時に形成する(図4(b))。なお、半導体装置102では、小径プラグ119がSiO2膜147の内部にたとえば深さ1〜50μm程度貫入した構成とすることができる。
そして、第一の実施形態と同様にして、第一配線層絶縁膜113、第一配線121、接続プラグ122、パッド125、バンプ127を形成する。そして、粘着剤層115を介して支持体117の表面にシリコン基板101の素子形成面の側を固定する。
次に、シリコン基板101の裏面研削を行い、SiO2膜147の底面に設けられているSiN膜143の下面を露出させる。このとき、さらに裏面研削を進めてSiO2膜147を露出させてもよい。このSiN膜143あるいはSiO2膜147をマスクとして、シリコン基板101の裏面をさらにドライエッチングする。これにより、シリコン基板101の裏面側に突出部142が形成される。そして、シリコン基板101の裏面側の表面全面にSiN膜145を成膜する。そして、シリコン基板101の裏面においてSiNのCMPを行い、突出部142においてSiO2膜147の下面を露出させる(図4(c))。
次に、ウエットエッチングによりSiO2膜147を除去する。エッチング液として、たとえば40〜49重量%程度の濃HF水溶液を用いる。このとき、SiO2膜147の上面および側面にはエッチングストッパ膜109およびSiN膜143がそれぞれ設けられているため、SiO2膜147が選択的に除去される。こうして、大径プラグ131の形状の開口部が得られ、突出部141が露出する。
そして、第一の実施形態と同様にしてSiN膜137のエッチバックを行い、無電解めっきにより小径プラグ119の露出部を起点としてNi膜を成長させて、開口部139を埋め込むとともに、開口部139の外部にバンプを一体に形成する。そして、バンプの表面にAuのめっき膜133を設けることにより、大径プラグ131が形成される(図4(d))。
そして、粘着剤層115をシリコン基板101の素子形成面から剥離することにより、支持体117が除去され、図3に示した半導体装置102が得られる。
次に、図3に示した半導体装置102の効果を説明する。半導体装置102は、第一の実施形態に記載の半導体装置100の効果に加えて以下の効果を有する。
半導体装置102は、トランジスタの形成前に大径プラグ131の位置にSiO2膜147が形成される構成である。このため、大径プラグ131形成のための深いエッチングを素子形成前に行うことが可能な構成となっている。よって、裏面研削の後、大径プラグ131を形成するための開口部を裏面側に設ける際に、SiO2膜147を除去すればよい。したがって、トランジスタ形成後のシリコン基板101の深いエッチングを行うことなく大径プラグ131を形成することができる。このため、プラズマ照射等によるトランジスタ等の受けるダメージが少なく、信頼性がさらに向上されている。
また、半導体装置102においては、シリコン基板101の裏面側に突出部142が形成されている。このため、Ni膜が大径プラグ131やバンプの側面でシリコン基板101と接触することの抑制が図られる。このため、信頼性にすぐれた構成となっている。
また、シリコン基板101の裏面研削の際に、SiO2膜147とシリコン基板101が同時に研磨される構成となっている。このため、金属膜とシリコン基板101とを同時に研削する場合と比べて、研磨比の違いによる貫通電極135の裏面の粗面化が抑制された構成となっている。
一方、従来の貫通電極においては、たとえば、前述の非特許文献1に記載されているように、電極形成後に裏面研削がなされる構成となっている。このため、裏面研削の際にシリコン基板と金属膜とを同時に研削しなければならなかった。ところが、これらの研磨比が比較的大きいため、貫通電極の裏面が粗面化しやすかった。また、金属膜は延性が強いため裏面電極周辺がダレが生じてSi面上に付着し、Cu等の比較的Si中に拡散しやすい金属を含む場合、金属がシリコン基板中に拡散することがあった。このため、トランジスタ等の素子の信頼性を低下させることがあった。
これに対し、図3に示した半導体装置102においては、裏面研削においてSiO2膜147とシリコン基板101の同時研磨が行われる構成であるため、裏面研削の制御が容易であり、安定的に研削可能な構成であり、また平坦な裏面を有する構成とすることができる。また、安定的な大径プラグ131の形成が可能な構成となっている。また、大径プラグ131の側面および底面がそれぞれSiN膜143およびSiN膜145により被覆されているため、大径プラグ131中に含まれる金属のシリコン基板101中への拡散が好適に抑制される構成となっている。このため、トランジスタ等の素子の信頼性に優れた構成が実現される。また、裏面研削の際の製造コストを低減可能な構成となっている。
なお、本実施形態に係る半導体装置102を作製する際には、上述のようにシリコン基板101をドライエッチングし、大径プラグ131を設けるための開口部(図4(a)では不図示)を形成する。この手順を、ウエハ上に複数の半導体装置102を同時に作製する際のダイシングに利用することができる。
図9(a)および図9(b)は、半導体装置102を作製するウエハ155の構成を模式的に示す平面図である。図9(a)は、ダイシング前のウエハ155を示しており、図中に点線で示したのがダイシングライン157である。また、図9(b)は、図9(a)のダイシングライン157近傍を拡大した図である。なお、ウエハ155は半導体装置102におけるシリコン基板101に対応している。
図9(a)および図9(b)に示したように、ウエハ155の表面に複数の半導体装置102が形成される。半導体装置102の形成において、シリコン基板101に大径プラグ131の形成と同時にダイシングライン157上にダイシングのための溝を形成しておく。その後、上述した方法で半導体装置102を作製する。このとき、ダイシングライン157近傍に形成された開口部は、裏面研削により貫通溝159となっている。そして、ウェハ全体を引っ張るか、ローラー等に押しつけて変形させることにより、ダイシングライン157にそって破断し、複数の半導体装置102を得る。
この方法では、複数の半導体装置102が形成されたウエハ155において、半導体装置102の形成領域間に貫通溝159を設けることができる。貫通溝159の内部のウエハ155が除去されているため、貫通溝159の形成領域を他の領域よりも薄化することができる。このため、この部分をダイシング領域とすることにより、確実にウエハ155の分割が可能となる。
また、この方法では、ダイシングライン157の近傍に貫通溝159を形成することができる。このため、ダイシングが容易な構成とすることができる。貫通溝159は、大径プラグ131の形成用の開口部と同時に得られるため、貫通溝159を作製するための独立のプロセスを経る必要がない。このため、低コストのダイシングが可能な構成となっている。このため、裏面工程でコストアップなくダイシング工程を含めることが可能である。また、貫通溝159の間隔、大きさを調節することにより、ダイシングの条件に適したスクライブ領域を得ることができる。このため、たとえば貫通溝159の集積度を向上させることにより、狭いピッチでのダイシングが可能である。すなわち、このようなダイシング方法においては、通常のブレードを用いる方法と比較して、ダイシング幅を非常に小さくでき、ウェハ1枚からのチップの取り数を大きくすることができる。
(第三の実施形態)
図5は、本実施形態に係る半導体装置の構成を模式的に示す断面図である。図5に示した半導体装置104においては、大径プラグ131の周囲を覆うSiO2リング151が設けられている。SiO2リング151は、大径プラグ131の側面において、SiN膜143に接して設けられている。SiO2リング151の側面は、SiN膜143を介してシリコン基板101に接している。また、第二の実施形態と同様に、シリコン基板101の裏面にSiN膜149が設けられている。
次に、半導体装置104の製造方法を説明する。図6(a)〜図6(d)は、図5に示した半導体装置104の製造工程を模式的に示す断面図である。
まず、図6(a)に示した構成を形成する。はじめに、シリコン基板101に、反射防止膜とフォトレジストをこの順に塗布し、フォトリソグラフィー技術を用いてSiO2リング151の形状に対応する円筒環形状の開口部を有するレジストパターン(不図示)を形成する。このフォトレジスト膜をマスクとして、シリコン基板101をドライエッチングし、SiO2リング151を設けるための開口部を形成する。このとき、開口部の深さは適宜選択されるが、たとえば50μm以上200μm以下とすることができる。そして、フォトレジスト膜および反射防止膜を除去する。
次に、SiO2リングの形状に対応した開口部が設けられたシリコン基板101の上面全面にSiN膜143を100nm成膜する。そして、開口部を埋め込むようにシリコン基板101の素子形成面の全面にSiO2膜をSOG(スピンオングラス)塗布する。次に、開口部以外の領域に成膜されたSiO2膜をCMPにより除去し、SiN膜143の上面を露出させる。こうして、SiO2リングが得られる。そして、エッチングストッパ膜109としてSiN膜を成膜し、SiO2膜147の上面をエッチングストッパ膜109で被覆する。
次に、第一の実施形態と同様にして、素子分離膜103、拡散層105、ゲート電極107を設ける。さらに、第一の実施形態と同様にして最下層絶縁膜111を形成し、最下層絶縁膜111を貫通する小径プラグ119および接続プラグ123を同時に形成する。なお、半導体装置102では、小径プラグ119がシリコン基板101の内部にたとえば深さ1〜50μm程度貫入した構成とすることができる。
次に、図6(b)に示した構成を形成する。まず、第一の実施形態と同様にして、第一配線層絶縁膜113、第一配線121、接続プラグ122、パッド125、バンプ127を形成する。そして、素子形成面を粘着剤層115を介して支持体117の表面に固定する。
次に、第一の実施形態と同様にしてシリコン基板101の裏面研削を行う。研削後のシリコン基板101の厚さは、本実施形態においてもたとえば50〜200μm程度とすることができる。
次に、図6(c)に示した構成を形成する。はじめに、研削後のシリコン基板101の裏面全面にSiN膜149を20nm成膜する。
そして、シリコン基板101の裏面に反射防止膜とフォトレジストをこの順に塗布し、フォトリソグラフィー技術を用いてSiO2リング151の内側が開口するレジストパターン(不図示)を形成する。このフォトレジスト膜をマスクとして、シリコン基板101の裏面をさらにウエットエッチングする。このとき、たとえば濃フッ硝酸を用いてウエットエッチングを行う。これにより、SiO2リング151により囲まれた領域のシリコン基板101が除去されて、シリコン基板101の裏面側に開口部139が形成される。また、突出部141が開口部139内に露出する。
次に、図6(d)に示した構成を形成する。フォトレジストおよび反射防止膜を除去した後、SiN膜149をエッチバックする。このとき、小径プラグ119の先端部分のSiN膜137も除去される。そして、シリコン基板101の裏面全面にバリアメタル膜としてTiW膜とCu膜をスパッタ法によりこの順に成膜する。そして、シリコン基板101の裏面に開口部139を開口させたフォトレジストを設け、電解めっきによりNi膜を成長させて、開口部139を埋め込むとともに、開口部139の外部にバンプを一体に形成する。そして、バンプの表面にAuのめっき膜133を設け、大径プラグ131を得る。なお、大径プラグ131の形成と同時に、裏面配線を形成してもよい。
そして、フォトレジストを除去し、ウエットエッチングによりシリコン基板101の表面のバリアメタル膜を除去する。そして、粘着剤層115をシリコン基板101の素子形成面から剥離することにより、支持体117が除去され、図5に示した半導体装置104が得られる。
次に、図5に示した半導体装置104の効果を説明する。半導体装置102は、第一の実施形態に記載の半導体装置100(図1)の効果に加えて以下の効果を有する。
半導体装置104においては、シリコン基板101内の貫通電極135の側方にSiO2リング151が形成されている。SiO2の厚い壁を大径プラグ131の周囲に設けることにより、寄生容量を減少させることができる。よって、半導体装置の動作を高速化させることができる。
また、SiO2リング151は、トランジスタ等の素子の形成前にシリコン基板101中に設けられる。このため、第二の実施形態の場合と同様に、SiO2リング151の形成による素子の信頼性の低下が抑制された構成となっている。
なお、半導体装置104では、大径プラグ131の側方にSiO2リング151を形成したが、リングの材料はその後の素子形成過程での加熱に対する耐性を有する絶縁材料であれば、SiO2以外の材料とすることもできる。また、SiO2リング151の断面形状は、閉じていれば円筒環には限定されず、たとえば断面が矩形の環状の筒状体としてもよい。
また、本実施形態に係る半導体装置104においても、第二の実施形態に記載の半導体装置102(図3)の場合と同様に、SiO2リング151を大径プラグ131の側方に加え、ウエハ155のダイシングライン157の近傍に形成しておくことにより、ダイシング特性にすぐれた構成とすることができる。
以上、発明の好適な実施形態を説明した。しかし、本発明は上述の実施形態に限定されず、当業者が本発明の範囲内で上述の実施形態を変形可能なことはもちろんである。
たとえば、以上の実施形態においては、半導体基板としてシリコン基板を用いたが、GaAs基板等の化合物半導体基板としてもよい。
また、以上の実施形態においては、小径プラグ119の材料としてWを用いたが、導電率の高い他の材料を用いてもよい。たとえば、Cu、Al、Ni、ポリシリコンなどの材料を用いてもよい。
また、以上の実施形態においては、貫通電極135を構成する小径プラグ119が第一配線層絶縁膜113に接続される構成について説明したが、第二配線層以上の第一配線層絶縁膜113より上部の下層配線層に接続される構成としてもよい。
また、以上の実施形態においては、一つの大径プラグ131の上面に一つの小径プラグ119が貫入した構成を例に説明したが、図7(c)に示したように、一つの大径プラグ131に二つ以上の小径プラグ119が貫入した構成とすることもできる。こうすることにより、アンカー効果をさらに確実に発揮させることができる。よって、小径プラグ119と大径プラグ131との電気的接触をさらに確実なものとすることができる。
また、貫通電極135を構成する小径プラグ119および大径プラグ131がともに円柱である場合を例に説明したが、二つのプラグの断面積が異なっていれば、径の異なる円柱を組み合わせる態様には限られない。小径プラグ119または大径プラグ131を柱状体とすることができ、たとえばその形状は、円柱、楕円柱、または角柱等の上面および底面の面積が略等しい形状であってもよい。また、上面に先端部を有しない円錐台、楕円錐台、または角錐台の形状であってもよい。また、柱状体は、一方向に延在するストライプ状であってもよい。
また、以上の実施形態において、大径プラグ131の上面がシリコン基板101の素子形成面の下方に位置している構成とすることもできるし、大径プラグ131がシリコン基板101の裏面から素子形成面の近傍にわたって設けられている構成とすることができる。また、大径プラグ131の上面が多少シリコン基板101の素子形成面から突出していても、大径プラグ131が上面で絶縁された構成であればよい。
また、以上の実施形態においては、粘着剤層115および支持体117をシリコン基板101の素子形成面から剥離したが、必要に応じて剥離させずにそのまま半導体装置の一部としてもよい。
本実施形態に係る半導体装置の構成を模式的に示す断面図である。 図1の半導体装置の製造工程を説明する断面図である。 本実施形態に係る半導体装置の構成を模式的に示す断面図である。 図3の半導体装置の製造工程を説明する断面図である。 本実施形態に係る半導体装置の構成を模式的に示す断面図である。 図5の半導体装置の製造工程を説明する断面図である。 貫通電極の構成を模式的に示す図である。 貫通電極の構成を模式的に示す断面図である。 本実施形態に係る半導体装置の製造方法を説明する平面図である。 本実施形態に係る半導体装置の構成を模式的に示す断面図である。 本実施形態に係る半導体装置の構成を模式的に示す断面図である。 本実施形態に係る貫通電極の構成を模式的に示す断面図である。
符号の説明
100 半導体装置
101 シリコン基板
102 半導体装置
103 素子分離膜
104 半導体装置
105 拡散層
107 ゲート電極
109 エッチングストッパ膜
112 配線用絶縁膜
113 第一配線層絶縁膜
114 プラグ用絶縁膜
115 粘着剤層
117 支持体
119 小径プラグ
121 第一配線
122 接続プラグ
123 接続プラグ
125 パッド
127 バンプ
129 電着絶縁膜
131 大径プラグ
133 めっき膜
135 貫通電極
137 SiN膜
139 開口部
141 突出部
142 突出部
143 SiN膜
145 SiN膜
147 SiO2
149 SiN膜
151 SiO2リング
153 配線
154 配線
155 ウエハ
157 ダイシングライン
159 貫通溝
161 絶縁層
163 絶縁層
165 配線
167 接続プラグ
169 配線
171 接続プラグ

Claims (18)

  1. 半導体基板と、
    前記半導体基板の素子形成面に設けられた絶縁層と、
    前記半導体基板を貫通し、前記絶縁層の内部に設けられた導電部材と接続する貫通電極と、
    を有し、
    前記貫通電極は、
    前記導電部材と接続する第一の導電プラグと、
    前記半導体基板に設けられ、前記第一の導電プラグの断面積よりも大きい断面積を有し、前記第一の導電プラグの一部を内包する第二の導電プラグと、
    を有することを特徴とする半導体装置。
  2. 半導体基板と、
    前記半導体基板の素子形成面に設けられたトランジスタ形成層と、
    前記トランジスタ形成層の上部に設けられた配線層と、
    前記配線層の上部に設けられた上部配線層と、
    前記トランジスタ形成層および前記半導体基板を貫通する貫通電極と、
    を有し、
    前記貫通電極は、
    前記トランジスタ形成層に設けられ前記配線層中に形成された配線に接続する第一の導電プラグと、
    前記半導体基板に設けられ、前記第一の導電プラグの断面積よりも大きい断面積を有し、前記第一の導電プラグと接続する第二の導電プラグと、
    を有することを特徴とする半導体装置。
  3. 請求項2に記載の半導体装置において、前記第一の導電プラグの一部が前記第二の導電プラグに内包されるように構成されたことを特徴とする半導体装置。
  4. 請求項1乃至3いずれかに記載の半導体装置において、複数の前記第一の導電プラグが、一つの前記第二の導電プラグと電気的に接続されるように構成されたことを特徴とする半導体装置。
  5. 請求項1乃至4いずれかに記載の半導体装置において、前記第二の導電プラグが前記半導体基板の前記裏面から前記半導体基板の前記素子形成面の近傍にわたって形成されていることを特徴とする半導体装置。
  6. 請求項1乃至5いずれかに記載の半導体装置において、前記第一の導電プラグの一部が前記第二の導電プラグに貫入していることを特徴とする半導体装置。
  7. 請求項1乃至6いずれかに記載の半導体装置において、前記第二の導電プラグと前記半導体基板とが絶縁膜を介して接していることを特徴とする半導体装置。
  8. 請求項1乃至7いずれかに記載の半導体装置において、前記第二の導電プラグが前記半導体基板の前記裏面から突出していることを特徴とする半導体装置。
  9. 請求項1乃至8いずれかに記載の半導体装置において、前記第二の導電プラグの側面外周に環筒状絶縁体が配設されたことを特徴とする半導体装置。
  10. 請求項1乃至9いずれかに記載の半導体装置において、前記半導体基板の前記素子形成面における前記貫通電極の断面積が、前記半導体基板の前記裏面における前記貫通電極の断面積よりも小さいことを特徴とする半導体装置。
  11. 半導体基板の素子形成面の側に第一の孔を形成する工程と、
    前記第一の孔の内壁に、絶縁材料からなるバリア膜を形成する工程と、
    前記第一の孔の内部を埋め込むように第一の金属膜を埋設する工程と、
    前記第一の孔の外部に形成された前記第一の金属膜を除去し、前記第一の孔の内部に第一の導電プラグを形成する工程と、
    裏面の側から前記半導体基板を選択的に除去して第二の孔を形成し、前記第二の孔の内部に前記第一の導電プラグの一部を露出させる工程と、
    露出した前記バリア膜の少なくとも一部を除去し、前記第一の金属膜を露出させる工程と、
    第一の金属膜を露出させる前記工程の後、前記第二の孔を埋めるように第二の金属膜を成長させて、前記第一の導電プラグの一部を内包する第二の導電プラグを形成する工程と、
    を含むことを特徴とする半導体装置の製造方法。
  12. 請求項11に記載の半導体装置の製造方法において、
    第一の孔を形成する前記工程の前に、前記素子形成面の側から前記半導体基板を選択的に除去して環筒状の孔を形成し、前記孔の内部に絶縁体を埋設して環筒状絶縁体を形成する工程を含み、
    第一の孔を形成する前記工程は、前記半導体基板の前記環筒状絶縁体の内側の領域の一部を除去して前記第一の孔を形成する工程を含み、
    第二の孔を形成する前記工程は、前記半導体基板の前記環筒状絶縁体の内側の領域の少なくとも一部を除去して前記第二の孔を形成する工程を含むことを特徴とする半導体装置の製造方法。
  13. 請求項11または12に記載の半導体装置の製造方法において、第一の孔を形成する前記工程は、前記半導体基板の前記素子形成面の側に絶縁膜を形成した後、前記絶縁膜および前記半導体基板を選択的に除去して前記第一の孔を形成する工程を含むことを特徴とする半導体装置の製造方法。
  14. 半導体基板の素子形成面の側から前記半導体基板を選択的に除去して孔を形成し、前記孔の内部に絶縁体を埋設し絶縁プラグを形成する工程と、
    前記半導体基板の前記素子形成面の側に、前記絶縁プラグの一部が選択的に除去された第一の孔を形成する工程と、
    前記第一の孔の内部を埋め込むように第一の金属膜を埋設する工程と、
    前記第一の孔の外部に形成された前記第一の金属膜を除去し、前記第一の孔の内部に第一の導電プラグを形成する工程と、
    裏面の側から前記半導体基板を選択的に除去する工程と、
    半導体基板を除去する前記工程の後、前記絶縁プラグを選択的に除去して第二の孔を形成し、前記第二の孔の内部に前記第一の導電プラグの一部を露出させる工程と、
    露出した前記第一の導電プラグの少なくとも一部を除去し、前記第一の金属膜を露出させる工程と、
    第一の金属膜を露出させる前記工程の後、前記第二の孔を埋めるように第二の金属膜を成長させて、前記第一の導電プラグの一部を内包する第二の導電プラグを形成する工程と、
    を含むことを特徴とする半導体装置の製造方法。
  15. 請求項14に記載の半導体装置の製造方法において、第一の孔を形成する前記工程は、前記半導体基板の前記素子形成面の側に絶縁膜を形成した後、前記絶縁膜および前記絶縁プラグを選択的に除去して前記第一の孔を形成する工程を含むことを特徴とする半導体装置の製造方法。
  16. 請求項11乃至15いずれかに記載の半導体装置の製造方法において、前記第二の孔は、前記第一の孔よりも断面積が大きいことを特徴とする半導体装置の製造方法。
  17. 請求項11乃至16いずれかに記載の半導体装置の製造方法において、
    第一の導電プラグを形成する前記工程の後、前記素子形成面の上部に、前記第一の導電プラグに接続する配線を有する配線層を形成する工程を含むことを特徴とする半導体装置の製造方法。
  18. 請求項11乃至17いずれかに記載の半導体装置の製造方法において、
    第一の孔を形成する前記工程の前に、前記半導体基板の前記素子形成面の上部に設けられた絶縁層を設ける工程を有し、
    第一の導電プラグを形成する前記工程は、前記絶縁層の内部に、前記第一の導電プラグと同時にトランジスタ素子へ接続する接続プラグを形成する工程を含むことを特徴とする半導体装置の製造方法。

JP2004108304A 2004-03-31 2004-03-31 半導体装置およびその製造方法 Expired - Lifetime JP4439976B2 (ja)

Priority Applications (9)

Application Number Priority Date Filing Date Title
JP2004108304A JP4439976B2 (ja) 2004-03-31 2004-03-31 半導体装置およびその製造方法
TW094110013A TWI253103B (en) 2004-03-31 2005-03-30 Semiconductor device and method for manufacturing the same
CNB2005100561952A CN100390981C (zh) 2004-03-31 2005-03-31 半导体器件及其制造方法
CN2007101993435A CN101202257B (zh) 2004-03-31 2005-03-31 半导体器件
US11/094,152 US7541677B2 (en) 2004-03-31 2005-03-31 Semiconductor device comprising through-electrode interconnect
US12/128,331 US8022529B2 (en) 2004-03-31 2008-05-28 Semiconductor device and method for manufacturing the same
US12/427,366 US8008191B2 (en) 2004-03-31 2009-04-21 Semiconductor device and method for manufacturing the same
US13/227,065 US8310039B2 (en) 2004-03-31 2011-09-07 Semiconductor device
US13/649,523 US8704355B2 (en) 2004-03-31 2012-10-11 Semiconductor device comprising through-electrode interconnect

Applications Claiming Priority (1)

Application Number Priority Date Filing Date Title
JP2004108304A JP4439976B2 (ja) 2004-03-31 2004-03-31 半導体装置およびその製造方法

Publications (2)

Publication Number Publication Date
JP2005294577A true JP2005294577A (ja) 2005-10-20
JP4439976B2 JP4439976B2 (ja) 2010-03-24

Family

ID=35050067

Family Applications (1)

Application Number Title Priority Date Filing Date
JP2004108304A Expired - Lifetime JP4439976B2 (ja) 2004-03-31 2004-03-31 半導体装置およびその製造方法

Country Status (4)

Country Link
US (5) US7541677B2 (ja)
JP (1) JP4439976B2 (ja)
CN (2) CN101202257B (ja)
TW (1) TWI253103B (ja)

Cited By (26)

* Cited by examiner, † Cited by third party
Publication number Priority date Publication date Assignee Title
JP2007123681A (ja) * 2005-10-31 2007-05-17 Sanyo Electric Co Ltd 半導体装置、半導体装置の製造方法および実装基板
JP2008218689A (ja) * 2007-03-05 2008-09-18 Seiko Epson Corp 半導体装置とその製造方法および電子機器
JP2009503809A (ja) * 2005-06-14 2009-01-29 キュービック・ウエハ・インコーポレーテッド 背面対前面バイアプロセス
JP2009147218A (ja) * 2007-12-17 2009-07-02 Toshiba Corp 半導体装置とその製造方法
JP2009277719A (ja) * 2008-05-12 2009-11-26 Nec Electronics Corp 半導体装置及びその製造方法
WO2010035379A1 (ja) * 2008-09-26 2010-04-01 パナソニック株式会社 半導体装置及びその製造方法
KR20100130165A (ko) * 2009-06-02 2010-12-10 유겐가이샤 나프라 전자 디바이스, 도전성 조성물, 금속 충전 장치, 및 전자 디바이스의 제조방법
JP2011512643A (ja) * 2007-10-15 2011-04-21 アイメック 電気的相互接続の製作方法、及び該方法で製作されたデバイス
JP2011515843A (ja) * 2008-03-19 2011-05-19 アイメック 基板貫通バイアの作製方法
JP2012119689A (ja) * 2010-12-03 2012-06-21 Samsung Electronics Co Ltd 半導体装置の製造方法
JP2012525696A (ja) * 2009-04-29 2012-10-22 インターナショナル・ビジネス・マシーンズ・コーポレーション 基板を含む半導体ウェハの一部分内にビアを形成するための方法および基板を含む半導体ウェハの一部分内に形成されるビア構造体
JP2012248721A (ja) * 2011-05-30 2012-12-13 Seiko Epson Corp 配線基板、赤外線センサー及び貫通電極形成方法
JP2013048274A (ja) * 2006-01-13 2013-03-07 Internatl Business Mach Corp <Ibm> 低抵抗及び低インダクタンスの裏面貫通ビア及びその製造方法
JP2013118271A (ja) * 2011-12-02 2013-06-13 Renesas Electronics Corp 半導体装置およびその製造方法
JP2013533638A (ja) * 2010-07-23 2013-08-22 テッセラ,インコーポレイテッド 裏面コンタクトがビアファースト構造体又はビアミドル構造体で接続された超小型電子素子
JP2013544444A (ja) * 2010-12-02 2013-12-12 テッセラ,インコーポレイテッド チップ上方のキャリアと段状に形成されたシリコン貫通電極とを有する積層超小型電子アセンブリ
WO2014002154A1 (ja) * 2012-06-26 2014-01-03 パナソニック株式会社 半導体装置及びその製造方法
US8846445B2 (en) 2005-06-14 2014-09-30 Cufer Asset Ltd. L.L.C. Inverse chip connector
US9070678B2 (en) 2006-11-22 2015-06-30 Tessera, Inc. Packaged semiconductor chips with array
US9099296B2 (en) 2010-12-02 2015-08-04 Tessera, Inc. Stacked microelectronic assembly with TSVS formed in stages with plural active chips
US9312207B2 (en) 2014-03-14 2016-04-12 Kabushiki Kaisha Toshiba Semiconductor device
US9640437B2 (en) 2010-07-23 2017-05-02 Tessera, Inc. Methods of forming semiconductor elements using micro-abrasive particle stream
KR101767654B1 (ko) * 2011-05-19 2017-08-14 삼성전자주식회사 에어 갭 절연 구조를 갖는 관통전극을 구비한 반도체 소자 및 그 제조방법
US10354942B2 (en) 2010-09-17 2019-07-16 Tessera, Inc. Staged via formation from both sides of chip
WO2019163293A1 (ja) * 2018-02-23 2019-08-29 ソニーセミコンダクタソリューションズ株式会社 半導体装置および半導体装置の製造方法
JP2022165377A (ja) * 2021-04-19 2022-10-31 台湾積體電路製造股▲ふん▼有限公司 イメージセンサ及びその製造方法

Families Citing this family (80)

* Cited by examiner, † Cited by third party
Publication number Priority date Publication date Assignee Title
US20090115042A1 (en) * 2004-06-04 2009-05-07 Zycube Co., Ltd. Semiconductor device having three-dimensional stacked structure and method of fabricating the same
CN101714512B (zh) * 2004-08-20 2012-10-10 佐伊科比株式会社 具有三维层叠结构的半导体器件的制造方法
JP4139803B2 (ja) * 2004-09-28 2008-08-27 シャープ株式会社 半導体装置の製造方法
TWI416663B (zh) * 2005-08-26 2013-11-21 日立製作所股份有限公司 Semiconductor device manufacturing method and semiconductor device
TWI336913B (en) * 2006-07-18 2011-02-01 Via Tech Inc A chip and manufacturing method and application thereof
KR100824635B1 (ko) * 2006-09-13 2008-04-24 동부일렉트로닉스 주식회사 시스템 인 패키지를 이용한 인덕터 제조 방법
DE102006046869B4 (de) * 2006-10-02 2012-11-29 Infineon Technologies Ag Verfahren und Vorrichtung zur Herstellung einer Halbleitervorrichtung und Halbleiterwafer
US7646064B1 (en) * 2006-10-27 2010-01-12 National Semiconductor Corporation Semiconductor die with aluminum-spiked heat pipes
US7544605B2 (en) * 2006-11-21 2009-06-09 Freescale Semiconductor, Inc. Method of making a contact on a backside of a die
TWI368978B (en) * 2007-09-21 2012-07-21 Unimicron Technology Corp Method for fabricating ball-implantation side surface structure of package substrate
US20090102050A1 (en) * 2007-10-17 2009-04-23 Phoenix Precision Technology Corporation Solder ball disposing surface structure of package substrate
KR101374338B1 (ko) * 2007-11-14 2014-03-14 삼성전자주식회사 관통 전극을 갖는 반도체 장치 및 그 제조방법
US7898063B2 (en) * 2008-02-16 2011-03-01 International Business Machines Corporation Through substrate annular via including plug filler
JP5503113B2 (ja) * 2008-05-08 2014-05-28 古河電気工業株式会社 半導体装置、ウエハ構造体および半導体装置の製造方法
JP4601686B2 (ja) * 2008-06-17 2010-12-22 ルネサスエレクトロニクス株式会社 半導体装置および半導体装置の製造方法
JP5356742B2 (ja) 2008-07-10 2013-12-04 ラピスセミコンダクタ株式会社 半導体装置、半導体装置の製造方法および半導体パッケージの製造方法
DE102008044984A1 (de) * 2008-08-29 2010-07-15 Advanced Micro Devices, Inc., Sunnyvale Halbleiterbauelement mit Verspannungsrelaxationsspalte zur Verbesserung der Chipgehäusewechselwirkungsstabilität
US8513119B2 (en) 2008-12-10 2013-08-20 Taiwan Semiconductor Manufacturing Company, Ltd. Method of forming bump structure having tapered sidewalls for stacked dies
JP5308145B2 (ja) 2008-12-19 2013-10-09 ルネサスエレクトロニクス株式会社 半導体装置
US20100171197A1 (en) 2009-01-05 2010-07-08 Hung-Pin Chang Isolation Structure for Stacked Dies
US20100224965A1 (en) * 2009-03-09 2010-09-09 Chien-Li Kuo Through-silicon via structure and method for making the same
US8169055B2 (en) * 2009-03-18 2012-05-01 International Business Machines Corporation Chip guard ring including a through-substrate via
JP5101575B2 (ja) * 2009-07-28 2012-12-19 株式会社東芝 半導体装置およびその製造方法
JP5574639B2 (ja) * 2009-08-21 2014-08-20 三菱電機株式会社 半導体装置およびその製造方法
US8791549B2 (en) * 2009-09-22 2014-07-29 Taiwan Semiconductor Manufacturing Company, Ltd. Wafer backside interconnect structure connected to TSVs
US8264065B2 (en) * 2009-10-23 2012-09-11 Synopsys, Inc. ESD/antenna diodes for through-silicon vias
US8389870B2 (en) * 2010-03-09 2013-03-05 International Business Machines Corporation Coreless multi-layer circuit substrate with minimized pad capacitance
US8466059B2 (en) 2010-03-30 2013-06-18 Taiwan Semiconductor Manufacturing Company, Ltd. Multi-layer interconnect structure for stacked dies
US20110260297A1 (en) * 2010-04-27 2011-10-27 Shian-Jyh Lin Through-substrate via and fabrication method thereof
US8492878B2 (en) * 2010-07-21 2013-07-23 International Business Machines Corporation Metal-contamination-free through-substrate via structure
KR20120020553A (ko) * 2010-08-30 2012-03-08 삼성전자주식회사 반도체 칩 및 반도체 칩의 형성 방법
KR101697573B1 (ko) * 2010-11-29 2017-01-19 삼성전자 주식회사 반도체 장치, 그 제조 방법, 및 상기 반도체 장치를 포함하는 반도체 패키지
FR2969381A1 (fr) * 2010-12-21 2012-06-22 St Microelectronics Crolles 2 Puce electronique comportant des piliers de connexion, et procede de fabrication
JP5364743B2 (ja) * 2011-03-01 2013-12-11 株式会社東芝 半導体装置
TWI441292B (zh) * 2011-03-02 2014-06-11 矽品精密工業股份有限公司 半導體結構及其製法
US8481425B2 (en) 2011-05-16 2013-07-09 United Microelectronics Corp. Method for fabricating through-silicon via structure
US8853072B2 (en) 2011-06-06 2014-10-07 Micron Technology, Inc. Methods of forming through-substrate interconnects
US8900994B2 (en) 2011-06-09 2014-12-02 Taiwan Semiconductor Manufacturing Company, Ltd. Method for producing a protective structure
KR20130053338A (ko) * 2011-11-15 2013-05-23 삼성전자주식회사 Tsv 구조를 구비한 집적회로 소자
US20130119543A1 (en) * 2011-11-16 2013-05-16 Globalfoundries Singapore Pte. Ltd. Through silicon via for stacked wafer connections
US8518823B2 (en) 2011-12-23 2013-08-27 United Microelectronics Corp. Through silicon via and method of forming the same
US8609529B2 (en) 2012-02-01 2013-12-17 United Microelectronics Corp. Fabrication method and structure of through silicon via
US8691600B2 (en) 2012-05-02 2014-04-08 United Microelectronics Corp. Method for testing through-silicon-via (TSV) structures
JP2013247139A (ja) * 2012-05-23 2013-12-09 Ps4 Luxco S A R L 半導体装置及びその製造方法
US8691688B2 (en) 2012-06-18 2014-04-08 United Microelectronics Corp. Method of manufacturing semiconductor structure
US9275933B2 (en) 2012-06-19 2016-03-01 United Microelectronics Corp. Semiconductor device
US8900996B2 (en) 2012-06-21 2014-12-02 United Microelectronics Corp. Through silicon via structure and method of fabricating the same
US8525296B1 (en) 2012-06-26 2013-09-03 United Microelectronics Corp. Capacitor structure and method of forming the same
JP5955706B2 (ja) * 2012-08-29 2016-07-20 ルネサスエレクトロニクス株式会社 半導体装置及びその製造方法
US8912844B2 (en) 2012-10-09 2014-12-16 United Microelectronics Corp. Semiconductor structure and method for reducing noise therein
CN103779321B (zh) * 2012-10-25 2019-01-22 联华电子股份有限公司 具有接触插栓的半导体结构与其形成方法
KR101985951B1 (ko) * 2012-11-26 2019-06-05 삼성전자주식회사 반도체 소자 및 이의 제조 방법
US9035457B2 (en) 2012-11-29 2015-05-19 United Microelectronics Corp. Substrate with integrated passive devices and method of manufacturing the same
US8716104B1 (en) 2012-12-20 2014-05-06 United Microelectronics Corp. Method of fabricating isolation structure
KR102057067B1 (ko) * 2013-01-29 2019-12-18 삼성전자주식회사 반도체 장치의 배선 구조체 및 그 형성 방법
US9385069B2 (en) 2013-03-07 2016-07-05 Taiwan Semiconductor Manufacturing Company, Ltd. Gate contact structure for FinFET
US8884398B2 (en) 2013-04-01 2014-11-11 United Microelectronics Corp. Anti-fuse structure and programming method thereof
US9287173B2 (en) 2013-05-23 2016-03-15 United Microelectronics Corp. Through silicon via and process thereof
US9123730B2 (en) 2013-07-11 2015-09-01 United Microelectronics Corp. Semiconductor device having through silicon trench shielding structure surrounding RF circuit
US9024416B2 (en) 2013-08-12 2015-05-05 United Microelectronics Corp. Semiconductor structure
US8916471B1 (en) 2013-08-26 2014-12-23 United Microelectronics Corp. Method for forming semiconductor structure having through silicon via for signal and shielding structure
US9048223B2 (en) 2013-09-03 2015-06-02 United Microelectronics Corp. Package structure having silicon through vias connected to ground potential
US9117804B2 (en) 2013-09-13 2015-08-25 United Microelectronics Corporation Interposer structure and manufacturing method thereof
US9343359B2 (en) 2013-12-25 2016-05-17 United Microelectronics Corp. Integrated structure and method for fabricating the same
US10340203B2 (en) 2014-02-07 2019-07-02 United Microelectronics Corp. Semiconductor structure with through silicon via and method for fabricating and testing the same
US9147767B2 (en) 2014-02-07 2015-09-29 Taiwan Semiconductor Manufacturing Company Ltd. Semiconductor structure and manufacturing method thereof
US9659851B2 (en) * 2014-02-07 2017-05-23 Marvell World Trade Ltd. Method and apparatus for improving the reliability of a connection to a via in a substrate
JP2016122759A (ja) * 2014-12-25 2016-07-07 キヤノン株式会社 貫通配線を有する電子デバイスの作製方法
US9786592B2 (en) * 2015-10-30 2017-10-10 Taiwan Semiconductor Manufacturing Co., Ltd. Integrated circuit structure and method of forming the same
DE102016219275B3 (de) * 2016-10-05 2017-08-10 Ihp Gmbh - Innovations For High Performance Microelectronics / Leibniz-Institut Für Innovative Mikroelektronik Technologisches Verfahren zur Verhinderung von vertikalen/ lateralen Inhomogenitäten beim Ätzen von Silizium - Durchkontaktierungen mittels vergrabener Ätzstoppschichten
US20180122749A1 (en) * 2016-11-01 2018-05-03 Advanced Semiconductor Engineering, Inc. Semiconductor wafer, semiconductor package and method for manufacturing the same
US10141271B1 (en) * 2017-03-17 2018-11-27 CoolStar Technology, Inc. Semiconductor device having enhanced high-frequency capability and methods for making same
WO2020024282A1 (zh) * 2018-08-03 2020-02-06 长江存储科技有限责任公司 存储器结构及其形成方法
US10483221B2 (en) 2017-10-30 2019-11-19 Micron Technology, Inc. 3DI solder cup
US10707119B1 (en) * 2019-01-14 2020-07-07 Globalfoundries Inc. Interconnect structures with airgaps and dielectric-capped interconnects
CN111816605A (zh) * 2019-04-10 2020-10-23 联华电子股份有限公司 半导体元件及其制作方法
KR102821727B1 (ko) 2020-08-03 2025-06-19 삼성전자주식회사 반도체 소자 및 반도체 패키지
EP4009359A1 (en) 2020-12-01 2022-06-08 Imec VZW Method of manufacturing a semiconductor structure
KR20230052409A (ko) 2021-10-13 2023-04-20 삼성전자주식회사 관통 전극을 갖는 반도체 소자 및 그 형성 방법
CN118507458B (zh) * 2024-07-19 2024-11-05 甬矽半导体(宁波)有限公司 重新分布互连转接封装结构及其制备方法

Family Cites Families (24)

* Cited by examiner, † Cited by third party
Publication number Priority date Publication date Assignee Title
JP2803408B2 (ja) 1991-10-03 1998-09-24 三菱電機株式会社 半導体装置
US5824599A (en) * 1996-01-16 1998-10-20 Cornell Research Foundation, Inc. Protected encapsulation of catalytic layer for electroless copper interconnect
US6407420B1 (en) * 1996-12-20 2002-06-18 Hitachi, Ltd. Integrated circuit device having line width determined by side wall spacer provided in openings formed in insulating film for connection conductors
US6054857A (en) * 1997-03-18 2000-04-25 Doty Scientific, Inc. NMR MAS sealing sample cells and methods
US6197685B1 (en) * 1997-07-11 2001-03-06 Matsushita Electronics Corporation Method of producing multilayer wiring device with offset axises of upper and lower plugs
US6114240A (en) * 1997-12-18 2000-09-05 Micron Technology, Inc. Method for fabricating semiconductor components using focused laser beam
US6515343B1 (en) * 1998-11-19 2003-02-04 Quicklogic Corporation Metal-to-metal antifuse with non-conductive diffusion barrier
TW442873B (en) * 1999-01-14 2001-06-23 United Microelectronics Corp Three-dimension stack-type chip structure and its manufacturing method
US6352923B1 (en) 1999-03-01 2002-03-05 United Microelectronics Corp. Method of fabricating direct contact through hole type
JP2000311982A (ja) * 1999-04-26 2000-11-07 Toshiba Corp 半導体装置と半導体モジュールおよびそれらの製造方法
US6617681B1 (en) * 1999-06-28 2003-09-09 Intel Corporation Interposer and method of making same
US6278352B1 (en) * 1999-07-26 2001-08-21 Taiwan Semiconductor Manufacturing Company High efficiency thin film inductor
US6871396B2 (en) * 2000-02-09 2005-03-29 Matsushita Electric Industrial Co., Ltd. Transfer material for wiring substrate
JP2002016016A (ja) * 2000-06-30 2002-01-18 Mitsubishi Electric Corp 半導体装置およびその製造方法
JP3599325B2 (ja) * 2001-02-09 2004-12-08 株式会社フジクラ 基板の貫通電極形成方法および貫通電極を有する基板
JP2002289623A (ja) 2001-03-28 2002-10-04 Toshiba Corp 半導体装置及びその製造方法
JP2002343861A (ja) * 2001-05-21 2002-11-29 Mitsubishi Electric Corp 半導体集積回路およびその製造方法
JP4408006B2 (ja) 2001-06-28 2010-02-03 富士通マイクロエレクトロニクス株式会社 半導体装置およびその製造方法
US6762445B2 (en) * 2001-07-19 2004-07-13 Matsushita Electric Industrial Co., Ltd. DRAM memory cell with dummy lower electrode for connection between upper electrode and upper layer interconnect
KR100420122B1 (ko) * 2001-07-21 2004-03-02 삼성전자주식회사 강유전체 메모리 장치 및 그 제조방법
US6750516B2 (en) 2001-10-18 2004-06-15 Hewlett-Packard Development Company, L.P. Systems and methods for electrically isolating portions of wafers
JP2004014657A (ja) 2002-06-05 2004-01-15 Toshiba Corp 半導体チップおよびその製造方法、ならびに三次元積層半導体装置
JP2004128063A (ja) * 2002-09-30 2004-04-22 Toshiba Corp 半導体装置及びその製造方法
US7354798B2 (en) * 2002-12-20 2008-04-08 International Business Machines Corporation Three-dimensional device fabrication method

Cited By (44)

* Cited by examiner, † Cited by third party
Publication number Priority date Publication date Assignee Title
US9147635B2 (en) 2005-06-14 2015-09-29 Cufer Asset Ltd. L.L.C. Contact-based encapsulation
JP2009503809A (ja) * 2005-06-14 2009-01-29 キュービック・ウエハ・インコーポレーテッド 背面対前面バイアプロセス
US8846445B2 (en) 2005-06-14 2014-09-30 Cufer Asset Ltd. L.L.C. Inverse chip connector
US9324629B2 (en) 2005-06-14 2016-04-26 Cufer Asset Ltd. L.L.C. Tooling for coupling multiple electronic chips
US9754907B2 (en) 2005-06-14 2017-09-05 Cufer Asset Ltd. L.L.C. Tooling for coupling multiple electronic chips
US10340239B2 (en) 2005-06-14 2019-07-02 Cufer Asset Ltd. L.L.C Tooling for coupling multiple electronic chips
JP2007123681A (ja) * 2005-10-31 2007-05-17 Sanyo Electric Co Ltd 半導体装置、半導体装置の製造方法および実装基板
JP2013048274A (ja) * 2006-01-13 2013-03-07 Internatl Business Mach Corp <Ibm> 低抵抗及び低インダクタンスの裏面貫通ビア及びその製造方法
US9070678B2 (en) 2006-11-22 2015-06-30 Tessera, Inc. Packaged semiconductor chips with array
US9548254B2 (en) 2006-11-22 2017-01-17 Tessera, Inc. Packaged semiconductor chips with array
JP2008218689A (ja) * 2007-03-05 2008-09-18 Seiko Epson Corp 半導体装置とその製造方法および電子機器
JP2011512643A (ja) * 2007-10-15 2011-04-21 アイメック 電気的相互接続の製作方法、及び該方法で製作されたデバイス
JP2009147218A (ja) * 2007-12-17 2009-07-02 Toshiba Corp 半導体装置とその製造方法
JP2011515843A (ja) * 2008-03-19 2011-05-19 アイメック 基板貫通バイアの作製方法
JP2009277719A (ja) * 2008-05-12 2009-11-26 Nec Electronics Corp 半導体装置及びその製造方法
WO2010035379A1 (ja) * 2008-09-26 2010-04-01 パナソニック株式会社 半導体装置及びその製造方法
JP2012525696A (ja) * 2009-04-29 2012-10-22 インターナショナル・ビジネス・マシーンズ・コーポレーション 基板を含む半導体ウェハの一部分内にビアを形成するための方法および基板を含む半導体ウェハの一部分内に形成されるビア構造体
US8796138B2 (en) 2009-04-29 2014-08-05 International Business Machiness Corporation Through substrate vias
KR101660536B1 (ko) 2009-06-02 2016-09-27 유겐가이샤 나프라 전자 디바이스 및 전자 디바이스의 제조방법
KR101660673B1 (ko) 2009-06-02 2016-09-27 유겐가이샤 나프라 전극 재료
KR20100130165A (ko) * 2009-06-02 2010-12-10 유겐가이샤 나프라 전자 디바이스, 도전성 조성물, 금속 충전 장치, 및 전자 디바이스의 제조방법
KR20160018646A (ko) * 2009-06-02 2016-02-17 유겐가이샤 나프라 도전성 조성물
JP2013533638A (ja) * 2010-07-23 2013-08-22 テッセラ,インコーポレイテッド 裏面コンタクトがビアファースト構造体又はビアミドル構造体で接続された超小型電子素子
US9640437B2 (en) 2010-07-23 2017-05-02 Tessera, Inc. Methods of forming semiconductor elements using micro-abrasive particle stream
US10354942B2 (en) 2010-09-17 2019-07-16 Tessera, Inc. Staged via formation from both sides of chip
US9620437B2 (en) 2010-12-02 2017-04-11 Tessera, Inc. Stacked microelectronic assembly with TSVS formed in stages and carrier above chip
JP2013544444A (ja) * 2010-12-02 2013-12-12 テッセラ,インコーポレイテッド チップ上方のキャリアと段状に形成されたシリコン貫通電極とを有する積層超小型電子アセンブリ
US9368476B2 (en) 2010-12-02 2016-06-14 Tessera, Inc. Stacked microelectronic assembly with TSVs formed in stages with plural active chips
US9269692B2 (en) 2010-12-02 2016-02-23 Tessera, Inc. Stacked microelectronic assembly with TSVS formed in stages and carrier above chip
US9099296B2 (en) 2010-12-02 2015-08-04 Tessera, Inc. Stacked microelectronic assembly with TSVS formed in stages with plural active chips
KR101732975B1 (ko) * 2010-12-03 2017-05-08 삼성전자주식회사 반도체 장치의 제조 방법
JP2012119689A (ja) * 2010-12-03 2012-06-21 Samsung Electronics Co Ltd 半導体装置の製造方法
KR101767654B1 (ko) * 2011-05-19 2017-08-14 삼성전자주식회사 에어 갭 절연 구조를 갖는 관통전극을 구비한 반도체 소자 및 그 제조방법
JP2012248721A (ja) * 2011-05-30 2012-12-13 Seiko Epson Corp 配線基板、赤外線センサー及び貫通電極形成方法
US9245800B2 (en) 2011-12-02 2016-01-26 Renesas Electronics Corporation Method of manufacturing a semiconductor device
JP2013118271A (ja) * 2011-12-02 2013-06-13 Renesas Electronics Corp 半導体装置およびその製造方法
WO2014002154A1 (ja) * 2012-06-26 2014-01-03 パナソニック株式会社 半導体装置及びその製造方法
US9312207B2 (en) 2014-03-14 2016-04-12 Kabushiki Kaisha Toshiba Semiconductor device
WO2019163293A1 (ja) * 2018-02-23 2019-08-29 ソニーセミコンダクタソリューションズ株式会社 半導体装置および半導体装置の製造方法
US11380584B2 (en) 2018-02-23 2022-07-05 Sony Semiconductor Solutions Corporation Semiconductor device and manufacturing method of semiconductor device including a through electrode for connection of wirings
US11791210B2 (en) 2018-02-23 2023-10-17 Sony Semiconductor Solutions Corporation Semiconductor device and manufacturing method of semiconductor device including a through electrode for connection of wirings
JP2022165377A (ja) * 2021-04-19 2022-10-31 台湾積體電路製造股▲ふん▼有限公司 イメージセンサ及びその製造方法
JP7430206B2 (ja) 2021-04-19 2024-02-09 台湾積體電路製造股▲ふん▼有限公司 イメージセンサ及びその製造方法
US12218166B2 (en) 2021-04-19 2025-02-04 Taiwan Semiconductor Manufacturing Company, Ltd. CSI with controllable isolation structure and methods of manufacturing and using the same

Also Published As

Publication number Publication date
US20050221601A1 (en) 2005-10-06
JP4439976B2 (ja) 2010-03-24
US8008191B2 (en) 2011-08-30
US20090215261A1 (en) 2009-08-27
TWI253103B (en) 2006-04-11
CN1677658A (zh) 2005-10-05
US8704355B2 (en) 2014-04-22
US7541677B2 (en) 2009-06-02
CN101202257A (zh) 2008-06-18
US8310039B2 (en) 2012-11-13
US20110316124A1 (en) 2011-12-29
US20130032930A1 (en) 2013-02-07
TW200535977A (en) 2005-11-01
CN101202257B (zh) 2010-08-25
US20080265392A1 (en) 2008-10-30
CN100390981C (zh) 2008-05-28
US8022529B2 (en) 2011-09-20

Similar Documents

Publication Publication Date Title
JP4439976B2 (ja) 半導体装置およびその製造方法
JP4327644B2 (ja) 半導体装置の製造方法
JP4800585B2 (ja) 貫通電極の製造方法、シリコンスペーサーの製造方法
US8394715B2 (en) Method of fabricating coaxial through-silicon via
US8390125B2 (en) Through-silicon via formed with a post passivation interconnect structure
JP5021992B2 (ja) 半導体装置およびその製造方法
JP2006019455A (ja) 半導体装置およびその製造方法
TW201027698A (en) Semiconductor device and method for forming the same
JP2011258687A (ja) 半導体装置およびその製造方法
JPWO2010035379A1 (ja) 半導体装置及びその製造方法
CN114078954B (zh) 存储器结构及其形成方法
JP2010080750A (ja) 半導体装置及びその製造方法
JP4979320B2 (ja) 半導体ウェハおよびその製造方法、ならびに半導体装置の製造方法
JP2018157110A (ja) 半導体装置およびその製造方法
JP2016157832A (ja) 半導体装置およびその製造方法
TWI344685B (en) An integrated circuit device and a process for forming the same
CN102760710B (zh) 硅穿孔结构及其形成方法
KR20010062445A (ko) 반도체 장치 및 본드 패드 형성 프로세스
CN112997304A (zh) 半导体装置
CN109300877B (zh) 一种半导体衬底中的通孔结构及其制造方法
KR20230145955A (ko) 금속 상에 랜딩되는 배면 또는 전면 기판 관통 비아(tsv)

Legal Events

Date Code Title Description
A621 Written request for application examination

Free format text: JAPANESE INTERMEDIATE CODE: A621

Effective date: 20070208

A977 Report on retrieval

Free format text: JAPANESE INTERMEDIATE CODE: A971007

Effective date: 20090430

A131 Notification of reasons for refusal

Free format text: JAPANESE INTERMEDIATE CODE: A131

Effective date: 20090512

A521 Request for written amendment filed

Free format text: JAPANESE INTERMEDIATE CODE: A523

Effective date: 20090701

TRDD Decision of grant or rejection written
A01 Written decision to grant a patent or to grant a registration (utility model)

Free format text: JAPANESE INTERMEDIATE CODE: A01

Effective date: 20091208

A01 Written decision to grant a patent or to grant a registration (utility model)

Free format text: JAPANESE INTERMEDIATE CODE: A01

A61 First payment of annual fees (during grant procedure)

Free format text: JAPANESE INTERMEDIATE CODE: A61

Effective date: 20100106

FPAY Renewal fee payment (event date is renewal date of database)

Free format text: PAYMENT UNTIL: 20130115

Year of fee payment: 3

R150 Certificate of patent or registration of utility model

Ref document number: 4439976

Country of ref document: JP

Free format text: JAPANESE INTERMEDIATE CODE: R150

Free format text: JAPANESE INTERMEDIATE CODE: R150

FPAY Renewal fee payment (event date is renewal date of database)

Free format text: PAYMENT UNTIL: 20130115

Year of fee payment: 3

S533 Written request for registration of change of name

Free format text: JAPANESE INTERMEDIATE CODE: R313533

FPAY Renewal fee payment (event date is renewal date of database)

Free format text: PAYMENT UNTIL: 20130115

Year of fee payment: 3

R350 Written notification of registration of transfer

Free format text: JAPANESE INTERMEDIATE CODE: R350

FPAY Renewal fee payment (event date is renewal date of database)

Free format text: PAYMENT UNTIL: 20130115

Year of fee payment: 3

FPAY Renewal fee payment (event date is renewal date of database)

Free format text: PAYMENT UNTIL: 20140115

Year of fee payment: 4

R250 Receipt of annual fees

Free format text: JAPANESE INTERMEDIATE CODE: R250

S531 Written request for registration of change of domicile

Free format text: JAPANESE INTERMEDIATE CODE: R313531

R350 Written notification of registration of transfer

Free format text: JAPANESE INTERMEDIATE CODE: R350

EXPY Cancellation because of completion of term