WO2012043218A1 - 光学部品およびその製造方法 - Google Patents
光学部品およびその製造方法 Download PDFInfo
- Publication number
- WO2012043218A1 WO2012043218A1 PCT/JP2011/070856 JP2011070856W WO2012043218A1 WO 2012043218 A1 WO2012043218 A1 WO 2012043218A1 JP 2011070856 W JP2011070856 W JP 2011070856W WO 2012043218 A1 WO2012043218 A1 WO 2012043218A1
- Authority
- WO
- WIPO (PCT)
- Prior art keywords
- refractive index
- layer
- optical component
- multilayer film
- plastic substrate
- Prior art date
- Legal status (The legal status is an assumption and is not a legal conclusion. Google has not performed a legal analysis and makes no representation as to the accuracy of the status listed.)
- Ceased
Links
Images
Classifications
-
- G—PHYSICS
- G02—OPTICS
- G02B—OPTICAL ELEMENTS, SYSTEMS OR APPARATUS
- G02B1/00—Optical elements characterised by the material of which they are made; Optical coatings for optical elements
- G02B1/10—Optical coatings produced by application to, or surface treatment of, optical elements
- G02B1/11—Anti-reflection coatings
-
- G02B1/105—
-
- B—PERFORMING OPERATIONS; TRANSPORTING
- B05—SPRAYING OR ATOMISING IN GENERAL; APPLYING FLUENT MATERIALS TO SURFACES, IN GENERAL
- B05D—PROCESSES FOR APPLYING FLUENT MATERIALS TO SURFACES, IN GENERAL
- B05D5/00—Processes for applying liquids or other fluent materials to surfaces to obtain special surface effects, finishes or structures
- B05D5/06—Processes for applying liquids or other fluent materials to surfaces to obtain special surface effects, finishes or structures to obtain multicolour or other optical effects
-
- C—CHEMISTRY; METALLURGY
- C23—COATING METALLIC MATERIAL; COATING MATERIAL WITH METALLIC MATERIAL; CHEMICAL SURFACE TREATMENT; DIFFUSION TREATMENT OF METALLIC MATERIAL; COATING BY VACUUM EVAPORATION, BY SPUTTERING, BY ION IMPLANTATION OR BY CHEMICAL VAPOUR DEPOSITION, IN GENERAL; INHIBITING CORROSION OF METALLIC MATERIAL OR INCRUSTATION IN GENERAL
- C23C—COATING METALLIC MATERIAL; COATING MATERIAL WITH METALLIC MATERIAL; SURFACE TREATMENT OF METALLIC MATERIAL BY DIFFUSION INTO THE SURFACE, BY CHEMICAL CONVERSION OR SUBSTITUTION; COATING BY VACUUM EVAPORATION, BY SPUTTERING, BY ION IMPLANTATION OR BY CHEMICAL VAPOUR DEPOSITION, IN GENERAL
- C23C14/00—Coating by vacuum evaporation, by sputtering or by ion implantation of the coating forming material
- C23C14/22—Coating by vacuum evaporation, by sputtering or by ion implantation of the coating forming material characterised by the process of coating
- C23C14/221—Ion beam deposition
-
- C—CHEMISTRY; METALLURGY
- C23—COATING METALLIC MATERIAL; COATING MATERIAL WITH METALLIC MATERIAL; CHEMICAL SURFACE TREATMENT; DIFFUSION TREATMENT OF METALLIC MATERIAL; COATING BY VACUUM EVAPORATION, BY SPUTTERING, BY ION IMPLANTATION OR BY CHEMICAL VAPOUR DEPOSITION, IN GENERAL; INHIBITING CORROSION OF METALLIC MATERIAL OR INCRUSTATION IN GENERAL
- C23C—COATING METALLIC MATERIAL; COATING MATERIAL WITH METALLIC MATERIAL; SURFACE TREATMENT OF METALLIC MATERIAL BY DIFFUSION INTO THE SURFACE, BY CHEMICAL CONVERSION OR SUBSTITUTION; COATING BY VACUUM EVAPORATION, BY SPUTTERING, BY ION IMPLANTATION OR BY CHEMICAL VAPOUR DEPOSITION, IN GENERAL
- C23C14/00—Coating by vacuum evaporation, by sputtering or by ion implantation of the coating forming material
- C23C14/22—Coating by vacuum evaporation, by sputtering or by ion implantation of the coating forming material characterised by the process of coating
- C23C14/24—Vacuum evaporation
-
- G—PHYSICS
- G02—OPTICS
- G02B—OPTICAL ELEMENTS, SYSTEMS OR APPARATUS
- G02B1/00—Optical elements characterised by the material of which they are made; Optical coatings for optical elements
- G02B1/10—Optical coatings produced by application to, or surface treatment of, optical elements
- G02B1/11—Anti-reflection coatings
- G02B1/113—Anti-reflection coatings using inorganic layer materials only
-
- G—PHYSICS
- G02—OPTICS
- G02B—OPTICAL ELEMENTS, SYSTEMS OR APPARATUS
- G02B1/00—Optical elements characterised by the material of which they are made; Optical coatings for optical elements
- G02B1/10—Optical coatings produced by application to, or surface treatment of, optical elements
- G02B1/14—Protective coatings, e.g. hard coatings
-
- G—PHYSICS
- G02—OPTICS
- G02B—OPTICAL ELEMENTS, SYSTEMS OR APPARATUS
- G02B1/00—Optical elements characterised by the material of which they are made; Optical coatings for optical elements
- G02B1/10—Optical coatings produced by application to, or surface treatment of, optical elements
- G02B1/18—Coatings for keeping optical surfaces clean, e.g. hydrophobic or photo-catalytic films
-
- G—PHYSICS
- G02—OPTICS
- G02B—OPTICAL ELEMENTS, SYSTEMS OR APPARATUS
- G02B5/00—Optical elements other than lenses
- G02B5/20—Filters
- G02B5/22—Absorbing filters
-
- G—PHYSICS
- G02—OPTICS
- G02C—SPECTACLES; SUNGLASSES OR GOGGLES INSOFAR AS THEY HAVE THE SAME FEATURES AS SPECTACLES; CONTACT LENSES
- G02C7/00—Optical parts
-
- G—PHYSICS
- G02—OPTICS
- G02C—SPECTACLES; SUNGLASSES OR GOGGLES INSOFAR AS THEY HAVE THE SAME FEATURES AS SPECTACLES; CONTACT LENSES
- G02C7/00—Optical parts
- G02C7/02—Lenses; Lens systems ; Methods of designing lenses
-
- G—PHYSICS
- G02—OPTICS
- G02C—SPECTACLES; SUNGLASSES OR GOGGLES INSOFAR AS THEY HAVE THE SAME FEATURES AS SPECTACLES; CONTACT LENSES
- G02C7/00—Optical parts
- G02C7/10—Filters, e.g. for facilitating adaptation of the eyes to the dark; Sunglasses
- G02C7/104—Filters, e.g. for facilitating adaptation of the eyes to the dark; Sunglasses having spectral characteristics for purposes other than sun-protection
-
- G—PHYSICS
- G02—OPTICS
- G02C—SPECTACLES; SUNGLASSES OR GOGGLES INSOFAR AS THEY HAVE THE SAME FEATURES AS SPECTACLES; CONTACT LENSES
- G02C7/00—Optical parts
- G02C7/10—Filters, e.g. for facilitating adaptation of the eyes to the dark; Sunglasses
- G02C7/105—Filters, e.g. for facilitating adaptation of the eyes to the dark; Sunglasses having inhomogeneously distributed colouring
Definitions
- the present invention relates to an optical component and a manufacturing method thereof.
- This application claims priority based on Japanese Patent Application No. 2010-218711 filed in Japan on September 29, 2010 and Japanese Patent Application No. 2010-288319 filed on December 24, 2010 in Japan, The contents are incorporated here.
- plastic lenses are frequently used as spectacle lenses because of their advantages of being lightweight, excellent in impact resistance and easy to dye.
- a plastic lens used for a spectacle lens is usually provided with an antireflection film on both sides.
- the antireflection film for spectacle lenses generally has low reflection characteristics (broadband low reflection characteristics) over the entire visible region of 400 nm to 700 nm.
- optical parts such as eyeglass lenses
- optical parts including a plastic base as disclosed in Patent Documents 1 to 3, and an antireflection film disposed on the base.
- blue light hazard particularly around 435 to 440 nm, and it is said that it is desirable to cut light in this region.
- An object according to the present invention is to provide an optical component that has an antiglare effect, is effective in reducing fatigue, preventing eye diseases, and has good visibility, and a method for manufacturing the same.
- An optical component includes a plastic substrate having a convex surface and a concave surface, and a multilayer film disposed on at least the convex surface of the plastic substrate, the multilayer film having a thickness of 400 to 500 nm.
- the average reflectance in the wavelength range is 2 to 10%.
- a method of manufacturing an optical component comprising: a plastic substrate having a convex surface and a concave surface; and a multilayer film disposed on at least the convex surface of the plastic substrate.
- a method comprising: heating the plastic substrate; and adjusting the plastic substrate to a predetermined temperature by the heating, and then forming the multilayer film on the plastic substrate.
- the forming step includes a process of alternately stacking a plurality of high refractive index materials and low refractive index materials to form a high refractive index layer having a multilayer structure, and a refractive index lower than the high refractive index layer on the high refractive index layer. Forming a low-refractive-index layer having a refractive index, and the average reflectance of the multilayer film in the wavelength range of 400 to 500 nm is set to 2 to 10%.
- optical component in the aspect which concerns on this invention sufficient anti-glare effect is acquired, maintaining favorable visibility.
- the method for manufacturing an optical component in the aspect of the present invention it is possible to provide an optical component with reduced optical characteristics, easy to see, and effective in preventing fatigue and eye disease. .
- FIG. 3 is a spectral characteristic diagram of an antireflection film according to Example 1.
- 6 is a spectral characteristic diagram of an antireflection film according to Example 2.
- FIG. 6 is a spectral characteristic diagram of an antireflection film according to Example 3.
- 6 is a spectral characteristic diagram of an antireflection film according to Comparative Example 1.
- FIG. 6 is a spectral characteristic diagram of an antireflection film according to Example 4.
- FIG. 6 is a spectral characteristic diagram of an antireflection film according to Example 5.
- FIG. 10 is a spectral characteristic diagram of a convex surface of an antireflection film according to Example 6.
- FIG. 10 is a spectral characteristic diagram of the concave surface of the antireflection film according to Example 6.
- FIG. 11 is a spectral characteristic diagram of a convex surface of an antireflection film according to Example 7.
- FIG. 10 is a spectral characteristic diagram of the concave surface of the antireflection film according to Example 7. It is a wearing comparison evaluation result concerning experiment 3.
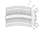
- FIG. 1 is a side cross-sectional view schematically showing an optical component according to a first embodiment of the present invention.
- Reference numeral 1 denotes an optical component for a spectacle lens.
- the optical component 1 includes a plastic substrate 2 and an inorganic multilayer film 3 disposed on the convex surface of the plastic substrate 2.
- a functional thin film 4 is disposed between the convex surface of the plastic substrate 2 and the inorganic multilayer film 3.
- This functional thin film 4 is composed of a primer layer 5 and a hard coat layer 6 in this embodiment.
- the respective films 3 and 4 disposed on the surface (convex surface) of the plastic substrate 2 will be mainly described. However, in actuality, the back surface (concave surface) of the plastic substrate 2 is also described. A film equivalent to each of the films 3 and 4 formed on the surface (convex surface) is formed.
- the plastic substrate 2 is, for example, a transparent plastic such as acrylic resin, thiourethane resin, methacrylic resin, allyl resin, episulfide resin, polycarbonate resin, polyurethane resin, polyester resin, polystyrene resin, episulfide. Resin, polyethersulfone resin, poly-4-methylpentene-1 resin, diethylene glycol bisallyl carbonate resin (CR-39), polyvinyl chloride resin, halogen-containing copolymer, sulfur-containing copolymer, etc. is there.
- the refractive index (nd) of the plastic substrate 2 is selected from, for example, 1.50, 1.60, 1.67, and 1.74.
- the plastic substrate 2 When the refractive index of the plastic substrate 2 is 1.6 or more, it is preferable to use an allyl carbonate resin, an acrylate resin, a methacrylate resin, a thiourethane resin, or the like as the plastic substrate 2. . Moreover, the plastic substrate 2 may not be transparent as long as it has translucency, and may be colored. The transmittance of the colored plastic substrate 2 is preferably 5 to 85%.
- the functional thin film 4 is disposed between the plastic substrate 2 and the inorganic multilayer film 3 as described above, and the primer layer 5 disposed in contact with the plastic substrate 2 and the primer layer 5 And a hard coat layer 6 disposed in contact with the inorganic multilayer film 3.
- the primer layer 5 is for improving the adhesion between the plastic substrate 2 and the hard coat layer 6 and functions as an adhesion layer. Moreover, it is also for absorbing the impact on the optical component 1 and functions as an impact absorbing layer.
- the primer layer 5 is mainly composed of a polyurethane-based resin, and in this embodiment, the polyurethane-based resin contains, for example, fine particles of an inorganic material.
- the primer layer 5 may include at least one of acrylic resin, methacrylic resin, and organosilicon resin.
- the thickness (actual thickness) of the primer layer 5 is preferably about 0.5 ⁇ m or more and 1.0 ⁇ m or less.
- Such a primer layer 5 can be formed with a predetermined thickness on the plastic substrate 2 by immersing the plastic substrate 2 in the forming material liquid of the primer layer 5 and then lifting and drying the same.
- a material for forming the primer layer 5 for example, a solution obtained by dispersing or dissolving the resin to be the primer layer 5 and the inorganic oxide fine particle sol in water or an alcohol solvent and mixing them can be used.
- the hard coat layer 6 has a function of protecting the plastic substrate 2 and suppressing damage to the plastic substrate 2, and functions as a scratch-resistant film.
- the hard coat layer 6 is made of, for example, an organosiloxane hard coat layer.
- the organosiloxane hard coat layer is obtained by dispersing inorganic oxide fine particles in an organosiloxane resin.
- the inorganic oxide for example, rutile type titanium oxide, oxides of silicon, tin, zirconium, and antimony are preferably used.
- the hard coat layer 6 may be an organic silicon-based resin containing colloidal silica as disclosed in, for example, Japanese Patent Publication No. 4-55615.
- the thickness (actual thickness) of the hard coat layer 6 is preferably about 2 ⁇ m to 4 ⁇ m.
- the hard coat layer 6 is formed on the primer layer 5 on the plastic substrate 2 by immersing the plastic substrate 2 on which the primer layer 5 is formed in the forming material solution of the hard coat layer 6, and then pulling up and drying. It can be formed with a thickness of As the liquid for forming the hard coat layer 6, for example, a liquid obtained by dispersing or dissolving the resin to be the hard coat layer 6 and the inorganic oxide fine particle sol in water or an alcohol solvent and mixing them can be used. .
- the interface between the functional thin film 4 and the plastic substrate 2 is sufficient if the refractive index and the refractive index of the plastic substrate 2 are substantially the same. Generation of interference fringes caused by reflection on the surface and a decrease in transmittance can be suppressed. Therefore, it is desirable to adjust the refractive index of the functional thin film 4 in accordance with the refractive index of the plastic substrate 2.
- the type (physical properties) of the resin that is the main component of the functional thin film 4 is selected, or the resin that is the main component of the resin. This can be done by selecting the type (physical properties) of the fine particles to be added.
- the functional thin film 4 is formed including the primer layer 5 and the hard coat layer 6.
- the primer layer 5 and the hard coat layer 6 are formed. It may be omitted.
- a dielectric film or a metal film made of ITO (Indium Tin Oxide) or the like may be provided in addition to the primer layer 5 and the hard coat layer 6.
- a dielectric film or a metal film having a thickness of 20 nm or less may be disposed between the high refractive index inorganic material and the low refractive index inorganic material constituting the inorganic multilayer film. Note that the thickness of the dielectric film or the metal film may be 10 nm or less.
- the inorganic multilayer film 3 has a high refractive index layer 7 having a multilayer structure in which a plurality of high refractive index inorganic materials and low refractive index inorganic materials are alternately laminated on the plastic substrate 2, and the high refractive index layer 7 having a low refractive index layer 8 made of a low refractive index inorganic material having a lower refractive index than that of the high refractive index layer 7, and serving as an antireflection film for preventing reflection of incident light. It has a function.
- the inorganic multilayer film 3 is designed so that the average reflectance in the wavelength range of 400 to 500 nm is 2 to 10%.
- the average reflectance when used as a spectacle lens, a sufficient antiglare effect can be obtained and good visibility can be maintained.
- the average reflectance in the wavelength region is set to 10% or more, a person wearing such spectacles feels troublesome in reflection by incident light from the concave surface of the spectacle lens.
- the average reflectance is preferably 3 to 10%.
- an inorganic multilayer film is used as the multilayer film, but an organic multilayer film may be used as long as the effects of the present invention are not impaired.
- the inorganic multilayer film 3 is preferably designed so that the reflectance is 1.5% or less in the wavelength region of 580 to 780 nm. With such a design, a spectacle lens having a further effect on the antiglare effect and the visibility can be obtained.
- the high refractive index layer 7 includes a first layer 9 made of a high refractive index inorganic material provided on the plastic substrate 2 side, and a low refractive index inorganic material provided on the first layer 9. And a third layer 11 made of a high refractive index inorganic material provided on the second layer 10.
- the first layer 9 is provided in contact with the hard coat layer 6 and is made of zirconium dioxide (ZrO 2 ) having a refractive index of 2.0.
- ZrO 2 zirconium dioxide
- titanium dioxide (TiO 2 ) or tantalum dioxide (Ta 2 O 5 ) can be used as the high refractive index inorganic material constituting the first layer 9.
- it can also be formed of an oxide of an alloy composed of a plurality of kinds of zirconium, titanium, and tantalum.
- Y 2 O 3 yttrium dioxide
- Nb 2 O 5 niobium dioxide
- the adhesion between the first layer 9 and the hard coat layer 6 can be obtained by forming the first layer 9 with the high refractive index inorganic material (ZrO 2 ).
- the adhesion (adhesive strength) between the layer (ZrO 2 ) made of the high refractive index inorganic material and the hard coat layer 6 is more closely adhered to the layer (SiO 2 ) made of the low refractive index inorganic material and the hard coat layer 6. This is because it is larger than the property (adhesion).
- the adhesion (adhesion) between the high refractive index layer (ZrO 2 ) and the plastic substrate 2 is lower. Since it is larger than the adhesiveness (adhesive force) between the rate layer (SiO 2 ) and the plastic substrate 2, the adhesiveness becomes more advantageous.
- the second layer 10 is provided in contact with the first layer 9 and is made of silicon dioxide (SiO 2 ) having a refractive index of 1.47.
- SiO 2 silicon dioxide
- MgF 2 having a refractive index of 1.36 can be used as the low refractive index inorganic material constituting the second layer 10 in addition to SiO 2 .
- the third layer 11 is provided in contact with the second layer 10 and is made of zirconium dioxide (ZrO 2 ) in the same manner as the first layer 9.
- the third layer 11 can also be formed of a high refractive index inorganic material other than ZrO 2 , similarly to the first layer 9. Further, the high refractive index layer 7 is not formed in the three-layer structure of the first layer 9, the second layer 10, and the third layer 11 as described above. It can also be composed of layers, or four or more layers.
- the low refractive index layer 8 is provided in contact with the third layer 11 and is made of silicon dioxide (SiO 2 ) as in the second layer 10.
- the fluorine-substituted alkyl group-containing organosilicon compound is formed on the inorganic multilayer film 3, that is, on the outermost layer (low refractive index layer 8) of the inorganic multilayer film 3 farthest from the plastic substrate 2.
- a water / oil repellent film 12 is provided.
- the water / oil repellent film 12 is mainly composed of a fluorine-substituted alkyl group-containing organosilicon compound and has liquid repellency (water repellency, oil repellency). That is, this water / oil repellent film 12 reduces the surface energy of the optical component, exhibits functions of preventing water scorching and dirt, and improves the sliding performance of the surface of the optical component. As a result, scratch resistance is improved. Can be improved.
- the fluorine-substituted alkyl group-containing organosilicon compound the following general formula (1):
- Rf represents a linear or branched perfluoroalkyl group having 1 to 16 carbon atoms
- Y represents iodine or hydrogen
- Y ′ represents hydrogen or a lower alkyl group having 1 to 5 carbon atoms.
- Y ′′ represents a fluorine or trifluoromethyl group
- R 1 represents a hydrolyzable group
- R 2 represents hydrogen or an inert monovalent organic group
- a, b, c, d are Each represents an integer of 0 to 200, e represents 0 or 1, s and t each represents an integer of 0 to 2, and w represents an integer of 1 to 10.
- X represents oxygen or a divalent organic group
- X ′ represents a hydrolyzable group
- X ′′ represents a divalent organic silicone group
- R 3 represents carbon.
- q represents an integer of 1 to 3
- m, n and o each represents an integer of 0 to 200
- p represents 1 or 2
- r Represents an integer of 2 to 20
- k represents an integer of 0 to 2
- z represents an integer of 0 to 10 when k is 0 or 1.
- Rf 2 represents a divalent linear perfluoropolyether group
- R 4 represents an alkyl group having 1 to 4 carbon atoms or a phenyl group
- R 5 represents a hydrolyzable group.
- I represents an integer of 0 to 2
- j represents an integer of 1 to 5
- u represents 2 or 3.
- a fluorine-substituted alkyl group-containing organosilicon compound selected from the general formulas (1) to (5) and the general formula (6) The selected fluorine-substituted alkyl group-containing organosilicon compound is preferably used in combination.
- the fluorine-substituted alkyl group-containing organosilicon compound represented by the general formulas (1) to (5) OPTOOL-DSX, OPTOOL-AES4, etc. manufactured by Daikin Industries, Ltd. can be used.
- As the fluorine-substituted alkyl group-containing organosilicon compound represented by the general formula (6) KY-130, KY-164 manufactured by Shin-Etsu Chemical Co., Ltd. can be used.
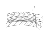
- FIG. 2 is a side sectional view schematically showing an optical component according to a second embodiment of the present invention, and reference numeral 1 ′ denotes an optical component for a spectacle lens.
- This optical component 1 ′ includes an inorganic multilayer film 3 ′ disposed on the concave surface of the plastic substrate 2 in addition to the structure of the optical component 1 of the first embodiment.
- a functional thin film 4 is disposed between the concave surface of the plastic substrate 2 and the inorganic multilayer film 3 ′.
- This functional thin film 4 is composed of a primer layer 5 and a hard coat layer 6 in this embodiment.
- the inorganic multilayer film 3 ′ has a high refractive index layer 7 ′ having a multilayer structure in which a plurality of high refractive index inorganic materials and low refractive index inorganic materials are alternately stacked on the plastic substrate 2.
- a low refractive index layer 8 ′ made of a low refractive index inorganic material having a lower refractive index than the high refractive index layer 7 ′ is used.
- the high refractive index layer 7 ′ includes a first layer 9 ′ made of a high refractive index inorganic material provided on the plastic substrate 2 side and the first layer, as in the first embodiment.
- Inorganic materials used for the first layer 9 ′, the second layer 10 ′, and the third layer 11 ′ in the present embodiment include the first layer 9, the second layer 10, and the third layer 11 in the first embodiment.
- the thing similar to the inorganic material used is mentioned.
- the high refractive index layer 7 ′ can be composed of two layers or four or more layers without forming it in a three-layer structure like the high refractive index layer 7 in the first embodiment.
- the inorganic multilayer film 3 ′ may be designed so that the average reflectance in the wavelength range of 400 to 500 nm is 2 to 10%, like the inorganic multilayer film 3 of the first embodiment. . Furthermore, the inorganic multilayer film 3 'is preferably designed so that the reflectance is 1.5% or less in the wavelength region of 580 to 780 nm.
- the inorganic multilayer film 3 ′ may be the same as a conventional antireflection film. That is, the inorganic multilayer film 3 'may be an antireflection film having an average reflectance of 1.5% or less in a wavelength range of 380 to 780 nm.
- the average reflectance in the wavelength range of 400 to 500 nm of the inorganic multilayer film 3 disposed on the convex surface of the plastic substrate 2 is the same as that of the inorganic multilayer film disposed on the concave surface of the plastic substrate 2. It may be larger than the average reflectance in the wavelength range of 400 to 500 nm of the film 3 ′.
- the inorganic multilayer film 3 disposed on the convex surface of the plastic substrate 2 has an average reflectance of 5 to 10% in the wavelength range of 400 to 500 nm, and the inorganic multilayer film disposed on the concave surface of the plastic substrate 2.
- the film 3 ′ is preferably designed so that the average reflectance in the wavelength range of 400 to 500 nm is 2 to 4%.
- the inorganic multilayer film 3 'disposed on the concave surface of the plastic substrate 2 may have an average reflectance of 3 to 4% in the wavelength range of 400 to 500 nm.
- the functional thin film 4 is formed including the primer layer 5 and the hard coat layer 6.
- the primer layer 5 and the hard coat layer 6 include Of these, either one or both may be omitted.
- a dielectric film or a metal film made of ITO (Indium Tin Oxide) or the like may be provided in addition to the primer layer 5 and the hard coat layer 6.
- a dielectric film or a metal film having a thickness of 20 nm or less may be disposed between the high refractive index inorganic material and the low refractive index inorganic material constituting the inorganic multilayer film. Note that the thickness of the dielectric film or the metal film may be 10 nm or less.
- an inorganic multilayer film is used as the multilayer film, but an organic multilayer film may be used as long as the effects of the present invention are not impaired.
- the optical component manufacturing method in the present embodiment includes a step of forming a functional thin film 4 (primer layer 5 and hard coat layer 6) on a plastic substrate 2 by a method similar to the conventional method, and heating the plastic substrate 2.
- a predetermined temperature for example, 70 ° C.
- the step of forming the inorganic multilayer film 3 includes a process of alternately stacking a plurality of high refractive index inorganic materials and low refractive index inorganic materials to form a high refractive index layer 7 having a multilayer structure, And forming a low refractive index layer 8 made of a low refractive index inorganic material.
- a vacuum vapor deposition method is preferably used for forming each of these layers.
- FIG. 3 is a diagram illustrating an example of a vapor deposition apparatus 30 for forming each layer of the inorganic multilayer film 3.
- the vapor deposition apparatus 30 includes a first chamber 31, a second chamber 32, and a third chamber 33.
- Each of the first, second, and third chambers 31, 32, and 33 is reduced in pressure to a substantially vacuum and held in that state.
- the vapor deposition apparatus 30 can adjust each internal temperature of the 1st, 2nd, 3rd chamber 31, 32, 33 by the temperature control means which is not shown in figure.
- the vapor deposition apparatus 30 includes a holding member 34 in each internal space of the first, second, and third chambers 31, 32, and 33.
- the holding member 34 has a curved upper surface (holding surface) and is configured to be rotatable, and holds a plurality of plastic substrates 2 on the upper surface.
- the vapor of ZrO 2 is released from the first vapor deposition source 35 ⁇ / b> A, and is supplied onto the plastic substrate 2 held by the holding member 34 for vapor deposition.
- the first layer 9 and the third layer 11 in the high refractive index layer 7 of the inorganic multilayer film 3 can be formed.
- the second vapor deposition source 35B with a beam SiO 2 vapor is released from the second vapor deposition source 35B, and is supplied onto the plastic substrate 2 held by the holding member 34 for vapor deposition.
- the second layer 10 and the low refractive index layer 8 in the high refractive index layer 7 of the inorganic multilayer film 3 can be formed.
- the high refractive index inorganic material is formed on the plastic substrate 2 held by the holding member 34. And layers made of a low refractive index inorganic material can be alternately formed and laminated.
- the inorganic multilayer film 3 is designed so that the average reflectance in the wavelength range of 400 to 500 nm is 2 to 10%. Furthermore, the inorganic multilayer film 3 is preferably designed so that the reflectance is 1.5% or less in the wavelength range of 580 to 780 nm.
- a vapor deposition source made of zirconium oxide (ZrO) is used as the first vapor deposition source 35A, and the first vapor deposition source 35A is irradiated with a beam while introducing oxygen into the internal space of the second chamber 32, and zirconium dioxide (ZrO 2 ). You may make it form the high refractive index inorganic material layer which consists of these.
- a water / oil repellent film 12 is formed thereon.
- a wet method such as a dipping method, a spin coat method and a spray method, or a dry method such as a vacuum deposition method.
- the dipping method is common and is often used.
- the inorganic multilayer film 3 is formed in a solution obtained by dissolving a fluorine-substituted alkyl group-containing organosilicon compound in an organic solvent, the optical component is immersed, pulled up under certain conditions, and dried to form a film.
- the organic solvent perfluorohexane, perfluoro-4-methoxybutane, perfluoro-4-ethoxybutane, metaxylene hexafluoride, or the like is used.
- the dilution concentration with an organic solvent is preferably 0.01 to 0.5% by weight, more preferably 0.03 to 0.1% by weight. If the concentration is too low, the water / oil repellent layer 12 having a sufficient film thickness cannot be obtained, and if the concentration is too high, uneven coating tends to occur and the material cost increases. Of the dry methods, vacuum deposition is often used. This method is a method of forming the water- and oil-repellent film 12 by heating and evaporating the fluorine-substituted alkyl group-containing organosilicon compound in a vacuum chamber.
- the inorganic multilayer film 3 is designed so that the average reflectance in the wavelength range of 400 to 500 nm is 2 to 10%. As for visibility, good performance can be ensured. Moreover, in the manufacturing method of an optical component, such a well-balanced and excellent optical component can be reliably provided.
- Example 1 Convex surface: A lens is set in a rotating dome provided in a vacuum chamber, the temperature in the vacuum chamber is heated to 70 degrees, and the pressure is exhausted to 1.0 ⁇ 10 ⁇ 3 Pa, an acceleration voltage of 500 V, After performing Ar ion beam cleaning for 60 seconds under the condition of an acceleration current of 100 mA, the first layer ZrO 2 (refractive index of 2.00) is sequentially formed from the plastic substrate side with an optical film thickness of 0.035 ⁇ and the second layer SiO 2. (Refractive index 1.47) with an optical film thickness of 0.565 ⁇ , third layer ZrO 2 (refractive index 2.00) with an optical film thickness 0.075 ⁇ , and fourth layer SiO 2 (refractive index 1.47).
- the optical film thickness is 0.04 ⁇
- the fifth layer ZrO 2 (refractive index 2.00) is the optical film thickness 0.32 ⁇
- the sixth layer SiO 2 (refractive index 1.47) is the optical film thickness 0.26 ⁇ .
- ⁇ is 500 nm as the design center wavelength.
- Concave surface device, processing atmosphere, pre-treatment similar to convex surface, first layer SiO 2 (refractive index 1.47) optical thickness 0.10 ⁇ , second layer ZrO 2 (refractive in order from plastic substrate side)
- the optical film thickness is 0.16 ⁇
- the third layer SiO 2 (refractive index 1.47) is the optical film thickness 0.06 ⁇
- the fourth layer ZrO 2 (refractive index 2.00) is optical.
- the spectral characteristics in Example 1 are shown in FIG.
- Example 2 Convex surface: A lens is set in a rotating dome provided in a vacuum chamber, the temperature in the vacuum chamber is heated to 70 degrees, and the pressure is exhausted to 1.0 ⁇ 10 ⁇ 3 Pa, an acceleration voltage of 500 V, After Ar ion beam cleaning was performed for 60 seconds under the condition of an acceleration current of 100 mA, the first layer ZrO 2 (refractive index 2.00) was sequentially formed with an optical film thickness of 0.07 ⁇ and the second layer SiO 2 from the plastic substrate side. (Refractive index 1.47) with an optical thickness of 0.59 ⁇ , third layer ZrO 2 (refractive index 2.00) with an optical thickness of 0.06 ⁇ , and fourth layer SiO 2 (refractive index 1.47).
- the optical film thickness is 0.04 ⁇
- the fifth layer ZrO 2 (refractive index 2.00) is the optical film thickness 0.3 ⁇
- the sixth layer SiO 2 (refractive index 1.47) is the optical film thickness 0.265 ⁇ .
- ⁇ is 500 nm as the design center wavelength.
- Concave surface device, processing atmosphere, pre-treatment similar to convex surface, first layer SiO 2 (refractive index 1.47) optical thickness 0.10 ⁇ , second layer ZrO 2 (refractive in order from plastic substrate side)
- the optical film thickness is 0.16 ⁇
- the third layer SiO 2 (refractive index 1.47) is the optical film thickness 0.06 ⁇
- the fourth layer ZrO 2 (refractive index 2.00) is optical.
- the spectral characteristics in Example 2 are shown in FIG.
- Example 3 Convex surface: A lens is set in a rotating dome provided in a vacuum chamber, the temperature in the vacuum chamber is heated to 70 degrees, and the pressure is exhausted to 1.0 ⁇ 10 ⁇ 3 Pa, an acceleration voltage of 500 V, After performing Ar ion beam cleaning for 60 seconds under the condition of an acceleration current of 100 mA, the first layer ZrO 2 (refractive index of 2.00) is sequentially formed from the plastic substrate side with an optical film thickness of 0.095 ⁇ and the second layer SiO 2. (Refractive index 1.47) with an optical thickness of 0.595 ⁇ , third layer ZrO 2 (refractive index 2.00) with an optical thickness of 0.05 ⁇ , and fourth layer SiO 2 (refractive index 1.47).
- the optical film thickness is 0.03 ⁇
- the fifth layer ZrO 2 (refractive index 2.00) is the optical film thickness 0.305 ⁇
- the sixth layer SiO 2 (refractive index 1.47) is the optical film thickness 0.275 ⁇ .
- ⁇ is 500 nm as the design center wavelength.
- Concave surface device, processing atmosphere, pre-treatment similar to convex surface, first layer SiO 2 (refractive index 1.47) optical thickness 0.10 ⁇ , second layer ZrO 2 (refractive in order from plastic substrate side)
- the optical film thickness is 0.16 ⁇
- the third layer SiO 2 (refractive index 1.47) is the optical film thickness 0.06 ⁇
- the fourth layer ZrO 2 (refractive index 2.00) is optical.
- the spectral characteristics in Example 3 are shown in FIG.
- Table 1 shows the details of each film formation layer in Examples 1 to 3 and Comparative Example 1.
- Example 2 having an average reflectance of about 6% in the wavelength range of 400 to 500 nm was deemed most suitable for each evaluation item.
- Example 2 Film formation was performed under the same film formation conditions as in Example 2 of ⁇ Experiment 1 >>.
- Example 4 Convex surface: A lens is set in a rotating dome provided in a vacuum chamber, the temperature in the vacuum chamber is heated to 70 degrees, and the pressure is exhausted to 1.0 ⁇ 10 ⁇ 3 Pa, an acceleration voltage of 500 V, After Ar ion beam cleaning was performed for 60 seconds under the condition of an acceleration current of 100 mA, the first layer ZrO 2 (refractive index 2.00) was sequentially formed from the plastic substrate side with an optical film thickness of 0.155 ⁇ and the second layer SiO 2. (Refractive index 1.47) with an optical thickness of 0.045 ⁇ , third layer ZrO 2 (refractive index 2.00) with an optical thickness of 0.5 ⁇ , and fourth layer SiO 2 (refractive index 1.47).
- Lamination was performed with an optical film thickness of 0.335 ⁇ . Laminated. Note that ⁇ is 500 nm as the design center wavelength.
- Concave surface device, processing atmosphere, pre-treatment similar to convex surface, first layer SiO 2 (refractive index 1.47) optical thickness 0.10 ⁇ , second layer ZrO 2 (refractive in order from plastic substrate side) The optical film thickness is 0.16 ⁇ , the third layer SiO 2 (refractive index 1.47) is the optical film thickness 0.06 ⁇ , and the fourth layer ZrO 2 (refractive index 2.00) is optical.
- a film thickness of 0.25 ⁇ and a fifth layer SiO 2 (refractive index of 1.47) were laminated with an optical film thickness of 0.28 ⁇ .
- ⁇ is 500 nm as the design center wavelength.
- the spectral characteristics in Example 4 are shown in FIG.
- Table 3 shows details of each film formation layer in Examples 2 and 4 and Comparative Example 1.
- the average reflectance is set to 2 to 10% in the wavelength range of 400 to 500 nm, and further, the reflectance is set to 1.5% or less in the wavelength range of 580 to 780 nm. It was confirmed that the determination was more effective.
- Example 5 Convex surface, concave surface: The lens is set in a rotating dome provided in the vacuum chamber, the temperature in the vacuum chamber is heated to 70 degrees, and the pressure is exhausted until the pressure reaches 1.0 ⁇ 10 ⁇ 3 Pa. After performing Ar ion beam cleaning for 60 seconds under conditions of 500 V and an acceleration current of 100 mA, the first layer ZrO 2 (refractive index 2.00) is sequentially formed from the plastic substrate side with an optical film thickness of 0.10 ⁇ and the second layer. SiO 2 (refractive index 1.47) has an optical film thickness of 0.10 ⁇ , the third layer ZrO 2 (refractive index 2.00) has an optical film thickness of 0.205 ⁇ , and the fourth layer SiO 2 (refractive index 1.47).
- Example 6 Convex surface: A lens is set in a rotating dome provided in a vacuum chamber, the temperature in the vacuum chamber is heated to 70 degrees, and the pressure is exhausted to 1.0 ⁇ 10 ⁇ 3 Pa, an acceleration voltage of 500 V, After performing Ar ion beam cleaning for 60 seconds under the condition of an acceleration current of 100 mA, the first layer ZrO 2 (refractive index of 2.00) is sequentially formed from the plastic substrate side with an optical film thickness of 0.125 ⁇ and the second layer SiO 2. (Refractive index 1.47) with an optical thickness of 0.095 ⁇ , third layer ZrO 2 (refractive index 2.00) with an optical thickness of 0.21 ⁇ , and fourth layer SiO 2 (refractive index 1.47).
- the optical film thickness is 0.07 ⁇
- the fifth layer ZrO 2 (refractive index 2.00) is the optical film thickness 0.14 ⁇
- the sixth layer SiO 2 (refractive index 1.47) is the optical film thickness 0.35 ⁇ .
- ⁇ is 500 nm as the design center wavelength.
- the first layer ZrO 2 (refractive index 2.00) has an optical film thickness of 0.105 ⁇ and the second layer SiO 2 (refractive The refractive index 1.47) is the optical film thickness 0.095 ⁇
- the third layer ZrO 2 (refractive index 2.00) is the optical film thickness 0.23 ⁇
- the fourth layer SiO 2 (refractive index 1.47) is optical.
- the film thickness was 0.07 ⁇
- the fifth layer ZrO 2 (refractive index 2.00) was laminated with an optical film thickness 0.14 ⁇
- the sixth layer SiO 2 (refractive index 1.47) was laminated with an optical film thickness 0.33 ⁇ .
- ⁇ is 500 nm as the design center wavelength.
- FIG. 11 shows the spectral characteristics of the convex surface in Example 6, and
- FIG. 12 shows the spectral characteristics of the concave surface.
- Example 7 Convex surface: A lens is set in a rotating dome provided in a vacuum chamber, the temperature in the vacuum chamber is heated to 70 degrees, and the pressure is exhausted to 1.0 ⁇ 10 ⁇ 3 Pa, an acceleration voltage of 500 V, After performing Ar ion beam cleaning for 60 seconds under the condition of an acceleration current of 100 mA, the first layer ZrO 2 (refractive index of 2.00) is sequentially formed from the plastic substrate side with an optical film thickness of 0.135 ⁇ and the second layer SiO 2. (Refractive index 1.47) with an optical thickness of 0.085 ⁇ , third layer ZrO 2 (refractive index 2.00) with an optical thickness of 0.20 ⁇ , and fourth layer SiO 2 (refractive index 1.47).
- the optical film thickness is 0.055 ⁇
- the fifth layer ZrO 2 (refractive index 2.00) is the optical film thickness 0.19 ⁇
- the sixth layer SiO 2 (refractive index 1.47) is the optical film thickness 0.35 ⁇ .
- ⁇ is 500 nm as the design center wavelength.
- Concave surface device, processing atmosphere, pre-treatment similar to convex surface, first layer ZrO 2 (refractive index 2.00) with optical film thickness of 0.11 ⁇ and second layer SiO 2 (refractive in order from the plastic substrate side)
- the optical thickness is 0.09 ⁇
- the third layer ZrO 2 (refractive index 2.00) is optical thickness 0.22 ⁇
- the fourth layer SiO 2 (refractive index 1.47) is optical.
- the film thickness was 0.06 ⁇
- the fifth layer ZrO 2 (refractive index 2.00) was laminated with an optical film thickness of 0.20 ⁇
- ⁇ is 500 nm as the design center wavelength.
- FIG. 13 shows the spectral characteristics of the convex surface in Example 7, and
- FIG. 14 shows the spectral characteristics of the concave surface.
- Table 5 shows details of each film formation layer in Examples 5 to 7.
- the average reflectance of the convex surface is 5 to 10% and the average reflectance of the concave surface is 2 to 4% in the wavelength region of 400 to 500 nm, and the reflectance in the wavelength region of 580 to 780 nm. It was confirmed that by setting the ratio to 1.5% or less, it is particularly effective in reducing glare.
Landscapes
- Physics & Mathematics (AREA)
- General Physics & Mathematics (AREA)
- Optics & Photonics (AREA)
- Health & Medical Sciences (AREA)
- Ophthalmology & Optometry (AREA)
- Chemical & Material Sciences (AREA)
- General Health & Medical Sciences (AREA)
- Chemical Kinetics & Catalysis (AREA)
- Engineering & Computer Science (AREA)
- Materials Engineering (AREA)
- Mechanical Engineering (AREA)
- Metallurgy (AREA)
- Organic Chemistry (AREA)
- Inorganic Chemistry (AREA)
- Spectroscopy & Molecular Physics (AREA)
- Surface Treatment Of Optical Elements (AREA)
- Eyeglasses (AREA)
- Laminated Bodies (AREA)
- Optical Filters (AREA)
Priority Applications (5)
| Application Number | Priority Date | Filing Date | Title |
|---|---|---|---|
| KR1020137009773A KR101477940B1 (ko) | 2010-09-29 | 2011-09-13 | 광학 부품 및 그의 제조방법 |
| CA2812742A CA2812742C (en) | 2010-09-29 | 2011-09-13 | Optical component and method of manufacturing the same |
| CN201180053968.5A CN103282823B (zh) | 2010-09-29 | 2011-09-13 | 光学部件和其制造方法 |
| EP11828778.8A EP2624044B1 (en) | 2010-09-29 | 2011-09-13 | Optical component and method for producing same |
| US13/851,679 US10371867B2 (en) | 2010-09-29 | 2013-03-27 | Optical component and method of manufacturing the same |
Applications Claiming Priority (4)
| Application Number | Priority Date | Filing Date | Title |
|---|---|---|---|
| JP2010-218711 | 2010-09-29 | ||
| JP2010218711 | 2010-09-29 | ||
| JP2010-288319 | 2010-12-24 | ||
| JP2010288319A JP2012093689A (ja) | 2010-09-29 | 2010-12-24 | 光学部品およびその製造方法 |
Related Child Applications (1)
| Application Number | Title | Priority Date | Filing Date |
|---|---|---|---|
| US13/851,679 Continuation US10371867B2 (en) | 2010-09-29 | 2013-03-27 | Optical component and method of manufacturing the same |
Publications (1)
| Publication Number | Publication Date |
|---|---|
| WO2012043218A1 true WO2012043218A1 (ja) | 2012-04-05 |
Family
ID=45892689
Family Applications (1)
| Application Number | Title | Priority Date | Filing Date |
|---|---|---|---|
| PCT/JP2011/070856 Ceased WO2012043218A1 (ja) | 2010-09-29 | 2011-09-13 | 光学部品およびその製造方法 |
Country Status (7)
| Country | Link |
|---|---|
| US (1) | US10371867B2 (enExample) |
| EP (1) | EP2624044B1 (enExample) |
| JP (1) | JP2012093689A (enExample) |
| KR (1) | KR101477940B1 (enExample) |
| CN (1) | CN103282823B (enExample) |
| CA (1) | CA2812742C (enExample) |
| WO (1) | WO2012043218A1 (enExample) |
Cited By (8)
| Publication number | Priority date | Publication date | Assignee | Title |
|---|---|---|---|---|
| JP5685337B1 (ja) * | 2014-05-02 | 2015-03-18 | 山田医療照明株式会社 | 照明装置及び照明装置の製造方法 |
| JP2015520412A (ja) * | 2012-05-16 | 2015-07-16 | エシロル アンテルナショナル(コンパーニュ ジェネラル ドプテーク) | 眼用レンズ |
| EP2916148A4 (en) * | 2012-11-05 | 2016-10-05 | Nikon Essilor Co Ltd | OPTICAL COMPONENT, PROCESS FOR PREPARING THE OPTICAL COMPONENT AND METHOD FOR THE QUANTIFIED DETERMINATION OF IRRICHTILES |
| WO2017078141A1 (ja) * | 2015-11-05 | 2017-05-11 | ダイキン工業株式会社 | 表面処理層を有する物品 |
| JP6473281B1 (ja) * | 2017-09-29 | 2019-02-20 | ホヤ レンズ タイランド リミテッドHOYA Lens Thailand Ltd | 眼鏡レンズおよび眼鏡 |
| WO2019065985A1 (ja) * | 2017-09-29 | 2019-04-04 | ホヤ レンズ タイランド リミテッド | 眼鏡レンズおよび眼鏡 |
| WO2019103105A1 (ja) * | 2017-11-24 | 2019-05-31 | ホヤ レンズ タイランド リミテッド | 眼鏡レンズおよび眼鏡 |
| EP2902817B2 (en) † | 2012-09-28 | 2023-09-27 | Nikon-Essilor Co., Ltd. | Optical component and method for producing same |
Families Citing this family (63)
| Publication number | Priority date | Publication date | Assignee | Title |
|---|---|---|---|---|
| US20170031525A1 (en) | 2010-05-14 | 2017-02-02 | Racing Optics, Inc. | Touch screen shield |
| JP2014038247A (ja) * | 2012-08-17 | 2014-02-27 | Nikon-Essilor Co Ltd | 眼鏡用レンズ |
| JP5965790B2 (ja) * | 2012-09-04 | 2016-08-10 | チェイル インダストリーズ インコーポレイテッド | 樹脂膜及び樹脂膜の製造方法 |
| JP6133571B2 (ja) * | 2012-10-30 | 2017-05-24 | 株式会社ジンズ | 透過光観測装置 |
| JP2014199327A (ja) * | 2013-03-29 | 2014-10-23 | Hoya株式会社 | 眼鏡レンズ |
| JP5811228B2 (ja) | 2013-06-24 | 2015-11-11 | 大日本印刷株式会社 | 画像処理装置、表示装置並びに画像処理方法及び画像処理用プログラム |
| JP6253009B2 (ja) | 2013-08-28 | 2017-12-27 | 東海光学株式会社 | 光学製品及び眼鏡レンズ |
| JP2015049338A (ja) * | 2013-08-30 | 2015-03-16 | Hoya株式会社 | 眼鏡レンズおよびその製造方法 |
| JP6313941B2 (ja) * | 2013-08-30 | 2018-04-18 | Hoya株式会社 | 眼鏡レンズ |
| WO2015046540A1 (ja) | 2013-09-30 | 2015-04-02 | ホヤ レンズ タイランド リミテッド | 透明プラスチック基材及びプラスチックレンズ |
| JP2015152735A (ja) * | 2014-02-13 | 2015-08-24 | 東海光学株式会社 | 光学製品並びに眼鏡レンズ及び眼鏡 |
| US9946047B2 (en) * | 2014-03-04 | 2018-04-17 | Largan Precision Co., Ltd. | Annual optical spacer, image lens system, and mobile terminal |
| EP3118658B1 (en) * | 2014-03-14 | 2019-08-21 | Hoya Lens Thailand Ltd. | Mirror-coated lens |
| JP6311426B2 (ja) * | 2014-04-16 | 2018-04-18 | 東海光学株式会社 | 光学製品及び眼鏡レンズ |
| US9057887B1 (en) * | 2014-05-06 | 2015-06-16 | Blue Light Eye Protection, Inc. | Materials and methods for mitigating the harmful effects of blue light |
| US9295297B2 (en) | 2014-06-17 | 2016-03-29 | Racing Optics, Inc. | Adhesive mountable stack of removable layers |
| TWI542919B (zh) * | 2014-08-15 | 2016-07-21 | 萬能光學科技有限公司 | 一種可有效阻隔藍光和紅外光之光學鏡片真空蒸鍍方法 |
| CN105445820A (zh) * | 2014-08-21 | 2016-03-30 | 宸鸿科技(厦门)有限公司 | 光学膜组件 |
| WO2016047523A1 (ja) * | 2014-09-26 | 2016-03-31 | 旭硝子株式会社 | 光学素子及び撮像装置 |
| US11402666B2 (en) | 2014-10-17 | 2022-08-02 | Hoya Lens Thailand Ltd. | Spectacle lens and spectacles |
| KR102326114B1 (ko) | 2014-12-01 | 2021-11-15 | 호야 렌즈 타일랜드 리미티드 | 안경 렌즈 및 안경 |
| EP3040761B1 (en) * | 2014-12-30 | 2020-04-01 | Essilor International | Ophthalmic anti-somnolence lens, device, and method |
| CN107111004B (zh) * | 2014-12-30 | 2020-01-03 | 依视路国际公司 | 用于获得改善的耐磨性的可uv固化的涂层组合物 |
| DE102015100091A1 (de) * | 2015-01-07 | 2016-07-07 | Rodenstock Gmbh | Schichtsystem und optisches Element mit einem Schichtsystem |
| PE20171683A1 (es) | 2015-03-09 | 2017-11-27 | Vision Ease Lp | Revestimiento antiestatico, antirreflejante |
| BR112017019949B1 (pt) * | 2015-03-18 | 2020-11-10 | Vision Ease, Lp | artigo óptico que tem propriedades antirreflexivas |
| KR102018287B1 (ko) * | 2015-09-11 | 2019-09-05 | 주식회사 엘지화학 | 반사 방지 필름 및 디스플레이 장치 |
| WO2017059142A1 (en) | 2015-09-29 | 2017-04-06 | Vision Ease, Lp | Uv and high energy visible absorbing ophthalmic lenses |
| EP3151041B1 (en) * | 2015-10-02 | 2019-02-20 | Tokai Optical Co., Ltd. | An optical film and spectacle lens |
| KR102478479B1 (ko) * | 2015-10-05 | 2022-12-19 | 토카이 옵티칼 주식회사 | 광학 제품 및 안경 렌즈 |
| CN108291986B (zh) | 2015-10-13 | 2021-01-05 | 视觉缓解公司 | 具有选择性透射率和反射率的光学滤光器 |
| KR102487824B1 (ko) | 2015-12-16 | 2023-01-12 | 미래나노텍(주) | 복합 보호 필름 |
| JP6247349B2 (ja) * | 2016-07-07 | 2017-12-13 | Hoya株式会社 | 眼鏡レンズ |
| CN108431678A (zh) * | 2016-08-22 | 2018-08-21 | 豪雅镜片泰国有限公司 | 眼镜镜片及眼镜 |
| CN108300303A (zh) * | 2016-09-28 | 2018-07-20 | 卢火青 | 高透射率疏水防尘的纳米涂层组合物及其制备方法和应用 |
| JP6368445B1 (ja) * | 2017-03-27 | 2018-08-01 | 株式会社きもと | 積層遮光フィルム、並びに、これを用いた光学機器用遮光リング、レンズユニット及びカメラモジュール |
| JP2019015764A (ja) * | 2017-07-03 | 2019-01-31 | 東海光学株式会社 | プラスチック光学製品並びにプラスチック眼鏡レンズ及び眼鏡 |
| US10429673B2 (en) * | 2017-09-11 | 2019-10-01 | Quantum Innovations, Inc. | High energy visible light absorbing material for ophthalmic substrate and application method |
| US11585962B2 (en) * | 2018-10-19 | 2023-02-21 | Racing Optics, Inc. | Transparent covering having anti-reflective coatings |
| JP7343523B2 (ja) | 2018-12-17 | 2023-09-12 | 株式会社トクヤマ | 光学材料用組成物および光学材料 |
| US11846788B2 (en) | 2019-02-01 | 2023-12-19 | Racing Optics, Inc. | Thermoform windshield stack with integrated formable mold |
| US11529230B2 (en) | 2019-04-05 | 2022-12-20 | Amo Groningen B.V. | Systems and methods for correcting power of an intraocular lens using refractive index writing |
| US11583389B2 (en) | 2019-04-05 | 2023-02-21 | Amo Groningen B.V. | Systems and methods for correcting photic phenomenon from an intraocular lens and using refractive index writing |
| US11583388B2 (en) | 2019-04-05 | 2023-02-21 | Amo Groningen B.V. | Systems and methods for spectacle independence using refractive index writing with an intraocular lens |
| US12357509B2 (en) | 2019-04-05 | 2025-07-15 | Amo Groningen B.V. | Systems and methods for improving vision from an intraocular lens in an incorrect position and using refractive index writing |
| US11944574B2 (en) | 2019-04-05 | 2024-04-02 | Amo Groningen B.V. | Systems and methods for multiple layer intraocular lens and using refractive index writing |
| US11564839B2 (en) | 2019-04-05 | 2023-01-31 | Amo Groningen B.V. | Systems and methods for vergence matching of an intraocular lens with refractive index writing |
| US11678975B2 (en) | 2019-04-05 | 2023-06-20 | Amo Groningen B.V. | Systems and methods for treating ocular disease with an intraocular lens and refractive index writing |
| US12377622B2 (en) | 2019-04-05 | 2025-08-05 | Amo Groningen B.V. | Systems and methods for vergence matching with an optical profile and using refractive index writing |
| US11364715B2 (en) | 2019-05-21 | 2022-06-21 | Racing Optics, Inc. | Polymer safety glazing for vehicles |
| US11912001B2 (en) | 2019-12-03 | 2024-02-27 | Ro Technologies, Llc | Method and apparatus for reducing non-normal incidence distortion in glazing films |
| US11648723B2 (en) | 2019-12-03 | 2023-05-16 | Racing Optics, Inc. | Method and apparatus for reducing non-normal incidence distortion in glazing films |
| US11548356B2 (en) | 2020-03-10 | 2023-01-10 | Racing Optics, Inc. | Protective barrier for safety glazing |
| US20210285661A1 (en) | 2020-03-10 | 2021-09-16 | Wolf Steel Ltd. | Heating and cooling appliance |
| KR20220008695A (ko) | 2020-07-30 | 2022-01-21 | 주식회사 케미그라스 | 퍼펙트 자외선 차단렌즈 |
| KR102588528B1 (ko) | 2021-02-17 | 2023-10-11 | 서창민 | 안경렌즈용 적외선차단용 조성물 및 이로 제조된 안경렌즈 |
| US11490667B1 (en) | 2021-06-08 | 2022-11-08 | Racing Optics, Inc. | Low haze UV blocking removable lens stack |
| US11709296B2 (en) | 2021-07-27 | 2023-07-25 | Racing Optics, Inc. | Low reflectance removable lens stack |
| US12140781B2 (en) | 2021-07-27 | 2024-11-12 | Laminated Film Llc | Low reflectance removable lens stack |
| US12162330B2 (en) | 2022-02-08 | 2024-12-10 | Ro Technologies, Llc | Multi-layer windshield film having progressive thickness layers |
| US11933943B2 (en) | 2022-06-06 | 2024-03-19 | Laminated Film Llc | Stack of sterile peelable lenses with low creep |
| US11808952B1 (en) | 2022-09-26 | 2023-11-07 | Racing Optics, Inc. | Low static optical removable lens stack |
| WO2025057689A1 (ja) * | 2023-09-11 | 2025-03-20 | 株式会社ニコン・エシロール | レンズの製造方法 |
Citations (11)
| Publication number | Priority date | Publication date | Assignee | Title |
|---|---|---|---|---|
| JPH03102301A (ja) * | 1989-09-18 | 1991-04-26 | Kuraray Co Ltd | 反射防止膜の特性評価方法および設計方法 |
| JPH03116101A (ja) * | 1989-09-29 | 1991-05-17 | Kuraray Co Ltd | 合成樹脂製光学物品の反射防止膜 |
| JPH0455615B2 (enExample) | 1986-06-30 | 1992-09-03 | Hoya Corp | |
| JPH1130703A (ja) | 1997-05-16 | 1999-02-02 | Hoya Corp | 反射防止膜を有するプラスチック光学部品 |
| JP2005215038A (ja) * | 2004-01-27 | 2005-08-11 | Seiko Epson Corp | 眼鏡レンズ |
| US20060092374A1 (en) * | 2001-11-02 | 2006-05-04 | Andrew Ishak | Rugate optical lens to prevent macular degeneration |
| JP2006251760A (ja) | 2005-02-08 | 2006-09-21 | Seiko Epson Corp | 光学部品およびその製造方法 |
| JP2007127681A (ja) | 2005-11-01 | 2007-05-24 | Tokai Kogaku Kk | プラスチックレンズ |
| WO2008053712A1 (en) * | 2006-10-31 | 2008-05-08 | Nikon-Essilor Co., Ltd. | Eyeglass lens and method for production thereof |
| JP2009251008A (ja) * | 2008-04-01 | 2009-10-29 | Seiko Epson Corp | 光学物品およびその製造方法 |
| JP2010511205A (ja) * | 2006-11-28 | 2010-04-08 | ハイ・パフォーマンス・オプティクス・インコーポレーテッド | 改良型コントラスト感度を提供する高性能選択型光波長フィルタリング |
Family Cites Families (29)
| Publication number | Priority date | Publication date | Assignee | Title |
|---|---|---|---|---|
| EP0112418B1 (en) | 1982-12-22 | 1987-03-11 | International Business Machines Corporation | Improved anti-reflection coating for visual display screens |
| JPS6381402A (ja) | 1986-09-26 | 1988-04-12 | Minolta Camera Co Ltd | 合成樹脂製光学部品の反射防止膜 |
| US4921760A (en) | 1986-09-26 | 1990-05-01 | Minolta Camera Kabushiki Kaisha | Anti-reflection coating of optical part made of synthetic resin |
| JP2503732B2 (ja) | 1990-06-21 | 1996-06-05 | トヨタ自動車株式会社 | バ―ナの燃焼制御方法 |
| WO1998052074A1 (fr) | 1997-05-16 | 1998-11-19 | Hoya Kabushiki Kaisha | Composant optique en plastique pourvu d'une pellicule empechant la reflexion et mecanisme servant a uniformiser l'epaisseur de cette pellicule |
| JP3445773B2 (ja) * | 2000-04-07 | 2003-09-08 | Hoya株式会社 | プラスチック製ミラーコートレンズ |
| JP2002296405A (ja) * | 2001-03-29 | 2002-10-09 | Sumitomo Chem Co Ltd | 反射干渉色とその色ムラの少ない反射防止基材 |
| JP2002296406A (ja) * | 2001-03-29 | 2002-10-09 | Sumitomo Chem Co Ltd | 反射干渉色の少ない反射防止基材 |
| CN2478138Y (zh) * | 2001-04-27 | 2002-02-20 | 厦门立扬光学科技有限公司 | 防静电抗菌保健眼镜片 |
| JP2003105218A (ja) * | 2001-09-28 | 2003-04-09 | Mitsui Chemicals Inc | アザポルフィリン系色素およびその用途 |
| JP2003121604A (ja) | 2001-10-12 | 2003-04-23 | Konica Corp | 光学レンズ部品 |
| JP4014840B2 (ja) | 2001-10-12 | 2007-11-28 | 株式会社日立製作所 | コマ収差補正素子およびこれを用いた光ヘッド用光学系 |
| JP2003215302A (ja) * | 2002-01-21 | 2003-07-30 | Nikon-Essilor Co Ltd | 着色されたプラスチックレンズおよびその製造方法 |
| JP2005011417A (ja) | 2003-06-18 | 2005-01-13 | Samsung Yokohama Research Institute Co Ltd | 光ピックアップ装置及びそれを備えた光情報記録/再生装置 |
| JP2006126233A (ja) * | 2004-10-26 | 2006-05-18 | Seiko Epson Corp | 反射防止膜付き眼鏡レンズ |
| WO2007077641A1 (ja) * | 2005-12-28 | 2007-07-12 | Tokai Optical Co., Ltd. | 眼鏡レンズおよび眼鏡 |
| CN100495123C (zh) * | 2005-12-30 | 2009-06-03 | 上海三联(集团)有限公司茂昌眼镜公司 | 超硬防污树脂眼镜片及其制造方法 |
| JP2007183411A (ja) * | 2006-01-06 | 2007-07-19 | Pentax Corp | 波長選択性を有する光学部材 |
| US20070216861A1 (en) | 2006-03-20 | 2007-09-20 | Andrew Ishak | Ophthalmic system combining ophthalmic components with blue light wavelength blocking and color-balancing functionalities |
| US7520608B2 (en) | 2006-03-20 | 2009-04-21 | High Performance Optics, Inc. | Color balanced ophthalmic system with selective light inhibition |
| CN107272223A (zh) * | 2006-11-28 | 2017-10-20 | 高性能光学公司 | 提供改进的对比灵敏度的高性能选择性光波长过滤 |
| JP2008152069A (ja) | 2006-12-19 | 2008-07-03 | Nippon Electric Glass Co Ltd | 反射防止膜 |
| US8318245B2 (en) * | 2007-02-23 | 2012-11-27 | Essilor International (Compagnie Generale D'optique) | Method for producing an optical article coated with an antireflection or a reflective coating having improved adhesion and abrasion resistance properties |
| JP5066967B2 (ja) | 2007-03-23 | 2012-11-07 | セイコーエプソン株式会社 | 光学物品の製造方法 |
| JP5044356B2 (ja) | 2007-10-12 | 2012-10-10 | 日東光学株式会社 | ズームレンズシステム |
| JP2010026183A (ja) * | 2008-07-17 | 2010-02-04 | Hoya Corp | プラスチックレンズ及びその製造方法 |
| WO2010016242A1 (ja) * | 2008-08-04 | 2010-02-11 | 株式会社ニコン・エシロール | 光学部品及び光学部品の製造方法 |
| JP2010148860A (ja) | 2008-11-28 | 2010-07-08 | Panasonic Corp | 口腔内測定装置 |
| CN101441330B (zh) * | 2008-12-09 | 2010-12-08 | 温州医学院眼视光研究院 | 光诱导防污防雾自清洁的树脂镜片及其制备方法 |
-
2010
- 2010-12-24 JP JP2010288319A patent/JP2012093689A/ja active Pending
-
2011
- 2011-09-13 KR KR1020137009773A patent/KR101477940B1/ko active Active
- 2011-09-13 EP EP11828778.8A patent/EP2624044B1/en active Active
- 2011-09-13 WO PCT/JP2011/070856 patent/WO2012043218A1/ja not_active Ceased
- 2011-09-13 CN CN201180053968.5A patent/CN103282823B/zh active Active
- 2011-09-13 CA CA2812742A patent/CA2812742C/en active Active
-
2013
- 2013-03-27 US US13/851,679 patent/US10371867B2/en active Active
Patent Citations (11)
| Publication number | Priority date | Publication date | Assignee | Title |
|---|---|---|---|---|
| JPH0455615B2 (enExample) | 1986-06-30 | 1992-09-03 | Hoya Corp | |
| JPH03102301A (ja) * | 1989-09-18 | 1991-04-26 | Kuraray Co Ltd | 反射防止膜の特性評価方法および設計方法 |
| JPH03116101A (ja) * | 1989-09-29 | 1991-05-17 | Kuraray Co Ltd | 合成樹脂製光学物品の反射防止膜 |
| JPH1130703A (ja) | 1997-05-16 | 1999-02-02 | Hoya Corp | 反射防止膜を有するプラスチック光学部品 |
| US20060092374A1 (en) * | 2001-11-02 | 2006-05-04 | Andrew Ishak | Rugate optical lens to prevent macular degeneration |
| JP2005215038A (ja) * | 2004-01-27 | 2005-08-11 | Seiko Epson Corp | 眼鏡レンズ |
| JP2006251760A (ja) | 2005-02-08 | 2006-09-21 | Seiko Epson Corp | 光学部品およびその製造方法 |
| JP2007127681A (ja) | 2005-11-01 | 2007-05-24 | Tokai Kogaku Kk | プラスチックレンズ |
| WO2008053712A1 (en) * | 2006-10-31 | 2008-05-08 | Nikon-Essilor Co., Ltd. | Eyeglass lens and method for production thereof |
| JP2010511205A (ja) * | 2006-11-28 | 2010-04-08 | ハイ・パフォーマンス・オプティクス・インコーポレーテッド | 改良型コントラスト感度を提供する高性能選択型光波長フィルタリング |
| JP2009251008A (ja) * | 2008-04-01 | 2009-10-29 | Seiko Epson Corp | 光学物品およびその製造方法 |
Cited By (16)
| Publication number | Priority date | Publication date | Assignee | Title |
|---|---|---|---|---|
| US10330953B2 (en) | 2012-05-16 | 2019-06-25 | Essilor International | Ophthalmic lens |
| JP2019049712A (ja) * | 2012-05-16 | 2019-03-28 | エシロール アンテルナショナルEssilor International | 眼用レンズ |
| JP7279112B2 (ja) | 2012-05-16 | 2023-05-22 | エシロール アンテルナショナル | 眼用レンズ |
| JP2021167968A (ja) * | 2012-05-16 | 2021-10-21 | エシロール アンテルナショナルEssilor International | 眼用レンズ |
| JP2015520412A (ja) * | 2012-05-16 | 2015-07-16 | エシロル アンテルナショナル(コンパーニュ ジェネラル ドプテーク) | 眼用レンズ |
| EP2902817B2 (en) † | 2012-09-28 | 2023-09-27 | Nikon-Essilor Co., Ltd. | Optical component and method for producing same |
| EP2916148A4 (en) * | 2012-11-05 | 2016-10-05 | Nikon Essilor Co Ltd | OPTICAL COMPONENT, PROCESS FOR PREPARING THE OPTICAL COMPONENT AND METHOD FOR THE QUANTIFIED DETERMINATION OF IRRICHTILES |
| JP5685337B1 (ja) * | 2014-05-02 | 2015-03-18 | 山田医療照明株式会社 | 照明装置及び照明装置の製造方法 |
| JPWO2017078141A1 (ja) * | 2015-11-05 | 2018-05-17 | ダイキン工業株式会社 | 表面処理層を有する物品 |
| US11760062B2 (en) | 2015-11-05 | 2023-09-19 | Daikin Industries, Ltd. | Article having surface treatment layer |
| WO2017078141A1 (ja) * | 2015-11-05 | 2017-05-11 | ダイキン工業株式会社 | 表面処理層を有する物品 |
| JP6473281B1 (ja) * | 2017-09-29 | 2019-02-20 | ホヤ レンズ タイランド リミテッドHOYA Lens Thailand Ltd | 眼鏡レンズおよび眼鏡 |
| US11262601B2 (en) | 2017-09-29 | 2022-03-01 | Hoya Lens Thailand Ltd. | Spectacle lens and spectacles |
| WO2019065985A1 (ja) * | 2017-09-29 | 2019-04-04 | ホヤ レンズ タイランド リミテッド | 眼鏡レンズおよび眼鏡 |
| WO2019103105A1 (ja) * | 2017-11-24 | 2019-05-31 | ホヤ レンズ タイランド リミテッド | 眼鏡レンズおよび眼鏡 |
| US11526030B2 (en) | 2017-11-24 | 2022-12-13 | Hoya Lens Thailand Ltd. | Spectacle lens and spectacles |
Also Published As
| Publication number | Publication date |
|---|---|
| JP2012093689A (ja) | 2012-05-17 |
| EP2624044B1 (en) | 2020-04-22 |
| CN103282823B (zh) | 2014-12-31 |
| CA2812742A1 (en) | 2012-04-05 |
| CN103282823A (zh) | 2013-09-04 |
| KR20130085415A (ko) | 2013-07-29 |
| US20130222913A1 (en) | 2013-08-29 |
| EP2624044A4 (en) | 2016-03-30 |
| EP2624044A1 (en) | 2013-08-07 |
| CA2812742C (en) | 2017-02-28 |
| US10371867B2 (en) | 2019-08-06 |
| KR101477940B1 (ko) | 2014-12-30 |
Similar Documents
| Publication | Publication Date | Title |
|---|---|---|
| JP5173076B2 (ja) | 光学部品およびその製造方法 | |
| JP5966011B2 (ja) | 眼鏡レンズおよびその製造方法 | |
| WO2012043218A1 (ja) | 光学部品およびその製造方法 | |
| JP5795675B2 (ja) | 眼鏡レンズ用光学部品、眼鏡レンズ用光学部品の製造方法 | |
| JP6073355B2 (ja) | 眼鏡レンズ、及び眼鏡レンズの製造方法 | |
| JP5248516B2 (ja) | 光学部品、及び光学部品の製造方法 | |
| JP6581653B2 (ja) | 眼鏡レンズ | |
| JPWO2010016242A1 (ja) | 光学部品及び光学部品の製造方法 | |
| WO2014208412A1 (ja) | 光学部品 |
Legal Events
| Date | Code | Title | Description |
|---|---|---|---|
| 121 | Ep: the epo has been informed by wipo that ep was designated in this application |
Ref document number: 11828778 Country of ref document: EP Kind code of ref document: A1 |
|
| ENP | Entry into the national phase |
Ref document number: 2812742 Country of ref document: CA |
|
| NENP | Non-entry into the national phase |
Ref country code: DE |
|
| WWE | Wipo information: entry into national phase |
Ref document number: 2011828778 Country of ref document: EP |
|
| ENP | Entry into the national phase |
Ref document number: 20137009773 Country of ref document: KR Kind code of ref document: A |