JP6306754B2 - 半導体装置の作製方法 - Google Patents
半導体装置の作製方法 Download PDFInfo
- Publication number
- JP6306754B2 JP6306754B2 JP2017005932A JP2017005932A JP6306754B2 JP 6306754 B2 JP6306754 B2 JP 6306754B2 JP 2017005932 A JP2017005932 A JP 2017005932A JP 2017005932 A JP2017005932 A JP 2017005932A JP 6306754 B2 JP6306754 B2 JP 6306754B2
- Authority
- JP
- Japan
- Prior art keywords
- layer
- oxide semiconductor
- electrode layer
- thin film
- oxide
- Prior art date
- Legal status (The legal status is an assumption and is not a legal conclusion. Google has not performed a legal analysis and makes no representation as to the accuracy of the status listed.)
- Expired - Fee Related
Links
Images
Classifications
-
- H—ELECTRICITY
- H10—SEMICONDUCTOR DEVICES; ELECTRIC SOLID-STATE DEVICES NOT OTHERWISE PROVIDED FOR
- H10D—INORGANIC ELECTRIC SEMICONDUCTOR DEVICES
- H10D99/00—Subject matter not provided for in other groups of this subclass
-
- H—ELECTRICITY
- H10—SEMICONDUCTOR DEVICES; ELECTRIC SOLID-STATE DEVICES NOT OTHERWISE PROVIDED FOR
- H10D—INORGANIC ELECTRIC SEMICONDUCTOR DEVICES
- H10D64/00—Electrodes of devices having potential barriers
- H10D64/60—Electrodes characterised by their materials
- H10D64/62—Electrodes ohmically coupled to a semiconductor
-
- H—ELECTRICITY
- H01—ELECTRIC ELEMENTS
- H01L—SEMICONDUCTOR DEVICES NOT COVERED BY CLASS H10
- H01L21/00—Processes or apparatus adapted for the manufacture or treatment of semiconductor or solid state devices or of parts thereof
- H01L21/02—Manufacture or treatment of semiconductor devices or of parts thereof
- H01L21/02104—Forming layers
- H01L21/02107—Forming insulating materials on a substrate
- H01L21/02109—Forming insulating materials on a substrate characterised by the type of layer, e.g. type of material, porous/non-porous, pre-cursors, mixtures or laminates
- H01L21/02112—Forming insulating materials on a substrate characterised by the type of layer, e.g. type of material, porous/non-porous, pre-cursors, mixtures or laminates characterised by the material of the layer
- H01L21/02123—Forming insulating materials on a substrate characterised by the type of layer, e.g. type of material, porous/non-porous, pre-cursors, mixtures or laminates characterised by the material of the layer the material containing silicon
- H01L21/02164—Forming insulating materials on a substrate characterised by the type of layer, e.g. type of material, porous/non-porous, pre-cursors, mixtures or laminates characterised by the material of the layer the material containing silicon the material being a silicon oxide, e.g. SiO2
-
- H—ELECTRICITY
- H01—ELECTRIC ELEMENTS
- H01L—SEMICONDUCTOR DEVICES NOT COVERED BY CLASS H10
- H01L21/00—Processes or apparatus adapted for the manufacture or treatment of semiconductor or solid state devices or of parts thereof
- H01L21/02—Manufacture or treatment of semiconductor devices or of parts thereof
- H01L21/02104—Forming layers
- H01L21/02107—Forming insulating materials on a substrate
- H01L21/02109—Forming insulating materials on a substrate characterised by the type of layer, e.g. type of material, porous/non-porous, pre-cursors, mixtures or laminates
- H01L21/02112—Forming insulating materials on a substrate characterised by the type of layer, e.g. type of material, porous/non-porous, pre-cursors, mixtures or laminates characterised by the material of the layer
- H01L21/02172—Forming insulating materials on a substrate characterised by the type of layer, e.g. type of material, porous/non-porous, pre-cursors, mixtures or laminates characterised by the material of the layer the material containing at least one metal element, e.g. metal oxides, metal nitrides, metal oxynitrides or metal carbides
- H01L21/02175—Forming insulating materials on a substrate characterised by the type of layer, e.g. type of material, porous/non-porous, pre-cursors, mixtures or laminates characterised by the material of the layer the material containing at least one metal element, e.g. metal oxides, metal nitrides, metal oxynitrides or metal carbides characterised by the metal
- H01L21/02178—Forming insulating materials on a substrate characterised by the type of layer, e.g. type of material, porous/non-porous, pre-cursors, mixtures or laminates characterised by the material of the layer the material containing at least one metal element, e.g. metal oxides, metal nitrides, metal oxynitrides or metal carbides characterised by the metal the material containing aluminium, e.g. Al2O3
-
- H—ELECTRICITY
- H01—ELECTRIC ELEMENTS
- H01L—SEMICONDUCTOR DEVICES NOT COVERED BY CLASS H10
- H01L21/00—Processes or apparatus adapted for the manufacture or treatment of semiconductor or solid state devices or of parts thereof
- H01L21/02—Manufacture or treatment of semiconductor devices or of parts thereof
- H01L21/02104—Forming layers
- H01L21/02365—Forming inorganic semiconducting materials on a substrate
- H01L21/02518—Deposited layers
- H01L21/02521—Materials
- H01L21/02565—Oxide semiconducting materials not being Group 12/16 materials, e.g. ternary compounds
-
- H—ELECTRICITY
- H01—ELECTRIC ELEMENTS
- H01L—SEMICONDUCTOR DEVICES NOT COVERED BY CLASS H10
- H01L21/00—Processes or apparatus adapted for the manufacture or treatment of semiconductor or solid state devices or of parts thereof
- H01L21/02—Manufacture or treatment of semiconductor devices or of parts thereof
- H01L21/02104—Forming layers
- H01L21/02365—Forming inorganic semiconducting materials on a substrate
- H01L21/02612—Formation types
- H01L21/02617—Deposition types
- H01L21/02631—Physical deposition at reduced pressure, e.g. MBE, sputtering, evaporation
-
- H—ELECTRICITY
- H10—SEMICONDUCTOR DEVICES; ELECTRIC SOLID-STATE DEVICES NOT OTHERWISE PROVIDED FOR
- H10D—INORGANIC ELECTRIC SEMICONDUCTOR DEVICES
- H10D30/00—Field-effect transistors [FET]
- H10D30/60—Insulated-gate field-effect transistors [IGFET]
- H10D30/67—Thin-film transistors [TFT]
- H10D30/674—Thin-film transistors [TFT] characterised by the active materials
- H10D30/6755—Oxide semiconductors, e.g. zinc oxide, copper aluminium oxide or cadmium stannate
-
- H—ELECTRICITY
- H10—SEMICONDUCTOR DEVICES; ELECTRIC SOLID-STATE DEVICES NOT OTHERWISE PROVIDED FOR
- H10D—INORGANIC ELECTRIC SEMICONDUCTOR DEVICES
- H10D86/00—Integrated devices formed in or on insulating or conducting substrates, e.g. formed in silicon-on-insulator [SOI] substrates or on stainless steel or glass substrates
- H10D86/40—Integrated devices formed in or on insulating or conducting substrates, e.g. formed in silicon-on-insulator [SOI] substrates or on stainless steel or glass substrates characterised by multiple TFTs
- H10D86/60—Integrated devices formed in or on insulating or conducting substrates, e.g. formed in silicon-on-insulator [SOI] substrates or on stainless steel or glass substrates characterised by multiple TFTs wherein the TFTs are in active matrices
-
- H—ELECTRICITY
- H10—SEMICONDUCTOR DEVICES; ELECTRIC SOLID-STATE DEVICES NOT OTHERWISE PROVIDED FOR
- H10D—INORGANIC ELECTRIC SEMICONDUCTOR DEVICES
- H10D86/00—Integrated devices formed in or on insulating or conducting substrates, e.g. formed in silicon-on-insulator [SOI] substrates or on stainless steel or glass substrates
- H10D86/40—Integrated devices formed in or on insulating or conducting substrates, e.g. formed in silicon-on-insulator [SOI] substrates or on stainless steel or glass substrates characterised by multiple TFTs
- H10D86/421—Integrated devices formed in or on insulating or conducting substrates, e.g. formed in silicon-on-insulator [SOI] substrates or on stainless steel or glass substrates characterised by multiple TFTs having a particular composition, shape or crystalline structure of the active layer
- H10D86/423—Integrated devices formed in or on insulating or conducting substrates, e.g. formed in silicon-on-insulator [SOI] substrates or on stainless steel or glass substrates characterised by multiple TFTs having a particular composition, shape or crystalline structure of the active layer comprising semiconductor materials not belonging to the Group IV, e.g. InGaZnO
Landscapes
- Engineering & Computer Science (AREA)
- Microelectronics & Electronic Packaging (AREA)
- Condensed Matter Physics & Semiconductors (AREA)
- General Physics & Mathematics (AREA)
- Manufacturing & Machinery (AREA)
- Computer Hardware Design (AREA)
- Physics & Mathematics (AREA)
- Power Engineering (AREA)
- Thin Film Transistor (AREA)
- Electrodes Of Semiconductors (AREA)
- Liquid Crystal (AREA)
- Metal-Oxide And Bipolar Metal-Oxide Semiconductor Integrated Circuits (AREA)
- Devices For Indicating Variable Information By Combining Individual Elements (AREA)
- Electroluminescent Light Sources (AREA)
Description
の作製方法に関する。例えば、液晶表示パネルに代表される電気光学装置や有機発光素子
を有する発光表示装置を部品として搭載した電子機器に関する。
全般を指し、電気光学装置、半導体回路および電子機器は全て半導体装置である。
て薄膜トランジスタ(TFT)を構成する技術が注目されている。薄膜トランジスタはI
Cや電気光学装置のような電子デバイスに広く応用され、特に画像表示装置のスイッチン
グ素子として開発が急がれている。
く知られた材料であり、液晶ディスプレイなどで必要とされる透光性を有する電極材料と
して用いられている。金属酸化物の中には半導体特性を示すものがある。半導体特性を示
す金属酸化物としては、例えば、酸化タングステン、酸化スズ、酸化インジウム、酸化亜
鉛などがあり、このような半導体特性を示す金属酸化物をチャネル形成領域とする薄膜ト
ランジスタが既に知られている(特許文献1及び特許文献2)。
と電気的に接続するソース電極層またはドレイン電極層との接触抵抗の低減を図ることを
課題の一とする。
電極層の材料の選択肢を広げることも課題の一つとする。
たはドレイン電極層を2層以上の積層構造とし、その積層のうち、酸化物半導体層の仕事
関数より小さい仕事関数を有する金属又はそのような金属の合金を用いた薄い層とする半
導体装置である。酸化物半導体層と接する一層を酸化物半導体層の仕事関数より小さい仕
事関数を有する金属又はそのような金属の合金を用いることで、酸化物半導体層と最適な
接触状態を形成することができる。さらに、ソース電極層またはドレイン電極層の材料の
選択肢を広げることができ、例えば、酸化物半導体層の仕事関数より小さい仕事関数を有
する金属又はそのような金属の合金を用いた層上に耐熱性の高い金属材料を用いた層を設
けることでプロセス温度の上限を上げることができる。耐熱性の高い金属としてタングス
テン若しくはモリブデンを用いることができる。
ン電極層を2層以上の積層構造とし、その積層のうち、酸化物半導体層の電子親和力より
小さい仕事関数を有する金属又はそのような金属の合金を用いた薄い層とする半導体装置
である。酸化物半導体層と接する一層を酸化物半導体層の電子親和力より小さい仕事関数
を有する金属又はそのような金属の合金を用いることで、酸化物半導体層と最適な接触状
態を形成することができる。さらに、ソース電極層またはドレイン電極層の材料の選択肢
を広げることができ、例えば、酸化物半導体層の電子親和力より小さい仕事関数を有する
金属又はそのような金属の合金を用いた層上に耐熱性の高い金属材料を用いた層を設ける
ことが可能になり、後に行われるプロセス温度の上限を上げることができる。
ものではない。
することで、酸化物半導体層の材料として酸化インジウムを含む酸化物半導体材料を用い
る場合に最適な接触状態を形成することができる。この場合、接触抵抗の低減を図ること
ができる。酸化物半導体層とソース電極層との界面、及び酸化物半導体層とドレイン電極
層との界面に、酸化インジウムを含む酸化物半導体材料の仕事関数よりも小さい仕事関数
を有するインジウムのみの領域またはインジウムを多く含む領域を意図的に設けることが
重要である。
面を有する基板上に酸化物半導体層、ソース電極層、及びドレイン電極層とを有し、ソー
ス電極層またはドレイン電極層は積層であり、その積層のうち、酸化物半導体層と接する
一層を亜鉛層または亜鉛合金層とする半導体装置である。また、酸化物半導体層と接する
一層を亜鉛層または亜鉛合金層とすることで、酸化物半導体層の材料として酸化亜鉛を含
む酸化物半導体材料を用いる場合に最適な接触状態を形成することができ、例えば接触抵
抗の低減を図ることができる。
表面を有する基板上に酸化物半導体層、ソース電極層、及びドレイン電極層とを有し、ソ
ース電極層またはドレイン電極層は積層であり、その積層のうち、酸化物半導体層と接す
る一層をチタン層またはチタン合金層とする半導体装置である。また、酸化物半導体層と
接する一層をチタン層またはチタン合金層とする場合に最適な接触状態を形成することが
でき、例えば接触抵抗の低減を図ることができる。
絶縁表面を有する基板上に酸化物半導体層、ソース電極層、及びドレイン電極層とを有し
、ソース電極層またはドレイン電極層は積層であり、その積層のうち、酸化物半導体層と
接する一層をイットリウム層またはイットリウム合金層とする半導体装置である。また、
酸化物半導体層と接する一層をイットリウム層またはイットリウム合金層とする場合に最
適な接触状態を形成することができ、例えば接触抵抗の低減を図ることができる。
ウムなど)を用いてもよい。酸化物半導体層とソース電極層との界面、及び酸化物半導体
層とドレイン電極層との界面にこれらの合金の領域またはこれらの合金を多く含む領域を
意図的に設けることが重要である。これらの合金の領域またはこれらの合金を多く含む領
域は、酸化物半導体層と最適な接触状態を形成することができ、例えば接触抵抗の低減を
図ることができる。
、クロム(Cr)、銅(Cu)、タンタル(Ta)、チタン(Ti)、モリブデン(Mo
)、タングステン(W)から選ばれた元素、または上述した元素を成分とする合金か、上
述した元素を組み合わせた合金等を用いる。また、ソース電極層またはドレイン電極層と
して透光性を有する導電材料、例えば、酸化タングステンを含むインジウム酸化物、酸化
タングステンを含むインジウム亜鉛酸化物、酸化チタンを含むインジウム酸化物、酸化チ
タンを含むインジウム錫酸化物、インジウム錫酸化物(以下、ITOと示す。)、インジ
ウム亜鉛酸化物、酸化ケイ素を添加したインジウム錫酸化物などを用いることもでき、表
示パネルに薄膜トランジスタを用いる場合、開口率の向上を図ることもできる。
数を有する金属又はそのような金属の合金を用いた層と、他の金属を用いた層とを含む混
合層としても良い。このような構成をとることで、接触抵抗の低減を図ることができる。
さらに、他の金属として、耐熱性の高い金属とすると、後に行われるプロセス温度の上限
を上げることができる。
関数を有する金属又はそのような金属の合金を用いた層が酸化物半導体層と接するように
設けられていれば良い。上記構成のようにソース電極層またはドレイン電極層は、酸化物
半導体層の仕事関数より小さい仕事関数を有する金属又はそのような金属の合金を用いた
層上にさらに耐熱性の高い金属を用いた層を積層する積層構造としても良い。また、酸化
物半導体層の仕事関数より小さい仕事関数を有する金属又はそのような金属の合金を用い
た層の単層をソース電極層またはドレイン電極層として用いても良い。
電極層またはドレイン電極層の積層において酸化物半導体層と接する一層の材料との間で
、少なくとも一種の金属元素が共通することが好ましい。例えば、ソース電極層またはド
レイン電極層の積層において酸化物半導体層と接する一層の材料がインジウムである場合
、酸化物半導体層の材料は、In−Ga−Zn−O系非単結晶膜、In−Sn−Zn−O
系、In−Al−Zn−O系、In−Zn−O系、In−Sn−O系、In−O系の酸化
物半導体材料を用いることが好ましい。
材料が亜鉛である場合、In−Ga−Zn−O系非単結晶膜、In−Sn−Zn−O系、
In−Al−Zn−O系、Sn−Ga−Zn−O系、Al−Ga−Zn−O系、Sn−A
l−Zn−O系、In−Zn−O系、Sn−Zn−O系、Al−Zn−O系、Zn−O系
の酸化物半導体材料を適用することができる。
材料がイットリウムである場合、In−Ga−Zn−O系非単結晶膜、In−Sn−Zn
−O系、In−Al−Zn−O系、Sn−Ga−Zn−O系、Al−Ga−Zn−O系、
Sn−Al−Zn−O系、In−Zn−O系、Sn−Zn−O系、Al−Zn−O系、Z
n−O系、In−Sn−O系、In−O系の酸化物半導体材料を適用することができる。
材料がチタンである場合、In−Ga−Zn−O系非単結晶膜、In−Sn−Zn−O系
、In−Al−Zn−O系、Sn−Ga−Zn−O系、Al−Ga−Zn−O系、Sn−
Al−Zn−O系、In−Zn−O系、Sn−Zn−O系、Al−Zn−O系、Zn−O
系の酸化物半導体材料を適用することができる。
対して、仕事関数が小さな金属又はその合金と酸化物半導体の組み合わせからなる構成を
用いても実現することができる。
あれば、どのような組み合わせからなる構成を用いても実現することができる。
極層を形成し、ゲート電極層上にゲート絶縁層を形成し、ゲート絶縁層上に酸化物半導体
層を形成し、酸化物半導体層上にインジウム層またはインジウム合金層と、金属導電層の
積層を形成し、インジウム層またはインジウム合金層、及び金属導電層を選択的にエッチ
ングして、インジウム層またはインジウム合金層と金属導電層の積層構造のソース電極層
またはドレイン電極層を形成する半導体装置の作製方法である。
、絶縁表面を有する基板上にゲート電極層を形成し、ゲート電極層上にゲート絶縁層を形
成し、ゲート絶縁層上に酸化物半導体層を形成し、酸化物半導体層上に亜鉛層または亜鉛
合金層と、金属導電層の積層を形成し、亜鉛層または亜鉛合金層、及び金属導電層を選択
的にエッチングして、亜鉛層または亜鉛合金層と金属導電層の積層構造のソース電極層ま
たはドレイン電極層を形成する半導体装置の作製方法である。
合には、絶縁表面を有する基板上にゲート電極層を形成し、ゲート電極層上にゲート絶縁
層を形成し、ゲート絶縁層上に金属導電層と、インジウム層またはインジウム合金層の積
層を形成し、金属導電層、及びインジウム層または前記インジウム合金層を選択的にエッ
チングして、金属導電層とインジウム層またはインジウム合金層の積層構造のソース電極
層またはドレイン電極層を形成し、ソース電極層またはドレイン電極層上に酸化物半導体
層を形成する。
タ法または蒸着法を用いて形成する。また、インジウム層またはインジウム合金層を成膜
した後、大気に触れることなく上に金属導電層を形成することが好ましい。
合金層や、またはガリウム合金(窒化ガリウムなど)層は、スパッタ法または蒸着法また
はMOCVD法を用いて形成する。また、亜鉛層、亜鉛合金層、インジウムと亜鉛の合金
層や、またはガリウム合金(窒化ガリウムなど)層を成膜した後、酸化を防ぎ、高抵抗化
を防ぐため、大気に触れることなく上に金属導電層を形成することが好ましい。
ウムのようなターゲットの作製が困難な金属または合金は、他の金属ターゲット、例えば
モリブデンターゲット上やタングステンターゲット上にインジウムのペレットを置いてス
パッタ法により連続成膜を行う。この場合、同じスパッタ装置で大気に触れることなく積
層することができる。また、スパッタリング条件にもよるが、インジウムとタングステン
との混合層が形成されることもある。また、金属ターゲット上に複数のインジウムのペレ
ットを配列した状態でスパッタリングを行ってもよい。また、ペレットは直径が5mm〜
50mmであって、高さが2mm〜30mmの円柱体である。なお、ペレットの形状は、
特に限定されず、立方体、直方体、楕円柱体などを用いることができる。
スパッタ法(または蒸着法など)で行う第2の成膜工程までの一連のプロセス中、被処理
基板の置かれている雰囲気が大気等の汚染雰囲気に触れることなく、常に真空中または不
活性ガス雰囲気(窒素雰囲気または希ガス雰囲気)で制御されていることを言う。連続成
膜を行うことにより、清浄化された被処理基板の水分等の再付着を回避して成膜を行うこ
とができる。また、スパッタリング条件にもよるが、積層させた金属間で混合層が形成さ
れることもある。
に分布するものではなく、濃度勾配をもつ場合がある。例えば、酸化物半導体層上に第1
の層としてインジウム、第1の層上に第2の層としてタングステンをスパッタリングで連
続成膜した場合、第1の層と第2の層の界面が明確でない混合層を形成する場合がある。
この場合、混合層中の酸化物半導体層近接領域ではインジウムの濃度が高く、酸化物半導
体層から離れるほどインジウムの濃度が低くなる。
1の層と第2の層の界面が明確でない混合層が形成される。
は本明細書における連続成膜の範囲に含まれる。
う場合、第1の成膜工程を終えた後、大気にふれることなくチャンバー間を基板搬送して
第2の成膜を施すことも本明細書における連続成膜の範囲に含まれる。
工程、または第2の工程に必要な温度とするため基板を加熱または冷却する工程等を有し
ても、本明細書における連続成膜の範囲に含まれる。
の成膜工程と第2の成膜工程の間にある場合、本明細書でいう連続成膜の範囲には含まれ
ない。
の材料の選択肢を広げ、電気特性や信頼性の優れた薄膜トランジスタを実現できる。また
、耐熱性の高い金属を用いることで、後に行われるプロセス温度の上限を上げることがで
きる。
以下の説明に限定されず、その形態および詳細を様々に変更し得ることは、当業者であれ
ば容易に理解される。また、本発明は以下に示す実施の形態の記載内容に限定して解釈さ
れるものではない。
本実施の形態では、酸化物半導体層とその酸化物半導体層の仕事関数より小さい仕事関数
を有する金属又はそのような金属の合金が接した状態の積層構造について説明する。
Vである場合、電子親和力(χ)は4.3eVと言われている。本発明に係る酸化物半導
体は水素や水等の不純物を極力排除し高純度化されたI型(真性半導体)又はそれに近い
ことを特徴としており、このことと前述から仕事関数は5.8eVとなる。このとき、ソ
ース電極層またはドレイン電極層に用いられ、かつ仕事関数が5.8eVよりも小さい材
料の候補として、上記表1からイットリウム、インジウム、アルミニウム等が挙げられる
。また、仕事関数が5.8eVよりも小さい合金を用いても良い。
Tin Oxide:ITO)が挙げられる。ITOの仕事関数は、4.7eVである。
ITOをソース電極層またはドレイン電極層の材料として用いる場合、上記表1からイッ
トリウム、インジウム、チタン、亜鉛等の仕事関数が4.7eVよりも小さい金属を用い
ればよい。特に、イットリウムは仕事関数が3.3eVと小さい仕事関数であることから
好ましい。また、仕事関数が4.7eVよりも小さい金属の合金を用いても良い。
る。ITSOの仕事関数は4.69eVである。ITSOをソース電極層またはドレイン
電極層の材料として用いる場合、上記表1からイットリウム、インジウム、チタン、亜鉛
等の仕事関数が4.69eVよりも小さい金属を用いればよい。特に、イットリウムは仕
事関数が3.3eVと小さい仕事関数であることから好ましい。また、仕事関数が4.7
eVよりも小さい金属の合金を用いても良い。
化物半導体と金属との接触抵抗の低い接続構造を実現することができる。
と酸化物半導体1213の接触前におけるソース電極又はドレイン電極1212の仕事関
数(φM)、酸化物半導体1213の仕事関数(φMS)の関係を示す。図12では、酸
化物半導体1213の仕事関数(φMS)よりもソース電極又はドレイン電極1212の
仕事関数(φM)の方が小さい場合を示す。
従来の酸化物半導体は一般にn型であり、その場合のフェルミ準位(EF)は、バンドギ
ャップ中央(Eg)に位置する真性フェルミ準位(Ei)から離れて、伝導帯寄りに位置
している。なお、酸化物半導体において含有される水素の一部はドナーとなりn型化する
一つの要因であることが知られている。
去し、酸化物半導体の主成分以外の不純物が極力含まれないように高純度化することによ
り真性(i型)、又は実質的に真性な半導体としたものである。すなわち、不純物を添加
してi型化するのでなく、水素や水等の不純物を極力除去したことにより、高純度化され
たi型(真性半導体)又はそれに近づけることを特徴としている。そうすることにより、
フェルミ準位(EF)は真性フェルミ準位(Ei)と同じレベルにまですることができる
。
レイン断面と垂直な方向の断面)のエネルギーバンド図(模式図)を図16に示す。図1
6(A)はゲート電極1214に正の電位(+VG)が印加された状態であり、ソース電
極とドレイン電極の間にキャリア(電子)が流れるオン状態を示している。また、図16
(B)は、ゲート電極1214に負の電位(−VG)が印加された状態であり、オフ状態
(少数キャリアは流れない)である場合を示す。なお、GIはゲート絶縁膜である。
ソース電極及びドレイン電極を形成した後のソースドレイン断面のエネルギーバンド図(
模式図)である。図13(B)において黒丸(●)は電子を示し、ドレイン電極に正の電
位が印加されると、電子はバリアをこえて酸化物半導体に注入され、ドレイン電極に向か
って流れる。この場合、バリアの高さ(h)は、ゲート電圧とドレイン電圧に依存して変
化するが、正のドレイン電圧が印加された場合には、電圧印加のない図13(A)のバリ
アの高さすなわちバンドギャップ(Eg)の1/2よりもバリアの高さ(h)は小さい値
となる。
との界面における、酸化物半導体側のエネルギー的に安定な最底部を移動する。
リアであるホールは実質的にゼロであるため、電流は限りなくゼロに近い値となる。
であっても、オフ電流が10−13A以下であり、サブスレッショルドスイング値(S値
)が0.1V/dec.(ゲート絶縁膜の膜厚100nm)が得られる。この例のように
、酸化物半導体の主成分以外の不純物が極力含まれないように高純度化することにより、
薄膜トランジスタの動作を良好なものとすることができる。特に、オフ電流を低減するこ
とができる。
ース電極又はドレイン電極1212、酸化物半導体1213のフェルミ準位(EF)が一
致するが、このときソース電極、ドレイン電極1212から酸化物半導体1213に電子
が移動して、図13のようなバンドの曲がりが発生する。図13(A)は、ソース電極又
はドレイン電極1212と酸化物半導体1213を接触させて、ソース電極及びドレイン
電極を形成した後のソースドレイン断面のエネルギーバンド図(模式図)である。なお、
ソース電極とドレイン電極の間を等電位(VD=0)にした場合を示す。また、図13(
B)はソース電極に対して、ドレイン電極に正の電位(VD>0)を加えた場合の図を示
す。
はそのような金属の合金の仕事関数(φM)が、酸化物半導体の仕事関数(φMS)より
小さい材料を用いる。この場合、金属−酸化物半導体界面において、電子に対してショッ
トキー型の障壁は形成されず、接触抵抗の低い接続構造を実現できる。
なる構成を用いても実現することができる。
測定することができる。測定した酸化物半導体の仕事関数又は電子親和力よりも小さな仕
事関数の金属又はその合金の積層構造にすることで、接触抵抗の低い接続構造を実現でき
る。
る。なお、本発明に係る酸化物半導体は水素や水等の不純物を極力除去することにより、
高純度化されたi型(真性半導体)又はそれに近づけることを特徴とするため、酸化物半
導体の仕事関数は真空準位(E∞)から真性フェルミ準位(Ei)までのエネルギー差と
ほぼ等しい。また、図12中のEvは酸化物半導体も価電子帯上端のエネルギー準位を示
す。
本実施の形態では、酸化物半導体層とその酸化物半導体層の電子親和力より小さい仕事関
数を有する金属又はそのような金属の合金が接した状態の積層構造について説明する。
Vである場合、電子親和力(χ)は4.3eVと言われている。このとき、ソース電極層
またはドレイン電極層に用いられ、電子親和力が4.3eVよりも小さい材料の候補とし
て、上記表1からイットリウム、インジウム、アルミニウム等が挙げられる。また、仕事
関数が4.3eVよりも小さい合金を用いても良い。
れる。IGZOの電子親和力は、4.3eVである。IGZOをソース電極層またはドレ
イン電極層の材料として用いる場合、上記表1からイットリウム、インジウム、アルミニ
ウム等の仕事関数が4.3eVよりも小さい金属を用いればよい。特に、イットリウムは
仕事関数が3.3eVと小さい仕事関数であることから好ましい。また、仕事関数が4.
3eVよりも小さい金属の合金を用いても良い。
酸化物半導体と金属との接触抵抗の低い接続構造を実現することができる。
おけるソース電極又はドレイン電極1212の仕事関数(φM)、酸化物半導体1213
の電子親和力(χ)の関係を示す。図14では、酸化物半導体1213の電子親和力(χ
)よりもソース電極又はドレイン電極1212の仕事関数(φM)の方が小さい場合を示
す。
従来の酸化物半導体は一般にn型であり、その場合のフェルミ準位(EF)は、バンドギ
ャップ(Eg)中央に位置する真性フェルミ準位(Ei)から離れて、伝導帯寄りに位置
している。なお、酸化物半導体において含有される水素の一部はドナーとなりn型化する
一つの要因であることが知られている。
半導体の主成分以外の不純物が極力含まれないように高純度化することにより真性(i型
)、又は実質的に真性な半導体としたものである。すなわち、不純物を添加してi型化す
るのでなく、水素や水等の不純物を極力除去したことにより、高純度化されたi型(真性
半導体)又はそれに近づけることを特徴としている。そうすることにより、フェルミ準位
(EF)は真性フェルミ準位(Ei)と同じレベルにまですることができる。
レイン断面と垂直な方向の断面)のエネルギーバンド図(模式図)を図16に示す。図1
6(A)はゲート電極1214に正の電位(+VG)が印加された状態であり、ソース電
極とドレイン電極の間にキャリア(電子)が流れるオン状態を示している。また、図16
(B)は、ゲート電極1214に負の電位(−VG)が印加された状態であり、オフ状態
(少数キャリアは流れない)である場合を示す。なお、GIはゲート絶縁膜である。
ース電極及びドレイン電極形成後のソースドレイン断面のエネルギーバンド図(模式図)
である。図15(B)において黒丸(●)は電子を示し、ドレイン電極に正の電位が印加
されると、電子はバリアをこえて酸化物半導体に注入され、ドレイン電極に向かって流れ
る。この場合、バリアの高さ(h)は、ゲート電圧とドレイン電圧に依存して変化するが
、正のドレイン電圧が印加された場合には、電圧印加のない図15(A)のバリアの高さ
すなわちバンドギャップ(Eg)の1/2よりもバリアの高さ(h)は小さい値となる。
との界面における、酸化物半導体側のエネルギー的に安定な最底部を移動する。
リアであるホールは実質的にゼロであるため、電流は限りなくゼロに近い値となる。
であっても、オフ電流が10−13A以下であり、サブスレッショルドスイング値(S値
)が0.1V/dec.(ゲート絶縁膜厚100nm)が得られる。この例のように、酸
化物半導体の主成分以外の不純物が極力含まれないように高純度化することにより、薄膜
トランジスタの動作を良好なものとすることができる。特に、オフ電流を低減することが
できる。
ス電極、ドレイン電極1212、酸化物半導体1213のフェルミ準位(Ef)が一致す
るが、このときソース電極、ドレイン電極1212から酸化物半導体1213に電子が移
動して、図15のようなバンドの曲がりが発生する。図15(A)は、ソース電極又はド
レイン電極1212と酸化物半導体1213を接触させて、ソース電極及びドレイン電極
形成後のソースドレイン断面のエネルギーバンド図(模式図)である。なお、ソース電極
とドレイン電極の間を等電位(VD=0)にした場合を示す。また、図15(B)はソー
ス電極に対して、ドレイン電極に正の電位(VD>0)を加えた場合の図を示す。
はそのような金属の合金の仕事関数(φM)が、酸化物半導体の電子親和力(χ)より小
さい材料を用いる。この場合、金属−酸化物半導体界面において、電子に対してショット
キー型の障壁は形成されず、接触抵抗の低い接続構造を実現できる。この関係は、ソース
電極又はドレイン電極1212の仕事関数(φM)が小さいほどショットキー型の障壁は
形成されにくい傾向がある。
らなる構成を用いても実現することができる。
測定することができる。測定した酸化物半導体の仕事関数又は電子親和力よりも小さな仕
事関数の金属又はその合金の積層構造にすることで、良好な接続構造を実現できる。
る。また、図14中のEvは酸化物半導体の価電子帯上端のエネルギー準位を示す。
本実施の形態では、図1(D)に示す薄膜トランジスタ150の作製方法の一形態につい
て、薄膜トランジスタ作製工程の断面図である図1(A)乃至図1(D)を用いて説明す
る。薄膜トランジスタ150は、ボトムゲート構造の一つである。
ス基板は、後の加熱処理の温度が高い場合には、歪み点が730℃以上のものを用いると
良い。また、基板100には、例えば、アルミノシリケートガラス、アルミノホウケイ酸
ガラス、バリウムホウケイ酸ガラスなどのガラス材料が用いられている。なお、一般に酸
化ホウ素(B2O3)と比較して酸化バリウム(BaO)を多く含ませることで、より実
用的な耐熱ガラスが得られる。このため、B2O3よりBaOを多く含むガラス基板を用
いることが好ましい。
板などの絶縁体でなる基板を用いても良い。他にも、結晶化ガラスなどを用いることがで
きる。
層は、基板100からの不純物元素の拡散を防止する機能があり、窒化珪素、酸化珪素、
窒化酸化珪素、または酸化窒化珪素から選ばれた一または複数の層による積層構造により
形成することができる。
ては、Al、Cr、Cu、Ta、Ti、Mo、Wから選ばれた元素、または上述した元素
を成分とする合金か、上述した元素を組み合わせた合金等を用いるのが好ましい。例えば
、チタン層上にアルミニウム層と、該アルミニウム層上にチタン層が積層された三層の積
層構造、またはモリブデン層上にアルミニウム層と、該アルミニウム層上にモリブデン層
を積層した三層の積層構造とすることが好ましい。勿論、金属導電層として単層、または
2層構造以上の積層構造としてもよい。
ここでは、高密度プラズマ装置は、1×1011/cm3以上のプラズマ密度を達成でき
る装置を指している。例えば、3kW〜6kWのマイクロ波電力を印加してプラズマを発
生させて、絶縁膜の成膜を行う。
スを導入し、10Pa〜30Paの圧力下で高密度プラズマを発生させてガラス等の絶縁
表面を有する基板上に絶縁膜を形成する。その後、モノシランガスの供給を停止し、大気
に曝すことなく亜酸化窒素(N2O)と希ガスとを導入して絶縁膜表面にプラズマ処理を
行ってもよい。少なくとも亜酸化窒素(N2O)と希ガスとを導入して絶縁膜表面に行わ
れるプラズマ処理は、絶縁膜の成膜より後に行う。上記プロセス順序を経た絶縁膜は、膜
厚が薄く、例えば100nm未満であっても信頼性を確保することができる絶縁膜である
。
酸化窒素(N2O)との流量比は、1:10から1:200の範囲とする。また、チャン
バーに導入する希ガスとしては、ヘリウム、アルゴン、クリプトン、キセノンなどを用い
ることができるが、中でも安価であるアルゴンを用いることが好ましい。
段差被覆性に優れている。また、高密度プラズマ装置により得られる絶縁膜は、薄い膜の
厚みを精密に制御することができる。
は大きく異なっており、同じエッチャントを用いてエッチング速度を比較した場合におい
て、平行平板型のPCVD装置で得られる絶縁膜の10%以上または20%以上遅く、高
密度プラズマ装置で得られる絶縁膜は緻密な膜と言える。
の酸化窒化珪素膜(SiOxNyとも呼ぶ、ただし、x>y>0)を用いる。
以上50nm以下の酸化物半導体層を形成する。また、酸化物半導体層は、希ガス(代表
的にはアルゴン)雰囲気下、酸素雰囲気下、又は希ガス(代表的にはアルゴン)及び酸素
雰囲気下においてスパッタ法により形成することができる。
−Al−Zn−O系、Sn−Ga−Zn−O系、Al−Ga−Zn−O系、Sn−Al−
Zn−O系、In−Zn−O系、Sn−Zn−O系、In−Sn−O系、Al−Zn−O
系、In−O系、Sn−O系、Zn−O系の酸化物半導体層を用いる。本実施の形態では
、例えば、In−Ga−Zn−O系酸化物半導体ターゲットを用いてスパッタ法により形
成する。
Ga2O3:ZnO=1:1:1)を用いて、基板とターゲットの間との距離を100m
m、圧力0.6Pa、直流(DC)電源0.5kW、酸素(酸素流量比率100%)雰囲
気下で膜厚30nmのIn−Ga−Zn−O系非単結晶膜を成膜する。
%以上、さらに好ましくは99.9%以上とするのが好ましい。相対密度の高いターゲッ
トを用いると、形成される酸化物半導体膜中の不純物濃度を低減することができ、電気特
性または信頼性の高い薄膜トランジスタを得ることができる。
ット材料中に残存している水分または水素を除去するためにプレヒート処理を行うと良い
。プレヒート処理としては成膜チャンバー内を減圧下で200℃以上600℃以下に加熱
する方法や、加熱しながら窒素や不活性ガスの導入と排気を繰り返す方法等がある。この
場合のターゲット冷却液は、水ではなく油脂等を用いるとよい。加熱せずに窒素の導入と
排気を繰り返しても一定の効果が得られるが、加熱しながら行うとなお良い。プレヒート
処理を終えたら、基板またはスパッタ装置を冷却し、酸化物半導体膜の成膜を行う。
をクライオポンプを用いて中に残存している水分などを除去することが好ましい。
成することが望ましい。大気に触れさせることなく形成することで、界面が、水やハイド
ロカーボンなどの、大気成分や大気中に浮遊する不純物元素に汚染されることなく各積層
界面を形成することができるので、薄膜トランジスタ特性のばらつきを低減することがで
きる。
加工する(図1(A)参照。)。また、島状の酸化物半導体層を形成するためのレジスト
マスクをインクジェット法で形成してもよい。レジストマスクをインクジェット法で形成
するとフォトマスクを使用しないため、製造コストを低減できる。
脱水化または脱水素化を行う第1の熱処理の温度は、処理中の最高温度が350℃以上7
50℃以下、好ましくは425℃以上とする。なお、425℃以上であれば熱処理時間は
1時間以下でよいが、425℃未満であれば加熱処理時間は、1時間よりも長時間行うこ
ととする。本実施の形態では、窒素雰囲気下で450℃、1時間の熱処理を行う。
、水、水素などが含まれないことが好ましい。または、加熱処理装置に導入する窒素、ま
たはヘリウム、ネオン、アルゴン等の希ガスの純度を、6N(99.9999%)以上、
好ましくは7N(99.99999%)以上、(即ち不純物濃度を1ppm以下、好まし
くは0.1ppm以下)とすることが好ましい。
処理は、加熱処理装置は電気炉に限られず、抵抗発熱体などの発熱体からの熱伝導または
熱輻射によって、被処理物を加熱する装置を備えていてもよい。例えば、GRTA(Ga
s Rapid Thermal Anneal)装置、LRTA(Lamp Rapi
d Thermal Anneal)装置等のRTA(Rapid Thermal A
nneal)装置を用いることができる。LRTA装置は、ハロゲンランプ、メタルハラ
イドランプ、キセノンアークランプ、カーボンアークランプ、高圧ナトリウムランプ、高
圧水銀ランプなどのランプから発する光(電磁波)の輻射により、被処理物を加熱する装
置である。GRTA装置は、高温のガスを用いて加熱処理を行う装置である。気体には、
アルゴンなどの希ガス、または窒素のような、加熱処理によって被処理物と反応しない不
活性気体が用いられる。
電極層を形成するための導電層の積層を形成する。
50nm以下で形成し、その上にAl、Cr、Cu、Ta、Ti、Mo、Wから選ばれた
元素、または上述した元素を成分とする合金か、上述した元素を組み合わせた合金等から
なる金属導電層、または透光性を有する導電材料、例えば、酸化タングステンを含むイン
ジウム酸化物、酸化タングステンを含むインジウム亜鉛酸化物、酸化チタンを含むインジ
ウム酸化物、酸化チタンを含むインジウム錫酸化物、インジウム錫酸化物(以下、ITO
と示す。)、インジウム亜鉛酸化物、酸化ケイ素を添加したインジウム錫酸化物等からな
る導電層を積層形成する。
ジウム合金層上に第1のモリブデン層と、アルミニウム層と、第2のモリブデン層とが積
層された4層の積層構造とする。材料の異なるターゲットを複数設置できる多元スパッタ
装置を用いて、インジウムのペレットを載せた第1モリブデンターゲットと、ペレットを
載せていない第2モリブデンターゲットと、アルミニウムターゲットとを用いて同一チャ
ンバーで大気に触れることなく連続成膜して4層を積層する。なお、4層のうち最も膜厚
が薄く、且つ、酸化物半導体層の膜厚よりも薄い層がインジウム合金層である。連続成膜
により、薄いインジウム合金層の高抵抗化を防いでいる。
る層として、インジウム合金層を用いる例を示したが、亜鉛、亜鉛合金、イットリウム、
イットリウムの合金、チタン、チタンの合金、またはガリウム化合物などの仕事関数が少
なくとも酸化物半導体層の仕事関数よりも小さい金属又はそのような金属の合金を用いて
もよい。
、Cu、Ta、Ti、Mo、Wから選ばれた元素、または上述した元素を成分とする合金
か、上述した元素を組み合わせた合金等からなる金属導電層とが積層しているものとして
例示したが、図4のように、少なくとも酸化物半導体層の仕事関数より小さい仕事関数を
有する金属又はそのような金属の合金を用いた混合層115a、115b(単層)として
も良い。
イットリウムの合金、チタン、チタンの合金、またはガリウム化合物などの仕事関数が少
なくとも酸化物半導体の仕事関数よりも小さい金属又はそのような金属の合金として、第
2の層を上述のAl、Cr、Cu、Ta、Ti、Mo、Wから選ばれた元素、または上述
した元素を成分とする合金を積層する。第1の層が膜厚1nm以上50nm以下の薄膜と
することで混合層とする。この混合層をソース電極層及びドレイン電極層として用いても
良い。
ン電極層を形成するための四層の積層を選択的にエッチングして、積層からなるソース電
極層またはドレイン電極層104a、104b、105a、105bを形成する(図1(
B)参照。)。なお、ソース電極層またはドレイン電極層のうち、酸化物半導体層103
上に接するインジウム混合層が104a、104bに相当する。また、このとき酸化物半
導体層103も一部がエッチングされ、溝部(凹部)を有する酸化物半導体層103とな
る。なお、酸化物半導体層103の材料や、ソース電極層またはドレイン電極層の材料や
、エッチング条件によっては、酸化物半導体層103に溝部(凹部)が形成されない場合
もある。
電極層105bを覆い、酸化物半導体層103の一部と接する保護絶縁層107を形成す
る(図1(C)参照。)。保護絶縁層107は、少なくとも1nm以上の厚さとし、CV
D法、スパッタリング法など、保護絶縁層107に水、水素等の不純物を混入させない方
法を適宜用いて形成することができる。ここでは、保護絶縁層107は、例えばスパッタ
リング法の一種である、リアクティブスパッタリング法を用いて形成する。酸化物半導体
層103の一部と接して形成される保護絶縁層107は、水分、水素イオン、OH−など
の不純物を含まず、これらが外部から侵入することをブロックする無機絶縁層を用い、代
表的には酸化珪素層、窒化酸化珪素層、窒化珪素層、酸化アルミニウム層、酸化窒化アル
ミニウム層又は窒化アルミニウム層、を用いることができる。
窒化アルミニウム層の上に窒化珪素層又は窒化アルミニウム層を積層する構造としてもよ
い。特に窒化珪素層は水分、水素イオン、OH−などの不純物を含まず、これらが外部か
ら侵入することをブロックしやすいので好ましい。
層のスパッタリング法による成膜は、希ガス(代表的にはアルゴン)雰囲気下、酸素雰囲
気下、または希ガス(代表的にはアルゴン)及び酸素雰囲気下において行うことができる
。また、ターゲットとして酸化珪素ターゲットまたは珪素ターゲットを用いることができ
る。例えば、珪素ターゲットを用いて、酸素及び希ガス雰囲気下でスパッタリング法によ
り酸化珪素を形成することができる。本実施の形態では、珪素ターゲットを用いて膜厚3
00nmの酸化珪素膜を形成する。
られ、ゲート電極層101の上にゲート絶縁層102が設けられ、ゲート絶縁層102の
上に酸化物半導体層103が設けられ、酸化物半導体層103の上に積層からなるソース
電極層またはドレイン電極層104a、104b、105a、105bが設けられ、ゲー
ト絶縁層102、酸化物半導体層103、ソース電極層104a、105a及びドレイン
電極層104b、105bを覆い、酸化物半導体層103の一部と接する保護絶縁層10
7が設けられている、ボトムゲート型の薄膜トランジスタ150を形成することができる
(図1(D)参照。)。
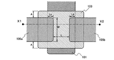
図2のX1−X2部位の断面構成を示している。図2において、Lはチャネル長を示して
おり、Wはチャネル幅を示している。また、Aはチャネル幅方向と平行な方向において、
酸化物半導体層103がソース電極層105a及びドレイン電極層105bと重ならない
領域の長さを示している。Lsはソース電極層105aとゲート電極層101が重なる長
さを示しており、Ldはドレイン電極層105bとゲート電極層101が重なる長さを示
している。
、第2の熱処理を100℃以上400℃以下の範囲内で行ってもよい。本実施の形態では
、基板を150℃、10時間の加熱を行う。この第2の加熱処理により、信頼性の高い薄
膜トランジスタを作製することができる。
配線や電極(例えば画素電極など)を形成した後に行ってもよい。
作製方法について説明したが、本実施の形態の構成はこれに限られるものではない。図3
(A)に示すような、ボトムゲート構造のボトムコンタクト型(逆コプラナ型とも呼ぶ)
の薄膜トランジスタ160や、図3(B)に示すような、チャネル保護層110を有する
チャネル保護型(チャネルストップ型ともいう)の薄膜トランジスタ170等も同様の材
料、方法を用いて形成することができる。図3(C)は、チャネルエッチ型薄膜トランジ
スタの他の例を示している。図3(C)に示す薄膜トランジスタ180は、ゲート電極層
101が酸化物半導体層103の端部よりも外側に伸びた構造となっている。
した光が複数の強度となる露光マスクである多階調マスクによって形成されたレジストマ
スクを用いてエッチング工程を行ってもよい。多階調マスクを用いて形成したレジストマ
スクは複数の膜厚を有する形状となり、エッチングを行うことでさらに形状を変形するこ
とができるため、異なるパターンに加工する複数のエッチング工程に用いることができる
。よって、一枚の多階調マスクによって、少なくとも二種類以上の異なるパターンに対応
するレジストマスクを形成することができる。よって露光マスク数を削減することができ
、対応するフォトリソグラフィ工程も削減できるため、工程の簡略化が可能となる。
ン電極層105bとの距離で定義されるが、チャネル保護型の薄膜トランジスタのチャネ
ル長は、キャリアの流れる方向と平行な方向のチャネル保護層の幅で定義される。
、酸化物半導体と金属との接触抵抗の低い接続構造の半導体装置を作製することができる
。
本実施の形態では、薄膜トランジスタを作製し、該薄膜トランジスタを画素部、さらには
駆動回路に用いて表示機能を有する半導体装置(表示装置ともいう)を作製する場合につ
いて説明する。また、駆動回路を、画素部と同じ基板上に一体形成し、システムオンパネ
ルを形成することができる。
素子(発光表示素子ともいう)を用いることができる。発光素子は、電流または電圧によ
って輝度が制御される素子をその範疇に含んでおり、具体的には無機EL(Electr
o Luminescence)素子、有機EL素子等が含まれる。また、電子インクな
ど、電気的作用によりコントラストが変化する表示媒体も適用することができる。
を含むIC等を実装した状態にあるモジュールとを含む。さらに表示装置は、該表示装置
を作製する過程における、表示素子が完成する前の一形態に相当する素子基板に関し、該
素子基板は、電流を表示素子に供給するための手段を複数の各画素に備える。素子基板は
、具体的には、表示素子の画素電極のみが形成された状態であっても良いし、画素電極と
なる導電層を形成した後であって、エッチングして画素電極を形成する前の状態であって
も良いし、あらゆる形態があてはまる。
源(照明装置含む)を指す。また、コネクター、例えばFPC(Flexible pr
inted circuit)もしくはTAB(Tape Automated Bon
ding)テープもしくはTCP(Tape Carrier Package)が取り
付けられたモジュール、TABテープやTCPの先にプリント配線板が設けられたモジュ
ール、または表示素子にCOG(Chip On Glass)方式によりIC(集積回
路)が直接実装されたモジュールも全て表示装置に含むものとする。
ず、半導体装置の一形態に相当する液晶表示パネルの外観及び断面について、図5を用い
て説明する。図5(A1)(A2)は、第1の基板4001上に形成されたIn−Ga−
Zn−O系非単結晶層を半導体層として含む薄膜トランジスタ4010、4011、及び
液晶素子4013を、第2の基板4006との間にシール材4005によって封止した、
パネルの上面図であり、図5(B)は、図5(A1)(A2)のM−Nにおける断面図に
相当する。
ようにして、シール材4005が設けられている。また画素部4002と、走査線駆動回
路4004の上に第2の基板4006が設けられている。よって画素部4002と、走査
線駆動回路4004とは、第1の基板4001とシール材4005と第2の基板4006
とによって、液晶層4008と共に封止されている。また第1の基板4001上のシール
材4005によって囲まれている領域とは異なる領域に、別途用意された基板上に単結晶
半導体又は多結晶半導体で形成された信号線駆動回路4003が実装されている。
イヤボンディング法、或いはTAB法などを用いることができる。図5(A1)は、CO
G法により信号線駆動回路4003を実装する例であり、図5(A2)は、TAB法によ
り信号線駆動回路4003を実装する例である。
、薄膜トランジスタを複数有しており、図5(B)では、画素部4002に含まれる薄膜
トランジスタ4010と、走査線駆動回路4004に含まれる薄膜トランジスタ4011
とを例示している。薄膜トランジスタ4010、4011上には絶縁層4020、402
1が設けられている。
膜トランジスタを適用することができる。なお、薄膜トランジスタ4010、4011の
ソース電極層またはドレイン電極層は、亜鉛層とタングステン層との積層であり、亜鉛層
が酸化物半導体層と接する積層構造である。本実施の形態において、薄膜トランジスタ4
010、4011はnチャネル型薄膜トランジスタである。
重なる位置に導電層4040が設けられている。導電層4040を酸化物半導体層のチャ
ネル形成領域と重なる位置に設けることによって、BT試験前後における薄膜トランジス
タ4011のしきい値電圧の変化量を低減することができる。また、駆動回路用の薄膜ト
ランジスタ4011と重なる位置に導電層4040を設けることによって静電遮断し、か
つノーマリーオフの薄膜トランジスタとすることもできる。静電遮断とは外部の電場を遮
蔽すること、即ち、外部の電場が内部(TFTなどの回路)に作用しないようにすること
をいう。
気的に接続されている。そして液晶素子4013の対向電極層4031は第2の基板40
06上に形成されている。画素電極層4030と対向電極層4031と液晶層4008と
が重なっている部分が、液晶素子4013に相当する。なお、画素電極層4030、対向
電極層4031はそれぞれ配向膜として機能する絶縁層4032、4033が設けられ、
絶縁層4032、4033を介して液晶層4008を挟持している。
テンレス)、セラミックス、プラスチックを用いることができる。プラスチックとしては
、FRP(Fiberglass−Reinforced Plastics)板、PV
F(ポリビニルフルオライド)フィルム、ポリエステルフィルムまたはアクリル樹脂フィ
ルムを用いることができる。また、アルミニウムホイルをPVFフィルムやポリエステル
フィルムで挟んだ構造のシートを用いることもできる。
、画素電極層4030と対向電極層4031との間の距離(セルギャップ)を制御するた
めに設けられている。なお球状のスペーサを用いていても良い。また、対向電極層403
1は、薄膜トランジスタ4010と同一基板上に設けられる共通電位線と電気的に接続さ
れる。また、共通接続部を用いて、一対の基板間に配置される導電性粒子を介して対向電
極層4031と共通電位線とを電気的に接続することができる。なお、導電性粒子はシー
ル材4005に含有させる。
あり、コレステリック液晶を昇温していくと、コレステリック相から等方相へ転移する直
前に発現する相である。ブルー相は狭い温度範囲でしか発現しないため、温度範囲を改善
するために5重量%以上のカイラル剤を混合させた液晶組成物を用いて液晶層4008に
用いる。ブルー相を示す液晶とカイラル剤とを含む液晶組成物は、応答速度が1msec
以下と短く、光学的等方性であるため配向処理が不要であり、視野角依存性が小さい。
ング処理によって引き起こされる静電破壊を防止することができ、作製工程中の液晶表示
装置の不良や破損を軽減することができる。よって液晶表示装置の生産性を向上させるこ
とが可能となる。特に、酸化物半導体層を用いる薄膜トランジスタは、静電気の影響によ
り薄膜トランジスタの電気的な特性が著しく変動して設計範囲を逸脱する恐れがある。よ
って酸化物半導体層を用いる薄膜トランジスタを有する液晶表示装置にブルー相の液晶材
料を用いることはより効果的である。
置は反射型液晶表示装置でも半透過型液晶表示装置でも適用できる。
側に着色層、表示素子に用いる電極層という順に設ける例を示すが、偏光板は基板の内側
に設けてもよい。また、偏光板と着色層の積層構造も本実施の形態に限定されず、偏光板
及び着色層の材料や作製工程条件によって適宜設定すればよい。また、必要に応じてブラ
ックマトリクスとして機能する遮光層を設けてもよい。
ジスタの信頼性を向上させるため、薄膜トランジスタを保護層として機能する絶縁層40
20や平坦化絶縁層として機能する絶縁層4021で覆う構成となっている。なお、保護
層は、大気中に浮遊する有機物や金属物、水蒸気などの汚染不純物の侵入を防ぐためには
、緻密な膜が好ましい。保護層は、スパッタ法を用いて、酸化珪素層、窒化珪素層、酸化
窒化珪素層、窒化酸化珪素層、酸化アルミニウム層、窒化アルミニウム層、酸化窒化アル
ミニウム層、又は窒化酸化アルミニウム層の単層、又は積層で形成すればよい。本実施の
形態では保護層をスパッタ法で形成する例を示すが、特に限定されず種々の方法で形成す
ればよい。
0の一層目として、スパッタ法を用いて酸化珪素層を形成する。保護層として酸化珪素層
を用いると、ソース電極層及びドレイン電極層としてアルミニウム層を用いる場合、用い
るアルミニウム層のヒロック防止に効果がある。
層として窒化珪素層を用いると、ナトリウムイオン等の可動イオンが半導体領域中に侵入
して、TFTの電気特性を変動させることを抑制することができる。
ミド、アクリル、ベンゾシクロブテン、ポリアミド、エポキシ等の、耐熱性を有する有機
材料を用いることができる。また上記有機材料の他に、低誘電率材料(low−k材料)
、シロキサン系樹脂、PSG(リンガラス)、BPSG(リンボロンガラス)等を用いる
ことができる。なお、これらの材料で形成される絶縁層を複数積層させることで、絶縁層
4021を形成してもよい。
i結合を含む樹脂に相当する。シロキサン系樹脂は置換基としては有機基(例えばアルキ
ル基やアリール基)やフルオロ基を用いても良い。また、有機基はフルオロ基を有してい
ても良い。
、スピンコート、ディップ、スプレー塗布、液滴吐出法(インクジェット法、スクリーン
印刷、オフセット印刷等)、ドクターナイフ、ロールコーター、カーテンコーター、ナイ
フコーター等を用いることができる。絶縁層4021を材料液を用いて形成する場合、ベ
ークする工程で同時に、半導体層のアニール(300℃〜400℃)を行ってもよい。絶
縁層4021の焼成工程と半導体層のアニールを兼ねることで効率よく半導体装置を作製
することが可能となる。
、酸化タングステンを含むインジウム亜鉛酸化物、酸化チタンを含むインジウム酸化物、
酸化チタンを含むインジウム錫酸化物、インジウム錫酸化物(以下、ITOと示す。)、
インジウム亜鉛酸化物、酸化ケイ素を添加したインジウム錫酸化物などの透光性を有する
導電性材料を用いることができる。
ともいう)を含む導電性組成物を用いて形成することができる。導電性組成物を用いて形
成した画素電極は、シート抵抗が10000Ω/□以下、波長550nmにおける透光率
が70%以上であることが好ましい。また、導電性組成物に含まれる導電性高分子の抵抗
率が0.1Ω・cm以下であることが好ましい。
ば、ポリアニリンまたはその誘導体、ポリピロールまたはその誘導体、ポリチオフェンま
たはその誘導体、若しくはこれらの2種以上の共重合体などがあげられる。
002に与えられる各種信号及び電位は、FPC4018から供給されている。
30と同じ導電層から形成され、端子電極4016は、薄膜トランジスタ4010、40
11のソース電極層及びドレイン電極層と同じ導電層で形成されている。従って、端子電
極4016は、亜鉛層4014とタングステン層との積層で形成されている。
て電気的に接続されている。
している例を示しているが、本実施の形態はこの構成に限定されない。走査線駆動回路を
別途形成して実装しても良いし、信号線駆動回路の一部または走査線駆動回路の一部のみ
を別途形成して実装しても良い。
01と第2の基板4006の外側には偏光板や拡散板を設ける。また、バックライトの光
源は冷陰極管やLEDにより構成されて液晶表示モジュールとなる。
n−Plane−Switching)モード、FFS(Fringe Field S
witching)モード、MVA(Multi−domain Vertical A
lignment)モード、PVA(Patterned Vertical Alig
nment)モード、ASM(Axially Symmetric aligned
Micro−cell)モード、OCB(Optical Compensated B
irefringence)モード、FLC(Ferroelectric Liqui
d Crystal)モード、AFLC(AntiFerroelectric Liq
uid Crystal)モードなどを用いることができる。
とができる。
半導体装置の一形態として電子ペーパーの例を示す。
て電子インクを駆動させる電子ペーパーに用いてもよい。電子ペーパーは、電気泳動表示
装置(電気泳動ディスプレイ)とも呼ばれており、紙と同じ読みやすさ、他の表示装置に
比べ低消費電力、薄くて軽い形状とすることが可能という利点を有している。
子と、マイナスの電荷を有する第2の粒子とを含むマイクロカプセルが溶媒または溶質に
複数分散されたものであり、マイクロカプセルに電界を印加することによって、マイクロ
カプセル中の粒子を互いに反対方向に移動させて一方側に集合した粒子の色のみを表示す
るものである。なお、第1の粒子または第2の粒子は染料を含み、電界がない場合におい
て移動しないものである。また、第1の粒子の色と第2の粒子の色は異なるもの(無色を
含む)とする。
いわゆる誘電泳動的効果を利用したディスプレイである。
の電子インクはガラス、プラスチック、布、紙などの表面に印刷することができる。また
、カラーフィルタや色素を有する粒子を用いることによってカラー表示も可能である。
ロカプセルを複数配置すればアクティブマトリクス型の表示装置が完成し、マイクロカプ
セルに電界を印加すれば表示を行うことができる。例えば、実施の形態1の薄膜トランジ
スタによって得られるアクティブマトリクス基板を用いることができる。
半導体材料、磁性材料、液晶材料、強誘電性材料、エレクトロルミネセント材料、エレク
トロクロミック材料、磁気泳動材料から選ばれた一種の材料、またはこれらの複合材料を
用いればよい。
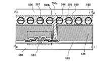
置に用いられる薄膜トランジスタ581としては、実施の形態3で示す薄膜トランジスタ
と同様に作製でき、ソース電極層またはドレイン電極層として酸化物半導体層に接するイ
ンジウム層を含む積層を有する薄膜トランジスタである。
ボール表示方式とは、白と黒に塗り分けられた球形粒子を表示素子に用いる電極層である
第1の電極層及び第2の電極層の間に配置し、第1の電極層及び第2の電極層に電位差を
生じさせての球形粒子の向きを制御することにより、表示を行う方法である。
薄膜トランジスタであり、絶縁層583に覆われている。薄膜トランジスタ581のソー
ス電極層又はドレイン電極層は、第1の電極層587と、絶縁層583及び絶縁層585
に形成する開口を介して電気的に接続している。第1の電極層587と第2の電極層58
8との間には黒色領域590a及び白色領域590bを有し、周りに液体で満たされてい
るキャビティ594を含むツイストボール589が設けられており、ツイストボール58
9の周囲は樹脂等の充填材595で充填されている(図6参照。)。第1の電極層587
が画素電極に相当し、第2の電極層588が共通電極に相当する。第2の電極層588は
、薄膜トランジスタ581と同一基板上に設けられる共通電位線と電気的に接続される。
共通接続部を用いて、一対の基板間に配置される導電性粒子を介して第2の電極層588
と共通電位線とを電気的に接続することができる。
と、正に帯電した白い微粒子と負に帯電した黒い微粒子とを封入した直径10μm〜20
0μm程度のマイクロカプセルを用いる。第1の電極層と第2の電極層との間に設けられ
るマイクロカプセルは、第1の電極層と第2の電極層によって、電場が与えられると、白
い微粒子と、黒い微粒子が互いに逆の方向に移動し、白または黒を表示することができる
。この原理を応用した表示素子が電気泳動表示素子であり、一般的に電子ペーパーとよば
れている。電気泳動表示素子は、液晶表示素子に比べて反射率が高いため、補助ライトは
不要であり、また消費電力が小さく、薄暗い場所でも表示部を認識することが可能である
。また、表示部に電源が供給されない場合であっても、一度表示した像を保持することが
可能であるため、電波発信源から表示機能付き半導体装置(単に表示装置、又は表示装置
を具備する半導体装置ともいう)を遠ざけた場合であっても、表示された像を保存してお
くことが可能となる。
とができる。
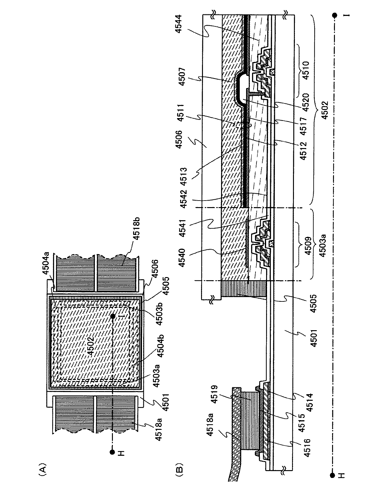
半導体装置の一形態に相当する発光表示パネル(発光パネルともいう)の外観及び断面に
ついて、図7を用いて説明する。図7は、第1の基板上に形成された薄膜トランジスタ及
び発光素子を、第2の基板との間にシール材によって封止した、パネルの上面図であり、
図7(B)は、図7(A)のH−Iにおける断面図に相当する。
3b、及び走査線駆動回路4504a、4504bを囲むようにして、シール材4505
が設けられている。また画素部4502、信号線駆動回路4503a、4503b、及び
走査線駆動回路4504a、4504bの上に第2の基板4506が設けられている。よ
って画素部4502、信号線駆動回路4503a、4503b、及び走査線駆動回路45
04a、4504bは、第1の基板4501とシール材4505と第2の基板4506と
によって、充填材4507と共に密封されている。このように外気に曝されないように気
密性が高く、脱ガスの少ない保護フィルム(貼り合わせフィルム、紫外線硬化樹脂フィル
ム等)やカバー材でパッケージング(封入)することが好ましい。
503b、及び走査線駆動回路4504a、4504bは、薄膜トランジスタを複数有し
ており、図7(B)では、画素部4502に含まれる薄膜トランジスタ4510と、信号
線駆動回路4503aに含まれる薄膜トランジスタ4509とを例示している。
することができる。なお、薄膜トランジスタ4509、4510のソース電極層またはド
レイン電極層は、インジウム合金層とモリブデン層との積層であり、インジウム合金層が
酸化物半導体層と接する積層構造である。本実施の形態において、薄膜トランジスタ45
09、4510はnチャネル型薄膜トランジスタである。
ャネル形成領域と重なる位置に導電層4540が設けられている。導電層4540を少な
くとも酸化物半導体層のチャネル形成領域と重なる位置に設けることによって、BT試験
前後における薄膜トランジスタ4509のしきい値電圧の変化量を低減することができる
。また、駆動回路用の薄膜トランジスタ4509と重なる位置に導電層4540を設ける
ことによって静電遮断し、ノーマリーオフの薄膜トランジスタとすることもできる。また
、導電層4540は、電位が薄膜トランジスタ4509のゲート電極層と同じでもよいし
、異なっていても良く、第2のゲート電極層として機能させることもできる。また、導電
層4540の電位がGND、0V、或いはフローティング状態であってもよい。
て絶縁層4541が形成されている。絶縁層4541は実施の形態1で示した保護絶縁層
107と同様な材料及び方法で形成すればよい。また、薄膜トランジスタの表面凹凸を低
減するための平坦化絶縁層として機能する絶縁層4544で覆う構成となっている。ここ
では、絶縁層4541として、実施の形態1に示す保護絶縁層107を用いてスパッタ法
により酸化珪素層を形成する。
形態2で示した絶縁層4021と同様な材料及び方法で形成すればよい。ここでは、平坦
化絶縁層4544としてアクリルを用いる。また、絶縁層4544に代えてカラーフィル
タ層を設ける構成としてもよい。フルカラー表示を行う場合、例えば発光素子4511と
して緑色発光素子とし、隣り合う一方の発光素子を赤色発光素子とし、もう一方の発光素
子を青色発光素子とする。また、3種類の発光素子だけでなく白色素子を加えた4種類の
発光素子でフルカラー表示ができる発光表示装置を作製してもよい。また、配置する複数
の発光素子を全て白色発光素子として、発光素子4511上方にカラーフィルタなどを有
する封止基板を配置する構成とし、フルカラー表示ができる発光表示装置を作製してもよ
い。白色などの単色の発光を示す材料を形成し、カラーフィルタや色変換層を組み合わせ
ることによりフルカラー表示を行うことができる。もちろん単色発光の表示を行ってもよ
い。例えば、白色発光を用いて照明装置を形成してもよいし、単色発光を用いてエリアカ
ラータイプの発光装置を形成してもよい。
517は、薄膜トランジスタ4510のソース電極層またはドレイン電極層と電気的に接
続されている。なお発光素子4511の構成は、第1の電極層4517、電界発光層45
12、第2の電極層4513の積層構造であるが、示した構成に限定されない。発光素子
4511から取り出す光の方向などに合わせて、発光素子4511の構成は適宜変えるこ
とができる。
特に感光性の材料を用い、第1の電極層4517上に開口部を形成し、その開口部の側壁
が連続した曲率を持って形成される傾斜面となるように形成することが好ましい。
されていてもどちらでも良い。
4513及び隔壁4520上に保護層を形成してもよい。保護層としては、窒化珪素層、
窒化酸化珪素層、DLC層等を形成することができる。
、または画素部4502に与えられる各種信号及び電位は、FPC4518a、4518
bから供給されている。
から形成され、端子電極4516は、薄膜トランジスタ4509、4510が有するソー
ス電極層及びドレイン電極層と同じ導電層から形成されている。従って、端子電極401
6は、インジウム合金層4514とモリブデン層との積層で形成されている。
して電気的に接続されている。
その場合には、ガラス板、プラスチック板、ポリエステルフィルムまたはアクリルフィル
ムのような透光性を有する材料を用いる。
脂または熱硬化樹脂を用いることができ、PVC(ポリビニルクロライド)、アクリル、
ポリイミド、エポキシ樹脂、シリコーン樹脂、PVB(ポリビニルブチラル)またはEV
A(エチレンビニルアセテート)を用いることができる。例えば充填材として窒素を用い
ればよい。
位相差板(λ/4板、λ/2板)、カラーフィルタなどの光学フィルムを適宜設けてもよ
い。また、偏光板又は円偏光板に反射防止膜を設けてもよい。例えば、表面の凹凸により
反射光を拡散し、映り込みを低減できるアンチグレア処理を施すことができる。
、別途用意された基板上に単結晶半導体又は多結晶半導体によって形成された駆動回路で
実装されていてもよい。また、信号線駆動回路のみ、或いはその一部のみ、又は走査線駆
動回路のみ、或いはその一部のみを別途形成して実装しても良く、図7の構成に限定され
ない。
)を作製することができる。
本明細書に開示する半導体装置は、さまざまな電子機器(遊技機も含む)に適用すること
ができる。電子機器としては、例えば、テレビジョン装置(テレビ、またはテレビジョン
受信機ともいう)、コンピュータ用などのモニタ、デジタルカメラ、デジタルビデオカメ
ラ、デジタルフォトフレーム、携帯電話機(携帯電話、携帯電話装置ともいう)、携帯型
ゲーム機、携帯情報端末、音響再生装置、パチンコ機などの大型ゲーム機、太陽電池など
が挙げられる。
組み込まれた表示部1102の他、操作ボタン1103、外部接続ポート1104、スピ
ーカ1105、マイク1106などを備えている。
を入力ことができる。また、電話を掛ける、或いはメールを打つなどの操作は、表示部1
102を指などで触れることにより行うことができる。
示モードであり、第2は、文字等の情報の入力を主とする入力モードである。第3は表示
モードと入力モードの2つのモードが混合した表示+入力モードである。
主とする文字入力モードとし、画面に表示させた文字の入力操作を行えばよい。この場合
、表示部1102の画面のほとんどにキーボードまたは番号ボタンを表示させることが好
ましい。
有する検出装置を設けることで、携帯電話機1100の向き(縦か横か)を判断して、表
示部1102の画面表示を自動的に切り替えるようにすることができる。
ボタン1103の操作により行われる。また、表示部1102に表示される画像の種類に
よって切り替えるようにすることもできる。例えば、表示部に表示する画像信号が動画の
データであれば表示モード、テキストデータであれば入力モードに切り替える。
部1102のタッチ操作による入力が一定期間ない場合には、画面のモードを入力モード
から表示モードに切り替えるように制御してもよい。
02に掌や指を触れることで、掌紋、指紋等を撮像することで、本人認証を行うことがで
きる。また、表示部に近赤外光を発光するバックライトまたは近赤外光を発光するセンシ
ング用光源を用いれば、指静脈、掌静脈などを撮像することもできる。
スタを複数配置する。
の機能を備えることができる。例えば電話機能に加えて、コンピュータを内蔵し、様々な
データ処理機能を備えることもできる。
成されている。筐体2801には、表示パネル2802、スピーカー2803、マイクロ
フォン2804、ポインティングデバイス2806、カメラ用レンズ2807、外部接続
端子2808などを備えている。また、筐体2800には、携帯型情報端末の充電を行う
太陽電池セル2810、外部メモリスロット2811などを備えている。また、アンテナ
は筐体2801内部に内蔵されている。
いる複数の操作キー2805を点線で示している。
。
適宜変化する。また、表示パネル2802と同一面上にカメラ用レンズ2807を備えて
いるため、テレビ電話が可能である。スピーカー2803及びマイクロフォン2804は
音声通話に限らず、テレビ電話、録音、再生などが可能である。さらに、筐体2800と
筐体2801は、スライドし、図8(B)のように展開している状態から重なり合った状
態とすることができ、携帯に適した小型化が可能である。
であり、充電及びパーソナルコンピュータなどとのデータ通信が可能である。また、外部
メモリスロット2811に記録媒体を挿入し、より大量のデータ保存及び移動に対応でき
る。
もよい。
体9601に表示部9603が組み込まれている。表示部9603により、映像を表示す
ることが可能である。また、ここでは、スタンド9605により筐体9601を支持した
構成を示している。
コン操作機9610により行うことができる。リモコン操作機9610が備える操作キー
9609により、チャンネルや音量の操作を行うことができ、表示部9603に表示され
る映像を操作することができる。また、リモコン操作機9610に、当該リモコン操作機
9610から出力する情報を表示する表示部9607を設ける構成としてもよい。
より一般のテレビ放送の受信を行うことができ、さらにモデムを介して有線または無線に
よる通信ネットワークに接続することにより、一方向(送信者から受信者)または双方向
(送信者と受信者間、あるいは受信者間同士など)の情報通信を行うことも可能である。
スタを複数配置する。
フォトフレーム9700は、筐体9701に表示部9703が組み込まれている。表示部
9703は、各種画像を表示することが可能であり、例えばデジタルカメラなどで撮影し
た画像データを表示させることで、通常の写真立てと同様に機能させることができる。
スタを複数配置する。
Bケーブルなどの各種ケーブルと接続可能な端子など)、記録媒体挿入部などを備える構
成とする。これらの構成は、表示部と同一面に組み込まれていてもよいが、側面や裏面に
備えるとデザイン性が向上するため好ましい。例えば、デジタルフォトフレームの記録媒
体挿入部に、デジタルカメラで撮影した画像データを記憶したメモリを挿入して画像デー
タを取り込み、取り込んだ画像データを表示部9703に表示させることができる。
。無線により、所望の画像データを取り込み、表示させる構成とすることもできる。
て用いた例である。実施の形態4で示した発光装置は大面積化も可能であるため、大面積
の照明装置として用いることができる。また、実施の形態4で示した発光装置は、卓上照
明器具3000として用いることも可能である。なお、照明器具には天井固定型の照明器
具、卓上照明器具の他にも、壁掛け型の照明器具、車内用照明、誘導灯なども含まれる。
示パネルに配置することができる。
本明細書に開示する半導体装置は、電子ペーパーとして適用することができる。電子ペー
パーは、情報を表示するものであればあらゆる分野の電子機器に用いることが可能である
。例えば、電子ペーパーを用いて、電子書籍(電子ブック)、ポスター、電車などの乗り
物の車内広告、クレジットカード等の各種カードにおける表示等に適用することができる
。電子機器の一例を図11に示す。
よび筐体2703の2つの筐体で構成されている。筐体2701および筐体2703は、
軸部2711により一体とされており、該軸部2711を軸として開閉動作を行うことが
できる。このような構成により、紙の書籍のような動作を行うことが可能となる。
込まれている。表示部2705および表示部2707は、続き画面を表示する構成として
もよいし、異なる画面を表示する構成としてもよい。異なる画面を表示する構成とするこ
とで、例えば右側の表示部(図11では表示部2705)に文章を表示し、左側の表示部
(図11では表示部2707)に画像を表示することができる。
701において、電源2721、操作キー2723、スピーカ2725などを備えている
。操作キー2723により、頁を送ることができる。なお、筐体の表示部と同一面にキー
ボードやポインティングデバイスなどを備える構成としてもよい。また、筐体の裏面や側
面に、外部接続用端子(イヤホン端子、USB端子、またはACアダプタおよびUSBケ
ーブルなどの各種ケーブルと接続可能な端子など)、記録媒体挿入部などを備える構成と
してもよい。さらに、電子書籍2700は、電子辞書としての機能を持たせた構成として
もよい。
電子書籍サーバから、所望の書籍データなどを購入し、ダウンロードする構成とすること
も可能である。
電子ペーパーの構成と適宜組み合わせて実施することが可能である。
101 ゲート電極層
102 ゲート絶縁層
103 酸化物半導体層
104a、105a ソース電極層
104b、105b ドレイン電極層
107 保護絶縁層
110 チャネル保護層
150 薄膜トランジスタ
160 薄膜トランジスタ
170 薄膜トランジスタ
180 薄膜トランジスタ
Claims (2)
- 基板上にゲート電極を形成し、
前記ゲート電極上にゲート絶縁膜を形成し、
前記基板を加熱しながら、前記ゲート絶縁膜上に、インジウムと、ガリウムと、亜鉛と、を有する酸化物半導体層を形成し、
不純物濃度が1ppm以下の雰囲気において、前記酸化物半導体層に350℃以上750℃以下の温度で第1の熱処理をすることによって脱水化又は脱水素化し、
前記酸化物半導体層上にチタンを有する層を形成し、
前記チタンを有する層上に、アルミニウム、クロム、銅、タンタル、チタン、モリブデン、タングステンから選ばれた元素を有する層を形成し、
前記アルミニウム、クロム、銅、タンタル、チタン、モリブデン、タングステンから選ばれた元素を有する層上に、酸化珪素膜を形成した後、100℃以上400℃以下の温度で第2の熱処理を行い、
前記酸化物半導体層を形成する前、形成中、または形成後にクライオポンプを用いて排気をすることによって水分を除去することを特徴とする半導体装置の作製方法。 - 請求項1において、
前記酸化物半導体層を形成する前に、減圧雰囲気下で200℃以上600℃以下の加熱、もしくは加熱しながら不活性ガスの導入と排気を繰り返す、プレヒート処理を行うことを特徴とする半導体装置の作製方法。
Applications Claiming Priority (2)
| Application Number | Priority Date | Filing Date | Title |
|---|---|---|---|
| JP2009255272 | 2009-11-06 | ||
| JP2009255272 | 2009-11-06 |
Related Parent Applications (1)
| Application Number | Title | Priority Date | Filing Date |
|---|---|---|---|
| JP2016071293A Division JP6081002B2 (ja) | 2009-11-06 | 2016-03-31 | 半導体装置、及び、半導体装置の作製方法 |
Publications (2)
| Publication Number | Publication Date |
|---|---|
| JP2017063238A JP2017063238A (ja) | 2017-03-30 |
| JP6306754B2 true JP6306754B2 (ja) | 2018-04-04 |
Family
ID=43969885
Family Applications (5)
| Application Number | Title | Priority Date | Filing Date |
|---|---|---|---|
| JP2010242157A Active JP5665480B2 (ja) | 2009-11-06 | 2010-10-28 | 半導体装置 |
| JP2012158210A Active JP5106698B2 (ja) | 2009-11-06 | 2012-07-16 | 半導体装置 |
| JP2014248625A Active JP5917669B2 (ja) | 2009-11-06 | 2014-12-09 | 半導体装置及び半導体装置の作製方法 |
| JP2016071293A Active JP6081002B2 (ja) | 2009-11-06 | 2016-03-31 | 半導体装置、及び、半導体装置の作製方法 |
| JP2017005932A Expired - Fee Related JP6306754B2 (ja) | 2009-11-06 | 2017-01-17 | 半導体装置の作製方法 |
Family Applications Before (4)
| Application Number | Title | Priority Date | Filing Date |
|---|---|---|---|
| JP2010242157A Active JP5665480B2 (ja) | 2009-11-06 | 2010-10-28 | 半導体装置 |
| JP2012158210A Active JP5106698B2 (ja) | 2009-11-06 | 2012-07-16 | 半導体装置 |
| JP2014248625A Active JP5917669B2 (ja) | 2009-11-06 | 2014-12-09 | 半導体装置及び半導体装置の作製方法 |
| JP2016071293A Active JP6081002B2 (ja) | 2009-11-06 | 2016-03-31 | 半導体装置、及び、半導体装置の作製方法 |
Country Status (6)
| Country | Link |
|---|---|
| US (2) | US8841662B2 (ja) |
| JP (5) | JP5665480B2 (ja) |
| KR (3) | KR102066532B1 (ja) |
| CN (2) | CN102598284B (ja) |
| TW (3) | TWI595655B (ja) |
| WO (1) | WO2011055645A1 (ja) |
Families Citing this family (25)
| Publication number | Priority date | Publication date | Assignee | Title |
|---|---|---|---|---|
| US8247276B2 (en) * | 2009-02-20 | 2012-08-21 | Semiconductor Energy Laboratory Co., Ltd. | Thin film transistor, method for manufacturing the same, and semiconductor device |
| WO2011055668A1 (en) | 2009-11-06 | 2011-05-12 | Semiconductor Energy Laboratory Co., Ltd. | Semiconductor device |
| KR20120107079A (ko) | 2009-11-20 | 2012-09-28 | 가부시키가이샤 한도오따이 에네루기 켄큐쇼 | 박막 트랜지스터 |
| KR102424181B1 (ko) | 2010-12-17 | 2022-07-21 | 가부시키가이샤 한도오따이 에네루기 켄큐쇼 | 산화물 재료 및 반도체 장치 |
| US9196741B2 (en) | 2012-02-03 | 2015-11-24 | Semiconductor Energy Laboratory Co., Ltd. | Semiconductor device |
| JP2015521804A (ja) * | 2012-07-03 | 2015-07-30 | アイメック・ヴェーゼットウェーImec Vzw | 薄膜トランジスタの製造方法 |
| DE112013006219T5 (de) | 2012-12-25 | 2015-09-24 | Semiconductor Energy Laboratory Co., Ltd. | Halbleitervorrichtung und deren Herstellungsverfahren |
| KR102290247B1 (ko) * | 2013-03-14 | 2021-08-13 | 가부시키가이샤 한도오따이 에네루기 켄큐쇼 | 반도체 장치와 그 제작 방법 |
| TWI631711B (zh) * | 2013-05-01 | 2018-08-01 | 半導體能源研究所股份有限公司 | 半導體裝置 |
| TWI513004B (zh) * | 2013-07-04 | 2015-12-11 | Ye Xin Technology Consulting Co Ltd | 薄膜電晶體及其製造方法 |
| CN104282767B (zh) * | 2013-07-05 | 2017-12-12 | 鸿富锦精密工业(深圳)有限公司 | 薄膜晶体管及其制造方法 |
| US10366102B2 (en) | 2014-02-19 | 2019-07-30 | Snowflake Inc. | Resource management systems and methods |
| US9941324B2 (en) | 2015-04-28 | 2018-04-10 | Nlt Technologies, Ltd. | Semiconductor device, method of manufacturing semiconductor device, photodiode array, and imaging apparatus |
| CN104934330A (zh) * | 2015-05-08 | 2015-09-23 | 京东方科技集团股份有限公司 | 一种薄膜晶体管及其制备方法、阵列基板和显示面板 |
| CN105405768A (zh) * | 2015-12-14 | 2016-03-16 | 华南理工大学 | 一种薄膜晶体管及其制备方法 |
| US20170309852A1 (en) * | 2016-04-22 | 2017-10-26 | Semiconductor Energy Laboratory Co., Ltd. | Light-Emitting Element, Display Device, Electronic Device, and Lighting Device |
| CN106098559A (zh) * | 2016-06-21 | 2016-11-09 | 北京大学深圳研究生院 | 一种底栅共平面型金属氧化物薄膜晶体管的制备方法 |
| KR102589754B1 (ko) | 2016-08-05 | 2023-10-18 | 삼성디스플레이 주식회사 | 트랜지스터 및 이를 포함하는 표시 장치 |
| CN106229260A (zh) * | 2016-08-31 | 2016-12-14 | 深圳市华星光电技术有限公司 | 一种薄膜晶体管及其制造方法 |
| EP3435045B1 (en) * | 2017-07-27 | 2023-12-13 | ams AG | Optical sensor package |
| EP3676878A4 (en) | 2017-08-31 | 2020-11-04 | Micron Technology, Inc. | SEMICONDUCTOR DEVICES, HYBRID TRANSISTORS AND RELATED PROCESSES |
| WO2019046630A1 (en) | 2017-08-31 | 2019-03-07 | Micron Technology, Inc. | SEMICONDUCTOR DEVICES, TRANSISTORS, AND ASSOCIATED METHODS FOR CONTACTING METAL OXIDE SEMICONDUCTOR DEVICES |
| CN110265548B (zh) * | 2019-06-04 | 2020-12-22 | 华东师范大学 | 一种铟掺杂n型有机薄膜晶体管及其制备方法 |
| CN113889488B (zh) * | 2021-09-18 | 2025-08-26 | 厦门天马显示科技有限公司 | 显示面板及显示装置 |
| JP2023149086A (ja) * | 2022-03-30 | 2023-10-13 | 株式会社ジャパンディスプレイ | 半導体装置の製造方法 |
Family Cites Families (183)
| Publication number | Priority date | Publication date | Assignee | Title |
|---|---|---|---|---|
| JPS60198861A (ja) | 1984-03-23 | 1985-10-08 | Fujitsu Ltd | 薄膜トランジスタ |
| JPS61201772A (ja) | 1985-03-04 | 1986-09-06 | Nippon Telegr & Teleph Corp <Ntt> | 薄膜形成方法および装置 |
| JPH0244256B2 (ja) | 1987-01-28 | 1990-10-03 | Kagaku Gijutsucho Mukizaishitsu Kenkyushocho | Ingazn2o5deshimesarerurotsuhoshokeinosojokozoojusurukagobutsuoyobisonoseizoho |
| JPH0244260B2 (ja) | 1987-02-24 | 1990-10-03 | Kagaku Gijutsucho Mukizaishitsu Kenkyushocho | Ingazn5o8deshimesarerurotsuhoshokeinosojokozoojusurukagobutsuoyobisonoseizoho |
| JPH0244258B2 (ja) | 1987-02-24 | 1990-10-03 | Kagaku Gijutsucho Mukizaishitsu Kenkyushocho | Ingazn3o6deshimesarerurotsuhoshokeinosojokozoojusurukagobutsuoyobisonoseizoho |
| JPS63210023A (ja) | 1987-02-24 | 1988-08-31 | Natl Inst For Res In Inorg Mater | InGaZn↓4O↓7で示される六方晶系の層状構造を有する化合物およびその製造法 |
| JPH0244262B2 (ja) | 1987-02-27 | 1990-10-03 | Kagaku Gijutsucho Mukizaishitsu Kenkyushocho | Ingazn6o9deshimesarerurotsuhoshokeinosojokozoojusurukagobutsuoyobisonoseizoho |
| JPH0244263B2 (ja) | 1987-04-22 | 1990-10-03 | Kagaku Gijutsucho Mukizaishitsu Kenkyushocho | Ingazn7o10deshimesarerurotsuhoshokeinosojokozoojusurukagobutsuoyobisonoseizoho |
| JPH03255632A (ja) | 1990-03-05 | 1991-11-14 | Fujitsu Ltd | 半導体装置及びその製造方法 |
| JPH05251705A (ja) | 1992-03-04 | 1993-09-28 | Fuji Xerox Co Ltd | 薄膜トランジスタ |
| JP3479375B2 (ja) | 1995-03-27 | 2003-12-15 | 科学技術振興事業団 | 亜酸化銅等の金属酸化物半導体による薄膜トランジスタとpn接合を形成した金属酸化物半導体装置およびそれらの製造方法 |
| KR100394896B1 (ko) | 1995-08-03 | 2003-11-28 | 코닌클리케 필립스 일렉트로닉스 엔.브이. | 투명스위칭소자를포함하는반도체장치 |
| JP3625598B2 (ja) | 1995-12-30 | 2005-03-02 | 三星電子株式会社 | 液晶表示装置の製造方法 |
| US6596091B1 (en) * | 1998-04-29 | 2003-07-22 | Applied Materials, Inc. | Method for sweeping contaminants from a process chamber |
| JP4170454B2 (ja) | 1998-07-24 | 2008-10-22 | Hoya株式会社 | 透明導電性酸化物薄膜を有する物品及びその製造方法 |
| JP2000150861A (ja) | 1998-11-16 | 2000-05-30 | Tdk Corp | 酸化物薄膜 |
| JP3276930B2 (ja) | 1998-11-17 | 2002-04-22 | 科学技術振興事業団 | トランジスタ及び半導体装置 |
| JP2001077050A (ja) | 1999-08-31 | 2001-03-23 | Toshiba Corp | 半導体装置の製造方法 |
| TW460731B (en) | 1999-09-03 | 2001-10-21 | Ind Tech Res Inst | Electrode structure and production method of wide viewing angle LCD |
| US6303479B1 (en) * | 1999-12-16 | 2001-10-16 | Spinnaker Semiconductor, Inc. | Method of manufacturing a short-channel FET with Schottky-barrier source and drain contacts |
| US6242288B1 (en) * | 2000-05-05 | 2001-06-05 | International Rectifier Corp. | Anneal-free process for forming weak collector |
| JP4316117B2 (ja) * | 2000-07-13 | 2009-08-19 | シャープ株式会社 | 薄膜トランジスタの製造方法 |
| JP4089858B2 (ja) | 2000-09-01 | 2008-05-28 | 国立大学法人東北大学 | 半導体デバイス |
| KR20020038482A (ko) | 2000-11-15 | 2002-05-23 | 모리시타 요이찌 | 박막 트랜지스터 어레이, 그 제조방법 및 그것을 이용한표시패널 |
| KR100766493B1 (ko) * | 2001-02-12 | 2007-10-15 | 삼성전자주식회사 | 박막트랜지스터 액정표시장치 |
| JP3997731B2 (ja) | 2001-03-19 | 2007-10-24 | 富士ゼロックス株式会社 | 基材上に結晶性半導体薄膜を形成する方法 |
| JP2002289859A (ja) | 2001-03-23 | 2002-10-04 | Minolta Co Ltd | 薄膜トランジスタ |
| JP2002305150A (ja) * | 2001-04-04 | 2002-10-18 | Hitachi Kokusai Electric Inc | 成膜方法及びその装置 |
| JP4920140B2 (ja) | 2001-05-18 | 2012-04-18 | ゲットナー・ファンデーション・エルエルシー | 液晶表示装置及びその製造方法 |
| JP3925839B2 (ja) | 2001-09-10 | 2007-06-06 | シャープ株式会社 | 半導体記憶装置およびその試験方法 |
| JP4090716B2 (ja) | 2001-09-10 | 2008-05-28 | 雅司 川崎 | 薄膜トランジスタおよびマトリクス表示装置 |
| WO2003040441A1 (fr) | 2001-11-05 | 2003-05-15 | Japan Science And Technology Agency | Film mince monocristallin homologue a super-reseau naturel, procede de preparation et dispositif dans lequel est utilise ledit film mince monocristallin |
| JP4164562B2 (ja) | 2002-09-11 | 2008-10-15 | 独立行政法人科学技術振興機構 | ホモロガス薄膜を活性層として用いる透明薄膜電界効果型トランジスタ |
| JP2003172949A (ja) * | 2001-12-06 | 2003-06-20 | Toshiba Corp | 表示装置用アレイ基板の製造方法 |
| KR100980008B1 (ko) | 2002-01-02 | 2010-09-03 | 삼성전자주식회사 | 배선 구조, 이를 이용하는 박막 트랜지스터 기판 및 그제조 방법 |
| JP4083486B2 (ja) | 2002-02-21 | 2008-04-30 | 独立行政法人科学技術振興機構 | LnCuO(S,Se,Te)単結晶薄膜の製造方法 |
| US7049190B2 (en) | 2002-03-15 | 2006-05-23 | Sanyo Electric Co., Ltd. | Method for forming ZnO film, method for forming ZnO semiconductor layer, method for fabricating semiconductor device, and semiconductor device |
| JP3933591B2 (ja) | 2002-03-26 | 2007-06-20 | 淳二 城戸 | 有機エレクトロルミネッセント素子 |
| US7339187B2 (en) | 2002-05-21 | 2008-03-04 | State Of Oregon Acting By And Through The Oregon State Board Of Higher Education On Behalf Of Oregon State University | Transistor structures |
| JP2004022625A (ja) | 2002-06-13 | 2004-01-22 | Murata Mfg Co Ltd | 半導体デバイス及び該半導体デバイスの製造方法 |
| US7105868B2 (en) | 2002-06-24 | 2006-09-12 | Cermet, Inc. | High-electron mobility transistor with zinc oxide |
| US7067843B2 (en) | 2002-10-11 | 2006-06-27 | E. I. Du Pont De Nemours And Company | Transparent oxide semiconductor thin film transistors |
| JP4166105B2 (ja) | 2003-03-06 | 2008-10-15 | シャープ株式会社 | 半導体装置およびその製造方法 |
| JP2004273732A (ja) | 2003-03-07 | 2004-09-30 | Sharp Corp | アクティブマトリクス基板およびその製造方法 |
| JP4108633B2 (ja) | 2003-06-20 | 2008-06-25 | シャープ株式会社 | 薄膜トランジスタおよびその製造方法ならびに電子デバイス |
| KR100938885B1 (ko) | 2003-06-30 | 2010-01-27 | 엘지디스플레이 주식회사 | 액정표시장치용 어레이기판과 제조방법 |
| US7262463B2 (en) | 2003-07-25 | 2007-08-28 | Hewlett-Packard Development Company, L.P. | Transistor including a deposited channel region having a doped portion |
| US7297977B2 (en) | 2004-03-12 | 2007-11-20 | Hewlett-Packard Development Company, L.P. | Semiconductor device |
| US7282782B2 (en) | 2004-03-12 | 2007-10-16 | Hewlett-Packard Development Company, L.P. | Combined binary oxide semiconductor device |
| US7145174B2 (en) | 2004-03-12 | 2006-12-05 | Hewlett-Packard Development Company, Lp. | Semiconductor device |
| JP4670034B2 (ja) * | 2004-03-12 | 2011-04-13 | 学校法人早稲田大学 | 電極を備えたGa2O3系半導体層 |
| CN1998087B (zh) | 2004-03-12 | 2014-12-31 | 独立行政法人科学技术振兴机构 | 非晶形氧化物和薄膜晶体管 |
| US7211825B2 (en) | 2004-06-14 | 2007-05-01 | Yi-Chi Shih | Indium oxide-based thin film transistors and circuits |
| JP4660124B2 (ja) | 2004-06-17 | 2011-03-30 | カシオ計算機株式会社 | 薄膜トランジスタの製造方法 |
| JP2006100760A (ja) | 2004-09-02 | 2006-04-13 | Casio Comput Co Ltd | 薄膜トランジスタおよびその製造方法 |
| US7285501B2 (en) | 2004-09-17 | 2007-10-23 | Hewlett-Packard Development Company, L.P. | Method of forming a solution processed device |
| US7298084B2 (en) | 2004-11-02 | 2007-11-20 | 3M Innovative Properties Company | Methods and displays utilizing integrated zinc oxide row and column drivers in conjunction with organic light emitting diodes |
| JP5118812B2 (ja) | 2004-11-10 | 2013-01-16 | キヤノン株式会社 | 電界効果型トランジスタ |
| US7863611B2 (en) | 2004-11-10 | 2011-01-04 | Canon Kabushiki Kaisha | Integrated circuits utilizing amorphous oxides |
| US7791072B2 (en) | 2004-11-10 | 2010-09-07 | Canon Kabushiki Kaisha | Display |
| KR100953596B1 (ko) | 2004-11-10 | 2010-04-21 | 캐논 가부시끼가이샤 | 발광장치 |
| US7829444B2 (en) | 2004-11-10 | 2010-11-09 | Canon Kabushiki Kaisha | Field effect transistor manufacturing method |
| US7453065B2 (en) | 2004-11-10 | 2008-11-18 | Canon Kabushiki Kaisha | Sensor and image pickup device |
| RU2402106C2 (ru) | 2004-11-10 | 2010-10-20 | Кэнон Кабусики Кайся | Аморфный оксид и полевой транзистор с его использованием |
| US7579224B2 (en) | 2005-01-21 | 2009-08-25 | Semiconductor Energy Laboratory Co., Ltd. | Method for manufacturing a thin film semiconductor device |
| US7608531B2 (en) | 2005-01-28 | 2009-10-27 | Semiconductor Energy Laboratory Co., Ltd. | Semiconductor device, electronic device, and method of manufacturing semiconductor device |
| TWI472037B (zh) | 2005-01-28 | 2015-02-01 | 半導體能源研究所股份有限公司 | 半導體裝置,電子裝置,和半導體裝置的製造方法 |
| US7858451B2 (en) | 2005-02-03 | 2010-12-28 | Semiconductor Energy Laboratory Co., Ltd. | Electronic device, semiconductor device and manufacturing method thereof |
| US7948171B2 (en) | 2005-02-18 | 2011-05-24 | Semiconductor Energy Laboratory Co., Ltd. | Light emitting device |
| US20060197092A1 (en) | 2005-03-03 | 2006-09-07 | Randy Hoffman | System and method for forming conductive material on a substrate |
| US8681077B2 (en) | 2005-03-18 | 2014-03-25 | Semiconductor Energy Laboratory Co., Ltd. | Semiconductor device, and display device, driving method and electronic apparatus thereof |
| US7544967B2 (en) | 2005-03-28 | 2009-06-09 | Massachusetts Institute Of Technology | Low voltage flexible organic/transparent transistor for selective gas sensing, photodetecting and CMOS device applications |
| US7645478B2 (en) | 2005-03-31 | 2010-01-12 | 3M Innovative Properties Company | Methods of making displays |
| US8300031B2 (en) | 2005-04-20 | 2012-10-30 | Semiconductor Energy Laboratory Co., Ltd. | Semiconductor device comprising transistor having gate and drain connected through a current-voltage conversion element |
| JP2006344849A (ja) | 2005-06-10 | 2006-12-21 | Casio Comput Co Ltd | 薄膜トランジスタ |
| US7691666B2 (en) | 2005-06-16 | 2010-04-06 | Eastman Kodak Company | Methods of making thin film transistors comprising zinc-oxide-based semiconductor materials and transistors made thereby |
| US7402506B2 (en) | 2005-06-16 | 2008-07-22 | Eastman Kodak Company | Methods of making thin film transistors comprising zinc-oxide-based semiconductor materials and transistors made thereby |
| US7507618B2 (en) | 2005-06-27 | 2009-03-24 | 3M Innovative Properties Company | Method for making electronic devices using metal oxide nanoparticles |
| KR100711890B1 (ko) | 2005-07-28 | 2007-04-25 | 삼성에스디아이 주식회사 | 유기 발광표시장치 및 그의 제조방법 |
| JP2007059128A (ja) | 2005-08-23 | 2007-03-08 | Canon Inc | 有機el表示装置およびその製造方法 |
| JP5058469B2 (ja) | 2005-09-06 | 2012-10-24 | キヤノン株式会社 | スパッタリングターゲットおよび該ターゲットを用いた薄膜の形成方法 |
| JP5116225B2 (ja) | 2005-09-06 | 2013-01-09 | キヤノン株式会社 | 酸化物半導体デバイスの製造方法 |
| JP4880951B2 (ja) * | 2005-09-06 | 2012-02-22 | キヤノン株式会社 | 半導体素子、薄膜トランジスタ、及び薄膜ダイオード |
| JP4280736B2 (ja) | 2005-09-06 | 2009-06-17 | キヤノン株式会社 | 半導体素子 |
| JP4850457B2 (ja) | 2005-09-06 | 2012-01-11 | キヤノン株式会社 | 薄膜トランジスタ及び薄膜ダイオード |
| JP2007073705A (ja) | 2005-09-06 | 2007-03-22 | Canon Inc | 酸化物半導体チャネル薄膜トランジスタおよびその製造方法 |
| JP5064747B2 (ja) | 2005-09-29 | 2012-10-31 | 株式会社半導体エネルギー研究所 | 半導体装置、電気泳動表示装置、表示モジュール、電子機器、及び半導体装置の作製方法 |
| JP5078246B2 (ja) | 2005-09-29 | 2012-11-21 | 株式会社半導体エネルギー研究所 | 半導体装置、及び半導体装置の作製方法 |
| EP1770788A3 (en) | 2005-09-29 | 2011-09-21 | Semiconductor Energy Laboratory Co., Ltd. | Semiconductor device having oxide semiconductor layer and manufacturing method thereof |
| JP5037808B2 (ja) | 2005-10-20 | 2012-10-03 | キヤノン株式会社 | アモルファス酸化物を用いた電界効果型トランジスタ、及び該トランジスタを用いた表示装置 |
| JP5085859B2 (ja) | 2005-10-28 | 2012-11-28 | 株式会社ジャパンディスプレイイースト | 画像表示装置及びその製造方法 |
| JP4793679B2 (ja) * | 2005-11-10 | 2011-10-12 | 富士電機株式会社 | 薄膜トランジスタ |
| KR101112652B1 (ko) | 2005-11-15 | 2012-02-16 | 가부시키가이샤 한도오따이 에네루기 켄큐쇼 | 액티브 매트릭스 디스플레이 장치 및 텔레비전 수신기 |
| JP5250929B2 (ja) | 2005-11-30 | 2013-07-31 | 凸版印刷株式会社 | トランジスタおよびその製造方法 |
| JP2007150156A (ja) * | 2005-11-30 | 2007-06-14 | Toppan Printing Co Ltd | トランジスタおよびその製造方法 |
| JP2007157916A (ja) | 2005-12-02 | 2007-06-21 | Idemitsu Kosan Co Ltd | Tft基板及びtft基板の製造方法 |
| JP5200322B2 (ja) | 2005-12-07 | 2013-06-05 | 凸版印刷株式会社 | 半導体デバイスおよびその製造方法 |
| TWI292281B (en) | 2005-12-29 | 2008-01-01 | Ind Tech Res Inst | Pixel structure of active organic light emitting diode and method of fabricating the same |
| US7867636B2 (en) | 2006-01-11 | 2011-01-11 | Murata Manufacturing Co., Ltd. | Transparent conductive film and method for manufacturing the same |
| JP4977478B2 (ja) | 2006-01-21 | 2012-07-18 | 三星電子株式会社 | ZnOフィルム及びこれを用いたTFTの製造方法 |
| US7576394B2 (en) | 2006-02-02 | 2009-08-18 | Kochi Industrial Promotion Center | Thin film transistor including low resistance conductive thin films and manufacturing method thereof |
| US7977169B2 (en) | 2006-02-15 | 2011-07-12 | Kochi Industrial Promotion Center | Semiconductor device including active layer made of zinc oxide with controlled orientations and manufacturing method thereof |
| KR20070101595A (ko) | 2006-04-11 | 2007-10-17 | 삼성전자주식회사 | ZnO TFT |
| KR101206033B1 (ko) | 2006-04-18 | 2012-11-28 | 삼성전자주식회사 | ZnO 반도체 박막의 제조방법 및 이를 이용한박막트랜지스터 및 그 제조방법 |
| US20070252928A1 (en) | 2006-04-28 | 2007-11-01 | Toppan Printing Co., Ltd. | Structure, transmission type liquid crystal display, reflection type display and manufacturing method thereof |
| US7501295B2 (en) * | 2006-05-25 | 2009-03-10 | Philips Lumileds Lighting Company, Llc | Method of fabricating a reflective electrode for a semiconductor light emitting device |
| JP5028033B2 (ja) | 2006-06-13 | 2012-09-19 | キヤノン株式会社 | 酸化物半導体膜のドライエッチング方法 |
| US8222076B2 (en) | 2006-08-02 | 2012-07-17 | Xerox Corporation | Fabricating amorphous zinc oxide semiconductor layer |
| JP4609797B2 (ja) | 2006-08-09 | 2011-01-12 | Nec液晶テクノロジー株式会社 | 薄膜デバイス及びその製造方法 |
| JP4999400B2 (ja) | 2006-08-09 | 2012-08-15 | キヤノン株式会社 | 酸化物半導体膜のドライエッチング方法 |
| JP4332545B2 (ja) | 2006-09-15 | 2009-09-16 | キヤノン株式会社 | 電界効果型トランジスタ及びその製造方法 |
| JP5164357B2 (ja) | 2006-09-27 | 2013-03-21 | キヤノン株式会社 | 半導体装置及び半導体装置の製造方法 |
| JP4274219B2 (ja) | 2006-09-27 | 2009-06-03 | セイコーエプソン株式会社 | 電子デバイス、有機エレクトロルミネッセンス装置、有機薄膜半導体装置 |
| US7622371B2 (en) | 2006-10-10 | 2009-11-24 | Hewlett-Packard Development Company, L.P. | Fused nanocrystal thin film semiconductor and method |
| JP5116290B2 (ja) * | 2006-11-21 | 2013-01-09 | キヤノン株式会社 | 薄膜トランジスタの製造方法 |
| US7772021B2 (en) | 2006-11-29 | 2010-08-10 | Samsung Electronics Co., Ltd. | Flat panel displays comprising a thin-film transistor having a semiconductive oxide in its channel and methods of fabricating the same for use in flat panel displays |
| JP2008140684A (ja) | 2006-12-04 | 2008-06-19 | Toppan Printing Co Ltd | カラーelディスプレイおよびその製造方法 |
| KR101303578B1 (ko) | 2007-01-05 | 2013-09-09 | 삼성전자주식회사 | 박막 식각 방법 |
| US8207063B2 (en) | 2007-01-26 | 2012-06-26 | Eastman Kodak Company | Process for atomic layer deposition |
| US8129714B2 (en) * | 2007-02-16 | 2012-03-06 | Idemitsu Kosan Co., Ltd. | Semiconductor, semiconductor device, complementary transistor circuit device |
| JP2008235871A (ja) | 2007-02-20 | 2008-10-02 | Canon Inc | 薄膜トランジスタの形成方法及び表示装置 |
| JP5196870B2 (ja) | 2007-05-23 | 2013-05-15 | キヤノン株式会社 | 酸化物半導体を用いた電子素子及びその製造方法 |
| WO2008105347A1 (en) | 2007-02-20 | 2008-09-04 | Canon Kabushiki Kaisha | Thin-film transistor fabrication process and display device |
| US8436349B2 (en) | 2007-02-20 | 2013-05-07 | Canon Kabushiki Kaisha | Thin-film transistor fabrication process and display device |
| KR100858088B1 (ko) | 2007-02-28 | 2008-09-10 | 삼성전자주식회사 | 박막 트랜지스터 및 그 제조 방법 |
| KR100851215B1 (ko) | 2007-03-14 | 2008-08-07 | 삼성에스디아이 주식회사 | 박막 트랜지스터 및 이를 이용한 유기 전계 발광표시장치 |
| JP2008235607A (ja) * | 2007-03-20 | 2008-10-02 | Seiko Epson Corp | 薄膜トランジスタ、配線基板、表示装置および電子機器 |
| JP5320746B2 (ja) | 2007-03-28 | 2013-10-23 | 凸版印刷株式会社 | 薄膜トランジスタ |
| JP5197058B2 (ja) | 2007-04-09 | 2013-05-15 | キヤノン株式会社 | 発光装置とその作製方法 |
| WO2008126879A1 (en) | 2007-04-09 | 2008-10-23 | Canon Kabushiki Kaisha | Light-emitting apparatus and production method thereof |
| US7795613B2 (en) | 2007-04-17 | 2010-09-14 | Toppan Printing Co., Ltd. | Structure with transistor |
| KR101325053B1 (ko) | 2007-04-18 | 2013-11-05 | 삼성디스플레이 주식회사 | 박막 트랜지스터 기판 및 이의 제조 방법 |
| KR20080094300A (ko) | 2007-04-19 | 2008-10-23 | 삼성전자주식회사 | 박막 트랜지스터 및 그 제조 방법과 박막 트랜지스터를포함하는 평판 디스플레이 |
| KR101334181B1 (ko) | 2007-04-20 | 2013-11-28 | 삼성전자주식회사 | 선택적으로 결정화된 채널층을 갖는 박막 트랜지스터 및 그제조 방법 |
| KR100982395B1 (ko) * | 2007-04-25 | 2010-09-14 | 주식회사 엘지화학 | 박막 트랜지스터 및 이의 제조방법 |
| US8274078B2 (en) | 2007-04-25 | 2012-09-25 | Canon Kabushiki Kaisha | Metal oxynitride semiconductor containing zinc |
| KR101345376B1 (ko) | 2007-05-29 | 2013-12-24 | 삼성전자주식회사 | ZnO 계 박막 트랜지스터 및 그 제조방법 |
| KR101415561B1 (ko) | 2007-06-14 | 2014-08-07 | 삼성디스플레이 주식회사 | 박막 트랜지스터 표시판 및 그의 제조 방법 |
| JP2009071289A (ja) | 2007-08-17 | 2009-04-02 | Semiconductor Energy Lab Co Ltd | 半導体装置およびその作製方法 |
| WO2009034953A1 (ja) * | 2007-09-10 | 2009-03-19 | Idemitsu Kosan Co., Ltd. | 薄膜トランジスタ |
| JP4759598B2 (ja) | 2007-09-28 | 2011-08-31 | キヤノン株式会社 | 薄膜トランジスタ、その製造方法及びそれを用いた表示装置 |
| JP2009099847A (ja) | 2007-10-18 | 2009-05-07 | Canon Inc | 薄膜トランジスタとその製造方法及び表示装置 |
| JP5380037B2 (ja) | 2007-10-23 | 2014-01-08 | 株式会社半導体エネルギー研究所 | 半導体装置の作製方法 |
| JP2009117619A (ja) * | 2007-11-06 | 2009-05-28 | Idemitsu Kosan Co Ltd | 有機薄膜トランジスタの製造方法及び有機薄膜トランジスタ |
| JP2009123957A (ja) * | 2007-11-15 | 2009-06-04 | Sumitomo Chemical Co Ltd | 酸化物半導体材料及びその製造方法、電子デバイス及び電界効果トランジスタ |
| KR101270174B1 (ko) * | 2007-12-03 | 2013-05-31 | 삼성전자주식회사 | 산화물 반도체 박막 트랜지스터의 제조방법 |
| JP5213421B2 (ja) | 2007-12-04 | 2013-06-19 | キヤノン株式会社 | 酸化物半導体薄膜トランジスタ |
| WO2009075281A1 (ja) | 2007-12-13 | 2009-06-18 | Idemitsu Kosan Co., Ltd. | 酸化物半導体を用いた電界効果型トランジスタ及びその製造方法 |
| JP5215158B2 (ja) | 2007-12-17 | 2013-06-19 | 富士フイルム株式会社 | 無機結晶性配向膜及びその製造方法、半導体デバイス |
| US8461583B2 (en) * | 2007-12-25 | 2013-06-11 | Idemitsu Kosan Co., Ltd. | Oxide semiconductor field effect transistor and method for manufacturing the same |
| JP5644111B2 (ja) | 2007-12-26 | 2014-12-24 | コニカミノルタ株式会社 | 金属酸化物半導体およびその製造方法、半導体素子、薄膜トランジスタ |
| WO2009084537A1 (ja) | 2007-12-27 | 2009-07-09 | Nippon Mining & Metals Co., Ltd. | a-IGZO酸化物薄膜の製造方法 |
| KR101412761B1 (ko) * | 2008-01-18 | 2014-07-02 | 삼성디스플레이 주식회사 | 박막 트랜지스터 기판 및 이의 제조 방법 |
| KR101513601B1 (ko) | 2008-03-07 | 2015-04-21 | 삼성전자주식회사 | 트랜지스터 |
| US20110000533A1 (en) | 2008-03-07 | 2011-01-06 | National University Corporation Tohoku University | Photoelectric conversion element structure and solar cell |
| JP5467728B2 (ja) | 2008-03-14 | 2014-04-09 | 富士フイルム株式会社 | 薄膜電界効果型トランジスタおよびその製造方法 |
| JP5325446B2 (ja) * | 2008-04-16 | 2013-10-23 | 株式会社日立製作所 | 半導体装置及びその製造方法 |
| US9666719B2 (en) | 2008-07-31 | 2017-05-30 | Semiconductor Energy Laboratory Co., Ltd. | Semiconductor device and manufacturing method thereof |
| TWI469354B (zh) | 2008-07-31 | 2015-01-11 | Semiconductor Energy Lab | 半導體裝置及其製造方法 |
| US9082857B2 (en) * | 2008-09-01 | 2015-07-14 | Semiconductor Energy Laboratory Co., Ltd. | Semiconductor device comprising an oxide semiconductor layer |
| KR101681483B1 (ko) * | 2008-09-12 | 2016-12-02 | 삼성디스플레이 주식회사 | 박막 트랜지스터 기판 및 그 제조 방법 |
| KR20160063402A (ko) | 2008-09-12 | 2016-06-03 | 가부시키가이샤 한도오따이 에네루기 켄큐쇼 | 디스플레이 장치 |
| JP4623179B2 (ja) | 2008-09-18 | 2011-02-02 | ソニー株式会社 | 薄膜トランジスタおよびその製造方法 |
| JP5451280B2 (ja) | 2008-10-09 | 2014-03-26 | キヤノン株式会社 | ウルツ鉱型結晶成長用基板およびその製造方法ならびに半導体装置 |
| CN101740631B (zh) * | 2008-11-07 | 2014-07-16 | 株式会社半导体能源研究所 | 半导体装置及该半导体装置的制造方法 |
| US8330156B2 (en) | 2008-12-26 | 2012-12-11 | Semiconductor Energy Laboratory Co., Ltd. | Thin film transistor with a plurality of oxide clusters over the gate insulating layer |
| TWI482226B (zh) | 2008-12-26 | 2015-04-21 | 半導體能源研究所股份有限公司 | 具有包含氧化物半導體層之電晶體的主動矩陣顯示裝置 |
| JP4752925B2 (ja) | 2009-02-04 | 2011-08-17 | ソニー株式会社 | 薄膜トランジスタおよび表示装置 |
| JP5612830B2 (ja) * | 2009-05-18 | 2014-10-22 | ルネサスエレクトロニクス株式会社 | 半導体装置の製造方法 |
| KR101493662B1 (ko) | 2009-07-10 | 2015-02-13 | 가부시키가이샤 한도오따이 에네루기 켄큐쇼 | 반도체 장치, 전자 기기 및 표시 패널 |
| WO2011007675A1 (en) | 2009-07-17 | 2011-01-20 | Semiconductor Energy Laboratory Co., Ltd. | Semiconductor device and manufacturing method thereof |
| WO2011010545A1 (en) | 2009-07-18 | 2011-01-27 | Semiconductor Energy Laboratory Co., Ltd. | Semiconductor device and method for manufacturing the same |
| WO2011010542A1 (en) | 2009-07-23 | 2011-01-27 | Semiconductor Energy Laboratory Co., Ltd. | Semiconductor device and method for manufacturing the same |
| TWI559501B (zh) | 2009-08-07 | 2016-11-21 | 半導體能源研究所股份有限公司 | 半導體裝置和其製造方法 |
| EP2284891B1 (en) | 2009-08-07 | 2019-07-24 | Semiconductor Energy Laboratory Co, Ltd. | Semiconductor device and manufacturing method thereof |
| TWI596741B (zh) | 2009-08-07 | 2017-08-21 | 半導體能源研究所股份有限公司 | 半導體裝置和其製造方法 |
| WO2011027676A1 (en) | 2009-09-04 | 2011-03-10 | Semiconductor Energy Laboratory Co., Ltd. | Semiconductor device and manufacturing method thereof |
| KR102389975B1 (ko) | 2009-09-04 | 2022-04-25 | 가부시키가이샤 한도오따이 에네루기 켄큐쇼 | 발광 장치 및 발광 장치를 제작하기 위한 방법 |
| WO2011036981A1 (en) | 2009-09-24 | 2011-03-31 | Semiconductor Energy Laboratory Co., Ltd. | Semiconductor device |
| WO2011043164A1 (en) | 2009-10-09 | 2011-04-14 | Semiconductor Energy Laboratory Co., Ltd. | Semiconductor device and method for manufacturing the semiconductor device |
| KR102329380B1 (ko) | 2009-10-09 | 2021-11-22 | 가부시키가이샤 한도오따이 에네루기 켄큐쇼 | 반도체 장치 |
| KR101820973B1 (ko) | 2009-10-09 | 2018-01-22 | 가부시키가이샤 한도오따이 에네루기 켄큐쇼 | 반도체 장치 및 반도체 장치 제조 방법 |
| WO2011055668A1 (en) | 2009-11-06 | 2011-05-12 | Semiconductor Energy Laboratory Co., Ltd. | Semiconductor device |
-
2010
- 2010-10-19 CN CN201080050574.XA patent/CN102598284B/zh active Active
- 2010-10-19 CN CN201410581750.2A patent/CN104465318B/zh active Active
- 2010-10-19 KR KR1020187018861A patent/KR102066532B1/ko not_active Expired - Fee Related
- 2010-10-19 KR KR1020137010279A patent/KR101299255B1/ko active Active
- 2010-10-19 WO PCT/JP2010/068794 patent/WO2011055645A1/en not_active Ceased
- 2010-10-19 KR KR1020127014505A patent/KR101876470B1/ko not_active Expired - Fee Related
- 2010-10-28 JP JP2010242157A patent/JP5665480B2/ja active Active
- 2010-11-02 US US12/917,548 patent/US8841662B2/en active Active
- 2010-11-04 TW TW099137942A patent/TWI595655B/zh not_active IP Right Cessation
- 2010-11-04 TW TW104142715A patent/TWI604614B/zh not_active IP Right Cessation
- 2010-11-04 TW TW106119339A patent/TWI647849B/zh active
-
2012
- 2012-07-16 JP JP2012158210A patent/JP5106698B2/ja active Active
-
2014
- 2014-09-18 US US14/489,522 patent/US10002949B2/en not_active Expired - Fee Related
- 2014-12-09 JP JP2014248625A patent/JP5917669B2/ja active Active
-
2016
- 2016-03-31 JP JP2016071293A patent/JP6081002B2/ja active Active
-
2017
- 2017-01-17 JP JP2017005932A patent/JP6306754B2/ja not_active Expired - Fee Related
Also Published As
| Publication number | Publication date |
|---|---|
| JP2015092589A (ja) | 2015-05-14 |
| CN104465318A (zh) | 2015-03-25 |
| KR102066532B1 (ko) | 2020-01-15 |
| KR101299255B1 (ko) | 2013-08-22 |
| JP6081002B2 (ja) | 2017-02-15 |
| CN102598284B (zh) | 2015-04-15 |
| JP2011119692A (ja) | 2011-06-16 |
| TW201804619A (zh) | 2018-02-01 |
| JP5665480B2 (ja) | 2015-02-04 |
| KR101876470B1 (ko) | 2018-07-10 |
| CN102598284A (zh) | 2012-07-18 |
| JP5917669B2 (ja) | 2016-05-18 |
| CN104465318B (zh) | 2018-04-24 |
| JP2012253366A (ja) | 2012-12-20 |
| TWI647849B (zh) | 2019-01-11 |
| WO2011055645A1 (en) | 2011-05-12 |
| KR20180080363A (ko) | 2018-07-11 |
| JP2017063238A (ja) | 2017-03-30 |
| JP5106698B2 (ja) | 2012-12-26 |
| TW201135932A (en) | 2011-10-16 |
| US10002949B2 (en) | 2018-06-19 |
| TWI595655B (zh) | 2017-08-11 |
| JP2016157961A (ja) | 2016-09-01 |
| US20110108833A1 (en) | 2011-05-12 |
| US8841662B2 (en) | 2014-09-23 |
| US20150093853A1 (en) | 2015-04-02 |
| KR20130047774A (ko) | 2013-05-08 |
| TW201611296A (zh) | 2016-03-16 |
| TWI604614B (zh) | 2017-11-01 |
| KR20120102682A (ko) | 2012-09-18 |
Similar Documents
| Publication | Publication Date | Title |
|---|---|---|
| JP6306754B2 (ja) | 半導体装置の作製方法 | |
| JP5663266B2 (ja) | 半導体装置 | |
| US8547493B2 (en) | Semiconductor device with indium or zinc layer in contact with oxide semiconductor layer and method for manufacturing the semiconductor device | |
| JP5936739B2 (ja) | 半導体装置 |
Legal Events
| Date | Code | Title | Description |
|---|---|---|---|
| A621 | Written request for application examination |
Free format text: JAPANESE INTERMEDIATE CODE: A621 Effective date: 20170208 |
|
| A977 | Report on retrieval |
Free format text: JAPANESE INTERMEDIATE CODE: A971007 Effective date: 20171113 |
|
| A131 | Notification of reasons for refusal |
Free format text: JAPANESE INTERMEDIATE CODE: A131 Effective date: 20171121 |
|
| A521 | Request for written amendment filed |
Free format text: JAPANESE INTERMEDIATE CODE: A523 Effective date: 20180117 |
|
| TRDD | Decision of grant or rejection written | ||
| A01 | Written decision to grant a patent or to grant a registration (utility model) |
Free format text: JAPANESE INTERMEDIATE CODE: A01 Effective date: 20180213 |
|
| A61 | First payment of annual fees (during grant procedure) |
Free format text: JAPANESE INTERMEDIATE CODE: A61 Effective date: 20180308 |
|
| R150 | Certificate of patent or registration of utility model |
Ref document number: 6306754 Country of ref document: JP Free format text: JAPANESE INTERMEDIATE CODE: R150 |
|
| R250 | Receipt of annual fees |
Free format text: JAPANESE INTERMEDIATE CODE: R250 |
|
| LAPS | Cancellation because of no payment of annual fees |
