JP4352016B2 - 無機固体電解質電池及び無機固体電解質電池の製造方法 - Google Patents

無機固体電解質電池及び無機固体電解質電池の製造方法 Download PDF

Info

Publication number
JP4352016B2
JP4352016B2 JP2005078830A JP2005078830A JP4352016B2 JP 4352016 B2 JP4352016 B2 JP 4352016B2 JP 2005078830 A JP2005078830 A JP 2005078830A JP 2005078830 A JP2005078830 A JP 2005078830A JP 4352016 B2 JP4352016 B2 JP 4352016B2
Authority
JP
Japan
Prior art keywords
negative electrode
positive electrode
layer
active material
solid electrolyte
Prior art date
Legal status (The legal status is an assumption and is not a legal conclusion. Google has not performed a legal analysis and makes no representation as to the accuracy of the status listed.)
Expired - Fee Related
Application number
JP2005078830A
Other languages
English (en)
Other versions
JP2006261008A (ja
Inventor
耕一 原田
浩貴 稲垣
Current Assignee (The listed assignees may be inaccurate. Google has not performed a legal analysis and makes no representation or warranty as to the accuracy of the list.)
Toshiba Corp
Original Assignee
Toshiba Corp
Priority date (The priority date is an assumption and is not a legal conclusion. Google has not performed a legal analysis and makes no representation as to the accuracy of the date listed.)
Filing date
Publication date
Application filed by Toshiba Corp filed Critical Toshiba Corp
Priority to JP2005078830A priority Critical patent/JP4352016B2/ja
Publication of JP2006261008A publication Critical patent/JP2006261008A/ja
Application granted granted Critical
Publication of JP4352016B2 publication Critical patent/JP4352016B2/ja
Anticipated expiration legal-status Critical
Expired - Fee Related legal-status Critical Current

Links

Images

Classifications

    • YGENERAL TAGGING OF NEW TECHNOLOGICAL DEVELOPMENTS; GENERAL TAGGING OF CROSS-SECTIONAL TECHNOLOGIES SPANNING OVER SEVERAL SECTIONS OF THE IPC; TECHNICAL SUBJECTS COVERED BY FORMER USPC CROSS-REFERENCE ART COLLECTIONS [XRACs] AND DIGESTS
    • Y02TECHNOLOGIES OR APPLICATIONS FOR MITIGATION OR ADAPTATION AGAINST CLIMATE CHANGE
    • Y02EREDUCTION OF GREENHOUSE GAS [GHG] EMISSIONS, RELATED TO ENERGY GENERATION, TRANSMISSION OR DISTRIBUTION
    • Y02E60/00Enabling technologies; Technologies with a potential or indirect contribution to GHG emissions mitigation
    • Y02E60/10Energy storage using batteries
    • YGENERAL TAGGING OF NEW TECHNOLOGICAL DEVELOPMENTS; GENERAL TAGGING OF CROSS-SECTIONAL TECHNOLOGIES SPANNING OVER SEVERAL SECTIONS OF THE IPC; TECHNICAL SUBJECTS COVERED BY FORMER USPC CROSS-REFERENCE ART COLLECTIONS [XRACs] AND DIGESTS
    • Y02TECHNOLOGIES OR APPLICATIONS FOR MITIGATION OR ADAPTATION AGAINST CLIMATE CHANGE
    • Y02PCLIMATE CHANGE MITIGATION TECHNOLOGIES IN THE PRODUCTION OR PROCESSING OF GOODS
    • Y02P70/00Climate change mitigation technologies in the production process for final industrial or consumer products
    • Y02P70/50Manufacturing or production processes characterised by the final manufactured product

Landscapes

  • Cell Electrode Carriers And Collectors (AREA)
  • Secondary Cells (AREA)
  • Connection Of Batteries Or Terminals (AREA)
  • Battery Electrode And Active Subsutance (AREA)

Description

本発明は、無機固体電解質電池及びその製造方法に関する。
電子機器の小型化、軽量化に伴い、電池についても小型化、軽量化の要望が強くなっている。この要求に適応する電池として、薄膜技術と電池材料技術の融合により生まれる超小型・超薄型電池の検討が行われている。これら薄型電池は、ICカード、タグなどの電源、あるいはLSI基板上への実装などが期待されている。
一方、高出力の二次電池として、現状、正極にコバルト酸リチウム、負極に炭素材料、電解液に非水溶媒にリチウム塩を溶解させた溶液を組み合わせたリチウムイオン二次電池が実用化されている。これらは種々の方法で製造されているが、正極・負極材料を各々スラリー化して塗布し、乾燥を伴う工程とそれらを所定の形状に切断する工程、圧延工程、捲回工程と、電解液を注液する工程等を含む製法が主となり、実用化にいたっている。しかし、これらの工程、製法では、電池の薄型化、小型化には限界がある。
このため、より小型、薄型化するために、負極に金属リチウムや炭素、正極にLiCoOやLiMn、電解質に無機固体電解質を用い、スパッタリング、蒸着法といった半導体プロセスとパターニング工法を導入した薄型無機固体電解質二次電池が考案されている。(例えば特許文献1、特許文献2参照)
しかしながら、このような従来の無機固体電解質電池は小型化するために電極面積が小さくなり、出力電流が小さくなり、電池特性が不十分になるという問題があった。
特開2000−106366号 特開2004−127743号
本発明は、このような問題に鑑みてなされたものであり、簡便なプロセスを用いて、出力電流が大きく、電池特性に優れ、小型化・薄型化に適した無機固体電解質電池およびその製造方法を提供することを課題とする。
本発明は、互いに間隔を持って並列した複数の正極集電体層、各々の正極集電体層の端面に接続して前記複数の正極集電体層を互いに導通させる正極端子、前記正極集電体層の前記正極端子が接続した端面以外の端面と両面を被覆する焼結式正極活物質層を具備する正極と、
互いに間隔を持って並列した複数の負極集電体層、各々の負極集電体層の端面に接続して前記複数の負極集電体層を互いに導通させる負極端子、前記負極集電体層の前記負極端子が接続した端面以外の端面と両面を被覆する焼結式負極活物質層を具備し、前記正極と互いに間隔を持ちつつかみ合うように設けられた負極と、
前記焼結式正極活物質層及び前記焼結式負極活物質層間に挟持された焼結式無機固体電解質とを具備する電池要素を具備することを特徴とする無機固体電解質電池である。
本発明において、前記焼結式無機固体電解質は、リチウムを含有する無機固体電解質であり、前記焼結式負極活物層の負極活物質に金属リチウムもしくはリチウム合金を用い、かつ前記正極集電体及び負極集電体の少なくとも一方は導電性金属酸化物層であることが望ましい。
前記導電性金属酸化物は、Sn、In、Zn、Tiから選ばれる少なくとも1種の元素の酸化物であることが望ましい。また、前記導電性金属酸化物は、SnO、In、ZnO、TiO(0.5≦x≦2)から選ばれる少なくとも一種であることが望ましい。
また、前記リチウム合金は、リチウム及びSn、In、Znから選ばれる少なくとも1種の元素を含むリチウム合金であることが望ましい。
また、前記焼結式負極活物質層に、負極の作動電位が金属リチウムの電位に対して1.0Vよりも貴となる負極活物質を用い、かつ前記正極集電体及び負極集電体の少なくとも一方は導電性金属酸化物層であることが望ましい。前記導電性金属酸化物は、Sn、In、Zn、Tiから選ばれる少なくとも1種の元素の酸化物であることが望ましい。また、前記導電性金属酸化物は、SnO、In、ZnO、TiO(0.5≦x≦2)から選ばれる少なくとも一種であることが望ましい。
また、前記負極作動電位が金属リチウムの電位に対して、1.0Vよりも貴となる負極活物質は、酸化タングステン、酸化モリブデン、硫化鉄、硫化鉄リチウム、硫化チタン、チタン酸リチウムから選択される少なくとも一種であることが望ましい。
また、前記電池には前記電池要素を挟む一対の絶縁板をさらに具備することが望ましい。
また、本発明は、シート状支持体の一方の面上に部分的に無機固体電解質層を形成した無機固体電解質シートを形成する無機固体電解質シート形成工程と、
前記無機固体電解質シートの前記無機固体電解質層上に、第1正極活物質領域を具備する第1正極層、前記第1正極層上に、正極集電体領域と前記正極集電体領域を囲む第2正極活物質領域とを備える第2正極層、前記第2正極層上に、第3正極活物質領域を具備する第3正極層を順次積層した正極シートを複数用意する正極シート形成工程と、
前記無機固体電解質シートの前記無機固体電解質層上に、第1負極活物質領域を具備する第1負極層、前記第1負極層上に、負極集電体領域と前記負極集電体領域を囲む第2負極活物質領域とを備える第2負極層、前記第2負極層上に、第3負極活物質領域を具備する第3負極層を順次積層した負極シートを複数用意する負極シート形成工程と、
前記複数の正極シート及び前記複数の負極シートから前記シート状支持体を除去し、前記第1負極活物質領域と前記第3正極活物質領域、もしくは第3負極活物質領域と第1正極活物質領域、が前記無機固体電解質層を介して向き合うよう、前記シート状支持体が除去された複数の正極シートと前記複数の負極シートとを交互に積層して積層体を形成する積層工程と、
前記積層体を加熱し焼結する焼結工程と、
前記複数の正極集電体の端面に前記複数の正極集電体を電気的に接続する正極端子を接続し、前記複数の負極集電体の端面に前記複数の負極集電体を電気的に接続する負極端子を接続する工程と、
を具備することを特徴とする無機固体電解質電池の製造方法である。
また、本発明は、シート状支持体の一方の面上に部分的に無機固体電解質層を形成した無機固体電解質シートを形成する無機固体電解質シート形成工程と、
前記無機固体電解質シートの前記無機固体電解質層上に、第1番目の正極活物質領域を具備する第1番目の正極層、前記第1番目の正極層上に、正極集電体領域を備える正極集電
体層、前記正極集電体層上に、前記正極集電体領域端部を覆う第2番目の正極活物質領域を具備する第2番目の正極層を順次積層した正極シートを複数用意する正極シート形成工程と、
前記無機固体電解質シートの前記無機固体電解質層上に、第1番目の負極活物質領域を具備する第1番目の負極層、前記第1番目の負極層上に、負極集電体領域を備える負極集電
体層、前記負極集電体層上に、前記負極集電体領域端部を覆う第2番目の負極活物質領域を具備する第2番目の負極層を順次積層した負極シートを複数形成する負極シート形成工程と、
前記複数の正極シート及び前記複数の負極シートから前記シート状支持体を除去し、前記第1番目の負極活物質領域と前記第2番目の正極活物質領域、もしくは第2番目の負極活物質領域と第1番目の正極活物質領域、が前記無機固体電解質層を介して向き合うよう、前記シート状支持体が除去された複数の正極シートと前記複数の負極シートとを交互に積層して積層体を形成する積層工程と、
前記積層体を加熱し焼結する焼結工程と、
前記複数の正極集電体の端面に前記複数の正極集電体を電気的に接続する正極端子を接続し、前記複数の負極集電体の端面に前記複数の負極集電体を電気的に接続する負極端子を接続する工程と、
を具備することを特徴とする無機固体電解質電池の製造方法である。
本発明によれば、簡便な製法で製造でき、負極と正極との間に広い対向面積が確保され、出力電流が大きく電池特性に優れた無機固体電解質電池を提供することができる。
図1、図2に実施形態を例示し、以下図面を参照してこの実施形態について説明する。
図1(a)に実施形態の電池を示す斜視図、図1(b)は電池を図1(a)のA−A´方向から下方向に切断した際の断面図である。また図2は電池の別の形態を示す断面図である。図1、図2において同じ符号は同一の部材を示す。
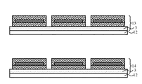
図1(a)、図2に示すように電池要素10は、正極1、負極2、無機固体電解質3を具備する。正極1と負極2とが無機固体電解質層3を介して対向するように互いに間隔を持ちつつかみ合っており、その間に無機固体電解質3が充填されている。
図1(b)、図2に示すように正極1は、互いに間隔を持って並列した複数の正極集電体層5、各々の正極集電体層5の端面に接続して複数の正極集電体層5を互いに導通させ外部に電流を取り出す正極端子8、正極集電体層5の、正極端子8が接続した面以外の端面と両面を被覆する焼結式正極活物質層4(以下、正極活物質層4)を具備する。図1(b)のように正極集電体層5のみならず正極端子8表面も正極活物質層4で連続して被覆されていることが電極面積増加の点で望ましいが、図2に示すように、正極集電体層5の、正極端子8が接続した面以外の端面と両面のみが正極活物質層4で被覆されたものであっても良い。
負極2は、互いに間隔を持って並列した複数の負極集電体層7、各々の負極集電体層7の端面に接続して複数の負極集電体層7を互いに導通させ外部に電流を取り出す負極端子9、負極集電体層7の、負極端子9が接続した面以外の端面と両面を被覆する焼結式負極活物質層6(以下、負極活物質層6)を具備する。図1(b)のように負極集電体層7のみならず負極端子9表面も負極活物質層6で連続して被覆されていることが電極面積増加の点で望ましいが、図2に示すように、負極集電体層7の、負極端子9が接続した面以外の端面と両面のみが負極活物質層6で被覆されたものであっても良い。
焼結式無機固体電解質3は、前記正極活物質層4及び前記負極活物質層6間に挟持されている。
さらに図2に示すように電池要素10の上下に前記電池要素を挟む一対の絶縁板11、11´をさらに具備していることが望ましい。このような絶縁板で覆われていることが、電池要素保護のために望ましい。
本実施形態の電池構造は特に小型電池に適しており、例えば正極活物質層4の厚さは500〜0.1μm、より好ましくは50〜1μm、正極集電体層5の厚さは500〜0.1μm、より好ましくは50〜1μm、無機固体電解質層3の厚さは500〜0.1μm、より好ましくは50〜1μm、負極活物質層6の厚さは500〜0.1μm、より好ましくは50〜1μm、負極集電体層7の厚さは500〜0.1μm、より好ましくは50〜1μm、の範囲が例示される。
正極1の正極活物質層4について説明する。
正極活物質層4に用いられる正極活物質としては、種々の金属酸化物、金属硫化物などを用いることができる。特に金属酸化物が用いられる場合には、電池要素焼結を酸素雰囲気下で行うことが可能となり、得られる電池は、酸素欠陥が少なく、結晶性が高い活物質を得ることが可能になるため、理論容量に近い高容量な電池を作製できるため望ましい。
二次電池用の正極活物質の具体例としては、二酸化マンガン(MnO)、酸化鉄、酸化銅、酸化ニッケル、リチウムマンガン複合酸化物(例えばLiMnまたはLiMnO)、リチウムニッケル複合酸化物(例えばLiNiO)、リチウムコバルト複合酸化物(LiCoO)、リチウムニッケルコバルト複合酸化物(例えばLiNi1−yCo)、リチウムマンガンコバルト複合酸化物(例えばLiMnCo1−y)、スピネル型リチウムマンガンニッケル複合酸化物(LiMn2−yNi)、オリビン構造を有するリチウムリン酸化物(LiFePO、LiFe1−yMnPO、LiCoPOなど)、硫酸鉄(Fe(SO)、バナジウム酸化物(例えばV)などから選択される少なくとも一種が挙げられる。なお、これらの化学式中、x,yは0〜1の範囲であることが好ましい。)
より好ましい正極活物質は、電池電圧が高いリチウムマンガン複合酸化物(LixMn)、リチウムニッケル複合酸化物(LiNiO)、リチウムコバルト複合酸化物(LiCoO)、リチウムニッケルコバルト複合酸化物(LiNi1−yCo)、スピネル型リチウムマンガンニッケル複合酸化物(LiMn2−yNi)、リチウムマンガンコバルト複合酸化物(LiMnCo1−y)、リチウムリン酸鉄(LiFePO)などが挙げられる。(なお、x,yは0〜1の範囲であることが好ましい。)これらの正極活物質は酸化性の雰囲気下での焼結により結晶性が向上し電池特性を向上させる。
次に負極活物質層6に用いられる負極活物質について説明する。二次電池用の負極活物質層6に用いられる負極活物質は、金属リチウム、若しくはリチウム合金が挙げられる。前記リチウム合金としてはリチウム及びSn、In、Znから選択される少なくとも一種の合金が、容量が大きいため薄型化が可能となり、界面での応力を抑制できるために望ましい。具体的な合金組成としては、Li4.4Sn、LiIn、LiZnなどが挙げられ、特にLi4.4Snなどが高容量で薄膜化が可能であるため望ましい。
金属リチウム、若しくはリチウム合金の負極活物質層6は、電池組み立て後、初回充電時に析出形成することができる。負極集電体層7として導電性金属酸化物を用いた場合、正極活物質層4もしくは無機固体電解質層3から放出されるリチウムイオンと反応する材料(たとえば錫酸化物、インジウム酸化物、亜鉛酸化物)である場合には、無機固体電解質層3と負極集電体層7の間に負極活物質層6となるリチウム合金層が形成される。また、負極集電体層7として導電性金属酸化物を用いた場合、負極集電体層7である導電性金属酸化物が、正極から放出されるリチウムイオンと反応しない材料(例えばチタン酸化物)である場合には、無機固体電解質層3と負極集電体層7の間に負極活物質層6となる金属リチウム層が形成される。このような充電によって形成される負極活物質層6は、隣接する無機固体電解質3、あるいは負極集電体層7との接合性に富む良好な界面が形成される。この結果、界面抵抗が小さい優れた電池を作製できる。
また、二次電池用の負極活物質層6に用いられる負極活物質は、負極2の作動電位が金属リチウムの電位に対して1.0Vよりも貴となる活物質を用いてもよい。負極集電体7に導電性金属酸化物を用いた場合、リチウムイオンを挿入・脱離する電位は1.0V以下である。したがって負極活物質層6でリチウムイオンの挿入・脱離反応が進行する電位で、負極集電体層7の導電性金属酸化物がリチウムイオンと反応することはない。したがって負極集電体層7の導電性金属酸化物の反応によって負極活物質自体の電極反応を阻害することがなく、電池の繰り返し寿命が向上する。
さらに、負極の作動電位が金属リチウムの電位に対して1.0Vよりも貴となる活物質であって、かつ導電性を有し、リチウムイオンの挿入・脱離反応の可逆性が高い物質であり、さらにリチウムイオンの吸蔵・放出の際に体積変化が小さく、さらに加熱によって大きく変質しない物質が用いられることが望ましく、具体的には、酸化タングステン(例えばWO(1.8<a<2.2)、負極の作動電位1.0〜1.4V)、酸化モリブデン(例えばMoO(1.8<b<2.2)、負極の作動電位1.0〜1.4V)、硫化鉄(例えばFeS(0.9<c<1.1)、負極の作動電位約1.8V)、硫化鉄リチウム(LiFeS(0≦x≦4、0.9≦y≦2.1)、負極の作動電位約1.8V)、硫化チタン(例えばTiS(1.8<d<2.2)、負極の作動電位1.5〜2.7V)、チタン酸リチウム(例えばLi4+zTi12(0≦z≦3)、負極の作動電位約1.55V)などの金属酸化物や金属硫化物を用いることができる。これらは単独で用いてもよく、または2種以上混合して用いても良い。特にリチウムと鉄を含む複合硫化物、あるいはリチウムとチタンを含む複合酸化物であることが望ましく、中でもLiFeS(0≦x≦4、0.9≦y≦2.1)で表される硫化鉄(負極の作動電位約1.8V)はリチウムイオンの吸蔵量が多く電池容量をより高くするため望ましい。また、化学式Li4+xTi12(0≦x≦3)で表されスピネル型構造を有するチタン酸リチウム(負極の作動電位約1.55V)はリチウム吸脱反応時の結晶構造の変化が小さく、電池の充放電サイクル寿命をより伸ばすことができるため望ましい。
次に、正極集電体層5及び負極集電体層7について説明する。
正極集電体層5、負極集電体層7の少なくとも一方は、導電性金属酸化物層を用いることが望ましい。導電性金属酸化物層とは、導電性金属酸化物同士が一体化しており層状の形状を構成したものを指す。層内に微小な孔を有する多孔質体であっても良い。この材料の適用により、電極、電解質及び集電体を同時に焼結することが可能であり、それにより活物質の結晶性が高くなり導電性がさらに向上するため、優れた電池特性を得る上で非常に適している。
正極集電体層5及び負極集電体層7のどちらか一方に、導電性金属酸化物を用いない場合は、負極の充放電電位でリチウムと反応しない銅やニッケルなどの金属、合金製集電体を用いることは可能であるが、正極集電体層5及び負極集電体層7共に導電性金属酸化物層を用いることが特に望ましい。
前記導電性金属酸化物としては、Sn、In、Zn、Tiから選ばれる少なくとも1種の元素の酸化物が挙げられる。さらに具体的には、SnO、In、ZnO、TiO(0.5≦x≦2)が挙げられる。これら導電性金属酸化物には、構造中にSb、Nb、Taなど導電性を高めるための微量元素を(例えば10at%以下)含んでも良い。
無機固体電解質3について説明する。
無機固体電解質3にはイオン導電性があり、電子伝導性が無視できるほど小さい材料を用いる。無機固体電解質3はリチウムを含むものを用い、この二次電池はリチウムイオンが可動イオンとする。例えば、LiPOをはじめ、LiPOに窒素を混ぜたLiPO4−x(xは0<x≦1)、LiS−SiS、LiS−P、LiS−B等のリチウムイオン伝導性ガラス状固体電解質や、これらのガラスにLiIなどのハロゲン化リチウム、LiPOなどのリチウム酸素酸塩をドープしたリチウムイオン伝導性固体電解質などは、リチウムイオン伝導性が高く、有効である。中でも、リチウムとチタンと酸素を含むチタン酸化物型の固体電解質、例えば、LiLaTiO(xは0<x<1、yは0<y<1)などは酸素雰囲気下での焼成においても安定な性能を示すため好ましい。
正極端子8、負極端子9について説明する。
正極端子8、負極端子9を構成する材料は特に限定されない。例えば、Ag、Ag/Pd合金、Niメッキ、蒸着によるCuなどが挙げられる。また、外部電極表面には実装のための半田メッキなどをおこなっても良い。正極端子8、負極端子9は同じである必要は無く、必要に応じて異なるものを用いても良い。また、表面状態や形状にバリエーションを持たり、色付けしたり、あるいは刻印を打ったりすることで正負を明確に示すための実用的な仕様としてもよい。
無機固体電解質電池を構成する正極1、後述する負極2、無機固体電解質3、正極端子8、負極端子9などに対して、例えばSiO、Al、PbO、MgOなどの無機物が混合されていてもよいし、PVBやMEKなどの有機物を含んでいても良い。
電池の形状について、図1には、四角柱形状の電池の例を示したが電池形状はこれに限定されない。例えばボタン型、円筒型などであってもよい。
以上の如くの電池の構成を採用することにより、正極、負極、無機固体電解質を一括して焼結する製造プロセスを採用でき、例えば、以下のような簡便なプロセスで無機固体電解質二次電池を完成させることができる。
次に二次電池の製造方法について説明する。
図3〜図5は二次電池製造プロセスの一実施形態を示す概略断面図である。
(無機固体電解質シート形成工程)
図3(a)に示すようにポリエチレンテレフタレート(PET)製などのシート状支持体12の一方の面上に部分的に無機固体電解質層3を形成した無機固体電解質シートを用意する。
(正極シート形成工程(1))
次に図3(b)に示すように、無機固体電解質シートの前記無機固体電解質層3上に、第1正極活物質領域41を具備する第1正極層、前記第1正極層上に、正極集電体領域5と前記正極集電体領域5を平面方向に囲む第2正極活物質領域42とを備える第2正極層、前記第2正極層上に、第3正極活物質領域43を具備する第3正極層を順次積層した正極シート13を形成する。この正極シート13は複数形成する。なお、前記第2正極層においては、図3(b)に示すように、前記正極集電体領域5全てを第2正極活物質領域42で囲まず、正極端子8に接続される面で端部が露出するように構成するか、また、前記正極集電体領域5全てを第2正極活物質領域42で囲んで後工程で切断し正極端子8に接続される面で端部が露出するようにすれば良い。
(負極シート形成工程(1))
また図3(c)に示すように、別の前記無機固体電解質シートの前記無機固体電解質層3上に、第1負極活物質領域61を具備する第1負極層、前記第1負極層上に、負極集電体領域7と前記負極集電体領域7を平面方向に囲む第2負極活物質領域62とを備える第2負極層、前記第2負極層上に、第3負極活物質領域63を具備する第3負極層を順次積層した負極シート14を形成する。ただし負極活物質層を後工程の初充電により析出させて形成する電池の場合には負極活物質領域をあらかじめ準備しておくことは不要である。この負極シート14は複数形成する。なお、前記第2負極層においては、図3(b)に示すように、前記負極集電体領域7全てを第2負極活物質領域62で囲まず、後に負極端子9に接続される面で端部が露出するように構成するか、また、前記負極集電体領域6全てを第2負極活物質領域62で囲んで後工程で切断し負極端子9に接続される面で端部が露出するようにしても良い。
(正極シート・負極シート形成工程(2))
上記した、正極シート形成工程(1)、負極シート形成工程(1)に記載した方法の他にも以下のようにして、正極シート13、負極シート14を形成しても良い。すなわち、図9(a)に示すように、まず、無機固体電解質シートの無機固体電解質層3上に、正極又は負極の第1番目の活物質領域71を具備する第1番目の活物質層を積層し、次に図9(b)に示すように前記第1番目の活物質層上に、正極又は負極集電体領域80を備える集電体層を積層し、次に図9(c)に示すように前記集電体層上に、第2番目の活物質領域72を具備する第2番目の活物質層を順次積層した正極又は負極シートを形成する。ただし負極活物質層を後工程の初充電により析出させて形成する電池の場合には負極活物質領域をあらかじめ準備しておくことは不要である。この活物質シートは複数形成する。なお、前記第2番目の活物質領域72は、集電体領域80よりも面積を大きくして、集電体領域80の端部を覆い、第1番目の活物質領域と接するように形成する。ただし前記第2番目の活物質層においては、図9(c)に示すように、前記集電体領域80全てを第5活物質領域72で囲まなくとも、負極端子9に接続される面で端部が露出するように構成しても良い。また、前記集電体領域80全てを第2番目の活物質領域72で囲んで後工程で切断し負極端子9に接続される面で端部が露出するようにしても良い。
上記(1)、(2)の方法における正極シート13若しくは負極シート14の各層の形成は、例えば各部材の構成材料をバインダー(例えば、ポリフッ化ビニリデン、ポリビニルブチラール、スチレンブタジエンゴムなど)及び溶媒(N−メチルピロリドン、MEK、水など)で混練したスラリーをスクリーン印刷やドクターブレード法、グラビア印刷法で、必要とする厚みに塗布形成することで形成することができる。各層を構成する材料が互いに相溶する場合でも各層を形成した後、溶媒を乾燥させ次の層を形成することを繰り返せばよい。
また、上記(1)、(2)で形成される正極シート及び負極シート、及び電解質シートにおいて、電極活物質領域を部分的にパターン形成した領域を加え、電池が形成された際に電極端子と無機固体電解質層との間に電極活物質領域が存在し、集電体のみならず電極端子表面も活物質層で連続して被覆されているよう構成することもできる。
なお、上記正極シート形成工程及び負極シート形成工程(1)、(2)で形成される正極シート、負極シートは、図4に示すように一枚のシート状支持体12の一方の面上に無機固体電解質層3を形成した無機固体電解質シートに対して、第1〜第3正極層の積層したもの若しくは第1〜第3負極層の積層したものを複数組形成した正極シート13若しくは負極シート14であっても良く、それは大量生産に適している。
(積層工程)
次に前記第1負極活物質領域63と前記第3正極活物質領域41、もしくは第3負極活物質領域63と第1正極活物質領域41、が前記無機固体電解質層3を介して向き合うよう、前記シート状支持体12が除去された複数の正極シート13と前記複数の負極シート14とを交互に積層して積層体を形成する。
例えば、図5(a)に示すように、あらかじめ準備しておいた、積層最外層となる絶縁層15(例えば生セラミックグリーンシート層)に正極シート13を、熱圧着し、次に図5(b)に示すように、シート状支持体12を剥離する。次に図5(c)に示すように、先に圧着した正極シート13に負極シート14を熱圧着し、図5(d)に示すようにシート状支持体12を剥離する。この操作を図5(e)に示すように必要な回数繰り返し、最後に図5(f)に示すように積層最外層となる絶縁層16を熱圧着し、電池要素前駆体となる積層体を得ることができる。この電池要素前駆体の各層を一体化させる所定の治具に入れ、静水圧処理を行う。
なお、絶縁層15、16としては生セラミックグリーンシート層に対し例えばSiO、Al、PbO、MgOなどの無機物が混合されていてもよいし、PVBやMEKなどの有機物を含んでいても良い。また正極層、負極層、無機固体電解質の積層体との焼結時の密着性を上げるためにこれと接触する無機固体電解質または正極あるいは負極層の成分を含んでいることが望ましい。最外層絶縁体の積層状態はこの例に限定されるものでは無い。最外層に絶縁層が配置されている他の例を図10、図11に示した。図10、図11においてはいずれも正極シート50、負極シート51が交互に積層されているが、図10においては電極活物質層に絶縁層が接している。図11においては電解質層に絶縁層が接している。
(切断工程)
次に必要に応じて端面に正極集電体5および、負極集電体7の端面が、積層体の、それぞれ別の面で露出するよう前記積層体を切断する。
(焼結工程)
次に前記積層体を加熱し焼結する。さらに、この電池要素前駆体を500℃以上1500℃以下、望ましくは700℃以上900℃以下の温度条件にて高温焼結する。焼結時の雰囲気は材料に酸化物を用いている場合、酸化雰囲気で行われることが望ましい。例えば酸素含有雰囲気が良く、特に大気雰囲気中で行われることが最も簡便であるが、集電体金属を保護するためなど原料によっては酸化還元反応を調整する目的で各種雰囲気を調整して行われても全く支障はない。焼成時間は0.1〜10時間の範囲であることが望ましい。
(正極・負極端子接続工程)
次に研磨などの表面処理を施し、前記露出した複数の正極集電体5を電気的に接続する正極端子8を接続し、前記露出した複数の負極集電体7を電気的に接続する負極端子9を接続する。研磨などの表面処理は加工時のバリを取るだけでなく、表面を滑らかにすることで欠けなどを防ぐ効果があり、アルミナなどの研磨粉で行う。正極、負極端子8,9は導電性ペーストなどでそれぞれ接合する。正極・負極端子は材料をバインダーと共にペースト状とし、焼結工程前に、前記ペーストを端子取り付け位置に塗布し、電池要素と共に焼結することにより取り付けても良い。
その後、乾燥した後、樹脂コーティングによる外装をディッピングなどでコーティングして硬化させても電池を完成させることができる。初充電することによって、負極活物質層を形成させる場合は、この後、充電工程を行うことによって、固体電解質層3と負極集電体層7間に負極活物質層6が析出する。
以下に例を挙げ、本発明をさらに詳しく説明するが、発明の主旨を超えない限り本発明は以下に掲載される実施例に限定されるものでない。
(実施例1)
以下の手順にて方法にて二次電池を作製した。二次電池の構造を示す概略断面図を図2に、二次電池の製造過程の一部を示す概略断面図を図3に示す。
<無機固体電解質シートの作製>
無機固体電解質としてチタン酸ランタンリチウム(LiLaTiO)粉末100重量部、重合度200〜300のポリビニルブチラール(PVB)をバインダーとして5重量部、可塑剤としてフタル酸ジブチル(DBP)2重量部と溶剤(MEKとアセトンを1:1に混合)20重量部を混合してスラリーとし、このスラリーを脱泡して無機固体電解質セラミック用スラリーを作製した。
このスラリーをポリエチレンテレフタレート(PET)製シート状支持体キャリアシート12上に塗布、乾燥させ、キャリアシート12に無機固体電解質層3を形成した図3(a)に示す無機固体電解質シートを作製した。
<正極シートの作製>
上記正極シート形成工程(1)に記載した方法にて正極シートを作製した。
次に正極活物質としてコバルト酸リチウム(LiCoO)粉末100重量部、PVBを5重量部、DBPを2重量部、上記組成の溶剤22重量部を混合してスラリーとし、このスラリーを脱泡して、正極活物質用スラリーを作製した。
このスラリーを無機固体電解質シートの無機固体電解質層3上に塗布、乾燥させ、複数の第1の正極活物質領域41を具備する第1正極層を形成した。
次にアンチモンをドープしたスズ酸化物(SnO)粉末100重量部、PVB5重量部DBP2重量部を上記組成の溶剤18重量部にて混合してスラリーとし、このスラリーを脱泡して正極集電体用スラリーを作製した。
このスラリーを上記第1正極活物質領域41上に塗布、乾燥させ、前記無機固体電解質層3の上に正極集電体領域5を形成した。さらに前記正極活物質スラリーを用い、前記正極集電体領域5を平面方向に囲む第2正極活物質領域42を形成し、正極集電体領域5と正極活物質領域42とを備える第2正極層を形成した。つぎに前記正極活物質スラリーを用い、前記第2正極層上に、第3正極活物質領域43を具備する第3正極層を順次積層した。このようにして図3(b)に示す正極シート13を形成した。
<負極シートの作製>
上記負極シート形成工程(1)に記載した方法にて正極シートを作製した。
負極活物質としてチタン酸リチウム(LiTi12)粉末100重量部、PVBを5重量部、DBPを2重量部、上記溶剤22重量部を混合しスラリーとし、このスラリーを脱泡して負極活物質用スラリーを作製した。
このスラリーを無機固体電解質シートの無機固体電解質層3上に塗布、乾燥させ、複数の第1の負極活物質領域61を具備する第1負極層を形成した。
次にアンチモンをドープしたスズ酸化物(SnO)粉末100重量部、PVB5重量部DBP2重量部を上記組成の溶剤18重量部にて混合してスラリーとし、このスラリーを脱泡して負極集電体用スラリーを作製した。
このスラリーを上記第1負極層上に塗布、乾燥させ、前記無機固体電解質層3の上に負極集電体層領域7を形成した。さらに前記負極活物質スラリーを用い、前記負極集電大量域7を平面方向に囲む第2負極活物質領域62を形成し、負極集電体領域7と負極活物質領域62とを具備する第2負極層を形成した。次に前記負極活物質スラリーを用い、前記第2負極層上に、第3負極活物質領域63を具備する第3負極層を順次積層した。このようにして図3(c)に示す負極シート14を形成した。
<積層・切断・焼結工程>
得られた正極シートおよび負極シートからキャリアシート12を剥離しつつ両者を交互に順次積層させ有効積層数10層の積層帯(電池要素前駆体)を形成し、これをアルミナを主成分とするセラミックスのカバーシート11、11´で挟み込み静水圧プレスによりラミネートし、正極・負極集電体が積層体のそれぞれ異なる面で露出するように個々の電池要素に切断した後に、これを脱脂して酸素気流中900℃で1時間焼成した。
<正極・負極端子接続工程>
得られた電池要素の正極集電体5、負極集電体7にそれぞれ接続する正極端子8、負極端子9を取り付けた後、2.8Vまで充電し、図2に断面を示す無機固体電解質二次電池を完成させた。
<電池の評価>
完成した電池の容量は200μAh、500サイクル後の容量維持率は98%であった。
サイクル寿命後の電池を分解、SEMにて観察調査した結果、集電体端面が活物質で覆われており、無機固体電解質層に亀裂などの欠陥は観察されなかった。なお、サイクル寿命試験は20℃で行い、充電電流1C、放電電流1Cとし、充電及び放電終止電圧は2.8V、1.5Vとして充放電サイクルを繰り返して容量維持率を測定した。
なお、本実施例においては、正極シート形成工程(1)・負極シート形成工程(1)に記載した方法にて正極シート及び負極シートを作製したが、正極シート・負極シート形成工程(2)に記載された方法にても本実施例とほぼ同様な特性を有する電池が得られることを確認した。
なお正極シート形成工程(1)、負極シート形成工程(1)を採用して積層電池を作製した場合、正極・負極それぞれの端子と接続されない端部において段差が生じないため多く積層する場合はデラミネーションなどの不良が発生しにくいという利点がある。また、正極シート形成工程(2)・負極シート形成工程(2)は製造工程が簡略化出来る点で有利である。具体的には30層程度までは正極シート形成工程(2)・負極シート形成工程(2)が採用され、30層を超える場合は正極シート形成工程(1)・負極シート形成工程(1)が採用されることが望ましい。
(実施例2)
この実施例2は、正極シート及び負極シート、及び電解質シートにおいて、さらに電極活物質領域を部分的にパターン形成した領域を増やし、電池が形成された際に正極若しくは負極端子と電解質との間に電極活物質領域が存在し、集電体のみならず電極端子表面も活物質層で連続して被覆されているようにした電池を形成した例である。
実施例1と同様に無機固体電解質用スラリー、正極・負極活物質用スラリー、正極・負極集電体スラリーを作製した。また実施例1と同様に無機固体電解質シートを作製した。次に正極シート及び負極シートを以下に示すように作製した。二次電池の製造過程の一部を示す概略断面図を図6に示す。
<無機固体電解質シートの作製>
まず、図6(a)に示すようにシート状支持体12上に無機固体電解質用スラリー、正極・負極活物質用スラリーを用い、無機固体電解質領域31とその両端に正極活物質領域44及び負極活物質領域64を具備する複合電極活物質シートを作製した。
<正極シートの作製>
次に前記複合電極活物質シートの正極活物質領域44および無機固体電解質領域31上にまたがるように第1正極活物質領域41を部分的に形成した。また、無機固体電解質領域31上に隙間埋め用無機固体電解質領域32を、負極活物質領域64上に同じく負極活物質領域65を形成した。次に前記第1正極活物質領域41上に正極集電体領域5及び前記正極集電体領域5を平面方向に囲む第2正極活物質領域42を形成した後、前記正極集電体層5および前記第2正極活物質領域42上に第3正極活物質領域43を形成して正極シート50を得た(図6(b)。)
<負極シートの作製>
前記複合電極活物質シートの負極活物質領域64及び無機固体電解質領域31上にまたがるように第1負極活物質領域61を部分的に形成した。また無機固体電解質領域31上に隙間埋め用無機固体電解質領域33を、正極活物質領域44上に同じく正極活物質領域45を形成した。次に前記第1負極活物質領域61に負極集電体領域7及び前記負極集電体領域7を平面方向に囲む第2負極活物質領域62を形成した後、前記負極集電体層7および前記第2負極活物質領域62に第3負極活物質領域63を形成して負極シート51を得た(図6(c))。
<積層・切断・焼結工程>
次に図7に示すように実施例1と同様にこれらの正極・負極シート50、51を交互に積層して、実施例1と同様のカバーシートで挟みラミネートした後、この後正極端面に正極集電体用スラリーを、負極端面に負極集電体用スラリーを塗布し乾燥させた。これを実施例1同様に脱脂、焼成の後、正極端子、負極端子を形成して無機固体電解質二次電池を完成させた。
<電池の評価>
完成した電池を実施例1と同様に評価したところ、容量は220μAh、500サイクル後の容量維持率は97%であった。サイクル寿命後の電池を分解、SEMにて観察調査した結果、電極端面が活物質で覆われており、無機固体電解質層に亀裂などの欠陥は観察されなかった。また、断面観察において電池端面において外部電極と無機固体電解質界面には活物質層が形成されており、外部電極と無機固体電解質が直接接触していなかった。
また、強度試験として1.5mの高さから100回、厚さ10mmの鉄板上に落下させたところ破損したものは無く故障率は3%であった。故障評価は2.8Vまで充電した電池を使用し、落下試験後に容量が90%以下になったものを故障品として評価した。また、完全に破損したものは特に容量は測定せずに故障とした。
(比較例1)
以下の手順にて二次電池を作製した。二次電池の構造を示す概略断面図を図8に示す。
<無機固体電解質シートの作製>
無機固体電解質としてチタン酸ランタンリチウム(LiLaTiO)粉末100重量部、重合度200〜300のポリビニルブチラール(PVB)をバインダーとして5重量部、可塑剤としてフタル酸ジブチル(DBP)2重量部と溶剤(MEKとアセトンを1:1に混合)20重量部を混合してスラリーとし、このスラリーを脱泡して無機固体電解質セラミック用スラリーを作製した。このスラリーをポリエチレンテレフタレート(PET)製キャリアシート上に塗布、乾燥させ、キャリアシートに無機固体電解質層3を形成した。
<正極シートの作製>
正極活物質としてコバルト酸リチウム(LiCoO)粉末100重量部、PVBを5重量部、DBPを2重量部、上記組成の溶剤22重量部を混合してスラリーとし、このスラリーを脱泡して、正極活物質用スラリーを作製した。このスラリーを前記無機固体電解質シートの無機固体電解質層3上に塗布、乾燥させ、複数の正極活物質層4を形成した。
次にアンチモンをドープしたスズ酸化物(SnO)粉末100重量部、PVB5重量部DBP2重量部を上記組成の溶剤18重量部にて混合してスラリーとし、このスラリーを脱泡して正極集電体用スラリーを作製した。このスラリーを上記正極活物質層4上に塗布、乾燥させ、前記無機固体電解質層3の上に複数の正極集電体層5を形成した。
次に上記正極活物質層と同様の方法で再び正極活物質層を上記複数の正極集電体層5上に塗布し乾燥させ、キャリアシート上に正極シートを作製した。この方法であると前記正極集電体領域5の端面を囲む正極活物質は形成されていない。
<負極シートの作製>
負極活物質としてチタン酸リチウム(LiTi12)粉末100重量部、PVBを5重量部、DBPを2重量部、上記溶剤22重量部を混合しスラリーとし、このスラリーを脱泡して負極活物質用スラリーを作製した。このスラリーを上記無機固体電解質シートの無機固体電解質層3上に塗布、乾燥させ、複数の負極活物質層6を形成した。
次にアンチモンをドープしたスズ酸化物(SnO)粉末100重量部、PVB5重量部DBP2重量部を上記組成の溶剤18重量部にて混合してスラリーとし、このスラリーを脱泡して負極集電体用スラリーを作製した。このスラリーを上記負極活物質層6上に塗布、乾燥させ、前記無機固体電解質層3の上に複数の負極集電体層7を形成した。
次に上記負極活物質層と同様の方法で再び負極活物質層6を上記複数の負極集電体層7の上に塗布、乾燥させ、キャリアシート上に負極シートを作製した。この方法であると前記負極集電体層7の端面を囲む負極活物質は形成されていない。
<積層・切断・焼結工程>
得られた正極複合シートおよび負極複合シートを交互に順次積層させ有効積層数10層の電池要素前駆体を形成し、これを実施例1と同様のカバーシートで挟み込み静水圧プレスによりラミネートし個々の電池要素に切断した後に、これを脱脂して酸素気流中900℃で1時間焼成した。
<正極・負極端子接続工程>
得られた電池要素の正極集電体5、負極集電体7にそれぞれ接続する外部電極8、9を取り付けた後、2.8Vまで充電し、無機固体電解質二次電池を完成させた。
<電池の評価>
完成した電池の容量は200μAh、500サイクル後の容量維持率は73%であった。サイクル寿命後の電池を分解、SEMにて観察調査した結果、電極端面は活物質で覆われておらず、集電体と無機固体電解質が直接接しており界面付近に亀裂が生じていることが確認された。
また、実施例2と同様に落下試験を行ったところ外部電極が剥離するなどの破損が発生し、不良率は54%であった。
以上のように本発明は信頼性に優れた固体電解質二次電池を提供することが分かる。
本実施形態に係わる電池の概略斜視図。 本実施形態に係わる電池の概略断面図。 本実施形態に係る電池の製造工程を示す概略断面図。 本実施形態に係る電池の製造工程を示す概略断面図。 本実施形態に係る電池の製造工程を示す概略断面図。 実施例2に係る電池の製造工程を示す概略断面図。 実施例2に係る電池の製造工程を示す概略断面図。 比較例1に係る電池の製造工程を示す概略断面図。 本実施形態に係る電池の製造工程を示す概略断面図。 本実施形態に係る電池の例を示す概略断面図。 本実施形態に係る電池の例を示す概略断面図。
符号の説明
10・・・電池要素
1・・・正極
2・・・負極
3・・・無機固体電解質
4・・・焼結式正極活物質層
5・・・正極集電体層
6・・・焼結式負極活物質層
7・・・負極集電体層
8・・・正極端子
9・・・負極端子
11、11´・・絶縁板
12・・・シート状支持体
13・・・正極シート
14・・・負極シート
15、16・・・絶縁層
41・・・第1正極活物質領域
42・・・第2正極活物質領域
43・・・第3正極活物質領域
44、45・・・正極活物質領域
61・・・第1負極活物質領域
62・・・第2負極活物質領域
63・・・第3負極活物質領域
64、65・・・負極活物質領域
50・・・正極シート
51・・・負極シート
71・・・第1番目の活物質領域
72・・・第2番目の活物質領域
80・・・集電体層

Claims (12)

  1. 互いに間隔を持って並列した複数の正極集電体層、各々の正極集電体層の端面に接続して前記複数の正極集電体層を互いに導通させる正極端子、前記正極集電体層の前記正極端子が接続した端面以外の端面と両面を被覆する焼結式正極活物質層を具備する正極と、
    互いに間隔を持って並列した複数の負極集電体層、各々の負極集電体層の端面に接続して前記複数の負極集電体層を互いに導通させる負極端子、前記負極集電体層の前記負極端子が接続した端面以外の端面と両面を被覆する焼結式負極活物質層を具備し、前記正極と互いに間隔を持ちつつかみ合うように設けられた負極と、
    前記焼結式正極活物質層及び前記焼結式負極活物質層間に挟持された焼結式無機固体電解質とを具備する電池要素を具備することを特徴とする無機固体電解質電池。
  2. 前記焼結式無機固体電解質は、リチウムを含有する無機固体電解質であり、前記焼結式負極活物層の負極活物質に金属リチウムもしくはリチウム合金を用い、かつ前記正極集電体及び負極集電体の少なくとも一方は導電性金属酸化物層であることを請求項1記載の無機固体電解質電池。
  3. 前記導電性金属酸化物は、Sn、In、Zn、Tiから選ばれる少なくとも1種の元素の酸化物であることを特徴とする請求項2記載の無機固体電解質電池。
  4. 前記導電性金属酸化物は、SnO、In、ZnO、TiO(0.5≦x≦2)から選ばれる少なくとも一種であることを特徴とする請求項3記載の無機固体電解質電池。
  5. 前記リチウム合金は、リチウム及びSn、In、Znから選ばれる少なくとも1種の元素を含むリチウム合金であることを特徴とする請求項2記載の無機固体電解質電池。
  6. 前記焼結式負極活物質層に、負極の作動電位が金属リチウムの電位に対して1.0Vよりも貴となる負極活物質を用い、かつ
    前記正極集電体及び負極集電体の少なくとも一方は導電性金属酸化物層であることを特徴とする請求項1記載の無機固体電解質電池。
  7. 前記導電性金属酸化物は、Sn、In、Zn、Tiから選ばれる少なくとも1種の元素の酸化物であることを特徴とする請求項6記載の無機固体電解質電池。
  8. 前記導電性金属酸化物は、SnO、In、ZnO、TiO(0.5≦x≦2)から選ばれる少なくとも一種であることを特徴とする請求項6記載の無機固体電解質電池。
  9. 前記負極作動電位が金属リチウムの電位に対して、1.0Vよりも貴となる負極活物質は、酸化タングステン、酸化モリブデン、硫化鉄、硫化鉄リチウム、硫化チタン、チタン酸リチウムから選択される少なくとも一種であることを特徴とする請求項6記載の無機固体電解質電池。
  10. 前記電池要素を挟む一対の絶縁板をさらに具備することを特徴とする請求項1記載の無機固体電解質電池。
  11. シート状支持体の一方の面上に部分的に無機固体電解質層を形成した無機固体電解質シートを形成する無機固体電解質シート形成工程と、
    前記無機固体電解質シートの前記無機固体電解質層上に、第1正極活物質領域を具備する第1正極層、前記第1正極層上に、正極集電体領域と前記正極集電体領域を囲む第2正極活物質領域とを備える第2正極層、前記第2正極層上に、第3正極活物質領域を具備する第3正極層を順次積層した正極シートを複数用意する正極シート形成工程と、
    前記無機固体電解質シートの前記無機固体電解質層上に、第1負極活物質領域を具備する第1負極層、前記第1負極層上に、負極集電体領域と前記負極集電体領域を囲む第2負極活物質領域とを備える第2負極層、前記第2負極層上に、第3負極活物質領域を具備する第3負極層を順次積層した負極シートを複数用意する負極シート形成工程と、
    前記複数の正極シート及び前記複数の負極シートから前記シート状支持体を除去し、前記第1負極活物質領域と前記第3正極活物質領域、もしくは第3負極活物質領域と第1正極活物質領域、が前記無機固体電解質層を介して向き合うよう、前記シート状支持体が除去された複数の正極シートと前記複数の負極シートとを交互に積層して積層体を形成する積層工程と、
    前記積層体を加熱し焼結する焼結工程と、
    前記複数の正極集電体の端面に前記複数の正極集電体を電気的に接続する正極端子を接続し、前記複数の負極集電体の端面に前記複数の負極集電体を電気的に接続する負極端子を接続する工程と、
    を具備することを特徴とする無機固体電解質電池の製造方法。
  12. シート状支持体の一方の面上に部分的に無機固体電解質層を形成した無機固体電解質シートを形成する無機固体電解質シート形成工程と、
    前記無機固体電解質シートの前記無機固体電解質層上に、第1番目の正極活物質領域を具備する第1番目の正極層、前記第1番目の正極層上に、正極集電体領域を備える正極集電
    体層、前記正極集電体層上に、前記正極集電体領域端部を覆う第2番目の正極活物質領域を具備する第2番目の正極層を順次積層した正極シートを複数用意する正極シート形成工程と、
    前記無機固体電解質シートの前記無機固体電解質層上に、第1番目の負極活物質領域を具備する第1番目の負極層、前記第1番目の負極層上に、負極集電体領域を備える負極集電
    体層、前記負極集電体層上に、前記負極集電体領域端部を覆う第2番目の負極活物質領域を具備する第2番目の負極層を順次積層した負極シートを複数形成する負極シート形成工程と、
    前記複数の正極シート及び前記複数の負極シートから前記シート状支持体を除去し、前記第1番目の負極活物質領域と前記第2番目の正極活物質領域、もしくは第2番目の負極活物質領域と第1番目の正極活物質領域、が前記無機固体電解質層を介して向き合うよう、前記シート状支持体が除去された複数の正極シートと前記複数の負極シートとを交互に積層して積層体を形成する積層工程と、
    前記積層体を加熱し焼結する焼結工程と、
    前記複数の正極集電体の端面に前記複数の正極集電体を電気的に接続する正極端子を接続し、前記複数の負極集電体の端面に前記複数の負極集電体を電気的に接続する負極端子を接続する工程と、
    を具備することを特徴とする無機固体電解質電池の製造方法。
JP2005078830A 2005-03-18 2005-03-18 無機固体電解質電池及び無機固体電解質電池の製造方法 Expired - Fee Related JP4352016B2 (ja)

Priority Applications (1)

Application Number Priority Date Filing Date Title
JP2005078830A JP4352016B2 (ja) 2005-03-18 2005-03-18 無機固体電解質電池及び無機固体電解質電池の製造方法

Applications Claiming Priority (1)

Application Number Priority Date Filing Date Title
JP2005078830A JP4352016B2 (ja) 2005-03-18 2005-03-18 無機固体電解質電池及び無機固体電解質電池の製造方法

Publications (2)

Publication Number Publication Date
JP2006261008A JP2006261008A (ja) 2006-09-28
JP4352016B2 true JP4352016B2 (ja) 2009-10-28

Family

ID=37099993

Family Applications (1)

Application Number Title Priority Date Filing Date
JP2005078830A Expired - Fee Related JP4352016B2 (ja) 2005-03-18 2005-03-18 無機固体電解質電池及び無機固体電解質電池の製造方法

Country Status (1)

Country Link
JP (1) JP4352016B2 (ja)

Cited By (1)

* Cited by examiner, † Cited by third party
Publication number Priority date Publication date Assignee Title
US20210203007A1 (en) * 2018-09-14 2021-07-01 Murata Manufacturing Co., Ltd. Solid-state battery and solid-state battery group

Families Citing this family (57)

* Cited by examiner, † Cited by third party
Publication number Priority date Publication date Assignee Title
JP4980734B2 (ja) * 2006-01-27 2012-07-18 パナソニック株式会社 固体電池の製造方法
KR101367653B1 (ko) 2006-05-23 2014-03-06 나믹스 가부시끼가이샤 전 고체 이차 전지
JP4970875B2 (ja) * 2006-08-25 2012-07-11 日本碍子株式会社 全固体蓄電素子
JP5098288B2 (ja) * 2006-10-20 2012-12-12 出光興産株式会社 二次電池用正極層及びその製造方法
JP5049565B2 (ja) * 2006-11-21 2012-10-17 パナソニック株式会社 全固体型電気二重層コンデンサー
JP5104066B2 (ja) * 2007-06-29 2012-12-19 住友電気工業株式会社 電池
JP4745323B2 (ja) 2007-11-26 2011-08-10 ナミックス株式会社 リチウムイオン二次電池、及び、その製造方法
JP5198080B2 (ja) * 2008-01-31 2013-05-15 株式会社オハラ 固体電池
JP2009193857A (ja) * 2008-02-15 2009-08-27 Ohara Inc 固体電解質グリーンシートの製造方法、固体電解質の製造方法、及びリチウム電池の製造方法
JP4728385B2 (ja) 2008-12-10 2011-07-20 ナミックス株式会社 リチウムイオン二次電池、及び、その製造方法
JP5152200B2 (ja) * 2009-02-04 2013-02-27 トヨタ自動車株式会社 全固体電池及びその製造方法
US20100261049A1 (en) * 2009-04-13 2010-10-14 Applied Materials, Inc. high power, high energy and large area energy storage devices
JP5417989B2 (ja) * 2009-05-21 2014-02-19 トヨタ自動車株式会社 固体電解質電池の製造方法
JP5519356B2 (ja) * 2010-03-23 2014-06-11 ナミックス株式会社 リチウムイオン二次電池及びその製造方法
JP2012014892A (ja) * 2010-06-30 2012-01-19 Sumitomo Electric Ind Ltd 非水電解質電池
JP2012221580A (ja) 2011-04-04 2012-11-12 Toyota Motor Corp 固体電池
JP5738150B2 (ja) * 2011-10-25 2015-06-17 京セラ株式会社 二次電池
DE102011089088A1 (de) * 2011-12-19 2013-06-20 Robert Bosch Gmbh Elektrische Energiespeicherzelle und Verfahren zum Herstellen einer elektrischen Energiespeicherzelle
US10333123B2 (en) 2012-03-01 2019-06-25 Johnson Ip Holding, Llc High capacity solid state composite cathode, solid state composite separator, solid-state rechargeable lithium battery and methods of making same
JP2013196933A (ja) * 2012-03-21 2013-09-30 Toyota Motor Corp 固体電池の製造方法
JP5918019B2 (ja) 2012-05-18 2016-05-18 株式会社オハラ 全固体二次電池
US9793525B2 (en) 2012-10-09 2017-10-17 Johnson Battery Technologies, Inc. Solid-state battery electrodes
JP5864682B2 (ja) * 2013-08-23 2016-02-17 一般社団法人新エネルギー支援機構 ペースト状バナジウム電解質の製造方法及びバナジウムレドックス電池の製造方法
JP6120087B2 (ja) * 2013-12-19 2017-04-26 株式会社豊田自動織機 集電体本体への保護層形成方法、リチウムイオン二次電池用集電体、リチウムイオン二次電池用正極及びリチウムイオン二次電池
DE102014208228A1 (de) * 2014-04-30 2015-11-05 Robert Bosch Gmbh Galvanisches Element und Verfahren zu dessen Herstellung
JP6492959B2 (ja) * 2014-05-19 2019-04-03 Tdk株式会社 固体電池
KR102435473B1 (ko) * 2015-08-04 2022-08-23 삼성전자주식회사 다결정 소결체를 갖는 이차전지 양극, 상기 이차전지 양극을 포함하는 이차전지, 및 상기 이차전지 양극을 제조하는 방법
CN107636874B (zh) * 2015-09-10 2020-12-25 日本瑞翁株式会社 全固态电池用粘结剂组合物
JP6705145B2 (ja) * 2015-10-07 2020-06-03 株式会社豊田中央研究所 複合体及び複合体の製造方法
KR102514595B1 (ko) * 2015-10-12 2023-03-27 삼성전자주식회사 3차원 구조의 전극 구조체 및 이를 갖는 전지
JP6763965B2 (ja) 2015-12-21 2020-09-30 ジョンソン・アイピー・ホールディング・エルエルシー 固体電池、セパレータ、電極および製造方法
US10218044B2 (en) 2016-01-22 2019-02-26 Johnson Ip Holding, Llc Johnson lithium oxygen electrochemical engine
MX2018006316A (es) * 2016-01-22 2018-09-18 California Inst Of Techn Sustancias químicas, artículos arqitecturas y fabricación de baterías de iones de litio y nanotubos de carbono verticales.
KR102346306B1 (ko) * 2016-08-09 2022-01-03 가부시끼가이샤 도시바 축전 시스템, 차량, 및 기계 설비
WO2018181667A1 (ja) * 2017-03-31 2018-10-04 Tdk株式会社 全固体リチウムイオン二次電池
US11056716B2 (en) * 2017-11-02 2021-07-06 Taiyo Yuden Co., Ltd. All solid battery
JP7042059B2 (ja) * 2017-11-02 2022-03-25 太陽誘電株式会社 全固体電池
JP7216920B2 (ja) * 2018-01-10 2023-02-02 Tdk株式会社 全固体リチウムイオン二次電池
JP7133435B2 (ja) * 2018-02-20 2022-09-08 Fdk株式会社 全固体電池
JP7192866B2 (ja) * 2018-08-10 2022-12-20 株式会社村田製作所 固体電池
CN112913065B (zh) * 2018-12-28 2024-10-01 松下知识产权经营株式会社 电池
JP7211119B2 (ja) * 2019-01-30 2023-01-24 トヨタ自動車株式会社 二次電池及び二次電池の製造方法
US12002925B2 (en) 2019-03-08 2024-06-04 Tdk Corporation Solid-state secondary battery
JP7253941B2 (ja) * 2019-03-13 2023-04-07 マクセル株式会社 全固体リチウム二次電池およびその製造方法
JP7259938B2 (ja) * 2019-03-26 2023-04-18 株式会社村田製作所 固体電池
JP7061588B2 (ja) * 2019-04-24 2022-04-28 本田技研工業株式会社 全固体電池および全固体電池の製造方法
JP7627082B2 (ja) * 2019-06-26 2025-02-05 三桜工業株式会社 熱利用発電モジュール
WO2021010231A1 (ja) 2019-07-18 2021-01-21 株式会社村田製作所 固体電池
JP7596071B2 (ja) * 2020-02-26 2024-12-09 Fdk株式会社 固体電池の製造方法及び固体電池
DE102021203235A1 (de) * 2020-04-22 2021-10-28 Volkswagen Aktiengesellschaft Festkörperbatterie
CN111883855B (zh) * 2020-08-31 2021-08-27 蜂巢能源科技有限公司 一种全固态电芯及其制备方法和固态电池
WO2022114140A1 (ja) * 2020-11-27 2022-06-02 株式会社村田製作所 固体電池および固体電池の製造方法
CN116583979A (zh) * 2020-11-27 2023-08-11 株式会社村田制作所 固体电池及固体电池的制造方法
KR20220096780A (ko) 2020-12-31 2022-07-07 삼성전기주식회사 전고체 전지
JP7501459B2 (ja) * 2021-07-02 2024-06-18 トヨタ自動車株式会社 全固体電池
EP4411931A4 (en) * 2021-09-28 2025-08-06 Panasonic Ip Man Co Ltd BATTERY AND BATTERY PRODUCTION METHOD
KR20230108472A (ko) * 2022-01-11 2023-07-18 주식회사 엘지에너지솔루션 전고체 전지 제조방법

Family Cites Families (10)

* Cited by examiner, † Cited by third party
Publication number Priority date Publication date Assignee Title
JP3373242B2 (ja) * 1993-02-05 2003-02-04 ティーディーケイ株式会社 積層型電池とその製造方法
JP2001015152A (ja) * 1999-06-29 2001-01-19 Kyocera Corp 全固体積層電池
JP2003203671A (ja) * 2001-10-29 2003-07-18 Kyocera Corp 積層型電池及びその製造方法
JP2003249268A (ja) * 2002-02-26 2003-09-05 Kyocera Corp 積層型リチウム電池
JP2004095200A (ja) * 2002-08-29 2004-03-25 Kyocera Corp 積層型電池
JP2004095297A (ja) * 2002-08-30 2004-03-25 Kyocera Corp 積層型電池
JP4145647B2 (ja) * 2002-12-27 2008-09-03 東芝電池株式会社 リチウム二次電池およびその製造方法
JP2004273436A (ja) * 2003-02-18 2004-09-30 Matsushita Electric Ind Co Ltd 全固体薄膜積層電池
JP2004253287A (ja) * 2003-02-21 2004-09-09 Kyocera Corp 積層型電池およびその製造方法
JP2005063958A (ja) * 2003-07-29 2005-03-10 Mamoru Baba 薄膜固体リチウムイオン二次電池およびその製造方法

Cited By (1)

* Cited by examiner, † Cited by third party
Publication number Priority date Publication date Assignee Title
US20210203007A1 (en) * 2018-09-14 2021-07-01 Murata Manufacturing Co., Ltd. Solid-state battery and solid-state battery group

Also Published As

Publication number Publication date
JP2006261008A (ja) 2006-09-28

Similar Documents

Publication Publication Date Title
JP4352016B2 (ja) 無機固体電解質電池及び無機固体電解質電池の製造方法
JP4381273B2 (ja) 二次電池及び二次電池の製造方法
JP7276316B2 (ja) 全固体電池
US12573657B2 (en) Solid-state battery
JP2011198692A (ja) リチウムイオン二次電池及びその製造方法
JPWO2019189311A1 (ja) 全固体電池
KR20130083828A (ko) 리튬 이온 이차 전지 및 그 제조 방법
JP6295819B2 (ja) 全固体二次電池
JPWO2018181379A1 (ja) 全固体二次電池
JP7474977B2 (ja) 電池
WO2019139070A1 (ja) 全固体リチウムイオン二次電池
JPWO2020195382A1 (ja) 固体電池
CN113544891A (zh) 全固体二次电池
CN113632286A (zh) 固体电池
JP2009081140A (ja) 二次電池及び二次電池の製造方法
CN113169372A (zh) 全固体二次电池
CN114830399A (zh) 固体电池
JP4970875B2 (ja) 全固体蓄電素子
WO2014050569A1 (ja) リチウムイオン二次電池用正極及びそれを用いたリチウムイオン二次電池
US12074277B2 (en) All-solid-state battery
CN113273015B (zh) 全固体电池
CN113474933A (zh) 全固体二次电池
JP7812914B2 (ja) 全固体二次電池
CN114982031A (zh) 层叠型全固体电池
JP7259938B2 (ja) 固体電池

Legal Events

Date Code Title Description
A977 Report on retrieval

Free format text: JAPANESE INTERMEDIATE CODE: A971007

Effective date: 20090115

A131 Notification of reasons for refusal

Free format text: JAPANESE INTERMEDIATE CODE: A131

Effective date: 20090127

A521 Request for written amendment filed

Free format text: JAPANESE INTERMEDIATE CODE: A523

Effective date: 20090330

TRDD Decision of grant or rejection written
A01 Written decision to grant a patent or to grant a registration (utility model)

Free format text: JAPANESE INTERMEDIATE CODE: A01

Effective date: 20090630

A01 Written decision to grant a patent or to grant a registration (utility model)

Free format text: JAPANESE INTERMEDIATE CODE: A01

A61 First payment of annual fees (during grant procedure)

Free format text: JAPANESE INTERMEDIATE CODE: A61

Effective date: 20090727

FPAY Renewal fee payment (event date is renewal date of database)

Free format text: PAYMENT UNTIL: 20120731

Year of fee payment: 3

FPAY Renewal fee payment (event date is renewal date of database)

Free format text: PAYMENT UNTIL: 20130731

Year of fee payment: 4

LAPS Cancellation because of no payment of annual fees