EP2646166B1 - Spritzpistole und zubehör - Google Patents
Spritzpistole und zubehör Download PDFInfo
- Publication number
- EP2646166B1 EP2646166B1 EP11791211.3A EP11791211A EP2646166B1 EP 2646166 B1 EP2646166 B1 EP 2646166B1 EP 11791211 A EP11791211 A EP 11791211A EP 2646166 B1 EP2646166 B1 EP 2646166B1
- Authority
- EP
- European Patent Office
- Prior art keywords
- spray gun
- cartridge
- air
- head
- ring
- Prior art date
- Legal status (The legal status is an assumption and is not a legal conclusion. Google has not performed a legal analysis and makes no representation as to the accuracy of the status listed.)
- Active
Links
- 239000007921 spray Substances 0.000 title claims description 137
- 239000000463 material Substances 0.000 claims description 30
- 238000003860 storage Methods 0.000 claims description 2
- 239000003973 paint Substances 0.000 description 56
- 230000008878 coupling Effects 0.000 description 42
- 238000010168 coupling process Methods 0.000 description 42
- 238000005859 coupling reaction Methods 0.000 description 42
- 230000001105 regulatory effect Effects 0.000 description 10
- 238000007789 sealing Methods 0.000 description 9
- 239000010408 film Substances 0.000 description 8
- 239000012528 membrane Substances 0.000 description 6
- 230000007246 mechanism Effects 0.000 description 5
- 239000004033 plastic Substances 0.000 description 5
- 229920003023 plastic Polymers 0.000 description 5
- 238000004140 cleaning Methods 0.000 description 4
- 238000002347 injection Methods 0.000 description 4
- 239000007924 injection Substances 0.000 description 4
- 238000000034 method Methods 0.000 description 4
- 230000008569 process Effects 0.000 description 4
- 239000000853 adhesive Substances 0.000 description 3
- 230000001070 adhesive effect Effects 0.000 description 3
- 238000004519 manufacturing process Methods 0.000 description 3
- 239000002184 metal Substances 0.000 description 3
- 229910052751 metal Inorganic materials 0.000 description 3
- 238000005507 spraying Methods 0.000 description 3
- 238000003466 welding Methods 0.000 description 3
- 229910000831 Steel Inorganic materials 0.000 description 2
- 238000000889 atomisation Methods 0.000 description 2
- 230000008901 benefit Effects 0.000 description 2
- 230000008859 change Effects 0.000 description 2
- 210000000078 claw Anatomy 0.000 description 2
- 238000009826 distribution Methods 0.000 description 2
- 230000009969 flowable effect Effects 0.000 description 2
- 239000011888 foil Substances 0.000 description 2
- 150000002739 metals Chemical class 0.000 description 2
- 238000003825 pressing Methods 0.000 description 2
- 238000007493 shaping process Methods 0.000 description 2
- 239000010959 steel Substances 0.000 description 2
- 229910001369 Brass Inorganic materials 0.000 description 1
- RTAQQCXQSZGOHL-UHFFFAOYSA-N Titanium Chemical compound [Ti] RTAQQCXQSZGOHL-UHFFFAOYSA-N 0.000 description 1
- 230000001133 acceleration Effects 0.000 description 1
- 238000004026 adhesive bonding Methods 0.000 description 1
- 230000002411 adverse Effects 0.000 description 1
- 239000000956 alloy Substances 0.000 description 1
- 229910045601 alloy Inorganic materials 0.000 description 1
- 229910052782 aluminium Inorganic materials 0.000 description 1
- XAGFODPZIPBFFR-UHFFFAOYSA-N aluminium Chemical compound [Al] XAGFODPZIPBFFR-UHFFFAOYSA-N 0.000 description 1
- 239000010951 brass Substances 0.000 description 1
- 239000000919 ceramic Substances 0.000 description 1
- 230000006835 compression Effects 0.000 description 1
- 238000007906 compression Methods 0.000 description 1
- 238000011109 contamination Methods 0.000 description 1
- 230000001419 dependent effect Effects 0.000 description 1
- 238000006073 displacement reaction Methods 0.000 description 1
- 230000003670 easy-to-clean Effects 0.000 description 1
- 239000013013 elastic material Substances 0.000 description 1
- 239000003365 glass fiber Substances 0.000 description 1
- 230000005484 gravity Effects 0.000 description 1
- 239000007769 metal material Substances 0.000 description 1
- 239000000725 suspension Substances 0.000 description 1
- 239000010409 thin film Substances 0.000 description 1
- 229910052719 titanium Inorganic materials 0.000 description 1
- 239000010936 titanium Substances 0.000 description 1
- 239000002966 varnish Substances 0.000 description 1
- 238000004804 winding Methods 0.000 description 1
Images
Classifications
-
- B—PERFORMING OPERATIONS; TRANSPORTING
- B05—SPRAYING OR ATOMISING IN GENERAL; APPLYING FLUENT MATERIALS TO SURFACES, IN GENERAL
- B05B—SPRAYING APPARATUS; ATOMISING APPARATUS; NOZZLES
- B05B7/00—Spraying apparatus for discharge of liquids or other fluent materials from two or more sources, e.g. of liquid and air, of powder and gas
- B05B7/24—Spraying apparatus for discharge of liquids or other fluent materials from two or more sources, e.g. of liquid and air, of powder and gas with means, e.g. a container, for supplying liquid or other fluent material to a discharge device
- B05B7/2402—Apparatus to be carried on or by a person, e.g. by hand; Apparatus comprising containers fixed to the discharge device
- B05B7/2478—Gun with a container which, in normal use, is located above the gun
-
- B—PERFORMING OPERATIONS; TRANSPORTING
- B05—SPRAYING OR ATOMISING IN GENERAL; APPLYING FLUENT MATERIALS TO SURFACES, IN GENERAL
- B05B—SPRAYING APPARATUS; ATOMISING APPARATUS; NOZZLES
- B05B7/00—Spraying apparatus for discharge of liquids or other fluent materials from two or more sources, e.g. of liquid and air, of powder and gas
- B05B7/24—Spraying apparatus for discharge of liquids or other fluent materials from two or more sources, e.g. of liquid and air, of powder and gas with means, e.g. a container, for supplying liquid or other fluent material to a discharge device
- B05B7/2402—Apparatus to be carried on or by a person, e.g. by hand; Apparatus comprising containers fixed to the discharge device
- B05B7/2405—Apparatus to be carried on or by a person, e.g. by hand; Apparatus comprising containers fixed to the discharge device using an atomising fluid as carrying fluid for feeding, e.g. by suction or pressure, a carried liquid from the container to the nozzle
- B05B7/2408—Apparatus to be carried on or by a person, e.g. by hand; Apparatus comprising containers fixed to the discharge device using an atomising fluid as carrying fluid for feeding, e.g. by suction or pressure, a carried liquid from the container to the nozzle characterised by the container or its attachment means to the spray apparatus
-
- B—PERFORMING OPERATIONS; TRANSPORTING
- B05—SPRAYING OR ATOMISING IN GENERAL; APPLYING FLUENT MATERIALS TO SURFACES, IN GENERAL
- B05B—SPRAYING APPARATUS; ATOMISING APPARATUS; NOZZLES
- B05B7/00—Spraying apparatus for discharge of liquids or other fluent materials from two or more sources, e.g. of liquid and air, of powder and gas
- B05B7/24—Spraying apparatus for discharge of liquids or other fluent materials from two or more sources, e.g. of liquid and air, of powder and gas with means, e.g. a container, for supplying liquid or other fluent material to a discharge device
- B05B7/2489—Spraying apparatus for discharge of liquids or other fluent materials from two or more sources, e.g. of liquid and air, of powder and gas with means, e.g. a container, for supplying liquid or other fluent material to a discharge device an atomising fluid, e.g. a gas, being supplied to the discharge device
Definitions
- the object of the invention is to provide a spray gun of the type mentioned that works reliably at any time and on or in particular a cartridge or other replaceable use less complicated, but securely attached and can be solved by her or from her ,
- the leadership of the material to be sprayed takes place in the spray gun according to the invention by means of a cartridge 4, of which an embodiment of the Fig. 3 and 3a is particularly clear.
- the cartridge 4 is made of a low-cost plastic, in particular injection-molded. It has a first region 15, which is designed in the present embodiment as a hollow cylindrical tube. From this area 15 of the cartridge 4 is angled off in the present embodiment also as a hollow cylindrical tube 5 formed area, which can be connected for example with a reservoir for the material to be sprayed.
- the hollow cylindrical tube 5 serves as an inlet area for the paint or other flowable materials in the spray gun or in the cartridge 4.
- the reservoir could be a conventional gravitationally fed gravity cup, a so-called "upside-down cup” or a bag or the like.
- the tube 5 has in the present embodiment at its free end on an upstanding mounting strap 16 for such cups.
- This fastening tab 16 or another tab arranged on the inlet tube 5 can in other cases also serve to support the cartridge 4 on the spray gun (cf. Fig. 8 to 10 ).
- the contour of the tube 5 does not necessarily have to be round as shown; it can also be oval, quadrangular, that is to say arbitrary; it only has to be matched to the contour of the connection to the reservoir and / or to the contour of the spray gun.
- the nozzles could be in another embodiment only through holes in the mounting plate.
- bearing pin 22a could also be made in one piece with the clips 200.
- the bearing pin 22a preferably has the illustrated rectangular cross-section, but in other embodiments, not shown, may have any cross-sections, e.g. oval or round and / or he may have pockets, claws, hooks, etc. for carrying a paint needle, for example, the driver 27 of the paint needle 19.
- Other alternative forms of engagement and engagement are also possible.
Landscapes
- Nozzles (AREA)
Description
- Die Erfindung betrifft eine leicht zu reinigende Spritzpistole.
Spritzpistolen für Farben, Lacke, Kleber oder andere fließfähige Materialien bedürfen nach jedem Gebrauch bzw. vor jedem Materialwechsel einer sorgfältigen Reinigung der materialführenden Bereiche, wenn zur Materialführung nicht eine Kartusche, d.h. ein auswechselbarer Einsatz verwendet wird, der bzw. die vorzugsweise als Einwegartikel ausgeführt ist. Eine solche vorteilhafte Spritzpistole mit einem Haltebereich und mit einem Kopf, welcher mit einer Kartusche ausgestattet ist, wobei die Kartusche einen Einlassbereich für einen materialführenden Kanal aufweist, der in einem Auslassbereich endet und wobei der Einlassbereich der Kartusche mit einem Vorratsbehälter für das zu verspritzende Material verbunden oder verbindbar ist und wobei die Kartusche vorzugsweise wenigstens ein materialführendes Bauteil der Spitzpistole führt, ist beispielsweise aus derDE 3016419 C2 bekannt. Diese Spritzpistole besitzt einen zweigeteilten Kopf mit einem in Spritzrichtung hinten und einem in Spritzrichtung vorne liegenden Bereich. Das hintere Ende des vorderen Bereichs des zweigeteilten Kopfes ist mit einem Stecksitz für eine Kartusche ausgestattet, die einen sich in Spritzstrahlrichtung erstreckenden röhrenförmigen, materialführenden Kanal aufweist, in dessen Inneren eine Düsen- bzw. Farbnadel angeordnet ist. Die Düsennadel kann mittels eines Hebel- und Federmechanismus in Spritzstrahlrichtung hin- und herbewegt werden, so dass das zu verspritzende Material zur Verarbeitung eine im Auslassbereich angeordnete Düse passieren kann. Die Kartusche wird mittels Steckstiftverbindungen im Kopf gehalten. Nach Gebrauch können die Stiftverbindungen gelöst, die beiden Kopfbereiche gegeneinander weggeklappt, die Kartusche inklusive der Farbnadel vom Kopf abgenommen und anschließend weggeworfen werden. Danach kann eine neue Kartusche an bzw. in der Spritzpistole befestigt werden. Eine Reinigung der materialführenden Bereiche der Spritzpistole erübrigt sich hier. Die Stiftverbindungen sind jedoch relativ kompliziert, schwierig herzustellen und zu lösen und gewährleisten auch nicht immer die problemlose Betriebssicherheit. - Aufgabe der Erfindung ist es, eine Spritzpistole der eingangs genannten Art zu schaffen, die jederzeit zuverlässig funktioniert und an bzw. in der insbesondere eine Kartusche oder ein andersartiger auswechselbarer Einsatz weniger kompliziert, jedoch sicher befestigt und wieder von ihr bzw. aus ihr gelöst werden kann.
- Die Aufgabe der Erfindung wird von einer Spritzpistole gemäß Anspruch 1 gelöst. Weitere vorteilhafte Einzelheiten und Ausgestaltungen sind aus den Unteransprüchen ersichtlich und werden anhand der Figuren erläutert. Dabei zeigt:
-
Fig. 1 eine erste Spritzpistole in Seitenansicht, -
Fig. 2 die erste Spritzpistole in einem anderen Betriebszustand, -
Fig. 3 und3a Einzelheiten der ersten Spritzpistole in verschiedenen perspektivischen Ansichten, -
Fig. 4 und 4a eine weitere Einzelheit der ersten Spritzpistole in verschiedenen Betriebsstellungen, -
Fig. 5 eine erste Kartusche in perspektivischer Ansicht, -
Fig. 5 a bis 5e Einzelheiten und Varianten vonFig. 5 -
Fig. 6 die Kartusche nachFig. 5 in teilweise eingebautem Zustand, ebenfalls in perspektivischer Ansicht, -
Fig. 7 eine zweite Kartusche in perspektivischer Ansicht, -
Fig. 8 eine zweite erfindungsgemäße Spritzpistole in Seitenansicht, -
Fig. 9 die Spritzpistole nachFig. 8 in Draufsicht, in unmontiertem Zustand, -
Fig. 10 eine zweite Kartusche in Draufsicht, -
Fig. 11 und12 die Kartusche nachFig. 5d in Kombination mit anderen Einzelteilen im montierten und unmontierten Zustand in perspektivischer Ansicht, -
Fig. 13 und14 die Kartusche nachFig. 5d in Kombination mit wieder anderen Einzelteilen im montierten und unmontierten Zustand in perspektivischer Ansicht und in den -
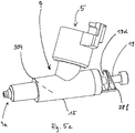
Fig. 15 und16 eine dritte Spritzpistole im montierten und unmontierten Zustand in perspektivischer Ansicht. - Die Führung des zu verspritzenden Materials erfolgt bei der erfindungsgemäßen Spritzpistole mittels einer Kartusche 4, von der ein Ausführungsbeispiel aus den
Fig. 3 und3a besonders gut ersichtlich ist. Die Kartusche 4 ist aus einem preiswerten Kunststoff hergestellt, insbesondere spritzgegossen. Sie besitzt einen ersten Bereich 15, der im vorliegenden Ausführungsbeispiel als hohlzylindrische Röhre ausgeführt ist. Von diesen Bereich 15 der Kartusche 4 steht abgewinkelt ein im vorliegenden Ausführungsbeispiel ebenfalls als hohlzylindrische Röhre 5 ausgebildeter Bereich ab, der beispielsweise mit einem Vorratsbehälter für das zu verspritzende Material verbunden werden kann. Die hohlzylindrische Röhre 5 dient als Einlassbereich für die Farbe oder andere fließfähige Materialien in die Spritzpistole bzw. in die Kartusche 4. Der Vorratsbehälter könnte ein herkömmlicher schwerkraftgespeister Fließbecher, ein sogenannter "upside-down-Becher" oder ein Beutel oder dergleichen sein. Die Röhre 5 weist im vorliegenden Ausführungsbeispiel an ihrem freien Ende eine hochstehende Befestigungslasche 16 für solche Becher auf. - Die Befestigungslasche 16 erstreckt sich etwa über die Hälfte des Umfangs der Röhre 5, ist etwa halb so hoch wie diese und besitzt an ihrer Außenseite eine im Wesentlichen quaderförmige Verbindungsschiene 16a, die ein besonders einfaches, aber sicheres Befestigen und ein einfaches Lösen eines Bechers mit oder ohne Zwischenschalten eines Adapters von der Spritzpistole ermöglicht, wobei der Becher oder der Adapter ein zur Verbindungsschiene 16 korrespondierendes rinnenförmiges Gegenelement aufweist, das in oder über die Verbindungsschiene 16a geschoben werden kann. Eine Verbindung über solche Vorsprünge ist besonders sicher, da die Bauteile über eine große Länge geführt werden.
- Diese Befestigungslasche 16 oder eine andere an der Einlassröhre 5 angeordnete Lasche kann in anderen Fällen auch zur Abstützung der Kartusche 4 an der Spritzpistole dienen (vgl.
Fig. 8 bis 10 ). - Weiterhin ist möglich, an die Röhre 5 einen Schlauch oder dergleichen anzuschließen, der ggf. an eine Pumpe, einen Druckkessel, einen Druckbecher oder zu einem anderen Gefäß führt. Hängebecher (Saugbecher) und sogenannte Seitenbecher können ebenfalls als Vorratsbehälter dienen; die Röhre 5 der Kartusche 4 muss dazu lediglich in eine andere Lage ausgerichtet werden.
- Es ist aber auch möglich, den Vorratsbehälter und die Kartusche als einstückiges Bauteil herzustellen.
- Selbstverständlich kann die Röhre 5 auch anders als zuvor beschreiben ausgebildet sein. Die Verbindungsschiene 16a kann durch eine Rinne ersetzt und eine Verbindungsschiene am Vorratsbehälter oder an einem Adapter, einem Schlauch oder dergleichen vorgesehen werden. Andererseits kann sie anstatt der Verbindungsschiene 16a eine Rastnase aufweisen, die eine Schnappverbindung direkt oder indirekt über einen Adapter mit dem Vorratsbehälter oder einem Schlauch oder dergleichen ermöglicht, wobei selbstverständlich ein der Rastnase entsprechendes Rastloch, eine Rastnut oder dergleichen am anderen Bauteil vorgesehen sein muss. Umgekehrt ist es selbstverständlich auch möglich, ein Rastloch oder eine Rastnut an der Röhre 5 und eine Rastnase oder dergleichen an dem anderen Bauteil vorzusehen. In anderer Ausgestaltung kann die Röhre 5 einen Gewindeanschluss aufweisen, der ein Vollgewinde oder aber ein Gewindesegment, das sich beispielsweise um etwa 180 Grad erstreckt, besitzt. Insbesondere im letztgenannten Fall ist die Montage und Demontage von Kartusche und Vorratsbehälter bzw. Materialversorgung leicht manuell durch Gegeneinanderdrehen der Bauteile zu bewerkstelligen. Bei der Verwendung von Rastnasen oder Gewindesegmenten ergibt sich eine Art Bajonettverbindung, die eine besonders einfache manuelle Handhabung ermöglicht.
- Andererseits kann die Röhre 5 einen Steckanschluss aufweisen, der entweder vom Gegenelement des Vorratsbehälters übergriffen wird oder in den das Gegenelement des Vorratsbehälters eingreift. Im letztgenannten Fall ist besonders sicher gewährleistet, dass keine Farbe oder anderes Material an der Verbindungsstelle zwischen Kartusche und Vorratsbehälter austritt. Eine Kombination von Dreh- und Steckanschluss ist ebenfalls möglich.
- Ebenso kann ein zwischengeschalteter Adapter einen Steckanschlusss, einen Gewindeanschluss oder dergleichen aufweisen.
- Eine Verbindung über Klammern, Stifte oder dergleichen ist ebenfalls denkbar.
- Wie sich aus verstehendem zumindest implizit ergibt, braucht die Kontur der Röhre 5 nicht unbedingt wie dargestellt rund sein, sie kann auch oval, viereckig, also beliebig sein; sie muss lediglich auf die Kontur des Anschlusses am Vorratsbehälter und/oder auf die Kontur der Spritzpistole abgestimmt sein.
- Selbstverständlich braucht der eigentliche Kartuschenkörper, also die Röhre 15, auch nicht unbedingt wie in den Figuren dargestellt zylindrisch ausgebildet zu sein. Eine Kegelform, eine Quaderform oder irgendeine andere geometrische Form mit oder ohne Querschnittsänderung ist ebenfalls möglich. Die Form muss lediglich auf die Form der Kartuschenaufnahme in der Spritzpistole abgestimmt sein bzw. umgekehrt. Die Zylinderform oder eine Kegelform ist jedoch sowohl bei der eigentlichen Kartuschenöhre 15, als auch bei der Einlassröhre 5 vorteilhaft, weil keine Kanten im Inneren der Röhren vorhanden sind, die den Materialfluss negativ beeinträchtigen könnten. Mit einer zylindrischen Röhre 15 ist auch eine besonders gute Farbnadelführung möglich, worauf später näher eingegangen wird.
- Die Kartusche 4 kann dabei in Längsrichtung oder quer geteilt sein, je nach individueller Anforderung. Die beiden Kartuschenteile können miteinander verrastet, verklebt, verschweißt oder anderweitig aneinander befestigt sein.
- Durch den im vorliegenden Ausführungsbeispiel im Wesentlichen als hohlzylindrische Röhre ausgebildeten ersten Bereich 15 der Kartusche 4 verläuft ein Führungskanal 6 für das zu verspritzende Material, der in einem Auslassbereich 7 endet, welcher am vorderen Ende 8 des Kopfes 3 der Spritzpistole angeordnet ist. Auf die konkrete Ausgestaltung des Auslassbereiches 7 wird später näher eingegangen. Um die hohlzylindrische Röhre 15 herum erstreckt sich eine Befestigungsscheibe 17, die im vorliegenden Ausführungsbeispiel einfach auf die Röhre 15 aufgesteckt ist. Falls erforderlich, kann der Halt der Scheibe 17 mittels Klebstoff auf der Kartusche 4 gesichert oder durch Verschweißen erreicht werden. Die Befestigungsscheibe 17 kann aber auch einstückig mit der Kartusche 4 gespritzt worden sein. Durch die Befestigungsscheibe 17 bzw. von der Befestigungsscheibe 17 weg erstrecken sich zwei hohle Stutzen 17a und 17b, die an der dem hinteren Bereich 3a der Spritzpistole zugewandten Fläche 17c aus der Befestigungsscheibe 17 austreten. Die Stutzen 17a und 17b sind im vorliegenden Ausführungsbeispiel einstückig mit der Befestigungsscheibe 17 gefertigt.
- In anderer Ausgestaltung könnten die Stutzen auch in entsprechende Öffnungen der Befestigungsscheibe eingesteckt, eingeklebt oder sonst wie befestigt sein.
- Die Stutzen könnten auch in einer anderen Ausgestaltung nur Durchtrittsbohrungen in der Befestigungsscheibe sein.
- Die Stutzen 17a und 17b greifen in jeweils eine Bohrung im hinteren Ende 3a der Spritzpistole ein. Im vorliegenden Ausführungsbeispiel sind die Stutzen 17a bzw. 17b in Luftkanäle der Spritzpistole eingesteckt. Jeder Luftkanal ist an seinem den Stutzen 17a bzw. 17b zugewandten Ende mit einem Dichtungsring 17f oder dergleichen ausgestattet. Die Dichtungen können auch auf den Stutzen selber angeordnet sein oder die Stutzen können so augebildet sein, dass sie selber radial und/oder axial abdichten. Die Verbindung zwischen Kartusche 4 und Spritzpistole ist damit an dieser Stelle luftdicht. Die Stutzen 17a und 17b können dabei die Haltefunktion für die Kartusche 4 alleine bewerkstelligen. Dadurch, dass zwei Stutzen 17a und 17b vorgesehen sind, ist der Halt besonders sicher.
In anderer Ausgestaltung könnten ein oder mehrere Stutzen auch lediglich zur Befestigung der Kartusche an der Spritzpistole und nicht auch noch zur Luftführung dienen. Sie brauchen dann selbstverständlich nicht hohl zu sein. Wenn die Stutzen 17a und 17b jedoch wie vorgeschlagen hohl gestaltet und mit zur Luftführung beitragen, ist das natürlich besonders vorteilhaft.
An ihrer anderen Fläche 17d besitzt die Befestigungsscheibe 17 ein Kulissenführung 17e zur Aufnahme einer Luftverteilers 18, die eine entsprechende Gegenkulisse aufweisen kann (nicht dargestellt). Nach dem Aufschieben bzw. nach der Montage auf der Röhre 15 ist eine hervorragende Zentrierung des Luftverteilers 18 auf der Kartusche 4 gewährleistet. Es wäre aber auch möglich, den Luftverteiler 18 durch andere Mittel wie beispielsweise Rastnasen, Schienen oder dergleichen zu halten. Der Luftverteiler 18 und die Kartusche 4 könnten auch aneinander angeklebt, miteinander verschweißt oder einstückig gefertigt sein bzw. mit der Befestigungsscheibe 17 entsprechend verbunden sein.. - Der Luftverteiler 18 ist im vorliegenden Ausführungsbeispiel im Wesentlichen kegelstumpfförmig ausgebildet und weist vier Bereiche 18a - 18d auf. Die Bereiche 18a-18d werden, in Spritzrichtung betrachtet, kleiner. In dem unmittelbar an die Befestigungsscheibe 17 anschließenden größten Durchmesserbereich 18a sowie in den darüberliegenden kleineren Bereich 18b sind eine Vielzahl kreisförmiger Luftlöcher 18e vorgesehen. Die beiden darauf folgenden Bereiche 18c und 18d weisen keine Luftlöcher auf. Möglich ist es jedoch auch, nur einen der Bereiche 18a bis 18d oder alle Bereiche 18 a bis 18d jeweils mit einem einzigen Luftloch auszustatten, das auch nichtkreisförmig, beispielweise schlitzförmig, ausgebildet sein kann. Mit den gezeigten kreisförmigen Luftlöchern 18e kann eine gleichmäßige Zerstäubung des zu verspritzenden Materials erzielt werden. Die Luftströmung kann vorzugsweise noch mit einer sogenannten Luftleitscheibe und/ oder sonstigen Luftleitmitteln in die gewünschte Form gebracht werden.
In dem obersten Bereich 18d des Luftverteilers 18 ist mittig eine Durchtrittsöffnung 18 f für eine Farbnadel 19 vorgesehen, worauf später näher eingegangen wird. - Der Luftverteiler 18 kann selbstverständlich auch separat in irgendeiner anderen Spritzpistole, die eine Kartusche aufweist oder nicht, infolge seiner besonderen Gestaltung mit Vorteil eingesetzt werden.
Die Kartusche 4 besitzt an ihrem freien Ende eine im Wesentlichen kegelstumpfförmige Spitze 4a.. In dem zuvor beschriebenen ersten röhrenförmigen Bereich 15 der Kartusche 4 ist im materialführenden Kanal 6 ein im vorliegenden Ausführungsbeispiel als zylindrische Farbnadel 19 ausgebildetes materialführendes Bauteil 9 gehalten, das sich durch die zuvor erwähnte Durchtritttsöffnung 18f im Luftverteiler 18 bis zur kegelstumpfförmigen Spitze 4a der Kartusche 4 erstreckt. Die kegelstumpfförmige Spitze 4a der Kartusche 4 hat eine Durchtrittsöffnung 4b für das erste Ende 19a der Farbnadel 19. Das erste Ende 19a der Farbnadel 19 und die Spitze 4a der Kartusche 4 fluchten miteinander. Wenn die Kartusche 4 in die Spritzpistole eingebaut ist, liegt die Spitze 4a der Kartusche 4 im Auslassbereich 7 der Spritzpistole.
In einer anderen, nicht dargestellten Ausführungsform kann die kegelstumpfförmige Spitze 4a auch im vorderen Endbereich einen zylindrischen Bereich aufweisen.
Zur Rückstellung Farbnadel 19 bzw. zum Schließen des freien Endes 4a der Kartusche 4 durch die Farbnadel 19 ist im hinteren Kopfende 3a eine Farbnadelfeder 303 vorgesehen. Diese Farbnadelfeder 303 kann in der Einrichtung 100 zur Einstellung des Materialflusses angeordnet sein. Ein zweiter Teil der Farbnadel 19, auf den die Feder wirkt, wird über einen Mechanismus mit dem hinteren Ende der Farbnadel, an dem der Mitnehmer 27 oder dergleichen angeordnet ist, verbunden. Die Farbnadel 19 wird über diesen und ggf. einen weiteren Mechanismus mit dem Abzugsbügel 22 verbunden.
Die Farbnadel 19 durchdringt mit ihrem zweiten Ende 19b eine Kappe 26, welche das dem Auslassbereich 7 abgewandte Ende der Kartusche 4 verschließt. Im vorliegenden Ausführungsbeispiel ist die Kappe 26 als separates Bauteil auf das hintere Ende des röhrenförmigen Bereichs 15 der Kartusche 4 aufgesteckt und liegt mit ihrem umlaufenden Rand 26a außen an der Röhre 15 an. Die Kappe 26 könnte aber auch als Stopfen oder dergleichen ausgebildet sein, der in die Röhre 15 eingreift. Oder einfach als Deckel, der auf der Röhre 15 aufliegt. Eine Befestigung, sei es form- oder kraftschlüssig, mit oder ohne Hilfsmittel wie Gewinde, Rastnasen, Kleber, Verschweißung oder dergleichen ist möglich. - Die Farbnadel 19 ist etwa 50% länger als der röhrenförmige, materialführende Bereich 6 der Kartusche 4 und steht demgemäß mit ihrem freien Ende 19b in Längsrichtung weit über die Kartusche 4 hinaus. Das freie Ende 19b weist zudem endseitig einen Mitnehmer 27 auf. Zwischen der Kappe 26 und dem Mitnehmer 27 kann sich eine Rückholfeder 28 für die Farbnadel 19 erstrecken. Die Rückholfeder 28 stützt sich einerseits mit einem ersten Ende an der Außenseite der Kappe 26 und andererseits mit einem zweiten Ende an der Innenseite des Mitnehmers 27 ab. Im Ausführungsbeispiel nach
Fig. 3 ist die Rückholfeder 28 als Schraubenfeder ausgebildet. Es ist jedoch möglich, eine andere Feder wie beispielsweise eine Blattfeder, einen Faltenbalg oder ähnliches einzusetzen. Zur Betätigung der Farbnadel 19 könnte der Abzugsbügel 22 an der Außenseite des Mitnehmers 27 angreifen, z.B. mit einer Kralle, oder er könnte am Mitnehmer 27 anliegen. Andere Angriffsarten sind ebenfalls möglich. - Auch könnte eine zweite Farbnadel im hinteren Kopfbereich 3a der Spritzpistole mit dem Abzugsbügel 22 gekoppelt sein und ihrerseits auf die Farbnadel 19 in der Kartusche 4 wirken bzw. diese betätigen
- Die Rückholfeder 28 kann eine Zug- wie auch eine Druckfeder sein. In einer besonderen Ausgestaltung wird die Farbnadel durch die Rückholfeder 28 geöffnet, wenn der Abzugsbügel 22 abgezogen wird und nach dem Loslassen wird der Abzugsbügel 22 durch die Rückholfeder 28 in die vordere Position gedrückt und die Farbnadel 19 verschließt die Durchtrittsöffnung 4b.
- In anderer Ausgestaltung könnte die Farbnadel durch eine Zugfeder in die geschlossene Position gebracht und mittels Verbindung von Abzugsbügel zur Farbnadel durch Drücken des Abzugsbügels zurückgezogen und dadurch die Durchtrittsöffnung in der Spitze der Kartusche freigegeben werden.
- Auch ist es möglich, die Rückholfeder innerhalb der Kartusche 4 vorzusehen. Eine solche Rückholfeder könnte sich mit einem ersten Ende an der Innenseite der Kappe 26 oder an einem in der Kartusche 4 vorgesehenen Haken oder dergleichen und mit einem zweiten Ende beispielsweise an einem an der Farbnadel 19 vorgesehene Haken oder dergleichen abstützen.
Selbstverständlich können Funktionsdichtungen an oder in der Kartusche 4, beispielsweise an deren kegelstumpfförmigen Spitze 4a und/oder an der Durchtrittsöffnung 4b für die Farbnadel 19 vorgesehen werden. Eine solche Dichtung könnte beispielsweise eine angespritzte Dichtlippe, eine Foliendichtung, eine Formdichtung, eine Durchstechmembran, eine Wellmembran, eine Balgmembran oder ein Dichtring sein.
Ebenfalls könnte die Farbnadel 19 mit solchen oder ähnlichen Funktionsdichtungen ausgestattet sein. Oder die Farbnadel 19 selbst bzw. die Spitze 19a der Farbnadel 19 könnte aus einem metallischen oder nichtmetallischen Werkstoff mit Abdichtungseigenschaften bestehen oder mit einem entsprechenden Werkstoff, der dichtende Eigenschaften aufweist, überzogen sein.
In denFig. 5 bis 5b ist ein besonders vorteilhaftes Ausführungsbeispiel für eine Rückholfeder bzw. Betätigungsfeder 28 dargestellt. Die Feder 28a ist einstückig mit der Kappe 26 der Kartusche 4 gefertigt. Im vorliegenden Ausführungsbeispiel besteht sie aus zwei gekrümmten, elastischen, in Ansicht etwa W-förmigen Bogenfederschenkeln 28b und 28c. Die Enden jeden "W's" sind mit der Oberfläche der Kappe 26 verbunden, die Mitte der "W's" stützt sich an einem Stopper 19c ab, welcher an der Farbnadel 19 vorgesehen ist, und zwar in einem Bereich von deren freien Ende 19b, welcher dem Mitnehmer 27 gegenüberliegt. Der Stopper 19c ist im Wesentlichen als kegelstumpfförmiger Vorsprung ausgebildet und wendet seine größere Kreisfläche den Mitten der "W's" zu. Ein Bogenfederschenkel 28b verläuft dabei entlang der einen Seite und der andere Bogenfederschenkel 29c entlang der anderen Seite der Farbnadel 19. InFig. 5 a ist die Lage der Bogenfederschenkel 28b und 28c im unmontierten Zustand gezeigt. Die Bogenfederschenkel 28b und 28c liegen dann an der Außenfläche des Kegelstumpfes 19c an. Im montierten Zustand sind die Bogenfederschenkel 28b und 28c auf die Grundfläche des Kegelstumpfes 19c geschnappt. Erreicht wird dieser Halt auf einfache Weise, wenn die Farbnadel19 durch die Durchtrittsöffnung 26b in der Kappe 26 geschoben wird. Dadurch wird ein sicheres Schließen der Farbnadel 19 ermöglicht. Selbstverständlich ist es auch möglich, nur ein einziges solches Bogenfederteil 28b oder 28c oder aber mehr als zwei Bogenfederteilen 28b und 28c vorzusehen. Optimal ist jedoch die gezeigte Ausführung, weil hier nur wenige Federteile (nur zwei) vorgesehen sind, die symmetrisch neben der Farbnadel 19 verlaufen. - Auch könnte der Stopper 19c eine zylindrische oder eine entgegengesetzt konische Form, eine andere geometrische Form, z.B. eine Scheiben- oder Ringform aufweisen.
- Zur zusätzlichen Sicherheit ist die Durchtrittsöffnung 26b in dem hier als Kappe 26 ausgebildteten Verschlussmittel der Kartusche 4 mit einer Dichtlippe 26c ausgestattet. Anstelle der Dichtlippe 26c könnte auch eine Foliendichtung, eine Durchstechmembran, eine Wellmembran, eine Balgmembran, ein Dichtring, eine sonstige Dichtung, z.B. eine Formdichtung, vorgesehen werden. Dies gilt auch für alle anderen möglichen Ausführungsformen des Verschlussmittels.
- Wie die
Figuren 5a und 5b noch zeigen, besitzt die Kappe 26 einen Stopfenfortsatz 26d. Im montierten Zustand liegt der Stopfenfortsatz 26d passend an der Innenwand der zylindrischen Röhre 15 an. - In
Fig. 5c ist eine Variante dargestellt, bei der die in denFig. 5 bis 5b gezeigte mehrschenklige Bogenfeder ersetzt ist durch zwei einschenklige Bogenfedern 28d. - In der Variante nach
Fig. 5d ist die Betätigungsfeder als Schraubenfeder 28e ausgebildet, die mit ihren Enden 28e 1 bzw. 28e 2 in die Kappe 26 eingreift und die sich mit ihren Windungen 28e 3 an der Grundfläche des Kegelstumpfs 19c abstützt. - In
Fig. 5e ist die Betätigungs- bzw. Rückholfeder 28f für die Farbnadel 19 einstückig an die Kappe 26 angeformt. Die Feder 28f ist hier als Federwinkel ausgebildet. Die Angriffsstelle bzw. der Stopper der Feder 28f an der Farbnadel 19 ist im vorliegenden Ausführungsbeispiel als kreisscheibenförmiger Vorsprung 19d an der Farbnadel 19 angeformt. Die Kreisscheibe 28 f könnte aber auch als separates Bauteil gefertigt und durch Kleben, Schweißen oder auf sonstige Weise mit der Farbnadel 19 verbunden sein. Andere Formen als eine Halbkreisscheibe oder Rechteckplättchen sind ebenfalls als Stopper geeignet. Selbstverständlich könnte der Stopper aber auch hier wie in den zuvor erläuterten Ausführungsbeispielen kegelstumpfförmig ausgebildet sein oder eine nahezu beliebige andere geometrische Form aufweisen. AusFig. 5e ist noch besonders gut ersichtlich, wie die Farbnadel 19 durch den röhrenförmigen Abschnitt 15 der Kartusche 4 verläuft und wie der Einlassbereich 5 aussehen kann. - In der hier gezeigten Ausführungsform weist die Farbnadel 19 einen Einstich 304 zur Befestigung bzw. Begrenzung weiterer Bauteile auf.
- Die Kartusche 4 wird von Hand in eine Aufnahme eingesetzt, die im vorderen Ende 3 b des Kopfes 3 der Spritzpistole vorgesehen ist, was später näher beschrieben wird. Aus
Fig. 6 ist ersichtlich, dass der Abzugsbügel 22 der Spritzpistole nahe des Mitnehmers 27 der Farbnadel 19 mit einem ersten Lagerbolzen 22a angreift. Im vorliegenden Ausführungsbeispiel nachFig. 6 wird der Lagerbolzen 22a an beiden Enden von jeweils einem Clip 200 gehalten. Die Clipse 200 besitzen zwei im Wesentlichen rechteckförmige Plättchen 201a und 201 b, die über ein Filmscharnier 202 miteinander verbunden sind. Die Plättchen 201a und 201b umgreifen den Abzugsbügel 22 an dessen beiden Schenkeln 22abund 22c. Auf diese Weise wird die sichere Position des Lagerbolzens 22a zum Abzugsbügel 22 gewährleistet. Dabei ist die Verbindung zwischen Lagerbolzen 22a und Abzugsbügel 22 aufgrund der Anbindung an die Clipse 200 immer sicher gewährleistet, Wenn diese und/oder der Lagerbolzen 22a aus elastischem Material hergestellt wurden, ist die Verbindung besonders sicher. So wird zum einen der sichere Halt der Bauteile aneinander und zum anderen ein weiches Betätigen des Abzugsbügels 22 mit gleichbleibender Betätigskraft ermöglicht. - In einem anderen, nicht dargestellten Ausführungsbeispiel könnte der Lagerbolzen 22a auch einstückig mit den Clipsen 200 gefertigt sein.
- Der Lagerbolzen 22a hat bevorzugt den gezeigten Rechteckquerschnitt, kann aber in anderen, nicht dargestellten Ausführungsformen beliebige Querschnitte, z.B. oval oder rund sein und/oder er kann Taschen, Krallen, Haken etc. zur Mitnahme einer Farbnadel, z.B.des Mitnehmers 27 der Farbnadel 19 aufweisen. Andere alternative An- und Eingriffsformen sind auch möglich.
- Auch andere alternative Befestigungsformen des Lagerbolzens am Abzugsbügel, wie z.B. Einkerbungen, Bohrungen, Langlöcher etc. sind möglich.
- Aus
Fig. 6 ist auch noch der zweite, übliche Lagerbolzen 22d des Abzugsbügels 22 ersichtlich. - Der Abzugsbügel 22 und damit letztendlich die Farbnadel 19 kann wie üblich manuell durch Drücken und Loslassen betätigt werden. Es ist aber auch möglich, den Abzugsbügel 22 und/oder die Farbnadel 19 ggf. zusätzlich pneumatisch, hydraulisch, über Magnetfelder, elektrisch oder einer Kombination daraus zu betätigen.
- Eine ggf. zusätzliche Betätigungsart kann dabei linear, drehend, durch Verschiebung von zwei oder mehr Flächen (Drehventil, z.B. Kugelhahn), drehend plus linear (z.B. Gewindeantrieb analog Wasserhahn sein.
- Gehalten wird die zuvor beschriebene Anordnung aus Kartusche 4 und ggf. Farbnadel 19 nebst Luftverteiler 18 mittels eines Überwurfringes 10, in den im vorliegenden Ausführungsbeispiel der Luftverteiler18 und die Kartusche 4 eingeschoben sind. Der Überwurfring 10 besteht vorzugsweise aus Kunststoff und besitzt an seiner dem Luftverteiler 18 zugewandten Seite einen etwa halbkreisringförmigen Fortsatz 11. Der Fortsatz 11 ist maßlich auf das Umfangsmaß des röhrenförmigen Einlassbereiches 5 der Kartusche 4 abgestimmt. Im montierten Zustand stützt sich der Fortsatz 11 passend an der Röhre 5 ab. Vorzugsweise besitzt der Fortsatz 11 federelastische Eigenschaften. Er kann mit dem Überwurfring 10 einstückig gefertigt sein, muss aber nicht. Er kann beispielsweise auch am Überwurfring 10 angeklemmt, angeclipst, angeklebt oder auf sonstige Weise befestigt sein.
- Um etwa 180 Grad versetzt zum Fortsatz 11 befindet sich ein im Wesentlichen quaderförmiger Befestigungsblock 29 am Überwurfring 10. Im montierten Zustand, d.h. wenn die Kartusche 4 in das vorderes Ende 3b des Kopfes 3 der Spritzpistole eingesetzt ist, greift der Befestigungsblock 29 in eine entsprechend geformte Aufnahme 30 ein, die in der Spritzpistole vorgesehen ist. Im vorliegenden Ausführungsbeispiel ist die Aufnahme 30 ein Langloch (bzw. eine Tasche), das im hinteren Ende 3a der Spritzpistole angeordnet ist.
- Der Befestigungsblock 29 wird an seinem freien Ende von einer Lagerachse 29a durchdrungen, die beidendig seitlich aus dem Befestigungsblock 29 hervorsteht. Der Befestigungsblock 29 ist mit seiner Lagerachse 29a entlang der Aufnahme 30 in der Spritzpistole verschiebbar. Anschläge 30a und 30b begrenzen den möglichen Weg der Lagerachse 29a in der Aufnahme 30.
- Im vorliegenden Ausführungsbeispiel besitzt der Befestigungsblock 29 federelastische Eigenschaften. Er kann mit dem Überwurfring 10 einstückig gefertigt sein, muss aber nicht. Der Befestigungsblock kann ein- oder mehrteilig aufgebaut sein und kann beispielsweise auch am den Überwurfring 10 angeklemmt, angeclipst, angeklebt oder auf sonstige Weise befestigt sein.
- Der Befestigungsblock 29 kann aber auch aus einem steifen Material gefertigt sein
- Selbstverständlich ist es aus fertigungstechnischen Gründen besonders vorteilhaft, wenn der gesamte Überwurfring 10, d.h. der Kreisring mit dem Fortsatz 11 und dem Block 29 einstückig hergestellt werden.
- Der Befestigungsblock 29 kann selbstverständlich auch anders gestaltet sein, beispielsweise als Befestigungskugel, Scharnier, z.B. als ein dünnes Filmscharnier etc.. Wesentlich ist nur, dass er eine sichere Befestigung des Überwurfringes 10 an der Spritzpistole gewährleistet. Dabei sind sowohl lösbare, als auch unlösbare Verbindungen möglich, je nachdem, ob der Überwurfring 10 immer an der Spritzpistole verbleiben soll oder nicht.
- Zur lösbaren Verbindung der beiden Teile 3a und 3b des Kopfes 3 oder des Überwurfringes 10 an den übrigen Bauteilen können Haken-, Bajonett-, Rastnasenverbindungen vorgesehen werden, die radial oder axial angeordnet sind.
- Je nach individueller Anforderung können auch hier Anschläge zur Bewegungsbegrenzung vorgesehen werden.
- Dabei kann die Verriegelung bzw. Entriegelung manuell, pneumatisch, magnetisch, elektrisch, über Reibungskräfte, sowie über Beschleunigung selbsttätig oder manuell erfolgen
- Auch ist es möglich, dass der Überwurfring 10 einstückig mit dem Luftverteiler 18 und/oder mit der Kartusche 4 gefertigt ist.
- An seiner Außenfläche 31 ist der Überwurfring 10 mit einem Gewinde 32 ausgestattet. Das Gewinde 32 ist im vorliegenden Ausführungsbeispiel als Vollgewinde ausgeführt. Auf das Gewinde 32 kann eine Luftdüse direkt oder indirekt mittels eines Schraubringes aufgeschraubt werden. Die Luftdüse kann dabei aus Stahl, anderen Metallen oder aus Kunststoff bestehen.
- Eine solche Luftdüse kann als Rundstrahldüse ausgeführt oder mit wenigstens einem Horn zur Breitstrahlformung versehen sein. In das Horn sind dann Bohrungen bzw. Luftauslassöffnungen zur Strahlformung eingebracht. Die Bohrungen bzw. Öffnungen im Horn und/oder die Rundstrahlbohrung(en) können auch nichtzylindrisch sein und beliebige Querschnitte aufweisen.
In anderer Ausgestaltung ist es möglich, dass der Luftverteiler direkt oder indirekt mit wenigstens einem weiteren Luftverteilungsmittel verbunden ist oder werden kann.
Beispielsweise kann ein Horn am Luftverteiler kraft- oder formschlüssig angebracht, anklebt oder angeschweißt sein oder werden.
Das Horn oder ein anderes weiteres Luftverteilungsmittel kann auch einstückig mit dem Luftverteiler gefertigt sein.
Die Form der Kartuschenaufnahme in der Spritzpistole muss, wie bereits erwähnt, selbstverständlich an die Form der Kartusche, ggf. nebst den zuvor beschriebenen Zubehörteilen Überwurfring 10, Luftverteiler 18 usw. angepasst sein oder die Kartuschenform ggf. nebst Zubehörteilen (z.B. Luftverteiler) muss an die Form der Kartuschenaufnahme angepasst werden..
Die einzelnen bzw. alle Bauteile können mittels Reibung, Federkraft oder in einer sonstigen Weise kraft- oder formschlüssig miteinander verbunden werden. Falls erforderlich, können die Bauteile über Widerlager und/oder weitere Befestigungsmittel abgestützt werden. - Beim Betrieb der Spritzpistole befinden sich der Griffbereich 2 und der Kopfbereich 3b der Spritzpistole über das Gelenk 23 im Zustand "verriegelt" (siehe
Fig. 1 und4 ). Die Verriegeung wird mittels des zuvor beschriebenen Stellknopfes 24 bewerkstelligt. In Spritzhaltung der Pistole kann Farbe vom nicht dargestellten Vorratsbehälter durch den abgewinkelten, röhrenförmigen Einlassbereich 5 in den Kanal 6 der Kartusche 4, der die Farbnadel 19 führt und durch diese Kartusche 4 hindurch bis zu deren freiem Ende 4a, d.h. zum Auslassbereich 7, welcher am vorderen Ende 8 des Kopfes 3 der Spritzpistole angeordnet ist. Betätigt werden kann die Farbnadel 19 mittels des Abzugsbügels 22. Je nach dessen Stellung wird die Farbnadel 19 entweder zurückgezogen; der Auslassbereich 7 ist dann frei und der Spritzvorgang kann dann stattfinden, oder die Farbnadel 19 wird vorgeschoben; der Auslassbereich 7 ist dann verschlossen und es kann kein Spritzvorgang stattfinden. Die Materialmenge kann, wie bereits zuvor erwähnt, über eine in der Spritzpistole angeordnete Einrichtung reguliert werden, von der hier lediglich die Regulierungsschraube 100 dargestellt ist. - Eine einwandfreie Führung der Farbnadel 19 ist insbesondere durch die zuvor beschriebene Rückholfeder 28 gewährleistet, die sich einerseits am Mitnehmer 27 der Farbnadel 19 und andererseits an der Kappe 26 der Kartusche 4 abstützt. Das gewünschte Spritzbild kann durch die besondere Luftführung durch die Durchtrittsöffnungen 18 e im Luftverteiler 18 und die ggf. auch noch an der Spritzpistole angebrachte, am Außengewinde 32 des Überwurfrings 10 befestigte Luftkappe mit Hörnern, erzielt werden. Die Menge und der Druck der Luft können mittels des zuvor beschriebenen Luftmikrometers 21 reguliert werden.
- Nach Beendigung des Spritzvorganges wird der Stellknopf 24 in die Position "unverriegelt" verdreht (siehe
Fig. 4a ), wodurch die Bereiche 3a und 3b des Kopfes 3 in Richtung der Achse der Farbnadel 19 auseinandergeschoben werden und dann um etwa 90 Grad voneinander weggeklappt werden können, so dass der Bereich 3b, der die Kartusche 4 führt, in etwa zum parallel zum Griff 2 der Spritzpistole verläuft (sieheFig. 2 ). Dabei kann der Vorratsbehälter für die Farbe bzw. anderem zu verspritzenden Material noch mit der Kartusche 4 verbunden oder bereits von dieser entfernt worden sein. - Beim Auseinanderschieben bewegt sich die Lagerachse 29a des Befestigungsblocks 29 des Überwurfringes 10 dabei vom hinteren Anschlag 30a der Aufnahme 30 entlang der Aufnahme 30 bis zum vorderen Anschlag 30b der Aufnahme 30. Nach Verdrehen des Kopfbereiches 3b um die Lagerachse 29a um etwa 90 Grad steht die Anordnung aus Überwurfring 10 und Kartusche 4 nebst Luftverteiler 18 und dergleichen so weit von der Spritzpistole ab, dass die Kartusche 4 frei zugänglich ist.. Die benutzte und ggf. mit Farbresten behaftete Kartusche 4 kann nun mitsamt dem Luftverteiler 18 und der Rückholfeder 28 bzw. 28a problemlos von Hand aus dem Überwurfring 10 im vorderen Ende 3b des Kopfes 3 gezogen, weggeworfen und vor einem neuen Spritzvorgang durch eine andere, neue, saubere Kartusche ersetzt werden. Eine Reinigung der Spritzpistole selbst ist allenfalls im Bereich der Luftdüse nötig, sofern vorhanden.
- Dadurch, dass die Kartusche 4 durch die Farbnadel 19 beidendig abgedichtet ist, kann auch Spritzmaterial in der Kombination aus Kartusche 4 und Vorratsbehälter gelagert werden, ohne dass dieses austrocknet. Auch kann die Kartusche 4 dadurch wieder ohne ohne Verschmutzung der Spritzpistole wieder eingesetzt werden.
- Falls gewünscht, kann der Luftverteiler 18 noch ein- oder mehrmals verwendet werden, da er überhaupt nicht verschmutzt ist.
- Als Kunststoffe für die Kartuschen und ein oder alle zuvor beschriebenen Bauteile kommen beispielsweise PE, PA, POM, Peek in Betracht, die ggf. glasfaserverstärkt ein können.
- Die Spritzpistole kann aus Kunststoff oder einem Metall, beispielsweise aus Stahl, Messing, Aluminium, Sintermetallen, Titan oder Legierungen davon hergestellt sein. Die Fertigung aus Keramik und sonstigen Hartstoffen ist ebenfalls möglich.
- Die Kartusche kann auch aus den gleichen Materialien wie die Spritzpistole hergestellt sein. Da die Kartusche dann relativ wertvoll ist, kann sie eventuell mehrmals verwendet werden. Der Reinigungsaufwand bei der Spritzpistole ist auch hier gering, da eben nur die Kartusche gereinigt werden müsste, wenn man sie bei einem Wechsel des Spritzmaterials wiederverwenden möchte.
- Bei der in
Fig. 7 dargestellten Ausführungsform ist der Luftverteiler 18 einstückig mit dem Überwurfring 10 gefertigt. Der Luftverteiler 18 besitzt hier, ähnlich wie der Luftverteiler 18, die ausFig. 3a besonders gut ersichtlich ist, mehrere Bereiche 18a bis 18d (gleiche Einzelheiten sind mit den gleichen Bezugszeichen versehen). Der Bereich 18a ist dabei an die Außenfläche 31 des Überwurfrings 10 angeformt. Bei diesem Luftverteiler 18 besitzen die Bereiche 18b und 18c einige wenige kreisförmige Luftlöcher 18e, sie kann aber auch die inFig. 3a gezeigte Anzahl Luftlöcher 18e aufweisen, oder andere Luftlöcheranzahlen und Luftlöcherausführungen. - Die einstückige Ausführungsform ist besonders vorteilhaft, weil überhaupt keine Positionierung des Luftverteilers 18 zu dem Überwurfring 10 erfolgen muss..
- Auch dieser Luftverteiler 18 weist eine Kulissenführung 17e auf, welche an einer Befestigungsscheibe 17 vorgesehen ist. Die Kartusche 4, die hier gleich wie die in
Fig. 3a gezeigte Kartusche 4 ausgebildet ist, ist in den Überwurfring 10 einschiebbar. Auch beiFig. 4 sind bei der Kartusche 4 die gleichen Elemente und Einzelheiten wie bei der Kartusche 4 nachFig. 3 a vorhanden. Gleiche Elemente und Einzelheiten sind mit gleichen Bezugszeichen versehen. - In den
Fig. 8 bis 10 ist eine zweite erfindungsgemäße Spritzpistole gezeigt. Die Spritzpistole besitzt wie üblich einen Pistolenkörper 1 mit einem Griffbereich 2 und einen Kopf 3. Diese beiden Teilbereiche 2 und 3 verlaufen wie üblich in einem Winkel von etwa 100 Grad zueinander. Der Griffbereich 2 weist an seinem unteren Ende einen Druckluftanschluss 20 auf. Durch den Griffbereich 2 und durch den Kopf 3 erstrecken sich vom Druckluftanschluss 20 aus mehrere Luftkanäle (auf die später näher eingegangen wird), die am vorderen Ende 8 des Kopfes 3 der Spritzpistole enden. Die Menge und der Druck der diese Luftkanäle durchströmenden Luft kann in üblicher Weise mittels eines Luftmikrometers 21 reguliert werden. Der Materialstrom kann mittels einer Einrichtung reguliert werden, von welcher hier lediglich eine Regulierungsschraube 100 und ein Einstellknopf 101 gezeigt sind. - Der Kopf 3 besitzt hier keine gegeneinander abklappbaren Teile. In einer anderen Ausführungsform könnte der Kopf jedoch auch gegeneinander wegklappbare Teile aufweisen.
- Das vordere Ende 8 des Kopfes 3 ist mit einer an sich bekannten, herkömmlich gestalteten Luftdüse 33 ausgestattet, die zwei in Spritzstrahlrichtung hervorstehende Hörner 33a, 33b mit Öffnungen 33c in den einander zugewandten Flächen aufweist. Die Luftdüse 33 ist mittels eines ebenfalls an sich bekannten Luftdüsenring 13 an der Spritzpistole befestigt, und zwar auf deren Kartusche 4. Die Kartusche 4 weist (wie die Kartuschen aus den zuvor beschriebenen Figuren) hierzu einen Überwurfring 10 auf, der im vorliegenden Ausführungsbeispiel am freien Ende 4a der Kartusche 4 angespritzt ist. An seiner Außenfläche 31 weist der Überwurfring 10 ein Gewinde 32 auf, auf das erfindungsgemäß der Luftdüsenring 13 mit seinem Innengewinde aufgeschraubt ist. Der Luftdüsenring 13 erstreckt sich nahezu bis an den Einlassbereich 5 der Kartusche 4.
- Die Kartusche 4 nach den
Fig. 8 bis 10 besitzt auch einen röhrenförmigen Einlassbereich 5 mit einer Lasche 16. Die Lasche 16 erstreckt sich auch hier etwa über die Hälfte des Umfangs der Röhre 5, ist etwa halb so hoch wie diese, hat aber keine Verbindungsschiene wie die Befestigungslasche nachFig. 3a . Das ist auch nicht nötig, weil bei der Ausführungsform nach denFig. 8 bis 10 die Lasche 16 nicht als Befestigungslasche für den Materialvorratsbehälter oder dergleichen dient. Ein solches Bauteil kann durch Eingriff in den röhrenförmigen Einlassbereich 5 mit der Kartusche 4 verbunden werden, wobei an der Lasche innen ein Vorsprung 16c zum Eingriff mit einem Gegenvorsprung oder dergleichen vorgesehen ist. - Die Kartusche 4 stützt sich teilweise über die Lasche 16 am Kopf 3 der Spritzpistole ab. Im hier gezeigten speziellen Fall liegt die Lasche 16 mit ihrer Außenfläche an der entsprechend gestalteten Außenfläche des Einhängehakens 36 der Spritzpistole an.
- Andererseits ist an die Kartusche 4 nach den
Fig. 9 und10 beidseitig jeweils ein Rasthaken 37 vorgesehen, der über ein Filmscharnier 37a einstückig am röhrenförmigen Bereich 15 der Kartusche 4 angeformt ist. Jeder Rasthaken 37 ist über sein Filmscharnier 37a seitlich auslenkbar. Die Rasthaken 37 dienen zum lösbaren Befestigen der Kartusche 4 am Kopf 3 der Spritzpistole, der dazu entsprechend der Form der Rasthaken 37 gestaltete Schlitze 38 in seinen beiden Seitenwänden aufweist. Im Ausführungsbeispiel nach denFig. 8 bis 10 sind die Rasthaken 37 in Draufsicht im Wesentlichen dreieckförmig und besitzen an einer dem Filmscharnier 37a abgewandten Spitze jeweils einen Widerhaken 37b. Die Rasthaken 37 sind etwa so lang, wie der Überwurfring 10 hoch ist. Solche relativ langen Rasthaken 37 sind leicht manuell betätigbar. - Die Schlitze 38 in der Spritzpistole können auch als Bohrungen oder einfache Vertiefungen oder dergleichen ausgestaltet werden.
- Während des Betriebs der Spritzpistole erstreckt sich ein Teilbereich der Rasthaken 37 in die Seitenschlitze 38 der Spritzpistole und ein anderer Teilbereich der Rasthaken 37 außerhalb (vgl.
Fig. 8 ). Nach Gebrauch der Spritzpistole, wenn der Luftdüsenring 13 abgeschraubt ist, kann über den außerhalb liegenden Teil der Rasthaken 37 Druck in Pfeilrichtung 301 nachFig. 10 auf die Rasthaken 37 ausgeübt werden, sodass die Rasthaken in Pfeilrichtung 302 nachFig. 9 nach außen schwenken. Die Kartusche 4 kann am Überwurfring 10 angefasst, in Spritzstrahlrichtung 300 vom Kopf 3 der Spritzpistole abgezogen und weggeworfen werden. - Die Kartusche 4 ist somit einerseits mittels des Überwurfringes 10, der Rasthaken 37 und andererseits mittels des Luftdüsenringes 13 an der Spritzpistole sehr sicher, jedoch bei Bedarf leicht lösbar befestigt.
- Im voll aufgeschraubten Zustand drückt der Luftdüsenring 13 gegen die Fläche 37c der zuvor beschriebenen Rasthaken 37. Die Widerhaken 37b der Rasthaken 37 werden dadurch gegen den Pistolenkopf 3 gedrückt, wodurch sich ein sicherer Halt des Überwurfringes 10 auf der Spritzpistole ergibt. Die Kartusche 4 kann sich deshalb weder in Spritzstrahlrichtung 300, noch seitlich in der Spritzpistole hin und her bewegen. Auf diese Weise wird eine jederzeit sichere, jedoch nach Gebrauch leicht lösbare Befestigung der Kartusche 4 an der Spritzpistole gewährleistet.
- Ein ähnlich sicherer Halt kann aber auch mit einem Luftdüsenring erzielt werden, der sich nicht wie im vorliegenden Ausführungsbeispiel nahezu bis an den Einlassbereich 5 der Kartusche 4 erstreckt.
- In einer anderen, nicht dargestellten Ausführungsform können die Rasthaken 37 bzw. das Filmscharnier 37a so steif ausgeführt oder so gestaltet sein, dass die zusätzliche Sicherung der Rasthaken 37 durch den Luftdüsenring 13 nicht notwendig ist und die Rasthaken 37 trotzdem sicher in den Pistolenkopf 3 eingreifen, ohne die Lösbarkeit von diesem zu beeinträchtigen.
- In einer weiteren möglichen Ausführungsform ist die Luftdüse mit oder ohne integrierten Luftverteiler direkt auf der Spritzpistole oder mit der Kartusche ohne einen Überwurfring befestigt.
- In den
Fig. 11 und12 ist die Kartusche 4 mit der Schraubenfeder 28e nachFig. 5d ausgestattet. (Gleiche Einzelheiten sind mit den gleichen Bezugszeichen versehen). Der röhrenförmige Bereich 15 der Kartusche 4 ist auch mit einer bereits anhand derFig. 3a näher beschriebe Befestigungsscheibe 17 ausgestattet. InFig. 12 erkennt man, dass die Kartusche 4 an ihrem röhrenförmigen Bereich 15 mit einem ringsum verlaufenden Rastring 15a oder dergleichen für die Befestigungsscheibe 17 versehen ist. Die Befestigungsscheibe 17 besitzt hier eine Buchse 17d, durch welche sich die Kartusche 4 erstreckt. Auf die Buchse 17d ist ein spezieller Luftverteiler 18 aufgesteckt. Der Luftverteiler 18 ist an seinem vorderen Ende mit einer Wand 18a geschlossen, die mittig eine Durchtrittsöffnung 18f für die Kartusche 4 aufweist. Außerdem ist die Wand18a mit etlichen Luftlöchern 18e versehen. Das ist sehr vorteilhaft für die Erzielung eines guten, gleichmäßigen Spritzbildes mit gewünschter Zerstäubung. - Insbesondere in
Fig. 11 ist dargestellt, dass die Befestigungsscheibe 17 bzw. der Luftverteiler 18 an seiner Rückseite eine (weitere) Positionierhilfe 12 aufweisen kann. - Bei der Ausführungsform nach den
Fig. 13 und14 ist der Luftverteiler 18 ebenso wie derjenige nach denFig. 11 und12 ausgebildet und an der Kartusche 4 befestigt, und zwar mittels eines ganz besonders gestalteten Überwurfringes 10. Der Überwurfring 10 ist hier zylindrisch ausgebildet und mittig mit einem Einsatz 10a ausgestattet, der einstückig mit dem Überwurfring 10 hergestellt ist, jedoch auch auf andere Weise darin befestigt sein könnte wie beispielweise eingeklebt. Der Einsatz 10a ist mit einer Durchtrittsöffnung 10b für den röhrenförmigen Bereich 15 der Kartusche 4 versehen. In dem vorderen Bereich des Überwurfringes 10 ist ein Luftverteiler 18 eingesetzt, der gleich wie der Luftverteiler nach denFig. 11 und12 ausgebildet ist, aber auch anders ausgebildet sein könnte. Im vorliegenden Ausführungsbeispiel hat nicht die Kartusche 4 (wie bei der Ausführungsform nach denFig. 9 und10 ), sondern der Überwurfring 10 beidseitig jeweils einen Rasthaken 37. Jeder Rasthaken 37 ist über ein Filmscharnier 37a einstückig an der Innenseite des Überwurfringes 10 angeformt. Die Rasthaken 37 sind über die Filmscharniere 37a seitlich auslenkbar. Die Rasthaken 37 dienen zum lösbaren Befestigen des Überwurfringes 10 mitsamt der Kartusche 4 und dem Luftverteiler 18 am Kopf 3 der Spritzpistole, der dazu entsprechend der Form der Rasthaken 37 gestaltete Schlitze 38, Bohrungen, sonstige Vertiefungen etc. in seinen beiden Seitenwänden aufweist (vgl.Fig. 9 ).
Im voll aufgeschraubten Zustand drückt der hier nicht dargestellte Luftdüsenring gegen die Fläche 37c der zuvor beschriebenen, hier am Überwurfring 10 angeordnetetn Rasthaken 37. Die Widerhaken 37b der Rasthaken 37 werden dadurch gegen den Pistolenkopf 3 gedrückt, wodurch sich ein sicherer Halt des Überwurfringes 10 auf der Spritzpistole ergibt. Die Kartusche 4 kann sich deshalb weder in Spritzstrahlrichtung 300, noch seitlich in der Spritzpistole hin und her bewegen. Auf diese Weise wird eine jederzeit sichere, jedoch nach Gebrauch leicht lösbare Befestigung der Kartusche 4 an der Spritzpistole gewährleistet.
In einer anderen, nicht dargestellten Ausführungsform können auch hier die Rasthaken 37 bzw. das Filmscharnier 37a so steif ausgeführt oder so gestaltet sein, dass die zusätzliche Sicherung der Rasthaken 37 durch den Luftdüsenring nicht notwendig ist und die Rasthaken 37 trotzdem sicher in den Pistolenkopf eingreifen, ohne die Lösbarkeit von diesem zu beeinträchtigen. - Die in den
Fig. 15 und16 gezeigte dritte Spritzpistole entspricht in vielen Teilen der in denFig. 8 gezeigten Spritzpistole. Sie besitzt also einen Pistolenkörper 1 mit einem Griffbereich 2 und einen Kopf 3. Diese beiden Teilbereiche 2 und 3 verlaufen in einem Winkel von etwa 100 Grad zueinander. Der Griffbereich 2 weist an seinem unteren Ende einen Druckluftanschluss 20 auf. Durch den Griffbereich 2 und durch den Kopf 3 erstrecken sich vom Druckluftanschluss 20 aus mehrere Luftkanäle, die am vorderen Ende 8 des Kopfes 3 der Spritzpistole enden. Die Menge und der Druck der diese Luftkanäle durchströmenden Luft kann in üblicher Weise mittels eines Luftmikrometers 21 reguliert werden. Der Materialstrom kann mittels einer nicht näher dargestellten Einrichtung reguliert werden, von dem hier eine Regulierungsschraube 100 und ein Einstellknopf 101 gezeigt sind. - Der Kopf 3 bei der Spritzpistole nach den
Fig. 15 und16 besitzt keine gegeneinander abklappbaren Teile, könnte aber auch abklappbare Teile haben. - Das vordere Ende 8 des Kopfes 3 ist auch hier mit einer an sich bekannten, herkömmlich gestalteten Luftdüse 33 ausgestattet, die zwei in Spritzstrahlrichtung hervorstehende Hörner 33a, 33b mit Öffnungen 33c in den einander zugewandten Flächen aufweist. Die Luftdüse 33 ist mittels eines ebenfalls an sich bekannten Luftdüsenringes 13 an der Spritzpistole befestigt, ähnlich wie bei der Ausführungsform nach
Fig. 8 . - Die Kartusche 4 nach den
Fig. 15 und16 entspricht im Wesentlichen der in denFig. 11 und12 gezeigten Kartusche 4. Die Kartusche 4 besitzt einen abgewinkelten, röhrenförmigen Einlassbereich 5 für einen materialführenden Kanal 6, der in einem Auslassbereich 7 endet, welcher am vorderen Ende 8 des Kopfes 3 der Spritzpistole angeordnet ist. Als materialführendes Bauteil 9 ist auch hier eine Farbnadel 19 vorgesehen. Der röhrenförmige Einlassbereich 5 ist mit einer Lasche 16 versehen. Die Lasche 16 erstreckt sich über etwa die Hälfte des Umfangs der Röhre 5, ist etwa halb so hoch wie diese. Die Kartusche 4 kann sich über die Lasche 16 am Kopf 3 der Spritzpistole abstützen; die Lasche 16 liegt mit ihrer Außenfläche an der entsprechend gestalteten Außenfläche des Einhängehakens 36 der Spritzpistole an. - Die Lasche 16 dient im vorliegenden Ausführungsbeispiel zur Befestigung für den Vorratsbehälter für das zu verspritzende Material.
- Die Kartusche 4 ist mit einem Luftverteiler 18 ausgestattet, der an seinem vorderen Ende mit einer Wand 18a verschlossen ist, welcher mit etlichen Luftlöchern 18e versehen ist. Der Luftverteiler 18 ist hier einstückig mit der Kartusche 4 gefertigt; die z.B. anhand der
Fig. 12 beschriebene Befestigungsscheibe 17 oder dergleichen kann hier also entfallen. Außerdem sind die anhand derFig. 3a und3b beschriebenen beiden Stutzen 17a und 17b am Luftverteiler 18 vorgesehen (ausFig. 16 ist lediglich ein Stutzen 17a ersichtlich). Es könnte aber auch nur ein Stutzen, mehrere Stutzen, andere Stutzen oder dergleichen sowie Stutzen in einer anderen Anordnung zur Luftführung am Luftverteiler 18 nachFig. 16 vorgesehen werden. - Wie
Fig. 16 weiter zeigt, kann die Kartusche 4 mit den Stutzen 17 in Luftkanäle der Spritzpistole eingesteckt werden. Dichtungsringe oder dergleichen können selbstverständlich auch hier vorgesehen werden. Am Kopf 3 der Spritzpistole gehalten wird der Aufbau mittels des Luftdüsenringes 13. Der Kopf 3 weist hierzu an seinem Ende 3b in an sich bekannter Weise ein Außengewinde 3c zur lösbaren Befestigung des an sich bekannten Luftdüsenringes 13 auf, der dazu über sein Innengewinde 13a auf die Spritzpistole aufgeschraubt wird. Der Luftdüsenring 13 erstreckt sich fast bis zum Einlassbereich 5 der Kartusche 4. Dadurch ist sicher, dass sich die Kartusche 4 nicht unerwünscht in der Spritzpistole hin und herbewegen kann. - Die Kartusche 4 ist somit hauptsächlich mittels des Luftdüsenringes 13 an der Spritzpistole sehr sicher, jedoch bei Bedarf leicht lösbar befestigt.
- In einer weiteren Ausführungsform stützt sich die Luftdüseninnenseite an der Vorderseite der Kartusche oder Teilen davon (z.B. am Luftverteiler) ab und wird durch den Luftdüsenring nach dessen Aufschrauben in der Pistole ebenso wie die Kartusche fixiert.
- Bei weiteren Ausführungsformen kann die Abstützung der Kartusche entgegen der Spritzrichtung gegen den Pistolenkopf 3 auch mittels der Befestigungsscheibe 17, der Kappe 26, dem röhrenförmigen Einlass 5, einem Anschlag am ersten Kartuschenbereich 15 oder einer Kombination davon erfolgen.
- In sämtlichen Ausführungsbeispielen sind lösbare Verbindungen zwischen einem Überwurfring 10 und der Spritzpistole beschrieben. Es sind jedoch auch Ausführungsformen möglich, bei denen ein Überwurfring unlösbar mit der Spritzpistole verbunden ist. Das wäre insbesondere bei einem multifunktionellen Überwurfring, der gleich oder ähnlich wie beispielsweise der in
Fig. 3a oder14 gezeigte Überwurfring 10 ausgebildet ist, für den Spritzpistolenbetrieb von Vorteil. Die Kartusche 4 oder ein anderer Einsatz, der vorteilhafterweise als Folie , Beutel oder ähnliches ausgebildet sein könnte, kann auch durch solch einen unlösbar mit der Spritzpistole verbundenen Überwurfring sicher, aber lösbar mit der Spritzpistole verbunden werden. - In sämtlichen Ausführungsformen könnte die Luftdüse 33 auch einstückig mit dem Luftdüsenring 13 ausgeführt sein.
Der Luftdüsenring 13 mitsamt oder ohne Luftdüse 33 könnte anstatt geschraubt auf ein Befestigungselement aufgeschnappt, durch Schnellverbinder, Bajonett- oder andere Befestigungsmittel mit der Spritzpistole verbunden werden.
Abschließend sei noch darauf hingewiesen, dass andere materialführende Bauteile 9 als die gezeigten Farbnadeln 19 und/oder Kartuschen 4 ohne materialführende Bauteile 9 unter die Erfindung fallen. Ebenso sind Elemente der Erfindung problemlos an anderen als bei den gezeigten und beschriebenen Spritzpistolentypen mit oder ohne abklappbaren Kopf mit Vorteil anwendbar.
Das zu verspritzende Material wird durch das vordere Ende 8 des Kopfes 3 der Spritzpistole geführt. Das vordere Ende 8 des Kopfes 3 wird bei Nichtbetrieb der Spritzpistole durch einen Mechanismus verschlossen, auf den an späterer Stelle näher eingegangen wird. Der Mechanismus ist mittels eines sogenannten Abzugsbügels 22 betätigbar; die Materialmenge kann über eine Einrichtung reguliert werden, von dem hier lediglich eine Regulierungsschraube 100 mit Kontermutter dargestellt ist.
Im vorliegenden Ausführungsbeispiel ist der Kopf 3 der Spritzpistole in zwei Teilen ausgeführt. Der Kopf 3 besitzt ein hinteres Ende 3a, das unlösbar mit dem Griffbereich 2 der Spritzpistole verbunden ist, und ein vorderes Ende 3b, das über ein Gelenk 23 ab- bzw. wegklappbar an dem hinteren Ende 3a gelagert ist. Im vorliegenden Ausführungsbeispiel ist das Gelenk als Drehgelenk ausgebildet. Das Drehgelenk 23 kann mittels eines Stellknopfes 24 betätigt werden, welcher in den
Claims (14)
- Spritzpistole mit einem Pistolenkörper (1) mit einem Griffbereich (2) und mit einem Kopf (3), welcher mit einer Kartusche (4) ausgestattet ist, die einen abgewinkelten, röhrenförmigen Bereich als Einlass (5) für einen durch die Kartusche (4) verlaufenden materialführenden Kanal (6) aufweist, der in einem Auslassbereich (7) endet, welcher am vorderen Ende (8) des Kopfes (3) der Spritzpistole angeordnet ist, wobei der Einlassbereich (5) der Kartusche (4) mit einem Vorratsbehälter für das zu verspritzende Material verbunden oder verbindbar ist und wobei die Kartusche(4) vorzugsweise wenigstens ein materialführendes Bauteil (9, 19) der Spitzpistole führt, wobei die Kartusche (4) mittels eines Überwurfringes (10) fest, aber lösbar am Kopf (3) der Spritzpistole gehalten wird, wobei sich der Überwurfring (10) vorzugsweise mit wenigstens einem Mittel (11, 29, 37) an der Kartusche (4) und/oder am oder im Kopf (3) der Spritzpistole abstützt und mit wenigstens einem Befestigungsmittel ausgestattet ist, das als Rasthaken (37) ausgebildet ist,dadurch gekennzeichnet, dass der Rasthaken (37) in einen Schlitz (38) in der Spritzpistole eingreift.
- Spritzpistole nach Anspruch 1, dadurch gekennzeichnet, dass der Rasthaken (37) einen Widerhaken (37b) aufweist.
- Spritzpistole nach einem der vorhergehenden Ansprüche , dadurch gekennzeichnet, dass der Rasthaken (37) über ein Filmscharnier (37a) an der Kartusche (4) oder am Ring (10) befestigt ist.
- Spritzpistole nach einem der vorhergehenden Ansprüche, dadurch gekennzeichnet, dass die Kartusche (4) ggf. zusätzlich mittels eines sogenannten Luftdüsenringes (13) direkt oder indirekt am Kopf (3) der Spritzpistole gehalten wird.
- Spritzpistole nach Anspruch 4, dadurch gekennzeichnet, dass der Luftdüsenring (13) wenigstens annähernd bis zum Einlassbereich (5) der Kartusche (4) reicht.
- Spritzpistole nach einem der vorhergehenden Ansprüche, dadurch gekennzeichnet, dass der Ring (10, 13) ein Schraubring ist.
- Spritzpistole nach einem der vorhergehenden Ansprüche, dadurch gekennzeichnet, dass der Ring (10) mit wenigstens einem vorzugsweise federelastischen oder steifen Mittel (11, 29, 37) an der Spritzpistole angreift.
- Spritzpistole nach einem der vorhergehenden Ansprüche, dadurch gekennzeichnet, dass der Kopf (3) zwei gelenkig miteinander verbundene, gegeneinander abklappbare Bereiche (3a, 3b) aufweist.
- Spritzpistole nach einem der vorhergehenden Ansprüche, dadurch gekennzeichnet, dass der Überwurfring (10) über einen Schiebevorgang lösbar mit der Spritzpistole verbindbar ist.
- Spritzpistole nach einem der vorhergehenden Ansprüche, dadurch gekennzeichnet, dass der Überwurfring unlösbar mit der Spritzpistole verbunden ist.
- Spritzpistole nach einem der vorhergehenden Ansprüche, dadurch gekennzeichnet, dass der Überwurfring (10) unlösbar mit wenigstens einem luft- oder materialführenden Teil (4) der Spritzpistole verbunden, insbesondere einstückig mit diesem gefertigt ist.
- Spritzpistole nach einem der vorhergehenden Ansprüche, dadurch gekennzeichnet, dass die Spritzpistole wenigstens einen Luftverteiler (18) aufweist.
- Spritzpistole nach einem der vorhergehenden Ansprüche, dadurch gekennzeichnet, dass der Luftverteiler (18) mehrere an- bzw. übereinander angeordnete Bereiche (18a - 18d) aufweist, wobei wenigstens einer der Bereiche (18a, 18b, 18c) wenigstens ein Luftloch (18e) aufweist.
- Spritzpistole nach Anspruch 12 oder 13, dadurch gekennzeichnet, dass die Kartusche (4) mit wenigstens einem Befestigungsmittel (17) für den Luftverteiler (18) ausgestattet ist.
Applications Claiming Priority (2)
| Application Number | Priority Date | Filing Date | Title |
|---|---|---|---|
| DE102010053026 | 2010-12-02 | ||
| PCT/EP2011/005842 WO2012072205A2 (de) | 2010-12-02 | 2011-11-19 | Spritzpistole und zubehör |
Publications (2)
| Publication Number | Publication Date |
|---|---|
| EP2646166A2 EP2646166A2 (de) | 2013-10-09 |
| EP2646166B1 true EP2646166B1 (de) | 2018-11-07 |
Family
ID=45644057
Family Applications (1)
| Application Number | Title | Priority Date | Filing Date |
|---|---|---|---|
| EP11791211.3A Active EP2646166B1 (de) | 2010-12-02 | 2011-11-19 | Spritzpistole und zubehör |
Country Status (2)
| Country | Link |
|---|---|
| US (2) | US9333519B2 (de) |
| EP (1) | EP2646166B1 (de) |
Cited By (1)
| Publication number | Priority date | Publication date | Assignee | Title |
|---|---|---|---|---|
| DE102021005362A1 (de) | 2021-05-14 | 2022-11-17 | Martin Ruda 1. UG (haftungsbeschränkt). | Lackiermittelleiteinrichtung, Spritzpistole und Anordnung |
Families Citing this family (36)
| Publication number | Priority date | Publication date | Assignee | Title |
|---|---|---|---|---|
| EP1930084B1 (de) | 2006-12-05 | 2009-06-03 | SATA GmbH & Co. KG | Belüftung für den Fließbecher einer Farbspritzpistole |
| WO2009113980A1 (en) | 2008-03-12 | 2009-09-17 | Fox Jeffrey D | Disposable spray gun cartridge |
| DE202008014389U1 (de) * | 2008-10-29 | 2010-04-08 | Sata Gmbh & Co. Kg | Fließbecher für eine Farbspritzpistole |
| DE102009032399A1 (de) | 2009-07-08 | 2011-01-13 | Sata Gmbh & Co. Kg | Farbspritzpistole |
| DE202010007355U1 (de) | 2010-05-28 | 2011-10-20 | Sata Gmbh & Co. Kg | Düsenkopf für eine Spritzvorrichtung |
| US9333519B2 (en) | 2010-12-02 | 2016-05-10 | Sata Gmbh & Co. Kg | Spray gun and accessories |
| EP2726212B2 (de) | 2011-06-30 | 2023-07-12 | SATA GmbH & Co. KG | Leicht zu reinigende spritzpistole, zubehör hierfür, montage- und demontageverfahren |
| CA155474S (en) | 2013-09-27 | 2015-08-27 | Sata Gmbh & Co Kg | Spray gun |
| DE202013105779U1 (de) | 2013-12-18 | 2015-03-19 | Sata Gmbh & Co. Kg | Luftdüsenabschluss für eine Lackierpistole |
| CN103706532A (zh) * | 2013-12-27 | 2014-04-09 | 梁海军 | 一种发泡枪的复合枪柄及其制作方法 |
| DE102014206091A1 (de) * | 2014-03-31 | 2015-10-01 | Continental Automotive Gmbh | Waschdüse für eine Scheibenwaschanlage |
| USD758537S1 (en) | 2014-07-31 | 2016-06-07 | Sata Gmbh & Co. Kg | Paint spray gun rear portion |
| CA159961S (en) | 2014-07-31 | 2015-07-17 | Sata Gmbh & Co Kg | Spray gun |
| CN110560285B (zh) | 2014-07-31 | 2021-05-18 | 萨塔有限两合公司 | 喷枪及其制造方法 |
| USD768820S1 (en) | 2014-09-03 | 2016-10-11 | Sata Gmbh & Co. Kg | Paint spray gun with pattern |
| DE102015000771A1 (de) | 2015-01-26 | 2016-07-28 | Xenios Ag | Anordnung mit einer Saugleitung, einer Druckleitung und einer Pumpe |
| EP4364855A3 (de) * | 2015-03-04 | 2024-07-17 | Martin Ruda 1. UG (haftungsbeschränkt). | Spritzpistole, flüssigkeitseinrichtung und set mit einer flüssigkeitsleiteinrichtung |
| CN107530722B (zh) * | 2015-03-11 | 2020-10-27 | 涂层国外知识产权有限公司 | 具有中空针和单级或两级喷嘴的喷枪及该喷枪的使用方法 |
| DE102015006484A1 (de) | 2015-05-22 | 2016-11-24 | Sata Gmbh & Co. Kg | Düsenanordnung für eine Spritzpistole, insbesondere Farbspritzpistole und Spritzpistole, insbesondere Farbspritzpistole |
| DE102015016474A1 (de) | 2015-12-21 | 2017-06-22 | Sata Gmbh & Co. Kg | Luftkappe und Düsenanordnung für eine Spritzpistole und Spritzpistole |
| USD791916S1 (en) * | 2016-05-31 | 2017-07-11 | Worthen Industries | Spray gun trigger |
| CN205995666U (zh) | 2016-08-19 | 2017-03-08 | 萨塔有限两合公司 | 喷枪及其扳机 |
| CN205966208U (zh) | 2016-08-19 | 2017-02-22 | 萨塔有限两合公司 | 风帽组件以及喷枪 |
| EP3421138B1 (de) | 2017-06-30 | 2019-09-04 | Tao-Pao Chien | Spritzpistole |
| CN112533705B (zh) | 2018-08-01 | 2023-07-04 | 萨塔有限两合公司 | 喷枪的喷嘴组、喷枪系统、制造喷嘴模块的方法、为上漆任务从喷嘴组选出喷嘴模块的方法、选择系统和计算机程序产品 |
| DE102018118737A1 (de) | 2018-08-01 | 2020-02-06 | Sata Gmbh & Co. Kg | Düse für eine Spritzpistole, Düsensatz für eine Spritzpistole, Spritzpistolen und Verfahren zur Herstellung einer Düse für eine Spritzpistole |
| DE102018118738A1 (de) | 2018-08-01 | 2020-02-06 | Sata Gmbh & Co. Kg | Grundkörper für eine Spritzpistole, Spritzpistolen, Spritzpistolen-Set, Verfahren zur Herstellung eines Grundkörpers für eine Spritzpistole und Verfahren zum Umrüsten einer Spritzpistole |
| HK1256429A2 (zh) * | 2018-08-16 | 2019-09-20 | Tti (Macao Commercial Offshore) Limited | 具有喷嘴和针作为组件的液体分配装置 |
| CN112912178B (zh) | 2018-10-26 | 2023-04-11 | 固瑞克明尼苏达有限公司 | 用于多部件式喷涂器的混合腔 |
| JP1679050S (de) * | 2020-04-01 | 2021-02-15 | ||
| DE102020123769A1 (de) | 2020-09-11 | 2022-03-17 | Sata Gmbh & Co. Kg | Dichtelement zum Abdichten eines Übergangs zwischen einem Grundkörper einer Spritzpistole und einem Anbauteil einer Spritzpistole, Anbauteil, insbesondere Farbdüsenanordnung, für eine Spritzpistole und Spritzpistole, insbesondere Farbspritzpistole |
| US20240278267A1 (en) * | 2021-05-14 | 2024-08-22 | Martin Ruda 1. Ug (Haftungsbeschränkt) | Painting-Agent Conducting Device, Spray Gun, And Assembly |
| DE102021124140A1 (de) | 2021-09-17 | 2023-03-23 | Sata Gmbh & Co. Kg | Mehrteilige Materialnadel für eine Lackierpistole, Vordernadel einer Materialnadel sowie Lackierpistole und Verfahren zum Austausch einer Vordernadel |
| USD1046076S1 (en) * | 2021-10-15 | 2024-10-08 | Sata Gmbh & Co. Kg | Spray gun |
| US20230356244A1 (en) * | 2022-05-03 | 2023-11-09 | Wagner Spray Tech Corporation | Compact air-driven fluid sprayer with replaceable cartridge assembly |
| USD1086371S1 (en) * | 2023-04-25 | 2025-07-29 | 3M Innovative Properties Company | Spray gun trigger |
Family Cites Families (514)
| Publication number | Priority date | Publication date | Assignee | Title |
|---|---|---|---|---|
| US459432A (en) | 1891-09-15 | Oven for baking japanned ware | ||
| US552715A (en) | 1896-01-07 | lugrin | ||
| US581107A (en) | 1897-04-20 | emery | ||
| US459433A (en) | 1891-09-15 | Herbert g | ||
| US563505A (en) | 1896-07-07 | Can-cleaner | ||
| US552213A (en) | 1895-12-31 | Speed-indicating alarm | ||
| CA521511A (en) | 1956-02-07 | P. Dalrymple William | Spray guns | |
| US574880A (en) | 1897-01-12 | John s | ||
| US327260A (en) | 1885-09-29 | Series of labels for tacks | ||
| US40433A (en) | 1863-10-27 | Improved lubricator | ||
| DE460381C (de) | 1928-05-25 | Ernst Koerber | Rohrverbindung | |
| US548816A (en) | 1895-10-29 | Apparatus for manufacturing gas | ||
| US644803A (en) | 1899-10-06 | 1900-03-06 | Henry D Justi | Artificial tooth-crown. |
| US672012A (en) | 1900-01-17 | 1901-04-16 | Wilhelm Adolph August Roeper | Registering apparatus for use in connection with lifting or hoisting devices. |
| DE212979C (de) | 1909-01-08 | 1909-09-06 | ||
| US1711221A (en) | 1921-04-04 | 1929-04-30 | George R Blakeslee | Washing machine |
| US1703383A (en) | 1922-12-29 | 1929-02-26 | Matthews W N Corp | Spray gun |
| US1703384A (en) | 1924-10-18 | 1929-02-26 | Matthews W N Corp | Paint gun |
| GB259721A (de) | 1924-11-10 | |||
| US1662496A (en) | 1926-08-16 | 1928-03-13 | Edward F Forsgard | Dishwashing machine |
| DE510362C (de) | 1929-11-15 | 1930-10-18 | Karl Ludwig Dipl Ing | Verfahren zur Herstellung von Spritzpistolen |
| US1889201A (en) | 1931-05-09 | 1932-11-29 | Joseph E Holveck | Spray nozzle |
| US2008381A (en) | 1933-12-05 | 1935-07-16 | George R Beeg | Dispensing device |
| FR789762A (fr) | 1934-08-06 | 1935-11-06 | Laiterie Des Fermiers Reunis | Raccord rapide pour tuyauteries destinées aux liquides alimentaires |
| US2049700A (en) | 1935-07-15 | 1936-08-04 | Binks Mfg Co | Air nozzle for flat-spraying appliances |
| US2051210A (en) | 1935-09-13 | 1936-08-18 | Binks Mfg Co | Air nozzle for spray appliances |
| US2070696A (en) | 1935-12-11 | 1937-02-16 | Vilbiss Co | Spray head |
| US2204599A (en) | 1936-01-09 | 1940-06-18 | Jenkins Alexander Frederick | Spray gun |
| AT153883B (de) | 1936-11-23 | 1938-07-25 | Seyboth Feuerung G M B H | Vorschubplan- oder Schrägrost. |
| US2125445A (en) | 1937-02-05 | 1938-08-02 | Worthington Pump & Mach Corp | Spray nozzle |
| US2116036A (en) | 1937-04-14 | 1938-05-03 | Charles R Terry | Lock nut |
| CH203668A (de) | 1937-05-27 | 1939-03-31 | Allgaeuer Alpenmilch Aktienges | Gefäss zur Vakuumkonservierung, insbesondere von Lebens- und Genussmitteln. |
| US2198441A (en) | 1937-08-28 | 1940-04-23 | Lewis Co G B | Golf ball washer |
| US2269057A (en) | 1938-01-10 | 1942-01-06 | Alexander F Jenkins | Spraying device |
| US2356865A (en) | 1942-06-06 | 1944-08-29 | Amen David Abbott | Spray gun |
| US2416923A (en) | 1943-08-30 | 1947-03-04 | Alexander Milburn Company | Spray gun |
| US2557593A (en) | 1944-04-26 | 1951-06-19 | Atlas Diesel Ab | Operating mechanism for spray guns |
| US2416856A (en) | 1945-03-26 | 1947-03-04 | Thomsen Hugo | Binder |
| US2559091A (en) | 1945-12-01 | 1951-07-03 | Mizzy Inc | Method and solution for producing insecticidal aerosols |
| AT163577B (de) | 1946-01-21 | 1949-07-25 | Reichert Optische Werke Ag | Wälzkörperführung für Mikroskope und ähnliche optische Instrumente |
| US2612899A (en) | 1946-11-09 | 1952-10-07 | Inland Mfg Co | Radiator back flush and cleaning booth |
| US2557606A (en) | 1948-02-12 | 1951-06-19 | Atlas Diesel Ab | Adjustable stop for spray gun valve spindles |
| US2646314A (en) | 1950-10-19 | 1953-07-21 | Vilbiss Co | Spray nozzle |
| US2609961A (en) | 1951-06-01 | 1952-09-09 | Sisto V Sapien | Air vent and cleaner therefor |
| US2721004A (en) | 1953-06-16 | 1955-10-18 | Howard A Schultz | Closure |
| NL205691A (de) | 1955-03-30 | |||
| US2844267A (en) | 1956-11-05 | 1958-07-22 | Petriccione Peter | Combined drinking straw and bottle cap |
| US3090530A (en) | 1960-06-27 | 1963-05-21 | Vilbiss Co | Air flow control for pressure feed containers |
| US3159472A (en) | 1961-01-27 | 1964-12-01 | American Air Filter Co | Electrostatic gas cleaning apparatus |
| US3213894A (en) | 1962-10-15 | 1965-10-26 | Western Electric Co | Methods of and apparatus for connecting a strand and an elongated member and methods of manufacturing such apparatus |
| US3344992A (en) | 1964-01-27 | 1967-10-03 | Edward O Norris | Spray gun |
| US3240398A (en) | 1964-03-09 | 1966-03-15 | Sharpe Mfg Company | Vented spray gun cup |
| DE1273862B (de) | 1966-04-07 | 1968-07-25 | Speidel & Keller | Manometer |
| ES338787A1 (es) | 1966-04-07 | 1968-04-16 | Speidel & Keller | Mejoras en la construccion de manometros. |
| US3417650A (en) | 1966-09-26 | 1968-12-24 | Itt | Retaining ring |
| US3381845A (en) | 1967-01-03 | 1968-05-07 | Roderick B. Macdonald | Disposable plastic container for spray guns |
| US3482781A (en) | 1968-03-18 | 1969-12-09 | Sharpe Mfg Co | Spray gun with pressure gauge feature |
| US3524589A (en) | 1968-06-14 | 1970-08-18 | Paul P Pelton Jr | Liquid-spray device |
| US3527372A (en) | 1968-12-02 | 1970-09-08 | Republic Molding Corp | Container |
| US3583632A (en) | 1969-05-23 | 1971-06-08 | Binks Mfg Co | Electrostatic spray coating apparatus |
| DE1927574A1 (de) | 1969-05-30 | 1970-12-03 | Dillenberg Bergische Metall | Pastenspruehvorrichtung |
| US3656493A (en) | 1969-09-11 | 1972-04-18 | Black James | Screen washing apparatus |
| US3840143A (en) | 1970-02-10 | 1974-10-08 | Sweetheart Plastics | Threaded nestable container |
| US3645562A (en) | 1970-03-10 | 1972-02-29 | Matthew R Fandetti | Coupling device |
| US3649937A (en) | 1970-03-23 | 1972-03-14 | Rca Corp | Electronically tuned ultra high frequency television tuner |
| US3746253A (en) | 1970-09-21 | 1973-07-17 | Walberg & Co A | Coating system |
| US3714967A (en) | 1971-05-14 | 1973-02-06 | Stewart Warner Corp | Siphon paint spray cup assembly |
| BE791343A (fr) | 1971-11-16 | 1973-03-01 | Nordson Corp | Pulverisateur electrostatique |
| CH542104A (de) | 1972-05-04 | 1973-09-30 | Leeds & Micallef | Verschluss mit einer auf einem Stutzen aufschraubbaren Kappe |
| US3771539A (en) | 1972-05-19 | 1973-11-13 | Santis B De | Paint gun cleaner |
| CA988557A (en) | 1972-09-18 | 1976-05-04 | Albert H. Moos | Apparatus for and method of spraying plural component materials |
| JPS49136868U (de) | 1973-03-28 | 1974-11-25 | ||
| US3857511A (en) | 1973-07-31 | 1974-12-31 | Du Pont | Process for the spray application of aqueous paints by utilizing an air shroud |
| US3848807A (en) | 1973-12-10 | 1974-11-19 | P Partida | Confining nozzle for spray gun |
| US3870223A (en) | 1974-01-07 | 1975-03-11 | Mead Corp | Double wing pocket portfolio and file folder |
| GB1463360A (en) | 1974-12-31 | 1977-02-02 | Abrasive Int Ltd | Abrading guns |
| US4000915A (en) | 1975-08-04 | 1977-01-04 | Market Research Corporation Of America | Consumer diary |
| USD245048S (en) | 1976-06-01 | 1977-07-19 | Modular Engineering Corporation | Rotatable holder for individually dispensing paper cups or the like |
| DE2653981C3 (de) | 1976-11-27 | 1979-08-16 | J. Wagner Gmbh, 7990 Friedrichshafen | Spritzpistole |
| NL181255C (nl) | 1977-06-14 | 1987-07-16 | Bos Willem | Afsluiter voor het onttrekken van vloeibaar materiaal uit een houder. |
| USD252097S (en) | 1978-02-01 | 1979-06-12 | Ransburg Corporation | Spray gun |
| US4273293A (en) | 1978-12-20 | 1981-06-16 | Nordson Corporation | Nozzle assembly for electrostatic spray guns |
| JPS5837476Y2 (ja) | 1979-01-19 | 1983-08-24 | 株式会社明治機械製作所 | スプレ−ガン |
| FR2462200A1 (fr) | 1979-07-26 | 1981-02-13 | Skm Sa | Godet pour pistolet de projection de peinture |
| JPS5654328A (en) | 1979-10-11 | 1981-05-14 | Shinagawa Sokki Seisakusho:Kk | Manufacture of pressure gauge |
| DE3016419A1 (de) | 1980-04-29 | 1981-11-19 | Heinrich Ihmels + Sohn, 2905 Edewecht | Vorrichtung zum aufbringen von erhaertenden fliessfaehigen stoffen auf oberflaechen durch aufspruehen |
| DE8024829U1 (de) | 1980-09-17 | 1982-08-19 | Sata-Farbspritztechnik GmbH, 7140 Ludwigsburg | Farbbecher fuer farbspritzpistole |
| JPS5775246A (en) | 1980-10-29 | 1982-05-11 | Nippon Koki Kk | Split pattern type full mold casting method |
| JPS57128346A (en) | 1981-02-02 | 1982-08-09 | Honshu Paper Co Ltd | Paper for electrophotography and form |
| JPS58119862A (ja) | 1982-01-11 | 1983-07-16 | サダシゲ特殊合板株式会社 | 化粧板材の製造方法 |
| JPS58119862U (ja) | 1982-02-05 | 1983-08-15 | 大日本塗料株式会社 | スプレ−ガン |
| USD276472S (en) | 1982-03-08 | 1984-11-20 | Harrison/Faultless Systems, Inc. | Steam cleaning machine |
| US4478370A (en) | 1982-03-19 | 1984-10-23 | Nordson Corporation | Air atomizing nozzle assembly |
| AU1351683A (en) | 1982-04-16 | 1983-10-20 | Nordson Corp. | Air atomizing nozzle |
| US4614300A (en) | 1982-04-19 | 1986-09-30 | E. I. Du Pont De Nemours And Company | Computerized spray machine |
| US4411387A (en) | 1982-04-23 | 1983-10-25 | Stern Donald J | Manually-operated spray applicator |
| USD278543S (en) | 1982-09-29 | 1985-04-23 | Gintz Richard A | Display notebook |
| DE8231663U1 (de) | 1982-11-11 | 1983-08-18 | Hermann Behr & Sohn Gmbh & Co, 7121 Ingersheim | Duese mit anschliessender koaxialanordnung fuer eine farbspritzeinrichtung |
| US4730753A (en) | 1982-12-27 | 1988-03-15 | Champion Spark Plug Company | Paint cup vent |
| DE3313249A1 (de) | 1983-04-13 | 1984-10-25 | Woma-Apparatebau Wolfgang Maasberg & Co Gmbh, 4100 Duisburg | Hochdruckwasserstrahl-anlage |
| US4545536A (en) | 1983-05-13 | 1985-10-08 | Yakov Avidon | Apparatus for electrostatic paint spraying |
| JPS601722A (ja) | 1983-06-17 | 1985-01-07 | Hitachi Ltd | カラ−受像管けい光面の形成方法 |
| CH661400A5 (de) | 1983-07-13 | 1987-07-15 | Luekon Eltherm App P Luescher | Apparat zum aufheizen von speisewaermeplatten. |
| DE3402097A1 (de) | 1984-01-21 | 1985-08-01 | Sata-Farbspritztechnik GmbH, 7140 Ludwigsburg | Farbbecher fuer eine farbspritzpistole |
| DE3402945C2 (de) | 1984-01-28 | 1986-07-03 | Ransburg-Gema AG, St. Gallen | Elektrostatische Sprühpistole zum Sprühbeschichten |
| FR2570140B1 (fr) | 1984-09-12 | 1987-12-04 | Vynex Sa | Clou filete |
| USD293950S (en) | 1985-02-01 | 1988-01-26 | Rug Doctor, Inc. | Portable machine for wet or dry vacuum extraction |
| DE3505618A1 (de) | 1985-02-19 | 1986-08-21 | Kopperschmidt-Mueller Gmbh & Co Kg, 4800 Bielefeld | Verfahren zum beschichten von gegenstaenden mit hilfe eines spruehstrahls und vorrichtung zur durchfuehrung dieses verfahrens |
| US4917300A (en) | 1985-04-25 | 1990-04-17 | Stewart Warner Alemite Corporation | Paint spray gun |
| DE3517122C1 (de) | 1985-05-11 | 1986-05-28 | Daimler-Benz Ag, 7000 Stuttgart | Korb- oder becherförmige Aufnahmevorrichtung für Farbbehälter an Farbspritzpistolen |
| DE3526586A1 (de) | 1985-07-25 | 1987-02-05 | Bosch Gmbh Robert | Verpackungsbehaelter mit rberdruckventil |
| DE3526819A1 (de) | 1985-07-26 | 1987-02-12 | Bramlage Gmbh | Spender fuer pastoese massen |
| USD298372S (en) | 1985-08-07 | 1988-11-01 | Taylor Jr Joseph R | Spray cabinet washer for automotive machine parts, tools or the like |
| AT383910B (de) | 1986-01-27 | 1987-09-10 | Sprecher & Schuh Ag | Gekapselte hochspannungs-schaltzelle mit ausfahrbarem trennwagen |
| FR2595059B1 (fr) | 1986-02-28 | 1988-06-17 | Sames Sa | Dispositif de pulverisation de liquide |
| US4643330A (en) | 1986-03-27 | 1987-02-17 | Owens-Illinois, Inc. | Container systems |
| US5367148A (en) | 1986-04-18 | 1994-11-22 | Cias, Inc. | Counterfeit detection using ID numbers with at least one random portion |
| US4826539A (en) | 1986-11-04 | 1989-05-02 | Harco Graphic Products, Inc. | Cleaning apparatus and method |
| US4863781A (en) | 1987-01-28 | 1989-09-05 | Kimberly-Clark Corporation | Melt transfer web |
| DE8702559U1 (de) | 1987-02-19 | 1987-09-03 | Meschenmoser, Kurt, 7992 Tettnang | Fließbecher mit variabler Luftzufuhr für Farbspritzpistolen |
| DE3708472A1 (de) | 1987-03-16 | 1988-10-06 | Zeller Plastik Koehn Graebner | Schraubteil aus kunststoff |
| DE3715969A1 (de) | 1987-05-13 | 1988-12-01 | Polytype Ag | Vorrichtung zum innenlackieren von hohlkoerpern, insbesondere metallischer tuben oder dosen |
| FR2619330B1 (fr) | 1987-08-12 | 1994-03-11 | Snecma | Procede de realisation d'etages de stator de compresseur ou de turbine, aubes et grilles d'aubes ainsi obtenues |
| US4784184A (en) | 1987-09-01 | 1988-11-15 | Practique, Inc. | Elastic drip silencer and funnel |
| US4806736A (en) | 1987-10-05 | 1989-02-21 | Jeno F. Paulucci | Heated delivery bag |
| USD305057S (en) | 1987-10-30 | 1989-12-12 | The Devilbiss Company | Spray gun |
| JPH0529764Y2 (de) | 1987-12-01 | 1993-07-29 | ||
| DE3742308A1 (de) | 1987-12-14 | 1989-06-22 | Dietrich Dipl Ing Berner | Verfahren und vorrichtung zum buendeln von halmgutballen |
| DE8802411U1 (de) | 1988-02-24 | 1989-06-29 | Keller AG für Druckmeßtechnik, Winterthur | Druckmeßvorrichtung |
| USD318956S (en) | 1988-02-25 | 1991-08-13 | Arnold Kock GmbH u. Co. KG | Textile fabric |
| USD318877S (en) | 1988-03-07 | 1991-08-06 | Nava Milano S.P.A. | Notebook |
| DE3808125A1 (de) | 1988-03-11 | 1989-11-23 | Man Nutzfahrzeuge Ag | Gewindeeinsatz mit kleinem aussendurchmesser fuer schrauben mit trapezgewinde |
| US4832232A (en) | 1988-04-08 | 1989-05-23 | Broccoli Anthony B | Spray gun vent |
| DE68917789T2 (de) | 1988-04-27 | 1995-02-02 | Fas Adriani Antonio Santino | Deckel mit regelbarer Ausgiesstülle und Belüftungseinrichtung. |
| US4887747A (en) | 1988-06-08 | 1989-12-19 | Seaquist Closures, A Division Of Pittway Corporation | Two-piece, snap-action closure |
| USD314588S (en) | 1988-07-05 | 1991-02-12 | Denham Charles R | Medication record |
| US5080285A (en) | 1988-07-11 | 1992-01-14 | Toth Denis W | Automatic paint spray gun |
| USD314421S (en) | 1988-08-17 | 1991-02-05 | Iwata Air Compressor Mfg. Co., Ltd. | Air spray gun |
| US4973184A (en) | 1988-09-01 | 1990-11-27 | Salle Roger J | Writing pad organizer |
| US4901761A (en) | 1988-10-06 | 1990-02-20 | Taylor William T | Closure apparatus with pressure test device |
| US4969603A (en) | 1988-11-01 | 1990-11-13 | R. O. Norman Company, Inc. | Fluid spray system having a replaceable cartridge |
| US5064119A (en) | 1989-02-03 | 1991-11-12 | Binks Manufacturing Company | High-volume low pressure air spray gun |
| DE8902223U1 (de) | 1989-02-24 | 1989-04-06 | SATA - Farbspritztechnik GmbH & Co., 7140 Ludwigsburg | Farbspritzpistole |
| DE3906219C2 (de) | 1989-02-28 | 1997-07-10 | Sata Farbspritztechnik | Regulierventil |
| US5165605A (en) | 1989-03-30 | 1992-11-24 | Iwata Air Compressor Mfg. Co., Ltd. | Low pressure air atomizing spray gun |
| US5042840A (en) | 1989-04-19 | 1991-08-27 | Diversey Corporation | Refillable tank car for storing and transporting fluids |
| US5170941A (en) | 1989-04-20 | 1992-12-15 | Iwata Air Compressor Mfg. Co., Ltd. | Premixing-type spray gun |
| US4989787A (en) | 1989-05-05 | 1991-02-05 | Nikkel Robert E | Liquid spray gun accessories |
| DE8905681U1 (de) | 1989-05-05 | 1989-09-28 | Huttenlocher GmbH, 7441 Neckartailfingen | Dosieradapter |
| US4946075A (en) | 1989-06-29 | 1990-08-07 | Unro Teknik Ab | Device for dispensing flowing substances |
| EP0408786B1 (de) | 1989-07-19 | 1993-08-25 | SATA-FARBSPRITZTECHNIK GmbH & Co. | Düsenkopf |
| JPH063267B2 (ja) | 1989-07-27 | 1994-01-12 | テルモ株式会社 | 多方活栓 |
| JPH0372973A (ja) | 1989-08-11 | 1991-03-28 | Iwata Tosouki Kogyo Kk | 塗料供給量制御手段を有するスプレーガン |
| DE9001265U1 (de) | 1990-02-05 | 1990-04-12 | Sata - Farbspritztechnik GmbH & Co, 7140 Ludwigsburg | Düsenkopf für eine Farbspritzpistole |
| US5071074A (en) | 1990-02-12 | 1991-12-10 | Graeco Inc. | Angled spray gun |
| US5143102A (en) | 1990-03-12 | 1992-09-01 | Graymills Corporation | High pressure parts cleaner and method |
| GB9009190D0 (en) | 1990-04-24 | 1990-06-20 | Devilbiss The Company Limited | Miniature electronic pressure gauge |
| JPH0724796B2 (ja) | 1990-05-11 | 1995-03-22 | 岩田塗装機工業株式会社 | 低圧微粒化エアスプレーガン |
| US5078323A (en) | 1990-07-20 | 1992-01-07 | Wagner Spray Tech Corporation | Air valve for portable paint gun |
| EP0554346A4 (en) | 1990-10-22 | 1993-12-01 | Logitech Inc | Ultrasonic position locating method and apparatus therefor |
| US5090623A (en) | 1990-12-06 | 1992-02-25 | Ransburg Corporation | Paint spray gun |
| AU637187B2 (en) | 1991-02-04 | 1993-05-20 | Willem Johannes Smith | Beverage container |
| US5119992A (en) | 1991-02-11 | 1992-06-09 | Ransburg Corporation | Spray gun with regulated pressure feed paint cup |
| US5102045A (en) | 1991-02-26 | 1992-04-07 | Binks Manufacturing Company | Apparatus for and method of metering coating material in an electrostatic spraying system |
| WO1992017342A1 (en) | 1991-04-03 | 1992-10-15 | Memorybank, Inc. | Information management system |
| US5135124A (en) | 1991-05-09 | 1992-08-04 | Hoover Universal, Inc. | Pressure lock bayonet closure |
| JPH0530749A (ja) | 1991-07-19 | 1993-02-05 | Rigaku Corp | 電源装置 |
| DE4124245C1 (de) | 1991-07-22 | 1992-11-12 | Heinrich Stolz Gmbh & Co Kg, 5908 Neunkirchen, De | |
| US5190219A (en) | 1991-10-03 | 1993-03-02 | Copp Jr William H | Automatic spray gun |
| US5125391A (en) | 1991-10-10 | 1992-06-30 | Servolift Eastern Corporation | Heat-retaining food service container |
| US5325473A (en) | 1991-10-11 | 1994-06-28 | The Walt Disney Company | Apparatus and method for projection upon a three-dimensional object |
| JP3079213B2 (ja) | 1991-12-25 | 2000-08-21 | 清原 まさ子 | 流体機器 |
| JPH0734880B2 (ja) | 1992-02-03 | 1995-04-19 | 有限会社ミナリ | 塗装ガン |
| US5228488A (en) | 1992-04-13 | 1993-07-20 | Fletcher Scott W | Dispensing measuring funnel |
| ES2090866T3 (es) | 1992-04-24 | 1996-10-16 | Itw Ltd | Indicador de prueba de presion. |
| USD341186S (en) | 1992-04-27 | 1993-11-09 | Albers Terry A | Spray gun |
| USRE35769E (en) | 1992-05-27 | 1998-04-14 | Ransburg Corporation | Spray gun having trigger overtravel protection and maximum flow adjustment knob warning |
| US5236129A (en) * | 1992-05-27 | 1993-08-17 | Ransburg Corporation | Ergonomic hand held paint spray gun |
| US5232299A (en) | 1992-07-21 | 1993-08-03 | Better Engineering Mfg., Inc. | Parts washer |
| JPH0674850A (ja) | 1992-08-28 | 1994-03-18 | Ishikawajima Harima Heavy Ind Co Ltd | 密閉容器の圧力計測方法及びその装置 |
| DE4230535C2 (de) | 1992-09-10 | 1996-06-13 | Metacap Gmbh Fabrikation Farbs | Zweikomponenten-Spritzpistole |
| US5322221A (en) | 1992-11-09 | 1994-06-21 | Graco Inc. | Air nozzle |
| CN2136077Y (zh) | 1992-11-10 | 1993-06-16 | 石纯贵 | 电动喷枪 |
| US5381962A (en) | 1992-12-10 | 1995-01-17 | Hydro-Chem Systems, Inc. | Remote controlled spraying device |
| JPH06215741A (ja) | 1993-01-19 | 1994-08-05 | Matsushita Electric Ind Co Ltd | 充電用電池取り出し装置 |
| USD353836S (en) | 1993-03-12 | 1994-12-27 | Carvelli Salvatore G | Document organizer |
| JP2769962B2 (ja) | 1993-04-21 | 1998-06-25 | アロイ工器株式会社 | 塗装に適する空気添加型噴霧装置 |
| US5344078A (en) | 1993-04-22 | 1994-09-06 | Ransburg Corporation | Nozzle assembly for HVLP spray gun |
| DE4321940C2 (de) | 1993-07-01 | 1998-07-30 | Sata Farbspritztechnik | Trocknungsdüse |
| US5443642A (en) | 1993-10-22 | 1995-08-22 | Wagner Systems Inc. | Apparatus for electrostatic spray painting |
| US5332156A (en) | 1993-10-25 | 1994-07-26 | Ransburg Corporation | Spray gun with removable cover and method for securing a cover to a spray gun |
| US5456414A (en) | 1993-10-28 | 1995-10-10 | Ransburg Corporation | Suction feed nozzle assembly for HVLP spray gun |
| GB2283927B (en) | 1993-11-22 | 1998-01-21 | Itw Ltd | An improved spray nozzle |
| IT230511Y1 (it) | 1993-11-23 | 1999-06-07 | Claber Spa | Gruppo di erogazione multifunzione per pistola di irrigazione |
| USD365952S (en) | 1994-02-07 | 1996-01-09 | Cordon Bleu International | Display |
| JP2578313B2 (ja) | 1994-02-10 | 1997-02-05 | 神鋼鋼線工業株式会社 | 線材の巻き取り装置 |
| US5592597A (en) | 1994-02-14 | 1997-01-07 | Parametric Technology Corporation | Real-time image generation system for simulating physical paint, drawing media, and feature modeling with 3-D graphics |
| DE69509373T2 (de) | 1994-02-18 | 1999-08-26 | Itw Ltd. | Spritzpistole mit dauerhaft befestigtem Sprühkopf |
| CA2143277C (en) | 1994-04-19 | 2000-05-16 | Michael J. Kosmyna | Hand held paint spray gun with top mounted paint cup |
| US5662444A (en) | 1994-06-08 | 1997-09-02 | Crest Products, Inc. | Fastener assembly with axially captivated washer |
| DE9416015U1 (de) | 1994-10-05 | 1994-11-17 | Sata-Farbspritztechnik GmbH & Co., 70806 Kornwestheim | Düsenanordnung für eine Farbspritzpistole |
| ES2105459T3 (es) | 1994-10-05 | 1997-10-16 | Sata Farbspritztechnik | Tobera para pistola aerografica. |
| US5718767A (en) | 1994-10-05 | 1998-02-17 | Nordson Corporation | Distributed control system for powder coating system |
| ATE163577T1 (de) | 1994-10-13 | 1998-03-15 | Sata Farbspritztechnik | Druckluftbetriebene farbspritzpistole |
| US5588562A (en) | 1994-10-31 | 1996-12-31 | Sander; Dieter | Tamper evident resealable plastic closure |
| US5503439A (en) | 1994-12-02 | 1996-04-02 | Batesville Casket Company, Inc. | Wedge bar locking mechanism for burial casket |
| US5655714A (en) | 1994-12-08 | 1997-08-12 | Wagner Spray Tech Corporation | Pivotable syphon tube |
| US5836517A (en) | 1995-01-03 | 1998-11-17 | Ransburg Corporation | Spray gun with fluid valve |
| US5695125A (en) | 1995-02-09 | 1997-12-09 | Teknocraft, Inc. | Dual pressure regulator having balanced regulator valves supported in sprayer handle-conformal unibody structure |
| US5609302A (en) | 1995-04-19 | 1997-03-11 | Smith; William C. | Removable spray gun fluid flow assembly |
| DE19516485C2 (de) | 1995-05-05 | 1998-10-15 | Sata Farbspritztechnik | Vorrichtung zur Wahrnehmung eines Druckabfalls in einem Atemschlauch |
| USD380301S (en) | 1995-06-14 | 1997-07-01 | Dart Manufacturing Company | Accessory pocket for portfolio |
| US5584899A (en) | 1995-07-24 | 1996-12-17 | Shorts; Kevin L. | Fluid collection and filtration apparatus |
| US5853014A (en) | 1995-09-13 | 1998-12-29 | Med-O-Tech, Inc. | PC apparatus for cleaning |
| US6308991B1 (en) | 1995-10-16 | 2001-10-30 | Oberthur Gaming Technologies, Inc. | Printed document including bar code authentication system |
| JPH09117697A (ja) | 1995-10-25 | 1997-05-06 | Alloy Koki Kk | 噴霧塗装装置 |
| USD402820S (en) | 1995-11-20 | 1998-12-22 | Gorrie Advertising Management Limited | Glass cleaning center for holding water and squeegees |
| USD376637S (en) | 1995-11-22 | 1996-12-17 | Wagner Spray Tech Corporation | Spray gun |
| US5803360A (en) | 1995-11-27 | 1998-09-08 | Spitznagel; Max W. A. | Apparatus for providing enhanced spray capabilities for a gravity-fed spray gun |
| US5704381A (en) | 1996-01-25 | 1998-01-06 | Northrop Grumman Corporation | Enclosed spray gun and accessories cleaning apparatus |
| DE59700552D1 (de) | 1996-01-30 | 1999-11-18 | Crown Cork Ag | Behälterfinish und verschlusskappe mit 2-gängigem gewinde |
| EP0801002A1 (de) | 1996-04-12 | 1997-10-15 | Plastiflac S.A. | Flüssigkeitsübertragungsvorrichtung |
| US5762228A (en) | 1996-07-26 | 1998-06-09 | Dart Industries Inc. | Vented seal with rocking vent cover |
| US5874680A (en) | 1996-08-12 | 1999-02-23 | Moore; Randy A. | Combination in-line pressure sensor and portable gauge head |
| US5951190A (en) | 1996-08-16 | 1999-09-14 | Specialty Loose Leaf, Inc. | Pocket loose-leaf binder |
| US5816501A (en) | 1996-12-16 | 1998-10-06 | Ransburg Corporation | Disposable paint container liner and method |
| PL190184B1 (pl) | 1997-01-24 | 2005-11-30 | Minnesota Mining & Mfg | Pistolet natryskowy, pojemnik oraz zbiornik płynuprzeznaczony do mocowania do pistoletu natryskowego |
| US6820824B1 (en) | 1998-01-14 | 2004-11-23 | 3M Innovative Properties Company | Apparatus for spraying liquids, disposable containers and liners suitable for use therewith |
| USD391403S (en) | 1997-02-11 | 1998-03-03 | Josephs Ira A | Camouflage pattern applied to sheet material |
| US5954268A (en) | 1997-03-03 | 1999-09-21 | Joshi; Ashok V. | Fluid delivery system |
| US6019294A (en) | 1997-05-23 | 2000-02-01 | Graco Inc | Interchangeable feed airspray/HVLP spray gun |
| AU133969S (en) | 1997-06-09 | 1998-06-03 | Anest Iwata Corp | Air spray gun |
| US6203068B1 (en) | 1997-06-18 | 2001-03-20 | Glenn Petkovsek | Special service mailing assembly with label, tracking area and receipt and a method for preparing a mailpiece for delivery |
| DE19727884B4 (de) | 1997-07-01 | 2005-06-23 | Sata Farbspritztechnik Gmbh & Co.Kg | Vorrichtung zur Befeuchtung von Luft |
| US6442276B1 (en) | 1997-07-21 | 2002-08-27 | Assure Systems, Inc. | Verification of authenticity of goods by use of random numbers |
| US5992763A (en) | 1997-08-06 | 1999-11-30 | Vortexx Group Incorporated | Nozzle and method for enhancing fluid entrainment |
| US5941461A (en) | 1997-09-29 | 1999-08-24 | Vortexx Group Incorporated | Nozzle assembly and method for enhancing fluid entrainment |
| US5884006A (en) | 1997-10-17 | 1999-03-16 | Frohlich; Sigurd | Rechargeable phase change material unit and food warming device |
| US5951296A (en) | 1997-11-06 | 1999-09-14 | University Of Northern Iowa Foundation (Unif) | Optical spray painting practice and training system |
| USD405503S (en) | 1997-11-07 | 1999-02-09 | Anest Iwata Kabushikikaisha | Hand held air spray gun |
| US6056213A (en) | 1998-01-30 | 2000-05-02 | 3M Innovative Properties Company | Modular system for atomizing a liquid |
| FR2774928B1 (fr) | 1998-02-17 | 2000-03-31 | Injelec | Element et dispositif d'alimentation pour pistolet de projection d'un liquide, et pistolet correspondant |
| EP0937434B1 (de) | 1998-02-19 | 2003-06-18 | Sataco Co., LTD. | Wärmekonservierender Behälter für Pizza und Ofen für denselben |
| DE19807973C1 (de) | 1998-02-25 | 1999-07-29 | Wagner Int | Spritzvorrichtung zum Zerstäuben von Flüssigkeiten |
| US6089471A (en) | 1998-03-25 | 2000-07-18 | Accuspray, Inc. | Fluid spray gun |
| DE19824264C2 (de) | 1998-06-02 | 2001-08-30 | Sata Farbspritztechnik | Tragbare Atemschutzvorrichtung |
| DE19832990B4 (de) | 1998-07-22 | 2006-04-20 | Schreiner Etiketten Und Selbstklebetechnik Gmbh & Co. | Etikett und Verfahren zum Verdecken von Informationen |
| US5979797A (en) | 1998-08-14 | 1999-11-09 | Castellano; Michael A. | Handheld pressurized hopper gun and method |
| FR2783440B1 (fr) | 1998-09-18 | 2001-02-23 | Michel Camilleri | Godet cylindrique jetable pour la preparation ou le melange de peintures utilisable comme godet de pistolet a peinture |
| US6089607A (en) | 1998-09-30 | 2000-07-18 | Alliance Marketing Concepts, L.C. | Calendar and appointment journal |
| US6460787B1 (en) | 1998-10-22 | 2002-10-08 | Nordson Corporation | Modular fluid spray gun |
| USD414636S (en) | 1998-10-28 | 1999-10-05 | Henschel-Steinau, Inc. | Tubular display and dispenser |
| US6010082A (en) | 1998-11-17 | 2000-01-04 | Peterson; Kurt E. | In-line point of use filter with restrictor valve and gauge port |
| US6039218A (en) | 1999-01-11 | 2000-03-21 | Innovative Plastic Technology, Inc. | Tamper-evident closure with abutment |
| AU3346700A (en) | 1999-01-19 | 2000-08-07 | Volusia Holding Corporation, The | Labeler for pipes, conduits, tubes, and rods |
| US6036109A (en) | 1999-02-01 | 2000-03-14 | Campbell Hausfeld/Scott Fetzer Company | Indexing aircap retaining ring |
| US6543632B1 (en) | 1999-02-12 | 2003-04-08 | Robert Dymock McIntyre | Feeder bottles |
| JP4422851B2 (ja) | 1999-03-17 | 2010-02-24 | キヤノン株式会社 | 座標入力装置及び方法 |
| DE19918257A1 (de) | 1999-04-22 | 2000-11-23 | Lechler Gmbh & Co Kg | Hochdrucksprühdüse |
| US6435426B1 (en) | 1999-05-11 | 2002-08-20 | William H. Copp, Jr. | Floating gasket plate for paint cup on spray gun |
| USD459433S1 (en) | 1999-05-14 | 2002-06-25 | Sata-Farbspritztechnik Gmbh&Co. | Spray gun head ring |
| DE29909950U1 (de) | 1999-06-08 | 1999-09-23 | Chang, Jen-Chih, Taichung | Spritzpistolenbehälter |
| EP1108476B1 (de) | 1999-06-30 | 2005-12-14 | Anest Iwata Corporation | Niederdruck-spritzpistole |
| PL352759A1 (en) | 1999-07-01 | 2003-09-08 | S.C.Johnson & Son, Inc. | Insecticidal liquid bait station |
| DE10001071A1 (de) | 1999-07-08 | 2001-01-11 | Boedrich Hans Joachim | Vorrichtung zum Reinigen von Farbspritzpistolen |
| US6536687B1 (en) | 1999-08-16 | 2003-03-25 | 3M Innovative Properties Company | Mixing cup adapting assembly |
| US6092740A (en) | 1999-08-20 | 2000-07-25 | Liu; Horng-Hsiang | Structure of a paint container for spray gun |
| DE19941362C2 (de) | 1999-08-31 | 2003-12-18 | Winter Ag | Datenträger und Verfahren zu dessen Herstellung |
| DE19945760A1 (de) | 1999-09-24 | 2001-03-29 | Christian Ploppa | Prüfsystem und Verfahren zum Prüfen eines Gegenstandes |
| US6250567B1 (en) | 1999-11-30 | 2001-06-26 | Rhino Linings Usa, Inc. | Apparatus and method for spraying single or multi-component material |
| DE19958569C1 (de) | 1999-12-04 | 2001-02-15 | Sata Farbspritztechnik | Farbspritzpistole |
| US6661438B1 (en) | 2000-01-18 | 2003-12-09 | Seiko Epson Corporation | Display apparatus and portable information processing apparatus |
| JP3308516B2 (ja) | 2000-03-15 | 2002-07-29 | ランズバーグ・インダストリー株式会社 | エアスプレーガン |
| JP2001286793A (ja) | 2000-04-05 | 2001-10-16 | Bb Ricchi:Kk | エアーブラシ |
| US6276616B1 (en) | 2000-04-07 | 2001-08-21 | Illinois Tool Works Inc. | Fluid needle loading assembly for an airless spray paint gun |
| US6855173B2 (en) | 2000-06-05 | 2005-02-15 | Procter & Gamble Company | Use of absorbent materials to separate water from lipophilic fluid |
| GB0015144D0 (en) | 2000-06-21 | 2000-08-09 | Scient Games International Ltd | Improved information-bearing card |
| DE10031858B4 (de) | 2000-06-30 | 2008-07-03 | Sata Gmbh & Co. Kg | Spritzpistole |
| DE10031857A1 (de) | 2000-06-30 | 2002-01-17 | Sata Farbspritztechnik | Spritzpistole |
| SE515840C3 (sv) | 2000-09-01 | 2001-10-30 | Hedson Technologies Ab | Anordning för att tvätta sprutpistoler med lösningsmedel |
| US6450422B1 (en) | 2000-09-07 | 2002-09-17 | Richard A. Maggio | Spray gun |
| USD448451S1 (en) | 2000-11-06 | 2001-09-25 | Trade Associates, Inc. | Trigger sprayer |
| DE10059406B4 (de) | 2000-11-30 | 2007-04-26 | Krautzberger Gmbh | Spritzvorrichtung |
| GB2370787A (en) | 2000-12-07 | 2002-07-10 | Jackel Int Ltd | Feeding bottle and stand |
| DE10100171B4 (de) | 2001-01-04 | 2005-02-24 | Artech Gmbh Design + Production In Plastic | Durchstechbares Verschlusselement und Tintenbehälter mit durchstechbarem Verschlusselement |
| GB2372465B (en) | 2001-02-26 | 2004-07-14 | Itw Ltd | A spray gun |
| EP1247586B1 (de) | 2001-04-06 | 2004-08-11 | Anest Iwata Europe Srl | Manuelle Sprühbeschichtungspistole |
| US6470906B1 (en) | 2001-04-12 | 2002-10-29 | Ming Don Shieh | Valve having safety structure for cutting off hot water |
| GB0110025D0 (en) | 2001-04-24 | 2001-06-13 | 3M Innovative Properties Co | Improvements in or relating to liquid spraying apparatus |
| USD457599S1 (en) | 2001-05-07 | 2002-05-21 | Graco Minnesota Inc. | Electrostatic spray gun |
| TW509113U (en) | 2001-05-15 | 2002-11-01 | Chia Chung Prec Ind Co Ltd | Automatic washing device for paint spraying gun |
| US6647997B2 (en) | 2001-05-16 | 2003-11-18 | Merrill K. Mohn | Paint gun washer |
| US6675845B2 (en) | 2001-06-05 | 2004-01-13 | The Procter & Gamble Company | Package and method for controlled metered dose dispensing of a fluid product |
| US6616189B2 (en) | 2001-06-08 | 2003-09-09 | Premier Print & Services Group, Inc. | Sequentially placed shipping and packing label system |
| US6540114B1 (en) | 2001-06-13 | 2003-04-01 | West Penn Plastic, Inc. | Dual tamper evident dispensing closure |
| NO314372B1 (no) | 2001-06-20 | 2003-03-10 | Kezzler As | Fremgangsmåte for frembringelse og senere benyttelse av autentiseringsinformasjon |
| DE10135104C1 (de) | 2001-07-19 | 2002-09-12 | Sata Farbspritztechnik | Farbspritzpistole |
| US7458612B1 (en) | 2001-08-01 | 2008-12-02 | Stamps.Com Inc. | Postal shipping label |
| JP4635391B2 (ja) | 2001-08-02 | 2011-02-23 | 株式会社デンソー | 圧力センサの取付け構造 |
| DE20114257U1 (de) | 2001-08-29 | 2002-01-10 | Herkules Hebetechnik GmbH, 34123 Kassel | Reinigungsvorrichtung für Farbspritzgeräte, z.B. Farbspritzpistolen |
| EP1433153B1 (de) | 2001-10-05 | 2017-03-29 | Medical Components, Inc. | Katheterinformationsring |
| US6717584B2 (en) | 2001-11-06 | 2004-04-06 | General Motors Corporation | Method and system for visualizing paint on a computer-generated object |
| ES2242074T3 (es) | 2001-11-14 | 2005-11-01 | Martin Ruda | Recipiente de pistola pulverizadora con pieza intercalada fija. |
| US20040217201A1 (en) | 2001-11-14 | 2004-11-04 | Martin Ruda | Spray gun container |
| GB2382071B (en) | 2001-11-20 | 2005-06-29 | Beeson & Sons Ltd | User-friendly bottle and closure thread assembly |
| US6801211B2 (en) | 2001-12-21 | 2004-10-05 | Ladd B. Forsline | Computer painting system with passive paint brush stylus |
| US20030127046A1 (en) | 2002-01-09 | 2003-07-10 | Harley-Davidson Motor Company Group, Inc. | Paint spray gun cleaner |
| US6626383B1 (en) | 2002-01-16 | 2003-09-30 | James S. Campbell | Device for breaking, tearing, and crushing through plant material |
| JP3533387B2 (ja) | 2002-01-18 | 2004-05-31 | アネスト岩田株式会社 | 圧力表示スプレーガン |
| DE10205831A1 (de) | 2002-02-13 | 2003-08-28 | Sata Farbspritztechnik | Farbspritzpistole |
| JP2003261155A (ja) | 2002-03-04 | 2003-09-16 | Alcoa Closure Systems Japan Ltd | 合成樹脂製キャップ |
| GB0210446D0 (en) | 2002-05-08 | 2002-06-12 | 3M Innovative Properties Co | Conformable pouch reservoir for spray gun |
| US8025314B2 (en) | 2002-05-15 | 2011-09-27 | Target Brands, Inc. | Medication packaging and labeling system |
| DE20208162U1 (de) | 2002-05-24 | 2002-08-22 | Fraunhofer-Gesellschaft zur Förderung der angewandten Forschung e.V., 80636 München | System zur Erzeugung großflächiger digitaler Bilder |
| US6874664B1 (en) | 2002-06-05 | 2005-04-05 | Rexam Medical Packaging Inc. | Push-pull dispenser with folding fingers |
| DE20208915U1 (de) | 2002-06-07 | 2002-08-14 | Hsueh, Li-Wei, Nantuen Chiu, Taichung | Farbsprühgerät |
| US6763964B1 (en) | 2002-06-11 | 2004-07-20 | Pacific Market, Inc. | One hand openable lid for beverage container |
| GB2389908B (en) | 2002-06-18 | 2005-05-18 | Itw Ltd | Pressure gauge |
| USD472730S1 (en) | 2002-07-22 | 2003-04-08 | Chicago Display Marketing | Product dispenser |
| US7017834B2 (en) | 2002-08-15 | 2006-03-28 | Santa Cruz Cathy D | Liquid storage, dispensing, mixing, application, system and method of use |
| CA2402094A1 (en) | 2002-09-10 | 2004-03-10 | Silvano Breda | Improvements to multiport diverter valve |
| US6626382B1 (en) | 2002-10-04 | 2003-09-30 | Horng-Hsiang Liu | Spray gun air volume adjustment knob |
| USD474528S1 (en) | 2002-10-17 | 2003-05-13 | Tiao-Hsiang Huang | Spray gun |
| USRE46291E1 (en) | 2002-10-22 | 2017-01-31 | Graco Minnesota Inc. | Plural component spray gun for fast setting materials |
| GB0224698D0 (en) | 2002-10-24 | 2002-12-04 | 3M Innovative Properties Co | Easy clean spray gun |
| DE60310512T2 (de) | 2002-11-29 | 2007-06-28 | Anest Iwata Europe S.R.L. | Manuelle Sprühbeschichtungspistole und dazugehörender Behälter |
| US20040245208A1 (en) | 2002-12-02 | 2004-12-09 | Dennison Robert A. | Bottle of sprayable liquid with flexible neck |
| US20040104194A1 (en) | 2002-12-02 | 2004-06-03 | Dennison Robert A. | Bottle of sprayable liquid with flexible neck |
| USD485685S1 (en) | 2002-12-04 | 2004-01-27 | Battelle Memorial Institute | Camouflage pattern for sheet material |
| WO2004052552A1 (de) | 2002-12-10 | 2004-06-24 | Martin Ruda | Einwandiger spritzpistolenbecher und verfahren zum herstellen eines deckels |
| CA2415209C (en) | 2002-12-27 | 2008-12-09 | Seastar Chemicals Inc. | Dropper cap |
| US6955180B2 (en) | 2003-01-06 | 2005-10-18 | Spex Certiprep, Inc. | Pipette washer |
| US6962432B2 (en) | 2003-02-10 | 2005-11-08 | Hp Intellectual Corp. | Machine for mixing and dispensing salad dressings |
| US6874708B2 (en) | 2003-02-13 | 2005-04-05 | Illinois Tool Works Inc. | Automatic air-assisted manifold mounted gun |
| US7467634B2 (en) | 2003-02-21 | 2008-12-23 | Philip Jessup | No contact spray apparatus cleaning device |
| US7517181B2 (en) | 2003-03-13 | 2009-04-14 | J3, Llc | Track fitting for a cargo security system |
| DE10311238A1 (de) | 2003-03-14 | 2004-10-07 | Festo Ag & Co. | Verfahren zur Herstellung eines Ventils |
| US6843390B1 (en) | 2003-03-17 | 2005-01-18 | Joe G. Bristor | Multiple fluid closed system dispensing device |
| US7106343B1 (en) | 2003-04-08 | 2006-09-12 | Carter Hickman | Method and process for virtual paint application |
| DE10316771A1 (de) | 2003-04-10 | 2004-10-28 | Giesecke & Devrient Gmbh | Sicherheitslabel und Herstellungsverfahren für dasselbe |
| US6796514B1 (en) | 2003-05-02 | 2004-09-28 | 3M Innovative Properties Company | Pre-packaged material supply assembly |
| US20040233223A1 (en) | 2003-05-22 | 2004-11-25 | Steven Schkolne | Physical/digital input methodologies for spatial manipulations and entertainment |
| DE10323256A1 (de) | 2003-05-23 | 2004-12-16 | Walther Spritz- Und Lackiersysteme Gmbh | Spritzpistole |
| US6874656B2 (en) | 2003-06-04 | 2005-04-05 | Rieke Corporation | Vented closure |
| US6712292B1 (en) | 2003-06-10 | 2004-03-30 | Illinois Tool Works Inc. | Adjustable adapter for gravity-feed paint sprayer |
| US6945429B2 (en) | 2003-06-10 | 2005-09-20 | Illinois Tool Works Inc. | Disposable paint cup attachment system for gravity-feed paint sprayer |
| DE102004027789B4 (de) | 2003-06-11 | 2011-12-08 | Martin Ruda | Austauschbare Lackiermittelleiteinrichtung und Spritzpistole |
| DE10335420A1 (de) | 2003-08-02 | 2005-02-17 | ITW Oberflächentechnik GmbH & Co. KG | Spritzbeschichtungseinrichtung |
| FR2859118B1 (fr) | 2003-08-26 | 2007-03-09 | Michel Camilleri | Godet jetable a monter sur un pistolet pour la preparation, l'application et la conservation d'une peinture |
| US20050082828A1 (en) * | 2003-09-12 | 2005-04-21 | Wicks Jeffrey C. | Releasable connection assembly for joining tubing sections |
| DE10343064A1 (de) | 2003-09-16 | 2005-05-04 | Sata Farbspritztechnik | Verfahren zur Authentifizierung eines Produkts |
| US7083119B2 (en) | 2003-09-25 | 2006-08-01 | 3M Innovative Properties Company | Security clip for spray gun connector |
| JP3796243B2 (ja) | 2003-11-07 | 2006-07-12 | 昭和機器工業株式会社 | 液体貯蔵タンク通気管用の通気弁構造 |
| US20070131795A1 (en) | 2003-11-07 | 2007-06-14 | Abbate Anthony J | Device and method for mixing and dispensing fluid components of a multicomponent composition |
| US7032839B2 (en) * | 2003-12-30 | 2006-04-25 | 3M Innovative Properties Company | Liquid spray gun with manually separable portions |
| US7201336B2 (en) | 2003-12-30 | 2007-04-10 | 3M Innovative Properties Company | Liquid spray gun with non-circular horn air outlet passageways and apertures |
| CA2455182A1 (en) | 2004-01-14 | 2005-07-14 | Charles Harland | Spray gun receptacle |
| US7165732B2 (en) | 2004-01-16 | 2007-01-23 | Illinois Tool Works Inc. | Adapter assembly for a fluid supply assembly |
| DE102004003439B4 (de) | 2004-01-22 | 2022-02-03 | Sata Gmbh & Co. Kg | Farbbechersystem für eine Farbspritzpistole |
| DE102004003438A1 (de) | 2004-01-22 | 2005-08-18 | Sata Farbspritztechnik Gmbh & Co.Kg | Fließbecher für eine Farbspritzpistole |
| US7255293B2 (en) | 2004-02-13 | 2007-08-14 | Meadwestvaco Corporation | Hose-end sprayer assembly |
| DE102004007733B4 (de) | 2004-02-16 | 2014-02-13 | Sata Gmbh & Co. Kg | Fließbecher für eine Farbspritzpistole |
| GB2411234A (en) | 2004-02-19 | 2005-08-24 | Itw Ltd | Pressure monitoring device for a paint spray gun |
| GB0405337D0 (en) | 2004-03-09 | 2004-04-21 | Petty Robert H | Paint spraygun cleaner |
| US20050220943A1 (en) | 2004-03-10 | 2005-10-06 | Abrams Leeann | System and method for portable infant feeding |
| DE102004014646B3 (de) | 2004-03-25 | 2005-07-14 | Brita Gmbh | Behälterdeckel |
| DE102004021298A1 (de) | 2004-04-29 | 2005-11-24 | Sata Farbspritztechnik Gmbh & Co.Kg | Fließbecher für eine Farbspritzpistole |
| EP1744833B1 (de) | 2004-04-29 | 2007-09-26 | SATA GmbH & Co. KG | Fliessbecher mit lüftung für eine farbspritzpistole |
| WO2005111791A1 (en) | 2004-05-06 | 2005-11-24 | United States Postal Service | Mailing label having a signature section and method of using same |
| ITMI20041118A1 (it) | 2004-06-03 | 2004-09-03 | Rosauto Srl | Dispositivo di lavaggio dotato di zone di lavaggio automatico e manuale separate per pistole e spruzzo e loro componenti |
| US7350723B2 (en) | 2004-06-28 | 2008-04-01 | Just A Simple Thing, Inc | Cordless, self-contained, handheld spray gun |
| US7511703B2 (en) | 2004-06-28 | 2009-03-31 | Microsoft Corporation | Using size and shape of a physical object to manipulate output in an interactive display application |
| US7844553B2 (en) | 2004-06-30 | 2010-11-30 | Psi Systems, Inc. | Integrated shipping label and customs form |
| USD519687S1 (en) | 2004-07-16 | 2006-04-25 | Zahav Ya Acov Meshi | Clip for packaging and/or marking poultry and/or meat products |
| DE102004043599B4 (de) | 2004-09-07 | 2014-11-27 | Sata Gmbh & Co. Kg | Fließbecher für eine Farbspritzpistole |
| USD541088S1 (en) | 2004-10-07 | 2007-04-24 | Joseph M. Nesci | Vitamin dispenser |
| DE102004051032B4 (de) | 2004-10-20 | 2008-02-21 | Förster, Steffen, Dipl.-Ing. | Manometer |
| US7913938B2 (en) | 2004-11-12 | 2011-03-29 | Mystic Tan, Inc. | Electrostatic spray nozzle with adjustable fluid tip and interchangeable components |
| DE102004055737B3 (de) | 2004-11-18 | 2006-05-04 | Microjet Gmbh | Steuermodul für eine Düsenanordnung |
| EP1835997B1 (de) | 2004-12-16 | 2012-06-13 | Saint-Gobain Abrasives, Inc. | Flüssigkeitszufuhrbecher und verkleidungsanordnung für spritzpistolen |
| US7175110B2 (en) | 2004-12-21 | 2007-02-13 | Anest Iwata Corporation | Manual spray gun and associated disposable cup |
| DE202005001702U1 (de) | 2005-02-02 | 2006-06-14 | Sata Farbspritztechnik Gmbh & Co.Kg | Virtuelles Lackiersystem und Farbspritzpistole |
| US7410106B2 (en) | 2005-02-08 | 2008-08-12 | 3M Innovative Properties Company | Pressurized liquid supply assembly |
| USD528192S1 (en) | 2005-03-07 | 2006-09-12 | Cambro Manufacturing Company | Food service venting plug |
| CN101184670A (zh) | 2005-05-26 | 2008-05-21 | 野泽定雄 | 液体容器 |
| US7036752B1 (en) | 2005-06-20 | 2006-05-02 | Shin Kuei Hsiang | Connection of cup and paint sprayer |
| USD538493S1 (en) | 2005-07-22 | 2007-03-13 | Whirlpool Corporation | Wall vacuum |
| USD552715S1 (en) | 2005-07-28 | 2007-10-09 | Sata Gmbh & Co. Kg | Paint spray gun |
| US20100059533A1 (en) | 2005-08-01 | 2010-03-11 | Life Technologies Corporation | Labels, containers, system and method for providing reagents |
| USD538886S1 (en) | 2005-08-23 | 2007-03-20 | Kuan Chang Co., Ltd. | Spray gun body |
| US7097118B1 (en) | 2005-09-15 | 2006-08-29 | Kuan Chang Co., Ltd. | Spray paint gun with shunt control |
| US20070095943A1 (en) | 2005-10-28 | 2007-05-03 | Turnbull William N | Liquid reservoir, and kit, spray assembly and method using same |
| US8616434B2 (en) | 2006-02-28 | 2013-12-31 | Wilopen Products, Lc | Multi-component forms |
| US20070205305A1 (en) | 2006-03-03 | 2007-09-06 | Rbl Products, Inc. | Paint spray system |
| USD554703S1 (en) | 2006-03-03 | 2007-11-06 | Steve Josephson | Notepad holder |
| USD538050S1 (en) | 2006-03-09 | 2007-03-13 | Randy Scott Tardif | Substrate with camouflage pattern |
| USD545943S1 (en) | 2006-03-14 | 2007-07-03 | Illinois Tool Works Inc. | Coating material dispensing device |
| US20070252378A1 (en) | 2006-04-17 | 2007-11-01 | Walgreen Co. | Pharmacy label and method for preparation |
| CA2651721C (en) | 2006-05-04 | 2011-04-12 | Brasscorp Limited | Inspection port |
| WO2007133386A2 (en) | 2006-05-09 | 2007-11-22 | Nordson Corporation | Control system for can coating |
| USD541053S1 (en) | 2006-06-01 | 2007-04-24 | The Procter & Gamble Company | Surface pattern of a paper product |
| USD573227S1 (en) | 2006-06-12 | 2008-07-15 | Titan Tool, Inc. | Texture spray gun |
| DK2029285T3 (da) | 2006-06-20 | 2013-03-11 | Saint Gobain Abrasives Inc | Væsketilførselsanordning |
| DE502006002824D1 (de) | 2006-07-22 | 2009-03-26 | Wagner Gmbh J | Spritzpistole |
| JP2008043870A (ja) | 2006-08-14 | 2008-02-28 | Ueno Corporation:Kk | 塗装システム |
| CN200954482Y (zh) | 2006-08-30 | 2007-10-03 | 洽昌精密工业股份有限公司 | 喷涂工具的螺合构造改良 |
| WO2008032390A1 (fr) | 2006-09-14 | 2008-03-20 | Ibiden Co., Ltd. | Procédé de production d'une structure en nid d'abeille |
| DE502006006859D1 (de) | 2006-09-19 | 2010-06-10 | Behr France Rouffach Sas | Luftführungsgehäuse, insbesondere für eine Kraftfahrzeug-Klimaanlage, mit einer Verteilerklappe und Verfahren zur Regelung einer derartigen Verteilerklappe |
| USD616022S1 (en) | 2006-09-21 | 2010-05-18 | Eric Kudimi | Professional pilot master log |
| USD615586S1 (en) | 2006-11-13 | 2010-05-11 | Eric Kudimi | Standard aircraft master log with master document locator |
| USD571463S1 (en) | 2006-11-30 | 2008-06-17 | Medical Components, Inc. | Catheter information clip |
| EP1930084B1 (de) | 2006-12-05 | 2009-06-03 | SATA GmbH & Co. KG | Belüftung für den Fließbecher einer Farbspritzpistole |
| DE202007001031U1 (de) | 2007-01-24 | 2007-03-29 | Chia Chung Precision Industrial Co., Ltd., Hsin Chuang City | Verschlussaufbau eines Vorratsbehälters einer Spritzpistole |
| DE102007006547B4 (de) | 2007-02-09 | 2016-09-29 | Dürr Systems GmbH | Lenkluftring und entsprechendes Beschichtungsverfahren |
| DE102007053855A1 (de) | 2007-02-27 | 2008-09-04 | Martin Ruda | Farbspritzpistole mit einem Grundkörper, auswechselbare Farbleiteinrichtung und Anordnung aus einer Farbspritzpistole, einer auswechselbaren Farbleiteinrichtung und einem Farbspritzpistolenbecher |
| US20080272213A1 (en) * | 2007-05-02 | 2008-11-06 | Ting Chin-Ming | Spray Gun |
| US7874386B2 (en) | 2007-05-11 | 2011-01-25 | Pinhas Ben-Tzvi | Hybrid mobile robot |
| US7624869B2 (en) | 2007-05-17 | 2009-12-01 | Medline Industries, Inc. | Package for wound care products |
| US20080296410A1 (en) | 2007-05-31 | 2008-12-04 | Tritech Industries, Inc. | One piece airless spray gun housing |
| US8360345B2 (en) | 2007-05-31 | 2013-01-29 | Micheli Paul R | Airless spray gun having overhead valve and removable head |
| NO20072869A (no) | 2007-06-05 | 2008-10-20 | Mi Llc | Vaskemaskin for sikteduk samt fremgangsmåte for rengjøring av sikteduk |
| DE202007008816U1 (de) | 2007-06-21 | 2007-10-11 | Industra Industrieanlagen - Maschinen Und Teile Gmbh | Zerstäuberkopf für eine Spritzpistole |
| US7922107B2 (en) | 2007-07-25 | 2011-04-12 | Fox Jeffrey D | Spray gun with paint cartridge |
| DE202007011604U1 (de) | 2007-08-18 | 2009-01-02 | Sata Gmbh & Co. Kg | Anschlussteil zur Verbindung einer Materialzuführungseinrichtung an eine Spritzpistole |
| DE102007039106B4 (de) | 2007-08-18 | 2022-06-09 | Sata Gmbh & Co. Kg | Farbbehälter für eine Spritzpistole, mit einem Anschlussteil zur Verbindung des Farbbehälters an eine Spritzpistole und Farbspritzeinrichtung |
| USD581107S1 (en) | 2007-10-26 | 2008-11-18 | Sata Gmbh & Co. Kg | Paint spray gun cleaning device |
| DE102007052067B4 (de) | 2007-10-30 | 2014-08-21 | Sata Gmbh & Co. Kg | Reinigungsvorrichtung zur Reinigung von Spritzpistolen |
| USD574926S1 (en) | 2007-11-30 | 2008-08-12 | Kuan Chang Co., Ltd | Paint cup for a spray gun |
| US7918830B2 (en) | 2007-12-03 | 2011-04-05 | Pharmedium Services, Llc | Safety device for drug delivery devices and containers |
| USD604394S1 (en) | 2007-12-03 | 2009-11-17 | Hsing-Tzu Wang | Paint spray gun |
| USD575374S1 (en) | 2007-12-04 | 2008-08-19 | Kuan Chang Co., Ltd | Spray gun body |
| USD583013S1 (en) | 2008-01-04 | 2008-12-16 | Hsing-Tzu Wang | Paint spray gun |
| US20100251455A1 (en) | 2008-01-15 | 2010-10-07 | Lampe Jeffrey L | Camouflage For Day And Night Use |
| USD579213S1 (en) | 2008-02-19 | 2008-10-28 | Incase Designs Corporation | Sheet material with topographic pattern imprint |
| FR2927824A1 (fr) | 2008-02-25 | 2009-08-28 | Jean Camille Valentin | Dispositif a mise en oeuvre rapide destine a la projection des peintures et autres liquides en vue du recouvrement et de la protection des metaux et autres materiaux |
| USD581483S1 (en) | 2008-02-28 | 2008-11-25 | Campbell Hausfeld/Scott Fetzer Company | Spray gun |
| USD608858S1 (en) | 2008-03-10 | 2010-01-26 | Illinois Tool Works Inc. | Coating material dispensing device |
| WO2009113980A1 (en) | 2008-03-12 | 2009-09-17 | Fox Jeffrey D | Disposable spray gun cartridge |
| US8091802B2 (en) | 2008-04-28 | 2012-01-10 | Temptu, Inc. | Spraying device apparatus |
| US8042402B2 (en) | 2008-05-01 | 2011-10-25 | General Electric Company | Modular sensor assembly |
| US20110125607A1 (en) | 2009-05-12 | 2011-05-26 | Richard Wilen | Multi-pack gift card system and methods |
| USD588231S1 (en) | 2008-05-21 | 2009-03-10 | Pellin Christopher J | Spray applicator |
| US8899501B2 (en) | 2008-07-23 | 2014-12-02 | Sata Gmbh & Co. Kg | Spray gun with paint cartridge |
| US8439281B2 (en) | 2008-08-15 | 2013-05-14 | Hyde Tools, Inc. | Modular coatings sprayer |
| DE202008014389U1 (de) | 2008-10-29 | 2010-04-08 | Sata Gmbh & Co. Kg | Fließbecher für eine Farbspritzpistole |
| CA130797S (en) | 2008-11-28 | 2010-01-22 | Anest Iwata Corp | Hand held air spray gun |
| BRPI1005361A2 (pt) | 2009-01-26 | 2020-08-18 | 3M Innovative Properties Company | plataforma para pistolas de aspersão de líquidos, conjuntos de cabeça de aspersão de líquidos e pistola de aspersão de líquidos |
| EP2219358A1 (de) | 2009-02-13 | 2010-08-18 | Research In Motion Limited | Verfahren zur Zusammenschaltung eines Konferenzgesprächs |
| US7946510B2 (en) | 2009-02-19 | 2011-05-24 | Huang Jung-Kun | Nozzle assembly for spray guns |
| US7765876B1 (en) | 2009-03-13 | 2010-08-03 | Zenheart Research Inc. | Apparatus for connecting a pressure gauge to a pipe |
| USD624668S1 (en) | 2009-04-09 | 2010-09-28 | DFC Decorative Film Coating GmbH | Wood grain pattern |
| US8807460B2 (en) | 2009-04-28 | 2014-08-19 | Finishing Brands Holdings Inc. | Fluid through needle for applying multiple component material |
| USD614731S1 (en) | 2009-05-05 | 2010-04-27 | Hsing-Tzu Wang | Paint gun |
| USD607972S1 (en) | 2009-05-05 | 2010-01-12 | Hsing-Tzu Wang | Paint gun |
| DE102009020194A1 (de) | 2009-05-07 | 2010-11-11 | Sata Gmbh & Co. Kg | Spritzpistole mit Druckmesseinrichtung |
| DE102009032399A1 (de) | 2009-07-08 | 2011-01-13 | Sata Gmbh & Co. Kg | Farbspritzpistole |
| DE102009053449A1 (de) | 2009-08-05 | 2011-02-10 | J. Wagner Gmbh | Schlitzdüse |
| USD616527S1 (en) | 2009-09-18 | 2010-05-25 | Wagner Spray Tech Corporation | Spray gun |
| DE202010009104U1 (de) | 2009-10-23 | 2011-03-10 | Sata Gmbh & Co. Kg | Farbbehälter, insbesondere für Farbspritzpistolen |
| US9192950B2 (en) | 2009-11-20 | 2015-11-24 | Wagner Spray Tech Corporation | Sprayer for a fluid delivery system |
| USD634368S1 (en) | 2010-03-04 | 2011-03-15 | Pharmedium Services, Llc | Drug administration safety label |
| USD634369S1 (en) | 2010-03-04 | 2011-03-15 | Pharmedium Services, Llc | Drug administration safety label |
| FR2958189B1 (fr) | 2010-03-30 | 2013-05-03 | Oreal | Aerographe |
| USD671988S1 (en) | 2010-04-10 | 2012-12-04 | Sata Gmbh & Co. Kg | Control and documentation device for spray patterns |
| USD657276S1 (en) | 2010-04-17 | 2012-04-10 | Sata Gmbh & Co. Kg | Manometer |
| USD627039S1 (en) | 2010-04-20 | 2010-11-09 | Bitspower International Co., Ltd. | Pipe coupling plug |
| DE202010007355U1 (de) | 2010-05-28 | 2011-10-20 | Sata Gmbh & Co. Kg | Düsenkopf für eine Spritzvorrichtung |
| USD644803S1 (en) | 2010-06-15 | 2011-09-06 | SATA GmbH & Co., KG | Lid for paint spray gun paint container |
| TWD145058S1 (zh) | 2010-08-12 | 2012-01-21 | 薩塔有限兩合公司 | 噴漆槍(一) |
| CA138811S (en) | 2010-08-12 | 2011-08-08 | Sata Gmbh & Co Kg | Identification tag |
| USD641067S1 (en) | 2010-09-08 | 2011-07-05 | Hsing-Tzu Wang | Pneumatic gun |
| USD637269S1 (en) | 2010-09-08 | 2011-05-03 | Hsing-Tzu Wang | Pneumatic gun |
| DE202010012449U1 (de) | 2010-09-10 | 2010-12-02 | Sata Gmbh & Co. Kg | Düsenanordnung für eine Spritzpistole, insbesondere für eine Farbspritzpistole |
| DE102010060086A1 (de) | 2010-10-20 | 2012-04-26 | Sata Gmbh & Co. Kg | Farbauftragssystem und Verfahren zu dessen Betrieb |
| USD664773S1 (en) | 2010-11-12 | 2012-08-07 | Georgia-Pacific France | Absorbent paper |
| US9333519B2 (en) | 2010-12-02 | 2016-05-10 | Sata Gmbh & Co. Kg | Spray gun and accessories |
| USD638121S1 (en) | 2010-12-17 | 2011-05-17 | Cuauhtemoc Villasana | Catheter clamp |
| US9302281B2 (en) | 2011-01-24 | 2016-04-05 | Carlisle Fluid Technologies, Inc. | High swirl air cap |
| USD661492S1 (en) | 2011-04-29 | 2012-06-12 | Badger Sportswear, Inc. | Substrate with camouflage pattern |
| USD663960S1 (en) | 2011-05-12 | 2012-07-24 | Brookwood Companies Incorporated | Substrate with camouflage pattern |
| USD661742S1 (en) | 2011-05-27 | 2012-06-12 | Life Technologies Corporation | Label |
| EP2726212B2 (de) | 2011-06-30 | 2023-07-12 | SATA GmbH & Co. KG | Leicht zu reinigende spritzpistole, zubehör hierfür, montage- und demontageverfahren |
| CA143616S (en) | 2011-06-30 | 2012-11-26 | Sata Gmbh & Co Kg | Cartridge spray gun |
| DE102011106060A1 (de) | 2011-06-30 | 2013-01-03 | Sata Gmbh & Co. Kg | Leicht zu reinigende Spritzpistole, Zubehör hierfür, Montage- und Demontageverfahren |
| US9358561B2 (en) | 2011-07-28 | 2016-06-07 | 3M Innovative Properties Company | Spray head assembly with integrated air cap/nozzle for a liquid spray gun |
| USD674880S1 (en) | 2011-11-10 | 2013-01-22 | Sata Gmbh & Co. Kg | Antistatic spray gun |
| DE102011118120A1 (de) | 2011-11-10 | 2013-05-16 | Sata Gmbh & Co. Kg | Vorrichtung und Verfahren zur Behandlung von Luft, insbesondere Atemluft |
| US8524312B2 (en) | 2011-11-16 | 2013-09-03 | Csl Silicones Inc. | Applicator for spraying elastomeric materials |
| USD689593S1 (en) | 2012-01-27 | 2013-09-10 | Sata Gmbh & Co. Kg | Spray gun |
| USD689590S1 (en) | 2012-03-09 | 2013-09-10 | Sata Gmbh & Co. Kg | Spray gun plug |
| CA147046S (en) | 2012-03-30 | 2013-07-10 | Sata Gmbh & Co Kg | Spray gun |
| USD670085S1 (en) | 2012-04-12 | 2012-11-06 | Brookwood Companies Inc. | Substrate with camouflage pattern |
| USD690799S1 (en) | 2012-07-02 | 2013-10-01 | Sata Gmbh & Co. Kg | Spray gun with pattern |
| USD692530S1 (en) | 2012-07-04 | 2013-10-29 | Sata Gmbh & Co. Kg | Paint spray gun cup |
| JP5787410B2 (ja) | 2012-08-31 | 2015-09-30 | アネスト岩田株式会社 | スプレーガン |
| CA150012S (en) | 2012-09-07 | 2014-06-09 | Sata Gmbh & Co Kg | Spray gun cleaning apparatus |
| USD692532S1 (en) | 2012-10-16 | 2013-10-29 | Xiao-Rong Li | Spray gun |
| USD704300S1 (en) | 2012-12-05 | 2014-05-06 | Xiao-Rong Li | Spray gun |
| USD733453S1 (en) | 2013-04-11 | 2015-07-07 | Sata Gmbh & Co. Kg | Dispenser for paint spray gun cup components |
| DE202013101550U1 (de) | 2013-04-11 | 2013-06-10 | Sata Gmbh & Co. Kg | Spender und Spendersystem für zumindest eine Komponente eines Bechersystems, insbesondere eines Farbbechersystems |
| AU353952S (en) | 2013-08-16 | 2014-02-26 | Sata Gmbh & Co Kg | Spray gun holder |
| USD720041S1 (en) | 2013-09-12 | 2014-12-23 | Earlex Ltd. | Spray device |
| CA155498S (en) | 2013-09-27 | 2015-08-27 | Sata Gmbh & Co Kg | Marking device for a spray gun |
| AU355342S (en) | 2013-09-27 | 2014-05-13 | Sata Gmbh & Co Kg | Label |
| CA155474S (en) | 2013-09-27 | 2015-08-27 | Sata Gmbh & Co Kg | Spray gun |
| USD734571S1 (en) | 2013-11-12 | 2015-07-14 | Sata Gmbh & Co. Kg | Paint spray gun cleaning device |
| DE202013105779U1 (de) | 2013-12-18 | 2015-03-19 | Sata Gmbh & Co. Kg | Luftdüsenabschluss für eine Lackierpistole |
| US11059062B2 (en) | 2014-02-19 | 2021-07-13 | Worthen Industries | Airless adhesive spray gun and method of use |
| USD758533S1 (en) | 2014-06-02 | 2016-06-07 | Sata Gmbh & Co. Kg | Paint spray gun cup |
| USD758537S1 (en) | 2014-07-31 | 2016-06-07 | Sata Gmbh & Co. Kg | Paint spray gun rear portion |
| CN110560285B (zh) | 2014-07-31 | 2021-05-18 | 萨塔有限两合公司 | 喷枪及其制造方法 |
| CA159961S (en) | 2014-07-31 | 2015-07-17 | Sata Gmbh & Co Kg | Spray gun |
| USD768820S1 (en) | 2014-09-03 | 2016-10-11 | Sata Gmbh & Co. Kg | Paint spray gun with pattern |
| USD745636S1 (en) | 2014-11-03 | 2015-12-15 | Zoneking Industrial Co., Ltd. | Spray gun body |
-
2011
- 2011-11-19 US US13/991,285 patent/US9333519B2/en active Active
- 2011-11-19 EP EP11791211.3A patent/EP2646166B1/de active Active
-
2016
- 2016-05-02 US US15/143,698 patent/US9782785B2/en active Active
Non-Patent Citations (1)
| Title |
|---|
| None * |
Cited By (1)
| Publication number | Priority date | Publication date | Assignee | Title |
|---|---|---|---|---|
| DE102021005362A1 (de) | 2021-05-14 | 2022-11-17 | Martin Ruda 1. UG (haftungsbeschränkt). | Lackiermittelleiteinrichtung, Spritzpistole und Anordnung |
Also Published As
| Publication number | Publication date |
|---|---|
| US9333519B2 (en) | 2016-05-10 |
| US9782785B2 (en) | 2017-10-10 |
| US20130320110A1 (en) | 2013-12-05 |
| EP2646166A2 (de) | 2013-10-09 |
| US20160243567A1 (en) | 2016-08-25 |
Similar Documents
| Publication | Publication Date | Title |
|---|---|---|
| EP2646166B1 (de) | Spritzpistole und zubehör | |
| EP2726212B1 (de) | Leicht zu reinigende spritzpistole, zubehör hierfür, montage- und demontageverfahren | |
| EP2822700B1 (de) | Spritzpistole und zubehör | |
| EP2134475B1 (de) | Vorrichtung zum aufsprühen von pigmentierten flüssigkeiten | |
| WO2013000524A1 (de) | Leicht zu reinigende spritzpistole, zubehör hierfür, montage- und demontageverfahren | |
| EP1523385B1 (de) | Abgabesystem für fluide Substanzen | |
| DE60308886T2 (de) | Leicht zu reinigende sprühpistole | |
| WO2012072205A2 (de) | Spritzpistole und zubehör | |
| EP3954468B1 (de) | Spritzpistole | |
| DE20321623U1 (de) | Spritzpistole mit eingebautem Schnellverbinder für einen Farbtank | |
| DE1278303B (de) | Spritzkopf zum Spritzlackieren ohne Luft | |
| DE102007053855A1 (de) | Farbspritzpistole mit einem Grundkörper, auswechselbare Farbleiteinrichtung und Anordnung aus einer Farbspritzpistole, einer auswechselbaren Farbleiteinrichtung und einem Farbspritzpistolenbecher | |
| EP3181245B1 (de) | Düsenanordnung für fliessfähige substanzen | |
| DE102007044983A1 (de) | Austragvorrichtung | |
| EP3135599A1 (de) | Austragkopf für einen flüssigkeitsspender und flüssigkeitsspender | |
| DE102008010169A1 (de) | Vorrichtung zum Sprühen einer Flüssigkeit, insbesondere einer Farbe | |
| WO2012048678A2 (de) | Applikator für ein fliessfähiges auftragsmedium | |
| WO2023041658A1 (de) | Lackierpistole mit zweiteiliger materialnadel, materialnadel, vordernadel einer materialnadel sowie verfahren zum austausch einer materialnadel | |
| EP3666397A1 (de) | Sprühkopfeinrichtung, zerstäuber und bausatz | |
| DE102007053590A1 (de) | Handgerät zum Inhalieren von Substanzen | |
| DE102020115174A1 (de) | Spritzpistole, insbesondere Farbspritzpistole | |
| DE102006036517A1 (de) | Abgabekopf für einen ein fließfähiges Medium unter Druck aufnehmenden Druckbehälter | |
| WO2012119578A1 (de) | Farbspritzpistole mit einem farbleitbereich und einer farbnadel | |
| DE102020007396A1 (de) | Abgabeeinrichtung und Spender | |
| DE202016005029U1 (de) | Spritzpistole mit Abzugssperre und Abzugssperre für eine Spritzpistole |
Legal Events
| Date | Code | Title | Description |
|---|---|---|---|
| PUAI | Public reference made under article 153(3) epc to a published international application that has entered the european phase |
Free format text: ORIGINAL CODE: 0009012 |
|
| 17P | Request for examination filed |
Effective date: 20130529 |
|
| AK | Designated contracting states |
Kind code of ref document: A2 Designated state(s): AL AT BE BG CH CY CZ DE DK EE ES FI FR GB GR HR HU IE IS IT LI LT LU LV MC MK MT NL NO PL PT RO RS SE SI SK SM TR |
|
| DAX | Request for extension of the european patent (deleted) | ||
| 17Q | First examination report despatched |
Effective date: 20141029 |
|
| GRAP | Despatch of communication of intention to grant a patent |
Free format text: ORIGINAL CODE: EPIDOSNIGR1 |
|
| INTG | Intention to grant announced |
Effective date: 20180606 |
|
| GRAS | Grant fee paid |
Free format text: ORIGINAL CODE: EPIDOSNIGR3 |
|
| GRAA | (expected) grant |
Free format text: ORIGINAL CODE: 0009210 |
|
| AK | Designated contracting states |
Kind code of ref document: B1 Designated state(s): AL AT BE BG CH CY CZ DE DK EE ES FI FR GB GR HR HU IE IS IT LI LT LU LV MC MK MT NL NO PL PT RO RS SE SI SK SM TR |
|
| REG | Reference to a national code |
Ref country code: GB Ref legal event code: FG4D Free format text: NOT ENGLISH |
|
| REG | Reference to a national code |
Ref country code: CH Ref legal event code: EP Ref country code: AT Ref legal event code: REF Ref document number: 1061439 Country of ref document: AT Kind code of ref document: T Effective date: 20181115 |
|
| REG | Reference to a national code |
Ref country code: IE Ref legal event code: FG4D Free format text: LANGUAGE OF EP DOCUMENT: GERMAN |
|
| REG | Reference to a national code |
Ref country code: DE Ref legal event code: R096 Ref document number: 502011014983 Country of ref document: DE |
|
| REG | Reference to a national code |
Ref country code: NL Ref legal event code: MP Effective date: 20181107 |
|
| REG | Reference to a national code |
Ref country code: LT Ref legal event code: MG4D |
|
| PG25 | Lapsed in a contracting state [announced via postgrant information from national office to epo] |
Ref country code: BG Free format text: LAPSE BECAUSE OF FAILURE TO SUBMIT A TRANSLATION OF THE DESCRIPTION OR TO PAY THE FEE WITHIN THE PRESCRIBED TIME-LIMIT Effective date: 20190207 Ref country code: NO Free format text: LAPSE BECAUSE OF FAILURE TO SUBMIT A TRANSLATION OF THE DESCRIPTION OR TO PAY THE FEE WITHIN THE PRESCRIBED TIME-LIMIT Effective date: 20190207 Ref country code: IS Free format text: LAPSE BECAUSE OF FAILURE TO SUBMIT A TRANSLATION OF THE DESCRIPTION OR TO PAY THE FEE WITHIN THE PRESCRIBED TIME-LIMIT Effective date: 20190307 Ref country code: HR Free format text: LAPSE BECAUSE OF FAILURE TO SUBMIT A TRANSLATION OF THE DESCRIPTION OR TO PAY THE FEE WITHIN THE PRESCRIBED TIME-LIMIT Effective date: 20181107 Ref country code: LT Free format text: LAPSE BECAUSE OF FAILURE TO SUBMIT A TRANSLATION OF THE DESCRIPTION OR TO PAY THE FEE WITHIN THE PRESCRIBED TIME-LIMIT Effective date: 20181107 Ref country code: ES Free format text: LAPSE BECAUSE OF FAILURE TO SUBMIT A TRANSLATION OF THE DESCRIPTION OR TO PAY THE FEE WITHIN THE PRESCRIBED TIME-LIMIT Effective date: 20181107 Ref country code: LV Free format text: LAPSE BECAUSE OF FAILURE TO SUBMIT A TRANSLATION OF THE DESCRIPTION OR TO PAY THE FEE WITHIN THE PRESCRIBED TIME-LIMIT Effective date: 20181107 Ref country code: FI Free format text: LAPSE BECAUSE OF FAILURE TO SUBMIT A TRANSLATION OF THE DESCRIPTION OR TO PAY THE FEE WITHIN THE PRESCRIBED TIME-LIMIT Effective date: 20181107 |
|
| PG25 | Lapsed in a contracting state [announced via postgrant information from national office to epo] |
Ref country code: AL Free format text: LAPSE BECAUSE OF FAILURE TO SUBMIT A TRANSLATION OF THE DESCRIPTION OR TO PAY THE FEE WITHIN THE PRESCRIBED TIME-LIMIT Effective date: 20181107 Ref country code: RS Free format text: LAPSE BECAUSE OF FAILURE TO SUBMIT A TRANSLATION OF THE DESCRIPTION OR TO PAY THE FEE WITHIN THE PRESCRIBED TIME-LIMIT Effective date: 20181107 Ref country code: NL Free format text: LAPSE BECAUSE OF FAILURE TO SUBMIT A TRANSLATION OF THE DESCRIPTION OR TO PAY THE FEE WITHIN THE PRESCRIBED TIME-LIMIT Effective date: 20181107 Ref country code: SE Free format text: LAPSE BECAUSE OF FAILURE TO SUBMIT A TRANSLATION OF THE DESCRIPTION OR TO PAY THE FEE WITHIN THE PRESCRIBED TIME-LIMIT Effective date: 20181107 Ref country code: GR Free format text: LAPSE BECAUSE OF FAILURE TO SUBMIT A TRANSLATION OF THE DESCRIPTION OR TO PAY THE FEE WITHIN THE PRESCRIBED TIME-LIMIT Effective date: 20190208 Ref country code: PT Free format text: LAPSE BECAUSE OF FAILURE TO SUBMIT A TRANSLATION OF THE DESCRIPTION OR TO PAY THE FEE WITHIN THE PRESCRIBED TIME-LIMIT Effective date: 20190307 |
|
| REG | Reference to a national code |
Ref country code: CH Ref legal event code: PL |
|
| PG25 | Lapsed in a contracting state [announced via postgrant information from national office to epo] |
Ref country code: DK Free format text: LAPSE BECAUSE OF FAILURE TO SUBMIT A TRANSLATION OF THE DESCRIPTION OR TO PAY THE FEE WITHIN THE PRESCRIBED TIME-LIMIT Effective date: 20181107 Ref country code: LU Free format text: LAPSE BECAUSE OF NON-PAYMENT OF DUE FEES Effective date: 20181119 Ref country code: CZ Free format text: LAPSE BECAUSE OF FAILURE TO SUBMIT A TRANSLATION OF THE DESCRIPTION OR TO PAY THE FEE WITHIN THE PRESCRIBED TIME-LIMIT Effective date: 20181107 Ref country code: PL Free format text: LAPSE BECAUSE OF FAILURE TO SUBMIT A TRANSLATION OF THE DESCRIPTION OR TO PAY THE FEE WITHIN THE PRESCRIBED TIME-LIMIT Effective date: 20181107 |
|
| REG | Reference to a national code |
Ref country code: DE Ref legal event code: R097 Ref document number: 502011014983 Country of ref document: DE |
|
| REG | Reference to a national code |
Ref country code: BE Ref legal event code: MM Effective date: 20181130 |
|
| REG | Reference to a national code |
Ref country code: IE Ref legal event code: MM4A |
|
| PG25 | Lapsed in a contracting state [announced via postgrant information from national office to epo] |
Ref country code: CH Free format text: LAPSE BECAUSE OF NON-PAYMENT OF DUE FEES Effective date: 20181130 Ref country code: MC Free format text: LAPSE BECAUSE OF FAILURE TO SUBMIT A TRANSLATION OF THE DESCRIPTION OR TO PAY THE FEE WITHIN THE PRESCRIBED TIME-LIMIT Effective date: 20181107 Ref country code: LI Free format text: LAPSE BECAUSE OF NON-PAYMENT OF DUE FEES Effective date: 20181130 Ref country code: SK Free format text: LAPSE BECAUSE OF FAILURE TO SUBMIT A TRANSLATION OF THE DESCRIPTION OR TO PAY THE FEE WITHIN THE PRESCRIBED TIME-LIMIT Effective date: 20181107 Ref country code: RO Free format text: LAPSE BECAUSE OF FAILURE TO SUBMIT A TRANSLATION OF THE DESCRIPTION OR TO PAY THE FEE WITHIN THE PRESCRIBED TIME-LIMIT Effective date: 20181107 Ref country code: EE Free format text: LAPSE BECAUSE OF FAILURE TO SUBMIT A TRANSLATION OF THE DESCRIPTION OR TO PAY THE FEE WITHIN THE PRESCRIBED TIME-LIMIT Effective date: 20181107 Ref country code: SM Free format text: LAPSE BECAUSE OF FAILURE TO SUBMIT A TRANSLATION OF THE DESCRIPTION OR TO PAY THE FEE WITHIN THE PRESCRIBED TIME-LIMIT Effective date: 20181107 |
|
| PLBE | No opposition filed within time limit |
Free format text: ORIGINAL CODE: 0009261 |
|
| STAA | Information on the status of an ep patent application or granted ep patent |
Free format text: STATUS: NO OPPOSITION FILED WITHIN TIME LIMIT |
|
| 26N | No opposition filed |
Effective date: 20190808 |
|
| PG25 | Lapsed in a contracting state [announced via postgrant information from national office to epo] |
Ref country code: SI Free format text: LAPSE BECAUSE OF FAILURE TO SUBMIT A TRANSLATION OF THE DESCRIPTION OR TO PAY THE FEE WITHIN THE PRESCRIBED TIME-LIMIT Effective date: 20181107 Ref country code: IE Free format text: LAPSE BECAUSE OF NON-PAYMENT OF DUE FEES Effective date: 20181119 |
|
| PG25 | Lapsed in a contracting state [announced via postgrant information from national office to epo] |
Ref country code: BE Free format text: LAPSE BECAUSE OF NON-PAYMENT OF DUE FEES Effective date: 20181130 |
|
| REG | Reference to a national code |
Ref country code: AT Ref legal event code: MM01 Ref document number: 1061439 Country of ref document: AT Kind code of ref document: T Effective date: 20181119 |
|
| PG25 | Lapsed in a contracting state [announced via postgrant information from national office to epo] |
Ref country code: AT Free format text: LAPSE BECAUSE OF NON-PAYMENT OF DUE FEES Effective date: 20181119 Ref country code: MT Free format text: LAPSE BECAUSE OF FAILURE TO SUBMIT A TRANSLATION OF THE DESCRIPTION OR TO PAY THE FEE WITHIN THE PRESCRIBED TIME-LIMIT Effective date: 20181107 |
|
| PG25 | Lapsed in a contracting state [announced via postgrant information from national office to epo] |
Ref country code: TR Free format text: LAPSE BECAUSE OF FAILURE TO SUBMIT A TRANSLATION OF THE DESCRIPTION OR TO PAY THE FEE WITHIN THE PRESCRIBED TIME-LIMIT Effective date: 20181107 |
|
| PG25 | Lapsed in a contracting state [announced via postgrant information from national office to epo] |
Ref country code: MK Free format text: LAPSE BECAUSE OF NON-PAYMENT OF DUE FEES Effective date: 20181107 Ref country code: HU Free format text: LAPSE BECAUSE OF FAILURE TO SUBMIT A TRANSLATION OF THE DESCRIPTION OR TO PAY THE FEE WITHIN THE PRESCRIBED TIME-LIMIT; INVALID AB INITIO Effective date: 20111119 Ref country code: CY Free format text: LAPSE BECAUSE OF FAILURE TO SUBMIT A TRANSLATION OF THE DESCRIPTION OR TO PAY THE FEE WITHIN THE PRESCRIBED TIME-LIMIT Effective date: 20181107 |
|
| PGFP | Annual fee paid to national office [announced via postgrant information from national office to epo] |
Ref country code: IT Payment date: 20221130 Year of fee payment: 12 Ref country code: GB Payment date: 20221123 Year of fee payment: 12 Ref country code: FR Payment date: 20221118 Year of fee payment: 12 |
|
| P01 | Opt-out of the competence of the unified patent court (upc) registered |
Effective date: 20230509 |
|
| GBPC | Gb: european patent ceased through non-payment of renewal fee |
Effective date: 20231119 |
|
| PG25 | Lapsed in a contracting state [announced via postgrant information from national office to epo] |
Ref country code: GB Free format text: LAPSE BECAUSE OF NON-PAYMENT OF DUE FEES Effective date: 20231119 |
|
| PG25 | Lapsed in a contracting state [announced via postgrant information from national office to epo] |
Ref country code: FR Free format text: LAPSE BECAUSE OF NON-PAYMENT OF DUE FEES Effective date: 20231130 |
|
| PG25 | Lapsed in a contracting state [announced via postgrant information from national office to epo] |
Ref country code: GB Free format text: LAPSE BECAUSE OF NON-PAYMENT OF DUE FEES Effective date: 20231119 Ref country code: FR Free format text: LAPSE BECAUSE OF NON-PAYMENT OF DUE FEES Effective date: 20231130 |
|
| PG25 | Lapsed in a contracting state [announced via postgrant information from national office to epo] |
Ref country code: IT Free format text: LAPSE BECAUSE OF NON-PAYMENT OF DUE FEES Effective date: 20231119 |
|
| PG25 | Lapsed in a contracting state [announced via postgrant information from national office to epo] |
Ref country code: IT Free format text: LAPSE BECAUSE OF NON-PAYMENT OF DUE FEES Effective date: 20231119 |
|
| PGFP | Annual fee paid to national office [announced via postgrant information from national office to epo] |
Ref country code: DE Payment date: 20241119 Year of fee payment: 14 |