EP1875022B1 - Haushaltsgerät mit einer verriegelungsvorrichtung - Google Patents
Haushaltsgerät mit einer verriegelungsvorrichtung Download PDFInfo
- Publication number
- EP1875022B1 EP1875022B1 EP20060743299 EP06743299A EP1875022B1 EP 1875022 B1 EP1875022 B1 EP 1875022B1 EP 20060743299 EP20060743299 EP 20060743299 EP 06743299 A EP06743299 A EP 06743299A EP 1875022 B1 EP1875022 B1 EP 1875022B1
- Authority
- EP
- European Patent Office
- Prior art keywords
- domestic appliance
- trough
- appliance according
- door
- closing
- Prior art date
- Legal status (The legal status is an assumption and is not a legal conclusion. Google has not performed a legal analysis and makes no representation as to the accuracy of the status listed.)
- Active
Links
Images
Classifications
-
- E—FIXED CONSTRUCTIONS
- E05—LOCKS; KEYS; WINDOW OR DOOR FITTINGS; SAFES
- E05C—BOLTS OR FASTENING DEVICES FOR WINGS, SPECIALLY FOR DOORS OR WINDOWS
- E05C3/00—Fastening devices with bolts moving pivotally or rotatively
- E05C3/12—Fastening devices with bolts moving pivotally or rotatively with latching action
- E05C3/16—Fastening devices with bolts moving pivotally or rotatively with latching action with operating handle or equivalent member moving otherwise than rigidly with the latch
- E05C3/22—Fastening devices with bolts moving pivotally or rotatively with latching action with operating handle or equivalent member moving otherwise than rigidly with the latch the bolt being spring controlled
- E05C3/24—Fastening devices with bolts moving pivotally or rotatively with latching action with operating handle or equivalent member moving otherwise than rigidly with the latch the bolt being spring controlled in the form of a bifurcated member
-
- A—HUMAN NECESSITIES
- A47—FURNITURE; DOMESTIC ARTICLES OR APPLIANCES; COFFEE MILLS; SPICE MILLS; SUCTION CLEANERS IN GENERAL
- A47L—DOMESTIC WASHING OR CLEANING; SUCTION CLEANERS IN GENERAL
- A47L15/00—Washing or rinsing machines for crockery or tableware
- A47L15/42—Details
-
- A—HUMAN NECESSITIES
- A47—FURNITURE; DOMESTIC ARTICLES OR APPLIANCES; COFFEE MILLS; SPICE MILLS; SUCTION CLEANERS IN GENERAL
- A47L—DOMESTIC WASHING OR CLEANING; SUCTION CLEANERS IN GENERAL
- A47L15/00—Washing or rinsing machines for crockery or tableware
- A47L15/42—Details
- A47L15/4251—Details of the casing
- A47L15/4257—Details of the loading door
- A47L15/4259—Arrangements of locking or security/safety devices for doors, e.g. door latches, switch to stop operation when door is open
-
- E—FIXED CONSTRUCTIONS
- E05—LOCKS; KEYS; WINDOW OR DOOR FITTINGS; SAFES
- E05B—LOCKS; ACCESSORIES THEREFOR; HANDCUFFS
- E05B63/00—Locks or fastenings with special structural characteristics
- E05B63/18—Locks or fastenings with special structural characteristics with arrangements independent of the locking mechanism for retaining the bolt or latch in the retracted position
- E05B63/20—Locks or fastenings with special structural characteristics with arrangements independent of the locking mechanism for retaining the bolt or latch in the retracted position released automatically when the wing is closed
-
- E—FIXED CONSTRUCTIONS
- E05—LOCKS; KEYS; WINDOW OR DOOR FITTINGS; SAFES
- E05C—BOLTS OR FASTENING DEVICES FOR WINGS, SPECIALLY FOR DOORS OR WINDOWS
- E05C1/00—Fastening devices with bolts moving rectilinearly
- E05C1/08—Fastening devices with bolts moving rectilinearly with latching action
-
- E—FIXED CONSTRUCTIONS
- E05—LOCKS; KEYS; WINDOW OR DOOR FITTINGS; SAFES
- E05B—LOCKS; ACCESSORIES THEREFOR; HANDCUFFS
- E05B17/00—Accessories in connection with locks
- E05B17/0025—Devices for forcing the wing firmly against its seat or to initiate the opening of the wing
-
- E—FIXED CONSTRUCTIONS
- E05—LOCKS; KEYS; WINDOW OR DOOR FITTINGS; SAFES
- E05B—LOCKS; ACCESSORIES THEREFOR; HANDCUFFS
- E05B65/00—Locks or fastenings for special use
- E05B65/0014—Locks or fastenings for special use to prevent opening by children
-
- Y—GENERAL TAGGING OF NEW TECHNOLOGICAL DEVELOPMENTS; GENERAL TAGGING OF CROSS-SECTIONAL TECHNOLOGIES SPANNING OVER SEVERAL SECTIONS OF THE IPC; TECHNICAL SUBJECTS COVERED BY FORMER USPC CROSS-REFERENCE ART COLLECTIONS [XRACs] AND DIGESTS
- Y10—TECHNICAL SUBJECTS COVERED BY FORMER USPC
- Y10S—TECHNICAL SUBJECTS COVERED BY FORMER USPC CROSS-REFERENCE ART COLLECTIONS [XRACs] AND DIGESTS
- Y10S292/00—Closure fasteners
- Y10S292/04—Automatic release latches
-
- Y—GENERAL TAGGING OF NEW TECHNOLOGICAL DEVELOPMENTS; GENERAL TAGGING OF CROSS-SECTIONAL TECHNOLOGIES SPANNING OVER SEVERAL SECTIONS OF THE IPC; TECHNICAL SUBJECTS COVERED BY FORMER USPC CROSS-REFERENCE ART COLLECTIONS [XRACs] AND DIGESTS
- Y10—TECHNICAL SUBJECTS COVERED BY FORMER USPC
- Y10S—TECHNICAL SUBJECTS COVERED BY FORMER USPC CROSS-REFERENCE ART COLLECTIONS [XRACs] AND DIGESTS
- Y10S292/00—Closure fasteners
- Y10S292/11—Cover fasteners
-
- Y—GENERAL TAGGING OF NEW TECHNOLOGICAL DEVELOPMENTS; GENERAL TAGGING OF CROSS-SECTIONAL TECHNOLOGIES SPANNING OVER SEVERAL SECTIONS OF THE IPC; TECHNICAL SUBJECTS COVERED BY FORMER USPC CROSS-REFERENCE ART COLLECTIONS [XRACs] AND DIGESTS
- Y10—TECHNICAL SUBJECTS COVERED BY FORMER USPC
- Y10S—TECHNICAL SUBJECTS COVERED BY FORMER USPC CROSS-REFERENCE ART COLLECTIONS [XRACs] AND DIGESTS
- Y10S292/00—Closure fasteners
- Y10S292/69—Washing machine or stove closure latch
-
- Y—GENERAL TAGGING OF NEW TECHNOLOGICAL DEVELOPMENTS; GENERAL TAGGING OF CROSS-SECTIONAL TECHNOLOGIES SPANNING OVER SEVERAL SECTIONS OF THE IPC; TECHNICAL SUBJECTS COVERED BY FORMER USPC CROSS-REFERENCE ART COLLECTIONS [XRACs] AND DIGESTS
- Y10—TECHNICAL SUBJECTS COVERED BY FORMER USPC
- Y10T—TECHNICAL SUBJECTS COVERED BY FORMER US CLASSIFICATION
- Y10T292/00—Closure fasteners
- Y10T292/08—Bolts
-
- Y—GENERAL TAGGING OF NEW TECHNOLOGICAL DEVELOPMENTS; GENERAL TAGGING OF CROSS-SECTIONAL TECHNOLOGIES SPANNING OVER SEVERAL SECTIONS OF THE IPC; TECHNICAL SUBJECTS COVERED BY FORMER USPC CROSS-REFERENCE ART COLLECTIONS [XRACs] AND DIGESTS
- Y10—TECHNICAL SUBJECTS COVERED BY FORMER USPC
- Y10T—TECHNICAL SUBJECTS COVERED BY FORMER US CLASSIFICATION
- Y10T292/00—Closure fasteners
- Y10T292/08—Bolts
- Y10T292/0863—Sliding and rotary
- Y10T292/0867—Spring projected
-
- Y—GENERAL TAGGING OF NEW TECHNOLOGICAL DEVELOPMENTS; GENERAL TAGGING OF CROSS-SECTIONAL TECHNOLOGIES SPANNING OVER SEVERAL SECTIONS OF THE IPC; TECHNICAL SUBJECTS COVERED BY FORMER USPC CROSS-REFERENCE ART COLLECTIONS [XRACs] AND DIGESTS
- Y10—TECHNICAL SUBJECTS COVERED BY FORMER USPC
- Y10T—TECHNICAL SUBJECTS COVERED BY FORMER US CLASSIFICATION
- Y10T292/00—Closure fasteners
- Y10T292/08—Bolts
- Y10T292/0911—Hooked end
-
- Y—GENERAL TAGGING OF NEW TECHNOLOGICAL DEVELOPMENTS; GENERAL TAGGING OF CROSS-SECTIONAL TECHNOLOGIES SPANNING OVER SEVERAL SECTIONS OF THE IPC; TECHNICAL SUBJECTS COVERED BY FORMER USPC CROSS-REFERENCE ART COLLECTIONS [XRACs] AND DIGESTS
- Y10—TECHNICAL SUBJECTS COVERED BY FORMER USPC
- Y10T—TECHNICAL SUBJECTS COVERED BY FORMER US CLASSIFICATION
- Y10T292/00—Closure fasteners
- Y10T292/08—Bolts
- Y10T292/1043—Swinging
-
- Y—GENERAL TAGGING OF NEW TECHNOLOGICAL DEVELOPMENTS; GENERAL TAGGING OF CROSS-SECTIONAL TECHNOLOGIES SPANNING OVER SEVERAL SECTIONS OF THE IPC; TECHNICAL SUBJECTS COVERED BY FORMER USPC CROSS-REFERENCE ART COLLECTIONS [XRACs] AND DIGESTS
- Y10—TECHNICAL SUBJECTS COVERED BY FORMER USPC
- Y10T—TECHNICAL SUBJECTS COVERED BY FORMER US CLASSIFICATION
- Y10T292/00—Closure fasteners
- Y10T292/08—Bolts
- Y10T292/1043—Swinging
- Y10T292/1044—Multiple head
- Y10T292/1045—Operating means
- Y10T292/1047—Closure
-
- Y—GENERAL TAGGING OF NEW TECHNOLOGICAL DEVELOPMENTS; GENERAL TAGGING OF CROSS-SECTIONAL TECHNOLOGIES SPANNING OVER SEVERAL SECTIONS OF THE IPC; TECHNICAL SUBJECTS COVERED BY FORMER USPC CROSS-REFERENCE ART COLLECTIONS [XRACs] AND DIGESTS
- Y10—TECHNICAL SUBJECTS COVERED BY FORMER USPC
- Y10T—TECHNICAL SUBJECTS COVERED BY FORMER US CLASSIFICATION
- Y10T292/00—Closure fasteners
- Y10T292/54—Trippers
- Y10T292/558—Sliding bolt, swinging detent
-
- Y—GENERAL TAGGING OF NEW TECHNOLOGICAL DEVELOPMENTS; GENERAL TAGGING OF CROSS-SECTIONAL TECHNOLOGIES SPANNING OVER SEVERAL SECTIONS OF THE IPC; TECHNICAL SUBJECTS COVERED BY FORMER USPC CROSS-REFERENCE ART COLLECTIONS [XRACs] AND DIGESTS
- Y10—TECHNICAL SUBJECTS COVERED BY FORMER USPC
- Y10T—TECHNICAL SUBJECTS COVERED BY FORMER US CLASSIFICATION
- Y10T70/00—Locks
- Y10T70/50—Special application
- Y10T70/5093—For closures
- Y10T70/554—Cover, lid, cap, encasing shield
Definitions
- the invention relates to a domestic appliance, in particular a dishwasher, with a device for locking a movable closing element, in particular a door, a lid, a flap or the like with a arranged on the housing and / or frame and / or washing container of the household appliance closing hook or locking pin, the engageable with an engagement portion in the closure member for closing a treatment space and disengaging to open the treatment space.
- the publication DE 203 20 530 U1 shows a locking device for a door in which a rotary lock on the device engages in an engagement portion on the door in the locking position.
- the engagement portion is formed by a rectangular in cross section recording, which runs along the entire upper edge of the door.
- a locking device for a dishwasher wherein in the upper edge of the door of the dishwasher, a recess is provided, in which a web is arranged.
- a downwardly extending collar element which is arranged in the housing of the dishwasher, engages in the recess.
- the collar member is open at the bottom and out of it protrudes a pin member whose front end rests in the locking position on the web of the recess. As the door is moved to the lock position, the pin is raised, resulting in the actuation of a microswitch.
- the publication DE 31 19 764 A1 shows a dishwasher in which engages in the closed state of the machine door, a locking bolt from above into an opening on the front side of the door.
- the pamphlets US 4,776,620 and US 3,997,201 show locking devices for doors of household appliances, wherein in the locked position engages a locking pin in the door in a closing plate on the housing.
- the locking devices known from the prior art have in particular the disadvantage that they are complicated to manufacture and are constructed in some cases complicated.
- the object of the invention is therefore to provide a household appliance with a locking device, which are easier to implement than known from the prior art household appliances with locking devices.
- a domestic appliance in particular a dishwasher, with a device for locking a movable closing element, in particular a door, a lid, a flap or the like with a arranged on the housing and / or frame and / or washing container of the household appliance closing hook or locking pin with an engagement portion in the closure member is engageable to close a treatment space and disengaged to open the treatment space, the engagement portion is embossed in the closure member.
- the engagement portion is formed by a trough in the closing element.
- the engagement portion is arranged on an edge of the closing element, in particular a door.
- the flanks are preferably the side walls of the door of the household appliance, in particular the inner door of the dishwasher.
- the door is preferably constructed of an inner door and an outer door.
- the engagement portion is disposed on an upper flank of the closure member.
- the engagement portion is disposed on an opposite side of the axis of rotation of the closing element.
- the engagement portion is arranged centrally in the longitudinal extent of the flank in the flank.
- the engagement portion is formed by a trough in the closing element.
- Troughs are easy to make embodiments of recesses and thus allow easy production of the engagement portion of the locking element.
- Under depression is to be understood in particular a depression with a closed in plan view of the trough border. Furthermore, the trough has no opening or hole toward the interior of the closing element.
- the trough is in this case formed integrally with the closing element, in particular impressed in the closing element.
- the trough is formed in the closing element by a simple method step, in which a corresponding embossing tool moves into the closing element.
- the closing element is formed by a pivotable and / or sliding door, in particular by an inner door, wherein the door is provided for closing the accessible via an opening interior of the housing of the household appliance.
- the inner door is in particular a sheet metal part, wherein, for example, in the end face of the sheet metal part, the trough is formed, in particular embossed. If the trough is provided on the upper edge of the door, the locking hook or locking pin is preferably integrated in the housing roof of the household appliance, thereby ensuring a simple interaction between the locking hook and trough.
- the interaction of the closing hook or locking pin with the trough is preferably such that, during locking, the closing hook or locking pin is moved substantially perpendicularly into the trough. In this way, a quick and secure engagement of the hook is ensured in the trough when closing.
- the trough has in plan view a substantially rectangular edge, wherein the edge preferably comprises rounded corners and / or edges.
- the trough has a shape such that it tapers towards its lowest point.
- the trough in particular a first, steeply to its lowest point extending portion and a second, the first portion opposite and extending flat to its lowest point section.
- the first steep section forms a stop for the locking hook or locking pin in the locked state of the closing element to prevent the opening of the closing element. Due to its steepness effectively moving out of the closing hook is prevented from the trough.
- the first section extends in a preferred embodiment of the invention at an angle between 80 and 90 degrees, in particular at an angle of substantially 85 degrees, to the opening plane of the trough.
- the second, flat portion extends at an angle of 45 degrees or less, preferably at an angle between 10 and 30 degrees and most preferably at an angle of substantially 20 degrees to the opening plane of the trough.
- first and / or second section are designed substantially trapezoidal.
- first and / or the second portion are circumferentially connected within the trough of rounded portions. These shapes are particularly well suited to make the trough by embossing.
- the engagement portion in particular the trough, integral with the door, in particular the inner or outer door, formed.
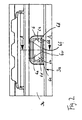
- Fig. 1 shows a schematic sectional view of an embodiment of the locking device in a household appliance according to the invention (not shown), which is used to lock the door of a dishwasher according to the invention (not shown) on its housing.
- Fig. 1 is indicated by the reference numeral 1, the roof of the container of a dishwasher, being positioned in the interior 2 of the dishwasher to be cleaned dishes.
- the access opening to the interior 2 is closed by a pivotable door 3, which has an inner door 3a, which is formed by an embossed metal sheet on the inside of the door 3.
- a seal 4 is schematically indicated, which is circumferentially formed at the edge of the access opening to the interior and serves to seal between the inner door 3a and the housing 1.
- the dishwasher comprises a locking device, which is formed by a locking pin or locking hook 5 and a corresponding recess 6 on the front side or upper edge 3b of the door.
- the locking hook 5 is integrated in a lock housing within the container roof and engages in the locked state in the trough 6 in the inner door 3a.
- the locking hook 5 is indicated only schematically and it is any shape design of the hook possible.
- the hook is preferably spring loaded, with the spring force pushing the hook down.
- the locking hook In the locking devices commonly used in dishwashers, the locking hook is located in the inner door behind an opening. In this opening when closing the door engages a corresponding closing plate on the housing, whereupon the locking hook falls into a hole in the closing plate and causes the lock.
- a corresponding closing plate on the housing In this purpose, on the one hand space for the mechanism of the locking hook behind the panel of the door is required and on the other hand, an opening must be provided in the inner door, which can lead to the ingress of water into the interior of the door during operation of the dishwasher according to the invention.
- the locking hook in the housing and / or frame and / or the rinsing arranged and he cooperates with a trough for receiving the hook, so that on the one hand can be dispensed with an opening in the inner door and the other in the Interior door no space for the locking hook must be provided. It is thus prevents the ingress of water into the interior of the door and also created space in the inner door, since the lock with locking hook is now integrated in existing space in the housing. The released space in the inner door can now be effectively used for other components, such as a switching and control system of the dishwasher.
- Fig. 2 shows a plan view of the end face 3b of FIG Fig. 1 shown inner door 3a.
- the hollow is in Longitudinal direction of the end face centered between the left and right ends (not shown) of the front side.
- the trough is designed in its opening plane substantially rectangular in shape, wherein the corners and edges are rounded in the opening plane accordingly.
- An essential aspect of in Fig. 2 shown trough is that the trough is an integral part of the inner door, that is, the trough is imprinted into the inner door with a corresponding tool.
- the trough 6 comprises a trapezoidal, relatively flat with respect to the opening plane extending portion 6a, at the right and left in the circumferential direction of the trough each followed by a rounded portion 6b.
- the trapezoidal portion 6a tapers toward the lowest point 6c of the trough and the rounded portions 6b each extend obliquely downward from a corner of the rectangular edge of the trough also to the lowest point 6c of the trough.
- Left and right of the rounded portions 6b then follow two substantially triangular sections 6d, which in turn open into corresponding rounded portions 6e.
- a relatively steeply sloping section 6f which lies opposite the flat section 6a, adjoins these sections 6e. This steeply sloping portion 6f serves as a stop for the locking hook in the locking position of the door, that is, the locking hook presses against this stop when trying to open the door with a locked door.
- Fig. 3 shows a sectional view taken along the line AA of Fig. 2 , In this case, one can see in particular clearly the orientation of the flat section 6a and of the steep section 6f.
- the flat portion extends downwardly at an angle ⁇ from the aperture plane.
- the angle ⁇ is in the embodiment of Fig. 3 essentially 20 degrees. However, any other angle sizes are possible. However, the angle ⁇ should be less than 45 degrees and preferably between 10 and 30 degrees.
- the second section 6f extends relatively steeply, almost perpendicular to the plane of the opening, at an angle ⁇ to the plane of the opening.
- the angle ⁇ is in the embodiment of Fig. 3 85 degrees. However, other angles are conceivable. In particular, the angle ⁇ should be between 80 degrees and 90 degrees.
- a fold 3c which lies adjacent to the edge of the trough 6 in the region of the flat portion 6a.
- the trough 6 is an integral part of the sheet of the inner door, wherein the trough is produced by a corresponding embossing tool.
- the production of the trough is greatly simplified because no separate component for the trough must be provided, which must be installed in an additional manufacturing step.
- Fig. 4 again shows a perspective view of in Fig. 2 represented trough.
- the trapezoidal shape of the flat section 6a can again be seen very well in this view.
- the edge of the trough is rounded and also in the trough, the individual sections open into one another via rounded sections.
- the trough thus has no edges, whereby the risk of injury when operating the locking device is minimized.
Landscapes
- Engineering & Computer Science (AREA)
- Mechanical Engineering (AREA)
- Structural Engineering (AREA)
- Washing And Drying Of Tableware (AREA)
- Closing And Opening Devices For Wings, And Checks For Wings (AREA)
- Cookers (AREA)
- Lock And Its Accessories (AREA)
- Food-Manufacturing Devices (AREA)
- Main Body Construction Of Washing Machines And Laundry Dryers (AREA)
- Electric Suction Cleaners (AREA)
- Refrigerator Housings (AREA)
Priority Applications (1)
| Application Number | Priority Date | Filing Date | Title |
|---|---|---|---|
| PL06743299T PL1875022T3 (pl) | 2005-04-19 | 2006-04-13 | Sprzęt gospodarstwa domowego z urządzeniem blokującym |
Applications Claiming Priority (2)
| Application Number | Priority Date | Filing Date | Title |
|---|---|---|---|
| DE102005017871 | 2005-04-19 | ||
| PCT/EP2006/061583 WO2006111504A1 (de) | 2005-04-19 | 2006-04-13 | Haushaltsgerät mit einer verriegelungsvorrichtung |
Publications (2)
| Publication Number | Publication Date |
|---|---|
| EP1875022A1 EP1875022A1 (de) | 2008-01-09 |
| EP1875022B1 true EP1875022B1 (de) | 2010-03-10 |
Family
ID=36588873
Family Applications (3)
| Application Number | Title | Priority Date | Filing Date |
|---|---|---|---|
| EP20060743299 Active EP1875022B1 (de) | 2005-04-19 | 2006-04-13 | Haushaltsgerät mit einer verriegelungsvorrichtung |
| EP20060743296 Active EP1874173B1 (de) | 2005-04-19 | 2006-04-13 | Geschirrspülmaschine |
| EP20060743297 Active EP1874174B1 (de) | 2005-04-19 | 2006-04-13 | Geschirrspülmaschine |
Family Applications After (2)
| Application Number | Title | Priority Date | Filing Date |
|---|---|---|---|
| EP20060743296 Active EP1874173B1 (de) | 2005-04-19 | 2006-04-13 | Geschirrspülmaschine |
| EP20060743297 Active EP1874174B1 (de) | 2005-04-19 | 2006-04-13 | Geschirrspülmaschine |
Country Status (14)
| Country | Link |
|---|---|
| US (3) | US8377230B2 (enExample) |
| EP (3) | EP1875022B1 (enExample) |
| JP (3) | JP2008537042A (enExample) |
| KR (3) | KR20080002763A (enExample) |
| CN (3) | CN101163844B (enExample) |
| AT (3) | ATE451051T1 (enExample) |
| AU (3) | AU2006237306B2 (enExample) |
| BR (3) | BRPI0610849A2 (enExample) |
| DE (4) | DE502006006394D1 (enExample) |
| ES (3) | ES2334826T3 (enExample) |
| NZ (3) | NZ561011A (enExample) |
| PL (1) | PL1875022T3 (enExample) |
| RU (3) | RU2392842C2 (enExample) |
| WO (3) | WO2006111501A1 (enExample) |
Families Citing this family (41)
| Publication number | Priority date | Publication date | Assignee | Title |
|---|---|---|---|---|
| JP2008537042A (ja) * | 2005-04-19 | 2008-09-11 | ベーエスハー ボッシュ ウント ジーメンス ハウスゲレーテ ゲゼルシャフト ミット ベシュレンクテル ハフツング | ロック装置を有する家庭用機器 |
| EP2548494B1 (de) * | 2009-08-25 | 2019-07-17 | BSH Hausgeräte GmbH | Geschirrspülmaschine, insbesondere Haushaltsgeschirrspülmaschine, mit einem Türschloss, sowie zugehöriges Türschloss |
| ES2386266A1 (es) * | 2009-08-25 | 2012-08-14 | BSH Electrodomésticos España S.A. | Maquina lavavajillas con cerradura de puerta. |
| US8495836B2 (en) * | 2009-08-27 | 2013-07-30 | Sargent Manufacturing Company | Door hardware drive mechanism with sensor |
| IT1396735B1 (it) * | 2009-11-26 | 2012-12-14 | Bitron Spa | Dispositivo di chiusura porta per il portello di un elettrodomestico. |
| IT1399631B1 (it) * | 2010-04-21 | 2013-04-26 | Elettrotecnica Rold Srl | Dispositivo di chiusura "push-pull" |
| ES2534291T3 (es) * | 2010-05-14 | 2015-04-21 | Arçelik Anonim Sirketi | Un lavavajillas que comprende un mecanismo de apertura automática de puerta |
| IT1405177B1 (it) * | 2010-11-26 | 2013-12-20 | Illinois Tool Works | Dispositivo bloccaporta per un elettrodomestico, in particolare una lavastoviglie, ed elettrodomestico provvisto dello stesso |
| DE102011007538A1 (de) * | 2011-03-09 | 2012-09-13 | BSH Bosch und Siemens Hausgeräte GmbH | Verriegelungsanordnung zum Verriegeln einer Tür eines Haushaltsgeräts sowie Haushaltsgerät |
| DE102011075554B4 (de) | 2011-05-10 | 2024-03-28 | BSH Hausgeräte GmbH | Haushaltsgerät, insbesondere Geschirrspülmaschine, mit einer Türschließeinrichtung |
| KR101794060B1 (ko) * | 2011-09-01 | 2017-11-06 | 삼성전자주식회사 | 식기 세척기 및 식기 세척기의 바스켓 고정 장치 |
| CN103015810B (zh) * | 2011-09-23 | 2016-02-17 | 伊利诺斯工具制品有限公司 | 门锁和安装有相同门锁的设备 |
| CN102525371B (zh) * | 2012-01-09 | 2015-06-10 | 海尔集团公司 | 门锁装置及安装有该装置的洗碗机 |
| EP2912247A4 (en) * | 2012-10-05 | 2016-09-28 | Stanley Security Solutions Inc | FRICTIONAL CASTLE TRAP |
| CN104337487B (zh) * | 2013-07-31 | 2018-11-09 | 伊利诺斯工具制品有限公司 | 门锁和安装有门锁的洗碗机 |
| ITTO20130691A1 (it) * | 2013-08-13 | 2015-02-14 | Elbi Int Spa | Apparecchiatura per controllare la chiusura di una porta di un elettrodomestico, in particolare per una macchina lavatrice, quale una macchina lavastoviglie. |
| CN104287679B (zh) * | 2013-12-31 | 2017-05-24 | 宁波方太厨具有限公司 | 可锁闭的水槽式清洗机箱体 |
| US10260250B2 (en) | 2014-08-30 | 2019-04-16 | Innovative Building Technologies, Llc | Diaphragm to lateral support coupling in a structure |
| KR101991055B1 (ko) | 2014-08-30 | 2019-06-19 | 이노베이티브 빌딩 테크놀러지스 엘엘씨 | 건물에서의 사용을 위한 바닥 및 천장 패널 |
| US10364572B2 (en) | 2014-08-30 | 2019-07-30 | Innovative Building Technologies, Llc | Prefabricated wall panel for utility installation |
| US9957657B2 (en) * | 2015-01-30 | 2018-05-01 | Emz-Hanauer Gmbh & Co. Kgaa | Appliance lock |
| KR101603593B1 (ko) * | 2015-12-24 | 2016-03-15 | (주)청호시스템 | 식기 세척기용 도어 잠금장치 |
| KR102435757B1 (ko) * | 2016-01-05 | 2022-08-25 | 엘지전자 주식회사 | 잠금장치 및 상기 잠금장치가 구비된 가전기기 |
| WO2017119677A1 (en) * | 2016-01-05 | 2017-07-13 | Lg Electronics Inc. | Lock and home appliance having the same |
| EP3426853B1 (en) | 2016-03-07 | 2023-09-13 | Innovative Building Technologies, LLC | Prefabricated wall panels including waterproofing assemblies |
| CN109072612B (zh) | 2016-03-07 | 2021-08-06 | 创新建筑技术有限责任公司 | 预组装的壁板、多楼层建筑物、建造公共设施壁的方法 |
| AU2017229468B2 (en) | 2016-03-07 | 2019-10-24 | Innovative Building Technologies, Llc | Prefabricated demising wall with external conduit engagement features |
| WO2017171215A1 (en) | 2016-03-28 | 2017-10-05 | Lg Electronics Inc. | Lock and home appliance having the same |
| KR102459278B1 (ko) * | 2016-06-20 | 2022-10-26 | 엘지전자 주식회사 | 잠금장치 및 이를 포함하는 가전기기 |
| CN207960222U (zh) * | 2016-07-06 | 2018-10-12 | 伊利诺斯工具制品有限公司 | 门锁 |
| US11098475B2 (en) | 2017-05-12 | 2021-08-24 | Innovative Building Technologies, Llc | Building system with a diaphragm provided by pre-fabricated floor panels |
| US10724228B2 (en) | 2017-05-12 | 2020-07-28 | Innovative Building Technologies, Llc | Building assemblies and methods for constructing a building using pre-assembled floor-ceiling panels and walls |
| US11272826B2 (en) * | 2017-06-23 | 2022-03-15 | Illinois Tool Works Inc. | Appliance door latch system with pre-latching catch alignment system |
| IT201700084013A1 (it) * | 2017-07-24 | 2019-01-24 | Illinois Tool Works | Dispositivo blocco-porta per elettrodomestici, in particolare per lavastoviglie |
| CN113039330A (zh) | 2018-11-14 | 2021-06-25 | 创新建筑科技公司 | 模块化楼梯井和电梯井系统和方法 |
| CN110512960B (zh) * | 2019-09-16 | 2020-09-29 | 温州天健电器有限公司 | 一种电器门锁 |
| KR102311406B1 (ko) * | 2019-11-28 | 2021-10-12 | 에스케이매직 주식회사 | 식기 세척기의 도어 개폐 장치 |
| US20210238888A1 (en) * | 2020-01-31 | 2021-08-05 | Bitron S.P.A. | Door-lock device and household appliance equipped with such door-lock device |
| CN113530391B (zh) * | 2021-07-05 | 2023-05-26 | 佛山市百斯特电器科技有限公司 | 一种洗碗机及其自动开门机构 |
| CN116657986A (zh) * | 2023-04-27 | 2023-08-29 | 广东坚朗五金制品股份有限公司 | 自动锁闭装置和窗户 |
| CN117803296A (zh) * | 2023-12-22 | 2024-04-02 | 绍兴市古德电器有限公司 | 一种手自一体的侧开门厨房电器 |
Family Cites Families (72)
| Publication number | Priority date | Publication date | Assignee | Title |
|---|---|---|---|---|
| US293424A (en) * | 1884-02-12 | Beommie gopeland and feank weight | ||
| US671792A (en) * | 1901-01-02 | 1901-04-09 | Edwin Frederick Comber | Lock-bolt. |
| US1372000A (en) * | 1919-07-23 | 1921-03-22 | Carl E Anderson | Door-latch |
| US1411059A (en) * | 1921-01-13 | 1922-03-28 | Bassick Co | Latch for doors |
| US1470951A (en) * | 1921-12-14 | 1923-10-16 | Ternstedt Mfg Co | Bolt |
| US1662450A (en) * | 1925-10-08 | 1928-03-13 | Clarence G Anderson | Vehicle door latch |
| US2145112A (en) * | 1937-11-01 | 1939-01-24 | Jr Andrew Fedor | Window lock |
| US3260813A (en) * | 1964-07-01 | 1966-07-12 | Amerock Corp | Door latching and locking device |
| DE1997310U (de) | 1967-05-20 | 1968-11-28 | Zanussi A Spa Industrie | Mechanische sicherheitsriegel, insbesondere fuer waschmaschinen, geschirrspuelmaschinen u. dgl. |
| JPS465040Y1 (enExample) * | 1967-08-11 | 1971-02-22 | ||
| JPS5029610Y1 (enExample) * | 1969-12-05 | 1975-09-01 | ||
| DE2106272A1 (de) | 1971-02-10 | 1972-08-24 | Licentia Gmbh | Elektrische Beschickungstürverriegelung für Wasch- und Schleudermaschinen |
| JPS5011998U (enExample) * | 1973-06-05 | 1975-02-06 | ||
| JPS522199U (enExample) | 1975-06-24 | 1977-01-08 | ||
| US3997201A (en) | 1975-07-09 | 1976-12-14 | Whirlpool Corporation | Appliance door latch |
| JPS5438077Y2 (enExample) * | 1977-01-10 | 1979-11-13 | ||
| JPS5535402Y2 (enExample) * | 1977-05-11 | 1980-08-21 | ||
| JPS5535402A (en) | 1978-09-01 | 1980-03-12 | Toshiba Corp | Color image pickup tube and manufacturing thereof |
| JPS5929099Y2 (ja) * | 1979-07-04 | 1984-08-21 | 松下電器産業株式会社 | 扉の開閉装置 |
| DE3119764C2 (de) | 1981-05-18 | 1983-07-21 | Alfred de 2000 Hamburg Waard | Waschmaschine insbes. Geschirrspülmaschine |
| JPS58146680A (ja) * | 1982-02-23 | 1983-09-01 | 東京マグネツト応用製品株式会社 | 戸当り装置 |
| JPS5929099A (ja) | 1982-08-09 | 1984-02-16 | Hitachi Plant Eng & Constr Co Ltd | 汚泥脱水助剤 |
| DE3301636A1 (de) * | 1983-01-19 | 1984-07-19 | Bosch-Siemens Hausgeräte GmbH, 7000 Stuttgart | Verschlussvorrichtung fuer die tuer von elektrischen haushaltgeraeten |
| JPS59148753U (ja) | 1983-03-22 | 1984-10-04 | 日本電子機器株式会社 | 扉のクランプ装置 |
| JPS59192171A (ja) * | 1983-04-15 | 1984-10-31 | 株式会社小林製作所 | 家具用キヤツチ |
| JPS6152059U (enExample) * | 1984-09-07 | 1986-04-08 | ||
| JPS6286280A (ja) * | 1985-10-11 | 1987-04-20 | 松下電器産業株式会社 | 扉開閉装置 |
| US4664433A (en) * | 1986-05-12 | 1987-05-12 | Kwikset Corporation | Latch helical backset adjustment |
| US4776620A (en) | 1986-09-29 | 1988-10-11 | Whirlpool Corporation | Door latch for dishwasher |
| JPH07116884B2 (ja) * | 1987-06-18 | 1995-12-18 | 株式会社ニフコ | 扉用ロツク装置 |
| SU1588418A1 (ru) | 1987-07-27 | 1990-08-30 | М.С.Шевчук | Кассета дл мойки, стерилизации и сушки посуды |
| SU1565479A1 (ru) | 1988-01-08 | 1990-05-23 | Э. П. Овчинников | Пылесос |
| JPH0544457Y2 (enExample) * | 1988-05-02 | 1993-11-11 | ||
| SU1760064A1 (ru) | 1989-08-17 | 1992-09-07 | Всесоюзный Научно-Исследовательский Институт Вагоностроения | Затвор двери контейнера |
| SU1756519A1 (ru) * | 1990-07-05 | 1992-08-23 | Научно-испытательный институт химических и строительных машин | Нат жной запор |
| JP2912433B2 (ja) * | 1990-09-04 | 1999-06-28 | 株式会社ニフコ | 車載用のラッチ装置 |
| DE9013161U1 (de) * | 1990-09-17 | 1990-11-22 | Paul Hettich GmbH & Co, 4983 Kirchlengern | Vorrichtung zum Halten eines in einen Möbelkorpus eingeschobenen Schubkastens |
| JP2740069B2 (ja) * | 1992-01-27 | 1998-04-15 | 株式会社クボタ | ドアとドア枠との係止部構造 |
| US5401067A (en) * | 1992-06-10 | 1995-03-28 | Nifco, Inc. | Latch device |
| US5364138A (en) * | 1993-05-10 | 1994-11-15 | Masco Corporation Of Indiana | Door latch assembly with backset adjustment |
| JP3393681B2 (ja) | 1993-07-30 | 2003-04-07 | 株式会社フジシール | 偏平チューブの開口装置 |
| JPH0714061U (ja) * | 1993-08-17 | 1995-03-10 | 双葉金属工業株式会社 | プッシュラッチ装置 |
| JP2605671Y2 (ja) * | 1993-12-27 | 2000-07-31 | 三和シヤッター工業株式会社 | フランス落し錠の落しツボ構造 |
| US5484175A (en) | 1994-01-28 | 1996-01-16 | Maytag Corporation | Cabinet lock and method for using same |
| US5458382A (en) * | 1994-06-06 | 1995-10-17 | Medeco Security Locks, Inc. | Deadbolt latch assembly |
| JP3338578B2 (ja) * | 1995-01-17 | 2002-10-28 | 株式会社ニフコ | ラッチ装置 |
| DE19504797C2 (de) * | 1995-02-14 | 1997-04-24 | Ymos Ag Ind Produkte | Schließvorrichtung für die Tür einer Spülmaschine |
| IT238838Y1 (it) | 1995-02-22 | 2000-11-15 | Dihr Internat | Dispositivo di chiusura della porta di macchine lavatrici |
| JP3680183B2 (ja) * | 1995-02-23 | 2005-08-10 | 株式会社ニックス | 扉の係止具 |
| JP3714702B2 (ja) * | 1995-06-30 | 2005-11-09 | 財団法人化学及血清療法研究所 | C型肝炎ウイルス遺伝子の全長配列を有するトランスジェニック動物 |
| JPH1058974A (ja) * | 1996-08-22 | 1998-03-03 | Kasai Kogyo Co Ltd | 自動車用ドアトリム |
| JP3161984B2 (ja) * | 1996-10-29 | 2001-04-25 | オーリス株式会社 | 折れ戸などの制止装置 |
| JPH10227165A (ja) * | 1997-02-14 | 1998-08-25 | Tokyo Magnet Oyo Seihin Kk | 扉の開閉ロック装置 |
| JPH10288369A (ja) * | 1997-04-16 | 1998-10-27 | Fuji Kogyo Corp | レンジフードファン |
| JPH1142878A (ja) * | 1997-07-28 | 1999-02-16 | Takashi Numao | 係止具 |
| JP3238106B2 (ja) * | 1997-08-28 | 2001-12-10 | 株式会社オートネットワーク技術研究所 | 車載用表示装置 |
| IT243440Y1 (it) * | 1997-11-03 | 2002-03-04 | Gaetano Pagano | Dispositivo di bloccaggio per porta di apparecchio domestico,per esempio lavastoviglie |
| JPH11166344A (ja) * | 1997-12-05 | 1999-06-22 | Nifco Inc | ラッチ |
| CN2345649Y (zh) * | 1998-06-11 | 1999-10-27 | 海尔集团公司 | 机械锁扣开关 |
| DE29923492U1 (de) * | 1999-06-25 | 2000-11-23 | Gronbach, Lina, 83549 Eiselfing | Scharnier |
| ITTO20011003A1 (it) * | 2001-10-22 | 2003-04-22 | Bitron Spa | Dispositivo blocca-porta, particolarmente per elettrodomestici. |
| JP3814517B2 (ja) * | 2001-11-01 | 2006-08-30 | 株式会社ニフコ | オルタネート式ロック装置 |
| US6523867B1 (en) * | 2002-02-13 | 2003-02-25 | Shun-Hsiang Yeh | Automatic clasping device for a cabinet door |
| CN1464161A (zh) * | 2002-06-11 | 2003-12-31 | 姜方冰 | 抽屉柜扣锁装置 |
| DE10236777A1 (de) * | 2002-08-10 | 2004-03-04 | Ellenberger & Poensgen Gmbh | Elektrothermisch gesteuerte Verriegelungsvorrichtung für eine Gerätetür |
| DE20320530U1 (de) | 2002-08-10 | 2004-12-16 | Ellenberger & Poensgen Gmbh | Elektrothermisch gesteuerte Verriegelungsvorrichtung für eine Gerätetür |
| JP4446809B2 (ja) * | 2004-06-18 | 2010-04-07 | 株式会社ニフコ | ロック機構 |
| JP4477957B2 (ja) * | 2004-07-16 | 2010-06-09 | 株式会社ニフコ | 開閉動作体の停止位置における引き込み係止機構 |
| US7201411B2 (en) * | 2004-11-18 | 2007-04-10 | Illinois Tool Works Inc | Push latch |
| JP2008537042A (ja) * | 2005-04-19 | 2008-09-11 | ベーエスハー ボッシュ ウント ジーメンス ハウスゲレーテ ゲゼルシャフト ミット ベシュレンクテル ハフツング | ロック装置を有する家庭用機器 |
| US7393024B2 (en) * | 2005-11-14 | 2008-07-01 | Illinois Tool Works Inc. | Push latch |
| KR100837907B1 (ko) * | 2006-10-18 | 2008-06-13 | 현대자동차주식회사 | 자동차용 트레이의 잠금장치 |
-
2006
- 2006-04-13 JP JP2008507062A patent/JP2008537042A/ja active Pending
- 2006-04-13 KR KR1020077021172A patent/KR20080002763A/ko not_active Withdrawn
- 2006-04-13 DE DE200650006394 patent/DE502006006394D1/de active Active
- 2006-04-13 AT AT06743297T patent/ATE451051T1/de active
- 2006-04-13 AT AT06743296T patent/ATE451050T1/de active
- 2006-04-13 WO PCT/EP2006/061579 patent/WO2006111501A1/de not_active Ceased
- 2006-04-13 KR KR1020077022423A patent/KR20080003326A/ko not_active Withdrawn
- 2006-04-13 WO PCT/EP2006/061583 patent/WO2006111504A1/de not_active Ceased
- 2006-04-13 EP EP20060743299 patent/EP1875022B1/de active Active
- 2006-04-13 AU AU2006237306A patent/AU2006237306B2/en not_active Ceased
- 2006-04-13 RU RU2007134907A patent/RU2392842C2/ru active
- 2006-04-13 BR BRPI0610849-0A patent/BRPI0610849A2/pt not_active IP Right Cessation
- 2006-04-13 CN CN2006800129923A patent/CN101163844B/zh active Active
- 2006-04-13 ES ES06743296T patent/ES2334826T3/es active Active
- 2006-04-13 CN CN2006800131073A patent/CN101163436B/zh active Active
- 2006-04-13 KR KR1020077022146A patent/KR20080002784A/ko not_active Withdrawn
- 2006-04-13 JP JP2008507060A patent/JP4898787B2/ja not_active Expired - Fee Related
- 2006-04-13 US US11/918,823 patent/US8377230B2/en active Active
- 2006-04-13 AU AU2006237309A patent/AU2006237309B2/en not_active Ceased
- 2006-04-13 DE DE200650005586 patent/DE502006005586D1/de active Active
- 2006-04-13 NZ NZ561011A patent/NZ561011A/en not_active IP Right Cessation
- 2006-04-13 DE DE200650005585 patent/DE502006005585D1/de active Active
- 2006-04-13 RU RU2007134905A patent/RU2401048C2/ru active
- 2006-04-13 AU AU2006237307A patent/AU2006237307B2/en not_active Ceased
- 2006-04-13 ES ES06743299T patent/ES2340874T3/es active Active
- 2006-04-13 JP JP2008507061A patent/JP2008538397A/ja active Pending
- 2006-04-13 AT AT06743299T patent/ATE460549T1/de active
- 2006-04-13 BR BRPI0608358-7A patent/BRPI0608358A2/pt not_active IP Right Cessation
- 2006-04-13 NZ NZ560985A patent/NZ560985A/en not_active IP Right Cessation
- 2006-04-13 PL PL06743299T patent/PL1875022T3/pl unknown
- 2006-04-13 EP EP20060743296 patent/EP1874173B1/de active Active
- 2006-04-13 NZ NZ560981A patent/NZ560981A/en not_active IP Right Cessation
- 2006-04-13 BR BRPI0608384 patent/BRPI0608384A2/pt not_active IP Right Cessation
- 2006-04-13 EP EP20060743297 patent/EP1874174B1/de active Active
- 2006-04-13 CN CN2006800131088A patent/CN101163437B/zh not_active Expired - Fee Related
- 2006-04-13 RU RU2007134909A patent/RU2376435C2/ru not_active IP Right Cessation
- 2006-04-13 US US11/918,824 patent/US8152207B2/en active Active
- 2006-04-13 WO PCT/EP2006/061580 patent/WO2006111502A1/de not_active Ceased
- 2006-04-13 ES ES06743297T patent/ES2334827T3/es active Active
- 2006-04-13 DE DE200610017961 patent/DE102006017961A1/de not_active Ceased
-
2007
- 2007-10-16 US US11/873,035 patent/US7775565B2/en not_active Expired - Fee Related
Also Published As
Similar Documents
| Publication | Publication Date | Title |
|---|---|---|
| EP1875022B1 (de) | Haushaltsgerät mit einer verriegelungsvorrichtung | |
| DE60109146T2 (de) | Türverriegelungseinrichtung für ein elektrisches haushaltsgerät | |
| DE69113589T2 (de) | Umschaltvorrichtung für ein Doppelgelenksdeckel. | |
| EP2280632B1 (de) | Geschirrspülmaschine mit einer vorrichtung zum spaltweisen öffnen der tür | |
| DE69320840T3 (de) | Sicherheitsschalter | |
| EP2295681B2 (de) | Öffnungs- und/oder Schließmechanismus an Türen, Klappen oder dgl., insbesondere an Fahrzeugen | |
| DE102012106722B4 (de) | Zuhaltung für eine Zugangsschutzvorrichtung mit einer Hilfsentriegelung | |
| DE112016002502T5 (de) | Türverriegelungssystem | |
| EP2828456B1 (de) | Kraftfahrzeugtürverschluss | |
| DE3520268A1 (de) | Ausgangseinrichtung | |
| DE202006005785U1 (de) | Treibstangenverschluss | |
| EP2289387B1 (de) | Geschirrspülmaschine, insbesondere Haushaltsgeschirrspülmaschine | |
| EP2405085B1 (de) | Schubriegelschloss mit verbesserter Sicherheit | |
| EP2784248B1 (de) | Getriebeanordnung für einen Treibstangenbeschlag | |
| WO2009000672A1 (de) | Verriegelungsvorrichtung für die tür eines haushaltsgerätes, insbesondere einer haushaltgeschirrspülmaschine und verfahren zum betätigen der tür eines haushaltsgerätes | |
| EP4474565B1 (de) | Mechanismus für eine tür eines elektrischen haushaltsgeräts | |
| DE19636925C2 (de) | Deckel, Klappe oder dergleichen zum Verschließen einer Zugangsöffnung einer Waschmaschine | |
| WO2009118276A1 (de) | Panikschloss | |
| DE202016007457U1 (de) | Drehriegelschloss | |
| EP3324126B1 (de) | Gargerät mit türverschluss | |
| DE10010501C2 (de) | Integrierte Schloß-/Griffanordnung | |
| DE8907662U1 (de) | Verpackungsbehälter | |
| DE60301342T2 (de) | Verbessertes zuhaltungsscheibenschloss | |
| DE102006007328A1 (de) | Verriegelungsvorrichtung für die Tür einer Geschirrspülmaschine, insbesondere einer Haushalt-Geschirrspülmaschine | |
| DE102015102021B4 (de) | Sicherungssystem mit einem elektronischen Schlüsselsystem |
Legal Events
| Date | Code | Title | Description |
|---|---|---|---|
| PUAI | Public reference made under article 153(3) epc to a published international application that has entered the european phase |
Free format text: ORIGINAL CODE: 0009012 |
|
| 17P | Request for examination filed |
Effective date: 20071119 |
|
| AK | Designated contracting states |
Kind code of ref document: A1 Designated state(s): AT BE BG CH CY CZ DE DK EE ES FI FR GB GR HU IE IS IT LI LT LU LV MC NL PL PT RO SE SI SK TR |
|
| DAX | Request for extension of the european patent (deleted) | ||
| 17Q | First examination report despatched |
Effective date: 20080630 |
|
| GRAP | Despatch of communication of intention to grant a patent |
Free format text: ORIGINAL CODE: EPIDOSNIGR1 |
|
| GRAS | Grant fee paid |
Free format text: ORIGINAL CODE: EPIDOSNIGR3 |
|
| GRAA | (expected) grant |
Free format text: ORIGINAL CODE: 0009210 |
|
| AK | Designated contracting states |
Kind code of ref document: B1 Designated state(s): AT BE BG CH CY CZ DE DK EE ES FI FR GB GR HU IE IS IT LI LT LU LV MC NL PL PT RO SE SI SK TR |
|
| REG | Reference to a national code |
Ref country code: GB Ref legal event code: FG4D Free format text: NOT ENGLISH |
|
| REG | Reference to a national code |
Ref country code: CH Ref legal event code: EP |
|
| REG | Reference to a national code |
Ref country code: IE Ref legal event code: FG4D |
|
| REF | Corresponds to: |
Ref document number: 502006006394 Country of ref document: DE Date of ref document: 20100422 Kind code of ref document: P |
|
| REG | Reference to a national code |
Ref country code: ES Ref legal event code: FG2A Ref document number: 2340874 Country of ref document: ES Kind code of ref document: T3 |
|
| REG | Reference to a national code |
Ref country code: NL Ref legal event code: VDEP Effective date: 20100310 |
|
| PG25 | Lapsed in a contracting state [announced via postgrant information from national office to epo] |
Ref country code: LT Free format text: LAPSE BECAUSE OF FAILURE TO SUBMIT A TRANSLATION OF THE DESCRIPTION OR TO PAY THE FEE WITHIN THE PRESCRIBED TIME-LIMIT Effective date: 20100310 |
|
| LTIE | Lt: invalidation of european patent or patent extension |
Effective date: 20100310 |
|
| PG25 | Lapsed in a contracting state [announced via postgrant information from national office to epo] |
Ref country code: FI Free format text: LAPSE BECAUSE OF FAILURE TO SUBMIT A TRANSLATION OF THE DESCRIPTION OR TO PAY THE FEE WITHIN THE PRESCRIBED TIME-LIMIT Effective date: 20100310 Ref country code: LV Free format text: LAPSE BECAUSE OF FAILURE TO SUBMIT A TRANSLATION OF THE DESCRIPTION OR TO PAY THE FEE WITHIN THE PRESCRIBED TIME-LIMIT Effective date: 20100310 Ref country code: SI Free format text: LAPSE BECAUSE OF FAILURE TO SUBMIT A TRANSLATION OF THE DESCRIPTION OR TO PAY THE FEE WITHIN THE PRESCRIBED TIME-LIMIT Effective date: 20100310 |
|
| REG | Reference to a national code |
Ref country code: PL Ref legal event code: T3 |
|
| REG | Reference to a national code |
Ref country code: IE Ref legal event code: FD4D |
|
| PG25 | Lapsed in a contracting state [announced via postgrant information from national office to epo] |
Ref country code: SE Free format text: LAPSE BECAUSE OF FAILURE TO SUBMIT A TRANSLATION OF THE DESCRIPTION OR TO PAY THE FEE WITHIN THE PRESCRIBED TIME-LIMIT Effective date: 20100310 Ref country code: RO Free format text: LAPSE BECAUSE OF FAILURE TO SUBMIT A TRANSLATION OF THE DESCRIPTION OR TO PAY THE FEE WITHIN THE PRESCRIBED TIME-LIMIT Effective date: 20100310 Ref country code: NL Free format text: LAPSE BECAUSE OF FAILURE TO SUBMIT A TRANSLATION OF THE DESCRIPTION OR TO PAY THE FEE WITHIN THE PRESCRIBED TIME-LIMIT Effective date: 20100310 Ref country code: GR Free format text: LAPSE BECAUSE OF FAILURE TO SUBMIT A TRANSLATION OF THE DESCRIPTION OR TO PAY THE FEE WITHIN THE PRESCRIBED TIME-LIMIT Effective date: 20100611 Ref country code: EE Free format text: LAPSE BECAUSE OF FAILURE TO SUBMIT A TRANSLATION OF THE DESCRIPTION OR TO PAY THE FEE WITHIN THE PRESCRIBED TIME-LIMIT Effective date: 20100310 Ref country code: CY Free format text: LAPSE BECAUSE OF FAILURE TO SUBMIT A TRANSLATION OF THE DESCRIPTION OR TO PAY THE FEE WITHIN THE PRESCRIBED TIME-LIMIT Effective date: 20100310 |
|
| BERE | Be: lapsed |
Owner name: BSH BOSCH UND SIEMENS HAUSGERATE G.M.B.H. Effective date: 20100430 |
|
| PG25 | Lapsed in a contracting state [announced via postgrant information from national office to epo] |
Ref country code: BG Free format text: LAPSE BECAUSE OF FAILURE TO SUBMIT A TRANSLATION OF THE DESCRIPTION OR TO PAY THE FEE WITHIN THE PRESCRIBED TIME-LIMIT Effective date: 20100610 Ref country code: MC Free format text: LAPSE BECAUSE OF NON-PAYMENT OF DUE FEES Effective date: 20100430 Ref country code: IS Free format text: LAPSE BECAUSE OF FAILURE TO SUBMIT A TRANSLATION OF THE DESCRIPTION OR TO PAY THE FEE WITHIN THE PRESCRIBED TIME-LIMIT Effective date: 20100710 Ref country code: SK Free format text: LAPSE BECAUSE OF FAILURE TO SUBMIT A TRANSLATION OF THE DESCRIPTION OR TO PAY THE FEE WITHIN THE PRESCRIBED TIME-LIMIT Effective date: 20100310 Ref country code: CZ Free format text: LAPSE BECAUSE OF FAILURE TO SUBMIT A TRANSLATION OF THE DESCRIPTION OR TO PAY THE FEE WITHIN THE PRESCRIBED TIME-LIMIT Effective date: 20100310 |
|
| REG | Reference to a national code |
Ref country code: CH Ref legal event code: PL |
|
| PLBE | No opposition filed within time limit |
Free format text: ORIGINAL CODE: 0009261 |
|
| STAA | Information on the status of an ep patent application or granted ep patent |
Free format text: STATUS: NO OPPOSITION FILED WITHIN TIME LIMIT |
|
| PG25 | Lapsed in a contracting state [announced via postgrant information from national office to epo] |
Ref country code: IE Free format text: LAPSE BECAUSE OF FAILURE TO SUBMIT A TRANSLATION OF THE DESCRIPTION OR TO PAY THE FEE WITHIN THE PRESCRIBED TIME-LIMIT Effective date: 20100310 Ref country code: DK Free format text: LAPSE BECAUSE OF FAILURE TO SUBMIT A TRANSLATION OF THE DESCRIPTION OR TO PAY THE FEE WITHIN THE PRESCRIBED TIME-LIMIT Effective date: 20100310 Ref country code: PT Free format text: LAPSE BECAUSE OF FAILURE TO SUBMIT A TRANSLATION OF THE DESCRIPTION OR TO PAY THE FEE WITHIN THE PRESCRIBED TIME-LIMIT Effective date: 20100712 |
|
| 26N | No opposition filed |
Effective date: 20101213 |
|
| PG25 | Lapsed in a contracting state [announced via postgrant information from national office to epo] |
Ref country code: LI Free format text: LAPSE BECAUSE OF NON-PAYMENT OF DUE FEES Effective date: 20100430 Ref country code: CH Free format text: LAPSE BECAUSE OF NON-PAYMENT OF DUE FEES Effective date: 20100430 |
|
| PG25 | Lapsed in a contracting state [announced via postgrant information from national office to epo] |
Ref country code: IT Free format text: LAPSE BECAUSE OF FAILURE TO SUBMIT A TRANSLATION OF THE DESCRIPTION OR TO PAY THE FEE WITHIN THE PRESCRIBED TIME-LIMIT Effective date: 20100310 Ref country code: BE Free format text: LAPSE BECAUSE OF NON-PAYMENT OF DUE FEES Effective date: 20100430 |
|
| PG25 | Lapsed in a contracting state [announced via postgrant information from national office to epo] |
Ref country code: LU Free format text: LAPSE BECAUSE OF NON-PAYMENT OF DUE FEES Effective date: 20100413 Ref country code: HU Free format text: LAPSE BECAUSE OF FAILURE TO SUBMIT A TRANSLATION OF THE DESCRIPTION OR TO PAY THE FEE WITHIN THE PRESCRIBED TIME-LIMIT Effective date: 20100911 |
|
| REG | Reference to a national code |
Ref country code: AT Ref legal event code: MM01 Ref document number: 460549 Country of ref document: AT Kind code of ref document: T Effective date: 20110413 |
|
| PG25 | Lapsed in a contracting state [announced via postgrant information from national office to epo] |
Ref country code: AT Free format text: LAPSE BECAUSE OF NON-PAYMENT OF DUE FEES Effective date: 20110413 |
|
| REG | Reference to a national code |
Ref country code: FR Ref legal event code: PLFP Year of fee payment: 10 |
|
| REG | Reference to a national code |
Ref country code: DE Ref legal event code: R081 Ref document number: 502006006394 Country of ref document: DE Owner name: BSH HAUSGERAETE GMBH, DE Free format text: FORMER OWNER: BSH BOSCH UND SIEMENS HAUSGERAETE GMBH, 81739 MUENCHEN, DE Effective date: 20150407 |
|
| REG | Reference to a national code |
Ref country code: ES Ref legal event code: PC2A Owner name: BSH HAUSGERATE GMBH Effective date: 20150609 |
|
| REG | Reference to a national code |
Ref country code: FR Ref legal event code: CD Owner name: BSH HAUSGERATE GMBH, DE Effective date: 20151022 |
|
| REG | Reference to a national code |
Ref country code: FR Ref legal event code: PLFP Year of fee payment: 11 |
|
| REG | Reference to a national code |
Ref country code: FR Ref legal event code: PLFP Year of fee payment: 12 |
|
| REG | Reference to a national code |
Ref country code: FR Ref legal event code: PLFP Year of fee payment: 13 |
|
| PGFP | Annual fee paid to national office [announced via postgrant information from national office to epo] |
Ref country code: GB Payment date: 20240423 Year of fee payment: 19 |
|
| PGFP | Annual fee paid to national office [announced via postgrant information from national office to epo] |
Ref country code: FR Payment date: 20240419 Year of fee payment: 19 |
|
| PGFP | Annual fee paid to national office [announced via postgrant information from national office to epo] |
Ref country code: DE Payment date: 20250430 Year of fee payment: 20 Ref country code: PL Payment date: 20250331 Year of fee payment: 20 |
|
| PGFP | Annual fee paid to national office [announced via postgrant information from national office to epo] |
Ref country code: ES Payment date: 20250519 Year of fee payment: 20 |
|
| PGFP | Annual fee paid to national office [announced via postgrant information from national office to epo] |
Ref country code: TR Payment date: 20250404 Year of fee payment: 20 |
|
| GBPC | Gb: european patent ceased through non-payment of renewal fee |
Effective date: 20250413 |
|
| PG25 | Lapsed in a contracting state [announced via postgrant information from national office to epo] |
Ref country code: GB Free format text: LAPSE BECAUSE OF NON-PAYMENT OF DUE FEES Effective date: 20250413 |
|
| PG25 | Lapsed in a contracting state [announced via postgrant information from national office to epo] |
Ref country code: FR Free format text: LAPSE BECAUSE OF NON-PAYMENT OF DUE FEES Effective date: 20250430 |