JP7166319B2 - 表示装置 - Google Patents

表示装置 Download PDF

Info

Publication number
JP7166319B2
JP7166319B2 JP2020200830A JP2020200830A JP7166319B2 JP 7166319 B2 JP7166319 B2 JP 7166319B2 JP 2020200830 A JP2020200830 A JP 2020200830A JP 2020200830 A JP2020200830 A JP 2020200830A JP 7166319 B2 JP7166319 B2 JP 7166319B2
Authority
JP
Japan
Prior art keywords
layer
electrode layer
insulating layer
film
drain electrode
Prior art date
Legal status (The legal status is an assumption and is not a legal conclusion. Google has not performed a legal analysis and makes no representation as to the accuracy of the status listed.)
Active
Application number
JP2020200830A
Other languages
English (en)
Other versions
JP2021036620A (ja
Inventor
健吾 秋元
将志 津吹
Current Assignee (The listed assignees may be inaccurate. Google has not performed a legal analysis and makes no representation or warranty as to the accuracy of the list.)
Semiconductor Energy Laboratory Co Ltd
Original Assignee
Semiconductor Energy Laboratory Co Ltd
Priority date (The priority date is an assumption and is not a legal conclusion. Google has not performed a legal analysis and makes no representation as to the accuracy of the date listed.)
Filing date
Publication date
Application filed by Semiconductor Energy Laboratory Co Ltd filed Critical Semiconductor Energy Laboratory Co Ltd
Publication of JP2021036620A publication Critical patent/JP2021036620A/ja
Priority to JP2022170531A priority Critical patent/JP2022186889A/ja
Application granted granted Critical
Publication of JP7166319B2 publication Critical patent/JP7166319B2/ja
Priority to JP2024139627A priority patent/JP7681171B2/ja
Priority to JP2025078790A priority patent/JP2025109809A/ja
Active legal-status Critical Current
Anticipated expiration legal-status Critical

Links

Images

Classifications

    • HELECTRICITY
    • H10SEMICONDUCTOR DEVICES; ELECTRIC SOLID-STATE DEVICES NOT OTHERWISE PROVIDED FOR
    • H10DINORGANIC ELECTRIC SEMICONDUCTOR DEVICES
    • H10D30/00Field-effect transistors [FET]
    • H10D30/60Insulated-gate field-effect transistors [IGFET]
    • H10D30/67Thin-film transistors [TFT]
    • H10D30/674Thin-film transistors [TFT] characterised by the active materials
    • H10D30/6755Oxide semiconductors, e.g. zinc oxide, copper aluminium oxide or cadmium stannate
    • HELECTRICITY
    • H10SEMICONDUCTOR DEVICES; ELECTRIC SOLID-STATE DEVICES NOT OTHERWISE PROVIDED FOR
    • H10DINORGANIC ELECTRIC SEMICONDUCTOR DEVICES
    • H10D30/00Field-effect transistors [FET]
    • H10D30/60Insulated-gate field-effect transistors [IGFET]
    • H10D30/67Thin-film transistors [TFT]
    • H10D30/6704Thin-film transistors [TFT] having supplementary regions or layers in the thin films or in the insulated bulk substrates for controlling properties of the device
    • HELECTRICITY
    • H10SEMICONDUCTOR DEVICES; ELECTRIC SOLID-STATE DEVICES NOT OTHERWISE PROVIDED FOR
    • H10DINORGANIC ELECTRIC SEMICONDUCTOR DEVICES
    • H10D30/00Field-effect transistors [FET]
    • H10D30/60Insulated-gate field-effect transistors [IGFET]
    • H10D30/67Thin-film transistors [TFT]
    • H10D30/6729Thin-film transistors [TFT] characterised by the electrodes
    • H10D30/673Thin-film transistors [TFT] characterised by the electrodes characterised by the shapes, relative sizes or dispositions of the gate electrodes
    • HELECTRICITY
    • H10SEMICONDUCTOR DEVICES; ELECTRIC SOLID-STATE DEVICES NOT OTHERWISE PROVIDED FOR
    • H10DINORGANIC ELECTRIC SEMICONDUCTOR DEVICES
    • H10D99/00Subject matter not provided for in other groups of this subclass
    • HELECTRICITY
    • H10SEMICONDUCTOR DEVICES; ELECTRIC SOLID-STATE DEVICES NOT OTHERWISE PROVIDED FOR
    • H10DINORGANIC ELECTRIC SEMICONDUCTOR DEVICES
    • H10D86/00Integrated devices formed in or on insulating or conducting substrates, e.g. formed in silicon-on-insulator [SOI] substrates or on stainless steel or glass substrates
    • H10D86/40Integrated devices formed in or on insulating or conducting substrates, e.g. formed in silicon-on-insulator [SOI] substrates or on stainless steel or glass substrates characterised by multiple TFTs
    • H10D86/421Integrated devices formed in or on insulating or conducting substrates, e.g. formed in silicon-on-insulator [SOI] substrates or on stainless steel or glass substrates characterised by multiple TFTs having a particular composition, shape or crystalline structure of the active layer
    • H10D86/423Integrated devices formed in or on insulating or conducting substrates, e.g. formed in silicon-on-insulator [SOI] substrates or on stainless steel or glass substrates characterised by multiple TFTs having a particular composition, shape or crystalline structure of the active layer comprising semiconductor materials not belonging to the Group IV, e.g. InGaZnO
    • HELECTRICITY
    • H10SEMICONDUCTOR DEVICES; ELECTRIC SOLID-STATE DEVICES NOT OTHERWISE PROVIDED FOR
    • H10DINORGANIC ELECTRIC SEMICONDUCTOR DEVICES
    • H10D86/00Integrated devices formed in or on insulating or conducting substrates, e.g. formed in silicon-on-insulator [SOI] substrates or on stainless steel or glass substrates
    • H10D86/40Integrated devices formed in or on insulating or conducting substrates, e.g. formed in silicon-on-insulator [SOI] substrates or on stainless steel or glass substrates characterised by multiple TFTs
    • H10D86/60Integrated devices formed in or on insulating or conducting substrates, e.g. formed in silicon-on-insulator [SOI] substrates or on stainless steel or glass substrates characterised by multiple TFTs wherein the TFTs are in active matrices

Landscapes

  • Thin Film Transistor (AREA)
  • Electroluminescent Light Sources (AREA)
  • Devices For Indicating Variable Information By Combining Individual Elements (AREA)
  • Liquid Crystal (AREA)
  • Electrodes Of Semiconductors (AREA)
  • Electrochromic Elements, Electrophoresis, Or Variable Reflection Or Absorption Elements (AREA)

Description

半導体装置及び当該半導体装置の作製方法に関する。
近年、酸化物半導体を用いて薄膜トランジスタ(TFTとも呼ぶ)を作製し、電子デバイ
ス等に応用する技術が注目されている。例えば、特許文献1や特許文献2には、酸化物半
導体層として酸化亜鉛やIn-Ga-Zn-O系酸化物半導体などを用いて、画像表示装
置のスイッチング素子などを作製する技術が開示されている。
また、酸化物半導体層を用いたトランジスタの構造として、様々な構造が提案されており
、例えば、上述した特許文献2や、特許文献3では、ゲート絶縁層上に設けられたソース
電極層及びドレイン電極層上に酸化物半導体層を形成するボトムゲート・ボトムコンタク
ト型の構造が示されている。
特開2007-123861号公報 特開2007-96055号公報 特開2007-305658号公報
一般的に、トランジスタの駆動電圧を低減し、高速動作を行うためには、ゲート絶縁層の
膜厚を小さくすることが有効である。しかし、ボトムゲート・ボトムコンタクト型の構造
において、ゲート電極層と、ソース電極層及びドレイン電極層とがゲート絶縁層を介して
一部重畳する場合には、ゲート絶縁層の膜厚が小さくなるにつれて、ゲート電極層とソー
ス電極層及びドレイン電極層間に寄生容量が形成され、素子特性に影響を及ぼすおそれが
ある。その結果、素子特性にばらつきが生じ、素子の信頼性が低下するおそれがある。
また、ゲート絶縁層を介してゲート電極層の端部を覆うようにソース電極層やドレイン電
極層が設けられている場合、ゲート電極層の端部を被覆するゲート絶縁層の厚さが小さく
なると、ゲート電極層とソース電極層やドレイン電極層との間でリークしやすくなる問題
が生じる。
上記問題に鑑み、半導体層をゲート電極層、ソース電極層及びドレイン電極層上に設ける
場合であっても、素子特性を向上させると共に、素子の信頼性を向上させることを目的の
一とする。
ゲート電極層と、ゲート電極層上に設けられたゲート絶縁層と、当該ゲート絶縁層を介し
てゲート電極層の一部と重なるように設けられたソース電極層及びドレイン電極層と、ゲ
ート絶縁層、ソース電極層及びドレイン電極層上に設けられた半導体層を有する構造にお
いて、ソース電極層とドレイン電極層の間の領域に位置するゲート絶縁層の膜厚を、ゲー
ト電極層とソース電極層の間に設けられたゲート絶縁層またはゲート電極層とドレイン電
極層の間に設けられたゲート絶縁層の膜厚より小さくなるように設ける。この場合、ソー
ス電極層及びドレイン電極層と、ゲート電極層との間に生じる寄生容量を低減すると共に
、素子特性を向上させることができる。
また、開示する発明の一態様は、基板上に設けられたゲート電極層と、ゲート電極層上に
設けられたゲート絶縁層と、ゲート絶縁層を介してゲート電極層の一部と重なるように設
けられたソース電極層及びドレイン電極層と、ゲート電極層上であってソース電極層とド
レイン電極層の間の領域に位置するゲート絶縁層と接して設けられ、且つソース電極層及
びドレイン電極層上に設けられた酸化物半導体層を有し、ゲート電極層上であってソース
電極層とドレイン電極層の間の領域に位置するゲート絶縁層の膜厚が、ゲート電極層とソ
ース電極層の間に設けられたゲート絶縁層またはゲート電極層とドレイン電極層の間に設
けられたゲート絶縁層の膜厚より小さいことを特徴としている。
また、開示する発明の一態様は、基板上に設けられたゲート電極層と、ゲート電極層上に
設けられた第1の絶縁層と、第1の絶縁層上であって、ゲート電極層の一部と重なるよう
に設けられた第2の絶縁層と、第1の絶縁層及び第2の絶縁層を介してゲート電極層の一
部と重なるように設けられたソース電極層及びドレイン電極層と、ゲート電極層上であっ
てソース電極層とドレイン電極層の間の領域に位置する第1の絶縁層と接して設けられ、
且つソース電極層及びドレイン電極層上に設けられた酸化物半導体層を有することを特徴
としている。なお、ゲート電極層上であってソース電極層とドレイン電極層の間の領域に
位置する第1の絶縁層の膜厚を、ゲート電極層とソース電極層の間に設けられた第1の絶
縁層またはゲート電極層とドレイン電極層の間に設けられた第1の絶縁層の膜厚より小さ
くしてもよい。
また、開示する発明の一態様は、基板上に設けられたゲート電極層と、ゲート電極層上に
順に積層して設けられた第1の絶縁層と第2の絶縁層と、第1の絶縁層及び第2の絶縁層
を介してゲート電極層の一部と重なるように設けられたソース電極層及びドレイン電極層
と、ゲート電極層上であってソース電極層とドレイン電極層の間の領域に位置する第2の
絶縁層と接して設けられ、且つソース電極層及びドレイン電極層上に設けられた酸化物半
導体層を有し、ゲート電極層上であってソース電極層とドレイン電極層の間の領域に位置
する第2の絶縁層の膜厚が、ゲート電極層とソース電極層の間に設けられた第2の絶縁層
及びゲート電極層とドレイン電極層の間に設けられた第2の絶縁層の膜厚より小さいこと
を特徴としている。
また、開示する発明の一態様は、基板上にゲート電極層を形成し、ゲート電極層上にゲー
ト絶縁層を形成し、ゲート絶縁層上にソース電極層及びドレイン電極層を形成し、ソース
電極層とドレイン電極層の間の領域に設けられたゲート絶縁層の上層部をエッチングする
ことにより、ソース電極層とドレイン電極層の間の領域に位置するゲート絶縁層の膜厚を
、ゲート電極層とソース電極層の間に設けられたゲート絶縁層またはゲート電極層とドレ
イン電極層の間に設けられたゲート絶縁層の膜厚より小さくし、ゲート絶縁層、ソース電
極層及びドレイン電極層上に酸化物半導体層を形成することを特徴としている。
また、開示する発明の一態様は、基板上にゲート電極層を形成し、ゲート電極層上に第1
の絶縁層を形成し、第1の絶縁層上に第2の絶縁層を形成し、第2の絶縁層上にソース電
極層及びドレイン電極層を形成し、ソース電極層とドレイン電極層の間の領域に設けられ
た第2の絶縁層をエッチングすることにより第1の絶縁層を露出させ、第1の絶縁層、ソ
ース電極層及びドレイン電極層上に酸化物半導体層を形成することを特徴としている。
なお、本明細書中で用いることができる酸化物半導体の一例としては、InMO(Zn
O)(m>0、mは整数とは限らない。)で表記されるものがある。ここで、Mは、ガ
リウム(Ga)、鉄(Fe)、ニッケル(Ni)、マンガン(Mn)及びコバルト(Co
)から選ばれた一の金属元素又は複数の金属元素を示す。例えばMとしてGaが選択され
る場合には、Gaのみの場合の他に、GaとNiや、GaとFeなど、Ga以外の上記金
属元素が選択される場合を含む。また、上記酸化物半導体において、Mとして含まれる金
属元素の他に、不純物元素としてFe、Niその他の遷移金属元素、又は該遷移金属の酸
化物が含まれているものがある。本明細書においては、上記酸化物半導体のうち、Mとし
て少なくともガリウムを含むものをIn-Ga-Zn-O系酸化物半導体と呼び、当該材
料を用いた薄膜をIn-Ga-Zn-O系非単結晶膜と呼ぶ。
なお、本明細書中において半導体装置とは、半導体特性を利用することで機能しうる装置
全般を指し、電気光学装置、半導体回路および電子機器は全て半導体装置に含まれる。ま
た、本明細書中において表示装置とは、発光装置や液晶表示装置を含む。発光装置は発光
素子を含み、液晶表示装置は液晶素子を含む。発光素子は、電流または電圧によって輝度
が制御される素子をその範疇に含んでおり、具体的には無機EL(Electro Lu
minescence)素子、有機EL素子等が含まれる。
ゲート電極層と、ゲート電極層上に設けられたゲート絶縁層と、当該ゲート絶縁層を介し
てゲート電極層の一部と重なるように設けられたソース電極層及びドレイン電極層と、ゲ
ート絶縁層、ソース電極層及びドレイン電極層上に設けられた半導体層を有する構造にお
いて、ソース電極層とドレイン電極層の間の領域に位置するゲート絶縁層の膜厚を、ゲー
ト電極層とソース電極層の間に設けられたゲート絶縁層またはゲート電極層とドレイン電
極層の間に設けられたゲート絶縁層の膜厚より小さくなるように設けることにより、ソー
ス電極層及びドレイン電極層と、ゲート電極層との間に生じる寄生容量を低減すると共に
、素子特性を向上させることができる。
実施の形態1又は実施の形態2に係る半導体装置の一例を説明する図。 実施の形態1に係る半導体装置の作製方法の一例を説明する図。 実施の形態2に係る半導体装置の作製方法の一例を説明する図。 実施の形態2に係るプラズマ処理に用いる装置の一例を説明する図。 実施の形態3に係る半導体装置の一例を説明する図。 実施の形態3に係る半導体装置の作製方法の一例を説明する図。 実施の形態4に係る半導体装置の一例を説明する図。 実施の形態4に係る半導体装置の作製方法の一例を説明する図。 実施の形態5に係る半導体装置の作製方法の一例を説明する図。 実施の形態5に係る半導体装置の作製方法の一例を説明する図。 実施の形態5に係る半導体装置の作製方法の一例を説明する図。 実施の形態5に係る半導体装置の作製方法の一例を説明する図。 実施の形態5に係る半導体装置の作製方法の一例を説明する図。 実施の形態5に係る半導体装置の作製方法の一例を説明する図。 実施の形態5に係る半導体装置の作製方法の一例を説明する図。 実施の形態6に係る半導体装置の一例を説明する図。 実施の形態6に係る半導体装置の一例を説明する図。 実施の形態7に係る半導体装置の一例を説明する図。 実施の形態8に係る半導体装置の画素等価回路の一例を説明する図。 実施の形態8に係る半導体装置の一例を説明する図。 実施の形態8に係る半導体装置の一例を説明する図。 電子ペーパーの使用形態の一例を説明する図。 電子書籍の一例を示す外観図。 テレビジョン装置およびデジタルフォトフレームの例を示す外観図。 遊技機の例を示す外観図。 携帯電話機の一例を示す外観図。
実施の形態について、図面を用いて詳細に説明する。但し、本発明は以下に示す実施の形
態の記載内容に限定されず、発明の趣旨から逸脱することなく形態及び詳細を様々に変更
し得ることは当業者にとって自明である。また、異なる実施の形態に係る構成は、適宜組
み合わせて実施することができる。なお、以下に説明する発明の構成において、同一部分
又は同様な機能を有する部分には同一の符号を用い、その繰り返しの説明は省略する。
(実施の形態1)
はじめに、図1(A)を参照して本実施の形態で示す薄膜トランジスタの構成に関して説
明する。
本実施の形態で示す薄膜トランジスタ250は、基板200上に設けられたゲート電極層
202と、ゲート電極層202及び基板200上に設けられたゲート絶縁層204と、ゲ
ート絶縁層204上に設けられたソース電極層206a及びドレイン電極層206bと、
ソース電極層206a及びドレイン電極層206b上に設けられ且つソース電極層206
a及びドレイン電極層206bの間に位置するゲート絶縁層204と接して設けられた酸
化物半導体層210を有している。さらに、ソース電極層206a及びドレイン電極層2
06bは、ゲート絶縁層204を介してゲート電極層202の一部と重なるように設けら
れ、ソース電極層206aとドレイン電極層206bの間の領域に位置するゲート絶縁層
204の膜厚tが、ゲート電極層202とソース電極層206aの間に設けられたゲー
ト絶縁層204及びゲート電極層202とドレイン電極層206bの間に設けられたゲー
ト絶縁層204の膜厚tより小さくなるように設けられている(図1(A)参照)。
つまり、ゲート絶縁層204がゲート電極層202と重なる領域において凹部(窪み(以
下、「凹部207」と記す))を有しており、ゲート絶縁層204の凹部207に酸化物
半導体層210が設けられている。なお、ここでいうゲート絶縁層204の凹部207と
は、ソース電極層とドレイン電極層を結ぶ断面方向から観察した際に、ゲート絶縁層20
4に形成される窪みをさす。
このように、図1(A)に示す構成とすることによって、ゲート電極層202上にゲート
絶縁層204を介してソース電極層206a及びドレイン電極層206bを当該ゲート電
極層202と一部が重畳するように設け、ソース電極層206a及びドレイン電極層20
6b上に酸化物半導体層210を設ける場合であっても、ソース電極層206a及びドレ
イン電極層206bとゲート電極層202との間に生じる寄生容量を低減すると共に、ト
ランジスタの駆動電圧を低減し素子特性を向上することができる。
なお、図1(A)では、ソース電極層206aとドレイン電極層206bの双方がゲート
絶縁層204を介してゲート電極層202の一部と重なる場合を示したが、本実施の形態
はこれに限られない。ソース電極層206aとドレイン電極層206bのいずれか一方が
ゲート絶縁層204を介してゲート電極層202と重なる場合には、当該重なる電極層と
ゲート電極層202の間に設けられたゲート絶縁層204の膜厚tを、ソース電極層2
06aとドレイン電極層206bの間の領域に位置するゲート絶縁層204の膜厚t
り厚くなるように設ければよい。
次に、図2を参照して、図1(A)に示す薄膜トランジスタ250の作製方法の一形態に
関して説明する。
まず、基板200上にゲート電極層202を形成し、続いて当該ゲート電極層202上に
ゲート絶縁層204を形成する(図2(A)参照)。
基板200としては、絶縁表面を有する基板であればよく、例えば、ガラス基板を用いる
ことができる。ガラス基板は無アルカリガラス基板であることが好ましい。無アルカリガ
ラス基板としては、例えば、アルミノシリケートガラス、アルミノホウケイ酸ガラス、バ
リウムホウケイ酸ガラス等のガラス材料が用いられている。他にも、基板200として、
セラミック基板、石英基板やサファイア基板等の絶縁体でなる絶縁性基板、シリコン等の
半導体材料でなる半導体基板の表面を絶縁材料で被覆したもの、金属やステンレス等の導
電体でなる導電性基板の表面を絶縁材料で被覆したものを用いることができる。また、作
製工程の熱処理に耐えられるのであれば、プラスチック基板を用いることもできる。
ゲート電極層202は、導電層を基板200全面に形成した後、フォトリソグラフィ法を
用いて、導電層をエッチングすることにより形成することができる。ゲート電極層202
にはゲート配線等、上記導電層によって形成される電極や配線が含まれる。
ゲート電極層202は、アルミニウム(Al)、銅(Cu)、モリブデン(Mo)、タン
グステン(W)、チタン(Ti)等の導電性材料で形成することが望ましい。なお、配線
及び電極としてアルミニウムを用いる場合、アルミニウム単体では耐熱性が低く、腐蝕し
やすい等の問題点があるため、耐熱性導電性材料と組み合わせて形成することが好ましい
耐熱性導電性材料は、チタン(Ti)、タンタル(Ta)、タングステン(W)、モリブ
デン(Mo)、クロム(Cr)、ネオジム(Nd)、スカンジウム(Sc)から選ばれた
元素、上述した元素を成分とする合金、上述した元素を組み合わせた合金、又は上述した
元素を成分とする窒化物で形成することができる。これらの耐熱性導電性材料からなる膜
とアルミニウム(又は銅)を積層させて、配線や電極を形成すればよい。
なお、ゲート電極層202を、液滴吐出法やスクリーン印刷法等を用いて基板200上に
選択的に形成することも可能である。
ゲート絶縁層204は、酸化シリコン膜、酸化窒化シリコン膜、窒化シリコン膜、窒化酸
化シリコン膜、酸化アルミニウム膜又は酸化タンタル膜等で形成することができる。また
、これらの膜を積層させて設けてもよい。これらの膜は、スパッタ法等を用いて膜厚を5
0nm以上250nm以下で形成することができる。例えば、ゲート絶縁層204として
、スパッタ法により酸化シリコン膜を200nmの厚さで形成することができる。
なお、本明細書中において、酸化窒化シリコンとは、その組成として、窒素よりも酸素の
含有量が多いものであって、好ましくは、ラザフォード後方散乱法(RBS:Ruthe
rford Backscattering Spectrometry)及び水素前方
散乱法(HFS:Hydrogen Forwardscattering Spect
rometry)を用いて測定した場合に、濃度範囲として酸素が50~70原子%、窒
素が0.5~15原子%、シリコンが25~35原子%、水素が0.1~10原子%の範
囲で含まれるものをいう。また、窒化酸化シリコンとは、その組成として、酸素よりも窒
素の含有量が多いものであって、好ましくは、RBS及びHFSを用いて測定した場合に
、濃度範囲として酸素が5~30原子%、窒素が20~55原子%、シリコンが25~3
5原子%、水素が10~30原子%の範囲で含まれるものをいう。ただし、酸化窒化シリ
コン又は窒化酸化シリコンを構成する原子の合計を100原子%としたとき、窒素、酸素
、シリコン及び水素の含有比率が上記の範囲内に含まれるものとする。
次に、ゲート絶縁層204上にソース電極層206a及びドレイン電極層206bを形成
する(図2(B)参照)。
ソース電極層206a及びドレイン電極層206bは、ゲート絶縁層204上に導電層を
形成した後、フォトリソグラフィ法を用いて、当該導電層をエッチングすることにより形
成することができる。ここでは、一例として、ソース電極層206aとドレイン電極層2
06bの一部がゲート絶縁層204を介してゲート電極層202と重なるように形成する
場合を示している。
ソース電極層206a及びドレイン電極層206bは、スパッタ法や真空蒸着法等を用い
て、アルミニウム(Al)、銅(Cu)、チタン(Ti)、タンタル(Ta)、タングス
テン(W)、モリブデン(Mo)、クロム(Cr)、ネオジム(Nd)、スカンジウム(
Sc)から選ばれた元素を含む金属、上述の元素を成分とする合金、または、上述の元素
を成分とする窒化物等からなる材料で形成することができる。
例えば、ソース電極層206a及びドレイン電極層206bを、モリブデン膜やチタン膜
の単層構造で形成することができる。また、ソース電極層206a及びドレイン電極層2
06bを積層構造で形成してもよく、例えば、アルミニウム膜とチタン膜との積層構造と
することができる。また、チタン膜と、アルミニウム膜と、チタン膜とを順に積層した3
層構造としてもよい。また、モリブデン膜とアルミニウム膜とモリブデン膜とを順に積層
した3層構造としてもよい。また、これらの積層構造に用いるアルミニウム膜として、ネ
オジムを含むアルミニウム(Al-Nd)膜を用いてもよい。さらに、ソース電極層20
6a及びドレイン電極層206bを、シリコンを含むアルミニウム膜の単層構造としても
よい。
なお、ソース電極層206a及びドレイン電極層206bを、液滴吐出法やスクリーン印
刷法等を用いて基板200上に選択的に形成することも可能である。
図2(B)において形成されたソース電極層206aはトランジスタのソースとして機能
し、ドレイン電極層206bはトランジスタのドレインとして機能する。なお、トランジ
スタの駆動方法によっては、ソース電極層206aがドレインとして機能し、ドレイン電
極層206bがソースとして機能する場合もあり得る。
次に、ソース電極層206aとドレイン電極層206bの間の領域に設けられたゲート絶
縁層204(露出したゲート絶縁層204)の上層部にエッチング処理を行うことにより
、ゲート絶縁層204に凹部207を形成する(図2(C)参照)。
エッチング処理を行うことによって、ソース電極層206a及びドレイン電極層206b
の間の領域に位置するゲート絶縁層204の膜厚tが、ゲート電極層202とソース電
極層206aの間に設けられたゲート絶縁層204及びゲート電極層202とドレイン電
極層206bの間に設けられたゲート絶縁層204の膜厚tより小さくすることができ
る。好ましくは、ゲート絶縁層204の膜厚tを、tの膜厚の1/5~4/5(t
=t/5~4t/5)とする。
エッチング処理としては、不活性ガス及び/又は反応性ガスを用いたプラズマ処理、ウエ
ットエッチング処理等を用いることができる。
また、エッチング処理において、ソース電極層206a及びドレイン電極層206bをマ
スクとして用いることができる。他にも、ソース電極層206a及びドレイン電極層20
6bの形成の際(図2(B))に用いたフォトマスクを用いてゲート絶縁層204のエッ
チングを行うこともできる。この場合、ソース電極層206a及びドレイン電極層206
bと重ならないゲート絶縁層204がエッチングされる。
エッチング処理を行うことによって、ゲート絶縁層204の膜厚を領域毎に異なる値とす
ると共に、露出したゲート絶縁層204の表面に付着した不純物や、不純物元素が取り込
まれた表層部を除去することができる(図2(C)参照)。
次に、ゲート絶縁層204、ソース電極層206a及びドレイン電極層206bを覆うよ
うに酸化物半導体層209を形成する(図2(D)参照)。
酸化物半導体層209は、In-Ga-Zn-O系非単結晶膜で形成することができる。
例えば、In、Ga、及びZnを含む酸化物半導体ターゲット(In:Ga
:ZnO=1:1:1)を用いたスパッタ法で、酸化物半導体層209を形成することが
できる。スパッタの条件としては、例えば、基板200とターゲットとの距離を30mm
~500mm、圧力を0.1Pa~2.0Pa、直流(DC)電源を0.25kW~5.
0kW、温度を20℃~100℃、雰囲気をアルゴン雰囲気、酸素雰囲気、又はアルゴン
と酸素との混合雰囲気とすることができる。
なお、パルス直流(DC)電源を用いると、ごみが軽減でき、膜厚分布も均一となるため
好ましい。また、上述したプラズマ処理を行った後、大気に曝すことなく酸化物半導体層
209を形成することにより、ゲート絶縁層204と酸化物半導体層209の界面にゴミ
や水分が付着することを抑制することができる。また、酸化物半導体層209の膜厚は、
5nm~200nm程度とすればよい。
上記のスパッタ法としては、スパッタ用電源に高周波電源を用いるRFスパッタ法や、直
流電源を用いるDCスパッタ法、パルス的に直流バイアスを加えるパルスDCスパッタ法
などを用いることができる。
また、エッチング処理としてプラズマ処理を用いる場合、プラズマ処理と酸化物半導体層
209の形成を、同一チャンバー内で連続して行うことが好ましい。プラズマ処理後のゲ
ート絶縁層204、ソース電極層206a及びドレイン電極層206bの表面を大気に曝
すことなく酸化物半導体層209を形成することによって、ゲート絶縁層204、ソース
電極層206a及びドレイン電極層206bの表面への不純物の付着や、酸化膜等が形成
されることを抑制することができる。
なお、本実施の形態では、薄膜トランジスタ250のチャネル形成領域となる半導体層と
して酸化物半導体層を用いる場合を示しているが、適用できる半導体層はこれに限られな
い。他にも、半導体層として、有機半導体材料を用いた半導体層等を用いることができる
。また、半導体層として、In-Ga-Zn-O系非単結晶膜の他に、少なくともインジ
ウム、ガリウム、亜鉛のうちの一つを含む酸化物半導体、例えばZnO、IZO、ITO
、またはSnO等の酸化物半導体、SiGe、GaAs等の化合物半導体を用いてもよい
次に、酸化物半導体層209をエッチングして島状の酸化物半導体層210を形成する(
図2(E)参照)。
以上の工程により、酸化物半導体層210をチャネル形成領域として用いる薄膜トランジ
スタ250を形成することができる。
また、酸化物半導体層210を形成した後、100℃~600℃、代表的には200℃~
400℃の熱処理を行うと良い。例えば、窒素雰囲気下で350℃、1時間の熱処理を行
うことができる。この熱処理により島状の酸化物半導体層210を構成するIn-Ga-
Zn-O系酸化物半導体の原子レベルの再配列が行われる。この熱処理(光アニール等も
含む)は、島状の酸化物半導体層210中におけるキャリアの移動を阻害する歪みを解放
できる点で重要である。なお、上記の熱処理を行うタイミングは、酸化物半導体層209
の形成後であれば特に限定されない。
また、島状の酸化物半導体層210に対して酸素ラジカル処理を行ってもよい。酸素ラジ
カル処理を行うことにより酸化物半導体層210をチャネル形成領域とする薄膜トランジ
スタをノーマリーオフとすることができる。また、ラジカル処理を行うことにより、島状
の酸化物半導体層210のエッチングによるダメージを回復することができる。ラジカル
処理は、O、NO、酸素を含むN、He、Arなどの雰囲気下で行うことができる
。また、上記雰囲気にCl、CFを加えた雰囲気下で行ってもよい。なお、ラジカル
処理は、基板200側にバイアス電圧を印加せずに行うことが好ましい。
また、酸化物半導体層210、ソース電極層206a及びドレイン電極層206b等を含
む薄膜トランジスタ250を覆うように、保護絶縁層を形成してもよい。保護絶縁層とし
ては、CVD法やスパッタ法等を用いて、酸化シリコン膜、窒化シリコン膜、酸化窒化シ
リコン膜、窒化酸化シリコン膜、酸化アルミニウム膜、窒化アルミニウム膜、酸化窒化ア
ルミニウム膜、又は窒化酸化アルミニウム膜の単層、又は積層で形成すればよい。
その後、各種電極や配線を形成することで薄膜トランジスタ250を有する半導体装置が
完成する。
以上のように、ソース電極層206a及びドレイン電極層206bを形成した後に、露出
したゲート絶縁層204にエッチング処理を行うことによって、ソース電極層206a及
びドレイン電極層206bの間に位置するゲート絶縁層204の膜厚tを、ゲート電極
層202とソース電極層206aの間に設けられたゲート絶縁層204及びゲート電極層
202とドレイン電極層206bの間に設けられたゲート絶縁層204の膜厚tより小
さくすることができる。その結果、ソース電極層及びドレイン電極層と、ゲート電極層と
の間に生じる寄生容量を低減すると共に、素子特性を向上させることができる。
(実施の形態2)
本実施の形態では、図1(B)を参照して上記実施の形態と異なるトランジスタの構成に
関して説明する。
図1(B)に示す薄膜トランジスタ260は、図1(A)に示す薄膜トランジスタ250
において、ソース電極層206a及びドレイン電極層206bをテーパー形状とし、ソー
ス電極層206a及びドレイン電極層206bの上端部が曲面を有するように設ける場合
を示している。なお、その他の構造(ゲート電極層202、ゲート絶縁層204、ソース
電極層206a、ドレイン電極層206b、酸化物半導体層210の位置関係等)は図1
(A)と同様に設けることができる。
ソース電極層206a及びドレイン電極層206bをテーパー形状とし、ソース電極層2
06a及びドレイン電極層206bの上端部が曲面を有するように設けることによって、
ゲート絶縁層204、ソース電極層206a及びドレイン電極層206bに対する酸化物
半導体層210の被覆性を向上し、段切れを抑制することができる。特に、ソース電極層
206a及びドレイン電極層206bの間の領域に位置するゲート絶縁層204の膜厚t
を、ソース電極層206aやドレイン電極層206bの下方に設けられたゲート絶縁層
の膜厚tに対して十分に小さくした場合であっても、酸化物半導体層210の段切れを
効果的に抑制することができる。
以下に、図3を参照して、図1(B)に示す薄膜トランジスタ260の作製方法の一例に
関して説明する。なお、図3における作製工程は多くの部分で図1(B)と共通している
。したがって、以下の説明においては、重複する部分の説明は省略し、異なる点について
詳細に説明する。また、図3では、ゲート絶縁層204のエッチング処理としてプラズマ
処理を用いる場合を示す。
まず、絶縁表面を有する基板200上にゲート電極層202を形成し、続いて当該ゲート
電極層202上にゲート絶縁層204を形成する(図3(A)参照)。また、ゲート電極
層202を形成する際、後に形成されるゲート絶縁層204の被覆性を向上し、段切れを
防止するために、ゲート電極層202の端部がテーパー形状となるようエッチングするこ
とが好ましい。例えば、テーパー角θが20°以上90°未満、好ましくは30°以上
80°以下となるような形状とすることが好ましい。なお、「テーパー角θ」とは、テ
ーパー形状を有する層(ここでは、ゲート電極層202)を、断面方向(基板200の表
面と直交する面)から観察した際に、当該層の側面と底面がなす当該層内部側の傾斜角を
示す。つまり、断面方向から観察した際の、基板200と接するゲート電極層202下端
部の角度に相当する。
なお、ゲート電極層202、ゲート絶縁層204の材料や作製方法については、実施の形
態1を参照することができる。
次に、ゲート絶縁層204上にソース電極層206a及びドレイン電極層206bを形成
する(図3(B)参照)。なお、ソース電極層206a及びドレイン電極層206bの材
料や作製方法については、実施の形態1を参照することができる。
次に、ゲート絶縁層204にエッチング処理を行う。ここでは、基板200が設置された
チャンバー内でプラズマを発生させ、露出したゲート絶縁層204、ソース電極層206
a及びドレイン電極層206bの表面にプラズマ208を作用させることによりゲート絶
縁層204に凹部207を形成する場合を示している(図3(C)参照)。
プラズマ処理は、例えば、真空状態のチャンバーにアルゴン(Ar)ガス等の不活性ガス
を導入し、被処理物(ここでは、基板200)にバイアス電圧を印加してプラズマ状態と
して行うことができる。チャンバーにArガスを導入した場合、プラズマ中には電子とA
rの陽イオンが存在し、陰極方向(基板200側)にArの陽イオンが加速される。加速
されたArの陽イオンが基板200上に形成されたゲート絶縁層204、ソース電極層2
06a及びドレイン電極層206bの表面に衝突することによって、当該表面がスパッタ
エッチングされ、ゲート絶縁層204、ソース電極層206a及びドレイン電極層206
bの表面をエッチングすることができる。なお、このようなプラズマ処理を「逆スパッタ
」と呼ぶこともある。
基板200側にバイアス電圧を印加してプラズマ処理を行うことによって、ゲート絶縁層
204、ソース電極層206a及びドレイン電極層206bの表面のスパッタエッチング
を効果的に行うことができる。
また、ゲート絶縁層204の表面に凹凸が形成されている場合には、プラズマ処理を行う
ことにより、ゲート絶縁層204の凸部から優先的にスパッタエッチングされ、当該ゲー
ト絶縁層204の表面の平坦性を向上することができる。
また、上記プラズマ処理で用いるガスとして、アルゴンガスに代えてヘリウムガスを用い
てもよい。また、アルゴン雰囲気に酸素、水素、窒素等を加えた雰囲気で行ってもよい。
また、アルゴン雰囲気にCl、CFなどを加えた雰囲気で行ってもよい。
例えば、本実施の形態では、図4に示すようなスパッタ装置を用いてプラズマ処理を行う
ことができる。
図4に示すスパッタ装置は、チャンバー190内に、被処理物195(ここでは、基板2
00)を保持する第1の電極191と、対向する第2の電極192が設けられている。ま
た、第1の電極191は、RF電源(高周波電源)197に接続され、第2の電極192
はRF電源198、DC電源199に接続されている。第1の電極191とRF電源19
7の間、及び第2の電極192とRF電源198の間には、インピーダンス整合させるた
めのマッチングボックス193、マッチングボックス194がそれぞれ設けられている。
図4に示すスパッタ装置を用いて、被処理物195にプラズマ処理(逆スパッタともいう
)を行う場合には、導入口196からアルゴンガス等の不活性ガスを導入し、第1の電極
191に高周波電圧を印加して第1の電極191と第2の電極192間に不活性ガスのプ
ラズマを生成し、第1の電極191上に設けられた被処理物195側に負の自己バイアス
を発生させる(バイアス電圧を印加した状態とする)ことにより、プラズマ中の陽イオン
を加速して被処理物195に衝突させる。このとき、ゲート絶縁層204の表面に凹凸が
形成されている場合には、凸部が優先的にスパッタエッチングされ、ゲート絶縁層204
の表面を平坦化することができる。
なお、図4に示すスパッタ装置を用いて、被処理物195に膜を成膜する(スパッタ成膜
)する場合には、第2の電極192側に成膜したい材料から構成されるターゲットを設置
し、第2の電極192に直流電圧又は高周波電圧を印加して、第1の電極191と第2の
電極192間にプラズマを生成し、プラズマ中の陽イオンを加速してターゲットに衝突さ
せればよい。
したがって、プラズマ処理を行った後に、被処理物195に膜を成膜する場合には、被処
理物195を大気に曝すことなくプラズマ処理後、続けてスパッタ法を用いて被処理物1
95に膜を形成することができる。
なお、本実施の形態では、プラズマ処理の際に基板200側にバイアス電圧を印加する場
合について説明したが、ゲート絶縁層204に凹部207を形成できるのであれば、バイ
アス電圧を印加せずにプラズマ処理を行ってもよい。
また、プラズマ処理を行うことにより、ゲート絶縁層204の表面、ソース電極層206
a及びドレイン電極層206bの表面に付着した不純物を除去できるという利点を有して
いる。
また、図3では、ゲート絶縁層204だけでなく、ソース電極層206a及びドレイン電
極層206bにプラズマ処理を行うことにより、ソース電極層206a及びドレイン電極
層206bの端部をテーパー形状とする場合を示している。例えば、テーパー角θが2
0°以上90°未満、好ましくは30°以上80°以下となるような形状とすることが好
ましい。なお、「テーパー角θ」とは、テーパー形状を有する層(ここでは、ソース電
極層206aまたはドレイン電極層206b)を、断面方向(基板200の表面と直交す
る面)から観察した際に、当該層の側面と底面がなす当該層内部側の先端部分の傾斜角を
示す。つまり、断面方向から観察した際の、ゲート絶縁層204に接するソース電極層2
06aまたはドレイン電極層206bの下端部の角度に相当する。ソース電極層206a
及びドレイン電極層206bの端部をテーパー形状とすることにより、後に形成される酸
化物半導体層の被覆性を向上し、段切れを抑制することができる。
また、図3では、ゲート絶縁層204だけでなく、ソース電極層206a及びドレイン電
極層206bにプラズマ処理を行うことにより、ソース電極層206a及びドレイン電極
層206bの上端部が曲面を有するように(曲面形状とするように)形成する場合を示し
ている。例えば、ソース電極層206a及びドレイン電極層206bの上端部の曲率半径
Rが、プラズマ処理後のソース電極層206a及びドレイン電極層206bの厚さの1/
100以上1/2以下、好ましくはソース電極層206a及びドレイン電極層206bの
厚さの3/100以上1/5以下となるように形成する。
例えば、プラズマ処理後のソース電極層206a及びドレイン電極層206bの厚さが1
00nmである場合には、ソース電極層206a及びドレイン電極層206bの上端部の
曲率半径Rを、1nm以上50nm以下、好ましくは3nm以上20nm以下とする。ま
た、ソース電極層206a及びドレイン電極層206bの上端部の曲率半径Rがこの範囲
で連続して変化する形状としてもよい。ソース電極層206a及びドレイン電極層206
bの上端部を曲面が有するように設けることにより、後に形成される酸化物半導体層の被
覆性を向上し、段切れを抑制することができる。特に酸化物半導体層の厚さが、ソース電
極層206aもしくはドレイン電極層206bの厚さと窪み部の深さを合わせた長さ(段
差)よりも薄い場合に、段切れを抑制する効果が顕著となる。
また、ソース電極層206a及びドレイン電極層206bの端部をテーパー形状とすると
共に、ゲート絶縁層204の凹部207をテーパー形状となるように形成することが好ま
しい。この場合、ゲート絶縁層204とソース電極層206a又はドレイン電極層206
bとが接する部分に形成される酸化物半導体層の被覆性を向上し、段切れを効果的に防止
することができる。なお、ゲート絶縁層204の凹部207をテーパー形状とするとは、
ゲート絶縁層204の窪みの部分の側面と底面とのなす窪み部分側の傾斜角θ(又は窪
み部分の側面と基板200表面とのなす窪み部分側の傾斜角)を90°以上とすることを
いう。
このように、ゲート絶縁層204だけでなく、ソース電極層206a及びドレイン電極層
206bにもプラズマ処理を行うことによって、ゲート絶縁層204に凹部207を形成
すると共に、ソース電極層206a及びドレイン電極層206bをテーパー形状とし、ソ
ース電極層206a及びドレイン電極層206bの上端部が曲面を有するように設けるこ
とができる。
次に、ゲート絶縁層204、ソース電極層206a及びドレイン電極層206bを覆うよ
うに酸化物半導体層を形成した後、当該酸化物半導体層を選択的にエッチングすることに
より酸化物半導体層210を形成する(図3(D)参照)。なお、酸化物半導体層210
の材料や作製方法については、実施の形態1を参照することができる。
本実施の形態により、高い特性を有するトランジスタから構成される半導体装置を提供す
ることができる。なお、本実施の形態は、他の実施の形態と適宜組み合わせて用いること
ができる。
(実施の形態3)
本実施の形態では、図5を参照して上記実施の形態と異なるトランジスタの構成に関して
説明する。
図5(A)に示す薄膜トランジスタ270は、基板200上に設けられた第1の絶縁層2
51と、第1の絶縁層251上に設けられた第2の絶縁層252と、第1の絶縁層251
及び第2の絶縁層252を介してゲート電極層202の一部と重なるように設けられたソ
ース電極層206a及びドレイン電極層206bと、ソース電極層206a及びドレイン
電極層206b上に設けられ且つソース電極層206a及びドレイン電極層206bの間
の領域に位置する第1の絶縁層251と接して設けられた酸化物半導体層210を有して
いる。
つまり、第2の絶縁層252が、ゲート電極層202と重なる領域において、ソース電極
層206aとドレイン電極層206bと重ならない領域で除去された構成となっている。
この場合、ソース電極層206a及びドレイン電極層206bの間に位置する絶縁層が第
1の絶縁層251から構成され、ゲート電極層202とソース電極層206aの間に設け
られた絶縁層及びゲート電極層202とドレイン電極層206bの間に設けられた絶縁層
が第1の絶縁層251と第2の絶縁層252の積層構造から構成されている。
また、ソース電極層206a及びドレイン電極層206bの間に位置する絶縁層の膜厚t
が、ゲート電極層202とソース電極層206aの間に設けられた絶縁層及びゲート電
極層202とドレイン電極層206bの間に設けられた絶縁層の膜厚tより小さくなる
。図5(A)では、膜厚tが第1の絶縁層251と第2の絶縁層252の膜厚を加えた
値に相当し、膜厚tが第1の絶縁層251の膜厚の値に相当する。
このように、図5(A)に示す構成とすることによって、ゲート電極層202上に第1の
絶縁層251及び第2の絶縁層252を介してソース電極層206a及びドレイン電極層
206bを設け、当該ソース電極層206a及びドレイン電極層206b上に酸化物半導
体層210を設ける場合であっても、ソース電極層206a及びドレイン電極層206b
とゲート電極層202との間に生じる寄生容量を低減すると共に、トランジスタの駆動電
圧を低減し、素子特性を向上することができる。
また、図5(A)に示す構成において、第1の絶縁層251と第2の絶縁層252に用い
る材料を異ならせることが好ましい。好ましくは、第1の絶縁層251に用いる材料の誘
電率を第2の絶縁層252に用いる材料の誘電率より高くする。第1の絶縁層251の誘
電率を第2の絶縁層252の誘電率より高くすることにより、トランジスタの駆動電圧を
低減することができるため、ソース電極層206a及びドレイン電極層206bとゲート
電極層202との間に生じる寄生容量の影響を効果的に低減することができる。
第1の絶縁層251と第2の絶縁層252に用いる材料を異ならせることにより、第2の
絶縁層252をエッチングする際にエッチングの選択比をとりやすくすることができる。
なお、エッチング選択比がとれるとは、例えば、A層とB層をエッチングする場合に、A
層のエッチングレートとB層のエッチングレートに十分な差を有することを意味する。ま
た、「エッチングレート」とは、単位時間あたりのエッチングされる量(被エッチング量
)を意味する。したがって、「エッチングレートが大きい」とは、よりエッチングされや
すいことを意味し、「エッチングレートが小さい」とは、よりエッチングされにくいこと
を意味する。
また、第1の絶縁層251の膜厚と第2の絶縁層252の膜厚は、用いる材料により適宜
設定することができる。例えば、第1の絶縁層251として、窒化シリコン膜、酸化アル
ミニウム膜、酸化ハフニウム膜又はこれらの膜を組み合わせた絶縁層を膜厚5nm~20
0nmで形成し、第2の絶縁層252として、酸化アルミニウム膜、ポリイミド膜又はこ
れらの膜を組み合わせた絶縁層等を膜厚5nm~200nmで形成することができる。ま
た、駆動電圧をより低減しソース電極層206a及びドレイン電極層206bとゲート電
極層202との間に生じる寄生容量を低減する場合には、第1の絶縁層251の膜厚を第
2の絶縁層252の膜厚より小さくすることが好ましい。
なお、本実施の形態で示すトランジスタは、図5(A)の構成に限られない。他にも、図
5(B)、図5(C)に示す構造としてもよい。
図5(B)に示す薄膜トランジスタ271は、基板200上に設けられた第1の絶縁層2
51と、第1の絶縁層251上に設けられた第2の絶縁層252と、第1の絶縁層251
及び第2の絶縁層252を介してゲート電極層202の一部と重なるように設けられたソ
ース電極層206a及びドレイン電極層206bと、ソース電極層206a及びドレイン
電極層206b上に設けられ且つソース電極層206aとドレイン電極層206bの間の
領域に位置する第2の絶縁層252と接して設けられた酸化物半導体層210を有し、ソ
ース電極層206aとドレイン電極層206bの間の領域に位置する第2の絶縁層252
の上層部が除去されている。
つまり、第2の絶縁層252がゲート電極層202と重なる領域において凹部207を有
しており、第2の絶縁層252の凹部207に酸化物半導体層210が設けられている。
図5(C)に示すトランジスタ272は、図5(A)に示す構成において、第2の絶縁層
252がゲート電極層202と重なる領域であって、ソース電極層206aとドレイン電
極層206bの間に位置する領域において、第1の絶縁層251が凹部207を有してお
り、第1の絶縁層251の凹部207に酸化物半導体層210が設けられている。
図5(B)又は図5(C)に示す構成とした場合であっても、ソース電極層206a及び
ドレイン電極層206bの間に位置する絶縁層の膜厚tを、ゲート電極層202とソー
ス電極層206aの間に設けられた絶縁層及びゲート電極層202とドレイン電極層20
6bの間に設けられた絶縁層の膜厚tより小さくすることができる。
また、図5では、ゲート電極層202と、ソース電極層206a及びドレイン電極層20
6bとの間に設ける絶縁層として、第1の絶縁層251と第2の絶縁層252との2層構
造を設ける場合を示したが、本実施の形態は2層構造に限られず3層構造としてもよい。
次に、図6を参照して、図5(A)に示すトランジスタ270の作製方法の一例に関して
説明する。なお、図6における作製工程は多くの部分で図1と共通している。したがって
、以下の説明においては、重複する部分の説明は省略し、異なる点について詳細に説明す
る。
まず、絶縁表面を有する基板200上にゲート電極層202を形成し、続いて当該ゲート
電極層202上に第1の絶縁層251と第2の絶縁層252を順に積層して形成する(図
6(A)参照)。
第1の絶縁層251、第2の絶縁層252は、酸化シリコン膜、酸化窒化シリコン膜、窒
化シリコン膜、窒化酸化シリコン膜、酸化アルミニウム膜、酸化タンタル膜、酸化ハフニ
ウム膜等を用いて形成することができる。
また、第1の絶縁層251と第2の絶縁層252は、異なる材料を用いて形成することが
好ましい。特に、第1の絶縁層251の誘電率を第2の絶縁層252の誘電率より高くな
るように、材料及び膜厚を決定することが好ましい。例えば、第1の絶縁層251として
、酸化シリコン膜と窒化シリコン膜を順に積層させた膜を5nm~200nmの厚さで形
成し、第2の絶縁層252として、酸化シリコン膜を5nm~200nmの厚さで形成す
ることができる。
また、上述したように、第1の絶縁層251として、窒化シリコン膜、酸化アルミニウム
膜、酸化ハフニウム膜又はこれらの膜を組み合わせた絶縁層を膜厚5nm~200nmで
形成し、第2の絶縁層252として、酸化アルミニウム膜、ポリイミド膜又はこれらの膜
を組み合わせた絶縁層等を膜厚5nm~200nmで形成することができる。
なお、ゲート電極層202の材料や作製方法については、実施の形態1を参照することが
できる。
次に、第2の絶縁層252上にソース電極層206a及びドレイン電極層206bを形成
する(図6(B)参照)。なお、ソース電極層206a及びドレイン電極層206bの材
料や作製方法については、実施の形態1を参照することができる。
次に、ソース電極層206aとドレイン電極層206bの間に形成された第2の絶縁層2
52(露出した第2の絶縁層252)にエッチング処理を行うことにより、第2の絶縁層
252を除去し、第1の絶縁層251を露出させる(図6(C)参照)。
エッチング処理を行うことによって、ソース電極層206aとドレイン電極層206bの
間の領域に位置する絶縁層(ここでは、第1の絶縁層251)の膜厚tが、ゲート電極
層202とソース電極層206aの間に設けられた絶縁層及びゲート電極層202とドレ
イン電極層206bの間に設けられた絶縁層(ここでは、第1の絶縁層251と第2の絶
縁層252の積層膜)の膜厚tより小さくなる。
エッチング処理としては、ドライエッチング又はウエットエッチングを用いることができ
る。例えば、エッチング処理として、CとArの混合ガスを用いてドライエッチン
グを行うことにより、酸化シリコン膜と窒化シリコン膜とのエッチングの選択比をとり、
第2の絶縁層252を効果的に除去することができる。
なお、エッチング処理の条件を制御することにより、ソース電極層206aとドレイン電
極層206bの間に形成された第2の絶縁層252の一部を残存させてもよいし(図5(
B)に相当)、ソース電極層206aとドレイン電極層206bの間に形成された第2の
絶縁層252を除去すると共に第1の絶縁層251の上層部をエッチングして第1の絶縁
層251に凹部を形成してもよい(図5(C)に相当)。
また、エッチング処理において、ソース電極層206a及びドレイン電極層206bをマ
スクとして用いることができる。他にも、ソース電極層206a及びドレイン電極層20
6bの形成の際(図6(B))に用いたフォトマスクを用いて第2の絶縁層252のエッ
チングを行うこともできる。
次に、第1の絶縁層251、第2の絶縁層252、ソース電極層206a及びドレイン電
極層206bを覆うように酸化物半導体層209を形成した後(図6(D)参照)、当該
酸化物半導体層209を選択的にエッチングすることにより酸化物半導体層210を形成
する(図6(E)参照)。なお、酸化物半導体層209(酸化物半導体層210)の材料
や作製方法については、実施の形態1を参照することができる。
本実施の形態により、高い特性を有するトランジスタから構成される半導体装置を提供す
ることができる。なお、本実施の形態は、他の実施の形態と適宜組み合わせて用いること
ができる。
(実施の形態4)
本実施の形態では、図7を参照して上記実施の形態と異なるトランジスタの構成に関して
説明する。
図7(A)に示す薄膜トランジスタ280は、基板200上に設けられたゲート絶縁層2
04と、ゲート絶縁層204を介してゲート電極層202の一部と重なるように設けられ
たソース電極層206a及びドレイン電極層206bと、ソース電極層206a及びドレ
イン電極層206b上にバッファ層217a、217bを介して設けられ且つソース電極
層206a及びドレイン電極層206bの間に位置するゲート絶縁層204と接して設け
られた酸化物半導体層210を有している。さらに、ソース電極層206aとドレイン電
極層206bの間の領域に位置するゲート絶縁層204の膜厚tが、ゲート電極層20
2とソース電極層206aの間に設けられたゲート絶縁層204及びゲート電極層202
とドレイン電極層206bの間に設けられたゲート絶縁層204の膜厚tより小さくな
るように設けられている(図7(A)参照)。
つまり、図7(A)に示すトランジスタは、図1(A)に示すトランジスタにバッファ層
217a、217bを追加した構成となっている。
バッファ層217a、217bは、作製工程においてソース電極層206a及びドレイン
電極層206bの表面が酸化されることを抑制すると共に、チャネル形成領域として機能
する酸化物半導体層210と、ソース電極層206a及びドレイン電極層206bとの電
気的な接続を良好に行うための層として機能する。
バッファ層217a、217bとしては、酸化物半導体層210の導電率と同じか又はそ
れより導電率が高い酸化物半導体層を用いて形成することができる。例えば、バッファ層
217a、217bを、In-Ga-Zn-O系非単結晶膜で形成し、酸化物半導体層2
10をバッファ層217a、217bより導電率の低いIn-Ga-Zn-O系非単結晶
膜で形成することができる。
このように、ソース電極層206a及びドレイン電極層206bと、酸化物半導体層21
0との間にバッファ層217a、217bを設けることにより、コンタクト抵抗を低減し
、トランジスタの素子特性を向上させることができる。
次に、図8を参照して、図7(A)に示す薄膜トランジスタ280の作製方法の一例に関
して説明する。なお、図8における作製工程は多くの部分で図1と共通している。したが
って、以下の説明においては、重複する部分の説明は省略し、異なる点について詳細に説
明する。
まず、絶縁表面を有する基板200上にゲート電極層202を形成し、続いて当該ゲート
電極層202上にゲート絶縁層204を形成する(図8(A)参照)。なお、ゲート電極
層202、ゲート絶縁層204の材料や作製方法については、実施の形態1を参照するこ
とができる。
次に、ゲート絶縁層204上に導電層206を形成した後、導電層206上に酸化物半導
体層217を形成する(図8(B)参照)。
導電層206は、スパッタ法や真空蒸着法等を用いて、アルミニウム(Al)、銅(Cu
)、チタン(Ti)、タンタル(Ta)、タングステン(W)、モリブデン(Mo)、ク
ロム(Cr)、ネオジム(Nd)、スカンジウム(Sc)から選ばれた元素を含む金属、
上述の元素を成分とする合金、または、上述の元素を成分とする窒化物等からなる材料で
形成することができる。
例えば、導電層206を、モリブデン膜やチタン膜の単層構造で形成することができる。
また、導電層206を積層構造で形成してもよく、例えば、アルミニウム膜とチタン膜と
の積層構造とすることができる。また、チタン膜と、アルミニウム膜と、チタン膜とを順
に積層した3層構造としてもよい。また、モリブデン膜とアルミニウム膜とモリブデン膜
とを順に積層した3層構造としてもよい。また、これらの積層構造に用いるアルミニウム
膜として、ネオジムを含むアルミニウム(Al-Nd)膜を用いてもよい。さらに、導電
層206を、シリコンを含むアルミニウム膜の単層構造としてもよい。
酸化物半導体層217は、In-Ga-Zn-O系非単結晶膜で形成することができる。
例えば、In、Ga及びZnを含む酸化物半導体ターゲット(In:Ga
ZnO=1:1:1)を用いたスパッタ法で、導電層206上に酸化物半導体層217を
形成することができる。スパッタの条件としては、例えば、基板200とターゲットとの
距離を30mm~500mm、圧力を0.1Pa~2.0Pa、直流(DC)電源を0.
25kW~5.0kW、温度を20℃~100℃、雰囲気をアルゴン雰囲気、酸素雰囲気
、又はアルゴンと酸素との混合雰囲気とすることができる。
酸化物半導体層217は、後に形成されるソース電極層及びドレイン電極層の表面が酸化
されることを抑制すると共に、後に形成されるチャネル形成領域として機能する酸化物半
導体層と、ソース電極層及びドレイン電極層との電気的な接続を良好に行うためのバッフ
ァ層として機能する。
また、図8(B)の工程において、導電層206を形成した後、当該導電層206を大気
に曝すことなく酸化物半導体層217を連続して形成することが好ましい。導電層206
を大気に曝すことなく酸化物半導体層217を形成することにより、導電層206の表面
に不純物の付着や酸化膜が形成されることを抑制し、導電層206と酸化物半導体層21
7のコンタクト抵抗を小さくすることができるためである。
また、酸化物半導体層217の成膜時に用いるガスとして導電層206の表面が酸化され
にくいガスを用いることが好ましい。例えば、酸化物半導体層217の成膜条件において
、酸素ガスの流量に対するアルゴンガスの流量の比を大きくする(好ましくは、酸素ガス
を導入しない)。具体的には、酸化物半導体層217の成膜を、アルゴン又はヘリウム等
の希ガス雰囲気下、または、酸素ガス10%以下であって希ガス90%以上の雰囲気下で
行うことができる。アルゴンガスの流量に対する酸素ガスの流量の比を小さくすることに
より、導電層206の表面に酸化膜が形成されることを抑制することができる。その結果
、導電層206と酸化物半導体層217とのコンタクト抵抗を小さくすることができる。
また、アルゴンガスの流量に対する酸素ガスの流量の比を小さくすることにより、得られ
る酸化物半導体層の導電率を高くすることができる。この場合、後に形成されるチャネル
形成領域として機能する酸化物半導体層と、ソース電極層及びドレイン電極層との電気的
な接続を良好に行うことができる。
次に、フォトリソグラフィ法を用いて、導電層206と酸化物半導体層217をエッチン
グすることにより、ソース電極層206a及びドレイン電極層206bと、バッファ層2
17a及びバッファ層217bを形成する。
次に、ソース電極層206aとドレイン電極層206bの間に設けられたゲート絶縁層2
04(露出したゲート絶縁層204)にエッチング処理を行うことにより、ゲート絶縁層
204に凹部207を形成する(図8(C)参照)。
次に、ゲート絶縁層204、ソース電極層206a及びドレイン電極層206b、バッフ
ァ層217a及びバッファ層217bを覆うように酸化物半導体層209を形成した後(
図8(D)参照)、当該酸化物半導体層209を選択的にエッチングすることにより酸化
物半導体層210を形成する(図8(E)参照)。この時、バッファ層217a及びバッ
ファ層217bの一部もエッチングされる。なお、酸化物半導体層209(酸化物半導体
層210)の材料や作製方法については、実施の形態1を参照することができる。
なお、図7(A)では、図1(A)に示すトランジスタにバッファ層217a、217b
を設けた構成を示したが、これに限られない。例えば、図7(B)に示すように、図5(
A)に示すトランジスタにバッファ層217a、217bを設けてもよい。他にも、図1
(B)、図5(B)、図5(C)に示した構成にバッファ層217a、217bを設ける
こともできる。
本実施の形態により、高い特性を有するトランジスタから構成される半導体装置を提供す
ることができる。なお、本実施の形態は、他の実施の形態と適宜組み合わせて用いること
ができる。
(実施の形態5)
本実施の形態では、トランジスタを具備する半導体装置の使用形態の一例である表示装置
の作製工程について、図面を用いて説明する。なお、本実施の形態で示す作製工程は多く
の部分で実施の形態1と共通している。したがって、以下においては、重複する部分の説
明は省略し、異なる点について詳細に説明する。なお、以下の説明において、図9、図1
0は断面図を示しており、図11~図14は上面図を示している。
はじめに、絶縁表面を有する基板200上に配線及び電極(ゲート電極層202を含むゲ
ート配線、容量配線308、第1の端子321)を形成する(図9(A)、図11参照)
容量配線308、第1の端子321はゲート電極層202と同一の材料を用いて同時に形
成することができる。なお、ゲート電極層202の材料や作製方法については、実施の形
態1を参照することができる。
次に、ゲート電極層202上にゲート絶縁層204形成し、その後、ゲート絶縁層204
上に導電層206を形成する(図9(B)参照)。
導電層206は、スパッタ法や真空蒸着法等を用いて、アルミニウム(Al)、銅(Cu
)、チタン(Ti)、タンタル(Ta)、タングステン(W)、モリブデン(Mo)、ク
ロム(Cr)、ネオジム(Nd)、スカンジウム(Sc)から選ばれた元素を含む金属、
上述の元素を成分とする合金、または、上述の元素を成分とする窒化物等からなる材料で
形成することができる。
例えば、導電層206を、チタン膜の単層構造で形成することができる。また、導電層2
06を積層構造で形成してもよく、例えば、アルミニウム膜とチタン膜との積層構造とす
ることができる。また、チタン膜と、ネオジムを含むアルミニウム(Al-Nd)膜と、
チタン膜の3層構造としてもよい。さらに、導電層206を、シリコンを含むアルミニウ
ム膜の単層構造としてもよい。
図9(B)においては、ゲート絶縁層204を形成した後、当該ゲート絶縁層204にコ
ンタクトホール213を形成した後に導電層206を形成することにより、第1の端子3
21と導電層206が電気的に接続するようにする。
次に、導電層206をエッチングすることにより、ソース電極層206a、ドレイン電極
層206b、接続電極320、第2の端子322を形成する(図9(C)、図12参照)
第2の端子322は、ソース配線(ソース電極層206aを含むソース配線)と電気的に
接続する構成とすることができる。また、接続電極320は、ゲート絶縁層204に形成
されたコンタクトホール213を介して第1の端子321と直接接続する構成とすること
ができる。
次に、ソース電極層206aとドレイン電極層206bの間に設けられたゲート絶縁層2
04(露出したゲート絶縁層204)にエッチング処理を行うことにより、ゲート絶縁層
204に凹部207を形成する(図9(D)参照)。
エッチング処理を行うことによって、ソース電極層206aとドレイン電極層206bの
間の領域に位置するゲート絶縁層204の膜厚tが、ゲート電極層202とソース電極
層206aの間に設けられたゲート絶縁層204及びゲート電極層202とドレイン電極
層206bの間に設けられたゲート絶縁層204の膜厚tより小さくなる。
エッチング処理としては、不活性ガス及び/又は反応性ガスを用いたプラズマ処理、ウエ
ットエッチング処理等を用いることができる。
ここでは、エッチング処理として、ゲート絶縁層204、ソース電極層206a、ドレイ
ン電極層206b、接続電極320、第2の端子322の表面にプラズマ処理を行う場合
を示している。この場合、ソース電極層206a、ドレイン電極層206b、接続電極3
20、第2の端子322の端部をテーパー形状とし、上端部が曲面を有するように形成す
ることができる。なお、プラズマ処理の方法については、上記実施の形態2を参照するこ
とができる。
また、容量配線308上に形成されたゲート絶縁層204の膜厚を小さくすることにより
、後に形成される容量素子の容量を大きくすることができる。
次に、ゲート絶縁層204、ソース電極層206a、ドレイン電極層206b、接続電極
320、第2の端子322を覆うように酸化物半導体層209を形成する(図10(A)
参照)。
プラズマ処理と酸化物半導体層209の形成を、同一チャンバー内で連続して行うことが
好ましい。プラズマ処理と酸化物半導体層209の形成を連続して行うことにより、ゲー
ト絶縁層204、ソース電極層206a及びドレイン電極層206bの表面への不純物の
付着や、ソース電極層206a及びドレイン電極層206bの表面に酸化膜等が形成され
ることを抑制することができる。なお、酸化物半導体層209の材料や作製方法について
は、実施の形態1を参照することができる。
次に、酸化物半導体層209を選択的にエッチングして島状の酸化物半導体層210を形
成し、薄膜トランジスタ290を形成する(図10(B)、図13参照)。
次に、100℃~600℃、代表的には200℃~400℃の熱処理を行うことが好まし
い。例えば、窒素雰囲気下で250℃、1時間の熱処理を行う。この熱処理により島状の
酸化物半導体層210を構成するIn-Ga-Zn-O系非単結晶膜の原子レベルの再配
列が行われる。この熱処理によりキャリアの移動を阻害する歪が解放されるため、ここで
の熱処理(光アニールも含む)は効果的である。なお、熱処理を行うタイミングは、酸化
物半導体層209の成膜後であれば特に限定されず、例えば、画素電極形成後に行っても
よい。
また、露出している島状の酸化物半導体層210に、酸素ラジカル処理を行ってもよい。
酸素ラジカル処理を行うことにより島状の酸化物半導体層210をチャネル形成領域とす
る薄膜トランジスタをノーマリーオフとすることができる。また、ラジカル処理を行うこ
とにより、島状の酸化物半導体層210のエッチングによるダメージを回復することがで
きる。ラジカル処理はO、NO、好ましくは酸素を含むN、He、Ar雰囲気下で
行うことが好ましい。また、上記雰囲気にCl、CFを加えた雰囲気下で行ってもよ
い。
次に、薄膜トランジスタ290を覆う保護絶縁層340を形成し、当該保護絶縁層340
を選択的にエッチングしてドレイン電極層206bに達するコンタクトホール325、接
続電極320に達するコンタクトホール326及び第2の端子322に達するコンタクト
ホール327を形成する(図10(C)参照)。
次に、ドレイン電極層206bと電気的に接続する透明導電層310、接続電極320に
電気的に接続する透明導電層328及び第2の端子322に電気的に接続する透明導電層
329を形成する(図10(D)、図14参照)。
透明導電層310は画素電極として機能し、透明導電層328、329はFPCとの接続
に用いられる電極または配線となる。より具体的には、接続電極320上に形成された透
明導電層328をゲート配線の入力端子として機能する接続用の端子電極として用い、第
2の端子322上に形成された透明導電層329をソース配線の入力端子として機能する
接続用の端子電極として用いることができる。
また、容量配線308、ゲート絶縁層204、保護絶縁層340及び透明導電層310に
より保持容量を形成することができる。この場合、容量配線308と透明導電層310が
電極となり、ゲート絶縁層204と保護絶縁層340が誘電体となる。
透明導電層310、328、329は、酸化インジウム(In)、酸化インジウム
酸化スズ合金(In―SnO、ITOと略記する)、酸化インジウム酸化亜鉛合
金(In―ZnO)等をスパッタ法や真空蒸着法等を用いて形成することができる
。例えば、透明導電層を成膜した後、当該透明導電層上にレジストマスクを形成し、エッ
チングにより不要な部分を除去することにより透明導電層310、328、329を形成
することができる。
以上の工程により、ボトムゲート型のnチャネル型薄膜トランジスタや保持容量等の素子
を完成させることができる。そして、これらの素子を個々の画素に対応してマトリクス状
に配置することにより、アクティブマトリクス型の表示装置を作製するための一方の基板
とすることができる。本明細書では便宜上このような基板をアクティブマトリクス基板と
呼ぶ。
アクティブマトリクス型の液晶表示装置を作製する場合には、アクティブマトリクス基板
と、対向電極が設けられた対向基板との間に液晶層を設け、アクティブマトリクス基板と
対向基板とを固定すればよい。
また、本実施の形態で示す構成は、図14の画素構成に限られない。他の構成の一例を図
15に示す。図15は容量配線308を設けず、画素電極として機能する透明導電層31
0と、隣接する画素のゲート配線302とを電極とし、保護絶縁層340及びゲート絶縁
層204を誘電体として保持容量を形成する構成を示している。
なお、本実施の形態は、他の実施の形態と適宜組み合わせて用いることができる。
(実施の形態6)
本実施の形態では、薄膜トランジスタを作製し、該薄膜トランジスタを画素部、さらには
駆動回路に用いて表示機能を有する半導体装置(表示装置ともいう)を作製する場合につ
いて説明する。また、薄膜トランジスタで作製した駆動回路の一部または全体を、画素部
と同じ基板上に一体形成し、システムオンパネルを形成することができる。
表示装置は表示素子を含む。表示素子としては液晶素子(液晶表示素子ともいう)、発光
素子(発光表示素子ともいう)を用いることができる。発光素子は、電流または電圧によ
って輝度が制御される素子をその範疇に含んでおり、具体的には無機EL(Electr
o Luminescence)、有機EL等が含まれる。また、電子インクなど、電気
的作用によりコントラストが変化する表示媒体も適用することができる。
また、表示装置は、表示素子が封止された状態にあるパネルと、該パネルにコントローラ
を含むIC等を実装した状態にあるモジュールとを含む。さらに表示装置は、該表示装置
を作製する過程における、表示素子が完成する前の一形態に相当する素子基板に関し、該
素子基板は、電流を表示素子に供給するための手段を複数の各画素に備える。素子基板は
、具体的には、表示素子の画素電極のみが形成された状態であっても良いし、画素電極と
なる導電層を成膜した後であって、エッチングして画素電極を形成する前の状態であって
も良いし、あらゆる形態があてはまる。
なお、本明細書中における表示装置とは、画像表示デバイス、表示デバイス、もしくは光
源(照明装置含む)を指す。また、コネクター、例えばFPC(Flexible pr
inted circuit)もしくはTAB(Tape Automated Bon
ding)テープもしくはTCP(Tape Carrier Package)が取り
付けられたモジュール、TABテープやTCPの先にプリント配線板が設けられたモジュ
ール、または表示素子にCOG(Chip On Glass)方式によりIC(集積回
路)が直接実装されたモジュールも全て表示装置に含むものとする。
本実施の形態では、本発明の一形態である半導体装置として液晶表示装置の例を示す。ま
ず、半導体装置の一形態に相当する液晶表示パネルの外観及び断面について、図16を用
いて説明する。図16(A1)(A2)は、第1の基板4001上に形成されたIn-G
a-Zn-O系非単結晶膜を半導体層として含む信頼性の高い薄膜トランジスタ4010
、4011、及び液晶素子4013を、第2の基板4006との間にシール材4005に
よって封止した、パネルの上面図であり、図16(B)は、図16(A1)(A2)のM
-Nにおける断面図に相当する。
第1の基板4001上に設けられた画素部4002と、走査線駆動回路4004とを囲む
ようにして、シール材4005が設けられている。また画素部4002と、走査線駆動回
路4004の上に第2の基板4006が設けられている。よって画素部4002と、走査
線駆動回路4004とは、第1の基板4001とシール材4005と第2の基板4006
とによって、液晶層4008と共に封止されている。また第1の基板4001上のシール
材4005によって囲まれている領域とは異なる領域に、別途用意された基板上に単結晶
半導体膜又は多結晶半導体膜で形成された信号線駆動回路4003が実装されている。
なお、別途形成した駆動回路の接続方法は、特に限定されるものではなく、COG方法、
ワイヤボンディング方法、或いはTAB方法などを用いることができる。図16(A1)
は、COG方法により信号線駆動回路4003を実装する例であり、図16(A2)は、
TAB方法により信号線駆動回路4003を実装する例である。
また、第1の基板4001上に設けられた画素部4002と、走査線駆動回路4004は
、薄膜トランジスタを複数有しており、図16(B)では、画素部4002に含まれる薄
膜トランジスタ4010と、走査線駆動回路4004に含まれる薄膜トランジスタ401
1とを例示している。薄膜トランジスタ4010、4011上には絶縁層4020、40
21が設けられている。
薄膜トランジスタ4010、4011は、In-Ga-Zn-O系非単結晶膜を半導体層
として含む信頼性の高い薄膜トランジスタを適用することができる。本実施の形態におい
て、薄膜トランジスタ4010、4011はnチャネル型薄膜トランジスタである。
また、液晶素子4013が有する画素電極層4030は、薄膜トランジスタ4010と電
気的に接続されている。そして液晶素子4013の対向電極層4031は第2の基板40
06上に形成されている。画素電極層4030と対向電極層4031と液晶層4008と
が重なっている部分が、液晶素子4013に相当する。なお、画素電極層4030、対向
電極層4031はそれぞれ配向膜として機能する絶縁層4032、4033が設けられ、
絶縁層4032、4033を介して液晶層4008を挟持している。
なお、第1の基板4001、第2の基板4006としては、ガラス、金属(代表的にはス
テンレス)、セラミックス、プラスチックを用いることができる。プラスチックとしては
、FRP(Fiberglass-Reinforced Plastics)板、PV
F(ポリビニルフルオライド)フィルム、ポリエステルフィルムまたはアクリル樹脂フィ
ルムを用いることができる。また、アルミニウムホイルをPVFフィルムやポリエステル
フィルムで挟んだ構造のシートを用いることもできる。
また、4035は絶縁層を選択的にエッチングすることで得られる柱状のスペーサであり
、画素電極層4030と対向電極層4031との間の距離(セルギャップ)を制御するた
めに設けられている。なお球状のスペーサを用いていても良い。また、対向電極層403
1は、薄膜トランジスタ4010と同一基板上に設けられる共通電位線と電気的に接続さ
れる。共通接続部を用いて、一対の基板間に配置される導電性粒子を介して対向電極層4
031と共通電位線とを電気的に接続することができる。なお、導電性粒子はシール材4
005に含有させる。
また、配向膜を用いないブルー相を示す液晶を用いてもよい。ブルー相は液晶相の一つで
あり、コレステリック液晶を昇温していくと、コレステリック相から等方相へ転移する直
前に発現する相である。ブルー相は狭い温度範囲でしか発現しないため、温度範囲を改善
するために5重量%以上のカイラル剤を混合させた液晶組成物を用いて液晶層4008に
用いる。ブルー相を示す液晶とカイラル剤とを含む液晶組成物は、応答速度が10μs~
100μsと短く、光学的等方性であるため配向処理が不要であり、視野角依存性が小さ
い。
なお、本実施の形態で示す液晶表示装置は透過型液晶表示装置の例であるが、液晶表示装
置は反射型液晶表示装置でも半透過型液晶表示装置でも適用できる。
また、本実施の形態で示す液晶表示装置では、基板の外側(視認側)に偏光板を設け、内
側に着色層、表示素子に用いる電極層という順に設ける例を示すが、偏光板は基板の内側
に設けてもよい。また、偏光板と着色層の積層構造も本実施の形態に限定されず、偏光板
及び着色層の材料や作製工程条件によって適宜設定すればよい。また、ブラックマトリク
スとして機能する遮光膜を設けてもよい。
また、本実施の形態では、薄膜トランジスタの表面凹凸を低減するため、及び薄膜トラン
ジスタの信頼性を向上させるため、薄膜トランジスタを保護層や平坦化絶縁層として機能
する絶縁層(絶縁層4020、絶縁層4021)で覆う構成となっている。なお、保護層
は、大気中に浮遊する有機物や金属物、水蒸気などの汚染不純物の侵入を防ぐためのもの
であり、緻密な膜が好ましい。保護層は、スパッタ法を用いて、酸化シリコン膜、窒化シ
リコン膜、酸化窒化シリコン膜、窒化酸化シリコン膜、酸化アルミニウム膜、窒化アルミ
ニウム膜、酸化窒化アルミニウム膜、又は窒化酸化アルミニウム膜の単層、又は積層で形
成すればよい。本実施の形態では保護層をスパッタ法で形成する例を示すが、特に限定さ
れず種々の方法で形成すればよい。
ここでは、保護層として積層構造の絶縁層4020を形成する。ここでは、絶縁層402
0の一層目として、スパッタ法を用いて酸化シリコン膜を形成する。保護層として酸化シ
リコン膜を用いると、ソース電極層及びドレイン電極層として用いるアルミニウム膜のヒ
ロック防止に効果がある。
また、保護層の二層目として絶縁層を形成する。ここでは、絶縁層4020の二層目とし
て、スパッタ法を用いて窒化シリコン膜を形成する。保護層として窒化シリコン膜を用い
ると、ナトリウム等の可動イオンが半導体領域中に侵入して、TFTの電気特性を変化さ
せることを抑制することができる。
また、保護層を形成した後に、半導体層のアニール(300℃~400℃)を行ってもよ
い。
また、平坦化絶縁層として絶縁層4021を形成する。絶縁層4021としては、ポリイ
ミド、アクリル、ベンゾシクロブテン、ポリアミド、エポキシ等の、耐熱性を有する有機
材料を用いることができる。また上記有機材料の他に、低誘電率材料(low-k材料)
、シロキサン系樹脂、PSG(リンガラス)、BPSG(リンボロンガラス)等を用いる
ことができる。なお、これらの材料で形成される絶縁層を複数積層させることで、絶縁層
4021を形成してもよい。
なおシロキサン系樹脂とは、シロキサン系材料を出発材料として形成されたSi-O-S
i結合を含む樹脂に相当する。シロキサン系樹脂は置換基としては有機基(例えばアルキ
ル基やアリール基)やフルオロ基を用いても良い。また、有機基はフルオロ基を有してい
ても良い。
絶縁層4021の形成法は、特に限定されず、その材料に応じて、スパッタ法、SOG法
、スピンコート、ディップ、スプレー塗布、液滴吐出法(インクジェット法、スクリーン
印刷、オフセット印刷等)、ドクターナイフ、ロールコーター、カーテンコーター、ナイ
フコーター等を用いることができる。絶縁層4021を材料液を用いて形成する場合、ベ
ークする工程で同時に、半導体層のアニール(300℃~400℃)を行ってもよい。絶
縁層4021の焼成工程と半導体層のアニールを兼ねることで効率よく半導体装置を作製
することが可能となる。
画素電極層4030、対向電極層4031は、酸化タングステンを含むインジウム酸化物
、酸化タングステンを含むインジウム亜鉛酸化物、酸化チタンを含むインジウム酸化物、
酸化チタンを含むインジウム錫酸化物、インジウム錫酸化物(以下、ITOと示す。)、
インジウム亜鉛酸化物、酸化ケイ素を添加したインジウム錫酸化物などの透光性を有する
導電性材料を用いることができる。
また、画素電極層4030、対向電極層4031として、導電性高分子(導電性ポリマー
ともいう)を含む導電性組成物を用いて形成することができる。導電性組成物を用いて形
成した画素電極は、波長550nmにおける透光率が70%以上であることが好ましい。
また、導電性組成物に含まれる導電性高分子の抵抗率が0.1Ω・cm以下であることが
好ましい。
導電性高分子としては、いわゆるπ電子共役系導電性高分子が用いることができる。例え
ば、ポリアニリンまたはその誘導体、ポリピロールまたはその誘導体、ポリチオフェンま
たはその誘導体、若しくはこれらの2種以上の共重合体などがあげられる。
また別途形成された信号線駆動回路4003と、走査線駆動回路4004または画素部4
002に与えられる各種信号及び電位は、FPC4018から供給されている。
本実施の形態では、接続端子電極4015が、液晶素子4013が有する画素電極層40
30と同じ導電層から形成され、端子電極4016は、薄膜トランジスタ4010、40
11のソース電極層及びドレイン電極層と同じ導電層で形成されている。
接続端子電極4015は、FPC4018が有する端子と、異方性導電膜4019を介し
て電気的に接続されている。
また図16においては、信号線駆動回路4003を別途形成し、第1の基板4001に実
装している例を示しているが、本実施の形態はこの構成に限定されない。走査線駆動回路
を別途形成して実装しても良いし、信号線駆動回路の一部または走査線駆動回路の一部の
みを別途形成して実装しても良い。
図17は、半導体装置の一形態に相当する液晶表示モジュールにTFT基板2600を用
いて構成する一例を示している。
図17は液晶表示モジュールの一例であり、TFT基板2600と対向基板2601がシ
ール材2602により固着され、その間にTFT等を含む画素部2603、液晶層を含む
表示素子2604、着色層2605が設けられ表示領域を形成している。着色層2605
はカラー表示を行う場合に必要であり、RGB方式の場合は、赤、緑、青の各色に対応し
た着色層が各画素に対応して設けられている。TFT基板2600と対向基板2601の
外側には偏光板2606、偏光板2607、拡散板2613が配設されている。光源は冷
陰極管2610と反射板2611により構成され、回路基板2612は、フレキシブル配
線基板2609によりTFT基板2600の配線回路部2608と接続され、コントロー
ル回路や電源回路などの外部回路が組みこまれている。また偏光板と、液晶層との間に位
相差板を有した状態で積層してもよい。
液晶表示モジュールには、TN(Twisted Nematic)モード、IPS(I
n-Plane-Switching)モード、FFS(Fringe Field S
witching)モード、MVA(Multi-domain Vertical A
lignment)モード、PVA(Patterned Vertical Alig
nment)モード、ASM(Axially Symmetric aligned
Micro-cell)モード、OCB(Optical Compensated B
irefringence)モード、FLC(Ferroelectric Liqui
d Crystal)モード、AFLC(AntiFerroelectric Liq
uid Crystal)モードなどを用いることができる。
以上の工程により、半導体装置として信頼性の高い液晶表示装置を作製することができる
本実施の形態は、他の実施の形態に記載した構成と適宜組み合わせて実施することが可能
である。
(実施の形態7)
本実施の形態では、本発明の一形態である半導体装置の一例として電子ペーパーを示す。
図18は、半導体装置の一例としてアクティブマトリクス型の電子ペーパーを示す。半導
体装置に用いられる薄膜トランジスタ581としては、上記実施の形態1~3で示す薄膜
トランジスタと同様に作製できる。
図18の電子ペーパーは、ツイストボール表示方式を用いた表示装置の例である。ツイス
トボール表示方式とは、白と黒に塗り分けられた球形粒子を表示素子に用いる電極層であ
る第1の電極層及び第2の電極層の間に配置し、第1の電極層及び第2の電極層に電位差
を生じさせることによって、球形粒子の向きを制御し、表示を行う方法である。
基板580上に設けられた薄膜トランジスタ581はボトムゲート構造の薄膜トランジス
タであり、ソース電極層又はドレイン電極層が第1の電極層587と、絶縁層583、5
84、585に形成されたコンタクトホールを介して電気的に接続している。第1の電極
層587と第2の電極層588との間には、黒色領域590a及び白色領域590bを有
し、周りに液体で満たされているキャビティ594を含む球形粒子589が設けられてお
り、球形粒子589の周囲は樹脂等の充填材595が設けられている(図18参照)。図
18においては、第1の電極層587が画素電極に相当し、第2の電極層588が共通電
極に相当する。第2の電極層588は、薄膜トランジスタ581と同一基板上に設けられ
る共通電位線と電気的に接続される。上記実施の形態に示す共通接続部を用いて、一対の
基板間に配置される導電性粒子を介して、基板596に設けられた第2の電極層588と
共通電位線とを電気的に接続することができる。
また、ツイストボールの代わりに、電気泳動素子を用いることも可能である。その場合、
透明な液体と、正に帯電した白い微粒子と負に帯電した黒い微粒子とを封入した直径10
μm~200μm程度のマイクロカプセルを用いる。第1の電極層と第2の電極層との間
に設けられるマイクロカプセルは、第1の電極層と第2の電極層によって、電場が与えら
れると、白い微粒子と、黒い微粒子が逆の方向に移動し、白または黒を表示することがで
きる。この原理を応用した表示素子が電気泳動表示素子であり、一般的に電子ペーパーと
よばれている。電気泳動表示素子は、液晶表示素子に比べて反射率が高いため、補助ライ
トは不要であり、また消費電力が小さく、薄暗い場所でも表示部を認識することが可能で
ある。また、表示部に電源が供給されない場合であっても、一度表示した像を保持するこ
とが可能であるため、電波発信源から表示機能付き半導体装置(単に表示装置、又は表示
装置を具備する半導体装置ともいう)を遠ざけた場合であっても、表示された像を保存し
ておくことが可能となる。
以上のように、半導体装置として信頼性の高い電子ペーパーを作製することができる。
本実施の形態は、他の実施の形態に記載した構成と適宜組み合わせて実施することが可能
である。
(実施の形態8)
本実施の形態では、本発明の一形態である半導体装置として発光表示装置の例を示す。表
示装置の有する表示素子としては、ここではエレクトロルミネッセンスを利用する発光素
子を用いて示す。エレクトロルミネッセンスを利用する発光素子は、発光材料が有機化合
物であるか、無機化合物であるかによって区別され、一般的に、前者は有機EL素子、後
者は無機EL素子と呼ばれている。
有機EL素子は、発光素子に電圧を印加することにより、一対の電極から電子および正孔
がそれぞれ発光性の有機化合物を含む層に注入され、電流が流れる。そして、それらキャ
リア(電子および正孔)が再結合することにより、発光性の有機化合物が励起状態を形成
し、その励起状態が基底状態に戻る際に発光する。このようなメカニズムから、このよう
な発光素子は、電流励起型の発光素子と呼ばれる。
無機EL素子は、その素子構成により、分散型無機EL素子と薄膜型無機EL素子とに分
類される。分散型無機EL素子は、発光材料の粒子をバインダ中に分散させた発光層を有
するものであり、発光メカニズムはドナー準位とアクセプター準位を利用するドナー-ア
クセプター再結合型発光である。薄膜型無機EL素子は、発光層を誘電体層で挟み込み、
さらにそれを電極で挟んだ構造であり、発光メカニズムは金属イオンの内殻電子遷移を利
用する局在型発光である。なお、ここでは、発光素子として有機EL素子を用いて説明す
る。
図19は、本発明の一形態である半導体装置の一例としてデジタル時間階調駆動を適用可
能な画素構成の一例を示す図である。
デジタル時間階調駆動を適用可能な画素の構成及び画素の動作について説明する。ここで
は酸化物半導体層(In-Ga-Zn-O系非単結晶膜)をチャネル形成領域に用いるn
チャネル型のトランジスタを1つの画素に2つ用いる例を示す。
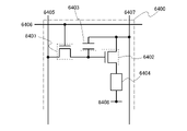
画素6400は、スイッチング用トランジスタ6401、駆動用トランジスタ6402、
発光素子6404及び容量素子6403を有している。スイッチング用トランジスタ64
01はゲートが走査線6406に接続され、第1電極(ソース電極及びドレイン電極の一
方)が信号線6405に接続され、第2電極(ソース電極及びドレイン電極の他方)が駆
動用トランジスタ6402のゲートに接続されている。駆動用トランジスタ6402は、
ゲートが容量素子6403を介して電源線6407に接続され、第1電極が電源線640
7に接続され、第2電極が発光素子6404の第1電極(画素電極)に接続されている。
発光素子6404の第2電極は共通電極6408に相当する。
なお、発光素子6404の第2電極(共通電極6408)には低電源電位が設定されてい
る。なお、低電源電位とは、電源線6407に設定される高電源電位を基準にして低電源
電位<高電源電位を満たす電位であり、低電源電位としては例えばGND、0Vなどが設
定されていても良い。この高電源電位と低電源電位との電位差を発光素子6404に印加
して、発光素子6404に電流を流して発光素子6404を発光させるため、高電源電位
と低電源電位との電位差が発光素子6404の順方向しきい値電圧以上となるようにそれ
ぞれの電位を設定する。
なお、容量素子6403は駆動用トランジスタ6402のゲート容量を代用して省略する
ことも可能である。駆動用トランジスタ6402のゲート容量については、チャネル領域
とゲート電極との間で容量が形成されていてもよい。
ここで、電圧入力電圧駆動方式の場合には、駆動用トランジスタ6402のゲートには、
駆動用トランジスタ6402が十分にオンするか、オフするかの二つの状態となるような
ビデオ信号を入力する。つまり、駆動用トランジスタ6402は線形領域で動作させる。
駆動用トランジスタ6402は線形領域で動作させるため、電源線6407の電圧よりも
高い電圧を駆動用トランジスタ6402のゲートにかける。なお、信号線6405には、
(電源線電圧+駆動用トランジスタ6402のVth)以上の電圧をかける。
また、デジタル時間階調駆動に代えて、アナログ階調駆動を行う場合、信号の入力を異な
らせることで、図19と同じ画素構成を用いることができる。
アナログ階調駆動を行う場合、駆動用トランジスタ6402のゲートに発光素子6404
の順方向電圧+駆動用トランジスタ6402のVth以上の電圧をかける。発光素子64
04の順方向電圧とは、所望の輝度とする場合の電圧を指しており、少なくとも順方向し
きい値電圧を含む。なお、駆動用トランジスタ6402が飽和領域で動作するようなビデ
オ信号を入力することで、発光素子6404に電流を流すことができる。駆動用トランジ
スタ6402を飽和領域で動作させるため、電源線6407の電位は、駆動用トランジス
タ6402のゲート電位よりも高くする。ビデオ信号をアナログとすることで、発光素子
6404にビデオ信号に応じた電流を流し、アナログ階調駆動を行うことができる。
なお、図19に示す画素構成は、これに限定されない。例えば、図19に示す画素に新た
にスイッチ、抵抗素子、容量素子、トランジスタ又は論理回路などを追加してもよい。
次に、発光素子の構成について、図20を用いて説明する。ここでは、駆動用TFTがn
型の場合を例に挙げて、画素の断面構造について説明する。図20(A)(B)(C)の
半導体装置に用いられる駆動用TFTであるTFT7001、7011、7021は、上
記実施の形態で示す薄膜トランジスタと同様に作製でき、In-Ga-Zn-O系非単結
晶膜を半導体層として含む信頼性の高い薄膜トランジスタである。
発光素子は発光を取り出すために陽極又は陰極の少なくとも一方が透明であればよい。そ
して、基板上に薄膜トランジスタ及び発光素子を形成し、基板とは逆側の面から発光を取
り出す上面射出や、基板側の面から発光を取り出す下面射出や、基板側及び基板とは反対
側の面から発光を取り出す両面射出構造の発光素子があり、画素構成はどの射出構造の発
光素子にも適用することができる。
上面射出構造の発光素子について図20(A)を用いて説明する。
図20(A)に、駆動用TFTであるTFT7001がn型で、発光素子7002から発
せられる光が陽極7005側に抜ける場合の、画素の断面図を示す。図20(A)では、
発光素子7002の陰極7003と駆動用TFTであるTFT7001が電気的に接続さ
れており、陰極7003上に発光層7004、陽極7005が順に積層されている。陰極
7003は仕事関数が小さく、なおかつ光を反射する導電膜であれば様々の材料を用いる
ことができる。例えば、Ca、Al、MgAg、AlLi等が望ましい。そして発光層7
004は、単数の層で構成されていても、複数の層が積層されるように構成されていても
どちらでも良い。複数の層で構成されている場合、陰極7003上に電子注入層、電子輸
送層、発光層、ホール輸送層、ホール注入層の順に積層する。なおこれらの層を全て設け
る必要はない。陽極7005は光を透過する透光性を有する導電性材料を用いて形成し、
例えば酸化タングステンを含むインジウム酸化物、酸化タングステンを含むインジウム亜
鉛酸化物、酸化チタンを含むインジウム酸化物、酸化チタンを含むインジウム錫酸化物、
インジウム錫酸化物(以下、ITOと示す。)、インジウム亜鉛酸化物、酸化ケイ素を添
加したインジウム錫酸化物などの透光性を有する導電層を用いても良い。
陰極7003及び陽極7005で発光層7004を挟んでいる領域が発光素子7002に
相当する。図20(A)に示した画素の場合、発光素子7002から発せられる光は、矢
印で示すように陽極7005側に射出する。
次に、下面射出構造の発光素子について図20(B)を用いて説明する。駆動用TFT7
011がn型で、発光素子7012から発せられる光が陰極7013側に射出する場合の
、画素の断面図を示す。図20(B)では、駆動用TFT7011と電気的に接続された
透光性を有する導電層7017上に、発光素子7012の陰極7013が成膜されており
、陰極7013上に発光層7014、陽極7015が順に積層されている。なお、陽極7
015が透光性を有する場合、陽極上を覆うように、光を反射または遮蔽するための遮蔽
膜7016が成膜されていてもよい。陰極7013は、図20(A)の場合と同様に、仕
事関数が小さい導電性材料であれば様々な材料を用いることができる。ただしその膜厚は
、光を透過する程度(好ましくは、5nm~30nm程度)とする。例えば20nmの膜
厚を有するアルミニウム膜を、陰極7013として用いることができる。そして発光層7
014は、図20(A)と同様に、単数の層で構成されていても、複数の層が積層される
ように構成されていてもどちらでも良い。陽極7015は光を透過する必要はないが、図
20(A)と同様に、透光性を有する導電性材料を用いて形成することができる。そして
遮蔽膜7016は、例えば光を反射する金属等を用いることができるが、金属膜に限定さ
れない。例えば黒の顔料を添加した樹脂等を用いることもできる。
陰極7013及び陽極7015で、発光層7014を挟んでいる領域が発光素子7012
に相当する。図20(B)に示した画素の場合、発光素子7012から発せられる光は、
矢印で示すように陰極7013側に射出する。
次に、両面射出構造の発光素子について、図20(C)を用いて説明する。図20(C)
では、駆動用TFT7021と電気的に接続された透光性を有する導電層7027上に、
発光素子7022の陰極7023が成膜されており、陰極7023上に発光層7024、
陽極7025が順に積層されている。陰極7023は、図20(A)の場合と同様に、仕
事関数が小さい導電性材料であれば様々な材料を用いることができる。ただしその膜厚は
、光を透過する程度とする。例えば20nmの膜厚を有するAlを、陰極7023として
用いることができる。そして発光層7024は、図20(A)と同様に、単数の層で構成
されていても、複数の層が積層されるように構成されていてもどちらでも良い。陽極70
25は、図20(A)と同様に、光を透過する透光性を有する導電性材料を用いて形成す
ることができる。
陰極7023と、発光層7024と、陽極7025とが重なっている部分が発光素子70
22に相当する。図20(C)に示した画素の場合、発光素子7022から発せられる光
は、矢印で示すように陽極7025側と陰極7023側の両方に射出する。
なお、ここでは、発光素子として有機EL素子について述べたが、発光素子として無機E
L素子を設けることも可能である。
なお本実施の形態では、発光素子の駆動を制御する薄膜トランジスタ(駆動用TFT)と
発光素子が電気的に接続されている例を示したが、駆動用TFTと発光素子との間に電流
制御用TFTが接続されている構成であってもよい。
なお本実施の形態で示す半導体装置は、図20に示した構成に限定されるものではなく、
各種の変形が可能である。
次に、半導体装置の一形態に相当する発光表示パネル(発光パネルともいう)の外観及び
断面について、図21を用いて説明する。図21(A)は、第1の基板4501上に形成
されたIn-Ga-Zn-O系非単結晶膜を半導体層として含む信頼性の高い薄膜トラン
ジスタ4509、4510及び発光素子4511を、第2の基板4506との間にシール
材4505によって封止した、パネルの上面図であり、図21(B)は、図21(A)の
H-Iにおける断面図に相当する。
第1の基板4501上に設けられた画素部4502、信号線駆動回路4503a、450
3b、及び走査線駆動回路4504a、4504bを囲むようにして、シール材4505
が設けられている。また画素部4502、信号線駆動回路4503a、4503b、及び
走査線駆動回路4504a、4504bの上に第2の基板4506が設けられている。よ
って画素部4502、信号線駆動回路4503a、4503b、及び走査線駆動回路45
04a、4504bは、第1の基板4501とシール材4505と第2の基板4506と
によって、充填材4507と共に密封されている。このように外気に曝されないように気
密性が高く、脱ガスの少ない保護フィルム(貼り合わせフィルム、紫外線硬化樹脂フィル
ム等)やカバー材でパッケージング(封入)することが好ましい。
また第1の基板4501上に設けられた画素部4502、信号線駆動回路4503a、4
503b、及び走査線駆動回路4504a、4504bは、薄膜トランジスタを複数有し
ており、図21(B)では、画素部4502に含まれる薄膜トランジスタ4510と、信
号線駆動回路4503aに含まれる薄膜トランジスタ4509とを例示している。
薄膜トランジスタ4509、4510は、In-Ga-Zn-O系非単結晶膜を半導体層
として含む信頼性の高い薄膜トランジスタを適用することができる。本実施の形態におい
て、薄膜トランジスタ4509、4510はnチャネル型薄膜トランジスタである。
また4511は発光素子に相当し、発光素子4511が有する画素電極である第1の電極
層4517は、薄膜トランジスタ4510のソース電極層またはドレイン電極層と電気的
に接続されている。なお発光素子4511の構成は、第1の電極層4517、電界発光層
4512、第2の電極層4513の積層構造であるが、本実施の形態に示した構成に限定
されない。発光素子4511から取り出す光の方向などに合わせて、発光素子4511の
構成は適宜変えることができる。
隔壁4520は、有機樹脂層、無機絶縁層または有機ポリシロキサンを用いて形成する。
特に感光性の材料を用い、第1の電極層4517上に開口部を形成し、その開口部の側壁
が連続した曲率を持って形成される傾斜面となるように形成することが好ましい。
電界発光層4512は、単数の層で構成されていても、複数の層が積層されるように構成
されていてもどちらでも良い。
発光素子4511に酸素、水素、水分、二酸化炭素等が侵入しないように、第2の電極層
4513及び隔壁4520上に保護層を形成してもよい。保護層としては、窒化シリコン
膜、窒化酸化シリコン膜、DLC膜等を形成することができる。
また、信号線駆動回路4503a、4503b、走査線駆動回路4504a、4504b
、または画素部4502に与えられる各種信号及び電位は、FPC4518a、4518
bから供給されている。
本実施の形態では、接続端子電極4515が、発光素子4511が有する第1の電極層4
517と同じ導電層から形成され、端子電極4516は、薄膜トランジスタ4509、4
510が有するソース電極層及びドレイン電極層と同じ導電層から形成されている。
接続端子電極4515は、FPC4518aが有する端子と、異方性導電膜4519を介
して電気的に接続されている。
発光素子4511からの光の取り出し方向に位置する第2の基板4506は透光性でなけ
ればならない。その場合には、ガラス板、プラスチック板、ポリエステルフィルムまたは
アクリルフィルムのような透光性を有する材料を用いる。
また、充填材4507としては窒素やアルゴンなどの不活性な気体の他に、紫外線硬化樹
脂または熱硬化樹脂を用いることができ、PVC(ポリビニルクロライド)、アクリル、
ポリイミド、エポキシ樹脂、シリコーン樹脂、PVB(ポリビニルブチラル)またはEV
A(エチレンビニルアセテート)を用いることができる。本実施の形態は充填材4507
として窒素を用いた。
また、必要であれば、発光素子の射出面に偏光板、又は円偏光板(楕円偏光板を含む)、
位相差板(λ/4板、λ/2板)、カラーフィルタなどの光学フィルムを適宜設けてもよ
い。また、偏光板又は円偏光板に反射防止膜を設けてもよい。例えば、表面の凹凸により
反射光を拡散し、映り込みを低減できるアンチグレア処理を施すことができる。
信号線駆動回路4503a、4503b、及び走査線駆動回路4504a、4504bは
、別途用意された基板上に単結晶半導体膜又は多結晶半導体膜によって形成された駆動回
路で実装されていてもよい。また、信号線駆動回路のみ、或いは一部、又は走査線駆動回
路のみ、或いは一部のみを別途形成して実装しても良く、本実施の形態は図21の構成に
限定されない。
以上の工程により、半導体装置として信頼性の高い発光表示装置(表示パネル)を作製す
ることができる。
本実施の形態は、他の実施の形態に記載した構成と適宜組み合わせて実施することが可能
である。
(実施の形態9)
本発明の一形態である半導体装置は、電子ペーパーとして適用することができる。電子ペ
ーパーは、情報を表示するものであればあらゆる分野の電子機器に用いることが可能であ
る。例えば、電子ペーパーを用いて、電子書籍(電子ブック)、ポスター、電車などの乗
り物の車内広告、クレジットカード等の各種カードにおける表示等に適用することができ
る。電子機器の一例を図22、図23に示す。
図22(A)は、電子ペーパーで作られたポスター2631を示している。広告媒体が紙
の印刷物である場合には、広告の交換は人手によって行われるが、電子ペーパーを用いれ
ば短時間で広告の表示を変えることができる。また、表示も崩れることなく安定した画像
が得られる。なお、ポスターは無線で情報を送受信できる構成としてもよい。
また、図22(B)は、電車などの乗り物の車内広告2632を示している。広告媒体が
紙の印刷物である場合には、広告の交換は人手によって行われるが、電子ペーパーを用い
れば人手を多くかけることなく短時間で広告の表示を変えることができる。また表示も崩
れることなく安定した画像が得られる。なお、車内広告は無線で情報を送受信できる構成
としてもよい。
また、図23は、電子書籍2700の一例を示している。例えば、電子書籍2700は、
筐体2701および筐体2703の2つの筐体で構成されている。筐体2701および筐
体2703は、軸部2711により一体とされており、該軸部2711を軸として開閉動
作を行うことができる。このような構成により、紙の書籍のような動作を行うことが可能
となる。
筐体2701には表示部2705が組み込まれ、筐体2703には表示部2707が組み
込まれている。表示部2705および表示部2707は、続き画面を表示する構成として
もよいし、異なる画面を表示する構成としてもよい。異なる画面を表示する構成とするこ
とで、例えば右側の表示部(図23では表示部2705)に文章を表示し、左側の表示部
(図23では表示部2707)に画像を表示することができる。
また、図23では、筐体2701に操作部などを備えた例を示している。例えば、筐体2
701において、電源2721、操作キー2723、スピーカ2725などを備えている
。操作キー2723により、頁を送ることができる。なお、筐体の表示部と同一面にキー
ボードやポインティングディバイスなどを備える構成としてもよい。また、筐体の裏面や
側面に、外部接続用端子(イヤホン端子、USB端子、またはACアダプタおよびUSB
ケーブルなどの各種ケーブルと接続可能な端子など)、記録媒体挿入部などを備える構成
としてもよい。さらに、電子書籍2700は、電子辞書としての機能を持たせた構成とし
てもよい。
また、電子書籍2700は、無線で情報を送受信できる構成としてもよい。無線により、
電子書籍サーバから、所望の書籍データなどを購入し、ダウンロードする構成とすること
も可能である。
(実施の形態10)
本発明の一形態である半導体装置は、さまざまな電子機器(遊技機も含む)に適用するこ
とができる。電子機器としては、例えば、テレビジョン装置(テレビ、またはテレビジョ
ン受信機ともいう)、コンピュータ用などのモニタ、デジタルカメラ、デジタルビデオカ
メラ、デジタルフォトフレーム、携帯電話機(携帯電話、携帯電話装置ともいう)、携帯
型ゲーム機、携帯情報端末、音響再生装置、パチンコ機などの大型ゲーム機などが挙げら
れる。
図24(A)は、テレビジョン装置9600の一例を示している。テレビジョン装置96
00は、筐体9601に表示部9603が組み込まれている。表示部9603により、映
像を表示することが可能である。また、ここでは、スタンド9605により筐体9601
を支持した構成を示している。
テレビジョン装置9600の操作は、筐体9601が備える操作スイッチや、別体のリモ
コン操作機9610により行うことができる。リモコン操作機9610が備える操作キー
9609により、チャンネルや音量の操作を行うことができ、表示部9603に表示され
る映像を操作することができる。また、リモコン操作機9610に、当該リモコン操作機
9610から出力する情報を表示する表示部9607を設ける構成としてもよい。
なお、テレビジョン装置9600は、受信機やモデムなどを備えた構成とする。受信機に
より一般のテレビ放送の受信を行うことができ、さらにモデムを介して有線または無線に
よる通信ネットワークに接続することにより、一方向(送信者から受信者)または双方向
(送信者と受信者間、あるいは受信者間同士など)の情報通信を行うことも可能である。
図24(B)は、デジタルフォトフレーム9700の一例を示している。例えば、デジタ
ルフォトフレーム9700は、筐体9701に表示部9703が組み込まれている。表示
部9703は、各種画像を表示することが可能であり、例えばデジタルカメラなどで撮影
した画像データを表示させることで、通常の写真立てと同様に機能させることができる。
なお、デジタルフォトフレーム9700は、操作部、外部接続用端子(USB端子、US
Bケーブルなどの各種ケーブルと接続可能な端子など)、記録媒体挿入部などを備える構
成とする。これらの構成は、表示部と同一面に組み込まれていてもよいが、側面や裏面に
備えるとデザイン性が向上するため好ましい。例えば、デジタルフォトフレームの記録媒
体挿入部に、デジタルカメラで撮影した画像データを記憶したメモリを挿入して画像デー
タを取り込み、取り込んだ画像データを表示部9703に表示させることができる。
また、デジタルフォトフレーム9700は、無線で情報を送受信できる構成としてもよい
。無線により、所望の画像データを取り込み、表示させる構成とすることもできる。
図25(A)は携帯型遊技機であり、筐体9881と筐体9891の2つの筐体で構成さ
れており、連結部9893により、開閉可能に連結されている。筐体9881には表示部
9882が組み込まれ、筐体9891には表示部9883が組み込まれている。また、図
25(A)に示す携帯型遊技機は、その他、スピーカ部9884、記録媒体挿入部988
6、LEDランプ9890、入力手段(操作キー9885、接続端子9887、センサ9
888(力、変位、位置、速度、加速度、角速度、回転数、距離、光、液、磁気、温度、
化学物質、音声、時間、硬度、電場、電流、電圧、電力、放射線、流量、湿度、傾度、振
動、におい又は赤外線を測定する機能を含むもの)、マイクロフォン9889)等を備え
ている。もちろん、携帯型遊技機の構成は上述のものに限定されず、少なくとも半導体装
置を備えた構成であればよく、その他付属設備が適宜設けられた構成とすることができる
。図25(A)に示す携帯型遊技機は、記録媒体に記録されているプログラム又はデータ
を読み出して表示部に表示する機能や、他の携帯型遊技機と無線通信を行って情報を共有
する機能を有する。なお、図25(A)に示す携帯型遊技機が有する機能はこれに限定さ
れず、様々な機能を有することができる。
図25(B)は大型遊技機であるスロットマシン9900の一例を示している。スロット
マシン9900は、筐体9901に表示部9903が組み込まれている。また、スロット
マシン9900は、その他、スタートレバーやストップスイッチなどの操作手段、コイン
投入口、スピーカなどを備えている。もちろん、スロットマシン9900の構成は上述の
ものに限定されず、少なくとも本発明の一形態に関わる半導体装置を備えた構成であれば
よく、その他付属設備が適宜設けられた構成とすることができる。
図26(A)は、携帯電話機1000の一例を示している。携帯電話機1000は、筐体
1001に組み込まれた表示部1002の他、操作ボタン1003、外部接続ポート10
04、スピーカ1005、マイク1006などを備えている。
図26(A)に示す携帯電話機1000は、表示部1002を指などで触れることで、情
報を入力することができる。また、電話を掛ける、或いはメールを打つなどの操作は、表
示部1002を指などで触れることにより行うことができる。
表示部1002の画面は主として3つのモードがある。第1は、画像の表示を主とする表
示モードであり、第2は、文字等の情報の入力を主とする入力モードである。第3は表示
モードと入力モードの2つのモードが混合した表示+入力モードである。
例えば、電話を掛ける、或いはメールを作成する場合は、表示部1002を文字の入力を
主とする文字入力モードとし、画面に表示させた文字の入力操作を行えばよい。この場合
、表示部1002の画面のほとんどにキーボードまたは番号ボタンを表示させることが好
ましい。
また、携帯電話機1000内部に、ジャイロ、加速度センサ等の傾きを検出するセンサを
有する検出装置を設けることで、携帯電話機1000の向き(縦か横か)を判断して、表
示部1002の画面表示を自動的に切り替えるようにすることができる。
また、画面モードの切り替えは、表示部1002を触れること、又は筐体1001の操作
ボタン1003の操作により行われる。また、表示部1002に表示される画像の種類に
よって切り替えるようにすることもできる。例えば、表示部に表示する画像信号が動画の
データであれば表示モード、テキストデータであれば入力モードに切り替える。
また、入力モードにおいて、表示部1002の光センサで検出される信号を検知し、表示
部1002のタッチ操作による入力が一定期間ない場合には、画面のモードを入力モード
から表示モードに切り替えるように制御してもよい。
表示部1002は、イメージセンサとして機能させることもできる。例えば、表示部10
02に掌や指を触れることで、掌紋、指紋等を撮像することで、本人認証を行うことがで
きる。また、表示部に近赤外光を発光するバックライトまたは近赤外光を発光するセンシ
ング用光源を用いれば、指静脈、掌静脈などを撮像することもできる。
図26(B)も携帯電話機の一例である。図26(B)の携帯電話機は、筐体9411に
、表示部9412、及び操作ボタン9413を含む表示装置9410と、筐体9401に
操作ボタン9402、外部入力端子9403、マイク9404、スピーカ9405、及び
着信時に発光する発光部9406を含む通信装置9400とを有しており、表示機能を有
する表示装置9410は電話機能を有する通信装置9400と矢印の2方向に脱着可能で
ある。よって、表示装置9410と通信装置9400の短軸同士を取り付けることも、表
示装置9410と通信装置9400の長軸同士を取り付けることもできる。また、表示機
能のみを必要とする場合、通信装置9400より表示装置9410を取り外し、表示装置
9410を単独で用いることもできる。通信装置9400と表示装置9410とは無線通
信又は有線通信により画像又は入力情報を授受することができ、それぞれ充電可能なバッ
テリーを有する。
190 チャンバー
191 電極
192 電極
193 マッチングボックス
194 マッチングボックス
195 被処理物
196 導入口
197 RF電源
198 RF電源
199 DC電源
200 基板
202 ゲート電極層
204 ゲート絶縁層
206 導電層
207 凹部
208 プラズマ
209 酸化物半導体層
210 酸化物半導体層
213 コンタクトホール
217 酸化物半導体層
250 薄膜トランジスタ
251 絶縁層
252 絶縁層
260 薄膜トランジスタ
270 薄膜トランジスタ
271 薄膜トランジスタ
272 薄膜トランジスタ
280 薄膜トランジスタ
290 薄膜トランジスタ
302 ゲート配線
308 容量配線
310 透明導電層
320 接続電極
321 端子
322 端子
325 コンタクトホール
326 コンタクトホール
327 コンタクトホール
328 透明導電層
329 透明導電層
340 保護絶縁層
580 基板
581 薄膜トランジスタ
583 絶縁層
584 絶縁層
585 絶縁層
587 電極層
588 電極層
589 球形粒子
594 キャビティ
595 充填材
596 基板
1000 携帯電話機
1001 筐体
1002 表示部
1003 操作ボタン
1004 外部接続ポート
1005 スピーカ
1006 マイク
206a ソース電極層
206b ドレイン電極層
217a バッファ層
217b バッファ層
2600 TFT基板
2601 対向基板
2602 シール材
2603 画素部
2604 表示素子
2605 着色層
2606 偏光板
2607 偏光板
2608 配線回路部
2609 フレキシブル配線基板
2610 冷陰極管
2611 反射板
2612 回路基板
2613 拡散板
2631 ポスター
2632 車内広告
2700 電子書籍
2701 筐体
2703 筐体
2705 表示部
2707 表示部
2711 軸部
2721 電源
2723 操作キー
2725 スピーカ
4001 基板
4002 画素部
4003 信号線駆動回路
4004 走査線駆動回路
4005 シール材
4006 基板
4008 液晶層
4010 薄膜トランジスタ
4011 薄膜トランジスタ
4013 液晶素子
4015 接続端子電極
4016 端子電極
4018 FPC
4019 異方性導電膜
4020 絶縁層
4021 絶縁層
4030 画素電極層
4031 対向電極層
4032 絶縁層
4033 絶縁層
4501 基板
4502 画素部
4505 シール材
4506 基板
4507 充填材
4509 薄膜トランジスタ
4510 薄膜トランジスタ
4511 発光素子
4512 電界発光層
4513 電極層
4515 接続端子電極
4516 端子電極
4517 電極層
4519 異方性導電膜
4520 隔壁
590a 黒色領域
590b 白色領域
6400 画素
6401 スイッチング用トランジスタ
6402 駆動用トランジスタ
6403 容量素子
6404 発光素子
6405 信号線
6406 走査線
6407 電源線
6408 共通電極
7001 TFT
7002 発光素子
7003 陰極
7004 発光層
7005 陽極
7011 駆動用TFT
7012 発光素子
7013 陰極
7014 発光層
7015 陽極
7016 遮蔽膜
7017 導電層
7021 駆動用TFT
7022 発光素子
7023 陰極
7024 発光層
7025 陽極
7027 導電層
9400 通信装置
9401 筐体
9402 操作ボタン
9403 外部入力端子
9404 マイク
9405 スピーカ
9406 発光部
9410 表示装置
9411 筐体
9412 表示部
9413 操作ボタン
9600 テレビジョン装置
9601 筐体
9603 表示部
9605 スタンド
9607 表示部
9609 操作キー
9610 リモコン操作機
9700 デジタルフォトフレーム
9701 筐体
9703 表示部
9881 筐体
9882 表示部
9883 表示部
9884 スピーカ部
9885 操作キー
9886 記録媒体挿入部
9887 接続端子
9888 センサ
9889 マイクロフォン
9890 LEDランプ
9891 筐体
9893 連結部
9900 スロットマシン
9901 筐体
9903 表示部
4503a 信号線駆動回路
4503b 信号線駆動回路
4504a 走査線駆動回路
4504b 走査線駆動回路
4518a FPC
4518b FPC

Claims (2)

  1. 基板上方のゲート電極層と、
    前記ゲート電極層上方の第1の絶縁層と、
    前記第1の絶縁層上方のソース電極層と、
    前記第1の絶縁層上方のドレイン電極層と、
    前記第1の絶縁層上方の酸化物半導体層と、
    前記ソース電極層上方、前記ドレイン電極層上方及び前記酸化物半導体層上方の第2の絶縁層と、
    前記第2の絶縁層上方の第3の絶縁層と、
    前記第3の絶縁層上方の画素電極と、を有し
    前記ゲート電極層と前記第1の絶縁層と前記ソース電極層とが互いに重なる第1の領域と、
    前記ゲート電極層と前記第1の絶縁層と前記ドレイン電極層とが互いに重なる第2の領域と、
    前記ゲート電極層と前記ソース電極層と前記ドレイン電極層との間の領域に位置する前記第1の絶縁層と前記酸化物半導体層とが互いに重なる第3の領域と、を有し、
    前記第1の領域における前記第1の絶縁層の厚さよりも、前記第3の領域における前記第1の絶縁層の厚さの方が薄く、
    前記第2の領域における前記第1の絶縁層の厚さよりも、前記第3の領域における前記第1の絶縁層の厚さの方が薄く、
    前記酸化物半導体層は、Inと、Gaと、Znと、を有し、
    前記第2の絶縁層は、第1の膜と、前記第1の膜上方の第2の膜と、を有し、
    前記第1の膜は、酸素と、珪素と、を有し、
    前記第2の膜は、窒素と、珪素と、を有し、
    前記第3の絶縁層は、有機材料を有する表示装置。
  2. 基板上方のゲート電極層と、
    前記ゲート電極層上方の第1の絶縁層と、
    前記第1の絶縁層上方のソース電極層と、
    前記第1の絶縁層上方のドレイン電極層と、
    前記第1の絶縁層上方の酸化物半導体層と、
    前記ソース電極層上方、前記ドレイン電極層上方及び前記酸化物半導体層上方の第2の絶縁層と、
    前記第2の絶縁層上方の第3の絶縁層と、
    前記第3の絶縁層上方の画素電極と、を有し
    前記ゲート電極層と前記第1の絶縁層と前記ソース電極層とが互いに重なる第1の領域と、
    前記ゲート電極層と前記第1の絶縁層と前記ドレイン電極層とが互いに重なる第2の領域と、
    前記ゲート電極層と前記ソース電極層と前記ドレイン電極層との間の領域に位置する前記第1の絶縁層と前記酸化物半導体層とが互いに重なる第3の領域と、を有し、
    前記第1の領域における前記第1の絶縁層の厚さよりも、前記第3の領域における前記第1の絶縁層の厚さの方が薄く、
    前記第2の領域における前記第1の絶縁層の厚さよりも、前記第3の領域における前記第1の絶縁層の厚さの方が薄く、
    前記酸化物半導体層は、Inと、Gaと、Znと、を有し、
    前記第1の絶縁層は、酸化シリコン膜、酸化窒化シリコン膜、窒化シリコン膜、窒化酸化シリコン膜、酸化アルミニウム膜又は酸化タンタル膜の積層を有し、
    前記第2の絶縁層は、第1の膜と、前記第1の膜上方の第2の膜と、を有し、
    前記第1の膜は、酸素と、珪素と、を有し、
    前記第2の膜は、窒素と、珪素と、を有し、
    前記第3の絶縁層は、有機材料を有する表示装置。
JP2020200830A 2008-11-07 2020-12-03 表示装置 Active JP7166319B2 (ja)

Priority Applications (3)

Application Number Priority Date Filing Date Title
JP2022170531A JP2022186889A (ja) 2008-11-07 2022-10-25 半導体装置
JP2024139627A JP7681171B2 (ja) 2008-11-07 2024-08-21 表示装置
JP2025078790A JP2025109809A (ja) 2008-11-07 2025-05-09 液晶表示装置

Applications Claiming Priority (2)

Application Number Priority Date Filing Date Title
JP2008286577 2008-11-07
JP2008286577 2008-11-07

Related Parent Applications (1)

Application Number Title Priority Date Filing Date
JP2019053490A Division JP6805285B2 (ja) 2008-11-07 2019-03-20 トランジスタ

Related Child Applications (1)

Application Number Title Priority Date Filing Date
JP2022170531A Division JP2022186889A (ja) 2008-11-07 2022-10-25 半導体装置

Publications (2)

Publication Number Publication Date
JP2021036620A JP2021036620A (ja) 2021-03-04
JP7166319B2 true JP7166319B2 (ja) 2022-11-07

Family

ID=42164362

Family Applications (9)

Application Number Title Priority Date Filing Date
JP2009252058A Active JP5500947B2 (ja) 2008-11-07 2009-11-02 半導体装置
JP2014047189A Active JP5913404B2 (ja) 2008-11-07 2014-03-11 半導体装置及び表示モジュール
JP2016059464A Active JP6229000B2 (ja) 2008-11-07 2016-03-24 表示装置
JP2017200138A Active JP6502453B2 (ja) 2008-11-07 2017-10-16 半導体装置
JP2019053490A Active JP6805285B2 (ja) 2008-11-07 2019-03-20 トランジスタ
JP2020200830A Active JP7166319B2 (ja) 2008-11-07 2020-12-03 表示装置
JP2022170531A Withdrawn JP2022186889A (ja) 2008-11-07 2022-10-25 半導体装置
JP2024139627A Active JP7681171B2 (ja) 2008-11-07 2024-08-21 表示装置
JP2025078790A Pending JP2025109809A (ja) 2008-11-07 2025-05-09 液晶表示装置

Family Applications Before (5)

Application Number Title Priority Date Filing Date
JP2009252058A Active JP5500947B2 (ja) 2008-11-07 2009-11-02 半導体装置
JP2014047189A Active JP5913404B2 (ja) 2008-11-07 2014-03-11 半導体装置及び表示モジュール
JP2016059464A Active JP6229000B2 (ja) 2008-11-07 2016-03-24 表示装置
JP2017200138A Active JP6502453B2 (ja) 2008-11-07 2017-10-16 半導体装置
JP2019053490A Active JP6805285B2 (ja) 2008-11-07 2019-03-20 トランジスタ

Family Applications After (3)

Application Number Title Priority Date Filing Date
JP2022170531A Withdrawn JP2022186889A (ja) 2008-11-07 2022-10-25 半導体装置
JP2024139627A Active JP7681171B2 (ja) 2008-11-07 2024-08-21 表示装置
JP2025078790A Pending JP2025109809A (ja) 2008-11-07 2025-05-09 液晶表示装置

Country Status (5)

Country Link
US (1) US8319216B2 (ja)
JP (9) JP5500947B2 (ja)
KR (3) KR101630620B1 (ja)
CN (1) CN101740631B (ja)
TW (3) TWI539595B (ja)

Families Citing this family (61)

* Cited by examiner, † Cited by third party
Publication number Priority date Publication date Assignee Title
KR101812683B1 (ko) 2009-10-21 2017-12-27 가부시키가이샤 한도오따이 에네루기 켄큐쇼 반도체 장치 제작방법
CN104465318B (zh) * 2009-11-06 2018-04-24 株式会社半导体能源研究所 制造半导体器件的方法
KR101582946B1 (ko) * 2009-12-04 2016-01-08 삼성디스플레이 주식회사 박막 트랜지스터 표시판 및 그 제조 방법
CN102947871B (zh) * 2010-06-24 2014-03-26 夏普株式会社 半导体装置及其制造方法
US20130208207A1 (en) * 2010-06-25 2013-08-15 Sharp Kabushiki Kaisha Display device substrate, method for producing the same, and display device
WO2012014786A1 (en) * 2010-07-30 2012-02-02 Semiconductor Energy Laboratory Co., Ltd. Semicondcutor device and manufacturing method thereof
US20120032172A1 (en) * 2010-08-06 2012-02-09 Semiconductor Energy Laboratory Co., Ltd. Semiconductor device
US8704230B2 (en) 2010-08-26 2014-04-22 Semiconductor Energy Laboratory Co., Ltd. Semiconductor device and manufacturing method thereof
JP5835221B2 (ja) * 2010-09-22 2015-12-24 凸版印刷株式会社 薄膜トランジスタ及びその製造方法、並びに画像表示装置
TWI423492B (zh) * 2010-12-03 2014-01-11 Univ Nat Taiwan Science Tech 有機薄膜電晶體及其製造方法
JP5973165B2 (ja) * 2010-12-28 2016-08-23 株式会社半導体エネルギー研究所 半導体装置
JP2012151453A (ja) * 2010-12-28 2012-08-09 Semiconductor Energy Lab Co Ltd 半導体装置および半導体装置の駆動方法
KR101909704B1 (ko) * 2011-02-17 2018-10-19 삼성디스플레이 주식회사 표시 기판 및 이의 제조 방법
US8987728B2 (en) * 2011-03-25 2015-03-24 Semiconductor Energy Laboratory Co., Ltd. Semiconductor device and method of manufacturing semiconductor device
US9006803B2 (en) * 2011-04-22 2015-04-14 Semiconductor Energy Laboratory Co., Ltd. Semiconductor device and method for manufacturing thereof
CN105931967B (zh) 2011-04-27 2019-05-03 株式会社半导体能源研究所 半导体装置的制造方法
KR20120124126A (ko) * 2011-05-03 2012-11-13 삼성디스플레이 주식회사 산화물 반도체 소자, 산화물 반도체 소자의 제조 방법 및 산화물 반도체소자를 포함하는 표시 장치
KR101830170B1 (ko) * 2011-05-17 2018-02-21 삼성디스플레이 주식회사 산화물 반도체 소자, 산화물 반도체 소자의 제조 방법, 산화물 반도체소자를 포함하는 표시 장치 및 산화물 반도체 소자를 포함하는 표시 장치의 제조 방법
CN103765494B (zh) * 2011-06-24 2016-05-04 夏普株式会社 显示装置及其制造方法
KR20130043063A (ko) 2011-10-19 2013-04-29 가부시키가이샤 한도오따이 에네루기 켄큐쇼 반도체 장치 및 반도체 장치의 제작 방법
JP5933895B2 (ja) * 2011-11-10 2016-06-15 株式会社半導体エネルギー研究所 半導体装置および半導体装置の作製方法
JP6338813B2 (ja) * 2012-04-03 2018-06-06 セイコーエプソン株式会社 ジャイロセンサー及びそれを用いた電子機器
KR101968115B1 (ko) 2012-04-23 2019-08-13 엘지디스플레이 주식회사 어레이 기판 및 이의 제조방법
CN103295906B (zh) * 2012-06-29 2016-05-18 上海中航光电子有限公司 一种薄膜晶体管的制作方法和薄膜晶体管
CN103915507A (zh) * 2012-12-31 2014-07-09 瀚宇彩晶股份有限公司 氧化物薄膜晶体管结构及制作氧化物薄膜晶体管的方法
US8835236B2 (en) * 2013-02-08 2014-09-16 Chunghwa Picture Tubes, Ltd. Oxide semiconductor thin film transistor and method for manufacturing the same
TWI508190B (zh) * 2013-02-08 2015-11-11 Chunghwa Picture Tubes Ltd 薄膜電晶體及其製造方法
JP6224338B2 (ja) * 2013-04-11 2017-11-01 株式会社半導体エネルギー研究所 半導体装置、表示装置及び半導体装置の作製方法
US20140313443A1 (en) * 2013-04-22 2014-10-23 Shenzhen China Star Optoelectronics Technology Co., Ltd. Display panel, transistor, and the manufacturing method thereof
CN103236401B (zh) * 2013-04-22 2016-02-03 深圳市华星光电技术有限公司 一种显示面板、开关管及其制作方法
JP2015038925A (ja) 2013-08-19 2015-02-26 株式会社東芝 半導体装置
US9991392B2 (en) * 2013-12-03 2018-06-05 Semiconductor Energy Laboratory Co., Ltd. Semiconductor device and manufacturing method thereof
CN103744235B (zh) * 2013-12-27 2016-02-03 深圳市华星光电技术有限公司 阵列基板及用该阵列基板的液晶显示面板
KR20150086022A (ko) * 2014-01-17 2015-07-27 삼성디스플레이 주식회사 박막 트랜지스터 및 이의 제조 방법
US20170018726A1 (en) * 2014-03-14 2017-01-19 Sony Corporation Electronic device and manufacturing method thereof
JP6492523B2 (ja) * 2014-10-21 2019-04-03 凸版印刷株式会社 有機半導体薄膜トランジスタ素子
TW201624678A (zh) * 2014-12-27 2016-07-01 中華映管股份有限公司 主動元件及其製作方法
US9633710B2 (en) 2015-01-23 2017-04-25 Semiconductor Energy Laboratory Co., Ltd. Method for operating semiconductor device
CN104795400B (zh) * 2015-02-12 2018-10-30 合肥鑫晟光电科技有限公司 阵列基板制造方法、阵列基板和显示装置
CN104934444B (zh) * 2015-05-11 2018-01-02 深圳市华星光电技术有限公司 共平面型氧化物半导体tft基板结构及其制作方法
KR102505578B1 (ko) * 2015-12-24 2023-03-02 엘지디스플레이 주식회사 박막 트랜지스터 기판 및 그를 이용한 디스플레이 장치
EP3231768A1 (en) * 2016-04-13 2017-10-18 Nokia Technologies Oy An apparatus and method comprising a two dimensional channel material and an electrode comprising a conductive material with a coating of a two-dimensional material
JP2017208378A (ja) * 2016-05-16 2017-11-24 凸版印刷株式会社 薄膜トランジスタアレイ基板および薄膜トランジスタアレイ基板の製造方法
CN107451518A (zh) * 2016-05-30 2017-12-08 深圳印象认知技术有限公司 一种显示屏
US9837682B1 (en) * 2016-08-29 2017-12-05 Microsoft Technology Licensing, Llc Variable layer thickness in curved battery cell
US9997606B2 (en) 2016-09-30 2018-06-12 International Business Machines Corporation Fully depleted SOI device for reducing parasitic back gate capacitance
CN107195634A (zh) * 2017-05-12 2017-09-22 深圳市华星光电技术有限公司 一种tft阵列基板及其制作方法
US10290666B2 (en) 2017-05-12 2019-05-14 Shenzhen China Star Optoelectronics Semiconductor Display Technology Co., Ltd Thin film transistor (TFT) array substrates and manufacturing methods thereof
WO2018221294A1 (ja) * 2017-05-31 2018-12-06 シャープ株式会社 アクティブマトリクス基板およびその製造方法
JP7056274B2 (ja) * 2018-03-19 2022-04-19 株式会社リコー 電界効果型トランジスタの製造方法
US10804406B2 (en) * 2018-10-30 2020-10-13 Sharp Kabushiki Kaisha Thin-film transistor substrate, liquid crystal display device including the same, and method for producing thin-film transistor substrate
JP2020146311A (ja) * 2019-03-14 2020-09-17 株式会社三洋物産 遊技機
JP2020146312A (ja) * 2019-03-14 2020-09-17 株式会社三洋物産 遊技機
JP2020146316A (ja) * 2019-03-14 2020-09-17 株式会社三洋物産 遊技機
JP2020146318A (ja) * 2019-03-14 2020-09-17 株式会社三洋物産 遊技機
JP2020146317A (ja) * 2019-03-14 2020-09-17 株式会社三洋物産 遊技機
US11488990B2 (en) * 2019-04-29 2022-11-01 Sharp Kabushiki Kaisha Active matrix substrate and production method thereof
CN110085604B (zh) * 2019-04-30 2021-04-23 Tcl华星光电技术有限公司 Tft阵列基板及其制作方法
US11379231B2 (en) 2019-10-25 2022-07-05 Semiconductor Energy Laboratory Co., Ltd. Data processing system and operation method of data processing system
US12490500B2 (en) 2021-11-04 2025-12-02 Diodes Incorporated Semiconductor device and processes for making same
CN117673003A (zh) * 2022-08-24 2024-03-08 达尔科技股份有限公司 电子组件封装件及其制造方法

Citations (7)

* Cited by examiner, † Cited by third party
Publication number Priority date Publication date Assignee Title
JP2004193248A (ja) 2002-12-10 2004-07-08 Hitachi Ltd 画像表示装置及びその製造方法
WO2006006369A1 (ja) 2004-07-12 2006-01-19 Pioneer Corporation 半導体装置
US20070072439A1 (en) 2005-09-29 2007-03-29 Semiconductor Energy Laboratory Co., Ltd. Semiconductor device and manufacturing method thereof
JP2007096055A (ja) 2005-09-29 2007-04-12 Semiconductor Energy Lab Co Ltd 半導体装置、及び半導体装置の作製方法
JP2007123861A (ja) 2005-09-29 2007-05-17 Semiconductor Energy Lab Co Ltd 半導体装置及びその作製方法
JP2007298627A (ja) 2006-04-28 2007-11-15 Toppan Printing Co Ltd 表示装置およびその製造方法
JP2008211191A (ja) 2007-02-02 2008-09-11 Semiconductor Energy Lab Co Ltd 半導体装置の作製方法

Family Cites Families (128)

* Cited by examiner, † Cited by third party
Publication number Priority date Publication date Assignee Title
JPS6212168A (ja) * 1985-07-09 1987-01-21 Matsushita Electric Ind Co Ltd 薄膜トランジスタ
JPH01288828A (ja) * 1988-05-16 1989-11-21 Sharp Corp 薄膜トランジスタ
JP2730129B2 (ja) * 1989-02-06 1998-03-25 カシオ計算機株式会社 薄膜トランジスタ
JPH03138980A (ja) * 1989-10-25 1991-06-13 Hitachi Ltd 薄膜トランジスタ
EP0445535B1 (en) * 1990-02-06 1995-02-01 Sel Semiconductor Energy Laboratory Co., Ltd. Method of forming an oxide film
JPH0613608A (ja) * 1992-06-25 1994-01-21 Sharp Corp 薄膜アクテイブ素子
JPH08236775A (ja) * 1995-03-01 1996-09-13 Toshiba Corp 薄膜トランジスタおよびその製造方法
DE69635107D1 (de) * 1995-08-03 2005-09-29 Koninkl Philips Electronics Nv Halbleiteranordnung mit einem transparenten schaltungselement
KR100351871B1 (ko) * 1995-09-12 2003-01-29 엘지.필립스 엘시디 주식회사 박막트랜지스터제조방법
US5847410A (en) * 1995-11-24 1998-12-08 Semiconductor Energy Laboratory Co. Semiconductor electro-optical device
JP3625598B2 (ja) * 1995-12-30 2005-03-02 三星電子株式会社 液晶表示装置の製造方法
CN1148600C (zh) * 1996-11-26 2004-05-05 三星电子株式会社 薄膜晶体管基片及其制造方法
JPH10200125A (ja) * 1997-01-10 1998-07-31 Sony Corp 薄膜トランジスタ及びその製造方法
JPH10335671A (ja) * 1997-06-02 1998-12-18 Sharp Corp ドライバーモノリシック駆動素子
KR100276442B1 (ko) * 1998-02-20 2000-12-15 구본준 액정표시장치 제조방법 및 그 제조방법에 의한 액정표시장치
JP4170454B2 (ja) 1998-07-24 2008-10-22 Hoya株式会社 透明導電性酸化物薄膜を有する物品及びその製造方法
JP2000150861A (ja) * 1998-11-16 2000-05-30 Tdk Corp 酸化物薄膜
JP3276930B2 (ja) * 1998-11-17 2002-04-22 科学技術振興事業団 トランジスタ及び半導体装置
TW460731B (en) * 1999-09-03 2001-10-21 Ind Tech Res Inst Electrode structure and production method of wide viewing angle LCD
DE50100773D1 (de) * 2000-04-04 2003-11-20 Esquire Lederwaren Rupp & Rick Taschenförmiger Behälter, insbesondere Geldscheintasche und dergleichen
JP4089858B2 (ja) 2000-09-01 2008-05-28 国立大学法人東北大学 半導体デバイス
KR20020038482A (ko) * 2000-11-15 2002-05-23 모리시타 요이찌 박막 트랜지스터 어레이, 그 제조방법 및 그것을 이용한표시패널
JP2002252353A (ja) * 2001-02-26 2002-09-06 Hitachi Ltd 薄膜トランジスタおよびアクティブマトリクス型液晶表示装置
JP3997731B2 (ja) * 2001-03-19 2007-10-24 富士ゼロックス株式会社 基材上に結晶性半導体薄膜を形成する方法
JP2002289859A (ja) 2001-03-23 2002-10-04 Minolta Co Ltd 薄膜トランジスタ
JP3925839B2 (ja) 2001-09-10 2007-06-06 シャープ株式会社 半導体記憶装置およびその試験方法
JP4090716B2 (ja) * 2001-09-10 2008-05-28 雅司 川崎 薄膜トランジスタおよびマトリクス表示装置
WO2003040441A1 (fr) * 2001-11-05 2003-05-15 Japan Science And Technology Agency Film mince monocristallin homologue a super-reseau naturel, procede de preparation et dispositif dans lequel est utilise ledit film mince monocristallin
JP4164562B2 (ja) 2002-09-11 2008-10-15 独立行政法人科学技術振興機構 ホモロガス薄膜を活性層として用いる透明薄膜電界効果型トランジスタ
JP4083486B2 (ja) * 2002-02-21 2008-04-30 独立行政法人科学技術振興機構 LnCuO(S,Se,Te)単結晶薄膜の製造方法
JP4604440B2 (ja) * 2002-02-22 2011-01-05 日本電気株式会社 チャネルエッチ型薄膜トランジスタ
CN1445821A (zh) * 2002-03-15 2003-10-01 三洋电机株式会社 ZnO膜和ZnO半导体层的形成方法、半导体元件及其制造方法
JP3933591B2 (ja) * 2002-03-26 2007-06-20 淳二 城戸 有機エレクトロルミネッセント素子
US7339187B2 (en) * 2002-05-21 2008-03-04 State Of Oregon Acting By And Through The Oregon State Board Of Higher Education On Behalf Of Oregon State University Transistor structures
JP2004022625A (ja) * 2002-06-13 2004-01-22 Murata Mfg Co Ltd 半導体デバイス及び該半導体デバイスの製造方法
US7105868B2 (en) * 2002-06-24 2006-09-12 Cermet, Inc. High-electron mobility transistor with zinc oxide
CN1186822C (zh) * 2002-09-23 2005-01-26 中国科学院长春应用化学研究所 有机薄膜晶体管及制备方法
US7067843B2 (en) * 2002-10-11 2006-06-27 E. I. Du Pont De Nemours And Company Transparent oxide semiconductor thin film transistors
JP4166105B2 (ja) 2003-03-06 2008-10-15 シャープ株式会社 半導体装置およびその製造方法
JP2004273732A (ja) 2003-03-07 2004-09-30 Sharp Corp アクティブマトリクス基板およびその製造方法
JP4482287B2 (ja) * 2003-05-16 2010-06-16 奇美電子股▲ふん▼有限公司 アクティブマトリックス型の画像表示装置
JP2004349583A (ja) * 2003-05-23 2004-12-09 Sharp Corp トランジスタの製造方法
JP4108633B2 (ja) * 2003-06-20 2008-06-25 シャープ株式会社 薄膜トランジスタおよびその製造方法ならびに電子デバイス
US7262463B2 (en) * 2003-07-25 2007-08-28 Hewlett-Packard Development Company, L.P. Transistor including a deposited channel region having a doped portion
JP2005072053A (ja) * 2003-08-27 2005-03-17 Sharp Corp 有機半導体装置およびその製造方法
GB0324189D0 (en) * 2003-10-16 2003-11-19 Univ Cambridge Tech Short-channel transistors
US7145174B2 (en) * 2004-03-12 2006-12-05 Hewlett-Packard Development Company, Lp. Semiconductor device
CN102867855B (zh) * 2004-03-12 2015-07-15 独立行政法人科学技术振兴机构 薄膜晶体管及其制造方法
US7297977B2 (en) * 2004-03-12 2007-11-20 Hewlett-Packard Development Company, L.P. Semiconductor device
US7282782B2 (en) * 2004-03-12 2007-10-16 Hewlett-Packard Development Company, L.P. Combined binary oxide semiconductor device
KR101192973B1 (ko) 2004-03-19 2012-10-24 가부시키가이샤 한도오따이 에네루기 켄큐쇼 패턴 형성 방법, 박막 트랜지스터, 표시 장치 및 그 제조 방법과, 텔레비전 장치
JP5116212B2 (ja) 2004-03-19 2013-01-09 株式会社半導体エネルギー研究所 薄膜トランジスタの作製方法
GB0409439D0 (en) * 2004-04-28 2004-06-02 Koninkl Philips Electronics Nv Thin film transistor
US7211825B2 (en) * 2004-06-14 2007-05-01 Yi-Chi Shih Indium oxide-based thin film transistors and circuits
JP2006100760A (ja) * 2004-09-02 2006-04-13 Casio Comput Co Ltd 薄膜トランジスタおよびその製造方法
US7285501B2 (en) * 2004-09-17 2007-10-23 Hewlett-Packard Development Company, L.P. Method of forming a solution processed device
KR100659061B1 (ko) * 2004-09-20 2006-12-19 삼성에스디아이 주식회사 유기 박막 트랜지스터 및 이를 구비한 평판표시장치
US7298084B2 (en) * 2004-11-02 2007-11-20 3M Innovative Properties Company Methods and displays utilizing integrated zinc oxide row and column drivers in conjunction with organic light emitting diodes
KR100889796B1 (ko) * 2004-11-10 2009-03-20 캐논 가부시끼가이샤 비정질 산화물을 사용한 전계 효과 트랜지스터
CA2708335A1 (en) * 2004-11-10 2006-05-18 Canon Kabushiki Kaisha Amorphous oxide and field effect transistor
US7791072B2 (en) * 2004-11-10 2010-09-07 Canon Kabushiki Kaisha Display
US7863611B2 (en) * 2004-11-10 2011-01-04 Canon Kabushiki Kaisha Integrated circuits utilizing amorphous oxides
US7829444B2 (en) * 2004-11-10 2010-11-09 Canon Kabushiki Kaisha Field effect transistor manufacturing method
JP5118810B2 (ja) * 2004-11-10 2013-01-16 キヤノン株式会社 電界効果型トランジスタ
WO2006051994A2 (en) * 2004-11-10 2006-05-18 Canon Kabushiki Kaisha Light-emitting device
US7453065B2 (en) * 2004-11-10 2008-11-18 Canon Kabushiki Kaisha Sensor and image pickup device
KR100670255B1 (ko) * 2004-12-23 2007-01-16 삼성에스디아이 주식회사 박막 트랜지스터, 이를 구비한 평판표시장치, 상기 박막트랜지스터의 제조방법, 및 상기 평판 표시장치의 제조방법
US7579224B2 (en) * 2005-01-21 2009-08-25 Semiconductor Energy Laboratory Co., Ltd. Method for manufacturing a thin film semiconductor device
TWI562380B (en) * 2005-01-28 2016-12-11 Semiconductor Energy Lab Co Ltd Semiconductor device, electronic device, and method of manufacturing semiconductor device
JP2006245544A (ja) * 2005-01-28 2006-09-14 Semiconductor Energy Lab Co Ltd パターン付基板及びその形成方法、並びに半導体装置及びその作製方法
TWI445178B (zh) * 2005-01-28 2014-07-11 半導體能源研究所股份有限公司 半導體裝置,電子裝置,和半導體裝置的製造方法
US7858451B2 (en) * 2005-02-03 2010-12-28 Semiconductor Energy Laboratory Co., Ltd. Electronic device, semiconductor device and manufacturing method thereof
US7948171B2 (en) * 2005-02-18 2011-05-24 Semiconductor Energy Laboratory Co., Ltd. Light emitting device
US20060197092A1 (en) * 2005-03-03 2006-09-07 Randy Hoffman System and method for forming conductive material on a substrate
US8681077B2 (en) * 2005-03-18 2014-03-25 Semiconductor Energy Laboratory Co., Ltd. Semiconductor device, and display device, driving method and electronic apparatus thereof
WO2006105077A2 (en) * 2005-03-28 2006-10-05 Massachusetts Institute Of Technology Low voltage thin film transistor with high-k dielectric material
US7645478B2 (en) * 2005-03-31 2010-01-12 3M Innovative Properties Company Methods of making displays
US8300031B2 (en) * 2005-04-20 2012-10-30 Semiconductor Energy Laboratory Co., Ltd. Semiconductor device comprising transistor having gate and drain connected through a current-voltage conversion element
JP2006344849A (ja) 2005-06-10 2006-12-21 Casio Comput Co Ltd 薄膜トランジスタ
US7402506B2 (en) * 2005-06-16 2008-07-22 Eastman Kodak Company Methods of making thin film transistors comprising zinc-oxide-based semiconductor materials and transistors made thereby
US7691666B2 (en) 2005-06-16 2010-04-06 Eastman Kodak Company Methods of making thin film transistors comprising zinc-oxide-based semiconductor materials and transistors made thereby
US7507618B2 (en) 2005-06-27 2009-03-24 3M Innovative Properties Company Method for making electronic devices using metal oxide nanoparticles
KR100711890B1 (ko) * 2005-07-28 2007-04-25 삼성에스디아이 주식회사 유기 발광표시장치 및 그의 제조방법
JP2007059128A (ja) * 2005-08-23 2007-03-08 Canon Inc 有機el表示装置およびその製造方法
JP2007073705A (ja) * 2005-09-06 2007-03-22 Canon Inc 酸化物半導体チャネル薄膜トランジスタおよびその製造方法
JP4280736B2 (ja) * 2005-09-06 2009-06-17 キヤノン株式会社 半導体素子
JP5116225B2 (ja) * 2005-09-06 2013-01-09 キヤノン株式会社 酸化物半導体デバイスの製造方法
JP4850457B2 (ja) * 2005-09-06 2012-01-11 キヤノン株式会社 薄膜トランジスタ及び薄膜ダイオード
JP5037808B2 (ja) * 2005-10-20 2012-10-03 キヤノン株式会社 アモルファス酸化物を用いた電界効果型トランジスタ、及び該トランジスタを用いた表示装置
KR101112655B1 (ko) * 2005-11-15 2012-02-16 가부시키가이샤 한도오따이 에네루기 켄큐쇼 액티브 매트릭스 디스플레이 장치 및 텔레비전 수신기
TWI292281B (en) * 2005-12-29 2008-01-01 Ind Tech Res Inst Pixel structure of active organic light emitting diode and method of fabricating the same
US7867636B2 (en) * 2006-01-11 2011-01-11 Murata Manufacturing Co., Ltd. Transparent conductive film and method for manufacturing the same
JP4977478B2 (ja) * 2006-01-21 2012-07-18 三星電子株式会社 ZnOフィルム及びこれを用いたTFTの製造方法
US7576394B2 (en) * 2006-02-02 2009-08-18 Kochi Industrial Promotion Center Thin film transistor including low resistance conductive thin films and manufacturing method thereof
US7977169B2 (en) * 2006-02-15 2011-07-12 Kochi Industrial Promotion Center Semiconductor device including active layer made of zinc oxide with controlled orientations and manufacturing method thereof
JP5110803B2 (ja) * 2006-03-17 2012-12-26 キヤノン株式会社 酸化物膜をチャネルに用いた電界効果型トランジスタ及びその製造方法
KR20070101595A (ko) * 2006-04-11 2007-10-17 삼성전자주식회사 ZnO TFT
US20070252928A1 (en) * 2006-04-28 2007-11-01 Toppan Printing Co., Ltd. Structure, transmission type liquid crystal display, reflection type display and manufacturing method thereof
JP5105044B2 (ja) * 2006-05-09 2012-12-19 株式会社ブリヂストン 酸化物トランジスタ及びその製造方法
JP4277874B2 (ja) * 2006-05-23 2009-06-10 エプソンイメージングデバイス株式会社 電気光学装置の製造方法
TWI298536B (en) * 2006-05-29 2008-07-01 Au Optronics Corp Pixel structure and fabricating method thereof
JP5028033B2 (ja) 2006-06-13 2012-09-19 キヤノン株式会社 酸化物半導体膜のドライエッチング方法
JP4999400B2 (ja) * 2006-08-09 2012-08-15 キヤノン株式会社 酸化物半導体膜のドライエッチング方法
JP4609797B2 (ja) * 2006-08-09 2011-01-12 Nec液晶テクノロジー株式会社 薄膜デバイス及びその製造方法
JP4332545B2 (ja) * 2006-09-15 2009-09-16 キヤノン株式会社 電界効果型トランジスタ及びその製造方法
JP5164357B2 (ja) * 2006-09-27 2013-03-21 キヤノン株式会社 半導体装置及び半導体装置の製造方法
JP4274219B2 (ja) * 2006-09-27 2009-06-03 セイコーエプソン株式会社 電子デバイス、有機エレクトロルミネッセンス装置、有機薄膜半導体装置
US7989361B2 (en) * 2006-09-30 2011-08-02 Samsung Electronics Co., Ltd. Composition for dielectric thin film, metal oxide dielectric thin film using the same and preparation method thereof
US7622371B2 (en) * 2006-10-10 2009-11-24 Hewlett-Packard Development Company, L.P. Fused nanocrystal thin film semiconductor and method
KR20080047085A (ko) * 2006-11-24 2008-05-28 엘지디스플레이 주식회사 액정표시장치용 어레이 기판 및 그 제조방법
US20080121877A1 (en) * 2006-11-27 2008-05-29 3M Innovative Properties Company Thin film transistor with enhanced stability
US7772021B2 (en) * 2006-11-29 2010-08-10 Samsung Electronics Co., Ltd. Flat panel displays comprising a thin-film transistor having a semiconductive oxide in its channel and methods of fabricating the same for use in flat panel displays
JP2008140684A (ja) * 2006-12-04 2008-06-19 Toppan Printing Co Ltd カラーelディスプレイおよびその製造方法
KR101303578B1 (ko) * 2007-01-05 2013-09-09 삼성전자주식회사 박막 식각 방법
US8207063B2 (en) * 2007-01-26 2012-06-26 Eastman Kodak Company Process for atomic layer deposition
KR100858088B1 (ko) * 2007-02-28 2008-09-10 삼성전자주식회사 박막 트랜지스터 및 그 제조 방법
KR100851215B1 (ko) * 2007-03-14 2008-08-07 삼성에스디아이 주식회사 박막 트랜지스터 및 이를 이용한 유기 전계 발광표시장치
US7795613B2 (en) * 2007-04-17 2010-09-14 Toppan Printing Co., Ltd. Structure with transistor
KR101325053B1 (ko) * 2007-04-18 2013-11-05 삼성디스플레이 주식회사 박막 트랜지스터 기판 및 이의 제조 방법
KR20080094300A (ko) * 2007-04-19 2008-10-23 삼성전자주식회사 박막 트랜지스터 및 그 제조 방법과 박막 트랜지스터를포함하는 평판 디스플레이
KR101334181B1 (ko) * 2007-04-20 2013-11-28 삼성전자주식회사 선택적으로 결정화된 채널층을 갖는 박막 트랜지스터 및 그제조 방법
US8274078B2 (en) * 2007-04-25 2012-09-25 Canon Kabushiki Kaisha Metal oxynitride semiconductor containing zinc
KR101345376B1 (ko) 2007-05-29 2013-12-24 삼성전자주식회사 ZnO 계 박막 트랜지스터 및 그 제조방법
JP2009135188A (ja) * 2007-11-29 2009-06-18 Sony Corp 光センサーおよび表示装置
US8202365B2 (en) * 2007-12-17 2012-06-19 Fujifilm Corporation Process for producing oriented inorganic crystalline film, and semiconductor device using the oriented inorganic crystalline film
TWI577027B (zh) 2008-07-31 2017-04-01 半導體能源研究所股份有限公司 半導體裝置及其製造方法
JP4623179B2 (ja) * 2008-09-18 2011-02-02 ソニー株式会社 薄膜トランジスタおよびその製造方法
JP5451280B2 (ja) * 2008-10-09 2014-03-26 キヤノン株式会社 ウルツ鉱型結晶成長用基板およびその製造方法ならびに半導体装置

Patent Citations (7)

* Cited by examiner, † Cited by third party
Publication number Priority date Publication date Assignee Title
JP2004193248A (ja) 2002-12-10 2004-07-08 Hitachi Ltd 画像表示装置及びその製造方法
WO2006006369A1 (ja) 2004-07-12 2006-01-19 Pioneer Corporation 半導体装置
US20070072439A1 (en) 2005-09-29 2007-03-29 Semiconductor Energy Laboratory Co., Ltd. Semiconductor device and manufacturing method thereof
JP2007096055A (ja) 2005-09-29 2007-04-12 Semiconductor Energy Lab Co Ltd 半導体装置、及び半導体装置の作製方法
JP2007123861A (ja) 2005-09-29 2007-05-17 Semiconductor Energy Lab Co Ltd 半導体装置及びその作製方法
JP2007298627A (ja) 2006-04-28 2007-11-15 Toppan Printing Co Ltd 表示装置およびその製造方法
JP2008211191A (ja) 2007-02-02 2008-09-11 Semiconductor Energy Lab Co Ltd 半導体装置の作製方法

Also Published As

Publication number Publication date
JP6502453B2 (ja) 2019-04-17
TW201034191A (en) 2010-09-16
JP2021036620A (ja) 2021-03-04
JP6229000B2 (ja) 2017-11-08
KR20160075436A (ko) 2016-06-29
TWI655778B (zh) 2019-04-01
JP7681171B2 (ja) 2025-05-21
CN101740631B (zh) 2014-07-16
JP5500947B2 (ja) 2014-05-21
TW201813107A (zh) 2018-04-01
JP2014158030A (ja) 2014-08-28
JP2022186889A (ja) 2022-12-15
JP2016157955A (ja) 2016-09-01
KR20100051562A (ko) 2010-05-17
JP2018019100A (ja) 2018-02-01
US8319216B2 (en) 2012-11-27
JP5913404B2 (ja) 2016-04-27
KR101630620B1 (ko) 2016-06-15
KR101792997B1 (ko) 2017-11-02
JP2025109809A (ja) 2025-07-25
TWI539595B (zh) 2016-06-21
JP2024164125A (ja) 2024-11-26
JP2010135772A (ja) 2010-06-17
KR20140144672A (ko) 2014-12-19
US20100117076A1 (en) 2010-05-13
JP2019114805A (ja) 2019-07-11
CN101740631A (zh) 2010-06-16
TW201628198A (zh) 2016-08-01
JP6805285B2 (ja) 2020-12-23
TWI669822B (zh) 2019-08-21

Similar Documents

Publication Publication Date Title
JP7166319B2 (ja) 表示装置
JP7064062B2 (ja) 液晶表示装置
JP7038182B2 (ja) 表示装置
JP6219462B2 (ja) 半導体装置の作製方法
JP2023130385A (ja) 表示装置

Legal Events

Date Code Title Description
A521 Request for written amendment filed

Free format text: JAPANESE INTERMEDIATE CODE: A523

Effective date: 20201228

A621 Written request for application examination

Free format text: JAPANESE INTERMEDIATE CODE: A621

Effective date: 20201228

A977 Report on retrieval

Free format text: JAPANESE INTERMEDIATE CODE: A971007

Effective date: 20211210

A131 Notification of reasons for refusal

Free format text: JAPANESE INTERMEDIATE CODE: A131

Effective date: 20211221

A601 Written request for extension of time

Free format text: JAPANESE INTERMEDIATE CODE: A601

Effective date: 20220218

A521 Request for written amendment filed

Free format text: JAPANESE INTERMEDIATE CODE: A523

Effective date: 20220419

A131 Notification of reasons for refusal

Free format text: JAPANESE INTERMEDIATE CODE: A131

Effective date: 20220802

A521 Request for written amendment filed

Free format text: JAPANESE INTERMEDIATE CODE: A523

Effective date: 20220920

TRDD Decision of grant or rejection written
A01 Written decision to grant a patent or to grant a registration (utility model)

Free format text: JAPANESE INTERMEDIATE CODE: A01

Effective date: 20221004

A61 First payment of annual fees (during grant procedure)

Free format text: JAPANESE INTERMEDIATE CODE: A61

Effective date: 20221025

R150 Certificate of patent or registration of utility model

Ref document number: 7166319

Country of ref document: JP

Free format text: JAPANESE INTERMEDIATE CODE: R150

R250 Receipt of annual fees

Free format text: JAPANESE INTERMEDIATE CODE: R250