JP2005293099A - 作業者派遣支援方法、作業者派遣支援プログラム及び作業者派遣支援装置 - Google Patents

作業者派遣支援方法、作業者派遣支援プログラム及び作業者派遣支援装置 Download PDF

Info

Publication number
JP2005293099A
JP2005293099A JP2004105794A JP2004105794A JP2005293099A JP 2005293099 A JP2005293099 A JP 2005293099A JP 2004105794 A JP2004105794 A JP 2004105794A JP 2004105794 A JP2004105794 A JP 2004105794A JP 2005293099 A JP2005293099 A JP 2005293099A
Authority
JP
Japan
Prior art keywords
worker
information
failure
work
customer
Prior art date
Legal status (The legal status is an assumption and is not a legal conclusion. Google has not performed a legal analysis and makes no representation as to the accuracy of the status listed.)
Pending
Application number
JP2004105794A
Other languages
English (en)
Inventor
Hiroyuki Endo
浩之 遠藤
Akitatsu Takahashi
亮樹 高橋
Current Assignee (The listed assignees may be inaccurate. Google has not performed a legal analysis and makes no representation or warranty as to the accuracy of the list.)
Ricoh Co Ltd
Ricoh Technosystems Co Ltd
Original Assignee
Ricoh Co Ltd
Ricoh Technosystems Co Ltd
Priority date (The priority date is an assumption and is not a legal conclusion. Google has not performed a legal analysis and makes no representation as to the accuracy of the date listed.)
Filing date
Publication date
Application filed by Ricoh Co Ltd, Ricoh Technosystems Co Ltd filed Critical Ricoh Co Ltd
Priority to JP2004105794A priority Critical patent/JP2005293099A/ja
Publication of JP2005293099A publication Critical patent/JP2005293099A/ja
Pending legal-status Critical Current

Links

Images

Landscapes

  • Information Retrieval, Db Structures And Fs Structures Therefor (AREA)
  • Management, Administration, Business Operations System, And Electronic Commerce (AREA)

Abstract

【課題】 顧客先の機器の障害対応のために、作業者のスキルに応じて、より適切な作業者を派遣するための作業者派遣支援方法、作業者派遣支援プログラム及び作業者派遣支援装置を提供する。
【解決手段】 上記実施形態では、管理コンピュータ21は、CEデータ記憶部31のCEデータの各保守レベルと、CEスケジュールデータ記憶部32のスケジュールと、オペレータにより入力された障害内容/原因及び障害レベルに関する情報とに基づいて顧客先に派遣するCEを特定する。そして、派遣されたCEのその障害に対する作業時間を算出し、算出された作業時間に基づいて保守レベルの見直しを行い、その見直しの結果に基づいてCEデータ記憶部31の対応する保守レベルを更新する。
【選択図】 図1

Description

本発明は、顧客先に設置された機器の障害対応を行う作業者を派遣するための作業者派遣支援方法、作業者派遣支援プログラム及び作業者派遣支援装置に関する。
通常、機器の製造会社等は、顧客からの問い合わせに対応し、必要に応じて、顧客先に設置された機器の保守管理を行う作業者の派遣を手配するコールセンタを設けることが多い。
そして、顧客先に派遣されて機器の保守作業を行う作業者は、一般に、CE(カスタマーエンジニア=保守作業従事者)と呼ばれている。ユーザが使用する機器の障害通知を受けたコールセンタは、必要に応じてCEを顧客先に派遣して障害を除去する。
このようなコールセンタにおいて、問い合わせに対応するオペレータや派遣するCEの選択を効率的に行うためのシステムが開示されている(例えば、特許文献1参照。)。特許文献1では、クライアント側から発せられた要求内容に対処するために必要なスキルをキーとして、その要求内容に対処可能な人員を検索するコールセンタシステムについて記載されている。
特開2003−108650号公報(第4−12頁)
しかし、顧客先に派遣する作業者をスキルに基づいて選択する場合でも、各作業者のスキルは、各作業者がそれぞれ経験を積むことにより向上するため、予め調べたスキルとは異なってくる。また、各作業者のスキルの向上のスピードは各作業者の作業経験によって異なってくるため、単に従事した年数によりスキルを判断したのでは、実際のスキルを反映しない場合がある。上記特許文献1では、スキルに基づいて対処可能な人員を検索しているが、それぞれが経験を積むことによるスキルの向上を対処可能な人員の検索に反映させることについては記載されていない。
本発明は、上記問題点を解決するためになされたものであり、その目的は、顧客先の機器の障害対応のために、作業者のスキルに応じて、より適切な作業者を派遣するための作業者派遣支援方法、作業者派遣支援プログラム及び作業者派遣支援装置を提供することにある。
上記問題点を解決するために、請求項1に記載の発明は、作業者のスキルレベルに関する情報を含む作業者情報を記録する作業者情報記憶手段と、これを管理する管理コンピュータとを用いて、顧客先への作業者の派遣を支援する方法であって、前記管理コンピュータが、顧客の機器の障害に対する派遣された作業者の作業実績に基づいて、その作業者の作業経験値を算出する作業経験値算出段階と、前記作業経験値に基づいて作業者のスキルレベルを決定し、そのスキルレベルにより前記作業者情報記憶手段のスキルレベルに関する情報を更新するスキルレベル更新段階とを備え、顧客の機器の障害に関する障害情報を受け付けた場合に、前記作業者情報記憶手段に記憶された作業者情報と前記障害情報とに基づいて顧客先に派遣する作業者を特定する派遣作業者特定処理を実行することを備えたことを要旨とする。
請求項2に記載の発明は、請求項1に記載の作業者派遣支援方法において、前記派遣作業者特定処理は、前記作業者情報と前記障害情報とに基づいて作業者を選定し、その作業者が有する作業者端末に対応要請通知を送信する段階と、前記作業者端末からの前記対応要請通知に対する返信を受信し、その返信内容に基づいて顧客先に派遣する作業者を特定する段階とを含むことを要旨とする。
請求項3に記載の発明は、請求項2に記載の作業者派遣支援方法において、前記対応要請通知に対する返信が対応不可である場合、前記管理コンピュータが、その他の作業者の中から、前記作業者情報と前記障害情報とに基づいて作業者を選定し、その作業者の有する作業者端末に対応要請通知を送信することを要旨とする。
請求項4に記載の発明は、請求項1〜3のいずれか1つに記載の作業者派遣支援方法において、前記作業経験値算出段階は、前記作業者の作業開始時刻と作業終了時刻とに基づいて作業時間を算出し、その作業時間を前記作業者の前記作業の実施前における作業時間の総計に加算することにより前記作業経験値を算出することを要旨とする。
請求項5に記載の発明は、請求項1〜4のいずれか1つに記載の作業者派遣支援方法において、前記作業者情報記憶手段は、各作業者について、機器の種別毎にスキルレベルに関する情報を記録し、前記作業経験値算出段階は、機器の種別を特定した作業実績に基づいて、前記特定された種別の作業経験値を算出し、前記スキルレベル更新段階は、前記算出した作業経験値に基づいて、前記特定された種別に関するスキルレベルを決定し、その種別に関する前記作業者情報記憶手段のスキルレベルに関する情報を更新するとともに、前記障害情報には、障害が発生した機器の種別を特定するための情報が含まれ、前記派遣作業者特定処理における顧客先に派遣する作業者の特定は、前記障害情報において特定される機器の種別についての前記作業者情報記憶手段のスキルレベルに関する情報と、前記障害情報とに基づいて行うことを要旨とする。
請求項6に記載の発明は、請求項1〜5のいずれか1つに記載の作業者派遣支援方法において、前記管理コンピュータは、作業者のスケジュールに関する情報を記録するスケジュール情報記憶手段と接続可能であり、前記派遣作業者特定処理における顧客先に派遣する作業者の特定には、前記スケジュール情報記憶手段の作業者のスケジュールに関する情報をさらに用い、前記管理コンピュータが、前記特定された作業者のスケジュールに、前記障害に対応するための作業に関するスケジュールに関する情報を追加することにより、前記作業者のスケジュールに関する情報を更新する段階をさらに備えたことを要旨とする。
請求項7に記載の発明は、請求項1〜6のいずれか1つに記載の作業者派遣支援方法において、前記管理コンピュータは、顧客が有する機器の設置場所の住所に関する情報を記憶する顧客情報記憶手段と接続可能であり、前記派遣作業者特定処理における顧客先に派遣する作業者の特定には、担当可能な地域に前記障害が生じた機器の設置場所の住所が含まれる作業者を特定するために、前記顧客情報記憶手段の顧客が有する機器の設置場所の住所に関する情報をさらに用いることを要旨とする。
請求項8に記載の発明は、作業者のスキルレベルに関する情報を含む作業者情報を記録する作業者情報記憶手段と、これを管理する管理コンピュータとを用いて、顧客先への作業者の派遣を支援するための作業者派遣支援プログラムであって、前記管理コンピュータを、顧客の機器の障害に対する派遣された作業者の作業実績に基づいて、その作業者の作業経験値を算出する作業経験値算出手段と、前記作業経験値に基づいて作業者のスキルレベルを決定し、そのスキルレベルにより前記作業者情報記憶手段のスキルレベルに関する情報を更新するスキルレベル更新手段として機能させるとともに、顧客の機器の障害に関
する障害情報を受け付けた場合に、前記作業者情報記憶手段に記憶された作業者情報と前記障害情報とに基づいて顧客先に派遣する作業者を特定する派遣作業者特定処理を実行する派遣作業者特定手段として機能させることを要旨とする。
請求項9に記載の発明は、請求項8に記載の作業者派遣支援プログラムにおいて、前記派遣作業者特定手段を、前記作業者情報と前記障害情報とに基づいて作業者を選定し、その作業者が有する作業者端末に対応要請通知を送信する手段と、前記作業者端末からの前記対応要請通知に対する返信を受信し、その返信内容に基づいて顧客先に派遣する作業者を特定する手段として機能させることを要旨とする。
請求項10に記載の発明は、請求項9に記載の作業者派遣支援プログラムにおいて、前記対応要請通知に対する返信が対応不可である場合、前記管理コンピュータを、さらに、その他の作業者の中から、前記作業者情報と前記障害情報とに基づいて作業者を選定し、その作業者の有する作業者端末に対応要請通知を送信する手段として機能させることを要旨とする。
請求項11に記載の発明は、請求項8〜10のいずれか1つに記載の作業者派遣支援プログラムにおいて、前記作業経験値算出手段を、前記作業者の作業開始時刻と作業終了時刻とに基づいて作業時間を算出し、その作業時間を前記作業者の前記作業の実施前における作業時間の総計に加算することにより前記作業経験値を算出する手段として機能させることを要旨とする。
請求項12に記載の発明は、請求項8〜11のいずれか1つに記載の作業者派遣支援プログラムにおいて、前記作業者情報記憶手段は、各作業者について、機器の種別毎にスキルレベルに関する情報を記録し、前記作業経験値算出手段を、機器の種別を特定した作業実績に基づいて、前記特定された種別の作業経験値を算出する手段として機能させ、前記スキルレベル更新手段を、前記算出した作業経験値に基づいて、前記特定された種別に関するスキルレベルを決定し、その種別に関する前記作業者情報記憶手段のスキルレベルに関する情報を更新する手段として機能させるとともに、前記障害情報には、障害が発生した機器の種別を特定するための情報が含まれ、前記派遣作業者特定処理における顧客先に派遣する作業者の特定は、前記障害情報において特定される機器の種別についての前記作業者情報記憶手段のスキルレベルに関する情報と、前記障害情報とに基づいて行うことを要旨とする。
請求項13に記載の発明は、請求項8〜12のいずれか1つに記載の作業者派遣支援プログラムにおいて、前記管理コンピュータは、作業者のスケジュールに関する情報を記録するスケジュール情報記憶手段と接続可能であり、前記派遣作業者特定処理における顧客先に派遣する作業者の特定には、前記スケジュール情報記憶手段の作業者のスケジュールに関する情報をさらに用い、前記管理コンピュータを、さらに、前記特定された作業者のスケジュールに、前記障害に対応するための作業に関するスケジュールに関する情報を追加することにより、前記作業者のスケジュールに関する情報を更新する手段として機能させることを要旨とする。
請求項14に記載の発明は、請求項8〜13のいずれか1つに記載の作業者派遣支援プログラムにおいて、前記管理コンピュータは、顧客が有する機器の設置場所の住所に関する情報を記憶する顧客情報記憶手段と接続可能であり、前記派遣作業者特定処理における顧客先に派遣する作業者の特定には、担当可能な地域に前記障害が生じた機器の設置場所の住所が含まれる作業者を特定するために、前記顧客情報記憶手段の顧客が有する機器の設置場所の住所に関する情報をさらに用いることを要旨とする。
請求項15に記載の発明は、作業者のスキルレベルに関する情報を含む作業者情報を記録する作業者情報記憶手段に接続可能な管理コンピュータを備えた、顧客先への作業者の派遣を支援するための作業者派遣支援装置であって、前記管理コンピュータが、顧客の機器の障害に対する派遣された作業者の作業実績に基づいて、その作業者の作業経験値を算出する作業経験値算出手段と、前記作業経験値に基づいて作業者のスキルレベルを決定し、そのスキルレベルにより前記作業者情報記憶手段のスキルレベルに関する情報を更新するスキルレベル更新手段と、顧客の機器の障害に関する障害情報を受け付けた場合に、前記作業者情報記憶手段に記憶された作業者情報と前記障害情報とに基づいて顧客先に派遣する作業者を特定する派遣作業者特定処理を実行する派遣作業者特定手段とを備えたことを要旨とする。
(作用)
請求項1,8又は15に記載の発明によれば、作業者の作業実績に基づいて算出した作業経験値を用いて作業者のスキルレベルを更新するため、障害情報を受け付けた際に、作業経験を積むことによるスキルの向上を反映した情報を用いて作業者を特定することができる。従って、機器の障害の状況に応じて、作業経験による作業者のスキルの向上を踏まえて、より適切な作業者を派遣することができる。
請求項2又は9に記載の発明によれば、機器の障害の状況に応じて選定された作業者が対応可能である場合に、その作業者を派遣することができる。
請求項3又は10に記載の発明によれば、機器の障害の状況に応じて選定された作業者が対応不可能である場合に、その他の作業者の中から、その機器の障害の状況に応じて作業者を選定し、その作業者に対応要請通知を送信できる。これにより、先に対応要請通知を送信した作業者が対応不可能である場合に、他の作業者を派遣することが可能となる。
請求項4又は11に記載の発明によれば、実際の作業時間を算出し、算出した作業時間を、その作業の実施前における作業者の作業時間の総計に加算することにより前記作業経験値を算出することができる。このため、作業者の作業時間の総計に基づいて、作業者のスキルレベルを更新できる。従って、作業時間の総計に基づいて、派遣する作業者を特定できる。
請求項5又は12に記載の発明によれば、各作業者について、機器の種別毎のスキルレベルを管理できる。そして、障害の発生した機器の種別と、その機器の障害の状況とに応じて、より適切な作業者を派遣できる。
請求項6又は13に記載の発明によれば、作業者のスケジュールに応じて、派遣する作業者を特定し、その作業者のスケジュールを更新できる。従って、作業者のスケジュールに応じて、効率的に作業者を派遣できる。
請求項7又は14に記載の発明によれば、障害が発生した機器の設置場所が存在する地域について担当可能な作業者を派遣できる。従って、作業者の顧客先への移動時間を削減でき、効率的に作業者を派遣できる。
本発明によれば、顧客先の機器の障害対応のために、作業者のスキルに応じて、より適切な作業者を派遣することができる。
以下、本発明を具体化した一実施形態を図1〜図10に従って説明する。本実施形態では、コールセンタが顧客先に設置された機器の障害情報を受け付けた場合に、作業者のス
キルに応じて、より適切な作業者を派遣するための作業者派遣支援方法、作業者派遣支援プログラム及び作業者派遣支援装置として説明する。本実施形態では、コールセンタ20は、障害通知を受けた場合に、作業者としてのCE(カスタマーエンジニア)を顧客先に派遣する。
図1に示すように、コールセンタ20は、ネットワーク60を介してCE端末50に接続されている。
CE端末50は、CEが使用する携帯端末であって、ネットワークを介してデータを送信する機能や、受信したデータを表示する機能等を有する。このため、CE端末50は、図示しないCPU、RAM、ROMの他、入力手段、出力手段、通信手段等を有している。CEは、CE端末50により、障害が発生した機器についての対応要請通知をコールセンタ20から受け付ける。
コールセンタ20は、発生した障害の対応に適したCEを特定し、そのCEを顧客先に派遣するための各種データ管理及び各種データ処理を行う。コールセンタ20は、管理コンピュータ21を備えている。
管理コンピュータ21は、CE端末50との間でのデータ送受信や、各種情報の管理を実行するためのデータ処理等を行う。この管理コンピュータ21は、図示しないCPU、RAM、ROM等を有し、後述する処理(特許請求の範囲記載の作業経験値算出段階及びスキルレベル更新段階を含む処理、派遣作業者特定処理等)を行う。そのための作業者派遣支援プログラムを実行することにより、管理コンピュータ21は、特許請求の範囲記載の作業経験値算出手段、スキルレベル更新手段、派遣作業者特定手段等として機能する。従って、本実施形態では、管理コンピュータ21を含むシステムが、作業者派遣支援装置を構成する。
作業経験値算出手段は、顧客の機器の障害に対する派遣されたCEの作業実績に基づいて作業経験値を算出する。本実施形態では、この作業経験値算出手段は、各CEについて、各保守作業の作業時間の総計を算出する作業時間算出機能24を実現する。
スキルレベル更新手段は、作業経験値に基づいてスキルレベルを決定し、スキルレベルに関する登録情報を更新する。本実施形態では、このスキルレベル更新手段は、各CEについて、各保守作業の作業時間の総計に基づいて、それぞれスキルの見直しを行ってスキルレベルを更新するスキル見直し機能25を実現する。
派遣作業者特定手段は、顧客の機器の障害に関する障害情報を受け付けた場合に、各CEに関する情報と障害情報とに基づいて顧客先に派遣するCEを特定する派遣作業者特定処理を実行する。そして、この派遣作業者特定手段は、障害情報受信機能22により受け付けた障害情報と各CEに関する情報とに基づいて派遣するCEを特定する派遣CE特定機能23を実現する。
ここで、作業実績とは、CE等の作業者が実際に行った作業の功績、成績や活動内容のことである。なお、本実施形態では作業を行った時間を作業実績としているが、その他に作業の困難さや複雑さ、作業における手順等であってもよい。
ここで、作業経験値とは、作業実績を数値で表すようにした定量化した値のことである。なお、本実施形態では作業時間の総和を作業経験値としているが、作業経験値算出手段により先の作業の困難さや複雑さ、作業における手順等を定量化して、作業経験値を算出するようにしてもよい。
ここで、スキルレベルとは、作業経験値から作業者が保持する能力を所定の段階に分類したものである。なお、本実施形態では作業時間の総和から、作業者の能力レベル、すなわちスキルレベルを導出させている。なお、その他にも作業経験値とスキルレベルとの関係を予め定めておけば、スキルレベル更新手段によりスキルレベルを導出させることができる。
管理コンピュータ21は、作業者情報記憶手段としてのCEデータ記憶部31と、スケジュール情報記憶手段としてのCEスケジュールデータ記憶部32と、顧客情報記憶手段としての顧客データ記憶部33に接続されている。さらに、管理コンピュータ21は、作業経験値から作業者のスキルレベルを決定するために用いられる、作業経験値とスキルレベルとを対応づけたテーブルを記憶したレベルテーブル記憶部34に接続されている。
CEデータ記憶部31には、図2に示すように、CE毎に、作業者情報としてのCEデータ310及びCE作業時間データ311がそれぞれ記録されている。CEデータ310及びCE作業時間データ311は、CEについての人材登録のための入力が行われた場合に記録される。
そして、CE作業時間データ311は、CE端末50から作業開始時刻及び作業終了時刻に関する通知を受けた場合に、該当する作業の保守作業時間が更新される。そして、保守レベルの見直しの結果、作業者の保守レベルの更新の必要がある場合、CEデータ310の保守レベルが更新される。
CEデータ310は、CE番号、氏名、担当地域、PC保守レベル、ルータ保守レベル、サーバ保守レベル、及び複写機保守レベルに関するデータを含んで構成される。ここで、各保守レベルは、そのCEがどの程度の障害に対応できるかについて、そのCEのスキルレベルを示す。この保守レベルは、そのCEが対応可能な障害レベルに対応させて規定されている。また、本実施形態では、PC、ルータ、サーバ、複写機という機器の種別毎に保守レベル(スキルレベル)が記録されている。
CE番号データ領域には、CEを特定するための識別子としてのCE番号に関するデータが記録される。
氏名データ領域には、そのCEの氏名に関するデータが記録される。担当地域データ領域には、そのCEが保守作業を担当する地域に関するデータが記録される。
PC保守レベルデータ領域には、そのCEがPC(パーソナルコンピュ−タ端末)の保守作業を行う場合の保守レベルに関するデータが記録される。ルータ保守レベルデータ領域には、そのCEがルータの保守作業を行う場合の保守レベルに関するデータが記録される。サーバ保守レベルデータ領域には、そのCEがサーバの保守作業を行う場合の保守レベルに関するデータが記録される。複写機保守レベルデータ領域には、そのCEが複写機の保守作業を行う場合の保守レベルに関するデータが記録される。
CE作業時間データ311は、CE番号、PC保守作業時間、ルータ保守作業時間、サーバ保守作業時間、及び複写機保守作業時間に関するデータを含んで構成される。
CE番号データ領域には、CEを特定するための識別子としてのCE番号に関するデータが記録される。
PC保守作業時間データ領域には、そのCEのPCに関する保守作業時間の総計に関するデータが記録される。ルータ保守作業時間データ領域には、そのCEのルータに関する保守作業時間の総計に関するデータが記録される。サーバ保守作業時間データ領域には、そのCEのサーバに関する保守作業時間の総計に関するデータが記録される。複写機保守
作業時間データ領域には、そのCEの複写機に関する保守作業時間の総計に関するデータが記録される。
CEスケジュールデータ記憶部32には、図3に示すように、各CEについて、作業日毎のスケジュールに関するCEスケジュールデータ320が記録されている。各CEスケジュールデータ320は、各CEの作業予定についての作業スケジュールに関するデータを含む。障害対応のために派遣するCEを決定すると、管理コンピュータ21は、そのCEのCEスケジュールデータ320に、その障害対応に関する作業スケジュールを追加する。本実施形態では、CEスケジュールデータ320は、CE番号とそのCEの作業日毎のスケジュールに関するデータを含んで構成される。
CE番号データ領域には、CEを特定するための識別子としてのCE番号に関するデータが記録される。
作業日毎のスケジュールデータ領域には、作業日毎に、それぞれ、そのCEのスケジュールに関するデータが記録される。
顧客データ記憶部33には、図4に示すように、顧客毎に顧客データ330が記録されている。この顧客データ330は、保守契約を行った顧客について登録された場合に記録される。本実施形態では、顧客データ330は、顧客番号、顧客名、住所、電話番号、使用機種、及び契約内容に関するデータを含んで構成される。
顧客番号データ領域には、保守契約をしている顧客を特定するための識別子としての顧客番号に関するデータが記録される。
住所データ領域には、その顧客の住所に関するデータが記録される。電話番号データ領域には、その顧客の電話番号に関するデータが記録される。
使用機種データ領域には、その顧客の使用機種に関するデータが記録される。具体的には、使用機種に関するデータとして、メーカ、機器の種別、製品名、モデル名、シリアル番号等に関するデータが記録される。ここで、機器の種別としては、本実施形態では、「PC」、「ルータ」、「サーバ」、「複写機」のいずれかが記録される。
契約内容データ領域には、その顧客との保守契約の内容に関するデータが記録される。具体的には、保守契約の内容に関するデータとして、契約対象、契約開始日、契約終了日、障害通知の受付時間帯、障害の対応時間帯、障害に対する即応時間等に関するデータが記録される。なお、即応時間とは、障害通知を受けてから、派遣したCEが顧客先での保守作業を終了するまでの時間の制限である。例えば、即応時間として「3時間」が指定されている場合、障害通知を受けてから3時間以内に保守作業を終了できるようにCEを派遣する。この即応時間は、派遣すべきCEを選定する場合にも用いられる場合がある。つまり、即応時間に基づいて、即応時間内に保守を行うことができる保守レベルを決定し、決定された保守レベルの能力を持つCEを選定することが行われてもよい。
レベルテーブル記憶部34には、図5に示すように、PC、ルータ、サーバ、複写機の各保守作業について規定した保守レベルと、その保守レベルに対応する規定時間に関するレベルテーブル340が記録されている。ここでは、規定時間として、その保守レベルに対応する作業時間の総計の範囲を設定する。このレベルテーブル340は、本実施形態では、予め記録されている。本実施形態では、PC、ルータ、サーバ、複写機の各保守作業について、それぞれ1〜3の保守レベルが規定されている。そして、レベルテーブル340には、各保守作業の各保守レベルについて、それぞれ対応する規定時間に関するデータが記録されている。
さらに、管理コンピュータ21は、障害データ記憶部に接続されている。なお、この障害データ記憶部は図示しないが、前述の障害情報受信機能22で受信した障害情報を管理コンピュータ21と接続可能な状態に置かれた記憶部である。なお、障害データ記憶部は、他の記憶部と同様にコールセンタ内に設けられてもよいし、コールセンタ外に設けらてもよい。
障害データ記憶部には、保守作業が必要な障害毎に障害データが記録されている。この障害データは、電話もしくはファクシミリによる顧客からの障害通知、又は、遠隔診断装置による障害通知に基づいて記録される。そして、障害内容/原因と障害レベルとについてオペレータにより入力が有った場合に更新される。従って、本実施形態では、障害通知に基づく情報と、それに基づいてオペレータにより入力された障害内容/原因及び障害レベルに関する情報とが、障害情報として用いられる。
さらに、この障害データは、CE端末50から作業開始通知又は作業終了通知を受信した場合に更新される。そして、障害データは、対応する障害が終了し、その障害についての作業時間に基づくCEの保守レベルの見直しの処理が終了した場合に削除される。
本実施形態では、障害データは、障害識別番号、発生時刻、顧客識別子、障害内容/原因、障害レベル、CE番号、作業開始時刻、作業終了時刻に関するデータを含んで構成される。
また、管理コンピュータ21は、オペレータ端末40に接続されている。オペレータ端末40は、オペレータが使用するコンピュータ端末であって、図示しないCPU、RAM、ROMの他、入力手段、出力手段、通信手段等を有している。このオペレータ端末40は、オペレータが、障害内容及び原因や、障害レベルの入力を行い、派遣するCEを選択する場合に用いられる。
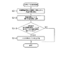
上記のように構成されたシステムにおいて、顧客先に設置された機器の障害対応のために、CEのスキルに基づいて、より適切なCEを派遣するとともに、作業実績に基づいてCEのスキルの見直しを行う場合の処理手順を図6、図7を用いて説明する。ここでは、派遣CE決定処理(図6)と、保守レベル更新処理(図7)とに分けて説明する。
(派遣CE決定処理)
まず、派遣CE決定処理について、図6を用いて説明する。
ユーザから機器障害を知らせる電話、ファクシミリによる連絡、又は遠隔診断装置による障害通知があった場合、コールセンタ20のオペレータは、オペレータ端末40より顧客番号、顧客名、電話番号のいずれかを入力する。これにより、オペレータ端末40は、入力された顧客番号、顧客名、電話番号のいずれかに関するデータを管理コンピュータ21に送信する。管理コンピュータ21は、この顧客番号、顧客名、電話番号のいずれかに関するデータを受け付ける(ステップS1−1)。
そして、管理コンピュータ21は、この顧客番号、顧客名、電話番号のいずれかに関するデータに基づいて、顧客データ記憶部33から顧客データ330を抽出する(ステップS1−2)。なお、管理サーバはCTI(Computer Telephony Integration)を利用して顧客情報を取得してもよい。そして、管理コンピュータ21は、障害識別番号を付与し、この障害識別番号、発生時刻、顧客番号を設定した障害データを障害データ記憶部に記録する。
そして、管理コンピュータ21は、抽出した顧客データに基づいて、顧客情報を表示させるためのデータをオペレータ端末40に送信し、図8に示す顧客情報表示画面70をオ
ペレータ端末40に表示させる(ステップS1−3)。
図8に示すように、顧客情報表示画面70には、顧客情報表示欄71、機器表示欄72、契約内容表示欄73、障害内容/原因選択欄74、障害レベル選択欄75、及びOKボタン76が設けられている。
顧客情報表示欄71には、顧客データ記憶部33から抽出した顧客データ330に基づいて、顧客番号、顧客名、住所及び電話番号が表示される。
機器表示欄72には、顧客データ330の使用機器に関するデータに基づいて、顧客先で使用されている機器のメーカ、種別、製品名、モデル名、及びシリアル番号が表示される。
契約内容表示欄73には、顧客データ330の契約内容に関するデータに基づいて、その顧客との契約内容が表示される。具体的には、契約対象、契約開始日、契約終了日、受付時間帯、対応時間帯、及び即応時間が表示される。
障害内容/原因選択欄74には、障害内容及び障害原因について、どの種別の機器の障害かを選択するためのラジオボタンが、PC障害、ルータ障害、サーバ障害、及び複写機障害のそれぞれについて設けられている。
障害レベル選択欄75には、障害レベルを選択するためのラジオボタンが、障害レベル1〜3のそれぞれについて設けられている。
オペレータは、顧客情報表示画面70の表示内容を参照しながら、障害通知に基づいて障害原因及び障害レベルを特定し、障害内容/原因選択欄74及び障害レベル選択欄75におけるラジオボタンの選択を行う。
具体的には、オペレータは、電話もしくはファクシミリによる顧客からの障害通知、又は、遠隔診断装置による障害通知の内容に基づいて、障害内容/原因、及び障害レベルの選択を行う。障害内容/原因選択欄74においては、PC障害、ルータ障害、サーバ障害、複写機障害のうちの1つを、ラジオボタンを選択することにより選択する。また、障害通知の内容に基づいて、障害レベルについて、障害の除去が容易な場合は「1」、通常レベルの障害の場合は「2」、障害の除去が困難な場合は「3」と判断し、それぞれに対応するラジオボタンを選択する。そして、これらの選択を行ったオペレータは、OKボタン76を用いて、障害内容/原因及び障害レベルについての決定を入力する。これにより、オペレータ端末40は、選択された障害内容/原因及び障害レベルに関する情報を含むデータを管理コンピュータ21に送信する。
管理コンピュータ21は、このデータを受信して、この障害内容/原因及び障害レベルに関する入力を受け付ける(ステップS1−4)。そして、管理コンピュータ21は、入力された障害内容/原因及び障害レベルに基づいて、その障害に関する障害データの障害内容/原因及び障害レベルを記録する。
次に、管理コンピュータ21は、障害内容/原因及び障害レベル等に基づいてCEを抽出する(ステップS1−5)。具体的には、管理コンピュータ21は、まず、入力された障害原因/内容に対応する機器の種別に基づいて、CEデータ310の対応する種別の機器についての保守レベルを参照する。そして、入力された障害レベルに保守レベルが一致するCEデータ310を抽出する。そして、管理コンピュータ21は、抽出されたCEの中から、そのCEのCEデータ310の担当地域に関するデータと、顧客データ330の住所に関するデータに基づいて、顧客の住所が担当地域に含まれるCEを抽出する。そして、管理コンピュータ21は、抽出されたCEの中から、CEスケジュールデータ320
に基づいて、スケジュールが空いているCEを抽出する。
例えば、障害内容/原因が「サーバ障害」、障害レベルが「2」であって、現在時刻が「13:36」、顧客の住所が「A市」にある場合を想定する。この場合、管理コンピュータ21は、障害レベルが「2」のサーバ障害に対応でき、担当地域がA市であって、現在時刻である「13:36」から即応時間に対応する3時間以内に顧客対応を行えるCEを抽出する。ここでは、CE番号が「1」や「4」のCEが抽出される。
そして、管理コンピュータ21は、派遣CE決定画面をオペレータ端末40に表示させる(ステップS1−6)。具体的には、管理コンピュータ21は、図9に示す派遣CE決定画面80を表示させるためのデータをオペレータ端末40に送信する。これにより、オペレータ端末40に派遣CE決定画面80が表示される。この派遣CE決定画面80は、抽出されたCEの中から、派遣するCEを決定するための画面である。
図9に示すように、派遣CE決定画面80には、抽出されたCEについて、当日のスケジュール81が表示される。各スケジュール81の右下には、そのCEに派遣を打診するメールを送信するための送信ボタン82が設けられている。
ここでは、CE番号「1」のCEと、CE番号「4」のCEについて、それぞれのスケジュール81が表示される。オペレータは、この派遣CE決定画面80に表示されたスケジュール81に基づいて、派遣を打診するCEを決定する。そして、オペレータは、決定したCEのスケジュール81の右下に設けられている送信ボタン82をクリックする。ここでは、CE番号「1」についての送信ボタン82をクリックする。これにより、オペレータ端末40は、クリックされた送信ボタン82に対応するCEのCE番号を含むデータを管理コンピュータ21に送信する。
このデータを受信した管理コンピュータ21は、オペレータによるCEの決定入力を受け付ける(ステップS1−7)。そして、管理コンピュータ21は、決定されたCEのCE端末50に、派遣を打診するメール(対応要請通知)を送信する(ステップS1−8)。このメールを受信したCE端末50には図10に示すメール表示90が出力される。
図10に示すように、メール表示90には、派遣を打診する作業の内容に関する作業内容表示欄91が設けられている。また、メール表示90には、その作業について対応可能な場合に用いる対応可能ボタン92と、対応不可能な場合に用いる対応不可能ボタン93とが設けられている。作業内容表示欄91には、顧客情報、機器に関する情報、契約内容に関する情報、障害内容/原因、及び障害レベルが表示される。顧客情報、機器に関する情報、及び契約内容に関する情報は、顧客データ330に基づいて表示される。障害内容/原因、及び障害レベルについては、オペレータにより入力された内容が表示される。
このメールを受信したCEは、作業内容表示欄91の内容を確認して、対応可能である場合は対応可能ボタン92を押下し、対応不可能である場合は対応不可能ボタン93を押下する。対応可能ボタン92が押下されると、CE端末50は、対応可能通知を管理コンピュータ21に送信する。一方、対応不可能ボタン93が押下されると、CE端末50は、対応不可能通知を管理コンピュータ21に送信する。
管理コンピュータ21は、対応要請通知を送信してから所定時間(例えば、10分間)、CE端末50からの応答を待つ。そして、その所定時間内にCE端末50からの応答を受信した場合(ステップS1−9においてYESの場合)、管理コンピュータ21は、その応答内容によって異なる以下の処理を行う。その応答が対応可能通知である場合(ステップS1−10においてYESの場合)、管理コンピュータ21は、対応可能通知に基づ
いて、派遣するCEを決定する(ステップS1−11)。具体的には、管理コンピュータ21は、対応可能通知に基づいて、この対応可能通知を送信したCE端末50を使用するCEを特定する。この結果、派遣するCEが決定される。
そして、管理コンピュータ21は、決定した派遣するCEのスケジュールに、今回の障害についての作業スケジュールを追加する(ステップS1−12)。具体的には、管理コンピュータ21は、CE番号「1」のCEのCEスケジュールデータ320をCEスケジュールデータ記憶部32から抽出し、当日のスケジュールに、その障害の作業スケジュールに関するデータを追加して記録する。ここで、管理コンピュータ21は、決定した派遣するCEのCE番号を、対応する障害識別番号に関連付けて障害データ記憶部に記録する。
一方、所定時間内にCE端末50からの応答を受信しなかった場合(ステップS1−9においてNOの場合)、管理コンピュータ21は、ステップS1−5において抽出されたCEの中から他のCEを選択する(ステップS1−13)。ここでは、CE番号「4」のCEが選択される。そして、管理コンピュータ21は、選択されたCEのCE端末50に派遣を打診するメールを送信する(ステップS1−14)。
また、受信した応答が対応不可能通知である場合(ステップS1−10においてNOの場合)にも、管理コンピュータ21は、同様に、ステップS1−13及びステップS1−14の処理を行う。
そして、これらの場合、管理コンピュータ21は、ステップS1−9の処理に戻る。そして、対応要請通知を送信してから所定時間内に対応可能通知を受信するまで、ステップS1−13及びステップS1−14の処理を繰り返す。そして、対応要請通知を送信してから所定時間内に対応可能通知を受信した場合(ステップS1−9においてYES、かつ、ステップS1−10においてYESの場合)、管理コンピュータ21は、ステップS1−11に移る。そして、管理コンピュータ21は、対応可能通知に基づいて、派遣するCEを決定する(ステップS1−11)。具体的には、管理コンピュータ21は、対応可能通知に基づいて、この対応可能通知を送信したCE端末50を使用するCEを特定する。この結果、派遣するCEが決定される。
そして、管理コンピュータ21は、決定した派遣するCEのスケジュールに、今回の障害についての作業スケジュールを追加する(ステップS1−12)。なお、管理コンピュータ21は、決定した派遣するCEのCE番号を、対応する障害識別番号に関連付けて障害データ記憶部に記録する。
(保守レベル更新処理)
次に、保守レベル更新処理について説明する。
CEは、顧客先へ到着すると、作業を開始する際に、CE端末50により、障害識別番号及び作業開始フラグを含む作業開始通知を管理コンピュータ21に送信する。管理コンピュータ21は、障害識別番号に基づいて障害データを特定し、この作業開始通知の受信時間に基づく作業開始時刻を記録する。
そして、CEは、顧客先での作業が終了すると、CE端末50により、障害識別番号及び作業終了フラグを含む作業終了通知を管理コンピュータ21に送信する。管理コンピュータ21は、障害識別番号に基づいて障害データを特定し、この作業終了通知の受信時間に基づく作業終了時刻を記録する。
そして、管理コンピュータ21は、作業開始時刻と作業終了時刻とに基づいて、保守レ
ベルを更新するための保守レベル更新処理を行う。この処理を図7を用いて説明する。
図7に示すように、管理コンピュータ21は、まず、作業開始時刻と作業終了時刻とに基づいて、作業実績としての作業時間を算出する(ステップS2−1)。そして、管理コンピュータ21は、算出した作業時間を、そのCEの作業を行った機器の種別についての保守作業時間に加算する(ステップS2−2)。これにより、作業経験値としての保守作業時間が算出される。具体的には、管理コンピュータ21は、まず、障害識別番号に基づいて、障害データ記憶部からCE番号、及び障害内容/原因を抽出する。そして、管理コンピュータ21は、そのCE番号のCE作業時間データ311をCEデータ記憶部31から抽出する。そして、障害データ記憶部から抽出した障害内容/原因に基づいて機器の種別を特定し、PC保守作業時間、ルータ保守作業時間、サーバ保守作業時間、複写機保守作業時間のいずれかを抽出する。そして、算出した作業時間を、CEデータ記憶部31から抽出された保守作業時間に加算する。
例えば、派遣されたCE番号「1」のCEが、その障害に対して、14:20に顧客先に到着してサーバの保守作業を行い、16:40に作業を終えた場合、管理コンピュータ21は、作業時間として2時間20分を算出する。そして、CE番号「1」のCEについてのCE作業時間データ311のサーバ保守作業時間として記録されている149時間に2.3時間を加える。これにより、サーバ保守作業時間として151.3時間が算出される。
次に、管理コンピュータ21は、加算後の保守作業時間が、そのCEの保守レベルの規定時間を超えているかどうかを調べる(ステップS2−3)。具体的には、管理コンピュータ21は、まず、CEデータ記憶部31から、CE番号によりCEデータ310を抽出し、そのCEデータ310から今回の障害の保守作業に関する保守レベルを抽出する。そして、その保守作業の対象機器の種別と、保守レベルとに基づいて、レベルテーブル340から、今回の障害の保守作業について、その保守レベルに対応する規定時間に関するデータを抽出する。そして、管理コンピュータ21は、加算後の保守作業時間と、抽出された規定時間の上限とを比較する。
上記の例では、CE番号「1」であるCEのサーバ保守レベルを抽出する。ここでサーバ保守レベルは「2」であるため、レベルテーブル記憶部34から、サーバ保守についてレベル「2」の場合の規定時間に関するデータを抽出する。ここでは、100時間超で150時間以下である場合、サーバ保守についてレベル「2」の範囲に含まれる。ここで、算出した作業時間を加算後の作業時間の総計は151.3時間であるため、規定時間の上限である150時間を超えている。このため、サーバ保守について、そのCEについて設定されている保守レベルの規定時間を超えていることになる。
加算後の保守作業時間が、そのCEの保守レベルに対応する規定時間を超えている場合(ステップS2−3においてYESの場合)、管理コンピュータ21は、そのCEの今回の作業に対応する保守レベルを上げる(ステップS2−4)。具体的には、管理コンピュータ21は、CEデータ記憶部31に記録されたそのCEの今回の今回の作業に対応する保守レベルを1つ上げた値にして更新する。例えば、上記の例では、CE番号「1」のCEのサーバ保守レベルが「2」であるため、このサーバ保守レベルを「3」に設定する。そして、管理コンピュータ21は、この保守レベル更新処理を終了する。なお、加算後の保守作業時間が、そのCEの保守レベルに対応する規定時間を超えていない場合(ステップS2−3においてNOの場合)、管理コンピュータ21は、保守レベルの更新を行わずに、この保守レベル更新処理を終了する。
このようにして保守レベルの見直しを終了すると、管理コンピュータ21は、対応する障害データを削除する。
本発明において、作業時間や作業内容等の作業者の実際に経験した作業実績によって、
保守レベルすなわち、作業者のスキルの見直しが行われるので、現実の能力や技能に即して作業者のスキルレベルを更新することができる。また、この作業者のスキルレベルを更新することにより、顧客に対して適切に対応できる作業者を得ることができる。
以上、本実施形態によれば、以下に示す効果を得ることができる。
・ 上記実施形態では、管理コンピュータ21は、CEデータ310の各保守レベルと、CEスケジュールデータ320のスケジュールと、オペレータにより入力された障害内容/原因及び障害レベルに関する情報とに基づいて顧客先に派遣するCEを特定する。そして、派遣されたCEのその障害に対する作業時間を算出し、算出された作業時間に基づいて保守レベルの見直しを行い、その見直しの結果に基づいてCEデータ310の対応する保守レベルを更新する。
このため、顧客が有する機器の種別とその機器の障害の状況に応じたCEを特定して派遣することができる。そして、その作業を行うことによりCEのスキルが上がることを考慮して、CEのスキルに対応する保守レベルの見直しを行うことができる。従って、作業実績を積むことによるCEのスキルの向上を踏まえて、より適切なCEを派遣することができる。
・ 上記実施形態では、管理コンピュータ21は、CEの各保守レベルと、CEのスケジュールと、オペレータにより入力された障害内容/原因及び障害レベルに関する情報とに基づいて選定したCEのCE端末50に対応要請通知を行うためのメールを送信する。そして、その対応要請通知を受信したCE端末50からの返信を受信し、その返信内容に基づいて顧客先に派遣するCEを特定する。このため、選定したCEが対応可能である場合に、そのCEを派遣できる。
・ 上記実施形態では、対応要請通知に対する返信の内容が対応不可である場合、管理コンピュータ21は、ステップS1−5において抽出したその他のCEの中から、CEを選択する。そして、そのCEのCE端末50に対応要請通知を送信する。このため、先に対応を打診したCEが対応不可能である場合に、その他のCEの中から選択したCEのCE端末50に、対応要請通知を送信できる。これにより、先に対応要請通知を送信したCEが対応不可能である場合に、他のCEを派遣することが可能となる。
・ 上記実施形態では、管理コンピュータ21は、CEスケジュールデータ320に基づいて顧客先に派遣するCEを特定する。そして、特定されたCEのスケジュールに、その障害に対応するための作業に関するスケジュールを追加することにより、そのCEのCEスケジュールデータ320を更新する。このため、CEのスケジュールに応じて、派遣するCEを特定し、特定されたCEのスケジュールを更新できる。従って、CEのスケジュールに応じて、効率的にCEを派遣できる。
・ 上記実施形態では、管理コンピュータ21は、CEの担当地域と、機器の設置場所である顧客の住所とに基づいて、顧客先に派遣するCEを特定する。このように、CEの担当地区を設定しておき、障害場所を担当するCEを派遣することにより、CEの移動時間を削減でき、効率的に保守サービスを提供することができる。
なお、上記実施形態は、以下の態様に変更してもよい。
○ 上記実施形態では、作業経験値として作業時間の総計を用いた。これに代えて、実際の作業時間に、そのCEのスキルを加味して算出した値を作業経験値として用いてもよい。例えば、各障害レベルにおける作業時間について基準時間を設けておく。そして、その基準時間に対して実際に要した時間との関係で作業経験値を決定してもよい。この場合、基準時間に対して、基準時間を作業時間で割った値を乗算する。すなわち、基準時間を
2乗した値を作業時間で割った値を経験評価時間として求める。そして、この経験評価時間を作業経験値として使用する。これにより、基準時間と比較して短時間で、より効率よく作業を行ったCEは、作業経験値が上げることができる。従って、より実際のスキルに見合った保守レベルを設定して、その保守レベルに基づいて派遣するCEを特定できる。
○ 上記実施形態では、作業時間の総計を作業経験値として用い、作業時間の総計に応じて保守レベルを設定した。そして、この保守レベルに基づいて、派遣するCEを特定した。これに代えて、作業時間の総計等による作業経験値そのものを用いて、派遣するCEを特定してもよい。この場合、派遣するCEを特定する際に、作業時間の総計等による作業経験値そのものによりCEのスキルを判断し、これに基づいて派遣するCEを特定する。これにより、派遣するCEの特定のための判断基準を変更する場合に、派遣するCEを特定する際の判断の対象となる作業経験値を変更するだけで、対応することができる。また、保守レベルに関するデータを記録しないため、データ量を削減できる。
○ 上記実施形態では、PC、ルータ、サーバ、複写機のいずれか1つについての障害の場合に、派遣するCEを特定した。複数の機器に障害が生じた場合、それらの複数の機器のいずれにも対応可能なCEを派遣する場合に、上記の方法により、派遣するCEを特定してもよい。この場合、ステップS1−5において、障害が生じたいずれの機器についても、保守レベルが、オペレータにより入力された障害レベルに対応可能なCEを抽出する。これにより、複数の機器に障害が生じた場合に、それらの複数の機器に対応可能なCEを効率的に派遣できる。
○ 上記実施形態では、CEデータ310の担当地域に関する情報に基づいて、機器の設置場所である顧客の住所の所在地を担当するCEを特定した。これに代えて、CEの実際の位置に基づいて、障害の生じた機器について担当可能なCEを特定してもよい。
○ 上記実施形態では、顧客情報表示画面70の障害内容/原因選択欄74において、PC、ルータ、サーバ及び複写機のいずれの障害かをオペレータが選択入力した。そして、管理コンピュータ21は、選択されたPC、ルータ、サーバ、複写機のいずれかについてCEデータ310の保守レベルを参照して候補となるCEを抽出した。これに代えて、CEデータ310に、機器の種別について、より詳細な区分でそれぞれ保守レベルを設定するとともに、顧客情報表示画面70において、それに対応する区分で障害内容及び原因を入力できるようにし、これに基づいて候補となるCEを抽出してもよい。この場合、より詳細な区分で設定した保守レベルの区分に対応するそれぞれ区分で、それぞれ作業時間の総計をCE作業時間データ311に記録する。そして、この作業時間の総計に基づいて、対応する保守レベルを更新する。これにより、より細分化した区分に対する各保守レベルに基づいて、各障害に対し、より適切なCEを派遣することが可能となる。
○ 上記実施形態では、ステップS1−5において抽出されたCEのうち、オペレータによって選択されたCEが対応可能でない場合、ステップS1−5において抽出されたCEのうち、他のCEを選択した。ステップS1−5において抽出された他のいずれのCEも対応可能でない場合、対応する保守項目について、指定された障害レベルより上位の保守レベルのCEを選択してもよい。より上位の保守レベルのCEであれば、この障害にも対応可能である。これにより、指定された障害レベルに対応する保守レベルのCEが対応可能でない場合にも、より上位の保守レベルのCEにより、適切に対応可能なCEを迅速に派遣できる。
○ 上記実施形態では、オペレータによって選択されたCEが対応可能でない場合、管理コンピュータ21が自動的に、その他のCEを選択し、そのCEのCE端末50に対応要請通知を送信した。これに代えて、オペレータによって選択されたCEが対応可能でな
い場合に、ステップS1−5において抽出されたCEの中から、対応要請通知を送信するCEをオペレータに選択させてもよい。
○ 上記実施形態では、作業時間の総計に基づいて保守レベルを決定した。しかしながら、作業時間の総計の他に、CEが経験した作業内容や、CEの作業頻度等による作業経験値に基づいて保守レベルを決定してもよい。
本発明の一実施形態のシステムの概略図。 CEデータ記憶部に記憶されたデータの説明図。 CEスケジュールデータ記憶部に記憶されたデータの説明図。 顧客データ記憶部に記憶されたデータの説明図。 レベルテーブル記憶部に記憶されたデータの説明図。 本発明の一実施形態の処理手順の説明図。 本発明の一実施形態の処理手順の説明図。 オペレータ端末に表示される表示画面の説明図。 オペレータ端末に表示される表示画面の説明図。 CE端末に表示されるメール表示の説明図。
符号の説明
21…管理コンピュータ、31…作業者情報記憶手段としてのCEデータ記憶部、32…スケジュール情報記憶手段としてのCEスケジュールデータ記憶部、33…顧客情報記憶手段としての顧客データ記憶部、50…作業者端末としてのCE端末。

Claims (15)

  1. 作業者のスキルレベルに関する情報を含む作業者情報を記録する作業者情報記憶手段と、これを管理する管理コンピュータとを用いて、顧客先への作業者の派遣を支援する方法であって、
    前記管理コンピュータが、
    顧客の機器の障害に対する派遣された作業者の作業実績に基づいて、その作業者の作業経験値を算出する作業経験値算出段階と、
    前記作業経験値に基づいて作業者のスキルレベルを決定し、そのスキルレベルにより前記作業者情報記憶手段のスキルレベルに関する情報を更新するスキルレベル更新段階とを備え、
    顧客の機器の障害に関する障害情報を受け付けた場合に、前記作業者情報記憶手段に記憶された作業者情報と前記障害情報とに基づいて顧客先に派遣する作業者を特定する派遣作業者特定処理を実行することを備えたことを特徴とする作業者派遣支援方法。
  2. 前記派遣作業者特定処理は、
    前記作業者情報と前記障害情報とに基づいて作業者を選定し、その作業者が有する作業者端末に対応要請通知を送信する段階と、
    前記作業者端末からの前記対応要請通知に対する返信を受信し、その返信内容に基づいて顧客先に派遣する作業者を特定する段階と
    を含むことを特徴とする請求項1に記載の作業者派遣支援方法。
  3. 前記対応要請通知に対する返信が対応不可である場合、
    前記管理コンピュータが、
    その他の作業者の中から、前記作業者情報と前記障害情報とに基づいて作業者を選定し、その作業者の有する作業者端末に対応要請通知を送信することを特徴とする請求項2に記載の作業者派遣支援方法。
  4. 前記作業経験値算出段階は、
    前記作業者の作業開始時刻と作業終了時刻とに基づいて作業時間を算出し、その作業時間を前記作業者の前記作業の実施前における作業時間の総計に加算することにより前記作業経験値を算出することを特徴とする請求項1〜3のいずれか1つに記載の作業者派遣支援方法。
  5. 前記作業者情報記憶手段は、各作業者について、機器の種別毎にスキルレベルに関する情報を記録し、
    前記作業経験値算出段階は、機器の種別を特定した作業実績に基づいて、前記特定された種別の作業経験値を算出し、
    前記スキルレベル更新段階は、前記算出した作業経験値に基づいて、前記特定された種別に関するスキルレベルを決定し、その種別に関する前記作業者情報記憶手段のスキルレベルに関する情報を更新するとともに、
    前記障害情報には、障害が発生した機器の種別を特定するための情報が含まれ、
    前記派遣作業者特定処理における顧客先に派遣する作業者の特定は、
    前記障害情報において特定される機器の種別についての前記作業者情報記憶手段のスキルレベルに関する情報と、前記障害情報とに基づいて行うことを特徴とする請求項1〜4のいずれか1つに記載の作業者派遣支援方法。
  6. 前記管理コンピュータは、作業者のスケジュールに関する情報を記録するスケジュール情報記憶手段と接続可能であり、
    前記派遣作業者特定処理における顧客先に派遣する作業者の特定には、
    前記スケジュール情報記憶手段の作業者のスケジュールに関する情報をさらに用い、
    前記管理コンピュータが、
    前記特定された作業者のスケジュールに、前記障害に対応するための作業に関するスケジュールに関する情報を追加することにより、前記作業者のスケジュールに関する情報を更新する段階をさらに備えたことを特徴とする請求項1〜5のいずれか1つに記載の作業者派遣支援方法。
  7. 前記管理コンピュータは、顧客が有する機器の設置場所の住所に関する情報を記憶する顧客情報記憶手段と接続可能であり、
    前記派遣作業者特定処理における顧客先に派遣する作業者の特定には、担当可能な地域に前記障害が生じた機器の設置場所の住所が含まれる作業者を特定するために、前記顧客情報記憶手段の顧客が有する機器の設置場所の住所に関する情報をさらに用いることを特徴とする請求項1〜6のいずれか1つに記載の作業者派遣支援方法。
  8. 作業者のスキルレベルに関する情報を含む作業者情報を記録する作業者情報記憶手段と、これを管理する管理コンピュータとを用いて、顧客先への作業者の派遣を支援するための作業者派遣支援プログラムであって、
    前記管理コンピュータを、
    顧客の機器の障害に対する派遣された作業者の作業実績に基づいて、その作業者の作業経験値を算出する作業経験値算出手段と、
    前記作業経験値に基づいて作業者のスキルレベルを決定し、そのスキルレベルにより前記作業者情報記憶手段のスキルレベルに関する情報を更新するスキルレベル更新手段として機能させるとともに、
    顧客の機器の障害に関する障害情報を受け付けた場合に、前記作業者情報記憶手段に記憶された作業者情報と前記障害情報とに基づいて顧客先に派遣する作業者を特定する派遣作業者特定処理を実行する派遣作業者特定手段として機能させるための作業者派遣支援プログラム。
  9. 前記派遣作業者特定手段を、
    前記作業者情報と前記障害情報とに基づいて作業者を選定し、その作業者が有する作業者端末に対応要請通知を送信する手段と、
    前記作業者端末からの前記対応要請通知に対する返信を受信し、その返信内容に基づいて顧客先に派遣する作業者を特定する手段
    として機能させることを特徴とする請求項8に記載の作業者派遣支援プログラム。
  10. 前記対応要請通知に対する返信が対応不可である場合、
    前記管理コンピュータを、さらに、
    その他の作業者の中から、前記作業者情報と前記障害情報とに基づいて作業者を選定し、その作業者の有する作業者端末に対応要請通知を送信する手段
    として機能させることを特徴とする請求項9に記載の作業者派遣支援プログラム。
  11. 前記作業経験値算出手段を、
    前記作業者の作業開始時刻と作業終了時刻とに基づいて作業時間を算出し、その作業時間を前記作業者の前記作業の実施前における作業時間の総計に加算することにより前記作業経験値を算出する手段として機能させることを特徴とする請求項8〜10のいずれか1つに記載の作業者派遣支援プログラム。
  12. 前記作業者情報記憶手段は、各作業者について、機器の種別毎にスキルレベルに関する情報を記録し、
    前記作業経験値算出手段を、機器の種別を特定した作業実績に基づいて、前記特定され
    た種別の作業経験値を算出する手段として機能させ、
    前記スキルレベル更新手段を、前記算出した作業経験値に基づいて、前記特定された種別に関するスキルレベルを決定し、その種別に関する前記作業者情報記憶手段のスキルレベルに関する情報を更新する手段として機能させるとともに、
    前記障害情報には、障害が発生した機器の種別を特定するための情報が含まれ、
    前記派遣作業者特定処理における顧客先に派遣する作業者の特定は、
    前記障害情報において特定される機器の種別についての前記作業者情報記憶手段のスキルレベルに関する情報と、前記障害情報とに基づいて行うことを特徴とする請求項8〜11のいずれか1つに記載の作業者派遣支援プログラム。
  13. 前記管理コンピュータは、作業者のスケジュールに関する情報を記録するスケジュール情報記憶手段と接続可能であり、
    前記派遣作業者特定処理における顧客先に派遣する作業者の特定には、
    前記スケジュール情報記憶手段の作業者のスケジュールに関する情報をさらに用い、
    前記管理コンピュータを、さらに、
    前記特定された作業者のスケジュールに、前記障害に対応するための作業に関するスケジュールに関する情報を追加することにより、前記作業者のスケジュールに関する情報を更新する手段として機能させることを特徴とする請求項8〜12のいずれか1つに記載の作業者派遣支援プログラム。
  14. 前記管理コンピュータは、顧客が有する機器の設置場所の住所に関する情報を記憶する顧客情報記憶手段と接続可能であり、
    前記派遣作業者特定処理における顧客先に派遣する作業者の特定には、担当可能な地域に前記障害が生じた機器の設置場所の住所が含まれる作業者を特定するために、前記顧客情報記憶手段の顧客が有する機器の設置場所の住所に関する情報をさらに用いることを特徴とする請求項8〜13のいずれか1つに記載の作業者派遣支援プログラム。
  15. 作業者のスキルレベルに関する情報を含む作業者情報を記録する作業者情報記憶手段に接続可能な管理コンピュータを備えた、顧客先への作業者の派遣を支援するための作業者派遣支援装置であって、
    前記管理コンピュータが、
    顧客の機器の障害に対する派遣された作業者の作業実績に基づいて、その作業者の作業経験値を算出する作業経験値算出手段と、
    前記作業経験値に基づいて作業者のスキルレベルを決定し、そのスキルレベルにより前記作業者情報記憶手段のスキルレベルに関する情報を更新するスキルレベル更新手段と、
    顧客の機器の障害に関する障害情報を受け付けた場合に、前記作業者情報記憶手段に記憶された作業者情報と前記障害情報とに基づいて顧客先に派遣する作業者を特定する派遣作業者特定処理を実行する派遣作業者特定手段と
    を備えたことを特徴とする作業者派遣支援装置。
JP2004105794A 2004-03-31 2004-03-31 作業者派遣支援方法、作業者派遣支援プログラム及び作業者派遣支援装置 Pending JP2005293099A (ja)

Priority Applications (1)

Application Number Priority Date Filing Date Title
JP2004105794A JP2005293099A (ja) 2004-03-31 2004-03-31 作業者派遣支援方法、作業者派遣支援プログラム及び作業者派遣支援装置

Applications Claiming Priority (1)

Application Number Priority Date Filing Date Title
JP2004105794A JP2005293099A (ja) 2004-03-31 2004-03-31 作業者派遣支援方法、作業者派遣支援プログラム及び作業者派遣支援装置

Publications (1)

Publication Number Publication Date
JP2005293099A true JP2005293099A (ja) 2005-10-20

Family

ID=35325975

Family Applications (1)

Application Number Title Priority Date Filing Date
JP2004105794A Pending JP2005293099A (ja) 2004-03-31 2004-03-31 作業者派遣支援方法、作業者派遣支援プログラム及び作業者派遣支援装置

Country Status (1)

Country Link
JP (1) JP2005293099A (ja)

Cited By (30)

* Cited by examiner, † Cited by third party
Publication number Priority date Publication date Assignee Title
JP2007241393A (ja) * 2006-03-06 2007-09-20 Hitachi Electronics Service Co Ltd スケジュール割当てシステム及び作業スケジュール割当てプログラム及び作業スケジュール割当て方法
JP2008048786A (ja) * 2006-08-22 2008-03-06 Olympus Medical Systems Corp 医療業務支援システム
JP2008059523A (ja) * 2006-09-04 2008-03-13 Hitachi Electronics Service Co Ltd スケジュール管理システム及びスケジュール管理情報処理装置及びスケジュール管理プログラム及びスケジュール管理方法
JP2008134840A (ja) * 2006-11-28 2008-06-12 Zuken Inc 情報処理装置およびその方法
KR100927346B1 (ko) * 2007-06-11 2009-11-19 주식회사 엔에이치테크 자동화기기 유지 보수 시스템 및 이를 이용한 자동화기기유지 보수 방법
JP2010191792A (ja) * 2009-02-19 2010-09-02 Nec Corp 問い合わせ振分システム、及び問い合わせ振分方法
JP2010225017A (ja) * 2009-03-25 2010-10-07 Hitachi East Japan Solutions Ltd 工程計画装置および工程計画方法
JP2012242870A (ja) * 2011-05-16 2012-12-10 Chugoku Electric Power Co Inc:The 呼出名簿作成システム
JP2014179837A (ja) * 2013-03-15 2014-09-25 Omron Corp 情報処理装置、および作業員割当方法
JP2015031997A (ja) * 2013-07-31 2015-02-16 株式会社日立システムズ 保守要員アサインシステム
JP2015052878A (ja) * 2013-09-06 2015-03-19 カシオ計算機株式会社 予定管理装置、予定管理システム及びプログラム
JP2015232767A (ja) * 2014-06-09 2015-12-24 オリンパス株式会社 医療業務支援装置
JP2018055608A (ja) * 2016-09-30 2018-04-05 富士通株式会社 作業管理プログラム、装置、方法、及びシステム
JP2018169734A (ja) * 2017-03-29 2018-11-01 株式会社ジェイテクト 作業者決定支援装置
JP6624355B1 (ja) * 2019-04-05 2019-12-25 三菱電機ビルテクノサービス株式会社 保守点検支援システム
JP2020008912A (ja) * 2018-07-03 2020-01-16 コニカミノルタ株式会社 メンテナンスシステム及びメンテナンス方法
JP2020067758A (ja) * 2018-10-23 2020-04-30 株式会社シンプルウェイ プログラム、情報処理装置、および情報処理方法
KR20200088504A (ko) * 2018-12-03 2020-07-22 닛토덴코 가부시키가이샤 작업자 선정 시스템, 작업자 선정 방법 및 작업자 선정 컴퓨터 프로그램
JP2020154749A (ja) * 2019-03-20 2020-09-24 Necフィールディング株式会社 作業者選択装置、システム、方法、及びプログラム
JP2021101313A (ja) * 2019-12-24 2021-07-08 東芝テック株式会社 保守員管理システム
JP2021135609A (ja) * 2020-02-25 2021-09-13 東芝テック株式会社 サーバ装置及びプログラム
CN113919523A (zh) * 2021-10-08 2022-01-11 安徽施耐德成套电气有限公司 用于电力设备维修用专用维修平台
JP2022144058A (ja) * 2021-03-18 2022-10-03 富士通フロンテック株式会社 保守運用サーバ及び保守運用システム
JP2022190314A (ja) * 2021-06-14 2022-12-26 セイコーエプソン株式会社 作業員選定システム、作業員選定方法、作業員選定プログラム
US11715073B2 (en) 2020-03-24 2023-08-01 Toshiba Tec Kabushiki Kaisha Information processing apparatus and information processing method of information processing apparatus
JP2023120767A (ja) * 2022-02-18 2023-08-30 株式会社富士通エフサス 情報処理装置、表示方法および表示プログラム
JP2023121386A (ja) * 2022-02-21 2023-08-31 株式会社富士通エフサス 情報処理装置、選出方法および選出プログラム
JP2023129844A (ja) * 2022-03-07 2023-09-20 中国電力株式会社 緊急時社員呼出システムおよび緊急時社員呼出プログラム
JP2024060532A (ja) * 2022-10-19 2024-05-02 トヨタ自動車株式会社 運行管理装置
JPWO2024111074A1 (ja) * 2022-11-24 2024-05-30

Citations (3)

* Cited by examiner, † Cited by third party
Publication number Priority date Publication date Assignee Title
JPH06268A (ja) * 1992-06-23 1994-01-11 Brother Ind Ltd 工程編成装置
JP2001109815A (ja) * 1999-10-14 2001-04-20 Nippon Telegr & Teleph Corp <Ntt> 位置情報を用いた外出者サポートシステム、外出者サポート方法、およびそのプログラムを記録した記録媒体
JP2002007600A (ja) * 2000-06-26 2002-01-11 Hitachi Chem Co Ltd 構造物の巡回管理方法、巡回管理支援装置、巡回管理支援システム、巡回管理用データ構造を記録した記録媒体、及び巡回管理支援プログラムを記録した記録媒体

Patent Citations (3)

* Cited by examiner, † Cited by third party
Publication number Priority date Publication date Assignee Title
JPH06268A (ja) * 1992-06-23 1994-01-11 Brother Ind Ltd 工程編成装置
JP2001109815A (ja) * 1999-10-14 2001-04-20 Nippon Telegr & Teleph Corp <Ntt> 位置情報を用いた外出者サポートシステム、外出者サポート方法、およびそのプログラムを記録した記録媒体
JP2002007600A (ja) * 2000-06-26 2002-01-11 Hitachi Chem Co Ltd 構造物の巡回管理方法、巡回管理支援装置、巡回管理支援システム、巡回管理用データ構造を記録した記録媒体、及び巡回管理支援プログラムを記録した記録媒体

Cited By (44)

* Cited by examiner, † Cited by third party
Publication number Priority date Publication date Assignee Title
JP2007241393A (ja) * 2006-03-06 2007-09-20 Hitachi Electronics Service Co Ltd スケジュール割当てシステム及び作業スケジュール割当てプログラム及び作業スケジュール割当て方法
JP2008048786A (ja) * 2006-08-22 2008-03-06 Olympus Medical Systems Corp 医療業務支援システム
JP2008059523A (ja) * 2006-09-04 2008-03-13 Hitachi Electronics Service Co Ltd スケジュール管理システム及びスケジュール管理情報処理装置及びスケジュール管理プログラム及びスケジュール管理方法
JP2008134840A (ja) * 2006-11-28 2008-06-12 Zuken Inc 情報処理装置およびその方法
KR100927346B1 (ko) * 2007-06-11 2009-11-19 주식회사 엔에이치테크 자동화기기 유지 보수 시스템 및 이를 이용한 자동화기기유지 보수 방법
JP2010191792A (ja) * 2009-02-19 2010-09-02 Nec Corp 問い合わせ振分システム、及び問い合わせ振分方法
JP2010225017A (ja) * 2009-03-25 2010-10-07 Hitachi East Japan Solutions Ltd 工程計画装置および工程計画方法
JP2012242870A (ja) * 2011-05-16 2012-12-10 Chugoku Electric Power Co Inc:The 呼出名簿作成システム
JP2014179837A (ja) * 2013-03-15 2014-09-25 Omron Corp 情報処理装置、および作業員割当方法
JP2015031997A (ja) * 2013-07-31 2015-02-16 株式会社日立システムズ 保守要員アサインシステム
JP2015052878A (ja) * 2013-09-06 2015-03-19 カシオ計算機株式会社 予定管理装置、予定管理システム及びプログラム
JP2015232767A (ja) * 2014-06-09 2015-12-24 オリンパス株式会社 医療業務支援装置
JP2018055608A (ja) * 2016-09-30 2018-04-05 富士通株式会社 作業管理プログラム、装置、方法、及びシステム
JP2018169734A (ja) * 2017-03-29 2018-11-01 株式会社ジェイテクト 作業者決定支援装置
JP2020008912A (ja) * 2018-07-03 2020-01-16 コニカミノルタ株式会社 メンテナンスシステム及びメンテナンス方法
JP7305927B2 (ja) 2018-07-03 2023-07-11 コニカミノルタ株式会社 メンテナンスシステム及びメンテナンス方法
JP2020067758A (ja) * 2018-10-23 2020-04-30 株式会社シンプルウェイ プログラム、情報処理装置、および情報処理方法
KR20200088504A (ko) * 2018-12-03 2020-07-22 닛토덴코 가부시키가이샤 작업자 선정 시스템, 작업자 선정 방법 및 작업자 선정 컴퓨터 프로그램
KR102302374B1 (ko) * 2018-12-03 2021-09-15 닛토덴코 가부시키가이샤 작업자 선정 시스템, 작업자 선정 방법 및 작업자 선정 컴퓨터 프로그램
JP2020154749A (ja) * 2019-03-20 2020-09-24 Necフィールディング株式会社 作業者選択装置、システム、方法、及びプログラム
JP7078268B2 (ja) 2019-03-20 2022-05-31 Necフィールディング株式会社 作業者選択装置、システム、方法、及びプログラム
JP6624355B1 (ja) * 2019-04-05 2019-12-25 三菱電機ビルテクノサービス株式会社 保守点検支援システム
WO2020202575A1 (ja) * 2019-04-05 2020-10-08 三菱電機ビルテクノサービス株式会社 保守点検支援システム
CN113287127B (zh) * 2019-04-05 2024-02-09 三菱电机楼宇解决方案株式会社 维护点检辅助系统
CN113287127A (zh) * 2019-04-05 2021-08-20 三菱电机大楼技术服务株式会社 维护点检辅助系统
JP7405601B2 (ja) 2019-12-24 2023-12-26 東芝テック株式会社 保守員管理システム
JP2021101313A (ja) * 2019-12-24 2021-07-08 東芝テック株式会社 保守員管理システム
JP2021135609A (ja) * 2020-02-25 2021-09-13 東芝テック株式会社 サーバ装置及びプログラム
US11715073B2 (en) 2020-03-24 2023-08-01 Toshiba Tec Kabushiki Kaisha Information processing apparatus and information processing method of information processing apparatus
JP7494135B2 (ja) 2021-03-18 2024-06-03 富士通フロンテック株式会社 保守運用サーバ及び保守運用システム
JP2022144058A (ja) * 2021-03-18 2022-10-03 富士通フロンテック株式会社 保守運用サーバ及び保守運用システム
JP7669817B2 (ja) 2021-06-14 2025-04-30 セイコーエプソン株式会社 作業員選定システム、作業員選定方法、作業員選定プログラム
JP2022190314A (ja) * 2021-06-14 2022-12-26 セイコーエプソン株式会社 作業員選定システム、作業員選定方法、作業員選定プログラム
CN113919523A (zh) * 2021-10-08 2022-01-11 安徽施耐德成套电气有限公司 用于电力设备维修用专用维修平台
JP7700694B2 (ja) 2022-02-18 2025-07-01 エフサステクノロジーズ株式会社 情報処理装置、表示方法および表示プログラム
JP2023120767A (ja) * 2022-02-18 2023-08-30 株式会社富士通エフサス 情報処理装置、表示方法および表示プログラム
JP7661908B2 (ja) 2022-02-21 2025-04-15 エフサステクノロジーズ株式会社 情報処理装置、選出方法および選出プログラム
JP2023121386A (ja) * 2022-02-21 2023-08-31 株式会社富士通エフサス 情報処理装置、選出方法および選出プログラム
JP2023129844A (ja) * 2022-03-07 2023-09-20 中国電力株式会社 緊急時社員呼出システムおよび緊急時社員呼出プログラム
JP2024060532A (ja) * 2022-10-19 2024-05-02 トヨタ自動車株式会社 運行管理装置
JP7708063B2 (ja) 2022-10-19 2025-07-15 トヨタ自動車株式会社 運行管理装置
WO2024111074A1 (ja) * 2022-11-24 2024-05-30 三菱電機株式会社 スケジュール管理システム、スケジュール管理方法、スケジュール管理装置、およびプログラム
JPWO2024111074A1 (ja) * 2022-11-24 2024-05-30
JP7703116B2 (ja) 2022-11-24 2025-07-04 三菱電機株式会社 スケジュール管理システム、スケジュール管理方法、スケジュール管理装置、およびプログラム

Similar Documents

Publication Publication Date Title
JP2005293099A (ja) 作業者派遣支援方法、作業者派遣支援プログラム及び作業者派遣支援装置
US20060212323A1 (en) Production management system
JP2006106861A (ja) 保守管理方法及び保守管理プログラム
US20040267592A1 (en) Method and program for assisting a worker in charge of operations
WO2007134463A1 (en) Lead management system
JP2003115928A (ja) コールバック予約システムおよび方法
JP2008059523A (ja) スケジュール管理システム及びスケジュール管理情報処理装置及びスケジュール管理プログラム及びスケジュール管理方法
JP2014178932A (ja) 情報処理装置、および進捗管理方法
JP2001357152A (ja) 保守管理装置及び保守サービス管理方法
CN108696718B (zh) 监视系统及监视系统中的信息终端装置
JP2010218324A (ja) 業務割振り装置、業務割振り方法及び業務割振りプログラム
JP2001250003A (ja) インターネット等の通信手段を用いた、在宅介護サービスの運営及び介護サービスの質の評価システム
JP5398298B2 (ja) アラート情報作成システムおよびアラート情報作成プログラム
JP2011165036A (ja) 人員配置システム
JP2009239367A (ja) 契約申込システム
JP2006126884A (ja) 案件割り当て方法および案件割り当て装置
JP2002092301A (ja) 電話営業支援システム及び方法
JP2005020635A (ja) コールセンタ案内装置
JP2012173759A (ja) 部品情報管理システムおよび方法
JP2002222236A (ja) 製品情報提供装置、製品情報の提供方法、そのためのプログラムおよび記録媒体
WO2023079746A1 (ja) インシデント対応支援装置及びインシデント管理システム
JP2003345965A (ja) 顧客接触活動支援システム及び方法
JP7291036B2 (ja) 市場対応案件管理制御装置、市場対応案件管理制御プログラム
JP7335754B2 (ja) 市場対応案件管理制御装置、市場対応案件管理制御プログラム
JP2003122889A (ja) 作業管理システムおよび作業管理方法

Legal Events

Date Code Title Description
A621 Written request for application examination

Free format text: JAPANESE INTERMEDIATE CODE: A621

Effective date: 20060526

A977 Report on retrieval

Free format text: JAPANESE INTERMEDIATE CODE: A971007

Effective date: 20081219

A131 Notification of reasons for refusal

Free format text: JAPANESE INTERMEDIATE CODE: A131

Effective date: 20081224

A521 Request for written amendment filed

Free format text: JAPANESE INTERMEDIATE CODE: A523

Effective date: 20090220

A02 Decision of refusal

Free format text: JAPANESE INTERMEDIATE CODE: A02

Effective date: 20090401