WO2012033031A1 - アンテナ装置および通信端末装置 - Google Patents
アンテナ装置および通信端末装置 Download PDFInfo
- Publication number
- WO2012033031A1 WO2012033031A1 PCT/JP2011/070099 JP2011070099W WO2012033031A1 WO 2012033031 A1 WO2012033031 A1 WO 2012033031A1 JP 2011070099 W JP2011070099 W JP 2011070099W WO 2012033031 A1 WO2012033031 A1 WO 2012033031A1
- Authority
- WO
- WIPO (PCT)
- Prior art keywords
- coil
- antenna
- conductor
- antenna device
- planar conductor
- Prior art date
- Legal status (The legal status is an assumption and is not a legal conclusion. Google has not performed a legal analysis and makes no representation as to the accuracy of the status listed.)
- Ceased
Links
Images
Classifications
-
- H—ELECTRICITY
- H01—ELECTRIC ELEMENTS
- H01Q—ANTENNAS, i.e. RADIO AERIALS
- H01Q7/00—Loop antennas with a substantially uniform current distribution around the loop and having a directional radiation pattern in a plane perpendicular to the plane of the loop
- H01Q7/06—Loop antennas with a substantially uniform current distribution around the loop and having a directional radiation pattern in a plane perpendicular to the plane of the loop with core of ferromagnetic material
- H01Q7/08—Ferrite rod or like elongated core
-
- G—PHYSICS
- G06—COMPUTING OR CALCULATING; COUNTING
- G06K—GRAPHICAL DATA READING; PRESENTATION OF DATA; RECORD CARRIERS; HANDLING RECORD CARRIERS
- G06K17/00—Methods or arrangements for effecting co-operative working between equipments covered by two or more of main groups G06K1/00 - G06K15/00, e.g. automatic card files incorporating conveying and reading operations
-
- G—PHYSICS
- G06—COMPUTING OR CALCULATING; COUNTING
- G06K—GRAPHICAL DATA READING; PRESENTATION OF DATA; RECORD CARRIERS; HANDLING RECORD CARRIERS
- G06K19/00—Record carriers for use with machines and with at least a part designed to carry digital markings
- G06K19/06—Record carriers for use with machines and with at least a part designed to carry digital markings characterised by the kind of the digital marking, e.g. shape, nature, code
- G06K19/067—Record carriers with conductive marks, printed circuits or semiconductor circuit elements, e.g. credit or identity cards also with resonating or responding marks without active components
- G06K19/07—Record carriers with conductive marks, printed circuits or semiconductor circuit elements, e.g. credit or identity cards also with resonating or responding marks without active components with integrated circuit chips
-
- G—PHYSICS
- G06—COMPUTING OR CALCULATING; COUNTING
- G06K—GRAPHICAL DATA READING; PRESENTATION OF DATA; RECORD CARRIERS; HANDLING RECORD CARRIERS
- G06K7/00—Methods or arrangements for sensing record carriers, e.g. for reading patterns
- G06K7/10—Methods or arrangements for sensing record carriers, e.g. for reading patterns by electromagnetic radiation, e.g. optical sensing; by corpuscular radiation
- G06K7/10009—Methods or arrangements for sensing record carriers, e.g. for reading patterns by electromagnetic radiation, e.g. optical sensing; by corpuscular radiation sensing by radiation using wavelengths larger than 0.1 mm, e.g. radio-waves or microwaves
- G06K7/10316—Methods or arrangements for sensing record carriers, e.g. for reading patterns by electromagnetic radiation, e.g. optical sensing; by corpuscular radiation sensing by radiation using wavelengths larger than 0.1 mm, e.g. radio-waves or microwaves using at least one antenna particularly designed for interrogating the wireless record carriers
-
- G—PHYSICS
- G06—COMPUTING OR CALCULATING; COUNTING
- G06K—GRAPHICAL DATA READING; PRESENTATION OF DATA; RECORD CARRIERS; HANDLING RECORD CARRIERS
- G06K7/00—Methods or arrangements for sensing record carriers, e.g. for reading patterns
- G06K7/10—Methods or arrangements for sensing record carriers, e.g. for reading patterns by electromagnetic radiation, e.g. optical sensing; by corpuscular radiation
- G06K7/10009—Methods or arrangements for sensing record carriers, e.g. for reading patterns by electromagnetic radiation, e.g. optical sensing; by corpuscular radiation sensing by radiation using wavelengths larger than 0.1 mm, e.g. radio-waves or microwaves
- G06K7/10316—Methods or arrangements for sensing record carriers, e.g. for reading patterns by electromagnetic radiation, e.g. optical sensing; by corpuscular radiation sensing by radiation using wavelengths larger than 0.1 mm, e.g. radio-waves or microwaves using at least one antenna particularly designed for interrogating the wireless record carriers
- G06K7/10336—Methods or arrangements for sensing record carriers, e.g. for reading patterns by electromagnetic radiation, e.g. optical sensing; by corpuscular radiation sensing by radiation using wavelengths larger than 0.1 mm, e.g. radio-waves or microwaves using at least one antenna particularly designed for interrogating the wireless record carriers the antenna being of the near field type, inductive coil
-
- H—ELECTRICITY
- H01—ELECTRIC ELEMENTS
- H01Q—ANTENNAS, i.e. RADIO AERIALS
- H01Q1/00—Details of, or arrangements associated with, antennas
- H01Q1/12—Supports; Mounting means
- H01Q1/22—Supports; Mounting means by structural association with other equipment or articles
- H01Q1/2208—Supports; Mounting means by structural association with other equipment or articles associated with components used in interrogation type services, i.e. in systems for information exchange between an interrogator/reader and a tag/transponder, e.g. in Radio Frequency Identification [RFID] systems
-
- H—ELECTRICITY
- H01—ELECTRIC ELEMENTS
- H01Q—ANTENNAS, i.e. RADIO AERIALS
- H01Q1/00—Details of, or arrangements associated with, antennas
- H01Q1/12—Supports; Mounting means
- H01Q1/22—Supports; Mounting means by structural association with other equipment or articles
- H01Q1/2208—Supports; Mounting means by structural association with other equipment or articles associated with components used in interrogation type services, i.e. in systems for information exchange between an interrogator/reader and a tag/transponder, e.g. in Radio Frequency Identification [RFID] systems
- H01Q1/2216—Supports; Mounting means by structural association with other equipment or articles associated with components used in interrogation type services, i.e. in systems for information exchange between an interrogator/reader and a tag/transponder, e.g. in Radio Frequency Identification [RFID] systems used in interrogator/reader equipment
-
- H—ELECTRICITY
- H01—ELECTRIC ELEMENTS
- H01Q—ANTENNAS, i.e. RADIO AERIALS
- H01Q1/00—Details of, or arrangements associated with, antennas
- H01Q1/12—Supports; Mounting means
- H01Q1/22—Supports; Mounting means by structural association with other equipment or articles
- H01Q1/24—Supports; Mounting means by structural association with other equipment or articles with receiving set
-
- H—ELECTRICITY
- H01—ELECTRIC ELEMENTS
- H01Q—ANTENNAS, i.e. RADIO AERIALS
- H01Q1/00—Details of, or arrangements associated with, antennas
- H01Q1/12—Supports; Mounting means
- H01Q1/22—Supports; Mounting means by structural association with other equipment or articles
- H01Q1/24—Supports; Mounting means by structural association with other equipment or articles with receiving set
- H01Q1/241—Supports; Mounting means by structural association with other equipment or articles with receiving set used in mobile communications, e.g. GSM
- H01Q1/242—Supports; Mounting means by structural association with other equipment or articles with receiving set used in mobile communications, e.g. GSM specially adapted for hand-held use
-
- H—ELECTRICITY
- H01—ELECTRIC ELEMENTS
- H01Q—ANTENNAS, i.e. RADIO AERIALS
- H01Q1/00—Details of, or arrangements associated with, antennas
- H01Q1/12—Supports; Mounting means
- H01Q1/22—Supports; Mounting means by structural association with other equipment or articles
- H01Q1/24—Supports; Mounting means by structural association with other equipment or articles with receiving set
- H01Q1/241—Supports; Mounting means by structural association with other equipment or articles with receiving set used in mobile communications, e.g. GSM
- H01Q1/242—Supports; Mounting means by structural association with other equipment or articles with receiving set used in mobile communications, e.g. GSM specially adapted for hand-held use
- H01Q1/243—Supports; Mounting means by structural association with other equipment or articles with receiving set used in mobile communications, e.g. GSM specially adapted for hand-held use with built-in antennas
-
- H—ELECTRICITY
- H01—ELECTRIC ELEMENTS
- H01Q—ANTENNAS, i.e. RADIO AERIALS
- H01Q1/00—Details of, or arrangements associated with, antennas
- H01Q1/36—Structural form of radiating elements, e.g. cone, spiral, umbrella; Particular materials used therewith
- H01Q1/38—Structural form of radiating elements, e.g. cone, spiral, umbrella; Particular materials used therewith formed by a conductive layer on an insulating support
-
- H—ELECTRICITY
- H01—ELECTRIC ELEMENTS
- H01Q—ANTENNAS, i.e. RADIO AERIALS
- H01Q21/00—Antenna arrays or systems
- H01Q21/29—Combinations of different interacting antenna units for giving a desired directional characteristic
- H01Q21/293—Combinations of different interacting antenna units for giving a desired directional characteristic one unit or more being an array of identical aerial elements
-
- H—ELECTRICITY
- H01—ELECTRIC ELEMENTS
- H01Q—ANTENNAS, i.e. RADIO AERIALS
- H01Q25/00—Antennas or antenna systems providing at least two radiating patterns
-
- H—ELECTRICITY
- H01—ELECTRIC ELEMENTS
- H01Q—ANTENNAS, i.e. RADIO AERIALS
- H01Q7/00—Loop antennas with a substantially uniform current distribution around the loop and having a directional radiation pattern in a plane perpendicular to the plane of the loop
-
- H—ELECTRICITY
- H01—ELECTRIC ELEMENTS
- H01Q—ANTENNAS, i.e. RADIO AERIALS
- H01Q7/00—Loop antennas with a substantially uniform current distribution around the loop and having a directional radiation pattern in a plane perpendicular to the plane of the loop
- H01Q7/06—Loop antennas with a substantially uniform current distribution around the loop and having a directional radiation pattern in a plane perpendicular to the plane of the loop with core of ferromagnetic material
Definitions
- the present invention relates to an antenna device and a communication terminal device, and more particularly to an antenna device and a communication terminal device used in an HF band communication system.
- An RFID (Radio Frequency Identification) system in which a reader / writer and an RFID tag communicate with each other in a non-contact manner, and information is transmitted between the reader / writer and the RFID tag.
- the reader / writer and the RFID tag are each provided with an antenna device for transmitting and receiving radio signals.
- the RFID tag antenna apparatus and the reader / writer The antenna device is mainly coupled via an induction magnetic field, and predetermined information is transmitted and received.
- an RFID system has been introduced into a communication terminal device such as a mobile phone, and this communication terminal device is sometimes used as a reader / writer or an RFID tag.
- a technique for imparting an RFID function to a communication terminal apparatus for example, as described in Patent Document 1, a technique for incorporating an antenna module in a communication terminal apparatus is known.
- the antenna module is obtained by forming a planar coil antenna on a planar substrate.
- the communication distance between antenna devices depends on the magnetic flux passing through the coil antenna. That is, in order to secure a certain communication distance between the antenna devices, it is necessary to increase the size of the coil antenna, but the increase in the size of the coil antenna hinders the size reduction of the communication terminal device.
- the present invention has been made in view of the above-described circumstances, and an object of the present invention is to provide an antenna device having a small occupation area and a small communication terminal device while ensuring a predetermined communication distance. .
- An antenna device includes a coil antenna having a coil conductor wound around a winding axis, a surface along the winding axis, and an edge portion at a coil opening of the coil conductor. And a planar conductor (booster antenna) arranged adjacent (proximity).
- a coil antenna having a coil conductor wound around a winding axis, a surface along the winding axis, and an edge portion at a coil opening of the coil conductor.
- a planar conductor (booster antenna) arranged adjacent (proximity).
- the communication terminal device of the present invention has a coil antenna having a coil conductor wound around a winding axis, and a surface along the winding axis, the edge of which is a coil of the coil conductor. It is characterized by comprising an antenna device having a planar conductor (booster antenna) disposed adjacent to (close to) the opening, and a communication circuit connected to the antenna device.
- a planar conductor boost antenna
- the antenna device of the present invention is composed of a coil antenna and a planar conductor, it is possible to realize an antenna device with a small occupied area while ensuring a predetermined communication distance, and thus a small communication terminal device. Can be realized.
- FIG. 1A is a perspective view of the antenna device 201 of the first embodiment
- FIG. 1B is a plan view thereof.
- FIG. 2 is a perspective view of a coil antenna used in the antenna device of the first embodiment.
- FIG. 3 is an internal perspective view illustrating a communication terminal device using the antenna device of the first embodiment and a usage state of the communication terminal device.
- FIG. 4 is a diagram illustrating the relationship between the winding axis direction of the coil conductor of the coil antenna and the planar conductor 11.
- 5A shows the relationship between the current flowing through the coils L1 to L4 and the current flowing through the planar conductor 11
- FIG. 5B shows the linkage state of magnetic fluxes to the coil antennas 100A, 100B, 100C, and 100D.
- FIG. 6 is a diagram illustrating a connection relationship between the coil antennas of the antenna device 202 according to the second embodiment and a connection relationship with respect to the power feeding circuit.
- FIG. 7A is a perspective view of the antenna device 203 of the third embodiment, and FIG. 7B is a plan view thereof.
- FIG. 8A is a perspective view of the antenna device 204 of the fourth embodiment, and FIG. 8B is a plan view thereof.
- FIG. 8C is a plan view showing a state in which the antenna device 204 is incorporated in a communication terminal device.
- FIG. 9A is a perspective view of the antenna device 205 of the fifth embodiment.
- FIG. 9B is a front view showing a state in which the antenna device 205 is incorporated in a communication terminal device.
- FIG. 9A is a perspective view of the antenna device 205 of the fifth embodiment.
- FIG. 9B is a front view showing a state in which the antenna device 205 is incorporated in a communication terminal device.
- FIG. 10A is a perspective view of an antenna device 206 according to the sixth embodiment, and FIG. 10B is an exploded perspective view thereof.
- FIG. 11A is a plan view of the antenna device 207 of the seventh embodiment
- FIG. 11B is a diagram showing a relationship between the winding axis direction of the coil conductor of the coil antenna and the planar conductor 11.
- 12A and 12B are plan views of the antenna devices 208A and 208B of the eighth embodiment.
- FIGS. 13A and 13B are plan views of antenna devices 209A and 209B according to the eighth embodiment.
- 14A is a perspective view of the antenna device 210 of the tenth embodiment
- FIG. 10B is a plan view thereof
- FIG. 10C is a front view thereof.
- FIG. 11A is a plan view of the antenna device 207 of the seventh embodiment
- FIG. 11B is a diagram showing a relationship between the winding axis direction of the coil conductor of the coil antenna and the planar conductor 11.
- FIG. 15A is a perspective view showing respective directions of the current flowing through the coil conductor of the coil antenna 100 of the antenna device 210, the current flowing through the planar conductor 11, the magnetic field by the coil antenna 100, and the magnetic field by the planar conductor 11.
- FIG. 15B is a diagram showing the relationship between the current flowing through the planar conductor 11 and the generated magnetic flux.
- FIG. 16A is a cross-sectional view of the communication terminal device 310 including the antenna device 210, and FIG. 16B is a perspective view seen from the lower surface thereof.
- FIG. 17A is a plan view of the antenna device 211 of the eleventh embodiment, and FIG. 17B is a front view thereof.
- FIG. 18 is an exploded perspective view of the antenna device 212 of the twelfth embodiment.
- FIG. 19A is a perspective view of an antenna device 213 of the thirteenth embodiment, and FIG. 19B is a cross-sectional view thereof.
- FIG. 20A is an exploded perspective view of the antenna device 213, and FIG. 20B is a cross-sectional view showing a state of current and magnetic flux.
- FIG. 21A is an exploded perspective view of the coil antenna 114 provided in the antenna device of the fourteenth embodiment, and FIG. 21B is a cross-sectional view of the antenna device 214 of the fourteenth embodiment.
- FIG. 22 is a perspective view of the communication terminal device 315 according to the fifteenth embodiment as seen through the inside.
- FIG. 23A is a perspective view of an antenna device 216 of the sixteenth embodiment, and FIG.
- FIG. 23B is a perspective view of a communication terminal device 316 provided with the antenna device 216 as seen through.
- FIG. 24 is a perspective view of the antenna device 217 of the seventeenth embodiment.
- FIG. 25A is an exploded perspective view of the booster antenna 130 included in the antenna device 217, and FIG. 25B is an equivalent circuit diagram thereof.
- FIG. 25C is an equivalent circuit diagram of the antenna device 217.
- 26A is a plan view of the antenna device 217
- FIG. 26B is a cross-sectional view of the communication terminal device including the antenna device 217.
- 27A is a plan view of the antenna device 218 of the eighteenth embodiment, and FIG. 27B is a cross-sectional view of a communication terminal device including the antenna device 218.
- FIG. 28 is a plan view of the communication terminal device including the antenna device 219 according to the nineteenth embodiment with the upper housing removed.
- FIG. 29A is a plan view of the antenna device 220
- FIG. 29B is a cross-sectional view of the antenna device 220.
- the antenna device and communication terminal device of each embodiment described below are used in an HF band RFID system such as NFC (Near Field Communication).
- NFC Near Field Communication
- FIG. 1A is a perspective view of the antenna device 201 of the first embodiment
- FIG. 1B is a plan view thereof.
- the antenna device 201 has four coil antennas 100A, 100B, 100C, and 100D as shown in FIGS. 1 (A) and 1 (B). As will be described later, each of the coil antennas 100A, 100B, 100C, and 100D has a structure in which each coil conductor is wound around a magnetic core.
- the antenna device 201 includes a planar conductor 11 having a plane parallel to the winding axis direction of each coil conductor.
- the planar conductor 11 is formed on the base material 10, and the coil antennas 100A, 100B, 100C, and 100D are mounted on the base material.
- the coil antennas 100 ⁇ / b> A, 100 ⁇ / b> B, 100 ⁇ / b> C, and 100 ⁇ / b> D are arranged so that the coil opening of the coil conductor is adjacent (close) to the edge of the planar conductor 11.
- the planar conductor is made of a metal foil such as copper, silver, or aluminum, and is provided on a base material made of a flexible resin.
- the coil antennas 100A, 100B, 100C, and 100D include at least a part of each coil conductor and the planar conductor as viewed from the normal direction of the planar conductor 11. It arrange
- FIG. 2 is a perspective view of the coil antenna 100A. Since the other coil antennas 100B, 100C, and 100D have the same configuration, only the coil antenna 100A is shown here as a representative.
- the coil antenna 100A has a structure in which a coil conductor 21 such as silver or copper is wound around a magnetic core 20 such as ferrite.
- the coil conductor 21 is wound around the peripheral surface of the magnetic core 20 so as to have a winding axis in a direction parallel to the short side direction of the rectangular parallelepiped magnetic core 20. That is, the coil conductor 21 is wound in the longitudinal direction (X-axis direction) of the magnetic core 20, and the coil conductor 21 has a winding axis and a coil opening in the short direction (Y-axis direction). That is, the coil conductor 21 has a coil opening on the long side.
- the coil antenna 100A is configured as a so-called surface-mounted coil antenna (chip-type coil antenna), and two mounting terminal electrodes connected to one end and the other end of the coil conductor 21 on the back surface of the coil antenna, respectively. (Not shown) is provided. That is, the coil antenna 100A is configured to be surface-mountable on various substrates such as a printed wiring board.
- each of the coil antennas 100A, 100B, 100C, and 100D has a coil opening on one end face thereof facing the plane conductor, and the winding axis of each coil conductor is the plane conductor 11. It arrange
- Each coil antenna is provided on each side of the planar conductor 11 formed in a rectangular shape, and the coil antennas 100A, 100B, 100C, and 100D are arranged so as to surround the planar conductor 11. Note that an insulating film (not shown) is provided on the surface of the planar conductor, and the planar conductor 11 and the coil conductors of the coil antennas 100A, 100B, 100C, and 100D are not directly connected.
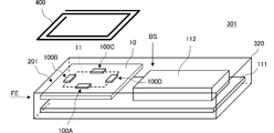
- the antenna device 201 is arranged in a communication terminal device 301 such as a mobile phone as shown in FIG. 3, for example. That is, in this communication terminal device 301, the main housing 111 and the base material 10 as a sub-board are built in the terminal housing 320, and the antenna device 201 is configured on the surface of the base material 10.
- the antenna device 201 is disposed on the back surface BS side of the terminal housing 320 together with the battery pack 112.
- the main board 111 is a large printed wiring board made of a hard resin board such as an epoxy resin, on which circuit elements constituting a drive circuit for a display device, a control circuit for a battery, and the like are mounted.
- the substrate 10 as a sub-substrate is made of a flexible resin substrate such as polyimide or liquid crystal polymer.
- circuit elements constituting a communication circuit (RF circuit) and the like are formed on the substrate 10. It is installed.
- the communication terminal device 301 is held over the coil antenna 400 on the communication partner side, whereby the antenna device 201 and the coil antenna 400 on the communication partner side are coupled mainly via an induction magnetic field, and predetermined information is obtained. Will be sent and received.
- FIG. 4 is a diagram showing the relationship between the winding axis direction of the coil conductor of the coil antenna and the planar conductor 11.
- the coil conductors of the coil antenna are represented by coils L1 to L4.
- the coils L1 to L4 are connected in series and connected to the feed circuit FC.
- the connection wiring W1 between the feeding circuit FC and the coil L1, the connection wirings W2 to W4 between the coils L1 to L4, and the connection wiring W5 between the coil L4 and the feeding circuit FC are imaginary straight lines connecting the center positions of these coil antennas. It is preferable to be disposed outside the area formed in this manner because a wide area of the planar conductor 11 can be secured. In this respect, it is more preferable that these connection wirings W1 to W5 are arranged outside the planar conductor 11.
- the power supply circuit FC is, for example, an RFIC (high frequency integrated circuit) including a communication circuit and tag information.
- FIG. 5 (A) is a diagram showing the relationship between the current flowing through the coils L1 to L4 and the current flowing through the planar conductor 11, and FIG. 5 (B) shows the linkage state of magnetic fluxes to the coil antennas 100A, 100B, 100C, and 100D.
- FIG. 5 (B) shows the linkage state of magnetic fluxes to the coil antennas 100A, 100B, 100C, and 100D.
- an eddy current (induced current) is generated in the planar conductor 11.
- This eddy current also flows in the vicinity of the edge portion of the planar conductor 11 as represented by an arrow (dotted line) in the figure. Due to the magnetic field generated by this current, a current in a direction opposite to the current flowing in the edge of the planar conductor 11 flows in a portion of each of the coils L1 to L4 close to the edge of the planar conductor 11. As a result, a current as indicated by an arrow (dashed line) also flows in the wirings W1 to W5.
- the magnetic flux (indicated by the solid line in the figure) other than the component that caused the eddy current in the planar conductor 11 is the planar conductor 11 as shown in FIG. Passes through the coils of the coil antennas 100A, 100B, 100C, and 100D arranged at the edge of the. That is, the magnetic flux entering the coils L1 to L4 shown in FIG. 5 (A) induces an induced current in each coil conductor, and as a result, current flows as shown by arrows (dashed lines) in FIG. 5 (A). Flows. Note that the reverse phenomenon occurs when current is supplied from the power feeding circuit FC. In this way, the planar conductor 11 acts as a booster antenna.
- the present embodiment by using a plurality of coil antennas, particularly a plurality of surface mount type coil antennas, without using a large coil antenna, magnetic coupling between the planar conductor and the coil antenna can be achieved.
- the antenna device it is possible to realize an antenna device having electric characteristics substantially equal to or higher than that of a large coil antenna, and to reduce the area occupied by the coil antenna. As a result, the communication terminal device can be reduced in size.
- each coil antenna showed the example arrange
- the coil antenna may be arranged so that the winding axis of the coil conductor is along the planar conductor. For example, if the winding axis direction of the coil conductor is within a range of ⁇ 45 ° to + 45 ° with respect to the normal direction of the planar conductor 11, it can be said to be “along” in the present invention. The same applies to other embodiments described below.
- the coil conductor 21 of each coil antenna only needs to be close to the end of the planar conductor 11, but as described above, when viewed from the normal direction of the planar conductor 11, at least a part of the coil conductor 21 is used. And the end of the planar conductor 11 are preferably arranged so that the current flowing through the end of the planar conductor 11 is easily guided to the coil conductor 21.
- the portion of the coil conductor 21 that is closest to the end of the planar conductor 11 preferably extends in a direction parallel to the end of the planar conductor 11.
- the conductor portion on the bottom side of the magnetic core 20 of the coil conductor 21 and the planar conductor 11 are coupled.
- the conductor portion on the upper surface side of the magnetic core 20 becomes difficult to be coupled to the planar conductor 11, it is possible to prevent the occurrence of canceling currents, which is preferable.
- each coil antenna when each coil antenna is disposed so that the winding axes of the coil conductors 21 are parallel to each other (coaxially), the component in the winding axis direction of the magnetic flux is canceled and the normal direction of the planar conductor 11 is reached. Since the directivity of the antenna device which directs is obtained, it is preferable.
- each coil antenna is arranged so that the winding axes of each coil conductor 21 in each coil antenna intersect on the formation region of the planar conductor 11, the magnetic flux directed toward this intersection is applied to each coil antenna. It is preferable because it can be passed sufficiently.
- the magnetic core 20 in the coil antenna has a rectangular parallelepiped shape and the coil conductor 21 is wound so as to have a winding axis in a direction parallel to the short side of the magnetic core 20, that is, the magnetic core 20 If the coil is wound so as to have a coil opening on the long side, the current flowing through the planar conductor 11 can be easily guided to the coil conductor 21 without increasing the area for providing the coil antenna, Since the magnetic flux which goes in the direction parallel to the conductor 11 becomes easy to pass a coil antenna, it is preferable.
- the coil conductor 21 is arranged so as to have a first portion that overlaps with the end portion of the planar conductor 11 and a second portion that does not overlap with the planar conductor 11 when viewed from the normal direction of the planar conductor 11.
- the frequency characteristics are less likely to fluctuate even if a positional deviation occurs when the coil antenna is arranged, and the eddy current flowing in the planar conductor 11 is large near the edge of the planar conductor 11, This is preferable because the degree of coupling (magnetic coupling) between the conductor 11 and the coil conductor 21 can be increased, and as a result, an antenna device with low loss can be realized.
- FIG. 6 is a diagram illustrating a connection relationship between the coil antennas of the antenna device 202 according to the second embodiment and a connection relationship with respect to the power feeding circuit.
- the coil conductors of the coil antenna are represented by coils L1 to L4.
- the configuration of each coil antenna is the same as that shown in the first embodiment.
- the coils L1 to L4 are each connected to the power feeding circuit FC. That is, the coil conductors of the respective coil antennas are connected in parallel to each other with respect to the feeder circuit FC. More specifically, the first input / output end of the power feeding circuit FC is connected to one end of the coil L1 via the wiring W1, and the other end of the coil L1 is connected to the second input / output of the power feeding circuit FC via the wiring W2. Connected to the end. Similarly, the first input / output end of the power feeding circuit FC is connected to one end of the coil L2 via the wiring W3, and the other end of the coil L2 is connected to the second input / output end of the power feeding circuit FC via the wiring W4.
- the first input / output end of the power feeding circuit FC is connected to one end of the coil L3 via the wiring W5, and the other end of the coil L3 is connected to the second input / output end of the power feeding circuit FC via the wiring W6. ing. Further, the first input / output end of the power feeding circuit FC is connected to one end of the coil L4 via the wiring W7, and the other end of the coil L4 is connected to the second input / output end of the power feeding circuit FC via the wiring W8. ing. In this way, if each coil antenna is connected in parallel with each other, even if the inductance value of the coil varies or a failure occurs in any one of the coil antennas, the other coil antenna covers it. Can do.
- the wirings W1 to W8 that connect each coil antenna and the power feeding circuit FC are formed by virtual straight lines that connect the centers of the coil antennas (coil L1, coil L2, coil L3, and coil L4). It is routed outside the area to be used. Furthermore, it is routed outside the planar conductor 11. By routing the connection wirings W1 to W8 in this way, a wide area that can be used as an antenna device in the planar conductor 11 can be secured.
- the coil antennas are arranged such that the coil antennas (coils L1 to L4) are entirely within the area of the planar conductor 11 when viewed from the normal direction of the planar conductor 11. It may be. Since each core of each coil antenna is a magnetic core, even with such an arrangement, currents that cancel each other are unlikely to occur. Other configurations, operations, and effects are the same as those of the antenna device of the first embodiment.
- FIG. 7A is a perspective view of the antenna device 203 of the third embodiment, and FIG. 7B is a plan view thereof.
- the antenna device 203 of the present embodiment includes a first coil antenna in the vicinity of one of the two long sides of the rectangular planar conductor 11. 100A is arranged, and the second coil antenna 100B and the third coil antenna 100C are respectively arranged in the vicinity of two short sides. As described above, by arranging the plurality of coil antennas so that the coil openings face each other in the long side direction of the planar conductor 11, the magnetic flux can be efficiently guided to the coil antenna.
- the plurality of coil antennas 100A, 100B, and 100C are arranged asymmetrically with respect to the center of the planar conductor 11, so that the antenna device 203 has directivity. Can be given. Therefore, for example, in a state where the antenna device 203 is incorporated in the housing of the communication terminal device, the arrangement of the plurality of coil antennas with respect to the planar conductor 11 can be determined so that the directing direction is inclined in the longitudinal direction of the housing.
- Each coil antenna may be connected in series or may be connected in parallel.
- FIG. 8A is a perspective view of the antenna device 204 of the fourth embodiment, and FIG. 8B is a plan view thereof.
- FIG. 8C is a plan view showing a state in which the antenna device 204 is incorporated in a communication terminal device, and
- FIG. 8D is a front view thereof.
- the antenna device 204 of the present embodiment is provided with the first coil antenna 100A on one side of the four sides of the rectangular planar conductor 11, and the opposite sides Are provided with a second coil antenna 100B, a third coil antenna 100C, and a fourth coil antenna 100D.
- the plurality of coil antennas 100 ⁇ / b> A, 100 ⁇ / b> B, 100 ⁇ / b> C, and 100 ⁇ / b> D are arranged asymmetrically with respect to the center of the planar conductor 11, so that the antenna device 204 can have directivity.
- the communication distance in the direction of the side where the second coil antenna 100B, the third coil antenna 100C, and the fourth coil antenna 100D are provided can be increased.
- the antenna device 204 is disposed at the distal end portion of the terminal housing 320 of the communication terminal device. That is, the antenna device 204 is asymmetrically configured to have directivity in the above direction, and the side on which the second coil antenna 100B, the third coil antenna 100C, and the fourth coil antenna 100D are arranged is the terminal housing 320.
- the antenna device 204 By arranging the antenna device 204 on the base material 10 (printed circuit board) so as to be on the front end side, a communication terminal device having directivity as illustrated can be obtained.
- Each coil antenna may be connected in series or may be connected in parallel.
- FIG. 9A is a perspective view of the antenna device 205 of the fifth embodiment.
- FIG. 9B is a front view showing a state in which the antenna device 205 is incorporated in a communication terminal device.
- the first coil antenna 100A, the second coil antenna 100B, and the third coil antenna 100C are arranged in the first planar conductor region 11A, and the second The fourth coil antenna 100D is disposed in the planar conductor region 11B.
- the first planar conductor region 11A and the second planar conductor region 11B are each formed on a plane that intersects with a predetermined angle ⁇ . In this case, there is directivity in an intermediate direction between the normal direction of the first planar conductor region 11A and the normal direction of the second planar conductor region 11B, and the communication distance in this direction can be increased.
- the antenna device 205 is arranged on the front end FE side of the terminal housing 320 of the communication terminal device. That is, the antenna device 205 is asymmetrically configured to have directivity in this direction, and the antenna device 205 is arranged so that the second planar conductor region 11B is on the front end FE side on the back surface BS side of the terminal housing 320. By arranging these, a communication terminal apparatus having directivity as shown in the figure can be obtained.
- the coil antennas may be connected in series or in parallel.
- the angle ⁇ formed by the first planar conductor region 11A and the second planar conductor region 11B is greater than 90 ° and greater than 135 °. Is preferably small.
- FIG. 10A is a perspective view of an antenna device 206 according to the sixth embodiment
- FIG. 10B is an exploded perspective view thereof.
- the antenna device 206 of this embodiment includes a chip-type coil antenna 106 and a planar conductor 11.
- the coil antenna 106 and the planar conductor 11 are directly connected via a conductive bonding material such as solder.
- the coil antenna 106 has a laminated magnetic core formed by laminating magnetic layers 20a, 20c, and 20b as a base body, and includes a conductor pattern 21a formed on the surface of the magnetic layer 20a, a magnetic layer 20a, A coil conductor is constituted by the conductor pattern 21c formed on the side surfaces of 20c and 20b and the conductor pattern 21b formed on the surface of the magnetic layer 20b.
- input / output terminal connection electrodes 22a and 22b for connection to the input / output terminals 12a and 12b, and coupling electrodes for connection to the planar conductor 11 24 are provided.
- One end of the coil conductor is connected to the input / output terminal connection electrode 22a, and the other end of the coil conductor is connected to the input / output terminal connection electrode 22b.
- the input / output terminal connection electrodes 22a and 22b are connected and fixed to the input / output terminals 12a and 12b via a conductive bonding material such as solder.
- the coupling electrode 24 is connected and fixed to a connection area CA indicated by a broken line in the drawing, which is a part of the planar conductor 11, via a conductive bonding material such as solder.
- the input / output terminals 12a and 12b are connected to the input / output ends of the power feeding circuit and other coil antennas.
- the eddy current (inductive current) flowing through the planar conductor 11 is also guided to the coupling electrode 24 via the conductive bonding material because the planar conductor 11 and the coupling electrode 24 have the same potential. It is burned. Then, a current in the opposite direction to the current flowing through the coupling electrode 24 flows through the conductor pattern 21b provided on the surface of the magnetic layer 20b, and as a result, a current flows through the coil conductor.
- the coupling electrode 24 and the coil conductor face each other via the magnetic layer, the magnetic field generated by the current flowing through the coupling electrode 24 is confined in the magnetic layer, It is efficiently guided to the coil conductor. That is, it is possible to increase the magnetic field coupling degree between the coupling electrode 24 and the coil conductor and realize an antenna device with little loss.
- FIG. 11A is a plan view of the antenna device 207 of the seventh embodiment
- FIG. 11B is a diagram showing a relationship between the winding axis direction of the coil conductor of the coil antenna and the planar conductor 11.
- the coil conductors of the coil antenna are represented by coils L1 and L2.
- the number of coil antennas is not limited to three or more.
- two coil antennas 100A and 100B may be provided.
- the antenna device 207 can have directivity.
- the coil conductors (coils L1, L2) of the two coil antennas may be connected in series or in parallel.
- the number of coil antennas may be determined in consideration of the balance between electrical characteristics and size required for the antenna device.
- 12A and 12B are plan views of the antenna devices 208A and 208B of the eighth embodiment.
- the shape of the planar conductor 11 is not limited to a rectangle.
- the planar conductor 11 may be circular as shown in FIG.
- the planar conductor 11 may have a hexagonal shape.
- a coil antenna having the same configuration as that described above can be applied to the coil antennas 100A, 100B, 100C, and 100D.
- FIGS. 13A and 13B are plan views of antenna devices 209A and 209B according to the eighth embodiment.
- the present invention is not limited to a flat plate shape in which the planar conductors 11 are continuous.
- an opening A may be provided at the center of the planar conductor 11 as shown in FIG. 13A, or in the vicinity of the coil openings of the coil antennas 100A to 100D as shown in FIG. 13B.
- the slit part SL may be provided in the.
- FIG. 10B is a plan view thereof
- FIG. 10C is a front view thereof.
- the base material 10 of the antenna device 210 is a printed wiring board.
- a planar conductor 11 is formed on the base material 10.
- the coil antenna 100 includes a magnetic core 20 and a coil conductor 21 wound around the magnetic core 20. The coil antenna 100 is disposed so that the coil opening of the coil conductor is adjacent (close) to the edge of the planar conductor 11.
- the distance from the inner end surface of the magnetic core 20 to the edge of the planar conductor 11 is represented by d2, and the distance from the inner end of the coil conductor winding region to the edge of the planar conductor 11 is represented by d1.
- d1 is small or d2 is large, the degree of coupling between the coil conductor 21 and the planar conductor 11 increases, that is, the induced current increases, and as a result, the magnetic flux from the planar conductor 11 increases. .
- FIG. 15A is a perspective view showing respective directions of the current flowing through the coil conductor of the coil antenna 100 of the antenna device 210, the current flowing through the planar conductor 11, the magnetic field by the coil antenna 100, and the magnetic field by the planar conductor 11.
- FIG. 15B is a diagram showing the relationship between the current flowing through the planar conductor 11 and the magnetic flux generated thereby.
- the current a flowing through the coil conductor 21 induces a current b in the planar conductor 11.
- a magnetic field in the direction of arrow A is generated on the coil antenna 100
- a magnetic field in the direction of arrow B is generated on the planar conductor 11.
- the reverse phenomenon occurs when magnetic flux enters from the coil antenna on the communication partner side. That is, the planar conductor 11 functions as a booster antenna and can generate a magnetic field larger than the magnetic field generated by the coil antenna 100 alone.
- the directivity in the 0 degree direction and the 45 degree direction is enhanced.
- FIG. 16A is a cross-sectional view of a communication terminal device 310 including the antenna device 210
- FIG. 16B is a plan perspective view thereof.
- the magnetic flux generated by the coil antenna 100 and the magnetic flux generated by the planar conductor 11 are combined, and the directivity of the antenna device 210 is directed in the direction of the arrow shown in FIG. That is, by disposing the coil antenna 100 on the end side of the terminal housing 320 in the antenna device 210, the antenna device 210 is inclined from the back surface BS direction to the front end FE direction of the terminal housing 320 of the communication terminal device 310. A high gain is obtained in the direction. Therefore, by holding the hand HP of the communication terminal device 310 and holding the lower surface side corner of the tip over the communication partner, communication with high gain is possible.
- FIG. 17A is a plan view of the antenna device 211 of the eleventh embodiment, and FIG. 17B is a front view thereof.
- the coil antenna 100 includes a magnetic core 20 and a coil conductor 21 wound around the magnetic core 20. Both ends of the coil conductor 21 are not connected to the planar conductors 11A and 11B and are in an insulated state in terms of direct current.
- the coil conductor 21 has a circuit configuration as shown in FIG.
- the coil antenna 100 and the planar conductors 11A and 11B are arranged so that the two coil openings of the coil conductor 21 of the coil antenna 100 are adjacent to (adjacent to) the edge portions of the planar conductors 11A and 11B, respectively.
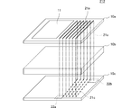
- FIG. 18 is an exploded perspective view of the antenna device 212 of the twelfth embodiment.
- stacked is comprised.
- Conductive patterns 21a are formed on the base material layer 10a, and conductive patterns 21c are formed on the base material layer 10c.
- Via conductors 21v are formed in the base material layers 10a, 10b, and 10c, and the conductor patterns 21a and 21c and the via conductors 21v constitute one coil conductor having a plurality of turns.
- Input / output terminal connection electrodes 22a and 22b to which both ends of the coil conductor are connected are formed on the lower surface of the base material layer 10c.
- the planar conductor 11 is formed on the base material layer 10a.
- the planar conductor 11 is formed such that the edge thereof is disposed adjacent to (close to) the coil opening of the coil conductor. This constitutes an antenna device in which the coil antenna and the planar conductor are integrated on the multilayer substrate.
- FIG. 19A is a perspective view of an antenna device 213 of the thirteenth embodiment, and FIG. 19B is a cross-sectional view thereof.
- 20A is an exploded perspective view of the antenna device 213, and FIG. 20B is a cross-sectional view showing the state of current and magnetic flux.
- the antenna device 213 includes a chip type coil antenna 113 and a planar conductor 11. The coil antenna 113 and the planar conductor 11 are directly connected via a conductive bonding material such as solder.
- the coil antenna 113 has a laminated magnetic core formed by laminating magnetic layers 20a, 20c, and 20b as a base body, and has a conductor pattern 21a, magnetic layers 20a, 20a formed on the surface of the magnetic layer 20a.
- a coil conductor is constituted by the conductor pattern 21c formed on the side surfaces of 20c and 20b and the conductor pattern 21b formed on the surface of the magnetic layer 20b.
- the input / output terminal connection electrodes 22a and 22b are connected and fixed to the input / output terminals 12a and 12b via a conductive bonding material such as solder.
- the coupling electrode 23 is connected and fixed to a connection area CA indicated by a broken line in the drawing, which is a part of the planar conductor 11, via a conductive bonding material such as solder.
- the input / output terminals 12a and 12b are connected to the input / output ends of the power feeding circuit and other coil antennas.
- the eddy current (inductive current) flowing through the planar conductor 11 is also guided to the coupling electrode 23 through the conductive bonding material because the planar conductor 11 and the coupling electrode 23 have the same potential. It is burned. Then, a current in a direction opposite to the current flowing through the coupling electrode 23 flows through the conductor pattern 21b provided on the surface of the magnetic layer 20b, and as a result, a current flows through the coil conductor.
- the coupling electrode 23 and the coil conductor are opposed to each other through the magnetic layer, the magnetic field generated by the current flowing through the coupling electrode 23 is confined in the magnetic layer, It is efficiently guided to the coil conductor. That is, it is possible to increase the magnetic field coupling degree between the coupling electrode 23 and the coil conductor and realize an antenna device with little loss.
- FIG. 21A is an exploded perspective view of the coil antenna 114 provided in the antenna device of the fourteenth embodiment
- FIG. 21B is a cross-sectional view of the antenna device 214 of the fourteenth embodiment.
- the antenna device 214 includes a chip type coil antenna 114 and a planar conductor 11.
- the coil antenna 114 and the planar conductor 11 are directly connected via a conductive bonding material such as solder.
- This coil antenna 114 has a laminated magnetic core formed by laminating magnetic layers 20a, 20c, 20b, and 20d as a base body, and a conductor pattern 21a formed on the surface of the magnetic layer 20a, a magnetic layer A coil conductor is constituted by the conductor pattern 21c formed on the side surfaces of 20a, 20c and 20b and the conductor pattern 21b formed on the surface of the magnetic layer 20b.
- a coupling electrode 23 is formed on the upper surface of the magnetic layer 20d.
- the input / output terminal connection electrodes 22a and 22b are connected and fixed to the input / output terminals on the base material 10 through a conductive bonding material such as solder.
- the coupling electrode connection electrodes 23a and 23b are connected and fixed to a connection area which is a part of the planar conductor 11 via a conductive bonding material such as solder.
- An underfill 25 is formed on the lower surface of the coil antenna 114.
- the eddy current (inductive current) flowing through the planar conductor 11 is also guided to the coupling electrode 23 through the conductive bonding material. Then, a current in a direction opposite to the current flowing through the coupling electrode 23 flows through the conductor pattern 21b provided on the surface of the magnetic layer 20b, and as a result, a current flows through the coil conductor.
- the coupling electrode 23 and the coil conductor are opposed to each other through the magnetic layer, the magnetic field generated by the current flowing through the coupling electrode 23 is confined in the magnetic layer, It is efficiently guided to the coil conductor. That is, it is possible to increase the magnetic field coupling degree between the coupling electrode 23 and the coil conductor and realize an antenna device with little loss.
- FIG. 22 is an internal perspective view of the communication terminal device 315 of the fifteenth embodiment.
- the terminal housing 320 of the communication terminal device 315 contains the main board 111 and the base material 10 as a sub board.
- An antenna device 215 is configured on the base material 10.
- the antenna device 215 includes a planar conductor 11 and two coil antennas 113A and 113B. These coil antennas 113A and 113B are shown in FIGS. 19 and 20 in the thirteenth embodiment.
- the planar conductor 11 is disposed at two edge portions.
- the antenna device 215 is disposed on the back surface BS side of the terminal housing 320 together with the battery pack 112.
- the directivity of the antenna device 215 is a characteristic that faces the normal direction of the planar conductor 11.
- the antenna device 215 and the coil antenna 400 on the communication partner side are coupled mainly via an induction magnetic field, and predetermined information is transmitted. Sent and received.
- FIG. 23A is a perspective view of the antenna device 216 of the sixteenth embodiment
- FIG. 23B is an internal perspective view of the communication terminal device 316 provided with the antenna device 216.
- the terminal housing 320 of the communication terminal device 316 contains the main board 111 and the base material 10 as a sub board.
- An antenna device 216 is configured on the base material 10.
- the antenna device 216 includes a planar conductor 11 and one coil antenna 114. This coil antenna 114 is the one shown in FIG. 21 in the fourteenth embodiment.
- the antenna device 216 is disposed on the back surface BS side of the terminal housing 320 together with the battery pack 112.
- the antenna device 216 Since the antenna device 216 is disposed at the edge of the planar conductor 11 on the inner side from the front end FE of the terminal housing 320, the antenna device 216 is combined with the magnetic flux generated by the coil antenna 114 and the magnetic flux generated by the planar conductor 11.
- the directivity is directed in the direction of the arrow shown in the figure. That is, the antenna device 216 can obtain a high gain in an oblique direction from the back surface BS direction of the terminal housing 320 of the communication terminal device 316 to the front end FE direction. Therefore, by holding the hand portion of the communication terminal device 316 and holding the lower surface side corner of the tip portion over the coil antenna 400 on the communication partner side, communication with high gain becomes possible.
- FIG. 24 is a perspective view of the antenna device 217 of the seventeenth embodiment.
- the antenna device 217 of the seventeenth embodiment includes a booster antenna (booster coil) 130 that is coupled to the coil antenna 100.
- a planar conductor 11 is formed inside the main substrate (printed wiring board) 111.
- the coil antenna 100 is disposed on the upper surface of the main substrate 111 so that the coil opening on one end face side faces the planar conductor 11 side.
- the configuration of the coil antenna 100 is the same as that shown in FIG. 2 in the first embodiment.
- the booster antenna 130 functions as a booster antenna in combination with the coil antenna 100 and the coil antenna on the communication partner side as will be described later.
- a power feeding circuit is connected to the coil antenna 100, and the power feeding circuit communicates via the coil antenna 100, the booster antenna 130, and the coil antenna on the communication partner side.
- the booster antenna 130 includes a base sheet 30, a first coil conductor 31, and a second coil conductor 32.
- the coil conductor 31 and the coil conductor 32 are patterned in a rectangular spiral shape.
- the winding direction of the coil conductor 31 and the winding direction of the coil conductor 32 are opposite (the same direction when seen from one direction), and both are electromagnetically coupled.
- an inductor L31 represents the inductance by the coil conductor 31 with a symbol
- an inductor L32 represents the inductance with the coil conductor 32 by a symbol
- Capacitors C1 and C2 represent the capacitance generated between the coil conductors 31 and 32 with a lumped constant symbol.
- the two coil conductors 31 and 32 of the booster antenna 130 are wound and arranged so that the induced currents flowing through the coil conductors 31 and 32 are propagated in the same direction, and are coupled via the capacitance.
- This booster antenna has an inductance of each coil conductor and a capacitance due to capacitive coupling of each coil conductor, and a resonance circuit is constituted by these inductance and capacitance. It is preferable that the resonance frequency of the resonance circuit substantially corresponds to the carrier frequency used for communication. As a result, the communication distance can be increased.
- an inductor L21 represents the inductance of the coil conductor of the coil antenna 100 by a symbol
- a capacitor CIC represents a capacitance connected to the coil conductor of the coil antenna 100, such as a parasitic capacitance of an RFIC (high frequency integrated circuit). It is represented by.
- the inductor L21 is electromagnetically coupled to the inductors L31 and L32.
- the inductor L21 and the capacitor CIC resonate with each other.
- the RFIC is coupled with the LC circuit by the booster antenna 130 in an impedance matching state.
- FIG. 26A is a plan view of the antenna device 217
- FIG. 26B is a cross-sectional view of a communication terminal device including the antenna device 217.
- the coil antenna 100 is mounted on the main board (printed wiring board) 111 in the terminal housing 320 as a surface mounting component, and the booster antenna 130 is attached to the inner wall of the housing 320 via the adhesive layer 40. .
- the coil antenna 100 functions as a feeding coil, and the coil antenna 100 and the booster antenna 130 are coupled via a magnetic field. More precisely, since the magnetic flux generated in the planar conductor 11 (magnetic flux generated in the direction of arrow B shown in FIG. 15A) is linked to the coil conductors 31 and 32 of the booster antenna 130, the booster antenna 130 Is magnetically coupled to the planar conductor 11. That is, the coil antenna 100, the planar conductor 11, and the booster antenna 130 are coupled via a magnetic field, and as a result, an antenna device with a small loss and a small loss magnetic field component can be realized.
- the direction in which the conductor patterns of the coil conductors 31 and 32 of the booster antenna 130 extend and the direction in which the coil conductor 21 of the coil antenna 100 extends are parallel to each other, and the coil conductor 21 of the coil antenna 100 is in the plan view.
- the coil conductors 31 and 32 are preferably disposed so as to overlap. That is, the winding axis of the coil conductors 31 and 32 of the booster antenna 130 is preferably arranged so as to be substantially orthogonal to the winding axis of the coil antenna 100.
- the magnetic flux is linked to the coil conductor 21 of the coil antenna 100 and the coil conductors 31 and 32 of the booster antenna 130.
- part of the coil conductors 31 and 32 of the booster antenna 130 and the coil conductor 21 of the coil antenna 100 are running side by side, they are also coupled by an electric field. That is, the coil antenna 100 is directly electromagnetically coupled to the booster antenna 130.
- the antenna device (communication terminal device) preferably further includes a booster antenna 130.
- the booster antenna 130 By arranging the booster antenna 130 on the side closer to the communication partner antenna, the maximum communicable distance of the antenna device can be further increased. If the communication signal is in the HF band, the coil antenna 100 and the booster antenna 130 are mainly coupled via a magnetic field, so there is no need to use a mechanical connection means such as a contact pin or a flexible cable.
- the coil conductor of the booster antenna is not limited to a spiral shape but may be a loop shape.
- FIG. 27A is a plan view of the antenna device 218 of the eighteenth embodiment
- FIG. 27B is a cross-sectional view of a communication terminal device including the antenna device 218.
- the booster antenna 130 is arranged so that the coil opening is outside the end of the planar conductor 11.
- Other configurations are the same as those shown in the seventeenth embodiment.
- the magnetic flux generated in the planar conductor 11 (magnetic flux generated in the direction of arrow B shown in FIG. 15A) is linked to the coil conductors 31 and 32 of the booster antenna 130.
- the direct coupling between the coil antenna 100 and the booster antenna 130 is the same as that of the antenna device 217 of the seventeenth embodiment.
- FIG. 28 is a plan view of the communication terminal device including the antenna device 219 according to the nineteenth embodiment with the upper housing removed.
- the planar conductor 11 is a ground conductor formed on the main board 111.
- the configuration of the coil antenna 100 is the same as that shown in the first embodiment, and the configuration of the booster antenna 130 is the same as that shown in the seventeenth embodiment.
- the planar conductor 11 occupies a large proportion in the housing 320 in a planar manner.
- the coil antenna 100 is disposed such that the coil opening of the coil antenna 100 is along the long side of the planar conductor.
- the coil antenna 100 is preferably disposed so that the coil opening faces a part of the long side. That is, when communication is performed in a state where magnetic flux is input and output at the central portion of the planar conductor 11, a magnetic field (magnetic flux) tends to flow on the long side where the distance from the center of the planar conductor 11 is short. Therefore, more stable communication can be performed by arranging the coil antenna 100 so that the coil opening of the coil antenna 100 faces the long side of the planar conductor 11.
- FIG. 29A is a plan view of the antenna device 220
- FIG. 29B is a cross-sectional view of the antenna device 220.
- the antenna device 220 includes four coil antennas 100A, 100B, 100C, and 100D. These coil antennas 100A, 100B, 100C, and 100D are mounted on a main board (printed wiring board) 111 in the terminal housing as a surface mounting component.
- the booster antenna 130 is attached to the inner wall of the housing.
- the configuration of the booster antenna 130 is as shown in the seventeenth embodiment.
- the coil antennas 100A, 100B, 100C, and 100D are provided on each side of the planar conductor 11 that is formed in a rectangular shape, and the coil antennas 100A, 100B, 100C, and 100D are disposed so as to surround the planar conductor 11. .
- the coil conductors of the coil antennas 100A, 100B, 100C, and 100D are connected in series in the direction in which the electromotive force is added, and are connected to one power feeding circuit.
- the path of the magnetic flux passing through the coil antennas 100A, 100B, 100C, 100D and the planar conductor 11 is the same as that shown in FIG. Further, the connection relationship of the coil conductors of the coil antennas 100A, 100B, 100C, and 100D is the same as that shown in FIG.
- an element other than the coil antenna such as a semiconductor element or a chip capacitor may be mounted on the surface of the planar conductor.
- the planar conductor may be a ground electrode on the wiring board, or may be an exterior metal of the battery pack. That is, the planar conductor is not limited to a dedicated planar conductor, and a part (or all) of another metal body can be used as a planar conductor in the antenna device.
- the magnetic core of the coil antenna may be a ceramic body such as ferrite ceramic, but may be a resin layer containing ferrite powder in which ferrite powder is dispersed in resin.
- the coil antenna has a coil conductor wound around the surface of a magnetic core, and an insulating layer is provided on the coil antenna for the purpose of protecting the coil conductor and the magnetic core. Also good.
- the coil conductor may be obtained by winding a metal wire around a magnetic core, but if the magnetic core is a ferrite ceramic, it may be a sintered metal such as silver that is co-fired with the ferrite ceramic. Good. Further, in the coil antenna in which the coil conductor is wound around the magnetic core, the coil conductor does not need to be formed on the outermost surface of the magnetic core, and part or all of the coil conductor is inside the magnetic core. May be.
- the arrangement position of the antenna device in the terminal casing may be arranged on the surface side of the terminal casing (the surface side on which the display unit and the input operation unit are provided) or on the upper side of the battery pack. May be.
- the arrangement position of the coil antenna is preferably on the communication partner side with respect to the planar conductor, but the arrangement surface of the coil antenna may be on the opposite side of the communication partner with respect to the planar conductor. In particular, when a part of the coil conductor overlaps the planar conductor and the other part does not overlap, and the planar conductor is sufficiently thin, the coil antenna is on the opposite side of the communication partner with respect to the planar conductor. Even when the antenna device is disposed, communication between the antenna device and the antenna device of the communication partner is sufficiently possible.
- this antenna device may be arranged not only as a sub-board in the housing of the communication terminal device but also on the main board. Or you may incorporate in the card type module inserted in a communication terminal device.
- this antenna device is not limited to the HF band communication system, but can also be used for antenna devices used in other frequency bands such as the UHF band and the SHF band. It can also be used for other communication systems. When used in an RFID system, it may be used as an antenna device for a reader / writer or an antenna device for an RFID tag.
- the antenna device of the present invention can be used for, for example, an HF band RFID system, and the communication terminal device of the present invention is useful as a communication terminal device including, for example, an HF band RFID system.
Landscapes
- Engineering & Computer Science (AREA)
- Physics & Mathematics (AREA)
- Health & Medical Sciences (AREA)
- Toxicology (AREA)
- Computer Networks & Wireless Communication (AREA)
- Theoretical Computer Science (AREA)
- General Physics & Mathematics (AREA)
- Computer Vision & Pattern Recognition (AREA)
- Artificial Intelligence (AREA)
- General Health & Medical Sciences (AREA)
- Electromagnetism (AREA)
- Computer Hardware Design (AREA)
- Microelectronics & Electronic Packaging (AREA)
- Variable-Direction Aerials And Aerial Arrays (AREA)
- Details Of Aerials (AREA)
- Support Of Aerials (AREA)
- Near-Field Transmission Systems (AREA)
- Aerials With Secondary Devices (AREA)
- Telephone Function (AREA)
Priority Applications (9)
| Application Number | Priority Date | Filing Date | Title |
|---|---|---|---|
| JP2012509410A JP5062382B2 (ja) | 2010-09-07 | 2011-09-05 | アンテナ装置 |
| CN201180031691.6A CN102959800B (zh) | 2010-09-07 | 2011-09-05 | 天线装置以及通信终端装置 |
| KR1020127033181A KR101276282B1 (ko) | 2010-09-07 | 2011-09-05 | 안테나 장치 |
| EP14197927.8A EP2863480B1 (en) | 2010-09-07 | 2011-09-05 | Communication terminal apparatus comprising an antenna device |
| EP11823506.8A EP2573871B1 (en) | 2010-09-07 | 2011-09-05 | Antenna apparatus and communication terminal apparatus |
| US13/729,377 US9391369B2 (en) | 2010-09-07 | 2012-12-28 | Antenna device and communication terminal apparatus |
| US15/176,488 US9948005B2 (en) | 2010-09-07 | 2016-06-08 | Antenna device and communication terminal apparatus |
| US15/176,456 US9865924B2 (en) | 2010-09-07 | 2016-06-08 | Antenna device and communication terminal apparatus |
| US15/407,807 US9825365B2 (en) | 2010-09-07 | 2017-01-17 | Antenna device and communication terminal apparatus |
Applications Claiming Priority (6)
| Application Number | Priority Date | Filing Date | Title |
|---|---|---|---|
| JP2010-200237 | 2010-09-07 | ||
| JP2010200237 | 2010-09-07 | ||
| JP2010-200966 | 2010-09-08 | ||
| JP2010200966 | 2010-09-08 | ||
| JP2011-010459 | 2011-01-21 | ||
| JP2011010459 | 2011-01-21 |
Related Child Applications (1)
| Application Number | Title | Priority Date | Filing Date |
|---|---|---|---|
| US13/729,377 Continuation US9391369B2 (en) | 2010-09-07 | 2012-12-28 | Antenna device and communication terminal apparatus |
Publications (1)
| Publication Number | Publication Date |
|---|---|
| WO2012033031A1 true WO2012033031A1 (ja) | 2012-03-15 |
Family
ID=45810632
Family Applications (1)
| Application Number | Title | Priority Date | Filing Date |
|---|---|---|---|
| PCT/JP2011/070099 Ceased WO2012033031A1 (ja) | 2010-09-07 | 2011-09-05 | アンテナ装置および通信端末装置 |
Country Status (6)
| Country | Link |
|---|---|
| US (4) | US9391369B2 (enExample) |
| EP (2) | EP2573871B1 (enExample) |
| JP (6) | JP5062382B2 (enExample) |
| KR (1) | KR101276282B1 (enExample) |
| CN (2) | CN102959800B (enExample) |
| WO (1) | WO2012033031A1 (enExample) |
Cited By (19)
| Publication number | Priority date | Publication date | Assignee | Title |
|---|---|---|---|---|
| WO2012111430A1 (ja) * | 2011-02-15 | 2012-08-23 | 株式会社村田製作所 | アンテナ装置および通信端末装置 |
| JP2013207727A (ja) * | 2012-03-29 | 2013-10-07 | Equos Research Co Ltd | アンテナコイル |
| EP2667447A1 (en) * | 2012-05-21 | 2013-11-27 | Murata Manufacturing Co., Ltd. | Antenna device and wireless communication device |
| WO2013179866A1 (ja) * | 2012-05-28 | 2013-12-05 | 株式会社村田製作所 | アンテナ装置及び無線通信装置 |
| JP2013243566A (ja) * | 2012-05-22 | 2013-12-05 | Murata Mfg Co Ltd | アンテナ装置および通信端末装置 |
| WO2013183575A1 (ja) * | 2012-06-04 | 2013-12-12 | 株式会社村田製作所 | アンテナ装置および無線通信装置 |
| WO2013183552A1 (ja) * | 2012-06-04 | 2013-12-12 | 株式会社村田製作所 | アンテナ装置及び通信端末機器 |
| US20140015648A1 (en) * | 2012-07-13 | 2014-01-16 | Magellan Technology Pty Ltd. | Antenna design and interrogator system |
| JP2014161003A (ja) * | 2012-08-09 | 2014-09-04 | Murata Mfg Co Ltd | アンテナ装置、無線通信装置およびアンテナ装置の製造方法 |
| DE102013104059A1 (de) * | 2013-04-22 | 2014-10-23 | Infineon Technologies Ag | Antennen-Anordnung, Kommunikationsgerät und Antennenstruktur |
| CN104813564A (zh) * | 2012-12-10 | 2015-07-29 | 英特尔公司 | 用于在近场通信中多表面覆盖的级联线圈 |
| JP5761463B2 (ja) * | 2012-08-09 | 2015-08-12 | 株式会社村田製作所 | アンテナ装置および無線通信装置 |
| WO2016121501A1 (ja) * | 2015-01-29 | 2016-08-04 | 株式会社村田製作所 | アンテナ装置、カード型情報媒体および通信端末装置 |
| GB2523015B (en) * | 2012-10-26 | 2017-08-30 | Murata Manufacturing Co | Interface, communication apparatus, and program |
| JPWO2017022511A1 (ja) * | 2015-07-31 | 2018-01-11 | 株式会社村田製作所 | アンテナ装置および電子機器 |
| WO2018139519A1 (ja) * | 2017-01-27 | 2018-08-02 | 株式会社村田製作所 | アンテナ装置、非接触伝送装置および非接触伝送システム |
| WO2018193875A1 (ja) * | 2017-04-21 | 2018-10-25 | 日本発條株式会社 | 携帯型無線通信装置、および携帯型無線通信装置を用いる情報識別装置 |
| US10164347B2 (en) | 2013-12-26 | 2018-12-25 | Murata Manufacturing Co., Ltd. | Antenna device and electronic appliance |
| US10276936B2 (en) | 2016-01-14 | 2019-04-30 | Murata Manufacturing Co., Ltd. | Antenna device and electronic apparatus |
Families Citing this family (47)
| Publication number | Priority date | Publication date | Assignee | Title |
|---|---|---|---|---|
| KR102593172B1 (ko) * | 2016-10-05 | 2023-10-24 | 삼성전자 주식회사 | 루프 안테나를 갖는 전자 장치 |
| WO2011118379A1 (ja) * | 2010-03-24 | 2011-09-29 | 株式会社村田製作所 | Rfidシステム |
| DE102011104878B4 (de) * | 2011-06-07 | 2025-05-22 | HELLA GmbH & Co. KGaA | Antennenvorrichtung |
| US20150115042A1 (en) * | 2011-12-28 | 2015-04-30 | Nhk Spring Co., Ltd. | Contactless information medium, bobbin member for contactless information medium, body member for contactless information medium, and method for producing contactless information medium |
| EP2629364A1 (en) * | 2012-02-14 | 2013-08-21 | Harman Becker Automotive Systems GmbH | Antenna assembly and method of use of the antenna assembly |
| JP5639606B2 (ja) * | 2012-02-27 | 2014-12-10 | 三智商事株式会社 | 無線icタグ |
| KR101339486B1 (ko) * | 2012-03-29 | 2013-12-10 | 삼성전기주식회사 | 박막 코일 및 이를 구비하는 전자 기기 |
| JP2013243431A (ja) * | 2012-05-17 | 2013-12-05 | Equos Research Co Ltd | アンテナコイル |
| US20140320368A1 (en) * | 2013-04-24 | 2014-10-30 | Jeffrey Thomas Hubbard | Antenna with planar loop element |
| CN104956543A (zh) * | 2013-09-27 | 2015-09-30 | 松下知识产权经营株式会社 | 近程通信元件和装载了它的电子设备 |
| GB2536510B (en) * | 2013-12-26 | 2019-01-02 | Murata Manufacturing Co | Antenna device and electronic appliance |
| GB2536511B (en) * | 2013-12-26 | 2018-04-11 | Murata Manufacturing Co | Antenna device and electronic appliance |
| US20150188227A1 (en) * | 2013-12-31 | 2015-07-02 | Identive Group, Inc. | Antenna for near field communication, antenna arrangement, transponder with antenna, flat panel and methods of manufacturing |
| EP2996191B1 (en) * | 2014-09-11 | 2021-05-12 | Neopost Technologies | Planar antenna for RFID reader and RFID PDA incorporating the same |
| US10014588B2 (en) | 2014-12-05 | 2018-07-03 | Samsung Electro-Mechanics Co., Ltd. | Near-field antenna apparatus using eddy current and electronic device including the same |
| TWI552443B (zh) * | 2014-12-27 | 2016-10-01 | 啟碁科技股份有限公司 | 天線結構 |
| CN105844320A (zh) * | 2015-01-14 | 2016-08-10 | 南通大学 | 天线和射频识别系统 |
| US10403979B2 (en) | 2015-03-13 | 2019-09-03 | Samsung Electro-Mechanics Co., Ltd. | Antenna apparatus and electronic device including the same |
| US20170005395A1 (en) * | 2015-06-30 | 2017-01-05 | Tdk Corporation | Antenna device |
| DE212016000166U1 (de) * | 2015-06-30 | 2018-03-13 | Murata Manufacturing Co., Ltd. | Kopplungsunterstützungsgerät und RFID-Kommunikationssystem |
| KR102280037B1 (ko) * | 2015-07-29 | 2021-07-21 | 삼성전자주식회사 | 디스플레이에 구비된 내장 안테나용 급전장치 |
| JP6672639B2 (ja) * | 2015-08-26 | 2020-03-25 | カシオ計算機株式会社 | 誘電体アンテナ |
| JP6679244B2 (ja) * | 2015-08-27 | 2020-04-15 | 富士通株式会社 | Rfidタグ |
| US10090592B2 (en) * | 2015-10-29 | 2018-10-02 | Sonitus Technologies Inc. | Communication device |
| EP3166181A1 (fr) * | 2015-11-05 | 2017-05-10 | Gemalto Sa | Procede de fabrication d'antenne radiofrequence sur un support et antenne ainsi obtenue |
| KR20170072762A (ko) | 2015-12-17 | 2017-06-27 | 삼성전기주식회사 | 무선 통신용 코일 및 그를 이용한 모바일 단말 |
| CN105552562A (zh) * | 2016-02-03 | 2016-05-04 | 深圳市信维通信股份有限公司 | Z字形贴片式nfc天线及天线系统 |
| CN105552563B (zh) | 2016-02-03 | 2018-08-10 | 深圳市信维通信股份有限公司 | 基于z字形的双环绕线式nfc天线及天线系统 |
| JP6618825B2 (ja) * | 2016-02-23 | 2019-12-11 | 株式会社東芝 | アレーアンテナ装置 |
| JP2017175246A (ja) * | 2016-03-22 | 2017-09-28 | Tdk株式会社 | アンテナ装置及びこれを備える携帯無線機器 |
| KR102533473B1 (ko) * | 2016-04-26 | 2023-05-18 | 삼성전자주식회사 | 복수의 방향으로 전자기파를 방사하는 전자 장치 |
| US10522912B2 (en) * | 2016-05-12 | 2019-12-31 | Tdk Corporation | Antenna device and mobile wireless device provided with the same |
| JP6881447B2 (ja) * | 2016-06-01 | 2021-06-02 | 戸田工業株式会社 | アンテナ装置及びそれを用いたicタグ |
| CN109643842B (zh) * | 2016-08-16 | 2021-02-05 | 阿莫技术有限公司 | 用于近场通信的天线模块 |
| WO2018056422A1 (ja) * | 2016-09-26 | 2018-03-29 | 株式会社村田製作所 | アンテナ装置および電子機器 |
| DE112016000113T5 (de) | 2016-10-12 | 2018-05-30 | Kunshan ZhouYuan Electronics. Co., Ltd | NFC-Antenne des Oberflächenmontagetyps und Antennensystem |
| US10186779B2 (en) * | 2016-11-10 | 2019-01-22 | Advanced Semiconductor Engineering, Inc. | Semiconductor device package and method of manufacturing the same |
| US10567042B2 (en) * | 2016-12-01 | 2020-02-18 | Wits Co., Ltd. | Coil module |
| SK500312017A3 (sk) * | 2017-04-27 | 2018-11-05 | Smk-Logomotion Corporation | Anténna sústava, najmä na NFC čítačku |
| JPWO2019048981A1 (ja) * | 2017-09-06 | 2020-11-12 | 株式会社半導体エネルギー研究所 | 半導体装置、バッテリーユニット、バッテリーモジュール |
| WO2020003568A1 (ja) * | 2018-06-25 | 2020-01-02 | 株式会社村田製作所 | Rfidタグ及びrfid付き物品 |
| SK289250B6 (sk) * | 2018-08-02 | 2024-10-23 | Logomotion, S.R.O. | Anténová sústava aspoň s dvoma anténami, najmä na NFC prenos |
| KR102508859B1 (ko) * | 2018-10-23 | 2023-03-10 | 삼성전자 주식회사 | 제 1 코일 및 상기 제 1 코일의 옆에 위치한 제 2 코일을 이용하여 근거리 무선 통신을 지원하는 전자 장치 |
| CN114242407B (zh) * | 2021-12-07 | 2023-11-17 | 北京铁路信号有限公司 | 一种多线圈磁棒电感及其参数标定方法、天线和通讯设备 |
| TWI819513B (zh) * | 2022-03-08 | 2023-10-21 | 緯創資通股份有限公司 | 穿戴式裝置 |
| KR102764445B1 (ko) * | 2023-03-22 | 2025-02-07 | 주식회사 엔에이블 | 무접점 방식 메탈카드 및 그 제조방법 |
| WO2025239618A1 (ko) * | 2024-05-13 | 2025-11-20 | 삼성전자 주식회사 | 무선 송수신 구조를 포함하는 폴더블 전자 장치 |
Citations (5)
| Publication number | Priority date | Publication date | Assignee | Title |
|---|---|---|---|---|
| JP2004364199A (ja) | 2003-06-06 | 2004-12-24 | Sony Corp | アンテナモジュール及びこれを備えた携帯型通信端末 |
| WO2006046714A1 (ja) * | 2004-10-28 | 2006-05-04 | Matsushita Electric Industrial Co., Ltd. | 放送用受信機付き携帯電話 |
| JP2010192951A (ja) * | 2009-02-16 | 2010-09-02 | Panasonic Corp | アンテナ装置 |
| WO2011077878A1 (ja) * | 2009-12-24 | 2011-06-30 | 株式会社村田製作所 | アンテナ及び携帯端末 |
| JP2011199343A (ja) * | 2010-03-17 | 2011-10-06 | Panasonic Corp | アンテナ装置およびそれを用いた携帯端末装置 |
Family Cites Families (67)
| Publication number | Priority date | Publication date | Assignee | Title |
|---|---|---|---|---|
| JPH01194502A (ja) * | 1988-01-28 | 1989-08-04 | Nippon Antenna Kk | 車両用放送波受信アンテナ |
| WO1989007347A1 (en) * | 1988-02-04 | 1989-08-10 | Uniscan Ltd. | Magnetic field concentrator |
| US5130697A (en) * | 1990-10-30 | 1992-07-14 | Sensormatic Electronics Corporation | Method and apparatus for shaping a magnetic field |
| JP3362607B2 (ja) * | 1995-08-22 | 2003-01-07 | 三菱マテリアル株式会社 | トランスポンダ用アンテナ及びトランスポンダ |
| JPH1076113A (ja) | 1996-09-03 | 1998-03-24 | Yoshihiko Yamamoto | 循環加熱式オイル濾過器の製造方法 磁力内噴射式装置の組付け製造方法 |
| JPH1098322A (ja) * | 1996-09-20 | 1998-04-14 | Murata Mfg Co Ltd | チップアンテナ及びアンテナ装置 |
| JP4280313B2 (ja) * | 1997-10-16 | 2009-06-17 | 株式会社日立国際電気 | Icカードシステム |
| JP3503467B2 (ja) | 1998-03-20 | 2004-03-08 | ソニー株式会社 | カメラ |
| JP2000138621A (ja) * | 1998-10-30 | 2000-05-16 | Hitachi Maxell Ltd | 非接触情報媒体を利用する通信システム及びかかる通信システムに使用される通信補助装置 |
| US7334734B2 (en) * | 2000-01-27 | 2008-02-26 | Hitachi Maxwell, Ltd. | Non-contact IC module |
| EP1158601A1 (de) | 2000-05-15 | 2001-11-28 | Häni Prolectron Ag | Trägerelement für eine Antenne mit geringer Handempfindlichkeit |
| KR100580991B1 (ko) * | 2000-10-04 | 2006-05-17 | 모토로라 인코포레이티드 | Gps 어플리케이션용의 폴디드 역 f형 안테나 |
| JP4628611B2 (ja) * | 2000-10-27 | 2011-02-09 | 三菱マテリアル株式会社 | アンテナ |
| JP2002157559A (ja) * | 2000-11-17 | 2002-05-31 | Hitachi Maxell Ltd | 非接触通信式情報担体 |
| DE10133588A1 (de) * | 2001-07-11 | 2002-09-05 | Infineon Technologies Ag | Anordnung eines Chips und einer Leiterstruktur |
| JP2003036543A (ja) | 2001-07-24 | 2003-02-07 | Pioneer Electronic Corp | 記録ディスク及び記録情報再生装置 |
| JP2003069329A (ja) * | 2001-08-29 | 2003-03-07 | Mitsubishi Materials Corp | アンテナ |
| JP2003124725A (ja) | 2001-10-11 | 2003-04-25 | Murata Mfg Co Ltd | チップアンテナ装置およびチップアンテナの実装構造 |
| JP2003124825A (ja) | 2001-10-15 | 2003-04-25 | Hitachi Unisia Automotive Ltd | ノイズ除去装置 |
| JP2006295981A (ja) * | 2002-01-17 | 2006-10-26 | Mitsubishi Materials Corp | リーダ/ライタ用アンテナ及び該アンテナを備えたリーダ/ライタ |
| JP3896965B2 (ja) | 2002-01-17 | 2007-03-22 | 三菱マテリアル株式会社 | リーダ/ライタ用アンテナ及び該アンテナを備えたリーダ/ライタ |
| US6765536B2 (en) * | 2002-05-09 | 2004-07-20 | Motorola, Inc. | Antenna with variably tuned parasitic element |
| US7042418B2 (en) * | 2002-11-27 | 2006-05-09 | Matsushita Electric Industrial Co., Ltd. | Chip antenna |
| DE602004026549D1 (de) * | 2003-02-03 | 2010-05-27 | Panasonic Corp | Antenneneinrichtung und diese verwendende drahtlose kommunikationseinrichtung |
| JP4325621B2 (ja) * | 2003-08-13 | 2009-09-02 | 株式会社村田製作所 | リーダライタ及び移動体通信装置 |
| JP2005184094A (ja) * | 2003-12-16 | 2005-07-07 | Olympus Corp | アンテナおよびアンテナの製造方法 |
| JP3964401B2 (ja) | 2004-04-27 | 2007-08-22 | Necトーキン株式会社 | アンテナ用コア、コイルアンテナ、時計、携帯電話機、電子装置 |
| JP2006080700A (ja) | 2004-09-08 | 2006-03-23 | Ngk Spark Plug Co Ltd | インピーダンス整合が容易なチップアンテナ |
| JP4634166B2 (ja) * | 2005-02-03 | 2011-02-16 | 株式会社東海理化電機製作所 | アンテナ装置及びそれを備えた携帯機 |
| JP4793584B2 (ja) | 2007-01-10 | 2011-10-12 | 戸田工業株式会社 | 磁性体アンテナを実装した基板 |
| US8072387B2 (en) * | 2005-07-07 | 2011-12-06 | Toda Kogyo Corporation | Magnetic antenna and board mounted with the same |
| JP4821965B2 (ja) * | 2005-07-07 | 2011-11-24 | 戸田工業株式会社 | 磁性体アンテナ |
| EP3244487A1 (en) * | 2006-01-19 | 2017-11-15 | Murata Manufacturing Co., Ltd. | Wireless ic device |
| JP3121577U (ja) * | 2006-03-02 | 2006-05-18 | 株式会社スマート | 偏心磁性体コイルシステム |
| JP2007295213A (ja) * | 2006-04-25 | 2007-11-08 | Takion Co Ltd | 集積回路装置及び送信装置 |
| JP4013987B1 (ja) | 2006-07-07 | 2007-11-28 | 株式会社村田製作所 | アンテナ装置 |
| JP3957000B1 (ja) * | 2006-07-07 | 2007-08-08 | 株式会社村田製作所 | 基板実装用アンテナコイル及びアンテナ装置 |
| JP2008042761A (ja) | 2006-08-09 | 2008-02-21 | Toshiba Corp | アンテナ装置 |
| US20100321251A1 (en) | 2006-09-28 | 2010-12-23 | Jan Hesselbarth | Antenna elements, arrays and base stations including mast-mounted antenna arrays |
| JP5185832B2 (ja) | 2007-01-25 | 2013-04-17 | 日本電産サンキョー株式会社 | ループアンテナ |
| US8816484B2 (en) | 2007-02-09 | 2014-08-26 | Semiconductor Energy Laboratory Co., Ltd. | Semiconductor device |
| EP2133955A1 (en) * | 2007-03-29 | 2009-12-16 | Panasonic Corporation | Antenna device and portable terminal |
| JP5161485B2 (ja) * | 2007-05-18 | 2013-03-13 | パナソニック株式会社 | アンテナ装置 |
| JP4885093B2 (ja) * | 2007-06-11 | 2012-02-29 | 株式会社タムラ製作所 | ブースターアンテナコイル |
| US7830311B2 (en) * | 2007-07-18 | 2010-11-09 | Murata Manufacturing Co., Ltd. | Wireless IC device and electronic device |
| ATE556466T1 (de) | 2007-07-18 | 2012-05-15 | Murata Manufacturing Co | Drahtloses ic-gerät |
| JP4885092B2 (ja) | 2007-09-06 | 2012-02-29 | 株式会社タムラ製作所 | ブースターアンテナコイル |
| US20090085807A1 (en) * | 2007-10-02 | 2009-04-02 | General Electric Company | Coil array for an electromagnetic tracking system |
| JP2009124595A (ja) * | 2007-11-16 | 2009-06-04 | Murata Mfg Co Ltd | 基板実装型アンテナ装置 |
| JP5118462B2 (ja) * | 2007-12-12 | 2013-01-16 | 日本発條株式会社 | コイルアンテナおよび非接触情報媒体 |
| GB0724692D0 (en) | 2007-12-19 | 2008-01-30 | Rhodes Mark | Antenna formed of multiple resonant loops |
| EP2840648B1 (en) * | 2008-05-21 | 2016-03-23 | Murata Manufacturing Co., Ltd. | Wireless IC device |
| JP2010103295A (ja) | 2008-10-23 | 2010-05-06 | Nec Saitama Ltd | 端面スルーホール配線基板の製造方法 |
| JP5003653B2 (ja) * | 2008-10-30 | 2012-08-15 | パナソニック株式会社 | アンテナ装置 |
| US20100109966A1 (en) | 2008-10-31 | 2010-05-06 | Mateychuk Duane N | Multi-Layer Miniature Antenna For Implantable Medical Devices and Method for Forming the Same |
| JP5113727B2 (ja) | 2008-11-20 | 2013-01-09 | 株式会社日立製作所 | 無線icタグ |
| JP5576107B2 (ja) | 2008-12-27 | 2014-08-20 | ベック株式会社 | 断熱構造体 |
| JP4359648B1 (ja) * | 2009-01-19 | 2009-11-04 | 吉英 山田 | 非接触給電型ノーマルモードヘリカルアンテナ |
| JP5251610B2 (ja) * | 2009-03-03 | 2013-07-31 | Tdk株式会社 | アンテナ装置及びこれに用いるアンテナ素子 |
| US20110050531A1 (en) * | 2009-08-28 | 2011-03-03 | Panasonic Corporation | Antenna unit and communication device using the same |
| JP4715954B2 (ja) * | 2009-08-28 | 2011-07-06 | パナソニック株式会社 | アンテナ装置 |
| JP4807464B1 (ja) * | 2010-04-28 | 2011-11-02 | パナソニック株式会社 | アンテナ装置 |
| US9153855B2 (en) * | 2009-08-28 | 2015-10-06 | Panasonic Intellectual Property Management Co., Ltd. | Antenna, antenna unit, and communication device using them |
| JP5388765B2 (ja) | 2009-09-01 | 2014-01-15 | キヤノン株式会社 | 眼底カメラ |
| US9008574B2 (en) | 2009-09-14 | 2015-04-14 | Qualcomm Incorporated | Focused antenna, multi-purpose antenna, and methods related thereto |
| GB2487491B (en) * | 2009-11-20 | 2014-09-03 | Murata Manufacturing Co | Antenna device and mobile communication terminal |
| JP4883208B2 (ja) * | 2010-07-28 | 2012-02-22 | パナソニック株式会社 | アンテナ装置及びこれを備えた通信装置 |
-
2011
- 2011-09-05 JP JP2012509410A patent/JP5062382B2/ja active Active
- 2011-09-05 KR KR1020127033181A patent/KR101276282B1/ko active Active
- 2011-09-05 EP EP11823506.8A patent/EP2573871B1/en active Active
- 2011-09-05 CN CN201180031691.6A patent/CN102959800B/zh active Active
- 2011-09-05 WO PCT/JP2011/070099 patent/WO2012033031A1/ja not_active Ceased
- 2011-09-05 EP EP14197927.8A patent/EP2863480B1/en active Active
- 2011-09-05 CN CN201510037232.9A patent/CN104701627B/zh active Active
-
2012
- 2012-08-09 JP JP2012176620A patent/JP5429333B2/ja active Active
- 2012-12-28 US US13/729,377 patent/US9391369B2/en active Active
-
2013
- 2013-12-02 JP JP2013249177A patent/JP5696770B2/ja not_active Expired - Fee Related
-
2015
- 2015-02-12 JP JP2015025203A patent/JP5949973B2/ja active Active
-
2016
- 2016-06-08 US US15/176,488 patent/US9948005B2/en active Active
- 2016-06-08 JP JP2016114014A patent/JP6197918B2/ja active Active
- 2016-06-08 US US15/176,456 patent/US9865924B2/en active Active
- 2016-06-08 JP JP2016114013A patent/JP6168198B2/ja active Active
-
2017
- 2017-01-17 US US15/407,807 patent/US9825365B2/en active Active
Patent Citations (5)
| Publication number | Priority date | Publication date | Assignee | Title |
|---|---|---|---|---|
| JP2004364199A (ja) | 2003-06-06 | 2004-12-24 | Sony Corp | アンテナモジュール及びこれを備えた携帯型通信端末 |
| WO2006046714A1 (ja) * | 2004-10-28 | 2006-05-04 | Matsushita Electric Industrial Co., Ltd. | 放送用受信機付き携帯電話 |
| JP2010192951A (ja) * | 2009-02-16 | 2010-09-02 | Panasonic Corp | アンテナ装置 |
| WO2011077878A1 (ja) * | 2009-12-24 | 2011-06-30 | 株式会社村田製作所 | アンテナ及び携帯端末 |
| JP2011199343A (ja) * | 2010-03-17 | 2011-10-06 | Panasonic Corp | アンテナ装置およびそれを用いた携帯端末装置 |
Non-Patent Citations (1)
| Title |
|---|
| See also references of EP2573871A4 |
Cited By (48)
| Publication number | Priority date | Publication date | Assignee | Title |
|---|---|---|---|---|
| JP5131413B2 (ja) * | 2011-02-15 | 2013-01-30 | 株式会社村田製作所 | アンテナ装置および通信端末装置 |
| US9917366B2 (en) | 2011-02-15 | 2018-03-13 | Murata Manufacturing Co., Ltd. | Antenna device and communication terminal apparatus |
| WO2012111430A1 (ja) * | 2011-02-15 | 2012-08-23 | 株式会社村田製作所 | アンテナ装置および通信端末装置 |
| JP2013207727A (ja) * | 2012-03-29 | 2013-10-07 | Equos Research Co Ltd | アンテナコイル |
| CN103427153B (zh) * | 2012-05-21 | 2016-01-13 | 株式会社村田制作所 | 天线装置及无线通信装置 |
| EP2667447A1 (en) * | 2012-05-21 | 2013-11-27 | Murata Manufacturing Co., Ltd. | Antenna device and wireless communication device |
| CN103427153A (zh) * | 2012-05-21 | 2013-12-04 | 株式会社村田制作所 | 天线装置及无线通信装置 |
| US9847579B2 (en) | 2012-05-21 | 2017-12-19 | Murata Manufacturing Co., Ltd. | Antenna device and wireless communication device |
| JP2013243566A (ja) * | 2012-05-22 | 2013-12-05 | Murata Mfg Co Ltd | アンテナ装置および通信端末装置 |
| CN103782446B (zh) * | 2012-05-28 | 2016-11-09 | 株式会社村田制作所 | 天线装置及无线通信装置 |
| CN103782446A (zh) * | 2012-05-28 | 2014-05-07 | 株式会社村田制作所 | 天线装置及无线通信装置 |
| US20140198011A1 (en) * | 2012-05-28 | 2014-07-17 | Murata Manufacturing Co., Ltd. | Antenna device and wireless communication apparatus |
| WO2013179866A1 (ja) * | 2012-05-28 | 2013-12-05 | 株式会社村田製作所 | アンテナ装置及び無線通信装置 |
| JPWO2013179866A1 (ja) * | 2012-05-28 | 2016-01-18 | 株式会社村田製作所 | アンテナ装置及び無線通信装置 |
| US9515382B2 (en) | 2012-05-28 | 2016-12-06 | Murata Manufacturing Co., Ltd. | Antenna device and wireless communication apparatus |
| WO2013183552A1 (ja) * | 2012-06-04 | 2013-12-12 | 株式会社村田製作所 | アンテナ装置及び通信端末機器 |
| JP5578291B2 (ja) * | 2012-06-04 | 2014-08-27 | 株式会社村田製作所 | アンテナ装置及び通信端末機器 |
| WO2013183575A1 (ja) * | 2012-06-04 | 2013-12-12 | 株式会社村田製作所 | アンテナ装置および無線通信装置 |
| CN103765675B (zh) * | 2012-06-04 | 2015-06-10 | 株式会社村田制作所 | 天线装置及通信终端设备 |
| US9583834B2 (en) | 2012-06-04 | 2017-02-28 | Murata Manufacturing Co., Ltd. | Antenna module and radio communication device |
| US9582693B2 (en) | 2012-06-04 | 2017-02-28 | Murata Manufacturing Co., Ltd. | Antenna device and communication terminal device |
| CN103765675A (zh) * | 2012-06-04 | 2014-04-30 | 株式会社村田制作所 | 天线装置及通信终端设备 |
| US20140015648A1 (en) * | 2012-07-13 | 2014-01-16 | Magellan Technology Pty Ltd. | Antenna design and interrogator system |
| US10032103B2 (en) * | 2012-07-13 | 2018-07-24 | Sato Holdings Corporation | Antenna design and interrogator system |
| JP5761463B2 (ja) * | 2012-08-09 | 2015-08-12 | 株式会社村田製作所 | アンテナ装置および無線通信装置 |
| US9509051B2 (en) | 2012-08-09 | 2016-11-29 | Murata Manufacturing Co., Ltd. | Antenna device and wireless communication apparatus |
| JP2014161003A (ja) * | 2012-08-09 | 2014-09-04 | Murata Mfg Co Ltd | アンテナ装置、無線通信装置およびアンテナ装置の製造方法 |
| US9819778B2 (en) | 2012-10-26 | 2017-11-14 | Murata Manufacturing Co., Ltd. | Interface, communication apparatus, and program |
| GB2523015B (en) * | 2012-10-26 | 2017-08-30 | Murata Manufacturing Co | Interface, communication apparatus, and program |
| CN104813564A (zh) * | 2012-12-10 | 2015-07-29 | 英特尔公司 | 用于在近场通信中多表面覆盖的级联线圈 |
| US10109414B2 (en) | 2012-12-10 | 2018-10-23 | Intel Corporation | Cascaded coils for multi-surface coverage in near field communication |
| CN105634148A (zh) * | 2012-12-10 | 2016-06-01 | 英特尔公司 | 智能电话、蜂窝电话、平板电脑和可穿戴设备 |
| EP2929617A4 (en) * | 2012-12-10 | 2016-07-20 | Intel Corp | CASCADED COILS FOR MULTIPLE COVERAGE IN NAHFELDKOMMUNIKATION |
| CN104813564B (zh) * | 2012-12-10 | 2018-10-16 | 英特尔公司 | 用于在近场通信中多表面覆盖的级联线圈 |
| DE102013104059B8 (de) | 2013-04-22 | 2024-09-19 | Infineon Technologies Ag | Antennen-Anordnung und Kommunikationsgerät |
| DE102013104059B4 (de) | 2013-04-22 | 2024-05-29 | Infineon Technologies Ag | Antennen-Anordnung und Kommunikationsgerät |
| DE102013104059A1 (de) * | 2013-04-22 | 2014-10-23 | Infineon Technologies Ag | Antennen-Anordnung, Kommunikationsgerät und Antennenstruktur |
| US10096902B2 (en) | 2013-04-22 | 2018-10-09 | Infineon Technologies Ag | Antenna arrangement, communication appliance and antenna structure |
| US10164347B2 (en) | 2013-12-26 | 2018-12-25 | Murata Manufacturing Co., Ltd. | Antenna device and electronic appliance |
| JPWO2016121501A1 (ja) * | 2015-01-29 | 2017-06-08 | 株式会社村田製作所 | アンテナ装置、カード型情報媒体および通信端末装置 |
| US10522911B2 (en) | 2015-01-29 | 2019-12-31 | Murata Manufacturing Co., Ltd. | Antenna device, card-type information medium, and communication terminal apparatus |
| WO2016121501A1 (ja) * | 2015-01-29 | 2016-08-04 | 株式会社村田製作所 | アンテナ装置、カード型情報媒体および通信端末装置 |
| JPWO2017022511A1 (ja) * | 2015-07-31 | 2018-01-11 | 株式会社村田製作所 | アンテナ装置および電子機器 |
| US10276936B2 (en) | 2016-01-14 | 2019-04-30 | Murata Manufacturing Co., Ltd. | Antenna device and electronic apparatus |
| WO2018139519A1 (ja) * | 2017-01-27 | 2018-08-02 | 株式会社村田製作所 | アンテナ装置、非接触伝送装置および非接触伝送システム |
| JP6443608B1 (ja) * | 2017-01-27 | 2018-12-26 | 株式会社村田製作所 | アンテナ装置、非接触伝送装置および非接触伝送システム |
| WO2018193875A1 (ja) * | 2017-04-21 | 2018-10-25 | 日本発條株式会社 | 携帯型無線通信装置、および携帯型無線通信装置を用いる情報識別装置 |
| JP2018182686A (ja) * | 2017-04-21 | 2018-11-15 | 日本発條株式会社 | 携帯型無線通信装置、および携帯型無線通信装置を用いる情報識別装置 |
Also Published As
| Publication number | Publication date |
|---|---|
| KR20130018933A (ko) | 2013-02-25 |
| CN102959800B (zh) | 2015-03-11 |
| CN102959800A (zh) | 2013-03-06 |
| JP2016174417A (ja) | 2016-09-29 |
| US20130181876A1 (en) | 2013-07-18 |
| JP6197918B2 (ja) | 2017-09-20 |
| JP2013013110A (ja) | 2013-01-17 |
| JP2016197864A (ja) | 2016-11-24 |
| US9825365B2 (en) | 2017-11-21 |
| JP5949973B2 (ja) | 2016-07-13 |
| US20160285154A1 (en) | 2016-09-29 |
| JP2015092777A (ja) | 2015-05-14 |
| JPWO2012033031A1 (ja) | 2014-01-20 |
| EP2573871A4 (en) | 2013-11-27 |
| US20170125905A1 (en) | 2017-05-04 |
| EP2573871B1 (en) | 2015-01-28 |
| JP6168198B2 (ja) | 2017-07-26 |
| US9865924B2 (en) | 2018-01-09 |
| EP2863480A1 (en) | 2015-04-22 |
| JP5696770B2 (ja) | 2015-04-08 |
| EP2573871A1 (en) | 2013-03-27 |
| JP5062382B2 (ja) | 2012-10-31 |
| KR101276282B1 (ko) | 2013-06-21 |
| US20160285155A1 (en) | 2016-09-29 |
| JP5429333B2 (ja) | 2014-02-26 |
| JP2014053964A (ja) | 2014-03-20 |
| US9391369B2 (en) | 2016-07-12 |
| CN104701627A (zh) | 2015-06-10 |
| CN104701627B (zh) | 2018-11-20 |
| US9948005B2 (en) | 2018-04-17 |
| EP2863480B1 (en) | 2018-11-07 |
Similar Documents
| Publication | Publication Date | Title |
|---|---|---|
| JP6168198B2 (ja) | アンテナ装置および通信端末装置 | |
| JP5131413B2 (ja) | アンテナ装置および通信端末装置 | |
| JP5532191B1 (ja) | アンテナ装置および通信端末装置 | |
| US10181637B2 (en) | Antenna device and communication apparatus | |
| EP2120290A1 (en) | Antenna coil for mounting on circuit board | |
| WO2013115148A1 (ja) | アンテナ装置および通信端末装置 | |
| WO2016121501A1 (ja) | アンテナ装置、カード型情報媒体および通信端末装置 |
Legal Events
| Date | Code | Title | Description |
|---|---|---|---|
| WWE | Wipo information: entry into national phase |
Ref document number: 201180031691.6 Country of ref document: CN |
|
| WWE | Wipo information: entry into national phase |
Ref document number: 2012509410 Country of ref document: JP |
|
| 121 | Ep: the epo has been informed by wipo that ep was designated in this application |
Ref document number: 11823506 Country of ref document: EP Kind code of ref document: A1 |
|
| WWE | Wipo information: entry into national phase |
Ref document number: 2011823506 Country of ref document: EP |
|
| ENP | Entry into the national phase |
Ref document number: 20127033181 Country of ref document: KR Kind code of ref document: A |
|
| NENP | Non-entry into the national phase |
Ref country code: DE |