JP6197319B2 - 半導体素子の実装方法 - Google Patents

半導体素子の実装方法 Download PDF

Info

Publication number
JP6197319B2
JP6197319B2 JP2013058764A JP2013058764A JP6197319B2 JP 6197319 B2 JP6197319 B2 JP 6197319B2 JP 2013058764 A JP2013058764 A JP 2013058764A JP 2013058764 A JP2013058764 A JP 2013058764A JP 6197319 B2 JP6197319 B2 JP 6197319B2
Authority
JP
Japan
Prior art keywords
melting point
point solder
high melting
bonding material
solder ball
Prior art date
Legal status (The legal status is an assumption and is not a legal conclusion. Google has not performed a legal analysis and makes no representation as to the accuracy of the status listed.)
Expired - Fee Related
Application number
JP2013058764A
Other languages
English (en)
Other versions
JP2014183301A (ja
Inventor
崇 久保田
崇 久保田
北嶋 雅之
雅之 北嶋
山上 高豊
高豊 山上
吉良 秀彦
秀彦 吉良
Current Assignee (The listed assignees may be inaccurate. Google has not performed a legal analysis and makes no representation or warranty as to the accuracy of the list.)
Fujitsu Ltd
Original Assignee
Fujitsu Ltd
Priority date (The priority date is an assumption and is not a legal conclusion. Google has not performed a legal analysis and makes no representation as to the accuracy of the date listed.)
Filing date
Publication date
Application filed by Fujitsu Ltd filed Critical Fujitsu Ltd
Priority to JP2013058764A priority Critical patent/JP6197319B2/ja
Priority to US14/073,998 priority patent/US9615464B2/en
Publication of JP2014183301A publication Critical patent/JP2014183301A/ja
Application granted granted Critical
Publication of JP6197319B2 publication Critical patent/JP6197319B2/ja
Expired - Fee Related legal-status Critical Current
Anticipated expiration legal-status Critical

Links

Images

Classifications

    • BPERFORMING OPERATIONS; TRANSPORTING
    • B23MACHINE TOOLS; METAL-WORKING NOT OTHERWISE PROVIDED FOR
    • B23KSOLDERING OR UNSOLDERING; WELDING; CLADDING OR PLATING BY SOLDERING OR WELDING; CUTTING BY APPLYING HEAT LOCALLY, e.g. FLAME CUTTING; WORKING BY LASER BEAM
    • B23K3/00Tools, devices or special appurtenances for soldering, e.g. brazing, or unsoldering, not specially adapted for particular methods
    • B23K3/08Auxiliary devices therefor
    • BPERFORMING OPERATIONS; TRANSPORTING
    • B23MACHINE TOOLS; METAL-WORKING NOT OTHERWISE PROVIDED FOR
    • B23KSOLDERING OR UNSOLDERING; WELDING; CLADDING OR PLATING BY SOLDERING OR WELDING; CUTTING BY APPLYING HEAT LOCALLY, e.g. FLAME CUTTING; WORKING BY LASER BEAM
    • B23K35/00Rods, electrodes, materials, or media, for use in soldering, welding, or cutting
    • B23K35/02Rods, electrodes, materials, or media, for use in soldering, welding, or cutting characterised by mechanical features, e.g. shape
    • HELECTRICITY
    • H05ELECTRIC TECHNIQUES NOT OTHERWISE PROVIDED FOR
    • H05KPRINTED CIRCUITS; CASINGS OR CONSTRUCTIONAL DETAILS OF ELECTRIC APPARATUS; MANUFACTURE OF ASSEMBLAGES OF ELECTRICAL COMPONENTS
    • H05K3/00Apparatus or processes for manufacturing printed circuits
    • H05K3/30Assembling printed circuits with electric components, e.g. with resistors
    • H05K3/32Assembling printed circuits with electric components, e.g. with resistors electrically connecting electric components or wires to printed circuits
    • H05K3/34Assembling printed circuits with electric components, e.g. with resistors electrically connecting electric components or wires to printed circuits by soldering
    • H05K3/346Solder materials or compositions specially adapted therefor
    • HELECTRICITY
    • H05ELECTRIC TECHNIQUES NOT OTHERWISE PROVIDED FOR
    • H05KPRINTED CIRCUITS; CASINGS OR CONSTRUCTIONAL DETAILS OF ELECTRIC APPARATUS; MANUFACTURE OF ASSEMBLAGES OF ELECTRICAL COMPONENTS
    • H05K3/00Apparatus or processes for manufacturing printed circuits
    • H05K3/30Assembling printed circuits with electric components, e.g. with resistors
    • H05K3/32Assembling printed circuits with electric components, e.g. with resistors electrically connecting electric components or wires to printed circuits
    • H05K3/34Assembling printed circuits with electric components, e.g. with resistors electrically connecting electric components or wires to printed circuits by soldering
    • H05K3/3465Application of solder
    • H05K3/3485Application of solder paste, slurry or powder
    • HELECTRICITY
    • H10SEMICONDUCTOR DEVICES; ELECTRIC SOLID-STATE DEVICES NOT OTHERWISE PROVIDED FOR
    • H10FINORGANIC SEMICONDUCTOR DEVICES SENSITIVE TO INFRARED RADIATION, LIGHT, ELECTROMAGNETIC RADIATION OF SHORTER WAVELENGTH OR CORPUSCULAR RADIATION
    • H10F55/00Radiation-sensitive semiconductor devices covered by groups H10F10/00, H10F19/00 or H10F30/00 being structurally associated with electric light sources and electrically or optically coupled thereto
    • H10F55/20Radiation-sensitive semiconductor devices covered by groups H10F10/00, H10F19/00 or H10F30/00 being structurally associated with electric light sources and electrically or optically coupled thereto wherein the electric light source controls the radiation-sensitive semiconductor devices, e.g. optocouplers
    • H10F55/25Radiation-sensitive semiconductor devices covered by groups H10F10/00, H10F19/00 or H10F30/00 being structurally associated with electric light sources and electrically or optically coupled thereto wherein the electric light source controls the radiation-sensitive semiconductor devices, e.g. optocouplers wherein the radiation-sensitive devices and the electric light source are all semiconductor devices
    • HELECTRICITY
    • H01ELECTRIC ELEMENTS
    • H01SDEVICES USING THE PROCESS OF LIGHT AMPLIFICATION BY STIMULATED EMISSION OF RADIATION [LASER] TO AMPLIFY OR GENERATE LIGHT; DEVICES USING STIMULATED EMISSION OF ELECTROMAGNETIC RADIATION IN WAVE RANGES OTHER THAN OPTICAL
    • H01S5/00Semiconductor lasers
    • H01S5/02Structural details or components not essential to laser action
    • H01S5/022Mountings; Housings
    • H01S5/0235Method for mounting laser chips
    • H01S5/02355Fixing laser chips on mounts
    • H01S5/0237Fixing laser chips on mounts by soldering
    • HELECTRICITY
    • H05ELECTRIC TECHNIQUES NOT OTHERWISE PROVIDED FOR
    • H05KPRINTED CIRCUITS; CASINGS OR CONSTRUCTIONAL DETAILS OF ELECTRIC APPARATUS; MANUFACTURE OF ASSEMBLAGES OF ELECTRICAL COMPONENTS
    • H05K2203/00Indexing scheme relating to apparatus or processes for manufacturing printed circuits covered by H05K3/00
    • H05K2203/04Soldering or other types of metallurgic bonding
    • H05K2203/041Solder preforms in the shape of solder balls
    • HELECTRICITY
    • H05ELECTRIC TECHNIQUES NOT OTHERWISE PROVIDED FOR
    • H05KPRINTED CIRCUITS; CASINGS OR CONSTRUCTIONAL DETAILS OF ELECTRIC APPARATUS; MANUFACTURE OF ASSEMBLAGES OF ELECTRICAL COMPONENTS
    • H05K2203/00Indexing scheme relating to apparatus or processes for manufacturing printed circuits covered by H05K3/00
    • H05K2203/14Related to the order of processing steps
    • H05K2203/1476Same or similar kind of process performed in phases, e.g. coarse patterning followed by fine patterning
    • HELECTRICITY
    • H05ELECTRIC TECHNIQUES NOT OTHERWISE PROVIDED FOR
    • H05KPRINTED CIRCUITS; CASINGS OR CONSTRUCTIONAL DETAILS OF ELECTRIC APPARATUS; MANUFACTURE OF ASSEMBLAGES OF ELECTRICAL COMPONENTS
    • H05K3/00Apparatus or processes for manufacturing printed circuits
    • H05K3/30Assembling printed circuits with electric components, e.g. with resistors
    • H05K3/32Assembling printed circuits with electric components, e.g. with resistors electrically connecting electric components or wires to printed circuits
    • H05K3/34Assembling printed circuits with electric components, e.g. with resistors electrically connecting electric components or wires to printed circuits by soldering
    • H05K3/341Surface mounted components
    • H05K3/3431Leadless components
    • H05K3/3436Leadless components having an array of bottom contacts, e.g. pad grid array or ball grid array components
    • HELECTRICITY
    • H05ELECTRIC TECHNIQUES NOT OTHERWISE PROVIDED FOR
    • H05KPRINTED CIRCUITS; CASINGS OR CONSTRUCTIONAL DETAILS OF ELECTRIC APPARATUS; MANUFACTURE OF ASSEMBLAGES OF ELECTRICAL COMPONENTS
    • H05K3/00Apparatus or processes for manufacturing printed circuits
    • H05K3/30Assembling printed circuits with electric components, e.g. with resistors
    • H05K3/32Assembling printed circuits with electric components, e.g. with resistors electrically connecting electric components or wires to printed circuits
    • H05K3/34Assembling printed circuits with electric components, e.g. with resistors electrically connecting electric components or wires to printed circuits by soldering
    • H05K3/3494Heating processes for reflow soldering
    • HELECTRICITY
    • H10SEMICONDUCTOR DEVICES; ELECTRIC SOLID-STATE DEVICES NOT OTHERWISE PROVIDED FOR
    • H10WGENERIC PACKAGES, INTERCONNECTIONS, CONNECTORS OR OTHER CONSTRUCTIONAL DETAILS OF DEVICES COVERED BY CLASS H10
    • H10W72/00Interconnections or connectors in packages
    • H10W72/01Manufacture or treatment
    • H10W72/012Manufacture or treatment of bump connectors, dummy bumps or thermal bumps
    • HELECTRICITY
    • H10SEMICONDUCTOR DEVICES; ELECTRIC SOLID-STATE DEVICES NOT OTHERWISE PROVIDED FOR
    • H10WGENERIC PACKAGES, INTERCONNECTIONS, CONNECTORS OR OTHER CONSTRUCTIONAL DETAILS OF DEVICES COVERED BY CLASS H10
    • H10W72/00Interconnections or connectors in packages
    • H10W72/01Manufacture or treatment
    • H10W72/012Manufacture or treatment of bump connectors, dummy bumps or thermal bumps
    • H10W72/01204Manufacture or treatment of bump connectors, dummy bumps or thermal bumps using temporary auxiliary members, e.g. using sacrificial coatings or handle substrates
    • HELECTRICITY
    • H10SEMICONDUCTOR DEVICES; ELECTRIC SOLID-STATE DEVICES NOT OTHERWISE PROVIDED FOR
    • H10WGENERIC PACKAGES, INTERCONNECTIONS, CONNECTORS OR OTHER CONSTRUCTIONAL DETAILS OF DEVICES COVERED BY CLASS H10
    • H10W72/00Interconnections or connectors in packages
    • H10W72/01Manufacture or treatment
    • H10W72/012Manufacture or treatment of bump connectors, dummy bumps or thermal bumps
    • H10W72/01221Manufacture or treatment of bump connectors, dummy bumps or thermal bumps using local deposition
    • H10W72/01223Manufacture or treatment of bump connectors, dummy bumps or thermal bumps using local deposition in liquid form, e.g. by dispensing droplets or by screen printing
    • HELECTRICITY
    • H10SEMICONDUCTOR DEVICES; ELECTRIC SOLID-STATE DEVICES NOT OTHERWISE PROVIDED FOR
    • H10WGENERIC PACKAGES, INTERCONNECTIONS, CONNECTORS OR OTHER CONSTRUCTIONAL DETAILS OF DEVICES COVERED BY CLASS H10
    • H10W72/00Interconnections or connectors in packages
    • H10W72/01Manufacture or treatment
    • H10W72/012Manufacture or treatment of bump connectors, dummy bumps or thermal bumps
    • H10W72/01221Manufacture or treatment of bump connectors, dummy bumps or thermal bumps using local deposition
    • H10W72/01225Manufacture or treatment of bump connectors, dummy bumps or thermal bumps using local deposition in solid form, e.g. by using a powder or by stud bumping
    • HELECTRICITY
    • H10SEMICONDUCTOR DEVICES; ELECTRIC SOLID-STATE DEVICES NOT OTHERWISE PROVIDED FOR
    • H10WGENERIC PACKAGES, INTERCONNECTIONS, CONNECTORS OR OTHER CONSTRUCTIONAL DETAILS OF DEVICES COVERED BY CLASS H10
    • H10W72/00Interconnections or connectors in packages
    • H10W72/01Manufacture or treatment
    • H10W72/012Manufacture or treatment of bump connectors, dummy bumps or thermal bumps
    • H10W72/01251Changing the shapes of bumps
    • HELECTRICITY
    • H10SEMICONDUCTOR DEVICES; ELECTRIC SOLID-STATE DEVICES NOT OTHERWISE PROVIDED FOR
    • H10WGENERIC PACKAGES, INTERCONNECTIONS, CONNECTORS OR OTHER CONSTRUCTIONAL DETAILS OF DEVICES COVERED BY CLASS H10
    • H10W72/00Interconnections or connectors in packages
    • H10W72/01Manufacture or treatment
    • H10W72/012Manufacture or treatment of bump connectors, dummy bumps or thermal bumps
    • H10W72/01251Changing the shapes of bumps
    • H10W72/01257Changing the shapes of bumps by reflowing
    • HELECTRICITY
    • H10SEMICONDUCTOR DEVICES; ELECTRIC SOLID-STATE DEVICES NOT OTHERWISE PROVIDED FOR
    • H10WGENERIC PACKAGES, INTERCONNECTIONS, CONNECTORS OR OTHER CONSTRUCTIONAL DETAILS OF DEVICES COVERED BY CLASS H10
    • H10W72/00Interconnections or connectors in packages
    • H10W72/01Manufacture or treatment
    • H10W72/013Manufacture or treatment of die-attach connectors
    • H10W72/01304Manufacture or treatment of die-attach connectors using temporary auxiliary members, e.g. using sacrificial coatings or handle substrates
    • HELECTRICITY
    • H10SEMICONDUCTOR DEVICES; ELECTRIC SOLID-STATE DEVICES NOT OTHERWISE PROVIDED FOR
    • H10WGENERIC PACKAGES, INTERCONNECTIONS, CONNECTORS OR OTHER CONSTRUCTIONAL DETAILS OF DEVICES COVERED BY CLASS H10
    • H10W72/00Interconnections or connectors in packages
    • H10W72/01Manufacture or treatment
    • H10W72/019Manufacture or treatment of bond pads
    • HELECTRICITY
    • H10SEMICONDUCTOR DEVICES; ELECTRIC SOLID-STATE DEVICES NOT OTHERWISE PROVIDED FOR
    • H10WGENERIC PACKAGES, INTERCONNECTIONS, CONNECTORS OR OTHER CONSTRUCTIONAL DETAILS OF DEVICES COVERED BY CLASS H10
    • H10W72/00Interconnections or connectors in packages
    • H10W72/071Connecting or disconnecting
    • H10W72/072Connecting or disconnecting of bump connectors
    • HELECTRICITY
    • H10SEMICONDUCTOR DEVICES; ELECTRIC SOLID-STATE DEVICES NOT OTHERWISE PROVIDED FOR
    • H10WGENERIC PACKAGES, INTERCONNECTIONS, CONNECTORS OR OTHER CONSTRUCTIONAL DETAILS OF DEVICES COVERED BY CLASS H10
    • H10W72/00Interconnections or connectors in packages
    • H10W72/071Connecting or disconnecting
    • H10W72/072Connecting or disconnecting of bump connectors
    • H10W72/07231Techniques
    • H10W72/07236Soldering or alloying
    • HELECTRICITY
    • H10SEMICONDUCTOR DEVICES; ELECTRIC SOLID-STATE DEVICES NOT OTHERWISE PROVIDED FOR
    • H10WGENERIC PACKAGES, INTERCONNECTIONS, CONNECTORS OR OTHER CONSTRUCTIONAL DETAILS OF DEVICES COVERED BY CLASS H10
    • H10W72/00Interconnections or connectors in packages
    • H10W72/071Connecting or disconnecting
    • H10W72/073Connecting or disconnecting of die-attach connectors
    • HELECTRICITY
    • H10SEMICONDUCTOR DEVICES; ELECTRIC SOLID-STATE DEVICES NOT OTHERWISE PROVIDED FOR
    • H10WGENERIC PACKAGES, INTERCONNECTIONS, CONNECTORS OR OTHER CONSTRUCTIONAL DETAILS OF DEVICES COVERED BY CLASS H10
    • H10W72/00Interconnections or connectors in packages
    • H10W72/071Connecting or disconnecting
    • H10W72/073Connecting or disconnecting of die-attach connectors
    • H10W72/07331Connecting techniques
    • H10W72/07337Connecting techniques using a polymer adhesive, e.g. an adhesive based on silicone or epoxy
    • HELECTRICITY
    • H10SEMICONDUCTOR DEVICES; ELECTRIC SOLID-STATE DEVICES NOT OTHERWISE PROVIDED FOR
    • H10WGENERIC PACKAGES, INTERCONNECTIONS, CONNECTORS OR OTHER CONSTRUCTIONAL DETAILS OF DEVICES COVERED BY CLASS H10
    • H10W72/00Interconnections or connectors in packages
    • H10W72/20Bump connectors, e.g. solder bumps or copper pillars; Dummy bumps; Thermal bumps
    • H10W72/221Structures or relative sizes
    • H10W72/222Multilayered bumps, e.g. a coating on top and side surfaces of a bump core
    • HELECTRICITY
    • H10SEMICONDUCTOR DEVICES; ELECTRIC SOLID-STATE DEVICES NOT OTHERWISE PROVIDED FOR
    • H10WGENERIC PACKAGES, INTERCONNECTIONS, CONNECTORS OR OTHER CONSTRUCTIONAL DETAILS OF DEVICES COVERED BY CLASS H10
    • H10W72/00Interconnections or connectors in packages
    • H10W72/20Bump connectors, e.g. solder bumps or copper pillars; Dummy bumps; Thermal bumps
    • H10W72/221Structures or relative sizes
    • H10W72/224Bumps having multiple side-by-side cores
    • HELECTRICITY
    • H10SEMICONDUCTOR DEVICES; ELECTRIC SOLID-STATE DEVICES NOT OTHERWISE PROVIDED FOR
    • H10WGENERIC PACKAGES, INTERCONNECTIONS, CONNECTORS OR OTHER CONSTRUCTIONAL DETAILS OF DEVICES COVERED BY CLASS H10
    • H10W72/00Interconnections or connectors in packages
    • H10W72/20Bump connectors, e.g. solder bumps or copper pillars; Dummy bumps; Thermal bumps
    • H10W72/231Shapes
    • H10W72/234Cross-sectional shape, i.e. in side view
    • HELECTRICITY
    • H10SEMICONDUCTOR DEVICES; ELECTRIC SOLID-STATE DEVICES NOT OTHERWISE PROVIDED FOR
    • H10WGENERIC PACKAGES, INTERCONNECTIONS, CONNECTORS OR OTHER CONSTRUCTIONAL DETAILS OF DEVICES COVERED BY CLASS H10
    • H10W72/00Interconnections or connectors in packages
    • H10W72/20Bump connectors, e.g. solder bumps or copper pillars; Dummy bumps; Thermal bumps
    • H10W72/241Dispositions, e.g. layouts
    • HELECTRICITY
    • H10SEMICONDUCTOR DEVICES; ELECTRIC SOLID-STATE DEVICES NOT OTHERWISE PROVIDED FOR
    • H10WGENERIC PACKAGES, INTERCONNECTIONS, CONNECTORS OR OTHER CONSTRUCTIONAL DETAILS OF DEVICES COVERED BY CLASS H10
    • H10W72/00Interconnections or connectors in packages
    • H10W72/20Bump connectors, e.g. solder bumps or copper pillars; Dummy bumps; Thermal bumps
    • H10W72/251Materials
    • H10W72/252Materials comprising solid metals or solid metalloids, e.g. PbSn, Ag or Cu
    • HELECTRICITY
    • H10SEMICONDUCTOR DEVICES; ELECTRIC SOLID-STATE DEVICES NOT OTHERWISE PROVIDED FOR
    • H10WGENERIC PACKAGES, INTERCONNECTIONS, CONNECTORS OR OTHER CONSTRUCTIONAL DETAILS OF DEVICES COVERED BY CLASS H10
    • H10W72/00Interconnections or connectors in packages
    • H10W72/20Bump connectors, e.g. solder bumps or copper pillars; Dummy bumps; Thermal bumps
    • H10W72/29Bond pads specially adapted therefor
    • HELECTRICITY
    • H10SEMICONDUCTOR DEVICES; ELECTRIC SOLID-STATE DEVICES NOT OTHERWISE PROVIDED FOR
    • H10WGENERIC PACKAGES, INTERCONNECTIONS, CONNECTORS OR OTHER CONSTRUCTIONAL DETAILS OF DEVICES COVERED BY CLASS H10
    • H10W74/00Encapsulations, e.g. protective coatings
    • HELECTRICITY
    • H10SEMICONDUCTOR DEVICES; ELECTRIC SOLID-STATE DEVICES NOT OTHERWISE PROVIDED FOR
    • H10WGENERIC PACKAGES, INTERCONNECTIONS, CONNECTORS OR OTHER CONSTRUCTIONAL DETAILS OF DEVICES COVERED BY CLASS H10
    • H10W74/00Encapsulations, e.g. protective coatings
    • H10W74/10Encapsulations, e.g. protective coatings characterised by their shape or disposition
    • H10W74/15Encapsulations, e.g. protective coatings characterised by their shape or disposition on active surfaces of flip-chip devices, e.g. underfills
    • HELECTRICITY
    • H10SEMICONDUCTOR DEVICES; ELECTRIC SOLID-STATE DEVICES NOT OTHERWISE PROVIDED FOR
    • H10WGENERIC PACKAGES, INTERCONNECTIONS, CONNECTORS OR OTHER CONSTRUCTIONAL DETAILS OF DEVICES COVERED BY CLASS H10
    • H10W90/00Package configurations
    • H10W90/701Package configurations characterised by the relative positions of pads or connectors relative to package parts
    • H10W90/721Package configurations characterised by the relative positions of pads or connectors relative to package parts of bump connectors
    • H10W90/724Package configurations characterised by the relative positions of pads or connectors relative to package parts of bump connectors between a chip and a stacked insulating package substrate, interposer or RDL
    • HELECTRICITY
    • H10SEMICONDUCTOR DEVICES; ELECTRIC SOLID-STATE DEVICES NOT OTHERWISE PROVIDED FOR
    • H10WGENERIC PACKAGES, INTERCONNECTIONS, CONNECTORS OR OTHER CONSTRUCTIONAL DETAILS OF DEVICES COVERED BY CLASS H10
    • H10W90/00Package configurations
    • H10W90/701Package configurations characterised by the relative positions of pads or connectors relative to package parts
    • H10W90/731Package configurations characterised by the relative positions of pads or connectors relative to package parts of die-attach connectors
    • H10W90/734Package configurations characterised by the relative positions of pads or connectors relative to package parts of die-attach connectors between a chip and a stacked insulating package substrate, interposer or RDL
    • HELECTRICITY
    • H10SEMICONDUCTOR DEVICES; ELECTRIC SOLID-STATE DEVICES NOT OTHERWISE PROVIDED FOR
    • H10WGENERIC PACKAGES, INTERCONNECTIONS, CONNECTORS OR OTHER CONSTRUCTIONAL DETAILS OF DEVICES COVERED BY CLASS H10
    • H10W99/00Subject matter not provided for in other groups of this subclass
    • YGENERAL TAGGING OF NEW TECHNOLOGICAL DEVELOPMENTS; GENERAL TAGGING OF CROSS-SECTIONAL TECHNOLOGIES SPANNING OVER SEVERAL SECTIONS OF THE IPC; TECHNICAL SUBJECTS COVERED BY FORMER USPC CROSS-REFERENCE ART COLLECTIONS [XRACs] AND DIGESTS
    • Y10TECHNICAL SUBJECTS COVERED BY FORMER USPC
    • Y10TTECHNICAL SUBJECTS COVERED BY FORMER US CLASSIFICATION
    • Y10T29/00Metal working
    • Y10T29/49Method of mechanical manufacture
    • Y10T29/49002Electrical device making
    • Y10T29/49117Conductor or circuit manufacturing
    • Y10T29/49124On flat or curved insulated base, e.g., printed circuit, etc.
    • Y10T29/4913Assembling to base an electrical component, e.g., capacitor, etc.

Landscapes

  • Engineering & Computer Science (AREA)
  • Manufacturing & Machinery (AREA)
  • Microelectronics & Electronic Packaging (AREA)
  • Mechanical Engineering (AREA)
  • Electric Connection Of Electric Components To Printed Circuits (AREA)
  • Wire Bonding (AREA)

Description

本発明は、半導体素子の実装方法及び半導体装置に関する。
受光素子や発光素子等の半導体光素子を基板に実装する際、基板と半導体光素子間の接合ギャップ(クリアランス)を精度良く管理することが重要である。従来、基板に半導体光素子を接合するためのバンプ(突起電極)を形成する方法として、例えばめっき液から金属を析出させるめっき法、真空中で金属を蒸発させて成膜する蒸着法、導電性ペーストを印刷装置によって印刷法等が知られている。しかしながら、めっき法は、低温での接合では接合信頼性が十分とはいえず、半導体光素子の実装には不向きである。また、蒸着法や印刷法では、大きな接合ギャップを形成することが難しい。
特開2003−86877号公報 特開平4−273444号公報
本件は、上記の課題に鑑みてなされたものであり、半導体素子を基板に実装する際に、基板と半導体素子との間の接合ギャップの設計寸法が大きくても寸法精度を高めることができる半導体素子の実装方法及び半導体装置を提供することを目的とする。
本件の一観点によると、基板に半導体素子を実装する実装方法であって、前記基板に形成された基板側パッド上に第1半田接合材料を取り付ける工程と、前記第1半田接合材料上に該第1半田接合材料よりも融点が低い第2半田接合材料を供給する工程と、前記半導体素子に形成された素子側パッドが対応する前記基板側パッドに対向し、かつ、前記基板との間に所定の接合ギャップが設けられるように前記半導体素子を配置する工程と、前記第1半田接合材料の融点よりも低温かつ前記第2半田接合材料の融点よりも高温のリフロー温度でリフローを行い、該第1半田接合材料及び第2半田接合材料を接合するリフロー工程と、を有する、半導体素子の実装方法が提供される。
また、本件の他の観点によると、表面に基板側パッドが形成された基板と、前記基板に実装され、前記基板側パッドに対応した素子側パッドを有する半導体素子と、前記基板側パッドと前記素子側パッドとを接合する半田バンプと、を備え、前記半田バンプは、前記基板側パッド上に形成された第1半田接合部と、前記第1半田接合部と前記素子側パッドとの間に介在すると共に該第1半田接合部よりも融点が低い第2半田接合部と、を含み、前記第1半田接合部及び前記第2半田接合部は、前記第1半田接合部の融点よりも低温かつ前記第2半田接合部の融点よりも高温のリフロー温度でリフローされることにより一体に接合されている、半導体装置が提供される。
本件によれば、半導体素子を基板に実装する際に、基板と半導体素子との間の接合ギャップの設計寸法が大きくても寸法精度を高めることができる半導体素子の実装方法及び半導体装置を提供することができる。
実施形態に係る半導体装置の断面構造を概略的に示す図である。 実施形態に係る回路基板を示す図である。 実施形態に係る回路基板の各基板側パッドに高融点半田ボールを取り付ける工程を示す図である。 実施形態に係る凹部形成用治具を示す図である。 実施形態に係る凹部形成工程を示す図である。 実施形態に係る封止工程を示す図である。 実施形態に係る封止工程後、高融点半田ボールから凹部形成用治具を取り外した状態を示す図である。 実施形態に係るスクリーン版を回路基板上に載置した状態を示す図である。 実施形態に係る低融点半田ペーストを供給する工程を示す図である。 実施形態に係るリフロー工程を示す図である。 実施形態に係るモールド樹脂と光素子シリコンチップとの隙間に第2モールド樹脂を充填する工程を示す図である。 変形例に係る封止工程を示す図である。 変形例に係る突起付きスクリーン版8Aを示す図である。 変形例に係る凹部形成工程を示す図である。 変形例に係る低融点半田ペーストを供給する工程を示す図である。 変形例に係る回路基板から突起付きスクリーン版を取り外した状態を示す図である。 変形例に係るリフロー工程を示す図である。 変形例に係るモールド樹脂と光素子シリコンチップとの隙間に第2モールド樹脂を充填する工程を示す図である。
<実施形態>
以下、本件に係る半導体装置及び半導体素子の実装方法について、図面を参照しながら詳細に説明する。
<<半導体装置>>
図1は、実施形態に係る半導体装置1の断面構造を概略的に示す図である。半導体装置1は、回路基板2及びこの回路基板2に実装された半導体光素子である光素子シリコンチップ3を備えた光モジュールである。本実施形態における光素子シリコンチップ3は、例えば、VCSEL(Vertical Cavity Semicondμctor Em
ission Laser)等の発光素子であり、発光部31や導波路(光伝送路)32
等を有している。また、回路基板2は、光素子シリコンチップ3の発光部31から出力された光を受光する受光部21や、受光部21によって受光した導波路(光伝送路)22等(図示省略)を備えている。半田バンプ4は、半田によって形成された突起電極である。回路基板2及び光素子シリコンチップ3は半田バンプ4を介して接合されている。回路基板2及び光素子シリコンチップ3は、それぞれ基板及び半導体素子の一例である。
符号2aは回路基板2の「上面」を表し、符号3aは光素子シリコンチップ3の「下面」を表す。図1に示すように、光素子シリコンチップ3は、半田バンプ4を介して回路基板2の上面2aにフリップチップボンディングされており、光素子シリコンチップ3の下面3aと回路基板2の上面2aとが対向して配置されている。符号Gcは、回路基板2の上面2aと光素子シリコンチップ3の下面3aとが離間する寸法である「接合ギャップ」(「接合クリアランス」ともいう)を表す。本実施形態において、半導体装置1における接合ギャップGcの大きさは特段限定されるものではないが、例えば200μm程度に設定されている。
ところで、本実施形態に係る半導体装置1のような、いわゆる光モジュールでは、光素子シリコンチップ3の光伝送特性を担保するためにも、接合ギャップGcを設計値通りに精度良く実現する必要がある。光素子シリコンチップ3及び回路基板2は、半田バンプ4を介して接合されるため、半田バンプ4における高さ方向についての高い精度が要求される。更に、光素子シリコンチップ3等の半導体光素子は、耐熱温度が例えば160〜180℃程度といったように比較的低いものが多い。よって、光素子シリコンチップ3の実装時においては、光素子シリコンチップ3の耐熱温度を考慮して、リフロー温度をあまり高くすることができないという制約がある。ここで、従来のバンプ形成方法として、めっき法、蒸着法、印刷法等が知られている。しかしながら、めっき法は、低温での接合では接合信頼性が十分とはいえず、蒸着法や印刷法では大きな接合ギャップを形成することが難しいことから、回路基板に対する半導体光素子の接合にはいずれの方法もあまり向いていないといえる。
そこで、本実施形態に係る半導体装置1では、回路基板2及び光素子シリコンチップ3を接合する半田バンプ4を、高融点半田接合部41と低融点半田接合部42とを含んで形成することとした。高融点半田接合部41は、例えばSnAgCu系半田(錫―銀―銅系半田)等といった高融点半田(高温半田)によって形成された半田ボールである。一方、低融点半田接合部42は、例えばSnBi系半田(錫―ビスマス系半田)等といった低融点半田(低温半田)によって形成されている。低融点半田接合部42の融点(例えば、139℃程度)は、高融点半田接合部41の融点(例えば、220℃程度)よりも低くなっている。
ここで、高融点半田接合部41は、回路基板2の上面2aに形成された電極パッド(以下、「基板側パッド」という)23に接合されている。一方、低融点半田接合部42は、光素子シリコンチップ3の下面3aに形成された電極パッド(以下、「素子側パッド」という)33に接合されている。そして、半田バンプ4は、高融点半田接合部41と低融点半田接合部42とを低温の温度階層接合を行うことで一体に接合することで形成されている。具体的には、高融点半田接合部41と低融点半田接合部42とをリフローする際、高融点半田接合部41の融点よりも低温かつ低融点半田接合部42の融点よりも高温のリフロー温度でリフローすることにより、双方が一体に接合されている。更に、半田バンプ4における高融点半田接合部41と低融点半田接合部42との接合境界面には、凹凸形状を有する凹凸接合部43が形成されている。また、符号7、7Aは、モールド樹脂と第2モールド樹脂を表す。モールド樹脂7と第2モールド樹脂7Aについては後述する。
<<半導体素子の実装方法>>
次に、光素子シリコンチップ3の実装方法について説明する。図2〜図11は、光素子シリコンチップ31の実装工程を説明する図である。
半導体装置1の製造に際して、図2に示す回路基板2を準備する。回路基板2は、例えば、エポキシ樹脂等によって形成された樹脂基板であるが、これには限定されない。回路基板2の上面2aにおける適所には複数の基板側パッド23が露出形成されている。また、回路基板2には、光素子シリコンチップ3の発光部31から出力される光を受光する受光部21や、導波路22等が形成されている。
次に、図3に示すように、SnAgCu系半田(錫―銀―銅系半田)等といった高融点半田(高温半田)によって形成された半田ボール(以下、「高融点半田ボール」という)41Aを、回路基板2の各基板側パッド23に取り付ける。高融点半田ボール41Aは、回路基板2に対する光素子シリコンチップ3の実装後において、図1に示した半田バンプ4の高融点半田接合部41を形成する。高融点半田ボール41Aの基板側パッド23への
取り付けは、以下の手順で行うことができる。まず、基板側パッド23上にフラックスを供給する。基板側パッド23上へのフラックスの供給は、印刷装置を用いたスキージングによって行ってもよい。基板側パッド23に対するフラックスの塗布が終わると、フラックス上に高融点半田ボール41Aを搭載し、リフロー炉によって加熱(リフロー)を行う。ここでのリフロー温度は、高融点半田ボール41Aの溶融温度よりも高い温度(例えば、235℃程度)としてもよい。リフローを行うことにより、高融点半田ボール41Aが溶融し、各基板側パッド23に対して高融点半田ボール41Aが一体に接合される。本実施形態において、高融点半田ボール41Aは、第1半田接合材料の一例である。
次に、図4に示すような、凹部形成用の治具(以下、「凹部形成用治具」という)6を準備する。凹部形成用治具6は、回路基板2に対する光素子シリコンチップ3の実装に用いる半導体製造装置(フリップチップボンダー)に搭載されており、半導体製造装置から熱の供給を受けることで加熱される。凹部形成用治具6の下面6aには、半田ボール41の平面的な配置パターンに対応するように複数の突起61が設けられている。本実施形態においては、突起61は略円錐形状を有しているが、突起61の形状は適宜変更することができる。また、凹部形成用治具6の下面6aのうち、突起61が形成されていない部分には平坦な平坦部62が形成されている。本実施形態においては、凹部形成用治具6は、ガラス板によって形成されている。但し、凹部形成用治具6は、他の材料を用いて形成されてもよい。
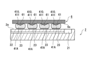
次に、図5に示すように、凹部形成用治具6を、高融点半田ボール41Aの頭頂部410に押し付ける。上記のように、凹部形成用治具6の下面6aに形成された各突起61は、回路基板2に取り付けられた高融点半田ボール41Aの平面配置パターンと対応付けられて配置されている。ここでは、凹部形成用治具6の各突起61が、対応する高融点半田ボール41Aの頭頂部410に食い込むように、高融点半田ボール41Aに対して凹部形成用治具6が押し付けられる。
本実施形態では、凹部形成用治具6を、例えば150〜180℃程度に加熱しつつ高融点半田ボール41Aの頭頂部410に押し付ける。これにより、凹部形成用治具6からの伝わる熱によって高融点半田ボール41Aが軟化するため、高融点半田ボール41Aに作用する応力を低減しつつ、高融点半田ボール41Aの頭頂部410に突起61を食い込ませることができる。その結果、図5に示すように、高融点半田ボール41Aの頭頂部410には、突起61に対応する円錐形状の凹部411(凹凸形状)が形成される(凹部形成工程)。なお、本実施形態では、各高融点半田ボール41Aの頭頂部410に対して、単一の凹部411が形成されるようにしているが、複数の凹部411が一の高融点半田ボール41Aに形成されてもよい。また、凹部形成用治具6における突起61の高さは、高融点半田ボール41Aに形成する凹部411の深さに応じて適宜変更することができる。
次に、高融点半田ボール41Aの頭頂部410に、凹部形成用治具6を押し付けた状態で、図6に示すように、回路基板2上に封止材料としてのモールド樹脂7を供給する。そして、少なくとも高融点半田ボール41Aの頭頂部410が露出するように高融点半田ボール41Aを封止する(封止工程)。本実施形態では、モールド樹脂7として、熱可塑性樹脂を用いるようにした。熱可塑性樹脂としては、例えば熱可塑性エポキシ樹脂を好適に使用することができる。
封止工程においては、例えば80℃程度に加熱して軟化した状態のモールド樹脂7を、回路基板2の上面2aに流し込む。その際、高融点半田ボール41Aの頭頂部410に凹部形成用治具6が残されているため、モールド樹脂7によって高融点半田ボール41Aの頭頂部410が覆われることを抑制することができる。つまり、高融点半田ボール41Aの頭頂部410に凹部形成用治具6を押し付けた状態で封止工程を行うことにより、モー
ルド樹脂7によって凹部411が覆われることを抑制することができる。以上のように、本実施形態では、高融点半田ボール41Aの頭頂部410を残して、高融点半田ボール41Aの周囲がモールド樹脂7によって被覆される。その後、モールド樹脂7を冷却することで硬化した後、高融点半田ボール41Aから凹部形成用治具6が取り外される。
上記のように、凹部形成用治具6の下面6aには、平坦部62が形成されている。従って、高融点半田ボール41Aの頭頂部410に凹部形成用治具6を取り付けた状態で封止工程を行うことにより、モールド樹脂7の上面を凹部形成用治具6の平坦部62によって平坦にすることができる(平坦化工程)。従って、図7に示すように、凹部形成用治具6を高融点半田ボール41Aから取り外した状態では、凹部形成用治具6の頭頂部410に凹部411が形成され、この凹部411の外周縁部にはモールド樹脂7の平坦化された平坦面71が連なって配置される。
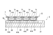
次に、図8に示すように、所定の位置に貫通孔8aが形成されたスクリーン版8を、回路基板2の上に載置する。スクリーン版8は、図示のように、モールド樹脂7の平坦面71の上に設置される。スクリーン版8には、高融点半田ボール41Aの平面的な配置パターンに対応する位置に複数の貫通孔8aが形成されている。スクリーン版8を回路基板2上に設置する際、各貫通孔8aの位置を対応する高融点半田ボール41A(凹部411)の位置に合わせる位置合わせを行う。
次に、図9に示すように、例えばSnBi系半田(錫―ビスマス系半田)等から形成される低融点半田ペースト42Aを、例えば印刷装置を用いてスクリーン版8の上に供給する。低融点半田ペースト42Aは、回路基板2に対する光素子シリコンチップ3の実装後において、図1に示した半田バンプ4の低融点半田接合部42を形成する。印刷装置により供給された低融点半田ペースト42Aは、例えば、スキージを用いたスキージングによって、各貫通孔8aを通じて高融点半田ボール41Aの凹部411に充填される。低融点半田ペースト42Aの融点は139℃程度であって、高融点半田ボール41Aの融点(220℃程度)よりも低い。本実施形態において、低融点半田ペースト42Aは第2半田接合材料の一例である。
低融点半田ペースト42Aの供給に際して、各高融点半田ボール41A間の隙間は既にモールド樹脂7によって被覆されている。従って、スキージを用いたスキージングによって、スクリーン版8が面方向に相対ずれを起こす方向に力が作用しても、高融点半田ボール41Aや、高融点半田ボール41Aと基板側パッド23との接合部に作用する応力を低減することができる。これにより、高融点半田ボール41Aや、高融点半田ボール41Aと基板側パッド23との接合箇所にひび割れ等の損傷が生じることを抑制することができる。
また、スクリーン版8をモールド樹脂7の平坦面71上に設置することができるため、スキージの調整精度を比較的ラフに行っても、低融点半田ペースト42Aを高精度に印刷することができ、作業効率の向上を図ることができる。更に、高融点半田ボール41Aの周囲をモールド樹脂7で被覆することにより、スクリーン版8の貫通孔8aに流入した低融点半田ペースト42Aが、貫通孔8aと高融点半田ボール41Aとの隙間から漏れ出すことが抑制される。これにより、高融点半田ボール41Aの上に、適正な量の低融点半田ペースト42Aを精度良く供給することができる。また、高融点半田ボール41Aからの低融点半田ペースト42Aの滑り落ちを抑制できるため、隣接する基板側パッド23同士のショートを抑制することができる。
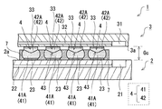
次に、回路基板2からスクリーン版8を取り外し、図10に示すように、光素子シリコンチップ3の下面3aが回路基板2の上面2aと向き合うように光素子シリコンチップ3
を配置する。光素子シリコンチップ3の下面3aにおける適所には複数の素子側パッド33が露出形成されている。また、光素子シリコンチップ3には、発光部31や導波路32が形成されている。光素子シリコンチップ3は、素子側パッド33と基板側パッド23との平面位置が合致し、かつ、回路基板2と光素子シリコンチップ3との間に所定の接合ギャップGcが設けられるように、回路基板2との相対位置が調整される。
次いで、リフロー炉によって、回路基板2及び光素子シリコンチップ3の加熱処理(リフロー)を行う(リフロー工程)。ここで、リフローを行う際のリフロー温度(加熱温度)は、高融点半田ボール41Aの融点より低く、かつ、低融点半田ペースト42Aの融点より高い温度に設定されている。例えば、リフロー温度は160℃程度に設定されている。リフローに際して、リフロー温度が高融点半田ボール41Aの融点より低いため、高融点半田ボール41Aは形状変化を伴わず、元の形状を維持する。一方、低融点半田ペースト42Aの融点よりリフロー温度が高いため、低融点半田ペースト42Aは溶融することになる。
本実施形態において、高融点半田ボール41Aの寸法を、接合ギャップGcから基板側パッド23及び素子側パッド33の厚みを差し引いた寸法よりも若干小さめに設定している。そして、リフロー時に形状変化しない高融点半田ボール41Aを、接合ギャップGcを確保するためのスペーサ(空間確保部材)として利用し、素子側パッド33と高融点半田ボール41Aとの隙間を低融点半田ペースト42Aによって接続することとした。リフローによって溶融した低融点半田ペースト42Aは、高融点半田ボール41Aの半田合金内に拡散し、低融点半田ペースト42A及び高融点半田ボール41Aは一体に接合される。その後、低融点半田ペースト42A及び高融点半田ボール41Aが冷却されることで、図1に示した半田バンプ4が完成する。その際、上述の低融点半田ペースト42Aが半田バンプ4の低融点半田接合部42を形成し、高融点半田ボール41Aが半田バンプ4の高融点半田接合部41を形成することになる。
その後、図11に示すように、モールド樹脂7と光素子シリコンチップ3との隙間に第2モールド樹脂7Aを充填する。第2モールド樹脂7Aとしては、低融点半田42の融点よりも低温で軟化する熱硬化性樹脂を好適に用いることができる。以上の工程によって、回路基板2に対する光素子シリコンチップ3の実装工程が完了し、半導体装置1が完成する。
以上のように、本実施形態に係る光素子シリコンチップ3の実装方法では、高融点半田ボール41A(高融点半田接合部41)の融点よりも低温による温度階層接合を行う。これによれば、リフロー時においても形状を維持する高融点半田ボール41Aをスペーサとして利用できるため、容易に大きな接合ギャップGcを確保することができる。また、光素子シリコンチップ3における素子側パッド33と高融点半田ボール41Aとの隙間には、リフロー時に溶融する低融点半田ペースト42Aが充填される。このため、各高融点半田ボール41Aの高さが多少ばらついていたり、光素子シリコンチップ3が多少傾いていたとしても、これらの高さ方向のばらつき(誤差)を、低融点半田ペースト42Aによって容易に吸収することができる。その結果、回路基板2及び光素子シリコンチップ3間の接合ギャップGcの設計寸法が大きくても、接合ギャップGcを設計寸法通りに精度良く形成することができる。つまり、本実施形態に係る実装方法によれば、接合ギャップGcの寸法精度を高めることができる。
更に、本実施形態に係る光素子シリコンチップ3の実装工程においては、高融点半田ボール41Aの頭頂部410に凹部411を設けるようにした(図7等を参照)。これによれば、半田バンプ4の高融点半田接合部41(高融点半田ボール41A)と低融点半田接合部42(低融点半田ペースト42A)とが接合される境界面に、凹凸形状を有する凹凸
接合部43を形成することができる。このように、高融点半田接合部41及び低融点半田接合部42の接合境界面に凹凸接合部43を形成することで、高融点半田接合部41及び低融点半田接合部42相互の機械的噛み合い作用によって、外力に抵抗する機械的強度を大きくすることができる。
また、高融点半田接合部41及び低融点半田接合部42の接合境界面を凹凸形状とすることにより、高融点半田接合部41と低融点半田接合部42との接触面積を増やすことができる。そのため、リフロー時において、低融点半田ペースト42Aが凝集することを抑止し、低融点半田ペースト42Aの高融点半田ボール41Aへの拡散を促進させることができ、双方の一体化を促進させることができる。その結果、異種半田合金間における界面剥離が起こりにくくなり、相互の接合強度を大きくすることができる。
以上のように、本実施形態に係る光素子シリコンチップ3の実装方法によれば、光素子シリコンチップ3と回路基板2との間の接合ギャップ(接合クリアランス)Gcを適正な値に精度良く制御することできる。しかも、光素子シリコンチップ3の実装時に、リフロー温度を比較的低く設定しても、高い接合信頼性を確保することができる。
なお、上述した光素子シリコンチップ3の実装方法において、モールド樹脂7による封止工程は、高融点半田ボール41Aの頭頂部410に凹部411を形成する前に行ってもよい。また、場合によってはモールド樹脂7による封止工程を省略することも可能である。封止工程を省略する場合においても、高融点半田ボール41Aの頭頂部410に凹部411を形成しておくことで、印刷装置から供給される低融点半田ペースト42Aを凹部411によって受け止めることができる。これにより、低融点半田ペースト42Aが高融点半田ボール41Aから滑り落ちにくくすることができる。その結果、高融点半田ボール41Aに対して適正な量の低融点半田ペースト42Aを供給することができ、半田バンプ4を介した光素子シリコンチップ3と回路基板2との接合信頼性を高めることが可能となる。
また、上述した光素子シリコンチップ3の実装方法においては、モールド樹脂7の上面を平坦化する平坦化工程を、凹部形成用治具6の下面6aを利用して行うようにした。これによれば、高融点半田ボール41Aの頭頂部410に凹部411を形成する凹部形成工程と平坦化工程とを同時に行うことができる。その結果、光素子シリコンチップ3の実装に要する工数を減らすことができ、半導体装置1の製造効率を高めることができる。但し、モールド樹脂7の上面を平坦化する平坦化工程は、低融点半田42のペーストを凹部411に供給する前に行われればよく、凹部形成工程の後に行うようにしてもよい。
<<半導体素子の実装方法の変形例>>
次に、光素子シリコンチップ3の実装方法の変形例について説明する。図12〜図18は、本変形例に係る光素子シリコンチップ3の実装工程を説明する図である。なお、以下では、図2〜図11を参照して説明した実装方法との相違点を中心に説明する。また、上述まで実施形態と共通する構成については同一の参照符号を付すことにより、その詳しい説明を省略する。
本変形例に係る実装方法においても、回路基板2の各基板側パッド23に高融点半田ボール41Aを取り付けるまでは、既述の実施形態と共通する。高融点半田ボール41Aについては、既述の通りである。次に、図12に示すように、高融点半田ボール41Aが取り付けられた状態の回路基板2の上面2aに、封止材料としてのモールド樹脂7を供給する。モールド樹脂7は、上記の通り熱可塑性樹脂によって形成されている。本変形例においては、高融点半田ボール41Aの頭頂部410が少なくとも露出するように、軟化した状態のモールド樹脂7を供給し、モールド樹脂7によって高融点半田ボール41Aを封止
する(封止工程)。なお、封止工程において供給されたモールド樹脂7の上面は平坦になっていなくてもよい。
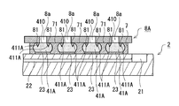
次に、図13に示す突起付きスクリーン版8Aを準備する。突起付きスクリーン版8Aは、上述したスクリーン版8と同様、高融点半田ボール41Aの配置パターンと対応する位置に複数の貫通孔8aが形成されている。また、突起付きスクリーン版8Aの下面80には、複数の突起81が形成されている。突起81は、突起付きスクリーン版8Aにおける下面80のうち各貫通孔8aの周縁近傍に2つずつ設けられており、下面80から下方に向けて突設されている。但し、各貫通孔8aに対応する突起81の数は、適宜変更することができる。また、突起付きスクリーン版8Aの下面のうち、突起81が形成されていない部分には平坦な平坦部82が形成されている。
次に、図14に示すように、各貫通孔8aを対応する高融点半田ボール41Aの位置に合わせる位置合わせを行いつつ、突起付きスクリーン版8Aを回路基板2の上に載置する。ここで、突起付きスクリーン版8Aを回路基板2の上に載置する際、突起付きスクリーン版8Aの下面80に設けられた突起81を、高融点半田ボール41Aの頭頂部410に押し付け、食い込ませる。これにより、各高融点半田ボール41Aの頭頂部410に、凹部411Aが形成される。本変形例では、突起付きスクリーン版8Aにおける各貫通孔8aの周縁に2つの突起81を設けているため、各高融点半田ボール41Aの頭頂部410には2つの凹部411Aが形成されることになる(凹部形成工程)。なお、本変形例において、凹部形成工程は、モールド樹脂7が硬化する前に行われる。突起付きスクリーン版8Aの平坦部82が軟化した状態のモールド樹脂7の上面に押し付けられることで、モールド樹脂7の上面に平坦面71を形成することができる。つまり、モールド樹脂7における上面の平坦化を行うことができる。
ここで、高融点半田ボール41Aは、その周囲に充填されたモールド樹脂7によって封止されている。そのため、突起付きスクリーン版8Aの突起81を高融点半田ボール41Aの頭頂部410に押し付けて凹部411Aを形成する際、高融点半田ボール41Aと基板側パッド23との接合部に大きな応力が作用することを抑制できる。以上のように、本変形例では、封止工程を凹部形成工程の前に行う。
次に、図15に示すように、低融点半田ペースト42Aを、例えば印刷装置を用いて突起付きスクリーン版8A上に供給する。低融点半田ペースト42Aについては既述の通りである。印刷装置により供給された低融点半田ペースト42Aは、スキージを用いたスキージングによって、各貫通孔8aを通じて高融点半田ボール41Aの頭頂部410に供給される。
本変形例においても、低融点半田ペースト42Aを高融点半田ボール41Aの頭頂部410に供給する際に、高融点半田ボール41Aの周囲はモールド樹脂7によって被覆(封止)されている。従って、低融点半田ペースト42Aを高融点半田ボール41Aの頭頂部410から滑り落ちることを抑制し、適正な量の低融点半田ペースト42Aを高融点半田ボール41A上に精度良く転写することができる。更に、モールド樹脂7の上面には、平坦な平坦面71が形成されているため、低融点半田ペースト42Aを精度良く印刷することができる。また、低融点半田ペースト42Aの供給時に、高融点半田ボール41Aと基板側パッド23との接合部に作用する応力を低減することができるので、上記接合部の破損を抑制することができる。
次に、回路基板2から突起付きスクリーン版8Aを取り外す。その結果、図16に示すように、突起付きスクリーン版8Aの貫通孔8aに充填されていた低融点半田ペースト42Aが、高融点半田ボール41Aの頭頂部410に形成された凹部411Aに流れ込み、
充填される。次に、図17に示すように、光素子シリコンチップ3の下面3aが回路基板2の上面2aと向き合うように光素子シリコンチップ3を配置する。光素子シリコンチップ3は、素子側パッド33と基板側パッド23との平面位置が合致し、かつ、回路基板2と光素子シリコンチップ3との間に所定の接合ギャップGcが設けられるように、回路基板2との相対位置が調整される。
次いで、リフロー炉によって、回路基板2及び光素子シリコンチップ3の加熱処理(リフロー)を行う(リフロー工程)。リフロー温度は、上記実施形態と同様、高融点半田ボール41Aの融点より低く、かつ、低融点半田ペースト42Aの融点より高い温度に設定されている。従って、上記実施形態と同様に、リフロー時においては、低融点半田ペースト42Aが溶融する一方、高融点半田ボール41Aはリフロー前の形状を維持することになる。本変形例においても、高融点半田ボール41Aの寸法を、接合ギャップGcから基板側パッド23及び素子側パッド33の厚みを差し引いた寸法よりも若干小さめに設定している。そして、リフロー時に形状変化しない高融点半田ボール41Aを、接合ギャップGcを確保するためのスペーサとして利用し、素子側パッド33と高融点半田ボール41Aとの隙間を低融点半田ペースト42Aによって接続する。その後、低融点半田ペースト42A及び高融点半田ボール41Aが冷却されることで、上記実施形態と同様に半田バンプ4が形成される。その際、低融点半田ペースト42Aが半田バンプ4の低融点半田接合部42を形成し、高融点半田ボール41Aが半田バンプ4の高融点半田接合部41を形成することになる。
その後、図18に示すように、モールド樹脂7と光素子シリコンチップ3との隙間に第2モールド樹脂7Aを充填する。第2モールド樹脂7Aとしては、低融点半田42の融点よりも低温で軟化する熱硬化性樹脂を好適に用いることができる。以上の工程によって、回路基板2に対する光素子シリコンチップ3の実装工程が完了し、半導体装置1が完成する。
本変形例においても、高融点半田ボール41Aの頭頂部410に凹部411Aを設けるようにした。これによれば、半田バンプ4の高融点半田接合部41(高融点半田ボール41A)と低融点半田接合部42(低融点半田ペースト42A)とが接合される境界面に凹凸形状を有する凹凸接合部43が形成される。その結果、高融点半田接合部41及び低融点半田接合部42相互の機械的噛み合い作用によって、半田バンプ4の外力に抵抗する機械的強度を大きくすることができる。そして、凹凸形状を有する凹凸接合部43によって、高融点半田接合部41と低融点半田接合部42との接触面積を増やすことができる。このため、異種半田合金間における界面剥離が起こりにくくなり、高融点半田接合部41及び低融点半田接合部42間における接合強度を大きくすることができる。これにより、半田バンプ4を介した回路基板2及び光素子シリコンチップ3の優れた接合(接続)信頼性を実現することができる。そして、リフロー温度を高融点半田ボール41A(高融点半田接合部41)の融点よりも低温とする温度階層接合を行うことで、より大きな接合ギャップGcが容易に得られるようになり、しかも、接合ギャップGcの寸法精度を従来よりも高めることができる。つまり、回路基板2と光素子シリコンチップ3との間の接合ギャップGcの設計寸法が大きくても、形成する接合ギャップGcの寸法精度を好適に高めることができる。
更に、本変形例に係る実装方法においては、突起81及び平坦部82を有する突起付きスクリーン版8Aを用いて、低融点半田ペースト42Aを高融点半田ボール41Aの頭頂部410に転写するようにした。これによれば、高融点半田ボール41Aの頭頂部410に対する低融点半田ペースト42Aの転写と、高融点半田ボール41Aの頭頂部410への凹部411Aの形成と、モールド樹脂7の上面の平坦化を、一括して(同一工程で)行うことができる。その結果、光素子シリコンチップ3の実装に要する工数を減らすことが
でき、半導体装置1の製造効率を高めることができる。
また、本変形例においては、高融点半田ボール41Aの周囲をモールド樹脂7によって封止した状態で、高融点半田ボール41Aの頭頂部410に凹部411Aを形成する点で、上記実施形態と相違する。これによれば、突起付きスクリーン版8Aの突起81を高融点半田ボール41Aの頭頂部410に押し付ける際に、高融点半田ボール41Aと基板側パッド23との接合部に作用する応力を好適に低減することができる。その結果、高融点半田ボール41Aと基板側パッド23との接合部を、より一層破損しにくくすることが可能となる。
以上、実施形態に沿って本件に係る半導体装置及び半導体素子の実装方法について説明したが、本件はこれらに制限されるものではない。そして、上記実施形態について、種々の変更、改良、組み合わせ等が可能なことは当業者にとって自明である。例えば、上記実施形態及び変形例において、回路基板2に対して実装する半導体素子をVCSEL等の発光素子とする場合を例示的に説明したが、フォトダイオード等の受光素子であってもよい。また、VCSELやフォトダイオード等の光素子に限られず、種々の半導体素子を実装する際に本件に係る実装方法を好適に適用することができる。
1・・・半導体装置
2・・・回路基板
3・・・光素子シリコンチップ
4・・・半田バンプ
6・・・凹部形成用治具
7・・・モールド樹脂
23・・・基板側パッド
33・・・素子側パッド
41・・・高融点半田接合部
41A・・・高融点半田ボール
42・・・低融点半田接合部
42A・・・低融点半田ペースト
43・・・凹凸接合部
410・・・頭頂部
411・・・凹部
Gc・・・接合ギャップ

Claims (7)

  1. 基板に半導体素子を実装する実装方法であって、
    前記基板に形成された基板側パッド上に第1半田接合材料を取り付ける工程と、
    前記第1半田接合材料上に該第1半田接合材料よりも融点が低い第2半田接合材料を供給する工程と、
    前記半導体素子に形成された素子側パッドが対応する前記基板側パッドに対向し、かつ、前記基板との間に所定の接合ギャップが設けられるように前記半導体素子を配置する工程と、
    前記第1半田接合材料の融点よりも低温かつ前記第2半田接合材料の融点よりも高温のリフロー温度でリフローを行い、該第1半田接合材料及び第2半田接合材料を接合するリフロー工程と、
    を有する、
    半導体素子の実装方法。
  2. 前記第1半田接合材料の頭頂部に凹部を形成する凹部形成工程を更に有し、
    前記第2半田接合材料を供給する工程においては、前記凹部に前記第2半田接合材料が充填されるように該第2半田接合材料を供給する、
    請求項1に記載の半導体素子の実装方法。
  3. 前記第2半田接合材料を供給する前に、前記基板上に封止材料を供給し、少なくとも前記第1半田接合材料の頭頂部が露出するように該第1半田接合材料を封止する封止工程を、更に有する、
    請求項2に記載の半導体素子の実装方法。
  4. 前記第2半田接合材料を供給する前に前記封止材料の上面を平坦にする平坦化工程、を更に有する、
    請求項3に記載の半導体素子の実装方法。
  5. 前記封止工程を前記凹部形成工程の前に行う、
    請求項3又は4に記載の半導体素子の実装方法。
  6. 前記凹部形成工程において、前記第1半田接合材料の頭頂部に所定の治具を押し付けることによって前記凹部を形成し、
    前記封止工程において、前記頭頂部に前記治具を押し付けた状態で前記第1半田接合材料を封止する、
    請求項3から5の何れか一項に記載の半導体素子の実装方法。
  7. 前記凹部形成工程において、前記第1半田接合材料の頭頂部を加熱しながら前記凹部を形成する、
    請求項2から6の何れか一項に記載の半導体素子の実装方法。
JP2013058764A 2013-03-21 2013-03-21 半導体素子の実装方法 Expired - Fee Related JP6197319B2 (ja)

Priority Applications (2)

Application Number Priority Date Filing Date Title
JP2013058764A JP6197319B2 (ja) 2013-03-21 2013-03-21 半導体素子の実装方法
US14/073,998 US9615464B2 (en) 2013-03-21 2013-11-07 Method of mounting semiconductor element, and semiconductor device

Applications Claiming Priority (1)

Application Number Priority Date Filing Date Title
JP2013058764A JP6197319B2 (ja) 2013-03-21 2013-03-21 半導体素子の実装方法

Publications (2)

Publication Number Publication Date
JP2014183301A JP2014183301A (ja) 2014-09-29
JP6197319B2 true JP6197319B2 (ja) 2017-09-20

Family

ID=51568998

Family Applications (1)

Application Number Title Priority Date Filing Date
JP2013058764A Expired - Fee Related JP6197319B2 (ja) 2013-03-21 2013-03-21 半導体素子の実装方法

Country Status (2)

Country Link
US (1) US9615464B2 (ja)
JP (1) JP6197319B2 (ja)

Families Citing this family (11)

* Cited by examiner, † Cited by third party
Publication number Priority date Publication date Assignee Title
JP5595524B2 (ja) * 2010-12-28 2014-09-24 京セラ株式会社 光モジュールおよび光配線基板
CN104737630B (zh) * 2012-10-15 2016-02-03 千住金属工业株式会社 低温焊膏的焊接方法
JP6307131B2 (ja) * 2015-09-08 2018-04-04 エルジー エレクトロニクス インコーポレイティド 太陽電池モジュール及びその製造方法
WO2018134673A1 (ja) * 2017-01-20 2018-07-26 レノボ・シンガポール・プライベート・リミテッド はんだ接合方法、およびはんだ継手
US10586782B2 (en) 2017-07-01 2020-03-10 International Business Machines Corporation Lead-free solder joining of electronic structures
CN108346952B (zh) * 2018-01-25 2020-11-24 番禺得意精密电子工业有限公司 电连接器固持装置
CN110718524B (zh) * 2019-08-30 2024-03-15 华为技术有限公司 电子组件及电子设备
US11557878B2 (en) * 2019-10-22 2023-01-17 University Of Maryland, College Park High power, narrow linewidth semiconductor laser system and method of fabrication
JP6767665B1 (ja) * 2020-06-10 2020-10-14 千住金属工業株式会社 バンプ電極基板の形成方法
DE102021103360A1 (de) * 2021-02-05 2022-08-11 Few Fahrzeugelektrik Werk Gmbh & Co. Kg Verfahren zur Herstellung einer Vorverzinnungsanordnung und derartige Vorverzinnungsanordnung
CN117099190A (zh) * 2021-02-10 2023-11-21 株式会社力森诺科 带焊料凸块的部件的制造方法、带焊料凸块的部件及焊料凸块形成用部件

Family Cites Families (42)

* Cited by examiner, † Cited by third party
Publication number Priority date Publication date Assignee Title
DE3824865A1 (de) * 1988-07-21 1990-01-25 Productech Gmbh Herstellen von loetflaechen
JP3049800B2 (ja) 1991-02-28 2000-06-05 日本電気株式会社 半導体受光素子のバンプ電極形成方法
US5203075A (en) * 1991-08-12 1993-04-20 Inernational Business Machines Method of bonding flexible circuit to cicuitized substrate to provide electrical connection therebetween using different solders
US5545589A (en) * 1993-01-28 1996-08-13 Matsushita Electric Industrial Co., Ltd. Method of forming a bump having a rugged side, a semiconductor device having the bump, and a method of mounting a semiconductor unit and a semiconductor device
US5477086A (en) * 1993-04-30 1995-12-19 Lsi Logic Corporation Shaped, self-aligning micro-bump structures
US5470787A (en) * 1994-05-02 1995-11-28 Motorola, Inc. Semiconductor device solder bump having intrinsic potential for forming an extended eutectic region and method for making and using the same
JPH0829638A (ja) * 1994-05-12 1996-02-02 Fujitsu Ltd 光導波路・光ファイバ接続構造及び光導波路・光ファイバ接続方法並びに光導波路・光ファイバ接続に使用される光導波路基板及び同基板の製造方法並びに光導波路・光ファイバ接続に使用されるファイバ基板付き光ファイバ
JP3348528B2 (ja) * 1994-07-20 2002-11-20 富士通株式会社 半導体装置の製造方法と半導体装置及び電子回路装置の製造方法と電子回路装置
DE19511898C2 (de) * 1995-03-31 1999-09-23 Fraunhofer Ges Forschung Verfahren zur Verbindung von Kontaktflächen eines elektronischen Bauelements und eines Substrats
US5889326A (en) * 1996-02-27 1999-03-30 Nec Corporation Structure for bonding semiconductor device to substrate
JPH1013007A (ja) * 1996-03-29 1998-01-16 Ngk Spark Plug Co Ltd 半田バンプを有する配線基板及びその製造方法及び平坦化治具
JPH09275269A (ja) * 1996-04-01 1997-10-21 Omron Corp 電子部品を回路基板に実装する方法,ならびにそれに用いる電子部品および回路基板
JP3145331B2 (ja) * 1996-04-26 2001-03-12 日本特殊陶業株式会社 中継基板、その製造方法、基板と中継基板と取付基板とからなる構造体、基板と中継基板の接続体および中継基板と取付基板の接続体の製造方法
JP3180041B2 (ja) * 1996-10-09 2001-06-25 住友金属工業株式会社 接続端子及びその形成方法
US5872400A (en) * 1997-06-25 1999-02-16 International Business Machines Corporation High melting point solder ball coated with a low melting point solder
US5984164A (en) * 1997-10-31 1999-11-16 Micron Technology, Inc. Method of using an electrically conductive elevation shaping tool
DE19750073A1 (de) * 1997-11-12 1999-05-20 Bosch Gmbh Robert Schaltungsträgerplatte
JP3344956B2 (ja) * 1998-01-08 2002-11-18 日本特殊陶業株式会社 積層セラミック基板の製造方法
US6046910A (en) * 1998-03-18 2000-04-04 Motorola, Inc. Microelectronic assembly having slidable contacts and method for manufacturing the assembly
JP3975569B2 (ja) * 1998-09-01 2007-09-12 ソニー株式会社 実装基板及びその製造方法
US6225206B1 (en) * 1999-05-10 2001-05-01 International Business Machines Corporation Flip chip C4 extension structure and process
US6267650B1 (en) * 1999-08-09 2001-07-31 Micron Technology, Inc. Apparatus and methods for substantial planarization of solder bumps
JP2001085470A (ja) * 1999-09-16 2001-03-30 Fujitsu Ltd 半導体装置及びその製造方法
US6683387B1 (en) * 2000-06-15 2004-01-27 Advanced Micro Devices, Inc. Flip chip carrier package with adapted landing pads
JP4609617B2 (ja) * 2000-08-01 2011-01-12 日本電気株式会社 半導体装置の実装方法及び実装構造体
US7414319B2 (en) * 2000-10-13 2008-08-19 Bridge Semiconductor Corporation Semiconductor chip assembly with metal containment wall and solder terminal
JP2002190497A (ja) * 2000-12-21 2002-07-05 Sony Corp フリップチップ実装用の封止樹脂
JP4131623B2 (ja) 2001-09-12 2008-08-13 三洋電機株式会社 電極構造およびその製造方法
US6583517B1 (en) * 2002-04-09 2003-06-24 International Business Machines Corporation Method and structure for joining two substrates with a low melt solder joint
JP2004012803A (ja) * 2002-06-06 2004-01-15 Fujitsu Ltd 光伝送用プリント板ユニット及び実装方法
JP2004103928A (ja) * 2002-09-11 2004-04-02 Fujitsu Ltd 基板及びハンダボールの形成方法及びその実装構造
JP3905100B2 (ja) * 2004-08-13 2007-04-18 株式会社東芝 半導体装置とその製造方法
WO2006126361A1 (ja) * 2005-05-24 2006-11-30 Matsushita Electric Industrial Co., Ltd. ハンダバンプ形成方法および半導体素子の実装方法
JP4251458B2 (ja) * 2005-12-21 2009-04-08 Tdk株式会社 チップ部品の実装方法及び回路基板
JP2008071792A (ja) * 2006-09-12 2008-03-27 Toshiba Corp 半導体装置の製造方法
JP5066935B2 (ja) * 2007-02-22 2012-11-07 富士通株式会社 電子部品および電子装置の製造方法
US8390117B2 (en) * 2007-12-11 2013-03-05 Panasonic Corporation Semiconductor device and method of manufacturing the same
WO2010061428A1 (ja) * 2008-11-28 2010-06-03 富士通株式会社 電子装置の製造方法、電子部品搭載用基板及びその製造方法
JP2013093405A (ja) * 2011-10-25 2013-05-16 Ngk Spark Plug Co Ltd 配線基板及びその製造方法
JP5800674B2 (ja) * 2011-10-25 2015-10-28 日本特殊陶業株式会社 配線基板及びその製造方法
US8828860B2 (en) * 2012-08-30 2014-09-09 International Business Machines Corporation Double solder bumps on substrates for low temperature flip chip bonding
US8920934B2 (en) * 2013-03-29 2014-12-30 Intel Corporation Hybrid solder and filled paste in microelectronic packaging

Also Published As

Publication number Publication date
JP2014183301A (ja) 2014-09-29
US20140285989A1 (en) 2014-09-25
US9615464B2 (en) 2017-04-04

Similar Documents

Publication Publication Date Title
JP6197319B2 (ja) 半導体素子の実装方法
CN101996902B (zh) 半导体器件的制造方法
JP4928945B2 (ja) バンプ−オン−リードフリップチップ相互接続
JP5120342B2 (ja) 半導体パッケージの製造方法
JP4907500B2 (ja) 導電性バンプの形成方法
TWI397978B (zh) 晶片結構及其製程與覆晶封裝結構及其製程
JP5160390B2 (ja) リードピン付配線基板及びその製造方法
JP5422830B2 (ja) リードピン付配線基板及びその製造方法
CN107078118A (zh) 插入器到封装基板的耦合
JP2010123676A (ja) 半導体装置の製造方法、半導体装置
CN112908873A (zh) 半导体组件组装方法、半导体组件和电子设备
JP6877271B2 (ja) 光モジュールの製造方法
JP5212392B2 (ja) 半導体装置
JP5889160B2 (ja) 電子機器の製造方法
JP2006351935A (ja) 半導体チップ実装基板及びそれを用いた半導体装置
JP2007243106A (ja) 半導体パッケージ構造
JP4200090B2 (ja) 半導体装置の製造方法
CN100542380C (zh) 电子零部件安装方法及其使用的电路板和电路板单元
JP2009110991A (ja) 半導体装置及びその製造方法
JP2007258448A (ja) 半導体装置
JP2008192833A (ja) 半導体装置の製造方法
JP5576053B2 (ja) 半導体装置の製造方法、及び回路基板シート
TWI803127B (zh) 半導體元件組裝方法、半導體元件和電子設備
JP4752717B2 (ja) モジュールの製造方法
JP4952527B2 (ja) 半導体装置の製造方法及び半導体装置

Legal Events

Date Code Title Description
A621 Written request for application examination

Free format text: JAPANESE INTERMEDIATE CODE: A621

Effective date: 20151106

A977 Report on retrieval

Free format text: JAPANESE INTERMEDIATE CODE: A971007

Effective date: 20160907

A131 Notification of reasons for refusal

Free format text: JAPANESE INTERMEDIATE CODE: A131

Effective date: 20161004

A521 Request for written amendment filed

Free format text: JAPANESE INTERMEDIATE CODE: A523

Effective date: 20161130

A131 Notification of reasons for refusal

Free format text: JAPANESE INTERMEDIATE CODE: A131

Effective date: 20170509

A521 Request for written amendment filed

Free format text: JAPANESE INTERMEDIATE CODE: A523

Effective date: 20170630

TRDD Decision of grant or rejection written
A01 Written decision to grant a patent or to grant a registration (utility model)

Free format text: JAPANESE INTERMEDIATE CODE: A01

Effective date: 20170725

A61 First payment of annual fees (during grant procedure)

Free format text: JAPANESE INTERMEDIATE CODE: A61

Effective date: 20170807

R150 Certificate of patent or registration of utility model

Ref document number: 6197319

Country of ref document: JP

Free format text: JAPANESE INTERMEDIATE CODE: R150

LAPS Cancellation because of no payment of annual fees